
ГОСУДАРСТВЕННЫЙ СТАНДАРТ СОЮЗА ССР
СВАИ ЗАБИВНЫЕ ЖЕЛЕЗОБЕТОННЫЕ
СВАИ ЗАБИВНЫЕ ЖЕЛЕЗОБЕТОННЫЕ
ЦЕЛЬНЫЕ
СПЛОШНОГО КВАДРАТНОГО СЕЧЕНИЯ С ПОПЕРЕЧНЫМ
АРМИРОВАНИЕМ СТВОЛА С НАПРЯГАЕМОЙ АРМАТУРОЙ
Конструкция и размеры
ГОСТ 19804.2-79*
ИЗДАТЕЛЬСТВО СТАНДАРТОВ
МОСКВА
ГОСУДАРСТВЕННЫЙ СТАНДАРТ СОЮЗА ССР
|
СВАИ ЗАБИВНЫЕ
ЖЕЛЕЗОБЕТОННЫЕ ЦЕЛЬНЫЕ Конструкция и размеры Prestressed reinforced-concrete driven square piles. |
ГОСТ 19804.2-79* |
Постановлением Государственного комитета СССР по делам строительства от 24 октября 1979 г. № 208 срок введения установлен
с 01.01.81
* Переиздание (май 1995 г.) с Изменением № 1, утвержденным в июне 1983 г.; Пост. №54 от 31.03.83 (ИУС 9-83)
1. Настоящий стандарт распространяется на забивные железобетонные цельные сваи сплошного квадратного сечения с поперечным армированием ствола с напрягаемой арматурой и устанавливает конструкцию свай и арматурных изделий к ним.
2. Железобетонные сваи сплошного квадратного сечения с напрягаемой продольной арматурой должны удовлетворять требованиям ГОСТ 19804-91 и требованиям настоящего стандарта.
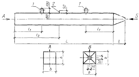
3. Форма, марки, номинальные размеры свай и проектные марки бетона по прочности на сжатие должны соответствовать указанным на черт. 1 и в табл. 1.
Сваи сплошного квадратного сечения с поперечным армированием ствола с напрягаемой продольной арматурой
1 - подъемные петли; 2 - штырь для фиксации места строповки при подъеме на копер
Черт. 1
Таблица 1
|
Номинальные размеры, мм |
Проектная марка бетона по прочности на сжатие |
Объем бетона, м3 |
Масса сваи, т |
Расход стали на одну сваю, кг |
|||||
|
L |
l |
l1 |
l2 |
b |
|||||
|
СНпр3-30 |
3000 |
250 |
600 |
- |
300 |
М300 |
0,28 |
0,70 |
10,7 |
|
СНпр3,5-30 |
3500 |
700 |
0,33 |
0,83 |
11,2 |
||||
|
СНпр4-30 |
4000 |
800 |
0,37 |
0,93 |
11,8 |
||||
|
СНпр4,5-30 |
4500 |
900 |
0,42 |
1,05 |
12,4 |
||||
|
СНпр5-30 |
5000 |
1000 |
0,46 |
1,15 |
12,9 |
||||
|
СНпр5,5-30 |
5500 |
1100 |
0,51 |
1,28 |
13,5 |
||||
|
СНпр6-30 |
6000 |
1200 |
0,55 |
1,38 |
14,2 |
||||
|
СНпр7-30 |
7000 |
1400 |
0,64 |
1,60 |
16,5 |
||||
|
СНпр8-30 |
8000 |
1600 |
2400 |
0,73 |
1,83 |
17,6 |
|||
|
СН9-30 |
9000 |
1800 |
2600 |
0,82 |
2,05 |
36,0 24,6 |
|||
|
СНпр9-30 |
|||||||||
|
СН10-30 |
10000 |
2100 |
2900 |
0,91 |
2,28 |
39,6 27,0 |
|||
|
СНпр10-30 |
|||||||||
|
СН11-30 |
11000 |
2300 |
3200 |
1,00 |
2,50 |
42,7 28,8 33,0 |
|||
|
СНпр11-30 |
|||||||||
|
СНк11-30 |
М350 |
||||||||
|
СН12-30 |
12000 |
2500 |
3500 |
М300 |
1,09 |
2,73 |
45,7 |
||
|
СНпр12-30 |
М350 |
38,1 |
|||||||
|
СНк12-30 |
35,2 |
||||||||
|
СН13-30 |
13000 |
2700 |
3800 |
М400 |
1,18 |
2,95 |
51,4 |
||
|
СНпр13-30 |
43,2 |
||||||||
|
СНк13-30 |
40,0 |
||||||||
|
СН14-30 |
14000 |
2900 |
4100 |
1,27 |
3,18 |
55,6 |
|||
|
СНпр14-30 |
55,2 |
||||||||
|
СНк14-30 |
43,3 |
||||||||
|
СН15-30 |
15000 |
3100 |
4400 |
1,36 |
3,40 |
75,4 |
|||
|
СНпр15-30 |
68,2 |
||||||||
|
СНк15-30 |
64,8 |
||||||||
|
СНпр8-35 |
8000 |
300 |
1600 |
2400 |
350 |
М300 |
1,00 |
2,50 |
20,0 |
|
СНпр9-35 |
9000 |
1800 |
2600 |
1,12 |
2,80 |
27,1 |
|||
|
СН10-35 |
10000 |
2100 |
2900 |
1,24 |
3,10 |
42,6 |
|||
|
СНпр10-25 |
29,9 |
||||||||
|
СНк10-35 |
М350 |
33,8 |
|||||||
|
СН11-35 |
11000 |
2300 |
3200 |
350 |
М300 |
1,37 |
3,43 |
45,6 |
|
|
CHпр11-35 |
31,6 |
||||||||
|
СНк11-35 |
М350 |
35,9 |
|||||||
|
CH12-35 |
12000 |
2500 |
3500 |
М300 |
1,49 |
3,73 |
48,9 |
||
|
СНпр12-35 |
41,2 |
||||||||
|
СНк12-35 |
М350 |
38,3 |
|||||||
|
СН13-35 |
13000 |
2700 |
3800 |
М400 |
1,61 |
4,03 |
56,2 |
||
|
СНпр13-35 |
48,0 |
||||||||
|
СНк13-35 |
44,8 |
||||||||
|
СН14-35 |
14000 |
2900 |
4100 |
1,73 |
4,33 |
75,2 |
|||
|
СНпр14-35 |
59,6 |
||||||||
|
СНк14-35 |
47,4 |
||||||||
|
СН15-35 |
15000 |
3100 |
4400 |
1,86 |
4,65 |
79,6 |
|||
|
СНпр15-35 |
72,4 |
||||||||
|
СНк15-35 |
69,0 |
||||||||
|
СН16-35 |
16000 |
3300 |
4700 |
1,98 |
4,95 |
105,0 |
|||
|
СНк16-35 |
99,0 |
||||||||
|
СН17-35 |
17000 |
3500 |
5000 |
2,12 |
5,30 |
137,7 |
|||
|
СНк17-35 |
105,7 |
||||||||
|
СН18-35 |
18000 |
3700 |
5300 |
2,23 |
5,58 |
144,9 |
|||
|
СНк18-35 |
133,9 |
||||||||
|
СН19-35 |
19000 |
3900 |
5600 |
2,35 |
5,80 |
152,2 |
|||
|
СНк19-35 |
202,7 |
||||||||
|
СН20-35 |
20000 |
4100 |
5900 |
2,47 |
6,18 |
193,5 |
|||
|
СНк20-35 |
212,5 |
||||||||
|
СН13-40 |
13000 |
350 |
2700 |
3800 |
400 |
2,10 |
5,26 |
76,2 |
|
|
СНпр13-40 |
53,5 |
||||||||
|
СНк13-40 |
50,3 |
||||||||
|
СН14-40 |
14000 |
2900 |
4100 |
2,26 |
5,65 |
80,9 |
|||
|
СНпр14-40 |
65,3 |
||||||||
|
СНк14-40 |
53,0 |
||||||||
|
СН15-40 |
15000 |
3100 |
4400 |
2,42 |
6,05 |
105,2 |
|||
|
СНпр15-40 |
78,3 |
||||||||
|
СНк15-40 |
74,8 |
||||||||
|
СН16-40 |
16000 |
3300 |
4700 |
2,50 |
6,45 |
112,6 |
|||
|
СНк16-40 |
106,6 |
||||||||
|
СН17-40 |
17000 |
3500 |
5000 |
2,74 |
6,85 |
144,2 |
|||
|
СНк17-40 |
112,2 |
||||||||
|
СН18-40 |
18000 |
3700 |
5300 |
2,90 |
7,25 |
151,6 |
|||
|
СНк18-40 |
140,6 |
||||||||
|
СН19-40 |
19000 |
3900 |
5600 |
3,06 |
7,65 |
194,1 |
|||
|
СНк19-40 |
212,3 |
||||||||
|
СН20-40 |
20000 |
4100 |
5900 |
3,22 |
8,05 |
203,2 |
|||
|
СНк20-40 |
222,3 |
||||||||
Примечание. Расход стали на одну сваю приведен при условии армирования проволокой класса B-I.
(Измененная редакция, Изм. № 1).
4. Сваи длиной до 7 м включ. допускается изготовлять без фиксирующих штырей, при этом строповка свай при подъеме на копер должна осуществляться у верхней подъемной петли.
5. При соответствующем технико-экономическом обосновании для восприятия больших горизонтальных или вертикальных нагрузок допускается изготовлять сваи сечением 350´350 и 400´400 мм длиной, менее указанной в табл. 1. При этом марка бетона свай по прочности на сжатие должна быть:
- для свай сечением 350´350 мм - М300 и М350 (при армировании свай арматурой из канатов);
- для свай сечением 400´400 мм - М400.
6. В качестве крупного заполнителя для бетона свай должен применяться фракционированный щебень из естественного камня и гравия по ГОСТ 26633-91, при этом размер фракции должен быть не более 40 мм.
По согласованию с заказчиком допускается применять в качестве крупного заполнителя гравий по ГОСТ 26633-91 для свай длиной до 12 м включ.
Примечание. Возможность применения гравия в качестве крупного заполнителя указывается в заказной спецификации, устанавливается проектной организацией для условий погружения свай в пески средней плотности и рыхлые, супеси пластичные и текучие, суглинки и глины от текучих до тугопластичных, илы и торфы, и опирания свай на все виды грунтов, за исключением скальных и крупнообломочных.
7. В качестве продольной напрягаемой арматуры должна применяться:
а) высокопрочная арматурная проволока периодического профиля класса Вр-II по ГОСТ 7348-81;
б) горячекатаная арматурная сталь классов A-IV и A-V по ГОСТ 5781-82 и классов A-IV и A-V по ГОСТ 10884-81. Для свай длиной до 12 м включ. предпочтительно применять арматуру класса Ат-IVС.
в) арматурные канаты класса К-7 по ГОСТ 13840-68.
8. Натяжение арматуры классов Вр-II и К-7 следует осуществлять механическим способом, натяжение арматуры классов A-IV, A-V, Ат-V, Ат-IVС - электротермическим (для свай длиной до 12 м включ.) или механическим способами. Допускается использовать электротермический способ для натяжения проволочной арматуры класса Вр-II.
При натяжении электротермическим способом высокопрочной проволоки и термически упрочненной стержневой арматуры дополнительно должны производиться контрольные испытания арматуры на растяжение после электронагрева.
Образцы испытываются на растяжение в соответствии с требованиями ГОСТ 10446-80.
Температура нагрева напрягаемой арматуры при электротермическом способе натяжения не должна превышать величин, установленных нормативными документами по технологии изготовления предварительно напряженных конструкций.
9. Предельная величина предварительного напряжения арматуры so принята:
а) при механическом способе натяжения so = 0,95 RaII кгс/см2;
б) при электротермическом способе натяжения
, кгс/см2,
где RaII - расчетное сопротивление арматуры растяжению для предельных состояний второй группы, кгс/см2;
l - длина натягиваемого стержня, м.
7-9. (Измененная редакция, Изм. № 1).
10. При количестве продольных проволок и канатов 8 и более расстояние между их осями должно быть не более 15 мм для проволок и 50 мм для канатов.
11. Прочность бетона в момент отпуска натяжения арматуры (передаточная прочность) должна быть не ниже:
200 кгс/см2 - при проектной марке бетона по прочности на сжатие М300;
300 кгс/см2 - при проектных марках бетона по прочности на сжатие М350 и М400.
12. После отпуска натяжения арматура должна быть срезана заподлицо с бетоном.
13. Для поперечного армирования свай следует применять проволоку класса B-I или Вр-I диаметром 5 мм по ГОСТ 6727-80.
Шаг спирали поперечной арматуры по обоим концам сваи на длине 1 м должен быть равным 100 мм, в средней части для свай длиной до 12 м включ. - 300 мм и для свай длиной 13 м и более - 200 мм.
Поперечная арматура должна быть привязана вязальной проволокой к продольной арматуре в каждом четвертом пересечении с тем, чтобы шаг спирали был зафиксирован.
14. Голова сваи должна быть усилена сетками марок С30-С40.
15. Острие сваи должно быть усилено приставным каркасом марок КО30-КО-40.
16. Расположение арматуры (продольной и поперечной, сеток головы свай, каркасов острия, петель и штырей) в сваях должно соответствовать указанному на черт. 2.
17. Спецификация арматурных изделий и выборка стали на сваю приведены в табл. 2-5.
Черт. 2
18. Ведомость стержней, выборка стали и усилия натяжения продольной арматуры должны соответствовать табл. 6-8.
13-18. (Измененная редакция, Изм. № 1).
19. Допускаются диаметры и классы продольной арматуры свай в соответствии с приложением 1.
20. Ведомость стержней и выборка стали на спираль и сетки головы, каркаса острия, петли и штырь приведена в табл. 9-11.
(Измененная редакция, Изм. № 1).
21. Сетки, петли и каркас острия должны быть привязаны к продольной арматуре вязальной проволокой. Штырь устанавливается после формования бетона.
22. (Исключен, Изм. № 1).
23. Сваи с продольной арматурой, предусмотренной настоящим стандартом, должны быть испытаны на трещиностойкость путем укладки их на две опоры, расположенные по схеме, указанной на черт. 3.

Черт. 3
Таблица 2
Спецификация арматурных изделий на сваю
|
Продольная арматура, кол., диаметр, мм, класс |
Спираль (1 шт.) |
Сетки головы (10 шт.) |
Петли (2 шт.) |
Штырь (1 шт.) |
Каркас острия (1 шт.) |
|
|
СНпр3-30 СНпр3,5-30 СНпр4-30 СНпр4,5-30 СНпр5-30 СНпр5,5-30 СНпр6-30 СНпр7-30 СНпр8-30 |
4Æ5ВрII |
Сп3-30 Сп3,5-30 Сп4-30 Сп4,5-30 Сп5-30 Сп5,5-30 Сп6-30 Сп7-30 Сп8-30 |
С30 |
П3 |
- |
КО30 |
|
П4 |
Ш1 |
|||||
|
СНпр9-30 СН9-30 |
8Æ5ВрII 4Æ10AIV |
Сп9-30 |
С30 |
П4 |
Ш1 |
КО30 |
|
СНпр10-30 СН10-30 |
8Æ5ВрII 4Æ10AIV |
Сп10-30 |
С30 |
П5 |
Ш1 |
КО30 |
|
СНпр11-30 СН11-30 СНк11-30 |
8Æ5ВрII 4Æ10AIV 4Æ9К7 |
Сп11-30 |
С30 |
П5 |
Ш1 |
КО30 |
|
СНпр12-30 СН12-30 СНк12-30 |
12Æ5ВрII 4Æ10AV 4Æ9К7 |
Сп12-30 |
С30 |
П5 |
Ш1 |
КО30 |
|
СНпр13-30 СН13-30 СНк13-30 |
12Æ5ВрII 4Æ10AV 4Æ9К7 |
Сп13-30 |
С30 |
П5 |
Ш1 |
КО30 |
|
СНпр14-30 СН14-30 СНк14-30 |
16Æ5ВрII 4Æ10AV 4ÆК7 |
Сп14-30 |
С30 |
П6 |
Ш1 |
КО30 |
|
СНпр15-30 СН15-30 СНк15-30 |
20Æ5ВрII 4Æ12AV 4Æ12К7 |
Сп15-30 |
С30 |
П6 |
Ш1 |
КО30 |
|
СНпр8-35 СНпр9-35 |
4Æ5ВрII 8Æ5ВрII |
Сп8-35 Сп9-35 |
С35 |
П7 |
Ш1 |
КО35 |
|
СНпр10-35 СН10-35 СНк10-35 |
8Æ5ВрII 4Æ10AIV 4Æ9К7 |
Сп10-35 |
С35 |
П8 |
||
|
СHпр11-35 СН11-35 СНк11-35 |
8Æ5ВрII 4Æ10AIV 4Æ9К7 |
Сп11-35 |
С35 |
П8 |
Ш1 |
КО35 |
|
СНпр12-35 СН12-35 СНк12-35 |
12Æ5ВрII 4Æ10AV 4Æ9К7 |
Сп12-35 |
С35 |
П8 |
Ш1 |
КО35 |
|
СНпр13-35 СН13-35 СНк13-35 |
12Æ5ВрII 4Æ10AV 4Æ9К7 |
Сп13-35 |
С35 |
П9 |
Ш1 |
КО35 |
|
СНпр14-35 СН14-35 СНк14-35 |
16Æ5ВрII 4Æ12AV 4Æ9К7 |
Сп14-35 |
С35 |
П9 |
Ш1 |
КО35 |
|
СНпр15-35 СН15-35 СНк15-35 |
20Æ5ВрII 4Æ12AV 4Æ12К7 |
Сп15-35 |
С35 |
П9 |
Ш1 |
КО35 |
|
СН16-35 СНк16-35 |
4Æ14AV 4Æ15К7 |
Сп16-35 |
С35 |
П9 |
Ш1 |
КО35 |
|
СН17-35 СНк17-35 |
4Æ16AV 4Æ15К7 |
Сп17-35 |
С35 |
П10 |
Ш1 |
КО35 |
|
СН18-35 СНк18-35 |
4Æ16AV 8Æ12К7 |
Сп18-35 |
С35 |
П10 |
Ш1 |
КО35 |
|
СН19-35 СНк19-35 |
4Æ16AV 8Æ15К7 |
Сп19-35 |
С35 |
П10 |
Ш1 |
КО35 |
|
СН20-35 СНк20-35 |
4Æ18AV 8Æ15К7 |
Сп20-35 |
С35 |
П10 |
Ш1 |
КО35 |
|
СНпр13-40 СН13-40 СНк13-40 |
12Æ5ВрII 4Æ12AIV 4Æ9К7 |
Сп13-40 |
С40 |
П11 |
Ш1 |
КО40 |
|
СНпр14-40 СН14-40 СНк14-40 |
16Æ5ВрII 4Æ12AV 4Æ9К7 |
Сп14-40 |
С40 |
П11 |
Ш1 |
КО40 |
|
СНпр15-40 СН15-40 СНк15-40 |
20Æ5ВрII 4Æ14AIV 4Æ12К7 |
Сп15-40 |
С40 |
П11 |
Ш1 |
КО40 |
|
СН16-40 СНк16-40 |
4Æ14AV 4Æ15К7 |
Сп16-40 |
С40 |
П12 |
Ш1 |
КО40 |
|
СН17-40 СНк17-40 |
4Æ16AV 4Æ15К7 |
Сп17-40 |
С40 |
П12 |
Ш1 |
КО40 |
|
СН18-40 СНк18-40 |
4Æ16AV 8Æ12К7 |
Сп18-40 |
С40 |
П12 |
Ш1 |
КО40 |
|
СН19-40 СНк19-40 |
4Æ18AV 8Æ15К7 |
Сп19-40 |
С40 |
П13 |
Ш1 |
КО40 |
|
СН20-40 СНк20-40 |
4Æ18AV 8Æ15К7 |
Сп20-40 |
С40 |
П13 |
Ш1 |
КО40 |
Таблица 3
Выборка стали на сваи марок СНпр3-30¸СНпр15-40
|
Марка сваи |
Арматурная сталь |
Всего масса, кг |
||||||||
|
по ГОСТ 7348-81 класс Вр-II |
по ГОСТ 6727-80, класс В-I |
по ГОСТ 5781-82, класс A-I |
||||||||
|
Диаметр, мм |
Масса, кг |
Диаметр, мм |
Масса, кг |
Диаметр, мм |
Масса, кг |
Диаметр, мм |
Масса, кг |
Итого, кг |
||
|
СНпр3-30 СНпр3,5-30 СНпр4-30 СНпр4,5-30 СНпр5-30 СНпр5,5-30 СНпр6-30 |
5 |
2,0 2,3 2,6 2,9 3,2 3,5 3,9 |
5 |
6,7 6,9 7,2 7,5 7,7 8,0 8,3 |
10 |
2,0 |
- |
- |
2,0 |
10,7 11,2 11,8 12,4 12,9 13,5 14,2 |
|
СНпр7-30 |
4,5 |
8,8 |
1,0 |
12 |
2,2 |
3,2 |
16,5 |
|||
|
СНпр8-30 СНпр9-30 |
5,1 11,4 |
9,2 9,9 |
1,1 |
3,3 |
17,6 24,6 |
|||||
|
СНпр10-30 СНпр11-30 СНпр12-30 СНпр13-30 |
12,6 13,9 22,6 24,5 |
10,3 10,8 11,4 14,6 |
14 |
3,0 |
4,1 |
27,0 28,8 38,1 43,2 |
||||
|
СНпр14-30 СНпр15-30 |
35,1 47,0 |
15,3 16,1 |
16 |
4,0 |
5,1 |
55,5 68,2 |
||||
|
СНпр8-35 СНпр9-35 |
5,1 11,5 |
10,6 11,3 |
14 |
3,2 |
4,3 |
20,0 27,1 |
||||
|
СНпр10-35 СНпр11-35 СНпр12-35 |
12,7 13,9 22,7 |
11,9 12,4 13,2 |
16 |
4,2 |
5,3 |
29,9 31,6 41,2 |
||||
|
СНпр13-35 СНпр14-35 СНпр15-35 |
24,6 35,2 47,1 |
16,9 17,9 18,8 |
18 |
5,4 |
6,5 |
48,0 59,6 72,4 |
||||
|
СНпр13-40 СНпр14-40 СНпр15-40 |
24,7 35,4 47,3 |
20,3 21,4 22,5 |
1,3 |
20 |
7,2 |
8,5 |
53,5 65,3 78,3 |
|||
Таблица 4
Выборка стали на сваи марок СН9-30¸СН20-40
|
Арматурная сталь |
Всего масса, кг |
|||||||||||||
|
по ГОСТ 5781-82 |
по ГОСТ 6727-80, класс В-I |
|||||||||||||
|
Класс А-IV |
Класс A-V |
Класс A-I |
||||||||||||
|
Диаметр, мм |
Масса, кг |
Диаметр, мм |
Масса, кг |
Диаметр, мм |
Масса, кг |
Диаметр, мм |
Масса, кг |
Итого, кг |
Диаметр, мм |
Масса, кг |
||||
|
СН9-30 |
10 |
22,8 |
- - - |
- - - |
10 |
1,3 |
12 |
2,2 |
3,3 |
5 |
9,9 |
36,0 |
||
|
СH10-30 СН11-30 |
25,3 27,8 |
1,1 |
14 |
3,0 |
4,1 |
10,3 10,8 |
39,7 42,7 |
|||||||
|
СН12-30 СН13-30 |
|
|
10 |
32,2 32,7 |
11,4 14,6 |
45,7 51,4 |
||||||||
|
СН14-30 |
|
|
35,2 |
16 |
4,0 |
5,1 |
15,3 |
55,6 |
||||||
|
СН15-30 |
12 |
54,2 |
16,1 |
75,4 |
||||||||||
|
СН10-35 СН11-35 |
10 |
25,4 27,9 |
- |
- |
4,2 |
5,3 |
11,9 12,4 |
42,6 45,6 |
||||||
|
CH12-35 |
- |
- |
10 |
30,4 |
13,2 |
48,9 |
||||||||
|
CH13-35 |
32,8 |
18 |
5,4 |
6,5 |
16,9 |
56,2 |
||||||||
|
CH14-35 CH15-35 |
12 |
50,8 54,3 |
17,9 18,8 |
75,2 79,6 |
||||||||||
|
СН16-35 |
14 |
78,8 |
19,7 |
105,0 |
||||||||||
|
СН17-35 СН18-35 СН19-35 |
16 |
109,2 115,5 121,8 |
1,1 |
20 |
6,8 |
7,9 |
20,6 21,5 22,5 |
137,7 144,9 152,2 |
||||||
|
СН20-35 |
18 |
162,2 |
23,4 |
193,5 |
||||||||||
|
СН13-40 СН14-40 СН15-40 |
12 - 14 |
47,4 - 74,2 |
- 12 - |
- 51,0 - |
1,3 |
20 |
7,2 |
8,5 |
20,3 21,4 22,5 |
76,2 80,9 105,2 |
||||
|
СН16-40 |
- |
- |
14 |
79,0 |
22 |
8,8 |
10,1 |
23,5 |
112,6 |
|||||
|
СН17-40 СН18-40 |
16 |
109,5 115,8 |
24,6 25,7 |
144,2 151,6 |
||||||||||
|
СН19-40 СН20-40 |
18 |
154,6 162,6 |
25 25 |
11,4 |
12,7 |
26,8 27,9 |
194,1 203,2 |
|||||||
Таблица 5
Выборка стали на сваи марок СНк11-30¸СНк20-40
|
Арматурная сталь |
Всего масса, кг |
||||||||||
|
по ГОСТ 13840-68, класс К-7 |
ПО ГОСТ 6727-80, класс B-I |
по ГОСТ 5781-82, класс A-I |
|||||||||
|
Диаметр, мм |
Масса, кг |
Диаметр, мм |
Масса, кг |
Диаметр, мм |
Масса, кг |
Диаметр, мм |
Масса, кг |
Итого, кг |
|||
|
СНк11-30 СНк12-30 СНк13-30 |
9 |
18,1 19,7 21,3 |
5 |
10,8 11,4 14,6 |
10 |
1,1 |
14 |
3,0 |
4,1 |
33,0 35,2 40,0 |
|
|
СНк14-30 СНк15-30 |
22,9 |
15,3 |
16 |
4,0 |
5,1 |
43,3 |
|||||
|
12 |
43,6 |
16,1 |
64,8 |
||||||||
|
СНк10-35 СНк11-35 СНк12-35 |
9 |
16,6 18,2 19,8 |
11,9 12,4 13,2 |
4,2 |
5,3 |
33,8 35,9 38,3 |
|||||
|
СНк13-35 |
21,4 |
16,9 |
18 |
5,4 |
6,5 |
44,8 |
|||||
|
СНк14-35 СНк15-35 |
23,0 |
17,9 |
47,4 |
||||||||
|
12 |
43,7 |
18,8 |
69,0 |
||||||||
|
СНк16-35 |
15 |
72,8 |
19,7 |
99,0 |
|||||||
|
СНк17-35 |
77,2 |
20,6 |
20 |
6,8 |
7,9 |
105,7 |
|||||
|
СНк18-35 |
12 |
104,5 |
21,5 |
133,9 |
|||||||
|
СПк19-35 СНк20-35 |
15 |
172,3 181,2 |
22,5 23,4 |
202,7 212,5 |
|||||||
|
СНк13-40 СНк14-40 |
9 |
21,5 23,1 |
20,3 21,4 |
1,3 |
7,2 |
8,5 |
50,3 53,0 |
||||
|
СНк15-40 |
12 9 15 12 |
43,8 |
22,5 |
74,8 |
|||||||
|
СНк16-40 СНк17-40 СНк18-40 |
73,0 77,5 104,8 |
23,5 24,6 25,7 |
22 |
8,8 |
10,1 |
106,6 112,2 140,6 |
|||||
|
СНк19-40 СНк20-40 |
15 |
172,8 181,7 |
26,8 27,9 |
25 |
11,4 |
12,7 |
212,3 222,3 |
||||
24. После укладки свай на две опоры через 10 мин производят осмотр ее верхней грани над опорами. Сваю считают выдержавшей испытание, если на ее гранях:
а) не появятся трещины - для свай с арматурой из высокопрочной проволоки и канатов;
б) раскрытие трещин не превышает 0,2 мм - для свай со стержневой арматурой. Ширину раскрытия трещин измеряют с точностью до 0,05 мм.
25. Испытание на трещиностойкость свай, в которых площадь поперечного сечения продольной арматуры увеличена по сравнению с приведенной в настоящем стандарте, проводят в соответствии со схемой, которая должна быть приложена в заказной спецификации.
26. Условия расчета и применения свай даны в приложении 2.
27. Сваи длиной до 12 м включ. допускается изготовлять с технологическим уклоном двух противоположных сторон поперечного сечения, не превышающим 1:15 без изменения площади поперечного сечения. При этом защитный слой бетона не должен быть менее 30 мм. Расположение арматуры в поперечном сечении сваи должно соответствовать черт. 4а, б.

Черт 4
Таблица 6
Ведомость стержней, выборка стали и усилие натяжения продольной арматуры свай марок СНпр3-30¸СНпр15-40
|
Арматурная сталь по ГОСТ 7348-81, класс Вр-II |
Усилие натяжения всех проволок (механический способ), тс |
|||
|
Кол., диаметр, мм |
Длина, мм |
Масса, кг |
||
|
СНпр3-30 |
4Æ5 |
3250 |
2,0 |
9,6 |
|
СНпр3,5-30 |
3750 |
2,3 |
||
|
СНпр4-30 |
4250 |
2,6 |
||
|
СНпр4,5-30 |
4750 |
2,9 |
||
|
СНпр6-30 |
5250 |
3,2 |
||
|
СНпр5,5-30 |
5750 |
3,5 |
||
|
СНпр6-30 |
6250 |
3,9 |
||
|
СНпр7-30 |
7250 |
4,5 |
||
|
СНпр8-30 |
8250 |
5,1 |
||
|
СНпр9-30 |
8Æ5 |
9250 |
11,4 |
19,2 |
|
СНпр10-30 |
8Æ5 |
10250 |
12,6 |
19,2 |
|
СНпр11-30 |
8Æ5 |
11250 |
13,9 |
19,2 |
|
СНпр12-30 |
12Æ5 |
12250 |
22,6 |
28,8 |
|
СНпр13-30 |
12Æ5 |
13250 |
24,5 |
28,8 |
|
СНпр14-30 |
16Æ5 |
14250 |
35,1 |
38,4 |
|
СНпр15-30 |
20Æ5 |
15250 |
47,0 |
48,0 |
|
СНпр8-35 |
4Æ5 |
8300 |
5,1 |
9,6 |
|
СНпр9-35 |
8Æ5 |
9300 |
11,5 |
19,2 |
|
СНпр10-35 |
8Æ5 |
10300 |
12,7 |
19,2 |
|
СНпр11-35 |
8Æ5 |
11300 |
13,9 |
19,2 |
|
СНпр12-35 |
12Æ5 |
12300 |
22,7 |
28,8 |
|
СНпр13-35 |
12Æ5 |
13300 |
24,6 |
28,8 |
|
СНпр14-35 |
16Æ5 |
14300 |
35,2 |
38,4 |
|
СНпр15-35 |
20Æ5 |
15300 |
47,1 |
48,0 |
|
СНпр13-40 СНпр14-40 СНпр15-40 |
12Æ5 16Æ5 20Æ5 |
13350 14350 15350 |
24,7 35,4 47,3 |
28,8 38,4 48,0 |
Примечание. Усилие натяжения одной проволоки составляет 2,4 тс.
Таблица 7
Ведомость стержней, выборки стали и усилие натяжения продольной арматуры свай марок СН9-30¸СН20-40
|
Марка сваи |
Арматурная сталь по ГОСТ 5781-82 |
Усилие натяжения, те |
|
|||||
|
Кол., диаметр, мм, класс |
Длина, мм |
Масса, кг |
Механический способ |
Электротермический способ |
|
|||
|
одного стержня |
всех |
одного стержня |
всех |
|||||
|
СН9-30 |
4Æ10AIV |
9250 |
22,8 |
4,5 |
18,0 |
4,2 |
16,8 |
|
|
СН10-30 |
4Æ10AIV |
10250 |
25,3 |
4,5 |
18,0 |
4,2 |
16,8 |
|
|
СН11-30 |
4Æ10AIV |
11250 |
27,8 |
4,5 |
18,0 |
4,2 |
16,8 |
|
|
СН12-30 |
4Æ10AV |
12250 |
30,2 |
6,0 |
24,0 |
5,8 |
23,2 |
|
|
СН13-30 |
4Æ10AV |
13250 |
32,7 |
6,0 |
24,0 |
- |
- |
|
|
СН14-30 |
4Æ10AV |
14250 |
35,2 |
6,0 |
24,0 |
|
||
|
СН15-30 |
4Æ12V |
15250 |
54,2 |
8,6 |
34,4 |
|
||
|
СН10-35 |
4Æ10AIV |
10300 |
25,4 |
4,5 |
18,0 |
4,2 |
16,8 |
|
|
СН11-35 |
4Æ10AIV |
11300 |
27,9 |
4,5 |
18,0 |
4,2 |
16,8 |
|
|
СН12-35 |
4Æ10AV |
12300 |
30,4 |
6,0 |
24,0 |
5,8 |
23,2 |
|
|
СН13-35 |
4Æ10AV |
13300 |
32,8 |
6,0 |
24,0 |
- |
- |
|
|
СН14-35 |
4Æ12AV |
14300 |
50,8 |
8,6 |
34,4 |
|
||
|
СН15-35 |
4Æ12AV |
15300 |
54,3 |
8,6 |
34,4 |
|
||
|
СН16-35 |
4Æ14AV |
16300 |
78,8 |
8,8 |
35,2 |
|
||
|
СН17-35 |
4Æ16AV |
17300 |
109,2 |
15,3 |
61,2 |
|
||
|
СН18-35 |
4Æ16AV |
18300 |
115,3 |
15,3 |
61,2 |
|
||
|
СН19-35 |
4Æ16AV |
19300 |
121,8 |
15,3 |
61,2 |
|
||
|
СН20-35 |
4Æ18AV |
20300 |
162,2 |
19,3 |
77,2 |
|
||
|
СН13-40 |
4Æ12AIV |
13350 |
47,4 |
6,4 |
25,6 |
|
||
|
СН14-40 |
4Æ12AV |
14350 |
51,0 |
8,6 |
34,4 |
|
||
|
СН15-40 |
4Æ14AIV |
15350 |
74,2 |
8,8 |
35,2 |
|
||
|
СН16-40 |
4Æ14AV |
16350 |
79,0 |
11,7 |
46,8 |
|
||
|
СН17-40 |
4Æ16AV |
17350 |
109,5 |
15,3 |
61,2 |
|
||
|
СН18-40 |
4Æ16AV |
18350 |
115,8 |
15,3 |
61,2 |
|
||
|
СН19-40 |
4Æ18AV |
19350 |
154,6 |
19,3 |
77,2 |
|
||
|
СН20-40 |
4Æ18AV |
20350 |
162,6 |
19,3 |
77,2 |
|
||
Таблица 8
Ведомость стержней, выборка стали и усилие натяжения продольной арматуры свай марок СНк11-30¸СНк20-40
|
Арматурная сталь по ГОСТ 13840-68, класс К-7 |
Усилие натяжения, тс (механический способ) |
||||
|
Кол., диаметр, мм |
Длина, мм |
Масса, кг |
одного каната |
всех |
|
|
СНк11-30 |
4Æ9 |
11250 |
18,1 |
6,8 |
27,2 |
|
СНк12-30 |
4Æ9 |
12250 |
19,7 |
6,8 |
27,2 |
|
СНк13-30 |
4Æ9 |
13250 |
21,3 |
6,8 |
27,2 |
|
СНк14-30 |
4Æ9 |
14250 |
22,9 |
6,8 |
27,2 |
|
СНк15-30 |
4Æ12 |
15250 |
43,6 |
11,7 |
46,8 |
|
СНк10-35 |
4Æ9 |
10300 |
16,6 |
6,8 |
27,2 |
|
СНк11-35 |
4Æ9 |
11300 |
18,2 |
6,8 |
27,2 |
|
СНк12-35 |
4Æ9 |
12300 |
19,8 |
6,8 |
27,2 |
|
СНк13-35 |
4Æ9 |
13300 |
21,4 |
6,8 |
27,2 |
|
СНк14-35 |
4Æ9 |
14300 |
23,0 |
6,8 |
27,2 |
|
СНк15-35 |
4Æ12 |
15300 |
43,7 |
11,7 |
46,8 |
|
СНк16-35 |
4Æ15 |
16300 |
72,8 |
17,8 |
71,2 |
|
СНк17-35 |
4Æ15 |
17300 |
77,2 |
17,8 |
71,2 |
|
СНк18-35 |
8Æ12 |
18300 |
104,5 |
11,7 |
93,6 |
|
СНк19-35 |
8Æ15 |
19300 |
172,3 |
17,8 |
142,4 |
|
СНк20-35 |
8Æ15 |
20300 |
181,2 |
17,8 |
142,4 |
|
СНк13-40 |
4Æ9 |
13350 |
21,5 |
6,8 |
27,2 |
|
СНк14-40 |
4Æ9 |
14350 |
23,1 |
6,8 |
27,2 |
|
СНк15-40 |
4Æ12 |
15350 |
43,8 |
11,7 |
46,8 |
|
СНк16-40 |
4Æ15 |
16350 |
73,0 |
17,8 |
71,2 |
|
СНк17-40 |
4Æ15 |
17350 |
77,5 |
17,8 |
71,2 |
|
СНк18-40 |
8Æ12 |
18350 |
104,8 |
11,7 |
93,6 |
|
СНк19-40 |
8Æ15 |
19350 |
172,8 |
17,8 |
142,4 |
|
СНк20-40 |
8Æ15 |
20350 |
181,7 |
17,8 |
142,4 |
Таблица 9
Ведомость стержней и выборка стали на спираль марок Сп3-30¸Сп20-40
|
Эскиз |
l3, мм |
Кол. витков |
Длина, мм |
Масса, кг |
|
|
Сп3-30 |
|
1000 |
21 |
20800 |
3,2 |
|
Сп3,5-30 |
1500 |
22 |
21900 |
3,4 |
|
|
Сп4-30 |
2000 |
24 |
23900 |
3,7 |
|
|
Сп4,5-30 |
2500 |
26 |
26000 |
4,0 |
|
|
Сп5-30 |
3000 |
27 |
27000 |
4,2 |
|
|
Сп5,5-30 |
3500 |
29 |
29000 |
4,5 |
|
|
Сп6-30 |
4000 |
31 |
31100 |
4,8 |
|
|
Сп7-30 |
5000 |
34 |
34200 |
5,3 |
|
|
Сп8-30 |
6000 |
37 |
37200 |
5,7 |
|
|
Сп9-30 |
7000 |
41 |
41300 |
6,4 |
|
|
Сп10-30 |
8000 |
44 |
44400 |
6,8 |
|
|
Cп11-30 |
9000 |
47 |
47500 |
7,3 |
|
|
Сп12-30 |
10000 |
51 |
51600 |
7,9 |
|
|
Сп13-30 |
|
11000 |
72 |
71900 |
11,1 |
|
Сп14-30 |
12000 |
77 |
76900 |
11,8 |
|
|
Сп15-30 |
13000 |
82 |
81900 |
12,6 |
|
|
Сп8-35 |
|
6000 |
37 |
44500 |
6,9 |
|
Сп9-35 |
7000 |
41 |
49300 |
7,6 |
|
|
Сп10-35 |
8000 |
44 |
53000 |
8,2 |
|
|
Сп11-35 |
9000 |
47 |
56600 |
8,7 |
|
|
Сп12-35 |
10000 |
51 |
61500 |
9,5 |
|
|
Сп13-35 |
|
11000 |
72 |
86000 |
13,2 |
|
Сп14-35 |
12000 |
77 |
91900 |
14,2 |
|
|
Сп15-35 |
13000 |
82 |
97900 |
15,1 |
|
|
Сп16-35 |
14000 |
87 |
103900 |
16,0 |
|
|
Сп17-35 |
15000 |
92 |
109900 |
16,9 |
|
|
Сп18-35 |
16000 |
97 |
115900 |
17,8 |
|
|
Сп19-35 |
17000 |
102 |
121900 |
18,8 |
|
|
Сп20-35 |
18000 |
107 |
127800 |
19,7 |
|
|
Сп13-40 |
|
11000 |
72 |
100200 |
15,4 |
|
Сп14-40 |
12000 |
77 |
107200 |
16,5 |
|
|
Сп15-40 |
13000 |
82 |
114200 |
17,6 |
|
|
Cп16-40 |
14000 |
87 |
121000 |
18,6 |
|
|
Сп17-40 |
15000 |
92 |
128100 |
19,7 |
|
|
Сп18-40 |
16000 |
97 |
135100 |
20,8 |
|
|
Сп19-40 |
17000 |
102 |
142000 |
21,9 |
|
|
Сп20-40 |
18000 |
107 |
149000 |
23,0 |
Таблица 10
Ведомость стержней на один элемент (сетки головы, каркас острия, петли, штырь)
|
Марка элемента |
Позиция |
Эскиз или сечение |
Диаметр, мм, класс |
Длина, заготовки, мм |
Кол. |
a1 |
a2 |
l1 |
l2 |
|||
|
мм |
||||||||||||
|
C30 |
1 |
|
5BI |
280 |
6 |
65 |
- |
- |
- |
|||
|
С35 |
1 |
5BI |
320 |
6 |
75 |
|||||||
|
С40 |
1 |
5BI |
380 |
7 |
70 |
|||||||
|
КО30 |
2 |
|
10AI |
780 |
2 |
290 |
|
190 |
340 |
|||
|
3 |
5BI |
3100 |
1 |
- |
205 |
- |
- |
|||||
|
КО35 |
2 |
10AI |
840 |
2 |
320 |
- |
220 |
370 |
||||
|
3 |
5BI |
4400 |
1 |
- |
235 |
- |
- |
|||||
|
КО40 |
2 |
10AI |
990 |
2 |
410 |
- |
280 |
430 |
||||
|
3 |
5BI |
5000 |
1 |
- |
295 |
- |
- |
|||||
|
П3 П4 П5 П6 П7 П8 П9 П10 П11 П12 П13 |
- |
|
10AI 12AI 14AI 16AI 14AI 16AI 18AI 20AI 20AI 22AI 25AI |
1250 1250 1250 1260 1350 1360 1370 1370 1470 1470 1480 |
- |
360 360 360 360 410 410 410 410 410 460 460 |
180 230 280 |
- |
- |
|||
|
Ш1 |
- |
|
10AI |
250 |
- |
- |
- |
- |
- |
|||
Таблица 11
Выборка стали на один элемент (сетки головы, каркас острия, петли, штырь)
|
Арматурная сталь |
Всего масса, кг |
||||
|
по ГОСТ 5781-82, класс A-I |
по ГОСТ 6727-80, класс B-I |
||||
|
Диаметр, мм |
Масса, кг |
Диаметр, мм |
Масса, кг |
||
|
С30 |
- |
- |
5 |
0,3 |
0,3 |
|
С30 |
03 |
0,3 |
|||
|
С40 |
0,4 |
0,4 |
|||
|
КО30 |
10 |
1,0 |
5 |
0,5 |
1,5 |
|
КО35 |
1,0 |
0,7 |
1,7 |
||
|
КО40 |
1,2 |
0,9 |
2,1 |
||
|
П3 |
10 |
0,5 |
- |
- |
0,5 |
|
П4 |
12 |
1,1 |
1,1 |
||
|
П5 |
14 |
1,5 |
1,5 |
||
|
П6 |
16 |
2,0 |
2,0 |
||
|
П7 |
14 |
1,6 |
1,6 |
||
|
П8 |
16 |
2,1 |
2,1 |
||
|
П9 |
18 |
2,7 |
2,7 |
||
|
П10 |
20 |
3,4 |
3,4 |
||
|
П11 |
20 |
3,6 |
3,6 |
||
|
П12 |
22 |
4,4 |
4,4 |
||
|
П13 |
25 |
5,7 |
5,7 |
||
|
Ш1 |
10 |
0,1 |
- |
- |
0,1 |
1. В табл. 1 и 2 приведены допускаемые варианты замены продольной стержневой арматуры и арматурных канатов. Марка бетона по прочности на сжатие должна соответствовать указанной в табл. 1 настоящего стандарта.
Таблица 1
Варианты замены продольной стержневой арматуры
|
Кол., диаметр, мм, класс |
Усилие натяжения, тс |
|||||
|
Механический способ |
Электротермический способ |
|||||
|
одного стержня |
всех |
одного стержня |
всех |
|||
|
СН12-30 |
4Æ12AIV |
6,4 |
25,6 |
6,1 |
24,4 |
|
|
СН13-30 |
4Æ12AIV |
6,4 |
25,6 |
- |
- |
|
|
СН14-30 |
4Æ12AIV |
6,4 |
25,6 |
- |
- |
|
|
СН15-30 |
4Æ14AIV |
8,8 |
35,2 |
- |
- |
|
|
СН12-35 |
4Æ12AIV |
6,4 |
25,6 |
6,1 |
24,4 |
|
|
СН13-35 |
4Æ12AIV |
6,4 |
25,6 |
- |
- |
|
|
СН14-35 |
4Æ14AIV |
8,8 |
35,2 |
- |
- |
|
|
СН15-35 |
4Æ14AIV |
8,8 |
35,2 |
- |
- |
|
|
СН16-35 |
4Æ16AIV |
11,5 |
46,0 |
- |
- |
|
|
СН17-35 |
4Æ18AIV |
14,5 |
58,0 |
- |
- |
|
|
СН18-35 |
4Æ18AIV |
14,5 |
58,0 |
- |
- |
|
|
СН19-35 |
4Æ18AIV |
14,5 |
58,0 |
- |
- |
|
|
СН20-35 |
4Æ20AIV |
17,9 |
71,6 |
- |
- |
|
|
СН14-40 |
4Æ14AIV |
8,8 |
35,2 |
- |
- |
|
|
СН16-40 |
4Æ16AIV |
11,5 |
46,0 |
- |
- |
|
|
СН17-40 |
4Æ18AIV |
14,5 |
58,0 |
- |
- |
|
|
СН18-40 |
4Æ18AIV |
14,5 |
58,0 |
- |
- |
|
|
СН19-40 |
4Æ20AIV |
17,9 |
71,6 |
- |
- |
|
|
СН20-40 |
4Æ20AIV |
17,9 |
71,6 |
- |
- |
|
Таблица 2
Варианты замены продольной арматуры из канатов
|
Кол., диаметр, мм, класс |
Усилие натяжения, тс |
|||
|
одного каната |
всех |
|||
|
СНк15-30 |
8Æ9К7 |
6,8 |
54,4 |
|
|
СНк15-35 |
8Æ9К7 |
6,8 |
54,4 |
|
|
СНк16-35 |
8Æ9К7 |
6,8 |
54,4 |
|
|
СНк17-35 |
12Æ9К7 |
6,8 |
81,6 |
|
|
8Æ12К7 |
11,7 |
93,6 |
||
|
СНк18-35 |
12Æ9К7 |
6,8 |
81,6 |
|
|
СНк19-35 |
16Æ9К7 |
6,8 |
108,8 |
|
|
12Æ12К7 |
11,7 |
140,4 |
||
|
СНк20-35 |
20Æ9К7 |
6,8 |
136,0 |
|
|
12Æ12К7 |
11,7 |
140,4 |
||
|
СНк17-40 |
12Æ9К7 |
6,8 |
81,6 |
|
|
8Æ12К7 |
11,7 |
93,6 |
||
|
СНк18-40 |
12Æ9К7 |
6,8 |
81,6 |
|
|
СНк19-40 |
16Æ9К7 |
6,8 |
108,8 |
|
|
12Æ12К7 |
11,7 |
140,4 |
||
|
СНк20-40 |
20Æ9К7 |
6,8 |
136,0 |
|
|
12Æ12К7 |
ill,7 |
140,4 |
||
Примечание. Замена арматуры в сваях, не включенных в табл. 1 и 2, экономически нецелесообразна.
(Измененная редакция, Изм. № 1).
1. Сваи, предусмотренные настоящим стандартом, рассчитаны на изгиб от усилий, возникающих при подъеме на копер за одну точку, расположенную от торца на расстоянии, равном 0,294 длины призматической части сваи, по прочности и раскрытию (кратковременному) трещин до ат.кр = 0,3 мм при армировании свай стержневой арматурой; по образованию трещин при армировании свай проволокой и арматурными канатами.
Коэффициент перегрузки к собственной массе не учитывается. Коэффициент динамичности принят равным:
1,5 - при расчете по прочности;
1,25 - при расчете по образованию и раскрытию трещин.
2. При проектировании свайных фундаментов сваи должны быть рассчитаны на нагрузки, передаваемые на сваи в строительный и эксплуатационный периоды, по прочности и трещиностойкости. При этом категории трещиностойкости свай в зависимости от условий их работы и вида продольной арматуры, а также величина предельно допустимой ширины раскрытия трещин должны быть приняты согласно главе СНиП II.21-75.
Допускается увеличивать поперечное сечение продольной арматуры, если это требуется по расчету. При этом в конце марки сваи добавляется буква «у» (усиленная) и в заказной спецификации дополнительно указывается класс, диаметр и количество стержней продольной арматуры.
3. При проверке свай по прочности и образованию трещин для свай, армированных проволокой и канатами, и по прочности и раскрытию трещин до ат.кр = 0,2 мм для свай, армированных стержневой арматурой, на внецентренное сжатие от эксплуатационных нагрузок рекомендуется пользоваться графиками.
4. Графики для проверки свай, предусмотренных настоящим стандартом, на внецентренное сжатие от эксплуатационных нагрузок М и N приведены на черт. 1-17.
На графиках приняты обозначения: N - нормальная сила, тс; М - изгибающий момент относительно оси сваи, тс×м, передаваемые на сваю при эксплуатации здания и сооружения.
3-4. (Измененная редакция, Изм. № 1).
5. Предполагается, что свая по всей длине находится в грунте и продольный изгиб сваи не учитывается.
6. После выбора длины и сечения сваи (по теологическим условиям) устанавливается класс, диаметр и количество стержней, проволок или канатов продольной арматуры в соответствии с табл. 2-11 настоящего стандарта.
7. Если точка с координатами М и N лежит ниже линии, соответствующей принятому армированию свай, то выбранная свая удовлетворяет расчету по прочности, раскрытию или образованию трещин (для соответствующей продольной арматуры) на эксплуатационные нагрузки М и N, если точка лежит выше - не удовлетворяет.
Сваи сечением 30 ´ 30 см. Бетон М300
Черт. 1
Сваи сечением 30 ´ 30 см. Бетон М400

Черт. 2
Сваи сечением 35 ´ 35 см. Бетон М300

Черт. 3
Сваи сечением 35 ´ 35 см. Бетон М400

Черт. 4
Сваи сечением 40 ´ 40 см. Бетон М400

Черт. 5
Сваи сечением 30 ´ 30 см. Бетон М300

Черт. 6
Сваи сечением 30 ´ 30 см. Бетон М400

Черт. 7
Сваи сечением 35 ´ 35 см. Бетон М300

Черт. 8
Сваи сечением 35 ´ 35 см. Бетон М400

Черт. 9
Сваи сечением 40 ´ 40 см. Бетон М400

Черт. 10
Сваи сечением 40 ´ 40 см. Бетон М400

Черт. 11
Сваи сечением 40 ´ 40 см. Бетон М400

Черт. 12
Сваи сечением 30 ´ 30 см. Бетон М350

Черт. 13
Сваи сечением 30 ´ 30 см. Бетон М400

Черт. 14
Сваи сечением 35 ´ 35 см. Бетон М350

Черт. 15
Сваи сечением 35 ´ 35 см. Бетон М400

Черт. 16
Сваи сечением 40 ´ 40 см. Бетон М400
Черт. 17