МЕЖГОСУДАРСТВЕННЫЙ СТАНДАРТ
|
Система несущих
конструкций серии ШКАФЫ И СТОЕЧНЫЕ КОНСТРУКЦИИ Основные размеры |
ГОСТ 28601.2-90 |
|
System of bearing structures of the Cabinets and rack structures. Main dimensions |
|
СОДЕРЖАНИЕ
Дата введения 01.01.91
Настоящий стандарт
устанавливает основные размеры свободно стоящих шкафов, а также закрепленных
стоечных конструкций, используемых в практике электронного оборудования стоек и
панелей серии
Стандарт устанавливает обязательные требования.
Шкаф - независимо устанавливаемая, самоподдерживающая конструкция, предназначенная для размещения в ней электронного оборудования, которая может использоваться отдельно или в комбинации с другими шкафами, установленными в ряд. Шкаф может иметь или не иметь цоколь, ножки, ролики, ножки на колесах и т.д., в зависимости от нагруженности и мобильности.
Шкаф может быть снабжен дверьми и (или) боковыми стенками с одной или нескольких сторон в соответствии с требованиями эксплуатации.
Шкаф может иметь цельные и вмонтированные вертикальные элементы, позволяющие закреплять на них панели, соответствующие ГОСТ 28601.1.
Стойка - металлическая конструкция без дверей или обшивки.
Основные размеры шкафа указаны на черт. 1 и в таблице.

Черт. 1
Примечания:
1. Значения Н и D представляют собой габаритные размеры шкафа, на которые назначаются стандартные производственные допуски. Размер высоты шкафа включает размер высоты ножки любой формы.
2. Для ряда размеров высоты выбрано приращение
3. Шаг Р является теоретическим расстоянием между условными линиями при установке шкафов в ряд.
Размер ширины W < P и допуск на этот размер следует выбирать так, чтобы при установке шкафов в ряд был выдержан требуемый шаг.
В особых случаях размер шага может быть другим, при
этом приращение должно быть равно
4. Ряд значений размера глубины составлен на основе
приращения
5. Величина S определяет
размер вертикального проема для установки панелей и блочных каркасов и является
только типоразмером. Величина U - вертикальное приращение, равное
6. Крепежные размеры - по ГОСТ 28601.1.
мм
|
H |
S n×U |
Р W < P |
D |
|
725 |
11×U |
550*; 600; 700**; 800***; 900; 1000 |
400; 450*4; 650*5; 800; 900 |
|
800 |
13×U |
||
|
1000 |
18×U |
||
|
1200 |
22×U |
||
|
1400 |
27×U |
||
|
1600 |
31×U |
||
|
1800 |
36×U |
||
|
2000 |
40×U |
||
|
2200 |
45×U |
* Применяют в случаях, когда место размещения
ограничено размером менее
** Применяют главным образом в конструкциях с поворотной рамой.
*** Для шкафов шириной
*4 Применяют в телефонии и телеграфии;
используют для установки приспособлений профилактического обслуживания, ребер
охлаждения и крышек с передней и задней сторон до общего увеличения габарита
глубины
*5 Не рекомендуется для применения в новых разработках.
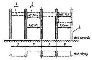
Закрепленная стоечная конструкция - ряд парных вертикальных элементов, расположенных с заданным шагом, прикрепленных к полу нижней частью и потолку и/или к стене верхней частью. Каждая пара вертикальных элементов позволяет установить на нее панели и т.д. в соответствии с ГОСТ 28601.1. Шаг закрепленных стоечных конструкций равен теоретическому расстоянию между центрами стоек.
Каждый из вертикальных стоечных элементов может быть изготовлен как одно целое с соседним прилегающим к нему вертикальным стоечным элементом либо быть изготовлен отдельно при условии сохранения величины шага.
Настоящий стандарт не устанавливает размеров таких конструкций по высоте и глубине.
Шаги закрепленных стоечных конструкций - это расстояния между условными осями, ограничивающими размещение стоек при установке их в ряд.
Шаги закрепленных стоечных конструкций указаны на черт. 2.
![]()

1- панель; 2- блочный каркас; 3- вертикальная стойка Р - 500, 525, 550 или
Черт. 2
|
Раздел, в котором приведена ссылка |
Обозначение стандарта СЭВ |
Обозначение государственного стандарта |
|
СТ СЭВ 834-89 |
1. ВНЕСЕН Министерством электротехнической промышленности и приборостроения СССР
2. Постановлением
Государственного комитета СССР по управлению качеством продукции и стандартам
от 28.06.90 № 2003 стандарт Совета Экономической Взаимопомощи СТ СЭВ 6688-89
«Система несущих конструкций серии
3. Стандарт эквивалентен международному стандарту МЭК 297-2
4. ВЗАМЕН ГОСТ 26.204-83 в части шкафов и стоечных конструкций
5. ССЫЛОЧНЫЕ НОРМАТИВНО-ТЕХНИЧЕСКИЕ ДОКУМЕНТЫ
|
Обозначение НТД, на который дана ссылка |
Номер раздела |
6. Ограничение срока действия снято по протоколу № 5-94 Межгосударственного совета по стандартизации, метрологии и сертификации (ИУС 11-12-94)
7. ПЕРЕИЗДАНИЕ