
ГОСУДАРСТВЕННЫЙ СТАНДАРТ СОЮЗА ССР
ТРУБЫ ЧУГУННЫЕ
КАНАЛИЗАЦИОННЫЕ И ФАСОННЫЕ
ЧАСТИ К НИМ
ТРОЙНИКИ КОСЫЕ
КОНСТРУКЦИЯ И РАЗМЕРЫ
ГОСТ 6942.17-80
ГОСУДАРСТВЕННЫЙ КОМИТЕТ СССР ПО ДЕЛАМ СТРОИТЕЛЬСТВА
Москва
РАЗРАБОТАНЫ Министерством промышленности строительных материалов СССР
ИСПОЛНИТЕЛИ
О. П. Михеев, канд. техн. наук (руководитель темы); В. И. Фельдман, канд. техн. наук; В. Н. Бехалов, канд. техн. наук
ВНЕСЕНЫ Министерством промышленности строительных материалов СССР
Зам. министра Н. П. Кабанов
УТВЕРЖДЕНЫ И ВВЕДЕНЫ В ДЕЙСТВИЕ Постановлением Государственного комитета СССР по делам строительства от 4 сентября 1980 г. № 137
ГОСУДАРСТВЕННЫЙ СТАНДАРТ СОЮЗА ССР
|
ТРУБЫ ЧУГУННЫЕ КАНАЛИЗАЦИОННЫЕ ТРОЙНИКИ КОСЫЕ Конструкция и размеры Cast iron waste pipes and fittings. V-branclies. Construction and dimensions |
ГОСТ Взамен |
Постановлением Государственного комитета СССР по делам строительства от 4 сентября 1980 г. №137 срок введения установлен
с 01.01.1982 г.
Несоблюдение стандарта преследуется по закону
1. Настоящий стандарт распространяется на косые тройники к чугунным трубам, предназначенным для систем внутренней канализации зданий.
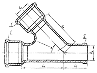
2. Конструкция и размеры косых тройников должны соответствовать указанным на чертеже и в таблице.

1 - раструбы типа I по ГОСТ 6942.2-80; 2 - хвостовик по ГОСТ 6942.2-80
Размеры в мм
|
Условный проход Dу |
Код ОКП |
l1 |
l2 |
l3 |
Масса, кг |
Код ОКП |
l1 |
l2 |
l3 |
Масса, кг |
|
|
при a = 45° |
при a = 60° |
||||||||||
|
50 |
50 |
49 2521 3711 |
135 |
100 |
135 |
3,1 |
49 2521 3811 |
100 |
110 |
105 |
3,0 |
|
100 |
50 100 |
49 2522 3711 49 2522 3712 |
165 205 |
120 125 |
170 205 |
6,0 3,4 |
49 2522 3811 49 2522 3812 |
120 150 |
115 140 |
120 150 |
5,3 7,7 |
|
150 |
50 100 150 |
49 2523 3711 49 2523 3712 49 2523 3713 |
145 185 220 |
80 110 150 |
170 195 220 |
6,9 9,2 13,2 |
49 2523 3811 49 2523 3812 49 2523 3813 |
100 130 160 |
115 140 170 |
130 145 160 |
6,7 8,6 13 |
Примечание. Размеры и масса даны без учета антикоррозионного покрытия.
Пример условного обозначения косого тройника с a = 45°, Dy = 100 мм и dy = 50 мм:
Тройник ТК 45° - 100´50 ГОСТ 6942.17-80
То же, с a = 60°, Dy = 150 мм и dy = 100 мм:
Тройник ТК 60° - 150´100 ГОСТ 6942.17-80
3. Технические требования, правила приемки, методы контроля, маркировка, упаковка, транспортирование, хранение, гарантии изготовителя - по ГОСТ 6942.0-80.