
ГОСУДАРСТВЕННЫЙ СТАНДАРТ СОЮЗА ССР
ТРУБЫ ЧУГУННЫЕ
КАНАЛИЗАЦИОННЫЕ И ФАСОННЫЕ ЧАСТИ К НИМ. РАСТРУБЫ И ХВОСТОВИКИ ФАСОННЫХ ЧАСТЕЙ
ТИПЫ, КОНСТРУКЦИИ И РАЗМЕРЫ
ГОСТ 6942.2-80
ГОСУДАРСТВЕННЫЙ КОМИТЕТ СССР ПО ДЕЛАМ СТРОИТЕЛЬСТВА
Москва
РАЗРАБОТАНЫ Министерством промышленности строительных материалов СССР
ИСПОЛНИТЕЛИ
О.П. Михеев, канд. техн. наук (руководитель темы); В.И. Фельдман, канд. техн. наук; В.Н. Бехалов, канд. техн. наук
ВНЕСЕНЫ Министерством промышленности строительных материалов СССР
Зам. министра Н. П. Кабанов
УТВЕРЖДЕНЫ И ВВЕДЕНЫ В ДЕЙСТВИЕ Постановлением Государственного комитета СССР по делам строительства от 4 сентября 1980 г. № 137
ГОСУДАРСТВЕННЫЙ СТАНДАРТ СОЮЗА ССР
|
ТРУБЫ ЧУГУННЫЕ КАНАЛИЗАЦИОННЫЕ И ФАСОННЫЕ ЧАСТИ К НИМ РАСТРУБЫ И ХВОСТОВИКИ ФАСОННЫХ ЧАСТЕЙ Типы, конструкция и размеры Cast iron waste pipes and fittings. Sockets and spigot ends of fittings. Types, construction and dimensions |
ГОСТ 6942.2-80 Взамен ГОСТ 6942.2-69 |
Постановлением Государственного комитета СССР по делам строительства от 4 сентября 1980 г. №137 срок введения установлен
с 01.01 1982 г.
1. Настоящий стандарт распространяется на раструбы и хвостовики фасонных частей к чугунным трубам, предназначенным для систем внутренней канализации зданий.
2. Раструбы фасонных частей изготовляют четырех типов: I, II, III и IV.
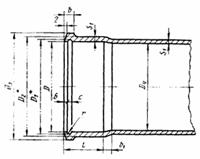
3. Конструкция и размеры раструбов типа I должны соответствовать указанным на черт. 1 и в табл. 1, типа II - на черт. 2 и в табл. 2, типа III - на черт. 3 и типа IV - на черт. 4. Размеры даны без учета антикоррозионного покрытия.
Раструб типа I

* Размеры для справок.
|
Условный проход Dy |
D |
D1 |
D2 |
D3 |
D4 |
D5 |
b |
b1 |
b2 |
s |
s1 |
l |
с |
r |
|
50 |
55 |
65 |
72 |
76 |
81 |
90 |
13 |
8 |
15 |
4,0 |
4,5 |
55 |
9 |
6,0 |
|
100 |
105 |
118 |
123 |
128 |
133 |
145 |
14 |
10 |
20 |
4,5 |
5,0 |
65 |
10 |
6,0 |
|
150 |
155 |
168 |
176 |
182 |
187 |
202 |
15 |
12 |
25 |
5,0 |
5,5 |
70 |
12 |
7,5 |
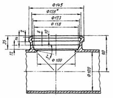
Раструб типа II

* Размеры для справок.
мм
|
Условный проход Dy |
D |
D1 |
D2 |
D3 |
D4 |
b |
b1 |
l |
с |
|
r |
|
50 |
72 |
76 |
81 |
90 |
67 |
13 |
8 |
47 |
9 |
4,5 |
6,0 |
|
100 |
123 |
128 |
133 |
145 |
118 |
14 |
10 |
65 |
10 |
5,0 |
6,0 |
|
150 |
176 |
182 |
187 |
202 |
170 |
15 |
12 |
70 |
12 |
5,5 |
7,5 |
Раструб типа III

Раструб типа IV

* Размер для справок
4. Конструкция и размеры хвостовиков фасонных частей должны соответствовать указанным на черт. 5 и в табл. 3.
мм
|
Условный проход Dу |
D |
D1 |
s |
|
50 |
58 |
62 |
4,0 |
|
100 |
109 |
114 |
4,5 |
|
150 |
160 |
164 |
5,0 |
