МЕЖГОСУДАРСТВЕННЫЙ СТАНДАРТ
|
СТОЙКИ УСТАНОВОЧНЫЕ КРЕПЕЖНЫЕ КРУГЛЫЕ СО ШЛИЦЕМ И РЕЗЬБОВЫМИ ОТВЕРСТИЯМИ Конструкция и размеры |
ГОСТ 20867-81 |
|
Adjustings fixturing ring with a slit and threaded holes. Design and dimensions |
Взамен |
Постановлением
Государственного комитета СССР по стандартам от 15 апреля
01.07.82
Ограничение срока действия снято Постановлением Госстандарта от 10.09.92 № 1166
1. Настоящий стандарт распространяется на круглые крепежные установочные стойки со шлицем и резьбовыми отверстиями, предназначенные для монтажа радиоэлектронной аппаратуры, и устанавливает их конструкцию и размеры.
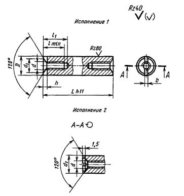
2. Конструкция и размеры крепежных установочных стоек должны соответствовать указанным на чертеже и в табл. 1, 2.

Таблица 1
мм
|
Номинальный диаметр резьбы d |
2 |
2,5 |
3 |
4 |
5 |
6 |
8 |
|
|
Шаг резьбы, Р |
0,40 |
0,45 |
0,50 |
0,70 |
0,80 |
1,00 |
1,25 |
|
|
D |
5 |
6 |
7 |
8 |
9 |
11 |
15 |
|
|
d1 |
2,2 |
2,7 |
3,2 |
4,3 |
5,3 |
6,4 |
8,4 |
|
|
l |
4 |
5 |
6 |
7 |
8 |
9 |
12 |
|
|
l1 |
6 |
7 |
9 |
10 |
12 |
13 |
16 |
|
|
Глубина шлица h |
Номинальный |
0,6 |
0,8 |
1,0 |
1,2 |
1,6 |
2,0 |
2,5 |
|
Пред. откл. |
+0,30 |
+ 0,30 |
||||||
|
Ширина шлица b |
Номинальный |
0,5 |
0,6 |
0,8 |
1,0 |
1,2 |
1,6 |
2,0 |
|
Пред. откл. |
+0,15 |
+0,25 |
||||||
Таблица 2
|
L |
Масса 1000 шт., кг, стальных стоек и применяемость при номинальном диаметре резьбы d, мм |
||||||
|
2 |
2,5 |
3 |
4 |
5 |
6 |
8 |
|
|
10 |
0,754 |
1,067 |
1,434 |
1,627 |
|
|
|
|
11 |
0,830 |
1,172 |
1,575 |
1,909 |
|
|
|
|
12 |
0,949 |
1,276 |
1,718 |
2,071 |
|
|
|
|
13 |
0,979 |
1,388 |
1,866 |
2,245 |
|
|
|
|
14 |
0,055 |
1,486 |
2,005 |
2,420 |
|
|
|
|
15 |
1,142 |
1,586 |
2,144 |
2,580 |
|
|
|
|
16 |
1,242 |
1,701 |
2,279 |
2,760 |
|
|
|
|
17 |
1,342 |
1,809 |
2,418 |
2,930 |
|
|
|
|
18 |
1,412 |
1,906 |
2,566 |
3,090 |
|
|
|
|
19 |
1,502 |
2,126 |
2,744 |
3,250 |
|
|
|
|
20 |
1,552 |
2,256 |
2,852 |
3,400 |
|
|
|
|
22 |
1,782 |
2,506 |
3,262 |
3,750 |
|
|
|
|
24 |
1,942 |
2,756 |
3,602 |
4,200 |
|
|
|
|
26 |
2,122 |
3,016 |
3,942 |
4,460 |
|
|
|
|
28 |
2,292 |
3,049 |
4,292 |
4,780 |
|
|
|
|
30 |
2,472 |
3,356 |
4,642 |
5,130 |
5,840 |
|
|
|
32 |
|
3,756 |
5,092 |
5,780 |
6,470 |
|
|
|
34 |
|
4,036 |
5,242 |
6,230 |
6,970 |
|
|
|
36 |
|
4,286 |
5,692 |
6,730 |
7,670 |
|
|
|
38 |
|
4,546 |
6,044 |
7,130 |
8,140 |
|
|
|
40 |
|
4,806 |
6,392 |
7,630 |
8,690 |
12,443 |
|
|
42 |
|
|
6,742 |
8,070 |
9,260 |
13,303 |
|
|
45 |
|
|
7,244 |
8,730 |
10,090 |
14,645 |
|
|
48 |
|
|
7,794 |
9,390 |
10,970 |
15,885 |
|
|
50 |
|
|
8,144 |
9,830 |
11,540 |
16,745 |
|
|
53 |
|
|
8,594 |
10,590 |
12,400 |
17,985 |
|
|
55 |
|
|
8,944 |
11,030 |
12,970 |
18,845 |
|
|
58 |
|
|
9,494 |
11,690 |
13,730 |
20,185 |
|
|
60 |
|
|
9,844 |
12,130 |
14,300 |
21,045 |
|
|
65 |
|
|
|
13,230 |
15,740 |
23,145 |
|
|
70 |
|
|
|
14,330 |
17,240 |
25,245 |
44,860 |
|
75 |
|
|
|
15,530 |
18,640 |
27,445 |
48,860 |
|
80 |
|
|
|
16,630 |
20,040 |
29,545 |
52,960 |
|
85 |
|
|
|
17.730 |
21,540 |
31,745 |
56 960 |
|
90 |
|
|
|
18,830 |
22,940 |
33,845 |
60,860 |
|
95 |
|
|
|
19,930 |
24,340 |
36,045 |
64,860 |
|
100 |
|
|
|
21,030 |
25,840 |
38,245 |
68,860 |
|
110 |
|
|
|
22,130 |
28,640 |
42,345 |
76,860 |
|
120 |
|
|
|
|
31,540 |
46,645 |
84,860 |
|
130 |
|
|
|
|
34,340 |
51,245 |
92,860 |
|
140 |
|
|
|
|
|
55,345 |
100,860 |
|
150 |
|
|
|
|
|
|
108,860 |
Примечания:
1. Стойки, для которых значение массы расположено над ломаной линией, следует изготавливать со сквозным отверстием (L = l1).
2. Для определения массы стоек из других материалов значения масс, указанные в таблице, следует умножать на коэффициент: 0,356 - для алюминиевого сплава; 1,08 - для латуни.
3. Знак ограничения применяемости по типоразмерам проставлять в графе со значением массы.
Пример условного обозначения
стойки исполнения 1 повышенной степени точности с диаметром резьбы d -
Стойка М4×30-В95Т1.05 ГОСТ 20867-81
То же, нормальной степени точности:
Стойка НМ4×30-В95Т1 ГОСТ 20867-81
То же, исполнения 2 нормальной степени точности:
Стойка 2Н М4×30-В95Т1.05 ГОСТ 20867-81
То же, повышенной степени точности:
Стойка 2М4×30-В95Т1.05 ГОСТ 20867-81
Примечание. Исполнение 1 и повышенную степень точности в обозначении не указывают.
3. Марка материала и вид покрытия стоек должны соответствовать указанным в табл. 3.
Таблица 3
|
Марка материала |
Применяемость |
Класс прочности или условное обозначение группы по ГОСТ 1759.0-87, ГОСТ 1759.1-82, ГОСТ 1759.2-82, ГОСТ 1759.3-83, ГОСТ 1759.4-87, ГОСТ 1759.5-87 |
Покрытие |
Обозначение материала и покрытия |
|||
|
Вид |
Шаг резьбы Р, мм |
Обозначение |
|
||||
|
условное |
|||||||
|
Сталь 35 |
|
5.6 |
Цинковое с хроматированием |
До 0,45 |
Ц3-6.хр |
01 |
56.013 |
|
0,5-0,75 |
Ц6-9.хр |
56.016 |
|||||
|
0,8 и более |
Ц9.хр |
56.019 |
|||||
|
Кадмиевое с хроматированием |
До 0,45 |
Кд3-6.хр |
02 |
56.023 |
|||
|
0,5-0,75 |
Кд6-9.хр |
56.026 |
|||||
|
0,8 и более |
Кд9.хр |
56.029 |
|||||
|
Сталь А12 ГОСТ 1414-75 |
5.8 |
Цинковое с хроматированием |
До 0,45 |
Ц3-6.хр |
01 |
58.013 |
|
|
0,5-0,75 |
Ц6-9.хр |
58.016 |
|||||
|
0,8 и более |
Ц9.хр |
58.019 |
|||||
|
Сталь 10, 20 |
Кадмиевое с хроматированием |
До 0,45 |
Кд3-6.хр |
02 |
58.023 |
||
|
0,5-0,75 |
Кд6-9.хр |
58.026 |
|||||
|
0,8 и более |
Кд9.хр |
58.029 |
|||||
|
Латунь ЛС59-1, Л63 ГОСТ 15527-2004 |
32 |
Пассивное |
0,4 и более |
Хим. Пас. |
11 |
32.11 |
|
|
Сплав В95Т1 ГОСТ 21488-97 |
- |
Окисное |
Ан. Окс. |
05 |
В95Т1.05 |
||
|
Сплав ВТ5 ОСТ 190173-75 |
ВТ5.05 |
||||||
(Измененная редакция, Изм. № 1)
4. Технические требования - по ГОСТ 20868-81.