ГОСТ 12458-67
МЕЖГОСУДАРСТВЕННЫЙ СТАНДАРТ
ВИНТЫ С БУРТИКОМ
КОНСТРУКЦИЯ
ИПК ИЗДАТЕЛЬСТВО СТАНДАРТОВ
Москва
Переиздание (ноябрь 1999 г.) с Изменениями № 1, 2, утвержденными в июне 1980 г., марте 1988 г. (ИУС 9-80, 6-88).
МЕЖГОСУДАРСТВЕННЫЙ СТАНДАРТ
|
ВИНТЫ С БУРТИКОМ Конструкция Screws with bead. Design |
ГОСТ 12458-67* Взамен МН 5410-64 |
Утвержден Комитетом стандартов, мер и измерительных приборов при Совете Министров СССР 3 января 1967 г. Срок введения установлен
с 01.07.67
Постановлением Госстандарта СССР от 17.03.88 № 567 снято ограничение срока действия
1. Конструкция и размеры винтов с буртиком исполнения 1 должны соответствовать черт. 1 и табл. 1, исполнения 2 - черт. 1 и табл. 1 и 2.
|
Исполнение 1 |
Исполнение 2 |

Черт. 1
Таблица 1
Размеры в мм
|
Обозначения винтов |
Приме- |
Испол- |
d |
l |
D (поле допуска f9) |
D1 |
D2 |
D3 |
D4 |
D5 справ. |
L |
Н |
h |
h1 |
h2 |
r |
r1 |
r2 |
r3 |
Масса, кг |
|
7002-2281 |
|
1 |
М4 |
16 |
18 |
10 |
22 |
- |
- |
- |
36 |
- |
6 |
3 |
- |
- |
- |
- |
- |
0,032 |
|
2282 |
|
М5 |
20 |
20 |
25 |
42 |
0,041 |
|||||||||||||
|
2283 |
|
М6 |
25 |
22 |
12 |
28 |
52 |
4 |
0,061 |
|||||||||||
|
2284 |
|
2 |
- |
- |
32 |
12 |
18 |
20 |
- |
10 |
50 |
2,5 |
2,0 |
13,0 |
0,035 |
|||||
|
2285 |
|
1 |
М8 |
32 |
25 |
14 |
32 |
- |
- |
- |
65 |
- |
8 |
5 |
- |
- |
- |
- |
- |
0,106 |
|
2286 |
|
2 |
- |
- |
40 |
14 |
21 |
25 |
- |
12 |
60 |
3,0 |
2,0 |
14,5 |
0,062 |
|||||
|
2287 |
|
1 |
М10 |
40 |
28 |
18 |
36 |
- |
- |
- |
82 |
- |
8 |
6 |
- |
- |
- |
- |
- |
0,173 |
|
2288 |
|
2 |
- |
- |
50 |
18 |
25 |
32 |
- |
14 |
70 |
4,0 |
2,5 |
16,0 |
0,102 |
|||||
|
2289 |
|
1 |
М12 |
50 |
32 |
20 |
40 |
- |
- |
- |
100 |
- |
10 |
- |
- |
- |
- |
- |
0,264 |
|
|
7002-2290 |
|
2 |
- |
- |
62 |
20 |
32 |
40 |
- |
17 |
80 |
5,0 |
3,0 |
21,0 |
0,166 |
Таблица 2
|
Обозначения винтов |
Деталь 1 Винт |
Деталь 2 Шайба |
Деталь 3 Рукоятка |
|
Количество |
|||
|
1 |
1 |
1 |
|
|
Обозначения деталей |
|||
|
7002-2284 |
7002-2284/001 |
7002-2284/002 |
7002-2284/003 |
|
2286 |
2286/001 |
2286/002 |
2286/003 |
|
2288 |
2288/001 |
2288/002 |
2288/003 |
|
7002-2290 |
7002-2290/001 |
7002-2290/002 |
7002-2290/003 |
Пример условного обозначения винта с буртиком исполнения 1, размером d = M4:
Винт 7002-2281 ГОСТ 12458-67.
(Измененная редакция, Изм. № 1, 2).
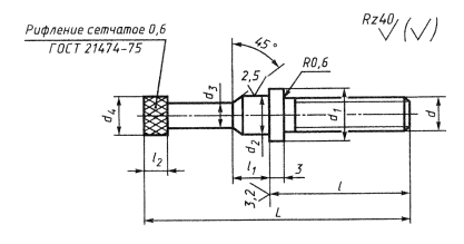
1.1. Конструкция и размеры винта (деталь 1) должны соответствовать указанным на черт. 2 и в табл. 3.

Черт. 2
Таблица 3
Размеры в мм
|
Обозначения винтов |
d |
l |
d1 |
d2 (поле допуска и8) |
d3 |
d4 |
l1 |
l2 |
L |
Масса, кг |
|
7002-2284/001 |
М6 |
25 |
10 |
8 |
5 |
8 |
7 |
4 |
48 |
0,013 |
|
2286/001 |
М8 |
32 |
12 |
10 |
6 |
10 |
8 |
5 |
60 |
0,025 |
|
2288/001 |
М10 |
40 |
14 |
12 |
8 |
12 |
10 |
6 |
78 |
0,049 |
|
7002-2290/001 |
М12 |
50 |
16 |
14 |
10 |
14 |
7 |
95 |
0,082 |
Пример условного обозначения винта размером d = M6:
Винт 7002-2284/001 ГОСТ 12458-67
l. 2. Конструкция и размеры шайбы должны соответствовать черт. 3 и табл. 4.

Черт. 3
Таблица 4
Размеры в мм
|
Обозначения шайб |
D (поле допуска f9) |
D1 |
d (поле допуска Н8) |
h (поле допуска b12) |
h1 |
Масса, кг |
|
7002-2284/002 |
22 |
12 |
8 |
7 |
4 |
0,012 |
|
2286/002 |
25 |
14 |
10 |
8 |
5 |
0,018 |
|
2288/002 |
28 |
18 |
12 |
10 |
6 |
0,028 |
|
7002-2290/002 |
32 |
20 |
14 |
0,036 |
Пример условного обозначения шайбы размером D = 22 мм:
Шайба 7002-2284/002 ГОСТ 12458-67
1.1, 1.2. (Введены дополнительно, Изм. № 2).
2. Материал винтов исполнения 1, винта (деталь 1) и шайбы (деталь 2) - сталь марки 45 по ГОСТ 1050-88. Допускается замена на стали других марок с механическими свойствами не ниже, чем у стали марки 45.
Материал рукоятки (деталь 3) - фенопласт марок У1-301-07 и У2-301-07 коричневого цвета.
Допускается по требованию заказчика изготовлять рукоятки другого цвета.
(Измененная редакция, Изм. № 2).
3. Твердость винтов с буртиком, кроме детали 3,-35,0...39,5 HRCэ.
(Измененная редакция, Изм. № 1, 2).
4. Неуказанные предельные отклонения размеров: h14, ± ![]()
(Измененная редакция, Изм. № 2).
5. Резьба метрическая - по ГОСТ 24705-94. Поле допуска резьбы - 6g по ГОСТ 16093-81.
(Измененная редакция, Изм. № 1, 2).
6. Размеры недорезов и фасок для резьбы - по ГОСТ 10549-80.
(Измененная редакция, Изм. № 1).
7. (Исключен, Изм. № 1).
8. Покрытие винтов с буртиком, кроме детали 3, - Хим. Окс. прм (обозначение покрытия - по ГОСТ 9.306-85).
(Измененная редакция, Изм. №2).
9. Остальные технические требования - по ГОСТ 1759.0-87, ГОСТ 1759.1-82, ГОСТ 1759.2-82, ГОСТ 1759.4-87.
10. Маркировать партию деталей одного типоразмера на таре или упаковке с указанием условного обозначения.
Пример маркировки на таре или упаковке винтов с буртиком исполнения 1, размером d = M4:
Винты 7002-2281 ГОСТ 12458-67
11. Пример применения винтов указан в приложении.
(Введен дополнительно, Изм. № 2).
