Главная // Актуальные документы // Актуальные документы (обновление 2025.09.01-2025.09.27) // Положение / Положения
СПРАВКА
Источник публикации
Документ опубликован не был
Примечание к документу
Документ введен в действие с 01.02.2022 (Распоряжение ОАО "РЖД" от 11.08.2021 N 1776/р).
Название документа
"Положение по эксплуатации систем отопления вагонов пассажирских поездов"
(утв. и введено в действие Распоряжением ОАО "РЖД" от 11.08.2021 N 1776/р)

"Положение по эксплуатации систем отопления вагонов пассажирских поездов"
(утв. и введено в действие Распоряжением ОАО "РЖД" от 11.08.2021 N 1776/р)


Содержание


Утверждено и введено в действие
Распоряжением ОАО "РЖД"
от 11 августа 2021 г. N 1776/р
ПОЛОЖЕНИЕ ПО ЭКСПЛУАТАЦИИ СИСТЕМ ОТОПЛЕНИЯ
ВАГОНОВ ПАССАЖИРСКИХ ПОЕЗДОВ
1 Общие положения
1.1 Настоящее Положение по эксплуатации систем отопления вагонов пассажирских поездов (далее - Положение) устанавливает для пассажирских поездов, обращающихся на инфраструктуре ОАО "РЖД":
- требования по подключению высоковольтной магистрали пассажирских вагонов локомотивной тяги к локомотиву или стационарной высоковольтной колонке;
- последовательность действий обслуживающего персонала при подключении и отключении высоковольтной магистрали пассажирских поездов к локомотиву, а также вагонов поезда к стационарному пункту электроснабжения;
- требования к эксплуатации системы отопления от высоковольтной магистрали поездов;
- порядок отопления вагонов при выходе из строя системы отопления от высоковольтной магистрали.
1.2 Положение описывает отопительные установки и системы отопления, применяемые на вагонах.
1.3 Положение разработано в целях замещения в пассажирском комплексе акта МПС России "Инструкция по эксплуатации электрического и комбинированного отопления вагонов пассажирских и почтово-багажных поездов" ЦЛ/64-ЦТ/14, утвержденного 1 июля 1996 г.
2 Термины и определения
2.1 В настоящем Положении применены следующие термины с соответствующими определениями:
2.1.1 высоковольтная магистраль: Система, состоящая из провода и межвагонных высоковольтных электрических соединений, предназначенная для питания оборудования электрического отопления и энергоснабжения вагонов (для вагонов с централизованным энергоснабжением) или нагрева высоковольтными ТЭНами котла теплоносителя в системе водяного отопления пассажирского вагона;
2.1.2 высоковольтное соединение: Оборудование для обеспечения высоковольтного соединения пассажирских вагонов в общую высоковольтную магистраль централизованного электроснабжения пассажирских поездов;
2.1.3 высоковольтный электрокалорифер: Аппарат, предназначенный для нагрева приточного воздуха или жидкого теплоносителя в системах электроотопления и вентиляции вагонов трубчатыми электрическими нагревателями (ТЭН), входящими в конструкцию;
2.1.4 двухпроводная высоковольтная магистраль: Применяемая на неэлектрифицированных участках железной дороги схема, где от локомотива с автономной энергетической установкой по двум проводам между вагонами осуществляется электроснабжение потребителей, при этом рельсовый токопровод исключен из системы электропитания;
2.1.5 ключ отопления: Ключ, предназначенный для подключения и отключения межвагонных высоковольтных соединений;
2.1.6 котел водогрейный с возможностью использования в качестве топлива древесных гранул (пеллет): Отопительный аппарат, применяемый как источник тепловой энергии в системе водяного отопления железнодорожных пассажирских вагонов с конструктивно предусмотренной возможностью использования в качестве топлива древесных гранул (пеллет);
2.1.7 комбинированное отопление вагонов пассажирских поездов: Система, осуществляющая циркуляцию нагретого теплоносителя по отопительному контуру, нагрев которого на электрифицированных участках осуществляется высоковольтными ТЭНами от контактной сети через высоковольтные устройства электровоза, а на неэлектрифицированных участках - за счет сжигания твердого или дизельного топлива (при оборудовании вагонов однопроводной высоковольтной поездной магистралью);
2.1.8 локомотив: Железнодорожный тяговый подвижной состав, предназначенный для обеспечения передвижения по железнодорожным путям поездов или отдельных вагонов;
2.1.9 локомотивная бригада: Работники, осуществляющие управление и обслуживание локомотивов;
2.1.10 однопроводная высоковольтная магистраль: Применяемая на электрифицированных участках железной дороги схема, где от электровоза по одной цепи-проводу между вагонами подается напряжение электропитания, а замыкающим цепь электроснабжения потребителей вторым проводом является рельсовый токопровод через корпус вагонов, колесные пары, рельсы к подстанции;
2.1.11 пассажирский поезд: Поезд для перевозки пассажиров, багажа и почты, сформированный из пассажирских вагонов;
2.1.12 поездная бригада: Обслуживающий персонал в составе проводников вагонов, поездного электромеханика, начальника поезда;
2.1.13 поездная радиосвязь: Система железнодорожной радиосвязи для оперативного управления движением поездов, обеспечивающая обмен информацией между машинистами железнодорожного подвижного состава и оперативным диспетчерским персоналом диспетчерских центров управления, дежурными по железнодорожным станциям, машинистами встречных и вслед идущих поездов и другим персоналом, связанным с поездной работой;
2.1.14 система обогрева на жидком топливе (СОЖТ): Оборудование, работающее на дизельном топливе в комплексе с комбинированными котлами пассажирских вагонов локомотивной тяги и предназначенное для нагрева жидкого теплоносителя системы отопления;
2.1.15 система аварийного отопления вагона: Отопительный прибор независимого действия, работающий на дизельном топливе. Применяется на пассажирских вагонах типа 61-4476;
2.1.16 тепловоз: Локомотив, приводимый в движение автономной силовой установкой, которой является двигатель внутреннего сгорания;
2.1.17 теплоноситель: Жидкое вещество, применяемое для передачи тепловой энергии в системах отопления;
2.1.18 централизованное электроснабжение: Электропитание вагонов от поездной высоковольтной магистрали;
2.1.19 электровоз: Локомотив, приводимый в движение электродвигателем за счет питания от контактной электросети;
2.1.20 электрическое отопление вагонов пассажирских поездов: Система, имеющая централизованное электропитание нагревательных элементов от контактной сети через высоковольтные устройства локомотива и высоковольтную магистраль поезда.
3 Требования безопасности и охраны труда
3.1 При осуществлении пассажирских перевозок на железнодорожном транспорте работниками должны выполняться требования действующих правил и инструкций по технике безопасности при эксплуатации, техническом обслуживании и ремонте вагонов и локомотивов, местных инструкций по технике безопасности, а также правил безопасности для работников железнодорожного транспорта на электрифицированных линиях.
3.2 Работникам запрещается приступать к выполнению работ без прохождения в установленном порядке инструктажей по охране труда и пожарной безопасности, очередной проверки знаний требований охраны труда и электробезопасности.
Проводникам вагонов необходимо соблюдать требования Инструкции по охране труда для проводника пассажирского вагона.
3.3 Применение средств индивидуальной защиты должно соответствовать требованиям Типовых норм бесплатной выдачи сертифицированных специальной одежды, специальной обуви и других средств индивидуальной защиты работникам железнодорожного транспорта Российской Федерации, занятым на работах с вредными и (или) опасными условиями труда, а также на работах, выполняемых в особых температурных условиях или связанных с загрязнением.
3.4 Перед началом влажной уборки и мытья полов в вагонах с электрическим отоплением согласно Инструкции по охране труда для мойщика-уборщика подвижного состава, занятого наружной обмывкой кузовов и внутренней уборкой помещений пассажирских вагонов необходимо отключить питание электропечей. В вагонах с комбинированным отоплением допускается мыть полы без отключения нагревательных элементов котлов отопления, кроме полов котельного отделения и полов рабочего тамбура.
3.5 Не допускается размещение каких-либо предметов на кожухах электропечей.
4 Требования электробезопасности
4.1 Обслуживание высоковольтного отопительного оборудования пассажирских вагонов, а также подключение высоковольтного отопления пассажирских вагонов к высоковольтным колонкам должны выполнять работники, прошедшие обучение и проверку знаний в объеме, предусмотренном Правилами технической эксплуатации электроустановок потребителей (ПТЭЭП) и Правилами по охране труда при эксплуатации электроустановок (ПОТЭЭ) с присвоением соответствующей квалификационной группы по электробезопасности.
4.2 Персонал, обслуживающий вагоны с электрическим и комбинированным отоплением, должен иметь удостоверения, подтверждающие право на обслуживание электроустановок напряжением до и свыше 1000 В.
4.3 К работам по соединению (разъединению) высоковольтной магистрали поезда или по ее подключению (отключению) к колонке стационарного пункта электроснабжения 3000 В должны допускаться работники, прошедшие:
- обязательный медицинский осмотр;
- вводный инструктаж по охране труда;
- первичный инструктаж по охране труда на рабочем месте;
- обучение безопасным методам и приемам выполнения работ;
- обучение по применению средств коллективной и индивидуальной защиты;
- обучение по оказанию первой помощи пострадавшему на производстве;
- обучение по освобождению пострадавшего от действия электрического тока с учетом специфики эксплуатируемых электроустановок.
4.4 Работы должны производиться с использованием электрозащитных средств в соответствии с требованиями Инструкции по применению и испытанию средств защиты, используемых в электроустановках.
4.5 Соединение (разъединение) высоковольтной магистрали поезда, либо подключение (отключение) поезда к стационарной колонке электропитания должны осуществляться работником в диэлектрических перчатках под наблюдением машиниста (либо лицом, определенным согласно пункта 8.18 настоящего Положения).
4.6 Проводникам вагонов с электрическим и комбинированным отоплением при исправном состоянии отопительных приборов разрешается производить включение отопления с помощью пакетных выключателей или других органов управления, смонтированных на распределительном щите служебного отделения вагона.
4.7 В пути следования при аварийных ситуациях, когда необходимо обесточить цепи отопления, пакетные выключатели или другие органы управления электрического или комбинированного отопления устанавливаются в отключенное (нулевое) положение.
Последующая подача высокого напряжения в систему электроотопления допускается только после устранения причин его отключения.
4.8 В целях предупреждения роста температуры на оболочке высоковольтных электрокалориферов, при их отключении, а также при отключении приточной вентиляции, должен строго соблюдаться порядок, установленный в руководстве по эксплуатации оборудования.
4.9 Перед техническим обслуживанием и ремонтом высоковольтного и низковольтного электрооборудования вагона необходимо отключить напряжение, закрыть щит на замок ключом и повесить табличку "Работают люди". Произвести запись о выполнении работы в журнале соответствующей формы.
4.10 При наличии напряжения в высоковольтной магистрали запрещается:
- открывать кожух нагревательных элементов котла;
- разъединять межвагонные электрические соединения;
- открывать подвагонный высоковольтный ящик;
- открывать ящики высоковольтного статического преобразователя;
- открывать кожух высоковольтных калориферов (для вагонов с централизованным энергоснабжением).
4.11 Производить долив теплоносителя в систему отопления допускается только при выключенном электроотоплении на распределительном щите.
4.12 При устранении течи теплоносителя из котла комбинированного отопления вагона и удалении скопившегося теплоносителя необходимо отключить высоковольтные нагреватели котла отопления установкой переключателя режимов отопления вагона в нулевое положение и снять предохранитель "отопление" или отключить автоматический выключатель "управление отоплением" на пульте вагона.
Для снятия предохранителя, находящегося на распределительном щитке, необходимо использовать специальную рукоятку.
Запрещается осуществлять замену предохранителей, находящихся под напряжением.
4.13 В пути следования запрещается производить соединение и разъединение электрических межвагонных соединений.
4.14 Работникам поездной бригады запрещается влезать на крышу вагона на электрифицированных участках железнодорожных путей для производства каких-либо работ. Лестница для подъема на крышу вагона должна быть заперта трехгранным ключом и опломбирована.
4.15 При эксплуатации вагонов с СОЖТ не допускается снимать крышку преобразователя напряжения необученному персоналу, а также проводить любые установочные и монтажные работы при наличии на входных клеммах сетевого напряжения и в течение 10 минут после его снятия.
5 Требования пожарной безопасности
5.1 Работники, эксплуатирующие и обслуживающие отопительные установки пассажирских вагонов, должны пройти обучение в объеме пожарно-технического минимума, вводный и первичный инструктаж по пожарной безопасности, а также строго соблюдать правила пожарной безопасности.
5.2 Работники должны знать и уметь пользоваться первичными средствами пожаротушения.
5.3 В случае возникновения пожара в поезде поездная и локомотивная бригады должны действовать согласно Инструкции по обеспечению пожарной безопасности в вагонах пассажирских поездов и Регламента взаимодействия работников, связанных с движением поездов, с работниками локомотивных бригад при возникновении аварийных и нестандартных ситуаций на путях общего пользования инфраструктуры ОАО "РЖД".
6 Требования безопасности при использовании отопительной установки
6.1 Загрузка вагонов твердым топливом, заправка дизельным топливом системы должна производиться с соблюдением правил техники безопасности.
6.2 Запрещается:
- применять для растопки котлов, печей, плит и кипятильников легковоспламеняющиеся и горючие жидкости (керосин, бензин, масло) и сжигать в них топливо, не соответствующее эксплуатационной документации на вагон;
- хранить около котла, в нише кипятильника, возле кухонных плит, на электропечах и под ними горючие предметы, материалы;
- топить котел, бойлер и кипятильник, производить запуск котла на древесных гранулах (пеллетах) в автоматическом режиме без теплоносителя или с теплоносителем ниже допустимого уровня, с неисправными дымовытяжными трубами, их кожухами, разделками, без флюгар или с нарощенными трубами; при отсутствии пламеотражателя в топке кипятильника, а также применять дрова, длина которых превышает размер топки;
- заправлять котел теплоносителем в случае его отсутствия при большом разогреве топки;
- тушить топку водой или снегом;
- оставлять без контроля действующие отопительные приборы;
- выбрасывать на перегонах и на станциях в неустановленных местах шлак, золу и прочие отходы, а также чистить котел при открытых тамбурных дверях при движении вагона. Выбрасывать шлак, золу и мусор следует только в предусмотренных для этого местах на станциях, указанных в расписании, пунктах формирования и оборота;
- эксплуатировать вагоны с нарушенной (частично или полностью) термоизоляцией стен и перегородок в котельных помещениях, кухнях, возле кипятильников и в надпотолочном пространстве в районе прохода дымовытяжных труб;
- оставлять неочищенными от пыли и прочих горючих отходов и материалов надпотолочные пространства котельных, места расположения циркуляционных насосов отопления, вентиляционные дефлекторы.
6.3 Во избежание поломки мотор-редуктора или шнека при загрузке пеллетного котла не допускается попадание в загрузочный бункер, кроме пеллет, посторонних предметов, таких как: гвозди, камни, ветошь и прочее.
6.4 При осмотре котельного отделения и техническом обслуживании отопительной установки боковые двери тамбура должны быть заперты.
6.5 Заправочный люк бункера топлива, крышки угольных ящиков должны быть закрыты на замок.
6.6 Производить загрузку углем котла, заправку бункера пеллетного котла древесными гранулами, техническое обслуживание котла в головном уборе, рукавицах, халате.
6.7 При отоплении вагона твердым топливом во время чистки топки открывать дверку следует осторожно (не резко), находясь на расстоянии 500 - 700 мм от дверки, во избежание выброса пламени топочными газами и ожогов лица.
6.8 При очистке котла от шлака, а также при других работах с горящим котлом остерегаться попадания раскаленного угля и шлака на тело или одежду.
6.9 При эксплуатации вагонов с СОЖТ или системой аварийного отопления вагонов необходимо соблюдать следующие требования безопасности:
- при заправке топливом запрещается пользоваться отрытым огнем и курить;
- во время работы системы отопления от горелки запрещается курить и пользоваться открытым огнем в рабочем тамбуре и в котельном отделении (для вагонов с СОЖТ);
- следить за тем, чтобы не было течи в соединениях топливопровода, при обнаружении течи принять меры по ее немедленному устранению.
6.10 При функционировании СОЖТ в автоматическом режиме проводник обязан следить за ее работой с целью недопущения:
- кипения теплоносителя в котле;
- падения уровня теплоносителя в системе ниже допустимого.
6.11 Чистку дымохода с крыши вагона разрешается производить соответствующим службам на стоянке при отсутствии контактного провода или при снятом с него напряжении, в пути следования - по заявке ЛНП.
7 Высоковольтное электроснабжение вагонов поезда
7.1 Вагоны пассажирских поездов в соответствии с ГОСТ 34681 оборудуются высоковольтной совместимой однопроводной или двухпроводной поездной магистралью.
7.2 На электрифицированных участках железных дорог применяется однопроводная схема питания от высоковольтной магистрали, которая показана на рисунке 1.
1 - высоковольтная розетка МВС; 2 - штепсель с кабелем;
3 - холостой приемник
Рисунок 1 - Однопроводная схема питания
от высоковольтной магистрали
7.3 Двухпроводная схема питания от высоковольтной магистрали, которая показана на рисунке 2, применяется на неэлектрифицированных участках железных дорог.
1 - холостой приемник "-"; 2 - штепсель с кабелем "+";
3 - холостой приемник "+"; 4 - штепсель с кабелем "-";
5 - высоковольтная розетка МВС "+";
6 - высоковольтная розетка МВС "-"
Рисунок 2 - Двухпроводная схема питания
от высоковольтной магистрали
Особенности высоковольтного энергоснабжения от тепловоза (типа ТЭП70БС) пассажирских вагонов, оснащенных двухпроводной высоковольтной магистралью изложены в Инструктивных указаниях о порядке действий поездного электромеханика в штатных и нештатных ситуациях работы высоковольтного электрооборудования двухэтажных вагонов, оборудованных двухпроводной высоковольтной магистралью.
8 Подключение и отключение устройств электроотопления
8.1 Высоковольтная поездная магистраль должна соответствовать требованиям ГОСТ 34681.
Высоковольтные соединения должны обеспечивать электроснабжение вагонов пассажирских поездов от локомотива или от стационарного источника в соответствии с параметрами таблицы 1.
Таблица 1
Параметры высоковольтной поездной магистрали
Область применения
Напряжение, В
Частота, Гц
Номинальное
Наименьшее
Наибольшее
Номинальная
Наименьшая
Наибольшая
Для вагонов сообщения по железным дорогам стран СНГ и Балтии
3000
2000
4000
Постоянный ток
3000
2200
3600
50
48
52
Для вагонов международного сообщения
3000
2000
4000
Постоянный ток
3000
2200
3600
50
48
52
1000
800
1150
16 2/3
16
17,5
1000
800
1150
50
48
52
1500
1140
1650
50
48
52
1500
1000
1800
Постоянный ток
8.2 Подключение высоковольтной подвагонной магистрали поезда, состоящего из пассажирских вагонов с электрическим и комбинированным отоплением (находящихся в эксплуатации), к локомотиву или стационарной высоковольтной колонке должно осуществляться по заявке начальника поезда (далее - ЛНП) или поездного электромеханика (далее - ПЭМ).
8.3 Поезда, в состав которых включаются пассажирские вагоны с централизованным электроснабжением, обеспечиваются электроэнергией круглогодично от локомотивов или от стационарных пунктов электроснабжения в пунктах формирования, оборота (отстоя) поездов.
Подключение высоковольтной магистрали поезда к локомотиву и постоянная подача в нее напряжения должны осуществляться независимо от температуры наружного воздуха.
8.4 Проверка комплектности и исправного состояния оборудования вагонов с централизованным энергоснабжением, и локомотивов при подготовке к перевозкам производится по заявке ЛНП или ПЭМ на подключение высоковольтной подвагонной магистрали вагонов к локомотиву или стационарной высоковольтной колонке.
8.5 В вагонных депо, участках, организациях по обслуживанию пассажиров должно быть необходимое количество ключей отопления пассажирского поезда, предназначенных для подключения и отключения устройств электроотопления (централизованного электроснабжения) поезда, а также для выполнения ремонта, технического обслуживания и проверки исправности действия устройств централизованного электроснабжения.
В локомотивных депо, пунктах технического обслуживания локомотивов должно быть необходимое количество ключей отопления, которые предназначены для использования при ремонте, техническом обслуживании и проверке исправности устройств электроотопления (централизованного электроснабжения) локомотивов. Конструкция ключа отопления приведена на рисунке 3.
Рисунок 3 - Ключ отопления поезда
8.6 На ключе отопления должны быть четко нанесены надписи: индекс железной дороги, условное обозначения предприятия, которому принадлежит ключ, и порядковый номер ключа.
8.7 На каждом пассажирском поезде, сформированном из вагонов с высоковольтным электрическим или комбинированным отоплением, централизованным электроснабжением, должен быть только один ключ отопления, который должен находиться у ПЭМ или у ЛНП. Проводникам вагонов запрещается иметь и использовать ключи отопления.
Категорически запрещается выдавать локомотивы в эксплуатацию с ключами отопления, принадлежащими локомотивным депо или пунктам технического обслуживания локомотивов.
8.8 Для учета ключей отопления в вагонном депо, участке, организации по обслуживанию пассажиров, стационарном пункте электроснабжения, локомотивном депо, пункте технического обслуживания локомотивов должна вестись книга, в которую заносят порядковый номер ключа, дату и время его выдачи, получения или сдачи, должность, фамилию, имя, отчество и росписи лиц, выдающих, получающих или сдающих ключ отопления. Приказом начальника предприятия должны быть назначены лица, ответственные за учет, хранение, выдачу и приемку ключей.
Ключ должен находиться в помещении ответственного за хранение ключа отопления в запираемом металлическом ящике.
8.9 Работникам вагонных депо, участков, организаций по обслуживанию пассажиров, стационарных пунктов электроснабжения, локомотивных депо, пунктов технического обслуживания локомотивов и вагонов запрещается использовать при эксплуатации, техническом обслуживании и ремонте устройств высоковольтного электроотопления вагонов и локомотивов какие-либо другие ключи или приспособления, за исключением ключа отопления, указанного в пункте 8.8 настоящего Положения, для открытия и закрытия ящиков вагонов с высоковольтным электрооборудованием, самовольного соединения и разъединения высоковольтных соединений централизованного электроснабжения пассажирских поездов, открытия и закрытия высоковольтных розеток, выемки штепселей из холостых приемников, а также для подачи высокого напряжения в высоковольтную магистраль.
8.10 Соединять и разъединять высоковольтные соединения между головным вагоном и локомотивом должен ПЭМ, а в случае его отсутствия - ЛНП в диэлектрических перчатках при обязательном присутствии машиниста локомотива, у которого должны находиться блокирующие ключи выключателей пульта управления локомотивом и реверсивная рукоятка контроллера машиниста. Указанные лица должны убедиться, что:
- на электровозе полностью опущены все токоприемники;
- на тепловозе (типа ТЭП70БС) дизель-генератор остановлен.
ПЭМ или ЛНП для обеспечения своевременного выполнения технологических операций по соединению и разъединению высоковольтных соединений между головным вагоном и локомотивом должен находиться в головном вагоне к моменту прибытия поезда на станцию смены локомотива, прицепки или отцепки вагонов в поезде.
8.11 Максимальное количество подсоединяемых к локомотиву вагонов с электроотоплением и централизованным электроснабжением должно определяться сопоставлением мощности локомотива по электроснабжению и максимальной суммарной мощности электропотребления вагонов в составе поезда. Мощность максимального энергопотребления поезда не должна превышать номинальную мощность локомотива по энергоснабжению.
Запрещается подключать к локомотиву на электроснабжение количество вагонов больше определенного при указанном сопоставлении мощностей энергоснабжения и энергопотребления.
8.12 Высоковольтная магистраль между вагонами должна соединяться двумя высоковольтными соединениями, для чего штепсель каждого из соединяемых вагонов вставляется в розетку другого вагона.
8.13 Соединение электровоза и высоковольтной магистрали поезда, состоящего из одноэтажных вагонов с электроотоплением до 20 единиц включительно, должно осуществляться одним высоковольтным соединением (штепсель головного вагона вставляется в высоковольтную розетку электровоза). При количестве вагонов в составе поезда более 20 единиц должно быть дополнительно задействовано второе высоковольтное соединение (штепсель электровоза вставляется в высоковольтную розетку головного вагона).
Максимальное количество одноэтажных вагонов с электроотоплением, которое можно подключать на электроснабжение от электровоза, должно быть нанесено белой несмывающейся краской с высотой букв 40 мм на обеих лобовых частях кузова электровоза над высоковольтными розетками.
Соединение электровоза и высоковольтной магистрали поезда, состоящего из двухэтажных вагонов до 10 единиц включительно, должно осуществляться одним высоковольтным соединением (штепсель головного вагона вставляется в высоковольтную розетку электровоза). При количестве вагонов в составе поезда более 10 единиц должно быть дополнительно задействовано второе высоковольтное соединение (штепсель электровоза вставляется в высоковольтную розетку головного вагона).
Соединение высоковольтной магистрали тепловоза (типа ТЭП70БС) и пассажирских вагонов, оснащенных двухпроводной высоковольтной магистралью производится в соответствии с требованиями документа "Инструктивные указания о порядке действий поездного электромеханика в штатных и нештатных ситуациях работы высоковольтного электрооборудования двухэтажных вагонов, оборудованных двухпроводной высоковольтной магистралью".
8.14 При соединении высоковольтных соединений их штепсели должны быть плотно вставлены в розетки. Крышки розеток и холостых приемников должны быть заперты ключом отопления.
Порядок соединения и разъединения высоковольтных соединений при электроснабжении пассажирских поездов приведен в приложении А настоящего Положения.
Параметры и порядок соединения и разъединения высоковольтных соединений при двухпроводной схеме питания изложены в Инструктивных указаниях о порядке действий поездного электромеханика в штатных и нештатных ситуациях работы высоковольтного электрооборудования двухэтажных вагонов, оборудованных двухпроводной высоковольтной магистралью.
8.15 После соединения высоковольтной магистрали поезда с локомотивом ПЭМ или ЛНП должен передать ключ отопления машинисту локомотива. С момента передачи ключа отопления машинисту локомотива высоковольтная магистраль поезда считается под высоким напряжением. Ключ отопления должен находиться у машиниста локомотива до возникновения необходимости отцепки локомотива, отцепки и прицепки вагонов, проверки исправности действия и ремонта высоковольтного электрооборудования вагонов.
8.16 Перед отцепкой или прицепкой вагонов с высоковольтным электрическим отоплением или централизованным электроснабжением, ремонтом высоковольтного электрооборудования вагонов, соединением или разъединением высоковольтных соединений, в том числе между локомотивом и головным вагоном, осмотром с пролазкой ходовых частей вагонов поезда, производимых по заявке ПЭМ, ЛНП, представителей вагонного хозяйства инфраструктуры ОАО "РЖД", машинист обязан:
- отключить питание высоковольтной магистрали;
- отключить силовые и вспомогательные цепи, быстродействующий или главный выключатели;
- опустить все токоприемники электровоза (убедиться визуально, что они опущены);
- выключить дизель-генератор на тепловозе (типа ТЭП70БС);
- после выполнения указанных действий передать ключ отопления ПЭМ или ЛНП.
8.17 После отсоединения высоковольтной магистрали поезда от локомотива штепсели высоковольтных соединений должны быть плотно вставлены в соответствующие холостые приемники головного вагона и локомотива и заперты ключом отопления. Высоковольтные розетки должны быть закрыты крышками и заперты ключом отопления. После отсоединения высоковольтной магистрали поезда от локомотива ключ отопления должен находиться у ПЭМ или ЛНП.
8.18 При эксплуатации вагонов пассажирских поездов, локомотивов, питании вагонов поездов от стационарного пункта электроснабжения штепсели высоковольтных соединений должны находиться в запертых высоковольтных розетках или в холостых приемниках. В других местах нахождение штепселей категорически запрещается.
8.19 Подключение и отключение высоковольтной магистрали состава вагонов к колонке стационарного пункта электроснабжения должно осуществляться согласно требованиям местной инструкции, составляемой для конкретного пункта.
8.20 ПЭМ или ЛНП после подачи состава вагонов на путь для электроотопления должен сделать заявку с записью в журнале учета электроотопления состава вагонов, который должен вестись на стационарном пункте электроотопления, о подключении состава вагонов на электроотопление (централизованное электроснабжение) и сдать под роспись дежурному по пункту ключ отопления поезда.
8.21 Подключение состава вагонов на электроотопление от колонки стационарного пункта электроснабжения осуществляет дежурный слесарь-электрик по пункту (в диэлектрических перчатках) под наблюдением ПЭМ или ЛНП, которые также должны иметь при себе комплект диэлектрических перчаток.
8.22 При подсоединении высоковольтной магистрали состава вагонов к стационарному пункту электроснабжения штепсель высоковольтного соединения подсоединяемого вагона должен быть плотно вставлен в высоковольтную розетку колонки, а крышка розетки заперта ключом отопления. Крышка холостого приемника этого вагона также должна быть заперта ключом отопления.
8.23 С момента передачи ключа отопления дежурному слесарю-электрику по пункту высоковольтная магистраль состава вагонов считается под высоким напряжением.
8.24 Во время нахождения вагонов под высоким напряжением на стационарном пункте электроснабжения ключ отопления поезда должен находиться у дежурного слесаря-электрика по пункту.
8.25 Отсоединение вагонов поезда от стационарного пункта электроснабжения должно быть организовано в следующем порядке:
- ПЭМ или ЛНП сообщает дежурному слесарю-электрику по пункту о необходимости отключения электроотопления вагонов поезда и делает об этом запись в журнале учета электроотопления;
- дежурный слесарь-электрик по пункту снимает высокое напряжение с колонки, питающей поезд, и в диэлектрических перчатках под наблюдением ПЭМ или ЛНП с применением ключа отопления вынимает штепсель высоковольтного соединения из розетки высоковольтной колонки, закрывает крышку розетки, вставляет штепсель в холостой приемник вагона и запирает штепсель;
- дежурный слесарь-электрик по пункту передает ключ отопления вагонов ПЭМ или ЛНП.
8.26 Перед подсоединением высоковольтной магистрали вагонов поезда к колонке стационарного пункта электроснабжения ПЭМ или ЛНП должны проверить исправность высоковольтного электрооборудования вагонов.
8.27 Перед подсоединением высоковольтной магистрали вагонов поезда к колонке стационарного пункта электроснабжения он должен быть огражден сигналами с обеих сторон и заторможен.
8.28 Перед подачей высокого напряжения в высоковольтную магистраль вагонов поезда об этом должна быть проинформирована поездная бригада. На торцевых дверях головного и хвостового вагонов должны быть вывешены таблички с надписью красного цвета: "Осторожно! Состав под высоким напряжением".
8.29 Во время электроснабжения вагонов поезда от стационарного пункта электроснабжения дежурные проводники вагонов должны находиться в вагонах.
8.30 Сопротивление изоляции высоковольтной магистрали вагонов поезда, подготовленного в пункте формирования и после проведения ТО-2 до 24 вагонов включительно, должно быть не менее 2 МОм.
Минимальное сопротивление изоляции высоковольтной электрической цепи устройств электроотопления на локомотиве должно быть в эксплуатации не ниже 2 МОм.
8.31 Вагоны поездов с электрическим или комбинированным отоплением должны отправляться с пункта формирования с подзаряженными аккумуляторными батареями, имеющими напряжение в зависимости от типа вагона не ниже 45 В или 100 В при включении потребителей электроэнергии общей нагрузкой от 12 до 15 А.
8.32 На подготовленные в рейс вагоны поезда должна быть дана готовность к подаче на него высокого напряжения лицом, ответственным за подготовку устройств высоковольтного электрического отопления вагонов, в порядке, установленном приказом начальника вагонного депо, участка, предприятий по обслуживанию пассажиров. Перед отключением или подключением высоковольтной магистрали поезда к локомотиву, вагонов поезда к колонке стационарного пункта электроснабжения переключатели режимов электроотопления всех вагонов должны быть установлены в нулевое положение.
8.33 После подачи напряжения в высоковольтную магистраль переключатели режимов электроотопления каждого вагона должны устанавливаться в положение, соответствующее автоматическому режиму отопления вагона. В случае отказа автоматики управления высоковольтным электрическим отоплением дежурный проводник вагона должен вызвать ПЭМ или ЛНП для восстановления ее работоспособности или определения необходимости перехода на ручной режим электроотопления.
8.34 После подключения высоковольтной магистрали поезда к электровозу переменного тока машинист должен вначале произвести запуск вспомогательных машин электровоза, а затем включить электроотопление поезда. Выключать электроотопление поезда на электровозах переменного тока машинист должен при включенных вспомогательных машинах.
8.35 При подаче состава вагонов для посадки пассажиров и в пути следования поезда температура воздуха внутри вагонов должна соответствовать параметрам микроклимата в помещениях пассажирского вагона локомотивной тяги согласно Санитарным правилам СП 2.5.3650-20 "Санитарно-эпидемиологические требования к отдельным видам транспорта и объектам транспортной инфраструктуры".
8.36 Ответственность за соблюдение температурного режима возлагается на дежурного проводника вагона и ПЭМ. Ответственность за непрерывную подачу напряжения в высоковольтную магистраль поезда возлагается на машиниста локомотива.
9 Действия при выходе из строя высоковольтной магистрали или устройств высоковольтного электроотопления (централизованного электроснабжения)
9.1 В случае повреждения высоковольтной магистрали или устройств высоковольтного электроотопления (централизованного электроснабжения) вагонов, которые не могут быть устранены силами поездной бригады, ЛНП в зависимости от характера повреждения, наружной температуры воздуха и оставшегося времени следования поезда до пункта назначения принимает решение о необходимости перестановки в хвост поезда аварийного вагона (группы вагонов) и переводе его (их) на отопление от котла, работающего на дизельном или твердом топливе (угле, пеллетах), или включении системы аварийного отопления вагонов (при наличии). Вагоны поезда с исправными устройствами высоковольтного отопления должны отапливаться электроэнергией от локомотива.
9.2 О необходимости перестановки вагонов поезда в пути следования ЛНП должен заблаговременно сообщить на ближайшую станцию с продолжительностью остановки поезда не менее 10 минут через машиниста локомотива, станционных работников или телеграммой.
9.3 В случае повреждения устройств электроотопления (централизованного электроснабжения) вагонов на локомотиве машинист должен отключить электроотопление поезда и проинформировать об этом ЛНП, который в зависимости от оставшегося времени следования в пункт назначения или до смены локомотива (где это предусмотрено служебным расписанием движения поездов), наружной температуры воздуха принимает решение о необходимости перевода вагонов на отопление твердым топливом или возможности следования поезда без отопления.
9.4 О необходимости замены локомотива с неисправными устройствами электроотопления вагонов машинист локомотива по согласованию с ЛНП должен безотлагательно сообщить по радиосвязи через работников станции или поездного диспетчера на ближайшую станцию, где возможно заменить локомотив.
9.5 В случае срабатывания аппаратов защиты устройств электроотопления на локомотиве машинисту разрешается включить электроотопление еще один раз. Если произойдет повторное срабатывание аппаратов защиты, последующее включение электроотопления должно производиться после выявления и устранения причины срабатывания защиты по устной заявке ПЭМ или ЛНП.
9.6 О срабатывании аппаратов защиты высоковольтного электроотопления, повреждении высоковольтных устройств вагонов дежурные проводники должны немедленно доложить ПЭМ или ЛНП для выявления причины срабатывания защиты и устранения по возможности возникшего повреждения.
9.7 О каждом случае срабатывания аппаратов защиты электрической цепи высоковольтного электроотопления, повреждениях высоковольтных устройств электроотопления машинист и ПЭМ или ЛНП должны информировать друг друга по УКВ радиосвязи "начальник поезда - машинист".
9.8 При разрыве поезда в пути следования машинист локомотива должен немедленно снять напряжение с высоковольтной магистрали, а ПЭМ или ЛНП разъединить высоковольтные соединения между головным вагоном и локомотивом в порядке, установленном в настоящем Положении.
9.9 Запрещается при наличии напряжения в высоковольтной магистрали поезда выполнять какие-либо работы по техническому обслуживанию или ремонту электрооборудования высокого напряжения и связанного с ним электрооборудования низкого напряжения. Техническое обслуживание и ремонт высоковольтного электрооборудования и связанного с ним электрооборудования низкого напряжения вагонов поезда должно осуществляться только при отсоединенной высоковольтной магистрали от локомотива.
9.10 Проводникам вагонов запрещается разъединять или соединять высоковольтные соединения, открывать ящики с высоковольтным оборудованием, открывать кожухи электропечей, электрокалориферов и электронагревателей котла отопления.
9.11 Каждый случай нарушения работы высоковольтного отопления (централизованного электроснабжения) пассажирского поезда должен быть расследован работниками причастных подразделений ОАО "РЖД" и собственников подвижного состава, где допущены нарушения работы электроотопления с принятием соответствующих организационно-технических мер. При необходимости случаи нарушения работы централизованного электроснабжения поезда рассматриваются на совместных оперативных совещаниях управлений пассажирского и локомотивного хозяйства.
9.12 О каждом случае нарушения работы централизованного электроснабжения вагонов в пассажирском поезде должен быть составлен в двух экземплярах акт за подписями ПЭМ или ЛНП и машиниста локомотива. В акте должна быть указана причина нарушения работы электроснабжения вагонов поезда.
Один экземпляр акта остается у ЛНП, второй - у машиниста локомотива.
После окончания поездки ЛНП сдает акт в вагонное депо, участок, предприятие по обслуживанию пассажиров, где формировался поезд, а машинист сдает акт в депо приписки локомотивной бригады. При нарушении работы электроснабжения в поезде из-за отказа технических средств на локомотиве начальник депо приписки локомотивной бригады должен сообщить об этом телеграммой в депо приписки локомотива.
10 Применение отопительных установок и систем отопления
10.1 Требования к теплоносителю
10.1.1 В системе отопления пассажирских вагонов в качестве теплоносителя применяют воду, отвечающую требованиям СП 124.13330.2012 (приложение Е) или специальные низкозамерзающие жидкости, рекомендованные производителем отопительного оборудования.
10.1.2 При применении в качестве теплоносителя специальных низкозамерзающих жидкостей запрещается смешивать специальные низкозамерзающие жидкости разных марок и производителей.
В исключительных случаях возможно добавление в состав теплоносителя воды, но не более 30% от общего объема.
Независимо от периода эксплуатации (летний, зимний) система отопления вагона должна быть заполнена теплоносителем.
10.2 Применение отопительной установки на твердом топливе с использованием угля
Для вагонов с водяной и комбинированной отопительной системой при эксплуатации котла на угольном топливе руководствоваться требованиями Инструкции по техническому обслуживанию отопительной установки пассажирского вагона N 164 ПКБ ЦВ.
10.3 Применение отопительной установки на твердом топливе с использованием древесных гранул (пеллет)
10.3.1 Проверку работы в процессе эксплуатации и техническое обслуживание котла водогрейного с возможностью использования в качестве топлива пеллеты выполнять в соответствии с Руководством по эксплуатации ИТЦ 100.00.00.000 РЭ.
10.3.2 В качестве пеллетного топлива применяют гранулы, произведенные из древесины хвойных пород со следующими характеристиками:
- диаметр, - 6 мм;
- длина, - не более 30 мм;
- теплотворная способность QH, - не менее 4200 ккал/кг;
- зольность рабочая A, - не более 0,5%;
- влажность рабочая W, - 7 - 15%.
10.3.3 Котел работает в следующих режимах:
- автоматический (основной);
- ручной.
10.3.4 Для управления работой пеллетного котла в автоматическом режиме предназначен программируемый блок управления, который обеспечивает:
- автоматический пуск и останов;
- отображение информации о выполнении программы розжига;
- отображение информации о текущем цикле работы;
- отображение информации о текущих значениях аналоговых датчиков, подключенных к прибору;
- отображение информации о причинах аварийного останова (в случае возникновения).
10.3.5 Для поддержания оптимального температурного режима работы котел имеет автоматическую функцию изменения мощности в зависимости от температуры теплоносителя на выходе из котла.
10.4 Применение системы обогрева на жидком топливе (СОЖТ)
10.4.1 Система обогрева на жидком топливе при установке на комбинированный котел позволяет использовать дизельное топливо по ГОСТ 305-2013 для нагрева теплоносителя отопительного контура вагона на неэлектрифицированных участках пути.
10.4.2 Горелка монтируется на специальном переходном фланце топки котла отопления после необходимой его доработки в части обеспечения герметичного уплотнения крышек топки и зольника.
10.4.3 В процессе эксплуатации и при выполнении технического обслуживания системы обогрева на жидком топливе (СОЖТ) необходимо соблюдать требования Руководства РФПБ.065492.001 РЭ.
10.4.4 Эксплуатация СОЖТ осуществляется при следующих климатических условиях:
- температура окружающего воздуха от минус 50 до плюс 40 °C;
- относительная влажность до 98% при температуре плюс 25 °C.
10.4.5 Конструкция СОЖТ должна позволять:
- легко демонтировать систему с вагона для ремонта и обслуживания;
- доступно осматривать и закреплять контактные соединения, сборочные единицы и детали;
- возможность замены блоков и модулей;
- просто подключать топливные шланги и топливопровод.
10.4.6 СОЖТ имеет блок управления и световую сигнализацию для однозначного определения обслуживающим персоналом ее работоспособного или аварийного состояния. Система имеет возможность управления автоматически по температуре воздуха в вагоне, и вручную.
10.5 Применение системы аварийного отопления
10.5.1 Системой аварийного отопления оборудуются пассажирские вагоны габарита RIC международного сообщения модели 61-4476.
10.5.2 При работе аварийной системы отопления вагона необходимо соблюдать требования Руководства по эксплуатации 4476.00.00.000 РЭ.
10.5.3 Система задействуется в случае нештатного прекращения работы высоковольтного отопления из-за нарушения питания от высоковольтной магистрали вагона.
10.5.4 Система аварийного отопления представляет собой отопительный прибор независимого действия работающий на дизельном топливе и предназначена для обеспечения в помещениях вагона для пассажиров температуры плюс 18 °C в течение 3 часов при следующих условиях:
- температура внутри помещения до выхода из строя энергоснабжения плюс 22 °C;
- температура наружного воздуха не ниже минус 40 °C;
- места в вагоне полностью заняты;
- аккумуляторная батарея вагона полностью заряжена.
10.5.5 В режиме аварийного отопления теплообменник, в который встроена отдельная секция труб, используется как жидкостной нагреватель.
10.5.6 В системе аварийного отопления в качестве теплоносителя должна использоваться низкозамерзающая жидкость.
10.5.7 Заправлять систему допускается арктическим дизельным топливом.
10.5.8 Запрещается переполнять топливный бак в целях недопущения повреждения, разрушения или выхода из строя системы аварийного отопления.
11 Ссылочные документы
Обозначение документа, на который дана ссылка
Номер раздела, подраздела, приложения документа, на который дана ссылка
ГОСТ 305-2013 "Топливо дизельное. Технические условия"
ГОСТ 34681-2020 "Вагоны пассажирские локомотивной тяги. Общие технические требования"
Инструкция по охране труда для проводника пассажирского вагона, утвержденная распоряжением ОАО "РЖД" от 24 мая 2007 г. N 959р
ИС МЕГАНОРМ: примечание.
В официальном тексте документа, видимо, допущена опечатка: Приказ Минздравсоцразвития России N 582н издан 22.10.2008, а не 22.12.2008.
Типовые нормы бесплатной выдачи сертифицированных специальной одежды, специальной обуви и других средств индивидуальной защиты работникам железнодорожного транспорта Российской Федерации, занятым на работах с вредными и (или) опасными условиями труда, а также на работах, выполняемых в особых температурных условиях или связанных с загрязнением, утвержденные приказом Минздравсоцразвития России от 22 декабря 2008 г. N 582н
Инструкция по охране труда для мойщика-уборщика подвижного состава, занятого наружной обмывкой кузовов и внутренней уборкой помещений пассажирских вагонов, утвержденная распоряжением ОАО "РЖД" от 15 января 2014 г. N 41р
Правила технической эксплуатации электроустановок потребителей (ПТЭЭП), утвержденные приказом Минэнерго России от 13 января 2003 г. N 6 г (ред. от 13 сентября 2018 г.)
Правила по охране труда при эксплуатации электроустановок (ПОТЭЭ), утвержденные приказом Минтруда России от 15 декабря 2020 г. N 903н
Инструкция по применению и испытанию средств защиты, используемых в электроустановках, утвержденная приказом Минэнерго России от 30 июня 2003 г. N 261
Инструкция по обеспечению пожарной безопасности в вагонах пассажирских поездов, утвержденная распоряжением ОАО "РЖД" от 5 ноября 2009 г. N 2255р
Регламент взаимодействия работников, связанных с движением поездов, с работниками локомотивных бригад при возникновении аварийных и нестандартных ситуаций на путях общего пользования инфраструктуры ОАО "РЖД", утвержденный распоряжением ОАО "РЖД" от 12 декабря 2017 г. N 2580р
Инструктивные указания о порядке действий поездного электромеханика в штатных и нештатных ситуациях работы высоковольтного электрооборудования двухэтажных вагонов, оборудованных двухпроводной высоковольтной магистралью, утвержденные 25 июля 2019 г. главным инженером Департамента управления бизнес-блоком "Пассажирские перевозки" ОАО "РЖД" Аристовым В.П.
Санитарные правила СП 2.5.3650-20 "Санитарно-эпидемиологические требования к отдельным видам транспорта и объектам транспортной инфраструктуры", утвержденные постановлением Главного государственного санитарного врача Российской Федерации от 16 октября 2020 г. N 30
Свод правил СП 124.13330.2012 "Тепловые сети. Актуализированная редакция СНиП 41-02-2003", утвержденных приказом Минрегиона России от 30 июня 2012 г. N 280
Инструкция по техническому обслуживанию отопительной установки пассажирского вагона N 164 ПКБ ЦВ (с изменениями и дополнениями на 1 сентября 1980 г.), утвержденная 10 ноября 1976 г. заместителем начальника Главного управления вагонного хозяйства МПС Калашниковым В.П.
Руководство по эксплуатации "Котел водогрейный (аппарат отопительный)" ИТЦ 100.00.00.000 РЭ, утвержденное ЗАО "УК "ТрансСервисГрупп"
Руководство по эксплуатации системы обогрева на жидком топливе (СОЖТ) РФПБ.065492.001 РЭ, утвержденное ООО ЦПО "Транстехника"
Руководство по эксплуатации "Вагон пассажирский спальный для международных сообщений габарита RIC модель 61-4476" 4476.00.00.000 РЭ, утвержденное ОАО "ТВЗ" от 20 мая 2013 г.
Приложение А
(справочное)
ПОРЯДОК
СОЕДИНЕНИЯ И РАЗЪЕДИНЕНИЯ ВЫСОКОВОЛЬТНЫХ СОЕДИНЕНИЙ
ПРИ ЭЛЕКТРОСНАБЖЕНИИ ПАССАЖИРСКИХ ПОЕЗДОВ
А.1 Высоковольтное соединение двух соседних вагонов (вагона и локомотива) выполняется в следующем порядке в соответствии с рисунком А.1:
- открыть крышку 1 замка 7;
- вставить ключ (рисунок 3) в отверстие 2 замка 7 и повернуть его на 90° в любом направлении;
- открыть крышку 3;
- вставить штепсель (рисунок А.2) в отверстие 4 до упора;
- зафиксировать крышку 3 возвратом ключа (рисунок 3) в исходное положение;
- вынуть ключ (рисунок 3) из отверстия 2 замка 7.
1, 3 - крышки; 2 - отверстие для ключа; 4 - отверстие
под штепсель; 5 - упор; 6 - пружина; 7 - замок; 8 - изолятор
Рисунок А.1 - Холостой приемник
1 - изолятор; 2 - ручка; 3 - изолятор;
4 - термоусадочная трубка
Рисунок А.2 - Штепсель
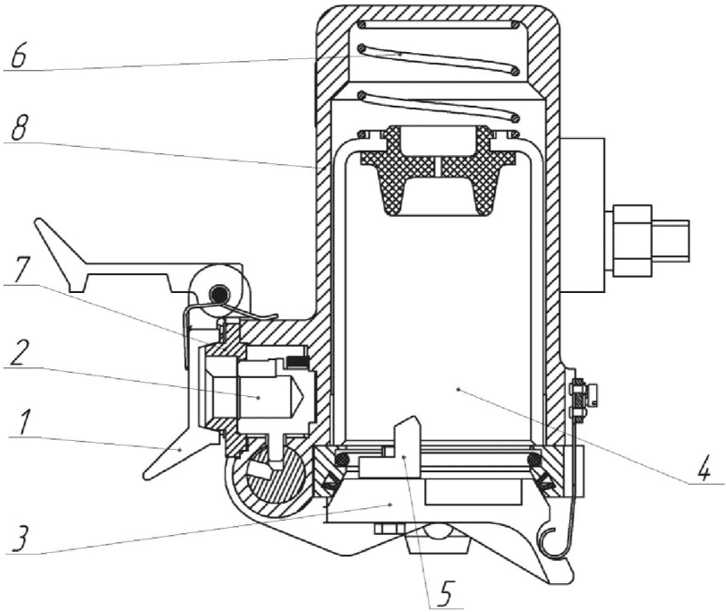
А.2 Для разъединения высоковольтного соединения двух соседних вагонов (вагона и локомотива) необходимо вынуть штепсель из розетки в следующем порядке в соответствии с рисунком А.3:
- открыть крышку 1 замка 6;
- вставить ключ (рисунок 3) в отверстие 16 замка 6 и повернуть его на 90° в любом направлении;
- вынуть штепсель (рисунок А.2) 4 из корпуса 14;
- закрыть крышку 2 отверстия под штепсель (рисунок А.2);
- вернуть ключ (рисунок 3) в отверстии 16 в исходное положение;
- вынуть ключ (рисунок 3) из отверстия 16 замка 6.
1 - крышка замка; 2 - крышка отверстия под штепсель;
3 - упор; 4 - винт крышки замка; 5 - корпус замка;
6 - замок; 7, 15 - болт заземления; 8 - колодка; 9 - болт;
10 - крышка; 11, 14 - корпус; 12 - прижим; 13 - гайка;
16 - отверстие под ключ
Рисунок А.3 - Розетка высоковольтная