Главная // Актуальные документы // Актуальные документы (обновление 2025.08.04-2025.08.30) // ГОСТ (Государственный стандарт)СПРАВКА
Источник публикации
М.: ФГБУ "Институт стандартизации", 2025
Примечание к документу
Документ
вводится в действие с 01.09.2026.
Название документа
"ГОСТ IEC 60598-2-18-2025. Межгосударственный стандарт. Светильники. Часть 2-18. Частные требования. Светильники для плавательных бассейнов и аналогичного применения"
(введен в действие Приказом Росстандарта от 15.07.2025 N 762-ст)
"ГОСТ IEC 60598-2-18-2025. Межгосударственный стандарт. Светильники. Часть 2-18. Частные требования. Светильники для плавательных бассейнов и аналогичного применения"
(введен в действие Приказом Росстандарта от 15.07.2025 N 762-ст)
агентства по техническому
регулированию и метрологии
от 15 июля 2025 г. N 762-ст
МЕЖГОСУДАРСТВЕННЫЙ СТАНДАРТ
СВЕТИЛЬНИКИ
ЧАСТЬ 2-18
ЧАСТНЫЕ ТРЕБОВАНИЯ
СВЕТИЛЬНИКИ ДЛЯ ПЛАВАТЕЛЬНЫХ БАССЕЙНОВ
И АНАЛОГИЧНОГО ПРИМЕНЕНИЯ
Luminaires. Part 2-18. Particular requirements.
Luminaires for swimming pools and similar applications
(IEC 60598-2-18:2022, IDT)
ГОСТ IEC 60598-2-18-2025
Дата введения
1 сентября 2026 года
Цели, основные принципы и общие правила проведения работ по межгосударственной стандартизации установлены
ГОСТ 1.0 "Межгосударственная система стандартизации. Основные положения" и
ГОСТ 1.2 "Межгосударственная система стандартизации. Стандарты межгосударственные, правила и рекомендации по межгосударственной стандартизации. Правила разработки, принятия, обновления и отмены"
1 ПОДГОТОВЛЕН Обществом с ограниченной ответственностью "Всесоюзный научно-исследовательский светотехнический институт имени С.И. Вавилова" (ООО "ВНИСИ") на основе собственного перевода на русский язык англоязычной версии стандарта, указанного в
пункте 5
2 ВНЕСЕН Межгосударственным техническим комитетом по стандартизации МТК 332 "Светотехнические изделия"
3 ПРИНЯТ Межгосударственным советом по стандартизации, метрологии и сертификации (протокол от 30 мая 2025 г. N 185-П)
За принятие проголосовали:
Краткое наименование страны по МК (ИСО 3166) 004-97 | Код страны по МК (ИСО 3166) 004-97 | Сокращенное наименование национального органа по стандартизации |
Азербайджан | AZ | Азстандарт |
Армения | AM | ЗАО "Национальный орган по стандартизации и метрологии" Республики Армения |
Беларусь | BY | Госстандарт Республики Беларусь |
Казахстан | KZ | Госстандарт Республики Казахстан |
Киргизия | KG | Кыргызстандарт |
Молдова | MD | Институт стандартизации Молдовы |
Россия | RU | Росстандарт |
Таджикистан | TJ | Таджикстандарт |
Туркмения | TM | Главгосслужба "Туркменстандартлары" |
Узбекистан | UZ | Узбекское агентство по техническому регулированию |
4
Приказом Федерального агентства по техническому регулированию и метрологии от 15 июля 2025 г. N 762-ст межгосударственный стандарт ГОСТ IEC 60598-2-18-2025 введен в действие в качестве национального стандарта Российской Федерации с 1 сентября 2026 г.
5 Настоящий стандарт идентичен международному стандарту IEC 60598-2-18:2022 "Светильники. Часть 2-18. Частные требования. Светильники для плавательных бассейнов и аналогичного применения" ("Luminaires - Part 2-18: Particular requirements - Luminaires for swimming pools and similar applications", IDT).
Международный стандарт разработан подкомитетом 34D "Освещение" Технического комитета по стандартизации IEC/TC 34 "Лампы и связанное с ними оборудование" Международной электротехнической комиссии (IEC).
При применении настоящего стандарта рекомендуется использовать вместо ссылочных международных стандартов соответствующие им межгосударственные стандарты, сведения о которых приведены в дополнительном
приложении ДА.
Дополнительная сноска в тексте стандарта, выделенная курсивом, приведена для пояснения текста оригинала
Информация о введении в действие (прекращении действия) настоящего стандарта и изменений к нему на территории указанных выше государств публикуется в указателях национальных стандартов, издаваемых в этих государствах, а также в сети Интернет на сайтах соответствующих национальных органов по стандартизации.
В случае пересмотра, изменения или отмены настоящего стандарта соответствующая информация будет опубликована на официальном интернет-сайте Межгосударственного совета по стандартизации, метрологии и сертификации в каталоге "Межгосударственные стандарты"
Настоящий стандарт устанавливает частные требования к стационарным светильникам с электрическими источниками света (далее - светильники), предназначенным для использования в воде или в непосредственной близости от нее, например: в плавательных бассейнах, фонтанах, гребных и садовых водоемах.
Примечание - Правила устройства электроустановок для плавательных бассейнов установлены в IEC 60364-7-702.
Настоящий стандарт не распространяется на светильники, не контактирующие с водой (например, светильники, установленные за защитным стеклом, которое отделено от светильника), а также на ручные или переносные светильники.
Настоящий стандарт следует применять совместно с IEC 60598-1.
В настоящем стандарте использованы нормативные ссылки на следующие стандарты [для датированных ссылок применяют только указанное издание ссылочного стандарта, для недатированных - последнее издание (включая все изменения)]:
IEC 60598-1, Luminaires - Part 1: General requirements and tests (Светильники. Часть 1. Общие требования и испытания)
IEC 60364-7-702, Low-voltage electrical installations - Part 7-702: Requirements for special installations or locations - Swimming pools and fountains (Электрические установки низковольтные. Часть 7-702. Требования к специальным установкам или местам их размещения. Плавательные бассейны и фонтаны)
EN 50525-2-21:2011, Electric cables - Low voltage energy cables of rated voltages up to and including 450/750 V (U0/U) - Part 2-21: Cables for general applications - Flexible cables with crosslinked elastomeric insulation [Кабели электрические. Кабели низковольтные силовые на номинальное напряжение до 450/750 В (U0/U) включительно. Часть 2-21. Кабели общего назначения. Гибкие кабели с изоляцией из сшитого эластомера]
18.3 Термины и определения
В настоящем стандарте применены термины по IEC 60598-1.
ISO и IEC поддерживают терминологические базы данных, используемые в целях стандартизации по следующим адресам:
- Электропедия IEC, доступная по адресу: http://www.electropedia.org/;
- платформа онлайн-просмотра ISO, доступная по адресу: http://www.iso.org/obp.
18.4 Общие требования к испытаниям
Применяют IEC 60598-1 (раздел 0).
Испытания, установленные в каждом соответствующем разделе IEC 60598-1, проводят в последовательности, указанной в настоящем стандарте.
Типовые испытания, как правило, не проводят, поскольку настоящий стандарт не содержит более жестких/критичных требований по сравнению с предыдущими версиями IEC 60598-2-18 (см.
приложение A).
18.5 Классификация светильников
18.5.1 Светильники классифицируют в соответствии с IEC 60598-1 (раздел 2) совместно с требованиями 18.5.2 -
18.5.4.
18.5.2 По способу защиты от поражения электрическим током светильники должны соответствовать классу защиты III и иметь внешние и внутренние цепи, работающие при напряжении не более 12 В переменного тока или 30 В постоянного тока.
18.5.3 По степени защиты от попадания влаги и пыли светильники классифицируют следующим образом:
a) части светильников, которые контактируют с водой бассейна, фонтана и т.д., классифицируют как водонепроницаемые под давлением (IPX8);
b) части светильников, которые не контактируют с водой бассейна, фонтана и т.д., классифицируют как пыле- и брызгозащищенные (IP54).
18.5.4 По способу монтажа, замене источника света и способу подключения к источникам питания светильники классифицируют следующим образом:
a) категория A. Светильники, частично находящиеся в контакте с водой, у которых подключение к источнику питания и замену источников света проводят со стороны, не контактирующей с водой;
b) категория B. Светильники, у которых замену источников света проводят со стороны, контактирующей с водой, после частичного или полного слива воды из бассейна;
c) категория C. Светильники, извлекаемые из воды для замены источников света, в случае заменяемых источников света.
18.6.1 Применяют IEC 60598-1 (раздел 3) совместно с требованиями по 18.6.2 -
18.6.4.
18.6.2 Светильники, предназначенные для использования только в воде, должны иметь маркировку: "Использовать, только погрузив в воду".
18.6.3 Мощность трансформатора, выраженная в вольт-амперах, должна быть указана на светильнике или в инструкции по эксплуатации, поставляемой вместе со светильником.
Примечание - Безопасные разделительные трансформаторы, соответствующие IEC 61558, маркируют согласно IEC 60417-5222:2002-10 следующим символом:

.
18.6.4 В инструкции по эксплуатации, прилагаемой к светильнику, изготовитель должен дать указания по его монтажу, уделяя особое внимание защите от коррозии, например: исключить контакт алюминия и его сплавов с бетоном или аналогичными материалами либо электрохимическое воздействие разнородных металлов.
Информацию о правильной установке светильников изготовитель должен предоставлять с учетом требований IEC 60364-7-702.
18.7.1 Применяют IEC 60598-1 (раздел 4) совместно с требованиями по 18.7.2 и
18.7.3.
18.7.2 Светильники испытывают на механическую прочность нижеприведенным образом.
Детали светильника, включая защитные стекла, которые при нормальной эксплуатации контактируют с водой, подвергают испытанию ударом с энергией 0,7 Дж <1> в направлении давления воды. Испытание проводят на открытом воздухе.
--------------------------------
<1> В целях применения настоящего стандарта единица измерения ньютон-метр (Н·м) заменена на универсальную единицу измерения энергии джоуль (Дж).
18.7.3 Испытания светильников на коррозийную устойчивость проводят нижеприведенным образом.
Детали светильника, которые при нормальной эксплуатации контактируют с водой, погружают в испытательное устройство с искусственной морской водой температурой (25 +/- 2) °C на 14 сут. После испытания на поверхности деталей не должно быть следов коррозии или шероховатостей. Следы коррозии, удаляемые протиркой, не учитывают.
Искусственную морскую воду готовят следующим образом:
- раствор A. NaCl массой 28,0 г, MgCl2·6H2O массой 5,0 г, CaCl2·H2O массой 2,4 г растворяют в дистиллированной воде объемом 885 мл;
- раствор B. MgSO4·7H2O массой 7,0 г, NaHCO3 массой 0,2 г растворяют в дистиллированной воде объемом 100 мл.
Раствор B медленно добавляют в раствор A и тщательно перемешивают. Смесь отстаивают в течение 24 ч и затем фильтруют. Окончательное значение pH смеси доводят до 7 - 8 путем добавления бикарбоната натрия (NaHCO3). Во время стабилизации значения pH пузырьки воздуха должны свободно проходить через смесь.
Материалы, из которых изготовлено испытательное устройство, должны быть такими, чтобы они не могли повлиять на результаты испытаний.
18.8 Пути утечки и воздушные зазоры
Применяют IEC 60598-1 (раздел 11).
Применяют IEC 60598-1 (раздел 7).
Применяют IEC 60598-1 (разделы 14 и 15).
18.11 Внешние провода и провода внутреннего монтажа
18.11.1 Применяют IEC 60598-1 (раздел 5) совместно с требованиями по 18.11.2 -
18.11.5.
18.11.2 Использование соединительных проводов (концов) не допускается.
18.11.3 Выключатели на гибких кабелях или шнурах недопустимы.
18.11.4 Светильники категории B должны иметь несъемный гибкий кабель или шнур с механическими и электрическими характеристиками не хуже, чем у шнуров типа 245 IEC 57 по IEC 60245 или у кабелей, соответствующих EN 50525-2-21:2011 (приложения D и E) или эквивалентному региональному стандарту.
18.11.5 Светильники категории C должны иметь несъемный гибкий кабель или шнур с механическими и электрическими характеристиками не хуже, чем у шнуров типа 245 IEC 57 по IEC 60245 или у кабелей, соответствующих EN 50525-2-21:2011 (приложения D и E) или эквивалентному региональному стандарту.
18.12 Защита от поражения электрическим током
Применяют IEC 60598-1 (раздел 8).
18.13 Испытание на старение и тепловые испытания
18.13.1 Применяют IEC 60598-1 (раздел 12) совместно с требованиями по 18.13.2 и
18.13.3.
18.13.2 Светильники должны быть подвергнуты соответствующим испытаниям по IEC 60598-1 (12.4 - 12.7) после испытаний по IEC 60598-1 (9.2), но до проведения испытаний по IEC 60598-1 (9.3), указанных в
18.14.
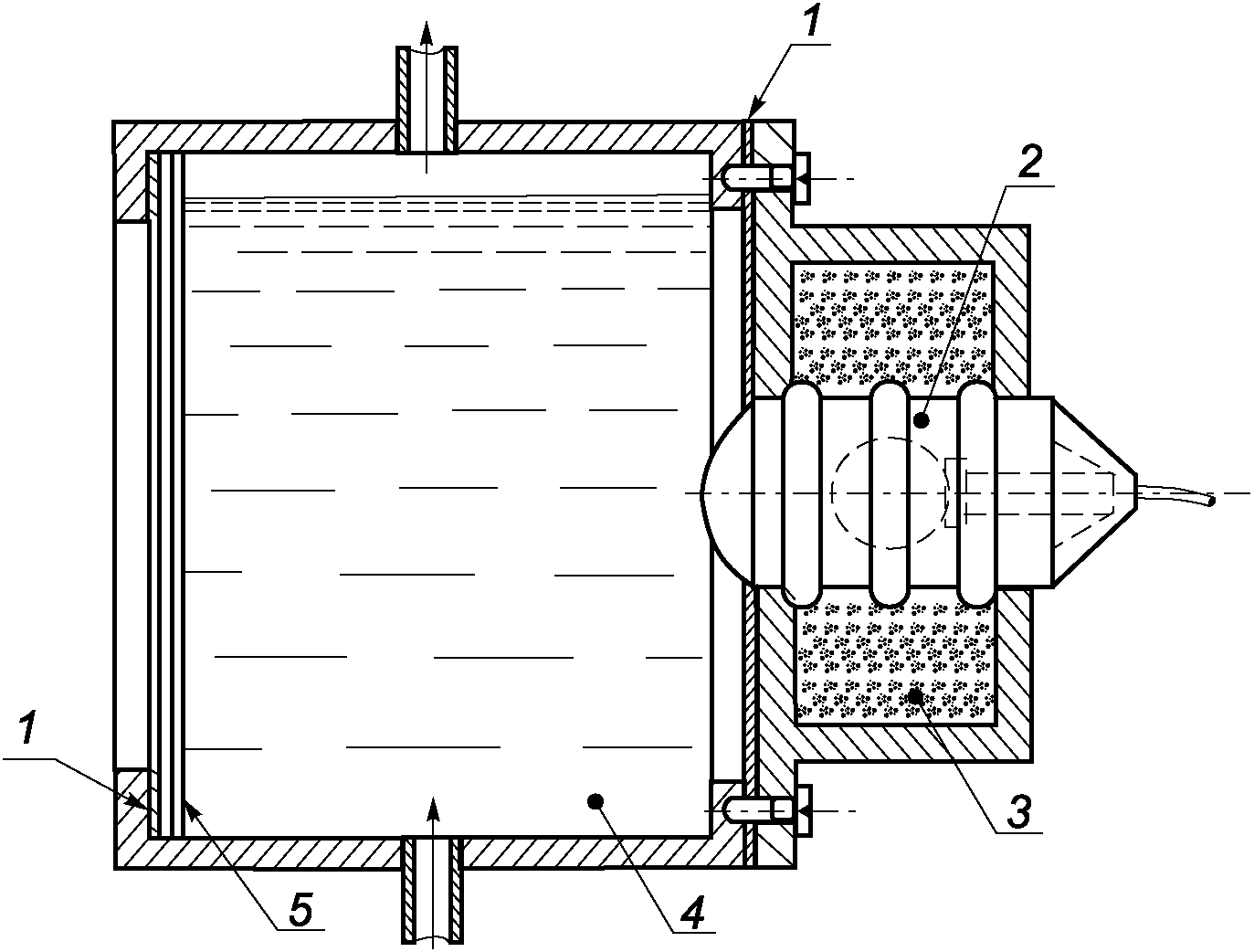
18.13.3 При испытании на старение и при тепловых испытаниях по IEC 60598-1 (раздел 12) светильник должен быть установлен (насколько это возможно) как для нормальной эксплуатации в соответствии с инструкциями, предоставленными изготовителем. Если положение светильника может быть изменено, то выбирают положение наиболее тяжелое для теплового режима. Температуру воды перед светильником поддерживают на уровне (
ta +/- 10) °C. Соответствующее устройство для испытаний светильника, у которого передняя часть находится в контакте с водой, показано на рисунке 1.
1 - уплотнение; 2 - испытуемый образец;
3 - песок с частицами размером приблизительно 1 мм;
4 - вода; 5 - стеклянная перегородка
Рисунок 1 - Рекомендуемое устройство для испытаний
светильников, у которых передняя часть находится
в контакте с водой
18.14 Защита от проникновения пыли, твердых частиц и влаги
18.14.1 Применяют IEC 60598-1 (раздел 9) совместно с требованиями по 18.14.2 и
18.14.3. Испытания по
18.14.3 должны предшествовать испытаниям по IEC 60598-1 (раздел 9). Для проверки надежности уплотнений и аналогичных устройств светильник следует демонтировать до такой степени, которая необходима для нормального технического обслуживания, например для замены источника света, а затем повторно собрать перед проведением испытаний по IEC 60598-1 (раздел 9).
18.14.2 Порядок проведения испытаний по IEC 60598-1 (раздел 9) должен соответствовать указанному в
18.13.
18.14.3 Светильник подвергают испытанию на термический удар нижеприведенным образом.
Светильник работает на открытом воздухе до достижения стабильной температуры, затем его погружают на 30 с в воду температурой (20 +/- 2) °C таким образом, чтобы все части, контактирующие с водой при нормальной работе, находились ниже уровня поверхности воды.
Испытание не проводят на светильниках, имеющих маркировку в соответствии с
18.6.2.
18.15 Сопротивление и электрическая прочность изоляции
Применяют IEC 60598-1 (раздел 10).
18.16 Теплостойкость, устойчивость к воспламенению и токам поверхностного разряда
Применяют IEC 60598-1 (раздел 13).
(справочное)
ИНФОРМАЦИЯ ОБ ИЗМЕНЕНИИ ТРЕБОВАНИЙ
НА БОЛЕЕ ЖЕСТКИЕ/КРИТИЧНЫЕ ТРЕБОВАНИЯ
Настоящий стандарт не содержит более жестких/критичных требований по сравнению с требованиями, установленными в предыдущих версиях настоящего стандарта.
(справочное)
СВЕДЕНИЯ О СООТВЕТСТВИИ ССЫЛОЧНЫХ МЕЖДУНАРОДНЫХ СТАНДАРТОВ
МЕЖГОСУДАРСТВЕННЫМ СТАНДАРТАМ
Таблица ДА.1
Обозначение ссылочного международного стандарта | Степень соответствия | Обозначение и наименование соответствующего межгосударственного стандарта |
IEC 60598-1 | IDT | |
IEC 60364-7-702 | - | |
EN 50525-2-21:2011 | IDT | ГОСТ EN 50525-2-21-2019 "Кабели электрические. Кабели низковольтные силовые на номинальное напряжение до 450/750 В (U0/ U) включительно. Часть 2-21. Кабели общего назначения. Гибкие кабели с изоляцией из сшитого эластомера" <2> |
<*> Соответствующий межгосударственный стандарт отсутствует. До его принятия рекомендуется использовать перевод на русский язык данного международного стандарта. Примечание - В настоящей таблице использовано следующее условное обозначение степени соответствия стандартов: - IDT - идентичные стандарты. |
--------------------------------
<1> В Российской Федерации действует
ГОСТ Р 50571.7.702-2013/МЭК 60364-7-702:2010 "Электроустановки низковольтные. Часть 7. Требования к специальным установкам или местам их размещения. Раздел 702. Плавательные бассейны и фонтаны", идентичный IEC 60364-7-702:2010.
<2> Не действует в Российской Федерации.
IEC 60417 <1> Graphical symbols for use on equipment, available at http://www.graphical-symbols.info/equipment (Графические символы для использования на оборудовании, доступен по адресу http://www.graphical-symbols.info/equipment) |
IEC 61558 (all parts), Safety of transformers, reactors, power supply units and combinations thereof [Безопасность трансформаторов, реакторов, блоков питания и их комбинаций (все части)] |
--------------------------------
<1> Заменен. Действует IEC 60417-DB-12M:2002.
УДК 628.94.041:006.354 | | IDT |
Ключевые слова: светильники, плавательные бассейны, частные требования, классификация, маркировка, конструкция, испытания |