Главная // Актуальные документы // Актуальные документы (обновление 2025.08.04-2025.08.30) // ГОСТ Р (Государственный стандарт)СПРАВКА
Источник публикации
М.: ФГБУ "Институт стандартизации", 2025
Примечание к документу
Документ
вводится в действие с 01.12.2025.
Название документа
"ГОСТ Р 72095-2025. Национальный стандарт Российской Федерации. Покрытия бесшовные резиновые. Технические требования и методы испытаний"
(утв. и введен в действие Приказом Росстандарта от 27.05.2025 N 479-ст)
"ГОСТ Р 72095-2025. Национальный стандарт Российской Федерации. Покрытия бесшовные резиновые. Технические требования и методы испытаний"
(утв. и введен в действие Приказом Росстандарта от 27.05.2025 N 479-ст)
Утвержден и введен в действие
агентства по техническому
регулированию и метрологии
от 27 мая 2025 г. N 479-ст
НАЦИОНАЛЬНЫЙ СТАНДАРТ РОССИЙСКОЙ ФЕДЕРАЦИИ
ПОКРЫТИЯ БЕСШОВНЫЕ РЕЗИНОВЫЕ
ТЕХНИЧЕСКИЕ ТРЕБОВАНИЯ И МЕТОДЫ ИСПЫТАНИЙ
Seamless rubber surfaces.
Technical requirements and test methods
ГОСТ Р 72095-2025
Дата введения
1 декабря 2025 года
1 РАЗРАБОТАН Союзом региональных производителей резиновых покрытий
2 ВНЕСЕН Техническим комитетом по стандартизации ТК 444 "Спортивные и туристские изделия, оборудование, инвентарь, физкультурные и спортивные услуги"
3 УТВЕРЖДЕН И ВВЕДЕН В ДЕЙСТВИЕ
Приказом Федерального агентства по техническому регулированию и метрологии от 27 мая 2025 г. N 479-ст
4 ВВЕДЕН ВПЕРВЫЕ
Правила применения настоящего стандарта установлены в статье 26 Федерального закона от 29 июня 2015 г. N 162-ФЗ "О стандартизации в Российской Федерации". Информация об изменениях к настоящему стандарту публикуется в ежегодном (по состоянию на 1 января текущего года) информационном указателе "Национальные стандарты", а официальный текст изменений и поправок - в ежемесячном информационном указателе "Национальные стандарты". В случае пересмотра (замены) или отмены настоящего стандарта соответствующее уведомление будет опубликовано в ближайшем выпуске ежемесячного информационного указателя "Национальные стандарты". Соответствующая информация, уведомление и тексты размещаются также в информационной системе общего пользования - на официальном сайте Федерального агентства по техническому регулированию и метрологии в сети Интернет (www.rst.gov.ru)
Настоящий стандарт распространяется на бесшовные резиновые покрытия (далее - покрытия), применяемые на уличных спортивных площадках общего пользования, беговых и пешеходных дорожках.
Настоящий стандарт не распространяется на покрытия с защитой от шипованной обуви, применяемые на спортивных объектах различного типа при проведении спортивных и физкультурно-оздоровительных мероприятий.
Стандарт устанавливает требования к качеству покрытий и методы их испытаний.
В настоящем стандарте использованы нормативные ссылки на следующие стандарты:
ГОСТ 166 (ИСО 3599-76) Штангенциркули. Технические условия
ГОСТ 427 Линейки измерительные металлические. Технические условия
ГОСТ 7502 Рулетки измерительные металлические. Технические условия
ГОСТ 28093 Материалы текстильные. Ткань смежная хлопковая. Технические требования и методы испытания
ГОСТ 28243 Пирометры. Общие технические требования
Примечание - При пользовании настоящим стандартом целесообразно проверить действие ссылочных стандартов в информационной системе общего пользования - на официальном сайте Федерального агентства по техническому регулированию и метрологии в сети Интернет или по ежегодному информационному указателю "Национальные стандарты", который опубликован по состоянию на 1 января текущего года, и по выпускам ежемесячного информационного указателя "Национальные стандарты" за текущий год. Если заменен ссылочный стандарт, на который дана недатированная ссылка, то рекомендуется использовать действующую версию этого стандарта с учетом всех внесенных в данную версию изменений. Если заменен ссылочный стандарт, на который дана датированная ссылка, то рекомендуется использовать версию этого стандарта с указанным выше годом утверждения (принятия). Если после утверждения настоящего стандарта в ссылочный стандарт, на который дана датированная ссылка, внесено изменение, затрагивающее положение, на которое дана ссылка, то это положение рекомендуется применять без учета данного изменения. Если ссылочный стандарт отменен без замены, то положение, в котором дана ссылка на него, рекомендуется применять в части, не затрагивающей эту ссылку.
В настоящем стандарте применены следующие термины с соответствующими определениями:
3.1
уличная спортивная площадка общего пользования: Специально оборудованная территория, имеющая пространственно-территориальные границы, предназначенная для физкультурно-спортивных занятий и тестирования физической подготовленности пользователей, включающая в себя соответствующие оборудование и покрытие. |
3.2 бесшовное резиновое покрытие: Поверхность площадки или дорожки, изготовленная на месте путем смешивания наполнителя (резино-полимерной крошки на основе бутадиен-стирольных каучуков и/или этилен-пропилен-диеновых каучуков) и полиуретанового связующего.
Покрытия должны соответствовать требованиям настоящего стандарта, технологической и конструкторской документации.
Поверхность готового покрытия должна быть однородной и не иметь видимых дефектов (разрывов, разломов, трещин и т.п.). На поверхности покрытия не допускается наличие неровностей в виде бугорков, лунок глубиной более 4 мм, ступенек или выпуклостей швов высотой более 3 мм по границе разных цветов покрытия.
Покрытие должно соответствовать физико-механическим характеристикам, указанным в
таблице 1.
Таблица 1
Физико-механические характеристики покрытия
Определяемая характеристика | Числовые показатели |
Толщина, мм | >= 10 |
Прочность на разрыв, МПа | >= 0,50 |
Адгезия к основанию <*>, МПа | >= 0,23 |
Устойчивость окраски к мокрому трению, баллы | 4 |
<*> Характеристика не применима при укладке покрытия на сыпучее основание. |
При сдаче покрытия в эксплуатацию производитель предоставляет паспорт на покрытие, в котором должны быть указаны технические характеристики и назначенный срок службы.
5.1 Условия проведения испытаний
В лабораторных условиях испытания проводят на образцах покрытия, выдержанных при температуре (20 +/- 3) °C в течение не менее 2 ч.
Испытания смонтированного покрытия в полевых условиях проводят в светлое время суток при отсутствии осадков, при температуре покрытия от 17 °C до 23 °C.
5.2 Определение толщины покрытия
5.2.1 Средства измерения и испытательное оборудование:
- линейка измерительная металлическая по
ГОСТ 427;
- штангенциркуль двусторонний с глубиномером по
ГОСТ 166;
- рулетка измерительная металлическая по
ГОСТ 7502;
Для проведения испытаний на смонтированном резиновом покрытии применяют устройство для измерения толщины, состоящее из стального зонда круглого сечения диаметром 4 мм, угол острия 120° +/- 5°, как показано на
рисунке 1.
1 - зонд; 2 - упор зонда; 3 - опорная площадка;
4 - винт фиксирующий; 5 - корпус
Рисунок 1 - Устройство для измерения толщины покрытия
5.2.2 Метод N 1. Определение толщины покрытия путем прокола зондом на смонтированном резиновом покрытии
При испытании устройство прижимают опорной площадкой к поверхности покрытия. Зонд вдавливают в покрытие до контакта с основанием. Затем винтом 4 фиксируют зонд относительно корпуса 5. После этого зонд извлекают из покрытия и измеряют величину выхода зонда над поверхностью опорной площадки устройства штангенциркулем.
Количество проколов осуществляют в соответствии с техническим заданием, но не менее 5 проколов, при этом расстояние между двумя ближайшими проколами должно быть не менее 2000 мм.
5.2.3 Метод N 2. Определение толщины покрытия в лабораторных условиях
5.2.3.1 Подготовка образца к испытанию
| | ИС МЕГАНОРМ: примечание. В официальном тексте документа, видимо, допущена опечатка: пункт 6.3.2 отсутствует. | |
Образец вырезают из покрытия. Размер образца - длина 100 мм и ширина 40 мм; или используют образцы, предназначенные для определения прочности на разрыв по 6.3.2.
5.2.3.2 Порядок проведения испытания
Определение толщины покрытия проводят на не менее чем шести образцах.
Измерение толщины образца покрытия осуществляют штангенциркулем не менее чем в пяти точках, расположенных равномерно по длине образца.
5.3 Определение прочности покрытия на разрыв
5.3.1 Средства измерения и испытательное оборудование:
- линейка измерительная металлическая по
ГОСТ 427;
- разрывная машина 2-го класса точности.
5.3.2 Подготовка образца к испытанию
Образец должен соответствовать форме и размерам, указанным на
рисунке 2.
1 - длина рабочей части; 2 - расстояние между захватами
Рисунок 2 - Форма и размеры образца испытания
5.3.3 Порядок проведения испытания
5.3.3.1 Образец фиксируют зажимами. Далее производят растяжение образца со скоростью (150 +/- 5) мм/мин, до разрыва. Фиксируют усилие разрыва.
Испытания проводят на шести образцах.
5.3.3.2 Вычисляют значение площади сечения образца S, мм2.
Для расчета площади сечения измеряют ширину и толщину образца не менее чем в трех точках вдоль осевой линии в рабочей части. По результатам замеров рассчитывают их среднее арифметическое значение.
5.3.4 Обработка результатов испытаний
Прочность покрытия на разрыв

, МПа, вычисляют по формуле

(1)
где F - значение усилия разрыва образца, Н;
S - площадь сечения образца, мм2.
5.4 Определение усилия на отрыв покрытия от поверхности основания
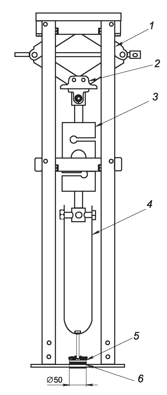
5.4.1 Средства измерения и испытательное оборудование:
- динамометр;
- устройство для создания усилия отрыва резинового покрытия от поверхности основания, как показано на
рисунке 3;
- металлические диски диаметром 50 мм с конструкцией (системой) фиксации резинового покрытия и хвостовиком, см.
рисунок 4.
1 - рама; 2 - силовой элемент; 3 - динамометр; 4 - захват;
5 - металлический диск с конструкцией (системой) фиксации
резинового покрытия и хвостовиком; 6 - резиновое покрытие
Рисунок 3 - Пример схемы измерения усилия
отрыва резинового покрытия
1 - резиновое покрытие; 2 - шуруп; 3 - металлический диск;
4 - хвостовик
Рисунок 4 - Металлический диск с конструкцией (системой)
фиксации резинового покрытия и хвостовиком
5.4.2 Испытание на смонтированном резиновом покрытии
Измеряют силу отрыва резинового покрытия от поверхности основания в направлении, перпендикулярном к плоскости покрытия, с помощью приклеенного (зафиксированного) металлического диска и устройства создания усилия. Схема измерения усилия отрыва резинового покрытия показана на
рисунке 3. Испытания проводят в пяти точках резинового покрытия. Расстояние между точками измерений не менее 500 мм.
5.4.2.1 Подготовка образца к испытанию
На смонтированное резиновое покрытие наклеивают металлический диск с последующим вкручиванием шурупов с резьбой, смазанной клеем, в покрытие до касания наконечником шурупа основания. Подготовку клея и склеивание производят в соответствии с инструкцией по применению клея. После приклеивания металлического диска резиновое покрытие надрезают перпендикулярно к плоскости покрытия до основания по периметру металлического диска.
5.4.2.2 Порядок проведения испытаний
Металлический диск, наклеенный на резиновое покрытие, с хвостовиком соединяют с устройством создания усилия (см.
рисунок 3). Нагружение осуществляют равномерно со скоростью (150 +/- 50) мм/мин до значения, указанного в
таблице 1. В случае отрыва резинового покрытия от диска или поверхности основания фиксируют величину силы, при которой произошел отрыв.
5.5 Устойчивость окраски покрытий к мокрому трению
Испытание проводят в лаборатории на образце покрытия или на покрытии, смонтированном на объекте.
5.5.1 Средства измерения и испытательное оборудование:
- испытательное устройство, обеспечивающее усилие и заданную скорость перемещения фрикционного цилиндра
(рисунок 5);
- фрикционный цилиндр весом (30 +/- 1,0) Н с резиновым диском твердостью от 60 до 65 по Шору A, см.
рисунок 6;
- смежная ткань по ГОСТ 28093.
1 - устройство перемещения фрикционного цилиндра;
2 - фрикционный цилиндр; 3 - резиновое покрытие;
4 - смежная ткань
Рисунок 5 - Испытательное устройство
1 - цилиндр; 2 - смежная ткань; 3 - проушина
Рисунок 6 - Фрикционный цилиндр
5.5.2 Требования к образцу испытания
Температура образца должна быть в диапазоне от 15 °C до 25 °C.
5.5.3 Порядок проведения испытания
Место испытания очищают от грязи и пыли и увлажняют. На фрикционный цилиндр натягивают смежную ткань. Устройство перемещения фрикционного цилиндра и фрикционный цилиндр размещают на подготовленной к проведению испытаний поверхности. Трение неокрашенной хлопчатобумажной ткани об испытуемую поверхность производят линейным, возвратно-поступательным движением фрикционного цилиндра, на расстоянии (140 +/- 5) мм. Количество возвратно-поступательных перемещений - 10 циклов.
5.5.4 Оценка результатов испытания
Результат переноса красителя с покрытия на смежную ткань оценивают визуально.
Сравнение смежной ткани с эталоном проводят на сером фоне. Интенсивность окружающего поля должна быть между 1 и 2 баллами шкалы серых эталонов для оценки переноса красителя. Сравниваемые поверхности должны освещаться дневным светом с северной стороны или источником света в 600 лк или более. Свет должен падать на поверхность приблизительно под углом 45°, а направление луча зрения наблюдателя должно быть перпендикулярно к поверхности образцов.
Оценку переноса красителя с покрытия на ткань проводят для каждого цвета в пределах одной поверхности.
5.6 Ровность поверхности покрытий
Примечание - Это требование определяют только на смонтированном покрытии, поскольку оно является мерой общей конструкции, а не конкретной характеристикой поверхностного элемента.
5.6.1 Средства измерения и испытательное оборудование:
- рулетка измерительная металлическая по
ГОСТ 7502;
- линейка измерительная металлическая по
ГОСТ 427 длиной (300 +/- 5) мм;
- клин измерительный.
Уклон клина должен быть размечен таким образом, чтобы отображать расстояние между нижней и верхней поверхностями клина с шагом 1 мм на участке первых 10 мм от начала клина и с шагом 2,5 мм далее, с точностью не менее 0,1 мм, как показано на
рисунке 7.
1 - длина (300 +/- 1) мм; 2 - ширина (25 +/- 1) мм
Рисунок 7 - Клин измерительный
5.6.2 Порядок проведения испытаний
Линейку устанавливают опорной поверхностью (на ребро) перпендикулярно к поверхности покрытия.
Точки измерения определяют произвольно, не менее 10 точек.
Для выявления неровностей линейку передвигают во взаимно перпендикулярных направлениях по поверхности площадки.
При выявлении свободного пространства между линейкой и исследуемой поверхностью измеряют зазор с помощью измерительного клина (вставляя клин измерительный в пространство между линейкой и исследуемой поверхностью), как показано на
рисунке 8.
1 - линейка; 2 - опорная поверхность;
3 - измерительный клин
Рисунок 8 - Схема измерения зазора
В месте контакта клина с линейкой штангенциркулем измеряют толщину клина измерительного. Фиксируют результаты измерений с точностью до 1 мм. Рулеткой замеряют координаты точки фиксации измерения и отмечают на схеме площадки.
Срок годности покрытий - не менее 36 мес с момента монтажа при соблюдении условий и правил по эксплуатации, указанных в паспорте на покрытие.
7 Требования охраны окружающей среды
По истечении срока службы покрытие подлежит утилизации в соответствии с паспортом на покрытие.
Перед снятием покрытие очищают от мусора, песка, посторонних предметов.
Снятие покрытия с площадки проводят механическим способом таким образом, чтобы исключить попадание посторонних включений в снимаемый слой для его дальнейшей переработки.
Снятое с площадки покрытие разрезают на куски, складируют и транспортируют к месту утилизации.
Покрытие перерабатывают механическим или химическим способом. Продукт переработки может быть использован в качестве сырьевого компонента при производстве строительных материалов.
УДК 796.023.1:006.354 | |
Ключевые слова: спортивная площадка, уличная спортивная площадка общего пользования, бесшовное резиновое покрытие |