Главная // Актуальные документы // Актуальные документы (обновление 2025.06.02-2025.07.05) // ГрафикСПРАВКА
Источник публикации
М.: Стройиздат, 1970
Примечание к документу
Название документа
"Руководство по монтажу панельных и каркасно-панельных жилых и общественных зданий"
"Руководство по монтажу панельных и каркасно-панельных жилых и общественных зданий"
ПО МОНТАЖУ ПАНЕЛЬНЫХ И КАРКАСНО-ПАНЕЛЬНЫХ
ЖИЛЫХ И ОБЩЕСТВЕННЫХ ЗДАНИЙ
Руководство разработано в развитие главы СНиП III-В.3-62 "Бетонные и железобетонные конструкции сборные. Правила производства и приемки монтажных работ" и содержит рекомендации по монтажу сборных конструкций при возведении крупнопанельных и каркасно-панельных зданий.
Основные положения руководства распространяются на все серии крупнопанельных и каркасно-панельных жилых и общественных зданий. Руководство предназначено для инженерно-технических работников строительных и проектных организаций.
Разработано Центральным научно-исследовательским и проектно-экспериментальным институтом организации, механизации и технической помощи строительству (ЦНИИОМТП) Госстроя СССР.
Настоящее Руководство содержит основные положения и рекомендации по монтажу конструкций панельных и каркасно-панельных жилых и общественных зданий.
В Руководстве приводятся основные требования к сборным конструкциям, производству геодезических и монтажных работ, заделке стыков и швов и контролю качества.
Общее руководство по составлению и подготовке рукописи к изданию выполнено инж. А.К. Герасимовым (Госстрой СССР), кандидатами технических наук М.Я. Егнусом и В.Н. Сведловым, инж. З.А. Каковкиной.
Материалы отдельных разделов разработаны:
разделов 1 и
2 - инж. З.А. Каковкиной и канд. техн. наук В.Н. Сведловым;
раздела 3 и
4 - канд. техн. наук М.С. Сашенковым, инж. О.Г. Носковым, инж. Ф.Е. Ипполитовым;
раздела 5 - канд. техн. наук В.С. Сытником; канд. техн. наук А.К. Зайцевым и
раздела 6 - канд. техн. наук В.Н. Сведловым, инж. З.А. Каковкиной, С.А. Щербаковой и А.Л. Левинзоном;
раздела 7 - д-ром техн. наук Г.Б. Ивянским, кандидатами технических наук В.Б. Белевичем и Н.П. Шиповским, инженерами В.А. Анзигитовым и А.Ю. Зонтовым;
раздела 8 - д-р техн. наук С.А. Мироновым, кандидатами техн. наук Б.А. Крыловым и В.И. Мухой, инж. Ю.Н. Абакумовым;
раздела 9 - канд. техн. наук Н.Н. Жуленевым.
1.1. Настоящее Руководство составлено в развитие главы СНиП III-В.3-62 "Бетонные и железобетонные конструкции сборные. Правила производства и приемки монтажных работ" и распространяется на производство и приемку работ по монтажу сборных конструкций крупнопанельных и каркасно-панельных жилых и общественных зданий.
1.2. Монтаж сборных железобетонных конструкций осуществляется в соответствии с рабочими чертежами здания и проектом производства работ с соблюдением требований главы СНиП III-В.3-62 "Бетонные и железобетонные конструкции сборные. Правила производства и приемки монтажных работ", главы СНиП III-А.11-62 "Техника безопасности в строительстве" и рекомендациями настоящего Руководства.
1.3. Монтаж сборных конструкций в сейсмических районах, районах распространения вечной мерзлоты и просадочных грунтов, а также на территориях горных выработок должен выполняться с учетом специальных требований, предусмотренных проектом.
1.4. При производстве сварочных работ следует руководствоваться "Указаниями по сварке соединения арматуры и закладных деталей железобетонных конструкций" (СН 393-69).
2. ОБЩИЕ УКАЗАНИЯ ПО ОРГАНИЗАЦИИ РАБОТ
2.1. До начала монтажа сборных конструкций должны быть выполнены подготовительные работы, предусмотренные главой СНиП III-А.6-62 "Организационно-техническая подготовка к строительству. Основные положения".
2.2. Монтаж подземной и надземной частей зданий следует осуществлять, как правило, с транспортных средств.
2.3. Монтаж зданий с транспортных средств должен вестись по специально разработанным в проектах производства работ технологическим картам и оперативной документации (по часовым графикам доставки и монтажа сборных деталей и конструкций, комплектовочным ведомостям и т.п.).
2.4. При возведении надземной части здания все строительные процессы должны выполняться по совмещенному графику.
Совмещенный график должен быть составлен с учетом требований главы СНиП III-А.11-62 "Техника безопасности в строительстве" раздела 14 ("Монтажные работы при строительстве зданий и сооружений из крупноразмерных элементов и конструкций").
2.5. Монтаж конструкций здания следует, как правило, производить на нижних 4 - 5 этажах в две-три смены, а на вышележащих в две смены, освобождая одну смену для выполнения других общестроительных и специальных работ.
Примечание. Освещенность в темное время суток в соответствии с нормами электрического освещения строительно-монтажных работ должна быть как минимум 30 лк и обеспечена по всей высоте сборки. Вертикальная освещенность должна быть обеспечена в плоскости монтажа конструкций.
2.6. Выбор кранов и других монтажных механизмов для монтажа зданий должен производиться при составлении проекта производства работ на основе технико-экономических расчетов с учетом количества, размера и веса монтируемых элементов, этажности, конфигурации и размеров возводимого здания и темпов монтажа. Типы кранов и их технические характеристики приведены в
приложении 1.
2.7. Для лучшего использования монтажного крана как основного ведущего механизма необходимо:
а) разгрузку сборных конструкций на приобъектном складе производить специальным краном; использовать для этого монтажный кран разрешается только в ту смену, в которую не ведется монтаж;
б) оснащать краны комплектами рациональных стропующих устройств и монтажных приспособлений, позволяющих сократить время на строповку и расстроповку монтируемых элементов, а также на установку их в проектное положение;
в) максимально сокращать горизонтальное перемещение изделий при подаче их краном на монтаж, для чего сборные изделия должны размещаться на складе (или подаваться панелевозами при монтаже с колес) против мест установки их в здание.
2.8. Для производства монтажных работ рекомендуется применять приспособления, инструменты и механизмы, перечень которых приведен в
приложении 2.
2.9. Строительные организации обязаны к началу монтажа обеспечить подъезды от основных магистралей к местам приема и разгрузки изделий. При этом на пути следования должны быть установлены необходимые указатели.
3. ТРЕБОВАНИЯ К СБОРНЫМ КОНСТРУКЦИЯМ
3.1. Сборные элементы конструкций, поступающие на строительную площадку, должны быть снабжены паспортами, выдаваемыми потребителю предприятием-изготовителем при отпуске изделий.
3.2. Поставка конструкций и материалов на объект должна осуществляться комплектно в строго установленной технологической последовательности монтажа в соответствии с графиком производства работ.
3.3. На основе графика производства строительно-монтажных работ и конкретных условий строительства необходимо разрабатывать следующую техническую документацию на комплектацию:
а) сводную ведомость комплектации;
б) график комплектации объекта;
в) ведомости материалов, входящих в комплект.
3.4. Контроль за поставками конструкций должен осуществляться диспетчерской службой на основе графиков комплектации.
Диспетчерская служба должна руководствоваться правилами, изложенными в СН 370-67 "Инструкция по применению диспетчеризации в строительстве".
3.5. Элементы конструкций должны иметь хорошо видимую маркировку и клеймо ОТК предприятия-изготовителя, нанесенное несмываемой краской.
Элементы конструкций, у которых трудно отличить низ от верха или с несимметричной рабочей арматурой, должны иметь надпись "верх" или другие опознавательные знаки для определения правильного их положения при перевозке, складировании и монтаже.
Элементы, которые нельзя кантовать, должны иметь надпись: "Не кантовать".
3.6. Приемка элементов конструкций производится монтирующей организацией путем проверки соответствия паспортных данных проектным и осмотра конструкций.
Внешним осмотром следует проверять: отсутствие деформаций, повреждений (околов), проектные размеры, размеры и правильность расположения борозд, ниш, четвертей, отверстий, правильность расположения закладных деталей, выпусков арматуры, фиксирующих устройств, соответствие лицевой поверхности изделия требованиям проекта, отсутствие раковин, трещин, наплывов.
3.7. Сборные железобетонные конструкции должны отвечать требованиям проекта и ГОСТ 13015-67 "Изделия железобетонные и бетонные. Общие технические требования", ГОСТам на отдельные виды железобетонных и бетонных изделий.
3.8. Сборные элементы должны поставляться предприятием-изготовителем на строительную площадку с комплектующими стальными деталями, необходимыми для выполнения сварных соединений. Эти детали по маркам сталей должны соответствовать соединяемым закладным частям.
3.9. На отбракованные элементы следует составлять акт с участием представителей генерального подрядчика, монтирующей организации и предприятия-изготовителя.
3.10. При приемке конструкций следует проверять наличие защитных покрытий на открытых поверхностях закладных деталей, предусмотренных проектом.
4. ТРАНСПОРТИРОВАНИЕ И СКЛАДИРОВАНИЕ СБОРНЫХ КОНСТРУКЦИЙ
4.1. Элементы сборных конструкций должны доставляться от предприятия-изготовителя к месту монтажа без повреждений.
4.2. Ответственность за правильность укладки элементов сборных конструкций на транспортные средства при отпуске с завода несет предприятие-изготовитель. Ответственность за их сохранность в пути несет транспортная организация. За правильность разгрузки изделий и их складирование на приобъектном складе несет ответственность строительная организация.
4.3. Автотранспорт для перевозки железобетонных и бетонных изделий должен иметь необходимые приспособления, обеспечивающие устойчивое положение изделий при перевозке.
4.4. Очередность и сроки доставки элементов на строительную площадку должны соответствовать требованиям проекта производства работ.
Монтаж с транспортных средств должен соответствовать монтажно-транспортному графику, в котором указываются время погрузки, движения и разгрузки каждой автомашины.
4.5. При монтаже конструкций с транспортных средств порядок размещения элементов на транспортные средства производится с учетом последовательности монтажа.
4.6. Перевозка элементов сборных конструкций от предприятия-изготовителя к месту монтажа должна производиться с соблюдением следующих требований:
а) элементы конструкций должны находиться в положении, близком к проектному, за исключением колонн и свай, которые следует перевозить в горизонтальном положении, а также плоских плит перекрытий, которые должны перевозиться в вертикальном положении;
б) элементы конструкций должны опираться на деревянные инвентарные подкладки и прокладки, располагаемые в местах, указанных в рабочих чертежах на изготовление этих элементов.
Применение промежуточных прокладок не допускается. Толщина прокладок и подкладок должна быть не менее 25 мм и не менее высоты петель и других выступающих частей элементов конструкции.
При многоярусной погрузке подкладки и прокладки должны располагаться строго по одной вертикали. Элементы конструкций должны быть тщательно укреплены для предохранения от опрокидывания, продольного и поперечного смещения, а также от ударов друг о друга;
в) элементы конструкций из легких бетонов, в том числе ячеистых, а также открытые поверхности утепляющих слоев должны быть защищены от увлажнения.
Офактуренные поверхности стеновых панелей и блоков необходимо защищать от повреждений.
4.7. Длина свисающей с платформы транспортных средств части конструкции не должна превышать указанной в рабочих чертежах.
4.8. Перевозку конструкций по железной дороге следует производить в соответствии с действующими правилами перевозки грузов по железным дорогам СССР и правилами, изложенными в "Руководстве по перевозке железнодорожным транспортом сборных крупноразмерных железобетонных конструкций промышленного и жилищного строительства" (одобренном Госстроем СССР и Грузовым управлением МПС).
4.9. Погрузка элементов конструкций на транспортные средства и разгрузка на строительной площадке должны производиться с применением приспособлений, предусмотренных проектом производства работ.
4.10. Погрузочно-разгрузочные работы необходимо выполнять под руководством мастера (бригадира), имеющего специальную подготовку. Он обязан следить за правильным размещением элементов на складе, применением безопасных способов производства погрузочно-разгрузочных работ, исправным состоянием подъемно-транспортного оборудования и приспособлений и сохранностью элементов конструкции при их складировании и подъеме для монтажа.
4.11. Элементы, подвергаемые укрупнительной сборке, надлежит хранить на складе, примыкающем к стендам укрупнения.
4.12. При хранении конструкций на приобъектном складе должны соблюдаться следующие требования:
а) площадка для склада должна быть тщательно выровнена и спланирована. С площадки должен быть обеспечен отвод поверхностных вод;
б) раскладка конструкций и размещение штабелей должны производиться в зоне действия монтажного крана с учетом последовательности монтажа;
в) конструкции, имеющие большой вес (или парусность), должны размещаться ближе к монтажному крану;
г) хранение конструкций должно производиться в условиях, исключающих возможность их деформирования и загрязнения, а для конструкций, изготовленных из легких бетонов, и увлажнения. При хранении конструкций в горизонтальном положении в штабелях нижний ряд прокладок укладывается на выровненное основание, прокладки всех вышележащих рядов должны быть расположены строго по вертикали одна над другой;
д) на территории склада должны быть установлены указатели проездов и проходов. Проходы между штабелями следует устраивать в продольном направлении через каждые два смежных штабеля, а в поперечном - не реже чем через 25 м. Ширина проходов должна быть не менее 0,7 м, а зазоры между смежными штабелями должны быть не менее 0,2 м;
е) элементы конструкций следует размещать так, чтобы их заводская маркировка была видна со стороны прохода или проезда, а монтажные петли изделий, уложенных в штабеля, были обращены кверху;
ж) панели наружных и внутренних стен, перегородки должны складироваться в пирамидах в положении, близком к вертикальному;
з) фундаментные блоки, панели перекрытий, лестничные марши и площадки, карнизные блоки, железобетонные балки, колонны и ригели должны храниться в штабелях в горизонтальном положении;
и) штабеля должны быть замаркированы или снабжены табличками с указанием количества и типа складированных в них конструкций.
4.13. Колонны должны укладываться в штабеля в четыре ряда по высоте; прокладки необходимо размещать на расстоянии 120 см (при длине колонны 6,6 м) и на расстоянии 50 см (при длине 3,3 м) от торца колонны.
4.14. Ригели должны укладываться в штабель на ребро не более трех рядов по высоте с подкладками на расстоянии 120 см от торцов ригелей. Ригели верхнего ряда штабеля должны быть скреплены между собой за монтажные петли скруткой.
4.15. Плиты перекрытий (многопустотные) следует укладывать в штабеля плашмя высотой не более 2,5 м (10 - 12 рядов) в зависимости от основания склада; подкладки следует располагать перпендикулярно пустотам на расстоянии 25 см от края плит.
4.16. Лестничные марши следует укладывать ступенями вверх штабелями в 5 - 6 рядов по высоте, прокладки необходимо располагать вдоль маршей на расстоянии 15 см от края.
4.17. Лестничные площадки должны укладываться в горизонтальном положении не более четырех рядов по высоте с установкой прокладок на расстоянии 30 см от торцов.
5.1. Настоящий раздел содержит рекомендации по геодезическим работам, выполняемым при возведении крупнопанельных и каркасных зданий. При выполнении других геодезических работ на строительной площадке следует руководствоваться соответствующими нормативными документами.
5.2. На геодезическую службу строительства при возведении здания из сборных железобетонных конструкций должны возлагаться задачи:
а) обеспечения возводимого здания всеми видами геодезических разбивок, необходимых для монтажа строительных конструкций;
б) обеспечения геодезического контроля за соответствием геометрических параметров возводимого здания в целом и его отдельных частей их проектным значениям.
5.3. Организация геодезических работ, выполняемых на объекте, должна осуществляться в соответствии с проектом производства работ.
5.4. В каждом строительно-монтажном управлении (либо непосредственно на объекте) геодезистом должен вестись журнал учета выполнения геодезических работ
(приложение 3).
5.5. До начала производства разбивочных работ геодезист обязан проверить соответствующую проектную документацию по объекту.
5.6. Все применяемые геодезические инструменты перед началом геодезических работ должны быть проверены.
5.7. При производстве геодезических разбивочных работ и исполнительных съемок результаты всех полевых измерений должны заноситься в специальный (полевой) журнал.
Геодезические работы при монтаже подземной части зданий
5.8. До начала производства работ по разбивке фундаментов должны быть приняты в установленном порядке следующие геодезические работы:
надежно закрепленные в натуре (монолитами) основные оси здания;
исполнительная съемка открытого котлована в плане и по высоте.
5.9. При монтаже подземной части зданий должен быть произведен следующий комплекс геодезических работ:
разбивка основных осей фундамента;
детальные разбивочные работы;
создание высотной основы;
геодезическая исполнительная съемка фундаментов.
5.10. При разбивке основных осей фундаментов геодезист обязан построить и закрепить в натуре внешние оси здания, характеризующие его конфигурацию и общие габариты.
5.11. Проекции точек основных осей фундаментов должны переноситься на обноску и закрепляться монолитами либо открашиваться на существующих зданиях. В дальнейшем перенос основных осей на элементы фундамента в процессе его монтажа должен осуществляться от этих знаков.
5.12. Ошибка фиксации всех точек при разбивочных работах по возведению фундаментов должна быть не более +/- 1 мм.
5.13. Детальная разбивка осей должна производиться от основных осей при помощи линейных измерений. Точность взаимного положения двух соседних осей должна определяться принятым в проекте классом точности разбивки.
5.14. При детальной разбивке подземной части здания геодезист обязан построить и закрепить в натуре все необходимые по технологии монтажа здания оси. При устройстве свайных фундаментов должны выноситься в натуру центр каждой сваи или центры кустов свай.
5.15. Точность выполнения плановых разбивочных работ должна обеспечивать заданный проектом класс точности разбивки.
Способы и средства, обеспечивающие заданную точность, даны в приложении 4 (
а,
б).
5.16. При создании высотной основы для каждого возводимого здания должны закрепляться не менее двух реперов. Их число и расположение должно обуславливаться необходимостью передачи отметки на любую точку фундамента с одной постановки инструмента. Как правило, реперы высотной основы должны закладываться в фундаментах существующих зданий.
5.17. Передача абсолютной отметки на эти реперы и проложение нивелирных ходов между ними должны производиться от городских нивелирных знаков по программе IV класса государственного нивелирования.
5.18. Исполнительная съемка подземной части здания должна осуществляться от разбивочных осей и реперов, созданных при выполнении работ, указанных в
пп. 5.10 -
5.17.
Геодезические работы при монтаже надземной части зданий
5.19. До начала производства работ по монтажу надземной части здания должна быть принята геодезическая исполнительная съемка конструкций подземной части здания.
5.20. При монтаже надземной части зданий должен выполняться следующий комплекс геодезических работ:
создание планового разбивочного обоснования на монтажных горизонтах;
разбивочные работы на монтажных горизонтах;
выверка монтажных горизонтов по высоте;
поэтажная геодезическая исполнительная съемка.
5.21. Разбивочной основой на исходном горизонте должны служить основные оси, ранее разбитые для монтажа подземной части зданий, если фактическая точность их взаимного положения соответствует назначенной для монтажа надземной части здания. В противном случае разбивка основных осей по верху перекрытия подземной части здания должна производиться заново.
5.22. Разбивочные оси на исходном горизонте должны закрепляться:
при передаче осей на высоту методом вертикального проектирования - керном на металлических пластинах, закрепленных непосредственно на перекрытии или гвоздях, забитых в перекрытие с помощью монтажного пистолета;
при передаче осей на высоту методом наклонного проектирования - монолитами вне здания на расстоянии от него, равном или большем высоты здания. Монолиты должны быть защищены (специальной оградой) от повреждений авто- и строительными машинами.
Места расположения монолитов должны обеспечить свободный доступ к ним с инструментом в течение всего периода монтажа.
Метод вертикального проектирования (рис. 1) для переноса осей на этажи следует применять при монтаже зданий свыше 12 этажей; метод наклонного проектирования - до 12 этажей.
Рис. 1. Передача разбивочных осей на монтажный горизонт
а - с помощью зенит-прибора: 1 - зенит-прибор; 2 - отверстия
в перекрытии; 3 - визирная марка; 4 - монтажный горизонт;
б - с помощью теодолита: 1 - теодолит; 2 - цокольная
часть здания; 3 - монтажный горизонт
5.23. При создании планового разбивочного обоснования на монтажном горизонте геодезист обязан построить и закрепить на перекрытии каждого этажа основные базовые оси здания.
5.24. При монтаже зданий свыше 12 этажей на каждый монтажный горизонт должны быть переданы все основные оси здания с обязательным выполнением контрольных измерений углов и длин линий.
5.25. Точность передачи разбивочных осей на монтажный горизонт должна обеспечивать заданный проектом класс точности разбивки.
Способы и средства передачи осей в зависимости от высоты здания приведены в
приложении 4 (в).
5.26. Оси разбивочного обоснования на монтажном горизонте должны закрепляться краской.
5.27. Детальная разбивка осей на монтажном горизонте должна выполняться от основных или базовых осей. Способы и средства обеспечения заданной точности указаны в приложении 4 (
а,
б).
5.28. При детальной разбивке осей зданий должны разбиваться не сами оси, а линии, им параллельные и смещенные от них на постоянную величину, определяемую в каждом конкретном случае самостоятельно и зависящую от конструктивных особенностей возводимого здания.
5.29. Для установки панелей наружных и внутренних стен должны быть нанесены установочные риски, фиксирующие проектное положение панели в продольном и поперечном направлениях.
Примечание. Риски для фиксации панелей не наносятся, когда установка панелей производится с помощью закладных фиксаторов или перфорированных лент, а также в случаях, если панели при установке сопрягаются друг с другом непосредственным контактированием.
5.30. К детальным разбивочным работам при монтаже каркасно-панельных зданий относится установка и выверка групповых кондукторов (шарнирно-связевых и жестких).
В случае применения групповых кондукторов с подвижной шарнирной рамой на оголовок колонны данного этажа следует передавать только продольную среднюю и одну поперечную оси, по которым и должна производиться выверка кондукторов.
При применении жестких групповых кондукторов без подвижной шарнирной рамы на оголовки колонн должны выноситься две продольные и две поперечные оси здания, по которым затем следует осуществлять установку этих кондукторов.
5.31. Передача абсолютных отметок должна производиться:
на исходный горизонт - нивелиром от рабочего репера;
на монтажный горизонт - нивелиром с применением рулетки.
Ошибка передачи абсолютной отметки на высоту, равную длине рулетки, должна быть не более +/- 5 мм.
Геодезическая исполнительная съемка
5.32. При производстве исполнительной съемки геодезист обязан выполнить комплекс работ по определению фактического положения смонтированных конструкций относительно разбивочных осей и горизонтов. При этом положение последних должно приниматься за проектное.
5.33. Исполнительной геодезической съемке подлежат фундаменты здания и каждый смонтированный этаж. Съемка должна производиться после завершения монтажа соответствующей части здания.
5.34. Контрольные замеры, определяющие положение низа смонтированной конструкции, в плане следует вести от рисок, вынесенных при детальной разбивке, до фиксированных точек (осей или плоскостей) соответствующего элемента конструкции.
5.35. Положение конструкции по вертикали следует определять с помощью теодолита. Погрешность измерений при этом должна составить не более 17% величины допускаемого отклонения на установку данного элемента конструкции по вертикали.
5.36. Положение смонтированных конструкций относительно высотной отметки и отметка монтажного горизонта на каждом этаже (ярусе) должны определяться с помощью нивелира.
5.37. При производстве геодезических работ должна быть составлена следующая документация:
а) акт на разбивку основных осей здания.
Приложение. Исполнительная схема разбивки:
б) исполнительная схема положения фундаментов;
в) поэтажные исполнительные схемы (в плане, по вертикали и по высоте).
6. МОНТАЖ СБОРНЫХ КОНСТРУКЦИЙ
6.1. Монтаж сборных конструкций разрешается производить только после инструментальной проверки соответствия проекту отметок и положения в плане оснований, монолитных фундаментов и других опорных конструкций.
6.2. Монтаж сборных конструкций должен производиться с соблюдением следующих требований:
а) последовательности монтажа, обеспечивающей устойчивость и геометрическую неизменяемость смонтированных частей здания на всех стадиях монтажа;
б) установки конструкций каждого участка здания, позволяющей производить на смонтированном участке последующие работы;
в) безопасности монтажных, общестроительных и специальных работ на объекте с учетом их проведения по совмещенному графику.
6.3. При монтаже сборных конструкций надлежит выполнять следующие правила:
а) подъем и перемещение конструкций производить плавно, без рывков, раскачивания и вращения;
б) подъем конструкций следует осуществлять в два приема: сначала на высоту 20 - 30 см и после проверки надежности строповки осуществляется дальнейший подъем;
в) не допускать толчков и ударов монтируемого элемента конструкции по другим ранее установленным конструкциям.
6.4. Подъем конструкций должен производиться при помощи инвентарных траверс или стропов согласно указаниям проекта.
6.5. Перед подъемом конструкции необходимо очистить от грязи, а зимой от снега и наледи, а металлические закладные детали - от наплывов бетона и ржавчины; выправить монтажные петли и другие закладные детали; проверить, надежно ли завинчены рым-болты и т.п.
6.6. Строповка сборных конструкций должна обеспечивать их подъем и подачу к месту монтажа в положении, соответствующем проектному (исключение составляет строповка гипсобетонных панелей основания пола).
6.7. Панели перекрытий и покрытий должны подаваться на монтаж в горизонтальном положении. Кантование панелей перекрытий и покрытий из вертикального положения в горизонтальное осуществляется или в подвешенном состоянии с помощью универсального самобалансирующего стропа, или на кантователе.
6.8. Стропить стеновые или перегородочные панели следует только после визуальной проверки безопасности положения конструкции в кассете или пирамиде. Брать панели из кассет или пирамид следует последовательно, начиная с крайних рядов.
6.9. Установку конструкций следует производить на слой раствора или слой цементно-песчаной пасты.
В отдельных случаях допускается установка (укладка) элементов конструкций насухо с последующей зачеканкой швов раствором.
Элементы конструкций, смещенные с растворной постели в период твердения раствора, должны быть приподняты краном, очищены от приставшего раствора и снова установлены на свежий раствор.
Раствор, схватывание которого началось, укладывать в швы запрещается.
Таблица 1
Допускаемые отклонения при монтаже сборных железобетонных
конструкций жилых и общественных зданий
Наименование отклонений | Величина допускаемых отклонений в мм |
Смещение относительно разбивочных осей: | |
осей фундаментных блоков | +/- 10 |
стаканов фундаментов | +/- 10 |
Отклонения в отметках верхних опорных поверхностей фундаментов от проектных | +/- 5 |
Смещение осей колонны в нижнем сечении относительно разбивочных осей | +/- 5 |
Отклонения осей колонны от вертикали в верхнем сечении при высоте колонн H (в м): | |
до 4,5 | +/- 5 |
свыше 4,5 | 0,001H, но не более 35 мм |
Разница отметок верха колонн или опорных площадок каждого яруса в пределах выверяемого участка (блока) | 12 + 2n, где n - порядковый номер яруса |
Смещение осей панелей стен и перегородок в нижнем сечении относительно разбивочных осей | +/- 4 |
Отклонение плоскостей панелей стен и перегородок от вертикали (в верхнем сечении) | +/- 5 |
Разница в отметках опорных поверхностей панелей стен и перегородок в пределах выверяемого участка (блока) | 10 |
Смещение осей балок, ферм, ригелей и прогонов относительно разбивочных осей | +/- 5 |
Разница в отметках верхней поверхности элементов перекрытий в пределах выверяемого участка | 20 |
Разница в отметках нижней поверхности двух смежных элементов перекрытий | 4 |
То же, верхних граней | 8 |
Примечание. Допуски площадок опирания и допуски зазоров между панелями определяются проектом.
6.10. Не разрешается освобождать устанавливаемый элемент от крюка монтажного крана до постоянного или временного его закрепления.
6.11. Освобождение установленного элемента конструкции от временных креплений разрешается производить только после его постоянного закрепления, предусмотренного проектом.
6.12. Отклонения установленных (уложенных) конструкций от проектного положения не должны превышать требований главы СНиП III-В.3-62 (табл. 1).
Монтаж подземной части здания
6.13. Монтаж сборных конструкций следует производить кранами, находящимися на бровке котлована.
Примечание. При котлованах глубиной свыше 3 м монтаж конструкций допустимо осуществлять краном, находящимся на дне котлована. При этом необходимо обеспечить сохранность основания котлована.
6.14. При возведении отдельных жилых зданий без разрыва по времени между окончанием монтажа подземной и началом монтажа надземной части здания монтировать подземную часть следует тем же башенным краном, которым будет выполняться монтаж надземной части.
При поточной застройке жилых кварталов и микрорайонов, когда между окончанием монтажа подземной и началом монтажа надземной части зданий образуется разрыв по времени, монтаж подземной части должен выполняться безрельсовыми кранами.
6.15. При монтаже подземной части здание с числом секций 5 и менее на захватки не делится. При числе секций более 5 - подземную часть здания следует разделять на две захватки, совмещая земляные работы, производимые на 2-й захватке, с монтажом элементов в готовом котловане 1-й захватки. Каждая захватка может быть смонтирована и предъявлена к приемке независимо от другой.
6.16. Монтаж следует начинать с установки маячных блоков-подушек в углах здания и на пересечении межсекционных осей.
6.17. Рядовые фундаментные блоки монтируются после инструментальной выверки по горизонтали и вертикали маячных блоков.
6.18. Блок, подаваемый краном, следует остановить на высоте 0,2 - 0,3 м над местом установки, развернуть в необходимом направлении и плавно опустить.
6.19. После установки фундаментных блоков необходимо:
проверить положение смонтированных блоков;
срезать монтажные петли;
выровнять поверхности фундаментных блоков цементным раствором.
6.20. По окончании монтажа фундаментных блоков пазухи должны засыпаться грунтом с тщательным его трамбованием, не допуская сдвига блоков.
6.21. Монтаж стеновых блоков должен начинаться после разбивки мест установки блоков в плане.
Разбивку мест установки блоков следует осуществлять следующим способом:
натянуть на обноску проволочные оси;
перенести с помощью отвеса на фундаментные блоки точки пересечения осей;
определить положения углов здания и зафиксировать их рисками;
проверить расстояния между осями и равенство диагоналей между точками пересечения соответствующих осей.
6.22. Монтаж стен должен начинаться с установки маячных блоков (угловых и промежуточных).
6.23. При разбивке мест установки блоков последующих рядов риски следует наносить на боковой поверхности блоков нижнего ряда.
6.24. Правильность установки верха блока должна проверяться по причалке и визированием на ранее установленные блоки.
Если отклонение верха блока от проектного положения превышает допускаемое, блок следует поднять, отвести в сторону, очистить место установки и основания блока от раствора, устроить заново растворную постель, заменив прокладки более толстыми или более тонкими, и снова установить блок.
6.25. Поверхность стен ниже уровня грунта должна быть выровнена по внутренней стороне стены, а выше - по наружной.
6.26. Вертикальные и горизонтальные швы кладки должны быть тщательно заполнены раствором с подрезкой шва.
6.27. Монтаж стеновых панелей, плит перекрытия и других сборных элементов подземной части зданий должен выполняться в соответствии с требованиями подраздела "Монтаж надземной части здания" настоящего Руководства.
Монтаж надземной части здания
6.28. Монтаж надземной части крупнопанельных зданий следует вести поэтажно, а каркасно-панельных - поэтажно или по ярусам.
6.29. Монтаж надлежит вести по принципу работы "на кран", при котором раньше устанавливаются наиболее удаленные от крана конструкции.
6.30. Перед началом монтажа на каждом этаже (ярусе) необходимо:
а) полностью закончить установку всех конструкций нижележащего этажа (яруса) с устройством постоянных креплений и обязательным оформлением акта приемки законченных монтажом конструкций;
б) перенести основные разбивочные оси на перекрытие или оголовки колонн, определить монтажный горизонт и составить исполнительную схему расположения конструкций верхней части смонтированного этажа (яруса).
Монтаж панелей наружных стен с однорядной разрезкой
6.31. Монтаж панелей с однорядной разрезкой следует начинать с установки базовой панели, положение которой определяется проектом производства работ.
6.32. Установку базовых панелей в плане следует производить: в поперечном направлении с помощью шаблона, установленного по риске установочной оси (рис. 2); в продольном направлении по установочным рискам путем совмещения риски, определяющей середину панели по длине, с риской, нанесенной на перекрытии.
Рис. 2. Пример установки в плане панелей наружных стен
с однорядной разрезкой с помощью шаблона
1 - панель перекрытия; 2 - стеновая панель;
3 - шаблон; 4 - риска на шаблоне
Примечание. При наличии на фасаде лоджий или эркеров установку рядовых панелей в продольном направлении следует осуществлять с помощью специальных шаблонов (калибров) контактным способом.
6.33. Установленная в плане панель должна быть временно закреплена подкосами к панелям перекрытия согласно проекту производства работ.
6.34. Установка панели по вертикали должна осуществляться по рейке-отвесу или с помощью маятникового отвеса.
Вертикальность должна проверяться по двум граням: боковой и открытой торцовой. Панель считается установленной в вертикальное положение только в том случае, если по обеим граням нить отвеса строго совпадает с риской на рейке.
6.35. Установку рядовых панелей и их временное закрепление следует осуществлять так же, как базовых панелей (см.
пп. 6.32 -
6.34 настоящего раздела).
Монтаж панелей наружных стен с двухрядной разрезкой
6.36. Монтаж панелей с двухрядной разрезкой должен начинаться после установки панелей поперечных стен и вестись раздельным способом: сначала следует монтировать простеночные элементы, а затем после укладки плит перекрытий - поясные.
Примечание. Поясные панели первого этажа устанавливаются при монтаже конструкций подземной части здания.
6.37. Установка простеночных панелей в плане должна производиться: в поперечном направлении путем совмещения наружных граней с наружными гранями нижележащих поясных панелей; в продольном направлении путем совмещения одной из торцовых граней с установочной риской, нанесенной при геодезической разбивке на верхней поверхности поясной панели (рис. 3).
Рис. 3. Пример установки в плане панелей наружных стен
с двухрядной разрезкой
1 - панель перекрытия; 2 - поясная панель; 3 - простеночная
панель; 4 - панель внутренней поперечной стены;
5 - установочная риска; 6 - устройство для крепления
простеночных панелей
6.38. Выверенные в плане простеночные панели должны временно закрепляться к поясным с помощью специальных приспособлений или подкосов (см.
рис. 3).
6.39. Установку панелей по вертикали следует осуществлять по рейке-отвесу или маятниковому отвесу согласно указаниям, приведенным в
п. 6.34.
6.40. Поясные панели следует монтировать после укладки плит перекрытий и устройства постоянных креплений в узлах сопряжений простеночных панелей с панелями поперечных стен и плит перекрытий.
6.41. Установка поясных панелей в плане должна осуществляться аналогично установке панелей наружных стен с однорядной разрезкой, только риска на панели, определяющая середину ее длины, наносится в уровне укладки плит перекрытий (см.
рис. 3).
Монтаж навесных панелей наружных стен
6.42. Монтаж навесных панелей в крупнопанельных зданиях надлежит осуществлять аналогично монтажу панелей наружных стен с однорядной разрезкой, а в каркасно-панельных зданиях монтаж панелей должен вестись поэтажно после установки и окончательного закрепления несущих конструкций каркаса на захватке.
6.43. До начала монтажа навесных панелей следует вынести на колонны риски установочных осей и высотных отметок, а также установить необходимые детали креплений (опорные столики, фиксаторы и т.п.).
6.44. Установка навесных панелей, опирающихся нижней гранью на ригель, плиту перекрытия или консоли колонн, в продольном направлении должна производиться аналогично установке панелей однорядной разрезки (см.
пп. 6.31 и
6.32) в поперечном направлении - по осевым рискам колонн.
6.45. Установку в плане и по высоте навесных панелей, опирающихся на специальные крепления, расположенные у внутренней грани панели или ее торцах, следует осуществлять по предварительно выверенным, закрепленным опорным креплениям.
6.46. Установка навесных панелей по вертикали должна осуществляться:
а) однорядной разрезки - по осевым рискам или наружным граням колонн;
б) поясных панелей - с помощью рейки-отвеса, прикладываемой к внутренней (или наружной) грани панели у каждого торца.
6.47. Установленные в плане и выверенные по вертикали навесные панели должны поверху временно закрепляться к колоннам с помощью двойных регулируемых струбцин (рис. 4) или к панелям перекрытий с помощью подкосов со струбцинами.
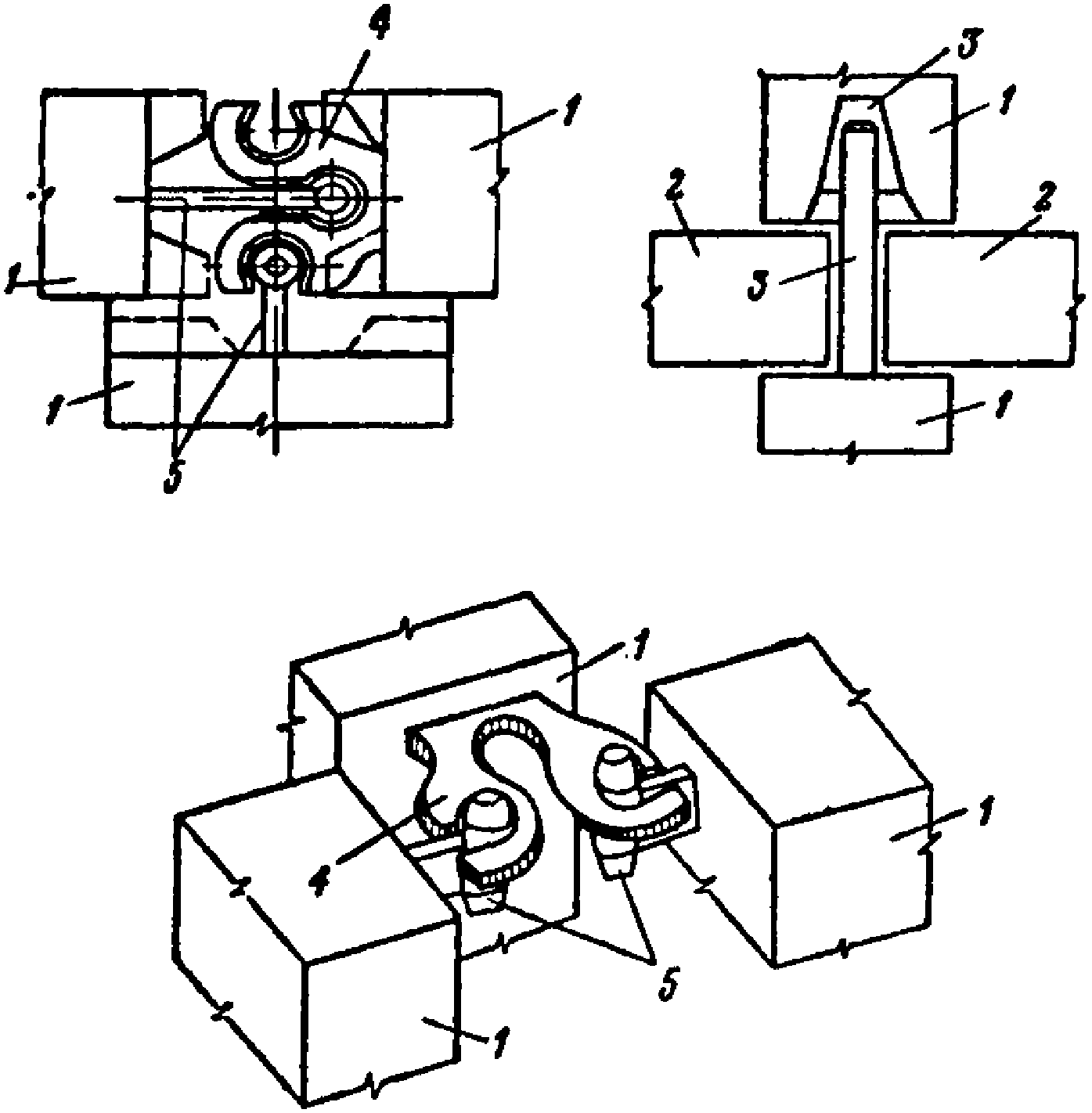
Рис. 4. Крепление навесной панели к колонне
1 - наружная стеновая панель; 2 - колонна;
3 - связевая панель; 4 - угловая струбцина
6.48. Расстроповка навесной панели разрешается только после постоянного закрепления низа и временного закрепления верха панели в соответствии с требованиями проекта производства работ. Постоянное закрепление верха панели можно выполнять после ее расстроповки.
6.49. Монтаж простеночных панелей должен производиться в соответствии с
пп. 6.37,
6.38,
6.39.
6.50. Монтаж навесных панелей вышележащего ряда должен производиться после заделки вертикальных стыков между панелями нижележащего ряда.
Монтаж панелей внутренних стен
6.51. Монтаж панелей внутренних стен с помощью индивидуальных приспособлений (подкосов, струбцин и т.п.) следует выполнять аналогично монтажу панелей наружных стен с однорядной разрезкой.
Монтаж панелей поперечных стен с использованием группового оснащения (систем горизонтальных связей, штанг и т.п.) должен производиться с соблюдением следующих правил:
а) перед началом монтажа следует тщательно выверить фиксирующие устройства (штыри, упоры, вилки), определяющие положение панелей в плане;
б) монтаж панелей следует начинать с установки базовых панелей;
в) базовые панели в плане должны устанавливаться по установочным рискам, а по вертикали - по теодолиту и закрепляться постоянными связями к ранее установленным конструкциям;
г) рядовые панели в плане устанавливаются по фиксирующим устройствам;
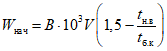
д) приведение в проектное положение верха панелей и их временное закрепление следует производить с помощью горизонтальных связей (рис. 5).
Рис. 5. Примеры установки панелей поперечных стен
1 - базовая панель; 2 - рядовая панель; 3 - кондуктор;
4 - шарнирная рама; 5 - горизонтальная связь;
6 - ручка для навески горизонтальной связи; 7 - подкос;
8 - базовый замок; 9 - рядовой замок; 10 - штанга;
11 - струбцина; 12 - соединительный штырь;
13 - зажимное устройство; 14 - неподвижный упор
6.52. Закрепление стеновых панелей постоянными связями следует выполнять по ходу монтажа.
Монтаж стеновых панелей методом
пространственной самофиксации
6.53. Монтаж стеновых элементов методом пространственной самофиксации должен вестись по захваткам-секциям замкнутыми ячейками.
6.54. До начала монтажа надземной части здания необходимо выверить положение штыревых фиксаторов и уровень монтажного горизонта на перекрытии подвальной части здания.
6.55. Правильность положения штырей в плане на монтажном горизонте второго и последующих этажей должна обеспечиваться точностью изготовления элементов.
6.56. Монтаж конструкций на каждой захватке здания должен начинаться с установки базовой панели.
6.57. Базовую панель понизу следует устанавливать по рискам, нанесенным на перекрытие, поверху - с помощью теодолита.
6.58. Закрепление базовой панели в выверенном положении должно осуществляться с помощью инвентарных подкосов.
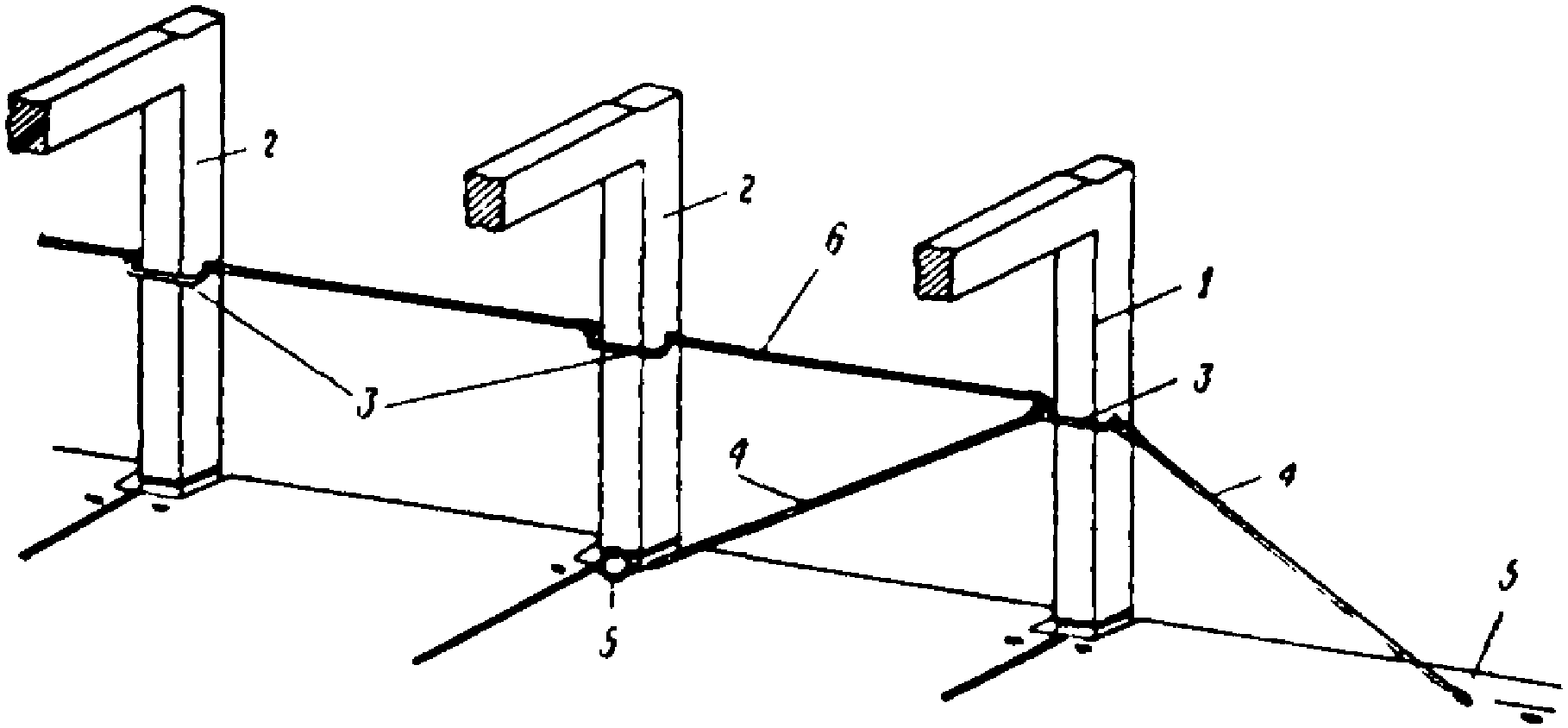
6.59. Установка рядовых стеновых панелей должна осуществляться понизу по штыревым фиксаторам, а поверху - путем соединения замковых устройств смежных панелей (рис. 6).
Рис. 6. Пример сопряжения стеновых элементов
с замковыми и штыревыми фиксаторами
1 - внутренняя панель; 2 - плита перекрытия;
3 - штыревой фиксатор; 4 - пластина с вырезом; 5 - кулачок
6.60. Метод монтажа и монтажное оснащение должны определяться проектом производства работ с учетом конструкции колонн или рам, места расположения стыковых соединений и наличия в них закладных фиксирующих устройств.
6.61. Монтаж колонн должен осуществляться:
при стыке колонн выше уровня перекрытия с применением одиночных кондукторов или групповых шарнирно-связевых и жестких кондукторов;
при стыке колонн в уровне перекрытия с использованием индивидуальных приспособлений (подкосов со струбцинами, горизонтальных связей в сочетании с подкосами) или групповых шарнирно-связевых кондукторов с верхней и нижней шарнирными рамами, а при наличии в колоннах закладных фиксирующих устройств (штырей и т.п.) кондуктора с одной верхней шарнирной рамой.
6.62. Монтаж колонн с применением одиночных кондукторов должен производиться с соблюдением следующих требований:
а) в плане колонны устанавливаются путем совмещения рисок, нанесенных на нижних оголовниках монтируемых колонн и фиксирующих их геометрические оси с установочными рисками, вынесенными на верхних оголовниках нижеустановленных колонн.
Примечание. При наличии в колоннах закладных фиксирующих устройств установка колонн в плане осуществляется по этим устройствам;
б) по вертикали колонны устанавливаются с помощью теодолита в двух взаимно перпендикулярных плоскостях;
в) временное закрепление колонн в проектном положении производится с помощью зажимных винтов кондукторов;
г) постоянное закрепление колонн сваркой производится после укладки ригелей и связевых плит-вставок на обоих этажах яруса.
6.63. Монтаж колонн и рам с использованием инвентарных подкосов и горизонтальных связей следует производить с соблюдением следующих правил:
а) до начала монтажа колонн или рам на опорные площадки ригелей или оголовники стоек рам выносятся установочные риски;
б) установка колонн или рам в плане производится согласно указаниям, изложенным в
п. 6.62а;
в) установка колонн или рам в вертикальное положение производится с помощью фаркопфов, подкосов и горизонтальных связей и соблюдения указаний, изложенных в
п. 6.62б;
г) временное закрепление колонн и рам осуществляется с помощью подкосов или сочетания подкосов с горизонтальными связями;
д) постоянное закрепление колонн или рам производится после приведения их в проектное положение и временного закрепления;
снятие монтажного оснащения допускается после укладки и закрепления ригелей (балок) и связевых плит-вставок.
6.64. Монтаж колонн с использованием шарнирно-связевых кондукторов надлежит выполнять с соблюдением следующих требований:
а) комплект монтажного оснащения должен включать четыре шарнирно-связевых кондуктора;
б) каждый кондуктор в комплекте должен иметь свой порядковый номер, определяющий его положение на захватке, и устанавливаться в одноименные ячейки по вертикали;
в) установка базы кондуктора на перекрытие относительно установочных рисок должна осуществляться с точностью не менее +/- 50 мм;
г) шарнирная рама кондуктора N 1 должна выверяться по теодолиту относительно двух осей здания;
рама кондуктора N 2 - по теодолиту относительно поперечной оси здания и с помощью поперечных связей кондуктора N 1 относительно продольной оси;
рама кондуктора N 3 - по теодолиту относительно продольной оси здания и с помощью продольных связей кондуктора N 1 относительно поперечной оси;
рама кондуктора N 4 фиксируется при помощи продольных связей кондуктора N 2 и поперечных связей кондуктора N 3 (рис. 7);
Рис. 7. Геодезическая выверка групповых кондукторов 1 - кондуктор; 2 - теодолит; 3 - линейка; 4 - поперечная связь; 5 - продольная связь; 6 - визирная вешка (марка); 7 - проектная ось; 8 - вспомогательная ось Примечание. Римскими цифрами показан порядок установки кондукторов на перекрытии. |
д) установку колонн в плане следует выполнять с помощью фиксирующих устройств кондукторов или при наличии в колоннах закладных фиксирующих устройств по этим устройствам;
е) приведение верха колонн в проектное положение и временное их закрепление должно обеспечиваться фиксаторами верхней шарнирной рамы кондуктора с помощью троса натяжного устройства;
ж) при перестановке кондукторов на следующие позиции проектное положение шарнирных рам определяется в продольном направлении с помощью теодолита, а в поперечном - продольными связями.
6.65. Монтаж колонн с применением жесткого кондуктора следует производить с соблюдением следующих требований:
а) жесткий кондуктор должен выверяться на каждой стоянке относительно осей зданий в двух взаимно перпендикулярных направлениях;
б) горизонтальное положение кондуктора надлежит проверять по нивелиру с помощью системы винтовых домкратов;
в) установка кондуктора в плане должна производиться путем совмещения линии визирования лотта-аппарата с точками пересечения дополнительных продольных и поперечных осей зданий. Отклонение осей не должно превышать +/- 2 мм;
г) после установки кондуктора в плане следует вторично проверить его горизонтальность по нивелиру и при отклонениях, не превышающих 1 мм, кондуктор должен быть закреплен к оголовникам колонн;
д) проектное положение устанавливаемых колонн и временное их закрепление обеспечивается верхними и нижними фиксирующими устройствами, к которым колонна должна прижиматься тросами.
6.66. Постоянное закрепление стыковых соединений должно производиться в соответствии с указаниями
п. 6.63д.
6.67. Перестановку шарнирно-связевых и жестких кондукторов следует производить только после укладки ригелей и плит вставок, сварки стыковых соединений колонн и укладки плит перекрытий в ячейках, свободных от кондукторов.
6.68. Монтаж рам с использованием систем горизонтальных связей должен производиться с соблюдением следующих требований:
а) монтаж следует начинать с установки и выверки базовой рамы, месторасположение которой на захватке определяется проектом производства работ;
б) установку базовой и последующих рам в плане необходимо производить с помощью закладных фиксирующих устройств, предусмотренных конструкцией рам, либо путем совмещения установочных рисок, нанесенных на стойках рамы или опорных площадках ригеля с рисками, фиксирующими геометрическую ось стоек монтируемой рамы;
в) базовая рама должна быть временно закреплена в кондукторах или подкосами;
г) установку базовой рамы по вертикали следует выполнять с помощью теодолита в двух взаимно перпендикулярных направлениях;
д) приведение в проектное положение верха монтируемых рам должно производиться с помощью систем горизонтальных связей, закрепляемых: при стыке, расположенном в уровне перекрытий, - по стойкам рам на высоте не менее 1 м 70 см, а при стыке выше уровня перекрытия - по верху рамы (ригелю) (рис. 8).
Рис. 8. Временное крепление рамы
1 - базовая рама; 2 - рядовая рама; 3 - струбцина;
4 - подкос; 5 - приспособление для закрепления
низа подкоса; 6 - горизонтальная связь
Горизонтальная связь навешивается с перекрытия с помощью специальных ручек или с использованием монтажного столика;
е) снятие горизонтальных связей допускается только после сварки стоек рам и укладки ригелей.
Монтаж ригелей, связевых плит и диафрагм жесткости
6.69. Монтаж ригелей и связевых плит следует выполнять с лестниц-площадок или выдвижных (поворотных) площадок групповых кондукторов.
6.70. При двухэтажных колоннах вначале должны монтироваться нижние, а затем верхние ригели.
6.71. При укладке ригелей на оголовники колонн проектное положение их должно обеспечиваться совмещением рисок, нанесенных на нижних опорных пластинах ригелей и боковых пластинах верхнего оголовника колонн.
6.72. Выверенные ригели должны прихватываться сваркой с одной стороны каждого конца в пределах расположения проектных сварных швов.
6.73. Связевые плиты-вставки укладываются на полки ригелей насухо.
6.74. Монтаж диафрагм жесткости должен производиться после окончательной сварки колонн и освобождения их от нижних фиксаторов кондукторов или одиночных кондукторов. Диафрагмы, расположенные под ригелями, устанавливаются до монтажа перекрывающих их ригелей.
6.75. Временное закрепление диафрагм должно выполняться с помощью откидных захватов кондукторов или подкосных струбцин.
Монтаж перегородок, перекрытий и остальных элементов здания
6.76. Перегородки в панельных домах должны устанавливаться в металлические скобы, предварительно закрепленные к внутренним стенам, путем пристрелки их с помощью строительного пистолета или заделки в отверстия, просверленные электросверлами.
6.77. Перегородки в плане должны устанавливаться путем совмещения их грани с установочными рисками или упорной плоскостью шаблона, уложенного по этим рискам.
6.78. Установка перегородок по вертикали должна выполняться по рейке-откосу либо путем совмещения поверхности перегородки с гранью колонны.
6.79. Временное закрепление крупнопанельных перегородок следует выполнять с помощью инвентарных подкосов, располагаемых с двух сторон, или треугольных стоек, устанавливаемых со стороны свободного торца или дверного проема.
Примечание. Если для монтажа основных несущих конструкций применяются системы горизонтальных связей или групповые кондуктора, то крепление перегородок следует выполнять с помощью откидных струбцин, навешенных на связях или захватах кондукторов.
6.80. При установке санитарно-технических кабин канализационные и водопроводные стояки должны быть тщательно совмещены с соответствующими стояками нижерасположенных кабин.
Подсоединение стояков трубопроводов следует производить через монтажный люк, не заходя в кабину. Выверка устанавливаемых кабин по вертикали должна производиться с помощью рейки-отвеса.
6.81. Вентиляционные блоки следует устанавливать на слой цементного раствора с точным совмещением каналов по высоте и тщательным заполнением горизонтальных швов.
Для предотвращения попадания раствора в каналы вентиляционных блоков расстилку его по верху блока следует производить с применением специальных металлических рамок с заглушинами.
Внутренняя полость каналов должна быть обязательно прочищена на каждом этаже от выдавленного раствора, а снаружи швы должны быть тщательно затерты.
6.82. Временное закрепление вентиляционных блоков должно осуществляться с помощью накидных струбцин, подкосов, штанг и т.п.
6.83. Лестничные площадки при монтаже должны выверяться в плане и по высоте.
6.84. Монтаж лестничных маршей следует производить только после полного закрепления лестничных площадок. Марши необходимо подавать к месту установки в проектном положении, причем в начале на опорную часть опускается нижний конец марша, а затем - верхний.
6.85. По окончании монтажа элементов лестницы сразу же должны устанавливаться постоянные или временные ограждения.
6.86. Монтаж плит перекрытий следует начинать от лестничной клетки и вести в обе стороны.
Примечание. При монтаже колонн с помощью групповых шарнирно-связевых кондукторов плиты перекрытия должны укладываться сначала в ячейки, свободные от кондукторов, обеспечивая пространственную жесткость смонтированных конструкций, а после перестановки кондукторов должны перекрываться освободившиеся ячейки.
6.87. Плиты перекрытия должны укладываться по маякам на слой цементного раствора, расстилаемого по верху панелей внутренних стен (прогонов, ригелей), или насухо с последующей зачеканкой швов раствором.
6.88. В плане плиты должны устанавливаться с соблюдением равных площадок опирания.
6.89. Балконные плиты разрешается монтировать только после монтажа плит перекрытия, а временные крепления их разрешается снимать после приварки плит к панелям перекрытия в соответствии с проектом.
6.90. Работы по монтажу конструкций чердачной части здания и сборной крыши должны выполняться в соответствии со следующими требованиями:
а) до начала монтажа конструкций чердачной части здания должны быть полностью закончены все работы по устройству перекрытия верхнего этажа, включая постоянное закрепление конструкций и замоноличивание стыков;
б) временное закрепление фризовых панелей и панелей стен машинного отделения лифтов должно осуществляться с помощью двух подкосных струбцин, закрепляемых за монтажные петли плит перекрытия или ригелей. Струбцины разрешается снимать только после устройства постоянных креплений панелей в соответствии с проектом.
7.1. Заделка стыков и швов должна производиться после проверки правильности установки конструкций, приемки сварных и других видов соединений между ними и предусматривать антикоррозионную защиту металлических закладных деталей, заполнение полости стыков и швов раствором или бетонной смесью, герметизацию и утепление стыков.
7.2. Закладные детали, крепления и прочие стальные элементы сборных железобетонных конструкций, требующие, согласно проекту, антикоррозионной защиты, должны поступать на строительную площадку с нанесенным цинковым покрытием. В условиях строительной площадки покрытия должны наноситься лишь на сварные швы и близлежащие к ним участки, нарушенные при сварке закладных деталей, а также на участки деталей, где требуется доводка толщины имеющегося покрытия до проектной величины.
7.3. Перед заполнением стыков и швов раствором и бетонной смесью должна производиться тщательная очистка полостей стыков от грязи и мусора.
7.4. Для заполнения стыков и швов следует использовать марки бетона и раствора, предусмотренные проектом. Подвижность бетонной смеси в момент укладки должна быть равна 60 - 80 мм осадки конуса, что соответствует 15 - 25 сек по показателю жесткости.
7.5. Быстросхватывающиеся бетонные и растворные смеси рекомендуется готовить только на рабочем месте в бетоно- и растворомешалках из сухих смесей, заранее приготовленных и доставленных на строительный объект из центральных бетонных узлов.
7.6. В качестве крупного заполнителя бетонов, предназначенных для заполнения стыков, надлежит применять фракционированный щебень крупностью 5 - 10 и 10 - 20 мм, отвечающий требованиям ГОСТ 8267-64.
7.7. Песок для приготовления бетонной смеси и раствора должен отвечать требованиям государственного стандарта "Песок для строительных работ", введенного в действие с 1 января 1968 г.
7.8. Герметизацию и утепление вертикальных и горизонтальных стыков следует производить в строгом соответствии с проектом. Замена вида герметизирующих и утеплительных материалов, предусмотренных проектом, допускается лишь при согласовании с проектной организацией.
7.9. Герметизацию стыков следует производить с внешней стороны здания (если позволяет конструкция стыков) после окончания монтажа. В зданиях до пяти этажей герметизацию следует вести с передвижных подъемников (специальных шарнирно-рычажных вышек МШТС-2А или ППУ-20м), а свыше пяти этажей - со специальных навесных люлек.
Примечание. Если конструкция стыков не позволяет производить герметизацию с внешней стороны здания, работу следует вести в процессе монтажа поэтажно с перекрытий.
Антикоррозионная защита металлических закладных деталей
7.10. Антикоррозионная защита сварных швов и отдельных участков стальных деталей должна производиться в процессе монтажа конструкций вслед за сварочными работами. Работы должны вестись монтажниками, прошедшими курс обучения по обслуживанию аппаратов для нанесения покрытий. При работе на высоте монтажник-оператор должен наносить покрытие, находясь с аппаратом на тех же лесах или в той же люльке, с которых производятся работы по сварке деталей.
7.11. Цинковые покрытия следует наносить преимущественно портативными установками газопламенного напыления порошкообразных материалов УПН-6-63 или ручными электрометаллизаторами ЭМ-9, ЭМ-10-66, МЭС-2-65. Выбор способа нанесения зависит от наличия необходимого оборудования, материала, местных условий и других факторов.
7.12. При газопламенном способе в качестве материала для покрытий надлежит применять порошок цинка, выпускаемый промышленностью или получаемый при улавливании частиц в заводских условиях от электрометаллизационных аппаратов. Перед употреблением порошок должен быть хорошо просушен и просеян через сито с размером ячеек 0,15 x 0,15 мм.
7.13. Для нанесения покрытий способом электрометаллизации следует применять цинковую проволоку диаметром 1,5 мм из цинка марки Ц1 или Ц2.
7.14. Газопламенное напыление покрытий в условиях строительной площадки следует производить комплектом оборудования, состоящим из установки УПН-6-63, компрессора производительностью 0,5 м3/мин (0-16, 0,38Б), дополнительного масловодоотделителя, баллона с горючим газом (ацетиленом или пропан-бутаном) и соединительных шлангов.
7.15. Комплект оборудования транспортируется краном и располагается на междуэтажном перекрытии. Баллон с горючим газом следует устанавливать на расстоянии не менее 10 м от места работы установки УПН-6-63.
7.16. Перед нанесением покрытий установкой УПН-6-63 сварной шов и близлежащие участки должны быть очищены от остатков сварочного шлака, копоти и возможных загрязнений ручными или механическими щетками до металлического блеска. Специальной обработки поверхности сварных швов для придания шероховатости не требуется. Для получения прочного сцепления покрытия покрываемую поверхность необходимо прогреть до температуры порядка 250 °C пламенем распылительной горелки, которой наносится покрытие.
Прогрев должен осуществляться до начала появления на поверхности шва пленки фиолетового цвета.
7.17. Нанесение цинковых покрытий установкой УПН-6-63 должно производиться при давлении сжатого воздуха в сети 3 ати, давлении горючего газа 0,1 - 0,15 ати, расходе горючего газа 400 - 550 л/ч и расстоянии от сопла горелки до покрываемой поверхности 10 - 12 см.
7.18. Электрометаллизацию сварных соединений следует производить передвижной металлизационной установкой ЦНИИОМТП, в которую входит электрометаллизационный аппарат ЭМ-9 или ЭМ-10-66, или электрометаллизатором МЭС-2-65 с комплектом оборудования, состоящим из сварочного трансформатора, компрессора производительностью 0,5 м3/мин, масловодоотделителя и соединительных шлангов и проводов.
7.19. До нанесения антикоррозионных покрытий посредством электрометаллизационных аппаратов поверхность сварных швов должна быть очищена от сварочного шлака, ржавчины и для обеспечения прочного сцепления покрытий с основанием должна быть шероховатой. Шероховатость поверхности достигается применением специальных инструментов или пескоструйных аппаратов.
7.20. Параметры режима работы электрометаллизационных аппаратов при нанесении цинковых покрытий должны изменяться в следующих пределах: давление сжатого воздуха 4,5 - 6 ати; напряжение сети 20 - 30 в; величина тока 20 - 180 а; расстояние от точки плавления электродов до покрываемой поверхности 80 - 100 мм
Качество покрытия считается удовлетворительным, если слой цинка имеет мелкозернистую структуру, матовую металлическую поверхность без вспучивания, трещин или других дефектов и прочное сцепление с основанием.
Толщина нанесенного слоя должна проверяться магнитными толщиномерами ИТП-1 или МТА-2.
7.21. При работе с установками газопламенного напыления следует соблюдать правила обращения с баллонами для горючих и взрывоопасных газов и правила техники безопасности при газопламенной обработке металлов. Оператор, производящий газопламенное напыление, обязан пользоваться светло-палевыми защитными очками и респиратором типа "лепесток".
7.22. При работе с электрометаллизационными установками все приборы и оборудование, находящиеся под напряжением, должны быть заземлены. При работе с электрометаллизаторами на распылительную головку обязательно следует надевать защитный колпачок, а оператор, производящий напыление, должен надевать очки с цветными защитными стеклами марки ТС-2 и защитными светофильтрами типа ГС-7.
7.23. Для обеспечения прочного сцепления цинкового покрытия с основанием в зимнее время покрываемая поверхность должна быть прогрета для удаления влаги и наледи.
При газопламенном напылении удаление влаги и наледи происходит в процессе прогрева поверхности сварных швов до температуры около 250 °C. При электрометаллизации прогрев поверхности производится с помощью портативного ручного аппарата ФЭН, газовой горелки, паяльной лампы или воздушного калорифера.
7.24. В процессе нанесения покрытий кран спуска конденсата в масловодоотделителе для предупреждения замерзания конденсата следует держать слегка приоткрытым.
7.25. Заполнение вертикальных и горизонтальных стыков и швов раствором или бетонной смесью надлежит вести механизированным способом с использованием плунжерных и винтовых растворонасосов, пневмонагнетателей, установок для укладки в стыки и швы песчаного бетона сжатым воздухом во взвешенном состоянии. Кроме указанных средств для механизации заполнения вертикальных стыков наружных стеновых панелей крупнопанельных зданий допускается применение вибробункеров.
7.26. Выбор средств механизации должен осуществляться в зависимости от конфигурации и расположения стыков в конструкции и вида материала, которым, согласно проекту, требуется заполнить стыковую полость или шов.
При выборе средств механизации следует руководствоваться таблицей, приведенной в
приложении 5.
7.27. При применении растворонасосов и пневмонагнетателей надлежит соблюдать следующие правила:
а) всю систему подачи раствора до начала работы следует тщательно промыть известковым молоком или продуть воздухом; при применении растворонасоса следует после промывки или продувки через систему пропустить известковый раствор состава 1:2 - 1:3;
б) растворонасосы по окончании работы следует промыть известковым раствором состава 1:2 - 1:3 и известковым молоком. Рабочую камеру и воздушный колпак растворонасоса каждый раз после работы необходимо разобрать и очистить. Пневмонагнетатели должны очищаться водой и воздухом: для очистки трубопровода следует применять бумажные, резиновые или матерчатые пыжи;
в) бункер, из которого засасывается смесь, должен быть всегда заполнен не менее чем на одну треть, чтобы не допускать просачивания воздуха в рабочую камеру насоса;
г) перерывы в подаче раствора насосом, вызванные производственной необходимостью, не должны превышать время начала схватывания смеси, при этом следует через каждые 20 - 30 мин перерыва прокачивать смесь в течение 15 - 20 сек.
7.28. Применение установок для укладки песчаного бетона, подаваемого по трубопроводу в струе сжатого воздуха во взвешенном состоянии, требует соблюдения следующих правил:
а) расстояние сопла или выходного отверстия трубопровода от места укладки смеси должно быть 60 - 80 см;
б) при запуске установки вначале следует включать компрессор, а затем - насос-питатель. Если сжатый воздух поступает из смесительной в рабочую камеру, необходимо, не останавливая работу насоса, на 3 - 4 хода плунжера отключать сжатый воздух;
в) при прекращении работы установки сжатый воздух следует отключать через 15 - 10 сек после остановки насоса;
г) заканчивая работу, надлежит весь бетон из бункера выработать, залить в бункер 20 - 30 л воды и выработать ее, не выключая сжатого воздуха, после чего следует отключить сначала растворонасос, а через 30 - 40 сек и сжатый воздух;
д) укладку песчаной бетонной смеси в стыки следует производить послойно и равномерно. В процессе заполнения следует производить колебательные или кругообразные движения соплом, если позволяют габариты стыков; для повышения степени однородности песчаной бетонной смеси во всех случаях необходимо применять завихритель, устанавливаемый в конец трубопровода;
е) при заполнении узких стыков (сферический стык колонн, стык колонны со стенкой жесткости, стык колонны с ригелем) следует применять сопло прямоугольного сечения или сопло с регулируемым диаметром отверстия для образования узкого факела.
7.29. Расположение средств механизации для замоноличивания стыков должно быть предусмотрено проектом производства работ.
7.30. Цементно-песчаный раствор или бетонную смесь следует транспортировать на этажи и по перекрытию по трубопроводам d = 32; 38 или 50 мм.
7.31. Для заполнения вертикальных стыков механизированным способом шланг, по которому подается бетон или раствор, надлежит опускать на всю глубину полости стыка и постепенно поднимать его по мере заполнения стыка смесью.
7.32. При устройстве горизонтальных стыков раствор следует равномерно расстилать по верхней грани ранее смонтированной панели. Отклонение толщины слоя от проектной не должно превышать +/- 5 мм.
Слой раствора не должен доходить до граней панели на 20 - 30 мм.
7.33. Зазоры стыков колонн величиной до 10 мм должны быть зачеканены цементным раствором.
Перед зачеканкой следует продуть зазоры сжатым воздухом. Узкая часть зазора должна быть заполнена жидким раствором, а расширенная - более жесткой смесью, которая зачеканивается вглубь со всех сторон колонн до заполнения зазора. Для зачеканки должен применяться раствор состава 1:2 на портландцементе марки не менее 400 и на чистом песке с модулем крупности около 1,5, с крупностью частиц не более 0,6 мм.
7.34. При применении для заделки сферических стыков колонн цементно-песчаной пастой должна быть проверена прочность образцов пасты, изготовленных из цементно-песчаной смеси состава 1:1 (по весу). Смесь должна готовиться на быстротвердеющем портландцементе марки не менее 400 с применением чистого песка с модулем крупности 1,2, не содержащим частиц крупнее 0,6 мм. Водоцементное отношение должно составлять 0,45.
7.35. Контроль качества заполнения стыков следует производить по результатам испытаний на прочность контрольных образцов-кубиков бетона размером 10 x 10 x 10 см, раствора и пасты размером 7 x 7 x 7 см.
7.36. Работы по герметизации стыков с применением мастик следует выполнять в сухую погоду по сухим поверхностям.
7.37. Тиоколовая мастика У-30М должна готовиться смешиванием основного компонента пасты У-30 с пастой N 9. Для ускорения процесса вулканизации в мастику при смешивании должен добавляться дифинилгуанидин (ДФГ). Консистенция мастики может быть несколько изменена введением разжижителей (этилацетат или разжижитель Р-4, Р-5).
7.38. Дозировка компонентов мастики У-30М должна производиться в следующих пропорциях (в вес. ч.):
паста У-30 ................................................. 100
паста N 9 .................................................. 4 - 8
ДФГ ........................................................ 0,05 - 0,2
этилацетат (либо разжижители Р-4, Р-5) не более ............ 8 - 10
7.39. Приготовление мастики У-30М должно производиться при положительной температуре. Пасты У-30 и N 9 перемешиваются с 1/2 порции разжижителя каждая. Одновременно в пасту N 9 добавляют во время перемешивания всю дозу ДФГ. Приготовление указанных двух составов следует производить заблаговременно, например, на двухдневную потребность.
7.40. При применении в качестве герметизирующего материала тиоколовой мастики слой накладываемой мастики в самом тонком месте должен быть не менее 2 и не более 3 мм. Пленка мастики должна иметь ширину контакта с бетонной поверхностью панелей не менее 20 мм на каждую панель (при ширине устья 20 мм) и прочно сцепляться с бетонной поверхностью панелей.
7.41. Тиоколовая мастика ГС-1 должна приготовляться путем смешивания основного компонента пасты Г-1 с вулканизирующей пастой Б-1. Тиоколовая мастика ГС-1 выпускается рабочей консистенции. Добавление в мастику разжижителей и растворителей не допускается.
Дозировка компонентов мастики ГС-1 должна производиться при положительной температуре в следующих пропорциях:
герметизирующая часть Г-1 ............................. 100 вес. ч.
вулканизирующая часть Б-1 ............................. 10 - 14 вес. ч.
7.42. Приготовление составов мастик У-30М и ГС-1 должно производиться смешиванием с помощью приспособления электродрели ЭД-12 в емкостях из полиэтилена небольшими порциями, которые могут быть израсходованы в течение 1,5 - 2 ч.
7.43. Для нанесения тиоколовых мастик следует пользоваться пневмошприцем или ручным шприцем. Ручной шприц применяется при небольших объемах работ или при заделке отдельных участков стыков.
7.44. При герметизации стыков тиоколовой мастикой следует контролировать плотность прилипания пленки мастики к бетонным кромкам панелей. Для этого применяют портативный измерительный прибор-адгезиметр АД-1, датчики которого закладываются в слой мастики в процессе ее нанесения.
7.45. Мастику следует нагнетать в стык в подогретом состоянии до температуры 70 - 90 °C с помощью шприца. В зимних условиях следует повышать температуру подогрева до 120 - 140 °C. Мастику следует выдавливать в шов сжатым воздухом равномерно, без разрывов и без наплывов, чтобы она плотно прилипала к бетонным кромкам стыкуемых панелей.
7.46. При ведении работ по герметизации стыков мастикой УМС-50 следует соблюдать следующие меры безопасности:
при разогреве патронов с мастикой в электрошкафах следует проверить исправность терморегулятора и наличие заземления корпуса шкафа;
работать с разогретыми патронами следует в рукавицах;
перед включением компрессора надлежит отрегулировать и установить предохранительный клапан на 7 ат.
7.47. При герметизации стыков мастикой УМС-50 следует контролировать толщину слоя уложенной мастики с помощью металлического щупа, а качество приклеивания мастики к бетонным кромкам стыка - визуально.
7.48. Герметизация стыков пористыми прокладками из пороизола должна выполняться с мастикой изол, а из гернита - с мастикой марки КН-2.
7.49. Прокладки должны быть обжаты в рабочем состоянии не менее чем на 30% и не более 50% начальной толщины (диаметра).
Степень обжатия должна определяться визуально.
7.50. При герметизации горизонтальных стыков пороизолом поверхности, на которые надлежит укладывать прокладки, следует очистить от загрязнения и покрыть мастикой изол с помощью аппарата С-562А. Пороизол надлежит наклеивать на загрунтованную поверхность и покрывать их мастикой изол.
7.51. Прокладку следует закатывать отдельными участками с помощью специального ролика, ведя ролик попеременно в разных направлениях для предупреждения вытягивания прокладок. Запрещается при закатывании натягивать свободный конец прокладки.
7.52. При герметизации стыков пористыми прокладками следует выполнять следующие требования:
а) при нанесении мастики изол надлежит с помощью легких щитков предохранять поверхности панелей вне зоны герметизации от загрязнения мастикой;
б) прокладки необходимо устанавливать без разрывов, обрезая концы их на ус и склеивая мастикой в местах соединения в процессе заделки стыков;
в) места пересечения горизонтальных и вертикальных стыков должны выполняться в строгом соответствии с проектом, обеспечивая надежное приклеивание прокладок;
г) в зимних условиях до герметизации стыков следует выдерживать прокладки в отапливаемом помещении.
7.53. При герметизации стыков в зимних условиях поверхность, подлежащую герметизации, следует тщательно очистить от снега, инея и осушить до полного удаления влаги.
Работы по герметизации стыков полиизобутиленовыми мастиками можно производить при температуре до минус 30 °C, однако при этом бетонные кромки панелей должны быть прогреты для обеспечения надлежащей адгезии (прилипаемости).
Работы по герметизации стыков тиоколовой мастикой можно выполнять при температуре не ниже минус 15 °C.
7.54. Пенополистирол для утепления стыков должен нарезаться брусками и наклеиваться на утепляемые поверхности. Стыковать бруски пенополистирола следует впритык или в четверть.
7.55. Пенополистирол не должен подвергаться воздействию разрушающих его веществ: органических растворителей (бензина, керосина, нефти, ацетона), эпоксидной или полиэфирной смол, стирола, концентрированной азотной кислоты.
8. ОСОБЕННОСТИ ЗАДЕЛКИ СТЫКОВ И ШВОВ В ЗИМНИХ УСЛОВИЯХ
8.1. Не допускается установка панелей с обледенелыми и загрязненными стыкуемыми поверхностями.
8.2. Очистку элементов от снега следует производить механическими щетками.
Удаление наледи следует осуществлять путем прогрева стыкуемых поверхностей электронагревательными печами, обдуванием струей горячего воздуха и т.д. После таяния льда поверхность должна быть высушена.
Запрещается производить снятие наледей паром, горячей водой и пламенем горелок.
8.3. Стыки между сборными элементами должны заделываться с минимальным разрывом во времени между установкой стыкуемых элементов и их заделкой.
8.4. Температура бетонной смеси в момент выхода из бетономешалки для бетона с добавкой хлористых солей и поташа не должна быть выше 5 °C, для бетонов с добавкой нитрита натрия, а также для обычных бетонов без противоморозных добавок -

.
8.5. В зимних условиях транспортирование бетонной смеси должно осуществляться в утепленных бункерах, ящиках и т.п. В случае применения для этих целей автосамосвалов с утепленными крышками кузовов следует осуществлять подогрев бетонной смеси отработанными газами.
8.6. Транспортирование бетонной смеси с противоморозными добавками разрешается осуществлять в неутепленной таре, но с обязательным укрытием от попадания снега и воздействия ветра.
8.7. Способы выдерживания бетона в стыках должны обеспечивать достижение прочности бетона к моменту замерзания его не ниже 50 кГ/см2 и не менее 50% проектной марки, а бетон с противоморозными добавками в условиях отрицательных температур - не ниже 50 кГ/см2, но не менее 25% проектной марки.
Прочность бетона или раствора в местах заделки расчетных стыков ко времени снятия кондукторов или распалубки должна составлять не менее 50% проектной прочности.
8.8. При температуре наружного воздуха ниже -10 °C и скорости ветра до 5 м/сек или при более высоких температурах и скорости ветра более 5 м/сек сохранение подвижности бетонной смеси (заданной строительной лабораторией) должно достигаться за счет введения добавки нитрита натрия в количестве 6 - 8% веса цемента.
8.9. Состав бетона, подвергаемого термообработке, следует подбирать из расчета получения прочности 50% от R28 к моменту окончания прогрева.
В случае необходимости получения прочности 70 и 100% от R28 марку бетона следует повышать на одну ступень.
8.10. Хранение бетонной смеси на объекте должно осуществляться в утепленной емкости, расположенной в специально отведенном месте, защищенном от ветра и попадания атмосферных осадков.
8.11. Схватившуюся или замерзшую бетонную смесь укладывать в полость стыка запрещается.
8.12. Добавлять воду или водные растворы противоморозных добавок в готовую бетонную смесь не разрешается.
8.13. Полость стыка с модулем поверхности 40 и выше при температуре наружного воздуха ниже -15 °C следует предварительно прогревать до температуры 15 - 20 °C. Для этой цели могут быть использованы тэны, трубчатые электронагреватели, греющие опалубки, калориферы.
Производить обогрев полости стыка паром, горячей водой или пламенем горелок запрещается.
Выдерживание бетона в стыках без обогрева
| | ИС МЕГАНОРМ: примечание. Постановлением Госстандарта СССР от 19.04.1977 N 962 с 01.01.1979 введен в действие ГОСТ 450-77. | |
| | ИС МЕГАНОРМ: примечание. Взамен ГОСТ 6194-52 Постановлением Госстандарта СССР от 02.01.1969 N 18 с 01.07.1969 введен в действие ГОСТ 6194-69. | |
8.14. При выдерживании бетона в стыках без обогрева следует применять бетонные смеси с противоморозными добавками, в качестве которых могут быть использованы: хлористый натрий (ГОСТ 153-57 "Соль поваренная пищевая"), хлористый кальций (ГОСТ 450-58 "Кальций хлористый технический"), нитрит натрия (ГОСТ 6194-52 "Натрий азотистокислый технический"), поташ (ГОСТ 10690-63 "Калий углекислый технический".
8.15. Выдерживание бетона в стыках методом замораживания допускается только в соответствии с указаниями проекта.
8.16. Выбор противоморозной добавки должен производиться с учетом конструктивного решения стыка: для заделки стыков, не имеющих стальных закладных деталей и арматуры, следует применять хлористый кальций, хлористый натрий, нитрит натрия, поташ; для заделки армированных стыков и стыков с закладными деталями - нитрит натрия или поташ.
8.17. Применение бетона с противоморозными добавками не допускается в следующих случаях: в стыках и швах конструкций, находящихся в агрессивных средах, в условиях повышенной влажности (более 85%); подверженных в процессе эксплуатации систематическому нагреванию до температуры выше 60°; расположенных близко (до 100 м) к источникам тока высокого напряжения; в конструкциях, подвергающихся воздействию динамических нагрузок.
8.18. Количество противоморозных добавок в зависимости от расчетной температуры твердения бетона назначается в соответствии с данными табл. 2.
Таблица 2
Рекомендуемые количества добавок
Расчетная температура твердения бетона в °C, до | Количество безводной соли в % от веса цемента |
хлористый натрий плюс хлористый кальций | нитрит натрия | поташ |
-5 | 3 + 0 | 4 - 6 | 5 - 6 |
-10 | 3,5 + 1,5 | 6 - 8 | 6 - 8 |
-15 | 3 + 4,5 | 8 - 10 | 8 - 10 |
-20 | - | - | 10 - 12 |
-25 | - | - | 12 - 15 |
Примечание. Бетонная смесь, приготовленная с добавкой поташа, требует введения замедлителей схватывания. В качестве замедлителя схватывания могут служить мылонафт (для низкоалюминатных портландцементов) и сульфитно-спиртовая барда (с. с. б.). Оптимальное количество добавок с. с. б. в зависимости от количества поташа при использовании низкоалюминатных портландцементов (C3A - до 7%) может составить 0,3 - 0,5%, среднеалюминатных - (C3A - до 10%) - 0,5 - 1%, высокоалюминатных (C3A - более 10%) - 0,7 - 1,25%.
8.19. Интенсивность нарастания прочности бетона на портландцементах при отрицательных температурах бетона приведена в табл. 3.
Таблица 3
Нарастание прочности бетона
с противоморозными добавками на портландцементах
Добавки | Расчетная температура твердения бетона в °C | Прочность в % R28 при твердении на морозе через |
7 суток | 14 суток | 28 суток | 90 суток |
Хлористые соли | -5 | 35 | 65 | 80 | 100 |
-10 | 25 | 35 | 45 | 70 |
-15 | 15 | 25 | 35 | 50 |
Нитрит натрия | -5 | 30 | 50 | 70 | 90 |
-10 | 20 | 35 | 55 | 70 |
-15 | 10 | 25 | 35 | 50 |
Поташ | -5 | 50 | 65 | 75 | 100 |
-10 | 30 | 50 | 70 | 90 |
-15 | 25 | 40 | 60 | 80 |
-20 | 25 | 40 | 55 | 70 |
-25 | 20 | 30 | 50 | 60 |
Примечания: 1. При использовании быстротвердеющих портландцементов приведенные величины умножаются на коэффициент 1,2, а смешанных (шлаковых или пуццолановых) - на 0,8.
2. При использовании нитрита натрия в виде жидкого продукта, а также при сочетании противоморозных добавок с поверхностно-активными (с. с. б., мылонафт) приведенные величины умножаются на коэффициент 0,8.
8.20. Для приготовления бетонов с противоморозными добавками допускается применять заполнители в неотогретом виде, но они не должны содержать смерзшихся комьев, включений снега и льда, а также при использовании в качестве противоморозной добавки поташа и нитрита натрия - зерен опала, халцедона и вулканического стекла.
8.21. Водные растворы солей и замедлителей схватывания следует готовить не менее чем за сутки до употребления; растворять добавки целесообразно в горячей воде с перемешиванием мешалкой, струей сжатого воздуха или паром. Приготовление водных растворов противоморозных добавок следует производить в хорошо проветриваемом помещении, в котором запрещается курить и принимать пищу. Рабочие, занятые на этих работах, должны снабжаться защитной спецодеждой и очками.
8.22. Контроль за нарастанием прочности бетона в стыках, замоноличиваемых без обогрева, следует осуществлять путем испытания 9 контрольных кубов, хранившихся в аналогичных температурно-влажностных условиях с бетоном заделки. Испытания контрольных образцов должны проводиться: 3 образца через 28 суток твердения на морозе, 3 образца сразу после наступления устойчивых положительных температур наружного воздуха и 3 образца через 28 суток твердения бетона при положительных температурах после оттаивания. Ориентировочно прочность бетона в стыках может быть определена по
табл. 3.
8.23. При контроле качества бетона с противоморозными добавками следует проверять:
а) соответствие концентрации применяемых водных растворов солей ожидаемым минимальным температурам в бетоне;
б) соблюдение правил подготовки и транспортирования бетонной смеси;
в) подвижность бетонной смеси во время укладки ее в конструкцию;
г) уплотнение бетонной смеси и уход за бетоном.
8.24. При контроле концентрации водных растворов противоморозных добавок следует проверять:
а) соответствие применяемой добавки требованиям стандартов;
б) удельный вес водного раствора добавки;
в) отсутствие в расходных емкостях раствора кристаллического осадка добавки.
8.25. К работе по приготовлению водных растворов противоморозных добавок не разрешается допускать лиц с поврежденным кожным покровом (ссадины, ожоги, царапины), поражением век и глаз.
Выдерживание бетона в стыках
с обогревом нагревательными устройствами
8.26. Обогрев бетона в полости стыка следует осуществлять с помощью нагревательных устройств: установки инфракрасного излучения, электрокассеты, греющего полотна, греющей опалубки. Допускается применение пара и горячего воздуха.
8.27. Термообработку бетона следует производить по режиму: разогрев - изотермический прогрев.
8.28. Максимальная температура прогрева не должна превышать 50 °C для бетона, приготовленного на быстротвердеющем портландцементе, 70 °C для бетонов на портландцементе и 80 °C для бетонов на шлакопортландцементе.
8.29. Скорость остывания бетона не должна превышать 12° в час, для чего следует применять периодическое включение и выключение тока. Опалубку и утепление допускается снимать с прогретого бетона после того, как он остынет до температуры 5 °C, однако разница между температурами прогретого бетона и окружающей среды не должна быть более 30 °C.
Продолжительность термообработки должна устанавливаться по графикам определения времени изотермического прогрева в зависимости от требуемой прочности и температуры прогрева
(приложение 6).
8.30. Бетон горизонтальных стыков большой протяженности надлежит обогревать нагревательными устройствами типа печей электросопротивления или греющим полотном.
Если глубина стыка превышает 15 см, то требуется двусторонний прогрев.
8.31. Бетон в стыках элементов отдельно стоящих конструкций (колонн, балок, прогонов, ригелей, поясов и т.д.) следует обогревать электрокассетами или греющей опалубкой.
8.32. Обогрев бетона вертикальных стыков крупнопанельных зданий следует осуществлять с помощью греющей опалубки.
Греющая опалубка должна устанавливаться в углу в месте примыкания внутренней панели к наружным. На каждый стык должны устанавливаться две греющие опалубки. Греющую опалубку следует включать за 2 - 3 ч до укладки бетона в стык для обогрева стыкуемых поверхностей.
8.33. Мощность греющей опалубки для прогрева стыка или только одной шпонки должна назначаться в соответствии с данными табл. 4.
Таблица 4
Потребная мощность греющей опалубки для прогрева стыка
Температура наружного воздуха в °C | Мощность в квт на две греющие опалубки |
на всю высоту стыка | на высоту шпонки |
До -15 | 2 | 0,7 |
" -20 | 3,5 | 1,2 |
Ниже -20 | 5 | 2 |
Выдерживание бетона в стыках с помощью электропрогрева
8.34. Электропрогрев бетона в стыках электродами следует вести от двухфазной электросети. Начинать электропрогрев следует сразу после окончания бетонирования и не позднее чем бетон в стыке достигнет 5 °C.
Примечание. Если остывание бетона в полости стыка происходит быстро и по условиям производства этого времени для подключения электродов к напряжению недостаточно, выдерживание бетона в стыках рекомендуется осуществлять комбинированным методом (
пп. 8.38 -
8.40).
8.35. При электропрогреве бетона в стыках преимущество следует отдавать саморегулирующемуся режиму, который характерен тем, что на протяжении всего цикла термообработки напряжение остается неизменным, т.е. прогрев осуществляется на одной ступени понижающего трансформатора
(приложение 7).
В случае необходимости применения мягких режимов разогрева (до 10 град/ч), но с повышенной температурой изотермического выдерживания (80 - 85 °C) или жестких режимов с пониженной температурой (50 - 60 °C) следует применять режим "разогрев - изотермический прогрев". При использовании этого режима для прогрева группы стыков от одного трансформатора разрыв во времени между подключением первого и последнего стыков не должен превышать 1 ч.
Температурный режим прогрева должен соответствовать
пп. 8.28 и
8.29 настоящего Руководства.
8.36. При электропрогреве по саморегулирующемуся режиму для получения прочности не менее 50% марки продолжительность термообработки должна составлять: при скорости разогрева 10 град/ч - 22 ч, при 15 град/ч - 18 ч, при 20 град/ч - 16 ч, при 30 град/ч - 14 ч.
При электропрогреве по режиму "разогрев - изотермический прогрев" продолжительность прогрева ориентировочно определяется по графикам, приведенным в
приложении 6.
8.37. Выбор типа электродов зависит от конструктивных особенностей стыков и принимается в соответствии с указаниями проекта производства работ.
Выдерживание бетона в стыках
при комбинированном методе прогрева
8.38. Комбинированный метод (термообработка бетона, содержащего противоморозную добавку - нитрит натрия) следует применять в случаях, когда температура наружного воздуха снижается ниже -25 °C, или при более высоких температурах и скорости ветра более 10
м/
сек, а также для стыков с высоким модулем поверхности, когда продолжительность остывания бетона в полости стыка не соответствует технологическому циклу монтажа конструкций (см.
приложение 8) <*>.
--------------------------------
<*> Способ разработан в ВНИИМонтажспецстрой.
8.39. Количество вводимой добавки нитрита натрия следует осуществлять в соответствии с рекомендациями
п. 8.19 настоящего Руководства.
8.40. Электрообогрев и электропрогрев бетона должны производиться при температуре не выше 50 °C со скоростью подъема температуры не более 20
град/
ч.
8.41. Наблюдение и контроль за термообработкой бетона в стыках с помощью обогрева, электропрогрева и комбинированного способа должны вестись в соответствии со следующими указаниями:
а) контроль за температурой бетона должен осуществляться: в первые 4 ч через каждые 0,5, а в последующее время до конца прогрева через каждые 2 ч;
б) замеры температуры производятся в зоне расположения электрода или нагревателя на расстоянии не более 1 см от него и в самой удаленной точке;
в) регулировать процесс термообработки следует по термометру, установленному в зоне расположения электрода или нагревателя. Продолжительность прогрева следует устанавливать по термометру, расположенному в самой удаленной точке;
г) записи температуры должны производиться в температурных листах, которые необходимо вести отдельно для каждой группы стыков, питаемых от одного софита.
8.42. Контроль прочности бетона при термообработке должен осуществляться путем испытания контрольных образцов, приготовленных из того же замеса, что и бетон заделки, и выдержанных по аналогичному с ним температурному режиму.
В контрольных образцах, прогреваемых от общего трансформатора, регулирование температуры следует осуществлять путем попеременного включения и отключения контрольных образцов от общей сети электропитания. В случае невозможности обеспечить необходимый температурный режим от общего трансформатора необходимо для прогрева контрольных образцов иметь отдельный трансформатор.
Контроль за нарастанием прочности бетона заделки следует осуществлять путем испытания 9 контрольных кубов, из которых 3 предназначаются для определения марки бетона (их хранят в нормальных условиях), 6 кубов подвергают термообработке и 3 из них испытывают после окончания прогрева, когда температура бетона достигает 5 °C.
В случае, если результат испытания первых 3 и 6 кубов, подвергнутых прогреву, покажет неудовлетворительную прочность бетона, необходимо принять меры к дополнительной термообработке бетона стыка. Для проверки прочности бетона в этом случае будут служить 3 запасных образца.
9.1. При приемке монтажных работ осуществляется проверка:
а) соответствия смонтированных конструкций проекту;
б) готовности возводимого здания или его части к производству последующих строительно-монтажных работ;
в) качества монтажных работ.
| | ИС МЕГАНОРМ: примечание. Взамен СН 378-67 Постановлением Госстроя СССР от 19.08.1977 N 122 с 01.10.1977 введены в действие СН 378-77. | |
9.2. Оценка качества производится в соответствии с положениями, устанавливаемыми "Временными указаниями по оценке качества строительно-монтажных работ, конструктивных частей зданий и сооружений и законченных строительством пусковых комплексов" (СН 378-67).
9.3. Приемка работ должна устанавливать:
а) точность установки элементов конструкций;
б) качество сварки и заделки стыков и швов;
в) сохранность элементов и их отделки;
г) выполнение других специальных требований проекта.
9.4. Приемка смонтированных сборных железобетонных конструкций должна производиться в следующем порядке: промежуточные приемки скрытых работ, окончательная приемка конструкций, всего здания или его части.
9.5. Промежуточной приемке с оформлением актов на скрытые работы подлежат следующие конструкции и работы:
а) основание под сборные фундаменты;
б) фундаменты (сборные или монолитные) до их засыпки;
в) укрупнительная сборка конструкций;
г) гидроизоляция;
д) сварка выпусков арматуры и закладных деталей;
е) натяжение арматуры при укрупнительной сборке и монтаже;
ж) защита металлических деталей от коррозии;
з) заделка и герметизация швов;
и) звукоизоляция;
к) термоизоляция и пароизоляция.
9.6. Приемка монтажных работ производится после закрепления узлов всеми проектными креплениями и не ранее приобретения бетоном в стыках проектной прочности. В процессе сдачи-приемки производятся освидетельствование их в натуре, контрольные замеры и в необходимых случаях производственные и лабораторные испытания.
9.7. Приемка конструкций здания или его части под производство последующих строительно-монтажных работ производится после окончания монтажа всех сборных конструкций здания, секции, этажа.
Приемка оформляется актами с участием представителя генерального подрядчика и монтирующей организации.
9.8. При приемке смонтированных конструкций должны предъявляться следующие документы:
паспорта на сборные конструкции или их элементы, выданные предприятием-изготовителем;
сертификаты на материалы, применяемые при монтаже;
сертификаты на электроды, применяемые при сварке;
рабочие чертежи конструкций с нанесением на них всех отклонений от проекта, допущенных во время монтажа и согласованных с проектными организациями;
журналы монтажных, сварочных работ и заделки стыков;
документация лабораторных анализов и испытаний при сварке и замоноличивании стыков;
акты приемок смонтированных конструкций;
акты на скрытые виды работ;
данные о результатах инструментальной проверки конструкций;
опись дипломов сварщиков, работавших при монтаже конструкций.
ТЕХНИЧЕСКАЯ ХАРАКТЕРИСТИКА БАШЕННЫХ КРАНОВ ДЛЯ МОНТАЖА
НАДЗЕМНОЙ ЧАСТИ КРУПНОПАНЕЛЬНЫХ И КАРКАСНО-ПАНЕЛЬНЫХ ЗДАНИЙ
Параметры кранов | КБ-100 | КБ-100-ОМ | КБ-160-1 | КБ-160-2 | БК-180 | С-981 | | | МБТК-80 | | МСК-5-20 | Т-226 | | | БКСМ-5-5 | |
Грузовой момент в T м | 100 | 100 | 160 | 160 | 180 | 100 | 110 | 110 | 80 | 60 | 100 | 125 | 100 | 150 | 110 | 110 |
Вылет стрелы: | | | | | | | | | | | | | | | | |
наибольший | 20 | 20 | 20 | 25 | 25 | 25 | 22 | 22 | 16 - 20 | 20 | 20 | 25 | 20 | 30 | 22 | 22 |
наименьший | 10 | 10 | 10 | 13 | 3,5 | 12,5 | 4,5 | 4,1 | 10 - 16 | 12 | 10 | 10 | 12 | - | 4,5 | 4,5 |
Грузоподъемность в T: | | | | | | | | | | | | | | | | |
при наибольшем вылете | 5 | 5 | 8 | 5 | 7 | 4 | 5 | 5 | 3 | 3 | 5 | 5 | 5 | 5 | 5 | 5 |
при наименьшем вылете | 5 | 5 | 8 | 8 | 10 | 8 | 5 | 5 | 5 | 5 | 5 | 5 | 5 | 5 | 5 | 7 |
Высота подъема крюка в м: | | | | | | | | | | | | | | | | |
наибольшая | 33 | 44 | 42 | 60,6 | 100 | 48 | 40 | 60 | 33 | 41 | 38 | 41 | 48 | 90 | 48 | 50 |
наименьшая | 21 | 32 | 32 | 46 | - | 35 | 21 | 40,5 | 21 | 28 | 26 | 25 | 35 | - | 29 | 32 |
Ширина колеи в м | 4,5 | 4,5 | 6 | 6 | 6 | 4,5 | 4,5 | 6 | 4 | 3,8 | 4 | 4,5 | 5 | 7,5 | 6 | 6 |
Вес крана в т | 51,6 | 55 | 80 | 80 | 122 | 77 | 71,8 | 89,7 | 48 | 56,1 | 53 | 74 | 60 | 150 | 131 | 93,3 |
--------------------------------
<*> Модернизированные и основные модели кранов, имеющиеся в отдельных строительных организациях.
ОСНОВНЫЕ ИНСТРУМЕНТЫ, ПРИСПОСОБЛЕНИЯ И МЕХАНИЗМЫ,
РЕКОМЕНДУЕМЫЕ ДЛЯ МОНТАЖА
Наименование инструментов, приспособлений и механизмов | Назначение | Наименование организаций, разработавших рабочие чертежи, и N рабочих чертежей |
Приспособления для подъема элементов |
Строп четырехветвевой грузоподъемностью 10 T | Подъем панелей стен, панелей перекрытий, лестничных маршей, площадок и других сборных элементов | ЦНИИОМТП, МН 5793-65, МН 5794-65, ГОСТ 13187-67 |
Строп шестиветвевой грузоподъемностью 10 T | То же | То же |
Траверса грузоподъемностью 10 T | Подъем панелей наружных и внутренних стен | СКБ Прокатдеталь, N 757.00.00 |
То же, 7 T | Подъем панелей перекрытий и покрытий | Трест Мосоргстрой, N 1601.00.00.00 |
Фрикционный захват | Подъем панелей внутренних стен, имеющих вместо монтажных петель штыри, расположенные по геометрической оси панелей | Трест Ленинградоргстрой, N 574.00.00 |
Подъемно-выпрямляющее устройство | Подъем панелей наружных стен, имеющих внецентренно расположенные монтажные петли | ЦЭКБ ЦНИИОМТП, N 959.00.000 |
Рым-болт | Подъем панелей стен и перекрытий, имеющих закладные гайки вместо монтажных петель | СКБ Прокатдеталь |
Захват винтовой грузоподъемностью 0,8 T | Подъем плит перекрытий, имеющих отверстия вместо монтажных петель | Гипростроммаш, N 2046/1 |
То же, стержневой | То же | То же |
Крюк грузоподъемностью 0,3 T | Подъем лестничных маршей, не имеющих монтажных петель | Трест Мосоргстрой, N 130.00.00.00 |
Подхват рамочный грузоподъемностью 0,6 T | Подъем лестничных маршей, не имеющих монтажных петель | Гипрооргсельстрой, КБ-65009 |
Унифицированный захват грузоподъемностью 0,6 T | Подъем лестничных маршей, имеющих отверстия вместо монтажных петель | ЦНИИОМТП, N 1175-30 |
Петля грузоподъемностью 6,6 T | То же | Гипрооргсельстрой, КБ-60083 |
Приспособления для закрепления и выверки элементов |
Бесструбцинный подкос | Закрепление и выверка стеновых панелей | ЦНИИОМТП, N 421.00.00.00 |
Подкос | То же | Гипрооргсельстрой, КБ-65018 |
Бесструбцинный подкос | Закрепление стеновых панелей за петли, расположенные на 1,7 м от уровня перекрытий | Мосоргстрой, N 3018.00.00.00 |
Струбцина | Закрепление стеновых панелей | Гипрооргсельстрой, КБ-63134; трест Мосоргстрой, N 435.00.00.00 и 437.00.00.00 |
" | Закрепление спаренных панелей торцовых стен | Трест Мосоргстрой, N 907.00.00.00 |
Струбцина угловая | Закрепление угловых стеновых панелей, различных по толщине | Трест Мосоргстрой, N 492.00.00.00 и 505.00.00.00 |
Треугольная инвентарная стойка | Закрепление внутренних панелей и гипсобетонных перегородок | Трест Мосоргстрой, N 459.00.00.00, 853.00.00.00 и 1073.00.00.00 |
Стойка инвентарная | Поддерживание балконных плит | СКБ Мосстроя, N 903.80.00.00 и 990.00.00.00 |
Подкос инвентарный | То же | СКБ Мосстроя N 985.00.00.00 |
Горизонтальная связь с ручкой | Фиксация верха панелей поперечных стен и их закрепление | ЦНИИОМТП, N 422.00.00.00 |
Горизонтальная штанга | Фиксация положения и закрепление панелей поперечных стен через технологические отверстия | ЦНИИОМТП, N 576А.00.000 |
Вкладыш | Соединение горизонтальных штанг | ЦНИИОМТП, N 576.02.300 |
Стальная лента со съемными упорными фиксаторами | Фиксация положения панелей поперечных стен понизу | ЦНИИОМТП, N 423.01.00.00 |
Натяжное устройство | Закрепление и натяжение стальных лент | ЦНИИОМТП, N 423.02.00.00 |
Подкос | Временное крепление рам | Ленинградоргстрой, N 1256 |
Двойная струбцина | Монтаж наружных панелей | Мосоргстрой, N 2373.00.00.00 |
Кондуктор | Установка перегородок | Мосоргстрой, N 491.00.00.00 |
" | Установка базовой рамы | ЦНИИОМТП, N 549.04.000 |
Горизонтальная связь | Выверка и временное закрепление рам | ЦЭКБ ЦНИИОМТП, N 918.00.000 |
Групповой кондуктор | Выверка и временное закрепление колонн с верхней индикаторной рамой | Свердловский филиал Индустройпроекта, N УК.00.00.00 |
То же | Выверка и временное закрепление колонн с верхней индикаторной рамой и нижним захватом | СКБ Мосстроя и ЭКБ ЦНИИОМТП, N 2645.00.00 |
" | Установка, выверка и фиксация рам | Промстальконструкция, N 5915м-22 |
Групповой кондуктор | Выверка и временное закрепление колонн с жесткими верхними захватами | Мосоргстрой, N 1385.00.00.00 |
Одиночный кондуктор | Временное закрепление колонн | Мосоргстрой, N 2050.00.00.00 |
Герметизация стыков мастикой УМС-50 |
Шнековая установка для зарядки гильз | Наполнение мастикой УМС-50 металлических гильз | ВНИИНСМ, N 2301 |
Шприц для мастики УМС-50 | Нагнетание мастики из сменной гильзы в стык | ВНИИНСМ, N 2278 |
То же | То же | ЦНИИОМТП, N 1160.00.000 и 1169.00.000 |
Термостат для подогрева патронов с мастикой | Нагрев мастики, затаренной в патроны по рабочей температуры - 90 °C | ВНИИНСМ, N 2302 |
Герметизация стыков тиоколовой мастикой |
Пневматический шприц для нанесения тиоколовой мастики | Нанесение герметизирующей тиоколовой мастики | ЦНИИОМТП, N 314 |
Ручной шприц для нанесения тиоколовой мастики | То же, для малых объемов работ | ЦНИИОМТП, N 330 |
Герметизация стыков пористыми прокладками с мастикой изол |
Аппарат С-562 или аналогичный для нанесения шпаклевки | Нанесение мастики изол | Серийно выпускается промышленностью (Вильнюсский з-д покрасочных аппаратов) |
Приспособление для закатывания прокладок (ролик) | Укладка пористых прокладок в зазор стыков | ЦНИИОМТП, N 303 |
Заполнение полостей стыков раствором и мелкозернистым бетоном |
Плунжерные растворонасосы С-757, С-854, С-855 и С-856 | Замоноличивание раствором горизонтальных и вертикальных стыков панелей стен, перекрытий и покрытий жилых, гражданских, промышленных зданий и сооружений | Серийно выпускается промышленностью Лебедянский литейно-механический завод. Прилукский завод строительных машин Скопинский завод строительных машин |
Пневматические нагнетатели: установка С-862. Установка ЦНИИОМТП с компрессором производительностью 0,5 м3/мин | Замоноличивание открытых, большого объема стыков промышленных зданий и специальных сооружений, вертикальных стыков наружных стеновых панелей жилых, гражданских и промышленных зданий | Серийно выпускается промышленностью Московский завод строительных машин ЦНИИОМТП N 261-66 |
Установка для перекачивания цементно-песчаных смесей во взвешенном состоянии в струе сжатого воздуха НИИМосстроя | Замоноличивание несущих стыков с узкими полостями и стыков, насыщенных арматурой, стыков стеновых ограждений и перекрытий промышленных зданий и сооружений | НИИ Мосстроя и ЦНИИОМТП, N 258-66 |
Вибробункер конструкции ЦНИИОМТП | Замоноличивание вертикальных стыков наружных стеновых панелей | ЦНИИОМТП, N 259-66 |
Винтовой насос ЦНИИОМТП | Замоноличивание стыков жилых, гражданских, промышленных зданий и специальных сооружений | ЦНИИОМТП, N 1028.00.000 |
Нащельник | Замоноличивание вертикальных стыков в стеновых панелях | Мосоргстрой, N 594.00.00 |
Оборудование для антикоррозионной защиты сварных соединений |
Установка газопламенного напыления УПН-63 или электрометаллизаторы ЭМ 10-66 или МЭС-2-65 | Нанесение цинковых покрытий на сварные соединения | Серийно выпускаются промышленностью |
Приспособления для обеспечения безопасных методов работ |
Передвижная площадка | Размещение сварщика и монтажника при монтаже | Гипрооргсельстрой, N КБ-6500 |
Стойка ограждения | Ограждение опасных зон в местах производства монтажных работ | Мосоргстрой, N 1925.000 |
Временное ограждение | Ограждение лестничных площадок до установки очередного марша | Гипрооргсельстрой, N КБ-60185 |
Прижим | Закрепление временного ограждения лестничных маршей | Мосоргстрой, N 1245.00.00.00 |
ФОРМА ЖУРНАЛА УЧЕТА ВЫПОЛНЕНИЯ ГЕОДЕЗИЧЕСКИХ РАБОТ
Название и адрес организации (объекта) СУ-2 треста Жилстрой N 1
Ф. и. о. геодезиста г. Камск, Речная, 40
Начат 1.I.69 г. Карпов Г.Ф.
Окончание ______________
Дата получения задания | Ф. и. о. и должность ответственного лица, выдавшего задание Содержание задания | Планируемый срок выполнения | Ф. и. о. и должность исполнителя | Форма отчета | Фактический срок исполнения, подпись исполнителя | Результаты выполненного задания. Кому и когда о них доложено | Меры, принятые по докладу | Подпись старшего геодезиста, дата |
10/V.1969 | Федоров С.И., гл. инженер СУ-2. Разбить трассу магистрального трубопровода по Первомайской улице | 22/V.1969 | Инженер-геодезист Гусев О.К. | Закрепленную в натуре трассу коллектора и репера сдать по акту ст. прорабу Косову Г.П. (с приложением схемы разбивки) | 20/V.1969 (подпись) | В точке ПК 27+30 на отм. 169.25 залегает газопровод не предусматриваемый проектом. Проектная отм. коллектора в этой точке 169.000. Доложено гл. инженеру Федорову С.И. 21/V.1969 г. | Ст. прорабу Косову Г.П. поручено связаться с проектной организацией | (подпись) 28/V.1969 |
ТОЧНОСТЬ ВЫПОЛНЕНИЯ РАЗБИВОЧНЫХ РАБОТ
а) Точность построения длин линий
Длина линии в м | Количество отложений рулетки длиной 20 м | Точность выполнения работ (средние квадратические ошибки) <*> |
подвешенной рулеткой | рулеткой, уложенной на плоскости |
10 | 1 | 1,6 | 1,4 |
20 | 1 | 2,6 | 1,9 |
40 | 2 | 4 | 3,1 |
60 | 3 | 5,1 | 4 |
80 | 4 | 7,3 | 5,2 |
100 | 5 | 7,9 | 6,2 |
--------------------------------
<*> Получены с учетом следующих ошибок:
компарирования = +/- 0,9 мм;
за нестворность = +/- 30 мм;
за превышение концов рулеток = +/- 30 мм;
ошибки за натяжение = +/- 2 кг;
ошибки за температуру = +/- 3°;
ошибки фиксации концов рулетки = +/- 1,1 мм.
Примечание. Цифры, указанные в таблице, взяты из журнала "Геодезия в картография" N 1, 1967 г.
б) Точность построения и измерения углов
Способы построения и измерения углов | Точность выполнения работ (средние квадратические ошибки  ) |
Верньерные теодолиты (ТТ-50, ТТ-5, ТТ-4, ТН) | Оптический теодолит Т-5 |
Построение угла: | | |
при одном круге | 43 | 11 |
" двух кругах | 30 | 8 |
Измерение угла: | | |
полуприемом | 40 | 9 |
полным приемом | 30 | 6 |
двумя приемами | 22 | 4 |
тремя " | 17 | 3 |
в) Точность передачи осей на монтажный горизонт
в зависимости от высоты здания
Способы и средства передачи | Высота H в м | 10 | 20 | 30 | 40 | 50 | 60 | 70 | 80 | 90 | 100 | 200 | 300 |
Точность передачи (средние квадратические ошибки  ) |
Теодолиты (ТТ-50, Т-4, Т-5) (проектирование осуществляется в одной плоскости  ) при одном круге (полуприем) | - | 1,8 | 1,8 | 2,7 | 3,6 | 4,8 | 5,4 | 6,3 | 7,2 | 8,1 | 93 | 17,8 | 26,9 |
При двух кругах (полный прием) | - | 0,6 | 1,0 | 1,4 | 1,8 | 2,3 | 2,7 | 3,1 | 3,6 | 4,0 | 4,6 | 9,0 | 13,5 |
Теодолит с накладным уровнем  | - | 0,4 | 0,5 | 0,7 | 0,8 | 1,0 | 1,1 | 1,3 | 1,4 | 1,6 | 1,8 | 3,5 | 5,2 |
Зенит-прибор | - | 0,5 | 0,5 | 0,5 | 0,6 | 0,6 | 0,7 | 0,7 | 0,8 | 0,8 | 0,9 | 1,6 | 2,3 |
Примечание. Цифры, указанные в таблице, взяты из журнала "Промышленное строительство" N 3, 1968 г.
СРЕДСТВА МЕХАНИЗАЦИИ ПРИ ЗАПОЛНЕНИИ СТЫКОВ
РАСТВОРОМ И БЕТОННОЙ СМЕСЬЮ
Средства механизации | Типы стыков, рекомендуемые для заполнения раствором или бетонной смесью | Материал, укладываемый в стыки конструкций | Примечание |
раствор | песчаный бетон | бетонная смесь с заполнителем до 20 мм |
Плунжерные растворонасосы С-757, С-854, С-855, С-856 | Горизонтальные и вертикальные стыки панелей стен, перекрытий и покрытий, где по проекту требуется укладка раствора | + | - | - | Лучшими являются насосы с числом ходов плунжера более 120 в 1 мин. Для улучшения условий транспортирования и получения установившегося движения раствора в сети рекомендуется воздушный колпак заводского изготовления заменить колпаком увеличенной емкости |
Пневматические нагнетатели: установка С-862 с компрессором и установка ЦНИИОМТП с компрессором производительностью 0,5 м3/мин | Вертикальные стыки наружных стеновых панелей, где по проекту требуется укладка раствора или бетонной смеси с заполнителем мелкой фракции | + | - | + | Требуется оснащение установки устройством, обеспечивающим неполное опорожнение емкости и устраняющее явление выхлопа |
Установка для перекачивания цементно-песчаных смесей во взвешенном состоянии в струе сжатого воздуха | Несущие стыки с узкими полостями и стыки, насыщенные арматурой, стыки стеновых ограждений перекрытий, где по проекту требуется укладка песчаного бетона или зачеканка швов | + | + | - | Для перемещения смеси во взвешенном состоянии требуется отрегулировать производительность насоса и компрессора так, чтобы весовой расход материала был больше весового расхода воздуха в 7 - 10 раз |
Винтовые насосы | Все типы стыков, где по проекту требуется укладка раствора, песчаного бетона | + | + | - | Необходимая производительность насоса 1 - 1,5 м3/ч |
Вибробункер конструкции ЦНИИОМТП | Вертикальные стыки наружных стеновых панелей | + | + | + | Требуется оснащение прикрепляемым вибратором, применяемым в качестве побудителя для повышения подвижности смеси в бункере, и внутренним вибратором для уплотнения бетонной смеси в стыке |
Бункер конструкции НИИСП | То же | + | + | + | Требуется оснащение внутренним вибратором, применяемым в качестве побудителя для повышения подвижности смеси в бункере и уплотнения смеси в стыке |
ГРАФИКИ ДЛЯ ОПРЕДЕЛЕНИЯ ПРОЧНОСТИ БЕТОНА
В ЗАВИСИМОСТИ ОТ ТЕМПЕРАТУРЫ И ВРЕМЕНИ ПРОГРЕВА
Рис. 9.
а - бетон, приготовленный на портландцементе;
б - бетон, приготовленный на шлакопортландцементе
РАСЧЕТ НАЧАЛЬНОЙ МОЩНОСТИ И НАПРЯЖЕНИЯ
ПРИ ЭЛЕКТРОПРОГРЕВЕ БЕТОНА В СТЫКАХ
Электропрогрев бетона в стыках по саморегулирующемуся режиму характеризуется тем, что на протяжении всего цикла термообработки напряжение на электродах сохраняется постоянным, величина которого определяется по формуле

,
где U - напряжение в в;
Wнач - начальная электрическая мощность в вт;
Rст - общее сопротивление стыка в ом.
Начальная мощность, обеспечивающая электропрогрев бетона с заданной скоростью подъема температуры и скоростью остывания 5 град/ч, определяется по формуле

,
где V - объем бетона заделки в м3;
tн.в - температура наружного воздуха в град;
tб.к - максимальная температура прогрева в град;
B - коэффициент, зависящий от скорости разогрева; принимается в соответствии с данными табл. 1.
Таблица 1
Значение коэффициента B и температуры tб.к
в зависимости от скорости подъема температуры
Скорость подъема температуры в °C | Максимальная температура в °C | Значение коэффициента B |
10 | 60 | 16 |
15 | 80 | 17 |
| 85 | 19 |
25 | 98 | 21 |
--------------------------------
<*> Оптимальной скоростью подъема температуры является 20
град/
ч.
Для определения общего сопротивления стыка к выводам электродов следует подвести напряжение 50 - 100 в и замерить силу тока. Напряжение и ток следует замерять измерительными клещами, например Ц-91. Поскольку на объекте одновременно прогреваются однотипные стыки, достаточно определить общее сопротивление на трех стыках и для дальнейших расчетов принимать его среднеарифметическое значение.
Пример. Расчет начальной мощности для электропрогрева бетона вертикального стыка крупнопанельного здания (1-464А) с примыкающей к нему внутренней стеновой панелью.
Объем бетона заделки стыка 0,045 м3.
Температура наружного воздуха tн.в = 20 °C.
Скорость подъема температур 20 град/ч.
Общее сопротивление стыка Rст = 4,8 ом.
Определяем начальную мощность по формулам

(1)

. (2)
В целях облегчения расчетов для оптимальной скорости 20 град/ч можно пользоваться графическим способом расчета по номограмме (рис. 10).
Рис. 10. Номограмма для расчета начального напряжения
Следует определить напряжение, подводимое к электродам. Исходные данные: объем бетона заделки стыка 45 л, сопротивление стыка 4,8 ом, температура наружного воздуха минус 20 °C.
Зная объем бетона заделки стыка и найдя его на соответствующих осях, восстанавливаем к ним перпендикуляры: один до пересечения с лучом A, другой до пересечения с лучом "Температура наружного воздуха". Из точек пересечения перпендикуляров с этими лучами проводим линии под углом 90° до их взаимного пересечения. Полученная точка определяет начальную мощность в ваттах, которую необходимо подвести к стыку.
Для определения необходимого напряжения из полученной точки проводится линия мощности до взаимного пересечения с перпендикуляром, восстановленным к оси "Сопротивление стыка" в соответствующей точке. Пересечение этих линий определяет то напряжение, которое необходимо подвести к электродам (в данном случае 86 в). На номограмме ход расчета показан стрелками.
При организации электропрогрева по саморегулирующему режиму в производственных условиях может возникнуть затруднение с обеспечением требуемого напряжения. Если расчетное напряжение не совпадает с напряжением трансформатора на низкой стороне, то следует принимать ближайшее значение. Необходимо помнить, что значительное отклонение фактического напряжения от расчетного значения влияет на режим прогрева (табл. 2).
Таблица 2
Изменение основных параметров электропрогрева бетона
в результате возможных отклонений от расчетного напряжения
Основные параметры | Отклонения напряжения в % |
-15 | -10 | -5 | 0 | +5 | +10 | +15 |
Скорость разогрева | 5 | 10 | 15 | 20 | 25 | 30 | 35 |
Максимальная температура | 40 | 60 | 80 | 85 | 98 | 100 | 100 |
Ориентировочная продолжительность прогрева в час для достижения 50%-ной прочности | 28 | 32 | 18 | 16 | 15 | 14 | 14 |
Продолжительность остывания бетона заделки (в мин)
для стыков различных модулей поверхности
при начальной температуре бетонной смеси +15 °C
Модуль поверхности | Температура наружного воздуха в °C |
-5 | -10 | -15 | -20 | -25 |
100 | | | | | |
60 | | | | | |
40 | | | | | |
30 | | | | | |
25 | | | | | |
Примечание. Над чертой указана продолжительность остывания в зоне контакта с поверхностью бетона стыкуемого элемента; под чертой - продолжительность остывания в центре стыка.