Краткое наименование страны по МК (ИСО 3166) 004-97 | Код страны по МК (ИСО 3166) 004-97 | Сокращенное наименование национального органа по стандартизации |
Азербайджан | AZ | Азстандарт |
Армения | AM | ЗАО "Национальный орган по стандартизации и метрологии" Республики Армения |
Беларусь | BY | Госстандарт Республики Беларусь |
Киргизия | KG | Кыргызстандарт |
Россия | RU | Росстандарт |
Таджикистан | TJ | Таджикстандарт |
Узбекистан | UZ | Узбекское агентство по техническому регулированию |

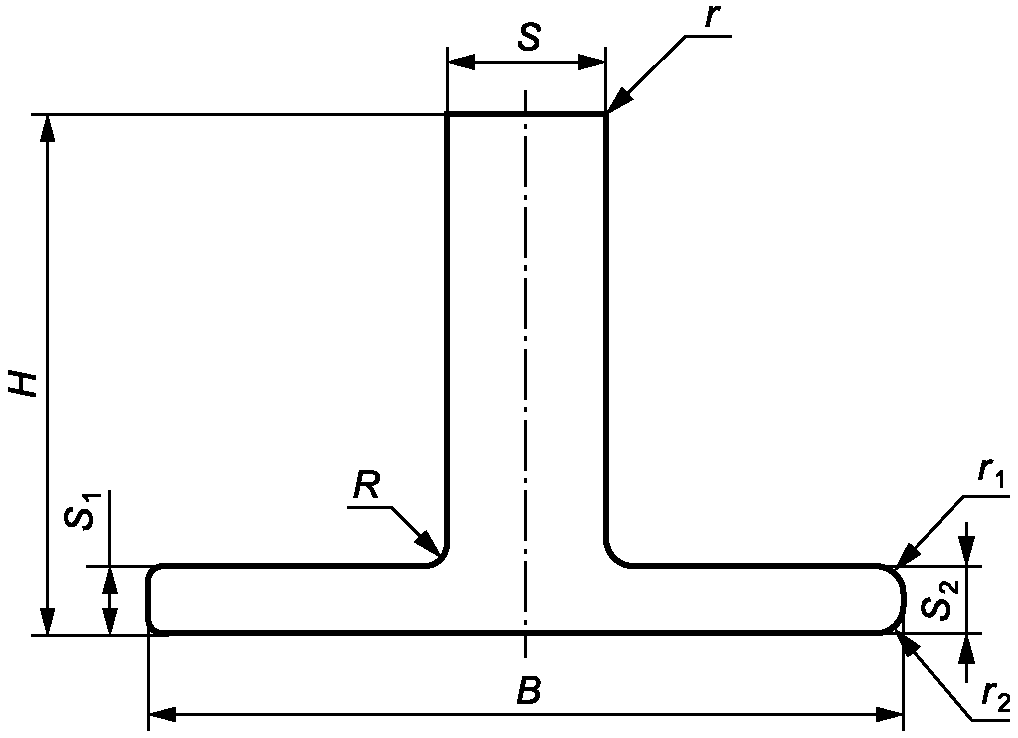
Номер профиля | Размеры, мм | Площадь сечения, см2 | Диаметр описанной окружности, мм | Теоретическая масса 1 м сплава, кг | |||||||
H | B | S | S1 | S2 | R | r | алюминиевого | магниевого | |||
420001 | 3,0 | 18,0 | 14,0 | 1,5 | 1,5 | 0,5 | - | 0,481 | 18 | 0,137 | 0,087 |
420002 | 3,5 | 20,5 | 7,0 | 1,5 | 1,5 | - | - | 0,447 | 21 | 0,128 | 0,081 |
420004 | 4,5 | 32,0 | 12,0 | 1,2 | 1,2 | 2,0 | - | 0,797 | 32 | 0,227 | 0,143 |
420005 | 5,0 | 6,0 | 2,0 | 2,0 | 2,0 | - | - | 0,180 | 7 | 0,051 | 0,032 |
420010 | 6,0 | 30,0 | 3,0 | 2,0 | 2,0 | 1,0 | 1,0 | 0,720 | 30 | 0,205 | 0,130 |
420011 | 6,0 | 35,0 | 1,2 | 1,2 | 1,2 | 1,5 | - | 0,487 | 35 | 0,139 | 0,088 |
420718 | 6,5 | 14,0 | 10,0 | 3,0 | 3,0 | - | - | 0,770 | 16 | 0,219 | 0,139 |
420012 | 6,5 | 27,0 | 1,6 | 1,3 | 1,3 | 1,6 | - | 0,445 | 27 | 0,127 | 0,080 |
420013 | 6,5 | 30,0 | 10,0 | 1,5 | 1,5 | 1,0 | - | 0,954 | 30 | 0,272 | 0,172 |
420014 | 7,0 | 16,2 | 12,0 | 2,0 | 2,0 | - | - | 0,924 | 17 | 0,263 | 0,166 |
420016 | 7,0 | 50,0 | 20,0 | 2,0 | 2,0 | 3,0 | - | 2,039 | 50 | 0,581 | 0,367 |
420017 | 7,5 | 11,0 | 4,5 | 2,2 | 2,2 | 0,5 | - | 0,482 | 12 | 0,137 | 0,087 |
420020 | 8,0 | 25,0 | 1,0 | 1,0 | 1,0 | 2,0 | 0,5 | 0,366 | 25 | 0,096 | 0,060 |
420021 | 9,0 | 50,0 | 2,0 | 1,5 | 1,5 | 0,8 | - | 0,453 | 20 | 0,129 | 0,081 |
420022 | 10,0 | 10,0 | 2,0 | 3,0 | 3,0 | - | - | 0,440 | 13 | 0,125 | 0,079 |
420023 | 10,0 | 20,5 | 10,0 | 7,0 | 7,0 | 0,5 | - | 1,736 | 22 | 0,495 | 0,312 |
420024 | 10,0 | 25,0 | 3,0 | 2,5 | 2,5 | - | - | 0,850 | 25 | 0,242 | 0,153 |
420720 | 10,0 | 40,0 | 1,5 | 1,5 | 1,5 | 2,0 | - | 0,745 | 40 | 0,212 | 0,134 |
420717 | 10,0 | 100,0 | 96,0 | 3,0 | 3,0 | - | - | 9,720 | 100 | 2,770 | 1,750 |
420028 | 11,0 | 8,0 | 1,0 | 2,0 | 2,0 | 0,5 | - | 0,231 | 12 | 0,072 | 0,045 |
420029 | 11,0 | 30,0 | 10,0 | 3,0 | 3,0 | - | - | 1,700 | 30 | 0,485 | 0,306 |
420030 | 11,5 | 50,0 | 11,0 | 3,0 | 3,0 | 3,0 | 5,5 | 2,344 | 50 | 0,668 | 0,422 |
420031 | 12,0 | 30,0 | 1,0 | 1,2 | 1,2 | 2,0 | - | 0,485 | 30 | 0,138 | 0,087 |
420723 | 12,0 | 35,0 | 3,0 | 3,0 | 3,0 | 3,0 | - | 1,359 | 35 | 0,387 | 0,245 |
420724 | 12,5 | 32,0 | 8,0 | 3,0 | 3,0 | 2,0 | - | 1,737 | 33 | 0,495 | 0,313 |
420033 | 12,5 | 60,0 | 5,0 | 2,5 | 2,5 | 6,0 | - | 2,155 | 60 | 0,614 | 0,388 |
420725 | 13,0 | 22,0 | 2,0 | 1,5 | 1,5 | 1,0 | 1,0 | 0,560 | 23 | 0,160 | 0,101 |
420034 | 13,0 | 22,0 | 11,0 | 6,5 | 6,5 | - | - | 2,145 | 23 | 0,611 | 0,386 |
420035 | 13,0 | 64,0 | 34,0 | 3,0 | 3,0 | 5,0 | 3,0 | 5,298 | 64 | 1,510 | 0,954 |
420036 | 14,0 | 28,0 | 3,0 | 4,0 | 4,0 | 0,5 | 0,5 | 1,420 | 29 | 0,405 | 0,256 |
420040 | 15,0 | 25,0 | 1,0 | 1,0 | 1,0 | 2,0 | 0,5 | 0,406 | 26 | 0,116 | 0,073 |
420042 | 15,0 | 35,0 | 2,5 | 2,0 | 2,0 | 2,5 | 1,2 | 1,046 | 35 | 0,298 | 0,188 |
420727 | 15,0 | 40,0 | 1,5 | 1,5 | 1,5 | 2,0 | - | 0,820 | 40 | 0,234 | 0,148 |
420043 | 15,0 | 49,0 | 2,0 | 2,0 | 2,0 | 0,5 | 0,5 | 1,240 | 49 | 0,353 | 0,223 |
420044 | 15,0 | 58,0 | 1,5 | 1,5 | 1,5 | 4,0 | - | 1,141 | 58 | 0,325 | 0,206 |
420045 | 15,0 | 72,0 | 2,0 | 2,0 | 2,0 | 3,0 | - | 1,739 | 72 | 0,496 | 0,313 |
420048 | 16,0 | 5,0 | 1,5 | 1,0 | 1,0 | 0,5 | 0,5 | 0,275 | 16 | 0,078 | 0,050 |
420049 | 16,0 | 28,6 | 6,4 | 1,6 | 1,6 | 1,6 | - | 1,390 | 28 | 0,396 | 0,250 |
420050 | 16,0 | 30,0 | 1,5 | 1,5 | 1,5 | 1,5 | 0,7 | 0,676 | 30 | 0,192 | 0,122 |
420051 | 16,0 | 36,0 | 16,0 | 4,0 | 4,0 | - | 2,0 | 3,343 | 37 | 0,953 | 0,602 |
420052 | 16,0 | 60,0 | 4,0 | 4,5 | 4,5 | 4,0 | 2,0 | 3,212 | 60 | 0,915 | 0,578 |
420053 | 16,0 | 60,0 | 17,0 | 3,0 | 3,0 | 3,0 | - | 4,049 | 60 | 1,154 | 0,729 |
420054 | 16,0 | 62,0 | 17,0 | 3,0 | 3,0 | 0,5 | - | 4,071 | 62 | 1,160 | 0,733 |
420055 | 17,0 | 32,0 | 1,2 | 1,2 | 1,2 | 2,0 | 0,6 | 0,589 | 32 | 0,168 | 0,106 |
420728 | 18,0 | 24,0 | 12,0 | 4,0 | 4,0 | 0,5 | 3,0 | 2,602 | 27 | 0,742 | 0,469 |
420729 | 18,0 | 25,0 | 10,0 | 10,0 | 10,0 | 3,0 | 1,0 | 3,335 | 33 | 0,950 | 0,600 |
420058 | 18,0 | 40,0 | 1,2 | 1,0 | 1,0 | 3,0 | - | 0,643 | 40 | 0,183 | 0,116 |
420059 | 18,0 | 40,0 | 3,0 | 4,5 | 4,5 | 2,5 | 1,5 | 2,222 | 40 | 0,633 | 0,400 |
420061 | 18,0 | 50,0 | 1,5 | 2,0 | 2,0 | 2,0 | 0,7 | 1,255 | 50 | 0,358 | 0,226 |
420063 | 19,0 | 50,0 | 2,0 | 2,0 | 2,0 | 3,0 | - | 1,379 | 50 | 0,393 | 0,248 |
420064 | 20,0 | 10,0 | 2,0 | 2,0 | 2,0 | 1,0 | - | 0,564 | 21 | 0,161 | 0,102 |
420065 | 20,0 | 15,0 | 1,5 | 1,5 | 1,5 | 1,5 | 0,7 | 0,510 | 23 | 0,145 | 0,092 |
420066 | 20,0 | 24,0 | 1,5 | 1,5 | 1,5 | 1,5 | 0,7 | 0,645 | 27 | 0,184 | 0,116 |
420067 | 20,0 | 25,0 | 7,0 | 3,0 | 3,0 | 1,0 | - | 1,944 | 27 | 0,554 | 0,350 |
420068 | 20,0 | 30,0 | 1,5 | 1,5 | 1,5 | 2,0 | 0,7 | 0,743 | 31 | 0,212 | 0,134 |
420069 | 20,0 | 30,0 | 2,0 | 1,5 | 1,5 | 2,0 | 1,0 | 0,833 | 31 | 0,237 | 0,150 |
420070 | 20,0 | 32,0 | 1,2 | 1,2 | 1,2 | 2,0 | 0,6 | 0,625 | 32 | 0,178 | 0,113 |
420071 | 20,0 | 35,0 | 1,5 | 1,5 | 1,5 | 2,0 | - | 0,820 | 35 | 0,234 | 0,148 |
420072 | 20,0 | 35,0 | 3,0 | 4,0 | 4,0 | 0,5 | - | 1,881 | 35 | 0,536 | 0,339 |
420073 | 20,0 | 36,0 | 1,2 | 1,4 | 1,4 | 2,0 | - | 0,744 | 36 | 0,212 | 0,134 |
420074 | 20,0 | 37,0 | 2,0 | 2,0 | 2,0 | 2,0 | - | 1,117 | 37 | 0,318 | 0,201 |
420075 | 20,0 | 38,0 | 1,5 | 2,0 | 2,0 | 2,0 | - | 1,047 | 38 | 0,298 | 0,188 |
420076 | 20,0 | 40,0 | 1,5 | 1,5 | 1,5 | 2,0 | 0,5 | 0,894 | 40 | 0,255 | 0,161 |
420077 | 20,0 | 40,0 | 2,0 | 2,0 | 2,0 | 2,0 | - | 1,177 | 40 | 0,335 | 0,212 |
420078 | 20,0 | 40,0 | 2,5 | 2,5 | 2,5 | 3,0 | 0,5 | 1,475 | 40 | 0,420 | 0,266 |
420079 | 20,0 | 40,0 | 3,0 | 2,0 | 2,0 | 3,0 | - | 1,379 | 40 | 0,393 | 0,248 |
420080 | 20,0 | 42,0 | 2,0 | 2,0 | 2,0 | 3,0 | - | 1,239 | 42 | 0,353 | 0,223 |
420082 | 20,0 | 48,0 | 1,5 | 1,5 | 1,5 | 1,5 | 0,7 | 1,005 | 49 | 0,286 | 0,181 |
420084 | 20,0 | 50,0 | 1,5 | 1,5 | 1,5 | 3,5 | - | 1,080 | 50 | 0,308 | 0,194 |
420731 | 20,0 | 50,0 | 2,5 | 2,5 | 2,5 | 3,0 | - | 1,726 | 50 | 0,492 | 0,311 |
420085 | 20,0 | 50,0 | 3,5 | 2,0 | 2,0 | 4,0 | - | 1,699 | 50 | 0,484 | 0,306 |
420086 | 20,0 | 50,0 | 4,0 | 4,0 | 4,0 | 6,0 | - | 2,795 | 50 | 0,796 | 0,503 |
420088 | 20,0 | 50,0 | 4,0 | 5,0 | 5,0 | 6,0 | - | 3,255 | 60 | 0,928 | 0,586 |
420089 | 20,0 | 60,0 | 2,0 | 1,6 | 1,6 | 3,0 | - | 1,367 | 60 | 0,389 | 0,246 |
420090 | 20,0 | 60,0 | 20,0 | 3,0 | 3,0 | 3,0 | 10,0 | 4,810 | 60 | 1,371 | 0,866 |
420091 | 20,0 | 62,0 | 1,5 | 2,0 | 2,0 | 4,0 | - | 1,579 | 62 | 0,450 | 0,284 |
420732 | 20,0 | 63,5 | 3,5 | 3,5 | 3,5 | 2,5 | - | 2,827 | 64 | 0,806 | 0,509 |
420733 | 20,0 | 66,0 | 1,5 | 1,5 | 1,5 | 3,0 | - | 1,306 | 66 | 0,372 | 0,235 |
420092 | 20,0 | 70,0 | 1,4 | 1,0 | 1,0 | 3,0 | - | 1,005 | 70 | 0,286 | 0,181 |
420093 | 20,0 | 72,0 | 2,0 | 3,0 | 3,0 | 3,0 | 0,5 | 2,538 | 72 | 0,723 | 0,457 |
420095 | 21,0 | 42,0 | 2,0 | 2,0 | 2,0 | 3,0 | - | 1,259 | 42 | 0,359 | 0,227 |
420735 | 21,5 | 70,0 | 3,0 | 2,5 | 2,5 | 2,5 | - | 2,347 | 70 | 0,669 | 0,422 |
420736 | 22,0 | 20,0 | 1,5 | 2,0 | 2,0 | 2,0 | - | 0,717 | 27 | 0,204 | 0,129 |
420098 | 22,0 | 40,0 | 2,0 | 2,0 | 2,0 | 3,0 | - | 1,239 | 41 | 0,353 | 0,223 |
420099 | 22,0 | 48,0 | 1,4 | 1,4 | 1,4 | 1,5 | - | 0,970 | 48 | 0,276 | 0,175 |
420100 | 22,0 | 48,0 | 2,0 | 3,0 | 3,0 | 3,0 | - | 1,859 | 48 | 0,530 | 0,335 |
420101 | 22,0 | 50,0 | 2,0 | 2,0 | 3,5 | 3,0 | - | 1,799 | 50 | 0,513 | 0,324 |
420102 | 22,0 | 54,0 | 1,5 | 4,0 | 4,0 | 2,0 | 0,7 | 2,445 | 55 | 0,697 | 0,440 |
420104 | 22,0 | 60,0 | 26,0 | 3,5 | 3,5 | 4,0 | 13,0 | 6,254 | 60 | 1,782 | 1,126 |
420107 | 23,0 | 50,0 | 2,0 | 2,0 | 2,0 | 3,0 | - | 1,459 | 50 | 0,416 | 0,263 |
420109 | 23,0 | 50,0 | 2,0 | 4,0 | 4,0 | 3,0 | - | 2,419 | 50 | 0,689 | 0,435 |
420110 | 23,0 | 50,0 | 2,5 | 2,5 | 2,5 | 3,0 | - | 1,801 | 50 | 0,513 | 0,324 |
420111 | 23,0 | 56,0 | 1,8 | 1,8 | 1,8 | 3,0 | - | 1,428 | 56 | 0,407 | 0,257 |
420112 | 24,0 | 38,0 | 5,0 | 3,5 | 3,5 | 5,0 | - | 2,462 | 39 | 0,702 | 0,443 |
420113 | 24,0 | 47,0 | 1,0 | 1,0 | 1,0 | 3,0 | - | 0,739 | 48 | 0,211 | 0,133 |
420114 | 24,0 | 47,0 | 1,5 | 1,5 | 1,5 | 3,0 | - | 1,081 | 48 | 0,308 | 0,195 |
420115 | 24,0 | 47,0 | 24,0 | 10,0 | 10,0 | 1,0 | - | 8,064 | 48 | 2,298 | 1,452 |
420116 | 24,0 | 58,0 | 1,5 | 1,5 | 1,5 | 4,0 | - | 1,276 | 58 | 0,364 | 0,230 |
420117 | 24,0 | 66,0 | 2,5 | 2,0 | 2,0 | 3,0 | 0,5 | 1,908 | 66 | 0,544 | 0,343 |
420118 | 24,0 | 70,0 | 4,5 | 4,0 | 4,0 | 4,0 | - | 3,769 | 70 | 1,074 | 0,678 |
420119 | 25,0 | 6,0 | 2,0 | 15,0 | 15,0 | 0,5 | 0,5 | 1,100 | 26 | 0,314 | 0,198 |
420120 | 25,0 | 7,0 | 1,5 | 1,5 | 1,5 | 0,5 | - | 0,459 | 26 | 0,131 | 0,083 |
420121 | 25,0 | 25,0 | 2,5 | 2,5 | 2,5 | 3,0 | - | 1,226 | 31 | 0,349 | 0,221 |
420122 | 25,0 | 29,0 | 1,6 | 1,6 | 1,6 | 1,6 | 0,8 | 0,846 | 35 | 0,241 | 0,153 |
420123 | 25,0 | 34,0 | 2,0 | 2,0 | 2,0 | 3,0 | - | 1,179 | 37 | 0,336 | 0,212 |
420124 | 25,0 | 35,0 | 1,0 | 1,0 | 1,0 | 2,0 | - | 0,607 | 37 | 0,173 | 0,109 |
420125 | 25,0 | 35,0 | 1,5 | 1,5 | 1,5 | 2,0 | 0,7 | 0,893 | 37 | 0,255 | 0,161 |
420126 | 25,0 | 35,0 | 2,5 | 2,0 | 2,0 | 2,5 | 1,2 | 1,302 | 37 | 0,371 | 0,234 |
420127 | 25,0 | 40,0 | 2,0 | 2,0 | 2,0 | 2,0 | 1,0 | 1,273 | 41 | 0,363 | 0,229 |
420128 | 25,0 | 40,0 | 2,5 | 3,0 | 3,0 | 3,0 | - | 1,739 | 41 | 0,510 | 0,322 |
420129 | 25,0 | 40,0 | 3,0 | 2,0 | 2,0 | 3,0 | 1,5 | 1,519 | 41 | 0,433 | 0,273 |
420130 | 25,0 | 40,0 | 3,5 | 3,0 | 3,0 | 3,0 | - | 2,009 | 41 | 0,572 | 0,362 |
420737 | 25,0 | 42,0 | 4,0 | 6,0 | 9,0 | 2,0 | - | 3,867 | 44 | 1,102 | 0,696 |
420131 | 25,0 | 45,0 | 2,5 | 2,5 | 2,5 | 3,0 | - | 1,726 | 45 | 0,492 | 0,311 |
420132 | 25,0 | 45,0 | 3,0 | 3,0 | 3,0 | 3,0 | 1,5 | 2,039 | 45 | 0,581 | 0,367 |
420133 | 25,0 | 45,0 | 4,0 | 4,0 | 4,0 | 4,0 | 2,0 | 2,692 | 45 | 0,767 | 0,485 |
420135 | 25,0 | 48,0 | 1,5 | 1,5 | 1,5 | 1,5 | - | 1,082 | 48 | 0,308 | 0,195 |
420136 | 25,0 | 48,0 | 6,0 | 3,0 | 3,0 | 4,0 | - | 2,829 | 48 | 0,806 | 0,509 |
420138 | 25,0 | 50,0 | 2,0 | 2,0 | 2,0 | 3,0 | - | 1,499 | 50 | 0,427 | 0,270 |
420139 | 25,0 | 50,0 | 2,0 | 3,5 | 3,5 | 2,5 | 0,5 | 2,206 | 50 | 0,629 | 0,397 |
420140 | 25,0 | 50,0 | 2,5 | 2,5 | 2,5 | 3,0 | - | 1,851 | 50 | 0,528 | 0,333 |
420141 | 25,0 | 50,0 | 2,5 | 4,0 | 4,0 | 4,0 | - | 2,594 | 50 | 0,739 | 0,467 |
420142 | 25,0 | 50,0 | 3,0 | 3,0 | 3,0 | 3,0 | - | 2,199 | 50 | 0,627 | 0,396 |
420143 | 25,0 | 50,0 | 3,0 | 4,0 | 4,0 | 3,0 | - | 2,669 | 50 | 0,761 | 0,480 |
420738 | 25,0 | 52,0 | 2,0 | 2,0 | 2,0 | 3,0 | - | 1,539 | 52 | 0,439 | 0,277 |
420144 | 25,0 | 52,0 | 2,5 | 2,0 | 2,0 | 4,0 | - | 1,684 | 52 | 0,480 | 0,303 |
420145 | 25,0 | 56,0 | 2,0 | 2,0 | 2,0 | 3,0 | 0,5 | 1,618 | 56 | 0,461 | 0,291 |
420146 | 25,0 | 58,0 | 1,8 | 1,8 | 1,8 | 3,0 | - | 1,500 | 58 | 0,428 | 0,270 |
420147 | 25,0 | 59,0 | 39,0 | 10,0 | 10,0 | 1,0 | - | 11,754 | 62 | 3,350 | 2,116 |
420148 | 25,0 | 60,0 | 2,0 | 1,6 | 1,6 | 3,0 | 0,5 | 1,466 | 60 | 0,418 | 0,264 |
420149 | 25,0 | 60,0 | 2,5 | 3,0 | 3,0 | 3,0 | - | 2,389 | 60 | 0,681 | 0,430 |
420739 | 25,0 | 65,0 | 4,0 | 4,0 | 4,0 | 3,0 | - | 3,479 | 66 | 0,991 | 0,626 |
420150 | 25,0 | 66,0 | 2,5 | 3,0 | 3,0 | 3,0 | - | 2,569 | 68 | 0,732 | 0,462 |
420151 | 25,0 | 68,0 | 3,0 | 3,0 | 3,0 | 3,0 | - | 2,739 | 69 | 0,781 | 0,493 |
420152 | 25,0 | 70,0 | 5,0 | 2,5 | 2,5 | 6,0 | - | 3,030 | 70 | 0,863 | 0,545 |
420153 | 25,0 | 80,0 | 8,0 | 4,0 | 4,0 | 5,0 | - | 4,987 | 80 | 1,421 | 0,898 |
420154 | 25,0 | 85,0 | 5,0 | 3,5 | 4,0 | 3,0 | - | 4,289 | 85 | 1,222 | 0,772 |
420155 | 25,0 | 85,0 | 5,0 | 3,5 | 5,0 | 3,0 | - | 4,689 | 85 | 1,336 | 0,844 |
420157 | 26,0 | 38,0 | 2,0 | 2,5 | 2,5 | 2,0 | - | 4,555 | 40 | 0,443 | 0,280 |
420158 | 26,0 | 40,0 | 3,0 | 3,0 | 3,0 | 3,0 | - | 4,929 | 42 | 0,550 | 0,347 |
420159 | 26,0 | 40,0 | 3,0 | 4,5 | 4,5 | 2,5 | - | 2,472 | 42 | 0,704 | 0,445 |
420740 | 26,0 | 42,0 | 1,5 | 2,0 | 2,0 | 2,5 | - | 1,227 | 43 | 0,350 | 0,221 |
420160 | 26,0 | 48,0 | 4,0 | 4,0 | 4,0 | 3,0 | - | 2,839 | 49 | 0,809 | 0,511 |
420161 | 26,0 | 50,0 | 2,0 | 3,5 | 3,5 | 4,0 | - | 2,269 | 51 | 0,647 | 0,408 |
420162 | 26,0 | 50,0 | 3,0 | 4,5 | 4,5 | 2,5 | 0,5 | 2,921 | 51 | 0,832 | 0,526 |
420165 | 26,0 | 60,0 | 20,0 | 5,0 | 5,0 | 2,0 | 10,0 | 6,788 | 60 | 1,935 | 1,222 |
420166 | 26,0 | 72,0 | 6,5 | 6,0 | 6,0 | 4,0 | - | 5,689 | 73 | 1,621 | 1,024 |
420167 | 27,0 | 40,0 | 1,5 | 2,0 | 2,0 | 3,0 | - | 1,214 | 42 | 0,346 | 0,218 |
420741 | 27,0 | 44,0 | 14,0 | 7,0 | 7,0 | 2,0 | - | 5,897 | 46 | 1,681 | 1,061 |
420168 | 27,0 | 53,0 | 3,0 | 2,0 | 3,5 | 5,0 | - | 2,292 | 54 | 0,653 | 0,413 |
420169 | 27,0 | 54,0 | 28,6 | 3,2 | 3,2 | 3,2 | 14,3 | 7,702 | 55 | 2,445 | 1,514 |
420170 | 27,0 | 68,0 | 2,0 | 2,0 | 2,0 | 3,0 | - | 1,899 | 68 | 0,541 | 0,342 |
420171 | 27,5 | 38,0 | 6,0 | 2,0 | 2,0 | 3,0 | - | 2,329 | 41 | 0,664 | 0,419 |
420742 | 28,0 | 11,0 | 1,0 | 1,0 | 1,0 | 0,5 | - | 0,381 | 30 | 0,109 | 0,069 |
420744 | 28,0 | 24,0 | 6,0 | 4,0 | 4,0 | - | - | 2,400 | 37 | 0,684 | 0,432 |
420173 | 28,0 | 36,0 | 2,5 | 2,0 | 2,0 | 3,0 | - | 1,409 | 40 | 0,401 | 0,254 |
420174 | 28,0 | 45,0 | 5,0 | 3,0 | 3,0 | 3,0 | - | 2,639 | 46 | 0,752 | 0,475 |
420746 | 28,0 | 47,0 | 3,0 | 3,5 | 5,0 | 3,0 | - | 2,749 | 49 | 0,783 | 0,495 |
420176 | 28,0 | 53,0 | 3,5 | 4,5 | 4,5 | 3,5 | 1,7 | 3,248 | 53 | 0,926 | 0,585 |
420178 | 28,0 | 66,0 | 5,0 | 6,0 | 6,0 | 6,0 | - | 5,215 | 67 | 1,486 | 0,939 |
420179 | 28,0 | 68,0 | 5,0 | 6,0 | 6,0 | 6,0 | - | 5,335 | 69 | 1,520 | 0,960 |
420180 | 28,0 | 68,0 | 6,5 | 5,0 | 5,0 | 6,0 | - | 5,050 | 69 | 1,439 | 0,909 |
420181 | 28,0 | 68,0 | 6,5 | 8,0 | 8,0 | 6,0 | - | 6,895 | 69 | 1,965 | 1,241 |
420182 | 28,0 | 70,0 | 5,0 | 2,5 | 2,5 | 6,0 | - | 3,180 | 71 | 0,906 | 0,572 |
420745 | 28,0 | 122,0 | 42,0 | 11,0 | 14,0 | 5,0 | - | 21,867 | 122 | 6,232 | 3,936 |
420183 | 28,5 | 70,0 | 24,0 | 6,0 | 6,0 | 8,0 | 12,0 | 9,257 | 70 | 2,638 | 1,666 |
420184 | 28,5 | 80,0 | 24,0 | 4,0 | 4,0 | 8,0 | 12,0 | 8,737 | 80 | 2,490 | 1,573 |
420187 | 29,0 | 38,0 | 1,6 | 1,6 | 1,6 | 1,6 | 0,8 | 1,054 | 41 | 0,300 | 0,190 |
420188 | 29,0 | 47,0 | 2,0 | 2,0 | 2,0 | 3,0 | - | 1,519 | 48 | 0,433 | 0,273 |
420189 | 29,0 | 51,0 | 2,0 | 1,6 | 1,6 | 3,0 | - | 1,403 | 52 | 0,400 | 0,252 |
420747 | 29,0 | 56,0 | 2,0 | 2,0 | 2,0 | 3,0 | - | 1,690 | 57 | 0,484 | 0,306 |
420748 | 29,0 | 58,0 | 2,0 | 2,0 | 2,0 | 2,0 | - | 1,717 | 58 | 0,489 | 0,309 |
420190 | 29,0 | 58,0 | 2,5 | 2,5 | 2,5 | 2,5 | - | 2,139 | 58 | 0,610 | 0,385 |
420191 | 29,0 | 58,0 | 2,5 | 2,5 | 2,5 | 4,0 | - | 2,181 | 58 | 0,622 | 0,393 |
420192 | 29,0 | 58,0 | 3,5 | 3,5 | 3,5 | 4,0 | - | 2,991 | 58 | 0,852 | 0,538 |
420193 | 29,0 | 60,0 | 2,0 | 1,6 | 1,6 | 3,0 | - | 1,547 | 60 | 0,441 | 0,278 |
420194 | 29,0 | 60,0 | 2,0 | 5,0 | 5,0 | 4,0 | 0,5 | 3,548 | 60 | 1,011 | 0,639 |
420195 | 29,0 | 60,0 | 2,5 | 1,8 | 1,8 | 3,0 | - | 1,799 | 60 | 0,513 | 0,324 |
420196 | 29,5 | 41,0 | 9,5 | 4,0 | 4,0 | 1,5 | - | 4,072 | 43 | 1,161 | 0,733 |
420199 | 30,0 | 32,0 | 1,5 | 1,5 | 1,5 | 1,5 | 0,7 | 0,915 | 39 | 0,261 | 0,165 |
420200 | 30,0 | 33,0 | 3,0 | 2,0 | 2,0 | 3,0 | - | 1,539 | 39 | 0,439 | 0,277 |
420202 | 30,0 | 40,0 | 1,5 | 1,5 | 1,5 | 2,0 | 0,7 | 1,043 | 43 | 0,297 | 0,188 |
420203 | 30,0 | 40,0 | 2,0 | 2,0 | 2,0 | 2,0 | 1,0 | 1,373 | 43 | 0,391 | 0,247 |
420204 | 30,0 | 40,0 | 3,0 | 2,0 | 2,0 | 3,0 | 1,5 | 1,669 | 43 | 0,476 | 0,300 |
420206 | 30,0 | 42,0 | 1,5 | 2,0 | 2,0 | 3,0 | - | 1,299 | 45 | 0,370 | 0,234 |
420749 | 30,0 | 43,0 | 3,0 | 9,0 | 9,0 | 4,0 | - | 4,569 | 46 | 1,302 | 0,822 |
420207 | 30,0 | 45,0 | 2,0 | 3,0 | 3,0 | 3,0 | - | 1,929 | 47 | 0,550 | 0,347 |
420208 | 30,0 | 45,0 | 3,0 | 3,0 | 3,0 | 3,0 | 1,5 | 2,189 | 47 | 0,624 | 0,394 |
420209 | 30,0 | 45,0 | 4,0 | 6,5 | 6,5 | 5,0 | - | 3,972 | 47 | 1,132 | 0,715 |
420751 | 30,0 | 47,0 | 8,0 | 15,0 | 15,0 | 2,0 | 1,5 | 8,257 | 49 | 2,353 | 1,486 |
420210 | 30,0 | 48,0 | 6,0 | 5,0 | 5,0 | 4,0 | - | 3,969 | 49 | 1,131 | 0,714 |
420752 | 30,0 | 60,0 | 1,5 | 1,5 | 1,5 | 3,0 | - | 1,216 | 51 | 0,347 | 0,219 |
420212 | 30,0 | 50,0 | 3,0 | 4,0 | 4,0 | 3,0 | 1,5 | 2,809 | 51 | 0,801 | 0,506 |
420213 | 30,0 | 50,0 | 3,0 | 6,0 | 6,0 | 2,0 | 0,5 | 3,737 | 51 | 1,065 | 0,673 |
420753 | 30,0 | 50,0 | 8,0 | 10,0 | 10,0 | 5,0 | 1,0 | 6,703 | 51 | 1,910 | 1,207 |
420215 | 30,0 | 52,0 | 1,5 | 1,5 | 1,5 | 2,0 | - | 1,225 | 53 | 0,349 | 0,220 |
420216 | 30,0 | 52,0 | 4,0 | 2,5 | 2,5 | 4,0 | - | 2,469 | 53 | 0,704 | 0,444 |
420217 | 30,0 | 53,0 | 2,0 | 2,0 | 2,0 | 2,0 | 0,5 | 1,636 | 55 | 0,466 | 0,294 |
420218 | 30,0 | 53,0 | 3,5 | 4,5 | 4,5 | 3,5 | 1,7 | 3,318 | 55 | 0,946 | 0,597 |
420754 | 30,0 | 58,0 | 4,0 | 6,0 | 6,0 | 5,0 | - | 4,547 | 60 | 1,296 | 0,819 |
420755 | 30,0 | 60,0 | 2,0 | 2,5 | 2,5 | 3,0 | - | 2,089 | 60 | 0,595 | 0,376 |
420219 | 30,0 | 60,0 | 2,5 | 6,5 | 6,5 | 2,5 | 1,0 | 4,510 | 60 | 1,285 | 0,812 |
420220 | 30,0 | 60,0 | 5,0 | 4,5 | 4,5 | 5,0 | 1,0 | 4,078 | 60 | 1,162 | 0,734 |
420222 | 30,0 | 62,0 | 28,0 | 3,5 | 3,5 | 4,0 | 14,0 | 8,818 | 64 | 2,513 | 1,587 |
420223 | 30,0 | 64,5 | 6,5 | 8,0 | 8,0 | 6,0 | - | 6,745 | 65 | 1,922 | 1,214 |
420224 | 30,0 | 65,0 | 6,5 | 3,0 | 3,0 | 3,0 | - | 3,744 | 65 | 1,067 | 0,674 |
420225 | 30,0 | 68,0 | 3,0 | 3,5 | 3,5 | 3,0 | 0,5 | 3,213 | 68 | 0,916 | 0,578 |
420226 | 30,0 | 68,0 | 5,0 | 6,0 | 6,0 | 6,0 | - | 5,435 | 68 | 1,549 | 0,978 |
420227 | 30,0 | 68,0 | 5,0 | 7,0 | 7,0 | 6,0 | - | 6,065 | 68 | 1,728 | 1,092 |
420228 | 30,0 | 68,0 | 6,5 | 6,5 | 6,5 | 6,0 | - | 6,102 | 68 | 1,739 | 1,098 |
420229 | 30,0 | 70,0 | 3,5 | 3,5 | 3,5 | 3,5 | 0,5 | 3,429 | 70 | 0,977 | 0,617 |
420230 | 30,0 | 70,0 | 4,0 | 8,0 | 8,0 | 4,0 | 0,5 | 6,548 | 70 | 1,866 | 1,178 |
420756 | 30,0 | 72,0 | 2,0 | 2,5 | 2,5 | 3,0 | - | 2,389 | 72 | 0,681 | 0,430 |
420231 | 30,0 | 74,0 | 6,0 | 4,0 | 4,0 | 5,0 | - | 4,627 | 74 | 1,319 | 0,833 |
420232 | 30,0 | 75,0 | 6,5 | 8,0 | 8,0 | 3,0 | - | 7,469 | 75 | 2,129 | 1,344 |
420233 | 30,0 | 76,0 | 3,5 | 4,3 | 4,3 | 5,0 | - | 4,275 | 76 | 1,218 | 0,769 |
420234 | 300 | 80,0 | 4,0 | 4,0 | 4,0 | 4,0 | 0,5 | 4,308 | 80 | 1,228 | 0,775 |
420757 | 30,0 | 88,0 | 8,0 | 11,0 | 11,0 | 2,0 | 1,5 | 11,207 | 88 | 3,194 | 2,017 |
420236 | 30,0 | 100,0 | 5,0 | 10,0 | 10,0 | 4,0 | 1,5 | 11,059 | 101 | 3,152 | 1,990 |
420237 | 31,0 | 50,0 | 3,5 | 6,5 | 6,5 | 3,5 | - | 4,160 | 51 | 1,186 | 0,749 |
420758 | 31,0 | 50,0 | 5,0 | 6,0 | 6,0 | 5,0 | - | 4,357 | 51 | 1,242 | 0,784 |
420759 | 31,0 | 60,0 | 12,0 | 11,0 | 11,0 | 2,0 | - | 9,017 | 62 | 2,570 | 1,623 |
420760 | 31,0 | 66,0 | 30,0 | 18,0 | 18,0 | 4,0 | - | 15,849 | 69 | 4,517 | 2,853 |
422501 | 31,0 | 74,0 | 17,0 | 4,0 | 4,0 | 6,0 | - | 7,705 | 75 | 2,196 | 1,387 |
420761 | 32,0 | 12,0 | 2,0 | 2,0 | 2,0 | - | - | 0,840 | 33 | 0,239 | 0,151 |
420238 | 32,0 | 34,0 | 1,5 | 4,5 | 4,5 | 4,5 | - | 2,029 | 41 | 0,578 | 0,365 |
420239 | 32,0 | 34,0 | 2,0 | 2,0 | 2,0 | 3,0 | - | 1,319 | 41 | 0,376 | 0,237 |
420762 | 32,0 | 40,0 | 4,0 | 1,5 | 1,5 | 3,0 | - | 1,859 | 45 | 0,530 | 0,335 |
420242 | 32,0 | 45,0 | 3,0 | 3,0 | 3,0 | 3,0 | - | 2,259 | 48 | 0,644 | 0,407 |
420243 | 32,0 | 50,0 | 2,0 | 2,0 | 2,0 | 3,0 | - | 1,639 | 52 | 0,467 | 0,295 |
420763 | 32,0 | 50,0 | 2,0 | 5,0 | 5,0 | 3,0 | - | 3,079 | 52 | 0,877 | 0,554 |
420244 | 32,0 | 50,0 | 3,0 | 3,0 | 3,0 | 3,5 | - | 2,423 | 52 | 0,690 | 0,436 |
420246 | 32,0 | 56,0 | 3,5 | 6,5 | 6,5 | 3,5 | - | 4,585 | 57 | 1,307 | 0,825 |
420764 | 32,0 | 57,0 | 2,0 | 5,0 | 5,0 | 3,0 | - | 3,429 | 58 | 0,977 | 0,617 |
420836 | 32,0 | 60,0 | 5,0 | 4,5 | 4,5 | 5,0 | - | 4,182 | 60 | 1,192 | 0,753 |
420766 | 33,0 | 32,0 | 1,5 | 4,0 | 4,0 | 2,0 | - | 1,732 | 40 | 0,494 | 0,312 |
420248 | 33,0 | 45,0 | 4,0 | 9,0 | 9,0 | 6,0 | 0,5 | 5,164 | 48 | 1,472 | 0,930 |
420249 | 33,0 | 48,0 | 3,5 | 5,5 | 5,5 | 3,5 | - | 3,655 | 50 | 1,042 | 0,658 |
420767 | 33,0 | 50,0 | 2,0 | 5,5 | 5,5 | 3,0 | - | 3,339 | 52 | 0,952 | 0,601 |
420768 | 33,0 | 50,0 | 2,0 | 6,0 | 6,0 | 3,0 | - | 3,579 | 52 | 1,020 | 0,644 |
420251 | 33,0 | 64,0 | 3,0 | 7,0 | 7,0 | 5,0 | - | 5,367 | 65 | 1,530 | 0,966 |
420769 | 33,0 | 70,0 | 4,0 | 6,0 | 6,0 | 5,0 | - | 5,387 | 71 | 1,535 | 0,970 |
420770 | 33,5 | 52,5 | 2,5 | 2,5 | 2,5 | 4,0 | - | 2,156 | 55 | 0,615 | 0,388 |
420253 | 34,0 | 44,0 | 2,0 | 3,0 | 3,0 | 3,0 | 0,5 | 1,978 | 48 | 0,564 | 0,356 |
420254 | 34,0 | 50,0 | 5,0 | 5,0 | 5,0 | 4,5 | - | 4,037 | 52 | 1,151 | 0,727 |
420255 | 34,0 | 60,0 | 2,0 | 2,0 | 2,0 | 3,0 | - | 1,879 | 61 | 0,535 | 0,338 |
420250 | 34,0 | 70,0 | 4,0 | 5,0 | 5,0 | 4,0 | - | 4,729 | 70 | 1,348 | 0,851 |
420257 | 34,5 | 60,0 | 2,0 | 2,5 | 2,5 | 2,0 | 0,5 | 2,156 | 61 | 0,614 | 0,388 |
420259 | 35,0 | 25,0 | 2,1 | 2,0 | 2,0 | 3,0 | - | 1,232 | 40 | 0,351 | 0,222 |
420260 | 35,0 | 28,0 | 3,0 | 4,0 | 4,0 | 0,5 | - | 2,051 | 41 | 0,585 | 0,369 |
420261 | 35,0 | 30,0 | 3,0 | 4,0 | 4,0 | 1,0 | 0,5 | 2,133 | 41 | 0,608 | 0,384 |
420262 | 35,0 | 32,0 | 1,5 | 1,5 | 1,5 | 2,0 | - | 1,000 | 42 | 0,285 | 0,180 |
420263 | 35,0 | 34,0 | 2,0 | 2,0 | 2,0 | 2,0 | 1,0 | 1,353 | 43 | 0,386 | 0,244 |
420264 | 35,0 | 35,0 | 4,0 | 4,0 | 4,0 | 5,0 | 2,0 | 2,730 | 44 | 0,778 | 0,491 |
420265 | 35,0 | 36,0 | 15,0 | 4,5 | 4,5 | 5,0 | - | 6,302 | 45 | 1,796 | 1,134 |
420266 | 35,0 | 40,0 | 2,0 | 2,0 | 2,0 | 2,0 | 1,0 | 1,473 | 46 | 0,420 | 0,265 |
420267 | 35,0 | 40,0 | 3,0 | 3,0 | 3,0 | 3,0 | - | 2,199 | 46 | 0,627 | 0,396 |
420268 | 35,0 | 40,0 | 4,0 | 2,5 | 2,5 | 4,0 | 2,0 | 2,352 | 46 | 0,670 | 0,423 |
420269 | 35,0 | 44,0 | 2,0 | 2,0 | 2,0 | 3,0 | - | 1,579 | 49 | 0,450 | 0,284 |
420270 | 35,0 | 45,0 | 4,0 | 4,0 | 4,0 | 4,0 | 2,0 | 3,092 | 49 | 0,881 | 0,557 |
420271 | 35,0 | 46,0 | 2,0 | 2,0 | 2,0 | 2,0 | 1,0 | 1,593 | 50 | 0,454 | 0,287 |
420773 | 35,0 | 50,0 | 1,5 | 1,5 | 1,5 | 2,0 | - | 1,270 | 53 | 0,362 | 0,229 |
420774 | 35,0 | 50,0 | 2,5 | 2,0 | 2,0 | 4,0 | - | 1,894 | 53 | 0,540 | 0,341 |
420272 | 35,0 | 50,0 | 3,5 | 8,0 | 8,0 | 6,0 | - | 5,100 | 53 | 1,453 | 0,918 |
420273 | 35,0 | 60,0 | 3,5 | 4,3 | 4,3 | 5,0 | - | 3,762 | 61 | 1,072 | 0,677 |
420275 | 35,0 | 62,0 | 2,0 | 3,0 | 3,0 | 3,0 | 0,5 | 2,538 | 62 | 0,723 | 0,457 |
420276 | 35,0 | 64,0 | 2,0 | 5,5 | 5,5 | 2,0 | 1,0 | 4,123 | 64 | 1,175 | 0,742 |
420277 | 35,0 | 65,0 | 5,0 | 6,0 | 6,0 | 3,0 | - | 6,389 | 65 | 1,536 | 0,970 |
420777 | 35,0 | 66,0 | 6,0 | 6,0 | 6,0 | 5,0 | - | 5,807 | 66 | 1,655 | 1,045 |
420778 | 35,0 | 68,0 | 3,0 | 3,0 | 3,0 | 3,0 | 1,0 | 3,035 | 68 | 0,865 | 0,546 |
420278 | 35,0 | 76,0 | 3,5 | 3,5 | 3,5 | 3,5 | - | 3,815 | 76 | 1,087 | 0,687 |
420279 | 35,0 | 76,0 | 18,0 | 15,5 | 15,5 | 0,5 | - | 15,291 | 78 | 4,358 | 2,752 |
420280 | 35,0 | 80,0 | 3,0 | 9,0 | 9,0 | 4,0 | - | 8,049 | 80 | 2,294 | 1,449 |
420281 | 35,0 | 90,0 | 3,5 | 6,0 | 6,0 | 5,0 | - | 6,522 | 90 | 1,859 | 1,174 |
420282 | 35,0 | 90,0 | 5,0 | 7,0 | 7,0 | 4,0 | - | 7,769 | 90 | 2,214 | 1,398 |
420283 | 30,0 | 14,0 | 6,0 | 10,0 | 10,0 | 2,0 | - | 2,977 | 38 | 0,848 | 0,536 |
420779 | 36,0 | 20,0 | 1,5 | 2,5 | 2,5 | 2,0 | - | 1,020 | 39 | 0,291 | 0,184 |
420284 | 36,0 | 36,0 | 3,0 | 4,0 | 4,0 | 5,0 | - | 2,507 | 45 | 0,715 | 0,451 |
420286 | 36,0 | 52,0 | 1,5 | 2,5 | 2,5 | 2,0 | - | 1,820 | 54 | 0,519 | 0,328 |
420287 | 36,0 | 58,0 | 6,5 | 6,5 | 6,5 | 6,5 | 3,2 | 5,825 | 59 | 1,660 | 1,049 |
420288 | 36,0 | 60,0 | 6,0 | 12,0 | 12,0 | 5,0 | - | 8,747 | 61 | 2,493 | 1,575 |
420289 | 36,0 | 68,0 | 6,5 | 4,0 | 4,0 | 6,0 | - | 4,955 | 69 | 1,412 | 0,892 |
420290 | 36,0 | 70,0 | 32,0 | 5,0 | 5,0 | 5,0 | 16,0 | 12,429 | 72 | 3,542 | 2,237 |
420291 | 36,0 | 80,0 | 8,0 | 6,0 | 6,0 | 5,0 | - | 7,307 | 80 | 2,083 | 1,315 |
420292 | 36,0 | 93,0 | 2,4 | 5,0 | 5,0 | 3,0 | - | 5,433 | 93 | 1,548 | 0,978 |
420293 | 36,0 | 96,0 | 16,0 | 16,5 | 16,5 | 0,5 | - | 18,961 | 96 | 5,404 | 3,413 |
420294 | 37,0 | 80,0 | 3,5 | 6,0 | 6,0 | 4,0 | - | 5,954 | 80 | 1,697 | 1,072 |
420295 | 37,0 | 140,0 | 6,0 | 13,0 | 13,0 | 5,0 | 3,0 | 19,708 | 141 | 5,617 | 3,547 |
420782 | 38,0 | 45,0 | 1,5 | 1,5 | 1,5 | 2,0 | - | 1,240 | 53 | 0,353 | 0,223 |
420298 | 38,0 | 50,0 | 3,5 | 3,5 | 3,5 | 4,0 | - | 3,026 | 54 | 0,862 | 0,545 |
420299 | 38,0 | 50,0 | 4,8 | 4,8 | 4,8 | 1,6 | - | 4,005 | 54 | 1,141 | 0,721 |
420301 | 38,0 | 56,0 | 12,5 | 4,0 | 4,0 | 4,5 | - | 6,577 | 58 | 1,874 | 1,184 |
420303 | 38,0 | 60,0 | 6,5 | 4,0 | 4,0 | 3,0 | 3,2 | 4,605 | 62 | 1,312 | 0,829 |
420304 | 38,0 | 76,0 | 3,5 | 4,5 | 4,5 | 3,5 | 1,7 | 4,633 | 77 | 1,320 | 0,834 |
420305 | 38,0 | 76,0 | 5,0 | 5,0 | 5,0 | 4,0 | 2,5 | 5,492 | 77 | 1,565 | 0,989 |
420306 | 38,3 | 44,0 | 5,0 | 5,0 | 5,0 | 4,0 | 2,5 | 3,907 | 51 | 1,113 | 0,703 |
420307 | 38,3 | 76,0 | 5,0 | 3,5 | 3,5 | 4,0 | - | 4,469 | 76 | 1,274 | 0,804 |
420308 | 38,3 | 76,0 | 5,0 | 5,0 | 5,0 | 4,0 | 2,5 | 5,507 | 77 | 1,569 | 0,991 |
420310 | 39,0 | 50,0 | 13,0 | 4,0 | 4,0 | 3,0 | - | 6,589 | 54 | 1,878 | 1,186 |
420783 | 39,0 | 60,0 | 1,5 | 2,0 | 2,0 | 2,5 | - | 1,782 | 62 | 0,508 | 0,321 |
420311 | 39,0 | 70,0 | 2,5 | 5,5 | 5,5 | 3,5 | 0,5 | 4,739 | 71 | 1,351 | 0,853 |
420312 | 39,0 | 166,0 | 8,0 | 12,0 | 12,0 | 6,0 | - | 22,235 | 167 | 6,337 | 4,002 |
420784 | 39,3 | 50,5 | 11,3 | 5,0 | 5,0 | 5,0 | - | 6,508 | 56 | 1,855 | 1,171 |
420786 | 40,0 | 30,0 | 2,0 | 3,0 | 3,0 | 3,0 | - | 1,679 | 46 | 0,478 | 0,302 |
420313 | 10,0 | 30,0 | 2,5 | 4,0 | 4,0 | 2,0 | 1,2 | 2,111 | 46 | 0,602 | 0,380 |
420314 | 40,0 | 32,0 | 2,0 | 2,0 | 2,0 | 2,0 | - | 1,417 | 46 | 0,404 | 0,255 |
420316 | 40,0 | 36,0 | 5,0 | 5,0 | 5,0 | 5,0 | 3,0 | 3,618 | 48 | 1,031 | 0,651 |
420319 | 10,0 | 40,0 | 3,0 | 3,0 | 3,0 | 3,0 | - | 2,349 | 50 | 0,669 | 0,423 |
420320 | 40,0 | 45,0 | 3,0 | 3,0 | 3,0 | 3,0 | 1,5 | 2,489 | 53 | 0,709 | 0,448 |
420321 | 40,0 | 45,0 | 3,5 | 6,5 | 6,5 | 4,0 | - | 4,166 | 53 | 1,187 | 0,750 |
420322 | 40,0 | 45,0 | 3,5 | 6,5 | 6,5 | 4,0 | 3,2 | 4,122 | 53 | 1,175 | 0,742 |
420323 | 40,0 | 45,0 | 4,0 | 4,0 | 4,0 | 4,0 | 2,0 | 3,292 | 53 | 0,938 | 0,593 |
420787 | 40,0 | 50,0 | 2,0 | 2,0 | 2,0 | 3,0 | - | 1,799 | 56 | 0,513 | 0,324 |
420324 | 40,0 | 50,0 | 2,0 | 3,5 | 3,5 | 3,5 | 0,5 | 2,532 | 56 | 0,722 | 0,456 |
420325 | 40,0 | 50,0 | 3,5 | 6,5 | 6,5 | 4,0 | - | 4,491 | 56 | 1,280 | 0,808 |
420326 | 40,0 | 50,0 | 3,5 | 8,0 | 8,0 | 5,0 | - | 5,227 | 56 | 1,490 | 0,941 |
420827 | 40,0 | 50,0 | 4,0 | 3,0 | 3,0 | 3,0 | - | 3,019 | 56 | 0,860 | 0,543 |
420328 | 40,0 | 50,0 | 5,0 | 5,0 | 5,0 | 3,0 | - | 4,289 | 56 | 1,222 | 0,772 |
420329 | 40,0 | 50,0 | 5,0 | 3,0 | 3,0 | 4,5 | - | 3,437 | 56 | 0,980 | 0,619 |
420330 | 40,0 | 52,0 | 5,0 | 10,1 | 10,1 | 4,0 | - | 6,816 | 57 | 1,942 | 1,227 |
420788 | 40,0 | 54,0 | 5,0 | 6,0 | 6,0 | 4,0 | - | 5,009 | 58 | 1,427 | 0,902 |
420332 | 40,0 | 57,0 | 6,0 | 10,0 | 10,0 | 5,0 | 1,0 | 7,603 | 60 | 2,167 | 1,369 |
420333 | 40,0 | 57,0 | 14,0 | 20,0 | 20,0 | 3,0 | 2,0 | 14,222 | 61 | 4,053 | 2,560 |
420334 | 40,0 | 60,0 | 3,0 | 4,0 | 4,0 | 4,0 | - | 3,549 | 62 | 1,011 | 0,639 |
420789 | 40,0 | 60,0 | 6,5 | 8,0 | 8,0 | 3,0 | - | 6,919 | 62 | 1,972 | 1,245 |
420335 | 40,0 | 65,0 | 4,0 | 5,0 | 5,0 | 6,0 | - | 4,805 | 66 | 1,369 | 0,865 |
420336 | 40,0 | 65,0 | 6,0 | 4,5 | 4,5 | 2,0 | 3,0 | 5,072 | 66 | 1,446 | 0,913 |
420790 | 40,0 | 66,0 | 6,0 | 12,5 | 12,5 | 3,0 | - | 9,939 | 67 | 2,833 | 1,789 |
420791 | 40,0 | 66,0 | 12,0 | 6,0 | 6,0 | 4,0 | - | 8,109 | 67 | 2,311 | 1,460 |
420337 | 40,0 | 68,0 | 6,5 | 8,0 | 8,0 | 6,0 | - | 7,675 | 69 | 2,187 | 1,381 |
420338 | 40,0 | 80,0 | 5,0 | 8,5 | 8,5 | 5,0 | - | 8,482 | 81 | 2,417 | 1,527 |
420792 | 40,0 | 80,0 | 10,0 | 6,0 | 6,0 | 5,0 | 2,0 | 8,290 | 81 | 2,363 | 1,492 |
420339 | 40,0 | 90,0 | 10,0 | 10,0 | 10,0 | 4,0 | - | 12,069 | 91 | 3,440 | 2,172 |
420340 | 40,0 | 93,0 | 4,0 | 3,0 | 3,0 | 3,0 | - | 4,309 | 93 | 1,228 | 0,776 |
420341 | 40,0 | 120,0 | 5,0 | 6,0 | 6,0 | 2,5 | 2,5 | 8,900 | 120 | 2,537 | 1,602 |
420342 | 40,5 | 57,0 | 4,0 | 6,0 | 6,0 | 3,0 | 1,0 | 4,835 | 60 | 1,378 | 0,870 |
420343 | 41,0 | 40,0 | 3,5 | 4,5 | 4,5 | 5,0 | - | 3,185 | 51 | 0,908 | 0,573 |
420344 | 41,0 | 42,0 | 2,4 | 2,4 | 2,4 | 3,5 | - | 1,987 | 53 | 0,566 | 0,358 |
420345 | 41,0 | 50,0 | 3,5 | 4,5 | 4,5 | 3,5 | - | 3,580 | 56 | 1,020 | 0,644 |
420347 | 41,0 | 58,0 | 3,5 | 6,5 | 6,5 | 4,0 | - | 5,046 | 62 | 1,438 | 0,908 |
420348 | 41,0 | 76,0 | 3,5 | 4,3 | 4,3 | 5,0 | - | 4,660 | 77 | 1,328 | 0,839 |
420349 | 41,0 | 76,0 | 3,5 | 4,5 | 4,5 | 5,0 | - | 4,805 | 77 | 1,369 | 0,865 |
420350 | 41,0 | 76,0 | 7,0 | 4,5 | 4,5 | 3,0 | - | 6,014 | 77 | 1,714 | 1,082 |
420793 | 41,0 | 78,0 | 6,0 | 11,0 | 11,0 | 3,0 | - | 10,419 | 80 | 2,969 | 1,875 |
420794 | 41,5 | 30,0 | 1,5 | 2,5 | 2,5 | 2,0 | - | 1,352 | 47 | 0,385 | 0,243 |
420351 | 41,5 | 63,5 | 3,5 | 3,5 | 3,5 | 2,5 | - | 3,579 | 66 | 1,020 | 0,644 |
420352 | 41,5 | 63,5 | 3,5 | 3,5 | 3,5 | 2,5 | 1,7 | 3,567 | 66 | 1,017 | 0,542 |
420853 | 41,5 | 63,5 | 4,2 | 4,2 | 4,2 | 3,0 | 2,0 | 4,255 | 66 | 1,213 | 0,766 |
420355 | 42,0 | 76,0 | 3,5 | 5,0 | 5,0 | 3,5 | - | 5,148 | 77 | 1,467 | 0,927 |
420795 | 42,0 | 76,0 | 3,5 | 6,5 | 3,0 | 3,0 | - | 4,952 | 77 | 1,411 | 0,891 |
420356 | 42,0 | 76,0 | 3,5 | 6,5 | 6,5 | 3,5 | - | 6,235 | 77 | 1,777 | 1,122 |
430796 | 42,0 | 127,0 | 4,0 | 6,0 | 6,0 | 4,0 | - | 9,129 | 128 | 2,602 | 1,643 |
420797 | 42,5 | 90,0 | 30,0 | 10,0 | 10,0 | 3,0 | - | 18,789 | 93 | 5,355 | 3,382 |
420358 | 43,0 | 50,0 | 2,0 | 3,0 | 3,0 | 3,0 | 0,5 | 2,338 | 58 | 0,666 | 0,421 |
420359 | 43,0 | 100,0 | 3,0 | 5,0 | 5,0 | 4,0 | 0,5 | 6,208 | 104 | 1,769 | 1,117 |
420360 | 43,5 | 60,0 | 6,0 | 5,0 | 5,0 | 5,0 | - | 5,417 | 64 | 1,544 | 0,975 |
420361 | 43,5 | 76,0 | 3,5 | 4,3 | 4,3 | 5,0 | - | 4,747 | 77 | 1,353 | 0,855 |
420798 | 44,0 | 80,0 | 12,0 | 12,5 | 12,5 | 5,0 | - | 13,887 | 82 | 3,958 | 2,500 |
420363 | 45,0 | 36,0 | 1,2 | 1,2 | 1,2 | 2,0 | - | 0,975 | 52 | 0,278 | 0,175 |
420364 | 45,0 | 40,0 | 2,2 | 2,2 | 2,2 | 3,0 | - | 1,860 | 54 | 0,530 | 0,335 |
420365 | 45,0 | 42,0 | 2,5 | 2,5 | 2,5 | 3,0 | 0,5 | 2,150 | 55 | 0,613 | 0,387 |
420366 | 45,0 | 50,0 | 2,6 | 5,0 | 5,0 | 3,0 | 0,5 | 3,578 | 59 | 1,020 | 0,644 |
420367 | 45,0 | 50,0 | 4,0 | 3,0 | 3,0 | 6,0 | - | 3,335 | 59 | 0,950 | 0,600 |
420368 | 45,0 | 50,0 | 5,0 | 15,0 | 15,0 | 5,0 | 1,0 | 9,103 | 59 | 2,594 | 1,639 |
420369 | 45,0 | 50,0 | 6,5 | 8,0 | 8,0 | 6,0 | - | 6,560 | 59 | 1,869 | 1,181 |
420370 | 45,0 | 52,0 | 6,0 | 10,0 | 10,0 | 3,0 | - | 7,339 | 60 | 2,092 | 1,321 |
420371 | 45,0 | 60,0 | 2,6 | 5,0 | 5,0 | 3,0 | 0,5 | 4,078 | 65 | 1,162 | 0,734 |
420801 | 45,0 | 65,0 | 4,1 | 7,35 | 7,35 | 5,0 | - | 6,428 | 68 | 1,832 | 1,157 |
420373 | 45,0 | 68,0 | 8,0 | 5,0 | 5,0 | 5,0 | - | 6,707 | 70 | 1,912 | 1,207 |
420802 | 45,0 | 70,0 | 10,0 | 8,0 | 8,0 | 6,0 | - | 9,455 | 72 | 2,695 | 1,702 |
420375 | 45,0 | 70,0 | 29,0 | 17,0 | 17,0 | 3,0 | - | 20,059 | 72 | 5,717 | 3,611 |
420376 | 45,0 | 79,0 | 13,0 | 7,0 | 7,0 | 3,0 | - | 10,509 | 80 | 2,995 | 1,892 |
420804 | 45,0 | 80,0 | 10,0 | 8,0 | 8,0 | 6,0 | - | 10,255 | 81 | 2,923 | 1,846 |
420805 | 45,0 | 82,0 | 8,0 | 16,0 | 16,0 | 3,0 | - | 15,479 | 84 | 4,411 | 2,786 |
420806 | 45,0 | 84,0 | 4,0 | 13,0 | 13,0 | 4,0 | - | 12,269 | 86 | 3,497 | 2,208 |
420377 | 45,0 | 93,0 | 2,5 | 2,5 | 2,5 | 3,0 | - | 3,426 | 93 | 0,976 | 0,617 |
420378 | 45,8 | 36,8 | 2,0 | 2,0 | 2,0 | 1,6 | - | 1,623 | 52 | 0,463 | 0,292 |
420379 | 46,0 | 21,5 | 3,5 | 2,5 | 2,5 | 3,0 | - | 2,099 | 49 | 0,598 | 0,378 |
420380 | 46,0 | 45,0 | 1,5 | 1,5 | 1,5 | 3,5 | - | 1,395 | 57 | 0,398 | 0,251 |
422502 | 46,0 | 46,0 | 4,0 | 4,0 | 4,0 | 6,0 | - | 3,675 | 58 | 1,047 | 0,661 |
420381 | 46,0 | 55,0 | 15,0 | 6,0 | 6,0 | 4,0 | - | 9,369 | 63 | 2,670 | 1,686 |
420808 | 46,0 | 83,0 | 25,0 | 16,0 | 16,0 | 3,0 | - | 20,819 | 85 | 5,933 | 3,747 |
420382 | 46,0 | 88,0 | 3,5 | 2,5 | 2,5 | 3,0 | - | 3,761 | 89 | 1,072 | 0,677 |
420383 | 46,2 | 50,0 | 1,5 | 4,0 | 4,0 | 3,0 | - | 2,672 | 60 | 0,761 | 0,481 |
422503 | 47,0 | 38,0 | 1,8 | 2,0 | 2,0 | 3,0 | - | 1,609 | 56 | 0,458 | 0,290 |
420384 | 47,0 | 40,0 | 2,0 | 2,0 | 2,0 | 3,0 | - | 1,739 | 56 | 0,496 | 0,313 |
420386 | 47,0 | 93,0 | 7,0 | 5,0 | 8,0 | 3,0 | - | 8,919 | 93 | 2,542 | 1,605 |
420387 | 47,5 | 93,0 | 4,0 | 5,0 | 5,0 | 3,0 | - | 6,389 | 93 | 1,821 | 1,150 |
420388 | 47,6 | 60,4 | 25,4 | 15,9 | 15,9 | 3,2 | 12,7 | 17,007 | 68 | 4,847 | 3,061 |
420809 | 48,0 | 46,0 | 1,5 | 2,0 | 2,0 | 1,0 | - | 1,614 | 58 | 0,460 | 0,291 |
420390 | 48,0 | 60,0 | 2,5 | 3,0 | 3,0 | 4,0 | - | 2,994 | 67 | 0,853 | 0,539 |
420810 | 48,0 | 65,0 | 2,0 | 5,0 | 5,0 | 6,0 | - | 4,265 | 70 | 1,215 | 0,768 |
420391 | 48,0 | 65,0 | 8,0 | 6,0 | 6,0 | 5,0 | - | 7,367 | 70 | 2,100 | 1,326 |
420392 | 48,0 | 68,0 | 3,5 | 6,0 | 6,0 | 3,0 | - | 5,589 | 72 | 1,593 | 1,006 |
420811 | 48,0 | 80,0 | 4,0 | 8,0 | 8,0 | 4,0 | 1,0 | 8,065 | 80 | 2,299 | 1,452 |
420812 | 48,0 | 88,0 | 20,0 | 10,0 | 10,0 | 4,0 | - | 16,469 | 89 | 4,694 | 2,964 |
420393 | 50,0 | 18,0 | 3,0 | 7,0 | 7,0 | 4,0 | - | 2,619 | 52 | 0,746 | 0,471 |
420814 | 50,0 | 38,0 | 2,5 | 2,5 | 2,5 | 2,0 | - | 2,155 | 57 | 0,614 | 0,388 |
420394 | 50,0 | 40,0 | 1,5 | 1,5 | 1,5 | 3,0 | 0,5 | 1,365 | 58 | 0,389 | 0,246 |
420395 | 50,0 | 41,0 | 3,0 | 5,0 | 5,0 | 5,0 | - | 3,507 | 59 | 1,000 | 0,631 |
420396 | 50,0 | 42,0 | 1,4 | 1,8 | 1,8 | 2,0 | - | 1,448 | 59 | 0,413 | 0,261 |
420397 | 50,0 | 42,0 | 2,0 | 2,0 | 2,0 | 2,0 | - | 1,817 | 59 | 0,518 | 0,327 |
420398 | 50,0 | 45,0 | 4,5 | 8,0 | 8,0 | 6,0 | - | 5,645 | 60 | 1,609 | 1,016 |
420399 | 50,0 | 46,0 | 2,0 | 2,0 | 2,0 | 1,0 | - | 1,884 | 60 | 0,537 | 0,339 |
420401 | 50,0 | 50,0 | 1,5 | 1,5 | 1,5 | 2,0 | 0,5 | 1,494 | 62 | 0,426 | 0,269 |
420402 | 50,0 | 50,0 | 4,0 | 16,0 | 16,0 | 4,0 | 1,0 | 9,425 | 62 | 2,686 | 1,697 |
420403 | 50,0 | 50,0 | 6,5 | 8,0 | 8,0 | 6,0 | - | 6,885 | 62 | 1,962 | 1,239 |
420405 | 50,0 | 53,0 | 4,0 | 5,0 | 5,0 | 4,0 | 2,0 | 4,502 | 64 | 1,283 | 0,810 |
420407 | 50,0 | 56,0 | 3,5 | 3,0 | 3,0 | 4,0 | - | 3,394 | 66 | 0,967 | 0,611 |
420408 | 50,0 | 60,0 | 2,0 | 3,0 | 3,0 | 3,0 | - | 2,779 | 68 | 0,792 | 0,500 |
420816 | 50,0 | 62,0 | 10,0 | 4,0 | 4,0 | 5,0 | - | 7,187 | 70 | 2,048 | 1,294 |
420817 | 50,0 | 62,0 | 12,0 | 4,0 | 4,0 | 5,0 | - | 8,107 | 70 | 2,311 | 1,459 |
420818 | 50,0 | 64,0 | 8,0 | 12,0 | 12,0 | 5,0 | 2,0 | 10,810 | 71 | 3,080 | 1,946 |
420409 | 50,0 | 70,0 | 2,4 | 2,4 | 2,4 | 2,0 | - | 2,840 | 74 | 0,809 | 0,511 |
420411 | 50,0 | 70,0 | 4,0 | 4,0 | 4,0 | 2,5 | - | 4,667 | 75 | 1,330 | 0,840 |
420412 | 50,0 | 70,0 | 12,0 | 25,0 | 25,0 | 5,0 | 1,0 | 20,603 | 77 | 5,872 | 3,709 |
420819 | 50,0 | 74,0 | 12,0 | 20,0 | 20,0 | 4,0 | - | 18,469 | 78 | 5,264 | 3,324 |
420413 | 50,0 | 76,0 | 3,5 | 4,5 | 4,5 | 5,0 | - | 5,120 | 79 | 1,459 | 0,922 |
420414 | 50,0 | 78,0 | 4,0 | 12,0 | 12,0 | 6,0 | - | 11,035 | 80 | 3,145 | 1,986 |
420821 | 50,0 | 80,0 | 4,5 | 10,0 | 10,0 | 4,0 | - | 9,869 | 81 | 2,813 | 1,776 |
420822 | 50,0 | 80,0 | 5,0 | 7,0 | 7,0 | 3,0 | - | 7,789 | 81 | 2,220 | 1,402 |
420823 | 50,0 | 90,0 | 10,0 | 10,0 | 10,0 | 6,0 | - | 13,155 | 91 | 3,749 | 2,368 |
420824 | 50,0 | 93,0 | 7,0 | 7,0 | 3,5 | 5,0 | - | 8,122 | 94 | 2,315 | 1,462 |
420417 | 50,0 | 96,0 | 5,0 | 8,0 | 8,0 | 5,0 | - | 9,887 | 96 | 2,818 | 1,780 |
420418 | 50,0 | 100,0 | 6,0 | 6,0 | 6,0 | 5,0 | - | 8,747 | 101 | 2,493 | 1,575 |
420419 | 50,0 | 101,0 | 27,5 | 12,0 | 12,0 | 5,0 | 3,0 | 22,638 | 102 | 6,452 | 4,075 |
420420 | 50,0 | 106,0 | 8,0 | 10,5 | 10,5 | 5,0 | - | 14,397 | 107 | 4,103 | 2,592 |
420421 | 50,0 | 110,0 | 15,0 | 30,0 | 30,0 | 3,0 | 2,0 | 36,022 | 111 | 10,266 | 6,484 |
420422 | 50,0 | 144,0 | 3,0 | 9,0 | 9,0 | 4,0 | 0,5 | 14,258 | 145 | 4,064 | 2,566 |
420423 | 50,3 | 70,4 | 4,2 | 4,35 | 4,35 | 2,5 | 1,0 | 5,015 | 75 | 1,429 | 0,903 |
420424 | 51,0 | 51,0 | 2,4 | 2,4 | 2,4 | 3,5 | - | 2,443 | 64 | 0,696 | 0,440 |
420426 | 52,0 | 40,0 | 2,5 | 6,5 | 6,5 | 4,0 | - | 3,806 | 61 | 1,085 | 0,685 |
420427 | 52,0 | 50,0 | 3,0 | 4,0 | 4,0 | 3,0 | 1,5 | 3,469 | 64 | 0,989 | 0,624 |
420825 | 52,0 | 50,0 | 6,5 | 8,0 | 8,0 | 6,0 | - | 7,015 | 64 | 1,999 | 1,263 |
420826 | 52,0 | 50,0 | 8,2 | 12,5 | 12,5 | 5,0 | 1,0 | 9,592 | 64 | 2,733 | 1,727 |
420827 | 52,0 | 50,0 | 8,2 | 18,5 | 18,5 | 5,0 | 1,0 | 12,100 | 64 | 3,449 | 2,178 |
420828 | 52,0 | 60,0 | 3,0 | 2,0 | 2,0 | 3,0 | - | 2,739 | 68 | 0,781 | 0,493 |
420430 | 52,0 | 72,0 | 12,0 | 5,0 | 5,0 | 5,0 | 2,5 | 9,320 | 76 | 2,656 | 1,678 |
420829 | 52,0 | 76,0 | 3,5 | 6,0 | 6,0 | 6,0 | - | 6,325 | 81 | 1,802 | 1,138 |
420432 | 52,0 | 83,0 | 31,0 | 9,5 | 9,5 | 5,0 | 1,5 | 21,157 | 87 | 6,030 | 3,808 |
420830 | 52,0 | 86,0 | 8,0 | 25,0 | 25,0 | 4,0 | - | 23,729 | 89 | 6,763 | 4,271 |
420831 | 52,0 | 100,0 | 4,0 | 6,0 | 6,0 | 6,0 | 2,0 | 7,978 | 101 | 2,273 | 1,436 |
420832 | 52,0 | 110,0 | 8,0 | 9,0 | 9,0 | 9,0 | 2,0 | 13,671 | 111 | 3,896 | 2,461 |
420433 | 52,0 | 115,0 | 12,0 | 6,0 | 12,0 | 5,0 | - | 15,617 | 116 | 4,451 | 2,811 |
420436 | 53,0 | 104,0 | 30,0 | 114,0 | 14,0 | 5,0 | 4,0 | 26,298 | 105 | 7,495 | 4,734 |
420438 | 54,0 | 42,0 | 1,4 | 1,8 | 1,8 | 2,0 | - | 1,504 | 62 | 0,429 | 0,271 |
420440 | 54,0 | 50,0 | 3,0 | 3,0 | 3,0 | 3,0 | 1,5 | 3,059 | 66 | 0,872 | 0,551 |
420442 | 54,0 | 68,0 | 3,0 | 3,0 | 3,0 | 3,0 | - | 3,609 | 75 | 1,028 | 0,650 |
420443 | 54,0 | 76,0 | 4,0 | 5,0 | 5,0 | 4,0 | 2,0 | 5,812 | 81 | 1,661 | 1,049 |
420445 | 55,0 | 20,0 | 5,0 | 3,0 | 3,0 | 3,0 | - | 3,239 | 58 | 0,923 | 0,583 |
420446 | 55,0 | 30,0 | 10,0 | 7,0 | 7,0 | 4,0 | 2,0 | 6,952 | 59 | 1,981 | 1,251 |
420833 | 55,0 | 64,0 | 6,0 | 25,0 | 25,0 | 6,0 | - | 17,955 | 66 | 5,117 | 3,232 |
420449 | 55,0 | 70,0 | 6,0 | 5,0 | 5,0 | 5,0 | - | 6,607 | 77 | 1,883 | 1,189 |
420834 | 55,0 | 76,0 | 4,0 | 6,0 | 6,0 | 3,0 | - | 6,559 | 82 | 1,869 | 1,181 |
420835 | 55,0 | 80,0 | 5,0 | 6,0 | 6,0 | 5,0 | - | 7,357 | 84 | 2,097 | 1,324 |
420450 | 55,0 | 90,0 | 26,0 | 11,0 | 11,0 | 4,0 | - | 21,409 | 63 | 6,101 | 3,854 |
420838 | 55,0 | 110,0 | 5,0 | 5,0 | 5,0 | 5,0 | - | 8,107 | 110 | 2,311 | 1,459 |
420839 | 55,0 | 120,0 | 7,0 | 22,0 | 22,0 | 4,0 | 1,0 | 28,775 | 121 | 8,201 | 5,180 |
420452 | 55,0 | 135,0 | 25,0 | 12,0 | 12,0 | 4,0 | - | 27,019 | 136 | 7,700 | 4,863 |
420453 | 55,5 | 140,1 | 4,1 | 7,35 | 7,35 | 4,0 | - | 12,340 | 141 | 3,517 | 2,221 |
420454 | 56,0 | 31,0 | 1,5 | 1,5 | 1,5 | 3,0 | - | 1,321 | 60 | 0,377 | 0,238 |
420456 | 56,0 | 36,0 | 2,0 | 2,0 | 2,0 | 3,0 | - | 1,839 | 63 | 0,524 | 0,331 |
420457 | 56,0 | 52,0 | 20,0 | 5,0 | 5,0 | 2,0 | 10,0 | 12,388 | 68 | 3,531 | 2,230 |
420458 | 56,0 | 70,0 | 5,0 | 12,0 | 12,0 | 3,0 | 1,0 | 10,635 | 80 | 3,031 | 1,914 |
420459 | 56,0 | 76,0 | 4,0 | 5,0 | 5,0 | 5,0 | - | 5,947 | 82 | 1,695 | 1,071 |
420840 | 56,0 | 100,0 | 40,0 | 34,0 | 34,0 | 4,0 | 8,0 | 42,830 | 105 | 12,207 | 7,709 |
420841 | 56,0 | 112,0 | 48,0 | 18,0 | 18,0 | 2,0 | 2,0 | 38,400 | 114 | 10,944 | 6,912 |
420460 | 56,5 | 52,5 | 20,0 | 5,3 | 5,3 | 2,0 | 10,0 | 12,611 | 68 | 3,594 | 2,270 |
420461 | 56,5 | 96,0 | 6,0 | 16,5 | 16,5 | 5,0 | - | 18,347 | 98 | 5,229 | 3,303 |
420842 | 58,0 | 10,0 | 2,0 | 1,0 | 4,0 | 10,0 | 1,0 | 1,665 | 59 | 0,475 | 0,300 |
420463 | 58,0 | 53,0 | 3,0 | 5,0 | 5,0 | 3,0 | - | 4,279 | 70 | 1,219 | 0,770 |
420464 | 58,0 | 65,0 | 7,0 | 14,0 | 14,0 | 5,0 | - | 12,287 | 77 | 3,502 | 2,212 |
420465 | 58,0 | 88,0 | 8,0 | 21,0 | 21,0 | 5,0 | - | 21,547 | 92 | 6,141 | 3,879 |
420467 | 59,0 | 45,0 | 7,0 | 9,0 | 9,0 | 5,0 | - | 7,657 | 68 | 2,182 | 1,378 |
420468 | 60,0 | 16,0 | 13,0 | 5,0 | 5,0 | - | - | 7,950 | 61 | 2,266 | 1,431 |
420473 | 60,0 | 40,0 | 3,0 | 5,0 | 5,0 | 3,0 | 1,5 | 3,679 | 67 | 1,049 | 0,662 |
420474 | 60,0 | 41,0 | 3,0 | 4,0 | 4,0 | 5,0 | - | 3,427 | 67 | 0,977 | 0,617 |
420846 | 60,0 | 45,0 | 4,0 | 4,0 | 4,0 | 4,0 | 2,0 | 4,092 | 68 | 1,166 | 0,737 |
422504 | 60,0 | 56,0 | 3,0 | 4,0 | 4,0 | 3,0 | 1,0 | 3,955 | 74 | 1,127 | 0,712 |
420476 | 60,0 | 75,0 | 4,0 | 8,0 | 8,0 | 6,0 | - | 8,235 | 84 | 2,347 | 1,482 |
420477 | 60,0 | 76,0 | 6,0 | 16,0 | 16,0 | 5,0 | 1,0 | 14,903 | 84 | 4,247 | 2,683 |
420478 | 60,0 | 92,0 | 8,0 | 12,0 | 12,0 | 5,0 | 1,0 | 14,983 | 96 | 4,270 | 2,697 |
420847 | 60,0 | 93,5 | 3,5 | 12,0 | 12,0 | 2,0 | - | 12,917 | 96 | 3,681 | 2,325 |
420848 | 60,0 | 100,0 | 8,0 | 10,0 | 10,0 | 5,0 | 1,0 | 14,103 | 101 | 4,019 | 2,539 |
420479 | 60,0 | 100,0 | 10,0 | 10,0 | 10,0 | 8,0 | 2,5 | 15,248 | 101 | 4,346 | 2,745 |
420480 | 60,0 | 110,0 | 20,0 | 6,0 | 6,0 | 5,0 | 3,0 | 17,468 | 112 | 4,978 | 3,144 |
420849 | 60,0 | 120,0 | 3,0 | 8,0 | 8,0 | 6,0 | 1,5 | 11,305 | 121 | 3,222 | 2,035 |
420850 | 60,0 | 120,0 | 5,0 | 17,0 | 17,0 | 5,0 | - | 22,657 | 121 | 6,457 | 4,078 |
420481 | 60,0 | 120,0 | 6,0 | 10,0 | 10,0 | 5,0 | - | 15,107 | 121 | 4,306 | 2,719 |
420851 | 60,0 | 120,0 | 10,0 | 22,0 | 22,0 | 4,0 | - | 30,269 | 121 | 8,627 | 5,448 |
420852 | 62,0 | 100,0 | 16,0 | 12,0 | 12,0 | 3,0 | - | 20,039 | 104 | 5,711 | 3,607 |
420486 | 62,0 | 116,0 | 6,0 | 22,0 | 22,0 | 5,0 | - | 28,027 | 118 | 7,988 | 5,045 |
420487 | 63,0 | 45,0 | 3,0 | 4,0 | 4,0 | 3,0 | - | 3,609 | 71 | 1,028 | 0,650 |
420488 | 63,0 | 80,0 | 6,0 | 5,0 | 5,0 | 3,0 | - | 7,519 | 94 | 2,143 | 1,353 |
420853 | 63,0 | 86,0 | 56,0 | 12,0 | 12,0 | 5,0 | 5,0 | 38,880 | 98 | 11,081 | 6,998 |
420491 | 64,0 | 60,0 | 5,0 | 5,0 | 5,0 | 4,5 | - | 5,537 | 74 | 1,578 | 0,997 |
420493 | 64,0 | 75,0 | 5,0 | 3,0 | 3,0 | 5,0 | 2,5 | 5,380 | 86 | 1,533 | 0,968 |
420494 | 64,0 | 75,0 | 5,0 | 5,0 | 5,0 | 5,0 | 2,5 | 6,780 | 86 | 1,932 | 1,220 |
420495 | 64,0 | 100,0 | 7,0 | 6,0 | 6,0 | 4,0 | - | 10,129 | 103 | 2,887 | 1,823 |
420496 | 65,0 | 40,0 | 2,0 | 2,0 | 2,0 | 2,0 | 0,5 | 2,076 | 70 | 0,592 | 0,374 |
420497 | 65,0 | 60,0 | 8,0 | 15,0 | 15,0 | 5,0 | - | 13,107 | 79 | 3,736 | 2,359 |
420854 | 65,0 | 75,0 | 6,0 | 6,0 | 6,0 | 4,0 | - | 8,109 | 86 | 2,311 | 1,460 |
420499 | 65,0 | 94,0 | 10,0 | 15,0 | 15,0 | 5,0 | 1,0 | 19,203 | 98 | 5,473 | 3,457 |
420857 | 65,0 | 100,0 | 8,0 | 18,0 | 18,0 | 5,0 | - | 21,867 | 104 | 6,232 | 3,936 |
420501 | 65,0 | 120,0 | 8,0 | 18,0 | 18,0 | 5,0 | 1,0 | 25,463 | 122 | 7,257 | 4,583 |
420502 | 65,0 | 120,0 | 8,0 | 25,0 | 25,0 | 5,0 | 1,0 | 33,303 | 123 | 9,491 | 5,995 |
420503 | 65,0 | 120,0 | 40,0 | 10,0 | 10,0 | 5,0 | - | 34,107 | 123 | 9,721 | 6,139 |
420859 | 65,0 | 280,0 | 10,0 | 33,0 | 33,0 | 5,0 | 2,0 | 95,690 | 285 | 27,272 | 17,224 |
420504 | 65,5 | 40,5 | 2,0 | 2,0 | 2,0 | 4,7 | - | 2,175 | 72 | 0,620 | 0,391 |
420860 | 66,0 | 46,0 | 3,0 | 5,0 | 5,0 | 3,0 | - | 4,169 | 74 | 1,188 | 0,750 |
420505 | 66,0 | 100,0 | 5,0 | 10,0 | 10,0 | 5,0 | - | 12,907 | 104 | 3,679 | 2,323 |
420507 | 67,0 | 40,0 | 8,0 | 4,0 | 4,0 | 3,0 | - | 3,529 | 73 | 1,006 | 0,635 |
420508 | 67,0 | 46,0 | 2,0 | 2,0 | 2,0 | 2,0 | 1,0 | 2,233 | 75 | 0,636 | 0,402 |
420509 | 67,0 | 46,0 | 2,0 | 4,0 | 4,0 | 3,0 | - | 3,139 | 75 | 0,895 | 0,565 |
420510 | 67,0 | 60,0 | 3,0 | 6,0 | 6,0 | 3,0 | 1,0 | 5,465 | 80 | 1,558 | 0,984 |
420511 | 67,0 | 116,0 | 68,0 | 49,0 | 49,0 | 6,0 | 3,0 | 69,196 | 124 | 19,721 | 12,455 |
420512 | 67,0 | 142,0 | 59,0 | 47,0 | 47,0 | 8,0 | 3,0 | 78,776 | 145 | 22,451 | 14,180 |
420513 | 68,0 | 45,0 | 3,0 | 4,0 | 4,0 | 3,0 | - | 3,759 | 75 | 1,071 | 0,677 |
420515 | 68,0 | 82,0 | 30,0 | 10,0 | 10,0 | 5,0 | 5,0 | 25,600 | 94 | 7,296 | 4,608 |
420516 | 68,0 | 90,0 | 12,0 | 10,0 | 10,0 | 2,0 | - | 15,977 | 97 | 4,553 | 2,876 |
420517 | 68,0 | 100,0 | 10,0 | 18,0 | 18,0 | 5,0 | 1,0 | 23,103 | 105 | 6,584 | 4,159 |
420518 | 68,0 | 100,0 | 12,0 | 10,0 | 10,0 | 8,0 | - | 17,235 | 105 | 4,912 | 3,102 |
420864 | 68,0 | 130,0 | 8,0 | 20,0 | 20,0 | 5,0 | - | 29,947 | 132 | 8,535 | 5,391 |
420519 | 70,0 | 20,0 | 12,0 | 10,0 | 10,0 | 1,0 | 1,0 | 9,200 | 71 | 2,622 | 1,656 |
420521 | 70,0 | 24,0 | 12,0 | 10,0 | 10,0 | 0,5 | - | 9,601 | 73 | 2,736 | 1,728 |
420522 | 70,0 | 26,0 | 4,0 | 9,0 | 9,0 | 4,0 | - | 4,849 | 73 | 1,382 | 0,873 |
420524 | 70,0 | 40,0 | 3,0 | 4,0 | 4,0 | 3,0 | - | 3,619 | 76 | 1,031 | 0,651 |
420525 | 70,0 | 40,0 | 5,0 | 8,0 | 8,0 | 3,0 | 2,0 | 6,322 | 76 | 1,802 | 1,138 |
420526 | 70,0 | 43,0 | 3,0 | 3,0 | 3,0 | 3,5 | - | 3,353 | 77 | 0,955 | 0,603 |
420527 | 70,0 | 50,0 | 3,0 | 4,0 | 4,0 | 3,0 | 1,5 | 4,009 | 79 | 1,143 | 0,722 |
420865 | 70,0 | 56,0 | 2,0 | 6,5 | 6,5 | 2,5 | - | 4,937 | 82 | 1,407 | 0,889 |
420528 | 70,0 | 60,0 | 4,0 | 6,0 | 6,0 | 4,0 | - | 6,229 | 83 | 1,775 | 1,121 |
420529 | 70,0 | 68,0 | 3,0 | 8,0 | 8,0 | 3,0 | - | 7,339 | 87 | 2,092 | 1,321 |
420530 | 70,0 | 68,0 | 6,5 | 8,0 | 8,0 | 6,0 | - | 9,625 | 87 | 2,743 | 1,732 |
420532 | 70,0 | 76,0 | 6,0 | 16,0 | 16,0 | 5,0 | - | 15,507 | 91 | 4,420 | 2,791 |
420533 | 70,0 | 80,0 | 2,0 | 3,0 | 3,0 | 3,0 | - | 3,779 | 93 | 1,077 | 0,680 |
420867 | 70,0 | 84,0 | 7,0 | 8,0 | 8,0 | 1,0 | - | 11,064 | 96 | 3,153 | 1,992 |
420868 | 70,0 | 105,0 | 11,0 | 10,5 | 10,5 | 15,0 | - | 8,536 | 108 | 5,283 | 3,336 |
420534 | 71,0 | 64,0 | 4,0 | 4,0 | 4,0 | 6,0 | - | 5,395 | 85 | 1,537 | 0,971 |
420870 | 71,0 | 70,0 | 6,0 | 15,0 | 15,0 | 4,0 | - | 13,929 | 88 | 3,970 | 2,507 |
420535 | 71,0 | 87,0 | 5,0 | 16,0 | 16,0 | 5,0 | - | 16,777 | 98 | 4,782 | 3,020 |
420536 | 71,0 | 96,0 | 42,0 | 9,0 | 9,0 | 5,0 | 1,5 | 34,777 | 106 | 9,911 | 6,260 |
420537 | 72,0 | 50,0 | 3,0 | 2,0 | 2,0 | 3,0 | - | 3,139 | 81 | 0,895 | 0,565 |
420538 | 74,0 | 40,0 | 3,0 | 3,0 | 3,0 | 3,0 | 1,5 | 3,359 | 79 | 0,957 | 0,605 |
420539 | 74,0 | 44,0 | 3,0 | 4,0 | 4,0 | 3,0 | - | 3,899 | 80 | 1,111 | 0,702 |
420540 | 74,0 | 50,0 | 3,0 | 4,0 | 4,0 | 3,0 | - | 4,139 | 82 | 1,180 | 0,745 |
420541 | 74,0 | 56,0 | 6,0 | 5,0 | 5,0 | 3,0 | - | 6,979 | 86 | 1,989 | 1,256 |
420871 | 74,0 | 194,0 | 22,0 | 31,0 | 31,0 | 6,0 | - | 69,755 | 195 | 19,880 | 12,556 |
420543 | 75,0 | 40,0 | 3,0 | 3,0 | 3,0 | 3,0 | 0,5 | 3,398 | 81 | 0,968 | 0,612 |
420544 | 75,0 | 41,0 | 3,0 | 5,0 | 5,0 | 5,0 | - | 4,257 | 81 | 1,213 | 0,766 |
420545 | 75,0 | 54,0 | 3,0 | 3,0 | 3,0 | 3,0 | 0,5 | 3,818 | 85 | 1,088 | 0,687 |
420546 | 75,0 | 75,0 | 5,0 | 5,0 | 5,0 | 5,0 | 2,5 | 7,330 | 94 | 2,089 | 1,319 |
420547 | 75,0 | 75,0 | 8,0 | 8,0 | 8,0 | 8,0 | 2,0 | 11,618 | 94 | 3,311 | 2,091 |
420548 | 75,0 | 77,0 | 5,0 | 3,0 | 3,0 | 4,0 | 1,0 | 5,975 | 95 | 1,703 | 1,076 |
420549 | 75,0 | 116,0 | 5,0 | 4,0 | 4,0 | 3,0 | - | 8,259 | 120 | 2,354 | 1,487 |
420873 | 75,0 | 210,0 | 90,0 | 40,0 | 40,0 | 5,0 | 5,0 | 115,500 | 211 | 32,917 | 20,790 |
420552 | 76,0 | 40,0 | 2,5 | 2,5 | 2,5 | 3,0 | - | 2,876 | 81 | 0,820 | 0,518 |
420874 | 76,0 | 99,0 | 5,0 | 12,5 | 12,5 | 5,0 | - | 15,657 | 108 | 4,462 | 2,818 |
420554 | 78,0 | 46,0 | 3,0 | 3,0 | 3,0 | 3,5 | - | 3,683 | 85 | 1,050 | 0,663 |
420556 | 80,0 | 26,0 | 4,0 | 10,0 | 10,0 | 5,0 | - | 5,507 | 82 | 1,570 | 0,991 |
420558 | 80,0 | 40,0 | 3,0 | 5,0 | 5,0 | 5,0 | - | 4,289 | 85 | 1,222 | 0,772 |
420560 | 80,0 | 50,0 | 2,5 | 5,0 | 5,0 | 4,0 | - | 4,444 | 88 | 1,266 | 0,800 |
420561 | 80,0 | 50,0 | 4,0 | 4,5 | 5,0 | 4,0 | - | 5,454 | 88 | 1,554 | 0,982 |
420562 | 80,0 | 60,0 | 3,0 | 6,0 | 5,0 | 4,0 | - | 5,319 | 92 | 1,516 | 0,957 |
420564 | 80,0 | 65,0 | 4,0 | 5,0 | 5,0 | 6,0 | - | 6,405 | 94 | 1,825 | 1,153 |
420565 | 80,0 | 80,0 | 2,0 | 3,0 | 3,0 | 3,0 | - | 3,979 | 100 | 1,134 | 0,716 |
420566 | 80,0 | 80,0 | 2,0 | 4,5 | 4,5 | 3,0 | - | 5,149 | 100 | 1,467 | 0,927 |
420567 | 80,0 | 80,0 | 8,0 | 10,5 | 10,5 | 5,0 | - | 14,067 | 100 | 4,009 | 2,532 |
420568 | 80,0 | 100,0 | 5,0 | 22,0 | 26,0 | 3,0 | - | 26,839 | 115 | 7,649 | 4,831 |
420569 | 80,0 | 120,0 | 10,0 | 22,0 | 22,0 | 5,0 | 2,0 | 32,290 | 125 | 9,203 | 5,812 |
420570 | 80,0 | 132,0 | 8,0 | 30,0 | 30,0 | 4,0 | - | 43,669 | 134 | 12,446 | 7,860 |
420573 | 81,0 | 96,0 | 42,0 | 9,0 | 9,0 | 5,0 | 2,0 | 38,970 | 120 | 11,106 | 7,015 |
420574 | 82,0 | 40,0 | 3,0 | 3,0 | 3,0 | 3,0 | - | 3,609 | 87 | 1,028 | 0,650 |
420575 | 82,5 | 40,0 | 2,5 | 2,5 | 2,5 | 3,5 | 0,5 | 3,052 | 88 | 0,870 | 0,549 |
420576 | 83,0 | 50,0 | 3,0 | 8,0 | 3,0 | 3,5 | - | 3,953 | 91 | 1,126 | 0,711 |
420578 | 84,0 | 39,0 | 2,0 | 3,0 | 3,0 | 3,0 | - | 2,829 | 85 | 0,806 | 0,509 |
420579 | 84,0 | 42,0 | 1,8 | 2,0 | 2,0 | 3,0 | - | 2,355 | 87 | 0,671 | 0,424 |
420580 | 34,0 | 50,0 | 5,0 | 4,0 | 4,0 | 4,0 | - | 6,069 | 91 | 1,730 | 1,092 |
420581 | 84,0 | 42,0 | 3,0 | 3,0 | 3,0 | 3,0 | - | 3,729 | 89 | 1,063 | 0,671 |
420582 | 85,0 | 40,0 | 8,0 | 4,0 | 4,0 | 3,0 | - | 4,069 | 88 | 1,160 | 0,732 |
420583 | 85,0 | 52,0 | 2,4 | 2,4 | 2,4 | 3,0 | - | 3,269 | 93 | 0,932 | 0,588 |
420584 | 85,0 | 52,0 | 4,0 | 5,0 | 5,0 | 6,0 | - | 5,955 | 93 | 1,697 | 1,072 |
420876 | 85,0 | 135,0 | 5,0 | 8,0 | 8,0 | 6,0 | 2,0 | 14,788 | 139 | 4,215 | 2,662 |
420877 | 85,0 | 150,0 | 14,5 | 20,0 | 20,0 | 10,0 | - | 39,854 | 155 | 11,358 | 7,174 |
420878 | 85,0 | 160,0 | 6,5 | 12,0 | 12,0 | 6,0 | 2,0 | 24,083 | 161 | 6,864 | 4,335 |
420585 | 86,0 | 62,0 | 4,0 | 8,0 | 8,0 | 6,0 | - | 8,235 | 98 | 2,347 | 1,482 |
420555 | 86,0 | 70,0 | 6,5 | 15,0 | 15,0 | 5,0 | - | 15,222 | 101 | 4,338 | 2,740 |
420881 | 86,0 | 260,0 | 24,0 | 46,0 | 46,0 | 6,0 | 6,0 | 129,201 | 262 | 36,822 | 23,256 |
420587 | 87,0 | 64,0 | 4,0 | 3,0 | 3,0 | 5,0 | 2,5 | 5,360 | 99 | 1,528 | 0,965 |
420588 | 88,0 | 110,5 | 31,5 | 38,0 | 38,0 | 3,0 | 2,0 | 57,762 | 121 | 16,462 | 10,397 |
420589 | 89,0 | 44,0 | 3,5 | 4,0 | 4,0 | 2,0 | - | 4,752 | 94 | 1,354 | 0,855 |
420593 | 90,0 | 58,0 | 3,0 | 8,0 | 8,0 | 4,0 | 0,5 | 7,168 | 100 | 2,043 | 1,290 |
420882 | 90,0 | 70,0 | 14,0 | 30,0 | 30,0 | 1,0 | - | 29,404 | 103 | 8,380 | 5,293 |
420594 | 90,0 | 90,0 | 12,0 | 12,0 | 12,0 | 6,0 | 1,0 | 20,311 | 112 | 5,788 | 3,656 |
420596 | 90,0 | 140,0 | 10,0 | 10,0 | 10,0 | 5,0 | 2,0 | 22,090 | 145 | 6,296 | 3,976 |
420597 | 90,0 | 200,0 | 10,0 | 50,0 | 50,0 | 8,0 | 1,0 | 104,271 | 206 | 29,717 | 18,769 |
420599 | 91,0 | 96,0 | 42,0 | 9,0 | 9,0 | 5,0 | 2,0 | 43,170 | 119 | 12,303 | 7,771 |
420601 | 92,0 | 58,0 | 4,0 | 5,0 | 5,0 | 4,0 | - | 6,449 | 101 | 1,838 | 1,161 |
420883 | 92,0 | 76,0 | 8,0 | 12,5 | 12,5 | 6,0 | - | 16,015 | 108 | 4,564 | 2,883 |
420603 | 93,0 | 76,0 | 6,0 | 9,0 | 9,0 | 9,0 | - | 12,228 | 108 | 3,485 | 2,201 |
420884 | 94,0 | 76,0 | 8,0 | 9,0 | 9,0 | 4,0 | - | 13,709 | 110 | 3,907 | 2,468 |
420590 | 94,0 | 380,0 | 16,0 | 44,0 | 44,0 | 5,0 | 5,0 | 175,200 | 382 | 49,932 | 31,536 |
420886 | 95,0 | 72,0 | 6,0 | 16,0 | 16,0 | 4,0 | - | 16,329 | 108 | 4,654 | 2,939 |
420887 | 95,0 | 120,0 | 20,0 | 23,0 | 23,0 | 5,0 | 5,0 | 42,000 | 130 | 11,970 | 7,560 |
420605 | 97,0 | 38,0 | 1,8 | 2,0 | 2,0 | 3,0 | - | 2,509 | 100 | 0,715 | 0,452 |
420606 | 97,0 | 88,0 | 3,5 | 2,5 | 2,5 | 3,0 | 0,5 | 5,546 | 117 | 1,581 | 0,998 |
420888 | 98,0 | 158,0 | 15,0 | 33,0 | 33,0 | 5,0 | 1,0 | 61,993 | 162 | 17,668 | 11,159 |
420612 | 100,0 | 40,0 | 2,0 | 2,0 | 2,0 | 3,0 | - | 2,799 | 104 | 0,798 | 0,504 |
420613 | 100,0 | 40,0 | 3,0 | 4,0 | 4,0 | 3,0 | 1,5 | 4,509 | 104 | 1,285 | 0,812 |
420614 | 100,0 | 50,0 | 4,0 | 6,5 | 6,5 | 8,0 | - | 7,265 | 106 | 2,070 | 1,308 |
420615 | 100,0 | 90,0 | 6,0 | 10,0 | 10,0 | 14,0 | - | 15,241 | 120 | 4,344 | 2,743 |
420616 | 100,0 | 100,0 | 8,0 | 12,5 | 12,5 | 5,0 | 1,0 | 19,603 | 125 | 5,587 | 3,529 |
420617 | 100,0 | 100,0 | 16,0 | 12,0 | 12,0 | 4,0 | 4,0 | 26,080 | 125 | 7,433 | 4,694 |
420618 | 100,0 | 100,0 | 24,0 | 21,0 | 21,0 | 3,0 | - | 39,999 | 125 | 11,400 | 7,200 |
420619 | 100,0 | 102,0 | 8,5 | 12,5 | 12,5 | 5,0 | 1,0 | 20,291 | 126 | 5,783 | 3,652 |
420620 | 100,0 | 130,0 | 25,0 | 10,0 | 10,0 | 6,0 | 1,5 | 35,645 | 141 | 10,159 | 6,416 |
420621 | 101,0 | 52,0 | 2,0 | 3,0 | 3,0 | 3,0 | - | 3,559 | 105 | 1,014 | 0,641 |
420623 | 102,0 | 50,0 | 2,0 | 2,0 | 2,0 | 3,0 | - | 3,039 | 108 | 0,866 | 0,547 |
420624 | 102,0 | 50,0 | 3,0 | 4,0 | 4,0 | 3,0 | - | 4,979 | 108 | 1,419 | 0,896 |
420626 | 103,0 | 64,0 | 4,0 | 4,0 | 4,0 | 4,0 | 2,0 | 6,572 | 113 | 1,873 | 1,183 |
420627 | 103,0 | 88,0 | 4,0 | 3,0 | 3,0 | 5,0 | - | 6,747 | 122 | 1,923 | 1,215 |
420628 | 105,0 | 48,0 | 3,0 | 3,0 | 3,0 | 3,0 | 0,5 | 4,538 | 111 | 1,293 | 0,817 |
420890 | 105,0 | 58,0 | 5,5 | 6,0 | 6,0 | 3,0 | 1,0 | 8,960 | 113 | 2,554 | 1,613 |
420629 | 105,0 | 72,0 | 4,0 | 9,0 | 9,0 | 2,0 | - | 10,337 | 117 | 2,946 | 1,861 |
420630 | 105,0 | 100,0 | 6,0 | 8,0 | 8,0 | 6,0 | - | 13,975 | 130 | 3,983 | 2,515 |
420631 | 105,0 | 270,0 | 30,0 | 80,0 | 8,0 | 6,0 | 2,0 | 223,638 | 274 | 63,737 | 40,255 |
420891 | 107,0 | 55,0 | 2,0 | 2,0 | 2,0 | 3,0 | - | 3,239 | 114 | 0,923 | 0,583 |
420632 | 107,0 | 115,0 | 70,0 | 46,0 | 46,0 | 5,0 | 5,0 | 95,600 | 141 | 27,246 | 17,208 |
420634 | 108,0 | 76,0 | 4,0 | 9,0 | 9,0 | 6,0 | - | 10,955 | 121 | 3,122 | 1,972 |
420636 | 110,0 | 40,0 | 2,0 | 2,0 | 2,0 | 4,0 | 0,5 | 3,028 | 114 | 0,863 | 0,545 |
420637 | 110,0 | 40,0 | 5,0 | 13,0 | 13,0 | 7,0 | - | 10,260 | 114 | 2,924 | 1,847 |
420640 | 110,0 | 76,0 | 4,0 | 9,0 | 9,0 | 6,0 | - | 11,035 | 123 | 3,145 | 1,986 |
420642 | 110,0 | 88,0 | 8,0 | 14,0 | 14,0 | 4,0 | - | 20,069 | 128 | 5,720 | 3,612 |
420643 | 110,0 | 160,0 | 12,0 | 14,0 | 14,0 | 5,0 | 2,0 | 34,110 | 168 | 9,693 | 6,122 |
420644 | 110,0 | 272,0 | 16,0 | 53,0 | 53,0 | 10,0 | 2,0 | 153,692 | 278 | 43,802 | 27,665 |
420893 | 112,0 | 64,0 | 20,0 | 20,0 | 20,0 | 4,0 | - | 29,269 | 120 | 8,342 | 5,268 |
420645 | 115,0 | 80,0 | 3,0 | 4,0 | 4,0 | 4,0 | - | 6,599 | 130 | 1,881 | 1,188 |
422506 | 115,0 | 194,0 | 40,0 | 40,0 | 40,0 | 5,0 | 3,0 | 107,669 | 213 | 30,686 | 19,380 |
420646 | 115,0 | 200,0 | 30,0 | 80,0 | 80,0 | 6,0 | 2,0 | 170,638 | 215 | 48,632 | 30,715 |
420648 | 118,0 | 42,0 | 2,0 | 2,2 | 2,2 | 3,0 | 0,5 | 3,278 | 120 | 0,934 | 0,590 |
420650 | 120,0 | 60,0 | 4,0 | 7,0 | 7,0 | 10,0 | - | 9,149 | 128 | 2,608 | 1,647 |
420894 | 120,0 | 66,0 | 20,0 | 10,0 | 10,0 | 4,0 | - | 28,669 | 130 | 8,171 | 5,160 |
420895 | 120,0 | 75,0 | 3,5 | 5,0 | 5,0 | 4,0 | - | 7,844 | 135 | 2,235 | 1,412 |
420896 | 120,0 | 90,0 | 22,0 | 35,0 | 35,0 | 3,0 | 2,0 | 50,222 | 137 | 14,313 | 9,040 |
420651 | 120,0 | 100,0 | 8,0 | 18,0 | 18,0 | 4,0 | 1,0 | 26,225 | 141 | 7,474 | 4,721 |
420652 | 120,0 | 100,0 | 12,0 | 10,0 | 10,0 | 8,0 | 2,5 | 23,448 | 141 | 6,683 | 4,221 |
420653 | 120,0 | 135,0 | 85,0 | 65,0 | 65,0 | 5,0 | 5,0 | 134,607 | 166 | 38,363 | 24,229 |
420655 | 125,0 | 40,0 | 5,0 | 13,0 | 13,0 | 8,0 | - | 11,075 | 128 | 3,156 | 1,993 |
420897 | 125,0 | 50,0 | 2,0 | 4,5 | 4,5 | 3,0 | - | 4,699 | 130 | 1,339 | 0,846 |
420657 | 125,0 | 68,0 | 24,0 | 20,0 | 20,0 | 5,0 | - | 38,907 | 133 | 11,089 | 7,003 |
420658 | 126,0 | 65,0 | 5,0 | 5,5 | 5,5 | 4,0 | - | 9,669 | 135 | 2,756 | 1,740 |
420659 | 127,0 | 43,0 | 3,0 | 2,0 | 2,0 | 3,0 | - | 4,649 | 131 | 1,325 | 0,837 |
420898 | 127,0 | 87,0 | 4,0 | 6,0 | 6,0 | 5,0 | - | 10,167 | 142 | 2,898 | 1,830 |
420660 | 130,0 | 60,0 | 3,0 | 5,0 | 5,0 | 3,0 | - | 6,789 | 137 | 1,935 | 1,222 |
420661 | 130,0 | 60,0 | 5,0 | 6,0 | 6,0 | 6,0 | - | 9,955 | 137 | 2,837 | 1,792 |
420662 | 130,0 | 160,0 | 14,0 | 16,0 | 16,0 | 5,0 | 2,0 | 41,650 | 180 | 11,870 | 7,497 |
420663 | 130,0 | 180,0 | 10,5 | 10,5 | 10,5 | 10,0 | - | 31,877 | 192 | 9,085 | 5,738 |
420664 | 136,0 | 75,0 | 16,0 | 16,0 | 16,0 | 6,0 | 2,0 | 31,338 | 146 | 8,931 | 5,641 |
420666 | 140,0 | 46,0 | 5,0 | 15,0 | 15,0 | 9,0 | - | 13,498 | 144 | 3,847 | 2,430 |
420667 | 140,0 | 48,0 | 6,0 | 15,0 | 15,0 | 9,0 | - | 15,048 | 144 | 4,289 | 2,709 |
420668 | 140,0 | 100,0 | 10,0 | 12,0 | 12,0 | 5,0 | - | 24,907 | 160 | 7,099 | 4,483 |
422507 | 140,0 | 180,0 | 20,0 | 70,0 | 70,0 | 8,0 | 5,0 | 140,168 | 198 | 39,948 | 25,230 |
420669 | 140,0 | 280,0 | 20,0 | 20,0 | 20,0 | 3,0 | 2,0 | 80,022 | 280 | 22,806 | 14,404 |
420670 | 144,0 | 172,0 | 110,0 | 40,0 | 40,0 | 10,0 | 5,0 | 183,522 | 200 | 52,304 | 33,034 |
420671 | 146,0 | 60,0 | 4,0 | 6,0 | 6,0 | 4,0 | 1,0 | 9,265 | 152 | 2,641 | 1,668 |
420672 | 147,0 | 190,0 | 16,0 | 47,0 | 47,0 | 10,0 | 2,0 | 105,712 | 208 | 30,128 | 19,028 |
420673 | 150,0 | 40,0 | 4,0 | 5,0 | 5,0 | 3,0 | 2,0 | 7,822 | 153 | 2,229 | 1,408 |
420674 | 150,0 | 40,0 | 5,0 | 5,0 | 5,0 | 3,0 | 1,5 | 9,279 | 153 | 2,645 | 1,670 |
422508 | 152,0 | 230,0 | 35,0 | 56,0 | 56,0 | 10,0 | 5,0 | 162,723 | 240 | 46,376 | 29,290 |
420675 | 160,0 | 50,0 | 5,5 | 16,0 | 16,0 | 10,0 | 1,0 | 16,345 | 164 | 4,658 | 2,942 |
420677 | 160,0 | 80,0 | 5,0 | 8,5 | 8,5 | 12,0 | - | 14,993 | 170 | 4,273 | 2,699 |
420679 | 170,0 | 102,0 | 4,0 | 6,0 | 6,0 | 8,0 | - | 12,955 | 185 | 3,692 | 2,332 |
420680 | 170,0 | 208,0 | 8,0 | 8,0 | 8,0 | 12,0 | - | 30,218 | 240 | 8,612 | 5,439 |
420681 | 180,0 | 56,0 | 6,0 | 17,0 | 17,0 | 11,0 | - | 19,819 | 184 | 5,649 | 3,567 |
420683 | 180,0 | 90,0 | 6,0 | 10,0 | 10,0 | 14,0 | - | 20,041 | 191 | 5,712 | 3,607 |
420685 | 185,0 | 40,0 | 4,0 | 5,0 | 5,0 | 3,0 | 2,0 | 9,222 | 187 | 2,628 | 1,660 |
420687 | 185,0 | 100,0 | 15,0 | 22,0 | 22,0 | 5,0 | 2,0 | 46,540 | 194 | 13,264 | 8,377 |
420689 | 200,0 | 60,0 | 5,0 | 6,0 | 6,0 | 6,0 | - | 13,455 | 204 | 3,835 | 2,422 |
420692 | 200,0 | 100,0 | 6,5 | 11,0 | 11,0 | 16,0 | - | 24,384 | 212 | 6,949 | 4,389 |
422509 | 200,0 | 240,0 | 20,0 | 30,0 | 30,0 | 10,0 | 2,0 | 106,412 | 272 | 30,327 | 19,154 |
422510 | 205,0 | 150,0 | 14,0 | 24,0 | 24,0 | 10,0 | - | 61,769 | 232 | 17,604 | 11,118 |
420693 | 210,0 | 60,0 | 5,0 | 13,0 | 13,0 | 5,0 | - | 17,757 | 214 | 5,061 | 3,196 |
420694 | 212,0 | 140,0 | 80,0 | 69,0 | 69,0 | 20,0 | 10,0 | 212,288 | 232 | 60,502 | 38,212 |
420695 | 220,0 | 110,0 | 7,0 | 11,0 | 11,0 | 18,0 | - | 28,121 | 234 | 8,014 | 5,062 |
420696 | 220,0 | 120,0 | 8,0 | 11,0 | 11,0 | 18,0 | - | 31,311 | 236 | 8,924 | 5,636 |
420697 | 230,0 | 52,0 | 3,0 | 4,0 | 4,0 | 4,0 | - | 8,929 | 233 | 2,545 | 1,607 |
420698 | 240,0 | 130,0 | 7,5 | 12,0 | 12,0 | 20,0 | - | 34,417 | 258 | 9,809 | 6,195 |
420699 | 240,0 | 140,0 | 8,5 | 12,0 | 12,0 | 20,0 | - | 37,897 | 260 | 10,801 | 6,821 |
420700 | 240,0 | 240,0 | 24,5 | 34,5 | 34,5 | 3,0 | 3,0 | 133,147 | 300 | 37,947 | 23,966 |
420701 | 250,0 | 340,0 | 20,0 | 24,0 | 24,0 | 5,0 | 3,0 | 126,868 | 366 | 36,157 | 22,836 |
422511 | 265,0 | 160,0 | 20,0 | 26,0 | 26,0 | 15,0 | 5,0 | 90,259 | 288 | 25,724 | 16,247 |
420703 | 270,0 | 145,0 | 8,0 | 13,0 | 13,0 | 20,0 | - | 41,127 | 289 | 11,721 | 7,403 |
420704 | 270,0 | 155,0 | 9,5 | 13,0 | 13,0 | 20,0 | 1,0 | 46,278 | 292 | 13,189 | 8,330 |
420713 | 330,0 | 180,0 | 12,0 | 18,0 | 18,0 | 20,0 | 1,0 | 71,553 | 355 | 20,393 | 12,880 |
420714 | 340,0 | 85,0 | 35,0 | 35,0 | 35,0 | 5,0 | 2,0 | 136,590 | 348 | 38,928 | 24,586 |
Примечания 1 Значения радиусов скругления R и радиусов притупления острых кромок r, не приведенные в таблице, должны соответствовать требованиям ГОСТ 8617 и ГОСТ 19657. 2 Радиусы притупления острых кромок r1, r2 должны соответствовать требованиям ГОСТ 8617, ГОСТ 19657. | |||||||||||
Марка сплава | Переводной коэффициент | Марка сплава | Переводной коэффициент |
Для алюминия всех марок | 0,950 | В92 | 0,954 |
АМц | 0,958 | 1915 | 0,972 |
АМцС | 0,958 | 1925 | 0,972 |
АМг2 | 0,940 | 1935 | 0,977 |
АМг3 | 0,937 | 1985ч | 0,948 |
АМг5 | 0,930 | В48-4 | 0,968 |
АМг6 | 0,926 | ВД1 | 0,982 |
АМг61 | 0,930 | АКМ | 0,970 |
Д1 | 0,982 | АК4 | 0,970 |
Д16 | 0,976 | АК6 | 0,962 |
Д16ч | 0,976 | АК4-1 | 0,982 |
Д19ч | 0,968 | АК4-1ч | 0,982 |
Д20 | 0,996 | ВАД1 | 0,968 |
АВ | 0,947 | ВД17 | 0,965 |
К48-2 | 0,972 | АД31Е | 0,950 |
К48-2пч | 0,972 | 1161 | 0,972 |
АД31 | 0,950 | 1163 | 0,975 |
АД33 | 0,951 | 1973 | 1,000 |
АД35 | 0,954 |
Марка сплава | Переводной коэффициент |
Для магния всех марок | 1,000 |
МА1 | 0,978 |
МА2 | 0,989 |
МА2-1 | 0,990 |
МА2-1пч | 0,990 |
МА8 | 0,989 |
МА12 | 0,989 |
Номер профиля | Обозначение профиля по каталогу 1966 г. | Обозначение профиля по чертежам завода-изготовителя |
420001 | - | ПК 15252 |
420002 | - | ПК 16239 |
420004 | - | ПК 13851 |
420005 | - | ПВ 1514 |
420010 | - | ПК 301-30, ПС 5-53 |
420011 | П 130-7 | ПК 13090, ПС 5-137 |
420012 | П 130-8 | ПП 15-40 |
420013 | П 130-10 | ПП 15-55 |
420014 | П 130-12 | ПП 15-56 |
420016 | П 130-16 | ПП 15-86 |
420017 | - | ПК 15932 |
420020 | - | ПК 14550 |
420021 | П 130-18 | С 218 |
420022 | - | ПС 885-762 |
420023 | П 130-20 | ПК 0075, НП 398-1 |
420024 | - | ПС 885-765 |
420028 | П 130-24 | С 696 |
420029 | П 130-26 | ПК 11077 |
420030 | П 130-28 | ПК 301-68, ПП 15-54 |
420031 | П 130-30 | ПВ 1244, ПС 5-49 |
420033 | П 130-32 | ПК 301-209 |
420034 | П 130-34 | ПК 301-25, ПП 15-60, ПС 5-47 |
420035 | П 130-36 | ПК 301-67, ПП 15-53 |
420036 | - | ПК 15913 |
420040 | П 130-38 | ПР 113-1 |
420042 | П 130-40 | ПК 301-31, НП 220-1 |
420043 | - | ПК 01171 |
420044 | - | ПК 14018 |
420045 | - | ПК 12572 |
420048 | П 130-42 | ПС 885-33 |
420049 | П 130-44 | ПК 301-56, ПП 15-42 |
420050 | П 130-46 | ПК 301-126 |
420051 | П 130-48 | ПК 11012, ПП 15-106 |
420052 | П 130-50 | ПК 301-139 |
420053 | П 130-52 | НП 666-1 |
420054 | П 130-54 | ПК 0029, ПП 15-104, ПС 5-108 |
420055 | - | ПК 16251 |
420058 | - | ПК 17805 |
420059 | П 130-56 | ПК 301-116, ПК 319-33 |
420061 | П 130-58 | ПК 301-41, НП 2-1 |
420063 | П 130-60 | ПП 15-80, ПС 5-149 |
420064 | П 130-62 | ПВ 504, ПС 885-43 |
420065 | П 130-64 | ПС 5-116 |
420066 | П 130-66 | ПК 301-135 |
420067 | П 130-68 | С 219, ПК 2560 |
420068 | П 130-70 | ПР 113-2 |
420069 | П 130-72 | ПР 109-1 |
420070 | П 130-73 | ПК 13154, С 1812, ПК 17644 |
420071 | - | ПК 14019 |
420072 | П 130-74 | ПВ 241, ПВ 1488 |
420073 | П 130-75 | С 877 |
420074 | П 130-76 | ПР 109-7А, ПР 109-7, ПП 15-38 |
420075 | П 130-78, П 130-80 | ПР 315-1, ПР 315-1А, НП 202-19, ПП 15-21, ПС 5-41 |
420076 | П 130-81 | ПК 13160, С 1311-2, ПК 15127-4 |
420077 | П 130-82 | ПК 301-162 |
420078 | - | ПК 16587, ПК 20006 |
420079 | П 130-84 | ПК 301-161 |
420080 | П 130-86 | ПК 301-78, ПС 5-69 |
420082 | П 130-92 | С 1560, ПК 301-127 |
420084 | - | ПК 17307 |
420085 | П 130-96 | НП 250-1 |
420086 | П 130-98 | ПС 5-75 |
420088 | П 130-100 | ПС 5-78, НП 1726 |
420089 | П 130-102 | ПК 301-210 |
420090 | П 130-104 | ПК 301-64, ПП 15-50 |
420091 | П 130-106 | С 13-1, ПК 301-95 |
420092 | П 130-107 | ПК 11917 |
420093 | П 130-108 | ПК 301-145 |
420095 | - | ПК 16300 |
420098 | - | ПК 16298 |
420099 | П 130-112 | ПП 15-79 |
420100 | П 130-114 | ПК 307-6 |
420101 | - | С 1348, ПК 15386 |
420102 | П 130-116 | ПС 5-89 |
420104 | П 130-118 | ПП 15-48 |
420107 | - | С 1103-1, ПК 4323 |
420109 | - | С 1492-1, ПК 16176 |
420110 | - | С 1492-2, ПК 16177 |
420111 | - | С 1103-3 |
420112 | П 130-120 | ПР 109-10, ПС 5-35, НП 202-5 |
420113 | П 130-121 | ПК 11916 |
420114 | - | НП 1494 |
420115 | - | ПК 15262 |
420116 | П 130-123 | ПК 11915 |
420117 | - | ПК 16249 |
420118 | П 130-124 | ПВ 544, ПВ 1518, ПС 5-65, ПК 301-35 |
420119 | - | ПК 16021 |
420120 | П 130-126 | ПВ 220, НП 1381-1 |
420121 | - | С 1291 |
420122 | П 130-128 | ПР 113-9, ПП 15-32, ПР 109-5 |
420123 | - | ПК 16301 |
420124 | - | ПК 16862А |
420125 | П 130-130 | ПР 113-3 |
420126 | П 130-132 | ПР 109-2 |
420127 | П 130-134, П 130-136 | С 1516, С 148, НП 220-2, ПП 15-76, ПС 5-55, ПК 301-32 |
420128 | П 130-138 | ПК 301-76А, ПК 301-76, ПП 15-85, ПС 5-161 |
420129 | - | ПК 17783 |
420130 | П 130-140 | ПК 301-242 |
420131 | П 130-142 | ПК 301-28, ПП 15-59, ПС 5-52 |
420132 | П 130-144 | Н 793-Е36, ПВ 1590, ПК 13340, ПС 5-62 |
420133 | П 130-146 | ПК 301-80, ПП 15-78 |
420135 | П 130-150 | ПР 113-15 |
420136 | П 130-151 | С 815-6, ПК 8392 |
420138 | П 130-152 | ПР 113-16, НП 202-12, ПС 5-38, ПР 113-16А |
420139 | - | ПК 15127-2 |
420140 | П 130-154 | ПР 113-17, НП 202-8, ПС 5-22 |
420141 | П 130-156 | ПП 15-75, ПС 5-129, ПК 301-86 |
420142 | - | ПК 301-219 |
420143 | П 130-158 | ПК 301-73, ПС 5-57 |
420144 | П 130-159 | ПК 12654 |
420145 | - | ПК 16763 |
420146 | П 130-161 | ПК 12651 |
420147 | П 130-163 | ПК 13473А |
420148 | П 130-160 | ПК 301-213 |
420149 | - | ПК 16310 |
420150 | П 130-162 | ПР 315-2, ПР 315-2А, ПК 306-3, НП 202-11, ПС 5-24 |
420151 | П 130-164 | ПК 301-234А, ПК 301-234 |
420152 | П 130-166 | С 120 |
420153 | П 130-167 | С 815-2 |
420154 | - | С 1178-4 |
420155 | - | С 1178-1 |
420157 | П 130-168 | С 719, НП 235-4, ПР 301-20, ПП 15-27, ПС 5-30 |
420158 | - | ПК 15021 |
420159 | П 130-170 | ПР 315-3, НП 202-26, ПС 5-46 |
420160 | - | ПК 14735 |
420161 | - | ПК 15867 |
420162 | - | ПК 17092 |
420165 | П 130-174 | ПП 15-49 |
420166 | П 130-176 | ПК 301-34, ПС 5-64 |
420167 | - | ПК 16764 |
420168 | - | ПК 17243 |
420169 | П 130-178 | ПП 15-45 |
420170 | - | ПК 14748 |
420171 | П 130-180 | ПП 15-41 |
420173 | - | ПК 16316 |
420174 | П 130-182 | ПК 301-239 |
420176 | П 130-188 | ПК 301-120 |
420178 | П 130-190 | ПК 301-146 |
420179 | П 130-192 | ПК 301-129 |
420180 | П 130-194 | ПК 301-130 |
420181 | П 130-196 | ПК 301-131 |
420182 | П 130-198 | ПР 109-11, НП 202-18, ПС 5-19 |
420183 | - | ПК 15145 |
420184 | - | ПК 15149 |
420187 | П 130-202 | ПР 109-6, ПР 113-10, НП 202-15, ПП 15-33, ПС 5-25 |
420188 | П 130-203 | ПК 301-280 |
420189 | - | ПК 16305 |
420190 | П 130-204 | С 1103-4, НП 1444-1, ПП 15-89, ПК 8389 |
420191 | П 130-206 | С 715, ПК 301-92, ПС 5-135 |
420192 | П 130-208 | ПР 113-18, НП 202-10, ПС 5-37 |
420193 | П 130-210 | ПК 302-7, НП 656-2 |
420194 | П 130-211 | ПК 301-192 |
420195 | П 130-212 | ПК 301-169 |
420196 | П 130-214 | С 1405, ПП 15-52 |
420199 | П 130-216 | ПК 301-133 |
420200 | - | ПК 12582 |
420202 | П 130-220 | ПР 113-4, ПР 113-4А |
420203 | П 130-222 | С 546, ПВ 1542, ПП 15-90, ПС 5-132, ПК 301-77А |
420204 | П 130-224 | ПР 109-3, ПР 109-3А |
420206 | П 130-228 | С 13-2, ПС 5-148 |
420207 | П 130-230 | С 13-3, ПС 5-140, ПК 301-81, ПК 301-81А |
420208 | П 130-232 | ПВ 904, ПК 301-16, НП 83-1, ПС 5-17 |
420209 | П 130-234 | ПР 315-4, ПР 315-4А, НП 202-3, ПС 5-34 |
420210 | П 130-236 | ПК 301-240 |
420212 | П 130-240 | ПК 301-123, ПК 301-125, ПС 5-145 |
420213 | П 130-241 | НП 831-1 |
420215 | - | ПК 14026 |
420216 | П 130-242 | С 174-2, НП 1203-1 |
420217 | П 130-244 | ПК 301-154 |
420218 | П 130-246 | ПК 301-122 |
420219 | П 130-248 | ПК 301-206, ПС 5-106 |
420220 | - | ПК 15736 |
420222 | П 130-250 | ПП 15-47 |
420223 | П 130-252 | ПС 5-87, НП 1953 |
420224 | П 130-254 | С 81, ПК 301-96, С 1992 |
420225 | П 130-256 | НП 1539, ПС 5-72 |
420226 | П 130-258 | ПК 301-137 |
420227 | П 130-260 | ПК 301-136 |
420228 | П 130-262 | С 56-4, С 647, ПК 301-99, ПС 5-150 |
420229 | - | ПК 14882 |
420230 | - | ПК 16634 |
420231 | - | ПК 15859 |
420232 | - | ПК 17494 |
420233 | П 130-264 | С 56-1, ПП 15-70, ПС 5-130, ПК 301-49 |
420234 | П 130-266 | ПК 0901104 |
420236 | П 130-268 | С 734, ПК 301-13, ПК 301-13А |
420237 | П 130-270 | ПК 301-87 |
420238 | П 130-272 | С 174-1 |
420239 | - | С 1691 |
420242 | П 130-274 | ПР 113-19, НП 202-2, ПС 5-20 |
420243 | - | С 1103-5, ПК 4335 |
420244 | П 130-276 | ПК 301-88А, ПК 301-88, ПП 15-82 |
420246 | П 130-280 | ПК 301-91, ПС 5-164 |
420248 | П 130-282 | ПК 301-256 |
420249 | - | С 1344, ПК 15382 |
420251 | П 130-286 | ПП 15-66, ПС 5-147 |
420253 | П 130-288 | С 304, ПК 301-190 |
420254 | П 130-290 | ПС 5-56, ПК 301-72 |
420255 | П 130-292 | ПК 301-226 |
420256 | П 130-294 | ПС 5-70 |
420257 | П 130-296 | ПК 301-225, НП 1495 |
420259 | П 130-299 | ПК 13558 |
420260 | - | ПК 15912 |
420261 | - | ПК 14988 |
420262 | П 130-298 | ПР 113-20, НП 235-1, ПС 5-31 |
420263 | П 130-300 | С 1561, ПК 301-128 |
420264 | П 130-302 | ПР 113-11 |
420265 | - | ПК 13854 |
420266 | П 130-304 | ПР 113-5, ПК 301-141, ПР 113-5А |
420267 | П 130-306 | ПК 301-150 |
420268 | П 130-308 | ПР 109-4 |
420269 | - | ПК 16307 |
420270 | П 130-310 | ПК 301-117 |
420271 | - | ПК 14603 |
420272 | П 130-311 | ПК 301-285 |
420273 | П 130-312 | С 658, ПК 301-93, ПП 15-98, С 56-3 |
420275 | П 130-314 | НП 571-1 |
420276 | П 130-316 | ПС 5-97, НП 1581 |
420277 | П 130-318 | ПК 301-227 |
420278 | - | ПК 16222 |
420279 | П 130-319 | ПК 12479 |
420280 | П 130-320 | ПК 301-171 |
420281 | П 130-322 | ПК 301-259 |
420282 | П 130-324 | ПК 0901110 |
420283 | П 130-326 | ПП 15-96, НП 1928 |
420284 | П 130-328 | ПВ 936, НП 202-21, ПП 15-23, ПС 5-43 |
420286 | - | С 1031-1, ПК 14031 |
420287 | П 130-330 | ПК 301-140 |
420288 | - | ПК 16241 |
420289 | П 130-332 | ПС 5-66 |
420290 | П 130-334 | ПК 301-47, ПП 15-67 |
420291 | П 130-333 | С 815-1 |
420292 | - | ПК 18318 |
420293 | П 130-335 | ПК 12776 |
420294 | П 130-337 | ПК 301-276 |
420295 | П 130-336 | С 642 |
420298 | П 130-338 | ПВ 1305, ПВ 897, ПК 301-17, НП 202-7, ПП 15-10, НП 692-4, ПС 5-21 |
420299 | П 130-340, П 130-342 | ПК 301-18, НП 2012-24, ПП 15-34, ПС 6-27 |
420301 | П 130-346 | ПК 301-24, НП 202-22, ПП 15-24, ПС 5-44, С 1910 |
420303 | - | ПК 15031, С 1267 |
420304 | П 130-348 | ПК 301-119, ПС 5-115 |
420305 | П 130-350 | НП 143-1 |
420306 | П 130-352 | С 684, ПК 2430 |
420307 | П 130-354 | ПК 301-228 |
420308 | П 130-356 | С 1570, АПР-5, ПК 301-11, ПК 605, ПП 15-73, ПС 5-12 |
420310 | П 130-358 | ПП 15-68, ПС 5-136 |
420311 | - | ПК 12717 |
420312 | П 130-360 | ПК 9657 |
420313 | П 130-362 | ПВ 442, ПК 4319 |
420314 | - | С 1031-3, ПК 14038 |
420316 | П 130-364 | НП 27-1 |
420319 | П 130-366 | ПК 301-164 |
420320 | П 130-368 | ПР 113-6 |
420321 | П 130-369 | ПК 11809 |
420322 | П 130-370 | ПК 301-142 |
420323 | П 130-372 | ПР 113-7 |
420324 | - | ПК 14960 |
420325 | П 130-374 | ПР 315-5, НП 202-4, ПС 5-1 |
420326 | П 130-375 | ПК 301-286 |
420327 | - | С 1178-6 |
420328 | - | НП 1402-1 |
420329 | П 130-376 | ПК 301-167 |
420330 | П 130-377 | ПК 13995 |
420332 | П 130-378 | ПС 5-4, ПК 301-3 |
420333 | - | ПК 14322 |
420334 | - | С 1510, ПК 16015 |
420335 | П 130-380 | ПК 301-97, ПП 15-77 |
420336 | П 130-382 | ПК 302-15 |
420337 | П 130-384 | ПС 5-80, НП 1934 |
420338 | П 130-385 | ПК 0870 |
420339 | П 130-386 | ПС 5-73, НП 1727 |
420340 | - | С 1059 |
420341 | П 130-388 | ПК 302-14, ПК 302-14-1, ПК 302-14В |
420342 | П 130-390 | ПК 301-2, ПС 5-3 |
420343 | П 130-392 | ПК 301-163 |
420344 | - | ПК 16315 |
420345 | - | ПК 17244 |
420347 | П 130-395 | ПК 0857 |
420348 | П 130-396 | ПП 15-63, ПС 5-60 |
420349 | П 130-398 | ПР 315-6, ПР 315-6А, ПК 17592 |
420350 | П 130-400 | С 713, ПК 301-229 |
420351 | П 130-402 | АПР 7 |
420352 | П 130-404 | ПК 301-4, ПС 5-5 |
420353 | П 130-406 | АПР 6, ПК 301-5, ПП 15-74, ПС 5-6, НП 114-1 |
420355 | П 130-408 | ПК 301-50, ПП 15-71, ПС 5-131 |
420356 | П 130-410 | ПР 315-7, ПР 315-7А, НП 202-14, ПС 5-39 |
420358 | П 130-412 | НП 1250-1, ПС 5-120 |
420359 | - | ПК 16771 |
420360 | П 130-414 | ПК 301-94, НП 247-1 |
420361 | П 130-416 | ПК 301-101, ПП 15-84 |
420363 | П 130-415 | ПК 12628 |
420364 | П 130-420 | ПР 113-21, НП 235-7, ПС 5-29 |
420365 | - | ПК 16163 |
420366 | П 130-422, П 130-424 | С 189, ПК 301-211 |
420368 | П 130-426 | ПП 15-100 |
420369 | П 130-428 | ПС 5-58 |
420370 | П 130-430 | С 922-2, ПК 301-57, ПП 15-43, ПС 5-139 |
420371 | П 130-432 | ПК 301-212 |
420373 | П 130-433 | НП 880-1 |
420375 | П 130-436 | ПК 1844, ПС 5-104 |
420376 | П 130-438 | ПК 301-252 |
420377 | - | С 1511, ПК 16016 |
420378 | - | ПК 12628-1 |
420379 | П 130-439 | ПК 0962 |
420380 | - | ПК 17308 |
420381 | - | С 1053-3 |
420382 | П 130-440 | ПК 301-173 |
420383 | П 130-442 | ПК 301-196 |
420384 | - | ПК 16308 |
420386 | П 152-177 | ПК 308-8, ПС 9-8 |
420387 | П 130-444 | ПК 301-104, ПП 15-92, ПС 5-142 |
420388 | П 130-446 | ПП 15-44 |
420390 | - | ПК 15924 |
420391 | П 130-448 | С 1198, ПК 301-98, ПП 15-91, ПС 5-157, ПВ 1766 |
420392 | - | ПК 14876 |
420393 | П 130-450 | ПВ 223-1 |
420394 | П 130-451 | ПК 12331 |
420395 | - | ПК 15853 |
420396 | П 130-452 | ПК 301-39, ПС 5-138, ПА 63 |
420397 | - | С 1262-3, НП 1807 |
420398 | - | ПК 17087 |
420399 | П 130-454 | С 434, С 1571, ПК 301-232А, С 434А |
420401 | - | ПК 17185, ПК 17185А |
420402 | П 130-456 | НП 350-1, ПС 5-159, ПК 301-89 |
420403 | П 130-458 | С 56-2, ПК 301-90 |
420405 | П 130-460 | ПК 301-121 |
420407 | П 130-464 | ПР 109-12, ПР 109-12А, НП 202-25, ПС 5-45 |
420408 | - | ПК 17335 |
420409 | - | ПК 17297 |
420411 | П 130-466 | С 733, ПС 5-8, ПК 301-7 |
420412 | - | ПК 15694 |
420413 | П 130-468 | ПР 315-8, ПР 315-8А, НП 692-3, НП 202-1, ПП 15-7, ПС 5-18 |
420414 | П 130-470 | ПК 301-243 |
420417 | - | С 1175 |
420418 | - | ПК 12716 |
420419 | П 130-472 | ПС 5-61 |
420420 | П 130-474 | ПК 0901-02, ПК 2132 |
420421 | - | ПК 14321 |
420422 | - | ПК 16125 |
420423 | П 130-476 | ПВ 1284, ПК 301-9, С 2206 |
420424 | П 130-478 | С 729, ПК 301-21, ПК 301-21А, НП 235-2, ПП 15-26, ПС 5-32 |
420426 | - | С 1503, ПК 15971 |
420427 | П 130-480 | ПК 301-124 |
420430 | П 130-484 | ПК 301-10, НП 173-1, ПС 5-11 |
420432 | - | ПК 13824 |
420433 | - | ПК 12560 |
420436 | П 130-486 | ПВ 1504, ПК 301-71, ПП 15-65, ПС 5-63 |
420438 | П 130-490 | С 287, ПК 301-179 |
420440 | П 130-492 | ПК 301-52, НП 692-1, ПП 15-1, ПС 5-156 |
420442 | П 130-496 | С 970, ПК 301-6, ПК 301-6А, НП 235-6, ПП 15-58, ПС 5-7 |
420443 | П 130-498 | ПК 301-143, ПС 5-93 |
420445 | П 130-499 | ПК 0556 |
420446 | П 130-503 | ПК 0555 |
420449 | П 130-500 | ПК 301-8, ПС 5-9 |
420450 | П 130-502 | ПС 5-71 |
420452 | - | ПК 17801, ПС 1043 |
420453 | П 130-504 | ПС 5-13, С 341, ПК 301-12, ПК 301-12А |
420454 | - | ПК 18171 |
420456 | П 130-507 | ПК 12589, ПК 12190 |
420457 | П 130-508 | НП 263-1 |
420458 | - | ПК 16981 |
420459 | П 130-510 | ПК 301-170 |
420460 | П 130-512 | ПК 301-19, ПС 5-28 |
420461 | П 130-514 | ПК 301-220 |
420463 | - | ПК 17613 |
420464 | П 130-516 | ПК 301-203 |
420465 | - | ПК 11450 |
420467 | - | ПК 18009; ПК 17936 |
420468 | - | ПК 15687 |
420473 | П 130-522 | ПВ 440 |
420474 | П 130-524 | С 1572, ПП 15-99, С 322, ПК 4074 |
420476 | П 130-525 | ПК 12062 |
420477 | - | ПК 18356 |
420478 | - | ПК 17117 |
420479 | П 130-529 | ПК 301-278 |
420480 | П 130-528 | С 458 |
420481 | П 130-530 | С 450, НП 1209-1, ПВ 1964, ПК 4104 |
420486 | П 130-533 | ПК 12278 |
420487 | П 130-534 | ПК 301-166 |
420488 | - | ПК 17611 |
420491 | П 130-538 | ПВ 1489, ПК 301-1, ПК 301-1А, НП 235-5, ПП 15-28, ПС 5-2 |
420493 | - | ПК 16240 |
420494 | - | ПК 16252 |
420495 | - | ПК 16772 |
420496 | П 130-541 | ПК 12624 |
420497 | П 130-540 | ПК 0901105, ПК 0901105В |
420499 | П 130-545 | ПК 0605 |
420501 | - | ПК 17995 |
420502 | П 130-542 | ПА 150, ПВ 723, ПС 5-144 |
420503 | - | ПК 15928 |
420504 | - | ПК 18300 |
420505 | П 130-544 | С 300, ПК 302-5, НП 696-1, ПП 15-103, ПС 5-95 |
420507 | - | ПК 16314 |
420508 | П 130-546 | ПК 301-132 |
420509 | - | ПК 18303 |
420510 | П 130-548 | С 938, ПС 5-121, ПК 4301, ПВ 1817 |
420511 | - | ПК 17728 |
420512 | - | ПК 17732 |
420513 | - | ПК 16312 |
420515 | П 130-550 | С 1387-2, ПК 301-29 |
420516 | П 130-552 | ПК 11329 |
420517 | - | ПК 14155 |
420518 | П 130-553 | ПК 301-291 |
420519 | П 130-554 | ПК 301-45, НП 61-1, ПП 15-64 |
420521 | П 130-557 | ПК 0551 |
420522 | П 130-558 | ПВ 223-5, НП 1667 |
420524 | П 130-560 | ПВ 472-1, С 2211-1, ПК 301-215 |
420525 | П 130-562 | ПВ 590, С 2210 |
420526 | П 130-564 | ПК 301-165 |
420527 | П 130-566 | ПК 301-134 |
420528 | П 130-568 | ПВ 1554, ПС 5-110, С 2207 |
420529 | П 130-570 | С 1004, ПС 5-79, ПВ 1883 |
420530 | П 130-572 | ПР 315-9, ПР 315-9А, НП 202-16, ПС 5-40, С 401 |
420532 | - | ПК 16663 |
420533 | - | С 1319, ПК 15071 |
420534 | П 130-574 | ПК 301-159 |
420535 | - | ПК 15305 |
420536 | - | ПК 13825-2 |
420537 | П 130-576 | ПС 5-76, НП 1933 |
420538 | П 130-578 | ПК 301-118, ПС 5-92 |
420539 | П 130-580 | ПК 301-160 |
420540 | П 130-582 | ПР 315-10, ПР 315-10А, НП 202-9, ПС 5-23, ПК 11938 |
420543 | П 130-585 | С 815-5, ПК 12291 |
420544 | П 130-584 | ПР 315-11, ПР 315-11А, НП 202-17, ПС 5-26 |
420545 | П 130-586 | ПК 301-168 |
420546 | П 130-588 | С 966-2, ПК 301-44, ПП 15-62, ПК 301-44В |
420547 | П 130-590 | С 966-1, ПК 301-43, ПП 15-61 |
420548 | П 130-591 | С 728 |
420549 | П 152-252 | С 1553, С 448-1А |
420552 | - | ПК 16320 |
420554 | П 130-592 | ПП 15-97, ПК 19470 |
420555 | - | ПК 18317 |
420556 | П 130-594 | ПВ 223-6 |
420558 | П 130-598 | ПВ 472-2, С 2211-2, ПК 301-216 |
420560 | - | ПК 15539 |
420561 | - | ПК 17090 |
420562 | - | ПК 15540 |
420564 | П 130-600 | ПР 315-12А, ПР 315-12 |
420565 | - | С 1380 |
420566 | - | С 1300 |
420567 | П 130-602 | С 526, ПК 301-27, ПВ 1219 |
420568 | - | ПК 15304 |
420569 | - | С 1219 |
420570 | П 130-604 | ПК 319-35 |
420573 | - | ПК 13825-3 |
420574 | П 130-606 | ПК 301-152 |
420575 | - | ПК 14956, ПК 14956А |
420576 | П 130-608 | ПС 5-33, ПК 301-22, ПК 301-22А, НП 235-3, НП 692-5, ПП 15-17 |
420578 | - | ПК 16323 |
420579 | - | ПК 12590 |
420580 | П 130-610 | ПК 301-176 |
420581 | - | ПК 12591 |
420582 | - | ПК 16313 |
420583 | П 130-612 | ПС 5-112 |
420584 | П 130-614 | С 363, ПК 301-37, ПП 15-101, ПС 5-67 |
420585 | - | ПК 18316 |
420587 | П 130-616 | ПК 301-144 |
420588 | П 130-618 | ПВ 779 |
420589 | П 130-620 | ПР 315-13, НП 202-23, ПС 5-74 |
420593 | П 130-625 | ПК 12037 |
420594 | П 130-626 | ПК 0072 |
420596 | П 130-628 | ПВ 262, С 2080 |
420597 | П 130-630 | ПА 151, ПК 301-107А |
420599 | - | ПК 13825 |
420601 | П 130-632 | С 1240, ПС 5-77, С 2222 |
420603 | П 130-634 | С 869, ПК 301-102, ПП 5-87, ПС 5-151 |
420605 | - | ПК 16303 |
420606 | П 130-636 | ПК 301-174 |
420612 | П 130-642 | ПС 5-98 |
420613 | П 130-644 | ПВ 576, НП 1466-1 |
420614 | П 130-645 | ПВ 1114-1, ПК 18793-1 |
420615 | П 130-647 | ПВ 1084 |
420616 | П 130-646 | ПК 301-105, ПС 5-133 |
420617 | П 130-648 | С 1387-1, ПК 301-14, ПС 5-15 |
420618 | - | С 1494, ПК 4834 |
420619 | П 130-650 | НП 345-1 |
420620 | П 130-652 | ПК 301-15, ПС 5-16 |
420621 | - | ПК 16321 |
420623 | П 130-656 | ПК 301-273 |
420624 | П 130-658 | ПС 5-48, ПР 315-14, ПР 315-14А, НП 202-20, ПС 5-42, ПК 2616 |
420626 | П 130-660 | ПК 301-138 |
420627 | П 130-662 | ПК 301-158 |
420628 | П 130-663 | С 829, ПК 0744-1А, ПК 12421, ПК 0744-1 |
420629 | П 130-664 | ПВ 349 |
420630 | - | ПК 14116 |
420631 | - | ПК 17697-2 |
420632 | - | ПК 13845 |
420634 | П 130-666 | ПК 301-103, ПП 15-88, ПС 5-152 |
420636 | - | ПК 14133 |
420637 | П 130-670 | ПВ 223-13 |
420640 | П 130-672 | ПК 301-175 |
420642 | П 130-674 | ПС 5-82 |
420643 | П 130-676 | ПВ 261 |
420644 | П 130-677 | ПК 11732 |
420645 | - | ПК 15756 |
420646 | - | ПК 17697-6, ПК 17697-6Г |
420648 | - | ПК 17812 |
420650 | П 130-679 | ПВ 1114-2, ПК 18793-2 |
420651 | П 130-680 | ПК 301-38, ПС 5-68 |
420652 | П 130-682 | ПВ 585, С 922-1, ПК 0255, ПК 301-51, НП 1124-1, ПП 15-72, ПС 5-114 |
420653 | - | ПК 13844 |
420655 | П 130-686 | ПВ 223-14, С 2180 |
420657 | - | ПК 15130 |
420658 | П 130-689 | С 1139, ПК 0744-3 |
420659 | - | С 1262-2 |
420660 | П 130-691 | С 876 |
420661 | П 130-690 | ПК 301-222 |
420662 | П 130-692 | ПВ 263, ПК 4706 |
420663 | П 130-694 | ПК 0100 |
420664 | П 130-696 | ПВ 323, С 2178 |
420666 | П 130-700 | ПВ 889-1, ПВ 223-16, НП 1022-1 |
420667 | П 130-702 | ПВ 889-2, ПВ 223-17 |
420668 | - | ПК 17762 |
420669 | - | ПВ 743 |
420670 | - | ПК 18367 |
420671 | П 130-704 | ПВ 1388, НП 1272-1, ПС 5-111 |
420672 | П 130-705 | ПК 11733 |
420673 | П 130-706 | ПВ 737 |
420674 | П 130-708 | ПВ 565 |
420675 | П 130-710 | ПВ 223-18, НП 499-1, С 2237 |
420677 | П 130-713 | ПВ 1114-3, ПК 18793-3 |
420679 | П 130-714 | ПС 5-88 |
420680 | П 130-716 | ПК 301-33, ПК 301-33А, ПС 5-59 |
420681 | П 130-718 | ПВ 223-20 |
420683 | П 130-722 | ПВ 226-1, НП 713-1, НП 704-1, С 2149-1 |
420685 | П 130-724 | ПВ 738 |
420687 | - | ПК 16704 |
420689 | П 130-728 | ПК 301-223 |
420692 | П 130-734 | ПВ 226-2, НП 713-2, НП 704-2, С 2144 |
420693 | П 130-736 | С 303А, ПК 0750, ПК 301-184 |
420694 | - | ПК 01200-1 |
420695 | П 130-738 | ПВ 226-3, НП 713-3, НП 704-3, С 2149-2 |
420696 | П 130-740 | ПВ 226-4, НП 704-4 |
420697 | П 130-741 | ПК 540 |
420698 | П 130-742 | ПВ 226-5, НП 500-1, НП 704-5 |
420699 | П 130-744 | ПВ 226-6, НП 704-6 |
420700 | П 130-745 | ПК 11777 |
420701 | - | ПВ 1560 |
420703 | П 130-746 | ПВ 226-7, НП 704-7 |
420704 | П 130-748 | ПВ 226-8, ПК 301-262, НП 704-8 |
420713 | П 130-760 | ПК 301-261 |
420717 | - | БК 296 |
420720 | - | ПК 17905, С 1885 |
420723 | - | НП 1827, ПК 7006, С 2154 |
420724 | - | ПК 8258 |
420725 | - | ПК 4089 |
420727 | - | ПК 19106 |
420728 | - | ПК 01323 |
420729 | - | ПК 4643 |
420731 | - | ПК 19155 |
420732 | - | ПК 19657 |
420733 | - | ПК 4542 |
420735 | - | ПК 19134 |
420736 | - | ПК 19635, С 2114 |
420737 | - | ПК 8715 |
420738 | - | ПК 19413 |
420739 | - | ПК 2042 |
420740 | - | ПК 4269 |
420741 | - | ПК 2903 |
420742 | - | ПК 17831, С 1853, ПС 1054Д |
420744 | - | ПС 885-1067 |
420746 | - | ПК 2574 |
420747 | - | ПК 17409, С 1758 |
420748 | - | ПК 19644 |
420749 | - | ПК 8424 |
420751 | - | НП 1515 |
420752 | - | ПК 17540, С 1777 |
420753 | - | ПК 18034, С 1895 |
420754 | - | ПК 3087 |
420755 | - | ПК 8114-2 |
420756 | - | ПК 8114-4 |
420757 | - | НП 1514 |
420758 | - | ПК 879 |
420759 | - | ПК 8315 |
420760 | - | ПК 2179 |
420761 | - | ПВ 1952 |
420762 | - | ПК 17655, С 1806 |
420763 | - | ПК 8323 |
420764 | - | ПК 19719 |
420766 | - | ПК 4228 |
420767 | - | ПК 8116 |
420768 | - | ПК 4167 |
420769 | - | ПК 2630 |
420770 | - | ПК 4615 |
420773 | - | ПК 19435 |
420774 | - | ПК 17716 |
420777 | - | ПК 19154 |
420778 | - | ПК 19148 |
420779 | - | ПК 20005 |
420782 | - | ПК 19411 |
420783 | - | ПК 7020, С 2173 |
420784 | - | ПК 4641 |
420786 | - | ПК 17712 |
420787 | - | ПК 18284-1 |
420788 | - | ПК 4143, ПК 4535 |
420789 | - | ПК 4447 |
420790 | - | ПК 2478 |
420791 | - | ПК 2491 |
420792 | - | ПК 19025 |
420793 | - | ПК 2899 |
420794 | - | ПК 18895, С 2015 |
420795 | - | ПК 8111 |
420796 | - | ПК 18559 |
420797 | - | ПК 8242 |
420798 | - | ПК 19214 |
420801 | - | ПК 2620 |
420802 | - | ПК 20053 |
420804 | - | ПК 20054 |
420805 | - | ПК 2480 |
420806 | - | ПК 8081 |
420808 | - | ПК 2919 |
420809 | - | ПК 18992 |
420810 | - | ПК 18284-2 |
420811 | - | ПК 8639 |
420812 | - | ПК 18983 |
420814 | - | ПК 14957, ПК 14957А |
420816 | - | ПК 8012 |
420817 | - | ПК 8019 |
420818 | - | ПК 2083 |
420819 | - | ПК 17893, С 1871 |
420821 | - | ПК 19203-2 |
420822 | - | ПК 3086 |
420823 | - | ПК 19203-1 |
420824 | - | ПК 18933 |
420825 | - | ПК 8024 |
420826 | - | ПК 8640 |
420827 | - | ПК 8641 |
420828 | - | ПК 19115 |
420829 | - | ПК 2623 |
420830 | - | ПК 2479 |
420831 | - | ПК 2249 |
420832 | - | ПК 17411-7, С 1752-7 |
420833 | - | ПК 8780 |
420834 | - | ПК 8117 |
420835 | - | ПК 2650 |
420836 | - | ПК 19204 |
420838 | - | ПК 2077 |
420839 | - | ПК 18745 |
420840 | - | ПК 4653 |
420841 | - | НП 1922 |
420842 | - | ПК 19780 |
420846 | - | ПК 2485 |
420847 | - | ПК 8474 |
420848 | - | ПК 13361 |
420849 | - | ПК 2248 |
420850 | - | ПК 19156 |
420851 | - | ПК 2499 |
420852 | - | ПК 2481 |
420853 | - | ПК 19676 |
420854 | - | ПК 8565 |
420857 | - | ПК 2613 |
420859 | - | ПК 2541 |
420860 | - | ПК 4163 |
420864 | - | ПК 2617 |
420865 | - | ПК 8852 |
420867 | - | БК 232 |
420868 | - | ПК 19298 |
420870 | - | ПК 8560 |
420871 | - | ПК 19185 |
420873 | - | ПК 2582 |
420874 | - | ПК 2608 |
420876 | - | ПК 2081 |
420877 | - | ПК 2226 |
420878 | - | ПК 2075 |
420881 | - | ПК 19183 |
420882 | - | ПК 19018 |
420883 | - | ПК 17912 |
420884 | - | ПК 8544 |
420886 | - | ПК 8552 |
420887 | - | ПК 2568-1 |
420888 | - | ПК 2677 |
420890 | - | ПК 2669 |
420891 | - | ПК 18647, С 1970 |
420893 | - | ПК 8694 |
420894 | - | ПК 8693 |
420895 | - | ПК 18567 |
420896 | - | ПК 2008 |
420897 | - | ПК 18970 |
420898 | - | ПК 19108 |
422501 | - | ПК 4385 |
422502 | - | ПК 4430 |
422503 | - | ПК 4357 |
422504 | - | ПК 4506 |
422506 | - | ПФ 146 |
422507 | - | ПК 18980 |
422508 | - | ПФ 147 |
422509 | - | ПК 2544 |
422510 | - | ПК 19585 |
422511 | - | ПК 2925 |
УДК 669.715-42-126:006.354 | МКС 77.150.10 |
Ключевые слова: профили прессованные равнополочные прямоугольные, сплавы алюминиевые и магниевые, номер профилей, размеры, теоретическая масса | |