Главная // Актуальные документы // Актуальные документы (обновление 2024.11.04-2024.11.30) // ГОСТ (Государственный стандарт)
СПРАВКА
Источник публикации
М.: ФГБУ "Институт стандартизации", 2024
Примечание к документу
Документ вводится в действие с 01.08.2025 с правом досрочного применения.

Взамен ГОСТ 31407-2009.
Название документа
"ГОСТ 31407-2024. Межгосударственный стандарт. Изделия трикотажные бельевые для детей новорожденных и ясельного возраста. Общие технические условия"
(введен в действие Приказом Росстандарта от 21.08.2024 N 1097-ст)

"ГОСТ 31407-2024. Межгосударственный стандарт. Изделия трикотажные бельевые для детей новорожденных и ясельного возраста. Общие технические условия"
(введен в действие Приказом Росстандарта от 21.08.2024 N 1097-ст)


Содержание


Введен в действие
Приказом Федерального
агентства по техническому
регулированию и метрологии
от 21 августа 2024 г. N 1097-ст
МЕЖГОСУДАРСТВЕННЫЙ СТАНДАРТ
ИЗДЕЛИЯ ТРИКОТАЖНЫЕ БЕЛЬЕВЫЕ
ДЛЯ ДЕТЕЙ НОВОРОЖДЕННЫХ И ЯСЕЛЬНОГО ВОЗРАСТА
ОБЩИЕ ТЕХНИЧЕСКИЕ УСЛОВИЯ
Knitted underwear for babies and day-nursery children.
General specifications
ГОСТ 31407-2024
МКС 61.020
Дата введения
1 августа 2025 года
с правом досрочного применения
Предисловие
Цели, основные принципы и общие правила проведения работ по межгосударственной стандартизации установлены ГОСТ 1.0 "Межгосударственная система стандартизации. Основные положения" и ГОСТ 1.2 "Межгосударственная система стандартизации. Стандарты межгосударственные, правила и рекомендации по межгосударственной стандартизации. Правила разработки, принятия, обновления и отмены"
Сведения о стандарте
1 РАЗРАБОТАН Ассоциацией предприятий индустрии детских товаров "АИДТ" (Ассоциация "АИДТ")
2 ВНЕСЕН Межгосударственным техническим комитетом МТК 181 "Игрушки и товары для детства"
3 ПРИНЯТ Межгосударственным советом по стандартизации, метрологии и сертификации (протокол от 31 июля 2024 г. N 175-П)
За принятие проголосовали:
Краткое наименование страны по МК (ИСО 3166) 004-97
Код страны по МК (ИСО 3166) 004-97
Сокращенное наименование национального органа по стандартизации
Азербайджан
AZ
Азстандарт
Армения
AM
ЗАО "Национальный орган по стандартизации и метрологии" Республики Армения
Беларусь
BY
Госстандарт Республики Беларусь
Казахстан
KZ
Госстандарт Республики Казахстан
Киргизия
KG
Кыргызстандарт
Россия
RU
Росстандарт
Таджикистан
TJ
Таджикстандарт
Узбекистан
UZ
Узбекское агентство по техническому регулированию
4 Приказом Федерального агентства по техническому регулированию и метрологии от 21 августа 2024 г. N 1097-ст межгосударственный стандарт ГОСТ 31407-2024 введен в действие в качестве национального стандарта Российской Федерации с 1 августа 2025 г. с правом досрочного применения
5 ВЗАМЕН ГОСТ 31407-2009
Информация о введении в действие (прекращении действия) настоящего стандарта и изменений к нему на территории указанных выше государств публикуется в указателях национальных стандартов, издаваемых в этих государствах, а также в сети Интернет на сайтах соответствующих национальных органов по стандартизации.
В случае пересмотра, изменения или отмены настоящего стандарта соответствующая информация будет опубликована на официальном интернет-сайте Межгосударственного совета по стандартизации, метрологии и сертификации в каталоге "Межгосударственные стандарты"
1 Область применения
Настоящий стандарт распространяется на трикотажные бельевые изделия для детей новорожденных, до 1 года и ясельного возраста (далее - изделия).
2 Нормативные ссылки
В настоящем стандарте использованы нормативные ссылки на следующие межгосударственные стандарты:
ГОСТ 15.007 Система разработки и постановки продукции на производство. Продукция легкой промышленности. Основные положения
ГОСТ 1136 Изделия трикотажные бельевые. Определение сортности
ГОСТ 2351 Изделия и полотна трикотажные. Нормы устойчивости окраски и методы ее определения
ГОСТ 3816 (ИСО 811-81) Полотна текстильные. Методы определения гигроскопических и водоотталкивающих свойств
ГОСТ 3897 Изделия трикотажные. Маркировка, упаковка, транспортирование и хранение
ГОСТ 6309 Нитки швейные хлопчатобумажные и синтетические. Технические условия
ГОСТ 8847 Полотна трикотажные. Методы определения разрывных характеристик и растяжимости при нагрузках, меньше разрывных
ГОСТ 9173 Изделия трикотажные. Правила приемки
ГОСТ 9176 Изделия трикотажные. Методы испытания швов
ГОСТ 9733.0 Материалы текстильные. Общие требования к методам испытаний устойчивости окрасок к физико-химическим воздействиям
ГОСТ 9733.4 Материалы текстильные. Метод испытания устойчивости окраски к стиркам
ГОСТ 9733.6 Материалы текстильные. Методы испытаний устойчивости окрасок к "поту"
ГОСТ 9733.27 Материалы текстильные. Метод испытания устойчивости окраски к трению
ГОСТ 10399 Изделия трикотажные бельевые. Требования к пошиву
ГОСТ 12088 Материалы текстильные и изделия из них. Метод определения воздухопроницаемости
ГОСТ 17037 Изделия швейные и трикотажные. Термины и определения ГОСТ
ГОСТ 17916 Фигуры девочек типовые. Размерные признаки для проектирования одежды
ГОСТ 17917 Фигуры мальчиков типовые. Размерные признаки для проектирования одежды
ГОСТ 19616 Ткани и трикотажные полотна. Метод определения удельного поверхностного электрического сопротивления
ГОСТ 26006 Полотна и изделия трикотажные. Методы определения явной и скрытой прорубки
ГОСТ 26289 Полотна трикотажные бельевого назначения. Нормы изменения линейных размеров после мокрой обработки
ГОСТ 28554 Полотна трикотажные. Общие технические условия
ГОСТ 30157.0 Полотна текстильные. Методы определения изменения размеров после мокрых обработок или химической чистки. Общие положения
ГОСТ 30157.1 Полотна текстильные. Методы определения изменения размеров после мокрых обработок или химической чистки. Режимы обработок
ГОСТ 30383 Изделия трикотажные детские бельевые. Нормы физико-гигиенических показателей
ГОСТ 32995-2014 Материалы текстильные. Методика измерения напряженности электростатического поля
ГОСТ ISO 3758 Изделия текстильные. Маркировка символами по уходу
Примечание - При пользовании настоящим стандартом целесообразно проверить действие ссылочных стандартов и классификаторов на официальном интернет-сайте Межгосударственного совета по стандартизации, метрологии и сертификации (www.easc.by) или по указателям национальных стандартов, издаваемым в государствах, указанных в предисловии, или на официальных сайтах соответствующих национальных органов по стандартизации. Если на документ дана недатированная ссылка, то следует использовать документ, действующий на текущий момент, с учетом всех внесенных в него изменений. Если заменен ссылочный документ, на который дана датированная ссылка, то следует использовать указанную версию этого документа. Если после принятия настоящего стандарта в ссылочный документ, на который дана датированная ссылка, внесено изменение, затрагивающее положение, на которое дана ссылка, то это положение применяется без учета данного изменения. Если ссылочный документ отменен без замены, то положение, в котором дана ссылка на него, применяется в части, не затрагивающей эту ссылку.
3 Термины и определения
В настоящем стандарте применены термины, относящиеся к основным видам изделий, по ГОСТ 17037.
4 Виды и размеры изделий
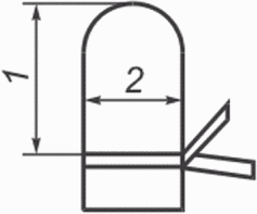
4.1 Изделия подразделяют на следующие виды: распашонки, распашонки с рукавичками (см. рисунок 1), рубашечки, фуфайки, футболки (см. рисунок 2), кофточки (см. рисунок 3), ползунки (см. рисунки 4, 5, 8, 9), в т.ч. в виде рейтуз (см. рисунок 4), комбинезона (см. рисунок 8) или полукомбинезона (см. рисунки 5 и 9), боди (см. рисунок 10), купальные конверты (см. рисунок 6), пеленки-конверты (см. рисунок 7), трусы, трусы с нагрудником и бретелями (см. рисунок 11), чепчики (см. рисунок 12), пинетки (см. рисунок 13), рукавички (см. рисунок 14), пижамы (см. рисунки 2 - 4), майки, ночные сорочки, простынки, пеленки.
Рисунок 1
Рисунок 2
Рисунок 3
Рисунок 4
Рисунок 5
Рисунок 6
Рисунок 7
Рисунок 8
Рисунок 9
Рисунок 10
Рисунок 11
Рисунок 12
Рисунок 13
Рисунок 14
4.2 Изделия изготавливают различных конструкций и моделей отдельно или в комплекте с изделиями, предусмотренными настоящим стандартом.
Изделия других видов, не предусмотренных настоящим стандартом, изготавливают по согласованию с заказчиком.
4.3 Размеры изделий должны соответствовать размерным признакам типовых фигур детей, указанным в таблицах 1 и 2, с учетом необходимых конструктивных прибавок и технологических припусков.
Таблица 1
Размеры ползунков, кофточек, маек, фуфаек, футболок, пижам,
ночных сорочек, боди
Возрастная группа
Ясельная
Рост, группировка ростов, см
50, 56
62
68, 74
80
74
80, 86
92, 98
74
80, 86
92, 98
80, 86
92, 98
86
92, 98
Обхват груди
36
40
44
48
52
56
60
Примечание - Допускается изготавливать изделия на каждый рост типовой фигуры.
Таблица 2
Размеры распашонок, рубашечек, купальных конвертов,
пеленок-конвертов, трусов, трусов с нагрудником и бретелями,
чепчиков, рукавичек, пинеток
Наименование изделия
Размер (обхват груди)
Распашонка, распашонка с рукавичками, купальный конверт, пеленка-конверт, рубашечка, рукавички, пинетки
36
40
44
48
-
-
-
Трусы с нагрудником и бретелями
-
-
44
48
52
56
60
Чепчики
36
40
44
48
52
-
-
Размеры простынок должны быть 85 x 100, 90 x 100, 100 x 100 см.
Изделия других размеров, не предусмотренных настоящим стандартом, изготавливают по согласованию с заказчиком.
4.4 Основные измерения изделия должны соответствовать размерам типовых фигур девочек и мальчиков по ГОСТ 17916 и ГОСТ 17917 с учетом необходимых конструктивных прибавок и технологических припусков и указываться в техническом описании модели.
Изделия должны проектироваться с учетом свойств применяемых полотен. Группы растяжимости полотен по ГОСТ 28554 приведены в приложении A.
4.5 Межростовая разница по длине изделий и рукавов должна соответствовать значениям, указанным в таблице 3.
Таблица 3
Наименование изделия
Межростовая разница, см
по длине изделия
по длине рукава
Купальный конверт, пеленка-конверт
4,0
2,0
Ползунки, майка
4,0
-
Кофточка, фуфайка, футболка, боди, ночная сорочка
4,0
2,0
Примечание - Межростовую разницу по длине изделия и рукавов, не предусмотренную в таблице, указывают в техническом описании модели.
4.6 Места основных измерений изделий и допускаемые отклонения от установленных размеров указаны в таблице 4 и на рисунках 1 - 14.
Таблица 4
Номер измерения на рисунке
Наименование измерения
Номер рисунка
Наименование изделия
Место измерения
Допускаемые отклонения, см
1
Длина изделия
1, 2, 3
Распашонка, рубашечка, кофточка, фуфайка, футболка, майка, ночная сорочка, пижама
По прямой от высшей точки плечевого шва до низа
+2,0
-1,5
1
Длина изделия
5, 6, 7, 8, 9, 10
Ползунки, купальный конверт, пеленка-конверт, боди
По прямой от высшей точки плечевого шва или верха бретелей до низа изделия
+/- 2,0
Ползунки, пижама
По прямой от верхнего края изделия до низа следа в сложенном виде или до низа изделия
+/- 2,0
1
Длина лицевого выреза
Чепчик
По прямой от верхней точки лицевого выреза до нижнего края изделия в сложенном виде
+/- 1,0
1
Длина по боку
Трусы, трусы с нагрудником и бретелями
По прямой от верхнего края изделия до низа изделия
+/- 2,0
1
Высота
Пинетки
По прямой от уровня завязок до низа следа в сложенном виде
+/- 1,0
1
Длина
Рукавички
По прямой от верха до уровня завязок
+/- 1,0
2
Ширина изделия
1, 2, 3, 5, 6, 8, 9, 10
Распашонка, рубашечка, кофточка, ползунки, купальный конверт, боди, майка, фуфайка, футболка, ночная сорочка, пижама
По прямой между боковыми сгибами (швами) на 2 см ниже глубины проймы
+/- 1,0
1, 2, 3, 7
Распашонка, рубашечка, сорочка, кофточка с цельновыкроеными рукавами, пеленка-конверт, ночная сорочка, пижама
По прямой между боковыми сгибами (швами) посередине изделия
+/- 1,0
Чепчик
По прямой посередине длины спереди до затылочной части
+/- 1,0
2
Ширина изделия
Рукавички
По прямой посередине длины от верха до уровня завязок
+/- 1,0
Ширина по линии бедер
4, 5, 8, 9, 10, 11
Ползунки, трусы, трусы с нагрудником и бретелями, боди, ночная сорочка, пижама
По прямой между боковыми сгибами (швами) на уровне середины длины переда
+/- 1,0
Ширина по линии талии
4, 11
Ползунки, трусы с нагрудником и бретелями, пижама
По прямой на уровне верхнего края (в сложенном виде)
+/- 1,0
3
Длина переда
4, 11
Ползунки, трусы, трусы с нагрудником и бретелями
По прямой от верхнего края переда до середины ластовицы или шагового шва
+/- 1,0
Длина среднего шва
4, 11
Ползунки, трусы, трусы с нагрудником и бретелями
Вдоль среднего шва задних частей от верхнего края изделия до шагового шва или до середины ластовицы
+/- 1,0
Длина втачного рукава
1, 2, 3, 6, 8, 10
Распашонка, рубашечка, кофточка, купальный конверт, боди, футболка, фуфайка, ночная сорочка, пижама
От высшей точки оката вдоль средней линии рукава до низа
+2,0
-1,0
Длина рукава реглан или цельновыкроенного
1, 2, 3, 6, 8, 10
От высшей точки горловины вдоль средней линии рукава до низа
+2,0
-1,0
5
Ширина рукава (втачного или реглан)
1, 2, 3, 6, 8, 10
Распашонка, рубашечка, кофточка, купальный конверт, боди, ночная сорочка, фуфайка, футболка, пижама
По прямой от нижней точки проймы перпендикулярно к средней линии рукава
+/- 1,0
6
Длина стана
5, 8, 9, 10
Ползунки, боди
По прямой от высшей точки линии плеча или шва до середины ластовицы или до шагового шва
+/- 2,0
7
Длина следа
4, 5, 8, 9, 13
Ползунки, пинетки
По прямой между крайними точками следа в сложенном виде
+/- 1,0
Примечания
1 Допускаемые отклонения по длине и ширине простынок и пеленок - +/- 2,0 см.
2 Ширину по линии груди и бедер ползунков, а также длину короткого рукава устанавливают в техническом описании модели.
3 Длину изделия и рукава измеряют, включая бейку, кант, манжету, напульсник и рукавичку в сложенном или отвернутом виде, в зависимости от модели.
5 Технические требования
5.1 Общие положения
Изделия должны соответствовать требованиям настоящего стандарта и по внешнему виду, модели, конструкции, изготовлению и прикладным материалам - образцу-эталону, утвержденному по ГОСТ 15.007, и техническому описанию модели, утвержденному в установленном порядке.
5.2 Характеристики
5.2.1 Изделия для детей изготовляют из натурального, химического сырья и их сочетаний.
Изделия для новорожденных (первые 28 дней жизни) должны изготавливаться из полотен, изготовленных из натуральных волокон.
5.2.2 Допускается при изготовлении изделий применять синтетические швейные нитки при выполнении швов, не соприкасающихся с кожей ребенка.
5.2.3 По показателям биологической безопасности изделия должны соответствовать требованиям технических регламентов или нормативных правовых актов, действующих на территории государства, принявшего стандарт.
Примечание - Информация о технических регламентах и нормативных правовых актах приведена в справочном приложении B.
Физико-гигиенические показатели изделия должны соответствовать нормам, приведенным в ГОСТ 30383.
5.2.4 Требования к пошиву, виды и параметры стежков, строчек и швов, линейная плотность швейных ниток и нитей должны соответствовать требованиям ГОСТ 6309, ГОСТ 10399 со следующими дополнениями:
- соединительные швы с обметыванием срезов в изделиях для новорожденных должны быть выполнены на лицевую сторону;
- виды обработки горловины, низа рукавов, бортов, воротников, низа и верха изделий, виды и наличие ластовиц в ползунках, места расположения застежки в изделиях, наличие запаха в распашонках, величина подгиба краев изделий, число швов в ползунках, ширина прокладываемой эластичной тесьмы (ленты) должны быть указаны в техническом описании модели;
- торс ползунков и трусов всех видов должен быть с одним или двумя швами;
- трусы должны изготавливаться с двойной ластовицей;
- затылочная часть чепчиков должна состоять из одной детали шириной не менее 9 см на уровне измерения ширины изделия;
- при изготовлении распашонок с запахом запах должен быть не менее 5 см;
- наличие, вид и цвет прикладных и отделочных материалов, фурнитуры и швейных ниток должны быть указаны в техническом описании модели.
5.3 Требования к сырью и материалам
5.3.1 Полотна, применяемые для изготовления изделий, должны соответствовать требованиям ГОСТ 28554 и других нормативных и технических документов, действующих на территории государства, принявшего стандарт.
Изделия изготавливают из трикотажных полотен гладких и рисунчатых переплетений, пестровязаных и набивных, гладкокрашеных, отбеленных, отваренных или комбинированными из трикотажных полотен различных видов, или с отделками из материалов других видов.
5.3.2 Изменение линейных размеров полотна для изделий после мокрых обработок должно соответствовать ГОСТ 26289.
5.3.3 Устойчивость окраски полотна для изделий должна соответствовать требованиям ГОСТ 2351.
5.3.4 Прикладные, отделочные материалы, фурнитура и швейные нитки должны соответствовать требованиям нормативных и технических документов.
5.4 Маркировка и упаковка
5.4.1 Маркировка должна соответствовать требованиям технических регламентов или нормативных правовых актов, действующих на территории государства, принявшего стандарт, и ГОСТ 3897.
Примечание - Информация о технических регламентах и нормативных правовых актах приведена в справочном приложении B.
Размеры изделий для новорожденных, детей до 1 года и ясельного возраста обозначают величинами основных размерных признаков типовой фигуры мальчиков или девочек в следующей последовательности: рост, обхват груди.
Пример условного обозначения размера:
68, 74-44
5.4.2 Упаковка бельевых изделий - по ГОСТ 3897.
Первичная упаковка должна обеспечивать сохранность изделий при транспортировании и хранении.
Способы упаковывания устанавливают по согласованию между изготовителем и заказчиком.
5.4.3 Символы по уходу за изделиями - по ГОСТ ISO 3758.
6 Приемка
Определение сортности изделий - по ГОСТ 1136.
7 Методы испытаний
7.1 Отбор образцов изделий - по ГОСТ 9173.
7.2 Определение числа стежков в строчке и ширины шва - по ГОСТ 9176.
7.3 Определение скрытой и явной прорубки полотна - по ГОСТ 26006.
7.4 Определение устойчивости окраски изделий к физико-химическим воздействиям:
- общие требования - по ГОСТ 9733.0;
- к стирке - по ГОСТ 9733.4 (стирка N 1);
- к поту - по ГОСТ 9733.6;
- к сухому трению - по ГОСТ 9733.27.
7.5 Определение изменения линейных размеров полотна в изделии после мокрых обработок - по ГОСТ 30157.0, ГОСТ 30157.1.
7.6 Определение гигроскопичности - по ГОСТ 3816 с дополнением по ГОСТ 30383.
7.7 Определение воздухопроницаемости - по ГОСТ 12088.
7.8 Определение удельного поверхностного электрического сопротивления - по ГОСТ 19616.
7.9 Определение напряженности электростатического поля на поверхности изделий - по ГОСТ 32995-2014 (разделы 1 - 6).
8 Транспортирование и хранение
Транспортирование и хранение - по ГОСТ 3897.
Приложение A
(справочное)
ГРУППЫ РАСТЯЖИМОСТИ ПОЛОТЕН
Таблица A.1
Группа растяжимости полотен
Растяжимость полотна по ширине при нагрузке 6 Н, %
I
От 0 до 40 включ.
II
Св. 40 до 100 включ.
III
Св. 100
Примечание - Испытания проводят по ГОСТ 8847.
Приложение B
(справочное)
ИНФОРМАЦИЯ
О ПРИМЕНЯЕМЫХ ТЕХНИЧЕСКИХ РЕГЛАМЕНТАХ И НОРМАТИВНЫХ
ПРАВОВЫХ АКТАХ В ГОСУДАРСТВАХ - УЧАСТНИКАХ СНГ
Таблица B.1
Структурный элемент настоящего стандарта
Технический регламент или нормативный правовой акт
Государство - участник СНГ
ТР ТС 007/2011 Технический регламент Таможенного союза "О безопасности продукции, предназначенной для детей и подростков"
AM, BY, KZ, KG, RU
УДК 687.244:677.075:006.354
МКС 61.020
Ключевые слова: изделия трикотажные бельевые, новорожденные, дети до 1 года, дети ясельного возраста, типовые фигуры детей, основные измерения изделия, места измерений, трикотажное полотно, группа растяжимости