Главная // Актуальные документы // Актуальные документы (обновление с 03.11.2025 по 29.11.2025) // ГОСТ (Государственный стандарт)СПРАВКА
Источник публикации
М.: ФГБУ "Институт стандартизации", 2025
Примечание к документу
Документ
вводится в действие с 01.09.2026 с правом досрочного применения.
Название документа
"ГОСТ 19882-2022. Межгосударственный стандарт. Мебель корпусная. Методы испытаний на устойчивость, прочность и деформируемость"
(введен в действие Приказом Росстандарта от 19.09.2025 N 1086-ст)
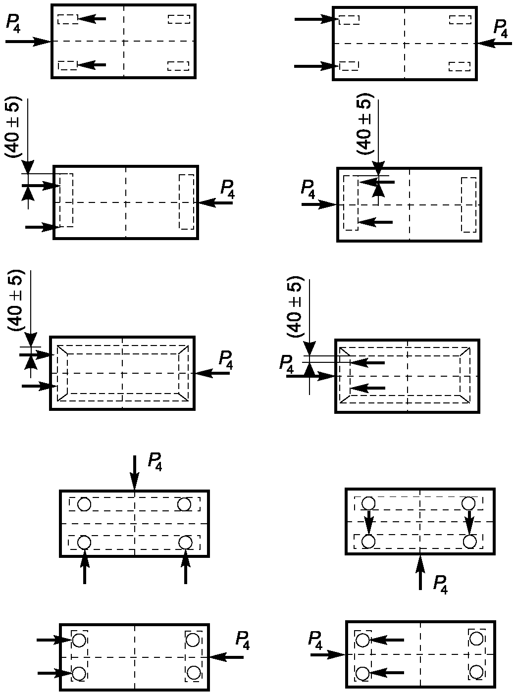
"ГОСТ 19882-2022. Межгосударственный стандарт. Мебель корпусная. Методы испытаний на устойчивость, прочность и деформируемость"
(введен в действие Приказом Росстандарта от 19.09.2025 N 1086-ст)
агентства по техническому
регулированию и метрологии
от 19 сентября 2025 г. N 1086-ст
МЕЖГОСУДАРСТВЕННЫЙ СТАНДАРТ
МЕБЕЛЬ КОРПУСНАЯ
МЕТОДЫ ИСПЫТАНИЙ НА УСТОЙЧИВОСТЬ,
ПРОЧНОСТЬ И ДЕФОРМИРУЕМОСТЬ
Furniture. Test methods for stability,
strength and deformability
(ISO 7171:2019, NEQ)
ГОСТ 19882-2022
Дата введения
1 сентября 2026 года
с правом досрочного применения
Цели, основные принципы и общие правила проведения работ по межгосударственной стандартизации установлены
ГОСТ 1.0 "Межгосударственная система стандартизации. Основные положения" и
ГОСТ 1.2 "Межгосударственная система стандартизации. Стандарты межгосударственные, правила и рекомендации по межгосударственной стандартизации. Правила разработки, принятия, обновления и отмены"
1 РАЗРАБОТАН Республиканским государственным предприятием на праве хозяйственного ведения "Казахстанский институт стандартизации и метрологии" Комитета технического регулирования и метрологии Министерства торговли и интеграции Республики Казахстан
2 ВНЕСЕН Комитетом технического регулирования и метрологии Министерства торговли и интеграции Республики Казахстан
3 ПРИНЯТ Межгосударственным советом по стандартизации, метрологии и сертификации по результатам голосования в АИС МГС (протокол от 28 февраля 2022 г. N 148-П)
За принятие проголосовали:
Краткое наименование страны по МК (ИСО 3166) 004-97 | Код страны по МК (ИСО 3166) 004-97 | Сокращенное наименование национального органа по стандартизации |
Армения | AM | ЗАО "Национальный орган по стандартизации и метрологии" Республики Армения |
Беларусь | BY | Госстандарт Республики Беларусь |
Казахстан | KZ | Госстандарт Республики Казахстан |
Киргизия | KG | Кыргызстандарт |
Россия | RU | Росстандарт |
Таджикистан | TJ | Таджикстандарт |
Узбекистан | UZ | Узбекское агентство по техническому регулированию |
4
Приказом Федерального агентства по техническому регулированию и метрологии от 19 сентября 2025 г. N 1086-ст межгосударственный стандарт ГОСТ 19882-2022 введен в действие в качестве национального стандарта Российской Федерации с 1 сентября 2026 г. с правом досрочного применения
5 Настоящий стандарт разработан с учетом основных нормативных положений международного стандарта ISO 7171:2019 "Мебель корпусная. Изделия для хранения. Методы определения устойчивости" ("Furniture - Storage units - Test methods for the determination of stability", NEQ) в части испытания устойчивости
Информация о введении в действие (прекращении действия) настоящего стандарта и изменений к нему на территории указанных выше государств публикуется в указателях национальных стандартов, издаваемых в этих государствах, а также в сети Интернет на сайтах соответствующих национальных органов по стандартизации.
В случае пересмотра, изменения или отмены настоящего стандарта соответствующая информация будет опубликована на официальном интернет-сайте Межгосударственного совета по стандартизации, метрологии и сертификации в каталоге "Межгосударственные стандарты"
Настоящий стандарт устанавливает методы испытаний изделий корпусной мебели на устойчивость, прочность полкодержателей, прогиб свободнолежащих полок, прочность верхних и нижних щитов корпуса, прочность и деформируемость корпуса, прочность основания.
Перед проведением испытаний по перечисленным методам изделия предварительно испытывают поэлементно по
ГОСТ 28102,
ГОСТ 19195,
ГОСТ 30209 и
ГОСТ 28105.
В целях ускорения процесса допускается проводить испытания элементов под действием длительной статической нагрузки одновременно (полки, штанги, верхний и нижний щит корпуса).
Стандарт не распространяется на настенную мебель.
Изделия, имеющие дополнительное крепление к полу, стенам или потолку, имеющие единую рабочую поверхность (кухни), блокируемые между собой, испытаниям на устойчивость не подвергаются.
Изделия стеллажной мебели, не имеющие боковых стенок или перекладин, и мебель на металлическом каркасе испытывают только на устойчивость, прочность полкодержателей, прогиб свободнолежащих полок, прочность верхних и нижних щитов.
Прочность основания изделий на опорах качения определяют по
ГОСТ 30212.
В настоящем стандарте использованы нормативные ссылки на следующие межгосударственные стандарты:
ГОСТ 19195 Мебель. Методы испытаний крепления дверей с вертикальной и горизонтальной осью вращения
ГОСТ 22046 Мебель для учебных заведений. Общие технические условия
ГОСТ 28102 Мебель корпусная. Методы испытаний штанг
ГОСТ 28105 Мебель корпусная и столы. Методы испытаний выдвижных ящиков и полуящиков
ГОСТ 30209 Мебель корпусная. Двери раздвижные. Методы испытаний
ГОСТ 30212 Столы журнальные и письменные. Методы испытаний
Примечание - При пользовании настоящим стандартом целесообразно проверить действие ссылочных стандартов и классификаторов на официальном интернет-сайте Межгосударственного совета по стандартизации, метрологии и сертификации (www.easc.by) или по указателям национальных стандартов, издаваемым в государствах, указанных в предисловии, или на официальных сайтах соответствующих национальных органов по стандартизации. Если на документ дана недатированная ссылка, то следует использовать документ, действующий на текущий момент, с учетом всех внесенных в него изменений. Если заменен ссылочный документ, на который дана датированная ссылка, то следует использовать указанную версию этого документа. Если после принятия настоящего стандарта в ссылочный документ, на который дана датированная ссылка, внесено изменение, затрагивающее положение, на которое дана ссылка, то это положение применяется без учета данного изменения. Если ссылочный документ отменен без замены, то положение, в котором дана ссылка на него, применяется в части, не затрагивающей эту ссылку.
В настоящем стандарте применены следующие термины с соответствующими определениями:
3.1 базовый вариант: Две или три рядом стоящие секции, имеющие общие вертикальные стенки и образующие наиболее уязвимую в прочностном отношении комбинацию. Общая длина образца в сборке не более 2000 мм.
3.2 мебель сборно-разборной конструкции: Мебель, собранная согласно прилагающейся инструкции. Если существует несколько вариантов сборки изделия, то для испытания следует использовать наиболее сложную комбинацию.
3.3 модуль: Корпусная секция одного габаритного размера.
3.4 устойчивость: Способность сопротивляться силам, которые могут вызвать опрокидывание изделия.
| | ИС МЕГАНОРМ: примечание. В официальном тексте документа, видимо, допущена опечатка: имеется в виду п. 3.17, а не п. 3.19. | |
3.5
выдвижной элемент (extension element): Компонент
(3.19), который можно выдвигать и задвигать.
Пример - Ящики (выдвижные), подвесные полки, клавиатурные полки.
3.6
откидная дверка (flap): Дверь с горизонтальной осью вращения, которая открывается вниз.
| | ИС МЕГАНОРМ: примечание. В официальном тексте документа, видимо, допущена опечатка: имеется в виду п. 3.10, а не п. 3.12. | |
3.7
отдельно стоящее изделие (free standing unit): Изделие
(3.12), не предназначенное для крепления к несущей конструкции.
| | ИС МЕГАНОРМ: примечание. В официальном тексте документа, видимо, допущена опечатка: имеется в виду п. 3.5, а не п. 3.7. | |
3.8
блокирующее устройство (interlock): Механизм, ограничивающий одновременное открытие более одного выдвижного элемента
(3.7).
3.9 выравнивающее устройство (levelling device): Регулируемое устройство, предназначенное для удержания предмета мебели перпендикулярно полу.
3.10
изделие (unit): Модуль мебели, предназначенный для испытания.
Примечание - Включает в себя: книжные шкафы, платяные шкафы, шкафы, настенные или наружные элементы, отдельно стоящие и мобильные тумбы, боковые и вертикальные места для хранения.
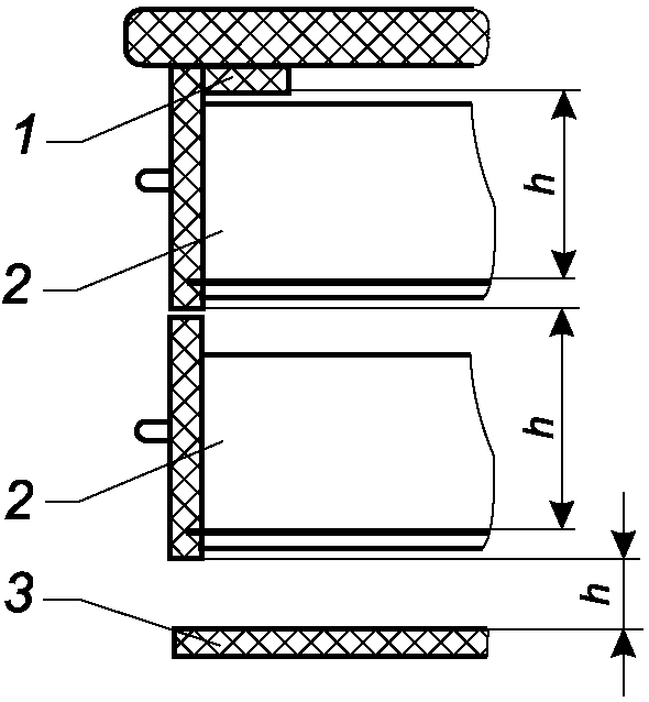
3.11 полезная высота (clear height): Расстояние между верхней поверхностью дна ящика и верхней частью более низкой стенки ящика или структурного элемента.
| | ИС МЕГАНОРМ: примечание. В официальном тексте документа, видимо, допущена опечатка: имеется в виду п. 3.10, а не п. 3.12. | |
Примечание - Для выдвижных элементов, не имеющих боковых стенок (выдвижная полка), полезная высота считается от верхней поверхности элемента до нижнего края верхнего ограничивающего структурного элемента
(3.12) (см. рисунок 1).
1 - конструктивный элемент корпуса изделия;
2 - выдвижной ящик; 3 - выдвижная полка; h - полезная высота
Рисунок 1 - Полезная высота
| | ИС МЕГАНОРМ: примечание. В официальном тексте документа, видимо, допущена опечатка: имеется в виду п. 3.10, а не п. 3.12. | |
3.12
запорный механизм (locking mechanism): Механизм, который ограничивает доступ к внутренней части изделия
(3.12) или элемента хранения и для активации которого требуется ключ или комбинация.
| | ИС МЕГАНОРМ: примечание. В официальном тексте документа, видимо, допущена опечатка: имеется в виду п. 3.10, а не п. 3.12. | |
3.13
наихудший случай (worst case): Состояние наиболее вероятно вызывающее опрокидывание изделия
(3.12).
3.14 подвесной картотечный карман (suspended filing pocket): Выдвижной элемент без дна с карманами, крепящимися на раме.
| | ИС МЕГАНОРМ: примечание. В официальном тексте документа, видимо, допущена опечатка: имеется в виду п. 3.10, а не п. 3.12. | |
3.15
настенное крепление (wall attachment): Тип устройства для крепления изделия
(3.12) к стене или другой стационарной конструкции для предотвращения опрокидывания.
| | ИС МЕГАНОРМ: примечание. В официальном тексте документа, видимо, допущена опечатка: имеется в виду п. 3.10, а не п. 3.12. | |
3.16
устройство регулировки высоты (height adjustment device): Устройство, предназначенное для обеспечения возможности изменения высоты изделия
(3.12), например, рабочей поверхности.
| | ИС МЕГАНОРМ: примечание. В официальном тексте документа, видимо, допущена опечатка: имеется в виду п. 3.10, а не п. 3.12. | |
3.17
компонент (component): Часть изделия
(3.12), включая металлические части.
| | ИС МЕГАНОРМ: примечание. В официальном тексте документа, видимо, допущена опечатка: имеются в виду п. 3.5 и 3.6, а не п. 3.7 и 3.8. | |
Пример - Выдвижной элемент (3.7), двери и откидные дверки (3.8).
4 Отбор и подготовка образцов
4.1 Для испытания новых и модернизированных изделий отбирают один образец, изготовленный в соответствии с технической документацией.
Допускается испытывать образец, не имеющий лакокрасочного покрытия.
Для испытания универсально-сборной мебели представляют образцы секций, образующих базовый вариант набора. Длина такого образца не должна превышать 2000 мм. Допускается представлять образцы отдельных секций. Образцы длиной более 2000 мм или образцы сложной конфигурации испытаниям на прочность и деформируемость корпуса и прочность основания не подвергаются.
Для однородной продукции (серия изделий корпусной мебели различного функционального назначения, изготовленных с использованием однотипных модулей, конструкционного материала и фурнитуры) может быть испытано одно изделие максимальных габаритных размеров с максимальной функциональной нагрузкой, характеризующее прочность и деформируемость конструкции всей серии (программы).
4.2 Перед испытанием образцы выдерживают не менее трех суток. Образцы выдерживают и испытывают в помещении с относительной влажностью воздуха от 45% до 70% и температурой от 15 °C до 30 °C.
4.3 Проверяют затяжку разъемных винтовых соединений.
4.4 Массу изделий определяют с погрешностью, не превышающей 1 кг.
4.5 Образцы устанавливают на неподвижное основание стенда и закрепляют основание изделия на опорах. При испытании на устойчивость основание изделия не закрепляют.
Во избежание провисания корпуса образца средний щит спаренных секций базового варианта должен быть установлен на дополнительную опору, входящую в комплект испытательного стенда и обеспечивающую необходимые условия испытаний.
4.6 Изделие равномерно нагружают эксплуатационной нагрузкой.
Расчетную эксплуатационную нагрузку
Q, даН, определяют по таблице 1 и
формулам (1) -
(3).
Таблица 1
Расчетная эксплуатационная нагрузка
Q
Наименование элементов мебели | Удельная нагрузка | Расчетная эксплуатационная нагрузка Q, даН |
qF, даН/м2 | qL, даН/м | qV, даН/м3 |
Полки для головных уборов и других легких предметов, полки и ящики в прикроватных и туалетных тумбах | 20 | - | 60 | - |
Полки для посуды, белья, пищевых продуктов | 60 | - | - | - |
Полки для сушки посуды | 40 | - | - | - |
Полки и ниши для книг | 120 | - | - | - |
Ящики для белья и столовых приборов | - | - | 200 | - |
Ящики для бумаг | - | - | 400 | - |
Штанги для одежды | - | 30 | - | - |
Двери с горизонтальной осью вращения: | | | | |
секретеров | 40 | - | - | - |
баров | 25 | - | - | - |
тумб с емкостями для обуви | 10 | - | - | - |
Сетчатые емкости | - | - | 200 | - |
Контейнеры для сухих отходов, лотки | - | - | 60 | - |
Тарелкодержатели длиной, мм: | | | | |
400 | - | - | - | 14 |
560 | - | - | - | 16 |
760 | - | - | - | 21 |
Чашкодержатели длиной, мм: | | | | |
460 | - | - | - | 6 |
560 | - | - | - | 7 |
760 | - | - | - | 14 |
Крючки для одежды (каждый рожок) | - | - | - | 5 |
Элементы для подвесной полки | - | 25 | - | - |
Полки из стекла | 25 | - | - | - |
Примечания 1 Нижний щит изделия рассматривают как полку, а нагрузку выбирают в зависимости от функционального назначения изделия. 2 Нагрузку на верхний щит тумбочек под телевизор принимают равной 65 даН, а тумбочек для радиоаппаратуры - 20 даН. Та же нагрузка для ниш под телевизор и радиоаппаратуру. 3 При испытании изделий корпусной мебели стеклянные полки заменяют на полки из фанеры или древесных плит. |
| | ИС МЕГАНОРМ: примечание. В официальном тексте документа, видимо, допущена опечатка: имеется в виду п. 3.11, а не п. 3.13. | |
|
|
Расчетную эксплуатационную нагрузку на откидные элементы и двери с горизонтальной осью вращения допускается перераспределять внутри корпуса образца:
- для полок, ниш и дверок с горизонтальной осью вращения по формуле (1):
где qF - удельная нагрузка, даН/м2;
F - полезная площадь полки, ниши, дверки, м2;
- для штанг по формуле (2):
Q = qL·L, (2)
где qL - удельная нагрузка, даН/м;
L - длина штанги, м;
- для ящиков, сетчатых емкостей, контейнеров для сухих отходов, лотков по формуле (3):
где qV - удельная нагрузка, даН/м3;
V - полезный объем ящика, сетчатых емкостей, контейнеров для сухих отходов, лотков, м3.
4.7 Размеры образцов и местоположения точек приложения нагрузок измеряют с погрешностью не более 1 мм.
Площадь поверхностей изделия округляют до 0,001 м2, объем - до 0,001 м3.
Расчетную эксплуатационную нагрузку Q округляют до 1,0 даН.
5.1 Испытательное устройство, обеспечивающее:
- закрепление изделий в требуемом положении;
- приложение нагрузки от 0 до 100 даН;
- работу с частотой циклов от 14 до 20 циклов в минуту;
- погрешность измерения величины нагрузки не более 3%.
5.1.1 Детали испытательного устройства, переносящие нагрузку на изделие при испытании на прочность и деформируемость корпуса и прочность основания, должны соответствовать указанным на рисунке а) 2; упоры при испытании на прочность основания на рисунке б) 2.
Размеры в миллиметрах
Рисунок 2
Примечание - В целях предотвращения скольжения испытуемого изделия мебели, но не его опрокидывания, используют упоры высотой не более 12 мм, за исключением тех случаев, когда конструкция изделия требует применения более высоких упоров. В этом случае используют упоры наименьшего порядка, препятствующие скольжению изделия.
Допускаемые отклонения размеров деталей, указанных на
рисунке 1, не должны превышать +/- 1 мм.
5.2 Комплект тарированных грузов (1,00 +/- 0,01) кг, (5,00 +/- 0,05) кг и (10,0 +/- 0,1) кг.
5.3 Глубиномер индикаторный с ценой деления 0,01 мм или любое другое устройство, обеспечивающее измерение прогиба полок (горизонтального элемента) в заданной точке и с заданной точностью.
Допускается измерение прогиба полок от неподвижной базы (основания стенда), с использованием штангенглубиномеров, магнитных стоек, индикаторов часового типа, обеспечивающих необходимую точность.
| | ИС МЕГАНОРМ: примечание. В официальном тексте документа, видимо, допущена опечатка: имеются в виду п. 6.4.2 и 6.4.3, а не п. 7.4.2 и 7.4.3. | |
5.4 Рекомендуется проводить испытания на прочность верхних и нижних щитов корпуса, полкодержателей и определять прогиб свободнолежащих полок по уровням интенсивности эксплуатации мебели по
[1], в этом случае нагрузки выбирают в соответствии с 5.5, а параметры стальной пластины для испытания выбирают по
7.4.2. Уровни интенсивности эксплуатации, указанные в
7.4.3, устанавливают в соответствии с видами мебели по эксплуатационному назначению по
ГОСТ 16371.
5.5 Параметры стальных пластин для испытания должны соответствовать значениям, приведенным в таблице 2.
Таблица 2
Параметры стальной пластины
для испытания полкодержателей на прочность
Наименование параметров пластины | Уровни интенсивности эксплуатации |
1 | 2 | 3 | 4 | 5 |
Масса, кг | 0,5 | 0,75 | 1,1 | 1,7 | 2,5 |
Ширина B, мм | 32 | 48 | 70 | 109 | 160 |
Толщина S, мм | 10 | 10 | 10 | 10 | 10 |
Длина L, мм | 200 | 200 | 200 | 200 | 200 |
6 Испытание на прочность и деформируемость
6.1 Испытание корпуса изделий
6.1.1 Сущность метода заключается в циклическом воздействии горизонтальной нагрузки на боковые стенки изделия, вызывающей напряжения, появляющиеся при эксплуатации.
6.1.2 Элементы испытательного устройства, передающие нагрузку на изделие, устанавливают так, чтобы обеспечить возможность приложения нагрузок к боковым стенкам в соответствии с рисунком 3 и к нижнему щиту основания (см.
рисунок 4).
Размеры в миллиметрах
Размеры в миллиметрах
При испытании изделий стеллажной мебели, имеющих боковые стенки или перекладины, горизонтальная нагрузка прикладывается в точке, расположенной на продольной оси боковой стенки изделия, на уровне верхнего горизонтального щита или перекладины. В изделиях высотой более 1650 мм, имеющих боковые стенки, на высоте (1600 +/- 5) мм.
6.1.3 Дверки изделий открывают и фиксируют под углом 90° относительно корпуса изделия.
6.1.4 Счетчик циклов нагружения устанавливают на нуль.
6.1.5 Испытание на прочность и деформируемость корпуса производят по схеме (см.
рисунок 3). Элементы изделия (кроме дверей с горизонтальной осью вращения) загружают расчетной эксплуатационной нагрузкой в соответствии с
4.6 тарированными грузами. Допускается загружать другими грузами, обеспечивающими заданную точность расчетной эксплуатационной нагрузки.
6.1.6 К боковым стенкам корпуса изделия (см.
рисунок 3) попеременно слева и справа прикладывают однократную нагрузку
P3, которую вычисляют по
формулам (4) или
(5);
- при a не более 0,6 Н

, (4)
где Q1 - нагрузка от массы изделия мебели, даН;
Q2 - суммарная расчетная эксплуатационная нагрузка на горизонтальные элементы корпусной мебели, за исключением нагрузки, действующей на верхний щит, состоящая из нагрузок, вычисленных по
формулам (1) -
(3), или определенная по
таблице 1;
a,
b,
H - размеры в соответствии с
рисунком 3, мм;
- при a более 0,6 Н
где 0,3 - коэффициент трения.
Результаты округляют до 1,0 даН.
Если расчетное значение нагрузки P3 превышает 80 даН, испытательную нагрузку принимают 80 даН, при этом следует соблюдать следующее условие:
Q2max = 270 - Q1. (6)
6.1.7 Через 1 мин после снятия нагрузки измеряют смещение верхнего щита относительно нижнего (деформацию E1).
Деформацию определяют любым приспособлением, обеспечивающим требуемую погрешность измерений не более 0,5 мм.
В образцах с проходными боковыми щитами деформацию измеряют на уровне верхнего щита корпуса.
6.1.8 Нагружают боковые стенки корпуса изделия циклической нагрузкой до нормативного количества циклов, предусмотренного
ГОСТ 16371.
6.1.9 После достижения нормативного количества циклов нагружения снимают нагрузку и проводят осмотр изделия, измеряют смещение верхнего щита относительно нижнего (деформацию EH).
6.1.10 При испытании секционных изделий отдельные секции испытывают как самостоятельные изделия, при этом учитывают собственную массу и массу находящихся в них предметов. Нагрузку (
P3), даН, вычисляют по
формулам (4) или
(5).
6.1.11 Деформацию корпуса изделия (E), мм, вычисляют по формуле (7):
E = EH - E1, (7)
где E1 - деформация корпуса после однократного приложения нагрузки, P3, мм;
EH - деформация корпуса после окончания испытания, мм.
6.1.12 Изделие считают выдержавшим испытание на прочность и деформируемость корпуса, если после достижения нормативного количества циклов нагружения деформация не превышает установленной нормы и в изделии не обнаружено излома деталей, ослабления или разрушения конструктивных соединений и нарушения функциональности подвижных деталей.
6.1.13 Изделия, выдержавшие испытание на прочность и деформируемость корпуса, подвергают испытанию на прочность основания.
6.2 Испытание основания изделия
6.2.1 Сущность метода заключается в циклическом воздействии горизонтальной нагрузки на основание изделия, вызывающей напряжения, появляющиеся при эксплуатации.
6.2.2 Испытание на прочность основания проводят по схеме (см. рисунок 5). Элементы изделия (кроме дверей с горизонтальной осью вращения) нагружают тарированными грузами в соответствии с
4.6.
Размеры в миллиметрах
Рисунок 5
Допускается загрузка другими грузами, обеспечивающими заданную точность расчетной эксплуатационной нагрузки.
В зависимости от вида основания нагрузку P4 прикладывают по одной из приведенных схем (см. рисунок 6).
Размеры в миллиметрах
Рисунок 6
Нагрузку (P4), даН, вычисляют по формуле (8):
P4 = 0,3·(Q1 + Q2), (8)
где 0,3 - коэффициент трения;
Q1 - нагрузка от массы изделия мебели, даН;
Q2 - суммарная расчетная эксплуатационная нагрузка на горизонтальные элементы корпусной мебели, за исключением нагрузки, действующей на верхний щит изделия, даН.
Результаты округляют до 1,0 даН.
Если расчетная нагрузка P4 превышает 50 даН, то испытательную нагрузку принимают 50 даН, при этом следует соблюдать следующее условие:
Q2max = 170 - Q1. (9)
6.2.3 Счетчик циклов устанавливают на нуль.
6.2.4 Нагружают основание изделия до нормативного количества циклов, предусмотренного
ГОСТ 16371 и
ГОСТ 22046.
6.2.5 При определении прочности основания секционных изделий прикладывают нагрузку только к нижней секции изделия без учета массы верхней секции в нагруженном состоянии.
6.2.6 После достижения нормативного количества циклов нагружения снимают нагрузку и производят осмотр изделия.
6.2.7 Изделия считают выдержавшими испытание на прочность основания, если после достижения нормативного количества циклов нагружения в изделии не обнаружено излома деталей, расшатывания узлов и конструктивных соединений.
6.3 Испытания полкодержателей
6.3.1 Сущность метода заключается в приложении нагрузки от падающего груза в области крепления полкодержателей.
6.3.2 Осматривают полку и узлы крепления и визуально оценивают их начальное состояние.
6.3.3 Полку равномерно нагружают расчетной эксплуатационной нагрузкой
Q, определенной в соответствии с
4.6.
Нагрузку распределяют так, чтобы полка оставалась ненагруженной на длине от 200 до 250 мм от испытуемого полкодержателя.
6.3.4 Стальную пластину
(5.4) опрокидывают 10 раз (вручную), как можно ближе к полкодержателю (см. рисунок 7).
1 - полка; 2 - грузы; 3 - полкодержатели;
4 - стальная пластина
Рисунок 7
После десятикратного нагружения фиксируют видимые невооруженным глазом дефекты (срез полкодержателей, смятие втулки, изменение формы отверстия под втулку, смещение полки, отрыв брусков (планок)) и регистрируют любое изменение по сравнению с первоначальным осмотром.
6.3.5 Испытания по
6.2 -
6.4 повторяют для каждой конструкции полкодержателей.
6.3.6 Полкодержатели считают выдержавшими испытания на прочность, если в каждом из испытуемых образцов не будут обнаружены дефекты, определяемые невооруженным глазом.
6.3.7 Изделия, выдержавшие испытания на прочность полкодержателей, подвергают испытаниям на прогиб свободнолежащих полок.
6.4 Испытания верхних и нижних щитов корпуса
6.4.1 Сущность метода заключается в статическом приложении нагрузки заданной величины в области наиболее вероятных повреждений или максимального прогиба.
6.4.2 На верхний щит корпуса прикладывается статическая нагрузка, соответствующая выбранному уровню интенсивности эксплуатации и исходя из высоты испытуемого изделия (таблица 3).
Таблица 3
Нагрузки, используемые при испытании
элементов корпусной мебели
Перечень параметров испытаний | Уровни интенсивности эксплуатации |
1 | 2 | 3 | 4 | 5 |
Прочность верхних щитов корпуса, даН, расположенных на высоте от пола: | | | | | |
- до 1050 мм; | - | 60,0 | 75,0 | 100,0 | 125,0 |
- от 1050 до 1350 мм | - | 12,5 | 25,0 | 35,0 | 45,0 |
Прочность нижних щитов корпуса, даН: | | | | | |
- напольные изделия мебели с высотой основного отделения менее 1050 мм; | - | 25,0 | 35,0 | 45,0 | 70,0 |
- напольные изделия мебели с высотой основного отделения 1050 мм и более | - | 60,0 | 75,0 | 100,0 | 125,0 |
6.4.3 Нагрузка, соответствующая выбранному уровню интенсивности эксплуатации мебели согласно значениям, приведенным в
таблице 4.
6.4.4 Нагрузка прикладывается в точке, где наиболее вероятны повреждения или предполагается максимальная величина прогиба (как правило, это середина пролета щита), и выдерживается не менее 24 ч. При наличии нескольких уязвимых точек нагрузку прикладывают не более чем в трех (по выбору испытателя).
6.4.5 Если верхний щит изделия регулируется, то его устанавливают в положение, при котором повреждения наиболее вероятны.
6.4.6 Нагрузка прикладывается через деталь-прокладку из жесткого материала размерами 100 x 100 мм. Допустимые отклонения размеров детали-прокладки +/- 1 мм. При испытаниях деталь-прокладка не должна выходить за пределы нагружаемой поверхности.
6.4.7 Не снимая нагрузку, фиксируют наличие видимых невооруженным глазом дефектов и проверяют возможность нарушения функционирования подвижных деталей (дверей, ящиков, штанг и т.п.).
6.4.8 Повторяют испытания по
6.4.2 и
6.4.3 для нижнего щита (днища) изделия.
Таблица 4
Уровни интенсивности эксплуатации мебели
Виды мебели по эксплуатационному назначению по ГОСТ 16371 | Уровни интенсивности эксплуатации |
1 | 2 | 3 | 4 | 5 |
Мебель бытовая | | x | | | |
Складная садовая мебель и мебель для кемпингов | | x | | | |
Офисная (конторская мебель) | | | x | | |
Мебель для учебных заведений | | | | x | |
Мебель для общественных помещений: | | | | | |
- аптек, библиотек, гостиниц, предприятий общественного питания, общежитий, предприятий бытового обслуживания, дошкольных учреждений, больниц, предприятий связи, лабораторий | | | | x | |
- для спортивных сооружений, театрально-зрелищных предприятий, залов ожидания транспортных учреждений | | | | | |
6.4.9 Изделия считают выдержавшими испытания на прочность верхних и нижних щитов корпуса, если под нагрузкой и после ее снятия в изделии не обнаружено излома деталей, ослабления или разрушения конструктивных соединений и нарушения функционирования подвижных деталей.
6.4.10 Изделия, выдержавшие испытания на прочность верхних и нижних щитов, испытывают на прочность и деформируемость корпуса.
7 Испытания на прогиб свободнолежащих полок
7.1 Сущность метода заключается в определении деформации под действием распределенной статической нагрузки.
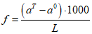
7.2 На нижней (или верхней) стороне полки, в середине ее длины L, как можно ближе к передней кромке, выбирают точку a для определения прогиба.
Погрешность определения положения точки (a +/- 10) мм.
7.3 На ненагруженной полке с помощью глубиномера индикаторного
(5.3) или любого другого устройства определяют исходное положение точки
a0.
7.4 Полку равномерно нагружают расчетной эксплуатационной нагрузкой
Q, определенной в соответствии с
4.6.
7.5 Нагрузку выдерживают в течение 7 суток. Затем определяют конечное положение точки aT.
7.6 Испытаниям подвергают полку каждой конструкции максимальной длины.
7.7 Относительный прогиб каждой испытанной полки f, мм, рассчитывается по формуле (10):

. (10)
7.8 Полки считают выдержавшими испытания на прогиб, если величина относительного прогиба не превышает нормативное значение.
7.9 Изделия, выдержавшие испытания на прогиб полок, подвергают испытаниям на прочность верхних и нижних поверхностей корпуса.
Изделия считают выдержавшими испытания, если полученные при испытании показатели устойчивости, прочности полкодержателей, прогиба свободнолежащих полок, прочности верхних и нижних поверхностей корпуса, прочности и деформируемости корпуса, прочности основания будут соответствовать нормам, установленным
ГОСТ 16371 и
ГОСТ 22046.
9 Испытание на устойчивость
9.1.1 Испытания на устойчивость проводят для отдельно стоящих емкостей, например, шкафов для одежды, кухонных и книжных шкафов, полностью собранных и готовых к эксплуатации.
9.1.2 Испытания навесных или встроенных изделий не проводятся.
9.1.3 Изделие считается выдержавшим испытания на устойчивость, если при соблюдении условий испытаний незагруженного образца и при достижении нормативного значения нагрузки по
ГОСТ 16371 и
ГОСТ 22046 на соответствующие элементы оно не начало опрокидываться.
9.1.4 Изделия, выдержавшие испытания на устойчивость, подвергают испытанию на прочность полкодержателей.
9.1.5 Результаты испытания действительны только для испытанного изделия. Если необходимо распространить результаты испытания на подобные изделия мебели, образец должен быть взят из промышленной серии изделий.
9.1.6 Если конструкция изделия мебели не позволяет придерживаться установленной последовательности и процедур, испытания проводят как можно ближе к описанным процедурам, а любые отклонения регистрируют в протоколе испытаний.
Примечание - Секционную мебель испытывают в собранном виде, как одно изделие с секциями, поставленными одна на другую. При этом устойчивость верхних (незакрепленных) секций определяется относительно нижних.
9.1.7 Величины нагрузок, прикладываемых к элементам (двери, ящики), определяются исходя из высоты испытуемой секции.
9.1.8 Устройство должно обеспечивать приложение в вертикальном направлении силы заданной величины или с постоянно увеличивающимся значением. Устройство не должно препятствовать перемещению испытуемого изделия. Если прикладывается сила заданной величины, устройство должно иметь груз, например, стальную пластину.
9.1.9 Пример устройства для приложения силы: пружинный механизм, с помощью которого к полке может быть приложена постоянно возрастающая горизонтальная сила.
9.1.10 Упоры, которые препятствуют скольжению изделия во время испытания, но не препятствуют его опрокидыванию, не должны быть выше 12 мм, за исключением случаев, когда конструкция изделия требует более высоких упоров, при этом они должны иметь наименьшую высоту, препятствующую скольжению изделия.
9.1.11 Перед испытанием крепежные узлы разъемных соединений должны быть плотно затянуты.
9.2.1 Сущность метода заключается в определении устойчивости отдельно стоящих изделий для хранения, полностью собранных и готовых к эксплуатации. Изделия, имеющие крепление к стене, подвергаются испытаниям только по
9.7.
9.2.2 Результаты испытаний действительны только для испытанного изделия. Если результаты испытаний необходимо распространить на определенную серию изделий, то образцы должны быть взяты из этой серии.
Метод не содержит требований к нагрузкам, которые должны выдерживать изделия без опрокидывания.
9.3 Общие условия проведения испытания
9.3.1 Предварительная подготовка
Изделия должны быть собраны согласно инструкции по сборке.
Если инструкция по сборке не предоставлена изготовителем, то выбирают необходимую конструкцию для испытаний и указывают тип сборки в протоколе испытаний. Перед испытанием разборные детали должны быть соединены, крепежная фурнитура подтянута в соответствии с инструкцией. Дальнейшее подтягивание крепежной фурнитуры при испытании не допускается, если это не указано изготовителем. Если испытуемый образец может быть собран или скомпонован по-разному, то для каждого испытания следует использовать самые неблагоприятные варианты, это должно быть указано в протоколе испытаний. Испытанию следует подвергать конструкцию, которая наиболее подвержена опрокидыванию.
Во время испытания образец должен быть размещен на полу и отрегулирован, если не указано иное. Выравнивающие устройства должны быть установлены в среднее положение, но не более чем на 13 мм от закрытого положения.
Образец для испытания должен быть выдержан в нормальных условиях не менее 24 часов непосредственно перед испытанием, если не указано иное.
В
приложение Б содержатся цель и применимость методов испытания.
9.3.2 Приложение нагрузки
Статические нагрузки при испытании прикладывают достаточно медленно, чтобы минимизировать возникновение динамических нагрузок. Испытания проводят с использованием значений силы, однако можно использовать и значения массы. При этом используют соотношение 10 Н = 1 кг.
Каждая нагрузка прилагается в течение временного промежутка не менее 10 с и не более 15 с.
Примечание - При отсутствии стандарта с соответствующими требованиями или для его разработки применяется
приложение А.
9.3.3 Допустимые отклонения
Если не установлены другие требования, необходимо придерживаться следующих значений допускаемых отклонений:
- нагрузок (усилий) +/- 5% номинального усилия;
- массы грузов +/- 1% номинальной массы;
- размеров +/- 1 мм номинального размера;
- скорости +/- 10% номинальной скорости;
- углов +/- 2° номинального значения угла.
Точки приложения нагрузочной детали-прокладки не должны отклоняться от указанного положения более чем на +/- 5 мм.
Нагрузки, массы, размеры, скорости и углы, используемые для проведения испытания должны быть выражены в размерности указанных номинальных значений.
Примечание - В целях измерения неопределенности результаты испытаний считаются действительными при соблюдении вышеуказанных допусков.
9.3.4 Предотвращение движения во время испытания
Если образец скользит или двигается в ходе испытаний, его необходимо закрепить упорами
(9.4.2), которые не препятствуют опрокидыванию.
9.3.5 Нагрузка
Все изделия для хранения должны быть равномерно нагружены в соответствии с таблицей 5, если не указано иное.
Таблица 5
Нагрузки для элементов изделий для хранения
при испытании на устойчивость
Компонент | Нагрузка |
Все горизонтальные элементы изделий для хранения, включая полки, верхние щиты, верхние и нижние выдвижные элементы, и откидные дверки, кг/дм2 | 0,325 |
Выдвижные элементы, лотки и корзины с полезной высотой, h, <= 1 дм, кг/дм3 | 0,2 |
Выдвижные элементы, лотки и корзины с полезной высотой, h, от 1 до 2,5 дм, кг/дм3 | 0,15 |
Выдвижные элементы, лотки и корзины с полезной высотой, h, >= 2,5 дм, кг/дм3 | 0,1 |
Штанги, кг/дм | 2 |
Подвесные полки, кг/дм2 | 1,25 |
Крючки, кг/1 рожок | 5 |
9.4 Испытательное оборудование
Если не установлены особые требования, испытания можно проводить с помощью любого подходящего устройства, так как результаты не зависят от вида устройства. Устройство для испытаний не должно препятствовать перемещению испытуемого изделия. Все нагрузочные детали должны иметь возможность поворачиваться в зависимости от направления приложенной силы. Точка поворота должна располагаться как можно ближе к нагружаемой поверхности.
9.4.1 Поверхность пола, должна быть горизонтальной, ровной, жесткой, с гладкой поверхностью.
9.4.2 Упоры (ограничители), должны иметь наименьшую высоту, препятствующую скольжению изделия, но не опрокидывания изделия.
9.4.3 Грузы, конструкция грузов должна исключать укрепление конструкции изделия и перераспределение нагрузки.
9.4.4 Подвесные картотечные карманы могут заполняться бумагой или аналогичными материалами.
| | ИС МЕГАНОРМ: примечание. В официальном тексте документа, видимо, допущена опечатка: п. 10.4 отсутствует. | |
9.4.5 Нагрузочная деталь-прокладка состоит из жестких дисков диаметром 100 мм, с плоской поверхностью и закругленными кромками наружным радиусом 12 мм. Если пространство не позволяет применять грузы диаметром 100 мм, допускается использовать грузы диаметром 50 мм с аналогичными характеристиками или стеклянные шарики в мешке (согласно 10.4), или тарированные грузы в виде мешков с песком.
Примечание - Допускается применять грузы в виде прямоугольных параллелепипедов.
9.4.6 Устройство для приложения горизонтального усилия - устройство (приспособление), с помощью которого можно прикладывать усилие заданной величины или постепенно увеличивающееся усилие, например, пружинные весы (динамометр).
9.5 Испытания на устойчивость (экспериментальный метод)
9.5.1 Общие положения
Испытания на устойчивость изделий должны проводиться на поверхности пола
(9.4.1).
Изделия, для которых в инструкциях изготовителя указано, что они должны устанавливаться у стены или другой жесткой вертикальной конструкции, испытываются с переднего края. Опоры качения и устройства для регулировки высоты устанавливаются в положении, которое может привести к опрокидыванию изделия вперед.
Устойчивость изделий определяется в соответствии с
приложением Б.
Во время испытаний по 9.5.2 -
9.7 записывают данные об опрокидывании изделия.
9.5.2 Незагруженные изделия с закрытыми подвижными элементами (двери, выдвижные элементы и откидные дверки)
9.5.2.1 Изделия высотой до 1000 мм или регулируемые до этой высоты
Прилагают вертикальную нагрузку по
приложению А к верхней поверхности изделия на расстоянии 50 мм от переднего (заднего) края изделия в точке, в которой наиболее вероятно получить опрокидывание изделия через нагрузочную деталь-прокладку.
Регистрируют результаты испытаний изделия. Если при испытании изделие не опрокидывается, переходят к следующему этапу испытаний.
В случае когда точка опрокидывания не определена, может возникнуть необходимость в проведении повторного испытания с приложением нагрузки на дополнительные точки поверхности изделия.
| |
a) Вертикальная нагрузка на расстоянии 50 мм от переднего края | b) Вертикальная нагрузка на расстоянии 50 мм от заднего края |
a - нагрузка
Рисунок 8 - Примеры изделий высотой до 1000 мм
или регулируемые до этой высоты
9.5.2.2 Изделия высотой от 1000 мм или регулируемые до этой высоты
Прилагают вертикальную нагрузку, величиной 350 Н совместно с горизонтальной нагрузкой по
приложению А к верхней поверхности изделия на расстоянии 50 мм от переднего (заднего) края изделия в любой точке, которая может вызвать опрокидывание.
Регистрируют результаты испытаний изделия. Если при испытании изделие не опрокидывается, переходят к следующему этапу испытаний.
В случае когда точка опрокидывания не определена может возникнуть необходимость в проведении повторного испытания с приложением нагрузки на дополнительные точки поверхности изделия.
9.5.3 Незагруженные изделия с подвижными элементами (двери, выдвижные элементы и откидные дверки)
Испытаниям подвергают каждый элемент изделия, поочередно открывая (выдвигая) элементы изделия. Элементы, которые не подвергаются испытаниям, должны быть в закрытом положении.
Прикладывают горизонтальную нагрузку по
приложению А к переднему краю выдвижных элементов поочередно, таким образом, чтобы открыть их на 40 мм. Затем их закрывают для испытания следующего. Усилие для открытия должно быть приложено к центру ручки и т.д.
Для изделий с одной дверцей испытание должно проводиться с максимально открытой дверцей, но не более 90°.
Если в изделии двухстворчатая дверь, то сначала открывают одну на 90° и испытывают изделие, затем при открытой первой открывают вторую и снова испытывают.
При открытой дверце необходимо открыть все выдвижные элементы и откидные дверцы. Если имеются ограничители, то все выдвижные элементы и откидные дверцы должны быть выдвинуты на 2/3. Откидные дверки устанавливают в горизонтальном или наиболее близком к нему положении. В таком положении регистрируется любая возможность опрокидывания незагруженного изделия.
Запорные механизмы должны быть разблокированы.
| |
a) Вертикальная и горизонтальная нагрузки на расстоянии 50 мм от переднего края | b) Вертикальная и горизонтальная нагрузки на расстоянии 50 мм от заднего края |
a - нагрузка
Рисунок 9 - Примеры изделий высотой от 1000 мм
или регулируемые до этой высоты
| |
a) Горизонтальная нагрузка, направленная наружу для открытия двери | b) Горизонтальная нагрузка, направленная наружу для открытия верхнего ящика |
a - нагрузка
Рисунок 10 - Примеры незагруженных изделий с открытыми
подвижными элементами (двери, ящики и откидные дверки)
Регистрируют результаты испытаний изделия. Если при испытании изделие не опрокидывается, переходят к следующему этапу испытаний.
В случае когда точка опрокидывания не определена, может возникнуть необходимость в проведении повторного испытания с приложением нагрузки на дополнительные точки поверхности изделия.
9.5.4 Открытые и разблокированные двери, выдвижные элементы и откидные дверцы
9.5.4.1 Открытые незагруженные изделия с подвижными элементами (двери, выдвижные элементы и откидные дверки)
Все двери должны быть открыты максимально, но не более 90°, и все выдвижные элементы должны быть полностью открыты. Если имеются ограничители, все выдвижные элементы должны быть выдвинуты на 2/3. Все откидные дверцы должны быть полностью открыты.
Запорные механизмы должны быть переведены в положение "открыто", блокирующие устройства должны функционировать.
Результаты испытания изделия регистрируют.
В случае когда точка опрокидывания не определена, может возникнуть необходимость в проведении повторного испытания с приложением нагрузки на дополнительные точки поверхности изделия.
Рисунок 11 - Пример незагруженного изделия с открытыми
подвижными элементами и откидными дверками
9.5.4.2 Незагруженные изделия для хранения
Дверцы должны быть открыты максимально, но не более 90°. Выдвижные элементы должны быть полностью открыты. Если имеются упоры, то выдвижные элементы должны быть выдвинуты на 2/3. Откидные дверцы должны быть полностью открыты.
Выдвижные элементы и откидные дверцы должны быть открыты по всей ширине изделия. Выдвижные элементы, расположенные один над другим, должны открываться поочередно, чтобы создать наихудшую конфигурацию, открытых по ширине изделия элементов, которая может вызвать опрокидывание.
Прикладывают вертикальную нагрузку по
приложению А к любой точке, которая может вызвать опрокидывание, по центральной линии переднего края выдвижного элемента или на расстоянии 50 мм от внешнего края дверцы или откидной дверцы.
Регистрируют результаты испытаний изделия. Если при испытании изделие не опрокидывается, переходят к следующему этапу испытаний.
В случае когда точка опрокидывания не определена, может возникнуть необходимость в проведении повторного испытания с приложением нагрузки на дополнительные точки поверхности изделия.
| |
a) Вертикальная нагрузка на расстоянии 50 мм от переднего края открытой двери | b) Вертикальная нагрузка, действующая на осевую линию переднего края выдвижного элемента |
a - нагрузка
Рисунок 12 - Пример незагруженных изделий для хранения
9.5.4.3 Загруженные изделия для хранения
Все элементы изделия должны быть равномерно нагружены в соответствии с
таблицей 5 или согласно информации производителя о максимальной расчетной нагрузке.
Дверцы должны быть открыты максимально, но не более 90°, и выдвижные элементы должны быть полностью открыты. Если имеются упоры, то выдвижные элементы должны быть выдвинуты на 2/3. Откидные дверцы должны быть полностью открыты.
Выдвижные элементы и откидные дверцы должны быть открыты по всей ширине изделия. Выдвижные элементы, расположенные один над другим, открывают поочередно, по всей ширине изделия, чтобы создать конфигурацию, которая может вызвать опрокидывание.
Прикладывают вертикальную силу по
приложению А к любой точке, которое может вызвать опрокидывание, по центральной линии переднего края выдвижного элемента или в 50 мм от переднего края двери или откидной дверки.
Регистрируют результаты испытаний изделия. Если при испытании изделие не опрокидывается, переходят к следующему этапу испытаний.
В случае когда точка опрокидывания не определена, может возникнуть необходимость в проведении повторного испытания с приложением нагрузки на дополнительные точки поверхности изделия.
| |
a) Вертикальная нагрузка на расстоянии 50 мм от переднего края открытой дверцы | b) Вертикальная нагрузка, действующая на осевую линию переднего края выдвижного элемента |
a - нагрузка
Рисунок 13 - Примеры загруженных изделий для хранения
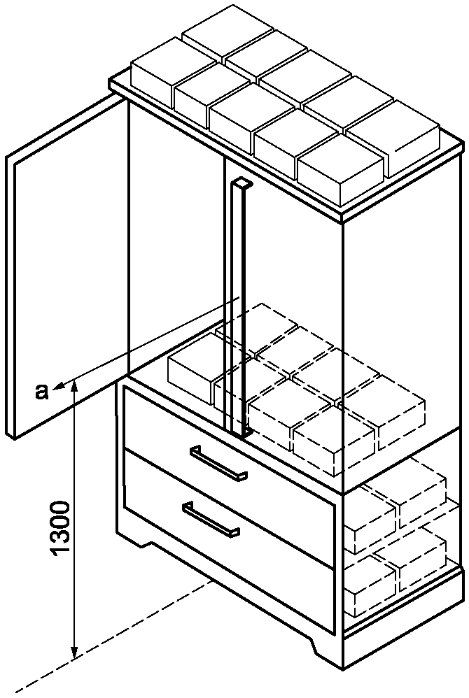
9.5.5 Загруженные эксплуатационной нагрузкой изделия при закрытых дверях, выдвижных элементах и откидных дверках
Все элементы изделия должны быть равномерно нагружены в соответствии с
таблицей 5.
Если в изделии мебели две и более двери имеют запорные механизмы, испытание проводят при одной запертой дверце, при этом остальные дверцы должны быть полностью открыты, но не более чем на 90°.
Если двери и откидные дверцы обеспечивают доступ к другим выдвижным элементам или откидным дверцам, то они должны быть открыты при проведении испытания.
Прикладывают горизонтальную нагрузку по
приложению А поочередно ко всем закрытым дверцам, выдвижным элементам и откидным дверкам. Усилие должно прилагаться к центру ручки и т.д. в направлении открытия.
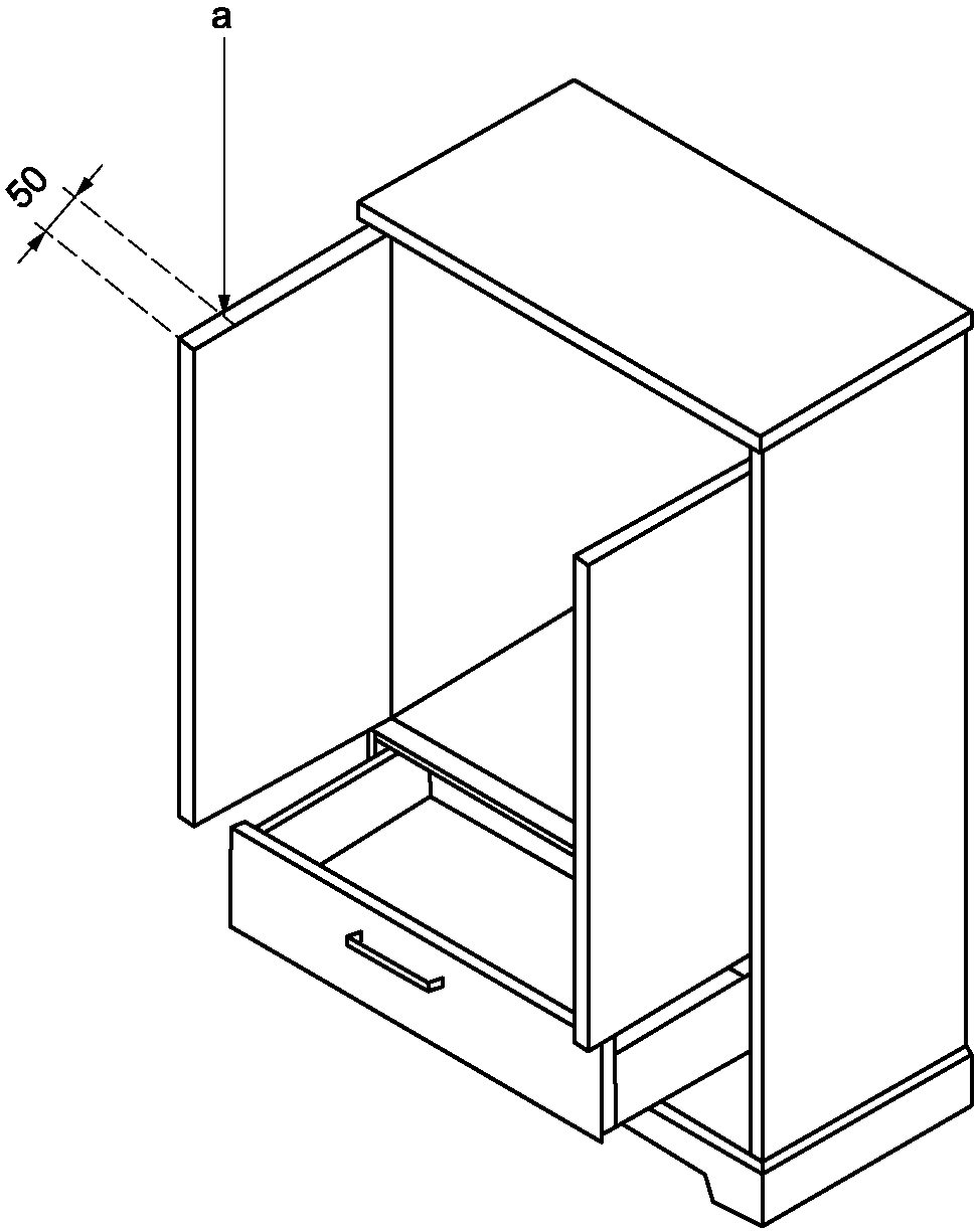
В случае отсутствия ручки или если длина ручки покрывает всю ширину или высоту дверцы, прилагают нагрузку в наружном или верхнем положении, но не более 1300 мм над полом.
Регистрируют результаты испытаний изделия, т.к. пункт является последним в цепочке последовательных испытаний на устойчивость.
В случае когда точка опрокидывания не определена, может возникнуть необходимость в проведении повторного испытания с приложением нагрузки на дополнительные точки поверхности изделия.
| |
a) Горизонтальная нагрузка, прилагаемая к ручкам закрытых дверок | b) Горизонтальная нагрузка, прилагаемая к ручкам закрытых дверок на высоте 1300 мм от пола |
a - нагрузка
Рисунок 14 - Пример загруженных изделий
для хранения с закрытыми и закрытыми дверцами,
выдвижными элементами и откидными дверцами
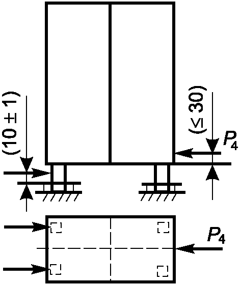
9.6 Динамическое испытание устойчивости для изделий с опорами качения
Все элементы изделия должны быть равномерно нагружены в соответствии с
таблицей 5 с использованием песчаных грузов, стеклянных шариков в мешке или прямоугольных параллелепипедов. Все дверцы, выдвижные элементы и откидные дверцы должны быть закрыты. Запорные механизмы должны быть разблокированы.
Изделие размещают на полу
(9.4.1) и закрепляют с помощью упора
(9.4.2). Если изделие имеет ручку для перемещения, то его располагают таким образом, чтобы ручка была параллельна ограничителю и максимально удалена от него.
Если изделие не имеет ручки и дверки или выдвижные элементы, то изделие располагают таким образом, чтобы передняя часть дверей или выдвижных элементов была перпендикулярна упору.
Изделие должно двигаться со скоростью 0,5 м/с в направлении упора. Допускается вручную приводить в движение объект испытаний. Средства перемещения изделия должны быть удалены до упора на расстоянии (50 +/- 5) мм, обеспечивая их соприкосновение. Результаты испытания изделия регистрируют.
v - скорость
Рисунок 15 - Пример изделия с опорами качения
для испытания динамической устойчивости
9.7 Испытание на прочность настенных креплений
Данные испытания применимы к настенным креплениям незагруженных изделий для хранения.
Прилагают горизонтальную нагрузку по
приложению А в направлении, наиболее вероятном для опрокидывания изделия. Усилие должно сохраняться не менее 10 с, но не более 15 с.
Результаты испытания изделия регистрируют.
a - нагрузка
Рисунок 16 - Пример испытания на прочность
настенных креплений
Протокол испытаний должен содержать следующую информацию:
а) ссылку на настоящий стандарт;
б) название и адрес лаборатории;
в) название и адрес лаборатории, а также место проведения испытаний, если оно отличается от адреса лаборатории;
г) уникальную идентификацию отчета, включая идентификацию каждой страницы и идентификацию конца протокола испытаний;
д) имя и адрес клиента;
е) описание и идентификацию испытуемого изделия, например, тип продукта и "название", фотографии;
ж) состояние испытуемого изделия при получении, например, готовый к сборке, смонтированный, дефекты;
и) дату получения испытуемого образца;
к) дату проведения испытания;
л) идентификацию методов испытания, нагрузки;
м) имена, должности и подписи лиц, заверяющих протокол испытаний;
н) заявление о том, что результаты относятся только к испытанным изделиям;
п) дату выпуска отчета.
(справочное)
РУКОВОДСТВО ПО ВЫБОРУ ТИПА И ВЕЛИЧИНЫ НАГРУЗКИ
ПРИ ИСПЫТАНИЯХ НА УСТОЙЧИВОСТЬ ИЗДЕЛИЙ ДЛЯ ХРАНЕНИЯ
А.1 Общие положения
Настоящее приложение содержит руководство по выбору типа и диапазонов величин нагрузок при испытаниях на устойчивость изделий для хранения.
Настоящим приложением допускается руководствоваться при отсутствии национальных требований и при разработке стандартов.
Предлагаемые типы и величины нагрузок могут рассматриваться в качестве ориентира для потенциальных пользователей настоящим стандартом и могут позволить сравнить свои результаты испытаний с другими результатами. Например, один пользователь может применять нагрузку 250 Н, а другой 100 Н согласно эксплуатационной документации.
Предлагаемые типы и величины нагрузок должны быть достаточными для охвата всего диапазона требований к выпускаемой продукции. Величины нагрузок зависят от целевого назначения изделия, например, нагрузки и циклы, прикладываемые к выдвижному ящику шкафа для общего использования в офисе, могут отличаться от нагрузок и циклов, подходящих для выдвижного ящика шкафа для использования в больнице, банке или домашнем офисе.
Предлагаемые величины нагрузок оставляют пользователям возможность проводить испытания так, как они считают предпочтительным.
А.2 Требования
Настоящий стандарт применяется, если условия эксплуатации мебели соответствуют целевому назначению. Стандарт не распространяется на мебель с особыми требованиями эксплуатации.
Требования должны быть установлены в спецификации разработчика. При этом:
- требования к устойчивости применяются только к изделиям, высота которых до верхней части изделия составляет 600 мм или более над уровнем пола, а сила превышает 60 Нм.
Сила определяется путем умножения общей массы (кг) изделия (или части) на ускорение свободного падения (м/с
2) и высоту (м) над уровнем пола. Общая масса - масса загруженного изделия согласно
таблице 5.
Примечание - Ускорение свободного падения может рассматриваться как 10 м/с2.
Настоящее приложение содержит таблицы с предлагаемыми величинами сил и нагрузок для различных областей применения:
-
таблица А.1 определяет базовый уровень устойчивости изделий для хранения по всему диапазону требований к выпускаемой продукции;
-
таблица А.2 определяет уровень устойчивости изделий для хранения, предназначенных для хранения одежды, состоящих из одного ящика и (или) дверей;
-
таблица А.3 определяет уровень устойчивости изделий для хранения, предназначенных для использования в качестве полки или аналога.
Изделие должно загружаться согласно назначению мебели и нагрузками, рассчитанными в
таблице 5. Если изделие или компонент маркированы производителем для максимальной нагрузки, то они должны загружаться с учетом указанной максимальной нагрузки, умноженной на 0,5, но не превышающей нагрузку, рассчитанную с использованием
таблицы 5.
Изделие не должно опрокидываться при испытании в соответствии с требованиями, приведенными в таблицах А.1,
А.2 или
А.3. Если изделие для хранения опрокидывается при открытых подвижных элементах, требования к устойчивости не будут выполнены, если не предотвратить опрокидывание.
Таблица А.1
Типы и величины нагрузок при испытании на устойчивость
изделий для хранения
N испытания | Испытание | Подпункт | Тип нагрузки | Величины нагрузки, Н |
1 | Незагруженные изделия с закрытыми подвижными элементами (двери, выдвижные элементы и откидные дверки), высотой до 1000 мм или регулируемые до этой высоты | | Вертикальная нагрузка | 750 |
2 | Незагруженные изделия с закрытыми подвижными элементами (двери, выдвижные элементы и откидные дверки), высотой от 1000 мм или регулируемые до этой высоты | | Вертикальная и горизонтальная нагрузки | 50 |
3 | Незагруженные изделия с подвижными элементами (двери, выдвижные элементы и откидные дверки) | | Не применимо | Не применимо |
4 | Открытые незагруженные изделия с подвижными элементами (двери, выдвижные элементы и откидные дверки) | | Не применимо | Не применимо |
5 | Незагруженные изделия для хранения | | Вертикальная нагрузка <a>< 1000 мм от пола >= 1000 мм и < 1600 мм от пола >= 1600 мм от пола | 100 150 100 |
6 | Загруженные изделия для хранения | | Вертикальная нагрузка <a>< 1000 мм от пола >= 1000 мм и < 1600 мм от пола >= 1600 мм от пола | 20% от общей массы изделия, но не более 200. 20% от общей массы изделия, но не более 300. 20% от общей массы изделия, но не более 200 |
7 | Загруженные эксплуатационной нагрузкой изделия при закрытых дверях, выдвижных элементах и откидных дверках | | Горизонтальная нагрузка | 100 |
8 | Динамическое испытание устойчивости для изделий с опорами качения | | Не применимо | Не применимо |
9 | Испытание на прочность настенных креплений | | Горизонтальная нагрузка | 300 |
<a> Определяется как высота от пола до места приложения нагрузки. |
Таблица А.2
Типы и величины нагрузок при испытании на устойчивость
изделий для хранения, предназначенных для хранения одежды,
состоящих из одного ящика и/или двери
N испытания | Испытание | Подпункт | Тип нагрузки | Величины нагрузки, Н |
1 | Незагруженные изделия с закрытыми подвижными элементами (двери, выдвижные элементы и откидные дверки), высотой до 1000 мм или регулируемые до этой высоты | | Вертикальная нагрузка | 750 |
2 | Незагруженные изделия с закрытыми подвижными элементами (двери, выдвижные элементы и откидные дверки), высотой от 1000 мм или регулируемые до этой высоты | | Вертикальная и горизонтальная нагрузки | 50 |
3 | Незагруженные изделия с подвижными элементами (двери, выдвижные элементы и откидные дверки) | | Не применимо | Не применимо |
4 | Открытые незагруженные изделия с подвижными элементами (двери, выдвижные элементы и откидные дверки) | | Не применимо | Не применимо |
5 | Незагруженные изделия для хранения | | Вертикальная нагрузка <a>< 1000 мм от пола >= 1000 мм и < 1600 мм от пола >= 1600 мм от пола | 200 250 200 |
6 | Загруженные изделия для хранения | | Вертикальная нагрузка <a>< 1000 мм от пола >= 1000 мм и < 1600 мм от пола >= 1600 мм от пола | 20% от общей массы изделия, но не более 200. 20% от общей массы изделия, но не более 300. 20% от общей массы изделия, но не более 200 |
7 | Загруженные эксплуатационной нагрузкой изделия при закрытых дверях, выдвижных элементах и откидных дверках | | Горизонтальная нагрузка | 100 |
8 | Динамическое испытание устойчивости для изделий с опорами качения | | Не применимо | Не применимо |
9 | Испытание на прочность настенных креплений | | Горизонтальная нагрузка | 300 |
<a> Определяется как высота от пола до места приложения нагрузки. |
Таблица А.3
Типы и величины нагрузок при испытании
на устойчивость изделий для хранения, предназначенных
для многократного использования в качестве полки
N испытания | Испытание | Подпункт | Тип нагрузки | Величины нагрузки, Н |
1 | Незагруженные изделия с закрытыми подвижными элементами (двери, выдвижные элементы и откидные дверки), высотой до 1000 мм или регулируемые до этой высоты | | Вертикальная сила | 750 |
2 | Незагруженные изделия с закрытыми подвижными элементами (двери, выдвижные элементы и откидные дверки), высотой от 1000 мм или регулируемые до этой высоты | | Горизонтальная нагрузка | 50 |
3 | Незагруженные изделия с подвижными элементами (двери, выдвижные элементы и откидные дверки) | | Не применимо | Не применимо |
4 | Открытые незагруженные изделия с подвижными элементами (двери, выдвижные элементы и откидные дверки) | | Не применимо | Не применимо |
5 | Незагруженные изделия для хранения | | Вертикальная нагрузка <a>< 1000 мм от пола >= 1000 мм и < 1600 мм от пола >= 1600 мм от пола | 100 150 100 |
6 | Загруженные изделия для хранения | | Вертикальная нагрузка <a>< 1000 мм от пола >= 1000 мм и < 1600 мм от пола >= 1600 мм от пола | 30% от общей массы изделия, но не более 200. 30% от общей массы изделия, но не более 300. 30% от общей массы изделия, но не более 200 |
7 | Загруженные эксплуатационной нагрузкой изделия при закрытых дверях, выдвижных элементах и откидных дверках | | Горизонтальная нагрузка | 100 |
8 | Динамическое испытание устойчивости для изделий с опорами качения | | Не применимо | Не применимо |
9 | Испытание на прочность настенных креплений | | Горизонтальная нагрузка | 300 |
<a> Определяется как высота от пола до места приложения нагрузки. |
(справочное)
ЦЕЛЬ И ПРИМЕНИМОСТЬ МЕТОДОВ ИСПЫТАНИЙ
Б.1 Цель
Целью настоящего приложения является разъяснение по применению методов испытаний для пользователей настоящего стандарта.
Б.2 Обоснование выбранных испытаний
Настоящее приложение соответствует структуре стандарта. Ссылка на соответствующие подпункты отмечена в стандарте.
Б.3 Незагруженные изделия с закрытыми подвижными элементами (двери, выдвижные элементы и откидные дверки)
Б.3.1 Изделия высотой до 1000 мм или регулируемые до этой высоты (9.5.2.1)
Целью испытания является оценка устойчивости незагруженного изделия, высотой до 1000 мм или регулируемые до этой высоты, к опрокидыванию и способности выдерживать вертикальную нагрузку, прилагаемую на верх изделия без опрокидывания (например, когда человек сидит на краю шкафа).
Б.3.2 Изделия высотой от 1000 мм или регулируемые до этой высоты (9.5.2.2)
Целью испытания является оценка устойчивости незагруженного эксплуатационной нагрузкой изделия, высотой от 1000 мм и более, к опрокидыванию и способности выдерживать вертикальную нагрузку, прилагаемую на верх изделия в сочетании с горизонтальной без опрокидывания (например, когда человек опирается на край шкафа).
Б.4 Незагруженные изделия с подвижными элементами (двери, выдвижные элементы и откидные дверки) (9.5.3)
Целью испытания является оценка устойчивости незагруженного изделия при горизонтальной нагрузке, соответствующем силе открывания двери, выдвижного элемента или откидной дверки (при наименьшей устойчивости)
Б.5 Открытые и разблокированные двери, выдвижные элементы и откидные дверцы
Б.5.1 Открытые незагруженные изделия с подвижными элементами (двери, выдвижные элементы и откидные дверки) (9.5.4.1)
Целью испытания является оценка устойчивости незагруженного изделия к опрокидыванию при открытых дверях, выдвинутых элементах и открытых откидных дверках.
Б.5.2 Незагруженные изделия для хранения (9.5.4.2)
Целью испытания является оценка устойчивости незагруженного изделия выдерживать вертикальную нагрузку на внешнем крае открытой двери, выдвижного элемента или откидной дверки, при открытых выдвижных элементах (например, человек, который опирается на дверь, открывая другие выдвижные элементы).
Б.5.3 Загруженные изделия для хранения (9.5.4.3)
Целью испытания является оценка устойчивости загруженного изделия выдерживать вертикальную нагрузку на внешнем крае открытой двери, выдвижного элемента или откидной дверки, при открытых выдвижных элементах (например, человек, который опирается на дверь, открывая другие выдвижные элементы).
Б.6 Загруженные эксплуатационной нагрузкой изделия при закрытых дверях, выдвижных элементах и откидных дверках (9.5.5)
Целью испытания является оценка устойчивости загруженного изделия выдерживать горизонтальную нагрузку, приложенную к ручкам или поручням, без опрокидывания (например, человек пытается открыть запертый шкаф).
Б.7 Динамическое испытание устойчивости для изделий с опорами качения (9.6)
Целью испытания является оценка устойчивости загруженного изделия с опорами качения выдерживать динамическую силу при столкновении с препятствием без опрокидывания (например, при перемещении шкафа на опорах качения и столкновении с порогом).
Б.8 Испытание на прочность настенных креплений (9.7)
Цель испытания - оценить, насколько установленные предохранительные устройства, предназначенные для предотвращения опрокидывания, могут выдерживать горизонтальную нагрузку.
| ISO 7170:2005 | Furniture. Storage units. Determination of strength and durability (Мебель. Единицы хранения. Определение прочности и долговечности) |
УДК 684.4.001.4:006.354 | |
Ключевые слова: мебель, испытания, изделие, выдвижные элементы, откидные дверки, механизм, нагрузка, оборудование, устойчивость, прочность, условия |