Главная // Актуальные документы // Актуальные документы (обновление с 29.09.2025 по 01.11.2025) // Основные положенияСПРАВКА
Источник публикации
М.: Федеральный центр гигиены и эпидемиологии Роспотребнадзора, 2014
Примечание к документу
Документ
введен в действие с 27.12.2013.
Название документа
"Р 1.2.3156-13. Руководство. 1.2. Гигиена, токсикология, санитария. Оценка токсичности и опасности химических веществ и их смесей для здоровья человека"
(утв. Главным государственным санитарным врачом РФ 27.12.2013)
"Р 1.2.3156-13. Руководство. 1.2. Гигиена, токсикология, санитария. Оценка токсичности и опасности химических веществ и их смесей для здоровья человека"
(утв. Главным государственным санитарным врачом РФ 27.12.2013)
Вр.и.о. руководителя
Федеральной службы по надзору
в сфере защиты прав потребителей
и благополучия человека, Главного
государственного санитарного врача
Российской Федерации
А.Ю.ПОПОВА
27 декабря 2013 года
1.2. ГИГИЕНА, ТОКСИКОЛОГИЯ, САНИТАРИЯ
ОЦЕНКА ТОКСИЧНОСТИ И ОПАСНОСТИ ХИМИЧЕСКИХ ВЕЩЕСТВ
И ИХ СМЕСЕЙ ДЛЯ ЗДОРОВЬЯ ЧЕЛОВЕКА
РУКОВОДСТВО
Р 1.2.3156-13
1. Разработано Федеральной службой по надзору в сфере защиты прав потребителей и благополучия человека (А.Ю. Попова, И.В. Брагина, В.Ю. Смоленский, Т.Ю. Завистяева, А.С. Гуськов, С.В. Сенников, С.М. Черненко); Федеральным бюджетным учреждением здравоохранения "Российский регистр потенциально опасных химических и биологических веществ" Роспотребнадзора (Х.Х. Хамидулина, А.Р. Егиазарян, Д.Н. Рабикова, И.В. Замкова, Е.В. Дорофеева, Ю.О. Давыдова, О.С. Кузьмина); Федеральным бюджетным учреждением науки "Федеральный научный центр гигиены им. Ф.Ф. Эрисмана" Роспотребнадзора (В.Н. Ракитский, Т.А. Синицкая, Г.И. Артюшкина, Е.Г. Чхвиркия); ГБОУ ДПО "Российская медицинская академия последипломного образования" Минздрава России (И.З. Мустафина, А.Л. Мишина, Т.А. Лукичева, Н.А. Солдатенкова, О.А. Гуськова, М.С. Орлов, Л.М. Симкалова, О.В. Митрохин, О.И. Аксенова, Н.В. Шестопалов, Л.С. Бойко); Федеральным государственным бюджетным учреждением "Научно-исследовательский институт экологии человека и гигиены окружающей среды им. А.Н. Сысина" Минздрава России (Ю.А. Рахманин, О.О. Синицына, З.И. Жолдакова, Р.И. Михайлова, В.С. Журков, Л.П. Сычева, Н.Н. Беляева, М.А. Пинигин, Ф.И. Ингель, Л.П. Хрипач, Н.А. Егорова, В.Н. Федосеева, О.Н. Савостикова, А.В. Алексеева, Е.А. Тульская, В.В. Юрченко, Л.В. Ахальцева, Л.А. Федотова, Н.И. Беляева, А.К. Маковецкая, Р.А. Мамонов, А.В. Цуканов); Федеральным бюджетным учреждением здравоохранения "Федеральный центр гигиены и эпидемиологии" Роспотребнадзора (А.И. Верещагин, А.А. Гарбузова); Федеральным бюджетным учреждением науки "Федеральный научный центр медико-профилактических технологий управления рисками здоровью населения" Роспотребнадзора (Н.В. Зайцева, М.А. Землянова, О.В. Долгих).
2. Рекомендовано к утверждению Комиссией по государственному санитарно-эпидемиологическому нормированию при Федеральной службе по надзору в сфере защиты прав потребителей и благополучия человека (протокол от 26 декабря 2013 г. N 4).
3. Утверждено вр.и.о. Главного государственного санитарного врача Российской Федерации от 27 декабря 2013 г.
4. Введено в действие с момента утверждения.
I. Область применения и общие положения
1.1. Настоящее руководство применяется для выполнения исследований по оценке токсичности и опасности химических веществ и их смесей для здоровья человека в соответствии с международными требованиями Организации экономического сотрудничества и развития (далее - ОЭСР) с целью обеспечения качества испытаний, отвечающих требованиям надлежащей лабораторной практики, осуществления классификации их опасности и маркировки с использованием Согласованной на глобальном уровне системы классификации и маркировки химической продукции (далее - СГС), разработки эффективных профилактических мероприятий по минимизации риска воздействия химического фактора.
1.2. Настоящий документ устанавливает требования к проведению токсикологических исследований и классификации опасности химических веществ и их смесей для здоровья человека.
1.3. Требования, изложенные в настоящем Руководстве, применяются при осуществлении государственной регистрации впервые внедряемых в производство и ранее не использовавшихся химических веществ и изготовляемых на их основе препаратов, потенциально опасных для человека; отдельных видов продукции, представляющих потенциальную опасность для человека; отдельных видов продукции, впервые ввозимых на территорию Российской Федерации, а также при осуществлении систематического исследования присутствующих на рынке химических веществ, их смесей и продукции на их основе.
1.4. Руководство разработано с целью обеспечения единой, научно обоснованной системы токсиколого-гигиенической оценки безопасности химических веществ и их смесей для здоровья человека, гармонизированной с международными правилами и нормами.
1.5. В Руководстве представлены методы испытаний по оценке токсичности химических веществ и их смесей, гармонизированные с основополагающими документами ОЭСР, и классификация опасности химической продукции в соответствии с СГС с целью получения данных о свойствах испытуемых объектов и/или об их безопасности для здоровья человека и среды его обитания.
1.6. Руководство включает в себя основные требования к планированию, организации проведения неклинических исследований, составлению протоколов и оформлению отчетов исследований, к организации работы экспериментально-биологических клиник (вивариев) в соответствии с основными принципами надлежащей лабораторной практики (далее - НЛП), что позволяет обеспечивать достоверность результатов исследований, воспроизводимость и взаимное признание результатов исследований, проведенных Российской Федерации, государствами - членами ОЭСР.
1.7. Руководство предназначено для специалистов испытательных центров (лабораторий) Федеральной службы по надзору в сфере защиты прав потребителей и благополучия человека, Министерства здравоохранения Российской Федерации, Федерального медико-биологического агентства и научно-исследовательских организаций других ведомств, аккредитованных в установленном порядке, деятельность которых связана с проведением неклинических лабораторных исследований химических веществ и их смесей в соответствии с принципами надлежащей лабораторной практики, их оценкой и классификацией опасности.
В связи со вступлением Российской Федерации во Всемирную торговую организацию (ВТО) и подготовкой к присоединению к ОЭСР одним из основных требований является гармонизация подходов по оценке токсичности и опасности химической продукции в соответствии с требованиями ОЭСР, и гармонизация нормативных документов в соответствии с основополагающими документами ОЭСР, в т.ч. касающимися правил НЛП. Главным условием присоединения Российской Федерации к ОЭСР является взаимное признание результатов исследований, выполненных в лабораторных испытательных центрах, соответствующих принципам надлежащей лабораторной практики ОЭСР.
В рамках деятельности по присоединению России к ОЭСР большое внимание уделяется процедуре внедрения принципов НЛП в работу российских испытательных лабораторных центров, работающих в сфере неклинических лабораторных исследований объектов, содержащихся в пестицидах, косметической продукции, лекарственных средствах для медицинского применения, лекарственных средствах для ветеринарного применения, пищевых и кормовых добавках, а также в химических веществах промышленного назначения для обеспечения химической безопасности данной продукции для здоровья человека и окружающей среды. Сферы применения норм НЛП устанавливаются законодательно. В первую очередь это относится к разработке новых химических веществ, получению и использованию токсичных веществ и здравоохранению.
Первый вариант международных правил НЛП разрабатывался группой экспертов, созданной в 1978 г. в рамках Специальной программы по контролю химических продуктов OECD, которую возглавляли американские специалисты. Впервые текст Правил был опубликован в 1981 г. и пересмотрен в 1997 г. Одновременно с пересмотром текста правил НЛП государствам, не являющимся членами ОЭСР, была предоставлена возможность на добровольной основе участвовать в соответствующей Химической программе ОЭСР после внедрения принципов НЛП.
Надлежащая лабораторная практика - НЛП - GLP (Good Laboratory Practice) - (
ГОСТ Р-53434-2009 "Принципы надлежащей лабораторной практики") представляет собой систему норм, правил и указаний, направленных на обеспечение согласованности и достоверности результатов лабораторных исследований. Данные принципы применимы для всех испытаний в области медицинской и экологической безопасности, проводимых в целях регистрации и лицензирования химических веществ промышленного назначения, лекарственных средств, пестицидов, пищевых и кормовых добавок и др. Главная задача НЛП - обеспечить возможность полного прослеживания и восстановления всего хода исследования и гарантировать достоверность результатов лабораторных испытаний.
Принципы надлежащей лабораторной практики определены как система обеспечения качества, имеющая отношение к процессам организации, планирования, порядку проведения и контролю доклинических испытаний, связанных с определением безопасности исследуемого химического вещества.
В настоящее Руководство вошли методы оценки токсичности химических веществ и продукции на их основе, гармонизированные с основополагающими документами НЛП ОЭСР (OECD Test Guidelines).
Настоящее Руководство по оценке токсичности и опасности химических веществ и их смесей для здоровья человека разработано в соответствии с
Приказом Минздравсоцразвития РФ от 23.08.2010 N 708н "Об утверждении Правил лабораторной практики", Национальной
программой реализации принципов надлежащей лабораторной практики ОЭСР в деятельности российских испытательных центров (лабораторий), утвержденной Распоряжением Правительства РФ от 28.12.2012 N 2603-р, Ведомственной
программой Роспотребнадзора реализации принципов НЛП в области неклинических лабораторных исследований в деятельности испытательных центров от 8.05.2013 N 287 и национальными правилами и нормами, в основе которых лежат требования НЛП, и Руководства ОЭСР
(прилож. 1).
III. Основные термины, определения,
аббревиатуры и сокращения
3.1. Термины и определения (справочно)
Аберрации хроматидного типа - структурные хромосомные нарушения, выявляемые как разрыв одной хроматиды или разрыв и соединение между хроматидами.
Абсорбированная доза (in vivo) - количество вещества, найденное в моче, экскрементах, выдыхаемом воздухе (если измерено), крови, органах и мышцах после удаления вещества с кожи.
Абсорбируемая доза - количество вещества, оставшегося на или в коже после смывания.
Абсорбция (поглощение) - процесс поглощения вещества тканью или проникновение вещества сквозь нее. Термин "абсорбция" относится к основному веществу и всем его метаболитам. Не путать с "биодоступностью".
Агонист - вещество, которое связывается с определенным рецептором и вызывает клеточный ответ (например, активацию транскрипции), подражая действию эндогенного лиганда, связывающегося с тем же самым рецептором).
Агония - предсмертное состояние либо неспособность выжить, даже при лечении.
Администрация испытательного центра (test facility management) - лицо или лица, официально возглавляющие испытательный центр и ответственные за организацию и соблюдение в нем принципов надлежащей лабораторной практики.
Аналогичный тест - тест, который структурно и функционально похож на валидизированный и утвержденный эталонный тестовый метод; используется взаимозаменяемо с аналогичным методом испытаний.
Андрогенность - способность химического вещества действовать подобно естественному андрогенному гормону (например, тестостерону) в организме млекопитающих.
Андрогенный - способность вещества оказывать положительное влияние на рост андрогензависимых тканей.
Анеуген - любое соединение или процесс, который, взаимодействуя с компонентами цикла деления митотических и мейотических клеток, приводит к анеуплоидии в клетках или организмах.
Анеуплоидия - любое отклонение от нормального диплоидного (или гаплоидного) числа хромосом на одну или более хромосом, но не на полный набор хромосом (полиплоидия).
Антагонист - лиганд или вещество, которое связывается с определенным рецептором, и само по себе не вызывает биологический ответ после связывания с рецептором, однако при этом блокирует или затрудняет действие эндогенного лиганда.
Антиандрогенность - способность химического вещества подавлять активность естественного андрогенного гормона (например, тестостерона) в организме млекопитающих.
Антитироидная активность - способность химического вещества подавлять активность естественного гормона щитовидной железы (например, ТЗ) в организме млекопитающих.
Антиэстрогенная активность - способность вещества подавлять действие

оказываемое через рецепторы эстрогена.
Апоптоз - запрограммированная клеточная гибель, характеризующаяся серией этапов, ведущих к дезинтеграции клеток в мембранно-связанные частицы, которые затем элиминируются фагоцитозом или выбросом.
Аппаратное обеспечение (hardware) - физические компоненты компьютеризированной системы, включая как сам компьютер, так и его периферийные компоненты.
Архив (archive) - установленная зона или помещение (например, кабинет, комната, здание или компьютеризированная система) для безопасного хранения записей и данных.
Архивариус (archivist) - лицо, назначенное администрацией испытательного центра или испытательной площадки и несущее ответственность за управление архивом, т.е. операциями и процедурами по архивированию.
Асептические условия (aseptic conditions) - условия, существующие и предусмотренные для рабочей среды, при которых минимизируется возможность микробного и/или вирусного заражения.
Аспирация - проникновение жидкого или твердого химического продукта в трахею и нижние дыхательные пути непосредственно через ротовую или носовую полость либо косвенным путем - через рвоту.
Аудит исследования (study audit) - сравнение первичных данных и соответствующих записей с промежуточным и заключительным отчетами с тем, чтобы определить были ли первичные данные точно отражены в отчетах, было ли испытание проведено в соответствии с планом исследования и стандартными операционными процедурами, чтобы получить дополнительную информацию, не представленную в отчете, а также установить, были ли использованы в формировании данных нормативы, которые наносили бы ущерб их достоверности.
Аэрозоль - относительно стабильная во времени суспензия, газообразная среда, в которой рассредоточены мелкие твердые или жидкие частицы. Диаметр аэрозольных частиц составляет примерно от 0,001

до 100

Баланс масс - учет количества тестируемого вещества, входящего и выводимого из системы.
Безопасность (security) - защита компьютерного аппаратного и программного обеспечения от случайного или предумышленного доступа, использования, модификации, уничтожения или разглашения. Также безопасность относится к персоналу, данным, коммуникационным связям, физической и логической защите компьютерных инсталляций.
Бесконечные дозы - количество химического вещества, применяемого на эпидермис, которого должно хватить для полного покрытия поверхности эпидермиса.
Биоаккумуляция (накопление) - увеличение, со временем, количества вещества в тканях (обычно в жировых тканях, после повторного воздействия); если поступление вещества в организм превышает скорость его удаления, организм накапливает вещество и возможно достижение токсичных концентраций вещества.
Биодоступность - часть введенной дозы, которая попадает в систему циркуляции или становится доступной в месте проявляемой физиологической активности. Обычно, термин биодоступность относится к исходному (родительскому) веществу, но может относиться и к его метаболиту. При этом речь идет только об одной химической форме. Важно заметить, биодоступность и абсорбция - это не одно и то же. Различие между, например, оральной абсорбцией (то есть, наличием вещества в стенках кишечника и в портальной циркуляции) и биодоступностью (то есть наличием в системной циркуляции и в тканях) может являться результатом химической деградации вещества, метаболизируемого в стенке кишечника, или обратного транспорта вещества в просвет кишечника, или результатом предсистемного метаболизма в печени, наряду с другими факторами. Биодоступность токсичного компонента (исходного вещества или метаболита) является важнейшим параметром при оценке степени риска для человека (экстраполяции от высокой дозы к низкой, экстраполяции при различных путях поступления) и для перехода от внешней (используемой) NOAEL или BMD дозы к внутренней. Для оценки воздействия на печень при оральном поступлении достаточно знать оральную абсорбцию. Однако для любого удаленного воздействия, проявляющегося не в точке поступления вещества, именно биодоступность, а не абсорбция является более надежным параметром для использования при оценке степени риска.
Биотрансформация - (обычно ферментативное) химическое преобразование изучаемого вещества в другое химическое соединение в теле животного. Синоним - "метаболизм".
Бляшкообразующая единица (БОЕ) - мера количества живых бактериофагов.
Большие делеции - делеции ДНК величиной более, чем несколько килобаз (которые эффективно выявляются в методах Spi-селекции и с lacZ-плазмидой).
Бромдезоксиуридин (англ. Bromodeoxyuridine, сокр. BrdU) - синтетический нуклеозид, используемый для выявления пролиферирующих клеток в живых тканях. В процессе репликации ДНК встраивается во вновь синтезируемую нить.
Валидизация - процесс, использующий научно обоснованные методы, которыми проверяется надежность, применимость и соответствие конкретного теста, подхода, метода или процесса для решения определенной задачи. Надежность определяется как степень воспроизводимости результатов теста внутри и между различными лабораториями в течение длительного времени, с использованием одного и того же стандартизированного протокола. Применимость метода тестирования описывает отношения между рассматриваемым методом и получаемым результатом и показывает, является ли данный метод значимым и полезным для заявленного применения с учетом выявленных ограничений. Вкратце - это степень, до которой метод испытаний правильно измеряет или предсказывает интересующий (биологический) эффект.
Валидация компьютеризированной системы (validation of a computerised system) - подтверждение того, что компьютерная система подходит для предусмотренной области применения.
Валидизированный метод анализа - метод анализа, для которого была проведена валидизация, чтобы проверить применимость (в т.ч. точность) и надежность для конкретных целей. Важно отметить, что валидизированный метод может не обладать достаточной точностью и надежностью для предполагаемого применения.
Валидизация моделей - процесс оценки способности модели согласованно описывать имеющиеся токсикокинетические данные. Модели могут быть оценены путем статистического и визуального сравнения предсказанных значений в сравнении с экспериментальными данными по отношению к общей независимой переменной (например, времени). Степень и глубина оценки должна соотноситься с предполагаемым использованием модели.
Вещества для оценки технической компетентности - подмножество из референсных веществ, включенных в Стандарт эффективности, которые могут использоваться в лабораториях, чтобы продемонстрировать техническую компетентность владения стандартизированным методом тестирования. Критерии отбора этих веществ, как правило, включают в себя то, что они позволяют получить диапазон ответов, коммерчески доступны, и для них имеются высококачественные результаты тестирования.
Вещество - в контексте СГС подразумевает химические элементы и их соединения в их природном виде или полученные в результате любого технологического процесса, включая любые добавки, необходимые для сохранения стабильности продукта, и любые примеси, привносимые при производстве, но исключая любой растворитель, если его удаление не влияет на стабильность вещества или изменения его состава.
Вид опасности - характеризует опасность химического вещества и смеси, обусловленную физико-химическими свойствами, опасность для здоровья человека или окружающей среды, например воспламеняющееся твердое вещество, канцерогенное вещество, острая пероральная токсичность.
Владелец системы (system owner) - менеджер или назначенное должностное лицо отдела, которое в наибольшей степени взаимодействует с системой или является владельцем системы.
Владение методом - продемонстрированное умение надлежащего выполнения тестового метода прежде, чем тестировать неизвестные вещества.
Внеплановый синтез ДНК - репаративный синтез ДНК после эксцизии и удаления участка ДНК, содержащего область повреждения, индуцированного химическим соединением или физическим фактором.
Внутрилабораторная воспроизводимость - определение степени, в которой квалифицированный персонал одной и той же лаборатории может успешно воспроизвести результаты, используя конкретный протокол в разное время.
Время отбора проб (Sampling time) - окончание времени (до забоя), в течение которого вещество не вводится, и во время которого несформировавшиеся повреждения ДНК фиксируются в стабильные мутации.
Время фенотипической экспрессии - период времени, в течение которого неизмененные генные продукты заменяются новыми из мутантных клеток.
Выброс - наблюдение, значение которого заметно отличается от других значений в случайной выборке из генеральной совокупности.
Выведение - процессы, с помощью которых введенное вещество и/или его метаболиты удаляются из тела.
Выделение с желчью - выделение через желчные протоки.
Выживаемость - эффективность клонирования обработанных клеток на период окончания воздействия; выживаемость обычно приводят как отношение к выживаемости контрольной популяции клеток.
Выкидыш - преждевременное удаление из матки продукта оплодотворения - эмбриона или нежизнеспособного плода.
Выраженная токсичность - собирательный термин, характеризующий явные признаки токсичности, появляющиеся после введения изучаемого вещества. Они должны быть достаточными для оценки опасности и быть такими, чтобы в результате увеличения вводимой дозы можно было ожидать развития тяжелых признаков токсичности и, возможно, гибели животных.
Высокопроизводительный скрининг (high through-put screening) - использование миниатюризированной роботизированной технологии для скрининга крупных библиотек соединений на предмет выявления изолированного гена-мишени, белка, клетки, ткани и т.д., чтобы выбрать соединения на основе конкретных видов активности для проведения дальнейших разработок.
Газ - состояние вещества, отличное от жидкого и твердого состояний сравнительно низкой плотностью и вязкостью, относительно высокой степенью расширения и сжатия с изменениями давления и температуры, повышенной способностью к диффузии и спонтанной тенденцией к равномерному распределению в любой емкости.
Гарантия качества - административная процедура, в соответствии с которой проверка соответствия стандартам и требованиям данного метода, а также проверка регистрации полученных данных и аккуратности их переноса осуществляется лицами, независимыми от сотрудников данной лаборатории, выполняющих тестирование.
Ген-репортер - ген, мутантный продукт которого легко определяется.
Генная трансфекция (gene transfection) - ввод чужеродной суплементарной ДНК (одного гена или несколько генов) в клетку-хозяина.
Генотоксичность - общий термин, охватывающий все типы повреждений ДНК или хромосом, включающий разрывы, аддукты, перестройки, мутации, хромосомные аберрации и анеуплоидию. Не все типы генотоксических эффектов приводят к мутациям или стабильным хромосомным нарушениям.
Гуманная конечная точка - гуманную конечную точку в испытаниях над животными можно определить как наиболее ранний показатель, указывающий на сильную боль, дистресс, страдания или приближающуюся гибель.
Дата начала исследования (study initiation date) - дата подписания руководителем исследования плана исследования.
Дата начала эксперимента (experimental starting date) - дата получения первых экспериментальных данных.
Дата окончания исследования (study completion date) - дата подписания руководителем исследования заключительного отчета.
Дата окончания эксперимента (experimental completion date) - дата получения последних экспериментальных данных.
Дата рождения - послеродовой день 0.
Деления - мутация, при которой в геноме утрачивается один или более (последовательных) нуклеотидов.
Дермальное разъедание (коррозия) - необратимые повреждения кожи; а именно, некроз, наблюдаемые в эпидермисе и в дерме, возникшие вследствие однократного нанесения испытываемого вещества на 4 ч. Типичным коррозийным проявлением является образование язв, кровотечение, образование кровянистых струпьев; к моменту окончания исследования на 14-й день цвет кожи становится бледным, обработанный участок полностью лысеет и покрывается струпьями. Для оценки сомнительных повреждений ткани рекомендуется провести гистопатологическое исследование.
Джекпот - большое число мутантов, которые возникают вследствие клональной экспанции из единичной мутации.
Диапазон волн УФ-излучения - обозначения, рекомендуемые Международной комиссией по освещению (МКО) следующие - УФ A (315 - 400 нм), УФ B (280 - 315 нм) и УФ C (100 - 280 нм).
Доза - количество вводимого изучаемого вещества. Доза выражается как масса изучаемого вещества на единицу массы тела животного в день (например, мг/кг массы тела/день), или как постоянная концентрация в корме (ppm).
Доза в дермальном испытании - количество исследуемого вещества, нанесенного на кожу. Доза выражается или по массе (г, мг) или как масса исследуемого вещества на единицу массы тела экспериментального животного (например, мг/кг).
Доза-ответ - связь между дозой и степенью распространенности изучаемого эффекта в экспонируемой популяции.
Дозирование - основное понятие, включающее в себя дозу, частоту и продолжительность введения.
Дозировка - обобщающий термин, включающий уровень дозы, частоту и продолжительность ее введения.
Доля ложноотрицательных результатов - доля веществ, ошибочно принятых данным методом за неактивные, в то время как они являются активными. Представляет собой один из индикаторов качества метода тестирования.
Доминантные летальные мутации - летальные мутации, появляющиеся в половых клетках. Не вызывая дисфункцию гамет, доминантные летальные мутации являются летальными для оплодотворенных яйцеклеток или развивающихся эмбрионов.
ДОПОГ (ADR) - Европейское соглашение о международной перевозке опасных грузов автомобильным транспортом с внесенными в него поправками (European Agreement concerning the International Carriage of Dangerous Goods by Road).
Дополненная среда - состоит из исходной среды с добавлением сыворотки BD Nu-Serum и ITS+ premium mix.
Дымка (или туман) - жидкие аэрозоли, которые как правило, образуются путем конденсации пересыщенных паров или физической деформации жидкости - пульверизация, распыление или образование пузырьков. Густая дымка, затрудняющая видимость, называется туманом.
Жизнеспособность клетки - параметр, измеряющий общую активность популяций клеток (например, поглощение витального красителя нейтрального красного (Neutral red) клеточными лизосомами), которая в зависимости от конечной точки измерения и используемой схемы эксперимента коррелирует с общим числом и/или выживаемостью клеток.
Жидкость - вещество или смесь веществ, которые при 50 °C имеют давление паров не более 300 кПа (3 бар), то есть являются полностью газообразными при 20 °C и нормальном давлении 101,3 кПа и имеют температуру плавления или температуру начала плавления не выше 20 °C при нормальном давлении 101,3 кПа.
Замедленная смерть - определение, означающее, что животное не умирает или не агонизирует.
Замена пар оснований - тип мутаций, который вызывает в ДНК замену одного нуклеотидного основания на другое нуклеотидное основание.
Запатентованный метод - метод, проведение и распространение которого ограничено патентами, авторскими правами, торговыми марками и т.д.
Значимость - характеристика взаимосвязи данного теста и оцениваемого эффекта, значение и практическая значимость для конкретной цели. Это тот диапазон, в пределах которого данный тест корректно измеряет или прогнозирует интересующий исследователя биологический эффект. Понятие значимости включает также оценку точности (соответствия) данного метода в течение 48 ч, а умирает позже, в течение 14-дневного периода наблюдения.
Изменение роста - изменение массы или размеров органов потомства.
Изменения (аномалии) - структурные изменения в развитии, в том числе пороки и отклонения в развитии.
Иммунотоксичность - токсическое действие изучаемого вещества на иммунный статус потомства.
Иммуноферментный анализ (англ. The Enzyme-Linked Immunosorbent Assay, сокр. ELISA) - метод измерения содержания различных низко- и высокомолекулярных соединений, основанный на использовании специфических антител к анализируемым веществам, конъюгированных с ферментом (чаще всего пероксидазой). О количестве аналита в пробе судят по скорости соответствующей ферментативной реакции после добавления субстрата.
Имплантация - прикрепление бластоцисты к эпителиальной оболочке матки, в том числе проникновение через эпителий матки и встраивание в эндометрий.
Индекс пролиферации при блоке цитокинеза (CBPI) - доля клеток второго деления в обработанной популяции относительно контроля без обработки.
Индекс репликации (RI) - доля завершенных циклов клеточного деления в обработанных культурах по отношению к культурам без обработки в течение периода экспозиции и восстановления (см. формулу).
Индекс стимуляции (ИС) - величина, характеризующая потенциальную способность данного вещества вызывать кожную сенсибилизацию и измеряемая как соотношение скорости пролиферации лимфоцитов регионального лимфоузла в экспериментальных группах и скорости пролиферации в параллельной контрольной группе, которой вводился растворитель.
Индукционная экспозиция - экспериментальное воздействие на объект исследуемым веществом с расчетом вызвать сверхчувствительное состояние.
Индукционный период - период, составляющий минимум неделю после индуктивной экспозиции, во время которого может развиваться сверхчувствительное состояние.
Индукция/Индукция фермента - синтез фермента в ответ на внешний стимул или воздействие вещества-индуктора.
Инсерция - добавление одной или более пар нуклеотидов в ДНК-последовательность.
Инспектор (inspector) - лицо, которое проводит инспектирование испытательного центра и аудиты исследований от имени (национального) Органа Мониторинга GLP.
Инспекция испытательного центра (test facility inspection) - проверка процедур и нормативов на площадках испытательного центра для оценки степени соответствия Принципам GLP. В ходе инспекций проверяют структуру управления и операционные процедуры испытательного центра, проводят собеседование с ключевым техническим персоналом, оценивают качество и целостность данных, полученных испытательным центром, и подготавливают отчет.
Интерфазные клетки - клетки не в стадии митоза.
Испытание на предельное содержание - ингаляционное исследование, выполненное с использованием единственной группы животных, которые были подвергнуты испытанию предельной концентрацией.
Испытательная площадка (test site) - место проведения какого-либо этапа исследования.
Испытательный центр (test facility) - фактическое место проведения неклинических испытаний, где должны быть расположены коллектив специалистов, помещения и оборудование, необходимые для их выполнения. Если испытание выполняют на нескольких испытательных площадках, а не в одном месте, то под термином "испытательный центр" понимают центр, где должны быть расположены руководитель испытаний и все испытательные площадки, по отдельности и все вместе, рассматриваемые в качестве испытательных центров.
Исследование (non-clinical health and environmental safety study) - эксперимент или ряд экспериментов, согласно которым объект испытаний подвергают исследованию в лабораторных, тепличных или полевых условиях, чтобы получить данные о свойствах объекта и/или его безопасности и представить их на рассмотрение контролирующим органам.
Исследования in vitro (in vitro studies) - исследования, при которых в качестве тест-систем используют не многоклеточные целостные организмы, а микроорганизмы или ткани, изолированные от целостного организма, или их модели. Многие исследования in vitro согласно определению, приведенному в Принципах GLP, квалифицируют как краткосрочные. При проведении данных исследований следует использовать для консультации, по мере необходимости, нормативный документ, что позволит облегчить работу руководителя исследования и службы обеспечения качества.
Исследуемое вещество - материал, чьи абсорбционные характеристики должны быть изучены. В идеальном случае, вещество должно быть с радиоактивной меткой.
Исходная среда - основа для подготовки всех других реактивов. Состоит из смеси равных объемов DMEM (среда Игла в модификации Дульбеко) и F12 (смесь питательных веществ Хэма в 15 mM HEPES буфере) - без добавления фенолового красного и раствора бикарбоната натрия (бикарбонат натрия может добавляться в качестве буфера).
Исходный код (source code) - оригинальная компьютерная программа, выраженная в пригодной для чтения человеком форме (язык программирования), которую необходимо перевести в машиночитаемую форму, прежде чем она может быть выполнена компьютером.
Калибровка измерительных приборов - установление зависимости между показаниями средства измерительной техники (прибора) и размером измеряемой (входной) величины.
Канцероген - химическое вещество или смесь химических веществ, которые вызывают рак или приводят к повышению вероятности его возникновения.
Капсид - белковая оболочка, которая окружает вирусную частицу.
Кинетохор - белок-содержащая структура, которая расположена в центромере хромосомы, с которой во время клеточного деления связаны волокна веретена, позволяющие точно расходиться дочерним хромосомам к полюсам дочерних клеток.
Класс опасности - подразделение каждого вида опасности в зависимости от значений критериев опасности; например, вид опасности "острая токсичность" включает пять классов опасности, а воспламеняющиеся жидкости подразделяются на четыре класса опасности. Классы опасности позволяют сопоставить степень опасности в рамках одного и того же вида опасности и не должны использоваться для сопоставления опасности в общем плане (между различными видами опасности).
Кластоген - любое соединение или процесс, который вызывает структурные хромосомные аберрации в популяции клеток или организмов.
Клетка в состоянии репарации - количество ядерных гранул выше уровня предшествующих контрольных значений, полученных в лаборатории в ранее проведенных экспериментах.
Клеточная пролиферация - увеличение числа клеток в результате митотического деления клеток.
Клеточные линии (cell lines) - клетки, которые подверглись генетическому изменению для иммортализации и в результате способны размножаться в течение длительного периода in vitro, а также могут распространяться и подвергаться криоконсервации в качестве депозитов банка клеток. Непрерывная клеточная линия, как правило, более однородна, более стабильна и, следовательно, более репродуктивна, чем неоднородная популяция первичных клеток.
Клиренс - количественный показатель скорости, с которой вещество удаляется (выводится) из крови, плазмы или определенной ткани.
Клональная экспансия - образование множества клеток из единичной (мутантной) клетки.
Кожная сенсибилизация - иммунологический процесс, происходящий в случае, если восприимчивый человек подвергся местному воздействию химического аллергена, вызывающего кожную иммунную реакцию, которая может привести к развитию контактной сенсибилизации.
Кожный аллерген - вещество, которое вызывает аллергическую реакцию при контакте с кожей.
Колониеобразующие единицы (КОЕ) - мера количества выживших бактерий.
Компартмент - структурная или биохимическая часть (отдел) тела, ткани или клетки, которая является отдельной от остального.
Компьютеризированная система (computerised system) - группа компонентов аппаратных средств и связанного с ними программного обеспечения, разработанных и собранных для выполнения определенной функции или группы функций.
Конкатемер - множественные копии ДНК-последовательностей, собранные в тандем конец в конец.
Контроль изменений (change control) - постоянная оценка и документирование системных операций и изменений с целью определения необходимости процесса валидации после появления в компьютеризированной системе каких-либо изменений.
Контроль качества - меры, необходимые для гарантии получения достоверных данных.
Контроль носителя (VC) - контроль, в котором носитель, используемый для растворения тестируемых веществ, проверяется сам по себе, без добавления растворяемых в нем веществ.
Контроль растворителя (разбавителя, носителя) (control vehicle) - отдельная часть тест-системы, к которой добавлен растворитель, предназначенный для определенного тестируемого образца (объекта); контроль растворителя предоставляет свидетельство об отсутствии влияния выбранного растворителя на тест-систему в фактических условиях проведения анализа.
Конфлюэнтность - степень покрытия субстрата или пролиферации, наблюдаемая при культивировании субстрат-зависимых или неприкрепленных клеток.
Концентрация - количество вводимого тестируемого вещества на единицу массы или объема объекта окружающей среды (мг/м3, ppm).
Концентрация полумаксимального ингибирования (IC50) - концентрация тестируемого ингибирующего вещества (антагониста), при которой ингибирование составляет 50% от максимального.
Концептус - объединенное название производных оплодотворенной яйцеклетки на любой стадии развития от оплодотворения до рождения, в том числе внезародышевые оболочки, а также эмбрион или плод.
Коррозия (разъедание) кожи in vivo - развитие необратимого повреждения кожных покровов, а именно - видимых некрозов эпидермиса и дермы после накожной аппликации тестируемого вещества на срок до 4 ч. Проявлениями этого действия являются изъязвления, кровоточивость, образование кровяных струпьев, а к концу 14-дневного периода наблюдения - обесцвечивание кожи, очаги алопеции, рубцы. Для оценки спорных поражений используют гистопатологические методы.
Кос-сайт (cos site) - комплементарные одноцепочечные нуклеотидные последовательности длиной 12 п. н., присутствующие на обоих концах двухцепочечного генома бактериофага лямбда, которые в результате взаимодействия друг с другом обеспечивают образование кольцевой структуры и упаковку ДНК в фаговые частицы.
Коэффициент разделения - коэффициент распределения, мера различия растворимости вещества в двух растворителях.
Краткая характеристика опасности - указание, относящееся к данному виду или классу опасности, которые характеризуют опасности химического вещества и смеси, включая, в соответствующих случаях, степень опасности.
Краткосрочное исследование (short-term study) - исследование, проводимое широко распространенными стандартными методами в течение непродолжительного времени.
Криовиала (cryovial) - специальный сосуд для криоконсервации. Криовиала должна соответствовать особым условиям, таким как герметичность закрытия, даже при экстремально низких температурах и резких перепадах температур, возникших в ходе замораживания и оттаивания.
Криоконсервация (cryopreservation) - хранение клеток и тканей в замороженном состоянии в условиях, когда их жизнеспособность сохраняется.
Критерии соответствия (acceptance criteria) - документированные критерии, которым необходимо соответствовать для успешного завершения этапа испытания или выполнения требований поставки. Минимальные требования для оценки контролей и референсных стандартов. Для того чтобы эксперимент считался действительным, все критерии соответствия должны быть выполнены.
Критические фазы (critical phases) - индивидуальные, конкретные виды процедур или деятельности в рамках исследования, от корректного выполнения которых в критической степени зависят качество, достоверность и надежность исследования.
Кумулятивная токсичность - вредные эффекты повторных доз, возникающие в результате длительного воздействия или повышенной концентрации введенного вещества или его метаболитов на чувствительные ткани.
Лигирование (сшивание) - ковалентное связывание двух концов ДНК молекул, используя ДНК-лигазу.
Линейность/Линейная кинетика - с точки зрения кинетики, процесс называется линейным, когда все скорости переноса вещества между частями системы пропорциональны количеству вещества или его концентрации, т.е. первого порядка. Соответственно, клиренс и распределение, а также время полужизни являются постоянными величинами. Достигаемые концентрации пропорциональны скорости поступления вещества (экспозиции), и накопление вещества достаточно легко предсказуемо.
Линейный диапазон - участок стандартной кривой измерения количества гормона, на котором результаты измерения пропорциональны концентрации гормона, присутствующего в образце.
Ложноотрицательный результат - тестируемое вещество с помощью данного метода неправильно идентифицируется как дающее отрицательный эффект или неактивное, в то время как в действительности данное вещество вызывает положительный эффект или активно.
Ложноположительный результат - тестируемое вещество неправильно идентифицируется как дающее положительный эффект или активное, в то время как в действительности данное вещество дает отрицательный эффект или неактивно.
Летальная мутация - изменение в геноме, проявление которого вызывает гибель носителя.
МАИР (IARC "International Agency for the Research on Cancer") - международное агентство по изучению раковых заболеваний.
Маркировка - определенный набор письменных, напечатанных или графических элементов, содержащих информацию об опасности химического вещества и смеси, выбранных по причине их непосредственного отношения к данному сектору (секторам), который наносится или печатается на контейнере, содержащем опасный продукт, или на внешней стороне упаковки опасного продукта, или прикрепляется к ней.
Материальный баланс -
см. "баланс масс".
Материнская токсичность - неблагоприятное воздействие на беременных самок, происходящее как непосредственно (прямое воздействие), так и опосредованно (непрямое воздействие).
Межлабораторная воспроизводимость - мера, в которой различные квалифицированные лаборатории, используя один и тот же протокол и тестируя те же самые вещества, способны получать качественно и количественно сходные результаты. Межлабораторная воспроизводимость определяется в ходе превалидизации и валидизации методов и указывает на степень, в которой метод анализа может успешно осваиваться разными лабораториями.
Меры по предупреждению опасности - фаза и/или знак, описывающий рекомендуемые меры, которые необходимо принять для сведения к минимуму или предотвращения неблагоприятных последствий, обусловленных воздействием того или иного опасного продукта, его неправильным хранением или неправильным обращением с этим опасным продуктом.
Метаболизм - синоним для "биотрансформация".
Метаболиты - продукты метаболизма или метаболических процессов.
Метаданные (metadata) - данные, описывающие атрибуты других данных, чаще всего описывающих структуру, элементы данных, взаимосвязи и другие характеристики электронных записей.
Метод оценки обратных мутаций у бактерий (Salmonella typhimurium и Escherichia coli) - испытание, направленное на выявление мутации у штаммов бактерий, зависимых от аминокислот (гистидин или триптофан соответственно) к штаммам бактерий, не зависимых от наличия этих аминокислот в среде.
Механизм токсичности/механизм действия - должен отражать специфические биохимическим взаимодействия, посредством которых вещество оказывает свое токсическое действие.
Миграция (migration) - передача (перенос) электронных документов из одного формата, носителя или компьютеризированной системы в другую.
Микрорадиоавтография рецепторов - метод для исследования взаимодействия ксенобиотика с определенными участками ткани или клеточной популяцией, например, в экспериментах по связыванию с рецепторами или исследованиях по выявлению механизма действия, когда требуется одновременно и высокая чувствительность, и высокая разрешающая способность, которую другие методы, такие как авторадиография всего тела животного, не могут обеспечить.
Микрочипы (биочипы) (micro-arrays) - комплексы миниатюрных химических реакционных зон, расположенные в определенном порядке и нанесенные на твердую матрицу, например предметное стекло. ДНК-биочип представляет собой средство сравнения известных и неизвестных образцов ДНК на основе принципа комплементарности нуклеотидных оснований и позволяет автоматизировать процесс идентификации неизвестных образцов ДНК для использования в зондировании биологического образца с целью определения экспрессии гена, маркера модели гибридизации или нуклеотидной последовательности ДНК/РНК.
Микроядро - небольшое ядро, отделенное от основного ядра клетки, образующееся в телофазе митоза (мейоза) при отставании фрагментов хромосомы или целых хромосом.
Минимальная эффективная концентрация (LEC) - минимальная концентрация исследуемого вещества, при которой наблюдается достоверный ответ (при которой величина активации/индукции статистически значимо отличается от значений одновременно проведенного контроля носителя VC).
Митоген - химическое вещество, которое стимулирует клетки к началу клеточного деления, триггер митоза (клеточного деления).
Митоз - деление клеточного ядра, обычно подразделяющееся на профазу, прометафазу, метафазу, анафазу и телофазу.
Митотическая генная конверсия - унилатеральный перенос последовательности ДНК в гене, приводящий наиболее часто к нерецепрокным продуктам.
Митотический индекс - отношение числа клеток в метафазе к общему числу клеток в наблюдаемой клеточной популяции; показатель степени пролиферации в данной клеточной популяции.
Митотический кроссинговер - обмен участками ДНК между генами (или более обще между генами и их цетромерой), приводящий к появлению реципрокного продукта.
Моделирование систем (Токсикокинетика/Фармакокинетика, базирующаяся на физиологии) - абстрактная модель, использующая математический аппарат для описания поведения системы.
Мониторинг соответствия Принципам GLP (GLP Compliance Monitoring) - периодическое инспектирование испытательных центров и/или аудит исследований с целью подтверждения соблюдения Принципов GLP.
Морфология клеток - форма и внешний вид клеток, растущих в монослое в одной лунке планшета для культуры клеток. Умирающие клетки часто обнаруживают аномальную морфологию.
Мутаген - агент, который приводит к увеличению числа случаев мутации в популяции клеток и/или организмов.
Мутагенность - образование наследуемых изменений последовательности пар оснований в ДНК или структуры хромосом (хромосомные аберрации).
Мутагены типа замены пар оснований - вещества, которые вызывают замену одной или нескольких пар оснований в ДНК.
Мутагены типа сдвига рамки считывания генетического кода (фраймшифт мутагены) - вещества, которые вызывают вставку или делецию одной или нескольких пар оснований в молекуле ДНК.
Мутагены, вызывающие сдвиг рамки - соединения, которые приводят к вставке или делеции одной или более пар оснований ДНК, в результате чего меняется рамка считывания РНК.
Мутагены, индуцирующие мутации замены пар оснований - вещества, которые вызывают замены пар оснований в ДНК. В тесте оценки обратных мутаций эти изменения могут появляться в сайтах исходной мутации или во вторичных сайтах генома.
Мутагены, индуцирующие мутации сдвига рамки считывания (фраймшифт мутагены) - вещества, которые вызывают вставку или делецию одного или нескольких пар оснований в молекуле ДНК.
Мутагены, приводящие к замене пары основания - соединения, которые приводят к замене пар оснований в ДНК. В тесте оценки обратных мутаций это изменение может быть в сайте исходной мутации или в другом сайте бактериального генома.
Мутация - необратимое изменение количества или структуры генетического материала в клетке.
Максимальная переносимая доза (МПД) (Maximum Tolerable Dose (MTD)) - максимальное количество химического вещества, которое при поступлении в организм не приводит к смерти тестируемых животных (обозначается DL0).
Набор для проведения испытаний, тест-набор (test kit) - готовый к использованию набор, включающий все компоненты, необходимые для проведения анализа, испытания (тестирования) или исследования.
Надежность - мера того, насколько данный метод анализа может воспроизводимо использоваться внутри и между лабораториями в течение долгого времени и при использовании одного и того же протокола. Надежность оценивается путем расчета внутри- и межлабораторной воспроизводимости.
Наноматериалы - материалы с характерным размером от 1 до 100 нм, имеющие линейную, плоскую или трехмерную структуру или обладающие внутренней или поверхностной структурой данного характерного размера.
Нарушение фертильности - расстройства репродуктивных функций или способностей у самцов или самок.
Насыщение - состояние, когда один или несколько токсикокинетических процессов (например, поглощение, метаболизм или выведение) достигают своего максимума ("насыщаются").
Не абсорбированная доза - остаточное количество вещества, которое было смыто с поверхности кожи после экспозиции, а также остатки вещества на покрывающем материале, включая те, которые испарились с кожи во время периода воздействия.
Негативное воздействие - любое, связанное с воздействием внешних факторов изменение по сравнению с исходным уровнем, которое снижает способность организма к выживанию, воспроизводству или адаптации к окружающей среде.
Негативный эффект - изменение исходного состояния, приводящее к снижению способности организма к выживанию, воспроизводству или адаптации в окружающей среде. В терминах токсикологии развития в широком значении данное понятие включает в себя любые эффекты, препятствующие нормальному развитию концептуса как до, так и после рождения.
Нейротоксикант - любой химический, биологический или физический агент, обладающий потенциальной нейротоксичностью.
Нейротоксичность - негативные изменения в структуре и функциях нервной системы, вызванные воздействием химических, биологических или физических агентов.
Нейтральный ген - ген, который не находится под положительным или отрицательным влиянием отбора.
Нейтральный красный - слабый катионный краситель, который легко проникает сквозь клеточные мембраны путем недиффузионного, межклеточного накопления в лизосомах.
Необработанный контроль (untreated control) - отдельная необработанная часть тест-системы, которая хранится в первоначальных условиях культивирования; необработанный контроль предоставляет исходные данные о тест-системе в условиях проведения анализа.
Непоглощенная доза - вещество, смытое с поверхности кожи после экспозиции или присутствующее на негерметичной повязке, а также количество вещества, которое испарилось с кожи во время экспозиции.
Нерасхождение - нарушение расхождения парных хроматид и правильной сегрегации при образовании дочерних клеток, приводящее к аномальному числу хромосом в дочерних клетках.
Нормохромный эритроцит - зрелый эритроцит, в котором отсутствуют рибосомы и который отличается от незрелого, полихроматофильного эритроцита при селективном окрашивании на рибосомы.
Носитель (vehicle) - вещество, используемое для смешивания, диспергирования или растворения тестируемого или стандартного объекта и позволяющее облегчить его введение в тест-систему.
Оборудование - устройства, инструменты, аппаратура, снаряжение и инвентарь для выполнения экспериментов или осуществления измерений.
Поглощенная доза (in vivo) - вещество, присутствующее в моче, смывах из клетки, экскрементах, выдыхаемом воздухе (в случае проведения замеров), крови, тканях (при сборе образцов) и остатках тела после удаления кожи в месте нанесения вещества.
Поглощаемая доза (in vivo) - вещество, присутствующее на или в коже после промывки.
Продолжительность экспозиции - временной интервал между нанесением и удалением исследуемой пробы путем промывки кожи.
Программа (национальная) соответствия Принципам GLP (/national/ GLP compliance programme) - определенная схема, установленная для мониторинга соответствия испытательных центров Принципам надлежащей лабораторной практики в пределах своей территории посредством инспекций и аудитов исследования.
Облучение - интенсивность падения на поверхность ультрафиолетового излучения или излучения видимого спектра, измеренная в Вт/м2 или в мВт/см2.
Обоснованность - характеристика взаимосвязи данного теста и оцениваемого эффекта, значение и практическая значимость для конкретной цели. Это тот диапазон, в пределах которого данный тест корректно измеряет или прогнозирует интересующий исследователя биологический эффект. Понятие обоснованности включает также оценку точности (соответствия) данного метода.
Образец (specimen) - любой материал, взятый из тест-системы для изучения, анализа или хранения.
Обучение - процесс предоставления и совершенствования знаний, навыков и качеств для удовлетворения требований.
Общепризнанные технические стандарты (recognised technical standards) - стандарты, распространенные национальными или международными органами по стандартизации [ISO, International organization for standartization (Международная организация по стандартизации, ИСО); IEEE, Institute of Electrical and Electronics Engineers (Институт инженеров по электротехнике и электронике), ANSI, American National Standards Institute (Американский национальный институт стандартов) и т.д.].
Опасность - потенциальная способность вызывать неблагоприятный экологический эффект или влиять на здоровье населения. Неблагоприятный эффект проявляется только при достаточно высокой экспозиции.
Оральная абсорбция - процент дозы тестируемого вещества, усвоенного в месте его введения (т.е. через желудочно-кишечный тракт). Этот критический параметр может использоваться, чтобы оценить долю вводимого тестируемого вещества, которая попадает в портальную вену и затем в печень.
Орган Мониторинга GLP (национальный) ((national) GLP monitoring authority) - орган, отвечающий за мониторинг соответствия испытательного центра Принципам надлежащей лабораторной практики в пределах своей территории и выполнение других подобных функций, касающихся надлежащей лабораторной практики, которые могут быть определены на национальном уровне. Следует отметить, что в стране может быть создано несколько таких органов.
Организационная структура - документ, устанавливающий количественный и качественный состав подразделений и схематически отражающий порядок их взаимодействия между собой; фиксирует распределение ответственности и полномочий внутри организации.
Ослабление фертильности - расстройство мужских и женских репродуктивных функций или способностей.
Основной план-график (master schedule) - график работ обобщающего уровня, включающий в себя укрупненные этапы и ключевые события, т.е. сводку информации, позволяющую оценить рабочую нагрузку и используемую для контроля проведения исследований в испытательном центре.
Острая дермальная токсичность - неблагоприятные эффекты, вызванные кратковременным воздействием на кожу однократной дозы тестируемого вещества.
Острая ингаляционная токсичность - вредный эффект, вызванный воздействием тестируемого препарата после непрерывной ингаляционной экспозиции на протяжении менее 24 ч. Продолжительность большинства исследований острой ингаляционной токсичности составляет 4 ч.
Острая оральная токсичность - эффекты, проявляющиеся в течение 24 ч после однократного или многократного перорального введения дозы.
Острая токсичность - определяется теми вредными последствиями, которые возникают после введения в желудок или нанесения на кожу однократной дозы вещества или периодического воздействия вещества в течение 24 ч или с вдыхаемым воздухом в течение 4 ч.
Ответственный исследователь (principal investigator) - лицо, которое, в случае проведения исследований на нескольких площадках, действует от имени руководителя исследования и несет ответственность за переданные в его ведение фазы исследования.
Отдаленная нейротоксичность (отдаленное нейротоксическое действие) - синдром, связанный с длительной задержкой начала атаксии, дистальной аксонопатии спинного мозга и периферических нервов, а также ингибированием и снижением нейротоксической эстеразы в нервной ткани.
Отклонение от плана исследования (study plan deviation) - непреднамеренное отклонение от плана исследования после начала его проведения.
Отклонения/Малые аномалии - структурные изменения, оказывающие незначительное влияние или практически не оказывающие пагубного влияния на животных, могут быть временными и происходить довольно часто в контрольной группе.
Относительная жизнеспособность клетки - жизнеспособность клетки, выраженная в отношении контроля за растворителем (отрицательного), который использовался в течение всей процедуры испытания (+Irr, -Irr), но не обрабатывался исследуемым веществом.
Относительное увеличение количества клеток (RICC) - метод измерения цитотоксичности в методиках, при которых не используется ЦХ.
Относительное удвоение популяции (RPD) - метод измерения цитотоксичности в методиках, при которых не используется ЦХВ.
Относительный общий рост - возрастание числа клеток за определенное время в опытном варианте по сравнению с контрольной популяцией клеток.
Относительный суспензионный рост - возрастание числа клеток за период экспрессии относительно отрицательного контроля.
Отрицательный контроль (negative control) - отдельная часть тест-системы, обработанная объектом (образцом), в отношении которого известно, что ответной реакции тест-системы на него не последует; отрицательный контроль свидетельствует о том, что тест-система не выдает ответной реакции в конкретных условиях анализа.
Очевидная токсичность - общий термин, характеризующий признаки токсичности, наблюдаемые после введения исследуемого вещества.
ОЭСР (OECD) - Организация экономического сотрудничества и развития (Organization for Economic Cooperation and Development).
Пар - фаза газообразного состояния исследуемого вещества, включая смеси, которые, как правило, находятся в жидком или твердом состоянии при комнатной температуре и давлении. Переход из газообразного состояния в жидкое зависит от баланса испарения и конденсации. Как следствие поверхностного натяжения паровое давление больше для маленьких жидких капель нежели для плоских поверхностей (эффект Кельвина).
Партия, серия (batch, lot) - определенное количество испытуемого или стандартного объекта, полученное в течение определенного производственного цикла таким способом, что этот объект имеет однородный характер.
Пассаж - количество раз, которое клетки пересевались (разводились) с момента восстановления культуры из замороженного стока. Начальный пассаж, который был посеян из замороженного стока, обозначают номером один (пассаж 1). Клетки, которые были пересеяны в первый раз, являются пассажем 2 и т.д.
Патентованный материал (proprietary material) - материал, защищенный законами от незаконного использования (патент, авторское право, товарные знаки).
ПБ - Паспорт безопасности.
Первичные данные исследования (raw data) - оригиналы записей и документов испытательного центра или их заверенные копии, отражающие результаты наблюдений и процедуры, проведенные во время исследования.
Первичные клетки (primary cells) - клетки, недавно извлеченные из животных или растительных источников. Недавно извлеченные первичные клетки могут быстро потерять способность к дифференцированию в культуре и часто имеют ограниченный срок жизни. Первичные культуры, извлеченные из животных или людей, могут представлять гетерогенные популяции, например по отношению к различиям в типах клеток и состоянию дифференциации в зависимости от используемых методов очистки. Каждый изолят уникален, и его невозможно воспроизвести в точности. Первичные культуры клеток обычно требуют комплексных питательных сред, дополненных сывороткой и другими компонентами. Следовательно системы первичной культуры клеток крайне сложно стандартизировать.
Перекрестное загрязнение (cross-contamination) - загрязнение тестируемого образца (объекта) или тест-системы другим тестируемым образцом или тест-системой, которые вносятся непреднамеренно, заражают тестируемый образец или повреждают тест-систему.
Период обработки - общий период времени, в течение которого животные получают мутаген.
Период полувыведения (t1/2) - время, необходимое для снижения концентрации тестируемого вещества в два раза в данном компартменте. Как правило, данный термин относится к концентрации в плазме или количеству тестируемого вещества во всем теле.
Периферийные компоненты (peripheral components) - любое связанное с помощью интерфейса оборудование или вспомогательные, или удаленные компоненты, такие как принтеры, модемы, терминалы и т.д.
Персонал архива (archive staff) - лица, работающие под руководством архивариуса и несущие ответственность за рутинные операции по архивированию.
Пиковая концентрация в крови (плазма/сыворотка) - максимальный (пиковый) показатель концентрации вещества в крови (плазме/сыворотке), наблюдаемый после введения вещества (см. также "Cmax"),
Пиктограмма (знак опасности) - графическое изображение, которое может включать символ плюс другие графические элементы, такие как окаймление, фон или цвет, и имеет целью передать конкретную информацию.
План исследования (study plan) - документ, описывающий цели и методологию эксперимента для проведения исследования и включающий в себя все внесенные в него поправки;
Планшет контроля качества, QC-планшет - 24-луночный планшет, содержащий по две концентрации положительных и отрицательных контролей референсных веществ для мониторинга новой партии клеток или обеспечения положительного контроля при проверке тестируемых веществ.
Плод - нерожденное потомство в постэмбриональный период.
Поглощаемая доза (in vitro) - вещество, присутствующее на или в коже после промывки.
Поздняя резорбция - мертвый эмбрион или плод с внешними дегенеративными изменениями.
Позитивная селекция - метод, позволяющий выживать только мутантам.
Полиплоидия - кратное гаплоидному (n) изменение числа хромосом, отличное от диплоидного числа (т.е. 3n, 4n и так далее).
Полихроматофильный эритроцит - незрелый эритроцит на промежуточной стадии развития, который еще содержит рибосомы и поэтому может быть отличен от зрелого, нормохромного эритроцита при селективном окрашивании на рибосомы.
Положительный контроль (positive control) - отдельная часть тест-системы, обработанная объектом (образцом), в отношении которого известна ответная реакция тест-системы; положительный контроль свидетельствует о том, что тест-система выдает ответную реакцию в конкретных условиях анализа.
Поправка к плану исследования (study plan amendment) - целенаправленное изменение в плане исследования, внесенное после начала его проведения.
Пороки/Основные аномалии - структурные изменения, считающиеся губительными для животных (могут приводить к летальному исходу), и, как правило, редкие.
Постнатальный день X - является X-м по счету днем жизни, после дня рождения.
Предварительное исследование - предварительное изучение с использованием минимального количества животных для выбора концентраций, которые затем будут использоваться в главном исследовании;
Предельная возможная концентрация (предельная концентрация) - максимальная концентрация, рекомендуемая для исследований ингаляционной токсичности, которая зависит от физического состояния испытываемого препарата. Согласно Классификационной схеме СГС/GHS, предельная или максимально возможная концентрация составляет 20000 ppm для газов, 20 мг/л для паров и 5 мг/л для аэрозолей.
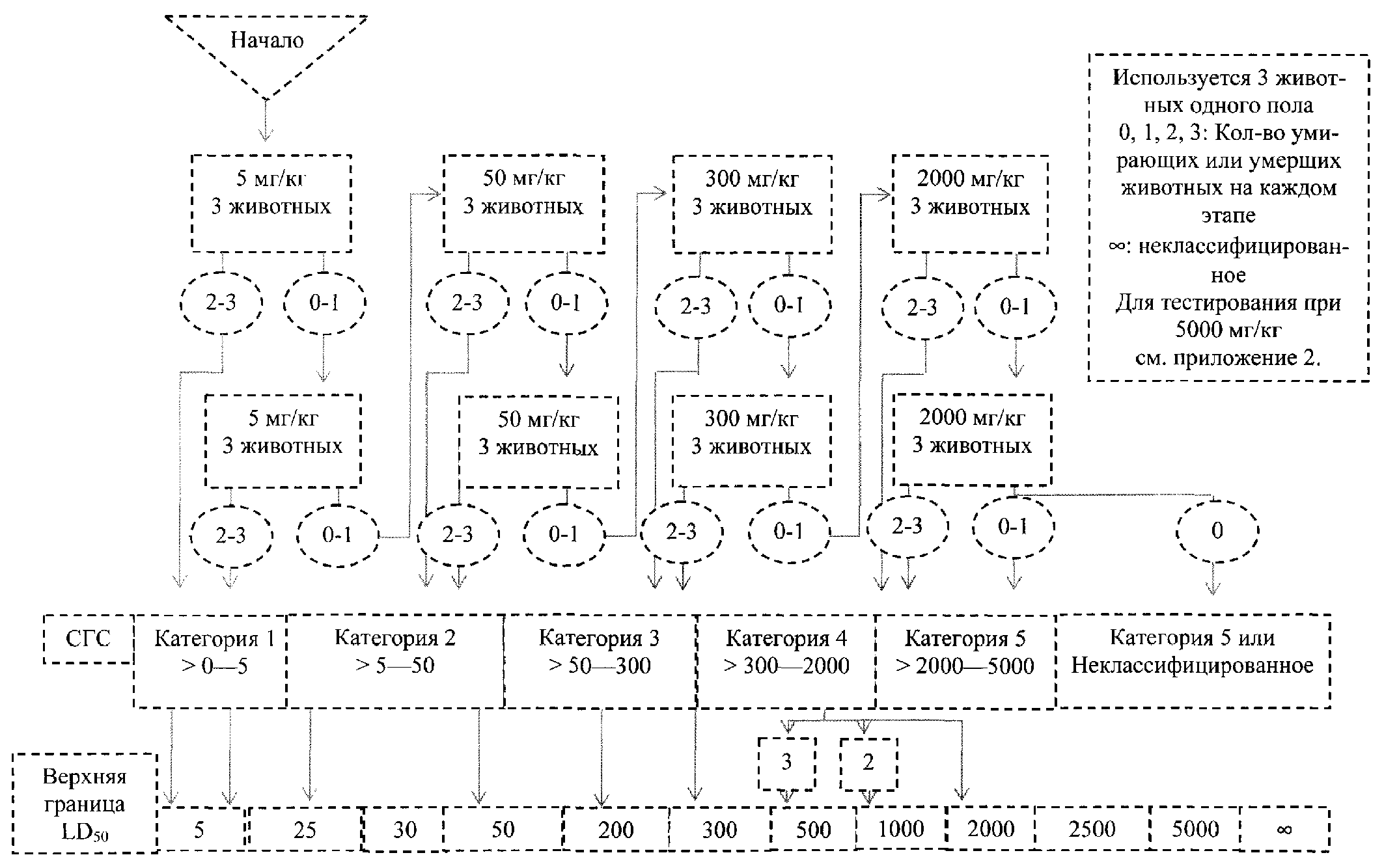
Предельная доза (наивысшая) - доза при испытании в 2000 или 5000 мг/кг.
Предсказуемая смерть - наличие клинических симптомов, указывающих на то, что смерть может наступить раньше запланированного конца испытания (например, вследствие невозможности дотянуться до воды или пищи).
Приемочные испытания (acceptance testing) - выполненное по установленной форме испытание компьютеризированной системы в предполагаемой рабочей среде с целью определения соответствия критериям приемки испытательного центра, а также приемлемости системы для эксплуатации.
Принципы надлежащей лабораторной практики (Good Laboratory Practice (GLP) - система обеспечения качества, имеющая отношение к процессам организации, планирования, порядку проведения и контролю испытаний в области охраны здоровья человека и безопасности окружающей среды, а также оформления, архивирования и представления результатов этих испытаний.
Применимость/релевантность метода - характеризует возможность использования метода для изучения интересующего биологического эффекта. Это степень, в которой тест правильно измеряет или предсказывает интересующий биологический эффект. Для оценки релевантности метода необходимо также учитывать его точность.
Пробел (гэп) - небольшое ахроматическое нарушение одной хроматиды размером меньше ширины одной хроматиды и с минимальным смещением хроматид.
Проверка качества - административная процедура, в соответствии с которой проверка соответствия стандартам и требованиям данного метода, а также проверка регистрации полученных данных и аккуратности их переноса, осуществляется лицами, независимыми от сотрудников лаборатории, выполняющей тестирование.
Провокационная экспозиция - следующее за индуктивным периодом экспериментальное воздействие исследуемым веществом на объект, который ранее подвергался воздействию данным веществом, для определения, реагирует ли объект сверхчувствительным образом.
Программа обеспечения качества (quality assurance programme) - программа работ, выполняемых независимым от проведения исследований персоналом и направленных на обеспечение администрацией испытательного центра соблюдения принципов надлежащей лабораторной практики.
Программное обеспечение - операционная система (software - operating system) - программа или набор программ, стандартных (рутинных) программ и подпрограмм, контролирующих работу компьютера. Операционная система может предоставить услуги, такие как распределение ресурсов, планирование работ, управление вводом/выводом и управление данными.
Программное обеспечение - приложение (software - application) - программа, приобретенная или разработанная, адаптированная или приспособленная к требованиям испытательных центров с целью контроля процессов, сбора, обработки, представления данных и/или архивирования.
Пролиферативный индекс (PI) - метод измерения цитотоксичности в методиках, при которых не используется ЦХ.
Путь введения вещества (оральный, IV, кожный, ингаляция и т.д.) - относится к способам введения веществ в тело (например, через желудочный зонд, перорально с пищей, кожный, ингаляция, внутривенно и т.д.).
Пыль - сухие твердые частицы, рассредоточенные в газообразной среде в результате механического разрушения сыпучего материала или порошка, однокомпонентного или смеси. Частицы пыли, как правило, нерегулярны, диаметр их превышает 0,5 мкм.
Раздражение глаз - появление изменений глаза после нанесения тестируемого вещества на переднюю оболочку глаза, которые полностью обратимы в течение 21 дня после нанесения.
Радиоавтография (радиоавтография всего тела) - используется чтобы определить качественно и/или количественно локализацию радиоактивного вещества в ткани. При этой технике используется рентгеновская пленка или, в последнее время, цифровое накопление сигнала (phosphorimaging), чтобы визуализировать радиоактивно меченые молекулы или их фрагменты, фиксируя радиацию, испускаемую изучаемым объектом. Количественная радиоавтография всего тела может иметь определенные преимущества для оценки распределения тестируемого вещества и оценки полноты выделения и накопления радиоактивного материала в тканях по сравнению с диссекцией отдельного органа. Например, таким существенным преимуществом является возможность использования радиоавтографии в модели с пигментированными животными для оценки возможного связывания тестируемого вещества с меланином, способным связывать определенные молекулы. Однако, хотя авторадиография позволяет составить удобный обзор для целого тела по локализации сайтов с высокой емкостью, но малой аффинностью, этот метод малопригоден для определения участков, таких как связывающие участки рецепторов, когда требуется достаточно высокая разрешающая способность одновременно с высокой чувствительностью, которые необходимы для исследований. При использовании радиоавтографии эксперимент с целью определения баланса масс тестируемого вещества должен проводиться для отдельной группы животных или как исследование, независимое от эксперимента по тканевой локализации, где все выделения (включая и выдыхаемый воздух), а также тушки животных гомогенизируются радиоактивностью и определяются методом жидкостной сцинтиляции.
Разъедание (коррозия) кожи - причинение необратимого повреждения коже, а именно видимый некроз от эпидермиса до собственно кожи в результате воздействия испытуемого вещества в течение не более 4 ч. Реакция разъедания проявляется в виде язв, кровотечения, кровавых струпьев и, к концу периода наблюдения в 14 дней, обесцвечивания, вызванного побледнением кожи, целыми участками алопеции и шрамами. Для оценки повреждений, вызывающих сомнения, следует проводить исследования на гистопатологию.
Разъедание (коррозия) слизистых глаза - появление повреждения глазной ткани или серьезное физическое нарушение зрения после нанесения тестируемого вещества на переднюю оболочку глаза, которые не полностью обратимы в течение 21 дня после нанесения.
Ранняя резорбция - подтверждение имплантации без распознания эмбриона/плода.
Распады в минуту (DPM) - число атомов в данном количестве радиоактивного материала, которые радиоактивно распались в течение одной минуты.
Распределение в тканях - обратимое перемещение вещества от одного местоположения в теле к другому. Распределение в тканях может быть изучено путем диссекции органа, гомогенизации, сжигания и жидкостной сцинтилляционной радиометрии либо с помощью качественной и/или количественной авторадиографии всего тела животного. Первый метод удобен для определения концентрации вещества и процента извлечения из тканей и оставшейся тушки того же самого животного, но имеет недостаточное разрешение для всех тканей и недостаточное извлечение вещества (< 90%).
Распределение - распространение вещества и его производных по всему организму.
Расчетная концентрация "З" (ЕСЗ) - расчетная концентрация исследуемого вещества, при которой индекс стимуляции равен трем.
Расчетная пороговая концентрация (ECt) - расчетная концентрация тестируемого вещества, дающая индекс стимуляции, указывающий на положительную реакцию.
Раунд - независимый эксперимент, в котором используются заново приготовленные растворы и контроли.
Регулирующий Орган (regulatory authority) - национальный орган, несущий юридическую ответственность за аспекты контроля химических веществ чтобы получить дополнительную информацию, не представленную в отчете, а также установить, были ли использованы в формировании данных нормативы, которые наносили бы ущерб их достоверности.
Резервное копирование (back-up) - меры, предпринимаемые для восстановления файлов данных и программного обеспечения, возобновления обработки данных или использования альтернативного компьютерного оборудования после системного сбоя или аварии.
Резорбция - концептус, который был имплантирован в матку, впоследствии погиб и в настоящее время резорбируется или был резорбирован.
Реперное вещество - сенсибилизирующее или несенсибилизирующее вещество, используемое в качестве стандарта для сравнения с ним тестируемого вещества. Реперное вещество должно обладать следующими свойствами: (1) унифицированный и надежный источник(и) приобретения; (2) структурное и функциональное сходство с классом, к которому принадлежат тестируемые химические вещества; (3) известные физические/химические характеристики; (4) наличие данных об известных эффектах и (5) известная активность в диапазоне изучаемой реакции.
Репродуктивная токсичность - неблагоприятное воздействие на потомство и/или ослабление мужских и женских репродуктивных функций или способностей.
Респираторный аллерген - вещество, которое вызывает сверхчувствительность дыхательных путей после вдыхания этого вещества.
Референсный стандарт - эталонное вещество, используемое для демонстрации правильности метода анализа. Референсным стандартом для STTA- и BG1Luc ER ТА-анализов является

Референсный эстроген - (положительный контроль, PC) -

(E2, CAS 50-28-2).
Рецессивная мутация - изменение в геноме, которое проявляется в гомозиготном или гемизиготном состоянии.
Руководитель исследования (study director) - лицо, ответственное за проведение неклинического исследования в области медицинской и экологической безопасности от начала до конца.
Световая доза - количество (интенсивность x время) ультрафиолетового (УФ) или видимого излучения, падающего на поверхность, и выраженного в Дж (Вт x с) на площадь поверхности, например Дж/м2 и Дж/см2.
СГС (GHS) - Согласованная на глобальном уровне система классификации опасности и маркировки химической продукции. Система классификации химических веществ в зависимости от вида и уровня опасности для здоровья человека и окружающей среды, включающая согласованные элементы системы информирования, такие как пиктограммы, сигнальные слова, заявления об опасности, предупредительные заявления и спецификации по безопасности, с целью передать информацию об опасности и защитить людей и окружающую среду. Сотрудничает с ОЭСР (здоровье человека и охрана окружающей среды), Комитетом экспертов по перевозке опасных грузов при ООН (физико-химические особенности) и Международной организации труда (МОТ) (система передачи информации о вредности) в рамках Межорганизационной программы по обоснованному управлению химическими веществами (IOMC).
Серьезное повреждение глаз - повреждение ткани глаза или серьезное физическое ухудшение зрения в результате воздействия испытуемого вещества на переднюю поверхность глаза, которое полностью не проходит в течение 21 дня с момента воздействия.
Сестринские хроматидные обмены - реципрокные обмены ДНК между двумя сестринскими хроматидами дуплицированной хромосомы. СХО, по-видимому, является интеробменом продукта репликации ДНК в гомологичном локусе.
Сигнальное слово - слово, используемое для указания относительного уровня серьезности опасности и предупреждения лица, которое его прочитало, о наличии потенциальной опасности. В СГС в качестве сигнальных слов используются слова "Опасно" и "Осторожно".
Символ - графический элемент, имеющий целью в сжатом виде передать ту или иную информацию.
Система химической детекции (CDS) - визуальная или электронная система измерения эффекта с индикаторным раствором, которая реагирует на наличие тестируемого вещества, например, путем изменения цвета pH-индикатора или смеси красителей; кроме изменения цвета индикаторного раствора могут использоваться другие виды химических или электрохимических реакций.
Скорая гибель - агония и смерть, которые ожидаются до наступления следующего запланированного наблюдения. Признаки, указывающие на такое состояние, у грызунов могут включать конвульсии, горизонтальное положение, опрокинутое положение и тремор.
Слабый положительный контроль - вещество со слабой активностью, выбранное из списка референсных веществ и используемое во всех тестах, чтобы подтвердить надлежащее прохождение анализа.
Смесь - смесь или раствор в составе двух или более веществ, в котором или которых они не вступают в реакцию друг с другом.
Соответствие - показатель эффективности метода испытаний для тестирования, который может дать недвусмысленный результат. Этот результат и является проявлением выполнения метода. Иногда этот термин используется как синоним точности и определяется как доля от всех испытуемых химических веществ, классифицируемых как позитивные или негативные.
Специфичность (Specificity) - пропорциональная часть всех негативных/неактивных химических веществ, которые правильно классифицированы тестом. Это степень точности метода тестирования, который предоставляет окончательные результаты и является важным фактором, определяющим соответствие (релевантность) метода тестирования.
Спонсор (sponsor) - лицо, которое инициирует исследования, оформляет заказ, поддерживает и/или утверждает проведение неклинических исследований и несет ответственность за его организацию и финансирование.
Среда для замораживания - используется для замораживания и хранения замороженных клеток. Состоит из среды культивирования с добавлением сыворотки BD NuSerum и DMSO.
Среднеэффективная концентрация (EC50) - концентрация, вызывающая ответ, равный среднему между базовой линией (MIN) и максимальным ответом (MAX).
Средний аэродинамический диаметр массы (MMAD) - среднемассовое распределение масс относительно аэродинамического диаметра. Средний аэродинамический диаметр и геометрическое стандартное отклонение используются для описания гранулометрического состава аэрозоля, основанного на массе и размере частиц аэрозольного облака. Масса пятидесяти процентов частиц будет меньше, чем средний аэродинамический диаметр массы, и 50% частиц будут больше среднего аэродинамического диаметра. Для исследований острой ингаляционной токсичности рекомендуется MMAD в размере 1 - 4

Средний фотоэффект (MPE) - значение измерения, полученное математическим анализом кривых реакций концентраций, полученных при отсутствии (-Irr) и в присутствии (+Irr) нецитотоксического облучения УФ.
Средняя смертельная доза (DL50/LD50) - статистически установленная однократная доза вещества, которая может вызвать гибель 50% животных, подвергшихся воздействию (перорально, накожно). DL50/LD50 выражается в отношении единицы массы испытываемого вещества к единице массы подопытного животного, мг/кг.
Средняя смертельная концентрация (CL50/LC50) - обусловленная временем статистически выверенная оценка концентрации исследуемого вещества, которая предположительно может являться причиной смерти 50% животных, подвергшихся определенному воздействию препарата во время экспозиции или в течение определенного промежутка времени после экспозиции. Значение CL50/LC50 выражается как масса исследуемого препарата на единицу объема воздуха (мг/л, мг/м3) или как единица объема исследуемого препарата на единицу объема воздуха (промилле, частей на млрд). Продолжительность выдержки всегда должна быть установлена (например, 4-часовая CL50/LC50).
Ссылка на химические вещества - химические вещества, отобранные для использования в процессе проверки, для которых результаты in vitro или in vivo уже известны. Эти вещества должны быть репрезентативными для классов химических веществ для испытания метода, который, как ожидается, будет использоваться, и должны представлять весь спектр реакций, возможных для химических веществ, для которых она может быть использована, от сильных и слабых до отрицательных эффектов. Различные наборы ссылок химических веществ могут потребоваться для различных этапов процесса проверки, а также для различных методов тестирования и использования тестов.
Стабильная трансфекция - метод, при котором ДНК, которой трансефцируется культура клеток, стабильно встраивается в геном, обеспечивая стабильную экспрессию генов. Клоны стабильно трансфецированных клеток отбираются с использованием маркеров селекции (например, устойчивость к G418).
Стандартные операционные процедуры; СОП (standard operating procedures; SOPs) - подробные письменные инструкции, содержащие описание процессов проведения испытаний или другой деятельности, как правило, не представленные детально в планах исследования или руководствах по проведению испытаний и предназначенные для достижения единообразия при осуществлении определенной деятельности.
Стандартный объект (образец), "контрольный" объект (образец) (reference item, "control item") - объект (образец), используемый для сравнения с испытуемым объектом, имеющий официально (юридически) удостоверенный состав.
Стандарты (эталонные вещества) - химические вещества, выбранные для использования в процессе валидации метода, для которых уже известны эффекты в системе эталонного тестирования in vitro или in vivo. Эти вещества должны представлять определенные классы химических соединений, которые предположительно будут тестироваться данным методом, и должны представлять полный спектр эффектов, который можно ожидать от используемых химических соединений, от сильного к слабому или негативному. Для различных стадий процесса валидации, а также для разных методов и вариантов их использования могут потребоваться разные наборы эталонных химических веществ.
Стандарты соответствия (СС) - стандарты, основанные на утвержденном методе тестирования и обеспечивающие основу для сравнения с ним нового предлагаемого метода, функционально и механистически аналогичного исходному. Включают: (1) основные компоненты метода; (2) минимальный список стандартных (эталонных) химических веществ, которые должны использоваться для заключения об удовлетворительном соответствии валидируемого метода исходному; (3) сходные уровни точности и надежности, полученные с помощью исходного и валидируемого методов с использованием минимального списка эталонных химических веществ.
Статус соответствия GLP (GLP compliance status) - степень соответствия испытательного центра Принципам GLP по оценке (национального) Органа Мониторинга GLP.
Стандарты эффективности - стандарты, основанные на валидизированных методах испытания, которые обеспечивают основу для оценки сопоставимости предлагаемого метода испытаний, который процедурно и функционально похож на используемый. В них входят: 1) компоненты, необходимые для конкретного метода анализа; 2) минимальный список референсных стандартов, выбранных из перечня химических веществ, использовавшихся для демонстрации точности и надежности валидизированного метода анализа и 3) ожидаемый уровень точности и надежности, который должен продемонстрировать предлагаемый метод тестирования при использовании минимального списка референсных стандартов. Уровень точности и надежности метода должен быть сопоставим с валидизированным методом испытаний.
Стероидогенез - последовательность биохимических реакций синтеза различных стероидных гормонов из холестерина. Несколько промежуточных продуктов стероидного синтеза, таких как прогестерон и тестостерон, сами по себе являются важными гормонами, но также служат предшественниками синтеза других гормонов.
Структурные аберрации - изменение структуры хромосом, выявляемое при микроскопическом анализе митоза на стадии метафазы, наблюдаемое как делеции, фрагменты, интраобмены и интеробмены.
Субхроническая дермальная токсичность - неблагоприятные эффекты, появляющиеся в результате повторного ежедневного накожного воздействия химических веществ на экспериментальных животных в течение части (не выше 10%) срока их жизни.
Сцепленные с полом гены - гены, находящиеся на половых (X и Y) хромосомах.
Тест "Я тоже" - разговорное название для метода тестирования, который структурно и функционально аналогичен уже утвержденному и принятому методу. Такой метод является кандидатом на ускоренную валидацию. Может использоваться равноценно с исходным методом.
Тестируемое вещество - любой материал, тестируемый с использованием данных МР, независимо от того, является ли он отдельным веществом или состоит из множества компонентов (например, конечные продукты, сложные препараты). При проверке сложных препаратов следует принимать во внимание, что некоторые надзорные органы требуют тестирования только конечного состава препарата. Однако в других случаях может потребоваться и тестирование активного ингредиента(ов) сложного препарата.
Тестируемый объект (test item) - объект, представляющий собой предмет исследования.
Тестовый планшет (планшет для тестирования) - 24-луночный планшет, на котором клетки H295R экспонируют с тестируемым веществом. Тестовый планшет содержит контроль растворителя и тестируемое вещество в семи различных концентрациях, в трех повторах каждая.
Тест-система (test system) - биологическая, химическая или физическая система в отдельности или в комбинации, используемая в исследованиях.
Тироидная активность - способность химического вещества действовать подобно естественному гормону щитовидной железы (например, Т3) в организме млекопитающих.
Ткани (tissues) - многоклеточные совокупности дифференцированных клеток, характеризующихся конкретными функциями, в качестве компонентов организмов.
Ткань-мишень - ткань, в которой проявляется основное отрицательное воздействие токсиканта.
Токсикогеномика (toxicogenomics) - исследование того, как геномы реагируют на экологические стресс-факторы или токсиканты. Цель токсикогеномики - найти корреляцию между реакциями на токсиканты и изменениями в генетических профилях объектов, подвергнутых воздействию таких токсикантов. Токсикогеномика сочетает в себе новые технологии геномики и биоинформатики для выявления и характеристики механизмов действия известных и предполагаемых токсикантов. В настоящее время основными инструментами токсикогеномики является ДНК-микрочип (или ДНК-чип), который используется для одновременного мониторинга уровня экспрессии сотен и тысяч генов.
Токсикокинетика (Фармакокинетика) - изучение поглощения, распределения, метаболизма и выделения веществ в течение времени.
Токсикология развития (тератология) - изучение негативных эффектов для развивающегося организма, возникающих в результате воздействия до зачатия, в период внутриутробного развития или постнатально ко времени полового созревания. Основные проявления токсичности на развивающийся организм включают: 1) гибель организма, 2) структурные аномалии, 3) изменение роста, и 4) функциональные дефекты.
Токсикометабономика (toxicometabonomics) - количественное измерение зависящей от времени многопараметрической метаболической реакции живых систем на патофизиологические стимулы или генетическую модификацию путем систематического исследования состава биологической жидкости с помощью ЯМР и технологии распознавания моделей, для того чтобы связать токсичность органа-мишени со спектральными ЯМР-моделями и идентифицировать новые суррогатные маркеры токсичности.
Токсикопротеомика (toxicoproteomics) - исследование того, как общая экспрессия белка в клетке или ткани реагирует на экологические стресс-факторы или токсиканты. Цель токсикопротеомики - найти корреляцию между токсическими реакциями на токсиканты и изменениями в полных профилях комплементов белков объектов, подвергнутых воздействию таких токсикантов.
Точковая мутация - общий термин мутаций, затрагивающий только небольшие последовательности ДНК, включающие небольшие инсерции, делеции и замены пар оснований.
Точность - степень согласия между результатами тестирования и принятыми опорными значениями. Является характеристикой выполнения метода и одним из критериев его правомерности. Этот термин часто используется как эквивалент термина "соответствие", обозначая долю правильных эффектов.
Трансактивация (активация транскрипции, ТА) - синтез мРНК в ответ на определенный химический сигнал, например связывание эстрогена с рецептором эстрогена.
Трансгенные клетки (transgenic cells) - клетки, трансфектированные одним (или несколькими) чужеродным геном(ами) и вследствие этого обладающие характеристиками и функциями, которые обычно не присутствуют или присутствуют только при низких уровнях экспрессии в родительской клетке. Тестируемое вещество: любой материал, тестируемый с использованием данных МР, независимо от того, является ли он отдельным веществом или состоит из множества компонентов (например, конечные продукты, сложные препараты). При проверке сложных препаратов следует принимать во внимание, что некоторые надзорные органы требуют тестирования только конечного состава препарата. Однако в других случаях может потребоваться и тестирование активного ингредиента(ов) сложного препарата.
Трансгенный - являющийся организмом, чей геном изменили, введя ген или гены других видов.
Транскожное электрическое сопротивление (TER) - оценка электрического сопротивления кожи, измеряемого количественно в килоомах. Простой и надежный метод оценки барьерной функции кожи с помощью измерения потока ионов через кожу с помощью моста Уитстона.
Транскрипция - синтез мРНК.
Трипсин 1X - разбавленный раствор трипсина - сериновой протеазы поджелудочной железы, фермента, используемого, чтобы отделить прикрепленные клетки от планшета для культивирования.
Туман - жидкие капли жидкого вещества или жидкой смеси, взвешенные в газе (как правило, в воздухе). Туман, как правило, образуется в результате конденсации перенасыщенных паров и физического разделения жидкостей.
Угроза смерти - ожидается, что состояние агонии или смерть наступят ранее запланированного времени. Симптомы подобного состояния у грызунов могут включать конвульсии, лежачее положение, в т.ч. на боку и тремор.
Уместность - описание отношений теста и эффектов может быть интересным для определения значимости и полезности применительно к конкретной цели. Это необходимо также для того, чтобы предсказать биологические меры.
Умирающий - термин для описания животного в процессе умирания, близкое к смерти.
Упаковка (packaging) - синтез инфекционных фаговых частиц из препаратов фаговых капсид и белков хвоста и конкатамера молекулы фаговой ДНК. Обычно используется для упаковки ДНК, клонированной в лямбда векторе (отделенном кос-сайтами), в инфекционные лямбда частицы.
Уровень воздействия, при котором не наблюдается токсический/неблагоприятный эффект (NOAEL) - максимальная доза, использованная в испытании, которая не вызывает никаких неблагоприятных эффектов. Уровень воздействия, при котором не наблюдается эффект, выражается в массе вещества, наносимого ежедневно, на единицу веса животного (мг/кг) (термин, аналогичный принятому в России "максимальная недействующая доза (МНД)").
Установившийся уровень в крови (плазме) - состояние открытой системы, в которой все силы, действующие на систему, точно уравновешены противоположно действующими силами, и концентрация всех компонентов, проходящих через систему, остается постоянной.
Устойчивость (биоустойчивость) - долгосрочное присутствие вещества (в биологической системе) благодаря его устойчивости к деградации/выведению.
Утвержденный метод испытаний - метод испытаний, для которого закончен процесс валидации, т.е. установлена область использования (включая точность) и надежность для конкретной цели. Важно отметить, что утвержденный метод испытаний может не иметь достаточной оценки таких его характеристик, как точность и надежность, но тем не менее признается соответствующим заявленной цели.
Утеротропный (uterotrophic) - термин, используемый для описания положительного влияния на рост тканей матки.
Фактор облучения (PIF) - фактор, образованный путем сравнения двух одинаково эффективных цитотоксических концентраций (IC50) исследуемого вещества, полученный при отсутствии (-Irr) и в присутствии (+Irr) нецитотоксического облучения УФ А/видимого света.
Ферментативные параметры - Км: константа Михаэлиса и Vmax: максимальная скорость.
Ферменты/Изоферменты - белки, катализирующие химические реакции. Изоферменты - это ферменты, которые ускоряют сходные химические реакции, но отличаются по своим аминокислотным последовательностям.
Фетотоксичность (токсичность для плода) - губительное влияние на нормальную структуру, развитие, рост и/или жизнеспособность плода.
Фосфорорганические вещества - понятие включает в себя: незаряженные фосфорорганические эфиры и тиоэфиры; фосфорорганические ангидриды; органофосфоновые или органофосфорамидные кислоты, или соответствующие фосфортионовые, фосфонтионовые, или фосфортиоамидные кислоты и другие вещества, которые могут вызвать отдаленное нейротоксическое действие.
Фототоксичность - острая токсическая реакция, которая появляется после первого воздействия на кожу конкретных химических веществ и при последующей экспозиции светом или которая вызывается также облучением кожи после системного воздействия химического вещества.
Фраймшифт мутация - генная мутация, вызванная инсерциями или делениями ряда нуклеотидов, которые обычно не делятся на три, внутри последовательности ДНК, кодирующей белок/пептид.
Центромера (кинетохор) - участок(и) хромосомы, с которым нити веретена деления связаны во время клеточного деления, что позволяет дочерним (гомологичным) хромосомам двигаться к полюсам дочерних клеток.
Цитотоксичность - неблагоприятное воздействие вещества на структуру и функционирование клетки, вызывающее в итоге гибель клетки и приводящее к уменьшению числа клеток в лунке с тестируемым веществом в конце экспозиции либо затрудняющее возможность измерения клеточной функции по сравнению с контролем, содержащим только носитель.
Характер действия (mode of action) - отражает общие пути, приводящие к токсичности вещества (не аналогичен механизму действия).
Частота мутантов - отношение числа выявленных мутантных клеток к общему числу выживших клеток.
Численные аберрации - отклонение числа хромосом от нормального набора хромосом, характерного для использованных клеток.
Центромера - участок ДНК хромосомы, где две хроматиды соединяются вместе и в котором оба кинетохора соединяются друг с другом.
Цитокинез - процесс клеточного деления сразу после митоза, формирующий дочерние клетки, каждая из которых содержит одно ядро.
Цитостатичность - ингибирование роста клеток.
Цитотоксичность - неблагоприятное воздействие вещества на структуру и функционирование клетки, вызывающее в итоге гибель клетки и приводящее к уменьшению числа клеток в лунке с тестируемым веществом в конце экспозиции либо затрудняющее возможность измерения клеточной функции по сравнению с контролем, содержащим только носитель.
Численные аберрации - отклонение числа хромосом от нормального набора хромосом вида животного, использованного в эксперименте.
Чувствительность (Sensitivity) - пропорциональная часть всех положительных/активных химических веществ, которые правильно классифицированы тестом. Это степень точности метода тестирования, который предоставляет окончательные результаты и является важным фактором, определяющим релевантность метода тестирования.
Шатл-вектор - вектор, сконструированный так, что его можно внедрять в хозяев двух разных видов; соответственно, ДНК, внедренная в шатл-вектор, может быть тестирована или исследована в двух разных типах клеток или двух разных организмах.
Экстрабиноминальное варьирование - повышение вариативности доли популяции при повторных оценках по сравнению с ожидаемой, если популяция имела биноминальное распределение.
Экстраполяция - выведение одного или более неизвестных значений, на основании известных значений или наблюдавшихся параметров.
Электронная запись (electronic record) - все исходные лабораторные записи и документация, в том числе данные, напрямую введенные в компьютер через приборный интерфейс, которые являются результатами оригинальных наблюдений и деятельности, проведенных в ходе исследования, и которые необходимы для реконструкции и оценки отчета о данном исследовании.
Электронная подпись (electronic signature) - запись в виде магнитных импульсов или трансляция (компиляция) компьютерных данных любого символа или последовательностей символов, выполняемых, адаптированных или авторизованных определенным лицом в качестве эквивалента собственноручной подписи данного лица.
Электронные архивы (electronic archives) - помещения и системы, предназначенные для поддержания и сохранения электронных записей в соответствии с Принципами GLP.
Экзогенный - введенный извне или произведенный вне организма или системы.
Электропорация - применение электрических импульсов для повышения проницаемости клеточной мембраны.
Эмбрион - ранняя или развивающая стадия любого организма, в частности развивающийся продукт оплодотворения яйцеклетки после появления длинной оси и до формирования всех основных структур.
Эмбриональная токсичность - проявление репродуктивной токсичности, проявляющаяся в пред-, пост- и перинатальных, структурных или функциональных расстройствах у потомства.
Эндогенные гены - гены природного генома.
Эндоредупликация - процесс, при котором после S-периода репликации ДНК ядро не входит в митоз, а переходит в следующий S-период.
Эстрогенная активность - способность вещества "подражать" E2 в его способности связывать и активировать рецепторы эстрогена.
Эстрогенность (Oestrogenicity) - способность химического вещества действовать в организме млекопитающих как

Эффективность упаковки - эффективность, с которой упакованные бактериофаги восстанавливаются в бактерии-хозяине.
Ядерные гранулы репарации (ЯГР) - количественная оценка активности ВСД в клетках при методике авторадиографии. Рассчитывается вычитанием среднего числа цитоплазматических гранул (ЦГ) в эквивалентных ядру участках цитоплазмы из числа ядерных гранул (ЯГ): ЯГР = ЯГ - ЦГ. Показатель ЯГР рассчитывается для отдельных клеток, затем для пула клеток в культуре, в параллельных культурах и т.д.
3.2. Аббревиатуры и сокращения
ВЖЭХ - высокоэффективная жидкостная хроматография.
ГЖХ - газожидкостная хроматография.
ГХ-МС - газовая хромато-масс-спектрометрия.
ИК-спектрометрия - инфракрасная спектрометрия.
МТ - металлотионин.
Т - тестостерон.
ТСХ - тонкослойная хроматография.
ЯМР-спектроскопия - спектроскопия ядерного магнитного резонанса.
AUC - площадь под кривой зависимости концентрации вещества в плазме от времени. Эта площадь представляет суммарное количество вещества, поглощенное организмом в течение заданного промежутка времени. При линейных условиях величина AUC (на промежутке от ноля времени до бесконечности) пропорциональна общему количеству вещества, поглощенного организмом, независимо от скорости поглощения.
Balb/c 3T3 клетки - фибробласты мышей альбиносов лабораторной линии Американской коллекции типовых культур (ATCC) или Европейской коллекции клеточных культур (ECACC).
BG-1 - иммортализированная клеточная линия аденокарциномы, эндогенно экспрессирующая рецептор эстрогена.
BG-1Luc4E2 - клеточная линия, созданная на основе иммортализированной клеточной линии аденокарциномы BG-1, которая эндогенно экспрессирует оба рецептора эстрогена

и

путем стабильной трансфекции плазмидой pGudLuc7.ERE. Эта плазмида несет четыре копии олигонуклеотида, содержащего ERE (эстроген-эффекторный элемент), встроенные перед MMTV промотором, который управляет экспрессией гена люциферазы.
DMSO (ДМСО) - диметилсульфоксид.
E2 -

наиболее важный эстроген у млекопитающих.
EE -

ER - рецептор эстрогена.
ERE - эстроген-эффекторный элемент.
EU CLP (European Commission Regulation on the Classification, Labelling and Packaging of Substances and Mixtures) - Европейская комиссия по регулированию классификации, маркировке и упаковке веществ и смесей - реализация в Европейском Союзе (EU) в системе СГС для классификации химических веществ (вещества и смеси).
ET50 - показатель, оценивающийся путем определения времени экспозиции, необходимого для снижения жизнеспособности клеток на 50% при действии химических веществ в определенной, фиксированной концентрации.
Ex vivo - клетки, ткани или органы, извлеченные из интактных животных для дальнейшего анализа.
FBS - фетальная бычья сыворотка.
H295R - клетки человеческой адренокарциномы, обладающие физиологическими характеристиками недифференцированных эмбриональных клеток надпочечников человека, экспрессирующих все ферменты стероидогенеза.
HeLa - иммортализированная клеточная линия клеток рака шейки матки.
HeLa9903 - субклон клеточной линии HeLa, стабильно трансфецированный генами

и геном-репортером люциферазы.

- человеческий бета-рецептор эстрогена.

- человеческий альфа-рецептор эстрогена.
IC50 - концентрация исследуемого вещества, при которой жизнеспособность клетки снижается до 50%.
LOAEL - минимальный дозовый уровень, при котором наблюдаются неблагоприятные эффекты вещества.
Local Lymph Node Assay, LLNA - метод оценки способности химического вещества вызывать кожную сенсибилизацию у мышей путем измерения скорости пролиферации лимфоцитов в региональных лимфоузлах.
LOEC (Lowest Observed Effect Concentration) - минимальная концентрация наблюдаемого эффекта, самая низкая концентрация, при которой измеренное воздействие тестируемого вещества достоверно отличается от результата, полученного в контроле растворителя.
LOQ (Limit of Quantification) - минимальное количество вещества, которое можно, с заданной степенью достоверности, отличить от полного отсутствия данного вещества (чистый контроль). LOQ, как правило, определяется изготовителем тестовой системы, если не заявлено иначе.
MMTV - вирус рака молочной железы мышей.
NOEC (No Observed Effect Concentration) - концентрация необнаруживаемого эффекта - самая высокая из проверенных концентраций, в случае, если тестирование не выявило положительного ответа.
OHT - 4-гидрокситамоксифен.
PBS - натрий-фосфатный буфер.
PC - положительный контроль Высокоактивное вещество, предпочтительно

(E2), используемое во всех тестах, чтобы подтвердить надлежащее прохождение анализа.
PC10 - концентрация тестируемого вещества, при которой вызванный агонистический ответ составляет 10% от величины положительного контроля (1 nM E2 для STTA анализа) на каждом планшете.
PC50 - концентрация тестируемого вещества, при которой вызванный агонистический ответ составляет E2 в концентрации, указанной для соответствующего метода тестирования на каждом планшете.
PCMax - концентрация тестируемого вещества, вызывающего RPCMax.
RLU - относительные единицы интенсивности света.
RPCMax - максимальный уровень ответа, вызванный тестируемым химическим веществом, выраженный в процентах от ответа, вызванного 1 nM E2 на том же самом планшете.
RPMI - RPMI 1640 питательная среда, содержащая 0,9% пенициллина-стрептомицина и 8% фетальной бычьей сыворотки (FBS).
RT PCR - полимеразная цепная реакция в реальном времени.
SD - стандартное отклонение.
STTA - трансактивационный анализ - анализ экспрессии стабильно трансфецированных конструктов (например,

TA с использованием HeLa 9903 клеточной линии).
Tmax - время, необходимое для достижения Cmax.
IV. Основные требования надлежащей лабораторной практики
Проведение токсикологических исследований определяется правилами НЛП, основные положения которых изложены в ГОСТ
(прилож. 2).
4.1. Требования к исследуемым химическим веществам
и их смесям
Комплект документов на исследуемый продукт представляется заказчиком с обозначением условий и сроков хранения, данных по стабильности, информации о мерах по обеспечению безопасности работы с исследуемым химическим веществом, растворителей и процедуры растворения или диспергирования.
Химические вещества и их смеси для проведения токсиколого-гигиенических исследований представляются заказчиком.
Исследуемый продукт должен быть упакован для защиты при транспортировании от загрязнения или порчи.
Метод обнаружения, идентификации и количественного определения исследуемого вещества, позволяющий отличить их от аналогичных веществ в традиционной форме, представляется изготовителем.
Хранение исследуемых образцов химических веществ осуществляется отдельно от реактивов, препаратов сравнения в соответствии с рекомендациями заказчика, с соблюдением условий хранения, указанных изготовителем на весь период срока годности. Хранение и использование исследуемых образцов осуществляется в соответствии с утвержденным протоколом исследования.
4.2. Требования к лабораторным животным и уходу за ними
Все токсикологические исследования проводятся только на здоровых животных, прошедших карантин. Все процедуры, связанные с уходом за лабораторными животными, подробно описываются в стандартных операционных процедурах в
п. 6 настоящего Руководства.
Поступающих животных необходимо изолировать для оценки состояния здоровья. Источники их поступления, условия и дата поступления должны быть документально оформлены. Все мероприятия, принимаемые в случае ухудшения состояния здоровья животных и их гибели, не связанных с проведением исследования, осуществляются в соответствии с утвержденным протоколом исследования и должны быть документированы.
Для обеспечения индивидуального наблюдения в процессе выполнения исследования животные должны быть идентифицированы путем их маркировки. Все клетки, вольеры, контейнеры, предназначенные для содержания животных, также подлежат маркировке. Животные, предназначенные для исследования различных химических веществ и их смесей, изолируются друг от друга.
Места содержания животных и производственные помещения подвергаются периодической санитарной обработке за исключением указанных в утвержденном протоколе исследования средств, способных оказать влияние на результаты исследования.
4.3. Требования к помещениям, кормам и инвентарю
Требования к помещениям, кормам и инвентарю должны соответствовать правилам надлежащей лабораторной практики.
Помещения, предназначенные для проведения токсиколого-гигиенических исследований химических веществ и смесей на их основе, должны располагаться таким образом, чтобы обеспечить возможность выполнения проводимых исследований в полном объеме в соответствии с утвержденным протоколом исследования.
Помещения для лабораторных животных должны:
- обеспечивать изоляцию (карантин) поступающих животных, больных животных и животных, подозреваемых в носительстве инфекций;
- позволять осуществлять раздельное содержание различных видов животных и животных одного вида, являющихся объектом исследования различных химических веществ и их смесей;
- соответствовать санитарно-эпидемиологическим и ветеринарным требованиям.
Корма, оборудование и инвентарь для ухода за животными необходимо хранить в помещениях, изолированных от мест содержания животных. Помещения для проведения исследований химических веществ, в том числе для работы с опасными для здоровья и жизни человека объектами исследования, должны соответствовать установленным санитарно-эпидемиологическим требованиям.
Корма и вода для животных должны обеспечивать пищевые потребности в соответствии с утвержденным протоколом исследования, быть свободными от патогенных микроорганизмов и вредных примесей и не должны влиять на результаты исследования.
4.4. Требования к используемому оборудованию
Организации, проводящие токсиколого-гигиенические исследования химических веществ и их смесей, должны быть оснащены необходимым оборудованием, прошедшим метрологический контроль и калибровку в установленном порядке.
Эксплуатация оборудования проводится в соответствии с техническим паспортом и инструкцией по применению. Результаты проведения калибровки и текущего ремонта оборудования фиксируются в специальном журнале, доступном в любое время сотрудникам, эксплуатирующим оборудование или обеспечивающим его обслуживание.
4.5. Планирование и проведение исследований
Токсиколого-гигиенические исследования химических веществ проводятся по утвержденному плану с ведением протокола и составлением отчета, в который заносятся все результаты исследований.
Токсикологические исследования химических веществ на животных проводятся в соответствии с установленными правилами. Исполнителем должен быть обеспечен контроль за соблюдением правовых и этических норм использования лабораторных животных при проведении исследований продукции в соответствии с утвержденным протоколом.
Токсиколого-гигиенические исследования по оценке безопасности химических веществ проводятся в соответствии с утвержденным протоколом. Протокол исследования утверждается руководителем организации, проводящей исследования, и включает: цель и задачи исследования, имеющиеся сведения об исследуемом химическом веществе (физические, химические, биологические, токсикологические свойства), условия хранения и использования исследуемых продуктов, сведения о контрольном материале традиционной степени дисперсности (если таковой имеется), схему исследования и обоснование избранной схемы исследования, методы исследования, способы и пути введения исследуемого и контрольного образцов, критерии оценки безопасности исследуемого вещества, результаты исследований, статистическую обработку результатов исследования, заключение, список используемой литературы.
Вносимые в протокол исследования изменения утверждаются руководителем исследования, а отклонения от протокола (незапланированные события, непредвиденные обстоятельства и т.д.) записываются, пронумеровываются, подписываются руководителем исследования, датируются в приложении с указанием причин.
4.6. Требования к оформлению отчета
По окончании проведенных токсиколого-гигиенических исследований оформляется отчет, в котором должны быть представлены: название, адрес организации-исполнителя, даты начала и завершения исследований, цель и задачи исследования; описание исследуемого химического вещества, включая имеющиеся сведения о физических, химических, биологических, токсикологических свойствах; вид, возраст, количество животных в каждой группе, пол, показатели массы тела, источник питания; режим дозирования, форма, кратность и путь введения исследуемого продукта; схема проведения исследования; описание методов статистической обработки результатов, результаты исследования, представленные в виде обобщающих таблиц, рисунков с соответствующей статистической обработкой и комментариев к ним, обсуждение результатов, выводы, список использованной литературы.
Отчет о результатах проведенного исследования составляется ответственным исполнителем, утверждается руководителем организации и скрепляется печатью организации.
4.7. Система обеспечения качества токсиколого-гигиенических
исследований по оценке безопасности химических веществ
и их смесей
Контроль за качеством проведения токсиколого-гигиенических исследований химических веществ и их смесей включает в себя оформление перечня исследований, проводимых в организации, с указанием для каждого исследования руководителя и заказчика, названия исследуемого вещества, даты начала и состояния каждого исследования на текущий момент времени, оценку протоколов и методов исследования на соответствие правилам лабораторной практики, мониторинг текущих исследований, отчет о проведенных проверках и рекомендации по устранению недостатков.
Для осуществления контроля качества руководство организации, проводящей токсиколого-гигиенические исследования по оценке безопасности химических веществ и их смесей, назначает в соответствии с правилами надлежащей лабораторной практики ответственных лиц за мониторинг исследования из числа сотрудников, не участвующих в исследовании.
4.8. Стандартные операционные процедуры
Стандартные операционные процедуры разрабатываются организацией, проводящей исследования химических веществ и их смесей, на все производственные операции, в том числе на поступление, идентификацию, маркировку, обработку, отбор проб, использование и хранение исследуемых веществ; на обслуживание и калибровку измерительных приборов и оборудования для контроля окружающей среды; на приготовление реактивов, кормов; на ведение записей, отчетов и их хранение; на обслуживание помещений; при необходимости на обезвреживание или утилизацию химических веществ и их смесей; на осуществление программы по обеспечению качества и утверждаются руководителем организации.
Соблюдение стандартных операционных процедур осуществляется в целях обеспечения качества, достоверности и воспроизводимости результатов исследования.
Отклонения от стандартных операционных процедур должны быть документально оформлены и согласованы с руководителем исследования.
Организация, проводящая исследование химических веществ, должна:
- иметь утвержденный порядок приема и учета поступления образцов;
- проводить учет образцов при поступлении, расходовании, возврате заказчику или их утилизации;
- принимать меры по обеспечению идентификации исследуемых веществ (указание на упаковке названия, химической формулы, номера серии, даты выпуска, условий хранения и сроков годности) и их стабильности на протяжении всего исследования.
4.9. Меры конфиденциальности
Сотрудники, принимающие участие в проведении токсиколого-гигиенических исследований химических веществ и их смесей, обязаны соблюдать конфиденциальность в отношении любых данных, полученных в ходе исследования, в соответствии с законодательством Российской Федерации.
Организация, проводящая исследования химических веществ, должна обеспечить конфиденциальность результатов исследований в рамках принятых ею обязательств и в соответствии с законодательством Российской Федерации.
4.10. Обучение (переобучение) персонала, принимающего
участие в исследованиях токсичности химических веществ
и смесей на их основе
Руководство организации, проводящей исследования токсичности химических веществ и смесей на их основе на организм человека в соответствии с правилами надлежащей лабораторной практики, должно обеспечить достаточное количество сотрудников для их выполнения, создать систему обучения и подготовить необходимую документацию.
Сотрудники, участвующие в проведении или ответственные за контроль проводимого исследования, должны иметь соответствующее образование и квалификацию, а также опыт работы, которые позволят им выполнить назначенные функции в соответствии с правилами надлежащей лабораторной практики.
В целях обеспечения успешного осуществления исследования токсичности и опасности химических веществ и смесей на их основе на организм человека сотрудники организации, проводящей их, должны быть вовлечены во все части системы обучения. Порядок обучения (переобучения) персонала, принимающего участие в исследованиях токсичности химических веществ и смесей на их основе, представлен в
прилож. 3.
V. Основные требования к испытательным центрам
(лабораториям), выполняющим исследования
по токсикологической оценке химических веществ
и продукции на их основе
Испытательный центр - место проведения неклинических исследований, где располагаются коллектив специалистов, помещения и оборудование, необходимые для их выполнения. Если исследование выполняется на нескольких испытательных площадках, то под испытательным центром понимается центр, где располагаются руководитель испытаний и все испытательные площадки.
5.1. Требования к помещениям
Помещения испытательного центра должны быть спланированы таким образом, чтобы было обеспечено максимально изолированное проведение исследований различных видов (типов).
Размеры, устройство и расположение помещений для проведения исследований должны отвечать задачам исследований. Помещения должны быть устроены так, чтобы оказывать минимальное влияние на ход исследований.
В испытательном центре должно быть достаточное число помещений и зон, чтобы обеспечить изоляцию испытуемых систем и отдельных исследовательских проектов, если известно, что они предусматривают использование веществ или организмов, относящихся к разряду биологически опасных.
Для диагностирования, лечения и контроля заболеваний должны быть выделены подходящие помещения и зоны, чтобы обеспечить стабильность и сохранность тест-систем.
В испытательном центре должны быть помещения, в том числе хранилища для ресурсов и оборудования. Эти помещения должны быть изолированы от помещений или зон, содержащих тест-системы, с целью обеспечить им адекватную защиту от инвазии, загрязнения и/или заражения.
Для предотвращения загрязнения в испытательном центре должны быть отдельные помещения или зоны для получения и хранения испытуемых и стандартных (контрольных) объектов и смешивания испытуемых объектов с носителями (растворителями).
Хранилища для испытуемых объектов должны быть изолированы от помещений или зон, содержащих тест-системы, и должны соответствовать требованиям по обеспечению идентичности, концентрации, чистоты и стабильности, а также безопасному хранению опасных веществ.
Следует предусмотреть помещения для архивов, в которых необходимо обеспечить безопасное хранение и поиск планов исследования, первичных данных, заключительных отчетов и образцов. В этих помещениях должны быть созданы условия, обеспечивающие долговременное хранение архивных материалов.
Обработка и удаление отходов должны быть выполнены таким образом, чтобы не подвергнуть опасности проведение исследований и не исказить их результаты. Для этого требуется обеспечить соответствующие условия для сбора, хранения и вывоза отходов, а также процедур их дезактивации и последующего транспортирования.
5.2. Оборудование, инструменты, материалы и реагенты
Оборудование, инструменты, валидированные компьютерные системы, используемые для создания, хранения и поиска данных, а также для контроля параметров окружающей среды, по характеристикам и расположению должны соответствовать целям и задачам исследования.
Должно быть предусмотрено периодическое техническое обслуживание оборудования, используемого в исследовании, включая регулярный профилактический осмотр, уход, калибровку в соответствии со стандартными операционными процедурами. Эти работы должны сопровождаться соответствующими записями. Калибровку следует проводить в соответствии с национальными или международными стандартами измерения.
Оборудование до ввода его в эксплуатацию должно быть проверено на предмет установления его соответствия техническим требованиям, действующим в лаборатории, и соответствующим стандартам. Должна быть протестирована его работоспособность на рабочем месте после инсталляции. Данные работы должны сопровождаться соответствующими записями. С оборудованием должен работать уполномоченный персонал. Актуализированные инструкции по использованию и обслуживанию оборудования (включая любые соответствующие руководства, предоставленные производителем оборудования) должны быть всегда доступны для использования персоналом лаборатории.
Оборудование и материалы, используемые в исследовании, не должны влиять на состояние тест-систем. Требования к приборно-инструментальному обеспечению токсикологических исследований воздействия химических веществ и продукции на их основе представлены в
прилож. 4.
Химикаты, реагенты и растворы должны иметь этикетки с указанием сведений о наименовании вещества, концентрации, даты окончания срока хранения и инструкцией по хранению. Должна быть доступна информация относительно места изготовления, даты производства и стабильности. Срок хранения может быть продлен на основании результатов документированной проверки или анализа.
5.3. Тест-системы (испытательные системы)
5.3.1. Физические и химические тест-системы.
Технические характеристики и расположение оборудования, используемого для получения физико-химических данных, должны удовлетворять целям исследования.
Сохранность физико-химических тест-систем должна быть гарантирована.
5.3.2. Биологические тест-системы.
Для хранения, размещения, обработки и защиты биологических тест-систем должны быть созданы надлежащие условия, обеспечивающие достоверность получаемых результатов.
Вновь полученные тест-системы животного и растительного происхождения должны быть изолированы для оценки состояния их здоровья. При возникновении заболевания или смертности данную партию животных не используют в исследовании и, при необходимости, безболезненно подвергают эвтаназии. На момент начала исследования все тест-системы должны быть полностью здоровы. Тест-системы, у которых в ходе исследования выявлены заболевания или травмы, следует изолировать и лечить, если это необходимо для обеспечения полноты исследования. Диагнозы и лечение любых заболеваний как в ходе исследования, так и до его начала должны быть документированы.
Должна быть предусмотрена регистрация данных об источниках тест-систем, датах их поступления и состоянии на момент поступления.
Перед первоначальным введением испытуемого или стандартного объекта исследования биологические тест-системы должны пройти период акклиматизации, достаточный для адаптации к условиям исследования.
Вся информация, необходимая для надлежащей идентификации тест-системы, должна быть указана на дверях помещений или контейнерах. Отдельные тест-системы, которые должны быть переведены из их помещений или контейнеров в процессе исследования, должны иметь соответствующую маркировку.
Помещения и контейнеры для содержания тест-систем подлежат регулярной уборке и санитарной обработке. Материалы, контактирующие с тест-системой, не должны содержать загрязняющих веществ в количествах, способных повлиять на ход исследования. Подстилку для животных следует своевременно менять.
VI. Общая характеристика экспериментально-биологических
клиник (вивариев) с учетом требований ОЭСР
6.1.1. Экспериментально-биологическая клиника (виварий) (далее - виварий) является научно-вспомогательным подразделением учреждения и создается для содержания, а в необходимых случаях для разведения лабораторных животных, используемых в медико-биологических исследованиях. В виварии может проводиться также и самостоятельная разработка отдельных научных вопросов.
6.1.2. Организация работы вивариев, устройство, оборудование помещений и условия содержания животных осуществляются в соответствии с международными нормами.
6.1.3. Руководитель вивария должен иметь высшее образование по одному из следующих направлений: зоотехническое, биологическое, медицинское, ветеринарное образование. Руководитель вивария подчиняется руководителю учреждения или его заместителю и несет ответственность за его санитарное и эпизоотическое благополучие и порядок работы с животными.
6.1.4. Сотрудники вивария несут ответственность за соблюдение правил и инструкций по уходу, кормлению и содержанию животных в течение всего времени их содержания в виварии. Контроль за состоянием животных осуществляется сотрудниками, проводящими исследования.
6.1.5. Штатная численность обслуживающего персонала вивария зависит от количества лабораторных животных, объема и характера экспериментальных исследований. В каждом конкретном случае при установлении норм нагрузки по уходу за животными на одного работающего необходимо учитывать тип и количество клеток, число животных, степень механизации производственных процессов, кормления, периодичность, характер и особенности проводимых исследований и т.д.
6.2. Характеристика помещений, оборудования вивария
и условия размещения животных
6.2.1. Помещения, предназначенные для проведения доклинических (неклинических) исследований, проектируются, располагаются и эксплуатируются в целях обеспечения качественного исполнения проводимых исследований.
6.2.2. Все помещения должны иметь центральное отопление. Электрическая система должна быть безопасной и обеспечивать адекватное освещение, иметь достаточное количество розеток и гарантировать достаточную силу тока для оборудования. При отключении электричества следует предусмотреть альтернативный или аварийный источник электроэнергии для обеспечения функционирования критически важных или вспомогательных систем в помещениях для животных, операционных блоках и других важных зонах, для обеспечения безопасности животных и персонала. Осветительная арматура, таймеры, выключатели и розетки должны быть надежно изолированы. Электрические лампочки должны быть оборудованы защитными плафонами, гарантирующими безопасность животных и персонала.
6.2.3. Для обеззараживания воздуха помещений следует использовать облучатели - рециркуляторы бактерицидные закрытого типа с безозоновой бактерицидной лампой.
6.2.4. Необходимо обеспечить надлежащие условия для размещения, хранения, обработки и содержания биологических тест-систем с целью обеспечения соответствующего качества исследования.
6.3. Прием животных в клинику (виварий)
6.3.1. Вновь полученные животные и растительные испытательные системы должны быть изолированы в соответствии с установленными процедурами. На начало исследования испытательные системы должны пройти соответствующий карантин, допуск к использованию и соответствовать виду и целям исследования. Испытательные системы, пораженные болезнью или поврежденные в ходе исследования, должны быть изолированы и исследованы, при необходимости сохранить целостность исследования. Любая диагностика и исследование любого заболевания перед и в ходе исследования должны регистрироваться документально.
6.3.2. Следует вести регистрацию источника получения, даты и условий прибытия тест-систем.
6.3.3. В течение периода карантина за животными ведется ежедневное наблюдение и регистрация их общего состояния.
6.3.4. Биологические испытательные системы должны адаптироваться к условиям исследований в течение соответствующего периода времени перед первым введением/применением исследуемого вещества или образца сравнения/контрольного образца.
6.3.5. При проведении исследований необходимо соблюдение однородности животных в опытных и контрольных группах по виду, полу, возрасту и физиологическому состоянию, а также необходимо обеспечить генетическую стандартность, которая достигается использованием в экспериментах генетически контролируемых животных, в т.ч. линейных (инбредных) животных и гибридов F1.
6.4. Основные правила содержания лабораторных животных
6.4.1. При содержании животных, следует учитывать категорию, вид, линию и породу животных и их индивидуальные характеристики, такие как пол, возраст, поведенческие особенности, опыт использования в экспериментах и состояние здоровья; способность животных формировать социальные группы с животными, принадлежащими к тому же виду; цели и протокол эксперимента; интенсивность выполнения манипуляций с животными и степень инвазивности проводимых процедур; наличие опасных или вызывающих заболевания материалов; длительность периода содержания животных.
6.4.2. Рекомендуется организация адекватной ветеринарной помощи, которая включает: профилактическую медицину; наблюдение, диагностику, лечение и контроль заболеваний; ведение связанных с экспериментальным протоколом заболеваний, травм и других осложнений; анестезию и обезболивание; хирургию и ведение послеоперационного периода; оценку здоровья животных; эвтаназию. Программа профилактических мероприятий включает различные комбинации правил, процедур и методов, связанных с карантином и стабилизацией здоровья животных, с раздельным содержанием животных в зависимости от вида, источника поступления и состояния здоровья.
6.4.3. Каждую клетку (бокс, вольер и т.д.) следует промаркировать этикеткой с указанием данных о животных и сроках эксперимента.
6.4.4. Корм должен быть видоспецифичным, неконтаминированным и сбалансированным по питательному составу и не должен содержать токсичных агентов. Корма хранятся в специально отведенном для этой цели помещении.
6.4.5. Снабжение лабораторных животных питьевой водой производится из водопровода, качество воды должно соответствовать гигиеническим требованиям к качеству воды централизованных систем питьевого водоснабжения.
6.4.6. Обработка и утилизация/уничтожение отходов должны осуществляться таким образом, чтобы не подвергать риску достоверность исследований. Лаборатория для этих целей должна иметь соответствующие помещения для сбора, хранения, обработки и утилизации/уничтожения, а также утвержденные процедуры дезинфекции и транспортирования отходов.
6.4.7. В секциях с лабораторными животными следует установить постоянный контроль за температурно-влажностным режимом. Для контроля качества воздушной среды в помещениях, где содержатся животные, рекомендуется периодически (2 - 3 раза в месяц) определять концентрацию вредных газов (углекислого и аммиака). Концентрация углекислого газа не должна превышать таковую в воздухе 0,15% по объему, аммиака - 0,01 мг/л.
6.4.8. Искусственное освещение в помещениях содержания животных должно обеспечивать чередование 12 часов света, 12 часов темноты. Искусственное освещение до 325 люкс на расстоянии 1 м от пола, шум до 85 дБ. Персонал должен избегать лишнего, а также чрезмерного, прерывистого шума. Следует избегать резких бросаний инвентаря, скрипа тележек, ударов при пользовании ими. Радио, будильники и другие источники звука могут находиться в помещении с животными, только если они являются частью проводимого эксперимента.
6.4.9. Передача животных на опыты производится по разовым требованиям согласно заявке от лабораторий, утвержденной руководителем учреждения. Работа с животными разрешается только в часы, предусмотренные распорядком дня вивария.
6.4.10. Патолого-анатомическое вскрытие животных производится экспериментатором. В случае гибели животного вне зависимости от эксперимента на вскрытии присутствует представитель клиники (вивария).
6.4.11. Каждый случай падежа или вынужденной эвтаназии животного следует зафиксировать в специальном журнале.
6.4.12. Хранение трупов и тканей животных должно осуществляться в холодильнике (температура ниже -7 °C), находящемся в помещении, отделенном от других складов. Модель холодильника должна позволять производить регулярную очистку и дезинфекцию. Вывоз трупов должен осуществляться специализированной организацией в порядке, предусмотренном стандартной операционной процедурой учреждения.
6.4.13. Не рекомендовано посещение клиники (вивария) посторонними лицами без специального разрешения. Сотрудникам учреждения, выполняющим работу в клинике (виварии), следует:
- соблюдать установленные правила распорядка дня и режим работы;
- вести систематическое наблюдение за своими экспериментальными животными;
- вести первичную документацию, своевременно заполняя этикетки на клетках с экспериментальными животными;
- по окончании экспериментов или любой другой текущей работы с лабораторными животными оставлять рабочее место в надлежащем порядке;
- сообщать специалистам вивария о всех замеченных случаях заболеваний среди экспериментальных животных, а также своевременно уведомлять специалистов вивария о предполагаемых патологических состояниях животных в соответствии с условиями эксперимента.
6.5. Биоэтические аспекты работы с лабораторными животными
6.5.1. Контроль за соответствием программы учреждения по содержанию и использованию животных стандартам гуманной научной методики в отношении лабораторных животных осуществляется комиссией по биоэтике на основании стандартных операционных процедур и Положения о комиссии по биоэтике учреждения.
6.5.2. Выдача лабораторных животных для планируемых экспериментов (испытаний) осуществляется в соответствии с протоколом-заявкой.
6.5.3. В протоколе-заявке, направляемой в комитет по биоэтике, следует указывать цель, задачи, схемы и описание эксперимента, а также обосновать виды и численность животных, привести анализ альтернатив, условий содержания, методов болезненных процедур, способов эвтаназии с письменными гарантиями ведущего исследователя.
6.5.4. В состав комиссии могут входить, как минимум по одному: врач ветеринарной медицины, имеющий опыт работы с лабораторными животными, который несет прямую ответственность за работу с животными; сотрудник, имеющий большой опыт работы с лабораторными животными; сотрудник, непосредственно не участвующий в научных исследованиях; член комиссии, представляющий интересы общественности в отношении должного содержания и использования животных, не являющийся сотрудником учреждения.
6.5.5. Комитет по биоэтике контролирует и оценивает программы работ с лабораторными животными в отношении их гуманного содержания и рационального использования; рассматривает, утверждает или не утверждает протоколы-заявки на работу с лабораторными животными; инспектирует работы с животными по утвержденным протоколам-заявкам; инспектирует помещения, в которых осуществляются работы с животными; оценивает подготовленность персонала, работающего с животными; комитет вправе приостановить работу с животными в случае существенного отклонения от утвержденного протокола-заявки; осуществляет подготовку периодических отчетов администрации учреждения о выполнении программы содержания и использования животных.
6.5.6. Все действия, которые могут причинить лабораторным животным боль (операции, тотальное обескровливание, вживление датчиков и пр., а также вынужденная эвтаназия животных, должны производиться с использованием наркотизирующих средств. Если по условиям эксперимента противопоказано применение анестезии, то все вышеуказанные действия необходимо проводить в максимально короткий срок, руководствуясь Правилами гуманного обращения с лабораторными животными
(раздел VII).
6.5.7. При выборе методов эвтаназии руководствоваться правилами гуманного обращения с лабораторными животными (исключение или сведение до минимума дискомфорта, страданий и боли у животных).
6.6. Правила личной гигиены персонала
6.6.1. Весь персонал вивария обеспечивается спецодеждой, спецобувью, средствами гигиены и дезинфекции.
6.6.2. Персоналу вивария следует:
- приходя на работу, снимать верхнюю одежду и обувь, затем надевать спецодежду, спецобувь;
- вешать домашнюю одежду и спецодежду обязательно в разных отделениях индивидуального шкафа;
- по окончании работы (желательно и до начала работы) пройти обработку в санитарном блоке (принять душ или ванну);
- периодически (но не реже одного раза в месяц) дезинфицировать свои индивидуальные шкафы;
- по окончании каждого этапа работы в соответствии с распорядком дня, а также перед приемом пищи обязательно мыть и дезинфицировать руки.
6.6.3. Для всех вновь принимаемых на работу в виварий сотрудников проводится инструктаж по вопросам охраны труда и техники безопасности, правилам внутреннего распорядка в зависимости от выполняемой работы. Ответственность за проведение инструктажа возлагается на заведующего виварием. Допуск к работе без инструктажа запрещается. В дальнейшем не реже одного раза в год проводится повторный инструктаж. Результаты проведения инструктажа регистрируются в специальном журнале.
6.6.4. В производственных помещениях клиники (вивария) запрещается принимать пищу и курить. К производственным помещениям относятся все помещения вивария за исключением бытовых помещений для персонала, включающих раздевалку. При отсутствии столовой (буфета) сотрудникам вивария должно быть выделено бытовое помещение для приема пищи.
6.6.5. Все принимаемые на работу с лабораторными животными лица должны пройти медицинское обследование, включающее флюорографию, осмотр дерматовенеролога, исследование на носителей гельминтов и всей группы кишечных инфекций. Больные туберкулезом, венерическими заболеваниями, кожными и другими заразными заболеваниями к работе в виварии не допускаются. Последующие обследования проводятся не реже одного раза в год.
6.6.6. Персонал, не иммунизированный против бешенства, к работе с животными не допускается.
6.6.7. При проведении на животных экспериментов с инфекционными возбудителями, опасными для людей, обслуживающий персонал вивария подвергается профилактической иммунизации.
6.7. Правила гуманного обращения с лабораторными животными
6.7.1. Многие медицинские и научно-исследовательские институты используют различные виды животных для проведения экспериментальных работ. В ряде случаев эксперименты, как острые, так и хронические, проводят хирургическими или другими методами, которые вызывают резкие болевые ощущения у подопытных животных.
6.7.2. Ни с физиологической точки зрения, ни с точки зрения гуманности это не может быть оправдано. Всякое болевое раздражение вызывает глубокую перестройку многих функций эндокринной, сосудистой систем и других, что влияет на получаемые в опыте результаты и не учитывается в подавляющем большинстве случаев экспериментаторами.
6.7.3. Это является основанием для обязательного анестезирования животных перед и в процессе эксперимента.
6.7.4. В тех случаях, когда предполагается хирургическое вмешательство или проведение эксперимента с болевым раздражением, анестезия должна проводиться до привязывания животного к станку.
6.7.5. Расчет анестезирующего вещества должен проводиться на килограмм или грамм веса животного. Название вещества и его количество необходимо фиксировать не только в протоколе опыта, но и в специальной карте.
6.7.6. В ходе эксперимента, когда он оказывается более длительным, чем рассчитывалось первоначально, обязательно добавочное введение анестезирующих веществ.
6.7.7. При окончании острого опыта, если он заканчивается гибелью животного, экспериментатор обязан умертвить животное до окончания действия анестезирующего вещества.
6.7.8. После окончания хирургического вмешательства животное должно переноситься в послеоперационное помещение на специальных носилках, исключающих возможность смещения тканей, расхождения швов и т.д.
6.7.9. Если в послеоперационном периоде у животного могут возникнуть болевые ощущения, экспериментатор должен предусмотреть эту возможность и назначить обезболивающие препараты.
VII. Классификация опасности химических веществ
и смесей при воздействии на организм человека
Важное место в системе регламентирования химических веществ и смесей занимают вопросы гармонизации их классификации и маркировки. Сегодня в мире активно внедряется Согласованная на глобальном уровне система классификации опасности и маркировки химической продукции (СГС), разработанная совместными усилиями Международной организации труда (МОТ), Организации экономического сотрудничества и развития (ОЭСР) и Подкомитета экспертов по перевозке опасных грузов Экономического и Социального Совета Организации Объединенных Наций (UNCETDG) и рекомендованная Организацией Объединенных Наций (ООН) странам для внедрения.
7.1.1. СГС распространяются на чистые химические вещества, их растворы и смеси химических веществ.
7.1.2. Требования СГС не распространяются на готовые лекарственные средства и препараты ветеринарного назначения, готовую парфюмерно-косметическую продукцию.
Что касается требований к предупредительной маркировке, то они не распространяются на лекарственные препараты, пищевые добавки, косметические изделия и остатки пестицидов в пищевых продуктах.
7.2.1. Классификация направлена на унификацию и гармонизацию подходов к оценке опасности химических факторов среды обитания человека, снижение необходимости в проведении испытаний и оценки химических веществ и смесей, опасность которых была должным образом оценена и определена с учетом международных норм и правил.
7.2.2. Классификация опасности химических веществ и смесей (отнесение к виду, классу) производится в зависимости от вида и степени опасности химических веществ и смесей.
7.2.3. Классификация опасности химических факторов включает согласованные критерии классификации опасности веществ и их смесей.
7.2.4. Классификация опасностей предусматривает 3 этапа:
- определение соответствующих данных об опасных свойствах вещества или смеси;
- их последующий анализ в целях оценки опасности;
- решение о целесообразности классификации данного вещества или смеси в качестве опасного и установление степени опасности путем сопоставления полученных данных с согласованными критериями классификации опасностей.
7.2.5. Отнесение химических веществ и смесей к определенному виду/видам опасности и, в соответствующих случаях, классу опасности производится путем сопоставления имеющихся данных с установленными критериями классификации опасности.
7.2.6. Критерии классификации опасности химических веществ и смесей в каждом случае относятся к конкретному виду опасности или к конкретной группе тесно связанных между собой видов опасности.
7.2.7. Классификация опасности химических веществ и смесей должна осуществляться в соответствии с требованиями настоящих правил.
7.3. Общие принципы классификации опасности смесей
химических веществ при воздействии на организм
7.3.1. Классификация опасности смеси.
7.3.1.1. Классификацию опасности смеси рекомендуется проводить в следующем порядке:
- при наличии данных по результатам испытаний (экспериментальных данных) смеси в целом классификация ее опасности производится на основе этих данных;
- при отсутствии экспериментальных данных по смеси в целом для классификации ее опасности используются принципы интерполяции, включенные в каждый раздел по конкретному виду опасности, с целью установить возможность классификации опасности этой смеси на основании данных принципов;
- в случае отсутствия экспериментальных данных по смеси в целом и информации, которая позволила бы применить принципы интерполяции, для классификации используются методы оценки опасности на основе известной информации по отдельным компонентам смеси (расчетные методы).
7.3.1.2. Результаты классификации, проведенной с использованием экспериментальных данных, имеют приоритет над результатами классификации, полученными при помощи расчетных методов.
7.3.1.3. Для изученных смесей с известным составом, классифицированных с использованием экспериментальных данных, классификация опасности по воздействию на организм должна проводиться заново в следующих случаях:
- если произошло значительное изменение соотношения компонентов по сравнению с изученной смесью. Процентное содержание (массовое или объемное) одного или нескольких опасных компонентов в составе смеси вышло за пределы, указанные в
табл. 1 Руководства;
- если изменен состав смеси. Заменены или добавлены один или несколько компонентов, которые являются или могут оказаться опасными при воздействии на организм.
Таблица 1
Допустимые отклонения от первоначальной концентрации
компонентов в смеси
Исходное содержание компонента в смеси C, % | Допустимые отклонения от первоначальной концентрации компонента, % |
<= 2,5 | +/- 30 |
2,5 < C <= 10 | +/- 20 |
10 < C <= 25 | +/- 10 |
25 < C <= 100 | +/- 5 |
7.3.2. Принципы интерполяции при классификации смесей химических веществ.
7.3.2.1. Если экспериментальных данных для определения опасности смеси при воздействии на организм недостаточно, но имеются экспериментальные данные, достаточные для классификации опасности отдельных компонентов исследуемой смеси, и/или экспериментальные данные для смеси, аналогичной исследуемой, то для классификации смеси используются принципы интерполяции.
7.3.2.2. Разбавление.
7.3.2.2.1. При разбавлении классифицированной смеси химическими веществами, имеющими такой же или более низкий класс опасности, чем наименее токсичный компонент исходной смеси, и при этом не ожидается воздействия добавляемых химических веществ и смесей на опасность других компонентов, то получившаяся смесь классифицируется так же, как и исходная смесь.
7.3.2.2.2. При разбавлении смеси, обладающей острой токсичностью при воздействии на организм, водой или другими нетоксичными химическими веществами и смесями, опасность получившейся смеси рассчитывается исходя из данных исходной смеси с учетом ее разбавления.
7.3.2.3. Особенности классификации смесей в зависимости от концентрации их компонентов.
7.3.2.3.1. Если смесь отнесена к классу опасности 1 и концентрация компонентов, отнесенных также к классу опасности 1, увеличивается, то новую смесь следует отнести к классу опасности 1 без проведения дополнительных исследований.
7.3.2.3.2. Если смесь классифицирована как смесь, вызывающая раздражение кожи, и отнесена к классу опасности 2, и в ней не содержатся компоненты, отнесенные к классу опасности 1, то при увеличении концентрации опасных компонентов в исходной смеси полученную смесь следует отнести к классу опасности 2 без проведения дополнительных исследований.
7.3.2.3.3. Если смесь классифицирована как смесь, вызывающая раздражение глаз, и отнесена к классу опасности 2, и в ней не содержатся компоненты, отнесенные к классу опасности 1, то при увеличении концентрации опасных компонентов в исходной смеси полученную смесь следует отнести к классу опасности 2 без проведения дополнительных исследований.
7.3.2.4. Интерполяция внутри одного класса опасности.
7.3.2.4.1. Если имеются три смеси с идентичными компонентами и смеси N 1 и N 2 относятся к одному и тому же классу опасности, а смесь N 3 состоит из тех же компонентов, что и смеси N 1 и N 2, и концентрация этих компонентов имеет промежуточное значение между концентрациями компонентов в смесях N 1 и N 2, то смесь N 3 принадлежит к тому же классу опасности, что и смеси N 1 и N 2.
7.3.2.4.2. Если имеются две смеси: смесь N 1, состоящая из компонентов A и B, и смесь N 2, состоящая из компонентов C и B; концентрация компонента B одинакова в обеих смесях; концентрация компонента A в смеси N 1 равна концентрации компонента C в смеси N 2; опасность компонентов A и C хорошо изучена и эти компоненты отнесены к одному и тому же классу опасности, при этом они не оказывают влияния на степень опасности компонента B, и если смесь N 1 классифицирована на основе экспериментальных данных, то смесь N 2 классифицируется аналогично (ей присваивается такой же класс опасности) без проведения дополнительных испытаний.
7.3.2.5. Смесь в аэрозольной упаковке следует относить к такому же виду и классу опасности, что и та же смесь в другой упаковке при условии, что добавленный пропеллент не оказывает влияния на опасность смеси при распылении. Данный метод интерполяции не применяется для классификации опасности смесей, обладающих острой токсичностью при ингаляционном воздействии, которая проводится отдельно.
7.4. Требования к предупредительной маркировке
7.4.1. Содержание предупредительной маркировки.
- идентификационные данные химического вещества и смеси (наименование, данные о составе смеси и другие данные, позволяющие однозначно отличить конкретное химическое вещество или смесь);
- сведения об организации (лице) - производителе или поставщике, включая наименование организации, адрес, контактные данные для экстренных обращений;
- описание опасности для здоровья человека, включая знак опасности, сигнальное слово, краткую характеристику опасности (H-фразы);
- меры по предупреждению опасности (P-фразы).
7.4.2. Общие требования к предупредительной маркировке.
7.4.2.1. Предупредительную маркировку следует выделять среди другой информации, сопровождающей химическое вещество или смесь. Предупредительная маркировка должна быть четкой и разборчивой, устойчивой к воздействию химических веществ, климатических факторов, сохраняться в течение всего срока хранения и использования химического вещества и смеси. Предупредительная маркировка может быть нанесена либо на этикетку, либо непосредственно на упаковку.
7.4.2.2. Элементы описания опасности (знак опасности, сигнальное слово и краткая характеристика опасности) должны быть расположены вместе.
7.4.3. Идентификационные данные химического вещества и смеси.
7.4.3.1. Для химического вещества должно быть приведено химическое наименование.
7.4.3.2. Для смеси химических веществ должны быть приведены наименования всех входящих в ее состав химических веществ, определяющих в целом опасность для здоровья человека и среды его обитания.
7.4.4. Знаки опасности.
7.4.4.1. Знаки опасности должны иметь форму квадрата, повернутого под углом 45 градусов.
7.4.4.2. Знак опасности включает: символ опасности, графические элементы в виде рамки, фона или цвета, которые приняты для передачи конкретной информации.
7.4.4.3. Для обозначения опасности при воздействии на организм применяют следующие принципы приоритетности при нанесении символов опасности:
- если используют символ опасности "череп и скрещенные кости", то символ "восклицательный знак" не применяют;
- если используют символ опасности "жидкости, выливающиеся из двух пробирок и поражающие металл и руку", применяемый для химического вещества или смеси, вызывающих разъедание (некроз) кожи и/или серьезные повреждения глаз, то символ "восклицательный знак", если он используется для химических веществ и смесей, вызывающих раздражение кожи и/или глаз, не применяют;
- если используют символ опасности "опасность для здоровья человека" для химических веществ и смесей, обладающих сенсибилизирующим действием при вдыхании, то символ "восклицательный знак", если он используется для обозначения сенсибилизирующего действия при контакте с кожей, а также раздражающего действия на кожу и/или глаза, не применяют.
Пламя | Пламя над окружностью | Взрывающаяся бомба |
| | |
Жидкости, выливающиеся из двух пробирок и поражающие металл и руку | Баллон для газа | Череп и скрещенные кости |
| | |
Восклицательный знак | Сухое дерево и мертвая рыба | Опасность для здоровья человека |
| | |
Рис. 1. Символы опасности, наносимые на знак опасности
7.4.4.4. Знаки опасности должны быть выполнены в виде черного символа на белом фоне в красной рамке.
7.4.4.5. Для химических веществ и смесей, предназначенных для использования на территории Российской Федерации, допускается использовать знак опасности в черной рамке.
7.4.5. Сигнальное слово.
7.4.5.1. В зависимости от степени опасности химического вещества и смеси применяют следующие сигнальные слова:
- "Опасно" - для химического вещества и смеси с высокой степенью опасности;
- "Осторожно" - для химического вещества и смеси с более низкой степенью опасности.
7.4.5.2. Если используют сигнальное слово "Опасно", то сигнальное слово "Осторожно" не применяют.
7.4.6. Краткая характеристика опасности (H-фразы).
7.4.6.1. Для химического вещества и смеси, обладающих несколькими видами опасности для здоровья человека, приводят все фразы опасности в соответствии с приведенными ниже принципами приоритетности.
7.4.6.2. При указании фраз, характеризующих опасность по воздействию на организм, применяют следующие принципы приоритетности:
- если используют фразу опасности H314 "При попадании на кожу и в глаза вызывает химические ожоги", применяемую для химических веществ и смесей, вызывающих разъедание (некроз) кожи класса опасности 1, то фразу опасности H318 "При попадании в глаза вызывает необратимые последствия", применяемую для химических веществ и смесей, вызывающих серьезные повреждения глаз класса опасности 1, не используют.
7.4.6.3. Меры по предупреждению опасности (P-фразы).
7.4.6.3.1. Меры по предупреждению опасности химических веществ и их смесей для здоровья человека разделены на три группы:
- меры по безопасному обращению с химическими веществами и их смесями - "Меры по безопасному обращению (предотвращение)";
- меры по ликвидации последствий чрезвычайных ситуаций (ЧС), в т.ч. меры первой помощи - "Меры по ликвидации ЧС (реагирование)";
- меры безопасности при хранении - "Условия безопасного хранения".
Для некоторых видов опасных химических веществ и их смесей рекомендуется указать методы утилизации отходов и ее упаковки.
7.4.6.3.2. Следует наносить не более шести основных фраз, характеризующих меры по предупреждению опасности, если они способны полностью отразить характер и степень опасности. При этом сходные по смыслу меры по предупреждению опасности объединяют в предложения. Если химическое вещество и смесь обладает несколькими видами опасности, то из двух и более близких по смыслу фраз выбирают или компонуют одну, включающую в себя наиболее строгие требования.
7.4.6.3.3. Если какая-либо из представленных мер ни при каких условиях не применима к маркируемому химическому веществу или смеси (например химическое вещество или смесь не является летучим), то данную меру не используют.
7.4.6.3.4. Если при описании мер по предупреждению опасности приведены через "/" несколько вариантов подходящих по смыслу словосочетаний, то может быть использовано любое из перечисленных словосочетаний, а также любая комбинация этих словосочетаний.
7.4.6.3.5. Для химических веществ и их смесей, относящихся к любому из перечисленных в
пункте 5 видов и классов опасности и используемой потребителем в бытовых условиях, предлагаемые меры по предупреждению опасности должны быть дополнены следующими фразами:
- P101: При необходимости обратиться за медицинской помощью, по возможности показать упаковку/маркировку продукта;
- P102: Хранить в недоступном для детей месте;
- P103: Перед использованием ознакомиться с инструкцией по применению/маркировкой продукта.
7.4.6.3.6. Для большей информированности о средствах, использование которых исключает или снижает воздействие опасных и/или вредных факторов, рекомендуется размещать подходящие по смыслу пиктограммы.
7.4.7. Дополнительная информация.
Возможно включение в предупредительную маркировку дополнительной информации об опасности для здоровья человека химического вещества или смеси, не предусмотренной настоящим документом, если эта информация содержит:
- более полные сведения и не противоречит и/или не ставит под сомнение обоснованность информации, требуемой настоящим документом;
- информацию об опасностях, которые не включены в настоящий документ и не приводят к снижению уровня защиты.
7.4.8. Предупредительная маркировка неизученных химических веществ и их смесей.
Химические вещества и их смеси, для которых отсутствуют полные данные об опасности, но есть основания предполагать возможность существования каких-либо неизвестных на данный момент видов опасности для здоровья человека (в частности, данные о возможных отдаленных эффектах и т.п.), должна дополнительно маркироваться надписью: "ОСТОРОЖНО! Полные данные о безопасности (безвредности) и характере ее воздействия на здоровье человека отсутствуют!".
7.5. Классификация опасности химических веществ
и их смесей по параметрам острой токсичности
7.5.1. Критерии классификации опасности химических веществ и их смесей, обладающих острой токсичностью при воздействии на организм.
7.5.1.1. Химические вещества и смеси могут быть отнесены к одной из пяти классов опасности острой токсичности при введении в желудок, нанесении на кожу или при ингаляционном воздействии в соответствии с численными критериями, приведенными в
табл. 2. Значения острой токсичности выражены в показателях DL
50 (при введении в желудок, нанесении на кожу) или CL
50 (ингаляционное воздействие) или в оценках острой токсичности (ООТ).
Таблица 2
Классы опасности химических веществ, обладающих
острой токсичностью по воздействию на организм
Путь поступления в организм | Класс опасности 1 | Класс опасности 2 | Класс опасности 3 | Класс опасности 4 | Класс опасности 5 |
При введении в желудок, мг/кг (примечание 1) | <= 5 | > 5 <= 50 | > 50 <= 300 | > 300 <= 2000 | > 2000 <= 5000 (примечание 4) |
При нанесении на кожу, мг/кг (примечание 1) | <= 50 | > 5 <= 50 | > 50 <= 300 | > 300 <= 2000 |
Газы, ppm <*> (примечания 1, 2) | <= 5 | > 5 <= 50 | > 50 <= 300 | > 300 <= 2000 |
Пары, мг/л (примечания 1, 2, 3) | <= 5 | > 5 <= 50 | > 50 <= 300 | > 300 <= 2000 |
Пыль и туман, мг/л (примечания 1, 2) | <= 5 | > 5 <= 50 | > 50 <= 300 | > 300 <= 2000 |
-------------------------------- |
<*> Концентрация газов выражена ppm - частей на миллион объема (v)/(млн.-1 v). |
Для перерасчета значений CL50, указанных в объемных частях на миллион, в миллиграммы на кубический метр воздуха используют следующую формулу:
CL50 (мг/м3) = CL50 (ppm) М / 22,4, где
М - молекулярная масса.
Примечания.
1. Пороговые значения для ингаляционного воздействия, приведенные в
таблице, основаны на экспериментальном 4-часовом воздействии. Преобразование имеющихся данных по ингаляционной токсичности, полученных в результате часового воздействия, следует производить путем деления на коэффициент 2 для газов и паров и 4 - для пыли и тумана.
2. Концентрация насыщенных паров может быть использована в качестве дополнительного элемента в некоторых регулирующих системах для обеспечения особой защиты здоровья и его безопасности.
3. Для некоторых химических веществ атмосферой для испытаний будут являться не просто пары, а смесь жидкой и газообразной фаз. Для других химических веществ используемая для испытания атмосфера может состоять из пара, близкого к газообразной фазе. В этих последних случаях классификацию опасности следует основывать в ppm следующим образом: класс опасности 1 (100 ppm), класс опасности 2 (500 ppm), класс опасности 3 (2500 ppm), класс опасности 4 (5000 ppm).
4. Критерии для класса опасности 5 предназначены для обеспечения возможности идентификации веществ, которые обладают относительно низкой опасностью по острой токсичности, но в некоторых обстоятельствах могут представлять опасность для групп риска среди населения. Предполагается, что эти вещества имеют DL50 при введении в желудок или нанесении на кожу в диапазоне 2000 - 5000 мг/кг массы тела и эквивалентную ингаляционную дозу.
Конкретные критерии химических веществ
и смесей класса опасности 5:
- химическое вещество или смесь относится к этому классу опасности, если уже имеется надежное свидетельство, указывающее, что DL50 (или CL50) находится в диапазоне значений класса опасности 5 или другие исследования токсического воздействия на животных или на человека указывают на наличие серьезной опасности для здоровья человека;
- химическое вещество или смесь относится к этому классу опасности на основе полученных экстраполированием результатов, оценки или опытных данных, если отнесение к более высокому классу опасности не является оправданным, и:
1) имеется надежная информация, указывающая на значительное токсическое воздействие на людей; или
2) наблюдаются случаи смертности при испытаниях до значений класса опасности 4 при введении в желудок, при нанесении на кожу или при ингаляционном пути поступления в организм; или
3) в тех случаях, когда имеются значительные клинические признаки токсичности при испытаниях до показателей класса опасности 4, исключая случаи диареи, пилоэрекции или неопрятного вида; или
4) когда имеется надежная информация, указывающая на потенциальную возможность значительного острого воздействия на основании других исследований на животных.
Признавая необходимость гуманного отношения к животным, не рекомендуется проведение испытаний на животных в диапазонах класса опасности 5, и такую возможность следует рассматривать лишь тогда, когда существует серьезная вероятность того, что результаты такого испытания могут иметь непосредственное отношение к охране здоровья людей.
Учитывая трудности при испытании паров, некоторые из которых представляют собой смесь жидкой и паровой фаз, значения в таблице приводятся в единицах мг/л. Однако для тех паров, которые находятся в состоянии, близком к газообразному, классификацию опасности следует основывать на единицах ppm.
7.5.1.2. Предпочтительным подопытным видом для оценки острой токсичности при введении в желудок и ингаляционном пути поступления вещества в организм являются крысы, а предпочтительным видом для оценки острой токсичности при нанесении на кожу являются крысы или кролики. Данные испытаний, которые уже накоплены при классификации опасности химических веществ и их смесей в соответствии с действующими системами, следует использовать при повторной классификации этих химических веществ и их смесей в рамках СГС. Если результаты лабораторных испытаний по острой токсичности имеются по нескольким видам животных, то необходимо использовать научный подход для отбора наиболее подходящих значений DL50 из числа имеющихся данных, полученных в результате признанных и правильно проведенных испытаний.
7.5.1.3. Вдыхаемые частицы со среднемассовым аэродинамическим диаметром (СМАД) от 1 до 4 микрон оседают во всех частях дыхательных путей крыс. Этот диапазон размера частиц соответствует максимальной концентрации около 2 мг/л. Поэтому для обеспечения применимости результатов экспериментов на животных к человеку пыль и туман должны испытываться на крысах в этом диапазоне. Пороговые значения в таблице для пыли и тумана позволяют проводить четкие разграничения для веществ и смесей с широким диапазоном токсичности, измеренной при различных условиях тестирования.
7.5.2. Особенности классификации опасности смесей, обладающих острой токсичностью при воздействии на организм.
7.5.2.1. Подход к классификации опасности смесей по параметрам острой токсичности является многоэтапным и зависит от количества информации, имеющейся как по смеси, так и по ее отдельным компонентам. На
рис. 2 представлена последовательность принятия решения (поэтапный процесс).
Рис. 2. Схема классификации смесей по параметрам
острой токсичности
7.5.2.2. Если острая токсичность определяется для более чем одного пути воздействия на организм, то при классификации опасности присваивается класс опасности, соответствующий наихудшему результату.
7.5.2.3. При информировании об опасности следует учитывать всю имеющуюся информацию и все пути поступления в организм.
7.5.2.4. Для использования всех имеющихся данных при классификации опасностей смесей сделаны определенные допущения, которые применяются, когда это уместно, при реализации логической схемы классификации опасности:
- "учитываемые компоненты" смеси - это те компоненты, которые присутствуют в концентрациях >= 1% (весовых для твердых веществ, жидкостей, пыли, аэрозоля (тумана) и паров и объемных для газов), если нет основания предполагать, что компонент, присутствующий при концентрации < 1%, имеет значение при классификации опасности смеси по острой токсичности. Этот момент является особенно значимым при классификации опасности неиспытанных смесей, которые содержат компоненты, отнесенные к классам опасности 1 и 2;
| | ИС МЕГАНОРМ: примечание. В официальном тексте документа, видимо, допущена опечатка: пункт 7.5.3.1.3 отсутствует. | |
- если классифицированная смесь используется в качестве компонента другой смеси, то при классификации опасности новой смеси по формулам, приводимым в пунктах 7.5.3.1.3 и
7.5.3.2.2, применяется оценка острой токсичности для этой смеси, полученная как в ходе лабораторных испытаний, так и расчетным путем;
- если преобразованные точечные оценки острой токсичности для всех компонентов смеси находятся в рамках одного и того же класса опасности, в этом случае смесь следует классифицировать по этому классу опасности;
- в тех случаях, когда имеется лишь диапазон данных (либо информация о классе опасности по острой токсичности) для компонентов смеси, они могут быть преобразованы в точечные оценки в соответствии с
табл. 3 при расчете классификации новой смеси с использованием формул в
пунктах 7.5.3.1.2 и
7.5.3.2.2.
Таблица 3
Преобразование показателей диапазона острой токсичности,
полученных экспериментальным путем (или классов опасности
по острой токсичности) в точечные оценки острой токсичности,
необходимые для использования в формулах
для классификации смесей
Путь воздействия на организм | Класс опасности или полученная экспериментальным путем оценка диапазона острой токсичности (примечание 1) | Преобразованная точечная оценка острой токсичности (примечание 2) |
При введении в желудок (мг/кг массы тела) | 0 < класс опасности 1 <= 5 | 0,5 |
5 < класс опасности 2 <= 50 | 5 |
50 < класс опасности 3 <= 300 | 100 |
300 < класс опасности 4 <= 2000 | 500 |
2000 < класс опасности 5 <= 5000 | 2500 |
При нанесении на кожу (мг/кг массы тела) | 0 < класс опасности 1 <= 50 | 5 |
5 < класс опасности 2 <= 200 | 50 |
200 < класс опасности 3 <= 1000 | 300 |
1000 < класс опасности 4 <= 2000 | 1100 |
2000 < класс опасности 5 <= 5000 | 2500 |
Газы (ppm) | 0 < класс опасности 1 <= 100 | 10 |
100 < класс опасности 2 <= 500 | 100 |
500 < класс опасности 3 <= 2500 | 700 |
2500 < класс опасности 4 <= 5000 класс опасности 5 - прилож. 4 к табл. 2 | 3000 |
Пары (мг/л) | 0 < класс опасности 1 <= 0,5 | 0,05 |
0,5 < класс опасности 2 <= 2,0 | 0,5 |
2,0 < класс опасности 3 <= 10,0 | 3 |
10,0 < класс опасности 4 <= 20,0 класс опасности 5 - прилож. 4 к табл. 2 | 11 |
Пыль/аэрозоль (туман) (мг/л) | 0 < класс опасности 1 <= 0,05 | 0,05 |
0,05 < класс опасности 2 <= 0,5 | 0,05 |
0,5 < класс опасности 3 <= 1,0 | 0,5 |
1,0 < класс опасности 4 <= 5,0 класс опасности 5 - прилож. 4 к табл. 2 | 1,5 |
Примечания.
1. Класс опасности 5 предназначен для смесей, которые обладают относительно низкой острой степенью токсичности, но в некоторых обстоятельствах представляют опасность для определенных групп риска среди населения. Предполагается, что эта смесь имеет DL50 при введении в желудок или при нанесении на кожу в диапазоне 2000 - 5000 мг/кг веса тела или эквивалентную дозу для других путей поступления в организм. Принимая во внимание гуманное отношение к животным, не рекомендуется проводить испытания на животных в диапазонах, соответствующих классу опасности 5, и вопрос о проведении таких испытаний следует рассматривать только тогда, когда существуют веские предположения о том, что результаты такого испытания будут иметь прямое отношение к охране здоровья людей.
2. Данные показатели предназначены для использования при расчете ООТ, необходимой для классификации, основанной на данных по компонентам смеси, и не заменяют собой результаты испытаний. Значения точечной оценки острой токсичности для предосторожности соответствуют нижнему пределу диапазонов, установленных для классов опасности 1 и 2, а для классов опасности 3 - 5 они устанавливаются на уровне, приблизительно соответствующему 1/10 от нижнего предела диапазона.
7.5.3. Классификация опасности смеси на основе ее компонентов (формула аддитивности).
7.5.3.1. Данные по всем компонентам имеются.
7.5.3.1.1. Для обеспечения точности классификации опасности и однократного проведения расчета ООТ должна:
- включать компоненты с известной острой токсичностью, относящиеся к одному из классов опасности острой токсичности в соответствии с СГС;
- не учитывать компоненты, которые считаются не имеющими острую токсичность (например: вода, сахар);
- не учитывать компоненты, которые в ходе испытания острой токсичности при введении в желудок предельной дозы (2000 мг/кг) дают отрицательный результат.
Компоненты, которые входят в сферу действия этого пункта, рассматриваются в качестве компонентов с известной ООТ.
7.5.3.1.2.
ООТ смеси определяется расчетным путем, исходя из показателей
ООТ для всех учитываемых компонентов по приводимой ниже формуле для пероральной, кожной или ингаляционной токсичности:

(
1)
ATEmix - расчетная оценка острой токсичности (ООТmix) - значение DL50 или CL50 для смеси;
C1 - концентрация i-го компонента смеси, выраженная в массовых или объемных процентах;
n - число компонентов (i составляет от 1 до n);
ATEi - оценка острой токсичности i-го компонента (ООТi) - значение DL50 или CL50.
7.5.3.2. Если в составе смеси присутствует(ют) в концентрации >= 1% компонент(ы), сведения о токсичности которого(ых) полностью отсутствует, то допускается классифицировать смесь на основе данных только для изученных компонентов с уточнением, что X процентов смеси состоит из компонента(ов) неизвестной токсичности.
7.5.3.2.1. Если общая концентрация компонента(ов) с неизвестной острой токсичностью <= 10%, то расчет проводят по
формуле (1).
7.5.3.2.2. Если общая концентрация компонента(ов) с неизвестной токсичностью > 10%, то расчет проводят по
формуле (2):

(2)
Cj - концентрация j-го компонента смеси с неизвестной токсичностью, выраженная в массовых или объемных процентах (j составляет от 1 до m);
m - число компонентов с неизвестной токсичностью;
ATEmix - расчетная оценка острой токсичности (ООТmix) - значение DL50 или CL50 для смеси;
Ci - концентрация i-го компонента смеси, выраженная в массовых или объемных процентах (i составляет от 1 до n);
n - число компонентов с известной токсичностью;
ATEi - оценка острой токсичности i-го компонента (ООТi) - значение DL50 или CL50.
7.5.4. Предупредительная маркировка химических веществ и их смесей, обладающих острой токсичностью при воздействии на организм.
Предупредительная маркировка химических веществ и их смесей, обладающих острой токсичностью при воздействии на организм, указана в
прилож. 5.1.
7.6. Классификация опасности химических веществ и их смесей,
вызывающих разъедание (некроз)/раздражение кожи
7.6.1. Факторы, влияющие на определение степени разъедающего и раздражающего действия химических веществ и их смесей перед проведением испытаний.
7.6.1.1. Твердые вещества (порошки) могут становиться разъедающими или раздражающими в случае увлажнения или контакта с увлажненной кожей.
7.6.1.2. В целях классификации опасности следует проанализировать имеющуюся информацию о разъедающем/раздражающем действии химического вещества или смеси на кожу человека, а также данные исследований на животных. Кроме того, для принятия решений используется информация о раздражающем действии структурно близких соединений. Предельные значения pH <= 2 и >= 11,5 также указывают на вероятность разъедающего/раздражающего действия химического вещества или смеси на кожу.
7.6.1.3. Изучение раздражающего/разъедающего действия на кожные покровы химических веществ, высокотоксичных при поступлении в организм через кожу, может быть практически осуществимым, поскольку количество испытуемого вещества может значительно превышать токсическую дозу, что приведет к смерти животного. В ходе исследований острой токсичности при накожном поступлении допускается наблюдение за разъеданием/раздражением кожи в целях классификации раздражающего действия при условии эквивалентности использованных растворов и видов экспериментальных животных.
7.6.1.4. Для принятия решений о классификации опасности используются проверенные и приемлемые альтернативные методы исследования in vitro.
7.6.1.5. Решение о необходимости исследований раздражающего действия на кожу in vivo принимается на основании анализа всей совокупности информации о веществе и его структурных аналогах.
7.6.2. Разъедающее действие (некроз).
7.6.2.1. Критерии для классификации химических веществ и смесей (едких), обладающих разъедающим действием на кожные покровы, представлены в
табл. 4. Разъедающим является химическое вещество или смесь, которая приводит к разрушению кожных покровов, а именно к видимому некрозу от эпидермиса до собственно кожи хотя бы у одного из трех испытуемых животных после воздействия продолжительностью до 4 ч. Для реакции разъедания типичными являются язвы, кровотечение, кровавые струпья и к концу периода наблюдения продолжительностью 14 дней - обесцвечивание, вызванное депигментацией кожи, участки алопеции и шрамы. Для оценки сомнительных повреждений следует прибегать к гистопатологии.
7.6.2.2. При наличии показателей для более детального описания эффекта в рамках класса опасности 1 выделены три подкласса опасности: подкласс опасности 1A - в котором реакция отмечается после 3 мин. воздействия и в течение периода наблюдения продолжительностью до 1 ч; подкласс опасности 1B - в котором наблюдается реакция после воздействия продолжительностью от 3 мин. до 1 ч и в течение периода наблюдения продолжительностью до 14 дней; и подкласс опасности 1C - в котором реакция отмечается после воздействия в течение от 1 до 4 ч и наблюдается до 14 дней.
Таблица 4
Классификация опасности химических веществ и смесей,
вызывающих разъедание кожных покровов
Класс опасности 1 едких химических веществ и их смесей | Подклассы опасности едких химических веществ и их смесей | Химические вещества и их смеси, вызывающие видимый некроз кожных покровов не менее чем у 1/3 подопытных животных |
время воздействия | время наблюдения |
1A | <= 3 мин. | <= 1 ч |
1B | > 3 мин. - <= 1 ч | <= 14 дней |
1C | > 1 ч - <= 4 ч | <= 14 дней |
7.6.3. Раздражающее действие.
7.6.3.1. Критерии для классификации химических веществ и их смесей, обладающих раздражающим действием на кожу, представлены в
табл. 5.
7.6.3.2. При оценке последствий раздражения следует учитывать период восстановления повреждений кожи.
Таблица 5
Классификация химических веществ и смесей, оказывающих
раздражающее действие на кожные покровы
Классы опасности | Критерии |
2 Раздражающее вещество | 1) среднее значение >= 2,3 - < 4,0 для эритемы/струпа или для отека у 2 из 3 подопытных животных через 24, 48 и 72 ч после удаления повязки и в случае замедленной реакции последовательно в течение 3 дней после начала кожной реакции; или 2) воспаление, сохраняющееся к концу периода наблюдения обычно продолжительностью в 14 дней хотя бы у 2 животных, особенно принимая во внимание алопецию (ограниченная площадь), гиперкератоз, гиперплазию и шелушение; или 3) в некоторых случаях, когда существуют явные различия в реакции у животных, при очень определенных положительных эффектах, связанных с химическим воздействием у одного животного, однако меньше, чем в приведенных выше критериях |
3 Умеренно раздражающее вещество | Среднее значение в размере >= 1,5 - < 2,3 для эритемы/струпа или отека у по крайней мере 2 из 3 подопытных животных после 24, 48 и 72 ч воздействия и в случае замедленной реакции, в течение 3 последовательных дней после начала кожной реакции (если химические вещества и их смеси не отнесена к классу опасности 2, указанному выше) |
7.6.4. Особенности классификации опасности смесей.
7.6.4.1. При классификации опасности смесей по разъедающему/раздражающему действию на кожу "учитываемыми компонентами" смеси являются те, которые присутствуют в концентрациях >= 1% (масса/масса твердых веществ, жидкостей, пыли, тумана и пара; объем/объем газов). Исключением являются компоненты смеси, обладающие разъедающим действием, которые в концентрации менее 1% оказывают влияние на классификацию опасности по разъедающему/раздражающему действию на кожу.
7.6.4.2. Классификация смесей в качестве раздражающих или разъедающих кожу при наличии данных о компонентах, а не о смеси в целом, основана на теории аддитивности, состоящей в том, что каждый разъедающий или раздражающий компонент способствует общим раздражающим или разъедающим свойствам смеси пропорционально его активности и концентрации. Весовой коэффициент, равный 10, используется для разъедающих компонентов, если они присутствуют в концентрации ниже предельной концентрации для отнесения к классу опасности 1, однако в концентрации, которая способствует отнесению этой смеси к другим классам опасности по раздражающему действию. Смесь классифицируется в качестве разъедающей или раздражающей, когда сумма концентраций таких компонентов превышает пороговое значение/предельное значение концентрации.
7.6.4.3. Пороговые значения/предельные значения концентрации для использования при определении раздражающего или разъедающего действия смесевой продукции на кожные покровы представлены в
табл. 6.
7.6.4.4. Особо тщательно должна применяться классификация для таких видов химических веществ, как кислоты и основания, неорганические соли, альдегиды, фенолы и поверхностно активные вещества. Подход, поясняемый в
пунктах 7.6.4.1 и
7.6.4.2, может не срабатывать для веществ, разъедающих или раздражающих в концентрациях менее 1%.
7.6.4.5. Для смесей, содержащих сильные кислоты или основания, в качестве классификационных критериев следует использовать pH в соответствии с
табл. 7, так как смесь, содержащая разъедающие или раздражающие компоненты, не может быть классифицирована на основе аддитивного подхода, изложенного в
табл. 6.
7.6.4.6. Если известно, что компонент(ы) смеси обладает разъедающим или раздражающим действием в концентрации < 1% (разъедающий) или < 3% (раздражающий), то смесь следует классифицировать соответствующим образом.
Таблица 6
Классификация опасности смесей, содержащих вещества,
обладающие различной степенью раздражающего/разъедающего
действия на кожу
Сумма компонентов, вызывающих разъедание (некроз)/раздражение кожи и отнесенных к следующим классам опасности | Суммарная концентрация компонентов (C, %), позволяющая отнести смесь к следующим классам опасности по разъедающему (некроз)/раздражающему действию на кожу |
класс опасности 1 | класс опасности 2 | класс опасности 3 |
Класс опасности 1 | C >= 5 | 5 > C >= 1 | - |
Класс опасности 2 | - | C >= 10 | 10 > C >= 1 |
Класс опасности 3 | - | - | C >= 10 |
(10 x класс опасности 1) + класс опасности 2 | - | C >= 10 | 10 > C >= 1 |
(10 x класс опасности 1) + класс опасности 2 + класс опасности 3 | - | - | C >= 10 |
Примечание. Сумма компонентов смеси, отнесенных к подклассам опасности 1A, 1B или 1C, должна быть >= 5%, чтобы смесь была классифицирована как оказывающая воздействие на кожные покровы подкласса опасности 1A, 1B или 1C. В случае, когда сумма компонентов, относящихся по воздействию на кожные покровы к подклассу опасности 1A, составляет < 5%, а сумма компонентов, относящихся по воздействию на кожные покровы к подклассам опасности 1A + 1B, составляет >= 5%, смесь следует отнести к классу 1B по воздействию на кожные покровы. Аналогичным образом, если сумма компонентов, относящихся по воздействию на кожные покровы к подклассам опасности 1A + 1B, составляет < 5%, а сумма компонентов, относящихся по воздействию на кожные покровы к подклассам опасности 1A + 1B + 1C, составляет >= 5%, смесь следует отнести к подклассу опасности 1C.
Таблица 7
Классификация опасности разъедающего/раздражающего
действия на кожу смесей, для которых не применяется
аддитивный подход
Компоненты, вызывающие поражение (некроз)/раздражение кожи, для которых неприменим аддитивный подход | Суммарная концентрация компонентов C, % | Класс опасности смеси |
Кислота с pH <= 2 | >= 1 | 1 |
Щелочь с pH >= 11,5 | >= 1 | 1 |
Другие компоненты, отнесенные к классу опасности 1 | >= 1 | 1 |
Компоненты, отнесенные к классу опасности 2, включая кислоты и щелочи | >= 3 | 2 |
7.6.5. Предупредительная маркировка химических веществ и их смесей, вызывающих поражение (некроз)/раздражение кожи, представлена в
прилож. 5.2.
7.7. Классификация опасности химических веществ и их смесей,
вызывающих разъедание (некроз)/раздражение глаз
7.7.1. Критерии классификации опасности.
7.7.1.1. Твердые вещества (порошки) могут становиться разъедающими или раздражающими в случае увлажнения или контакта с увлажненной слизистой глаза.
7.7.1.2. В целях классификации опасности следует проанализировать имеющуюся информацию о разъедающем/раздражающем действии химического вещества или смеси на глаз человека, а также данные исследований на животных. Кроме того, для принятия решений используется информация о раздражающем действии структурно близких соединений. Предельные значения pH <= 2 и >= 11,5 также указывают на вероятность разъедающего/раздражающего действия вещества на слизистую глаза. Исследования разъедающего/раздражающего действия на кожу должны предшествовать изучению разъедающего/раздражающего действия вещества на глаза во избежание испытаний по изучению местного воздействия на глаза веществ, разъедающих кожу.
7.7.1.3. Для принятия решений о классификации опасности используются проверенные и приемлемые альтернативные методы исследования in vitro.
7.7.1.4. Решение о необходимости исследований раздражающего действия на слизистые глаза in vivo принимается на основании анализа всей совокупности информации о веществе и его структурных аналогах.
7.7.2. Химические вещества и смеси, вызывающие необратимые повреждения глаз, относящиеся к классу опасности 1.
7.7.2.1. Критериями отнесения к классу опасности 1 по разъедающему/раздражающему действию на глаза являются:
- необратимые или частично обратимые поражения роговицы, радужной оболочки или конъюнктивы, возникающие хотя бы у одного испытуемого животного и сохраняющиеся в течение всего периода наблюдений продолжительностью в 21 день;
- положительная реакция у 2 из 3 испытуемых животных, помутнение роговицы (>= 3 или > 1,5 рассчитанные в виде средних коэффициентов исходя из длительности испытания в 24, 48 и 72 ч) после воздействия вещества или смеси.
7.7.3. Химические вещества и смеси, вызывающие обратимые поражения глаз, относящиеся к классу опасности 2.
7.7.3.1. В пределах данного класса опасности существует возможность разграничения между подклассом опасности 2A (раздражение глаз) и подклассом опасности 2B (слабое раздражение глаз).
7.7.3.2. Химические вещества и их смеси относят к подклассу опасности 2A, если:
- по крайней мере, у 2 из 3 испытуемых животных имеется положительная реакция:
а) помутнение роговицы >= 1;
б) ирит >= 1;
в) покраснение конъюнктивы >= 2;
г) отек конъюнктивы (хемоз) >= 2;
- рассчитанные в виде средних коэффициентов через 24, 48 и 72 ч после воздействия и полное восстановление происходит в течение периода наблюдения, составляющего 21 день.
7.7.3.3. Химические вещества и их смеси, оказывающие раздражающее действие на глаза, относятся к подклассу опасности 2B в тех случаях, когда перечисленные выше последствия являются полностью восстанавливаемыми в течение 7 дней наблюдения.
7.7.4. Особенности классификации опасности смесей по раздражающему действию на глаза.
7.7.4.1. При классификации опасности смесей по разъедающему/раздражающему действию на слизистые глаза "учитываемыми компонентами" смеси являются те, которые присутствуют в концентрациях >= 1% (масса/масса твердых веществ, жидкостей, пыли, тумана и пара; объем/объем газов). Исключением являются компоненты смеси, обладающие разъедающим действием, которые в концентрации менее 1% оказывают влияние на классификацию опасности по разъедающему/раздражающему действию на глаз.
7.7.4.2. Классификация смесей в качестве раздражающих или разъедающих глаз при наличии данных о компонентах, а не о смеси в целом, основана на теории аддитивности, состоящей в том, что каждый разъедающий или раздражающий компонент способствует общим раздражающим или разъедающим свойствам смеси пропорционально его активности и концентрации. Весовой коэффициент, равный 10, используется для разъедающих компонентов, если они присутствуют в концентрации ниже предельной концентрации для отнесения к классу опасности 1, однако в концентрации, которая способствует отнесению этой смеси к другим классам опасности по раздражающему действию. Смесь классифицируется в качестве разъедающей или раздражающей, когда сумма концентраций таких компонентов превышает пороговое значение/предельное значение концентрации.
7.7.4.3. Пороговые значения/предельные значения концентрации для использования при определении раздражающего или разъедающего действия смесевой продукции на слизистые глаза представлены в
табл. 8.
7.7.4.4. Особо тщательно должна применяться классификация для таких видов химических веществ, как кислоты и основания, неорганические соли, альдегиды, фенолы и поверхностно активные вещества. Подход, поясняемый в
пунктах 7.7.4.1 и
7.7.4.2, может не срабатывать для веществ, разъедающих или раздражающих в концентрациях менее 1%.
7.7.4.5. Для смесей, содержащих сильные кислоты или основания, в качестве классификационных критериев следует использовать pH в соответствии с
табл. 8, так как смесь, содержащая разъедающие или раздражающие компоненты, не может быть классифицирована на основе аддитивного подхода, изложенного в
табл. 9.
7.7.4.6. Если известно, что компонент(ы) смеси обладает разъедающим или раздражающим действием в концентрации < 1% (разъедающий) или < 3% (раздражающий), то смесь следует классифицировать соответствующим образом.
Таблица 8
Классификация опасности смесей, содержащих вещества,
обладающие различной степенью раздражающего/разъедающего
действия на глаза
Концентрация, определяющая классификацию смеси в качестве вызывающей | Классификация суммы компонентов смеси |
необратимые последствия для глаз | обратимые последствия для глаз |
класс опасности 1 | класс опасности 2 |
Класс опасности 1 по воздействию на глаза или кожные покровы | >= 3 | >= 1%, но < 3% |
Класс опасности 2/2A по воздействию на глаза | | >= 10% |
(10 x класс опасности 1 по воздействию на глаза) + класс опасности 2/2A по воздействию на глаза | | >= 10% |
Класс опасности 1 по воздействию на кожные покровы + класс опасности 1 по воздействию на глаза | >= 3% | >= 1%, но < 3% |
10 x (класс опасности 1 по воздействию на кожные покровы + класс опасности 1 по воздействию на глаза) + подкласс опасности 2A/2B по воздействию на глаза | | >= 10% |
Таблица 9
Классификация опасности разъедающего/раздражающего
действия на кожу смесей, для которых не применяется
аддитивный подход
Компонент смеси | Концентрация в смеси | Классификация смеси в качестве оказывающей воздействие на глаза |
Кислота с pH <= 2 | >= 1% | класс опасности 1 |
Щелочь с pH >= 11,5 | >= 1% | класс опасности 1 |
Другие разъедающие (класс опасности 1) компоненты, для которых не применяется принцип аддитивности | >= 1% | класс опасности 1 |
Другие раздражающие (класс опасности 2) компоненты, для которых не применяется принцип аддитивности, включая кислоты и щелочи >= 3% класс 2 | >= 3% | класс опасности 2 |
7.7.5. Предупредительная маркировка химических веществ и их смесей, вызывающих серьезные повреждения/раздражение глаз, представлена в
прилож. 5.3.
7.8. Классификация опасности химических веществ
и их смесей, обладающих сенсибилизирующим действием
7.8.1. Химические вещества и смеси, оказывающие сенсибилизирующее действие при ингаляционном поступлении.
7.8.1.1. В тех случаях, когда имеются достаточный объем данных и более точная оценка, согласно
п. 7.8.1.3 допускается отнесение респираторных сенсибилизаторов к подклассу опасности 1A (сильные сенсибилизаторы) или к подклассу опасности 1B (другие респираторные сенсибилизаторы).
7.8.1.2. В тех случаях, когда имеющиеся данные недостаточны для проведения разбивки по подклассам, вещества или смеси относят к классу опасности 1.
7.8.1.3. Химические вещества и смеси следует относить к подклассам опасности 1A или 1B в соответствии с критериями, указанными в
табл. 10.
Таблица 10
Классификация опасности химических веществ и смесей,
обладающих сенсибилизирующим действием при вдыхании
Класс и подклассы опасности | Критерии классификации |
1 | Химические вещества и смеси, оказывающие сенсибилизирующее действие при ингаляционном воздействии: а) если существует доказательства того, что вещество или смесь может привести к специфической респираторной гиперчувствительности в организме человека; б) имеются положительные результаты соответствующих испытаний на животных |
1A | Химические вещества и смеси, проявляющие: а) высокую частоту попадания в организм человека; б) вероятность возникновения выраженной аллергической реакции у человека, которая получена на основании тестов на животных или на основании других тестов. В качестве критерия рассматривается степень выраженности реакции |
1B | Химические вещества и смеси, проявляющие: а) низкую/умеренную частоту попадания в организм человека; б) вероятность возникновения низкой/умеренной аллергической реакции у человека, которая получена на основе тестов на животных или на основании других тестов. В качестве критерия рассматривается степень выраженности реакции |
7.8.2. Подтверждение воздействия на организм человека.
7.8.2.1. Подтверждением повышенной чувствительности организма человека к воздействию химического вещества при ингаляционном поступлении является астма, ринит/конъюнктивит и альвеолит, т.е. аллергической реакции с клиническим характером. Проявление иммунологических механизмов не является обязательным.
7.8.2.2. При принятии решения о классификации опасности необходимо учитывать в дополнение к проявлениям:
- численность подвергшегося воздействию населения;
- степень воздействия.
7.8.2.3. Подтверждением сенсибилизирующего действия являются:
- клиническая картина и данные испытаний легочной функции, подтверждаемые другими вспомогательными исследованиями, которые включают:
а) иммунологическое испытание in vivo (например: инъекционная кожная проба);
б) иммунологическое испытание in vitro (например: серологический анализ);
в) исследования, которые указывают на другие конкретные реакции повышенной чувствительности, например повторяющееся слабое раздражение, фармакологически компенсируемые последствия;
г) химическая структура, относящаяся к веществам, которые, как известно, вызывают повышенную чувствительность при ингаляционном воздействии;
- данные бронхиальной пробы с положительным результатом.
7.8.2.4. Результаты положительной бронхиальной пробы используются для доказательства необходимости классификации вещества или смеси как вызывающего сенсибилизацию организма при вдыхании.
7.8.2.5. Данные исследований на животных, которые указывают на способность вещества вызывать сенсибилизацию у людей при ингаляционном воздействии, включают:
- измерения иммуноглобулина E (lgE) и другие конкретные иммунологические параметры;
- конкретную пульмональную реакцию на морских свинках.
7.8.3. Химические вещества и смеси, оказывающие сенсибилизирующее действие при нанесении на кожу.
7.8.3.1. Химические вещества и смеси, вызывающие сенсибилизацию организма при нанесении на кожу, относят к классу опасности 1.
7.8.3.2. В тех случаях, когда имеются данные, более точная оценка, согласно
п. 7.8.3.3, допускает отнесение кожных сенсибилизаторов к подклассу опасности 1A (сильные сенсибилизаторы) или к подклассу опасности 1B (другие кожные сенсибилизаторы).
7.8.3.3. Химические вещества и смеси следует относить к подклассам опасности 1A или 1B в соответствии с критериями, указанными в
табл. 11.
Таблица 11
Классификация опасности химических веществ и смесей,
обладающих сенсибилизирующим действием при контакте с кожей
Класс и подкласс опасности | Критерии классификации |
1 | Химические вещества и смеси классифицируются как оказывающие сенсибилизирующее действие при кожном воздействии: а) если существует доказательство того, что вещество при контакте с кожей может привести к сенсибилизации существенного числа людей; б) если существуют положительные результаты соответствующих исследований на животных |
1A | Химические вещества и смеси, проявляющие: а) высокую частоту воздействия на организм человека; б) высокий потенциал воздействия на животных, дающий основание прогнозировать существенное сенсибилизирующее действие на людей. В качестве критерия рассматривается степень выраженности реакции |
1B | Химические вещества и смеси, проявляющие: а) низкую/умеренную частоту воздействия на организм человека; б) низкий/умеренный потенциал воздействия на животных, дающий основание прогнозировать возможность сенсибилизирующего действия на людей. В качестве критерия рассматривается степень выраженности реакции |
7.8.4. Доказательства воздействия на организм человека.
7.8.4.1. Доказательства воздействия на организм человека химических веществ и смесей подкласса опасности 1A включают:
- позитивные реакции при <= 500 мкг/см2;
- диагностические данные на кожные пробы в тех случаях, когда существует высокое или существенное распространение реакции в определенной группе населения при относительно низкой экспозиции;
- другие эпидемиологические данные, свидетельствующие об относительно высокой и существенной распространенности аллергического контактного дерматита при относительно низкой экспозиции.
7.8.4.2. Доказательства воздействия на организм человека химических веществ и смесей подкласса опасности 1B включают:
- положительную реакцию при <= 500 мкг/см2;
- диагностические данные на кожные пробы в тех случаях, когда существует относительно низкая, но существенная распространенность реакций в определенной группе населения при относительно высокой экспозиции;
- другие эпидемиологические данные, свидетельствующие об относительно низкой, но существенной распространенности аллергического контактного дерматита, при относительно высокой экспозиции.
7.8.5. Исследования на животных.
7.8.5.1. Для класса опасности 1, в тех случаях, когда используется метод испытания адъювантного типа, реакция считается положительной при наблюдении сенсибилизации кожи у 3% животных. Для метода испытания неадъювантного типа на морских свинках реакция рассматривается в качестве положительной при наблюдении сенсибилизации кожи 15% животных. Для классификации могут быть использованы другие методы при условии, что они хорошо проверены и научно обоснованы.
7.8.5.2. Результаты испытания на животных для отнесения веществ и смесей к подклассу опасности 1A включают данные, указанные в
табл. 12.
Таблица 12
Критерии для отнесения химических веществ
и смесей к подклассу опасности 1A
Испытания на животных | Критерии |
Локальные испытания для лимфатических узлов | Значение ЕСЗ <= 2% |
Испытание по методу максимизации для морских свинок | >= 30%, реагирующих при значении <= 0,1% интрадермальной индукционной дозы или >= 60%, реагирующих при значении > 0,1% - <= 1,0% интрадермальной индукционной дозы |
Испытания по методу Бюллера | >= 15%, реагирующих при значении <= 0,2% локальной индукционной дозы или >= 60%, реагирующих при значении > 0,2% - <= 20,0% локальной индукционной дозы |
7.8.5.3. Результаты испытания на животных для отнесения химических веществ и смесей к подклассу опасности 1B включают данные, указанные в
табл. 13.
Таблица 13
Критерии для отнесения химических веществ
и смесей к подклассу опасности 1B
Испытания на животных | Критерии |
Локальные испытания для лимфатических узлов | Значение ЕСЗ > 2% |
Испытание по методу максимизации для морских свинок | >= 30% - <= 60%, реагирующих при значении > 0,1% - <= 1,0% интрадермальной индукционной дозы или >= 30%, реагирующих при значении > 1% интрадермальной индукционной дозы |
Испытания по методу Бюллера | >= 15% - <= 60%, реагирующих при значении > 0,2% - <= 20,0% локальной индукционной дозы или >= 15% - <= 60%, реагирующих при значении > 0,2% - <= 20,0% локальной индукционной дозы |
7.8.6. Сведения, которые необходимо учитывать при классификации опасности.
7.8.6.1. Для классификации опасности химического вещества или смеси данные должны включать один или все следующие компоненты:
- положительные данные накожной пробы, обычно полученные в более чем одной дерматологической клинике;
- эпидемиологические исследования, свидетельствующие об аллергическом контактном дерматите, вызванном данным веществом (ситуации, в которых у значительной части подвергшихся воздействию проявляются характерные симптомы, следует рассматривать особо тщательно, даже если число случаев является незначительным);
- положительные данные соответствующих исследований на животных;
- положительные данные лабораторных исследований на организм человека;
- хорошо задокументированные случаи аллергического контактного дерматита, обычно полученные более чем в одной дерматологической клинике;
- необходимо учитывать степень серьезности реакции.
7.8.6.2. Результаты исследований на животных обычно являются более надежными, чем результаты воздействия на человека. В тех случаях, когда данные имеются из обоих источников, и между результатами существует противоречие, должны оцениваться качество и надежность данных из обоих источников для решения вопроса о классификации опасности в каждом конкретном случае.
7.8.6.3. Если ни одно из вышеупомянутых условий не удовлетворяется, то вещество или смесь не следует классифицировать как контактный сенсибилизатор. При сочетании двух и более индикаторов контактной сенсибилизации вещество или смесь следует классифицировать как опасное. При этом принимаются во внимание положительные результаты, полученные от близких структурных аналогов.
7.8.7. Иммунологическая контактная крапивница.
7.8.7.1. Химические вещества, оказывающие сенсибилизирующее действие при ингаляционном воздействии, могут, кроме того, вызывать иммунологическую контактную крапивницу. Следует учитывать возможность классификации опасности этих веществ также в качестве контактных сенсибилизаторов. Вещества, которые вызывают иммунологическую контактную крапивницу, но не отвечают критериям для веществ, оказывающих сенсибилизирующее действие при ингаляционном воздействии, следует рассматривать на предмет классификации опасности в качестве контактных сенсибилизаторов.
7.8.7.2. Не существует признанной модели для животных, с помощью которой можно было бы определять вещества, которые вызывают иммунологическую контактную крапивницу. Поэтому классификация основана на наблюдении за людьми аналогично случаям с сенсибилизацией кожи.
7.8.8. Особенности классификации опасности смесей.
7.8.8.1. Смесь следует классифицировать как оказывающую сенсибилизирующее действие при ингаляционном воздействии или оказывающую сенсибилизирующее действие при нанесении на кожу, если хотя бы один компонент классифицирован как вещество, оказывающее сенсибилизирующее действие при ингаляционном воздействии, или вещество, оказывающее сенсибилизирующее действие при нанесении на кожу, и присутствует в концентрации не ниже соответствующего порогового значения/предельного значения для твердого вещества, жидкости или газа, указанного в
табл. 14.
Таблица 14
Пороговые/предельные значения концентрации компонентов
смеси, классифицированных как вещества, оказывающие
сенсибилизирующее действие при нанесении на кожу,
или вещества, оказывающие сенсибилизирующее действие
при ингаляционном воздействии, для определения
класса опасности смесей
Классификация компонента | Пороговые/предельные значения концентрации, определяющих классификацию смесей |
респираторный сенсибилизатор, класс опасности 1 | кожный сенсибилизатор, класс опасности 1 |
твердое вещество/жидкость | газ | все агрегатные состояния |
Респираторный сенсибилизатор, класс опасности 1 | >= 0,1% | >= 0,1% | - |
>= 1,0% | >= 0,2% |
Респираторный сенсибилизатор, подкласс опасности 1A | >= 0,1% | >= 0,1% |
Респираторный сенсибилизатор, подкласс опасности 1B | >= 1,0% | >= 0,2% |
Кожный сенсибилизатор, класс опасности 1 | - | - | >= 0,1% |
- | - | >= 1,0% |
Кожный сенсибилизатор подкласс опасности 1A | - | - | >= 0,1% |
Кожный сенсибилизатор подкласс опасности 1B | - | - | >= 1,0% |
7.8.9. Предупредительная маркировка химических веществ и их смесей, обладающих сенсибилизирующим действием.
Предупредительная маркировка химических веществ и их смесей, обладающих сенсибилизирующим действием, указана в
прилож. 5.4.
7.9. Классификация опасности мутагенной активности
химических веществ и смесей
7.9.1. Этот вид опасности в первую очередь связан с химическими веществами, которые могут вызывать мутацию в зародышевых клетках человека и передаваться потомству. Однако испытания на мутагенность/генотоксичность in vitro и на соматических клетках млекопитающих in vivo также учитываются при классификации опасности веществ и их смесей.
7.9.2. Критерии классификации опасности для химических веществ и смесей.
7.9.2.1. Система классификации опасности предусматривает два различных класса опасности для мутагенов зародышевых клеток с учетом значимости имеющейся информации.
7.9.2.2. Для проведения классификации опасности используются результаты экспериментов по изучению мутагенных и/или генотоксических эффектов на зародышевых и/или соматических клетках лабораторных животных. Следует учитывать также мутагенные и/или генотоксические эффекты, установленные в ходе испытаний in vitro.
7.9.3. Примерами испытаний in vivo на предмет наследуемой мутагенности зародышевых клеток являются:
- испытание доминирующей летальной мутации у грызунов;
- оценка наследуемой транслокации у мышей;
- испытания на локус-специфичность у мышей.
7.9.4. Примеры испытаний in vivo соматической мутагенности клеток:
- испытание хромосомной аберрации костного мозга у млекопитающих;
- SPOT-тест на мышах;
- микроядерный эритроцитный тест на млекопитающих.
7.9.5. Классификация опасности для мутагенов зародышевых клеток представлена в
табл. 15.
Таблица 15
Классификация опасности для мутагенов зародышевых клеток
Класс, подкласс опасности | Химические вещества |
1 | Вызывающие наследуемые мутации или которые следует рассматривать как если бы они вызывали наследуемые мутации в зародышевых клетках человека |
1A | Вызывающие наследуемые мутации в зародышевых клетках человека. Критерий: - положительные результаты эпидемиологических исследований |
1B | Вызывающие наследуемые мутации в зародышевых клетках человека. Критерии: - положительный результат испытаний in vivo наследуемой мутагенности зародышевых клеток млекопитающих; - положительный результат испытаний in vivo соматической мутагенности клеток млекопитающих в сочетании с данными о потенциальной способности вещества вызывать мутации зародышевых клеток. Такое вспомогательное доказательство может быть получено в результате испытаний мутагенности/генотоксичности in vivo в отношении зародышевых клеток или наличия доказательств о способности вещества или его метаболитов взаимодействовать с генетическим материалом зародышевых клеток; - положительные результаты испытаний мутагенной активности на зародышевых клетках человека без передачи потомству, например повышение частоты анеуплоидии сперматозоидов у подверженных воздействию людей |
2 | Химические вещества, которые вызывают опасение за состояние здоровья людей в связи с возможностью вызывать наследственные мутации в зародышевых клетках человека. Критерии: - положительный опыт, полученный в результате экспериментов на млекопитающих и, в некоторых случаях, экспериментов in vitro, полученных в испытании in vivo соматической мутагенности клеток млекопитающих или других испытаний in vivo соматической генотоксичности клеток, которые подтверждаются положительными результатами испытаний мутагенности in vitro |
Примечание. Химические вещества, которые дают положительные результаты при испытании мутагенности in vitro на млекопитающих, а также показывают связь активности химической структуры с известными мутагенами зародышевых клеток, следует отнести к мутагенам класса опасности 2.
7.9.6. Классификация опасности мутагенного действия смесей осуществляется как при наличии данных по всем компонентам данной смеси, так и по некоторым компонентам.
7.9.7. Смесь классифицируется в качестве мутагенной, если хотя бы один компонент отнесен к мутагенам класса опасности 1 или 2 и присутствует на уровне или выше соответствующего порогового значения/предельного значения концентрации, приведенного в
табл. 16.
Таблица 16
Пороговые/предельные значения концентрации компонентов
смесей, отнесенных к мутагенам зародышевых клеток,
для определения класса опасности смесей
Классификация компонента | Пороговые значения/предельные значения концентрации компонентов смесей, отнесенных к мутагенам зародышевых клеток, определяющих классификацию смесей |
мутаген класса опасности 1 | мутаген класса опасности 2 |
подкласс опасности 1A | подкласс опасности 1B |
Мутаген класса опасности 1A | >= 0,1 | - | - |
Мутаген класса опасности 1B | - | >= 0,1 | - |
Мутаген класса опасности 2 | - | - | >= 1,0 |
Примечание. Пороговые значения/предельные значения концентрации в
таблице по вышеприведенным твердым веществам и жидкостям (единицы масса/масса), а также по газам (единицы объем/объем).
7.9.8. Предупредительная маркировка мутагенов изложена в
прилож. 5.5.
7.10. Классификация опасности химических веществ
и смесей по канцерогенному действию
7.10.1. Критерии классификации канцерогенной опасности химических веществ.
7.10.1.1. При классификации канцерогенной опасности химические вещества относят к одному из двух классов опасности на основании убедительных доказательств и дополнительных данных
(табл. 17). В некоторых случаях может потребоваться конкретная классификация, основанная на пути поступления в организм.
Таблица 17
Классификация опасности канцерогенов
Класс, подкласс опасности | Химические вещества и смеси |
1 | Известные или предполагаемые канцерогены человека |
1A | Известны как обладающие потенциалом канцерогенного воздействия на человека |
1B | Предполагается, что обладают потенциалом канцерогенного воздействия на человека |
2 | Предполагаемые канцерогены для человека |
7.10.1.2. Классификация канцерогена производится на основе результатов, полученных с помощью надежных и приемлемых методов, и предназначена для использования в отношении химических веществ, которым присуще свойство оказывать такое токсическое воздействие. При оценке канцерогенной активности следует использовать все имеющиеся данные, опубликованные экспертные исследования, а также дополнительные данные, признаваемые регулирующими органами.
7.10.1.3. Важными показателями, которые должны приниматься во внимание при оценке общего уровня канцерогенной опасности, являются:
- тип опухоли и существующая заболеваемость;
- многостадийность реакции;
- развитие поражений в направлении злокачественности;
- уменьшение латентного периода опухоли;
- дополнительные факторы, которые могут увеличивать или уменьшать уровень опасности, включают:
а) реакцию у одного или обоих полов;
б) реакцию у отдельного вида или нескольких видов;
в) структурную похожесть или отсутствие таковой по отношению к химическому веществу(ам), по которым существует хорошее фактическое подтверждение канцерогенности;
г) пути поступления в организм;
д) сравнение абсорбции, распределения, метаболизма и экскреции между подопытными животными и людьми;
е) возможность ошибочных выводов по результатам испытаний при высоких токсических дозах;
ж) характер проявления и его значимость для людей, как, например, мутагенность, цитотоксичность со стимуляцией роста, подавление иммунитета.
7.10.1.4. Отмечено, что генетические явления занимают центральное место в общем процессе развития рака. Поэтому положительные результаты мутагенной активности in vivo указывают на то, что химическое вещество обладает потенциалом канцерогенного воздействия.
7.10.1.5. К классу опасности 1 по канцерогенной активности следует относить химические вещества и смеси, канцерогенные свойства которых установлены в эпидемиологических исследованиях на людях или на основании данных, полученных в ходе испытаний на животных.
7.10.1.6. В зависимости от полноты доказательной базы канцерогены класса опасности 1 относят к подклассу опасности 1A или к подклассу опасности 1B.
7.10.1.7. К подклассу опасности 1A относят химические вещества, канцерогенные свойства которых установлены в эпидемиологических исследованиях на людях.
7.10.1.8. К подклассу опасности 1B относят химические вещества и смеси, канцерогенные свойства которых установлены в значительной степени по данным о воздействии на животных. Критерием отнесения канцерогенов к данному подклассу являются дополнительные данные, полученные в результате исследований на людях, устанавливающие причинную связь между воздействием на организм человека химического вещества и развитием рака (известный канцероген человека).
7.10.1.9. Отнесение химического вещества и смеси к классу опасности 2 производится на основании данных, полученных в результате исследований канцерогенного воздействия на организм человека или животных, однако эти данные не являются достаточно убедительными для отнесения этого вещества к классу опасности 1. К классу опасности 2 относят также химические вещества, для которых имеются ограниченные доказательства канцерогенности в исследованиях на человеке или животных.
7.10.1.10. Химическое вещество, канцерогенные свойства которого не испытывались, следует в некоторых случаях относить к классу опасности 1 или 2 на основании данных об опухолях структурных аналогов вместе с серьезными доводами, полученными при рассмотрении других таких важных факторов, как формирование общих метаболитов.
7.10.1.11. При проведении классификации опасности следует учитывать данные о физико-химических, токсико-кинетических и токсико-динамических свойствах вещества, а также любую имеющуюся информацию о химических аналогах.
7.10.2. Критерии классификации опасности смесей.
7.10.2.1. Классификация опасности смесей осуществляется при наличии данных для всех компонентов смеси или для некоторых компонентов.
7.10.2.2. Смесь классифицируется как канцероген, если по крайней мере один ее компонент был отнесен к канцерогенам класса опасности 1 или 2 и концентрация такого компонента равна или выше соответствующего порогового значения/предельного значения концентрации, указанной в
табл. 18.
Таблица 18
Пороговые/предельные значения концентрации компонентов
смеси, классифицированных как канцерогены,
для классификации опасности смесей
Классификация компонента | Пороговые/предельные значения концентрации, определяющие классификацию смесей |
Канцероген класса опасности 1 | Канцероген класса опасности 2 |
Класс опасности 1A | Класс опасности 1B |
Канцероген подкласса опасности 1A | >= 0,1 | - | - |
Канцероген подкласса опасности 1B | - | >= 0,1 | - |
Канцероген класса опасности 2 | - | - | >= 0,1 |
7.10.3. Предупредительная маркировка канцерогенов.
Предупредительная маркировка канцерогенов изложена в
прилож. 5.6.
7.10.4. Канцерогенность для человека.
7.10.4.1. Данные относительно канцерогенности, полученные в исследованиях на людях, отнесены к одному из следующих классов:
- достаточное доказательство наличия канцерогенности: установлена причинная зависимость между воздействием агента, смеси или обстоятельств воздействия, с одной стороны, и раком у человека - с другой. Таким образом, наблюдается положительная зависимость в исследованиях между воздействием веществ и их смесей и возникновением рака, в которых с достаточной уверенностью могут быть исключены случайный фактор, погрешность или ошибки;
- ограниченное доказательство канцерогенности: наблюдалась положительная связь между воздействием химического вещества, смеси или обстоятельств воздействия, с одной стороны, и раком - с другой, для которых причинная связь считается как заслуживающая доверия, однако случайность, погрешность или ошибка не могут быть исключены.
7.10.5. Канцерогенность у подопытных животных
7.10.5.1. Полученные данные, относящиеся к канцерогенности у подопытных животных, классифицируются следующим образом:
- достаточное подтверждение канцерогенности: установлена причинная зависимость между агентом или смесью и возросшей частотой злокачественных новообразований у двух или более видов животных или в ходе двух или более независимых исследований одного вида, проведенных в различное время и в различных лабораториях или в соответствии с разными процедурами испытаний;
- ограниченное доказательство канцерогенности: данные предполагают канцерогенное воздействие, однако являются ограниченными для вынесения определенной оценки, поскольку доказательство канцерогенности ограничено единственным экспериментом, или имеются неразрешенные вопросы относительно адекватности проекта, проведения или интерпретации исследования; или агент, или смесь, или высокая частота возникновения лишь доброкачественных новообразований или повреждений с неопределенным неопластическим потенциалом или же некоторых новообразований, которые могут возникать спонтанно.
7.11. Классификация опасности химических веществ и смесей
по воздействию на репродуктивную систему
7.11.1. Классификация опасности репродуктивной токсичности.
7.11.1.1. Репродуктивная токсичность включает отрицательное воздействие на половую функцию и плодовитость, развитие потомства.
7.11.1.2. Некоторые репродуктивные токсичные эффекты не могут быть однозначно отнесены к нарушению половой функции и плодовитости или к токсичности для развития. Тем не менее, химические вещества, характеризующиеся такими эффектами, могут классифицироваться в качестве репродуктивных токсикантов.
7.11.2. Отрицательное воздействие на половую функцию и плодовитость.
7.11.2.1. Воздействие химических веществ может нарушить половую функцию и плодовитость; внести изменения в женскую и мужскую репродуктивные системы; отрицательно воздействовать на начало процесса полового созревания, производство и перенос половых клеток, нормальное течение репродуктивного цикла, сексуальное поведение, фертильность, роды, результаты беременности, преждевременное репродуктивное старение или изменения других функций, которые зависят от целостности репродуктивных систем.
7.11.2.2. Отрицательное воздействие на лактацию также включено в репродуктивную токсичность, однако при классификации опасности такое воздействие рассматривается отдельно
(п. 7.11.5).
7.11.3. Отрицательное воздействие на развитие потомства.
7.11.3.1. Отрицательное воздействие на развитие потомства включает любое воздействие, которое влияет на нормальное развитие плода как до, так и после рождения, и возникшее в результате воздействия на любого из родителей до зачатия или на развивающееся потомство в период внутриутробного развития или после рождения до наступления половой зрелости.
7.11.3.2. Основные негативные эффекты воздействия на процесс развития потомства:
- смерть развивающегося организма;
- структурные аномалии;
- изменение роста;
- функциональные пороки.
7.11.4. Критерии классификации опасности химических веществ и смесей, влияющих на репродуктивную функцию организма.
7.11.4.1. При классификации опасности воздействия на репродуктивную функцию химическое вещество или смесь могут быть отнесены к двум классам опасности
(табл. 19). Во внимание принимаются последствия воздействия на половую функцию и плодовитость, а также для развития потомства. Последствия для лактации выделены в отдельный класс опасности.
Таблица 19
Классификация опасности химических веществ и смесей
по воздействию на репродуктивную функцию организма
Класс, подкласс опасности | Химические вещества и смеси |
1 | Химические вещества и смеси, в отношении которых известно или предполагается воздействие на репродуктивную функцию человека |
1A | Химические вещества и смеси, известные как оказывающие вредное воздействие на репродуктивную функцию человека |
1B | Химические вещества и смеси, предположительно оказывающие воздействие на репродуктивную функцию человека |
2 | Химические вещества и смеси, оказывающие предполагаемое воздействие на репродуктивную функцию человека |
7.11.4.2. К классу опасности 1 относят химические вещества и смеси, для которых отрицательное воздействие на половую функцию и плодовитость или на развитие потомства установлены в эпидемиологических исследованиях на людях или на основании данных, полученных в ходе испытаний на животных.
7.11.4.3. К подклассу опасности 1A относят химические вещества и смеси, негативное воздействие которых установлено в исследованиях на людях.
7.11.4.4. К подклассу опасности 1B относят химические вещества и смеси, опасные свойства которых установлены в значительной степени по данным исследований на животных. Исследования на животных должны обеспечить четкие доказательства вредного воздействия на половую функцию и плодовитость или на развитие потомства человека. Если информация о механизме воздействия вызывает сомнения, то такие химические вещества или смеси следует отнести к классу опасности 2.
7.11.4.5. Отнесение химического вещества и смеси к классу опасности 2 производится на основании данных, полученных в результате исследований воздействия на репродуктивную функцию человека или животных, однако эти данные не являются достаточно убедительными для отнесения этого вещества к классу опасности 1. К классу опасности 2 относят также химические вещества и смеси, для которых имеются ограниченные доказательства воздействия на репродуктивную функцию организма в исследованиях на человеке или животных.
7.11.5. Химические вещества или смеси, оказывающие воздействие на лактацию.
7.11.5.1. Химические вещества или смеси, оказывающие воздействие на лактацию, относят к отдельному самостоятельному классу опасности. Существует понимание того, что для многих веществ отсутствует информация о возможности оказания вредного воздействия на потомство через лактацию. Однако вещества, которые поступают в организм женщины и, как известно, оказывают воздействие на лактацию и могут присутствовать (включая метаболиты) в грудном молоке в количествах, достаточных для того, чтобы вызывать беспокойство за здоровье вскармливаемого грудью ребенка, следует классифицировать по данному виду опасности.
7.11.5.2. Классификация химических веществ и смесей при воздействии на лактацию производится на основании:
- исследований абсорбции, метаболизма, распределения и выделения, которые указывали бы на вероятность присутствия вещества или смеси в грудном молоке на потенциально токсичных уровнях;
- результатов исследований на одном или двух поколениях животных, которые давали бы четкое свидетельство вредного воздействия на потомство в связи с переносом с молоком или вредного воздействия на качество молока;
- данных о воздействии на организм человека, указывающих на опасность для детей в течение периода грудного вскармливания.
7.11.6. Характеристика совокупных данных.
7.11.6.1. Классификация репродуктивного токсиканта производится на основе оценки совокупности данных. Это результаты эпидемиологических исследований, отчеты об отдельных случаях воздействия на организм человека, исследования репродуктивной опасности, а также результаты изучения воздействия на репродуктивные и связанные с ними эндокринные органы, полученные в исследованиях. В тех случаях, когда информации о веществе недостаточно, следует использовать данные о веществах, близких по структуре. Для принятия решения о классе опасности важны такие факторы, как качество исследований, последовательность результатов, характер и серьезность последствий, уровень статистической значимости для межгрупповых различий, число затрагиваемых органов, пути поступления в организм. Как положительные, так и отрицательные результаты агрегируются и учитываются в совокупности всей имеющейся информации. Однако уже одно положительное исследование, проведенное в соответствии с надлежащими научными принципами и со статистически или биологически значимыми результатами, позволяет проводить классификацию опасности.
7.11.6.2. При классификации опасности воздействия на репродуктивную функцию следует четко дифференцировать непосредственное воздействие вещества на развитие эмбриона или плода от вторичных воздействий, вызванных ослаблением или истощением организма матери в результате действия токсического вещества.
7.11.7. Материнская токсичность.
7.11.7.1. На развитие потомства в ходе беременности и на ранних этапах постнатального развития может влиять токсическое воздействие через организм матери либо через косвенные механизмы, связанные со стрессом и нарушением материнского гомеостаза, или же через отдельные, присущие только матери механизмы. Таким образом, при интерпретации воздействия на процесс развития для определения класса опасности последствий для развития потомства важно учитывать возможное воздействие материнской токсичности.
7.11.7.2. Для оценки материнской токсичности в случае ее наличия используются следующие статистически значимые показатели:
- материнская смертность, повышение частоты смертности среди обследованных матерей следует рассматривать в качестве доказательства материнской токсичности, если такое увеличение происходит пропорционально дозе и может быть отнесено за счет системной токсичности испытываемого химического вещества или смеси. Материнская смертность > 10% считается чрезмерной и данные для этого уровня дозы не рассматриваются для дальнейшей оценки;
- коэффициент фертильности (число животных с имплантатом/число спариваний x 100);
- продолжительность беременности (при допущении родов);
- масса тела и изменение массы тела в течение беременности должны учитываться при оценке материнской токсичности;
- потребление пищи и воды (при необходимости): изменения в потреблении пищи и воды следует оценивать в сочетании с изменением массы материнского организма для того, чтобы отдифференцировать, является это последствием воздействия или вызвано непригодностью пищи или воды, содержащей исследуемое вещество;
- клинические проявления (маркеры, гематология и клинические исследования химического состава);
- посмертные данные: увеличение числа и/или серьезности посмертных наблюдений может указывать на материнскую токсичность. К их числу могут принадлежать крупные или микроскопические патологические признаки и данные о массе органов.
7.11.8. Особенности интерпретации данных, полученных экспериментальным путем на животных.
7.11.8.1. Вредные последствия или изменения, рассматриваемые в ряде исследований с воздействием краткосрочной или долгосрочной повторяющейся токсической дозы, которые были расценены в качестве наносящих вред репродуктивной функции и которые происходят в отсутствие серьезной общей токсичности, используются в качестве основы для классификации опасности, например, гистопатологические изменения в гонадах.
7.11.8.2. Результаты испытаний in vitro или испытаний на видах, не принадлежащих к числу млекопитающих, а также аналогичных веществ с использованием зависимости "структура-активность" могут быть использованы при классификации опасности. Во всех случаях такого рода должна проводиться экспертная оценка адекватности данных. Неадекватные данные не следует использовать для классификации опасности.
7.11.8.3. При классификации опасности воздействия на репродуктивную функцию организма принимаются во внимание результаты исследования на животных, пути поступления химического вещества в организм, аналогичные потенциальным путям поступления вещества в организм человека.
7.11.8.4. Исследования таких путей поступления в организм, как внутривенное, внутрибрюшинное введение, результатом которого может быть воздействие на репродуктивные органы на нереально высоких уровнях испытываемого вещества или нанесение местного повреждения репродуктивным органам, например путем раздражения, должны интерпретироваться с особой осторожностью и сами по себе не должны становиться основой для классификации опасности.
7.11.8.5. Данные о негативном воздействии на репродуктивную функцию при высоких уровнях дозы в исследованиях на животных (например дозы, которые вызывают прострацию, отсутствие аппетита, высокую смертность) не используются при классификации опасности, за исключением тех случаев, когда имеются сведения о том, что люди могут быть более подвержены, чем животные.
7.11.9. Особенности классификации опасности смесей.
7.11.9.1. Классификация опасности смесей при наличии данных о всех компонентах или лишь о некоторых компонентах смеси.
7.11.9.2. Смесь классифицируется в качестве репродуктивного токсиканта в случае если хотя бы один компонент отнесен к классам опасности 1 или 2 по репродуктивной токсичности и присутствует на уровне или выше соответствующего порогового значения/предельного значения концентрации, указанного в
табл. 20.
7.11.9.3. Смесь классифицируется исходя из воздействия на лактацию или через нее, когда по крайней мере один компонент классифицирован как оказывающий воздействие на лактацию и присутствует на уровне, равном или превышающем соответствующее пороговое значение/предельное значение концентрации, указанное в
табл. 20.
Таблица 20
Пороговые/предельные значения концентрации компонентов
смеси, классифицированных в качестве репродуктивных
токсикантов или на предмет воздействия на лактацию,
для классификации опасности смеси <*>
--------------------------------
<*> Компромиссная схема классификации включает учет различий в практике информирования об опасности в действующих системах.
Классификация компонента | Пороговые/предельные значения концентрации, обусловливающие классификацию смеси |
репродуктивный токсикант класса опасности 1 | репродуктивный токсикант класса опасности 2 | дополнительный класс по воздействию на лактацию |
подкласс опасности 1A | подкласс опасности 1B |
Репродуктивный токсикант Подкласс опасности 1A | >= 0,1% | - | - | - |
>= 0,3% |
Репродуктивный токсикант Подкласс опасности 1B | - | >= 0,1% | - | - |
>= 0,3% |
Репродуктивный токсикант Класс опасности 2 | - | - | >= 0,1% | - |
>= 0,3% |
Дополнительный класс по воздействию на лактацию | - | - | - | >= 0,1% |
>= 0,3% |
7.11.10. Предупредительная маркировка химических веществ и их смесей, воздействующих на функцию воспроизводства.
Предупредительная маркировка химических веществ и их смесей, воздействующих на функцию воспроизводства, изложена в
прилож. 5.7.
7.12. Классификация опасности химических веществ
и их смесей, обладающих избирательным действием
на органы-мишени и/или системы при однократном воздействии
7.12.1. Химические вещества и смеси, обладающие избирательным действием на органы-мишени и/или системы при однократном поступлении в организм, должны быть классифицированы по степени опасности для здоровья человека.
7.12.2. Для классификации опасности следует использовать достоверные данные о том, что однократное воздействие вещества или смеси вызывает у людей или подопытных животных статистически значимые изменения в функции или морфологии ткани/органа. Данные, полученные в исследованиях на людях, являются основным источником доказательства способности вещества или смеси оказывать избирательное действие на органы-мишени и системы организма человека.
7.12.3. При оценке опасности следует учитывать не только значимые изменения в одном органе или биологической системе, но и в других органах и системах организма.
7.12.4. Химическое вещество и смесь могут обладать избирательным действием на конкретный орган или систему человека при различных поступлениях в организм.
7.12.5. Критерии классификации опасности веществ и смесей, обладающих избирательным действием на органы-мишени и/или системы, представлены в
табл. 21.
Таблица 21
Классификация опасности избирательного действия веществ
и смесей на органы-мишени и системы при однократном
поступлении в организм
Класс опасности | Воздействие |
1 | Химические вещества и смеси, вызывающие значительные изменения в органах-мишенях и системах организма человека и подопытных животных при однократном воздействии |
2 | Химические вещества и смеси, обладающие потенциальной опасностью избирательного действия на органы-мишени и системы организма животных при однократном воздействии |
3 | Химические вещества и смеси, оказывающее транзиторное воздействие на органы-мишени. К данному классу опасности относятся вещества и смеси, негативные эффекты воздействия которых на органы-мишени и системы организма человека непродолжительны и обратимы |
Примечание. Для этих классов опасности может быть определен орган/система, подвергшаяся воздействию классифицируемого вещества, или же это вещество может быть определено как общесистемный токсикант. Следует определить главный поражаемый токсичностью орган и с этой целью проводить классификацию, например гепатоксиканты, нейротоксиканты и т.д. Следует тщательно оценить данные во избежание включения вторичных последствий эффектов.
7.12.6. Отнесение химического вещества и смеси к классу опасности 1 производится на основании достоверных данных обследования людей или эпидемиологических исследований или результатов исследований на животных, в ходе которых низкие воздействующие концентрации/дозы вызывали значимые негативные эффекты.
7.12.7. Отнесение химического вещества или смеси к классу опасности 2 производится на основании результатов исследований на животных, в ходе которых умеренные воздействующие концентрации/дозы вызывали значимые негативные эффекты.
7.12.8. Ориентировочные диапазоны значений для оценки однократной дозы, оказывающей значительное нелетальное токсическое воздействие в исследовании, приведены в
табл. 22.
Таблица 22
Ориентировочные диапазоны значений для оценки опасности
избирательного действия химических веществ и смесей
на органы-мишени и системы при однократном
поступлении в организм <1>
--------------------------------
<1> Ориентировочные значения и диапазоны, приведенные выше в
табл. 22, предназначены только для ориентировки, то есть для использования в качестве части подхода на основе совокупности данных и для содействия принятию решения в отношении классификации опасности. Они не призваны служить в качестве строго разделительных значений.
Путь поступления в организм | Единицы | Диапазоны ориентировочного значения |
класс опасности 1 | класс опасности 2 | класс опасности 3 |
При введении в желудок (крысы) | мг/кг массы тела | C <= 300 | 2000 >= C > 300 | Ориентировочные значения не применяются <*> |
При нанесении на кожу (крысы или кролики) | мг/кг массы тела | C <= 1000 | 2000 >= C > 1000 |
При ингаляционном воздействии газа (крысы) | ppm | C <= 2500 | 2000 >= C > 2500 |
При ингаляционном воздействии пара (крысы) | мг/л | C <= 10 | 20 >= C > 10 |
При ингаляционном воздействии пыли/тумана/дыма (крысы) | мг/л/4 ч | C <= 1,0 | 5,0 >= C > 1,0 |
-------------------------------- |
<*> Ориентировочные значения не указаны, поскольку данная классификация основана главным образом на сведениях о воздействии на людей. Данные исследований воздействия на животных могут быть учтены при оценке всей совокупности данных. |
7.12.9. Когда химическое вещество характеризуется исключительно на основе использования данных, полученных на животных (типично для новых химических веществ, а также верно для многих существующих химических веществ), то в процессе классификации опасности следует учитывать ориентировочные значения дозы/концентрации в качестве одного из элементов, способствующих применению подхода на основе всей совокупности данных.
7.12.10. Химическое вещество, токсичность которого в отношении конкретного органа или системы не изучалась, может быть классифицировано на основе проверенных данных зависимости "структура-активность" и экстраполировании данных результатов исследования структурного аналога, ранее подвергшегося классификации опасности.
7.12.11. Критерии раздражающего действия на дыхательные пути для отнесения химического вещества к классу опасности 3:
- раздражение дыхательных путей (характеризующееся локальным покраснением, отеком, зудом и/или болью), нарушающее респираторную функцию, с такими симптомами, как кашель, боль, удушье и затрудненное дыхание. Данная оценка основывается в первую очередь на данных исследований воздействия на людей;
- субъективные данные о воздействии на людей могут подкрепляться объективными данными о результатах измерений выраженного раздражения дыхательных путей (РДП) (например, электрофизиологические реакции, биомаркеры воспаления в жидкостях назального или бронхоальвеолярного лаважа);
- наблюдаемые у людей симптомы должны быть типичными симптомами для всех, подвергшихся воздействию данного вещества;
- классификация по раздражающему действию на дыхательные пути проводится только тогда, когда не наблюдаются более серьезные последствия для органов и систем, в том числе для респираторной системы.
7.12.12. Критерии наркотического воздействия для отнесения химического вещества или смеси к классу опасности 3:
- угнетение центральной нервной системы, включая последствия наркотического воздействия на людей, такие как сонливость, помрачение сознания, снижение восприимчивости, утрата рефлексов, отсутствие координации и головокружение. Эти последствия могут также проявляться в виде сильной головной боли или тошноты и приводить к ухудшению способности к суждениям, головокружению, раздражительности, усталости, ослаблению памяти, нарушениям восприятия и координации, заторможенности реакции и сонливости;
- последствия наркотического воздействия, наблюдаемые в ходе исследований на животных, могут включать летаргию, отсутствие установочного рефлекса, утрату сознания и атаксию. Если эти последствия не носят транзиторного характера, они должны рассматриваться на предмет отнесения вещества к классам опасности 1 или 2.
7.12.13. Особенности классификации опасности смесей.
7.12.13.1. Смеси классифицируются с использованием тех же критериев, что и для химических веществ.
7.12.13.2. Когда отсутствуют надежные данные или данные испытаний по самой конкретной смеси, а принципы экстраполирования не могут быть использованы для проведения классификации опасности, то тогда классификация смеси производится на основе классификации опасности веществ, являющихся компонентами, в соответствии с уровнями порогового/предельного значения концентрации, указанными в
табл. 23.
Таблица 23
Пороговые/предельные значения концентрации компонентов
смеси, обладающих избирательным действием на органы-мишени
и системы организма при однократном поступлении,
для классификации опасности смесей
Классификация компонента | Пороговые/предельные значения концентрации, определяющие отнесение смеси |
класс опасности 1 | класс опасности 2 |
Класс опасности 1 Избирательный токсикант органа-мишени | >= 1,0% | 1,0 <= компонент < 10% |
>= 10% |
Класс опасности 2 Избирательный токсикант органа-мишени | - | >= 1,0% |
>= 10% |
7.12.13.3. Следует уделять особое внимание учету потенциальной возможности синергетического взаимодействия в случае присутствия нескольких веществ, оказывающих воздействие более чем на одну систему органов, поскольку некоторые вещества могут оказывать токсическое воздействие на определенный орган при концентрации < 1%, когда данные о других компонентах смеси говорят о потенциале их токсикологического воздействия.
7.12.13.4. При экстраполировании токсичности смеси, содержащей компонент(ы) класса 3, следует проявлять осторожность. Рекомендовано пороговое/предельное значение концентрации, равное 20%; однако следует признать, что пороговое/предельное значение концентрации может быть более высоким или низким в зависимости от компонента(ов) класса 3 и что некоторые последствия, такие как раздражение дыхательных путей, могут не возникать при концентрации, которая ниже определенного значения, в то время как другие последствия, например последствия наркотического воздействия, могут возникать при значениях ниже 20%. В этих случаях необходимо проведение экспертной оценки.
7.12.14. Предупредительная маркировка химических веществ и их смесей, обладающих избирательной токсичностью на органы-мишени и/или системы при однократном или многократном/продолжительном воздействии, указаны в
прилож. 5.8.
7.13. Классификация опасности химических веществ
и их смесей, обладающих избирательным действием
на органы-мишени и/или системы при многократном/
продолжительном воздействии
7.13.1. Химические вещества и смеси, обладающие избирательным действием на органы-мишени и/или системы при многократном/продолжительном поступлении в организм, должны быть классифицированы по степени опасности для здоровья человека.
7.13.2. Для классификации опасности следует использовать достоверные данные о том, что многократное/продолжительное воздействие химического вещества или смеси вызывает у людей и/или подопытных животных статистически значимые изменения в функции или морфологии ткани/органа. Данные, полученные в исследованиях на людях, являются основным источником доказательства способности вещества или смеси оказывать избирательное воздействие на органы-мишени и системы организма человека.
7.13.3. При оценке опасности следует учитывать не только значимые изменения в одном из органов или биологической системе, но и изменения в других органах и системах организма.
7.13.4. Химическое вещество и смесь могут обладать избирательным действием на конкретный орган или систему человека при различных путях поступления в организм.
7.13.5. Критерии классификации опасности для веществ и смесей, обладающих избирательным действием на органы-мишени и/или системы при многократном/продолжительном поступлении в организм, представлены в
табл. 24.
Таблица 24
Классификация опасности для химических веществ
и смесей, обладающих избирательным действием
на органы-мишени и/или системы при многократном/
продолжительном поступлении в организм
Класс опасности | Воздействие |
| Химические вещества и смеси, вызывающие значительные изменения в органах-мишенях и системах организма человека или подопытных животных при многократном воздействии |
| Химические вещества и смеси, обладающие потенциально опасным избирательным действием на органы-мишени или системы организма животных при многократном воздействии |
Примечание. В отношении обоих классов опасности может быть определена конкретная объектная система/орган, связанная, в первую очередь, с классифицируемым химическим веществом или смесью, или же может быть определено соответствующее вещество, выступающее в качестве общего системного токсиканта. Следует определить главный пораженный орган, с этой целью проводить классификацию, например гепатоксиканты, нейротоксиканты. Следует тщательно оценить данные во избежание включения вторичных эффектов.
7.13.6. Критериями отнесения химического вещества и смеси к
классу опасности 1 являются достоверные данные обследования людей или эпидемиологических исследований, или результаты исследования на животных, в ходе которых низкие воздействующие концентрации/дозы вызывали значимые негативные эффекты.
7.13.7. Критериями отнесения химического вещества и смеси к
классу опасности 2 являются результаты исследований на животных, в ходе которых умеренные воздействующие концентрации/дозы вызывали значимые негативные эффекты.
7.13.8. При классификации опасности следует выявлять путь воздействия, при котором классифицируемое вещество и смесь наносит ущерб.
7.13.9. К классу опасности 2 следует относить химические вещества и смеси, для которых данные о воздействии на здоровье человека не являются достаточно убедительными для отнесения к классу опасности 1.
7.13.10. Для принятия решения об отнесении химического вещества и смеси к определенному классу опасности следует руководствоваться ориентировочными значениями концентрации/дозы, на уровне которых и ниже наблюдались токсические эффекты (
табл. 25,
26).
Таблица 25
Ориентировочные значения, применяемые при отнесении
химического вещества и смеси к классу опасности 1
Путь воздействия на организм | Единицы | Ориентировочные значения (доза/концентрация) |
При введении в желудок (крысы) | мг/кг мт/с | <= 10 |
При нанесении на кожу (крысы или кролики) | мг/кг мт/с | <= 20 |
При ингаляционном воздействии газа (крысы) | ч на млн./6 ч/с | <= 50 |
При ингаляционном воздействии пара (крысы) | мг/литр/6 ч/с | <= 0,2 |
При ингаляционном воздействии пыли/тумана/дыма (крысы) | мг/литр/6 ч/с | <= 0,02 |
Примечание: мт - масса тела, ч - час, с - сутки.
Таблица 26
Ориентировочные значения, применяемые при отнесении
химического вещества и смеси к классу опасности 2
Путь воздействия на организм | Единицы | Диапазон ориентировочного значения (доза/концентрация) |
При введении в желудок (крысы) | мг/кг мт/с | <= 10 - 100 |
При нанесении на кожу (крысы или кролики) | мг/кг мт/с | <= 20 - 200 |
При ингаляционном воздействии газа (крысы) | ч на млн./6 ч/с | <= 50 - 250 |
При ингаляционном воздействии пара (крысы) | мг/литр/6 ч/с | <= 0,2 - 1,0 |
При ингаляционном воздействии пыли/тумана/дыма (крысы) | мг/литр/6 ч/с | <= 0,02 - 0,2 |
Примечание: мт - масса тела, ч - час, с - сутки.
7.13.11. Химическое вещество, для которого избирательное действие на конкретный орган-мишень или систему не было изучено, может быть классифицировано на основании результатов зависимости структура-активность и экстраполирования данных о структурном аналоге, который ранее был классифицирован.
7.13.12. Особенности классификации опасности избирательного действия на органы-мишени и/или системы при многократном воздействии смесей.
7.13.12.1. При отсутствии надежной информации или данных испытаний конкретной смеси, а принципы экстраполирования не могут быть использованы, классификация смеси основывается на классификации опасности компонентов смеси. В этом случае смесь классифицируется в качестве избирательного токсиканта для органа-мишени или системы (указывается конкретный орган) в соответствии с пороговыми/предельными значениями концентрации, указанными в
табл. 27.
Таблица 27
Пороговые/предельные значения концентрации компонентов
смеси, обладающих избирательным действием на органы-мишени
и системы организма при многократном поступлении,
для классификации опасности смесей
Классифицирование компонента | Пороговые/предельные значения концентрации, определяющие классификацию смеси |
класс опасности 1 | класс опасности 2 |
Класс опасности 1 Избирательный токсикант для органа-мишени или системы | > 1,0% | 1,0 < компонент < 10% |
> 10% | 1,0 < компонент < 10% |
Класс опасности 2 Избирательный токсикант для органа-мишени или системы | - | > 1,0% |
> 10% |
7.13.12.2. При наличии сочетания токсикантов, затрагивающих более чем одну систему органов, следует уделять особое внимание синергетическому взаимодействию или потенциальному воздействию, поскольку некоторые вещества оказывают воздействие на органы-мишени при концентрации < 1%, при этом другие компоненты смеси потенциально опасны по данному виду воздействия.
7.14. Классификация опасности химических веществ
и их смесей, представляющих опасность при аспирации
7.14.1. Токсичность при аспирации приводит к тяжелым острым последствиям, таким как химическая пневмония, повреждение легочной ткани различной степени тяжести или смерть в результате аспирации.
7.14.2. Аспирация начинается в момент вдыхания, то есть в течение времени, необходимого для вдоха, когда вдыхаемое вещество и смесь находится на перекресте верхних дыхательных путей и пищеварительного тракта в гортанно-глоточной области.
7.14.3. Аспирация вещества или смеси происходит тогда, когда после проглатывания они извергаются с рвотными массами.
7.14.4. Способность химических веществ и смесей к аспирации должно учитываться в рекомендациях первой помощи при острых отравлениях и в предупредительной маркировке.
7.14.5. Критерии классификации опасности при аспирации основываются на параметре кинематической вязкости. Ниже приводится способ преобразования динамической вязкости в кинематическую вязкость.
7.14.6. Классификация опасности веществ при аспирации представлены в
табл. 28.
Таблица 28
Классификация опасности химических веществ
и смесей при аспирации
Класс опасности | Воздействие |
1 | Химические вещества и смеси, оказывающие токсическое воздействие на людей при аспирации или которые следует считать оказывающими токсическое воздействие на людей при аспирации |
2 | Химические вещества и смеси, обладающие для людей потенциальной опасностью при аспирации |
7.14.7. Критериями отнесения к классу опасности 1 по аспирации являются достоверные данные о воздействии химических веществ и смесей на организм человека.
7.14.7.1. К классу опасности 1 относятся углеводороды, имеющие кинематическую вязкость 20,5 мм2/с или менее при температуре 40 °C.
7.14.8. Критериями отнесения химических веществ и смесей к классу опасности 2 по аспирации являются результаты исследований на животных и экспертных оценок, учитывающих поверхностное натяжение, растворимость в воде, температуру кипения и летучесть.
7.14.8.1. К классу опасности 2 при аспирации относятся химические вещества и смеси, которые имеют кинематическую вязкость 14 мм2/с или менее при температуре 40 °C.
7.14.9. Критерии классификации опасности смесей при аспирации.
7.14.9.1. К классу опасности 1 относят:
- смесь, которая содержит в совокупности 10% или более вещества или веществ, классифицированных по классу опасности 1, и имеет кинематическую вязкость 20,5 мм2/с или менее, измеренную при 40 °C;
- смесь, которая разделяется на два или более четко различимых слоя, один из которых содержит 10% или более вещества или веществ, отнесенных к классу опасности 1, и имеет кинематическую вязкость 20,5 мм2/с или менее, измеренную при 40 °C.
7.14.9.2. К классу опасности 2 относят смесь, которая содержит в совокупности 10% или более вещества или веществ, отнесенных к классу опасности 2, и имеет кинематическую вязкость 14 мм2/с или менее, измеренную при 40 °C.
7.14.9.3. При отнесении смесей к классу опасности 2 использование экспертной оценки, учитывающей поверхностное натяжение, растворимость в воде, температуру кипения и летучесть, имеет важнейшее значение, в особенности когда вещества класса опасности 2 смешаны с водой.
7.14.9.4. При классификации смеси, которая разделяется на два или более четко различимых слоя, один из которых содержит 10% или более вещества или веществ, отнесенных к классу опасности 2, и имеет кинематическую вязкость 14 мм2/с или менее, измеренную при 40 °C, вся смесь относится к классу опасности 2.
7.14.10. Предупредительная маркировка химических веществ и их смесей, представляющих опасность при аспирации, указана в
прилож. 5.9.
VIII. Принципы этапности при изучении токсичности
и опасности химических веществ и их смесей
8.1. Целью испытаний токсичности и опасности химических веществ и их смесей является: определение максимально недействующих, переносимых, токсических и летальных доз и концентраций при однократном, субхроническом и хроническом воздействии исследуемого продукта при различных путях поступления в организм; выявление их способности вызывать специфические и отдаленные эффекты.
8.2. В целях повышения качества исследования и минимизации количества привлеченных животных предложенная ОЭСР этапность при проведении испытаний по определению опасных свойств веществ и смесей при воздействии на организм человека прежде всего включает сбор сведений об изучаемом продукте в открытых источниках информации. До начала эксперимента все имеющиеся данные должны находиться в распоряжении экспериментальной лаборатории. Информация, необходимая при выборе направления исследования и обосновании доз и концентраций для испытания, включает идентификацию, область применения, химическую структуру и физико-химические показатели, среди которых приоритетными являются: агрегатное состояние, молекулярная масса, точки плавления и кипения, растворимость в воде и жирах, давление пара, водородный показатель (pH), коэффициент октанол-вода. Кроме того, принимаются во внимание результаты ранее проведенных токсикологических испытаний in vitro, ex vivo, in vivo, вероятность и предполагаемые сценарии воздействия вещества.
8.3. В целях сокращения расходов на испытания, их сроков и числа используемых животных ОЭСР разработано руководство по группировке химических веществ по категориям, объединяющим близкие по структуре соединения, что позволяет не испытывать отдельно каждое из них, а рассматривать эффекты от воздействий группы веществ.
8.4. Аналоговый подход позволяет прогнозировать количественные характеристики изучаемого вещества по биологической активности (Q)SAR (Quantitative Structure-Activity Relationship) и сведениям о токсичности и опасности структурно родственных веществ.
8.5. Перед проведением исследований in vivo в тех случаях, когда это возможно, ОЭСР рекомендует использовать альтернативные испытания на тест-объектах in vitro или методы компьютерного моделирования. Примером этому могут служить методы испытаний по оценке генотоксичности, кожной резорбции, фототоксичности, раздражающего действия на кожу и глаза. Методы in vitro не могут применяться во всех ситуациях и для всех классов химических веществ. Часто методы in vitro используются для начального количественного определения воздействия вещества.
Внедрение альтернативных методов в токсикологические исследования происходит под контролем таких международных организаций, как Европейский центр по утверждению альтернативных методов (ECVAM), Интернациональный комитет центра по утверждению альтернативных методов (ICCVAM), Европейское сообщество токсикологов in vitro (ISTIV) и других. Тестирование в условиях in vitro включены в перечень обязательных методов оценки потенциальной опасности химических веществ для здоровья человека и окружающей среды с целью последующей их регистрации, экспертизы и сертификации по правилам Европейского законодательства (REACH 1907/2006).
Интегрированная стратегия тестирования токсичности химических веществ включает максимальное использование новых методов и тест-систем in vitro.
8.6. Завершающим этапом испытаний токсичности и опасности химических веществ и их смесей являются исследования in vivo, использование которых продиктовано принципами доказательной медицины.
8.7. Использование различных тестовых стратегий или процедур, как и принятие решений об исключении ряда из них из поэтапного тестирования, должно быть обосновано.
В этой связи новые вещества рекомендуется исследовать поэтапно с целью развития научной базы данных о токсических свойствах вещества и их практического применения для разработки эффективных мер безопасности. Для существующих веществ, информации о которых недостаточно, стратегию необходимо использовать с целью восполнения недостающих данных.
8.8. Источниками информации об исследуемом веществе и веществах, родственных по строению, могут служить следующие базы данных.
8.8.1. АРИПС "Опасные вещества" - база данных ФБУЗ "Российский регистр потенциально опасных химических и биологических веществ" Роспотребнадзора, которая содержит информацию об идентификации, физико-химических, токсических, экотоксических свойствах веществ (www.rpohv.ru).
8.8.2. RTECS (Регистр токсичных эффектов химических веществ) - база данных о токсических свойствах веществ, основанная на открытой научной литературе. Представлены данные о токсичности при различных путях поступления в организм (включая минимальные дозы/концентрации и острую токсичность), а также дозы/концентрации, оказывающие воздействие на репродуктивную функцию, развитие потомства; вызывающие мутации и канцерогенный эффект. Приводятся предельно допустимые концентрации в воздухе рабочей зоны в различных странах (www.ccohs.ca).
8.8.3. EnviChem - база данных экологических показателей химических веществ, содержит информацию о токсических свойствах при воздействии на млекопитающих, специфических и отдаленных эффектах, сведения о биодеградации химических веществ, а также об их токсикологическом воздействии на представителей водной биоты (www.environment.fi).
8.8.4. ESIS (Европейская информационная система о химических веществах) - комплекс баз данных о различных свойствах химических веществ. Представляется возможность использования информационного ресурса IUCLID (http://www.esis.com).
8.8.5. IUCLID (Международная унифицированная база данных о химических веществах) - база данных, содержащая подробную информацию о физико-химических свойствах вещества, данные об экотоксичности, токсических дозах при остром, повторном и хроническом воздействии на теплокровных, а также специфических и отдаленных эффектах (http://www.iuclid.eu).
8.8.6. HPVIS (Информационная система о продукции, выпускаемой в больших объемах) - база данных, включающая подробные сведения о физических и химических свойствах вещества, пожаровзрывоопасности, данные токсикометрии при различных путях поступления в организм при остром, хроническом и повторном воздействии на млекопитающих, сведения об отдаленных и специфических эффектах, воздействии на водную биоту, мелких позвоночных и беспозвоночных. Также приводится информация о близких по физико-химическому свойствам и биологическому действию веществах (www.epa.gov/hpvis).
8.8.7. HSDB - база данных об опасных веществах Национальной медицинской библиотеки США (TOXNET), которая содержит информацию по токсичности и экологической безопасности химических продуктов, (http://www.nlm.nih.gov/pubs/factsheets/hsdbfs.html).
8.8.8. HSNO (Опасные вещества и новые организмы) - база данных Новой Зеландии, содержащая, информацию об опасности воздействия на теплокровных при различных путях поступления (включая острую токсичность), экотоксичности (http://www.epa.gov.nz).
8.8.9. IPCS-INCHEM - база данных Международной программы по химической безопасности со сведениями о физико-химических свойствах, кратким описанием клинической картины при остром отравлении, мерах первой помощи, транспортной маркировке (http://www.inchem.org).
8.8.10. SIDS OECD/UNEP - база данных ОЭСР и ЮНЕП, которая содержит скрининговую информацию о физико-химических свойствах вещества, данные по экотоксичности, токсических дозах при остром, повторном и хроническом воздействии на теплокровных, а также специфических и отдаленных эффектах (http://www.unep.org).
8.8.11. REPROTOX - база данных, отражающая сведения о действии химических веществ на репродуктивную функцию организма (www.reproox.gov.au).
8.8.12. eChemPortal - глобальный портал с информацией о веществах ОЭСР содержит идентификационные данные о веществе, их физико-химические свойства, параметры токсикометрии (http://www.echemportal.org).
8.8.13. National Toxicology Programm - национальная программа по токсикологии США, включает информацию о токсических свойствах веществ, способности вызывать отдаленные эффекты (мутагенность, канцерогенность) (http://www.niehs).
8.8.14. EBSCO Publishing - база данных США о физико-химических, токсических свойствах химических веществ, их способности вызывать специфические и отдаленные эффекты (www.ebsco.com).
1. Руководящий документ ОЭСР Test N 402 "Acute Dermal Toxicity".
2. Руководящий документ ОЭСР Test N 403 "Acute Inhalation Toxicity Testing".
3. Guidance Document on the Recognition, Assessment and Use of Clinical Signs as Humane Endpoints for Experimental Animals used in Safety Evaluation N 19 (1999).
4. United Nations (UN) (2007). Globally Harmonized System of Classification and Labelling of Chemicals (GHS), ST/SG/AC.10/30, UN New York and Geneva.
5. Guidance Document on Acute Inhalation Toxicity Testing. Environmental Health and Safety Monograph Series on Testing and Assessment N 39.
6. OECD (draft) Test Guideline 436. OECD Guideline for Testing of Chemicals. Acute Inhalation Toxicity - Acute Toxic Class.
7. Руководящий документ ОЭСР Test N 404 "Acute Dermal Irritation/Corrosion".
8. Руководящий документ ОЭСР Test N 19 "Guidance document on the recognition, assessment, and use of clinical signs as humane endpoints for experimental animals used in safety evaluation Unclassified".
9. Руководящий документ ОЭСР Test N 405 "Acute Eye Irritation/Corrosion".
10. Руководящий документ ОЭСР Test N 407 "Repeated Dose 28-Day Oral Toxicity Study in Rodents".
11. ОЭСР (1981). Руководство по испытанию 412. Руководство по испытанию химических веществ ОЭСР. Исследование субхронической ингаляционной токсичности. Принято 13 мая 1981 г.
12. Руководящий документ ОЭСР Test N 409 "Repeated Dose 90-Day Oral Toxicity Study in Non-Rodents".
13. OECD (2009). Preliminaiy Review of OECD Test Guidelines for their Applicability to Manufactured Nanomaterials, Series on the Safety of Manufactured Nanomaterials N 15, ENV/JM/MONO(2009)21, OECD, Paris.
14. Руководство ОЭСР Test N 413 "Subchronic Inhalation Toxicity: 90-Day Study".
15. OECD (2004), Skin Absorption: In Vitro Method, Test Guideline No. 428, OECD Guidelines for the Testing of Chemicals, OECD, Paris.
16. OECD (2000). Руководство по распознаванию, установлению и применению клинических симптомов как гуманных конечных точек для использования подопытных животных при исследованиях безопасности. Серия монографий о проведении испытания и оценки в области гигиены и безопасности окружающей среды N 19.
17. Руководящий документ ОЭСР Test N 414 "Prenatal Development Toxicity Study".
18. Руководящий документ ОЭСР Test N 415 "One-Generation Reproduction Toxicity Study".
19. Руководящий документ ОЭСР Test N 416 "Two-Generation Reproduction Toxicity Study".
20. Руководящий документ ОЭСР Test N 420 "Acute Oral Toxicity - Fixed Dose Procedure".
21. OECD (2000). Guidance Document on Acute Oral Toxicity. Environmental Health and Safety Monograph Series on Testing and Assessment N 24.
22. (1) "Lotus Development Corporation" (1999 г.)

1-2-3. Версия 9.5, Millenium Edition. Кембридж, штат Массачусетс, США.
23. Руководящий документ ОЭСР Test N 421 "Reproduction/Developmental Toxicity Screening Test".
24. Руководящий документ ОЭСР Test N 423 "Acute Oral Toxicity - Acute Toxic Class Method".
25. "Microsoft Corporation" (1985 - 1997 гг.)

Excel Версия 5.0 или более поздняя. Сиэтл, штат Вашингтон, США.
26. OECD (2000). Guidance Document on the Recognition, Assessment and Use of Clinical Signs as Humane Endpoints for Experimental Animals Used in Safety Evaluation. Environmental Health and Safety Monograph Series on Testing and Assessment N 19.
27. OECD (2004). Test Guideline 427: Skin absorption: in vivo Method. OECD, Paris.
28. OECD (2004). Guidance Document for the Conduct of Skin Absorption Studies. OECD, Paris.
29. OECD (2000). Report of the Meeting of the OECD Extended Steering Committee for Percutaneous Absorption Testing, Annex 1 to ENV/JM/TG(2000)5. OECD, Paris.
30. OECD (2002), Skin Sensitisation: Local Lymph Node Assay. OECD Guideline for the Testing of Chemicals No 429, Paris. Available at: [http://www.oecd.org/env/testguidelines].
31. OECD (1992),
Skin Sensitisation. OECD Guideline for Testing of Chemicals N 406, OECD, Paris. Available at: [http://www.oecd.org/env/testguidelines].
32. OECD (2005),
Guidance Document on the Validation and International Acceptance of New or Updated Test Methods for Hazard Assessment, Environment, Health and Safety Monograph, Series on Testing and Assessment N 34, ENV/JM/MONO(2005)14, OECD, Paris. Available at: [http://www.oecd.org/env/testguidelines].
33. EC-ECVAM (2009), Statement on the "Performance under UN GHS of three in vitro assays for skin irritation testing and the adaptation of the Reference Chemicals and Defined Accuracy Values of the ECVAM skin irritation Performance Standards", issued by the ECVAM Scientific Advisory Committee (ESAC30), 9 April 2009. Available at: [http://ecvam.jrc.ec.europa.eu].
34. EC-ECVAM (2007), Statement on the validity of in vitro tests for skin irritation, issued by the ECVAM Scientific Advisory Committee (ESAC26), 27 April 2007. Available at: [http://ecvam.jrc.ec.europa.eu].
35. OECD (2000),
Guidance Document on the Recognition, Assessment and Use of Clinical Signs as Humane Endpoints for Experimental Animals Used in Safety Evaluation, Environmental Health and Safety Monograph, Series on Testing and Assessment No. 19, ENV/JM/MONO(2000)7, OECD, Paris. Available at: [http://www.oecd.org/env/testguidelines].
36. OECD (2001). Harmonised Integrated Classification System for Human Health and Environmental Hazards of Chemical Substances and Mixtures. OECD Series on Testing and Assessment Number 33. ENV/JM/MONO-2001-6, Paris http://www.olis.oecd.org/olis/2001doc.nsf/LinkTo/env-jm-mono(2001)6.
37. OECD (1996). Final Report of the OECD Workshop on Harmonization of Validation and Acceptance Criteria for Alternative Toxicological Test Methods - 62pp.
38. OECD (1996). Final Report of the OECD Workshop on Harmonization of Validation and Acceptance Criteria for Alternative Toxicological Test Methods - 62pp.
39. OECD (2002). Extended Expert Consultation Meeting on The In Vitro Skin Corrosion Test. Guideline Proposal, Berlin, 1st - 2nd November 2001, Secretariat's Final Summary Report, 27th March 2002, OECD ENV/EHS, available upon request from the Secretariat.
40. OECD (1997). Environmental Health and Safety Publications, Series on Testing and Assessment N 7 "Guidance Document On Direct Phototransformation Of Chemicals In Water" Environment Directorate, OECD, Paris.
41. OECD (2002). Extended Expert Consultation Meeting on The In Vitro 3T3 NRU Phototoxicity Test Guideline Proposal, Berlin, 30th - 31st October 2001, Secretariat's Final Summary Report, 15th March 2002, OECD ENV/EHS, available upon request from the Secretariat.
42. ОЭСР (1981). Руководство по испытанию 403. Руководство ОЭСР по испытанию химических веществ. Исследование острой ингаляционной токсичности.
43. ОЭСР (2001). Руководство по испытанию 423. Руководство по испытанию химических веществ ОЭСР. Острая пероральная токсичность - Класс острой токсичности.
44. ОЭСР (проект). Отчет о биостатистической оценке эффективности проекта Руководства по испытанию TG 436: метод определения класса острой токсичности для острой ингаляционной токсичности.
45. ОЭСР (2000). Руководство по распознаванию, установлению и применению клинических симптомов как гуманных конечных точек для использования подопытных животных при исследованиях безопасности. Серия монографий о проведении испытания и оценки в области гигиены и безопасности окружающей среды N 19. "Guidance document on the recognition, assessment, and use of clinical signs as humane endpoints for experimental animals used in safety evaluation Unclassified".
46. Проект Руководящего документа ОЭСР по исследованиям острой ингаляционной токсичности. Серия монографий о проведении испытания и оценки в области гигиены и безопасности окружающей среды N 19.
47. Организация Объединенных Наций (ООН) (2007). Глобальные гармонизированные системы классификации и маркировки химических веществ (GHS), ST/SG/AC.10/30, ООН Нью-Йорк и Женева.
48. OECD (2002) Extended Expert Consultation Meeting on The In Vitro Skin Corrosion Test. Guideline Proposal, Berlin, 1st - 2nd November 2001, Secretariat's Final Summary Report, 27th March 2002, OECD ENV/EHS, available upon request from the Secretariat.
49. ОЭСР (2004). Руководство по испытанию химических веществ ОЭСР. Разъедание кожи in vitro. - испытание на модели кожи человека, TG 431. [http://www.oecd.org/env/testguidelines].
50. ОЭСР (2005). Руководство по испытанию химических веществ ОЭСР. Метод испытания мембранного барьера in vitro для определения разъедания кожи, TG 435.
51. OECD (2001). Harmonised Integrated Classification System for Human Health and Environmental Hazards of Chemical Substances and Mixtures. OECD Series on Testing and Assessment Number 33. ENV/JM/MONO - 2001 N 6, Paris. http://www.olis.oecd.org/olis/2001doc.nsf/LinkTo/env-jm-mono(2001)6.
52. OECD (2004), In Vitro Skin Corrosion: Transcutaneous Electrical Resistance (TER), OECD Guideline for the Testing of Chemicals No. 430, OECD, Paris. Available at: [http://www.oecd.org/env/testguidelines].
53. OECD (1996). Final Report of the OECD Workshop on Harmonization of Validation and Acceptance Criteria for Alternative Toxicological Test Methods, 62pp.
54. OECD (2004). Test Guideline 427: Skin absorption: in vivo Method. OECD, Paris.
55. OECD (2005), Guidance Document on the Validation and International Acceptance of New or Updated Test Methods for Hazard Assessment, OECD Series on Testing and Assessment No. 34, OECD, Paris. Available at: [http://www.oecd.org/env/testguidelines].
56. OECD (20xx), Explanatory background document to the OECD draft Test Guideline on in vitro skin irritation testing. To be published in OECD Series on Testing and Assessment, No. 1XX, OECD, Paris. Available at.
57. Руководящий документ ОЭСР Test N 451 "Carcinogenicity Studies".
58. Руководство ОЭСР Test N 116 "On the design and conduct of chronic toxicity and carcinogenicity studies, supporting TG 451,452 and 453".
59. Межведомственный координационный комитет по оценке альтернативных методов (ICCVAM) (1999).

Метод тестирования In Vitro по оценке коррозионного потенциала химических веществ. Результаты оценки независимой экспертизы, проводившейся под координацией ICCVAM, NTP и NICEATM. NIEHS, NIH Публикация N 99-4495. Доступно: [htpp://iccvam.niehs.nih.gov/docs/reports/corprrep.pdf] вместе с Протоколом анализа образца для тест-набора

по адресу: [http://iccvam.niehs.nih.gov/methods/corrdocs/sampprot.pdf].
60. Руководящий документ ОЭСР Test N 452 "Chronic Toxicity Studies".
61. Агентство по охране окружающей среды США (EPA) 1998. Руководство по тестированию с учетом возможного воздействия на здоровье людей: Сильное раздражение кожи. OPPTS 870.2500. г. Вашингтон, DC. Агентство по охране окружающей среды США. Доступно: [http://www.epa.gov/docs/OPPTS_Harmonized/870_Health_Effects_Test_Guidelines/Series/870-2500.pdf].
62. OECD (2004). Guidance Document for the Conduct of Skin Absorption Studies. OECD, Paris.
63. OECD (2000). Report of the Meeting of the OECD Extended Steering Committee for Percutaneous Absorption Testing, Annex 1 to ENW/JM/TG(2000)5. OECD, Paris.
64. Lovell W.W. (1993). A scheme for in vitro screening of substances for photoallergenic potential. Toxic. In Vitro 7: 95-102.
65. Magnusson B. and Kligman A.M. (1969). The identification of contact allergens by animal assay. The guinea pig maximisation test. J. Invest. Dermatol., 52, 268.
66. Руководство ОЭСР Test N 410 "Repeated Dose Dermal Toxicity: 21/28-day Study".
67. Руководство ОЭСР Test N 411 "Subchronic Dermal Toxicity: 90-day Study".
68. OECD TG N 432 "In vitro 3T3 NRU phototoxicity test" (ОЭСР Руководство N 432 "Тест 3T3 NRU для оценки фототоксичности in vitro"). Международный документ разработан Организацией Экономического Сотрудничества и Развития (ОЭСР/OECD) 13 апреля 2004 г.
69. OECD (2005), Guidance Document on the Validation and International Acceptace of New or Updated Test Methods for Hazard Assessment, Environment, Health and Safety Monograph, Series on Testing and Assessment N 34, ENV/JM/MONO(2005)14, OECD, Paris. Available at: [http://www.oecd.org/env/testguidelines].
70. OECD (1998). Report of the First Meeting of the OECD Endocrine Disrupter Testing and Assessment (EDTA) Task Force, 10th - 11th March 1998, ENV/MC/CHEM/RA(98)5. (2) OECD (2003). Detailed Background Review of the Uterotrophic Bioassay: Summary of the Available Literature in Support of the Project of the OECD Task Force on Endocrine Disrupters Testing and Assessment (EDTA) to Standardise and Validate the Uterotrophic Bioassay. OECD Environmental Health and Safety Publication Series on Testing and Assessment N 38. ENV/JM/MONO(2003)1.
71. Руководство ОЭСР Test N 408 "Repeated Dose 90-Day Oral Toxicity Study in Rodents".
72. Руководство ОЭСР Test N 19 "Guidance document on the recognition, assessment, and use of clinical signs as humane endpoints for experimental animals used in safety evaluation Unclassified".
73. Руководящий документ ОЭСР Test N 471 "Bacterial Reverse Mutation Test" Mutation Res., 113, 173-215.
74. OECD Principles on Good Laboratory Practice. C(97)186 Final.
75. WHO Library Cataloguing-in-Publication Data. Handbook: good laboratory practice (GLP): quality practices for regulated non-clinical research and development - 2nd ed. Manuals. I.UNDP/World Bank/WHO Special Programme for Research and Training in Tropical Diseases.
76. Лабораторные животные (Положение и руководство)/Под ред. и при участии члена-корреспондента РАМН Н.Н. Каркищенко. М.: Межакадемическое издательство "ВПК", 2003. 138 с.
77. Руководство по лабораторным животным и альтернативным моделям в биометрических исследованиях/Под ред. Н.Н. Каркищенко, С.В. Грачева. М.; Профиль - 2С, 2010. 358 с.
78. ИСО 10015:1999 "Менеджмент качества. Руководящие указания по обучению" (ISO 10015:1999 "Quality management - Guidelines for training").
79. OECD. 1998. Report of the First Meeting of the OECD Endocrine Disrupter Testing and Assessment (EDTA) Task Force, 10th - 11th March 1998, ENV/MC/CHEM/RA(98)5.
80. OECD (2009), Test N 455: The Stably Transfected Human Estrogen Receptor-alpha Transcriptional Activation Assay for Detection of Estrogenic Agonist-Activity of Chemicals, now replaced by this Test Guideline.
81. OECD (2012), Performance Standards For Stably Transfected Transactivation In Vitro Assay to Detect Estrogen Receptor Agonists (for TG 455), Series on Testing and Assessment N 173, OECD, Paris. Available at: http://www.oecd.org/document/30/0,3746,en_2649_37465_1916638_1_1_1_37465,00.html.
82. OECD (2012), Guidance Document on Standardized Test Guidelines for Evaluating Chemicals for Endocrine Disruption, Series on Testing and Assessment N 150, OECD, Paris. Available at: http://www.oecd.org/document/30/0,3746,en_2649_37465_1916638_1_1_1_37465,00.html.
83. OECD (2002), OECD Conceptual Framework for the Testing and Assessment of Endocrine Disrupting Chemicals, in annex 2 of: OECD Guideline for the Testing of Chemicals N 440, the Uterotrophic Bioassay in Rodents: A Short-term Screening Test for Oestrogenic Properties (2007). Available: [http://www.oecd.org/env/testguidelines].
84. OECD (2010), Peer Review Report of the H295R Cell-Based Assay for Steroidogenesis, OECD Series of Testing and Assessment N 133, ENV/JM/MONO(2010) 32, Paris. Available at: [http://www.oecd.Org/document/30/0, 3746,en_2649_34377_1916638_1_1_1_1,00.html].
85. Руководящий документ ОЭСР N 418 "Исследование отдаленного нейротоксического действия фосфорорганических соединений после острого воздействия".
86. Руководящий документ ОЭСР N 419 "Исследование отдаленного нейротоксического действия фосфорорганических соединений при 28-дневном повторном введении".
87. Руководящий документ OECD Test 424 "Neurotoxicity Study in Rodents".
88. OECD Environment Monograph N 76, Guidance Document for the Development of OECD Guidelines for the Testing of Chemicals, OECD, Paris, 1993.
89. OECD Summary Report of the ad hoc Meeting on Neurotoxicity Testing, held outide Washington, United States, March 1990.
90. OECD Chairman's Report of the Meeting of the ad hoc Working Group of Experts on Systemic Short-term and (Delayed) Neurotoxicity, OECD, Paris, 1992.
91. Руководящий документ ОЭСР N 426 "Исследование нейротоксичности в процессе онтогенеза".
92. OECD (1983) Test Guideline 415. OECD Guideline for Testing of Chemicals. One-generation reproduction toxicity study.
93. OECD (2001) Test Guideline 416. OECD Guideline for Testing of Chemicals. Two-generation reproduction toxicity study.
94. OECD (1997) Test Guideline 424. OECD Guideline for Testing of Chemicals. Neurotoxicity Study in Rodents.
95. OECD (2001) Test Guideline 414. OECD Guideline for Testing of Chemicals. Prenatal developmental toxicity study.
96. Руководящий документ ОЭСР Test N 416 "Two-Generation Reproduction Toxicity Study".
97. Руководящий документ ОЭСР Test N 416 "Two-Generation Reproduction Toxicity Study".
98. Руководящий документ ОЭСР Test N 421 "Reproduction/Developmental Toxicity Screening Test".
99. Руководящий документ ОЭСР Test N 443 "Extended One-Generation Reproductive Toxicity Study".
100. OECD TG N 422 "Combined Repeated Dose Toxicity Study with the Reproduction/Developmental Toxicity Screening Test" (ОЭСР Руководство N 422 "Совместное исследование токсичности при повторном воздействии с репродуктивной/эмбриональной токсичностью (скрининговый метод)").
101. Руководящий документ ОЭСР Test N 451 "Carcinogenicity Studies".
102. Руководство ОЭСР Test N 116 "On the design and conduct of chronic toxicity and carcinogenicity studies, supporting TG 451, 452 and 453".
103. Руководство ОЭСР Test N 19 "Guidance document on the recognition, assessment, and use of clinical signs as humane endpoints for experimental animals used in safety evaluation Unclassified".
104. Руководство ОЭСР Test N 412 "Subacute Inhalation Toxicity: 28-Day Study".
105. Руководящий документ OECD Test N 453 "Combined Chronic Toxicity\Carcinogenicity Studies".
106. OECD (1995), Report of the Consultation Meeting on Sub-chronic and Chronic Toxicity/Carcinogenicity Testing (Rome, 1995), internal working document, Environment Directorate, OECD, Paris.
107. OECD (2002), Guidance Notes for Analysis and Evaluation of Chronic Toxicity and Carcinogenicity Studies, Series on Testing and Assessment No. 35 and Series on Pesticides.
108. OECD (1998), Repeat Dose 90-day Oral Toxicity Study in Non-Rodents. Test Guideline N 409, OECD Guidelines for the Testing of Chemicals, OECD, Paris.
109. OECD (2009), Draft Guidance Document on the Design and Conduct of Chronic Toxicity and Carcinogenicity Studies, Series on Testing and Assessment N 116, available on the OECD public website for Test Guidelines.
110. OECD (2009), Subacute Inhalation Toxicity: 28-Day Study, Test Guideline N 412, OECD Guidelines for the Testing of Chemicals, OECD, Paris.
111. OECD (2009), Subchronic Inhalation Toxicity: 90-Day Study, Test Guideline N 413, OECD, Guidelines for the Testing of Chemicals, OECD, Paris.
112. OECD (1981), Repeated Dose Dermal Toxicity: 21/28-day Study, Test Guideline N 410, OECD Guidelines for the Testing of Chemicals, OECD, Paris.
113. Руководящий документ ОЭСР Test N 471 "Bacterial Reverse Mutation Test".
114. ОЭСР Руководство N 473 "Метод оценки хромосомных аберраций в клетках млекопитающих in vitro" ("In vitro Mammalian Chromosome Aberration Test").
115. Ames, B.N., McCann, J. and Yamasaki, E. (1975). Methods for Detecting Carcinogens and Mutagens with the Salmonella/Mammalian Microsome Mutagenicity Test. Mutation Res., 31, 347 - 364.
116. Maron, D.M. and Ames, B.N. (1983). Revised Methods for the Salmonella Mutagenicity Test.Mutation Res., 113, 173 - 215.
117. ОЭСР Руководство N 474 "Микроядерный тест на эритроцитах млекопитающих" ("Mammalian Erythrocyte Micronucleus Test").
118. ОЭСР Руководство N 475 "Метод оценки хромосомных аберраций в клетках костного мозга млекопитающих" ("Mammalian Bone Marrow Chromosome Aberration Test").
119. ОЭСР Руководство N 476 "Метод оценки генных мутаций на клетках млекопитающих in vitro" ("In Vitro Mammalian Cell Gene Mutation Test").
120. ОЭСР Руководство N 477 "Генетическая токсикология: Метод оценки сцепленных с полом рецессивных летальных мутаций у Drosophila melanogaster" ("Genetic Toxicology: Sex-Linked Recessive Lethal Test in Drosophila melanogaster").
121. ОЭСР Руководство N 478 "Генетическая токсикология: Метод доминантных деталей на грызунах" ("Genetic Toxicology: Rodent Dominant Lethal Test").
122. ОЭСР Руководство N 479 "Генетическая токсикология: Сестринские хроматидные обмены в клетках млекопитающих in vitro" ("Genetic Toxicology: In vitro Sister Chromatid Exchange Assay in Mammalian Cells").
123. ОЭСР Руководство N 480 "Генетическая токсикология: Метод оценки генных мутаций на Saccharomyces cerevisiae" ("Genetic Toxicology: Saccharomyces cerevisiae, Gene Mutation Assay").
124. ОЭСР Руководство N 481 "Генетическая токсикология: Метод оценки митотической рекомбинации на Saccharomyces cerevisiae" ("Genetic Toxicology: Saccharomyces cerevisiae, Mitotic Recombination Assay").
125. ОЭСР Руководство N 482 "Генетическая токсикология: Повреждения ДНК и репаративный/внеплановый синтез ДНК в клетках млекопитающих in vitro" ("Genetic Toxicology: DNA Damage and Repair/Unscheduled DNA Synthesis in Mammalian Cells in vitro").
126. ОЭСР Руководство N 483 "Метод оценки хромосомных аберраций в сперматогониях млекопитающих" ("Mammalian Spermatogonial Chromosome Aberration Test").
127. ОЭСР Руководство N 485 "Генетическая токсикология: Метод оценки наследуемых транслокаций у мышей" ("Genetic Toxicology: Mouse Heritable Translocation Assay").
128. ОЭСР Руководство N 486 "Генетическая токсикология: Метод оценки внепланового синтеза ДНК (ВСД) в клетках печени млекопитающих in vivo" ("Genetic Toxicology: Unscheduled DNA Synthesis (UDS) Test with Mammalian Liver Cells In Vivo").
129. ОЭСР Руководство N 487 "Генетическая токсикология: Микроядерный тест на клетках млекопитающих in vitro" ("Genetic Toxicology: In Vitro Mammalian Cell Micronucleus Test").
130. ОЭСР Руководство N 488 "Генетическая токсикология: Методы оценки генных мутаций в соматических и половых клетках трансгенных грызунов" ("Genetic Toxicology: Transgenic Rodent Somatic and Germ Cell Gene Mutation Assays").
АКТОВ, РЕГЛАМЕНТИРУЮЩИХ ИССЛЕДОВАНИЯ ТОКСИЧНОСТИ
И ОПАСНОСТИ ХИМИЧЕСКИХ ВЕЩЕСТВ И ИХ СМЕСЕЙ
1.1. Федеральный
закон от 30.03.1999 N 52-ФЗ "О санитарно-эпидемиологическом благополучии населения".
1.2. Федеральный
закон от 2.01.2000 N 29-ФЗ "О качестве и безопасности пищевых продуктов".
1.3. Федеральный
закон от 27.12.2002 N 184-ФЗ "О техническом регулировании".
1.4.
Постановление Правительства Российской Федерации от 28.09.2009 N 761 "Об обеспечении гармонизации российских санитарно-эпидемиологических требований, ветеринарно-санитарных и фитосанитарных мер с международными стандартами".
1.5.
Приказ Федеральной службы по надзору в сфере защиты прав потребителей и благополучия человека от 19.07.2007 N 224 "О санитарно-эпидемиологических экспертизах, обследованиях, исследованиях, испытаниях и токсикологических, гигиенических и иных видах оценок".
1.6. Единые санитарно-эпидемиологические и гигиенические
требования к товарам, подлежащим санитарно-эпидемиологическому надзору (контролю), утвержденные решением Комиссии Таможенного союза от 28.05.2010 N 299.
1.7. Национальная
программа реализации принципов надлежащей лабораторной практики ОЭСР в деятельности российских испытательных центров (лабораторий) в области неклинических лабораторных исследований объектов, содержащихся в пестицидах, косметической продукции, лекарственных средствах для медицинского применения, лекарственных средствах для ветеринарного применения, пищевых и кормовых добавках, а также в химических веществах промышленного назначения", утвержденная распоряжением Правительства Российской Федерации от 28.12.2012 N 2603-р.
1.8. Ведомственная
программа Федеральной службы по надзору в сфере защиты прав потребителей и благополучия человека реализации принципов НЛП в области неклинических лабораторных исследований в деятельности испытательных центров (лабораторий), утвержденная приказом Федеральной службы по надзору в сфере защиты прав потребителей и благополучия человека от 8.05.2013 N 287.
НАДЛЕЖАЩЕЙ ЛАБОРАТОРНОЙ ПРАКТИКИ (ПЕРЕЧЕНЬ ГОСТ)
ГОСТ 31879-2012 "Руководство по процедурам мониторинга соответствия Принципам GLP".
ГОСТ 31880-2012 "Руководство по проведению инспекций испытательных центров и аудитов исследований".
ГОСТ 31881-2012 "Роль и обязанности руководителя исследований в соответствии с Принципами GLP".
ГОСТ 31884-2012 "Соответствие поставщиков испытательного центра Принципам GLP".
ГОСТ 31885-2012 "Применение Принципов GLP к исследованиям в полевых условиях".
ГОСТ 31887-2012 "Применение Принципов GLP к компьютеризированным системам".
ГОСТ 31888-2012 "Роль и обязанности спонсора в соответствии с Принципами GLP".
ГОСТ 31889-2012 "Подача заявки и проведение инспекций и аудитов исследований в другой стране".
ГОСТ 31890-2012 "Организация и управление исследованиями, проводимыми на нескольких испытательных площадках".
ГОСТ 31900-2012 "Руководство по подготовке отчетов об инспекциях испытательных центров".
ОБУЧЕНИЯ (ПЕРЕОБУЧЕНИЯ) ПЕРСОНАЛА, ПРИНИМАЮЩЕГО УЧАСТИЕ
В ИССЛЕДОВАНИЯХ ТОКСИЧНОСТИ ХИМИЧЕСКИХ ВЕЩЕСТВ
И СМЕСЕЙ НА ИХ ОСНОВЕ
1.1. С целью обеспечения качества токсикологических исследований воздействия химических веществ и смесей на их основе на организм человека разработан порядок обучения (переобучения) персонала, принимающего участие в испытаниях.
2.1. Руководство организации, проводящей исследования токсичности химических веществ и продукции на их основе на организм человека, в соответствии с правилами надлежащей лабораторной практики должно обеспечить достаточное количество сотрудников для их выполнения, создать систему обучения и подготовить необходимую документацию.
2.2. Сотрудник, участвующий в проведении или ответственный за контроль проводимого исследования, должен иметь соответствующее образование и квалификацию, а также опыт работы, которые позволят ему выполнить назначенные функции в соответствии с правилами надлежащей лабораторной практики.
2.3. Организация, выполняющая исследования токсичности химических веществ и продукции на их основе должна подготовить, иметь и вести следующую документацию:
- организационная структура учреждения;
- должностные инструкции и резюме всех сотрудников, работающих в данной организации, в том числе, по контракту;
- карты полномочий.
2.4. Форма каждого документа определяется в стандартной операционной процедуре (СОП). Документы необходимо периодически обновлять и проверять в ходе контроля качества ведения документации по системе обучения. Вся информация должна быть доступна как для Национального органа мониторинга, так и для спонсоров исследования.
2.5. Должностная инструкция каждого сотрудника должна содержать четкое определение задач и обязанностей, соответствовать его образованию, квалификации, полномочиям, компетентности, профессиональному уровню. Должностные инструкции необходимо пересматривать с определенной периодичностью (указанной в СОП) или в случае реорганизации.
2.6. Круг обязанностей персонала должен охватывать все стороны исследований, проводимых в рамках надлежащей лабораторной практики, но при этом не должен быть слишком обширным, чтобы исключить риск снижения качества.
2.7. Резюме каждого сотрудника, в том числе технического персонала, должно содержать сведения об образовании, повышении квалификации, обучении, мастерстве и опыте работы. Резюме каждого сотрудника должно:
a) быть стандартной, утвержденной формы;
b) периодически обновляться;
c) содержать следующую информацию:
- Ф.И.О., возраст, пол;
- сведения об образовании (дипломы, свидетельства и т.п.) и повышении квалификации;
- сведения об опыте работы как в данном учреждении, так и на предыдущем месте работы;
- список публикаций;
- членство в профессиональных ассоциациях;
- владение иностранными языками.
2.8. Компетентность сотрудников во многом зависит от системы профессионального обучения и/или переподготовки и повышения квалификации, созданной в учреждении. При создании системы обучения следует опираться на ISO 10015:1999.
2.9. Обучение является неотъемлемой частью системы обеспечения качества научного исследования. Поэтому прохождение обучения и/или повышения квалификации должно быть документировано способом, единым для всех систем управления надлежащей лабораторной практикой:
- иметь формальную часть;
- иметь утверждение;
- должно быть оформлено документально в стандартном формате;
- должно быть описано в стандартных операционных процедурах (СОП);
- должно быть заархивировано для возможности исторической реконструкции обучения.
2.10. Новые методы исследований и новые направления деятельности учреждения всегда требуют определенной переподготовки или дополнительной подготовки сотрудников и технического персонала.
3.1. Система обучения состоит из следующих основных частей:
- определение необходимости обучения (качество и количество);
- планирование;
- обучение;
- мониторинг результатов обучения.
3.2. Сотрудники организации, проводящей исследования токсичности химических веществ и продукции на их основе на организм человека, должны быть вовлечены во все части системы обучения, что обеспечит его успешное осуществление.
3.3. Процесс обучения начинается с анализа потребностей организации в обучении. Определение потребностей в обучении основано на сравнительном анализе текущих и ожидаемых потребностей компетентности.
3.4. На стадии планирования создается план обучения, включающий в себя:
- цели обучения;
- целевые группы обучающихся;
- методы и примерное содержание обучения;
- план-график и программу обучения с указанием продолжительности, сроков и основных стадий обучения;
- требования к ресурсам, в том числе и финансовым;
- критерии и методы оценки результатов обучения;
- заявку на обучение.
3.5. Методы обучения могут включать в себя:
- курсы и семинары по месту работы или за его пределами;
- наставничество;
- инструктаж и консультации без отрыва от работы;
- самообучение;
- заочное обучение.
Мониторинг результатов обучения предусматривает анализ каждой стадии и обеспечивает объективную оценку результативности обучения.
4. Система обучения (переобучения) персонала,
принимающего участие в исследованиях токсичности
химических веществ и продукции на их основе
4.1. Все сотрудники, принимающие участие в исследованиях токсичности химических веществ и продукции на их основе, независимо от их обязанностей должны пройти базовое обучение и успешно его закончить.
Базовое обучение распространяется на следующие разделы необходимых знаний:
- правила GLP;
- правила техники безопасности и основы первой помощи;
- пожарная безопасность;
- основы этики и биоэтики;
- обращение с опасными отходами;
- основы работы в чрезвычайных ситуациях.
Дополнительное базовое обучение для сотрудников, участвующих в отборе и доставке образцов:
- перевозка опасных грузов;
- правила отбора образцов и их документация.
4.2. Методологическое обучение по основным манипуляциям, проводимым с аналитическим оборудованием. Работники, которые в соответствии со своими функциональными обязанностями получают первичные данные для протокола, работая на приборах должны правильно и успешно выполнять методы, должны продемонстрировать все необходимые навыки для получения данных и манипуляции при профессиональном тестировании, который проводится в соответствии с регламентом.
4.3. Персонал, не имеющий специального образования, должен пройти специальное обучение технологии содержания лабораторных грызунов, обучиться уходу и манипуляциям, а также регулярно проходить текущее обучение на семинарах и практических занятиях в соответствии с программой обучения, принятой в организации, и стандартными операционными процедурами. Лаборант допускается к самостоятельному выполнению какой-либо манипуляции на животном после ее освоения под руководством исследователя и сдачи экзамена комиссии, в состав которой входят руководитель исследования, представитель службы контроля качества и ветеринарный врач.
4.4. Исследовательский персонал, выполняющий работы на животных, должен иметь соответствующую квалификацию и обладать достаточным практическим опытом в этой области. Сотрудники, вновь поступившие на работу в токсикологическое подразделение, допускаются к самостоятельной работе с животными только после прохождения образовательного курса, включающего в себя инструктаж с использованием специальной литературы, руководств и СОП и серию соответствующих обязанностям исследователя практических занятий под руководством опытного сотрудника.
4.5. Обучение персонала. Уже работающий персонал проходит текущее обучение в случае изменения технологии, методологии либо использования новых реактивов и оборудования, новым СОП, а также в случае нарушения кем-либо из сотрудников правил техники безопасности. Перед началом исследования проводятся семинары для информирования сотрудников о специфике процедур в исследовании, правилах безопасной работы, опасности применяемых веществ и способах защиты. Обучение проводится устно, а также согласно СОП по технике безопасности и руководствам на вещества, используемые в исследовании.
4.6. Программа обучения персонала, осуществляемая в организации, включает темы по профессиональной безопасности, в том числе по профилактике зоонозов и возникновения аллергий на лабораторных животных, безопасности работы с животными и персональной гигиене. Перед началом исследования и при необходимости с персоналом проводятся специальные семинары по правилам работы с конкретным видом лабораторных животных, используемыми в исследовании химическими веществами и материалами.
4.7. Программы обучения персонала зависят от обязанностей, им выполняемых, и ответственности (рекомендуемые программы обучения основаны на рекомендациях FELASA и представлены в приложении):
- категория A - лица, осуществляющие уход за животными;
- категория B - лица, проводящие эксперименты на животных;
- категория C - лица, ответственные за руководство экспериментами на животных;
- категория D - специалисты в области науки о лабораторных животных.
4.8. Практические, теоретические и этические аспекты формируют общую и фундаментальную основу образования и обучения в рамках всех категорий сотрудников, принимающих участие в исследованиях токсичности химических веществ и продукции на их основе. Руководящими принципами являются: совершенствование методических приемов, сокращение количества используемых животных и их замена, где это возможно.
Рекомендуемая программа обучения для категории A,
1-й уровень
1. Обращение с животными
Демонстрация на лабораторных животных наиболее распространенных видов (крыса, мышь, морская свинка, хомяк, кролик):
- умение брать и держать животное, используя наиболее безопасный и приемлемый способ как для животного, так и для сотрудника;
- умение квалифицированно извлекать животное из клеток различного типа и помещать его обратно.
2. Уход и разведение
- рутинные процедуры при уходе за животными в соответствии с их биологическими и поведенческими потребностями;
- соответствующие программы содержания лабораторных животных наиболее распространенных видов, таких как крыса, мышь, морская свинка, хомяк, кролик;
- специальные требования к уходу, например, за разводимыми, экспериментальными животными;
- основные питательные компоненты диет для животных и их подача, в частности, необходимость специальной диеты для животных некоторых видов или разводимых животных;
- соответствующие режимы питания, способы обеспечения пищей;
- потребность в постоянном источнике воды, соответствующие способы ее подачи;
- размещение животных в клетках, признаки хорошего дизайна клеток в соответствии с видом животного и целью, с которой оно содержится;
- обеспечение животных подходящим подстилочным и гнездовым материалом, а также умение выбрать соответствующий материал.
3. Рутинные процедуры в виварии
- регулярная уборка помещений для животных и вспомогательных площадей, а также соблюдение определенного режима уборки в организации;
- правила использования и безопасного обращения с оборудованием для мойки и стерилизации; необходимость контроля микробиологических и других условий окружающей среды и их регистрация;
- личная гигиена и соблюдение определенных правил в работе и процедур для защиты персонала и животных.
4. Контроль за здоровьем животных
- контроль за здоровьем, признаки (как общие, так и специфические для соответствующих видов животных), которые могут указывать на отклонения от нормы, и действия, которые необходимо предпринять.
5. Эвтаназия
- причины для проведения эвтаназии и ее дефиниция;
- наиболее широко используемые методы, в частности, ингаляция углекислого газа;
- факторы, учитываемые при выборе подходящего метода.
6. Законодательство и биоэтика
Осведомленность о национальных и европейских законах, контролирующих использование животных в научных целях, и связанных с этим этических аспектах.
Рекомендуемая программа обучения для категории A,
2-й уровень
1. Содержание и уход
- биологические потребности лабораторных животных в отношении практики ухода и содержания;
- стандарты по уходу и содержанию лабораторных животных с учетом их согласованности с национальными и европейскими правилами и практическими руководствами;
- концепция барьерной системы; рабочая практика поддержания целостности барьера при работе с животными с определенным микробиологическим статусом, неизвестным статусом здоровья и с животными, экспериментально инфицированными потенциально опасным материалом; содержание животных в изоляторах.
2. Обращение
Демонстрация знаний и компетентности:
- обращение с лабораторными животными разнообразных видов;
- определение их возраста и пола различными методами;
- выбор соответствующих способов фиксации, связанных как с уходом за животными, так и с научными процедурами на животных.
3. Разведение
- биология репродуктивной системы лабораторных животных широко используемых видов;
- системы разведения общего пользования, практические соображения по внедрению и поддержанию таких программ;
- мониторинг разведения, ведение записей, критерии отбора племенных стоков;
- применение генетических принципов в получении генетически определенных линий, определение генетических линий, соответствующие программы разведения.
4. Эвтаназия
- методы эвтаназии лабораторных животных определенных видов;
- законодательные ограничения или рекомендации по использованию данных методов; факторы, влияющие на выбор метода; констатация смерти.
5. Питание
- возможности удовлетворения требований к питанию лабораторных животных, типы и состав диет;
- факторы, влияющие на выбор диет, и практика кормления; эффект специальной обработки питательного состава, например облучения.
6. Мониторинг, ведение записей и отчет о состоянии здоровья
- общие проблемы заболеваний лабораторных животных определенных видов, выявление признаков заболевания, зоонозы;
- важность профилактики заболеваний и контроля, роль микробиологического тестирования, реализация программ поддержания здоровья.
7. Безопасность
- необходимость безопасной рабочей практики, применение местных протоколов и национального законодательства для контроля здоровья и безопасности на рабочем месте;
- меры против биологических, химических и других факторов риска; техника безопасности при эксплуатации оборудования и использовании других материалов; соблюдение личной гигиены; аллергия на лабораторных животных.
8. Законодательство
- детальные практические знания национального и европейского законодательства, контролирующего использование животных в научных целях; знание других соответствующих законодательств, национальных и международных практических руководств;
- применение этических принципов при использовании животных в научных целях;
- использование альтернативных методов.
9. Экспериментальные процедуры
- общие пути введения веществ экспериментальным животным; факторы, влияющие на выбор способа введения; подготовка дозированного материала; дозы и частота введения;
- методы удаления и сбора жидкостей из организма; факторы, влияющие на выбор метода; объемы и частота сбора образцов;
- до- и послеоперационный уход; роль и ответственность персонала, занятого этим; соответствующие линии коммуникаций;
- принципы анестезии и анальгезии; признаки боли, дискомфорта и дистресса у животных соответствующих видов.
Рекомендуемая программа обучения для категории A,
3-й уровень
1. Управление виварием
- управление учреждением, эффективное использование ресурсов, управление бюджетом, производственные отношения в отделе и вне его, реализация процедур и правил для эффективной и безопасной работы вивария, подготовка отчетов, использование компьютерных программ управления;
- принципы управления персоналом; контроль за работой персонала, дисциплина, мотивация, развитие и назначение; прием на работу и интервьюирование; обучение и образование; постановка производственных задач.
2. Планирование вивария
- планирование и дизайн вивария в соответствии с определенными целями, соответствие законодательным требованиям, обеспечение сервиса, финансовый контроль.
3. Разведение
- управление колониями разводки животных, получение и поддержание генетически определенных линий и аутбредных стоков, процедуры генетического мониторинга.
4. Питание
- разработка практических и теоретических аспектов требований к питанию лабораторных животных; составление и обеспечение специальными диетами; варьирование состава диет; обеспечение тестирования качества; факторы, влияющие на хранение и использование кормов.
5. Уход/содержание животных
- содержание, уход и разведение лабораторных животных наиболее редких видов, например рептилий, амфибий.
6. Мониторинг среды
- управление микро- и макросредой, контролирующее и регистрирующее оборудование, интерпретация результатов, обеспечение резервных систем.
7. Профилактика болезней и контроль
- поведенческие и клинические признаки заболеваний;
- патология распространенных заболеваний лабораторных животных;
- профилактика заболеваний, контроль и лечение; влияние заболевания и медикаментов на интерпретацию результатов экспериментов, процесс разведения животных и т.д.; эффекты субклинических заболеваний;
- микробиологические процедуры, связанные с программами скрининга; интерпретация результатов; факторы, влияющие на принятые действия; схемы мониторинга здоровья.
8. Законодательство
- национальные и международные акты, распоряжения, директивы, программы и кодексы, непосредственно относящиеся к управлению виварием.
9. Транспортирование
- национальные и международные требования и документация; использование официально признанных агентов, вопросы благосостояния животных.
10. Анестезия и анальгезия
- принципы проведения анестезии, выбор и введение анестетиков, видовая специфичность, оборудование для анестезии и контроля за ее ходом;
- премедикация, мониторинг и поддержание анестезии, осложнения, уход после анестезии.
11. Хирургия
- принципы хирургии, асептическая техника, хирургические инструменты и уход за ними, материалы и техника для наложения швов, заживление ран;
- до- и послеоперационный уход, осложнения и восстанавливающие действия, распознавание инфекций и боли и контроль за ними;
- принципы работы диагностического и контролирующего оборудования, например радиографического, эндоскопического, для снятия электрокардиограмм и электроэнцефалограмм.
12. Планирование экспериментов
- общие принципы планирования и проведения экспериментов, ведение протоколов экспериментов, статистический контроль экспериментов, ведение записей.
13. Здоровье животных
- практические аспекты нормального и ненормального поведения животных; состояния комфорта, боли и дистресса; физиологические, иммунологические, биохимические и поведенческие аспекты стресса; типы стрессоров;
- роль внешней среды в поддержании здоровья животных.
Рекомендуемая программа обучения для категории A,
4-й уровень
Персонал этого уровня - старшие руководители с определенными навыками в управлении и руководстве виварием. Персонал может повышать свою квалификацию в области науки о лабораторных животных по общим или специальным направлениям:
- Координация ресурсов для обеспечения нужд подразделения, в том числе организационных.
- Введение, установление и реализация правил и процедур, применяемых в подразделении, а также теми, кто пользуется услугами подразделения.
- Осуществление финансового контроля за бюджетом подразделения.
- Руководство персоналом всех уровней по уходу за животными.
- Организация программ обучения и профессионального роста для персонала, ухаживающего за животными.
- Прием персонала на работу.
- Сотрудничество с научным персоналом с целью обеспечения ресурсами исследовательских программ.
- Участие в разработке и проведении экспериментов.
- Осуществление в случае необходимости связи с вышестоящим руководством.
- Планирование новых вивариев либо усовершенствование существующих зданий, или площадей.
Рекомендуемая программа обучения для категории B
1. Законодательство, этика и принципы 3R
- европейских и национальных законов, касающихся использования животных в научных целях;
- важности ответственного отношения к использованию лабораторных животных;
- принципов 3R - снижение (Reduction), уменьшение дистресса (Refinement), замена (Replacement);
- пригодности и применяемости альтернативных и дополнительных методов.
2. Основы биологии и содержание лабораторных видов животных
а) Основы биологии:
- знание строения и функций основных органов и систем в объеме, достаточном для проведения процедуры;
- знание физиологии и биохимии в объеме, достаточном для проведения процедуры;
- знание границ физиологических параметров в норме, представление о биологической вариабельности;
- знание поведенческих и физиологических характеристик, относящихся к проведению процедур;
- компетентность в области разведения животных и использования соответствующих генетических методов (например, трансгенного и нокаутного методов), касающихся проведения процедур;
- знание о существовании циркадных ритмов и их практическом значении.
б) Содержание:
- знание требований к параметрам окружающей среды, касающихся систем содержания животных, а также европейских и национальных постановлений, руководств и (или) сводов законов, регулирующих практическую деятельность;
- представление о взаимодействии животного с окружающей средой;
- осведомленность о путях обогащения окружающей среды, способствующих удовлетворению поведенческих и социальных нужд животного;
- освоение норм и установленного порядка по уходу за животными; классификация животных в соответствии с их микробиологическим статусом;
- осознание важности надлежащей гигиены в вивариях лабораторных животных в свете предупреждения и контроля заболеваний, а также ее значения для экспериментальных результатов и благосостояния животных;
- представление о взаимосвязи между микробным заражением и здоровьем животных и их влиянии на результаты экспериментов;
- информированность о требованиях к питанию животных и установленном порядке кормления;
- оценка пригодности различных рецептур, типов специальных диет и разных режимов питания;
- представление о воздействии характера питания на результаты экспериментов, включая изменения в составе диет, а также последствиях чрезмерного и недостаточного кормления;
- понятие о факторах, влияющих на выбор специальных диет и режимов питания;
- осознание необходимости постоянной подачи питьевой воды и различные способы обеспечения этого процесса;
- осведомленность о пригодности и применяемости различных типов подстила и используемых для этого материалов.
3. Обеспечение физиологических потребностей и уровня здоровья животных без ущерба научной достоверности исследования или процедуры
а) Физиологические потребности:
- понимание, какие факторы следует учитывать при оценке здоровья животных;
- информированность о поведенческих и относящихся к окружающей среде потребностях животных в свете их здоровья;
- наблюдение и толкование особенностей поведения соответствующих видов животных;
- представление о путях максимального повышения здоровья соответствующих видов лабораторных животных в процессе их содержания.
б) Здоровье животных:
- оценка уровня стресса, дистресса или испытываемого животным страдания;
- осознание важности регулярных контактов с человеком во избежание ненужного дистресса у лабораторных животных; понимание необходимости максимальной стандартизации животных как обязательного условия сокращения их количества и знание путей достижения этого в свете их здоровья;
- распознавание признаков ухудшения здоровья у животных соответствующих видов.
в) Научная достоверность:
- информированность о потенциальном влиянии социального поведения животных на научную достоверность исследования;
- понимание важности адаптации лабораторных животных к установившемуся режиму содержания до начала эксперимента;
- осведомленность о важности мер, предпринимаемых в целях сведения до минимума стресса при размещении соответствующих лабораторных видов;
- информированность о влиянии комплекса факторов окружающей среды на биологическую вариабельность, а также отдельных животных;
- осознание важности состояния здоровья животного с учетом научной достоверности исследования;
- знание преимуществ животных, адаптированных к определенным условиям до начала экспериментальных исследований;
- представление о преимуществах использования обученных экспериментальных животных и путях достижения этого.
4. Обращение с животными, использование основных техник и эвтаназия
а) Обращение и поведение:
- понимание принципов и важности корректного обращения и нормального поведения в свете их предполагаемого применения;
- выбор подходящего способа фиксации;
- отбор и использование соответствующих методов идентификации (маркировки).
б) Введение веществ:
- знание путей распределения и вывода из организма наиболее широко используемых соединений при различных способах их введения;
- введение соединений и выбор способа введения в зависимости от условий и целей эксперимента;
- владение правильной техникой (а также распознавание известных побочных эффектов) перорального, подкожного, внутримышечного, внутрибрюшинного и внутривенного введения соединений.
в) Способы забора образцов:
- знание методов, используемых для забора образцов крови, жидких сред организма, фекалий и мочи; демонстрация правильного забора образцов крови, фекалий и мочи;
- осведомленность о причинах ограничения частоты сбора образцов и их объема;
- обсуждение преимуществ и недостатков этих методов;
- демонстрация правильных способов хранения биологических образцов.
г) Эвтаназия:
- определение эвтаназии и перечень причин для ее проведения;
- характеристика наиболее часто используемых методов эвтаназии;
- отбор соответствующего(их) метода(ов) в соответствии с целью и условиями эксперимента;
- представление о неприемлемых методах эвтаназии;
- проведение эвтаназии и подтверждение смерти животного химическим или физическим методом.
д) Сбор данных:
- составление протокола эксперимента с использованием животных;
- сбор и хранение данных в соответствии с принципами добротной лабораторной практики [Good Laboratory Practice (GLP)].
5. Выявление недостатков в сфере благосостояния животных и других усложняющих факторов
а) Оценка здоровья:
- наблюдение за состоянием здоровья и его оценка у используемых видов животных;
- представление о биологической вариабельности, присущей нормальным здоровым животным;
- ознакомление с литературными источниками, содержащими физиологические данные по используемым видам животных.
б) Распознавание боли, страдания и дистресса:
- распознавание признаков боли, страдания и дистресса, представление о концепции гуманного умерщвления и необходимости их определения перед процедурами;
- знание главных стресс-факторов для используемых видов животных;
- оценка степени и понимание границы "жестокости" процедуры.
в) Распознавание заболевания:
- распознавание признаков заболевания у используемых видов животных и предпринимаемые в данном случае действия;
- мониторинг здоровья и профилактика заболеваний в зависимости от используемых видов животных и процедуры;
- осознание важности заболеваний, протекающих в скрытой форме.
6. Анестезия, анальгезия и основные принципы хирургии
а) Методы анестезии:
- определение анестезии;
- знание показаний к проведению общей и местной анестезии;
- представление об основных методах проведения общей анестезии;
- осведомленность о препаратах, наиболее часто используемых для проведения анестезии, специфических показаниях и противопоказаниях к их применению.
б) Дооперационный уход:
- осознание важности дооперационного физического осмотра и значения ограничения приема пищи;
- понимание важности премедикации как средства, обеспечивающего благополучие животного и более плавное введение в состояние наркоза;
- представление о наиболее часто используемых транквилизаторах, антихолинергических средствах и их правильном введении;
- подготовка животного к хирургическому вмешательству.
в) Наркоз:
- оценка глубины наркоза у используемых видов животных;
- осознание важности контроля за ходом анестезии, поддержание и регистрация соответствующих показателей;
- представление об осложнениях, обычно возникающих при анестезии, и умение на них быстро реагировать;
- использование аппаратов для проведения анестезии;
- знание об основных препаратах, вводимых для выведения из наркоза.
г) Послеоперационный уход, анальгезия:
- внимательное наблюдение за животным в послеоперационный период, контроль дыхания, пульса, температуры, области, где было проведено хирургическое вмешательство, и общего состояния;
- распознавание и быстрое устранение осложнений, возникающих после применения анестезии;
- представление о положительном влиянии анальгезии и введения анальгетиков;
- знание характеристик и осведомленность о продолжительности действия наиболее широко используемых анальгетиков.
д) Основные принципы асептической хирургии:
- понимание важности поддержания стерильности в операционной и проведения асептических процедур;
- подготовка и правильное проведение стерилизации хирургических инструментов и тампонов, шовного и перевязочного материала.
7. Гигиена труда и безопасность
а) Зоонозы и опасные патогенные факторы:
- представление о состоянии здоровья исследуемых животных, основных патогенных факторах, оказывающих на них влияние, и связанном с этим риском для человека.
б) Опасные химические соединения:
- осведомленность об основных факторах риска, связанных с обращением с наиболее широко используемыми категориями газов, растворителей, кислот, щелочей и солей, применяемыми в биомедицинских исследованиях и тестировании;
- знание основных факторов риска, связанных с обращением с лекарственными препаратами и другими фармакологически активными тестсубстанциями;
- правильное толкование символов и предостерегающих надписей на этикетках фармакологически активных субстанций;
- осознание потенциальной опасности неправильного смешивания различных химических соединений.
в) Биологическая опасность:
- представление о факторах риска, связанных с работой с вирусами и генетически измененными организмами;
- знание факторов риска, связанных с материалами, инфицированными микроорганизмами;
- представление о факторах риска, присущих биологическим материалам человеческого происхождения.
г) Аллергии:
- представление о причинах возникновения аллергии;
- распознавание ранних признаков, указывающих на развитие аллергии.
д) Меры предосторожности и защита персонала:
- знание соответствующего европейского и национального законодательства, а также местных мероприятий по гигиене труда и обеспечению безопасности персонала;
- осведомленность о программах по охране здоровья персонала, подвергающегося химической и биологической опасности;
- знание основных принципов гигиены и асептики;
- правильное обращение с защитными средствами и оборудованием (ламинарными, вытяжными шкафами, масками и т.д.);
- принятие необходимых мер предосторожности для максимального снижения потенциального риска.
е) Первая помощь:
- знание местных мероприятий, проводимых при несчастном случае;
- представление о том, что может быть и что должно быть сделано до прибытия помощи.
ж) Захоронение отходов и законодательство, направленное на охрану здоровья:
- знание национального законодательства, связанного с окружающей средой и ее охраной;
- представление о местных мероприятиях по захоронению отходов;
- классификация различных видов отходов;
- правильная обработка материалов до их захоронения;
- знание местных мероприятий по правильному захоронению трупов животных.
Рекомендуемая программа обучения для категории C
1. Биология и содержание лабораторных животных
- Введение в науку о лабораторных животных, использование животных в различных областях исследований, история экспериментов на животных.
- Биология лабораторных животных (сравнительная анатомия, физиология), воспроизводство и выращивание, уход и содержание, гомеостаз и стресс, благосостояние животных.
- Этология (поведение) и обогащение среды.
- Обращение с лабораторными животными и их транспортирование.
- Питание, требования к питанию, состав диет, практика кормления, вариации состава диет и их влияние на состояние здоровья и результаты экспериментов, влияние добавок на прием пищи, преимущества и недостатки питания ad libitum.
- Генетическая стандартизация; взаимодействия генотип-среда; инбредные линии; коизогенные, конгенные линии; трансгенные линии; рекомбинантные инбредные линии; гибриды F1, рандомбредные линии и аутбредные стоки; генетическая характеристика; контроль генетического качества; криоконсервация.
- Распознавание, оценка и контроль боли, страданий и дистресса.
2. Микробиология и болезни
- Мониторинг здоровья и защита от болезней, карантин, гигиена, дезинфекция.
- Гнотобиология; животные, свободные от определенных патогенных организмов (SPF); безмикробные животные; барьерное содержание; изоляторы; системы ламинарных потоков.
- Болезни лабораторных животных, взаимосвязь заболеваний с экспериментами, последствия употребления лекарств.
- Безопасность в работе с инфицированными животными.
3. Факторы риска здоровья и безопасность работы в виварии
- Аллергия, зоонозы, патогенные организмы, карциногены, радиоактивные материалы, физические факторы риска и т.д.
4. Планирование и проведение экспериментов на животных
- Подготовка протокола эксперимента на животных; поиск литературы; выбор экспериментального животного (вид, линия, генетический статус, микробиологический статус); обеспечение животными и влияние транспортирования.
- Модели на животных (спонтанные, индуцированные); возможности и ограничения экспериментов на лабораторных животных; экстраполяция на людей результатов экспериментов, проведенных на животных.
- Планирование эксперимента (например, на основе факториального анализа по схеме латинского квадрата), power-анализ для вычисления количества животных в контрольной и экспериментальной группах, статистический анализ и интерпретация результатов.
- Надежная лабораторная практика (GLP).
5. Анестезия, анальгезия и экспериментальные процедуры
- Ознакомление с методами анестезии, анестетики и анальгетики, местные анальгетики и общие анестетики.
- Выбор анестетика в зависимости от вида животного и характера эксперимента, видоспецифичные вариации при введении анестетиков, влияние анестетиков на результаты экспериментов.
- Осложнения и уход за животными после эксперимента, безопасность и предосторожности.
- Экспериментальные процедуры - демонстрация и практика; нехирургические процедуры, такие как инъекции, оральное введение, забор крови, мочи или кала; принципы хирургии, хирургический инструментарий, асептические методы, демонстрация некоторых хирургических процедур.
6. Альтернативы использованию животных
- Определение альтернатив; усовершенствование, замена или сокращение использования животных; обзор альтернатив; возможности и ограничения альтернатив; альтернативы в обучении и исследованиях.
7. Этические аспекты и законодательство
- Отношение к животным, взаимоотношения человек - животное, истинная и инструментальная ценность животных, аргументы "за" и "против" использования животных в научных целях, дискуссия по этическим аспектам использования животных, комиссии по этике.
- Законодательные аспекты; обзор национального и европейского законодательства, касающегося использования животных в научных целях; лицензирование; компетентные лица; инспекция; регистрация.
8. Анализ научной литературы
- Анализ опубликованных работ; тщательная проверка выбора вида или линии животного, количества и спецификации используемых животных; планирование эксперимента, хирургических или других экспериментальных процедур; обсуждение целесообразности представляемой работы.
Курс завершается экзаменом или подтверждением квалификации в другой форме.
ПРИБОРНО-ИНСТРУМЕНТАЛЬНОЕ ОБЕСПЕЧЕНИЕ ТОКСИКОЛОГИЧЕСКИХ
ИССЛЕДОВАНИЙ ВОЗДЕЙСТВИЯ ХИМИЧЕСКИХ ВЕЩЕСТВ
И СМЕСЕЙ НА ИХ ОСНОВЕ
1.1. Требования к приборно-инструментальному обеспечению токсикологических исследований воздействия химических веществ и смесей на их основе разработаны с целью обеспечения качества токсикологических исследований воздействия химических веществ и смесей и на их основе на организм человека.
2.1. Оборудование и инструменты по характеристикам и расположению должны соответствовать целям и задачам исследования.
2.2. Оборудование, используемое в исследовании, должно периодически технически обслуживаться, включая регулярный профилактический осмотр, уход, калибровку в соответствии со стандартными операционными процедурами испытательного центра. Все работы должны сопровождаться соответствующими записями в индивидуальном журнале. Калибровку следует проводить в соответствии с национальными или международными стандартами измерения.
2.3. Оборудование до ввода его в эксплуатацию должно быть проверено на предмет установления его соответствия техническим требованиям, действующим в лаборатории, и соответствующим стандартам. Должна быть протестирована его работоспособность на рабочем месте после инсталляции. Данные работы должны сопровождаться соответствующими записями.
2.4. С оборудованием должен работать уполномоченный персонал. Актуализированные инструкции по использованию и обслуживанию оборудования (включая любые соответствующие руководства, предоставленные производителем оборудования) должны быть всегда доступны для использования персоналом лаборатории.
2.5. Оборудование и материалы, используемые в исследовании, не должны влиять на состояние тест-систем.
2.6. Оборудование, используемое при проведении токсикологических исследований воздействия химических веществ и продукции на их основе, подразделяется на монтируемое и немонтируемое.
2.7. К монтируемому оборудованию относятся системы, обеспечивающие качество микроклиматических условий (системы вентиляции и кондиционирования), светильники ультрафиолетового и инфракрасного облучения, лифты, централизованные установки дезинфекционно-моечного оборудования, мусоропроводы и т.д.
2.8. К немонтируемому оборудованию относятся вспомогательные приборы, общелабораторное измерительное оборудование, компьютеризированное аналитическое оборудование.
2.9. Каждый вид оборудования и его программное обеспечение, используемые при проведении испытаний и оказывающие влияние на результат проводимых исследований, должны быть однозначно идентифицированы.
2.10. Оборудование, используемое в исследовании, можно классифицировать следующим образом:
а. Вспомогательные приборы:
- холодильники;
- вортексы;
- центрифуги и др.;
б. Общелабораторное измерительное оборудование:
- весы;
- термометры;
- оборудование для контроля параметров окружающей среды и др.;
в. Компьютеризированное аналитическое оборудование:
- биохимические анализаторы;
- гематологические анализаторы;
- хромато-масс-спектрометры и др.
2.11. Оборудование каждого вида и его программное обеспечение, существенные для проведения испытаний, должны быть зарегистрированы. Регистрационные данные должны включать, следующие сведения:
- идентификацию оборудования каждого вида и его программного обеспечения;
- наименование изготовителя, идентификацию типа, серийный номер или другую уникальную идентификацию;
- результаты проверок соответствия оборудования нормативным документам;
- местонахождение на данный момент, если уместно;
- инструкции изготовителя, при их наличии, или данные о месте их нахождения;
- даты, результаты и копии отчетов и сертификатов всех калибровок, регулировок, критериев приемки и планируемую дату очередной калибровки;
- план обслуживания, при необходимости, и проведенное обслуживание;
- описание любых повреждений, неисправностей, модификаций или ремонта оборудования.
3. Приборно-инструментальное обеспечение
3.1. Оборудование, обеспечивающее постоянные микроклиматические условия помещений.
3.1.1. Комплекс оборудования, обеспечивающий в автоматическом режиме поддержание нормативных показателей газового состава воздуха, температуры, влажности, скорости движения воздуха и др., должно обеспечивать нормируемые параметры микроклимата и воздушной среды помещений.
3.1.2. Эксплуатация (обслуживание) комплекса оборудования кондиционирования осуществляется ответственным лицом организации или другой специализированной организацией.
3.1.3. Проверка эффективности работы, текущие ремонты (при необходимости), а также очистка и дезинфекция комплекса проводится один раз в год или в соответствии с технической документацией.
3.1.4. Проектирование и эксплуатация вентиляционных систем должны исключать перетекание воздушных масс из "грязных" помещений в "чистые".
3.1.5. Данное оборудование располагается в инженерно-технической зоне.
3.2. Оборудование, автоматически обеспечивающее световой режим, должно постоянно поддерживать уровень естественного и искусственного освещения в соответствии с санитарными нормами и правилами. Искусственная освещенность (общая и местная), источник света, тип лампы принимаются в соответствии с действующими нормами. Контроль освещенности осуществляется люксметром.
3.3. Дезинфекционно-моечное и стерилизационное оборудование для паровой, воздушной, ультрафиолетовой, инфракрасной и прочих видов стерилизации:
- автоматические и/или ультразвуковые дезинфекционно-моечные машины;
- паровые дезинфекционные камеры;
- плазменный низкотемпературный стерилизатор;
- бактерицидные облучатели для обеззараживания воздуха в помещениях (настенные, потолочные, переносные);
- проходные автоклавы;
- сухожаровые камеры;
- воздушный ультрафиолетовый шлюз;
- ранцевый опрыскиватель, противогаз;
- утилизаторы медицинских отходов и пр.
3.4. Оборудование, обеспечивающее физико-химические исследования:
- титриметрические исследования (автоматический титратор, вольюмометрический, автоматический титратор кулонометрический и т.п.);
- ВЖЭХ-анализ, ГЖХ, ГХ-МС, ТСХ (хроматографы для различных целей - аналитические, препаративные, газовые, жидкостные и т.п.);
- ИК-спектрометрия (Фурье-спектрометр и т.п.);
- ЯМР-спектроскопия (спектрометр ядерного магнитного резонанса и т.п.).
3.5. Оборудование, обеспечивающее проведение микробиологических (выделение, культивирование, окраска, идентификация микроорганизмов), вирусологических (получение, идентификация, выделение вирусов) и паразитологических (получение, идентификация, выделение паразитов) исследований должно соответствовать требованиям нормативных и методических документов на данный вид деятельности, действующих на территории Российской Федерации и Таможенного союза.
3.6. Оборудование, обеспечивающее содержание лабораторных животных.
3.6.1. Для содержания лабораторных животных используется клеточное оборудование, соответствующее видовым и возрастным особенностям и обеспечивающее требуемые комфортные и санитарно-гигиенические условия содержания животных.
3.6.2. В помещениях для животных не должно находиться никаких предметов, не имеющих отношения к содержанию животных и уходу за ними.
3.6.3. Оборудование и инвентарь должны размещаться таким образом, чтобы не способствовать загрязнению помещений, не затемнять клетки с животными, не нарушать воздухообмен.
3.6.4. Клеточное оборудование включает в себя собственно клетку и стеллажи для их размещения. В комплект одной клетки входят:
- ванночка из полипропилена или поликарбоната;
- крышка из нержавеющей стали с бункером для корма;
- бутылка для поения;
- канюля;
- резиновая пробка;
- держатель для этикетки из нержавеющей стали.
3.6.5. Вспомогательное оборудование и инвентарь:
- стеллажи настенные или передвижные;
- передвижные тележки для транспортирования клеток, бутылок и инвентаря;
- передвижные тележки с бункером для транспортирования кормов и подстилки;
- машина для мытья клеток, бутылок;
- ванна для замачивания грязных клеток, бутылок;
- индивидуальные рассадочные камеры для животных и т.д.
3.6.6. Установка для эвтаназии животных (тележка для баллона с углекислым газом; система шлангов, вентилей и ограничителей потока газа; прозрачные крышки на клетки, баллон с газом) предназначена для безболезненного усыпления лабораторных животных методом ингаляции углекислым газом.
3.6.7. Морозильная камера (-40 °C) для временного хранения трупов животных.
3.7. Оборудование для экспозиции изучаемых химических веществ.
- метаболические клетки;
- клетки для индивидуального содержания;
- затравочные камеры;
- зонды для введения вещества и т.д.
3.8. Оборудование для изучения поведенческих реакций:
- "Открытое поле" - установка предназначена для изучения поведения грызунов в новых (стрессогенных) условиях и позволяет оценить: выраженность и динамику отдельных поведенческих элементов; уровень эмоционально-поведенческой реактивности животного ("седацию-ажитацию"); стратегию исследовательского/оборонительного поведения; привыкание (habituation); запоминание обстановочных стимулов; симптомы неврологического дефицита; локомоторную стереотипию, вызванную введением ДА-миметиков;
- "Приподнятый крестообразный лабиринт" - установка предназначена для изучения поведения грызунов в условиях переменной стрессогенности (при свободном выборе комфортных условий) и позволяет оценить: уровень тревожности животного (по предпочтению темноты/света, боязни высоты, выраженности и динамике поведения "выглядывания"); симптомы неврологического дефицита; привыкание (habituation);
- "Экстраполяционное избавление" - установка предназначена для изучения когнитивных функций грызунов в условиях острого стресса и позволяет оценить: индивидуальные различия когнитивного стиля решения задачи (поиска пути избавления из острой стресс-ситуации); становление когнитивных функций в онтогенезе;
- "Т-лабиринт" - установка позволяет исследовать рабочую память грызунов, лежащую в основе поведения чередования рукавов (спонтанного или подкрепленного) и чувствительную к дисфункции септо-гиппокампальной системы;
- "Темно-светлая камера" - установка предназначена для изучения поведения грызунов в условиях переменной стрессогенности (при свободном выборе комфортных условий) и позволяет оценить: предпочтение темноты и света; выраженность и динамику поведения "выглядывания"; привыкание (habituation);
- установка для тестов "Поведение отчаяния" по Porsolt и "Вынужденное плавание". Данные тесты предназначены для выявления соединений с антидепрессантной и психостимулирующей активностью, а также позволяют оценить способность животных к обучению;
- "Beam-walking" или "Сужающаяся дорожка" - установка предназначена для оценки моторного дефицита главным образом задних конечностей и в меньшей степени передних. Тест широко используется при моделировании различных патологических состояний мозга, связанных с повреждением моторной коры (фокальная ишемия, компрессионная ишемия, ишемия/гипоксия мозга новорожденных крысят);
- "Темная камера с отверстиями" - установка предназначена для изучения поведения грызунов в условиях свободного выбора комфортных условий и позволяет оценить: предпочтение темноты/света, выраженность и динамику поведения выглядывания, принятие решения выхода из камеры. Используется как тест-предиктор индивидуального уровня эмоциональной реактивности (в сочетании с тестом "Открытое поле" и др.), а также может служить источником дополнительной информации относительно анксиогенных/анксиолитических свойств исследуемых соединений;
- "Staircase test" - установка предназначена для изучения моторики передних конечностей у крыс. "Staircase" является высокочувствительным тестом, позволяющим оценить незначительные нарушения в работе самой конечности, а также кисти и пальцев. Тест широко используется для оценки неврологического дефицита у крыс при моделировании различных патологических состояний.
3.9. Оборудование для неинвазивных методов исследования:
- ЭКГ;
- ультразвуковое исследование;
- рентгенография;
- магнитно-резонансная томография (МРТ) и т.д.
3.10. Оборудование для гематологических исследований (автоматический гематологический анализатор, коагулометр, аппарат для электрофореза и т.д.).
3.11. Оборудование для биохимического и иммунологического анализа биологических жидкостей (автоматический биохимический анализатор, спектрофотометр, иммуноферментный анализатор, иммунохимический анализатор, фотометр, иммунохемилюминесцентный анализатор, анализатор иммуногематологический, проточный цитофлюориметр и т.д.).
3.12. Оборудование для проведения цитогенетических исследований.
а. Основное:
- стерильный бокс с предбоксником или ламинарный бокс;
- микроскоп бинокулярный с встроенным осветителем (видимый свет) с набором из 4 - 5 объективов от 10x до 100x (масляная иммерсия), возможностью анализа изображения в фазовом контрасте и системой фиксации изображения (видеокамера 5 - 7 МП, фотоаппарат 14 МП), подключенный к компьютеру, снабженному системой анализа изображения;
- микроскоп люминесцентный со встроенным осветителем с набором из 4 - 5 объективов от 10x до 100x (масляная иммерсия) и системой фиксации изображения (видеокамера 5 - 7 МП, фотоаппарат 14 МП), подключенный к компьютеру, снабженному системой анализа изображения;
- микроскоп с видеоприставкой для морфометрии, соединенный с компьютером;
- проточный цитометр;
- сортер клеток;
- система для гель-электрофореза одиночных клеток (Comet assay, тест комет) и анализа изображения в этом тесте;
- система для флуоресцентной in situ гибридизации (FISH) хромосом;
- центрифуга низкоскоростная (300 - 1500 g) с бакет-ротором без охлаждения для пробирок;
- центрифуга низкоскоростная (300 - 1500 g) с бакет-ротором с охлаждением, стаканы 100 - 500 мл;
- центрифуга низкоскоростная (300 - 1500 g) с угловым охлаждением и стаканами 100 мл;
- центрифуга для микропробирок типа Эппендорф;
- термостат суховоздушный 37 °C;
б. Вспомогательное:
- персональные компьютеры;
- автоклав для стерилизации лабораторной посуды;
- автоклав для стерилизации растворов;
- облучатели бактерицидные потолочные в зависимости от количества помещений и их площади;
- облучатель бактерицидный переносной (передвижной);
- холодильник для хранения реактивов;
- холодильник-морозильник для хранения реактивов (-18 °C);
- холодильник электрический бытовой;
- счетчик-калькулятор для подсчета форменных элементов крови электронный;
- набор автоматических пипеточных дозаторов жидкостей на переменный объем со штативом (5 мкл - 10 мл) с расходными материалами и пр.;
- набор лабораторной посуды;
- фильтры для стерилизации малых объемов жидкостей;
- шкаф для хранения реактивов и пр.
3.13. Оборудование для проведения молекулярно-генетических исследований.
а. Основное:
- ламинарный шкаф (бокс);
- блок для сбора ПЦР-смесей;
- ПЦР-бокс для стерильных работ с рециркулятором;
- автоматическая система для выделения нуклеиновых кислот и программное обеспечение;
- генетический анализатор (секвенатор) и программное обеспечение;
- амплификатор и программное обеспечение;
- система гель-документации и программное обеспечение;
- оборудование для горизонтального и вертикального электрофореза;
- персональные компьютеры;
- CO2-инкубатор;
- спектрофотометр.
б. Вспомогательное:
- термостат с функциями охлаждения и нагрева в диапазоне от -10 до 100 °C для пробирок Эппендорф;
- термошейкер для пробирок Эппендорф;
- автоклав паровой;
- система получения ультрачистой воды;
- бидистиллятор;
- pH-метр в комплекте с комбинированным электродом и стандартами;
- весы аналитические 320 г/0,1 мг;
- мини-центрифуга с функцией охлаждения;
- магнитная мешалка с подогревом;
- холодильник для хранения реактивов;
- холодильник-морозильник для хранения реактивов (-18 °C);
- холодильник электрический бытовой;
- источники питания;
- набор автоматических пипеточных дозаторов жидкостей на переменный объем со штативом (10 мкл - 10 мл) и расходные материалы.
ПРЕДУПРЕДИТЕЛЬНАЯ МАРКИРОВКА ХИМИЧЕСКИХ ВЕЩЕСТВ И ИХ СМЕСЕЙ
ПРЕДУПРЕДИТЕЛЬНАЯ МАРКИРОВКА ХИМИЧЕСКИХ ВЕЩЕСТВ
И ИХ СМЕСЕЙ, ОБЛАДАЮЩИХ ОСТРОЙ ТОКСИЧНОСТЬЮ
ПРИ ВОЗДЕЙСТВИИ НА ОРГАНИЗМ
Класс опасности | Описание опасности | Меры по предупреждению опасности |
символ | сигнальное слово | краткая характеристика опасности |
1 | 2 | 3 | 4 | 5 |
При проглатывании |
1 | | Опасно | H300. Смертельно при проглатывании | Меры по безопасному обращению (предотвращение): - P264. После работы тщательно вымыть руки; - P270. При использовании химического вещества или смеси не курить, не пить, не принимать пищу. Меры по ликвидации ЧС (реагирование): - P301 + P330 + P310. ПРИ ПРОГЛАТЫВАНИИ: Прополоскать рот и немедленно обратиться за медицинской помощью; - P321. Специальные меры первой помощи. Условия безопасного хранения: - P405. Хранить в недоступном для посторонних месте |
2 |
3 | H301. Токсично при проглатывании |
4 | | Осторожно | H302. Вредно при проглатывании | Меры по безопасному обращению (предотвращение): - P264. После работы тщательно вымыть руки; - P270. При использовании химического вещества или смеси не курить, не пить, не принимать пищу. Меры по ликвидации ЧС (реагирование): - P301 + P330 + P312. ПРИ ПРОГЛАТЫВАНИИ: Прополоскать рот и обратиться за медицинской помощью при плохом самочувствии |
5 | Отсутствует | Осторожно | H303. Может причинить вред при проглатывании | Меры по ликвидации ЧС (реагирование): - P312. Обратиться за медицинской помощью при плохом самочувствии |
При попадании на кожу |
1 | | Опасно | H310. Смертельно при попадании на кожу | Меры по безопасному обращению (предотвращение): - P262. Избегать попадания в глаза, на кожу или одежду; - P264. После работы тщательно вымыть руки; - P270. При использовании химического вещества или смеси не курить, не пить, не принимать пищу; - P280. Использовать перчатки/спецодежду/средства защиты глаз/лица (тип указывается изготовителем). Меры по ликвидации ЧС (реагирование): - P302 + P352 + P310. ПРИ ПОПАДАНИИ НА КОЖУ: Промыть большим количеством воды с мылом (при необходимости изготовителем указываются специальные очищающие средства). Немедленно обратиться за медицинской помощью; - P321. Специальные меры первой помощи; - P361 + P364. Немедленно снять всю загрязненную одежду и выстирать ее перед повторным использованием. Условия безопасного хранения: - P405. Хранить в недоступном для посторонних месте |
2 |
3 | | Опасно | H311. Токсично при попадании на кожу | Меры по безопасному обращению (предотвращение): - P280. Использовать перчатки/спецодежду /средства защиты глаз/лица (тип указывается изготовителем). Меры по ликвидации ЧС (реагирование): - P302 + P352 + P312. ПРИ ПОПАДАНИИ НА КОЖУ: Промыть большим количеством воды с мылом (при необходимости изготовителем указываются специальные очищающие средства). Обратиться за медицинской помощью при плохом самочувствии; - P321. Специальные меры первой помощи (указываются изготовителем); - P361 + P364. Немедленно снять всю загрязненную одежду и выстирать ее перед повторным использованием. Условия безопасного хранения: - P405. Хранить в недоступном для посторонних месте |
4 | | Осторожно | HЗ12. Вредно при попадании на кожу | Меры по безопасному обращению (предотвращение): - P280. Использовать перчатки/спецодежду/средства защиты глаз/лица (тип указывается изготовителем). Меры по ликвидации ЧС (реагирование): - P302 + P352 + P312. ПРИ ПОПАДАНИИ НА КОЖУ: Промыть большим количеством воды с мылом (при необходимости изготовителем указываются специальные очищающие средства). Обратиться за медицинской помощью при плохом самочувствии; - P321. Специальные меры первой помощи; - P362 + P364. Снять всю загрязненную одежду и выстирать ее перед повторным использованием |
5 | Отсутствует | Осторожно | H313. Может причинить вред при попадании на кожу | Меры по ликвидации ЧС (реагирование): - PЗ12. Обратиться за медицинской помощью при плохом самочувствии |
ПРЕДУПРЕДИТЕЛЬНАЯ МАРКИРОВКА ХИМИЧЕСКИХ ВЕЩЕСТВ И ИХ СМЕСЕЙ,
ВЫЗЫВАЮЩИХ ПОРАЖЕНИЕ (НЕКРОЗ)/РАЗДРАЖЕНИЕ КОЖИ
Класс опасности/подкласс | Описание опасности | Меры по предупреждению опасности |
символ | сигнальное слово | краткая характеристика опасности |
1A | | Опасно | H314. При попадании на кожу и в глаза вызывает химические ожоги | Меры по безопасному обращению (предотвращение): - P260. Не вдыхать газ/пары/пыль/аэрозоли; - P264. После работы тщательно вымыть руки; - P280. Использовать перчатки/спецодежду/средства защиты глаз/лица (тип указывается изготовителем). Меры по ликвидации ЧС (реагирование): - P301 + P330 + P331. ПРИ ПРОГЛАТЫВАНИИ: Прополоскать рот. Не вызывать рвоту!; - P303 + P361 + P353. ПРИ ПОПАДАНИИ НА КОЖУ (или волосы): Немедленно снять всю загрязненную одежду, кожу промыть водой или под душем; - P363. Перед повторным использованием выстирать загрязненную одежду; - P304 + P340. ПРИ ВДЫХАНИИ: Свежий воздух, покой; - P305 + P351 + P338. ПРИ ПОПАДАНИИ В ГЛАЗА: Осторожно промыть глаза водой в течение нескольких минут. Снять контактные линзы, если Вы ими пользуетесь и если это легко сделать. Продолжить промывание глаз; - P310. Немедленно обратиться за медицинской помощью; - P321. Специальные меры первой помощи. Условия безопасного хранения: - P405. Хранить в недоступном для посторонних месте |
1B |
1C |
2 | | Осторожно | H315. При попадании на кожу вызывает раздражение | Меры по безопасному обращению (предотвращение): - P264. После работы тщательно вымыть руки; - P280. Использовать перчатки/спецодежду/средства защиты глаз/лица (тип указывается изготовителем). Меры по ликвидации ЧС (реагирование): - P302 + P352. ПРИ ПОПАДАНИИ НА КОЖУ: Промыть большим количеством воды с мылом (при необходимости изготовителем указываются специальные очищающие средства); - P321. Специальные меры первой помощи; - P332 + P311. При возникновении раздражения кожи обратиться за медицинской помощью; - P362 + P364. Снять всю загрязненную одежду и выстирать ее перед повторным использованием |
3 | Отсутствует | Осторожно | H316. При попадании на кожу вызывает слабое раздражение | Меры по ликвидации ЧС (реагирование): - P332 + P311. При возникновении раздражения кожи: Обратиться за медицинской помощью |
Примечание. Меры по предупреждению опасности для данного химического вещества или смеси рекомендуется дополнить методами утилизации отходов и упаковки (P501: Упаковку/содержимое...). Методы утилизации отходов указываются на предупредительной маркировке обязательно в том случае, если они предусмотрены и регламентированы другими законодательными актами для данного вида опасных химических веществ и их смесей.
ПРЕДУПРЕДИТЕЛЬНАЯ МАРКИРОВКА ХИМИЧЕСКИХ ВЕЩЕСТВ И ИХ СМЕСЕЙ,
ВЫЗЫВАЮЩИХ СЕРЬЕЗНЫЕ ПОВРЕЖДЕНИЯ/РАЗДРАЖЕНИЕ ГЛАЗ
Класс опасности/подкласс | Описание опасности | Меры по предупреждению опасности |
символ | сигнальное слово | краткая характеристика опасности |
1 | | Опасно | H318. При попадании в глаза вызывает необратимые последствия | Меры по безопасному обращению (предотвращение): - P280. Использовать перчатки/спецодежду/средства защиты глаз/лица. Меры по ликвидации ЧС (реагирование): - P305 + P351 + P338. ПРИ ПОПАДАНИИ В ГЛАЗА: Осторожно промыть глаза водой в течение нескольких минут. Снять контактные линзы, если Вы ими пользуетесь и если это легко сделать. Продолжить промывание глаз; - PЗ10. Немедленно обратиться за медицинской помощью |
2A | | Осторожно | H319. При попадании в глаза вызывает выраженное раздражение | Меры по безопасному обращению (предотвращение): - P264. После работы тщательно вымыть руки; - P280. Использовать перчатки/спецодежду/средства защиты глаз/лица. Меры по ликвидации ЧС (реагирование): - P305 + P351 + P338. ПРИ ПОПАДАНИИ В ГЛАЗА: Осторожно промыть глаза водой в течение нескольких минут. Снять контактные линзы, если Вы ими пользуетесь и если это легко сделать. Продолжить промывание глаз; - P337 + P311. Если раздражение глаз не проходит обратиться за медицинской помощью |
2B | Отсутствует | Осторожно | H320. При попадании в глаза вызывает раздражение | Меры по безопасному обращению (предотвращение): - P264. После работы тщательно вымыть руки. Меры по ликвидации ЧС (реагирование): - P305 + P351 + P338. ПРИ ПОПАДАНИИ В ГЛАЗА: Осторожно промыть глаза водой в течение нескольких минут. Снять контактные линзы, если Вы ими пользуетесь и если это легко сделать. Продолжить промывание глаз; - P337 + P311. Если раздражение глаз не проходит обратиться за медицинской помощью |
ПРЕДУПРЕДИТЕЛЬНАЯ МАРКИРОВКА ХИМИЧЕСКИХ ВЕЩЕСТВ И ИХ СМЕСЕЙ,
ОБЛАДАЮЩИХ СЕНСИБИЛИЗИРУЮЩИМ ДЕЙСТВИЕМ
Класс опасности | Описание опасности | Меры по предупреждению опасности |
символ | сигнальное слово | краткая характеристика опасности |
Химические вещества и их смеси, обладающие сенсибилизирующим действием при вдыхании | | Опасно | H334. При вдыхании может вызывать аллергическую реакцию (астму или затрудненное дыхание) | Меры по безопасному обращению (предотвращение): - P261. Избегать вдыхания газа/пара/пыли/аэрозолей; - P284. Использовать средства защиты органов дыхания. Меры по ликвидации ЧС (реагирование): - P304 + P340. ПРИ ВДЫХАНИИ: Свежий воздух, покой; - P342 + P311. При возникновении симптомов астмы или затрудненного дыхания обратиться за медицинской помощью |
Химические вещества и их смеси, обладающие сенсибилизирующим действием при контакте с кожей | | Осторожно | H317. При контакте с кожей может вызывать аллергическую реакцию | Меры по безопасному обращению (предотвращение): - P261. Избегать вдыхания газа/пара/пыли/аэрозолей; - P272. Не уносить загрязненную спецодежду с места работы; - P280. Использовать перчатки/спецодежду /средства защиты глаз/лица. Меры по ликвидации ЧС (реагирование): - P302 + P352. ПРИ ПОПАДАНИИ НА КОЖУ: Промыть большим количеством воды с мылом (при необходимости изготовителем указываются специальные очищающие средства); - P333 + P311. При возникновении раздражения или покраснения кожи обратиться за медицинской помощью; - P321. Специальные меры первой помощи; - P363. Перед повторным использованием выстирать загрязненную одежду |
Примечание. Меры по предупреждению опасности для данного вида химического вещества или смеси рекомендуется дополнить методами утилизации отходов и упаковки (P501: Упаковку/содержимое...). Методы утилизации отходов указываются на предупредительной маркировке обязательно в том случае, если они предусмотрены и регламентированы другими законодательными актами для данного вида опасных химических веществ и их смесей.
ПРЕДУПРЕДИТЕЛЬНАЯ МАРКИРОВКА МУТАГЕНОВ
Класс опасности/подкласс | Описание опасности | Меры по предупреждению опасности |
символ | сигнальное слово | краткая характеристика опасности |
1A | | Опасно (Danger) | H340. Может вызывать генетические дефекты (укажите пути воздействия, если неопровержимо доказано, что ни при каких других путях воздействия данная опасность не возникает) (May cause genetic defects (state route of exposure if it is conclusively proven that no other routes of exposure cause the hazard) | Меры по безопасному обращению (предотвращение): - P201 + P202. Перед использованием пройти инструктаж по работе с данным химическим веществом или смесью и ознакомиться с инструкциями по технике безопасности; - P280. Использовать перчатки/спецодежду/средства защиты глаз/лица (тип указывается изготовителем). Меры по ликвидации ЧС (реагирование): - P308 + P311. ПРИ подозрении на возможность воздействия обратиться за медицинской помощью. Условия безопасного хранения: - P405. Хранить в недоступном для посторонних месте |
1B |
2 | | Осторожно (Warning) | H341. Предполагается, что данное вещество вызывает генетические дефекты (укажите пути воздействия, если неопровержимо доказано, что ни при каких других путях воздействия данная опасность не возникает) (Suspected of causing genetic defects (state route of exposure if it is conclusively proven that no other routes of exposure cause the hazard) |
Примечание. Меры по предупреждению опасности для данного вида химического вещества или смеси рекомендуется дополнить методами утилизации отходов и упаковки (P501: Упаковку/содержимое...). Методы утилизации отходов указываются на предупредительной маркировке обязательно в том случае, если они предусмотрены и регламентированы другими законодательными актами для данного вида опасного химического вещества или смеси.
ПРЕДУПРЕДИТЕЛЬНАЯ МАРКИРОВКА КАНЦЕРОГЕНОВ
Класс опасности/подкласс | Описание опасности | Меры по предупреждению опасности |
символ | сигнальное слово | краткая характеристика опасности |
1A | | Опасно | H350. Может вызывать раковые заболевания (укажите пути воздействия, если неопровержимо доказано, что ни при каких других путях воздействия данная опасность не возникает) | Меры по безопасному обращению (предотвращение): - P201 + P202. Перед использованием пройти инструктаж по работе с данным химическим веществом или смесью и ознакомиться с инструкциями по технике безопасности; - P280. Использовать перчатки/спецодежду/средства защиты глаз/лица. Меры по ликвидации ЧС (реагирование): - P308 + P311. При подозрении на возможность воздействия обратиться за медицинской помощью. Условия безопасного хранения: - P405. Хранить в недоступном для посторонних месте |
1B |
2 | | Осторожно | H351. Предполагается, что данное вещество вызывает раковые заболевания (укажите пути воздействия, если неопровержимо доказано, что ни при каких других путях воздействия данная опасность не возникает) |
Примечание. Меры по предупреждению опасности для данного вида химического вещества или смеси рекомендуется дополнить методами утилизации отходов и упаковки (P501: Упаковку/содержимое...). Методы утилизации отходов указываются на предупредительной маркировке обязательно в том случае, если они предусмотрены и регламентированы другими законодательными актами для данного вида опасного химического вещества и их смесей.
ПРЕДУПРЕДИТЕЛЬНАЯ МАРКИРОВКА ХИМИЧЕСКИХ ВЕЩЕСТВ И ИХ СМЕСЕЙ,
ВОЗДЕЙСТВУЮЩИХ НА ФУНКЦИЮ ВОСПРОИЗВОДСТВА
Класс опасности/подкласс | Описание опасности | Меры по предупреждению опасности |
символ | сигнальное слово | краткая характеристика опасности |
1A | | Опасно | H360. Может отрицательно повлиять на способность к деторождению или на неродившегося ребенка (укажите конкретные последствия, если они известны; укажите путь воздействия, если неопровержимо доказано, что ни при каких других путях воздействия данная опасность не возникает) | Меры по безопасному обращению (предотвращение): - P201 + P202. Перед использованием пройти инструктаж по работе с данным химическим веществом или смесью и ознакомиться с инструкциями по технике безопасности; - P280. Использовать перчатки/спецодежду/средства защиты глаз/лица. Меры по ликвидации ЧС (реагирование): - P308 + P311. ПРИ подозрении на возможность воздействия обратиться за медицинской помощью. Условия безопасного хранения: - P405. Хранить в недоступном для посторонних месте |
1B |
2 | | Осторожно | H361. Предполагается, что данное вещество может отрицательно повлиять на способность к деторождению или на неродившегося ребенка (укажите конкретные последствия, если они известны; укажите путь воздействия, если убедительно доказано, что ни при каких других путях воздействия данная опасность не возникает) |
Химическая продукция, оказывающая воздействие на лактацию или через нее | Отсутствуют | H362. Может причинить вред детям, находящимся на грудном вскармливании | Меры по безопасному обращению (предотвращение): - P201. Перед использованием пройти инструктаж по работе с данным химическим веществом или смесью; - P260. Не вдыхать газ/пары/пыль/аэрозоли <*>; - P263. Избегать контакта с продуктом в период беременности и грудного вскармливания; - P264. После работы тщательно вымыть руки; - P270. При использовании химического вещества или смеси не курить, не пить, не принимать пищу. Меры по ликвидации ЧС (реагирование): - P308 + P311. При подозрении на возможность воздействия обратиться за медицинской помощью |
-------------------------------- |
<*> Данная фраза применима к химическим веществам и их смесям, в процессе обращения которых возможно образование пыли или аэрозолей. |
Примечание. Меры по предупреждению опасности для данного вида химических веществ и их смесей рекомендуется дополнить методами утилизации отходов и упаковки (P501: Упаковку/содержимое...). Методы утилизации отходов указываются на предупредительной маркировке обязательно в том случае, если они предусмотрены и регламентированы другими законодательными актами для данного вида опасного химического вещества или смеси.
ПРЕДУПРЕДИТЕЛЬНАЯ МАРКИРОВКА ХИМИЧЕСКИХ ВЕЩЕСТВ И ИХ СМЕСЕЙ,
ОБЛАДАЮЩИХ ИЗБИРАТЕЛЬНОЙ ТОКСИЧНОСТЬЮ НА ОРГАНЫ-МИШЕНИ
И/ИЛИ СИСТЕМЫ ПРИ ОДНОКРАТНОМ ИЛИ МНОГОКРАТНОМ/
ПРОДОЛЖИТЕЛЬНОМ ВОЗДЕЙСТВИИ
Класс опасности | Описание опасности | Меры по предупреждению опасности |
символ | сигнальное слово | краткая характеристика опасности |
1 | 2 | 3 | 4 | 5 |
При однократном воздействии |
1 | | Опасно | H370. Поражает органы (укажите все поражаемые органы, если они известны) в результате однократного воздействия (укажите путь воздействия, если неопровержимо доказано, что ни при каких других путях воздействия данная опасность не возникает) | Меры по безопасному обращению (предотвращение): - P260. Не вдыхать газ/пары/пыль/аэрозоли; - P264. После работы тщательно вымыть руки; - P270. При использовании химических веществ и их смесей не курить, не пить, не принимать пищу. Меры по ликвидации ЧС (реагирование): - P308 + P311. При подозрении на возможность воздействия обратиться за медицинской помощью; - P321. Специальные меры первой помощи. Условия безопасного хранения: - P405. Хранить в недоступном для посторонних месте |
2 | | Осторожно | H371. Может поражать органы (укажите все поражаемые органы, если они известны) в результате однократного воздействия (укажите путь воздействия, если неопровержимо доказано, что ни при каких других путях воздействия данная опасность не возникает) | Меры по безопасному обращению (предотвращение): - P260. Не вдыхать газ/пары/пыль/аэрозоли; - P264. После работы тщательно вымыть руки; - P270. При использовании химических веществ и их смесей не курить, не пить, не принимать пищу; Меры по ликвидации ЧС (реагирование): - P308 + P311. При подозрении на возможность воздействия обратиться за медицинской помощью. Условия безопасного хранения: - P405. Хранить в недоступном для посторонних месте |
3 | | Осторожно | H335. Может вызывать раздражение верхних дыхательных путей | Меры по безопасному обращению (предотвращение): - P261. Избегать вдыхания газа/пара/пыли/аэрозолей; - P271. Использовать только на открытом воздухе или в хорошо вентилируемом помещении. Меры по ликвидации ЧС (реагирование): - P304 + P340 + P312. ПРИ ВДЫХАНИИ: Свежий воздух, покой. Обратиться за медицинской помощью при плохом самочувствии. Условия безопасного хранения: - P403 + P233. Хранить в хорошо вентилируемом месте в плотно закрытой/герметичной таре <*>; - P405. Хранить в недоступном для посторонних месте |
H336. Может вызвать сонливость и головокружение |
При многократном/продолжительном воздействии |
1 | | Опасно | H372. Поражает органы (укажите все поражаемые органы, если они известны) в результате многократного или продолжительного воздействия (укажите путь воздействия, если неопровержимо доказано, что ни при каких других путях воздействия данная опасность не возникает) | Меры по безопасному обращению (предотвращение): - P260. Не вдыхать газ/пары/пыль/аэрозоли; - P264. После работы тщательно вымыть руки; - P270. При использовании химических веществ и их смесей не курить, не пить и не принимать пищу. Меры по ликвидации ЧС (реагирование): - P312. При плохом самочувствии обратиться за медицинской помощью |
2 | | Осторожно | H373. Может поражать органы (укажите все поражаемые органы, если они известны) в результате многократного или продолжительного воздействия (укажите путь воздействия, если неопровержимо доказано, что ни при каких других путях воздействия данная опасность не возникает) | Меры по безопасному обращению (предотвращение): - P260. Не вдыхать газ/пары/пыль/аэрозоли. Меры по ликвидации ЧС (реагирование): - P312. При плохом самочувствии обратиться за медицинской помощью |
-------------------------------- |
<*> Данная фраза применяется для летучих химических веществ и их смесей. |
Примечания.
1. Предупредительная маркировка химических веществ и их смесей, обладающих избирательной токсичностью на органы-мишени и системы является факультативной и применяется при условии наличия необходимой для ее нанесения информации.
2. Меры по предупреждению опасности для данного вида химического вещества и смеси рекомендуется дополнить методами утилизации отходов и упаковки (P501: Упаковку/содержимое...). Методы утилизации отходов указываются на предупредительной маркировке обязательно в том случае, если они предусмотрены и регламентированы другими законодательными актами для данного вида опасного химического вещества или смеси.
ПРЕДУПРЕДИТЕЛЬНАЯ МАРКИРОВКА ХИМИЧЕСКИХ ВЕЩЕСТВ И ИХ СМЕСЕЙ,
ПРЕДСТАВЛЯЮЩИХ ОПАСНОСТЬ ПРИ АСПИРАЦИИ
Класс опасности | Описание опасности | Меры по предупреждению опасности |
символ | сигнальное слово | краткая характеристика опасности |
1 | | Опасно | H304. Может быть смертельным при проглатывании и последующем попадании в дыхательные пути | Меры по безопасному обращению (предотвращение): - P301 + PЗ10 + PЗЗ1. ПРИ ПРОГЛАТЫВАНИИ: Немедленно обратиться за медицинской помощью. Не вызывать рвоту! Условия безопасного хранения: P405. Хранить в недоступном для посторонних месте |
2 | | Осторожно | H305. Может причинить вред при проглатывании и последующем попадании в дыхательные пути |
Примечание. Меры по предупреждению опасности для данного вида химических веществ и их смесей рекомендуется дополнить методами утилизации отходов и упаковки (P501: Упаковку/содержимое...). Методы утилизации отходов указываются на предупредительной маркировке обязательно в том случае, если они предусмотрены и регламентированы другими законодательными актами для данного вида опасного химического вещества или смеси.
МЕТОДЫ ИССЛЕДОВАНИЯ ТОКСИЧНОСТИ ХИМИЧЕСКИХ ВЕЩЕСТВ
И ИХ СМЕСЕЙ
Предложенные методы исследования токсичности и опасности химических веществ и их смесей, идентичные методам тестирования ОЭСР (адаптированный перевод с английского языка), предназначены для оценки и классифицирования исследуемых химических веществ или продукции на их основе в соответствии с Согласованной на глобальном уровне системой классификации и маркировки химической продукции.
Целью испытаний токсичности и опасности химических веществ и их смесей является: определение максимально недействующих, переносимых, токсических и летальных доз и/или концентраций при однократном, субхроническом и хроническом воздействии исследуемого продукта при различных путях поступления в организм; выявление их способности вызывать специфические и отдаленные эффекты.
ИЗУЧЕНИЕ ОСТРОЙ, ПОДОСТРОЙ ТОКСИЧНОСТИ В ОПЫТАХ IN VIVO
ОЦЕНКА ОСТРОЙ ТОКСИЧНОСТИ ПРИ ВНУТРИЖЕЛУДОЧНОМ ПОСТУПЛЕНИИ
МЕТОДОМ ФИКСИРОВАННОЙ ДОЗЫ
Идентичен международному документу OECD TG N 420 "Acute Oral Toxicity - Fixed Dose Procedure" (ОЭСР Руководство N 420 "Острая токсичность при внутрижелудочном поступлении - метод фиксированной дозы"). Международный документ принят 17 декабря 2001 года. Перевод с английского языка (en). Степень соответствия - модифицированный (MOD).
1.1. Настоящий метод исследования устанавливает требования к исследованию острой токсичности при внутрижелудочном поступлении химических веществ и препаратов из них методом фиксированной дозы.
1.2. Метод обеспечивает получение информации об острой токсичности вещества при проглатывании и позволяет оценить и классифицировать его в соответствии с СГС.
2.1. Метод исследования острой токсичности основан на введении животным серий фиксированных доз. Данный подход позволяет избежать смерти животных как конечной точки эксперимента и основывается на наблюдении явных признаков токсичности в одной из серий введенных фиксированных доз.
2.2. Проведению испытания должен предшествовать анализ информации об исследуемом веществе. Такая информация включает сведения о составе и химическом строении вещества; его физико-химических свойствах; результатах токсикологических испытаний in vivo и in vitro; а также токсикологические данные по структурно родственным веществам и предполагаемые пути использования вещества. Эта информация нужна для подтверждения того, что испытание является необходимым для защиты здоровья человека и способствует выбору подходящей начальной дозы.
2.3. Принцип метода заключается в том, что в основной части исследования используются только средние токсичные дозы, введение которых, как ожидается, не может привести к летальному исходу. Исследуемые вещества не должны также применяться в дозировках, которые являются причиной возникновения выраженных болевых ощущений и недомоганий, оказывая разъедающее или сильно раздражающее действие. Агонизирующие животные или животные, испытывающие непереносимую боль или находящиеся в безнадежном физическом состоянии, должны быть умерщвлены гуманным способом и учтены при подведении результатов исследования так же, как и животные, погибшие во время исследования.
2.4. Принцип тестового метода заключается в том, что группе животных одного пола, используя пошаговую процедуру, дают фиксированные дозы 5, 50, 300 и 2000 мг/кг (в особых случаях можно рассматривать дополнительную фиксированную дозу 5000 мг/кг). Начальная доза подбирается на основе прицельного исследования, так как доза предполагает воспроизведение некоторых признаков токсичности, не причиняя сильных токсических действий или летального исхода. В зависимости от наличия или отсутствия признаков токсичности или летального исхода группам животных вводятся более высокие либо низкие дозы. Процедура продолжается до тех пор, пока доза не приведет к выраженной токсичности или пока не будет зафиксирован один случай смерти, а также до тех пор, пока не будет наблюдаться отсутствие реакции при введении наибольшей дозы или пока не наступит смерть при наименьшей дозе.
3. Описание тестового метода
Выбор вида
3.1.1. Наиболее предпочтительным видом грызунов является крыса, вместе с тем возможно использование и других видов грызунов. В основном используются женские особи, так как они являются более чувствительными к воздействию токсикантов. Однако если токсикологические и токсикокинетические данные для структурно родственных веществ показывают, что мужские особи являются более чувствительными, следует использовать животных данного пола. Проведение испытания с использованием мужских особей должно быть научно обосновано.
3.1.2. В эксперименте должны быть использованы здоровые молодые половозрелые особи обычных исследованных лабораторных линий. Женские особи не должны быть беременными или рожавшими. Каждое животное на момент начала эксперимента должно быть в возрасте от 8 до 12 недель, а его масса должна составлять +/- 20% от средней массы ранее исследованных животных.
Условия содержания и кормления
3.1.3. Температура в лабораторной комнате должна составлять (22 +/- 3) °C. Относительная влажность должна быть как минимум 30% и не превышать 70%, за исключением времени уборки комнаты; оптимальное значение 50 - 60%. Освещение должно быть искусственным в последовательности: 12 часов - свет, 12 часов - темнота. При кормлении может быть использована обычная лабораторная диета с неограниченным количеством питьевой воды. Животных можно содержать группами в клетках в зависимости от дозы, однако количество животных в клетке не должно препятствовать наблюдению за каждым из них.
Подготовка
3.1.4. Животные должны быть разделены на группы методом случайной выборки, помечены и содержаться в клетках не менее пяти дней до начала введения тестируемого вещества, что позволит им привыкнуть к лабораторным условиям.
Приготовление доз
3.2.1. Изучаемое вещество вводится фиксированными объемами в диапазоне испытуемых доз путем изменения концентрации доз. Изучаемые продукты в жидком состоянии целесообразно использовать для тестирования без разбавления, т.е. в фиксированной концентрации, это может быть важно для последующей оценки риска использования вещества. Максимальный разовый объем жидкости зависит от размера подопытного животного. Вводимый грызунам объем не должен превышать 1 мл/100 г массы тела: между тем, в случаях с водными растворами объем дозы может составить 2 мл/100 г массы тела. В любом случае, максимальный объем вводимой дозы не должен быть превышен. Рекомендуется использовать водные растворы/суспензии/эмульсии химических продуктов, для продуктов, нерастворимых в воде, - другие растворители, отдавая предпочтение растворам/суспензиям/эмульсиям на масляной основе (растительные масла). В случае использования разбавителя (растворителя), не являющегося водой, его токсикологические характеристики должны быть известны. Дозы должны быть приготовлены незадолго до введения с учетом стабильности изучаемого препарата в период исследования.
Введение дозы
3.2.2. Испытываемый препарат вводится разовой дозой через зонд: желудочную трубку или интубационную канюлю. Если введение разовой дозы невозможно, доза может быть введена частями в период, не превышающий 24 часа.
3.2.3. Перед введением дозы животных необходимо ограничить в пище (т.е. крыс не кормить с вечера перед введением дозы, но поить; мышей не кормить три - четыре часа перед введением дозы, но поить). После голодания необходимо взвесить животных, затем ввести испытываемое вещество. После введения препарата крыс не кормить три - четыре часа, мышей - один - два часа. Если доза вводится порционно, в зависимости от периода введения дозы животным может потребоваться корм или питье.
3.3. Предварительное исследование
3.3.1. Целью предварительного исследования является подбор подходящей начальной дозы для основного исследования. Изучаемый препарат вводится одному животному последовательно в соответствии со
схемой 6.1.1.1. Предварительное исследование завершается, когда может быть принято решение относительно начальной дозы для основного испытания (или если при минимальной установленной дозе отмечается смерть).
3.3.2. Начальная доза для предварительного исследования подбирается из установленных уровней доз (5, 50, 300 и 2000 мг/кг) как доза, которая может оказаться токсичной на основе исследований данного препарата или структурно родственных веществ в опытах in vivo или in vitro. При отсутствии такой информации начальная доза составляет 300 мг/кг.
3.3.3. Между введением каждой дозы должно проходить, как минимум, 24 часа. Все животные должны наблюдаться в течение, как минимум, 14 дней.
3.3.4. В исключительных случаях, и только, когда это оправдано определенными условиями, может быть рассмотрено исследование дополнительного установленного уровня дозы в 5000 мг/кг
(раздел 3.6).
3.3.5. Из соображений гуманного отношения к животным исследования доз (2000 - 5000 мг/кг - класс 5 СГС) нецелесообразны и могут проводиться, только если результаты подобных исследований имеют значение для здоровья животных или человека.
3.3.6. В случаях, когда животное при самом низком установленном уровне дозы (5 мг/кг) в предварительном исследовании умирает, необходимо закончить исследование и присвоить веществу класс 1 согласно классификации СГС
(схема 6.1.1.2). Однако если требуется дальнейшее подтверждение классификации вещества, необязательное дополнительное исследование может быть проведено следующим образом. Второе животное тестируется с использованием дозы 5 мг/кг. Если второе животное умирает, то класс 1 СГС подтверждается, и исследование немедленно завершается. Если второе животное выживает, то проводится дополнительное исследование на трех животных с использованием дозы 5 мг/кг. Поскольку в данном случае существует высокий риск смертности, дозировку проводят последовательным способом из соображений бережного отношения к животным. Временной интервал между дозированием каждого животного должен быть достаточным, чтобы установить, что предыдущее животное, вероятно, выживет. Если происходит вторая смерть, то последовательность дозирования должна быть немедленно завершена, и в дальнейшем тестирование на животных не проводится. Поскольку возникновение второй смерти (независимо от числа животных, протестированных ко времени завершения эксперимента) совпадает с результатом A (два или более смертельных случая), следует придерживаться правила классификации при установленной дозе 5 мг/кг (класс 1, если есть два или более смертельных случая, или класс 2 - не более одного смертельного исхода).
3.4. Основное исследование
3.4.1. Шаги, которые необходимо предпринять после исследования с начальным уровнем дозы, показаны в
схеме 6.1.1.2. Необходимо проведение одного из трех действий:
- прекратить испытание и определить соответствующий класс опасности;
- провести испытание с более высоким уровнем дозы;
- провести испытание с меньшим фиксированным уровнем дозы.
3.4.2. Однако в целях защиты животных уровень дозы, который явился причиной смерти животного в предварительном исследовании, повторно в основном исследовании не рассматривается. Исследования показали, что наиболее вероятным результатом испытания с начальным уровнем дозы будет возможность классификации вещества и отсутствие необходимости проводить дальнейшие исследования.
3.4.3. В общей сложности пять животных одного пола следует использовать при проведении эксперимента с каждым уровнем доз. Из пяти животных в группе отбирается одно животное из предварительного исследования с выбранным уровнем дозы и четыре дополнительных животных (за исключением нестандартных случаев, когда рассматриваемый уровень дозы в основном испытании не был включен в предварительное исследование).
3.4.4. Временной интервал между приемом доз каждого уровня определяется началом, продолжительностью и тяжестью токсических признаков. Исследование животных со следующей дозой должно быть отложено до тех пор, пока не выживет одно из животных, принявших предыдущую дозу. Между принятием доз каждого уровня рекомендуется делать перерыв в три или четыре дня, если необходимо, для возможности наблюдения замедленной токсичности. Временной интервал может быть установлен как адекватный, например, в случае неубедительного ответа (реакции).
3.5. Испытание предельной дозы
3.5.1. Испытание предельной дозы проводится в случаях, когда исследователь обладает информацией о том, что вещество, вероятно, не является токсичным, например, обладает токсичностью только в дозах, превышающих предельные уровни. Информация о токсичности исследуемого вещества может быть получена из данных об исследовании родственных по физико-химическим свойствам веществ, смесей или продуктов с учетом того, что имеет значение наличие и процентное содержание компонентов. В тех случаях, когда информация о токсичности препарата отсутствует или недостаточна, или когда исследуемый препарат, вероятно, является токсичным, необходимо проводить основное исследование.
СХЕМА 6.1.1.1. Предварительное исследование
СХЕМА 6.1.1.1. Предварительное исследование (продолжение)
3.5.2. Используя обычную процедуру, начальное изучение препарата в дозе 2000 мг/кг (в особых случаях 5000 мг/кг) вещества в предварительном испытании с последующим тестированием других четырех животных является исследованием предельной дозы.
3.6. Исследования доз свыше 2000 мг/кг
3.6.1. В исключительных случаях, и только когда это оправдано определенными рекомендациями, может быть рассмотрено исследование дополнительного установленного уровня дозы в 5000 мг/кг. Из соображений защиты животных исследования доз, относящихся к классу 5 СГС (2000 - 5000 мг/кг), нежелательны и могут проводиться, только если результаты подобных исследований имеют значение для здоровья животных или человека.
3.6.2.
Предварительное исследование. Правила проведения последовательной процедуры, представленные в
схеме 6.1.1.1, также включают уровень доз 5000 мг/кг. Таким образом, при использовании в предварительном исследовании в качестве начальной дозы 5000 мг/кг в случае результата A (смерть) необходимо провести исследование второго животного с дозой 2000 мг/кг; результатов B и C (явная токсичность или отсутствие токсичности) позволят выбрать для основной части исследования начальную дозу 5000 мг/кг. Аналогично, если в качестве начальной дозы не используется доза 5000 мг/кг, в случае результатов B и C при 2000 мг/кг исследуется уровень дозы 5000 мг/кг; последующий результат A при 5000 мг/кг будет определять начальную дозу 2000 мг/кг основной части исследования и результаты B и C - начальную дозу для основного исследования 5000 мг/кг.
3.6.3.
Основное исследование. Правила проведения последовательной процедуры, представленные в
схеме 6.1.1.2, также включают уровень доз 5000 мг/кг. Таким образом, при использовании в основном исследовании в качестве начальной дозы 5000 мг/кг в случае результата A (>= 2 смертей) необходимо провести исследование второй группы с дозой 2000 мг/кг; результата B (явная токсичность или >= 1 смерти) или C (отсутствие токсичности) вещество не будет классифицировано по системе СГС. Аналогично, если используется начальная доза, отличная от 5000 мг/кг, испытание продолжается с дозой 5000 мг/кг в случае результата B при 2000 мг/кг; последовательный результат A при 5000 мг/кг приведет к отнесению вещества к классу 5 по СГС, а результаты B и C не позволят классифицировать вещество.
3.7. Критерии для классификации исследуемых веществ
с ожидаемыми величинами DL50/LD50, превышающими 2000 мг/кг,
без необходимости проведения испытания
3.7.1. Критерии для определения класса опасности 5 призваны идентифицировать исследуемые вещества, относящиеся к относительно низкому классу острой токсической опасности, но при определенных условиях представляющие опасность для более уязвимых популяций. Для этих веществ уровень DL50/LD50 предположительно находится в диапазоне концентраций 2000 - 5000 мг/кг при пероральном или накожном воздействии и эквивалентных концентраций для других путей воздействия. Исследуемые вещества могут быть отнесены к данному классу опасности, определяемому дозами: 2000 мг/кг < DL50/LD50 < 5000 мг/кг (класс 5 в СГС), в следующих случаях:
а) если отнесены к этому классу согласно любой схеме испытания на основании смертельных исходов;
б) если получены надежные доказательства, указывающие на отнесение DL50/LD50 к классу 5; или если другие исследования на животных или случаи острого токсического воздействия на человека свидетельствуют о влиянии на здоровье человека;
в) если посредством экстраполяции, оценки и измерения данных нет показаний к отнесению к классу более высокой опасности, и:
- доступна надежная информация, указывающая на значительную токсичность для человека, или
- наблюдался любой смертельный исход, зарегистрированный во время испытания веществ, входящих в классы опасности до класса 4, и вводимых перорально, или
- если экспертная оценка подтверждает наличие клинических признаков токсичности при тестировании с дозами, превышающими указанные в классе 4, кроме случаев диареи, пилоэрекции или вялости, или
- в случаях, когда экспертная оценка подтвердит надежность информации, указывающей на потенциальную значимость выраженного воздействия из других исследований на животных.
СХЕМА 6.1.1.2. Основное исследование
СХЕМА 6.1.1.2. Основное исследование (продолжение)
3.8.1. Экспериментальные животные должны наблюдаться индивидуально после введения дозы не менее одного раза в первые 30 минут, регулярно в течение первых 24 часов, причем особое внимание следует уделять первым четырем часам, и затем ежедневно в течение 14 дней, кроме случаев, когда они должны быть выведены из исследования и умерщвлены гуманным способом по медицинским показаниям или найдены мертвыми. Длительность наблюдения не должна быть жестко зафиксирована. Она зависит от токсических реакций, начала и длительности периода восстановления; таким образом, наблюдение при необходимости может быть продолжено. Необходимо зафиксировать время появления и исчезновения симптомов токсичности, особенно если есть тенденция к замедленному возникновению токсических симптомов. Наблюдения, включающие отдельные отчеты о каждом животном, систематически регистрируются.
3.8.2. Дополнительное наблюдение может потребоваться, если признаки токсичности у животных не исчезают. В ходе наблюдений фиксируются изменения в коже и шерсти, в глазах и слизистых, в респираторной, кровеносной, вегетативной и центральной нервной системах, нарушения в соматомоторике и поведении. Внимание должно фокусироваться на явлениях тремора, конвульсий, слюноотделения, диареи, летаргии, сна и комы. Агонизирующие животные или животные, испытывающие непереносимую боль или находящиеся в безнадежном физическом состоянии, должны быть умерщвлены гуманным способом. Если животные умерщвлены из соображений гуманности или найдены мертвыми, время смерти должно быть зафиксировано максимально точно.
Масса тела
3.8.3. Масса тела животного должна быть установлена незадолго до введения тестируемого вещества и контролироваться не менее чем раз в неделю после испытания. Изменения в массе тела должны быть вычислены и зафиксированы. Выжившие по окончании испытания животные должны быть взвешены и умерщвлены гуманным способом.
Патологическая анатомия
3.8.4. Всех подопытных животных (включая погибших во время испытаний, а также исключенных по медицинским показателям) необходимо подвергнуть общей аутопсии. Для каждого животного должны быть зарегистрированы все общие патологические изменения. Следует учитывать также результаты микроскопического анализа органов у животных, проживших 24 и больше часов после первого приема тестируемого вещества.
4.1.1. На каждого животного должны быть собраны данные. Кроме того, все данные должны быть оформлены в виде таблиц на каждую подопытную группу, содержащих сведения о количестве животных, демонстрирующих признаки токсичности, количестве животных, погибших во время испытания или умерщвленных из соображений гуманности, время смерти каждого животного, описание и временной график токсического действия и восстановления, результаты вскрытия.
Отчет об исследовании должен содержать следующую информацию.
Исследуемое вещество:
- физическая природа, чистота и, при необходимости, физико-химические свойства (включая изомеризацию);
- идентифицирующие данные, включая CAS-номер.
Растворитель (если используется):
- обоснование выбора растворителя в случае, если это не вода.
Подопытные животные:
- вид/род;
- микробиологический статус животных, если таковой известен;
- количество, возраст и пол животных (включая обоснование предпочтения самцов самкам);
- происхождение, условия содержания, кормление и пр.
Условия испытания:
- технология приготовления испытываемого вещества (включая физические параметры используемых компонентов);
- подробности о введении тестируемого вещества, включая дозировку, объем и время приема;
- подробности о качестве корма и воды (включая способ/источник корма и воды);
- обоснование выбора начальной дозы.
Результаты отражают в отдельных таблицах:
- реакцию каждого подопытного животного на уровень введенной дозы вещества (т.е. животных с признаками интоксикации, в т.ч. летальный исход, изменение основных свойств, интенсивность и продолжительность токсикологически значимого эффекта);
- вес тела и изменения в весе тела;
- индивидуальную массу тела животного в день введения вещества, спустя неделю после введения вещества, на момент гибели или умерщвления;
- дату и время гибели, если она произошла раньше запланированного умерщвления;
- временной график появления признаков токсичности, сведения об обратимости признаков токсичности для каждого животного;
- результаты вскрытия и результаты гистопатологического исследования для каждого животного, если таковые имеются.
Обсуждение и интерпретация результатов.
Выводы.
ОЦЕНКА ОСТРОЙ ТОКСИЧНОСТИ ПРИ ВНУТРИЖЕЛУДОЧНОМ ПОСТУПЛЕНИИ
МЕТОДОМ ОПРЕДЕЛЕНИЯ КЛАССОВ ОСТРОЙ ТОКСИЧНОСТИ
Идентичен международному документу OECD TG N 423 "Acute Oral Toxicity - Acute Toxic Class Method" (ОЭСР Руководство N 423 "Острая токсичность при внутрижелудочном поступлении - метод классов острой токсичности"). Принят 17 декабря 2001 г. Перевод с английского языка (en). Степень соответствия - модифицированный (MOD).
Критерии для классификации исследуемых веществ с ожидаемыми величинами DL50/LD50, превышающими 2000 мг/кг, без необходимости проведения испытания
Испытания доз свыше 2000 мг/кг
1.1. Настоящий метод исследования устанавливает требования к исследованию острой токсичности при внутрижелудочном поступлении химических веществ и препаратов из них (далее - веществ) методом определения классов острой токсичности.
1.2. Метод основан на использовании фиксированных доз, обеспечивает получение информации об острой токсичности вещества при проглатывании и позволяет оценить и классифицировать его в соответствии с СГС.
2.1. Метод определения класса острой токсичности является поэтапным процессом с использованием трех животных одного пола на каждом этапе. В зависимости от смертности и/или от клинической картины отравления животных, в среднем, нужно 2 - 4 этапа для определения класса острой токсичности вещества. Эта процедура может быть легко произведена, требует небольшого числа животных и позволяет давать оценку веществам так же, как и другие методы определения острой токсичности. Метод определения класса острой токсичности основан на биометрических вычислениях с фиксированными дозами, адекватно разделенных для того, чтобы дать возможность оценить вещество для классификационных целей и для оценки опасности.
2.2. Данный метод не дает возможности точного расчета DL50/LD50, но дает возможность определить диапазон воздействия, в котором ожидается летальный исход, т.к. смерть определенной доли животных по-прежнему является конечной точкой эксперимента. Он делает возможным определение величины DL50/LD50 только тогда, когда как минимум две дозы дают летальный исход выше 0 и ниже 100%. Использование предопределенных доз, в независимости от тестируемого вещества, с классификацией, связанной только с количеством животных, находящихся в разных состояниях, улучшает согласованность и воспроизводимость результатов, полученных в разных лабораториях.
2.3. Проведению испытания должен предшествовать анализ информации об исследуемом веществе. Такая информация включает сведения о составе и химическом строении вещества; его физико-химических свойствах; результатах токсикологических испытаний in vivo и in vitro, а также токсикологические данные по структурно родственным веществам и предполагаемые пути использования вещества. Эта информация нужна для подтверждения того, что испытание необходимо для защиты здоровья человека и способствует выбору подходящей начальной дозы.
2.4. Принцип метода основывается на поэтапном процессе с использованием минимального количества животных на каждом этапе, который позволяет получить достаточную информацию об острой токсичности тестируемого вещества для его классификации. Группе животных из трех особей одного пола (в основном женского) вводится внутрижелудочно тестируемое вещество в одной из выбранных доз - 5, 50, 300 и 2000 мг/кг. Отсутствие или наличие смертности животных, обусловленной веществом в дозе, введенной на одном этапе, определяют последующие действия, например: вещество в дальнейшем тестировании не нуждается; необходимо тестирование той же дозы еще на трех животных; необходимо тестирование большей или меньшей дозы еще на трех животных. Схема проведения поэтапного тестирования представлена в прилож. 1. Метод дает возможность отнести тестируемое вещество к одному из классов по острой токсичности с фиксированными пределами DL50/LD50.
2.5. Исследуемые вещества не должны применяться в дозах, которые являются причиной возникновения выраженных болевых ощущений и недомоганий, оказывая разъедающее или сильно раздражающее действие. Агонизирующие животные или животные, испытывающие непереносимую боль или находящиеся в безнадежном физическом состоянии, должны быть умерщвлены гуманным способом и учтены при подведении результатов исследования так же, как и животные, погибшие во время исследования.
3. Описание тестового метода
Выбор вида
3.1.1. Наиболее предпочтительным видом грызунов является крыса, вместе с тем, возможно использование и других видов грызунов. В основном используются женские особи, так как они являются более чувствительными к воздействию токсикантов. Однако если токсикологические и токсикокинетические данные для структурно родственных веществ показывают, что мужские особи являются более чувствительными, следует использовать животных данного пола. Проведение испытания с использованием мужских особей должно быть научно обосновано.
3.1.2. В эксперименте должны быть использованы здоровые молодые половозрелые особи обычных лабораторных линий. Женские особи не должны быть беременными или рожавшими. Каждое животное на момент начала эксперимента должно быть в возрасте от 8 до 12 недель, а его масса должна составлять +/- 20% от средней массы ранее исследуемых животных.
Условия содержания и кормления
3.1.3. Температура в лабораторной комнате должна составлять (22 +/- 3) °C. Относительная влажность должна быть как минимум 30% и не превышать 70%, за исключением времени уборки комнаты; оптимальное значение 50 - 60%. Освещение должно быть искусственным в последовательности: 12 часов - свет, 12 часов - темнота. При кормлении может быть использована обычная лабораторная диета с неограниченным количеством питьевой воды. Животных можно содержать группами в клетках в зависимости от дозы, однако количество животных в клетке не должно препятствовать наблюдению за каждым из них.
Подготовка
3.1.4. Животные должны быть разделены на группы методом случайной выборки, помечены и содержаться в клетках не менее пяти дней до начала введения тестируемого вещества, что позволит им привыкнуть к лабораторным условиям.
Приготовление доз
3.2.1. Изучаемое вещество вводится в одинаковых объемах в диапазоне испытуемых доз путем изменения концентрации растворов. Изучаемые продукты в жидком состоянии целесообразно использовать для тестирования без разбавления, т.е. в фиксированной концентрации, это может быть важно для последующей оценки риска использования вещества. Максимальный разовый объем жидкости зависит от размера подопытного животного. Вводимый грызунам объем не должен превышать 1 мл/100 г массы тела: между тем, в случаях с водными растворами объем дозы может составить 2 мл/100 г массы тела. В любом случае максимальный объем вводимой дозы не должен быть превышен. Рекомендуется использовать водные растворы/суспензии/эмульсии химических продуктов, а для продуктов, нерастворимых в воде, - другие растворители, отдавая предпочтение растворам/суспензиям/эмульсиям на масляной основе (растительные масла). В случае использования растворителя, не являющегося водой, его токсикологические характеристики должны быть известны. Дозы должны быть приготовлены незадолго до введения с учетом стабильности изучаемого препарата в период исследования.
Введение дозы
3.2.2. Исследуемый препарат вводится однократной дозой через зонд: желудочную трубку или интубационную канюлю. Если однократное введение необходимой дозы невозможно, доза может быть введена частями в период, не превышающий 24 часа.
3.2.3. Перед введением дозы животных необходимо ограничить в пище (т.е. крыс не кормить с вечера перед введением дозы, но поить; мышей не кормить за 3 - 4 часа перед введением дозы, но поить). После голодания необходимо взвесить животных, затем ввести испытываемое вещество. После введения препарата крыс не кормить 3 - 4 часа, мышей - 1 - 2 часа. Если доза вводится порционно, в зависимости от периода введения дозы животным может потребоваться корм или питье.
Количество животных и уровень доз
3.2.4. Для каждого этапа используют по три животных. Начальная доза может быть выбрана из четырех фиксированных уровней: 5, 50, 300 и 2000 мг/кг. Необходимо выбрать ту дозу, которая, скорее всего, приведет к смерти подопытных животных. В Приложении представлены схемы, описывающие требуемые процедуры при использовании каждой из начальных доз.
3.2.5. В том случае, если предварительный анализ информации о тестируемом веществе свидетельствует, что смертельный эффект маловероятен при самом высоком уровне дозирования (2000 мг/кг), должно быть проведено испытание предельной дозы (5000 мг/кг). Если информация о тестируемом веществе отсутствует, из соображений гуманного отношения к животным следует использовать дозу 300 мг/кг в качестве начальной.
3.2.6. Промежуток времени между введением тестируемых доз разным группам животных определяется началом, длительностью и выраженностью признаков интоксикации. Введение вещества следующей группе животных должно быть отложено до тех пор, пока не станет очевидной выживаемость предыдущей группы.
3.3. Испытание предельной дозы
3.3.1. В исключительных случаях, когда это обусловлено специфическими нормативными требованиями, может быть рассмотрено исследование дополнительного установленного уровня дозы в 5000 мг/кг
(прилож. 2). Из соображений гуманного отношения к животным, исследования доз (2000 - 5000 мг/кг - класс 5 СГС) нецелесообразны и могут проводиться, только если результаты подобных исследований имеют значение для здоровья человека, животных или безопасности окружающей среды.
3.3.2. Испытание предельной дозы проводится в случаях, когда исследователь обладает информацией о том, что вещество, вероятно, не является токсичным, например, обладает токсичностью только в дозах, превышающих предельные уровни. Информация о токсичности исследуемого вещества может быть получена из данных об исследовании родственных по физико-химическим свойствам веществ, смесей или продуктов с учетом того, что имеет значение наличие и процентное содержание компонентов. В тех случаях, когда информация о токсичности препарата отсутствует или недостаточна, или когда исследуемый препарат, вероятно, является токсичным, необходимо проводить основное исследование.
3.3.3. Испытание предельной дозы 2000 мг/кг может быть проведено на 6 животных (по трое животных на каждый этап). В исключительных случаях может быть проведено испытание предельной дозы 5000 мг/кг с использованием трех животных (см.
прилож. 2). Если наблюдается смерть животных, обусловленная действием вещества, может понадобиться дальнейшее тестирование с меньшей дозой.
3.4.1. Экспериментальные животные должны наблюдаться индивидуально после введения дозы не менее одного раза в первые 30 минут, регулярно в течение первых 24 часов, причем особое внимание следует уделять первым четырем часам, и затем ежедневно в течение 14 дней, кроме случаев, когда они должны быть выведены из исследования и умерщвлены гуманным способом по медицинским показаниям или найдены мертвыми. Длительность наблюдения не должна быть жестко фиксирована. Она зависит от токсических реакций, начала и длительности периода восстановления; таким образом, наблюдение при необходимости может быть продолжено. Необходимо зафиксировать время появления и исчезновения симптомов интоксикации, особенно если есть тенденция к замедленному возникновению токсических симптомов. Результаты наблюдения, включающие отдельные отчеты о каждом животном, систематически регистрируются.
3.4.2. Может потребоваться дополнительное наблюдение, если признаки токсичности у животных не исчезают. В ходе наблюдений фиксируются изменения на коже и шерсти, в глазах и слизистых, в респираторной, кровеносной, вегетативной и центральной нервной системах, нарушения в соматомоторике и поведении. Внимание должно фокусироваться на явлениях тремора, конвульсий, слюноотделения, диареи, летаргии, сна и комы. Агонизирующие животные или животные, испытывающие непереносимую боль или находящиеся в безнадежном физическом состоянии, должны быть умерщвлены гуманным способом. Если животные умерщвлены из соображений гуманности или найдены мертвыми, время смерти должно быть зафиксировано максимально точно.
Масса тела
3.4.3. Масса тела животного должна быть определена незадолго до введения тестируемого вещества и контролироваться не менее чем раз в неделю после испытания. Изменения массы тела должны быть вычислены и зафиксированы. Выжившие по окончании испытания животные должны быть взвешены и умерщвлены гуманным способом.
Патологическая анатомия
3.4.4. Всех подопытных животных (включая погибших во время испытаний, а также исключенных по медицинским показателям) необходимо подвергнуть общей аутопсии. Для каждого животного должны быть зарегистрированы все общие патологические изменения. Следует учитывать также результаты микроскопического анализа органов у животных, проживших 24 и больше часов после первого приема тестируемого вещества.
4.1.1. На каждого животного должны быть собраны данные. Кроме того, все данные должны быть оформлены в виде таблиц на каждую подопытную группу, содержащих сведения о количестве животных с признаками интоксикации, количестве животных, погибших во время испытания или умерщвленных из соображений гуманности, время смерти каждого животного, описание и временной график токсического действия и восстановления, результаты вскрытия.
Отчет об исследовании должен содержать следующую информацию:
Исследуемое вещество:
- физическая природа, чистота и, при необходимости, физико-химические свойства (включая изомеризацию);
- идентифицирующие данные, включая CAS-номер.
Растворитель (если используется):
- обоснование выбора растворителя в случае, если это не вода.
Подопытные животные:
- вид/род;
- микробиологический статус животных, если таковой известен;
- количество, возраст и пол животных (включая обоснование предпочтения самцов самкам);
- происхождение, условия содержания, кормление и пр.
Условия испытания:
- технология приготовления испытываемого вещества (включая физические параметры используемых компонентов);
- подробности о введении тестируемого вещества, включая дозировку, объем и время приема;
- подробности о качестве корма и воды (включая способ/источник корма и воды);
- обоснование выбора начальной дозы.
Результаты (отражают в отдельных таблицах):
- реакцию каждого подопытного животного на уровень введенной дозы вещества (т.е. животных с признаками интоксикации, в т.ч. летальный исход, изменение основных свойств, интенсивность и продолжительность токсикологически значимого эффекта);
- вес тела и изменения в весе тела;
- индивидуальную массу тела животного в день введения вещества, спустя неделю после введения вещества, на момент гибели или умерщвления;
- дату и время гибели, если она произошла раньше запланированного умерщвления;
- временной график появления признаков токсичности, сведения об обратимости признаков токсичности для каждого животного;
- результаты вскрытия и результаты гистопатологического исследования для каждого животного, если таковые имеются.
Обсуждение и интерпретация результатов.
Выводы.
Схема 6.1.2.1. Процедура тестирования с начальной дозой
5 мг/кг
Схема 6.1.2.2. Процедура тестирования с начальной дозой
50 мг/кг
Схема 6.1.2.3. Процедура тестирования с начальной дозой
300 мг/кг
Схема 6.1.2.4. Процедура тестирования с начальной дозой
2000 мг/кг
Критерии для классификации исследуемых веществ
с ожидаемыми величинами DL50/LD50, превышающими 2000 мг/кг,
без необходимости проведения испытания
1. Критерии для определения класса опасности 5 призваны идентифицировать исследуемые вещества, относящиеся к относительно низкому классу острой токсической опасности, но при определенных условиях представляющие опасность для более уязвимых популяций. Для этих веществ уровень DL50/LD50 предположительно находится в диапазоне концентраций 2000 - 5000 мг/кг при пероральном или накожном воздействии и эквивалентных концентраций для других путей воздействия. Исследуемые вещества могут быть отнесены к данному классу опасности, определяемому дозами: 2000 мг/кг < DL50/LD50 < 5000 мг/кг (класс 5 в СГС), в следующих случаях:
б) если получены надежные доказательства, указывающие на отнесение DL50/LD50 к классу 5; или если другие исследования на животных или случаи острого токсического воздействия на человека свидетельствуют о влиянии на здоровье человека;
в) если посредством экстраполяции, оценки и измерения данных нет показаний к отнесению к классу более высокой опасности, и
- доступна надежная информация, указывающая на значительную токсичность для человека, или
- наблюдался любой смертельный исход, зарегистрированный во время испытания веществ, входящих в классы опасности до класса 4, и вводимых перорально, или
- если экспертная оценка подтверждает наличие клинических признаков токсичности при тестировании с дозами, превышающими указанные в классе 4, кроме случаев диареи, пилоэрекции или вялости, или
- в случаях, когда экспертная оценка подтвердит надежность информации, указывающей на потенциальную значимость выраженного воздействия из других исследований на животных.
Испытания доз свыше 2000 мг/кг
2. Из соображений защиты животных исследования доз, относящихся к классу 5 СГС (2000 - 5000 мг/кг), нежелательны и могут проводиться, только если результаты подобных исследований имеют значение для здоровья человека или животных. Исследования в более высоких дозах не допускаются.
3. Если требуются испытания дозы 5000 мг/кг, необходимо проводить их только в один этап (т.е. на трех животных). Если первое подопытное животное умирает, тогда дозирование продолжается при 2000 мг/кг в соответствии со
схемой 6.1.2.4. Если первое животное не умирает, дозирование при 5000 мг/кг продолжается. Если только одно из трех животных умирает, значение DL
50/LD
50, скорее всего, превысит 5000 мг/кг. Если умирают два животных, дозирование продолжается при введении дозы 2000 мг/кг.
ОЦЕНКА ОСТРОЙ ТОКСИЧНОСТИ ПРИ ВНУТРИЖЕЛУДОЧНОМ
ПОСТУПЛЕНИИ МЕТОДОМ "ВВЕРХ-ВНИЗ"
Идентичен международному документу OECD TG N 425 "Acute Oral Toxicity - Up-and-Down-Procedure (UDP)" (ОЭСР Руководство N 425 "Острая пероральная токсичность - методика "вверх-вниз"). Принят 3 октября 2008 года. Перевод с английского языка (en). Степень соответствия - модифицированный (MOD).
1.1. Настоящий метод исследования устанавливает требования к исследованию острой токсичности при внутрижелудочном поступлении химических веществ и препаратов на их основе (далее - веществ) методом "вверх-вниз" (с изменяемым объемом выборки с возможностью изменения условий испытаний).
1.2. Метод позволяет установить величину LD50 с доверительным интервалом, наблюдать за признаками токсичности, а результаты дают возможность определить категорию и классифицировать вещество в соответствии с СГС.
2.1. Концепция метода исследования "вверх-вниз" (эксперимент с изменяемым объемом выборки при изменении условий испытаний) впервые была описана Диксоном и Мудом. В 1985 г. Брюс предложил использовать методику "вверх-вниз" ("UDP") для определения острой токсичности химических веществ. Существует несколько вариаций экспериментального плана "вверх и вниз" для оценки среднесмертельной дозы LD50. Данные методические рекомендации основываются на методике Брюса, принятой Американским обществом по испытанию материалов в 1987 г. и пересмотренной в 1990 г. В 1995 г. было опубликовано исследование, сравнивающее результаты, полученные с помощью метода "вверх и вниз", стандартного исследования LD50 и метода фиксированной дозы ("FDP", Руководство ОЭСР по проведению исследований 420). После появления ранних работ Диксона и Муда были напечатаны и другие работы в биометрической и прикладной литературе, изучающие наилучшие условия применения подхода. Исходя из рекомендаций нескольких заседаний экспертов ОЭСР в 1999 г., было принято решение о своевременности дополнительного пересмотра по следующим причинам: i) было достигнуто международное соглашение о гармонизированных критических величинах LD50 для классификации химических веществ; ii) исследование с использованием одного пола (обычно самок) общепринято считается достаточным; iii) чтобы единичное исследование было обоснованным, необходимо оценивать доверительные интервалы.
2.2. Рекомендации по выбору наиболее подходящего метода испытаний острой токсичности веществ при внутрижелудочном поступлении можно найти в Руководстве ОЭСР по изучению пероральной токсичности. Это Руководство содержит и дополнительную информацию о выполнении и интерпретации методики, приведенной в настоящих методических рекомендациях.
2.3. Проведению испытания должен предшествовать анализ информации об исследуемом веществе. Такая информация включает сведения о составе и химическом строении вещества; его физико-химических свойствах; результатах токсикологических испытаний in vivo и in vitro; а также токсикологические данные по структурно родственным веществам и предполагаемые пути использования вещества. Эта информация нужна для подтверждения того, что испытание является необходимым для защиты здоровья человека и способствует выбору подходящей начальной дозы.
2.4. Если информация для предварительной оценки величины LD
50 и наклона кривой зависимости доза-ответ отсутствует, результаты компьютерного моделирования предлагают, что наилучшие результаты будут достигнуты, если начать с примерно 175 мг/кг и использовать половину логарифмической единицы (соответствующую увеличению дозы на коэффициент 3,2) между дозами. Эту начальную дозу следует изменить, если есть вероятность, что исследуемое вещество является высокотоксичным. Половинный логарифмический интервал делает возможным более эффективное использование животных и повышает точность прогнозирования величины LD
50. Поскольку метод основан на выборе начальной дозы, важно, чтобы начальная доза находилась ниже величины LD
50 (см.
п. 3.3.1 и
приложение 1 в отношении обсуждения последовательностей доз и начальных величин). Однако для химических веществ с большой изменчивостью (например, пологие наклоны кривой зависимости доза-ответ) может произойти отклонение в оценке летальности, и LD
50 будет иметь большую статистическую погрешность, аналогичную другим методам оценки острой токсичности. Чтобы исправить это, основное исследование включает "правило остановки", соответствующее свойствам оценки, а не фиксированному количеству наблюдений за процессом испытаний (см.
п. 3.3.4).
2.5. Основное исследование состоит из упорядоченной дозовой прогрессии, которые вводят животным однократно с минимальными 48-часовыми интервалами. Первое животное получает дозу, на ступень ниже уровня наиболее надежной прогнозной величины LD
50. Если животное выживает, доза для следующего животного увеличивается в 3,2 раза от начальной дозы; если оно умирает, доза для следующего животного снижается во столько же раз. За каждым животным следует внимательно наблюдать в течение до 48 часов перед принятием решения о том, вводить ли другую дозу и на каком уровне. Это решение основывается на 48-часовой схеме выживания всех животных к этому времени (см.
п. 3.3.7 о выборе интервалов между дозами). "Правило остановки" используется для обеспечения минимального количества экспериментальных животных при соблюдении схемы дозирования с целью снижения эффекта неправильной начальной дозы или низкого наклона кривой зависимости доза-ответ (см.
п. 3.3.6). Дозирование прекращают в случае наличия соответствия одному из критериев остановки (см.
пп. 3.3.4 и
5.2.1), после чего рассчитывают LD
50 и доверительный интервал, исходя из состояния всех животных во время остановки. Для большинства случаев испытание будет завершено с использованием только 4 животных после первоначального реверсирования результатов, полученных от животных. LD
50 рассчитывают с использованием метода максимального правдоподобия
[14] [15] (см.
пп. 5.2.1 и
5.2.3). Методика расчета доверительного интервала приведена в
п. 5.3.
2.6. Данный метод лучше всего применять к веществам, вызывающим смерть в течение одного или двух дней. Непрактично использовать этот метод, если можно ожидать значительно замедленную смерть (через пять дней или более).
2.7. Исследуемые вещества не должны исследовать в дозах, которые являются причиной возникновения выраженных болевых ощущений и недомоганий, оказывая разъедающее или сильно раздражающее действие. Агонизирующие животные или животные, испытывающие непереносимую боль или находящиеся в безнадежном физическом состоянии, должны быть умерщвлены гуманным способом и учтены при подведении результатов исследования так же, как и животные, погибшие во время исследования.
2.8. Для исследования химических веществ, которые, вероятно, имеют низкую токсичность, может эффективно использоваться испытание предельной дозы.
| | ИС МЕГАНОРМ: примечание. В официальном тексте документа, видимо, допущена опечатка: имеются в виду пп. 3.4.3 - 3.4.5, а не пп. 5.4.3 - 5.4.5. | |
2.9. Испытание предельной дозы - это последовательное испытание, использующее максимум 5 животных. Может использоваться исследуемая доза 2000 мг/кг или, в исключительных случаях, 5000 мг/кг. Методики испытаний при 2000 и 5000 мг/кг немного различаются (см.
п. 3.4.2 в отношении испытания при 2000 мг/кг и
пп. 5.4.3 -
5.4.5 - при 5000 мг/кг). Выбор плана последовательного тестирования повышает статистическую точность, и этот выбор был принят также и для намеренного отказа от испытания предельной дозы для веществ с LD
50 около предельной дозы, т.е. чтобы не допустить ошибку с точки зрения безопасности. Как и в любых других тестах на предельное содержание, вероятность корректной классификации падает с приближением LD
50 к предельной дозе.
3.1.1. Выбор вида. Наиболее предпочтительным видом грызунов является крыса, вместе с тем возможно использование и других видов грызунов. В основном используются женские особи, так как они являются более чувствительными к воздействию токсикантов. Однако если токсикологические и токсикокинетические данные для структурно родственных веществ показывают, что мужские особи являются более чувствительными, следует использовать животных данного пола. Проведение испытания с использованием мужских особей должно быть научно обосновано.
В эксперименте должны быть использованы здоровые молодые половозрелые особи обычно используемых лабораторных линий. Женские особи не должны быть беременными или рожавшими. Каждое животное на момент начала эксперимента должно быть в возрасте от 8 до 12 недель, а его масса должна составлять +/- 20% от среднего веса всех других животных.
3.1.2. Условия содержания и кормления. Температура в лабораторной комнате должна составлять (22 +/- 3) °C. Относительная влажность должна быть как минимум 30% и не превышать 70%, за исключением времени уборки комнаты; оптимальное значение - 50 - 60%. Освещение должно быть искусственным в последовательности: 12 часов - свет, 12 часов - темнота. При кормлении может быть использована обычная лабораторная диета с неограниченным количеством питьевой воды. Животных можно содержать группами в клетках в зависимости от дозы, однако количество животных в клетке не должно препятствовать наблюдению за каждым из них.
3.1.3. Подготовка животных. Животные должны быть разделены на группы методом случайной выборки, помечены и содержаться в клетках не менее 5 дней до начала введения тестируемого вещества, что позволит им адаптироваться к лабораторным условиям. Как и в других схемах последовательных испытаний, следует внимательно убедиться, что имеются животные соответствующего размера и возрастного диапазона для всего испытания.
3.2.1. Подготовка доз. Изучаемое вещество вводят фиксированными объемами во всем исследуемом диапазоне доз путем изменения концентрации вещества. Однако вещества в жидкой препаративной форме целесообразно исследовать без разбавления, т.е. в фиксированной концентрации, это может быть важно для последующей оценки риска использования вещества. Максимальный однократный объем вводимой жидкости зависит от размера подопытного животного и не должен превышать 1 мл/100 г массы тела. В случае с водными растворами вещества объем может составить 2 мл/100 г массы тела. В любом случае максимальный объем вводимой дозы не должен быть превышен. Рекомендуется использовать водные растворы/суспензии/эмульсии химических продуктов; для продуктов, нерастворимых в воде, - другие растворители, отдавая предпочтение растворам/суспензиям/эмульсиям на масляной основе (растительные масла). В случае использования разбавителя (растворителя), отличного от воды, его токсикологические характеристики должны быть известны. Растворы должны быть приготовлены незадолго до введения с учетом стабильности изучаемого вещества в период исследования.
3.2.2. Введение доз. Исследуемый препарат вводят однократно через зонд: желудочную трубку или интубационную канюлю. Если введение однократной дозы невозможно, доза может быть введена частями в период, не превышающий 24 часа.
Перед введением дозы животных необходимо ограничить в пище (т.е. крыс не кормить с вечера перед введением дозы, но поить; мышей не кормить три - четыре часа перед введением дозы, но поить). После голодания необходимо взвесить животных, затем ввести испытываемое вещество. После введения препарата крыс не кормить три - четыре часа, мышей - один - два часа. Если дозу вводят порционно, в зависимости от периода введения дозы животным может потребоваться корм или питье.
3.3. Основное исследование
3.3.1. Первому животному вводят дозу, на ступень ниже наиболее надежной прогнозной величины LD
50. Если животное выживает, второе животное получает более высокую дозу. Если первое животное умирает или выглядит умирающим, второе животное получает более низкую дозу. Коэффициент прогрессии (регрессии) дозы следует выбирать как антилогарифм от 1/(предполагаемый наклон кривой зависимости доза-ответ), и он должен оставаться постоянным на протяжении всего испытания (прогрессия 3,2 соответствует наклону 2).
3.3.2. Если отсутствует информация о наклоне, используют коэффициент, равный 3,2. При использовании стандартного коэффициента прогрессии дозы выбираются из последовательности 1,75, 5,5, 17,5, 55, 175, 550, 2000 (или 1,75, 5,5, 17,5, 55, 175, 550, 1750, 5000 при специальном требовании регулятивных органов).
3.3.3. Если отсутствуют данные о летальности вещества, дозирование следует начинать с 175 мг/кг. В большинстве случаев эта доза является сублетальной и поэтому служит для снижения уровня боли и страданий. Если ожидается, что переносимость химического вещества высоко вариабельная (т.е. ожидается, что наклон кривой зависимости доза-ответ составит менее 2), следует рассмотреть повышение коэффициента прогрессии дозы выше стандартного до начала испытания. Аналогично, если известно, что исследуемые вещества характеризуются крутыми наклонами, следует выбирать коэффициенты прогрессии дозы меньше стандартных (
Приложение 1 включает таблицу прогрессий дозы для большого количества наклонов в диапазоне от 1 до 8 с начальной дозой 175 мг/кг).
3.3.4. Введение доз продолжают в соответствии с ответами всех животных, полученными через фиксированные интервалы времени (например, 48-часовые). Испытание останавливают, если обнаруживают соответствие хотя бы одному из следующих критериев:
(a) более 3 животных, последовательно введенных в эксперимент, выживают при введении максимальной дозы;
(b) происходит 5 реверсирований у любых 6 последовательно испытуемых животных;
(c) как минимум 4 животных проявляют реверсирование после первого наблюдавшегося, и соответствующие отношения правдоподобия превышают критическое значение (см.
приложение 2). Расчеты выполняют после каждого введения дозы, после четвертого животного и первого реверсирования.
3.3.5. При широком разнообразии прогнозных значений LD50 и наклонов условие правила остановки (с) будет выполняться при наличии от 4 до 6 животных после реверсирования. В некоторых случаях для веществ с пологими кривыми зависимости доза-ответ могут понадобиться дополнительные животные (до пятнадцати).
3.3.6. Если критерии остановки соблюдены, LD
50 следует рассчитывать на основании результатов, полученных на животных при остановке испытания, используя метод, описанный в
п. 5.2.5.
3.3.7. Умирающих животных, животных, умерщвленных по причинам гуманности, учитывают так же, как и животных, которые умерли в ходе испытания. Если животное неожиданно умирает в конце исследования, но имеются другие выжившие при этой или более высокой дозе, следует прекратить вводить вещество и наблюдать за всеми животными, чтобы определить, умрут ли другие животные во время аналогичного периода наблюдения. Если вначале выжившие впоследствии также умирают, и, кажется, что все уровни доз превышают LD
50, лучше всего вновь начать испытание, начиная с дозы, ниже не менее чем на две ступени самой низкой из ранее испытанных, вызвавших летальный эффект, увеличивая период наблюдения, так как методика является наиболее точной, если начальная доза ниже LD
50. Если последующее животное выживает при введении той дозы, при которой предыдущее животное умерло, или выше, нет необходимости изменять прогрессию дозы, так как информация от животного, которое сейчас умерло, будет включена в расчеты как смерть при более низкой дозе, чем у последующих выживших, что в результате снизит расчетную величину LD
50.
3.4. Испытание предельной дозы
3.4.1. Испытание предельной дозы используют, главным образом, в ситуациях, когда экспериментатор имеет информацию, указывающую на то, что исследуемый материал, вероятно, является нетоксичным, т.е. имеет токсичность ниже регулятивных предельных доз. Информация о токсичности исследуемого материала может быть получена из сведений об аналогичных исследуемых составах или аналогичных исследуемых смесях или продуктах с учетом идентичности и процентного содержания компонентов, чья токсичность известна. В ситуациях, когда имеется мало информации о токсичности, или такая информация отсутствует, или если ожидается, что исследуемый материал является токсичным, следует выполнить основное испытание.
3.4.2.
Испытание предельной дозы при 2000 мг/кг. Одному животному вводят исследуемую дозу. Если животное умирает, проводят основное испытание, чтобы определить LD
50. Если животное выживает, дозу вводят еще четырем животным последовательно, чтобы всего было исследовано пять животных. Однако если умирает трое животных, испытание на предельное содержание прекращают и выполняют основное испытание. LD
50 считают большей 2000 мг/кг, если выживают три или более животных. Если животное неожиданно умирает в конце исследования, а остальные выживают, следует прекратить вводить вещество и наблюдать за всеми животными, умрут ли другие животные во время аналогичного периода наблюдения (см.
п. 2.7 по поводу окончания наблюдения). Поздние смерти следует учитывать, как и другие смерти. Результаты оценивают следующим образом (O = выживание, X = смерть):
- LD50 меньше 2000 мг/кг, если умирают три или более животных.
O XO XX
O OX XX
O XX OX
O XX X
Если умирает третье животное, проводят основное испытание.
- Исследуют пять животных. LD50 больше 2000 мг/кг, если выживают три или более животных.
O OO OO
O OO XO
O OO OX
O OO XX
O XO XO
O XO OO/X
O OX XO
O OX OO/X
O XX OO
3.4.3.
Испытание предельной дозы при 5000 мг/кг. В исключительных случаях и только если это обосновывается специальной необходимостью регулятивных органов, может быть исследована доза 5000 мг/кг (см.
приложение 3). По причине гуманного отношения к животным испытания в диапазонах Категории 5 СГС (2000 - 5000 мг/кг) не одобряются и проводятся, только если имеется высокая вероятностью того, что результаты такого испытания имеют прямую связь с охраной здоровья человека или животных или окружающей среды.
3.4.4. Одному животному вводят исследуемую дозу. Если животное умирает, проводят основное испытание, чтобы определить LD50. Если животное выживает, дозу вводят еще двум животным. Если оба животных выживают, LD50 считают больше 5000 мг/кг и испытание прекращают (т.е. до завершения 14-дневного наблюдения без введения дозы другим животным).
3.4.5. Если одно или двое животных умирают, дозу вводят еще двум животным, по одному. Если животное неожиданно умирает в конце исследования, а остальные выживают, следует прекратить вводить вещество и наблюдать за другими животными, умрут ли они во время аналогичного периода наблюдения (см.
п. 2.7 по поводу окончания наблюдения). Поздние смерти следует учитывать, как и другие смерти. Результаты оценивают следующим образом (O = выживание, X = смерть):
- LD50 меньше 5000 мг/кг, если умирают три или более животных.
O XO XX
O OX XX
O XX OX
O XX X
- LD50 больше 5000 мг/кг, если выживают три или более животных
O OO
O XO XO
O XO O
O OX XO
O OX O
O XX OO
4.1. За животными наблюдают индивидуально, не реже одного раза в течение первых 30 минут после введения дозы, периодически в течение первых 24 часов (особое внимание уделяют в течение первых 4 часов) и впоследствии ежедневно, всего в течение 14 дней, за исключением случаев, когда их следует удалить из эксперимента и гуманно умертвить по причинам заботы о животных, или если они мертвы. Однако длительность наблюдения не должна быть жестко фиксированной. Ее следует определять по токсическим реакциям, времени их появления и длительности периода восстановления, и поэтому она может быть увеличена, если это считают необходимым. Время, когда появляются и исчезают симптомы токсичности, является важным, особенно если есть тенденция к задержке токсических симптомов. Все наблюдения систематически регистрируются, при этом по каждому животному ведут отдельные записи.
4.2. Дополнительные наблюдения будут необходимы, если у животных продолжаются симптомы интоксикации. Наблюдения должны включать изменения кожи, глаз и слизистых оболочек, а также респираторной, кровеносной, вегетативной и центральной нервных систем, а также соматомоторной активности и моделей поведения. Внимание должно быть направлено на наблюдение за появлением тремора, конвульсий, слюноотделения, диареи, вялости, сонливости и комы. Следует учитывать принципы и критерии, обобщенные в Руководстве по гуманным конечным точкам
[13]. Животных, находящихся в предсмертном состоянии, и животных, испытывающих сильную боль или длительные признаки тяжелого недомогания, следует гуманно умертвить. Если животное умерщвляют по причинам гуманности или оно найдено мертвым, следует зарегистрировать время смерти как можно точнее.
4.3. Масса тела. Незадолго перед введением исследуемого вещества и не реже одного раза в неделю впоследствии следует определять индивидуальный вес тела животных. Следует рассчитывать и регистрировать изменения веса. В конце испытания выживших животных взвешивают и затем гуманно умерщвляют.
4.4. Патология. Всех животных (включая тех, которые умирают во время испытания или удалены из испытания по причинам гуманности) следует подвергнуть общей аутопсии. Все основные патологические изменения должны быть зарегистрированы для каждого животного. Следует провести микроскопическое исследование органов, имеющих признаки выраженной патологии, у животных, выживших в течение 24 или более часов после введения дозы, так как это может дать полезную информацию.
Следует предоставлять индивидуальные данные о животных. Кроме того, все данные следует обобщать в форме таблицы, для каждой исследуемой дозы указывая количество используемых животных, количество животных, имеющих симптомы токсичности, количество животных, найденных мертвыми во время исследования или умерщвленных по причинам гуманности, индивидуальное время смерти животных, время появления и исчезновения токсических эффектов и результаты аутопсии. Следует предоставить обоснование исходной дозы и прогрессии дозы и какие-либо данные, используемые для доказательства этого выбора.
5.2. Расчет LD50 для основного испытания
5.2.1. LD
50 вычисляют с использованием метода максимального правдоподобия, кроме исключительных случаев, описанных в
п. 5.2.2. При выполнении предлагаемых расчетов максимального правдоподобия (с допустимой величиной

можно воспользоваться следующими статистическими элементами. Все смерти, либо немедленные, либо замедленные, либо умерщвления по причинам гуманности, объединяются для анализа максимального правдоподобия. По Диксону (4) функция правдоподобия описывается следующим образом:
L = L1 L2...Ln, где
L - правдоподобие результата эксперимента, при данных

и

а
n - общее количество исследованных животных
L1 = 1 - F(Zi), если i-е животное выжило, либо
L2 = F(Zi), если i-е животное погибло, где
F = кумулятивное стандартное нормальное распределение;
di = доза, которую ввели i-му животному;

= стандартное отклонение в логарифмических единицах дозы (которое не является логарифмическим стандартным отклонением): обычно используют величину

равную 0,5, кроме случаев, когда имеется лучшая общая или специфическая величина.
Правдоподобие LD
50 оценивают по величине

которая максимизирует правдоподобие
L (см.
п. 5.2.4).
5.2.2. При некоторых обстоятельствах статистическое вычисление невозможно или, вероятно, приведет к ошибочным результатам. Для таких обстоятельств имеются специальные методы для определения/установления расчетной LD
50:
(a) Если испытание остановлено на основании критерия (a), указанного в
п. 3.3.4 (т.е. максимальная доза была испытана неоднократно), или если испытание заканчивалось максимальной дозой, то сообщается, что LD
50 выше верхней границы. На этом основании классификация завершается.
(b) Если все умершие животные получили более высокие дозы, чем все живые животные (или если все живые животные получили более высокие дозы, чем умершие животные, хотя практически это маловероятно), то LD
50 находится между дозами для живых и умерших животных. Эти наблюдения не дают дополнительной информации о точной величине LD
50. Однако можно сделать оценку максимального правдоподобия при условии, что есть величина для а. Критерий остановки (b) в
п. 3.3.4 описывает одно из таких обстоятельств.
(c) Если живые и умершие животные получили только одну общую дозу, и все другие умершие животные получили более высокие дозы, а все другие живые животные - более низкие дозы, либо наоборот, то LD50 равняется их общей дозе. Если впоследствии испытывают сходное по структуре (составу) вещество, испытание следует проводить с меньшей прогрессией дозы.
5.2.3. Если не наблюдается ни одной из указанных выше ситуаций, то LD
50 рассчитывают с использованием метода максимального правдоподобия.
5.2.4. Вычисление максимального правдоподобия может выполняться с использованием компьютерных программных пакетов либо "SAS" (например, "PROC NLIN"), либо "BMPD" (например, программа "AR"). Могут также применять и другие компьютерные программы. Типовые инструкции к таким пакетам приводятся в приложениях к Стандарту Е 1163-87 Американского общества по испытанию материалов ("ASTM"). [Значение

используемое в программе "BASIC", потребуется отредактировать для соответствия параметрам настоящего метода испытания]. Результатом программы является оценка lg(LD
5o) и ее стандартная погрешность.
5.2.5. Правило остановки (c) по отношению правдоподобия, описанное в
п. 3.3.4, основывается на трех измерениях процесса испытания, которые имеют ту же форму правдоподобия, что и описанная в
п. 5.2.1, но с другими величинами

Сравнения проводят после выполнения испытания на каждом животном, введенным в эксперимент после шестого, если результаты не соответствуют
критериям (a) или
(b) п. 3.3.4. Уравнения для критериев отношения правдоподобия приведены в
приложении 2. Эти расчеты лучше всего выполнять автоматически и они могут быть выполнены неоднократно, например, в виде крупноформатной таблицы, такой, как приводится в
приложении 2. Если есть соответствие критерию, испытание останавливается, и LD
50 можно рассчитать методом максимального правдоподобия.
5.3. Расчет доверительного интервала
5.3.1. После основного испытания и расчета LD50 существует возможность рассчитать доверительные интервалы LD50. Любой из этих доверительных интервалов предоставляет ценную информацию о надежности и полезности проведенного основного испытания. Широкий доверительный интервал указывает на то, что существует больше неопределенностей, связанных с расчетным значением LD50. В этом случае надежность расчетной LD50 является низкой, и полезность оценки LD50 может быть пограничной. Узкий интервал указывает на то, что имеется относительно малая неопределенность, связываемая с оценкой LD50. Надежность оценки LD50 является высокой, а полезность оценки LD50 хорошая. Это означает, что если основное испытание будет повторено, новое расчетное значение LD50 будет близким к первоначальному значению LD50, и обе оценки окажутся близкими к истинной LD50.
5.3.2. В зависимости от результатов основного испытания рассчитывают один из двух видов доверительных интервалов истинной LD50.
- Если исследовали не менее трех различных доз, и среднюю дозу вводили не менее чем одному выжившему животному и не менее чем одному умершему животному, для получения доверительного интервала, который, как ожидается, содержит истинную LD50 в 95% случаев, используют методику вычислений, основывающуюся на профильном правдоподобии. Однако, поскольку ожидается, что используется малое количество животных, фактический уровень достоверности обычно не является точным. Правило случайной остановки повышает возможность эксперимента полностью реагировать на изменяющиеся основные условия, а также является причиной того, что зарегистрированный уровень достоверности и фактический уровень достоверности несколько различаются.
- Если все животные выживают при определенном уровне дозы или ниже него, и все животные умирают, если им вводят дозу на следующем, более высоком уровне, интервал рассчитывают таким образом, что его нижним пределом является самая высокая доза исследования, когда все животные выжили, а его верхним пределом является уровень дозы, когда все животные умерли. Этот интервал помечается как "приблизительный". Точный доверительный интервал не может быть определен. Однако, поскольку этот тип реагирования наблюдается только тогда, когда кривая зависимости доза-ответ является крутой, в большинстве случаев ожидается, что истинная LD50 находится в пределах рассчитанного интервала или находится очень близко к нему. Такой интервал будет относительно узким и достаточно точным для наиболее практичного использования.
5.3.3. В некоторых случаях указывается, что доверительные интервалы являются бесконечными, так как включают либо ноль в качестве нижнего предела, либо бесконечность в качестве верхнего предела, либо их обоих. Такие интервалы могут наблюдаться, например, если все животные умирают или все животные живы. Обработка таких результатов эксперимента требует специализированного вычисления, которые выполняются либо посредством использования специальной программы, предоставляемой Управлением по охране окружающей среды США (USEPA) или ОЭСР, либо разрабатываемой согласно техническим данным, предоставляемым Управлением по охране окружающей среды США (USEPA) или ОЭСР. Достигаемые пределы таких интервалов и свойства специальной программы описаны в отчетах, также предоставляемых Управлением по охране окружающей среды США (USEPA).
5.4. Отчет об исследовании
Отчет об исследовании должен включать следующую специальную информацию.
Исследуемое вещество:
- физическое состояние, степень чистоты и, если возможно, физико-химические свойства (в том числе изомеризация);
- идентификационные данные, включая CAS-номер.
Растворитель (если применяется):
- обоснование выбора типа растворителя, если это не вода.
Подопытные животные:
- используемый вид/порода;
- микробиологическое состояние животных, если известно;
- количество, возраст и пол животных (в том числе, если необходимо, обоснование использования самцов вместо самок);
- источник (питомник), условия содержания, режим питания и т.д.
Условия испытания:
- обоснование выбора исходного уровня дозы, коэффициента прогрессии дозы и последующих уровней доз;
- подробности состава исследуемого вещества, в том числе данные о физической форме вводимого вещества;
- подробности введения исследуемого вещества, в том числе объемы и время введения дозы;
- подробности о качестве пищи и воды (в том числе тип/источник режима питания, источник воды).
Результаты:
- масса тела/изменения массы тела;
- сведенные в таблицу данные о реакции и уровне дозы для каждого животного (т.е. животных, имеющих симптомы интоксикации, в том числе характер, тяжесть, длительность эффектов и смертность);
- индивидуальные показатели веса тела животных в день введения дозы, с последующими недельными интервалами и во время смерти или умерщвления;
- время проявления симптомов токсичности, и были ли они обратимыми для каждого животного;
- результаты аутопсии и какие-либо гистопатологические результаты для каждого животного, если имеются;
- данные об LD50;
- статистическая обработка результатов (описание использованной компьютерной обработки и представление результатов в виде крупноформатных таблиц).
Обсуждение результатов.
Заключение.
МЕТОДИКА ДОЗИРОВАНИЯ
ПОСЛЕДОВАТЕЛЬНОСТЬ ДОЗ ДЛЯ ОСНОВНОГО ИССЛЕДОВАНИЯ
1.
Методика дозирования "вверх-вниз" (эксперимент с изменяемым объемом выборки с возможностью изменения условий испытаний). В каждой серии одному животному вводят однократно дозу, другим животным - обычно с 48-часовыми интервалами. Первое животное получает дозу, на ступень ниже уровня наиболее обоснованной величины прогнозируемой LD
50. Такой подход отражает коррекцию на тенденцию к смещению LD
50 в направлении исходной начальной дозы в окончательной оценке (см.
п. 3.4). Ожидается, что итоговая модель результатов стабилизируется, так как дозирование скорректировано для каждого последующего животного.
П. 3, приведенный ниже, представляет Инструкцию по выбору коэффициента интервала между дозами.
2. Стандартная прогрессия дозы. Как только принято решение о начальной дозе и интервале между дозами, токсиколог должен перечислить все возможные дозы, в том числе верхнюю границу (обычно 2000 или 5000 мг/кг). Дозы, близкие к верхней границе, должны быть удалены из прогрессии. Ступенчатый характер схемы обеспечивает то, что первые несколько доз выступают в качестве самокорректирующей последовательности. По причине тенденции к положительному смещению в случае, если ничего не известно о веществе, рекомендуется начальная доза 175 мг/кг. Если для основного испытания используется стандартная методика, дозирование будет начинаться с 175 мг/кг, а дозы будут разделяться с коэффициентом 0,5 по логарифмической шкале дозирования. Используемые дозы включают 1,75, 5,5, 17,5, 55, 175, 550, 2000, либо, в случае специальных требований регулятивных органов, 1,75, 5,5, 17,5, 55, 175, 550, 1750, 5000. Для определенных высокотоксичных веществ последовательность дозирования может быть продлена до более низких величин.
3. В том случае, если необходимо использовать коэффициент прогрессии дозы, отличный от стандартного, можно использовать данные, приведенные в
табл. 6.1.3.1.1, для выбора последовательности доз при различных значениях наклона кривой зависимости доза-ответ от 1 до 8.
Таблица 6.1.3.1.1
Коэффициент прогрессии доз в зависимости от наклона кривой
зависимости доза-ответ (все дозы указаны в мг/кг массы тела)
Наклон кривой зависимости доза-ответ |
1 | 2 | 3 | 4 | 5 | 6 | 7 | 8 |
| | | | | | | |
| | | | | | 0,24 | 0,23 |
| | | | 0,275 | 0,26 | | |
| | | 0,31 | | | 0,34 | 0,31 |
| | 0,375 | | | 0,375 | | |
| | | | | | | 0,41 |
| | | | 0,44 | | 0,47 | |
| 0,55 | | 0,55 | | 0,55 | | 0,55 |
| | | | 0,69 | | 0,65 | |
| | | | | | | 0,73 |
| | 0,81 | | | 0,82 | | |
| | | 0,99 | | | 0,91 | 0,97 |
| | | | 1,09 | 1,2 | | |
| | | | | | 1,26 | 1,29 |
1,75 | 1,75 | 1,75 | 1,75 | 1,75 | 1,75 | 1,75 | 1,75 |
| | | | | | 2,4 | 2,3 |
| | | | 2,75 | 2,6 | | |
| | | 3,1 | | | 3,4 | 3,1 |
| | 3,75 | | | 3,75 | | |
| | | | 4,4 | | | 4,1 |
| | | | | | 4,7 | |
| 5,5 | | 5,5 | | 5,5 | | 5,5 |
| | | | 6,9 | | 6,5 | |
| | | | | | | 7,3 |
| | 8,1 | | | 8,2 | | |
| | | 9,9 | | | 9,1 | 9,7 |
| | | | 10,9 | 12 | | |
| | | | | | 12,6 | 12,9 |
17,5 | 17,5 | 17,5 | 17,5 | 17,5 | 17,5 | 17,5 | 17,5 |
| | | | | | 24 | 23 |
| | | | 27,5 | 26 | | |
| | | 31 | | | 34 | 31 |
| | 37,5 | | | 37,5 | | |
| | | | 44 | | | 41 |
| | | | | | 47 | |
| 55 | | 55 | | 55 | | 55 |
| | | | | | 65 | |
| | | | 69 | | | 73 |
| | 81 | | | 82 | | |
| | | 99 | | | 91 | 97 |
| | | | 109 | 120 | | |
| | | | | | 126 | 129 |
175 | 175 | 175 | 175 | 175 | 175 | 175 | 175 |
| | | | | | 240 | 230 |
| | | | 275 | 260 | | |
| | | 310 | | | 340 | 310 |
Наклон кривой зависимости доза-ответ |
| | 375 | | | 375 | | |
| | | | 440 | | | 410 |
| | | | | | 470 | |
| 550 | | 550 | | 550 | | 550 |
| | | | | | 650 | |
| | | | 690 | | | 730 |
| | 810 | | | 820 | | |
| | | 990 | | | 910 | 970 |
| | | | 1090 | 1200 | | |
| | | | | | 1260 | 1290 |
1750 | 1750 | 1750 | 1750 | 1750 | 1750 | 1750 | 1750 |
| | | | | | 2400 | 2300 |
| | | | 2750 | 2600 | | |
| | | 3100 | | | | 3100 |
| | | | | 3750 | 3400 | |
| | | | | | | 4100 |
5000 | 5000 | 5000 | 5000 | 5000 | 5000 | 5000 | 5000 |
-------------------------------- |
<*> Если требуются более низкие дозы, продолжить прогрессии к более низкой дозе. |
РАСЧЕТЫ ДЛЯ ПРАВИЛА ОСТАНОВКИ ПО ОТНОШЕНИЮ ПРАВДОПОДОБИЯ
1. Как описано в
п. 3.3.4 настоящего метода исследования, основное испытание может быть завершено при возникновении одного из трех критериев остановки. В любом случае, даже если не имеется соответствия ни по одному из критериев остановки, введение дозы прекращается, когда 15 животных получили дозу. В
табл. 6.1.3.2.1 -
6.1.3.2.4 приведены примеры, когда исследование начиналось без наличия информации, поэтому использовалась рекомендуемая стандартная начальная доза 175 мг/кг и рекомендуемый стандартный коэффициент прогрессии дозы, равный 3,2. Обратите внимание, что оформление этих таблиц является только рекомендуемым.
2.
Табл. 6.1.3.2.1 показывает, как основное исследование было бы остановлено, если 3 животных выжили бы при предельной дозе 2000 мг/кг.
Табл. 6.1.3.2.2 иллюстрирует аналогичную ситуацию, если использована предельная доза 5000 мг/кг. Но в них представлены ситуации, когда испытание предельной дозы изначально не считалось адекватным.
Табл. 6.1.3.2.3 показывает, как определенная последовательность 5 реверсирований могла бы произойти у 6 подопытных животных и позволила бы завершить испытание. Наконец,
табл. 6.1.3.2.4 иллюстрирует ситуацию, когда нет соответствия ни по критерию (a), ни по критерию (b), реверсирование реакции произошло после 4 исследованных животных и, следовательно, критерий (c) должен быть также оценен.
3. Критерий (c) требует оценки правила остановки по отношению правдоподобия после исследования каждого животного, начиная с четвертого, испытанного после реверсирования. Вычисляют три "результата процесса испытания". Технически три результата процесса испытания являются настолько правдоподобными, насколько это рекомендуется для оценки максимального правдоподобия LD50. Методика тесно связана с вычислением доверительного интервала с использованием методики, основывающейся на правдоподобии.
4. Методика основана на том, что если собрано достаточно данных, расчетное значение LD50 будет более обоснованным, чем величины верхней и нижней границы, где статистическое обоснование измеряется с использованием правдоподобия. Поэтому вычисляют три величины правдоподобия: правдоподобие расчетной LD50 (называемое приблизительной оценкой или усредненной оценкой дозы), правдоподобие величины, ниже и выше среднего значения. В частности, в качестве нижней границы принимается среднее значение LD50, деленное на 2,5, а в качестве верхней границы - умноженное на 2,5.
5. Значения правдоподобия сравнивают путем вычисления отношения правдоподобия и последующего определения, превышает ли отношение правдоподобия критическую величину. Испытание останавливают, если отношение правдоподобия для расчетной величины превышает каждое из других правдоподобий на коэффициент 2,5, который указывает на относительно сильное статистическое обоснование расчетной величины LD50. Поэтому вычисляют два отношения правдоподобия, отношение правдоподобия для расчетной величины, а также величины, разделенной и умноженной на 2,5.
6. Значения LD
50 легко вычисляют с использованием соответствующей программы. Пример расчетов представлен в
табл. 6.1.3.2.4, структура которой имитирует крупноформатную таблицу. Этапы вычисления показаны с использованием примера, в котором верхний предел доз составляет 5000 мг/кг, но этапы вычислений выполняются таким же образом, если верхняя доза составляет 2000 мг/кг. В качестве альтернативы имеется отдельное программное обеспечение, которое позволяет вводить данные о животных и имеет встроенные формулы, необходимые для оценки LD
50 и вычисления доверительного интервала. Это программное обеспечение можно загрузить напрямую с веб-сайтов ОЭСР и Агентства по охране окружающей среды США.
Таблица 6 показывает изображение экрана этого программного обеспечения.
7. В гипотетическом примере, использующем верхнюю дозу 5000 мг/кг, после девяти протестированных животных наблюдается соответствие правилу остановки по отношению правдоподобия. Первое "реверсирование" происходит при исследовании 3-го животного. Критерий остановки по отношению правдоподобия проверяется, когда четверо животных исследованы после реверсирования. В данном примере четвертое животное, исследованное после реверсирования, фактически является седьмым животным. Поэтому для данного примера вычисления крупноформатной таблицы нужны только после того, как исследовано седьмое животное, и в это время могут быть введены данные. Впоследствии критерий остановки по отношению правдоподобия будет проверен после исследования седьмого, восьмого и девятого животного. В данном примере соответствие критерию остановки по отношению правдоподобия имеется после испытания девятого животного.
Этап A. Ввод информации о зависимости доза-ответ для каждого животного
Колонка 1. Этапы пронумерованы 1 - 15. Нельзя тестировать больше 15 животных.
Колонка 2. Поместить "1" в данной колонке для каждого протестированного животного.
Колонка 3. Ввести данные, полученные от i-го животного.
Колонка 4. Указать, реагирует ли животное (помечается с помощью "X") или не реагирует (помечается с помощью "O").
Этап B. Объемы номинальной и фактической выборки
8. Номинальная выборка состоит из двух животных, которые представляют первое реверсирование (здесь второе и третье животные), плюс все животные, исследованные впоследствии. Здесь, в колонке 5 указано, включено ли данное животное в номинальную выборку или нет.
Объем номинальной выборки (номинальный n) появляется в строке 16. Это количество животных в номинальной выборке. В примере номинальный n равняется 8.
Фактическое количество исследованных животных указано в строке 17.
Этап C. Ориентировочный расчет LD50
9. Среднее геометрическое значение доз для животных в текущей номинальной выборке используется как ориентировочный расчет LD50, от которой начинается процесс. В таблице это называется "усредненная оценка дозы". Она обновляется с каждым исследованным животным. Это среднее значение ограничивается номинальной выборкой для того, чтобы исправить ситуацию в случае неправильно выбранной исходной дозы. Это может привести либо к цепочке ответов, либо к цепочке отсутствия ответов. (Однако результаты тестирования на всех животных используются в вычислениях правдоподобия для окончательного расчета LD50, приведенного ниже). Помните, что среднее геометрическое n чисел является произведением n чисел, возведенных в степень 1/n.
Среднее геометрическое значение доз указывается в строке 18 (например, (175 · 550 - ... · 1750)1/8 = 1292,78).
В строке 19 указывают десятичный логарифм величины из строки 18 (например, lg 1292,8 = 3,112).
Этап D. Правдоподобие ориентировочного расчета LD50
10. Правдоподобие является статистическим измерением того, насколько полученные данные соответствуют расчетной величине LD50 или другого параметра. Величины отношения правдоподобия могут использоваться для сравнения того, насколько данные соответствуют различным расчетным LD50.
11. В колонке 8 вычисляют правдоподобие ориентировочного расчета LD
50 по этапу С. Правдоподобие (строка 21) является произведением значений правдоподобия от отдельных животных (см.
п. 7.2.1 настоящих методических рекомендаций). Значение правдоподобия для
i-го животного обозначается как
Li.
12. В колонку 7 вводят оценку вероятности ответа на дозу di, обозначаемую как Pi. Pi вычисляют по кривой зависимости доза-ответ. Параметрами кривой зависимости доза-ответ с использованием пробитов являются наклон и LD50, поэтому требуются значения для каждого из этих параметров. Для LD50 используют среднее геометрическое значение доз из строки 18. Для наклона в данном примере используется стандартная величина 2. Для вычисления вероятности реакции Pi можно использовать следующие шаги.
1. Вычислить десятичный логарифм дозы di (колонка 6).
2. Для каждого животного вычислить z-показатель, обозначаемый как Zi (не показан в таблице), используя формулы
Например, для первого животного (строка 1),
Zi = (2,243 - 3,112) / 0,500 = -1,738
3. Для i-й дозы оценка вероятности ответа составляет:
Pi = F(Zi), где
F обозначает кумулятивную функцию распределения для стандартного нормального распределения (т.е. нормальное распределение со средним 0 и дисперсией 1).
Например (строка 1),
Pi = F(-1,738) = 0,0412
Обычно функция F (или что-то очень близкое) для нормального распределения указана в статистических таблицах, но функция широко присутствует в качестве функции крупноформатной таблицы. Она имеется под разными названиями, например, функция @NORMAL в Lotus 1-2-3 и функция @NORMDIST в Excel. Чтобы убедиться, что функция, имеющаяся в вашем программном обеспечении, используется правильно, можно проверить известные величины, такие как F(1,96) ~= 0,975 или F(1,64) ~= 0,95.
13. Колонка 8. Вычисляют натуральный логарифм значения правдоподобия (ln(L)). Li - это простая вероятность ответа, которая фактически наблюдалась для i-го животного:
животные с ответом: ln(Li) = ln(Pi)
животные без ответа: ln(Li) = ln(1 - Pi)
Обратить внимание, что здесь используется натуральный логарифм (ln), в то время как в других местах использовался десятичный (обыкновенный) логарифм.
Приведенные выше этапы выполняются для каждого животного. В заключение:
строка 20: Сумма логарифмических значений правдоподобия в колонке 8.
строка 21: Вычислить правдоподобие, используя exp-функцию в применении к логарифмической величине правдоподобия в строке 20 (например, exp(-3,389) = e-3,389 = 0,0337).
Этап E. Вычислить правдоподобие для двух величин доз выше и ниже ориентировочного значения LD50
14. Если данные позволяют выполнить точный расчет, то ожидается, что правдоподобие должно быть высоким, если расчет является действительно обоснованной оценкой LD50 относительно правдоподобия для величин, удаленных от оценки.
Сравнить правдоподобие среднего геометрического значения доз (1292,8, строка 18) с величинами, отличающимися на коэффициент 2,5 от данной величины (т.е. с 1292,8 · 2,5 и 1292,8 / 2,5). Вычисления (показанные в колонках 9 - 12) выполняют аналогично описанным выше, за исключением того, что величины 517,1 (= 1292,8 / 2,5) и 3232,0 (= 1292,8 · 2,5) использовали для LD50 вместо 1292,8. Правдоподобия и логарифмы правдоподобия показаны в строках 20 - 21.
Этап F. Вычислить отношения правдоподобия
15. Для расчета двух отношений правдоподобия (строка 22) используют три величины правдоподобия (строка 21). Отношение правдоподобия используют для сравнения статистического обоснования для оценки 1292,8 для обоснования для каждой из других величин, 517,1 и 3232,0. Двумя отношениями правдоподобия (LR) являются:
LR1 = [правдоподобие 1292,8] / [правдоподобие 517,1] = 0,0337 / 0,0880 = 4,21 и
LR2 = [правдоподобие 1292,8] / [правдоподобие 3232,0] = 0,0337 / 0,0098 = 3,44
Этап G. Определить, не превышают ли отношения правдоподобия критическую величину
16. Высокие отношения правдоподобия показывают высокую поддержку рассчитанному значению LD50. Оба отношения правдоподобия, рассчитанные на этапе F (4,21 и 3,44), превышают критическое отношение правдоподобия, которое составляет 2,5. Поэтому имеется соответствие критерию остановки по отношению правдоподобия, и испытание останавливают. Это показано посредством "TRUE" (ВЕРНО) в строке 24 и вверху крупноформатной таблицы, взятой в качестве примера, отмечено, что имеется соответствие критерию отношения правдоподобия.
Таблица 6.1.3.2.1
Пример критерия остановки (a) с использованием 2000 мг/кг
Рассчитанная максимальная оценка правдоподобия LD50 = нет
Таблица 6.1.3.2.2
Пример критерия остановки (a) с использованием 5000 мг/кг
Рассчитанная максимальная оценка правдоподобия LD50 = нет
Таблица 6.1.3.2.3
Пример критерия остановки (b)
Таблица 6.1.3.2.4
Пример критерия остановки (c)
Таблица 6.1.3.2.5
Пример критерия остановки (c) из программного обеспечения
для Руководства ОЭСР N 425
Испытание/Вещество | Пример критерия остановки по Параграфу 33 (c) ОЭСР TG 425 |
Тип испытания | основное | Допускаемые величины в начале испытания |
Предельная доза | 5000 | LD50 | стандарт | Сигма | 0,5 |
Последовательность испытания | Идентификация животного | Доза, мг/кг | Краткосрочный результат | Долгосрочный результат | Сообщения ввода данных в программу |
1 | 1 | 175 | O | O | |
2 | 2 | 550 | O | O | |
3 | 3 | 1750 | X | X | |
4 | 4 | 550 | O | O | |
5 | 5 | 1750 | X | X | |
6 | 6 | 550 | O | O | |
7 | 7 | 1750 | O | O | |
8 | 8 | 5000 | X | X | |
9 | 9 | 1750 | X | X | |
10 | Прекратить дозирование | | | | |
11 | | | | | |
12 | | | | | |
13 | | | | | |
14 | | | | | |
15 | | | | | |
Основное испытание завершено. Есть соответствие критерию остановки: критерий отношения достоверности. Оценка LD50 = 1750 (Одна доза с частичной реакцией). 95% PL Доверительный интервал от 651,9 до 2690. |
КРИТЕРИИ ДЛЯ КЛАССИФИКАЦИИ ИССЛЕДУЕМЫХ ВЕЩЕСТВ
С ОЖИДАЕМЫМИ ВЕЛИЧИНАМИ LD50, ПРЕВЫШАЮЩИМИ 2000 МГ/КГ,
БЕЗ НЕОБХОДИМОСТИ ИСПЫТАНИЙ
1. Критерии для Категории опасности 5 по СГС предназначены для идентификации исследуемых веществ, которые имеют относительно низкий риск токсичности, но при определенных обстоятельствах могут представлять угрозу для уязвимой части населения (групп риска). Предполагается, что эти вещества имеют LD50 при внутрижелудочном или накожном поступлении в диапазоне 2000 - 5000 мг/кг или эквивалентные дозы для других способов приема. Исследуемое вещество может быть классифицировано по категории опасности, определяемой: 2000 мг/кг < LD50 < 5000 мг/кг (Категория 5 в СГС) в следующих случаях:
(a) если уже имеется надежное доказательство, указывающее, что LD50 находится в диапазоне значений Категории 5; или другие исследования на животных или исследования токсических эффектов на людях указывают на возможные проблемы острого характера для здоровья людей;
(b) путем экстраполяции, оценки или измерения данных, если отнесение к более опасной категории не гарантируется, и
- имеется надежная информация о существенных токсических эффектах для людей, либо
- наблюдалась какая-либо смертность при внутрижелудочном поступлении при испытаниях доз до Категории 4, либо
- экспертное заключение подтверждает существенные клинические симптомы токсичности при испытаниях доз до Категории 4, за исключением диареи, пилоэрекции или неухоженного вида, либо
- экспертное заключение подтверждает надежную информацию о возможности существенного острого эффекта на основании других исследований на животных.
Исследования с дозами выше 2000 мг/кг
2. Признавая необходимость защиты животных, испытания на животных в диапазоне величин Категории 5 не одобряются и должны рассматриваться, только если имеется высокая вероятность того, что результаты такого испытания будут иметь непосредственную связь с охраной здоровья человека.
ОЦЕНКА ОСТРОЙ ТОКСИЧНОСТИ ПРИ ИНГАЛЯЦИОННОМ ПОСТУПЛЕНИИ
Идентичен международному документу OECD TG N 403 "Acute Inhalation Toxicity" (ОЭСР Руководство N 403 "Острая токсичность при ингаляционном поступлении"). Принят 7 сентября 2009 года. Перевод с английского языка (en). Степень соответствия - модифицированный (MOD).
1.1. Настоящий метод исследования устанавливает требования к исследованию острой токсичности при ингаляционном поступлении в организм.
1.2. Метод обеспечивает получение информации об острой токсичности вещества при вдыхании и позволяет оценить и классифицировать его в соответствии с СГС.
2.1. В настоящее время одним из основных путей поступления загрязнителей в организм является ингаляционный. Поэтому в комплексе исследований по воздействию химической продукции на организм человека изучение острой токсичности при вдыхании является ведущим.
2.2. Испытание острой ингаляционной токсичности призвано стать более гибким, направлено на сокращение использования животных и выполнение нормативных требований. Испытания острой ингаляционной токсичности содержат два вида исследования: Традиционный CL50/LC50 протокол и Протокол Концентрация - Время (Протокол C · t).
2.3. Особенностью метода является способность обеспечить соотношения концентрация-ответ в диапазоне от нелетального к летальному исходу, чтобы вывести среднюю летальную (CL50/LC50), не летальную пороговую концентрацию (CL01/LC01), а также определить возможную гендерную чувствительность. Протокол C · t используется в особых регулятивных или научных интересах, которые требуют испытаний на животных с различной продолжительностью воздействия, например, в целях планирования неотложного ответа реакции (получение значений Руководства по установлению уровней острого воздействия (AEGL), Руководства по планированию ответных действий в чрезвычайных обстоятельствах (ERPG) или Американской испытательной лаборатории на воздействие на окружающую среду (AETL), территориального планирования.
2.4. Данные испытания позволяют охарактеризовать исследуемое вещество или препарат на его основе и дать количественную оценку его опасности, а также ранжировать и классифицировать вещество в соответствии с Согласованной на глобальном уровне системой классификации и маркировки химических веществ СГС.
3. Описание тестового метода
3.1.1. Для повышения качества исследования и минимизации количества привлеченных животных вся имеющаяся информация об исследуемом препарате должна находиться в распоряжении экспериментальной лаборатории до начала эксперимента. Информация, которая может помочь при выборе необходимых для испытания концентраций, включает тождественность, химическую структуру и физико-химические свойства испытываемого вещества; результаты опытов на токсичность in vivo или in vitro; предполагаемую область применения и вероятность воздействия на человека; если имеются, то данные (Q)SAR и сведения о токсичности структурно родственных препаратов.
3.1.2. При изучении коррозионных и/или раздражающих продуктов необходимо избегать концентрации, которые могут вызвать сильную боль и страдания.
3.1.3. Коррозионный/раздражающий потенциал должен быть оценен при экспертизе имеющейся информации о воздействии на человека, экспериментальных животных, имеющихся данных в опытах in vitro, величине pH, информации о близких по структуре веществ или любых других данных с целью изучения целесообразности дальнейшего тестирования или его отмены.
3.1.4. При воздействии на животных целевые концентрации должны быть достаточно низкими с тем, чтобы не вызвать боль или нарушения, и достаточно высокими с тем, чтобы расширить кривую концентрация-ответ до уровней, которые соответствуют нормативным и научным целям исследования. Данные концентрации должны быть выбраны отдельно в каждом случае; выбор концентрации должен быть обоснован.
3.1.5. Испытания призваны обеспечить получение информации об острой токсичности исследуемого препарата с целью его классификации и получения данных о летальности (CL50/LC50, CL01/LC01) для одного или обоих полов. Предлагается два метода проведения испытаний. Первый метод - Традиционный протокол, где группы животных подвергаются воздействию предельной концентрации (тест на предельную концентрацию) или серии концентраций поэтапно в заранее установленную продолжительность времени; она составляет менее 24 часов (как правило, 4 часа). Второй метод - протокол Концентрация - Время (C · t), применяется в группах животных, которые подвергаются воздействию одной концентрации (тест на предельно допустимую концентрацию) или серии концентраций при различной продолжительности времени.
3.1.6. Агонизирующие животные или животные, очевидно испытывающие боль или демонстрирующие признаки страдания и истощения, должны быть гуманно умерщвлены, если нет веских оснований для другого (такие причины должны быть отражены в отчете по исследованию). Агонизирующие животные рассматриваются как животные, погибшие во время испытания. Критерии для принятия решения об умерщвлении агонизирующих или тяжело страдающих животных, а также определение признаков прогнозируемой или приближающейся смерти являются предметом Руководства.
Выбор вида
3.2.1. Необходимо использовать молодых здоровых особей из обычно используемых лабораторных линий. Предпочтительно использовать крыс. В случае использования других видов необходимо привести обоснование.
Подготовка
3.2.2. Самки должны быть нерожавшими и небеременными. На день экспозиции испытываемого препарата животные должны быть в возрасте от 8 до 12 недель, диапазон колебания массы животных для каждого пола не должен превышать +/- 20% от средней массы животных, участвовавших в предыдущем испытании, в такой же отрезок времени. Животные отбираются в случайном порядке и маркируются, что позволит идентифицировать каждое из них. Животных следует содержать в клетках в течение не менее 5 дней до начала испытания, чтобы позволить им адаптироваться к лабораторным условиям. Животным также необходимо дать короткое время приспособиться к исследуемому прибору до начала испытания с целью уменьшить стресс от попадания в новую среду.
Содержание
3.2.3. Температура в помещении, где содержатся экспериментальные животные, должна составлять (22 +/- 3) °C, оптимальный уровень относительной влажности - 30 - 70%. В исследовании одного уровня концентрации животных можно поместить в одну камеру, но число животных в камере не должно затруднять возможность наблюдать за каждым из них, а также должно сократить вероятность потерь из-за каннибализма и борьбы. Свойства исследуемого препарата или токсичность (способность вызывать заболевание, возбуждать ЦНС) могут указывать на необходимость содержания животного в индивидуальной камере, чтобы предотвратить каннибализм. Допустимо использование стандартных лабораторных режимов питания, за исключением периода экспозиции испытываемого препарата, во время которого для животного необходимо обеспечить неограниченное потребление питьевой воды. Освещение должно быть искусственным в режиме: 12 часов при свете/12 часов в темноте.
3.3. Ингаляционные камеры
3.3.1. При выборе ингаляционной камеры необходимо учитывать природу исследуемого препарата и нормативные требования. По умолчанию используется интраназальная модель экспозиции (данный термин включает в себя воздействие только через голову, только через нос и только через мордочку). Экспозиция только через нос предпочтительна для изучения аэрозолей жидких и твердых и для паров, которые могут конденсироваться в форме аэрозолей. При этом для решения отдельных задач исследования целесообразно применять воздействие через все тело. Использование другой модели экспозиции помимо той, что применяется по умолчанию, должно быть обусловлено целями исследования и обосновано в отчете.
3.3.2. Для обеспечения атмосферы стабильности при использовании камеры объем, занимаемый телами тестируемых животных, не должен превышать 5% объема камеры.
Введение концентраций
3.4.1. Воздействие только через нос на крысах может длиться до шести часов. Если подопытные животные - мыши, период выдержки не должен превышать 4 часов. Если требуется более длительный период экспозиции, необходимо привести обоснования. Животных, которые подвергаются воздействию препарата в камерах на все тело, следует содержать по отдельности, чтобы предотвратить проглатывание исследуемого препарата соседями по камере во время чистки. Пища во время экспозиции не дается. Воду можно давать в течение всего времени экспозиции на все тело.
3.4.2. Животные могут подвергаться воздействию исследуемого препарата в виде газа, паров, аэрозоля или их смеси. Исследуемое физическое состояние зависит от физико-химических свойств тестируемого препарата, выбранной концентрации и/или физической формы, которые наиболее приближены к реальным условиям использования изучаемого продукта. Гигроскопичный и химически реактивный препарат следует тестировать в условиях минимальной влажности, в отсутствии паров воды. Особое внимание следует уделять тому, чтобы не создавать взрывоопасные концентрации.
Гранулометрический состав
3.4.3. Определение размера частиц необходимо для всех аэрозолей и всех паров, которые могут конденсироваться и превращаться в аэрозоль. Чтобы обеспечить воздействие на все важные области дыхательных путей, рекомендуется использование аэрозоля с массовым средним аэродинамическим диаметром (MMAD) в диапазоне от 1 до 4 мкм с геометрическим стандартным отклонением

в диапазоне от 1,5 до 3,0. В случае, если данное требование невозможно соблюсти, необходимо предоставить экспертную оценку. Например, металлические частицы в воздухе могут быть меньшего размера, чем стандартные, также заряженные частицы, волокна и гигроскопичные материалы (которые увеличиваются в размерах во влажной среде в респираторном тракте) могут превышать размер стандартных.
3.4.4. Для создания необходимой концентрации и размера частиц исследуемого препарата в атмосфере используется растворитель. В качестве растворителя предпочтительней использовать воду. Зернистый материал может быть подвергнут механическим процессам, чтобы добиться требуемого гранулометрического состава, при этом необходимо позаботиться о том, чтобы состав исследуемого препарата не разложился и не изменился. Если есть опасение, что в результате механических процессов состав тестируемого препарата претерпит изменения (например, чрезмерно высокая температура в процессе сильного дробления вследствие трения), то состав тестируемого препарата необходимо проверить при помощи анализа. При этом необходимо проследить, чтобы не занести в препарат загрязняющие вещества. Нет необходимости проверять не рыхлые зернистые материалы, которые целенаправленно разработаны как неингаляционные. Испытание на истирание должно быть проведено, чтобы продемонстрировать, что при обработке гранулированного материала вдыхаемые частицы не производятся.
Контрольные животные
3.4.5. В параллельном использовании отрицательных (воздухом) контрольных групп необходимости нет. В случае, если для получения нужной концентрации испытываемого вещества в воздухе используется какой-либо растворитель, помимо воды, то контрольную группу следует использовать только в случае отсутствия справочных данных о токсичности растворителя при ингаляционном воздействии. Если исследование токсичности препарата, содержащего растворитель, показывает отрицательный результат, то из этого следует, что растворитель нетоксичен при исследуемых концентрациях; следовательно, в испытании растворителя нет нужды.
Воздушные потоки в камере
3.4.6. Воздушные потоки, проходящие через камеру, необходимо тщательно контролировать, непрерывно наблюдать и фиксировать по меньшей мере раз в час на протяжении всего периода выдержки. Наблюдение за концентрацией исследуемого вещества в газовой среде (или устойчивостью) представляет собой интегральное вычисление всех динамических параметров и обеспечивает косвенные способы контроля всех значимых параметров для формирования динамической атмосферы. Необходимо избегать возвратного дыхания в камерах, предназначенных для воздействия через нос в случаях, когда воздушные потоки через установку экспонирования недостаточны для динамических потоков исследуемого вещества в газовой среде. Существуют методы, при помощи которых можно установить, что возвратное дыхание при данных условиях эксперимента не имеет места. Концентрация кислорода должна составлять не менее 19%, концентрация углекислого газа - не менее 1%. Если есть основание полагать, что эти требования не удовлетворяются, концентрации кислорода и углекислого газа необходимо измерить.
Температура и относительная влажность в камере
3.4.7. Температура в камере должна составлять (22 +/- 3) °C. Относительную влажность в зоне дыхания животных, находящихся в камерах, предназначенных как для воздействия только через нос, так и через все тело, необходимо наблюдать и фиксировать не менее трех раз в течение периода выдержки. Идеальная относительная влажность составляет 30 - 70%, но в определенных случаях (например, тестирование препарата на водной основе) данный уровень может быть неприменим или неизмеряем вследствие взаимовлияния исследуемого препарата и метода исследования.
3.5. Исследуемый препарат
Номинальная концентрация
3.5.1. По возможности следует наблюдать и фиксировать номинальную концентрацию при экспозиции в клетке. Номинальная концентрация - это масса сгенерированного исследуемого вещества, разбавленная общим объемом воздуха, проходящим через систему клетки. Номинальная концентрация не используется при описании экспозиции на животных, но сравнение номинальной и фактической концентраций позволит судить об эффективности генератора в испытательной системе и позволит вовремя выявить проблемы в нем.
Фактическая концентрация
3.5.2. Фактическая концентрация - это концентрация исследуемого препарата в зоне дыхания животных в ингаляционной камере. Фактическая концентрация может быть получена специальными методами (например, методом непосредственного выбора, адсорбционным методом или методом химической реактивности и последующим анализом) или неспециальными методами, например, гравиметрический капельный анализ. Использование гравиметрического анализа допустимо только для однокомпонентных порошкообразных веществ в аэрозольной упаковке или для жидких аэрозолей с невысокой летучестью и должно быть подкреплено предварительно полученными соответствующими специальными характеристиками исследуемого препарата. Концентрацию аэрозоля с многокомпонентным порошком можно также определить с помощью метода гравиметрического анализа. В этом случае потребуются данные анализа, подтверждающие, что состав аэрозольного препарата схож с составом исходного материала. Если подобная информация не имеется, может потребоваться повторный анализ исследуемого вещества (в воздухе) в определенные временные интервалы в течение исследования. Для аэрозольных агентов, которые могут испаряться или сублимироваться, необходимо указать, что для сбора всех этапов был использован выбранный метод. Цели, номинальная и фактическая концентрации должны быть указаны в отчете исследования, но в статистическом анализе для подсчета значения смертельной концентрации используется только фактическая концентрация.
3.5.3. Необходимо использовать только один препарат для тестирования, если это возможно, и исследуемый образец должен храниться в условиях, которые позволят сохранить его чистоту, однородность и стабильность. Перед началом исследования необходимо располагать описанием препарата, включая степень его чистоты и, если это технически возможно, указать и количество выявленных в нем примесей. Такие сведения можно наглядно показать с помощью следующих, но не ограничиваясь ими, данных: время удержания и относительная площадь пика, молекулярная масса, полученная методом масс-спектроскопии или газовой хроматографии и т.п. Хотя определение тестовых образцов не входит в обязанности испытательной лаборатории, возможно, целесообразно подтвердить поддерживающие характеристики, по крайней мере, в ограниченном виде (цвет, физическая природа и т.д.).
3.5.4. Воздушную среду нужно поддерживать максимально постоянной и проверять непрерывно и/или регулярно в зависимости от метода анализа. При регулярном контроле образцы проб атмосферы в камере нужно забирать не реже двух раз в четыре часа во время исследования. Если это невозможно вследствие ограниченных воздушных потоков или низкой концентрации, за все время проведения исследования допускается отбор одной пробы. Если образцы демонстрируют разные показатели, для следующих исследуемых концентраций нужно забирать четыре образца/экспозицию. Образцы концентрации для каждой камеры не должны отклоняться от средней концентрации более чем на +/- 10% для газов и паров или +/- 20% для жидких и твердых аэрозолей. Время для достижения равновесного состояния и перехода к распаду (t95) нужно измерить и зафиксировать. Период воздействия охватывает время генерации исследуемого вещества. При этом учитывается время, необходимое для достижения равновесного состояния в камере (t95) и перехода к распаду.
3.5.5. Сложные смеси из газов/паров и аэрозолей (атмосфера горения и тестируемый препарат, выталкиваемые из программного изделия/прибора конечного пользователя) на каждом этапе могут демонстрировать разное поведение в ингаляционной камере, поэтому по меньшей мере одна индикаторная субстанция (аналит), как правило, основная активная в исследуемом препарате, должна быть выбрана на всех этапах (газ/пар или аэрозоль). Когда тестируемый препарат является смесью (по составу), аналитическая концентрация должна быть описана для общего состава, а не только для активного ингредиента или компонента (вещества, определяемого при анализе).
3.5.6. Гранулометрической состав аэрозолей должен определяться не менее двух раз за 4 часа выдержки при помощи каскадного импактора (пробоотборник частиц) или альтернативным инструментом (например, аэродинамическим спектрометром (APS)). Гравиметрический фильтр или импинджер (прибор для измерения запыленности и загазованности) нужно использовать для подтверждения эффективности работы основного прибора, используемого для определения гранулометрического состава исследуемого вещества. Массовая концентрация, полученная ситовым анализом, должна находиться в разумных пределах массовой концентрации, полученной в результате анализа работы фильтров. Если удастся показать равнозначность результатов, полученных каскадным импактором и альтернативным инструментом, то допускается использование альтернативного инструмента в исследовании. Размеры частиц должны быть определены для паров, если есть вероятность, что их конденсация приведет к образованию аэрозоля, или если в парах обнаружены частицы с потенциалом смешанных фаз.
4. Процедура исследования
Существуют два вида исследования: Традиционный протокол и Протокол C · t. Оба они включают визуальное наблюдение, основное исследование и/или тест на предельное содержание. Если данные показывают, что один пол восприимчивей другого, руководитель исследования может предпочесть продолжить испытание с более восприимчивым полом. Если грызуны, за исключением крыс, подвергаются воздействию только через нос, то максимальный период экспозиции должен минимизировать видоспецифические различия. Перед тем как начать, все имеющиеся данные необходимо рассмотреть, чтобы минимизировать количество вовлеченных в эксперимент животных.
4.1. Традиционный протокол
Общие положения
4.1.1. В Традиционном протоколе группы животных подвергаются воздействию препарата определенный период времени (как правило, 4 часа) в камерах, предназначенных для воздействия только при вдыхании через все тело. Животных подвергают испытанию предельной концентрацией или испытанию воздействием трех концентраций поэтапно (основное исследование). Основному исследованию предшествует предварительное, за исключением случаев, когда информация о тестируемом веществе имеется.
Предварительное исследование
4.1.2. Предварительное исследование используется для оценки эффективности исследуемого препарата, для определения различий в гендерной восприимчивости и помогает выбрать уровень концентрации для экспозиции в основном исследовании или в тесте на предельную концентрацию. При выборе уровня концентрации для предварительного исследования нужно использовать всю имеющуюся информацию, включая данные QSAR, схожих химикатов. Воздействию каждого уровня концентрации должны быть подвержены не более трех самцов и трех самок (3 животных/пол может понадобиться для того, чтобы установить различие в гендерной восприимчивости). Предварительное исследование может быть ограничено наблюдением за одним уровнем концентрации, но при необходимости можно включить больше концентраций. В предварительном исследовании не следует использовать такое же большое количество животных и концентраций, как в основном. Вместо предварительного исследования допустимо использовать результаты ранее выполненного исследования.
4.1.3. Выбор предельной концентрации, как правило, зависит от нормативных требований. При использовании Классификационной системы СГС предельная (максимально разрешенная) концентрация для газов, паров и аэрозолей составляет 20,000 промилле, 20 мг/л и 5 мг/л соответственно. Генерация предельных концентраций для некоторых препаратов, особенно для паров и аэрозолей, может быть технически затруднена. При испытании аэрозоля целью является получение размеров частиц, пригодных для вдыхания (MMAD - 1 - 4

при предельной концентрации 2 мг/л. Такое возможно с большинством исследуемых препаратов. Тестирование аэрозоля при предельной концентрации больше, чем 2 мг/л нужно осуществлять только в случае, если величина частиц пригодна для вдыхания. СГС не одобряет испытаний на излишне высоких предельных концентрациях из соображений заботы о животных. Предельная концентрация может быть превышена только по исключительно веской причине (охрана здоровья человека), в таких случаях причина должна быть отражена в отчете. В случае, если тестируемый продукт потенциально взрывоопасен, нужно избегать условий, благоприятных для взрыва. Чтобы избежать ненужного использования животных, перед испытанием предельной концентрации необходимо провести пробный тест, чтобы удостовериться, что в камере обеспечены условия для проведения теста с предельной концентрацией.
4.1.4. Если при испытании с предельной концентрацией наблюдаются смертность или агония, результаты испытания могут заменить предварительное исследование при испытаниях других концентраций (см.
раздел 4.1.5). Если физические или химические свойства исследуемого препарата не позволяют достичь уровня предельной концентрации, нужно исследовать максимально достижимую концентрацию. Если при испытании максимально достижимой концентрации летальность составляет более 50%, дальнейшее исследование не требуется. Отчет по исследованию должен содержать пояснения и данные, обосновывающие, почему невозможно достичь уровня предельно допустимой концентрации. Если максимально достижимая концентрация паров не вызывает токсического эффекта, необходимо сгенерировать исследуемый препарат в виде жидкого аэрозоля.
Основное исследование
4.1.5. Основное исследование, как правило, выполняется с использованием 5 самцов и 5 самок (или 5 животных наиболее восприимчивого пола, если таковой известен) на каждый уровень концентрации. Для проведения достоверного статистического анализа нужно использовать достаточный уровень концентрации. Временной интервал между тестами в подопытных группах определяется появлением, длительностью и тяжестью токсических признаков. Экспозицию последующего уровня концентрации нужно отложить, пока не появится уверенность в том, что прошедшие испытание животные выживут. Это позволит руководителю исследования скорректировать целевую концентрацию для следующей подопытной группы. Такое в ингаляционных исследованиях не всегда может быть практичным из-за зависимости от сложных современных технологий, поэтому экспозиция на животных следующего уровня концентрации должна основываться на предыдущем опыте и научном суждении.
4.2. Протокол Концентрация - Время (C · t)
Общие положения
4.2.1. Пошаговое исследование Концентрация - Время (C · t) может быть рассмотрено как альтернатива Традиционному протоколу при оценке ингаляционной токсичности. Такой подход позволит подвергнуть животных воздействию нескольких уровней концентрации исследуемого вещества и многочисленным периодам воздействия. Все испытания проводятся в камере, предназначенной для воздействия через нос (камеры для воздействия через все тело не используются в настоящем протоколе). Результатом исследований в соответствии с традиционным протоколом и протоколом C · t являются значения CL50/LC50, но испытания по протоколу C x t предпочтительней для получения значений CL01/LC01 и CL10/LC10.
4.2.2. Исследование методом моделирования показало, что использование двух животных в установленном интервале C · t (по одному каждого пола или два наиболее восприимчивого пола) может быть целесообразным при испытании 4 или 5 концентраций в основном исследовании. В некоторых случаях руководитель исследования может решить использовать по две крысы каждого пола на интервал C · t. Использование по 2 животных каждого пола на каждый уровень концентрации/момент времени может уменьшить систематическую ошибку оценки и изменчивость, увеличить коэффициент результативности и улучшить охват доверительного интервала. Тем не менее, в случае неполного использования данных (при использовании по одному животному каждого пола или двух наиболее восприимчивого пола) 5-ой экспозиции может быть достаточно.
Предварительное исследование
4.2.3. Так же, как и в Традиционном протоколе, предварительное исследование может предшествовать основному исследованию или испытанию предельной концентрации для оценки эффективности испытываемого вещества, определения гендерных различий в чувствительности и помогает в выборе уровня концентрации для экспозиции в основном исследовании. При выборе уровня концентрации для предварительного исследования нужно использовать всю имеющуюся информацию, включая структурно-активные отношения и данные о близких по структуре веществах. Воздействию каждого уровня концентрации должны быть подвержены не более трех самцов и трех самок (это количество может понадобиться для того, чтобы установить различие в гендерной восприимчивости). Животных нужно подвергнуть воздействию одной продолжительности, как правило, на 240 мин. Вместо предварительного исследования допустимо использование результатов ранее выполненного исследования.
Испытание начальной концентрации: C · t протокол
4.2.4. Начальная концентрация может быть предельной концентрацией или концентрацией, выбранной руководителем исследований на основании предварительных исследований.
4.2.5. Группы 1 животное/пол подвергаются воздействию этой концентрации в течение различной продолжительности времени (например, 15, 30, 60, 120 или 240 мин), всего общее количество животных - 10 (Экспозиционная сессия I,
п. 4.3).
4.2.6. Выбор предельной концентрации, как правило, зависит от нормативных требований. При использовании Классификационной системы СГС предельная концентрация для газов, паров и аэрозолей составляет 20,000 промилле, 20 мг/л и 5 мг/л соответственно (или максимально разрешенная концентрация). Генерация предельных концентраций для некоторых препаратов, особенно для паров и аэрозолей, может быть технически затруднена. При испытании аэрозоля целью является получение размеров частиц, пригодных для вдыхания (MMAD - 1 - 4

при предельной концентрации 2 мг/л. Такое возможно для большинства исследуемых препаратов. Тестирование аэрозоля воздействию предельной концентрации более 2 мг/л нужно осуществлять только в случае, если величина частиц пригодна для вдыхания. СГС не одобряет испытаний на излишне высокие предельные концентрации из соображений заботы о животных. Предельная концентрация может быть превышена только по исключительно веской причине (охрана здоровья человека), в таких случаях причина должна быть отражена в отчете. В случае, если тестируемый препарат потенциально взрывоопасен, нужно избегать условий, благоприятных для взрыва. Чтобы избежать ненужного использования животных, перед воздействием предельно разрешенной концентрацией необходимо провести пробный тест, чтобы удостовериться, что в камере обеспечены условия для проведения теста на предельно разрешенную концентрацию.
4.2.7. Если при испытании на предельно допустимую концентрацию наблюдаются смертность или агония, результаты испытания могут заменить визуальное исследование при испытаниях других концентраций. Если физические или химические свойства исследуемого препарата не позволяют достичь уровня предельно допустимой концентрации, нужно исследовать максимально достижимую концентрацию. Если при испытании максимально достижимой концентрации летальность составляет более 50%, дальнейшее исследование не требуется. Отчет по исследованию должен содержать пояснения и данные, обосновывающие, почему невозможно достичь уровня предельно допустимой концентрации. Если максимально достижимая концентрация паров не вызывает токсического эффекта, необходимо сгенерировать исследуемый препарат в виде жидкого аэрозоля.
Основное исследование
4.2.8. Начальная концентрация, испытываемая в основном исследовании (Экспозиционная сессия I,
п. 4.3), будет являться либо предельной концентрацией, либо концентрацией, выбранной руководителем исследования на основе предварительного исследования. Если во время или после Экспозиционной сессии I наблюдалась летальность, то для определения уровня концентрации и периода воздействия в Экспозиционной сессии II нужно руководствоваться минимальной экспозицией (время x концентрация), которая привела к летальности во время испытания предельной концентрации. Каждая последующая сессия воздействия будет зависеть от предыдущей.
4.2.9. Для многих исследуемых препаратов результатов теста на предельно допустимую концентрацию с тремя дополнительными экспозиционными сессиями с меньшей временной сеткой будет достаточно для определения отношений (C · t) и летальности, но может быть целесообразным осуществить пятую экспозицию.
Поэтапное исследование Концентрация · Время (C · t)
4.3.1. Поэтапное исследование взаимосвязи Концентрация - Время (C · t) может рассматриваться методом установления как альтернатива исследованиям по традиционному протоколу по оценке ингаляционной токсичности. Оно может быть выполнено, если есть необходимость в индивидуальном нормативном или научном исследовании, для которых требуются испытания на животных в течение множественных временных сроков, такие как планирование ответных действий при чрезвычайных обстоятельствах (emergency response planning). Такой подход обычно начинается с ограниченного испытания (Экспозиционные сессии 1), при котором на животное воздействует испытываемое вещество в течение пяти временных сроков (15, 30, 60, 120 и 240 мин) реализованы в течение одного сеанса воздействия.
4.3.2. При использовании Классификационной системы СГС, предельная концентрация составляет 20000 ppm для газов, 20 мг/л для паров и 5 мг/л для аэрозолей. Эти уровни могут быть превышены только при наличии нормативной или научной необходимости испытания на этих уровнях.
4.3.3. В ситуации, когда об исследуемом препарате мало или не имеется информации, предварительное исследование нужно провести в группах не более 3 животных/пол, подвергая воздействию целевых концентраций, выбранных руководителем исследования, как правило, продолжительностью 240 мин.
4.3.4. Если в Экспозиционной сессии I тестируется предельная концентрация и при этом наблюдается менее 50% случаев смертельного исхода, необходимости в дополнительных исследованиях нет. В нормативных или научных интересах следует проводить соотношения концентрация/время/ответ на уровне, превышающем уровень предельной концентрации, следующая экспозиция должна быть выполнена на более высоком уровне, например, в два раза выше предельной концентрации.
4.3.5. Если в испытании предельной концентрации наблюдается токсичность, необходимо провести дополнительное испытание (основное исследование). Дополнительная экспозиция выполняется либо с более низкой концентрацией (Экспозиционные сессии II, III или IV) или с более высокой концентрацией (Экспозиционная сессия IV), при соответствующих продолжительностях и при меньшей разнесенности.
4.3.6. Исследования (тест с предельной концентрацией и основное исследование) выполняются с использованием 1 животного/пола на концентрацию/момент времени или 2-х животных наиболее восприимчивого пола на концентрацию/момент времени. В некоторых случаях руководитель исследования может решить использовать по 2 крысы обоих полов на концентрацию/момент времени (или 4 животных восприимчивого пола на концентрацию/момент времени). Использование 2 животных каждого пола на каждый уровень концентрации/момент времени может уменьшить систематическую ошибку оценки и изменчивость, увеличить коэффициент результативности и улучшить охват доверительного интервала относительно протокола.
4.3.7. В идеале каждая экспозиционная сессия выполняется в течение одного дня. Это позволяет отложить следующую экспозицию до тех пор, пока не будет уверенности в том, что уже подвергнутые воздействию животные выживут, а также дает возможность руководителю исследования выверить целевую концентрацию и продолжительность воздействия для следующей экспозиционной сессии. Рекомендуется начинать каждую сессию с группы, которая подвергнется наиболее продолжительному воздействию, например, 240 мин., затем группа, которая подвергнется воздействию в 120 мин. и т.д. Если животные, подвергшиеся воздействию 240 мин., погибают через 90 мин. или демонстрируют признаки сильного отравления (например, резкое изменение ритма дыхания, затрудненное дыхание), то не целесообразно подвергать группу 120-минутному воздействию: вероятно, смертность в ней составит 100%. Поэтому руководитель исследования должен выбрать более короткую продолжительность для воздействия этой концентрацией (90, 65, 45, 33 и 25 мин.).
4.3.8. Концентрацию в камере нужно измерять часто, чтобы установить средневзвешенную по времени концентрацию для продолжительности каждого воздействия. По возможности необходимо использовать время смерти (предпочтительней, чем продолжительность воздействия) каждого животного в статистическом анализе.
4.4. Пример поэтапной процедуры
4.4.1. Экспозиционная сессия I - Тест с предельной концентрацией
- 1 животное/пол на концентрацию/момент времени; всего 10 животных
- Целевая концентрация = Тест на предельную концентрацию
- Воздействие на пять групп животных целевой концентрацией на протяжении 15, 30, 60, 120 или 240 мин.
4.4.2. Экспозиционная сессия II - Основное исследование
- 1 животное/пол на концентрацию/момент времени; всего 10 животных
- Воздействие на пять групп животных более низкой концентрацией (1/2 предельной концентрации) с чуть большей продолжительностью (множитель

разнесения).
4.4.3. Экспозиционная сессия III - Основное исследование
- 1 животное/пол на концентрацию/момент времени; всего 10 животных
- воздействие на пять групп животных более низкой концентрацией (1/4 предельной концентрации) с чуть большей продолжительностью (множитель

разнесения).
4.4.4. Экспозиционная сессия IV - Основное исследование
- 1 животное/пол на концентрацию/момент времени; всего 10 животных
- воздействие на пять групп животных более низкой концентрацией (1/8 предельной концентрации) с чуть большей продолжительностью (множитель

разнесения).
или
4.4.5. Экспозиционная сессия IV - Основное исследование
- 1 животное/пол на концентрацию/момент времени; всего 10 животных
- воздействие на пять групп животных более высокой концентрацией (2 предельных концентраций) с чуть меньшей продолжительностью (множитель

разнесения).
4.4.6. В случае недостаточных совпадений можно осуществить дополнительную экспозицию (Экспозиционная сессия V). Результаты первых четырех экспозиций должны быть изучены для выявления недостающих данных в зависимости концентрация-время. Концентрация и продолжительность экспозиции в Экспозиционной сессии V должны быть выбраны с учетом того, чтобы покрыть недостающие промежутки в данных.
4.4.7. Все экспозиционные сессии (включая первую или тест с предельной концентрацией) будут использованы для расчета соотношения концентрация-время-отклик методом статистического анализа. По возможности для каждого интервала C x t нужно использовать средневзвешенную по времени концентрацию и продолжительность воздействия до момента смерти (если смерть наступила во время воздействия).
Примечание
1. Если информация о гендерной восприимчивости отсутствует, следует использовать крыс обоих полов, т.е. по 1 животному/пол на концентрацию. При последующих испытаниях для каждого уровня концентрации следует использовать 10 животных чувствительного пола (по 2 животных обоих полов на концентрацию/момент времени); факт большей чувствительности одного пола может быть зафиксирован прежде или установлен во время экспозиционной сессии. В некоторых обстоятельствах руководитель исследования может решить использовать по 2 крысы обоих полов на концентрацию/момент времени (или 4 животных восприимчивого пола на концентрацию/момент времени).
2. При использовании СГС предельная разрешенная концентрация для газов, паров и аэрозолей составляет 20,000 промилле, 20 мг/л и 5 мг/л соответственно. В случае предполагаемой токсичности, в качестве начальной необходимо выбрать более низкую концентрацию. В нормативных и научных интересах допустимо использование более высокой концентрации.
3. В идеале воздействие на животных следующим уровнем концентрации необходимо приостановить до тех пор, пока не появится обоснованная уверенность в том, что прежде испытуемые животные выживут. Это позволит руководителю исследования отрегулировать целевую концентрацию и продолжительность воздействия для следующих экспозиционных сессий.
4. Для определения последующего соотношения концентрации и продолжительности воздействия необходимо руководствоваться минимальной дозой (время x концентрация), которая привела к летальности во время теста с предельной концентрацией (первая экспозиция). Как правило, концентрация будет уменьшаться вдвое (
1/
2 предельной концентрации) и животные, которые подвергнутся воздействию в новом временном диапазоне в по-прежнему крупном масштабе, используя геометрическое деление периода воздействия на коэффициент 1,4

в том промежутке времени, в котором во время первой экспозиции наблюдался уровень минимальной летальной концентрации (время - концентрацию). В данном случае летальность во время экспозиционной сессии была обнаружена на 15-й мин.; продолжительность во время сессии II по этой причине была ориентирована на 30 мин, и составила 15, 21, 30, 42 и 60 мин. После первых двух экспозиций настоятельно рекомендуется схематично отобразить данные указанным выше образом, а также проверить, могут ли соотношение концентрации и времени иметь угол 45 градусов (
n = 1) или соотношение концентрация-время-отклик меньше (например,
n = 2) или больше (например,
n = 0,8). В последующих случаях настойчиво рекомендуется адаптировать друг к другу концентрацию и время воздействия.
5. В определенных случаях может возникнуть необходимость увеличить концентрацию (2 предельных концентраций) в новом временном диапазоне в по-прежнему крупном масштабе, используя геометрическое деление периода воздействия на коэффициент 1,4

в том промежутке времени, в котором во время первой экспозиции наблюдался уровень минимальной летальной концентрации. Минимальная продолжительность воздействия желательно должна превышать 5 мин; максимальная продолжительность не может превышать 8 часов.
Рис. Возможная иллюстрация отношения
концентрация-время-смертность у крыс
Незакрашенный символ - выжившие животные; закрашенный символ - умершие животные.
Треугольники - самки; окружности - самцы.
Жирные линии - величины CL50/LC50 (диапазон - 7,5 - 240 мин.) для самцов при n = 1.
Штриховые линии - величины CL50/LC50 (диапазон - 7,5 - 240 мин.) для самок при n = 1.
Пунктирные линии - линия гипотетических величин CL50/LC50 для самцов и самок, если n было равно 2.
Математическая обработка результатов для Протокола C · t
Процедура С - t с 4 или 5 концентрациями воздействия и пятью длительностями выдает 20 или 25 информационных точек соответственно. С этими информационными точками отношение С ■ t может быть вычислено с применением статистического анализа:
(единица вероятности) Probit (P) = b0 + b1 In C + b2 ln t, где | Уравнение 1 |
C = концентрация; t = длительность воздействия, или
(Реакция) Response = f(Cnt), где | Уравнение 2 |
n = b1 / b2
Применяя уравнение 1, величину CL50/LC50 можно рассчитать для заданного периода времени (например, 4 ч, 1 ч, 30 мин. или для любого временного периода в диапазоне испытываемых временных периодов), используя P = 5 (50% ответных реакций). Следует отметить, что правило Хабера применимо только при n = 1. Величина CL01/LC01 может быть рассчитана, используя P = 2,67.
4.5.1. Во время экспозиции животные систематически должны подвергаться клиническому осмотру. После экспозиции клинические наблюдения необходимо проводить не менее 2 раз и чаще в день экспозиции при наличии реакции у животных на воздействие, и в последующие 14 дней не реже одного раза в день. Продолжительность периода наблюдения не фиксирована, но определяется природой и временем появления клинических признаков, а также периодом восстановления. Важность представляет время появления и исчезновения признаков интоксикации, особенно, если в появлении признаков интоксикации наблюдается тенденция к запаздыванию. Все наблюдения систематически фиксируются для каждого животного индивидуально. Помимо случаев, когда существуют веские причины поступать иначе, животные в состоянии агонии, а также испытывающие сильную боль и/или устойчивые признаки сильного поражения, должны быть умерщвлены гуманным способом без промедления. Принципы и критерии по определению гуманной конечной точки должны быть учтены. Время умерщвления животного по гуманным соображениям, или время, когда оно было найдено мертвым, нужно зафиксировать максимально точно.
4.5.2. При наблюдении за животными в клетке должны фиксировать изменения в коже и шерсти, глазах и слизистых, а также в респираторной, кровеносной, вегетативной и центральной нервной системах, в соматомоторной активности и поведении. По возможности нужно отмечать различие между локальными и системными эффектами. Внимание должно фокусироваться на явлениях тремора, конвульсий, слюноотделения, диареи, летаргии, сна и комы. Измерение ректальной температуры позволит удостовериться в рефлекторном брадипноэ или гипо/гипертермии, связанной с лечением или обездвиженностью.
Масса тела
4.5.3. Индивидуальную массу тела каждого животного следует зафиксировать один раз во время акклиматизационного периода, в день экспозиции перед экспозицией (день 0), в 1-й, 3-й и 7-й дни и затем еженедельно, а также в день гибели или умерщвления, если они наступают после 1 дня. Масса тела является важным индикатором интоксикации, поэтому необходимо внимательно наблюдать животных, которые непрерывно теряют > 20% по сравнению с показателями на начало исследования. Выжившие животные должны быть взвешены и умерщвлены гуманным способом по истечении постэкспозиционного периода.
Патология
4.5.4. Все подопытные животные, включая тех, кто погиб во время исследования или был удален из него по гуманным соображениям, должны быть подвергнуты общему вскрытию. Если вскрытие нельзя осуществить сразу после обнаружения мертвого животного, его следует охладить (не заморозить) при температуре, достаточно низкой, чтобы не допустить аутолиза. Вскрытие следует осуществлять как можно скорее, как правило, в течение одного - двух дней. Все большие патологические изменения следует зафиксировать для каждого животного, обращая особое внимание на любые изменения в респираторном тракте.
4.5.5. Дополнительные осмотры могут повысить значимость полученных в ходе исследования результатов, например, измерение массы легкого у выжившей крысы и/или обнаружение раздражения в дыхательных путях при микроскопическом анализе. Среди осмотренных органов могут быть органы с симптомами выраженных патологических изменений у животных, выживших 24 или больше часов, или органы, которые очевидно или предположительно поражены. Микроскопическое исследование всего респираторного тракта позволит получить полезную информацию об исследуемых препаратах, реагирующих с водой, таких как кислоты и гигроскопические исследуемые препараты.
5.1. Данные об исследовании
5.1.1. Необходимо предоставить данные о массе тела и результаты вскрытия по каждому животному индивидуально. Данные клинического осмотра должны быть сведены в таблицу, отражающую количество животных в каждой подопытной группе, количество животных со специфическими признаками интоксикации, количество животных, найденных мертвыми или умерщвленных по гуманным причинам, время смерти каждого животного, описание и динамику появления признаков токсичности и их обратимость, а также данные вскрытия.
5.2. Отчет об исследовании
Отчет об исследовании должен включать следующие данные.
Подопытные животные и их содержание:
- описание условий содержания в клетке, включая: количество (или изменения в количестве) животных в клетке, материал подстилки, температура окружающей среды и относительная влажность, световой период и обозначение диеты;
- используемые виды/линии и обоснование для использования других видов, кроме крыс;
- количество, возраст и пол животных;
- метод рандомизации;
- подробности о качестве пищи и воды (включая тип/источник диеты, источник воды);
- описание условий содержания перед началом испытания, включая диету, карантин и лечение от болезни.
Исследуемый препарат:
- физическая природа, наличие примесей и, если значимо, физико-химические свойства (включая изомеризацию);
- идентификационные данные и регистрационный номер в Реферативной службе по химии (CAS), если таковой имеется.
Растворитель:
- обоснования для использования растворителя и обоснование для выбора растворителя (если это иное, чем вода);
- справочные или совпадающие данные, подтверждающие, что растворитель не влияет на результаты исследования.
Ингаляционная камера:
- описание ингаляционной камеры, включая размеры и объем;
- описание и поставщик оборудования, используемого для экспозиции животных, а также для генерации атмосферы;
- оборудование для измерения температуры, относительной влажности, размера частиц и фактической концентрации;
- источник поступления воздуха и обработка поступившего/извлеченного воздуха, и система кондиционирования;
- методы, используемые для поверки оборудования с целью обеспечить гомогенность в тестируемой атмосфере;
- перепады давления (положительные или отрицательные);
- отверстия для экспозиции в камере (только через нос); размещение животных в системе (воздействие через все тело);
- временная гомогенность/стабильность тестируемой атмосферы;
- место размещения датчиков, определяющих температуру и относительную влажность, отбор образцов тестируемой атмосферы в клетке;
- скорость потоков воздуха, скорость потока воздуха/отверстия для экспозиции (только через нос) или нагрузка животных/клетку (для воздействия через все тело);
- время, рекомендуемое для достижения равновесия в ингаляционной камере (t95);
- количество изменений объема в час;
- приборы, снимающие показания (если применены).
Данные экспозиции:
- обоснование для выбора целевой концентрации в основном исследовании;
- номинальные концентрации (общая масса исследуемого препарата, сгенерированного в ингаляционной камере, разделенная на объем воздуха, проходящего через камеру);
- фактическая концентрация тестируемого препарата, собранная из зоны дыхания животных; для исследуемых смесей, который продуцирует гетерогенные физические формы (газы, пары, аэрозоли), каждая форма может быть проанализирована отдельно;
- все воздушные концентрации должны быть указаны в отчете в единицах массы (например, мг/л, мг/м3 и т.д.); в скобках допускается указание их в единицах объема (например, промилле, часть на млрд и т.д.);
- гранулометрический состав, средний аэродинамический диаметр (MMAD) и геометрическое стандартное отклонение

включая методы из вычисления. Индивидуальный гранулометрический анализ должен быть изложен в отчете;
Условия проведения исследования:
- подробные сведения о приготовлении тестируемого препарата, включая данные о мероприятиях по уменьшению размера частиц для твердых материалов или по приготовлению растворов исследуемого препарата. В случае, когда есть вероятность, что механические процессы изменят состав исследуемого вещества, необходимо включить результаты анализов для подтверждения состава тестируемого вещества;
- описание оборудования (предпочтительно с диаграммой), используемого для генерации исследуемой атмосферы и для экспозиции животных в этой атмосфере;
- подробные сведения об оборудовании, используемом для наблюдения за температурой в камере, относительной влажностью, воздушными потоками;
- подробные сведения об оборудовании, используемом для забора образцов для вычисления концентрации в камере и гранулометрического состава;
- подробные сведения об используемом химико-аналитическом методе и проверке достоверности метода (включая эффективность восстановления тестируемого препарата из питательной среды, в которую были помещены образцы);
- метод случайной выборки животных для включения в испытательную и контрольную группы;
- Обоснование для выбора исследуемой концентрации.
Результаты:
- сведение в таблицу данных о температуре в камере, уровне влажности и воздушном потоке;
- сведение в таблицу данных о номинальной и фактической концентрации;
- сведение в таблицу данных о размере частиц, включая собранные сведения об аналитических образцах, распределение размеров частиц, подсчеты ММАД и

- сведение в таблицу данных о реакции и уровне концентрации для каждого животного (т.е. признаки токсического отравления у животного, включая агонию, природу, тяжесть, время появления и продолжительность эффектов);
- индивидуальная масса тела животных, полученная в дни проведения эксперимента; дата и время смерти, если предшествовали умерщвлению, динамика появления признаков токсичности и были ли они обратимы для каждого животного;
- данные вскрытия и гистопатологические данные для каждого животного, если имеются;
- оценка летальности (CL50/LC50, CL01/LC01), включая 95% доверительного предела, и скошенная питательная среда (если установлена методом оценки);
- статистические отношения, включая оценку экспоненты n (Протокол C x t). Необходимо указать название используемого программного обеспечения для статистической обработки данных.
Обсуждение и интерпретация результатов:
- особое внимание необходимо уделить описанию методов, используемых в целях удовлетворения требованиям Руководства по проведению испытаний, например, таким как к предельно допустимой концентрации или размерам частиц;
- пригодность частиц для вдыхания, принимая во внимание общие данные, должна быть адресной, особенно если требования к размерам частиц не соблюдены;
- если на основании критериев по определению гуманной конечной точки была необходимость в гуманном умерщвлении животного, испытывающего боль или проявляющего признаки страдания, нужно привести объяснения;
- последовательность методов, используемых для определения номинальной и фактической концентрации, а также зависимость фактической концентрации от номинальной, должна быть включена в общую оценку исследования;
- вероятная причина смерти и доминирующий образ действий (оказывающий общее или локальное влияние на организм) должны быть адресными.
ОЦЕНКА ОСТРОЙ ТОКСИЧНОСТИ ПРИ ИНГАЛЯЦИОННОМ ПОСТУПЛЕНИИ
С ОПРЕДЕЛЕНИЕМ КЛАССА ОСТРОЙ ТОКСИЧНОСТИ
Идентичен международному документу OECD TG N 436 "Acute Inhalation Toxicity - Acute Toxic Class Method" (ОЭСР Руководство N 436 "Оценка острой токсичности при ингаляционном поступлении с определением класса острой токсичности"). Принят 7 сентября 2009 года. Перевод с английского языка (en). Степень соответствия - модифицированный (MOD).
1.1. Настоящий метод исследования устанавливает требования к исследованию острой токсичности при ингаляционном поступлении в организм.
1.2. Метод обеспечивает получение информации об острой токсичности вещества при вдыхании и позволяет классифицировать его в соответствии с требованиями Глобальной гармонизированной системы классификации и маркировки химических веществ (GHS) ООН относительно классификации веществ, вызывающих острую токсичность
[9]. При необходимости точечной оценки значений LC
50 или определения зависимости концентрация-эффект следует использовать рекомендации по оценке острой токсичности при ингаляционном поступлении (ОЭСР 403).
1.3. Настоящий метод не предназначен для испытания наноматериалов.
2.1. В настоящее время одним из основных путей поступления загрязнителей в организм является ингаляционный. Поэтому в комплексе исследований по воздействию химической продукции на организм человека изучение острой токсичности при вдыхании является ведущим.
2.2. Особенностью метода является получение информации об острой ингаляционной токсичности и последующей классификации испытуемого вещества при 4-часовом периоде введения на основе поэтапной процедуры. В особых нормативно определенных целях могут применяться другие продолжительности введения. На каждом этапе воздействия исследуются по 3 особи каждого пола. В зависимости от смертности и/или агонального состояния животных для оценки острой токсичности испытуемого вещества может потребоваться не более 2 этапов. При наличии данных о том, что особи одного пола более восприимчивы к испытуемому веществу, исследование может продолжаться с использованием особей только этого пола. По результатам предыдущего этапа определяется следующий, то есть:
a) отсутствие необходимости в дальнейшем испытании,
b) испытание на 3 особях каждого пола,
c) испытание на 6 животных более восприимчивого пола, т.е. определение нижнего порога для соответствующего класса токсичности должно быть основано на исследовании группы из 6 животных для каждой концентрации.
2.3. Определение класса острой ингаляционной токсичности позволяет использовать поэтапное введение серии фиксированных целевых концентраций для классификации токсичности испытуемого образца.
2.4. В качестве ключевой конечной точки применяется летальность. Однако животные, испытывающие сильную боль или дистресс, страдающие или находящиеся в предсмертном состоянии, подлежат гуманному умерщвлению для минимизации страданий.
3. Описание тестового метода
3.1.1. Для повышения качества исследования и минимизации количества привлеченных животных вся имеющаяся информация об исследуемом препарате должна находиться в распоряжении экспериментальной лаборатории до начала эксперимента. Информация, которая может помочь при выборе необходимых для испытания концентраций, включает тождественность, химическую структуру и физико-химические свойства испытываемого вещества; результаты опытов на токсичность in vivo или in vitro; предполагаемую область применения и вероятность воздействия на человека; если имеются, то данные (Q)SAR и сведения о токсичности структурно родственных препаратов.
3.1.2. При изучении коррозионных и/или раздражающих продуктов необходимо избегать концентрации, которые могут вызвать сильную боль и страдания.
3.1.3. Коррозионный/раздражающий потенциал должен быть оценен при экспертизе имеющейся информации о воздействии на человека, экспериментальных животных, имеющихся данных в опытах in vitro, величине pH, информации о близких по структуре веществ или любых других данных с целью изучения целесообразности дальнейшего тестирования или его отмены.
3.1.4. При воздействии на животных целевые концентрации должны быть достаточно низкими с тем, чтобы не вызвать боль или нарушения, и достаточно высокими с тем, чтобы расширить кривую концентрация-ответ до уровней, которые соответствуют нормативным и научным целям исследования. Данные концентрации должны быть выбраны отдельно в каждом случае; выбор концентрации должен быть обоснован.
3.1.5. Испытания призваны обеспечить получение информации об острой токсичности исследуемого препарата и его последующую классификацию при 4-часовом периоде введения на основе поэтапной процедуры.
3.1.6. Агонизирующие животные или животные, очевидно испытывающие боль или демонстрирующие признаки страдания и истощения, должны быть гуманно умерщвлены, если нет веских оснований для другого (такие причины должны быть отражены в отчете по исследованию). Агонизирующие животные рассматриваются как животные, погибшие во время испытания.
Выбор вида
3.2.1. Необходимо использовать молодых здоровых особей из обычно используемых лабораторных линий. Предпочтительно использовать крыс. В случае использования других видов необходимо привести обоснование.
Подготовка
3.2.2. Самки должны быть нерожавшими и небеременными. На день экспозиции испытываемого препарата животные должны быть в возрасте от 8 до 12 недель, диапазон колебания массы животных для каждого пола не должен превышать +/- 20% от средней массы животных, участвовавших в предыдущем испытании, в такой же отрезок времени. Животные отбираются в случайном порядке и маркируются, что позволит идентифицировать каждое из них. Животных следует содержать в клетках в течение не менее 5 дней до начала испытания, чтобы позволить им адаптироваться к лабораторным условиям. Животным также необходимо дать короткое время приспособиться к исследуемому прибору до начала испытания с целью уменьшить стресс от попадания в новую среду.
Содержание
3.2.3. Температура в помещении, где содержатся экспериментальные животные, должна составлять (22 +/- 3) °C, оптимальный уровень относительной влажности - 30 - 70%. В исследовании одного уровня концентрации животных можно поместить в одну камеру, но число животных в камере не должно затруднять возможность наблюдать за каждым из них, а также должно сократить вероятность потерь из-за каннибализма и борьбы. Свойства исследуемого препарата или токсичность (способность вызывать заболевание, возбуждать ЦНС) могут указывать на необходимость содержания животного в индивидуальной камере, чтобы предотвратить каннибализм. Допустимо использование стандартных лабораторных режимов питания, за исключением периода экспозиции испытываемого препарата, во время которого для животного необходимо обеспечить неограниченное потребление питьевой воды. Освещение должно быть искусственным в режиме: 12 часов при свете/12 часов в темноте.
3.3. Ингаляционные камеры
3.3.1. При выборе ингаляционной камеры необходимо учитывать природу исследуемого препарата и нормативные требования. По умолчанию используется интраназальная модель экспозиции (данный термин включает в себя воздействие только через голову, только через нос и только через мордочку). Экспозиция только через нос предпочтительна для изучения аэрозолей жидких и твердых и для паров, которые могут конденсироваться в форме аэрозолей. При этом для решения отдельных задач исследования целесообразно применять воздействие через все тело. Использование другой модели экспозиции помимо той, что применяется по умолчанию, должно быть обусловлено целями исследования и обосновано в отчете.
3.3.2. Для обеспечения атмосферы стабильности при использовании камеры объем, занимаемый телами тестируемых животных, не должен превышать 5% объема камеры.
Введение концентраций
3.4.1. Рекомендуется использовать фиксированную продолжительность введения, равную 4 часам, включая время уравновешивания. Если требуется более длительный период экспозиции, необходимо привести обоснования. Животных, которые подвергаются воздействию препарата в камерах на все тело, следует содержать по отдельности, чтобы предотвратить проглатывание исследуемого препарата соседями по камере во время чистки. Пища во время экспозиции не дается. Воду можно давать в течение всего времени экспозиции на все тело.
3.4.2. Животные могут подвергаться воздействию исследуемого препарата в виде газа, паров, аэрозоля или их смеси. Исследуемое физическое состояние зависит от физико-химических свойств тестируемого препарата, выбранной концентрации и/или физической формы, которые наиболее приближены к реальным условиям использования изучаемого продукта. Гигроскопичный и химически реактивный препарат следует тестировать в условиях минимальной влажности, в отсутствии паров воды. Особое внимание следует уделять тому, чтобы не создавать взрывоопасные концентрации.
Гранулометрический состав
3.4.3. Определение размера частиц необходимо для всех аэрозолей и всех паров, которые могут конденсироваться и превращаться в аэрозоль. Чтобы обеспечить воздействие на все важные области дыхательных путей, рекомендуется использование аэрозоля с массовым средним аэродинамическим диаметром (MMAD) в диапазоне от 1 до 4 мкм с геометрическим стандартным отклонением

в диапазоне от 1,5 до 3,0. В случае, если данное требование невозможно соблюсти, необходимо предоставить экспертную оценку. Например, металлические частицы в воздухе могут быть меньшего размера, чем стандартные, также заряженные частицы, волокна и гигроскопичные материалы (которые увеличиваются в размерах во влажной среде в респираторном тракте) могут превышать размер стандартных.
3.4.4. Для создания необходимой концентрации и размера частиц исследуемого препарата в камере используется растворитель. В качестве растворителя предпочтительней использовать воду. Зернистый материал может быть подвергнут механическим процессам, чтобы добиться требуемого гранулометрического состава, при этом необходимо позаботиться о том, чтобы состав исследуемого препарата не разложился и не изменился. Если есть опасение, что в результате механических процессов состав тестируемого препарата претерпит изменения (например, чрезмерно высокая температура в процессе сильного дробления вследствие трения), то состав тестируемого препарата необходимо проверить при помощи анализа. При этом необходимо проследить, чтобы не занести в препарат загрязняющие вещества.
Контрольные животные
3.4.5. В параллельном использовании отрицательных (воздухом) контрольных групп необходимости нет. В случае, если для получения нужной концентрации испытываемого вещества в воздухе используется какой-либо растворитель, помимо воды, то контрольную группу следует использовать только в случае отсутствия справочных данных о токсичности растворителя при ингаляционном воздействии. Если исследование токсичности препарата, содержащего растворитель, показывает отрицательный результат, то из этого следует, что растворитель нетоксичен при исследуемых концентрациях; следовательно, в испытании растворителя нет нужды.
Воздушные потоки в камере
3.4.6. Воздушные потоки, проходящие через камеру, необходимо тщательно контролировать, непрерывно наблюдать и фиксировать по меньшей мере раз в час на протяжении всего периода выдержки. Наблюдение за концентрацией исследуемого вещества в газовой среде (или устойчивостью) представляет собой интегральное вычисление всех динамических параметров и обеспечивает косвенные способы контроля всех значимых параметров для формирования динамической атмосферы. Необходимо избегать возвратного дыхания в камерах, предназначенных для воздействия через нос в случаях, когда воздушные потоки через установку экспонирования недостаточны для динамических потоков исследуемого вещества в газовой среде. Существуют методы, при помощи которых можно установить, что возвратное дыхание при данных условиях эксперимента не имеет места. Концентрация кислорода должна составлять не менее 19%, концентрация углекислого газа - не менее 1%. Если есть основание полагать, что эти требования не удовлетворяются, концентрации кислорода и углекислого газа необходимо измерить.
Температура и относительная влажность в камере
3.4.7. Температура в камере должна составлять (22 +/- 3) °C. Относительную влажность в зоне дыхания животных, находящихся в камерах, предназначенных как для воздействия только через нос, так и через все тело, необходимо наблюдать и фиксировать не менее трех раз в течение периода выдержки. Идеальная относительная влажность составляет 30 - 70%, но в определенных случаях (например, тестирование препарата на водной основе) данный уровень может быть неприменим или неизмеряем вследствие взаимовлияния исследуемого препарата и метода исследования.
3.5. Исследуемый препарат
Номинальная концентрация
3.5.1. По возможности следует наблюдать и фиксировать номинальную концентрацию при экспозиции в клетке. Номинальная концентрация - это масса сгенерированного исследуемого вещества, разбавленная общим объемом воздуха, проходящего через систему клетки. Номинальная концентрация не используется при описании экспозиции на животных, но сравнение номинальной и фактической концентраций позволит судить об эффективности генератора в испытательной системе и позволит вовремя выявить проблемы в нем.
Фактическая концентрация
3.5.2. Фактическая концентрация - это концентрация исследуемого препарата в зоне дыхания животных в ингаляционной камере. Фактическая концентрация может быть получена специальными методами (например, методом непосредственного выбора, адсорбционным методом или методом химической реактивности и последующим анализом) или неспециальными методами, например, гравиметрический капельный анализ. Использование гравиметрического анализа допустимо только для однокомпонентных порошкообразных веществ в аэрозольной упаковке или для жидких аэрозолей с невысокой летучестью и должно быть подкреплено предварительно полученными соответствующими специальными характеристиками исследуемого препарата. Концентрацию аэрозоля с многокомпонентным порошком можно также определить с помощью метода гравиметрического анализа. В этом случае потребуются данные анализа, подтверждающие, что состав аэрозольного препарата схож с составом исходного материала. Если подобная информация не имеется, может потребоваться повторный анализ исследуемого вещества (в воздухе) в определенные временные интервалы в течение исследования. Для аэрозольных агентов, которые могут испаряться или сублимироваться, необходимо указать, что для сбора всех этапов был использован выбранный метод. Цели, номинальная и фактическая концентрации должны быть указаны в отчете исследования, но в статистическом анализе для подсчета значения смертельной концентрации используется только фактическая концентрация.
3.5.3. Необходимо использовать только один препарат для тестирования, если это возможно, и исследуемый образец должен храниться в условиях, которые позволят сохранить его чистоту, однородность и стабильность. Перед началом исследования необходимо располагать описанием препарата, включая степень его чистоты, и, если это технически возможно, указать и количество выявленных в нем примесей. Такие сведения можно наглядно показать с помощью следующих, но не ограничиваясь ими, данных: время удержания и относительная площадь пика, молекулярная масса, полученная методом масс-спектроскопии или газовой хроматографии и т.п. Хотя определение тестовых образцов не входит в обязанности испытательной лаборатории, возможно, целесообразно подтвердить поддерживающие характеристики, по крайней мере, в ограниченном виде (цвет, физическая природа и т.д.).
3.5.4. Воздушную среду нужно поддерживать максимально постоянной и проверять непрерывно и/или регулярно в зависимости от метода анализа. При регулярном контроле образцы проб воздуха в камере нужно забирать не реже двух раз за четыре часа во время исследования. Если это невозможно вследствие ограниченных воздушных потоков или низкой концентрации, за все время проведения исследования допускается отбор одной пробы. Если образцы демонстрируют разные показатели, для следующих исследуемых концентраций нужно забирать четыре образца/экспозицию. Образцы концентрации для каждой камеры не должны отклоняться от средней концентрации более чем на +/- 10% для газов и паров или +/- 20% для жидких и твердых аэрозолей. Время для достижения равновесного состояния и перехода к распаду (t95) нужно измерить и зафиксировать. Период воздействия охватывает время генерации исследуемого вещества. При этом учитывается время, необходимое для достижения равновесного состояния в камере (t95) и перехода к распаду.
3.5.5. Сложные смеси из газов/паров и аэрозолей (атмосфера горения и тестируемый препарат, выталкиваемые из программного изделия/прибора конечного пользователя) на каждом этапе могут демонстрировать разное поведение в ингаляционной камере, поэтому по меньшей мере одна индикаторная субстанция (аналит), как правило, основная активная в исследуемом препарате, должна быть выбрана на всех этапах (газ/пар или аэрозоль). Когда тестируемый препарат является смесью (по составу), аналитическая концентрация должна быть описана для общего состава, а не только для активного ингредиента или компонента (вещества, определяемого при анализе).
3.5.6. Гранулометрической состав аэрозолей должен определяться не менее двух раз за 4 часа выдержки при помощи каскадного импактора (пробоотборник частиц) или альтернативным инструментом (например, аэродинамическим спектрометром /APS/). Гравиметрический фильтр или импинджер (прибор для измерения запыленности и загазованности) нужно использовать для подтверждения эффективности работы основного прибора, используемого для определения гранулометрического состава исследуемого вещества. Массовая концентрация, полученная ситовым анализом, должна находиться в разумных пределах массовой концентрации, полученной в результате анализа работы фильтров. Если удастся показать равнозначность результатов, полученных каскадным импактором и альтернативным инструментом, то допускается использование альтернативного инструмента в исследовании. Размеры частиц должны быть определены для паров, если есть вероятность, что их конденсация приведет к образованию аэрозоля, или если в парах обнаружены частицы с потенциалом смешанных фаз.
4. Процедура исследования
4.1. Основное исследование
4.1.1. На каждом этапе используются по три животных каждого пола или шесть животных наиболее чувствительного пола. Уровень начальной дозы, соответствующий одному из четырех определенных значений, должен с максимальной вероятностью вызывать проявления токсичности у некоторых из подвергающихся воздействию животных. Схемы испытания для газов и паров, приведенные в
приложениях 2 -
4, описывают процедуру испытания с граничными значениями для категорий согласно CUC для паров (определенных как категории 1 - 4) газов (100, 500, 2500, 20000 частей на миллион)
(прилож. 6.1.5.1), паров (0,5, 2, 10, 20 mg/L/4 h)
(прилож. 6.1.5.2), а также пылей и туманов (0,05, 0,5, 1, 5 мг/л/4 ч)
(прилож. 6.1.5.3). К категории 5 относятся концентрации выше соответствующего предела. Для каждой начальной концентрации применима соответствующая схема испытания. В зависимости от количества умерших либо подвергшихся эвтаназии животных испытание проводится в указанном на схеме стрелками порядке, вплоть до возможности категоризации.
4.1.2. В основной части исследования, как правило, используются 5 мужских и 5 женских особей (или 5 особей чувствительного пола, если таковой известен) на каждый уровень концентрации, как минимум, при трех уровнях концентрации. Следует использовать уровни концентрации, достаточные для проведения надежного статистического анализа. Временные интервалы между введениями различным группам определяются, исходя из времени наступления, продолжительности и интенсивности проявлений токсичности. Введение следующего уровня концентрации должно производиться только при достаточной уверенности в том, что животные предыдущей подопытной группы остались в живых. Таким образом, руководитель исследования получает возможность скорректировать целевую концентрацию для следующей подопытной группы. В случае ингаляционных исследований это не всегда может быть целесообразным в связи с зависимостью проведения испытания от сложных технологий, поэтому решение о введении животным следующего уровня концентрации должно основываться на предыдущем опыте и научном суждении. Испытание смесей следует проводить в соответствии с
[5].
4.2. Исследование на предельное содержание
4.2.1. Испытание на предельное содержание проводится, если обнаруживается или ожидается, что испытуемое вещество является практически нетоксичным, т.е. демонстрирующим токсическое действие только при уровне концентрации, превышающем нормативный предел. Информация о токсичности испытуемого вещества может быть получена исходя из данных об аналогичных испытуемых составах, смесях или продуктах с учетом характера и процентного содержания токсикологически значимых компонентов. При недостатке или отсутствии информации о токсичности испытуемого вещества или при подозрении на токсичность должно проводиться основное испытание.
4.2.2. При использовании обычной процедуры по три животных каждого пола или шесть животных наиболее чувствительного пола подвергаются воздействию концентраций, равных 20000 частей на миллион для газов, 20 мг/л для паров и 5 мг/л для пылей/туманов соответственно (если достижимо), что является испытанием на предельное содержание в рамках данного Руководства. При исследовании аэрозолей основной задачей является достижение респирабельного размера частиц (MMAD 1 - 4 мкм). Это возможно для большинства веществ в концентрации 2 мг/л. Исследование аэрозолей в концентрациях более 2 мг/л должно предприниматься только при респирабельном размере частиц
[5]. Согласно системе GHS испытание концентраций, превышающих предельные, не рекомендуется из соображений благополучия животных. Предельная концентрация должна превышаться только при наличии веских оснований, таких как прямое отношение к защите здоровья человека, с обязательным указанием данных оснований в протоколе исследования. При использовании потенциально взрывоопасных испытуемых веществ следует предотвратить возможность создания благоприятных условий для взрыва. Для предотвращения использования чрезмерного количества животных перед проведением испытания на предельное содержание следует провести пробный запуск для проверки создания в камере условий, необходимых для проведения испытания на предельное содержание.
4.3.1. Во время экспозиции животные систематически должны подвергаться клиническому осмотру. После экспозиции клинические наблюдения необходимо проводить не менее 2 раз и чаще в день экспозиции при наличии реакции у животных на воздействие, и в последующие 14 дней не реже одного раза в день. Продолжительность периода наблюдения не фиксирована, но определяется природой и временем появления клинических признаков, а также периодом восстановления. Важность представляет время появления и исчезновения признаков интоксикации, особенно если в появлении признаков интоксикации наблюдается тенденция к запаздыванию. Все наблюдения систематически фиксируются для каждого животного индивидуально. Помимо случаев, когда существуют веские причины поступать иначе, животные в состоянии агонии, а также испытывающие сильную боль и/или устойчивые признаки сильного поражения, должны быть умерщвлены гуманным способом без промедления. Принципы и критерии по определению гуманной конечной точки должны быть учтены. Время умерщвления животного по гуманным соображениям или время, когда оно было найдено мертвым, нужно зафиксировать максимально точно.
4.3.2. При наблюдении за животными в клетке должны фиксировать изменения в коже и шерсти, глазах и слизистых, а также в респираторной, кровеносной, вегетативной и центральной нервной системах, в соматомоторной активности и поведении. По возможности нужно отмечать различие между локальными и системными эффектами. Внимание должно фокусироваться на явлениях тремора, конвульсий, слюноотделения, диареи, летаргии, сна и комы. Измерение ректальной температуры позволит удостовериться в рефлекторном брадипноэ или гипо/гипертермии, связанной с лечением или обездвиженностью.
Масса тела
4.3.3. Индивидуальную массу тела каждого животного следует зафиксировать один раз во время акклиматизационного периода, в день экспозиции перед экспозицией (день 0), в 1-й, 3-й и 7-й дни и затем еженедельно, а также в день гибели или умерщвления, если они наступают после 1 дня. Масса тела является важным индикатором интоксикации, поэтому необходимо внимательно наблюдать животных, которые непрерывно теряют > 20% по сравнению с показателями на начало исследования. Выжившие животные должны быть взвешены и умерщвлены гуманным способом по истечении постэкспозиционного периода.
Патология
4.3.4. Все подопытные животные, включая тех, кто погиб во время исследования или был удален из него по гуманным соображениям, должны быть подвергнуты общему вскрытию. Если вскрытие нельзя осуществить сразу после обнаружения мертвого животного, его следует охладить (не заморозить) при температуре достаточно низкой, чтобы не допустить аутолиза. Вскрытие следует осуществлять как можно скорее, как правило, в течение одного - двух дней. Все большие патологические изменения следует зафиксировать для каждого животного, обращая особое внимание на любые изменения в респираторном тракте.
4.3.5. Дополнительные осмотры могут повысить значимость полученных в ходе исследования результатов, например, измерение массы легкого у выжившей крысы и/или обнаружение раздражения в дыхательных путях вследствие микроскопического анализа. Среди осмотренных органов могут быть органы с симптомами выраженных патологических изменений у животных, выживших в течение 24 или более часов, или органы, которые очевидно или предположительно поражены. Микроскопическое исследование всего респираторного тракта позволит получить полезную информацию об исследуемых препаратах, реагирующих с водой, таких как кислоты и гигроскопические исследуемые препараты.
5.1. Данные об исследовании
5.1.1. Необходимо предоставить данные о массе тела и результаты вскрытия по каждому животному индивидуально. Данные клинического осмотра должны быть сведены в таблицу, отражающую количество животных в каждой подопытной группе, количество животных со специфическими признаками интоксикации, количество животных, найденных мертвыми или умерщвленных по гуманным причинам, время смерти каждого животного, описание и динамику появления признаков токсичности и их обратимость, а также данные вскрытия.
Отчет об исследовании должен включать следующие данные.
Подопытные животные и их содержание:
- описание условий содержания в клетке, включая: количество (или изменения в количестве) животных в клетке, материал подстилки, температура окружающей среды и относительная влажность, световой период и обозначение диеты;
- используемые виды/линии и обоснование для использования других видов, кроме крыс;
- количество, возраст и пол животных;
- метод рандомизации;
- подробности о качестве пищи и воды (включая тип/источник диеты, источник воды);
- описание условий содержания перед началом испытания, включая диету, карантин и лечение от болезни.
Исследуемый препарат:
- физическая природа, наличие примесей и, если значимо, физико-химические свойства (включая изомеризацию);
- идентификационные данные и регистрационный номер в Реферативной службе по химии (CAS), если таковой имеется.
Растворитель:
- обоснования для использования растворителя и обоснование для выбора растворителя (если это иное, чем вода);
- справочные или совпадающие данные, подтверждающие, что растворитель не влияет на результаты исследования.
Ингаляционная камера:
- описание ингаляционной камеры, включая размеры и объем;
- описание и поставщик оборудования, используемого для экспозиции животных, а также генерация воздуха;
- оборудование для измерения температуры, относительной влажности, размера частиц и фактической концентрации;
- источник поступления воздуха, обработка поступившего/извлеченного воздуха и система кондиционирования;
- методы, используемые для поверки оборудования с целью обеспечения гомогенности в тестируемом воздухе;
- перепады давления (положительные или отрицательные);
- отверстия для экспозиции в камере (только через нос); размещение животных в системе (воздействие через все тело);
- временная гомогенность/стабильность тестируемого воздуха;
- место размещения датчиков, определяющих температуру и относительную влажность, отбор образцов тестируемого воздуха в клетке;
- скорость потоков воздуха, скорость потока воздуха/отверстия для экспозиции (только через нос) или нагрузка животных/клетку (для воздействия через все тело);
- время, рекомендуемое для достижения равновесия в ингаляционной камере (t95);
- количество изменений объема в час;
- приборы, снимающие показания (если применены).
Данные экспозиции:
- обоснование для выбора целевой концентрации в основном исследовании;
- номинальные концентрации (общая масса исследуемого препарата, сгенерированного в ингаляционной камере, разделенная на объем воздуха, проходящего через камеру);
- фактическая концентрация тестируемого препарата, собранная из зоны дыхания животных; для исследуемых смесей, которые продуцируют гетерогенные физические формы (газы, пары, аэрозоли), каждая форма может быть проанализирована отдельно;
- все воздушные концентрации должны быть указаны в отчете в единицах массы (например, мг/л, мг/м3 и т.д.); в скобках допускается указание их в единицах объема (например, промилле, часть на млрд и т.д.);
- гранулометрический состав, средний аэродинамический диаметр (MMAD) и геометрическое стандартное отклонение

включая методы из вычисления. Индивидуальный гранулометрический анализ должен быть изложен в отчете.
Условия проведения испытания:
- подробные сведения о приготовлении тестируемого препарата, включая данные о мероприятиях по уменьшению размера частиц для твердых материалов или по приготовлению растворов исследуемого препарата. В случае, когда есть вероятность, что механические процессы изменят состав исследуемого вещества, необходимо включить результаты анализов для подтверждения состава тестируемого вещества;
- описание оборудования (предпочтительно с диаграммой), используемого для генерации исследуемого воздуха и для экспозиции им животных;
- подробные сведения об оборудовании, используемом для наблюдения за температурой в камере, относительной влажностью, воздушными потоками;
- подробные сведения об оборудовании, используемом для забора образцов для вычисления концентрации в камере и гранулометрического состава;
- подробные сведения об используемом химико-аналитическом методе и проверке достоверности метода (включая эффективность восстановления тестируемого препарата из питательной среды, в которую были помещены образцы;
- метод случайной выборки животных для включения в испытательную и контрольную группы;
- обоснование для выбора исследуемой концентрации.
Результаты:
- сведение в таблицу данных о температуре в камере, уровне влажности и воздушном потоке;
- сведение в таблицу данных о номинальной и фактической концентрации;
- сведение в таблицу данных о размере частиц, включая собранные сведения об аналитических образцах, распределение размеров частиц, подсчеты ММАД и

- сведение в таблицу данных о реакции и уровне концентрации для каждого животного (т.е. признаки токсического отравления у животного, включая агонию, характер, тяжесть, время появления и продолжительность эффектов);
- индивидуальная масса тела животных, полученная в дни проведения эксперимента; дата и время смерти, если предшествовали умерщвлению, динамика появления признаков токсичности и были ли они обратимы для каждого животного;
- данные вскрытия и гистопатологические данные для каждого животного, если имеются;
- классификация категории согласно GHS и граничное значение LC50.
Обсуждение и интерпретация результатов:
- особое внимание необходимо уделить описанию методов, используемых в целях удовлетворения требованиям Руководства по проведению испытаний, например, таким как к предельно допустимой концентрации или размерам частиц;
- пригодность частиц для вдыхания, принимая во внимание общие данные, должна быть адресной, особенно если требования к размерам частиц не соблюдены;
- если на основании критериев по определению гуманной конечной точки была необходимость в гуманном умерщвлении животного, испытывающего боль или проявляющего признаки страдания, нужно привести объяснения;
- последовательность методов, используемых для определения номинальной и фактической концентрации, а также зависимость фактической концентрации от номинальной должна быть включена в общую оценку исследования;
- вероятная причина смерти и доминирующий образ действий (оказывающий общее или локальное влияние на организм) должны быть адресными.
ПРОЦЕДУРА ИСПЫТАНИЯ ДЛЯ КАЖДОЙ НАЧАЛЬНОЙ КОНЦЕНТРАЦИИ ГАЗОВ
(ЧАСТЕЙ НА МИЛЛИОН (PPM)/4 Ч)
Общие указания
Процедура проведения испытания для каждой начальной концентрации изображается в соответствующей схеме настоящего приложения.
В зависимости от количества гуманно умерщвленных или умерших животных испытание проводится в порядке, указанном стрелками.
ОСТРАЯ ИНГАЛЯЦИОННАЯ ТОКСИЧНОСТЬ:
ПРОЦЕДУРА ИСПЫТАНИЯ С НАЧАЛЬНОЙ КОНЦЕНТРАЦИЕЙ ГАЗОВ
100 PPM/4 Ч
- на каждом этапе используются по 3 животных каждого пола
- 0 - 6: количество павших или находящихся в агональном состоянии животных на тестируемую концентрацию
- GHS: Глобальная гармонизированная система
-

не подлежит классификации
- испытание при концентрации >= 20000 ppm/4 ч
ОСТРАЯ ИНГАЛЯЦИОННАЯ ТОКСИЧНОСТЬ:
ПРОЦЕДУРА ИСПЫТАНИЯ С НАЧАЛЬНОЙ КОНЦЕНТРАЦИЕЙ ГАЗОВ
500 PPM/4 Ч
- на каждом этапе используются по 3 животных каждого пола
- 0 - 6: количество павших или находящихся в агональном состоянии животных на тестируемую концентрацию
- GHS: Глобальная гармонизированная система
-

не подлежит классификации
- испытание при концентрации >= 20000 ppm/4 ч
ОСТРАЯ ИНГАЛЯЦИОННАЯ ТОКСИЧНОСТЬ:
ПРОЦЕДУРА ИСПЫТАНИЯ С НАЧАЛЬНОЙ КОНЦЕНТРАЦИЕЙ ГАЗОВ
2500 PPM/4 Ч
- на каждом этапе используются по 3 животных каждого пола
- 0 - 6: количество павших или находящихся в агональном состоянии животных на тестируемую концентрацию
- GHS: Глобальная гармонизированная система
-

не подлежит классификации
- испытание при концентрации >= 20000 ppm/4 ч
ОСТРАЯ ИНГАЛЯЦИОННАЯ ТОКСИЧНОСТЬ:
ПРОЦЕДУРА ИСПЫТАНИЯ С НАЧАЛЬНОЙ КОНЦЕНТРАЦИЕЙ ГАЗОВ
20000 PPM/4 Ч
- на каждом этапе используются по 3 животных каждого пола
- 0 - 6: количество павших или находящихся в агональном состоянии животных на тестируемую концентрацию
- GHS: Глобальная гармонизированная система
-

не подлежит классификации
- испытание при концентрации >= 20000 ppm/4 ч
ПРОЦЕДУРА ИСПЫТАНИЯ ДЛЯ КАЖДОЙ НАЧАЛЬНОЙ КОНЦЕНТРАЦИИ ПАРОВ
(МГ/Л/4 Ч)
Общие указания
Процедура проведения испытания для каждой начальной концентрации изображается в соответствующей схеме настоящего приложения.
В зависимости от количества гуманно умерщвленных или умерших животных испытание проводится в порядке, указанном стрелками.
ОСТРАЯ ИНГАЛЯЦИОННАЯ ТОКСИЧНОСТЬ:
ПРОЦЕДУРА ИСПЫТАНИЯ С НАЧАЛЬНОЙ КОНЦЕНТРАЦИЕЙ ПАРОВ
0,5 МГ/Л/4 Ч
- на каждом этапе используются по 3 животных каждого пола
- 0 - 6: количество павших или находящихся в агональном состоянии животных на тестируемую концентрацию
- GHS: Глобальная гармонизированная система
-

не подлежит классификации
- испытание при концентрации 50 мг/л/4 ч
ОСТРАЯ ИНГАЛЯЦИОННАЯ ТОКСИЧНОСТЬ:
ПРОЦЕДУРА ИСПЫТАНИЯ С НАЧАЛЬНОЙ КОНЦЕНТРАЦИЕЙ ПАРОВ
2 МГ/Л/4 Ч
- на каждом этапе используются по 3 животных каждого пола
- 0 - 6: количество павших или находящихся в агональном состоянии животных на тестируемую концентрацию
- GHS: Глобальная гармонизированная система
-

не подлежит классификации
- испытание при концентрации 50 мг/л/4 ч
ОСТРАЯ ИНГАЛЯЦИОННАЯ ТОКСИЧНОСТЬ:
ПРОЦЕДУРА ИСПЫТАНИЯ С НАЧАЛЬНОЙ КОНЦЕНТРАЦИЕЙ ПАРОВ
10 МГ/Л/4 Ч
- на каждом этапе используются по 3 животных каждого пола
- 0 - 6: количество павших или находящихся в агональном состоянии животных на тестируемую концентрацию
- GHS: Глобальная гармонизированная система
-

не подлежит классификации
- испытание при концентрации 50 мг/л/4 ч
ОСТРАЯ ИНГАЛЯЦИОННАЯ ТОКСИЧНОСТЬ:
ПРОЦЕДУРА ИСПЫТАНИЯ С НАЧАЛЬНОЙ КОНЦЕНТРАЦИЕЙ ПАРОВ
20 МГ/Л/4 Ч
- на каждом этапе используются по 3 животных каждого пола
- 0 - 6: количество павших или находящихся в агональном состоянии животных на тестируемую концентрацию
- GHS: Глобальная гармонизированная система
-

не подлежит классификации
- испытание при концентрации 50 мг/л/4 ч
ПРОЦЕДУРА ИСПЫТАНИЯ ДЛЯ КАЖДОЙ НАЧАЛЬНОЙ КОНЦЕНТРАЦИИ ПЫЛИ
И АЭРОЗОЛИ (МГ/Л/4 Ч)
Общие указания
Процедура проведения испытания для каждой начальной концентрации изображается в соответствующей схеме настоящего приложения.
В зависимости от количества гуманно умерщвленных или умерших животных испытание проводится в порядке, указанном стрелками.
ОСТРАЯ ИНГАЛЯЦИОННАЯ ТОКСИЧНОСТЬ:
ПРОЦЕДУРА ИСПЫТАНИЯ С НАЧАЛЬНОЙ КОНЦЕНТРАЦИЕЙ ПЫЛИ
И АЭРОЗОЛЕЙ 0,05 МГ/Л/4 Ч
- на каждом этапе используются по 3 животных каждого пола
- 0 - 6: количество павших или находящихся в агональном состоянии животных на тестируемую концентрацию
- GHS: Глобальная гармонизированная система
-

не подлежит классификации
- испытание при концентрации 12,5 мг/л/4 ч
ОСТРАЯ ИНГАЛЯЦИОННАЯ ТОКСИЧНОСТЬ:
ПРОЦЕДУРА ИСПЫТАНИЯ С НАЧАЛЬНОЙ КОНЦЕНТРАЦИЕЙ ПЫЛИ
И АЭРОЗОЛЕЙ 0,5 МГ/Л/4 Ч
- на каждом этапе используются по 3 животных каждого пола
- 0 - 6: количество павших или находящихся в агональном состоянии животных на тестируемую концентрацию
- GHS: Глобальная гармонизированная система
-

не подлежит классификации
- испытание при концентрации 12,5 мг/л/4 ч
ОСТРАЯ ИНГАЛЯЦИОННАЯ ТОКСИЧНОСТЬ:
ПРОЦЕДУРА ИСПЫТАНИЯ С НАЧАЛЬНОЙ КОНЦЕНТРАЦИЕЙ ПЫЛИ
И АЭРОЗОЛЕЙ 1 МГ/Л/4 Ч
- на каждом этапе используются по 3 животных каждого пола
- 0 - 6: количество умерших или находящихся в агональном состоянии животных на тестируемую концентрацию
- GHS: Глобальная гармонизированная система
-

не подлежит классификации
- испытание при концентрации 12,5 мг/л/4 ч
ОСТРАЯ ИНГАЛЯЦИОННАЯ ТОКСИЧНОСТЬ:
ПРОЦЕДУРА ИСПЫТАНИЯ С НАЧАЛЬНОЙ КОНЦЕНТРАЦИЕЙ ПЫЛИ
И АЭРОЗОЛЕЙ 5 МГ/Л/4 Ч
- на каждом этапе используются по 3 животных каждого пола
- 0 - 6: количество павших или находящихся в агональном состоянии животных на тестируемую концентрацию
- GHS: Глобальная гармонизированная система
-

не подлежит классификации
- испытание при концентрации 12,5 мг/л/4 ч
ОЦЕНКА ОСТРОЙ ТОКСИЧНОСТИ ПРИ НАКОЖНОМ ПОСТУПЛЕНИИ
Идентичен международному документу OECD TG N 402 "Acute Dermal Toxicity" (ОЭСР Руководство N 402 "Острая токсичность при накожном поступлении"). Международный документ разработан Организацией Экономического Сотрудничества и Развития (ОЭСР/OECD) 24 февраля 1987 г. Перевод с английского языка (en). Степень соответствия - модифицированный (MOD).
1.1. Настоящий метод исследования обеспечивает получение информации об опасных свойствах вещества при однократном накожном поступлении и позволяют оценить и классифицировать вещество в соответствии с Согласованной на глобальном уровне системой классификации и маркировки (СГС) по данному виду воздействия.
1.2. До проведения эксперимента должна быть рассмотрена вся доступная об исследуемом веществе информация. Такая информация включает данные о составе и химическом строении вещества; его физико-химические свойства; результаты токсикологических испытаний in vivo и in vitro; токсикологические данные по структурно родственным веществам и предполагаемые пути использования вещества. Эта информация является необходимой для подтверждения того, что испытание является важным для защиты здоровья человека и способствует обоснованному выбору начальной дозы.
2.1. В изучении и оценке токсичности вещества определение острой кожной токсичности является важным особенно в тех случаях, когда накожный путь поступления является приоритетным.
2.2. Данные об острой кожной токсичности могут служить основой для классификации и маркировки.
2.3. Эти исследования являются первым шагом при установлении доз для подострого и других видов испытаний, а также предоставляют информацию о кожной абсорбции и токсичном воздействии вещества при данном пути поступления.
3. Принцип тестового метода
3.1. Несколько групп подопытных животных подвергаются воздействию исследуемого вещества через кожу в установленных дозах, на каждой группе испытывается определенная доза вещества. Затем проводятся наблюдения за биологическими эффектами и случаями гибели. Животные, погибшие во время эксперимента, подвергаются вскрытию, по завершении эксперимента выжившие животные также подвергаются вскрытию.
3.2. Животные, демонстрирующие признаки невыносимой боли и недомогания, должны быть умерщвлены гуманным способом. Не следует наносить испытываемое вещество, о котором заведомо известно, что оно вызовет сильную боль и тяжелые нарушения в силу своих разъедающих (коррозионных) или раздражающих свойств.
4. Описание тестового метода
4.1.1. Животные проходят подготовку к исследованию (содержание в лабораторных клетках в соответствующих условиях и специальное кормление) в течение не менее пяти дней до начала исследования. Перед тем как приступить к проведению исследования, здоровые молодые особи в случайном порядке распределяются по группам. Приблизительно за 24 часа до начала исследования шерстка должна быть удалена - выстрижена или выбрита - со спинной части тела животного. При стрижке или бритье необходимо быть осторожным, чтобы не повредить кожу животного, так как это может повлиять на процесс всасываемости. Не меньше 10% поверхности тела должны быть очищены для нанесения испытываемого вещества.
4.1.2. Если исследуется твердое вещество, которое можно измельчить, его надо измельчить и затем развести водой или, при необходимости, подходящим разбавителем, чтобы обеспечить лучшее проникновение через кожу животного. При использовании разбавителя необходимо учесть его влияние при воздействии испытываемого вещества на кожу. Жидкие тестируемые вещества, как правило, не разбавляют.
Подопытные животные
4.2.1. Исследования проводятся на взрослых особях крыс, кроликов или морских свинок. Могут быть привлечены и другие виды животных, но их использование требует обоснования.
4.2.2. Для эксперимента необходимы животные массой:
крысы - 200 - 300 г;
кролики - 2 - 3 кг;
морские свинки - 350 - 450 г.
4.2.3. Для каждого уровня дозировки должны быть использованы не менее пяти животных. Все они должны быть одного пола. Исследования не проводятся на рожавших и беременных самках. Испытанию должны подвергнуться животные того пола, который, по имеющейся информации, более чувствителен.
Примечание: В исследованиях острой токсичности с животными более высшего порядка, чем грызуны, целесообразно использование меньшего количества животных. Доза вводимого вещества должна быть тщательно продумана и не превышать умеренно токсичную. В подобных экспериментах следует избегать введения испытываемого вещества в смертельных дозах.
4.2.4. Животные должны содержаться отдельно. В лабораторной комнате температура должна быть (22 +/- 3) °C для грызунов, (20 +/- 3) °C для кроликов, относительная влажность 30 - 70%, искусственное освещение с последовательностью: 12 часов - свет, 12 часов - темнота.
4.2.5. При кормлении может быть использована обычная лабораторная диета с неограниченным количеством питьевой воды.
Уровень вводимых доз
4.2.6. Дозы должны быть в количестве не менее трех и распределены соответственно, чтобы продуцировать подопытную группу с диапазоном токсических воздействий и летального исхода. Данных должно быть достаточно для построения кривой зависимости смертности животных от дозы вещества и, где возможно, для определения величины DL50/LD50.
Исследование предельной (наивысшей) дозы
4.2.7. Исследование предельной (наивысшей) дозы с уровнем не ниже 2000 мг/кг массы тела может быть проведено в подопытной группе из пяти самцов и пяти самок. Процедуры проведения испытания описаны ниже. В случае гибели вследствие воздействия вещества может понадобиться всестороннее изучение.
Период наблюдения
4.2.8. Период наблюдения должен составлять не менее 14 дней. Между тем, продолжительность периода наблюдения не должна быть жестко фиксированной и зависит от токсических реакций, их интенсивности и длительности периода восстановления; при необходимости период наблюдения может быть увеличен. Несомненную важность имеют время появления и исчезновения признаков токсичности, а также время смерти, особенно если наблюдается тенденция к замедленной смерти.
Процедура
4.2.9. Животные должны содержаться в одиночных клетках. Вещество равномерно наносится на поверхность, составляющую приблизительно 10% от общей поверхности тела животного. При работе с высоко токсичными веществами поверхность покрытия может быть меньше, но вещество должно быть, насколько возможно, равномерно распределено тонким слоем.
4.2.10. Исследуемое вещество должно контактировать с кожей на протяжении 24-часового периода воздействия посредством марлевой повязки, зафиксированной не вызывающей раздражения лентой. Участок тела, через который воздействует испытываемое вещество, на который сверху наложена марлевая повязка, должен быть покрыт способом, позволяющим удерживать испытываемое вещество и не позволяющим животному его проглотить. Можно использовать ограничители движения, чтобы животное не смогло слизнуть вещество, но полная иммобилизация не рекомендуется.
4.2.11. Остаток исследуемого вещества по окончании периода экспозиции должен быть удален при помощи воды или другими методами очищения кожи животного.
4.2.12. Наблюдения должны регистрироваться систематически, а записи вестись по каждому животному в отдельности. Наблюдения необходимо вести часто в течение первого дня исследования. Тщательный клинический осмотр должен проводиться не реже одного раза каждый рабочий день, другие наблюдения - вестись ежедневно с выполнением соответствующих действий, направленных на минимизацию потерь животных для исследования. Среди них - вскрытие или замораживание животных, найденных мертвыми или изолированными, умерщвленными по медицинским показателям или вследствие агонии.
4.2.13. Наблюдения должны включать изменения в состоянии кожи и шерсти, глаз, слизистых оболочек, дыхательной, кровеносной, вегетативной и центральной нервной систем, соматомоторной деятельности и поведении. Внимание должно фокусироваться на явлениях тремора, конвульсий, слюноотделения, диареи, летаргии, сна и комы. Время смерти должно быть зафиксировано максимально точно. Масса тела каждой особи должна измеряться до начала эксперимента, еженедельно, после периода воздействия и на момент гибели. Изменения массы должны калькулироваться и записываться.
Патологическая анатомия.
4.2.14. Все подопытные животные необходимо подвергнуть аутопсии. Патологические изменения каждого животного регистрируются.
Оценка токсичности другого пола.
4.2.15. После завершения полного изучения одного пола группа животных другого пола (в составе не менее пяти) подвергается воздействию вещества с целью установить большую чувствительность этого пола к свойствам вещества. В отдельных случаях может быть рекомендовано использование меньшего количества животных. Если по имеющейся соответствующей информации животные этого пола более чувствительны, можно исключить тестирование вещества на животных другого пола.
5.1. Все данные на каждую подопытную группу должны быть оформлены в виде таблиц, содержащих сведения о количестве животных на начало эксперимента, времени смерти каждого животного, количестве животных, демонстрирующих признаки токсичности, описание токсического действия, результаты вскрытия. Индивидуальная масса тела каждого животного должна быть установлена и зафиксирована незадолго до нанесения тестируемого вещества, затем неделю спустя и после гибели; в случае, если животное выжило и прожило более одного дня, колебания в массе тела должны быть вычислены и зафиксированы. Животные, умерщвленные гуманным способом вследствие острой боли или сложных случаев недомогания, должны быть отмечены как случаи сложной смерти. DL50/LD50 должна быть установлена известным методом, например, Литчфилда и Вилкоксона, Блисса, Финней, Вейла, Томпсона, Миллера и Тейтнера.
5.2. Оценка данных должна включать в себя сведения, если они имеются, о воздействии испытываемого вещества на животное, объеме и интенсивности аномальных проявлений, включая поведенческие и клинические отклонения, значительные поражения органов, колебания массы тела, смертельный исход и другие токсические эффекты.
Отчет об исследовании должен содержать, по возможности, следующие данные:
- вид, род, происхождение, условия содержания, питание и пр.;
- условия тестирования (включая метод очищения кожи и вид одежды: закрытой защитной или нет);
- уровень дозировки (с наполнителем (если таковой использовался) и концентратами);
- пол животных, подвергшихся воздействию вещества;
- сведение в таблицу данных о реакции полов и уровень экспозиции (т.е. количество погибших или умерщвленных по время исследования животных, количество животных с симптомами токсичности, количество животных, подвергшихся воздействию вещества);
- время смерти после приема вещества, причины и критерии гуманного умерщвления животных;
- все данные наблюдений;
- величина DL50/LD50, установленная по окончании наблюдения для каждого пола (вычисленная установленным методом);
- 95%-й доверительный интервал для DL50/LD50 (если таковой возможно предусмотреть);
- график и кривая взаимосвязи доза/летальный исход (в рамках метода определения);
- результаты вскрытия;
- все результаты гистопатологического исследования;
- результаты любых испытаний с животными другого пола;
- обсуждение результатов (уделить особое внимание тому, что по вычислении величины DL50/LD50 может понадобиться прибегнуть к гуманному умерщвлению животных).
7. Интерпретация результатов
7.1. Изучение острой токсичности при накожном поступлении и установление DL50/LD50 обеспечивает оценку относительной токсичности вещества при накожном пути поступления.
7.2. Экстраполяция на человека результатов изучения острой токсичности при накожном поступлении и величин DL50/LD50, установленных на животных, допустима только в ограниченной степени. Результаты изучения острой токсичности при накожном поступлении должны учитываться в совокупности с данными об острой токсичности при других путях воздействия.
ОЦЕНКА ОСТРОГО РАЗДРАЖЕНИЯ/РАЗЪЕДАНИЯ (КОРРОЗИИ) КОЖИ
Идентичен международному документу OECD TG N 404 "Acute Dermal Irritation/Corrosion" (ОЭСР Руководство N 404 "Острое раздражающее/разъедающее действие на кожу"). Принят 24 апреля 2002 года. Перевод с английского языка (en). Степень соответствия - модифицированный (MOD).
1.1. Настоящий метод исследования устанавливает требования к выполнению стратегии поэтапных исследований раздражающего/разъедающего (коррозионного) воздействия вещества. Стратегия разработана и рекомендована ОЭСР для проведения испытаний согласно Согласованной на глобальном уровне системе классификации опасности и маркировки химической продукции (СГС). Рекомендуется руководствоваться стратегией испытания перед тем, как начать исследования in vivo. Новые вещества рекомендуется исследовать поэтапно с целью развития научной базы данных о раздражающих/разъедающих (коррозионных) свойствах вещества. Для существующих веществ, информации о которых недостаточно, стратегию необходимо использовать с целью восполнения недостаточных данных. Использование различных тестовых стратегий или процедур, как и принятие решений об исключении ряда их из поэтапного тестирования, должно быть оправданно.
1.2. Если невозможно определить раздражение/разъедание (коррозию) кожи путем анализа доступной информации, в соответствии с последовательной стратегией тестирования, целесообразно провести исследование in vivo.
2.1. Метод позволяет оценить всю имеющуюся информацию об исследуемом веществе с целью избежать ненужных экспериментов на подопытных животных. Данный метод рекомендует провести сбор и анализ всей известной информации об испытываемом веществе перед тем, как начать исследование in vivo разъедающего/раздражающего воздействия вещества. Недостающие данные могут быть получены в ходе последовательных исследований. Стратегия тестирования включает последовательное выполнение подтвержденных и распространенных исследований in vitro. В дополнение, где уместно, рекомендуется последовательное, а не одномоментное нанесение трех повязок с испытываемым веществом на животное в предварительных испытаниях in vivo.
2.2. Как в интересах науки, так и с целью защиты животных исследования in vivo не должны предприниматься до тех пор, пока не собраны, не рассмотрены и не взвешены все доступные данные о раздражающих/разъедающих свойствах вещества. Подобные данные включают в себя уже известные исследования на человеке и/или лабораторных животных, информацию о разъедающем/раздражающем воздействии одного или более структурно схожих веществ или смесей таких веществ, также включают в себя информацию о кислотных и щелочных свойствах испытываемого вещества и вытекают из проверенных и верифицированных данных в исследованиях in vitro или ex vivo. Этот анализ направлен на снижение потребности в исследованиях in vivo раздражающего/разъедающего (коррозионного) воздействия испытываемого вещества, уже получивших достаточное освещение по результатам других исследований.
3. Последовательная стратегия проведения исследования
по изучению раздражающего и/или разъедающего
(коррозионного) действия на кожу
3.1.1. В интересах науки и благополучия животных очень важно избегать ненужного использования животных и минимизировать любые испытания, которые могут привести к тяжелым последствиям у животных. Вся информация о потенциальной способности вещества вызывать разъедание (коррозию) или раздражение кожи должна быть оценена до проведения испытания in vivo. В свою очередь, уже могут существовать достаточные основания для того, чтобы классифицировать вещество как способное вызывать разъедание (коррозию) или раздражение без необходимости проводить опыты на лабораторных животных. Таким образом, используя анализ совокупности имеющихся данных и последовательную стратегию проведения испытаний можно снизить необходимость проведения испытаний in vivo, особенно, если вещество, вероятно, вызывает тяжелые реакции.
3.1.2. Анализ совокупности имеющихся данных обязательно рекомендуется проводить для оценки существующей информации о кожном раздражении или разъедании (коррозии), вызываемых веществом, чтобы определить, есть ли необходимость в проведении дополнительных исследований, отличных от кожных испытаний in vivo, для выявления таких потенциальных свойств. Когда дальнейшие испытания необходимы, рекомендуется применять последовательную стратегию проведения испытаний для получения значимых экспериментальных данных. Для веществ, для которых исследования ранее не проводились, последовательная стратегия должна быть использована при определении данных, необходимых для выявления его разъедающих (коррозионных) или раздражающих свойств. Стратегия испытаний была разработана ОЭСР и позднее была подтверждена и распространена в системе СГС.
3.1.3. Хотя последовательная стратегия не является составной частью метода, она представляет собой рекомендуемый подход для определения разъедающих (коррозионных) или раздражающих свойств вещества. Подход включает в себя как надлежащую лабораторную практику (GLP), так и этические предпосылки для проведения испытания in vivo на кожную коррозию или раздражение. Метод проведения исследования является руководством для проведения испытания in vivo и содержит факторы, которые необходимо учитывать до начала проведения такого испытания. Стратегия представляет собой подход для оценки существующих данных о разъедающих (коррозионных) или раздражающих свойствах исследуемого вещества и соответствующий подход получения подобных данных для веществ, для которых необходимы дополнительные испытания или для которых испытания не проводились ранее. Также в особых случаях для определения разъедания (коррозии) или раздражения кожи рекомендуется проведение подтвержденных и общепризнанных испытаний in vitro или ex vivo.
3.2. Описание стратегии проведения испытаний
и оценки существующих данных
3.2.1. Для определения необходимости проведения кожного испытания
in vivo перед проведением подобного испытания, как части последовательной стратегии, вся доступная информация должна быть рассмотрена и оценена
(приложение). Несмотря на то, что существенная информация может быть получена при оценке одиночных параметров (например, экстремально высокого значения pH), вся существующая информация должна быть рассмотрена в совокупности. Все существенные данные о воздействиях исследуемого вещества или его аналогов должны быть оценены при принятии решения на основании совокупности имеющихся данных, а логическое обоснование такого решения должно быть представлено. Основной упор до проведения испытаний
in vitro или
ex vivo должен быть сделан на данные о воздействии вещества на человека и животных. Кожных испытаний разъедающих (коррозионных) свойств
in vivo по возможности следует избегать.
3.3. Факторы стратегии испытаний
Оценка существующих данных о воздействии на человека и животных (шаг 1).
3.3.1. Прежде всего должны быть рассмотрены существующие данные о воздействии на человека (например, клинические или профессиональные испытания, истории клинических случаев) и животных (например, одиночные или повторяющиеся испытания на кожную токсичность), поскольку они обеспечивают информацию, непосредственно относящуюся к воздействиям на кожу. Для веществ с известным разъедающим (коррозионным) или раздражающим действием и тех, для которых существуют ясные доказательства отсутствия подобного действия, нет необходимости в проведении испытания in vivo.
Анализ взаимосвязи структура-активность (SAR) (шаг 2).
3.3.2. Если возможно, должны быть рассмотрены результаты испытаний веществ со схожей структурой. Если существуют данные о том, что подобные вещества или их смесь оказывают на человека и животных разъедающее (коррозионное) или раздражающее действие, можно предположить, что исследуемое вещество будет также оказывать подобное воздействие. В этих случаях проведения испытаний для таких веществ может не потребоваться. Отрицательные результаты исследований веществ со схожей структурой или их смеси не представляют собой достаточного доказательства отсутствия разъедающего (коррозионного) или раздражающего действия вещества в рамках последовательной стратегии. Подтвержденные или общепризнанные подходы SAR должны использоваться для выявления как разъедающих (коррозионных), так и раздражающих свойств.
Физико-химические свойства и химическая реакционная способность (шаг 3).
3.3.3. Вещества, имеющие экстремальные значения pH, такие как pH <= 2 и pH >= 11,5, могут вызывать сильные местные реакции. Если экстремальное значение pH является основой для отнесения вещества к едким разъедающим (коррозионным) для кожи, также должны учитываться его кислотные / щелочные свойства (буферная емкость). Если же буферная емкость показывает, что вещество может быть не разъедающим (не коррозионным) для кожи, то для подтверждения этого необходимо провести дальнейшие исследования, предпочтительно с использованием подтвержденных или общепризнанных
in vitro или
ex vivo тестов (см.
шаг 5 и 6).
Кожная токсичность (шаг 4).
3.3.4. Если доказано, что вещество является токсичным при поступлении через кожу, in vivo испытания по изучению разъедающих (коррозионных) и раздражающих свойств могут быть неосуществимы, поскольку количество вещества, которое обычно наносится на кожу, может сильно превышать токсичную дозу и, соответственно, привести к смерти или тяжелым поражениям животных. К тому же, если исследования на кожную токсичность с использованием кроликов-альбиносов уже были проведены с предельной дозой 2000 мг на кг массы животного или более, и разъедание (коррозия) или раздражение кожи не были обнаружены, дополнительные исследования по изучению разъедания (коррозии) или раздражения кожи могут не понадобиться. Некоторые выводы должны быть сделаны и при оценке острой кожной токсичности, выявленной в предыдущих исследованиях. Например, полученная информация о кожных поражениях может быть неполной. Тесты и наблюдения могли проводиться на видах, отличных от кроликов, и такие виды могли сильно отличаться по своим чувствительным реакциям. Также форма исследуемого вещества, нанесенного на животное, могла быть неподходящей для оценки кожного раздражения и коррозии (например, раствор веществ для испытаний кожной токсичности). Однако в тех случаях, когда хорошо подготовленные испытания на кожную токсичность были проведены на кроликах, отрицательные результаты могут считаться достаточным доказательством того, что вещество не является разъедающим (коррозионным) или раздражающим.
Результаты in vitro или ex vivo испытаний (шаг 5 и 6).
3.3.5. Вещества, проявившие разъедающие (коррозионные) или сильные раздражающие свойства в подтвержденных и общепринятых in vitro или ex vivo испытаниях, проведенных для оценки этих специфических свойств, нет необходимости тестировать на животных. Можно предположить, что такие вещества будут оказывать такое же тяжелое воздействие и in vivo.
In vivo испытания на кроликах (шаг 7 и 8).
3.3.6. В случае, если на основании анализа имеющихся данных принято решение проводить испытания in vivo, испытания должны начинаться с исследования на одном животном. Если результаты испытания показывают, что вещество оказывает разъедающее (коррозионное) действие на кожу, дальнейшие испытания проводиться не должны. Если в исходном тесте не наблюдаются разъедающие (коррозионные) свойства, отрицательная реакция или раздражающие свойства должны быть подтверждены с использованием двух дополнительных животных с периодом экспозиции 4 часа. Если раздражающий эффект наблюдается в исходном исследовании, то подтверждающий тест может проводиться последовательно или путем исследования двух животных одновременно.
4. Принцип тестового метода
4.1. Доза испытываемого вещества наносится на кожу подопытного животного однократно; необработанная кожа будет служить для сравнения (контроля). Степень раздражения/разъедания (коррозии) фиксируется в определенные промежутки времени и затем последовательно описывается с целью всесторонней оценки воздействия вещества. Продолжительность исследования должна быть достаточной для оценки процесса обратимости или необратимости наблюдаемых результатов.
4.2. Животных, продолжительно демонстрирующих выраженное физическое недомогание и/или острую боль, следует умертвить гуманным способом вне зависимости от этапа испытания, вещество оценивается соответственно.
5. Описание тестового метода
Отбор вида животных
5.1.1. Предпочтение отдается кроликам-альбиносам, используются молодые здоровые особи. Для использования других видов животных необходимо привести обоснование.
5.1.2. Приблизительно за 24 часа до начала испытания мех должен быть тщательно выстрижен со спинной части тела животного. При удалении меха необходимо быть осторожным, чтобы не повредить кожу животного. В испытании участвуют особи только со здоровой неповрежденной кожей.
5.1.3. Некоторые виды кроликов имеют плотные клочки шерсти, которые в определенное время года торчат больше. На такие области нельзя накладывать вещество.
Условия содержания и кормления
5.1.4. Каждое животное должно содержаться отдельно. Температура в экспериментальном помещении, где содержится подопытное животное, должна составлять (20 +/- 3) °C для кроликов. Относительная влажность помещения должна составлять 50 - 60%, ее минимальный уровень не должен быть ниже 30%, максимальный - превышать 70%, за исключением случаев, когда производится уборка. Освещение искусственное, сменяется в следующей последовательности: 12 часов светло, 12 часов - темно. Для кормления может использоваться обычная лабораторная диета, питьевая вода - в неограниченном количестве.
5.2. Процедура исследования
Наложение исследуемого вещества
5.2.1. Исследуемое вещество должно быть наложено на небольшой участок (приблизительно 6 см2) кожи и покрыто марлевой повязкой, закрепленной не вызывающей раздражения лентой. В случае если прямое наложение невозможно (например, с жидкостями или некоторыми пастами), вещество необходимо прежде нанести на марлевую повязку и затем приложить к коже. Повязка не должна сдавливать, должна крепиться посредством подходящего материала на протяжении всего периода воздействия вещества. Если испытываемое вещество нанесено на марлевую повязку, необходимо проследить, чтобы оно было равномерно распределено и плотно контактировало с кожей. Необходимо предупредить возможность животного дотянуться до повязки и проглотить или вдохнуть вещество.
5.2.2. При проведении исследований жидкостей их обычно не разводят. Если испытывается твердое вещество (оно может быть размельчено, при возможности), его необходимо увлажнить небольшим количеством воды (при необходимости, другим разбавителем), чтобы обеспечить надежное прилегание к коже. Если используется разбавитель, не являющийся водой, его потенциальное воздействие на раздражение кожи от испытываемого вещества должно быть минимальным.
5.2.3. По окончании периода воздействия (обычно длится 4 часа) остатки испытываемого вещества должны быть удалены водой или подходящим растворителем, не задевая следы реакции на раздражение и не повреждая целостность эпидермиса.
Уровень дозы
5.2.4. На испытуемый участок кожи (тест-сайт) наносят твердое вещество или пасту в дозе 0,5 г, если испытуемое вещество является жидкостью, то доза составляет 0,5 мл.
Предварительные исследования (исследование in vivo дермального раздражения/разъедания (коррозии) кожи, в котором используется одно животное)
5.2.5. В соответствии с последовательной стратегией настоятельно рекомендуется проводить предварительные исследования на одном животном, поскольку вещество может обладать свойством разъедать кожу.
5.2.6. Когда вещество признается разъедающим (коррозионным) на основании совокупного анализа результатов, дальнейших испытаний на животных не требуется. Для большинства веществ, предположительно вызывающих разъедание (коррозию), как правило, нет необходимости в дальнейших испытаниях in vivo. Однако в тех случаях, когда из-за недостатка подтверждений существуют основания для получения дополнительных данных, могут быть проведены некоторые испытания на животных с использованием следующего подхода: на животное последовательно наносятся до трех тестовых проб. Первая проба удаляется по истечении трех минут. Если не наблюдается заметных кожных реакций, наносится вторая проба, которая удаляется через один час. Если наблюдения на этой стадии показывают, что экспозицию можно безболезненно продлить до четырех часов, наносится третья проба, которая удаляется после четырех часов, а реакцию воздействия оценивают. Если разъедающий (коррозионный) эффект наблюдается на какой-либо из трех последовательных стадий, эксперимент немедленно прекращают. Когда коррозионный эффект не наблюдается после удаления последней пробы, животное наблюдается в течение 14 дней, если коррозия не развивается на более ранней временной стадии.
5.2.7. В тех случаях, когда исследуемое вещество предположительно не вызывает разъедание (коррозию), но может вызвать раздражение, на животное на четыре часа должна быть нанесена однократная проба.
Подтверждающий тест (исследование in vivo раздражения кожи дополнительных животных)
5.2.8. Если разъедающий (коррозионный) эффект не наблюдается в начальном испытании, раздражение или негативная реакция должны быть подтверждены с использованием до двух дополнительных животных, по одному животному на каждую пробу, с периодом экспозиции, равным 4 часам. Если раздражение наблюдается в начальном тесте, то подтверждающие тесты могут быть проведены последовательно или путем одновременного исследования двух дополнительных животных. В исключительном случае, когда начальный тест не проводится, два или три животных могут быть обработаны однократной пробой, которая удаляется через четыре часа. Если при исследовании двух животных в обоих случаях наблюдается одна и та же реакция, никаких дальнейших испытаний не требуется. В противном случае тестируется также третье животное. Для оценки сомнительных реакций могут потребоваться дополнительные животные.
Период наблюдения
5.3.1. Продолжительность периода наблюдений должна быть достаточной для того, чтобы в полной мере оценить обратимость наблюдаемых эффектов. Однако эксперимент должен быть прекращен в случае, если у животного наблюдаются продолжительные признаки тяжелой боли или недомогания. Для определения обратимости реакций животное должно наблюдаться в течение 14 дней после удаления пробы. При обнаружении обратимости в течение 14 дней эксперимент должен быть прекращен.
Клинические наблюдения и классификация кожных реакций
5.3.2. Все животные должны быть проверены на признаки эритемы и отека, а реакции - отмечаться на 60-й минуте, а затем на 24, 48 и 72 часах после удаления пробы. В начальном тесте на одном животном тестируемое место также проверяется сразу после удаления пробы. Кожные реакции оценивают и классифицируют в соответствии с
таблицей "Классификация кожных реакций". Если обнаруживается повреждение кожи, которое по прошествии 72 часов нельзя идентифицировать как раздражение или разъедание (коррозию), для определения обратимости данного эффекта, возможно, понадобятся наблюдения вплоть до 14 дней. Помимо реакции раздражения должны быть полностью описаны и зарегистрированы все местные токсические эффекты, такие как обезжиривание кожи или любые систематические неблагоприятные эффекты (например, влияние на клинические признаки токсичности и изменение массы тела). Для прояснения сомнительных результатов должно приниматься во внимание гистопатологическое обследование.
Таблица
Классификация кожных реакций
N п/п | Образование эритемы и отека | Уровень классификации |
1 | Отсутствие эритемы | 0 |
2 | Слабая эритема (едва заметная, розоватый тон) | 1 |
3 | Умеренно выраженная эритема (розовато-красный тон) | 2 |
4 | Выраженная эритема (красный тон) | 3 |
5 | Резко выраженная эритема (говяжья краснота) - образование ожога, препятствующего классификации эритемы (ярко-красный тон) | 4 |
Возможный максимум | 4 |
1 | Отсутствие отека | 0 |
2 | Слабый отек (едва заметный) | 1 |
3 | Умеренный отек (область отека хорошо различима за счет определенной припухлости) | 2 |
4 | Выраженный отек (припухлость примерно на 1 мм) | 3 |
5 | Резко выраженный отек (припухлость более 1 мм и выход отека за границы области экспозиции) | 4 |
Возможный максимум | 4 |
5.3.3. Градация кожных реакций неизбежно является субъективной. Для обеспечения единообразия при классификации кожных реакций, содействия испытательным лабораториям и тем, кто проводит и интерпретирует наблюдения, персонал, проводящий испытания, должен быть хорошо обучен используемой системе оценок
(таблица). Также могут оказаться полезными иллюстрированные пособия по классификации раздражений кожи и других повреждений.
Для прояснения сомнительных результатов может быть проведено гистопатологическое исследование.
6.1. Представление результатов
6.1.1. Результаты исследования должны быть сведены в таблицу в тестовом отчете и соответствовать всем пунктам, приведенным в разделе
[9].
6.2.1. Кожно-раздражающие реакции должны быть оценены с учетом природы и тяжести поражений, а также их обратимости или недостаточной обратимости. Индивидуальная реакция не является абсолютным стандартом проявления раздражающих свойств вещества, поэтому также должны быть оценены и другие эффекты от воздействия тестируемого материала. Вместо этого индивидуальные реакции должны рассматриваться как опорные значения, которые необходимо оценивать в сочетании со всеми другими наблюдениями, полученными в данном исследовании.
6.2.2. Обратимость кожных поражений должна рассматриваться, исходя из оценки реакции раздражения. Когда реакции кожи, такие как алопеция, гиперкератоз, гиперплазия и шелушение сохраняются до конца 14-дневного срока наблюдения, исследуемое вещество должно быть признано раздражающим.
Отчет о проведении испытания должен содержать следующую информацию.
Логическое обоснование проведения испытания in vivo: анализ совокупности существующих данных, включая результаты последовательной стратегии проведения испытания:
- описание значимых данных предварительного исследования;
- данные, полученные на каждой стадии стратегии проведения испытания;
- описание проведенных испытаний in vivo, включая детальное описание процедур и результаты, полученные для исследуемых / схожих веществ;
- анализ совокупности существующих данных для проведения испытания in vivo.
Вещество:
- идентификационные данные (например, номер CAS, источник, степень чистоты, известные примеси, номер партии);
- физическое состояние и физико-химические свойства (например, pH, летучесть, растворимость, устойчивость);
- если это смесь, то состав и соответствующее процентное содержание компонентов.
Растворитель:
- идентификационные данные, концентрация (при необходимости), используемый объем;
- обоснование выбора растворителя.
Экспериментальные животные:
- используемый вид/группа животных, в случае если это не кролики-альбиносы, обоснование использования животных;
- количество животных каждого пола;
- масса тела каждого животного в начале и конце испытания;
- возраст в начале испытания;
- источник животных, условия содержания, диета и т.д.
Условия проведения испытания:
- техника подготовки места нанесения пробы;
- техника подготовки и нанесения пластыря;
- техника подготовки исследуемого вещества, его нанесения и удаления.
Результаты:
- сбор и занесение в таблицу данных о проявлении у каждого животного раздражающих/разъедающих (коррозионных) реакций на каждой выявленной временной отметке;
- описание всех выявленных поражений;
- описание природы и степени выявленных реакций раздражения или разъедания (коррозии), а также любых гистопатологических наблюдений;
- описание других негативных местных (например, обезжиривание кожи) и соматических реакций, помимо кожного раздражения или разъедания (коррозии);
- обсуждение результатов.
ТЕСТИРОВАНИЕ И СТРАТЕГИЯ ИССЛЕДОВАНИЯ РАЗДРАЖАЮЩЕГО/
РАЗЪЕДАЮЩЕГО (КОРРОЗИОННОГО) ДЕЙСТВИЯ НА КОЖУ
| Деятельность | Результаты | Заключение |
1 | Имеются данные испытаний на людях/животных, показывающие эффекты на коже или слизистых оболочках | Коррозия | Наивысшее проявление коррозии. Тестирование не требуется. |
Раздражение | Наивысшее проявление раздражения. Тестирование не требуется. |
Нет коррозии/нет раздражения | Наивысшее проявление рассматривается как не коррозионный и не раздражающий. Тестирование не требуется. |
| Информация отсутствует или недостоверна | | |
2 | Провести SAR исследования для оценки коррозии/раздражения кожи | Прогноз серьезного повреждения кожи | Рассматривается как коррозия. Тестирование не проводится. |
Прогноз раздражения кожи | Рассматривается как раздражение. Тестирование не проводится |
| Прогноз не может быть сделан или прогноз не убедительный или отрицательный | | |
3 | Измерение pH (учитывать буферную способность, если это необходимо) | pH <= 2 или >= 11,5 (с высокой буферной способностью) | Предполагается коррозия. Тестирование не требуется. |
| 2 < pH < 11,5 или pH <= 2,0 или >= 11,5 с низкой или отсутствующей буферной способностью | | |
4 | Оценить данные кожной токсичности | Высокая токсичность | Дальнейшее тестирование не требуется |
Не коррозионный или раздражающий при тестируемой предельной дозе 2000 мг/кг массы тела кролика | Предполагается не коррозионным и не раздражающим. Тестирование не требуется |
| Такая информация отсутствует или не убедительна | | |
5 | Провести проверенные или общепринятые испытания in vitro и ex vivo на наличие коррозии кожи | Коррозионное действие | Предполагается коррозия в опытах in vivo. Дальнейшее тестирование не требуется |
| Вещество не коррозионное или в международно-признанных исследованиях данные о коррозии кожи в опытах in vitro и ex vivo отсутствуют | | |
6 | Провести проверенные или общепринятые испытания in vitro и ex vivo на наличие раздражения кожи | Раздражающее действие | Предполагается раздражение в опытах in vivo. Дальнейшее тестирование не требуется |
| Вещество не раздражающее или в международно-признанных исследованиях данные о раздражении кожи в опытах in vitro и ex vivo отсутствуют | | |
7 | Провести начальное испытание in vivo на кроликах с использованием одного животного | Серьезное повреждение кожи | Рассматривается как коррозия. Дальнейшее тестирование не требуется |
| Отсутствие серьезных повреждений | | |
8 | Провести подтверждающее испытание, используя одно или двух дополнительных животных | Коррозия или раздражение | Рассматривается как коррозия. Дальнейшее тестирование не требуется |
Нет коррозии или раздражения | Рассматривается как не коррозионное и не раздражающее. Дальнейшее тестирование не требуется |
КОЖНО-РЕЗОРБТИВНОЕ ДЕЙСТВИЕ: МЕТОД IN VIVO
Идентичен международному документу OECD TG N 427 "Skin Absorbtion: in vivo Method" (ОЭСР Руководство N 427 "Кожно-резорбтивное действие: метод in vivo"). Международный документ разработан Организацией Экономического Сотрудничества и Развития (ОЭСР/OECD), принят 13 апреля 2004 г. Перевод с английского языка (en). Степень соответствия - модифицированный (MOD).
1.1. Настоящий метод исследования устанавливает требования к выполнению исследований по изучению кожно-резорбтивного действия химических веществ и продукции на их основе (далее - вещество) методом in vivo.
1.2. Метод обеспечивает получение информации о кожно-резорбтивном действии вещества и позволяет оценить и классифицировать его в соответствии с Согласованной на глобальном уровне системой классификации и маркировки (СГС) по данному виду эффекта.
2.1. Метод in vivo, описанный в данном методе исследования, используется уже много лет. Несмотря на то, что методы in vitro могут быть достаточными в большинстве случаев, существуют ситуации, где лучше использовать метод in vivo для получения нужной информации.
2.2. Преимущество тестирования in vivo состоит в том, что оно позволяет использовать физиологически и метаболически неповрежденную систему, вид животных, применяемый в большинстве токсикологических исследований, но может быть модифицировано для использования других видов животных. Недостатки тестирования in vivo включают: использование живых животных, необходимость использования материала, меченного радиоактивным изотопом, для получения достоверных результатов, трудности в определении ранней фазы абсорбции, разницу в проницаемости кожи у людей и крыс. Кожа крыс и кроликов имеет большую проницаемость, чем кожа людей, и, соответственно, это может привести к недостоверным результатам исследования. Кожа морских свинок, свиней и обезьян более соответствует коже людей.
2.3. Нельзя испытывать кожно-резорбтивное действие веществ, разъедающих кожу (обладающих коррозионным действием).
2.4. Как в интересах науки, так и с целью защиты животных, исследования in vivo не должны предприниматься до тех пор, пока не собраны, не рассмотрены и не взвешены все доступные данные о раздражающих/разъедающих свойствах вещества. Подобные данные включают в себя уже известные исследования на человеке и/или лабораторных животных, информацию о разъедающем/раздражающем воздействии одного или более структурно схожих веществ или смесей таких веществ. Они также включают в себя информацию о кислотных и щелочных свойствах испытываемого вещества и исходят из проверенных и верифицированных данных в исследованиях in vitro или ex vivo.
3.1. Тестируемое вещество, предпочтительно радиоактивно меченное, наносится на выбритый участок кожи животного в одной или более адекватной дозе в форме, применяемой при его использовании.
3.2. Вещество оставляют на коже на фиксированное время под соответствующим покрытием (не герметичным, полу-герметичным, герметичным) для того, чтобы исключить слизывание вещества животными.
3.3. По окончании экспозиции покрытие убирают, участок кожи очищают с использованием соответствующего средства (вода, мыло). Покрытие и материалы, используемые при очистке, необходимо сохранить для анализов, а экспонированный участок кожи покрыть новым защитным материалом.
3.4. До начала, в процессе и после эксперимента животные должны содержаться в отдельных метаболических клетках. Экскременты и выдыхаемый воздух собирают для последующего анализа. Сбор выдыхаемого воздуха может быть прекращен, когда будут получены убедительные данные, что в нем не содержится или содержится в незначительном количестве летучий радиоактивный метаболит.
3.5. Каждую дозу вещества исследуют на нескольких группах животных. Одну группу умерщвляют по окончании экспозиции, остальные - впоследствии через определенные промежутки времени. В конце периода наблюдения производят забой всех оставшихся животных, и их кровь собирают для исследования. Выделяют участок кожи, на который наносили вещество, используют цельную тушку животного для определения количества не выведенного вещества. Пробы анализируют соответствующими методами и рассчитывают степень кожной абсорбции.
Крысы являются наиболее распространенным видом подопытных животных, но также можно использовать виды животных без шерсти и виды, у которых степень абсорбции кожи близка к человеческой.
Используют преимущественно молодых половозрелых самцов белых крыс с массой тела 200 - 250 г. В начале исследования различия в весе отдельных животных не должны превышать 20% от среднего веса группы.
4.2. Количество и пол животных
Для исследования каждой дозы вещества и в определенные периоды времени должна использоваться группа, состоящая, как минимум, из четырех животных. Каждая группа животных должна быть умерщвлена через разные интервалы времени, например, в конце экспозиции (обычно через 6 или 24 часа после нанесения) и в более отдаленные периоды (через 48 и 72 часа). Если существуют данные о разнице в кожной резорбции у самцов и самок, необходимо использовать более чувствительный пол. Если таких данных не существует, можно использовать животных любого пола.
4.3. Условия содержания и кормления
Температура в экспериментальном помещении, где содержатся подопытные животные, должна составлять (22 +/- 3) °C для крыс. Относительная влажность помещения должна составлять 50 - 60%, ее минимальный уровень не должен быть меньше 30%, максимальный - 70%, за исключением случаев, когда производится уборка. Освещение искусственное, сменяется в следующей последовательности: 12 часов светло, 12 часов темно. Животные должны содержаться в отдельных клетках. Для кормления может использоваться стандартный корм, питьевая вода - в неограниченном количестве.
4.4.1. Животные должны быть выбраны случайно, помечены для идентификации и оставлены в своих клетках минимум на 5 дней до начала нанесения тестируемого вещества, что позволит им адаптироваться к лабораторным условиям.
4.4.2. После периода адаптации (и примерно за 24 часа до начала нанесения вещества) нужно выбрить участок кожи у каждого животного в районе лопаток. Свойства абсорбции у поврежденной кожи отличаются от свойств нормальной, поэтому нужно аккуратно обращаться с животными, чтобы дальше не повредить кожу. После сбривания шерсти (примерно за 24 часа для начала нанесения вещества на кожу) нужно протереть кожу ацетоном, чтобы избавиться от кожного сала. После этого лучше не мыть кожу с мылом и водой, так как остатки мыла могут вызвать повышенную абсорбцию нанесенного вещества. Нужно наносить вещество на большой участок кожи, чтобы получить достоверную информацию об абсорбции вещества. Как минимум нужно использовать участок площадью 10 см2. Это относится к крысам с весом 200 - 250 г. После нанесения вещества нужно вернуть животных в метаболические клетки.
В результате проводимого тестирования характеристики кожной абсорбции исследуемого вещества должны быть хорошо изучены. Поэтому лучше всего, чтобы вещество имело радиоактивную метку.
Тестируемая форма вещества (например, в чистом виде, не разбавленное или продукция, содержащая тестируемое вещество) должна быть такой же (или ее реальным аналогом), с которой может контактировать человек или другой живой организм. Любое отклонение должно быть обосновано. В некоторых случаях можно растворять вещество в подходящем разбавителе. Для всех разбавителей, кроме воды, нужно знать характеристики абсорбции и потенциального взаимодействия с веществом.
4.6. Нанесение вещества на кожу
4.6.1. Место нанесения отмечают на поверхности кожи.
4.6.2. Определенное количество вещества, соответствующее реальным условиям контакта человека с веществом (обычно 1 - 5 мг/см2 для твердых веществ и до 10 мл/см2 для жидкостей), необходимо равномерно нанести на кожу. Иные количества должны быть обоснованы с учетом условий применения вещества, целей исследования или физических свойств тестируемого препарата.
4.6.3. Участок кожи с нанесенным веществом должен быть защищен от слизывания. Пример типичного защитного устройства приведен в прилож. 1. Чаще всего место аппликации защищается пористым материалом (например, проницаемым нейлоновым, марлевым покрытием). Однако при повторных аппликациях вещества на место нанесения накладывают герметичное покрытие.
4.6.4. В случае испарения полулетучего вещества, которое уменьшает скорость извлечения до неприемлемого лимита, необходимо улавливать вещество с использованием угольного фильтра
(прилож. 1). Необходимо сделать все, чтобы не дать устройству повредить кожу или впитать вещество.
4.6.5. После нанесения вещества все животные должны быть возвращены в метаболические клетки для сбора экскрементов.
4.7. Длительность воздействия и сбор проб
4.7.1. Длительность воздействия является интервалом времени между нанесением и удалением вещества. Предпочтительно использовать период воздействия от 6 до 24 часов, основанный на периоде воздействия на человека. После периода воздействия животные должны содержаться в метаболических клетках до усыпления. Необходимо регулярно наблюдать за животными на протяжении всего исследования, чтобы выявить признаки интоксикации или аномальные реакции. В конце исследования нужно провести наблюдения, чтобы выявить визуальные признаки раздражения на коже.
4.7.2. Метаболические клетки должны обеспечивать раздельный сбор мочи и фекалий. Также они должны позволять собирать 14C-диоксид углерода и его полулетучие 14C-соединения, которые необходимо анализировать, если их количество превышает 5%. Мочу, фекалии и другие жидкости нужно собирать отдельно от каждой группы при каждом взятии проб. Если существует достаточная информация о том, что радиоактивный метаболит присутствует в небольших количествах, или не присутствует вообще, можно использовать открытые клетки.
4.7.3. Испражнения собирают во время воздействия вещества, до 24 часов после первого контакта с кожей и далее каждый день до конца эксперимента. Обычно достаточно трех сборов испражнений, но в некоторых случаях их количество можно увеличить.
4.7.4. По окончании периода воздействия защитные устройства удаляют и хранят для дальнейшего исследования. Кожа животных должна быть вымыта как минимум три раза с использованием моющего средства, не раздражающего кожу, при помощи мягкого тампона. Необходимо избежать попадания вещества на другие части тела. В конце нужно высушить кожу. Все, что было смыто с кожи, должно быть сохранено для анализа. Для животных, которые будут далее возвращены в метаболические клетки, нужно покрыть обработанные части тела животных новым материалом.
4.8.1. В каждой группы все животные должны быть забиты в назначенное время, и их кровь отобрана для анализов. Обработанные и необработанные участки кожи должны быть отобраны для раздельного анализа.
4.8.2. Обработанный участок кожи может быть разделен на роговой слой и эпидермис для более точного анализа о распределении вещества. Определение такого распределения во времени после экспозиции должно дать информацию о судьбе всех веществ в роговом слое. Для проведения разделения кожи (после конечного смыва вещества и усыпления животного) нужно снять весь защитный материал.
4.8.3. Обработанный участок кожи вместе с окружающим его необработанным участком должен быть выделен и прикреплен на плоскую поверхность. Нужно аккуратно (с легким надавливанием) прикрепить отрезок клейкой ленты (скотч) на поверхность кожи, а потом отделить его вместе с частью рогового слоя. Последовательно накладывают полоски скотча до тех пор, пока лента больше не прилипает к поверхности кожи. Это означает, что весь роговой слой отделен. Для каждого животного можно хранить все куски скотча в одном контейнере с добавлением вещества, способствующего растворению рогового слоя.
4.8.4. Любые потенциальные ткани и органы-мишени могут быть отобраны для раздельного определения остаточных количеств вещества до того, как оставшиеся тушки животных будут использованы для определения абсорбированной дозы. Мертвых животных (их тушки) необходимо сохранить для дальнейшего анализа. Обычно достаточно провести исследования всей тушки в целом. Моча, собранная во время забоя, должна быть смешана с собранной при предыдущих анализах.
4.8.5. После забоя животных и сбора и удаления их экскрементов, клетки должны быть тщательно вымыты. Также нужно проанализировать любое оборудование, которое могло быть загрязнено во время эксперимента.
4.9.1. Во всех исследованиях нужно достичь адекватного извлечения (в среднем (100 +/- 10)% радиоактивности). Степень извлечения менее этого диапазона должна быть объяснена. Уровень экспозиционной дозы в каждом образце должен быть проанализирован с использованием подходящих процедур.
4.9.2. Статистический анализ должен включать определение степени дисперсии для каждого нанесения.
5.1.1. Для каждого животного должны быть проведены следующие измерения при каждом взятии проб тестируемого вещества и метаболитов. Помимо индивидуальных данных, нужно приводить данные, сгруппированные по признаку взятия проб.
- Количество вещества, адсорбированное на защитных устройствах;
- количество вещества, которое удалось удалить с кожи;
- количество вещества на коже или внутри нее, которое не удалось смыть;
- количество в образце крови;
- количество в испражнениях или в выдыхаемом воздухе;
- количества, остающиеся в тушке или в других органах.
5.1.2. Количество вещества и/или метаболитов в испражнениях, использованном воздухе, крови и тушке даст возможность определить общее количество вещества, абсорбированного на каждом этапе. Также можно получить расчет количества вещества, абсорбированного на каждый см2 кожи, подверженный воздействию вещества.
Отчет должен включать требования, описанные в протоколе, включая объяснения выбранной системы исследования, а также:
- вещество:
- идентификационные данные (номер CAS (если имеется), источник, чистота (радиохимическая чистота), известные примеси, номер партии);
- физическое состояние, физико-химические свойства (pH, летучесть, растворимость, стабильность, молекулярный вес и logPow);
- подготовка исследования:
- рецептура и обоснование применения;
- детали подготовки, нанесенное количество, достигнутая концентрация, использованный растворитель, стабильность и однородность (гомогенность) раствора;
- подопытные животные:
- вид/линия;
- количество, возраст и пол;
- источник получения животных, условия содержания, диета и т.д.;
- вес каждого животного в начале тестирования;
- условия тестирования:
- детали по введению вещества (место нанесения, методы анализа, окклюзивное/неокклюзивное покрытие, объем аппликации, методы экстракции и определения);
- подробные данные о качестве воды и корма;
- результаты:
- признаки токсичности;
- данные об абсорбции в форме таблиц (соотношение, количество или процент);
- общее восстановление после исследования;
- интерпретация результатов, включая сравнение с любой доступной информацией о кожно-резорбтивном действии вещества.
ПРИМЕР ДИЗАЙНА ТИПИЧНОГО УСТРОЙСТВА, ИСПОЛЬЗУЕМОГО
ДЛЯ ИЗОЛЯЦИИ И ЗАЩИТЫ МЕСТА НАНЕСЕНИЯ ВЕЩЕСТВА
ПРИ ИССЛЕДОВАНИИ ЕГО КОЖНО-РЕЗОРБТИВНОГО ДЕЙСТВИЯ
МЕТОДОМ IN VIVO
ИЗУЧЕНИЕ ПЕРОРАЛЬНОЙ ТОКСИЧНОСТИ ПРИ ПОВТОРНОМ ВОЗДЕЙСТВИИ
В 28-ДНЕВНЫХ ОПЫТАХ НА ГРЫЗУНАХ
Идентичен международному документу OECD TG N 407 "Repeated Dose 28-Day Oral Toxicity Study in Rodents" (ОЭСР Руководство N 407 "Изучение пероральной токсичности при повторном воздействии в 28-дневных опытах на грызунах". Перевод с английского языка (en). Степень соответствия - модифицированный (MOD).
1.1. Настоящий метод исследования по изучению пероральной токсичности при повторном воздействии в 28-дневных опытах на грызунах предназначен для получения информации о возможном вреде для здоровья при повторном введении вещества в течение относительно небольшого периода времени, включая общетоксическое действие и эффекты на нервную, иммунную и эндокринную системы.
2.1. Оценка токсикологических характеристик химического вещества, исследование пероральной токсичности с использованием повторного введения может выполняться после того, как получена первичная информация о токсичности в условиях острого опыта. Метод предназначен для изучения эффектов для очень широкого разнообразия потенциальных мишеней токсичности. Их использование позволяет получить информацию о возможном вреде для здоровья при повторном воздействии вещества в течение относительно небольшого периода времени, включая эффекты на нервную, иммунную и эндокринную системы. При рассмотрении этих видов действия могут быть выявлены вещества с нейротоксическим потенциалом, для которых потребуются дальнейшие исследования в этом аспекте, и вещества, которые нарушают физиологию щитовидной железы. Могут быть также получены данные о влиянии веществ на репродуктивные органы молодых взрослых самцов и самок и выявлены симптомы иммунологических эффектов.
2.2. Полученные на основании метода исследования результаты должны использоваться при идентификации опасности и оценки риска. Результаты, полученные для эндокринно-зависимых параметров, должны быть рассмотрены в контексте ОЭСР Концептуальной схемы изучения и оценки химических веществ, разрушающих эндокринную систему. Метод включает в себя базисное изучение токсичности при повторном введении, которое может использоваться для веществ, которые не требуют 90-дневных исследований (например, когда объемы производства не превышают определенных пределов) или как предварительное перед проведением 90-дневных опытов. Продолжительность воздействия должна составлять 28 дней.
2.3. Международная программа по апробации (валидизации) параметров, потенциально пригодных для выявления эндокринной активности изучаемого вещества показала, что качество данных, получаемых с ориентацией на Руководство ОЭСР 407, в значительной мере зависит от опыта исследовательской лаборатории. Это особенно относится к гистопатологическим анализам циклических изменений в репродуктивных органах самок и определению массы мелких гормонозависимых органов, которые трудно препарировать. Существует множество параметров - индикаторов эндокринно-зависимой токсичности. Параметры, для которых недостаточно данных для подтверждения их практической значимости, и для которых при апробации показана слабая способность к выявлению эндокринных разрушителей, предлагаются как вспомогательные.
2.4. На основании данных, полученных в процессе апробации (валидизации), следует подчеркнуть, что чувствительность представленного ниже биологического испытания не достаточна для выявления всех веществ с (анти)андрогенным или (анти)эстрогенным видом действия. Руководство ОЭСР 407 не распространяется на стадии жизни, наиболее уязвимые для эндокринных разрушителей. С использованием Руководства были идентифицированы препараты, слабо или сильно влияющие на функцию щитовидной железы, а также вещества с сильной и средней эндокринной активностью, действующие на эстрогенные и андрогенные рецепторы, но в большинстве случаев не удалось выявить эндокринную активность у веществ, которые слабо взаимодействуют с эстрогенными и андрогенными рецепторами. Таким образом, данное исследование не может быть характеризовано как скрининговое для оценки эндокринной активности.
2.5. Следовательно, отсутствие эффектов, связанных с вышеупомянутыми видами действия, не может считаться доказательством отсутствия влияния на эндокринную систему. В отношении эндокринно-опосредованных эффектов характеристика препарата не должна основываться на результатах, полученных только в рамках данного Руководства, в ней должны взвешенно использоваться принципы доказательности, включающие все сведения о веществе, характеризующие его потенциальную эндокринную активность. По этой причине регулятивное решение, принятое с учетом эндокринной активности (характеристики препарата), должно быть широко обоснованным подходом, не находящимся в зависимости от результатов, полученных по данному Руководству.
2.6. Признается, что все процедуры с использованием животных должны соответствовать локальным стандартам содержания животных; требования к содержанию животных и воздействию вещества изложены ниже в минимальном варианте и могут быть заменены местными нормами, если они более жесткие.
3. Описание тестового метода
3.1.1. Изучаемое вещество вводится ежедневно перорально в градуированных дозах нескольким группам экспериментальных животных в одном дозовом уровне на группу в течение 28 дней. В течение всего периода введения вещества животные ежедневно тщательно наблюдаются для выявления признаков токсичности. Животные, погибшие или умерщвленные в ходе исследования, подвергаются вскрытию, выжившие животные умерщвляются и подвергаются вскрытию по завершению эксперимента. 28-дневное исследование дает информацию об эффектах повторного перорального воздействия и может выявить необходимость последующих более длительных исследований. Из него также может быть получена информация о выборе концентраций для более длительных исследований. Данные, полученные с использованием метода, должны приниматься во внимание при характеристике токсичности изучаемого вещества, при выявлении зависимостей доза-эффект и при определении уровня, при котором не наблюдаются неблагоприятные эффекты вещества (NOAEL).
Выбор вида животных
3.2.1. Предпочтительный вид грызунов - крыса, однако могут использоваться и другие грызуны. Если параметры, указанные в Руководстве 407, исследуются на других видах грызунов, этому должно быть дано детальное обоснование. Хотя биологически допустимо, что другие виды будут реагировать на токсичное вещество также, как крыса, использование более мелких видов может увеличить вариабельность из-за технической сложности препарирования более мелких органов. В международной программе по апробации выявления эндокринных разрушителей единственным видом использованных животных были крысы. Использоваться должны молодые здоровые половозрелые животные широко применяемых лабораторных линий. Самки должны быть нерожавшими и небеременными. Введение вещества должно начинаться как можно скорее после прекращения материнского питания, и, в любом случае, до того, как животные достигнут 9-недельного возраста. В начале исследования вариации массы тела используемых животных должны быть минимальными и не превышать +/- 20% от средней массы каждого пола. Если повторное 28-дневное воздействие вещества проводится как предварительное к долговременному исследованию, предпочтительно, чтобы в обоих исследованиях использовались животные одной и той же линии из одного и того же источника.
Содержание и кормление
3.2.2. Все процедуры должны соответствовать местным стандартам ухода за животными. Температура в экспериментальной комнате для животных должна быть (22 +/- 3) °C. Относительная влажность воздуха должна быть не менее 30% и, желательно, не выше 70% во время уборки помещения, оптимальный диапазон - 50 - 60%. Освещение должно быть искусственным, с последовательным чередованием 12 часов света и 12 часов темноты. Для кормления может использоваться обычная лабораторная диета с неограниченным потреблением питьевой воды. На выбор диеты может повлиять необходимость обеспечить хорошее смешивание изучаемого вещества, если оно вводится с кормом. Животные должны содержаться небольшими группами одного пола, животные могут быть размещены индивидуально, если это научно обосновано. При групповом содержании в одной клетке должно размещаться не более 5 животных.
3.2.3. Корм должен регулярно анализироваться на загрязняющие вещества. Образцы корма должны сохраняться до завершения отчета.
Подготовка животных
3.2.4. Здоровые молодые взрослые животные произвольно распределяются в контрольную и экспериментальные группы. Клетки должны быть расставлены так, чтобы свести к минимуму возможные эффекты, связанные с размещением клеток. Животные индивидуально маркируются и содержатся в своих клетках, по крайней мере, в течение 5 дней до начала введения вещества для акклиматизации к лабораторным условиям.
Подготовка доз
3.2.5. Изучаемое вещество вводится желудочным зондом, с диетой или с питьевой водой. Метод перорального введения зависит от физических/химических/токсико-кинетических свойств изучаемого вещества.
3.2.6. Если необходимо, изучаемое вещество растворяется или суспензируется в подходящем растворителе. Рекомендуется, по возможности, во-первых, рассматривать использование водного раствора/суспензии, за ним следует рассмотрение использования раствора/суспензии в масле (например, в кукурузном масле) и только потом - возможное растворение в других растворителях. Для растворителей, отличных от воды, должны быть известны токсикологические характеристики. Должна быть определена стабильность изучаемого вещества в растворителе.
3.3. Процедура исследования
Количество и пол животных
3.3.1. По крайней мере, 10 животных (пять самцов и пять самок) должны быть использованы в каждой дозе. Если планируется умерщвление животных в течение эксперимента, общее число животных должно быть увеличено на то их количество, которое предназначается к умерщвлению до завершения исследования. Должна быть рассмотрена целесообразность дополнительной сателлитной группы из 10 животных (по 5 каждого пола) для наблюдения за обратимостью, устойчивостью или отсроченным проявлением токсических эффектов, по крайней мере, в течение 14 дней после прекращения воздействия вещества.
Дозировка
3.3.2. Как правило, должны использоваться, по крайней мере, три экспериментальные и контрольная группа, но если из оценки других данных следует, что эффекты не будут проявляться в дозе 1000 мг/кг массы/день, то может проводиться сокращенное исследование. Если данных не достаточно, могут быть проведены исследования по подбору диапазона доз (на животных той же линии и из того же источника) с целью определить, какие дозы изучать в 28-дневном эксперименте. За исключением введения изучаемого вещества, условия содержания контрольных и опытных животных должны быть идентичными. Если для введения изучаемого вещества применяется растворитель, контрольная группа должна получать растворитель в наибольшем из используемых объемов.
3.3.3. Дозовые уровни должны выбираться с учетом всех имеющихся токсикологических и (токсико-)кинетических данных, имеющихся в наличии для тестируемого препарата или родственных веществ. Наивысшая доза должна выбираться с целью вызвать токсические эффекты, но не гибель или сильные страдания животных. Поэтому последовательность снижения дозовых уровней должна выбираться с перспективой обнаружения любых доза-зависимых реакций и установления уровня, при котором не наблюдаются неблагоприятные эффекты вещества (NOAEL). Двух- или четырехкратные интервалы обычно оптимальны для установления убывающих дозовых уровней, а добавление четвертой опытной группы животных часто предпочтительнее использования очень больших интервалов (например, более, чем 10-кратных) между дозами.
3.3.4. При наличии видимой общей токсичности (например, снижение массы тела, действие на печень, сердце, легкие или почки и др.), видимые эффекты на иммунные, нейрологические и эндокринные показатели должны интерпретироваться с осторожностью.
3.4. Ограниченное исследование
3.4.1. Если исследование одного уровня дозы как минимум 1000 мг/кг массы тела/день или, при введении с диетой или питьевой водой (на основе определения массы тела), эквивалентной процентному содержанию вещества в корме или питьевой воде, процедуры, предписанные для проведения 28-дневного исследования, не выявляют токсических эффектов и, если проявлений токсичности не ожидается на основании данных о структурно связанных веществах, тогда полное исследование с тремя уровнями доз может рассматриваться как необязательное. Проводится ограниченное изучение вещества, если только воздействие на людей не свидетельствует о необходимости использования более высокого дозового уровня.
3.5.1. Животные получают изучаемое вещество 7 дней в неделю в течение 28 дней. Если изучаемое вещество вводится внутрижелудочно, это должно быть сделано в одноразовой дозе для животных с использованием желудочного зонда или подходящей интубационной канюли. Максимальный объем жидкости, который может быть введен за один раз, зависит от размера экспериментальных животных. Вводимый объем не должен превышать 1 мл/100 г массы тела, за исключением водных растворов, которые допустимо вводить в объеме 2 мл/100 г массы тела. Для изучаемых веществ, за исключением едких и раздражающих, у которых обычно при увеличении концентрации раздражающие эффекты усугубляются, вариабельность объема должна быть минимизирована подбором концентраций так, чтобы все дозовые уровни вводились в одном и том же объеме.
3.5.2. Для веществ, вводимых с диетой или питьевой водой, важно убедиться, что используемые количества изучаемого вещества не нарушают нормальное питание или водный баланс. Если изучаемое вещество вводится с диетой, может использоваться либо постоянная концентрация (ppm), либо постоянный уровень доз в переводе на вес тела животного, выбор должен быть точно определен. Для веществ, вводимых с помощью зонда, доза должна вводиться каждый день в одно и то же время и устанавливаться в соответствии с необходимостью поддерживать постоянный уровень дозы в пересчете на массу тела животного. Если 28-дневное исследование с повторным введением вещества проводится как предварительное к долговременному исследованию, в обоих исследованиях должны использоваться одинаковые диеты.
3.6.1. Период наблюдения должен составлять 28 дней. Животные сателлитной группы, предназначенные для последующих наблюдений, должны содержаться, по крайней мере, 14 дней без воздействия вещества для выявления отсроченного действия, устойчивости токсических эффектов или их исчезновения.
3.6.2. Общие клинические наблюдения должны проводиться, по крайней мере, один раз в день, желательно в одно и то же время, принимая во внимание период максимального проявления ожидаемых эффектов после введения вещества. Состояние организма животных должно быть зафиксировано. Не менее двух раз в день животные осматриваются для выявления заболеваемости или гибели.
3.6.3. Один раз перед первым введением вещества (для возможности внутригрупповых сравнений) и не менее одного раза в неделю после начала воздействия вещества должны быть проведены детальные клинические наблюдения для всех животных. Наблюдения должны проводиться вне клетки на стандартной арене и предпочтительно каждый раз в одно и то же время дня. Наблюдения должны быть тщательно зарегистрированы, предпочтительно с использованием систем оценки, четко оговоренных исследовательской лабораторией. Должны быть приняты меры для того, чтобы следить за тем, чтобы вариации в условиях исследования были минимальными и чтобы наблюдения преимущественно проводились наблюдателями, не осведомленными о воздействии вещества. Замеченные симптомы должны включать, не ограничиваясь этим, изменения кожи, шерсти, глаз, слизистых оболочек, наличие секреции и экскреции и автономной активности (слезотечение, пилоэрекция, размер зрачка, необычные типы дыхания). Изменения в походке, позе, отношении к уходу, наличие клонических или тонических движений, стереотипия (например, слишком интенсивный груминг, повторяющиеся круговые движения) или странное поведение (например, самоповреждение, движение задом наперед) также должны фиксироваться.
3.6.4. На четвертой неделе эксперимента должна быть изучена способность реагировать на различные стимулы (например, световые и проприоцептивные стимулы), оценены сила схвата и моторная активность. Детали процедур, которые проводятся, берутся из литературных источников. Набор используемых процедур может быть различным.
3.6.5. Функциональные исследования на четвертой неделе воздействия могут не проводиться, если 28-дневный эксперимент проводится как предварительный перед последующим субхроническим (90-дневным) экспериментом. В этом случае функциональные исследования должны быть включены в последующий эксперимент. С другой стороны, наличие данных функциональных исследований, полученных при 28-дневном повторном введении вещества, может облегчить выбор дозовых уровней для последующего субхронического опыта.
3.6.6. Как исключение, функциональные наблюдения могут также не проводиться для групп животных, в которых проявляются другие признаки токсичности вещества, а их выраженность может повлиять на результаты проведения функциональных тестов.
3.6.7. При некропсии эстральные циклы всех самок могут быть исследованы (при необходимости) с помощью вагинальных мазков. Эти исследования могут дать информацию в отношении стации эстрального цикла на момент умерщвления и оказаться полезными при гистологической оценке эстроген-чувствительных тканей (см. инструкции по гистопатологии).
Масса тела и потребление пищи/воды
3.6.8. Все животные должны быть взвешены не менее одного раза в неделю. Измерения потребления пищи должны проводиться не менее одного раза в неделю. Если изучаемое вещество вводится с питьевой водой, потребление воды должно также измеряться, по крайней мере, еженедельно.
Гематология
3.6.9. В конце эксперимента должны быть проведены следующие гематологические исследования: гематокрит, концентрация гемоглобина, количество эритроцитов, общий лейкоцитоз и лейкоцитарная формула, количество тромбоцитов и время/потенциал свертываемости крови. Другие исследования, которые должны проводиться, если вещество или его предполагаемые метаболиты имеют или могут иметь окислительные свойства, включают определение концентрации метгемоглобина и телец Гейнца.
3.6.10. Образцы крови должны отбираться непосредственно перед или в процессе умерщвления животных и сохраняться в соответствующих условиях. Животные должны голодать в течение ночи перед умерщвлением
<2>.
--------------------------------
<2> Для измерений ряда показателей в сыворотке или плазме, прежде всего, для глюкозы, более надежны результаты, полученные после ночного голодания животных. Главная причина такой предпочтительности - в возрастании вариабельности данных, которое неизбежно проявляется у неголодных животных и имеет тенденцию к маскировке более тонких эффектов, затрудняя интерпретацию результатов. С другой стороны, однако, голодание в течение ночи может повлиять на общий метаболизм животных и, в особенности, в исследованиях с введением вещества с кормом, может нарушить режим воздействия изучаемого вещества на животных. Если выбирается ночное голодание, клинические биохимические определения должны выполняться после проведения функциональных наблюдений в конце 4-й недели эксперимента.
Клиническая биохимия
3.6.11. Клинические биохимические определения для выявления токсических эффектов в тканях и, особенно, действия на почки и печень, должны проводиться в образцах крови, взятых у всех животных непосредственно перед или как часть процедуры умерщвления животных (за исключением животных, найденных агонизирующими, и /или умерщвленных до завершения эксперимента). Исследования плазмы или сыворотки должны включать определение натрия, калия, глюкозы, общего холестерина, мочевины, креатинина, общего белка, альбумина и не менее двух ферментов - индикаторов гепатоцеллюлярных эффектов (таких, как аланинаминотрансфераза, аспартатаминотрансфераза, щелочная фосфатаза, гамма-глютамилтранспептидаза и глютаматдегидрогеназа) и желчных кислот. Определение дополнительных ферментов (печеночного или другого происхождения) и билирубина при определенных обстоятельствах может дать полезную информацию.
3.6.12. Дополнительно на последней неделе эксперимента может проводиться анализ мочи с использованием спланированного во времени сбора объемов мочи и определением таких показателей, как внешний вид, объем, осмотическое давление и удельный вес, pH, белок, глюкоза, кровь и клетки крови.
3.6.13. Кроме того, следует считать оправданным исследования с выявлением сывороточных маркеров общего повреждения тканей. Другие измерения, которые должны проводиться, если известные свойства изучаемого вещества могут или предположительно могут изменить соответствующие метаболические профили, включают кальций, фосфаты, триглицериды, специфические гормоны и холинэстеразу. Они могут определяться для химических веществ соответствующих классов или в каждом отдельном случае.
3.6.14. Хотя в международной практике оценки эндокринзависимых показателей явного преимущества определения тироидных гормонов (Т3, Т4) не продемонстрировано, может оказаться полезным сохранить образцы сыворотки или плазмы для измерения Т3, Т4 и TSH (по усмотрению), если имеются признаки воздействия на систему надпочечники - щитовидная железа. Эти образцы могут быть заморожены для хранения при -20 °C. Следующие факторы могут влиять на вариабельность определения и абсолютные концентрации гормонов:
- время умерщвления из-за суточных колебаний концентраций гормонов;
- метод умерщвления, предотвращающий неоправданный стресс у животных, который может влиять на концентрации гормонов;
- диагностические комплекты для определения гормонов, которые могут различаться по калибровочным кривым.
Для точного выявления тироид-активных веществ более надежен гистопатологический анализ, чем определение уровней гормонов.
3.6.15. Образцы плазмы, специально предназначенные для определения гормонов, должны отбираться в сопоставимое время суток. Рекомендуется обратить внимание на определение Т3, Т4 и TSH, вызванное гистопатологическими изменениями щитовидной железы. Численные значения получены в тех случаях, когда анализируемые концентрации гормонов различаются из-за различий коммерческих наборов реактивов. Следовательно, может оказаться невозможным установить критерии эффективности на основе ретроспективных данных. В качестве альтернативы лаборатории должны приложить усилия для того, чтобы контрольные уровни коэффициентов вариации оставались менее 25 для Т3 и Т4 и менее 35 для TSH. Все концентрации должны выражаться в нг/мл.
3.6.16. Если в ретроспективе нет достаточных данных, должно быть уделено внимание определению вариабельности результатов гематологических и клинических биохимических исследований до начала введения животным изучаемого вещества или, лучше, это должно быть сделано на выборке животных, не включенных в экспериментальные группы.
3.7.1. Все экспериментальные животные должны быть подвергнуты полной, детальной некропсии, которая включает тщательное исследование наружной поверхности тела, всех отверстий и черепных, грудных, абдоминальных полостей и их содержимого. Печень, почки, надпочечники, семенники, эпидидимисы, простаты + семенные пузырьки с коагулирующими железами в комплексе, тимус, селезенка, головной мозг и сердце всех животных (за исключением животных, найденных агонизирующими, и/или умерщвленных до завершения эксперимента) должны быть соответствующим образом освобождены от прилежащих тканей, и их масса должна быть определена как можно скорее после диссекции для предупреждения высыхания. С особой осторожностью должен препарироваться комплекс простаты, чтобы избежать прокалывания наполненных жидкостью семенных пузырьков. Как вариант, семенные пузырьки и простата могут быть препарированы и взвешены после фиксации.
3.7.2. Кроме того, еще две ткани могут быть дополнительно взвешены как можно скорее после иссечения, чтобы предотвратить высушивание: оба яичника (влажный вес) и матка, включая шейку (рекомендации по выделению и препарированию тканей матки для взвешивания приведены в Руководстве ОСРЭ 440).
3.7.3. Масса щитовидной железы (при необходимости) может быть определена после фиксации. Препарирование должно также проводиться с большой осторожностью и только после фиксации, чтобы избежать повреждения ткани. Повреждение ткани может исказить результаты гистопатологического анализа.
3.7.4. Следующие ткани должны быть сохранены в наиболее подходящей для обоих типов тканей фиксирующей среде и подвергнуты последующему гистопатологическому исследованию: все явные повреждения, головной мозг (репрезентативные области, включая большой мозг, мозжечок и варолиев мост), спинной мозг, глаза, желудок, тонкий и толстый кишечники (включая Пейеровы бляшки), печень, почки, надпочечники, селезенка, сердце, щитовидная железа, трахея и легкие (консервированные вдуванием воздуха с фиксатором и затем иммерсией), гонады (семенники и яичники), вспомогательные половые органы (матка и шейка матки, эпидидимисы, простата + семенные пузырьки с коагулирующими железами), вагина, мочевой пузырь, лимфатические узлы (помимо наиболее проксимального дренирующего узла, еще один лимфатический узел должен быть взят в соответствии с опытом лаборатории), периферический нерв (седалищный или большеберцовый) желательно в непосредственной близости к мышце, скелетная мышца и кость с костным мозгом (часть или, как вариант, свежеприготовленный пунктат костного мозга). Рекомендуется, чтобы семенники фиксировались иммерсией в фиксирующей смеси Буэна или в модифицированном фиксаторе Дэвидсона. Белочная оболочка должна быть аккуратно и поверхностно проколота иглой на обоих полюсах органа для того, чтобы обеспечить быстрое проникновение фиксатора. Клинические и другие данные могут указывать на необходимость изучения дополнительных тканей. Любые органы, которые могут рассматриваться как мишени на основании известных свойств изучаемого вещества, также должны консервироваться.
3.7.5. Следующие ткани могут быть ценными индикаторами эндокринно-зависимых эффектов: гонады (семенники и яичники), вспомогательные половые органы (матка и шейка матки, эпидидимисы, семенные пузырьки с коагулирующими железами, дорзолатеральная и вентральная части простаты), вагина, надпочечники, гипофиз, молочные железы самцов, щитовидная железа и надпочечники. Изменения в молочных железах самцов не имеют достаточного подтверждения, но этот параметр может быть очень чувствительным к веществам с эстрогенным действием. Исследования органов/тканей, не упомянутых в предыдущем пункте, не являются обязательными (см.
п. 5).
3.7.6. В Руководстве по гистопатологии представлена детальная информация о выделении, фиксации, приготовлении срезов и гистопатологии эндокринных тканей.
3.7.7. В Международной программе изучения веществ было показано, что слабые эндокринные эффекты химических веществ с низкой способностью влиять на гормональный гомеостаз, могут быть выявлены по нарушениям синхронизации астральных циклов в разных тканях и в меньшей степени по явным гистопатологическим изменениям в половых органах самок. Несмотря на то, что не было получено исчерпывающего доказательства для этих эффектов, рекомендуется принимать во внимание наличие возможной асинхронности в эстральном цикле при интерпретации гистопатологии яичников (фолликулярные клетки, клетки теки и зернистые клетки), матки, шейки матки и вагины. При оценке состояние эстрального цикла, установленное по вагинальным мазкам, может быть также включено в эту сравнительную характеристику.
3.8.1. Полное гистопатологическое исследование должно быть проведено с консервированными органами и тканями животных контрольной группы и животных, получавших максимальную дозу вещества. Исследование должно быть распространено и на всех животных, получавших вещество в других дозах, если у животных, получавших максимальную дозу, выявлены изменения, обусловленные воздействием изучаемого вещества.
3.8.2. Все макроскопические патологические изменения должны быть изучены.
3.8.3. Если использовалась сателлитная группа, гистопатологические исследования должны проводиться с тканями и органами, в которых выявлены изменения, вызванные воздействием изучаемого вещества.
4.1.1. Данные должны быть представлены для животных индивидуально. Дополнительно все данные обобщаются в табличной форме, где для каждой экспериментальной группы приводятся число животных в начале исследования, число животных, найденных погибшими в течение эксперимента или умерщвленных из гуманных соображений с указанием времени гибели или умерщвления, число животных с выявленными признаками токсичности, описание наблюдавшихся признаков токсичности, включая время появления, продолжительность и тяжесть каждого токсического эффекта, число животных с выявленными патологическими изменениями, типы этих изменений, их тяжесть и процент животных, у которых наблюдался каждый из типов патологических изменений.
4.1.2. Если возможно, количественные результаты должны быть оценены соответствующим и в целом приемлемым статистическим методом. При сравнении эффектов разных доз следует избегать использования множественного t-критерия. Статистические методы должны выбираться при планировании эксперимента.
4.1.3. Для контроля качества предлагается, чтобы были собраны ретроспективные контрольные данные и чтобы были рассчитаны коэффициенты вариации количественных данных, особенно для параметров, связанных с выявлением эндокринных разрушителей. Эти данные могут быть использованы для целей сравнения при оценке достоверности результатов исследования.
Отчет о проведенных исследованиях должен включать следующую информацию.
Изучаемое вещество:
- физическая природа, чистота и физико-химические свойства;
- идентификационные данные.
Растворитель (если применялся):
- обоснование выбора растворителя, если это не вода.
Экспериментальные животные:
- вид/линия, использованные в эксперименте;
- число, возраст и пол животных;
- источник, условия содержания, диета и т.д.;
- индивидуальная масса животных в начале эксперимента;
- обоснование для использования других видов вместо крысы.
Условия эксперимента:
- обоснование выбора уровней доз;
- детали технологии подготовки изучаемого вещества/приготовление диеты, полученные концентрации, стабильность и гомогенность препарата;
- детали введения изучаемого вещества;
- пересчет концентраций изучаемого вещества в корме/питьевой воде (ppm) на фактическую дозу (мг/кг массы/день), если требуется;
- детали качества корма и воды.
Необязательные для изучения показатели:
- перечень изученных необязательных показателей.
Результаты.
- масса тела/изменения массы тела;
- потребление пищи и потребление воды (если требуется);
- данные токсических реакций в зависимости от пола и дозовых уровней, включая признаки токсичности;
- природа, тяжесть и длительность клинических проявлений (обратимых или не обратимых);
- сенсорная активность, оценка силы схвата и моторной активности;
- гематологические исследования с соответствующими исходными уровнями;
- клинические биохимические исследования с соответствующими исходными уровнями;
- масса тела при умерщвлении и масса внутренних органов;
- данные некропсии;
- детальное описание всех гистопатологических изменений;
- данные абсорбции, если имеются;
- статистическая обработка результатов, при необходимости.
Обсуждение результатов.
Выводы.
рекомендуемые для выявления эндокринных разрушителей
Обязательные | Необязательные |
Масса |
- Семенники - Эпидидимисы - Надпочечники - Простата + семенные пузырьки с коагулирующими железами | - Яичники - Матка, включая шейку матки - Щитовидная железа |
Гистопатология |
- Гонады: - Семенники и - Яичники - Вспомогательные половые органы: - Эпидидимисы - Простата + семенные пузырьки с коагулирующими железами - Матка, включая шейку матки - Надпочечники - Щитовидная железа - Вагина | |
Измерения гормонов |
| - Уровни Т3, Т4 в крови - Уровни ТТГ в крови |
ОЦЕНКА ПОДОСТРОЙ ТОКСИЧНОСТИ ПРИ ИНГАЛЯЦИОННОМ ПОСТУПЛЕНИИ
В 28-ДНЕВНОМ ИССЛЕДОВАНИИ
Идентичен международному документу OECD TG N 412 "Subacute Inhalation Toxicity: 28-Day Study" (ОЭСР Руководство N 412 "Подострая токсичность при ингаляционном поступлении: 28-дневное исследование"). Принят 7 сентября 2009 г. Перевод с английского языка (en). Степень соответствия - модифицированный (MOD).
1.1. Настоящий метод исследования устанавливает требования к исследованию подострой токсичности при многократном ингаляционном воздействии в течение 28 дней.
1.2. Метод обеспечивает получение информации о подострой токсичности вещества при вдыхании и получение надежных данных количественной оценки ингаляционного риска.
2.1. В настоящее время одним из основных путей поступления загрязнителей в организм является ингаляционный. Поэтому в комплексе исследований по воздействию химической продукции на организм человека изучение острой токсичности при вдыхании является ведущим.
2.2. Испытания подострой ингаляционной токсичности предназначены для оценки токсичности испытуемого вещества при многократном ингаляционном воздействии в течение ограниченного периода времени и получения надежных данных количественной оценки ингаляционного риска.
2.3. Данные испытания позволяют охарактеризовать неблагоприятные эффекты, возникающие в результате повторяющегося ежедневного воздействия исследуемого вещества в течение 28 дней. Данные, полученные в результате проведения 28-дневного исследования подострой ингаляционной токсичности, могут использоваться для количественной оценки риска (если после подострого не производится 90-дневное субхроническое исследование (TG 413)). Результаты исследования могут также использоваться при выборе концентраций для долгосрочных исследований, например, 90-дневной субхронической токсичности.
2.4. Настоящие испытания не предназначены для проведения испытаний наноматериалов.
3. Описание тестового метода
3.1.1. Для повышения качества исследования и минимизации количества привлеченных животных вся имеющаяся информация об исследуемом препарате должна находиться в распоряжении экспериментальной лаборатории до начала эксперимента. Информация, которая может помочь при выборе необходимых для испытания концентраций, включает тождественность, химическую структуру и физико-химические свойства испытываемого вещества; результаты опытов на токсичность in vivo или in vitro, предполагаемую область применения и вероятность воздействия на человека; если имеются, то данные (Q)SAR и сведения о токсичности структурно родственных препаратов. Если нейротоксичность ожидается или наблюдается в ходе исследования, руководитель исследования может включить соответствующие методы оценки эффекта, такие как батарея функциональных наблюдений (серия нейрофизиологических и поведенческих тестов - FOB) и измерения двигательной активности. Хотя сроки проведения специфических исследований могут быть критическими, проведение дополнительных видов исследований не должно мешать целям основного исследования.
3.1.2. При изучении коррозионных и/или раздражающих продуктов необходимо избегать концентрации, которые могут вызвать сильную боль и страдания.
3.1.3. Коррозионный/раздражающий потенциал должен быть оценен при экспертизе имеющейся информации о воздействии на человека, экспериментальных животных, имеющихся данных в опытах in vitro, величине pH, информации о близких по структуре веществах или любых других данных с целью изучения целесообразности дальнейшего тестирования или его отмены.
3.1.4. При воздействии на животных целевые концентрации должны быть достаточно низкими с тем, чтобы не вызвать боль или нарушения, и достаточно высокими с тем, чтобы расширить кривую концентрация-ответ до уровней, которые соответствуют нормативным и научным целям исследования. Данные концентрации должны быть выбраны отдельно в каждом случае; выбор концентрации должен быть обоснован.
3.1.5. Испытания призваны обеспечить получение информации об острой токсичности исследуемого препарата с целью его классификации и получения данных о летальности (CL50/LC50, CL01/LC01) для одного или обоих полов. Предлагается два метода проведения испытаний. Первый метод - Традиционный протокол, где группы животных подвергаются воздействию предельной концентрации (тест на предельную концентрацию) или серии концентраций поэтапно в заранее установленную продолжительность времени; она составляет менее 24 часов (как правило, 4 часа). Второй метод - протокол Концентрация - Время (C · t), применяется в группах животных, которые подвергаются воздействию одной концентрации (тест на предельно допустимую концентрацию) или серии концентраций при различной продолжительности времени.
3.1.6. Агонизирующие животные или животные, очевидно испытывающие боль или демонстрирующие признаки страдания и истощения, должны быть гуманно умерщвлены, если нет веских оснований для другого (такие причины должны быть отражены в отчете по исследованию). Агонизирующие животные рассматриваются как животные, погибшие во время испытания.
Выбор вида
3.2.1. Необходимо использовать молодых здоровых особей из обычно используемых лабораторных линий. Предпочтительно использовать крыс. В случае использования других видов необходимо привести обоснование.
Подготовка
3.2.2. Самки должны быть нерожавшими и небеременными. На день экспозиции испытываемого препарата животные должны быть в возрасте от 7 до 9 недель, диапазон колебания массы животных для каждого пола не должен превышать +/- 20% от средней массы животных, участвовавших в предыдущем испытании, в такой же отрезок времени. Животные отбираются в случайном порядке и маркируются, что позволит идентифицировать каждое из них. Животных следует содержать в клетках в течение не менее 5 дней до начала испытания, чтобы позволить им адаптироваться к лабораторным условиям. Животным также необходимо дать короткое время приспособиться к исследуемому прибору до начала испытания с целью уменьшить стресс от попадания в новую среду.
Содержание
3.2.3. Температура в помещении, где содержатся экспериментальные животные, должна составлять (22 +/- 3) °C, оптимальный уровень относительной влажности - 30 - 70%. В исследовании одного уровня концентрации животных можно поместить в одну камеру, но число животных в камере не должно затруднять возможность наблюдать за каждым из них, а также должно сократить вероятность потерь из-за каннибализма и борьбы. Свойства исследуемого препарата или токсичность (способность вызывать заболевание, возбуждать ЦНС) могут указывать на необходимость содержания животного в индивидуальной камере, чтобы предотвратить каннибализм. Допустимо использование стандартных лабораторных режимов питания, за исключением периода экспозиции испытываемого препарата, во время которого для животного необходимо обеспечить неограниченное потребление питьевой воды. Освещение должно быть искусственным в режиме: 12 часов при свете/12 часов в темноте.
3.3. Ингаляционные камеры
3.3.1. При выборе ингаляционной камеры необходимо учитывать природу исследуемого препарата и нормативные требования. По умолчанию используется интраназальная модель экспозиции (данный термин включает в себя воздействие только через голову, только через нос и только через мордочку). Экспозиция только через нос предпочтительна для изучения жидких и твердых аэрозолей и для паров, которые могут конденсироваться в форме аэрозолей. При этом для решения отдельных задач исследования целесообразно применять воздействие через все тело. Использование другой модели экспозиции помимо той, что применяется по умолчанию, должно быть обусловлено целями исследования и обосновано в отчете.
3.3.2. Для обеспечения атмосферы стабильности при использовании камеры объем, занимаемый телами тестируемых животных, не должен превышать 5% объема камеры.
Введение концентраций
3.4.1. Воздействие только через нос на крысах может длиться до шести часов. Если подопытные животные - мыши, период выдержки не должен превышать 4 часов. Если требуется более длительный период экспозиции, необходимо привести обоснования. Животных, которые подвергаются воздействию препарата в камерах на все тело, следует содержать по отдельности, чтобы предотвратить проглатывание исследуемого препарата соседями по камере во время чистки. Пища во время экспозиции не дается. Воду можно давать в течение всего времени экспозиции на все тело.
3.4.2. Животные могут подвергаться воздействию исследуемого препарата в виде газа, паров, аэрозоля или их смеси. Исследуемое физическое состояние зависит от физико-химических свойств тестируемого препарата, выбранной концентрации и/или физической формы, которые наиболее приближены к реальным условиям использования изучаемого продукта. Гигроскопичный и химически реактивный препарат следует тестировать в условиях минимальной влажности, в отсутствии паров воды. Особое внимание следует уделять тому, чтобы не создавать взрывоопасные концентрации.
Гранулометрический состав
3.4.3. Определение размера частиц необходимо для всех аэрозолей и всех паров, которые могут конденсироваться и превращаться в аэрозоль. Чтобы обеспечить воздействие на все важные области дыхательных путей, рекомендуется использование аэрозоля с массовым средним аэродинамическим диаметром (MMAD) в диапазоне от 1 до 3 мкм с геометрическим стандартным отклонением

в диапазоне от 1,5 до 3,0. В случае, если данное требование невозможно соблюсти, необходимо предоставить экспертную оценку. Например, металлические частицы в воздухе могут быть меньшего размера, чем стандартные, также заряженные частицы, волокна и гигроскопичные материалы (которые увеличиваются в размерах во влажной среде в респираторном тракте) могут превышать размер стандартных.
3.4.4. Для создания необходимой концентрации и размера частиц исследуемого препарата в атмосфере используется растворитель. В качестве растворителя предпочтительней использовать воду. При растворении испытуемого образца следует продемонстрировать его стабильность. Зернистый материал может быть подвергнут механическим процессам, чтобы добиться требуемого гранулометрического состава, при этом необходимо позаботиться о том, чтобы состав исследуемого препарата не разложился и не изменился. Если есть опасение, что в результате механических процессов состав тестируемого препарата претерпит изменения (например, чрезмерно высокая температура в процессе сильного дробления вследствие трения), то состав тестируемого препарата необходимо проверить при помощи анализа. При этом необходимо проследить, чтобы не занести в препарат загрязняющие вещества.
Контрольные животные
3.4.5. Животные отрицательной (воздух) контрольной группы должны подвергаться такому же обращению, как и животные подопытной группы, за исключением их экспозиции к профильтрованному воздуху, а не испытуемому веществу. При создании искусственной среды с использованием воды или другого вспомогательного вещества вместо отрицательной (воздух) контрольной группы должен применяться контроль с использованием растворителя. В качестве растворителя по возможности должна использоваться вода. При использовании воды в качестве растворителя контрольные животные должны подвергаться воздействию воздуха с той же относительной влажностью, что и подопытные животные. Выбор подходящего растворителя должен основываться на проведенном надлежащим образом предварительном исследовании или статистических данных. При отсутствии достаточной информации о токсичности растворителя руководитель исследования может одновременно использовать отрицательный контроль (воздух) и контроль с использованием растворителя, что, однако, крайне не рекомендуется. Если растворитель определяется как нетоксичный согласно ретроспективным данным, необходимость в использовании отрицательного контроля (воздух) отсутствует и используется только контроль с растворителем. Если предварительное исследование испытуемого образца, образованного при помощи растворителя, обнаруживает отсутствие токсичности, растворитель считается нетоксичным в испытуемых концентрациях и может использоваться в контроле.
Воздушные потоки в камере
3.4.6. Воздушные потоки, проходящие через камеру, необходимо тщательно контролировать, непрерывно наблюдать и фиксировать по меньшей мере раз в час на протяжении всего периода выдержки. Наблюдение за концентрацией исследуемого вещества в газовой среде (или устойчивостью) представляет собой интегральное вычисление всех динамических параметров и обеспечивает косвенные способы контроля всех значимых параметров для формирования динамической атмосферы. Необходимо избегать возвратного дыхания в камерах, предназначенных для воздействия через нос в случаях, когда воздушные потоки через установку экспонирования недостаточны для динамических потоков исследуемого вещества в газовой среде. Существуют методы, при помощи которых можно установить, что возвратное дыхание при данных условиях эксперимента не имеет места. Концентрация кислорода должна составлять не менее 19%, концентрация углекислого газа - не менее 1%. Если есть основание полагать, что эти требования не удовлетворяются, концентрации кислорода и углекислого газа необходимо измерить.
Температура и относительная влажность в камере
3.4.7. Температура в камере должна составлять (22 +/- 3) °C. Относительную влажность в зоне дыхания животных, находящихся в камерах, предназначенных как для воздействия только через нос, так и через все тело, необходимо наблюдать и фиксировать не менее трех раз в течение периода выдержки. Идеальная относительная влажность составляет (30 - 70)%, но в определенных случаях (например, тестирование препарата на водной основе) данный уровень может быть неприменим или неизмеряем вследствие взаимовлияния исследуемого препарата и метода исследования.
3.5. Исследуемый препарат
Номинальная концентрация
3.5.1. По возможности следует наблюдать и фиксировать номинальную концентрацию при экспозиции в клетке. Номинальная концентрация - это масса сгенерированного испытываемого вещества, разбавленная общим объемом воздуха, проходящего через систему клетки. Номинальная концентрация не используется при описании экспозиции на животных, но сравнение номинальной и фактической концентраций позволит судить об эффективности генератора в испытательной системе и позволит вовремя выявить проблемы в нем.
Фактическая концентрация
3.5.2. Фактическая концентрация - это концентрация исследуемого препарата в зоне дыхания животных в ингаляционной камере. Фактическая концентрация может быть получена специальными методами (например, методом непосредственного выбора, адсорбционным методом или методом химической реактивности и последующим анализом) или неспециальными методами, напр., гравиметрический капельный анализ. Использование гравиметрического анализа допустимо только для однокомпонентных порошкообразных веществ в аэрозольной упаковке или для жидких аэрозолей с невысокой летучестью и должно быть подкреплено предварительно полученными соответствующими специальными характеристиками исследуемого препарата. Концентрацию аэрозоля с многокомпонентным порошком можно также определить с помощью метода гравиметрического анализа. В этом случае потребуются данные анализа, подтверждающие, что состав аэрозольного препарата схож с составом исходного материала. Если подобная информация не имеется, может потребоваться повторный анализ исследуемого вещества (в воздухе) в определенные временные интервалы в течение исследования. Для аэрозольных агентов, которые могут испаряться или сублимироваться, необходимо указать, что для сбора всех этапов был использован выбранный метод. Цели, номинальная и фактическая концентрации должны быть указаны в отчете исследования, но в статистическом анализе для подсчета значения смертельной концентрации используется только фактическая концентрация.
3.5.3. Необходимо использовать только один препарат для тестирования, если это возможно, и исследуемый образец должен храниться в условиях, которые позволят сохранить его чистоту, однородность и стабильность. Перед началом исследования необходимо располагать описанием препарата, включая степень его чистоты, и, если это технически возможно, указать и количество выявленных в нем примесей. Такие сведения можно наглядно показать с помощью следующих, но не ограничиваясь ими, данных: время удержания и относительная площадь пика, молекулярная масса, полученная методом масс-спектроскопии или газовой хроматографии, и т.п. Хотя определение тестовых образцов не входит в обязанности испытательной лаборатории, возможно, целесообразно подтвердить поддерживающие характеристики, по крайней мере, в ограниченном виде (цвет, физическая природа и т.д.).
3.5.4. Воздушную среду нужно поддерживать максимально постоянной и проверять непрерывно и/или регулярно в зависимости от метода анализа. При регулярном контроле образцы проб атмосферы в камере нужно забирать не реже двух раз в четыре часа во время исследования. Если это невозможно вследствие ограниченных воздушных потоков или низкой концентрации, за все время проведения исследования допускается отбор одной пробы. Если образцы демонстрируют разные показатели, для следующих исследуемых концентраций нужно забирать четыре образца/экспозицию. Образцы концентрации для каждой камеры не должны отклоняться от средней концентрации более чем на +/- 10% для газов и паров или +/- 20% для жидких и твердых аэрозолей. Время для достижения равновесного состояния и перехода к распаду (t95) нужно измерить и зафиксировать. Период воздействия охватывает время генерации исследуемого вещества. При этом учитывается время, необходимое для достижения равновесного состояния в камере (t95) и перехода к распаду.
3.5.5. Сложные смеси из газов/паров и аэрозолей (атмосфера горения и тестируемый препарат, выталкиваемые из программного изделия/прибора конечного пользователя) на каждом этапе могут демонстрировать разное поведение в ингаляционной камере, поэтому по меньшей мере одна индикаторная субстанция (аналит), как правило, основная активная в исследуемом препарате, должна быть выбрана на всех этапах (газ/пар или аэрозоль). Когда тестируемый препарат является смесью (по составу), аналитическая концентрация должна быть описана для общего состава, а не только для активного ингредиента или компонента (вещества, определяемого при анализе).
3.5.6. Гранулометрический состав аэрозолей должен определяться как минимум еженедельно для каждого уровня концентрации при помощи каскадного импактора (пробоотборник частиц) или альтернативным инструментом (например, аэродинамическим спектрометром (APS)). Гравиметрический фильтр или импинджер (прибор для измерения запыленности и загазованности) нужно использовать для подтверждения эффективности работы основного прибора, используемого для определения гранулометрического состава исследуемого вещества. Массовая концентрация, полученная ситовым анализом, должна находиться в разумных пределах массовой концентрации, полученной в результате анализа работы фильтров. Если удастся показать равнозначность результатов, полученных каскадным импактором и альтернативным инструментом, то допускается использование альтернативного инструмента в исследовании. Размеры частиц должны быть определены для паров, если есть вероятность, что их конденсация приведет к образованию аэрозоля, или если в парах обнаружены частицы с потенциалом смешанных фаз.
4. Процедура исследования
4.1. Основное исследование
4.1.1. Основная часть исследования подострой токсичности включает в себя три уровня концентрации с одновременным отрицательным (воздух) контролем и/или контролем с использованием растворителя в зависимости от необходимости. Каждая тестируемая группа состоит из пяти мужских и пяти женских особей грызунов, которые подвергаются воздействию испытуемого вещества в течение 6 часов в день 5 дней в неделю на протяжении 4-недельного периода (28 дней). Животные также могут подвергаться воздействию 7 дней в неделю (например, при испытании ингаляционных лекарственных препаратов). В испытании всегда используются мужские и женские особи, но вводимые концентрации для них могут быть различными, если известно, что один из полов обладает большей чувствительностью к данному испытуемому веществу. Таким образом, минимизируется вероятность чрезмерной смертности особей одного пола при высокой концентрации и/или отсутствии эффекта при низкой концентрации. При назальной экспозиции животных, принадлежащих к отличным от крысы видам, максимальные продолжительности введения должны подбираться так, чтобы обеспечить минимизацию проявлений дистресса, специфичных для данного вида. Следует предоставить обоснование для применения продолжительности введения менее 6 часов в сутки, а также при необходимости проведения исследования с длительной (22 часа в сутки) экспозицией всего тела
[5]. Во время введения следует исключить кормление животных, если продолжительность введения не превышает 6 часов. При экспозиции всего тела животным можно давать воду.
4.1.2. Выбранные целевые концентрации должны идентифицировать органы-мишени и демонстрировать четкое соотношение концентрация-эффект:
- высокий уровень концентрации должен показывать токсический эффект, но не вызывать устойчивые проявления летальности, препятствующие эффективной оценке результатов;
- средний уровень (средние уровни) концентрации подбирается таким образом, чтобы получить градацию токсических эффектов между низким и высоким уровнями;
- низкий уровень концентрации должен показывать слабые признаки токсичности или полное их отсутствие.
4.2. Исследование обратимости
4.2.1. Сопутствующее исследование обратимости может использоваться для наблюдения обратимости, стойкости или замедленного проявления токсических эффектов после воздействия в течение периода достаточной продолжительности, но не менее 14 дней. Группы исследования обратимости включают пять мужских и пять женских особей, подвергающихся введению испытуемого вещества одновременно с подопытными животными в основном исследовании. Группы исследования обратимости должны подвергаться воздействию максимальной концентрации испытуемого вещества. Одновременный контроль с воздухом и/или растворителем должен проводиться в соответствии с необходимостью.
4.3.1. За всеми животными ведется клиническое наблюдение до, во время и после воздействия. В зависимости от реакции животных во время воздействия могут быть показаны более частые наблюдения. Если наблюдение затрудняется по причине использования фиксирующих капсул, плохого освещения в камерах для экспозиции всего тела или непрозрачной среды, за животными должно вестись тщательное наблюдение по окончании воздействия. Наблюдение перед следующим воздействием позволяет оценить проявления обратимости или обострения токсического эффекта. Время смерти или обнаружения умершего животного должно регистрироваться.
4.3.2. Результаты наблюдения за каждым животным должны регистрироваться отдельно. При отсутствии веских оснований для обратного, животные, находящиеся в агональном состоянии либо проявляющие признаки сильных болей и/или продолжительного сильного дистресса, должны незамедлительно подвергаться эвтаназии из гуманных соображений. Время смерти умерших или умерщвленных в гуманных целях животных должно регистрироваться с максимально возможной точностью. При содержании животных в клетках должно производиться наблюдение за изменениями кожного покрова и шерсти, глаз, слизистых оболочек, изменениями в дыхательной и сердечно-сосудистой системах, автономной и центральной нервных системах, изменениями соматомоторной активности и моделей поведения. Следует обращать внимание на проявления тремора, конвульсий, слюноотделения, диареи, летаргии, сна и комы. Измерение ректальной температуры может использоваться для получения дополнительного подтверждения рефлекторного брадипноэ или гипо/гипертермии, связанных с экспериментальным воздействием или содержанием в клетке. В протокол исследования могут вноситься дополнительные параметры наблюдения, такие как кинетика, биомониторинг, легочная функция, удержание слаборастворимых веществ, скапливающихся в тканях легких, изменения в поведении.
Масса тела
4.3.3. Масса тела каждого животного должна регистрироваться непосредственно после первого воздействия (день 0) и затем дважды в неделю (как правило, по пятницам и понедельникам для демонстрации восстановления после отсутствия воздействия в выходные дни), а также в момент смерти или эвтаназии. При отсутствии эффектов в течение первых 2 недель масса тела может измеряться один раз в неделю до окончания исследования. Животные в группах исследования обратимости (если таковые используются) должны взвешиваться еженедельно на протяжении периода восстановления. По окончании исследования все животные должны взвешиваться непосредственно перед умерщвлением для получения несмещенного расчета отношения массы органов к массе тела.
Патология
4.3.4. Все умерщвленные животные, включая животных контрольной группы и группы исследования обратимости, подлежат клинико-патологической оценке. Временной промежуток между окончанием воздействия и отбором крови на анализ должен регистрироваться, особенно в случае быстрого восстановления рассматриваемой конечной точки. Непосредственно после окончания введения следует проводить анализ параметров с коротким периодом полураспада в плазме (например, COHb, CHE и MetHb).
4.3.5. В
табл. 6.1.10.1 перечислены основные клинико-патологические параметры, необходимые для токсикологического исследования. Анализ мочи не является частью стандартной процедуры, но может проводиться при необходимости в зависимости от ожидаемой или наблюдаемой токсичности. Руководитель исследования может на свое усмотрение провести оценку дополнительных параметров (например, холинэстеразы, липидов, гормонов, кислотно-щелочного баланса, метгемоглобина, креатинкиназы, миелоидно-эритроидного соотношения, тропонинов и газов артериальной крови) для более точной характеризации токсичности испытуемого вещества.
Таблица 6.1.10.1
Стандартные клинико-патологические параметры
Гематология | |
Количество эритроцитов | Тельца Гейнца |
Гематокрит | Общее количество лейкоцитов |
Концентрация гемоглобина | Дифференциальное количество лейкоцитов |
Средний эритроцитный гемоглобин | Количество тромбоцитов |
Среднее гематокритное число | Потенциал свертывания (один параметр на выбор) |
Средняя концентрация гемоглобина в эритроците | Протромбиновое время |
Ретикулоциты | Время свертывания |
| Частичное тромбопластиновое время |
Клиническая биохимия | |
| Аланинаминотрансфераза |
Общий холестерин | Аспартатаминотрансфераза |
Триглицериды | Щелочная фосфатаза |
Азот мочевины крови | Сорбитодегидрогеназа |
Общий билирубин | Калий |
Креатинин | Натрий |
Лактатдегидрогеназа | Кальций |
Общий белок | Фосфор |
Альбумин | Хлорид |
Глобулин | |
Анализ мочи (необязательно) | |
Внешний вид (цвет и мутность) | Уровень pH |
Объем | Общий белок |
Удельный вес или осмотическая концентрация | Сахар |
-------------------------------- |
<*> Поскольку длительное голодание может привести к погрешностям измерения уровня сахара у опытных животных в сравнении с контрольными, руководитель исследования должен принять решение о целесообразности ограничения питания животных. Продолжительность периода голодания должна соответствовать используемому виду животных. Для крыс она может составлять 16 ч (ночное голодание). Определение уровня сахара может производиться после ночного голодания в течение последней недели введения или после ночного голодания перед некропсией (в последнем случае одновременно с изучением всех остальных клинико-патологических параметров) |
4.3.6. Если нижние дыхательные пути (т.е. альвеолы) определяются как основное место осаждения и удержания токсических веществ, для количественного анализа предполагаемой зависимости доза-эффект относительно альвеолита, воспаления легких и фосфолипидоза может быть избран метод бронхоальвеолярного лаважа, позволяющий надлежащим образом проверить изменение зависимости доза-эффект и динамики поражения альвеол. Может быть проведен анализ бронхоальвеолярного смыва на общее и дифференциальное количество лейкоцитов, общий белок и лактатдегидрогеназу. Рассмотрению могут также подлежать другие параметры, являющиеся показателями лизосомальных повреждений, фосфолипидоза, фиброза, раздражающих и аллергических воспалений, включая определение провоспалительных цитокинов/хемокинов. Результаты бронхоальвеолярного лаважа дополняют, но не заменяют результаты гистопатологических исследований. Руководство по проведению бронхоальвеолярного лаважа приводится в документе
[5].
4.3.7. Все подопытные животные, умершие во время испытания или исключенные из исследования из гуманных соображений, должны быть подвержены полному обескровливанию (если возможно) и некропсии. Время, прошедшее от окончания последнего введения испытуемого вещества до умерщвления животного, должно быть зарегистрировано. Если вскрытие невозможно провести непосредственно после обнаружения мертвого животного, труп должен храниться охлажденным (но не замораживаться) при достаточно низкой для минимизации автолиза температуре. Вскрытие должно проводиться как можно раньше, желательно в течение одного - двух дней. Для каждого животного должны быть зарегистрированы все макроскопические патологические изменения, особое внимание следует уделить любым изменениям дыхательных путей.
4.3.8. В
табл. 6.1.10.2 перечислены органы и ткани, которые должны сохраняться в подходящей среде во время некропсии для гистопатологического исследования. Способ сохранения органов и тканей, указанных в [квадратных скобках], а также всех остальных органов и тканей выбирается по усмотрению руководителя исследования. Приготовление срезов и взвешивание органов, выделенных
жирным шрифтом, должно производиться как можно быстрее после извлечения во избежание их высыхания. Щитовидная железа и придатки яичка должны взвешиваться только при необходимости, так как наличие артефактов на срезе может препятствовать гистопатологической оценке. Ткани и органы должны фиксироваться в 10%-м буферном формалине или другом подходящем фиксаторе непосредственно после вскрытия и не менее чем за 48 часов до подготовки срезов.
Органы и ткани, сохраняемые при проведении некропсии: Надпочечники Костный мозг (и/или свежий аспират) Мозг (включая срезы головного мозга, мозжечка и продолговатого мозга/моста) [Глаза (сетчатка, зрительный нерв) и веки] Сердце Почки Гортань (3 уровня, один из которых должен включать основание надгортанника) Печень Легкие (все доли на одном уровне, включая главные бронхи) Лимфатические узлы корня легкого, особенно при использовании слаборастворимого испытуемого вещества. Для более глубокого и/или иммунологического исследования могут рассматриваться дополнительные лимфатические узлы, например, средостенные, шейные/поднижнечелюстные и/или околоушные. Ткани носоглотки (как минимум 4 уровня, один из которых должен включать носоглоточный проход и назально-ассоциированную лимфоидную ткань (НАЛТ/NALT)) Пищевод [Обонятельная луковица] Яичники Семенные пузырьки Спинной мозг (шейный, среднегрудной и поясничный отделы) Селезенка Желудок Семенники Вилочковая железа Щитовидная железа Трахея (как минимум 2 уровня, включая один продольный срез через киль и 1 поперечный срез) [Мочевой пузырь] Матка (включая шейку) Все макроскопические повреждения |
4.3.9. Легкие извлекаются целиком, взвешиваются и заполняются подходящим фиксатором под давлением 20 - 30 см водяного столба приблизительно на 80 - 90% общего объема для сохранения легочной структуры
[5]. Срезы производятся на одном уровне для всех долей, включая главные бронхи, но в случае проведения лаважа легких, срезы не подвергавшейся лаважу доли производятся на трех уровнях (не серийные срезы).
4.3.10. Исследованию подлежат как минимум 4 уровня тканей носоглотки, один из которых должен включать носоглоточный проход для надлежащего исследования плоского, переходного (нереснитчатого респираторного), респираторного (реснитчатого респираторного) и обонятельного эпителия, а также дренирующей лимфоидной ткани (NALT). Исследуются три уровня гортани, один из которых должен включать основание надгортанника. Исследуются как минимум два уровня трахеи, включая продольный срез через киль бифуркации внелегочных бронхов и один поперечный срез.
4.3.11. Гистопатологическая оценка всех перечисленных в
табл. 6.1.10.2 тканей и органов должна проводиться для контрольной группы и групп, подвергавшихся воздействию высоких концентраций, а также для всех животных, умерших или умерщвленных во время исследования. Особое внимание должно уделяться дыхательным путям, органам-мишеням и макроскопическим повреждениям. При наличии повреждений органов и тканей у животных, подвергавшихся воздействию высоких концентраций, те же органы и ткани должны быть исследованы во всех остальных группах. Руководитель исследования может проводить гистопатологическую оценку дополнительных групп для демонстрации четкого отношения концентрация-эффект. При использовании группы исследования обратимости следует провести гистопатологический анализ всех тканей и органов, продемонстрировавших эффекты в подопытных группах. Если в группе, подвергавшейся воздействию высокой концентрации, наблюдается чрезмерное количество ранних смертей или другие проблемы, снижающие значимость полученных данных, гистопатологическому исследованию подлежит следующая, более низкая концентрация. Следует предпринять попытку сопоставления результатов макроскопического и микроскопического исследования.
5.1.1. Для каждого животного следует предоставить индивидуальные данные о массе тела, потреблении пищи, клинической патологии, макроскопической патологии, массе органов и гистопатологии. Данные клинических наблюдений суммируются в форме таблицы с указанием для каждой экспериментальной группы количества использованных животных, количества животных, демонстрирующих специфические признаки токсичности, количества животных, умерших во время исследования или умерщвленных в гуманных целях, времени смерти отдельных животных, описания и продолжительности токсических эффектов и обратимости, а также результатов вскрытия. Все результаты, количественные и побочные, должны оцениваться при помощи подходящего статистического метода. Допустимо применение любого общепринятого статистического метода, выбор которого производится в процессе составления плана исследования.
Отчет об испытании должен включать следующие данные.
Подопытные животные и их содержание:
- описание условий содержания в клетке, включая: количество (или изменения в количестве) животных в клетке, материал подстилки, температура окружающей среды и относительная влажность, световой период и обозначение диеты;
- используемые виды/линии и обоснование для использования других видов, кроме крыс;
- количество, возраст и пол животных;
- метод рандомизации;
- подробности о качестве пищи и воды (включая тип/источник диеты, источник воды);
- описание условий содержания перед началом испытания, включая диету, карантин и лечение от болезни.
Исследуемый препарат:
- физическая природа, наличие примесей и, если значимо, физико-химические свойства (включая изомеризацию);
- идентификационные данные и регистрационный номер в Реферативной службе по химии (CAS), если таковой имеется.
Растворитель:
- обоснования для использования растворителя и обоснование для выбора растворителя (если это иное, чем вода);
- справочные или совпадающие данные, подтверждающие, что растворитель не влияет на результаты исследования.
Ингаляционная камера:
- описание ингаляционной камеры, включая размеры и объем;
- описание и поставщик оборудования, используемого для экспозиции животных, а также генерация атмосферы;
- оборудование для измерения температуры, относительной влажности, размера частиц и фактической концентрации;
- источник поступления воздуха и обработка поступившего/извлеченного воздуха, система кондиционирования;
- методы, используемые для поверки оборудования с целью обеспечить гомогенность в тестируемой атмосфере;
- перепады давления (положительные или отрицательные);
- отверстия для экспозиции в камере (только через нос); размещение животных в системе (воздействие через все тело);
- временная гомогенность/стабильность тестируемой атмосферы;
- место размещения датчиков, определяющих температуру и относительную влажность, отбор образцов тестируемой атмосферы в клетке;
- скорость потоков воздуха, скорость потока воздуха/отверстия для экспозиции (только через нос) или нагрузка животных/клетку (для воздействия через все тело);
- время, рекомендуемое для достижения равновесия в ингаляционной камере (t95);
- количество изменений объема в час;
- приборы, снимающие показания (если применены).
Данные экспозиции:
- обоснование для выбора целевой концентрации в основном исследовании;
- номинальные концентрации (общая масса исследуемого препарата, сгенерированного в ингаляционной камере, разделенная на объем воздуха, проходящего через камеру);
- фактическая концентрация тестируемого препарата, собранная из зоны дыхания животных; для исследуемых смесей, которые продуцируют гетерогенные физические формы (газы, пары, аэрозоли), каждая форма может быть проанализирована отдельно;
- все воздушные концентрации должны быть указаны в отчете в единицах массы (например, мг/л, мг/м3 и т.д.); в скобках допускается указание их в единицах объема (например, промилле, часть на млрд. и т.д.);
- гранулометрический состав, средний аэродинамический диаметр (MMAD) и геометрическое стандартное отклонение (og), включая методы из вычисления. Индивидуальный гранулометрический анализ должен быть изложен в отчете.
Условия проведения испытания:
- подробные сведения о приготовлении тестируемого препарата, включая данные о мероприятиях по уменьшению размера частиц для твердых материалов или по приготовлению растворов исследуемого препарата. В случае, когда есть вероятность, что механические процессы изменят состав исследуемого вещества, необходимо включить результаты анализов для подтверждения состава тестируемого вещества;
- описание оборудования (предпочтительно с диаграммой), используемого для генерации исследуемой атмосферы и для экспозиции животных в этой атмосфере;
- подробные сведения об оборудовании, используемом для наблюдения за температурой в камере, относительной влажностью, воздушными потоками;
- подробные сведения об оборудовании, используемом для забора образцов для вычисления концентрации в камере и гранулометрического состава;
- подробные сведения об используемом химико-аналитическом методе и проверке достоверности метода (включая эффективность восстановления тестируемого препарата из питательной среды, в которую были помещены образцы);
- метод случайной выборки животных для включения в испытательную и контрольную группы;
- обоснование для выбора исследуемой концентрации.
Результаты:
- сведение в таблицу данных о температуре в камере, уровне влажности и воздушном потоке;
- сведение в таблицу данных о номинальной и фактической концентрации;
- сведение в таблицу данных о размере частиц, включая собранные сведения об аналитических образцах, распределение размеров частиц, подсчеты ММАД и

- сведение в таблицу данных о реакции и уровне концентрации для каждого животного (т.е. признаки токсического отравления у животного, включая агонию, природу, тяжесть, время появления и продолжительность эффектов);
- индивидуальная масса тела животных, полученная в дни проведения эксперимента; дата и время смерти, если предшествовали умерщвлению; динамика появления признаков токсичности и были ли они обратимы для каждого животного;
- табличное представление данных клинической патологии;
- табличное представление результатов некропсии и гистопатологического исследования каждого животного, если таковые имеются;
- Табличное представление любых других измеренных параметров.
Обсуждение и интерпретация результатов:
- особое внимание необходимо уделить описанию методов, используемых в целях удовлетворения требованиям Руководства по проведению испытаний, например, таким, как к предельно допустимой концентрации или размерам частиц;
- пригодность частиц для вдыхания, принимая во внимание общие данные, должна быть адресной, особенно если требования к размерам частиц не соблюдены;
- если на основании критериев по определению гуманной конечной точки была необходимость в гуманном умерщвлении животного, испытывающего боль или проявляющего признаки страдания, нужно привести объяснения;
- последовательность методов, используемых для определения номинальной и фактической концентрации, а также зависимость фактической концентрации от номинальной должна быть включена в общую оценку исследования;
- следует рассмотреть возможную причину смерти и преобладающий способ действия (системный или локальный);
- определить целевые органы;
- определить недействующую отрицательную дозу и пороговый уровень воздействия.
ОЦЕНКА КОЖНОЙ ТОКСИЧНОСТИ ПРИ ПОВТОРНОМ ВОЗДЕЙСТВИИ
В 21/28-ДНЕВНОМ ИССЛЕДОВАНИИ
Идентичен международному документу OECD Test N 410 "Repeated Dose Dermal Toxicity: 21/28-day Study" (ОЭСР Тест N 410 "Кожная токсичность повторной дозы: 21/28-дневное исследование"). Принят 12 мая 1981 года. Перевод с английского языка (en). Степень соответствия - модифицированный (MOD).
1.1. Настоящий метод исследования устанавливает требования к исследованию кожной токсичности химических веществ.
1.2. Метод обеспечивает получение информации о токсичности вещества при накожном пути поступления при повторном воздействии.
2.1. Указанный метод исследования предназначен для изучения субхронической кожной токсичности химических веществ в целях получения информации о воздействии на организм человека в результате повторного нанесения на кожу в течение 21/28 дней.
2.2. При оценке токсичных свойств химического вещества определение субхронической кожной токсичности может быть проведено после получения исходной информации о токсичности в ходе испытания острой токсичности. Исследование острой токсичности предоставляет информацию о возможных опасностях для здоровья, которые могут возникнуть в результате повторной экспозиции на кожу в течение ограниченного периода времени.
2.3. Принципы проведения 21- или 28-дневного дермального исследования повторной дозы достаточно схожи, что позволяет в одном методе рассмотреть испытания и с той, и с другой продолжительностью. Основное отличие заключается во времени, в течение которого происходит дозирование.
3. Описание тестового метода
3.1.1. Исследуемое вещество наносят ежедневно на кожу нескольким группам экспериментальных животных, одна доза на группу, в течение 21/28 дней.
3.1.2. Необходимы следующие сведения об исследуемом веществе:
- агрегатное состояние: твердое или жидкое;
- химическая идентификация исследуемого вещества;
- чистота (примеси) исследуемого вещества;
- характеристики растворимости;
- pH (при необходимости);
- стабильность, включая стабильность в растворителе, при использовании;
- точка плавления/точка кипения.
3.1.3. В течение периода нанесения вещества животные ежедневно обследуются для выявления признаков интоксикации. Животных, которые погибают в ходе испытания, подвергают аутопсии, выживших животных после завершения испытания умерщвляют и подвергают аутопсии.
Выбор вида
3.2.1. Необходимо использовать молодых здоровых особей из обычных лабораторных линий. Для проведения испытания следует использовать половозрелых крыс (с массой тела 200 - 300 г), кроликов (с массой тела 2,0 - 3,0 кг) или морских свинок (с массой тела 350 - 450 г). В случае использования других видов необходимо привести обоснование.
3.2.2. В случае, если субхроническое исследование кожной токсичности проводится перед долгосрочным исследованием, следует в обоих исследованиях использовать животных одной породы и одного и того же происхождения.
Подготовка
3.2.3. Следует использовать животных обоих полов. Самки должны быть нерожавшими и небеременными. При испытании каждой дозы следует использовать, по крайней мере, 10 животных (5 самок и 5 самцов) со здоровой кожей.
3.2.4. Если предполагается промежуточное умерщвление животных, то количество животных в группах должно быть увеличено на число планируемых к забою животных. Также может быть составлена дополнительная (вспомогательная) группа из 10 животных (по 5 животных каждого пола), которая будет подвергнута воздействию дозой высокого уровня в течение 21/28 дней с последующим наблюдением в течение 14 дней после завершения нанесения вещества для контроля обратимости и стойкости изменений появления отдаленных токсических эффектов.
3.2.5. Здоровых молодых половозрелых животных акклиматизируют к лабораторным условиям, по крайней мере, в течение 5 дней до испытания. Перед испытанием животные распределяются на экспериментальную и контрольную группы в произвольном порядке. Волосяной покров спинной области туловища экспериментальных животных должен быть удален незадолго до начала испытания. Шерсть может быть выбрита, но производить бритье следует приблизительно за 24 часа до начала испытания. Повторная стрижка или бритье должны производиться еженедельно. При стрижке или бритье волосяного покрова необходимо соблюдать осторожность во избежание повреждений кожи, могущих повлиять на ее проницаемость, за исключением случаев, когда это предусмотрено методикой испытания. Должно быть очищено не менее 10% площади поверхности тела. Для принятия решения о том, какая площадь кожи должна быть очищена от волосяного покрова и каковы должны быть размеры участка для нанесения вещества, следует учитывать массу животного. При тестировании твердых веществ, которые можно растереть в порошок, их следует измельчить, причем исследуемое вещество должно быть достаточно увлажнено водой или подходящим растворителем, чтобы обеспечить хороший контакт с кожей. При использовании растворителя следует учитывать его влияние на проницаемость кожи для исследуемого вещества. Жидкие исследуемые вещества обычно используются неразбавленными.
Содержание
3.2.6. Животных следует содержать в клетках отдельно. Температура в помещении, где содержатся экспериментальные животные, должна составлять (22 +/- 3) °C для грызунов или (20 +/- 3) °C для кроликов, оптимальный уровень относительной влажности - 30 - 70%. Допустимо использование стандартных лабораторных режимов питания с неограниченным потреблением питьевой воды. Освещение должно быть искусственным в режиме 12 часов при свете/12 часов в темноте.
3.3. Группы доз и дозировка
3.3.1. Следует использовать не менее трех опытных групп (трех уровней доз), одну контрольную группу, которая не должна подвергаться воздействию исследуемого вещества, при необходимости - контрольную группу с нанесением растворителя. За исключением нанесения исследуемого вещества, с животными из контрольной группы следует обращаться тем же способом, что и с экспериментальными группами.
3.3.2. Самый высокий уровень дозы должен привести к токсическим эффектам, но не вызывать смертельных исходов, которые могут препятствовать обоснованной оценке. Самый низкий уровень дозы не должен вызывать никаких признаков интоксикации. В том случае, если есть приемлемая оценка воздействия на человека, самый низкий уровень должен превышать ее. Средний уровень дозы в идеале должен вызвать минимальные видимые токсические эффекты. Если используются более чем одна промежуточная доза, их уровни должны быть распределены так, чтобы можно было произвести градацию токсических эффектов. В группе с малым уровнем дозы, в промежуточных и контрольных группах число смертельных исходов должно быть низким, чтобы обеспечить значимую (статистически достоверную) оценку результатов.
3.3.3. Если при нанесении исследуемое вещество вызывает сильное раздражение кожи, его концентрация может быть уменьшена, хотя это может привести к снижению или отсутствию других токсических эффектов при дозе высокого уровня. Однако при сильном повреждении кожи в начале исследования может возникнуть необходимость прекратить испытание и провести новое исследование при более низких концентрациях.
3.3.4. Пороговый тест. Если при испытании одного уровня дозы, составляющего не менее 1000 мг/кг массы тела (при том, что ожидаемое воздействие на человека может указывать на необходимость использования дозы более высокого уровня), с использованием процедур, описанных для данного исследования, не выявлено видимых токсических эффектов, и если токсичность исследуемого вещества является маловероятной на основании данных, полученных для соединений, близких по структуре, то полное исследование с использованием трех уровней доз не является необходимым.
3.4. Методика проведения исследования
3.4.1. Животных обрабатывают исследуемым веществом не менее 6 часов в день в течение 7 дней в неделю на протяжении 21/28 дней. Однако, исходя прежде всего из практических соображений, считается приемлемым нанесение вещества 5 дней в неделю. Животных вспомогательной группы, предусмотренной для последующих наблюдений, выдерживают в течение 14 дней после эксперимента, чтобы выявить способность к восстановлению или стойкость токсических эффектов.
3.4.2. Исследуемое вещество следует наносить равномерно на участок, составляющий примерно 10% от общей площади поверхности тела. При использовании высокотоксичных веществ поверхность участка для нанесения вещества может быть меньше, но большая часть его должна быть покрыта тонкой и равномерной пленкой насколько это возможно.
3.4.3. Между нанесениями исследуемого вещества, оно должно контактировать с кожей посредством пористой марлевой повязки, зафиксированной не вызывающей раздражения лентой. Участок тела, через который воздействует исследуемое вещество, должен быть покрыт способом, позволяющим удерживать испытуемое вещество, на которое сверху наложена марлевая повязка, и не позволяющим животным проглотить испытываемое вещество. Можно использовать ограничители движения для препятствия слизыванию вещества, но полная иммобилизация не рекомендуется.
3.4.4. Если наблюдаются признаки токсичности, они должны быть зарегистрированы, включая время их выявления, степень и продолжительность. Наблюдения за животными должны включать: изменения кожи и волосяного покрова, глаз и слизистых оболочек, а также органов дыхания, кровообращения, вегетативной и центральной нервных систем, соматомоторной деятельности и модели поведения, но не ограничиваться только этим. Измерения потребления пищи и взвешивание животных следует проводить еженедельно. Регулярное наблюдение за животными необходимо, чтобы гарантировать, что животное не выбыло из исследования по причине каннибализма, аутолиза тканей или дистопии. При завершении исследования всех выживших животных не вспомогательных, экспериментальных групп умерщвляют. При обнаружении умирающих животных они должны быть удалены и умерщвлены.
3.5.1. По крайней мере один раз в день должен быть проведен тщательный клинический осмотр. Дополнительные наблюдения следует проводить ежедневно, принимая необходимые меры для минимизации потери животных при исследовании, например, аутопсию или охлаждение животных, найденных мертвыми, и изоляцию или умерщвление слабых или умирающих животных.
3.6. Гематология и клиническая биохимия
3.6.1. Для всех животных при завершении исследования должны быть выполнены гематологические исследования с определением гематокрита, концентрации гемоглобина, количества эритроцитов, общего и дифференциального количества лейкоцитов, а также величины потенциала свертывания, таких как время свертывания крови, протромбиновое время, тромбопластиновое время или количество тромбоцитов и биохимическое исследование крови, при котором достаточным является определение параметров крови, характеризующих функции печени и почек.
3.6.2. Выбор специальных исследований будет зависеть от наблюдения за механизмом действия вещества. Предполагаемый перечень таких исследований: измерения уровней кальция, фосфора, хлора, натрия, калия, уровня глюкозы натощак (с периодами голодания для соответствующих видов); определение глутаминовой пировиноградной трансаминазы сыворотки (аланинаминотрансфераза сыворотки), глутаминовой щавелевоуксусной трансаминазы сыворотки (аспартатаминотрансфераза сыворотки), орнитиндекарбоксилазы, гамма-глутамилтранспептидазы, азота мочевины, белка, креатинина крови, общего билирубина и общего белка сыворотки.
3.6.3. Другие исследования, которые могут потребоваться для адекватной токсикологической оценки, включают анализ липидов, гормонов, кислотно-щелочного баланса, метгемоглобина, активности холинэстеразы. При необходимости расширить исследования наблюдаемых эффектов может быть проведен дополнительный клинический биохимический анализ.
3.6.4. Анализ мочи требуется производить в случаях, когда есть показание, основанное на ожидаемой или наблюдаемой токсичности.
3.6.5. Если исторических исходных данных недостаточно, то перед началом дозирования следует уделить внимание определению гематологических и клинических биохимических показателей.
4.1. Макроскопическая аутопсия
4.1.1. Все животные в исследовании должны быть подвергнуты полной макроскопической аутопсии, которая включает в себя осмотр внешней поверхности тела, всех отверстий, черепных, грудной и брюшной полостей и их содержимого. Печень, почки, надпочечники и яички должны быть взвешены влажными как можно скорее после вскрытия, чтобы избежать высыхания. Следующие органы и ткани должны быть сохранены в подходящей среде для дальнейшего проведения возможной гистопатологической экспертизы: участки нормальной и обработанной кожи, печень, почки и органы-мишени, то есть те органы, которые показывают макроскопические повреждения или изменения в размерах.
4.2.1. Гистологическое исследование должно быть выполнено на сохранившихся органах и тканях животных группы с высоким уровнем дозы и контрольной группы. Эти исследования могут быть распространены на животных групп с другими дозами, при необходимости, чтобы исследовать изменения, наблюдаемые в группах с высоким уровнем дозы.
4.2.2. Животных вспомогательной группы следует обследовать гистологически особо обращая внимание на те органы и ткани, в которых выявлены эффекты воздействия вещества в других экспериментальных группах.
5.1.1. Данные могут быть представлены в табличной форме с указанием для каждой экспериментальной группы количества животных на начало испытания; количества животных, имеющих поражения; тип поражений и процент животных с каждым видом поражения.
5.1.2. Все наблюдаемые результаты, количественные и случайные, должны быть оценены соответствующим статистическим методом. Может быть использован любой общепринятый статистический метод. Статистические методы должны быть выбраны в ходе планирования исследования.
5.1.3. Результаты исследования следует рассматривать с точки зрения наблюдаемых токсических эффектов, аутопсии и гистопатологических данных. Оценка будет включать в себя отношение между дозой исследуемого вещества и наличием или отсутствием, частотой и тяжестью нарушений, в том числе поведенческих и клинических нарушений, макроскопических поражений, идентифицированных органов-мишеней, изменениями массы тела, влияниями на смертность и любыми другими общими или специфическими токсическими эффектами. Надлежащим образом проведенное 21/28-дневное исследование предоставит информацию о последствиях повторного попадания на кожу вещества и может показать необходимость дальнейшего продолжительного исследования. Исследование также может предоставить информацию о выборе доз для более продолжительных исследований.
5.1.4. Данное исследование кожной токсичности предоставляет информацию о последствиях повторного попадания на кожу того или иного вещества. Экстраполяция результатов исследования на человека действует в ограниченной степени, но она может дать полезную информацию о степени кожной резорбции вещества.
Отчет об исследовании должен содержать следующую информацию:
- используемые виды/линии;
- данные о токсической реакции в зависимости от пола и дозы;
- время смерти в ходе исследования или количество животных, доживших до окончания эксперимента;
- токсические или другие эффекты;
- характер, точность и продолжительность наблюдений за каждым признаком нарушения и его последующее развитие (были выявленные изменения промежуточными или постоянными);
- данные о питании и массе тела животных;
- выполненные гематологические испытания и результаты в сравнении с исходными данными;
- выполненные клинические биохимические испытания и результаты в сравнении с исходными данными;
- данные аутопсии;
- подробное описание всех гистологических данных;
- статистическая обработка результатов (в случае необходимости).
ИЗУЧЕНИЕ СУБХРОНИЧЕСКОЙ ТОКСИЧНОСТИ В ОПЫТАХ IN VIVO
ИЗУЧЕНИЕ ПЕРОРАЛЬНОЙ ТОКСИЧНОСТИ ПРИ ПОВТОРНОМ ВОЗДЕЙСТВИИ
В 90-ДНЕВНЫХ ОПЫТАХ НА ГРЫЗУНАХ
Идентичен международному документу OECD TG N 408 "Repeated Dose 90-Day Oral Toxicity Study in Rodents" (ОЭСР Руководство N 408 "Изучение пероральной токсичности при повторном воздействии в 90-дневных опытах на грызунах". Международный документ разработан Организацией Экономического Сотрудничества и Развития (ОЭСР/OECD) 21 сентября 1998 г. Перевод с английского языка (en). Степень соответствия - модифицированный (MOD).
1.1. Настоящий метод исследования по изучению пероральной токсичности при повторном воздействии в 90-дневных опытах на грызунах предназначен для получения информации о возможном вреде для здоровья при повторном пероральном введении химического вещества и продукции на его основе в течение длительного периода времени.
2.1. При изучении и оценке токсикологических характеристик химического вещества определение субхронической пероральной токсичности с использованием повторного введения может выполняться после того, как получена первичная информация о токсичности в условиях острого опыта и 28-дневного опыта с изучением токсичности при повторном введении вещества. 90-дневное исследование дает информацию о возможном вреде для здоровья, связанном с повторным воздействием вещества в течение продолжительного периода времени, включая период после прекращения материнского вскармливания, рост и взросление. В этом исследовании можно получить информацию об основных токсических эффектах, выявить критические органы и способность вещества к аккумуляции. Могут быть также получены данные по оценке уровня, при котором не наблюдаются неблагоприятные эффекты вещества (NOAEL), который может использоваться при выборе доз для проведения хронических опытов и установления критериев безвредности воздействия вещества на человека.
2.2. Метод исследования особое внимание уделяет нейрологическим показателям и дает представление об иммунологических и репродуктивных эффектах. В нем также подчеркивается необходимость тщательных клинических наблюдений за состоянием животных для получения как можно большего объема информации. При 90-дневном изучении токсичности должна создаваться возможность для выявления способности химических веществ вызывать нейротоксический, иммунотоксический эффекты, а также воздействовать на репродуктивные органы, что может служить основанием для дальнейших углубленных исследований.
Изучаемое вещество вводят ежедневно перорально в градуированных дозах нескольким группам экспериментальных животных в одном дозовом уровне на группу в течение 90 дней. В течение периода введения вещества тщательно наблюдают за животными для выявления признаков интоксикации. Погибших или умерщвленных во время эксперимента животных вскрывают, в конце эксперимента выживших животных также умерщвляют для вскрытия.
3.2.1. Выбор вида животных
Предпочтительный вид животных - крыса, но могут использоваться и другие виды грызунов, например, мыши. Должны использоваться молодые здоровые взрослые животные широко распространенных лабораторных линий. Самки должны быть нерожавшими и небеременными. Введение вещества должно начинаться как можно скорее после прекращения материнского вскармливания, и, в любом случае, до того, как животные достигнут 9-недельного возраста. В начале исследования вариации массы тела используемых животных должны быть минимальными и не превышать +/- 20% от средней массы особей каждого пола. Если исследование проводится как предварительное к длительному хроническому опыту, в обоих экспериментах должны использоваться животные одной и той же линии.
3.2.2. Содержание и кормление
Температура в экспериментальной комнате для животных должна быть 22 °C (+/- 3°). Относительная влажность воздуха должна быть не менее 30% и, желательно, не выше 70% (за исключением времени уборки помещения), оптимальный диапазон - 50 - 60%. Освещение должно быть искусственным с последовательным чередованием: 12 ч света и 12 ч темноты. Для кормления может использоваться обычная лабораторная диета с неограниченным потреблением питьевой воды. На выбор диеты может повлиять необходимость обеспечить хорошее смешивание изучаемого вещества, если оно вводится с кормом. Животные могут содержаться индивидуально или размещаться небольшими группами одного пола.
3.2.3. Подготовка животных
Должны использоваться здоровые животные, акклиматизированные к лабораторным условиям, по крайней мере в течение 5 дней, и ранее не подвергавшиеся экспериментальным процедурам. Животные должны быть охарактеризованы по виду, линии, полу, массе и/или возрасту. Животные произвольно распределяются в контрольную и экспериментальные группы. Клетки должны быть расставлены так, чтобы свести к минимуму возможные эффекты, связанные с размещением клеток. Каждое животное должно получить индивидуальный идентификационный номер.
3.3. Подготовка вводимых доз
3.3.1. Изучаемое вещество вводят желудочным зондом, через диету или с питьевой водой. Метод перорального введения зависит от целей исследования и физических/химиических/токсико-кинетических свойств изучаемого вещества.
3.3.2. Если необходимо изучаемое вещество растворяют или суспензируют в подходящем растворителе. Предпочтительным в качестве растворителя является вода; следующим из рекомендуемых следует рассматривать использование водного раствора/суспензии, затем - использование раствора/эмульсии в масле (например, в кукурузном масле) и только потом - возможное растворение в других растворителях. Для растворителей, отличных от воды, должны быть известны токсикологические характеристики. Должна быть определена стабильность изучаемого вещества в условиях его введения животным.
3.4.1. Количество и пол животных
В каждой дозе должны быть использованы, по крайней мере, 20 животных (десять самцов и десять самок). Если планируется умерщвление животных в течение эксперимента, общее число животных должно быть увеличено на то их количество, которое предназначается к умерщвлению до завершения исследования. На основе имеющихся данных о веществе или его близком аналоге должна быть рассмотрена целесообразность включения дополнительной сателлитной группы из 10 животных (по пять каждого пола) в контрольную группу и группу, получающую максимальную дозу вещества, для наблюдения после прекращения воздействия вещества за обратимостью и устойчивостью токсических эффектов.
3.4.2. Дозировка
Должны использоваться, по крайней мере, три уровня доз и контроль, если только не проводится изучение вещества в сокращенном объеме. Уровни доз могут быть основаны на результатах экспериментов с повторным введением вещества или исследований по поиску диапазона доз. При этом должны приниматься во внимание любые известные токсикологические и токсикокинетические данные, имеющиеся для изучаемого вещества или родственных веществ. Если нет ограничений, обусловленных физико-химической природой или биологическими эффектами изучаемого вещества, наивысшая доза должна быть выбрана с учетом возможности вызвать токсическое действие, но не гибель или сильные страдания животных. Последовательность снижения дозовых уровней должна выбираться с перспективой обнаружения любых дозозависимых реакций и так, чтобы уровень, при котором не наблюдаются неблагоприятные эффекты вещества (NOAEL), соответствовал наименьшей из использованных доз. Двух- или четырехкратные интервалы обычно оптимальны для установления убывающих дозовых уровней, а добавление четвертой опытной группы животных часто предпочтительнее использования очень больших интервалов (например, более чем 6 - 10-кратных) между дозами.
3.4.3. Контрольная группа остается интактной или получает растворитель, если он используется для введения изучаемого вещества. За исключением воздействия изучаемым веществом, условия содержания контрольных и опытных животных должны быть идентичными. Если применяется растворитель, контрольная группа должна получать его в наибольшем из используемых объемов. Если изучаемое вещество вводится с диетой и вызывает снижение потребления пищи, может быть полезным использование второй контрольной группы для того, чтобы отличить снижение аппетита животных от токсикологических изменений экспериментальной модели.
3.4.4. При необходимости должны быть приняты во внимание следующие характеристики растворителя или других добавок: эффекты, оказывающие влияние на абсорбцию, распределение, метаболизм или накопление изучаемого вещества; эффекты, влияющие на химические свойства изучаемого вещества, которые могут изменять характеристики его токсичности; эффекты, влияющие на потребление пищи и воды или пищевой статус животных.
3.5. Исследование в сокращенном объеме
Если исследование одной дозы, эквивалентной как минимум 1000 мг/кг массы тела/день, с использованием процедур, предусмотренных для 90-дневного изучения токсичности, не выявляет токсических эффектов, и если токсичность не ожидается исходя из данных о структурно родственных веществах, тогда полное исследование с тремя уровнями доз может рассматриваться как необязательное. В этих случаях проводят исследование вещества в сокращенном объеме, если только воздействие на людей не свидетельствует о необходимости тестирования более высокой дозы.
3.6.1. Животные должны получать изучаемое вещество ежедневно семь дней в неделю в течение 90 дней. Любой другой режим введения вещества, например, пять дней в неделю, нуждается в обосновании. Если изучаемое вещество вводят животным внутрижелудочно, вся доза должна быть введена в один прием с помощью желудочного зонда или подходящей интубационной канюли.
3.6.2. Максимальный объем жидкости, который может быть введен за один раз, зависит от размера экспериментальных животных. Вводимый объем не должен превышать 1 мл/100г массы тела, за исключением водных растворов, которые допустимо вводить в объеме 2 мл/100 г массы тела.
3.6.3. Для изучаемых веществ, за исключением едких и раздражающих, у которых обычно при увеличении концентрации раздражающие эффекты усугубляются, вариабельность объема должна быть минимизирована подбором концентраций так, чтобы все дозы вводили в одном и том же объеме.
3.6.4. Для веществ, вводимых с диетой или питьевой водой, важно убедиться, что используемые количества изучаемого вещества не нарушают нормальное питание или водный баланс. Если изучаемое вещество вводят с диетой, может использоваться либо постоянная концентрация (ppm), либо постоянный уровень доз в переводе на вес тела животного. Выбор должен быть точно определен.
3.6.5. Для веществ, вводимых с помощью зонда, доза вещества должна вводиться каждый день в одно и то же время и устанавливаться в соответствии с необходимостью поддерживать постоянный уровень дозы в пересчете на массу тела животного. Если 90-дневное исследование проводится как предварительное к долговременному хроническому исследованию, в обоих исследованиях должны использоваться одинаковые диеты.
3.7.1. Период наблюдения должен составлять 90 дней. Животные сателлитной группы, предназначенные для последующих наблюдений, должны содержаться в течение соответствующего периода без воздействия вещества для выявления отсроченного действия, длительности сохранения токсических эффектов или их исчезновения.
3.7.2. Общие клинические наблюдения должны проводиться, по крайней мере, один раз в день, желательно в одно и то же время, принимая во внимание период максимального проявления ожидаемых эффектов после введения вещества. Состояние животных должно быть зафиксировано. Не менее двух раз в день, обычно в начале и конце каждого дня, животных осматривают для выявления клинических симптомов или гибели.
3.7.3. По крайней мере, один раз перед первым введением вещества (для возможности внутригрупповых сравнений) и один раз в неделю после начала воздействия вещества должны быть проведены детальные клинические наблюдения всех животных. Наблюдения должны проводиться вне клетки, предпочтительно на стандартном месте и в одно и то же время дня.
3.7.4. Наблюдения должны быть тщательно зарегистрированы, предпочтительно с использованием систем оценок, четко оговоренных исследовательской лабораторией. Должны быть приняты меры для обеспечения минимальности различий в условиях наблюдения. Замеченные симптомы должны включать (не ограничиваясь этим): изменения кожи, шерсти, глаз, слизистых оболочек, наличие секреции и экскреции и автономной активности (например, слезотечение, пилоэрекция, размер зрачка, необычные типы дыхания); изменения в походке, позе, груммингу; наличие клинических или тонических движений, стереотипия (например, слишком интенсивный грумминг, повторяющиеся круговые движения) или странное поведение (например, самоповреждение, движение задом наперед).
3.7.5. Офтальмологическое исследование с использованием офтальмоскопа или соответствующего эквивалентного оборудования должно проводиться до начала введения изучаемого вещества и в конце эксперимента, предпочтительно у всех животных или, по крайней мере, в группе с наивысшей дозой и контрольной группе. Если в глазах обнаруживаются изменения, исследование должно быть проведено у всех животных.
3.7.6. К концу периода воздействия вещества, но в любом случае не ранее 11-й недели, должна быть изучена реакция животных на различные внешние стимулы (например, слуховые, зрительные и проприоцептивные), оценена мышечная сила и моторная активность. Описание процедур, которые могут проводиться, могут быть получены из соответствующих литературных источников. Вместе с тем могут также использоваться альтернативные процедуры, не приведенные в этих литературных источниках.
3.7.7. Функциональные исследования в конце эксперимента могут не проводиться, если данные о таких функциональных исследованиях известны из других экспериментов, а ежедневные клинические наблюдения не выявили каких-либо функциональных нарушений.
3.7.8. Как исключение, функциональные наблюдения могут также не проводиться в группах животных, в которых проявляются другие признаки токсичности вещества, причем степень их выраженности может существенно повлиять на проведение функциональных исследований.
3.8. Масса тела и потребление пищи/воды
3.8.1. Все животные должны быть взвешены не менее одного раза в неделю.
3.8.2. Измерения потребления пищи должны проводиться не менее одного раза в неделю. Если изучаемое вещество вводится с питьевой водой, потребление воды должно также измеряться, по крайней мере, еженедельно. Потребление воды может также учитываться в тех экспериментах с введением вещества с диетой или с помощью зонда, в которых может изменяться питьевая активность животных.
3.9. Гематология и клиническая биохимия
3.9.1. Образцы крови должны быть отобраны в запланированные периоды эксперимента, при необходимости сохраняться в соответствующих условиях. В конце исследования образцы крови отбирают непосредственно перед умерщвлением или как часть процедуры умерщвления животных.
3.9.2. Должны быть проведены следующие гематологические исследования крови, отобранной в конце или в течение эксперимента: гематокрит, концентрация гемоглобина, количество эритроцитов, общий лейкоцитоз и лейкоцитарная формула, количество тромбоцитов и время/потенциал свертываемости крови.
3.9.3. Клинические биохимические исследования для выявления основных токсических эффектов в тканях и, особенно, действие на почки и печень, должны проводиться в образцах крови, взятых у всех животных непосредственно перед умерщвлением или как часть процедуры умерщвления животных (за исключением животных, найденных агонизирующими и/или умерщвленных до завершения эксперимента). В течение эксперимента могут быть отобраны пробы крови для биохимических исследований, аналогично тому, как это делается для гематологических исследований.
3.9.4. Рекомендуется, чтобы животные голодали в течение ночи перед умерщвлением
<3>. Анализы плазмы или сыворотки должны включать определение натрия, калия, глюкозы, общего холестерина, мочевины, креатинина, общего белка, альбумина и не менее двух ферментов - индикаторов гепатоцеллюлярных эффектов (таких как аланинаминотрансфераза (АЛТ), аспартатаминотрансфераза (АСТ), щелочная фосфатаза, гамма-глютамилтранспептидаза и сорбитолдегидрогеназа). Измерения других ферментов (печеночного и иного происхождения) и желчных кислот, которые, при определенных обстоятельствах, могут дать полезную информацию, могут также быть включены в исследование. Определение дополнительных ферментов (печеночного или другого происхождения) и билирубина при определенных обстоятельствах может дать полезную информацию.
--------------------------------
<3> Для измерения ряда показателей в сыворотке или плазме, прежде всего глюкозы, предпочтительно ночное голодание животных. Главная причина такой предпочтительности заключается в возрастании вариабельности данных, которое неизбежно проявляется у неголодных животных и имеет тенденцию к маскировке более слабых эффектов, затрудняя интерпретацию результатов. С другой стороны, голодание в течение ночи может повлиять на общий метаболизм животных и, в особенности в исследованиях с введением вещества с кормом, может нарушить режим воздействия изучаемого вещества. Если выбирается ночное голодание, клинические биохимические определения должны выполняться после проведения функциональных наблюдений, предусмотренных в эксперименте.
3.9.5. Дополнительно на последней неделе эксперимента могут быть проведены анализы мочи с использованием спланированных во времени сбора объемов мочи и определения таких ее показателей, как внешний вид, объем, осмотическое давление, удельный вес, pH, белок, глюкоза, кровь и клетки крови.
3.9.6. Кроме того, должны быть предусмотрены исследования для выявления сывороточных маркеров общего повреждения тканей. Другие измерения, которые должны быть проведены, если известные свойства изучаемого вещества могут, или предположительно могут, изменить соответствующие метаболические профили, включают кальций, фосфаты, триглицериды натощак, специфические гормоны, метгемоглобин и холинэстеразу. Они могут определяться для химических веществ соответствующих классов или в каждом отдельном случае. Необходим гибкий подход, зависящий от вида животного и наблюдаемого/или ожидаемого эффекта того или иного соединения.
3.9.7. Если исходные ретроспективные данные недостаточны, должна быть рассмотрена необходимость определения вариабельности результатов гематологических и клинических биохимических исследований до начала введения животным изучаемого вещества; как правило, не рекомендуется, чтобы такие данные были получены до начала воздействия вещества.
Некропсия
3.10.1. Все экспериментальные животные должны быть подвергнуты полной, детальной некропсии, которая включает тщательное исследование наружной поверхности тела, всех отверстий и черепных, грудных, абдоминальных полостей и их содержимого. Печень, почки, надпочечники, семенники, эпидидимис, матка, яичники, тимус, селезенка, головной мозг и сердце всех животных (за исключением животных, найденных агонизирующими и/или умерщвленных до завершения эксперимента) должны быть соответствующим образом освобождены от прилежащих тканей, и их масса определена как можно скорее после диссекции для предупреждения высыхания.
3.10.2. Следующие ткани должны быть фиксированы в наиболее подходящей для обоих типов тканей фиксирующей среде и подвергнуты последующему гистопатологическому исследованию: все явные повреждения, головной мозг (репрезентативные области, включая большой мозг, мозжечок и продолговатый мозг/варолиев мост), спинной мозг (все три уровня: шейный, среднегрудной и поясничный), гипофиз, щитовидная железа, паращитовидные железы, тимус, пищевод, слюнные железы, желудок, тонкий и толстый кишечник (включая Пейеровы бляшки), печень, поджелудочная железа, почки, надпочечники, селезенка, сердце, трахея и легкие (консервированные вдуванием воздуха с фиксатором и затем иммерсией), аорта, гонады, матка, вспомогательные половые органы, молочные железы самок, простата, мочевой пузырь, желчный пузырь (мыши) лимфатические узлы (желательно один лимфатический узел вблизи пути введения вещества и еще один лимфатический узел, удаленный от пути введения вещества, для выявления системных эффектов), периферический нерв (седалищный или большеберцовый) желательно в непосредственной близости к мышце, срез костного мозга (и/или свежий пунктат костного мозга), кожа и глаза (если наблюдались изменения при офтальмологических исследованиях). Клинические и другие данные могут дать основание для изучения дополнительных тканей. Кроме того, должны быть фиксированы любые органы, которые могут оказаться критическими исходя из известных свойств изучаемого вещества.
Гистопатология
3.10.3. Полное гистопатологическое исследование должно быть проведено с фиксированными органами и тканями всех животных контрольной группы и всех животных, получавших максимальную дозу вещества. Исследование должно быть распространено и на всех животных, получавших вещество в других дозах, если у животных, получавших максимальную дозу, выявлены изменения, обусловленные воздействием изучаемого вещества.
3.10.4. Все макроскопические патологические изменения должны быть изучены.
3.10.5. Если использовалась сателлитная группа, гистопатологические исследования должны проводиться с тканями и органами, в которых выявлены изменения, вызванные воздействием изучаемого вещества.
4.1.1. Данные должны быть представлены для животных индивидуально. Дополнительно все данные обобщаются в табличной форме, где для каждой экспериментальной группы приводят число животных в начале исследования, число животных, найденных погибшими в течение эксперимента или умерщвленных из гуманных соображений с указанием времени гибели или умерщвления, число животных с выявленными признаками токсичности, описание наблюдавшихся признаков токсичности, включая время появления, продолжительность и тяжесть каждого токсического эффекта, число животных с выявленными патологическими изменениями, типы этих изменений и процент животных, у которых наблюдался каждый из типов патологических изменений.
4.1.2. Если возможно, количественные результаты должны быть оценены соответствующим и в целом приемлемым статистическим методом. Статистические методы и анализируемые данные должны выбираться при планировании эксперимента.
Отчет о проведенных исследованиях должен включать следующую информацию.
Изучаемое вещество:
- физическая природа, чистота и физико-химические свойства;
- идентификационные данные.
Растворитель (если применялся):
- обоснование выбора растворителя, если это не вода.
Экспериментальные животные:
- вид и линия, использованные в эксперименте;
- число, возраст и пол животных;
- источник, условия содержания, диета и т.д.;
- индивидуальная масса животных в начале эксперимента.
Условия эксперимента:
- обоснование выбора уровней доз;
- детали технологии подготовки изучаемого вещества/приготовление диеты, полученные концентрации, стабильность и гомогенность препарата;
- детали введения изучаемого вещества;
- фактическая доза вещества (мг/кг массы/день), коэффициент пересчета концентраций изучаемого вещества в корме/питьевой воде (ppm) на фактическую дозу (мг/кг массы/день), если требуется;
- детали качества корма и воды.
Необязательные для изучения показатели:
- перечень изученных необязательных показателей.
Результаты:
- масса тела и изменения массы тела;
- потребление пищи и потребление воды, если требуется;
- данные о токсических реакциях в зависимости от пола и дозовых уровней, включая признаки токсичности;
- природа, тяжесть и длительность клинических проявлений (обратимых или необратимых);
- результаты офтальмологических исследований;
- сенсорная активность, оценка силы схвата и моторной активности (если требуется);
- гематологические исследования с соответствующими исходными уровнями;
- клинические биохимические исследования с соответствующими исходными уровнями;
- масса тела при умерщвлении, масса внутренних органов и относительная масса внутренних органов;
- данные некропсии;
- детальное описание всех гистопатологических изменений;
- данные абсорбции, если имеются;
- статистическая обработка результатов, при необходимости.
Обсуждение результатов.
Выводы.
ИЗУЧЕНИЕ ПЕРОРАЛЬНОЙ ТОКСИЧНОСТИ ПРИ ПОВТОРНОМ ВОЗДЕЙСТВИИ
В 90-ДНЕВНЫХ ОПЫТАХ НА НЕГРЫЗУНАХ
Идентичен международному документу OECD TG N 409 "Repeated Dose 90-Day Oral Toxicity Study in Non-Rodents" (ОЭСР Руководство N 409 "Изучение пероральной токсичности при повторном воздействии в 90-дневных опытах на негрызунах". Перевод с английского языка (en). Степень соответствия - модифицированный (MOD).
1.1. Настоящий метод исследования по изучению пероральной токсичности при повторном воздействии в 90-дневных опытах на негрызунах предназначен для получения информации о возможном вреде для здоровья при повторном введении вещества в течение длительного периода времени.
2.1. При изучении и оценке токсикологических характеристик химического вещества определение субхронической пероральной токсичности с использованием повторного введения может выполняться после того, как получена первичная информация о токсичности в условиях острого опыта и 28-дневного опыта с изучением токсичности при повторном введении вещества. 90-дневное исследование дает информацию о возможном вреде для здоровья, связанном с повторным воздействием вещества во время периода быстрого роста и в период взросления. В этом исследовании можно получить информацию об основных токсических эффектах, выявить критические органы и способность вещества к аккумуляции. Могут быть также получены данные по оценке уровня, при котором не наблюдаются неблагоприятные эффекты вещества (NOAEL), который может использоваться при выборе доз для проведения хронических опытов и установления критериев безвредности воздействия вещества на человека.
2.2. Метод исследования создает возможность для выявления вредных эффектов химического воздействия на видах животных, не относящихся к грызунам, и может использоваться, если:
- эффекты, наблюдавшиеся в других исследованиях, указывают на необходимость их уточнения/характеристики на втором виде животных - негрызунах, или
- токсикокинетические исследования свидетельствуют о том, что именно определенный вид негрызунов является наилучшим выбором лабораторного животного, или
- другие специфические причины оправдывают использование вида животных - негрызунов.
Изучаемое вещество вводят ежедневно перорально в градуированных дозах нескольким группам экспериментальных животных в одном дозовом уровне на группу в течение 90 дней. В течение периода введения вещества тщательно наблюдают за животными для выявления признаков интоксикации. Погибших или умерщвленных во время эксперимента животных вскрывают, в конце эксперимента выживших животных также умерщвляют для вскрытия.
Выбор вида животных
3.2.1. Обычно используемый вид негрызунов - собаки, которые должны быть определенной породы, наиболее часто используется бигль. Могут быть использованы и другие виды животных, например, свиньи, мини-свиньи. Приматы не рекомендуются и их использование должно быть обосновано. Должны использоваться молодые здоровые животные, для собак воздействие вещества предпочтительно начинать с 4 - 6-месячного и не позднее 9-месячного возраста животных. Если исследование проводится как предварительное к длительному хроническому опыту, в обоих экспериментах должны использоваться животные одного и того же вида/породы.
Содержание и кормление
3.2.2. Для кормления может использоваться обычная лабораторная диета с неограниченным потреблением питьевой воды. На выбор диеты может повлиять необходимость обеспечить хорошее смешивание изучаемого вещества, если оно вводится с кормом. Содержание в клетках должно быть подходящим для используемого вида животных. Предпочтительно искусственное освещение, с последовательным чередованием: 12 ч света и 12 ч темноты. Условия содержания и кормления должны учитывать специфические потребности выбранного вида животных.
Подготовка животных
3.2.3. Должны использоваться здоровые молодые животные, акклиматизированные к лабораторным условиям и ранее не подвергавшиеся экспериментальным процедурам. Продолжительность акклиматизации зависит от выбранного вида экспериментальных животных и их источника. Рекомендуемое время акклиматизации - не менее 5 дней для собак или синей из постоянных колоний и не менее 2 недель для этих животных из внешних источников. Животные должны быть охарактеризованы по виду, линии, источнику, полу, массе и/или возрасту. Животные должны быть произвольно распределены в контрольную и экспериментальные группы. Клетки должны быть расставлены так, чтобы свести к минимуму возможные эффекты, связанные с размещением клеток. Каждое животное должно получить индивидуальный идентификационный номер.
3.3. Подготовка вводимых доз
3.3.1. Изучаемое вещество может вводят с диетой или с питьевой водой, желудочным зондом или в капсулах. Метод перорального введения зависит от целей исследования и физико-химических свойств изучаемого вещества.
3.3.2. Если необходимо, изучаемое вещество растворяют или суспензируют в подходящем растворителе. Предпочтительным растворителем является вода; за ним следует масло (например, кукурузное масло) и только потом - другие растворители. Для растворителей, отличных от воды, должны быть известны токсикологические характеристики. Должна быть определена стабильность изучаемого вещества в условиях его введения животным.
3.4.1. Количество и пол животных
В каждой дозе должны быть использованы, по крайней мере, 8 животных (четыре самки и четыре самца). Если планируется умерщвление животных в течение эксперимента, общее число животных должно быть увеличено на то их количество, которое предназначается к умерщвлению до завершения эксперимента. Количество животных в конце исследования должно быть достаточным для адекватной релевантной оценки токсических эффектов. На основе имеющихся данных о веществе или его близком аналоге должна быть рассмотрена целесообразность включения дополнительной сателлитной группы из 8 животных (по четыре каждого пола) в контрольную группу и группу, получающую максимальную дозу вещества, для наблюдения после прекращения воздействия вещества за обратимостью или устойчивостью токсических эффектов. Продолжительность периода этого наблюдения должна определяться с учетом выявленных эффектов.
3.4.2. Дозировка
Должны использоваться, по крайней мере, три уровня доз и контроль, если только не проводится сокращенное изучение вещества. Уровни доз могут быть основаны на результатах экспериментов с повторным введением вещества или исследований по поиску диапазона доз. При этом должны приниматься во внимание любые известные токсикологические и токсикокинетические данные, имеющиеся для изучаемого вещества или родственных веществ. Если нет ограничений, обусловленных физико-химической природой или биологическими эффектами изучаемого вещества, наивысшая доза должна вызвать токсическое действие, но не гибель или сильные страдания животных. Последовательность снижения дозовых уровней должна выбираться с перспективой обнаружения любых дозозависимых реакций и так, чтобы уровень, при котором не наблюдаются неблагоприятные эффекты вещества (NOAEL), соответствовал наименьшей из использованных доз. Двух- или четырехкратные интервалы обычно оптимальны для установления убывающих дозовых уровней, а добавление четвертой опытной группы животных часто предпочтительнее использования очень больших интервалов (например, более чем 6 - 10-кратных) между дозами.
3.4.3. Контрольная группа остается интактной или получает растворитель, если он используется для введения изучаемого вещества. За исключением воздействия изучаемым веществом условия содержания контрольных и опытных животных должны быть идентичными. Если применяется растворитель, контрольная группа должна получать его в наибольшем из используемых объемов. Если изучаемое вещество вводится с диетой и вызывает снижение потребления пищи, может быть полезным использование второй контрольной группы для того, чтобы отличить снижение аппетита животных от токсикологических изменений экспериментальной модели.
3.4.4. При необходимости должны быть приняты во внимание следующие характеристики растворителя или других добавок: эффекты, оказывающие влияние на абсорбцию, распределение, метаболизм или накопление изучаемого вещества; эффекты, влияющие на химические свойства изучаемого вещества, которые могут изменять характеристики его токсичности; эффекты, влияющие на потребление пищи и воды или пищевой статус животных.
3.5. Исследование в сокращенном объеме
Если исследование одной дозы, эквивалентной как минимум 1000 мг/кг массы тела/день, с использованием процедур, предусмотренных для 90-дневного изучения токсичности, не выявляет токсических эффектов и, если токсичность не ожидается исходя из данных о структурно родственных веществах, тогда полное исследование с тремя уровнями доз может рассматриваться как необязательное. В этих случаях проводят исследование вещества в сокращенном объеме, если только воздействие на людей не свидетельствует о необходимости тестирования более высокой дозы.
3.6.1. Животные должны получать изучаемое вещество ежедневно семь дней в неделю в течение 90 дней. Любой другой режим введения вещества, например, пять дней в неделю, нуждается в обосновании. Если изучаемое вещество вводят животным внутрижелудочно, вся доза должна быть введена в один прием с помощью желудочного зонда или подходящей интубационной канюли.
3.6.2. Максимальный объем жидкости, который может быть введен за один раз, зависит от размера экспериментального животного. В большинстве случаев используется как можно меньший объем.
3.6.3. Для изучаемых веществ, за исключением едких и раздражающих, у которых обычно при увеличении концентрации раздражающие эффекты усугубляются, вариабельность объема должна быть минимизирована подбором концентраций так, чтобы все дозы вводили в одном и том же объеме.
3.6.4. Для веществ, вводимых с диетой или питьевой водой, важно убедиться, что используемые количества изучаемого вещества не нарушают нормальное питание или водный баланс. Если изучаемое вещество вводят с диетой, может использоваться либо постоянная концентрация (ppm), либо постоянный уровень доз в переводе на вес тела животного. Выбор должен быть точно определен.
3.6.5. Для веществ, вводимых с помощью зонда, доза вещества должна вводиться каждый день в одно и то же время и устанавливаться в соответствии с необходимостью поддерживать постоянный уровень дозы в пересчете на массу тела животного. Если 90-дневное исследование проводят как предварительное к долговременному хроническому исследованию, в обоих исследованиях должны использоваться одинаковые диеты.
3.7.1. Период наблюдения должен составлять не менее 90 дней. Животные сателлитной группы, предназначенные для последующих наблюдений, должны содержаться в течение соответствующего периода без воздействия вещества для выявления длительности сохранения токсических эффектов или их исчезновения.
3.7.2. Общие клинические наблюдения должны проводиться, по крайней мере, один раз в день, желательно в одно и то же время, принимая во внимание период максимального проявления ожидаемых эффектов после введения вещества. Состояние животных должно быть зафиксировано. Не менее двух раз в день, обычно в начале и конце каждого дня, животных осматривают для выявления клинических симптомов или гибели.
3.7.3. По крайней мере, один раз перед первым введением вещества (для возможности внутригрупповых сравнений) и один раз в неделю после начала воздействия вещества должны быть проведены детальные клинические наблюдения всех животных. Наблюдения должны проводиться вне клетки предпочтительно на стандартном месте и в одно и то же время дня.
3.7.4. Должны быть приняты меры для обеспечения минимальности различий в условиях наблюдения. Признаки токсичности должны быть тщательно зарегистрированы, включая время появления, интенсивность и продолжительность. Наблюдения должны включать, не ограничиваясь этим, изменения кожи, шерсти, глаз, слизистых оболочек, наличие секреции и экскреции и автономной активности (например, слезотечение, пилоэрекция, размер зрачка, необычные типы дыхания), изменения в походке, позе, грумминге, наличие клонических или тонических движений, стереотипию (например, слишком интенсивный грумминг, повторяющиеся круговые движения) или странное поведение (например, самоповреждение, движение задом наперед).
3.7.5. Офтальмологическое исследование с использованием офтальмоскопа или соответствующего эквивалентного оборудования должно проводиться до начала введения изучаемого вещества и в конце эксперимента, предпочтительно у всех животных или, по крайней мере, в группе с наивысшей дозой и контрольной группе. Если в глазах обнаруживаются изменения, исследование должно быть проведено у всех животных.
3.8. Масса тела и потребление пищи/воды
3.8.1. Все животные должны быть взвешены не менее одного раза в неделю.
3.8.2. Измерения потребления пищи должны проводиться не менее одного раза в неделю. Если изучаемое вещество вводится с питьевой водой, потребление воды должно также измеряться, по крайней мере, еженедельно. Потребление воды может также учитываться в тех экспериментах с введением вещества с диетой или с помощью зонда, в которых может изменяться питьевая активность животных.
3.9. Гематология и клиническая биохимия
3.9.1. Образцы крови должны быть отобраны в запланированные периоды эксперимента, при необходимости сохраняться в соответствующих условиях. В конце исследования образцы крови отбирают непосредственно перед умерщвлением или как часть процедуры умерщвления животных.
3.9.2. Гематология, включая гематокрит, концентрацию гемоглобина, количество эритроцитов, общий лейкоцитоз и лейкоцитарную формулу, количество тромбоцитов и время свертываемости крови, протромбиновое время или тромбопластиновое время, должна изучаться в начале эксперимента, затем с интервалами в один месяц или в середине исследования, и, наконец, при завершении экспериментального периода.
3.9.3. Клинические биохимические исследования для выявления основных токсических эффектов в тканях и, особенно, действия на почки и печень, должны проводиться в образцах крови, взятых у всех животных в начале эксперимента, затем, или с интервалами в один месяц, или в середине исследования, и, наконец, при завершении экспериментального периода. Исследования должны охватывать электролитный баланс, метаболизм углеводов и функции печени и почек. На выбор специфических тестов влияют наблюдения за механизмом действия изучаемого вещества.
3.9.4. Животные должны голодать до взятия крови в течение периода времени, соответствующего виду животного. Предполагаемые исследования включают кальций, фосфор, хлориды, натрий, калий, глюкозу натощак, аланинаминотрансферазу (АЛТ), аспартатаминотрансферазу (АСТ), орнитин декарбоксилазу, гамма глютамил транспептидазу, азот мочевины, альбумин, креатинин крови, общий билирубин и общий белок сыворотки.
3.9.5. Анализы мочи должны быть проведены, по крайней мере, в начале, середине и конце эксперимента с использованием таких показателей, как внешний вид, объем, осмотическое давление и удельный вес, pH, белок, глюкоза, кровь и клетки крови. При необходимости могут использоваться дополнительные параметры для углубленного изучения наблюдаемых эффектов.
3.9.6. Кроме того, должны быть предусмотрены исследования для выявления маркеров общего повреждения тканей. Другие измерения, которые могут оказаться необходимыми для адекватной токсикологической оценки, включают анализы липидов, гормонов, кислотно-щелочного баланса, метгемоглобина и угнетения холинэстеразы. Дополнительная клиническая биохимия может быть использована при необходимости углубленных исследований наблюдаемых эффектов. Такие исследования могут проводиться для химических веществ соответствующих классов или в каждом отдельном случае. Необходим гибкий подход, зависящий от вида животного и наблюдаемого/или ожидаемого эффекта того или иного соединения.
Некропсия
3.10.1. Все экспериментальные животные должны быть подвергнуты полной, детальной некропсии, которая включает тщательное исследование наружной поверхности тела, всех отверстий и черепных грудных, абдоминальных полостей и их содержимого. Печень с желчным пузырем, почки, надпочечники, семенники, придатки семенников, яичники, матка, щитовидная железа (с паращитовидными железами) тимус, селезенка, головной мозг и сердце всех животных (за исключением животных, найденных агонизирующими и/или умерщвленных до завершения эксперимента) должны быть соответствующим образом освобождены от прилежащих тканей и их масса определена как можно скорее после диссекции для предупреждения высыхания.
3.10.2. Следующие ткани должны быть фиксированы в наиболее подходящей для обоих типов тканей фиксирующей среде и подвергнуты последующему гистопатологическому исследованию: все явные повреждения, головной мозг (репрезентативные области, включая большой мозг, мозжечок и продолговатый мозг/варолиев мост), спинной мозг (на трех уровнях: шейном, среднегрудном и поясничном), гипофиз, щитовидная железа, паращитовидные железы, тимус, пищевод, слюнные железы, желудок, тонкий и толстый кишечник (включая Пейеровы бляшки), печень, желчный пузырь, поджелудочная железа, почки, надпочечники, селезенка, сердце, трахея и легкие, аорта, гонады, матка, вспомогательные половые органы, молочные железы самок, простата, мочевой пузырь, лимфатические узлы (желательно один лимфатический узел вблизи пути введения вещества и еще один лимфатический узел, удаленный от пути введения вещества, для выявления системных эффектов), периферический нерв (седалищный или большеберцовый) желательно в непосредственной близости к мышце, срез костного мозга (и/или свежий пунктат костного мозга) и кожа. Клинические и другие данные могут послужить основанием для изучения дополнительных тканей. Кроме того, должны быть фиксированы любые органы, которые могут оказаться критическими исходя из известных свойств изучаемого вещества.
Гистопатология
3.10.3. Полное гистопатологическое исследование должно быть проведено с фиксированными органами и тканями всех животных контрольной группы и всех животных, получавших максимальную дозу вещества. Исследование должно быть распространено и на всех животных, получавших вещество в других дозах, если у животных, получавших максимальную дозу, выявлены изменения, обусловленные воздействием изучаемого вещества.
3.10.4. Все макроскопические патологические изменения должны быть изучены.
3.10.5. Если использовалась сателлитная группа, гистопатологические исследования должны проводиться с тканями и органами, в которых выявлены изменения, вызванные воздействием изучаемого вещества.
4.1.1. Данные должны быть представлены для животных индивидуально. Дополнительно все данные обобщаются в табличной форме, где для каждой экспериментальной группы приводятся число животных в начале исследования, число животных, найденных погибшими в течение эксперимента или умерщвленных из гуманных соображений, с указанием времени гибели или умерщвления, число животных с выявленными признаками токсичности, описание наблюдавшихся признаков токсичности, включая время появления, продолжительность и тяжесть каждого токсического эффекта, число животных с выявленными патологическими изменениями, типы этих изменений и процент животных, у которых наблюдался каждый из типов патологических изменений.
4.1.2. Если возможно, количественные результаты должны быть оценены соответствующим и в целом приемлемым статистическим методом. Статистические методы и анализируемые данные должны выбираться при планировании эксперимента.
Отчет о проведенных исследованиях должен включать следующую информацию.
Изучаемое вещество:
- физическая природа, чистота и физико-химические свойства;
- идентификационные данные.
Растворитель (если применялся):
- обоснование выбора растворителя, если это не вода.
Экспериментальные животные:
- вид и линия использованных в эксперименте животных;
- число, возраст и пол животных;
- источник, условия содержания, диета и т.д.;
- индивидуальная масса животных в начале эксперимента.
Условия эксперимента:
- обоснование выбора уровней доз;
- детали технологии подготовки изучаемого вещества/приготовление диеты, полученные концентрации, стабильность и гомогенность препарата;
- детали введения изучаемого вещества;
- фактическая доза вещества (мг/кг массы/день), коэффициент пересчета концентраций изучаемого вещества в корме/питьевой воде (ppm) на фактическую дозу (мг/кг массы/день), если требуется;
- детали качества корма и воды.
Необязательные для изучения показатели:
- перечень изученных необязательных показателей.
Результаты:
- масса тела и изменения массы тела;
- потребление пищи и потребление воды, если требуется;
- данные о токсических реакциях в зависимости от пола и дозовых уровней, включая признаки токсичности;
- природа, тяжесть и длительность клинических проявлений (обратимых или необратимых);
- результаты офтальмологических исследований;
- сенсорная активность, оценка силы схвата и моторной активности (если требуется);
- гематологические исследования с соответствующими исходными уровнями;
- клинические биохимические исследования с соответствующими исходными уровнями;
- масса тела при умерщвлении, масса внутренних органов и относительная масса внутренних органов;
- данные некропсии;
- детальное описание всех гистопатологических изменений;
- данные абсорбции, если имеются;
- статистическая обработка результатов, при необходимости.
Обсуждение результатов.
Выводы.
ОЦЕНКА СУБХРОНИЧЕСКОЙ ТОКСИЧНОСТИ ПРИ ИНГАЛЯЦИОННОМ
ПОСТУПЛЕНИИ В 90-ДНЕВНОМ ИССЛЕДОВАНИИ
Идентичен международному документу OECD TG N 413 "Subchronic Inhalation Toxicity: 90-Day Study" (ОЭСР Руководство N 413 "Подострая токсичность при ингаляционном поступлении: 90-дневное исследование"). Принят 30 сентября 2008 года. Перевод с английского языка (en). Степень соответствия - модифицированный (MOD).
1.1. Настоящий метод исследования устанавливает требования к исследованию субхронической токсичности при многократном ингаляционном воздействии в течение 90 дней.
1.2. Метод обеспечивает получение информации о субхронической токсичности вещества при вдыхании и надежных данных количественной оценки ингаляционного риска.
2.1. В настоящее время одним из основных путей поступления загрязнителей в организм является ингаляционный. Поэтому в комплексе исследований по воздействию химической продукции на организм человека изучение токсичности при вдыхании является ведущим.
2.2. Испытания субхронической ингаляционной токсичности предназначены для оценки токсичности испытуемого вещества при многократном ингаляционном воздействии в течение ограниченного периода времени и получения надежных данных количественной оценки ингаляционного риска.
2.3. Исследования субхронической ингаляционной токсичности предназначены главным образом для определения нормативных концентраций для оценки риска для человека в рабочих условиях. Они также могут использоваться для оценки бытовых, транспортных и экологических рисков. Настоящий метод позволяет охарактеризовать неблагоприятные эффекты, возникающие в результате повторяющегося ежедневного воздействия испытуемого вещества в течение 90 дней (приблизительно 10% продолжительности жизни крысы). Данные, полученные в результате проведения исследования субхронической токсичности, могут использоваться для количественной оценки риска и выбора концентраций для исследований хронической токсичности. Настоящий метод не предназначен для проведения испытаний наноматериалов.
3.1.1. Для повышения качества исследования и минимизации количества привлеченных животных вся имеющаяся информация об исследуемом препарате должна находиться в распоряжении экспериментальной лаборатории до начала эксперимента. Информация, которая может помочь при выборе необходимых для испытания концентраций, включает тождественность, химическую структуру и физико-химические свойства испытываемого вещества; результаты опытов на токсичность in vivo или in vitro; предполагаемую область применения и вероятность воздействия на человека; если имеются, то данные (Q)SAR и сведения о токсичности структурно родственных препаратов. Если нейротоксичность ожидается или наблюдается в ходе исследования, руководитель исследования может включить соответствующие методы оценки эффекта, такие, как батарея функциональных наблюдений (серия нейрофизиологических и поведенческих тестов - FOB) и измерения двигательной активности. Хотя сроки проведения специфических исследований могут быть критическими, проведение дополнительных видов исследований не должно мешать целям основного исследования.
3.1.2. При изучении коррозионных и/или раздражающих продуктов необходимо избегать концентрации, которые могут вызвать сильную боль и страдания.
3.1.3. Коррозионный/раздражающий потенциал должен быть оценен при экспертизе имеющейся информации о воздействии на человека, экспериментальных животных, имеющихся данных в опытах in vitro, величине pH, информации о близких по структуре веществах или любых других данных с целью изучения целесообразности дальнейшего тестирования или его отмены.
3.1.4. При воздействии на животных целевые концентрации должны быть достаточно низкими с тем, чтобы не вызвать боль или нарушения, и достаточно высокими с тем, чтобы расширить кривую концентрация-ответ до уровней, которые соответствуют нормативным и научным целям исследования. Данные концентрации должны быть выбраны отдельно в каждом случае; выбор концентрации должен быть обоснован.
3.1.5. Агонизирующие животные или животные, очевидно испытывающие боль или демонстрирующие признаки страдания и истощения, должны быть гуманно умерщвлены, если нет веских оснований для другого (такие причины должны быть отражены в отчете по исследованию). Агонизирующие животные рассматриваются как животные, погибшие во время испытания.
Выбор вида
3.2.1. Необходимо использовать молодых здоровых особей из обычно используемых лабораторных линий. Предпочтительно использовать крыс. В случае использования других видов необходимо привести обоснование.
Подготовка
3.2.2. Самки должны быть нерожавшими и небеременными. На день экспозиции испытываемого препарата животные должны быть в возрасте от 8 до 12 недель, диапазон колебания массы животных для каждого пола не должен превышать +/- 20% от средней массы животных, участвовавших в предыдущем испытании в такой же отрезок времени. Животные отбираются в случайном порядке и маркируются, что позволит идентифицировать каждое из них. Животных следует содержать в клетках в течение не менее 5 дней до начала испытания, чтобы позволить им адаптироваться к лабораторным условиям. Животным также необходимо дать короткое время приспособиться к исследуемому прибору до начала испытания с целью уменьшить стресс от попадания в новую среду.
Содержание
3.2.3. Температура в помещении, где содержатся экспериментальные животные, должна составлять (22 +/- 3) °C, оптимальный уровень относительной влажности - 30 - 70%. В исследовании одного уровня концентрации животных можно поместить в одну камеру, но число животных в камере не должно затруднять возможность наблюдать за каждым из них, а также должно сократить вероятность потерь из-за каннибализма и борьбы. Свойства исследуемого препарата или токсичность (способность вызывать заболевание, возбуждать ЦНС) могут указывать на необходимость содержания животного в индивидуальной камере, чтобы предотвратить каннибализм. Допустимо использование стандартных лабораторных режимов питания за исключением периода экспозиции испытываемого препарата, во время которого для животного необходимо обеспечить неограниченное потребление питьевой воды. Освещение должно быть искусственным в режиме: 12 ч при свете/12 ч в темноте.
3.3. Ингаляционные камеры
3.3.1. При выборе ингаляционной камеры необходимо учитывать природу исследуемого препарата и нормативные требования. По умолчанию используется интраназальная модель экспозиции (данный термин включает в себя воздействие только через голову, только через нос и только через мордочку). Экспозиция только через нос предпочтительна для изучения аэрозолей жидких и твердых и для паров, которые могут конденсироваться в форме аэрозолей. При этом для решения отдельных задач исследования целесообразно применять воздействие через все тело. Использование другой модели экспозиции помимо той, что применяется по умолчанию, должно быть обусловлено целями исследования и обосновано в отчете.
3.3.2. Для обеспечения атмосферы стабильности при использовании камеры объем, занимаемый телами тестируемых животных, не должен превышать 5% объема камеры.
Введение концентраций
3.4.1. Воздействие только через нос на крысах может длиться до шести часов. Если подопытные животные - мыши, период выдержки не должен превышать 4 ч. Если требуется более длительный период экспозиции, необходимо привести обоснования. Животных, которые подвергаются воздействию препарата в камерах на все тело, следует содержать по отдельности, чтобы предотвратить проглатывание исследуемого препарата соседями по камере во время чистки. Пища во время экспозиции не дается. Воду можно давать в течение всего времени экспозиции на все тело.
3.4.2. Животные могут подвергаться воздействию исследуемого препарата в виде газа, паров, аэрозоля или их смеси. Исследуемое физическое состояние зависит от физико-химических свойств тестируемого препарата, выбранной концентрации и/или физической формы, которые наиболее приближены к реальным условиям использования изучаемого продукта. Гигроскопичный и химически реактивный препарат следует тестировать в условиях минимальной влажности, в отсутствии паров воды. Особое внимание следует уделять тому, чтобы не создавать взрывоопасные концентрации.
Гранулометрический состав
3.4.3. Определение размера частиц необходимо для всех аэрозолей и всех паров, которые могут конденсироваться и превращаться в аэрозоль. Чтобы обеспечить воздействие на все важные области дыхательных путей рекомендуется использование аэрозоля с массовым средним аэродинамическим диаметром (MMAD) в диапазоне от 1 до 3 мкм с геометрическим стандартным отклонением

в диапазоне от 1,5 до 3,0. В случае, если данное требование невозможно соблюсти, необходимо предоставить экспертную оценку. Например, металлические частицы в воздухе могут быть меньшего размера, чем стандартные, также заряженные частицы, волокна и гигроскопичные материалы (которые увеличиваются в размерах во влажной среде в респираторном тракте) могут превышать размер стандартных.
3.4.4. Для создания необходимой концентрации и размера частиц исследуемого препарата в атмосфере используется растворитель. В качестве растворителя предпочтительней использовать воду. При растворении испытуемого образца следует продемонстрировать его стабильность. Зернистый материал может быть подвергнут механическим процессам, чтобы добиться требуемого гранулометрического состава, при этом необходимо позаботиться о том, чтобы состав исследуемого препарата не разложился и не изменился. Если есть опасение, что в результате механических процессов состав тестируемого препарата претерпит изменения (например, чрезмерно высокая температура в процессе сильного дробления вследствие трения), то состав тестируемого препарата необходимо проверить при помощи анализа. При этом необходимо проследить, чтобы не занести в препарат загрязняющие вещества.
Контрольные животные
3.4.5. Животные отрицательной (воздух) контрольной группы должны подвергаться такому же обращению, как и животные подопытной группы, за исключением их экспозиции к профильтрованному воздуху, а не испытуемому веществу. При создании искусственной среды с использованием воды или другого вспомогательного вещества вместо отрицательной (воздух) контрольной группы должен применяться контроль с использованием растворителя. В качестве растворителя по возможности должна использоваться вода. При использовании воды в качестве растворителя контрольные животные должны подвергаться воздействию воздуха с той же относительной влажностью, что и подопытные животные. Выбор подходящего растворителя должен основываться на проведенном надлежащим образом предварительном исследовании или статистических данных. При отсутствии достаточной информации о токсичности растворителя руководитель исследования может одновременно использовать отрицательный контроль (воздух) и контроль с использованием растворителя, что, однако, крайне не рекомендуется. Если растворитель определяется как нетоксичный согласно ретроспективным данным, необходимость в использовании отрицательного контроля (воздух) отсутствует и используется только контроль с растворителем. Если предварительное исследование испытуемого образца, образованного при помощи растворителя, обнаруживает отсутствие токсичности, растворитель считается нетоксичным в испытуемых концентрациях и может использоваться в контроле.
Воздушные потоки в камере
3.4.6. Воздушные потоки, проходящие через камеру, необходимо тщательно контролировать, непрерывно наблюдать и фиксировать по меньшей мере раз в час на протяжении всего периода выдержки. Наблюдение за концентрацией исследуемого вещества в газовой среде (или устойчивостью) представляет собой интегральное вычисление всех динамических параметров и обеспечивает косвенные способы контроля всех значимых параметров для формирования динамической атмосферы. Необходимо избегать возвратного дыхания в камерах, предназначенных для воздействия через нос, в случаях, когда воздушные потоки через установку экспонирования недостаточны для динамических потоков исследуемого вещества в газовой среде. Существуют методы, при помощи которых можно установить, что возвратное дыхание при данных условиях эксперимента не имеет места. Концентрация кислорода должна составлять не менее 19%, концентрация углекислого газа - не менее 1%. Если есть основание полагать, что эти требования не удовлетворяются, концентрации кислорода и углекислого газа необходимо измерить.
Температура и относительная влажность в камере
3.4.7. Температура в камере должна составлять (22 +/- 3) °C. Относительную влажность в зоне дыхания животных, находящихся в камерах, предназначенных как для воздействия только через нос, так и через все тело, необходимо наблюдать и фиксировать не менее трех раз в течение периода выдержки. Идеальная относительная влажность составляет 30 - 70%, но в определенных случаях (например, тестирование препарата на водной основе) данный уровень может быть неприменим или неизмеряем вследствие взаимовлияния исследуемого препарата и метода исследования.
3.5. Исследуемый препарат
Номинальная концентрация
3.5.1. По возможности следует наблюдать и фиксировать номинальную концентрацию при экспозиции в клетке. Номинальная концентрация - это масса сгенерированного испытываемого вещества, разбавленная общим объемом воздуха, проходящего через систему клетки. Номинальная концентрация не используется при описании экспозиции на животных, но сравнение номинальной и фактической концентраций позволит судить об эффективности генератора в испытательной системе и позволит вовремя выявить проблемы в нем.
Фактическая концентрация
3.5.2. Фактическая концентрация - это концентрация исследуемого препарата в зоне дыхания животных в ингаляционной камере. Фактическая концентрация может быть получена специальными методами (например, методом непосредственного выбора, адсорбционным методом или методом химической реактивности и последующим анализом) или неспециальными методами, например, гравиметрический капельный анализ. Использование гравиметрического анализа допустимо только для однокомпонентных порошкообразных веществ в аэрозольной упаковке или для жидких аэрозолей с невысокой летучестью и должно быть подкреплено предварительно полученными соответствующими специальными характеристиками исследуемого препарата. Концентрацию аэрозоля с многокомпонентным порошком можно также определить с помощью метода гравиметрического анализа. В этом случае потребуются данные анализа, подтверждающие, что состав аэрозольного препарата схож с составом исходного материала. Если подобная информация не имеется, может потребоваться повторный анализ исследуемого вещества (в воздухе) в определенные временные интервалы в течение исследования. Для аэрозольных агентов, которые могут испаряться или сублимироваться, необходимо указать, что для сбора всех этапов был использован выбранный метод. Цели, номинальная и фактическая концентрации должны быть указаны в отчете исследования, но в статистическом анализе для подсчета значения смертельной концентрации используется только фактическая концентрация.
3.5.3. Необходимо использовать только один препарат для тестирования, если это возможно, и исследуемый образец должен храниться в условиях, которые позволят сохранить его чистоту, однородность и стабильность. Перед началом исследования необходимо располагать описанием препарата, включая степень его чистоты и, если это технически возможно, указать и количество выявленных в нем примесей. Такие сведения можно наглядно показать с помощью следующих, но не ограничиваясь ими, данных: время удержания и относительная площадь пика, молекулярная масса, полученная методом масс-спектроскопии или газовой хроматографии и т.п. Хотя определение тестовых образцов не входит в обязанности испытательной лаборатории, возможно, целесообразно подтвердить поддерживающие характеристики, по крайней мере, в ограниченном виде (цвет, физическая природа и т.д.).
3.5.4. Воздушную среду нужно поддерживать максимально постоянной и проверять непрерывно и/или регулярно в зависимости от метода анализа. При регулярном контроле образцы проб атмосферы в камере нужно забирать не реже двух раз в четыре часа во время исследования. Если это невозможно вследствие ограниченных воздушных потоков или низкой концентрации, за все время проведения исследования допускается отбор одной пробы. Если образцы демонстрируют разные показатели, для следующих исследуемых концентраций нужно забирать четыре образца/экспозицию. Образцы концентрации для каждой камеры не должны отклоняться от средней концентрации более чем на +/- 10% для газов и паров или +/- 20% для жидких и твердых аэрозолей. Время для достижения равновесного состояния и перехода к распаду (t95) нужно измерить и зафиксировать. Период воздействия охватывает время генерации исследуемого вещества. При этом учитывается время, необходимое для достижения равновесного состояния в камере (t95) и перехода к распаду.
3.5.5. Сложные смеси из газов/паров и аэрозолей (атмосфера горения и тестируемый препарат, выталкиваемые из программного изделия/прибора конечного пользователя) на каждом этапе могут демонстрировать разное поведение в ингаляционной камере, поэтому по меньшей мере одна индикаторная субстанция (аналит), как правило, основная активная в исследуемом препарате, должна быть выбрана на всех этапах (газ/пар или аэрозоль). Когда тестируемый препарат является смесью (по составу), аналитическая концентрация должна быть описана для общего состава, а не только для активного ингредиента или компонента (вещества, определяемого при анализе).
3.5.6. Гранулометрический состав аэрозолей должен определяться как минимум еженедельно для каждого уровня концентрации при помощи каскадного импактора (пробоотборник частиц) или альтернативным инструментом (например, аэродинамическим спектрометром (APS). Гравиметрический фильтр или импинджер (прибор для измерения запыленности и загазованности) нужно использовать для подтверждения эффективности работы основного прибора, используемого для определения гранулометрического состава исследуемого вещества. Массовая концентрация, полученная ситовым анализом, должна находиться в разумных пределах массовой концентрации, полученной в результате анализа работы фильтров. Если удастся показать равнозначность результатов, полученных каскадным импактором и альтернативным инструментом, то допускается использование альтернативного инструмента в исследовании. Размеры частиц должны быть определены для паров, если есть вероятность, что их конденсация приведет к образованию аэрозоля, или если в парах обнаружены частицы с потенциалом смешанных фаз.
4. Процедура исследования
4.1. Предельные концентрации
4.1.1. В отличие от исследований острой токсичности предельные концентрации для исследований субхронической ингаляционной токсичности не определены. Максимальные концентрации испытуемого вещества определяются на основании: 1) максимально достижимой концентрации, 2) наиболее неблагоприятного уровня воздействия на человека, 3) необходимости поддержания достаточного запаса кислорода и/или 4) соображений благополучия животных. При отсутствии предельных значений, основанных на данных, могут использоваться предельные значения согласно системе GHS. При необходимости превышения этих пределов при исследовании газов или высоколетучих испытуемых веществ (например хладагентов) должно быть предоставлено обоснование.
4.2. Исследование по определению диапазона доз
4.2.1. Перед началом основной части исследования, как правило, необходимо провести исследование по определению диапазона доз. Исследование по определению диапазона доз является более подробным по сравнению с обзорным исследованием, поскольку оно не ограничивается выбором концентрации. Информация, полученная при определении диапазона доз, может способствовать успеху основного исследования. В частности, исследование по определению диапазона доз обеспечивает получение технической информации о методах анализа, дисперсности, механизмах токсичности, клинико-патологических и гистопатологических данных, а также данных о предположительных недействующих отрицательных дозах и минимальных токсических концентрациях для основного исследования. Руководитель исследования может провести исследование по определению диапазона доз для идентификации порога раздражения дыхательных путей (например, с использованием гистопатологического исследования дыхательных путей, теста легочных функций или бронхоальвеолярного лаважа), максимальной переносимой концентрации, не вызывающей чрезмерный дистресс у животных, а также параметров, наилучшим образом характеризующих токсичность испытуемого образца.
4.2.2. Исследование по определению диапазона доз может включать один или несколько уровней концентрации. В зависимости от избранных конечных точек каждый уровень концентрации может вводиться 3 - 6 мужским и 3 - 6 женским особям. Продолжительность исследования должна составлять не менее 5 и, как правило, не более 28 дней. Обоснование выбора концентраций для основного исследования должно приводиться в протоколе. Целью основного исследования является демонстрация соотношения концентрация-эффект на основании ожидаемой наиболее чувствительной конечной точки. При низкой концентрации в идеальном случае не должен наблюдаться неблагоприятный эффект, в то время как высокая концентрация должна однозначно выявлять токсичность, не вызывая при этом чрезмерный дистресс у животных и не сокращая срок их жизни.
4.2.3. При выборе концентраций для определения диапазона доз следует учитывать всю доступную информацию, включая соотношение структура-активность и данные о подобных химических веществах. Исследование по определению диапазона доз может подтвердить или опровергнуть предположение о наиболее чувствительных механистических конечных точках, таких как ингибиция холинэстеразы фосфорорганическими соединениями, образование метгемоглобина эритроцитотоксическими агентами, тиреоидные гормоны (Т3, Т4) для тиреотоксических веществ, белок, лактатдегидрогеназа или нейтрофилы в бронхоальвеолярном смыве для безвредных слаборастворимых частиц или аэрозолей, вызывающих легочное раздражение.
4.3. Основное исследование
4.3.1. Основная часть исследования субхронической токсичности включает в себя три уровня концентрации с одновременным отрицательным (воздух) контролем и/или контролем с использованием растворителя в зависимости от необходимости. Каждая тестируемая группа состоит из 10 мужских и 10 женских особей грызунов, которые подвергаются воздействию испытуемого вещества в течение 6 ч в день 5 дней в неделю на протяжении 90-дневного периода (13 недель). Животные также могут подвергаться воздействию 7 дней в неделю (например, при испытании ингаляционных лекарственных препаратов). В испытании всегда используются мужские и женские особи, но вводимые концентрации для них могут быть различными, если известно, что один из полов обладает большей чувствительностью к данному испытуемому веществу. Таким образом, минимизируется вероятность чрезмерной смертности особей одного пола при высокой концентрации и/или отсутствия эффекта при низкой концентрации. При назальной экспозиции животных, принадлежащих к отличным от крысы видам, максимальные продолжительности введения должны подбираться так, чтобы обеспечить минимизацию проявлений дистресса, специфичных для данного вида. Следует предоставить обоснование для применения продолжительности введения менее 6 ч в сутки, а также при необходимости проведения исследования с длительной (22 ч в сутки) экспозицией всего тела
[5]. Во время введения следует исключить кормление животных, если продолжительность введения не превышает 6 ч. При экспозиции всего тела животным можно давать воду.
4.3.2. Избранные целевые концентрации должны идентифицировать органы-мишени и демонстрировать четкое соотношение концентрация-эффект:
- высокий уровень концентрации должен показывать токсический эффект, но не вызывать устойчивые проявления летальности, препятствующие эффективной оценке результатов;
- средний уровень (средние уровни) концентрации подбирается таким образом, чтобы получить градацию токсических эффектов между низким и высоким уровнями;
- низкий уровень концентрации должен показывать слабые признаки токсичности или полное их отсутствие.
4.4. Промежуточное умерщвление
4.4.1. Если планируется промежуточное умерщвление, количество подопытных животных на каждом уровне концентрации следует увеличить на количество животных, подлежащих умерщвлению до окончания исследования. Необходимо предоставить обоснование промежуточных умерщвлений и надлежащим образом провести их статистический анализ.
4.5. Исследование обратимости токсических эффектов
4.5.1. Сопутствующее исследование может использоваться для наблюдения обратимости, стойкости или замедленного проявления токсических эффектов после воздействия в течение периода достаточной продолжительности, но не менее 14 дней. Группы исследования обратимости включают 10 мужских и 10 женских особей, подвергающихся введению испытуемого вещества одновременно с подопытными животными в основном исследовании. Группы исследования обратимости должны подвергаться воздействию максимальной концентрации испытуемого вещества. Одновременный контроль с воздухом и/или растворителем должен проводиться в соответствии с необходимостью.
4.6.1. За всеми животными ведется клиническое наблюдение до, во время и после воздействия. В зависимости от реакции животных во время воздействия могут быть показаны более частые наблюдения. Если наблюдение затрудняется по причине использования фиксирующих капсул, плохого освещения в камерах для экспозиции всего тела или непрозрачной среды, за животными должно вестись тщательное наблюдение по окончании воздействия. Наблюдение перед следующим воздействием позволяет оценить проявления обратимости или обострения токсического эффекта. Время смерти или обнаружения умершего животного должно регистрироваться.
4.6.2. Результаты наблюдения за каждым животным должны регистрироваться отдельно. При отсутствии веских оснований для обратного животные, находящиеся в агональном состоянии либо проявляющие признаки сильных болей и/или продолжительного сильного дистресса, должны незамедлительно подвергаться эвтаназии из гуманных соображений. Время смерти умерших или умерщвленных в гуманных целях животных должно регистрироваться с максимально возможной точностью. При содержании животных в клетках должно производиться наблюдение за изменениями кожного покрова и шерсти, глаз, слизистых оболочек, изменениями в дыхательной и сердечно-сосудистой системах, автономной и центральной нервных системах, изменениями соматомоторной активности и моделей поведения. Следует обращать внимание на проявления тремора, конвульсий, слюноотделения, диареи, летаргии, сна и комы. Измерение ректальной температуры может использоваться для получения дополнительного подтверждения рефлекторного брадипноэ или гипо/гипертермии, связанных с экспериментальным воздействием или содержанием в клетке. В протокол исследования могут вноситься дополнительные параметры наблюдения, такие как кинетика, биомониторинг, легочная функция, удержание слаборастворимых веществ, скапливающихся в тканях легких, изменения в поведении.
4.6.3. Перед введением испытуемого вещества все животные, а по окончании введения животные контрольной группы и всех групп, подвергавшихся введению высоких концентраций, подлежат офтальмологическому обследованию глазного дна, светопреломляющего аппарата, радужной оболочки и конъюнктивы при помощи офтальмоскопа или аналогичного устройства. При обнаружении изменений глаз, обследованию подлежат все животные других групп, включая группу исследования обратимости.
4.6.4. Масса тела каждого животного должна регистрироваться непосредственно после первого воздействия (день 0) и затем дважды в неделю (как правило по пятницам и понедельникам для демонстрации восстановления после отсутствия воздействия в выходные дни), а также в момент смерти или эвтаназии. При отсутствии эффектов в течение первых 2 недель масса тела может измеряться один раз в неделю до окончания исследования. Животные в группах исследования обратимости (если таковые используются) должны взвешиваться еженедельно на протяжении периода восстановления. По окончании исследования все животные должны взвешиваться непосредственно перед умерщвлением для получения несмещенного расчета отношения массы органов к массе тела.
Патология
4.6.5. Все умерщвленные животные, включая животных контрольной группы и группы исследования обратимости, подлежат клинико-патологической оценке. Временной промежуток между окончанием воздействия и отбором крови на анализ должен регистрироваться, особенно в случае быстрого восстановления рассматриваемой конечной точки. Непосредственно после окончания введения следует проводить анализ параметров с коротким периодом полураспада в плазме (например, COHb, CHE, и MetHb).
4.6.6. В
табл. 6.2.3.1 перечислены основные клинико-патологические параметры, необходимые для токсикологического исследования. Анализ мочи не является частью стандартной процедуры, но может проводиться при необходимости в зависимости от ожидаемой или наблюдаемой токсичности. Руководитель исследования может на свое усмотрение провести оценку дополнительных параметров (например, холинэстеразы, липидов, гормонов, кислотно-щелочного баланса, метгемоглобина, креатинкиназы, миелоидно-эритроидного соотношения, тропонинов и газов артериальной крови) для более точной характеризации токсичности испытуемого вещества.
Таблица 6.2.3.1
Стандартные клинико-патологические параметры
Гематология |
Количество эритроцитов | Общее количество лейкоцитов |
Гематокрит | Дифференциальное количество лейкоцитов |
Концентрация гемоглобина | Количество тромбоцитов |
Средний эритроцитный гемоглобин | Потенциал свертывания (один параметр на выбор): Протромбиновое время |
Среднее гематокритное число | Время свертывания |
Средняя концентрация гемоглобина в эритроците | Частичное тромбопластиновое время |
Ретикулоциты | |
Тельца Гейнца | |
Клиническая биохимия |
| Аланинаминотрансфераза |
Общий холестерин | Аспартатаминотрансфераза |
Триглицериды | Щелочная фосфатаза или |
Азот мочевины крови | Сорбитодегидрогеназа |
Общий билирубин | Калий |
Креатинин | Натрий |
Лактатдегидрогеназа | Кальций |
Общий белок | Фосфор |
Альбумин | Хлорид |
Глобулин | |
Анализ мочи (опционально) |
Внешний вид (цвет и мутность) | Уровень pH |
Объем | Общий белок |
Удельный вес или осмотическая концентрация | Сахар |
-------------------------------- |
<*> Поскольку длительное голодание может привести к погрешностям измерения уровня сахара у опытных животных в сравнении с контрольными, руководитель исследования должен принять решение о целесообразности ограничения питания животных. Продолжительность периода голодания должна соответствовать используемому виду животных. Для крыс она может составлять 16 ч (ночное голодание). Определение уровня сахара может производиться после ночного голодания в течение последней недели введения или после ночного голодания перед некропсией (в последнем случае одновременно с изучением всех остальных клинико-патологических параметров). |
4.6.7. Если нижние дыхательные пути (т.е. альвеолы) определяются как основное место осаждения и удержания токсических веществ, для количественного анализа предполагаемой зависимости доза-эффект относительно альвеолита, воспаления легких и фосфолипидоза может быть избран метод бронхоальвеолярного лаважа, позволяющий надлежащим образом проверить изменение зависимости доза-эффект и динамики поражения альвеол. Может быть проведен анализ бронхоальвеолярного смыва на общее и дифференциальное количество лейкоцитов, общий белок и лактатдегидрогеназу. Рассмотрению могут также подлежать другие параметры, являющиеся показателями лизосомальных повреждений, фосфолипидоза, фиброза, раздражающих и аллергических воспалений, включая определение провоспалительных цитокинов/хемокинов. Результаты бронхоальвеолярного лаважа дополняют, но не заменяют результаты гистопатологических исследований. Руководство по проведению бронхоальвеолярного лаважа приводится в документе
[5].
4.6.8. Все подопытные животные, умершие во время испытания или исключенные из исследования из гуманных соображений, должны быть подвержены полному обескровливанию (если возможно) и некропсии. Время, прошедшее от окончания последнего введения испытуемого вещества до умерщвления животного, должно быть зарегистрировано. Если вскрытие невозможно провести непосредственно после обнаружения мертвого животного, труп должен храниться охлажденным (но не замораживаться) при достаточно низкой для минимизации автолиза температуре. Вскрытие должно проводиться как можно раньше, желательно в течение одного - двух дней. Для каждого животного должны быть зарегистрированы все макроскопические патологические изменения, особое внимание следует уделить любым изменениям дыхательных путей.
4.6.9. В
табл. 6.2.3.2 перечислены органы и ткани, которые должны сохраняться в подходящей среде во время некропсии для гистопатологического исследования. Способ сохранения органов и тканей, указанных в [квадратных скобках], а также всех остальных органов и тканей, выбирается по усмотрению руководителя исследования. Щитовидная железа и придатки яичка должны только взвешиваться при необходимости, так как наличие артефактов на срезе может препятствовать гистопатологической оценке. Ткани и органы должны фиксироваться в 10%-м буферном формалине или другом подходящем фиксаторе непосредственно после вскрытия и не менее чем за 48 ч до подготовки срезов.
Таблица 6.2.3.2
Органы и ткани, сохраняемые при проведении некропсии
Трахея (как минимум, 2 уровня, включая один продольный срез через киль и 1 поперечный срез) Легкие (все доли на одном уровне, включая главные бронхи) Ткани носоглотки (как минимум, 4 уровня, один из которых должен включать носоглоточный проход) Назальноассоциированная лимфоидная ткань (НАЛТ) Гортань (3 уровня, включая основание надгортанника) Лимфатические узлы корня легкого, особенно при использовании слаборастворимого испытуемого вещества. Для более глубокого и/или иммунологического исследования могут рассматриваться дополнительные лимфатические узлы, например, средостенные, шейные/поднижнечелюстные и/или околоушные [Язык] Зубы Слюнные железы Пищевод Желудок Двенадцатиперстная кишка Тощая кишка Подвздошная кишка Слепая кишка Ободочная кишка Прямая кишка Печень Поджелудочная железа Желчный пузырь (при наличии) Мозг (включая срезы головного мозга, мозжечка и продолговатого мозга/моста) Гипофиз Обонятельная луковица (опционально) [Глаза (сетчатка, зрительный нерв) и веки] Периферический нерв (седалищный или большеберцовый, желательно расположенный близко к мышце) Спинной мозг (шейный, среднегрудной и поясничный отделы) Надпочечная железа Щитовидная железа Околощитовидная железа Сердце Аорта Костный мозг (и/или свежий аспират) Селезенка Вилочковая железа Лимфатические узлы (удаленные от места введения) Почки Мочевой пузырь [Мочеточник] [Мочеиспускательный канал] Предстательная железа Семенники [Придатки яичка] Семенные пузырьки Матка Яичники Кожа Молочная железа (у женских особей) Мышцы (бедро) [Гардериановы железы] [Слезные железы (экстраорбитальные)] Бедренный и коленный сустав Грудина Органы-мишени Все макроскопические повреждения и опухолевидные образования |
4.6.10. Легкие извлекаются целиком, взвешиваются и заполняются подходящим фиксатором под давлением 20 - 30 см водяного столба приблизительно на 80 - 90% общего объема для сохранения легочной структуры. Срезы производятся на одном уровне для всех долей, включая главные бронхи, но в случае проведения лаважа легких срезы не подвергавшейся лаважу доли производятся на трех уровня (не серийные срезы).
4.6.11. Исследованию подлежат как минимум 4 уровня тканей носоглотки, один из которых должен включать носоглоточный проход для надлежащего исследования плоского, переходного (нереснитчатого респираторного), респираторного (реснитчатого респираторного) и обонятельного эпителия, а также дренирующей лимфоидной ткани (NALT). Исследуются три уровня гортани, один из которых должен включать основание надгортанника. Исследуются как минимум два уровня трахеи, включая продольный срез через киль бифуркации внелегочных бронхов и один поперечный срез.
4.6.12. Гистопатологическая оценка всех перечисленных в
табл. 6.2.3.2 тканей и органов должна проводиться для контрольной группы и групп, подвергавшихся воздействию высоких концентраций, а также для всех животных умерших или умерщвленных во время исследования. Особое внимание должно уделяться дыхательным путям, органам-мишеням и макроскопическим повреждениям. При наличии повреждений органов и тканей у животных, подвергавшихся воздействию высоких концентраций, те же органы и ткани должны быть исследованы во всех остальных группах. Руководитель исследования может проводить гистопатологическую оценку дополнительных групп для демонстрации четкого отношения концентрация-эффект. При использовании группы исследования обратимости следует провести гистопатологический анализ всех тканей и органов, продемонстрировавших эффекты в подопытных группах. Если в группе, подвергавшейся воздействию высокой концентрации, наблюдается чрезмерное количество ранних смертей или другие проблемы, снижающие значимость полученных данных, гистопатологическому исследованию подлежит следующая более низкая концентрация. Следует предпринять попытку сопоставления результатов макроскопического и микроскопического исследования.
5.1. Данные об исследовании
5.1.1. Для каждого животного следует предоставить индивидуальные данные о массе тела, потреблении пищи, клинической патологии, макроскопической патологии, массе органов и гистопатологии. Данные клинических наблюдений суммируются в форме таблицы с указанием для каждой экспериментальной группы количества использованных животных, количества животных, демонстрирующих специфические признаки токсичности, количества животных, умерших во время исследования или умерщвленных в гуманных целях, времени смерти отдельных животных, описания и продолжительности токсических эффектов и обратимости, а также результатов вскрытия. Все результаты, количественные и побочные, должны оцениваться при помощи подходящего статистического метода. Допустимо применение любого общепринятого статистического метода, выбор которого производится в процессе составления плана исследования.
5.2. Отчет об исследовании
Отчет об исследовании должен включать следующие данные.
Подопытные животные и их содержание:
- описание условий содержания в клетке, включая количество (или изменения в количестве) животных в клетке, материал подстилки, температуру окружающей среды и относительную влажность, световой период и обозначение диеты;
- используемые виды/линии и обоснование для использования других видов, кроме крыс;
- количество, возраст и пол животных;
- метод рандомизации;
- подробности о качестве пищи и воды (включая тип/источник диеты, источник воды);
- описание условий содержания перед началом испытания, включая диету, карантин и лечение от болезни.
Исследуемый препарат:
- физическая природа, наличие примесей и, если значимо, физико-химические свойства (включая изомеризацию);
- идентификационные данные и регистрационный номер в Реферативной службе по химии (CAS), если таковой имеется.
Растворитель:
- обоснования для использования растворителя и обоснование для выбора растворителя (если это иное, чем вода);
- справочные или совпадающие данные, подтверждающие, что растворитель не влияет на результаты исследования.
Ингаляционная камера:
- описание ингаляционной камеры, включая размеры и объем;
- описание и поставщик оборудования, используемого для экспозиции животных, а также генерация атмосферы;
- оборудование для измерения температуры, относительной влажности, размера частиц и фактической концентрации;
- источник поступления воздуха и обработка поступившего/извлеченного воздуха, и система кондиционирования;
- методы, используемые для поверки оборудования с целью обеспечить гомогенность в тестируемой атмосфере;
- перепады давления (положительные или отрицательные);
- отверстия для экспозиции в камере (только через нос); размещение животных в системе (воздействие через все тело);
- временная гомогенность/стабильность тестируемой атмосферы;
- место размещения датчиков, определяющих температуру и относительную влажность, отбор образцов тестируемой атмосферы в клетке;
- скорость потоков воздуха, скорость потока воздуха/отверстия для экспозиции (только через нос) или нагрузка животных/клетка (для воздействия через все тело);
- время, рекомендуемое для достижения равновесия в ингаляционной камере (t95);
- количество изменений объема в час;
- приборы, снимающие показания (если применены).
Данные экспозиции:
- обоснование для выбора целевой концентрации в основном исследовании;
- номинальные концентрации (общая масса исследуемого препарата, сгенерированного в ингаляционной камере, разделенная на объем воздуха, проходящего через камеру);
- фактическая концентрация тестируемого препарата, собранного из зоны дыхания животных. Для исследуемых смесей, которые продуцируют гетерогенные физические формы (газы, пары, аэрозоли), каждая форма может быть проанализирована отдельно;
- все воздушные концентрации должны быть указаны в отчете в единицах массы (например, мг/л, мг/м3 и т.д.); в скобках допускается указание их в единицах объема (например, промилле, часть на млрд. и т.д.);
- гранулометрический состав, средний аэродинамический диаметр (MMAD) и геометрическое стандартное отклонение

включая методы из вычисления. Индивидуальный гранулометрический анализ должен быть изложен в отчете.
Условия проведения исследования:
- подробные сведения о приготовлении тестируемого препарата, включая данные о мероприятиях по уменьшению размера частиц для твердых материалов или по приготовлению растворов исследуемого препарата. В случае, когда есть вероятность, что механические процессы изменят состав исследуемого вещества, необходимо включить результаты анализов для подтверждения состава тестируемого вещества;
- описание оборудования (предпочтительно с диаграммой), используемого для генерации исследуемой атмосферы и для экспозиции животных в этой атмосфере;
- подробные сведения об оборудовании, используемом для наблюдения за температурой в камере, относительной влажностью, воздушными потоками;
- подробные сведения об оборудовании, используемом для забора образцов для вычисления концентрации в камере и гранулометрического состава;
- подробные сведения об используемом химико-аналитическом методе и проверке достоверности метода (включая эффективность восстановления тестируемого препарата из питательной среды, в которую были помещены образцы;
- метод случайной выборки животных для включения в испытательную и контрольную группы;
- обоснование для выбора исследуемой концентрации.
Результаты:
- сведение в таблицу данных о температуре в камере, уровне влажности и воздушном потоке;
- сведение в таблицу данных о номинальной и фактической концентрации;
- сведение в таблицу данных о размере частиц, включая собранные сведения об аналитических образцах, распределение размеров частиц, подсчеты ММАД и

- сведение в таблицу данных о реакции и уровне концентрации для каждого животного (т.е. признаки токсического отравления у животного, включая агонию, природу, тяжесть, время появления и продолжительность эффектов);
- индивидуальная масса тела животных, полученная в дни проведения эксперимента;
- дата и время смерти, динамика появления признаков токсичности, предшествовавших умерщвлению, их обратимость для каждого животного;
- табличное представление данных клинической патологии;
- табличное представление результатов некропсии и гистопатологического исследования каждого животного, если таковые имеются;
- табличное представление любых других измеренных параметров.
Обсуждение и интерпретация результатов:
- особое внимание необходимо уделить описанию исследований на соответствие требованиям данного метода, например, таких как к предельно допустимой концентрации или размерам частиц;
- пригодность частиц для вдыхания, принимая во внимание общие данные, должна быть адресной, особенно если требования к размерам частиц не соблюдены;
- если на основании критериев по определению гуманной конечной точки была необходимость в гуманном умерщвлении животного, испытывающего боль или проявляющего признаки страдания, нужно привести объяснения;
- последовательность методов, используемых для определения номинальной и фактической концентрации, а также зависимость фактической концентрации от номинальной, должна быть включена в общую оценку исследования;
- следует рассмотреть возможную причину смерти и преобладающий способ действия (системный или локальный);
- определить целевые органы;
- определить недействующую отрицательную дозу и пороговый уровень воздействия.
ОЦЕНКА СУБХРОНИЧЕСКОЙ ТОКСИЧНОСТИ ПРИ НАКОЖНОМ ПОСТУПЛЕНИИ
В 90-ДНЕВНОМ ИССЛЕДОВАНИИ
Идентичен международному документу OECD Test N 411 "Subchronic Dermal Toxicity: 90-day Study" (ОЭСР Тест N 411 "Субхроническая кожная токсичность: 90-дневное исследование"), Принят 12 мая 1981 года. Перевод с английского языка (en). Степень соответствия - модифицированный (MOD).
1.1. Настоящий метод исследования устанавливает требования к исследованию субхронической кожной токсичности химических веществ.
1.2. Метод обеспечивает получение информации о токсичности вещества при накожном пути поступления при повторном воздействии.
2.1. Указанный метод исследования предназначен для изучения субхронической кожной токсичности химических веществ в целях получения информации о воздействии на организм человека в результате повторного нанесения на кожу в течение 90 дней.
2.2. При оценке токсичных свойств химического вещества определение субхронической кожной токсичности может быть проведено после получения исходной информации о токсичности в ходе испытания острой токсичности. Исследование острой токсичности предоставляет информацию о возможных опасностях для здоровья, которые могут возникнуть в результате повторной экспозиции на кожу в течение ограниченного периода времени.
3.1.1. Исследуемое вещество наносится ежедневно на кожу в отмеренных дозах нескольким группам экспериментальных животных, одна доза на группу, в течение периода 90 дней.
3.1.2. Необходимы следующие сведения об исследуемом веществе:
- агрегатное состояние: твердое или жидкое;
- химическая идентификация исследуемого вещества;
- чистота (примеси) исследуемого вещества;
- характеристики растворимости;
- pH (при необходимости);
- стабильность, включая стабильность в растворителе, при использовании;
- точка плавления/точка кипения.
3.1.3. В течение периода нанесения животные наблюдаются ежедневно для выявления признаков токсичности. Животные, которые погибают во время эксперимента, подвергаются аутопсии. В конце испытания выживших животных умерщвляют и также подвергают аутопсии.
Выбор вида
3.2.1. Необходимо использовать молодых здоровых особей из обычно используемых лабораторных линий. Для проведения испытания следует использовать половозрелых крыс (с массой тела 200 - 300 г), кроликов (с массой тела 2,0 - 3,0 кг) или морских свинок (с массой тела 350 - 450 г). В случае использования других видов необходимо привести обоснование.
3.2.2. В случае если субхроническое исследование кожной токсичности проводится перед долгосрочным исследованием, следует в обоих исследованиях использовать животных одной породы и одного и того же происхождения.
Подготовка
3.2.3. Следует использовать животных обоих полов. Самки должны быть нерожавшими и небеременными. При испытании каждой дозы следует использовать, по крайней мере, 20 животных (10 самок и 10 самцов) со здоровой кожей.
3.2.4. Если предполагается промежуточное умерщвление животных, то количество животных в группах должно быть увеличено на число планируемых к забою животных. Также может быть составлена дополнительная (вспомогательная) группа из 20 животных (по 10 животных каждого пола), которая будет подвергнута воздействию дозой высокого уровня в течение 90 дней с последующим наблюдением в течение не менее 28 дней после завершения нанесения вещества для контроля обратимости и стойкости изменений появления отдаленных токсических эффектов.
3.2.5. Здоровых молодых половозрелых животных акклиматизируют к лабораторным условиям, по крайней мере, в течение 5 дней до испытания. Перед испытанием животные распределяются на экспериментальную и контрольную группы в произвольном порядке. Волосяной покров спинной области туловища экспериментальных животных должен быть удален незадолго до начала испытания. Шерсть может быть выбрита, но производить бритье следует приблизительно за 24 ч до начала испытания. Повторная стрижка или бритье должны производиться еженедельно. При стрижке или бритье волосяного покрова необходимо соблюдать осторожность во избежание повреждений кожи, могущих повлиять на ее проницаемость, за исключением случаев, когда это предусмотрено методикой испытания. Должно быть очищено не менее 10 процентов площади поверхности тела. Для принятия решения о том, какая площадь кожи должна быть очищена от волосяного покрова и каковы должны быть размеры участка для нанесения вещества, следует учитывать массу животного. При тестировании твердых веществ, которые можно растереть в порошок, их следует измельчить, причем исследуемое вещество должно быть достаточно увлажнено водой или подходящим растворителем, чтобы обеспечить хороший контакт с кожей. При использовании растворителя следует учитывать его влияние на проницаемость кожи для исследуемого вещества. Жидкие исследуемые вещества обычно используются неразбавленными.
Содержание
3.2.6. Животных следует содержать в клетках отдельно. Температура в помещении, где содержатся экспериментальные животные, должна составлять (22 +/- 3) °C для грызунов или (20 +/- 3) °C для кроликов, оптимальный уровень относительной влажности - 30 - 70%. Допустимо использование стандартных лабораторных режимов питания с неограниченным потреблением питьевой воды. Освещение должно быть искусственным в режиме: 12 ч при свете/12 ч в темноте.
3.3. Группы доз и дозировка
3.3.1. Следует использовать не менее трех опытных групп (трех уровней доз), одну контрольную группу, которая не должна подвергаться воздействию исследуемого вещества, при необходимости - контрольную группу с нанесением растворителя. За исключением нанесения исследуемого вещества, с животными из контрольной группы следует обращаться тем же способом, что и с экспериментальными группами.
3.3.2. Самый высокий уровень дозы должен привести к токсическим эффектам, но не вызывать смертельных исходов, которые могут препятствовать обоснованной оценке. Самый низкий уровень дозы не должен вызывать никаких признаков интоксикации. В том случае, если есть приемлемая оценка воздействия на человека, самый низкий уровень должен превышать ее. Средний уровень дозы, в идеале, должен вызвать минимальные видимые токсические эффекты. Если используются более чем одна промежуточная доза, их уровни должны быть распределены так, чтобы можно было произвести градацию токсических эффектов. В группе с малым уровнем дозы, в промежуточных и контрольных группах число смертельных исходов должно быть низким, чтобы обеспечить значимую (статистически достоверную) оценку результатов.
3.3.3. Если при нанесении исследуемое вещество вызывает сильное раздражение кожи, его концентрация может быть уменьшена, хотя это может привести к снижению или отсутствию других токсических эффектов при дозе высокого уровня. Однако, при сильном повреждении кожи в начале исследования, может возникнуть необходимость прекратить испытание и провести новое исследование при более низких концентрациях.
3.3.4. Пороговый тест. Если при испытании одного уровня дозы составляющего не менее 1000 мг/кг массы тела (при том, что ожидаемое воздействие на человека может указывать на необходимость использования дозы более высокого уровня), с использованием процедур, описанных для данного исследования, не выявлено видимых токсических эффектов, и если токсичность исследуемого вещества является маловероятной на основании данных, полученных для соединений близких по структуре, то полное исследование с использованием трех уровней доз не является необходимым.
3.4. Методика проведения исследования
3.4.1. Животных обрабатывают исследуемым веществом не менее 6 ч в день в течение 7 дней в неделю на протяжении 90 дней. Однако, исходя, прежде всего, из практических соображений, считается приемлемым нанесение вещества 5 дней в неделю. Животных вспомогательной группы, предусмотренной для последующих наблюдений, выдерживают в течение по меньшей мере 28 дней после эксперимента, чтобы выявить способность к восстановлению или стойкость токсических эффектов.
3.4.2. Исследуемое вещество следует наносить равномерно на участок, составляющий примерно 10 процентов от общей площади поверхности тела. При использовании высокотоксичных веществ поверхность участка для нанесения вещества может быть меньше, но большая часть его должна быть покрыта тонкой и равномерной пленкой, насколько это возможно.
3.4.3. Между нанесениями исследуемого вещества, оно должно контактировать с кожей посредством пористой марлевой повязки, зафиксированной не вызывающей раздражения лентой. Участок тела, через который воздействует исследуемое вещество, должен быть покрыт способом, позволяющим удерживать испытуемое вещество, на которое сверху наложена марлевая повязка, и не позволяющим животным проглотить испытываемое вещество. Можно использовать ограничители движения для препятствия слизыванию вещества, но полная иммобилизация не рекомендуется.
3.4.4. Если наблюдаются признаки токсичности, они должны быть зарегистрированы, фиксируются время их выявления, степень и продолжительность. Наблюдения за животными должны включать: изменения кожи и волосяного покрова, глаз и слизистых оболочек, а также органов дыхания, кровообращения, вегетативной и центральной нервной системы, соматомоторной деятельности и модели поведения, но не ограничиваться только этим. Измерения потребления пищи и взвешивание животных следует проводить еженедельно. Регулярное наблюдение за животными необходимо, чтобы гарантировать, что животное не выбыло из исследования по причине каннибализма, аутолиза тканей или дистопии. При завершении исследования всех выживших животных не вспомогательных, экспериментальных групп умерщвляют. При обнаружении умирающих животных они должны быть удалены и умерщвлены.
3.5.1. По крайней мере, один раз в день должен быть проведен тщательный клинический осмотр. Дополнительные наблюдения следует проводить ежедневно, принимая необходимые меры для минимизации потери животных при исследовании, например, аутопсию или охлаждение животных, найденных мертвыми, и изоляция или умерщвление слабых или умирающих животных.
3.6. Офтальмологический осмотр
3.6.1. Офтальмологический осмотр с использованием офтальмоскопа или другого подходящего инструмента, нужно провести до нанесения исследуемого вещества и по окончании исследования, предпочтительно у всех животных, но, по меньшей мере, в группе, получающей высокую дозу, и в контрольной группе. Если обнаружены изменения глаз, нужно исследовать всех животных.
3.7. Гематология и клиническая биохимия
3.7.1. Считается, что для всех исследований следует провести оценку баланса электролитов, метаболизма углеводов, печеночной и почечной функции.
3.7.2. Для всех животных при завершении исследования должны быть выполнены гематологическое исследование с определением гематокрита, концентрации гемоглобина, количества эритроцитов, общего и дифференциального количества лейкоцитов, а также величины потенциала свертывания, таких как время свертывания крови, протромбиновое время, тромбопластиновое время или количество тромбоцитов и биохимическое исследование крови, при котором достаточным является определение параметров крови, характеризующих функции печени и почек.
3.7.3. Выбор специальных исследований будет зависеть от наблюдения за механизмом действия вещества. Предполагаемый перечень таких исследований: измерения уровней кальция, фосфора, хлора, натрия, калия, уровня глюкозы натощак (с периодами голодания для соответствующих видов); определение глутаминовой пировиноградной трансаминазы сыворотки (аланинаминотрансфераза сыворотки), глутаминовой щавелевоуксусной трансаминазы сыворотки (аспартатаминотрансфераза сыворотки), орнитиндекарбоксилазы, гамма-глутамилтранспептидазы, азота мочевины, белка, креатинина крови, общего билирубина и общего белка сыворотки.
3.7.4. Другие исследования, которые могут потребоваться для адекватной токсикологической оценки, включают анализ липидов, гормонов, кислотно-щелочного баланса, метгемоглобина, активности холинэстеразы. При необходимости расширить исследования наблюдаемых эффектов может быть проведен дополнительный клинический биохимический анализ.
3.7.5. Анализ мочи требуется производить в случаях, когда есть показание, основанное на ожидаемой или наблюдаемой токсичности.
3.7.6. Если исторических исходных данных недостаточно, то перед началом дозирования следует уделить внимание определению гематологических и клинических биохимических показателей.
4.1. Макроскопическая аутопсия
4.1.1. Все животные в исследовании должны быть подвергнуты полной макроскопической аутопсии, которая включает в себя осмотр внешней поверхности тела, всех отверстий, черепных, грудной и брюшной полостей и их содержимого. Печень, почки, надпочечники и яички должны быть взвешены влажными как можно скорее после вскрытия, чтобы избежать высыхания. Следующие органы и ткани должны быть сохранены в подходящей среде для дальнейшего проведения возможной гистопатологической экспертизы: все большие поврежденные органы, мозг, включая части продолговатого мозга/варолиева моста, мозжечковую кору и мозговую кору, гипофиз, щитовидная/паращитовидная железа, тимус, (трахея), легкие, сердце, аорта, слюнные железы, печень, селезенка, почки, надпочечники, поджелудочная железа, гонады, придаточные половые органы, желчный пузырь, пищевод, желудок, двенадцатиперстная кишка, тощая кишка, подвздошная кишка, слепая кишка, ободочная кишка, прямая кишка, мочевой пузырь, представительный лимфатический узел, (молочная железа самок), (мускулатура бедра), периферийный нерв, (глаза), (грудина с костным мозгом), (бедро, в том числе суставная поверхность), (спинной мозг в трех уровнях - шейном, среднегрудинном и поясничном) и (слезные железы). Ткани, упомянутые в скобках, исследуются в случаях наличия признаков токсичности или если это орган-мишень.
4.2.1. Гистологическое исследование должно быть выполнено на нормальной коже и коже, подвергнувшейся воздействию, и на органах и тканях животных группы с высоким уровнем дозы и контрольной группы. Эти исследования могут быть распространены на животных групп с другими дозами, при необходимости, чтобы исследовать изменения, наблюдаемые в группах с высоким уровнем дозы.
4.2.2. Должны быть исследованы все макроскопические повреждения.
4.2.3. Органы-мишени должны быть исследованы во всех группах.
4.2.4. В случае использования крыс, нужно подвергнуть гистологическому осмотру легкие животных в группах с низкой и промежуточной дозой для выявления признаков инфекции, так как это обеспечивает надежную оценку состояния здоровья животных. Дальнейших гистопатологических исследований на обычной основе для животных в этих группах не требуется, но должны всегда осуществляться в органах, где выявлены признаки повреждений в группе с высокой дозой.
4.2.5. Животных вспомогательной группы следует обследовать гистологически, особо обращая внимание на те органы и ткани, в которых выявлены эффекты воздействия вещества в других экспериментальных группах.
5.1. Данные об исследовании
5.1.1. Данные могут быть представлены в табличной форме с указанием для каждой экспериментальной группы количества животных на начало испытания; количества животных, имеющих поражения; тип поражений и процент животных с каждым видом поражения.
5.1.2. Все наблюдаемые результаты, количественные и случайные, должны быть оценены соответствующим статистическим методом. Может быть использован любой общепринятый статистический метод. Статистические методы должны быть выбраны в ходе планирования исследования.
5.1.3. Результаты исследования субхронической токсичности при накожном поступлении следует оценивать совместно с результатами предыдущих исследований и рассматривать с точки зрения наблюдаемых токсических эффектов и результатов аутопсии и гистопатологических исследований. Оценка будет включать отношение между дозой исследуемого вещества и наличием или отсутствием, частотой и выраженностью нарушений, в том числе поведенческих и клинических нарушений, макроскопических повреждений, идентифицированных органов-мишеней, изменений массы тела, смертности и любых других общих или специфических токсических эффектов. Должным образом проведенное исследование субхронической токсичности должно обеспечить достаточную оценку уровня, при котором не наблюдается эффект.
5.1.4. Данное исследование кожной токсичности предоставляет информацию о последствиях повторяющегося воздействия на кожу того или иного вещества. Экстраполяция результатов исследования на человека действует в ограниченной степени, но она может дать полезную информацию о степени резорбции вещества через кожу, уровнях, при которых не наблюдается эффект, и уровнях допустимого воздействия на человека.
5.2. Отчет об исследовании
Отчет об исследовании должен содержать следующую информацию:
- используемые виды/линии;
- данные о токсической реакции в зависимости от пола и дозы;
- время смерти в ходе исследования или количество животных, доживших до окончания эксперимента;
- токсические или другие эффекты;
- характер, точность и продолжительность наблюдений за каждым признаком нарушения и его последующее развитие (были выявленные изменения промежуточными или постоянными);
- данные о питании и массе тела животных;
- выполненные гематологические испытания и результаты по сравнению с исходными данными;
- выполненные клинические биохимические испытания и результаты по сравнению с исходными данными;
- данные аутопсии;
- подробное описание всех гистологических данных;
- статистическая обработка результатов (в случае необходимости).
ИЗУЧЕНИЕ ХРОНИЧЕСКОЙ ТОКСИЧНОСТИ В ОПЫТАХ IN VIVO
ИЗУЧЕНИЕ ХРОНИЧЕСКОЙ ТОКСИЧНОСТИ
ПРИ ВНУТРИЖЕЛУДОЧНОМ ПОСТУПЛЕНИИ
Идентичен международному документу OECD TG N 452 "Chronic Toxicity Studies" (ОЭСР Руководство N 452 "Исследования хронической токсичности"). Принят 7 сентября 2009 года. Перевод с английского языка (en). Степень соответствия - модифицированный (MOD)).
1.1. Настоящий метод исследования устанавливает порядок проведения исследования хронической токсичности химических веществ и продукции на их основе (далее - веществ) при внутрижелудочном поступлении.
1.2. Исследование хронической токсичности позволяет получить информацию о возможной опасности для здоровья, вероятно, возрастающей от повторяющихся воздействий в течение большей части продолжительности жизни грызунов. Исследование направлено на выявление данных о токсическом воздействии вещества, определение органов-мишеней и выявление возможности накопления (аккумуляции). Также в ходе его определяют наивысший уровень воздействия, при котором не наблюдается вредный эффект воздействия (NOAEL), что может быть использовано для установления критерия безопасности воздействия на организм человека. Следует также подчеркнуть необходимость тщательного клинического наблюдения за животными для получения максимально возможного количества информации.
1.3. В проведении исследования хронической токсичности необходимо всегда придерживаться основополагающих принципов и соображений, изложенных в Руководстве ОЭСР N 19
[45].
1.4. Подробные правила и принципы выбора дозы для исследований хронической токсичности и канцерогенности отражены в Руководстве ОЭСР N 116. Метод выбора основной дозы зависит от первоначальных целей или задач исследования. При выборе уровня дозы должен быть достигнут баланс между риском гибели животных с одной стороны и характеристикой ответных реакций на низкие дозы и их значимостью - с другой. Это чрезвычайно важно в случае комбинированного исследования хронической токсичности и канцерогенности.
1.5. Проведение комбинированного исследования хронической токсичности и канцерогенности требует большего анализа в сравнении с исследованиями хронической токсичности и канцерогенности, проводимыми раздельно. Следует внимательно отнестись к принципам выбора доз при проведении комбинированного исследования хронической токсичности и канцерогенности. Раздельные исследования могут являться необходимыми по определенным нормативным требованиям.
2.1. Данный метод исследования предназначен, прежде всего, для исследований, осуществляемых на грызунах. Если проведение таких исследований потребуется на особях другого вида, изложенные принципы и методы также могут быть использованы, с надлежащими изменениями, в соответствии с целями и Руководством ОЭСР N 116.
2.2. До начала проведения исследования испытательной лабораторией должна быть проанализирована вся доступная информация по исследуемому веществу и с тем, чтобы сфокусировать план исследования на более успешное тестирование возможной хронической токсичности и минимизировать использование животных. Данные, которые будут содействовать проведению исследования, включают: идентификацию, химическую структуру и физико-химические свойства исследуемого вещества; любую информацию о механизме действия; результаты любых in vitro и in vivo исследований токсичности; предполагаемое использование и вероятное воздействие на человеческий организм; доступные данные испытаний (Q)SAR и токсические свойства структурно родственных веществ; имеющиеся токсикокинетические данные (однократная доза, а также кинетика повторной дозы, при наличии) и данные, полученные из других исследований повторного воздействия. Изучение хронической токсичности может быть проведено после получения первоначальных данных по изучению токсичности повторной дозы в течение 28 и/или 90 дней. Поэтапный подход к исследованию хронической токсичности следует рассматривать как часть общей оценки возможного неблагоприятного воздействия вещества на здоровье человека.
2.3. Цели исследований хронической токсичности при внутрижелудочном поступлении, охватываемые настоящими методическими рекомендациями, включают:
- определение опасных свойств химических веществ;
- определение органов-мишеней;
- описание зависимости доза-ответ;
- определение наивысшего уровня воздействия, при котором не наблюдается вредный эффект (NOAEL) или исходных данных для установления нижней 95%-й доверительной границы реперной дозы ЕД10 (BMD);
- прогнозирование хронической интоксикации человека при внутрижелудочном поступлении вещества;
- предоставление данных для проверки гипотез относительно механизма действия.
3.1. Исследуемое вещество вводится ежедневно порциями нескольким группам подопытных животных в течение 12 месяцев, хотя можно также избрать более длительный или короткий периоды. Этот период был выбран в связи с тем, что он достаточен для того, чтобы стали очевидны любые проявления кумулятивной токсичности, не смешиваясь при этом с проявлениями возрастных изменений.
3.2. Отклонение от продолжительности воздействия в 12 месяцев должно быть обосновано, особенно в случае сокращения срока. Тестируемое вещество вводится перорально. План исследования может также включать одно или несколько промежуточных умерщвлений, например, через 3 и 6 месяцев. Для этого необходимо добавить дополнительные группы животных. В течение периода приема вещества животных тщательно обследуют на предмет выявления признаков интоксикации. Животные, которые умерли или были умерщвлены в ходе тестирования, подвергаются аутопсии. По окончании исследования выживших животных умерщвляют и также проводят аутопсию.
Подбор видов животных
4.1.1. Данные методические рекомендации охватывают оценку и анализ хронической токсичности вещества при внутрижелудочном введении на грызунах, хотя подобные исследования на негрызунах могут также проводиться в соответствии с данными требованиями. Выбор вида животных должен быть обоснован. План и проведение исследования хронической токсичности на видах негрызунов, когда это необходимо, должны быть основаны на принципах, содержащих в данном стандарте, а также в Руководстве ОЭСР N 409 "Изучение токсичности повторной дозы, введенной перорально в течение 90 дней негрызунам". Дополнительная информация по выбору вида и рода экспериментальных животных содержится в Руководстве ОЭСР N 116.
4.1.2. Предпочтительным видом грызунов являются крысы, хотя могут использоваться и другие виды, например, мыши. Крысы и мыши были выбраны в качестве экспериментальных моделей за их сравнительно короткую продолжительность жизни, широкое применение в фармакологических и токсикологических исследованиях, их восприимчивость к индукции новообразований и доступность этих хорошо изученных видов. Вследствие этих качеств, имеется большое количество информации об их психологии и патологии. Следует использовать молодых половозрелых взрослых животных лабораторных видов. Исследование хронической токсичности следует проводить на животных того же рода и того же происхождения, что и животные, использовавшиеся в предварительных токсикологических исследованиях небольшой продолжительности. Женские особи должны быть нерожавшими и небеременными.
Содержание и кормление
4.1.3. Животные должны находиться отдельно или содержаться в клетках небольшими группами одного пола. Отдельное проживание следует применять только, если это научно обосновано. Клетки надо размещать таким образом, чтобы свести к минимуму возможное влияние их местоположения. Температура в помещении с экспериментальными животными должна быть 22 (+/- 3) °C. Относительная влажность должна быть как минимум 30% и не должна превышать 70% (если только не проводится уборка помещения) оптимальная влажность - 50 - 60%. Свет должен быть искусственным, с последовательностью: 12 ч - свет, 12 ч - темнота. Для кормления могут использоваться традиционные лабораторные диеты с неограниченным количеством питьевой воды. Диета должна отвечать всем потребностям в питании тестируемого вида. Содержание загрязняющих веществ, которые могут повлиять на результаты исследования (остатки пестицидов, стойкие органические загрязнители, фитоэстрогены, тяжелые металлы и микотоксины) должны быть по возможности минимизированы. Аналитические данные по питанию и уровню загрязняющих веществ в пище должны собираться периодически, как минимум в начале исследования и когда меняется используемая партия, и их следует включать в заключительный отчет. Должны также предоставляться аналитические данные по питьевой воде, используемой в исследовании. На выбор пищи может влиять необходимость введения примеси и удовлетворение пищевых потребностей животных, когда исследуемое вещество вводится в диетический рацион.
Подготовка животных
4.1.4. Должны использоваться здоровые животные, которые прошли адаптацию в лабораторных условиях как минимум в течение 7 дней и над которыми прежде не ставились эксперименты. В случае с грызунами введение доз следует начинать как можно раньше, после отлучения от матери и адаптации, желательно до того, как животным исполнится 8 недель. Тестируемые животные должны быть описаны по роду, виду, происхождению, полу, массе и возрасту. В начале исследования разница в массе подопытных животных должна быть минимальна и не превышать +/- 20% от средней массы всех животных, задействованных в исследовании, отдельно каждого пола. Животные должны быть случайным образом распределены на контрольную и тестовую группы. После распределения заметной разницы в средней массе между группами каждого пола быть не должно. Если же она имеется, следует, по возможности, повторить распределение. Каждое животное должно быть помечено индивидуальным идентификационным номером, и этот номер следует нанести на перманентной основе, с помощью татуировки, вживления микрочипа или другим соответствующим способом.
4.2. Основное исследование
Количество и пол животных
4.2.1. Должны использоваться животные обоих полов. Как правило, грызунов - минимум 20 животных, негрызунов - по 4 животных в каждой группе каждого пола для каждого уровня дозы. В исследованиях, где задействованы мыши, может возникнуть необходимость в дополнительных животных в каждой группе для проведения всех необходимых гематологических анализов. В зависимости от цели исследования можно увеличить статистическую значимость основных показателей, распределив неравномерно животных по уровням доз.
Резерв для промежуточных умерщвлений, вспомогательные группы и индикаторные животные.
4.2.2. При исследовании необходимо сделать резерв для промежуточных умерщвлений, например, в 6 месяцев, для получения данных о развитии токсических изменений и данных о механизме воздействия, если это научно обосновано. Также нужно задействовать вспомогательные группы для отслеживания обратимости любых токсических изменений, вызванных химическими веществами при исследовании. Как правило, их распределяют на группу с самым высоким уровнем дозы и контрольную группу. Если запланировано промежуточное умерщвление, количество животных, включенных в план исследования, должно быть увеличено на число животных, которое планируется умертвить до завершения исследования. Этим животным следует провести такое же обследование (включая массу тела, потребление воды и пищи, гематологические и клинические биохимические показатели, выявление патологий), как и животным в стадии хронической токсичности основного исследования. Можно также сделать резерв (в группах промежуточного умерщвления) для измерений, ограниченных особыми, ключевыми показателями, такими как нейротоксичность или иммунотоксичность.
Группы доз и дозировка
4.2.3. Следует использовать как минимум три уровня доз и параллельный контроль за исключением тех случаев, когда проводится исследование с максимально возможной дозой. Чаще всего при выборе уровней доз основываются на результатах краткосрочных исследований повторной дозы или исследованиях по обнаружению диапазона доз. Необходимо принимать во внимание любые существующие токсикологические и токсикокинетические данные по тестируемому или родственным ему веществам.
4.2.4. Если нет ограничений по физико-химической природе или биологическому воздействию исследуемого вещества, должна быть выбрана самая высокая доза для определения основных органов-мишеней и токсичных эффектов воздействия. Однако следует избегать страданий, тяжелой токсичности, болей или смерти. Самый высокий уровень дозы следует выбрать для получения признаков интоксикации, например, изменение уровня сывороточного фермента или невозможность набрать массу (примерно 10%).
4.2.5. В зависимости от целей исследования должна быть выбрана верхняя доза ниже, чем доза, подтверждающая наличие токсичности, например, если доза вызывает побочное действие, которое, тем не менее, слабо отражается на продолжительности жизни или массе тела. Наивысшая доза не должна превышать 1000 мг/кг в день.
4.2.6. Разница между уровнями доз должна быть направлена на определение зависимости доза-ответ и установление наивысшего уровня дозы, при которой не наблюдается вредный эффект воздействия (NOAEL), или других предполагаемых результатов исследования, например, BMD при самом низком уровне дозы. Условия, которые должны быть приняты во внимание при установлении нижних доз, включают: предполагаемый наклон кривой зависимости доза-ответ, дозы при которых могут происходить важные изменения в метаболизме, или вид токсического действия, когда предполагается пороговая величина, или когда предполагается исходная точка для экстраполяции низкой дозы.
4.2.7. Избранная разница в уровне доз зависит от параметров тестируемого вещества. Диапазон от 2 до 4 зачастую оптимален для установления снижения уровней доз, а при использовании очень больших интервалов (например, диапазон примерно 6 - 10) между дозами предпочтительно добавление четвертой тестируемой группы. При выборе доз и разницы в уровнях доз следует использовать Руководство ОЭСР N 116, но в целом следует избегать использования диапазона выше 10, а его применение должно быть обосновано.
4.2.8. При выборе дозы для проведения исследований хронической токсичности и канцерогенности необходимо учесть:
- знания или предположения о нелинейностях или точках изгиба и зависимости доза-ответ;
- токсикокинетические закономерности, а также уровни доз, при которых происходят или не происходят метаболическая индукция, насыщение или нелинейность между введенными и поглощенными дозами;
- признаки поражения, влияния или показатели воздействия на основные биологические процессы;
- основные (или предполагаемые) проявления механизма действия, как то дозы, при введении которых начинает увеличиваться цитотоксичность, нарушается гормональный уровень, подавляется гомеостатический механизм и т.д.;
- интервалы кривой доза-эффект, где необходима чрезвычайно надежная оценка, например, в пределах ожидаемых BMD или предполагаемых пороговых величин;
- уровни анализа предполагаемого воздействия на организм человека.
4.2.9. Контрольная группа не должна получать исследуемое вещество. С животными из контрольной группы следует обращаться так же, как и с тестируемыми группами. Если используется растворитель, отличный от воды, контрольная группа должна получать его в максимальном объеме от используемого в опытных группах.
4.2.10. Если результаты предыдущих исследований, проведенных в соответствии с требованиями данных испытаний, показали, что тест при одном уровне дозы, равной не менее 1000 мг/кг массы тела в сутки, не выявляет отрицательного эффекта и токсичность является маловероятной на основании данных, полученных для веществ, близких по структуре, то проведение полного исследования с использованием трех уровней доз не требуется. Предельная доза 1000 мг/кг массы тела в сутки применяется в тех случаях, когда есть вероятность воздействия на людей более высоких доз.
4.3. Подготовка доз и правила введения исследуемого вещества
4.3.1. Исследуемое вещество вводится перорально через зонд или с пищей, или с питьевой водой. Способ и метод введения зависят от цели исследования, физико-химических свойств вещества, его биологической усвояемости и основного способа и пути воздействия на организм человека. Целесообразность способа и метода введения должна быть обоснована. В интересах благополучия животных, желудочный зонд обычно следует выбирать только для тех агентов, для которых этот маршрут и способ применения представляют потенциал воздействия на человека (например, фармацевтические препараты). Для химических веществ, поступающих из окружающей среды и с продуктами питания, включая пестициды, поступление в организм, как правило, осуществляется с пищей или питьевой водой.
4.3.2. Необходимо уделять внимание следующим характеристикам среды или других вспомогательных веществ, в зависимости от конкретного случая: влиянию на абсорбцию, распределение, метаболизм или накопление исследуемого вещества; влиянию на химические свойства исследуемого вещества, которые могут повысить его токсические свойства; влиянию на потребление пищи или воды или обусловленное питанием, состояние животных. Рекомендуется, где возможно, использовать, в первую очередь, водные растворы/суспензии, затем рассматривать раствор эмульсии в масле (например, кукурузное масло), и затем искать возможное решение с использованием других сред. Для сред, отличных от воды, должны быть известны их токсические свойства. Следует определять стабильность исследуемого вещества к условиям введения.
4.3.3. При введении вещества с пищей или водой важно, чтобы испытуемое вещество не влияло на характер питания и водный баланс. В хронических исследованиях с введением вещества с пищей концентрация химического вещества в корме не должна превышать 5% от общего объема пищи, если только питание не регламентируется условиями тестирования.
4.3.4. При пероральном введении животные получают дозу исследуемого вещества ежедневно (семь дней в неделю), как правило, в течение 1 года. Любой другой режим дозы, например, пять дней в неделю, должен быть обоснован.
4.3.5. Когда исследуемое вещество вводится животным в одно и то же время ежедневно через зонд, следует использовать желудочный зонд или подходящую полую трубку. Как правило, одна доза вводится раз в день. Когда состав вызывает раздражение, дозу следует вводить дробно. Максимальный объем жидкости, который может быть введен единовременно, зависит от размеров подопытного животного. Как правило, объем должен быть как можно ниже и не превышать 1 мл/100 г массы, исключая случаи с водным раствором, где можно использовать 2 мл/100 г массы. Колебания в тестовом объеме должны быть сведены к минимуму путем корректировки концентрации до обеспечения постоянного объема всех уровней дозы. Потенциально разъедающие или раздражающие вещества являются исключительным случаем. Их необходимо разбавлять, чтобы избежать тяжелых локальных поражений. Щелочной баланс растворов, содержащих дозу, как правило, лежит в интервале от 4 до 9 pH.
4.4. Продолжительность исследования
4.4.1. Несмотря на то, что данный метод исследования рассчитан на 12-месячное исследование хронической токсичности, планом исследования допускается, что может быть применен как более короткий (например, 6 или 9 месяцев), так и более длинный (например, 18 или 24 месяца) период исследований в зависимости от целей и задач эксперимента. Отклонения от продолжительности воздействия в 12 месяцев должны быть обоснованы, особенно в случае сокращения сроков. Вспомогательные группы, включенные для наблюдения за обратимостью любых токсических изменений, вызванных химическим веществом, следует держать без дозировок не менее 4 недель, но не более одной трети от общего периода исследования после прекращения воздействия.
5.1. Общее состояние животных (заболевание или гибель) с особым вниманием к токсикологически значимым признакам, в частности нейрофункциональным и нейроповеденческим реакциям, должно исследоваться в начале и в конце каждого дня. Дополнительно животные должны проверяться как минимум один раз в выходные и праздничные дни. Общее клиническое наблюдение должно осуществляться как минимум один раз в день, предпочтительно в одно и то же время, принимая во внимание период максимума предполагаемого воздействия дозы. Клиническое состояние животных следует фиксировать.
5.2. Подробное клиническое наблюдение должно быть проведено как минимум один раз до начала воздействия (учитывая предмет исследования), к концу первой недели исследования и впоследствии ежемесячно. Протокол наблюдений должен быть согласован так, чтобы обеспечить минимальную разницу между отдельными наблюдателями и независимость от тестовой группы. Эти обследования необходимо делать вне клетки, каждый раз в одном месте, в одно и то же время. Их следует тщательно фиксировать, желательно используя систему количественных показателей, четко оговоренную испытательной лабораторией. Необходимо следить за тем, чтобы варьирование в условиях наблюдения было минимальным. Отмеченные признаки должны включать, но не только, изменения кожи, шерсти, глаз, слизистых оболочек, возникновение секреции и экскреции и автономной активности (например, слезоотделение, пилоэрекция, размер зрачка, аномальный способ дыхания). Изменения в походке, положении тела, реакции на прикосновение, как и наличие клонических или тонических движений, стереотипах (например, чрезмерное умывание, однообразные движения по кругу) или аномалиях поведения (например, членовредительство, хождение задом наперед) также должны регистрироваться.
5.3. Офтальмологический осмотр с использованием офтальмоскопа или другого подходящего инструмента следует проводить всем животным до первого введения исследуемого вещества. По окончании исследования этот осмотр желательно провести всем животным, но, как минимум, группе с высокой дозой и контрольной группе. Если обнаружены изменения, имеющие отношение к терапии, следует осмотреть всех животных. Если структурный анализ или другие данные говорят об офтальмологической токсичности, тогда частота офтальмологических осмотров должна быть увеличена.
5.4. Для химических веществ, для которых предварительные исследования на токсичность с повторным приемом дозы в течение 28 и/или 90 дней показали потенциальную возможность оказывать нейротоксическое воздействие, сенсорную химическую активность к раздражителям различного типа (например, слуховые, визуальные и проприоцептивные раздражители) оценку силы захвата и двигательной активности можно проводить, по выбору, до начала исследования и затем в 3, 6, 9 и 12 месяцев. Однако можно использовать и другие, не приведенные в списке процедуры.
5.5. Для химических веществ, для которых предварительные исследования на токсичность с повторным приемом дозы через 28 и/или 90 дней показали потенциальную возможность оказывать иммунотоксическое воздействие, дальнейшие исследования этого результата могут по желанию проводиться до 12 месяцев.
Масса тела, потребление пищи/воды и питательность пищи
5.6. Все животные должны взвешиваться в начале исследования как минимум раз в неделю первые 13 недель и как минимум ежемесячно в дальнейшем. Измерения потребления пищи и питательности пищи следует производить еженедельно первые 13 недель и как минимум ежемесячно в дальнейшем. Необходимо также учитывать потребление воды для исследований, в которых активность потребления воды изменяется. Измерения потребления воды следует проводить еженедельно первые 13 недель и как минимум ежемесячно в дальнейшем, когда вещество вводится через питьевую воду.
Гематология и клиническая биохимия
5.7. В исследованиях, в которых используются грызуны, гематологические исследования необходимо проводить как минимум на 10 самцах и 10 самках каждой группы в 3, 6 и 12 месяцев, всегда используя одних и тех же животных. В случае с мышами могут потребоваться вспомогательные животные с тем, чтобы проводить все необходимые гематологические исследования. В исследованиях с негрызунами пробы берутся у меньшего количества животных (например, 4 особи каждого пола каждой группы в случае с исследованием на собаках). Нет необходимости проводить измерения в три месяца, если за предыдущие 90 дней при аналогичном уровне дозы не наблюдалось воздействия на гематологические параметры. Образцы должны быть собраны к концу запланированного периода исследования, в период исследования к 3 и 6 месяцам и к 12 месяцу непосредственно перед или во время процедуры умерщвления животных. Пробы крови следует брать из сердечной камеры или из ретроглазной пазухи и, по возможности, хранить в подходящих условиях. Необходимо исследовать приведенный список параметров: общая и лейкоцитарная формула, содержание эритроцитов, содержание тромбоцитов, концентрация гемоглобина, гематокрит (гематокритное число), среднее гематокритное число (MCV), среднее содержание гемоглобина в эритроцитах (MCH), концентрация гемоглобина в эритроцитах (MCHC), протромбиновое время и время образования и активности тромбопластина. Кроме того, необходимо исследовать тельца Гейнца, или другую атипичную морфологию эритроцитов и метгемоглобин, если присутствуют любые признаки анемии или других нарушений кроветворения. Если химические вещества оказывают влияние на кроветворительную систему, можно также измерить число ретикулярных клеток и цитологию костного мозга, хотя они не обязательны для регулярного проведения.
5.8. Клинические биохимические показатели при исследовании токсического воздействия на ткани и особенно влияние на почки и печень следует определять в пробах крови, полученных от как минимум 10 самцов и 10 самок каждой группы за одинаковые временные интервалы, как предписано для гематологических исследований, всегда используя одних и тех же животных. Для мышей могут потребоваться вспомогательные животные с тем, чтобы проводить все необходимые клинические биохимические исследования. Нет необходимости проводить измерения в три месяца, если за предыдущие 90 дней при аналогичном уровне дозы не наблюдалось воздействия на клинические биохимические параметры. Рекомендуется голодание для животных (за исключением мышей) вечером накануне забора крови. Необходимо исследовать приведенный список параметров: глюкоза, азот мочевины, креатинин, общий белок, альбумин, кальций, натрий, калий, общий холестерин, как минимум два анализа на гепатобилиарный статус (аланинаминотрансфераза, аспартатаминотрансфераза, глютаминат дегидрогеназа, желчные кислоты), и как минимум два анализа на гепатобилиарный анализ (щелочная фосфатаза, гамма-глутаминтрансфераза, 5-нуклеотидаза, общий билирубин, желчные кислоты). Другие клинические химические показатели, такие как триглицерид натощак, специфические гормоны и холинэстераза могут быть измерены в случае необходимости в зависимости от токсичности вещества. В целом необходим гибкий подход в зависимости от наблюдаемого и/или ожидаемого воздействия каждого конкретного вещества.
5.9. Анализ мочи должен проводиться как минимум у 10 самцов и 10 самок каждой группы на образцах, собранных за одинаковые промежутки времени, как и в случае с гематологией и клинической химией. Нет необходимости проводить измерения в три месяца, если за предыдущие 90 дней при аналогичном уровне дозы не наблюдалось воздействие на мочу. В последние экспертные рекомендации по исследованию клинической патологии был включен следующий список параметров: внешний вид, объем, осмотическая концентрация раствора или относительная плотность, pH, общий белок и глюкоза. Другие исследования включают кетон, уробилиноген, билирубин и скрытую кровь. Дополнительные исследования могут быть использованы при необходимости расширить изучение наблюдаемых воздействий.
6.1. Макроскопическая аутопсия
6.1.1. Все животные, участвующие в исследовании, подвергаются полной, детальной макроскопической аутопсии, которая включает тщательное исследование наружной поверхности тела, всех отверстий, черепных, грудных и брюшных полостей и их содержимого. При этом может быть создан резерв (в группах для промежуточных умерщвлений или во вспомогательных группах) для измерений, ограниченных отдельными, важными показателями, такими как нейротоксичность или иммунотоксичность. Этих животных не нужно подвергать аутопсии и дальнейшим процедурам. Индикаторные животные могут подвергаться аутопсии в каждом отдельном случае по усмотрению руководителя исследования.
6.1.2. Значимые органы следует собрать у всех животных, исключая тех, что указаны выше. Надпочечник, мозг, придатки яичка, сердце, почки, печень, яичники, селезенка, яички, щитовидная железа (оценив постфиксацию, с паращитовидной железой) и матка всех животных (кроме тех, что были найдены умершими и/или были умерщвлены в промежутках между основными исследованиями) должны быть отсечены, если необходимо, от прилегающих тканей и взвешены как можно быстрее после отсечения для предотвращения высыхания. В случае если органы парные, например, почки, надпочечники, оба органа должны быть взвешены отдельно. В исследованиях с использованием мышей, взвешивание надпочечных желез не обязательно.
6.1.3. Ткани, которые подвергаются консервации в наиболее подходящем средстве фиксации в качестве образца ткани и для необходимого дальнейшего микроскопического исследования: все макроскопические повреждения, поджелудочная железа, аорта, мозг (включая полушария головного мозга, мозжечок и мозговой слой/варолиев мост), слепая кишка, шея, свертывающая железа, толстая кишка, двенадцатиперстная кишка, придаток семенника, глазные яблоки (включая сетчатку), бедро с суставами, желчный пузырь (для видов, отличных от крыс), гардерова железа, сердце, подвздошная кишка, тонкая кишка, почки, слезные железы (не обязательно), печень, легкие, лимфатические узлы (поверхностные и глубокие), молочные железы самок, [назальные ткани], пищевод, [обонятельная луковица], яичники, поджелудочная железа, паращитовидная железа, периферический нерв, слизистая, предстательная железа, [прямая кишка], слюнные железы, семенной пузырек, скелетные мышцы, кожа, спинной мозг (трех уровней: шейный, среднегрудной и поясничный), селезенка, [грудная кость], желудок (кардиальный отдел желудка, железистый желудок), [зубы], яички, вилочковая железа, щитовидная железа, [язык], трахея, мочевой пузырь, матка (включая шейку), [мочеточник], [уретра], влагалище и часть костного мозга и/или свежий пунктат костного мозга. Ткани, приведенные в квадратных скобках, не являются обязательными. В случае с парными органами, например, почки, надпочечники, следует сохранять оба органа. Любые другие органы, считающиеся на основе известных свойств исследуемого вещества возможными органами-мишенями, также следует сохранить. Для других органов/тканей (и в дополнение к отдельно сохраняемым тканям из дыхательных путей) список органов, как он установлен для перорального введения, должен быть пересмотрен.
6.2.1. Минимальными гистопатологическими анализами должны быть:
- все ткани из группы с высокой дозой и контрольной группы;
- все ткани животных, умерших или умерщвленных в течение исследования;
- все ткани, имеющие макроскопические аномалии;
- ткани органов-мишеней или ткани животных, имеющие изменения, связанные с проводимым исследованием, из группы, получавшей наивысшую дозу, и из всех других групп;
- в случае с парными органами, например, почки, надпочечники, должны быть исследованы оба органа.
6.2.2. Данные для каждого отдельного животного должны содержать все параметры по оценке воздействия. В дополнение, все данные должны быть сведены в табличной форме, отражающей для каждой тестовой группы количество животных на начало исследования; количество животных, умерших во время исследования или умерщвленных по гуманным соображениям, и время каждой смерти или умерщвления; количество обнаруженных признаков токсичности; описание наблюдаемых признаков токсичности, включая время начала, продолжительность и тяжесть любых токсических воздействий; количество животных, демонстрирующих патологию, тип патологии и процент животных, демонстрирующих каждый тип патологии.
6.2.3. Кроме данных, полученных в контроле исследования, в интерпретации результатов эксперимента важны данные контроля предыдущих исследований. Данные контроля предыдущих исследований должны использоваться, только если в текущем контроле имеются значительные отклонения, но приоритет над данными контроля предыдущих исследований должен иметь текущий контроль. Данные контроля предыдущих исследований должны предоставляться из той же лаборатории, а также должны соответствовать род, вид животных и направление исследований. Использование данных предыдущих исследований должно быть соотнесено с данными, накопленными в течение трех/пяти лет, предшествующих спорному исследованию.
6.2.4. По возможности, численные результаты должны быть оценены специальными и общепринятыми статистическими методами. Статистические методы и данные для анализа должны быть выбраны во время разработки исследования. При необходимости, этот выбор должен предусматривать корректировку выживаемости.
Отчет об исследовании должен содержать следующую информацию.
Исследуемое вещество:
- физические природа, чистота и физико-химические свойства;
- идентификационные данные;
- источник вещества;
- номер партии.
Среда (при необходимости):
- обоснование выбора среды (если это не вода).
Подопытные животные:
- вид/род и обоснование сделанного выбора;
- число, возраст, пол в начале исследования;
- происхождение, условия содержания, питание и так далее;
- масса каждого животного в начале исследования.
Данные об условиях проведения исследования:
- обоснование метода введения и выбора дозы;
- при необходимости, статистические методики, используемые для анализа данных;
- подробное описание приготовления состава тестируемого вещества/пищи, достигнутая концентрация, устойчивость и однородность вещества;
- способ введения вещества и подробное описание введения;
- фактическая доза (мг/кг в день) и переводной коэффициент от концентрации исследуемого вещества в пище/питьевой воде к фактической дозе, если возможно;
- качество пищи и воды.
Результаты:
- данные о выживших;
- масса/изменения массы;
- потребление еды, подсчет энергетической ценности, если проведен, и потребление воды, если возможно;
- реакция на токсичность по полу и уровню дозы, включая признаки токсичности;
- характер, охват и, если выявлена, тяжесть и продолжительность клинических наблюдений (были они промежуточными или постоянными);
- офтальмологический осмотр;
- гематологические анализы;
- клинические биохимические анализы;
- анализ мочи;
- результат любых исследований нейротоксичности или иммунотоксичности;
- конечная масса тела;
- масса органов и их соотношение, если возможно;
- данные аутопсии;
- детальное описание гистопатологических показателей, имеющих отношение к проводимому исследованию;
- данные абсорбции (если возможно).
Статистическая обработка результатов (где это возможно):
- масса тела до и после исследования;
- масса органов до и после исследования;
- потребление пищи или воды и энергетическая ценность пищи.
Изучение результатов включает:
- соотношение зависимости доза-ответ;
- рассмотрение любой формы воздействия;
- изучение возможности моделирования;
- данные контроля предыдущих исследований;
- значимость для человека.
Заключение.
ИЗУЧЕНИЕ ХРОНИЧЕСКОЙ ТОКСИЧНОСТИ
ПРИ ИНГАЛЯЦИОННОМ ПОСТУПЛЕНИИ
Идентичен международному документу OECD TG N 452 "Chronic Toxicity Studies" (ОЭСР Руководство N 452 "Исследования хронической токсичности"). Принят 7 сентября 2009 года. Перевод с английского языка (en). Степень соответствия - модифицированный (MOD).
1.1. Настоящий метод исследования устанавливает порядок проведения исследования хронической токсичности химических веществ и продукции на их основе (далее - веществ) при ингаляционном поступлении.
1.2. Исследование хронической токсичности предоставляет информацию о возможной опасности для здоровья, вероятно, возрастающей от повторяющихся воздействий в течение большей части продолжительности жизни грызунов. Исследование позволяет выявить данные о токсическом воздействии вещества, определить органы-мишени. Также в ходе его определяют наивысший уровень воздействия, при котором не наблюдается вредный эффект воздействия (NOAEL), что может быть использовано для установления критерия безопасности воздействия на организм человека. Следует также подчеркнуть необходимость тщательного клинического наблюдения за животными для получения максимально возможного количества информации.
1.3. В проведении исследования хронической токсичности необходимо всегда придерживаться основополагающих принципов и соображений, изложенных в Руководстве ОЭСР N 19
[45].
1.4. Метод выбора основной концентрации зависит от первоначальных целей или задач исследования. При выборе подходящего уровня концентрации должен быть достигнут баланс между риском отсева с одной стороны и характеристикой ответных реакций на низкие концентрации и их значимость - с другой.
1.5. Проведение комбинированного исследования хронической токсичности и канцерогенности требует большего анализа в сравнении с исследованиями хронической токсичности и канцерогенности, проводимыми раздельно. Следует внимательно отнестись к принципам выбора при проведении комбинированного исследования хронической токсичности и канцерогенности. Раздельные исследования могут являться необходимыми по определенным нормативным требованиям.
2.1. Данный метод исследования предназначен, прежде всего, для исследований, осуществляемых на грызунах. Если проведение таких исследований потребуется на особях другого вида, изложенные принципы и методы также могут быть использованы, с надлежащими изменениями, в соответствии с целями и Руководством ОЭСР N 116.
2.2. До начала проведения исследования испытательной лабораторией должна быть проанализирована вся доступная информация по исследуемому веществу и с тем, чтобы сфокусировать план исследования на более успешное тестирование возможной хронической токсичности и минимизировать использование животных. Данные, которые будут содействовать проведению исследования, включают: идентификацию, химическую структуру и физико-химические свойства исследуемого вещества; любую информацию о механизме действия; результаты любых in vitro и in vivo исследований токсичности; предполагаемое использование и вероятное воздействие на человеческий организм; доступные данные испытаний (Q)SAR и токсические свойства структурно родственных веществ; имеющиеся токсикокинетические данные (однократная доза, а также кинетика повторной дозы, при наличии) и данные, полученные из других исследований повторного воздействия. Изучение хронической токсичности может быть проведено после получения первоначальных данных по изучению токсичности повторной дозы в течение 28 и/или 90 дней. Поэтапный подход к исследованию хронической токсичности следует рассматривать как часть общей оценки возможного неблагоприятного воздействия вещества на здоровье человека.
2.3. Цели исследований хронической токсичности, охватываемые настоящими методическими рекомендациями, включают:
- определение опасных свойств химических веществ;
- определение органов-мишеней;
- описание зависимости концентрация-ответ;
- определение наивысшего уровня воздействия, при котором не наблюдается вредный эффект (NOAEL), или исходной точки для установления статистически достоверного нижнего предела концентрации, которая предопределяет изменения в ответных реакциях на вредное воздействие, что соответствует ЕС10 (ВМС);
- прогнозирование хронической токсичности на уровне организма человека при ингаляционном поступлении вещества;
- предоставление данных для проверки гипотез относительно механизма действия.
3.1.1. Исследуемое вещество вводится ежедневно порциями нескольким группам подопытных животных в течение 12 месяцев, хотя можно также избрать более длительный или короткий периоды. Этот период был выбран в связи с тем, что он достаточен для того, чтобы стали очевидны любые проявления кумулятивной токсичности, не смешиваясь при этом с проявлениями возрастных изменений. Отклонение от продолжительности воздействия в 12 месяцев должно быть обосновано, особенно в случае сокращения срока. Тестируемое вещество вводится ингаляционно.
3.1.2. План исследования может также включать одно или несколько промежуточных умерщвлений, например, к 3 и 6 месяцам. Для этого необходимо добавить дополнительные группы животных.
3.1.3. В течение периода приема вещества животных тщательно обследуют на предмет выявления признаков интоксикации. Животные, которые умерли или были умерщвлены в ходе тестирования, подвергаются аутопсии. По окончании исследования выживших животных умерщвляют и также проводят аутопсию.
Выбор вида
3.2.1. Данный метод исследования охватывает главным образом оценку и анализ хронической ингаляционной токсичности на грызунах, хотя подобные исследования на негрызунах могут понадобиться в соответствии с определенными нормативными требованиями. Выбор вида животных должен быть обоснован. План и проведение исследования хронической токсичности на видах негрызунов, когда это необходимо, должны быть основаны на принципах, содержащих в данном стандарте. Дополнительная информация по выбору вида и рода экспериментальных животных содержится в Руководстве ОЭСР N 116.
3.2.2. Предпочтительным видом грызунов являются крысы, хотя могут использоваться и другие виды, например, мыши. Крысы и мыши были выбраны в качестве экспериментальных моделей за их сравнительно короткую продолжительность жизни, широкое применение в фармакологических и токсикологических исследованиях, их восприимчивость к индукции новообразований и доступность этих хорошо изученных видов. Вследствие этих качеств, имеется большое количество информации об их психологии и патологии. Следует использовать молодых здоровых взрослых животных лабораторных видов. Исследование хронической токсичности следует проводить на животных того же рода и того же происхождения, что и животные, использовавшиеся в предварительных токсикологических исследованиях небольшой продолжительности. Женские особи должны быть нерожавшими и не беременны.
Подготовка
3.2.3. Должны использоваться здоровые животные, которые прошли адаптацию в лабораторных условиях как минимум в течение 7 дней и над которыми прежде не ставились эксперименты. В случае с грызунами, введение концентрации следует начинать как можно раньше, после отлучения от матери и акклиматизации, желательно, до того как животным исполнится 8 недель. Тестируемые животные должны быть описаны по роду, виду, происхождению, полу, массе и возрасту. В начале исследования разница в массе подопытных животных должна быть минимальна и не превышать +/- 20% от средней массы всех животных, задействованных в исследовании, отдельно каждого пола. Животные должны быть случайным образом распределены на контрольную и тестовую группы. После распределения заметной разницы в средней массе между группами каждого пола быть не должно. Если же она имеется, следует, по возможности, повторить распределение. Каждое животное должно быть помечено индивидуальным идентификационным номером, и этот номер следует нанести на перманентной основе, с помощью татуировки, вживления микрочипа или другим соответствующим способом.
Содержание
3.2.4. Животные должны находиться отдельно или содержаться в клетках небольшими группами одного пола. Отдельное проживание следует применять только, если это научно обосновано. Клетки надо размещать таким образом, чтобы свести к минимуму возможное влияние их местоположения. Температура в помещении с экспериментальными животными должна быть (22 +/- 3) °C. Относительная влажность должна быть как минимум 30% и не должна превышать 70% (если только не проводится уборка помещения) оптимальная влажность - 50 - 60%. Свет должен быть искусственным, с последовательностью: 12 ч - свет, 12 ч - темнота. Для кормления могут использоваться традиционные лабораторные диеты с неограниченным количеством питьевой воды. Диета должна отвечать всем потребностям в питании тестируемого вида. Содержание загрязняющих веществ, которые могут повлиять на результаты исследования (остатки пестицидов, стойкие органические загрязнители, фитоэстрогены, тяжелые металлы и микотоксины) должны быть, по возможности, минимизированы. Аналитические данные по питанию и уровню загрязняющих веществ в пище должны собираться периодически, как минимум в начале исследования и когда меняется используемая партия, и их необходимо включать в заключительный отчет. Должны также предоставляться аналитические данные по питьевой воде, используемой в исследовании.
3.3. Основное исследование
Количество и пол
3.3.1. Должны использоваться животные обоих полов. Следует использовать такое количество животных, чтобы по окончании исследования в каждой группе оставалось достаточное их количество для биологического и статистического анализов. Как правило, грызунов - минимум 20 животных, а негрызунов - как минимум по 4 животных в каждой группе каждого пола для каждого уровня концентрации.
3.3.2. В исследованиях, где задействованы мыши, может возникнуть необходимость в дополнительных животных в каждой группе для проведения всех необходимых гематологических анализов. В зависимости от цели исследования можно увеличить статистическую значимость основных показателей, распределив неравномерно животных по концентрациям.
Резерв для промежуточных умерщвлений, вспомогательные группы и индикаторные животные
3.3.3. При исследовании необходимо сделать резерв для промежуточных умерщвлений, например, в 6 месяцев, для получения данных о развитии токсических изменений и данных о механизме воздействия, если это научно обосновано. Также нужно задействовать вспомогательные группы для отслеживания обратимости любых токсических изменений, вызванных химическими веществами при исследовании. Как правило, их распределяют на группу с самым высоким уровнем концентрации и контрольную группу. Если запланировано промежуточное умерщвление, количество животных, включенных в план исследования, должно быть увеличено на число животных, которое планируется умертвить до завершения исследования. Этим животным необходимо провести такое же обследование (включая массу тела, потребление воды и пищи, гематологические и клинические биохимические показатели, выявление патологий), как и животным в стадии хронической токсичности основного исследования. Нужно также сделать резерв (в группах промежуточного умерщвления) для измерений, ограниченных особыми, ключевыми показателями, такими как нейротоксичность или иммунотоксичность.
Концентрация
3.3.4. Необходимо использовать как минимум три уровня концентрации и параллельный контроль, за исключением тех случаев, когда проводится исследование с максимально возможной концентрацией. Чаще всего при выборе уровней концентрации основываются на результатах краткосрочных исследований повторной концентрации или исследованиях по обнаружению диапазона концентраций. Необходимо принимать во внимание любые существующие токсикологические и токсикокинетические данные по тестируемому или родственным ему веществам.
3.3.5. Если нет ограничений по физико-химической природе или биологическому воздействию исследуемого вещества, должна быть выбрана самая высокая концентрация для определения основных органов-мишеней и токсичных эффектов воздействия. Однако следует избегать страданий, тяжелой токсичности, болей или смерти. Самый высокий уровень концентрации следует выбрать для получения признаков интоксикации, как, например, о токсичности свидетельствуют изменения уровня сывороточного фермента или невозможность набрать массу (примерно 10%).
3.3.6. В зависимости от целей исследования нужно выбрать наивысшую концентрацию ниже, чем концентрация, подтверждающая наличие токсичности, например, если концентрация вызывает побочное действие, которое, тем не менее, слабо отражается на продолжительности жизни или массе тела.
3.3.7. Разница между концентрациями должна быть направлена на определение зависимости концентрация-ответ и установление наивысшего уровня концентрации, при которой не наблюдается вредный эффект воздействия (NOAEL), или других предполагаемых результатов исследования, например ВМС при самом низком уровне концентрации. Условия, которые должны быть приняты во внимание при установлении нижних концентраций, включают: предполагаемый наклон кривой зависимости концентрация-ответ, концентрации, при которых могут происходить важные изменения в метаболизме или вид токсического действия, когда предполагается пороговая величина, или когда предполагается исходная точка для экстраполяции низкой концентрации.
3.3.8. Избранная разница в уровне концентрации зависит от параметров тестируемого вещества. Диапазон 2 - 4 зачастую оптимален для установления снижения уровней концентрации, а при использовании очень больших интервалов (например, диапазон примерно 6 - 10) между концентрациями предпочтительно добавление четвертой тестируемой группы. При выборе концентрации и разницы в уровнях концентраций следует использовать Руководство ОЭСР N 116, но в целом следует избегать использования диапазона выше 10, а его применение должно быть обосновано.
3.3.9. При выборе концентрации для проведения исследований хронической токсичности и канцерогенности необходимо учесть:
- знания или предположения о нелинейностях или точках изгиба в зависимости концентрация-ответ;
- фармакокинетику и концентрацию, когда метаболическая индукция, насыщение или нелинейность между внешними и внутренними концентрациями происходят или не происходят;
- признаки поражения, влияния или показатели воздействия на основные биологические процессы;
- основные (или предполагаемые) проявления механизма действия, как то концентрация, при введении которых начинает увеличиваться цитотоксичность, нарушается гормональный уровень, подавляется гомеостатический механизм и т.д.;
- интервалы кривой концентрация-эффект, где необходима чрезвычайно надежная оценка, например, в пределах ожидаемых ВМС или предполагаемых пороговых величин;
- уровни анализа предполагаемого воздействия на организм человека.
3.3.10. Контрольная группа не должна получать исследуемое вещество. С животными из контрольной группы следует обращаться так же, как и с тестируемыми группами. Если используется среда, контрольная группа должна получать ее в максимальном объеме от используемого в группах.
3.3.11. При желании, для самок на протяжении периода беременности дозировка может быть установлена в зависимости от массы тела в 0-й или 5-й день беременности.
Введение исследуемого вещества
3.3.12. Исследуемое вещество вводится ингаляционно. Способ и метод введения зависят от цели исследования, физическо-химических свойств вещества, его биологической усвояемости и основного способа и метода введения в организм человека. Целесообразность способа и метода введения должна быть обоснована.
3.3.13. При ингаляционном введении животные получают концентрацию исследуемого вещества ежедневно (семь дней в неделю), на протяжении как минимум 6 ч, как правило, в течение 1 года. Любой другой режим концентрации, например, пять дней в неделю, должен быть обоснован.
Продолжительность исследования
3.3.14. Несмотря на то, что данный метод рассчитан на 12-месячное исследование хронической токсичности, план исследования допускает применение как более короткого (например, 6 или 9 месяцев), так и более длинного (например, 18 или 24 месяца) периода исследования в зависимости от целей и задач эксперимента. Отклонения от продолжительности воздействия в 12 месяцев должны быть обоснованы, особенно в случае сокращения сроков. Вспомогательные группы, включенные для наблюдения за обратимостью любых токсических изменений, вызванных химическим веществом, следует держать без концентраций не менее 4 недель, но не более одной трети от общего периода исследования после прекращения воздействия.
3.4.1. Все животные должны исследоваться на предмет болезненности или смерти и на наличие особых токсикологических значимых признаков, в частности нейрофункциональных и нейроповеденческих, обычно в начале и конце каждого дня. Дополнительно, как минимум один раз, животные должны проверяться в выходные и праздничные дни. Общее клиническое наблюдение должно осуществляться как минимум один раз в день, предпочтительно в одно и то же время, принимая во внимание период максимума предполагаемого воздействия концентрации. Клиническое состояние животных следует фиксировать.
3.4.2. Подробное клиническое наблюдение должно быть проведено как минимум один раз до начала воздействия (учитывая предмет исследования), к концу первой недели исследования и впоследствии ежемесячно. Протокол наблюдений должен быть согласован так, чтобы обеспечить минимальную разницу между отдельными наблюдателями, и независимость от тестовой группы. Эти обследования необходимо делать вне клетки, каждый раз в одном месте, в одно и то же время. Их следует тщательно фиксировать, желательно используя систему количественных показателей, четко оговоренную испытательной лабораторией. Необходимо следить за тем, чтобы варьирование в условиях наблюдения было минимальным. Отмеченные признаки должны включать, но не только, изменения кожи, шерсти, глаз, слизистых оболочек, возникновение секреции и экскреции и автономной активности (например, слезоотделение, пилоэрекция, размер зрачка, аномальный способ дыхания). Изменения в походке, положении тела, реакции на прикосновение, как и наличие клонических или тонических движений, стереотипах (например, чрезмерное умывание, однообразные движения по кругу) или аномалиях поведения (например, членовредительство, хождение задом наперед) также должны регистрироваться.
3.4.3. Офтальмологический осмотр с использованием офтальмоскопа или другого подходящего инструмента необходимо проводить всем животным до первого введения исследуемого вещества. По окончании исследования этот осмотр проводится всем животным, но, как минимум, группе с высокой концентрацией и контрольной группе. Если обнаружены изменения, имеющие отношение к терапии, следует осмотреть всех животных. Если структурный анализ или другие данные говорят об офтальмологической токсичности, тогда частота офтальмологических осмотров должна быть увеличена.
3.4.4. Для химических веществ, для которых предварительные исследования на токсичность с повторным приемом концентрации в течение 28 и/или 90 дней показали потенциальную возможность оказывать нейротоксическое воздействие, сенсорную химическую активность к раздражителям различного типа (например, слуховые, визуальные и проприоцептивные раздражители), оценку силы захвата и двигательной активности можно проводить, по выбору, до начала исследования и затем в 3, 6, 9 и 12 месяцев. Однако можно использовать и другие, не приведенные в списке процедуры.
3.4.5. Для химических веществ, где предварительные исследования на токсичность с повторным приемом концентрации через 28 и/или 90 дней показали потенциальную возможность оказывать иммунотоксическое воздействие, дальнейшие исследования этого результата могут по желанию проводиться до 12 месяцев.
Масса тела, потребление пищи/воды и питательность пищи
3.4.6. Все животные должны взвешиваться в начале исследования, как минимум, раз в неделю первые 13 недель и, как минимум, ежемесячно в дальнейшем. Измерения потребления пищи и питательности пищи следует производить еженедельно первые 13 недель и как минимум ежемесячно в дальнейшем. Необходимо также учитывать потребление воды для исследований, в которых активность потребления воды изменяется. Измерения потребления воды следует проводить еженедельно первые 13 недель и как минимум ежемесячно в дальнейшем, когда вещество вводится через питьевую воду.
Гематология и клиническая биохимия
3.4.7. В исследованиях, в которых используются грызуны, гематологические исследования необходимо проводить как минимум на 10 самцах и 10 самках каждой группы в 3, 6 и 12 месяцев, всегда используя одних и тех же животных. В случае с мышами могут потребоваться вспомогательные животные с тем, чтобы проводить все необходимые гематологические исследования. В исследованиях с негрызунами пробы берутся у меньшего количества животных (например, 4 особи каждого пола каждой группы в случае с исследованием собак). Нет необходимости проводить измерения в три месяца, если за предыдущие 90 дней при аналогичном уровне концентрации не наблюдалось воздействия на гематологические параметры. Образцы должны быть собраны к концу запланированного периода исследования, в период исследования к 3 и 6 месяцам и к 12 месяцу непосредственно перед или во время процедуры умерщвления животных. Пробы крови следует брать из указанных мест, например, сердечная пункция или из ретроглазной пазухи и, по возможности, хранить в подходящих условиях. Необходимо исследовать приведенный список параметров: общая и лейкоцитарная формула, содержание эритроцитов, содержание тромбоцитов, концентрация гемоглобина, гематокрит (гематокритное число), среднее гематокритное число (MCV), среднее содержание гемоглобина в эритроцитах (MCH), концентрация гемоглобина в эритроцитах (MCHC), протромбиновое время и время образования и активности тромбопластина. Кроме того, необходимо исследовать тельца Гейнца или другую атипичную морфологию эритроцитов и метгемоглобин, если присутствуют любые признаки анемии или других нарушений кроветворения. Если химические вещества оказывают влияние на кроветворную систему, можно также измерить число ретикулярных клеток и цитологию костного мозга, хотя они не обязательны для регулярного проведения.
3.4.8. Клинические биохимические показатели при исследовании токсического воздействия на ткани, особенно влияние на почки и печень, следует определять в пробах крови, полученных от как минимум 10 самцов и 10 самок каждой группы за одинаковые временные интервалы как предписано для гематологических исследований, всегда используя одних и тех же животных. Для мышей, могут потребоваться вспомогательные животные с тем, чтобы проводить все необходимые клинические биохимические исследования. Нет необходимости проводить измерения в три месяца, если за предыдущие 90 дней при аналогичном уровне концентрации не наблюдалось воздействие на клинические биохимические параметры. Рекомендуется голодание для животных (за исключением мышей) вечером накануне забора крови. Необходимо исследовать приведенный список параметров: глюкоза, моча (азот мочевины), креатинин, общий белок, альбумин, кальций, натрий, калий, общий холестерин, как минимум два анализа на гепатоцеллюлярный анализ (аланин-аминотрансфераза, аспартат-аминотрансфераза, глютаминат дегидрогеназа, желчные кислоты) и как минимум два анализа на гепатобилиарный анализ (щелочная фосфатаза, гамма-глутаминтрансфераза, 5-нуклеотидаза, общий билирубин, желчные кислоты). Другие клинические химические показатели, такие как триглицерид натощак, специфические гормоны и холинэстераза могут быть измерены в случае необходимости в зависимости от токсичности вещества. В целом необходим гибкий подход в зависимости от наблюдаемого и/или ожидаемого воздействия каждого конкретного вещества.
3.4.9. Анализ мочи должен проводиться как минимум у 10 самцов и 10 самок каждой группы на образцах, собранных за одинаковые промежутки времени, как и в случае с гематологией и клинической химией. Нет необходимости проводить измерения в три месяца, если за предыдущие 90 дней при аналогичном уровне концентрации не наблюдалось воздействие на мочу. В последние экспертные рекомендации по исследованию клинической патологии был включен следующий список параметров: внешний вид, объем, осмотическая концентрация раствора или относительная плотность, pH, общий белок и глюкоза. Другие исследования включают кетон, уробилиноген, билирубин и скрытую кровь. Дополнительные исследования могут быть использованы при необходимости расширить изучение наблюдаемых воздействий.
Макроскопическая аутопсия
3.5.1. Все животные, участвующие в исследовании, подвергаются полной, детальной макроскопической аутопсии, которая включает тщательное исследование наружной поверхности тела, всех отверстий, черепных, грудных и брюшных полостей и их содержимого. При этом мог быть сделан резерв (в группах для промежуточных умерщвлений или во вспомогательных группах) для измерений, ограниченных отдельными, важными показателями, такими как нейротоксичность или иммунотоксичность. Этих животных не нужно подвергать аутопсии и дальнейшим процедурам. Индикаторные животные могут требовать аутопсию в каждом отдельном случае, на усмотрение руководителя исследования.
3.5.2. Значимые органы следует собрать у всех животных, исключая тех, что указаны выше. Надпочечник, мозг, придатки яичка, сердце, почки, печень, яичники, селезенка, яички, щитовидная железа (оценив постфиксацию, с паращитовидной железой) и матка всех животных (кроме тех, что были найдены умершими и/или были промежуточно умерщвлены) должны быть отсечены, если необходимо, от прилегающих тканей и взвешены как можно быстрее после отсечения для предотвращения высыхания. В случае если органы парные, например, почки, надпочечники, оба органа должны быть взвешены отдельно. В исследованиях с использованием мышей взвешивание надпочечных желез не обязательно.
3.5.3. Ткани, которые подвергаются консервации в наиболее подходящем средстве фиксации в качестве образца ткани и для необходимого дальнейшего микроскопического исследования: все макроскопические повреждения, поджелудочная железа, аорта, мозг (включая полушария головного мозга, мозжечок и мозговой слой/варолиев мост), слепая кишка, шея, свертывающая железа, толстая кишка, двенадцатиперстная кишка, придаток семенника, глазные яблоки (включая сетчатку), бедро с суставами, желчный пузырь (для видов, отличных от крыс), гардерова железа, сердце, подвздошная кишка, тонкая кишка, почки, слезные железы (не обязательно), печень, легкие, лимфатические узлы (поверхностные и глубокие), молочные железы самок, [назальные ткани], пищевод, [обонятельная луковица], яичники, поджелудочная железа, паращитовидная железа, периферический нерв, слизистая, предстательная железа, [прямая кишка], слюнные железы, семенной пузырек, скелетные мышцы, кожа, спинной мозг (трех уровней: шейный, среднегрудной и поясничный), селезенка, [грудная кость], желудок (кардиальный отдел желудка, железистый желудок), [зубы], яичко, вилочковая железа, щитовидная железа, [язык], трахея, мочевой пузырь, матка (включая шейку), [мочеточник], [уретра], влагалище и часть костного мозга и/или свежий пунктат костного мозга. Ткани, приведенные в квадратных скобках, не являются обязательными. В случае с парными органами, например, почки, надпочечники, следует сохранять оба органа. Любые другие органы, считающиеся на основе известных свойств исследуемого вещества возможными органами-мишенями, также следует сохранить. Для других органов/тканей (и в дополнение к отдельно сохраняемым тканям из дыхательных путей) список органов, как он установлен для перорального введения, должен быть пересмотрен.
Гистопатология
3.5.4. Минимальными гистопатологическими анализами должны быть:
- все ткани из группы с высокой концентрацией и контрольной группы;
- все ткани животных, умерших или умерщвленных в течение исследования;
- все ткани, имеющие макроскопические аномалии;
- ткани органов-мишеней или ткани животных, имеющие изменения, связанные с проводимым исследованием, из группы, получавшей наивысшую концентрацию, и из всех других групп;
- в случае с парными органами, например, почки, надпочечники, должны быть исследованы оба органа.
3.5.5. Данные для каждого отдельного животного должны содержать все параметры по оценке воздействия. В дополнение, все данные должны быть сведены в табличной форме, отражающей для каждой тестовой группы количество животных на начало исследования; количество животных, умерших во время исследования или умерщвленных по гуманным соображениям, и время каждой смерти или умерщвления; количество обнаруженных признаков токсичности; описание наблюдаемых признаков токсичности, включая время начала, продолжительность и тяжесть любых токсических воздействий; количество животных, демонстрирующих патологию, тип патологии и процент животных, демонстрирующих каждый тип патологии.
3.5.6. Кроме данных, полученных в контроле исследования, в интерпретации результатов эксперимента важны данные контроля предыдущих исследований. Данные контроля предыдущих исследований должны использоваться, только если в текущем контроле имеются значительные контроли, но приоритет над данными контроля предыдущих исследований должен иметь текущий контроль. Данные контроля предыдущих исследований должны предоставляться из той же лаборатории; должны соответствовать род, вид животных и направление исследований. Использование данных предыдущих исследований должно быть соотнесено с данными, накопленными в течение трех/пяти лет, предшествующих спорному исследованию.
3.5.7. Численные результаты должны быть оценены специальными и общепринятыми статистическими методами. Статистические методы и данные для анализа должны быть выбраны во время разработки исследования. При необходимости, этот выбор должен предусматривать корректировку выживаемости.
Отчет об исследовании должен содержать следующую информацию.
Исследуемое вещество:
- физические природа, чистота и физико-химические свойства;
- идентификационные данные;
- источник вещества;
- номер партии.
Среда (при необходимости):
- обоснование выбора среды (если это не вода).
Подопытные животные:
- вид/род и обоснование сделанного выбора;
- число, возраст, пол в начале исследования;
- происхождение, условия содержания, питание и так далее;
- масса каждого животного в начале исследования.
Данные об условиях проведения исследования:
- обоснование метода введения и выбора концентрации;
- при необходимости, статистические методики, используемые для анализа данных;
- подробное описание приготовления состава тестируемого вещества/пищи, достигнутая концентрация, устойчивость и однородность вещества;
- способ введения вещества и подробное описание введения;
- описание носа и/или всего тела;
- качество пищи и воды.
Результаты:
- данные о выживших;
- масса/изменения массы;
- потребление еды, подсчет энергетической ценности, если проведен, и потребление воды, если возможно;
- реакция на токсичность по полу и уровню концентрации, включая признаки токсичности;
- характер, охват и, если выявлена, тяжесть и продолжительность клинических наблюдений (были они промежуточными или постоянными);
- офтальмологический осмотр;
- гематологические анализы;
- клинические биохимические анализы;
- анализ мочи;
- результат любых исследований нейротоксичности или иммунотоксичности;
- конечная масса тела;
- масса органов и их соотношение, если возможно;
- данные аутопсии;
- детальное описание гистопатологических показателей, имеющих отношение к проводимому исследованию;
- данные абсорбции (если возможно).
Статистическая обработка результатов (где это возможно):
- масса тела до и после исследования;
- масса органов до и после исследования;
- потребление пищи или воды и энергетическая ценность пищи.
Изучение результатов включает:
- соотношение зависимости концентрация-ответ;
- рассмотрение любой формы воздействия;
- изучение возможности моделирования;
- данные контроля предыдущих исследований;
- значимость для человека.
Заключение.
ИЗУЧЕНИЕ ХРОНИЧЕСКОЙ ТОКСИЧНОСТИ ПРИ НАКОЖНОМ ПОСТУПЛЕНИИ
Является частью международного документа OECD TG N 452 "Chronic Toxicity Studies" (ОЭСР Руководство N 452 "Исследования хронической токсичности"). Принят 7 сентября 2009 года. Перевод с английского языка (en). Степень соответствия - модифицированный (MOD).
1.1. Настоящий метод исследования устанавливает порядок проведения исследования хронической токсичности химических веществ и продукции на их основе (далее - веществ) при накожном поступлении.
1.2. Исследование хронической токсичности позволяет получить информацию о возможной опасности для здоровья, вероятно, возрастающей от повторяющихся воздействий в течение большей части продолжительности жизни грызунов. Исследование направлено на выявление данных о токсическом воздействии вещества, определение органов-мишеней и выявление возможности накопления (аккумуляции). Также в ходе его определяют наивысший уровень воздействия, при котором не наблюдается вредный эффект воздействия (NOAEL), что может быть использовано для установления критерия безопасности воздействия на организм человека. Следует также подчеркнуть необходимость тщательного клинического наблюдения за животными для получения максимально возможного количества информации.
1.3. В проведении исследования хронической токсичности необходимо всегда придерживаться основополагающих принципов и соображений, изложенных в Руководстве ОЭСР N 19
[45], по распознаванию, оценке и использованию клинических признаков, таких как гуманное умерщвление подопытных животных, используемых в оценке безопасности.
1.4. Подробные правила и принципы выбора дозы для исследований хронической токсичности и канцерогенности отражены в Руководстве ОЭСР N 116. Метод выбора основной дозы зависит от первоначальных целей или задач исследования. При выборе уровня дозы должен быть достигнут баланс между риском гибели животных с одной стороны и характеристикой ответных реакций на низкие дозы и их значимостью - с другой. Это чрезвычайно важно в случае комбинированного исследования хронической токсичности и канцерогенности.
1.5. Проведение комбинированного исследования хронической токсичности и канцерогенности требует большего анализа в сравнении с исследованиями хронической токсичности и канцерогенности, проводимыми раздельно. Следует внимательно отнестись к принципам выбора при проведении комбинированного исследования хронической токсичности и канцерогенности. Раздельные исследования могут являться необходимыми по определенным нормативным требованиям.
2.1. Данные методические рекомендации предназначены, прежде всего, для исследований, осуществляемых на грызунах. Если проведение таких исследований потребуется на особях другого вида, изложенные принципы и методы также могут быть использованы, с надлежащими изменениями, в соответствии с целями и руководством ОЭСР N 116.
2.2. До начала проведения исследования испытательной лабораторией должна быть проанализирована вся доступная информация по исследуемому веществу и с тем, чтобы сфокусировать план исследования на более успешное тестирование возможной хронической токсичности и минимизировать использование животных. Данные, которые будут содействовать проведению исследования, включают: идентификацию, химическую структуру и физико-химические свойства исследуемого вещества; любую информацию о механизме действия; результаты любых in vitro и in vivo исследований токсичности; предполагаемое использование и вероятное воздействие на человеческий организм; доступные данные испытаний (Q)SAR и токсические свойства структурно родственных веществ; имеющиеся токсикокинетические данные (однократная доза, а также кинетика повторной дозы, при наличии) и данные, полученные из других исследований повторного воздействия. Изучение хронической токсичности может быть проведено после получения первоначальных данных по изучению токсичности повторной дозы в течение 28 и/или 90 дней. Поэтапный подход к исследованию хронической токсичности следует рассматривать как часть общей оценки возможного неблагоприятного воздействия вещества на здоровье человека.
2.3. Цели исследований хронической токсичности при накожном поступлении, охватываемые настоящими методическими рекомендациями, включают:
- определение опасных свойств химических веществ;
- определение органов-мишеней;
- описание зависимости доза-ответ;
- определение наивысшего уровня воздействия, при котором не наблюдается вредный эффект (NOAEL) или исходной данных для установления нижней 95%-й доверительной границы реперной дозы ЕД10 (BMD);
- прогнозирование хронической интоксикации человека при внутрижелудочном поступлении вещества;
- предоставление данных для проверки гипотез относительно механизма действия.
3.1. Исследуемое вещество наносится на кожу ежедневно порциями нескольким группам подопытных животных в течение 12 месяцев, хотя можно также избрать более длительный или короткий периоды. Этот период был выбран в связи с тем, что он достаточен для того, чтобы стали очевидны любые проявления кумулятивной токсичности, не смешиваясь при этом с проявлениями возрастных изменений. Отклонение от продолжительности воздействия в 12 месяцев должно быть обосновано, особенно в случае сокращения срока. План исследования может также включать одно или несколько промежуточных умерщвлений, например, через 3 и 6 месяцев. Для этого необходимо добавить дополнительные группы животных. Животные, которые умерли или были умерщвлены в ходе тестирования, подвергаются аутопсии. По окончании исследования выживших животных умерщвляют и также проводят аутопсию.
Подбор видов животных
4.1.1. Данные методические рекомендации охватывают главным образом оценку и анализ хронической токсичности на грызунах, хотя подобные исследования на негрызунах могут понадобиться по определенным нормативным требованиям. Выбор вида животных должен быть обоснован. План и проведение исследования хронической токсичности на видах негрызунов, когда это необходимо, должны быть основаны на принципах, содержащихся в данном стандарте. Дополнительная информация по выбору вида и рода экспериментальных животных содержится в Руководстве ОЭСР N 116.
4.1.2. Предпочтительным видом грызунов являются крысы, хотя могут использоваться и другие виды, например, мыши. Крысы и мыши были выбраны в качестве экспериментальных моделей за их сравнительно короткую продолжительность жизни, широкое применение в фармакологических и токсикологических исследованиях, их восприимчивость к индукции новообразований и доступность этих хорошо изученных видов. Вследствие этих качеств имеется большое количество информации об их психологии и патологии. Следует использовать молодых здоровых половозрелых животных лабораторных видов. Исследование хронической токсичности следует проводить на животных того же рода и того же происхождения, что и животные, использовавшиеся в предварительных токсикологических исследованиях небольшой продолжительности. Женские особи должны быть нерожавшими и небеременными.
Содержание и кормление
4.1.3. Животные должны находиться отдельно или содержаться в клетках небольшими группами одного пола. Отдельное проживание следует применять только, если это научно обосновано. Клетки надо размещать таким образом, чтобы свести к минимуму возможное влияние их местоположения. Температура в помещении с экспериментальными животными должна быть (22 +/- 3) °C. Относительная влажность должна быть как минимум 30% и не должна превышать 70% (если только не проводится уборка помещения) оптимальная влажность - 50 - 60%. Свет должен быть искусственным, с последовательностью: 12 ч - свет, 12 ч - темнота. Для кормления могут использоваться традиционные лабораторные диеты с неограниченным количеством питьевой воды. Диета должна отвечать всем потребностям в питании тестируемого вида. Содержание загрязняющих веществ, которые могут повлиять на результаты исследования (остатки пестицидов, стойкие органические загрязнители, фитоэстрогены, тяжелые металлы и микотоксины) должны быть по возможности минимизированы. Аналитические данные по питанию и уровню загрязняющих веществ в пище должны собираться периодически, как минимум в начале исследования и когда меняется используемая партия, и их следует включать в заключительный отчет. Должны также предоставляться аналитические данные по питьевой воде, используемой в исследовании.
Подготовка животных
4.1.4. Должны использоваться здоровые животные, которые прошли адаптацию в лабораторных условиях как минимум в течение 7 дней и над которыми прежде не ставились эксперименты. В случае с грызунами воздействие следует начинать как можно раньше, после отлучения от матери и адаптации, желательно до того, как животным исполнится 8 недель. Тестируемые животные должны быть описаны по роду, виду, происхождению, полу, массе и возрасту. В начале исследования разница в массе подопытных животных должна быть минимальна и не превышать +/- 20% от средней массы всех животных, задействованных в исследовании, отдельно каждого пола. Животные должны быть случайным образом распределены на контрольную и тестовую группы. После распределения заметной разницы в средней массе между группами каждого пола быть не должно. Если же она имеется, следует, по возможности, повторить распределение. Каждое животное должно быть помечено индивидуальным идентификационным номером, и этот номер следует нанести на перманентной основе, с помощью татуировки, вживления микрочипа или другим соответствующим способом.
4.1.5. Приблизительно за 24 ч до начала исследования шерстка должна быть удалена - выстрижена или выбрита - со спинной части тела животного. При стрижке или бритье необходимо быть осторожным, чтобы не повредить кожу животного: это может повлиять на процесс всасываемости. Не меньше 10% поверхности тела должны быть очищены для нанесения испытываемого вещества.
4.2. Основное исследование
Количество и пол животных
4.2.1. Должны использоваться животные обоих полов. Следует использовать такое количество животных, чтобы по окончании исследования в каждой группе оставалось достаточное их количество для биологического и статистического анализов. Как правило, грызунов минимум 20 животных, а негрызунов, как минимум по 4 животных в каждой группе каждого пола для каждого уровня дозы. В исследованиях, где задействованы мыши, может возникнуть необходимость в дополнительных животных в каждой группе для проведения всех необходимых гематологических анализов. В зависимости от цели исследования можно увеличить статистическую значимость основных показателей, распределив неравномерно животных по уровням доз.
Резерв для промежуточных умерщвлений, вспомогательные группы и индикаторные животные
4.2.2. При исследовании необходимо сделать резерв для промежуточных умерщвлений, например, в 6 месяцев, для получения данных о развитии токсических изменений и данных о механизме воздействия, если это научно обосновано. Также нужно задействовать вспомогательные группы для отслеживания обратимости любых токсических изменений, вызванных химическими веществами при исследовании. Как правило, их распределяют на группу с самым высоким уровнем дозы и контрольную группу. Если запланировано промежуточное умерщвление, количество животных, включенных в план исследования, должно быть увеличено на число животных, которое планируется умертвить до завершения исследования. Этим животным следует провести такое же обследование (включая массу тела, потребление воды и пищи, гематологические и клинические биохимические показатели, выявление патологий), как и животным в стадии хронической токсичности основного исследования. Можно также сделать резерв (в группах промежуточного умерщвления) для измерений, ограниченных особыми, ключевыми показателями, такими как нейротоксичность или иммунотоксичность.
Группы доз и дозировка
4.2.3. Следует использовать как минимум три уровня доз и параллельный контроль, за исключением тех случаев, когда проводится исследование с максимально возможной дозой. Чаще всего при выборе уровней доз основываются на результатах краткосрочных исследований повторной дозы или исследованиях по обнаружению диапазона доз. Необходимо принимать во внимание любые существующие токсикологические и токсикокинетические данные по тестируемому или родственным ему веществам.
4.2.4. Если нет ограничений по физико-химической природе или биологическому воздействию исследуемого вещества, должна быть выбрана самая высокая доза для определения основных органов-мишеней и токсичных эффектов воздействия. Однако следует избегать страданий, тяжелой токсичности, болей или смерти. Самый высокий уровень дозы следует выбрать для получения признаков интоксикации, например, изменение уровня сывороточного фермента или невозможность набрать массу (примерно 10%).
4.2.5. Однако в зависимости от целей исследования может быть выбрана верхняя доза ниже, чем доза, подтверждающая наличие токсичности, например, если доза вызывает побочное действие, которое, тем не менее, слабо отражается на продолжительности жизни или массе тела.
4.2.6. Разница между уровнями доз должна быть направлена на определение зависимости доза-ответ и установление наивысшего уровня дозы, при которой не наблюдается вредный эффект воздействия (NOAEL), или других предполагаемых результатов исследования, например BMD при самом низком уровне дозы. Условия, которые должны быть приняты во внимание при установлении нижних доз, включают: предполагаемый наклон кривой зависимости доза-ответ, дозы, при которых могут происходить важные изменения в метаболизме, или вид токсического действия, когда предполагается пороговая величина, или когда предполагается исходная точка для экстраполяции низкой дозы.
4.2.7. Избранная разница в уровне доз зависит от параметров тестируемого вещества. Диапазон от 2 до 4 зачастую оптимален для установления снижения уровней доз, а при использовании очень больших интервалов (например, диапазон примерно 6 - 10) между дозами предпочтительно добавление четвертой тестируемой группы. При выборе доз и разницы в уровнях доз следует использовать Руководство ОЭСР N 116, но в целом следует избегать использования диапазона выше 10, а его применение должно быть обосновано.
4.2.8. При выборе дозы для проведения исследований хронической токсичности и канцерогенности необходимо учесть:
- знания или предположения о нелинейностях или точках изгиба зависимости доза-ответ;
- токсикокинетические закономерности, а также уровни доз, при которых происходят или не происходят метаболическая индукция, насыщение или нелинейность между введенными и поглощенными дозами;
- признаки поражения, влияния или показатели воздействия на основные биологические процессы;
- основные (или предполагаемые) проявления механизма действия, как то дозы, при введении которых начинает увеличиваться цитотоксичность, нарушается гормональный уровень, подавляется гомеостатический механизм и т.д.;
- интервалы кривой доза-эффект, где необходима чрезвычайно надежная оценка, например, в пределах ожидаемых BMD или предполагаемых пороговых величин;
- уровни анализа предполагаемого воздействия на организм человека.
4.2.9. Контрольная группа не должна получать исследуемое вещество. С животными из контрольной группы следует обращаться так же, как и с тестируемыми группами. Если используется растворитель, отличный от воды, контрольная группа должна получать его в максимальном объеме от используемого в опытных группах.
4.3. Подготовка доз, нанесение исследуемого вещества
4.3.1. Исследуемое вещество наносится на кожу. Если испытывается твердое вещество, которое можно измельчить, его надо измельчить и затем развести водой или, при необходимости, подходящим разбавителем, чтобы обеспечить лучшее проникновение через кожу животного. При использовании разбавителя необходимо учесть его влияние при воздействии испытываемого вещества на кожу. Жидкие тестируемые вещества, как правило, не разбавляют.
4.3.2. Необходимо уделять внимание следующим характеристикам среды или других вспомогательных веществ, в зависимости от конкретного случая: влиянию на абсорбцию, распределение, метаболизм или накопление исследуемого вещества; влиянию на химические свойства исследуемого вещества, которые могут повысить его токсические свойства; влиянию на потребление пищи или воды или обусловленное питанием, состояние животных. Рекомендуется, где возможно, использовать, в первую очередь, водные растворы/суспензии, затем рассматривать раствор эмульсии в масле (например, кукурузное масло), и затем искать возможное решение с использованием других сред. Для сред, отличных от воды, должны быть известны их токсические свойства. Следует определять стабильность исследуемого вещества к условиям введения.
4.3.3. При накожном воздействии животные получают дозу исследуемого вещества ежедневно (семь дней в неделю), как правило, в течение 1 года. Продолжительность ежедневной экспозиции составляет как минимум 6 ч. Любой другой режим дозы, например, пять дней в неделю, должен быть обоснован. Животные должны содержаться в условиях, предотвращающих слизывание вещества с поверхности кожи. Более подробно условия нанесения вещества на кожу и содержания животных при исследовании дермальной токсичности при повторных воздействиях описаны в Руководствах ОЭСР N 410 и 411.
4.3.4. Как правило, одна доза наносится раз в день. Не следует наносить исследуемое вещество, о котором заведомо известно, что оно вызовет сильную боль и тяжелые нарушения в силу своих разъедающих (коррозионных) или раздражающих свойств. Их необходимо разбавлять, чтобы избежать тяжелых локальных поражений. Щелочной баланс растворов, содержащих дозу, как правило, лежит в интервале pH от 4 до 9.
4.4. Продолжительность исследования
4.4.1. Несмотря на то, что данный метод рассчитан на 12-месячное исследование хронической токсичности, план исследования допускает применение как более короткого (например, 6 или 9 месяцев), так и более длинного (например, 18 или 24 месяца) периода исследования в зависимости от целей и задач эксперимента. Отклонения от продолжительности воздействия в 12 месяцев должны быть обоснованы, особенно в случае сокращения сроков. Вспомогательные группы, включенные для наблюдения за обратимостью любых токсических изменений, вызванных химическим веществом, следует держать без дозировок не менее 4 недель, но не более одной трети от общего периода исследования после прекращения воздействия.
5.1. Общее состояние животных (заболевание или гибель) с особым вниманием к токсикологически значимым признакам, в частности нейрофункциональным и нейроповеденческим реакциям, должны исследоваться в начале и конце каждого дня. Дополнительно животные должны проверяться как минимум один раз в выходные и праздничные дни. Общее клиническое наблюдение должно осуществляться как минимум один раз в день, предпочтительно в одно и то же время, принимая во внимание период максимума предполагаемого воздействия дозы. Клиническое состояние животных следует фиксировать.
5.2. Подробное клиническое наблюдение должно быть проведено как минимум один раз до начала воздействия (учитывая предмет исследования), к концу первой недели исследования и впоследствии ежемесячно. Протокол наблюдений должен быть согласован так, чтобы обеспечить минимальную разницу между отдельными наблюдателями и независимость от тестовой группы. Эти обследования необходимо делать вне клетки, каждый раз в одном месте, в одно и то же время. Их следует тщательно фиксировать, желательно используя систему количественных показателей, четко оговоренную испытательной лабораторией. Необходимо следить за тем, чтобы варьирование в условиях наблюдения было минимальным. Отмеченные признаки должны включать, но не только, изменения кожи, шерсти, глаз, слизистых оболочек, возникновение секреции и экскреции и автономной активности (например, слезоотделение, пилоэрекция, размер зрачка, аномальный способ дыхания). Изменения в походке, положении тела, реакции на прикосновение, как и наличие клонических или тонических движений, стереотипах (например, чрезмерное умывание, однообразные движения по кругу) или аномалиях поведения (например, членовредительство, хождение задом наперед) также должны регистрироваться.
5.3. Офтальмологический осмотр с использованием офтальмоскопа или другого подходящего инструмента следует проводить всем животным до первого введения исследуемого вещества. По окончании исследования этот осмотр желательно провести всем животным, но, как минимум, группе с высокой дозой и контрольной группе. Если обнаружены изменения, имеющие отношение к терапии, следует осмотреть всех животных. Если структурный анализ или другие данные говорят об офтальмологической токсичности, тогда частота офтальмологических осмотров должна быть увеличена.
5.4. Для химических веществ, для которых предварительные исследования на токсичность с повторным приемом дозы в течение 28 и/или 90 дней показали потенциальную возможность оказывать нейротоксическое воздействие, сенсорную химическую активность к раздражителям различного типа (например, слуховые, визуальные и проприоцептивные раздражители) оценку силы захвата и двигательной активности можно проводить, по выбору, до начала исследования и затем в 3, 6, 9 и 12 месяцев. Однако можно использовать и другие, не приведенные в списке процедуры.
5.5. Для химических веществ, где предварительные исследования на токсичность с повторным приемом дозы через 28 и/или 90 дней показали потенциальную возможность оказывать иммунотоксическое воздействие, дальнейшие исследования этого результата могут по желанию проводиться до 12 месяцев.
Масса тела, потребление пищи/воды и питательность пищи
5.6. Все животные должны взвешиваться в начале исследования, как минимум, раз в неделю первые 13 недель и, как минимум, ежемесячно в дальнейшем. Измерения потребления пищи и питательности пищи следует производить еженедельно первые 13 недель и как минимум ежемесячно в дальнейшем. Необходимо также учитывать потребление воды для исследований, в которых активность потребления воды изменяется. Измерения потребления воды следует проводить еженедельно первые 13 недель и как минимум ежемесячно в дальнейшем, когда вещество вводится через питьевую воду.
Гематология и клиническая биохимия
5.7. В исследованиях, в которых используются грызуны, гематологические исследования необходимо проводить как минимум на 10 самцах и 10 самках каждой группы в 3, 6 и 12 месяцев, всегда используя одних и тех же животных. В случае с мышами могут потребоваться вспомогательные животные с тем, чтобы проводить все необходимые гематологические исследования. В исследованиях с негрызунами пробы берутся у меньшего количества животных (например, 4 особи каждого пола каждой группы в случае с исследованием на собаках). Нет необходимости проводить измерения в три месяца, если за предыдущие 90 дней при аналогичном уровне дозы не наблюдалось воздействие на гематологические параметры. Образцы должны быть собраны к концу запланированного периода исследования, в период исследования к 3 и 6 месяцам и к 12 месяцу непосредственно перед или во время процедуры умерщвления животных. Пробы крови следует брать из сердечной камеры или из ретроглазной пазухи и, по возможности, хранить в подходящих условиях. Необходимо исследовать приведенный список параметров: общая и лейкоцитарная формула, содержание эритроцитов, содержание тромбоцитов, концентрация гемоглобина, гематокрит (гематокритное число), среднее гематокритное число (MCV), среднее содержание гемоглобина в эритроцитах (MCH), концентрация гемоглобина в эритроцитах (MCHC), протромбиновое время и время образования и активности тромбопластина. Кроме того, необходимо исследовать тельца Гейнца или другую атипичную морфологию эритроцитов, и метгемоглобин, если присутствуют любые признаки анемии или других нарушений кроветворения. Если химические вещества оказывают влияние на кроветворительную систему, можно также измерить число ретикулярных клеток и цитологию костного мозга, хотя они не обязательны для регулярного проведения.
5.8. Клинические биохимические показатели при исследовании токсического воздействия на ткани и особенно влияние на почки и печень следует определять в пробах крови, полученных от как минимум 10 самцов и 10 самок каждой группы за одинаковые временные интервалы как предписано для гематологических исследований, всегда используя одних и тех же животных. Для мышей могут потребоваться вспомогательные животные с тем, чтобы проводить все необходимые клинические биохимические исследования. Нет необходимости проводить измерения в три месяца, если за предыдущие 90 дней при аналогичном уровне дозы не наблюдалось воздействия на клинические биохимические параметры. Рекомендуется голодание для животных (за исключением мышей) вечером накануне забора крови. Необходимо исследовать приведенный список параметров: глюкоза, моча (азот мочевины), креатинин, общий белок, альбумин, кальций, натрий, калий, общий холестерин, как минимум два анализа на гепатобилиарный статус (аланинаминотрансфераза, аспартатаминотрансфераза, глютаминат дегидрогеназа, желчные кислоты), и как минимум два анализа на гепатобилиарный анализ (щелочная фосфатаза, гамма-глутаминтрансфераза, 5-нуклеотидаза, общий билирубин, желчные кислоты). Другие клинические химические показатели, такие как триглицерид натощак, специфические гормоны и холинэстераза, могут быть измерены в случае необходимости в зависимости от токсичности вещества. В целом необходим гибкий подход в зависимости от наблюдаемого и/или ожидаемого воздействия каждого конкретного вещества.
5.9. Анализ мочи должен проводиться как минимум у 10 самцов и 10 самок каждой группы на образцах, собранных за одинаковые промежутки времени, как и в случае с гематологией и клинической химией. Нет необходимости проводить измерения в три месяца, если за предыдущие 90 дней при аналогичном уровне дозы не наблюдалось воздействие на мочу. В последние экспертные рекомендации по исследованию клинической патологии был включен следующий список параметров: внешний вид, объем, осмотическая концентрация раствора или относительная плотность, pH, общий белок и глюкоза. Другие исследования включают кетон, уробилиноген, билирубин и скрытую кровь. Дополнительные исследования могут быть использованы при необходимости расширить изучение наблюдаемых воздействий.
6.1. Макроскопическая аутопсия
6.1.1. Все животные, участвующие в исследовании, подвергаются полной, детальной макроскопической аутопсии, которая включает тщательное исследование наружной поверхности тела, всех отверстий, черепных, грудных и брюшных полостей и их содержимого. При этом может быть создан резерв (в группах для промежуточных умерщвлений или во вспомогательных группах) для измерений, ограниченных отдельными, важными показателями, такими как нейротоксичность или иммунотоксичность. Этих животных не нужно подвергать аутопсии и дальнейшим процедурам. Индикаторные животные могут подвергаться аутопсии в каждом отдельном случае, по усмотрению руководителя исследования.
6.1.2. Значимые органы следует собрать у всех животных, исключая тех, что указаны выше. Надпочечник, мозг, придатки яичка, сердце, почки, печень, яичники, селезенка, яички, щитовидная железа (оценив постфиксацию, с паращитовидной железой) и матка всех животных (кроме тех, что были найдены умершими и/или были умерщвлены в промежутках между основными исследованиями) должны быть отсечены, если необходимо, от прилегающих тканей и взвешены как можно быстрее после отсечения для предотвращения высыхания. В случае если органы парные, например, почки, надпочечники, оба органа должны быть взвешены отдельно. В исследованиях с использованием мышей, взвешивание надпочечных желез не обязательно.
6.1.3. Ткани, которые подвергаются консервации в наиболее подходящем средстве фиксации в качестве образца ткани и для необходимого дальнейшего микроскопического исследования: все макроскопические повреждения, поджелудочная железа, аорта, мозг (включая полушария головного мозга, мозжечок и мозговой слой/варолиев мост), слепая кишка, шея, свертывающая железа, толстая кишка, двенадцатиперстная кишка, придаток семенника, глазные яблоки (включая сетчатку), бедро с суставами, желчный пузырь (для видов, отличных от крыс), гардерова железа, сердце, подвздошная кишка, тонкая кишка, почки, слезные железы (не обязательно), печень, легкие, лимфатические узлы (поверхностные и глубокие), молочные железы самок, [назальные ткани], пищевод, [обонятельная луковица], яичники, поджелудочная железа, паращитовидная железа, периферический нерв, слизистая, предстательная железа, [прямая кишка], слюнные железы, семенной пузырек, скелетные мышцы, кожа, спинной мозг (трех уровней: шейный, среднегрудной и поясничный), селезенка, [грудная кость], желудок (кардиальный отдел желудка, железистый желудок), [зубы], яички, вилочковая железа, щитовидная железа, [язык], трахея, мочевой пузырь, матка (включая шейку), [мочеточник], [уретра], влагалище и часть костного мозга и/или свежий пунктат костного мозга. Ткани, приведенные в квадратных скобках, не являются обязательными. В случае с парными органами, например, почки, надпочечники, следует сохранять оба органа. Любые другие органы, считающиеся на основе известных свойств исследуемого вещества возможными органами-мишенями, также следует сохранить. Для других органов/тканей (и в дополнение к отдельно сохраняемым тканям из дыхательных путей) список органов, как он установлен для перорального введения, должен быть пересмотрен.
6.2.1. Минимальными гистопатологическими анализами должны быть:
- все ткани из группы с высокой дозой и контрольной группы;
- все ткани животных, умерших или умерщвленных в течение исследования;
- все ткани, имеющие макроскопические аномалии;
- ткани органов-мишеней или ткани животных, имеющие изменения, связанные с проводимым исследованием, из группы, получавшей наивысшую дозу, и из всех других групп;
- в случае с парными органами (например, почки, надпочечники) должны быть исследованы оба органа.
6.2.2. Данные для каждого отдельного животного должны содержать все параметры по оценке воздействия. В дополнение, все данные должны быть сведены в табличной форме, отражающей для каждой тестовой группы количество животных на начало исследования; количество животных, умерших во время исследования или умерщвленных по гуманным соображениям, и время каждой смерти или умерщвления; количество обнаруженных признаков токсичности; описание наблюдаемых признаков токсичности, включая время начала, продолжительность и тяжесть любых токсических воздействий; количество животных, демонстрирующих патологию, тип патологии и процент животных, демонстрирующих каждый тип патологии.
6.2.3. Кроме данных, полученных в контроле исследования, в интерпретации результатов эксперимента могут быть важны данные контроля предыдущих исследований. Данные контроля предыдущих исследований должны использоваться, только если в текущем контроле имеются значительные отклонения, но приоритет над данными контроля предыдущих исследований должен иметь текущий контроль. Данные контроля предыдущих исследований должны предоставляться из той же лаборатории; должны соответствовать род, вид животных и направление исследований. Использование данных предыдущих исследований должно быть соотнесено с данными, накопленными в течение трех/пяти лет, предшествующих спорному исследованию.
6.2.4. По возможности, численные результаты должны быть оценены специальными и общепринятыми статистическими методами. Статистические методы и данные для анализа должны быть выбраны во время разработки исследования. При необходимости, этот выбор должен предусматривать корректировку выживаемости.
Отчет об исследовании должен содержать следующую информацию.
Исследуемое вещество:
- физические природа, чистота и физико-химические свойства;
- идентификационные данные;
- источник вещества;
- номер партии.
Среда (при необходимости):
- обоснование выбора среды (если это не вода).
Подопытные животные:
- вид/род и обоснование сделанного выбора;
- число, возраст, пол в начале исследования;
- происхождение, условия содержания, питание и так далее;
- масса каждого животного в начале исследования.
Данные об условиях проведения исследования:
- обоснование метода введения и выбора дозы;
- при необходимости, статистические методики, используемые для анализа данных;
- подробное описание приготовления состава тестируемого вещества/пищи, достигнутая концентрация, устойчивость и однородность вещества;
- способ введения вещества и подробное описание введения;
- фактическая доза (мг/кг в день);
- качество пищи и воды.
Результаты:
- данные о выживших;
- масса/изменения массы;
- потребление еды, подсчет энергетической ценности, если проведен, и потребление воды, если возможно;
- реакция на токсичность по полу и уровню дозы, включая признаки токсичности;
- характер, охват и, если выявлена, тяжесть и продолжительность клинических наблюдений (были они промежуточными или постоянными);
- офтальмологический осмотр;
- гематологические анализы;
- клинические биохимические анализы;
- анализ мочи;
- результат любых исследований нейротоксичности или иммунотоксичности;
- конечная масса тела;
- масса органов и их соотношение, если возможно;
- данные аутопсии;
- детальное описание гистопатологических показателей, имеющих отношение к проводимому исследованию;
- данные абсорбции (если возможно).
Статистическая обработка результатов (где это возможно):
- масса тела до и после исследования;
- масса органов до и после исследования;
- потребление пищи или воды и энергетическая ценность пищи.
Изучение результатов включает:
- соотношение зависимости доза-ответ;
- рассмотрение любой формы воздействия;
- изучение возможности моделирования;
- данные контроля предыдущих исследований;
- значимость для человека.
Заключение.
ТОКСИКОКИНЕТИЧЕСКИЕ ИССЛЕДОВАНИЯ
Идентичен международному документу OECD TG N 417 "Toxicokinetics" (ОЭСР Руководство N 417 "Токсикокинетические исследования"). Перевод с английского языка (en). Степень соответствия - модифицированный (MOD).
1.1. Настоящий метод исследования устанавливает требования к проведению токсикокинетических исследований.
1.2. Регламентирующие инстанции имеют различные цели и требования в отношении измерения конечных точек и параметров, связанных с токсикокинетикой различных классов химических веществ (например, пестициды, биоциды, промышленные химические вещества). Данный метод описывает токсикокинетическое (ТК) исследование, в котором используются многократные измерения и множество конечных точек. В будущем могут быть разработаны новые методы исследования и/или руководящие документы для описания каждой конечной точки по отдельности и более подробно. Применительно к данному документу выбор методов исследования и оценки определяется требованиями и/или задачами каждого регулирующего органа (регламентирующей инстанции).
Существует множество исследований, которые можно провести, чтобы оценить ТК-поведение химического вещества с целью его регламентирования. Однако в зависимости от конкретных ситуаций и потребностей регламентирования, не все имеющиеся в распоряжении исследования будут необходимы для оценки химического вещества. При планировании ТК-исследований необходимо проявлять гибкость, учитывая особенности исследуемого вещества. В некоторых случаях, лишь определенный ряд вопросов требует исследования для оценки химической опасности и проблем риска. В некоторых ситуациях данные по ТК могут быть взяты из других токсикологических исследований. В других случаях могут потребоваться дополнительные и/или более обширные исследования ТК, в зависимости от потребностей регламентирования и/или если возникнут новые вопросы по части химической оценки.
Вся имеющаяся информация о тестируемом веществе, соответствующих метаболитах и аналогах должна быть учтена до проведения исследования, чтобы повысить качество исследования и избежать избыточного использования животных, сверх необходимого количества. Сюда могут входить данные, полученные другими подходящими методами тестирования (исследования
in vivo, in vitro, компьютерное моделирование
in silico). Физико-химические свойства, такие как коэффициент разделения н-октанол/вода (выраженный как log Pow),

растворимость в воде, давление пара и молекулярная масса химиката могут оказаться полезными для планирования исследования и интерпретации его результатов. Их можно определить с использованием надлежащих методов, как описано в соответствующих документах ОЭСР.
1.3. Ограничения.
1.3.1. Данный метод не предназначен для использования в особых обстоятельствах, например, для беременных или кормящих животных и его детенышей или для оценки остатков токсичного вещества в животных, употребляемых в пищу, подвергшихся воздействию. Однако результаты, полученные в исследованиях соответствующим методом, могут послужить исходной информацией при разработке отдельных методов исследований для этих специальных условий.
1.3.2. Данный метод не предназначен для исследования наноматериалов.
2.1. Исследования токсикокинетики (ТК) химических веществ, проводятся, чтобы получить достоверную информацию об их поглощении, распределении, биотрансформации (т.е. метаболизме) и выделении, чтобы соотнести концентрацию или дозу с наблюдаемой токсичностью и способствовать пониманию механизма токсичности тестируемого вещества. ТК может способствовать пониманию токсикологических исследований, демонстрируя, что животные систематически подвергаются воздействию тестируемого вещества и, выявляя, какие из них находятся в циркуляции (исходное вещество/метаболиты). Основные параметры ТК, изучаемые в этих исследованиях, также дают информацию о возможности накопления тестируемого вещества в тканях и/или органах и индукции биотрансформации в результате действия изучаемого вещества.
2.2. Результаты ТК позволяют оценить адекватность и релевантность экстраполяции данных о токсичности, полученных при исследовании на животных, на людях, а также дать оценку степени риска. Вдобавок, ТК-исследования могут дать полезную информацию для определения уровней доз в исследованиях токсичности (при "линейной" и "нелинейной" кинетике), величины эффекта в зависимости от способа введения веществ, биодоступности и особенностей проведения исследования.
2.3. Отдельные результаты ТК-исследований могут найти применение при разработке физиологически обусловленной ТК-модели.
2.4. Информация по метаболитам и ТК имеет важное применение для оценки возможной токсичности, характера действия и их связи с уровнем дозы и маршрутом воздействия. Кроме того, данные о метаболизме могут дать информацию, полезную для оценки токсикологически значимого воздействия, оказываемого эндогенными метаболитами тестируемого вещества.
2.5. Соответствующие ТК-данные будут полезны для дальнейшего подтверждения приемлемости и возможности применения, количественных структурно-функциональных, перекрестных или групповых подходов для оценки безопасности веществ. Данные по ТК могут также использоваться для оценки токсикологической значимости других исследований (например, in vivo/in vitro).
2.6. В данных методических рекомендациях рассматривается пероральный прием химического вещества, если явным образом не упомянут иной путь введения.
2.7. При проведении всех
in vivo и
in vitro исследований, описанных в данных методических рекомендациях, следует использовать документы по гуманному обращению с животными
[45].
3.1.1. Предварительные исследования.
Желательно проведение предварительных исследований с целью выбора экспериментальных параметров для основных ТК-исследований (например: метаболизм, баланс масс, аналитические процедуры, подбор дозы, выдыхаемый CO2, и т.д.). Оценка некоторых из этих параметров возможна и без использования радиоактивно меченого тестируемого вещества.
3.1.2. Выбор вида животных.
Вид животных
Желательно, чтобы вид (и линия) животных, используемые для ТК-исследования, совпадали с теми, которые использовались в других токсикологических исследованиях с тем же тестируемым веществом. Обычно должны использоваться крысы, поскольку они широко применяются в токсикологических исследованиях. Допустимо использование других видов животных вместо или в дополнение к крысам, если критические токсикологические исследования на них показали существенную токсичность, или наблюдаемая токсичность/токсикокинетика в большей степени применима к людям. Выбор вида и линии животных должен быть обоснован.
В данном методе исследования в качестве экспериментальных животных рассматриваются крысы (если явно не указаны иные животные). Возможно определенные разделы данного метода потребуется изменить применительно к использованию других видов экспериментальных животных.
Возраст и вид животных
В исследовании должны использоваться молодые здоровые взрослые животные (как правило, в возрасте 6 - 12 недель на момент начала эксперимента). При использовании животных, не являющимися молодыми и половозрелыми, необходимо представить надлежащее обоснование. Все животные должны быть одного возраста, и различия в весе отдельных животных не должно превышать +/- 20% среднего веса испытательной группы. Идеально было бы использовать ту же самую линию животных, которая использовалась при получении токсикологической базы данных для химического вещества.
Количество и пол животных
Для каждой проверяемой дозы необходимо использовать не менее четырех животных одного пола. Необходимо обосновать выбор пола используемых животных. Использование обоих полов (четыре самца и четыре самки) должно рассматриваться, если имеются свидетельства в пользу существенных различий между полами при токсическом воздействии.
Условия содержания и питания животных
Обычно, при проведении эксперимента, животные размещаются индивидуально. В особых случаях может быть оправдано размещение группой. Освещение должно быть искусственным с чередованием: 12 ч света и 12 ч темноты. Температура в помещении, предназначенном для экспериментов на животных, должна составлять (22 +/- 3) °C, относительная влажность - от 30 до 70%. Для кормления могут использоваться обычные лабораторные диеты с неограниченным доступом к питьевой воде.
3.1.3. Тестируемое вещество.
Для всех процедур, связанных с определением баланса масс и идентификацией метаболитов, необходимо использовать тестируемое вещество, меченное радиоактивным углеродом 14C.
Однако использования радиоактивных соединений можно избежать, если показано, что:
- баланс масс и идентификация метаболитов может адекватно определяться/оцениваться с использованием немеченного тестируемого вещества;
- специфичность и чувствительность аналитического метода, при использовании нерадиоактивного тестируемого вещества, является равнозначной или превышает таковые, достигаемые с радиоактивной меткой.
Кроме того, можно использовать другие радиоактивные или устойчивые изотопы, особенно если этот элемент ответственен за токсичность или входит в состав токсичной части используемого соединения. По возможности, радиоактивная метка должна находиться в основной, метаболически устойчивой части молекулы (т.е. не должна замещаться, удаляться в виде CO2, или становиться частью углеродного пула организма). Может потребоваться пометить различные участки или фрагменты молекулы, чтобы проследить последующие метаболические превращения вещества.
Чистоту и идентичность радиоактивно меченных и немеченных тестируемых веществ проверяют с использованием соответствующих методов. Чистота радиоактивного тестируемого вещества должна быть максимально возможной для данного соединения (в идеале - более 95%). Необходимо постараться идентифицировать примеси, составляющие 2% и более. Для тестируемого вещества необходимо указать чистоту, идентичность и долю любых идентифицированных примесей. Специальные регламентирующие документы могут содержать дополнительную информацию по определению и спецификации тестируемых веществ, являющихся смесями, и по выбору методов для определения их чистоты.
Предварительное исследование
Как правило, для предварительного исследования достаточна единичная оральная доза. Доза должна быть нетоксичной, но достаточно высокой, чтобы можно было выявить метаболит в выделениях (и в плазме крови, если исследуется). Также доза должна соответствовать заявленным целям предварительного исследования.
Основные исследования
Для основных исследований предпочтительно использовать, по крайней мере, два уровня дозы, поскольку информация, полученная в таком эксперименте, может помочь выбрать дозы для других исследований токсичности, и помочь в оценке эффекта доза-ответ для уже проводившихся тестов токсичности.
В тех случаях, когда используют две дозы, обе должны быть достаточно высокими для идентификации метаболита в выделениях (и в плазме крови, если исследуется). Для выбора дозы следует учитывать имеющиеся данные по токсичности. Если такие данные отсутствуют (например, в случае исследований острого токсического воздействия на ротовую полость, когда имеются записи клинических признаков токсичности, или при исследованиях токсичности повторных доз), тогда при выборе дозы можно ориентироваться на наибольшую дозу, которая ниже LD50 (при попадании через рот или через кожу) или LC50 (при ингаляции), либо на дозу, ниже нижнего значения диапазона острой токсичности. Более низкая из доз должна быть в несколько раз меньше более высокой дозы.
Если проверяется только один уровень дозы, то, в идеальном случае, доза должна быть достаточно высокой, чтобы позволить идентифицировать метаболит в выделениях (и плазме, если также исследуется), но при этом не вызывать явного токсического эффекта. Необходимо привести обоснование, почему не используется второй уровень дозы.
В случае, если требуется выявить влияние дозы на кинетику процесса, то двух доз может оказаться недостаточно, и, по крайней мере, одна доза должна быть достаточно высокой, приводящей к насыщению. Если площадь под кинетической кривой концентрации вещества в плазме (AUC) не линейна в диапазоне между двумя дозами, то это прямо указывает, что где-то между двумя уровнями дозы, используемыми в основном исследовании, происходит насыщение одного или нескольких кинетических процессов.
Для проверки веществ низкого уровня токсичности следует использовать максимальную дозу 1000 мг/кг живого веса (перорально или через кожу). Однако, если исследование проводится путем ингаляции, то следует руководствоваться OECD TG-403, как правило, эта доза не превышает 2 мг/л. Особенности употребления вещества могут потребовать использования и более высокой дозы в зависимости от конкретной необходимости. Выбор дозы должен быть всегда обоснованным.
Данные по ТК и распределению в тканях, полученные для одиночной дозы, могут быть достаточны для определения возможного накопления и/или устойчивости. Однако в ряде случаев может потребоваться повторное введение дозы: 1) для более полной картины накопления и/или сохранения вещества, или изменений ТК (например, при индукции и ингибировании ферментов); или 2) если того требуют регламентирующие инстанции. В исследованиях с повторением дозы обычно бывает достаточно низкой дозы, но при определенных обстоятельствах повторение высокой дозы может быть также необходимым.
Тестируемое вещество следует растворить или гомогенно суспендировать в том же носителе, который использовался для кормления через зонд в других исследованиях токсичности, проводившихся с тестируемым веществом, если такая информация о носителе доступна. Для выбора носителя должно быть приведено обоснование. Выбор носителя и объем дозирования должны обсуждаться на стадии планирования исследования. Общепринятый метод введения исследуемого вещества - через зонд, однако в определенных случаях введение вещества предпочтительнее осуществлять в желатиновой капсуле или в виде питательной смеси (в обоих случаях, должно быть приведено обоснование). Должна проводиться проверка фактической дозы, которая вводится каждому животному.
Максимальный объем жидкости, который можно одномоментно вводить через зонд, зависит от размера животных, типа носителя дозы и от того, было ли накормлено животное перед приемом тестируемого вещества. Должно быть представлено обоснование для кормления или ограничения в еде перед введением дозы вещества. Обычно объем вводимого вещества должен быть настолько низким, насколько это практически приемлемо при использовании водного или неводного носителя. Объем дозы обычно не должен превышать 10 мл/кг массы тела для грызунов. Объем носителя, используемого для более липофильных тестируемых веществ, может начинаться с 4 мл/кг массы тела. Для повторного введения дозы, когда воздержание от пищи в течение дня противопоказано, нужно предусмотреть меньшие объемы дозы (например, 2 - 4 мл/кг массы тела). При возможности следует использовать объем дозы, соответствующий объему, применявшегося при оральном приеме вещества в других исследованиях.
Внутривенное (IV) введение тестируемого вещества и его измерение в крови и/или выделениях могут использоваться для определения его биодоступности или относительного усвоения при введении через рот. Для IV введения единственную дозу тестируемого вещества (обычно эквивалентную, но не превышающую меньшую оральную дозу - см. выбор дозы) вводят, используя соответствующий носитель. Вещество должно вводиться в соответствующем объеме (например, 1 мл/кг массы тела), заданное место введения, по крайней мере четырем животным одного пола (оба пола могут использоваться, если необходимо). Для IV введения тестируемого вещества необходимо его полное растворение или суспендирование. Носитель для IV введения не должен нарушать целостность крови или мешать кровотоку. Если используется насос для инфузии, необходимо указать скорость введения дозы и поддерживать ее одинаковой для всех животных. Если для введения химического вещества и/или для забора крови используется канюля в яремной вене или феморальная артерия, то необходимо использовать анестезию. Должное внимание должно быть уделено типу анестезии, поскольку это может повлиять на ТК. Животным нужно обеспечить соответствующее восстановление перед введением тестируемого вещества.
Другие пути введения, такие как кожный и ингаляция (
п. 4.4 "Альтернативные пути поступления"), могут использоваться при тестировании определенных химических веществ в зависимости от их физико-химических свойств и предполагаемого способа применения или экспозиции на людях.
3.3.1. Баланс масс.
Баланс масс определяют суммированием процента вещества от введенной (радиоактивной) дозы, выделяемой с мочой, фекалиями и выдыхаемым воздухом; процента вещества, содержащегося в выделенных тканях, в остальном теле животного, и обнаруживаемого в смыве при мытье клетки. Обычно достаточной считается суммарно выделенная радиоактивность, близкая к 90% от введенного тестируемого вещества.
3.3.2. Всасывание.
Начальную оценку абсорбции вещества получают, вычитая процент дозы вещества, содержащегося в желудочно-кишечном тракте (ЖКТ) и/или фекалиях, из общего количества вещества, определенного при расчете баланса масс. Расчет процента поглощения дозы представлен ниже. Если баланс масс не позволяет определить точный уровень абсорбции после орального введения дозы (например, когда больше 20% введенной дозы присутствуют в фекалиях), могут потребоваться дополнительные исследования. Эти исследования включают или 1) пероральное введение тестируемого вещества и измерение тестируемого вещества в желчи, или 2) пероральное и IV введение тестируемого вещества, и суммарное измерение тестируемого вещества в моче, плюс в выдыхаемом воздухе и плюс в тушке животного при каждом из способов администрирования. При любом из вариантов постановки эксперимента в качестве замены специфического химического анализа тестируемого вещества и его метаболитов проводится измерение радиоактивности.
При проведении исследования выделения с желчью, как правило, используется пероральный способ введения вещества. В этом случае, желчные протоки, по крайней мере, четырех животных соответствующего пола (или обоих полов, если это обосновано) канюлируют, и животным вводится единственная доза тестируемого вещества. После введения тестируемого вещества выделение радиоактивности или тестируемого вещества в желчи проверяют настолько длительное время, насколько это необходимо для оценки процента введенной дозы, которая выводится этим путем, что можно использовать для непосредственного вычисления степени оральной абсорбции вещества следующим образом:
Процент поглощения = (количество вещества в желчи + в моче +
+ в выдыхаемом воздухе + тушка без содержимого ЖКТ) / доза
введенного вещества x 100
Для некоторых классов тестируемых веществ может наблюдаться непосредственная секреция поглощенной дозы через мембраны кишечника. В таких случаях измерение процента дозы в фекалиях после перорального введения дозы крысе с канюлированным желчным протоком для определения неабсорбированной дозы является некорректным. Если предполагается, что происходит секреция дозы в кишечник, тогда процент абсорбированной дозы определяют на основе абсорбции, рассчитанной как отношение выделения при пероральном введении вещества к выделению при IV способе введения (интактные крысы или крысы с канюлированным желчным протоком). Для определения количества секреции в кишечник также необходимо измерять выделения у крыс с канюлированным желчным протоком после введения вещества IV способом.
3.3.3. Биодоступность.
Биодоступность определяют по кинетике вещества в плазме (крови) у групп с пероральным и IV введением вещества. При этом можно использовать специфичный химический анализ для количественного определения тестируемого вещества и/или соответствующего метаболита(ов) без использования радиактивно-меченного тестируемого вещества. Биодоступность (F) исследуемого вещества или соответствующего метаболита(ов) вычисляют следующим образом:
F = (AUCexp / AUCIV) x (DOSEIV / DOSEexp), где
AUC - область под кинетической кривой концентрации вещества в плазме;
DOSE - доза вещества;
exp - введение тестируемого вещества перорально, через кожу или ингаляцией;
IV - введение тестируемого вещества внутривенно.
В целом для оценки риска системного воздействия предпочтительнее измерять биодоступность токсичного компонента, а не процент его абсорбции, если сравнивают системные концентрации, полученные в исследованиях на животных, с аналогичными данными биомониторинга экспозиции людей. Ситуация усложняется, если дозы оказываются в нелинейном диапазоне, поэтому важно проводить ТК-скрининг в линейном диапазоне доз.
3.3.4. Распределение в тканях.
Данные о распределении тестируемого вещества и/или его метаболитов в тканях важны для идентификации тканей-мишеней, понимания основных механизмов токсичности и оценки способности тестируемого вещества и его метаболитов к накоплению и сохранению.
По завершении эксперимента по выведению из тканей (как правило, 7 дней или менее после введения дозы, в зависимости от особенностей поведения тестируемого вещества) должен быть измерен суммарный процент (радиоактивной) дозы в тканях, а также в остатках тушки животного.
Может оказаться, что по завершении исследования вещество в тканях не обнаруживается (например, вещество могло быть полностью выведено еще до завершения исследования из-за короткого времени полужизни). В таком случае необходимо исследовать время пиковой концентрации тестируемого вещества (и/или метаболита) в плазме/крови (Tmax) или пикового уровня выделения в моче соответственно. Кроме того, может потребоваться выделять ткани в дополнительные моменты времени, чтобы определить количество тестируемого вещества и его метаболитов, оценить (если требуется) его действие во времени, определить баланс масс, или в соответствии с требованиями регламентирующих инстанций. В ходе эксперимента должны быть выделены следующие ткани: печень, жир, желудочно-кишечный тракт, почки, селезенка, цельная кровь, остатки тушки, ткань органов-мишеней и любые другие разновидности тканей, потенциально значимые для токсикологической оценки тестируемого вещества, например: щитовидная железа, эритроциты, половые органы, кожа, глаза (особенно у пигментированных животных). Для максимально полного использования экспериментальных животных, а также в экспериментах с целью определения токсичности при субхронических или хронических исследованиях, следует предусмотреть анализ дополнительных тканей в те же самые временные точки. Также необходимо представить данные о концентрации (радиоактивных) продуктов в тканях и соотношение их количества в ткани по отношению к плазме (кровь).
Оценка распределения вещества в тканях в дополнительные моменты времени, например, во время пиковой концентрации в плазме/крови (например, Tmax) или во время пикового выделения с мочой, (определенные из кинетики плазмы/крови или эксперимента по выделению), может быть также необходима или затребована регламентирующими инстанциями. Эта информация может быть полезной для понимания токсичности и способности тестируемого вещества и его метаболитов к накоплению и сохранению действия. Должно быть приведено обоснование выбора образцов тканей (анализируемые образцы, как правило, должны принадлежать к упомянутым выше).
Определение количества радиоактивности для изучения распределения в тканях выполняют путем диссекции органа, его гомогенизации, сжигания и/или растворения с последующим использованием жидкостного сцинтилляционного счетчика радиоактивности. Ряд других методов, в настоящее время находящихся на различных стадиях разработки, могут оказаться полезными для определения исследуемого вещества в органах и/или тканях, например, количественная авторадиография всего тела и микроскопическая авторадиография рецепторов.
Если использован не оральный, а другой путь введения вещества, то необходимо собрать и проанализировать соответствующие ткани, например: легкие - при введении вещества методом ингаляции и кожу - при нанесении на кожу (
п. 4.4 "Альтернативные пути поступления"),
3.3.5. Метаболизм.
Выделения (и плазму, если это необходимо) собирают для идентификации и количественного определения исходного тестируемого вещества и метаболитов как описано в
п. 3.3.6. Допускается объединять выделения, чтобы облегчить идентификацию метаболита в пределах группы с одинаковой дозой. Рекомендуется определять метаболиты в каждой временной точке. Однако при нехватке образца и/или радиоактивности допускается объединение мочи и фекалий, взятых в нескольких временных точках. При этом недопустимо объединение образцов в случае животных разного пола или при использовании разных доз. Для анализа мочи, фекалий, выдыхаемой радиоактивности и, если необходимо, желчи у исследуемых животных используют соответствующие качественные и количественные методы.
Следует постараться идентифицировать все метаболиты, присутствующие в количестве 5% или более от используемой дозы, для получения схемы метаболизма тестируемого вещества. Соединения в выделениях необходимо идентифицировать, если они составляют 5% или более от введенной дозы. Под идентификацией понимают определение точной структуры веществ и продуктов. Как правило, идентификация достигается при помощи совместной хроматографии метаболита с известными стандартами, использованием двух различных систем или методов, дающих однозначную структурную идентификацию, таких как масс-спектрометрия, ядерный магнитный резонанс (NMR) и т.д. В случае совместной хроматографии, методы, использующие одну и ту же стационарную фазу, но два различных растворителя, не могут считаться двумя различными методами идентификации метаболита, поскольку они не являются независимыми. Идентификация с помощью совместной хроматографии должна быть получена с использованием двух несходных, аналитически независимых систем, таких как нормальная или обратнофазная тонкослойная хроматография (TLC) и высокоэффективная жидкостная хроматография (HPLC). При условии, что обеспечено хроматографическое разделение соответствующего качества, дополнительное подтверждение спектроскопическими средствами не требуется. Для однозначной идентификации веществ также можно использовать методы, предоставляющие структурную информацию, такие как жидкостная хромато-масс-спектрометрия (LC-MS) или жидкостная тандемная хромато-масс-спектрометрия (LC-MS/MS), газовая хромато-масс-спектрометрия (GC-MS) и NMR-спектрометрия.
Если идентификация метаболитов, присутствующих в количестве 5% или более от используемой дозы, невозможна, это должно быть объяснено/обосновано в итоговом отчете. Для лучшего понимания метаболических путей, с целью оценки степени риска и/или опасности тестируемого вещества, было бы хорошо идентифицировать метаболиты, представляющие менее 5% используемой дозы. По возможности должно быть обеспечено структурное подтверждение. Оно может включать анализ метаболита в плазме, крови, других тканях.
Скорость и степень выведения введенной дозы определяют, измеряя процент (радиоактивной) дозы в моче, фекалиях и выдыхаемом воздухе. Эти данные также используются при определении баланса масс. Количества тестируемого вещества (радиоактивность), выводимые с мочой, фекалиями и выдыхаемым воздухом, определяют с подходящими интервалами времени (см. ниже). Эксперименты с повторным введением дозы планируют так, чтобы обеспечить сбор всех данных о выделениях. Это позволит провести сравнение с экспериментами, в которых использовались одиночные дозы.
Если предварительное исследование показало, что с выдыхаемым воздухом не выделяется сколь-нибудь существенное количество тестируемого вещества (радиоактивность), то тогда не требуется проверять выдыхаемый воздух в основном исследовании.
Каждое животное помещают в отдельный метаболический бокс для сбора выделений (моча, фекалии, выдыхаемый воздух). В конце каждого периода сбора выделений метаболические боксы ополаскивают соответствующим растворителем (эта процедура называется "мытье клетки"), чтобы гарантировать максимально полный сбор тестируемого вещества (радиоактивности). Сбор выделений животных заканчивают или на седьмой день, или после того, как по крайней мере 90% введенной дозы было собрано, в зависимости от того, что наступит раньше.
Количество тестируемого вещества (радиоактивность) в моче определяют, по крайней мере, дважды за первый день ее сбора, причем один из замеров - через 24 ч после введения дозы, далее ежедневно, вплоть до завершения исследования. Выбор более, чем двух временных точек забора образцов в первый день (например, в 6, 12 и 24 ч) только приветствуется. Результаты предварительных исследований анализируют с целью модификации протокола забора образцов или введения дополнительных временных точек. Необходимо представить обоснование для использования альтернативного расписания сбора данных.
Количество тестируемого вещества (радиоактивность) в фекалиях определяют ежедневно, начиная с 24 ч после введения дозы и вплоть до завершения исследования. Предварительные исследования могут потребовать модификации расписания забора образцов или введения дополнительных временных точек сбора фекалий. Необходимо представить обоснование для использования альтернативного расписания сбора данных.
Сбор выдыхаемого CO2 и других летучих веществ в текущем эксперименте можно прекратить, если за 24-часовой период сбора в выдыхаемом воздухе окажется менее 1% от введенной дозы.
3.4. Исследования динамики
3.4.1. Кинетика вещества в плазме/крови.
Целью этих исследований является оценка основных ТК-параметров тестируемого вещества (например: Cmax, Tmax, период полувыведения (t1/2), AUC). Эти исследования проводят с одной дозой или, что более вероятно, при использовании двух или более доз. Выбор дозы должен определяться природой эксперимента и/или его задачей. Кинетические данные могут потребоваться, чтобы ответить на такие вопросы, как биодоступность вещества и/или прояснять влияние дозы на последующее очищение от токсического вещества (например, выяснить, происходит ли насыщение механизма очищения в зависимости от величины дозы).
В этих исследованиях для каждой проверяемой дозы используют группу как минимум из четырех животных одного пола. Необходимо привести обоснование по выбору пола используемых животных. Использование обоих полов (четыре самца и четыре самки) рассматривают при наличии свидетельств в пользу существенных различий по воздействию токсичности между полами.
После введения тестируемого вещества (радиоактивность) производят забор образцов крови от каждого животного в соответствующие временные точки, используя соответствующий метод забора. Объем и число образцов крови, которые можно взять при исследовании каждого животного, ограничены возможным влиянием повторного забора на здоровье/физиологию животных и/или чувствительность метода анализа. Образцы анализируют отдельно для каждого животного. В некоторых ситуациях (например, для характеристики метаболита), может потребоваться объединить образцы, полученные больше, чем от одного животного. Объединенные образцы необходимо четко идентифицировать и представить обоснование для объединения. При использовании радиоактивно меченого вещества, может быть достаточно анализа суммарной радиоактивности. В таком случае, суммарную радиоактивность определяют в цельной крови и плазме или в плазме и эритроцитах, чтобы вычислить отношение кровь/плазма. В определенных случаях могут потребоваться более глубокие исследования, требующие идентификации исходного вещества и/или его метаболитов или оценки взаимодействия с белками.
3.4.2. Кинетика вещества в других тканях.
Цель этих исследований состоит в получении информации об изменении параметров во времени с тем, чтобы определив уровни тестируемого вещества в различных тканях, ответить на такие вопросы, как способ токсичного действия, биоаккумулирования и биоперсистенция. Выбор тканей и количества рассматриваемых временных точек определяется постановкой проблемы и имеющимися данными по токсикологии химического вещества. При планировании дополнительных исследований по кинетике в тканях следует учитывать данные, собранные в соответствии с
п. 3.3.4 "Распределение в тканях". Эти исследования могут включать однократное или повторное введение тестируемого вещества. Необходимо привести подробное объяснение используемого подхода.
Причиной для проведения исследований кинетики в других тканях могут являться:
- увеличенный период полувыведения из крови, что предполагает накопление тестируемого вещества в различных тканях, или
- желание проверить достигнут ли равновесный уровень тестируемого вещества в определенных тканях (например, в исследованиях с повторным введением вещества, даже если наблюдаемый равновесный уровень тестируемого вещества в крови достигнут, может потребоваться проверить, что равновесный уровень достигнут также и в тканях-мишенях).
При исследовании динамики, выбранную дозу вещества вводят животным перорально и отслеживают динамику распределения вещества в исследуемых тканях. Для каждой временной точки исследуемой дозы используют группу как минимум из четырех животных одного пола. Следует использовать животных одного пола, если только не наблюдается выборочная токсичность по отношению к одному из полов. Постановка проблемы определяет, какой параметр анализируют: суммарную радиоактивность исходного вещества и/или его метаболитов. Оценка распределения вещества в тканях проводится с использованием соответствующих методов.
3.4.3. Индукция/ингибирование ферментов.
Исследования возможного влияния индукции/ингибирования ферментов или биотрансформации тестируемого вещества могут потребоваться в одном или нескольких из следующих случаев:
1. Имеющиеся данные указывают на связь между биотрансформацией тестируемого вещества и повышенной токсичностью;
2. Имеющиеся данные по токсичности указывают на нелинейные отношения между дозой и метаболизмом;
3. В работах по идентификации метаболитов выявлен потенциально токсичный метаболит, который, возможно, был произведен цепочкой ферментативных реакций, активированной тестируемым веществом;
4. При объяснении воздействия, предположительно связанного с индукцией фермента;
5. Если наблюдаются токсикологически значимые изменения в метаболическом профиле тестируемого вещества в in vitro или in vivo экспериментах с различными животными или условиями, то может потребоваться охарактеризовать вовлеченные ферменты. Например, ферменты Фазы I (например, изоферменты системы цитохром P450-зависимой монооксигеназы) и ферменты Фазы II (например, изоферменты сульфотрансферазы или уридиндифосфатгюкуронозилтрансфераза, или другие ферменты). Эту информацию можно использовать, чтобы оценить возможность экстраполяции результатов между различными видами организмов.
Для оценки изменений ТК, связанных с тестируемым веществом, используют соответствующие проверенные и обоснованные протоколы исследования. Приводимые в качестве примера планы исследований включают повторное введение немеченого тестируемого вещества с последующим введением единственной радиоактивно меченой дозы на 14-й день либо повторное введение радиоактивно меченого тестируемого вещества и забора материала на 1-й, 7-й и 14-й день для определения метаболитов. Повторное введение радиоактивно меченого тестируемого вещества может также быть информативным в плане биоаккумулирования.
4. Дополнительные подходы
Дополнительные подходы, помимо экспериментов in vivo, описанных в данном методе исследования, могут дать полезную информацию о поглощении, распределении, метаболизме или выведении химиката у определенных видов животных.
4.1. Использование информации, полученной
при исследовании in vitro
Ответы на определенные вопросы относительно метаболизма химического вещества, можно получить при исследованиях in vitro с использованием соответствующих экспериментальных систем. Свежевыделенные или культивированные гепатоциты и субклеточные фракции печени (например, микросомы, цитозоль или фракция S9) можно использовать для изучения предполагаемых метаболитов. Изучение метаболизма вещества в исследуемом органе (например, в легком) может быть информативным для оценки риска. Для этих целей можно использовать микросомальные фракции исследуемых тканей. Исследования на микросомах применимы для выявления возрастных и половых различий, для определения параметров активности фермента (Km и Vmax), которые помогают оценить уровень дозы, определяемой метаболизмом вещества, при различных уровнях экспозиции. Кроме того микросомы можно использовать для идентификации конкретных микросомальных ферментов, вовлеченных в метаболизм вещества, что может найти применение в экстраполяции данных на другие виды организмов. Возможность индукции реакций биотрансформации можно исследовать с помощью субклеточных фракций печени (например, микросом и цитозоля) на животных, предварительно обработанных тестируемым веществом, либо in vitro, исследуя индукцию гепатоцитов или определенные клеточные линии, экспрессирующие соответствующие ферменты. В определенных случаях и при надлежащих условиях, субклеточные фракции, выделенные из человеческих тканей, могут быть использованы для выявления потенциальных межвидовых различий реакций биотрансформации. Результаты исследований in vitro могут также найти применение в построении моделей ТК, основанных на физиологии.
Исследования по поступлению вещества через кожу, проводимые in vitro, позволяют получить дополнительную информацию по абсорбции.
Первичные культуры клеток печени и свежеприготовленные срезы ткани можно использовать для исследования аналогичных вопросов, что и с применением препаратов микросом печени. В определенных случаях можно исследовать конкретные вопросы, используя клеточные линии с охарактеризованной экспрессией соответствующего фермента, или специально созданные клеточные линии. В определенных случаях может быть полезным исследовать in vitro ингибирование и индукцию конкретных изоферментов цитохрома P450 (например, CYP1A1, 2E1, 1A2, и др.) и/или ферментов фазы II, вызываемые исходным тестируемым веществом. Полученная информация может быть полезна для исследования химических веществ, имеющих сходную структуру.
4.2. Использование данных токсикокинетических исследований
в качестве дополнительной информации
Анализы образцов крови, тканей и/или выделений, полученных при проведении других исследований токсичности, могут позволить получить данные по бионакоплению, динамике вещества в плазме (AUC, Cmax), по возможной биоаккумуляции, скорости выведения вещества, а также о возрастных и половых различиях метаболизма и кинетики.
Планирование исследования может предусматривать поиск ответов на следующие вопросы: насыщение уровня абсорбции, биотрансформации или путей выведения при более высоких дозах тестируемого вещества; функционирование других метаболических путей при более высоких дозах и лимитирование токсичных метаболитов при более высоких используемых дозах.
Другие соображения оценки опасности могут включать:
- возрастную чувствительность, в результате изменений в состоянии гематоэнцефалического барьера, почек и/или способности к детоксификации;
- субпопуляционную чувствительность, в результате различий в способности к биотрансформации или других различий ТК;
- уровень воздействия на плод в результате трансплацентарного переноса химикатов или воздействия на новорожденного при грудном вскармливании.
4.3. Применение токсикокинетического (ТК) моделирования
ТК-модели могут использоваться для различных аспектов оценки опасности и уровня риска, например, для предсказания системного воздействия и величины дозы во внутренних тканях.
Кроме того, они позволяют исследовать конкретные вопросы относительно способа действия вещества, различных путях экспозиции, схем дозировки. Подобные модели могут служить основанием для межвидовой экстраполяции результатов и оценки риска для людей. Данные, пригодные для разработки ТК-моделей воздействия вещества на животных данного вида, включают следующие параметры: 1) коэффициенты разделения, 2) биохимические константы и физиологические параметры, 3) параметры абсорбции для каждого способа поступления вещества, 4) in vivo данные по кинетике для оценки модели (например, параметры выведения вещества для значимых (> 10%) путей выделения, Km и Vmax - для метаболических путей). Экспериментальные данные, использованные при разработке моделей, должны быть получены с использованием адекватных надежных научных методов, а результаты, полученные на основании модели, должны быть валидизированы. Для облегчения разработки некомпартментализированных моделей или физиологических моделей часто определяют параметры, характеристические для конкретных химических веществ и конкретных видов животных (например, скорость абсорбции, распределение между кровью и тканями, константы скоростей процессов метаболизма).
4.4. Альтернативные пути поступления
4.4.1. Накожный.
В данный раздел представлена определенная информация по проведению ТК-исследования тестируемого вещества при поступлении через кожу. В случае абсорбции через кожу надлежит следовать OECD TG-427 ("Поступление через кожу: метод
in vivo"). Для других целей, таких как изучение распределения и метаболизма вещества, можно использовать данный метод исследования. При воздействии на кожу должен использоваться один уровень дозы тестируемого вещества или более. Тестируемая композиция (например, мазь, раствор или смесь, содержащая тестируемое вещество и наносимая на кожу) должна быть той же самой (или правдоподобной заменой), т.е. такой, воздействию которой могли бы подвергаться люди или другие виды животных. Уровень дозы должен быть выбран в соответствии с
п. 3.1.4 "Выбор дозы".
При выборе дозы для введения через кожу учитывают ожидаемую длительность воздействия на человеческий организм и/или уровень дозы, при которой токсичность наблюдалась в других исследованиях кожной токсичности. При необходимости, кожную дозу растворяют в подходящем носителе и наносят в соответствующем объеме. Незадолго до эксперимента состригают мех со спины подопытных животных. Мех можно сбрить, но это необходимо сделать приблизительно за 24 ч перед тестом. При стрижке или бритье меха недопустимо повреждение кожи, т.к. это изменит ее проницаемость. Для нанесения тестируемого вещества освобождают приблизительно 10% поверхности тела. При использовании очень токсичных веществ площадь поверхности может составлять менее 10%, но как можно большая часть поверхности должна быть покрыта тонким и однородным слоем исследуемой композиции. Во всех группах проводимого кожного теста площадь воздействия на кожу остается одинаковой. Все участки для нанесения вещества защищают надежно зафиксированным защитным покрытием. Животных размещают отдельно.
Необходимо провести анализ смыва с кожи, чтобы оценить количество исследуемого вещества, которое может быть удалено с поверхности кожи путем мытья обработанного участка кожи водой с мягким мылом. Этот анализ также может использоваться при определении баланса масс, если введение вещества осуществляется кожным путем. Данное исследование смыва с кожи проводят на двух животных, для каждого используют одну дозу исследуемого вещества. Выбор уровня дозы осуществляется в соответствии с
п. 3.1.4 "Выбор дозы" (также см. ниже, обсуждение времени контакта с кожей). Для оценки эффективности удаления тестируемого вещества с помощью процедуры смыва должно быть определено количество смытого исследуемого вещества.
Если тестируемое вещество не является агрессивным, его наносят на кожу и выдерживают в течение минимум 6 ч. Затем удаляют изолирующее покрытие, и отработанную область моют в соответствии с процедурой, описанной в исследовании смыва с кожи (см. выше). И покрытие, и смыв должны быть исследованы на наличие оставшегося тестируемого вещества. По завершении исследований каждое животное должно быть гуманно умерщвлено в соответствии с
[45], а кожа, подвергшаяся воздействию, - удалена. Фрагмент подвергшейся воздействию кожи анализируют для определения остаточных количеств тестируемого вещества (по радиоактивности).
Для ТК-оценки фармацевтических препаратов может потребоваться применение иных процедур в соответствии с решением соответствующих регламентирующих инстанций.
4.4.2. Ингаляционный.
Тестируемое вещество используют в одной концентрации (или в нескольких, если необходимо). Концентрацию выбирают в соответствии с
п. 3.1.4 "Выбор дозы". Введение вещества путем ингаляции проводят с использованием "носового конуса" или устройства, изолирующего всю голову, чтобы предотвратить поглощение вещества через другие пути воздействия. При использовании других условий ингаляции необходимо представить обоснование произведенных модификаций. Указывают продолжительность ингаляции; типичная экспозиция составляет 4 - 6 ч.
Отчет должен содержать оглавление.
Отчет должен включать информацию, соответствующую этому методу исследования, разделенную на разделы и параграфы следующим образом.
Включает краткое описание планирования эксперимента и описание используемых методов. Оно должно содержать, прежде всего, ключевые результаты по тестируемому веществу: баланс масс, вид и количество образующихся метаболитов, остаток вещества в тканях, скорости выведения, уровень биоаккумулирования, половые различия и т.д. Резюме должно быть достаточно развернутым, чтобы позволить оценить полученные результаты.
Включает цели исследования, обоснование исследования и планирование эксперимента, а также содержит обзор состояния вопроса и необходимые ссылки.
Включает подробное описание всей надлежащей информации, в том числе:
5.3.1. Тестируемое вещество.
Включает идентификационные данные тестируемого вещества: химическое название, молекулярную структуру, качественное и количественное определение его химического состава, химическую чистоту и, если известно, тип и количество любых примесей. Также дают информацию о его физических/химических свойствах, включая физическое состояние, цвет, общую растворимость и/или коэффициент разделения, стабильность, агрессивность. Представляют информацию об изомерах, если имеются. Для радиоактивно меченого вещества в этот раздел включают информацию о типе радионуклида, положении метки, удельной активности и радиохимической чистоте.
Указывают тип или описание каждого носителя, растворителей, компонентов смеси, эмульгаторов или других материалов, используемых при администрировании тестируемого вещества.
5.3.2. Подопытные животные.
Содержит информацию о подопытных животных, включая обоснование выбора вида и линии животного, возраст на момент исследования, пол, массу тела, состояние здоровья и условия содержания.
5.3.3. Методы.
Содержит детали планирования эксперимента и используемых методов. Он должен включать:
1) обоснование любой применявшейся модификации способа введения вещества и условий экспозиции;
2) обоснование выбора уровня дозы;
3) описание предварительных исследований, использованных при планировании эксперимента. Должны быть включены использовавшиеся результаты предварительного эксперимента.
4) процедура приготовления раствора для введения, тип растворителя или носителя, если таковые использовались;
5) число групп животных и число животных в группе;
6) количественная характеристика дозы и ее объем (и удельная активность дозы, при использовании радиоактивности);
7) путь/пути и способы введения вещества;
8) частота введения;
9) период поста (если используется);
10) суммарная радиоактивность на одно животное;
11) уход за животными;
12) сбор и подготовка образцов;
13) аналитические методы, используемые для разделения, идентификации и количественного определения метаболитов;
14) предел обнаружения для используемых методов;
15) другие применявшиеся экспериментальные измерения и процедуры (включая валидизацию методов анализа метаболита).
5.3.4. Статистический анализ данных.
При использовании статистического анализа результатов исследования должна быть включена достаточная информация о методе анализа и используемой компьютерной программе для того, чтобы независимый рецензент/специалист по статистике мог проверить и реконструировать проведенный анализ.
В случае моделирования систем (таких, как ТК, базирующаяся на физиологии) должно быть представлено полное описание модели, позволяющее воспроизвести независимую реконструкцию и валидизацию модели.
Все данные должны быть проанализированны, сведены в таблицу с соответствующей статистической оценкой и описаны в тексте этого раздела. Данные о подсчете радиоактивности должны быть сведены вместе и представлены в соответствующем виде, как правило, микрограмм или миллиграм-эквиваленты относительно массы образца, хотя могут использоваться и другие единицы. Этот раздел должен включать графические иллюстрации результатов, воспроизводить существенные данные по хроматографическому и спектрометрическому анализу, данные по идентификации/количественному анализу, предложенным метаболическим путям, в том числе и молекулярную структуру метаболитов.
Кроме того следующая информация должна быть включена в этот раздел, если это применимо:
1) количество и процент радиоактивности, выведенной с мочой, фекалиями, выдыхаемым воздухом, в смыве мочи и фекалий с клетки.
Для кожных исследований также включаются данные по извлечению вещества из обработанной кожи, из смыва с кожи, остаточной радиоактивности на устройстве, покрывающем кожу, в метаболической ячейке и результаты мытья кожи. Дальнейшее обсуждение в
п. 4.4 "Альтернативные пути поступления".
Для исследований с вдыханием исследуемого вещества также включаются данные по извлечению исследуемого вещества из легких и тканей носа;
2) распределение вещества в различных тканях, представленное как процент от введенной дозы, в виде концентрации (микрограммы или эквиваленты микрограмма на грамм ткани) и в виде соотношения содержания ткань/кровь или ткань/плазма;
3) баланс веществ, определенный в каждом исследовании в результате изучения тканей тела и выделений;
4) концентрация в плазме и токсикокинетические параметры (биодоступность, AUC, Cmax, Tmax, клиренс, время полужизни), определенные после введения исследуемого вещества соответствующим способом;
5) скорость и степень абсорбции тестируемого вещества после его введения соответствующим способом;
6) количество тестируемого вещества и метаболитов, собранных в выделениях (в процентном отношении от введенной дозы);
7) ссылка на приложение, содержащее данные по каждому отдельному животному для всех измеряемых параметров (например, введенная доза вещества, процент выделения вещества, концентрации, ТК-параметры и т.д.);
8) изображение с предложенными метаболическими путями и молекулярными структурами метаболитов.
5.5. Обсуждение результатов и заключение
В этом разделе автор(ы) должен:
1) предложить предполагаемый метаболический путь на основании результатов анализа метаболизма и мест локализации тестируемого вещества;
2) обсудить любые потенциальные межвидовые и межполовые различия относительно локализации и/или путей биотрансформации тестируемого вещества;
3) свести в таблицу и написать обсуждение по идентификации и количественному определению метаболитов, скорости выведения, биоаккумулированию и уровню исходного вещества, и/или его метаболита(ов), а также о возможных, зависимых от дозы, изменениях в ТК-параметрах, если применимо;
4) свести в этот раздел любые надлежащие данные по ТК, полученные в ходе проведения исследований токсичности;
5) сделать краткое заключение, основывающееся на результатах исследования;
6) добавить другие разделы (если необходимо).
Дополнительные разделы используют, чтобы включить соответствующую библиографическую информацию, таблицы, изображения, приложения и т.д.
ИЗУЧЕНИЕ ТОКСИЧНОСТИ ПРИ ВОЗДЕЙСТВИИ НА КОЖУ
В ОПЫТАХ IN VITRO
МЕТОД МЕМБРАННОГО БАРЬЕРА ДЛЯ ТЕСТИРОВАНИЯ
КОРРОЗИИ КОЖИ IN VITRO
Идентичен международному документу OECD TG N 435 "In Vitro Membrane Barrier Test Method for Skin Corrosion" (ОЭСР Руководство 435 "Метод мембранного барьера для тестирования коррозии кожи in vitro"). Принят 19 июля 2006 г. Перевод с английского (en). Степень соответствия - модифицированный (MOD).
1.1. Настоящий метод исследования обеспечивает получение информации о коррозийном (разъедающем) действии веществ при их тестировании in vitro и позволяют оценить и классифицировать вещество в соответствии с Согласованной на глобальном уровне системой классификации и маркировки (СГС) по данному виду воздействия.
1.2. Данный экспериментальный метод был разработан для получения информации о коррозии кожи под действием тестированного исследуемого вещества методом мембранного барьера in vitro. Этот метод основан на использовании искусственной мембраны, которая реагирует на коррозионные вещества так же, как и кожа животных in situ. Предлагаемое исследование может проводиться в сочетании с исследованием коррозионного действия in vivo по руководству OECD (метод in vivo), или отдельно.
2.1. Коррозия (разъедание) кожи подразумевает необратимые повреждения кожи, проявляющиеся как видимый некроз эпидермиса и дермы после нанесения тестируемого материала, согласно определению Согласованной на глобальном уровне системы классификации опасности и маркировки химической продукции ООН (GHS). В настоящем методе описывается один из возможных методов in vitro, который позволяет проводить оценку коррозионных свойств тестируемых химических соединений без использования живых животных.
2.2. В качестве альтернативы стандартной процедуре проведения исследований на кроликах in vivo (OECD TG 404), применяемой для определения коррозионных веществ, был предложен ряд методов тестирования in vitro. В частности, в настоящем документе описывается метод тестирования in vitro с использованием мембранного барьера, который может применен для выявления коррозионных веществ. Этот метод основан на использовании искусственной мембраны, которая реагирует на коррозионные вещества так же, как и кожа животных in situ.
2.3. Традиционно разъедание кожи оценивалось путем нанесения исследуемого вещества на кожу живых животных и оценки степени разъедания ткани по истечении установленного периода. Поэтапное тестирование и стратегия оценки GHS ООН, применяемые для оценки и классификации разъедания кожи, позволяют использовать прошедшие процедуру валидации и утвержденные методы тестирования in vitro). При использовании такой поэтапной стратегии положительные результаты, полученные методами тестирования in vitro, могут использоваться для классификации вещества как коррозионного без проведения исследований на животных, что, таким образом, способствует сокращению использования животных при проведении исследований. Вещества, показавшие отрицательные результаты, проходят дополнительное тестирование в соответствии с поэтапной стратегией тестирования), (смотрите приложение к руководству по тестированию 404). Соответственно, применение методов выявления коррозионных веществ in vitro помогает избежать боли и стресса, которые могут иметь место при использовании для этих целей животных.
2.4. Валидация описываемого в данном руководстве метода мембранного барьера проводилась с использованием коммерческих тест-наборов. Поскольку сама тест-система уже имела разрешение на использование в лабораторных условиях, данный валидированный стандартный метод был рекомендован для использования в качестве одного из этапов поэтапной стратегии оценки потенциальной коррозионной опасности химических веществ для кожи. До того, как оценку коррозии кожи с нормативно-правовой регламентирующей целью можно будет проводить другими модификациями метода мембранного барьера
in vitro, необходимо будет проверить их надежность, соответствие (точность) и ограничения по их предполагаемому использованию, дабы удостовериться, что они сопоставимы с аналогичными характеристиками валидированного стандартного метода тестирования, основанного на тест-системах

2.5. Ограничение валидированного стандартного метода тестирования, являющегося базисом для настоящего метода, заключается в следующем: согласно результатам предварительного теста на совместимость тестируемого вещества и данного метода, многие некоррозионные химические вещества и их смеси, равно как и некоторые коррозионные вещества и их смеси, не могут быть оценены с помощью данного теста. В частности, водные растворы веществ с pH в диапазоне от 4,5 до 8,5 зачастую не подходят для проведения тестирования - правда, известно, что около 85% химических веществ, растворы которых имеют такие значения pH не обладают коррозионными свойствами в опытах на животных. Методы тестирования in vitro с использованием мембранного барьера могут использоваться для исследования твердых веществ (как растворимых, так и нерастворимых в воде), жидкостей (смешанных или не смешанных с водой) и эмульсий. Однако химические вещества и их смеси, не вызывающие видимых изменений цвета использующегося в данной системе цветного индикатора (CDS), не могут быть исследованы методом мембранного барьера и должны тестироваться другими методами. В качестве образцов могут использоваться как чистые химические вещества, так и их растворы, сложные коммерческие препараты или отходы. При этом не требуется проводить предварительную обработку образца.
2.6. В настоящем документе по исследованию описывается третий метод in vitro, применяемый при исследованиях коррозионной активности. В ранее выпущенных документах описаны другие методы исследования in vitro, основанные на использовании реконструированной кожи человека (OECD TG 431) и изолированной кожи крысы (OECD TG 430). Кроме того, настоящий метод исследования содержит классификацию коррозионных веществ с делением их на три подкатегории коррозионной активности по классификации GHS и на три группы транспортной упаковки по классификации ООН в зависимости от уровня коррозионной опасности.
3.1. Исследование, описываемое в данном методе, позволяет идентифицировать коррозионные химические вещества и их смеси и проводить их классификацию с делением на подкатегории согласно GHS
(табл. 6.4.1.1). Кроме того, данный метод может использоваться для принятия решений относительно коррозионности или некоррозионности отдельных классов химических веществ (например, органических и неорганических кислот, промышленных продуктов, в синтезе которых используются кислоты 1) с использованием этих решений при организации транспортирования веществ данных классов. В данном документе по исследованию описывается общая процедура, сопоставимая с процедурой валидированного стандартного метода тестирования.
3.2. Система тестирования состоит из двух компонентов: синтетического макромолекулярного биобарьера и химической системы детекции (Chemical Detection System, CDS). Метод основан на оценке степени повреждения мембраны после нанесения коррозионного вещества на поверхность искусственного мембранного барьера. При этом предполагается, что механизм повреждения искусственной мембраны сходен с тем, который имеет место при повреждении кожи живых существ.
Таблица 6.4.1.1
Категории и подкатегории коррозионных веществ в соответствии
с Согласованной на глобальном уровне системой классификации
рисков и маркировки химической продукции ООН (GHS)
Категория коррозионных веществ (категория 1) (применяется ведомствами, не использующими подкатегории) | Подкатегории веществ, которые потенциально могут вызвать коррозию кожи (применяются только некоторыми ведомствами) | Вещества, вызывающие коррозию кожи у >= 1 из 3 животных |
Экспозиция | Наблюдение |
Коррозионные | Подкатегория коррозии 1A | <= 3 минуты | <= 1 час |
Подкатегория коррозии 1B | > 3 минуты/<= 1 час | <= 14 дней |
Подкатегория коррозии 1C | > 1 час/<= 4 часов | <= 14 дней |
3.3. Факт проникновения вещества в мембранный барьер (или проба барьера) можно измерять несколькими способами - например, по изменению цвета pH-индикатора или по изменению некоторых других характеристик индикаторного раствора, расположенного под барьером.
3.4. Каждый новый вид мембранного барьера перед использованием в данном методе должен пройти процедуру валидации на надежность и соответствие требованиям метода. В частности, при этом необходимо удостовериться, что данный вид барьера совместим с тестированием разных видов препаратов - например, способен быть барьером для некоррозионных веществ и позволяет классифицировать коррозионные вещества по различным подкатегориям коррозионной активности. Данная классификация основана на измерении времени, необходимого для проникновения вещества через мембранный барьер к индикаторному раствору.
4.1.1. Общее описание.
Приводится общее описание компонентов и процедур метода тестирования с использованием искусственного мембранного барьера, применяемого для оценки коррозионной активности. Мембранный барьер, раствор совместимости/индикаторный раствор и растворы для классификации по категориям могут быть созданы самостоятельно, модифицированы на основе существующих или приобретены на коммерческих условиях, как, например,

(см.
рис. 6.4.1.1). Протокол тестирования образцов для валидированного стандартного метода тестирования можно получить по следующей ссылке [http://iccvam.niehs.nih.gov]. Тестирование должно проводиться при комнатной температуре 17 - 25 °C, и компоненты должны соответствовать условиям, указанным ниже.
4.1.2. Тест на совместимость тестируемых веществ с данным методом.
До проведения тестирования вещества методом мембранного барьера выполняется тест на совместимость, позволяющий определить, может ли данное тестируемое вещество оцениваться при помощи данной системы CDS. Если система CDS не выявляет тестируемое вещество, то метод тестирования с помощью мембранного барьера не подходит для оценки потенциальной коррозионной активности данного тестируемого вещества, и, соответственно, необходимо использовать другой метод тестирования. Система CDS и условия экспозиции, применяемые в тесте на совместимость, должны соответствовать экспозициям в основном тесте.
Рис. 6.4.1.1. Коммерческая тест-система

A - устройство флакона для тестирования; B - тестирование
химического вещества. Слева контроль на растворитель,
далее - тестируемое вещество в снижающихся концентрациях
(http://www.corrositex.com/)
Тест классификации тестируемого вещества
по категориям с учетом шкалы времени
Если требуется классифицировать тестируемое вещество по категориям коррозийности, то после прохождения теста на совместимость используют вариант постановки данного метода с оценкой временных параметров прохождения вещества через барьер, позволяющий различить слабые и сильные кислоты и щелочи. Например, в валидированном стандартном методе тестирования имеется тест классификации веществ по категориям с учетом временных параметров, который позволяет определить, какую из двух временных шкал необходимо использовать в зависимости от буферной емкости препарата.
4.1.3. Компоненты метода тестирования с использованием мембранного барьера.
4.1.3.1. Мембранный барьер.
Мембранный барьер должен состоять из двух компонентов: белкового макромолекулярного водного геля и проницаемой поддерживающей мембраны. Белковый гель должен быть исходно не проницаем для жидкостей и твердых веществ и становиться проницаемым только после повреждения путем коррозии. Полностью собранный мембранный барьер должен храниться при соблюдении заранее выявленных условий, предотвращающих повреждение геля, а именно: высыхание, рост микроорганизмов, смещение и образование трещин, которые могут стать причиной ухудшения функциональных характеристик геля. Необходимо заранее определить приемлемый период хранения используемых мембранных барьеров и не использовать их после истечения этого срока.
Проницаемая поддерживающая мембрана обеспечивает механическую поддержку для белкового геля во время процесса гелеобразования и воздействия на него тестируемого вещества. Поддерживающая мембрана должна предотвращать прогиб и смещение геля и быть легко проницаемой для всех тестируемых веществ.
Мишенью для тестируемого вещества является белковый гель, приготовленный из таких белков, как кератин, коллаген или смеси белков, образующих гелевую матрицу. Раствор белка наносится на поверхность поддерживающей мембраны, где он полимеризуется, после чего образующийся мембранный барьер помещают над индикаторным раствором. Толщина и плотность белкового геля должны быть равномерны по всей его площади; кроме того, гель не должен содержать воздушных пузырьков или дефектов, которые могли бы снизить его функциональную целость.
4.1.3.2. Система химической детекции (CDS).
Индикаторный раствор, который представляет собой такой же раствор, как и при проведении теста на совместимость, реагирует на присутствие тестируемого вещества. Разрешается использовать любые pH-индикаторные красители или их смеси, например, крезоловый красный или метиловый оранжевый, которые будут реагировать изменением цвета на попадание в раствор тестируемых веществ; также могут использоваться другие виды химических или электрохимических реакций. Система измерения эффекта может быть визуальной или электронной.
Необходимо оценить соответствие и надежность систем детекции, разрабатываемых для определения прохождения тестируемого вещества через барьерную мембрану, путем подтверждения их способности определять вещества, которые могут быть выявлены данным методом, и оценки чувствительности детекции.
4.2.1. Сборка компонентов для проведения тестирования.
Мембранный барьер размещается в флаконе, содержащем индикаторный раствор, таким образом, чтобы поддерживающая мембрана вступила в полный контакт с индикаторным раствором без наличия воздушных пузырьков. Необходимо убедиться, что мембранный барьер сохранил свою целость.
4.2.2. Нанесение тестируемого вещества.
Подходящее количество тестируемого вещества - например, 500 мкл жидкости или 500 мг тонкоизмельченных твердых веществ - осторожно выкладывается слоем на верхнюю поверхность мембранного барьера и равномерно распределяется. Для каждого тестируемого вещества и соответствующих контролей готовится нужное количество параллельных проб - например, четыре. Время нанесения тестируемого вещества на мембранный барьер регистрируется. Для точного соблюдения коротких отрезков времени экспозиции внесение тестируемого вещества в параллельные пробы проводится с определенным фиксированным сдвигом.
4.2.3. Оценка проникновения вещества через мембранный барьер.
За каждым флаконом ведется соответствующее наблюдение и записывается время, по истечении которого появляются первые признаки изменения цвета индикаторного раствора, свидетельствующие о прохождении вещества через барьер. После этого определяется время между нанесением вещества на гель и его проникновением через мембранный барьер.
4.2.4. Контрольные пробы.
Растворитель или наполнитель, использующийся для нанесения тестируемого вещества, должны быть совместимы с использующейся системой мембранного барьера, а именно - они не должны влиять на целость мембранного барьера и коррозионную активность тестируемого вещества. При наличии возможности, тестирование растворителя или наполнителя должно проводиться параллельно с тестированием данного вещества для доказательства совместимости растворителя с данным мембранным барьером.
Для оценки эффективности тест-системы, параллельно с тестируемым веществом должен проводиться и позитивный контроль с использованием эталонного вещества, имеющего среднюю коррозионную активность, например гидроксид натрия (GHS подкатегория коррозии 1B). Полезным является также использование второго положительного контроля, выбранного из веществ того же химического класса. Не следует использовать в качестве позитивного контроля высоко коррозионные вещества подкатегории 1A. Рекомендуется выбирать эталонные вещества среди химических соединений с промежуточной коррозионной активностью (GHS подкатегория коррозии 1B), чтобы скорость их прохождения через мембранный барьер не была слишком быстрой или слишком медленной. Это обеспечит удобный контроль для тестирования веществ как с очень быстрой, так и с очень медленной скоростью пробоя мембранного барьера. Вещество со слабой коррозионной активностью (GHS подкатегория 1C) может использоваться как положительный контроль для оценки способности метода тестирования к разграничению слабокоррозионных и некоррозионных веществ. Независимо от применяемого подхода должны быть установлены приемлемые границы диапазона реакции тест-системы на данное стандартное вещество, выбранное для использования в качестве положительного контроля; для этого усредняются полученные с ним времена пробоя барьера и оцениваются границы диапазона в виде среднего значения +/- 2 - 3 величины стандартного отклонения. В каждом исследовании необходимо измерять точное время пробоя для положительного контроля, для того чтобы можно было определять отклонения, выходящие за пределы приемлемого диапазона.
Химические вещества отрицательного контроля, не вызывающие коррозии, как, например, 10%-я лимонная кислота, 6%-я пропионовая кислота, также должны использоваться параллельно с тестируемым веществом как дополнительная мера контроля качества для подтверждения функциональной целости мембранного барьера.
4.2.5. Критерии приемлемости теста.
Согласно временным параметрам, установленным для каждой подкатегории веществ, в классификации GHS, время (в минутах), которое прошло с момента нанесения тестируемого вещества на мембранный барьер и до момента его проникновения через барьер, используется для оценки разъедающего потенциала тестируемого вещества. Для того чтобы исследование можно было рассматривать как приемлемое, параллельно поставленный положительный контроль должен вызвать пробой мембранного барьера в ожидаемом промежутке времени, отрицательный контроль не должен вызывать коррозии мембраны, и при условии включения в тестирование контроля на растворитель последний не должен оказывать коррозионного действия или изменять коррозионный потенциал исследуемого вещества. До начала рутинного использования метода тестирования, описанного в настоящем документе, лаборатории имеют возможность отработать технику проведения исследования, используя двенадцать рекомендованных химических веществ, перечисленных в
табл. 6.4.1.2. Для новых разработанных модификаций данного метода, имеющих структурное и функциональное сходство с утвержденным стандартным протоколом, следует использовать стандарты соответствия, описываемые в
прилож. 6.4.1.1, для подтверждения надежности и точности нового протокола тестирования до его применения для нормативных целей.
Таблица 6.4.1.2
Химические вещества с установленной коррозионной активностью
Химические вещества | Номер CAS | Класс химических веществ | |
Азотная кислота | 7697-37-2 | Неорганические кислоты | 1A |
Пятихлористый фосфор | 10026-13-8 | Неорганические кислоты - прекурсоры | 1A |
Селеновая кислота | 7783-08-6 | Неорганические кислоты | 1A |
Хлорангидрид валериановой кислоты | 638-29-9 | Хлорангидриды кислот | 1B |
Гидроксид натрия | 1310-73-2 | Неорганические основания | 1B |
1-(2-Аминоэтил) пиперазин | 140-31-8 | Алифатические амины | 1B |
Бензолсульфонил хлорид | 98-09-9 | Хлорангидриды кислот | 1C |
Гидроксиламин сульфат | 10039-54-0 | Органические аммониевые соли | 1C |
Тетраэтиленпентамин | 112-57-2 | Алифатические амины | 1C |
Эвгенол | 97-53-0 | Фенолы | |
Нонил акрилат | 2664-55-3 | Акрилаты/Метакрилаты | н/к |
Бикарбонат натрия | 144-55-8 | Неорганические соли | н/к |
-------------------------------- |
<*> Группы требований к упаковке ООН - I, II и III для подкатегорий коррозионности ООН GHS 1A, 1B и 1C соответственно. |
<**> Не обладает коррозионными свойствами. |
Вышеприведенный список из двенадцати химических веществ содержит по три вещества из каждой подкатегории коррозионных веществ согласно классификации GHS и три некоррозионных вещества. Эти вещества были взяты из списка, состоящего из 40 стандартных химических веществ, включенных в минимальный список химических веществ, прошедших оценку коррозионности методами с установленной точностью и надежностью и имеющих структурное и функциональное сходство с валидированным стандартным методом тестирования (см.
прилож. 6.4.1.1). Эти химические вещества можно легко приобрести у коммерческих поставщиков, а сама классификация GHS ООН основана на результатах высококачественных тестов
in vivo.
5. Данные, интерпретация и отчет
5.1. Данные.
Значения времени (в минутах), прошедшего с момента нанесения тестируемого и эталонного веществ и до момента их проникновения через мембранный барьер, должно быть указано в отчете в виде таблицы, включая данные параллельных проб и средние значения +/- стандартное отклонение для каждой концентрации вещества.
5.2. Интерпретация результатов и классификация тестируемых веществ по степени коррозионности.
Время (в минутах), которое прошло с момента нанесения тестируемого вещества на мембранный барьер и до момента его проникновения через барьер, используется для классификации исследуемых веществ по субкатегориям коррозионности, и при необходимости по субкатегориям требований ООН к их транспортированию. Для каждого предлагаемого метода тестирования устанавливаются критические диапазоны временных значений пробоя мембраны для каждой из трех подкатегорий коррозионной способности веществ. Устанавливая границы диапазонов между подклассами коррозионных веществ, следует минимизировать риск занижения коррозионной опасности веществ (то есть риск возникновения ложноотрицательных результатов).
5.3. Отчет по результатам тестирования.
Отчет по результатам тестирования должен включать следующую информацию.
Исследуемые и контрольные вещества:
- идентификационные данные и регистрационный номер Химической реферативной службы (CAS), если он известен;
- физические свойства и степень чистоты препарата (с указанием основных примесей);
- физико-химические характеристики, имеющие отношение к проведению исследования;
- детали подготовки тестируемых/контрольных образцов до проведения исследования (например, нагревание, измельчение);
- стабильность, при наличии таких данных.
Обоснование используемой модели мембранного барьера и используемого протокола, включая доказательства точности и надежности.
Условия проведения теста:
- описание используемой аппаратуры и подготовительных процедур;
- источник и состав используемого мембранного барьера in vitro;
- состав и характеристики индикаторного раствора;
- метод оценки эффекта;
- количество тестируемого и эталонного веществ;
- количество параллельных проб;
- описание и обоснование классификации по субкатегориям с учетом шкалы времени;
- метод нанесения вещества;
- время наблюдений.
Результаты:
- сведение в таблицы исходных данных по каждому тестируемому и контрольному образцу, включая данные параллельных проб;
- описание иных наблюдавшихся эффектов;
- описание критериев оценки и классификации.
Обсуждение результатов.
Выводы.
ОЦЕНКА ХАРАКТЕРИСТИК ЭФФЕКТИВНОСТИ ПРЕДЛАГАЕМОГО МЕТОДА
ТЕСТИРОВАНИЯ КОРРОЗИИ КОЖИ IN VITRO С ИСПОЛЬЗОВАНИЕМ
МЕМБРАННОГО БАРЬЕРА
Методы тестирования, предлагаемые для использования в соответствии с настоящим документом, должны быть оценены для определения их надежности и точности путем использования веществ, уже классифицированных как коррозионных или некоррозионных. При использовании рекомендованных эталонных химических веществ
(табл. 6.4.1.1.1), предлагаемые методы тестирования должны иметь надежность и точность, сопоставимые с надежностью и точностью валидированного стандартного метода тестирования
(табл. 6.4.1.1.2). Стандарты надежности и точности, к достижению которых следует стремиться, приводятся ниже. В качестве стандартов используются некоррозионные и коррозионные вещества, ранжированные от сильных к слабым и являющиеся представителями нужных классов химических веществ, что обеспечивает требуемую надежность и точность метода, а именно: сопоставимость его чувствительности, специфичности, относительного количества ложноотрицательных и ложноположительных эффектов с аналогичными характеристиками валидированного стандартного метода тестирования. С целью классификации рисков при транспортировании химических веществ, перечень коррозионных веществ учитывается таким образом, что каждой подкатегории коррозионности вещества по классификации GHS соответствует определенная категория классификации веществ по требованиям ООН к их упаковке при транспортировании. При этом постулируется (предполагается), что время разрушения веществом мембранного барьера в тесте
in vitro - характеристика, достаточная для отнесения вещества к подкатегориям классификаций ООН по степени коррозионности и требованиям к упаковке при транспортировании. Для каждой конкретной модификации данного метода, включающей характеристики мембранного барьера, индикаторного раствора и метода оценки его изменений, должны быть определены соответствующие границы временных диапазонов, использующиеся при классификации тестируемых веществ по субкатегориям коррозионности. Надежность метода тестирования, а также его способность к переоценке или недооценке известных коррозионных веществ, должны быть определены до его использования для тестирования новых веществ. По возможности следует установить классы и виды веществ, коррозионность которых постоянно переоценивается или недооценивается.
2. Стандарты соответствия
2.1. Стандартные химические вещества используются для определения сопоставимости надежности и точности метода тестирования
in vitro мембранного барьера с надежностью и точностью валидированного стандартного метода тестирования. Сорок стандартных веществ, указанных в
табл. 6.4.1.1.1, включают химические вещества, представляющие различные классы химических веществ с различной степенью коррозионности по данным утвержденного тест-метода
in vivo - некоррозионные вещества, коррозионные Группы I требований ООН к упаковке (подкатегория коррозионности GHS 1A), коррозионные Группы II (подкатегория 1B) и Группы III (подкатегория 1C). Химические вещества, входящие в этот список, включают 12 некоррозионных химических веществ и 28, способных вызывать коррозию. Двадцать восемь коррозионных химических веществ, вызывающих повреждения кожи, представлены девятью веществами в каждой из Групп упаковки I (GHS 1A) и II (GHS 1B) и 10 веществами - в Группе упаковки III (GHS 1C). Эти эталонные химические вещества представляют собой то минимальное количество, которое должно использоваться для оценки точности и надежности предлагаемого метода тестирования коррозии кожи с использованием мембранного барьера. Если одно из химических веществ, перечисленных в списке, недоступно, могут использоваться другие химические вещества или препараты, коррозионность которых в опытах
in vivo известна. При необходимости список можно дополнять веществами других химических классов, если известна их коррозионность в опытах
in vivo; это увеличит точность предлагаемого варианта метода.
2.2. Надежность предлагаемого метода тестирования должна быть сопоставима с надежностью валидированного стандартного метода тестирования. В то же время использование предлагаемого метода тестирования только в одной лаборатории не позволяет оценить его межлабораторную воспроизводимость. Межлабораторная воспроизводимость отнесения химических веществ к коррозионным или некоррозионным, а также их отнесения к конкретным подкатегориям коррозионности и соответствующим категориям требований ООН к их упаковке, должна составлять, как минимум, 93%. По времени пробоя мембраны, медиана коэффициента вариации (CV) не должна превышать 30% для исследований, проводимых в разных лабораториях, и 5% для параллельных проб в рамках одного исследования.
2.3. Точность (чувствительность, специфичность, относительное число ложноотрицательных заключений, относительное число ложноположительных заключений, способность правильно классифицировать вещества по Группам упаковки ООН/подкатегориям коррозионности GHS) предлагаемого метода тестирования должна быть, как минимум, сопоставима с точностью валидированного метода тестирования
(табл. 6.4.1.1.2).
Таблица 6.4.1.1.1
Стандартные химические вещества для определения точности
и надежности методов тестирования коррозионности in vitro
с использованием мембранного барьера
| CAS | Класс химических веществ <2> | | | Валидированный метод тестирования PG | |
1 | 2 | 3 | 4 | 5 | 6 | 7 |
Фторсульфоновая кислота | 7789-21-1 | неорганическая кислота | неразбавленная | I | I | 0 |
Азотная кислота | 7697-37-2 | неорганическая кислота | 90 | I | I | 0 |
Пятихлористый фосфор | 10026-13-8 | прекурсоры неорганических кислот | 98 | I | I | 0 |
Селеновая кислота | 7783-08-6 | неорганическая кислота | 95 | I | I | 0 |
Дигидрат трехфтористого бора | 13319-75-0 | неорганическая кислота | 96 | I | I | 0,4 |
Трехбромистый фосфор | 7789-60-8 | прекурсоры неорганических кислот | 97 | I | I | 1,0 |
Серная кислота, 10%-й весовой процент | 7664-93-9 | неорганическая кислота | 10 | I | I | 1,2 |
Бензил хлорформиат | 501-53-1 | хлорангидрид кислоты | 95 | I | NC | 2,5 |
1,2-диаминопропан | 78-90-0 | алифатические амины | NA | I | II | 8,3 |
Фосфорная кислота | 7664-38-2 | неорганическая кислота | 85 | II | II | 0,4 |
Хлорангидрид валериановой кислоты | 638-29-9 | хлорангидрид кислоты | 98 | II | II | 0,5 |
Уксусная кислота | 64-19-7 | органические кислоты | 99+ | II | II | 1,9 |
Каприловая кислота | 124-07-2 | органические кислоты | 95 | II | NC | 2,7 |
Каприновая:каприловая кислота (45:55) | 68937-75-7 | органические кислоты | 95 | II | NC | 3,0 |
Гидродифторид аммония | 1341-49-7 | органические аммониевые соли | 98 | II | II | 5,2 |
1-(2-Аминоэтил) пиперазин | 140-31-8 | алифатические амины | 99 | II | II | 11,8 |
Этаноламин | 141-43-5 | алифатические амины | 99+ | II | II | 11,8 |
Гидроксид натрия | 1310-73-2 | неорганические основания | 100 | II | II | 13,8 |
Хлорангидрид циануровой кислоты | 108-77-0 | замещенные триазины | 99 | III | III | 1,7 |
Бензолсульфонилхлорид | 98-09-9 | хлорангидрид кислоты | неразбавленный | III | III | 1,8 |
Кротоновая кислота | 107-93-7 | органические кислоты | 99+ | III | III | 2,3 |
Масляный ангидрид | 106-31-0 | ангидриды | 99 | III | III | 3,1 |
Гидроксиламинсульфат | 10039-54-0 | органические аммониевые соли | 97+ | III | III | 3,6 |
2-метилмасляная кислота | 600-07-7 | органические кислоты | NA | III | III | 3,6 |
Дициклогексиламин | 101-83-7 | алифатические амины | 99 | III | III | 9,6 |
N,N-Диметилбензиламин | 103-83-3 | анилины | 99 | III | III | 10,7 |
Тетраэтиленпентамин | 112-57-2 | алифатические амины | неразбавленный | III | III | 11,9 |
2-Этилгексиламин | 104-75-6 | алифатические амины | 98 | III | III | 12,0 |
Малеиновая кислота | 110-16-7 | органические кислоты | 99 | NC | II | 1,3 |
Хлорид (II) меди | 7447-39-4 | неорганические соли | 97 | NC | II | 3,0 |
Эвгенол | 97-53-0 | фенолы | NA | NC | NC | 3,7 |
Хром (III) фторид | 7788-97-8 | неорганические соли | 97 | NC | NC | 3,9 |
Коричный альдегид | 14371-10-9 | альдегиды | 100 | NC | NC | 3,9 |
Этилтригликоль-метакрилат | 39670-09-2 | акрилаты/метакрилаты | неразбавленный | NC | NC | 4,5 |
Нонилакрилат | 2664-55-3 | акрилаты/метакрилаты | неразбавленный | NC | NC | 6,9 |
Бензалконий хлорид | 8001-54-5 | органические аммониевые соли | 100 | NC | NC | 7,6 |
Бикарбонат натрия | 144-55-8 | неорганические соли | 100 | NC | NC | 8,3 |
Ундециленат натрия | 3398-33-2 | анионное поверхностно-активное вещество | 33 | NC | NC | 8,3 |
Карбонат натрия 50%-й водосодержащий | 497-19-8 | неорганические соли | 100 | NC | II | 11,7 |
Карбонат кальция | 471-34-1 | неорганические соли | неразбавленный | NC | NC | 12,6 |
Аббревиатуры: CAS = регистрационный номер Химической реферативной службы; Конц. = концентрация; NA = нет данных; NC = не вызывающие коррозии; PG = Группа упаковки; ООН (UN) = Организация Объединенных Наций. |
-------------------------------- |
<1> Репрезентативную выборку из 163 стандартных химических веществ, которые изначально использовались для валидации стандартного метода тестирования  представляют собой 40 стандартных химических веществ. |
<2> Данные по классу химического вещества, протестированной концентрации, и значениям pH были получены из оригинальных источников. Значения pH округлены до одной десятой. |
<3> В рамках Согласованной на глобальном уровне системы классификации опасности и маркировки химической продукции (GHS) (ООН), классификации PG соответствуют следующему: PG I = 1A, PG II = 1B, PG III = 1C. Эти классификации основаны на высококачественных результатах тестировани я in vivo |
Таблица 6.4.1.1.2
Точность валидированного стандартного метода
тестирования коррозии кожи <1>
Источник | Количество химических веществ | | | Относительное число ложноотрицательных заключений <2> | Относительное число ложноположительных заключений <2> | Точность попадания в Группы упаковки <3> |
Стандартные химические вещества <4> | 40 | 89% (25/28) | 75% (9/12) | 11% (3/28) | 25% (3/12) | 96% (24/25) |
-------------------------------- |
<1> В таблице 6.4.1.1.2 приводятся оценки точности валидированного стандартного метода тестирования при идентификации коррозионного потенциала 40 стандартных химических веществ (табл. 6.4.1.1.1). |
<2> В этом анализе вещество прежде всего классифицируется как обладающее или необладающее коррозионной активностью (способностью) по данным каждой тестировавшей его лаборатории, использовавшей при тестировании параллельные пробы. Затем данное вещество классифицируется как обладающее или не обладающее коррозионной активностью по данным всех тестировавших его лабораторий (если проводились межлабораторные исследования). |
<3> Точность отнесения вещества к Группам упаковки отражает частоту, с которой валидированный стандартный метод тестирования правильно классифицирует вещества по Группам упаковки ООН (или подкатегориям коррозионности GHS), установленным в кожном тесте in vivo на кроликах. Приведенные данные получены при тестировании стандартных веществ с помощью коммерческой тест-системы  |
|
КОЖНО-РЕЗОРБТИВНОЕ ДЕЙСТВИЕ: МЕТОД IN VITRO
Идентичен международному документу OECD TG N 428 "Skin Absorption: in vitro Metod (ОЭСР Руководство 428 "Кожно-резорбтивное действие: метод in vitro"). Международный документ разработан Организацией Экономического Сотрудничества и Развития (ОЭСР/ОЭCD), принят 13 апреля 2004 г. Перевод с английского (en). Степень соответствия - модифицированный (MOD).
1.1. Настоящий метод исследования обеспечивает получение информации о кожно-резорбтивном действии веществ при их тестировании in vitro и позволяют оценить и классифицировать вещество в соответствии с Согласованной на глобальном уровне системой классификации и маркировки (СГС) по данному виду воздействия.
1.2. Данный экспериментальный метод был разработан для получения информации об абсорбции исследуемого вещества, нанесенного на вырезанный кусочек кожи. Это исследование может проводиться в сочетании с исследованием кожно-резорбтивного действия in vivo по руководству OECD (метод in vivo) или отдельно. Для содействия в планировании эксперимента, основанного на данном методе in vitro, и гарантирования надежности результатов исследования можно рекомендовать учитывать и Руководство OECD по проведению исследований по абсорбции кожи.
2.1. Изучение и оценка кожно-резорбтивного действия веществ при их тестировании in vitro является особенно важной в тех случаях, когда накожный путь поступления веществ является приоритетным. Методы для оценки кожно-резорбтивного действия и дермального распределения веществ могут быть подразделены на две категории: in vivo и in vitro. Методы in vivo исследования кожно-резорбтивного действия хорошо проработаны, позволяют получить фармакокинетическую информацию для ряда видов животных и представлены в Руководстве OECD.
Методы in vitro также использовались много лет для измерения кожной абсорбции. Хотя формальная проверка достоверности исследований методом in vitro не была выполнена, эксперты OECD в 1999 г. приняли решение, что было предоставлено достаточно данных, подтверждающих достоверность оценки кожно-резорбтивного действия методом in vitro. Более подробная информация, доказывающая правомерность этого метода, включая значительное количество прямых сравнений методов in vivo и in vitro, представлены в Руководстве OECD. Методы in vitro оценивают диффузию химических веществ в и через кожу в приемный (жидкостный) резервуар и могут использовать нежизнеспособную кожу для измерения только диффузии, или свежую метаболически активную кожу для одновременного измерения диффузии и кожного метаболизма. Такие методы нашли практическое применение при сравнении распространения вещества в и через кожу в различных составах и также могут обеспечивать полезные модели при оценке перкутанной абсорбции кожи человека.
2.2. Метод in vitro не может применяться во всех ситуациях и для всех классов химических веществ. Методы in vitro можно использовать для начального количественного определения проницаемости кожи. В определенных случаях можно сравнивать полученные данные с данными, полученными методом in vivo. Необходимо учитывать руководство для дальнейшей разработки ситуаций, применимых для метода in vitro.
2.3. Данный документ содержит основные принципы для измерения кожно-резорбтивного действия и распространения исследуемого вещества с использованием удаленной кожи. Проникающая способность кожи сохраняется после удаления от тела (вырезка кусочка кожи), потому что сохраняется жизнеспособность кожи. Как оказалось, у кожи была выявлена способность усваивать некоторые химикаты во время всасывания через кожу, и проницаемость кожи после отделения ее от тела поддерживается за счет основного диффузионного барьера нежизнеспособной роговой оболочки, а активное прохождение вещества через кожу не было зарегистрировано. В исследовании может использоваться кожа многих видов млекопитающих, в том числе и кожа человека.
3.1. Исследуемое вещество, которое может быть помечено радиоактивной меткой, наносят на поверхность кожного образца, разделяющего две камеры диффузионной ячейки. Вещество оставляют на коже на определенное время при определенных условиях до удаления вещества с использованием подходящей процедуры очистки. Приемную жидкость собирают в различные периоды в течение эксперимента и анализируют на присутствие вещества и/или его метаболитов. Когда используются метаболически активные системы, метаболиты исследуемых веществ можно анализировать подходящими методами. По окончании эксперимента при необходимости количественно оценивают распределение исследуемого вещества и его метаболитов.
3.2. При соответствующих условиях, рассмотренных в данной методике, абсорбцию исследуемого вещества в течение данного периода измеряют путем анализа приемного раствора и обработанной кожи. Исследуемое вещество, оставшееся на коже, нужно рассматривать как абсорбированное, если только не показано, что абсорбция может определяться только из величин приемного раствора. Анализ других компонентов (вещество, смытое с кожи или оставшееся в кожных слоях) позволяет проводить дальнейшую оценку данных, включая полное распределение анализируемого вещества и процент восстановления.
3.3. Для демонстрации правильной постановки и достоверности тестовой системы в испытательной лаборатории результаты для соответствующих контрольных веществ должны быть доступны и соответствовать данным, опубликованным для используемого метода в литературе. Данное требование может быть удовлетворено путем тестирования соответствующего контрольного (справочного) вещества (предпочтительно с липофильностью, близкой к исследуемому веществу) параллельно с исследуемым веществом или путем рассмотрения соответствующих литературных данных для ряда контрольных (справочных) веществ с различной липофильностью (например, кофеин, бензойная кислота или тестостерон).
4.1.1. В эксперименте может использоваться кожа человека или животных. Необходимо, чтобы при использовании кожи человека соблюдались национальные, международные и этические нормы. Предпочтительно использовать жизнеспособную кожу, нежизнеспособная кожа также может использоваться при условии, что подтверждена ее целость. Пригодными для применения являются как эпидермальные мембраны (разделенные обработкой энзимами, теплом или химическим способом), так и расщепленные кожные образцы (обычно 200 - 400 мкм толщиной), подготовленные с дерматом. Может использоваться кожа обычной толщины, но избыточной толщины кожи (приблизительно > 1 мм) следует избегать, если только это не является специальным требованием для определения вещества в слоях кожи. Важно, чтобы кожа была предварительно подготовлена. Несоответствующая обработка может привести к повреждению рогового слоя, поэтому целость подготовленной кожи должна быть проверена. При исследовании кожного метаболизма свежесрезанная кожа должна быть использована как можно быстрее при условиях, поддерживающих метаболическую активность. Свежесрезанная кожа должна быть использована в течение 24 часов, но приемлемый период хранения кожи может изменяться в зависимости от системы энзимов, вовлеченных в метаболизм, и температур хранения. Когда пробы кожи хранятся до использования, необходимо убедиться, что барьерная функция поддерживается.
4.1.2. Исследуемое вещество - это вещество, характеристики проникновения которого в кожу должны быть изучены. В идеале анализируемое вещество должно иметь радиоактивную метку. Исследуемое вещество (например, чистый, разбавленный или смешанный материал, содержащий исследуемое вещество, которое наносится на кожу) должно быть подготовлено в той же форме (или в форме соответствующего суррогата), в которой человек или другие потенциальные целевые виды могут подвергаться его воздействию. Любое отклонение от подготовительного процесса должно быть оправданным. Обычно используются две и более концентрации исследуемого вещества, охватывающие реальный диапазон доз потенциального воздействия на организм человека. Также должен быть рассмотрен экспериментальный диапазон типичных составов. При нормальных условиях воздействия химических веществ на организм человека обычно сталкиваются с конечными дозами. Следовательно, необходимо использовать накожные апликации, которые имитируют воздействие на организм человека. Нанесение вещества, имитирующее экспозицию человека, составляет 1 - 5 мг/см2 кожи для твердых веществ и до 10 мкл/см2 для жидкостей. Количество должно быть обосновано ожидаемыми условиями проведения испытания, целями исследования и физическими характеристиками пробы. Например, нанесения на кожу могут быть бесконечными там, где применяются большие объемы на единицу поверхности.
4.1.3. На пассивную диффузию веществ и, соответственно, на кожное всасывание влияет температура. Для диффузионной камеры и кожи должна поддерживаться постоянная температура, близкая к нормальной температуре кожи (32 +/- 1) °C. Различные конструкции ячеек требуют применения различных водяных бань и нагреваемых температурных блоков для поддержания физиологической нормы для кожи и приемного раствора. Предпочтительно поддерживать влажность в диапазоне между 30 и 70%.
4.1.4. Диффузионная ячейка.
Диффузионная ячейка (рисунок) состоит из донорской и приемной камер, между которыми помещается кожа (пример типичного устройства приведен на
рисунке). Ячейка должна обеспечивать герметичность вокруг кожи, способствовать легкому приготовлению образцов и хорошему перемешиванию приемного раствора в контакте с обратной стороной кожи, оптимальный температурный контроль ячейки и ее содержимого. Для проведения эксперимента подходят как статические, так и проточные диффузионные ячейки. Донорские ячейки оставляют открытыми во время экспозиции определенной дозой экспериментальной пробы. Для неопределенных доз или при конкретных программах для определенных доз ячейки могут быть закрыты.
4.1.5. Предпочтительно использовать физиологически проводящий приемный раствор, однако могут использоваться и другие растворы при условии, что их применение обосновано. Необходимо знать точный состав приемного раствора. Исследуемое вещество должно быть достаточно растворимо в приемном растворе таким образом, чтобы это не мешало абсорбции. Приемный раствор не должен оказывать влияния на целость образца кожи. В динамических системах скорость потока не должна мешать диффузии исследуемого вещества в приемном растворе. В статических системах приемный раствор должен постоянно перемешиваться и регулярно обновляться. При изучении метаболизма приемный раствор должен поддерживать жизнеспособность кожи на протяжении всего эксперимента. Подбор видов, анатомическое место и техника препарирования должны быть обоснованы. Необходимо получение достоверных данных, как минимум, четырех повторных экспериментов для исследуемого вещества.
Рис. Пример типичного устройства статической
диффузионной ячейки для проведения исследований
перкутанной абсорбции in vitro
А - Фильтр из активированного угля (для летучих исследуемых
веществ); Б - Донорская камера ячейки; В - Кожная оболочка
(2,54 см2); Г - Поддерживающая сетка; Д - Стеклянная
диффузионная ячейка; Е - Магнитный вращающийся стержень;
Ж - Приемная камера (раствор с температурой /32 +/- 1/ °C,
поддерживаемый с помощью водяной бани); З - Автоматический
пробоотборник, запрограммированный для отбора проб
в определенное время; пипетка/шприц для отбора проб
в люминесцентные или ВЭЖХ сосуды; объем поддерживается
на постоянном уровне путем добавления
свежего приемного раствора
4.2. Условия проведения эксперимента
Экспозиция кожи исследуемым веществом может продолжаться в течение всего эксперимента или в течение более коротких периодов (то есть для имитации специфического типа воздействия на организм человека). Кожа должна быть промыта от избытка исследуемого вещества подходящим раствором моющего вещества, а промывочный раствор должен быть собран для анализа. Процедура удаления исследуемого вещества будет зависеть от предполагаемых условий использования и должна быть обоснована. Для получения характеристики абсорбционного профиля требуется период наблюдений в 24 часа. Поскольку целость кожи может быть нарушена после 24 часов, период наблюдений не должен превышать этого времени. Для исследуемых веществ, которые проникают в кожу быстро, это может быть не так важно, но для веществ, которые проникают медленно, могут потребоваться более длинные периоды. Частота отбора проб приемного раствора должна позволять представить абсорбционный профиль вещества графически.
5. Данные, анализ и отчет
5.1. Должны быть представлены данные по приемному раствору, распределению исследуемого вещества в тестовой системе, абсорбционному профилю в зависимости от времени. При использовании определенных доз должны быть рассчитаны количество вещества, смытого с кожи, количество, оставшееся на коже (и в различных слоях кожи, если проводился анализ) и количество вещества, присутствующее в приемном растворе (степень, количество и процентное содержание от используемой дозы). Иногда кожно-резорбтивное действие может выражаться с использованием только данных приемного раствора. В случае, когда исследуемое вещество остается на коже, данное количество следует включать в общее количество поглощенного вещества. При использовании неопределенных доз полученные данные могут позволять рассчитывать константу проницаемости. В последнем случае процент поглощенного вещества не может быть рассчитан.
5.2. Все компоненты тестовой системы должны быть проанализированы и определен результат. Компоненты включают донорскую камеру, смыв с поверхности кожи, пробу кожи, а также приемный раствор и приемную камеру. В некоторых случаях кожа может быть разделена на область, подвергавшуюся воздействию, и другие области, например: на роговой слой, эпидермис и дермальную фракцию для проведения отдельного анализа. Во всех исследованиях должны быть получены адекватные результаты (целью должно быть среднее значение радиоактивности (100 +/- 10)%, а любые отклонения должны быть обоснованы). Должны быть проанализированы с использованием подходящих методов количество исследуемого вещества в приемном растворе, проба кожи, смывы с поверхности кожи и приборов.
5.3. Отчет о проведении испытания должен включать требования, предусмотренные тестовым протоколом, в том числе обоснование использования данной тестовой системы, и содержать следующую информацию:
Исследуемое вещество:
- физическая природа, физико-химические свойства (как минимум, молекулярная масса и log Pow - коэффициент разделения), чистота (радиохимическая чистота);
- идентификационные данные (например, номер партии);
- растворимость в приемном растворе.
Проба исследуемого вещества:
- состав и обоснование использования;
- гомогенность.
Условия проведения эксперимента:
- исходная информация, источник и место расположения вырезаемого участка кожи, метод подготовки, условия хранения до использования, предварительная подготовка (очистка, обработка антибиотиком и т.д.), измерения целости кожи, метаболический статус, обоснование использования;
- устройство ячейки, состав приемного раствора, скорость течения приемного раствора или период наблюдений и процедуры;
- описание нанесения исследуемого вещества и количественное описание нанесенных доз;
- продолжительность экспозиции;
- описание удаления исследуемого вещества с кожи, например, промывка кожи;
- описание анализа кожи, способы фракционирования, используемые для демонстрации распределения кожи;
- процедуры промывки ячейки и оборудования;
- методы исследований, способы экстракции, пределы определения и аналитические методы проверки достоверности.
Результаты:
- все результаты эксперимента (нанесенная доза + смывы с кожи + кожа + приемный раствор + смывы с ячейки);
- табличное представление результатов ячейки для каждого эксперимента;
- абсорбционный профиль;
- табличное представление данных об абсорбции (выраженных как степень, количество и процентное соотношение).
Обсуждение результатов.
Выводы.
СТРАТЕГИЯ ТЕСТИРОВАНИЯ И ПРОВЕДЕНИЯ ИСПЫТАНИЙ
РАЗДРАЖАЮЩЕГО/РАЗЪЕДАЮЩЕГО ДЕЙСТВИЯ НА КОЖУ
| Действия | Результат | Заключение |
1 | Оценка существующих данных, полученных на человеке и/или животных, о влиянии на кожу или слизистые | Разъедание (коррозия) | Первичная реакция; обладает разъедающим (коррозионным) действием. Тестирование не требуется |
Раздражение | Первичная реакция; обладает раздражающим действием. Тестирование не требуется |
Отсутствие разъедания (коррозии)/раздражения | Первичная реакция; не обладает разъедающим (коррозионным) или раздражающим действием. Тестирование не требуется |
| | | |
Информация отсутствует, или доступная информация не позволяет сделать заключение |
| |
2 | Оценка зависимости "структура-активность" для дермального разъедания (коррозии)/раздражения | Предсказание серьезных повреждений кожи | Обладает разъедающим (коррозионным) действием. Тестирование не требуется. |
Предсказание раздражающего действия | Обладает раздражающим действием. Тестирование не требуется |
| | | |
Прогноз не может быть сделан, или результаты прогноза не позволяют сделать вывод или отрицательные |
| |
3 | Измерение pH (с учетом буферной емкости, если имеет значение) | pH <= 2 или >= 11,5 (с высокой буферной емкостью, если имеет значение) | Признается обладающим разъедающим (коррозионным) действием. Тестирование не требуется |
| | | |
2 < pH < 11,5, или pH <= 2,0 или >= 11,5 с низкой буферной емкостью, если имеет значение |
| |
4 | Оценка данных о системной токсичности при накожном пути поступления <4> | Высокая токсичность | Никакие дальнейшие тестирования не требуются |
Не обладает разъедающим (коррозионным) или раздражающим действием при испытании на кроликах в предельной дозе 2000 мг/кг или выше | Признается не обладающим разъедающим (коррозионным) или раздражающим действием. Никакие дальнейшие тестирования не требуются |
| | | |
Подобная информация отсутствует или не позволяет сделать заключение |
| |
5 | Использование утвержденных тестов in vitro или ex vivo, предназначенных для оценки разъедающего (коррозионного) действия на кожу | Разъедающий (коррозионный) ответ | Признается обладающим разъедающим (коррозионным) действием in vivo. Никакие дальнейшие тестирования не требуются |
| | | |
Вещество не обладает разъедающим (коррозионным) действием, или соответствующие методики in vitro/ex vivo, утвержденные на международном уровне, пока еще не доступны |
| |
6 | Использование утвержденных тестов in vitro или ex vivo, предназначенных для оценки раздражающего действия на кожу | Раздражающий ответ | Признается обладающим раздражающим действием in vivo. Никакие дальнейшие тестирования не требуются |
| | | |
Вещество не обладает раздражающим действием, или соответствующие методики in vitro/ex vivo, утвержденные на международном уровне, пока еще не доступны |
| |
7 | Проведение предварительного испытания in vivo на одном кролике | Серьезные повреждения кожи | Признается обладающим разъедающим (коррозионным) действием. Никакие дальнейшие тестирования не требуются |
| | | |
Отсутствие серьезных повреждений |
| |
8 | Проведение уточняющего текста с использованием одного или двух животных | Разъедающее (коррозионное) или раздражающее действие | Признается обладающим разъедающим (коррозионным) или раздражающим действием. Никакие дальнейшие тестирования не требуются |
Разъедающее (коррозионное) или раздражающее действие отсутствует | Признается не обладающим разъедающим (коррозионным) действием. Никакие дальнейшие тестирования не требуются |
--------------------------------
<4> Могут быть оценены до выполнения 2-го и 3-го этапа.
ОЦЕНКА ФОТОТОКСИЧНОСТИ IN VITRO В ТЕСТЕ ПОГЛОЩЕНИЯ
НЕЙТРАЛЬНОГО КРАСНОГО КЛЕТКАМИ 3Т3 (3Т3 NRU)
Идентичен международному документу OECD TG N 432 "In vitro 3Т3 NRU phototoxicity test" (ОЭСР Руководство N 432 "Тест 3Т3 NRU для оценки фототоксичности in vitro"). Перевод с английского языка (en). Степень соответствия - модифицированный (MOD).
1.1. Настоящий метод исследования обеспечивает получение информации о фотоцитотоксических свойствах исследуемого вещества в тест-системе in vitro и тем самым позволяют прогнозировать фототоксичность данного вещества in vivo как при его накожном нанесении, так и при системном введении. Полученная информация может быть использована для классификации веществ в соответствии с СГС по данному виду токсичности.
1.2. До проведения эксперимента должна быть рассмотрена вся доступная информация об исследуемом веществе. Такая информация включает данные о составе и химическом строении вещества; его физико-химические свойства; результаты токсикологических испытаний in vivo и in vitro; токсикологические данные по структурно родственным веществам и предполагаемые пути использования вещества. Эта информация является необходимой для подтверждения того, что испытание является важным для защиты здоровья человека и способствует обоснованному выбору начальной дозы.
2.1. Фототоксичность определяется как токсичность химического вещества, возникающая или усиливающаяся под влиянием света, в частности при облучении кожи животного на фоне системного введения вещества.
2.2. Явление фототоксичности основано на переходе исследуемого вещества в возбужденную форму после облучения светом в УФ и видимом диапазоне.
2.3. Оценка фототоксичности in vitro в тесте поглощения нейтрального красного клетками 3Т3 (3Т3 NRU) основана на измерении относительного снижения жизнеспособности фибробластов 3Т3, подверженных действию химического вещества в присутствии света по сравнению с его отсутствием.
2.4. При этом предполагается, что вещества, выявляемые данным тестом in vitro как фототоксичные, будут проявлять фототоксичность и in vivo как при их накожном нанесении, так и при системном введении (в последнем случае после попадания вещества из кровотока в кожу).
3.1. Фототоксическим действием обладают многие химические вещества. Их общим свойством является способность поглощать световую энергию в диапазоне излучения солнечного света. Согласно первому закону фотохимии (закону Grotthaus-Draper), фотореакции требуют достаточного поглощения квантов света. Поэтому перед началом биологического тестирования необходимо снять спектр поглощения данного вещества в УФ и видимой областях, следуя МР ОЕСР N 101 (OECD Test Guideline 101). Если молярный коэффициент экстинкции вещества меньше 10 единиц оптической плотности на моль/литр x см, оно вряд ли окажется фотоактивным. Такие вещества не нуждаются в тестировании методом 3Т3 NRU или другим биологическим методом навыявления неблагоприятных фотохимических эффектов
(рис. 6.4.3.1).
Рис. 6.4.3.1. Схема, показывающая место теста 3Т3 NRU
в последовательном подходе к тестированию
химических веществ на фототоксичность
3.2. Надежность и практическая значимость теста 3Т3 NRU на фототоксичность оценивалась в работах. Было показано, что данный тест in vitro может быть использован для прогноза острой фототоксичности у людей и животных in vivo. В то же время данный тест не предназначен для прогноза других неблагоприятных эффектов, которые могут возникать при комбинированном действии химического соединения и света, например: фотогенотоксичности, фотоаллергенности или фотоканцерогенности. Кроме того, данный тест не предназначен для изучения непрямых механизмов фототоксичности, влияния метаболитов изучаемого вещества или влияния смесей химических соединений.
3.3. Общим требованием ко всем тестам in vitro, оценивающим генотоксический и канцерогенный потенциал химических веществ, является использование ферментных систем метаболизма ксенобиотиков. Что касается фототоксикологии, пока выявлены только единичные случаи, в которых метаболическая трансформация вещества требуется для проявления им фототоксичности in vitro или in vivo. Таким образом, научное обоснование для дополнения данного теста системой метаболической активации отсутствует.
3.4. Тест 3Т3 NRU на фототоксичность основан на сравнении цитотоксичности химического вещества при тестировании в присутствии и в отсутствии облучения нецитотоксической дозой света, имитирующего по спектру солнечный свет. Оценкой цитотоксичности вещества в данном тесте является зависимое от его концентрации снижение поглощения клетками витального красителя (нейтрального красного, НК) при измерении через 24 часа после воздействия исследуемого химического вещества в комбинации с облучением. Нейтральный красный - слабый катионный краситель, быстро проникающий через клеточную мембрану недиффузионным механизмом и накапливающийся в лизосомах клеток. Повреждение чувствительных лизосомальных мембран приводит к нарушению стабильности лизосом и другим изменениям, которые постепенно становятся необратимыми. Вследствие этих изменений, вызываемых веществами-ксенобиотиками, поглощение и связывание НК клетками снижается. В результате можно различить живые, поврежденные и мертвые клетки, что и является основой данного теста.
3.5. Культуру клеток 3Т3 мышей Balb/c выдерживают в питательной среде в течение 24 часов для формирования монослоя. Для каждого тестируемого вещества подготавливают два планшета на 96 ячеек, в каждом из которых клетки 3Т3 инкубируются в присутствии восьми различных концентраций данного вещества в течение часа. После этого один из планшетов облучают светом в максимальной нецитотоксичной дозе, в то время как второй планшет держат в темноте. Далее инкубационную среду в обоих планшетах заменяют свежей питательной средой и еще через 24 часа определяют жизнеспособность клеток по поглощению НК. Жизнеспособность клеток при действии каждой использованной концентрации тестируемого вещества выражают в процентах от соответствующего контроля, обработанного одним растворителем. Для оценки фототоксического потенциала данного вещества сравнивают зависимости концентрация-эффект, полученные в присутствии и отсутствии облучения, обычно используя для этого соответствующие величины полуингибирующих концентраций (IC50), т.е. концентраций вещества, снижающих жизнеспособность клеток по сравнению с необработанным контролем на 50%.
Культура клеток
4.1.1. При валидации данного метода использовался постоянный штамм фибробластов мышей 3Т3 Balb/c (клон 31), полученный из Американской коллекции клеточных культур (American Type Culture Collection - ATCC; Manassas, VA, USA) или из Европейской коллекции клеточных культур (European Collection of Cell Cultures - ECACC; Salisbury, Wiltshire, UK), поэтому рекомендуется приобретать данный штамм у надежных поставщиков. Можно использовать и другие клетки или их постоянные штаммы, если условия их культивирования адаптированы к специфическим требованиям данного метода, но в этих случаях эквивалентность замены должна быть доказана экспериментально.
4.1.2. Культура клеток должна регулярно проверяться на отсутствие загрязнения микоплазмой, в противном случае она не может использоваться.
| | ИС МЕГАНОРМ: примечание. В официальном тексте документа, видимо, допущена опечатка: рисунок 3 отсутствует. | |
4.1.3. Необходимо также регулярно проверять чувствительность клеток к ультрафиолету (УФ), используя изложенную в данном методе процедуру контроля качества. Поскольку чувствительность клеток к ультрафиолету A (УФ-A) с числом пассажей может постепенно возрастать, следует использовать клетки 3Т3, прошедшие как можно меньше пассажей, - желательно менее 100 (см. рис. 3).
Условия культивирования
4.1.4. При обычном пересеве клеток и во время эксперимента следует использовать подходящие культуральные среды и условия культивирования; например, для штамма Balb/c 3Т3 - среду DMEM (Dulbecco's Modified Eagle's Medium, т.е. среду Игла в модификации Дульбекко) с добавлением 10% сыворотки новорожденных телят, 4 мМ глутамина, 100 ME пенициллина и 100 мкг/мл стрептомицина в условиях влажной инкубации при 37 °C и 5,0 - 7,5% CO2, в зависимости от буферного раствора. Условия культивирования штамма должны обеспечивать нормальную продолжительность клеточного цикла клеток Balb/c 3Т3 или другой используемой клеточной линии.
Подготовка культуры клеток
4.1.5. Клетки замороженных исходных штаммов высевают на питательную среду с определенной плотностью и пересеивают перед использованием в тесте на фототоксичность как минимум один раз.
4.1.6. Плотность посева клеток должна быть такой, чтобы к концу опыта (на момент определения жизнеспособности клеток через 48 часов после их посева в планшет) клетки еще не образовывали монослоя. Для Balb/c 3Т3 клеток, растущих в 96-луночном планшете, рекомендуемая плотность посева составляет 1 x 104 клеток на ячейку.
4.1.7. Для каждого исследуемого вещества производят идентичный посев клеток в два отдельных 96-луночных планшета. Планшеты в течение опыта находятся в идентичных условиях, за исключением промежутка времени, в котором один из планшетов облучают (+Irr), а другой держат в темноте (-Irr).
Подготовка исследуемого вещества
4.1.8. При отсутствии сведений о стабильности растворов данного вещества, растворы для тестирования должны быть приготовлены непосредственно перед использованием. Рекомендуется приготавливать растворы и проводить первоначальную обработку ими клеток на свету, что позволит избежать фотоактивации или деградации исследуемого вещества до облучения.
4.1.9. Исследуемые вещества должны быть растворены в забуференном солевом растворе, например в сбалансированном солевом растворе Эрла (EBSS) или в других физиологически сбалансированных буферных растворах, которые не должны содержать белков и компонентов, поглощающих свет (например, цветных pH-индикаторов и витаминов) во избежание помех во время облучения. Так как при облучении клетки находятся в течение примерно 50 минут вне CO2 инкубатора, необходимо принимать меры для предотвращения их защелачивания. При использовании слабых буферов, таких как EBSS, это может достигаться путем инкубации клеток при 7,5% CO2. Если клетки инкубируют при 5% CO2, то должна быть использована среда с более высокой буферной емкостью.
4.1.10. При тестировании веществ, имеющих плохую растворимость в воде, необходимо подобрать подходящий растворитель. Этот растворитель должен присутствовать в постоянном объеме во всех экспериментальных вариантах, включая негативный контроль на растворитель и все использующиеся концентрации тестируемого вещества, и не должен быть цитотоксичным в данной концентрации. Исследуемые концентрации веществ должны быть подобраны так, чтобы избежать образования осадка или помутнения раствора.
4.1.11. Рекомендуется использовать в качестве растворителей диметилсульфоксид, этанол и другие органические растворители с низкой цитотоксичностью. Перед использованием необходимо провести оценку специфических свойств растворителя, например, оценить возможность его реакции с исследуемым веществом, возможность гашения цитотоксического эффекта, проявления антирадикальных свойств и/или изменения химической устойчивости тестируемого вещества в данном растворителе.
4.1.12. При приготовлении растворов можно использовать вортекс, ультразвук или нагревание до необходимых температур, если это не влияет на устойчивость тестируемых соединений.
Условия облучения
4.1.13. Источник света. Выбор источника света и фильтров является критическим фактором в тестировании на фототоксичность. Для изучения фототоксических реакций in vivo обычно используют облучение светом видимого диапазона или УФ-A; область УФ-B используется редко из-за высокой цитотоксичности, увеличивающейся в 20 раз при изменении длины волны от 313 до 280 нм. Основными требованиями при выборе источника света является наличие в его диапазоне тех длин волн, которые могут быть поглощены тестируемым веществом, т.е. входят в спектр его поглощения, а также достаточная мощность, с тем чтобы в практически разумные сроки могла быть достигнута доза облучения, необходимая для определения стандартных фототоцитотоксичных веществ. В то же время спектральный диапазон и мощность источника света не должны приводить к эффектам, отличным от фотоцитотоксических, например выделению тепла при инфракрасном облучении.
4.1.14. Наиболее оптимальным вариантом искусственного источника света является использование солнечных симуляторов, спектр излучения которых совпадает со спектром излучения Солнца, измеряемым в дневное время на открытой местности. В качестве симуляторов солнечного света чаще всего используют ксеноновую или ртутно-галогеновую лампы; последняя дешевле и выделяет меньше тепла, но хуже совпадает по спектру с естественным солнечным светом. Поскольку все солнечные симуляторы испускают значительное количество света в высокотоксичной области УФ-B, они должны быть укомплектованы соответствующим фильтром для отсечения этой области спектра излучения. Все сорта лабораторного пластика для культивирования клеток содержат УФ-стабилизаторы, поэтому спектр излучения источника света может быть измерен в тех же самых 96-луночных планшетах, которые используются для проведения данного теста. Независимо от выбранных светофильтров и их неизбежного влияния на установку в целом, спектр испускания системы не должен отличаться от стандартного дневного света в соответствии с ISO 18909.
4.1.15. Пример спектра излучения солнечного симулятора с фильтром, удовлетворяющего условиям проведения данного теста, приведен на
рис. 6.4.3.2. Данный металлогалогенный источник света (модель SOL 500) использовался на стадии валидации теста 3Т3 NRU. На рисунке показаны спектры излучения при комбинации симулятора SOL 500 с двумя разными фильтрами H1 и H2, а также дополнительный фильтрующий эффект пластиковой крышки 96-луночного культурального планшета. Фильтр H2 использовался только в тех тест-системах, которые могут перенести повышенное количество излучения диапазона (тест с использованием модельного кожного покрова и тест на фотогемолиз эритроцитов). В тесте 3Т3 NRU на фототоксичность использовался фильтр H1.
Как это видно из графика, дополнительный фильтрующий эффект крышки культурального планшета проявляется в основном в области УФ-B, но при этом сохраняется достаточная интенсивность излучения УФ-B для возбуждения тех веществ, которые поглощают свет в основном в этой области спектра (например, Амиодарон, таблица).
4.1.16. Дозиметрия. Интенсивность источника света должна подвергаться проверке перед каждым опытом с использованием подходящего широкодиапазонного УФ-метра. Эти измерения проводят в тех же 96-луночных планшетах, которые используются для проведения теста 3Т3 NRU. В соответствии с используемым источником света УФ-метр должен быть поверен и откалиброван. Для поверки рекомендуется использовать второй стандартный УФ-метр того же типа с идентичной калибровкой - лучше всего спектрорадиометр.
Рис. 6.4.3.2. Спектр излучения солнечного
симулятора с фильтрами
По оси абсцисс - длина волны света в нанометрах,
по оси ординат - интенсивность облучения в мВт/см2.
Вертикальными пунктирными линиями разделены диапазоны
УФ-B, УФ-A и видимой части спектра. Остальные
объяснения см. в тексте
4.1.17. Показано, что можно найти дозу облучения в области УФ-A, нетоксичную для клеток Balb/c 3Т3 и в то же время имеющую достаточную мощность для возбуждения химических соединений и протекания фотохимических реакций. Например, в ряде работ для достижения дозы облучения 5 Дж/см
2 в течение 50 минут освещенность была установлена на уровне 1,7 мВт/см
2. На
рис. 6.4.3.3 показана чувствительность клеток 3Т3 мышей Balb/c к излучению солнечного симулятора в области УФ-A, изучавшаяся на стадии превалидации теста 3Т3 NRU на фототоксичность. Исходные данные были получены в 7 независимых лабораториях
[1]. Две нижние кривые (незакрашенные значки) были получены при использовании состарившейся культуры клеток, прошедшей большое количество пассажей и подлежащей замене на свежую. Остальные кривые (закрашенные значки) получены на клетках с удовлетворительной устойчивостью к облучению светом. По этим данным, максимальная нецитотоксичная доза облучения клеток 3Т3, показанная вертикальной линией, составила 5 Дж/см
2. Горизонтальной пунктирной линией отмечен максимальный приемлемый эффект облучения (снижение выживаемости клеток по сравнению с темновым контролем на 25%).

Рис. 6.4.3.3. Чувствительность культуры клеток 3Т3 мышей
Balb/c к облучению светом в спектральном диапазоне УФ-A
По оси абсцисс - время облучения планшета в минутах
(10 минут эквивалентны мощности УФ-A в 1 Дж/см2);
по оси ординат - выживаемость клеток 3Т3 в процентах
поглощения нейтрального красного по сравнению с темновыми
контролями. Остальные объяснения см. в тексте
4.1.18. При использовании других штаммов клеток и других источников света дозу облучения нужно рассчитать таким образом, чтобы она не была токсична для клеток, но в то же время была достаточна для возбуждения стандартных фототоксинов. Время экспозиции рассчитывают по следующей формуле:

(1)
4.2. Условия проведения эксперимента
Концентрации исследуемых веществ
4.2.1. Диапазон концентраций исследуемого вещества в присутствии (+Irr) и в отсутствии (-Irr) облучения светом должен быть подобран в предварительных экспериментах. Может оказаться полезным определение растворимости вещества в начале эксперимента и через 60 минут (или через другой промежуток времени, в зависимости от длительности облучения), так как растворимость может изменяться во времени или в процессе облучения. Чтобы избежать артефактов, связанных с нефизиологическими изменениями pH при изучении фототоксичности веществ с активными кислыми или щелочными группами, pH культуральной среды после добавления тестируемого вещества должен находиться в диапазоне 6,5 - 7,8.
4.2.2. Максимальная концентрация исследуемого вещества не должна нарушать физиологическое равновесие культуры клеток, в частности по осмотическим характеристикам и водородному показателю. В зависимости от исследуемого вещества, его максимальная концентрация может ограничиваться и другими факторами, например физико-химическими свойствами вещества. Для малорастворимых веществ, не являющихся токсичными вплоть до насыщающей концентрации, в качестве максимальной берется самая высокая из реально достижимых концентраций. Общим правилом является отсутствие преципитации исследуемого вещества при всех исследуемых концентрациях. Максимальная концентрация исследуемого вещества не должна превышать 1000 мкг/мл, а молярность его растворов - 10 ммолей/л. Разведение раствора с максимальной концентрацией исследуемого вещества для получения ряда из 8 тестируемых концентраций следует проводить с использованием постоянного коэффициента разведения.
4.2.3. Если предварительные эксперименты показали, что в отсутствии облучения исследуемое вещество нетоксично для клеток 3Т3 вплоть до максимальной концентрации, а при облучении (+Irr) высоко токсично, диапазоны концентраций вещества в подсериях (-Irr) и (+Irr) могут различаться в соответствии с принципом обеспечения адекватного качества данных внутри подсерий.
Контрольные эксперименты
4.2.4. Чувствительность клеток к облучению, регулярный контроль. Культуру клеток необходимо регулярно проверять (например, при каждом пятом пассаже) на чувствительность к используемому источнику света, оценивая их жизнеспособность при воздействии возрастающих доз облучения. Для этого нужно взять несколько доз облучения, включая те, которые существенно превышают используемые при тестировании веществ на фототоксичность методом 3Т3 NRU. Проще всего определить эти дозы в УФ-части спектра излучения источника света. Клетки высеивают с той же плотностью, как и для проведения теста на фототоксичность 3Т3 NRU, облучают на следующий день и еще через сутки определяют их жизнеспособность по поглощению НК. Полученную при этом максимальную нецитотоксическую дозу облучения (например, при валидации данного метода она составила 5 Дж/см2 УФ-A) используют для демонстрации правильной классификации эталонных фотоактивных веществ (таблица).
4.2.5. Чувствительность клеток к облучению, проверка в текущем эксперименте. Постановка метода отвечает критериям качества, если жизнеспособность облученных проб контроля на растворитель составляет не меньше 80% от жизнеспособности соответствующих необлученных контрольных проб.
4.2.6. Жизнеспособность контрольных проб с добавленным растворителем. Следует убедиться, что используемая плотность посева клеток (например, 1 x 104) обеспечивает нормальную скорость роста штамма с удвоением количества клеток за каждые два дня, что можно определить по величине оптической плотности НК, экстрагированного из контрольных проб, влиянию растворителя, при длине волны 540 нм (ОП540). Тест отвечает принятым критериям, если среднее значение ОП540 в необлученных контрольных пробах не менее 0,4 единиц (что примерно в 20 раз выше, чем фоновая оптическая плотность растворителя при данной длине волны).
4.2.7. Положительный контроль. Параллельно с каждым проводимым тестом 3Т3 NRU на фототоксичность должно тестироваться известное эталонное вещество с хорошо изученными фототоксическими свойствами. Рекомендуется использовать (CPZ), который давал следующие полуингибирующие концентрации (IC50) при использовании стандартного протокола теста: при облучении от 0,1 до 2,0 мкг/мл, без облучения от 7,0 до 90,0 мкг/мл. Фактор фотоактивности (Photo Irritation Factor, PIF) вещества, используемого как положительный контроль, должен быть не менее 6. Необходимо сохранять и периодически анализировать данные, полученные в тесте 3Т3 NRU для положительных контролей.
4.2.8. Вместо хлорпромазина в качестве положительного контроля можно использовать и другие фототоксичные вещества, если они больше соответствуют изучаемому веществу по структуре и растворимости.
Проведение тестирования:
1-й день
4.2.9. Внести по 100 мкл культуральной среды в краевые ячейки 96-луночного микропланшета для культивирования клеток (слепые пробы). В оставшиеся лунки внести по 100 мкл суспензии клеток с концентрацией 1 x 105 клеток/мл питательной среды (то есть по 1 x 104 клеток в каждую лунку). Для тестирования каждого вещества, включая негативный и позитивный контроля, нужно приготовить по два планшета.
4.2.10. Культивировать клетки 24 часа, пока они не займут половину площади дна ячейки (до состояния полумонослоя). Этот инкубационный период необходим для адаптации фибробластов, адгезии к поверхности пластика и вхождения в фазу экспоненциального роста.
2-й день
4.2.11. После инкубации в течение суток удалить из лунок культуральную среду и осторожно промыть клетки добавлением 150 мкл забуференного раствора, используемого для инкубации. Затем внести в лунки по 100 мкл буфера, содержащего необходимые концентрации исследуемого вещества или растворителя. Использовать восемь различных концентраций исследуемого вещества. Инкубировать клетки с исследуемым веществом в темноте в течение 60 минут.
4.2.12. Один из двух планшетов, приготовленных для разведений исследуемого вещества и растворителя, выбираемый случайным образом, предназначают для определения цитотоксичности исследуемого вещества в отсутствии облучения (контрольный планшет, -Irr), а другой - для оценки фотоцитотоксичности (опытный планшет, +Irr).
4.2.13. Для проведения экспозиции планшета +Irr облучают клетки при комнатной температуре в течение примерно 50 минут через крышку 96-луночного планшета наибольшей из доз света, не являющихся цитотоксичными. Второй планшет (-Irr) на этот промежуток времени помещают в темный контейнер.
4.2.14. Удаляют из лунок инкубационную среду и дважды осторожно промывают их добавлением 150 мкл буферного раствора, используемого при инкубации, но не содержащего исследуемое вещество. После этого заменяют буферный раствор культуральной средой и ставят планшет в термостат на ночь (на 18 - 22 ч).
3-й день
Микроскопический анализ
4.2.15. Используя фазово-контрастный микроскоп, проводят оценку роста клеток, их морфологии и непрерывности монослоя. Регистрируют возможное влияние изучаемого вещества на морфологию клеток и скорость их роста.
Оценка поглощения НК
4.2.16. Промывают клетки добавлением 150 мкл теплого буферного раствора. Удаляют промывочный раствор из планшета. Добавляют в лунки по 100 мкл НК (3-амино-7-диметиламино-2-метилфеназин гидрохлорид, CAS 553-24-2; C.I. 50040), растворенного в культуральной среде без сыворотки в концентрации 50 мкг/мл, и инкубируют 3 часа.
4.2.17. После инкубации удаляют среду с НК и промывают клетки 150 мкл буферного раствора. Затем сливают его и полностью удаляют остатки буферного раствора промоканием или центрифугированием.
4.2.18. В каждую лунку добавляют точно по 150 мкл свежеприготовленного десорбирующего раствора (49 частей воды + 50 частей этанола + 1 часть уксусной кислоты).
4.2.19. Инкубируют планшеты на шейкере при небольшой скорости встряхивания 10 минут; за это время НК экстрагируется из клеток в десорбирующий раствор, в котором он хорошо растворим.
4.2.20. Измеряют оптическую плотность экстракта НК в спектрофотометре при длине волны 540 нм против слепых проб, расположенных по периметру культурального планшета. Сохраняют данные в файле соответствующего формата.
5. Анализ и интерпретация данных
Качество и количество данных
5.1. Экспериментальные данные должны позволять проведение значимого анализа зависимостей концентрация-эффект, полученных в присутствии и отсутствии облучения, и, если возможно, определение соответствующих концентраций исследуемого вещества, при которой жизнеспособность клеток 3Т3 снижалась до 50% (IC50). В случае обнаружения цитотоксичности оба ряда данных необходимо отсортировать в порядке увеличения концентраций исследуемого вещества для аппроксимации их кривой.
5.2. Как для явно положительных, так и для явно отрицательных результатов обычно достаточно провести один основной эксперимент, с одним или несколькими предварительными опытами, в которых подбирается нужный диапазон концентраций.
5.3. Вещества, давшие сомнительные, пограничные или нечеткие результаты, должны быть подвергнуты дополнительному тестированию с соответствующей модификацией условий эксперимента - изменением диапазона или шага концентраций, времени прединкубации или времени облучения клеток, в частности для нестабильных веществ можно использовать укороченное время инкубации.
Оценка результатов
5.4. Для оценки результатов вычисляют фактор фотовозбуждения (Photo Irritation Factor, PIF) или средний эффект облучения (Mean Photo Effect, MPE).
5.5. Для оценки степени фототоксичности вещества (см. ниже) необходимо аппроксимировать полученные экспериментальные данные непрерывной зависимостью доза-эффект (т.е. построить соответствующую модель). Для этого обычно используют нелинейный регрессионный анализ. Для оценки влияния вариабельности экспериментальных данных на аппроксимирующую кривую рекомендуется использовать метод бутстреппинга, основанный на принципе Монте-Карло.
5.6. Формула для расчета фактора фотовозбуждения (PIF):
Если хотя бы одно из двух значений IC50 невозможно определить, величину PIF не рассчитывают.
5.7. Средний эффект облучения (MPE) основан на сравнении кривых концентрация-ответ в присутствии и в отсутствии облучения. Он определяется как средневзвешенное значение из полученной выборки отдельных значений фотоэффекта при разных концентрациях вещества:
Значение фотоэффекта PEc для данной концентрации C определяется как произведение эффекта ответа REc и эффекта дозы DEc, т.е. PEc = REc x DEc. Эффект ответа рассчитывается как различие между ответами, наблюдаемыми в присутствии и отсутствии света, т.е. REc = Rc (-Irr) - Rc (+Irr). Эффект дозы рассчитывается по формуле:
C* - эквивалентная концентрация, т.е. концентрация вещества, при которой отклик +Irr равен отклику -Irr. Если величина C* не может быть определена, поскольку отклики на кривой +Irr всегда выше или ниже, чем на кривой -Irr, эффект дозы принимается за 1.
Весовой коэффициент wi берется по максимальной величине отклика: wi = MAX {Ri(+Irr), Ri(-Irr)}. Сетку концентраций Ci выбирают так, чтобы в каждый интервал концентраций попадало одинаковое количество точек.
Вычисление MPE ограничено максимальной величиной концентрации, при которой хотя бы одна из двух кривых дает величину отклика как минимум 10%. Если эта максимальная концентрация выше, чем наибольшая концентрация, использованная в +Irr эксперименте, для оставшейся части кривой +Irr устанавливают величину отклика "0". Вещество классифицируется как фототоксическое, если значение MPE больше установленной пороговой величины 0,15.
5.8. Программное обеспечение для расчета значений PIF и MPE можно получить в Секретариате ОЭСР.
Интерпретация результатов
5.9. На основании результатов валидации теста 3Т3 NRU,
при PIF < 2 или MPE < 0,1 исследуемое вещество определяют как "нефототоксичное";
при 2 < PIF < 5 или 0,1 < MPE < 0,15 - как "возможно фототоксичное";
и при PIF > 5 или МРЕ > 0,15 как "фототоксичное".
5.10. Лаборатории, впервые налаживающие данный метод, до проведения исследований химических веществ на фототоксичность должны провести тестирование стандартных эталонных веществ, перечисленных в
таблице, и убедиться в том, что полученные значения PIF и MPE близки к величинам, указанным в
таблице.
5.11. Если фототоксический эффект наблюдается только при максимальных исследуемых концентрациях (особенно для водорастворимых веществ), для оценки опасности данного вещества могут понадобиться дополнительные сведения, например данные о кожной адсорбции вещества и его аккумуляции в коже и/или данные других тестов in vitro (тестирование на коже животных или человека или искусственных моделях кожи).
5.12. Если токсичность не выявлена в обоих вариантах (+Irr и -Irr) и если плохая растворимость вещества ограничивает величину концентрации, которая может быть исследована, данный метод следует признать не подходящим для исследуемого вещества и провести его изучение на другой модели.
Химическое вещество | Номер CAS | Pif | Mpe | Максимум поглощения света | |
Амиодарон гидрохлорид | 19774-82-4 | > 3,25 | 0,27 - 0,54 | 242 нм, 300 нм (плечо) | этанол |
Хлорпромазин гидрохлорид | 69-09-0 | > 14,4 | 0,33 - 0,63 | 309 нм | этанол |
Норфлоксацин | 70458-96-7 | > 71,6 | 0,34 - 0,90 | 316 нм | ацетонитрил |
Антрацен | 120-12-7 | > 18,5 | 0,19 - 0,81 | 356 нм | ацетонитрил |
Протопорфирин IX, динатриевая соль | 50865-01-5 | > 45,3 | 0,54 - 0,74 | 402 нм | этанол |
L-гистидин | 7006-35-1 | нет | 0,05 - 0,10 | 211 нм | вода |
Гексахлорофен | 70-30-4 | 1,1 - 1,7 | 0,00 - 0,05 | 299 нм 317 нм (плечо) | этанол |
Лаурилсульфат натрия | 151-21-3 | 1,0 - 1,9 | 0,00 - 0,05 | не поглощает | вода |
-------------------------------- |
<*> Растворитель, используемый для измерения поглощения. |
Отчет о проведении испытания должен содержать следующую информацию.
Исследуемое вещество:
- идентификационные данные, наименование общепринятое и наименование по номенклатуре IUPAC, номер CAS (если известно);
- физические свойства, степень очистки;
- физико-химические свойства, имеющие значение при проведении эксперимента;
- УФ/видимый спектр поглощения;
- устойчивость и фотоустойчивость (если известно).
Растворитель:
- обоснование выбора растворителя;
- растворимость исследуемого вещества в данном растворителе;
- содержание растворителя в тестовой среде.
Клетки:
- тип и источник приобретения клеток;
- отсутствие микоплазмы;
- количество пассажей культуры клеток, если известно;
- чувствительность клеток к облучению, определенная с помощью оборудования, используемого в in vitro 3Т3 NRU.тесте на фототоксичность.
Условия проведения эксперимента, инкубация до и после воздействия:
- тип и состав культуральной среды;
- условия инкубации (концентрация CO2, температура, влажность);
- продолжительность инкубации (до и после воздействия).
Условия проведения эксперимента, воздействие химическим веществом:
- логическое обоснование выбора концентраций исследуемого химического вещества, используемых в присутствии и отсутствии облучения;
- в случае ограниченной растворимости исследуемого вещества и отсутствия цитотоксичности: логическое обоснование выбранной максимальной концентрации;
- тип и состав среды, в которой проводится обработка клеток веществом (забуференного солевого раствора);
- продолжительность экспозиции веществом.
Условия проведения эксперимента, облучение:
- логическое обоснование выбора источника света;
- производитель и тип источника света и радиометра;
- спектральные характеристики излучения источника света;
- пропускание и поглощение используемых фильтров;
- характеристики радиометра и детали его калибровки;
- расстояние между источником света и планшетом;
- УФ-A-излучение на данном расстоянии, выраженное в мВт/см2;
- продолжительность экспозиции УФ/видимым излучением;
- доза УФ-A (облучение x время), выраженная в Дж/см2;
- температура клеточной культуры во время облучения и клеточной культуры, параллельно содержащейся в темноте.
Условия проведения эксперимента, тест на жизнеспособность с НК:
- состав среды, в которой НК добавлялся к клеткам;
- продолжительность инкубации с НК;
- условия инкубации во время обработки (концентрация CO2, температура, влажность);
- условия экстракции НК (состав экстрагирующей смеси, продолжительность экстракции);
- длина волны при спектрофотометрическом измерении оптической плотности НК;
- вторая длина волны (референсная), при необходимости;
- состав слепой пробы при спектрофотометрии, если использовалась.
Результаты:
- жизнеспособность клеток при каждой концентрации исследуемого вещества, выраженная в процентах от среднего значения жизнеспособности в параллельных контрольных тестах с растворителем;
- кривые концентрация-ответ (концентрации вещества - соответствующие значения жизнеспособности клеток), полученные в параллельных экспериментах +Irr и -Irr;
- анализ кривых концентрация-ответ: если возможно, вычисление значений IC50 для обоих вариантов воздействия, +Irr и -Irr;
- сравнение двух кривых концентрация-ответ, полученных в присутствии и отсутствии облучения путем вычисления фактора фотовозбуждения (PIF) или среднего эффекта облучения (MPE);
- критерий приемлемости результатов;
- контроль на растворитель;
- абсолютная жизнеспособность культуры клеток (оптическая плотность экстракта НК) для облученных и необлученных клеток;
- результаты периодических внутрилабораторных проверок негативного контроля и контроля на растворитель (средние значения и стандартные отклонения);
- критерий приемлемости результатов, параллельный позитивный контрольный тест;
- значения IC50(+Irr) и IC50(-Irr) и PIF/MPE для контрольного (эталонного) вещества;
- результаты периодических внутрилабораторных проверок позитивного контроля (эталонного вещества): значения IC50(+Irr) и IC50(-Irr) и PIF/MPE в виде средних значений и стандартных отклонений.
Обсуждение результатов.
Заключение.
ИЗУЧЕНИЕ СЕНСИБИЛИЗИРУЮЩИХ СВОЙСТВ В ОПЫТАХ
IN VIVO И IN VITRO
ИСПЫТАНИЯ ПО ОЦЕНКЕ КОЖНОЙ СЕНСИБИЛИЗАЦИИ
Идентичен международному документу OECD TG N 406 "Skin Sensitization" (ОЭСР Руководство N 406 "Кожная сенсибилизация"). Перевод с английского языка (en). Степень соответствия - модифицированный (MOD).
1.1. Настоящий метод исследования определяет порядок проведения испытаний кожной сенсибилизации.
2.1. В настоящее время количественные зависимости структура-активность и методы in vitro развиты недостаточно для использования при оценке способности вещества вызывать кожную сенсибилизацию и, следовательно, по-прежнему должны основываться на моделях in vivo.
2.2. Морская свинка в течение нескольких десятилетий использовалась в испытаниях сенсибилизирующего действия. Были разработаны два типа тестов: адъювантные тесты, в которых сенсибилизация инициируется введением полного адъюванта Фрейнда (ПАФ), и неадъювантные тесты. До недавнего времени было рекомендовано использование четырех адъювантных и трех неадъювантных тестов. В настоящее время предпочтение отдается Максимизационному тесту на морских свинках (GPMT) Магнуссона и Клигмана, который является адъювантным, и неадъювантному тесту Бюхлера. Однако при определенных обстоятельствах для получения необходимой информации о сенсибилизации использование других методов также признается возможным.
2.3. Иммунная система мыши была исследована более подробно, чем иммунная система морской свинки. Были разработаны модели для оценки сенсибилизационного потенциала на мышах, обладающие рядом преимуществ, в частности возможностью объективной оценки конечного результата испытания, короткой продолжительностью и минимальной процедурой обработки животных. Тест на отек уха мыши (MEST) и метод локальных лимфатических узлов (LLNA) считаются перспективными. Оба метода прошли проверку в ряде лабораторий, в результате было доказано, что с их помощью могут выявляться умеренные и сильные сенсибилизаторы. Методы LLNA или MEST могут использоваться в качестве первого этапа оценки сенсибилизационного потенциала. Если в обоих испытаниях получен положительный результат, исследуемое вещество может быть признано потенциальным сенсибилизатором и для него может не требоваться проведение дальнейшего испытания на морских свинках. Однако, если в LLNA или MEST получают отрицательный результат, испытания на морских свинках (GPMT или тест Бюхлера) должны проводиться с использованием процедуры, приведенной в данном документе.
3. Принцип метода исследования
3.1. В общем случае, экспериментальные животные подвергаются воздействию исследуемого вещества путем подкожной инъекции и/или накожного нанесения (индукционная экспозиция). Животные обрабатываются провокационной дозой по прошествии 10 - 14 дней (индукционный период), в течение которых может развиться иммунная реакция. Величина и степень кожной реакции на провокационную дозу у подопытного животного сравнивается с реакцией животных, которые подвергались фиктивному воздействию в индукционный период и получили провокационную дозу вещества.
4. Процедура исследования
Пол животных
4.1.1. Используются взрослые здоровые молодые самцы и/или самки. Используемые самки не должны быть рожавшими или беременными.
Условия содержания и кормления
4.1.2. Температура лабораторной комнаты должна составлять (20 +/- 3) °C, относительная влажность - от 30 до 70%. Используется искусственное освещение в последовательности: 12 часов - свет, 12 часов - темнота. При кормлении может применяться стандартная лабораторная диета с неограниченным количеством питьевой воды. Очень важно, чтобы животные получали необходимое количество аскорбиновой кислоты.
Подготовка животных
4.1.3. Адаптация к лабораторным условиям осуществляется в течение не менее 5 дней до начала испытания. Перед испытанием животных случайным образом распределяют в тестовые группы. В зависимости от метода испытания для удаления шерсти используется срезание, бритье или химическая депиляция. Шерсть удаляют аккуратно, избегая повреждений кожного покрова. Животных взвешивают до начала и в конце испытания.
Проверка на достоверность
4.1.4. Чувствительность и надежность используемой экспериментальной техники должны оцениваться каждые шесть месяцев с помощью стандартных веществ, обладающих легким и умеренным сенсибилизирующим действием.
4.1.5. В правильно проведенном испытании для легких/умеренных сенсибилизаторов должны наблюдаться отклики: как минимум 30% для адъювантного теста и не менее 15% для неадъювантного. В качестве стандартных веществ используют предпочтительно гексилциннамальдегид (CAS N 101-86-0), меркаптобензотиазол (CAS N 149-30-4) и бензокаин (CAS N 94-09-7). При определенных обстоятельствах могут использоваться другие контрольные вещества, удовлетворяющие приведенным критериям, с соответствующим обоснованием.
Удаление исследуемого вещества
4.1.6. Для удаления исследуемого вещества используют воду или растворитель, не влияющий на полученную реакцию и целость кожного покрова.
4.2. Максимизационный тест на морских свинках (GPMT)
Количество животных
4.2.1. Группа, подвергающаяся воздействию, должна содержать как минимум 10 животных, контрольная группа - 5. При использовании менее 20 тестовых и 10 контрольных морских свинок невозможно сделать вывод о том, является ли вещество сенсибилизатором, поэтому строго рекомендуется исследование дополнительных животных для получения как минимум 20 тестовых и 10 контрольных животных.
Уровни доз
4.2.2. Концентрация исследуемого вещества для индукционной экспозиции должна быть хорошо физиологически переносимой и максимально вызывающей легкое/умеренное раздражение кожи. Концентрация в провокационной экспозиции должна быть максимально не вызывающей раздражение. Подходящие концентрации должны быть определены в предварительном испытании на 2 - 3 животных, если другая информация отсутствует. Для этой цели предпочтение должно быть отдано ПАФ-обработанным животным.
5. Индукционная экспозиция
День 0 - исследуемая группа
5.1.1. Три пары подкожных инъекций объемом 0,1 мл должны быть введены в плечевую область, очищенную от шерсти таким образом, чтобы инъекции были по обе стороны срединной линии.
Инъекция 1: а 1:1 смесь (по объему) ПАФ/вода или физиологический раствор.
Инъекция 2: исследуемое вещество в подходящем растворителе в выбранной концентрации.
Инъекция 3: исследуемое вещество в выбранной концентрации в смеси 1:1 (по объему) ПАФ/вода или физиологический раствор.
В инъекции 3 растворимые в воде вещества до смешивания с ПАФ растворяют в воде. Жирорастворимые или нерастворимые вещества до перемешивания с водой растворяют в ПАФ. Конечная концентрация исследуемого вещества должна быть равной концентрации в инъекции 2.
Инъекции 1 и 2 вводят близко друг другу и к голове животного, в то время как инъекцию 3 вводят ближе к хвостовой части тестовой области.
День 0 - контрольная группа
5.1.2. Три пары подкожных инъекций объемом 0,1 мл вводят в одно и то же место животным, не подвергшимся обработке.
Инъекция 1: а 1:1 смесь (по объему) ПАФ/вода или физиологический раствор.
Инъекция 2: неразбавленный растворитель.
Инъекция 3: а 50% растворитель в 1:1 смеси (по объему) ПАФ/вода или физиологический раствор.
День 5 - 7 - тестовая и контрольная группы
5.2.1. Примерно за 24 часа до нанесения вещества, если вещество не является раздражающим для кожи, тестовая область после стрижки или бритья обрабатывается 0,5 мл 50%-м натрий-лаурилсульфатом в вазелине для того, чтобы вызвать местное раздражение.
День 6 - 8 - тестовая группа
5.2.2. С тестовой области снова удаляется шерсть. Фильтровальная бумага (2 x 4 см) полностью заполняется исследуемым веществом в подходящем растворителе и накладывается на тестовую область и находится в контакте с кожей под герметичной повязкой в течение 48 часов. Выбор растворителя должен быть обоснован. Твердые вещества измельчаются и помещаются в подходящий растворитель. Жидкости при необходимости можно наносить неразбавленными.
День 6 - 8 - контрольная группа
5.2.3. С тестовой области снова удаляется шерсть. На тестовую область наносится только растворитель аналогичным способом и остается в контакте с кожей под герметичной повязкой в течение 48 часов.
5.3. Провокационная экспозиция: местная аппликация
День 20 - 22 - тестовая и контрольная группы
5.3.1. С боков тестовых и контрольных животных удаляется шерсть. Пластырь, заполненный тестовым веществом, накладывается на один бок животного и, если необходимо, пластырь, заполненный растворителем, также может быть наложен на другой бок. Пластырь удерживается в контакте с кожей под герметичной повязкой в течение 24 часов.
5.4.1. Тестовая и контрольная группы:
- через 21 час после удаления пластыря контрольная область очищается, коротко остригается, бреется или, если необходимо, депилируется;
- через 3 часа (примерно через 48 часов с начала контрольного нанесения) кожная реакция наблюдается и регистрируется в соответствии с классификацией, приведенной ниже;
- через 24 часа после данного наблюдения (72 часа) проводится второе наблюдение, и снова регистрируется реакция.
5.4.2. Приветствуется независимая оценка тестовых и контрольных групп.
Шкала Магнуссона - Клигмана для оценки реакций в провокационном тесте
1 - Никаких видимых изменений
2 - Мелкоочаговая или неоднородная эритема
3 - Умеренная и сплошная эритема
4 - Интенсивная эритема и отек
5.5.1. Если необходимо прояснить результаты, полученные на первом контроле, второй контроль, если необходимо с новой контрольной группой, должен быть проведен примерно через неделю после первого. Повторный контроль также может быть проведен и с первой контрольной группой.
5.6. Клинические наблюдения
5.6.1. Все кожные реакции и другие наблюдения, включая соматические реакции, являющиеся результатом индукционных и провокационных экспозиций, должны наблюдаться и регистрироваться. Другие исследования, например гистопатологическое, измерение толщины кожных складок, могут быть проведены для прояснения сомнительных результатов.
6.1.1. В тестовой группе используется как минимум 20 животных, в контрольной - как минимум 10.
6.2.1. Концентрация исследуемого вещества для каждой индукционной экспозиции должна быть максимально возможной, вызывающей слабое раздражение. Концентрация, используемая в провокационной экспозиции, должна быть максимальной, не вызывающей раздражение. Подходящие концентрации определяют в предварительном тесте с использованием 2 - 3 животных, если другая информация отсутствует.
6.2.2. Для растворимых веществ необходимо использовать воду или не вызывающий раздражение раствор ПАВ в качестве растворителя. Для других исследуемых веществ 80% смесь этанола/воды, подходящую для индукционной экспозиции, ацетон - для провокационной.
6.3. Индукционная экспозиция: местное нанесение
День 0 - тестовая группа
6.3.1. С одного бока животного удаляется (коротко остригается) шерсть. Тестовый пластырь должен быть полностью заполнен исследуемым веществом в подходящем растворителе (выбор растворителя должен быть обоснован, жидкие исследуемые вещества можно наносить неразбавленными, если возможно). Исследуемое вещество накладывается на тестовую область и удерживается в контакте с кожей герметичной повязкой или пластырем в течение 6 часов.
6.3.2. Тестовая система должна быть герметичной. Подходит ватный диск, круглый или квадратный, размером примерно 4 - 6 см2. Для гарантии герметичности предпочтительно использовать фиксацию подходящей повязкой. Если используется манжета, то может потребоваться дополнительная экспозиция.
День 0 - контрольная группа
6.3.4. На одном боку животного удаляется (коротко остригается) шерсть. На кожу тем же путем, что и для тестовой группы, наносится только растворитель. Тестовая система удерживается в контакте с кожей герметичным пластырем или подходящей повязкой в течение 6 часов. Если будет показано, что фиктивная контрольная группа не нужна, могут использоваться животные, не подвергавшиеся обработке.
День 6 - 8 и 13 - 15 - тестовая и контрольная группы
6.3.5. На 6 - 8, а потом на 13 - 15 дни та же тестовая область того же бока животного (шерсть удаляется, если необходимо) обрабатывается тем же способом, что и в 0 день.
6.4. Провокационная экспозиция
День 27 - 29 - тестовая и контрольная группы
6.4.1. С необработанного бока животных тестовой и контрольной групп удаляется (коротко остригается) шерсть. На заднюю часть необработанного бока животных тестовой и контрольной групп накладывается повязка, содержащая необходимое количество исследуемого вещества в максимально возможной концентрации не вызывающей раздражение. Если необходимо, то повязка или пластырь с растворителем также накладываются на переднюю часть необработанного бока животных тестовой и контрольной групп. Пластырь удерживается герметичной повязкой в контакте с кожей в течение 6 часов.
6.5.1. Тестовая и контрольная группы:
- через 21 час после удаления пластыря с контрольной области удаляется шерсть;
- через 3 часа (примерно через 30 часов после наложения контрольного пластыря) наблюдаются кожные реакции и регистрируются в соответствии с классификацией, приведенной для максимизационного теста;
- через 24 часа после осмотра на 30-м часе (примерно через 54 часа после наложения контрольного пластыря) кожные реакции вновь наблюдаются и регистрируются.
6.5.2. Приветствуется независимая оценка тестовых и контрольных групп.
6.6.1. Если необходимо прояснить результаты, полученные на первом контроле, второй контроль, если необходимо, с новой контрольной группой, должен быть проведен примерно через неделю после первого. Повторный контроль также может быть проведен и с первой контрольной группой.
6.7. Клинические наблюдения
6.7.1. Все кожные реакции и другие наблюдения, включая соматические реакции, являющиеся результатом индукционных и провокационных экспозиций, должны наблюдаться и регистрироваться. Другие исследования, например гистопатологическое, измерение толщины кожных складок, могут быть проведены для прояснения сомнительных результатов.
7. Данные и отчет о проведении испытания
(GPMT и тест Бюхлера)
7.1.1. Данные должны быть представлены в табличной форме с указанием кожных реакций для каждого животного в каждом наблюдении.
7.2. Отчет о проведении испытания
Отчет о проведении испытания должен содержать следующую информацию.
Исследуемое вещество:
- физическая природа и, при необходимости, физико-химические свойства;
- данные идентификации.
Растворитель:
- обоснование выбора растворителя.
Экспериментальные животные:
- группа/вид используемых морских свинок;
- количество, возраст и пол животных;
- источник животных, условия содержания, диета и т.д.;
- индивидуальная масса тела животных в начале эксперимента.
Условия проведения испытания:
- процедура подготовки тестовой области;
- процедура подготовки и нанесения пластыря;
- результаты предварительного исследования с заключением об индукционной и провокационной концентрациях, которые необходимо использовать в тесте;
- подробности приготовления тестового вещества, его нанесения и удаления;
- концентрация растворителя и исследуемого вещества, которые используются в индукционном и контрольном тестах, и общее количество вещества, нанесенного на стадии эксперимента и контроля.
Проверка достоверности:
- обзор результатов последней проверки достоверности, включая информацию об исследуемом веществе, концентрации и растворителе.
Результаты:
- результаты по каждому животному в соответствии с классификацией;
- описание природы и степени наблюдаемых реакций;
- любые результаты гистопатологических исследований.
7.3. Обсуждение результатов
Если перед проведением исследований предварительное испытание выполнялось на морских свинках, то должны быть предоставлены описание или ссылка на нее, включая сведения о тестовой процедуре и результаты, полученные для исследуемого и стандартного веществ.
ОЦЕНКА КОЖНОЙ СЕНСИБИЛИЗАЦИИ ПО РЕАКЦИИ
РЕГИОНАЛЬНЫХ ЛИМФОУЗЛОВ
Идентичен международному документу OECD TG N 429 "Skin Sensitization: Local Lymph Node Assay" (ОЭСР Руководство N 429 "Кожная сенсибилизация: исследование реакции региональных лимфоузлов"). Перевод с английского языка (en). Степень соответствия - модифицированный (MOD).
1.1. Настоящий метод исследования обеспечивает получение информации о способности исследуемого вещества вызывать кожную сенсибилизацию в тесте in vivo на мышах путем радиоизотопного анализа скорости пролиферации лимфоцитов региональных лимфоузлов. Полученная информация может быть использована для классифицикации веществ в соответствии с СГС по данному виду токсичности.
1.2. До проведения эксперимента должна быть рассмотрена вся доступная информация об исследуемом веществе. Такая информация включает данные о составе и химическом строении вещества; его физико-химические свойства; результаты токсикологических испытаний in vivo и in vitro; токсикологические данные по структурно родственным веществам и предполагаемые пути использования вещества. Эта информация является необходимой для подтверждения того, что испытание является важным для защиты здоровья человека и способствует обоснованному выбору начальной дозы.
2.1. Метод оценки кожной сенсибилизации мышей по реакции региональных лимфоузлов (Local Lymph Node Assay, LLNA) предназначен для выявления химических веществ, обладающих способностью вызывать кожную сенсибилизацию.
2.2. Метод LLNA является альтернативным по отношению к исторически более раннему методу оценки кожной сенсибилизации в опытах на морских свинках (МР 406, "Испытания по оценке кожной сенсибилизации") и имеет перед последним ряд преимуществ - возможность сократить количество животных, уменьшить проявления боли и дистресса, получить более точную количественную оценку эффекта.
2.3. Метод LLNA основан на измерении скорости пролиферации лимфоцитов в лимфоузлах, дренирующих участок накожного нанесения тестируемого вещества. Скорость пролиферации лимфоцитов, выделенных из лимфоузлов, оценивается методом радиоизотопного анализа.
2.4. Критериальным показателем в тесте LLNA является значение индекса стимуляции (ИС), измеряемого как отношение скорости пролиферации лимфоцитов в опытной и контрольной группах мышей.
3.1. Первый вариант Руководства ОЭСР по оценке кожной сенсибилизации у мышей путем изучения реакции региональных лимфоузлов (the Local Lymph Node Assay, LLNA) был принят в 2002 году
[1], второй (переработанный) вариант - в 2010 году.
3.2. Основной принцип, лежащий в основе LLNA, заключается в том, что сенсибилизаторы обладают способностью ускорять пролиферацию лимфоцитов в тех лимфатических узлах, которые дренируют место нанесения исследуемого вещества. Скорость пролиферации лимфоцитов при этом пропорциональна дозе и мощности нанесенного на кожу аллергена, что обеспечивает возможность количественно оценить способность вещества вызывать сенсибилизацию. Скорость пролиферации лимфоцитов оценивают путем сравнения средних значений пролиферации в каждой опытной группе животных со средним значением пролиферации в контрольной группе (КГ), подвергнутой нанесению растворителя. Для этого определяют отношение среднего значения пролиферации лимфоцитов в каждой экспериментальной группе животных к среднему значению пролиферации в соответствующей КГ, называемое Индексом Стимуляции (ИС); критерием для отнесения тестируемого вещества к классу потенциально способных вызывать кожную сенсибилизацию является значение ИС >= 3. Методы измерения количества пролиферирующих клеток в околоушных лимфоузлах, дренирующих участок нанесения тестируемого препарата, описанные в данном документе, основаны на использовании радиоизотопного анализа
in vivo. Однако могут применяться и другие способы оценки количества пролиферирующих клеток, при условии полного удовлетворения требованиям Стандартов соответствия
(прилож. 6.5.2.1).
3.3. Метод LLNA является альтернативным по отношению к исторически более ранним методам оценки кожной сенсибилизации в опытах на морских свинках (МР 406, "Испытания по оценке кожной сенсибилизации"), в частности в тесте максимизации на морских свинках и тесте Бюхлера. С точки зрения гуманного отношения к экспериментальным животным LLNA имеет преимущества над МР 406. Это не означает, что метод LLNA должен использоваться во всех случаях вместо тестирования на морских свинках (МР 406), скорее эти методы равнозначны и могут быть использованы как альтернативные, в которых положительные и отрицательные результаты, как правило, не требуют дальнейшего подтверждения.
3.4. Метод LLNA изучает фазу индукции кожной сенсибилизации и позволяет получить количественные данные, необходимые для оценки зависимости доза-эффект. Следует отметить, что слабые/умеренные сенсибилизаторы, которые рекомендуются в качестве подходящего положительного контроля (ПК) в тестах на морских свинках (OECD TG 406), пригодны и для использования в LLNA.
3.5. В данном документе описывается также редуцированный вариант LLNA (rLLNA), позволяющий сократить расход животных на 40%. Метод rLLNA может быть использован в тех случаях, когда необходимо официально подтвердить имеющийся прогноз об отсутствии у данного химического вещества способности к кожной сенсибилизации с соблюдением всех деталей протокола LLNA. Перед применением метода rLLNA следует предоставить ясную мотивацию и научное обоснование для его использования. Если, вопреки ожиданиям, в rLLNA будет получен положительный или сомнительный результат, потребуется дополнительное тестирование для интерпретации или выяснения причин обнаруженного эффекта. Метод rLLNA не должен использоваться для определения степени опасности испытываемого вещества в тесте кожной сенсибилизации, когда требуется информация о зависимости доза-эффект, в частности при классификации в соответствии с СГС.
3.6. Перед проведением исследования в тесте LLNA испытательная лаборатория должна изучить все имеющиеся сведения о тестируемых веществах. Эти сведения должны включать информацию о подлинности и химической структуре исследуемого вещества, его физико-химических свойствах, а также результаты любых других тестов на токсичность исследуемого вещества in vitro или in vivo, включая токсикологические данные по структурно близким веществам. Эта информация должна быть рассмотрена с целью определения, подходит ли метод LLNA для тестирования испытываемого вещества и для подбора диапазона доз.
3.7. LLNA является методом in vivo и, как следствие, не исключает использование животных в оценке аллергического контактного раздражения. Однако использование данного метода дает возможность уменьшить количество животных, требующихся для тестирования. Кроме того, LLNA предлагает существенное улучшение условий (уменьшение боли и дистресса) для животных, использующихся при оценке контактной аллергической сенсибилизации. Метод LLNA основан на изучении иммунологических реакций, стимулируемых химическими веществами в фазе индукции развития контактного раздражения. В отличие от тестов на морских свинках (МР 406), LLNA не требует регистрации кожных реакций гиперчувствительности, вызванных нанесением вещества. Кроме того, LLNA не требует использования адъювантов, как это имеет место в тесте максимизации на морских свинках. Таким образом, LLNA уменьшает болевые ощущения и проявления дистресса у лабораторных животных.
3.8. Несмотря на преимущества LLNA над МР 406, следует признать, что есть определенные ограничения, которые могут потребовать применения МР 406. В частности, некоторые металлы дают в LLNA ложноотрицательные эффекты, а некоторые кожные ирританты - например некоторые разновидности сурфактантов - ложноположительные; ограничения могут быть также связаны с растворимостью тестируемого вещества. Кроме того, необходимость использования тестов на морских свинках (МР 406) может возникнуть при тестировании определенных типов химических веществ или веществ, содержащих определенные функциональные группы, если известно, что они могут вызывать побочные эффекты, искажающие результаты LLNA. Далее, анализ имеющейся на настоящий момент базы данных по результатам параллельного использования LLNA и тестов на морских свинках, проводившегося в основном для пестицидных препаратов, показывает, что метод LLNA чаще дает положительные эффекты для данной категории химических веществ, чем тесты на морских свинках. Тем не менее при тестировании таких препаратов можно включать в опыт в качестве положительного контроля сходные вещества с известным эффектом, чтобы убедиться в адекватности результатов, получаемых с помощью метода LLNA. Помимо этих выявленных ограничений, метод LLNA может применяться для тестирования любых химических веществ, кроме тех, для которых уже имеются данные, свидетельствующие об их потенциальной возможности искажать результаты LLNA.
4.1.1. Выбор видов животных.
Для проведения данного метода используются мыши. Используются молодые половозрелые, нерожавшие и небеременные самки мышей линий СВА/Ca или СВА/J. Возраст животных в начале исследования должен быть в диапазоне 8 - 12 недель, различия в весе животных должны быть минимальны и не превышать 20% от их среднего веса. Альтернативно могут использоваться самки других линий мышей, а также самцы мышей, если имеется достаточно данных для доказательства отсутствия существенных различий в результатах метода LLNA при использовании данной линии или пола мышей.
4.1.2. Условия содержания и питания животных.
Мыши должны размещаться по клеткам в соответствии с разделением на экспериментальные группы, если не предусматривается адекватное научное обоснование для индивидуального размещения животных. Температура в помещении, предназначенном для экспериментов на животных, должна составлять (22 +/- 3) °C. Относительная влажность воздуха должна быть не менее 30 и не более 70% (последнее - исключая моменты влажной уборки помещения), оптимальный диапазон влажности - 50 - 60%. Освещение должно быть искусственным, с чередованием 12 часов света и 12 часов темноты. Для кормления могут использоваться обычные лабораторные диеты с неограниченным доступом к питьевой воде.
4.1.3. Подготовка животных.
Животных отбирают случайным образом, маркируют для индивидуальной идентификации (любым способом, не затрагивающим область ушей) и содержат в клетках в течение, по крайней мере, пяти дней до начала введения тестируемого вещества, чтобы обеспечить их акклиматизацию к лабораторным условиям. До начала воздействия всех животных осматривают на предмет отсутствия видимых кожных повреждений.
4.1.4. Подготовка дозированных растворов.
Перед нанесением на уши мышей твердые исследуемые вещества следует растворить или суспендировать в подходящих растворителях/базовых жидкостях и сделать необходимые разведения, если это нужно. Жидкие исследуемые вещества можно наносить неразбавленными; их разбавление растворителем производится только для получения рабочих растворов нужных концентраций. Нерастворимые вещества, которые часто используются в медицинских аппаратах, перед нанесением на уши мышей должны быть подвергнуты достаточно длительной экстракции в подходящем растворителе с целью выделения всех способных экстрагироваться компонентов. Растворы исследуемых препаратов следует готовить ежедневно - кроме тех случаев, когда известна их стабильность и она допускает хранение растворов в течение определенного времени.
Контроль качества
4.1.5. Положительные контроли (ПК) используются для демонстрации надлежащего качества проведения анализа; с этой целью используются вещества с хорошо известной способностью к кожной сенсибилизации, позволяющие убедиться в адекватных и воспроизводимых результатах используемой тест-системы. Рекомендуется включать ПК в каждый проводимый эксперимент, поскольку это демонстрирует компетентность лаборатории и ее способность тщательно проводить исследования, а также позволяет оценивать внутри- и межлабораторную воспроизводимость и сравнимость результатов данного теста. Использования ПК в каждом эксперименте требуют также некоторые контролирующие органы, поэтому заказчикам рекомендуется консультироваться по поводу проведения теста LLNA в соответствующих ведомствах. Далее, постоянное использование параллельных ПК дает возможность избежать потребности в дополнительном тестировании на животных, чтобы решить те проблемы, которые могут возникать при периодическом (время от времени) использовании ПК. Положительный контроль должен дать положительный эффект в методе LLNA на том уровне экспозиции, на котором ожидается увеличение ИС > 3 по сравнению с группой отрицательного контроля (ОК). Дозу ПК следует выбирать так, чтобы она не вызывала чрезмерной реакции воспаления кожи ушей или реакций системной токсичности; положительный эффект ПК должен быть воспроизводимым, но не избыточным (ИС должен быть не больше 20). Предпочтительными веществами для использования в качестве ПК являются 25%-й раствор гексил-коричного альдегида (CAS N 101-86-0) в смеси ацетона с оливковым маслом (4:1, v/v) и 5%-й раствор меркаптобензотиазола (CAS N 149-30-4) в N,N-диметилформамиде (см. прилож. 6.5.2.1,
таблица). Возможны обстоятельства, при которых, с учетом достаточной обоснованности, в качестве ПК могут использоваться и другие вещества, удовлетворяющие вышеупомянутым критериям.
4.1.6. Несмотря на то, что ПК рекомендуется использовать в каждом опыте, возможны интервалы (не реже одного раза в полгода), в частности для лабораторий, которые используют метод LLNA регулярно (не реже чем раз в месяц) и имеют солидную базу экспериментальных данных с включением ПК, демонстрирующую способность лаборатории получать воспроизводимые и точные результаты. Достаточность профессиональных навыков для проведения LLNA может быть успешно продемонстрирована при наличии минимум 10 отдельных опытов с использованием ПК, проводившихся не реже, чем один раз в год, и дававших ожидаемые по выраженности положительные эффекты на введение ПК.
4.1.7. Всегда следует включать параллельно группу ПК, если возникают какие-либо изменения в процедуре проведения LLNA (например, замена обученного персонала, смена поставщиков материалов, реагентов и лабораторных животных, замена используемого оборудования), и такие изменения должны быть зарегистрированы в отчете. Следует рассмотреть влияние проводимых изменений на соответствие данных ранее полученным и оценить необходимость формирования новой базы данных для достижения непротиворечивости в документации результатов ПК.
4.1.8. Исследователи должны понимать, что решение применять ПК на периодической основе вместо постоянного параллельного использования сказывается на уверенности в том, что новые вещества, тестировавшиеся в промежутке между опытами с включением ПК и давшие в них отрицательный результат, действительно не обладают способностью к кожной сенсибилизации. В частности, если при периодическом использовании ПК вдруг обнаружится сбой системы в виде ложноотрицательного эффекта в группе животных ПК, под сомнением окажутся не только результаты данного эксперимента, но и результаты всех остальных, проведенных в промежутке между данным экспериментом и последним из тех, в которых ПК давал ожидаемый положительный эффект. Вероятность таких последствий должна тщательно оцениваться при решении вопроса о включении ПК параллельно с каждым опытом или только периодически. Следует также обсудить возможность использования меньшего количества животных в параллельной группе ПК, если это оправдано с научной точки зрения и если лаборатория докажет, основываясь на своей базе данных, что возможно использование меньшего количества мышей.
4.1.9. Несмотря на то что препараты, использующиеся в качестве ПК, должны наноситься в растворителе с известным ответным эффектом (например, ацетон: оливковое масло; 4:1 v/v), возможны ситуации, в которых будет также необходимо провести исследование на нестандартном растворителе (клинически/химически соответствующий препарат). Если вещество положительного контроля и тестируемое вещество наносятся в разных растворителях, следует включить в опыт отдельный контроль на растворитель ПК.
4.1.10. В случаях, когда оцениваются исследуемые вещества определенного химического класса или диапазона ответных реакций, можно также использовать "реперные" вещества того же класса с известной активностью в LLNA, которые будут доказывать, что метод LLNA адекватен для выявления потенциальной кожной сенсибилизации к исследуемым веществам данного класса. Вещества, предназначенные для "реперного" тестирования, должны иметь следующие свойства:
- структурное и функциональное подобие классу исследуемого вещества;
- известные физические/химические характеристики;
- дополнительные данные по активности в тесте LLNA;
- дополнительные данные по другим тестам на животных и/или на человеке.
4.2. Процедура исследования
Количество животных и выбор доз
4.2.1. В каждую экспериментальную группу включают, как минимум, четырех животных, всего тестируют, как минимум, три концентрации исследуемого вещества плюс параллельные группы негативного контроля (НК) для тестирования растворителя исследуемого вещества и положительного контроля (ПК); последняя может быть включена в данное исследование или данные берутся из недавно проведенного исследования, в зависимости от политики лаборатории по данному вопросу. Следует обсудить вопрос о количестве доз ПК, особенно при периодическом использовании ПК. Уход и все манипуляции с животными в контрольных группах должны быть идентичны тем, которые используются для экспериментальных групп, за исключением введения самого тестируемого вещества.
4.2.2. Выбор доз тестируемого вещества и растворителя должен быть обоснован. Последовательные дозы обычно выбираются из подходящего ряда концентраций, например 100, 50, 25, 10, 5, 2,5, 1, 0,5% и т.д. Выбор используемого ряда концентраций следует сопровождать адекватным научным объяснением. Следует предварительно изучить всю доступную информацию по токсичности данного вещества (например острой токсичности и способности вызывать раздражение кожи), его структуре и физико-химическим свойствам, а также аналогичные характеристики близких по структуре веществ; на основании анализа этих данных выбирают три концентрации, так чтобы самая высокая концентрация вызывала как можно более выраженный эффект, но при этом не обладала системной токсичностью и/или не вызывала чрезмерного раздражения кожи на месте нанесения. При отсутствии такой информации может возникнуть необходимость в проведении предварительного пробного опыта.
4.2.3. Растворитель не должен искажать результаты исследования или косвенно влиять на них; следует выбирать растворитель по критериям максимальной растворимости в нем тестируемого вещества, с тем чтобы получить наиболее высокую исходную концентрацию; в то же время для проведения данного теста можно использовать как растворы веществ, так и их суспензии. В общем случае могут быть рекомендованы следующие растворители: смесь ацетона с оливковым маслом (4:1, v/v), N,N-диметилформамид, метилэтилкетон, пропиленгликоль и диметилсульфоксид, а также и другие растворители, если для этого имеется достаточное научное обоснование. В определенных ситуациях может оказаться необходимым ставить дополнительные контроли для оценки эффектов клинически значимых растворителей или компонентов коммерческих препаратов, в составе которых тестируемое вещество поступает в продажу. Особое внимание следует уделить тому, чтобы водорастворимые вещества наносились на кожу в растворителе, хорошо смачивающем кожные покровы и тем самым не позволяющем тестируемому раствору быстро скатываться с поверхности кожи; для этого в растворы включают подходящие компоненты (напр., ПАВ

L92 в концентрации 1%). По вышеописанным причинам следует избегать использования простых водных растворов для нанесения на кожу.
4.2.4. Преимуществом данного метода является возможность проведения внутреннего контроля, для чего сравнивают состояние лимфоузлов одной и той же мыши на стороне нанесения препарата и на противоположной стороне; это позволяет оценить внутригрупповую вариабельность эффекта у отдельных животных и статистическую значимость различий между тестируемым веществом и растворителем. Кроме того, анализ внутригрупповой вариабельности индивидуальных данных дает основания для объективной оценки возможности сокращения числа мышей в группе ПК. Далее, в некоторых странах органы надзора требуют предоставления индивидуальных данных по отдельным животным, а в других странах принимаются и усредненные данные по каждой экспериментальной группе, что дает возможность исследователям выбрать способ представления результатов тестирования в виде индивидуальных или усредненных данных.
Предварительные исследования
4.2.5. При отсутствии информации, позволяющей рассчитать максимальную дозу тестируемого вещества, следует провести предварительное исследование для выявления диапазона доз, подходящего для тестирования методом LLNA. Цель предварительного исследования состоит в получении информации для выбора максимальной дозы тестируемого вещества при его использовании в основном исследовании LLNA, т.е. в получении данных о системном и кожно-раздражающем эффектах изучаемого препарата. Максимальным уровнем исследуемой дозы следует считать 100% исследуемого вещества для жидкостей или максимально возможную концентрацию для твердых частиц или суспензий.
4.2.6. Предварительное исследование проводится при условиях, идентичных условиям основного исследования LLNA, но оценка скорости пролиферации клеток лимфоузлов не проводится, и количество животных в группе может быть меньшим. Рекомендуется использовать группы по одному или по два животных на каждую дозу. Все мыши должны ежедневно осматриваться на предмет выявления любых клинических проявлений системной токсичности или местного раздражения на участке аппликации вещества. Массу тела регистрируют перед началом эксперимента и перед его завершением (День 6). Проводят наблюдение за обоими ушами каждой мыши, оценивая наличие эритемы в баллах с помощью
таблицы. Замеры толщины уха получают, используя калиброметр (например: электронный микрометр или стрелочный калиброметр Пикока), в День 1 (перед нанесением вещества), День 3 (спустя приблизительно 48 часов после первой дозы) и День 6. Кроме того, в День 6 толщину ушей можно дополнительно оценить путем взвешивания стандартного по площади образца ткани ушной раковины, полученного с помощью перфоратора после гуманного умерщвления животных. Раздражение кожи на месте аппликации вещества оценивается как чрезмерное при наличии эритемы с выраженностью в 3 и более баллов по шкале таблицы и/или при увеличении толщины уха на 25% и более по сравнению с первоначальной в любой день осмотра животных. В качестве максимальной дозы для основного исследования LLNA выбирают максимальную из тех доз предварительного исследования, которые не вызывали признаков системной токсичности и/или чрезмерного местного раздражения кожи.
Таблица
Шкала оценки эритемной реакции
Наблюдение | Баллы |
Нет эритемы | 0 |
Очень слабая эритема (едва заметная) | 1 |
Четко выраженная эритема | 2 |
Эритема от умеренной до тяжелой | 3 |
От тяжелой эритемы (свекольный цвет кожи) до образования язв, покрытых струпом, мешающим проводить классификацию эритемы | 4 |
4.2.7. В дополнение к увеличению толщины уха на 25% и более по сравнению с первоначальной для идентификации веществ-ирритантов в LLNA также используется статистически значимое увеличение среднего значения толщины уха в группе экспериментальных мышей по сравнению с аналогичной величиной в группе контрольных мышей. Однако, если различия этих величин статистически достоверны, но составляют менее 25%, они не могут быть квалифицированы как свидетельство избыточного раздражения ткани уха данной дозой тестируемого вещества.
4.2.8. Следующие клинические наблюдения могут свидетельствовать о наличии системной токсичности при их использовании в качестве элемента интегральной оценки для расчета максимальной дозы в основном методе LLNA: изменения в функции нервной системы (например, взъерошивание шерсти, атаксия, тремор и конвульсии); изменения в поведении (например, агрессивность, изменения в груминговой активности, заметные изменения в уровне активности); изменения дыхательной активности (изменения в частоте и интенсивности дыхания, такие как затрудненное дыхание, одышка и хрипы) и изменения в потреблении пищи и воды. Кроме того, следует регистрировать: признаки летаргии и/или апатии; любые клинические признаки, которые проявлялись как более чем эпизоды незначительной или мгновенной боли и дистресса; снижение массы тела более чем на 5% за период от Дня 1 до Дня 6; гибель животных. Умирающие животные или животные, очевидно страдающие от боли или показывающие признаки серьезного и устойчивого дистресса, должны гуманно умерщвляться.
План основного эксперимента
4.2.9. План эксперимента следующий:
- День 1:
Определение и регистрация веса каждого животного и их визуальный осмотр. Проводят аппликацию 25 мкл соответствующего разведения исследуемого вещества, одного растворителя или ПК (если он проводится параллельно в каждом эксперименте; в противном случае берут данные последнего опыта с использованием ПК), на тыльную сторону каждого уха.
- Дни 2 и 3:
Повторить процедуру аппликации, выполненную в День 1.
- Дни 4 и 5:
Аппликаций не проводят.
- День 6:
Регистрируют вес каждого животного. Вводят в хвостовую вену всех мышей экспериментальных и контрольных групп по 250 мкл стерильного забуференного физиологического раствора (PBS), содержащего 20 микроКюри (7,4 x 105 Беккереля) меченого тритием 3Н-метилтимидина. Альтернативный вариант: вводят в хвостовую вену всех мышей по 250 мкл стерильного PBS, содержащего 2 микроКюри (7,4 x 104 Беккереля) 1251-йодо-дезоксиуридина и 10-5 М флюоро-дезоксиуридина. Через 5 часов производят гуманный забой животных. Извлекают дренирующие околоушные лимфоузлы и помещают их PBS от каждого животного отдельно (индивидуальный подход к животным); иной вариант: извлечь и поместить в PBS лимфоузлы от мышей каждой экспериментальной группы (объединенный подход к экспериментальной группе). Детали и диаграммы идентификации лимфоузлов и их препарирования могут быть найдены в литературе. В протокол исследования могут быть также включены дополнительные параметры контроля местных изменений кожи уха на месте аппликации, такие как баллы проявления эритемы уха или данные по толщине ушей (измеренной с помощью калибратора толщины или определения веса стандартных кусочков уха, полученных при некропсии с помощью перфоратора для взятия проб тканей ушной раковины).
Подготовка клеточной взвеси
4.2.10. Суспензию отдельных клеток лимфоузлов (КЛУ) после их билатерального извлечения (на основе индивидуального сбора материала от каждой мыши или при альтернативном подходе, объединяя лимфоузлы всех мышей данной группы) получают мягкой механической дезагрегацией, продавливая извлеченные лимфоузлы через сетку из нержавеющей стали с ячейками около 200 микрон или с помощью иных подходящих приемов. Полученные КЛУ дважды отмывают избытком PBS и преципитируют ДНК 5%-й трихлоруксусной кислотой (ТХУ) при 40 °C в течение 18 часов. Осадок либо повторно суспендируется в 1 мл ТХУ и переносится в сцинтилляционный флакон, содержащий 10 мл сцинтилляционной жидкости для подсчета метки трития 3Н, либо сразу переносится в гамма-радиометрическую камеру для подсчета изотопа 125I.
Определение клеточной пролиферации (включенной радиоактивности)
4.2.11. Включение меченого 3Н-метилтимидина измеряют сцинтилляционным

в распадах в минуту (РМ), включение меченого 125I-йодоксиуридина - по 125I также в РМ. В зависимости от используемого подхода включенная радиоактивность выражается как количество распадов в минуту на мышь (при индивидуальном подходе к животным) или как количество распадов в минуту на всю экспериментальную группу мышей (при объединении биоматериала от всех мышей данной экспериментальной группы).
Редуцированный метод LLNA
4.2.12. В определенных ситуациях, когда возникает потребность подтвердить отрицательный прогноз о потенциальной способности вещества вызывать кожную сенсибилизацию для нормирования данного вещества, можно применять редуцированный протокол rLLNA с использованием меньшего количества животных, при условии соблюдения всех других деталей протокола LLNA. Перед использованием метода rLLNA следует представить четкое обоснование и научное объяснение данного выбора. При получении положительного или сомнительного результата может потребоваться дополнительное исследование для объяснения или уточнения обнаруженного эффекта.
4.2.13. Сокращение количества изучаемых доз вещества и, соответственно, количества экспериментальных групп животных - единственное различие между протоколами LLNA и rLLNA; метод rLLNA не дает информации о зависимости доза-эффект. Поэтому метод rLLNA не следует использовать, если требуется информация о дозовой зависимости эффекта. Как и в полном варианте LLNA с использованием нескольких доз, концентрация вещества в редуцированном протоколе rLLNA должна быть максимальной из тех, которые не вызывают выраженной системной токсичности и/или чрезмерного местного раздражения кожи мышей.
Наблюдения
Клинические наблюдения
4.2.14. Каждую мышь следует тщательно осматривать по крайней мере раз в день для выявления любых клинических признаков как местного раздражения на участке аппликации вещества, так и системной токсичности. Все наблюдения должны систематически регистрироваться и включать записи наблюдений за каждой мышью по отдельности. В план мониторинга следует включать критерии быстрой идентификации мышей с выявленными симптомами системной токсичности, чрезмерного местного раздражения изъязвления кожи для последующей эвтаназии.
Масса тела
4.2.15. Следует измерять индивидуальные массы тела животных в начале эксперимента и перед запланированным гуманным умерщвлением.
5. Анализ и интерпретация данных
5.1. Результаты опыта должны быть представлены в виде индекса стимуляции (ИС) для каждой экспериментальной группы. Используя индивидуальный подход к животным, значение ИС получают путем деления среднего значения РМ на одну мышь в каждой экспериментальной группе, включая группу ПК, на среднее значение РМ на одну мышь в группе контроля растворителя (VC). В этом случае среднее значение ИС для групп контроля растворителя (VC) подсчитывают как среднее арифметическое данных по отдельным мышам внутри этой группы. При использовании объединенного подхода к биоматериалу животных внутри экспериментальных групп ИС определяют путем деления данных по включению радиоактивной метки для каждой экспериментальной группы на соответствующие (усредненные уже при сборе биоматериала) данные по включению радиоактивной метки для группы контроля на растворитель; при этом сразу получают среднее значение ИС.
5.2. Результат тестирования оценивают как положительный при значении ИС >= 3. В случае пограничных значений ИС для трактовки результатов можно также учитывать выраженность зависимости доза-ответ, статистическую значимость и непротиворечивость эффектов в группах положительного (ПК) и отрицательного (VC) контроля.
5.3. Если имеется необходимость уточнить полученные результаты, следует проанализировать различные свойства тестируемого вещества, включая наличие у него структурного сходства с известными кожными сенсибилизаторами, вызывает ли оно чрезмерное местное раздражение кожи у мышей и какой характер имеет зависимость доза-ответ. Эти и другие соображения подробно рассмотрены в работе.
5.4. Используя индивидуальный подход к сбору биоматериала от животных, можно провести статистический анализ полученных данных на наличие и выраженность зависимости доза-ответ. Для этого можно использовать любой статистический тест на наличие связи между переменными, а также подходящие методы сравнения межгрупповых различий (например, метод попарного сравнения экспериментальных данных для опытной группы с соответствующими данными для группы контроля на растворитель). Например, при статистическом анализе можно использовать метод линейной регрессии или тест Уильяма для оценки тренда зависимости доза-ответ и тест Даннетта для попарных сравнений. При выборе подходящего метода статистического анализа исследователь должен учесть возможное неравенство дисперсий изучаемой переменной внутри отдельных сравниваемых групп и другие сходные проблемы, которые могут потребовать преобразования данных или непараметрического статистического анализа. При наличии экспериментальных точек, далеко отстоящих от соответствующих значений данной величины у других мышей данной группы (иногда называемых "выбросами"), приходится проводить статистический анализ дважды - с выпадающими точками и без них.
6.1. Данные должны быть представлены в форме таблицы. При использовании индивидуального подхода к животным следует привести индивидуальные значения РПМ для каждого животного, средние значения РПМ в каждой группе мышей с соответствующим значением ошибки его определения (например: стандартное отклонение или среднеквадратическая ошибка среднего значения отклонения, стандартная погрешность средней величины) и средние величины СИ для каждой опытной группы по отношению к группе контроля растворителя. При использовании объединенного подхода к сбору экспериментального материала следует привести полученные средние значения или медианы величин РПМ и СИ для каждой опытной группы по отношению к группе контроля растворителя.
Протокол эксперимента
6.2. Протокол эксперимента должен содержать следующую информацию:
Испытываемое вещество и его контроль:
- данные идентификации (например, номер CAS, если имеется; источник; степень чистоты; известные примеси; номер партии);
- физические и физико-химические свойства (такие как летучесть, стабильность, растворимость);
- если это сложная смесь, то указать состав и относительные проценты компонентов.
Растворитель/носитель:
- данные идентификации (степень чистоты; концентрация, если целесообразно; используемый объем);
- обоснование выбора растворителя.
Проверка животных:
- источник поступления мышей линии СВА;
- микробиологический статус животных, если известно;
- количество и возраст животных;
- источник поступления животных, условия содержания, диета и т.д.
Условия эксперимента:
- детали подготовки и нанесения тестируемого вещества;
- обоснование выбора дозы (включая результаты предварительных экспериментов, если проводились);
- концентрации тестируемого вещества и растворителя и общее количество вводимого тестируемого вещества;
- детали качества пищи и воды (включая тип/источник диеты, источник поступления воды);
- детали схемы проведения эксперимента и получения биологического материала;
- методы оценки токсичности;
- критерии интерпретации результатов исследования как положительных или отрицательных;
- детали любых отклонений от стандартного протокола и объяснения того, как данное отклонение повлияло на схему исследования и результаты.
Контроль качества:
- резюме результатов последнего из проводившихся контроля качества, включая информацию относительно тестируемого вещества, использовавшихся концентраций и растворителя;
- параллельный и/или исторический ПК и параллельные данные НК для данной лаборатории;
- если параллельный ПК не был включен, наличие данных и лабораторных протоколов для последнего из периодических ПК и протоколов, детализирующих данные исторического ПК, который служит для данной лаборатории обоснованием для отказа от осуществления параллельного ПК.
Результаты:
- индивидуальные значения веса мышей перед началом опыта и перед плановым забоем, а также средние значения и соответствующие ошибки этих величин (например, стандартное отклонение или среднеквадратическая ошибка среднего значения) для каждой экспериментальной группы;
- динамика начала проявления и симптомов токсичности, включая кожное раздражение на участке аппликации вещества, если таковые имеются, для каждого животного;
- таблица значений РПМ и СИ для каждой мыши (при индивидуальном подходе к животным) или соответствующих средних значений/медиан (при объединенном подходе к экспериментальной группе) для каждой экспериментальной группы;
- среднее значение и соответствующая ошибка (например, стандартное отклонение или среднеквадратическая ошибка среднего значения) величины РПМ для каждой экспериментальной группы и результаты анализа резко отклоняющихся значений внутри каждой экспериментальной группы при использовании индивидуального подхода к животным;
- вычисленное значение СИ и надлежащей меры его вариабельности, учитывающей вариабельность эффектов как в экспериментальных группах, так и в группах контроля, при использовании индивидуального подхода к животным;
- зависимость доза-ответ;
- статистический анализ этой зависимости (при необходимости).
Обсуждение результатов:
- краткий комментарий к полученным результатам, включая характер зависимости доза-эффект и при необходимости ее статистический анализ, с заключением относительно того, следует ли тестируемое вещество считать кожным сенсибилизатором.
СТАНДАРТЫ СООТВЕТСТВИЯ ДЛЯ ОЦЕНКИ КОЖНОЙ СЕНСИБИЛИЗАЦИИ
В ПРЕДЛОЖЕННОМ ИЛИ МОДИФИЦИРОВАННОМ ТЕСТЕ LLNA
1.1. Цель Стандартов Соответствия (СС) состоит в том, чтобы проинформировать пользователей о той основе, на которой новые экспериментальные методы, запатентованные (то есть защищенные авторским правом, имеющие официально зарегистрированную торговую марку, зарегистрированные) и незапатентованные, могут быть определены как имеющие достаточную точность и надежность для специфических целей эксперимента. Данные СС, основанные на ратифицированных и принятых методах испытания, могут использоваться для оценки надежности и точности других аналогичных экспериментальных методов (в разговорной речи именуемых методами "Я тоже"), базирующихся на аналогичных научных принципах и оценивающих или прогнозирующих тот же биологический или токсический эффект.
1.2. До принятия модифицированных методов испытания (то есть предложенных потенциальных усовершенствований к одобренному методу испытания) следует провести оценку эффективности предложенных изменений и степени, в которой эти изменения влияют на другие компоненты процесса валидации. В зависимости от количества и природы предложенных изменений, полученных с использованием данных и соответствующей сопроводительной документации, измененный метод или проходит полный процесс валидации, как все новые тесты, или, если это будет признано возможным, только сокращенную процедуру оценки надежности и правомерности с использованием утвержденных СС.
1.3. Сходные или модифицированные методы тестирования, предложенные для использования в рамках данного документа, должны быть подвергнуты оценке для выявления их надежности и точности с использованием стандартных химических соединений, соответствующих полному диапазону шкалы баллов LLNA. Во избежание необоснованного использования животных настоятельно рекомендуется, чтобы разработчики модели вошли в контакт с OECD до начала валидационного исследования в соответствии со СС и руководством, представленными в данном документе.
1.4. Данные СС основаны на гармонизации документов "Координационных комитетов по утверждению альтернативных методов (CCVAM)" - USA-ICCVAM, EC-ECVAM и Japanese-JaCVAM - для оценки валидности аналогичных или модифицированных вариантов LLNA. СС состоят из описания основных компонентов метода тестирования, компонентов метода тестирования стандартных эталонов (позитивных контролей), списка рекомендованных эталонов и стандартов для оценки степени точности и надежности, которые предлагаемый усовершенствованный метод должен обеспечить или превысить.
2. Основные компоненты метода испытания
2.1. Чтобы гарантировать, что аналогичный или модифицированный метод LLNA является функционально и механистически соответствующим данному методу LLNA и оценивает тот же самый биологический эффект, в протокол метода должны быть включены следующие компоненты:
- тестируемое вещество должно быть нанесено накожно на оба уха мыши;
- пролиферацию лимфоцитов следует оценивать в лимфоузлах, дренирующих участок аппликации тестируемого вещества;
- пролиферацию лимфоцитов следует оценивать в течение фазы индукции кожной сенсибилизации;
- самая высокая доза тестируемого вещества должна быть максимальной концентрации, еще не вызывающей проявлений системной токсичности и/или чрезмерного местного раздражения кожи мышей; для позитивных контролей самая высокая доза должна давать значение ИС не менее 3 (см. предлагаемые эталонные соединения в таблице) и при этом не вызывать симптомов системной токсичности и/или чрезмерного местного раздражения кожи мышей;
- в каждое исследование следует включать параллельно контроль на растворитель и, где предусмотрено, параллельный ПК;
- следует использовать группу, как минимум, из четырех животных на каждую дозу;
- можно отбирать биологический материал как от каждой мыши отдельно, так и объединяя его по группам.
Если нет соответствия по любому из этих критериев, данный СС не может быть использован для валидации аналогичного или модифицированного метода испытания.
3. Минимальный список веществ-эталонов
3.1. Гармонизация СС USA-ICCVAM, EC-ECVAM и Japanes-JaCVAM позволяет создать список из 18 основных веществ-эталонов, которые рекомендовано использовать, и четырех дополнительных опциональных эталонов (веществ, которые давали ложноположительные или ложноотрицательные эффекты в LLNA при сравнении с результатами, полученными на людях и морских свинках (см. МР 406), и тем самым давали равноценную или лучшую результативность, чем LLNA). Критерии для выбора этих веществ нижеследующие:
- в список эталонов включены вещества, неоднократно тестировавшиеся на потенциальную возможность вызывать состояние кожной сенсибилизации в диапазоне эффектов, которые LLNA способен оценить или предсказать;
- все вещества имели точно определенные химические структуры;
- для этих веществ были доступны данные LLNA, полученные в опытах на морских свинках (см. МР 406), и (где возможно) данные, полученные на людях;
- все эти вещества можно было приобрести в виде коммерческих препаратов.
Рекомендованные эталоны перечислены в
таблице. Исследования с использованием предложенных эталонов следует проводить с растворителями, перечисленными в таблице. В случае недоступности перечисленных веществ можно использовать другие вещества, удовлетворяющие вышеупомянутым критериям отбора, с соответствующим обоснованием.
4. Определенные стандарты надежности и точности
4.1. Точность аналогичного или модифицированного теста LLNA должна быть не ниже точности исходного метода LLNA, причем сравнение должно проводиться по результатам тестирования полной минимальной базы из 18 эталонных веществ. Новый или модифицированный метод LLNA должен дать правильную классификацию этих эталонов, основанную на заключениях "да/нет". Однако новый или модифицированный метод LLNA может правильно классифицировать не все основные эталоны, которые следует использовать. Если, например, один из слабых сенсибилизаторов был неправильно классифицирован, необходимо представить разумное объяснение неправильной классификации данного эталона и соответствующие дополнительные данные (например, результаты испытаний, давших правильную классификацию других веществ, сходных с неверно классифицированным эталоном по физическим, химическим и сенсибилизирующим свойствам), чтобы показать равноценность сравниваемых методов. При таких обстоятельствах валидация нового или модифицированного метода LLNA должна будет проводиться в каждом конкретном случае заново.
Рекомендованные вещества - эталоны
для стандартизации соответствия LLNA
N | | CAS N | Форма | | | | 0,5x - 2,0x ЕС3 | Актуальный диапазон ЕС3 | LLNA vs. м/св. | LLNA vs. человек |
1 | 5-хлор-2-метил-4-изотиазолин-3-он (ХМИ)/2-метил-4-изотиазолин-3-он (МИ) <5> | 26172-55-4/2682-20-4 | Ж | ДМФ | 0,009 | 1 | 0,0045 - 0,018 | NC | +/+ | +/+ |
2 | ДНХБ | 97-00-7 | С | АОМ | 0,049 | 15 | 0,025 - 0,099 | 0,02 - 0,094 | +/+ | +/+ |
3 | 4-фенилендиамин | 106-50-3 | С | АОМ | 0,11 | 6 | 0,055 - 0,22 | 0,07 - 0,16 | +/+ | +/+ |
4 | хлорид кобальта | 7646-79-9 | С | ДМСО | 0,6 | 2 | 0,3 - 1,2 | 0,4 - 0,8 | +/+ | +/+ |
5 | изоэйгенол | 97-54-1 | Ж | АОМ | 1,5 | 47 | 0,77 - 3,1 | 0,5 - 3,3 | +/+ | +/+ |
6 | 2-меркаптобензотиазол | 149-30-4 | С | ДМФ | 1,7 | 1 | 0,85 - 3,4 | NC | +/+ | +/+ |
7 | цитраль | 5392-40-5 | Ж | АОМ | 9,2 | 6 | 4,6 - 18,3 | 5,1 - 13 | +/+ | +/+ |
8 | ГКА | 101-86-0 | Ж | АОМ | 9,7 | 21 | 4,8 - 19,5 | 4,4 - 14,7 | +/+ | +/+ |
9 | эйгенол | 97-53-0 | Ж | АОМ | 10,1 | 11 | 5,05 - 20,2 | 4,9 - 15 | +/+ | +/+ |
10 | фенилбензоат | 93-99-2 | С | АОМ | 13,6 | 3 | 6,8 - 27,2 | 1,2 - 20 | +/+ | +/+ |
11 | коричный спирт | 104-54-1 | С | АОМ | 21 | 1 | 10,5 - 42 | NC | +/+ | +/+ |
12 | имидазолидинил-мочевина | 39236-46-9 | С | ДМФ | 24 | 1 | 12 - 48 | NC | +/+ | +/+ |
13 | метил метакрилат | 80-62-6 | Ж | АОМ | 90 | 1 | 45 - 100 | NC | +/+ | +/+ |
14 | хлорбензол | 108-90-7 | Ж | АОМ | 25 | 1 | NA | NA | -/- | |
15 | изопропанол | 67-63-0 | Ж | АОМ | 50 | 1 | NA | NA | -/- | -/+ |
16 | молочная кислота | 50-21-5 | Ж | ДМСО | 25 | 1 | NA | NA | -/- | |
17 | метилсалицилат | 119-36-8 | Ж | АОМ | 20 | 9 | NA | NA | -/- | -/- |
18 | салициловая кислота | 69-72-7 | С | АОМ | 25 | 1 | NA | NA | -/- | -/- |
Опциональные стандарты для демонстрации улучшения характеристик LLNA |
19 | натриевая соль лаурилсульфата | 151-21-3 | С | ДМФ | 8,1 | 5 | 4,05 - 16,2 | 1,5 - 17,1 | +/- | +/- |
20 | этиленгликоль диметакрилат | 97-90-5 | Ж | МЭК | 28 | 1 | 14 - 56 | NC | +/- | +/+ |
21 | ксилол | 1330-20-7 | Ж | АОМ | 95,8 | 1 | 47,9 - 100 | NC | | +/- |
22 | хлорид никеля | 7718-54-9 | С | ДМСО | 5 | 2 | NA | NA | -/+ | -/+ |
Сокращения: АОМ - смесь ацетона с оливковым маслом (4:1, v/v); CAS N = номер вещества по каталогу Chemical Abstracts Service; ДМФ - N,N-диметилформамид; ДМСО - диметилсульфоксид; ДНХБ - 2,4-динитрохлорбензол; ЕС3 - расчетная концентрация вещества, дающая индекс стимуляции, равный 3; м/св. - результат тестирования на морских свинках (см. МР 406); ГКА - гексил-коричный альдегид; Ж. - жидкость; LLNA - исследование реакции региональных лимфоузлов у мышей (см. МР 429); МЭК - метилэтилкетон; NA - не годно в качестве стандарта, так как индекс стимуляции < 3; NC - не рассчитано, так как данные получены от одного исследования; С - сухое вещество; Раств - растворитель.
--------------------------------
Примечания:
<1> Растворы тестируемого вещества должны готовиться ежедневно, если данные по стабильности не допускают возможности более длительного хранения.
<2> Поскольку растворители потенциально способны влиять на результаты теста LLNA, следует для каждого стандартного вещества использовать рекомендованный для него растворитель.
<3> Среднее арифметическое значение в тех случаях, когда доступен более чем один параметр ЕС3. Для веществ, не давших ожидаемого результата (то есть с индексом стимуляции < 3), приводится самая высокая из проверенных концентраций.
<4> Количество исследований LLNA, в которых были получены данные.
<5> Коммерчески доступен как Kathon CG (CAS N 55965-84-9), который является смесью указанных компонентов ХМИ и МИ в соотношении 3:1. Относительные концентрации каждого компонента в препарате Kathon CG варьируют от 1,1 до 1,25% для ХМИ и от 0,3 до 0,45% для МИ. Неактивные компоненты - соли магния (от 21,5 до 24%) и нитрат меди (от 0,15 до 0,17%), остаток препарата на 7 - 77% состоит из воды. Kathon CG можно приобрести через Sigma-Aldrich или Rohm & Haas (теперь Корпорация Dow Chemical).
<*> Предположение о том, что данное вещество не является сенсибилизирующим агентом, основано на факте отсутствия положительных результатов клинических кожных проб, данного вещества в списках стандартных аллергенов и описанных клинических случаев сенсибилизации у людей.
<**> Данные м/св. (полученные на морских свинках) не доступны.
Внутрилабораторная воспроизводимость
Для оценки внутрилабораторной воспроизводимости новый или модифицированный метод LLNA должен быть проверен на одном из сенсибилизаторов, хорошо изученных в исходном варианте теста LLNA. Поэтому СС LLNA основаны на оценке вариабельности результатов повторных экспериментов с использованием гексил-коричного альдегида (ГКА). Для оценки внутрилабораторной надежности, необходимо определить пороговую (минимально эффективную) концентрацию ГКА (ECt) в четырех отдельных опытах с промежутком между ними, по крайней мере, в одну неделю. Уровень внутрилабораторной воспроизводимости, может считаться удовлетворительным, если в этих 4 опытах значения пороговой концентрации ГКА находятся внутри диапазона от 5 до 20%, то есть от 0,5 до двух значений средней величины ЕС3 (концентрация вещества, дающая индекс стимуляции, равный 3) для ГКА, равной 10% (см.
таблицу).
Межлабораторная воспроизводимость
Межлабораторную воспроизводимость нового или модифицированного метода LLNA следует оценивать, используя два сенсибилизатора, хорошо изученных в LLNA. Данный СС LLNA основан на оценке вариабельности результатов тестирования ГКА и 2,4-динитрохлорбензола (ДНХБ) в различных лабораториях. Параметры ECt для этих двух веществ должны быть определены, по крайней мере, в трех отдельных лабораториях, по одному опыту в каждой. Для демонстрации приемлемого уровня межлабораторной воспроизводимости каждая лаборатория должна получить значения ECt от 5 до 20% для ГКА и от 0,025 до 0,1% для ДНХБ; эти диапазоны составляют, соответственно, от 0,5 до двух значений средних величин ЕС3 (концентрация вещества, дающая индекс стимуляции, равный 3) для ГКА (10%) и ДНХБ (0,05%) (см.
таблицу).
ОЦЕНКА КОЖНОЙ СЕНСИБИЛИЗАЦИИ ПО РЕАКЦИИ РЕГИОНАЛЬНЫХ
ЛИМФОУЗЛОВ ПУТЕМ ИЗМЕРЕНИЯ СОДЕРЖАНИЯ АТФ
(МЕТОД LLNA: DA)
Идентичен международному документу OECD N 442А "Skin Sensitization: Local Lymph Node Assay: DA" (ОЭСР Руководство N 442A "Оценка кожной сенсибилизации по реакции региональных лимфоузлов путем измерения содержания АТФ (метод LLNA: DA)"). Принят 22 июля 2010 года. Перевод с английского языка (en). Степень соответствия - модифицированный (MOD).
1.1. Настоящий метод исследования обеспечивает получение информации о способности исследуемого вещества вызывать кожную сенсибилизацию в тесте in vivo на мышах путем люминесцентного анализа содержания аденозинтрифосфата (АТФ) в клетках региональных лимфоузлов, отражающего скорость их пролиферации. Полученная информация может быть использована для классифицикации веществ в соответствии с Согласованной на глобальном уровне системой классификации и маркировки (СГС) по данному виду токсичности.
1.2. До проведения эксперимента должна быть рассмотрена вся доступная информация об исследуемом веществе. Такая информация включает данные о составе и химическом строении вещества; его физико-химические свойства; результаты токсикологических испытаний in vivo и in vitro; токсикологические данные по структурно родственным веществам и предполагаемые пути использования вещества. Эта информация является необходимой для подтверждения того, что испытание является важным для защиты здоровья человека и способствует обоснованному выбору начальной дозы.
2.1. Руководство ОЭСР по тестированию химических веществ периодически пересматриваются в свете научно-технического прогресса, изменяющихся потребностей в нормативах и соображений заботы о благополучии животных. Первый вариант Руководства по оценке кожной сенсибилизации у мышей путем изучения реакции региональных лимфоузлов (the Local Lymph Node Assay, LLNA) был принят в 2002 году и позднее пересмотрен. Детали валидации LLNA и обзор связанных с этой темой работ опубликованы. В исходном варианте метода LLNA для измерения скорости пролиферации лимфоцитов используются радиоизотопы тимидина или йода и, следовательно, применение данного метода имеет ограничения из-за наличия регионов, в которых приобретение, использование или утилизация радиоизотопов проблематичны.
Метод LLNA: DA, разработанный сотрудниками Daicel Chemical Industries, Ltd., является модификацией метода LLNA, позволяющей отказаться от использования радиоизотопов и заключающейся в биолюминесцентном определении содержания аденозинтрифосфата (АТФ) как индикатора пролиферации лимфоцитов. Он был утвержден, пересмотрен и рекомендован международной группой экспертной оценки как адекватный метод отнесения химических соединений к сенсибилизирующим или несенсибилизирующим веществам с определенными ограничениями.
2.2. Методы LLNA (МР N 429), две его нерадиоактивные модификации - LLNA: DA (OECD TG 442 A) and LLNA: BrdU-ELISA (OECD TG 442 В) и тест in vivo на морских свинках (МР N 406) являются равнозначными и могут быть использованы как альтернативные, в которых положительные и отрицательные результаты, как правило, не требуют дальнейшего подтверждения. До проведения исследования испытательная лаборатория должна изучить все имеющиеся сведения об испытуемых веществах - информацию о химической структуре исследуемого вещества, его физико-химических свойствах, а также результаты любых других тестов на токсичность исследуемого вещества in vitro или in vivo, включая токсикологические данные по структурно близким веществам. На основании этой информации принимается решение о том, подходит ли метод LLNA: DA для тестирования данного вещества.
2.3. Метод LLNA: DA имеет следующие ограничения:
- не подходит для тестирования веществ, влияющих на содержание в лимфоцитах АТФ (например, ингибиторов образования АТФ) или влияющих на точность измерения уровня АТФ (например, путем влияния на активность ферментов, утилизирующих АТФ, или влияния на внеклеточное содержание АТФ в ткани лимфоузла);
- некоторые химические вещества могут вызывать побочные эффекты, искажающие результаты LLNA: DA;
- некоторые металлы дают в LLNA ложноотрицательные эффекты, а некоторые кожные ирританты - например, некоторые разновидности сурфактантов - ложноположительные;
- следует учесть возможность преувеличения реальной опасности веществ при получении методом LLNA: DA пограничных эффектов со значениями индекса стимуляции (ИС) между 1,8 и 2,5, при установленном пороговом значении ИС 1,8 (
пп. 5.2 -
5.3). В частности, по результатам тестирования 44 веществ
(п. 5.1) метод LLNA: DA правильно идентифицировал 32 сенсибилизирующих вещества, но неправильно идентифицировал три из 12 несенсибилизирующих веществ, давая при этом пограничные значения ИС, лежащие между 1,8 и 2,5.
Во всех этих случаях следует использовать постановку другой разновидности теста LLNA (МР 429, МР 442 В) или классического теста на морских свинках (МР 406).
3.1. Основной принцип, лежащий в основе LLNA: DA, заключается в том, что вещества-сенсибилизаторы обладают способностью ускорять пролиферацию лимфоцитов в тех лимфатических узлах, которые дренируют место нанесения исследуемого вещества. Скорость пролиферации лимфоцитов при этом пропорциональна дозе и мощности нанесенного на кожу аллергена. Отношение среднего значения скорости пролиферации лимфоцитов в экспериментальной группе животных к среднему значению скорости их пролиферации в контрольной группе (КГ), подвергнутой воздействию растворителя, называют индексом стимуляции (ИС). Пороговым значением ИС в методе LLNA: DA, позволяющим отнести тестируемое вещество к классу потенциальных кожных сенсибилизаторов, является значение 1,8.
3.2. Биолюминесцентный метод измерения количества пролиферирующих клеток в околоушных лимфоузлах, дренирующих участок нанесения тестируемого препарата, основан на использовании фермента люциферазы, катализирующего образование квантов видимого света из АТФ и люциферина [
18,
19] согласно следующей реакции:
Интенсивность испускаемого света имеет линейную связь с содержанием в пробе АТФ и измеряется с помощью люминометра. Люциферин-люциферазный анализ является чувствительным методом измерения содержания АТФ и используется широким кругом прикладных аналитических методов
[20].
Выбор вида животных
4.1.1. Для проведения данного теста используются молодые половозрелые самки мышей в возрасте от 8 до 12 недель - предпочтительно линии СВА/J, использовавшейся при валидации метода LLNA: DA. Различия в весе животных не должны превышать 20% от их среднего веса. Для использования мышей других линий и противоположного пола необходимо предварительно показать на стандартных эталонных веществах равноценность данной замены.
Условия содержания и кормления животных
4.1.2. Температура в помещении для животных должна составлять (22 +/- 3) °C; оптимальный диапазон влажности - 50 - 60%. Освещение должно быть искусственным, с чередованием 12-часовых периодов света и темноты. Для кормления животных могут использоваться обычные лабораторные диеты с неограниченным доступом к питьевой воды.
Подготовка животных
4.1.3. Животных отбирают случайным образом, маркируют для индивидуальной идентификации (любым способом, не затрагивающим область ушей), и содержат в клетках в течение по крайней мере пяти дней до начала введения тестируемого вещества, чтобы обеспечить их акклиматизацию к лабораторным условиям. До начала воздействия всех животных осматривают на предмет отсутствия видимых кожных повреждений.
Подготовка растворов тестируемого вещества
4.1.4. Твердые исследуемые вещества перед нанесением на уши мышей следует растворить или суспендировать в подходящих растворителях. Жидкие исследуемые вещества можно наносить неразбавленными; их разбавление растворителем производится только для получения рабочих растворов нужных концентраций. При изучении безопасности изделий медицинского назначения используют экстракты, полученные длительным выдерживанием изделий в подходящем растворителе. Растворы исследуемых препаратов следует готовить ежедневно - кроме тех случаев, когда заведомо известно, что они могут храниться в определенных условиях в течение определенного времени.
Контроль качества
4.1.5. В качестве
положительного контроля (ПК) используются вещества с хорошо известной способностью к кожной сенсибилизации. Рекомендуется включать ПК в каждый проводимый эксперимент, поскольку это позволяет оценивать внутри- и межлабораторную воспроизводимость результатов данного теста, а также дает возможность избежать проведения дополнительного тестирования при возникновении каких-либо проблем
(п. 4.1.6). Дозу ПК следует выбирать так, чтобы она не вызывала чрезмерной реакции воспаления кожи ушей или реакций системной токсичности. Положительный эффект ПК должен быть воспроизводимым, но не избыточным (ИС должен быть не больше 10). Предпочтительными веществами для использования в качестве ПК в тесте LLNA: DA являются 25%-е растворы гексил-коричного альдегида (CAS N 101-86-0) или евгенола (CAS N 97-53-0) в смеси ацетона с оливковым маслом (4:1, v/v).
4.1.6. Возможны ситуации, в которых реакция животных на ПК проверяется время от времени (например, не реже одного раза в полгода), в частности, для лабораторий, использующих метод LLNA: DA регулярно и имеющих достаточную архивную базу экспериментальных данных, демонстрирующую способность лаборатории получать воспроизводимые результаты (в базе должны быть результаты как минимум 10 отдельных опытов с использованием ПК, проводившихся не реже чем один раз в год).
4.1.7. Однако исследователи должны понимать, что решение применять ПК на периодической основе вместо постоянного параллельного использования сказывается на уверенности в том, что новые вещества, тестировавшиеся в промежутке между опытами с включением ПК и давшие в них отрицательный результат, действительно не обладают способностью к кожной сенсибилизации. В частности, если при периодическом использовании ПК вдруг обнаружится сбой системы в виде ложноотрицательного эффекта в группе животных ПК, под сомнением окажутся не только результаты данного эксперимента, но и результаты всех остальных, проведенных в промежутке между данным экспериментом и последним из тех, в которых ПК давал ожидаемый положительный эффект.
4.1.8. Всегда следует включать параллельно группу ПК, если возникают какие-либо изменения в процедуре проведения LLNA: DA (например, замена обученного персонала, смена поставщиков материалов, реагентов и лабораторных животных, замена используемого оборудования).
4.1.9. Если ПК и тестируемое вещество наносятся в разных растворителях, следует включить в опыт контроли на оба растворителя.
4.1.10. В случаях, когда оцениваются исследуемые вещества определенного химического класса или диапазона ответных реакций, можно использовать в качестве ПК "реперные" вещества того же класса с известной активностью в LLNA: DA.
4.2. Процедура исследования
Количество животных и выбор доз
4.2.1. В каждую экспериментальную группу включают, как минимум, 4 животных, всего тестируют, как минимум, 3 концентрации исследуемого вещества плюс параллельные группы негативного контроля (НК) для растворителей исследуемого вещества и положительного контроля (ПК). Уход и все манипуляции с животными в контрольных группах должны быть идентичны тем, которые используются для экспериментальных групп, за исключением введения самого тестируемого вещества.
4.2.2. Выбор доз тестируемого вещества и выбор растворителя должны быть обоснованы. Последовательные дозы обычно выбираются из подходящего ряда концентраций, например 100, 50, 25, 10, 5, 2,5, 1, 0,5% и т.д. Следует предварительно изучить всю доступную информацию по токсичности данного вещества (например, острой токсичности и способности вызывать раздражение кожи), его структуре и физико-химическим свойствам, а также аналогичные характеристики близких по структуре веществ; на основании анализа этих данных выбирают три концентрации так, чтобы самая высокая концентрация вызывала как можно более выраженный эффект, но при этом не обладала системной токсичностью и/или не вызывала чрезмерного раздражения кожи на месте нанесения. При отсутствии такой информации может возникнуть необходимость в проведении предварительного пробного опыта (
пп. 4.2.5 -
4.2.8).
4.2.3. Растворитель не должен искажать результаты исследования или косвенно влиять на них; следует выбирать растворитель по критериям максимальной растворимости в нем тестируемого вещества, но можно использовать и суспензии. Рекомендованы следующие растворители: смесь ацетона с оливковым маслом (4:1, v/v), N,N-диметилформамид, метилэтилкетон, пропиленгликоль и диметилсульфоксид. Особое внимание следует уделить тому, чтобы водорастворимые вещества наносились на кожу в растворителе, хорошо смачивающем кожные покровы и тем самым не позволяющем тестируемому раствору быстро скатываться с поверхности кожи; для этого в растворы включают подходящие сурфактанты (например, 1% ПАВ

L92).
4.2.4. Преимуществом данного метода является возможность проведения внутреннего контроля, для чего сравнивают состояние лимфоузлов одной и той же мыши на стороне нанесения препарата и на противоположной стороне; это позволяет оценить вариабельность эффекта у отдельных животных
(п. 5.4). Анализ внутригрупповой вариабельности индивидуальных данных дает основания для объективной оценки возможности сокращения числа мышей в группе ПК. В некоторых странах органы надзора требуют предоставления индивидуальных данных по отдельным животным, а в других странах принимаются и усредненные данные по каждой экспериментальной группе.
Предварительные исследования
4.2.5. В отсутствии информации, позволяющей рассчитать максимальную дозу тестируемого вещества
(п. 4.2.2), следует провести предварительное исследование для выявления подходящего диапазона доз. Цель предварительного исследования состоит в получении информации о системном
(п. 4.2.8) и кожно-раздражающем
(п. 4.2.7) эффектах изучаемого препарата.
4.2.6. Предварительное исследование проводится при условиях, идентичных условиям основного исследования LLNA: DA, но оценка скорости пролиферации клеток лимфоузлов не проводится и количество животных в группе может быть меньшим. Рекомендуется использовать группы по одному или по два животных на каждую дозу. Массу тела регистрируют перед началом эксперимента и перед его завершением (День 8). Мышей ежедневно осматривают на предмет выявления любых клинических проявлений системной токсичности или местного раздражения на участке аппликации вещества, оценивая наличие эритемы в баллах с помощью таблицы. Замеры толщины уха получают, используя калиброметр (например, электронный микрометр или стрелочный калиброметр Пикока), в День 1 (перед нанесением вещества), День 3 (спустя приблизительно 48 часов после первой дозы), День 7 (за 24 часа до окончания опыта) и День 8. Кроме того, в День 8 толщину ушей можно дополнительно оценить путем взвешивания стандартного по площади образца ткани ушной раковины, полученного с помощью перфоратора после гуманного умерщвления животных. Раздражение кожи на месте аппликации вещества оценивается как чрезмерное при наличии эритемы с выраженностью в 3 и более баллов по шкале таблицы и/или при увеличении толщины уха на 25% и более по сравнению с первоначальной в любой день осмотра животных. В качестве максимальной дозы для основного исследования LLNA: DA выбирают максимальную из тех доз предварительного исследования
(п. 4.2.2), которые не вызывали признаков системной токсичности и/или чрезмерного местного раздражения кожи.
Таблица
Шкала оценки эритемной реакции
Наблюдение | Баллы |
Нет эритемы | 0 |
Очень слабая эритема (едва заметная) | 1 |
Четко выраженная эритема | 2 |
Эритема от умеренной до тяжелой | 3 |
От тяжелой эритемы (свекольный цвет кожи) до образования язв, покрытых струпом, мешающим проводить классификацию эритемы | 4 |
4.2.7. В дополнение к увеличению толщины уха на 25% и более по сравнению с первоначальной, для идентификации веществ-ирритантов в LLNA: DA также используется статистически значимое увеличение среднего значения толщины уха в группе экспериментальных мышей по сравнению с аналогичной величиной в группе контрольных мышей. Однако, если различия этих величин статистически достоверны, но составляют менее 25%, они не могут быть квалифицированы как свидетельство избыточного раздражения ткани уха данной дозой тестируемого вещества.
4.2.8. Следующие клинические наблюдения могут свидетельствовать о наличии системной токсичности тестируемых веществ при их использовании в предварительной постановке метода LLNA: DA: изменения в функции нервной системы (взъерошивание шерсти, атаксия, тремор, конвульсии); в поведении (агрессивность, изменения в уровне активности и в груминговой активности); в частоте и интенсивности дыхания (затрудненное дыхание, одышка, хрипы) и в потреблении пищи и воды. Кроме того, следует регистрировать: признаки летаргии и/или апатии; любые клинические признаки, которые проявлялись как более чем эпизоды незначительной или мгновенной боли и дистресса; снижение массы тела более чем на 5% за период от Дня 1 до Дня 8; гибель животных. Умирающие животные или животные, очевидно страдающие от боли или показывающие признаки серьезного и устойчивого дистресса, должны гуманно умерщвляться.
План основного эксперимента
4.2.9. План Эксперимента следующий:
День 1
Определение и регистрация веса каждого животного и их визуальный осмотр. Проводят аппликацию 1%-го раствора лаурилсульфата натрия (ЛС) на тыльную сторону каждого уха подопытных мышей, погружая в раствор ЛС кисточку и проводя ею по тыльной стороне уха 4 - 5 раз, чтобы покрыть раствором всю поверхность. Через час на тыльную сторону каждого уха наносят по 25 мкл растворов исследуемого вещества в соответствующих разведениях, одного растворителя или ПК (если он проводится параллельно в каждом эксперименте; в противном случае берут данные последнего опыта с использованием ПК, в соответствии с
пп. 4.1.5 -
4.1.9).
Дни 2, 3 и 7
Повторить процедуру аппликации 1%-го раствора ЛС и тестируемого вещества, выполненную в День 1.
Дни 4, 5 и 6
Аппликаций не проводят.
День 8
Регистрируют вес каждого животного и результаты его визуального осмотра. Через 24 - 30 часов после последней аппликации тестируемого вещества в День 7 производят гуманное умерщвление животных. Извлекают дренирующие околоушные лимфоузлы и помещают их в забуференный физиологический раствор (PBS) от каждого животного отдельно. Детали процедуры идентификации лимфоузлов и их препарирования приведены в работе. В протокол исследования могут быть также включены дополнительные параметры контроля местных изменений кожи уха на месте аппликации - проявления эритемы уха или данные по толщине ушей, полученные с помощью калибратора или определения веса стандартных кусочков уха при некропсии.
Подготовка суспензии клеток
4.2.10. Суспензию отдельных клеток лимфоузлов (КЛУ) получают путем помещения лимфоузлов между двумя предметными стеклами с последующим легким сдавливанием стекол (метод сандвича). После того как ткань лимфоузла распределится между стеклами тонким слоем, стекла разъединяют. Клетки разрушенных лимфоузлов смывают с каждого стекла, располагая их под углом над чашкой Петри и промывая раствором PBS с одновременным соскабливанием биоматериала с поверхности стекла с помощью скребка для клеточных культур. На оба стекла расходуют 1 мл PBS. Слегка гомогенизируют материал в чашке Петри с помощью скребка. Отбирают микропипеткой 20 мкл суспензии КЛУ, стараясь не захватывать видимых глазом обрывков капсулы лимфоузла, и смешивают с 1,98 мл PBS с получением образца объемом 2 мл. На одну мышь, таким образом, получается по 2 образца объемом 2 мл каждый.
Особую осторожность следует проявлять при работе с лимфоузлами от контрольных животных, так как из-за их малого размера возможно проявление различных артефактов при определении величины ИС.
Определение клеточной пролиферации (измерение содержания АТФ в лимфоцитах)
4.2.11. Увеличение содержания АТФ в лимфоузлах подопытных животных определяют с помощью коммерческих тест-наборов для определения АТФ, основанных на люциферин-люциферазной реакции с оценкой уровня биолюминесценции
в относительных единицах люминесценции (ОЕЛ). Время между забоем животного и измерением содержания АТФ в биопробах должно быть одинаковым и не более 30 минут, поскольку содержание АТФ в КЛУ быстро падает во времени
[12]. Поэтому следует разработать протокол исследования таким образом, чтобы для каждого животного между забоем и измерением содержания АТФ в КЛУ проходило около 20 минут. Для каждой мыши измеряют 2 образца и вычисляют среднегрупповые значения содержания АТФ в КЛУ
(п. 5.2).
Клинические наблюдения
4.2.12. Каждую мышь следует тщательно осматривать, по крайней мере, раз в день для выявления любых клинических признаков как местного раздражения на участке аппликации вещества, так и системной токсичности. Все наблюдения должны регистрироваться и включать записи наблюдений за каждой мышью по отдельности. Мышей с выявленными симптомами системной токсичности или чрезмерного местного раздражения/изъязвления кожи подвергают эвтаназии
[36].
Масса тела
4.2.13. Как отмечено в
п. 4.2.9, следует измерять индивидуальные массы тела животных в начале эксперимента и перед запланированным гуманным умерщвлением.
5. Анализ и интерпретация данных
Обработка результатов
5.1. Результаты опыта должны быть представлены в виде средних значений индекса стимуляции (ИС) для каждой экспериментальной группы. Величину ИС получают путем деления среднего значения ОЕЛ в каждой экспериментальной группе, включая группу ПК, на среднее значение ОЕЛ в контрольной группе, обрабатывавшейся растворителем. Таким образом, ИС для контрольной группы мышей равен 1.
5.2. Результат тестирования оценивают как положительный при значении ИС >= 1,8. В случае пограничных значений ИС (например, между 1,8 и 2,5) для трактовки результатов можно также учитывать выраженность зависимости доза-ответ, статистическую значимость и непротиворечивость эффектов в группах положительного (ПК) и отрицательного (НК) контролей.
5.3. Если имеется необходимость уточнить полученные пограничные данные (ИС между 1,8 и 2,5), можно рассмотреть дополнительную информацию из опубликованных данных других авторов - характер зависимостей доза-эффект, проявления системной токсичности или избыточного раздражения при накожной аппликации и, если это возможно, среднегрупповые значения ИС и достоверности различий с контрольной группой. Следует проанализировать также литературные данные по различным свойствам тестируемого вещества, включая наличие у него структурного сходства с известными кожными сенсибилизаторами, вызывает ли оно чрезмерное местное раздражение кожи у мышей и какой характер имеет зависимость доза-ответ.
5.4. При статистическом анализе данных можно использовать статистические тесты на наличие связи между переменными доза и ответ, а также подходящие методы сравнения межгрупповых различий, например, метод линейной регрессии или тест Уильямса для оценки тренда доза-ответ и тест Даннетта для попарных сравнений внутригрупповых значений ИС. При выборе метода оценки достоверности межгрупповых различий ИС исследователь должен учесть возможное неравенство дисперсий изучаемой переменной внутри сравниваемых групп, что может потребовать выбора методов непараметрического анализа. При наличии "выбросов" индивидуальных значений ИС, далеко отстоящих от значений данной величины у других мышей той же группы, приходится проводить статистический анализ дважды - с выпадающими точками и без них.
Данные
5.5. Данные должны быть представлены в форме таблицы. При использовании индивидуального подхода к животным следует привести индивидуальные значения ОЕЛ для каждого животного, средние значения ОЕЛ в каждой группе мышей с соответствующим значением вариабельности (например, стандартного отклонения или среднеквадратической ошибки) и средние величины ИС для каждой опытной группы по отношению к группе негативного контроля. При использовании объединенного подхода к сбору экспериментального материала следует привести полученные средние значения или медианы величин ОЕЛ и СИ для каждой опытной группы по отношению к группе контроля растворителя.
Отчет о проведении должен содержать следующую информацию.
Тестируемое вещество и контрольные эталонные вещества:
- данные идентификации (например, номер CAS, если имеется; источник; степень чистоты; известные примеси; номер партии);
- физические и физико-химические свойства (такие, как летучесть, стабильность, растворимость);
- если это сложная смесь, то указать состав и относительные проценты компонентов.
Растворитель/носитель:
- данные идентификации (степень чистоты; концентрация, если использовалась смесь нескольких растворителей; используемый объем);
- обоснование выбора растворителя.
Проверка животных:
- источник поступления мышей линии СВА;
- микробиологический статус животных, если это известно;
- количество и возраст животных;
- источник поступления животных, условия содержания, диета и т.д.
Условия эксперимента:
- производитель, номер партии и данные производителя по гарантиям и контролю качества тест-наборов для определения АТФ;
- детали подготовки и нанесения тестируемого вещества;
- обоснование выбора дозы (включая результаты предварительных экспериментов, если проводились);
- концентрации тестируемого вещества и растворителя и общее количество вводимого тестируемого вещества;
- детали качества пищи и воды (включая тип/источник диеты, источник поступления питьевой воды);
- детали схемы проведения эксперимента и получения биологического материала;
- методы оценки токсичности;
- критерии интерпретации результатов исследования как положительных или отрицательных;
- детали любых отклонений от стандартного протокола с объяснением того, как данное отклонение повлияло на схему исследования и результаты.
Контроль качества:
- резюме результатов последнего из проводившихся опытов с контролем качества, включая информацию относительно тестируемого вещества, использовавшихся концентраций и растворителя;
- параллельный и/или исторический ПК и параллельные данные НК на влияние растворителя/связующего вещества для данной лаборатории;
- если параллельный ПК не был включен в данный опыт, наличие данных и лабораторных протоколов для последнего из периодических ПК и протоколов, детализирующих данные исторического ПК, который служит для данной лаборатории обоснованием для отказа от осуществления параллельного ПК.
Результаты:
- индивидуальные значения веса мышей перед началом опыта и перед плановым забоем, а также средние значения и соответствующие ошибки этих величин (например, стандартное отклонение или среднеквадратическая ошибка среднего значения) для каждой экспериментальной группы;
- динамика начала проявления и симптомов токсичности, включая признаки кожного раздражения на участке аппликации вещества, если таковые имеются, для каждого животного по отдельности;
- время забоя и время измерения содержания АТФ в клетках лимфоузлов для каждого животного по отдельности;
- таблица значений ОЕЛ и СИ для каждой мыши каждой экспериментальной группы;
- среднее значение и соответствующая ошибка (например, стандартное отклонение или среднеквадратическая ошибка среднего значения) величины ОЕЛ для каждой экспериментальной группы и результаты анализа резко отклоняющихся значений внутри каждой экспериментальной группы;
- вычисленное значение СИ и надлежащей меры его вариабельности, учитывающей вариабельность эффектов как в экспериментальных группах, так и в группах контроля;
- характер зависимости доза-ответ;
- статистический анализ этой зависимости, при необходимости.
Обсуждение результатов:
- краткий комментарий к полученным результатам, включая характер зависимости доза-эффект, и, при необходимости, ее статистический анализ, с заключением относительно того, следует ли тестируемое вещество считать кожным сенсибилизатором.
Заключение.
ОЦЕНКА КОЖНОЙ СЕНСИБИЛИЗАЦИИ ПО РЕАКЦИИ РЕГИОНАЛЬНЫХ
ЛИМФОУЗЛОВ МЕТОДОМ ИММУНОФЕРМЕНТНОГО АНАЛИЗА СКОРОСТИ
ВКЛЮЧЕНИЯ БРОМДЕЗОКСИУРИДИНА В ДНК (МЕТОД LLNA: BRDU: ELISA)
Идентичен международному документу OECD N 442B "Skin Sensitization: Local Lymph Node Assay: BrdU:ELISA" (ОЭСР Руководство N 442B "Оценка кожной сенсибилизации по реакции региональных лимфоузлов методом иммуноферментного анализа скорости включения бромдезоксиуридина в ДНК (метод LLNA: BrdU: ELISA))". Принят 22 июля 2010 года. Перевод с английского языка (en). Степень соответствия - модифицированный (MOD).
1.1. Настоящий метод исследования обеспечивает получение информации о способности исследуемого вещества вызывать кожную сенсибилизацию в тесте in vivo на мышах путем иммуноферментного анализа скорости включения бромдезоксиуридина в ДНК клеток региональных лимфоузлов, отражающего скорость их пролиферации. Полученная информация может быть использована для классифицикации веществ в соответствии с Согласованной на глобальном уровне системой классификации и маркировки (СГС) по данному виду токсичности.
1.2. До проведения эксперимента должна быть рассмотрена вся доступная информация об исследуемом веществе. Такая информация включает данные о составе и химическом строении вещества; его физико-химические свойства; результаты токсикологических испытаний in vivo и in vitro; токсикологические данные по структурно родственным веществам и предполагаемые пути использования вещества. Эта информация является необходимой для подтверждения того, что испытание является важным для защиты здоровья человека и способствует обоснованному выбору начальной дозы.
2.1. Руководство ОЭСР по тестированию химических веществ периодически пересматриваются в свете научно-технического прогресса, изменяющихся потребностей в нормативах и соображений заботы о благополучии животных. Первый вариант Руководства по оценке кожной сенсибилизации у мышей путем изучения реакции региональных лимфоузлов (
the Local Lymph Node Assay, LLNA) был принят в 2002 году и позднее пересмотрен
[1]. Детали валидации LLNA и обзор связанных с этой темой работ опубликованы в [
2 -
9]. В исходном варианте метода LLNA для измерения скорости пролиферации лимфоцитов используются радиоизотопы тимидина или йода и, следовательно, применение данного метода имеет ограничения из-за наличия регионов, в которых приобретение, использование или утилизация радиоизотопов проблематичны.
Метод LLNA: BrdU: ELISA является модификацией метода LLNA, позволяющей обходиться без использования радиоизотопов и заключающейся в иммуноферментном определении включения бромдезоксиуридина (BrdU, CAS N 59-14-3) в ДНК лимфоцитов как индикатора их пролиферации. Метод LLNA: BrdU: ELISA был утвержден, пересмотрен и рекомендован международной группой экспертной оценки как адекватный метод отнесения химических соединений к сенсибилизирующим или несенсибилизирующим веществам, с определенными ограничениями.
2.2. Методы LLNA (OECD TG 429), две его нерадиоактивные модификации - LLNA: DA (OECD TG 442 A) and LLNA: BrdU-ELISA (OECD TG 442 B) и тест in vivo на морских свинках (OECD TG 406) являются равнозначными и могут быть использованы как альтернативные, в которых положительные и отрицательные результаты, как правило, не требуют дальнейшего подтверждения.
2.3. Метод имеет следующие ограничения:
- некоторые металлы дают в LLNA ложноотрицательные эффекты, а некоторые кожные ирританты - например, некоторые разновидности сурфактантов - ложноположительные;
- при тестировании определенных типов химических веществ или веществ, содержащих определенные функциональные группы, могут возникать побочные эффекты, искажающие результаты LLNA: BrdU: ELISA;
- следует учесть возможность преувеличения реальной опасности веществ при получении методом LLNA: BrdU: ELISA пограничных эффектов, со значениями индекса стимуляции (ИС) между 1,6 и 1,9 при установленном пороговом значении 1,6. В частности, по результатам тестирования 43 веществ
(п. 3.1) метод LLNA: BrdU: ELISA правильно идентифицировал 32 сенсибилизирующих вещества, но неправильно идентифицировал два из 12 несенсибилизирующих веществ с пограничными значениями ИС, лежащими между 1,6 и 1,9.
Во всех этих случаях следует использовать постановку другой разновидности теста LLNA (OECD TG 429, OECD TG 442 A) или классического теста на морских свинках (OECD TG 406).
3.1. Основной принцип, лежащий в основе метода LLNA: BrdU: ELISA, заключается в том, что вещества-сенсибилизаторы обладают способностью ускорять пролиферацию лимфоцитов в тех лимфатических узлах, которые дренируют место нанесения исследуемого вещества. Скорость пролиферации лимфоцитов при этом пропорциональна дозе и мощности нанесенного на кожу аллергена. Отношение среднего значения скорости пролиферации лимфоцитов в экспериментальной группе животных к среднему значению скорости их пролиферации в контрольной группе, подвергнутой воздействию растворителя, называют индексом стимуляции (ИС). Пороговым значением ИС в методе метода LLNA: BrdU: ELISA, позволяющим отнести тестируемое вещество к классу потенциальных кожных сенсибилизаторов, является значение 1,6.
3.2. В методе LLNA: BrdU: ELISA оценка количества пролиферирующих клеток в околоушных лимфоузлах, дренирующих участок нанесения тестируемого препарата, основана на иммуноферментном анализе скорости включения аналога тимидина (бромдезоксиуридина, BrdU) - в ДНК клеток лимфоузлов. В иммуноферментном анализе используются антитела к бромдезоксиуридину, меченые пероксидазой. При добавлении субстрата пероксидазы образуется окрашенный продукт, концентрацию которого определяют по оптической плотности раствора с помощью планшетного ридера.
Выбор вида животных
4.1.1. Для проведения данного теста используются молодые половозрелые самки мышей в возрасте от 8 до 12 недель - предпочтительно линии CBA/J, использовавшейся при валидации метода LLNA: BrdU: ELISA. Различия в весе животных не должны превышать 20% от их среднего веса. Для использования мышей других линий и противоположного пола необходимо предварительно показать на стандартных эталонных веществах равноценность данной замены.
Условия содержания и кормления животных
4.1.2. Температура в помещении для животных должна составлять (22 +/- 3) °C; диапазон влажности - 30 - 70%. Освещение должно быть искусственным, с чередованием 12-часовых периодов света и темноты. Для кормления животных могут использоваться обычные лабораторные диеты с неограниченным доступом к питьевой воде.
Подготовка животных
4.1.3. Животных отбирают случайным образом, маркируют для индивидуальной идентификации (любым способом, не затрагивающим область ушей) и содержат в клетках в течение, по крайней мере, пяти дней до начала введения тестируемого вещества, чтобы обеспечить их акклиматизацию к лабораторным условиям. До начала воздействия всех животных осматривают на предмет отсутствия видимых кожных повреждений.
Подготовка растворов тестируемого вещества
4.1.4. Твердые исследуемые вещества перед нанесением на уши мышей следует растворить или суспендировать в подходящих растворителях. Жидкие исследуемые вещества можно наносить неразбавленными; их разбавление растворителем производится только для получения рабочих растворов нужных концентраций. При изучении безопасности изделий медицинского назначения используют экстракты, полученные длительным выдерживанием изделий в подходящем растворителе. Растворы исследуемых препаратов следует готовить ежедневно, кроме тех случаев, когда заведомо известно, что они могут храниться в определенных условиях в течение определенного времени.
Контроль качества
4.1.5. В качестве
положительного контроля (ПК) используются вещества с хорошо известной способностью к кожной сенсибилизации. Рекомендуется включать ПК в каждый проводимый эксперимент, поскольку это позволяет оценивать внутри- и межлабораторную воспроизводимость результатов данного теста, а также дает возможность избежать проведения дополнительного тестирования при возникновении каких-либо проблем
(п. 4.1.6). Дозу ПК следует выбирать так, чтобы она не вызывала чрезмерной реакции воспаления кожи ушей или реакций системной токсичности. Положительный эффект ПК должен быть воспроизводимым, но не избыточным (ИС должен быть не больше 10). Предпочтительными веществами для использования в качестве ПК в тесте LLNA: BrdU: ELISA являются 25%-е растворы гексилкоричного альдегида (CAS N 101-86-0) или евгенола (CAS N 97-53-0) в смеси ацетона с оливковым маслом (4:1, v/v).
4.1.6. Возможны ситуации, в которых реакция животных на ПК проверяется время от времени (например, не реже одного раза в полгода), в частности для лабораторий, использующих метод LLNA: BrdU: ELISA регулярно и имеющих достаточную архивную базу экспериментальных данных, демонстрирующую способность лаборатории получать воспроизводимые результаты (в архивной базе должны быть результаты как минимум 10 отдельных опытов с использованием ПК, проводившихся не реже чем один раз в год).
4.1.7. Однако исследователи должны понимать, что решение применять ПК на периодической основе вместо постоянного параллельного использования сказывается на уверенности в том, что новые вещества, тестировавшиеся в промежутке между опытами с включением ПК и давшие в них отрицательный результат, действительно не обладают способностью к кожной сенсибилизации. В частности, если при периодическом использовании ПК вдруг обнаружится сбой системы в виде ложноотрицательного эффекта в группе животных ПК, под сомнением окажутся не только результаты данного эксперимента, но и результаты всех остальных, проведенных в промежутке между данным экспериментом и последним из тех, в которых ПК давал ожидаемый положительный эффект.
4.1.8. Всегда следует включать параллельно группу ПК, если возникают какие-либо изменения в процедуре проведения LLNA: BrdU: ELISA (например: замена обученного персонала, смена поставщиков материалов, реагентов и лабораторных животных, замена используемого оборудования).
4.1.9. Если ПК и тестируемое вещество наносятся в разных растворителях, следует включить в опыт контроли на оба растворителя.
4.1.10. В случаях, когда оцениваются исследуемые вещества определенного химического класса или диапазона ответных реакций, можно использовать в качестве ПК "реперные" вещества того же класса с известной активностью в LLNA: BrdU: ELISA.
4.2. Процедура исследования
Количество животных и выбор доз
4.2.1. В каждую экспериментальную группу включают, как минимум, 4 животных, всего тестируют, как минимум, 3 концентрации исследуемого вещества плюс параллельные группы негативного контроля (НК) для растворителей исследуемого вещества и положительного контроля (ПК). Уход и все манипуляции с животными в контрольных группах должны быть идентичны тем, которые используются для экспериментальных групп, за исключением введения самого тестируемого вещества.
4.2.2. Выбор доз тестируемого вещества и выбор растворителя должны быть основаны на рекомендациях. Последовательные дозы обычно выбираются из подходящего ряда концентраций, например 100, 50, 25, 10, 5, 2,5, 1, 0,5% и т.д. Следует предварительно изучить всю доступную информацию по токсичности данного вещества (например, острой токсичности и способности вызывать раздражение кожи), его структуре и физико-химическим свойствам, а также аналогичные характеристики близких по структуре веществ; на основании анализа этих данных выбирают три концентрации так, чтобы самая высокая концентрация вызывала как можно более выраженный эффект, но при этом не обладала системной токсичностью и/или не вызывала чрезмерного раздражения кожи на месте нанесения. При отсутствии такой информации может возникнуть необходимость в проведении предварительного пробного опыта (
пп. 4.2.5 -
4.2.8).
4.2.3. Растворитель не должен искажать результаты исследования или косвенно влиять на них; следует выбирать растворитель по критериям максимальной растворимости в нем тестируемого вещества, но можно использовать и суспензии. Рекомендованы следующие растворители: смесь ацетона с оливковым маслом (4:1, v/v), N,N-диметилформамид, метилэтилкетон (бутанон), пропиленгликоль и диметилсульфоксид. Особое внимание следует уделить тому, чтобы водорастворимые вещества наносились на кожу в растворителе, хорошо смачивающем кожные покровы и тем самым не позволяющем тестируемому раствору быстро скатываться с поверхности кожи; для этого в растворы включают подходящие сурфактанты (например, 1% ПАВ

L92).
4.2.4. Преимуществом данного метода является возможность проведения внутреннего контроля, для чего сравнивают состояние лимфоузлов одной и той же мыши на стороне нанесения препарата и на противоположной стороне; это позволяет оценить вариабельность эффекта у отдельных животных
(п. 5.4). Анализ внутригрупповой вариабельности индивидуальных данных дает основания для объективной оценки возможности сокращения числа мышей в группе ПК. В некоторых странах органы надзора требуют предоставления индивидуальных данных по отдельным животным, а в других странах принимаются и усредненные данные по каждой экспериментальной группе.
Предварительные исследования
4.2.5. В отсутствие информации, позволяющей рассчитать максимальную дозу тестируемого вещества
(п. 4.2.2), следует провести предварительное исследование для выявления подходящего диапазона доз. Цель предварительного исследования состоит в получении информации о системном
(п. 4.2.8) и кожно-раздражающем
(п. 4.2.7) эффектах изучаемого препарата.
4.2.6. Предварительное исследование проводится при условиях, идентичных условиям основного исследования метилэтилкетон, но оценка скорости пролиферации клеток лимфоузлов не проводится и количество животных в группе может быть меньшим. Рекомендуется использовать группы по одному или по два животных на каждую дозу. Массу тела регистрируют перед началом эксперимента и перед его завершением (День 6). Мышей ежедневно осматривают на предмет выявления любых клинических проявлений системной токсичности или местного раздражения на участке аппликации вещества, оценивая наличие эритемы в баллах с помощью таблицы
[20]. Замеры толщины уха получают, используя калиброметр (например, электронный микрометр или стрелочный калиброметр Пикока), в День 1 (перед нанесением вещества), День 3 (спустя приблизительно 48 часов после первой дозы) и День 6. Кроме того, в День 6 толщину ушей можно дополнительно оценить путем взвешивания стандартного по площади образца ткани ушной раковины, полученного с помощью перфоратора после гуманного умерщвления животных. Раздражение кожи на месте аппликации вещества оценивается как чрезмерное при наличии эритемы с выраженностью в 3 и более баллов по шкале таблицы и/или при увеличении толщины уха на 25% и более по сравнению с первоначальной в любой день осмотра животных. В качестве максимальной дозы для основного исследования LLNA: BrdU: ELISA выбирают максимальную из тех доз предварительного исследования
(п. 4.2.2), которые не вызывали признаков системной токсичности и/или чрезмерного местного раздражения кожи.
Таблица
Шкала оценки эритемной реакции
Наблюдение | Баллы |
Нет эритемы | 0 |
Очень слабая эритема (едва заметная) | 1 |
Четко выраженная эритема | 2 |
Эритема от умеренной до тяжелой | 3 |
От тяжелой эритемы (свекольный цвет кожи) до образования язв, покрытых струпом, мешающим проводить классификацию эритемы | 4 |
4.2.7. В дополнение к увеличению толщины уха на 25% и более по сравнению с первоначальной [
26,
27], для идентификации веществ-ирритантов в LLNA: BrdU: ELISA также используется статистически значимое увеличение среднего значения толщины уха в группе экспериментальных мышей по сравнению с аналогичной величиной в группе контрольных мышей. Однако, если различия этих величин статистически достоверны, но составляют менее 25%, они не могут быть квалифицированы как свидетельство избыточного раздражения ткани уха данной дозой тестируемого вещества.
4.2.8. Следующие клинические наблюдения могут свидетельствовать о наличии системной токсичности тестируемых веществ
[30] при их использовании в предварительной постановке метода LLNA: BrdU: ELISA: изменения в функции нервной системы (взъерошивание шерсти, атаксия, тремор, конвульсии); в поведении (агрессивность, изменения в уровне активности и в груминговой активности); в частоте и интенсивности дыхания (затрудненное дыхание, одышка, хрипы) и в потреблении пищи и воды.
Кроме того, следует регистрировать: признаки летаргии и/или апатии; любые клинические признаки, которые проявлялись как более чем эпизоды незначительной или мгновенной боли и дистресса; снижение массы тела более чем на 5% за период от Дня 1 до Дня 6; гибель животных. Умирающие животные или животные, очевидно страдающие от боли или показывающие признаки серьезного и устойчивого дистресса, должны гуманно умерщвляться.
План основного эксперимента
4.2.9. План Эксперимента следующий:
День 1
Определение и регистрация веса каждого животного и их визуальный осмотр. На тыльную сторону каждого уха мышей наносят по 25 мкл растворов исследуемого вещества в соответствующих разведениях, одного растворителя или ПК (если он проводится параллельно в каждом эксперименте; в противном случае берут данные последнего опыта с использованием ПК, в соответствии с
пп. 4.1.5 -
4.1.8).
Дни 2 и 3
Повторить процедуру аппликации, выполненную в День 1.
День 4
Аппликаций не проводят.
День 5
Внутрибрюшинно вводят по 0,5 мл раствора BrdU в концентрации 10 мг/мл (т.е. по 5 мг на мышь).
День 6
Регистрируют вес каждого животного и результаты его визуального осмотра. Примерно через 24 часа после введения BrdU производят гуманное умерщвление животных. Извлекают дренирующие околоушные лимфоузлы и помещают их забуференный физиологический раствор от каждого животного отдельно. В протокол исследования могут быть также включены дополнительные параметры контроля местных изменений кожи уха на месте аппликации, такие как баллы проявления эритемы или данные по толщине ушей (измеренной с помощью калибратора толщины уха или определения веса стандартных кусочков уха, полученных при некропсии с помощью перфоратора для взятия проб тканей ушной раковины).
Подготовка суспензии клеток
4.2.10. Суспензию отдельных клеток лимфоузлов (КЛУ), после их билатерального извлечения, получают путем мягкой механической дезагрегации, пропуская исследуемый материал через стальную сетку с ячейками размером около 200 микрон или любым другим способом, обеспечивающим получение суспензии отдельных клеток (например, раздавливая лимфоузлы пластиковым пестиком с последующим пропусканием через нейлоновую сетку с ячейками размером около 70 микрон). Процедура дезинтеграции лимфоузлов является критической стадией данного метода, поэтому каждый оператор должен отработать ее заранее. Особую осторожность следует проявлять при работе с лимфоузлами от контрольных животных, так как из-за их малого размера возможно проявление различных артефактов при определении величины ИС. Следует установить определенную величину конечного объема суспензии КЛУ (около 15 мл), рассчитанную так, чтобы среднее значение оптической плотности в контрольной группе составляло 0,1 - 0,2.
Определение клеточной пролиферации (измерение содержания BrdU в лимфоцитах)
4.2.11. Содержание BrdU в лимфоцитах измеряют методом иммуноферментного анализа (ИФА) с использованием коммерческого тест-набора - например, "Cell proliferation ELISA, BrdU" производства Roche Applied Science (Mannheim, Germany), номер по каталогу 11 647 229 001. Принцип метода заключается в следующем. По 100 мкл суспензии КЛУ от каждой пробы с тремя параллелями вносят в ячейки микропланшета с плоским дном. После фиксации и денатурации КЛУ в каждую лунку добавляют так называемый конъюгат (специфические антитела к BrdU, ковалентно сшитые с ферментом пероксидазой) и инкубируют планшет в течение промежутка времени, достаточного для завершения связывания содержащегося в ячейках BrdU с антителами к нему. Остаток несвязавшихся антител удаляют промыванием планшета буферным раствором, после чего в ячейки вносят субстрат - вещество, дающее в ходе пероксидазной реакции окрашенный продукт. Количество образовавшегося продукта измеряют по величине оптической плотности раствора при тех длинах волн, которые рекомендованы производителем тест-набора, например для вышеупомянутого тест-набора Roche Applied Science при длине волны 370 нм с референсной длиной волны 492 нм. Конкретные детали процедуры анализа следует оптимизировать исходя из особенностей используемого тест-набора.
Клинические наблюдения
4.2.12. Каждую мышь следует тщательно осматривать по крайней мере раз в день для выявления любых клинических признаков как местного раздражения на участке аппликации вещества, так и системной токсичности. Все наблюдения должны регистрироваться и включать записи наблюдений за каждой мышью по отдельности. Мышей с выявленными симптомами системной токсичности или чрезмерного местного раздражения/изъязвления кожи подвергают эвтаназии
[36].
Масса тела
4.2.13. Как отмечено в
п. 4.2.9, следует измерять индивидуальные массы тела животных в начале эксперимента и перед запланированным гуманным умерщвлением.
5. Анализ и интерпретация данных
Обработка результатов
5.1. Результаты опыта должны быть представлены в виде средних значений индекса стимуляции (ИС) для каждой экспериментальной группы. Величину ИС получают путем деления среднего значения индекса включения BrdU в каждой экспериментальной группе, включая группу ПК, на среднее значение индекса включения BrdU в контрольной группе, обрабатывавшейся растворителем (НК). Таким образом, ИС для контрольной группы мышей равен 1.
Индекс включения BrdU рассчитывают следующим образом:
Индекс включения BrdU = (Aem - A blanem) -
- (Aref - A blankref), где
A - величина оптической плотности раствора в максимуме поглощения (Aem) или при референсной длине волны (Aref). В обоих случаях делается поправка на поглощение слепой пробы (blank), которую получают, заменяя в ячейке планшета биологический материал эквивалентным объемом воды.
5.2. Результат тестирования оценивают как положительный при значении ИС >= 1,6
[10]. В случае пограничных значений ИС (например, между 1,6 и 1,9) для трактовки результатов можно также учитывать выраженность зависимости доза-ответ, статистическую значимость и непротиворечивость эффектов в группах положительного (ПК) и отрицательного (НК) контролей.
5.3. Если имеется необходимость уточнить полученные пограничные данные (ИС между 1,6 и 1,9), можно рассмотреть дополнительную информацию из опубликованных данных других авторов - характер зависимостей доза-эффект, проявления системной токсичности или избыточного раздражения при накожной аппликации и, если это возможно, среднегрупповые значения ИС и достоверности различий с контрольной группой
[10]. Следует проанализировать также литературные данные по различным свойствам тестируемого вещества, включая наличие у него структурного сходства с известными кожными сенсибилизаторами, вызывает ли оно чрезмерное местное раздражение кожи у мышей и какой характер имеет зависимость доза-ответ.
5.4. При статистическом анализе данных можно использовать статистические тесты на наличие связи между переменными доза и ответ, а также подходящие методы сравнения межгрупповых различий, например: метод линейной регрессии или тест Уильямса для оценки тренда доза-ответ и тест Даннетта для попарных сравнений внутригрупповых значений ИС. При выборе метода оценки достоверности межгрупповых различий ИС исследователь должен учесть возможное неравенство дисперсий изучаемой переменной внутри сравниваемых групп, что может потребовать выбора методов непараметрического анализа. При наличии "выбросов" индивидуальных значений ИС, далеко отстоящих от значений данной величины у других мышей той же группы, приходится проводить статистический анализ дважды - с выпадающими точками и без них.
Данные
5.5. Данные должны быть представлены в форме таблицы, содержащей индивидуальные значения Индекса включения BrdU для каждого животного, средние значения этой величины в каждой экспериментальной группе мышей, включая группы ПК и НК, с соответствующими значениями ошибки его определения (например, стандартное отклонение или среднеквадратическую ошибку среднего значения), и средние величины ИС для каждой опытной группы по отношению к группе контроля на растворитель.
Отчет о проведении исследования должен содержать следующую информацию:
Тестируемое вещество и контрольные эталонные вещества:
- данные идентификации (например, номер CAS, если имеется; источник; степень чистоты; известные примеси; номер партии);
- физические и физико-химические свойства (такие, как летучесть, стабильность, растворимость);
- если это сложная смесь, то указать состав и относительные проценты компонентов.
Растворитель/носитель:
- данные идентификации (степень чистоты; концентрация, если использовалась смесь нескольких растворителей; используемый объем);
- обоснование выбора растворителя.
Используемые животные:
- источник поступления мышей линии СВА;
- микробиологический статус животных, если это известно;
- количество и возраст животных;
- условия содержания животных, диета и т.д.
Условия эксперимента:
- производитель, номер партии и данные производителя по гарантиям и контролю качества используемых тест-наборов для иммуноферментного анализа (специфичность антител, чувствительность и предел детекции);
- детали подготовки и нанесения тестируемого вещества;
- обоснование выбора дозы (включая результаты предварительных экспериментов, если проводились);
- концентрации тестируемого вещества и растворителя и общее количество вводимого тестируемого вещества;
- детали качества пищи и воды (включая тип/источник диеты, источник поступления питьевой воды);
- детали схемы проведения эксперимента и получения биологического материала;
- методы оценки токсичности;
- критерии интерпретации результатов исследования как положительных или отрицательных;
- детали любых отклонений от стандартного протокола с объяснением того, как данное отклонение повлияло на схему исследования и результаты.
Контроль качества:
- резюме результатов последнего из проводившихся опытов с контролем качества, включая информацию относительно тестируемого вещества, использовавшихся концентраций и растворителя;
- параллельный и/или исторический ПК и параллельные данные НК на влияние растворителя/связующего вещества для данной лаборатории;
- если параллельный ПК не был включен в данный опыт, наличие данных и лабораторных протоколов для последнего из периодических ПК и протоколов, детализирующих данные исторического ПК, который служит для данной лаборатории обоснованием для отказа от осуществления параллельного ПК.
Результаты:
- индивидуальные значения веса мышей перед началом опыта и перед плановым забоем, а также средние значения и соответствующие ошибки этих величин (например, стандартное отклонение или среднеквадратическая ошибка среднего значения) для каждой экспериментальной группы;
- динамика начала проявления и симптомов токсичности, включая признаки кожного раздражения на участке аппликации вещества, если таковые имеются, для каждого животного по отдельности;
- таблица индивидуальных значений Индекса включения BrdU и ИС для каждой мыши каждой экспериментальной группы; средние значения этих величин и соответствующие оценки их ошибки (например, стандартное отклонение или среднеквадратическая ошибка среднего значения) для каждой экспериментальной группы и результаты анализа резко отклоняющихся значений внутри каждой экспериментальной группы;
- вычисленное значение ИС и надлежащей меры его вариабельности, учитывающей вариабельность эффектов, как в экспериментальных группах, так и в группах контроля;
- характер зависимости доза-ответ;
- статистический анализ этой зависимости, при необходимости.
Обсуждение результатов:
- краткий комментарий к полученным результатам, включая характер зависимости доза-эффект, и при необходимости ее статистический анализ, с заключением относительно того, следует ли тестируемое вещество считать кожным сенсибилизатором.
Заключение.
ИЗУЧЕНИЕ ВЛИЯНИЯ НА ПОЛОВЫЕ ГОРМОНЫ
УТЕРОТРОПНЫЙ БИОТЕСТ НА ГРЫЗУНАХ: КРАТКОСРОЧНЫЙ
СКРИНИНГ-ТЕСТ ДЛЯ ВЫЯВЛЕНИЯ ЭСТРОГЕННОЙ АКТИВНОСТИ
Идентичен международному документу OECD TG N 440 "Uterotropic Bioassay in Rodents: A short-term screening test for oestrogenic properties" (ОЭСР Руководство N 440 "Утеротропный биотест на грызунах: краткосрочный скрининг-тест для выявления эстрогенной активности"). Принят 16 октября 2007 года. Перевод с английского (en). Степень соответствия - модифицированный (MOD).
1.1. Настоящий метод исследования обеспечивает с помощью метода in vivo идентификацию химических субстанций, взаимодействующих с эндокринной системой, и позволяют оценить и классифицировать вещество в соответствии с СГС по данному виду воздействия.
1.2 Данный экспериментальный метод был разработан для получения информации об эстрогенной активности
in vivo тестированного исследуемого вещества методом "утеротропного биотеста на грызунах: краткосрочный скрининг-тест для выявления эстрогенной активности". Этот метод основан на определении увеличения веса матки или утеротропной активности. Тест оценивает способность химического вещества вызывать биоэффекты в соответствии с действием агонистов или антагонистов естественных эстрогенов (например,

однако он используется значительно реже для выявления антагонистов, чем агонистов. Матка реагирует на действие эстрогенов двумя способами. Первоначальный ответ - увеличение веса за счет накопления воды, другая реакция сопровождается увеличением веса за счет роста тканей. Реакции матки у крыс и мышей качественно сопоставимы. Данная биопроба является скрининг-методом для метода
in vivo и ее применение следует рассматривать в контексте "Концептуальной основы OECD тестирования и оценки повреждающего действия химических веществ на эндокринную систему"
(прилож. 6.6.1.1). В этой концептуальной структуре утеротропный биотест находится на уровне 3 как метод
in vivo, позволяющий получить результаты об отдельном эндокринном механизме, т.е. эстрогенности
(прилож. 6.6.1.1).
2.1. ОЭСР инициировала в 1998 г. высокоприоритетную деятельность по пересмотру существующих руководящих принципов и разработке новых руководящих принципов для скрининга и тестирования потенциально опасных факторов для эндокринной системы. Одно из направлений данной деятельности заключалось в разработке Руководства по тестированию "Утеротропный биотест на грызунах". Он в дальнейшем прошел широкомасштабную проверку достоверности, включая составление подробного справочного документа и проведение внутри- и межлабораторных исследований для выявления надежности и воспроизводимости биотеста с применением сильных эталонных (референтных) эстрогенов, слабых агонистов и сильных антагонистов эстрогенных рецепторов, негативных референтных химических соединений. Таким образом, данный метод исследования разработан на основе опыта, накопленного в ходе утверждения программы тестирования, и результатов, полученных с применением агонистов эстрогенов.
2.2. Утеротропный биотест - краткосрочный скрининг-тест, разработанный в 1930 г. и впервые стандартизованный для скрининга экспертным комитетом в 1962 г. Эстрогенные агонисты и антагонисты выступают как лиганды для эстрогенных рецепторов

и

и могут, соответственно, активировать или ингибировать рецепторную регуляцию транскрипции. Это может привести к потенциальному риску развития неблагоприятных последствий для здоровья, в том числе для процессов репродукции и развития. Таким образом, существует необходимость быстрого анализа и оценки химического вещества в качестве возможного эстрогенного агониста или антагониста. Являясь информативным показателем, сродство лиганда к эстрогенному рецептору или активация транскрипции репортерных генов
in vitro - лишь один из нескольких факторов, определяющих риск развития опасности для здоровья. Другие детерминирующие факторы могут включать метаболическую активацию и деактивацию при поступлении химического вещества внутрь организма, распределение в тканях-мишенях и выведение из организма, по крайней мере, частично зависимые от пути поступления и проведения химического тестирования. Это вызывает необходимость выявления возможной активности вещества
in vivo в соответствующих условиях, если уже имеется достоверная информация по таким его характеристикам, как Абсорбция - Распределение - Метаболизм - Элиминация (АРМЭ). Ткани матки реагируют на стимуляцию эстрогенов быстрым и энергичным ростом, особенно у лабораторных грызунов, цикл эструса которых длится около 4 дней. Различные виды грызунов, особенно крысы, также широко используются в токсикологических исследованиях для определения степени токсичности химических веществ. Таким образом, матка грызунов является соответствующим органом-мишенью для скрининга
in vivo эстрогенных агонистов и антагонистов. В отношении негативных химических соединений только одно "негативное" эталонное химическое вещество, негативная утеротропная активность которого уже была определена как по "утеротропной биопроб", так и по тесту связывания рецептора и активности рецепторов в условиях
in vitro, было включено в исследовательскую программу OECD. Но были проанализированы дополнительные данные тестирования, не связанные с исследовательской программой OECD, что способствовало дальнейшей поддержке спецификации утеротропного биоскрининга эстрогенных агонистов.
2.3. Метод основан на протоколах проведения утвержденных OECD исследований, надежность и воспроизводимость которых была показана в внутри- и в межлабораторных исследованиях. В настоящее время доступны два метода, а именно, метод овариэктомии взрослых (половозрелых) самок (ovx-adult method) и метод без проведения овариэктомии у неполовозрелых самок (immature method). Как показали результаты утвержденных OECD программных испытаний, оба этих метода сопоставимы по чувствительности и воспроизводимости. Однако незрелые самки в связи с интактной гипоталамо-гипофизарно-яичниковой (hypothalamic-pituitary-gonadal) (HPG) осью являются менее специфичными, но значительно более используемыми моделями исследования, чем зрелые самки с удаленными яичниками, поскольку они могут реагировать на вещества, которые взаимодействуют с осью HPG, а не просто с рецептором эстрогена. HPG оси крыс становятся функциональными в возрасте около 15 дней. До этого возраста нельзя ускорить период созревания такими методами, как введение GnRH - гонадолиберина (гонадотропин-высвобождающего гормона). Когда самка начинает достигать половой зрелости, до открытия влагалища она будет иметь несколько молчащих циклов, которые не приводят к вагинальному открытию или овуляции, но определяются некоторые гормональные флуктуации. Результатом непосредственной или опосредованной стимуляции химическим веществом HPG оси является преждевременное половое созревание, ранние овуляции и ускоренное открытие влагалища. Данные эффекты наблюдаются не только при действии химического вещества на HPG оси, но и некоторые диеты с более высоким энергетическим уровнем метаболизма по сравнению с другими могут стимулировать рост и преждевременное открытие влагалища, не обладая эстрогенной активностью. Такие продукты не будут стимулировать утеротропный эффект у самок с удаленными яичниками, поскольку их HPG оси не функционируют.
2.4. Учитывая, что "утеротропный биотест" является скрининговым методом в условиях in vivo, подход к проведению утвержденного исследования состоял в гуманном отношении к обеим группам животных и разработке многоуровневой стратегии тестирования. В этой связи большие усилия были направлены на строгий анализ воспроизводимости и чувствительности методов тестирования эстрогенности - основной проблемы многих химических соединений, тогда как незначительное внимание было уделено антиэстрогенному компоненту. Только один антиэстроген, обладающий высокой активностью, был протестирован из очень лимитированного числа химических субстанций с выраженным антиэстрогенным профилем (не блокируются некоторыми эстрогенами). Таким образом, данный документ посвящен эстрогенному протоколу, тогда как протокол, описывающий тестирование антагонистов, включен в Справочный Документ. Чувствительность и воспроизводимость теста для субстанций с чисто выраженной антиэстрогенной активностью будут более четко определены в дальнейших исследованиях после того, как в течение определенного времени использование биотестов эстрогенности в качестве рутинных тестов позволит определить больше веществ с данным механизмом воздействия.
3.1. "Утеротропный биотест" в связи с его чувствительностью рекомендован для использования на животных, у которых гипоталамо-гипофизарно-яичниковая ось не функционирует, следствием чего является низкий эндогенный уровень циркулирующего эстрогена. Эта система дает возможность выявить максимальный диапазон реакций на воздействие эстрогена при низком базовом уровне веса матки. Два эстрогенных чувствительных механизма самки грызуна отвечают требованию этой системы:
1) незрелые самки после отнятия от груди и до наступления полового созревания;
2) молодые половозрелые самки через достаточно длительное время после овариоэктомии, необходимое для регресса маточных тканей.
3.2. Тестируемое вещество ежедневно вводят в организм перорально через желудочный зонд или с помощью подкожной инъекции. Градуированные дозы тестируемого вещества вводят минимум двум группам экспериментальных животных
(п. 4.4.7), применяется одна и та же доза для каждой группы животных в течение 3 последовательных дней при использовании неполовозрелых самок (immature method) и минимум в течение 3 дней при использовании зрелых самок после овариоэктомии (ovx-adult method). Животных забивают примерно через 24 ч после введения последней дозы. Для выявления эстрогенных агонистов оценивают статистически значимое увеличение веса матки самок, принимавших тестируемое вещество, относительно контрольной группы. Статистически значимое увеличение веса матки животных тестируемой группы свидетельствует о положительной реакции биотеста.
4.1.1. По причине гуманного обращения с животными предпочтение должно отдаваться методу с использованием неполовозрелых крыс, избегая хирургического вмешательства на животных и исключая также возможность использования в исследовании животных, у которых имеются признаки, указывающих на начало эструса
(п. 4.4.5.1). Обычно используется лабораторные грызуны, линии которых могут быть использованы для тестирования токсичности. Например, при проведении описанных тестов были использованы линии крыс Sprague-Dawley и Wistar. Линии животных со слабой реакцией на тестируемое вещество не должны использоваться. В лаборатории должна быть продемонстрирована чувствительность на тест используемых линий животных, как описано в
пп. 4.4.1 и
4.4.2.
4.1.2. В "утеротропном биотесте" постоянно использовались, начиная с 1930 г., крысы и мыши. Утвержденные OECD исследования были проведены только на крысах, основываясь на понимании, что оба вида грызунов должны быть эквивалентными в формировании ответной реакции, и одного вида достаточно для проведения широкомасштабного мирового исследования с целью экономии ресурсов и животных. Крыса является выбором вида экспериментальных животных в большинстве токсикологических исследований по изучению проблем репродукции и развития. Учитывая, что имеется обширная историческая база данных для мышей, и для того, чтобы таким образом расширить сферу действия "утеротропного биотеста" на грызунах для использования в качестве тестируемых экспериментальных видов мышей, в последующем было проведено ограниченное число утвержденных исследований на мышах. Устанавливая подход по лимитированию числа тестируемых веществ для экономии ресурсов и животных, участвующих в разработке теста, лаборатории показали, что "утеротропный биотест" на зрелых молодых мышах с удаленными яичниками позволяет получить качественные и количественные результаты, и, что данные, полученные у крыс и мышей, хорошо соответствуют друг другу. Поскольку результат "утеротропного биотеста" может быть предварительным в долгосрочном исследовании, это позволяет использовать животных одной линии и источника в обоих исследованиях. В перекрестных исследованиях использовалось ограниченное число OVX мышей (мышей с овариоэктомией) и отчет не предоставляет надежные данные для утверждения модели незрелых мышей, что, таким образом, не позволяет рассматривать модель неполовозрелых мышей в рамках данного метода.
4.1.3. Таким образом, в некоторых случаях в качестве экспериментальной модели животных могут использоваться мыши вместо крыс. При выборе данных видов должно быть представлено рациональное обоснование, основанное на токсикологических, фармакокинетических и/или других критериях. При проведении теста на мышах, возможно, возникнет необходимость модификации протокола ведения тестирования. Например, потребление пищи относительно веса тела выше у мышей, чем у крыс, и в соответствии с этим содержание фитоэстрогенов в пище мышей должно быть ниже, чем у крыс.
4.2. Условия содержания и питание
4.2.1. Все процедуры должны соответствовать местным стандартам ухода за лабораторными животными. Приведенное в методе описание ухода и тестирования представляют собой минимальный стандарт и могут быть заменены при наличии местными правилами. Температура в экспериментальной комнате должна быть 22 °C (+/- 3 °C). Относительная влажность воздуха - не менее 30% и не более 70%, за исключением периода уборки комнаты. Цель - относительная влажность воздуха 50 - 60%. Освещение должно быть искусственным. Ежедневная последовательность освещения: свет - 12 ч, темное время - 12 ч.
4.2.2. Лабораторная диетическая пища и питьевая вода должны предоставляться в свободном доступе (ad libitum). Молодые половозрелые животные могут быть размещены в клетках отдельно или в группе до 3 особей. Молодым животным рекомендуется групповое размещение.
4.2.3. Известно, что высокие уровни эстрогенов в лабораторных пищевых диетах приводят к увеличению веса матки грызунов, достаточному для выявления методом "утеротропного биотеста". Высокие уровни фитоэстрогенов и энергии метаболизма в лабораторных пищевых диетах могут также привести к раннему половому созреванию, если используются незрелые животные. Наличие фитоэстрогенов является главным образом результатом включения в пищевые диеты продуктов сои и люцерны, и концентрации фитоэстрогенов, как было показано, варьируются от партии к партии стандартных лабораторных диет. Масса тела является важной переменной величиной, поскольку количество потребляемой пищи связано с массой тела. Таким образом, фактическая доза потребляемых с пищей фитоэстрогенов может варьироваться среди животных одного вида и возраста. У неполовозрелых самок крыс объем потребляемой пищи в соответствии с весом может примерно быть вдвое выше, чем у молодых половозрелых крыс с удаленными яичниками. У молодых половозрелых мышей потребление пищи в соответствии с весом может быть в 4 раза выше, чем у молодых половозрелых крыс с удаленными яичниками.
4.2.4. Результаты "утеротропного биотеста", однако, показывают, что ограниченное содержание фитоэстрогенов в питании является приемлемым и не снижает чувствительность теста. Следует иметь в виду, что уровни содержания фитоэстрогенов в пище для неполовозрелых самок крыс линии Sprague Dawley and Wistar не должны превышать уровней, эквивалентных 350 мкг генистеина/грамм лабораторной диетической пищи. Такая диета также целесообразна при тестировании на молодых половозрелых крысах с удаленными яичниками, поскольку потребление пищи в соответствии с массой тела меньше у молодых половозрелых крыс, чем у неполовозрелых. Если в исследовании необходимо использовать молодых половозрелых мышей с удаленными яичниками или более чувствительных на действие фитоэстрогенов линии крыс, необходимо учесть пропорциональное сокращение уровней фитоэстрогенов в диетическом лабораторном питании
[20]. Кроме того, различия в возможной энергии метаболизма различных диет могут привести к изменению начального срока полового созревания.
4.2.5. Предварительно до проведения исследования необходимо провести тщательный подбор диеты без повышенных уровней содержания фитоэстрогенов или метаболизируемой энергии, которые могут привести к искажению результатов. Обеспечение надлежащего исполнения тестовой системы, используемой в лаборатории, как указано в
пп. 4.4.1 и
4.4.2 данного метода, является важным для контроля обоих этих факторов. В качестве обеспечения согласованности и достоверности исследований в соответствии со стандартом НЛП, должна проводиться репрезентативная выборка каждой партии диетической лабораторной пищи, используемой во время исследования, для анализа уровней содержания фитоэстрогенов (например, в случае большого контрольного веса матки относительно контрольных показателей имеющейся базы данных или неадекватного ответа на действие эталонного эстрогена, 17 альфа этинилэстрадиола). Аликвоты проб должны быть проанализированы в ходе исследования или заморожены при -20 °C или таким способом, чтобы предотвратить разложение образца до проведения анализов.
4.2.6. Некоторые материалы подстилочных принадлежностей могут содержать естественные эстрогенные или антиэстрогенные субстанции (например, кукурузный початок, как известно, влияет на циклы крыс и является антиэстрогеном). Выбранные подстилочные материалы должны содержать минимальный уровень фитоэстрогенов.
4.3.1. Общепризнанно, что уход за всеми животными, используемыми в тестировании, будет соответствовать местным стандартам ухода за животными; описание ухода и процесса проводимых процедур изложено ниже и является минимальным стандартом, которое может быть изменено согласно местным правилам. Ниже даются указания ОЭСР на гуманное отношение к животным.
4.3.2. Экспериментальные животные без каких-либо заболеваний или физических аномалий распределяются случайной выборкой в контрольные и опытные группы. Клетки с крысами должны быть расположены таким образом, чтобы свести к минимуму возможные эффекты, связанные с их расположением. Каждое животное должно быть помечено. Предпочтительно, чтобы неполовозрелые животные до отнятия от груди были размещены во время акклиматизации в клетках с матерями или замещающими их животными ("dams or foster dams"). Период акклиматизации до начала проведения эксперимента составляет около 5 дней для молодых половозрелых животных и для незрелых крыс при грудном вскармливании матерями или замещающими их крысами. Если неполовозрелые животные получены для эксперимента после отнятия от грудного материнского питания, необходимо сократить период акклиматизации, поскольку дозированное введение следует начать сразу же после отнятия от груди
(п. 4.4.4).
4.4. Процедура тестирования
До начала тестирования, проводимых in vivo, важно убедиться, что получаемые результаты действительно необходимы. Например, существуют два условия, когда могут потребоваться результаты тестирования:
- высокий уровень воздействия (Уровень 1 Основы Концепции,
прилож. 6.6.1.1) или указания об эстрогенности (Уровень 2) вызывают необходимость проведения исследования на выявление данного эффекта
in vivo;
- эффекты, указывающие на эстрогенность в Уровне 4 или 5 в тестах in vivo, для обоснования связи эффектов с эстрогенным механизмом, что невозможно было определить в тестах in vitro.
4.4.1. Верификация профессиональной компетентности лаборатории.
Два различных подхода могут использоваться для верификации профессиональной компетентности лаборатории:
- Периодическая верификация, основанная на основополагающих контрольных исследованиях
(п. 4.4.2). По крайней мере, каждые 6 месяцев и каждый раз при наличии каких-либо изменений, которые могут повлиять на процесс проведения исследования (например, новый состав диетического питания, изменение в составе работающего персонала, изменение линии лабораторных животных или их источника поступления и т.д.), репрезентативность тестируемой системы (модель животного) должна быть верифицирована с применением соответствующей дозы (основанной на результатах основополагающего контрольного исследования, описанного в
п. 4.4.2) эталонного эстрогена:

estradiol) (CAS N 57-63-6) (EE).
- Использовать при каждом тестировании параллельные контрольные группы, включая группу с введением соответствующей дозы эталонного эстрогена.
Если тестируемая система дает непрогнозируемую реакцию, условия эксперимента должны быть проанализированы и изменены соответствующим образом. Рекомендуется, чтобы доза вводимого эталонного эстрогена в каждом тесте составляла примерно ED70 - ED80.
4.4.2. Основополагающее контрольное исследование.
Прежде чем лаборатория начинает в первый раз проводить исследование в соответствии с данным документом, должен быть продемонстрирован профессиональный уровень лаборатории путем тестирования дозо-зависимого ответа модели экспериментального животного при введении соответствующей дозы эталонного эстрогена

/CAS N 57-63-6/ /EE/) и, как минимум, при введении 4-кратной дозы. Необходимо провести сравнительный анализ изменения веса матки с данными показателями имеющейся базы данных. Если основополагающее контрольное исследование не позволило получить ожидаемые результаты, условия эксперимента должны быть проанализированы и соответствующим образом изменены.
4.4.3. Количество и состояние животных.
Каждая опытная и контрольная группы должны состоять, как минимум, из 6 животных (как для протокола ведения эксперимента с неполовозрелыми, так и ovx-молодыми половозрелыми животными).
4.4.4. Возраст незрелых животных.
При проведении "утеротропного биотеста" на неполовозрелых животных должен быть указан их день рождения. Введение тестируемого вещества должно начинаться достаточно рано для того, чтобы избежать в конце эксперимента взаимосвязи физиологического роста эндогенных эстрогенов с половым созреванием. С другой стороны, имеются сведения, что очень молодые животные могут быть менее чувствительными. При определении оптимального возраста каждая лаборатория должна принимать во внимание свои основополагающие данные по созреванию животных. В качестве общего ориентира, введение тестируемого вещества можно начинать сразу же после раннего отнятия от груди на 18-й постнатальный день (принимая день рождения как постнатальный день 0). Введение тестируемого вещества предпочтительно должно быть завершено на 21-й постнатальный день, но в любом случае до 25-го постнатального дня, поскольку по истечении этого возраста гипоталамо-гипофизарно-яичниковая ось начинает функционировать, и уровни эндогенных эстрогенов могут начать расти с соответствующим увеличением исходных показателей веса матки и увеличить групповые стандартные отклонения.
4.4.5. Процедура овариоэктомии.
4.4.5.1. Для получения самок крыс и мышей с удаленными яичниками (опытные и контрольные группы) процедура овариоэктомии должна производиться между 6- и 8-недельным возрастом. Для крыс, как минимум, должно пройти 14 дней от дня овариоэктомии до первого дня введения тестируемого вещества, чтобы свести регрессионные процессы матки до минимальной стабильной базовой линии, необходимой для начала эксперимента. Для мышей должно пройти, как минимум, 7 дней от дня овариоэктомии до первого дня введения тестируемого вещества. Поскольку незначительных участков ткани матки достаточно для продуцирования значительных уровней циркулирующих эстрогенов, животные должны быть протестированы до их использования в эксперименте методом анализа эпителиальных клеток мазков влагалища, как минимум, в течение 5 последовательных дней (т.е. на 10 - 14-й дни после процедуры овариоэктомии у крыс). При выявлении у животных признаков начала эструса, их использование в эксперименте не разрешается. Кроме того, если при вскрытии животных в конце эксперимента обнаруживается наличие заглушек яичников (ovarian stubs), то данный факт необходимо рассматривать как присутствие тканей данных органов, а полученные от данных животных результаты исследований не должны приниматься в расчет.
4.4.5.2. Процедура овариоэктомии животного начинается с разреза вентральной брюшной стенки после проведенного должным образом наркоза. Разрез, открывающий дорсо-латеральную брюшную стенку, должен достигать примерно 1 см и находиться в медианной точке между нижней границей ребер и подвздошного гребня, располагаясь на несколько миллиметров ближе к латеральному краю поясничной мышцы. Яичник должен быть извлечен из брюшной полости на асептическое поле и отсечен на стыке яйцевода и тела матки. После подтверждения отсутствия массивного кровотечения разрез брюшной стенки зашивают шовным материалом. На кожу накладывают аутоклипсы или зашивают соответствующим швом. Точки перевязки схематически показаны на
рис. 6.6.1.1. Соответствующая послеоперационная анальгезия должна использоваться согласно рекомендациям ветеринарного ухода за грызунами.
| Процедура начинается с разреза дорсо-латеральной абдоминальной стенки в медианной точке между нижней реберной границей и подвздошным гребнем, отступив на несколько миллиметров к латеральному краю поясничной мышцы. Внутри брюшной полости находят место локализации яичников. Затем их осторожно вытягивают из брюшной полости и раскладывают на стерильной салфетке, накладывают кровоостанавливающую лигатуру между яичниками и маткой, и яичник отсекается разрезом ножниц выше лигатуры на стыке яйцевода с рогами матки. Убедившись в отсутствии кровотечения, разрез брюшной стенки зашивают шовным материалом, разрез кожи закрывается с помощью аутоклипсов или шва. До использования в эксперименте животным необходимо дать возможность восстановиться, а весу матки - регрессировать, как минимум, в течение 14 дней |
Рис. 6.6.1.1. Схематическая диаграмма, показывающая
хирургическое удаление яичников
4.4.6. Масса тела.
При использовании ovx-adult метода масса тела и матки не коррелируют, поскольку масса матки зависит от наличия таких гормонов, как эстрогены, но не от факторов роста, регулирующих размеры тела. Напротив, вес тела связан с весом матки у неполовозрелых крыс до наступления полового созревания
[34]. Таким образом, на начальном этапе исследования с использованием модели неполовозрелых крыс, изменения массы тела экспериментальных крыс должны быть минимальными и не превышать +/- 20% от средней массы. Это означает, что размер помета должен быть стандартизован заводчиком, чтобы быть уверенным в том, что потомство от различных самок животных будет получать примерно одинаковое грудное питание. Распределение животных по группам (контрольная и опытная) должно осуществляться так, чтобы средний вес тела животных в группах не имел статистически значимых различий. Следует избегать распределения в одну группу животных из одного помета, насколько это возможно без увеличения числа пометов.
4.4.7.1. Для определения эстрогенной активности тестируемого вещества
in vivo, как правило, достаточны две опытные группы с различными дозами введения тестируемого вещества и одна контрольная группа животных. Эта схема эксперимента является предпочтительной по соображениям защиты животных. Если целью работы является получение кривых дозоэффективной зависимости или экстраполяция на более низкие дозы, как минимум, необходимо изучение 3 доз вещества (3 опытные группы). Если необходимо получить дополнительную информацию, помимо выявления эстрогенной активности (такую, как оценка потенциальной опасности), должны рассматриваться различные режимы дозирования тестируемого вещества. Условия содержания и проведения эксперимента для животных контрольной и опытных групп должны быть идентичными, за исключением процесса введения тестируемых веществ опытным крысам. Если при введении тестируемого вещества опытным животным используются разбавляющие растворы, то животным контрольной группы должны вводить тот же разбавляющий раствор (если в разных опытных группах вводятся разные объемы разбавляющего раствора, то контрольным животным должен вводиться его наибольший объем).
4.4.7.2. Целью "утеротропного биотеста" является выбор доз, которые обеспечивают выживаемость животных, не оказывают на них значительный токсический эффект или не вызывают дистресс-реакцию через 3 последующих дня после введения химического вещества даже в максимальной дозе 1000 мг/кг/сутки. Все дозы тестируемых веществ и связанных с ними материалов должны быть предложены и приняты для эксперимента с учетом имеющихся данных по их токсичности и токсикокинетике. При выборе самого высокого уровня дозы необходимо в первую очередь учитывать LD50 и/или имеющуюся информацию по острой токсичности для предотвращения смерти, сильных страданий и дистрессов у животных. Самая высокая доза должна представлять максимально толерантную дозу (MTD); исследование, проведенное с использованием уровня дозы, индуцирующей положительный утеротропный ответ, также должно приниматься. Большие интервалы между дозами в целом также приемлемы. Если нет подходящих доступных данных, может быть выполнено исследование по обоснованию выбора диапазона доз для определения таких их уровней, которые будут использоваться при тестировании.
4.4.7.3. Кроме того, если эстрогенную потенциальную активность агониста можно оценить in vitro (или in silico - компьютерное моделирование биологического эксперимента), эти данные могут быть приняты во внимание при выборе доз. Например, количество тестируемого химического вещества, которое может вызвать утеротропные реакции, эквивалентные эталонному агонисту (этинилэстрадиол), оценивается in vitro по его относительной потенциальной активности для этинилэстрадиола. Высшая доза будет рассчитываться умножением этой эквивалентной дозы на соответствующий коэффициент, например 10 или 100.
4.4.8. Обсуждение обоснования выбора диапазона доз.
При необходимости может проводиться исследование по обоснованию выбора диапазона доз с использованием нескольких животных. В данном случае можно пользоваться документом
[45] для определения признаков токсичности или дистресса животных. В случае возможности обоснования диапазона доз в проведенном 3-дневном исследовании, примерно через 24 часа после последнего введения тестируемого вещества, матка должна быть удалена и взвешена. Полученные результаты могут затем использоваться для построения основной схемы исследования (выбор приемлемых доз исследования - максимальной и минимальной, определение числа опытных групп).
4.4.9. Введение доз.
4.4.9.1. Тестируемое вещество вводят перорально через желудочный зонд или подкожно инъекционно. При выборе пути введения тестируемого вещества должны приниматься во внимание следующие факторы: благополучие животных; такие токсикологические аспекты, как соответствие путям воздействия тестируемого вещества на организм человека (например, пероральное введение через желудочный зонд соответствует модели приема вещества внутрь, подкожная инъекция - модели ингаляции или кожной адсорбции); физико-химические свойства тестируемого вещества, и особенно имеющаяся токсикологическая информация, а также данные по метаболизму и кинетике (например, необходимо предотвратить первый проход метаболизма путем повышения эффективности конкретного пути).
4.4.9.2. Рекомендуется, по возможности, использовать, в первую очередь, водный раствор/суспензию. Но поскольку большинство эстрогенных лигандов или их метаболические предшественники, как правило, гидрофобны, наиболее распространенным подходом является использование раствора/суспензии масла (например, кукурузного, арахисового, кунжутного или оливкового масла). Однако эти виды масла различаются по калорийности и содержанию жира, и в связи с этим масляные растворы могут повлиять на потребление общей энергии метаболизма (ME), потенцируя, таким образом, конечные изменения таких показателей, как вес матки, особенно у неполовозрелых животных. В связи с этим в предварительном исследовании необходимо провести сравнительное тестирование биоэффекта любого растворителя, который будет использоваться в дальнейших исследованиях, и тестирование контрольной группы без введения растворителя. Тестируемые вещества могут быть растворены в минимальном количестве 95%-го этанола или другого соответствующего растворителя и далее доведены до конечных рабочих концентраций с помощью использующегося в процессе тестирования разбавляющего средства. Необходимо знать токсические характеристики растворителя, который должен быть протестирован в отдельной контрольной группе животных с введением им только данного растворителя. Если тестируемое вещество считается стабильным, следует подогреть его раствор и энергично встряхнуть для полного растворения вещества. Необходимо определить стабильность тестируемого вещества в разбавляющем средстве. Если тестируемое вещество стабильно в течение всего периода исследования, то начинают тестирование одной из доз тестируемого вещества. Разведение определенных доз вещества проводится ежедневно.
4.4.9.3. Выбор временных интервалов введения доз зависит от модели теста (
п. 4.4.4 для модели неполовозрелых животных и
п. 4.4.5 для модели половозрелых животных с удаленными яичниками - ovx-adult модель). Неполовозрелым самкам крыс вводятся дозы тестируемого вещества ежедневно в течение 3 дней подряд. Также рекомендовано 3-дневное тестирование для самок крыс с удаленными яичниками, но возможно и более длительное тестирование для выявления тестируемых веществ со слабой эстрогенной активностью. Для половозрелых самок мышей с удаленными яичниками 3-дневное тестирование является достаточным, а увеличение длительности тестирования до 7 дней для выявления сильно выраженных эстрогенных агонистов не выявило существенных преимуществ. Однако такая закономерность не была определена для слабо выраженных эстрогенов, и в связи с этим определение степени их активности в тесте с самками мышей с удаленными яичниками необходимо проводить в течение 7 дней. Тестируемое вещество должно вводиться в одинаковой дозе ежедневно в одно и то же время. Это необходимо для поддержания постоянного уровня дозы для организма животного с учетом его веса (например, миллиграмм тестируемого вещества на килограмм веса животного в сутки). Что касается объема введенного раствора тестируемого вещества, то его изменения на основе веса тела должны быть минимизированы путем корректировки концентрации раствора тестируемого вещества для обеспечения постоянного объема на основе веса тела при всех уровнях доз и при различных путях поступления в организм.
4.4.9.4. Внутрижелудочное введение животным тестируемого вещества должно осуществляться однократно через желудочный зонд или соответствующую интубационную канюлю. Максимальный объем раствора, который может быть введен однократно, зависит от размера тестируемого животного. Необходимо следовать местным руководствам по уходу за лабораторными животными, но при этом объем введенного раствора не должен превышать 5 мл/кг веса тела, кроме случаев введения водных растворов, когда возможно их введение в объеме 10 мл/кг веса тела.
4.4.9.5. Введение тестируемого вещества путем подкожной инъекции должно проводиться в объеме одной суточной дозы. Инъекцию следует проводить в область дорсокапсулярного (лопаточного) или люмбарного (поясничного) отдела позвоночника стерильной иглой (например, 23- или 25-gauge) и туберкулиновым шприцем. Выбривание шерсти в области инъекции не обязательно. Любые потери, утечки в месте инъекции или введение неполной дозы должны быть зарегистрированы. Общий суточный объем раствора при инъекционном подкожном введении не должен превышать 5 мл/кг веса тела (кроме случаев с введением водных растворов, когда суточный объем инъецированного раствора можно увеличить до 10 мл/кг веса тела) и вводится распределением в 2 участка тела.
4.4.10. Наблюдения.
4.4.10.1. Общие и клинические наблюдения.
Общие клинические наблюдения необходимо проводить, как минимум, один раз в день и чаще при выявлении признаков токсичности. Наблюдения должны проводиться в одно и то время суток с учетом периода ожидаемого пика эффектов после введения тестируемого вещества. Все животные должны быть обследованы по таким параметрам, как смертность, заболеваемость и таким общим признакам, как изменение поведенческих реакций, состояния кожи, шерсти, глаз, слизистых мембран, появление выделений и экскреций, наличие вегетативных нарушений (например, слезотечение, пилоэрекция, изменение размера зрачка, нарушение дыхания).
4.4.10.2. Масса тела и потребление пищи.
Все животные должны быть взвешены с точностью до 0,1 г с самого начала проведения эксперимента при их распределении по группам. Дополнительно может измеряться потребляемое животными за время тестирования количество пищи, которое можно оценить по весу кормушки каждой клетки. Результаты потребления пищи следует выражать в г/крыса/сутки.
4.4.10.3. Анатомирование и измерения массы матки.
4.4.10.3.1. Через 24 ч после последнего введения тестируемого вещества крысы должны быть забиты гуманным способом. Идеально, если анатомирование животных в анализируемых группах будет проводиться при их рандомизированной выборке, чтобы избежать уменьшения или увеличения дозы воздействия тестируемого вещества на организм животных, что может отразиться на полученных результатах. Задачей тестирования является определение сырой и блоттированной массы матки. Сырая масса матки включает массу самой матки и массу жидкости, содержащейся в ее просвете. Блоттированная (blotted) масса, то есть масса матки без жидкости, определяется после удаления жидкости из просвета матки.
4.4.10.3.2. До вскрытия животного необходимо провести осмотр влагалища у неполовозрелых животных на выявление его открытого статуса. Процедура диссекции матки начинается открытием абдоминальной стенки в области лобкового симфиза. Затем рога матки и яичники, если они присутствуют, отсоединяются от дорсальной абдоминальной стенки. Мочевой пузырь и мочеточники удаляются с вентральной и латеральной стороны матки и влагалища. Фиброзные связки между прямой кишкой и влагалищем разрезаются так, чтобы определялись пересечение вагинального отверстия и перинеальной кожи. Матка и влагалище отсоединяют от тела, перерезая вагинальные стенки чуть выше перекрестка между перинеальной кожей, как показано на
рис. 6.6.1.2. Матку необходимо отделить от стенки тела, осторожно разрезая маточную брыжейку в точке ее приложения вдоль всей дорсальнолатеральной длины каждого рога матки. Обработка матки после извлечения из тела животного должна производиться достаточно быстро, чтобы избежать обезвоживания тканей. В случае небольших органов, таких как матка, снижение веса органа в результате обезвоживания становится значительным. При наличии у крыс яичников, они удаляются в области яйцеводов, при этом необходимо предотвратить потерю жидкого содержимого в просвете органов из рогов матки. У животных с удаленными яичниками необходимо провести обследование на выявление наличия заглушек яичников с целью определения возможного сохранения тканей яичников. Избыток жира и соединительная ткань должны быть полностью удалены. Влагалище отсекается от матки чуть ниже шейки матки, так что шейка матки остается с телом матки, как показано на
рис. 6.6.1.2.
| Процедура начинается с разреза брюшной стенки в области лобкового симфиза. Затем каждый яичник, если он имеется, и рога матки отделяются от дорсальной брюшной стенки. Мочевой пузырь и мочеточники удаляются с вентральной и латеральной стороны матки и влагалища. Фиброзные связки между прямой кишкой и влагалищем разрезаются так, чтобы определялось пересечение вагинального отверстия и перинеальной кожи. Матку и влагалище отсекают от тела, перерезая вагинальные стенки чуть выше стыка перинеальной кожи, как показано на рис. 6.6.1.2. Матку следует отделить от тела, осторожно разрезая брыжейку яичника в точке ее приложения вдоль всей дорсальнолатеральной длины каждого рога матки. Избыток жира и соединительная ткань должны быть полностью удалены. Яичники, при их наличии, отсекают в области яйцеводов, при этом необходимо предотвратить потерю жидкого содержимого в просвете органов из рогов матки. У животных с удаленными яичниками необходимо провести обследование заглушек яичников с целью выявления наличия сохраненных тканей яичников. Избыток жира и соединительная ткань должны быть полностью удалены. Влагалище отсекается от матки чуть ниже шейки матки, так что шейка матки остается с телом матки, как показано на рисунке. После этого матка может быть взвешена |
Рис. 6.6.1.2. Процесс подготовки тканей матки
для взвешивания
4.4.10.3.3. Каждая матка должна быть зарегистрирована и взвешена на контейнере (например, на чашке Петри или пластиковых чашках для взвешивания), соблюдая постоянно осторожность, чтобы избежать обезвоживания органа до взвешивания (например, на чашку Петри можно поместить фильтровальную бумагу, слегка смоченную физиологическим раствором). Матка взвешивается вместе с жидким содержимым просвета органа с точностью до 0,1 мг (сырой вес матки).
4.4.10.3.4. Каждая матка затем индивидуально обрабатывается - удаляется жидкое содержимое из просвета органа. Оба рога матки прокалывают или режут продольно. Матку помещают на слегка смоченную фильтровальную бумагу, а вторым, слегка смоченным, фильтровальным листом бумаги осторожно надавливают на матку сверху, чтобы полностью выдавить жидкое содержимое из полости органа. Матка без жидкого содержимого взвешивается с точностью до 0,1 мг (блоттированный вес матки).
4.4.10.3.5. Показатель массы матки по окончанию эксперимента может быть использован для установления факта, что соответствующий возраст незрелых интактных крыс не был превышен, однако накопленный в лаборатории банк данных по используемой в эксперименте линии животных должен быть решающим при решении данного вопроса
(п. 7.4) для интерпретации результатов.
4.4.10.4. Дополнительные исследования.
После взвешивания матка может быть зафиксирована в 10%-м растворе забуференного нейтрального формалина для гистопатологического исследования с последующим окрашиванием срезов гематоксилин-эозином. Соответственно, может быть исследовано влагалище
(п. 2.3). Кроме того, может быть проведена количественная морфометрическая оценка эпителия эндометрия для сравнительного анализа.
5.1.1. Данные (результаты) исследования должны включать:
- количество использованных животных в начале исследования;
- количество и идентификацию животных, найденных мертвыми во время исследования или убитых по гуманным соображениям, а также дату и время смерти;
- количество и идентификацию животных с признаками токсического действия и описание наблюдаемых признаков токсического действия, включая время проявления, длительность и тяжесть любого токсического эффекта;
- число и идентификацию животных, у которых обнаружены какие-либо повреждения, и описание типа повреждений.
5.1.2. Для каждого конкретного животного должны быть запротоколированы следующие данные: показатели веса тела, сырой вес матки, блоттированный вес матки. Необходимо провести статистический анализ данных, полученных при тестировании эстрогенных агонистов, для выявления статистически значимого

< 0,05) увеличения веса матки при действии тестируемого вещества. Соответствующий статистический анализ должен быть проведен для выявления показателей веса сырой и блоттированной матки. Например, полученные данные могут быть оценены методом ковариационного анализа (ANCOVA) с весом животного при вскрытии как ковариабельные. Предварительно необходимо провести дисперсно-стабилизирующее логарифмическое преобразование (variance-stabilizing logarithmic transformation) показателей веса матки. Тест Dunnett и Hsu подходит для проведения парных сравнений каждой опытной группы относительно контрольной группы и определения доверительных интервалов. Метод Studentised residual plots может быть использован для обнаружения возможных отклонений и оценки однородности дисперсии. Эти методы были применены при выполнении утвержденных OECD программ с использованием PROC GLM в статистической системе анализа (SAS институт, Кэри, Северная Каролина - Statistical Analysis System (SAS Institute, Cary, Северная Каролина), версия 8 [
6,
7].
5.1.3. Заключительный отчет должен содержать следующую информацию:
5.1.3.1. Исследовательский центр:
- ответственный персонал и их исследовательские обязанности;
- данные, полученные при выполнении Основополагающего Положительного Контрольного Теста и периодических положительных контрольных тестов (
пп. 4.4.1 и
4.4.2).
5.1.3.2. Тестируемое вещество:
- характеристика тестируемого вещества;
- физическая природа и, в случае наличия, физико-химические свойства;
- метод и частота подготовки разведений;
- любые данные относительно стабильности;
- любые анализы при выборе доз.
5.1.3.3. Растворитель:
- характеристика используемого в тесте растворителя (природа, источник приобретения и объем);
- обоснование выбора растворителя (если не является водой).
5.1.3.4. Тестируемые животные:
- виды, линии и обоснование их выбора;
- поставщик и конкретный источник поступления;
- возраст, по данным поставщика, и день рождения;
- для неполовозрелых животных - получены ли они от поставщика с матерями или замещающими матерей животными или нет, дата отлучения от груди;
- детальное описание процедуры акклиматизации животных;
- количество животных в каждой клетке;
- детали и методы идентификации каждого животного и группы.
5.1.3.5. Условия для проведения анализа:
- детали рандомизации процесса (то есть, используемый метод);
- обоснование выбора доз;
- подробная информация о тестируемых веществах, формула, их определенные концентрации, показатели стабильности и однородности;
- детали введения тестируемого вещества и обоснование выбора путей введения;
- диета (название, тип, поставщик, содержание и, если известно, уровни содержания фитоэстрогенов);
- источник воды (например, водопроводная или фильтрованная вода) и оборудование (по насосно-компрессорным трубам (НКТ) от большого контейнера, в бутылках и т.д.);
- подстилочные принадлежности (название, тип, поставщик, содержание);
- запись условий проживания в клетке, интервал освещения, комнатная температура и влажность, уборка;
- детальное описание вскрытия животного и процедуры взвешивания матки;
- описание статистических анализов.
5.2. Основные результаты теста
5.2.1. Для каждого животного:
- ежедневный вес (с момента распределения по группам до вскрытия животного) (с точностью до 0,1 г);
- возраст (в днях, считая день рождения как 0) к моменту начала введения тестируемого вещества;
- дата и время введения каждой дозы тестируемого вещества;
- расчетный объем и дозировка введения тестируемого вещества и описание фактов любых потерь введенных доз во время или после введения;
- ежедневные показатели состояния животного, включая соответствующие симптомы и наблюдения;
- предположительная причина смерти (если животное во время проведения исследования найдено мертвым или умирающим);
- дата и время гуманного умерщвления с временным интервалом после последнего введения дозы вещества;
- вес сырой матки (с точностью до 0,1 мг) и любые замечания о потерях жидкого содержимого из просвета органа до времени вскрытия животного и препарирования органа для взвешивания;
- блоттированный вес матки (с точностью до 0,1 мг).
5.2.2. Для каждой группы животных:
- ежедневный средний вес тела (с точностью до 0,1 г) и стандартные отклонения (с момента распределения животных по группам до момента их вскрытия);
- средний вес сырой матки и средний вес блоттированной матки (с точностью до 0,1 г) и стандартные отклонения;
- если оценивается, ежедневное потребление продовольствия (рассчитывается как грамм потребляемого продовольствия на одно животное);
- результаты статистического анализа различий сырого и блоттированного веса матки животных опытных групп относительно указанных различий соответствующих контрольных групп;
- результаты статистического анализа различий общего веса тела и веса тела животных опытных групп относительно указанных различий соответствующих контрольных групп.
6. Обобщение важных условий проведения
утеротропного биотеста на грызунах
| Крыса | Мышь |
Животные |
Линии | Основные лабораторные линии грызунов |
Количество животных | Минимум 6 животных в каждой опытной группе |
Количество групп | Минимум 2 опытные группы (п. 4.4.7.1) и негативная контрольная группа |
Условия содержания и питания |
t° в комнате содержания животных | (22 +/- 3) °C |
Относительная влажность воздуха | 50 - 60% - не ниже 30% и не выше 70% |
Ежедневная последовательность освещения | свет - 12 часов, темнота - 12 часов |
Диетическое питание и питьевая вода | Ad libitum |
Содержание | Индивидуально или в группах до 3 животных (социальные группы содержания рекомендованы для неполовозрелых животных) |
Диета и подстилочный материал | Рекомендован низкий уровень содержания фитоэстрогенов в диете и подстилочном материале |
Протокол |
Метод | Метод с неполовозрелыми крысами без проведения процедуры овариэктомии (предпочтительный метод). Метод с половозрелыми самками после проведения процедуры овариоэктомии (OVX-модель) | Метод с половозрелыми самками после проведения процедуры овариоэктомии (OVX-модель) |
Возраст, рекомендованный для начала проведения тестирования для неполовозрелых животных | Самый ранний срок - постнатальный день (ПНД) 18. Тестирование должно быть прекращено до ПНД 25 | Нет соответствующих данных в рамках данного Теста |
Возраст, рекомендованный для проведения операции овариоэктомии | В возрасте между 6 и 8 неделями |
Возраст, рекомендованный для начала проведения тестирования для животных с удаленными яичниками (OVX-модель) | Минимум 14 дней должно пройти со дня проведения овариоэктомии до 1-го дня введения тестируемого вещества | Минимум 7 дней должно пройти со дня проведения овариоэктомии до 1-го дня введения тестируемого вещества |
Вес тела | Различия значений веса тела должны быть минимальными и не отклоняться на +/- 20% от показателя среднего веса |
Введение и дозирование тестируемого вещества |
Путь поступления | Пероральный через желудочный зонд или подкожное инъекционное введение |
Частота введений | Однократная суточная доза |
Объем вводимого раствора тестируемого вещества при желудочном и инъекционном введении | <= 5 мл/кг веса тела (или до 10 мл/кг веса тела в случае водных растворов) (подкожное инъекционное введение больших объемов тестируемого раствора производится в 2 сайта тела) |
Длительность тестирования | 3 последовательных дня для модели с неполовозрелыми крысами. Минимум 3 последовательных дня для OVX-модели | 7 последовательных дней для OVX-модели |
Время вскрытия животных | Приблизительно через 24 ч после введения последней дозы |
Результаты |
Положительная реакция | Статистически достоверное увеличение среднего веса матки (сырой и/или блоттированной) |
Референтный (эталонный) эстроген |  estradiol) |
7. Руководство по интерпретации и признанию результатов
7.1. Утеротропное действие веществ не всегда полностью имеет эстрогенное происхождение. Данное действие могут оказывать также химические вещества, не являющиеся агонистами или антагонистами эстрогенов. Например, относительно высокие дозы прогестерона, тестерона или других синтетических прогестинов могут вызвать стимулирующий эффект. Любая реакция может быть проанализирована гистологическим выявлением кератинизации и ороговении слизистой оболочки влагалища. Независимо от механизма эффекта положительные результаты "утеротропного биотеста", как правило, должны инициировать мероприятия для дальнейших изысканий. Дополнительные сведения об эстрогенной активности могут быть получены в тестах in vitro, таких как тесты связывания с эстрогенными рецепторами или активации транскрипции репортерных генов, или в тестах in vivo, таких как оценка полового созревания самки.
7.2. В целом тест по выявлению эстрогенности должен считаться положительным, если существует статистически значимое увеличение веса матки (p < 0,05), по крайней мере, на уровне высокой дозы относительно данного показателя соответствующей контрольной группы. Положительный результат в дальнейшем подтверждается демонстрацией биологически выраженной взаимосвязи между дозой и величиной эффекта, принимая во внимание, что дублирование тестирования эстрогенной и антиэстрогенной активности химических соединений может повлиять на форму кривой дозо-эффективной зависимости.
7.3. Необходимо принять к сведению, что при тестировании нельзя использовать дозы, превышающие МПД (MTD) химических веществ, с целью интерпретации данных и достижения значимости результатов. Снижение веса тела, признаки токсичности и другие показатели должны тщательно оцениваться в этом отношении.
7.4. Важным моментом для анализа результатов "утеротропного биотеста" является показатель веса тела крыс соответствующей контрольной группы. Высокие значения показателей контрольной группы могут исказить достоверность результатов биопробы и ее способность выявлять активность слабых эстрогенов. Данные литературы предполагают наличие случайных высоких контрольных показателей, особенно у неполовозрелых животных. Поскольку вес матки неполовозрелых крыс зависит от многих переменных факторов, таких как тип линии крыс или вес тела, четко определенные пределы веса матки не могут быть представлены. В качестве руководства можно порекомендовать, что если значения блоттированного веса матки у неполовозрелых крыс находятся в пределах между 40 и 45 мг, полученные результаты должны вызвать подозрение в достоверности исследования, а значения веса матки выше 45 мг могут вызвать необходимость повторного проведения тестирования. Однако данный вопрос необходимо рассматривать конкретно для каждого случая. При тестировании на половозрелых крысах необходимо учитывать, что в результате проведенной, возможно, неполной овариоэктомии в организме сохраняются ткани яичников, способные продуцировать эндогенные эстрогены, которые тормозят снижение веса матки в эксперименте.
7.5. Если значения веса блоттированной матки в соответствующих контрольных группах меньше 0,09% от значений веса тела у неполовозрелых крыс и меньше 0,04% от значений веса тела у половозрелых самок с удаленными яичниками, то результаты проведенного тестирования считаются приемлемыми. Если контрольные значения блоттированного веса матки превышают указанные параметры, следует проанализировать различные факторы, включая возраст животных, правильность проведения операции овариоэктомии, присутствие в пище фитоэстрогенов и т.д., которые могут повлиять на полученные результаты, и выявленные в данном случае отрицательные реакции теста (без выявления эстрогенной активности) должны приниматься и использоваться с осторожностью.
7.6. Полученные в лаборатории данные при исследовании контрольных животных различных экспериментов ("исторические данные") должны сохраняться и накапливаться. Исторические данные по ответным реакциям на эталонные эстрогены, такие как

эстрадиол, должны также сохраняться. Кроме того, лаборатории могут тестировать ответную реакцию слабых агонистов эстрогенов. Все эти данные можно сравнить с опубликованными данными и убедиться в чувствительности методов лаборатории.
7.7. Изменения веса блоттированной матки по результатам данных исследований OECD, менее выражены, чем изменения веса сырой матки. Однако наличие ответной реакции в любой степени выраженности указывает на положительную эстрогенную активность тестируемого вещества.
7.8. Утеротропная реакция не связана полностью с эстрогенным механизмом, однако положительный результат "утеротропного биотеста" должен, как правило, интерпретироваться как свидетельство эстрогенного потенциала
in vivo и инициировать действия для дальнейших разработок (см.
п. 5.3.1 и "Концептуальная основа ОЭСР тестирования и оценки химических веществ, повреждающих эндокринную систему ("OECD Conceptual Framework for the Testing and Assessment of Endocrine Disrupting Chemicals"), Приложение).
КОНЦЕПТУАЛЬНАЯ МОДЕЛЬ ОЭСР ТЕСТИРОВАНИЯ И ОЦЕНКИ
ХИМИЧЕСКИХ ВЕЩЕСТВ, ПОВРЕЖДАЮЩИХ ЭНДОКРИННУЮ СИСТЕМУ
(OECD CONCEPTUAL FRAMEWORK FOR THE TESTING
AND ASSESSMENT OF ENDOCRINE DISRUPTING CHEMICALS)
Примечание. Документ подготовлен Секретариатом Программного Комитета Тест-Руководства на основе соглашения, достигнутого на 6 Заседании EDTA Task Force
Уровень 1 Анализ, определение приоритетных направлений, основанное на имеющейся научной информации | - физико-химические свойства, т.е. молекулярный вес, реактивность, растворимость, способность к биодеградации - воздействие на человека и окружающую среду, т.е. объем производства, выпуск, объекты использования - опасность, т.е. возможные токсикологические данные |
Уровень 2 In vitro исследования, предоставляющие механические данные | - Сродство связывания с рецепторами ER, AR, TR - HTPS (High Through Put Prescreens) система тестирования - Активация регуляции транскрипции - Функция щитовидной железы - Ароматаза и стероидогенез in vitro - Анализ вителлогенина гепатоцитов рыб - Распознавание/связывание рецептора арилгидрокарбоната - Другие (в соответствующих случаях) - QSARs (количественные зависимости структура-активность) |
Уровень 3 In vivo исследования, предоставляющие данные о конкретных гормональных механизмах и эффектах | - "утеротропная биопроба" (эстрогенная активность) - Тест Хешбергера (Hershberger) (андрогенная активность) - Нерецепторно-медиаторная гормональная функция - Другие (напр., тироидная) | - Анализ вителлогенина рыб (относительно эстрогенной активности) |
Уровень 4 In vivo исследования, предоставляющие данные о множественных гормональных механизмах и эффектах | - Согласно OECD 407 (основные положения по эндокринным механизмам) - Анализ полового созревания самцов и самок - Исследование зрелых интактных самцов | - Гистопатологический анализ яичников рыб - Анализ метаморфизма лягушек |
Уровень 5 In vivo исследования, предоставляющие данные об эффектах эндокринных и других механизмов | - Оценка репродуктивной токсичности на 1-м поколении (OECD TG N 415) <1>- Оценка репродуктивной токсичности на 2 поколениях (OECD TG N 416) <1>- Оценка репродуктивной/ эмбриональной токсичности (скрининговый метод) (OECD TG N 421) <1>- Совместное изучение токсичности при повторном воздействии с репродуктивной/эмбриональной токсичностью (скрининговый тест) (OECD TG N 422) <1> |
-------------------------------- |
<1> Потенциальные возможности усовершенствования будут рассматриваться VMG mamm <*>. |
<*> VMG mamm - Рабочая группа валидизации методов тестирования и анализа на модели млекопитающих (Validation Management Group on Mammalian Testing and Assessment) |
Замечания к Концептуальной модели
Замечание 1. Вход на все уровни и переход на все уровни возможны и зависят от состава имеющейся информации, которая необходима исследователю для оценки степени риска и опасности воздействия химического вещества.
Замечание 2. На уровне 5 экотоксикологические исследования должны предусматривать установление точек-мишеней, которые указывают на механизмы неблагоприятного воздействия и потенциальной опасности токсического действия на население.
Замечание 3. Когда мультимодальная модель охватывает несколько отдельных исследований точек-мишеней, то эта модель может заменить собой использование всех этих отдельных исследований точек-мишеней.
Замечание 4. Оценка действия каждого химического вещества должна основываться в каждом конкретном случае на специфических особенностях с учетом анализа всей доступной научной информации, принимая во внимание интересующую функцию организма.
Замечание 5. Концептуальная модель не должна рассматриваться как структура, в которой "все включено" ("all inclusive") на современном этапе. Уровни 3, 4 и 5 включают тесты, которые доступны или находятся в процессе валидизации. Что касается последних, то они включены в структуру временно. По окончании процесса разработки и валидизации они официально будут включены в Концептуальную модель.
Замечание 6. Уровень 5 не должен рассматриваться как включающий только обязательные тесты. Тесты, включенные в этот уровень, рассматриваются, как способные внести вклад в определение оценки риска и опасности повреждающего действия.
ТЕСТ ХЕШБЕРГЕРА НА КРЫСАХ: КРАТКОСРОЧНОЕ СКРИНИНГОВОЕ
ИССЛЕДОВАНИЕ ДЛЯ ВЫЯВЛЕНИЯ (АНТИ)АНДРОГЕННЫХ СВОЙСТВ
Идентичен международному документу OECD TG N 441 "Hershberger Bioassay in Rats: A Short-term Screening Assay for (Anti)Androgenic Properties" (ОЭСР Руководство N 441 "Тест Хешбергера на крысах: краткосрочное скрининговое исследование для выявления (анти)андрогенных свойств"). Перевод с английского языка (en). Степень соответствия - модифицированный (MOD).
1.1. Тест Хешбергера был стандартизирован официальным экспертным комитетом в 1962 г. как инструмент для исследования андрогенных веществ. В 2001 - 2007 гг. тест Хешбергера на крысах подвергся обширной программе валидизации, включая создание документа, представляющего собой компиляцию детально разработанных методов из диссертационных работ, разработку руководства по препарированию животных и подробное руководство для проведения обширных внутренних и межлабораторных исследований для доказательства надежности и воспроизводимости этого теста. Данное руководство к проведению исследований является результатом обобщения длительного исторического опыта проведения биотестирования, а также опыта, полученного во время тестирования валидности и анализа полученных результатов. Исследования валидности проводились с использованием: сильного референсного андрогена (тестостерон пропионат - ТП), двух сильных синтетических андрогенов (тренболон ацетат и метилтестостерон), сильного антиандрогенного фармацевтического продукта (Флютамид), сильнодействующего ингибитора синтеза (Финастерид), естественного андрогена (дигидротестостерон DHT), нескольких слабых антиандрогенных пестицидов (линурон, винклозолин, процимидон, ppDDE), сильного ингибитора

(Финастерид) и двух известных негативно воздействующих веществ (динитрофенол и нонилфенол).
1.2. Тест Хешбергера - это
in vivo экспресс-скрининг-тест, использующий ткани мужского полового тракта для тестирования андрогенов и антиандрогенов. В 1960-х годах были проверены более 700 потенциальных андрогенов с помощью стандартизированной версии протокола. Тест основан на определении изменения веса пяти андроген-зависимых тканей кастрированных препубертатных самцов крысы. Он позволяет оценить способность вещества проявлять биологическую активность, соответствующую действию агонистов и антагонистов андрогенов или ингибиторов

Для тестирования используются следующие пять андроген-зависимых тканей-мишеней: вентральная простата (VP), семенные пузырьки вместе со свертывающей железой и содержащимися жидкостями (SVCG), мышца, поднимающая задний проход плюс луковично-пещеристая мышца (LABC), парная бульбоуретральная железа (куперова железа) (CG) и головка пениса (GP). У кастрированных препубертатных самцов крысы эти пять тканей отвечают на андрогены увеличением абсолютного веса. Вес тканей увеличивается при воздействии сильного андрогена, но те же пять тканей реагируют на антиандрогены уменьшением абсолютного веса. Основной моделью теста Хешбергера являются хирургически кастрированные препубертатные самцы крысы, описанные в 1, 2 и 3 фазах программы валидизации теста Хешбергера.
1.3. Тест Хешбергера является механистической скрининговой процедурой
in vivo для агонистов и антагонистов андрогенов и для ингибиторов

и его использование следует рассматривать в контексте документа "Концептуальная основа ОЭСР для тестирования и оценки веществ, нарушающих эндокринные функции"
(прилож. 2) <5>.
--------------------------------
<5> Этот тест может использоваться в коммерческих целях лишь с письменного разрешения ОЭСР (Некоммерческое использование возможно без письменного разрешения ОЭСР).
В рамках этой Концепции тест Хешбергера используется на Уровне 3, в качестве in vivo анализа, позволяющего получать информацию об одном эндокринном механизме, а именно, об (анти-)андрогенности. Тест планируется включить в совокупность других in vivo и in vitro анализов для идентификации веществ, способных воздействовать на эндокринную систему с целью определения их опасности и оценки риска для здоровья человека и для окружающей среды.
1.4. Модификация теста Хешбергера с использованием стимулируемой некастрированной мужской особи в качестве альтернативной модели, не предусматривающей кастрации животного, не включена в данное руководство. Метод стимуляции некастрированной мужской особи был валидизирован; валидизационные исследования показали, что при использовании этого варианта теста Хешбергера, невозможно отличить влияние слабых андрогенов на массу ткани от результатов воздействия слабых антиандрогенов в использовавшихся дозировках.
1.5. Документ предназначен для испытательных лабораторий организаций Министерства здравоохранения Российской Федерации, Федеральной службы по надзору в сфере защиты прав потребителей и благополучия человека, а также может быть использован научно-исследовательскими организациями, учреждениями высшего профессионального образования и иными организациями и учреждениями, аккредитованными в установленном порядке.
2.1. Агонисты и антагонисты андрогенов действуют в качестве лигандов рецептора андрогена и могут активировать либо ингибировать транскрипцию генов, регулируемых рецептором. Кроме того, некоторые вещества (ингибиторы

ингибируют преобразование тестостерона в более мощный естественный андроген - дигидротестостерон в некоторых тканях-мишенях андрогенов. Такие вещества могут представлять опасность для здоровья, вызывая репродуктивные нарушения и нарушения развития организма. Поэтому существует необходимость быстро и точно распознавать такие вещества, как андроген-агонисты или антагонисты, или ингибиторы

Несмотря на информативность, величина аффинности лиганда рецептора андрогена, определяемая in vitro методом анализа связывания с рецептором или методом транскрипционной активации репортерных генов, является не единственным показателем оценки опасности вещества. К другим причинам, определяющим опасность, относится метаболическая активация и инактивация вещества после попадания в организм, характер его распределения по тканям-мишеням и скорость выведения из тела.
Все это вызывает необходимость распознать возможную активность вещества
in vivo при соответственных условиях и экспозиции. Оценка
in vivo становится менее важной, если такие характеристики вещества, как абсорбция - распределение - метаболизм - выведение (ADME) являются известными. Андроген-зависимые ткани отвечают быстрым и энергичным ростом в ответ на стимуляцию андрогенами, в особенности у кастрированных препубертатных самцов крысы. Грызуны, особенно крысы, так же широко используются в исследовании токсичности для оценки риска. Поэтому вариант анализа, в котором используются кастрированные препубертатные крысы и пять тканей-мишеней, является подходящим для
in vivo скринирования потенциальных агонистов и антагонистов андрогена, и ингибиторов

2.2. Данный метод тестирования основан на протоколах, которые, в соответствии с валидизацией ОЭСР, являются надежными и воспроизводимыми во внутри- и межлабораторных исследованиях. В методе представлены протоколы исследования как агонистов, так и антагонистов андрогенов.
2.3. Несмотря на некоторый разброс дозы ТП, применявшейся для определения антиандрогенов в программе валидизации теста Хешбергера различными лабораториями (0,2 против 0,4 мг/кг/день, подкожная инъекция), различие между этими двумя вариантами протоколов в способности выявлять слабую или сильную антиандрогенную активность практически отсутствовало. Доза ТП не должна быть слишком высокой, чтобы не блокировать действие слабых антагонистов андрогенного рецептора (AR), или настолько низкой, что андрогенно-зависимые ткани обнаруживали бы некоторое увеличение веса даже без ко-администрирования антиандрогена.
2.4. Ответный рост выбранных андроген-зависимых тканей определяется не только лишь андрогенами, но и другими веществами, отличными от агонистов андрогенов. Одновременный ответный рост нескольких видов тканей дает более веское подтверждение андроген-специфичного механизма. Например, высокие дозы сильных эстрогенов могут увеличивать вес семенных везикул, однако другие андроген-зависимые ткани в данном тесте не отвечают подобным образом.
Антиандрогенные вещества могут действовать либо как антагонисты андрогенного рецептора, либо как ингибиторы

Ингибиторы

дают вариабельный эффект, потому что преобразование в более мощный дигидротестостерон варьирует от ткани к ткани. Антиандрогены, которые ингибируют

такие как финастерид, имеют более заметное воздействие на вентральную простату, чем на другие ткани, по сравнению с таким сильным антагонистом AR, как флутамид. Такое различие в ответе разных тканей можно использовать для различия между AR и

механизмами действия. Кроме того, AR эволюционно связан с рецепторами других стероидных гормонов и другие гормоны при высокой сверхфизиологической дозировке могут связываться с ним и противодействовать рост-стимулирующему эффекту ТП. Кроме того, повышение метаболизма стероидов и понижение вследствие этого тестостерона в сыворотке, может уменьшить андроген-зависимый рост ткани. Поэтому любой положительный результат теста Хешбергера, как правило, следует оценивать с учетом совокупности свидетельств, включая, например,
in vitro анализ связывания с AR и с рецептором эстрогена (ER), соответствующие анализы трансактивации транскрипции или другие
in vivo анализы, оценивающие подобные ткани под воздействием андрогенов.
2.5. Опыт показывает, что ксенобиотики-андрогены встречаются реже, чем ксенобиотики-антиандрогены. Поэтому ожидается, что тест Хешбергера будет чаще использоваться для скрининга антиандрогенов. Однако процедуру тестирования андрогенов, можно рекомендовать для стероидных или стероидоподобных веществ, или для веществ, для которых указания на возможные андрогенные эффекты были получены методами, представленными в Уровне 1 или 2 Руководства
(прилож. 2). Аналогично отрицательные эффекты, ассоциированные с (анти-)андрогенными профилями, могут наблюдаться в анализах Уровня 5, что требует определить, не действует ли исследуемое вещество через эндокринные механизмы.
2.6. Общепризнано, что все опыты на животных должны соответствовать местным стандартам защиты животных; описание содержания и обращения с животными, сформулированные ниже, являются минимальными требованиями, и должны подчиняться более строгим местными стандартам в случае несоответствия. Дальнейшие указания по поводу гуманного обращения с животными даются ОЭСР.
2.7. Как и в любом другом биотесте с использованием экспериментальных животных, должна быть тщательно обоснована необходимость проведения таких исследований. В целом могут быть только две причины для использования лабораторных животных:
- высокая опасность экспозиции (Уровень 1 Руководства) или свидетельства (анти)андрогенности, полученные в in vitro исследованиях (Уровень 2), подтверждающие возможность такого же действия in vivo;
- наблюдается эффект, согласующийся с (анти)андрогенностью в in vivo экспериментах Уровня 4 или 5 по проверке конкретного механизма действия вещества, например проверки опосредования эффекта (анти-)андрогенным механизмом.
3.1. Выбор вида животных и генетической линии
3.1.1. Крысы использовались в тесте Хешбергера в течение 70 лет и именно крысы выбраны для проведения теста Хешбергера в настоящее время. Поскольку результаты теста Хешбергера могут являться предварительными для долгосрочного исследования на нескольких поколениях, это позволяет использовать в экспериментах как крыс, так и мышей одного и того же вида, линии и от одного и того же поставщика.
3.1.2. Протокол позволяет лабораториям выбрать для исследования генетическую линию крыс, которая исторически используется данной лабораторией, или часто используемые линии крыс. Нельзя использовать животных, которые биологически созревают значительно позже, чем за 42 дня, так как при проведении кастрации особей в возрасте 42 дней возможно не удастся измерить изменение веса головки полового члена, что может быть сделано лишь после того, как крайняя плоть отделена от ствола полового члена. Крысы, происходящие от линии Fisher 344, за редким исключением, не должны использоваться, поскольку у них другое время полового созревания, по сравнению с наиболее часто используемыми линиями, как Sprague Dawley или Wistar. Если линия Fisher 344 все-таки используется, крысы должны быть кастрированы в несколько более старшем возрасте и лаборатория должна подтвердить, что они имеют достаточную чувствительность в эксперименте. Лаборатория должна предоставить четкое обоснование для выбора определенной линии крыс. В случае если тестирование может являться предварительным для последующего определения оральной дозы, для изучения развития, репродукции или для долгосрочного исследования, предпочтительно использовать животных одной линии и от одного поставщика на всех этапах данного исследования.
3.2. Условия содержания и кормления
3.2.1. Все процедуры должны соответствовать местным стандартам содержания лабораторных животных. Приведенные процедуры содержания и обращения с животными являются минимальными стандартами и должны подчиняться более строгим местными стандартам в случае несоответствия. Температура в помещении с экспериментальными животными должна быть 22 °C (с диапазоном +/- 3 °C). Относительная влажность не меньше 30% и не выше 70% (кроме периода уборки помещения). Оптимально поддержание относительной влажности 50 - 60%. Освещение должно быть искусственным. Ежедневная продолжительность освещения должна составлять 12 часов света, 12 темноты.
3.2.2. Предпочтительно содержать животных не изолированно, а в группах, из-за молодого возраста и социальности животных. Содержание двух или трех животных в одной клетке помогает избегать перенаселенности и связанного с этим стресса, что могло бы отразиться на гормональном контроле развития исследуемых половых тканей. Клетки должны быть тщательно вычищены, чтобы удалить возможные загрязнители, и расположены так, чтобы минимизировать возможные эффекты от их расположения. Клетки должны быть надлежащего размера (~2000 см2), что предотвратит скученность.
3.2.3. Каждое животное должно быть идентифицировано индивидуально (маркировкой уха или меткой) с использованием гуманных методов. Метод идентификации должен быть задокументирован.
3.2.4. Питьевая вода и корм предоставляются ad libitum. Лаборатории, выполняющие тест Хешбергера, должны использовать питание, обычно используемое в лаборатории при тестировании веществ. В экспериментах по валидизации теста Хешбергера не было обнаружено никаких эффектов или вариабельности, связанных с используемым питанием. Состав используемой диеты должен быть задокументирован и образец рациона сохранен для анализа, если потребуется.
3.3. Критерии результатов теста Хешбергера для исследования
андроген-зависимых изменений веса органов
3.3.1. В эксперименте по валидизации не было обнаружено никаких свидетельств, что уменьшение массы животного вызывало бы относительное увеличение или уменьшение веса тканей, используемых для исследования.
3.3.2. Среди различных линий крыс, успешно использовавшихся при валидизации теста Хешбергера, вес андроген-зависимых органов был выше у больших по весу линий крыс, чем у более легких. Поэтому критерии теста Хешбергера не включают абсолютную величину веса органа для положительных и отрицательных контролей.
3.3.3. Поскольку коэффициент вариации (CV)
<*> веса ткани имеет обратную зависимость от статистической значимости, критерии теста Хешбергера основаны на максимальных значениях CV для каждой ткани
(таблица).
Результаты получены в процессе экспериментов по валидизации ОЭСР. В случае отрицательных результатов необходимо проверить CV в контрольной группе и в группе с большей дозой воздействия, чтобы определить, не был ли превышен критерий максимального (CV).
Таблица
Максимальные допустимые CV, определенные для исследуемых
тканей-мишеней, для модели с использованием кастрированных
животных в экспериментах валидизации ОЭСР <*>
Ткань | Антиандрогенный эффект, % | Андрогенный эффект, % |
Семенные пузырьки | 40 | 40 |
Вентральная простата | 40 | 45 |
Мышца, поднимающая анус, и луковично-пещеристая мышца | 20 | 30 |
Бульбоуретральная железа (куперова железа) | 35 | 55 |
Головка пениса | 17 | 22 |
-------------------------------- |
<*> Пороговое значение CV для каждой ткани определялось из графика значений CV, расположенных последовательно от самого маленького значения к самому большому, - для всех средних значений всех экспериментов, проводившихся при валидизации теста для каждой модели (тестирование агонистов и антагонистов). Пороговое значение CV определялось как точка, в которой приращение для следующих более высоких значений ряда резко возрастало по сравнению с предшествующими приращениями. Нужно отметить, что хотя этот анализ идентифицировал относительно надежные пороговые значения для антагонистической модели испытания, кривые значений в тесте с агонистами показали более однородные увеличения, делая определение пороговых значений описанным способом несколько произвольными |
3.3.4. Исследование должно быть повторено, если:
1) три или больше из десяти возможных индивидуальных CV в контрольной группе и в группе с большей дозой воздействия превышают максимумы, допустимые при тестировании агонистов и антагонистов, представленных в
таблице;
2) по крайней мере, в двух исследуемых тканях эффект оказался на грани достоверности (т.е. имел

между 0,05 и 0,1).
4.1. Соответствие лаборатории требованиям документа
В отличие от утеротропного анализа (TG 440), перед проведением теста Хешбергера не требуется демонстрировать компетентность лаборатории, потому что положительный (тестостерон пропионат и флутамид) и отрицательный контроля проводятся одновременно с опытом как неотъемлемая часть исследования.
4.2. Количество и состояние животных
Каждая экспериментальная и контрольная группы включают минимум 6 животных. Это относится и к андрогенным, и к антиандрогенным вариантам проведения эксперимента.
Необходим начальный период адаптации в несколько дней после прибытия животных, чтобы убедиться, что они здоровы и находятся в хорошем состоянии. Поскольку животные, кастрированные до достижения постнатального возраста 42 дней, могут не обнаружить отделения крайней плоти, животных, используемых в эксперименте, кастрируют непосредственно в постнатальный или на следующий день, но не раньше. Животных кастрируют под анестезией; делают разрез на мошонке и удаляют оба яичка с перевязкой придатка семенника, кровеносных сосудов и семенных протоков. Убедившись, что нет кровотечения, мошонку зашивают или закрывают скрепками. Первые несколько дней после операции животные должны находиться под анальгетиками для облегчения постхирургического дискомфорта. Если кастрируемые животные были закуплены у поставщика, то он должен предоставить сведения по возрасту животных и стадии половой зрелости.
4.4. Адаптация после кастрации
Животные должны продолжить адаптацию к лабораторным условиям в течение минимум 7 дней после кастрации, чтобы произошло уменьшение веса тестируемых тканей. Животных осматривают ежедневно, животных с симптомами заболеваний или физических отклонений исключают из эксперимента. Первое введение дозы тестируемого вещества можно произвести уже на 49-й постнатальный день, но не позже, чем на 60-й постнатальный день. Возраст на момент аутопсии не должен превышать 70 постнатальных дней. Эта гибкость сроков позволяет лаборатории эффективно планировать экспериментальную работу.
4.5. Масса тела и рандомизация группы
Различия индивидуальной массы тела приводят к внутри- и межгрупповой вариабельности веса образцов тканей. Увеличение вариабельности веса образцов тканей приводит к увеличению коэффициента вариации и уменьшению статистической мощности анализа (иногда называемой чувствительностью испытания). Поэтому изменение массы тела контролируют и экспериментально, и статистически.
Экспериментальный контроль проводят для уменьшения внутри- и межгрупповой вариабельности массы тела. Во-первых, слишком мелких и слишком крупных животных исключают из исследования. В начале исследования вариабельность массы тела используемых животных не должна превышать +/- 20% среднего веса (например, (175 +/- 35) г для кастрируемых препубертатных крыс). Во-вторых, животных распределяют по группам (и контроль, и опыт) случайным образом, так чтобы средний вес животного в каждой группе статистически не отличался от любой другой группы. Используемую процедуру блочной рандомизации документируют.
Токсичность вещества может снижать массу тела животных экспериментальных групп по отношению к животным контрольной группы, поэтому массу тела в первый день введения дозы (но не массу тела при аутопсии) используют в качестве ковариаты при анализе.
Чтобы установить, может ли тестируемое вещество оказывать андрогенное действие in vivo, обычно используют две экспериментальные группы с различными дозами тестируемого вещества, плюс группа положительного контроля и группа контроля используемого носителя (отрицательный контроль). Такой порядок проведения эксперимента также предпочтителен по причинам защиты животных. Если целью является получение кривой доза-эффект или экстраполяция на более низкие дозы, используют, по крайней мере, 3 группы с разными дозами. Если помимо простого выявления андрогенной активности требуется дополнительная информация (например, оценка потенциальной опасности тестируемого вещества), используют иной режим дозирования. При тестировании на антиандрогенную активность, тестируемое вещество вводят совместно с референсным агонистом андрогена. В тестировании используют минимум 3 группы животных с различными дозами тестируемого вещества, плюс группы положительного и отрицательного контроля. За исключением введения тестируемого вещества, содержание и обращение с животными контрольной и экспериментальной групп должно быть идентичным. Если при введении тестируемого вещества используется носитель, то контрольные группы также должны получать носитель в объеме, равном максимальному используемому объему в экспериментальных группах.
Выбор уровня доз проводят с учетом имеющихся данных по токсичности и токсикокинетике для тестируемого или родственных веществ. При выборе самого высокого уровня дозы сначала учитывают LD50 и/или информацию по острой токсичности, чтобы избежать смерти, мучений или стресса животных и информацию о дозах, используемых в субхронических и хронических исследованиях. В целом самая высокая доза не должна вызывать снижения итоговой массы тела больше, чем на 10% от контроля.
Самая высокая доза должна быть: 1) либо самой высокой дозой, которая гарантирует выживание животных без существенной токсичности или причинения страданий животным после 10 дней проведения эксперимента, вплоть до максимума в 1000 мг/кг/день; 2) либо самой высокой дозой, вызывающей (анти)андрогенное воздействие, при этом из них - наиболее низкая. При скринировании приемлемы дозы с большим шагом разведения, например, 1/2 lg (что соответствует шагу дозы в 3,2 раза) и даже в 1 lg. Если нет подходящих доступных данных, проводят предварительное исследование для определения диапазона доз основного исследования.
4.7. Предельный уровень дозы
Если тестирование предельной дозы в 1000 мг/кг/день и более низких доз, используемых при тестировании, не выявляет статистически достоверного изменения массы исследуемых вспомогательных половых тканей, то дополнительные высокие уровни доз не проверяют. Указанную предельную дозу не увеличивают, за исключением тех случаев, когда из данных по реальному уровню экспозиции людей следует необходимость использования более высокой дозы.
4.8. Рекомендации по выбору диапазона доз
При необходимости проводят предварительное определение диапазона доз, используя нескольких животных из основного исследования [пересмотренные Руководства ОЭСР для тестирования острой токсичности (TG 420, TG 423, TG 425)].
В тесте Хешбергера выбирают дозы, которые гарантируют выживание животных без существенной токсичности или причинения страданий животным после 10 дней проведения эксперимента, вплоть до максимума в 1000 мг/кг/день. Если эти требования в эксперименте по определению диапазона выполняются, то после 10 дней введения дозы, приблизительно через 24 часа после введения последней дозы, проводят аутопсию и определяют вес исследуемые ткани. Эти результаты используют для выбора доз основного исследования.
4.9. Используемые референсные вещества и носитель
В качестве референсного агониста используют тестостерон пропионат (ТП), CAS N 57-82-5. Используемая доза референсного ТП может составлять либо 0,2 мг/кг/день или 0,4 мг/кг/день. В качестве референсного антагониста используют флутамид (ФТ), CAS N 1311-84-7. Используемая доза референсного ТП составляет 3 мг/кг/день. ФТ необходимо вводить совместно с дозой референсного агониста ТП.
Если возможно, используют водный раствор/суспензию вещества. Однако, поскольку многие лиганды рецептора андрогена AR или их метаболические предшественники являются гидрофобными, используют раствор/суспензию в масле (например, в кукурузном, арахисовом, кунжутном или оливковом). Тестируемые вещества могут быть растворены в минимальном объеме 95%-го этанола или другого подходящего растворителя, а затем растворены в используемом носителе до конечных рабочих концентраций. Токсические свойства растворителя проверяют на отдельной контрольной группе. Если тестируемое вещество является устойчивым, ускоряют его растворение с помощью осторожного нагрева и энергичного механического перемешивания. Стабильность тестируемого вещества определяют в используемом носителе. Если тестируемое вещество является стабильным в течение всего исследования, готовят одну аликвоту рабочего раствора, а используемые дозировки разводят ежедневно с соблюдением всех предосторожностей для предотвращения контаминации.
ТП вводят подкожно, а ФТ - принудительно внутрижелудочно.
Тестируемое вещество вводят либо принудительно внутрижелудочно, либо подкожно. При выборе способа введения тестируемых веществ учитывают соображения защиты животных и сохранения физических/химических свойств тестируемого вещества. Кроме того, учитывают токсикологические аспекты поступления вещества в человеческий организм (например, принудительно внутрижелудочно - в качестве модели поступления с пищей или водой; подкожная инъекция - в качестве модели вдыхания или кожной абсорбции). Также учитывают существующую токсикологическую информацию и данные по метаболизму и кинетике (например, чтобы избежать досистемного метаболизма, для выбора маршрута воздействия и наибольшей эффективности).
Дозы вводят животным в одно и то же время, одним и тем же способом в течение десяти дней подряд - приблизительно с 24-часовыми интервалами. Уровень дозы ежедневно корректируют в соответствии с ежедневным измерением массы тела животного. Объем и время введения дозы регистрируют ежедневно. Снижение массы тела, клинические показатели и другие наблюдаемые изменения учитывают при интерпретации. Для принудительного внутрижелудочного введения используют желудочный зонд или подходящую интубационную канюлю. Максимальный объем жидкости, который используют одномоментно, зависит от размера экспериментального животного. Необходимо следовать местным руководствам по уходу за животными, однако объем не должен превышать 5 мл/кг массы тела, за исключением использования водных растворов, для которых допустимый максимум составляет 10 мл/кг массы тела. При подкожных инъекциях дозу вкалывают в лопаточную или поясничную область стерильной иглой (размер 23 - 25), используя инсулиновый шприц. Места инъекции не бреют. Любые потери, утечка в месте инъекции или неполное дозирование регистрируют. Суммарный объем, введенный крысе за день, не должен превышать 0,5 мл/кг массы тела.
4.11. Особенности процедуры тестирования
для агонистов андрогена
Для тестирования агонистов андрогена в качестве отрицательного контроля используют носитель, а в качестве положительного контроля - ТП. Для проверки андроген-агонистической активности выбранные дозы тестируемого вещества вводят экспериментальным группам ежедневно, в течение 10 дней подряд. Проверяют наличие статистически значимого увеличения веса пяти половых тканей в экспериментальных группах, по сравнению с группой контроля носителя.
4.12. Особенности процедуры тестирования для антагонистов
андрогена и ингибиторов 
При тестировании антагонистов андрогена и ингибиторов

группе отрицательного контроля вводят ТП, а группе положительного контроля вводят ФТ совместно с референсным агонистом ТП. Для проверки активности, характерной для антагонистов андрогена и ингибиторов

выбранные дозы тестируемого вещества и референсного ТП вводят экспериментальным группам ежедневно, в течение 10 дней подряд. Проверяют наличие статистически значимого снижения веса пяти проверяемых добавочных половых тканей в экспериментальных группах (тестируемое вещество плюс референсный ТП) по сравнению с группой отрицательного контроля (только ТПР).
5. Анализ и интерпретация данных
5.1. Клинические наблюдения
Общеклинические наблюдения проводят, по крайней мере, один раз в день, а при обнаружении признаков токсичности - более часто. Наблюдения предпочтительно проводить в то же самое время суток, с учетом интервала проявления ожидаемых пиковых эффектов после введения дозы. Все животные должны наблюдаться на предмет заболеваемости и общих клинических признаков, таких как изменения поведения, кожи, меха, глаз, слизистых оболочек, появление секреции и выделений, изменение автономной активности (например, слезоточивость, пилоэрекция, размер зрачка, необычный дыхательный паттерн).
Умершее животное удаляют из клетки и утилизируют, собранные данные в дальнейшем анализе не используют. Информацию о смерти животного документируют вместе с описанием очевидных причин гибели. Умирающих животных умерщвляют гуманным способом. Информацию об умирающих и впоследствии подвергнутых эвтаназии животных документируют с описанием очевидных причин заболевания.
5.2. Масса тела и потребление пищи
Всех животных ежедневно взвешивают с точностью до 0,1 г, начиная перед началом тестирования, когда животные уже поделены на группы. Дополнительно измеряют количество еды, потребленной в каждой клетке за время эксперимента, путем взвешивания дозаторов корма. Потребление пищи выражают в граммах на крысу за день.
5.3. Вскрытие и взвешивание тканей и органов
Спустя 24 часа после последнего введения тестируемого вещества крыс подвергают эвтаназии и обескровливают согласно обычной процедуре, принятой в лаборатории, после чего проводят аутопсию. Способ гуманного умерщвления должен быть указан в лабораторном отчете. Порядок проведения аутопсии рандомизируют по всем группам в направлении возрастания или убывания дозы. Любые особенности, обнаруженные при аутопсии, как то: патологические изменения; видимые повреждения, отмечают и протоколируют. Определяют вес пяти андрогензависимых тканей (VP, SV, LABC, COW, GP). Ткани вырезают, тщательно отделяют от излишков прилегающих тканей и жира и взвешивают непосредственно после выделения. С каждой тканью необходимо обращаться с особой осторожностью, чтобы избежать потери жидкости и обезвоживания, что может внести значительные ошибки, приводя к занижению веса и вариабельности результатов. Некоторые ткани имеют очень маленький размер или плохо поддаются диссекции, что также повышает вариабельность. Поэтому важно, чтобы персонал, проводящий диссекцию добавочных половых тканей, владел стандартными процедурами диссекции этих тканей. Стандартный протокол действий (SOP) по диссекции доступен в OECD. Тщательное практическое обучение в соответствии с руководством по диссекции (SOP) позволит минимизировать опасность увеличения вариабельности при диссекции. В идеале один и тот же прозектор должен заниматься диссекцией всех тканей, чтобы устранить межличностные различия в обработке ткани. Если это невозможно, аутопсию надо спланировать так, чтобы каждый прозектор анализировал свой вид ткани во всех группах, и не возникало ситуации, когда один человек анализирует все ткани в контрольной группе, а кто-то другой занимается тканями из экспериментальных групп. Каждую добавочную половую ткань взвешивают, не осушая, с точностью до 0,1 мг, для каждого животного регистрируют вес каждой ткани.
Некоторые ткани имеют очень маленький размер или плохо поддаются диссекции, что повышает разброс данных. Предшествовавшие исследования указали на диапазон значений коэффициента вариации (CV), который, по-видимому, определяется уровнем мастерства лаборатории. В нескольких случаях значительные различия в абсолютном весе тканей VP и COWS наблюдались в пределах одной лаборатории.
Вес печени, двух почек и двух надпочечников может измеряться дополнительно. Ткани освобождают от прилегающих фасций и жира. Вес печени определяют с точностью до 0,1 г, пару почек и пару надпочечников взвешивают с точностью до 0,1 мг, результаты взвешиваний регистрируют. Печень, почки и надпочечники находятся под влиянием андрогенов и являются индикатором системной токсичности.
Измерение уровня лютинизирующего гормона (LH), фолликулостимулирующего гормона (FSH) и тестостерона (T) в сыворотке необязательно. Однако значение уровня T в сыворотке позволяет определить, вызывает ли тестируемое вещество индукцию метаболизма тестостерона печенью, понижая его уровень в сыворотке. Не зная уровень T, этот эффект может быть приписан действию через антиандрогенный механизм. Значение уровня LH дает информацию о способности антиандрогена не только уменьшать вес органа, но и затрагивать гипоталамическо-гипофизарную функцию, что в долгосрочных исследованиях может вызвать опухоль семенников. FSH является важным гормоном сперматогенеза.
Определение уровня T4 и T3 в сыворотке также является необязательным измерением, но может дать полезную дополнительную информацию о способности тестируемого вещества нарушать гомеостаз щитовидной железы. Забор крови для измерения гормонов производят методом сердечной пункции, перед умерщвлением животных. Предварительно крыс обезболивают методом, не влияющим на измерение гормонов. Документируют способ подготовки сыворотки, производителя наборов для радиоиммуного или иного метода анализа, описание аналитических процедур и результаты измерения T и LH в виде нг/мл сыворотки.
5.4. Процедура диссекции тканей
Подробное руководство и фотографии опубликованы в качестве дополнительных материалов по программе валидизации ОЭСР. Видеозапись проведения диссекции доступна на сайте FDA Кореи (Корейское Управление по контролю за продуктами и лекарствами):
- расположив животное брюшной стороной вверх, проверьте, отделилась ли крайняя плоть члена от головки полового члена. Если это так, сдвиньте крайнюю плоть, удалите головку полового члена, взвесьте и запишите вес с точностью 0,1 мг;
- разрежьте кожу живота и вскройте брюшную полость, обнажив внутренние органы. При проведении взвешивания дополнительных органов удалите и взвесьте печень с точностью 0,1 г, удалите желудок и кишечник, удалите и взвесьте пару почек и пару надпочечников с точностью 0,1 мг. Диссекция этих органов открывает мочевой пузырь и позволяет начать диссекцию исследуемых добавочных половых тканей;
- чтобы вырезать вентральную простату (VP), отделите мочевой пузырь от мышечного слоя брюшины, разрезав соединительную ткань вдоль средней линии. Переместите мочевой пузырь антериально (вперед), к семенным пузырькам (SV), обнажив левый и правый лепестки VP (покрытые слоем жира). Тщательно отделите жир от правого и левого лепестка. Осторожно отодвиньте правый лепесток VP от уретры и отсеките его. Все еще удерживая правый лепесток, осторожно отодвиньте левый лепесток VP от уретры и тоже отрежьте; взвесьте и запишите вес с точностью 0,1 мг;
- чтобы вырезать SVCG, отодвиньте мочевой пузырь в каудальном направлении, открывая семявыносящий проток, правый и левый семенные пузырьки и свертывающую железу (SVCG). Предотвратите утечку жидкости, фиксируя кровоостанавливающий зажим у основания SVCG, где семявыносящий проток присоединяется к уретре. Осторожно отрежьте SVCG с прикрепленным зажимом, отделите жир и ткани, поместите в предварительно взвешенную лодочку, удалите зажим, взвесьте и запишите вес с точностью 0,1 мг;
- чтобы вырезать мышцу, поднимающую задний проход (LA), и луковично-пещеристую мышцу (BC), обнажите эти мышцы и основание пениса. Мышцы LA охватывают прямую кишку, а передние LA и ВС мышцы присоединены к луковице полового члена. На участке от основания полового члена до переднего конца заднего прохода удалите кожу и прилегающие ткани перианальной области. Постепенно отделите мышцы ВС от луковицы полового члена и прилегающих тканей. Прямую кишку разрежьте на две части, после чего отрежьте LABC. Вырезанные LABC освободите от жира и прилегающей ткани, взвесьте и запишите вес с точностью 0,1 мг;
- после удаления LABC становятся видны округлые бульбоуретральные железы (куперовы железы) (CG), располагающиеся дорсально относительно основания луковицы полового члена. Отделите CG с большой осторожностью, чтобы не повредить тонкую капсулу и не допустить потери жидкости. Обе CG взвесьте и запишите вес с точностью 0,1 мг;
- если во время аутопсии или диссекции произошла потеря секрета какой-либо железы, документируйте.
Если для каждого вещества необходима аутопсия большего количества животных, чем приемлемо за один день, то начало исследования распределяют на два последующих дня. Тогда аутопсию и диссекцию тоже распределяют на два дня. При этом, эксперимент планируют так, чтобы в каждый из двух дней использовалась половина животных из каждой группы.
Трупы животных после аутопсии утилизируют принятым в лаборатории способом.
Данные представляют индивидуально для каждого животного (масса тела, вес каждой добавочной половой ткани, дополнительные измерения (если проводились) и другие ответы и наблюдения), а также для каждой группы животных (средние величины и стандартные отклонения для всех проведенных измерений). Данные сводят в итоговую таблицу. В начале теста указывают число животных, павших во время теста, число животных, имевших проявления токсичности; приводят описания признаков наблюдаемой токсичности, включая время начала, продолжительность и серьезность манифестации.
6.2.
Итоговый отчет включает:
Лаборатория:
- название и адрес лаборатории;
- ответственный исполнитель, другой персонал и их обязанности по проведению тестирования;
- дата начала и конца тестирования: первый день введения тестируемого вещества и последний день проведения аутопсии соответственно.
Тестируемое вещество, реагенты и средства контроля:
- идентичность (название, CAS номер, если имеется), источник, номер партии, чистота, поставщик; характеристики тестируемого вещества;
- физико-химические свойства тестируемого вещества;
- условия хранения, методы и частота подготовки растворов тестируемых веществ, реагентов и контролей;
- стабильность тестируемого вещества;
- любые проводившиеся анализы вводимых растворов/суспензий.
Носитель:
- характеристика носителя (идентичность, поставщик, номер партии);
- обоснование выбора носителя (кроме воды).
Экспериментальные животные и их содержание:
- используемая разновидность/линия крыс, обоснование выбора;
- источник или поставщик животных, включая полный адрес;
- число и возраст поставляемых животных;
- условия содержания (температура, освещение и т.д.);
- корма (название, тип, поставщик, номер партии, состав и, если известно, уровень фитоэстрогенов);
- подстилка (название, тип, поставщик, состав);
- условия содержания в клетке и число животных на клетку.
Условия тестирования:
- возраст при кастрации и продолжительность акклиматизации после кастрации;
- вес каждого животного в начале исследования, с точностью 0,1 г;
- способ рандомизации и информация по разбивке на группы и по клеткам для контроля носителя, референсных веществ и доз тестируемого вещества;
- средняя величина и стандартное отклонение массы тела для каждой группы, для каждого дня эксперимента;
- обоснование выбора дозы;
- путь введения тестируемого вещества и обоснование выбора маршрута поступления;
- в случае теста на антиандрогенность - применение ТП (доза и объем);
- тестируемое вещество (доза и объем);
- время введения дозы;
- процедуры аутопсии, включая метод анестезии и обескровливания;
- если проводился анализ сыворотки, необходимо предоставить детали метода. Например, если используется радиоиммуный анализ (РИА): описание метода РИА, поставщик наборов РИА, сроки годности набора, процедура подсчета сцинтиляции, стандартизация протокола.
Результаты
Ежедневные наблюдения для каждого животного в ходе тестирования:
- масса тела, с точностью 0,1 г;
- клинические признаки (если таковые имелись);
- имеющиеся измерения или примечания о потреблении пищи.
Наблюдения вскрытия трупа для каждого животного:
- дата проведения аутопсии;
- принадлежность группе (контроль, тест, ТП);
- ID животного;
- прозектор;
- время суток, когда проводилась аутопсия и диссекция;
- возраст животного;
- масса тела при аутопсии, отмечая любое статистически значимое увеличение или уменьшение;
- процедура обескровливания и диссекции.
Вес пяти исследуемых целевых тканей:
- вентральная простата VP (с точностью 0,1 мг);
- семенные пузырьки и свертывающая железа (SVCG), включая содержащуюся жидкость (в паре, с точностью 0,1 мг);
- мышца, поднимающая анус, и луковично-пещеристая мышца (LABC) (с точностью 0,1 мг);
- бульбоуретральная железа (куперова железа) (COW) (с точностью 0,1 мг);
- головка полового члена (GP) (с точностью 0,1 мг).
Вес дополнительных тканей, если определялся:
- печень (с точностью 0,1 г);
- почка (пара, с точностью 0,1 мг);
- надпочечник (пара, с точностью 0,1 мг);
- общие замечания и комментарии.
Определение гормонов в сыворотке, если определялось:
- LH в сыворотке (опционально, нг/мл);
- T в сыворотке (опционально, нг/мл).
Общие замечания и комментарии.
Резюмирование данных
Данные сводят в таблицу, содержащую численность каждой группы, среднюю величину измерения, стандартную ошибку среднего или стандартное отклонение. Таблица включает: массу животного на момент аутопсии; изменение массы тела с начала введения дозы и до аутопсии; вес измерявшихся целевых тканей; вес любых дополнительно измерявшихся органов.
Обсуждение результатов
Анализ результатов
Данные по весу тела и целевых органов на момент аутопсии обрабатывают статистически для определения однородности дисперсий, используя необходимые преобразования данных. Экспериментальные группы сравнивают с контрольной группой, используя такие методы, как ANOVA, с последующим попарным сравнением (например, применяя односторонний тест Даннетта) и указанием критерия статистически значимого различия, например

<= 0,05. Группы, дающие статистически достоверные различия, отмечают. При анализе недопустимо использовать "относительный вес органа" из-за ложных статистических предположений, лежащих в основе этого преобразования данных.
Для агонистов андрогенов контролем является группа, получавшая только носитель. Особенности механизма действия тестируемого вещества могут приводить к различию относительного ответа разных тканей, так, например, тренболон, который не метаболизируется

сильнее воздействует на LABC и GP, чем на ТР. Положительным результатом для андроген-агонистической активности считается статистически значимое

<= 0,05) увеличение веса любых двух или более из пяти измеряемых целевых андроген-зависимых тканей (VP, LABC, GP, CG и SVCG). При этом все целевые ткани должны показать определенное увеличение массы. Используя соответствующий многофакторный анализ можно проанализировать увеличение суммарного веса исследуемых тканей. Это может повысить качество анализа, особенно в тех случаях, когда только одна ткань дает статистически значимый ответ.
Для антагонистов андрогенов контролем является группа, получавшая только референсный андроген ТР. Особенности механизма действия тестируемого вещества могут приводить к различию относительного ответа разных тканей. Например, ингибиторы

такие как финастерид, сильнее воздействуют на вентральную простату, чем на другие ткани, по сравнению с сильными антагонистами AR, такими как флутамид. Положительным результатом для андроген-антагонистической активности считается статистически значимое

<= 0,05) уменьшение веса любых двух или более из пяти измеряемых целевых андроген-зависимых тканей (VP, LABC, GP, CG и SVCG) по отношению к контрольному референсному андрогену ТП. При этом все целевые ткани должны показать определенное уменьшение массы. Используя соответствующий многофакторный анализ, можно проанализировать суммарный отклик исследуемых тканей. Это может повысить качество анализа, особенно в тех случаях, когда только одна ткань дает статистически значимый ответ.
Данные сводят в таблицу, содержащую среднее, стандартную ошибку среднего (или стандартное отклонение), объем выборки для каждой группы. Таблицы данных должны быть включены. Индивидуальные значения, средние величины, SE (SD) и CV результатов контрольных групп проверяют на соответствие ранее наблюдавшимся значениям. Для значений CV, превышающих CV, представленных в таблице для веса каждого органа, определяют, не допущена ли ошибка при записи или вводе данных, или лаборатория не владеет диссекцией исследуемых андроген-зависимых тканей, и необходимо дальнейшее обучение и практика. Обычно величины CV воспроизводимы между лабораториями и между исследованиями. Представленные данные должны включать, по крайней мере: вентральную простату (VP), семенные пузырьки (SVCG), мышцу, поднимающую анус, и луковично-пещеристую мышцу (LABC), бульбоуретральную железу (CG), головку полового члена (GP), печень, вес тела и изменение массы тела с начала введения доз до момента аутопсии. Если в какой-то из групп не наблюдается отделения крайней плоти, эти случаи регистрируют и анализируют по сравнению с контрольной группой, используя точный тест Фишера.
Если при проверке данных, введенных в компьютер, в сравнении с оригинальными экспериментальными записями обнаруживают значения веса ткани, являющиеся биологически маловероятными, или превышающее среднее для данной группы на три стандартных отклонения, результат тщательно проверяют и исключают из анализа.
Сравнение результатов исследования и OECD значений CV
(таблица) является важным шагом в интерпретации относительно достоверности результатов исследования. Все полученные данные для групп контроля носителя должны сохраняться в лаборатории. Все полученные данные для групп положительных референсных веществ, таких как ТП и ФТ, также должны сохраняться в лаборатории. Лаборатории также могут периодически проверять действие известных слабых агонистов и антагонистов андрогенов и сохранять эти данные в лаборатории. Эти результаты можно сравнить с доступными данными OECD, чтобы гарантировать, что качество работы лаборатории обеспечивает достаточную точность и мощность статистического анализа результатов.
ИССЛЕДОВАНИЕ ТРАНСКРИПЦИОННОЙ АКТИВАЦИИ, ОПОСРЕДОВАННОЙ
СТАБИЛЬНО ТРАНСФИЦИРОВАННЫМ ЧЕЛОВЕЧЕСКИМ

ЭСТРОГЕНА, ДЛЯ ВЫЯВЛЕНИЯ ЭСТРОГЕН-АГОНИСТИЧЕСКОЙ
АКТИВНОСТИ ВЕЩЕСТВ
Идентичен международному документу OECD TG N 455 "Stably Transfected Human Estrogen

Transcriptional Activation Assay for Detection of Estrogenic Agonist-Activity of Chemicals" (ОЭСР Руководство N 455 "Исследование транскрипционной активации, опосредованной стабильно трансфицированным человеческим

эстрогена, для выявления эстроген-агонистической активности веществ"). Перевод с английского языка (en). Степень соответствия - модифицированный (MOD).
1.1. Настоящий документ устанавливает требования к методам транскрипционной активации, опосредованной связыванием вещества с человеческим

эстрогена, для выявления эстроген-агонистической активности химических веществ и продукции на их основе (далее - веществ).
1.2. Концептуальные основы ОЭСР для оценки и тестирования потенциальных веществ-разрушителей эндокринной системы были заложены в 1998 г. и пересмотрены в 2012 г. Исходные и пересмотренные Руководства представлены в качестве приложений к Руководящему Документу ОЭСР N 150. Концептуальная основа ОЭСР включает пять уровней, каждый из которых соответствует различному уровню биологической сложности. Тестирование на активацию транскрипции (ТА), описанное в настоящем методе рекомендациях, относится к уровню 2 - "in vitro анализ, позволяющий получить информацию об определенных эндокринном(ых) механизме(ах)".
| | ИС МЕГАНОРМ: примечание. В официальном тексте документа, видимо, допущена опечатка: имеется в виду приложение 6.6.3.2, а не приложение 6.5.3.2. | |
1.3. Настоящим документом описывают методологию
in vitro трансактивации стабильно трансфицированных репортеров для выявления агонистов рецептора эстрогена (ER ТА-анализ). Они включают в себя несколько механистически и функционально подобных методов тестирования для идентификации агонистов рецепторов эстрогена (например, агонистов ERa и/или ERP) и должны способствовать развитию новых подобных или модифицированных методов испытаний в соответствии с принципами валидизации, изложенными в Руководящем документе ОЭСР N 34. Основу данного документа составляют два полностью валидизированных метода, приведенных в
прилож. 6.6.3.1 и
6.5.3.2:
- анализ активации стабильно трансфицированных конструктов (STTA) с использованием клеточной линии

- BG1Luc ER ТА-анализ с использованием клеточной линии BG1Luc-4E2, экспрессирующей в основном

с незначительным

1.4. Имеющиеся функциональные требования (Performance standards PS) позволят облегчить разработку и проверку аналогичных методов тестирования, а также своевременно вводить изменения и добавлять другие аналогичные методы тестирования в настоящий документ. Однако сходные методы испытаний можно будет добавлять только после всестороннего рассмотрения и проверки соответствия стандартам эффективности. Методы тестирования, включенные в настоящие методические рекомендации, можно будет использовать взаимозаменяемо в зависимости от условий и требований разных стран к проведению тестирования трансактивации рецептора эстрогена, сохраняя при этом возможность взаимного признания данных.
2.1. Взаимодействие эстрогенов с ER может влиять на ТА генов, находящихся под контролем эстрогена, что может приводить к индукции или ингибированию клеточных процессов, в том числе необходимых для пролиферации клеток, нормального развития плода, и нормальной репродуктивной функции. Нарушения нормального функционирования эстрогенной системы могут вызывать нежелательное воздействие на нормальный ход развития (онтогенез), репродуктивное здоровье и согласованность действия эндокринной системы в целом.
2.2.
In vitro ТА-анализ основан на связывании исследуемого вещества с определенным рецептором, приводящим к последующей активации транскрипции и экспрессии репортерного гена. Давно используется ТА-анализ активации репортерных генов для скрининга и оценки экспрессии конкретных генов, регулируемых специфическими ядерными рецепторами, такими как рецепторы эстрогена (ERs). Этот тип анализа был предложен для выявления эстрогенной трансактивации, регулируемой ER. Существует, по крайней мере, два основных подтипа ядерных ER -

и

кодируемых отдельными генами и отличающихся своей тканевой локализацией, относительной аффинностью и биологическими функциями. Ядерный

опосредует классический эстрогенный ответ, поэтому модели, используемые в настоящее время для измерения активации ER, в основном задействуют

Предлагаемые методы основаны на том, что вещество-ER-агонист способно связываться с ER, образовавшийся лиганд-рецепторный комплекс связывается со специфическим ER-эффекторным участком ДНК и трансактивирует репортерный ген, что приводит к увеличению экспрессии белка-репортера. Для детекции ER ТА могут использовать различные репортерные системы. В системе с использованием люциферазы, фермент люцифераза превращает субстрат люциферин в люминесцентный продукт, который можно количественно определить на люминометре. Другими примерами обычно используемых репортеров являются флюоресцентные белки и LacZ ген, кодирующий

фермент, трансформирующий бесцветный субстрат X-gal (5-бромо-4-хлоро-индолил-галактопиранозид) в продукт синего цвета, который можно количественно измерить на спектрофотометре. Имеются коммерческие наборы для малозатратного и быстрого определения данных репортеров.
2.3. Валидизационные исследования STTA и BG1Luc ТА-тестирования продемонстрировали их применимость и надежность для предлагаемой области применения. Функциональные требования к тестам ER ТА с использованием люминесценции и клеточных линий производных от клеток яичников включены в ICCVAM Отчет по оценке метода тестирования

ER (BG1Luc ER ТА):
in vitro метод для определения химических веществ - hER агонистов и антагонистов. Эти функциональные требования подверглись модификации, чтобы быть применимыми в обоих методах тестирования: STTA и BG1Luc ТА.
3. Назначение и ограничения ТА-анализа
3.1. Данные методы тестирования предложены для скрининговой оценки веществ и выбора приоритетных для дальнейших исследований. Методы основаны на ТА, вызванной связыванием тестируемого вещества с эстрогеновыми рецепторами (ER) in vitro. Соответственно, результаты тестирования нельзя напрямую переносить на передачу сигналов и регуляцию в интактной эндокринной системе in vivo.
3.2. Активация транскрипции (ТА), опосредованная ER, считается одним из ключевых механизмов действия эндокринных разрушителей (ЭР) на организм, хотя существуют и другие пути действия ЭР. Они включают:
- действие через другие ядерные рецепторы, связанные с эндокринной системой и стероидогенными ферментами;
- метаболическую активацию или инактивацию гормонов;
- распределение гормонов в тканях-мишенях;
- элиминацию гормонов.
Ни один из методов тестирования, представленных в настоящем документе, не предназначен для рассмотрения этих возможных механизмов действия.
3.3. Настоящий документ рассматривает выявление веществ, способных активировать (т.е. действовать в качестве агонистов), а не подавлять ER-зависимую транскрипцию (т.е. действовать в качестве антагонистов). Поэтому вещества, классифицированные как отрицательные рассматриваемыми методами тестирования, необходимо протестировать на связывание с ER или использовать тест, способный определять ER-антагонистов, прежде чем полагать, что вещество не связывается с рецептором. Вдобавок, данные методы, вероятнее всего, позволят оценить ER-агонистическую активность только исходного вещества, поскольку способности in vitro клеточных систем метаболизировать исходное вещество сильно ограничены. При валидизации метода использовались только индивидуальные вещества, пригодность метода для тестирования смесей веществ не изучалась.
3.4. В порядке информации в
табл. 6.6.3.1 представлены результаты для 34 веществ, проанализированных в ходе валидизации обоих методов тестирования, описанных в настоящих методических рекомендациях. Из этих веществ 26 классифицируются как безусловные ER-агонисты и 8 - как отрицательные на основании данных опубликованных отчетов, в том числе
in vitro анализов связывания вещества с ER, результатов ТА и/или утеротропного анализа. Относительно веществ, представленных в
табл. 6.6.3.1, имелось 100%-е соответствие между двумя методами тестирования применительно к классификации всех веществ. Каждое вещество было правильно классифицировано как ER-агонист, или как ER-антагонист. Дополнительная информация по этой группе веществ, равно как и других дополнительных веществ, протестированных методами STTA и BG1Luc ER ТА в ходе валидизационных исследований, представлена в Стандартах эффективности для ER ТА [Performance Standards for the ERTA] и в
прилож. 6.6.3.1 (
табл. 6.6.3.1.1,
6.6.3.1.2 и
6.6.3.1.3).
4. Описание ER ТА-метода тестирования
4.1. Необходимые составляющие метода тестирования
Настоящий документ применим к методам тестирования, использующим стабильно трансфицированный или эндогенный

и стабильно трансфицированный конструкт, содержащий ген-репортер под контролем одного или нескольких эстроген-эффекторных элементов, тем не менее могут присутствовать и другие рецепторы, такие как

Перечисленные являются необходимыми составляющими метода тестирования.
4.2. Контрольные вещества
Должны быть представлены основания для одновременно используемых контролей и референсного эстрогена. Одновременные контроли (отрицательный, положительный и контроль растворителя) служат для подтверждения того, что метод тестирования работает в данной конкретной постановке, и служат основой для сравнения проводимых тестирований друг с другом. Обычно контроли являются одним из критериев проверки приемлемости каждого конкретного тестирования.
4.3. Стандартная процедура контроля качества
Стандартная процедура контроля качества должна выполняться в соответствии с протоколом при каждом тестировании, чтобы гарантировать, что клеточная линия продолжает оставаться стабильной на протяжении многих пассажей, остается незараженной микоплазмой и сохраняет способность выдавать ожидаемый ER-опосредованный ответ. Соответствие характеристик клеточной линии должно подтверждаться дополнительными проверками, также необходимы проверки на отсутствие других заражений (например, грибами, дрожжами и вирусами).
4.4. Подтверждение технической компетентности лаборатории
Прежде чем приступить к тестированию неизвестных веществ любым из методов каждая лаборатория должна продемонстрировать необходимое владение используемым методом путем тестирования 14 веществ из списка оценки технической компетентности
(табл. 6.6.3.2). Даная проверка технической компетентности также служит подтверждением чувствительности тест-системы. Вещества для оценки технической компетентности являются выборкой из списка "Референсных веществ", представленных в стандартах эффективности для ER ТА-анализа. Эти вещества коммерчески доступны, представляют классы химических веществ, обычно связанных с ER-агонистической активностью, попадают в подходящий диапазон активности ER-агонистов: от сильных до слабых и до отрицательных. Тестирование этих веществ должно проводиться, как минимум, в двух независимых повторностях, причем в различные дни. Техническая компетентность заключается в правильной классификации (положительное/отрицательное) каждого из 14 веществ. Каждый работник при обучении методам тестирования должен проходить подтверждение технической компетентности.
Таблица 6.6.3.1
Сравнение результатов STTA и BG1Luc ER ТА-анализа
для веществ, проверенных обоими методами тестирования
и классифицированных как положительные (ER-агонисты)
или как отрицательные
N | Вещество | CAS RN | | | Данные для классификации <4> |
ER ТА-активность | PC10 (M) | | ER ТА-активность | | | ER-связывание | Утеротропность |
1 | 2 | 3 | 4 | 5 | 6 | 7 | 8 | 9 | 10 | 11 |
1 | | 50-28-2 | POS | < 1,00 x 10-11 | < 1,00 x 10-11 | POS | 5,63 x 10-12 | POS (227/227) | POS | POS |
2 | | 57-91-0 | POS | 7,24 x 10-11 | 6,44 x 10-10 | POS | 1,40 x 10-9 | POS (11/11) | POS | POS |
3 |  Этинилэстрадиол <a> | 57-63-6 | POS | < 1,00 x 10-11 | < 1,00 x 10-11 | POS | 4,20 x 10-8 | POS (22/22) | POS | POS |
4 | | 10161-33-8 | POS | 1,78 x 10-8 | 2,73 x 10-7 | POS | 7,31 x 10-12 | POS (2/2) | NT | NT |
5 | | 434-22-0 | POS | 9,64 x 10-9 | 2,71 x 10-7 | POS | 1,80 x 10-6 | POS (4/4) | POS | POS |
6 | | 599-64-4 | POS | 1,49 x 10-7 | 1,60 x 10-6 | POS | 3,20 x 10-7 | POS (5/5) | POS | NT |
7 | | 140-66-9 | POS | 1,85 x 10-9 | 7,37 x 10-8 | POS | 3,19 x 10-8 | POS (21/24) | POS | POS |
8 | | 520-36-5 | POS | 1,31 x 10-7 | 5,71 x 10-7 | POS | 1,60 x 10-6 | POS (26/26) | POS | NT |
9 | | 1912-24-9 | NEG | - | - | NEG | - | NEG (30/30) | NEG | NT |
10 | | 80-05-7 | POS | 2,02 x 10-8 | 2,94 x 10-7 | POS | 5,33 x 10-7 | POS (65/65) | POS | POS |
11 | | 77-40-7 | POS | 2,36 x 10-8 | 2,11 x 10-7 | POS | 1,95 x 10-7 | POS (6/6) | POS | POS |
12 | | 85-68-7 | POS | 1,14 x 10-6 | 4,11 x 10-6 | POS | 1,98 x 10-6 | POS (12/14) | POS | NEG |
13 | | 50-22-6 | NEG | - | - | NEG | - | NEG (6/6) | NEG | NT |
14 | | 479-13-0 | POS | 1,23 x 10-9 | 2,00 x 10-8 | POS | 1,32 x 10-7 | POS (30/30) | POS | NT |
15 | | 486-66-8 | POS | 1,76 x 10-8 | 1,51 x 10-7 | POS | 7,95 x 10-7 | POS (39/39) | POS | POS |
16 | | 56-53-1 | POS | < 1,00 x 10-11 | 2,04 x 10-11 | POS | 3,34 x 10-11 | POS (42/42) | POS | NT |
17 | Ди-н-бутилфталат | 84-74-2 | POS | 4,09 x 10-6 | | POS | 4,09 x 10-6 | POS (6/11) | POS | NEG |
18 | Этилпарабен | 120-47-8 | POS | 5,00 x 10-6 | (по PC50) | POS | 2,48 x 10-5 | POS | | NT |
19 | | 53-16-7 | POS | 3,02 x 10-11 | 5,88 x 10-10 | POS | 2,34 x 10-10 | POS (26/28) | POS | POS |
20 | | 446-72-0 | POS | 2,24 x 10-9 | 2,45 x 10-8 | POS | 2,71 x 10-7 | POS (100/102) | POS | POS |
21 | Галоперидол | 52-86-8 | NEG | - | - | NEG | - | NEG (2/2) | NEG | NT |
22 | | 520-18-3 | POS | 1,36 x 10-7 | 1,21 x 10-6 | POS | 3,99 x 10-6 | POS (23/23) | POS | NT |
23 | | 143-50-0 | POS | 7,11 x 10-7 | 7,68 x 10-6 | POS | 4,91 x 10-7 | POS (14/18) | POS | NT |
24 | Кетоконазол | 65277-42-1 | NEG | - | - | NEG | - | NEG (2/2) | NEG | NT |
25 | | 330-55-2 | NEG | - | - | NEG | - | NEG (8/8) | NEG | NT |
26 | | 84-16-2 | POS | < 1,00 x 10-11 | 2,75 x 10-11 | POS | 1,65 x 10-11 | POS (4/4) | POS | NT |
27 | | 58-18-4 | POS | 1,73 x 10-7 | 4,11 x 10-6 | POS | 2,68 x 10-6 | POS (5/6) | POS | NT |
28 | Морин | 480-16-0 | POS | 5,43 x 10-7 | 4,16 x 10-6 | POS | 2,37 x 10-6 | POS (2/2) | POS | NT |
29 | | 68-23-5 | POS | 1,11 x 10-11 | 1,50 x 10-9 | POS | 9,39 x 10-10 | POS (5/5) | POS | NT |
30 |  <a> | 72-43-5 | POS | 1,23 x 10-6 | (по PC50)b | POS | 1,92 x 10-6 | POS (24/27) | POS | POS |
31 | | 57-30-7 | NEG | - | - | NEG | - | NEG (2/2) | NEG | NT |
32 | Резерпин | 50-55-5 | NEG | - | - | NEG | - | NEG (4/4) | NEG | NT |
33 | | 52-01-7 | NEG | - | - | NEG | - | NEG (4/4) | NEG | NT |
34 | Тестостерон | 58-22-0 | POS | 2,82 x 10-8 | 9,78 x 10-6 | POS | 1,75 x 10-5 | POS (5/10) | POS | NT |
Сокращения:
CAS RN = Chemical Abstracts Service Registry Number;
M = молярность;
EC50 = среднеэффективная концентрация исследуемого вещества;
NEG = отрицательный ответ;
POS = положительный ответ;
PC10 и PC50 = концентрация тестируемого вещества, при которой ответ составляет соответственно 10 или 50% от величины ответа, вызванного положительным контролем (E2, InM) на каждом планшете.
--------------------------------
<a> Химические вещества, проверявшиеся методами STTA и BG1Luc ER ТА-анализа, которые были классифицированы как положительные (ER-агонисты) или отрицательные, и использовались в валидизационном исследовании BG1Luc ER ТА-анализа для оценки точности метода (ICCVAM BG1Luc ER ТА Evaluation Report, Table 4 - 10
[3].
<b> Максимальная концентрация, проверявшаяся в случае отсутствия цитотоксичности и нерастворимости вещества, составляла 1 x 10
-5 M (для STTA-анализа) и 1 x 10
-3 M (для BG1Luc ER ТА-анализа).
<c> Число в скобках представляет количество результатов, классифицированных как положительные (POS) или отрицательные (NEG), из общего числа проведенных референсных исследований.
<1> Значения, приведенные в черновом Отчете по превалидизации и в отчете по межлабораторной валидизации STTA-анализа для определения эстрогенной активности - Анализ трансактивации гена-репортера, опосредованный рецептором

с использованием клеточной линии hER-HeLa-9903
[30].
<2> ICCVAM Отчет по оценке метода тестирования

ER (BG1Luc ER ТА):
In Vitro метод для определения ER-агонистов и антагонистов
[3].
<3> Средние значения EC50 рассчитывались на основе данных, предоставленных лабораториями, проводившими валидизацию BG1Luc ER ТА-анализа (XDS, ECVAM, and Hiyoshi)
[3].
<4> Классификация вещества как проявляющего положительный эффект (ER-агониста) (POS) или не проявляющего такой эффект (отрицательный) (NEG), основывалась на информации, содержащейся в ICCVAM Обзоре литературы по методам тестирования связывания с ER и по методам ТА [
31,
32], а также на информации, полученной из публикаций, вышедших и рассматривавшихся после завершения ICCVAM BRD
S [
3,
18,
30,
32,
33,
34,
35].
Таблица 6.6.3.2
Список 14 референсных веществ для оценки
технической компетентности <8>
| Химическое название | CAS RN | | STTA-анализ | BG1Luc ER ТА-анализ | Класс химического вещества по MeSH <5> | |
| | Диапазон проверявшихся концентраций (M) | BglLuc EC50 значение (M) <3> | Максимальная концентрация при оценке диапазона (M) <4> |
14 | Диэтилстибестрол | 56-53-1 | POS | < 1,00 x 10-11 | 2,04 x 10-11 | 10-14 - 10-8 | 3,34 x 10-11 | 3,73 x 10-4 | Углеводород (циклический) | Фармацевтическое, Ветеринарное средство |
12 | | 57-91-0 | POS | 4,27 x 10-11 | 6,44 x 10-10 | 10-11 - 10-5 | 1,40 x 10-9 | 3,67 x 10-3 | Стероид | Фармацевтическое, Ветеринарное средство |
15 | meso-Гексестрол | 84-16-2 | POS | < 1,00 x 10-11 | 2,75 x 10-11 | 10-11 - 10-5 | 1,65 x 10-11 | 3,70 x 10-3 | Углеводород (циклический), фенол | Фармацевтическое, Ветеринарное средство |
11 | 4-tert-Октилфенол | 140-66-9 | POS | 1,85 x 10-9 | 7,37 x 10-8 | 10-11 - 10-5 | 3,19 x 10-8 | 4,85 x 10-3 | Фенол | Промежуточный химический продукт |
9 | Генистеин | 446-72-0 | POS | 2,24 x 10-9 | 2,45 x 10-8 | 10-11 - 10-5 | 2,71 x 10-7 | 3,70 x 10-4 | Флавоноид, Гетероциклическое соединение | Природное, Фармацевтическое средство |
6 | Бисфенол А | 80-05-7 | POS | 2,02 x 10-8 | 2,94 x 10-7 | 10-11 - 10-5 | 5,33 x 10-7 | 4,38 x 10-3 | Фенол | Промежуточный химический продукт |
2 | Кемпферол | 520-18-3 | POS | 1,36 x 10-7 | 1,21 x 10-6 | 10-11 - 10-5 | 3,99 x 10-6 | 3,49 x 10-3 | Флавоноид, Гетероциклическое соединение | Природный продукт |
3 | Бутилбензилфталат | 85-68-7 | POS | 1,14 x 10-6 | 4,11 x 10-6 | 10-11 - 10-5 | 1,98 x 10-6 | 3,20 x 10-4 | Карбоновая кислота, Эфир, Фталевая кислота | Пластификатор, Промышленное вещество |
4 | | 72-43-5 | POS | 1,23 x 10-6 | - | 10-11 - 10-5 | 1,92 x 10-6 | 2,89 x 10-3 | Углеводород (галогенированный) | Пестицид, Ветеринарный препарат |
1 | Этилпарабен | 120-47-8 | POS | 5,00 x 10-6 | - | 10-11 - 10-5 | 2,48 x 10-5 | 6,02 x 10-3 | Карбоновая кислота, Фенол | Фармпрепарат, Консервант |
17 | Атразин | 1912-24-9 | NEG | - | - | 10-10 - 10-4 | - | 4,64 x 10-4 | Гетероциклическое соединение | Гербицид |
20 | Спиронолактон | 52-01-7 | NEG | - | - | 10-11 - 10-5 | - | 2,40 x 10-3 | Лактон, Стероид | Фармпрепарат |
21 | Кетоконазол | 65277-42-1 | NEG | - | - | 10-11 - 10-5 | - | 9,41 x 10-5 | Гетероциклическое соединение | Фармпрепарат |
22 | Резерпин | 50-55-5 | NEG | - | - | 10-11 - 10-5 | - | 1,64 x 10-3 | Гетероциклическое соединение, Индол | Фармацевтическое, Ветеринарное средство |
Сокращения:
CAS RN = Chemical Abstracts Service Registry Number;
M = молярность;
EC50 = среднеэффективная концентрация исследуемого вещества;
NEG = отрицательный ответ;
POS = положительный ответ;
PC10 и PC50 = концентрация тестируемого вещества, при которой ответ составляет соответственно 10 или 50% от величины ответа, вызванного положительным контролем (E2, InM) на каждом планшете.
--------------------------------
<1> Классификация вещества как проявляющего положительный эффект (ER-агониста) (POS) или не проявляющего такой эффект (отрицательный) (NEG), основывалась на информации, содержащейся в ICCVAM Обзоре литературы по методам тестирования связывания с ER и по методам ТА [
31,
32], а также на информации, полученной из публикаций, вышедших и рассматривавшихся после завершения ICCVAM BRD
S [
3,
18,
30,
32,
33,
34,
35].
<2> Значения, приведенные в черновом отчете по превалидизации и в отчете по межлабораторной валидизации STTA-анализа для определения эстрогенной активности - Анализ трансактивации гена-репортера, опосредованный рецептором

с использованием клеточной линии hER-HeLa-9903
[30].
<3> Средние значения EC50 рассчитывались на основе данных, предоставленных лабораториями, проводившими валидизацию BG1Luc ER ТА-анализа (XDS, ECVAM, and Hiyoshi)
[3].
<4> Приведенные концентрации являлись наибольшими из проверявшихся в ходе валидизации BG1Luc ER ТА-анализа (при проверке диапазона действия). Если в разных лабораториях использовались разные концентрации, в таблице приводится наибольшая из концентраций. См. табл. 4 - 10 в ICCVAM Отчете по оценке метода тестирования

ER (BG1Luc ER ТА):
In Vitro метод для определения ER-агонистов и антагонистов
[3]
<5> Вещества относили к одному или нескольким химическим классам на основании MeSH (U.S. National Library of Medicine's Medical Subject Headings (MeSH), международно признанной стандартизированной системы классификации (доступна по адресу: http://www.nlm.nih.gov/mesh).
<6> Вещества относили к одному или нескольким классам опасных продуктов на основании (U.S. National Library of Medicine's Hazardous Substances Database) (доступна по адресу: http://toxnet.nlm.nih.gov/cgi-bin/sis/htmlgen?HSDB).
<7> Из табл. 1 - функциональные требования
[6].
<8> Если референсное вещество более коммерчески недоступно, можно использовать другое вещество с той же самой классификацией MeSH и токсичности, при условии сопоставимой силы и аналогичного механизма действия.
5. Анализ и интерпретация данных
5.1. Критерии приемлемости теста
Принятие или исключение теста из дальнейшего рассмотрения основывается на анализе результатов, полученных для референсного эстрогена и остальных контролей в каждом эксперименте. Значения PC
50 or EC
50 для референсного эстрогена должны соответствовать критериям приемлемости соответствующего метода тестирования (см.
прилож. 6.6.3.1 для STTA и
прилож. 6.6.3.2 для BG1Luc ER ТА), при этом в каждом эксперименте все положительные и отрицательные контроли должны быть классифицированы правильно. Способность воспроизводимо проводить тестирования должна подтверждаться данными долговременной базы результатов тестирования, содержащей данные по референсному эстрогену и контролям.
В качестве показателя внутрилабораторной воспроизводимости может использоваться стандартное отклонение (SD) или коэффициент вариации (CV) средних параметров кривой концентрация-ответ для референсного эстрогена по результатам многих экспериментов.
Кроме того, должны выполняться следующие условия:
- полученные данные должны быть достаточными для количественной оценки ER активации (эффективности и силы вещества);
- чтобы обеспечить необходимую чувствительность, средняя величина активности репортера для эталонных концентраций референсного эстрогена, рассматриваемая относительно контроля носителя (растворителя), должна быть не меньше указанной для используемых методов. Для STTA и BG1Luc ER-методов анализа это соответствует четырехкратному превышению над средней величиной для контроля носителя на каждом планшете;
- используемые концентрации тестируемого вещества не должны превышать пределов растворимости и не должны вызывать цитотоксичности.
Для классификации положительного и отрицательного ответа должны использоваться строго определенные процедуры интерпретации данных.
Соответствие критериям приемлемости теста
(5.1) говорит только о том, что процедура тестирования проводится надлежащим образом, но это не гарантирует получения точных данных в каждом конкретном тестировании. Повторение результатов первого тестирования является наилучшим подтверждением правильности полученных результатов. Если два повтора дают воспроизводимые результаты (например, в обоих повторах вещество идентифицировано как положительное), то нет необходимости проводить тестирование в третий раз.
Если два повтора не дают воспроизводимых результатов (например, вещество идентифицировано как положительное в одном повторе и как отрицательное в другом) или требуется большая степень достоверности результатов тестирования, то следует провести как минимум три независимых повтора тестирования.
5.3. Общие критерии интерпретации данных
В настоящий момент не существует полного согласия по способу интерпретации данных ER ТА. Однако как качественные (например: положительный/отрицательный), так и количественные (например: EC50, PC50) оценки ER-опосредованной активации, должны основываться на накопленных эмпирических данных и хорошо обоснованных научных суждениях. Насколько возможно, положительные результаты должны характеризоваться как величиной относительной активации по сравнению с носителем (растворителем) или по сравнению с референсным эстрогеном, так и характерной концентрацией, при которой данный эффект обнаруживается (например EC50, PC50, RPCMax и т.п.).
6. Подготовка тестового отчета
Отчет по каждому тесту должен содержать следующую информацию:
Метод тестирования:
- используемый метод тестирования.
Тестируемое вещество:
- идентификационные данные и CAS-номер, если известно;
- физическая природа и чистота;
- физико-химические свойства, существенные для проводимого исследования;
- стабильность тестируемого вещества.
Растворитель/носитель:
- характеристика (природа вещества, поставщик и партия);
- обоснование выбора растворителя/носителя;
- растворимость и стабильность тестируемого вещества в растворителе/носителе, если известно.
Клетки:
- тип клеток и их источник:
- имеется ли экспрессия эндогенного ER? Если нет, какой (какие) рецептор(ы) были трансфицированы в клетки?
- используемые репортерные конструкты (с указанием организма-источника ДНК)
- метод трансфекции;
- метод селекции, используемый для поддержания стабильных трансфектантов (если необходимо);
- применимость метода трансфекции для получения стабильных клеточных линий;
- число пассажей клеток (после размораживания);
- номер пассажа размораживаемых клеток;
- методы ведения клеточных культур.
Условия проведения теста:
- ограничения растворимости тестируемого вещества;
- описание используемого метода оценки жизнеспособности клеток;
- состав питательной среды, концентрация CO2;
- концентрация тестируемого вещества;
- объемы добавляемого носителя и тестируемого вещества;
- температура инкубации и влажность;
- продолжительность воздействия;
- плотность клеток в начале и во время теста;
- положительные и отрицательные референсные химические вещества;
- реактивы для определения активации (название, поставщик и партия);
- критерии приемлемости теста и интерпретации результатов (положительные, отрицательные или неопределенные).
Проверка надежности:
- кратность индукции для каждого планшета, а также соответствие минимально достаточной для используемого метода тестирования;
- фактические значения lgEC50, lgPC50, lgPC10 и коэффициента Хилла для параллельно используемых контролей/референсных веществ.
Результаты:
- исходные и нормализованные данные;
- максимальная кратность индукции;
- данные по цитотоксичности;
- минимальная эффективная концентрация (LEC), если существует;
- RPCMax-, PCMax-, PC50- и/или EC50-значения, если определены;
- данные по зависимости концентрация-эффект, где это возможно;
- статистический анализ, если использовался, вместе с оценкой ошибки (например SEM, SD, CV или 95%-й доверительный интервал) и описанием способа расчета этих значений.
Обсуждение результатов.
Заключение.
ВЫЯВЛЕНИЕ ЭСТРОГЕН-АГОНИСТИЧЕСКОЙ АКТИВНОСТИ ВЕЩЕСТВ МЕТОДОМ
ТРАНСКРИПЦИОННОЙ АКТИВАЦИИ, ОПОСРЕДОВАННОЙ СТАБИЛЬНО
ТРАНСФЕЦИРОВАННЫМ ЧЕЛОВЕЧЕСКИМ

ЭСТРОГЕНА
В КЛЕТОЧНОЙ ЛИНИИ

1. Общие положения и ограничения
1.1. В данном методе трансактивационного анализа используется клеточная линия

для выявления hER-опосредованной активации транскрипции веществами с ER-агонистической активностью. Валидизация ТА (Stably Transfected Transactivation Assay /STTA/), проведенная Научно-исследовательским институтом изучения веществ Японии (CERI) с использованием клеточной линии

продемонстрировала надежность анализа и соответствие предполагаемой цели применения - выявлению эстроген-агонистической активности веществ с помощью стабильно трансфецированного человеческого альфа-рецептора эстрогена
[2].
1.2. Этот метод анализа специально разработан для выявления

ТА путем измерения хемилюминесценции по конечной точке. Однако при тестировании фитоэстрогена в концентрациях более 1

была зафиксирована люминесценция в результате гиперактивации люциферазного репортера, не связанная с взаимодействием лиганда с рецептором [
10,
11]. Кривая доза-эффект показала, что истинная активация ER системы происходит при более низких концентрациях. Экспрессия люциферазы, наблюдаемая при высоких концентрациях фитоэстрогенов или подобных веществ в связи со сверх активацией репортерного гена люцефиразы, нуждается в более осторожном подходе при исследовании в условиях данной тест-системы
(Дополнение 6.6.3.1.1).
1.3. Перед использованием этого метода в регуляторных целях Область применения
(п. 1) и Описание ER ТА-метода тестирования
(п. 4) в основном документе должны быть внимательно изучены.
2. Принцип метода тестирования
2.1. Метод используется для выявления связывания рецептора эстрогена с лигандом. После связывания лиганда с рецептором эстрогена сформировавшийся лиганд-рецепторный комплекс перемещается в ядро, где связывается со специфическим регуляторным участком ДНК, что приводит к трансактивации репортерного гена, кодирующего фермент люциферазу и к увеличению экспрессии люциферазы. Люцифераза действует на свой субстрат, вещество люциферин, трансформируя его в биолюминесцентный продукт, который может быть количественно измерен с помощью люминометра. Активность люциферазы можно быстро и недорого определить с помощью коммерчески доступных тестовых наборов.
2.2. Тестовая система с использованием клеточной линии

создана на основе человеческой цервикальной опухоли методом стабильной трансфекции. Для трансфекции были использованы следующие конструкты: 1) конструкт, экспрессирующий

(содержащий полноразмерную кодирующую последовательность человеческого рецептора), и 2) репортерный конструкт, кодирующий люциферазу светлячка под ТАТА-элементом промотера гена мышиного металлотионина (МТ) с пятью тандемно повторяющимися эстроген-эффекторными элементами (ERE) из гена вителлогенина. Конструкты на основе МТ ТАТА-элемента обеспечивают наилучшие результаты, и потому широко используются. Таким образом, используя клеточную линию

можно измерять способность тестируемого вещества вызывать

трансактивацию гена люциферазы.
2.3. Интерпретация результатов данного анализа основана на определении эквивалентности максимального ответа, вызванного тестируемым веществом, 10% величины ответа, вызванного концентрацией (1 nM)

эстрадиола (E2), используемого в качестве положительного контроля (PC) (т.е. PC10). Более детально анализ и интерпретация результатов описаны в
пп. 4.2 -
4.12.
Клеточные линии
3.1. В данном тестировании используют стабильно трансфецированную клеточную линию

Клеточная линия может быть получена из Клеточного Банка (Cell Bank) Японской Коллекции исследовательских биоресурсов (JCRB)
<6> после подписания соответствующего соглашения о передаче биологических материалов - Material Transfer Agreement (МТА).
--------------------------------
<6> JCRB Cell Bank: National Institute of Biomedical Innovation, 7-6-8 Asagi Saito, Ibaraki-shi, Osaka 567-0085, Japan Fax: +81-72-641-9812.
3.2. Для тестирования используют только клетки, не зараженные микоплазмами. Предпочтительным методом для высокочувствительной детекции зараженности микоплазмой является RT PCR (ПЦР реального времени).
Стабильность клеточной линии
3.3. Для контроля стабильности клеточной линии в качестве референсных веществ используют E2,

и кортикостерон. Значения для кривой доза-эффект в диапазоне используемых концентраций измеряют, по крайней мере, один раз при каждом проведении тестирования (приведены в
табл. 6.6.3.1.1).
Таблица 6.6.3.1.1
Допустимые границы значений для четырех референсных веществ
при проведении анализа (среднее +/- 2 SD)
Название | lgPC50 | lgPCIO | lgEC50 | Коэфф. Хилла | Диапазон концентраций |
 (E2) CAS N: 50-28-2 | -11,4 ~ -10,1 | < -11 | -11,3 ~ -10,1 | 0,7 ~ 1,5 | 10-14 ~ 10-8 M |
 CAS N: 57-91-0 | -9,6 ~ -8,1 | -10,7 ~ -9,3 | -9,6 ~ -8,4 | 0,9 ~ 2,0 | 10-12 ~ 10-6 M |
Кортикостерон CAS N: 50-22-6 | - | - | - | - | 10-10 ~ 10-4 M |
 CAS N: 58-18-4 | -6,0 ~ -5,1 | -8,0 ~ -6,2 | - | - | 10-11 ~ 10-5 M |
Клеточная культура и условия посева
3.4. Клетки содержат в CO2 инкубаторе при 5% CO2 и (37 +/- 1) °C в минимальной эссенциальной среде Игла (ЕМЕМ) без добавления фенолового красного с добавлением 60 мг/л антибиотика канамицина и 10% фетальной бычьей сыворотки, обработанной активированным углем и декстрином (DCC-FBS). По достижении 75 - 90% конфлюэнтности клетки пересевают на 100 мм чашки для клеточных культур в объеме 10 мл при 0,4 x 105 - 1 x 105 клеток/мл. Клетки суспендируют в этой среде (10% DCC-FBS ЕМЕМ), затем инкубируют при 5% CO2, (37 +/- 1) °C в течение 3 часов перед внесением тестируемого вещества. Весь используемый пластик должен быть заведомо свободным от эстрогенной активности.
3.5. Для поддержания постоянного ответа клетки выращивают более одного пассажа после разморозки из ампулы и не культивируют более 40 пассажей.
3.6. Для клеточной линии

полный цикл составит меньше трех месяцев. DCC-FBS готовят, как описано в
доп. 6.6.3.1.2, или получают из коммерческих источников.
Критерии приемлемости
Положительные и отрицательные контроли
3.1. До и во время исследования реактивность тест-системы проверяют с использованием подходящих концентраций сильного эстрогена E2, слабого эстрогена

очень слабого агониста

и антагониста (кортикостерон). Приемлемые диапазоны значений, полученные при валидизации метода, приведены в
табл. 6.6.3.1.1 [2]. Эти 4 референсных вещества включают в каждый из экспериментов одновременно с тестируемым веществом; результаты для каждого из них должны находиться в указанных границах. В противном случае выявляют причину несоответствия контролей заданным критериям (например: правильность ведения клеточной культуры, качество и концентрация сыворотки и антибиотиков), после чего тестирование повторяют. Для соответствия критериям
(табл. 6.6.3.1.1) и для обеспечения минимальной вариабельности значений EC50, PC50 и PC10 очень важным является тщательное соблюдение идентичности условий культивирования. Для гарантии достаточной чувствительности анализа четыре указанных референсных вещества используют одновременно в ходе каждого эксперимента (проводимого в одинаковых условиях, включая используемые материалы, число пассажей клеток и тот же самый технический персонал). Значения PC10, равно как и PC50 и EC50, для трех положительных референсных веществ должны попадать в диапазон приемлемых значений, приведенный в
табл. 6.6.3.1.1.
Положительный контроль и контроль используемого носителя
3.8. Положительный контроль (PC) (1 nM E2) проверяют на каждом планшете, по крайней мере, в трех повторностях. Контроль носителя (VC), используемого для растворения тестируемого вещества, проверяют на каждом планшете, по крайней мере, в трех повторностях. Кроме того, если для PC используется иной носитель, чем для тестируемого вещества, то VC для этого носителя также ставят на том же планшете, что и PC, по крайней мере, в трех повторностях.
Кратность индукции
3.9. Среднее значение активности люциферазы для PC (1 nM E2) должно быть, по крайней мере, в 4 раза выше, чем среднее значение активности для VC на каждом планшете. Этот критерий установлен на основе проверки надежности замеров по конечной точке при исследовании валидности (традиционно - между 4- и 30-кратным).
3.10. Для контроля качества тестирования необходимо, чтобы кратность индукции, соответствующая значению PC10, параллельно поставленного PC (1 nM E2) была больше, чем 1 + 2SD от значения кратности индукции одновременно поставленного VC (=1). Для установления приоритетности исследования веществ значение PC10 позволяет упростить анализ данных по сравнению со статистическим анализом.
Вещества для подтверждения лабораторной компетентности
Вещества для демонстрации технической компетентности лаборатории описаны в
п. 4.4 и
табл. 6.6.3.1.2 в разделе "Составляющие ER ТА-метода тестирования" основного текста настоящего документа.
Растворитель
3.11. Для параллельного VC используют диметилсульфоксид (ДМСО) или другой соответствующий растворитель, взятый в той же концентрации для положительных и отрицательных контролей и тестируемых веществ. Тестируемое вещество должно быть растворено в таком растворителе, в котором оно растворяется и который смешивается с клетками. Вода, этанол (95 - 100% чистоты) и ДМСО являются подходящими носителями. Если используется ДМСО, его конечная концентрация не должна превышать 0,1% (v/v). Для любого носителя проводят проверку отсутствия цитотоксичности максимального используемого объема.
Подготовка тестируемых веществ
3.12. Обычно тестируемые вещества растворяют в ДМСО или другом подходящем растворителе и готовят серию разведений в том же растворителе, как правило, в соотношении 1:10 для получения раствора требуемой концентрации и последующего разведения в культуральной среде.
Растворимость и цитотоксичность: рекомендации по определению диапазона концентраций
3.13. Перед экспозицией клеток проводят предварительную проверку, чтобы определить подходящий диапазон концентраций тестируемого вещества и проверить у этого вещества возможные проблемы с растворимостью и цитотоксичностью. Тестируемое вещество проверяют при максимальной концентрации в 1 мкл/мл, 1 мг/мл или 1 mM. Первый цикл тестирования проводят при серийных разведениях, начиная с максимально допустимой концентрации (например: 1 mM, 100

10

...), основываясь на проявленной цитотоксичности или недостаточной растворимости. Концентрации, используемые во втором и, если необходимо, третьем цикле тестирования, должны быть подобраны так, чтобы наиболее полно и качественно охарактеризовать кривую концентрация-эффект и избежать концентраций, при которых наблюдается нерастворимость или проявляется избыточная цитотоксичность вещества.
3.14. В случае с ER-агонистами повышенные уровни цитотоксичности могут значительно или полностью изменить типичный сигмоидный характер ответа, и это необходимо учитывать при интерпретации данных. Должны применяться методы тестирования цитотоксичности, которые могут свидетельствовать о 80%-й жизнеспособности клетки, выбор конкретного анализа определяется в соответствии с опытом конкретной лаборатории.
3.15. Если результаты теста на цитотоксичность показывают, что используемая концентрация тестируемого вещества сократила количество жизнеспособных клеток на 20% или более, эта концентрация расценивается как цитотоксическая, и эта и более высокие концентрации должны быть исключены из эксперимента.
Химическая экспозиция и расположение на планшете
3.16. Процедуру растворения тестируемого вещества (этапы 1 и 2) и экспозиции клеток (этап 3) проводят следующим образом:
Этап 1
Каждое тестируемое вещество растворяют в ДМСО или соответствующем растворителе методом серийных разведений и вносят в лунки микротитровального планшета так, чтобы конечные концентрации серийных разведений соответствовали ранее определенным в предварительном тесте по определению диапазона концентраций (как правило, десятикратные серийные разведения, например: 1 мМ, 100 мкМ, 10 мкМ, 1 мкМ, 100 нМ, 10 нМ, 1 нМ, 100 пМ и 10 пМ /10-3 - 10-11 М/) с использованием трехкратных повторностей.
Этап 2
Предварительное растворение тестируемого вещества в культуральной среде. На отдельном планшете добавляют 1,5 мкл раствора тестируемого вещества требуемой концентрации в растворителе к 500 мкл культуральной среды.
Этап 3
Химическая экспозиция клеток. Добавить 50 мкл соответствующего разведения вещества в культуральной среде (подготовленного на этапе 2), в лунку микропланшета, содержащую 104 клетки/100 мкл/на лунку.
Рекомендуемый конечный объем среды в каждой лунке составляет 150 мкл.
Тестируемые образцы и референсные химические вещества могут вноситься в соответствии с рекомендациями
табл. 6.6.3.1.2.
Таблица 6.6.3.1.2
Пример расположения разведений референсных веществ
и контролей на микропланшете
Ряд | | кортикостерон | | E2 |
1 | 2 | 3 | 4 | 5 | 6 | 7 | 8 | 9 | 10 | 11 | 12 |
A | cone 1 (10  | | | 100  | | | 1  | | | 10 nM | | |
B | cone 2 (1  | | | 10  | | | 100 nM | | | 1 nM | | |
C | cone 3 (100 nM) | | | 1  | | | 10 nM | | | 100 pM | | |
D | cone 4 (10 nM) | | | 100 nM | | | 1 nM | | | 10 pM | | |
E | cone 5 (1 nM) | | | 10 nM | | | 100 pM | | | 1 pM | | |
F | cone 6 (100 pM) | | | 1 nM | | | 10 pM | | | 0,1 pM | | |
G | cone 7 (10 pM) | | | 100 pM | | | 1 pM | | | 0,01 pM | | |
H | VC | | | | | | PC | | | | | |
Контроли: VC - контроль носителя (растворителя) (ДМСО); PC - позитивный контроль (1 nM E2) |
3.17. Референсные химические вещества (E2,

и кортикостерон) тестируют на каждом этапе исследования
(табл. 6.6.3.1.2). На каждом микропланшете для тестирования обязательно должны находиться лунки с 1 nM концентрацией E2 (PC), в которых может наблюдаться максимальная активация, и лунки, содержащие только ДМСО (VC) (или другой соответствующий растворитель)
(табл. 6.6.3.1.3). Если в ходе одного и того же эксперимента используются клетки из различных источников (например: с различным числом пассажей, из разных партий и т.д.), тогда референсные химические вещества должны быть проверены на каждом из образцов клеток.
3.18. При отсутствии эффекта в крайних лунках расположение образцов на планшете меняют. Например, крайние лунки можно не использовать для тестирования веществ, но оставить заполненными средой с клетками.
3.19. После добавления веществ планшеты инкубируют в 5% CO2 инкубаторе при (37 +/- 1) °C в течение 20 - 24 часов для индукции экспрессии гена-репортера.
3.20. Особое внимание следует обратить на тестирование высоко летучих веществ. В таких случаях контрольные лунки, расположенные рядом с тестируемыми, могут показывать ложные положительные результаты. В тех нечастых случаях, когда летучесть вещества может представлять проблему, заклеивание планшетов специально применяемыми мембранами поможет эффективно изолировать индивидуальные лунки во время тестирования, и настоятельно рекомендуется в таких случаях.
Таблица 6.6.3.1.3
Пример расположения разведений контролей
и тестируемых веществ на микропланшете
Ряд | Тестируемое вещество 1 | Тестируемое вещество 2 | Тестируемое вещество 3 | Тестируемое вещество 4 |
1 | 2 | 3 | 4 | 5 | 6 | 7 | 8 | 9 | 10 | 11 | 12 |
A | конц 1 (10  | | | 1 mM | | | 1  | | | 10 nM | | |
B | конц 2 (1  | | | 100  | | | 100 nM | | | 1 nM | | |
C | конц 3 (100 nM) | | | 10  | | | 10 nM | | | 100 pM | | |
D | конц 4(10 nM) | | | 1  | | | 1 nM | | | 10 pM | | |
E | конц 5 (1 nM) | | | 100 nM | | | 100 pM | | | 1 pM | | |
F | конц 6 (100 pM) | | | 10 nM | | | 10 pM | | | 0,1 pM | | |
G | конц 7 (10 pM) | | | 1 nM | | | 1 pM | | | 0,01 pM | | |
H | VC | | | | | | PC | | | | | |
3.21. Повторение обязательных тестов для одного и того же вещества проводят в различные дни, чтобы гарантировать получение независимых результатов.
Люциферазный анализ
3.22. В исследовании используют коммерческий реактив для люциферазного анализа [например, Steady-Glo Luciferase Assay System (Promega E2510 или эквивалентные)] или стандартную систему анализа люциферазной активности (Promega E1500, или эквивалентные), если они соответствуют требуемым критериям. Реактивы для люциферазного анализа выбирают в соответствии с чувствительностью используемого люминометра. При использовании стандартной системы анализа люциферазной активности (Promega E1500) перед добавлением субстрата используют реагент для лизиса клеточной культуры (Promega E1531 или эквивалентный) до добавления субстрата. Реактивы для люциферазы применяют в соответствии с инструкциями изготовителей.
4. Анализ и интерпретация данных
4.1. Для расчета относительной транскрипционной активности по сравнению с PC (1 нМ E2) люминесценцию образцов с одного и того же планшета анализируют согласно следующим этапам (также допустимы другие эквивалентные математические методы):
Этап 1. Вычисляют среднее значение ответа VC.
Этап 2. Вычитают среднее значение ответа VC из ответа каждой лунки для нормализации данных.
Этап 3. Вычисляют среднее значение ответа для нормализованных PC.
Этап 4. Делят нормализованное значение ответа каждой лунки на среднее значение нормализованного ответа PC (PC = 100%).
(Полученное значение для каждой лунки - есть относительная транскрипционная активность для образца в этой лунке по сравнению с величиной ответа PC.)
Этап 5. Вычисляют среднее значение относительной транскрипционной активности для каждой группы концентраций тестируемого вещества. Есть два параметра, связанные с ответом на экспозицию: средняя транскрипционная активность (ответ), и концентрация, при которой происходит ответ (см. следующий раздел).
Параметры индукции - EC50, PC50 и PC10
4.2. Полная кривая концентрация-ответ необходима для расчета EC50, но это не всегда достижимо или не всегда имеет практический смысл из-за ограниченного диапазона используемых концентраций (например, из-за цитотоксичности или низкой растворимости). Однако, поскольку EC50 и максимальный уровень индукции (соответствующий максимальному значению уравнения Хилла) являются информативными параметрами, эти параметры следует определять всегда, когда это возможно. Для расчета EC50 и максимального уровня индукции используют соответствующее статистическое программное обеспечение (например, статистическую программу Graphpad Prism).
4.3. Если кривая концентрация-ответ описывается логистическим уравнением Хилла, тогда EC50 рассчитывают по следующей формуле
[15]:
Y = ответ (например, RLU);
X = логарифм концентрации;
Bottom = минимальный ответ;
Top = максимальный ответ;
lg EC50 = десятичный логарифм концентрации в точке, где ответ равен половине величины между Тор и Bottom;
Hill slope (коэффициент Хилла) характеризует крутизну наклона кривой.
4.4. Для каждого тестируемого вещества определяют следующие параметры:
(1) RPCMax - максимальный уровень ответа, вызванный тестируемым веществом и выраженный как процент от ответа на 1 нМ E2 на том же самом планшете; а также PCMax (концентрация, при которой достигается RPCMax);
(2) для положительных веществ - концентрация, которая соответствует PC10 и, если возможно, PC50.
4.5. Значение PCx вычисляют с помощью интерполяции между 2 точками, одна из которых лежит выше, другая ниже значения PCx на графике X - Y. Если эти значения, лежащие непосредственно выше и ниже значения PCx, имеют координаты (a, b) и (c, d) соответственно, тогда значение PCx вычисляют с помощью следующего уравнения:
log[PCx] = log[c] + (x - d) / (d - b).
4.6. Описания значений PC приведены ниже на
рисунке.
4.7. Результаты должны базироваться на двух (или трех) независимых сериях теста. Если две независимые серии теста дают сопоставимые результаты и считаются воспроизводимыми, то третью серию теста не проводят. Чтобы быть приемлемыми, результаты должны отвечать следующим стандартным требованиям:
- среднее значение активности люциферазы для PC (1 нМ E2) должно, по крайней мере, в 4 раза превышать VC на каждом планшете;
- кратность индукции, соответствующая значению PC10 параллельно поставленного PC (1 нМ E2), должна быть больше, чем 1 + 2SD от кратности индукции для VC (=1).
- результаты для 4 референсных веществ должны быть в пределах приемлемых диапазонов
(табл. 6.6.3.1.1);
- результаты должны быть воспроизводимыми.
Критерии для интерпретации результатов
4.8. Критерии для интерпретации результатов приведены в
табл. 6.6.3.1.4. Положительные результаты характеризуются двумя величинами: величиной эффекта и концентрацией, при которой наблюдается эффект. Представление результатов в виде концентраций, при которых достигаются 50% (PC50) или 10% (PC10) от величины PC, удовлетворяет этим требованиям. Тестируемое вещество считается соответствующим положительному критерию, если максимальный ответ, вызванный этим вещество (RPCMax), равен или превышает 10% от величины положительного контроля PC, по крайней мере, в двух из двух или в двух из трех сериях. Тестируемое вещество считается соответствующим негативному критерию, если максимальный ответ, вызванный этим веществом (RPCMax), не достигает 10% от величины положительного контроля PC, по крайней мере, в двух из двух или в двух из трех серий.
[1] - кратность индукции для PC (1 нм E2)
[2] - Кратность индукции, соответствующая PC10
[3] - Средняя (=1) + 2SD для кратности индукции VC
[4] - Средняя (=1) для кратности индукции VC
Рис. Пример определения значений PC.
Контроль для определения PC (1 нМ E2)
присутствует на каждом из планшетов
Таблица 6.6.3.1.4
Критерии для положительного и отрицательного ответа
по активности тестируемых веществ
Положительный | Если RPCMax равен или превышает 10% от величины положительного контроля, по крайней мере, в двух из двух или в двух из трех серий |
Отрицательный | Если RPCMax не достигает 10% от величины положительного контроля, по крайней мере, в двух из двух или в двух из трех серий |
4.9. Расчеты PC10, PC50 и PC
Max могут быть сделаны при помощи программы, доступной на сайте ОЭСР
<7>.
--------------------------------
<7> http://www.oecd.org/env/ehs/testing/42720432.xls http://www.oecd.org/env/ehs/testing/section4software.htm.
4.10. Достаточно иметь значения PC 10 или PC50, полученные, по крайней мере, в двух сериях. Однако, если значения для одной и той же концентрации обнаруживают разброс с неприемлемо высоким коэффициентом вариации (CV; %), такие данные не считаются достоверными. Для дальнейшей работы выявляют и устраняют причину такой высокой вариабельности. Величина CV исходных данных для трех серий (т.е. данные по интенсивности люминесценции) в ряду значений, используемых для вычисления PC10, должна быть меньше, чем 20%.
4.11. Соответствие результатов критериям качества тестирования свидетельствует, что тестовая система работает должным образом, но это еще не гарантирует, что каждый из последующих тестов даст такие же результаты. Воспроизведение результатов первой серии является подтверждением достоверности полученных данных (см.
п. 4.9,
4.10).
4.12. Если необходима дополнительная информация для скрининговых целей или приоритезации веществ, для положительных тестовых веществ, в особенности для PC10 - PC49, а также для веществ, предположительно гиперактивирующих люциферазу, используют

(см.
доп. 6.6.3.1.1), что позволяет подтвердить, что наблюдаемая люциферазная активность является исключительно

ответом.
5. Подготовка тестового отчета
5.1. Смотри
п. 6 "Подготовка тестового отчета" основного текста настоящего документа.
ЛОЖНОПОЛОЖИТЕЛЬНЫЕ РЕЗУЛЬТАТЫ: ОЦЕНКА ЛЮМИНЕСЦЕНТНОГО
СИГНАЛА, НЕ ОПОСРЕДОВАННОГО ДЕЙСТВИЕМ ЧЕРЕЗ ER
1) Ложноположительные сигналы могут появиться в результате активации гена люциферазы в результате ER-независимых механизмов или прямой активации люциферазы, или наличия побочной флюоресценции. На такой эффект указывает неполный или необычный вид кривой доза-эффект. Если предполагается наличие подобных эффектов, проверяют влияние антагониста ER (например, 4-гидрокситамоксифен (ОНТ) при нетоксичной концентрации). Чистый антагонист ICI 128780 для этого не подходит, поскольку использование ICI 128780 в достаточной концентрации может уменьшить величину VC, а это повлияет на анализ данных.
2) Чтобы гарантировать валидность этого подхода, проводят следующие тесты на одном и том же планшете (в трех повторностях каждый):
- агонистическая активность тестируемого вещества в присутствии и в отсутствии 10 мкМ 4-Гидрокситамоксифеена (ОНТ);
- VC (в трех повторностях);
- ОНТ (в трех повторностях);
- 1 нМ E2 в качестве агониста PC (в трех повторностях);
- 1 нМ E2 + ОНТ (в трех повторностях).
3) Критерии интерпретации данных.
Примечание: Для всех лунок используют одну и ту же концентрацию носителя.
- Если агонистическая активность тестируемого вещества не поддается воздействию ER-антагониста, такое вещество классифицируется как "Отрицательное".
- Если агонистическая активность тестируемого вещества полностью подавляется, следует использовать критерии решения.
- Если агонистическая активность при самой низкой концентрации равна или превышает величину PC10, ответ тестируемого вещества считается равным или превышающим PC10-ответ. В этом случае определяют разницу в ответах между образцами содержащими и не содержащими ER-антагонист (ОНТ), эту разницу считают истинным ER-опосредованным ответом и используют для расчета параметров, позволяющих классифицировать тестируемое вещество.
4) Анализ данных
Проверяют соответствие критериям приемлемости.
Проверяют коэффициент вариации (CV) для лунок с теми же самыми условиями экспозиции.
Вычисляют:
- среднее значение VC;
- среднее значение VC из значения каждой лунки, не обработанной ОНТ;
- среднее значение для ОНТ;
- среднее значение VC из значения каждой лунки, обработанной ОНТ;
- среднее значение PC;
- относительную транскрипционную активность всех других лунок по отношению к PC.
ПОДГОТОВКА СЫВОРОТКИ, ОЧИЩЕННОЙ НА АКТИВИРОВАННОМ УГЛЕ,
ПОКРЫТОМ ДЕКСТРАНОМ (DCC)
1) Очистка сыворотки с помощью древесного угля, покрытого декстраном (DCC), является основным методом удаления эстрогеноподобных соединений из сыворотки, добавляемой к культуральной среде. Целью такой обработки является исключение искаженного ответа при тестировании, связанного с наличием остаточных эстрогенов в неочищенной сыворотке. Приведенная процедура очистки рассчитана на 500 мл фетальной бычьей сыворотки (FBS).
2) Необходимые материалы и оборудование:
- активированный уголь;
- декстран;
- хлорид магния гексагидрат (MgCl2 - 6H2O);
- сахароза;
- 1 М HEPES буфер (pH 7,4);
- ультрачистая вода, очищенная системой ультрафильтрации;
- стерилизованная в автоклаве стеклянная емкость достаточного размера;
- лабораторная центрифуга (с охлаждением до 4 °C).
3) Обработка сыворотки.
Данная процедура рассчитана на использование пробирок объемом 50 мл:
День 1 - Приготовьте суспензию покрытого декстраном угля в 1 л ультрачистой воды, содержащей: 1,5 мМ MgCl2, 0,25 М сахарозы, 2,5 г угля, 0,25 г декстрана и 5 мМ HEPES. Оставить перемешиваться на ночь при 4 °C.
День 2 - Разлейте суспензию в 50 мл центрифужные пробирки и центрифугируйте на 10000 об./мин. при 4 °C в течение 10 минут. Удалите надосадочную жидкость и уберите половину пробирок с осадком в холодильник при 4 °C для использования на следующий день. В оставшиеся пробирки с осадком добавьте FBS (предварительно оттаявшую при комнатной температуре, чтобы избежать образования осадка, а затем инактивированную при 56 °C в течение 30 минут). Ресуспендируйте осадок в FBS и перенесите его в автоклавированную стеклянную емкость (в колбу Эрленмейера). Оставьте суспензию мягко перемешиваться при 4 °C в течение ночи.
День 3 - Разлейте суспензию в 50 мл центрифужные пробирки и центрифугируйте на 10000 об./мин. при 4 °C в течение 10 минут. Соберите FBS и перенесите в пробирки с осадком угля и декстрана, подготовленные в день 2 и хранившиеся при 4 °C. Ресуспендируйте осадок в FBS, перенесите в автоклавированную стеклянную емкость и оставьте суспензию мягко перемешиваться при 4 °C в течение ночи.
День 4 - Разлейте суспензию в 50 мл центрифужные пробирки и центрифугируйте на 10000 об./мин. при 4 °C в течение 10 минут. Простерилизуйте супернатант фильтрацией через 0,2 мкм стерильный фильтр. Приготовленная DCC-FBS хранится при -20 °C и может использоваться в течение года.
ВЫЯВЛЕНИЕ ЭСТРОГЕН-АГОНИСТИЧЕСКОЙ АКТИВНОСТИ ВЕЩЕСТВ
МЕТОДОМ ER-ОПОСРЕДОВАННОЙ ТРАНСКРИПЦИОННОЙ АКТИВАЦИИ
СТАБИЛЬНО ТРАНСФЕЦИРОВАННОЙ ЛЮЦИФЕРАЗЫ В КЛЕТОЧНОЙ
ЛИНИИ BG1LUC
1. Общие положения и ограничения
1.1. В этом методе анализа используется клеточная линия BG1Luc4E2. Метод был валидизирован National Toxicology Program Interagency Center for the Evaluation of Alternative Toxicological Methods (NICEATM) и Interagency Coordinating Committee on the Validation of Alternative Methods (ICCVAM). Клеточные линии BG1Luc экспрессируют преимущественно эндогенный

и незначительное количество эндогенного

1.2. Этот метод может использоваться для тестирования широкого класса химических веществ при условии, что они растворимы в диметилсульфоксиде (ДМСО; CASRN 67-68-5), химически не взаимодействуют с ДМСО или клеточной средой и не обнаруживают цитотоксичности при используемых концентрациях. Если нельзя использовать ДМСО, возможно использовать другой носитель, например, воду или этанол. Продемонстрированная эффективность этого BGILuc ER ТА-метода для тестирования агонистов предполагает, что результаты тестирований можно использовать для выбора приоритетных веществ, подлежащих дальнейшим исследованиям.
1.3. Этот метод предназначен для детекции

и

опосредованной ТА-методом измерения хемилюминесценции по конечной точке. Хемилюминесценция широко используется в биологических анализах, поскольку для этого метода характерно высокое отношение сигнал-фон. Однако на активность люциферазы в клеточных системах могут влиять посторонние вещества, вызывая ингибирование люциферазы или, напротив, стабилизацию ее активности. Кроме того, в некоторых ER ТА-системах с использованием люциферазы в качестве репортера наблюдалась люминесценция, неопосредованная ER-рецепторами, при тестировании фитоэстрогена в концентрациях более 1 мкМ в результате гиперактивации гена-репортера люциферазы. И хотя вид кривой концентрация-ответ указывает на то, что при низких концентрациях происходит истинная, ER-опосредованная, активация люциферазы, анализ экспрессии люциферазы при более высоких концентрациях фитоэстрогена или аналогичных веществ, подозреваемых на фитоэстроген-подобную гиперактивации гена-репортера люциферазы, требует более осторожного подхода при тестировании с использованием STTA ER ТА-тестовых систем (см.
прилож. 6.6.3.1).
1.4. Перед использованием этого метода в регуляторных целях Область применения
(п. 1) и Описание ER ТА метода тестирования
(п. 4) в основном тексте документа должны быть внимательно изучены.
2. Принцип метода тестирования
2.1. Метод анализа основан на связывание лиганда с ER, с последующей транслокацией лиганд-рецепторного комплекса в ядро, где он связывается со специфическими последовательностями ДНК (эстроген-эффекторнными элементами) и трансактивирует репортерный ген люциферазы
(luc). В результате увеличивается синтез люциферазы, что может быть количественно измерено с помощью люминометра по увеличению испускания света при расщеплении люциферазой своего субстрата. Активность люциферазы может быть быстро и недорого определена с использованием различных коммерчески доступных наборов. Для
in vitro определения веществ с ER-агонистической активностью используется клеточная линия BG-1Luc ER ТА, созданная на основе ER-реактивной клеточной линии аденокарциномы яичников человека (BG-1) путем стабильной трансфекции репортерного конструкта, кодирующего люциферазу светлячка, под контролем четырех эстроген-эффекторных элементов, встроенных перед промотором вируса рака молочной железы мышей (MMTV). Этот MMTV-промотор проявляет лишь незначительную перекрестную реактивность с другими стероидными и нестероидными гормонами. Критерии для интерпретации данных детально рассмотрены в
п. 4.6. Вкратце, позитивный эффект рассчитывается по кривой концентрация-ответ, содержащей как минимум три точки с неперекрывающимися доверительными интервалами (среднее +/- SD), при условии, что максимальное среднее нормализированное значение RLU для тестируемого вещества составляет не менее чем 20% от максимального значения RLU для референсного контроля

[E2; CASRN 50-28-2]).
Клеточная линия
3.1. В исследовании используют стабильно трансфецированную клеточную линию BG1Luc4E2. Эта клеточная линия доступна для заказа на условиях соглашения о техническом лицензировании в University of California, Davis, California, USA
<8> и в Xenobiotic Detection Systems Inc., Durham, North Carolina, USA
<9>.
--------------------------------
<8> Michael S. Denison, Ph.D. Professor, Dept, of Environmental Toxicology, 4241 Meyer Hall, One Shields Ave, University of California, Davis, CA 95616, E: msdenison@ucdavis.edu, (530) 754-8649.
<9> Xenobiotic Detection Systems Inc. 1601 East Geer Street, Suite S, Durham NC, 27704 USA, email: info@dioxins.com, Tel.: 919-688-4804, Fax: 919-688-4404.
Стабильность клеточной линии
3.2. Для обеспечения стабильности и постоянства клеточной линии после размораживания клетки необходимо растить в селективной среде для поддержания клеток не менее одного пассажа (см.
п. 3.4). Не допускается культивировать клетки более чем 30 пассажей. Для клеточной линии BG1Luc4E2 30 пассажей составят примерно три месяца.
Клеточная культура и условия посева
3.3. Необходимо следовать процедурам, описанным в Руководстве по надлежащим практикам клеточных культур, чтобы обеспечить надлежащее качество всех материалов и правильность выполнения методов и чтобы сохранялась непрерывность, достоверность и воспроизводимость.
3.4. BG1Luc4E2-клетки культивируют в среде RPMI 1640 с добавлением 0,9% пенициллина-стрепромицина и 8,0% фетальной бычьей сыворотки (FBS) в специальном CO
2-инкубаторе для культур клеток при (37 +/- 1) °C, влажности (90 +/- 5)% и (5,0 +/- 1)% CO
2 в воздухе.
3.5. По достижении ~ 80% конфлюэнтности клетки BG1Luc4E2 субкультивируют и выдерживают 48 часов в безэстрогенных условиях, после чего высевают на 96-луночные планшеты для экспозиции с тестируемыми веществами и анализа эстроген-зависимой индукции люциферазной активности. Безэстрогенная среда (EFM) содержит DMEM (среда Игла в модификации Дульбекко) без фенола красного с добавлением 4,5% очищенной на активированном угле, покрытым декстраном FBS, 1,9% L-глютамина и 0,9% раствора пенициллина-стрептомицина. Весь используемый пластик должен быть свободен от эстрогенной активности.
Критерии приемлемости теста
3.6. Принятие или не принятие тестирования основывается на результатах для референсных стандартов и контролей в каждом эксперименте на 96-луночном планшете. Референсный стандарт каждый раз тестируется в нескольких концентрациях, при этом референсный стандарт и контроли ставятся в нескольких повторах. Результаты сравниваются с контролями качества (QC) по соответствию тем параметрам, которые были получены для исторических баз данных, созданных в каждой лаборатории в ходе проверки на техническое владение методом. Исторические базы данных непрерывно пополняются данными по референсным стандартам и контролям в ходе каждого тестирования. Изменение лабораторных условий и используемого оборудования может потребовать обновления исторических баз данных.
Определение интервала между концентрациями
3.7. Критерии приемлемости теста по определению интервала между концентрациями следующие:
- Индукция (активация): определяется как наивысшее среднее RLU значение для референсного стандарта E2, деленное на среднее значение RLU для контроля носителя (ДМСО). Результат должен соответствовать не менее чем 4-кратной индукции (как правило, наблюдается пятикратная индукция).
- Контроль носителя (ДМСО): RLU значения для контроля носителя в проводящемся тестировании должны быть в пределах 2,5-кратного стандартного отклонения (SD) для среднего RLU контроля растворителя из исторической базы данных.
- Если не выполняется любой из критериев приемлемости, такой тест отбрасывается и должен быть повторен заново.
Развернутый тест
3.8. Развернутое тестирование должно соответствовать критериям приемлемости для теста по определению интервала концентраций и дополнительно следующим критериям:
- Референсный стандарт: кривая концентрация-ответ для референсного стандарта E2 должна иметь сигмоидную форму и, как минимум, три средних значения должны попадать в область линейного наклона кривой.
- Положительный контроль: среднее значение RLU для контроля с метоксихлором (methoxychlor) должно превышать среднее значение плюс три стандартных отклонения (SD) для ДМСО контроля.
- Если не выполняется любой из критериев приемлемости, такой тест отбрасывается и должен быть повторен заново.
Референсные стандарты, положительный контроль и контроль носителя
Контроль носителя
3.9. Носитель, используемый для растворения тестируемого вещества, должен выступать в качестве контроля носителя. В качестве носителя при валидизации BG1Luc ER ТА-метода тестирования использовался 1% (v/v) диметилсульфоксид (ДМСО, CASRN 67-68-5) (см.
п. 3.16). Если будет использоваться носитель, отличный от ДМСО, все референсные стандарты, контроли и тестируемые вещества должны также растворяться и анализироваться в этом растворителе, если возможно.
Референсный стандарт (при определении интервала концентраций)
3.10. Референсным стандартом является E2 (CASRN 50-28-2). При определении интервала концентраций референсный стандарт используется в четырех последовательных разведениях E2 (1,84 x 10-10, 4,59 x 10-11, 1,15 x 10-11 и 2,87 x 10-12 М), каждая концентрация тестируется в двух повторностях (в двух лунках).
Референсный стандарт (при полном исследовании)
3.11. При полном исследовании референсный стандарт E2 включает 11 последовательных разведений с шагом 1:2 (от 3,67 x 10-10 до 3,59 x 10-13 М) в двух повторностях (в двух лунках).
Слабый положительный контроль
3.12. Слабый положительный контроль = 9,06 x 10
-6 М
n,n'-метоксихлора (CASRN 72-43-5), разведенный в EFM (см.
п. 3.5).
3.13. Величина активация люциферазы референсным стандартом (E2) определяется как наивысшее среднее RLU значение для референсного стандарта E2, деленное на среднее значение RLU для контроля носителя (ДМСО). Результат должен соответствовать не менее чем 4-кратной индукции.
Подтверждение технической компетентности лаборатории
3.14. Для того чтобы продемонстрировать владение BG1Luc ER ТА методом, лаборатория должна вести базу данных с результатами тестирования референсных стандартов и с данными контролей, полученных, как минимум, в 10 независимых экспериментах, проведенных в различные дни. База должна пополняться всеми дальнейшими результатами приемлемых тестирований. Для демонстрации достаточного владения методом в дальнейших тестированиях будет достаточно продемонстрировать значения, отклоняющиеся от исторических контролей не более чем на 2,5 стандартных отклонения (см.
п. 3.6).
3.15. После создания и накопления данных в базе необходимо протестировать стандарты технической компетентности, перечисленные в табл. 2 раздела "Составляющие ER ТА метода тестирования" (
п. 4.4 данного документа).
Носитель
3.16. Используемый растворитель должен быть способен растворять тестируемые вещества и смешиваться со средой для культивирования клеток. Вода, этанол (95 - 100%) и ДМСО являются подходящими носителями. Если используется ДМСО, его доля не должна превышать 1% (v/v). Для любого носителя должно быть показано, что максимальные используемые объемы не вызывают цитотоксического эффекта и не влияют на проведение анализа. Референсные стандарты и контроли растворяют в 100% растворителе и затем разводят в EFM до необходимой концентрации.
Подготовка тестируемых веществ
3.17. Тестируемые вещества растворяют в 100% ДМСО (или другом подходящем растворителе) и затем разводят до требуемых концентраций в EFM. Перед растворением и разбавлением все тестируемые вещества должны иметь комнатную температуру. Для каждого эксперимента готовят свежие растворы тестируемых веществ. Растворы не должны содержать заметный осадок или помутнение. Запасы растворов референсного стандарта и контролей можно приготовить в большом количестве, однако рабочие разведения стандарта, контролей и тестируемых веществ для каждого эксперимента должны быть свежими, и использовать их необходимо в течение 24 часов после приготовления.
Растворимость и цитотоксичность: определение интервала концентраций
3.18. При определении интервала проверяемых концентраций используют семь последовательных разведений тестируемого вещества с шагом 1:10 в двух повторностях. Первоначально тестируемое вещество проверяют вплоть до максимальной концентрации 1 мг/мл (~ 1 мМ). При фиксировании интервала концентраций определяют:
- начальную концентрацию тестируемого вещества, используемую при развернутом тестировании;
- шаг (кратность) разведения (1:2 или 1:5) для развернутого тестирования.
3.19. Оценка клеточной жизнеспособности/цитотоксичности описана в протоколе метода (7) и проводится при постановке экспериментов по определению интервала проверяемых концентраций и при развернутом тестировании. Метод оценки цитотоксичности, который использовался при валидизации BG1Luc ER ТА, является шкальной качественной оценкой жизнеспособности клеток путем визуального наблюдения, однако для определения цитотоксичности можно использовать и количественный метод (см. протокол /7/). Исключаются из рассмотрения данные, полученные для концентраций тестируемых веществ, вызывающих более чем 20%-е снижение жизнеспособности.
Экспозиция тестируемым веществом и расположение на планшете
3.20. Клетки подсчитывают и помещают в 96-луночные культуральные планшеты (2 x 105 клеток на лунку) в EFM и инкубируют в течение 24 часов для прикрепления клеток к планшету. EFM удаляют, замещают EFM средой с растворенными тестируемыми и референсными веществами, и клетки инкубируют в течение 19 - 24 часов. Особое внимание следует обратить на тестирование высоко летучих веществ, поскольку тогда контрольные лунки, расположенные рядом с тестируемыми, могут показывать ложные положительные результаты. В тех случаях, когда летучесть вещества может представлять проблему, настоятельно рекомендуется заклеивать планшеты специально применяемыми мембранами, что поможет эффективно изолировать индивидуальные лунки во время тестирования.
Определение интервала концентраций
3.21. При определении интервала проверяемых концентраций используют все лунки 96-луночного планшета для исследования до шести веществ в семи последовательных разведениях с шагом 1:10 в двух повторностях
(табл. 6.6.3.2.1). В качестве референсного стандарта используют E2 в четырех концентрациях, каждая взятая в двух повторностях. Контроль носителя (VC) = ДМСО ставится в четырех лунках на каждом планшете
(табл. 6.6.3.2.1).
Таблица 6.6.3.2.1
Расположение на 96-луночном планшете
для определения интервала концентраций
| 1 | 2 | 3 | 4 | 5 | 6 | 7 | 8 | 9 | 10 | 11 | 12 |
A | TS1-1 | TS1-1 | TS2-1 | TS2-1 | TS3-1 | TS3-1 | TS4-1 | TS4-1 | TS5-1 | TS5-1 | TS6-1 | TS6-1 |
B | TS1-2 | TS1-2 | TS2-2 | TS2-2 | TS3-2 | TS3-2 | TS4-2 | TS4-2 | TS5-2 | TS5-2 | TS6-2 | TS6-2 |
C | TS1-3 | TS1-3 | TS2-3 | TS2-3 | TS3-3 | TS3-3 | TS4-3 | TS4-3 | TS5-3 | TS5-3 | TS6-3 | TS6-3 |
D | TS1-4 | TS1-4 | TS2-4 | TS2-4 | TS3-4 | TS3-4 | TS4-4 | TS4-4 | TS5-4 | TS5-4 | TS6-4 | TS6-4 |
E | TS1-5 | TS1-5 | TS2-5 | TS2-5 | TS3-5 | TS3-5 | TS4-5 | TS4-5 | TS5-5 | TS5-5 | TS6-5 | TS6-5 |
F | TS1-6 | TS1-6 | TS2-6 | TS2-6 | TS3-6 | TS3-6 | TS4-6 | TS4-6 | TS5-6 | TS5-6 | TS6-6 | TS6-6 |
G | TS1-7 | TS1-7 | TS2-7 | TS2-7 | TS3-7 | TS3-7 | TS4-7 | TS4-7 | TS5-7 | TS5-7 | TS6-7 | TS6-7 |
H | E2-1 | E2-2 | E2-3 | E2-4 | VC | VC | VC | VC | E2-1 | E2-2 | E2-3 | E2-4 |
Сокращения:
E2-1 - E2-4 = концентрации (от большей к меньшей) референсного контроля E2;
TS1-1 - TS1-7 = концентрации (от большей к меньшей) тестируемого вещества 1;
TS2-1 - TS2-7 = концентрации (от большей к меньшей) тестируемого вещества 2;
TS3-1 - TS3-7 = концентрации (от большей к меньшей) тестируемого вещества 3;
TS4-1 - TS4-7 = концентрации (от большей к меньшей) тестируемого вещества 4;
TS5-1 - TS5-7 = концентрации (от большей к меньшей) тестируемого вещества 5;
TS6-1 - TS6-7 = концентрации (от большей к меньшей) тестируемого вещества 6;
VC = ДМСО + (1% v/v) EFM - контроль носителя.
3.22. Рекомендуемый конечный объем среды для каждой лунки составляет 200 мкл. Для тестирования используйте только те планшеты, где клетки во всех лунках имеют жизнеспособность 80% и выше.
3.23. Определение исходных концентраций для развернутого тестирования детально описаны в протоколе (7). Вкратце, используются следующие критерии:
- если на кривой концентрация-ответ тестируемого вещества отсутствуют точки, превышающие среднее значение плюс трехкратное стандартное отклонение SD для контроля с ДМСО, тогда полное тестирование проводят с использованием 11 последовательных разведений с шагом 1:2, начиная с максимальной концентрации, при которой тестируемое вещество растворяется полностью;
- если на кривой концентрация-ответ тестируемого вещества имеются точки, превышающие ДМСО, тогда начальная концентрация для расширенного тестирования должна быть на один шаг выше, чем концентрация, дающая максимальное приведенное значение RLU при поиске интервала концентраций. При этом для 11 последовательных разведений используют шаг 1:2 или 1:5 в соответствии со следующими критериями:
- если кривая концентрация-ответ, полученная в эксперименте по определению интервала концентраций, включает весь диапазон ТА-ответов, то в при полном тестировании используют 11 последовательных разведений с шагом 1:2; иначе, используют шаг разведения 1:5.
- если вещество в эксперименте по определению интервала концентраций, дает двухфазную кривую концентрация-ответ, то при расширенном тестировании должны быть проверены оба интервала концентраций.
Полное (расширенное) тестирование
3.24. Расширенное тестирование состоит из 11 последовательных разведений (либо 1:2 или 1:5, в зависимости от начальной концентрации, определенной по критериям для расширенного тестирования), при этом каждая проверяемая концентрация используется в трех повторностях в соседних лунках 96-луночного планшета
(табл. 6.6.3.2.2). В качестве референсного стандарта используется E2 в 11 концентрациях
(табл. 6.6.3.2.2), каждая взятая в двух посторностях. Контроль носителя (ДМСО) ставится в четырех лунках, как и контроль с метоксихлором (9,06 x 10
-6 М), на каждом планшете.
Таблица 6.6.3.2.2
Расположение на 96-луночном планшете
при проведении расширенного теста
| 1 | 2 | 3 | 4 | 5 | 6 | 7 | 8 | 9 | 10 | 11 | 12 |
A | TS1-1 | TS1-2 | TS1-3 | TS1-4 | TS1-5 | TS1-6 | TS1-7 | TS1-8 | TS1-9 | TS1-10 | TS1-11 | VC |
B | TS1-1 | TS1-2 | TS1-3 | TS1-4 | TS1-5 | TS1-6 | TS1-7 | TS1-8 | TS1-9 | TS1-10 | TS1-11 | VC |
C | TS1-1 | TS1-2 | TS1-3 | TS1-4 | TS1-5 | TS1-6 | TS1-7 | TS1-8 | TS1-9 | TS1-10 | TS1-11 | VC |
D | TS2-1 | TS2-2 | TS2-3 | TS2-4 | TS2-5 | TS2-6 | TS2-7 | TS2-8 | TS2-9 | TS2-10 | TS2-11 | VC |
E | TS2-1 | TS2-2 | TS2-3 | TS2-4 | TS2-5 | TS2-6 | TS2-7 | TS2-8 | TS2-9 | TS2-10 | TS2-11 | Meth |
F | TS2-1 | TS2-2 | TS2-3 | TS2-4 | TS2-5 | TS2-6 | TS2-7 | TS2-8 | TS2-9 | TS2-10 | TS2-11 | Meth |
G | E2-1 | E2-2 | E2-3 | E2-4 | E2-5 | E2-6 | E2-7 | E2-8 | E2-9 | E2-10 | E2-11 | Meth |
H | E2-1 | E2-2 | E2-3 | E2-4 | E2-5 | E2-6 | E2-7 | E2-8 | E2-9 | E2-10 | E2-11 | Meth |
Сокращения:
TS1-1 - TS1-11 = концентрации (от большей к меньшей) тестируемого вещества 1;
TS2-1 - TS2-11 = концентрации (от большей к меньшей) тестируемого вещества 2;
E2-1 - E2-11 = концентрации (от большей к меньшей) референсного контроля E2;
Meth = р,р'метоксихлор - слабый положительный контроль; VC = DMSO (1% v/v) EFM - контроль носителя.
3.25. Для обеспечения независимости тестирования повторный расширенный тест (его дубликат) для того же самого химического вещества должен проводиться в другие дни. Необходимо провести, по крайней мере, два расширенных теста. Если результаты тестов противоречат друг другу (например, один тест положительный, другой отрицательный) или если один из тестов недостоверный, необходимо дополнительно провести третий расширенный тест.
Измерение люминесценции
3.26. Люминесценцию измеряют в диапазоне от 300 до 650 нм, используя инъекционный люминометр с программным обеспечением, которое управляет объемом впрыска и длительностью интервала измерения (7). Излучение света в каждой лунке выражается в RLU для каждой лунки.
4. Анализ и интерпретация данных
Установление EC50
4.1. Величина EC50 (средняя эффективная концентрация тестируемого вещества) определяется на основе данных концентрация-ответ и рассчитывается, используя уравнение Хилла или подходящий альтернативный метод. Уравнение Хилла представляет математическую модель логистической зависимости, определяемой четырьмя параметрами и задающей соответствие между величиной ответа и концентрацией вещества (обычно соответствующую сигмоидной кривой) в соответствии с уравнением:
Y = ответ (например, RLU);
X = логарифм концентрации;
Bottom = минимальный ответ;
Top = максимальный ответ;
lg EC50 = десятичный логарифм концентрации в точке, где ответ равен половине величины между Top и Bottom;
Hillslope (коэффициент Хилла) характеризует крутизну наклона кривой.
Модель наилучшим образом подходит для расчета Top, Bottom, Hillslope, and EC50 параметров методом наилучшего приближения. Для расчета EC50 и максимального уровня индукции используют соответствующее статистическое программное обеспечение (например, статистическая программа Graphpad Prism).
Определение выпадающих значений (выбросов)
4.2. При статистически корректных расчетах следует предварительно использовать Q-тест (и/или другие аналогичные) для определения "непригодных", выпадающих значений для лунок, которые необходимо исключить из анализа данных.
4.3. Любое приведенное значение RLU для двух повторностей референсных стандартов при данной концентрации E2 рассматривается как выброс, если его значение более чем на 20% отличается от приведенных значений RLU для этой концентрации в исторический базе.
Сбор и нормализация люминометрических данных при определении интервала между концентрациями
4.4. Исходные люминометрические данные необходимо ввести в таблицу, предназначенную для данного метода тестирования. Следует определить значения, являющиеся выбросами, которые надо исключить из рассмотрения (см. Критерии приемлемости теста для параметров, определяемых в ходе анализа). Производят следующие вычисления:
Этап 1 - рассчитать среднее значение для ДМСО VC.
Этап 2 - из значения люминесценции в каждой лунке вычесть среднее значение для ДМСО VC для того, чтобы получить нормализованные данные.
Этап 3 - рассчитать среднюю кратность индукции для референсного стандарта (E2).
Этап 4 - рассчитать среднее значение EC50 для тестируемых веществ.
Сбор и нормализация люминометрических данных при развернутом тестировании
4.5. Исходные люминометрические данные необходимо ввести в таблицу, предназначенную для данного метода тестирования. Следует определить значения, являющиеся выбросами, которые надо исключить из рассмотрения (см. Критерии приемлемости теста для параметров, определяемых в ходе анализа). Производят следующие вычисления:
Этап 1 - рассчитать среднее значение для ДМСО VC.
Этап 2 - из значения люминесценции в каждой лунке вычесть среднее значение для ДМСО VC для того, чтобы получить нормализованные данные.
Этап 3 - рассчитать среднюю кратность индукции для референсного стандарта (E2).
Этап 4 - рассчитать среднее значение EC50 для E2 и для тестируемых веществ.
Этап 5 - рассчитать среднее приведенное значение RLU для метоксихлора (methoxychlor).
Критерии интерпретации данных
4.6. BG1Luc ER ТА-метод, являясь элементом подхода, называемого "сумма доказательств", призван помочь приоритезировать вещества для дальнейшего тестирования способности оказывать влияние на эндокринную систему (ED)
in vivo. Частью этой процедуры приоритезации веществ и является его классификация как положительного или отрицательного относительно ER-агонистической активности. В
табл. 6.6.3.2.3 представлены критерии положительной и отрицательной классификации веществ, использовавшихся при валидизации BG1Luc ER ТА-анализа.
Таблица 6.6.3.2.3
Критерии положительной и отрицательной классификации
Положительные | - Все вещества, классифицируемые как положительные, т.е. проявляющие ER-агонистическую активность, должны давать кривую концентрация-ответ, состоящую из базовой линии с последующим подъемом активации, переходящим в плато или горб. В отдельных случаях могут наблюдаться только два из этих характерных участков (базовая линия и подъем или подъем и пик). - Линия, характеризующая наклон подъема должна содержать как минимум три точки с неперекрывающимися диапазонами SD (среднее +/- SD). При этом точки, составляющие базовую линию, исключаются из рассмотрения, однако линейная часть подъема может включать собственно пиковое значение или первую точку, попадающую на плато. - Вещество классифицируется как положительное, если амплитуда активации (разница между базовой линией и пиковым значением) составляет, как минимум, 20% от максимального значения для референсного вещества (E2) (например, 2000 RLUs или более, когда/если максимальный ответ для референсного эстрогена приведен к 10000 RLUs). - При возможности для каждого положительно классифицированного вещества следует рассчитать величину EC50 |
Отрицательные | Вещество классифицируют как отрицательное, если среднее приведенное RLU значение при данной концентрации равняется или ниже, чем среднее значение RLU для контроля с ДМСО плюс трехкратная величина стандартного отклонения |
Некорректные | Если данные не являются достоверными и не позволяют судить о наличии или отсутствии активации (из-за существенного количественного или качественного несоответствия), то такие данные считаются некорректными и не могут использоваться для классификации вещества в качестве положительного или отрицательного |
4.7. Критерии интерпретации данных представлены в
табл. 3. Насколько возможно, положительные результаты должны характеризоваться как величиной относительной активации (кратностью активации), так и характерной концентрацией, при которой данный эффект обнаруживается. Примеры положительных, отрицательных и некорректных данных представлены на
рисунке.
Рис. Примеры положительных, отрицательных
и некорректных данных
Пунктирная линия соответствует 20% ответа E2,
т.е. 2000 приведенных и нормализованных RLU
4.8. Расчет EC50 можно произвести, используя уравнение Хилла с четырьмя параметрами. Соответствие критериям приемлемости теста говорит только о том, что процедура тестирования проводится надлежащим образом, но это еще не гарантирует получения точных данных в каждом конкретном тестировании. Наилучшим подтверждением правильности полученных результатов является воспроизведение результатов первого теста при повторном тестировании.
5. Подготовка тестового отчета
5.1. См.
п. 6 "Подготовка тестового отчета" основного текста настоящего документа.
H295R IN VITRO ТЕСТ НА СТЕРОИДОГЕНЕЗ С ИСПОЛЬЗОВАНИЕМ
ЧЕЛОВЕЧЕСКОЙ КЛЕТОЧНОЙ ЛИНИИ АДРЕНОКАРЦИНОМЫ
Идентичен международному документу OECD TG N 456 "H295R Steroidogenesis Assay" (ОЭСР Руководство N 456 "H295R in vitro тест на стероидогенез"). Перевод с английского языка (en). Степень соответствия - модифицированный (MOD).
1.1. Настоящий метод исследования устанавливает требования к выполнению исследований по изучению влияния веществ и продукции на их основе (далее - вещество) на стероидогенез, в частности на продукцию

(E2) и тестостерона (T), в тесте H295R
in vitro с использованием человеческой клеточной линии адренокарциномы.
1.2. H295R-тест предназначен для идентификации ксенобиотиков, мишенями которых являются эндогенные компоненты внутриклеточных биохимических путей, обеспечивающих синтез E2 и/или T из холестерина. H295R-тест не предназначен для идентифиции веществ, влияющих на стероидогенез посредством воздействия на механизмы "гипоталамо-гипофизарно-надпочечниковой" оси. Целью данного теста является получение качественного ДА/НЕТ-ответа относительно способности вещества индуцировать или ингибировать продукцию T и E2.
1.3. Результаты тестирования с использованием настоящего метода могут быть представлены в виде относительного изменения синтеза гормона по сравнению с контрольным значением, полученным в параллельном контроле без добавления тестируемого вещества.
1.4. Исследование не предназначено для получения информации относительно механизмов взаимодействия тестируемого вещества с эндокринной системой.
2.1. Метод H295R позволяет обнаружить как увеличение, так и уменьшение продукции T и E2.
2.2. Метод H295R позволяет проводить прямую оценку возможного воздействия вещества на жизнеспособность/цитотоксичность клетки. Это является важной особенностью, поскольку позволяет различать цитотоксичность от эффектов, возникающих в результате прямого взаимодействия веществ на механизмы и пути стероидогенеза, что невозможно в системах с использованием образцов тканей, которые состоят из многих типов клеток различной чувствительности и функциональности.
2.3. Метод H295R не требует использования животных.
2.4. Клеточная линия H295R коммерчески доступна.
2.5. Принципиальными ограничениями метода H295R являются следующие:
- Его метаболические способности неизвестны, но вероятно довольно ограничены; поэтому, вещества, которые должны быть метаболически активированы, вероятно, не будут выявлены в этом исследовании.
- Будучи полученными из ткани надпочечников, клетки H295R обладают ферментами, способными к производству глюко- и минерало-кортикоидов, так же как и половых гормонов; поэтому изменение уровня глюко- и минерало-кортикоидов может повлиять на уровни T и E2, наблюдаемые в исследовании.
- Метод не выявляет наличие дигидротестостерона, поэтому нельзя ожидать, что он обнаружит вещества, которые ингибируют

в этом случае следует использовать тест Хешбергера.
- H295R-тест не будет обнаруживать вещества, которые воздействуют на стероидогенез, затрагивая гипоталамо-гипофизарно-надпочечниковую ось, поскольку этот путь может изучаться только в опытах на животных.
3.1. Цель исследования - выявление веществ, которые влияют на синтез T и E2. Гормон T является также промежуточным продуктом при синтезе E2. Тестирование позволяет обнаружить вещества, которые, как правило, ингибируют или индуцируют ферменты системы стероидогенеза.
3.2. Пять ферментов катализируют шесть различных реакций, ответственных за биосинтез половых стероидных гормонов. Ферментативное преобразование холестерина в прегненолон осуществляется цитохромом P
450 (CYP11A) и является начальным шагом в ряде биохимических реакций, которые завершаются образованием стероидных гормонов в качестве конечных продуктов. В зависимости от очередности двух следующих реакций стероидогенный путь биосинтеза подразделяется на два:

и

пути, которые завершаются образованием андростендиона
(рис. 6.6.4.1). Андростендион преобразуется в тестостерон (T) с помощью

дегидрогеназы

Тестостерон одновременно является и промежуточным, и конечным гормональным продуктом. У мужчин T может быть преобразован в дигидротестостерон (DHT) при помощи

которая найдена в клеточной и ядерной мембранах, а также в эндоплазматическом ретикулуме органов-мишеней действия андрогенных гормонов, таких как простата и семенные пузырьки. DHT является значительно более мощным андрогеном, чем T, и он также считается конечным гормоном.
3.3. H295R-текст не измеряет DHT. Ароматаза (CYP19) преобразовывает андрогены в эстрогены - T в

(E2) и андростендион в эстрон. Конечными продуктами стероидогенеза являются E2 и T.
3.4. Специфика лиазной активности CYP17 различается для промежуточных субстратов у разных биологических видов. У человека - прегненолон, в то время как у крыс - прогестерон. Такие различия в лиазной активности CYP17 могут объяснять некоторые видоспецифические различия ответа на действие веществ, которые изменяют стероидогенез in vivo.
3.5. Клетки H295, как было показано, наиболее близко отражают экспрессию ферментов и характер синтеза стероидов в надпочечниках взрослого человека. Но они экспрессируют ферменты, характерные для обоих путей синтеза андрогенов, как

так и

3.6. Человеческая клеточная линия адренокарциномы-H295R служит удобной моделью для
in vitro исследования воздействия на синтез стероидных гормонов веществ. Клеточная линия H295R экспрессирует все гены, которые кодируют ключевые ферменты образования стероидных гормонов, упоминавшиеся выше
(рис. 6.6.4.1). Это является уникальной особенностью, потому что экспрессия этих генов
in vivo определяется стадией развития и, кроме того, является тканеспецифичной, так что ни в одной ткани и ни на одном этапе развития гены, вовлеченные в стероидогенез, не экспрессируются одновременно.
3.7. Клетки H295R имеют физиологические характеристики зонально недифференцированных человеческих эмбриональных клеток надпочечников. Эти клетки представляют уникальную систему для исследования in vitro, поскольку они способны производить все стероидные гормоны коры надпочечников и гонад взрослого человека, позволяя исследовать воздействие как на синтез кортикостероидов, так и на продукцию половых стероидных гормонов, таких как андрогены и эстрогены, хотя описываемый тест был валидизирован только для анализа T и E2.
Рис. 6.6.4.1. Пути стероидогенеза в клетках H295R.
(Ферменты выделены курсивом, гормоны - жирным шрифтом,
а стрелки показывают направление синтеза. Серым фоном
указаны кортикостероидные пути и продукты. Пути биосинтеза
половых стероидных гормонов заключены в рамку)
CYP = цитохром P450; HSD = гидроксистероидная
дегидрогидрогеназа; DHEA = дегидроэпиандростерон
3.8. Изменения, зарегистрированные тестовой системой в виде изменения синтеза T и E2, могут быть результатом множества различных воздействий тестируемого вещества на стероидогенные механизмы, действующие в клетках H295R. Эти воздействия включают модуляцию экспрессии, синтеза или функции ферментов, вовлеченных в синтез, взаимопревращение или элиминацию стероидных гормонов. Ингибирование синтеза гормонов может произойти из-за прямого конкурентоспособного связывания с ферментом, путем воздействия на кофакторы, такие как NADPH (никотинамид аденинфосфат динуклеотид) и cAMP (циклический аденозин монофосфат), и/или усиления метаболизма стероидов или супрессии генов, кодирующих определенные ферменты в путях метаболизма стероидов.
3.9. В то время как ингибирование может быть следствием непосредственных или косвенных процессов, связанных с синтезом гормонов; индукция обычно имеет косвенную природу, в результате, например, влияния на кофакторы, такие как NADPH и cAMP (в случае с форсколином), или снижения метаболизма стероидов, или увеличения экспрессии генов стероидогенеза.
3.10. Анализ обычно выполняют на 24-луночных планшетах при стандартных условиях культивирования клеток. Можно использовать плашки другого формата, но посев клеток и условия эксперимента потребуют соответствующей модификации для соблюдения всех требуемых критериев.
3.11. После 24-часовой акклиматизации на многолуночном планшете клетки подвергают 48-часовой экспозиции с тестируемым веществом в семи различных концентрациях, по крайней мере, в трех повторностях каждая. Растворитель, известный ингибитор и индуктор синтеза гормона в заданных концентрациях используют в качестве положительного и отрицательного контролей. По окончании периода экспозиции среду собирают из каждой лунки. Жизнеспособность клеток проверяют сразу после удаления среды. Концентрацию гормонов в среде можно измерить, используя различные методы, включая коммерчески доступные наборы для измерения и/или инструментальные методы (LC-MS).
3.12. Данные отображают в виде кратности изменения относительно контроля растворителя (SC) и в виде минимальной концентрации наблюдаемого эффекта (LOEC).
3.13. Если результат исследования полностью отрицательный, наивысшая использовавшаяся концентрация фиксируется как концентрация отсутствия эффекта (NOEC).
3.14. Заключения относительно влияния вещества на стероидогенез должны основываться, по крайней мере, на двух независимых раундах тестирования. Первый раунд тестирования используют для предварительной оценки диапазона концентраций, которая будет скорректирована для последующего 2-го раунда и, при необходимости, для 3-го раунда, если обнаружатся проблемы с растворимостью или цитотоксичностью, или активность вещества наблюдается в конце диапазона исследуемых концентраций.
4.1. Работа с культурой клеток
4.1.1. Клеточная линия
<10>.
--------------------------------
<10> Клетки NCI-H295R коммерчески доступны в American Type Culture Collections (ATCC), после подписания соглашения о передаче материальных ценностей - Material Transfer Agreement (MTA) TCC CRL-2128; ATCC, Manassas, VA, USA, [http://www.lgcstandards-atcc.org/].
Из-за изменения способности клеток продуцировать E2 с увеличением возраста/пассажей, клетки должны культивироваться согласно определенному протоколу, прежде чем они будут использоваться для тестирования; должно указываться и фиксироваться число пассажей с момента размораживания клеток, а также номер пассажа, когда клетки были заморожены и помещены на хранение в жидком азоте. Первое число указывает на текущий номер пассажа клеток, а второе число - номер пассажа, на котором клетки были заморожены и помещены на хранение. Например, клетки, которые были заморожены после пятого пассажа, а затем разморожены и пересевались три раза (т.е. прошли еще 4 пассажа, считая культивирование после размораживания за первый пассаж), тогда их текущая маркировка будет 4.5. Пример схемы нумерации проиллюстрирован в Приложении I отчета о валидизации.
Основную среду используют в качестве основы для полной среды и среды для замораживания. Полная среда необходима для культивирования клеток. Среда для замораживания специально разработана для снижения стрессового воздействия на клетки при замораживании для длительного хранения. Перед использованием, Nu-serum (или аналогичная сыворотка с такими же свойствами, для которой показано соответствие требованиям контроля качества QC), являющейся компонентом дополненной среды, необходимо тестирование на присутствие фоновых количеств T и E2. Приготовление этих растворов описано в Приложении II отчета о валидизации.
После инициирования клеточной культуры H295R из оригинальной партии ATCC, клетки должны пройти пять пассажей (т.е. клетки должны пересеваться 4 раза). Клетки пятого пассажа замораживают в жидком азоте для хранения. До замораживания клеток, образец клеток предыдущего, 4-го пассажа, тестируют на контрольном планшете (QC), чтобы убедиться, что базовый уровень продуцируемых гормонов и ответ на вещества положительного контроля соответствует критериям контроля качества, представленным в
табл. 6.6.4.5.
Клетки H295R культивируют, замораживают и хранят в жидком азоте, чтобы всегда иметь в наличии клетки подходящего пассажа и возраста, пригодные для использования. Максимальное число пассажей клеток, допустимое для использования в H295R-тестировании, после перевода новой или замороженной партии клеток в культуру, не должно превышать 10. Так, к использованию в H295R-тестировании из культуры, восстановленной из клеток, замороженных на пассаже 5, разрешены только пассажи от 4.5 до 10.5. Для культур, восстановленных из клеток, замороженных на 5 пассаже, клетки культивируют, по крайней мере, в четырех дополнительных пассажах перед их использованием для тестирования.
"Новая партия" - свежая партия клеток, полученная из ATCC.
"Замороженная партия" - клетки, которые ранее культивировались и были заморожены в какой-либо лаборатории, а не в ATCC.
Если новая партия клеток изымается из хранилища с жидким азотом с целью культивирования и использования в тесте, должна соблюдаться процедура восстановления культуры клеток из замороженного. Детали этой процедуры изложены в Приложении III отчета о валидизации. Замороженные клетки извлекают из жидкого азота, быстро оттаивают и переносят в дополненой среде в центрифужную пробирку, центрифугируют при комнатной температуре, ресуспендируют в дополненой среде, и переносят в культуральный флакон. На следующий день среду во флаконе необходимо сменить. Клетки H295R культивируют в инкубаторе при 37 °C в атмосфере 5% CO2, культуральную среду меняют 2 - 3 раза в неделю. По достижении 85 - 90% конфлюэнтности клетки необходимо пересеять. Пересев с клеток необходим для поддержания роста и физиологического состояния клеток и поддержания достаточного количества клеток, пригодных для проведения тестирований. Клетки три раза промывают забуференным физраствором (PBS, без Ca2 + Mg2 +), затем промывают раствором соответствующего фермента, например, трипсина в PBS (без Ca2 + Mg2 +), для отделения прикрепленных клеток от пластика. Как только клетки отделились от пластика, действие фермента останавливают путем добавления полной среды в количестве 3X от объема раствора фермента, использовавшегося для отделения клеток. Клетки переносят в центрифужную пробирку, центрифугируют при комнатной температуре, удаляют супернатант и осадок клеток ресуспендируют в дополненой среде. Надлежащий объем клеточной суспензии помещают в культуральный флакон. Количество пересеваемых клеток должно быть таким, чтобы клетки достигали конфлюэнтности через 5 - 7 дней. Рекомендуемое разведение культуры при пересеве клеток составляет 1:3 - 1:4. Планшеты тщательно маркируют. Подготовленные клетки готовы к использованию в H295R тесте, оставшиеся при пересеве клетки замораживают в жидком азоте.
Для подготовки клеток H295R к замораживанию следуют процедуре для пересева клеток, описанной выше до того этапа, когда получают осадок клеток на дне центрифужной пробирки. Тогда осадок клеток ресуспендируют в среде для замораживания. Суспензию клеток раскапывают по ампулам для криогенного хранения, маркированным надлежащим образом, и замораживают при -80 °C в течение 24 часов, после чего ампулы переносят в жидкий азот для хранения. Детали для этой процедуры приведены в Приложении III отчета о валидизации.
4.1.2. Посев клеток на планшет и предварительная инкубация клеток для тестирования.
Число 24-луночных планшетов, необходимых для тестирования, определяют количеством тестируемых веществ и степенью конфлюэнтности клеток. Как правило, один культуральный флакон (75 cm
2) при конфлюэнтности клеток 80 - 90% содержит достаточное количество клеток, чтобы приготовить полтора 24-луночных планшета при плотности 200,000 - 300,000 клеток на миллилитр среды, достигающих через 24 часа приблизительно 50 - 60% конфлюэнтности
(рис. 6.6.4.2). Обычно это является оптимальной плотностью клеток для синтеза гормонов при проведении теста. При более высокой плотности наблюдаются изменения продуцирования клетками гормонов T и E2. Прежде чем проводить тестирование в первый раз, рекомендуется проверить различную плотность посева между 200,000 и 300,000 клеток на миллилитр, и плотность посева, обеспечивающую 50 - 60% конфлюэнтности лунок через 24 часа, используют для дальнейших экспериментов.
Рис. 6.6.4.2. Микрофотографии клеток H295R на краю лунки (A)
и в ее центре (B), сделанные через 24 часа после посева
клеток при исходной плотности посева 50%
Из культурального флакона удаляют среду, и клетки промывают 3 раза стерильным PBS (без Ca2 + Mg2 +). Добавляют раствор фермента (в PBS) для отделения клеток от пластика. Как только клетки отделились от пластика, действие фермента останавливают путем добавления полной среды в количестве 3X от объема раствора фермента, использовавшегося для отделения клеток. Клетки переносят в центрифужную пробирку, центрифугируют при комнатной температуре, удаляют супернатант и осадок клеток ресуспендируют в дополненой среде. Определяют концентрацию клеток, например, используют гемоцитометр или счетчик клеток. Клетки доводят до необходимой для посева плотности и тщательно перемешивают, чтобы суспензия клеток была строго однородной. Клетки высаживают по 1 мл суспензии в каждую лунку планшета, планшет и лунки должны быть соответствующим образом подписаны. Свежеприготовленные планшеты инкубируют при 37 °C в атмосфере 5% CO2 в течение 24 часов, чтобы клетки могли прикрепиться ко дну лунок.
4.1.3. Контроль качества.
Исключительно важно при нанесении образцов и дозировании веществ максимально точно выдержать необходимые объемы, поскольку этим определяется точность концентраций, используемых при обработке результатов тестирования.
Еще до выращивания клеточной культуры и прежде проведения последующего тестирования, каждая лаборатория должна продемонстрировать чувствительность используемой системы определения концентрации гормонов.
При определении гормонов с использованием антител до начала эксперимента тестируемые вещества проверяют на их возможное влияние на тестовую систему, которая будет использована для измерения количеств T и E2.
Рекомендуемым для использования растворителем является ДМСО. Если используется альтернативный растворитель, определяют следующее:
- растворимость тестируемых веществ, форсколина и прохлораза в этом растворителе;
- цитотоксичность как функцию концентрации растворителя.
Рекомендованная максимально допустимая используемая концентрация растворителя как минимум, в 10 раз ниже наименьшей цитотоксической концентрации для этого растворителя.
До начала проведения тестов проводят предварительный квалификационный эксперимент, демонстрирующий, что лаборатория способна вести клеточную культуру, обеспечить получение клеточной культуры надлежащего качества и необходимые условия проведения эксперимента по тестированию веществ.
Инициируя новую культуру из новой партии клеток, ставят планшет контроля качества QC этой новой партии клеток, чтобы оценить качество клеток.
4.1.4. Эффективность системы измерения концентрации гормонов.
Каждая лаборатория для анализа продукции T и E2 клетками H295R использует систему измерения гормонов по своему выбору, если он соответствует критериям, включая предельно определяемое количество (LOQ). Номинально LOQ составляет 100 пг/мл для T и 10 пг/мл для E2, эти значения основаны на базальном уровне продукции гормонов, наблюдаемых в исследованиях по валидизации. Реальные значения могут оказаться высокими или низкими, в зависимости от соответствующих от базального уровня продукции гормонов, наблюдаемых в конкретной лаборатории, выполняющей исследования. Еще до постановки контроля качества QC и начала проведения тестов, лаборатория должна продемонстрировать, что используемая тест-система определения гормонов измеряет концентрации гормонов в культуральной среде с достаточной чувствительностью и точностью и соответствует критериям качества QC, приведенным в
табл. 6.6.4.1 и
6.6.4.5. Для этого проводят анализ полной среды с добавленным внутренним контролем концентрации гормона. Полная среда, используемая для поверки, содержит, по крайней мере, три концентрации добавленного внутреннего контроля для каждого гормона, например: 100, 500 и 2500 пг/мл T; 10, 50 и 250 пг/мл E2; или используют более низкие концентрации T и E2 в соответствии с пределами измерения проверяемой тест-системы. Измеренные концентрации гормонов в не экстрагированных образцах не должны отличаться от номинальных концентраций более чем на 30%, вариация между повторными измерениями одного и того же образца не должна превышать 25% (см.
табл. 6.6.4.8 для дополнительных QC критериев). Если все эти критерии QC соблюдены, считают, что выбранная тест-система определения концентрации гормонов достаточно аккуратна, точна и не подвержена влиянию компонентов питательной среды, содержащей гормон, в такой мере, чтобы это оказывало существенное влияние на результаты определения. В этом случае не требуется экстракции образцов перед измерением гормонов.
Если критерии контроля качества QC (
табл. 6.6.4.1 и
6.6.4.8) не выполняются, проводят эксперимент с экстракцией среды, содержащей добавленный внутренний контроль. Пример процедуры экстракции приведен в Приложении II отчета о валидизации. Измерение концентрации гормона в экстрагированных образцах проводят в 3-х повторностях
<11>. Если после экстракции компоненты среды не влияют на результаты метода определения гормонов, и результаты соответствуют критериями QC, все последующие эксперименты проводят с экстракцией образцов. Если и после экстракции не достигнуто соответствия критериям QC, используемая тест-система определения гормонов не подходит для применения в H295R-тесте на стероидогенез. Необходимо использовать другой метод определения гормонов.
--------------------------------
<11> Если необходимо проведение экстракции, для каждого экстракта проводят три повторных измерения. При этом экстракция каждого образца проводится только однократно.
Концентрации гормонов в контроле растворителя (SC) должны быть в пределах линейной части стандартной кривой. Предпочтительно, чтобы SC значения находились ближе к центру линейной части, чтобы гарантировать измерение уровня гормонов при индукции и ингибировании их синтеза. Необходимо подобрать подходящее разведение среды (или экстракта) для измерения концентрации гормонов. Линейность зависимости определяют с помощью подходящего статистического метода.
Если для измерения уровня гормонов предполагается использовать анализ на основе связывания антител, например, иммуноферментный анализ (ELISA) или радиоиммунный анализ (RIA), то каждое из тестируемых веществ сначала проверяют на возможное воздействие на систему измерения уровня гормона, прежде чем использовать ее непосредственно для тестирования веществ (Приложение III отчета о валидизации), поскольку некоторые вещества могут мешать определению уровня гормона этими методами. В случае, если оказываемое влияние составляет более 20% от базового уровня гормонов T и/или E2, определенного методом с использованием антител, необходимо исследование гормонов, как описано в Приложении III раздела 5.0 отчета о валидизации, для всех разведений исходных растворов тестируемых веществ, чтобы определить пороговую дозу, при которой наблюдается существенное (более 20%) воздействие на правильность определения уровня гормона. Если подобное влияние составляет менее 30%, результаты корректируют с учетом этого воздействия. Если подобное влияние превышает 30%, то соответствующие данные считают недостоверными, и результаты для соответствующих концентраций тестируемого химиката не используют при анализе. Если существенное воздействие тестируемого вещества на точность системы определения гормона выявлено при более чем одной не цитотоксической концентрации, то используют другую систему измерения гормона. Чтобы избежать воздействия загрязняющих веществ, гормоны экстрагируют из культуральной среды с использованием подходящих растворителей, методы могут быть найдены в отчете о валидизации.
Таблица 6.6.4.1
Критерии соответствия качеству для систем
измерения уровня гормона
Параметр | Критерий |
Чувствительность метода измерения | Предел количественного определения (LOQ) T: 100 pg/mL; E2: 10 pg/mL (a) |
Эффективность экстракции гормона (только когда экстракция необходима) | Средний уровень извлечения (по результатам трех повторов) добавленного меченого гормона не должен отличаться от его реально внесенного количества более, чем на 30% |
Влияние тестируемого вещества (только систем с использованием антител) | Отсутствие существенного (более 30% от базового уровня продукции соответствующего гормона) воздействия на определение любого из продуцируемых клетками гормонов (b, c) |
Примечание: a - Диапазон измерений используемого метода определяется базовым уровнем продукции гормонов (табл. 6.6.4.5). Чем выше будет базовый уровень продукции гормона, тем шире будут пределы диапазона измерений. b - Некоторые используемые T и E2 антитела могут перекрестно взаимодействовать с андростероном и эстроном соответственно при повышении концентраций. В таких случаях будет невозможно точно определить влияние химиката на  Однако данные все же могут дать полезную информацию о влиянии на продукцию эстрогенов или андрогенов в целом. В таких случаях данные должны быть выражены как изменение уровня андрогенов/эстрогенов, а не уровня E2 и T. c - Следующие гормоны: холестерин, прегненолон, прогестерон, 11-дезоксикортикостерон, кортикостерон, альдостерон,  дезоксикортизол, кортизол, DHEA, андростендион, эстрон |
4.1.5. Подтверждение квалификационного уровня владения методом.
Для тестирования неизвестных веществ лаборатория проводит предварительную проверку, подтверждающую уровень квалификации. Поскольку выполнение исследования непосредственно зависит от лабораторного персонала, проводящего испытание, соответствующие части проверки уровня квалификации повторяют, если в лаборатории происходит смена персонала.
Проверку уровня квалификации проводят при экспозиции клеток в семи увеличивающихся концентрациях сильных, умеренных и слабых индукторов и ингибиторов, а также нейтральных веществ
(табл. 6.6.4.2). Вещества, предназначенные для тестирования, включают сильный индуктор форсколин (CAS N 66575-29-9), сильный ингибитор прохлораз (CAS N 67747-09-5), умеренный индуктор атразин (CAS N 1912-24-9), умеренный ингибитор аминоглютетимид (СAS нет. 125-84-8), слабый индуктор (продукции E2), и при этом слабый ингибитор (продукции T) бисфенол (CAS N 80-05-7) и нейтральный человеческий хорионический гонадотропин (HCG) (CAS N 9002-61-3) в соответствии с
табл. 6.6.4.2. Отдельные планшеты используют для каждого вещества, используя формат, представленный в
табл. 6.6.4.6. Один QC-планшет
(табл. 6.6.4.4) используют для ежедневной постановки контроля с референсными веществами.
Таблица 6.6.4.2
Исследуемые концентрации референсных веществ
Вещество | Используемые концентрации  |
Прохлораз | 0 а, 0,01, 0,03, 0,1, 0,3, 1, 3, 10 |
Форсколин | 0 а, 0,03, 0,1, 0,3, 1, 3, 10, 30 |
Атразин | 0 а, 0,03, 0,1, 1, 3, 10, 30, 100 |
Аминоглютетимид | 0 а, 0,03, 0,1, 1, 3, 10, 30, 100 |
Бисфенол | 0 а, 0,03, 0,1, 1, 3, 10, 30, 100 |
HCG | 0 а, 0,03, 0,1, 1, 3, 10, 30, 100 |
а (ДМСО) контроль (0), 1 мкл DMSO на лунку |
В ходе лабораторной проверки уровня квалификации проводят экспозицию клеток H295R на 24-луночных планшетах с контрольными веществами. Концентрации указаны в

для всех проверяемых доз. Вещества добавляют в виде раствора в DMSO, вносимое количество ДМСО одинаково для всех лунок и составляет 0,1% v/v. Все используемые концентрации проверяют троекратно, т.е. одновременно в трех лунках
(табл. 6.6.4.6). Для каждого вещества используют отдельный планшет. Один QC-планшет используют для каждого из выполняемых за день тестов.
Пороговое значение (самая низкая концентрация, вызывающая наблюдаемый эффект, LOEC) и решение по классификации проверочного химиката представляют в отчете в сравнении с данными, приведенными в
табл. 6.6.4.3. Результаты проверки считают приемлемыми, если они соответствуют LOEC и принятой классификации, приведенной в
табл. 6.6.4.3.
4.1.6. Планшет для контроля качества.
Планшет контроля качества (QC) используют для проверки качества клеток H295R при стандартных условиях культивирования и сохранения в постоянно ведущейся базе данных по концентрации гормонов при контроле растворителя (QS), при постановке положительного и отрицательного контроля и для других дополнительных QC-мерах.
Таблица 6.6.4.3
Пороговые значения (LOEC) и классификация
по исследуемым веществам
Вещество | CAS no. | LOEC  | Классификация |
T | E2 | T | E2 |
Прохлораз | 67747-09-5 | <= 0,1 | <= 1,0 | + (а) (Ингибирование) | + (Ингибирование) |
Форсколин | 66575-29-9 | <= 10 | <= 0,1 | + (Индукция) | + (Индукция) |
Атразин | 1912-24-9 | <= 100 | <= 10 | + (Индукция) | + (Индукция) |
Аминоглютетимид | 125-84-8 | <= 100 | <= 100 | + (Ингибирование) | + (Ингибирование) |
Бисфенол А | 80-05-7 | <= 10 | <= 10 | + (Ингибирование) | + (Индукция) |
HCG | 9002-61-3 | n/а | n/а | Отрицательно | Отрицательно |
(а) +, позитив; n/а: неприменимо, так как никаких изменений не должно наблюдаться при воздействии нецитостатических концентраций отрицательного контроля |
Качество клеток H295R проверяют, используя QC-планшет для каждой новой партии клеток из коллекции ATCC или впервые используемых в работе клеток из ранее замороженного стока, если эта партия клеток еще не проверялась в тесте проверки качества.
Использование QC-планшета обеспечивает полную оценку условий проведения анализа при тестировании химикатов и обязательно является частью каждого тестирования. (Таких условий анализа, как жизнеспособность клеток, контроль растворителя, положительный и отрицательный контроль, вариабельность результатов внутри и между тестами.)
Проводят QC-тест на 24-луночных планшетах, следуя процедурам тестирования веществ: инкубация, дозирование, проверка на жизнеспособность и цитотоксичность, экстракция гормонов и определение концентрации гормонов. QC-планшет содержит пустые лунки, контроль растворителя, две концентрации известного индуктора (форсколин, 1 и 10

и ингибитора (прохлораз, 0,1 и 1

синтеза E2 и T. Кроме того, MeOH используется в отдельных лунках в качестве позитивного контроля для анализа жизнеспособности и цитотоксичности. Подробный шаблон для организации QC-планшета приведен в
табл. 6.6.4.4. Критерии, которым должен соответствовать QC планшет, перечислены в
табл. 6.6.4.5. Минимальное значение продуктов основного гормонального производства для T и E2 отмечают в обоих случаях: и в растворяющем контроле, и в чистых образцах.
4.2. Процедура исследования
4.2.1. Проведение химической экспозиции.
Предварительно инкубированные клетки вынимают из инкубатора и проверяют под микроскопом, чтобы убедиться, что они в хорошем состоянии (прикрепление, морфология) перед началом экспозиции.
Планшет с клетками переносят в ламинарный бокс; удаляют полную среду из лунок и заменяют ее новой полной средой (1 мл/на лунку). В данных МР ДМСО рассматривается в качестве предпочтительного растворителя. Если требуется использовать другой растворитель, предоставляют научное обоснование такой замены. Экспозицию клеток проводят путем добавления в лунку, содержащую 1 мл обогащенной среды, 1 мкл стокового раствора вещества в ДМСО. Конечная концентрация ДМСО составляет 0,1% (v/v) в каждой лунке. Предварительно отдельно смешивают соответствующий рабочий раствор вещества в ДМСО с полной средой для клеток, в соответствии с требуемой конечной концентрацией вещества для каждой дозы экспозиции. Приготовленную дозу добавляют в соответствующую лунку сразу после удаления из нее старой среды. Конечная концентрация ДМСО должна сохраняться неизменной, составляя 0,1% (v/v) для каждой лунки. Лунки, содержащие две самые высокие концентрации, визуально оценивают с помощью стереомикроскопа на предмет формирования осадка или образования мутности как признака неполной растворимости исследуемого вещества. Если наблюдаются мутность и выпадение осадка, проверяют образцы, содержащие последующие меньшие концентрации. После проверки растворимости планшет возвращают в CO
2-инкубатор и оставляют на 48 часов при 37 °C и 5% CO
2 атмосфере. Шаблон для планшета тестируемых веществ представлен в
табл. 6.6.4.6. Образцы с 1-го по 7-й расположены в порядке увеличения дозы вещества.
Таблица 6.6.4.4
Шаблон для нанесения реактивов на планшет контроля
качества для проверки состояния и реакции H295R клеток:
без экспозиции, экспозиция известным ингибитором
(PRO = прохлораз) и индуктором (FOR = форсколин)
синтеза E2 и T
| 1 | 2 | 3 | 4 | 5 | 6 |
A | Blanka | Blanka | Blanka | Blanka (+MeOH)b | Blanka (+MeOH)b | Blanka (+MeOH)b |
B | ДМСО c 1  | ДМСО c 1  | ДМСО c 1  | ДМСО c 1  (+ MeOH) b | ДМСО c 1  (+ MeOH) b | ДМСО c 1  (+ MeOH) b |
C | FOR 1  | FOR 1  | FOR 1  | PRO 0,1  | PRO 0,1  | PRO 0,1  |
D | FOR 10  | FOR 10  | FOR 10  | PRO 1  | PRO 1  | PRO 1  |
a Blank - (пустой контроль) - клетки в среде без растворителя и химикатов. b MeOH - 70% Метанол добавляется только после окончания экспозиции и удаления среды из этих лунок. c ДМСО - контроль растворителя (1 мкл DMSO на одну лунку) |
После завершения экспозиции и удаления среды во все лунки, помеченные +MeOH, необходимо добавить 70%-й раствор метанола для контроля цитотоксичности.
Таблица 6.6.4.5
Критерии оценки результатов планшета контроля качества
| T | E2 |
Базальная продукция гормона в растворе (SC) | >= 5 раз от LOQ | >= 2,5 раз от LOQ |
Индукция (10  форсколин) | >= 1,5 раз от SC | >= 7,5 раз от SC |
Ингибиция (1  прохлораз) | <= 0,5 раз от SC | <= 0,5 раз от SC |
Таблица 6.6.4.6
Шаблон расположения дозировок для тестирования веществ
на клетках H295R на 24-луночной плашке
| 1 | 2 | 3 | 4 | 5 | 6 |
A | ДМСО | ДМСО | ДМСО | Раствор 4 | Раствор 4 | Раствор 4 |
B | Раствор 1 | Раствор 1 | Раствор 1 | Раствор 5 | Раствор 5 | Раствор 5 |
C | Раствор 2 | Раствор 2 | Раствор 2 | Раствор 6 | Раствор 6 | Раствор 6 |
D | Раствор 3 | Раствор 3 | Раствор 3 | Раствор 7 | Раствор 7 | Раствор 7 |
После 48-часовой экспозиции планшеты вынимают из инкубатора, для каждой лунки под микроскопом проверяют состояние клеток (прикрепление, морфология, процент конфлюэнтности) и признаки цитотоксичности. Среда из каждой лунки делится на два равных объема (приблизительно по 490

каждый) и переносится в два отдельных флакона, маркированных соответствующим образом (для каждой лунки одна из аликвот является запасной). Для предотвращения высыхания клеток среду удаляют по одному ряду или колонке за один раз и заменяют средой для проверки жизнеспособности клеток и цитотоксичности. Если жизнеспособность и цитотоксичность не измеряется немедленно, то в каждую лунку добавляют 200 мкл PBS содержащий Ca2+ и Mg2+. Пробирки с собранной средой для определения концентрации гормонов замораживают и хранят при -80 °C до последующей обработки. Хотя T и E2 при хранении среды при -80 °C, как правило, устойчивы в течение трех месяцев, стабильность гормонов во время хранения постоянно определяют и документирют. Сразу после удаления среды для каждого планшета определяют жизнеспособность клеток и цитотоксичность для каждой дозы экспозиции.
4.2.2. Определение жизнеспособности клеток.
Для определения возможного воздействия тестируемого вещества на клетки используют подходящий анализ жизнеспособности клеток и цитотоксичности. Анализ должен обеспечить достоверное определение процента живых клеток в лунке или должен быть напрямую сопоставим с

Assay. Параллельно проводят визуальную оценку каждой лунки, цифровые снимки для SC двух самых больших не цитотоксических концентраций архивируют. Если визуальная оценка или анализ жизнеспособности клеток продемонстрировали увеличение числа клеток, то такое предполагаемое увеличение верифицируют. В случае подтверждения, увеличение числа клеток отмечают в отчете о проведении тестирования. Жизнеспособность клеток определяют относительно среднего ответа SC, который принимают за 100% и вычисляют в соответствии с используемым методом оценки жизнеспособности клеток. Для метода с окрашиванием МТТ используют следующую формулу:
% жизнеспособных клеток = (результат в лунке - средний
результат MeOH обработанных лунок [= 100% мертвых клеток]) /
(средний результат для SC лунок - средний результат MeOH
обработанных лунок [= 100% мертвых клеток])
Лунки с жизнеспособностью ниже 80% относительно средней жизнеспособности в SC (= 100% жизнеспособности) не включают в заключительный анализ данных. Ингибирование стероидогенеза в условиях почти 20%-й цитотоксичности тщательно проверяют, чтобы гарантировать, что цитотоксичность не является причиной ингибирования.
4.2.3. Измерение концентрации гормонов.
Каждая лаборатория использует систему измерения гормонов для анализа T и E2 по своему выбору. Аликвоту среды из каждой тестовой группы используют для приготовления разведений, имеющих концентрациями в пределах линейной части стандартной кривой. Каждая лаборатория должна продемонстрировать соответствие своей системы измерения гормонов (ELISA, RIA, LC-MS, LC-MS/MS) критериям QC путем анализа полной питательной среды с добавленным внутренним контролем концентрации гормона, прежде чем проводить проверку QC или тестирование веществ. Чтобы гарантировать, что компоненты тестируемой среды не влияют на измерение гормонов, из культуральной среды экстрагируют гормоны перед их измерением.
Если для определения уровня гормона используется коммерческий набор, анализ проводят в соответствии с протоколом изготовителя набора. Разведения образцов готовят таким образом, чтобы ожидаемые концентрации гормонов для контролей растворителя CS попадали в центр линейного диапазона стандартной кривой для конкретного используемого анализа (Приложение III отчета о валидизации). Значения, выходящие за пределы линейной части стандартной кривой, при расчете не используют.
Конечную концентрацию гормона вычисляют следующим образом:
Пример:
Экстрагировано из 450 мкл среды
Восстановлено в 250 мкл буфера для анализа
Разведение для анализа 1:10 (чтобы получить концентрации в пределах линейного диапазона стандартной кривой)
Концентрация определяемого гормона 150 пг/мл (в образце после экстракции и разведения) Выход 89%
Конечная концентрация гормона в среде = (концентрация гормона (на мл) / Выход) (Кратность разведения)
Конечная концентрация гормона в среде = (150 пг/мл) / (0,89) x (250 мкл/450 мкл) x 10 = 936,3 пг/мл
4.2.4. Выбор тестируемых концентраций.
Проводят, как минимум, два независимых раунда тестирования. Если предварительная информация о пределах растворимости или цитотоксичности не ограничивает выбор используемых концентраций, используют log10 разведения для первого раунда тестирования с максимальной концентрацией, равной 1 mM. Если вещество хорошо растворимо, не цитотоксично в любой из проверенных концентраций, и первый раунд тестирования дал отрицательной ответ для всех использованных концентраций, подтверждают это во втором раунде тестирования, используя те же самые условия, что и в первом раунде
(табл. 6.6.4.7). Если результаты первого раунда тестирования являются неоднозначными (т.е. уровень гормона статистически достоверно отличается от SC только при каком-то одном разведении химиката) или являются положительными (т.е. уровень гормона статистически достоверно отличается от SC в двух или более последовательных разведениях химиката), тест повторяют, как показано в
табл. 6.6.4.7, с более точным подбором необходимых тестовых концентраций. Концентрации вещества во втором и третьем (если потребуется) раундах тестирования подбирают на основе результатов первого раунда, используя в качестве крайних концентрации, при которых наблюдался эффект, и используя
1/
2-log разведения. Например, если в первом раунде из концентраций - 0,001, 0,01, 0,1, 1, 10, 100, 1000

индукция наблюдалась при концентрациях 1

и 10

то концентрации, проверяемые во втором раунде, должны составлять 0,1, 0,3, 1,3, 10, 30, 100

если не требуется использовать более низкие концентрации, чтобы достигнуть LOEC. В последнем случае, по крайней мере, пять концентраций ниже самой низкой концентрации, проверенной в первом раунде, используют во втором раунде, с
1/
2-log разведения. Если второй раунд не подтверждает результаты первого (т.е. статистическая достоверность не достигнута при концентрации, ранее обнаружившей положительный эффект, ни при +/- 1 шаге концентраций), проводят третий раунд тестирования с использованием первоначальных условий тестирования. Неоднозначные результаты в первом раунде считают отрицательными, если наблюдаемый эффект не был подтвержден ни в одном из двух последующих раундов. Неоднозначные результаты считают положительными, если положительный эффект был подтвержден, по крайней мере, еще в одном раунде в пределах +/- 1 шага концентраций.
Таблица 6.6.4.7
Матрица решений для сценариев возможного исхода
1 | 2 | 3 | Результат |
Сценарий | Решение | Сценарий | Решение | Сценарий | Позитивный | Негативный |
Негативный | Подтверждениеa | Негативный | Stop | | | X |
Негативный | Подтверждениеa | Позитивный | Повторb | Негативный | | X |
Эквивокальныйc | Повторb | Негативный | Подтверждениеa | Негативный | | X |
Эквивокальныйc | Повторb | Негативный | Подтверждениеa | Позитивный | X | |
Эквивокальныйc | Повторb | Позитивный | | | X | |
Позитивный | Повторb | Негативный | Подтверждениеa | Позитивный | X | |
Негативный | Подтверждениеa | Позитивный | Повторb | Позитивный | X | |
Позитивный | Повторb | Позитивный | Stop | | X | |
a Подтвердит предыдущий раунд, используя тот же самый дизайн эксперимента. b Провести второй раунд используя 1/2-log интервал концентраций (покрывая те концентрации, при которых наблюдались достоверные отличия в предыдущем раунде). c Уровень гормона при одной из концентраций статистически достоверно отличается от SC |
4.2.5. Контроль качества испытательного планшета.
Помимо соответствия критериям качества для QC планшета, необходимо выполнение других критериев качества, представленных в
табл. 6.6.4.8. К ним относятся: допустимая вариация значений между лунками с повторами, между повторными экспериментами, линейность и чувствительность систем измерения уровня гормонов, вариабельность между повторными измерениями уровня гормона одного и того же образца, процент выхода гормона при экстракции из среды. Для дальнейшей отработки данные должны находиться в пределах приемлемых диапазонов, которые определены для каждого параметра. Если эти критерии не выполняются, то в расчетной таблице указывают, что данный образец не соответствует QC-критериям, этот образец тестируют повторно или исключают из набора данных для анализа.
Таблица 6.6.4.8
Приемлемые диапазоны и/или вариации (%) параметров
для тестового планшета H295R-анализа
| Сравнение | T | E2 |
Базовый уровень продукции гормона в SC | Кратность превышения над LOQ | >= 5 раз | >= 2,5 раз |
Эксперименты с экспозицией - CV в пределах планшета для SC (дупликаты лунок) | Абсолютная концентрация | <= 30% | <= 30% |
Эксперименты с экспозицией - CV между планшетами для SC (повторные эксперименты) | Кратность изменения | <= 30% | <= 30% |
Чувствительность системы измерения уровня гормона | Определяемое снижение к SC | >= 5 раз | >= 2,5 раз |
Система измерения уровня гормона - дупликаты измерений CV для SCa | Абсолютная концентрация | <= 25% | <= 25% |
Экстракция из среды - выход добавленного 3H стандарта (если используется) | DPM | >= 65% от исходного |
a относится к повторным измерениям одного и того же образца. LOQ: Нижний предел чувствительности системы измерения уровня гормона; CV: Коэффициент вариации; SC: Контроль растворителя; DPM: Распады в минуту |
5. Анализ и интерпретация данных
Для оценки относительного увеличения/уменьшения продукции гормонов под действием тестируемых веществ, результаты нормализуют относительно среднего SC-значения для каждого тестового планшета и представляют как изменения гормона относительно SC для каждого тестового планшета. Все данные представляют как среднее значение +/- 1 стандартное отклонение (SD).
Только данные по гормонам для лунок, цитотоксичность в которых составляет менее 20%, используют для анализа данных. Относительные изменения вычисляют следующим образом:
Относительное изменение = (концентрация гормона
в каждой лунке) / (среднее значение концентрации гормона
для всех лунок с контролем растворителя).
Если визуальная оценка или анализ жизнеспособности клеток продемонстрировали увеличение числа клеток, то наблюдаемое увеличение верифицируют. Подтверждение увеличения числа клеток отмечают в отчете о проведении тестирования.
До проведения статистического анализа оценивают предположения о нормальности распределения и однородности различий. Нормальность оценивают с использованием стандартных методов вычисления вероятности или другого соответствующего статистического метода (например, тест Шапиро-Уилка). Если данные (кратность изменения) не подчиняются закону нормального распределения, проводят преобразование данных для соответствия нормальному распределению. Если данные отвечают закону нормального распределения или аппроксимируются нормальным распределением, различия между группами концентраций вещества и SC анализируют с использованием параметрического теста (например, теста Даннетта) с
концентрацией в качестве независимой переменной и
ответом (кратностью изменения) в качестве зависимой переменной. Если данные не отвечают нормальному распределению, используют соответствующий непараметрический тест (например, тест Краскэла Уоллиса). Различия считают существенными, если

Статистические оценки делают на основе средних значений для лунок, которые представляют собой независимые повторы исследуемых точек. Предполагается, что из-за большого шага разведений в первом раунде тестирования (шкала lg) во многих случаях будет невозможно четко описать отношения концентрация-эффект, чтобы значения двух самых больших доз находились на линейной части сигмовидной кривой. Поэтому для первого раунда тестирования и в случае наборов данных, где наблюдается подобное положение (например, там, где невозможно дать оценку максимальной эффективности) применяют переменную статистику.
Если в линейной части кривой оказывается более двух значений, и при этом может быть вычислен максимальный эффект (что можно ожидать для некоторых вторых раундов тестирования, когда используется 1/2 lg шаг разведения), тогда применяют любую модель регрессии для вычисления эффективных концентраций (например, EC50 и EC20).
Результаты представляют в двух форматах: графически - в виде гистограммы средних значений с соответствующими +/- 1 SD) и в виде таблицы (LOEC/NOEC, направление эффекта и сила максимального ответа, который является частью дозы-эффекта, в различных форматах (см.
рис. 6.6.4.3, для примера). Оценку данных считают валидной, только если она выполнена на основании, по крайней мере, двух независимо проведенных раундов тестирования. Эксперимент или раунд тестирования считаются независимыми, если они проводились в разные дни с использованием заново приготовленных разведений вещества и контроля. Диапазон концентраций, применявшихся в раундах 2 и 3 (если это было необходимо) с целью более точного попадания в диапазон доза-ответ, включающего LOEC, планируют на основе результатов раунда 1.
Рис. 6.6.4.3. Графическое и табличное представление данных
и результатов обработки, полученных в результате
H295R-тестирования. Звездочками отмечены значения,
которые статистически значимо

отличаются
от контроля растворителя (SD).
LOEC: Самая низкая наблюдавшаяся эффективная концентрация;
Max Change: Максимальная сила ответа относительно
среднего SC (=1) ответа.
5.2. Процедура интерпретации данных
Вещество классифицируют как положительное, если кратность индукции статистически значимо

отличается от контроля растворителя для двух соседних концентраций, по крайней мере, в двух независимых раундах тестирования
(табл. 6.6.4.7). Вещество классифицируют как отрицательное после двух независимых раундов тестирования с отрицательным эффектом или после трех независимых раундов, два из которых дали отрицательный результат, а один раунд оказался положительным или неоднозначным. Если данные, полученные в трех независимых экспериментах, не соответствуют критериям классификации, приведенным в
табл. 6.6.4.7, то результаты таких экспериментов считают не интерпретируемыми. Результаты для концентраций, превышающих пределы растворимости или имеющие цитостоксический эффект, не включают в анализ и интерпретацию результатов.
Отчет по тестированию химикатов должен содержать следующую информацию:
Лаборатория, проводившая тестирование:
- Название лаборатории и адрес;
- Ответственный исполнитель и другой персонал и их обязанности по проведению тестирования;
- Дата начала и конца тестирования.
Тестируемое вещество, реагенты и средства контроля:
- Идентичность (название, CAS номер, если имеется), источник, номер партии, чистота, поставщик; характеристики тестируемого вещества, реагентов и средств контроля;
- Физико-химические свойства тестируемого вещества;
- Условия хранения, методы и частота подготовки тестируемых веществ, реагентов и контролей;
- Стабильность тестируемого вещества.
Клетки:
- Источник и тип клеток;
- Число пассажей (идентификатор пассажа) для клеток используемых конкретном тесте;
- Описание процедур хранения и ведения клеточных культур.
Необходимые дотестовые проверки (если применимо):
- Описание и результаты проверки по выявлению влияния тестируемого химиката на точность определения концентрации гормона;
- Описание и результаты определения эффективности (процента выхода) экстракции гормонов;
- Стандартные и калибровочные кривые для всех используемых аналитических методов;
- Чувствительность и диапазон измерения для всех используемых аналитических методов.
Условия проведения теста:
- Состав среды;
- Концентрация тестируемого химиката;
- Плотность клеток (оценочная или измеренная концентрация клеток через 24 и 48 часов инкубации);
- Растворимость химического теста (предел растворимости, если определялся);
- Длительность и условия инкубации.
Результаты тестирования:
- Исходные данные для каждой лунки контроля и тестируемого вещества - результат замера в каждом из повторов, представленных в виде оригинальных данных измерения концентрации гормона (например: OD, единицы флюоресценции, DPM, и т.д.);
- Проверка соответствия нормальному распределению или объяснение применявшегося преобразования данных;
- Средние значения +/- 1 SD для каждой лунки;
- Данные о цитотоксичности (концентрации тестируемого вещества, которые вызвали цитотоксичность);
- Подтверждение соответствия эксперимента требованиям контроля качества QC;
- Относительное изменение по сравнению с контролем растворителя SC с поправкой на цитотоксичность;
- Гистограмма величины относительного эффекта (кратность индукции) при каждой концентрации, с указанием SD и статистической достоверности в соответствии с параграфами N 49 - 54;
Интерпретация результатов:
- Применяется процедура интерпретации данных к полученным результатам.
Обсуждение:
- Есть ли какие-либо признаки, указывающие на возможность того, что механизмы глюко- и минералокортикоидных путей обмена могли оказать косвенное влияние на наблюдающиеся результаты продукции T/E2?
ИЗУЧЕНИЕ СПЕЦИФИЧЕСКИХ И ОТДАЛЕННЫХ ЭФФЕКТОВ
ИССЛЕДОВАНИЕ ОТДАЛЕННОГО НЕЙРОТОКСИЧЕСКОГО ДЕЙСТВИЯ
ФОСФОРОРГАНИЧЕСКИХ СОЕДИНЕНИЙ ПОСЛЕ ОСТРОГО ВОЗДЕЙСТВИЯ
Идентичен международному документу OECD TG N 418 "Delayed Neurotoxicity of Organophosphorus Substances Following Acute Exposure" (ОЭСР Руководство N 418 "Исследование отдаленного нейротоксического действия фосфорорганических соединений после острого воздействия"). Перевод с английского языка (en). Степень соответствия - модифицированный (MOD).
1.1. Настоящий метод исследования обеспечивает получение информации об отдаленном нейротоксическом действии фосфорорганических соединений после их острого воздействия на лабораторных животных и позволяют оценить и классифицировать вещество в соответствии с СГС по данному виду воздействия.
2.1. Исследование нейротоксичности химических веществ и продукции на их основе вследствие ингибирования эстеразы (нейротоксичная эстераза - далее НТЭ) для определения последствий в течение 21 дня адекватно высокой дозы без повторного введения.
2.2. Метод позволяет дать оценку специфическим типам нейротоксичности, которые не могут быть обнаружены в других токсикологических исследованиях.
2.3. Ингибирование НТЭ в головном и спинном мозге в течение 24 - 48 часов после введения препарата хорошо коррелирует с клиническими и морфологическими эффектами отдаленного нейротоксического действия, наблюдаемого в течение 10 - 20 дней после воздействия. Также НТЭ является актуальной моделью тестирования для всех фосфорорганических эфиров, являющихся причиной отдаленных невропатий человека.
2.4. Количественные данные об ингибировании НТЭ позволяют значительно повысить точность определения неоднозначных результатов, которые могут наблюдаться в поведенческих реакциях и результатах гистологических исследований, возникающих вследствие отдаленной нейроинтоксикации.
2.5. До проведения эксперимента необходимо рассмотреть всю доступную об исследуемом веществе информацию. Такая информация включает данные о составе и химическом строении вещества; его физико-химические свойства; результаты токсикологических испытаний in vivo и in vitro; токсикологические данные по структурно родственным веществам и предполагаемые пути использования вещества. Эта информация необходима для подтверждения того, что испытание является важным для защиты здоровья человека и способствует обоснованному выбору начальной дозы.
3.1. Исследуемое вещество вводят перорально однократно домашним курам, которые при необходимости были защищены от острых холинергических эффектов.
3.2. Животных наблюдают в течение 21 дня для изучения нарушений поведенческих реакций, атаксии и параличей.
3.3. Биохимический анализ, в частности НТЭ, проводят на курах, выбранных случайным образом из каждой группы, как правило, через 24 и 48 часов после введения препарата.
3.4. Через двадцать один день после введения исследуемого вещества оставшихся кур подвергают эвтаназии и их нервные ткани подвергают гистологическому исследованию
(п. 4.3.9).
4.1.1. Выбор видов животных.
Для проведения эксперимента рекомендуются молодые самки яйценосной породы кур (Gallus gallus domesticus) в возрасте от 8 до 12 месяцев.
В исследовании используются животные (куры) стандартных размеров породы и линии, выращенные в условиях свободного передвижения.
4.1.2. Содержание и условия кормления.
Экспериментальных животных содержат в достаточно больших клетках или вольерах, которые позволяют курам свободно передвигаться и дают возможность наблюдать за их движениями.
В помещениях с искусственным освещением необходимо соблюдать последовательность 12 часов света, 12 часов темноты.
Животные должны содержаться с использованием соответствующей диеты и с неограниченным потреблением питьевой воды.
4.1.3. Подготовка животных.
Молодые и здоровые взрослые куры, без вирусных заболеваний, без применения лекарственных препаратов и без нарушения движений должны быть случайно выбраны в группу тестирования и в контрольную группу.
Все животные должны пробыть в лабораторных условиях для акклиматизации, по крайней мере, в течение 5 дней до начала исследования.
4.2. Способ введения и дозы препарата
Как правило, тестируемое вещество вводится перорально либо с использованием зондового питания, в желатиновых капсулах или другим аналогичным методом.
Жидкости могут быть даны как в неразбавленном виде, так и разведенные в соответствующих растворителях таких, как кукурузное масло. Твердые частицы должны быть суспендированы, если это возможно, так как большие дозы твердых веществ в желатиновых капсулах могут не оказать эффекта.
Токсикологические характеристики неводных растворителей должны быть заранее известны или определяться до начала исследования.
4.3.1. Количество животных и группы тестирования.
Дополнительно к экспериментальной группе должна быть группа контроля растворителя и группа позитивного контроля.
Группа тестирования и группа контроля растворителя должны содержать достаточное количество кур, так как шесть особей могут быть декапитированы для биохимического анализа (по три особи на каждую из двух временных точек) и шесть должны содержаться в течение 21-дневного периода наблюдений для гистопатологического исследования.
С группой контроля растворителя следует обращаться аналогичным образом, как с группой тестирования, за исключением введения тестируемого вещества.
Позитивная контрольная группа должна содержать, по крайней мере, шесть кур (три - для биохимических исследований и три - для гистопатологических исследований), которым должен вводиться известный нейротоксикант с отсроченным эффектом, например, широко используемый нейротоксикант три-о-крезиловый фосфат (ТОКФ).
Рекомендуется периодическое обновление литературных данных. При появлении новых данных для позитивного контроля должны быть разработаны новые параметры проведения лабораторных испытаний (например, порода, режим питания, условия содержания).
4.3.2. Предварительное исследование по подбору дозы.
Для подбора уровней доз, которые будут использоваться в основном исследовании, проводят предварительное исследование с использованием соответствующего количества кур и уровней доз.
Цель предварительного исследования заключается в установлении максимальной дозы для постановки основного эксперимента, поскольку полученные результаты будут также определять необходимость проведения 28-дневного наблюдения.
В предварительном исследовании необходима некоторая летальность, чтобы определить основную адекватную дозу исследования.
Для предотвращения гибели животных от острого холинергического эффекта можно использовать атропин или другое известное защитное средство, не влияющее на отдаленные нейротоксические реакции. Различные методы тестирования могут быть применены для оценки максимально несмертельной дозы исследуемого вещества (см. ОЭСР Руководство N 420). Также полезны в процессе подбора дозы литературные данные о курах или другая токсикологическая информация.
4.3.3. Ограничения метода.
Если в ходе тестирования с использованием процедур, описанных в данном руководстве, установлено, что доза на уровне не менее 2000 мг/кг массы тела в сутки не обладает отдаленным нейротоксическим действием, а ожидаемая токсичность основана на наличии данных о токсичности структурно родственных соединений, тогда исследования с более высокими дозами не проводятся.
Ограничение метода не применяется в случае, когда данные по воздействию вещества на человека указывают на необходимость использования более высоких уровней доз.
4.3.4. Основные исследования по выбору дозы.
Уровни доз тестируемого вещества в основном исследовании должны быть как можно выше с учетом результатов предварительного подбора дозы, но не выше 2000 мг/кг массы тела.
Количество животных, участвующих в эксперименте, должно быть достаточным для биохимического (шесть) и гистологического исследования (шесть) в течение 21 дня наблюдения с учетом возможного летального исхода.
Для предотвращения гибели животных от острого холинергического эффекта необходимо использовать атропин или другое известное защитное средство, не влияющее на отдаленные нейротоксические реакции.
4.3.5. Замечания.
Наблюдение за экспериментальными животными начинается сразу после введения исследуемого вещества.
В течение первых 2 дней за всеми курами наблюдают несколько раз в день. В дальнейшем в течение 21 дня или до эфтаназии в соответствии с графиком наблюдение проводится не менее одного раза в сутки.
Все признаки интоксикации животных записываются, в том числе время начала, тип, тяжесть и продолжительность нарушений поведенческих реакций.
Атаксия должна быть измерена в соответствии с градацией шкалы, состоящей, по меньшей мере, из четырех уровней, отдельно отмечаются случаи паралича.
Куры, отобранные для изучения патологии, не менее двух раз в неделю извлекаются из клеток и подвергаются вынужденной двигательной активности (движение вверх по лестнице) для облегчения выявления минимального токсического эффекта.
Любое умирающее животное должно быть удалено из группы, подвергнуто эвтаназии и общей некропсии.
4.3.6. Масса тела.
У всех животных определяют массу тела (взвешивают) перед введением тестируемого вещества и не менее одного раза в неделю в течение всего эксперимента.
4.3.7. Биохимические исследования.
В течение нескольких дней после введения тестируемого препарата по шесть животных, случайно выбранных из экспериментальной группы и группы контроля растворителя, а также по три особи из группы позитивного контроля подвергаются эвтаназии для определения активности НТЭ в нервной ткани мозга и поясничного отдела спинного мозга. Также может быть исследована активность НТЭ в ткани седалищного нерва.
По три птицы из контрольной, каждой экспериментальной и группы позитивного контроля подвергают эвтаназии через 24 часа и по три через 48 часов. Три птицы из группы позитивного контроля подвергают эвтаназии через 24 часа одновременно с экспериментальными животными.
Если наблюдаемые клинические признаки интоксикации (часто это можно оценить путем наблюдения за моментом начала холинергической атаки) указывают на то, что токсичный агент может быть отнесен к очень медленным, то предпочтительнее проводить забор образцов ткани (каждый раз от трех птиц) между 24 и 72 часами после введения препарата.
В полученных образцах при необходимости можно исследовать активность ацетилхолинэстеразы (AChE). Однако возможна спонтанная реактивация AChE in vivo, что может привести к недооценке исследуемого вещества как ингибитора AChE.
4.3.8. Вскрытие животных.
При вскрытии всех животных (плановозабитых и забитых умирающих) осуществляется оценка внешнего вида головного и спинного мозга.
4.3.9. Гистопатологические исследования.
Нервная ткань животных, выживших в течение всего периода наблюдения, не используемая для биохимических исследований, должна быть подвергнута микроскопическому исследованию.
Ткани должны быть зафиксированы in situ с помощью перфузионной техники.
Образцы должны включать ткани мозжечка (средний продольный уровень), продолговатого мозга, спинного мозга и периферических нервов.
Образцы спинного мозга должны быть взяты из верхних шейных сегментов средне-грудного и пояснично-крестцового отделов.
Необходимо также взять образцы из дистального отдела большеберцового нерва и его ответвлений в икроножной мышце и седалищного нерва.
Миелиновые оболочки и аксоны должны быть окрашены с использованием соответствующих специфических методик.
Данные по каждому животному должны быть предоставлены индивидуально.
Все данные должны быть обобщены в табличной форме с указанием для каждой опытной группы количества животных в начале эксперимента, количества животных с нарушениями поведенческих или биохимических реакций, их типа и степени этих нарушений и процентного соотношения, отображающего каждый тип и тяжесть нарушения или реакции.
Результаты проведенного исследования оцениваются с точки зрения распространенности, тяжести и корреляции поведенческих, биохимических реакций с результатами гистопатологических исследований, а также с любыми другими наблюдаемыми эффектами в тестируемой и контрольных группах.
Численные результаты оцениваются с использованием надлежащих общепринятых статистических методов. Статистические методы должны быть выбраны на этапе планирования исследования.
5.3. Отчет об исследовании
Протокол испытаний должен содержать следующую информацию:
Тестируемое вещество:
- физическая природа (в том числе изомеризация, чистота и физико-химические свойства);
- идентификационные данные.
Растворитель (при необходимости):
- обоснование выбора растворителя, кроме воды.
Животные:
- используемая линия;
- количество и возраст животных;
- условия содержания, пищевой рацион и т.д.;
- индивидуальный вес животных в начале исследования.
Условия испытания:
- описание тестируемого действующего вещества препарата, его стабильность и гомогенность, при необходимости;
- способ введения тестируемого вещества;
- описание пищевого и питьевого рациона;
- обоснование выбора дозы;
- детализация введения дозы препарата с указанием растворителя, объема и физической формы вводимого препарата;
- детальное описание любого защитного средства.
Результаты:
- масса животного;
- токсикологические данные по группам, в том числе и по смертности;
- характер, тяжесть и продолжительность клинических наблюдений (независимо от того, обратимы они или нет);
- подробное описание биохимических методов и их результатов;
- результаты аутопсии;
- подробное описание всех гистологических результатов;
- статистическая обработка результатов, где это необходимо.
Обсуждение результатов.
Выводы.
ИССЛЕДОВАНИЕ ОТДАЛЕННОГО НЕЙРОТОКСИЧЕСКОГО ДЕЙСТВИЯ
ФОСФОРОРГАНИЧЕСКИХ СОЕДИНЕНИЙ ПРИ 28-ДНЕВНОМ
ПОВТОРНОМ ВВЕДЕНИИ
Идентичен международному документу OECD TG N 419 "Delayed Neurotoxicity of Organophosphorus Substances: 28-day Repeated Dose Study" (ОЭСР Руководство N 419 "Исследование отдаленного нейротоксического действия фосфорорганических соединений при 28-дневном повторном введении"). Перевод с английского языка (en). Степень соответствия - модифицированный (MOD).
1.1. Настоящий метод исследования обеспечивает получение информации об отдаленном нейротоксическом действии фосфорорганических соединений при их повторном воздействии на лабораторных животных и позволяет оценить и классифицировать вещество в соответствии с СГС по данному виду воздействия.
2.1. Исследование нейротоксичности химических веществ и продукции на их основе вследствие ингибирования эстеразы (нейротоксичная эстераза - далее НТЭ) для определения последствий в течение 28 дней.
2.2. Метод позволяет дать оценку специфическим типам нейротоксичности, которые не могут быть обнаружены в других токсикологических исследованиях.
2.3. Ингибирование НТЭ в головном и спинном мозге в течение 24 - 48 часов после введения препарата коррелирует с клиническими и морфологическими эффектами отдаленного нейротоксического действия. Также НТЭ является актуальной моделью тестирования для всех фосфорорганических эфиров, являющихся причиной отдаленных невропатий человека.
2.4. Количественные данные ингибирования НТЭ позволяют значительно повысить точность определения неоднозначных результатов, которые могут наблюдаться в поведенческих реакциях и результатах гистологических исследований, возникающих вследствие отдаленной нейроинтоксикации, а также выявления подпорогового уровня (NOAEL).
2.5. Длительность эксперимента в 28 дней является наиболее оптимальной для выявления ингибирования НТЭ (отдаленного нейротоксического действия) при оценке большинства фосфорорганических веществ.
2.6. До проведения эксперимента необходимо рассмотреть всю доступную об исследуемом веществе информацию. Такая информация включает данные о составе и химическом строении вещества; его физико-химические свойства; результаты токсикологических испытаний in vivo и in vitro; токсикологические данные по структурно родственным веществам и предполагаемые пути использования вещества. Эта информация необходима для подтверждения того, что испытание является важным для защиты здоровья человека и способствует обоснованному выбору начальной дозы.
3.1. Вещество в исследуемой дозе вводят перорально домашним курам в течение 28 дней.
3.2. Ежедневное наблюдение за животными для изучения нарушений поведенческих реакций, атаксии и параличей ведется не менее 14 дней после введения последней дозы.
3.3. Биохимический анализ, в частности НТЭ, проводят на курах, выбранных случайным образом из каждой группы (как правило, через 24 и 48 часов после введения последней дозы исследуемого вещества).
3.4. Через две недели после введения последней дозы исследуемого вещества оставшихся кур подвергают эвтаназии и их нервные ткани подвергают гистологическому исследованию
(п. 4.3.9).
4.1.1. Выбор видов животных.
Для проведения эксперимента рекомендуются молодые самки яйценосной породы кур (Gallus gallus domesticus) в возрасте от 8 до 12 месяцев.
В исследовании используются животные (куры) стандартных размеров породы и линии, выращенные в условиях свободного передвижения.
4.1.2. Содержание и условия кормления.
Экспериментальных животных содержат в достаточно больших клетках или вольерах, которые позволяют курам свободно передвигаться, с возможностью наблюдать за их движениями.
В помещениях с искусственным освещением необходимо соблюдать последовательность: 12 часов света, 12 часов темноты.
Животные должны содержаться с использованием соответствующей диеты и с неограниченным потреблением питьевой воды.
4.1.3. Подготовка животных.
Молодые и здоровые взрослые куры без вирусных заболеваний, без применения лекарственных препаратов и без нарушения движений должны быть случайно выбраны в группу тестирования и в контрольную группу.
Все животные должны пробыть в лабораторных условиях для акклиматизации, по крайней мере, в течение 5 дней до начала исследования.
4.2. Способ введения и дозы препарата
Тестируемое вещество вводится перорально ежедневно (7 дней в неделю) через желудочный зонд или с использованием желатиновых капсул.
Жидкости могут быть даны как в неразбавленном виде, так и растворенные в соответствующих растворителях, таких как кукурузное масло. Твердые частицы должны быть суспендированы, если это возможно, так как большие дозы твердых веществ в желатиновых капсулах могут не оказывать эффект.
Токсикологические характеристики неводных растворителей должны быть известны, или определяться до начала исследования.
4.3. Процедура исследования
4.3.1. Количество животных и группы тестирования.
Группа тестирования и группа контроля растворителя должны содержать достаточное количество кур, так как шесть особей должны подвергнуться эвтаназии для биохимического анализа (по три особи на каждую из двух временных точек) и шесть должны остаться для наблюдений в течение 14 дней после введения последней дозы.
Обычно формируют не менее трех экспериментальных групп и группу контроля растворителя. Однако, если в исследованиях отдаленного нейротоксического действия фосфорорганических соединений после острого воздействия (ОЭСР Руководство N 418) или в скрининговых тестах
in vitro [
9 -
11], или в исследованиях структура-активность не обнаружено эффектов в дозе исследуемого вещества 1000 мг/кг массы тела в сутки, применяют
п. 4.3.3 данного руководства.
Каждая группа должна содержать, по крайней мере, шесть кур - для биохимических исследований и шесть - для гистопатологических исследований.
С группой контроля растворителя следует обращаться аналогичным образом, как и с группой тестирования, за исключением введения тестируемого вещества.
4.3.2. Исследования по выбору дозы.
Уровни доз должны быть выбраны с учетом данных исследования отдаленного нейротоксического действия фосфорорганических соединений после острого воздействия и любых других доступных данных о токсичности или кинетике тестируемого вещества.
Самый высокий уровень дозы должен вызывать у экспериментальных животных токсические эффекты, желательно отдаленную нейротоксичность, но не гибель или тяжелые страдания. Последовательность снижения дозы должна продемонстрировать зависимость эффекта от дозы, а наиболее низкая доза должна соответствовать подпороговому уровню (NOAEL).
4.3.3. Ограничения метода.
Если в ходе тестирования с использованием процедур, описанных в данном руководстве, установлено, что доза на уровне не менее 1000 мг/кг массы тела в сутки не обладает отдаленным нейротоксическим действием, а ожидаемая токсичность основана на наличии данных о токсичности структурно родственных соединений, тогда исследования с более высокими дозами не проводятся.
Ограничение метода не применяется в случае, когда данные по воздействию вещества на человека указывают на необходимость использования более высоких уровней доз.
4.3.4. Замечания.
Наблюдение за экспериментальными животными должны начинаться сразу после воздействия исследуемого вещества.
За всеми курами ведется наблюдение не менее одного раза в день в течение 28 дней введения исследуемого вещества и не менее 14 дней после введения последней дозы до эвтаназии. Наблюдения проводятся за поведенческими реакциями, но не ограничиваются ими.
Все признаки интоксикации животных записываются, в том числе время начала, тип, тяжесть и их продолжительность.
Атаксия должна быть измерена в соответствии с градацией шкалы, состоящей, по меньшей мере, из четырех уровней, отдельно отмечаются случаи паралича.
Куры, отобранные для изучения патологии, не менее двух раз в неделю извлекаются из клеток и подвергаются вынужденной двигательной активности (движение вверх по лестнице) для облегчения выявления минимального токсического эффекта.
Любое умирающее животное должно быть удалено из группы, подвергнуто эвтаназии и общей некропсии.
4.3.5. Масса тела.
У всех животных определяют массу тела (взвешивают) перед введением тестируемого вещества и в дальнейшем не менее одного раза в неделю в течение всего эксперимента.
4.3.6. Биохимические исследования.
В течение нескольких дней после введения последней дозы тестируемого вещества по шесть животных, случайно выбранных из экспериментальной группы и группы контроля растворителя, подвергаются эвтаназии, определяется НТЭ - активность нервной ткани мозга и поясничного отдела спинного мозга. Также может быть исследована НТЭ - активность нервной ткани седалищного нерва.
По три птицы из контрольной и каждой экспериментальной группы подвергают эвтаназии через 24 часа и по три через 48 часов после введения последней дозы.
Если в исследованиях отдаленного нейротоксического действия фосфорорганических соединений после острого воздействия (ОЭСР Руководство N 418) или других исследованиях (например - изучение токсикокинетики) показано, что необходимы другие временные рамки для эвтаназии и забора материала, то их обосновывают, документируют и используют.
В полученных образцах при необходимости можно исследовать активность ацетилхолинэстеразы (AChE). Однако спонтанная реактивация AChE может возникать in vivo, что может привести к недооценке активности испытуемого вещества как ингибитора AChE.
4.3.7. Вскрытие животных.
При вскрытии всех животных (плановозабитых и забитых умирающих) осуществляется анализ внешнего вида головного и спинного мозга.
4.3.8. Гистопатологические исследования.
Нервная ткань животных, выживших в течение всего периода наблюдений, не используемая для биохимических исследований, должна быть подвергнута микроскопическому исследованию.
Ткани должны быть зафиксированы in situ с помощью перфузионной техники.
Образцы должны включать ткани мозжечка (средний продольный уровень), продолговатого мозга, спинного мозга и периферических нервов.
Образцы спинного мозга должны быть взяты из верхних шейных сегментов средне-грудного и пояснично-крестцового отделов.
Необходимо также взять образцы из дистального отдела большеберцового нерва и его ответвлений в икроножной мышце и седалищного нерва.
Миелиновые оболочки и аксоны должны быть окрашены с использованием соответствующих специфических методик.
Примечание: В первую очередь гистологический анализ проводят на тканях контрольной группы и группы max дозы. В случае, когда отмечены эффекты в высоких доза-группах, то низшие доза-группы также оцениваются.
Данные по каждому животному должны быть предоставлены индивидуально.
Все данные должны быть обобщены в табличной форме с указанием для каждой опытной группы количества животных в начале эксперимента, количества животных с нарушениями поведенческих или биохимических реакций, их типа и степени этих нарушений, и процентные соотношения, отображающие каждый тип и тяжесть нарушения или реакции.
Результаты проведенного исследования оцениваются с точки зрения распространенности, тяжести и корреляции поведенческих, биохимических реакций с результатами гистопатологических исследований, а также с любыми другими наблюдаемыми эффектами в тестируемых и контрольной группах.
Численные результаты оцениваются с использованием надлежащих общепринятых статистических методов. Статистические методы должны быть выбраны на этапе планирования исследования.
5.3. Отчет об исследовании
Протокол испытаний должен содержать следующую информацию:
Тестируемое вещество:
- физическая природа (в том числе изомеризация, чистота и физико-химические свойства);
- идентификационные данные.
Растворитель (при необходимости):
- обоснование выбора растворителя, кроме воды.
Животные:
- используемая линия;
- количество и возраст животных;
- условия содержания, пищевой рацион и т.д.;
- индивидуальный вес животных в начале испытания.
Условия испытания:
- описание тестируемого действующего вещества препарата, его стабильность и гомогенность при необходимости;
- способ введения тестируемого вещества;
- описание пищевого и питьевого рациона;
- обоснование выбора дозы;
- детализация введения дозы препарата с указанием растворителя, объема и физической формы вводимого препарата.
Результаты:
- масса животного;
- токсикологические данные по группам, в том числе и по смертности;
- подпороговый уровень (NOAEL)
- характер, тяжесть и продолжительность клинических наблюдений (независимо от того, обратимы они или нет);
- подробное описание биохимических методов и их результатов;
- результаты вскрытия животных;
- подробное описание всех гистологических результатов;
- статистическая обработка результатов, где это необходимо.
Обсуждение результатов.
Выводы.
ИССЛЕДОВАНИЕ НЕЙРОТОКСИЧНОСТИ НА ГРЫЗУНАХ
Идентичен международному документу OECD TG N 424 "Neurotoxicity Study in Rodents" (ОЭСР Руководство N 424 "Исследование нейротоксичности на грызунах"). Принят 21 июля 1997 г. Перевод с английского языка (en). Степень соответствия - модифицированный (MOD).
1.1. При исследовании и количественной оценке токсикологических характеристик химических веществ важно рассматривать потенциальные нейротоксические эффекты. Руководства по испытанию токсичности повторной дозы уже включают наблюдения для оценки нейротоксичности. Настоящий метод исследования может быть использован для проведения исследований по получению дополнительной информации или для подтверждения наличия нейротоксических реакций, наблюдаемых при исследовании соматической токсичности повторной дозы. Однако в ряде случаев (при рассмотрении вопроса о возможной нейротоксичности некоторых классов химических веществ) можно предположить, что нейротоксичность более уместно оценивать только с помощью настоящего руководства без предварительного выявления потенциальной нейротоксичности при испытаниях системной токсичности при повторном воздействии вещества. Подобные случаи включают:
1.1.1. Наблюдение неврологических симптомов или нейропатологических поражений в испытаниях токсичности, за исключением исследований токсичности повторных доз,
1.1.2. Наличие структурных особенностей или иных сведений, позволяющих отнести исследуемые вещества к известным нейротоксикантам.
1.1.3. Могут быть и другие случаи, когда использование настоящего метода является приемлемым; более подробная информация представлена в Рекомендациях по стратегиям и методам испытания нейротоксичности.
1.2. Настоящий метод по испытанию нейротоксичности предназначен для выявления основных нейроповеденческих и нейропатологических реакций у половозрелых особей грызунов.
1.3. Исследования, представленные в настоящем методе, предназначены для получения характеристики и количественного описания нейротоксических реакций и включают в себя определенные гистопатологические и поведенческие процедуры, результаты которых могут в дальнейшем дополнительно подтверждаться электрофизиологическими и/или биохимическими исследованиями.
1.4. В настоящем исследовании нейротоксичности, при использовании отдельно или в сочетании с другими испытаниями, может быть получена информация, позволяющая;
- определить, является ли поражение нервной системы в результате воздействия химического вещества обратимым;
- получить характеристику изменений нервной системы, связанных с воздействием химического вещества, и понимание основного механизма воздействия;
- получить описание зависимостей доза-эффект и время-эффект для оценки NOAEL (который может быть использован для установления критериев безопасности химического вещества).
2.1. Настоящий метод исследования разработан с учетом возможности их адаптации к проведению конкретных процедур, необходимых для подтверждения специфической гистопатологической и поведенческой нейротоксичности химического вещества, а также для получения характеристики и количественного описания нейротоксических реакций.
2.2. В прошлом нейротоксичность приравнивалась к нейропатии, включающей нейропатологические поражения или неврологические нарушения, такие как припадки, параличи или тремор. Несмотря на то, что нейропатия является важным проявлением нейротоксичности, в настоящее время понятно, что существует множество других признаков токсического поражения нервной системы (например: потеря координации движений, дефицит сенсорных реакций, дисфункции способности к обучению и памяти), которые могут не выявляться в испытаниях на нейропатию и других исследованиях.
2.3. В то время как поведенческие реакции, даже при отсутствии морфологических изменений, могут отражать негативное воздействие на организм, не все изменения в поведении характерны для нервной системы. Таким образом, любые наблюдаемые изменения следует оценивать в сочетании с соответствующими гистопатологическими, гематологическими и биохимическими данными, а также данными о других видах соматической токсичности.
2.4. Нейротоксиканты могут воздействовать на несколько мишеней в нервной системе с разным механизмом действия. Поскольку ни один набор тестов не способен полностью оценить потенциальное нейротоксическое действие всех веществ, может быть необходимо использование другие in vivo или in vitro методов, специфичных для наблюдаемого или ожидаемого типа нейротоксичности.
2.5. Настоящий метод может использоваться в сочетании с руководством по стратегиям и методам испытания нейротоксичности для разработки исследований, направленных на получение подробной характеристики или повышения чувствительности количественного определения доза-ответ для более точной оценки уровня воздействия, при котором не наблюдается никаких неблагоприятных эффектов (NOAEL), или обоснования известных или предполагаемых опасностей химических веществ. Например, исследования могут быть проведены для определения и оценки нейротоксических механизмов или дополнения уже имеющихся данных с использованием основных нейроповеденческих и нейропатологических процедур наблюдения. Такие исследования не требуют повторного получения данных, которые могут быть получены с использованием стандартных процедур, рекомендованных в настоящем руководстве, если такие данные уже существуют и не являются необходимыми для интерпретации результатов исследования.
2.6. Основное внимание уделяется пероральному способу введения, как наиболее распространенному. Другие пути поступления (например, накожный и ингаляционный) могут быть более приемлемыми, но это потребует изменения экспериментальных процедур. Выбор пути введения (поступления) исследуемого вещества в организм животного зависит от пути воздействия на человека и имеющихся токсикологических и кинетических данных.
3. Описание тестового метода
3.1.1. Исследуемое вещество вводят перорально нескольким группам лабораторных животных в определенном диапазоне доз. Обычно требуется также введение повторных доз, и период дозирования может составлять 28 дней, 90 дней для испытания подострой токсичности или 1 год и более для испытания хронической токсичности. Процедуры, изложенные в настоящем стандарте, также могут использоваться для испытания острой нейротоксичности. Животных испытывают для обнаружения и описания характеристик поведенческих и/или неврологических отклонений. В течение каждого периода наблюдения оценивается целый ряд моделей поведения, которые могут быть обусловлены действием нейротоксикантов. По окончании испытания выборку животных каждого пола из каждой группы подвергают перфузии in situ, и отделы головного мозга, спинного мозга и периферических нервов препарируют и исследуют.
3.1.2. Когда испытание проводится как отдельное исследование для выявления нейротоксичности или получения характеристик нейротоксического действия, животные из каждой группы, не используемые для перфузии и последующего гистопатологического обследования
(табл. 6.7.3.1), могут использоваться для проведения определенных нейроповеденческих, нейропатологических, нейрохимических и электрофизиологических процедур, позволяющих дополнить данные, полученные в стандартных испытаниях. Данные дополнительные процедуры могут быть особенно полезными, когда эмпирические наблюдения и ожидаемые реакции указывают на конкретный тип нейротоксичности или воздействие на определенный орган-мишень. В ином случае, остальные животные могут быть использованы для оценок, подобных предусмотренным руководствами по проведению испытаний токсичности повторных доз на грызунах.
3.1.3. В случае, когда процедуры, предусмотренные в настоящем методе, проводятся в сочетании с другими испытаниями, необходимо использовать количество животных, достаточное для удовлетворения требований к проведению всех испытаний.
Выбор вида
3.2.1. Необходимо использовать молодых здоровых особей из обычно используемых лабораторных линий. Предпочтительно использовать крыс. В случае использования других видов необходимо привести обоснование.
Подготовка
3.2.2. Следует использовать животных обоих полов. Самки должны быть нерожавшими и небеременными. Испытание, как правило, начинают как можно раньше после прекращения грудного вскармливания. На день экспозиции испытываемого препарата животные должны быть в возрасте до 9 недель (предпочтительно - 6 недель), диапазон колебания массы животных для каждого пола не должен превышать +/- 20% от средней массы животных. Животные отбираются в случайном порядке и маркируются, что позволит идентифицировать каждое из них. Животных следует содержать в клетках в течение не менее 5 дней до начала испытания, чтобы позволить им адаптироваться к лабораторным условиям.
Содержание
3.2.3. Температура в помещении, где содержатся экспериментальные животные, должна составлять (22 +/- 3) °C, оптимальный уровень относительной влажности - 50 - 60%, допустимый - 30 - 70%, превышение данного уровня допустимо во время уборки помещения. Животных можно содержать отдельно или размещать в клетках небольшими группами одного пола, но число животных в клетке не должно затруднять возможность наблюдать за каждым из них, а также должно сократить вероятность потерь из-за каннибализма и борьбы. Допустимо использование стандартных лабораторных режимов питания. На выбор диеты (при получении исследуемого вещества с пищей) может повлиять необходимость обеспечения подходящего содержания исследуемого вещества в пище. Освещение должно быть искусственным в режиме 12 часов при свете, 12 часов в темноте. Громкий переменный шум необходимо свести к минимуму.
3.3. Группы доз и дозировка
Количественный и гендерный состав групп
3.3.1. При проведении самостоятельного испытания в каждой группе дозирования и контрольной группе необходимо использовать, как минимум, по 20 животных (10 женских и 10 мужских особей) для проведения подробного клинического обследования и функциональных тестов. По крайней мере, 5 мужских и 5 женских особей, отобранных из данных 10 мужских и 10 женских особей, подвергают перфузии in situ и используют для подробного нейрогистопатологического исследования в конце испытания. В случаях, когда только ограниченное число животных из данной группы дозирования наблюдают на наличие признаков нейротоксического действия, следует рассмотреть вопрос о включении данных животных группы для перфузии. Когда исследование проводится в сочетании с испытанием токсичности повторной дозы, необходимо использовать достаточное количество животных для достижения целей обоих исследований. Минимальное количество животных в группе для различных комбинаций исследований приведено в
табл. 6.7.3.1. Если планируется проводить промежуточные умерщвления животных, наблюдения обратимости нейротоксических эффектов в группах восстановления или сохранения/появления отложенных эффектов после воздействия или иные дополнительные наблюдения, количество животных должно быть увеличено для возможности проведения соответствующих наблюдений и гистопатологического обследования.
Опытные и контрольные группы
3.3.2. Необходимо использовать, как минимум, три группы дозирования и контрольную группу, но если на основании оценки имеющихся данных появление какой-либо реакции при повторной дозе 1000 мг/кг массы тела/сутки не ожидается, может быть проведено тестирование с использованием предельной дозы. Если соответствующие данные не доступны, проводится исследование по выбору диапазона доз, которые будут использоваться в основном испытании. За исключением введения исследуемого вещества, с животными из контрольной группы следует обращаться также, как с животными из экспериментальных групп. Если для введения исследуемого вещества используется растворитель, контрольная группа должна получать его в максимальном используемом объеме.
Проверка достоверности тестирования
3.3.3. Лаборатория, проводящая испытание, должна представить данные, подтверждающие возможность проводить подобные исследования и оценивать чувствительность используемых процедур. Такие данные должны свидетельствовать о возможности выявления и, при необходимости, количественной оценки изменений в различных объектах исследования испытания, рекомендуемых для наблюдения, таких как автономные признаки, сенсорные реакции, сила сцепления конечностей и двигательная активность.
3.3.4. Информация о химических веществах, которые вызывают различные виды нейротоксических реакций и могут использоваться в качестве положительного контроля, представлена в документах по ссылкам 9 - 16. Данные предыдущих исследований могут быть использованы, если основные аспекты экспериментальных процедур остаются неизменными. Рекомендуется проводить периодическое обновление информации предыдущих исследований. Новые данные, подтверждающие чувствительность экспериментальных процедур, должны разрабатываться, когда некоторые основные элементы проведения испытания или процедуры были изменены испытательной лабораторией.
Выбор доз
3.3.5. Уровни доз должны подбираться с учетом любых полученных ранее данных о токсичности и кинетических данных для исследуемого вещества или родственных соединений. Максимальный уровень дозы должен быть выбран с целью индуцирования нейротоксического действия или очевидного соматического токсического эффекта. Таким образом, убывающая последовательность доз должна быть выбрана таким образом, чтобы продемонстрировать любой эффект, зависимый от дозы, и при наименьшей дозе - уровень воздействия, при котором не наблюдается никаких неблагоприятных эффектов (NOAEL). В общем случае, уровень дозы должен быть установлен таким образом, чтобы основное токсическое воздействие на нервную систему можно было отличить от признаков, относящихся к соматической токсичности. Наиболее оптимальными являются двух- и трехкратные интервалы, и добавление четвертой тестовой группы часто предпочтительнее использования значительных интервалов между уровнями доз (например, более чем десятикратных). В случае, когда существует обоснованная оценка воздействия на человека, ее следует также принимать во внимание.
Предельная доза
3.3.6. Если исследование с одним уровнем дозы не менее 1000 мг/кг массы тела/сутки с использованием описанных процедур не приводит к появлению видимого нейротоксического действия и если, исходя из данных для структурно родственных веществ, появление признаков токсичности не ожидается, нет необходимости проводить полное исследование с использованием трех уровней доз. Ожидаемое воздействие на человека может указывать на необходимость использования в исследовании предельной дозы более высокой дозы при пероральном пути поступления. Для других путей поступления (ингаляционном и дермальном) максимально достижимый уровень дозы часто может определяться исходя из физико-химических свойств исследуемого вещества. В испытании острой токсичности при пероральном пути поступления предельная доза должна составлять не менее 2000 мг/кг.
3.4. Введение исследуемого вещества
3.4.1. Тестовым животным вводят исследуемое вещество ежедневно (семь дней в неделю) в течение не менее 28 дней. Использование пятидневного режима дозирования или более короткого периода дозирования должно быть обосновано.
3.4.2. Если исследуемое вещество вводят через желудочный зонд, животным необходимо вводить однократную дозу с помощью желудочной трубки или подходящей интубационной канюли. Максимальный объем жидкости, который может быть введен за один раз, зависит от размера тестовых животных. Объем не должен превышать 1 мл на 100 г массы тела животного. В случае водных растворов, может быть приемлемо введение до 2 мл на 100 г массы тела. За исключением случаев раздражающих или едких веществ, которые, как правило, оказывают в высоких концентрациях раздражающее действие, изменения тестового объема должны быть минимизированы путем выравнивания концентраций для обеспечения постоянного объема для всех доз.
3.4.3. Для веществ, которые вводятся с пищей или питьевой водой, важно гарантировать, что вводимые количества исследуемого вещества не препятствуют нормальному питанию или не нарушают водный баланс.
3.4.4. Когда вещество вводится с пищей, то может использоваться либо постоянная пищевая концентрация (ppm), либо постоянный уровень дозы по отношению к массе животного; использование альтернативного варианта должно быть обосновано. Для веществ, вводящихся через зонд, доза должна вводиться в одно и то же время каждый день и обеспечивать поддержание постоянной дозы по отношению к массе животного. В случае, когда кратковременное испытание повторной дозы проводится в качестве предварительного перед долгосрочным исследованием, в обоих исследованиях необходимо использовать аналогичные диеты. В испытаниях острой токсичности, когда введение разовой дозы не представляется возможным, доза может вводиться более мелкими фракциями в течение не более 24 часов.
4.1. Частота проведения наблюдений и тестов
4.1.1. В исследованиях повторной дозы период наблюдений должен охватывать весь период дозирования. В исследованиях острой токсичности наблюдения необходимо проводить в 14-дневный период после дозирования. Для животных в сопутствующих группах, находящихся без воздействия в период после дозирования, наблюдения должны охватывать этот период.
4.1.2. Наблюдения необходимо проводить с достаточной частотой так, чтобы вероятность обнаружения любого поведенческого и/или неврологического отклонения была максимальной. Желательно проводить наблюдения каждый день в одно и то же время с учетом возможного пикового периода ожидаемого эффекта после дозирования. Частота клинических наблюдений и функциональных тестов представлена в
табл. 6.7.3.2. Если кинетические или другие данные, полученные в предыдущих испытаниях, указывают на необходимость использования других временных интервалов для проведения наблюдений, тестов или последующих периодов, в испытании используют альтернативный график в целях получения максимальной информации. Изменение графика испытаний должно быть обосновано.
4.2. Наблюдения за общим состоянием здоровья,
смертностью, заболеваемостью
4.2.1. Подробное клиническое обследование необходимо проводить для всех животных, отобранных для этой цели
(табл. 6.7.3.1) один раз перед первым введением исследуемого вещества (для проведения сравнений внутри группы) и в различные периоды после в зависимости от продолжительности испытания
(табл. 6.7.3.2). Подробное клиническое обследование в сопутствующих группах восстановления должно проводиться по истечении периода восстановления, вне клетки содержания на стандартной площадке. Результаты обследования должны быть тщательно зарегистрированы с использованием системы подсчета, в которой предусмотрены критерии или количественные шкалы для каждого измерения в обследовании. Используемые критерии или шкалы должны быть четко определены испытательной лабораторией.
4.2.2. Необходимо обеспечить минимальное изменение условий проведения испытания (непосредственно не связанных с обработкой животных), обследование должно проводиться квалифицированными наблюдателями, не участвующими в настоящем испытании.
4.2.3. Рекомендуется проводить обследования структурированно, так чтобы четко определенные критерии (включая определение "нормального" состояния) систематически применялись для каждого животного в любое время обследования. "Нормальное" состояние должно быть надлежащим образом зарегистрировано. Все наблюдаемые признаки должны быть зарегистрированы. По возможности необходимо также сообщать величины наблюдаемых признаков. Клиническое обследование должно включать, но не ограничиваться, изучение изменений кожи, меха, глаз, слизистых оболочек, появление выделений и экскрементов и вегетативной активности (например: слезотечение, пилоэрекция, изменение размеров зрачка, необычный способ дыхания и/или дыхание через рот, любые нестандартные признаки мочеиспускания или дефекации, а также обесцвечивание мочи).
4.2.4. Любые необычные результаты в отношении положения тела, уровня активности (например, снижение или повышение интереса к исследованию стандартной площадки) и координации движений также необходимо регистрировать. Изменения в походке (например, раскачивающаяся походка, атаксия), позы (например, прогиб в спине) и реакции на обращение, размещение или другие раздражители окружающей среды, а также наличие клонических или тонизирующих движений, судорог и дрожи, стереотипии (например, чрезмерная чистоплотность, необычные движения головой, хождение по кругу), аномальное поведение (например, укусы или чрезмерное вылизывание, самоповреждение, хождение задом, вокализация) или агрессия должны быть зарегистрированы.
4.3. Функциональные тесты
4.3.1. Подобно детальным клиническим обследованиям, функциональные тесты необходимо проводить один раз до введения исследуемого вещества и с определенной частотой после введения исследуемого вещества для всех животных, отобранных для этой цели
(табл. 6.7.3.1). Частота проведения функциональных тестов также зависит от продолжительности испытания
(табл. 6.7.3.2). В дополнение к периодам наблюдения, указанным в
табл. 6.7.3.2, функциональное обследование для сопутствующей группы восстановления также должно проводиться как можно ближе к запланированному времени умерщвления животных. Функциональные тесты должны включать в себя проверку сенсорной реакции на раздражители различных модальностей (например: слуховые, зрительные и проприоцептивные раздражители), оценку силы сцепления конечностей и оценку двигательной активности. Двигательная активность должна быть измерена с помощью автоматического устройства, способного обнаруживать как уменьшение, так и увеличение активности. Любая используемая система оценок должна быть количественной, должны быть подтверждены и продемонстрированы ее чувствительность и достоверность. Каждый используемый прибор должен быть проверен для гарантии надежности показаний во времени и согласованности с другими устройствами. Более подробная информация о процедурах, которые можно использовать, приведена в соответствующих документам (см. ссылки). Если существуют другие данные (например, о зависимости структура-активность, эпидемиологические данные других токсикологических исследований) для демонстрации потенциального нейротоксического действия, необходимо рассматривать включение в испытание специализированных тестов для сенсорных и моторных функций или обучения и памяти для изучения возможных подобных последствий. Более подробная информация о специализированных тестах и их использовании представлена в руководстве по стратегиям и методам проведения испытаний нейротоксичности.
4.3.2. В редких случаях животных, которые демонстрируют признаки токсичности в степени, оказывающей значительное влияние на результаты функциональных тестов, можно исключить из проведения функциональных тестов. Исключение животных из функциональных тестов должно быть обосновано.
4.4. Масса тела, потребление пищи/воды
При продолжительности эксперимента до 90 дней все животные должны взвешиваться, как минимум, раз в неделю. То же относится к измерению потребления пищи и воды (в случае поступления исследуемого вещества с водой). При исследовании большей продолжительности - как минимум, раз в неделю первые 13 недель и ежемесячно в дальнейшем. Измерения потребления пищи и воды следует производить еженедельно первые 13 недель и, как минимум, ежемесячно в дальнейшем. Измерения потребления пищи и воды следует проводить еженедельно первые 13 недель и затем примерно раз в 3 месяца, если состояние здоровья животных и изменений массы тела не предполагают другой периодичности.
4.5. Офтальмологическое обследование
4.5.1. В исследовании продолжительностью более 28 дней офтальмологический осмотр с использованием офтальмоскопа или другого подходящего инструмента следует проводить до первого введения исследуемого вещества и по окончании исследования всем животным или, как минимум, группам с высокими дозами и контрольной группе. Если обнаружены изменения, имеющие отношение к терапии, следует осмотреть всех животных. Если структурный анализ или другие данные говорят об офтальмологической токсичности, тогда частота офтальмологических осмотров должна быть увеличена. Для долгосрочных испытаний офтальмологическое обследование также должно проводиться на 13-й неделе испытания.
4.5.2. Офтальмологическое обследование не проводится, если подобные данные уже доступны из других исследований с аналогичной продолжительностью и для аналогичных доз.
4.6. Гематология и клиническая биохимия
4.6.1. В случае, когда испытание нейротоксичности проводится в сочетании с испытанием соматической токсичности повторной дозы, гематологические исследования и клиническая биохимия должны быть проведены в соответствии с руководством по испытанию соматической токсичности повторной дозы.
4.6.2. Отбор проб должен производиться таким образом, чтобы любые потенциальные нейроповеденческие эффекты были минимизированы.
4.7.1. Нейропатологическое обследование должно быть разработано таким образом, чтобы дополнить и расширить результаты наблюдений, полученные во время стадии испытания
in vivo. Ткани, по крайней мере, 5 животных/пола/группы
(табл. 6.7.3.1) должны быть зафиксированы in situ, с использованием общепризнанных техник перфузии и методов фиксации. Любые изменения веса тканей должны быть зарегистрированы. Когда исследование проводится как отдельное испытание для выявления нейротоксичности или характеристики нейротоксического действия, остальные животные также могут быть использованы либо для проведения конкретных нейроповеденческих, нейропатологических, нейрохимических и электрофизиологических процедур, которые могут дополнить представленные в настоящем руководстве процедуры и обследования, либо для гистопатологических обследований. Проведение дополнительных процедур особенно полезно, когда эмпирические наблюдения и ожидаемые эффекты указывают на конкретный тип нейротоксичности или наличие органа-мишени. Кроме того, остальные животные могут также использоваться для стандартных патологических оценок, как описано в руководстве по испытанию токсичности повторной дозы.
4.7.2. Общая процедура окрашивания, например, гематоксилин-эозином, должна быть выполнена для всех образцов тканей, зафиксированных в парафине, затем должны быть проведены микроскопические обследования. Если наблюдается или ожидается появление признаков периферической нейропатии, должны быть обследованы закрепленные в пластике образцы периферической нервной ткани. Клинические признаки могут также свидетельствовать о необходимости осмотра дополнительных тканей или использования специальных процедур окрашивания.
4.7.3. Может быть полезным использование соответствующих специальных красителей для демонстрации конкретных видов патологических изменений.
4.7.4. Гистологическое исследование должно быть проведено для отделов центральной и периферической нервной системы. Обследуемые области, как правило, должны включать: передний мозг, центральный отдел головного мозга, в том числе рассечение гиппокампа, средний мозг, мозжечок, варолиев мост, продолговатый мозг, глаза, зрительный нерв, сетчатку, спинной мозг на шейном и поясничном отделах позвоночника, дорсальные корешковые ганглии, волокна дорсального и вентрального корешков, проксимальный конец седалищного нерва, проксимальный конец большеберцового нерва (в колене) и ветви большеберцового нерва в икроножных мышцах. Спинной мозг и отделы периферической нервной системы должны быть представлены в виде крестовых или поперечных и продольных срезов. Необходимо уделить внимание сосудам нервной системы. Также необходимо обследовать образец скелетных мышц, особенно икроножных мышц. Особое внимание следует уделить участкам с клеточной и волокнистой структурой и отделам ЦНС и ПНС, подверженным известному влиянию нейротоксинов.
4.7.5. Рекомендуется проводить поэтапное изучение образцов тканей. Если при сравнении образцов тканей из групп с высокой дозой с контрольными образцами не выявляются никакие нейропатологические изменения, дальнейший анализ не требуется. Если нейропатологические изменения наблюдаются в группе с высокой дозой, образцы от каждой из потенциально пораженных тканей из групп со средней и низкой дозой должны быть отмечены и последовательно осмотрены.
4.7.6. Если какие-либо доказательства нейропатологических изменений получены при качественном осмотре, второй осмотр должен проводиться для всех отделов нервной системы, демонстрирующих такие изменения. Потенциально пораженные ткани из всех групп дозирования должны быть закодированы и осмотрены в случайном порядке без раскрытия кода. Частота и тяжесть каждого поражения должны быть зарегистрированы. После оценки всех тканей от всех групп дозирования код раскрывается, и проводится статистический анализ с целью получения описания зависимости доза-эффект. Примеры различных степеней тяжести каждого поражения должны быть описаны.
4.7.7. Нейропатологические результаты следует оценивать в контексте поведенческих наблюдений и измерений, а также с учетом других данных предыдущих и параллельных испытаний соматической токсичности исследуемого вещества.
5.1.1. Данные по каждому животному должны быть представлены по всем оцениваемым параметрам в табличной форме с указанием для каждой исследуемой группы: количества животных в начале исследования; количества животных, найденных мертвыми во время исследования, или умерщвленных по гуманным соображениям, времени смерти или любого гуманного умерщвления; количества демонстрируемых признаков токсичности; описания наблюдаемых признаков токсичности, в том числе времени начала, продолжительности и тяжести любого токсического воздействия; количества животных с поражениями, типов поражений и процентов животных относительно каждого типа поражения.
5.1.2. Результаты исследования должны быть оценены с точки зрения частоты, тяжести и корреляции нейроповеденческих и нейропатологических эффектов (а также нейрохимических и электрофизиологических эффектов при проведении дополнительных наблюдений) и любых других наблюдаемых побочных эффектов.
5.1.3. При необходимости численные результаты должны быть оценены надлежащим и в целом приемлемым статистическим методом. Статистические методы и данные для анализа должны выбираться в ходе разработки исследования.
Отчет об исследовании должен содержать следующую информацию:
Исследуемое вещество:
- физическая природа, чистота и физико-химические свойства;
- идентификационные данные;
- источник вещества;
- номер партии;
- сертификат химического анализа.
Растворитель (при необходимости):
- обоснование выбора среды (если это не вода).
Подопытные животные:
- вид/род и обоснование сделанного выбора;
- число, возраст, пол в начале исследования;
- происхождение, условия содержания, питание и так далее;
- вес каждого животного в начале исследования.
Данные об условиях проведения исследования:
- обоснование метода введения и выбора дозы;
- по необходимости, статистические методики, используемые для анализа данных;
- подробное описание приготовления состава тестируемого вещества /пищи;
- аналитические данные по достигнутой концентрации, стабильности и гомогенности препарата;
- способ введения вещества и подробное описание введения исследуемого вещества;
- при ингаляционных исследованиях: был ли задействован только нос или все тело;
- фактическая доза (мг/кг в день) и переводной коэффициент от концентрации исследуемого вещества в пище/питьевой воде к фактической дозе, если возможно;
- качество пищи и воды.
Наблюдение и процедура испытания:
- подробная информация о распределении животных из каждой группы в подгруппы для перфузии;
- система подсчета, включая критерии и шкалы для каждого измерения в подробных клинических наблюдениях;
- сведения о функциональных испытаниях на сенсорную реакцию и раздражители различных модальностей (например, слуховые, зрительные и проприоцептивные); для оценки конечностей - сила сцепления; для оценки двигательной активности (в том числе описание автоматических устройств для обнаружения активности), а также другие используемые процедуры;
- подробная информация об офтальмологическом обследовании и, если необходимо, гематологических исследованиях и испытаниях по клинической биохимии с указанием соответствующих начальных значений;
- описание специальных нейроповеденческих, нейропатологических, нейрохимических и электрофизиологических процедур.
Результаты:
- Общие:
- данные о выживших;
- масса/изменения массы;
- потребление пищи, подсчет энергетической ценности, если проведен, и потребление воды, если возможно;
- токсикокинетические данные (если возможно);
- офтальмология (если возможно);
- гематология (если возможно);
- клиническая биохимия (если возможно).
- Клинические результаты:
- признаки токсичности;
- охват (и, если выявлена, тяжесть) любой аномалии;
- характер, точность и продолжительность клинических наблюдений (были они промежуточными или постоянными);
- подробное описание всех функциональных результатов испытания;
- подробное описание всех нейроповеденческих, нейропатологических и нейрохимических и электрофизиологических результатов (при наличии);
- данные об абсорбции и метаболизме (при наличии);
Данные аутопсии, гистопатология;
Статистическая обработка результатов (при необходимости).
Изучение результатов:
- соотношение зависимости доза-эффект;
- отношение любых других токсических эффектов к выводу о нейротоксическом потенциале исследуемого вещества;
- определение NOAEL.
Выводы:
- конкретный вывод об общей нейротоксичности исследуемого вещества (рекомендуется).
6. Таблицы для определения минимального количества животных
в группах и частоты проведения клинических обследований
и функциональных тестов
Таблица 6.7.3.1
Минимальное количество животных в группе при проведении
испытания нейротоксичности отдельно или в сочетании
с другими исследованиями
| Испытание нейротоксичности проводится |
как отдельное испытание | в сочетании с 28-дневным испытанием | в сочетании с 90-дневным испытанием | в сочетании с испытанием хронической токсичности |
Общее количество животных в группе | По 10 самцов и самок | По 10 самцов и самок | По 15 самцов и самок | По 25 самцов и самок |
Количество животных, отобранных для проведения функциональных тестов, в том числе подробного клинического обследования | По 10 самцов и самок | По 10 самцов и самок | По 10 самцов и самок | По 10 самцов и самок |
Количество животных, отобранных для перфузии in situ и нейрогистопатологии | По 5 самцов и самок | По 5 самцов и самок | По 5 самцов и самок | По 5 самцов и самок |
Количество животных, отобранных для испытаний токсичности повторной дозы, субхронической и хронической токсичности, гематологии, клинической биохимии, гистопатологии и прочего согласно соответствующим руководящим документам | | По 5 самцов и самок | | |
Дополнительные наблюдения, при необходимости | По 5 самцов и самок | | | |
-------------------------------- |
<*> В том числе 5 животных, отобранных для функциональных тестов и клинических обследований как части испытания нейротоксичности. |
Таблица 6.7.3.2
Частота проведения клинических обследований
и функциональных тестов
Тип наблюдений | Продолжительность исследования |
острое | 28-дневное | 90-дневное | хроническое |
На всех животных | Общее состояние здоровья | ежедневно | ежедневно | ежедневно | ежедневно |
Смертность/агония | два раза в день | два раза в день | два раза в день | два раза в день |
На животных, отобранных для функциональных наблюдений | Подробные клинические обследования | - перед первым воздействием; - в течение 8 часов воздействия в планируемое время пика воздействия; - на 7-й и 14-й дни после воздействия | - перед первым воздействием; - затем один раз в неделю | - перед первым воздействием; - один раз в течение первой или второй недели воздействия; - затем ежемесячно | - перед первым воздействием; - один раз по окончании первого месяца воздействия; - затем каждые три месяца |
Функциональные тесты | - перед первым воздействием; - в течение 8 часов воздействия в планируемое время пика воздействия; - на 7-й и 14-й дни после воздействия | - перед первым воздействием; - во время четвертой недели воздействия как можно ближе к концу периода воздействия | - перед первым воздействием; - один раз в течение первой или второй недели воздействия; - затем ежемесячно | - перед первым воздействием; - один раз по окончании первого месяца воздействия; - затем каждые три месяца |
ИССЛЕДОВАНИЕ НЕЙРОТОКСИЧНОСТИ В ПРОЦЕССЕ ОНТОГЕНЕЗА
Идентичен международному документу OECD TG N 426 "Developmental Neurotoxicity Study" (ОЭСР Руководство N 426 "Исследование нейротоксичности в процессе онтогенеза"). Перевод с английского языка (en). Степень соответствия - модифицированный (MOD).
1.1. Настоящий метод исследования обеспечивает оценку и определение токсикологических характеристик химического вещества и продукции на их основе, таких как нейротоксичности, в процессе онтогенеза и позволяют оценить и классифицировать вещество в соответствии с СГС по данному виду воздействия.
2.1. Исследование нейротоксичности химических веществ и продукции на их основе на процесс онтогенеза необходимо для получения данных, таких как доза-эффект, потенциальные функциональные и морфологических отклонения в развитии нервной системы потомства, в результате их воздействия на эмбрион в утробе матери и в раннем возрасте.
2.2. Исследование нейротоксичности в процессе онтогенеза может проводиться как отдельное исследование и/или может быть включено в изучение репродуктивной токсичности и/или исследование нейротоксичности взрослого и/или исследование пренатальной токсичности (например, Руководящие принципы испытаний 415, 416, 424, 414).
2.3. Если исследование нейротоксичности в процессе онтогенеза заключено в другое исследование, необходимо сохранить целостность обоих типов исследования.
2.4. Все исследования должны соответствовать действующим нормам и правилам использования лабораторных животных.
2.5. До проведения эксперимента необходимо рассмотреть всю доступную об исследуемом веществе информацию. Такая информация включает данные: идентичность и химическую структуру вещества, его физико-химические свойства, результаты любых других испытаний in vitro или in vivo, токсичность вещества; токсикологические данные о структурно родственных веществах; предполагаемое использование вещества. Эта информация необходима для подтверждения того, что испытание является важным для защиты здоровья человека и способствует обоснованному выбору начальной дозы.
3.1. Тестируемое вещество вводят животным в период беременности и лактации.
3.2. Для оценки нейротоксических эффектов у беременных и кормящих самок, а также для получения сравнительной информации о матерях и потомстве исследуют самок-матерей.
3.3. Для оценки нейротоксичности у потомства животные выбираются случайным образом в пределах помета.
3.4. Оценка нейротоксического действия состоит из наблюдения для обнаружения грубых неврологических и поведенческих отклонений, включая оценку физического развития, поведенческий онтогенез, двигательную активность, моторные и сенсорные функции, обучение и память, а также для оценки массы мозга и невропатологий во время постнатального развития и зрелости.
3.5. Если исследование проводится самостоятельно, то дополнительные животные, имеющиеся в каждой группе, могут использоваться для проведения уточняющих нейроповеденческих, нейропатологических, нейрохимических или электрофизиологических исследований. Подобные исследования необходимы при эмпирическом наблюдении ожидаемых эффектов или при моделировании механизма действия. Дополнительные исследования, демонстрирующие конкретный тип нейротоксичности, могут быть использованы как для матерей, так и для детенышей.
4.1.1. Выбор видов животных.
Для проведения тестирования предпочтительным видом животных являются крысы, однако при необходимости могут использоваться другие виды животных.
Указанные в данном методе внутриутробные и послеродовые периоды являются специфическими для обычно используемых линий крыс, соответственно следует выбрать сопоставимые периоды, если используются другие виды или необычные линии животных.
Использование других видов животных должно быть документально подтверждено на основании токсикологических, фармакокинетических и/или других характеристик.
Обоснование должно включать наличие видоспецифичной послеродовой нейроповеденческой и нейропатологической оценок. Если ранее проведенный тест выявил обеспокоенность видом или линией животных, то его необходимо принять во внимание.
Из-за различных поведенческих свойств разных линий крыс необходимо наличие доказательств того, что выбранная для тестирования линия является адекватной по плодовитости и ответной реакции.
4.1.2. Содержание и условия кормления.
Микроклиматические условия в помещении, в котором содержатся животные, должны быть следующими: температура (22 +/- 3) °C, относительная влажность воздуха - 30 - 70% (во время уборки комнаты 50 - 60%).
Освещение в помещениях искусственное с соблюдением последовательности 12 часов света, 12 часов темноты. Возможно также изменение светового цикла перед спариванием и в течение исследования для выполнения оценки функциональных и поведенческих показателей в темное время (при красном свете), т.е. в течение обычно активного периода животных. Любые изменения в цикле свет-темнота должны быть достаточно продолжительными для адаптации животных к новому циклу.
Животные должны содержаться с использованием соответствующей диеты и с неограниченным потреблением питьевой воды. Тип пищи и воды должны быть представлены в отчете и проанализированы на наличие загрязнений.
Экспериментальных животных содержат в клетках по отдельности или малыми группами одного пола. Процедуру спаривания следует проводить в клетках, подходящих для этой цели. После подтверждения копуляции или не позднее 15-го дня беременности пары животных должны содержаться в клетках отдельно в родовых или материнских клетках.
Беременных самок при приближающихся родах необходимо обеспечить материалами, необходимыми для образования гнезда.
Клетки должны быть расположены таким образом, чтобы возможные эффекты, связанные с перемещением клеток, были бы сведены к минимуму.
Для защиты потери плода от факторов, не связанных с введением тестируемого вещества, животные во время беременности должны быть ограждены от стрессов, вызываемых внешними факторами: следует избегать чрезмерных внешних шумов.
4.1.3. Подготовка животных.
Для исследования используются только здоровые, не подвергавшиеся ранее экспериментальным воздействиям животные, которые адаптировались в лабораторных условиях, одинакового веса и возраста в пределах нормального диапазона данного вида и линии (насколько это практически возможно). На каждом уровне дозы используются молодые половозрелые нерожавшие самки экспериментальных животных. В разных группах используется равное количество самок для оплодотворения и самцов. Не допускается спаривания братьев и сестер.
Каждое животное помечается с присвоением уникального идентификационного номера. Подопытные животные должны быть охарактеризованы: вид, линия, источник, пол, вес и возраст.
День наступления беременности (ДНБ): 0 - это день, в который наблюдается вагинальная пробка и/или сперма. При наступлении беременности животным предоставляется достаточное время для адаптации (например, 2 - 3 дня).
Беременные самки для контроля и введения тестируемого вещества равномерно распределяются между группами. Рекомендуется стратифицированная случайная процедура выборки, чтобы обеспечить равномерное распределение между всеми группами. Например, на основе массы тела.
4.2. Способ введения и дозы препарата
Тестируемое вещество вводится перорально ежедневно (7 дней в неделю), через желудочный зонд или с использованием желатиновых капсул.
Жидкости могут быть даны как в неразбавленном виде, так и растворенные в соответствующих растворителях, таких как кукурузное масло. Твердые частицы должны быть суспендированы, если это возможно, так как большие дозы твердых веществ в желатиновых капсулах могут не оказывать эффект.
Токсикологические характеристики неводных растворителей должны быть известны или определены до начала исследования.
4.3.1. Количество животных и группы тестирования.
Экспериментальные и контрольная группа должны содержать достаточное число беременных самок, чтобы произвести достаточное количество потомства для оценки нейротоксичности.
Для каждого уровня дозы рекомендуются 20 пометов. Допускается репликация и шахматный порядок дозирования в группах, если общее количество пометов в группе будет соответствовать статистической модели, используемой для учета повторов.
Для получения одинакового количества детенышей для всех пометов или перед постнатальным днем (ПНД 4) (день родов ПНД 0), размер каждого помета корректируют за счет устранения дополнительных детенышей случайным образом. Неприемлемо выборочное уменьшение количества детенышей, например на основе массы тела.
Размер помета не должен превышать 8 - 12 детенышей, средний уровень для линии использованных грызунов. Помет должен содержать равное количество детенышей-самцов и самок, насколько это возможно.
4.3.2. Распределение животных для функциональных и поведенческих тестов, оценки массы мозга и нейропатологической оценки.
А. Рекомендуются различные подходы по отношению к распределению животных, на которых воздействовали внутриутробно и через лактацию для функциональных и поведенческих тестов на половое созревание, определение веса мозга и нейропатологическую оценку.
Тесты нейроповеденческой функции (например, социальное поведение), нейрохимии и нейропатологии добавляются индивидуально, в каждом конкретном случае, при условии ненарушения целостности необходимых исследований.
После ПНД 4 для оценки конечного показателя отбирают детенышей из каждой экспериментальной группы. Выбор детенышей выполняется таким образом, чтобы детеныши обоих полов из каждого помета были представлены в каждой экспериментальной группе во всех тестах в равной степени.
Одна пара детенышей - самцов и самок - всех возрастов проверяется до отъема для тестирования двигательной активности. Для остальных тестов также отделяются пары самцов и самок.
Для изучения когнитивных функций отъемышей (по сравнению со взрослыми животными) во избежание смешанных эффектов возраста используются различные детеныши.
Детеныши (при отъеме ПНД 21), не выбранные для тестирования, подвергаются эвтаназии. Любые изменения в распределении детенышей документируются и представляются в отчете. Статистической единицей измерения является помет, а не детеныш.
В. Подходы к отбору детенышей для исследований до отъема и после отъема (когнитивных тестов, для патологической экспертизы, и т.д.,
рисунок прилож. 6.7.4.1).
Минимальное рекомендуемое количество животных в каждой экспериментальной группе для исследования до отъема и после отъема:
Клинические наблюдения и масса тела | Все животные |
Подробные клинические наблюдения | 20/пол (1/пол/из помета) |
Масса мозга (после фиксации) ПНД 11 - 22 | 10/пол (1/пол/из помета) |
Масса мозга (нефиксированный) ~ ПНД 70 | 10/пол (1/пол/из помета) |
Нейропатология (фиксация погружением или перфузией) ПНД 11 - 22 | 10/пол (1/пол/из помета) |
Нейропатология (фиксация перфузией) ПНД 70 | 10/пол (1/пол/из помета) |
Половое созревание | 20/пол (1/пол/из помета) |
Другие ориентиры развития (необязательно) | Все животные |
Поведенческий онтогенез | 20/пол (1/пол/из помета) |
Двигательная активность | 20/пол (1/пол/из помета) |
Моторные и сенсорные функции | 20/пол (1/пол/из помета) |
Обучение и память | 10/пол (1/пола)/из помета) |
- в зависимости от чувствительности тестов когнитивных функций, следует рассматривать количество оцениваемых животных более одного, например, от 1 самца и 1 самки в помете
(прилож. 6.7.4.1). Подробные указания размера выборки представлены в Руководящем документе N 43.
4.3.3. Дозы для исследования.
Одновременно исследуются не менее трех доз и контроль. Уровни доз выбираются так, чтобы выявить градации токсических эффектов.
При отсутствии ограничений по физико-химическим или биологическим свойствам вещества, наиболее высокая доза должна вызывать выраженные токсические эффекты, унаследованные от матери (например, клинические признаки, снижение массы тела (не более 10%) и/или доказательство дозозависимых изменений в органе-мишени).
Высокая доза ограничивается до 1000 мг/в день/кг веса тела. Исключением являются случаи, когда данные по воздействию вещества на человека указывают на необходимость использования более высоких уровней доз.
В предварительных исследованиях по выбору доз определяют самую высокую дозу, которая будет использована и которая обладает минимальной степенью материнской токсичности.
Если известно, что тестируемое вещество обладает токсическими эффектами, то самая высокая доза должна быть максимальной дозой, не вызывающей чрезмерного токсичного эффекта на потомство, выраженного внутриутробной или неонатальной смертностью, или дефектами, достаточной для предотвращения значимой выраженности (развития) нейротоксичности. Самый низкий уровень дозы не должен вызывать никакого токсического эффекта, включая нейротоксичность, ни на самку, ни на потомство.
Убывающая последовательность уровней доз должна быть выбрана таким образом, чтобы продемонстрировать любые проявления зависимости доза-эффект и дозы, не вызывающей неблагоприятные воздействия (ДНВНВ), или дозы вблизи предела обнаружения, которые позволили бы определить ориентировочные дозы.
Интервал в два - четыре раза обычно является оптимальным для установления убывания уровня дозы и добавление четвертой группы дозы предпочтительно при использовании очень больших интервалов (например, более чем в 10 раз) между дозами.
Уровни доз должны быть выбраны с учетом всех существующих данных о токсичности, а также при наличии дополнительной информации о метаболизме и токсикокинетике тестируемого вещества. Эта информация также может помочь в выборе адекватного режима дозирования.
Введение вещества детенышам должно проводиться с учетом экспозиции и фармакокинетической информации. Перед проведением экспериментов по непосредственному введению вещества, необходимо провести тщательный анализ преимуществ и недостатков этого метода.
Параллельно с контрольной группой должна быть группа ложного контроля или контрольная группа растворителя, если растворитель используется для приготовления тестируемого вещества.
Тестируемое вещество (или растворитель) следует вводить в одинаковом объеме всем животным в расчете на массу тела.
При использовании растворителя или других добавок для облегчения введения вещества необходимо учитывать характеристики применяемых веществ: воздействие на всасывание, распределение, метаболизм или адсорбцию тестируемого вещества; воздействие на химические свойства исследуемого вещества, которые могут изменить его токсические свойства, а также воздействие на потребляемую пищу или воду, или пищевой статус животных.
Растворитель не должен вызывать эффекты, которые могут повлиять на интерпретацию результатов исследования, не должен обладать нейроповеденческой токсичностью и не должен влиять на репродуктивную функцию.
Для новых веществ - растворителей группы ложного контроля должны быть включены в дополнение к группе растворителя. Животные в контрольной группе(ах) должны быть обработаны одинаковым образом с тестируемой группой.
4.3.4. Введение доз тестируемого вещества.
Тестируемое вещество или растворитель должны вводиться способом наиболее вероятного потенциального воздействия на человека и на основе имеющейся информации о метаболизме и распределении в организме подопытных животных.
Обычно используется пероральный способ введения (например, с помощью желудочного зонда или с пищей, или питьевой водой), также могут быть использованы другие способы введения (например, кожный или ингаляционный) в зависимости от характеристик и ожидаемых или известных путей воздействия на человека (последующие указания представлены в Руководящем документе 43).
Выбранный способ введения должен быть документально обоснован. Тестируемое вещество следует вводить ежедневно примерно в одно и то же время.
Для каждого животного вводимая доза основывается на результатах индивидуального определения массы тела. Однако следует проявлять особое внимание при расчете дозы в течение последней трети беременности. Если превышение токсичности отмечено у обследованных самок, то эти животные должны быть подвергнуты эвтаназии.
Тестируемое вещество и/или растворитель вводятся беременным самкам ежедневно с момента имплантации (МИ 6) и на протяжении лактации (ПНД 21) для воздействия тестируемого вещества во время пре- и постнатального развития нервной системы детенышей.
Возраст, в который начинается введение вещества, продолжительность и частота введения могут быть скорректированы.
При использовании других видов животных длительность введения вещества необходимо скорректировать для наблюдения нейротоксичности во все периоды развития мозга, соответствующим пренатальному и раннему постнатальному развитию человеческого мозга.
Возможно начинать вводить вещество с начала беременности (НБ 0), с учетом потенциальной возможности снижения предимплантационной функции тестируемым веществом. Введение вещества, начиная с НБ 6, позволяет избежать подобного риска, однако не будут рассмотрены стадии развития между НБ 0 и 6. Оптимальным сроком начала введения исследуемого вещества при спаривании лабораторных животных является срок НБ 6.
Учитывая достоверную информацию об эффектах тестируемого вещества, полученных в предшествующих экспериментах и расчетах, устанавливается режим дозирования вещества с возможным удлинением сроков введения.
В день родов животных исследуемые вещества не вводятся.
Предполагается, что воздействие исследуемого вещества на потомство будет происходить через материнское молоко, однако при недостаточности данных возможно непосредственное введение вещества детенышам.
Доказательством продолжающегося воздействия являются изменения био-маркеров, фармакокинетическая информация или данные о потомственной токсичности.
4.4.1. Наблюдения за спариваемыми самками.
За всеми самками устанавливается наблюдение (не реже одного раза в день) за состоянием их здоровья, в том числе за заболеваемостью, смертностью и спариваемыми.
Во время введения тестируемого вещества и в периоды наблюдения необходимо периодически проводить более подробные клинические исследования (не реже двух раз при введении вещества в течение периода беременности и дважды в течение лактационного периода) с использованием, по меньшей мере, десяти самок на один уровень доз.
Животных осматривают вне клеток квалифицированные лаборанты, которые не знают о введении вещества животным, при этом необходимо использовать стандартные процедуры с целью минимизации стресса животных и предвзятости наблюдателей, а также максимизации надежности наблюдений. Желательно, чтобы наблюдения проводил один и тот же специалист.
Все наблюдения документируются по возможности, с величиной наблюдаемого эффекта. Клинические наблюдения включают изменения кожи, меха, глаз, слизистых оболочек, появление выделений, и вегетативной активности (например, слезотечение, пилоэрекция, размер зрачка, необычный ритм дыхания и/или дыхание через рот, а также любые необычные признаки мочеиспускания или дефекации).
Регистрируются любые необычные реакции в отношении положения тела, уровня активности (например, уменьшение или увеличение стандартного ареала исследования) и координации движения, изменение походки (например, переваливающаяся, атаксия), позы (например, отклонение назад) и реактивности при манипуляциях или других внешних стимулах, а также наличие клонических или тонических движений, судорог, тремор, стереотипии (например, чрезмерный груминг, необычные движения головой, повторяющиеся круговые движения), необычное поведение (например, кусание или чрезмерное лизание, членовредительство, вокализация, способность пятиться назад) или агрессия.
Признаки проявления токсичности записываются с датой появления признака, временем суток, степени проявления и продолжительности.
В течение всего исследования в день или вблизи дня родов и в ПНД 21 (отлучение) животных взвешивают не реже одного раза в неделю.
При кормлении через желудочный зонд исследуемые спариваемые самки взвешиваются не реже двух раз в неделю. При необходимости дозы корректируются при каждом определении массы тела.
Потребление продуктов питания измеряется еженедельно. Расход воды еженедельно, если введение вещества осуществляется через питьевую воду.
4.4.2. Наблюдение за потомством.
Для выявления признаков токсичности, заболеваемости и смертности все потомство ежедневно обследуется.
В период введения вещества проводятся подробные клинические наблюдения потомства.
Потомство (по крайней мере, один детеныш/пол/помет) должно наблюдаться обученными лаборантами, которые не знают о введении вещества животным, при этом необходимо использовать стандартные процедуры с целью минимизации стресса животных и предвзятости наблюдателей, а также максимизации надежности наблюдателей. Желательно, чтобы наблюдения проводил один и тот же специалист.
Все наблюдения документируются по возможности с величиной наблюдаемого эффекта. Клинические наблюдения включают изменения кожи, меха, глаз, слизистых оболочек, появление выделений и вегетативной активности (например: слезотечение, пилоэрекция, размер зрачка, необычный ритм дыхания и/или дыхание через рот, а также любые необычные признаки мочеиспускания или дефекации).
Регистрируются любые необычные реакции в отношении положения тела, уровня активности (например, уменьшение или увеличение стандартного ареала исследования) и координации движения, изменение походки (например, переваливающаяся, атаксия), позы (например, отклонение назад) и реактивности при манипуляциях или других внешних стимулах, а также наличие клонических или тонических движений, судорог, тремор, стереотипии (например, чрезмерный груминг, необычные движения головой, повторяющиеся круговые движения), необычное поведение (например: кусание или чрезмерное лизание, членовредительство, вокализация, способность пятиться назад) или агрессия.
Признаки проявления токсичности записываются с датой появления признака, временем суток, степени проявления и продолжительности.
4.4.3. Показатели физического развития.
Показатели изменения развития до отъема (например: разворачивание ушной раковины, открытие глаз, появление резцов) в значительной степени коррелируют с массой тела. Масса тела может быть наилучшим показателем физического развития.
Анализ показателей развития рекомендуется проводить только при наличии доказательств того, что они дадут дополнительную информацию. Сроки оценки этих параметров указаны в таблице.
В зависимости от ожидаемого эффекта (а также от результатов первоначального анализа) возможно добавление дополнительных временных точек или выполнение измерений на других стадиях развития.
При оценке физического развития желательно использовать посткоитальный возраст, вместо постнатального. Если детеныши проходят обследование в день отъема, рекомендуется, чтобы оно осуществлялось до фактического отлучения, чтобы избежать ошибочных выводов, связанных со стрессом отъема. В течение двух дней после отъема не допускается обследование детенышей.
Для живых детенышей определяется количество и пол путем визуального осмотра или измерения аногенитального расстояния. Каждый детеныш в помете взвешивается индивидуально при рождении или вскоре после этого, затем не реже одного раза в неделю в течение периода лактации.
Для оценки полового созревания, возраста, массы тела животного, вагинальной проходимости
[22] или препуциального разделения обследуется не меньше одного самца и одной самки из приплода.
4.4.4. Поведенческий онтогенез.
Онтогенез выбранных поведенческих реакций необходимо исследовать, по меньшей мере, на одном детеныше обоего пола из помета в течение периода соответствующего возраста с одним и тем же детенышем во все тестовые сроки для всех поведенческих оценок. Тестовые дни должны быть распределены равномерно в течение этого периода для определения либо нормальных, либо связанных с введением вещества изменений поведенческого онтогенеза. Ниже приведены некоторые примеры поведения, для которых их онтогенез может быть оценен: защитный рефлекс, отрицательный геотаксис и двигательная активность.
4.4.5. Двигательная активность.
Для оценки поведенческого онтогенеза рекомендуется тест двигательной активности. Двигательная активность контролируется в соответствии с руководствами до отъема и в периоды взросления детенышей. Тестовый период должен быть достаточно протяженным, чтобы продемонстрировать привыкание для контрольной группы.
Таблица
Сроки и показатели оценки физического развития
и функционально-поведенческие показатели (a)
Возрастные периоды | До отъема (b) | Подростковый возраст (b) | Юношеский возраст (b) |
Показатели |
Ориентиры физического развития |
Масса тела и клинические наблюдения | еженедельно (c) | по крайней мере, раз в две недели | по крайней мере, раз в две недели |
Масса мозга | ПНД 22 (d) | при прекращении |
Нейропатология | ПНД 22 (d) | при прекращении |
Половое созревание | - | по мере необходимости | - |
Другие выявленные отклонения (e) | по мере необходимости | - | - |
Функционально-поведенческие показатели |
Поведенческий онтогенез | По крайней мере, два измерения | | |
Двигательная активность (в том числе, привыкание) | 1 - 3 раза (f) | - | один раз |
Моторные и сенсорные функции | - | один раз | один раз |
Обучение и память | - | один раз | один раз |
a) Эта таблица представляет собой минимальное количество необходимых исследований. В зависимости от ожидаемого эффекта, а также от результатов первоначальных исследований может быть необходимо добавить дополнительные интервалы времени (например, для возрастных животных) или для выполнения исследований на других стадиях развития.
b) Рекомендуется, чтобы детеныши не подвергались обследованию в течение двух дней после отъема. Рекомендуемым возрастом для тестирования подростков по показателям "Обучение и память" является PND = 25 +/- 2; моторные и сенсорные функции - ПНД = 25 +/-2. Рекомендуемый возраст для тестирования юношей составляет 60 - 70 PND.
c) Масса тела должна измеряться, по крайней мере, два раза в неделю, при непосредственном введении вещества детенышам при коррекции доз в период быстрого увеличения веса тела.
d) Масса мозга и нейропатологии могут быть выявлены в более ранние сроки (например, ПНД 11).
e) Другие ориентиры развития в дополнение к массе тела (например, открытия глаз) документируются.
Тест необходимо проводить до отъема в одинаковые сроки для всех животных. Для оценки онтогенеза тестирование проводится достаточно часто во время привыкания три или более раз до и включая день отъема (например, ПНД 13, 17, 21). Тестируют тех же животных и/или того же помета во взрослом возрасте, близком к окончанию изучения (например, ПНД 60 - 70). При необходимости исследования проводят чаще.
Мониторинг двигательной активности должен осуществляться с помощью автоматизированного устройство записи деятельности, которое способно обнаруживать как ее увеличение, так и уменьшение (т.е. базовая активность, измеренная с помощью устройства, не должна быть настолько низкой, чтобы исключить возможность обнаружения уменьшения, и не такой высокой, чтобы предотвратить обнаружение увеличения активности). Каждое устройство проверяют с помощью стандартных процедур для обеспечения надежности работы различных устройств в течение определенного срока исследования.
Каждое животное необходимо тестировать по отдельности.
Введение тестируемого вещества не должно приводить к смещению суточных ритмов активности. Следует минимизировать случайные и систематические ошибки, связанные с введением вещества.
Переменными, которые могут влиять на многие поведенческие реакции, включая двигательную активность, являются уровень звукового фона, размер и форма каждой клетки, температура, относительная влажность, освещенность, запахи, использование привычной клетки или новой тестовой клетки и отвлекающие факторы окружающей среды.
4.4.6. Моторные и сенсорные функции.
Моторные и сенсорные функции анализируются не менее одного раза в подростковом периоде и один раз в течение юношеского периода (например, ПНД 60 - 70).
Необходимо обеспечить адекватное количество проб сенсорных видов чувствительности (например: сомато-сенсорные, вестибулярные) и двигательных функций (например: сила, координация).
Примерами тестов моторных и сенсорных функций являются реакция разгибателя на укол, защитный рефлекс, привыкание к слуховому испугу и приложенный электрический потенциал.
4.4.7. Обучение и память.
Тесты ассоциативного обучения и памяти проводятся после отъема (например, ПНД 25 +/- 2 дня) и молодых животных (PND 60 и старше).
Возможно выбирать тест(ы) для обучения и исследования памяти у сосунков и взрослых крыс. Однако тест(ы) должны удовлетворять двум критериям. Во-первых, обучение следует оценивать либо как изменение нескольких повторяющихся приемов, либо в тестах с использованием одного приема со ссылкой на условие, которое контролирует неассоциативные эффекты обучающего опыта. Во-вторых, тест(ы) должны включать некоторую меру памяти (краткосрочную или долгосрочную) в дополнение к оригинальному обучению (приобретению), но эта мера памяти не может быть документирована в отсутствие величины приобретения, полученной из того же теста.
Если тест(ы) обучения и памяти демонстрируют влияние тестируемого вещества, то возможно использовать дополнительные тесты для исключения альтернативных интерпретаций, основанных на изменениях сенсорной, мотивационной и/или двигательной активности.
В дополнение к указанным выше двум критериям, рекомендуется выбрать тест обучения и памяти, демонстрирующий чувствительность к данному классу соединений, если такая информация имеется в литературе.
При отсутствии такой информации используют тесты, удовлетворяющие вышеупомянутым критериям, и пассивное избегание, задержку соответствия позиции для взрослой крысы и для детенышей крыс, выработку обонятельного рефлекса, водный лабиринт Морриса, лабиринт Биля или Цинциннати, радиальный рычажный лабиринт, Т-образный лабиринт, а также приобретение и сохранение контролируемого поведения. Дополнительные тесты описаны в литературе для сосунков и взрослых крыс.
4.4.8. Некропсия.
Самки-матери подвергаются эвтаназии после отъема потомства.
Нейропатологическая оценка потомства проводится с использованием тканей от животных в ПНД 22 или на более раннем этапе времени между ПНД 11 и ПНД 22, а также как при окончании исследования.
Для потомства, подвергнутого эвтаназии, в течение ПНД 22 оценивают ткани мозга. У животных при окончании эксперимента оценивают ткани центральной нервной системы (ЦНС) и периферической нервной системы (ПНС).
Ткани от экспериментальных животных ПНД 22 или в более ранние сроки фиксируются путем погружения либо перфузии. Ткани от экспериментальных животных при окончании эксперимента фиксируются перфузией.
Все аспекты подготовки образцов тканей животных при перфузии - секция образцов ткани, обработка ткани и окрашивание слайдов - выполняются таким образом, чтобы каждая партия содержала репрезентативную выборку из каждой дозовой группы.
Дополнительные указания по нейропатологии можно найти в Руководящем документе N 20.
4.4.9. Подготовка образцов тканей.
Все грубые нарушения, обнаруженные во время вскрытия, документируются.
Образцы тканей берут от всех основных отделов нервной системы и сохраняют в соответствующем фиксаторе, обрабатывают в соответствии с опубликованными стандартными гистологическими документами.
Заливка парафином является приемлемой для тканей ЦНС и ПНС, однако использование осмия после фиксации вместе с эпоксидной заливкой может быть целесообразным, если требуется более высокая степень разрешения (например, для периферических нервов, когда подозревается периферическая нейропатия и/или для морфологического анализа периферических нервов).
Мозговая ткань, отобранная для морфологического анализа, фиксируется в соответствующих средах для всех уровней доз и в те же сроки во избежание искусственной усадки, которая может быть связана с длительным хранением срезов в фиксаторе.
4.4.10. Нейропатологические исследования.
Для оценки нейротоксичности проводят следующие исследования:
a) выявление отделов нервной системы, демонстрирующих нейропатологические изменения;
b) идентификация типов нейропатологических изменений возникших в результате воздействия тестируемого вещества;
c) определение диапазона тяжести нейропатологических изменений.
Для доказательства нейропатологических нарушений полученные гистологические срезы образцов тканей исследуются микроскопически квалифицированным специалистом.
Всем нейропатологическим нарушениям присваивается степень тяжести.
Окрашивание гематоксилином и эозином достаточно для оценки срезов головного мозга животных в ПНД 22 или ранее. Для образцов тканей ЦНС и ПНС животных, полученных в конце исследования, рекомендуется окрашивание миелина (например, в luxol fast blue или фиолетовом крезоловом) и окрашивание серебром (например, Bielschowsky или Bodians окрашивания).
Возможно применение других видов окрашивания для определения и описания конкретных типов изменений (например, глиальный фибриллярный кислый белок (GFAP) или лектин, позволяющие гистохимически оценить изменения глии и микроглии, флюорхром (fluoro-jade) для обнаружения некроза или окрашивание серебром, специфичное для дегенерации нервной ткани).
Выполняется количественная морфологическая оценка, так как эти данные играют важную роль в интерпретации различия в массе мозга или морфологии и помогают выявить эффекты, связанные с введением вещества.
Отобранные образцы нервной ткани морфологически оцениваются по линейным или площадным измерениям определенных областей мозга.
Линейные или площадные измерения требуют использования гомологичных разделов, тщательно отобранных на основе надежных микроскопических маркеров. Стереометрия может использоваться для определения таких эффектов, как объем или количество клеток для конкретных нейроанатомических областей.
Образцы ткани мозга берутся из всех основных отделов (например, из обонятельных луковиц, коры головного мозга, гиппокампа, базальных ганглий, таламуса, гипоталамуса, среднего мозга (крыши, покрышки и ножек), варолиева моста, продолговатого мозга, мозжечка). Важно, чтобы секции мозга у всех животных отбирались в одной плоскости.
При окончании исследования у взрослых особей отбираются репрезентативные срезы спинного мозга и ПНС. Области исследования включают: глаз со зрительным нервом и сетчаткой, спинной мозг шейного и поясничного отделов, дорсальный и вентральный корешки нерва, проксимальный седалищный нерв, проксимальный большеберцовый нерв (в коленном суставе) и ветви большеберцового нерва икроножной мышцы. Секции спинного мозга и периферических отделов НС должны включать и поперечные, и продольные срезы.
Нейропатологическая оценка включает в себя изучение наличия признаков развития поражения нервной системы в дополнение к клеточным нарушениям (например, нейронная вакуолизация, дегенерация, некроз) и изменениям тканей (например, глиоз, лейкоцитарная инфильтрация, кистозные образования). Важно различать эффекты, связанные с введением вещества, от изменений, связанных с эвтаназией. Примеры значимых изменений, характерных для развития повреждений, включают, но не ограничиваются следующими показателями:
- изменения в размере или форме обонятельной луковицы, головного мозга или мозжечка;
- изменения относительных размеров различных отделов мозга, включая уменьшение или увеличение размера отделов в результате утраты или сохранения обычно недолговечных популяций клеток или axonal projections (например, внешний зародышевый слой мозжечка, мозолистое тело);
- изменения в пролиферации, миграции и дифференциации, о чем свидетельствуют участки чрезмерного апоптоза или некроза, кластеры или разбросанные популяции эктопичных, дезориентированных или неправильной формы нейронов, или изменения относительных размеров различных слоев корковых структур;
- изменения в структуре миелинизации, в том числе общего снижения размера или изменения окрашивания миелиновых структур;
- наличие гидроцефалии, в частности расширение желудочков, стеноз водопровода мозга и истончение больших полушарий,
4.4.11. Анализ зависимости доза-ответ при нейропатологических изменениях.
Рекомендуется следующая поэтапная процедура для качественного и количественного нейропатологического анализа.
Во-первых, образцы из групп с высокой дозой сравниваются с данными контрольной группы. Если никаких доказательств нейропатологических изменений у животных в группе с высокой дозой не обнаружено, то дальнейший анализ не требуется. Если доказательства нейропатологических изменений находятся в группе с высокой дозой, то исследуются животные из групп со средней и низкой дозами.
Если группа с высокой дозой перестает существовать в связи со смертью животных или другой смешанной токсичностью, то группы с высокой и промежуточной дозой должны быть исследованы на наличие нейропатологических изменений.
В группах с низкими дозами нейропатологический анализ следует проводить, если имеется нейротоксичность.
Если любые, связанные с введением вещества, нейропатологические изменения выявлены в качественном или количественном анализе, то дозозависимые нарушения, частота и степень тяжести поражений или морфологических изменений должны быть определены на основе оценки всех животных из всего дозовых групп. Все отделы мозга, в которых обнаружено наличие каких-либо нейропатологических изменений, включаются в анализ.
Характеристики, используемые для определения каждой степени тяжести для любого типа поражения, описываются с указанием специфических особенностей дифференциации каждого типа. Частота и степень тяжести каждого типа поражения описываются, и выполняется статистический анализ для оценки характера зависимости доза-эффект. Рекомендуется использование кодированных образцов.
Данные представляются в отдельности и обобщенно в табличной форме с указанием для каждой тестируемой группы типов изменений и количества самок-матерей, потомства по полу и отображением каждого типа изменений в пометах.
При прямом постнатальном воздействии на потомство необходимо представить также способ, продолжительность и период воздействия.
Исследования нейротоксичности в процессе онтогенеза предоставят информацию о последствиях многократного воздействия вещества во время внутриутробного и раннего постнатального развития. Поскольку акцент делается как на общую токсичность, так и на конечные показатели нейротоксичности, то результаты исследования позволят разграничить нейропатологические явления, происходящие в отсутствие общей материнской токсичности и проявляющиеся только на уровнях, которые также являются токсичными для материнских животных.
Из-за сложной взаимосвязи между схемой исследования, статистическим анализом и биологическим значением результатов адекватная интерпретация данных по развитию нейротоксичности должна включать в себя экспертную оценку.
При интерпретации результатов тестирования следует основываться на оценке всей совокупности представленных доказательств. Следует обсудить закономерности поведенческих или морфологических результатов, если они имеют место, а также доказательство зависимости доза-эффект.
Данные всех исследований, связанные с оценкой влияния на развитие нейротоксичности, включая медицинские эпидемиологические исследования или клинические случаи, результаты экспериментальных исследований на животных (например, токсико-кинетические характеристики, информацию по структурной активности химического соединения, данные других исследований токсичности), включаются в отчет, в котором также приводится анализ соотношения между дозами тестируемого вещества и наличием или отсутствием его влияния, а также степень любого нейротоксического эффекта для каждого пола.
Оценка результатов должна включать обсуждение как биологических, так и статистических значений. Статистический анализ следует рассматривать как инструмент, который направляет, но не определяет интерпретацию данных. Отсутствие статистической значимости не должно быть единственным обоснованием для заключения отсутствия соответствующего эффекта тестируемого вещества, равно как статистическая значимость не должна быть единственным обоснованием для заключения, связанного с эффектом тестируемого вещества.
Чтобы защититься от возможного ошибочно-отрицательного результата и трудностей, присущих "доказательству отрицательного", имеющиеся позитивные и исторические контрольные данные должны быть обсуждены, особенно когда отсутствуют эффекты, связанные с введением тестируемого вещества.
Вероятность ошибочных результатов исследования должна обсуждаться в свете общей статистической оценки полученных данных.
Анализ должен включать соотношения, если таковые имеются, между наблюдаемыми нейропатологическими и поведенческими изменениями.
Все результаты должны быть проанализированы с использованием статистических моделей, соответствующих схеме проведения эксперимента.
Выбор того или иного параметрического или непараметрического метода анализа должен быть обоснован с учетом таких факторов, как природа данных (трансформированных или нет) и их распределение, следует также учитывать относительную устойчивость выбранного статистического анализа. При выборе метода статистического анализа и схемы исследования необходимо руководствоваться тем, чтобы минимизировать ошибки Типа I (ошибочный результат исследования) и Типа II (ложноотрицательный результат исследования).
При проведении исследований с использованием повторно родящих видов, в которых повторно рожденные детеныши из помета подвергаются исследованию, необходимо включать помет в статистическую модель для защиты от завышенных величин ошибок Типа I. При этом статистической единицей измерения должен быть помет, а не детеныш.
Схемы экспериментов разрабатываются таким образом, чтобы пометы не рассматривались в качестве независимых результатов наблюдений.
Любой конечный результат, неоднократно измеренный в этой же схеме эксперимента, должен быть проанализирован с использованием статистических моделей, которые отвечают за зависимость этих измерений.
5.3. Отчет об исследовании
Протокол испытаний должен включать следующую информацию:
Исследуемое вещество:
- физическая природа и, в случае необходимости, физико-химические свойства;
- идентификационные данные, в том числе источник получения;
- чистота препарата, а также известные и/или ожидаемые примеси.
Растворитель (при необходимости):
- обоснование выбора растворителя, если это не вода или физиологический раствор.
Подопытные животные:
- вид и используемая линия, и обоснование, если кроме крыс используются другие виды животных;
- поставщик подопытных животных;
- количество, возраст при начале эксперимента, пол животных;
- источник, условия содержания, питание, вода и т.д.;
- индивидуальный вес животных в начале теста.
Условия испытаний:
- обоснование выбора уровня доз;
- обоснование способа введения и период времени введения вещества;
- специфические условия введения доз вещества, включая подробную информацию о растворителе, объеме и физической форме вводимого вещества;
- полная формула исследуемого вещества, способ подготовки для введения в пищу, расчетные концентрации, стабильность и гомогенность препарата;
- метод, используемый для уникальной идентификации спариваемых самок и потомства;
- подробное описание процедур(ы) рандомизации, используемой для обозначения групп тестируемых спариваемых самок, выбор детенышей для отбора и определение детенышей для опытных групп;
- подробная информация о введении исследуемого вещества;
- преобразование из пищевого рациона, питьевой воды или при ингаляционном введении концентрации тестируемого вещества (ppm) в фактическую дозу (мг/кг массы тела/день), если это применимо;
- условия внешней среды;
- подробная информация о пищевом рационе и качестве воды (например, водопроводная из крана, дистиллированная);
- даты начала и окончания исследования.
Наблюдения и процедура исследований:
- подробное описание процедур, используемых для стандартизации наблюдений и манипуляций, а также для оперативного определения подсчета результатов;
- список всех методов исследования и обоснование их использования;
- подробная информация о применяемых поведенческо-функциональных, патологических, нейрохимических и электрофизиологических процедурах, в том числе информация и детали автоматизированных устройств;
- процедуры калибровки и обеспечения стандартизации устройств и формирования исследуемых групп для процедур тестирования;
- краткое обоснование объяснений любых решений, включающих профессиональное суждение.
Результаты (индивидуальные и суммарные, включая средние значения и дисперсии в случае необходимости):
- количество животных в начале и в конце исследования;
- количество животных и пометов, используемых для каждого метода испытаний;
- идентификационный номер каждого животного и помета, из которого он получен;
- размер помета, средний вес при рождении и пол детенышей;
- масса тела и данные по изменению массы тела, в том числе конечные массы тела спариваемых самок и потомства;
- данные о потреблении продуктов питания и воды, в случае необходимости (например, если вводят химические вещества с помощью воды);
- результаты по влиянию токсичности на пол и уровень дозы, включая признаки токсичности или смертности, в том числе время и причины смерти, если это необходимо;
- природа, тяжесть, продолжительность, день начала, время суток и дальнейший ход подробных клинических наблюдений;
- балл по каждому показателю развития (вес, половое созревание и поведенческий онтогенез) на каждом этапе наблюдения;
- подробное описание всех поведенческих, функциональных, невропатологических, нейрохимических, электрофизиологических результатов по полу, в том числе и увеличение, и уменьшение по сравнению с контролем;
- результаты вскрытия;
- масса мозга;
- любые диагнозы, полученные по неврологическим симптомам и поражениям, в том числе природные заболевания или состояния;
- графическое изображение сделанных выводов;
- маломощные изображения для оценки гомологии участков, используемых для морфометрии;
- данные по адсорбции и метаболизму, включая дополнительные результаты отдельного токсико-кинетического исследования, если таковые имеются;
- статистическая обработка результатов, в том числе статистических моделей, используемых для анализа данных и результатов, независимо от того, были ли они существенными или нет;
- список исследовательского персонала, в том числе его профессиональная подготовка.
Обсуждение результатов:
- информация по наличию зависимости доза-эффект по полу и группе;
- соотношение любых других токсических эффектов с выводом о нейротоксическом потенциале химического исследования по полу и группе;
- влияние любой токсико-кинетической информации на выводы;
- подобие эффектов с любым из известных нейротоксикантов;
- данные, подтверждающие надежность и чувствительность метода испытания (т.е. положительные и исторические контрольные данные);
- отношения любые, если имеются между нейропатологическими и функциональными эффектами;
- NOAEL или стандартная доза для спариваемых самок и потомства по полу и группе.
Выводы:
- обсуждение интерпретации всех данных на основе полученных результатов, в том числе заключение о том, является ли химическое соединение причиной развития нейротоксичности и NOAEL.
ПРИМЕРЫ ВОЗМОЖНЫХ СХЕМ ИССЛЕДОВАНИЯ
Рис. Общая схема исследования функционально-поведенческих,
нейропатологических показателей и массы мозга.
(PND = постнатальный день)
Примеры возможных схем исследования описаны и приведены ниже. Эти примеры приведены для иллюстрации того, что схемы исследования животных и различные парадигмы тестирования могут быть осуществлены различными способами.
Пример 1
- Одна группа из 20 детенышей/пол/уровень дозы (т.е. 1 самец и 1 самка в помете) используют для тестирования предотъемного поведенческого онтогенеза. Из этих животных 10 детенышей/пол/уровень дозы (т.е. 1 самец или 1 самка в помете) гуманно забиты в ПНД 22. Мозг извлекают, взвешивают и обрабатывают для гистопатологической оценки. Кроме того, данные по взвешиванию мозга собирают, используя нефиксированный мозг из оставшихся 10 самцов и 10 самок из каждого уровня дозы.
- Другая группа из 20 животных/пол/уровень дозы (т.е. 1 самец и 1 самка в помете) используют для функционально-поведенческих исследований после отъема (подробные клинические наблюдения, двигательная активность, слуховой испуг и когнитивные функции у подростков) и оценки возраста полового созревания. Из этой группы 10 животных/пол/уровень дозы (т.е. 1 самец или 1 самка в помете) наркотизируют и фиксируют с помощью перфузии для исследования при прекращении тестирования (примерно PND 70). После дополнительной фиксации in situ мозг извлекали и обрабатывали для нейропатологической оценки.
- Для тестирования когнитивных функций у лиц молодого возраста (например, ПНД 60 - 70) используется третья группа из 20 детенышей/пол/уровень дозы (например, 1 самец и 1 самка из помета). Из этой группы животных 10 детенышей/пол/группа (1 самец или 1 самка из помета) забивают для изучения при прекращении тестирования, мозг извлекают и взвешивают.
- Остальные 20 животных/пол/групп резервируют для возможных дополнительных испытаний.
Таблица 6.7.4.1.1
N детеныша a) | Кол-во детенышей для тестирования | Показатель/Тест |
самец | самка |
1 | 5 | 20 с/ц + 20 с/а 10 с/м + 10 с/а 10 с/м + 10 с/а | Поведенческий онтогенез PND 22 масса мозга/невропатология/морфометрия PND 22 масса мозга |
2 | 6 | 20 с/ц + 20 с/а 20 с/ц + 20 с/а 20 с/ц + 20 с/а 20 с/ц + 20 с/а 20 с/ц + 20 с/а 10 с/м + 10 с/а | Подробные клинические наблюдения Двигательная активность Половое созревание Моторные и сенсорные функции Обучение и память (ПНД 25) Юноши: масса мозга/нейропатология/морфометрия ~ ПНД 70 |
3 | 7 | 20 с/ц + 20 с/а 10 с/м +10 с/а | Обучение и память (юноши) Юноши: масса мозга ~ ПНД 70 |
4 | 8 | - | Резерв животных для замены или дополнительных тестов |
a) Для этого примера - пометы отсеиваются до 4 самцов + 4 самок, детеныши-самцы пронумерованы от 1 до 4, детеныши-самки - с 5 по 8.
Пример 2
- Одну группу из 20 детенышей/пол/уровень доз (т.е. 1 самец и 1 самка из помета) используют для предотъемного тестирования поведенческого онтогенеза. Из этих животных 10 детенышей/пол/уровень доз (1 самец или 1 самка из помета) гуманно забивают в ПНД 11. Мозг извлекают, взвешивают и обрабатывают для гистопатологической оценки.
- Другую группу из 20 детенышей/пол/уровень доз (1 самец и 1 самка из помета) используют для постотъемных тестов (подробные клинические наблюдения, двигательная активность, оценка возраста полового созревания, моторные и сенсорные функции). Из этих животных 10 детенышей/пол/уровень доз (т.е. 1 самец и 1 самка из помета) наркотизируют и фиксируют при перфузии при прекращении исследования (примерно PND 70). После дополнительной фиксации in situ мозг извлекают и обрабатывают для нейропатологической оценки.
- Для тестирования когнитивных функций у подростков и юношей 10 детенышей/пол/уровень доз используют (например, 1 самец или 1 самка из помета). Разные животные используются для тестирования когнитивной функции в ПНД 23 и у юношей. При прекращении тестирования 10 детенышей/пол/группа, как взрослых особей, забивают, мозг извлекают и взвешивают.
- Остальные 20 детенышей/пол/группа, не отобранных для тестирования, забивают при отъеме и выбрасывают.
Таблица 6.7.4.1.2
N детеныша a) | Количество детенышей для тестирования | Показатель/Тест |
самец | самка |
1 | 5 | 20 с/ц + 20 с/а 10 с/м + 10 с/а | Поведенческий онтогенез ПНД 11 масса мозга/невропатология/морфометрия |
2 | 6 | 20 с/ц + 20 с/а 20 с/ц + 20 с/а 20 с/ц + 20 с/а 20 с/ц + 20 с/а 10 с/м + 10 с/а | Подробные клинические наблюдения Двигательная активность Половое созревание Моторные и сенсорные функции Юноши: масса мозга/нейропатология/ морфометрия ~ ПНД 70 |
3 | 7 | 10 с/м + 10 с/а | Обучение и память (ПНД 23) |
3 | 7 | 10 с/м +10 с/а | Обучение и память (Юноши) Юноши: масса мозга |
4 | 8 | - | Животные забитые и выброшенные |
a) Для этого примера - пометы отсеиваются до 4 самцов + 4 самок, детеныши-самцы пронумерованы от 1 до 4, детеныши-самки - с 5 по 8.
b) Разные детеныши используются для когнитивных тестов в ПНД 23 и юноши (например, четные/нечетные пометы из общего количества 20).
ОЦЕНКА ТОКСИЧЕСКОГО ДЕЙСТВИЯ НА ПРЕНАТАЛЬНОЕ РАЗВИТИЕ
Идентичен международному документу OECD TG N 414 "Prenatal Developmental Toxicity Study" (ОЭСР Руководство N 414 "Оценка токсического действия на пренатальное развитие"). Принят 22 января 2001 г. Перевод с английского языка (en). Степень соответствия - модифицированный (MOD).
1.1. Настоящий метод исследования предназначен для получения общей информации о воздействии химических веществ и продукции на их основе на беременных экспериментальных животных и развивающиеся организмы на пренатальной стадии.
1.2. Данное исследование включает в себя изучение воздействия на материнский организм, а также гибели, структурных аномалий или изменений в развитии плода.
2.1. Изучение репродуктивной токсичности является обязательным элементом токсикологической оценки химических веществ.
2.2. Целью данного метода является изучение влияния химических соединений на органогенез, процессы развития плода.
3. Описание тестового метода
3.1.1. Исследуемое вещество вводят беременным животным, начиная с момента имплантации до дня, предшествующего дню запланированного умерщвления животных, который должен быть как можно ближе ко дню нормальных родов и не приводить к риску потери данных в результате досрочных родов.
3.1.2. Настоящий метод предназначен не только для изучения периода органогенеза (дни 5 - 15 у грызунов, дни 6 - 18 у кроликов), но и эффектов, начиная с момента преимплантации, при необходимости на протяжении всего периода беременности до проведения кесарева сечения.
3.1.3. Незадолго до проведения кесарева сечения женских особей умерщвляют, изучают содержимое матки и оценивают изменения мягких тканей и скелета плода.
Выбор вида
3.2.1. Необходимо проводить испытания на наиболее подходящих видах животных. Как правило, используются стандартные лабораторные виды, которые обычно применяются в испытаниях пренатальной токсичности. Наиболее предпочтительным видом грызунов является крыса, негрызунов - кролик. Использование других видов должно быть обосновано.
Подготовка
3.2.2. В испытании используются здоровые интактные особи, прошедшие процесс адаптации к лабораторным условиям в течение 5 дней. Экспериментальных животных необходимо идентифицировать по виду, источнику, полу, массе и возрасту. Животные всех экспериментальных групп должны быть одинаковой массы и возраста. Для каждого уровня дозы должны использоваться молодые взрослые нерожавшие женские особи. Женские особи должны быть спарены с мужскими особями того же вида, инбридинга (спаривания особей из одного потомства) необходимо избегать. Для грызунов за день 0 беременности принимается день, когда у животного обнаруживается вагинальная пробка и/или сперма; для кроликов за день 0 принимается день полового акта или искусственного оплодотворения, если используется данный метод. Оплодотворенные самки должны быть произвольно распределены на экспериментальные и контрольные группы. Клетки устанавливаются таким образом, чтобы возможное влияние, связанное с размещением клетки, было минимизировано. Каждому животному присваивается уникальный идентификационный номер. Если самок оплодотворяют по партиям, животные из каждой партии должны быть произвольно распределены по группам.
Содержание
3.2.3. Температура в лабораторном помещении должна составлять (22 +/- 3) °C для грызунов и (18 +/- 3) °C кроликов. Несмотря на то что относительная влажность должна быть как минимум 30% и не превышать 70%, за исключением времени уборки помещения, оптимальное значение составляет 50 - 60%. Освещение должно быть искусственным в последовательности 12 часов - свет, 12 часов - темнота. При кормлении используется обычная лабораторная диета с неограниченным количеством питьевой воды. Процедуры спаривания проводятся в клетках, подходящих для этой цели. Индивидуальное содержание оплодотворенных животных является предпочтительным, содержание небольшими группами также приемлемо.
Количество и пол животных
3.3.1. Каждая экспериментальная и контрольная группы должны содержать достаточное число женских особей для получения примерно 20 самок с имплантацией для аутопсии. Группы, состоящие из менее чем 16 животных с имплантацией, могут быть неприемлемы.
3.3.2. Материнская смертность, не превышающая 10%, не влияет на результаты исследования.
Подготовка доз
3.3.3. При использовании растворителя или других добавок для облегчения дозирования необходимо уделять внимание следующим его характеристикам: влияние на поглощение, распределение, метаболизм и удержание/выведение исследуемого вещества; влияние на химические свойства исследуемого вещества, которые могут изменить его токсические свойства; и влияние на потребление воды и пищи или порядок питания животных. Растворитель не должен обладать репродуктивной токсичностью или токсичностью для развивающегося организма.
Дозирование
3.3.4. Исследуемое вещество необходимо вводить ежедневно после имплантации (на 5-й день после спаривания) до дня, предшествующего дню запланированного кесарева сечения. Если проведенные предварительные исследования не указывают на высокий потенциал предимплантационной гибели, исследование продлевается на весь период беременности, от спаривания до дня, предшествующего запланированному умерщвлению.
3.3.5. Ненадлежащее обращение и стресс во время беременности могут привести к пренатальной потере (выкидышу). Поэтому необходимо избегать воздействия факторов, не связанных с экспериментом, таких как: ненадлежащее обращение с беременными животными, стрессы от внешних факторов, шум и т.д. Здоровые животные произвольно распределяются на экспериментальные и контрольные группы.
3.3.6. Необходимо использовать, как минимум, три уровня доз и параллельную контрольную группу. Уровни доз необходимо выбирать с учетом возможности дальнейшей градации токсических эффектов. Если не ограничиваться физико-химическими или биологическими свойствами исследуемого вещества, наиболее высокая доза должна выбираться с целью индуцировать определенную токсичность для развивающегося организма и/или материнской особи (клинические признаки или снижение массы тела), но не смерть или тяжелые страдания. Как минимум один промежуточный уровень дозы должен приводить к появлению минимальных наблюдаемых токсичных эффектов. Наименьший уровень дозы не должен приводить к появлению каких-либо признаков токсичности для развития плода или материнской особи. Убывающая последовательность доз должна быть выбрана так, чтобы продемонстрировать любое соотношение доза-ответ и уровень, при котором не наблюдаются негативные эффекты (NOAEL), или доз, близких пределу обнаружения эффекта, которые позволяют определить критическую дозу. Двух-/четырехкратные интервалы являются оптимальными для установления убывающей последовательности доз, и добавление четвертой тестовой группы предпочтительнее использования очень больших интервалов (более чем 10-кратных) между дозами. Несмотря на то, что получение NOAEL для материнской особи является целью испытания, исследования, в которых не определяется данный показатель, также могут быть приемлемы.
3.3.7. Уровни доз следует выбирать с учетом любых существующих данных о токсичности, а также дополнительной информации о метаболизме и токсикокинетике исследуемого вещества или близких к нему веществ. Подобная информация будет способствовать демонстрации соответствия режима дозирования.
3.3.8. В испытании необходимо использовать параллельную контрольную группу. Данная группа должна подвергаться фиктивному воздействию или воздействию растворителем, если растворитель используется для введения исследуемого вещества. Для всех групп должен использоваться одинаковый объем исследуемого вещества или растворителя. Животные из контрольной группы (групп) должны содержаться идентично животным из экспериментальных групп. Для контрольных групп, подвергающихся воздействию растворителя, необходимо использование самой высокой дозы растворителя (как для группы с наименьшей дозой исследуемого вещества).
3.4. Испытание с предельной дозой
3.4.1. Если испытание с одной дозой в 1000 мг/кг массы тела в день, вводимой перорально, с использованием представленных процедур не приводит к появлению признаков токсичности и появление эффекта не ожидается согласно существующим данным (например, при исследовании структурно и/или метаболически родственных соединений), то полное исследование с использованием трех доз не является необходимым. Ожидаемое воздействие на организм человека может указывать на необходимость использования более высокого уровня пероральной дозы в испытании с предельной дозой.
3.4.2. Для других способов введения дозы, таких как ингаляционный или дермальный, физико-химические свойства исследуемого вещества часто могут указывать на максимально достижимый уровень воздействия (например, дермальное нанесение не должно вызвать серьезные местные поражения).
3.5. Введение экспериментальной дозы
3.5.1. Исследуемое вещество или растворитель вводят перорально посредством интубации. Если используется другой способ введения, необходимо представить обоснование и аргументировать выбор. Исследуемое вещество следует вводить каждый день примерно в одно и то же время.
3.5.2. Дозы для каждого животного выбираются на основании последнего индивидуального определения массы тела животного. Следует соблюдать осторожность при определении дозы в течение последнего триместра беременности. Для предотвращения появления избыточной токсичности для материнской особи при выборе дозы необходимо использовать существующие данные.
3.5.3. Если в ходе эксперимента отмечается чрезвычайно высокое токсическое воздействие на самок, их необходимо гуманно умертвить. Если несколько беременных животных проявляют признаки избыточной токсичности, следует рассмотреть возможность прекращения дозирования группы.
3.5.4. При введении вещества через желудочный зонд дозирование животным необходимо проводить с использованием желудочной трубки или подходящей интубационной канюли в виде разовой дозы.
3.5.5. Максимальный объем жидкости, которая может быть введена за один раз, зависит от размера экспериментального животного. Объем не должен превышать 1 мл на 100 г массы тела, за исключением водных растворов, когда можно использовать 2 мл на 100 г массы тела. Если в качестве растворителя используется кукурузное масло, объем не должен превышать 0,4 мл на 100 г массы тела. Изменения тестового объема должны быть сведены к минимуму путем регулирования концентрации для обеспечения постоянного объема для всех уровней доз.
3.6.1. Клинические наблюдения должны проводиться и регистрироваться, как минимум, один раз в день, предпочтительно в одно и то же время с учетом пикового периода ожидаемых эффектов после введения дозы. Состояние животных должно быть зарегистрировано, включая смертность, состояние агонии, соответствующие изменения в поведении и все признаки очевидной токсичности.
Масса тела и потребление пищи
3.6.2. Животных необходимо взвешивать в день 0 или не позднее дня 3, если оплодотворенные животные поставляются от стороннего производителя, в первый день воздействия, а затем каждые 3 дня в течение эксперимента и в день запланированного умерщвления.
3.6.3. Потребление пищи необходимо регистрировать с трехдневным интервалом, совпадающим с интервалом определения массы животных.
Обследование после вскрытия
3.6.4. Самки должны быть умерщвлены за один день до предполагаемых родов. Самок, у которых наблюдаются признаки выкидыша или признаки преждевременных родов до запланированного времени умерщвления, необходимо умертвить и подвергнуть тщательному макроскопическому обследованию.
3.6.5. В момент умерщвления или смерти во время исследования самки должны быть осмотрены макроскопически на наличие любых структурных аномалий или патологических изменений. Осмотр самок во время кесарева сечения и последующего анализа плода должен проводиться без информации о принадлежности к исследуемой группе в целях объективности.
Изучение содержимого матки
3.6.6. Незамедлительно после умерщвления или как можно скорее после смерти матки животных должны быть удалены и установлен статус беременности. Для маток, которые выглядят неоплодотворенными, необходимо проводить дальнейшие исследования (например, окрашивание сульфидом аммония для грызунов и окрашивание Салевски или альтернативный метод для кроликов) для подтверждения отсутствия беременности.
3.6.7. Беременные матки, в том числе шейки матки, должны быть взвешены. Масса беременных маток не определяется для животных, обнаруженных мертвыми в ходе исследования.
3.6.8. Для беременных животных необходимо определять количество желтых тел.
3.6.9. Содержание матки должно быть осмотрено на наличие погибших эмбриональных клеток или плодов и жизнеспособных плодов. Необходимо определять степень резорбции для оценки относительного времени смерти концептуса.
3.7.1. Необходимо определить пол и массу каждого плода.
3.7.2. Каждый плод должен быть осмотрен на наличие внешних изменений.
3.7.3. Плоды должны быть осмотрены на наличие изменений мягких тканей и скелета (отклонения или пороки развития, или аномалии). Классификация изменений плода предпочтительна, но не обязательна. Если классификация проводится, то критерии для определения каждой категории должны быть четко установлены. Особое внимание следует обратить на изменения половых путей, которые необходимо осмотреть на наличие признаков изменений в развитии.
3.7.4. Для грызунов примерно половина плодов из каждого помета должна быть препарирована и осмотрена на наличие изменений скелета. Оставшиеся плоды должны быть препарированы и осмотрены на наличие изменений мягких тканей с использованием принятых или соответствующих методов последовательного сечения или методов аккуратного общего вскрытия.
3.7.5. Для негрызунов, например, кроликов, каждый плод необходимо осматривать на наличие изменений мягких тканей и скелета. Органы каждого плода после вскрытия осматривают на наличие изменений мягких тканей, при вскрытии могут использоваться процедуры для дальнейшего изучения внутренней структуры сердца. Головы половины осматриваемых плодов должны быть удалены и препарированы для проведения оценки изменений мягких тканей (глаза, головной мозг, носовые ходы и язык) с использованием стандартного последовательного метода сечений или равного чувствительного метода. Органы поврежденных и неповрежденных плодов должны быть препарированы и осмотрены на наличие изменений скелета.
4. Данные, оценка результатов и отчет
4.1.1. Данные должны быть представлены индивидуально и сведены в табличную форму, демонстрирующую для каждой экспериментальной группы и каждого поколения количество животных в начале испытания, количество животных, обнаруженных мертвыми в ходе испытания или умерщвленных из гуманных соображений, время любой гибели или умерщвления, количество беременных особей, количество животных с признаками токсичности, описание наблюдаемых признаков токсичности, в том числе время появления, продолжительность и тяжесть любых токсических эффектов, тип наблюдений плода и все соответствующие данные для помета.
4.1.2. Количественные результаты должны быть оценены соответствующим статистическим методом с использованием помета в качестве единицы для анализа данных. Должен использоваться общепринятый статистический метод; статистический метод необходимо выбирать как часть общей структуры испытания. Данные о животных, которые не доживают до запланированного умерщвления, также должны быть представлены. Эти данные могут быть включены в значения для групп в соответствующих случаях. Актуальность данных для таких животных, и, следовательно, включение или исключение из значений для любой группы должны рассматриваться на индивидуальной основе.
4.2.1. Результаты испытаний токсичности для пренатального развития должны оцениваться с точки зрения наблюдаемых эффектов.
4.2.2. Оценка будет включать в себя следующую информацию:
- результаты испытаний для материнской особи и плода, в том числе оценка соотношения или его отсутствие, между воздействием исследуемого вещества на животных и частотой и тяжестью всех эффектов;
- критерии, используемые для классификации внешних изменений, изменений мягких тканей и скелета плода, если такая классификация проводилась;
- при необходимости - контрольные данные предшествующих исследований для улучшения интерпретации результатов;
- численность, используемая для расчета всех процентов или показателей;
- приемлемый статистический анализ результатов исследования (при необходимости), который должен включать достаточную информацию о методе анализа, используя которую независимый эксперт может пересмотреть и реконструировать анализ.
4.2.3. Для любого испытания, в котором демонстрируется отсутствие токсических эффектов, должно быть предусмотрено проведение дальнейших исследований для оценки поглощения и биологической доступности исследуемого вещества.
Отчет об испытании должен включать следующие данные:
Исследуемое вещество:
- физическая природа и при необходимости физико-химические свойства;
- идентификация, в том числе номер CAS, если он известен и/или установлен;
- чистота.
Растворитель (при необходимости):
- обоснование выбора растворителя, за исключением воды.
Экспериментальные животные:
- используемый вид;
- количество и возраст животных;
- источник, условия содержания и кормления и пр.;
- индивидуальная масса животных в начале испытания.
Условия проведения испытания:
- обоснование выбора уровня доз;
- подробности приготовления исследуемого вещества, подготовки диеты, достигаемые концентрации, стабильность и однородность вводимого препарата;
- подробности введения исследуемого вещества;
- перевод содержания исследуемого вещества в пище/питьевой воде (ppm) в фактическую дозу (мг/кг массы тела в день) при необходимости;
- условия окружающей среды;
- качество пищи и воды.
Результаты испытания:
Ответ материнской особи на вводимые дозы, включая, но не ограничиваясь:
- количество животных в начале испытания, количество выживших животных, количество беременных животных, количество выкидышей и преждевременных родов;
- день гибели во время испытания или количество животных, доживших до умерщвления;
- данные животных, которые не доживают до запланированного умерщвления, необходимо сообщать, но не использовать для статистических сравнений между группами;
- день наблюдения любого аномального клинического признака и его последующее развитие;
- масса тела, изменение массы тела и массы беременной матки, в том числе при необходимости, изменение массы тела с поправкой на массу беременной матки;
- потребление пищи и воды, если проводились такие оценки;
- результаты аутопсии, в том числе масса матки;
- значения NOAEL токсичности для материнской особи и токсичности для развивающегося организма.
Показатели токсичности для развития помета с имплантатами, в том числе:
- количество желтых тел;
- количество имплантаций, количество и процент живых и мертвых плодов и резорбций;
- количество и процент потерь до и после имплантации.
Показатели токсичности по дозам для развития помета с живым плодом, в том числе:
- количество и процент живого потомства;
- соотношение полов;
- масса тела плода, предпочтительно с разбивкой по полу;
- пороки внешнего развития, развития мягких тканей и скелета и другие соответствующие изменения;
- критерии для классификации при необходимости;
- общее количество и процент плодов и помета с любыми внешними изменениями, изменениями мягких тканей или скелета, а также виды и случаи отдельных аномалий и других соответствующих изменений.
Обсуждение результатов. Выводы.
4.4. Интерпретация результатов
Исследование токсичности для пренатального развития позволит получить информацию о влиянии повторного перорального воздействия вещества в период беременности. Результаты исследования должны рассматриваться в совокупности с результатами испытаний субхронической токсичности, репродуктивной токсичности, токсикокинетических и других исследований. Поскольку внимание уделяется как общей токсичности, так и токсичности для развивающегося организма, результаты исследования позволят разделять эффекты для развития организма, происходящие в отсутствие общей токсичности, и эффекты, проявляющиеся только на уровнях, которые также являются токсичными для материнских особей.
Пример 3
- Одну группу из 20 детенышей/пол/уровень доз (т.е. 1 самец и 1 самка из помета) используют для определения массы мозга и нейропатологической оценки в ПНД 11. Из этих животных 10 детенышей/пол/уровень дозы (т.е. 1 самец или 1 самка из помета) гуманно забиты в ПНД 11, мозг выделен, взвешен и обработан для гистопатологической оценки. Кроме того, данные взвешивания мозга собирают, используя нефиксированный мозг из оставшихся 10 самцов и 10 самок на каждом уровне дозы.
- Еще одну группу из 20 детенышей/пол/уровень доз (т.е. 1 самец и 1 самка из помета) используют для определения поведенческого онтогенеза (двигательной активности) у подростков после отъема (двигательная активность и оценка возраста полового созревания) и тестируют когнитивные функции.
- Другую группу из 20 детенышей/пол/уровень доз (т.е. 1 самец и 1 самка из помета) используют для исследования моторных и сенсорных функций (слуховой испуг) и подробных клинических наблюдений. Из этой группы 10 детенышей/пол/уровень доз (т.е. 1 самец и 1 самка из помета) наркотизируют и фиксируют перфузией при окончании исследования (примерно, ПНД 70). После дополнительной фиксации in situ, мозг извлекают, взвешивают и обрабатывают для нейропатологической оценки.
- Другую группу из 20 детенышей/пол/уровень доз (т.е. 1 самец и 1 самка из помета) используют для тестирования когнитивных функций у юношей. Из них 10 детенышей/пол/группа (т.е. 1 самец и 1 самка из помета) при окончании тестирования забивали, мозг извлекали и взвешивали.
Таблица
N детеныша a) | Количество детенышей для тестирования | Показатель/Тест |
самец | самка |
1 | 5 | 10 с/м + 10 с/а 10 с/м + 10 с/а | ПНД 11 масса мозга/невропатология/морфометрия ПНД 11 масса мозга |
2 | 6 | 20 с/ц + 20 с/а 20 с/ц + 20 с/а 20 с/ц + 20 с/а 20 с/ц + 20 с/а | Поведенческий онтогенез (двигательная активность) Двигательная активность Половое созревание Обучение и память (ПНД 27) |
3 | 7 | 20 с/ц + 20 с/а 20 с/ц + 20 с/а 10 с/м + 10 с/а | Слуховой испуг (подростки и юноши). Подробные клинические наблюдения. Юноши: масса мозга/нейропатология/морфометрия ~ ПНД 70 |
4 | 8 | 20 с/ц + 20 с/а 10 с/м + 10 с/а | Обучение и память (юноши). Юноши: масса мозга |
a) Для этого примера, пометы отсеиваются до 4 самцов + 4 самок, детеныши-самцы пронумерованы от 1 до 4, детеныши-самки - с 5 по 8.
ОЦЕНКА РЕПРОДУКТИВНОЙ ТОКСИЧНОСТИ НА ОДНОМ ПОКОЛЕНИИ
Идентичен международному документу OECD TG N 415 "One-Generation Reproduction Toxicity Study" (ОЭСР Руководство N 415 "Испытания по оценке репродуктивной токсичности на одном поколении"). Принят 26 мая 1983 года. Перевод с английского языка (en). Степень соответствия - модифицированный (MOD).
1.1. Настоящий метод исследования по оценке репродуктивной токсичности предназначен для получения информации о воздействии испытуемого вещества на репродуктивную функцию самцов и самок: функцию гонад, эстральный цикл, поведение во время спаривания, зачатие, роды, лактацию и отлучение от материнского питания.
1.2. Данный метод не универсален и может потребовать изменений при изучении веществ, вводимых ингаляционным путем.
1.3. Исследование призвано дать предварительную информацию о токсических эффектах испытуемого вещества на эмбриональное развитие, таких как неонатальные заболевания, смертность, поведение и тератогенез.
2.1. Изучение репродуктивной токсичности является обязательным элементом токсикологической оценки химических веществ.
2.2. Данный вид исследований позволяет получить предварительную информацию о воздействии вещества на эмбриональное развитие.
2.3. Целью данного метода является изучение влияния химических соединений на функцию гонад, эстральный цикл, поведение во время спаривания, зачатие, лактацию и отлучение от материнского питания.
3. Описание тестового метода
3.1.1. Испытуемое вещество вводится нескольким группам самок и самцов.
3.1.2. Самцам доза вводится на протяжении развития и, по меньшей мере, одного полного сперматогенного цикла (около 56 дней у мышей и 70 дней у крыс) с целью выявления любых изменений, вызванных воздействием вещества на стадии сперматогенеза.
3.1.3. Самкам материнского поколения (P) доза вводится, по меньшей мере, на протяжении двух полных астральных циклов с целью выявления любых изменений, вызванных воздействием вещества на астральной стадии.
3.1.4. Животные затем спариваются. Испытываемое вещество вводится животным обоего пола на протяжении периода спаривания и затем только самкам в течение периода беременности и кормления. Введение вещества ингаляционно должно быть научно обосновано.
Выбор вида
3.2.1. Предпочтительны крысы или мыши. Необходимо использовать здоровых животных, прежде не участвовавших в экспериментах. Не должны использоваться линии с низкой плодовитостью. Для исследования важны: вид, линия, пол, масса и/или возраст подопытных животных.
Подготовка
3.2.2. Перед испытанием животные произвольно распределяются в экспериментальную и контрольную группы. Животные проходят адаптацию к экспериментальным условиям и условиям питания на протяжении пяти дней до начала эксперимента. Рекомендуется введение вещества с пищей или питьевой водой. Также допустимы другие пути введения вещества. Все животные должны дозироваться одним путем в течение всего эксперимента. Если используется среда или другие вспомогательные вещества для приготовления дозы, они не должны вызывать токсический эффект. Дозирование совершается семь дней в неделю.
Содержание
3.2.3. Температура в лабораторном помещении должна составлять (22 +/- 3) °C для грызунов и (18 +/- 3) °C кроликов. Несмотря на то что относительная влажность должна быть как минимум 30% и не превышать 70%, за исключением времени уборки помещения, оптимальное значение составляет 50 - 60%. Освещение должно быть искусственным в последовательности 12 часов - свет, 12 часов - темнота. При кормлении может быть использована обычная лабораторная диета с неограниченным количеством питьевой воды.
3.2.4. Процедуры спаривания должны проводиться в клетках, подходящих для этой цели. Несмотря на то что индивидуальное содержание оплодотворенных животных является предпочтительным, содержание небольшими группами также приемлемо.
Количество и пол животных
3.3.1. Каждая экспериментальная и контрольная группа должна содержать достаточное количество животных, чтобы получить не менее 20 беременных самок, близких к родам или рожающих.
3.3.2. Целью является производство достаточного количества беременных самок и потомства для оценки влияния вещества на фертильность, беременность, материнское поведение животных поколения Р, рост и развитие потомства линии F1 в период от оплодотворения яйцеклетки до отнятия от груди.
3.3.3. Предварительные данные об изучаемом веществе:
- твердое, жидкое, газо- или парообразное агрегатное состояние;
- химическая идентификация;
- чистота (примеси) испытуемого вещества;
- характеристики растворимости;
- точка плавления/кипения (если необходимо);
- pH (если необходимо).
Уровень доз
3.3.4. Используются, как минимум, три экспериментальные и одна контрольная группы. Если для приготовления доз используется растворитель или другая среда, контрольная группа должна получить раствор в наибольшем объеме. Если испытуемое вещество вызывает уменьшение потребления пищи или его утилизацию, может быть признано необходимым использование парной контрольной группы. В идеале самый высокий уровень дозы, если только действие не ограничено физико-химическими свойствами испытуемого вещества или его биологическим воздействием, должен вызывать у родителей-животных (P) признаки интоксикации, но не гибель. Средняя доза должна вызывать минимальный токсический эффект, вызванный действием токсического вещества; и низкий уровень дозы не должен вызывать видимых эффектов у родителей приплода.
3.3.5. Если вещество вводится через желудочный зонд или капсулу, то доза для каждого животного должна устанавливаться в зависимости от массы его тела и установленной недельной динамики массы тела. При желании для самок на протяжении периода беременности дозировка может быть установлена в зависимости от массы тела в 0-й или 5-й день беременности.
Испытание максимальной дозы
3.3.6. В случае если используется вещество с низкой токсичностью и уровень дозы не менее 1000 мг/кг массы тела не вызывает неблагоприятных эффектов в деятельности репродуктивной системы, дальнейшие исследования этой дозы могут быть признаны необязательными. Если предварительное исследование с самым высоким уровнем дозы вызывает выраженные признаки материнской токсичности и не вызывает наблюдаемых эффектов на фертильность, исследования с другими уровнями доз могут быть признаны необязательными.
3.4.1. Самцам поколения родителей (P) в возрасте пять - девять недель вводят дозу ежедневно, после адаптационного периода продолжительностью не менее пяти дней. Крысы дозируются на протяжении 10 недель до периода спаривания (для мышей период дозировки - 8 недель). Самцы должны быть умерщвлены и осмотрены либо по окончании периода спаривания, либо они могут продолжать находиться на экспериментальной диете для возможного рождения второго приплода, затем должны быть умерщвлены и осмотрены до окончания исследования.
3.4.2. Самок поколения родителей (P) дозировать начинают не менее чем через пять дней после адаптации и продолжают дозировать на протяжении двух недель до спаривания. Самкам поколения родителей (P) вводят дозу ежедневно на протяжении трехнедельного периода спаривания, беременности и затем до периода завершения кормления потомства F1.
3.4.3. Особое внимание необходимо уделить изменениям режима введения доз, основанных на доступных данных об испытуемом веществе, например, индукции метаболизма или бионакопления.
3.5. Процедура спаривания
3.5.1. В исследованиях репродуктивной токсичности используется спаривание в соотношении 1:1 (один самец к одной самке) или 1:2 (один самец к двум самкам).
3.5.2. При спаривании в соотношении 1:1 самку необходимо поместить с одним самцом до наступления беременности или до истечения трех недель. Каждое утро самок осматривают на предмет наличия спермы или вагинальной пробки. Нулевым днем беременности считается день появления вагинальной пробки или спермы.
3.5.3. В случае неудачного спаривания пара должна быть осмотрена с целью выявления причины видимой нефертильности. В осмотр могут быть включены такие процедуры, как дополнительное спаривание с самцами или самками, доказавшими свою способность оплодотворять и оплодотворяться, микроскопическое исследование репродуктивных органов, наблюдения за эстральным циклом или за сперматогенезом.
3.6.1. Животным обеспечивается возможность полноценных родов и кормления потомства до момента отнятия от груди без стандартизации потомства.
3.6.2. Если стандартизация размера помета выполняется, рекомендуется выполнение последующих процедур. На 4-й день после рождения размер каждого помета может быть отрегулирован уничтожением лишних детенышей. При выборе следует руководствоваться стремлением сохранить в приплоде четырех самцов и четырех самок.
3.6.3. Всякий раз, когда количество детенышей - самцов или самок - не позволяет сформировать их в соотношении четыре самца/четыре самки, их можно урегулировать частично (например, пять самцов и три самки). Не регулируется размер приплода численностью менее 8 детенышей.
3.7.1. На протяжении испытания каждое животное должно наблюдаться не реже чем раз в день. Соответствующие изменения в поведении, признаки трудных или длительных родов и все признаки токсичности, включая гибель, должны быть зафиксированы. На протяжении периода перед спариванием и спаривания объем потребляемой пищи замеряется ежедневно. После родов и на протяжении периода лактации объем потребляемой пищи (и воды, если испытуемое вещество вводится с питьевой водой) должен измеряться в день взвешивания приплода. P-самцы и самки должны взвешиваться в первый день введения доз, затем еженедельно. Данные наблюдения должны фиксироваться отдельно по каждой взрослой особи.
3.7.2. Срок беременности должен быть подсчитан, начиная с нулевого дня (0) наступления беременности. Для каждого приплода как можно скорее после рождения необходимо установить число и пол детенышей, рожденность мертвым или живым, наличие значительных аномалий. Мертвые и умерщвленные на 4-й день детеныши должны быть зафиксированы и изучены на предмет выявления пороков. Живые детеныши должны быть подсчитаны, потомки взвешены наутро после рождения, на 4-й и 7-й день после рождения, и затем еженедельно до окончания эксперимента, когда животных необходимо взвесить индивидуально.
3.7.3. Необходимо фиксировать физические или поведенческие аномалии, наблюдаемые у самок или потомства.
4.1.1. На момент умерщвления или гибели во время эксперимента животные поколения P должны быть исследованы макроскопически на предмет изучения структурных патологий или изменений, особое внимание при этом должно уделяться органам репродуктивной системы. Погибшие или агонизирующие детеныши должны быть осмотрены на предмет обнаружения пороков.
4.2.1. Микроскопическому исследованию подвергаются яичники, матка, шейка матки, вагина, тестикулы, придатки яичников, семенной пузырек, простата, свертывающая железа, гипофиз и орган(ы)-мишень(и) всех животных потомства родителей (P). Если перечисленные органы не были исследованы в опытах с многократными дозами, они должны быть изучены микроскопически в группах с высокой дозой и в контрольной группе, а также у животных, погибших во время эксперимента.
4.2.2. Если у этих животных наблюдаются органы с патологиями, эти органы должны быть осмотрены у всех животных P. В этом случае все ткани со значительными патологиями необходимо подвергнуть микроскопическому исследованию. Как предлагается при процедурах спаривания, репродуктивные органы с ожидаемой бесплодностью могут также подвергнуться микроскопическому исследованию.
5.1.1. Данные должны быть сведены в таблицы с указанием количества животных на начало эксперимента в каждой группе, числа фертильных самцов, числа беременных самок, типов изменений и процентного соотношения животных, демонстрирующих каждый тип изменений.
5.1.2. По возможности численные результаты должны быть обработаны статистическим методом. Может использоваться любой общепринятый метод статистической обработки данных.
Отчет об испытании должен включать следующие данные:
- используемые виды/линии;
- токсические реакции с указанием пола и дозы, включая фертильность, беременность и жизнестойкость;
- время гибели во время эксперимента; если животное выжило, время запланированного умерщвления или факт умерщвления по окончании эксперимента;
- таблицы, демонстрирующие массу каждого потомка, значения: средней массы новорожденных и индивидуальной массы новорожденных на окончание испытания;
- токсические или другие эффекты на репродуктивную функцию, потомство и постнатальное развитие;
- даты наблюдения за каждым аномальным случаем и его последующее течение;
- масса тела животных линии P;
- данные аутопсии;
- подробное описание данных микроскопического исследования;
- статистическая обработка результатов, если необходимо;
- обсуждение результатов;
- интерпретация результатов.
5.3. Интерпретация результатов
Исследование репродуктивной токсичности дает информацию об эффектах повторного орального воздействия вещества. Результаты исследования должны рассматриваться совместно с результатами субхронического, тератогенного и других исследований. Экстраполяция результатов на людей действительна до определенной степени, результаты исследования могут дать полезную информацию о недействующих и допустимых уровнях воздействия на организм человека.
ИССЛЕДОВАНИЕ РЕПРОДУКТИВНОЙ ТОКСИЧНОСТИ НА ДВУХ ПОКОЛЕНИЯХ
Идентичен международному документу OECD TG N 416 "Two-Generation Reproduction Toxicity Study" (ОЭСР Руководство N 416 "Исследование репродуктивной токсичности на двух поколениях"). Перевод с английского языка (en). Степень соответствия - модифицированный (MOD).
1.1. Настоящий метод исследования обеспечивает получение информации о репродуктивной токсичности химических веществ и продукции на их основе на двух поколениях лабораторных животных и позволяют оценить и классифицировать вещество в соответствии с СГС по данному виду воздействия.
2.1. Исследование влияния токсичности химических веществ и продукции на их основе на репродуктивную функцию лабораторных животных на двух поколениях обеспечивает получение информации об их влиянии на целостность и состояние мужской и женской репродуктивных систем, в том числе на функцию гонад, астральный цикл, поведение во время спаривания, зачатие, беременность, роды, лактацию и отлучение от материнского питания, а также рост и развитие потомства.
2.2. Метод позволяет дать предварительную оценку токсического действия исследуемых веществ на эмбриональное и постэмбриональное развитие, а также на такие показатели, как неонатальные заболевания, смертность, поведение и тератогенез, и может служить руководством для последующих исследований.
2.3. До проведения эксперимента необходимо рассмотреть всю доступную об исследуемом веществе информацию. Такая информация включает данные о составе и химическом строении вещества; его физико-химические свойства; результаты токсикологических испытаний in vivo и in vitro; токсикологические данные по структурно родственным веществам и предполагаемые пути использования вещества. Эта информация необходима для подтверждения того, что испытание является важным для защиты здоровья человека и способствует обоснованному выбору начальной дозы.
3.1. Исследуемое вещество вводится с пищей, питьевой водой или через желудочный зонд в установленных дозах нескольким группам животных: самцов и самок. При необходимости допустимы другие пути введения вещества (например, через кожу или ингаляционно). Пероральный путь введения является предпочтительным.
3.2. Самцам доза вводится на протяжении развития и, по меньшей мере, одного полного сперматогенного цикла (около 56 дней у мышей и 70 дней у крыс) с целью выявить любое неблагоприятное воздействие на сперматогенез.
3.3. Самкам материнского поколения (P) доза вводится в период роста и в течение нескольких полных эстральных циклов с целью выявления любых неблагоприятных воздействий исследуемого вещества на эстральный цикл.
3.4. Исследуемое вещество вводят животным обоего пола на протяжении периода спаривания, а затем только самкам в течение периода беременности и кормления с целью выявления любых неблагоприятных воздействий исследуемого вещества на поведение во время спаривания, зачатия, беременности, родов и лактации.
3.5. После отлучения от материнского питания вещество продолжают вводить потомству F1 во время его роста, во взрослом возрасте, при спаривании, рождении F2 поколения вплоть до отлучения от материнского питания с целью выявления любых неблагоприятных воздействий исследуемого вещества на рост и развитие потомства, а также неонатальные заболевания, смертность, поведение и тератогенез.
3.6. Исследования в соответствии с процедурой проводят у всех животных на наличие признаков токсического действия исследуемого вещества на целостность и функциональное состояние мужской и женской репродуктивной систем, а также на рост и развитие потомства.
4.1.1. Животные, ранее не подвергавшиеся экспериментальным процедурам (в возрасте от 5 до 9 недель), проходят подготовку к исследованию (содержание в лабораторных клетках по отдельности или небольшими группами одного пола в соответствующих условиях и специальном кормлении) в течение не менее пяти дней до начала исследования. Перед тем как приступить к проведению исследования подопытные животные должны быть охарактеризованы по виду, линии, источнику, полу, весу и/или возрасту. Должны быть известны особи одного помета во избежание спаривания братьев и сестер. Животные должны быть произвольно отобраны для контрольных и опытных групп (рекомендуется выборка по массе тела).
4.1.2. Каждому животному присваивается идентификационный номер:
- для поколения P до начала введения исследуемого вещества;
- для поколения F1 (для выбранных для спаривания животных) при отлучении их от материнского питания.
4.1.3. Записи, указывающие происхождение помета, должны быть сохранены для всех выбранных животных потомства F1.
4.2.1. Подопытные животные.
Крысы являются предпочтительным видом для тестирования. Если используются другие виды животных, то необходимо дать обоснование и внести соответствующие изменения.
Линии с низкой плодовитостью или с известным высоким уровнем заболеваемости, или наличием пороков развития не должны использоваться. В начале исследования изменение массы животных должно быть минимальным и не превышать 20% от среднего веса особей обоего пола.
В исследованиях должны быть использованы здоровые молодые животные. Каждая экспериментальная и контрольная группы должны содержать не менее 20 самцов и 20 самок, чтобы получить не менее 20 беременных самок, близких к родам или рожающих.
Примечание: Для веществ, введение которых вызывает нежелательные эффекты (например, бесплодие, чрезмерную токсичность при высоких дозах), это не всегда возможно. Целью является производство достаточного количества беременных самок и потомства для возможности значимой оценки потенциала вещества в отношении влияния на фертильность, беременность, материнское поведение животных поколения P, а также рост и развитие потомства линии F
1 в период от зачатия до зрелости и развитие их потомства (F
2) до отнятия от материнского питания. Таким образом, отказ от достижения желаемого числа беременных животных
[20] не делает исследование недействительным и его следует оценивать в каждом конкретном случае на индивидуальной основе.
Температура в экспериментальной комнате для животных не должна превышать (22 +/- 3) °C. Относительная влажность воздуха должна быть не менее 30% и предпочтительно не более 70%, даже при влажной уборке комнаты влажность должна быть 50 - 60%. Освещение должно быть искусственным, с последовательным чередованием: 12 часов света и 12 часов темноты. Для кормления может быть использован обычный лабораторный рацион с неограниченным количеством питьевой воды. Выбор рациона может влиять на необходимость обеспечения подходящей примеси для введения испытуемого вещества.
4.2.2. Уровень вводимых доз.
Исследуются, как минимум, три уровня доз тестируемого вещества, которые распределяются по диапазону токсических воздействий. Интервал между дозами от двух до четырех раз является оптимальным для установления зависимости доза-эффект и добавление четвертой группы животных для испытания предпочтительнее использовать через очень большие интервалы (например, более чем в 10 раз) между дозами. Уровни доз должны быть выбраны с учетом данных по токсичности, особенно с учетом результатов повторных исследований доз. Любая доступная информация о метаболизме и кинетике тестируемого соединения или связанных с ним материалов также должна быть рассмотрена. Кроме того, эта информация будет также полезна в выборе режима дозирования.
Примечание: В тестах при введении вещества с пищей интервал доз должен быть не более 3 раз.
Самый высокий уровень дозы, если только действие не ограничено физико-химическими свойствами испытываемого вещества или его биологическим воздействием, должен вызывать у родителей-животных (P) токсичность, но не гибель или тяжелые страдания.
Примечание: В случае неожиданной смерти животных в родительской (P) группе при коэффициенте смертности на уровне или менее 10% испытание считается приемлемым.
Последовательность снижения дозы должна продемонстрировать зависимость эффекта от дозы, но не достигать подпорогового уровня (NOAEL) или доз вблизи предела обнаружения, что позволит определить оптимальную (среднюю) дозу.
При необходимости исследуемое вещество растворяют/суспендируют в соответствующем растворителе. Для растворителей, кроме воды, токсические характеристики должны быть известны. Кроме того, должна быть определена стабильность исследуемого вещества в растворителе. Контрольная группа должна получить растворитель в наибольшем объеме. Необходимо учитывать следующие характеристики растворителя и других добавок: влияние на всасывание, распределение, метаболизм или стабильность исследуемого вещества; воздействие на химические свойства исследуемого вещества, которые могут изменить его токсичные свойства, а также воздействовать на свойства пищи, потребление воды или питательный статус животных.
Примечание: Рекомендуется, по возможности, использование водного раствора/суспензии рассматривать в первую очередь, с последующим рассмотрением эмульсии в масле (например, в кукурузном масле), а затем возможные растворения в других растворителях.
Примечание: Если испытываемое вещество вводится с пищей и вызывает уменьшение потребления рациона питания или его утилизацию, использование спаренных контрольных групп может быть признано необходимым. Результаты исследований по контролю, направленные на оценку эффекта снижения потребления пищи на репродуктивные параметры, могут одновременно сравниваться со спаренной контрольной группой.
4.2.3. Исследование предельной (наивысшей) дозы.
В случае низкой токсичности тестируемого вещества (не менее 1000 мг/кг массы тела/день) и если при пероральном введении с пищей или водой не наблюдается токсических эффектов в деятельности репродуктивной системы, то дальнейшие исследования с этим уровнем дозы могут быть признаны необязательными.
Тест на максимальную концентрацию применяется исключительно в тех случаях, когда воздействие на человека указывает на необходимость более высокого уровня пероральной дозы, которая будет использована. Для других способов введения (ингаляционный или кожный), учитывая физико-химические свойства исследуемого вещества, такие как растворимость, необходимо исследование максимальной концентрации.
4.2.4. Процедура введения.
Животным необходимо вводить дозы исследуемого вещества на протяжении 7 дней в неделю.
Способ введения исследуемого вещества должен быть аналогичным для животных в экспериментальных и контрольной группах в течение соответствующего периода эксперимента. При тестировании объем вещества должен быть сведен к минимуму путем изменения концентрации для обеспечения постоянного объема при всех уровнях доз. При введении исследуемого вещества с помощью желудочного зонда объем жидкости не должен превышать 1 мл/100 г массы тела (0,4 мл на 100 г веса тела является максимальным для кукурузного масла), за исключением водных растворов, где 2 мл на 100 г веса тела могут быть использованы в одно время. Исключение составляют раздражающие или коррозионно-активные вещества, которые усугубляют эффект при увеличении концентрации.
Примечание: При зондовом варианте введения детеныши, как правило, получают исследуемое вещество только косвенно, через молоко, прямое дозирование начинается для них при отлучении от материнского питания. В исследованиях, когда тестируемое вещество вводят через пищу или питьевую воду, детеныши будут дополнительно получать его напрямую, когда они начинают есть сами в течение последней недели периода лактации.
Для веществ, которые вводят через пищу или питьевую воду, важно убедиться в том, что используемые количества исследуемого вещества не нарушают нормальное питание или водный баланс экспериментальных животных.
При введении исследуемого вещества через пищу возможно либо постоянное его введение в рацион в определенной концентрации (промилле), либо, как альтернативу, использовать постоянное соотношение дозы и веса тела животного, при этом метод расчета должен быть указан.
Если вещество вводится через желудочный зонд, то дозу следует вводить ежедневно в одно и то же время и корректировать, по крайней мере, каждую неделю, чтобы поддерживать постоянный уровень соотношения дозы и массы тела животного. Информацию, касающуюся плацентарного распределения, следует учитывать при способе введения вещества через зонд при расчете дозы в зависимости от веса.
4.2.5. Процедура испытания.
Ежедневное введение тестируемого вещества самцам и самкам родительского поколения (P) начинают в возрасте от 5 до 9 недель.
Ежедневная дозировка самцам и самкам поколения F1 начинается при отлучении их от материнского питания; следует иметь в виду, что в случаях, когда испытуемое вещество вводится через пищу или питьевую воду, непосредственное воздействие исследуемого вещества для поколения F1 может произойти уже в период лактации.
Для обоих поколений (P и F1) введение вещества должно быть продолжено в течение, по крайней мере, не менее 10 недель до начала периода спаривания. Введение вещества животным обоих полов продолжают в течение 2-х недель периода спаривания.
Самкам поколения P дозировку продолжают в течение всей беременности и до завершения периода кормления потомства F1.
Дозы для каждого животного, как правило, рассчитываются исходя из последних результатов индивидуального взвешивания, особенно при расчете дозы в течение последнего триместра беременности.
Введение вещества самцам и самкам поколений P и F1 необходимо продолжать до завершения исследования. Все животные поколений P и F2 и взрослые (самцы и самки) должны быть гуманно декапитированы, когда они больше не нужны для исследования репродуктивных эффектов. Животные потомства F1, не отобранные для спаривания, и все животные потомства F2 после отлучения от материнского питания должны быть гуманно декапитированы.
Примечание: Самцы должны быть декапитированы и осмотрены, если они больше не нужны для оценки репродуктивных эффектов.
4.2.6. Процедуры спаривания.
Процедура спаривания должна проводиться в клетках, подходящих для этой цели. После доказательства совокупления индивидуальное содержание оплодотворенных животных является предпочтительным, но содержание небольшими группами также приемлемо. Животные должны быть отделены друг от друга за один или два дня до родов.
4.2.6.1. Родительское (P) спаривание.
В исследованиях на репродуктивную токсичность используется спаривание в соотношении 1:1 (один самец к одной самке) или 1:2 (один самец к двум самкам).
При спаривании в соотношении 1:1 самку необходимо поместить с одним самцом до наступления беременности на две недели. Каждое утро самок осматривают на наличие спермы или вагинальной пробки. Нулевым днем беременности считается день появления вагинальной пробки или спермы. В случае неудачного спаривания необходимо дополнительное спаривание с самцами или самками, доказавшими свою способность оплодотворять и оплодотворяться. Спаривания братьев и сестер следует избегать.
4.2.6.2. Спаривание поколения F1.
Для спаривания поколения F1 по крайней мере один самец и одна самка должны быть выбраны из каждого помета для спаривания с другими детенышами того же уровня дозы, но из другого помета, для получения поколения F2. Потомство F1 не должно быть повязано, пока они не достигли полной половой зрелости.
Выбор детенышей из каждого помета должен быть случайным, когда нет значительного различия в массе тела или во внешнем виде между детенышами одного помета. В случае выраженных различий выбираются лучшие представители каждого помета.
Примечание: С практической точки зрения это лучше всего делать на основе массы тела, но выбор может быть более удобным на основе внешнего вида.
Пары без потомства должны быть исследованы для определения очевидной причины бесплодия. Это может включать в себя такие процедуры, как дополнительные возможности спаривания с другими проверенными самцами или самками, микроскопическое исследование репродуктивных органов и изучение циклов течки или сперматогенеза.
4.2.6.3. Второе спаривание.
В случаях изменения размера помета или сомнительного эффекта первого спаривания, связанных с введением вещества, рекомендуется взрослых особей поколений P или F1 заменить на других, для получения второго помета - на производителей противоположного пола с доказанными функциями.
Если производство второго помета считается необходимым в любой генерации, животные должны быть заменены примерно через неделю после отлучения от материнского питания последнего помета.
4.2.6.4. Размер помета.
Животным обеспечивается возможность полноценных родов, кормления и воспитания потомства до отлучения от материнского питания. Стандартизация размеров приплода не является обязательным. При необходимости стандартизации метод должен быть подробно описан.
Наблюдение за общим состоянием животных необходимо проводить ежедневно и в случае дозирования зондом следует принимать во внимание ожидаемый пиковый период эффекта после приема препарата.
Поведенческие изменения, признаки трудных или длительных родов, а также все признаки токсичности должны быть зарегистрированы.
Дополнительный, более тщательный осмотр каждого животного должен осуществляться, по крайней мере, еженедельно, и это удобно выполнять при взвешивании животного два раза в день, а при необходимости, в выходные дни - один раз в день, все животные должны быть под наблюдением для выявления заболеваемости и смертности.
4.2.7.1. Вес тела, потребление продуктов питания и воды.
Родительские животные (P и F1) взвешиваются (данные регистрируются) в первый день дозирования и минимум раз в неделю после этого. Родители - самки (P и F1) взвешиваются в период беременности, на 0, 7, 14 и 20 или 21 дни, в период лактации в те же дни, при взвешивании помета и в день забоя животных.
Во время спаривания и в период беременности потребление продуктов питания измеряется еженедельно. Потребление воды также должно быть измерено, как минимум, еженедельно, если исследуемое вещество вводится в воду.
4.2.7.2. Цикл течки.
Длительность цикла течки и нормальность ее протекания оцениваются у P и F1 самок с помощью влагалищных мазков до спаривания и, по возможности, во время спаривания, пока доказательства спаривания не обнаруживаются. При получении клеток влагалища и шейки матки необходимо избегать нарушения слизистой оболочки, а затем индукции ложной беременности.
4.2.7.3. Параметры сперматогенеза.
| | ИС МЕГАНОРМ: примечание. В официальном тексте документа, видимо, допущена опечатка: имеется в виду п. 4.2.9, а не п. 6.2.9. | |
После окончания исследования регистрируется вес яичек (семенник, testis) и придатков яичек (придатки семенник, epididymis) всех самцов P и F
1 также необходимо зафиксировать по одному органу каждого вида для дальнейшего гистопатологического исследования (см.
п. 6.2.9).
У десяти самцов из каждой группы потомств P и F1 яички и придатки яичек используются для подсчета гомогенизационно-устойчивых сперматид и объема спермы в хвосте придатков яичек.
Из этой же подгруппы самцов сперма из хвоста придатков яичек или из семявыносящих протоков отбирается для исследования подвижности и морфологии сперматозоидов.
Примечание: Если наблюдаются эффекты, связанные с введением вещества, или когда есть данные других исследований о возможном воздействии на сперматогенез этого вещества, то оценка спермы должна быть проведена у всех самцов в каждой доза-группе, в противном случае расчет может быть ограничен контролем и высокой дозой P и F1 самцов.
Объем спермы в хвосте придатков яичек рассчитывается по концентрации и объему сперматозоидов в суспензии, использованной для полной качественной оценки. Также необходимо оценить количество сперматозоидов, восстановившихся после измельчения и/или гомогенизации оставшейся ткани хвоста придатков яичек. Расчет должен быть выполнен для выбранной подгруппы самцов всех доза-групп немедленно после эвтаназии животных, если не сделаны видео или цифровые записи, или если образцы замораживают для последующего анализа. В этих случаях контрольная и группа с высокой дозой анализируются в первую очередь.
Примечание: В случае отсутствия эффектов, связанных с введением вещества (например, влияние на количество сперматозоидов, подвижность или морфологию), другие доза-группы можно не анализировать. В случае, когда отмечены эффекты в высоких доза-группах, то низшие доза-группы также оцениваются.
Подвижность сперматозоидов в придатке яичка (или семявыносящем протоке) оценивается в соответствии с принятой методикой или с помощью видео немедленно после эвтаназии. Сперма должна быть получена при сведении к минимуму повреждений и разбавлена для анализа подвижности с использованием приемлемых методов. Процент подвижных сперматозоидов определяется либо субъективно, либо объективно. Когда анализ подвижности выполняется компьютеризированно, то результат определения подвижности сперматозоидов зависит от определяемых пользователем пороговых значений для средней скорости и прямолинейности или линейного индекса.
Примечание: Если образцы являются видеозаписями или изображениями, записанными другим способом во время вскрытия, то последующий анализ может быть выполнен только в группах контроля и высоких доз для самцов P и F1; если наблюдаются связанные с введением вещества эффекты, то в этом случае группы с низкими дозами должны быть оценены. В отсутствие видео- или цифровых изображений все животные во всех группах дозирования должны быть вскрыты и проанализированы.
Морфологическую оценку образцов спермы придатка яичка (или семявыносящих протоков) проводят путем приготовления фиксированных, влажных препаратов из спермы, содержащих, как минимум, 200 сперматозоидов в образце, и классифицируют их как нормальные или аномальные.
Примеры морфологических аномалий спермы могут включать в себя слияние, изолированные и уродливые головы и/или хвосты.
Примечание: Оценка должна быть выполнена в выбранных подгруппах самцов всех доза-групп либо сразу после декапитации животных, либо, при наличии видео- или цифровых записей, в более позднее время. Фиксированные мазки также можно исследовать в более позднее время. В этих случаях группы контроля и с высокой дозой могут быть проанализированы в первую очередь. Если не выявлены связанные с тестированием эффекты (например, влияние на морфологию сперматозоидов), то другие доза-группы можно не анализировать. При проявлении эффектов в группах, связанных с введением высоких доз, необходимо провести исследования в группах с низкими дозами.
Если любой из перечисленных выше параметров оценки спермы уже был рассмотрен в рамках системного изучения токсичности в течение, как минимум 90 дней, то они не обязательно должны быть повторены в данных исследованиях. Рекомендуется, однако, сохранить образцы или цифровые записи исследования спермы поколения P с тем, чтобы при необходимости провести их оценку.
4.2.7.4. Потомство.
Каждый помет должен быть осмотрен как можно скорее после родов (лактация, день 0), чтобы установить количество и пол детенышей: число мертворожденных и родившихся живыми с наличием выраженных аномалий.
Детеныши, найденные мертвыми в день 0, если они не мацерированы, проверяются на предмет возможных дефектов и причин смерти и фиксируются для хранения.
Живые детеныши взвешиваются индивидуально при рождении (лактация, день 0) или на 1-ый день и регулярно после этого, например, в 4, 7, 14 и 21 дни лактации. Физические или поведенческие аномалии, наблюдаемые у матерей или в потомстве, регистрируются.
Физическое развитие потомства регистрируется, в основном, как прирост массы тела. Другие физические параметры (например, открытие ушей и глаз, прорезывание зубов, рост шерсти) дают дополнительную информацию и оцениваются с учетом данных о половом созревании (например, возраст и масса тела при вагинальном раскрытии или отделение головки пениса от крайней плоти).
У потомства F1 до и/или после отлучения от материнского питания особенно связанные с половым созреванием рекомендуется проводить функциональные исследования (например, двигательная активность, сенсорные функции, рефлекторный онтогенез), если они не включены в отдельные тесты.
Возраст вагинального раскрытия и препуциального отделения должны быть определены для F1 детенышей, выбранных для спаривания. Анально-генитальные расстояния измеряют в 0-ой день после родов у F2 детенышей, если в генерации F1 наблюдаются изменения в соотношении полов или сроках полового созревания.
Функциональные наблюдения не проводят в группах, в которых выявлены явные признаки отрицательного воздействия (например, значительное снижение веса и т.д.). Если сделаны функциональные исследования, то их не повторяют для детенышей, отобранных для спаривания.
4.2.8. Вскрытие животных.
На момент прекращения испытания (или в случае смерти в течение исследования) все животные с внешними отклонениями или клиническими признаками, а также, по крайней мере, один случайно выбранный детеныш/пол/помет от обоих F1 и F2 поколений, должны быть исследованы макроскопически для выявления структурных аномалий или патологических изменений. Особое внимание уделяется органам репродуктивной системы. Животные после эвтаназии и мертвые детеныши, если они не мацерированы, исследуются на наличие возможных дефектов и/или установление причины смерти и фиксируются для дальнейшего хранения.
Матки всех первородящих самок должны быть исследованы на наличие и количество мест имплантации методом, согласующимся с гистопатологической оценкой.
На момент окончания испытания взвешиваются тела животных и следующие органы всех P и F1 родительских животных (парные органы должны быть взвешены по отдельности):
- матка, яичники;
- яички и придатки яичек (весь и хвост);
- предстательная железа;
- семенные пузырьки с коагулирующими железами и их жидкостями (как единое целое);
- мозг, печень, почки, селезенка, гипофиз, щитовидная железа, надпочечники и известные органы-мишени.
Окончательный вес тела определяется для детенышей F1 и F2, которые выбраны для вскрытия, и следующие органы от одного случайно выбранного детеныша/пол/помет: мозг, селезенка и тимус.
Результаты вскрытия и взвешивания органов должны оцениваться в контексте с наблюдениями, сделанными в других повторных исследованиях доз, когда это возможно.
4.2.9. Гистопатологические исследования.
4.2.9.1. Гистопатологические исследования родительских животных (P и F1).
Следующие органы и ткани родительских животных (P и F1) или репрезентативно выбранные, должны быть зафиксированы и храниться в подходящей среде для гистопатологического исследования:
- влагалище, матка с шейкой матки и яичниками (сохраненные в соответствующем фиксаторе);
- одно яичко (сохраненное в растворе Буэна или подобном фиксаторе), один придаток яичка, семенные пузырьки, простата и coagulating gland (расположенная на передней части семенного пузырька);
- ранее определенные органы-мишени из всех P и F1 животных, выбранных для спаривания.
Полное гистопатологическое исследование сохраненных органов и тканей, перечисленных выше, выполняется для высоких доз и контрольных групп животных поколений P и F1, выбранных для спаривания.
Органы, в которых наблюдаются связанные с введением вещества изменения, также должны быть исследованы в группах низких и средних доз для получения дополнительных данных для определения NOAEL. Все серьезные поражения, такие как атрофия или опухоли, должны быть проверены.
Примечание: Дополнительно проводятся гистопатологические исследования репродуктивных органов животных в группах низких и средних доз, подозреваемых в снижении фертильности, например, те, которым не удалось спариться, забеременеть, произвести потомство или родить здоровое потомство, либо для которых цикличность течки, либо количество, подвижность или морфологии спермы отличаются от контроля.
Детальное гистопатологическое исследование яичка (например, с использованием фиксатора Буэна, заливка парафином и поперечной секцией толщиной 4 - 5

проводят для определения сохранности сперматид, отсутствующих слоев или типов зародышевых клеток, наличия гигантских многодетных клеток или отторжения клеток спермы в просвет. Исследование ранее зафиксированных придатков яичек проводится путем продольного сечения, и включает в себя оценку головы, тела и хвоста. Придатки яичка оцениваются на лейкоцитарную инфильтрацию, изменение превалирования типов клеток, присутствие аберрантных клеток и фагоцитов в сперме. PAS и окрашивание гематоксилином могут быть использованы для изучения мужских половых органов.
Постлактационный яичник должен содержать первичные растущие фолликулы, а также большое количество желтых тел лактации. В гистопатологических исследованиях определяют качественное уменьшение первичной популяции фолликулов. Количественная оценка первичных фолликулов проводится для самок F1; выборка числа животных, выбор отдела яичника и его размера должны быть статистически пригодны для используемой процедуры оценки. Исследования включают в себя подсчет числа первичных фолликулов, которые могут быть объединены с малыми растущими фолликулами для сравнения опытных и контрольных яичников.
4.2.9.2. Гистопатологические исследования детенышей.
Ткани и органы-мишени всех детенышей с внешними серьезными аномалиями или клиническими проявлениями, а также, по меньшей мере, одного случайно выбранного детеныша/пола/помета поколений F
1 и F
2, который не был выбран для спаривания (см.
п. 4.2.8), должны быть выделены и сохранены в подходящей среде для гистопатологического исследования. Полная гистопатологическая характеристика сохраненных тканей должна быть выполнена с особым вниманием к органам репродуктивной системы.
5.1. Результаты должны быть представлены в табличной форме индивидуально для каждой тестовой группы и для каждого поколения. В них указывается:
- количество животных в начале теста;
- количество умерших и животных, подвергшихся эвтаназии во время испытания;
- время любой смерти или эвтаназии;
- количество фертильных животных;
- число беременных самок;
- количество животных с признаками токсичности;
- описание наблюдаемых признаков токсичности, в том числе время начала, продолжительность и тяжесть;
- типы гистопатологических изменений;
- соответствующие данные о помете.
Численные результаты обрабатываются соответствующими общепринятыми статистическими методами, которые выбираются как часть описания исследования. Статистическая модель доза-эффект может быть полезна для анализа результатов.
Отчет должен содержать полные сведения о методах анализа и использованной компьютерной программе, так чтобы независимый эксперт/статистик мог повторно восстановить и оценить анализ.
5.2. Оценка результатов репродуктивной токсичности двух поколений.
5.2.1. Полученные результаты исследования репродуктивной токсичности двух поколений должны быть оценены с точки зрения наблюдаемых эффектов при вскрытии и микроскопическом исследовании.
5.2.2. При оценке результатов испытаний проводится выявление зависимости или отсутствия таковой между дозой исследуемого вещества и наличием или отсутствием эффекта и тяжести нарушений, в том числе серьезных поражений, выявленных в органах-мишенях, нарушением фертильности, клиническими аномалиями, нарушением репродуктивности и производства потомства, изменением массы тела, воздействием на смертность и любые другие токсические проявления.
Проведенное должным образом изучение репродуктивной токсичности должно обеспечить удовлетворительную оценку уровня отсутствия эффекта и понимание неблагоприятного воздействия на воспроизводство, роды, лактацию, постнатальное развитие, включая рост и половое развитие.
Примечание: При оценке результатов репродуктивной токсичности двух поколений принимаются во внимание физико-химические свойства исследуемого вещества и, если это возможно, данные токсикокинетики при их наличии.
Отчет испытаний должен включать следующую информацию:
Данные об изучаемом веществе:
- физическая природа и, в случае необходимости, физико-химические свойства;
- химическая идентификация;
- чистота (примеси) испытуемого вещества.
Характеристики растворимости (в случае необходимости):
- обоснование выбора растворителя, если используется не вода.
Животные:
- используемые вид/штамм;
- количество, возраст и пол животных;
- источник, лабораторные условия, питание, используемые материалы и др.;
- вес каждого животного в начале теста.
Условия испытаний:
- обоснование подбора уровня доз;
- детальная формула испытуемого вещества, подготовка рациона питания, расчетные концентрации;
- стабильность и однородность смеси;
- условия введения тестируемого вещества;
- концентрация (ppm) испытуемого вещества при переходе из пищи/питьевой воды для достижения дозы (мг/кг массы тела/день), если это возможно;
- детализация качества пищевого рациона и воды.
Результаты:
- потребление продуктов питания, воды и, если это возможно, пищевой эффективности (увеличение массы тела на грамм продуктов питания) и оценка расхода материалов для животных F1 и P, за исключением периода спаривания и, по крайней мере, последнего триместра лактации;
- данные по абсорбции (при наличии);
- данные веса тел животных P и F1, выбранных для спаривания;
- данные веса помета и детенышей;
- вес тела животных после эвтаназии, а также абсолютные и относительные данные результатов взвешивания органов родительских животных;
- характер, тяжесть и продолжительность клинических проявлений (в независимости от того, обратимы они или нет);
- время смерти животных во время исследования, а также животных, сохраненных до окончания тестирования;
- данные о токсических реакциях по признаку пола и дозы, включая показатели спаривания, фертильности, беременности, рождения, жизнеспособности и лактации; в отчете следует указать количество особей, используемых в вычислении этих показателей;
- токсичное или иное влияние на репродукцию, потомство, постнатальный рост и т.д.;
- результаты вскрытия;
- подробное описание всех гистопатологических исследований;
- количество самок P и F1 генераций с нормальным и продолжительным циклами;
- общее количество сперматозоидов в хвосте придатка яичка, % подвижных сперматозоидов, % морфологически нормальных сперматозоидов и % сперматозоидов с каждой выявленной патологией;
- время спаривания, включая количество дней до спаривания;
- длительность беременности;
- количество имплантаций, желтых тел, размер приплода;
- число родившихся живыми и погибших после имплантации;
- количество детенышей с видимыми грубыми аномалиями, также необходимо указать, если они есть, количество недоразвитых детенышей;
- данные о физических размерах детенышей и другие данные постнатального развития; оценка физических параметров должна быть обоснована;
- данные функциональных исследований детенышей и взрослых, когда это необходимо;
- статистическая обработка результатов, где это необходимо.
7. Интерпретация результатов
Выводы, в том числе NOAEL значения для матери и потомства
Исследование репродуктивной токсичности двух поколений предоставляет информацию о последствиях многократного воздействия вещества на всех этапах репродуктивного цикла. В частности, исследование предоставляет информацию о репродуктивных параметрах, данные о развитии, росте и выживании потомства.
Результаты исследования должны быть интерпретированы в сочетании с результатами субхронического пренатального развития, токсикокинетики и других имеющихся данных исследований. Результаты данного исследования могут часто использоваться в оценке необходимости проведения дополнительных испытаний химических веществ.
Экстраполяция результатов исследования на человека носит ограниченный характер. Наилучшим образом они могут быть использованы для получения информации об уровнях доз, не вызывающих негативные эффекты, и допустимые уровни воздействия на человека.
ОЦЕНКА РЕПРОДУКТИВНОЙ/ЭМБРИОНАЛЬНОЙ ТОКСИЧНОСТИ
(СКРИНИНГОВЫЙ МЕТОД)
Идентичен международному документу OECD TG N 421 "Reproduction/Developmental Toxicity Screening Test" (ОЭСР Руководство N 421 "Оценка репродуктивной/эмбриональной токсичности скрининговым методом"). Принят 27 июля 1995 года. Перевод с английского языка (en). Степень соответствия - модифицированный (MOD).
1.1. Настоящий метод скринингового исследования используется для получения первоначальных данных по возможным воздействиям на репродуктивность и/или эмбрион как на первоначальном этапе оценки токсикологических свойств химического вещества, так и по известным химическим веществам, вызывающим вопросы. Также может использоваться как часть ряда первоначальных скрининговых исследований для существующих химических веществ, по которым имеется мало или совсем не имеется токсикологических данных; как исследование по поиску уровня дозы для более широких репродуктивных/эмбриональных исследований или для других значимых целей.
1.2. Данное исследование не обеспечивает полноту данных по всем аспектам репродуктивности и эмбрионального развития. В частности, оно предлагает только ограниченные средства для обнаружения послеродовых проявлений предродовых воздействий или результатов, которые могут быть вызваны послеродовыми воздействиями. По многим причинам, в частности в связи с относительно малым количеством животных в дозируемых группах, избирательностью конечных целей и короткой длительностью исследования, этот метод не обеспечивает доказательств для однозначного утверждения об отсутствии воздействий. Как следствие, отрицательные данные не служат доказательством абсолютной безопасности в отношении репродуктивности и эмбрионального развития. Данная информация может послужить некоторым подтверждением, если фактическое воздействие очевидно меньше, чем доза, относящаяся к наименьшему уровню наблюдаемого вредного воздействия (NOAEL). Более того, в отсутствие данных о других исследованиях на репродуктивную/эмбриональную токсичность, положительные результаты применимы для первоначальной оценки опасности и способствуют принятию решений относительно необходимости и длительности дополнительного исследования.
1.3. Данный метод предполагает пероральный способ введения тестируемого вещества. При использовании другого способа введения требуется обоснование.
2.1. Предварительные скрининговые исследования репродуктивной токсичности применяются для первоначальной оценки обращающихся химических веществ.
2.2. Данный скрининговый тест основан на опыте изучения химических веществ с большим объемом производства и поисковых исследований с позитивным контролем химических веществ.
2.3. Этот метод ограничивается получением данных, касающихся воздействия исследуемого вещества на мужскую и женскую репродуктивную способность, как то на функцию половых желез, поведение при спаривании, оплодотворение, развитие оплодотворенного яйца и роды.
3. Описание тестового метода
3.1.1. Исследуемое вещество вводится градуированными дозами нескольким группам мужских и женских особей. Самцам следует давать дозу, как минимум, 4 недели и больше, включая день перед запланированным умерщвлением (период включает, как минимум, 2 недели перед спариванием, период спаривания и примерно 2 недели после спаривания). Принимая во внимание ограниченный период дозирования мужских особей перед спариванием, фертильность не может являться точным значимым показателем тестикулярной токсичности. Вследствие этого важны подробные гистологические исследования яичек. Сочетание двухнедельного периода дозирования перед спариванием и последующего наблюдения спаривания/фертильности с общим периодом введения, как минимум, в 4 недели, за которым следует подробная гистопатология семенников, считается достаточным для обнаружения преобладающего воздействия на оплодотворяющую способность спермы и сперматогенез.
3.1.2. Женские особи должны получать дозы на протяжении всего исследования. Сюда включаются 2 недели перед спариванием (с целью покрыть, как минимум, два полных цикла течки), переменная времени зачатия, срок беременности и как минимум 4 дня после родов, до дня перед планируемым умерщвлением включительно.
3.1.3. Срок исследования после адаптации зависит от поведения женских особей и должен составлять не менее 54 дней (как минимум, 14 дней перед спариванием, до 14 дней спаривание, 22 дня - беременность, 4 дня - кормление).
3.1.4. В течение периода введения вещества животных тщательно обследуют на предмет выявления признаков токсичности. Животным, которые умерли или были убиты в ходе тестирования, проводится аутопсия. По окончании исследования, выживших животных умерщвляют и также проводят аутопсию.
Выбор вида
3.2.1. Рекомендуется применение крыс. Если используются другие виды, необходимы соответствующие обоснования. Животных с низкой плодовитостью или с хорошо известной высокой степенью дефектов развития использовать не следует. Должны использоваться здоровые девственные животные, ранее не подвергавшиеся опытным испытаниям. Подопытные животные должны быть описаны по роду, виду, полу, массе и/или возрасту. В начале исследования разница в массе подопытных животных должна быть минимальна и не превышать +/- 20% от средней массы всех животных, задействованных в исследовании, отдельно каждого пола.
Подготовка
3.2.2. Здоровые молодые половозрелые животные случайным образом распределяются на контрольную и экспериментальные группы. Клетки надо размещать таким образом, чтобы свести к минимуму возможное влияние на них их местоположения. Животных помечают индивидуальными идентификаторами и содержат в клетках как минимум 5 дней перед началом исследования для акклиматизации к лабораторным условиям.
Содержание
3.2.3. Температура в помещении с экспериментальными животными должна быть (22 +/- 3) °C. Относительная влажность должна быть как минимум 30% и не должна превышать 70% (если только не проводится уборка помещения), оптимальная влажность составляет 50 - 60%. Свет искусственный с последовательностью: 12 часов - свет, 12 часов - темнота. Для кормления могут использоваться традиционные лабораторные диеты с неограниченным количеством питьевой воды. На выбор пищи может влиять необходимость добавления к ней исследуемого вещества, когда введение осуществляется таким способом.
3.2.4. Животные могут находиться отдельно или содержаться в клетках небольшими группами одного пола; при групповом расселении следует помещать не более 5 животных в каждую клетку. Процедура спаривания должна осуществляться в подходящих для такого случая клетках. Беременных самок следует селить отдельно и обеспечить их материалами для гнездования.
3.3. Процедура исследования
Количество и пол животных
3.3.1. Необходимо, чтобы в начале исследования каждая группа состояла как минимум из 10 животных каждого пола. Исключая случаи явного токсического воздействия, это обеспечит как минимум 8 беременных самок в каждой группе, что в норме является минимальным допустимым числом беременных самок в группе. Целью является получить достаточное количество беременностей и потомства, чтобы гарантировать значимую оценку потенциальной возможности вещества влиять на фертильность, беременность, материнское поведение и поведение грудного потомства, на рост и развитие потомства от зачатия до 4-го дня после родов.
Подготовка доз
3.3.2. Исследуемое вещество вводится перорально, если только другой путь введения не считается более подходящим. При пероральном пути исследуемый состав вводится через зонд, при этом в качестве альтернативы исследуемый состав может вводиться с пищей или питьевой водой.
3.3.3. При необходимости тестируемое вещество растворяется или примешивается в подходящую среду. Необходимо использовать водные растворы/суспензии, затем раствор эмульсии в масле (например, кукурузное масло) и затем искать возможное решение с использованием других сред. Для сред, отличных от воды, должны быть известны их токсические свойства. Следует определить устойчивость исследуемого вещества в среде.
Дозирование
3.3.4. Необходимо использовать как минимум три экспериментальные и одну контрольную группы. Уровни доз могут быть основаны на данных исследований острой токсичности или на результатах исследований повторной дозы. С животными контрольной группы необходимо обращаться так же, как и с животными экспериментальной группы. Если для введения исследуемого вещества используется среда, контрольная группа должна получать ее в максимальном используемом объеме.
3.3.5. Уровни доз должны выбираться, принимая во внимание любые имеющиеся токсичные и токсикокинетические данные об исследуемом веществе. Для токсического воздействия следует выбрать самый высокий уровень доз, при этом необходимо избегать смертности или тяжелых страданий среди животных. Следовательно, нисходящая последовательность уровней доз должна избираться с учетом любых доказанных реакций на дозу и наивысшего уровня воздействия, при котором не наблюдается вредный эффект (NOAEL), как самого низкого уровня дозы. Двойной или четвертной диапазон зачастую оптимален для установления снижения уровня дозы, для очень больших интервалов между дозами (например, с диапазоном более 10) предпочтительно использование четвертой экспериментальной группы.
3.4. Исследование с предельной дозой
3.4.1. Если при пероральном исследовании одного уровня дозы как минимум в 1000 мг/кг в день при введении с пищей или питьевой водой, а также равноценное его процентное содержание в пище или питьевой воде, используемые для этого исследования вещества не оказывают токсического воздействия, и если токсичность для структурно близких веществ не установлена, то проводить полное исследование с использованием нескольких уровней доз не нужно. Изучение эмбриотоксичности предельной дозы не применяется в тех случаях, когда воздействие на человека показывает необходимость повышения используемого перорального уровня дозы.
3.4.2. При других способах введения, таких как ингаляционный или дермальный, использование максимально достижимой концентрации в исследовании может быть продиктовано физико-химическими свойствами вещества.
3.5. Введение экспериментальной дозы
3.5.1. Животные должны получать дозу исследуемого вещества ежедневно в течение семи дней в неделю. Когда исследуемое вещество вводится принудительно, это следует делать разовой дозой, используя желудочный зонд или подходящую полую трубку. Максимальный объем жидкости, который может быть введен за один раз, зависит от размеров подопытного животного. Объем не должен превышать 1 мл/100 г, за исключением водных растворов, когда можно использовать 2 мл/100 г. За исключением веществ, вызывающих раздражение или коррозию, которые обычно проявляют более выраженный эффект при более высоких концентрациях, изменения тестируемого объема должны быть минимизированы путем регулирования концентрации для обеспечения постоянного объема при всех уровнях дозы.
3.5.2. Для веществ, вводимых с пищей или питьевой водой, важно, чтобы количество вводимого исследуемого вещества не препятствовало нормальному пищевому или водному балансу. Когда тестируемое вещество вводится с пищей, могут быть использованы либо постоянная концентрация в пище (мг/кг или ppm), либо постоянный уровень дозы в зависимости от массы тела животного, другое использование должно быть обосновано. Для веществ, вводимых через зонд, доза должна вводиться в одно и то же время ежедневно и корректироваться как минимум еженедельно для поддержания постоянного уровня дозы по отношению к массе тела животного.
3.6.1. Введение дозы животным обоих полов необходимо начинать как минимум за 2 недели до спаривания, после прохождения ими пятидневной акклиматизации. Исследование должно быть запланировано таким образом, чтобы спаривание начиналось сразу, как только животные достигли половой зрелости. Этот период может слегка различаться для разных видов крыс. Например, крысы вида Sprague Dawley - в возрасте 10 недель, крысы вида Wistar - 12 недель. Самки с потомством должны умерщвляться на 4-й день после родов или вскоре после этого. День родов (т.е. когда роды завершились) считается 0-м днем после родов. Самки, не демонстрирующие признаков беременности, умерщвляются на 24 - 26 день после последнего дня периода спаривания. Введение доз животным обоих полов продолжается весь период спаривания. Самцам продолжают введение доз после периода спаривания, пока минимальный период дозировки не достигнет 28 дней. Затем их умерщвляют или сохраняют и продолжают дозирование для возможного второго спаривания, если необходимо.
3.6.2. Ежедневное введение доз беременным самкам следует продолжать всю беременность и как минимум до 3-го дня после родов включительно или за день до умерщвления. Для исследований, где тестируемое вещество вводится ингаляционно или дермально, введение доз продолжается как минимум до 19 дня беременности включительно.
3.7. Процедура спаривания
3.7.1. В исследованиях используется спаривание 1 : 1 (одна самка на одного самца). Исключения могут быть сделаны в случае случайной смерти самцов. Самку следует помещать с одним и тем же самцом до наступления беременности или в течение 2 недель.
Каждое утро самки должны проверяться на наличие спермы или вагинальной пробки. Нулевым днем беременности считается день обнаружения вагинальной пробки или спермы. В случае, если спаривание неуспешно, может быть рассмотрено повторное спаривание с самцами, уже осуществившими успешное спаривание.
4.1. В течение всего периода исследования общее клиническое наблюдение должно проводиться как минимум раз в день и чаще, если обнаруживаются признаки токсичности. Их предпочтительно проводить ежедневно в одно и то же время, принимая во внимание период максимума предполагаемого воздействия дозы. Соответствующие изменения поведения, признаки трудных или продолжительных родов и все другие проявления токсичности, включая летальный исход, следует фиксировать. Такие записи должны включать время начала, степень и длительность признаков токсичности.
Рис. График-схема исследования, показывающий
максимальную длительность исследования, основанную
на полном 14-дневном периоде спаривания
4.2. Длительность беременности должна фиксироваться и отсчитываться от 0-го дня беременности. Каждый приплод должен быть изучен как можно раньше после рождения для установления количества и пола детенышей, мертворожденных, родившихся живыми, малорослых (детеныши, которые заметно меньше, чем детеныши из контрольной группы) и наличия явных аномалий.
4.3. Живые детеныши должны быть подсчитаны, у них следует установить пол. Приплод следует взвешивать в течение 24 часов после родов (нулевой или первый день после родов) и на 4-й день после родов. В дополнение к наблюдению за родительскими особями любое аномальное поведение потомства должно быть зафиксировано.
Масса тела и потребление воды/пищи
4.4. Самцы и самки должны взвешиваться в первый день введения дозы, как минимум, еженедельно в дальнейшем и по окончании исследования. Во время беременности самок следует взвешивать в 0-й, 7-й, 14-й и 20-й дни, в течение 24 часов после родов (нулевой или первый день после родов) и на 4-й день после родов. Все наблюдения должны фиксироваться отдельно по каждому взрослому животному.
4.5. В течение периодов: перед спариванием, беременности и кормления, потребление пищи должно измеряться как минимум еженедельно. Измерение потребления пищи в период спаривания является необязательным. Потребление воды в этот период следует измерять, если исследуемое вещество вводится с питьевой водой.
Патология
4.6. После умерщвления или смерти во время исследования взрослые особи должны быть изучены макроскопически на наличие аномальных или патологических изменений. Особое внимание должно быть уделено органам репродуктивной системы. Количество мест имплантации должно быть зафиксировано. Настоятельно рекомендуется подсчет желтых тел.
4.7. Яички и придатки яичек всех взрослых самцов должны быть взвешены.
4.8. Мертворожденные детеныши и умерщвленные на 4-й день после родов или вскоре после этого должны быть внимательно изучены наружно на наличие явных внешних аномалий.
4.9. Яичники, яички, придатки яичек и связанные с ними половые железы, а также все органы, демонстрирующие макроскопические поражения всех взрослых животных, должны быть сохранены. Для стандартных исследований яичек и придатков яичек не рекомендуется сохранение их в формалине. Для сохранения таких тканей подходящим способом является фиксатор Буэна.
Гистопатология
4.10. Делается подробное гистологическое исследование яичников, яичек и придатков яичек (с особым вниманием к фазе спермогенеза и гистопатологии межтканевого тестикулярного строения клетки) животных из групп с самой высокой группой дозирования и контрольной группы. Все остальные сохраненные органы могут изучаться по необходимости. Изучение следует распространить на животных из групп с другой дозировкой, если присутствуют видимые изменения в группе с самой высокой дозировкой.
5. Данные, оценка результатов и отчет
5.1.1. Данные по каждому животному должны быть предоставлены отдельно. В дополнение, все данные должны быть сведены в табличную форму, отражающую для каждой тестовой группы количество животных на начало исследования; количество животных, умерших во время исследования или умерщвленных по гуманным соображениям и время каждой смерти или умерщвления; количество способных к деторождению животных; количество беременных самок; количество животных, демонстрирующих признаки токсичности; описание наблюдаемых признаков токсичности, включая время начала, продолжительность и тяжесть любых токсических проявлений; тип гистопатологических изменений и все соответствующие данные по приплоду. Табличная форма для отчета, одобренная в качестве наиболее подходящей для оценки воздействия на репродуктивность/эмбрион, представлена ниже.
5.1.2. В связи с ограниченностью масштаба измерений в таком исследовании, статистический анализ в виде исследований "значимости" представляет ограниченную ценность для многих показателей репродуктивности. Если же статистический анализ применяется, он должен соответствовать распределению рассматриваемой переменной и выбираться до начала исследования. Из-за небольших размеров группы, использование данных наблюдения (например, количество приплода), где возможно, может быть полезно как помощь для интерпретации исследования.
Пример Таблицы итогового отчета воздействий
на репродуктивность/эмбрион
ПОКАЗАТЕЛИ | РЕЗУЛЬТАТ |
Доза (единицы) | 0 (контроль) | ... | ... | ... | ... |
Пары на начало (N) | | | | | |
Самки с признаками совокупления (N) | | | | | |
Самки, достигшие беременности (N) | | | | | |
Дни зачатия 1 - 5 (N) | | | | | |
Дни зачатия 6 - ... (1) (N) | | | | | |
Беременность <= 21 день (N) | | | | | |
Беременность = 22 дня (N) | | | | | |
Беременность >= 23 дня (N) | | | | | |
Самки с живыми новорожденными (N) | | | | | |
Самки с живыми детенышами к 4-му дню (N) | | | | | |
Желтое тело/самка (в среднем) | | | | | |
Эмбрионы/самка (в среднем) | | | | | |
Живые детеныши/самка при рождении (в среднем) | | | | | |
Живые детеныши/самка к 4-му дню (в среднем) | | | | | |
Численное соотношение полов (самцы/самки) к моменту рождения (в среднем) | | | | | |
Численное соотношение полов (самцы/самки) к 4-му дню (в среднем) | | | | | |
Масса приплода при рождении (в среднем) | | | | | |
Масса приплода к 4-му дню (в среднем) | | | | | |
Масса детеныша при рождении (в среднем) | | | | | |
Масса детеныша к 4-му дню (в среднем) | | | | | |
АНОМАЛИИ ДЕТЕНЫШЕЙ |
Самки с 0 | | | | | |
Самки с 1 | | | | | |
Самки >= 2 | | | | | |
ПОТЕРИ ПОТОМСТВА | | | | | |
предимплантационный (желтые тела минус зародыши) |
Самки с 0 | | | | | |
Самки с 1 | | | | | |
Самки с 2 | | | | | |
Самки >= 3 | | | | | |
предродовой/постимплантационный (зародыши минус рожденные живыми) |
Самки с 0 | | | | | |
Самки с 1 | | | | | |
Самки с 2 | | | | | |
Самки >= 3 | | | | | |
послеродовой (рожденные живыми минус живые к 4-му дню после родов) |
Самки с 0 | | | | | |
Самки с 1 | | | | | |
Самки с 2 | | | | | |
Самки >= 3 | | | | | |
5.2.1. Полученные данные исследования токсичности должны быть охарактеризованы в показателях результатов наблюдений, аутопсии и макроскопических данных. Оценка будет включать соотношение между дозой исследуемого вещества и наличием или отсутствием, количеством и тяжестью аномалий, включая макроскопические повреждения, определение органов-мишеней, бесплодность, клинические аномалии, воздействие на репродуктивность и потомство, изменения массы тела, влияние на смертность и любые другие токсические проявления.
5.2.2. В связи с непродолжительностью периода введения вещества самцам при оценке воздействия на их репродуктивность гистопатология яичек и придатков яичек должны рассматриваться вместе с данными по фертильности.
Отчет об испытании должен включать следующие данные.
Исследуемое вещество:
- физическая природа и, при необходимости, физико-химические свойства;
- идентификационные данные.
Среда (при необходимости):
- обоснование выбора среды (если это не вода).
Подопытные животные:
- вид/род используемых животных;
- число, возраст и пол животных;
- происхождение, условия содержания, питание и так далее;
- масса каждого животного в начале эксперимента.
Данные об условиях проведения исследования:
- обоснование выбора уровня дозы;
- подробное описание приготовления состава тестируемого вещества (пищи, достигнутая концентрация, устойчивость и однородность вещества);
- подробное описание введения вещества;
- переводной коэффициент от концентрации исследуемого вещества в пище/питьевой воде (ppm) к фактической дозе (мг/кг в день), если возможно;
- качество пищи и воды.
Результаты:
- масса/изменения массы;
- потребление пищи и воды, если возможно;
- данные реакции на токсичность по полу и дозе, включая фертильность, беременность и любые другие признаки токсичности;
- длительность беременности;
- токсичное или иное влияние на репродуктивность, потомство, рост после рождения и т.д.;
- характер, тщательность и длительность клинических наблюдений (можно ли их однозначно интерпретировать или нет);
- количество живого потомства и постимплантационная гибель плодов;
- количество детенышей с явно наблюдаемыми аномалиями, количество малорослых;
- время смерти в течение исследования или дожившие до его окончания животные;
- количество зародышей, желтые тела (рекомендуется), размер и масса приплода на момент отчета;
- масса тела на момент умерщвления и данные по массе органов родительских животных;
- данные аутопсии;
- подробное описание обнаруженных микроскопических изменений половых путей и других тканей самцов, если имеются;
- данные по абсорбции, если имеются;
- статистическая обработка, когда требуется.
Обсуждение результатов.
Заключение.
5.4. Интерпретация результатов
Исследование даст оценку репродуктивной/эмбриональной токсичности, связанной с введением повторяющихся доз. Оно может показать необходимость проведения дополнительного изучения и стать руководством по разработке дальнейших исследований.
РАСШИРЕННОЕ ИЗУЧЕНИЕ РЕПРОДУКТИВНОЙ
ТОКСИЧНОСТИ НА ОДНОМ ПОКОЛЕНИИ
Идентичен международному документу OECD TG N 443 "Extended One-Generation Reproductive Toxicity Study" (ОЭСР Руководство N 443 "Расширенное изучение репродуктивной токсичности на одном поколении"). Международный документ разработан Организацией Экономического Сотрудничества и Развития (ОЭСР/OECD) 28 июля 2011 г. Перевод с английского языка (en). Степень соответствия - модифицированный (MOD).
1.1. Настоящий метод расширенного изучения репродуктивной токсичности на одном поколении предназначен для получения информации о воздействии испытуемого вещества на репродуктивную функцию самцов и самок, а также на репродуктивную функцию и развитие потомства и, при необходимости, выявления потенциальной нейротоксичности и иммунотоксичности вещества для потомства первого поколения.
2.1. Основная цель расширенного изучения репродуктивной токсичности на одном поколении - оценить специфические периоды жизни, не охватываемые другими типами изучения токсичности, и выявить эффекты, которые могут быть результатом пре- и постнатального химического воздействия. При изучении репродуктивной функции как первый шаг в выявлении эффектов на репродуктивные органы самцов и самок должно предусматриваться использование доступной информации из других исследований с воздействием повторных доз (включая скрининговые исследования репродуктивной токсичности), или из кратковременных скрининговых испытаний эндокринных дисрапторов (например, исследование утеротропного действия; и исследование по Хершбергеру). Это может включать сперматогенез (гистопатологию семенников) у самцов и эстральные циклы, подсчет фолликулов/созревание ооцитов, состояние яичников (гистопатологию) у самок. Расширенное изучение репродуктивной токсичности на одном поколении служит критерием оценки репродуктивной функции и включает взаимосвязь самцов и самок, самок и эмбрионов, самок и потомства поколения F1 до и после полового созревания.
2.2. Метод предназначен также для оценки пре- и постнатальных эффектов химических веществ на развитие путем оценки системной токсичности для беременных и кормящих самок и молодого и взрослого потомства. Детальное исследование ключевых показателей развития, таких как жизнеспособность потомства, неонатальное здоровье, статус развития при рождении и физическое и функциональное развитие до взросления, создает предпосылки для выявления специфических органов-мишеней у потомства. В исследовании дополнительно может быть получена и/или подтверждена информация о действии изучаемого вещества на целостность и работу репродуктивных систем взрослых самцов и самок. Как правило, но не только, рассматриваются следующие параметры: функция гонад, астральный цикл, созревание спермы в эпидидимисе, поведение во время спаривания, зачатие, беременность, роды и лактация. Кроме того, информация, полученная при оценке нейротоксичности и иммунотоксичности на развивающемся потомстве, будет характеризовать потенциальные эффекты на соответствующие системы. Данные, полученные в таких исследованиях, позволяют определить уровни вещества, при которых не наблюдаются неблагоприятные эффекты (NOAELs), минимальные уровни вещества, при которых наблюдаются неблагоприятные эффекты (LOAELs), и/или провести бенчмаркинг доз для различных видов эффектов, и/или используются для характеристики эффектов, обнаруженных в предыдущих исследованиях с повторным введением вещества, и/или служат ориентиром для последующих исследований.
2.3. Клинические наблюдения и исследования патологии проводятся на всех животных для выявления токсичности с особым акцентом на целостности и эффективности репродуктивных систем самцов и самок и здоровье, росте и развитии потомства. После прекращения материнского питания из части потомства формируются специфические подгруппы (когорты 1 - 3,
рис. 1) для дальнейших исследований, включая половую зрелость, целостность и функцию репродуктивных органов, нейрологические и поведенческие показатели и иммунные функции.
3. Описание тестового метода
3.1.1. Метод включает детальное описание проведения расширенного изучения репродуктивной токсичности на одном поколении. Метод содержит описание трех когорт F1 животных.
- Когорта 1: оценивает показатели репродуктивности и развития потомства; эта когорта может быть расширена включением F2 поколения.
- Когорта 2: оценивает потенциальный эффект воздействия химического вещества на развивающуюся нервную систему.
- Когорта 3: оценивает потенциальный эффект воздействия химического вещества на развивающуюся иммунную систему.
3.1.2. Решение о том, анализировать ли второе поколение или исключить когорту с изучением нейротоксичности и/или когорту с изучением иммунотоксичности, должно отражать существующие знания об исследуемом веществе, так же, как запросы различных контролирующих органов. Цель метода - представить в деталях, как может проводиться исследование и рассмотреть, как должна оцениваться каждая когорта.
3.1.3. Схема ведения протокола представлена на
рисунке.
Рис. Схема расширенного изучения репродуктивной
токсичности на одном поколении
3.1.4. Исследуемое вещество вводится длительно в определенных дозах нескольким группам половозрелых самцов и самок. Родительское поколение (P) получает вещество в период, предшествующий спариванию (продолжительность воздействия выбирается на основе доступной информации об изучаемом веществе, но не менее двух недель), и в течение двух недель в период спаривания. P самцы затем получают вещество по крайней мере до прекращения материнского питания F1. Продолжительность введения вещества P самцам должна быть не менее 10 недель. Они могут получать вещество более длительное время, если создается необходимость в уточнении эффектов вещества на репродуктивную функцию. Введение вещества P самкам продолжается во время беременности и лактации до ее окончания и отлучения помета от материнского питания (8 - 10 недель воздействия). F1 потомство продолжает получать исследуемое вещество и после прекращения материнского питания до взрослого состояния. Если исследуется второе поколение, потомство F1 получает вещество до прекращения материнского питания F2 или до окончания исследования.
Выбор вида и линии животных
3.2.1. Выбор вида животных для изучения репродуктивной токсичности должен проводиться с осторожность и с учетом всей имеющейся информации. Однако для лучшего использования исходных данных и для сопоставимости с тестами общей токсичности предпочтение обычно отдается крысам, и критерии и рекомендации, приведенные в данном методе, относятся именно к этому виду животных. Если используются другие виды животных, необходимо дать этому обоснование и внести соответствующие изменения в протокол исследований. Линии с низкой плодовитостью или с хорошо известной высокой частотой спонтанных дефектов развития использоваться не должны.
Возраст, масса тела и другие критерии
3.2.2. В исследованиях должны использоваться здоровые животные-родители, ранее не подвергавшиеся экспериментальным процедурам. Должны изучаться и самцы, и самки, самки должны быть нерожавшими и небеременными. P животные должны быть половозрелыми, близкими по весу (в пределах групп одного пола) в начале воздействия, близкими по возрасту (около 90 дней) при спаривании и типичными для вида и линии животных, выбранных для исследования. Животные должны быть акклиматизированы в течение не менее 5 дней после привоза. Животные произвольно отбираются для контрольных и опытных групп так, чтобы в результате средняя масса тела в группах оказалась сопоставимой (+/- 20% от средней).
Условия содержания и кормления
3.2.3. Температура в экспериментальной комнате для животных должна быть (22 +/- 3) °C. Относительная влажность воздуха должна быть в пределах 30 - 70%, идеальный диапазон - 50 - 60%. Освещение должно быть искусственным, с последовательным чередованием: 12 часов света и 12 часов темноты. Особое внимание должно быть уделено содержанию в рационе фитоэстрогенов, поскольку высокие уровни фитоэстрогенов в корме могут повлиять на некоторые показатели репродуктивности. Рекомендуются стандартизованные корма с известным составом, в которых снижено содержание эстрогенных веществ. На выбор корма может повлиять необходимость обеспечить его хорошее смешение с изучаемым веществом, если оно вводится алиментарным путем. Содержание, гомогенность и стабильность изучаемого вещества в корме должны быть проверены. Корм и питьевая вода должны регулярно анализироваться на загрязнения. Образцы каждой партии корма, используемого в исследованиях, должны храниться в соответствующих условиях (например, заморожены при -20 °C) до завершения отчета на случай, если результаты потребуют дальнейших анализов ингредиентов рациона.
3.2.4. Животные должны быть размещены в клетках небольшими группами одного пола и уровня воздействия. Для предупреждения возможности повреждений, они могут быть размещены в клетках по отдельности (например, самцы после периода спаривания). После подтверждения коитуса самки, предположительно беременные, размещаются изолированно в клетках для родов, где они обеспечиваются подходящими и нужными для обустройства гнезда материалами. Пометы содержатся вместе с их матерями до прекращения материнского питания. F1 животные должны содержаться небольшими группами одного пола и уровня воздействия с момента прекращения материнского питания до конца исследований. При необходимости животные могут содержаться индивидуально. Уровень фитоэстрогенов, обнаруживаемый при выборочных исследованиях материала подстилки, должен быть минимальным.
Количество и идентификация животных
3.2.5. Каждая экспериментальная и контрольная группы должна содержать достаточное количество животных, чтобы получить не менее 20 беременных самок на каждую дозовую группу. Целью является получение достаточно беременностей для обеспечения значимой оценки возможного влияния вещества на фертильность, беременность, материнское поведение животных поколения P, а также рост и развитие потомства F1 в период от зачатия до зрелости. Неудача с достижением намеченного количества беременных животных не обязательно делает исследование недействительным, а его результаты должны оцениваться в каждом конкретном случае с рассмотрением возможных причинных связей с изучаемым веществом.
3.2.6. Каждое P животное до начала воздействия вещества получает индивидуальный идентификационный номер. Если ретроспективные данные лабораторных наблюдений свидетельствуют о том, что значительное количество самок могут не иметь регулярного (4 или 5 дней) эстрального цикла, то рекомендуется оценка эстральных циклов до начала воздействия вещества. В качестве варианта может быть увеличен размер групп так, чтобы гарантировать, что не менее 20 самок в каждой группе будут иметь регулярные (4 или 5 дней) эстральные циклы к началу воздействия вещества. Все потомство F1 индивидуально маркируется во время первого осмотра новорожденных в первый постнатальный день (PND) 0 или 1. Индивидуальные записи для каждого помета должны продолжаться в течение всего исследования для всех животных F1 и, если нужно, для животных F2.
Имеющаяся информация об изучаемом веществе
3.3.1. Обзор существующей информации важен для выбора способа введения, растворителя, вида животных, доз и возможных модификаций частоты введения вещества. Поэтому вся информация, имеющая отношение к изучаемому веществу, а именно физико-химические, токсикокинетические (включая видо-специфический метаболизм), токсикодинамические свойства, зависимости структура-активность (SARs), метаболические процессы in vivo, результаты предыдущих исследований токсичности и информация о структурных аналогах должна приниматься во внимание при планировании расширенного изучения репродуктивной токсичности на одном поколении. Предварительная информация об абсорбции, распределении, метаболизме и выведении, биоаккумуляции может быть получена, исходя из химической структуры, физико-химических данных, изучения степени связывания протеина плазмы или токсикокинетики (ТК), в то время как результаты исследований токсичности дают дополнительную информацию, например, о NOAEL, метаболизме или индукции метаболизма.
Значимость токсикокинетических данных
3.3.2. Хотя это и не обязательно, ТК данные из ранее проведенных оценок дозовых зависимостей или других исследований исключительно полезны при планировании проведения исследования, выбора уровней доз и интерпретации результатов. Особенно полезны данные, которые 1) подтверждают воздействие на развивающийся плод или детенышей изучаемого вещества (или соответствующих метаболитов), 2) обеспечивают оценку внутренней дозиметрии и 3) оценивают возможность зависимого от дозы насыщения кинетических процессов. Дополнительные ТК данные, такие как метаболические профили, кривые концентрация-время и т.д. также должны рассматриваться при их наличии. Дополнительные ТК данные могут быть также собраны во время основного исследования, если только это не создает помех сбору и интерпретации результатов основного исследования.
Как общий ориентир может использоваться следующий набор ТК данных:
- поздние сроки беременности (например, 20 день) - материнская кровь и кровь плода;
- середина лактации (PND 10) - материнская кровь, кровь детенышей и/или молоко;
- вскоре после прекращения материнского питания (например, PND 28) - образцы крови отъемышей.
Выбор конкретных веществ для исследований (например, исходного вещества и/или метаболитов) и схем отбора проб должен быть гибким. Например, количество и время отбора проб в заданный день может зависеть от способа введения вещества и предварительной информации о характеристиках ТК у небеременных животных. В исследованиях с введением вещества с кормом достаточно отбирать пробы ежедневно однократно в установленное время, в то время как введение вещества с помощью зонда может потребовать повторного отбора проб в течение дня для более надежной оценки диапазона внутренних доз. Тем не менее, нет необходимости получать полные кривые концентрация-время для каждого из дней отбора проб. При необходимости кровь изучаемого помета может быть объединена в пределах групп каждого пола для фетального и неонатального анализов.
Способ введения
3.3.3. Выбор способа введения должен проводиться с учетом пути (путей) поступления, характерного(ных) для воздействия вещества на человека. Хотя протокол предназначен для введения изучаемого вещества с пищей, он может быть модифицирован для ведения вещества другими способами (с питьевой водой, зондом, ингаляционно, через кожу) в зависимости от характеристик вещества и требующейся информации.
Выбор растворителя
3.3.4. При необходимости изучаемое вещество растворяется или суспензируется в подходящем растворителе. Рекомендуется, по возможности, отдавать предпочтение использованию водного раствора/суспензии, только потом рассматривать использование масляного раствора/суспензии (например, в кукурузном масле). Для растворителей (кроме воды) должны быть известны характеристики токсичности. Использование потенциально токсичных растворителей (например, ацетона, ДМСО) должно исключаться. Должна быть определена стабильность изучаемого вещества в растворителе. Если для введения вещества используется растворитель или другая добавка, должны рассматриваться такие характеристики их, как: влияние на абсорбцию, распределение, метаболизм или задержку изучаемого вещества; эффекты на химические свойства изучаемого вещества, которые могут изменить характеристики его токсичности; влияние на потребление пищи или воды, или на статус питания животных.
3.4.1. Как правило, исследование должно включать не менее 3-х дозовых уровней и контроль. При выборе дозовых уровней исследователь должен рассмотреть всю имеющуюся информацию, включая информацию о дозах в предыдущих исследованиях, данные ТК для небеременных животных, степень выделения с молоком и оценку воздействия на людей. Если имеющиеся ТК данные свидетельствуют о зависимом от дозы насыщении ТК процессов, необходимо позаботиться о том, чтобы избежать использования высоких дозовых уровней, при которых отчетливо проявляется насыщение, при условии, конечно, что ожидаемые уровни воздействия на людей будут значительно ниже точки насыщения. В таких случаях наивысший уровень доз должен соответствовать или быть чуть выше точки перегиба кривой при переходе ТК к нелинейному поведению.
3.4.2. При отсутствии надежных ТК данных дозовые уровни должны основываться на токсических эффектах, если нет ограничений, обусловленных физико-химической природой изучаемого вещества. Если дозовые уровни базируются на токсичности, наивысшая доза должна выбираться с целью вызвать системную токсичность, но не гибель или тяжелые страдания животных.
3.4.3. Градация дозовых уровней должна выбираться таким образом, чтобы выявить зависимость эффекта от дозы и установить NOAELs (недействующие уровни) или дозы, близкие к ним, чтобы иметь возможность для установления бенчмарк-дозы для наиболее чувствительного показателя (показателей). Во избежание большого разброса между NOAELs и LOAELs часто достаточно двух- или четырехкратного интервала между дозами. Дополнительная 4-я группа животных часто предпочтительнее использования очень большого интервала (например, более чем 10-кратного) между дозами.
3.4.4. За исключением введения изучаемого вещества, контрольная группа животных содержится идентично опытным группам животных. Эта группа не подвергается никакому воздействию либо воздействие имитируется, либо контрольные животные получают растворитель, если растворитель используется для введения изучаемого вещества. Если применяется растворитель, контрольная группа должна получать его в наибольшем из используемых в исследовании объеме.
3.5. Испытание с предельной дозой
3.5.1. Если токсичность не выявлена в исследованиях с повторным введением вещества в дозе не менее 1000 мг/кг веса тела/день, или если токсичности быть не должно, исходя из данных для соединений, близких по структуре или метаболизму, и если эти данные свидетельствуют о сходстве in vivo/in vitro метаболических свойств, исследования с использованием нескольких дозовых уровней могут быть не обязательными. В таких случаях расширенное изучение репродуктивной функции на одном поколении может быть проведено с использованием контрольной группы и единственной дозы не менее 1000 мг/кг веса тела/день. Однако если в этой единственной дозе будет выявлена репродуктивная или связанная с развитием токсичность, могут потребоваться дальнейшие исследования с меньшими дозами для определения NOAEL. Эти соображения относительно сокращенного исследования применимы только если воздействие на людей не свидетельствует о необходимости изучения более высоких дозовых уровней.
3.6. Процедуры исследования
Воздействие на потомство
3.6.1. Добавление в корм является предпочтительным методом воздействия вещества. Если изучаемое вещество вводится с помощью зонда, следует обратить внимание на то, что детеныши обычно получают вещество только опосредованно с молоком до тех пор, пока прямое введение вещества не начнется для них с момента прекращения материнского питания. В исследованиях с поступлением вещества с кормом или питьевой водой детеныши дополнительно получают изучаемое вещество, когда они начинают самостоятельно питаться на последней неделе периода лактации. Модификации в проведении исследования должны рассматриваться, если выделение изучаемого вещества с молоком незначительно и если нет уверенности в том, что воздействие вещества на потомство продолжается. В таких случаях прямое воздействие на детенышей во время периода лактации должно рассматриваться на основе имеющейся ТК информации, токсичности вещества для потомства или изменений био-маркеров. Тщательное рассмотрение преимуществ и недостатков должно предшествовать проведению исследований с прямым воздействием вещества на детенышей-сосунков.
График воздействия вещества и введение доз
3.6.2. Информация об эстральных циклах, гистопатологии репродуктивного тракта самцов и самок и анализы тестикулярной/эпидидимальной спермы могут быть получены из предыдущих исследований токсичности с повторным введением вещества адекватной продолжительности. Длительность воздействия до спаривания в расширенном изучении репродуктивной токсичности на одном поколении связана с выявлением эффектов или функциональных изменений, которые могут нарушать поведение при спаривании и зачатие. Введение вещества до спаривания должно быть достаточно длительным для достижения стационарного состояния условий воздействия на P самцов и самок. 2-недельное введение вещества в большинстве случаев рассматривается как адекватное и для самцов, и для самок. Для самок это включает 3 - 4 полных эстральных цикла и должно быть достаточным для выявления неблагоприятных эффектов на цикличность. Для самцов это эквивалентно времени, необходимому для эпидидимального транзита созревающих сперматозоидов и должно обеспечить выявление посттестикулярных эффектов на сперматозоиды (во время финальных стадий сперматогенеза и созревания эпидидимальной спермы) при спаривании. К моменту умерщвления, когда планируется исследование тестикулярной и эпидидимальной гистопатологии и анализ параметров спермы, P и F1 самцы будут находиться под воздействием изучаемого вещества по крайней мере в течение полного процесса сперматогенеза.
3.6.3. Сценарии воздействия вещества до спаривания для самцов могут быть перестроены, если в предыдущих исследованиях были выявлены тестикулярная токсичность (ухудшение сперматогенеза) или действие на целостность или функцию сперматозоидов. Аналогично для самок известные эффекты изучаемого вещества на эстральный цикл и, таким образом, на сексуальную восприимчивость оправдывают использование других сценариев воздействия. В особых случаях приемлемо, что воздействие на P самок начинается только после обнаружения сперматозоидов в мазке.
3.6.4. После определения периода воздействия вещества до спаривания, изучаемое вещество должно вводиться животным постоянно 7 дней в неделю до умерщвления. Метод введения вещества должен быть одинаковым для всех животных. Воздействие должно продолжаться в течение 2-х недель в период спаривания и, для P самок, в течение беременности и лактации до умерщвления после прекращения материнского питания. Самцы должны получать вещество таким же образом до умерщвления в то время, когда животные F1 перестают получать материнское питание. При вскрытии приоритет должен отдаваться самкам, которые должны быть вскрыты в один и тот же (или близкий) день лактации. Вскрытие самцов может быть отсрочено на большее число дней в зависимости от возможностей лаборатории. За исключением уже инициированного во время периода лактации, прямое воздействие вещества на выбранных F1 самцов и самок должно начинаться с момента прекращения материнского питания и продолжаться до вскрытия по графику в зависимости от назначения когорт.
3.6.5. Для веществ, вводимых с диетой или питьевой водой, важно убедиться, что используемые количества изучаемого вещества не нарушают нормальное питание или водный баланс. Если изучаемое вещество вводится с диетой, может использоваться либо постоянная концентрация, либо постоянный уровень доз в переводе на массу тела животного, выбор должен быть точно определен.
3.6.6. Если вещество вводится зондом, объем жидкости, вводимый одномоментно, не должен превышать 1мл/100 г веса тела (максимум для масла, например, кукурузного - 0,4 мл/100 г веса тела). Для изучаемых веществ, за исключением едких и раздражающих, у которых обычно при увеличении концентрации раздражающие эффекты усугубляются, вариабельность объема должна быть минимизирована подбором концентраций так, чтобы все дозовые уровни вводились в одном и том же объеме. Вещество должно вводиться каждый день в одно и то же время. Доза для каждого животного должна основываться на самом последнем определении индивидуального веса тела и устанавливаться по крайней мере еженедельно для взрослых самцов и взрослых небеременных самок, каждые 2 дня для беременных самок и для F1 животных при введении вещества до прекращения материнского питания и в течение 2 недель после прекращения материнского питания. Если ТК данные свидетельствуют о низком плацентарном переносе изучаемого вещества, может возникнуть необходимость в коррекции дозы, вводимой зондом, в течение последней недели беременности для предупреждения введения дозы, чрезмерно токсичной для материнского организма. В день родов самок не следует запаивать зондом или вводить им вещество каким-либо другим способом, при котором животных нужно брать в руки; пропуск введения изучаемого вещества в этот день предпочтительнее нарушения процесса рождения.
Спаривание
3.6.7. Каждая P самка помещается с одним произвольно выбранным не родственным самцом из той же дозовой группы (спаривание 1 : 1) до подтверждения коитуса или до истечения двух недель. Если нет уверенности в надежности самцов, например, из-за гибели самцов перед спариванием, тогда могут быть повторно использованы самцы, которые уже участвовали в спаривании (1 : 1), так, чтобы оказались спаренными все самки. День беременности 0 определяется как день, в который спаривание подтверждается обнаружением вагинальной пробки или спермы. Животные должны быть размещены раздельно как можно скорее после установления факта спаривания. Если спаривания не произошло в течение 2 недель, то животные должны быть размещены раздельно без дальнейшей возможности спаривания. Спарившиеся животные должны быть четко идентифицированы в данных.
Размер помета
3.6.8. На 4-й день после рождения размер каждого помета может быть отрегулирован уничтожением лишних детенышей так, чтобы сохранить в приплоде пять самцов и пять самок. Выборочное удаление детенышей, например, на основании величины массы тела, не требуется. Если количество детенышей - самцов или самок не позволяет сформировать помет в соотношении пять самцов/пять самок, можно ограничиться частичным соответствием (например, шесть самцов и четыре самки).
Выбор детенышей для исследований после прекращения материнского питания
3.6.9. После прекращения материнского питания (около 21 PND) детеныши из всех имеющихся пометов по 20 на одну дозируемую группу и контроль выбираются для дальнейших исследований и содержатся до половой зрелости (если не требуется более раннее завершение эксперимента). Детеныши выбираются произвольно, за исключением малорослых животных (с массой тела более чем на два стандартных отклонения меньше средней массы соответствующего помета), которые, не являясь репрезентативными, не должны в дальнейшем использоваться в исследовании.
На 21 PND отобранные F1 детеныши произвольно распределяются в три когорты.
Когорта 1 (1А и 1Б) = изучение репродуктивной токсичности и токсического действия на развитие.
Когорта 2 (2А и 2Б) = изучение нейротоксичности для развивающегося организма.
Когорта 3 = изучение иммунотоксичности для развивающегося организма.
Когорта 1А: один детеныш-самец и один детеныш-самка/помет/группу (20 животных каждого пола в группе): первоочередной выбор для первичной оценки эффектов на репродуктивные системы и общей токсичности.
Когорта 1Б: одна группа детенышей-самцов и одна группа детенышей-самок (20 животных каждого пола в группе): первоочередной выбор для последующей оценки репродуктивных характеристик путем спаривания F1 животных и для получения дополнительных гистопатологических данных в случаях, если изучается вещество, предположительно влияющее на репродуктивную или эндокринную системы, или если результаты в когорте 1А вызывают сомнение.
Когорта 2А: всего 20 детенышей на группу (10 самцов и 10 самок на группу; один детеныш-самец и один детеныш-самка/помет) предназначены для нейроповеденческих исследований с последующей оценкой нейрогистопатологии у взрослых.
Когорта 2Б: всего 20 детенышей на группу (10 самцов и 10 самок на группу; один детеныш-самец и один детеныш-самка/помет) предназначены для оценки нейрогистопатологии после прекращения материнского питания (PND 21 или PND 22). Если количество животных недостаточно, предпочтение отдается распределению животных в Когорту 2А.
Когорта 3: всего 20 детенышей на группу (10 самцов и 10 самок на группу; один детеныш на помет, где возможно). Дополнительные животные могут потребоваться из контрольной группы в качестве позитивного контроля в исследовании реакции T-клеток зависимых антител на PND 56 +/- 3.
3.6.10. Если количество детенышей в помете недостаточно для включения во все когорты, преимущество имеет когорта 1, поскольку она может быть использована для получения поколения F2. Дополнительные животные могут потребоваться для любой когорты в особых случаях, например, если вещество предположительно является нейротоксикантом, иммунотоксикантом, или способно нарушать репродуктивную функцию. Эти детеныши могут использоваться для исследований в разные временные точки или для оценки дополнительных показателей. Детеныши, не включенные в когорты, могут быть направлены на клиническую биохимию и некропсию.
Повторное спаривание P животных
3.6.11. Повторное спаривание P животных обычно не рекомендуется, поскольку в его процессе утрачивается важная информация о числе имплантаций первого помета (и, таким образом, данных о постимплантационных и перинатальных потерях, индикаторах возможного тератогенного потенциала). При необходимости подтвердить или объяснить эффект воздействия вещества на самок лучше расширить исследование за счет включения спаривания F1 поколения животных. Тем не менее второе спаривание P самцов с интактными самками представляет возможность для уточнения сомнительных результатов или дальнейшей характеристики эффектов на фертильность, наблюдавшихся при первом спаривании.
Прижизненные наблюдения
3.7. Клинические наблюдения
3.7.1. Общие клинические наблюдения за P и выбранными F1 животными проводятся один раз в день. В случае введения вещества зондом, клинические наблюдения должны проводиться до и после введения (для выявления возможных признаков токсичности, связанных с пиком концентрации вещества в плазме). Изменения поведения при родах, признаки трудных или длительных родов и все признаки токсичности должны быть зафиксированы. Дважды в день, а в выходные дни - один раз в день, все животные должны осматриваться для выявления тяжелой интоксикации, заболевания или гибели.
3.7.2. Дополнительно проводится еженедельное более детальное обследование всех P и F1 животных (после прекращения материнского питания), которое может совмещаться со взвешиванием, что минимизирует стресс, возникающий у животного при взятии его в руки. Осмотры должны проводиться с осторожностью и регистрироваться с использованием систем, определенных исследовательской лабораторией. Необходимо убедиться, что вариации условий исследования минимальны. Отмечаемые признаки интоксикации должны включать, не ограничиваясь этим, изменения кожи, шерсти, глаз, слизистых оболочек, наличие секреции и экскреции и автономной активности (например, слезотечение, пилоэрекцию, размер зрачка, необычные дыхательные движения). Изменения в походке, позе, отношении к уходу, наличие клонических или тонических движений, стереотипия (например, слишком интенсивный груминг, повторяющиеся круговые движения) или странное поведение (например, самоповреждение, движение задом наперед) также должны фиксироваться.
Масса тела и потребление пищи/воды
3.7.3. P животных взвешивают в первый день начала введения вещества и затем, по крайней мере, раз в неделю. P самок взвешивают в течение лактации по тем же дням, что и детенышей из их пометов. Всех животных F1 взвешивают индивидуально в день прекращения материнского питания (PND 21) и затем не менее раза в неделю. Масса тела определяется также в день достижения половой зрелости (завершение отделения крайней плоти или раскрытие вагины). Все животные взвешиваются при умерщвлении.
3.7.4. Во время исследования потребление пищи и воды (в случае, если изучаемое вещество вводится с питьевой водой) учитывается еженедельно в тот же день, когда животные взвешиваются. Потребление пищи каждой клеткой F1 животных учитывается еженедельно, начиная с формирования когорт.
Эстральный цикл
3.7.5. Предварительная информация о влиянии изучаемого вещества на эстральный цикл уже может иметься в предыдущих исследованиях с повторным введением вещества и может использоваться при разработке специфических для данного вещества условий расширенного исследования репродуктивной токсичности. Обычно оценка эстральной цикличности (по вагинальной цитологии) начинается с момента начала воздействия вещества и продолжается до успешного спаривания или до истечения 2 недель периода спаривания. Если самки до начала воздействия вещества были отсортированы по нормальным эстральным циклам, то полезно продолжать мазки после начала введения вещества, но если с началом воздействия вещества появляются неспецифические эффекты (такие, как снижение потребления пищи), тогда может потребоваться время для адаптации животных к воздействию вещества в течение около двух недель до начала 2-недельного периода взятия мазков, предшествующего спариванию. Если период воздействия на самок, таким образом, увеличивается (т.е. до 4 недель перед спариванием), должно быть обращено внимание на использование более молодых животных и на увеличение времени воздействия вещества на самцов перед спариванием. При взятии вагинальных/цервикальных клеток следует проявлять осторожность, чтобы не вызвать повреждения слизистой с последующей индукцией псевдобеременности.
3.7.6. Вагинальные мазки должны исследоваться ежедневно у всех F1 самок когорты 1А с момента раскрытия вагины до первого обнаружения ороговевших чешуек в мазке для определения интервала между этими двумя событиями. Эстральные циклы для всех F1 самок в когорте 1А должны также наблюдаться в течение двухнедельного периода, начиная примерно с PND 75. Кроме того, если возникает необходимость спаривания поколения F1, исследования вагинальной цитологии в когорте 1Б проводятся с момента образования пар животных до подтверждения спаривания.
Спаривание и беременность
3.7.7. В дополнение к стандартным показателям (таким как масса тела, потребление пищи, клинические наблюдения, включая регистрацию смертности/заболеваемости) фиксируются даты образования пар, даты оплодотворения и родов, рассчитываются прекоитальный интервал (образование пары - оплодотворение) и длительность беременности (оплодотворение - роды). P самки должны тщательно исследоваться во время ожидаемых родов для выявления каких-либо признаков дистоции. Любые аномалии в гнездовом поведении или в уходе за потомством должны быть зарегистрированы.
3.7.8. День наступления родов - день лактации 0 (LD 0) для материнских особей и постнатальный день 0 (PND 0) для потомства. Как вариант, все сравнения могут также быть основаны на пост-коитальном времени для исключения искажения данных постнатального развития из-за различий в продолжительности беременности; тем не менее, должна также проводиться регистрация времени родов. Это особенно важно, если изучаемое вещество оказывает влияние на продолжительность беременности.
Параметры потомства
3.7.9. Каждый помет должен быть исследован как можно скорее после родов (PND 0 или 1) для установления числа и пола детенышей, мертворожденных и живорожденных, наличия явных аномалий (внешне видимые уродства, такие как волчья пасть, подкожные геморрагии, анормальная окраска или текстура кожи, наличие пуповины, отсутствие молока в желудке, наличие высохших выделений). Кроме того, первое клиническое обследование новорожденных должно включать качественную оценку температуры тела, степени активности и реакции на взятие в руки. Детеныши, найденные мертвыми день PND 0 или позднее, должны быть исследованы на возможные дефекты и причину смерти. Живые детеныши подсчитываются и взвешиваются индивидуально на PND 0 или PND 1, а затем регулярно, по крайней мере, на 4, 7, 14 и 21 дни после рождения. Клинические обследования, соответствующие возрасту животных, должны повторяться при взвешивании потомства или более часто, если при рождении были обнаружены специфические изменения. Отмеченные симптомы могут включать, не ограничиваясь этим, внешние уродства, изменения кожи, шерсти, глаз, слизистых, наличие выделений и автономной активности. Изменения в походке, позе, отношении к взятию в руки, наличие клонических или тонических движений, стереотипия или странное поведение также должны фиксироваться.
3.7.10. Аногенитальное расстояние (AGD) у каждого детеныша должно быть измерено хотя бы один раз в период от PND 0 до PND 4. Детеныши должны быть взвешены в день измерения AGD и полученное значение AGD должно быть стандартизовано с размерами детенышей, предпочтительно через корень кубический из массы тела. Наличие сосков/околососковых кружков у детенышей-самцов должно контролироваться на PND 12 или 13.
3.7.11. Все отобранные F1 животные ежедневно исследуются на отделение слизистой оболочки препуция от основания полового члена/раскрытие вагины для самцов и самок, соответственно, исследования начинаются раньше дня ожидаемого изменения этих показателей с тем, чтобы выявить раннее наступление сексуальной зрелости. Должны отмечаться любые аномалии половых органов, такие как персистентные вагинальные нити, гипоспадия или расщепление полового члена. Сексуальная зрелость F1 животных сравнивается с физическим развитием путем определения возраста и массы тела при отделении слизистой оболочки препуция от основания полового члена или раскрытии вагины для самцов и самок, соответственно.
Последующее изучение потенциальной репродуктивной токсичности (когорта 1Б)
3.7.12. Когорта 1Б животных может получать изучаемое вещество до PND 90 и, если необходимо, использоваться для получения поколения F2. Самцы и самки из одной дозовой группы должны быть попарно размещены (избегая спаривания потомства одних и тех родителей) на 2 недели, начиная с PND 90 или позже, но не позднее PND 120. Процедура должна быть аналогичной спариванию P животных. Однако доказано, что достаточно наблюдать за потомством до PND 4, не продлевая эксперимент до прекращения материнского питания или более.
3.8. Оценка потенциальной нейротоксичности
на развивающемся организме (когорты 2А и 2Б)
3.8.1. Десять самцов и 10 самок когорты 2А животных и 10 самцов и 10 самок когорты 2Б животных из каждой группы, получающих изучаемое вещество (для каждой когорты: 1 самец и 1 самка на помет; все пометы представлены по крайней мере 1 детенышем; выбираются произвольно) должны использоваться для нейротоксикологических исследований. Когорта 2А животных должна использоваться для изучения слухового испуга, моторной активности, функциональных наблюдений и нейропатологических оценок. Необходимо позаботиться, чтобы вариации условий эксперимента были минимальными и не имели постоянной связи с воздействием вещества. На поведение животных могут влиять такие условия, как уровень шума, температура, освещенность, запахи, время дня и отвлекающие внимание факторы окружающей среды. Результаты нейротоксикологических оценок должны интерпретироваться с учетом соответствующих исходных контрольных уровней. Когорта 2Б используется для оценки нейропатологии на PND 21 или PND 22.
3.8.2. Изучение слухового испуга должно выполняться на PND 24 (+/- 1) с использованием когорты 2А. День исследования должен быть уравновешен среди экспериментальных и контрольных групп. Каждая сессия состоит из 50 опытов. При выполнении теста слухового испуга средняя амплитуда ответа должна определяться для каждого блока из 10 опытов (5 блоков по 10 опытов) в условиях тестирования, оптимальных для привыкания внутри сессии. Эти процедуры должны соответствовать OECD TG 426.
3.8.3. В соответствующее время между PND 63 и PND 75 когорта 2А животных исследуется с помощью батареи функциональных наблюдений и автоматизированного теста моторной активности. Эти процедуры должны соответствовать OECD TG 424 и 426. Батарея функциональных наблюдений включает полное описание внешнего вида животного, поведения и функциональной целостности. Это изучается посредством наблюдений животного в домашней клетке, после переноса на стандартную арену наблюдений (открытое поле), где животное свободно передвигается, и посредством манипуляционных тестов. Тестирование должно идти от менее к более интерактивному. Перечень показателей приведен в прилож. А. Все животные внимательно наблюдаются опытными наблюдателями, не имеющими данных об уровнях воздействия вещества на животных, и использующими стандартизованные процедуры для минимизации влияния на животных. По возможности постоянно проводить тестирование должны одни и те же наблюдатели. Если это невозможно, требуется доказательство возможности замены наблюдателя без снижения надежности получаемых данных. Для каждого параметра батареи должны использоваться точно экспериментально установленные шкалы и критерии расчета. По возможности должны использоваться точные количественные оценки результатов наблюдений. Моторная активность каждого животного изучается индивидуально. Сессия должна быть достаточно длительной для подтверждения приспособления контрольных животных к режиму исследований. Моторная активность должна измеряться аппаратом автоматической регистрации активности, способным выявлять и возрастание, и снижение активности (т.е. базовый уровень активности, измеряемый устройством, не должен быть ни столь низким, чтобы не давать возможности определения снижения активности, ни столь высоким, чтобы не давать возможности определения роста активности). Каждое устройство должно быть тестировано по стандартным процедурам, чтобы гарантировать, насколько возможно, надежность работы, как для разных приборов, так и разных дней исследований. Группы животных, получающих изучаемое вещество, должны, по возможности, быть сбалансированы по времени исследований так, чтобы избежать влияния на активность циркадных ритмов.
3.8.4. Если существующая информация указывает на необходимость применения других функциональных тестов (сенсорных, социальных, когнитивных), это должно быть сделано без помех для других тестов, используемых в исследовании. Если новые тесты выполняются на тех же животных, что и вышеперечисленные стандартные тесты, они должны быть спланированы так, чтобы не нарушать целостности стандартных тестов. Дополнительные процедуры могут оказаться особенно полезными, если эмпирические наблюдения, ожидаемые эффекты или механизм действия указывают на специфический тип нейротоксичности.
3.9. Оценка потенциальной иммунотоксичности
на развивающемся организме (когорта 3)
3.9.1. На PND 56 (+/- 3 дня) 10 самцов и 10 самок когорты 3 животных, из каждой из экспериментальных групп (1 самец и 1 самка на помет, все пометы представлены хотя бы 1 детенышем, произвольно выбранным) должны использоваться в исследовании T-клеточно-зависимой реакции антител, т.е. первичного иммунного ответа IgM-антител на T-клеточно-зависимый антиген, например, эритроциты овцы (SRBC) или гемоцианин фиссуреллы (KLH), в соответствии с общепринятыми процедурами изучения иммунотоксичности. Реакция может быть оценена подсчетом специфических бляшкообразующих клеток (PFC) в селезенке или определением титра SRBC- или KLH-специфичных IgM-антител в сыворотке методом иммуноферментного анализа ELISA на пике реакции. Реакция, как правило, достигает пика на 4-й (PFC) или 5-й (ELISA) день после внутривенного введения. Если первичный иммунный ответ оценивается посредством подсчета бляшкообразующих клеток, допустимо оценивать подгруппы животных в разные дни при условии, что иммунизация и умерщвление подгрупп распределены во времени так, чтобы PFC подсчитывались на пике реакции, и что подгруппы содержат равное число самцов и самок из потомства всех дозовых групп, включая контроль, и что животные в подгруппах примерно одного постнатального возраста. Воздействие изучаемого вещества продолжается до дня, предшествующего отбору селезенок для реакции PFC или сыворотки ELISA анализа.
3.10. Исследования при умерщвлении животных
3.10.1. Клиническая биохимия/гематология.
3.10.1.1. Системные эффекты должны контролироваться у всех P животных. Кровь, взятая при умерщвлении у 10 произвольно выбранных P самцов и самок из каждой экспериментальной группы, используется для частичного или полного гематологического анализа, клинической биохимии, анализа T4 или TSH или исследований, предлагаемых профилем известных эффектов изучаемого вещества. Должны быть исследованы следующие гематологические параметры: гематокрит, концентрация гемоглобина, количество эритроцитов, общий лейкоцитоз и лейкоцитарная формула, количество тромбоцитов и время свертываемости крови. Исследования плазмы или сыворотки должны включать: глюкозу, общий холестерин, мочевину, креатинин, общий белок, альбумин и не менее двух ферментов - индикаторов гепатоцеллюлярных эффектов (таких как аланинаминотрансфераза, аспартатаминотрансфераза, щелочная фосфатаза, гамма глютамил транспептидаза и сорбитол дегидрогеназа). Измерение дополнительных ферментов и желчных кислот при определенных условиях может дать полезную информацию. Дополнительно кровь от всех животных может быть взята и храниться для возможных анализов в последующее время для того, чтобы прояснить неоднозначные эффекты или получить данные внутреннего воздействия. Если не предусматривается второе спаривание P животных, образцы крови забираются сразу до или во время умерщвления. Если эксперимент продолжается, образцы крови должны отбираться за несколько дней до второго спаривания животных. Если существующие данные исследований с повторным введением вещества не свидетельствуют о том, что вещество на этот параметр не влияет, до умерщвления животных должен быть проведен анализ мочи по следующим показателям: внешний вид, объем, осмотическое давление и удельный вес, pH, белок, глюкоза, кровь и клетки крови, клетки некротической ткани. Моча также может собираться для мониторинга экскреции изучаемого вещества и/или его метаболита(ов).
3.10.1.2. Системные эффекты должны также отслеживаться у F1 животных. Кровь, взятая натощак при умерщвлении у 10 произвольно выбранных в когорте 1А самцов и самок из каждой экспериментальной группы, используется для стандартной клинической биохимии, включая оценку уровня в сыворотке гормонов щитовидной железы (T4 и TSH), гематологию (общий лейкоцитоз и лейкоцитарная формула плюс количество эритроцитов) и анализ мочи.
3.10.1.3. Излишек детенышей на PND 4 является предметом некропсии и может использоваться для измерения концентраций в сыворотке гормона T4 щитовидной железы. При необходимости неонатальная (PND 4) кровь пометов объединяется для биохимических анализов или определения гормонов щитовидной железы. Кровь для анализов T4 и TSH отбирается также при некропсии на PND 22 (F1 детеныши, не включенные в когорты).
3.10.2. Параметры спермы.
3.10.2.1. Параметры спермы должны быть измерены у всех самцов поколения P, если только нет данных об отсутствии эффектов на сперму в 90-дневном опыте. Исследования параметров спермы должны проводиться во всей когорте 1А самцов.
3.10.2.2. При умерщвлении регистрируется масса семенников и эпидидимисов всех P и F1 (когорта 1А) самцов. По крайней мере, один семенник и один эпидидимис сохраняются для гистопатологического изучения. Оставшиеся эпидидимисы используется для определения резервов сперматозоидов в хвосте эпидидимиса. При этом сперма из хвоста эпидидимиса забирается с использованием методов, минимизирующих повреждения, изменяющие подвижность и морфологию сперматозоидов.
3.10.2.3. Подвижность сперматозоидов может оцениваться или непосредственно по умерщвлению, или сохраняется для позднейших анализов. Процент активно двигающихся сперматозоидов может определяться или субъективно, или объективно с помощью компьютерных методов анализа. Для оценки морфологии сперматозоидов образец эпидидимальной спермы изучается в фиксированном препарате и не менее 200 сперматозоидов классифицируются как нормальные или анормальные. Примеры морфологических аномалий спермы могут включать слипание, отсутствие хвоста, деформации головок и хвостов. Деформация или увеличение головок сперматозоидов свидетельствуют о дефектах сперматогенеза.
3.10.2.4. Если образцы спермы замораживаются, изучение подвижности проводится во время некропсии, анализы могут быть проведены только для контрольных самцов и получавших наивысшую дозу вещества. Однако, если выявляются эффекты, связанные с воздействием изучаемого вещества, образцы спермы должны исследоваться и в группах, получавших меньшие дозы вещества.
3.11.1. В момент умерщвления или гибели во время эксперимента все P и F1 животные исследуются макроскопически для выявления структурных аномалий или патологических изменений. Особое внимание должно уделяться органам репродуктивной системы. Детеныши, которые были из гуманных соображений умерщвлены в состоянии агонии, и погибшие детеныши должны быть подсчитаны и при отсутствии мацерации исследованы для выявления возможных дефектов и/или причины гибели, а затем фиксированы.
3.11.2. У взрослых P и F1 самок в день некропсии исследуются вагинальные мазки для выявления фазы астрального цикла и корреляции с гистопатологией репродуктивных органов. Матки всех З самок (и F1 самок, если необходимо) изучаются на наличие и число мест имплантации способом, не нарушающим гистопатологических оценок.
Масса органов и фиксирование тканей - P и F1 животные
3.11.3. Во время умерщвления масса тела и масса органов, перечисленных ниже, всех животных P и всех взрослых животных F1 из соответствующих когорт (как это описано ниже) определяется как можно скорее после вскрытия, чтобы избежать высыхания. Органы должны быть консервированы при соответствующих условиях. Если нет специальных указаний, парные органы могут быть взвешены индивидуально или совместно, в зависимости от обычной практики в лаборатории, проводящей исследования.
- Матка (с трубами и шейкой), яичники.
- Семенники, эпидидимисы (целиком и хвосты для образцов, используемых для подсчета сперматозоидов).
- Простата (дорзолатеральная и вентральная части вместе). Выделение комплекса простаты должно проводиться с осторожностью, чтобы избежать повреждения семенных пузырьков, наполненных жидкостью. В случае связанного с воздействием вещества изменения общей массы простаты, дорзолатеральный и вентральный сегменты должны быть тщательно выделены после фиксации и взвешены раздельно.
- Семенные пузырьки с коагулирующими железами и их жидкости (как одна единица).
- Головной мозг, печень, почки, сердце, селезенка, вилочковая железа, щитовидная железа (после фиксации), гипофиз, надпочечники и известные критические органы или ткани.
3.11.4. В дополнение к органам, перечисленным выше, образцы периферических нервов, мышц, спинного мозга, глаз со зрительными нервами, желудочно-кишечного тракта, мочевого пузыря, легких, трахеи (с прикрепленными щитовидной и паращитовидной железами), костного мозга, семявыводящих протоков (самцы), молочных желез (самцы и самки) и вагины должны быть консервированы в соответствующих условиях.
3.11.5. В когорте животных 1А все органы взвешиваются и сохраняются для гистопатологических исследований.
3.11.6. Для выявления индуцированных пре- и постнатальных иммунотоксических эффектов 10 самцов и 10 самок когорты 1А из каждой экспериментальной группы (1 самец и 1 самка на помет, все пометы представлены, по крайней мере, 1 детенышем, произвольно выбранным) исследуются при умерщвлении следующим образом:
- взвешивание лимфоузлов, ассоциированных и не ассоциированных с путем поступления вещества в организм (в дополнение к весу надпочечников, вилочковой железы и селезенки, уже измеренному у всех животных когорты 1А);
- анализы субпопуляции лимфоцитов селезенки (CD4+ и CD8+ T лимфоцитов, B лимфоцитов и клеток киллеров) с использование 1/2 селезенки, вторая половина селезенки сохраняется для гистопатологических исследований.
Анализы субпопуляций лимфоцитов селезенки у неиммунизированных животных (когорта 1А) могут определить, связано ли воздействие вещества с изменением в иммунологическом равновесном состоянии распределения "хелперов" (CD4+) или с цитотоксичностью (CD8+) лимфоцитов вилочковой железы, или с естественными киллерами (NK) клеток (быстрая ответная реакция на опухолевые клетки и патогенны).
3.11.7. В когорте 1Б животных должны быть взвешены следующие органы и подвергнуты анализу соответствующие ткани, представленные в перечне:
- вагина (не взвешивается);
- матка с шейкой;
- яичники;
- семенники (не менее одного);
- эпидидимисы;
- семенные пузырьки и коагулирующие железы;
- простата;
- гипофиз;
- выявленные органы-мишени.
Гистопатология в когорте 1Б изучается, если результаты, полученные для когорты 1А, вызывают сомнение, или вещество предположительно является репродуктивным или эндокринным токсикантом.
3.11.8. Когорты 2А и 2Б: Изучение нейротоксичности (PND 21 или PND 22 и взрослое потомство). Животные когорты 2А умерщвляются после изучения поведенческих реакций, проводится определение массы головного мозга и полное нейрогистопатологическое исследование для выявления нейротоксичности. Когорта животных 2Б умерщвляется на PND 21 или PND 22, проводится определение массы головного мозга и микроскопическое изучение головного мозга для выявления нейротоксичности. Перфузионная фиксация требуется для когорты 1А, но не обязательна для когорты 2Б (по OECD TG 426).
Взвешивание органов и сохранение тканей - F1 отъемыши
3.11.9. Детеныши, которые не были отобраны в когорты, включая самых маленьких и слабых, умерщвляются после прекращения материнского питания на PND 22, если результаты не свидетельствуют о необходимости дальнейших прижизненных исследований. Умерщвленные животные используются для некропсии, включая исследование репродуктивных органов, как это описано выше. Примерно у 10 детенышей каждого пола и каждой экспериментальной группы из как можно большего числа пометов должны быть взвешены головной мозг, селезенка, вилочковая железа и сохранены в соответствующих условиях. Кроме того, ткани молочных желез этих детенышей, и самцов и самок, могут быть законсервированы для последующих микроскопических анализов (см. GD 151). Явные аномалии и органы-мишени должны сохраняться для возможного гистологического исследования.
Гистопатология - P животные
3.12.1. Полное гистопатологическое исследование органов проводится для всех животных, получавших максимальную дозу вещества, и контрольных P животных. Органы, в которых выявлены изменения, связанные с воздействием изучаемого вещества, должны также исследоваться у животных, получавших вещество в меньших дозах, с целью установления NOAEL. В дополнение к этому, репродуктивные органы всех животных с потенциально низкой фертильностью, например, тех, которые оказались не способны к спариванию, оплодотворению, осеменению или рождению здорового потомства, или тех, у которых выявлены нарушения астральной цикличности или количества, подвижности или морфологии сперматозоидов, а также все явные патологические изменения должны быть предметом гистопатологического анализа.
Гистопатология - F1 животные
Когорта животных 1
3.12.2. Полное гистопатологическое исследование органов проводится для всех животных, получавших максимальную дозу вещества, и контрольных взрослых животных когорты 1. Все пометы должны быть представлены хотя бы одним животным каждого пола. Органы и ткани, в которых выявлены изменения, связанные с воздействием изучаемого вещества, как и все явные патологические изменения, должны исследоваться также у животных, получавших вещество в меньших дозах, с целью установления NOAEL. Для оценки пре- и постнатальных эффектов воздействия вещества на лимфоидные органы, должны быть проведены гистопатологические исследования образцов лимфатических узлов и костного мозга, отобранных у 10 самцов и 10 самок когорты 1А, наряду с гистопатологической оценкой вилочковой железы, селезенки и надпочечников уже проведенной для всех 1А животных.
3.12.3. Репродуктивные и эндокринные ткани всех животных когорты 1Б в соответствии с вышеприведенным перечнем должны исследоваться гистопатологически в случаях, когда изучаемые вещества являются потенциальными репродуктивными и эндокринными токсикантами. Когорта 1Б должна также подвергаться гистопатологическому исследованию, если результаты, полученные для когорты 1А, вызывают сомнение.
3.12.4. Яичники взрослых самок должны содержать примордиальные и растущие фолликулы, а также желтые тела, гистопатологическое исследование должно быть направлено на количественную оценку примордиальных, мелких растущих фолликулов и желтых тел у F1 самок; выбор срезов яичников и размер срезов должны соответствовать используемой процедуре статистической оценки. Подсчет фолликулов может в начале быть проведен у контрольных животных и в группе животных, получавших максимальную дозу вещества, а в случае выявления неблагоприятного действия у последних, соответствующие исследования проводятся и у животных, получавших меньшие дозы вещества. Исследования должны включать подсчет количества примордиальных фолликулов, которые могут быть объединены с мелкими растущими фолликулами для сравнения яичников контрольных и опытных животных (см. GD 151). Оценка желтых тел должна проводиться параллельно с изучением астральной цикличности так, чтобы стадия цикла могла приниматься во внимание при исследовании. Маточная труба, матка и вагина изучаются в плане соответствующего органо-типического развития.
3.12.5. Детальное изучение тестикулярной гистопатологии проводится у F1 самцов для выявления вызванных воздействием изучаемого вещества эффектов на дифференцировку и развитие семенников и на сперматогенез. Если возможно, должны исследоваться срезы гайморовой сети каналов. Головка, корпус и хвост эпидидимиса и семявыводящий проток исследуются на соответствующее органо-типическое развитие в дополнение к параметрам, необходимым для P самцов.
Когорта животных 2
3.12.6. Нейрогистопатологические исследования выполняются для всех животных, получавших максимальную дозу вещества, и контрольных животных когорты 2А обоего пола по завершении нейроповеденческого тестирования (после PND75, но не позднее PND90). Гистопатологическое изучение головного мозга проводится для всех животных, получавших максимальную дозу вещества, и контрольных животных когорты 2Б обоего пола на PND21 или PND22. Органы и ткани, в которых обнаружены изменения, связанные с действием изучаемого вещества, исследуются и у животных, получавших вещество в меньших дозах, для определения NOAEL. В когорте 2А и 2Б животных исследуются многослойные срезы головного мозга для изучения обонятельных луковиц, коры больших полушарий, гиппокампа, базальных ядер, таламуса, гипоталамуса, среднего мозга (цекум, покрышка, ножки мозга), ствола головного мозга и мозжечка. В когорте 2А исследуются только глаза (сетчатка и зрительный нерв) и образцы периферических нервов, мышц и спинного мозга. Все нейрогистологические процедуры должны соответствовать требованиям OECD TG 426.
3.12.7. Морфометрические (количественные) оценки должны проводиться на репрезентативных участках головного мозга (гомологичные срезы тщательно отбираются на основе надежных точек микроскопирования) и могут включать линейные и/или ареальные измерения конкретных областей головного мозга. Не менее трех последовательных срезов каждой точки (уровня) должно быть сделано для выбора наиболее репрезентативного среза для изучения конкретного участка головного мозга. Нейропатолог должен принять компетентное решение, являются ли срезы, приготовленные для измерений, гомологичными другим срезам в серии образцов и поэтому пригодными для включения, ибо линейные измерения, в частности, могут измениться на относительно небольшом расстоянии. Негомологичные срезы использоваться не должны. Несмотря на требование проанализировать все образцы, взятые у всех животных, предназначенных для этих оценок (10 каждого пола на каждый дозовый уровень), все же может быть адекватным использование меньшего числа образцов. Однако образцы от меньшего числа, чем 6 животных каждого пола на дозовый уровень, как правило, рассматриваются как недостаточные для целей таких исследований. Стереология может использоваться для идентификации связанных с воздействием вещества эффектов на такие параметры, как объем или количество клеток в отдельных нейроанатомических областях. Все аспекты приготовления образцов тканей, от фиксации тканей, приготовления срезов образцов тканей, проводки тканей и окрашивания препаратов, должны быть сбалансированными так, чтобы каждая партия содержала репрезентативные образцы для каждой из дозовых групп. Если морфометрический и стереологический анализы не используются, то ткани головного мозга животных всех дозовых уровней должны быть в одно и то же время залиты подходящей средой для избежания артефактов сморщивания, связанных с длительным хранением в фиксаторе.
4.1.1. Данные представляются в отчете индивидуально и обобщаются в табличной форме. Если возможно, для каждой экспериментальной группы и каждого поколения должны быть представлены следующие данные: число животных в начале исследования, число животных, найденных погибшими в течение эксперимента или умерщвленных из гуманных соображений, время гибели или умерщвления в течение эксперимента, число фертильных животных, число беременных самок, число самок, родивших живых детенышей, и число животных с признаками интоксикации. В отчете должно быть также приведено описание токсического действия, включая время, длительность и тяжесть его проявления.
4.1.2. Количественные результаты должны быть оценены соответствующим общепринятым статистическим методом. Статистические методы должны быть выбраны как часть плана экспериментального исследования и должны быть пригодны для оценки данных с распределением, отличающимся от нормального (например, счетных данных), усеченных данных (например, ограниченное время наблюдения), оценки зависимостей (например, действие на приплод и повторные измерения) и неодинаковой дисперсии. Обобщенные линейные модели смешанного типа и модели дозозависимого эффекта охватывают широкий класс способов анализа, которые могут быть пригодны для обработки данных, полученных в соответствии с настоящими Методическими рекомендациями. Отчет должен включать достаточную информацию об использованных методах анализа и компьютерных программах, так чтобы независимый рецензент/статистик мог оценить их или провести повторные анализы.
4.2.1. Показатели должны оцениваться в единицах измерения наблюдавшихся эффектов, включая данные некропсии и микроскопии. Оценка включает выявление зависимостей или их отсутствия между дозой и наличием, частотой возникновения и выраженностью нарушений, в том числе явных патологических изменений. Критические органы, фертильность, клинические нарушения, показатели репродуктивности и плодовитости, изменения массы тела, гибель и другие токсические эффекты, действие на развитие потомства должны быть также оценены. Особое внимание должно быть обращено на изменения, связанные с полом животных. Физико-химические свойства изучаемого вещества и, при возможности, ТК данные, включая плацентарный перенос, выделение с молоком, должны приниматься во внимание при оценке результатов исследования.
4.3. Отчет об исследовании
Отчет должен включать следующую информацию, полученную в настоящем исследовании на P, F1 животных и F2 животных (если необходимо).
4.3.1. Изучаемое вещество:
- вся имеющая отношение к веществу доступная информация, токсикокинетические и токсикодинамические характеристики изучаемого вещества;
- идентификационные данные;
- чистота.
4.3.2. Растворитель (если применялся):
- обоснование выбора растворителя, отличного от воды.
4.3.3. Используемые животные:
- вид/линия, использованные в эксперименте;
- число, возраст и пол животных;
- источник, условия содержания, диета, материалы для гнезда и т.д.;
- индивидуальная масса животных в начале исследования;
- результаты вагинальных мазков для P самок перед началом воздействие вещества (если данные в это время были собраны);
- сведения о спаривании P поколения с указанием пар самцов и самок, участвовавших в спаривании, и тех пар, у которых спаривание оказалось успешным;
- исходные подсчеты детенышей для взрослого F1 поколения животных.
4.3.4. Условия исследования:
- аргументация выбора уровней доз;
- детали подготовки вещества для изучения/приготовление диеты, полученные концентрации;
- стабильность и гомогенность вещества в растворителе или несущей среде (например, в диете, питьевой воде), в крови/или в молоке в условиях использования и хранения между использованиями;
- детали введения изучаемого вещества;
- пересчет концентраций изучаемого вещества в диете/питьевой воде (ppm) на дозы (мг/кг массы тела/день), если нужно;
- детали качества корма и воды (включая состав диеты, если известен);
- детальное описание процедуры рандомизации отбраковки детенышей и распределения в экспериментальные группы;
- условия окружающей среды;
- список персонала, включая профессиональное обучение.
4.3.5. Результаты (обобщение и индивидуальные данные в зависимости от пола и дозы):
- потребление пищи, потребление воды, если требуется, эффективность питания (привес массы тела на грамм потребления пищи, исключая периоды сообитания и лактации) и поступление изучаемого вещества (для введения с кормом/питьевой водой) для P и F1 животных;
- данные об абсорбции вещества (если имеются);
- данные о массе тела для P животных;
- данные о массе тела для F1 животных, выбранных после прекращения материнского питания;
- время гибели во время исследования или умерщвления выживших животных в конце исследования;
- природа, тяжесть и длительность клинических нарушений (обратимых или необратимых);
- данные гематологии, анализов мочи и клинической химии, включая TSH и T4;
- фенотипический анализ клеток селезенки (T-, B-, NK-клетки);
- насыщенность клетками костного мозга;
- данные токсических реакций;
- число P и F1 животных с нормальной и нарушенной длительностью астрального цикла;
- время спаривания (прекоитальный интервал, число дней между образованием пар и спариванием);
- токсический и другие эффекты на репродукцию, включая число и процент животных, которые завершили спаривание, беременность, роды и лактацию, а также самцов, оплодотворивших самок, и самок с признаками дистоции/длительных или трудных родов;
- длительность беременности и, при наличии, родов;
- число имплантаций, размер помета и процент детенышей - самцов;
- число и процент пост-имплантационных потерь, живорождений и мертворождений;
- масса помета и масса детенышей (самцов, самок раздельно и вместе), число детенышей со слишком малым весом, если такие были;
- число детенышей с явными видимыми аномалиями;
- токсический и другие эффекты на потомство, постнатальное развитие, жизнеспособность и т.д.;
- данные о физических показателях детенышей и другие данные постнатального развития;
- данные о половом созревании F1 животных;
- данные о функциональных наблюдениях у детенышей и взрослых, если требуются;
- масса тела при умерщвлении и абсолютная и относительная масса органов для P и F1 животных;
- данные некропсии;
- детальное описание всех гистопатологических данных;
- общее количество сперматозоидов в хвосте эпидидимиса, процент поступательно движущихся сперматозоидов, процент морфологически нормальных сперматозоидов, процент сперматозоидов с каждой из выявленных аномалий для P и F1 самцов;
- число и стадии созревания фолликулов в яичниках P и F1 самок, если требуется;
- подсчет желтых тел в яичниках F1 самок;
- статистическая обработка результатов, если возможно.
Параметры когорты 2:
- детальное описание процедур, использованных для стандартизации наблюдений, и, в том числе, процедур операционного определения количественных оценок данных исследования;
- перечень всех использованных процедур с обоснованием их использования;
- детали использованных поведенческих/функциональных, нейропатологических и морфометрических процедур, включая информацию и детали, касающиеся автоматических приборов;
- процедуры для калибровки и подтверждения эквивалентности приборов и сбалансированности экспериментальных групп в процедурах тестирования;
- краткое обоснование, объясняющее любой вывод, требующий профессиональной оценки;
- детальное описание всех поведенческих/функциональных, нейропатологических и морфометрических показателей для самцов и самок экспериментальных групп, включая как их увеличение, так и снижение по сравнению с контролем;
- масса головного мозга;
- любые диагнозы, установленные по неврологическим признакам и повреждениям, включая естественно встречающиеся болезни или состояния;
- фотографии примеров экспериментальных данных;
- фотографии с малым увеличением для оценки гомологии срезов, использованных для морфометрии;
- статистическая обработка результатов, включая статистические модели, использованные при анализе данных, и результаты, независимо от того, были они достоверными или нет;
- связь любых других токсических эффектов с выводом о нейротоксическом потенциале изучаемого вещества в соответствии с полом и введенной дозой вещества;
- вклад любой токсикокинетической информации в выводы;
- данные, подтверждающие надежность и чувствительность методов исследования (позитивные и исторические контрольные данные);
- связи, если наблюдались, между нейропатологическими и функциональными эффектами;
- NOAEL или бенчмарк-доза для животных-родителей и потомства в зависимости от пола и введенной дозы;
- обсуждение общей интерпретации данных, основанное на результатах, включая вывод о том, обладает или не обладает вещество нейротоксичностью, и NOAEL.
Параметры когорты 3:
- титры сывороточных IgM-антител (сенсибилизация к SRBC или KLH) или единицы IgM PFC селезенки (сенсибилизация к SRBC);
- использование метода TDAR должно быть утверждено как часть оптимизационного процесса для лаборатории, впервые проводящей такое исследование, и периодически (например, ежегодно) для всех лабораторий;
- обсуждение общей интерпретации данных, основанное на результатах, включая вывод о том, обладает или не обладает вещество иммунотоксичностью для развивающегося организма, и NOAEL.
4.3.6. Обсуждение результатов.
4.3.7. Выводы, включая уровни NOAEL, и эффекты для животных-родителей и потомства.
Вся информация, не являющаяся итогом экспериментов, но имеющая значение для интерпретации результатов (например, сходство выявленных эффектов с действием известных нейротоксикантов), также должна быть охвачена.
4.4. Интерпретация результатов
4.4.1. Расширенное изучение репродуктивной токсичности на одном поколении при необходимости обеспечивает получение информации об эффектах повторного введения вещества в течение всех фаз репродуктивного цикла. В частности, исследование предоставляет информацию о влиянии на репродуктивную систему, на развитие, рост, выживаемость и функциональные показатели потомства до PND90.
4.4.2. При интерпретации результатов должна приниматься во внимание вся доступная информация о веществе, включая физико-химические, ТК и токсикодинамические свойства, доступную и релевантную информацию о структурных аналогах и результаты ранее проведенных исследований токсичности изучаемого вещества (например, острой токсичности, токсичности при повторном введении, механизмов действия вещества и исследований по оценке достоверности качественных и количественных видовых различий метаболических свойств in vivo/in vitro). Результаты вскрытия и определения массы органов должны, при возможности, оцениваться в контексте с результатами наблюдений, полученными в других исследованиях с повторным введением вещества. Снижение роста потомства может рассматриваться во взаимосвязи с влиянием изучаемого вещества на состав молока.
Когорта 2 (нейротоксичность в развивающемся организме)
4.4.3. Результаты исследования нейроповеденческой патологии и нейропатологии должны интерпретироваться в контексте всех выявленных изменений с использованием подхода совокупности доказательств с экспертной оценкой. Особенности поведенческих реакций и морфологических данных, если они имеются, так же как наличие зависимостей доза-ответ должны быть рассмотрены. Оценки нейротоксичности для развивающегося организма, включая данные эпидемиологических исследований населения или историй болезни и экспериментальные исследования на животных (например, токсикокинетические данные, информация о зависимостях структура-активность, данные других исследований токсичности) должны быть включены в характеристику. Оценка результатов должны включать обсуждение как их биологической, так и статистической значимости. Оценка должна включать зависимости, если они выявлены, между нейропатологическими и поведенческими нарушениями. Методические основы интерпретации результатов изучения нейротоксичности для растущего организма изложены в OECD 426.
Когорта 3 (иммунотоксичность для развивающегося организма)
4.4.4. Подавление или активация иммунных функций, выявленные с помощью TDAR (T-клетоточно-зависимой реакции антител), должны быть оценены в контексте всех сделанных наблюдений. Значимость результатов TDAR может быть подтверждена другими эффектами на связанные с иммунологией индикаторы (например, насыщенность клетками костного мозга, масса и гистопатология лимфоидных тканей, распределение субпопуляций лимфоцитов). Эффект, выявленный в TDAR, может быть менее значимым в случае, если другие проявления токсичности наблюдались при воздействии более низких концентраций вещества.
4.4.5. Для интерпретации результатов изучения репродуктивной и нейротоксичности следует обращаться за справками к Руководящему документу ОЭСР 43.
ИЗМЕРЕНИЯ И НАБЛЮДЕНИЯ, ВКЛЮЧЕННЫЕ
В БАТАРЕЮ ФУНКЦИОНАЛЬНЫХ НАБЛЮДЕНИЙ
(КОГОРТА 2А)
Домашняя клетка и открытое поле
Поза
Непроизвольные клонические и тонические движения
Смыкание век
Пилоэрекция
Слюнотечение
Слезотечение
Издавание звуков
Подъем на задние лапы
Аномалии походки
Возбуждение
Стереотипия
Странное поведение
Загрязнение
Аномалии дыхания
Показатели, связанные с манипуляциями
Легкость перемещения
Легкость обращения
Мышечный тонус
Реакция на приближение
Реакция на прикосновение
Слуховая реакция
Реакция на сдавливание хвоста
Реакция на выпрямление
Косолапость
Сила схватывания передней конечности
Сила схватывания задней конечности
Физиологические показатели
Температура
Масса тела
Реакция зрачка
Размер зрачка
СОВМЕСТНОЕ ИССЛЕДОВАНИЕ ТОКСИЧНОСТИ ПРИ ПОВТОРНОМ
ВОЗДЕЙСТВИИ С РЕПРОДУКТИВНОЙ/ЭМБРИОНАЛЬНОЙ
ТОКСИЧНОСТЬЮ (СКРИНИНГОВЫЙ МЕТОД)
Идентичен международному документу OECD TG N 422 "Combined Repeated Dose Toxicity Study with the Reproduction/Developmental Toxicity Screening Test" (ОЭСР Руководство N 422 "Совместное исследование токсичности при повторном воздействии с репродуктивной/эмбриональной токсичностью (скрининговый метод)"). Принят 22 марта 1996 г. Перевод с английского языка (en). Степень соответствия - модифицированный (MOD).
1.1. Настоящий метод исследования устанавливает требования к проведению совместного исследования токсичности химических веществ и препаратов на их основе (далее - веществ) при повторном воздействии и репродуктивной/эмбриональной токсичности с помощью скринингового метода. Это исследование дает информацию о возможных опасностях для здоровья, которые могут появиться при повторном воздействии вещества за относительно короткий промежуток времени. Определение токсикологических характеристик вещества при повторном воздействии возможно только после получения информации, полученной в острых опытах.
1.2. Метод состоит из обычного тестирования с повторяющейся дозой, которое может быть применимо для веществ, для которых нельзя использовать 90-дневной тест (например, когда объем производства вещества не превышает определенные пределы), или как предварительное тестирование перед долгосрочным исследованием.
1.3. Метод также включает скрининговый тест на определение репродуктивной/эмбриональной токсичности и, следовательно, может быть использован для получения предварительной информации о влиянии вещества на мужскую и женскую репродуктивную способность, включая функцию половых желез, брачное поведение, зачатие, развитие эмбриона и роды, либо для оценки токсических свойств веществ на ранней стадии, либо при исследовании веществ, вызывающих озабоченность.
1.4. Метод также делает акцент на неврологических эффектах как одному из видов специфических эффектов, поэтому существует необходимость проводить тщательные клинические наблюдения за животными, чтобы можно было получить как можно больше информации. Этот метод должен определить вещества с нейротоксическим потенциалом, а его результаты могут служить основанием для дальнейшего углубленного исследования данного аспекта. Дополнительно этот метод позволяет первоначально оценить иммунологические эффекты.
1.5. При отсутствии данных других исследований об общетоксическом действии, репродуктивной/эмбриональной токсичности, нейротоксичности и иммунотоксичности положительные результаты этого метода являются полезными для предварительных оценок опасности и способствуют принятию решений о необходимости и срочности проведения дополнительного тестирования. Данный тест может быть очень полезным как часть "Набора данных о скрининговой информации" (Screening Information Data Set (SIDS)) для оценки веществ, по которым существует мало информации, а также может служить альтернативой проведению двух других тестов: по исследованию токсичности при повторном воздействии (OECD TG N 407) и репродуктивной/эмбриональной токсичности (OECD TG N 421). Он также может быть использован как тест для определения диапазона доз для более углубленного исследования или в других уместных случаях.
2.1. Часть метода, касающаяся скрининга репродуктивной/эмбриональной токсичности, основана на опыте изучения химических веществ с большим объемом производства и поисковых исследований с позитивным контролем химических веществ. Раздел по исследованию токсичности при повторном воздействии принят в соответствии с OECD TG N 407.
2.2. Обычно считается, что существует разница между чувствительностью беременных и небеременных животных. Следовательно, может быть сложнее определить в этом совместном исследовании уровни доз, которые будут достаточными для определения как общетоксического действия, так и специфической репродуктивной/эмбриональной токсичности, чем когда два разных исследования проводятся раздельно. Более того, интерпретация результатов теста по отношению к общей системной токсичности может быть более трудной, чем когда проводятся раздельные исследования с повторным воздействием, особенно если биохимические и гистологические параметры не оцениваются в исследовании одновременно. Из-за всех технических трудностей существует необходимость в значительном опыте для проведения этого совместного исследования. С другой стороны, не беря во внимание, что используется меньше животных, совместный тест может обеспечить лучшие условия для дифференциации прямых эффектов на репродуктивность и пренатальное развитие и вторичных, обусловленных другими (системными) эффектами.
2.3. Настоящий метод тестирования предполагает пероральный способ введения тестируемого вещества. При использовании другого способа введения требуется обоснование.
2.4. Настоящий метод предполагает более продолжительный период дозирования, чем обычное 28-дневное исследование. Однако он позволяет использовать меньшее число животных каждого пола на группу, чем когда проводится обычный 28-дневный тест совместно с тестом по определению репродуктивной и эмбриональной токсичности.
3. Описание тестового метода
3.1. Принцип тестирования
3.1.1. Исследуемое вещество вводят градуированными дозами нескольким группам мужских и женских особей. Самцам следует давать дозу, как минимум, 4 недели и больше, включая день перед запланированным умерщвлением (включает минимум две недели до спаривания, время спаривания и примерно две недели после). В связи с ограниченным периодом дозирования до спаривания у самцов, фертильность может быть не очень чувствительным показателем тестикулярной токсичности. Следовательно, важно провести детальное гистологическое исследование яичек. Сочетание двухнедельного периода дозирования перед спариванием и последующего наблюдения спаривания/фертильности с общим периодом введения как минимум в 4 недели, за которым следует подробная гистопатология семенников, считается достаточным для обнаружения преобладающего воздействия на оплодотворяющую способность спермы и сперматогенез.
3.1.2. Женские особи должны получать дозы на протяжении всего исследования. Это включает две недели до спаривания (с целью охватить как минимум два астральных цикла), вариабельное время до зачатия, длительность беременности и, как минимум, четыре дня после родов, включая день усыпления.
3.1.3. Длительность исследования после акклиматизации зависит от поведения самок и продолжается не менее 54 дней (как минимум, 14 дней, перед спариванием, до 14 дней спаривания, 22 дня беременности и 4 дня лактации).
3.1.4. В течение периода введения вещества животных тщательно обследуют на предмет выявления признаков токсичности. Животным, которые умерли или были убиты в ходе тестирования, проводится аутопсия. По окончании исследования выживших животных умерщвляют и также проводят аутопсию.
Выбор вида
3.2.1. Данная методика предполагает использование крыс. Если используют другие виды животных, нужны соответствующие обоснования. Нельзя использовать виды с низкой плодовитостью или с высокой встречаемостью дефектов развития. В эксперименте должны быть использованы здоровые молодые половозрелые особи обычно используемых лабораторных линий, ранее не подвергавшиеся опытным испытаниям. Для исследования важны: вид, линия, пол, масса и/или возраст подопытных животных. Каждое животное на момент начала эксперимента должно быть в возрасте от 8 до 12 недель, а его масса должна составлять +/- 20% от средней массы исследуемых животных, задействованных в эксперименте. Если исследование проводят в качестве предварительного перед длительным исследованием или перед исследованием на нескольких поколениях, рекомендуется использовать животных одинаковых линий и полученных из одного питомника.
Условия содержания и кормления
3.2.2. Температура в помещении с экспериментальными животными должна быть (22 +/- 3) °C. Относительная влажность должна быть, как минимум, 30% и не должна превышать 70% (если только не проводится уборка помещения), оптимальная влажность составляет 50 - 60%. Свет искусственный с последовательностью: 12 часов - свет, 12 часов - темнота. Для кормления могут использоваться традиционные лабораторные диеты с неограниченным количеством питьевой воды. На выбор пищи может влиять необходимость добавления к ней исследуемого вещества, когда введение осуществляется таким способом.
3.2.3. Животные могут находиться отдельно или содержаться в клетках небольшими группами одного пола; при групповом расселении следует помещать не более 5 животных в каждую клетку. Процедура спаривания должна осуществляться в подходящих для такого случая клетках. Беременных самок следует селить отдельно и обеспечить их материалами для гнездования.
Подготовка
3.2.4. Здоровые молодые половозрелые животные случайным образом распределяются на экспериментальные группы. Клетки надо размещать таким образом, чтобы свести к минимуму возможное влияние на них их местоположения. Животных помечают индивидуальными идентификаторами и содержат в клетках, как минимум, 5 дней перед началом исследования для акклиматизации к лабораторным условиям.
Количество и пол животных
3.3.1. Каждая экспериментальная и контрольная группа должна содержать достаточное количество животных, рекомендуется не менее 10. Исключая случаи, когда токсичность сильно влияет на беременность, ожидается, что из десяти, как минимум, 8 забеременеют, что является минимальным допустимым числом самок на группу.
3.3.2. Целью является получить достаточное количество беременностей и потомства, чтобы гарантировать значимую оценку потенциальной возможности вещества влиять на фертильность, беременность, материнское поведение и поведение грудного потомства, на рост и развитие потомства от зачатия до 4-го дня после родов. Если запланированы усыпление во время исследования, число животных в группе должно быть увеличено. Стоит рассмотреть использование группы-спутника из десяти животных (5 самцов и 5 самок) в контрольной группе и группе с самой высокой дозой для возможности оценки обратимости эффектов, а также для наблюдения за эффектами, как минимум, 14 дней после окончания введения дозы. Животные в этой группе не будут спариваться и, следовательно, не будут использоваться для оценки репродуктивной/эмбриональной токсичности.
Подготовка доз
3.3.3. Исследуемое вещество вводят перорально, если только другой путь введения не считается более подходящим. При пероральном пути исследуемый состав вводят через зонд, при этом в качестве альтернативы исследуемый состав может вводиться с пищей или питьевой водой.
3.3.4. При необходимости тестируемое вещество растворяют или добавляют в подходящий носитель. Рекомендуется, когда это возможно, в первую очередь использовать водные растворы/суспензии, затем раствор эмульсии в масле (например, кукурузное масло) и затем искать возможное решение с использованием других сред. Для сред, отличных от воды, должны быть известны их токсические свойства. Следует определить стабильность исследуемого вещества в носителе.
Дозирование
3.3.5. В основном необходимо использовать, как минимум, три экспериментальные и одну контрольную группы. Если отсутствует предварительная информация о тестируемом веществе, можно провести исследование по определению диапазона доз. Кроме тех моментов, когда осуществляется введение, необходимо обращаться с животными в контрольной группе так же, как и со всеми остальными. Если вещество вводят в определенной среде, контрольная группа должна получать тот же носитель в самом большом из используемых объемов.
3.3.6. Уровни доз должны выбираться, принимая во внимание любые имеющиеся данные о токсичности и токсикокинетических свойствах исследуемого вещества. Необходимо также принимать во внимание, что может существовать разница между чувствительностью беременных и небеременных самок. Самая высокая доза должна быть выбрана с намерением вызвать токсические эффекты, а не смерть или тяжелые страдания животных. Следовательно, нисходящая последовательность уровней доз должна выбираться с целью выявить какую-либо зависимость ответа от дозы, а также отсутствие вредного эффекта при поступлении самой низкой дозы. Двукратный или четырехкратный диапазон чаще всего являются оптимальными, для очень больших интервалов между дозами (например, с диапазоном более 10) предпочтительно использование четвертой экспериментальной группы.
Испытание предельной дозы
3.3.7. Полное исследование с использованием нескольких уровней доз может не понадобиться, если процедура, описанная в этом руководстве, не дает видимых токсических эффектов при пероральном введении дозы на уровне минимум 1000 мг/кг веса тела/день, или с эквивалентным содержанием в еде или в питьевой воде, а также если токсичность не ожидается на основании данных о структурно сходных соединениях. Испытание на предельное содержание проводят только в тех случаях, когда данные о воздействии на людей свидетельствуют о необходимости использования более высокой дозы. При других способах введения, таких как ингаляционный или перкутанный, физико-химические свойства тестируемого вещества могут определять максимальную достижимую для тестирования концентрацию.
Введение доз
3.3.8. Животные должны получать дозу исследуемого вещества ежедневно в течение семи дней в неделю. Когда исследуемое вещество вводится принудительно, это следует делать разовой дозой, используя желудочный зонд или подходящую полую трубку. Максимальный объем жидкости, который может быть введен за один раз, зависит от размеров подопытного животного. Объем не должен превышать 1 мл/100 г, за исключением водных растворов, когда можно использовать 2 мл/100 г. За исключением веществ, вызывающих раздражение или коррозию, которые обычно проявляют более выраженный эффект при более высоких концентрациях, изменения тестируемого объема должны быть минимизированы путем регулирования концентрации для обеспечения постоянного объема при всех уровнях доз.
3.3.9. Для веществ, дозируемых с пищей или питьевой водой, важно, чтобы количество исследуемого вещества в носителе не препятствовало нормальному пищевому и водному потреблению. Когда тестируемое вещество вводится с пищей, могут быть использованы либо постоянная концентрация в пище (мг/кг или ppm), либо постоянный уровень дозы в зависимости от массы тела животного, другое использование должно быть обосновано. Для веществ, вводимых через зонд, доза должна вводиться в одно и то же время ежедневно и корректироваться, как минимум, еженедельно для поддержания постоянного уровня дозы по отношению к массе тела животного. Если настоящее исследование является предварительным перед более продолжительным, одинаковые диеты должны использоваться в обоих случаях.
3.4.1. Введение дозы животным обоих полов необходимо начинать, как минимум, за 2 недели до спаривания, после прохождения ими пятидневной акклиматизации. Исследование должно быть запланировано таким образом, чтобы спаривание начиналось сразу, как только животные достигли половой зрелости. Этот период может слегка различаться для разных видов крыс. Самки с потомством должны умерщвляться на 4-й день после родов или вскоре после этого. День родов (т.е. когда роды завершились) считается 0-м днем после родов. Самки, не демонстрирующие признаков беременности, умерщвляются на 24 - 26 день после последнего дня периода спаривания. Введение доз животным обоих полов продолжается весь период спаривания. Самцам продолжают введение доз после периода спаривания, пока минимальный период дозировки не достигнет 28 дней. Затем их умерщвляют или сохраняют и продолжают дозирование для возможного второго спаривания, если необходимо.
3.4.2. Ежедневное введение доз беременным самкам следует продолжать всю беременность и, как минимум, до 3-го дня после родов включительно, или за день до умерщвления. Для исследований, где тестируемое вещество вводится ингаляционно или дермально, введение доз продолжается, как минимум, до 19-го дня беременности включительно.
3.4.3. Животным в группе-спутнике назначают повторные осмотры. Их нельзя усыплять, как минимум, 14 дней после усыпления первых самок, для выявления замедленных реакций или уменьшения токсических эффектов
3.4.4. График-схема тестирования, предусматривающая максимальную длительность исследования при полной 14-дневной продолжительности спаривания, представлена в
прилож. 6.7.10.1.
3.5. Процедура спаривания
В исследованиях используют спаривание 1 : 1 (одна самка на одного самца). Исключения могут быть сделаны в случае случайной смерти самцов. Самку следует помещать с одним и тем же самцом до наступления беременности или в течение 2 недель. Каждое утро самки должны проверяться на наличие спермы или вагинальной пробки. Нулевым днем беременности считается день обнаружения вагинальной пробки или спермы. В случае, если спаривание неуспешно, может быть проведено повторное спаривание с самцами, уже осуществившими успешное спаривание.
4.1. В течение всего периода исследования ежедневно в одно и то же время должно проводиться общее клиническое наблюдение, принимая во внимание периоды максимума предполагаемого воздействия дозы. Все данные должны документироваться. Как минимум, два раза в день нужно проверять животных на наличие смертей и предсмертных состояний.
4.2. Детальный осмотр животных должен быть проведен один раз до начала дозирования и, как минимум, раз в неделю во время исследования. Осмотр должен проводиться каждый день вне клетки, в одинаковых условиях и в одно и то же время суток. Все наблюдения должны быть тщательно зафиксированы, желательно с использованием оценочной системы баллов. Необходимо минимизировать изменения условий тестирования, предпочтительно чтобы человек, наблюдающий за состоянием животных, не знал о введенном веществе. Записи о состоянии животных должны включать, но не ограничиваться, сведениями об изменениях на коже, шерсти, глазах, слизистых оболочках, появление секреций и экскреций и вегетативной активности (например, слезотечения, пилоэрекции, размера зрачков, нестандартного дыхания). Изменение в походке, осанке и реакции на прикосновение, присутствие клонических и тонических движений, стереотипии (например, излишний груминг, хождение по кругу), осложненные или затянувшиеся роды или странное поведение (самовредительство, хождение задом наперед) также должны быть зафиксированы.
4.3. Один раз за все исследование нужно провести оценку сенсорной реакции на различного вида раздражители (в т.ч. слуховой, визуальной и проприоцептивной реакций, оценку силы захвата и оценку двигательной активности с использованием десяти случайно выбранных самок и самцов (по пять животных каждого пола). Дальнейшие детали осмотра можно найти по соответствующим ссылкам. Для самцов эти наблюдения нужно проводить в конце периода дозирования, незадолго до усыпления, но перед взятием крови на гематологию или биохимический анализ. Самки должны находиться в похожем физиологическом состоянии на время проведения наблюдений, лучше всего во время лактации, незадолго до усыпления. Чтобы избежать гипертермии у потомства, нельзя отнимать их от самок больше чем на 30 - 40 минут.
4.4. Функциональные наблюдения в конце исследования могут не проводиться, если данное исследование осуществляется как предварительное перед соответствующим субхроническим 90-дневным исследованием. В этом случае функциональные наблюдения должны быть включены в последующее исследование. С другой стороны, наличие данных функциональных наблюдений в этом исследовании может улучшить возможность выбора адекватных уровней доз для последующих исследований.
4.5. В исключительных случаях функциональные наблюдения могут быть пропущены для групп животных, проявляющих признаки токсичности, которые будут мешать проведению исследования функционального состояния животных.
4.6. Длительность беременности должна фиксироваться и отсчитываться от 0-го дня беременности. Каждый приплод должен быть изучен как можно раньше после рождения для установления количества и пола детенышей, мертворожденных, родившихся живыми, малорослых (детеныши, которые заметно меньше, чем детеныши из контрольной группы) и наличия явных аномалий.
4.7. Живые детеныши должны быть подсчитаны, у них следует установить пол. Приплод следует взвешивать в течение 24 часов после родов (нулевой или первый день после родов) и на 4-й день после родов. В дополнение к наблюдению за родительскими особями любое аномальное поведение потомства должно быть зафиксировано.
4.8. Масса тела, потребление пищи и воды.
4.8.1. Самцы и самки должны взвешиваться в первый день введения дозы, как минимум, еженедельно в дальнейшем и по окончании исследования. Во время беременности самок следует взвешивать в 0-й, 7-й, 14-й и 20-й дни, в течение 24 часов после родов (нулевой или первый день после родов) и на 4-й день после родов. Все наблюдения должны фиксироваться отдельно по каждому взрослому животному.
4.8.2. Перед спариванием, во время беременности и лактации потребление пищи должно измеряться, как минимум, еженедельно. Измерение потребления пищи в период спаривания является необязательным. Потребление воды в этот период следует измерять, если исследуемое вещество вводится с питьевой водой.
4.9. Гематология.
4.9.1. Один раз во время эксперимента должны быть проведены следующие гематологические наблюдения (с использованием пяти самцов и пяти самок из каждой группы): гематокрит, концентрация гемоглобина, число эритроцитов, общее число лейкоцитов и лейкоцитарная формула, число тромбоцитов и время свертывания крови.
4.9.2. Самки должны быть в одинаковых физиологических состояниях при проведении взятия крови. Для того чтобы избежать вариабельности показателей в связи с началом беременности, сбор крови у самок должен быть произведен перед началом спаривания или как часть процедуры усыпления животного. Сбор крови у самцов должен проводиться до или как часть процедуры усыпления животных. Сбор крови у самцов может быть проведен перед началом спаривания, т.е. в наиболее подходящий период для обследования самок.
4.9.3. Пробы крови должны храниться в надлежащих условиях.
4.10. Клиническая биохимия.
4.10.1. Определение клинических биохимических показателей, отражающих проявление токсических эффектов в тканях, и особенно в почках и печени, должно проводиться в крови пяти самцов и самок из каждой группы. Перед взятием проб крови рекомендуется голодание животных в течение ночи
<12>. Исследование плазмы или сыворотки должно включать определение калия, натрия, глюкозы, холестерина, мочевины, креатинина, белка и альбумина, как минимум, двух ферментов, отражающих гепатоцеллюлярные эффекты (такие как аланинаминотрансфераза, аспартатаминотрансфераза и сорбитолдегидрогеназа) и желчных кислот. Иногда может быть полезно исследование других ферментов (печеночные и других).
--------------------------------
<12> Некоторые исследования сыворотки и плазмы, прежде всего для определения глюкозы, нужно проводить натощак. Главной причиной является то, что повышенная изменчивость, которая является эффектом от кормления, будет маскировать малозаметные эффекты и затруднять интерпретацию результатов. С другой стороны, голодание может мешать нормальному пищеварению беременных самок и лактации, а также мешать воздействию вещества. Если применяется голодание, клинические биохимические определения должны быть проведены после проведения функциональных наблюдений на четвертую неделю исследования.
4.10.2. Факультативно может быть проведен анализ мочи у пяти случайно выбранных самцов из каждой группы в последнюю неделю исследования, собирая ее за фиксированный промежуток времени; нужно исследовать вид, количество, осмоляльность или удельный вес, pH, белок, глюкозу, наличие крови/клеток крови.
4.10.3. В дополнение можно провести исследования сывороточных маркеров общего повреждения тканей. Можно провести другие анализы, такие как исследование на содержание кальция, фосфатов, триглицеридов, глюкозы натощак, специфичных гормонов, метгемоглобина и холинэстеразы.
4.10.4. В целом необходим гибкий подход, зависящий от наблюдаемого или ожидаемого эффекта исследуемого соединения.
4.10.5. Если накопленные данные о фоновом состоянии животных неадекватны, возможно проведение гематологических и биохимических исследований перед началом дозирования.
Вскрытие животных
5.1. Все взрослые животные, задействованные в эксперименте, должны быть подвержены полному детальному вскрытию, которое включает внимательное исследование внешней стороны тела, всех отверстий, черепной, торакальной, брюшной полостей и их содержимого. Нужно уделить особое внимание репродуктивным органам. Число мест имплантации должно быть зафиксировано. Обязательно должно быть посчитано число желтых тел.
5.2. Яички и придатки яичек всех взрослых самцов должны быть взвешены. Яичники, яички, придатки яичек, дополнительные органы репродукции, а также все органы с признаками макроскопического поражения, отобранные у всех животных, должны быть законсервированы.
5.3. Дополнительно у случайно выбранных 5 самок и 5 самцов из каждой группы после вскрытия необходимо выделить печень, почки, надпочечники, тимус, селезенку, мозг и сердце, отделив их от окружающих тканей соответствующим образом, и как можно скорее взвесить все эти органы, не допуская их высыхания. Нужно законсервировать в подходящей среде следующие органы и ткани для проведения последующих гистопатологических исследований: любые органы с выявленными поражениями, мозг (наиболее важные области, включая большие полушария, мозжечок и Варолиев мост), позвоночник, желудок, тонкий и толстый кишечник (включая Пееровы бляшки), печень, почки, надпочечники, селезенка, сердце, тимус, щитовидная железа, трахея и легкие (перед погружением в консервирующий раствор необходимо накачать их воздухом и зафиксировать), матку, мочевой пузырь, лимфатические узлы (желательно один узел, располагающийся вблизи места введения вещества, и один, находящийся в удалении от места введения), периферические нервы (седалищные и большеберцовые), предпочтительнее расположенные ближе к мышцам, часть костного мозга (или часть аспирата костного мозга).
5.4. Для стандартных исследований яичек и придатков яичек не рекомендуется их хранение в формалине. Для хранения таких тканей подходящим способом является фиксатор Буэна. Клинические и другие исследования могут потребовать проведения анализа дополнительных органов. Также нужно сохранять любые органы, которые, основываясь на известных свойствах исследуемого вещества, могут являться органами-мишенями.
5.5. Мертворожденные детеныши и умерщвленные на 4-й день после родов или вскоре после этого должны быть внимательно изучены на наличие явных внешних аномалий.
Гистопатология
5.6. Нужно провести полное гистопатологическое исследование сохраненных органов и тканей животных из контрольной группы и группы с максимальной дозой (особое внимание уделить сперматогенезу у самцов и гистопатологии интерстициального строения клеток яичек). Эти исследования должны быть проведены для животных в других группах, если наблюдаются изменения в группе получавших максимальную дозу.
5.7. Все серьезные повреждения должны быть оценены. Для обоснования NOAEL должны быть исследованы органы животных из других групп, особенно тех, которые могут быть оценены как NOAEL.
5.8. Когда используется группа-спутник, проводится гистопатология органов и тканей, в которых наблюдались эффекты.
6. Данные, оценка результатов и отчет
6.1.1. Данные для каждого животного должны были предоставлены отдельно. В дополнение все данные должны быть сведены в табличную форму, отражающую для каждой тестовой группы количество животных на начало исследования; количество животных, умерших во время исследования или умерщвленных по гуманным соображениям и время каждой смерти или умерщвления; количество способных к деторождению животных; количество беременных самок; количество животных, демонстрирующих признаки токсичности; описание наблюдаемых признаков токсичности, включая время начала, продолжительность и тяжесть любых токсических проявлений; тип гистопатологических изменений и все соответствующие данные по приплоду. Табличная форма для отчета, одобренная в качестве наиболее подходящей для оценки воздействия на репродуктивную/эмбриональную токсичность, представлена в
прилож. 6.7.10.2.
6.1.2. По возможности результаты должны быть оценены с применением подходящего и приемлемого статистического метода. Статистический метод должен быть выбран до начала тестирования при планировании исследования. В связи с ограниченным объемом исследования статистический анализ в виде тестов на "значимость" имеет ограниченную ценность для многих видов эффектов, особенно репродуктивного. Некоторые наиболее популярные методы, особенно параметрические тесты для определения центральной тенденции, являются неуместными. Если используется статистический анализ, выбранный метод должен соответствовать распределению исследованной переменной и должен быть определен до начала исследования.
6.2.1. Результаты исследования должны быть оценены, учитывая наблюдаемые эффекты, результаты вскрытия и микроскопические анализы. Оценка будет включать соотношение между дозой исследуемого вещества и наличием или отсутствием, количеством и тяжестью аномалий, включая макроскопические повреждения, определение органов-мишеней, бесплодность, клинические аномалии, воздействие на репродуктивность и потомство, изменения массы тела, влияние на смертность и любые другие токсические проявления.
6.2.2. В связи с непродолжительностью периода введения вещества самцам при оценке воздействия на их репродуктивность гистопатология яичек и придатков яичек должны рассматриваться вместе с данными по фертильности. Использование существующих контрольных данных по репродуктивности и развитию может быть очень полезно для интерпретации результатов исследования.
6.3. Отчет об исследовании
Отчет об исследовании должен включать следующие данные:
Исследуемое вещество:
- физическое состояние и при необходимости - физико-химические свойства;
- идентификационные данные.
Носитель (при необходимости):
- обоснование выбора носителя (если это не вода).
Подопытные животные:
- вид/линия используемых животных;
- число, возраст и пол животных;
- происхождение, условия содержания, питание и так далее;
- масса каждого животного в начале эксперимента.
Условия проведения исследования:
- обоснование выбора уровня доз;
- подробное описание приготовления состава тестируемого вещества/пищи, достигнутая концентрация, стабильность и однородность состава;
- подробное описание введения вещества;
- коэффициент перевода от концентрации исследуемого вещества в пище/питьевой воде (ppm) к фактической дозе (мг/кг в день), если возможно;
- качество пищи и воды;
Результаты:
- масса/изменения массы;
- потребление пищи и воды, если возможно;
- данные реакции на токсичность по полу и дозе, включая фертильность, беременность и любые другие признаки токсичности;
- длительность беременности;
- токсическое или иное влияние на репродуктивность, потомство, рост после рождения и т.д.;
- характер, объем и длительность клинических наблюдений (можно ли их однозначно интерпретировать или нет);
- сенсорная и двигательная активность животных, сила захвата и т.п.;
- результаты гематологических тестов с соответствующими значениями физиологической нормы;
- результаты биохимических тестов с соответствующими значениями физиологической нормы;
- количество живого потомства и постимплантационная гибель плодов;
- количество детенышей с явно наблюдаемыми аномалиями, количество малорослых;
- время гибели в течение исследования или дожившие до его окончания животные;
- количество зародышей, желтые тела (рекомендуется), размер и масса приплода на момент отчета;
- масса тела детенышей на момент умерщвления и данные по массе органов родительских животных;
- данные некропсии;
- подробное описание обнаруженных гистологических изменений половых путей и других тканей самцов, если имеются;
- данные по абсорбции, если имеются;
- статистическая обработка, когда требуется.
Обсуждение результатов.
Заключение.
6.4. Интерпретация результатов
Исследование дает возможность оценить репродуктивную/эмбриональную токсичность вещества при его повторном введении. В частности, так как особое внимание уделено и общетоксическому действию, и репродуктивной/эмбриональной токсичности, результаты этого исследования могут показать различия между репродуктивными/эмбриональными эффектами, появляющимися в отсутствие общей токсичности, и теми, которые проявляются только на уровнях воздействия, токсичных и для взрослых особей. Оно может показать необходимость проведения дополнительных исследований и стать основой для разработки программы последующих исследований.
ГРАФИК-СХЕМА ТЕСТИРОВАНИЯ, ПРЕДУСМАТРИВАЮЩИЙ
МАКСИМАЛЬНУЮ ДЛИТЕЛЬНОСТЬ ИССЛЕДОВАНИЯ
ПРИ ПОЛНОЙ 14-ДНЕВНОЙ ПРОДОЛЖИТЕЛЬНОСТИ СПАРИВАНИЯ
Пример сводного отчета об эффектах воздействия
на репродуктивность/развитие
НАБЛЮДЕНИЯ | РЕЗУЛЬТАТЫ |
Доза (единицы измерения) ...... | 0 (контроль) | ... | ... | ... | ... |
Пары на начало исследования (N) | | | | | |
Самки с признаками совокупления (N) | | | | | |
Забеременевшие самки (N) | | | | | |
Дни зачатия 1 - 5 (N) | | | | | |
Дни зачатия 6 - ... <13> (N) | | | | | |
Беременность = 21 день (N) | | | | | |
Беременность = 22 дня (N) | | | | | |
Беременность >= 23 дня (N) | | | | | |
Самки с живыми новорожденными (N) | | | | | |
Самки с живыми детенышами к 4-му дню (N) | | | | | |
Желтое тело/самка (в среднем) | | | | | |
Эмбрионы/самка (в среднем) | | | | | |
Живые детеныши/самка при рождении (в среднем) | | | | | |
Живые детеныши/самка к 4-му дню (в среднем) | | | | | |
Численное соотношение полов (самцы/самки) на момент рождения (в среднем) | | | | | |
Численное соотношение полов (самцы/самки) к 4-му дню (в среднем) | | | | | |
Масса приплода при рождении (в среднем) | | | | | |
Масса приплода к 4-му дню (в среднем) | | | | | |
Масса детеныша при рождении (в среднем) | | | | | |
Масса детеныша к 4-му дню (в среднем) | | | | | |
АНОМАЛЬНЫЕ ДЕТЕНЫШИ |
Самки с 0 | | | | | |
Самки с 1 | | | | | |
Самки с >= 2 | | | | | |
ПОТЕРИ ПОТОМСТВА | | | | | |
Предимплантационная (желтые тела минус зародыши) |
Самки с 0 | | | | | |
Самки с 1 | | | | | |
Самки с 2 | | | | | |
Самки с >= 3 | | | | | |
Пренатальная (зародыши минус живые новорожденные) |
Самки с 0 | | | | | |
Самки с 1 | | | | | |
Самки с 2 | | | | | |
Самки с >= 3 | | | | | |
Постнатальная (рожденные живыми минус живые к 4-му дню после родов) |
Самки с 0 | | | | | |
Самки с 1 | | | | | |
Самки с 2 | | | | | |
Самки с >= 3 | | | | | |
--------------------------------
<13> Последний день периода спаривания.
ИСПЫТАНИЯ ПО ОЦЕНКЕ КАНЦЕРОГЕННОЙ АКТИВНОСТИ
Идентичен международному документу OECD TG N 451 "Carcinogenicity Studies" (ОЭСР Руководство N 451 "Испытания по оценке канцерогенной активности"). Принят 7 сентября 2009 года. Перевод с английского языка (en). Степень соответствия - модифицированный (MOD).
1.1. Настоящий метод исследования разработан с целью исследований канцерогенности и сосредоточен на внутрижелудочном воздействии, наиболее широко используемом в исследовании канцерогенности. В то же время исследования канцерогенности с применением дермального и ингаляционного путей воздействия также могут быть необходимы при оценке риска для здоровья людей и/или для определения нормативов. Эти пути воздействия связаны со значительными техническими сложностями. Такие исследования следует планировать для каждого отдельного случая, оценка и исследования канцерогенности при пероральном воздействии может быть основой протокола при ингаляционном и/или дермальном исследовании с учетом рекомендаций по введению вещества, клиническим и патологическим параметрам и т.д.
1.2. При оценке и исследовании потенциальной канцерогенности химического вещества до проведения исследования должна быть изучена вся имеющаяся информация об испытуемом веществе с тем, чтобы разработать наиболее эффективное испытание для исследования канцерогенности и минимизировать использование животных. Информация, которая может помочь при планировании исследования, включает идентификацию, химическую структуру и физико-химические свойства испытуемого вещества, любую информацию о механизме действия, результаты испытаний токсичности in vivo и in vitro, включая испытания на генотоксичность, предполагаемые виды применения и возможные воздействия на людей, имеющиеся данные о зависимости структура-активность (модели (Q)SAR), мутагенность/генотоксичность, канцерогенность и другие токсикологические данные по структурно близким веществам, доступные токсикокинетические данные (по кинетике разовой и повторной доз, при наличии) и данные, полученные в других исследованиях повторных воздействий. Оценку канцерогенности следует проводить после получения первичной информации о токсичности в 28-дневных и 90-дневных испытаниях повторной дозы. Полезную информацию могут также дать краткосрочные испытания по изучению инициирующей и промотирующей активности. Поэтапный подход к исследованию канцерогенности должен рассматриваться как часть общей оценки потенциального негативного воздействия отдельных химических веществ на здоровье человека.
1.3. При проведении исследований канцерогенности всегда следует руководствоваться принципами и положениями, изложенными в ОЭСР N 19
[45] по признанию, оценке и использованию клинических показателей, характерных для организма человека, в исследованиях безопасности веществ на лабораторных животных.
1.4. Стратегия выбора дозы зависит от целей и задач исследования. При выборе соответствующих уровней доз должен быть достигнут баланс между выявлением опасности, скринингом, с одной стороны, и характеристиками воздействия низких доз и их значимостью, с другой.
1.5. В целях снижения количества используемых животных следует рассматривать возможность проведения комбинированного исследования хронической токсичности и канцерогенности, а не проводить отдельные исследования хронической токсичности и канцерогенности. Необходимо с большим вниманием относиться к принципам отбора доз для выполнения комбинированного исследования хронической токсичности и канцерогенности. Надо иметь в виду, что в соответствии с нормативными требованиями может потребоваться также проведение раздельных исследований.
2.1. Большинство исследований канцерогенности выполняют на различных видах грызунов, и поэтому данные указания по испытаниям предназначены в первую очередь для исследований на этих видах животных. Если потребуется провести такие исследования на не-грызунах, то можно использовать описанные в данном стандарте принципы и процедуры в соответствующих модификациях, в соответствии с Руководящим документом ОЭСР по разработке и проведению исследования хронической токсичности и канцерогенности.
2.2. Тремя основными путями введения вещества являются внутрижелудочный, дермальный и ингаляционный. Выбор каждого пути поступления вещества зависит от физических и химических характеристик испытуемого вещества и преимущественного пути воздействия на людей.
2.3. Задачами исследований канцерогенности являются:
- выявление канцерогенных свойств химического вещества, определяющихся как увеличение количества новообразований, рост доли злокачественных новообразований или сокращение времени появления опухолей по сравнению с контрольными группами;
- выявление органа(ов)-мишени(ей) воздействия канцерогена;
- определение зависимости доза-эффект канцерогена;
- определение уровня недействующей дозы (NOAEL) или исходной точки для установления минимальной дозы (Benchmark Dose-BMD);
- экстраполяция данных по канцерогенным эффектам на уровень воздействия низких доз на людей;
- предоставление данных для проверки гипотез о возможных механизмах воздействия.
3. Принцип метода испытания
3.1. Исследуемое вещество вводят нескольким группам экспериментальных животных ежедневно семь дней в неделю, одна доза на группу на протяжении большей части их жизни, как правило, перорально. Ингаляционный и накожный путь поступления также может применяться. Наблюдения за экспериментальными животными проводят ежедневно во время и после экспозиции с целью определения признаков токсичности, и особенно развития новообразований. Животных, которые погибают или их умерщвляют в ходе испытания, подвергают некропсии. После завершения эксперимента выживших животных умерщвляют и подвергают некропсии.
4. Описание метода испытания
Животных не менее 7 дней до начала испытания содержат в клетках для адаптации к лабораторным условиям со специальным режимом питания. Перед испытанием здоровых молодых особей распределяют и формируют из них контрольную и экспериментальные группы.
4.1. Экспериментальные животные
4.1.1. На основании данных ранее проведенных исследований допускается использование разных видов животных (грызунов или негрызунов). Использование видов негрызунов может быть допустимо, если имеющиеся данные позволяют предположить, что такие виды являются более подходящими для прогнозирования воздействия на здоровье человека. Использование мышей в изучении канцерогенности может быть ограничено, хотя в ряде программ по тестированию все еще требуется использование мышей. Дополнительная информация о выборе вида и линии тестовых животных представлена в руководстве ОЭСР N 116 по разработке и проведению исследований по изучению хронической токсичности и канцерогенности. Крысы и мыши являются наиболее предпочтительными экспериментальными моделями в силу относительно короткой продолжительности их жизни, широкого применения в фармакологических и токсикологических исследованиях, восприимчивости к опухолевой индукции и наличия достаточно хорошо изученных линий с большим количеством информации о физиологии и патологии данных видов животных. Используют молодых здоровых животных стандартных лабораторных линий. Желательно проводить исследования канцерогенности на животных той же линии и из того же источника, которые использовались в предварительных исследованиях токсичности меньшей продолжительности. Если известно, что при использовании животных данной линии и источника наблюдаются проблемы в достижении общепринятого критерия в 50% выживаемости в течение 24 месяцев, то следует рассмотреть возможность использования линии, обладающей приемлемой для долгосрочного исследования выживаемостью. Женские особи должны быть нерожавшими и небеременными. Введение дозы должно быть начато как можно скорее после отлучения от материнской груди.
4.1.2. Животные могут быть размещены в клетках индивидуально или малыми группами одного пола; индивидуальное размещение следует рассматривать только в случае, если это научно обосновано. Клетки должны быть устроены таким образом, чтобы возможные эффекты, связанные с размещением клетки, были минимальны. Температура в экспериментальном помещении для животных должна составлять (22 +/- 3) °C. Несмотря на то что относительная влажность должна быть, как минимум, 30% и не превышать 70%, за исключением времени уборки комнаты, оптимальное значение составляет 50 - 60%. Освещение должно быть искусственным в последовательности: 12 часов - свет, 12 часов - темнота. При кормлении может быть использована обычная лабораторная диета с неограниченным количеством питьевой воды. Диета должна соответствовать всем требованиям питания для тестовых видов, и содержание примесей, в том числе: остаточное содержание пестицидов, стойких органических загрязнителей, фитоэстрогенов, тяжелых металлов и микотоксинов, которые могут повлиять на результаты испытаний, в пище должно быть как можно ниже. Необходимо периодически проводить анализ содержания примесей в пище, особенно в начале испытания и при наличии изменений в используемой партии. Данные таких анализов должны быть включены в окончательный отчет. Также должны быть представлены аналитические данные для питьевой воды.
4.1.3. Следует использовать здоровых животных, которые прошли адаптацию в лабораторных условиях в течение не менее 7 дней и не участвовали в предыдущих тестовых процедурах. При использовании грызунов, воздействие фактора на животных должно начинаться как можно скорее после прекращения грудного вскармливания и адаптации, предпочтительно не позднее достижения животными возраста восьми недель. Животных необходимо охарактеризовать по виду, линии, источнику, полу, массе тела и возрасту. В начале испытания отклонения в массе тела животных должны быть минимальными и не превышать +/- 20% от средней массы всех животных, используемых в испытании, для каждого пола отдельно. Животные должны быть случайным образом распределены в контрольную и экспериментальную группы. После распределения в группах каждого пола не должно быть существенных различий в средней массе тела животных. Каждому животному должен быть присвоен индивидуальный номер. Каждое животное должно иметь постоянную метку с данным номером (например, татуировку, микрочип или другой подходящий знак).
4.2. Количество и пол животных
4.2.1. Для грызунов в каждой дозовой и контрольной группе используется не менее 100 животных (50 самок и 50 самцов). Самки должны быть нерожавшими и небеременными. Если предполагается умерщвление животных на определенных этапах испытания, их количество должно быть увеличено на количество животных, которое планируется умертвить до окончания срока испытания.
4.3. Уровень доз и частота экспозиции
4.3.1. Используется не менее трех уровней доз и контрольная группа. В общем случае уровни доз выбирают на основании результатов краткосрочных испытаний повторных доз или испытаний по выбору диапазона доз, при этом необходимо принимать во внимание любые существующие токсикологические и токсикокинетические данные об исследуемом веществе или структурно близких веществах.
4.3.2. При отсутствии ограничений, вызванных физико-химическими свойствами и биологическим действием исследуемого вещества, должна выбираться максимальная доза, позволяющая определить основные органы-мишени и токсические эффекты, но не вызывающая при этом страданий, значительной токсичности, заболеваемости или смерти животных.
4.3.3. Однако в зависимости от цели исследования в качестве максимальной может быть выбрана доза ниже, чем доза, вызывающая признаки токсичности, например, если такая доза вызывает негативное воздействие такого рода, тем не менее незначительно влияет на продолжительность жизни или изменение массы тела.
4.3.4. Уровни доз и интервал между ними могут быть выбраны таким образом, чтобы можно было установить зависимость доза-эффект. Это зависит от механизма действия исследуемого вещества, недействующего уровня воздействия (NOAEL) или других ожидаемых результатов, например BMD при минимальном уровне дозы. Факторы, которые следует учитывать при установлении минимальных доз, включают ожидаемый наклон кривой доза-эффект, дозы, при которых могут произойти важные изменения в метаболизме или механизме токсического действия, для которого ожидается наличие порогового уровня или появление отправной точки для экстраполяции на низких дозах.
4.3.5. При введении максимальной дозы у животных проявляются невыраженные признаки токсичности, такие как небольшое замедление набора массы (менее 10%) без существенного влияния на продолжительность жизни по причине каких-либо эффектов, кроме новообразований. Самый низкий уровень дозы в целом не должен быть меньше 10% от самой высокой дозы - и не должен влиять на нормальный рост, развитие и срок жизни животного или вызывать какие-либо признаки токсичности. Средний уровень доз(ы) является промежуточным между высоким и низким уровнями доз.
4.3.6. Выбранный интервал уровней доз будет зависеть от характеристик исследуемого вещества и не может быть описан в настоящем руководстве, но часто наиболее оптимальными являются двух-, четырехкратные интервалы для установления убывающей последовательности доз. Дополнительное использование четвертой тестируемой группы часто более предпочтительно, чем использование очень больших интервалов (например, более 6 - 10-кратных) между дозами. Дальнейшие рекомендации по выбору доз и интервалов представлены в руководстве ОЭСР по разработке и проведению исследований по изучению хронической токсичности и канцерогенности, но, как правило, следует избегать использования более чем 10-кратных интервалов. Если такие интервалы используются, это должно быть обосновано.
4.3.7. Факторы, которые следует учитывать при выборе доз, включают:
- известные или вероятные нелинейности или точки перегиба на кривой доза-эффект;
- фармакокинетику и диапазоны доз, в которых происходит или не происходит метаболическая индукция, насыщение или нелинейность между внешней и внутренней дозами;
- предшествующие поражения, маркеры воздействия или показатели протекания соответствующих ключевых биологических процессов;
- основные (или подозреваемые) аспекты механизма действия, такие как дозы, при которых появляется цитотоксичность, наблюдается повышение гормонального фона, нарушение гомеостатических механизмов и т.д.;
- отрезки кривой доза-эффект, для которых требуется особенно надежная оценка, например, вблизи ожидаемой контрольной дозы (BMD) или порога воздействия;
- ожидаемые уровни воздействия на человека.
4.3.8. Как правило, животных подвергают воздействию вещества ежедневно. Если вещество вводится с питьевой водой или с пищей, вода и пища должны быть постоянно доступны.
4.4.1. Необходимо использовать контрольную группу (группы параллельного контроля), схожую с экспериментальной, но не подвергающейся воздействию исследуемым веществом.
4.4.2. При особых обстоятельствах, как, например, ингаляционных испытаниях с использованием аэрозолей или исследованиях эмульгирующих агентов неописанного биологического воздействия, вводимых перорально, также необходимо использовать группу параллельного контроля, в которой животным вводится неактивное вещество.
4.4.3. С животными в контрольной группе следует обращаться так же как с животными из тестовых групп. При использовании растворителя контрольная группа должна получать растворитель в максимальном объеме, используемом для экспериментальных групп. Если исследуемое вещество вводят в рацион, и это приводит к снижению потребления пищи, используется дополнительная контрольная группа для оценки последствий ограничений в кормлении.
4.5. Способы введения вещества
4.5.1. Есть три основных способа введения вещества - пероральный, дермальный и ингаляционный. Выбор способа введения зависит от физико-химических свойств испытуемого вещества и от предполагаемого способа воздействия при использовании человеком.
Введение вещества перорально
4.5.2. Как правило, исследуемое вещество вводят перорально, через желудочный зонд или с пищей, или питьевой водой. Дополнительная информация о способах и методах введения исследуемого вещества представлена в руководстве ОЭСР N 116. Способ введения исследуемого вещества зависит от цели исследования, физико-химических свойств исследуемого вещества и его биологической доступности. Из соображений заботы о благополучии животных введение через желудочный зонд, как правило, выбирают только для тех веществ, для которых данный метод введения отражает потенциальное воздействие на человека (например, для фармацевтических препаратов). Для пищевых или природных химических веществ, включая пестициды, введение должно осуществляться с пищей и питьевой водой.
4.5.3. В случае необходимости исследуемое вещество растворяют или суспендируют в подходящем растворителе. При выборе растворителя и других добавок необходимо учитывать следующие характеристики: влияние на всасывание, распределение, метаболизм или удержание исследуемого вещества; влияние на химические свойства исследуемого вещества, которые могут изменить его токсичные свойства; воздействие на потребление пищи или воды или состояние питания животных. Рекомендуется, по возможности, в первую очередь рассматривать использование водных растворов/суспензий, затем растворов/эмульсий в масле (например, кукурузном масле), затем возможных растворов в других растворителях. Для растворителей, за исключением воды, должны быть известны их токсичные свойства. Должна быть определена стабильность исследуемого вещества в условиях введения (например, диеты), а также аналитически подтверждена однородность каждой партии раствора дозирования или пищи (воды), содержащей вещество (при необходимости).
4.5.4. Для веществ, поступающих с пищей или питьевой водой, важно обеспечить условия, при которых используемое количество исследуемого вещества не должно нарушать нормальное питание или водный баланс. В испытаниях хронической токсичности при поступлении вещества с пищей концентрация химического вещества в пище не должна превышать верхнего предела 5% от общего количества пищи (REF), если диета не была соответствующим образом скорректирована для удовлетворения пищевых потребностей животных. Когда исследуемое вещество вводят с пищей, можно использовать либо постоянную пищевую концентрацию (мг/кг или ppm) или постоянный уровень дозы по отношению к массе тела животного; альтернативные варианты должны быть указаны.
4.5.5. Животным вводят исследуемое вещество ежедневно семь дней в неделю, обычно в течение 18 месяцев для мышей и хомяков и 24 месяцев для крыс. Любой другой режим дозирования, например, пять дней в неделю, должен быть обоснован.
4.5.6. Когда исследуемое вещество вводят через желудочный зонд, это должно осуществляться с помощью желудочной трубки или подходящей интубационной канюли, в одно и то же время каждый день. Обычно разовая доза вводится один раз в день. Если, например, исследуемое вещество является местным раздражителем, для поддержания ежедневного уровня дозы вещество может вводиться в виде разделенной дозы (например, два раза в день). Максимальный объем жидкости, которая может быть введена за один раз, зависит от размера экспериментальных животных. Обычно объем должен быть настолько низким, насколько это практически возможно, и не должен превышать 1 мл/100 г массы тела, за исключением случаев водных растворов, когда можно использовать 2 мл/100 г массы тела. Изменения тестируемого объема дозы должны быть минимальны за счет регулирования концентраций для обеспечения постоянного объема для всех уровней доз. Потенциально едкие или раздражающие вещества являются исключением, они должны быть разбавлены так, чтобы избежать появления тяжелых местных эффектов. Величина pH растворов для дозирования, как правило, должна быть в диапазоне от 4 до 9. За исключением раздражающих или едких веществ, воздействие которых, как правило, усугубляется с повышением концентрации, изменчивость в тестовом объеме должна быть минимизирована за счет регулирования концентрации для обеспечения постоянного объема для всех уровней доз.
Введение вещества через кожу
4.5.7. Дермальная экспозиция путем нанесения вещества на кожу может быть выбрана как модель основного способа экспозиции вещества на человека, а также в качестве модели-системы для инициации кожных поражений. Животные подвергаются воздействию вещества не менее 6 часов, 7 дней в неделю в течение 24 месяцев.
Введение вещества ингаляционно
4.5.8. Ингаляционные испытания сопровождаются большими сложностями, нежели испытания при любом другом способе введения испытуемого вещества. Необходимо также отметить, что в особых случаях равнозначной альтернативой этому способу введения вещества может стать внутритрахеальное вливание.
4.5.9. Долгосрочные экспозиции, как правило, планируют так, чтобы результаты испытания можно было перенести на человека. При долгосрочных экспозициях вещество вводят подопытным животным ежедневно на протяжении шести часов после уравновешивания концентрации в камере, или на протяжении пяти дней в неделю (прерывистая экспозиция), или с учетом возможного воздействия окружающей среды, от 22 до 24 часов в сутки на протяжении семи дней в неделю (непрерывная экспозиция), где около часа в день (в одно и то же время) отводят на кормление животных и поддержание условий испытания в камере. В обоих случаях на животных воздействуют веществом в фиксированной концентрации. Основное различие между прерывистой и непрерывной экспозицией состоит в том, что в первом случае животное может восстанавливаться после ежедневного воздействия вещества в течение 17 - 18 часов, в выходные дни этот период увеличивается.
4.5.10. Выбор между прерывистой и непрерывной экспозицией зависит от целей исследования и от воздействия на человека с применением плацебо. Но в любом случае необходимо будет учесть некоторые технические сложности. Например, для моделирования среды обитания преимущества непрерывной экспозиции могут отступать перед необходимостью в питье и пище во время экспозиции, а также потребностью в более многосоставных (и надежных) аэрозолях и газах в контрольно-управляющей технике.
4.6. Экспериментальные камеры
4.6.1. Испытание проводят в ингаляционных камерах, конструкция которых позволяет обеспечить активную циркуляцию воздушных потоков: не менее 12 воздухообменов в час, благодаря чему вещество в воздухе распределяется равномерно и сохраняется нужный уровень кислорода. Контрольная и экспериментальная камеры должны иметь одинаковую конструкцию и дизайн, чтобы обеспечить равные условия экспозиции. Незначительное отрицательное давление внутри камеры поддерживают в основном в целях предотвратить утечку вещества. Камеры должны быть устроены таким образом, чтобы минимизировать скопление животных. Общим правилом является содержание испытуемого вещества в камере не более 5% от всего объема, что позволяет гарантировать устойчивость среды в камере.
4.6.2. Параметры, которые подлежат контролю и соблюдению при проведении испытания:
- воздушный поток: интенсивность потоков воздуха необходимо постоянно отслеживать;
- концентрация: разброс концентрации испытуемого вещества в период ежедневной экспозиции не должен превышать +/- 15% от основного значения. На протяжении всего исследования концентрация каждый день должна быть по мере возможности стабильной;
- температура и влажность: для кроликов температура воздуха - (22 +/- 2) °C, влажность колеблется в пределах 30 - 70%, за исключением случаев, когда для распределения испытуемого вещества в воздухе камеры используется вода. За температурой и уровнем влажности необходимо постоянно следить;
- измерение размера частиц: необходимо определить распределение размера частиц в воздухе камеры, где используются жидкие или твердые аэрозоли. Частицы аэрозолей должны соответствовать размеру, пригодному для дыхания подопытных животных. Образцы воздуха в камерах должны быть получены из зоны вдыхания и должны отображать распределение вдыхаемых животными частиц. Также они должны давать информацию о нахождении частиц аэрозолей во взвешенном состоянии, на основании гравиметрических данных, даже когда большая часть аэрозоля не пригодна для вдыхания. Анализ размера частиц следует проводить регулярно в процессе работы системы генерации, что позволит удостовериться в постоянной стабильности аэрозоля, и затем по мере необходимости, для того чтобы подтвердить состав и распределение частиц, воздействию которых подвергаются животные.
4.7. Продолжительность испытания
4.7.1. Продолжительность испытания на канцерогенность длится значительную часть жизненного срока подопытного животного. Испытания длятся 18 месяцев для мышей и хомяков и 24 месяца для крыс. Но для определенных линий животных с более долгим сроком жизни и/или с более низкой предрасположенностью к опухолям, испытание составляет 24 месяца для мышей и хомяков и 30 месяцев для крыс. В качестве альтернативы, продление срока испытания допустимо, если количество выживших животных в группе с низким уровнем дозы или в контрольной группе составило 25%. Если по завершении испытания наблюдается видимая разница в реакции между полами, каждый пол должен быть обсужден отдельно. Если от выраженных признаков токсичности погибает только группа с высокой дозой, это не должно послужить причиной для прекращения испытания при условии, что токсические проявления не создают проблем в других группах. Для того чтобы результаты испытания можно было признать отрицательными, не более 10% животных в каждой группе может быть утеряно во время эксперимента по причине аутолиза, каннибализма или неправильного ухода, не менее 50% животных каждой из групп должно выжить: по истечении 18 месяцев для мышей и хомяков, 24 месяцев для крыс.
5.1.1. Всех животных необходимо проверять на заболеваемость и смертность, как правило, в начале и конце каждого дня. Кроме того, животных необходимо проверять, как минимум, один раз в выходные и праздничные дни. Особое внимание следует обратить на развитие опухоли; время начала развития, расположение, размеры, внешний вид и прогрессирование каждой видимой или ощутимой опухоли должны быть зарегистрированы.
5.1.2. Все животные должны быть взвешены в начале испытания, а также по крайней мере раз в неделю в течение первых 13 недель и ежемесячно после этого. Измерения потребления пищи следует проводить, как минимум, еженедельно, в течение первых 13 недель, а затем ежемесячно. Также может быть рассмотрено потребление воды в тех исследованиях, в течение которых потребление воды может изменяться, и его следует оценивать, как минимум, раз в неделю, в течение первых 13 недель, затем ежемесячно, когда вещество вводят с питьевой водой.
5.1.3. Регулярные наблюдения за животными необходимы для того, чтобы убедиться, что животное не выбыло из эксперимента по причине каннибализма, аутоцитолиза тканей или дистопии. Агонизирующие животные удаляются из испытания и подлежат вскрытию.
5.1.4. При ежедневных наблюдениях помимо прочего нужно оценивать изменения в состоянии кожи и волосяного покрова, глаз и слизистых оболочек, также состояние респираторной, кровеносной, автономной и центральной нервной систем, соматомоторной активности и поведения.
5.2. Клинические наблюдения
Гематология
5.2.1. Если наблюдения за животными указывают на ухудшение состояния здоровья животных в ходе испытания, необходимо сделать дифференцированный анализ крови пораженных животных.
5.2.2. У животных берут мазок крови на 12-м, 18-м месяце и перед умерщвлением. Дифференциальный анализ крови выполняется на образцах, забранных у животных в группе с высокой дозой и в контрольной группе. По результатам анализов, в особенности анализов, полученных перед умерщвлением, или данных осмотра патологий, дифференциальный анализ крови может быть сделан у животных с более низким уровнем дозы.
Аутопсия
5.2.3. Все животные в испытании, за исключением индикаторных и других сопутствующих животных, должны быть подвергнуты полной, подробной аутопсии, которая включает в себя тщательное изучение внешней поверхности тела, всех отверстий, черепа, грудной и брюшной полости и их содержимого. Индикаторные животные могут также иногда подвергаться вскрытию в зависимости от задач исследования. Масса органов обычно не является необходимым показателем в испытаниях канцерогенности, так как гериатрические изменения и, на более поздних стадиях, развитие опухолей делают данный показатель бесполезным. Однако масса органов может иметь решающее значение при выполнении оценки на основе доказательств, и особенно для установления механизма действия. Если измерения массы органов являются частью сопутствующих исследований, они должны проводиться не позднее, чем через один год после начала испытания.
5.2.4. Следующие ткани нужно сохранять в наиболее подходящей для фиксации среде для дальнейшего проведения гистопатологической экспертизы: надпочечники, аорта, головной мозг (в том числе участки головного мозга, мозжечок и продолговатый мозг), слепая кишка, шейка матки, толстая кишка, двенадцатиперстная кишка, придатки, глаза (в том числе, сетчатка), [бедренные кости с суставами] желчный пузырь (для всех видов, за исключением крысы), гардерова железа, сердце, подвздошная кишка, тощая кишка, почки, слезная железа (орбитальная), печень, легкие, лимфатические узлы (поверхностные и глубокие), женские молочные железы, пищевод, [обонятельная луковица], яичники, поджелудочная железа, паращитовидные железы, периферические нервы, гипофиз, предстательная железа, [прямая кишка], слюнные железы, семенные пузырьки, скелетные мышцы, кожа, спинной мозг (на трех уровнях: шейном, среднем грудном и поясничном), селезенка, [грудина], желудок (кардиальный отдел желудка, железистый желудок), [зубы], семенник, тимус, щитовидная железа, [язык], трахея, мочевой пузырь, матка (в том числе, шейка матки), [мочеточник], [уретра], влагалище и часть костного мозга и/или свежая аспирация костного мозга. Ткани, указанные в квадратных скобках, являются необязательными. Клинические и другие данные могут указывать на необходимость изучения дополнительных тканей. Кроме того, любые органы, которые предположительно будут органами-мишенями на основании известных свойств исследуемого вещества, должны быть сохранены. В накожных исследованиях кроме органов, указанных в списке, необходимо сохранить и задокументировать кусочки кожи с места нанесения вещества. В ингаляционных исследованиях перечень тканей дыхательных путей должен соответствовать рекомендациям руководства ОЭСР 412. Для других органов/тканей (и в дополнение к специально сохраненным тканям дыхательных путей) перечень органов, приведенных для перорального испытания, должен быть исследован.
5.2.5. Гистопатология:
- проводят полное гистопатологическое исследование органов и тканей животных, павших или умерщвленных в ходе испытания, а также всех животных в контрольной группе и в группе с высоким уровнем дозы;
- все крупные видимые опухоли или повреждения с подозрением на опухоль подлежат микроскопическому изучению во всех группах;
- если наблюдают существенные различия между коэффициентом возникновения неопластических поражений в группе с высоким уровнем дозы и контрольной группе, гистопатология этих органов или тканей должна быть оценена у животных в другой группе;
- если выживших животных в группе с высоким уровнем дозы в целом меньше, чем в контрольной группе, то животные в группе со следующим по убыванию уровнем дозы должны быть исследованы полностью;
- если в группе с высоким уровнем дозы наблюдают очевидные признаки токсичности или других эффектов, которые могут вызвать образование неопластических образований, то животные в группе со следующим по убыванию уровнем дозы должны быть исследованы полностью.
5.2.6. Минимальный набор тканей для исследования:
- все ткани животных из групп с высокой дозой и контрольной группы;
- все ткани животных, падших или умерщвленных во время испытания;
- все ткани, демонстрирующие макроскопические аномалии, в том числе опухоли;
- когда в группе с высокой дозой наблюдают гистопатологические изменения, связанные с обработкой, следует исследовать все те же ткани всех животных из всех тестируемых групп;
- должны быть изучены оба парных органа (почки, надпочечники и т.д.).
6.1. Результаты должны быть представлены индивидуально для каждого животного. Кроме того, все данные должны быть представлены в табличной форме, демонстрирующей для каждой исследуемой группы количество животных в начале испытания, количество животных, найденных мертвыми во время испытания или умерщвленных из гуманных соображений, и время смерти или умерщвления, количество животных с признаками токсичности, описание наблюдаемых признаков токсичности, в том числе время начала, продолжительность и тяжесть любых токсических эффектов, количество животных с поражениями, тип поражений и процент животных с поражениями каждого типа.
6.2. В дополнение к результатам, полученным от параллельной контрольной группы, используемой в испытании, использование исторических контрольных данных может быть ценным для интерпретации результатов исследования, особенно в тех случаях, когда существуют признаки того, что данные параллельного контроля существенно отличаются от последних данных для контрольных животных в аналогичном испытании. Исторические контрольные данные следует использовать только в случае, если параллельные контрольные данные значительно отличаются; приоритетным является использование параллельных контрольных данных. При использовании, исторические контрольные данные должны быть получены в той же лаборатории; штамм, вид и конкретные диапазоны должны быть указаны. Использование исторических контрольных данных должно быть ограничено данными, полученными в течение пяти лет, предшествовавших испытанию.
6.3. При необходимости численные результаты должны быть оценены с помощью соответствующего и общепринятого статистического метода. Статистические методы и данные для анализа должны быть выбраны на этапе планирования испытания. Выбор должен предусматривать возможность корректировки с учетом выживаемости, если это необходимо.
Отчет о проведении испытания должен содержать следующую информацию:
Исследуемое вещество
- физическая природа, чистота и физико-химические свойства;
- идентификационные данные;
- источник вещества;
- номер партии.
Растворитель (при использовании)
- обоснование выбора растворителя (за исключением воды).
Экспериментальные животные
- вид/линия используемых животных и обоснование выбора;
- количество, возраст и пол животных в начале испытания;
- источник, условия содержания и кормления и пр.;
- индивидуальный вес животных в начале испытания.
Условия испытания
- обоснование выбора пути введения вещества и выбора дозы;
- в случае необходимости статистические методы, используемые для анализа данных;
- подробности подготовки исследуемого вещества/подготовки диеты, полученная концентрация, стабильность и однородность препарата;
- путь введения и подробности введения исследуемого вещества;
- для ингаляционных исследований, поступает ли вещество только через нос или используется все тело;
- фактические дозы (мг/кг массы тела в день), коэффициент перевода концентрации исследуемого вещества в пище/питьевой воде (мг/кг или ppm) в фактическую дозу, при необходимости;
- качество пищи и питьевой воды.
Результаты
Общие
- данные о выживаемости животных;
- масса тела/изменения массы тела;
- потребление пищи и воды, при необходимости;
- данные токсикокинетики, при наличии.
Клинические наблюдения
- признаки токсичности;
- частота и тяжесть любых аномалий;
- природа, тяжесть и продолжительность клинических поражений (обратимых и необратимых).
Данные аутопсии
- масса тела на момент умерщвления;
- массы органов и их соотношения, при необходимости;
- результаты аутопсии, частота и тяжесть аномалий.
Гистопатология
- ненеопластические гистопатологические изменения;
- неопластические гистопатологические образования;
- корреляции между макроскопическими и микроскопическими результатами;
- подробное описание всех соответствующих гистопатологических наблюдений, включая классификацию степени тяжести;
- статистическая обработка результатов, при необходимости.
- случаи образования опухолей.
Статистическая обработка результатов, какие использовались
- масса тела;
- масса органов;
- потребление пищи (воды);
- частота опухолей.
Обсуждение результатов, в том числе:
- обсуждение любых подходов к моделированию;
- зависимость доза-эффект;
- определение BMD (статистически достоверный нижний предел дозы, который предопределяет изменения в ответных реакциях на вредное воздействие, что соответствует ЕД10), NOAEL или LOAEL (наименьший уровень воздействия химического вещества, при котором наблюдается вредный эффект);
- данные предыдущих исследований;
- рассмотрение любой информации о поведении животных;
- значимость для человека.
Выводы.
КОМБИНИРОВАННЫЕ ИССЛЕДОВАНИЯ ХРОНИЧЕСКОЙ
ТОКСИЧНОСТИ И КАНЦЕРОГЕННОЙ АКТИВНОСТИ
Идентичен международному документу OECD TG N 453 "Combined Chronic Toxicity/Carcinogenicity Studies" (ОЭСР Руководство N 453 "Комбинированные исследования хронической токсичности и канцерогенности"). Принят 7 сентября 2009 г. Перевод с английского языка (en). Степень соответствия - модифицированный (MOD).
1.1. Настоящий метод исследования устанавливает требования к исследованию токсичности и канцерогенности широкого спектра химических веществ, включая пестициды и промышленные химикаты, но имеют ряд отличий от требований, предъявляемых к тестированию канцерогенности фармацевтических препаратов (см. Руководство S1B Международной конференции по гармонизации).
1.2. Метод обеспечивает получение информации о хронической токсичности/канцерогенности вещества при пероральном, ингаляционном и накожном путях введения. Выбор способа введения зависит от физических и химических свойств тестируемого вещества, а также от основного пути введения в организм человека. Дополнительная информация по выбору способа введения приведена в Руководстве N 116.
2.1. Основное внимание в настоящем методе уделяется пероральному способу введения как наиболее распространенному в исследованиях хронической токсичности и канцерогенности. Для оценки риска здоровью человека и/или по определенным нормативным требованиям также могут быть востребованы долгосрочные исследования, включающие накожный или ингаляционный пути введения. Такие исследования нужно разрабатывать для каждого случая отдельно. Рекомендации для оценки и анализа хронической токсичности и канцерогенности при пероральном введении могут быть положены в основу ингаляционного и/или дермального исследований (в отношении рекомендаций по срокам терапии, клиническим и патологическим показателям и т.д.), но руководства ОЭСР по введению тестируемых веществ ингаляционным и накожным способами TG 412 и TG 413, вместе с методическим документом ОЭСР по исследованию острой аспирации, должны быть приняты во внимание при разработке более длительных исследований, затрагивающих ингаляционный способ введения, а TG 410 - в случае тестирования, осуществляемого дермальным путем.
2.2. Комбинированные исследования хронической токсичности/канцерогенности дают информацию о возможной опасности для здоровья, которая может возникнуть в результате повторяющегося воздействия в течение всего жизненного цикла подопытных видов и позволяют получить данные о токсическом воздействии вещества, включая потенциальную канцерогенность, органы-мишени и возможность кумуляции; дать оценку наименьшего уровня наблюдаемого вредного воздействия для токсичных воздействий и в случае негенотоксичных канцерогенов для опухолевых реакций, которые могут быть использованы для установления критериев безопасности для введения человеку. При этом следует подчеркнуть необходимость тщательного клинического наблюдения за животными для получения максимально возможного количества информации.
2.3. Цели исследований хронической токсичности/канцерогенности включают:
- установление канцерогенных свойств химических веществ, проявляющихся в повышении процента новообразований, в увеличении доли злокачественных новообразований или сокращение времени появления новообразований, по сравнению с параллельными контрольными группами;
- определение времени появления новообразований;
- определение хронической токсичности химических веществ;
- определение органов-мишеней хронической токсичности и канцерогенности,
- описание зависимости доза-реакция;
- определение наименьшего уровня наблюдаемого вредного воздействия (NOAEL) или исходной точки для установления минимальной дозы (BMD);
- экстраполяция канцерогенного влияния на человека при низких уровнях воздействия;
- прогнозирование воздействия хронической токсичности на уровне человеческого организма;
- предоставление данных для проверки гипотез относительно механизма действия.
3. Описание тестового метода
3.1.1. Схема исследования состоит из двух параллельных фаз: хронической и канцерогенности. Тестируемое вещество обычно вводится перорально, хотя возможно накожное и ингаляционное введение. Для хронической фазы тестируемое вещество вводят ежедневно градуированными дозами нескольким группам тестируемых животных, один уровень дозы на группу, как правило, в течение 12 месяцев, хотя может быть выбрана большая или меньшая продолжительность в зависимости от нормативных требований. Такая продолжительность достаточна для любых проявлений кумулятивной токсичности и исключает проявления возрастных изменений. План исследования может также включать одно или несколько промежуточных забоев, например к 3-му и 6-му месяцам. Во время канцерогенной фазы исследуемое вещество вводят ежедневно нескольким группам подопытных животных в течение большей части их жизненного цикла. В обеих фазах животные тщательно изучаются на предмет выявления признаков токсического воздействия и развития опухолевых поражений. Животным, которые умерли или были умерщвлены в ходе тестирования, проводится аутопсия. По окончании исследования производят забой выживших животных и также проводят аутопсию.
3.1.2. В оценке и анализе возможной канцерогенности и хронической токсичности химического вещества до начала проведения исследования испытательной лабораторией должна быть рассмотрена вся доступная информация по исследуемому веществу для оптимизации плана исследования и минимизирования использования животных. Информация и рассмотрение способа действия предполагаемого канцерогена особенно важна, так как оптимальный план может отличаться в зависимости от того, известно ли, что вещество является генотоксическим канцерогеном или это только предполагается. Дальнейшие указания по оценке способа действия можно найти в МР 116.
3.1.3. Данные, которые будут содействовать разработке исследования, включают: идентичность, химическую структуру и физико-химические свойства исследуемого вещества; любая информация о механизме действия; результаты любых in vitro и in vivo исследований токсичности, включая тесты на генотоксичность; предполагаемое использование и вероятное воздействие на человеческий организм; доступные данные испытаний (Q)SAR на мутагенность/генотоксичность, канцерогенность и другие токсикологические свойства структурно родственных веществ; имеющиеся токсикокинетические данные (однократная доза, а также кинетика повторной дозы, при наличии) и данные, полученные из других исследований повторного воздействия. Измерение хронической токсичности может быть проведено после получения первоначальных данных о токсичности от 28-дневного и 90-дневного исследований. Также полезную информацию дают краткосрочные исследования стимуляции и активизации рака. Поэтапный подход к исследованию на канцерогенность следует рассматривать как часть общей оценки возможного неблагоприятного воздействия на здоровье определенного химического вещества.
3.1.4. Статистические методы, наиболее подходящие для анализа результатов с учетом экспериментального плана и цели, должны быть установлены до начала исследования. При их выборе следует определить, должна ли статистика включать в себя корректировку для выживаемости, анализ рисков кумулятивной опухоли относительно продолжительности выживания, анализ времени возникновения опухоли и анализ в случае преждевременного прекращения жизни одной или нескольких групп. Руководство по соответствующим статистическим исследованиям и ключевые ссылки на международно признанные статистические методы приведены в МР 116, а также в МР 35 по анализу и оценке исследования хронической токсичности и канцерогенности.
3.1.5. При проведении исследования канцерогенности должны выполняться принципы и соображения, изложенные в стандарте по вопросам распознавания, оценки и использования клинических симптомов как гуманных критериев оценки для подопытных животных, используемых в оценке безопасности, в частности в исследованиях с многократным введением дозы, когда животное демонстрирует прогрессирующие клинические признаки, что приводит к дальнейшему ухудшению состояния, необходимо принять решение умертвлять животное из гуманных соображений или нет. Решение должно учитывать соотношение ценности информации, которая будет получена при дальнейшем использовании этого животного в исследовании, и его общее состояние. Если будет принято решение оставить животное в исследовании, частота наблюдений должна быть увеличена по мере необходимости. Также, можно без ущерба для целей тестирования временно прекратить введение дозы, если это облегчит боль или мучение, или уменьшить тест-дозу.
3.1.6. Подробные правила и обсуждение принципов выбора дозы для исследований хронической токсичности и канцерогенности можно найти в МР 116, а также в публикациях двух Международных институтов биологических наук. Метод выбора основной дозы зависит от первоначальных целей или задач исследования. В выборе подходящего уровня дозы должен быть достигнут баланс между риском отсева, с одной стороны, и характеристикой ответных реакций на низкие дозы и их значимость - с другой, что особенно актуально в случае комбинированного исследования хронической токсичности и канцерогенности.
3.1.7. Проведение комбинированного исследования хронической токсичности и канцерогенности требует большего анализа в сравнении с исследованиями хронической токсичности (МР 452) и канцерогенности (МР 451), проводимыми раздельно. Комбинированное исследование дает большую эффективность с точки зрения времени и стоимости и небольшое сокращение подопытных животных, в сравнении с проведением двух отдельных исследований, без ущерба для качества данных как в хронической фазе, так и в фазе канцерогенности. Тем не менее необходимо внимательно отнестись к принципам выбора дозы при проведении комбинированного исследования хронической токсичности и канцерогенности. Раздельные исследования могут являться необходимыми по определенным нормативным требованиям. Дальнейшие указания по разработке исследования комбинированной хронической токсичности и канцерогенности для достижения максимальной эффективности исследования с точки зрения возможности сокращения численности подопытных животных, а также через упорядочение различных экспериментальных методик можно найти в МР 116.
3.1.8. Для повышения качества исследования и минимизации количества привлеченных животных вся имеющаяся информация об исследуемом препарате должна находиться в распоряжении экспериментальной лаборатории до начала эксперимента. Информация, которая может помочь при выборе необходимых для испытания концентраций, включает тождественность, химическую структуру и физико-химические свойства испытуемого вещества; результаты опытов на токсичность in vivo или in vitro; предполагаемую область применения и вероятность воздействия на человека; если имеются, то данные (Q)SAR и сведения о токсичности структурно родственных препаратов.
Выбор вида
3.2.1. Необходимо использовать молодых здоровых особей из обычно используемых лабораторных линий. Предпочтительно использовать крыс. В случае использования других видов необходимо привести обоснование. Хотя использование мышей в тестировании на канцерогенность может иметь ограниченное применение, по некоторым действующим нормативным документам все же требуется исследование канцерогенности на мышах.
Подготовка
3.2.2. Следует использовать животных обоих полов. Самки должны быть нерожавшими и небеременными. На день экспозиции испытываемого препарата животные должны быть в возрасте до 8 недель, диапазон колебания массы животных для каждого пола не должен превышать +/- 20% от средней массы животных. Животные отбираются в случайном порядке и маркируются, что позволяет идентифицировать каждое из них. Животных следует содержать в клетках в течение не менее 7 дней до начала испытания, чтобы позволить им адаптироваться к лабораторным условиям. Животным также необходимо дать короткое время приспособиться к исследуемому прибору до начала испытания с целью уменьшить стресс от попадания в новую среду. Опытные и контрольные группы должны состоять не менее чем из 10 животных для этапа изучения токсичности и не менее 50 для канцерогенного этапа. Допустимы промежуточные забои животных через 6 (для оценки динамики неканцерогенных эффектов, если такие данные не были получены в предшествующих опытах и данная процедура научно обоснована) и 12 месяцев (для канцерогенных эффектов). При этом группы должны быть увеличены пропорционально количеству планируемых к забою животных. Также в фазе хронической токсичности могут быть составлены дополнительные (вспомогательные) группы для контроля обратимости токсических эффектов (могут быть ограничены группой с максимальным уровнем дозы в исследовании и контрольной группой) и индикаторные группы (обычно по 5 животных каждого пола) для отслеживания стадии заболевания. Прочие указания по разработке исследования, включающего промежуточные забои вспомогательных и индикаторных животных, при сведении к минимуму количества животных, используемых в целом, содержатся в МР 116.
Содержание
3.2.3. Температура в помещении, где содержатся экспериментальные животные, должна составлять (22 +/- 3) °C, оптимальный уровень относительной влажности - 30 - 70%. В исследовании одного уровня концентрации животных можно поместить в одну камеру, но число животных в камере не должно затруднять возможность наблюдать за каждым из них, а также должно сократить вероятность потерь из-за каннибализма и борьбы. Свойства исследуемого препарата или токсичность (способность вызывать заболевание, возбуждать ЦНС) могут указывать на необходимость содержания животного в индивидуальной камере, чтобы предотвратить каннибализм. Допустимо использование стандартных лабораторных режимов питания, за исключением периода экспозиции испытуемого препарата, во время которого для животного необходимо обеспечить неограниченное потребление питьевой воды. Освещение должно быть искусственным в режиме 12 часов при свете/12 часов в темноте.
3.3. Группы доз и дозировка
3.3.1. Указания по всем аспектам выбора дозы и интервалов между дозами содержится в МР 116. Следует использовать, как минимум, три уровня доз и параллельный контроль, для хронической и канцерогенной фаз. Чаще всего уровни дозы основываются на результатах краткосрочных исследований повторной дозы или исследованиях обнаружения диапазона. Необходимо принимать во внимание любые существующие токсикологические и токсикокинетические данные по тестируемому или родственным тестируемому веществам.
3.3.2. В фазе исследования хронической токсичности полное исследование с использованием трех уровней доз не является необходимым, если можно предположить, что тестирование на одной дозе, эквивалентной не менее 1000 мг/кг массы тела/сутки, вряд ли даст эффекты воздействия. Это предположение должно быть основано на информации из предварительных исследований и из оценки, что токсичность не предполагается, исходя из данных по структурно родственным веществам. Может применяться ограничение 1000 мг/кг массы тела/сутки за исключением тех случаев, когда воздействие на человека указывает на необходимость использования более высокого уровня дозы.
3.3.3. Если нет ограничений по физико-химической природе или биологическому воздействию исследуемого вещества, должна быть выбрана самая высокая доза для определения основных органов-мишеней и токсических эффектов. Однако следует избегать страданий, тяжелой интоксикации, болей или смерти. Самый высокий уровень дозы следует выбрать для получения доказательств токсичности, как, например, о токсичности свидетельствует невозможность набрать массу тела (примерно 10%). Однако в зависимости от целей исследования верхняя доза ниже, чем доза, подтверждающая наличие токсичности, может быть выбрана, например, если доза вызывает токсическое действие, которое, тем не менее, слабо отражается на продолжительности жизни или массе тела.
3.3.4. Уровни доз и интервалы между дозами могут быть выбраны для установления дозозависимого эффекта и в зависимости от механизма действия испытуемого вещества NOAEL или других предполагаемых результатов исследования, например BMD. Условия, которые должны быть приняты во внимание при установлении нижней дозы, включают: предполагаемый наклон кривой дозовой зависимости; дозы, при которых могут происходить важные изменения в метаболизме или механизме токсического действия, когда пороговая величина предполагается, или когда предполагается исходная точка для экстраполяции низкой дозы. При проведении комбинированного исследования канцерогенности/хронической токсичности, основная цель заключается в получении информации об оценке рисков канцерогенности, а информация о хронической токсичности, как правило, является вторичной задачей. Это должно быть учтено при выборе доз и интервалов между дозами для исследования.
3.3.5. Избранная разница в уровне доз будет зависеть от целей исследования и параметров тестируемого вещества и не может быть прописана в этом стандарте. Но интервалы доз, отличающиеся в 2 - 4 раза, оптимальны для установления уровней более низких доз, а при использовании очень больших интервалов (например, диапазон примерно 6 - 10) между дозировками предпочтительно добавление четвертой тестируемой группы. В целом следует избегать использования диапазона выше 10, а его применение должно быть обосновано.
3.3.6. Согласно МР 116, при выборе дозы следует учитывать:
- знания или предположения о нелинейностях или точках перегиба в зависимости доза-ответ;
- токсикокинетику и диапазон доз, когда имеет место или отсутствует метаболическая индукция, насыщение или нелинейность между внешними и внутренними дозами;
- признаки поражения, влияния или показатели воздействия на основные биологические процессы;
- основные (или предполагаемые) проявления механизма действия, такие как дозы, от которых начинает увеличиваться цитотоксичность, нарушается гормональный уровень, подавляется гомеостатический механизм и т.д.;
- интервалы кривой доза-эффект, где необходима чрезвычайно надежная оценка, например, в пределах ожидаемых BMD (исходная точка для установления минимальной дозы) или предполагаемых пороговых величин;
- уровни анализа предполагаемого воздействия на организм человека, особенно в выборе средних и низких доз.
3.3.7. Контрольная группа не должна получать исследуемое вещество или может получать, если она используется при введении тестируемого вещества. За исключением введения исследуемого вещества, с животными из контрольной группы следует обращаться тем же способом, что и с экспериментальными группами. Если используется среда, контрольная группа должна получать ее в максимальном объеме от используемого в экспериментальных группах. Если исследуемое вещество вводится с пищей и тем самым заметно снижает потребление пищи из-за снижения ее вкусовых качеств, будет полезна контрольная, получающая такое же питание и служащая для более адекватного контроля.
3.4. Подготовка доз и введение исследуемого вещества
3.4.1. Как правило, исследуемое вещество вводится перорально: с пищей, с питьевой водой или через зонд. Дополнительная информация о способах и методах введения содержится в МР 116. Способ и метод введения зависят от цели исследования, физических/химических свойств вещества, его биологической усвояемости и основного способа и метода введения в человеческий организм. Должно быть дано обоснование выбранного способа и метода введения. Как правило, в интересах благополучия животных, способ введения с помощью зонда следует выбирать только для тех веществ, которые предполагают данный способ и метод введения человеку (например, лекарственные препараты). Для веществ в составе продуктов питания или загрязняющих химических веществ, включая пестициды, введение обычно осуществляется через пищу или питьевую воду. Однако для некоторых сценариев воздействия, например при профессиональном воздействии, введение другими способами может быть более подходящим.
3.4.2. При необходимости исследуемое вещество растворяется или вносится в соответствующую среду. Следует при необходимости уделить внимание следующим характеристикам среды или других вспомогательных веществ: влияние на абсорбцию, распределение, метаболизм или задержку исследуемого вещества; влияние на химические свойства исследуемого вещества, которые могут повысить его токсические свойства; влияние на потребление пищи или воды или обусловленное питанием состояние животных. Рекомендуется, где возможно, использовать в первую очередь водные растворы/суспензии, затем рассматривать раствор эмульсии в масле (например, кукурузное масло), и затем искать возможное использование других сред. Для сред, отличных от воды, должны быть известны их токсические свойства. Должна иметься информация о стабильности исследуемого вещества и однородности растворов с дозой или пищей (при необходимости) в условиях введения (например, пища).
3.4.3. Для веществ, вводимых с пищей или питьевой водой, важно убедиться, что включенное количество исследуемого вещества не препятствует нормальному питанию или потреблению воды. В долгосрочных исследованиях токсичности, использующих введение с пищей, концентрация химического вещества в пище не должна в норме превышать ограничение в 5% от общего количества потребляемой пищи, чтобы избежать пищевого дисбаланса. Когда тестируемое вещество вводится в пищу, могут использоваться или постоянная концентрация в пище (мг/кг или ppm), или постоянный уровень дозы в показателях массы тела животного (подсчитывается еженедельно). Другое использование должно быть описано.
3.4.4. В случае перорального введения животные получают дозу исследуемого вещества ежедневно (семь дней в неделю), как правило, в течение 12 (хроническая фаза) или 24 месяцев (фаза канцерогенности). Любой другой режим дозирования, например, пять дней в неделю, должен быть обоснован. В случае нанесения на кожу животные, как правило, подвергаются воздействию исследуемого вещества в течение не менее 6 часов в сутки, 7 дней в неделю, как указано в МР 410, сроком на 12 месяцев (хроническая фаза) или 24 месяца (фаза канцерогенности). Воздействие ингаляционным способом длится 6 часов в день, 7 раз в неделю, но может быть использовано воздействие 5 часов в день, если это обосновано. Общая длительность воздействия обычно составляет 12 месяцев (хроническая фаза) или 24 месяца (фаза канцерогенности). Если воздействию "только через нос" подвергаются виды грызунов, отличные от крыс, длительность воздействия может быть изменена, чтобы минимизировать видоспецифичные тяжелые недомогания. Воздействие продолжительностью менее 6 часов должно быть обосновано. См. также МР 412.
3.4.5. Когда исследуемое вещество вводится животным через зонд, следует использовать желудочный зонд или подходящую полую трубку в одно и то же время ежедневно. Как правило, одна доза будет вводиться раз в день. Когда состав вызывает раздражение, можно поддерживать ежедневную дозировку путем введения небольших доз (дважды в день). Максимальный объем жидкости, который может быть введен единовременно, зависит от размеров подопытного животного. Объем должен держаться как можно ниже и не превышать 1 мл/100 г массы грызунов. Колебания в тестовом объеме должны быть сведены к минимуму путем корректировки концентрации до обеспечения постоянного объема всех уровней дозы. Потенциально разъедающие или раздражающие вещества являются исключительным случаем. Их необходимо разбавлять, чтобы избежать тяжелых локальных поражений. Тестирований при концентрациях, которые могут разъедать или раздражать желудочно-кишечный тракт, следует избегать.
3.5. Продолжительность исследования
3.5.1. Период дозирования и продолжительность хронической фазы этого исследования, как правило, 12 месяцев, хотя метод исследования позволяет сокращать (например, 6 или 9 месяцев) или увеличивать (например, 18 или 24 месяцев) продолжительность исследования, в зависимости от определенных нормативных требований или для конкретных целей. Отклонения от продолжительности воздействия в 12 месяцев должны быть обоснованы, особенно в случае сокращения сроков. Введение доз, отнесенных в этой фазе, должно быть завершено в назначенное время для оценки хронической токсичности и неопухолевых патологий. Вспомогательные группы, включенные для наблюдения за обратимостью любых токсикологических изменений и стимулируемые химическим веществом, следует держать без дозировок не менее 4 недель, но не более одной трети от общего периода исследования после прекращения воздействия.
3.5.2. Продолжительность фазы канцерогенности этого исследования будет, как правило, длиться 24 месяца для грызунов, являясь большей частью нормального жизненного цикла подопытных животных. Более короткие или более длительные исследования могут быть использованы в зависимости от продолжительности жизни видов животных в исследовании, но должны быть обоснованы. Для определенных видов мышей, например, виды AKR/J, C3H/J или C57BL/6J, продолжительность в 18 месяцев может являться наиболее подходящей. Ниже приводятся некоторые рекомендации по продолжительности, окончании исследования и выживаемости; прочие указания, включая рассмотрение вопроса о приемлемости исследования отрицательной канцерогенности, относящейся к выживаемости в исследовании, приведены в МР 116:
- следует рассмотреть прекращение исследования, если число выживших в группах с низкой дозой или контрольной группе ниже 25%;
- в случае когда только в группах с высокой дозой умирают преждевременно вследствие токсичности, исследование не прекращается;
- выживаемость каждого пола следует рассматривать отдельно;
- исследование не должно длиться дольше того момента, когда данные, получаемые от него, уже недостаточны для статистически достоверной оценки.
4. Фаза хронической токсичности
4.1.1. В начале и в конце каждого дня, включая выходные и праздники, необходимо осуществлять контроль заболеваемости и смертности всех животных, а также токсикологически значимые признаки. Общее клиническое наблюдение должно осуществляться, как минимум, один раз в день, предпочтительно в одно и то же время, принимая во внимание период максимума предполагаемого воздействия дозы в случае применения введения через зонд.
4.1.2. Подробное клиническое обследование должно быть проведено, как минимум, один раз до начала воздействия (учитывая предмет исследования), к концу первой недели исследования и впоследствии ежемесячно. Протокол наблюдений должен быть согласован так, чтобы обеспечить минимальную разницу между отдельными наблюдателями, и независимость от тестовой группы. Эти обследования необходимо делать вне клетки постоянного пребывания, каждый раз в одном месте, в одно и то же время. Их следует тщательно фиксировать, желательно использовать систему количественных показателей, четко оговоренную испытательной лабораторией. Необходимо следить за тем, чтобы варьирование в условиях наблюдения было минимальным. Отмеченные признаки должны включать: изменения кожи, шерсти, глаз, слизистых оболочек, возникновение секреции и экскреции и автономной активности (например, слезоотделение, пилоэрекция, размер зрачка, патологическое дыхание) и т.д. Изменения в походке, положении тела, реакции на прикосновение, как и наличие клонических или тонических движений, стереотипы поведения (например, чрезмерное умывание, однообразные движения по кругу) или аномальное поведение (например, членовредительство, хождение задом наперед) также должны регистрироваться.
4.1.3. Офтальмологический осмотр с использованием офтальмоскопа или другого подходящего инструмента следует проводить всем животным до первого введения исследуемого вещества. По окончании исследования этот осмотр желательно провести всем животным, но, как минимум, группе с высокой дозой и контрольной группе. Если обнаружены изменения, имеющие отношение к терапии, следует осмотреть всех животных. Если структурный анализ или другие данные говорят об офтальмологической токсичности, тогда частота офтальмологических осмотров должна быть увеличена.
4.1.4. Для химических веществ, предварительные исследования которых на токсичность с повторным приемом дозы через 28 дней и/или 90 дней показали потенциальную возможность оказывать нейротоксическое воздействие, сенсорную реактивность к раздражителям различного типа (например, слуховые, визуальные и проприоцептивные раздражители), оценку силы схвата и двигательной активности можно проводить по выбору до начала исследования и в 3-месячный период после начала исследования, вплоть до 12 месяцев, а также по окончании исследования (если оно длится более 12 месяцев). Дополнительные сведения о возможных последующих процедурах приведены в списке литературы соответственно. Однако можно использовать и другие, не приведенные в списке процедуры.
4.1.5. Для химических веществ, где предварительные исследования на токсичность с повторным приемом дозы через 28 и/или 90 дней показали потенциальную возможность оказывать иммунотоксическое воздействие, дальнейшие исследования этого результата могут, по желанию, проводиться по окончании исследования.
4.2. Масса тела, потребление пищи/воды
Все животные должны взвешиваться в начале эксперимента, как минимум, раз в неделю первые 13 недель и ежемесячно в дальнейшем. Измерения потребления пищи и питательности пищи следует производить еженедельно первые 13 недель и, как минимум, ежемесячно в дальнейшем. Измерения потребления воды следует проводить еженедельно первые 13 недель и, как минимум, ежемесячно в дальнейшем, когда вещество вводится через питьевую воду. Необходимо также учитывать потребление воды для исследований, в которых активность потребления воды изменяется.
4.3. Гематология и клиническая биохимия
4.3.1. В исследованиях, при которых задействуются грызуны, гематологические исследования необходимо проводить всем исследуемым животным (10 самцам и 10 самкам каждой группы), на 3, 6 и 12 месяцы, а также при прекращении исследования (если оно длится более 12 месяцев). В случае с мышами могут потребоваться вспомогательные животные для того, чтобы проводить все необходимые гематологические исследования (см.
п. 19). В исследованиях с негрызунами пробы будут браться у меньшего количества животных (например, 4 особи каждого пола каждой группы в случае с исследованием собак), во время промежуточного взятия проб и по окончании исследования, как описано для грызунов. Нет необходимости проводить измерения ни у грызунов, ни у негрызунов в три месяца, если за предыдущие 90 дней при аналогичном уровне дозы не наблюдалось воздействия на гематологические параметры. Пробы крови следует брать из указанных мест, например, сердечная пункция или из ретро-глазной пазухи под анестезией.
4.3.2. Необходимо исследовать приведенный список параметров: общая и дифференциальная лейкоцитарная формула, содержание эритроцитов, содержание тромбоцитов, концентрация гемоглобина, гематокрит (гематокритное число), среднее гематокритное число (MCV), среднее содержание гемоглобина в эритроцитах (MCH), концентрация гемоглобина в эритроцитах (MCHC), протромбиновое время и время образования и активности тромбопластина. Другие гематологические параметры, такие как тельца Гейнца или другая атипичная морфология эритроцитов и метгемоглобина, могут быть измерены по мере необходимости в зависимости от токсичности вещества. В целом в зависимости от наблюдаемого и/или ожидаемого эффекта от данного вещества должен использоваться гибкий подход. Если химические вещества оказывают влияние на кроветворную систему, можно также измерить число ретикулярных клеток и сделать цитологию костного мозга, хотя они не обязательны для регулярного проведения.
4.3.3. Клинические биохимические измерения для исследований основного токсического воздействия на ткани, и особенно влияние на почки и печень, следует проводить на пробах крови, полученных от, как минимум, 10 самцов и 10 самок каждой группы за одинаковые временные интервалы, как предписано для гематологических исследований, всегда используя одних и тех же животных. В случае с мышами могут потребоваться вспомогательные животные для того, чтобы провести все необходимые клинические биохимические исследования. В исследованиях с негрызунами, образцы будут браться у меньшего количества животных (например, 4 животных каждого пола в каждой группе при исследованиях собак), во время промежуточного взятия проб и по окончании исследования, как описано для грызунов. Нет необходимости проводить измерения в три месяца, ни у грызунов, ни у негрызунов, если за предыдущие 90 дней при аналогичном уровне дозы не наблюдалось воздействия на клинические биохимические параметры. Рекомендуется
<14> голодание для животных (за исключением мышей) вечером накануне забора крови. Необходимо исследовать приведенный список параметров: глюкоза, моча (азот мочевины), креатинин, общий белок, альбумин, кальций, натрий, калий, общий холестерин, как минимум, два анализа на гепатоцеллюлярный анализ (аланинаминотрансфераза, аспартатаминотрансфераза, глютаминатдегидрогеназа, желчные кислоты) и, как минимум, два анализа на гепатобилиарный анализ (щелочная фосфатаза, гамма-глутаминтрансфераза, 5'-нуклеотидаза, общий билирубин, желчные кислоты). Другие клинические химические показатели, такие как триглицерид натощак, специфицеские гормоны и холинэстераза могут быть измерены в случае необходимости в зависимости от токсичности вещества. В целом необходим гибкий подход в зависимости от наблюдаемого и/или ожидаемого воздействия каждого конкретного вещества.
--------------------------------
<14> Для ряда измерений в сыворотке и плазме, особенно глюкозы, ночное голодание является предпочтительным. Основной причиной этого предпочтения является то, что увеличение изменчивости, которое неизбежно возникло бы без голодания, маскировало бы более слабовыраженные эффекты и усложнило бы интерпретацию. Однако следует отметить, что ночное голодание может влиять на общий обмен веществ животных и, в частности в исследованиях питания, может нарушить ежедневное воздействие исследуемого вещества. Все животные должны осматриваться в одном и том же физиологическом состоянии, и желательно запланировать детальный или неврологический осмотр на день, отличный от дня клинических биохимических проб.
4.3.4. Анализ мочи должен проводиться у всех исследуемых животных (10 самцов и 10 самок каждой группы) на образцах, собранных за одинаковые промежутки времени, как и в случае с гематологией и клинической химией. Нет необходимости проводить измерения в три месяца, если за предыдущие 90 дней при аналогичном уровне дозы не наблюдалось воздействия на мочу. В экспертные рекомендации по исследованию клинической патологии был включен следующий список параметров: внешний вид, объем, осмотическая концентрация раствора или относительная плотность, pH, общий белок и глюкоза. Другие исследования включают кетон, уробилиноген, билирубин и скрытую кровь. Дополнительные исследования могут быть использованы при необходимости расширить изучение наблюдаемых воздействий.
4.3.5. Как правило, считается, что основные гематологические и клинические биохимические параметры необходимо определять до начала терапии при исследованиях собак, но нет необходимости их определять в исследованиях грызунов. Однако, если исторические исходные данные недостаточны, следует уделить внимание созданию таких данных.
4.4. Патология (макроскопическая аутопсия)
4.4.1. Все животные в исследовании, как правило, подвергаются полной, детальной макроскопической аутопсии, которая включает тщательное исследование наружной поверхности тела, всех отверстий, черепных, грудных и брюшных полостей и их содержимого. При этом может быть сделан резерв (в группах для промежуточных умерщвлений или во вспомогательных группах) для измерений, ограниченных отдельными важными показателями, такими как нейротоксичность или иммунотоксичность. Этих животных не нужно подвергать аутопсии и дальнейшим процедурам, описанным в последующих пунктах. Индикаторные животные могут требовать аутопсии в каждом отдельном случае на усмотрение руководителя исследования.
4.4.2. Значимые органы следует собрать у всех животных, исключая тех, которые упомянуты выше. Надпочечник, мозг, придатки яичка, сердце, почки, печень, яичники, селезенка, яички, щитовидная железа (оценив постфиксацию, с паращитовидной железой) и матка всех животных (кроме тех, что были найдены падшими и/или были промежуточно умерщвлены) должны быть отсечены, если необходимо, от прилегающих тканей и взвешены как можно быстрее после отсечения для предотвращения высыхания.
4.4.3. Следующие ткани должны быть законсервированы в наиболее подходящем средстве фиксации в качестве образца ткани для запланированного дальнейшего микроскопического исследования (ткани, указанные в квадратных скобках, являются необязательными для исследования):
- все макроскопические повреждения |
- мозг (включая полушария головного мозга, мозжечок и мозговой слой/варолиев мост) | - толстая кишка |
- гипофиз | - слепая кишка |
- глазные яблоки (включая сетчатку) | - [прямая кишка] |
- слезные железы (эксорбитальные) | - поджелудочная железа |
- гардерова железа | - печень |
- шея | - желчный пузырь (для видов, отличных от крыс) |
- спинной мозг (трех уровней: шейный, среднегрудной и поясничный) | - селезенка |
- часть костного мозга и/или свежий пунктат костного мозга | - почки |
- [обонятельная луковица] | - лимфатические узлы (и поверхностные, и глубокие) |
- [верхний респираторный тракт, включая носовую раковину и параназальные синусы] | - скелетные мышцы |
- [язык] | - периферический нерв |
- [зубы] | - [бедро с суставами] |
- слюнные железы | - [грудная кость] |
- легкие | - кожа |
- трахея | - мочевой пузырь |
- сердце | - [мочеточник] |
- аорта | - [уретра] |
- щитовидная железа | - молочные железы (обязательно для самок, если имеются видимые изменения - у самцов) |
- паращитовидная железа | - матка (включая шейку) |
- вилочковая железа | - яичники |
- надпочечники | - влагалище |
- пищевод | - предстательная железа |
- желудок (кардиальный отдел желудка, железистый желудок) | - яичко |
- двенадцатиперстная кишка | - семенной пузырек |
- тонкая кишка | - свертывающая железа |
- подвздошная кишка | - придаток семенника |
4.4.4. В случае с парными органами, например почки, надпочечники, следует сохранять оба органа. Клинические и другие данные могут потребовать изучения дополнительных тканей. Любые другие органы, считающиеся на основе известных свойств исследуемого вещества возможными органами-мишенями, также следует сохранить. В исследованиях, где используется накожный способ введения, должны быть сохранены те же органы, что установлены в списке для перорального введения, а также необходимо сохранить образцы кожи с места нанесения. В ингаляторных исследованиях список сохраняемых и исследуемых тканей дыхательных путей должен следовать рекомендациям из МР 412 и МР 413. Для других органов/тканей (и в дополнение к отдельно сохраняемым тканям из дыхательных путей) список органов, как он установлен для перорального введения, должен быть пересмотрен.
4.5.1. Имеется руководство по наработанным методам в рамках токсикологических патологических исследований. Минимальными гистопатологическими анализами должны быть:
- все ткани из группы с высокой дозой и контрольной группы;
- все ткани животных, падших или умерщвленных в течение исследования;
- все ткани, имеющие макроскопические аномалии;
- ткани органов-мишеней или ткани, демонстрирующие связанные с проводимой терапией изменения, в группе с высокой дозировкой и всех животных всех других групп;
- в случае с парными органами, например почки, надпочечники, должны быть исследованы оба органа;
5.1.1. Должны контролироваться заболеваемость или смерть всех животных, а также особые токсикологически значимые признаки, обычно в начале и в конце каждого дня, включая выходные и праздники. Животные должны дополнительно проверяться раз в день для выявления конкретных признаков токсикологического значения. В случае исследований с использованием зонда, животные должны быть проверены непосредственно после введения дозы. Особое внимание следует обратить на развитие опухолей. Время появления опухоли, расположение, размеры, внешний вид и развитие каждой видимой или ощутимой опухоли должны быть зарегистрированы.
5.1.2. Все животные должны взвешиваться в начале терапии, как минимум, раз в неделю первые 13 недель и ежемесячно в дальнейшем. Измерения потребления пищи и питательности пищи следует производить еженедельно первые 13 недель и, как минимум, ежемесячно в дальнейшем. Измерения потребления воды следует проводить еженедельно первые 13 недель и, как минимум, ежемесячно в дальнейшем, когда вещество вводится через питьевую воду.
5.1.3. Необходимо также учитывать потребление воды для исследований, в которых активность потребления воды изменяется.
5.2. Гематология, клиническая биохимия и другие измерения
5.2.1. В целях извлечения как можно большего количества информации, полученной в исследовании, особенно для анализа способа воздействия, для гематологии и клинической биохимии могут браться образцы крови, хотя это остается на усмотрение руководителя исследования. Целесообразным может быть анализ мочи. Данные по животным, используемым в фазе исследования хронической токсичности, как правило, длящегося 12 месяцев, обеспечат информацию по этим параметрам. Дальнейшие рекомендации по важности сбора таких образцов как части исследования канцерогенности содержатся в МР 116. Если решено брать образцы крови, они должны быть собраны в конце периода исследования, непосредственно перед или как часть процедуры умерщвления животных. Они должны быть взяты из указанного места, например путем сердечной пункции или из ретро-орбитальной пазухи под наркозом. Также может быть подготовлен для изучения клинический анализ крови, особенно если органом-мишенью оказался костный мозг, хотя значение исследования клинического анализа крови в фазе канцерогенности для оценки канцерогенных/онкогенных потенциалов находится под сомнением.
5.3. Патология (макроскопическая аутопсия)
5.3.1. Все животные, участвующие в исследовании, кроме пробных животных и других вспомогательных животных, как правило, подвергаются полной, детальной макроскопической аутопсии, которая включает тщательное исследование наружной поверхности тела, всех отверстий, черепных, грудных и брюшных полостей и их содержимого. Индикаторным животным и другим вспомогательным животным в отдельных случаях может требоваться аутопсия, по усмотрению руководителя исследования. Взвешивание органов обычно не является частью исследования канцерогенеза, так как возрастные изменения, а на более поздних стадиях - развитие опухолей, искажают ценность измерения веса органов. Они, однако, могут иметь решающее значение для определения оценки обоснованности доказательства, и особенно для анализа способа воздействия. Если они являются частью вспомогательного исследования, они должны собираться не позднее одного года после начала исследования.
5.3.2. Следующие ткани должны быть законсервированы в наиболее подходящем средстве фиксации в качестве образца ткани для запланированного дальнейшего микроскопического исследования (ткани, указанные в квадратных скобках, являются необязательными для исследования):
- все макроскопические повреждения |
- мозг (включая полушария головного мозга, мозжечок и мозговой слой/варолиев мост) | - толстая кишка |
- гипофиз | - слепая кишка |
- глазные яблоки (включая сетчатку) | - [прямая кишка] |
- слезные железы (эксорбитальные) | - поджелудочная железа |
- гардерова железа | - печень |
- шея | - желчный пузырь (для видов, отличных от крыс) |
- спинной мозг (трех уровней: шейный, среднегрудной и поясничный) | - селезенка |
- часть костного мозга и/или свежий пунктат костного мозга | - почки |
- [обонятельная луковица] | - лимфатические узлы (и поверхностные, и глубокие) |
- [верхний респираторный тракт, включая носовую раковину и параназальные синусы] | - скелетные мышцы |
- [язык] | - периферический нерв |
- [зубы] | - [бедро с суставами] |
- слюнные железы | - [грудная кость] |
- легкие | - кожа |
- трахея | - мочевой пузырь |
- сердце | - [мочеточник] |
- аорта | - [уретра] |
- щитовидная железа | - молочные железы (обязательно для самок, если имеются видимые изменения - у самцов) |
- паращитовидная железа | - матка (включая шейку) |
- вилочковая железа | - яичники |
- надпочечники | - влагалище |
- пищевод | - предстательная железа |
- желудок (кардиальный отдел желудка, железистый желудок) | - яичко |
- двенадцатиперстная кишка | - семенной пузырек |
- тонкая кишка | - свертывающая железа |
- подвздошная кишка | - придаток семенника |
5.3.3. В случае с парными органами, например почки, надпочечники, следует сохранять оба органа. Клинические и другие данные могут потребовать изучения дополнительных тканей. Любые другие органы, считающиеся на основе известных свойств исследуемого вещества возможными органами-мишенями, также следует сохранить. В исследованиях, где используется дермальный способ введения, должны быть сохранены те же органы, что указаны в списке для перорального введения, а также необходимо сохранить образцы кожи с места нанесения. В ингаляторных исследованиях список сохраняемых и исследуемых тканей дыхательных путей должен следовать рекомендациям из OECD TG 412 и 413. Для других органов/тканей (и в дополнение к отдельно сохраняемым тканям из дыхательных путей) список органов, как он установлен для перорального введения, должен быть пересмотрен.
5.4.1. Имеется руководство по наработанным методам в рамках токсикологических патологических исследований. Минимальными гистопатологическими анализами должны быть:
- все ткани из группы с высокой дозой и контрольной группы;
- все ткани животных, падших или умерщвленных в течение исследования;
- все ткани, имеющие макроскопические аномалии;
- ткани органов-мишеней или ткани, демонстрирующие связанные с проводимой терапией изменения, в группе с высокой дозировкой и всех животных всех других групп;
- в случае с парными органами, например почки, надпочечники, должны быть исследованы оба органа.
6.1.1. Данные по каждому животному должны быть представлены по всем оцениваемым параметрам в табличной форме с указанием для каждой исследуемой группы: количества животных в начале исследования; количества животных, найденных мертвыми во время исследования или умерщвленных по гуманным соображениям и время смерти или любого гуманного умерщвления; количества демонстрируемых признаков токсичности; описания наблюдаемых признаков токсичности, в том числе время начала, продолжительность и тяжесть любого токсического воздействия; количества животных с поражениями, типы поражений и процент животных относительно каждого типа поражения. Сводные данные таблицы должны обеспечить средние и стандартные отклонения (для непрерывных данных теста), показывающие токсические эффекты или повреждения, в дополнение к классификации поражений.
6.1.2. Данные контроля предыдущих исследований могут быть полезны при интерпретации результатов исследования, например, в случае когда имеются признаки того, что данные, представленные параллельными наблюдениями, существенно отличаются от последних данных контрольных животных той же исследовательской лаборатории/колонии.
6.1.3. Данные контроля предыдущих исследований, если оцениваются, должны предоставляться из той же лаборатории, относиться к животным того же возраста и вида, быть созданы в течение пяти лет, предшествовавших спорному исследованию.
6.1.4. При необходимости численные результаты должны быть оценены надлежащим и в целом приемлемым статистическим методом. Статистические методы и данные для анализа должны выбираться в ходе разработки исследования. Выбор должен предусматривать корректировки для выживаемости, если это необходимо.
Отчет об исследовании должен содержать следующую информацию:
Исследуемое вещество:
- физические природа, чистота и физико-химические свойства;
- идентификационные данные;
- источник вещества;
- номер партии;
- сертификат химического анализа.
Среда (при необходимости):
- обоснование выбора среды (если это не вода).
Подопытные животные:
- вид/род и обоснование сделанного выбора;
- число, возраст, пол в начале исследования;
- происхождение, условия содержания, питание и так далее;
- вес каждого животного в начале исследования.
Данные об условиях проведения исследования:
- обоснование метода введения и выбора дозы;
- по необходимости, статистические методики, используемые для анализа данных;
- подробное описание приготовления состава тестируемого вещества/пищи;
- аналитические данные по достигнутой концентрации, стабильности и гомогенности препарата;
- способ введения вещества и подробное описание введения исследуемого вещества;
- при ингаляционных исследованиях: был ли задействован только нос или все тело;
- фактическая доза (мг/кг в день) и переводной коэффициент от концентрации исследуемого вещества в пище/питьевой воде к фактической дозе, если возможно;
- качество пищи и воды.
Результаты (сводные таблицы данных и персональных данных животных)
Общие:
- данные о выживших;
- масса/изменения массы;
- потребление еды, подсчет энергетической ценности, если проведен, и потребление воды, если возможно;
- токсикокинетические данные (если возможно);
- офтальмология (если возможно);
- гематология (если возможно);
- клиническая химия (если возможно).
Клинические результаты:
- признаки токсичности;
- охват (и, если выявлена, тяжесть) любой аномалии;
- характер, точность и продолжительность клинических наблюдений (были они промежуточными или постоянными).
Данные аутопсии:
- конечная масса тела;
- вес органов и их соотношения, если это необходимо;
- результаты аутопсии; распространенность и тяжесть нарушений.
Гистопатология
- неопухолевые гистопатологические данные;
- опухолевые гистопатологические данные;
- корреляция между общими и микроскопическими данными;
- детальное описание всех связанных с лечением гистопатологических результатов, в том числе строгость градуировки;
- информация о любом сравнительном исследовании мазков.
Статистическая обработка результатов (при необходимости)
Изучение результатов, включающее:
- изучение возможности моделирования;
- соотношение зависимости доза-ответ;
- данные исторического контроля;
- рассмотрение любой формы воздействия;
- определение BMD, NOAEL или LOAEL;
- значимость для человека.
Выводы.
ГЕНЕТИЧЕСКАЯ ТОКСИКОЛОГИЯ
МЕТОД ОЦЕНКИ ОБРАТНЫХ МУТАЦИЙ НА БАКТЕРИЯХ
Идентичен международному документу OECD TG N 471 "Bacterial Reverse Mutation Test" (ОЭСР Руководство N 471 "Метод оценки обратных мутаций на бактериях"). Принят 21 июля 1997 года. Перевод с английского языка (en). Степень соответствия - модифицированный (MOD)).
1.1. Настоящий метод исследования устанавливает порядок проведения испытания химических веществ в тесте оценки обратных мутаций на бактериях с применением прокариотных клеток, которые отличаются от клеток млекопитающих такими особенностями, как поступление, метаболизм, структура хромосомы и процессы репарации ДНК. Тестирование in vitro, как правило, требует использования экзогенных источников метаболической активации. Системы метаболической активации in vitro не могут полностью имитировать условия метаболизма у млекопитающих in vivo. Таким образом, метод не дает прямой информации по мутагенному и канцерогенному потенциалу химического вещества в отношении млекопитающих.
1.2. Метод оценки обратных мутаций на бактериях обычно используется на начальном этапе скрининга генотоксической активности, в особенности при оценке индукции точковых мутаций. Многочисленные данные свидетельствуют о том, что большинство химических веществ, у которых выявлен мутагенный эффект в данном тесте, показывают мутагенную активность в других тестах. В то же время имеются примеры мутагенных соединений, которые не были выявлены в данном тесте. Причина этого явления может быть связана со специфической природой определяемого события, различиями в метаболической активации и биодоступности. С другой стороны, факторы, которые повышают чувствительность метода оценки обратных мутаций у бактерий, могут привести к переоценке мутагенного потенциала тестируемого соединения.
1.3. Метод оценки обратных мутаций у бактерий может не подходить для оценки определенных классов химических веществ, например, веществ с сильной бактерицидной активностью (некоторые антибиотики) или веществ, которые специфически воздействуют на систему репликации в клетках млекопитающих (ряд ингибиторов топоизомераз и ряд аналогов нуклеозидов). В таких случаях более адекватны тесты оценки мутагенности на млекопитающих.
1.4. Хотя многие соединения, которые показали мутагенный эффект в данном тесте, являются канцерогенами для млекопитающих, корреляция между двумя видами эффектов не абсолютна. Это связано с классом химического вещества. Имеются канцерогены, которые не выявляются в данном тесте, поскольку они действуют через другие негенотоксические механизмы или эти механизмы отсутствуют в бактериальных клетках.
2.1. Тест оценки обратных мутаций на бактериях проводят на зависимых от аминокислот штаммах Salmonella typhimurium и Escherichia coli для оценки точковых мутаций, возникающих вследствие замены пар оснований, вставки или делеции одной или нескольких пар оснований. Принцип метода - определение обратных мутаций у исследуемых штаммов, которые позволяют микроорганизмам синтезировать необходимую аминокислоту. Ревертантные бактерии выявляются по их способности расти на среде в отсутствии аминокислоты, необходимой для роста исходного штамма бактерии.
2.2. Точковые мутации - причина многих генетических заболеваний человека. Имеются убедительные данные, что точковые мутации в онкогенах и генах опухолевой супрессии соматических клеток вовлечены в процесс онкогенеза у человека и экспериментальных животных. Тест оценки обратных мутаций на бактериях не требует много времени, является недорогим и относительно несложным для проведения. Многие тест-штаммы несут изменения, которые делают их более чувствительными для выявления мутаций. Они включают: большую чувствительность последовательностей ДНК в сайтах реверсии, повышенную клеточную проницаемость, элиминацию систем репарации ДНК или повышение процесса склонной к ошибкам репарации ДНК. Специфичность тест-штаммов может дать полезную информацию по типам мутаций, индуцируемых генотоксическим агентом. Накопленные данные по результатам исследования широкого спектра структур показывают возможность использования метода оценки обратных мутаций на бактериях. Разработаны методики для исследования химических соединений с различными физико-химическими свойствами, включая летучие соединения.
3.1. Суспензию бактериальных клеток экспонируют с исследуемым веществом в присутствии или отсутствии экзогенной системы метаболической активации. В варианте введения вещества на чашку (plate incorporation method) эту суспензию смешивают с верхним агаром и сразу выливают на чашку с минимальной средой. В преинкубационном варианте теста смесь предварительно инкубируют, затем смешивают с верхним агаром и выливают на слой минимальной среды. В обоих вариантах теста через два или три дня инкубации подсчитывают колонии ревертантов и сравнивают с числом колоний ревертантов на чашку в контроле с растворителем.
3.2. Описаны несколько вариантов оценки частоты обратных мутаций у бактерий. Среди них наиболее часто используют метод введения вещества на чашку, преинкубационный тест, флуктуационный тест и суспензионный метод.
3.3. Данный метод в основном касается вариантов введения вещества на чашку и преинкубационного. Оба подходят для проведения экспериментов в присутствии или в отсутствии метаболической активации. Некоторые вещества более корректно исследовать в преинкубационном тесте. Эти вещества относятся к химическим классам, которые включают короткие цепи алифатических нитрозаминов, бивалентные металлы, альдегиды, азокрасители и диазосоединения, пиролизидиновые алкалоиды, аллилсодержащие соединения и нитросоединения. Также показано, что некоторые классы мутагенов не всегда можно выявить используя стандартные процедуры, такие как метод введения вещества на чашку и преинкубационный тест. Они должны быть рассмотрены как "особые случаи" и для их определения строго рекомендуется использование альтернативных методов. К таким "особым случаям" могут быть отнесены (вместе с перечнем методов, которые могут использоваться для их определения): азокрасители и диазосоединения, газообразные и летучие химические вещества и гликозиды. Отклонение от стандартной процедуры должно быть научно обосновано.
Бактерии
4.1.1. Свежие культуры бактерий должны быть выращены до состояния поздней экспоненциальной или ранней стабильной фазы роста (приблизительно 109 клеток на мл). Культуры в поздней стабильной фазе не используются. Необходимо, чтобы культуры, используемые в эксперименте, содержали высокий титр жизнеспособных бактерий. Титр может быть установлен или из ранее установленных данных кривой роста, или в каждом опыте путем определения числа жизнеспособных клеток в экспериментальном посеве.
4.1.2. Рекомендуемая инкубационная температура 37 °C.
4.1.3. Необходимо использовать минимум пять штаммов бактерий. Они должны включать четыре штамма Salmonella typhimurium (TA1535; TA1537 или TA97; TA98; TA100) для которых показано, что они дают надежный и воспроизводимый ответ в разных лабораториях. Эти четыре штамма Salmonella typhimurium имеют GC пары оснований в первичном сайте реверсии. Это значит, что они не могут выявлять ряд окисляющих мутагенов, соединения, вызывающие перекрестные сшивки, и гидразины. Такие вещества могут быть обнаружены в опытах на Escherichia coli WP2 или Salmonella typhimurium TA102, у которых есть АТ-пара оснований в первичном сайте реверсии.
4.1.4. Таким образом, рекомендуемая комбинация штаммов включает:
- Salmonella typhimurium TA1535;
- Salmonella typhimurium TA1537 или TA97, или TA97a;
- Salmonella typhimurium TA98;
- Salmonella typhimurium TA100;
-
Escherichia coli WP2

или
Escherichia coli WP2

(pKM101), или
Salmonella typhimurium TA102.
4.1.5. Для определения мутагенов, вызывающих перекрестные сшивки, можно использовать штамм Salmonella typhimurium TA102 или профицитные по репарации штаммы Escherichia coli (например, Escherichia coli WP2 или Escherichia coli WP2 (pKM101).
4.1.6. Необходимо использовать стандартные процедуры для ведения, хранения и проверки генотипов исходных штаммов. Потребность аминокислоты для роста следует проверять для каждой замороженной исходной культуры (гистидин для Salmonella typhimurium и триптофан для Escherichia coli). Также должны быть проверены другие фенотипические характеристики: присутствие или отсутствие плазмид R-фактора для соответствующих штаммов (резистентность к ампициллину у штаммов TA98, TA100 и TA97a или TA97, WP2 uvrA и WP2 uvrA (pKM101) и резистентность к ампициллину + тетрациклину у штамма TA102); присутствие специфических мутаций (rfa мутаций у штаммов Salmonella typhimurium по контролю чувствительности к кристаллическому фиолетовому (crystal violet) и uvrA мутации у Escherichia coli или uvrB мутации у Salmonella typhimurium по контролю чувствительности к ультрафиолетовому светлому (ultra-violet light). Также для каждого штамма нужно определять спонтанный уровень количества колоний ревертантов на чашку; он должен быть в пределах колебаний показателя в историческом контроле лаборатории и желательно в пределах колебания показателя по данным литературы.
Среды
4.1.7. Используют адекватные минимальный агар (например: содержащий Vogel-Bonner минимальную среду E и глюкозу) и верхний агар, содержащий гистидин и биотин или триптофан, позволяющий бактериям пройти несколько клеточных делений.
Метаболическая активация
4.1.8. Бактерии должны подвергаться воздействию испытуемого вещества в вариантах с присутствием и отсутствием системы метаболической активации.
4.1.9. Обычно используется система, включающая кофакторы и постмитохондриальную фракцию печени крыс грызунов, которым вводят активирующие ферменты соединения, такие как Ароклор 1254 или комбинацию фенобарбитала и

Постмитохондриальную фракцию обычно используют в диапазоне концентраций от 5 до 30 объемных процентов смеси S9.
4.1.10. Выбор и условия использования системы метаболической активации может зависеть от класса испытуемого химического вещества. В некоторых случаях возможно использование более одной концентрации. Для азокрасителей и диазосоединений использование редуцированной системы метаболической активации может быть более подходящим.
Испытуемое вещество/подготовка препарата
4.1.11. Перед исследованием твердые испытуемые вещества должны быть растворены или суспендированы в подходящих растворителях или средах и разбавлены, если это необходимо. Жидкие испытуемые вещества можно добавлять непосредственно в тест-системы и/или разбавлять перед воздействием на бактерии. Следует использовать свежие препараты при отсутствии данных об их стабильности при хранении.
4.1.12. Растворитель/среда не должны допускать химической реакции с испытуемым веществом и не должны влиять на выживаемость бактерий и активность S9. Если помимо стандартных растворителей/сред используют другие, должны быть получены данные об их совместимости. Рекомендуется, по возможности, использование воды в качестве растворителя/среды. При исследовании нестабильных в воде веществ используемые органические растворители не должны содержать воду.
Исследуемые концентрации
4.2.1. Важными критериями, принимаемыми во внимание при определении максимального количества испытуемого вещества, являются цитотоксичность и растворимость в смеси. Полезно в предварительном эксперименте определить токсичность и растворимость. Цитотоксичность можно оценить по снижению числа колоний ревертантов на чашку, отсутствию или уменьшению фонового газона или степенью выживаемости обработанных культур. Цитотоксичность вещества может меняться в присутствии системы метаболической активации. Нерастворимость выявляется как преципитация в конечной смеси в реальных условиях, выявляемая невооруженным глазом.
4.2.2. Рекомендуемая максимальная концентрация для растворимых нецитотоксичных веществ - 5 мг на чашку или 5 мкл на чашку. Для нецитотоксичных веществ, которые не растворимы в концентрациях 5 мг на чашку или 5 мкл на чашку, одна или более испытуемых концентраций должны быть нерастворимы в конечной тестируемой смеси. Вещества, которые цитотоксичны в концентрациях менее 5 мг на чашку или 5 мкл на чашку, должны быть испытаны в концентрации, ниже цитотоксичной. Преципитат не должен мешать подсчету.
4.2.3. Как минимум 5 разных анализируемых концентраций испытуемого вещества следует испытывать с шагом приблизительно в половину log

между тестируемыми точками для начального эксперимента. Меньшие интервалы могут быть использованы в тех случаях, когда исследуют зависимость концентрация-эффект.
4.2.4. Исследование концентраций выше 5 мг/чашка или 5 мкл/чашка может быть проведено, если тестируемые вещества содержат значительное количество потенциально мутагенных примесей.
Отрицательные и положительные контроли
4.2.5. Соответствующие штамм-специфичные положительные и отрицательные (растворитель/среда) контроли как в присутствии, так и без метаболической активации должны быть включены в каждое исследование. Должны быть отобраны концентрации положительных контролей, которые показывают эффективность ответа соответствующего штамма бактерий и системы метаболической активации.
4.2.6. Для вариантов с использованием системы метаболической активации, соединение положительного контроля следует отбирать с учетом типа бактериального штамма.
Примеры веществ для положительного контроля
в вариантах с метаболической активацией
Вещество | Номер CAS | Номер EINECS |
9,10-диметилантрацен | 781-43-1 | 212-308-4 |
7,12-диметилбенз[а]антрацен | 57-97-6 | 200-359-5 |
бензо[а]пирен | 50-32-8 | 200-028-5 |
2-аминоантрацен | 613-13-8 | 210-330-9 |
циклофосфамид | 50-18-0 | |
моногидрат циклофосфамида | 6055-19-2 | 200-015-4 |
Примеры штамм-специфичных соединений для положительного
контроля в вариантах без метаболической активации
Вещество | Номер CAS | Номер EINECS | Штамм |
азид натрия | 26628-22-8 | 247-852-1 | TA 1535 и TA 100 |
2-нитрофлуарен | 607-57-8 | 210-138-5 | TA 98 |
9-аминоакридин | 90-45-9 | 201-995-6 | TA 1537, TA 97 и TA 97a |
ICR 191 | 17070-45-0 | 241-129-4 | TA 1537, TA 97 и TA 97a |
гидропероксид кумена | 80-15-9 | 201-254-7 | TA 102 |
Митомицин C | 50-07-7 | 200-008-6 | WP2 uvrA и TA 102 |
N-этил-N-нитро-N-нитрозогуанидин | 70-25-7 | 200-730-1 | WP2, WP2uvrA и WP2uvrA(pKM101) |
4-нитрохинолин-1-оксид | 56-57-5 | 200-281-1 | WP2, WP2uvrA и WP2uvrA(pKM101) |
Фурилфурамид (AF2) | 3688-53-7 | | Плазмидосодержащие штаммы |
Для положительного контроля могут быть использованы другие адекватные вещества. Использование в качестве положительного контроля других химических соединений родственных классов, если таковые имеются, допустимо.
Следует использовать отрицательные контроли с растворителем/средой без исследуемого вещества при введении тем же способом, что и экспериментальные варианты. К тому же отрицательные контроли при сравнении с историческим контролем, полученным в предыдущих экспериментах, могут показать, что побочные или мутагенные эффекты не индуцированы выбранным растворителем.
4.3. Проведение эксперимента
4.3.1. В методе введения вещества на чашку в варианте без метаболической активации обычно смешивают 0,05 мл или 0,1 мл раствора исследуемого вещества, 0,1 мл свежей бактериальной культуры (содержащей приблизительно 108 жизнеспособных клеток) и 0,5 мл стерильного буферного раствора с 2,0 мл верхнего агара. В варианте с метаболической активацией обычно смешивают 0,5 мл микросомальной активирующей смеси, содержащей адекватное количество постмитохондриальной фракции (в диапазоне от 5 до 30% объема общей микросомальной активирующей смеси) с верхним агаром (2,0 мл) вместе с бактериями и раствором исследуемого вещества. Содержимое каждой пробирки смешивают и выливают на чашку на поверхность минимального агара. Верхнему агару нужно дать затвердеть перед инкубацией.
4.3.2. В преинкубационном варианте раствор вещества предварительно инкубируют с опытным штаммом бактерий (содержащим приблизительно 108 жизнеспособных клеток) и стерильным буфером или микросомальной активирующей смесью (0,5 мл). Обычно смесь инкубируют в течение 20 мин или более при 30 - 37 °C перед смешиванием с верхним агаром и выливанием на поверхность минимального агара. Обычно 0,05 или 0,1 мл раствора испытуемого вещества, 0,1 мл бактерий и 0,5 мл смеси S9 или стерильного буферного раствора смешивают с 2,0 мл верхнего агара. Пробирки должны быть аэрированы во время прединкубации с помощью аппарата для встряхивания.
4.3.3. Для адекватной оценки изменчивости следует использовать для каждого уровня доз по 3 чашки. Использование 2 чашек возможно при соответствующем научном обосновании. Случайная потеря чашки не обязательно делает опыт недействительным.
4.3.4. Газообразные или летучие вещества должны быть испытаны подходящими методами, например, в закрытом сосуде.
Инкубация
4.3.5. Все чашки в эксперименте должны быть инкубированы при 37 °C в течение 48 - 72 ч. После инкубационного периода подсчитывают число колоний ревертантов на чашку.
5.1. Обработка результатов
5.1.1. Результаты должны быть представлены как число колоний ревертантов на чашку. Следует привести число колоний ревертантов на чашку как в вариантах с отрицательным (контроль с растворителем и, если используется, необработанный контроль), так и с положительным контролем.
5.1.2. Число колоний ревертантов на каждую чашку, среднее число колоний на чашку и стандартное отклонение приводится для каждой дозы исследуемого вещества, положительного и отрицательного (необработанного и/или с растворителем) контролей.
5.1.3. Не требуется проверки четкого положительного результата. Сомнительные результаты следует уточнить в дальнейших исследованиях, используя модификацию условий тестирования. Отрицательные результаты нуждаются в подтверждении в каждом конкретном случае. В тех случаях, когда подтверждение отрицательного результата не требуется, должно быть предусмотрено научное обоснование.
5.1.4. Модификация параметров исследования, направленная на расширение предела условий, должна проводиться в последующих экспериментах. Параметры исследования, которые могут быть модифицированы, включают: интервал концентраций, метод обработки (введение вещества на чашку или прединкубация в жидкости) и условия метаболической активации.
Оценка и интерпретация результатов
5.1.5. Существует различные критерии для определения положительного результата, такие как зависимое от концентрации увеличение эффекта в исследуемом диапазоне концентраций и/или воспроизводимое увеличение числа колоний ревертантов на чашку при одной или более концентрациях, как минимум, на одном штамме с метаболической активацией или без нее. Биологическая значимость результатов должна быть рассмотрена в первую очередь. Статистические методы могут быть использованы как помощь при оценке результатов испытания. Однако статистическая значимость не должна быть единственным определяющим фактором для заключения о положительном эффекте.
5.1.6. Испытуемое вещество, результаты исследования которого не соответствуют вышеупомянутым критериям, рассматриваются как немутагенные в данном тесте.
5.1.7. Хотя в большинстве экспериментов получают четкие положительные или отрицательные результаты, в редких случаях совокупность данных не дает определенную оценку мутагенной активности испытуемого вещества. Результаты могут оставаться сомнительными или проблематичными независимо от числа повторов эксперимента.
5.1.8. Положительные результаты в тесте оценки обратных мутации на бактериях свидетельствуют о том, что вещество индуцирует толковые мутации типа замены пар оснований или сдвига рамки считывания в геноме Salmonella typhimurium и/или Escherichia coli. Отрицательные результаты показывают, что в условиях опыта испытуемое вещество не является мутагенным для тестируемых видов.
Отчет испытания должен включать следующую информацию.
Исследуемое соединение:
- идентификационные данные и CAS по (если известны);
- физическая природа и степень химической очистки;
- физико-химические свойства, относящиеся к проведению исследования;
- стабильность соединения (если известна).
Растворитель/среда:
- обоснование выбора растворителя/среды;
- растворимость и стабильность испытуемого вещества в растворителе/среде (если известно).
Штаммы:
- используемые штаммы;
- число клеток на культуру;
- характеристики штаммов.
Условия испытания:
- количество испытуемого вещества на чашку (мг/чашка или мкг/чашка) с обоснованием выбора дозы и числа чашек на концентрацию;
- используемая среда;
- тип и состав системы метаболической активаций, включающей критерии ее использования;
- процедуры обработки.
Результаты:
- признаки токсичности;
- признаки преципитации;
- количество колоний ревертантов на каждую чашку;
- среднее число колоний ревертантов на чашку и стандартное отклонение;
- зависимость эффекта от дозы, где возможно;
- статистический анализ, если есть;
- результаты оценки по отрицательным (растворитель/среда) и положительным контролям с пределами колебаний, средними и стандартными отклонениями;
- данные по историческим (лабораторным) отрицательным (растворитель/среда) и положительным контролям с пределами колебаний, средними и стандартными отклонениями.
Обсуждение результатов.
Заключение.
МЕТОД ОЦЕНКИ ХРОМОСОМНЫХ АБЕРРАЦИЙ
В КЛЕТКАХ МЛЕКОПИТАЮЩИХ IN VITRO
Идентичен международному документу OECD TG N 473 "In vitro Mammalian Chromosome Aberration Test" (ОЭСР Руководство N 473 "Метод оценки хромосомных аберраций в клетках млекопитающих in vitro"). Принят 21 июля 1997 г. Перевод с английского языка (en). Степень соответствия - модифицированный (MOD).
1.1. Настоящий метод исследования устанавливает порядок проведения испытания химических веществ в тесте оценки хромосомных аберраций в клетках млекопитающих in vitro. Тестирование in vitro, как правило, требует использования экзогенных источников метаболической активации. Системы метаболической активации in vitro не могут полностью имитировать условия метаболизма у млекопитающих in vivo. Таким образом, метод не дает прямой информации по мутагенному и канцерогенному потенциалу химического вещества в отношении млекопитающих. Цель метода - выявление факторов, которые индуцируют структурные аберрации хромосом в культивируемых клетках млекопитающих. Имеется два типа структурных аберраций хромосом: хроматидные и хромосомные. Подавляющее большинство химических мутагенов индуцирует аберрации хроматидного типа. В то же время возможно появление аберраций хромосомного типа. Возрастание полиплоидии может указывать на возможность индукции веществом численных нарушений хромосомного набора. Однако данный документ не рассматривает учет численных нарушений хромосом и данный метод обычно не используется для этой цели. Хромосомные мутации и связанные с ними события являются причиной ряда наследственных заболеваний человека. Имеются веские доказательства, что хромосомные мутации и связанные с ними события, вызывая изменения в онкогенах и генах супрессорах опухоли в соматических клетках, вовлечены в индукцию рака у человека и экспериментальных животных.
1.2. Метод оценки хромосомных аберраций in vitro проводят на перевиваемых клеточных линиях, клеточных штаммах или первичных культурах клеток. Используемые клетки отбирают на основе способности к росту в культуре, стабильности кариотипа, числа и разнообразия хромосом и спонтанного уровня хромосомных аберраций.
2.1. Тесты in vitro обычно требуют использования экзогенной системы метаболической активации. Такая система метаболической активации не может полностью соответствовать метаболизму вещества у млекопитающих in vivo. Следует избегать условий, которые могут привести к положительному результату, не отражающему собственную мутагенность исследуемого вещества, возникающему вследствие изменения pH, осмотической концентрации или высокого уровня цитотоксичности.
2.2. Тест используют для скрининга потенциальных мутагенов и канцерогенов для млекопитающих. Многие вещества, положительные в этом тесте, являются канцерогенами для млекопитающих. Однако нет точной корреляции между результатами в этом тесте и канцерогенностью для человека. Уровень корреляции зависит от класса химического соединения. Имеются канцерогенные вещества, которые не выявляются в данном тесте, потому что они действуют по иным механизмам, чем прямое повреждение ДНК.
3.1. Экспозицию клеточных культур с изучаемым веществом проводят в вариантах без и в присутствии системы метаболической активации. Через определенное время после экспозиции исследуемым соединением в культуры вносят вещество, блокирующее клеточный цикл на стадии метафазы (например,

или колхицин). Затем клетки фиксируют, красят и анализируют под микроскопом для обнаружения ХА.
Клетки
4.1.1. В экспериментах могут быть использованы различные клеточные линии и различные первичные культуры, включая клетки человека (например, фибробласты китайского хомячка, лимфоциты периферической крови человека и млекопитающих).
Среды и условия культивирования
4.1.2. Для культивирования следует использовать соответствующие культуральные среды и условия инкубации (посуда для культивирования, концентрация CO2, температура и влажность). Клеточные линии и штаммы, на которых проводят исследования, следует постоянно проверять на стабильность модального числа хромосом и отсутствие контаминации микоплазмой. Их нельзя использовать при изменении числа хромосом или контаминации микоплазмой. Для клеток и условий их культивирования должна быть известна нормальная продолжительность клеточного цикла.
Подготовка культур
4.1.3. Клеточные линии и штаммы размножают из коллекции, рассевают в культуральной среде до плотности, при которой клетки не будут мешать друг другу до времени фиксации, и инкубируют при 37 °C.
4.1.4. Лимфоциты: цельная кровь с антикоагулянтом (например, гепарином) или выделенные лимфоциты, полученные от здоровых доноров, вводят в культурную среду, содержащую митоген (например, фитогемагглютинин) и инкубируют при 37 °C.
Метаболическая активация
4.1.5. Клетки экспонируют с изучаемым веществом как в присутствии, так и без соответствующей системы метаболической активации. Обычно используют кофакторы и постмитохондриальную фракцию (S9), приготовленную из печени грызунов, обработанных индуктором ферментов Aroclor 1254, или комбинацией фенобарбитала и

Постмитохондриальную фракцию обычно добавляют в объеме 1 - 10% от объема культуральной среды. Условия использования системы метаболической активации могут зависеть от химического класса изучаемого вещества. В некоторых случаях может быть уместным использование не одной, а нескольких концентраций постмитохондриальной фракции. Многие модификации, включая конструирование генноинженерных клеточных линий, экспрессирующих специфические ферменты активации, могут быть использованы для эндогенной активации. Выбор используемых клеточных линий должен быть оправдан с научной точки зрения (например, необходимостью присутствия изозима цитохрома P450 для метаболизма испытуемого вещества).
Исследуемое вещество/подготовка
4.1.6. Твердые вещества должны быть растворены или суспендированы в соответствующих растворителях/разбавителях и, если необходимо, разведены до введения в культуру. Жидкие вещества могут быть введены в культуру непосредственно и/или в виде заранее приготовленного раствора. Следует использовать свежеприготовленные растворы исследуемого вещества, пока не будет доказана стабильность растворов вещества при хранении.
Растворитель/разбавитель
4.2.1. Растворитель/разбавитель не должен вступать в химическую реакцию с испытуемым веществом, не должен снижать выживаемость клеток и активность смеси S9. Если вместо хорошо изученных, используются другие растворители/разбавители, их включение в эксперимент должно быть обосновано данными, указывающими на их совместимость с клетками и S9. Рекомендуется, если возможно, всегда в качестве растворителя/разбавителя использовать воду. При тестировании веществ, водные растворы которых нестабильны, следует использовать безводный органический растворитель. Вода может быть удалена при использовании молекулярного сита.
Изучаемые концентрации
4.2.2. К критериям, которые используют для определения максимальной концентрации вещества, относятся цитотоксичность, растворимость в культуральной среде, изменение pH и осмотическая концентрация.
4.2.3. Цитотоксичность следует определять как в присутствии, так и без метаболической активации в основном эксперименте. Ее индикаторами являются такие признаки целостности клеток и их роста, как степень слияния, количество жизнеспособных клеток или митотический индекс. Полезно определение цитотоксичности и растворимости в предварительном эксперименте.
4.2.4. Нужно исследовать, по крайней мере, три концентрации вещества, эффекты которых можно проанализировать. Если вещество обладает цитотоксическим действием, его следует изучать в таких концентрациях, которые покрывают диапазон от максимального до небольшого уровня токсичности или ее отсутствия. Обычно различия между концентрациями выбираются в диапазоне между 2 и

На момент фиксации максимальная концентрация должна показать значительное (более 50%) сокращение степени слияния, количества клеток или митотического индекса. Митотический индекс служит только косвенной (непрямой) мерой цитотоксических/цитостатических эффектов и зависит от времени после введения вещества в культуру. Однако митотический индекс приемлем для суспензионных культур, в которых другие измерения токсичности могут быть затруднены и трудноопределимы. Информацию о кинетике клеточного цикла, такую как среднее время генерации (СВГ), можно использовать в качестве дополнительной. Однако СВГ является средним значением для всей популяции и не всегда указывает на существование более медленно делящейся субпопуляции. Даже небольшое увеличение среднего времени генерации может быть связано с очень существенной задержкой времени оптимального выхода аберраций. Для веществ с относительно низкой цитотоксичностью максимальная концентрация в культуре должна составить 5 мкл/мл, 5 мг/мл или 0,01 М, выбирая из них ту, которая является самой низкой.
4.2.5. Для относительно нерастворимых веществ, которые не токсичны в концентрациях ниже предела растворимости, максимальную концентрацию следует брать выше предела растворимости в конечной культуральной среде в конце периода обработки. В некоторых случаях (когда токсичность проявляется только в более высокой, чем самая низкая нерастворимая концентрация) желательно исследовать более одной концентрации с видимой преципитацией. Это может быть полезно для оценки растворимости в начале и конце периода обработки, так как в тест-системе растворимость может меняться в процессе обработки, вследствие присутствия клеток, S9, сыворотки и т.д. Нерастворимость можно выявить невооруженным глазом. Преципитат не должен мешать анализу.
Контроли
4.2.6. Соответствующие положительные и отрицательные (растворитель или разбавитель) контроли в вариантах с метаболической активацией и без нее должны быть в каждом эксперименте. В варианте с метаболической активацией вещество положительного контроля должно проявлять мутагенный эффект после метаболической активации.
4.2.7. В качестве положительного следует применять кластоген в концентрации, при которой имеется воспроизводимое и значимое повышение эффекта над контролем, чтобы охарактеризовать чувствительность тест-системы. Концентрации положительного контроля следует подбирать так, чтобы был четкий эффект, но в то же время его уровень не позволял исследователю определить зашифрованный препарат. Примеры веществ положительного контроля приведены ниже.
4.2.8. В качестве положительного контроля могут быть использованы другие вещества. Если возможно, в качестве положительного контроля используют вещество по химическому классу сходное с известным положительным контролем.
Условия метаболической активации | Вещество и номер CAS |
Отсутствие экзогенной метаболической активации | Метилметансульфонат [номер CAS 66-27-3] |
Этилметансульфонат [номер CAS 62-50-0] |
Этилнитрозомочевина [номер CAS 759-73-9] |
Митомицин C [номер CAS 50-07-7] |
M-нитрохинолин-N-оксид [номер CAS 56-57-5] |
Наличие экзогенной метаболической активации | Бенз(а)пирен [номер CAS 50-32-8] |
Циклофосфамид (моногидрат) [номер CAS 50-18-0 (номер CAS 6055-19-2)] |
4.2.9. Отрицательный контроль, включающий введение только растворителя/разбавителя в культуральную среду, обработку клеток в том же режиме, как и в вариантах с исследуемым веществом, ставиться для каждого времени фиксации. Дополнительно следует ставить контроль без обработки, пока исторический контроль лаборатории не покажет отсутствие вредных или мутагенных эффектов, индуцированных выбранным растворителем.
4.3. Проведение эксперимента
Обработка культуры исследуемым веществом
4.3.1. Пролиферирующие клетки обрабатывают исследуемым веществом в присутствии системы метаболической активации и без нее. Обработку лимфоцитов проводят через 48 ч после стимуляции митогеном.
4.3.2. Для каждой концентрации в норме ставят две культуры. То же настоятельно рекомендуется для отрицательного и положительного контролей. Когда исторические данные показывают минимальные вариации результатов между двумя культурами, возможно использование в эксперименте только одной культуры с каждой концентрацией.
4.3.3. Газообразные или летучие вещества тестируют соответствующими методами, например, в запечатанных культуральных сосудах.
Время фиксации
4.3.4. В первом опыте клетки экспонируют с исследуемым веществом в условиях с метаболической активацией и без нее в течение 3 - 6 ч и фиксируют через промежуток времени, эквивалентный приблизительно 1,5-кратной продолжительности клеточного цикла после начала воздействия веществом. Если получен отрицательный результат в вариантах с метаболической активацией и без нее, следует провести опыт с метаболической активацией, увеличив длительность воздействия до времени фиксации, эквивалентного 1,5-кратной продолжительности клеточного цикла. Некоторые из химических веществ могут быть легче выявлены при длительности времени воздействия/фиксации более, чем 1,5-кратной продолжительности клеточного цикла. В тех случаях, когда подтверждение отрицательного результата не считается необходимым, следует дать обоснование.
Приготовление препаратов хромосом
4.3.5. Обычно за 1 - 3 ч до фиксации в культуру клеток вводят

или колхицин. Каждую культуру клеток фиксируют отдельно для приготовления препаратов метафазных хромосом. Клетки подвергают гипотонической обработке, фиксируют и окрашивают.
Анализ
4.3.6. Все стекла, включая положительный и отрицательный контроль, перед микроскопическим анализом должны быть зашифрованы. Поскольку фиксация часто приводит к появлению метафаз с потерей хромосом, анализируемые метафазы должны содержать число центромер в пределах +/- 2 от модального числа для исследуемого типа клеток. Следует анализировать минимум 200 хорошо разбросанных метафаз на концентрацию и контроль, равно деля это количество между 2 повторами, если они ставятся. Это число может быть снижено, если наблюдается большое число аберраций.
4.3.7. Хотя основная цель теста - выявление структурных хромосомных аберраций, важно учитывать также полиплоидию и эндоредупликацию, если эти события имеются.
5.1. Обработка результатов
5.1.1. Экспериментальной единицей является клетка. Поэтому оценивают процент клеток со структурными аберрациями хромосом. Учитывают число и частоту разных типов структурных аберраций хромосом в экспериментальных и контрольных культурах. Пробелы регистрируют отдельно и их обычно не включают в общую частоту аберраций.
5.1.2. Следует также проводить оценку цитотоксичности во всех экспериментальных и контрольных культурах.
5.1.3. Представляют данные по каждой культуре. Все данные суммируют в табличной форме.
5.1.4. Нет требований к верификации четко положительного результата. Противоречивые и сомнительные результаты следует проверять в дальнейших экспериментах, используя преимущественно модификацию экспериментальных условий. Модификацию параметров исследования, степень изменения установленных условий следует проводить в последующих экспериментах. Параметры исследования, которые могут быть модифицированы, включают диапазон концентраций, условия метаболической активации.
Оценка и интерпретация результатов
5.1.5. Имеется несколько критериев определения положительного результата: зависимое от концентрации повышение числа клеток с аберрациями хромосом или воспроизводимое повышение числа клеток с аберрациями хромосом. Биологическая обоснованность результата должна приниматься во внимание в первую очередь. Для оценки результатов можно использовать статистические методы в качестве дополнительных. Статистическая значимость не является единственным критерием для доказательства положительного ответа.
5.1.6. Повышение частоты полиплоидных клеток может показывать, что вещество ингибирует процесс митоза и индуцирует численные хромосомные аномалии. Повышение числа клеток с эндоредупликацией хромосом может указывать, что вещество ингибирует прогрессию клеточного цикла.
5.1.7. Вещества, результаты исследования которых не соответствуют вышеприведенным критериям, считаются немутагенами в данной тест-системе.
5.1.8. Хотя в большинстве экспериментов получаются четко положительные или отрицательные результаты, в редких случаях полученные данные не позволяют сделать однозначное заключение об активности исследуемого вещества. Результаты могут оставаться противоречивыми или сомнительными независимо от числа проведенных повторов.
5.1.9. Положительные результаты в тесте на хромосомные аберрации in vitro, показывают, что вещество индуцирует структурные аберрации хромосом в культивируемых соматических клетках млекопитающих. Отрицательные результаты указывают, что при данных условиях эксперимента вещество не индуцирует хромосомные аберрации в культивируемых соматических клетках млекопитающих.
Отчет должен включать следующую информацию.
Исследуемое соединение:
- идентификационные данные и номер CAS, если известен;
- физическую природу и чистоту;
- физико-химические параметры, имеющие значение для данного исследования;
- стабильность веществ (если известна).
Растворитель/разбавитель:
- обоснование выбора растворителя/разбавителя;
- растворимость и стабильность исследуемого вещества в растворителе/разбавителе, если известны.
Клетки:
- тип и источник клеток;
- особенности кариотипа и пригодность использованного типа клеток;
- отсутствие микоплазмы, если определяли;
- информация о длительности клеточного цикла;
- пол донора, использовали для культивирования цельную кровь или выделяли лимфоциты, митоген;
- число пассажей, если использовали;
- методы поддержания клеточных культур, если использовали;
- модальное число хромосом.
Условия эксперимента:
- препарат, использованный для метафазного блока, концентрация и длительность экспозиции;
- обоснование выбора концентраций и числа клеточных культур, например, данные по цитотоксичности и ограничения по растворимости, если имеются;
- состав среды, концентрация CO2;
- концентрации исследуемого вещества;
- объем растворителя и количество добавленного исследуемого вещества;
- температура инкубации;
- длительность инкубации;
- длительность обработки культуры;
- клеточная плотность во время обработки (если оценивали);
- тип и состав системы метаболической активации, включая критерии приемлемости;
- положительные и отрицательные контроли;
- методика приготовления препаратов;
- критерии учета аберраций хромосом;
- число проанализированных метафаз;
- методы оценки токсичности;
- критерии оценки результата как положительный, отрицательный или противоречивый.
Результаты:
- признаки токсичности, например: рост клеток, данные по клеточному циклу, числу клеток, митотическому индексу;
- признаки преципитации;
- данные по pH и осмотической концентрации во время обработки исследуемым веществом, если определяли;
- определение аберраций, включая пробелы;
- число клеток с хромосомными аберрациями, типы хромосомных аберраций для каждой экспериментальной и контрольной культуры;
- изменения плоидности, если есть;
- оценка зависимости эффекта от дозы, где это возможно;
- статистический анализ, если проводили;
- данные отрицательного (растворитель/разбавитель) и положительного контроля;
- исторические данные по отрицательному (растворитель/разбавитель) и положительному контролю с указанием пределов колебаний, среднего значения и стандартного отклонения.
Обсуждение результатов.
Заключение.
МИКРОЯДЕРНЫЙ ТЕСТ НА ЭРИТРОЦИТАХ МЛЕКОПИТАЮЩИХ
Идентичен международному документу OECD TG N 474 "Mammalian Erythrocyte Micronucleus Test" (ОЭСР Руководство N 474 "Микроядерный тест на эритроцитах млекопитающих"), Принят 21 июля 1997 г. Перевод с английского языка (en). Степень соответствия - модифицированный (MOD).
1.1. Настоящий метод исследования устанавливает порядок проведения испытания химических веществ в микроядерном тесте на эритроцитах млекопитающих in vivo. Микроядерный тест на млекопитающих in vivo используют для выявления индукции исследуемым веществом нарушений хромосом или митотического аппарата эритробластов при анализе эритроцитов в костном мозге или в периферической крови животных, обычно грызунов.
1.2. Цель микроядерного теста - идентифицировать вещества, вызывающие цитогенетические нарушения, которые формируют микроядра, содержащие отставшие фрагменты хромосом или целые хромосомы.
1.3. При формировании в костном мозге из эритробласта полихроматофильного эритроцита ядро выталкивается из клетки. Любые образовавшиеся микроядра могут остаться в денуклеированной цитоплазме. Микроядра в этих клетках легко визуализируются из-за отсутствия в них ядра. Повышение частоты полихроматофильных эритроцитов с микроядрами у экспериментальных животных является показателем индуцированных нарушений хромосом.
2.1. Обычно исследуют костный мозг грызунов, поскольку полихроматофильные эритроциты образуются в этой ткани. Анализ незрелых (полихроматофильных) эритроцитов с микроядрами в периферической крови также приемлем у любых видов, у которых селезенка не способна элиминировать эритроциты с микроядрами или для которых показана адекватная чувствительность в выявлении соединений, вызывающих структурные или численные нарушения хромосом. Микроядра можно различать по ряду критериев. Они включают идентификацию присутствия или отсутствия кинетохора или ДНК-центромер в микроядре. Частота незрелых (полихроматофильных) эритроцитов - принципиальный показатель теста. Доля зрелых (нормохромных) эритроцитов с микроядрами в периферической крови от проанализированного числа зрелых эритроцитов также может быть использована как показатель, если обработка животных длится 4 и более недель.
2.2. Микроядерный тест на млекопитающих in vivo особенно адекватен при оценке мутагенной опасности, поскольку позволяет учесть такие факторы, как метаболизм, фармакокинетику вещества, процессы репарации ДНК, хотя они могут варьировать от вида к виду, в разных тканях и для разных генетических событий. Тест in vivo также полезен при дальнейшей оценке мутагенного эффекта, выявленного в тест-системах in vitro.
2.3. Этот тест не подходит для оценки, если известно, что вещество или активный метаболит не достигают ткани мишени.
3.1. Животных подвергают воздействию исследуемого соединения, используя соответствующий путь введения. При работе с костным мозгом, животных умерщвляют через соответствующий интервал времени после введения, выделяют костный мозг, готовят препараты и проводят окраску. При работе с периферической кровью, ее берут через определенный интервал времени после воздействия, готовят мазки и проводят окраску.
Выбор животных
4.1.1. При работе с костным мозгом рекомендуется использовать мышей или крыс, хотя могут использоваться и другие виды млекопитающих. При работе с периферической кровью, рекомендуются мыши. Может быть использован любой другой вид млекопитающих, если показано, что у животных этого вида селезенка не элиминирует эритроциты с микроядрами, а также этот вид одинаково чувствителен при определении соединений, индуцирующих структурные и численные нарушения хромосом. Обычно используют лабораторные штаммы молодых здоровых животных. В начале исследования колебания массы животных должны быть минимальны, не превышая 20% средней массы животных каждого пола.
Условия содержания и кормления
4.1.2. Температура в экспериментальных комнатах вивария должна быть (22 +/- 3) °C. Относительная влажность должна быть не ниже 30% и не превышать 70% во время уборки, оптимально 50 - 60%. Освещение искусственное. Световой режим: 12 ч освещения, 12 ч темноты. Может быть использована стандартная лабораторная диета без ограничения питьевой воды. На выбор диеты может влиять необходимость приготовления особой смеси корма при введении вещества с кормом. Животных содержат в клетках индивидуально или небольшими группами одного пола.
Подготовка животных к исследованию
4.1.3. Методом случайного отбора формируют контрольные и экспериментальные группы здоровых молодых животных. Каждое животное идентифицируют. Животных акклиматизируют к лабораторным условиям по крайней мере в течение 5 дней. Клетки располагают таким образом, чтобы минимизировать возможные эффекты вследствие расположения клеток.
Приготовление исследуемых соединений
4.1.4. Твердые соединения растворяют или суспендируют в соответствующем растворителе и разводят, если необходимо, перед введением животным. Жидкие вещества можно вводить непосредственно или разводить перед введением. Пока стабильность растворов исследуемого вещества при соответствующем хранении не будет показана, следует использовать свежие растворы.
Растворитель/разбавитель
4.2.1. Растворитель/разбавитель не должен оказывать токсическое действие при использованных уровнях доз и не должен вступать в реакцию с исследуемым веществом. Если используют малоизвестный растворитель/разбавитель, его включение должно быть обосновано данными, указывающими на совместимость с исследуемым веществом. По возможности рекомендуется использовать водные растворы.
Контроли
4.2.2. Соответствующие положительные и отрицательные (растворитель/разбавитель) контроли должны быть в каждом опыте для каждого пола. За исключением обработки тестируемым веществом животные контрольных групп должны находиться в тех же условиях, что и животные экспериментальных групп.
4.2.3. Соединения положительного контроля при выбранных уровнях экспозиции должны индуцировать значимое повышение уровня микроядер над контролем. Дозы положительного контроля следует подбирать так, чтобы был четкий эффект, но его уровень в то же время не позволял исследователю определить зашифрованное животное группы положительного контроля. Допускается введение положительного контроля путем, отличающимся от введения исследуемого вещества, и использование одного времени введения. Когда необходимо, возможно в качестве положительного контроля использовать вещество, по химическому классу сходное с известным веществом положительного контроля. Примеры веществ положительного контроля приведены ниже.
Вещество и номер CAS |
Этилметансульфонат [номер CAS 62-50-0] |
Этилнитрозомочевина [номер CAS 759-73-] |
Митомицин C [номер CAS 50-07-7] |
Циклофосфамид (моногидрат) [номер CAS 50-18-0 (номер CAS 6055-19-2)] |
Триэтиленмеламин [номер CAS 51-18-3] |
4.2.4. Пока приемлемая вариабельность и частота клеток с микроядрами не будет показана по данным исторического контроля, в группе отрицательного контроля (контроль с растворителем/разбавителем) обработка животных проводится тем же путем и в том же режиме, что и обработка экспериментальных групп животных. Если в группе отрицательного контроля делается однократное введение, наиболее подходящим является первое время забоя. Дополнительно, контрольную группу без обработки следует также использовать до тех пор, пока исторические или опубликованные данные не покажут, что выбранный растворитель не индуцирует вредный или мутагенный эффекты.
4.2.5. При анализе периферической крови проба до обработки может быть также приемлема в качестве соответствующего отрицательного контроля, но лишь в случае коротких периодов воздействия (1 - 3-кратные введения), когда ожидают, что данные будут в пределах колебаний исторического контроля.
4.3. Проведение эксперимента
Число и пол животных
4.3.1. В каждой экспериментальной и контрольной группе должно быть не менее 5 животных каждого пола. Если ко времени проведения исследования имеются данные работ на том же виде животных и при той же схеме введения, которые показывают на отсутствие существенных различий в токсичности между полами, тогда достаточно проведение опыта на одном поле животных. В случае, если у человека экспозиция веществом специфична для разных полов, например, для ряда лекарств, эксперимент может быть проведен на животных соответствующего пола.
Схема введения
4.3.2. Не может быть рекомендована стандартная схема затравки (т.е. 1, 2 и более введений с 24-часовым интервалом). Пробы при длительных режимах введения доз приемлемы, если положительный эффект был показан в работе или при отрицательном ответе была выявлена токсичность, или была использована максимальная доза и введение вещества проведено до времени отбора пробы. Исследуемое вещество можно вводить в дробных дозах, т.е. 2 введения в тот же день, разделенных по времени не больше, чем на несколько часов, чтобы ввести большой объем материала.
4.3.3. Эксперимент может быть проведен 2 способами.
А. Животных обрабатывают однократно. Пробы отбирают по крайней мере 2 раза, начиная не ранее 24 ч после введения, но не превышая 48 ч после введения с соответствующим интервалом между пробами. Использование времени забоя менее 24 ч после введения должно быть обосновано. Пробы периферической крови также отбирают по крайней мере дважды, начиная не ранее 36 ч после введения, с соответствующим временным интервалом после первой пробы, но не превышая 72 ч после введения. При выявлении положительного ответа при одном интервале времени забора пробы, дополнительные интервалы времени для забора проб не требуются;
Б. При режимах двух и более ежедневных введений (т.е. два и более введения с интервалом 24 ч) пробу отбирают между 18 - 24 ч после последнего введения для костного мозга и между 36 и 48 ч после последнего введения для периферической крови.
4.3.4. Другие интервалы времени отбора проб могут быть использованы как дополнительные, когда это необходимо.
Уровни доз
4.3.5. Если проводится ряд исследований и нет подходящих данных, то эксперимент должен быть проведен в той же лаборатории, используя те же виды, линии, пол, режим обработки, которые были в основном исследовании. Если выявлена токсичность, то для первого срока забоя тестируют 3 дозы. Их диапазон должен быть в пределах от максимальной до минимальной токсичности или отсутствия токсичности. При более поздних сроках забоя необходимо использовать лишь максимальную дозу. Максимальную дозу определяют как дозу, вызывающую такие признаки токсичности, что при повышении уровня доз при том же режиме затравки ожидается летальный эффект. Вещества со специфической биологической активностью при низких нетоксических дозах (такие как гормоны и митогены) могут быть исключением для критериев установления уровня доз и дозы необходимо подбирать в каждом конкретном случае. Максимальная доза может также быть определена как доза, вызывающая ряд признаков токсичности в костном мозге (например, снижение доли незрелых эритроцитов от общего числа эритроцитов в костном мозге или периферической крови).
Ограничения теста
4.3.6. Если доза около 2000 мг/кг массы тела при однократном режиме воздействия или двух введениях в один день не вызывает токсического эффекта, и если генотоксичность не предполагают по результатам исследований со структурно связанными соединениями, то полную схему исследований с использованием 3 уровней доз можно не проводить.
Введение вещества
4.3.7. Исследуемое вещество обычно вводят внутрижелудочно, используя желудочный зонд или подходящую интубационную канюлю, или внутрибрюшинно. Возможно применение других способов введения при их обосновании. Максимальный объем жидкости, который вводят внутрижелудочно или путем инъекции, зависит от размеров экспериментальных животных. Обычно объем не превышает 2 мл на 100 г массы тела. Использование больших объемов должно быть обосновано. Исключение составляют раздражающие и разъедающие вещества, которые вызывают раздражающий эффект в высоких концентрациях. Вариации вводимых объемов должны быть минимизированы путем приготовления концентраций растворов, позволяющих вводить постоянный объем для всех 3 уровней доз.
Приготовление препаратов костного мозга/периферической крови
4.3.8. Клетки костного мозга обычно получают из бедренной или большой берцовой кости сразу после забоя. Клетки выделяют из бедренной или большой берцовой кости, готовят препараты и окрашивают, используя стандартные методы. Периферическую кровь берут из хвостовой вены или других кровеносных сосудов. Клетки крови окрашивают суправитально или делают мазок и затем окрашивают. Использование специфических красителей ДНК [акридиновый оранжевый или Hoechst 33258 плюс пиронин-Y] может элиминировать ряд артефактов, связанных с окрашиванием красителями, не специфичными к ДНК. Эти преимущества не мешают использованию обычных красителей (т.е. Гимза). Дополнительные системы [например, колонки с целлюлозой для удаления клеток, содержащих ядра] могут также применяться при условии, что было показано, что эти системы адекватно работают в лаборатории при учете микроядер.
Микроскопический анализ
4.3.9. Доля незрелых эритроцитов от общего (незрелые + зрелые) числа эритроцитов определяется для каждого животного при подсчете по крайней мере 200 эритроцитов для костного мозга и 1000 эритроцитов для периферической крови. Все препараты, включая отрицательный и положительный контроли, обязательно шифруют перед началом микроскопического анализа. Минимум 2000 незрелых эритроцитов на животное анализируют для учета незрелых эритроцитов с микроядрами. Дополнительная информация может быть получена при подсчете зрелых эритроцитов с микроядрами. При анализе препаратов доля незрелых эритроцитов от общего числа эритроцитов должна быть не меньше 20% от контрольного уровня. При затравке животных в течение 4 и более недель не менее 2000 зрелых эритроцитов на животное анализируют при учете микроядер. Системы автоматического анализа (анализ изображения и проточная цитометрия) - допустимая альтернатива традиционному анализу, если они обоснованы и валидизированы.
5.1. Обработка результатов
5.1.1. Данные по каждому животному следует представлять в табличной форме. Экспериментальной единицей является животное. У каждого животного подсчитывают число незрелых эритроцитов, число незрелых эритроцитов с микроядрами, число незрелых эритроцитов от общего числа эритроцитов. При постоянной затравке в течение 4 и более недель, также приводят данные по зрелым эритроцитам, если их подсчитывают. Доля незрелых эритроцитов от общего числа эритроцитов и, если считается необходимым, процент эритроцитов с микроядрами приводят по каждому животному. Если нет данных по различию показателей между животными разного пола, данные можно объединить для статистического анализа.
Оценка и интерпретация результатов
5.1.2. Имеется несколько критериев определения положительного результата: зависимое от дозы повышение числа клеток с микроядрами или четкое повышение числа клеток с микроядрами в одной дозовой группе при одном временном варианте эксперимента. Биологическая обоснованность результата должна приниматься во внимание в первую очередь. Для оценки результатов дополнительно используются статистические методы. Статистическая значимость не является единственным критерием для доказательства положительного ответа. Сомнительные (противоречивые) результаты следует проверять при дальнейшем тестировании преимущественно при использовании модифицированных экспериментальных условий.
5.1.3. Вещество, которое не соответствует вышеприведенным критериям, считается немутагенным в данном тесте.
5.1.4. Хотя в большинстве экспериментов получаются четко положительные или отрицательные результаты, в редких случаях полученные данные не позволяют сделать однозначное заключение об активности исследуемого вещества. Результаты могут оставаться противоречивыми или сомнительными независимо от числа проведенных повторов. Положительные результаты в микроядерном тесте показывают, что вещество индуцирует микроядра, которые являются результатом хромосомных нарушений или повреждений митотического аппарата эритробластов у данного вида. Отрицательные результаты указывают, что при данных условиях эксперимента вещество не индуцирует микроядра в незрелых эритроцитах у исследованного вида.
5.1.5. Должна быть обсуждена вероятность, что исследуемое вещество или его метаболиты попадают в систему кровообращения или специфически в ткани-мишени (т.е. системная токсичность).
Отчет должен включать следующую информацию.
Исследуемое соединение:
- идентификационные данные и номер CAS, если известен;
- физическую природу и чистоту;
- физико-химические параметры, имеющие значимость для данного исследования;
- стабильность веществ.
Растворитель/разбавитель:
- обоснование выбора растворителя;
- растворимость и стабильность исследуемого вещества в растворителе, если известно.
Животные:
- вид и линии животных;
- число животных, возраст и пол;
- откуда получены животные, условия содержания и кормления и т.д.;
- масса каждого животного в начале опыта, включая для каждой группы колебания массы тела, среднее значение и стандартное отклонение.
Условия эксперимента:
- данные по положительному и отрицательному (растворитель/разбавитель) контролю;
- данные опыта по выбору диапазона доз (если проводили);
- обоснование выбора доз;
- детальное описание приготовления вещества;
- детальное описание введения вещества;
- обоснование пути введения вещества;
- методы для верификации того, что вещество циркулирует в организме или достигло ткани мишени (если использовались);
- пересчет концентрации исследуемого вещества в питьевой воде или пище в дозу вещества (мг/кг массы тела в день) (если это проводили);
- детальное описание качества пищи или воды;
- детальное описание схемы обработки и забора материала;
- методы приготовления препаратов;
- методы оценки токсичности;
- критерии учета незрелых эритроцитов с микроядрами;
- число анализируемых клеток на животное;
- критерии учета вещества как положительное, отрицательное или сомнительное.
Результаты:
- признаки токсичности;
- доля незрелых эритроцитов от общего числа эритроцитов;
- число незрелых эритроцитов с микроядрами, отдельно по каждому животному;
- среднее +/- стандартное отклонение для незрелых эритроцитов с микроядрами на группу;
- оценка зависимости эффекта от дозы, где это возможно;
- статистический анализ и использованные методы;
- данные по отрицательному контролю в опыте и исторические данные по отрицательному контролю;
- данные по положительному контролю.
Обсуждение результатов.
Заключение.
МЕТОД ОЦЕНКИ ХРОМОСОМНЫХ АБЕРРАЦИЙ
В КЛЕТКАХ КОСТНОГО МОЗГА МЛЕКОПИТАЮЩИХ
Идентичен международному документу OECD TG N 475 "Mammalian Bone Marrow Chromosome Aberration Test" (ОЭСР Руководство N 475 "Метод оценки хромосомных аберраций в клетках костного мозга млекопитающих"). Принят 21 июля 1997 года. Перевод с английского языка (en). Степень соответствия - модифицированный (MOD).
1.1. Настоящий метод исследования устанавливает порядок проведения испытания химических веществ с помощью метода оценки хромосомных аберраций в клетках костного мозга млекопитающих. Метод оценки хромосомных аберраций в клетках костного мозга млекопитающих (обычно грызунов) in vivo используют для анализа структурных аберраций хромосом, индуцированных исследованным соединением. Имеется два типа аберраций хромосом: хроматидные и хромосомные. Возрастание полиплоидии указывает на возможность индукции веществом нарушений числа хромосом. Подавляющее большинство химических мутагенов индуцирует аберрации хроматидного типа. В то же время возможно увеличение аберраций хромосомного типа. Хромосомные мутации и связанные с ними события являются причиной многих генетических болезней человека. Имеются четкие данные, что хромосомные мутации и связанные с ними события, вызывающие нарушения в онкогенах и генах опухолевых супрессорах, вовлечены в процесс канцерогенеза у человека и экспериментальных тест-систем.
2.1. Обычно опыты ставят на грызунах. Тканью-мишенью является костный мозг, поскольку это высоко васкулизированная ткань, содержащая популяцию быстро делящихся клеток, которые можно легко выделить и с которыми легко работать. Другие виды животных и ткани-мишени не являются предметом рассмотрения в данном документе.
2.2. Данный метод особенно подходит при оценке опасности мутагенов, т.к. опыт in vivo позволяет учесть такие факторы, как метаболизм, фармакокинетика и процессы репарации ДНК, хотя они могут варьировать между видами и между тканями. Тест in vivo также полезен при дальнейшей оценке мутагенного эффекта, выявленного в тест-системах in vitro.
2.3. Если известно, что вещество или активный метаболит не достигают ткани-мишени, этот тест не подходит для оценки мутагенности.
3.1. Животных подвергают воздействию исследуемого соединения при соответствующем пути введения и умерщвляют через определенное время после введения. Перед умерщвлением животным вводят вещество, блокирующее митоз на стадии метафазы (т.е. колхицин или колцемид). Затем готовят препараты клеток костного мозга, окрашивают и анализируют хромосомные аберрации в метафазах.
Выбор животных
4.1.1. Обычно используют крыс, мышей и китайских хомячков, хотя можно использовать и другие виды млекопитающих. Наиболее часто опыты проводят на молодых, здоровых взрослых животных лабораторных штаммов. В начале эксперимента колебания массы животных должны быть минимальны, не превышая +/- 20% средней массы животных каждого пола.
Условия содержания и кормления
4.1.2. Температура в экспериментальных комнатах вивария должна быть (22 +/- 3) °C. Относительная влажность должна быть не ниже 30% и не превышать 70% во время уборки, оптимально 50 - 60%. Освещение искусственное. Световой режим: 12 ч освещения, 12 ч темноты. Может быть использована стандартная лабораторная диета без ограничения питьевой воды. На выбор диеты может влиять необходимость приготовления особой смеси корма при введении вещества с кормом. Животных содержат в клетках индивидуально или небольшими группами одного пола.
Подготовка животных к исследованию
4.1.3. Методом случайного отбора формируют контрольные и экспериментальные группы животных. Клетки располагают таким образом, чтобы минимизировать возможные эффекты вследствие перемещения клеток. Каждое животное идентифицируют. Животных акклиматизируют к лабораторным условиям, по крайней мере, в течение 5 дней.
Приготовление исследуемых соединений
4.1.4. Твердые соединения растворяют или суспендируют в соответствующем растворителе или разбавителе и разводят, если необходимо, перед введением животным. Жидкие вещества можно вводить непосредственно или разводить перед введением. Пока стабильность растворов исследуемого вещества при соответствующем хранении не будет показана, следует использовать свежие растворы.
Растворитель/разбавитель
4.2.1. Растворитель/разбавитель не должен вызывать токсические эффекты при использованных уровнях доз и не должен вступать в реакцию с исследуемым веществом. Если используют малоизвестный растворитель/разбавитель, его включение должно быть обосновано данными, указывающими на совместимость с исследуемым веществом. По возможности рекомендуется использовать водные растворы.
Контроли
4.2.2. Соответствующие положительные и отрицательные (растворитель/разбавитель) контроли должны быть в каждом опыте для каждого пола. Исключая обработку животных тестируемым веществом, животные контрольных групп должны находиться в тех же условиях, что и животные экспериментальных групп.
4.2.3. Соединения положительного контроля при выбранных уровнях экспозиции должны индуцировать значимое повышение уровня хромосомных аберраций над контролем. Дозы положительного контроля следует подбирать так, чтобы был четкий эффект, но в то же время его уровень не позволял исследователю определить зашифрованный препарат группы положительного контроля. Допускают введение положительного контроля способом, отличающимся от введения исследуемого вещества, и использование одного срока введения. Дополнительно, если это необходимо, в качестве положительного контроля можно использовать вещество, по химическому классу сходное с веществом положительного контроля. Примеры веществ положительного контроля приведены ниже.
Вещество и номер CAS |
Триэтиленмеламин [CAS N 51-18-3] |
Этилметансульфонат [CAS N 62-50-0] |
Этилнитрозомочевина [CAS N 759-73-9] |
Митомицин C [CAS N 50-07-7] |
Циклофосфамид (моногидрат) [CAS N 50-18-0 (CAS N 6055-19-2)] |
4.2.4. Пока приемлемая вариабельность частоты клеток с аберрациями хромосом не будет показана по данным исторического контроля, в группе отрицательного контроля (контроль с растворителем/разбавителем) обработку животных проводят тем же путем и в том же режиме, что и обработку экспериментальных групп животных. Если в группе отрицательного контроля проводят однократное введение, наиболее подходящим является первый срок забоя. Дополнительно следует формировать контрольную группу без обработки, пока исторические или опубликованные данные не покажут, что выбранный растворитель не индуцирует вредный или мутагенный эффект.
4.3. Проведение эксперимента
Число и пол животных
4.3.1. В каждой экспериментальной и контрольной группе должно быть как минимум 5 животных каждого пола. Если ко времени проведения исследования имеются данные работ на том же виде животных и при той же схеме введения, которые указывают на отсутствие существенных различий в токсичности между полами, тогда достаточно проведения опыта на животных одного пола. Если экспозиция человека веществом специфична для разных полов, например для некоторых лекарств, эксперимент может быть проведен на животных соответствующего пола.
Схема введения
4.3.2. Применяют преимущественно схему однократного введения вещества. Исследуемое вещество может быть введено в дробных дозах, т.е. два введения в тот же день, разделенных не больше, чем на несколько часов, чтобы ввести большой объем материала. Другие дозовые режимы должны быть научно обоснованы.
4.3.3. Забой животных следует проводить через 2 интервала времени после введения препарата. Для грызунов первый забой после введения вещества проводят через интервал, равный 1,5-кратной продолжительности нормального клеточного цикла, длительность которого в норме составляет 12 - 18 ч. Так как время, требуемое для поступления и метаболизма исследуемого вещества, а также возможный эффект на кинетику клеточного цикла могут влиять на оптимальное время для выявления аберраций хромосом, рекомендуется второй забой проводить через 24 ч после первого забоя. Если используется больше, чем однодневный дозовый режим, рекомендуется один срок забоя после последнего введения вещества через интервал времени, равный 1,5-кратной продолжительности нормального клеточного цикла.
4.3.4. Перед забоем животным вводят внутрибрюшинно соответствующую дозу вещества, блокирующую митоз на стадии метафазы (т.е. колцемид или колхицин). Через определенный интервал времени животных забивают. Для мышей этот интервал составляет 3 - 5 ч, для китайских хомячков - 4 - 5 ч. Клетки отбирают из костного мозга, готовят препараты и анализируют хромосомные аберрации.
Уровни доз
4.3.5. Если проведен ряд исследований и отсутствуют подходящие данные, то эксперимент должен быть проведен в той же лаборатории, используя те же виды, линии, пол, режим обработки, которые были в основном исследовании. Если выявлена токсичность, то для первого срока забоя тестируют 3 дозы. Диапазон доз должен быть в пределах от максимальной до минимальной токсичности или отсутствия токсичности. При более поздних сроках забоя необходимо использовать лишь максимальную дозу. Наибольшая доза определяется как доза, вызывающая такие признаки токсичности, которые при повышении уровня доз при том же режиме затравки указывают на возможность летального эффекта. Вещества со специфической биологической активностью в низких нетоксичных дозах (такие как гормоны и митогены) могут быть исключением для критериев установления дозы, и дозы должны устанавливаться для каждого конкретного случая. Наибольшая доза может также быть определена как доза, вызывающая ряд признаков токсичности в костном мозге (т.е. снижение митотического индекса более чем на 50%).
Ограничения теста
4.3.6. Если доза около 2000 мг/кг массы тела при однократном режиме воздействия или двух введениях в один день не оказывает токсического действия, и если не предполагают генотоксичность по результатам исследований со структурно связанными соединениями, то полную схему исследований с использованием 3 уровней доз можно не проводить. Для опытов с длительным введением максимальная доза составляет 2000 мг на кг массы тела в день при длительности введения до 14 дней и 1000 мг на кг массы тела в день при длительности введения более 14 дней. Ожидаемая экспозиция для человека может указывать на необходимость использования более высоких доз в опытах по установлению порогов.
Введение вещества
4.3.7. Исследуемое вещество обычно вводят внутрижелудочно, используя желудочный зонд или подходящую интубационную канюлю, или внутрибрюшинно. Возможно применение других способов введения при их обосновании. Максимальный объем жидкости, который вводят внутрижелудочно или путем инъекции, зависит от размеров экспериментальных животных. Объем не должен превышать 2 мл на 100 г массы тела. Использование больших объемов должно быть обосновано. Исключение составляют раздражающие и разъедающие вещества, которые вызывают раздражающий эффект в высоких концентрациях. Вариации вводимых объемов должны быть минимизированы путем приготовления концентраций растворов, позволяющих вводить постоянный объем для всех 3 уровней доз.
Приготовление препаратов метафазных хромосом
4.3.8. Сразу после забоя выделяют костный мозг, проводят гипотоническую обработку клеток и фиксацию. Затем клетки раскапывают на стекла и окрашивают.
Микроскопический анализ
4.3.9. Следует оценить митотический индекс, как показатель цитотоксичности, анализируя минимум по 1000 клеток на каждое экспериментальное животное, включая положительный и отрицательный контроль.
4.3.10. Для анализа аберраций хромосом следует анализировать минимум по 100 метафаз на каждое животное. Число клеток может быть уменьшено, если наблюдают высокое число аберраций. Все стекла, включая положительный и отрицательный контроль, перед микроскопическим анализом должны быть зашифрованы. При приготовлении препаратов часто возможна потеря хромосом, поэтому анализируемые метафазы должны содержать число центромер в пределах 2n +/- 2.
5.1. Обработка результатов
5.1.1. Данные по каждому животному следует представлять в табличной форме. Экспериментальной единицей является животное. По каждому животному приводят число проанализированных клеток, число аберраций на клетку и процент клеток со структурными аберрациями хромосом. Следует указать число и частоту разных типов структурных аберраций хромосом для опытных и контрольных групп. Пробелы регистрируют отдельно и их не включают в общую частоту аберраций. Если нет данных по различию показателей между животными разного пола, результаты по обеим полам можно объединить для статистического анализа.
Оценка и интерпретация результатов
5.1.2. Имеется несколько критериев определения положительного результата: зависимое от дозы повышение числа клеток с аберрациями хромосом или четкое повышение числа клеток с аберрациями хромосом в одной дозовой группе при одном временном варианте эксперимента. Биологическая обоснованность результата должна приниматься во внимание в первую очередь. Для оценки результатов могут быть использованы статистические методы. Статистическая значимость не является единственным критерием для доказательства положительного ответа. Сомнительные (противоречивые) результаты следует проверять при дальнейшем тестировании, используя преимущественно модификацию экспериментальных условий.
5.1.3. Возрастание полиплоидии может указывать, что исследуемое вещество может индуцировать изменение числа хромосом. Возрастание эндоредупликации может указывать, что исследуемое вещество возможно подавляет нормальное прохождение клеточного цикла.
5.1.4. Вещество, результаты исследования которого не соответствуют приведенным выше критериям, считается немутагенным в данном тесте.
5.1.5. Хотя в большинстве экспериментов получаются четко положительные или отрицательные результаты, в редких случаях полученные данные не позволяют сделать однозначное заключение об активности исследуемого вещества. Результаты могут оставаться противоречивыми или сомнительными независимо от числа проведенных повторов.
5.1.6. Положительные результаты в тесте на хромосомные аберрации in vivo, показывают, что вещество индуцирует аберрации хромосом в клетках костного мозга исследуемого вида животных. Отрицательные результаты указывают, что при данных условиях эксперимента вещество не индуцирует хромосомные аберрации в клетках костного мозга исследованного вида животных.
5.1.7. Должна быть обсуждена вероятность, что исследуемое вещество или его метаболиты попадают в систему кровообращения или специфически в ткани-мишени (т.е. системная токсичность).
Отчет должен включать следующую информацию.
Исследуемое соединение:
- идентификационные данные и номер CAS, если известен;
- физическую природу и чистоту;
- физико-химические параметры, имеющие значение для данного исследования;
- стабильность веществ.
Растворитель/разбавитель:
- обоснование выбора растворителя/разбавителя;
- растворимость и стабильность исследуемого вещества в растворителе/разбавителе, если известно.
Животные:
- вид и линии животных;
- число животных, возраст и пол;
- откуда получены животные, условия содержания и кормления и т.д.;
- масса каждого животного на начало опыта, включая для каждой группы колебания массы тела, среднее значение и стандартное отклонение.
Условия эксперимента:
- данные по положительному и отрицательному (растворитель/разбавитель) контролю;
- данные опыта по выбору диапазона доз (если проводили);
- обоснование выбора доз;
- детальное описание приготовления вещества;
- детальное описание введения вещества;
- обоснование пути введения вещества;
- методы для верификации того, что вещество циркулирует в организме или достигло ткани-мишени (если использовали);
- пересчет концентрации исследуемого вещества в питьевой воде или пище в дозу вещества (мг/кг массы тела в день) (если это проводили);
- детальное описание качества пищи или воды;
- детальное описание схемы обработки и забора материала;
- методы оценки токсичности;
- вещество, используемое для блокады метафаз, его концентрация и длительность экспозиции;
- метод приготовления препаратов метафазных хромосом;
- критерии анализа аберраций хромосом;
- число анализируемых клеток на животное;
- критерии учета вещества как позитивное, негативное или сомнительное.
Результаты:
- признаки токсичности;
- митотический индекс;
- типы и число аберраций, отдельно по каждому животному;
- общее число аберраций хромосом на группу с указанием среднего значения и стандартного отклонения;
- число клеток с аберрациями хромосом на группу с указанием среднего значения и стандартного отклонения;
- изменения плоидности, если анализировали;
- оценка зависимости эффекта от дозы, где это возможно;
- статистический анализ, если проводили;
- данные по отрицательному контролю;
- исторические данные по отрицательному контролю с колебаниями показателя, среднего значения и стандартному отклонению;
- данные по положительному контролю.
Обсуждение результатов.
Заключение.
МЕТОД ОЦЕНКИ ГЕННЫХ МУТАЦИЙ НА КЛЕТКАХ
МЛЕКОПИТАЮЩИХ IN VITRO
Идентичен международному документу OECD TG N 476 "In Vitro Mammalian Cell Gene Mutation Test" (ОЭСР Руководство N 476 "Метод оценки генных мутаций на клетках млекопитающих in vitro"). Принят 21 июля 1997 г. Перевод с английского языка (en). Степень соответствия - модифицированный (MOD).
1.1. Настоящий метод исследования устанавливает порядок проведения испытания химических веществ с помощью метода оценки генных мутаций на клетках млекопитающих in vitro. Метод оценки генных мутаций на клетках млекопитающих in vitro может быть использован для анализа генных мутаций, индуцируемых химическими соединениями. Наиболее часто используются следующие культуры: мышиная лимфома L5178Y, клеточные линии CHO, AS52, и V79 китайского хомячка; лимфобластные клетки человека ТК6. В этих клеточных линиях для изучения мутаций наиболее часто исследуются генетические маркеры, оценивающие мутации генов тимидинкиназы (ТК) и гипоксантин-гуанидин фосфорибозилтрансферазы (HPRT) и трансгена ксантин-гуанидин фосфорибозилтрасферазы (XPRT). ТК, HPRT и XPRT выявляют различные спектры генетических событий. Аутосомная локализация ТК и XPRT позволяет выявлять генетические события (т.е. большие делеции), не определяемые в HPRT локусе X-хромосомы.
2.1. В тесте оценки генных мутаций на клетках млекопитающих in vitro используют культуры перевиваемых клеточных линий или клеточные штаммы. Клетки отбирают на основе способности роста в культуре и стабильности частоты спонтанных мутаций. Для тестов in vitro обычно требуется использовать экзогенный источник метаболической активации. Система метаболической активации не может полностью воспроизводить условия, присутствующие у млекопитающих in vivo. Строго следует избегать условий, которые могут привести к результатам, не отражающим реальную мутагенность. Позитивные результаты, не отражающие реальную мутагенность, могут возникать вследствие изменения pH, осмотической концентрации раствора, высокого уровня токсичности.
2.2. Тест применяют для скрининга потенциальной мутагенности и канцерогенности для млекопитающих. Многие вещества, позитивные в данном тесте, являются канцерогенами для млекопитающих. Однако нет высокой корреляции между результатами данного теста и канцерогенностью. Степень корреляции зависит от класса химических соединений. Возрастает количество данных, показывающих, что имеются канцерогены, которые не эффективны в данном тесте, поскольку они действуют через другие, негенотоксические, механизмы или механизм их действия не работает в этих клетках
[6].
3.1. Клетки, дефицитные по тимидинкиназе (ТК) вследствие мутации ТК
+ 
ТК
-, резистентны к цитотоксическому эффекту пиримидинового аналога трифтортимидина (ТФТ). Клетки, профицитные по тимидинкиназе, чувствительны к ТФТ, который вызывает ингибицию клеточного метаболизма и останавливает клеточное деление. Только мутантные клетки способны пролиферировать в присутствии ТФТ, в то время как содержащие тимидинкиназу нормальные клетки не пролиферируют. Аналогично, клетки, дефицитные по HPRT или XPRT, отбираются по резистентности к 6-тиогуанину (ТГ) или 8-азагуанину (АГ). При тестировании генных мутаций
in vitro следует тщательно анализировать особенности исследуемых веществ, проверяя, не являются ли они аналогами оснований или соединениями, связанными с селективными агентами, используемыми в данной тест-системе. Например, любая ожидаемая селективная токсичность исследуемого соединения должна изучаться для мутантных и немутантных клеток. Приемлемость выбора система/агент должна быть подтверждена, когда исследуемое соединение по химической структуре связано с селективным агентом.
3.2. Клеточная суспензия или клеточный монослой подвергаются воздействию исследуемого соединения как в варианте с метаболической активацией, так и без нее в течение адекватного интервала времени и затем культивируется для определения цитотоксичности и фенотипической экспрессии до отбора мутантов. Цитотоксичность обычно оценивают по соотношению эффективности клонирования (выживаемости) или по соотношению общего роста этих культур после воздействия. Обработанные культуры содержат в культуральной среде необходимый период времени, характерный для каждого селективного локуса и клеточного типа, чтобы проявилась близкая к оптимальной фенотипическая экспрессия индуцированных мутаций. Частоту мутаций определяют путем посева определенного числа клеток в содержащую селективный агент культуральную среду для выявления мутантных клеток и в среду без селективного агента для определения эффективности клонирования (выживаемости). После соответствующего времени инкубации подсчитывают колонии. Частоту мутаций определяют по числу мутантных колоний в селективной среде и числу колоний в неселективной среде.
Клетки
4.1.1. В тесте используют различные типы клеток, включая субклоны клеток L5178Y, CHO, AS52, V79 или ТК6. Используемые клетки должны быть чувствительны к химическим мутагенам, иметь высокую эффективность клонирования и стабильный уровень спонтанных мутаций. Клетки необходимо проверять на загрязнение микоплазмой. Клетки не следует использовать при наличии загрязнения.
4.1.2. Предварительно должна быть определена чувствительность и сила теста. Число клеток, количество культур, концентрации исследуемого вещества должны отвечать этим параметрам. Минимальное число выживших после обработки клеток, используемое на каждой стадии теста, должно основываться на спонтанной частоте мутаций. Общее правило - использовать то количество клеток, которое по крайней мере в 10 раз выше спонтанной частоты мутаций. Рекомендуется использовать по крайней мере 106 клеток. Следует учитывать адекватные исторические данные по клеточной системе, чтобы контролировать стабильность теста.
Среда и условия культивирования
4.1.3. Необходимо использовать соответствующую культуральную среду и условия инкубации (культуральная посуда, температура, концентрация CO2 и влажность). Культуральную среду выбирают в соответствии с используемым в тесте типом клеток и селективной системой. Особенно важно, чтобы выбранные условия культивирования обеспечивали оптимальный рост клеток в течение периода экспрессии и оптимальную колонийобразующую способность как мутантных, так и немутантных клеток.
Приготовление культур
4.1.4. Клетки берут из сток культуры, высевают в культуральную среду и инкубируют при 37 °C. Перед использованием в тесте культуры необходимо очистить от предсуществующих мутантных клеток.
Метаболическая активация
4.1.5. Исследуемое вещество тестируют в культуре в вариантах в присутствии системы метаболической активации и без нее. Наиболее часто используемая система включает кофакторы и постмитохондриальную фракцию (S9) печени грызунов, обработанных индукторами ферментов, такими как Arochlor или комбинация фенобарбитала и

Обычно используют постмитохондриальную фракцию в диапазоне концентраций, соответствующих 1 - 10% от конечного объема среды. Выбор и условия системы метаболической активации зависят от класса исследуемого химического вещества. В некоторых случаях возможно проведение опыта с более чем одной концентрацией постмитохондриальной фракции. Ряд методик, основанных на использовании генноинженерных клеточных линий, экспрессирующих специфические активирующие клеточные ферменты, могут обладать эндогенной активацией. Выбор клеточных линий должен быть научно обоснован (например, присутствие изозима цитохрома P450, метаболизирующего исследуемое вещество).
Исследуемое вещество/подготовка
4.1.6. Твердые вещества следует растворять или суспендировать в соответствующих растворителях или разбавителях и раствор готовить перед обработкой клеток. Жидкие вещества можно добавлять прямо в культуру и/или разводить перед введением. Свежие препараты следует использовать до тех пор, пока данные об их стабильности указывают на приемлемость условий хранения.
Растворитель/разбавитель
4.2.1. Растворитель/разбавитель не должен химически взаимодействовать с исследуемым веществом и не должен влиять на выживаемость клеток и активность S9-системы. Если используется неизвестный растворитель, его применение должно быть обосновано данными, показывающими его совместимость с данным тестом. Рекомендуется, если возможно, использовать в первую очередь водные растворы/суспензии. При исследовании не растворимых в воде веществ, используют органические растворители, не содержащие воды. Вода может быть удалена с помощью молекулярного сита.
Воздействующие концентрации
4.2.2. Основными критериями при выборе максимальной концентрации вещества являются цитотоксичность, растворимость в тест-системе, изменение pH или осмотической концентрации.
4.2.3. Цитотоксичность должна быть определена в основном эксперименте в вариантах с метаболической активацией и без нее, используя в качестве показателей эффективность клонирования (выживаемость) или относительный общий рост. Полезно определить цитотоксичность и растворимость в предварительном эксперименте.
4.2.4. Следует использовать по крайней мере 4 информативных концентрации. При наличии цитотоксичности концентрации должны быть в диапазоне от максимальной до минимальной по токсичности или до отсутствия токсичности. Обычно диапазон между концентрациями должен быть в пределах от 2 раз до

Если максимальная концентрация основана на цитотоксичности, то она должна давать приблизительно 10 - 20% (но не меньше 10%) уровень относительной выживаемости (относительной эффективности клонирования) или относительного общего роста. Для нецитотоксичных веществ максимальные концентрации следует брать 5 мг/мл, 5 мкл/мл или 0,01 М, выбирая наименьшую.
4.2.5. Относительно нерастворимые вещества следует тестировать на уровнях выше или ниже границы их растворимости в культуральных условиях. Данные по растворимости следует определять на культуральной среде, в которой обрабатывают клетки. Полезно оценить растворимость в начале и конце обработки, так как растворимость может меняться во время обработки клеток из-за присутствия клеток, S9, сыворотки и т.д. Нерастворимость можно определять на глаз. Преципитат не должен мешать анализу результатов.
Контроли
4.2.6. Соответствующие положительные и отрицательные (растворитель или разбавитель) контроля в вариантах с метаболической концентрацией и без нее должны быть включены в каждый эксперимент. В варианте с метаболической активацией вещество, используемое в качестве положительного контроля, должно дать мутагенный ответ при данной системе метаболической активации.
4.2.7. Примеры положительных контролей.
Условия метаболической активации | Локус | Химическое вещество и номер CAS |
Отсутствие экзогенной метаболической активации | HPRT | Этилметансульфонат [CAS N 62-50-0] Этилнитрозомочевина [CAS N 759-73-9] |
ТК (малые или большие колонии) | Метилметансульфонат [CAS N 66-27-3] |
XPRT | Этилметансульфонат [CAS N 62-50-0] Этилнитрозомочевина [CAS N 759-73-9] |
Присутствие экзогенной метаболической активации | HPRT | 3-метилхолантрен [CAS N 56-49-5] N-нитрозодиметиламин [CAS N 62-75-9] 7,12-диметилбензантрацен [CAS N 57-97-6] |
ТК (малые или большие колонии) | Циклофосфамид (моногидрат) [CAS N 50-18-0 (6055-19-2)] Бензо(а)пирен [CAS N 50-32-8] 3-метилхолантрен [CAS N 56-49-5] |
XPRT | N-нитрозодиметиламин (для высоких уровней S-9 [CAS N 62-75-9] Бензо(а)пирен [CAS N 50-32-8] |
4.2.8. Возможно использование других положительных контролей. Например, если лаборатория имеет накопленные данные по 5-бром-2'-дезоксиуридину [CAS N 59-14-3], то это соединение может быть использовано как положительный контроль. При необходимости допустимо использование химические вещества того же класса, что и известные позитивные контроли.
4.2.9. Отрицательный контроль - растворитель или разбавитель в культуральной среде. Обработка культуры проводится так же как в экспериментальных группах. Дополнительно вводят контроль "культура без обработки", пока накопленные в лаборатории данные (исторический контроль) не покажут отсутствие вредного или мутагенного эффекта выбранного растворителя.
4.3. Проведение эксперимента
Обработка культуры
4.3.1. Пролиферирующие клетки обрабатывают веществом в условиях с метаболической активацией и без нее. Длительность воздействия должна быть оптимальной (обычно эффективна от 3 до 6 ч). Время экспозиции может охватывать один или более клеточных циклов.
4.3.2. Для каждой концентрации можно использовать либо две, либо одну культуру. При использовании одной культуры число концентраций следует увеличить, чтобы было адекватное число культур для анализа (т.е. по крайней мере 8 концентраций). Необходимо ставить 2 культуры с отрицательным контролем.
4.3.3. Тестирование газообразных или летучих соединений следует проводить, используя адекватные методики, такие как герметически закрытые культуральные флаконы.
Оценка выживаемости, жизнеспособности и частоты мутаций
4.3.4. После окончания воздействия клетки отмывают и культивируют для оценки выживаемости и для экспрессии мутантного фенотипа. Оценку цитотоксичности, определяя относительную эффективность клонирования (выживаемость) и относительный общий рост культуры, обычно проводят после периода воздействия.
4.3.5. Для каждого локуса имеется определенный период времени, необходимый для оптимальной экспрессии фенотипа вновь индуцированных мутаций (мутантов) (для HPRT и XPRT необходимо по крайней мере 6 - 8 дней, для ТК - 2 дня). Клетки выращивают в среде в присутствии и без селективного агента для определения соответственно числа мутантов и эффективности клонирования. Оценку выживаемости (используемую для расчета частоты мутантов) проводят по окончании времени экспрессии, высевая клетки на неселективную среду.
4.3.6. Если вещество позитивно в ТК+/--тесте на клетках L5178Y, определяют размер колоний по крайней мере на одной экспериментальной культуре (наивысшая позитивная концентрация) и на культурах отрицательного и позитивного контроля. Если вещество дало отрицательный результат в ТК+/--тесте на клетках L5178Y, размер колоний определяют в культурах отрицательного и позитивного контроля. В исследованиях на ТК6ТК+/- также можно проводить анализ размера колоний.
5.1. Обработка результатов
5.1.1. Данные должны включать определение цитотоксичности и выживаемости клеток, подсчет колоний и частоту мутаций для экспериментальных и контрольных культур. В случае положительного ответа в тесте ТК+/- на клетках L5178Y колонии измеряют, используя критерии отнесения колоний к малым и большим, по крайней мере в варианте с одной концентрацией вещества (наивысшей концентрацией, давший положительный эффект) и в культурах отрицательного и позитивного контроля. Молекулярная и цитогенетическая природа мутантов, образующих большие и малые колонии, в деталях рассмотрена в ряде работ. В ТК+/--тесте колонии подсчитывают, используя критерии нормального роста (большие колонии) и медленного роста (малые колонии). Мутантные клетки, имеющие более тяжелые генетические нарушения, имеют более длительный период удвоения и соответственно формируют небольшие колонии. Спектр этих нарушений колеблется от полной потери гена до кариотипически выявляемых хромосомных аберраций. Образование малых колоний связано с химическими веществами, индуцирующими "большие" хромосомные аберрации. Мутантные клетки с менее серьезными нарушениями растут со скоростью, сходной с родительскими клетками, и формируют большие колонии.
5.1.2. Должны быть представлены выживаемость (относительная эффективность клонирования) и относительный общий рост. Частота мутаций приводится как число мутантных клеток на общее число выживших клеток.
5.1.3. Данные приводят по отдельным культурам. Дополнительно все данные следует объединить (суммировать) в табличной форме.
5.1.4. Нет требований к верификации четко положительного ответа. Противоречивые результаты следует прояснить, проводя дальнейшее тестирование, предпочтительно используя модифицированные экспериментальные условия. Отрицательные результаты следует в отдельных случаях подтверждать. В тех случаях, когда подтверждение отрицательных результатов не считается необходимым, правомерность этого должна быть обоснована. Модификация параметров исследования, варьирование условий могут быть проведены в последующих экспериментах при противоречивых или отрицательных результатах. Параметры, которые могут быть модифицированы, включают диапазон концентраций и условия метаболической активации.
Оценка и интерпретация результатов
5.1.5. Существует ряд критериев для определения положительного результата: зависимость от концентрации или воспроизводимое повышение частоты мутаций. На первом месте должна быть биологическая обоснованность результатов. Дополнительно при оценке результатов могут быть использованы статистические методы. Статистическая значимость не должна быть единственным определяющим фактором при оценке положительного ответа.
5.1.6. Исследуемое вещество, для которого все вышеприведенные критерии отрицательны, считается немутагеном в данной тест-системе.
5.1.7. Хотя в большинстве исследований получают четкие положительные или отрицательные результаты, в редких случаях данные не позволяют сделать заключение об активности вещества. Результаты могут оставаться противоречивыми или сомнительными, несмотря на то, что эксперименты несколько раз повторены.
5.1.8. Положительные результаты в тесте оценки генных мутаций на клетках млекопитающих in vitro показывают, что исследуемое вещество индуцирует генные мутации в используемых культивируемых клетках млекопитающих. Выявленная зависимость эффекта от концентрации, которая повторяется, наиболее значима. Отрицательные результаты показывают, что при данных условиях исследуемое вещество не индуцирует генные мутации в используемых культивируемых клетках млекопитающих.
Отчет должен включать следующую информацию.
Исследуемое соединение:
- идентификационные данные и номер CAS, если известен;
- физическую природу и чистоту;
- физико-химические параметры, имеющие значимость для данного исследования;
- стабильн