Главная // Актуальные документы // Актуальные документы (обновление 2024.12.02-2025.01.05) // ГОСТ (Государственный стандарт)СПРАВКА
Источник публикации
М.: ФГБУ "Институт стандартизации", 2024
Примечание к документу
Отдельные положения данного документа включены в Перечень международных и региональных (межгосударственных) стандартов (
п. п. 38,
74), а в случае их отсутствия - национальных (государственных) стандартов, в результате применения которых на добровольной основе обеспечивается соблюдение требований технического
регламента Евразийского экономического союза "О безопасности продукции, предназначенной для гражданской обороны и защиты от чрезвычайных ситуаций природного и техногенного характера" (ТР ЕАЭС 050/2021) и документ включен в Перечень международных и региональных (межгосударственных) стандартов (
п. п. 124,
166), а в случае их отсутствия - национальных (государственных) стандартов, содержащих правила и методы исследований (испытаний) и измерений, в том числе правила отбора образцов, необходимые для применения и исполнения требований технического
регламента Евразийского экономического союза "О безопасности продукции, предназначенной для гражданской обороны и защиты от чрезвычайных ситуаций природного и техногенного характера" (ТР ЕАЭС 050/2021) и осуществления оценки соответствия объектов технического регулирования (
Решение Коллегии Евразийской экономической комиссии от 30.05.2023 N 78).
Документ
вводится в действие с 01.09.2025 с правом досрочного применения.
Название документа
"ГОСТ IEC 61000-4-6-2022. Межгосударственный стандарт. Электромагнитная совместимость. Часть 4-6. Методы испытаний и измерений. Устойчивость к кондуктивным помехам, наведенным радиочастотными полями"
(введен в действие Приказом Росстандарта от 29.08.2024 N 1133-ст)
"ГОСТ IEC 61000-4-6-2022. Межгосударственный стандарт. Электромагнитная совместимость. Часть 4-6. Методы испытаний и измерений. Устойчивость к кондуктивным помехам, наведенным радиочастотными полями"
(введен в действие Приказом Росстандарта от 29.08.2024 N 1133-ст)
Приказом Федерального
агентства по техническому
регулированию и метрологии
от 29 августа 2024 г. N 1133-ст
МЕЖГОСУДАРСТВЕННЫЙ СТАНДАРТ
ЭЛЕКТРОМАГНИТНАЯ СОВМЕСТИМОСТЬ
ЧАСТЬ 4-6
МЕТОДЫ ИСПЫТАНИЙ И ИЗМЕРЕНИЙ
УСТОЙЧИВОСТЬ К КОНДУКТИВНЫМ ПОМЕХАМ,
НАВЕДЕННЫМ РАДИОЧАСТОТНЫМИ ПОЛЯМИ
Electromagnetic compatibility. Part 4-6.
Testing and measurement techniques. Immunity to conducted
disturbances, induced by radio-frequency fields
(IEC 61000-4-6:2013, IDT)
ГОСТ IEC 61000-4-6-2022
Дата введения
1 сентября 2025 года
с правом досрочного применения
Цели, основные принципы и общие правила проведения работ по межгосударственной стандартизации установлены
ГОСТ 1.0 "Межгосударственная система стандартизации. Основные положения" и
ГОСТ 1.2 "Межгосударственная система стандартизации. Стандарты межгосударственные, правила и рекомендации по межгосударственной стандартизации. Правила разработки, принятия, обновления и отмены"
1 ПОДГОТОВЛЕН Открытым акционерным обществом "Испытания и сертификация бытовой и промышленной продукции "БЕЛЛИС" на основе собственного перевода на русский язык англоязычной версии стандарта, указанного в
пункте 5
2 ВНЕСЕН Государственным комитетом по стандартизации Республики Беларусь
3 ПРИНЯТ Межгосударственным советом по стандартизации, метрологии и сертификации (протокол от 22 ноября 2022 г. N 156-П)
За принятие проголосовали:
Краткое наименование страны по МК (ИСО 3166) 004-97 | Код страны по МК (ИСО 3166) 004-97 | Сокращенное наименование национального органа по стандартизации |
Армения | AM | ЗАО "Национальный орган по стандартизации и метрологии" Республики Армения |
Беларусь | BY | Госстандарт Республики Беларусь |
Киргизия | KG | Кыргызстандарт |
Россия | RU | Росстандарт |
Узбекистан | UZ | Узбекское агентство по техническому регулированию |
4 Приказом Федерального агентства по техническому регулированию и метрологии от 29 августа 2024 г. N 1133-ст межгосударственный стандарт ГОСТ IEC 61000-4-6-2022 введен в действие в качестве национального стандарта Российской Федерации с 1 сентября 2025 г. с правом досрочного применения
5 Настоящий стандарт идентичен международному стандарту IEC 61000-4-6:2013 "Электромагнитная совместимость (ЭМС). Часть 4-6. Методы испытаний и измерений. Устойчивость к кондуктивным помехам, наведенным радиочастотными полями" ("Electromagnetic compatibility (EMC) - Part 4-6: Testing and measurement techniques - Immunity to conducted disturbances, induced by radio-frequency fields", IDT), включая поправку Cor 1:2015.
Международный стандарт разработан Подкомитетом 77B "Высокочастотные явления" Технического комитета по стандартизации TC 77 "Электромагнитная совместимость" Международной электротехнической комиссии (IEC).
При применении настоящего стандарта рекомендуется использовать вместо ссылочных международных стандартов соответствующие им межгосударственные стандарты, сведения о которых приведены в дополнительном
приложении ДА
6 ВВЕДЕН ВПЕРВЫЕ
Информация о введении в действие (прекращении действия) настоящего стандарта и изменений к нему на территории указанных выше государств публикуется в указателях национальных стандартов, издаваемых в этих государствах, а также в сети Интернет на сайтах соответствующих национальных органов по стандартизации.
В случае пересмотра, изменения или отмены настоящего стандарта соответствующая информация будет опубликована на официальном интернет-сайте Межгосударственного совета по стандартизации, метрологии и сертификации в каталоге "Межгосударственные стандарты"
Стандарты серии IEC 61000 публикуются отдельными частями в соответствии со следующей структурой:
- часть 1: | Общие положения - Общее рассмотрение (введение, фундаментальные принципы) - Определения, терминология |
- часть 2: | Электромагнитная обстановка - Описание электромагнитной обстановки - Классификация электромагнитной обстановки - Уровни электромагнитной совместимости |
- часть 3: | Нормы - Нормы помехоэмиссии - Нормы помехоустойчивости (в тех случаях, когда они не являются предметом рассмотрения техническими комитетами, разрабатывающими стандарты на продукцию) |
- часть 4: | Методы испытаний и измерений - Методы измерений - Методы испытаний |
- часть 5: | Руководства по установке и помехоподавлению - Руководство по установке - Методы помехоподавления и устройства |
- часть 6: | Общие стандарты |
- часть 9: | Разное |
Каждая часть состоит из разделов, которые могут быть опубликованы как международные стандарты или как технические отчеты. Некоторые из них уже опубликованы. Другие будут опубликованы с номером части, за которым следуют дефис и второй номер, идентифицирующий раздел (например, 61000-6-1).
Настоящий стандарт устанавливает требования помехоустойчивости и методы испытаний применительно к кондуктивным помехам, наведенным радиочастотными электромагнитными полями.
Настоящий стандарт устанавливает требования устойчивости электрического и электронного оборудования к кондуктивным помехам, наведенным электромагнитными полями от радиопередающих устройств в полосе частот от 150 кГц до 80 МГц. Оборудование, не имеющее хотя бы одного токопроводящего провода и/или кабеля (такого как сетевой шнур, сигнальный провод или провод заземления), на который могут воздействовать радиочастотные поля, исключено из области применения данного стандарта.
Примечание 1 - Методы испытаний, установленные в настоящем стандарте, применяют для оценки эффектов воздействия на оборудование кондуктивных помех, наведенных электромагнитными полями. Моделирование и измерение таких кондуктивных помех не обеспечивают достаточной точности количественного определения указанных эффектов. Установленные методы испытаний предназначены в первую очередь для обеспечения достаточной воспроизводимости результатов, полученных с использованием различных средств испытаний, с целью количественного анализа эффектов.
Целью настоящего стандарта является установление общих подходов к оценке функциональной устойчивости электрического и электронного оборудования, подвергаемого воздействию кондуктивных помех, наводимых радиочастотными полями. Метод испытаний, установленный в настоящем стандарте, представляет собой согласованный метод оценки устойчивости оборудования или системы к определенному явлению.
Примечание 2 - Как указано в IEC Guide 107, настоящий стандарт является базовым стандартом по электромагнитной совместимости (ЭМС) для использования техническими комитетами IEC, разрабатывающими стандарты на конкретную продукцию, которые несут ответственность за определение необходимости применения настоящего стандарта и в случае применения стандарта - за выбор испытательных уровней и критериев качества функционирования оборудования.
В настоящем стандарте использована нормативная ссылка на следующий стандарт [для датированной ссылки применяют только указанное издание ссылочного стандарта, для недатированной - последнее издание (включая все изменения)]:
IEC 60050 (all parts)
<*>, International Electrotechnical Vocabulary (IEV) (Международный электротехнический словарь)
--------------------------------
<*> Наличие гармонизированных стандартов следует проверять в национальных фондах стандартов стран, на территории которых применяется настоящий стандарт.
В настоящем стандарте применены термины по IEC 60050-161, а также следующие термины с соответствующими определениями:
3.1 эквивалент руки (artificial hand): Электрическое устройство, моделирующее полное сопротивление человеческого тела в типичных условиях функционирования между оборудованием, которое держат в руках, и землей.
[Источник: IEC 60050-161:1990, 161-04-27]
Примечание 1 - Конструкция эквивалента руки должна соответствовать требованиям, установленным в CISPR 16-1-2.
3.2 вспомогательное оборудование; ВО (auxiliary equipment; AE): Оборудование, применяемое для создания сигналов, обеспечивающих нормальный режим работы испытуемого оборудования, и оборудование, необходимое для проверки качества функционирования испытуемого оборудования.
3.3 ввод помехи с применением клещей связи (clamp injection): Способ ввода помехи в кабель (проводник) с помощью электрического устройства, охватывающего кабель.
3.4 устройство ввода помехи с применением клещей связи (clamp injection device): Электрическим устройством ввода помехи в кабель (проводник) могут быть либо токовые клещи связи, либо электромагнитные клещи связи.
3.4.1 токовые клещи связи (current clamp): Клещи связи в виде трансформатора, вторичной обмоткой которого является кабель, в который вводится помеха.
3.4.2 электромагнитные клещи связи (electromagnetic clamp; EM clamp): Клещи связи с комбинированной емкостной и индуктивной связью для ввода помехи в кабель.
3.5 общее несимметричное полное сопротивление (common-mode impedance): Отношение общего несимметричного напряжения к общему несимметричному току для определенного порта испытуемого оборудования.
Примечание 1 - Общее несимметричное полное сопротивление можно определить посредством подачи единичного несимметричного напряжения между зажимами или экраном определенного порта ИО и опорной пластиной (точкой) заземления. Результирующий ток затем определяют как векторную сумму всех токов, протекающих через эти зажимы или экран (см. также
рисунки 8 a) и
8 b)).
3.6
коэффициент связи (coupling factor): Отношение напряжения холостого хода (ЭДС) в порте устройства связи/развязки, предназначенного для подключения испытуемого оборудования, к напряжению холостого хода на выходе испытательного генератора.
3.7 устройство связи (coupling network): Электрическое устройство для передачи помехи из одной цепи в другую, имеющее определенное полное сопротивление.
Примечание 1 - Устройства связи и развязки могут иметь общий корпус, т.е. представлять собой устройство связи/развязки, или входить в разные цепи.
3.8 устройство связи и развязки; УСР (coupling/decoupling network; CDN): Электрическое устройство, выполняющее функции устройства связи и устройства развязки.
3.9 устройство развязки (decoupling network; decoupling device): Электрическое устройство, предназначенное для предотвращения воздействия подводимого к испытуемому оборудованию испытательного сигнала на другие приборы, оборудование или системы, не подвергаемые испытанию.
3.10
испытательный генератор (test generator): Генератор (генератор радиочастотных сигналов, источник модулирующего сигнала, аттенюаторы, широкополосный усилитель мощности и фильтры), предназначенный для создания испытательного сигнала с требуемыми параметрами.
3.11 электродвижущая сила; ЭДС (electromotive force; e.m.f.): Напряжение на зажимах идеального источника напряжения в представлении активного элемента.
3.12
результат измерения (measurement result (
Umr)): Значение напряжения, показываемое измерительным прибором.
3.13 коэффициент стоячей волны по напряжению; КСВН (voltage standing wave ratio; VSWR): Отношение максимальной амплитуды напряжения к смежной минимальной амплитуде вдоль линии.
Источником помех согласно настоящему стандарту в основном является электромагнитное поле, создаваемое радиопередающими устройствами и воздействующее на всю длину кабелей, подключенных к установленному оборудованию. Размеры оборудования - источника помехи, являющегося в большинстве случаев составной частью больших систем, считают малыми по сравнению с длинами волн сигналов помехи. Входящие и выходящие провода ИО (например, кабели электропитания, линии связи, соединительные кабели) рассматриваются как пассивные приемные антенны и пути прохождения сигнала как для преднамеренных, так и для случайных сигналов.
Восприимчивое оборудование подвергается воздействию токов, наведенных между этими кабельными сетями и протекающих "сквозь" оборудование. Кабельные системы, подключенные к оборудованию, считают диполями (четвертьволновыми, полуволновыми симметричными или петлеобразными) и заменяют устройствами связи и развязки, имеющими общее несимметричное полное сопротивление по отношению к пластине заземления, равное 150 Ом. Если возможно, испытуемое оборудование испытывают при подключении его между двумя проводниками, имеющими общее несимметричное полное сопротивление по отношению к пластине заземления, равное 150 Ом: один подключается к источнику радиочастотного сигнала, а другой обеспечивает обратное прохождение тока.
С помощью этого метода испытаний испытуемое оборудование подвергают воздействию источника помех, состоящего из электрического и магнитного полей, имитируя условия ожидаемой помехи от намеренно излучающих радиочастотных передатчиков. Эти электромагнитные поля помех (E и H) приблизительно приравнены к электрическому и магнитному ближним полям, образуемым напряжениями и токами, создаваемыми в испытательной установке, как показано на
рисунке 1 a).
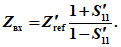
Zce - общее несимметричное полное сопротивление УСР, Zce = 150 Ом;
U0 - выходное напряжение испытательного генератора (ЭДС);
Ucom - общее несимметричное напряжение между ИО и опорной пластиной заземления;
Icom - общий несимметричный ток, протекающий через ИО;
Jcom - плотность тока на проводящих поверхностях или ток в других проводниках ИО;
E, H - электрические и магнитные поля
Примечание - Резисторы сопротивлением 100 Ом входят в состав УСР. Левый вход нагружен пассивной нагрузкой сопротивлением 50 Ом, правый вход нагружен полным сопротивлением испытательного генератора.
a) Схема образования электромагнитных полей вблизи ИО
при протекании токов в кабелях
Схема расположения оборудования, используемого для УСР
при испытаниях на устойчивость к помехам
Рисунок 1, лист 1 - Испытания на устойчивость
к радиочастотным кондуктивным помехам
Схема расположения оборудования, используемого для клещей
связи при испытаниях на устойчивость к помехам
T - нагрузка 50 Ом;
T2 - аттенюатор (6 дБ);
УСР - устройство связи и развязки;
Клещи связи: токовые клещи или электромагнитные клещи связи
b) Схема расположения оборудования для испытаний
на устойчивость к радиочастотным кондуктивным помехам
Рисунок 1, лист 2
Метод испытаний основан на использовании устройств связи и развязки, с помощью которых в каждый момент времени помеху вводят только в один кабель, в то время как на остальные кабели помехи не подают (см.
рисунок 1 b)). Такой метод является приближенным, так как в реальности источники помех воздействуют одновременно с различными амплитудами и фазами на все кабели, подключенные к оборудованию.
Требования к характеристикам устройств связи и развязки установлены в
6.2.1. Любые устройства связи и развязки, удовлетворяющие этим требованиям, могут быть применены при проведении испытаний. УСР, приведенные в
приложении D, являются только примерами доступных в продаже устройств.
В соответствии с настоящим стандартом испытания проводятся на устойчивость к кондуктивным помехам, наводимым электромагнитными полями от намеренно излучающих радиочастотных передатчиков в полосе частот от 150 кГц до 80 МГц.
В
таблице 1 приведены среднеквадратичные значения напряжения немодулированного испытательного сигнала помехи (ЭДС), создаваемого испытательным генератором в режиме холостого хода.
Таблица 1
Полоса частот от 150 кГц до 80 МГц |
Испытательные уровни | Испытательное напряжение (ЭДС) |
U0, В | U0, дБ (мкВ) |
1 | 1 | 120 |
2 | 3 | 129,5 |
3 | 10 | 140 |
| Специальное |
<a> X может быть любым испытательным уровнем: выше, ниже или между другими уровнями. Этот уровень должен быть указан в спецификации на специальное оборудование. |
Испытательные уровни определены для порта ИО устройств связи (см.
6.4). При испытаниях оборудования для воспроизведения реальных условий воздействия помех указанный испытательный сигнал должен быть модулирован по амплитуде синусоидальным напряжением частотой 1 кГц при глубине модуляции 80%. Эффективная амплитудная модуляция показана на
рисунке 2. Руководство по выбору испытательных уровней приведено в
приложении C.
Примечание 1 - Методы испытаний для определения устойчивости электрического и электронного оборудования к излучаемой электромагнитной энергии установлены также в IEC 61000-4-3. Указанный стандарт распространяется на частоты выше 80 МГц. Технические комитеты по стандартизации конкретной продукции могут устанавливать требования и методы испытаний, установленные в настоящем стандарте, для частот выше или ниже 80 МГц (см.
приложение B).
Примечание 2 - Технические комитеты по стандартизации конкретной продукции могут устанавливать альтернативные схемы модуляции.
| |
a - Немодулированный радиочастотный сигнал Up-p = 2,82 В Urms = 1,00 В | b - Модулированный радиочастотный сигнал при глубине модуляции 80% Up-p = 5,09 В Urms = 1,12 В Umaximum rms = 1,80 В |
Рисунок 2 - Форма сигнала в режиме холостого хода в порте ИО
устройства связи для испытательного уровня 1
6 Испытательное оборудование и порядок регулировки уровня
6.1 Испытательный генератор
Испытательный генератор должен содержать все оборудование и компоненты, обеспечивающие подачу сигнала помехи на порт ИО каждого устройства связи, в соответствующей точке ввода. В состав испытательного генератора входят следующие элементы, которые могут быть объединены в одной конструкции или применяться по отдельности (см.
3.10 и
рисунок 3):
- генератор(ы) радиочастотных сигналов G1, обеспечивающий(е) перекрытие заданной полосы частот и возможность амплитудной модуляции сигнала синусоидальным напряжением частотой 1 кГц при глубине модуляции 80%. Радиочастотные генераторы должны иметь возможность ручного управления (например, частотой, амплитудой, глубиной модуляции) или, в случае применения синтезаторов радиочастот, они должны быть программируемыми для установки необходимых значений шага перестройки частоты и времени задержки на частоте;
- аттенюатор T1 (типичное значение вносимого затухания - от 0 до 40 дБ) для регулирования уровня выходного сигнала испытательной помехи в требуемой полосе частот. Аттенюатор T1 может быть включен в конструкцию генератора радиочастотных сигналов и не является обязательным элементом конструкции;
- радиочастотный переключатель S1, предназначенный для включения и выключения сигнала помехи при оценке помехоустойчивости ИО. Переключатель может быть включен в конструкцию генератора радиочастотных сигналов и не является обязательным элементом конструкции;
- широкополосный(е) усилитель(и) мощности PA, который(е) применяют для усиления сигнала, если выходная мощность генератора радиочастотных сигналов недостаточна;
- фильтры низких (LPF) и (или) высоких (HPF) частот, применение которых может быть необходимо для исключения воздействия гармоник (более высокого порядка и субгармоник) испытательного сигнала на ИО, обладающие высокой восприимчивостью к радиочастотным сигналам, например радиоприемные устройства. При необходимости фильтры низких и (или) высоких частот включают между широкополосным усилителем мощности PA и аттенюатором T2;
- аттенюатор T2 (фиксированное вносимое затухание не менее 6 дБ), имеющий достаточную мощность рассеяния. Аттенюатор T2 предназначен для уменьшения КСВН на широкополосном усилителе мощности, вызванного рассогласованием, при подключении его к устройству ввода помехи.
Примечание - Аттенюатор T2 может быть включен в состав УСР. Указанный аттенюатор допускается не применять, если выходное сопротивление широкополосного усилителя мощности находится в установленных пределах при любой нагрузке.
G1 - радиочастотный генератор;
T1 - аттенюатор;
S1 - переключатель радиочастотного сигнала;
PA - широкополосный усилитель мощности;
LPF/HPF - фильтры низких и (или) высоких частот (при необходимости);
T2 - аттенюатор с фиксированным затуханием (6 дБ)
Рисунок 3 - Блок-схема испытательного генератора
Характеристики испытательного генератора приведены в
таблице 2.
Таблица 2
Характеристики испытательного генератора
Полное выходное сопротивление | 50 Ом, КСВН < 1,5 |
Гармоники и искажение | В пределах полосы частот от 150 кГц до 80 МГц любые неинформативные составляющие сигнала должны быть по крайней мере на 15 дБ ниже уровня сигнала на основной частоте, измеренного в порте ИО устройства связи. -15 дБн также могут быть измерены непосредственно на выходе широкополосного усилителя |
Амплитудная модуляция выходного сигнала | Внутренняя или внешняя, глубина модуляции  , где  . Частота модулирующего синусоидального сигнала (1 +/- 0,1) кГц |
Уровень выходного сигнала | Достаточно высокий, чтобы обеспечивать установленный испытательный уровень (см. также приложение E) |
Примечание 1 - Для токовых клещей связи -15 дБн могут быть измерены с обоих сторон испытательного приспособления. Примечание 2 - Гармоники и искажение измеряются на незатухающей гармонической волне при 1,8-кратном испытательном уровне без модуляции сигнала. |
6.2 Устройства связи и развязки
Устройства связи и развязки применяют для ввода соответствующего сигнала помехи (во всей полосе частот с определенным общим несимметричным полным сопротивлением на порт ИО) в различные кабели, подключенные к ИО, а также для предотвращения воздействия подаваемых испытательных сигналов помехи на другие приборы, оборудование и системы, не подвергаемые испытанию.
Устройства связи и развязки могут быть объединены в одном корпусе (УСР или электромагнитные клещи связи) или состоять из отдельных частей.
Предпочтительными устройствами связи и развязки являются УСР для обеспечения воспроизводимости испытаний и защиты ВО. Основным параметром устройства связи и развязки является модуль общего несимметричного полного сопротивления, измеренный на рассматриваемом порту ИО, требования к которому установлены в
таблице 3. Если нет возможности применить или приобрести УСР, то допускается использовать другие методы ввода помехи. Правила выбора соответствующего метода ввода помехи установлены в
7.4.1. Другие методы ввода помехи, ввиду их электрических свойств, маловероятно, что будут соответствовать параметрам, изложенным в
таблице 3.
Примечание 1 - УСР можно не применять, если затухание внутреннего сигнала оказывает недопустимое воздействие на предполагаемый сигнал.
Таблица 3
Основной параметр устройства связи и развязки
Наименование параметра | Полоса частот, МГц |
0,15 - 24 | 24 - 80 |
Модуль значения общего несимметричного полного сопротивления |Zce| | (150 +/- 20) Ом | |
Примечание 2 - Значения аргумента Zce и коэффициента развязки между портами ИО и ВО устройства связи и развязки не определяют по отдельности. Обе эти характеристики определяются установленными в таблице требованиями, что допустимые отклонения |Zce| должны соблюдаться как в случае, когда порт ВО не нагружен, так и тогда, когда указанный порт короткозамкнут на опорную пластину заземления.
Примечание 3 - Подробная информация о клещах приведена в
приложении A.
6.2.2 Устройства связи и развязки (УСР)
6.2.2.1 Общие положения
Эти устройства содержат схемы связи и развязки в одном корпусе. Основные принципы работы устройств связи и развязки показаны на
рисунках 4 c) и
4 d). В
таблице 4 суммирована информация об использовании различных типов УСР, указанных в
приложении D. Выбранные УСР не должны оказывать неблагоприятного влияния на прохождение функциональных сигналов (см. правила, указанные на
рисунке 12). Ограничения на такие эффекты могут устанавливаться в стандартах на оборудование конкретного вида.
| - | 50-омный коаксиальный кабель; |
| - | кабель электропитания, передачи сигналов или заземления; |
| - | нагрузка 50 Ом для коаксиального кабеля; |
| - | переходное устройство 150 - 50 Ом (коробка с резистором 100 Ом между входным и выходным портами); |
| - | источник сигнала с выходным сопротивлением 50 Ом; |
| - | измерительный прибор с входным сопротивлением 50 Ом, например селективный вольтметр; |
| - | аттенюатор с входным сопротивлением 50 Ом и затуханием 10 дБ; |
| - | устройство связи/развязки (УСР), имеющее порты ИО, ВО и вход; |
| - | аттенюатор мощности (6 дБ) |
a) Перечень символов, применяемых для показа принципов ввода
помехи и связи в схемах расположения оборудования
при проведении испытания
Рисунок 4, лист 1 - Принцип связи и развязки
b) Принцип прямого ввода помехи в экранированные кабели
c) Принцип связи для неэкранированных кабелей в соответствии
с методом применения УСР
Рисунок 4, лист 2
Пример - Типовые параметры: Cразв. = 47 нФ (только для неэкранированных кабелей), L(150 кГц) >= 280 мкГн;
Низкочастотная катушка индуктивности: 17 витков на ферритовом кольце: материал - NiZn,
;
Высокочастотная катушка индуктивности: 2 - 4 ферритовых кольца (образующих трубку): материал - NiZn,
.
Рисунок 4, лист 3
Таблица 4
Тип линии | Примеры | Типы УСР |
Сетевое питание (переменного и постоянного тока) и соединение заземления | Сети переменного тока, сети постоянного тока в промышленных установках, соединение заземления | CDN-Mx |
Экранированные кабели | Коаксиальные кабели, кабели, используемые для LAN- и USB-соединений, кабели для аудиосистем | CDN-Sx |
Неэкранированные симметричные линии | ISDN-линии, телефонные линии | CDN-Tx |
Неэкранированные несимметричные линии | Любая другая линия, не принадлежащая к перечисленным группам | |
6.2.2.2 УСР для ввода помех в кабели электропитания
Для ввода помех в кабели электропитания всех видов рекомендуется применять УСР. Однако для высокомощных (с током не менее 16 А) и/или сложных систем питания (многофазные сети или одновременно несколько источников с различными напряжениями) допускается применение других методов ввода помехи.
Для ввода помехи в кабели электропитания применяют УСР типов CDN-M1 (однопроводное), CDN-M2 (двухпроводное), CDN-M3 (трехпроводное) или эквивалентные устройства (см.
приложение D). Аналогичные устройства могут применяться для трехфазных систем электропитания. Схема связи приведена на
рисунке 4 c).
Рабочие характеристики УСР не должны чрезмерно ухудшаться из-за насыщения магнитного материала при прохождении тока, потребляемого ИО. Если возможно, конструкция УСР должна обеспечивать нейтрализацию магнитных эффектов от подаваемого тока.
Если в условиях эксплуатации подключаемые к оборудованию провода электропитания проложены раздельно друг от друга, для ввода помехи применяют отдельные УСР типа CDN-M1. Помеху вводят в каждую цепь электропитания отдельно.
Если ИО имеет другие зажимы заземления (например, для радиочастотных целей или больших токов утечки), то их соединяют с опорной пластиной заземления следующим образом:
- через УСР типа CDN-M1, если это допускается в соответствии с характеристиками или спецификацией ИО. В этом случае электропитание ИО осуществляют через соответствующее УСР типа CDN-Mx;
- если характеристики или спецификация ИО не допускают последовательного подключения УСР типа CDN-M1 с зажимами заземления для радиочастотных или других целей, то зажим заземления ИО соединяют непосредственно с опорной пластиной заземления. В этом случае УСР типа CDN-M3 заменяют на УСР типа CDN-M2 для предотвращения короткого замыкания испытательного радиочастотного сигнала на землю через заземляющий проводник. Оборудование должно нормально функционировать, если оно подключено через УСР типа CDN-M1 или CDN-M2;
- для 3-фазного источника питания необходимо выполнить аналогичную корректировку в отношении используемого соответствующего УСР типа CDN-Mx.
ВНИМАНИЕ! Конденсаторы, применяемые в УСР, подключены к частям, находящимся под напряжением. В результате могут возникнуть большие токи утечки, и в этом случае обязательным является безопасное соединение УСР с опорной пластиной заземления (в некоторых случаях такое соединение может обеспечиваться конструкцией УСР).
6.2.2.3 УСР для ввода помех в симметричные неэкранированные линии
Для ввода помех в неэкранированные кабели с симметричными линиями применяют УСР типов CDN-T2, CDN-T4 или CDN-T8. Схемы указанных устройств и соединений приведены на
рисунках D.4,
D.5 и
D.7 приложения D.
Применяют следующие УСР:
- CDN-T2 - для кабелей, содержащих одну симметричную пару (два провода);
- CDN-T4 - для кабелей, содержащих две симметричные пары (четыре провода);
- CDN-T8 - для кабелей, содержащих четыре симметричные пары (восемь проводов).
Допускается использовать УСР других типов (CDN-Tx), если они подходят для применения в заданной полосе частот и соответствуют требованиям
6.2.1. Например, коэффициент преобразования УСР должен иметь большее значение, чем тот же коэффициент для кабелей или оборудования, предназначенного для подключения к этим кабелям. Если для оборудования и (или) кабеля установлено несколько значений коэффициента преобразования, применяют наименьшее значение. Для ввода помех в кабели, содержащие значительное число симметричных пар, целесообразно применять клещи связи, так как не всегда можно подобрать УСР необходимого типа.
6.2.2.4 УСР для ввода помех в несимметричные неэкранированные линии
Для ввода помех в неэкранированные кабели с несимметричными линиями могут использоваться УСР для одной пары, приведенное на
рисунке D.3, и УСР для четырех пар, приведенное на
рисунке D.6.
При отсутствии возможности применения УСР для несимметричной неэкранированной линии следуйте правилам, указанным на
рисунке 12.
6.2.2.5 УСР для ввода помех в экранированные кабели
Для ввода помех в экранированные кабели используются УСР типа Sx. На
рисунке D.1 показан пример для коаксиального кабеля (S1).
Кабели, для ввода помехи в которые используют УСР, считаются экранированными, если экранирование выполнено с обоих концов кабеля. Если это условие не выполняется, тогда кабель рассматривается как неэкранированный.
6.2.3 Ввод помехи с применением клещей связи
6.2.3.1 Общие положения
При вводе помехи с применением клещей связи функции связи и развязки разделены. Связь обеспечивается путем применения клещей связи, в то время как общее несимметричное полное сопротивление и функции развязки устанавливаются за счет подключенного вспомогательного оборудования. Таким образом, ВО является в этом случае составной частью устройств связи и развязки (см.
рисунок 5). Следует заметить, что при вводе помехи с применением клещей связи через ВО проходит такой же подаваемый ток, что и через ИО, поэтому ВО должно быть невосприимчиво к используемым испытательным уровням.
Примечание 1 - При вводе помехи с помощью клещей связи требования к
Zce могут не выполняться при условии, что требования к общему несимметричному полному сопротивлению ВО также не выполняются. Тем не менее ввод помехи с помощью клещей связи может обеспечить удовлетворительные результаты испытаний при соблюдении правил, установленных в
7.4.
Примечание 2 - Электромагнитные клещи связи обеспечивают развязку свыше 10 МГц, см.
приложение A.
УСР, подключенное к ВО, должно быть нагружено сопротивлением
50 Ом на входном порте, например УСР типа CDN-M1,
подключенное к зажиму заземления, или УСР типа CDN-M3
Рисунок 5 - Принцип связи и развязки при вводе помехи
с применением клещей связи
Правила применения клещей связи установлены в
7.6.
Если при применении токовых или электромагнитных клещей связи не выполняются условия, установленные в
7.6, то применяют процедуру ввода помехи, приведенную в
7.7. При этом уровни подаваемой помехи устанавливают, как указано в
6.4.1. Кроме того, необходимо постоянно контролировать величину результирующего тока и ограничивать ее до
Imax. При применении этой процедуры допускается использовать более низкое общее несимметричное полное сопротивление, но ток несимметричного сигнала ограничивают значением тока, протекающего от источника с сопротивлением 150 Ом.
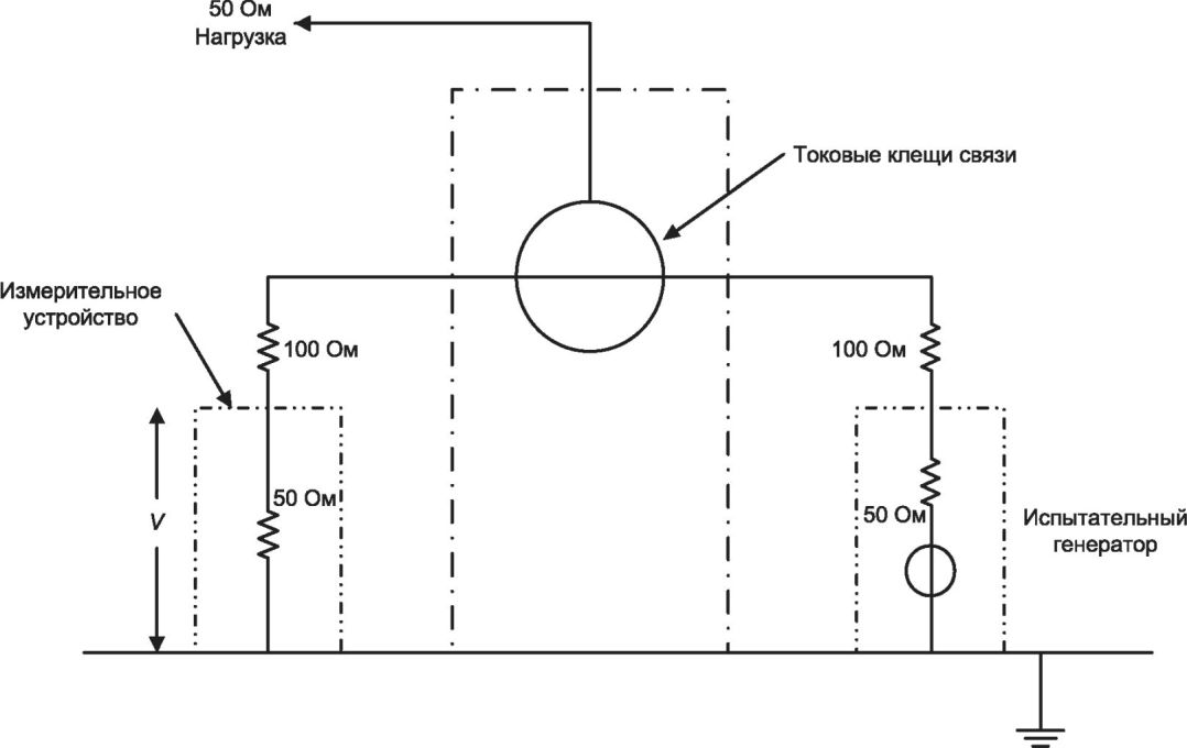
6.2.3.2 Токовые клещи связи
Токовые клещи связи обеспечивают индуктивную связь с проводником, подключенным к ИО. Например, при коэффициенте трансформации клещей связи 5:1 можно пренебречь вносимым в проводник сопротивлением источника помехи в сравнении с сопротивлением 150 Ом, обеспечиваемым при подключении ВО. В этом случае выходное сопротивление испытательного генератора (50 Ом) трансформируется в сопротивление, равное 2 Ом. Возможно также использование других коэффициентов трансформации клещей связи.
Требованием к качеству функционирования токовых клещей связи является то, что потери в испытательном приспособлении, вызванные введением токовых клещей связи, не должны превышать 1,6 дБ. Схема проверки потерь приведена на
рисунке 7.
Примечание 1 - Такая проверка может быть сделана в два этапа. На первом этапе исключаем из цепи токовые клещи связи и записываем измеренное значение напряжения. На втором этапе подключаем токовые клещи связи и нагружаем входной порт сопротивлением 50 Ом, измеряем значение напряжения. Разница между этими двумя измерениями не должна превышать 1,6 дБ, как указано выше.
Уровень сигнала, подаваемого на токовые клещи связи, устанавливается перед началом испытания. Порядок установки испытательного уровня приведен в
6.4.1. и на
рисунке 6.
Рисунок 6 - Пример схемы установки уровня помехи
с применением 50-омного испытательного приспособления
Рисунок 7 - Пример схемы для оценки пригодности токовых
клещей связи
При использовании токовых клещей связи необходимо убедиться, что уровень гармоник сигнала, создаваемого усилителем мощности, не превышает уровня сигнала на основной частоте в порте ИО устройства связи.
Примечание 2 - Для минимизации емкостной связи кабель, в который вводится помеха, должен проходить по центру токовых клещей связи.
6.2.3.3 Электромагнитные клещи связи
Электромагнитные клещи связи обеспечивают как емкостную, так и индуктивную связь с проводником, подключенным к ИО. Конструкция и принцип работы электромагнитных клещей связи приведены в
приложении A.
6.2.4 Устройства прямого ввода помехи
При использовании прямого ввода помехи сигнал помехи, поступающий от испытательного генератора, вводится в экранированные и коаксиальные кабели через резистор сопротивлением 100 Ом (даже если экран не заземлен или заземлен только с одного конца). Между ВО и точкой ввода помехи как можно ближе к ней (см.
рисунок 4 b)) должно быть размещено устройство развязки (см.
6.2.5). Чтобы увеличить степень развязки и стабилизировать схему, необходимо подсоединить к опорной пластине заземления экран входного порта устройства прямого ввода помехи.
При прямом соединении с фольгированными экранами необходимо принять меры предосторожности для обеспечения надежности такого соединения и получения достоверных результатов испытаний.
6.2.5 Устройства развязки
Как правило, устройство развязки содержит несколько катушек индуктивности, чтобы обеспечить в установленной полосе частот высокое полное сопротивление. Это определяется применяемым материалом феррита, и величина общей индуктивности устройства развязки должна быть не менее 280 мкГн на частоте 150 кГц. Индуктивное сопротивление устройства развязки должно составлять не менее 260 Ом на частотах до 24 МГц и не менее 150 Ом на частотах выше 24 МГц. Требуемое значение индуктивности может быть достигнуто либо намоткой определенного количества витков на ферритовые кольца (см.
рисунок 4 d)), либо использованием нескольких ферритовых колец, надетых на кабель (в виде ферритовой трубки).
Примечание - Технические характеристики клещей связи приведены в
приложении A.
УСР, как указано в
приложении D, могут использоваться как устройства развязки с ненагруженным радиочастотным входным портом, если в настоящем стандарте не указано иное. При использовании УСР таким образом они должны отвечать требованиям
6.2.5.
Устройства развязки должны использоваться для всех кабелей, не выбранных для испытания, но подключенных к ИО и/или ВО. Исключения см. в
7.3.
6.3 Проверка общего несимметричного полного сопротивления в порте устройств связи и развязки для подключения испытуемого оборудования
УСР характеризуются модулем общего несимметричного полного сопротивления в порте для подключения испытуемого оборудования |
Zce|. Его правильное значение гарантирует воспроизводимость результатов испытаний. Для калибровки значения модуля общего несимметричного полного сопротивления устройств связи и развязки применяют установку в соответствии с
рисунком 8.
- Опорная пластина заземления должна быть больше проекции устройств связи и развязки, а также других компонентов не менее чем на 200 мм.
- Коаксиальный разъем должен быть подключен горизонтально к порту ИО.
- Высота h до порта ИО зависит от индивидуальных особенностей УСР и может варьироваться от 30 до 100 мм; при использовании особых УСР для больших токов порт ИО расположен выше опорной пластины заземления.
- Пластина коаксиального разъема (вместе с коаксиальным разъемом): 100 мм x 100 мм для h = 30 мм и 150 мм x 150 мм для других значений h.
- Обе пластины должны быть изготовлены из меди, латуни или алюминия и иметь хороший контакт на высоких частотах.
a) Пример конструкции установки для проверки общего
несимметричного полного сопротивления устройств связи
и развязки
Требования к общему несимметричному полному сопротивлению должны выполняться при замкнутом и разомкнутом ключе S (см.
6.3).
b) Схема установки для проверки общего несимметричного
полного сопротивления Zce устройств связи и развязки
Рисунок 8, лист 1 - Подробная информация и компоненты
для проверки основных характеристик устройств связи
и развязки и переходных устройств 150 - 50 Ом
c) Схема установки для измерения вносимого затухания двух
переходных устройств (150 - 50 Ом)
| |
Примечание - Низкоиндуктивный резистор: номинальная мощность - не менее 2,5 Вт. | Примечание - Конструкция пластины разъема идентична указанной на рисунке 8 a), но добавлен низкоиндуктивный резистор сопротивлением 100 Ом. |
d) Схема переходного устройства 150 - 50 Ом | e) Пример: конструктивная схема переходного устройства 150 - 50 Ом (для размеров 150 мм x 150 мм) |
Рисунок 8, лист 2
УСР и стандартную пластину связи (см.
рисунок 8 a)) размещают на опорной пластине заземления, размеры которой должны превышать размеры проекции установки не менее чем на 0,2 м с каждой стороны.
Стандартная пластина связи должна подключаться к порту УСР для подключения ИО, как показано на
рисунке 8 a). Необходимо измерить значение общего несимметричного полного сопротивления на соединителе стандартной пластины связи.
Значения модуля общего несимметричного полного сопротивления УСР должны соответствовать требованиям, установленным в
таблице 3, когда радиочастотный входной порт нагружен на сопротивление 50 Ом, а порт ВО последовательно и симметрично нагружают в условиях короткого замыкания и холостого хода, как показано на
рисунке 8 b). Выполнение этого требования обеспечивает необходимое значение коэффициента развязки, при котором подключение ВО, независимо от того, имеет оно заземленный или изолированный от земли выход, не будет влиять на результаты испытаний.
Если применяют метод ввода помехи с использованием клещей связи или метод прямого ввода помехи, то не представляется возможным проверить значения модуля общего несимметричного полного сопротивления для каждого ВО, подключенного к ИО. При вводе помехи с применением клещей связи, как правило, достаточно применять процедуру, установленную в
7.6. Во всех других случаях применяют процедуру, установленную в
7.7. При использовании метода прямого ввода помехи, как правило, достаточно применять процедуру, установленную в
7.8.
6.3.2 Вносимые потери переходных устройств 150 - 50 Ом
Перед проведением испытания, когда испытательный генератор установлен на рабочее место, испытательный уровень должен быть проверен в условиях общего несимметричного полного сопротивления 150 Ом. Это достигается соединением соответствующей точки для определения общего несимметричного полного сопротивления к измерительному устройству с входным сопротивлением 50 Ом через переходное устройство от 150 до 50 Ом, как показано на
рисунке 8 d). Конструкция переходных устройств приведена на
рисунке 8 e).
Переходные устройства должны быть размещены на опорной пластине заземления, размеры которой превышают размеры геометрической проекции этой установки для измерения вносимых потерь не менее чем на 0,2 м со всех сторон. Вносимые потери измеряют, как показано на
рисунке 8 c). Значение вносимых потерь должно находиться в диапазоне (9,5 +/- 0,5) дБ (теоретическое значение 9,5 дБ достигается дополнительными последовательно включенными полными сопротивлениями, когда измерения проводятся в 50-омной системе). При необходимости потери в кабелях испытательной установки должны компенсироваться. Рекомендуется применять аттенюаторы с подходящим КСВН (рекомендуемое значение КСВН меньше или равно 1,2) на входах измерительных приемников и выходах генераторов.
6.4 Установка уровней помехи, создаваемой испытательным генератором
Для правильной установки немодулированного испытательного уровня помехи применяют процедуру, указанную в
6.4.2. При этом считают, что испытательный генератор, УСР и переходные устройства 150 - 50 Ом соответствуют требованиям, установленным в
6.1,
6.2.1 и
6.3.1.
Для установки уровня помех могут быть использованы две процедуры:
- определение выходной мощности испытательного генератора путем измерения выходной мощности усилителя (подаваемая мощность, измеренная с помощью направленного ответвителя);
- выставление данного уровня помехи на выходе радиочастотного генератора, чтобы обеспечить стабильность функционирования испытательного оборудования (особенно усилителя).
6.4.2 Порядок установки выходного уровня помехи в порте испытуемого оборудования устройства связи
Испытательный генератор подключают к радиочастотному входному порту устройства связи. К порту ИО устройства связи в общем несимметричном режиме через переходное устройство 150 - 50 Ом подключают измерительный прибор с входным сопротивлением 50 Ом. Порт ВО устройства связи нагружают на переходное устройство 150 - 50 Ом, с которым последовательно подключают дополнительный резистор сопротивлением 50 Ом. Схема расположения оборудования для установки испытательных уровней при использовании любых устройств связи и развязки приведена на
рисунке 9 c).
Примечание 1 - При прямом вводе помехи подключение нагрузочного резистора сопротивлением 150 Ом к порту ВО УСР не требуется, так как экран кабеля соединен с опорной пластиной заземления со стороны этого порта.
Примечание 2 - При вводе помехи с применением клещей связи токовые клещи связи, как правило двунаправленные, поэтому они не имеют портов для ИО и ВО. Эти устройства калибруются с помощью испытательного приспособления, как показано на
рисунке 6.
ВНИМАНИЕ! При установке уровней помехи, создаваемых испытательным генератором, все кабели, подключенные к портам устройств связи и развязки для подключения ИО и ВО, не задействованные в процессе установки (см.
рисунок 8), отключают во избежание короткого замыкания или повреждения измерительного оборудования.
При использовании вышеуказанной схемы и следующей процедуры измерения испытательный генератор регулируют таким образом, чтобы были получены следующие показания измерительного прибора.
Для каждого устройства связи должна быть проведена следующая процедура:
a) подать такую мощность (без модуляции) на устройство связи, чтобы получить на выходе порта переходного устройства 150 - 50 Ом напряжение, равное
Uизм;
записать значение уровня РЧ-генератора Pген и/или подаваемую мощность на выходе усилителя мощности Pпод и напряжение Uизм на выходе порта переходного устройства 150 - 50 Ом;
b) увеличить частоту максимум на 1% от текущей частоты;
c) повторять
шаги a) и
b) до тех пор, пока следующая частота в данном ряду не превысит наибольшую частоту (например, 80 МГц) в испытуемой полосе частот;
d) используя записанные значения уровня РЧ-генератора
Pген, подаваемой мощности
Pпод и напряжения
Uизм, полученные в
перечислении a), рассчитать значения подаваемой мощности и/или мощности РЧ-генератора, необходимые для создания требуемого напряжения в порте ИО устройством связи;
e) чтобы гарантировать то, что усилитель не будет насыщен, испытательный генератор должен быть отрегулирован до получения необходимого испытательного уровня
Uизм, используя данные, полученные из
шага d).
Шаги 1) -
4) необходимы только при использовании наибольшего испытательного уровня:
1) увеличить значение уровня РЧ-генератора до 5,1 дБ;
2) записать новое значение выходной мощности Pпод, приходящей на устройство связи, или напряжения Uизм,ув на выходе порта переходного устройства 150 - 50 Ом;
3) рассчитать разницу Pпод,ув - Pпод или Uизм,ув - Uизм (логарифмическая шкала);
4) если разница составляет от 3,1 до 7,1 дБ, тогда усилитель находится в пределах допустимого отклонения, и испытательная система удовлетворяет требованиям для проведения испытаний на выбранном испытательном уровне. Если разница меньше, чем 3,1 дБ, или больше чем 7,1 дБ, тогда усилитель нелинейный, и он не подходит для проведения испытаний.
В
приложении J представлена информация о насыщении испытательного генератора и нелинейности усилителя.
В рамках
шага a) должно быть получено значение напряжения
Uизм:
в линейных значениях,
Uизм = U0 - (15,6 +/- 1,5) дБ, в логарифмических значениях.
Примечание 3 -
U0 является испытательным напряжением, значение которого установлено в
таблице 1;
Uизм - измеренное напряжение, как определено в
3.12 и показано на
рисунке 9. Для минимизации погрешности при проведении испытаний во время установки выходного уровня испытательного генератора используют
Uизм с нагрузкой, равной 150 Ом (например, с переходным устройством 150 - 50 Ом и нагрузкой 50 Ом), а не
U0.
Примечание 4 - Величина коэффициента 6 (15,6 дБ) возникает из-за того, что испытательный уровень помехи устанавливается в значении ЭДС. Напряжение на согласованной нагрузке составляет половину значения ЭДС, а напряжение на измерительном приборе с сопротивлением 50 Ом, подключенном к переходному устройству 150 - 50 Ом, делится в соотношении 3:1.
| | ИС МЕГАНОРМ: примечание. В официальном тексте документа, видимо, допущена опечатка: приложение K отсутствует. | |
Примечание 5 - В случае применения испытательного оборудования без устройства управления выходной мощностью усилителя процедуру повторяют для каждого устройства связи и каждого заданного испытательного уровня. Для испытательной системы с устройством управления выходной мощностью или при выполнении методики для линейного усилителя, приведенной в приложении K, необходимо выполнить процедуру, описанную в
6.4.2, для каждого устройства связи только на наибольшем заданном испытательном уровне.
a) Определение общей точки при использовании
неэкранированных кабелей
b) Определение общей точки при использовании
экранированных кабелей
--------------------------------
<a> Нагрузку в 150 Ом, например, переходное устройство 150 - 50 Ом, нагруженное сопротивлением 50 Ом, в порте ВО применяют только в случае использования неэкранированных кабелей (экраны экранированных кабелей соединены с пластиной заземления на стороне ВО).
Примеры устройств связи и развязки:
- УСР;
- устройства прямого ввода помехи (с функцией развязки);
- клещи связи для прямого ввода помех (электромагнитные клещи связи).
c) Схема расположения оборудования для установки
испытательных уровней в порте устройства связи/развязки
для подключения испытуемого оборудования
Контролируемые параметры испытательного генератора (параметры программного обеспечения, установки аттенюатора и др.) должны быть зафиксированы и воспроизведены при проведении испытаний.
7 Испытательная установка и методы ввода помехи
7.1 Испытательная установка
Для проведения испытаний оборудование размещают на изолирующей подставке высотой (0,1 +/- 0,05) м, расположенной на опорной пластине заземления. В качестве альтернативной изолирующей подставки могут быть использованы непроводящие ролики в пределах высоты (0,1 +/- 0,05) м над опорной пластиной заземления. Все кабели, выходящие из ИО, должны быть расположены на высоте не менее 30 мм над опорной пластиной заземления.
Если оборудование предназначено для размещения в панели, стойке или корпусе, его испытывают в этой конструкции. Когда для поддержания испытуемого образца требуется какое-либо приспособление, оно должно быть выполнено из неметаллического непроводящего материала. Заземление оборудования должно быть выполнено в соответствии с инструкциями изготовителя по установке.
Если для проведения испытаний требуются устройства связи и (или) развязки, их располагают на расстоянии от 0,1 до 0,3 м от ИО (в настоящем стандарте это расстояние обозначено как
L). Это расстояние измеряют в горизонтальном направлении от проекции ИО на опорную пластину заземления до устройства связи и (или) развязки (см.
рисунки 5,
10 и
11). Более подробная информация приведена в
7.2 -
7.8.
Примечание - Необязательно, чтобы расстояние L было одинаковым для всех сторон ИО, но должен соблюдаться диапазон от 0,1 до 0,3 м.
--------------------------------
<a> Расстояние от ИО до любых металлических предметов, кроме испытательного оборудования, должно составлять не менее 0,5 м.
<b> Только к одному из УСР, которые не используются для ввода помехи, должна подключаться нагрузка сопротивлением 50 Ом, обеспечивающая только обратный канал. Все другие УСР должны настраиваться как устройства развязки.
Рисунок 10 - Пример схемы расположения оборудования
при проведении испытаний испытуемого оборудования,
состоящего из одного блока (вид сверху)
--------------------------------
<a> Только к одному из УСР, которые не используются для ввода помехи, должна подключаться нагрузка сопротивлением 50 Ом, обеспечивающая только обратный канал. Все другие УСР должны настраиваться как устройства развязки.
<b> Межблочные соединительные кабели (длиной не более 1 м), подключенные к ИО, должны находиться на изоляционной подставке.
Рисунок 11 - Пример схемы расположения оборудования
при проведении испытаний испытуемого оборудования,
состоящего из нескольких блоков (вид сверху)
7.2 Испытуемое оборудование, состоящее из одного блока
ИО должно быть размещено на изолирующей подставке высотой 0,1 м над опорной пластиной заземления. Для настольного оборудования опорную пластину заземления допускается размещать на столе (см.
рисунок 10).
Устройства связи и развязки подключаются в разрыв всех кабелей, выбранных для проведения испытаний (см.
7.4.3), размещаются на опорной пластине заземления и обеспечивают прямой контакт с ней на расстоянии от 0,1 до 0,3 м от ИО. Кабели между устройствами связи и развязки и ИО должны быть максимально короткими и не должны быть уложены бухтой или скручены. Кабели прокладывают на высоте не менее 30 мм над опорной пластиной заземления.
Соединительные кабели между ИО и ВО должны быть максимально короткими.
Если ИО имеют другие зажимы заземления, они должны быть соединены, если это возможно, с пластиной заземления через УСР типа CDN-M1 (см.
6.2.2.2) (т.е. порт ВО УСР типа CDN-M1 подключают к опорной пластине заземления).
Если в состав ИО входит клавиатура или дополнительное устройство, которое при эксплуатации держат в руках, то применяют эквивалент руки, который размещают на клавиатуре или оборачивают вокруг дополнительного устройства и подключают к опорной пластине заземления.
ВО, необходимое для обеспечения функционирования ИО в соответствии с требованиями, определенными техническим комитетом по стандартизации конкретного вида продукции (например, средства связи, модемы, принтеры, устройства сенсорного управления и т.д.), а также ВО, необходимое для передачи данных и оценки качества функционирования, подключают к ИО через устройства связи и (или) развязки. Насколько это возможно, допускается ограничивать количество кабелей, предназначенных для испытания. Однако воздействию помехи должны быть подвергнуты физические порты всех типов.
7.3 Испытуемое оборудование, состоящее из нескольких блоков
Оборудование, состоящее из нескольких взаимосвязанных блоков, испытывают применяя один из следующих методов:
- основной метод: Каждый блок, входящий в состав ИО, испытывают как отдельное оборудование (см.
7.2), рассматривая все другие блоки как ВО. Устройства связи и развязки (или УСР) подключают (в соответствии с
7.4.1) к кабелям блока, рассматриваемого как ИО. Все блоки испытывают поочередно;
- альтернативный метод: Блоки ИО, постоянно соединенные друг с другом короткими кабелями длиной не более 1 м, рассматривают в совокупности как единое ИО. Испытания на помехоустойчивость межблочных соединительных кабелей не проводят, эти кабели рассматривают как внутренние кабели системы (см.
рисунок 11).
Блоки ИО размещают как можно ближе друг к другу, исключая прямой контакт между ними, на изолирующей подставке. Межблочные соединительные кабели этих блоков также размещают на изолирующей подставке. Все остальные кабели должны быть испытаны в соответствии с правилами
7.4 -
7.8. Расстояние от ИО до любых металлических предметов, кроме испытательного оборудования, должно составлять не менее 0,5 м.
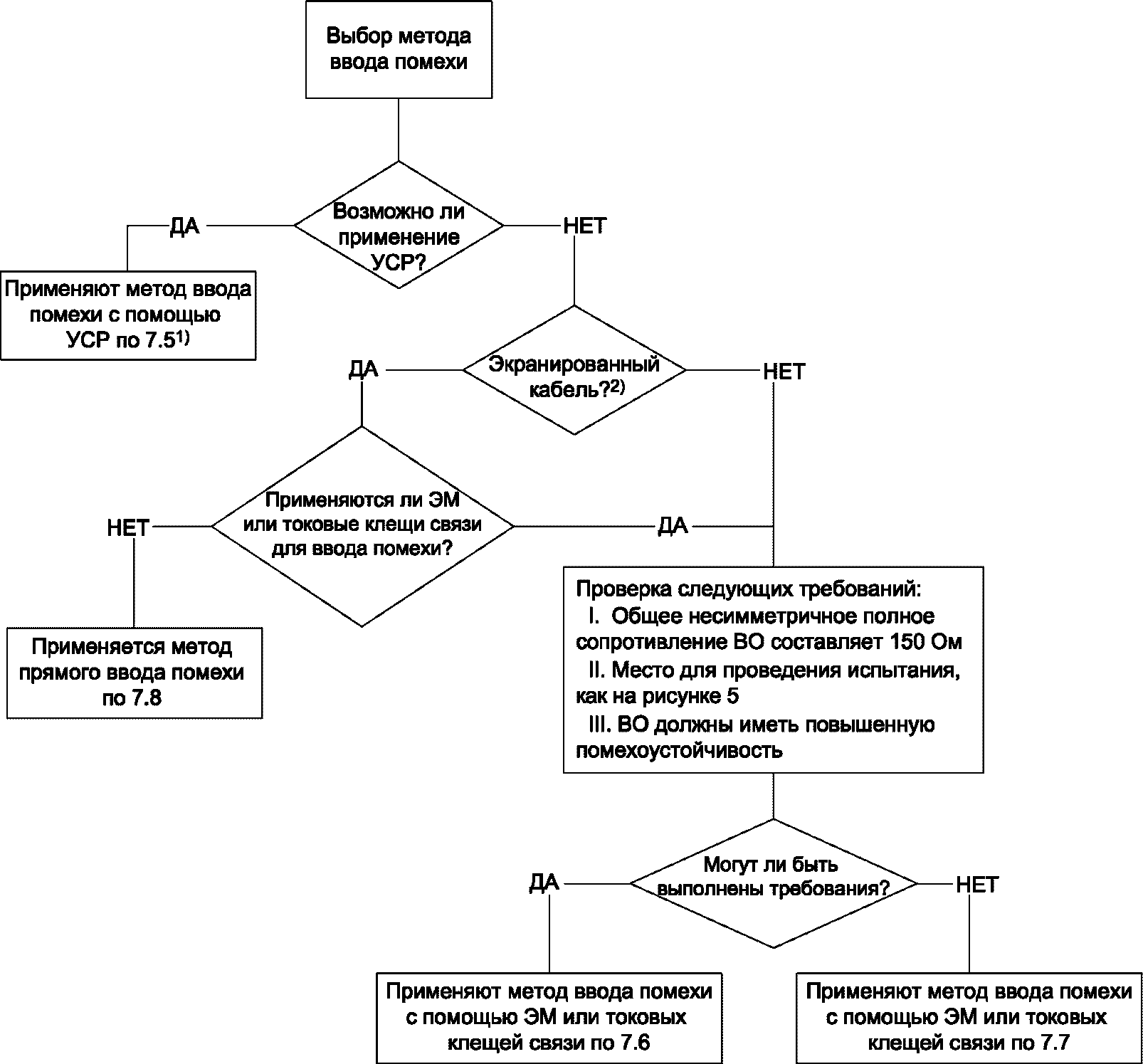
7.4 Правила выбора испытательных точек и метода ввода помехи
При выборе типа и количества кабелей, в которые должна быть введена помеха с использованием устройств связи и развязки, необходимо учесть расположение оборудования в типичных условиях эксплуатации, например определить вероятные длины подключаемых кабелей.
Для всех испытаний суммарная длина кабелей между ИО и ВО (включая внутреннюю укладку кабелей любых используемых УСР) не должна превышать максимального значения, указанного изготовителем ИО.
7.4.2 Метод ввода помехи
На
рисунке 12 приведен порядок выбора метода ввода помехи.
--------------------------------
Рисунок 12 - Правила выбора метода ввода помехи
Если это не указано в настоящем стандарте, ИО и все кабели, выбранные для испытания, должны иметь конструкцию, устанавливаться, располагаться и функционировать в соответствии с типичными условиями эксплуатации. УСР, которые не указаны в настоящем стандарте, но удовлетворяют требованиям настоящего стандарта, также могут использоваться.
Если несколько кабелей, подключенных к ИО, располагаются близко друг от друга на длине более 10 м или проложены от ИО к другому оборудованию в общем кабельном канале, их рассматривают как один кабель.
Если технический комитет по стандартизации конкретного вида продукции решает, что какой-либо определенный тип устройства связи и развязки более приемлем для использования с кабелями, подключаемыми к однородной продукции, он может сделать выбор в их пользу (при условии технического обоснования). Эти устройства должны описываться в стандарте на конкретную продукцию. Примеры УСР приведены в
приложении D.
7.4.3 Порты, подлежащие испытаниям
При проведении любого испытания необходимы только два устройства с полным сопротивлением 150 Ом. Устройство, используемое для ввода испытательного сигнала помехи, может подключаться между различными портами при их испытании. Когда УСР отключают от порта, его заменяют устройством развязки.
Если ИО имеет много идентичных портов (одинаковые входы или выходы электронных цепей, нагрузки, подключенное оборудование и т.д.), как минимум один из этих идентичных портов должен быть выбран для испытаний для гарантии того, что все возможные типы портов охвачены.
7.5 Применение УСР для ввода помехи
При применении УСР для ввода помехи должны быть приняты следующие меры.
a) Если ВО напрямую подключается к ИО (например, при соединении между ними нет развязки, как показано на
рисунке 13 a)), тогда оно должно размещаться на изолирующей подставке высотой (0,1 +/- 0,05) м над опорной пластиной заземления и должно быть заземлено через нагруженное УСР.
Если возможно, длина соединительного кабеля должна быть 1 м.
a) Схема расположения оборудования для двухпортового ИО
только с одним подключенным УСР
b) Пример: схема расположения оборудования,
когда ВО в процессе испытания показывает ошибку
T - нагрузка сопротивлением 50 Ом;
T2 - Аттенюатор мощности (6 дБ);
УСР - Устройство связи и развязки
Рисунок 13 - Испытание на устойчивость двухпортового ИО
(когда используется только одно УСР)
Если к ИО напрямую подключаются несколько ВО, то таким способом должно быть нагружено только одно ВО. У других напрямую подключаемых ВО все соединения должны быть развязаны. Это гарантирует, что при таком способе подключения остается только одна замкнутая цепь, нагруженная сопротивлением 150 Ом на каждом конце.
b) Если ВО подключается к ИО через УСР, то его расположение некритично и его можно подключить к опорной пластине заземления в соответствии с требованиями установки, указанными производителем.
c) Одно УСР должно быть подключено к порту, подлежащему испытанию, и одно УСР с нагрузкой сопротивлением 50 Ом должно быть соединено с другим портом. Устройства развязки подключают ко всем другим портам, к которым подключены кабели. При таком способе подключения остается только одна замкнутая цепь, нагруженная сопротивлением 150 Ом на каждом конце.
d) Тип УСР для ввода помехи должен быть выбран в соответствии со следующим порядком:
1) CDN-M1 применяется для подключения к зажиму заземления;
2) CDN-M3, CDN-M4 или CDN-M5 применяются для зажимов электропитания (оборудование класса I);
3) CDN-Sn (n = 1, 2, 3, ...): если у ИО есть несколько CDN-Sn портов, то должен использоваться порт, который находится ближе всего к порту, выбранному для ввода помехи (на кратчайшем геометрическом расстоянии);
4) CDN-M2 применяется для зажимов электропитания (оборудование класса II).
5) Другое УСР подключается к порту, который находится ближе всего к порту, выбранному для ввода помехи (на кратчайшем геометрическом расстоянии).
Примечание - В
приложении I дано руководство для альтернативного процесса ввода помехи с помощью УСР для определенного вида продукции.
e) Если ИО имеет только один порт, то этот порт подключают к УСР, предназначенному для ввода помехи;
f) Если ИО имеет два порта и только одно УСР может быть подключено к ИО, то другой порт должен быть подключен к ВО. К одному из оставшихся портов ВО подключают УСР, нагруженное сопротивлением 50 Ом, в соответствии с вышеописанным порядком. При этом все другие подключения к ВО должны быть развязаны (см.
рисунок 13 a)). Если ВО, подключенное к ИО, в процессе испытания показывает ошибку, то устройство развязки (предпочтительно нагруженные электромагнитные клещи связи) должно быть подключено между ИО и ВО (см.
рисунок 13 b)).
g) Если ИО имеет больше чем два порта и только одно УСР может быть подключено к ИО, то испытания проводят как для двух портов, но все остальные порты ИО должны быть развязаны. Если ВО, подключенное к ИО, в процессе испытания показывает ошибку, то устройство развязки (предпочтительно нагруженные электромагнитные клещи связи) должно быть подключено между ИО и ВО, как уже упоминалось выше.
7.6 Применение ввода помехи с помощью клещей связи, если требования к общему несимметричному полному сопротивлению могут быть выполнены
При вводе помехи с применением клещей связи значение общего несимметричного полного сопротивления, которое обеспечивается при подключении ВО, должно, насколько это возможно, соответствовать требованиям, установленным в
6.2.1 (см.
приложение H). Каждое ВО, применяемое для ввода помехи с применением клещей связи, должно, насколько это возможно, соответствовать условиям установки при эксплуатации. Для достижения значения общего несимметричного полного сопротивления должны быть приняты следующие меры.
- Каждое ВО, применяемое для ввода помехи с помощью клещей связи, должно быть установлено на изолирующей подставке толщиной 0,1 м над опорной пластиной заземления.
- Клещи должны быть установлены на испытуемом кабеле. На клещи подают сигнал от испытательного генератора, уровень которого должен соответствовать предварительно установленному значению.
- Во время испытаний экран входного порта токовых клещей связи или зажим заземления электромагнитных клещей связи должен быть соединен с опорной пластиной заземления (см.
рисунки 14 и
15).
Примечание - Информацию об использовании токосъемника см. в
7.7.
Рисунок 14 - Общая схема расположения оборудования
для испытаний с использованием устройств ввода помехи
с применением клещей связи
Примечание - Информацию об использовании токосъемника см. в
7.7.
Рисунок 15 - Пример размещения испытательных блоков
на пластине заземления при использовании клещей связи
(вид сверху)
- Устройство развязки должно быть установлено на каждом кабеле между ИО и ВО, кроме испытуемого кабеля.
- Все кабели, подключенные к каждому ВО, кроме тех, которые соединяют указанное ВО с ИО, должны иметь устройства развязки (см.
6.2.5 и
рисунок 5).
- Устройства развязки, подключенные к каждому ВО (за исключением кабелей, соединяющих ИО и ВО), должны быть установлены на расстоянии не более 0,3 м от ВО (расстояние:
L2). Кабель(и) между ВО и устройством(ами) развязки или между ВО и клещами связи прокладывают над опорной пластиной заземления на высоте 30 мм или более, и он (они) не должен(ны) быть уложен(ы) бухтой или скручены
(рисунок 5).
- На одном конце испытуемого кабеля находится ИО, а на противоположном - ВО. К ИО и ВО может быть подключено несколько УСР; однако только одно УСР на каждом ИО и ВО должно быть нагружено на сопротивление 50 Ом. Нагрузку УСР выбирают в соответствии с порядком, установленным в
7.5.
- Когда применяется несколько клещей связи, помеху вводят поочередно в каждый кабель, выбранный для испытания. Кабели, которые выбраны для испытаний с применением клещей связи, но при этом не подвергаются испытанию, должны быть развязаны в соответствии с
6.2.5.
Во всех других случаях применяют порядок, установленный в
7.7.
7.7 Применение ввода помехи с помощью клещей связи, если требования к общему несимметричному полному сопротивлению не могут быть выполнены
Если при вводе помехи с применением клещей связи требования к общему несимметричному полному сопротивлению не могут быть выполнены на стороне ВО, необходимо, чтобы значение модуля общего несимметричного полного сопротивления ВО не превышало значения модуля общего несимметричного полного сопротивления испытуемого порта ИО. Если это невозможно, необходимо принять меры для удовлетворения этому условию порта ВО и предотвращения резонансов (например, посредством применения УСР типа CDN-M1 или резистора сопротивлением 150 Ом между ВО и пластиной заземления). При описании данной процедуры приводятся только существенные отличия от порядка ввода помехи, установленного в
7.6.
- При использовании клещей связи для ввода помехи каждое ВО и ИО применяют в соответствии с условиями их установки при эксплуатации, насколько это возможно; например, ИО должно либо подключаться к пластине заземления, либо располагаться на изолирующей подставке (см.
рисунки 14 и
15).
- Необходимо контролировать значение тока, наведенного радиочастотным напряжением (установленным в соответствии с
6.4.1), посредством токосъемника (имеющего низкие вносимые потери), установленного между клещами связи и ИО. Если значение этого тока превышает номинальное значение тока
Imax, указанное ниже, напряжение сигнала испытательного генератора уменьшают до тех пор, пока значение измеренного тока не станет равным
Imax, определяемому по формуле
Imax = U0/150 Ом.
Применяемый измененный уровень испытательного напряжения должен быть зафиксирован в протоколе испытаний.
Для обеспечения воспроизводимости результатов испытаний испытательная установка должна быть подробно описана в протоколе испытаний.
7.8 Применение прямого ввода помехи
При применении метода прямого ввода помехи в экранированные кабели должны быть приняты следующие меры.
- ИО должно быть размещено на изолирующей подставке толщиной 0,1 м над опорной пластиной заземления.
- На испытуемом кабеле между точкой ввода помехи и ВО как можно ближе к точке ввода помехи должно быть размещено устройство развязки. Второй порт должен быть нагружен на 150 Ом (УСР с нагрузкой 50 Ом). Этот порт должен быть выбран, как указано в
7.5. На все другие кабели, подключенные к ИО, должны быть установлены устройства развязки (УСР рассматривается как устройство развязки, когда входной порт УСР не используется для ввода помехи).
- Точка ввода помехи должна быть размещена на расстоянии от 0,1 до 0,3 м от геометрической проекции ИО на опорную пластину заземления.
- Испытательный сигнал должен быть введен прямо в экранирующую оплетку кабеля через резистор сопротивлением 100 Ом (см.
6.2.4).
При прямом соединении с фольгированными экранами необходимо принять меры предосторожности для обеспечения надежности такого соединения и получения достоверных результатов испытаний.
8 Порядок проведения испытаний
ИО должно быть испытано в режимах работы и климатических условиях, соответствующих назначению оборудования.
Необходимо соблюдать положения по уровню помех, излучаемых испытательными и вспомогательными приборами, которые применяются в испытательной установке. Если уровни излучаемых радиопомех превышают установленные нормы, испытания следует проводить в экранированном помещении.
Примечание 1 - Как правило, эти испытания могут быть проведены без применения экранированных помещений. Это объясняется тем, что уровни создаваемых испытательных сигналов и состав установок таковы, что излучение значительных уровней энергии, особенно на низких частотах, маловероятно.
Испытания проводят при подключении испытательного генератора поочередно к каждому устройству связи (УСР, электромагнитные клещи связи, токовые клещи связи). Все другие кабели, не подлежащие испытанию, должны быть либо отключены (если это функционально допустимо), либо оснащены устройствами развязки или ненагруженными УСР.
Для предотвращения влияния гармоник (субгармоник) испытательного сигнала на ИО при необходимости применяют фильтры низких и (или) высоких частот. Фильтр высокой частоты с граничной частотой 100 кГц рекомендуется применять на выходе испытательного генератора. Характеристики фильтра низких частот должны быть такими, чтобы обеспечивалось подавление гармоник испытательного генератора до уровней, при которых они не будут влиять на результаты испытаний. Фильтры подключают на выходе испытательного генератора перед установкой испытательного уровня (см.
6.1 и
6.4.1).
Диапазон перестройки частоты должен составлять от 150 кГц до 80 МГц при заранее установленных уровнях помехи, модулированной по амплитуде синусоидальным напряжением 1 кГц при глубине модуляции 80%. Для установки уровня высокочастотного сигнала и переключения устройств связи в ходе испытаний при необходимости делают паузы. Размер шага при перестройке с увеличением частоты не должен превышать 1% значения предшествующей частоты. Время удержания амплитудно-модулированного сигнала на каждой частоте не должно быть меньше времени, необходимого для проверки качества функционирования ИО, но в любом случае должно быть не меньше 0,5 с. К ступенчатым частотам дополнительно проводят испытания оборудования на частотах, на которых ожидается его повышенная восприимчивость к помехе (например, на тактовых частотах, частотах, указанных производителем, или частотах, полученных в результате проведения испытаний).
Примечание 2 - Так как ИО может подвергаться воздействию помех, вызываемых переходными процессами, происходящими при пошаговом изменении частоты, необходимо принять меры для предотвращения такого воздействия. Например, до изменения частоты уровень сигнала может быть снижен на несколько децибел относительно испытательного уровня.
В ходе испытаний необходимо по возможности проверить качество функционирования ИО во всех режимах, выбранных для испытаний.
Рекомендуется применение специальных тестовых программ.
Испытания проводят в соответствии с программой испытаний.
При необходимости обоснования программы испытаний проводят предварительные испытания.
9 Оценка результатов испытаний
Результаты испытаний должны классифицироваться при условиях потери функции или изменения работы ИО относительно критерия качества функционирования, установленного изготовителем или заявителем испытаний либо согласованного между изготовителем и покупателем изделия. Рекомендуемая классификация включает следующее:
a) нормальное функционирование в пределах норм, установленных изготовителем, заявителем или потребителем;
b) временное снижение качества функционирования либо потеря функционирования, которые прекращаются после воздействия помехи и не требуют вмешательства оператора;
c) временное снижение качества функционирования либо потеря функционирования, коррекция которых требует вмешательства оператора;
d) снижение качества функционирования или потеря функционирования, которые не могут быть восстановлены из-за повреждения компонентов оборудования, нарушения программного обеспечения, или потери данных.
В инструкции изготовителя могут быть указаны некоторые незначительные и, следовательно, приемлемые эффекты воздействия помех на ИО.
Данная классификация может использоваться в качестве руководства по определению критериев качества функционирования техническими комитетами, ответственными за разработку общих стандартов, стандартов на изделия или группу изделий, или в качестве основы для согласования критериев качества функционирования изделий между изготовителем и покупателем, например в случае отсутствия соответствующего общего стандарта, стандарта на изделие или группу изделий.
Протокол испытаний должен содержать всю информацию, необходимую для воспроизведения испытания. В частности, должно быть указано следующее:
- обозначение ИО и любого связанного с ним оборудования, например торговая марка, тип оборудования, серийный номер;
- размеры ИО;
- типичные условия функционирования ИО;
- испытывается ли ИО как одноблочное или многоблочное;
- типы межблочных соединительных кабелей, включая их длину и внешние порты ИО, к которым они подключаются;
- любые особые условия применения, например длина или тип кабеля, экранирование или заземление, условия функционирования ИО, необходимые для обеспечения соответствия;
- время восстановления работоспособности ИО, при необходимости;
- тип используемого испытательного оборудования, расположение ИО и ВО, устройств связи и развязки;
- обозначение испытательного оборудования, например торговая марка, тип оборудования, серийный номер;
- устройства связи и развязки, используемые на каждом кабеле;
- устройство развязки, нагружаемое на 50 Ом, для каждого порта, подвергающегося воздействию помехи;
- описание метода проверки функционирования ИО;
- любые особые условия, необходимые для проведения испытания;
- полоса частот, в которой проводят испытания;
- скорость перестройки частоты, время удержания и шаг перестройки частоты;
- применяемый испытательный уровень;
- уровень качества функционирования, установленный изготовителем, заказчиком или покупателем;
- применяемые критерии качества функционирования;
- любые эффекты воздействия на ИО, зафиксированные во время или после подачи испытательного сигнала, а также продолжительность воздействия этих эффектов;
- критерий определения результата испытания (основанный на критерии качества функционирования, установленном в общем стандарте, стандарте на изделие или группу изделий либо являющемся предметом соглашения между изготовителем и покупателем).
(обязательное)
ЭЛЕКТРОМАГНИТНЫЕ КЛЕЩИ СВЯЗИ И КЛЕЩИ РАЗВЯЗКИ
A.1 Электромагнитные клещи связи
A.1.1 Общие положения
В настоящем приложении приведена информация о требованиях к электромагнитным клещам связи. Электромагнитные клещи связи (в отличие от обыкновенных токовых клещей) имеют показатель направленности на несколько десятков МГц больше.
A.1.2 Типичные характеристики электромагнитных клещей связи
Электромагнитные клещи связи используются для ввода помехи в кабели. Требования таковы:
- полоса рабочих частот: 0,15 - 80 МГц;
- длина: (650 +/- 50) мм;
- высота центра отверстия для кабеля клещей связи над пластиной заземления: 50 - 70 мм;
- диаметр отверстия для кабеля клещей связи: (20 +/- 2) мм;
- точка измерения клещей связи (расстояние от наружного размера до первого сердечника): менее 30 мм;
- конструкция и принцип действия электромагнитных клещей связи представлены на
рисунках A.1 и
A.2;
- типичные характеристики полного сопротивления приведены на
рисунке A.7;
- типичные характеристики коэффициента развязки приведены на
рисунке A.8;
- типичные характеристики коэффициента связи приведены на
рисунке A.11.
Примечание - Могут использоваться и другие физические размеры клещей связи (например, для испытания кабелей большего диаметра) при условии, что сами клещи связи соответствуют требованиям, установленным в
A.2.
Электромагнитные клещи 0,15 - 80 мГц
1 - ферритовый тороидальный сердечник с размерами: диаметр наружного кольца - 36 мм, диаметр внутреннего кольца - 23 мм, толщина - 15 мм; 10 колец типа 4С65, NiZn,

; 26 колец типа 3С11, MnZn,

;
2 - вставка из медной фольги полуцилиндрической формы;
3 - нижняя проводящая пластина;
4 - планка заземления;
5, 6 - приспособления для зажимания испытуемого кабеля в желобе;
части из изоляционного материала с поджимающими пружинами (не показаны);
7 - ферритовая трубка, 4С65;
8 - 50-омный коаксиальный кабель с BNC-разъемом;
9 - переключатель для размыкания Z1;
10 - паз для размещения части 2;
11 - упругое защемление ферритов (верхнее полукольцо);
12 - нижняя изоляционная пластина;
13 - защитная пластина для Z1, Z2;
ИО - испытуемое оборудование;
Z1 - полное сопротивление, образуемое компонентами: C1 = (20 - 100) пФ, L1 = 0,15 мкГн, R1 = 50 Ом/12 Вт;
Z2 - полное сопротивление, образуемое компонентами: L2 = 0,8 мкГн; R2 = 50 Ом/12 Вт
Рисунок A.1 - Пример конструкции электромагнитных
клещей связи
1 - ферритовая трубка (зажим) длиной 0,6 м, диаметром 20 мм, состоящая из 10 колец типа 4С65

на стороне ИО и 26 колец типа 3С11

на стороне ВО;
2 - вставка из медной фольги полуцилиндрической формы;
7 - ферритовая трубка

, включенная в конструкцию электромагнитных клещей связи;
Z1, Z2 встроены для оптимизации частотной характеристики и направленности сигнала;
G1 - испытательный генератор
Принцип действия электромагнитных клещей связи:
- индуктивная связь, обеспечиваемая посредством применения ферритовой трубки (1);
- электрическая связь, обеспечиваемая посредством сближения кабеля ИО и фольгированной вставки (2)
Рисунок A.2 - Пример принципа действия электромагнитных
клещей связи
A.2 Описание электромагнитных клещей связи
A.2.1 Характеристика испытательного приспособления клещей связи
Испытательное приспособление, используемое для измерения S-параметров клещей связи, должно иметь металлический стержень цилиндрической формы, расположенный над металлической пластиной (опорной пластиной заземления), как показано на
рисунках A.4 и
A.5. Испытательное приспособление состоит из трех частей: первая часть образует в приспособлении линию передачи между двумя опорными пластинами и двумя опорными пластинами с переходными устройствами на сопротивление 50 Ом без потерь (см.
рисунки A.3 -
A.5). Для описания электромагнитных клещей связи используется одиночный металлический стержень. Длину металлического стержня (
LA +
LB +
Lreference) подбирают таким образом, чтобы обеспечить соблюдение размеров, установленных на
рисунке A.5.
Рисунок A.3 - Размеры опорной пластины
Рисунок A.4 - Испытательное приспособление
Рисунок A.5 - Испытательное приспособление с установленными
клещами связи
Диаметр d металлического цилиндра должен быть 4 мм. Высота над пластиной заземления h определяется исходя из размеров клещей связи. Обычно это значение в диапазоне от 50 до 70 мм. Измерение проводится на высоте, определяемой конструкцией клещей связи, при центральном расположении в отверстии для кабеля клещей связи.
Расстояние
LA и
LB между точкой измерения клещей связи (первый сердечник) и вертикальными выступами испытательного приспособления должно составлять (30 +/- 5) мм (см.
рисунок A.5). Размеры опорной пластины заземления должны превышать размеры проекции установки не менее чем на 0,2 м с каждой стороны.
A.2.2 Описание клещей связи
A.2.2.1 Полное сопротивление
A.2.2.1.1 Измерительная установка
Испытательное приспособление, установленное как в
A.2.1, используется для измерения полного сопротивления. Клещи связи (т.е. порт, подвергающийся воздействию помехи) должны быть нагружены сопротивлением 50 Ом и размещены в испытательном приспособлении (см.
рисунок A.6). Для измерения полного сопротивления электромагнитных клещей связи они рассматриваются как двухпортовое устройство, которое может быть описано S-параметрами
S11,
S12,
S21 и
S22, измеренными в 50-омной системе при помощи анализатора цепей. Перед измерением анализатор цепей должен быть нормирован на концах кабеля (подключен к приспособлению), используя стандартный метод TOSM (проходной переход - холостой ход - короткое замыкание - согласованная нагрузка) с соответствующим калибровочным комплектом. Расстояние между концом кабеля и точкой измерения клещей связи должно учитывать смещение порта векторного анализатора цепей (ВАЦ) или другого аналогичного средства.
Рисунок A.6 - Установка для измерения полного
сопротивления/коэффициента развязки
S-параметры измерены в 50-омной системе при помощи анализатора цепей, как описано в
A.2.2.1.1. Однако характеристика полного сопротивления испытательного приспособления

, как правило, отличается от 50 Ом. Она определяется высотой отверстия для кабеля клещей связи над пластиной заземления. Используя преобразование ABCD можно получить набор параметров преобразования, зависящих от
Zref, при помощи следующих уравнений:
Примечание - Все расчеты проводятся с комплексными числами.
Zref = 50 Ом, (A.1)

(A.2)

(A.3)

(A.4)

(A.5)
На базе параметров ABCD можно рассчитать набор S-параметров, основанных на характеристике полного сопротивления испытательного приспособления

.

(A.6)
где d - диаметр проводника испытательного приспособления (установлен как 4 мм);
h - высота от заземляющей пластины до центра проводника испытательного приспособления.

(A.7)

(A.8)

(A.9)

(A.10)

(A.11)

(A.12)
A.2.2.1.3 Расчет полного сопротивления
Полное входное сопротивление определяется выражением:

(A.13)
На
рисунке A.7 представлены типичные примеры кривой полного сопротивления для трех различных электромагнитных клещей связи.
Примечание - Полное сопротивление, измеренное в соответствии с данной процедурой, действительно для случаев, когда дальний конец устройства нагружен сопротивлением Zref. Это значение может отличаться при использовании клещей связи в установках для испытаний на устойчивость к помехам из-за действующего полного сопротивления ВО.
Электромагнитные клещи связи - |Z_EUT|
(TOSM/ABCD преобразование)
Рисунок A.7 - Типовые примеры полного сопротивления клещей
связи, три типовых представителя клещей связи
A.2.2.2 Коэффициент развязки между ИО и ВО
Измерительная установка и преобразование должны применяться, как описано в
A.2.2.1.1 и
A.2.2.1.2. Коэффициент развязки рассчитывается по формуле

(A.14)
На
рисунке A.8 представлены типичные примеры кривой коэффициента развязки для трех различных электромагнитных клещей связи.
Электромагнитные клещи связи - коэффициент развязки
(TOSM/ABCD преобразование)
Рисунок A.8 - Типовые примеры коэффициентов развязки, три
типовых представителя клещей связи
A.2.2.3 Коэффициент связи
Коэффициент связи измеряется в 150-омной системе в соответствии со схемой установки, показанной на
рисунке A.10. Используется испытательное приспособление, указанное в
A.2.1, со следующими изменениями - высота стержня цилиндрической формы регулируется так, чтобы он оказался в нижнем положении в отверстии для кабеля клещей связи. Также в опорных пластинах должно быть установлено переходное устройство 150 - 50 Ом. Перед измерением схема расположения оборудования должна быть нормирована путем соединения опорных пластин испытательного приспособления друг к другу, как показано на
рисунке A.9. Рекомендуется использовать два аттенюатора на 10 дБ, как показано на
рисунках A.9 и
A.10.
Рисунок A.9 - Нормирование схемы расположения оборудования
для измерения коэффициента связи
Рисунок A.10 - Схема расположения оборудования
для коэффициента связи S21
На
рисунке A.11 представлены типичные примеры кривой коэффициента связи для трех различных электромагнитных клещей связи.
Электромагнитные клещи - коэффициент связи
Рисунок A.11 - Типовые примеры коэффициентов связи,
три типовых представителя клещей связи
A.3 Описание клещей развязки
A.3.1 Полное сопротивление
A.3.1.1 Измерительная установка
Испытательное приспособление, установленное как в
A.2.1, используется для измерения полного сопротивления. Клещи развязки должны быть размещены в испытательном приспособлении (см.
рисунок A.12). Для измерения полного сопротивления клещей развязки они рассматриваются как двухпортовое устройство, которое может быть описано S-параметрами,
S12,
S21 и
S22, измеренными в 50-омной системе при помощи анализатора цепей. Перед измерением анализатор цепей должен быть нормирован на концах кабеля (подключен к приспособлению), используя стандартный метод TOSM с соответствующим калибровочным комплектом. Расстояние между концом кабеля и точкой измерения клещей развязки должно учитывать смещение порта векторного анализатора цепей или другого аналогичного средства.
Рисунок A.12 - Схема расположения оборудования
для клещей развязки
A.3.1.2 Расчет полного сопротивления
Применяется преобразование, указанное в
A.2.2.1.2. Полное входное сопротивление определяется выражением:

(A.15)
|Z| (TOSM/ABCD преобразование, задержка)
Рисунок A.13 - Типовые примеры полного сопротивления
клещей развязки
Примечание - Полное сопротивление, измеренное в соответствии с данной процедурой, действительно для случаев, когда дальний конец устройства нагружен сопротивлением Zref. Это значение может отличаться при использовании клещей связи в установках для испытаний на устойчивость к помехам из-за действующего полного сопротивления ВО.
A.3.2 Коэффициент развязки
Измерительная установка и преобразование должны применяться, как описано в
A.3.1.1 и
A.2.2.1.2. Коэффициент развязки рассчитывается по формуле

(A.16)
Примечание - Поглощающее устройство общего несимметричного режима (CMAD) (CISPR 16-1-4) разработано для хорошей развязки в полосе частот от 30 до 200 МГц, поэтому оно может подходить и для полосы низких частот, указанных в настоящем стандарте.
Клещи развязки (TOSM/ABCD преобразование, задержка)
Рисунок A.14 - Типовые примеры коэффициентов развязки
(справочное)
КРИТЕРИИ ВЫБОРА ПОЛОСЫ ЧАСТОТ ПРИ ИСПЫТАНИЯХ
Несмотря на то, что настоящий стандарт устанавливает требования в полосе частот от 150 кГц до 80 МГц, применяемая полоса частот зависит от нормальных условий установки и эксплуатации ИО. Например, для небольшого оборудования размерами менее 0,4 м с питанием от батарей при отсутствии подключенных к нему металлических кабелей испытания на частотах ниже 80 МГц не проводят, так как в этом случае неблагоприятное воздействие на оборудование помех, наведенных радиочастотными электромагнитными полями, маловероятно.
Верхняя граничная частота испытаний, как правило, составляет 80 МГц. В тех случаях, когда рассматривается малогабаритное оборудование (размер менее

), в стандартах на конкретные виды продукции может предусматриваться увеличение верхней граничной частоты испытаний до 230 МГц. В этом случае устройства связи и развязки должны иметь общее несимметричное полное сопротивление в порте ИО, указанное в
таблице B.1. При использовании данного метода испытаний по настоящему стандарту для частот выше 230 МГц на результаты испытаний будут оказывать влияние следующие факторы: размер оборудования, тип(ы) используемых межблочных соединительных кабелей, особенности конструкции УСР и т.д. Дополнительные сведения о применении данного метода испытаний должны содержаться в стандартах на конкретные виды продукции.
Таблица B.1
Основной параметр комбинации устройства связи и развязки
при испытаниях в полосе частот с верхней границей
выше 80 МГц
| Полоса частот, МГц |
Наименование параметра | 0,15 - 24 | 24 - 80 | 80 - 230 |
Модуль общего несимметричного полного сопротивления |Zce| | (150 +/- 20) Ом | | (150 +/- 60) Ом |
Значения аргумента Zce и коэффициента развязки между портами ИО и ВО устройства связи/развязки не определяют по отдельности. Эти характеристики должны соответствовать установленным в таблице требованиям при условии, что допустимые отклонения |Zce| должны соблюдаться как в случае, когда порт для подключения ВО не нагружен, так и тогда, когда указанный порт короткозамкнут на опорную пластину заземления. При вводе помехи с помощью клещей связи требования к Zce могут не выполняться при условии, что требования к общему несимметричному полному сопротивлению ВО также не выполняются. Тем не менее метод ввода помехи с помощью клещей связи может обеспечить удовлетворительные результаты испытаний при соблюдении процедуры, установленной в 7.7. |
Начальная частота испытаний зависит от того, в какой степени оборудование, включая подключенные к нему кабели, способно к приему высоких значений радиочастотной энергии от внешнего радиочастотного электромагнитного поля.
При этом рассматривают три различных случая.
a) Оборудование с питанием от батарей (размером менее

), не имеющее соединений с заземлением и другим оборудованием и не эксплуатируемое в период зарядки батарей, не подлежит испытаниям на соответствие требованиям настоящего стандарта. Если оборудование эксплуатируют во время зарядки батарей, применяют правила, приведенные в
перечислении b) или
c).
Для оборудования с питанием от батареи (размером более

) начальную частоту испытаний определяют в соответствии с
рисунком B.1 в зависимости от размера оборудования и с учетом максимальной длины подключенных к нему кабелей.
c0 = 3·108 м/с;
L = длина кабеля + размер оборудования
Примеры
- для кабеля, подключаемого к клавиатуре (удлиненный размер не менее
), подача питания к которой осуществляется от персонального компьютера с питанием от батарей через спиральный кабель длиной 4 м, начальная частота испытаний должна составлять 6,67 МГц. Клавиатура должна быть накрыта эквивалентом руки. Для мыши, подключенной к кабелю длиной 2 м, начальная частота испытаний должна быть 15 МГц и т.д.;
- карманный калькулятор с опцией питания от адаптера, преобразующего сетевое напряжение электропитания переменного тока в напряжение постоянного тока, испытывают при подаче помехи на сетевые зажимы адаптера, начиная с частоты 150 кГц. Калькулятор должен накрываться эквивалентом руки;
- портативный мультиметр с питанием от батарей, имеющий возможность соединения с заземлением, испытывают, начиная с частоты 150 кГц. Мультиметр должен накрываться эквивалентом руки;
- проигрыватель компакт-дисков с питанием от сети электропитания (с двойной изоляцией), имеющий средства подключения к аудиоприемнику и связанным с ним звуковым колонкам, а также входной антенный ввод, который может быть заземлен, испытывают посредством ввода помехи в сетевой шнур и соединительные кабели, начиная с частоты 150 кГц;
- устройство охранной сигнализации с различными обособленными датчиками, установленными во всем здании, максимальная длина соединительных кабелей которых в соответствии с технической документацией изготовителя может превышать 200 м, испытывают путем ввода помехи в указанные кабели, начиная с частоты 150 кГц.
Рисунок B.1 - Зависимость начальной частоты испытаний
от длины кабеля и размеров оборудования
b) Оборудование, подключаемое к сети электропитания, не имеющее подключенных к нему кабелей и не соединенное с каким-либо другим оборудованием.
Электропитание обеспечивается посредством применения устройства связи и развязки. Оборудование нагружают с помощью эквивалента руки. Начальная частота испытаний составляет 150 кГц.
c) Оборудование, подключаемое к сети электропитания, которое также подключается к другому изолированному или неизолированному оборудованию с помощью управляющего устройства, устройства ввода-вывода или телекоммуникационных кабелей.
Начальная частота испытаний составляет 150 кГц.
(справочное)
ПО ВЫБОРУ ИСПЫТАТЕЛЬНЫХ УРОВНЕЙ
Испытательные уровни выбирают в соответствии с обстановкой электромагнитных излучений, которые могут оказывать влияние на ИО и подключенные к нему кабели в условиях эксплуатации. При этом при выборе испытательного уровня необходимо принимать во внимание возможные последствия отказа оборудования. В случае, если последствия отказа оборудования могут быть значительными, выбирают более высокие испытательные уровни.
Если места установки ИО известны и немногочисленны, ожидаемые уровни напряженности электромагнитных полей устанавливают на основе анализа местных источников радиочастотного излучения. Если мощность источников неизвестна, измеряют напряженность поля в месте(ах) предполагаемой установки оборудования.
При выборе испытательных уровней для оборудования, места установки которого многочисленны и разнообразны, применяют следующее руководство.
Каждому испытательному уровню в соответствии с
разделом 5 настоящего стандарта соответствует один из следующих классов, принимаемых за основу при осуществлении выбора.
Класс 1: Обстановка, характеризующаяся низким уровнем электромагнитных излучений. Типичный уровень, когда радиовещательные и телевизионные станции расположены на расстоянии более 1 км, и типичный уровень для маломощных приемопередатчиков.
Класс 2: Обстановка, характеризующаяся средним уровнем электромагнитных излучений. Допускается эксплуатация маломощных портативных приемопередатчиков (номинальной мощностью менее 1 Вт) при запрете их использования в непосредственной близости от оборудования. Типичная электромагнитная обстановка в жилых, коммерческих зонах и производственных зонах с малым энергопотреблением.
Класс 3: Обстановка, характеризующаяся высоким уровнем электромагнитных излучений. Допускается эксплуатация портативных приемопередатчиков (номинальной мощностью 2 Вт и более) в относительной близости от оборудования, но не ближе, чем на расстоянии 1 м от него. В непосредственной близости от оборудования находятся мощные передатчики радиовещания, также возможно близкое нахождение промышленных, научных и медицинских высокочастотных установок. Типичная электромагнитная обстановка в производственных зонах с большим энергопотреблением.
Класс X: Особые условия электромагнитной обстановки, которые оговариваются в стандартах или технических условиях на конкретное оборудование.
Указанные испытательные уровни являются типичными и редко могут быть превышены в указанных местах расположения оборудования. Однако в некоторых случаях возможно их превышение, например в случае близкого расположения мощных передатчиков или промышленных, научных и медицинских высокочастотных установок, находящихся в одном здании с оборудованием. В таких случаях экранирование комнаты или здания и фильтрование сигнала и питания, подаваемых на оборудование, считаются более предпочтительными мерами, чем установление более высокого уровня устойчивости оборудования к электромагнитному полю такого уровня.
(справочное)
ОБ УСТРОЙСТВАХ СВЯЗИ И РАЗВЯЗКИ
D.1 Основные особенности устройств связи и развязки
УСР должно обеспечивать:
- подачу сигнала помехи к ИО;
- постоянное значение полного сопротивления в порте для подключения ИО, независимо от значения общего несимметричного полного сопротивления ВО;
- развязку ВО от сигнала помехи для предотвращения воздействия на него;
- незначительное подавление полезного сигнала.
Требуемые параметры УСР в полосе частот от 150 кГц до 80 МГц установлены в
6.2.1 настоящего стандарта, и примеры таких устройств приведены в
D.2.
На
рисунках D.1 -
D.7 требуемое значение общего несимметричного полного сопротивления
Zce принимается равным сумме значений внутреннего сопротивления испытательного генератора (50 Ом) и общего сопротивления параллельно соединенных резисторов, подключенных к соответствующим проводникам испытуемого кабеля (100 Ом). При использовании катушки индуктивности
L, удовлетворяющей условию

, элементы развязки
C2 не должны влиять на
Zce.
R = 100 Ом;
L >= 280 мкГн на частоте 150 кГц
Рисунок D.1 - Пример упрощенной схемы УСР типа CDN-S1,
применяемого при вводе помехи в экранированные кабели
CDN-M3: C1 = 10 нФ (типовой), C2 = 47 нФ (типовой), R = 300 Ом, L >= 280 мкГн на частоте 150 кГц;
CDN-M2: C1 = 10 нФ (типовой), C2 = 47 нФ (типовой), R = 200 Ом, L >= 280 мкГн на частоте 150 кГц;
CDN-M1: C1 = 22 нФ (типовой), C2 = 47 нФ (типовой), R = 100 Ом, L >= 280 мкГн на частоте 150 кГц
Рисунок D.2 - Пример упрощенной схемы УСР типов CDN-M1,
CDN-M2, CDN-M3, применяемых при вводе помехи
в неэкранированные сетевые кабели электропитания
C1 = 10 нФ (типовой);
C2 = 47 нФ (типовой);
R = 200 Ом;
L >= 280 мкГн на частоте 150 кГц
Рисунок D.3 - Пример упрощенной схемы УСР типа CDN-AF2,
применяемого при вводе помехи в неэкранированные
C1 = 10 нФ (типовой);
C2 = 47 нФ (типовой), R = 200 Ом;
L1 >= 280 мкГн на частоте 150 кГц;
L2 = L3 = 6 мГн (когда C2 и L3 не применяются, L1 >= 30 мГн)
Рисунок D.4 - Пример упрощенной схемы УСР типа CDN-T2,
применяемого при вводе помехи в неэкранированные
симметричные пары (двухпроводную линию) (см.
6.2.2.3)
C = 5,6 нФ (типовой);
R = 400 Ом;
L1 >> 280 мкГн на частоте 150 кГц;
L2 = 6 мГн
Рисунок D.5 - Пример упрощенной схемы УСР типа CDN-T4,
применяемого при вводе помехи в неэкранированные
симметричные пары (двухпроводную линию) (см.
6.2.2.3)
C = 2,2 нФ (типовой);
R = 800 Ом;
L1 >> 280 мкГн на частоте 150 кГц
Рисунок D.6 - Пример упрощенной схемы УСР типа CDN AF8,
применяемого при вводе помехи в неэкранированные
C = 2,2 нФ (типовой);
R = 800 Ом;
L1 >> 280 мкГн на частоте 150 кГц;
L2 >> 6 мГн на частоте 150 кГц
Рисунок D.7 - Пример упрощенной схемы УСР типа CDN-T8,
применяемого при вводе помехи в неэкранированные
Центр порта для подключения ИО устройства связи и развязки должен располагаться на высоте 30 мм над опорной пластиной заземления. При этом кабель, соединяющий устройство связи и развязки с ИО, представляет собой линию передачи с характеристическим полным сопротивлением около 150 Ом, если он размещен на высоте 30 мм над опорной пластиной заземления.
Полное сопротивление конденсаторов C1 при условии разделения по постоянному току и низкой частоте сигналов испытательного генератора и отдельных проводов УСР должно быть существенно меньше 150 Ом в заданной полосе частот.
Развязка ВО осуществляется с помощью общей несимметричной катушки индуктивности L и конденсаторов C2 для неэкранированных кабелей или только с помощью общей несимметричной катушки индуктивности L. Для экранированных кабелей применение конденсаторов C2 не требуется, так как экран соединяется с опорной пластиной заземления на стороне ВО.
Правильный выбор значения C2 для неэкранированных кабелей имеет большое значение, так как позволяет избежать искажения полезного сигнала. Параметры устройства связи и развязки не должны подвергаться неблагоприятному воздействию со стороны полезного сигнала, например в УСР типа CDN-M1 при насыщении ферритов фильтра.
ВНИМАНИЕ! Так как конденсаторы C1 и C2 могут шунтировать находящиеся под напряжением части устройств связи и развязки, то необходимо применять помехоподавляющие конденсаторы типа Y. Из-за наличия высоких токов утечки зажим заземления УСР должен быть постоянно подключен к опорной пластине заземления при любых условиях испытания, а сама опорная пластина заземления должна быть надлежащим образом соединена с защитным заземлением.
D.2 Примеры устройств связи и развязки
Поскольку обеспечить выполнение всех функциональных требований с помощью одного УСР не представляется возможным, на
рисунках D.1 -
D.7 приведены несколько возможных схем указанных устройств.
(справочное)
СВЕДЕНИЯ О ПАРАМЕТРАХ ИСПЫТАТЕЛЬНОГО ГЕНЕРАТОРА
Выходную мощность широкополосного усилителя мощности PA
(рисунок 3) определяют с учетом ослабления сигнала в аттенюаторе T2 (6 дБ), глубины амплитудной модуляции (80%) (см.
рисунок 2) и минимального значения коэффициента связи используемых УСР или клещей связи.
Таблица E.1
Выходная мощность широкополосного усилителя, необходимая
для получения испытательного напряжения 10 В
Устройство ввода помехи | Минимальное значение коэффициента связи +/- 1,5 дБ | Требуемая мощность на выходе усилителя PA, Вт |
УСР | 0 | 7 |
Токовые клещи связи (отношение числа витков 5:1) | -14 | 176 |
Электромагнитные клещи связи | -6 | 28 |
Примечание - Определение коэффициента связи приведено в 3.6 настоящего стандарта. Величину коэффициента связи измеряют с использованием схемы установки уровней помехи (см. рисунок 9 c)). Коэффициент связи представляет собой отношение выходного напряжения Uизм, полученного при последовательном соединении устройства связи и развязки с переходным устройством 150 - 50 Ом, к выходному напряжению при применении последовательного соединения двух переходных устройств 150 - 50 Ом. |
(справочное)
ИСПЫТАТЕЛЬНАЯ УСТАНОВКА ДЛЯ КРУПНОГАБАРИТНОГО ОБОРУДОВАНИЯ
F.1 Общие положения
Испытательная установка, описанная в настоящем стандарте (см.
раздел 7), не является подходящей в полной мере для некоторого крупногабаритного ИО, имеющего кабели, входящие в ИО и выходящие из него на высоте более 1 м. Так как верхняя граничная частота испытательного сигнала равна 80 МГц, то размер ИО может рассматриваться как сравнимый с длиной волны, и в кабелях, подключенных к такому ИО, могут возникать резонансные эффекты.
В этом случае рекомендуется применять описанный в настоящем приложении альтернативный метод испытаний для ИО крупных размеров, при котором устройства ввода размещаются близко к входу кабеля, в результате чего получается небольшой замкнутый контур с уменьшением резонансных эффектов.
Примером крупногабаритного ИО, на которое распространяется настоящее приложение, является следующее оборудование (но им не ограничиваются):
- смонтированные в стойку телекоммуникационные коммутационные системы;
- электротехническое оборудование;
- смонтированное в стойку коммутационное и контролирующее оборудование.
F.2 Испытательная установка для крупногабаритного оборудования
Примеры испытательной установки для крупногабаритного оборудования показаны на
рисунках F.1 и
F.2.
Рисунок F.1 - Пример испытательной установки
для крупногабаритного оборудования с поднятой горизонтальной
опорной пластиной заземления
Рисунок F.2 - Пример испытательной установки
для крупногабаритного оборудования с вертикальной опорной
пластиной заземления
Поднятая опорная пластина заземления, показанная на
рисунке F.1, является опорной пластиной заземления для этого расположения оборудования при испытаниях. Целью поднятия опорной пластины заземления является уменьшение длины кабеля между ИО и УСР, что позволяет контролировать или уменьшать эффекты резонансов в кабелях.
Размер поднятой опорной пластины заземления должен быть достаточным, чтобы обеспечить расстояние не менее 0,2 м от всех УСР, используемых при испытаниях, до края пластины заземления. Длина испытуемого кабеля между ИО и УСР должна быть не более 0,3 м.
Поднятая опорная пластина заземления должна размещаться на такой высоте над основной опорной пластиной заземления, чтобы обеспечить горизонтальное размещение кабелей между ИО и УСР.
Поднятая опорная пластина заземления должна быть электрически соединена с землей для обеспечения безопасности. С радиочастотной точки зрения это соединение не является важным, вследствие чего в рамках одной испытательной установки используется более одного УСР.
Примечание 1 - Для обеспечения механически безопасных условий важными являются физическая конструкция поднятой опорной пластины заземления и поддерживающие ее части.
ИО располагают на изоляционной подставке высотой (0,1 +/- 0,05) м над пластиной заземления. В случае, если оборудование поставляется на транспортной подставке и из-за значительного веса или размера не может быть безопасно снято с нее, то ИО может быть оставлено для испытаний на этой подставке, даже если ее высота превышает (0,1 +/- 0,05) м. В случае, если из-за значительного веса или размера оборудование не может быть поднято на высоту (0,1 +/- 0,05) м, может использоваться более тонкая изоляция для обеспечения электрической изоляции от пластины заземления. Любые изменения стандартного метода испытаний должны фиксироваться в протоколе испытаний.
ВО может размещаться на поднятой опорной пластине заземления, но не должно размещаться на ней, если оно соединено с ИО через УСР. При применении метода прямого ввода помехи ВО может размещаться за пределами поднятой опорной пластины заземления при обеспечении подходящей развязки. В случае применения метода ввода помехи с помощью клещей связи вместо УСР ВО должно размещаться на поднятой опорной пластине заземления.
Вертикальная опорная пластина заземления, показанная на
рисунке F.2, является опорной пластиной заземления для этого расположения оборудования при испытаниях. Целью применения вертикальной опорной пластины заземления является уменьшение длины кабеля между ИО и УСР, что позволяет контролировать или уменьшать эффекты резонансов в кабелях.
Примечание 2 - Применение вертикальной опорной пластины заземления может быть более целесообразно, чем применение поднятой опорной пластины заземления, в том случае, когда кабели входят в ИО и выходят из ИО на различных высотах, или в случае, когда применяется только одно УСР.
Вертикальная опорная пластина заземления должна быть электрически соединена с землей для обеспечения безопасности. С радиочастотной точки зрения это соединение не является важным.
Размер вертикальной опорной пластины заземления должен быть достаточным, чтобы обеспечить расстояние не менее 0,2 м до края пластины заземления от всех УСР, используемых при испытаниях. В случае, когда ИО имеет только одну линию, вертикальная опорная пластина заземления должна доставать до пола и крепиться к полу, обладающему низкой индуктивностью. Длина испытуемого кабеля между ИО и УСР должна быть не более 0,3 м. Расстояние между ИО и вертикальной опорной пластиной заземления должно быть таким, чтобы могло выполняться требование 0,3 м к длине кабеля. Стена экранированной камеры может использоваться в качестве вертикальной опорной пластины заземления.
УСР должны монтироваться на вертикальной опорной пластине заземления на высоте, при которой обеспечивается горизонтальное размещение кабелей между ИО и УСР.
Приведенные выше положения о расположении оборудования при испытаниях с использованием поднятой опорной пластины заземления (т.е. изоляционной подставки и размещения ВО) применяют соответственно к расположению оборудования при испытаниях с использованием вертикальной опорной пластины заземления.
(справочное)
НЕОПРЕДЕЛЕННОСТЬ ИЗМЕРЕНИЯ, ОБУСЛОВЛЕННАЯ УРОВНЕМ
ИСПЫТАТЕЛЬНОГО НАПРЯЖЕНИЯ
G.1 Общие положения
В настоящем приложении приведена информация, касающаяся неопределенности измерений (НИ), обусловленной напряжением, создаваемым испытательным оборудованием в соответствии с конкретными требованиями метода испытаний, приведенного в основной части стандарта. Дополнительная информация о НИ приведена в
[1],
[2],
[3] <1>.
--------------------------------
<1> Ссылки, указанные в квадратных скобках, являются ссылками на нормативные документы, приведенные в конце
приложения G.
В настоящем приложении приведен пример составления неопределенности, основанный на установке уровня испытательного воздействия, и показано, как можно подготовить бюджет неопределенности, основанный на неопределенности измерительного оборудования и процедуре установки напряжения испытательного уровня, описанной в
6.4. Другие параметры величины помехи (например, частота модуляции, глубина модуляции и т.д.) также могут быть важны и должны рассматриваться испытательной лабораторией соответствующим образом. Методика, приведенная в настоящем приложении, может применяться ко всем количественным параметрам помехи.
Объектом
приложения G является оценка НИ установленного уровня напряжения в случае полного сопротивления ИО 150 Ом, как требуется в процедуре установки напряжения испытательного уровня, описанной в
6.4.
G.2 Основные условные обозначения
Основные условные обозначения, указанные в
таблице G.1 и перечисленные ниже, представляют собой подмножество символов, определенных в
[1].
Xi - входная величина;
xi - оценках Xi;
u(xi) - стандартная неопределенность xi;
ci - коэффициент чувствительности;
y - результат измерения (оценка измеряемой величины), скорректированный для всех общепринятых значительных систематических погрешностей;
uс(y) - стандартная неопределенность y (суммарная);
U(y) - расширенная неопределенность y;
k - коэффициент охвата;

- поправка на влияющую величину
Xi.
G.3 Бюджеты неопределенности для методов испытаний
G.3.1 Определение измеряемой величины
Измеряемой величиной является напряжение испытательного уровня в режиме холостого хода
U0, как указано в
разделе 5.
Примечание - U0 является напряжением, подаваемым через устройство связи на нагрузку 150 Ом на определенной частоте в диапазоне от 150 кГц до 80 МГц. Для целей неопределенности измерения оно выражено в дБ (мкВ).
G.3.2 Составляющие неопределенности измерений измеряемой величины
Приведенная ниже диаграмма влияния (см.
рисунки G.1 -
G.4) представляет собой примеры влияющих величин на уровень испытательного напряжения. Необходимо понимать, что сведения, приведенные в данной диаграмме, не являются исчерпывающими. Наиболее важные составляющие из диаграмм влияния включены в расчет бюджета неопределенности и показаны в
таблицах G.1 -
G.8. С целью получения сопоставимых бюджетов неопределенности для различных испытательных площадок или лабораторий при расчете неопределенности измерения должны применяться по крайней мере составляющие, приведенные в
таблицах G.1 -
G.8. Необходимо отметить, что при расчете неопределенности измерений испытательные лаборатории могут использовать дополнительные составляющие (например, типа A) на основе их конкретных условий.
Рисунок G.1 - Пример влияния на уровень испытательного
напряжения при использовании УСР
Рисунок G.2 - Пример влияния на уровень испытательного
напряжения при использовании электромагнитных клещей
Рисунок G.3 - Пример влияния на уровень испытательного
напряжения при использовании токовых клещей
Рисунок G.4 - Пример влияния на уровень испытательного
напряжения при использовании прямого ввода помехи
Таблица G.1
Процедура установки уровня при применении УСР
Условное обозначение | Источник неопределенности Xi | U(xi), дБ | Распределение | Коэффициент | u(xi), дБ | ci | ui(y), дБ | ui(y)2 |
| Переходное устройство 150 - 50 Ом, отклонение | 0,3 | Прямоугольное | 1,73 | 0,17 | 1 | 0,17 | 0,03 |
Переходное устройство 150 - 50 Ом, калибровка | 0,2 | Нормальное k = 2 | 2 | 0,10 | 1 | 0,10 | 0,01 |
| Влияние схемы расположения оборудования на испытательный уровень | 0,35 | Нормальное k = 1 | 1 | 0,35 | 1 | 0,35 | 0,12 |
| Измеритель уровня | 0,5 | Прямоугольное | 1,73 | 0,29 | 1 | 0,29 | 0,08 |
| Погрешность установки уровня синусоидального сигнала, вносимая программным обеспечением | 0,3 | Прямоугольное | 1,73 | 0,17 | 1 | 0,17 | 0,03 |
| Измеренный уровень в петле управления | 0 | Прямоугольное | 1,73 | 0,00 | 1 | 0,00 | 0,00 |
| Испытательный генератор | 0 | Прямоугольное | 1,73 | 0,00 | 1 | 0,00 | 0,00 |
| Рассогласование между испытательным генератором и УСР | 0 | U-образное | 1,41 | 0,00 | 1 | 0,00 | 0,00 |
| Рассогласование между измерителем уровня и УСР | 0,5 | U-образное | 1,41 | 0,35 | 1 | 0,35 | 0,13 |
| | 0,40 |
Суммарная неопределенность, дБ  | 0,63 |
Расширенная неопределенность для калибровки, дБ U = u(y)·k, k = 2 | 1,27 |
Таблица G.2
Процедура проведения испытаний при применении УСР
Условное обозначение | Источник неопределенности Xi | U(xi), дБ | Распределение | Коэффициент | u(xi), дБ | ci | ui(y), дБ | ui(y)2 |
| Калибровка | 1,27 | Нормальное k = 2 | 2 | 0,63 | 1 | 0,63 | 0,40 |
| Измеренный уровень в петле управления | 0,3 | Прямоугольное | 1,73 | 0,17 | 1 | 0,17 | 0,17 |
| Испытательный генератор | 0 | Прямоугольное | 1,73 | 0,00 | 1 | 0,00 | 0,00 |
| Рассогласование между испытательным генератором и УСР | 0 | U-образное | 1,41 | 0,00 | 1 | 0,00 | 0,00 |
| Погрешность установки уровня синусоидального сигнала, вносимая программным обеспечением | 0,3 | Прямоугольное | 1,73 | 0,17 | 1 | 0,17 | 0,03 |
| | 0,46 |
Суммарная неопределенность, дБ  | 0,68 |
Расширенная неопределенность для калибровки, дБ U = u(y)·k, k = 2 | 1,36 |
Таблица G.3
Процедура установки уровня при применении электромагнитных
клещей связи
Условное обозначение | Источник неопределенности Xi | U(xi), дБ | Распределение | Коэффициент | u(xi), дБ | ci | ui(y), дБ | ui(y)2 |
| Переходное устройство 150 - 50 Ом, отклонение | 0,3 | Прямоугольное | 1,73 | 0,17 | 1 | 0,17 | 0,03 |
Переходное устройство 150 - 50 Ом, калибровка | 0,2 | Нормальное k = 2 | 2 | 0,10 | 1 | 0,10 | 0,01 |
| Влияние схемы расположения оборудования на испытательный уровень | 0,35 | Нормальное k = 1 | 1 | 0,35 | 1 | 0,35 | 0,12 |
| Измеритель уровня | 0,5 | Прямоугольное | 1,73 | 0,29 | 1 | 0,29 | 0,08 |
| Погрешность установки уровня синусоидального сигнала, вносимая программным обеспечением | 0,3 | Прямоугольное | 1,73 | 0,17 | 1 | 0,17 | 0,03 |
| Измеренный уровень в петле управления | 0 | Прямоугольное | 1,73 | 0,00 | 1 | 0,00 | 0,00 |
| Испытательный генератор | 0 | Прямоугольное | 1,73 | 0,00 | 1 | 0,00 | 0,00 |
| Рассогласование между испытательным генератором и электромагнитными клещами | 0 | U-образное | 1,41 | 0,00 | 1 | 0,00 | 0,00 |
| Рассогласование между измерителем уровня и электромагнитными клещами | 0,5 | U-образное | 1,41 | 0,35 | 1 | 0,35 | 0,13 |
| | 0,40 |
Суммарная неопределенность, дБ  | 0,63 |
Расширенная неопределенность для калибровки, дБ U = u(y)·k, k = 2 | 1,27 |
Таблица G.4
Процедура проведения испытаний при применении
электромагнитных клещей связи
Условное обозначение | Источник неопределенности Xi | U(xi), дБ | Распределение | Коэффициент | u(xi), дБ | ci | ui(y), дБ | ui(y)2 |
| Калибровка | 1,27 | Нормальное k = 2 | 2 | 0,63 | 1 | 0,63 | 0,40 |
| Измеренный уровень в петле управления | 0,3 | Прямоугольное | 1,73 | 0,17 | 1 | 0,17 | 0,03 |
| Испытательный генератор | 0 | Прямоугольное | 1,73 | 0,00 | 1 | 0,00 | 0,00 |
| Рассогласование между испытательным генератором и электромагнитными клещами | 0 | U-образное | 1,41 | 0,00 | 1 | 0,00 | 0,00 |
| Погрешность установки уровня синусоидального сигнала, вносимая программным обеспечением | 0,3 | Прямоугольное | 1,73 | 0,17 | 1 | 0,17 | 0,03 |
| Нагрузка вспомогательного оборудования | 2,5 | Прямоугольное | 1,73 | 1,45 | 1 | 1,45 | 2,09 |
| | 2,55 |
Суммарная неопределенность, дБ | 1,60 |
Расширенная неопределенность для калибровки, дБ U = u(y)·k, k = 2 | 3,19 |
Таблица G.5
Процедура установки уровня при применении токовых
клещей связи
Условное обозначение | Источник неопределенности Xi | U(xi), дБ | Распределение | Коэффициент | u(xi), дБ | ci | ui(y), дБ | ui(y)2 |
| Переходное устройство 150 - 50 Ом, отклонение | 0,3 | Прямоугольное | 1,73 | 0,17 | 1 | 0,17 | 0,03 |
Переходное устройство 150 - 50 Ом, калибровка | 0,2 | Нормальное k = 2 | 2 | 0,10 | 1 | 0,10 | 0,01 |
| Калибровка испытательного приспособления | 0,5 | Нормальное k = 1 | 1 | 0,50 | 1 | 0,50 | 0,25 |
| Измеритель уровня | 0,5 | Прямоугольное | 1,73 | 0,29 | 1 | 0,29 | 0,08 |
| Погрешность установки уровня синусоидального сигнала, вносимая программным обеспечением | 0,3 | Прямоугольное | 1,73 | 0,17 | 1 | 0,17 | 0,03 |
| Измеренный уровень в петле управления | 0 | Прямоугольное | 1,73 | 0,00 | 1 | 0,00 | 0,00 |
| Испытательный генератор | 0 | Прямоугольное | 1,73 | 0,00 | 1 | 0,00 | 0,00 |
| Рассогласование между испытательным генератором и токовыми клещами | 0 | U-образное | 1,41 | 0,00 | 1 | 0,00 | 0,00 |
| Рассогласование между измерителем уровня и токовыми клещами | 0,5 | U-образное | 1,41 | 0,35 | 1 | 0,35 | 0,13 |
| | 0,53 |
Суммарная неопределенность, дБ | 0,73 |
Расширенная неопределенность для калибровки, дБ U = u(y)·k, k = 2 | 1,46 |
Таблица G.6
Процедура проведения испытаний при применении токовых
клещей связи
Условное обозначение | Источник неопределенности Xi | U(xi), дБ | Распределение | Коэффициент | u(xi), дБ | ci | ui(y), дБ | ui(y)2 |
| Калибровка | 1,46 | Нормальное k = 2 | 2 | 0,73 | 1 | 0,73 | 0,53 |
| Измеренный уровень в петле управления | 0,3 | Прямоугольное | 1,73 | 0,17 | 1 | 0,17 | 0,03 |
| Испытательный генератор | 0 | Прямоугольное | 1,73 | 0,00 | 1 | 0,00 | 0,00 |
| Рассогласование между испытательным генератором и электромагнитными клещами | 0 | U-образное | 1,41 | 0,00 | 1 | 0,00 | 0,00 |
| Погрешность установки уровня синусоидального сигнала, вносимая программным обеспечением | 0,3 | Прямоугольное | 1,73 | 0,17 | 1 | 0,17 | 0,03 |
| Нагрузка вспомогательного оборудования | 2,5 | Прямоугольное | 1,73 | 1,45 | 1 | 1,45 | 2,09 |
| | 2,68 |
Суммарная неопределенность, дБ  | 1,64 |
Расширенная неопределенность для калибровки, дБ U = u(y)·k, k = 2 | 3,27 |
Таблица G.7
Процедура установки уровня при применении прямого
ввода помехи
Условное обозначение | Источник неопределенности Xi | U(xi), дБ | Распределение | Коэффициент | u(xi), дБ | ci | ui(y), дБ | ui(y)2 |
| Переходное устройство 150 - 50 Ом, отклонение | 0,3 | Прямоугольное | 1,73 | 0,17 | 1 | 0,17 | 0,03 |
Переходное устройство 150 - 50 Ом, калибровка | 0,2 | Нормальное k = 2 | 2 | 0,10 | 1 | 0,10 | 0,01 |
| Влияние схемы расположения оборудования на испытательный уровень | 0,5 | Нормальное k = 1 | 1 | 0,50 | 1 | 0,50 | 0,25 |
| Измеритель уровня | 0,5 | Прямоугольное | 1,73 | 0,29 | 1 | 0,29 | 0,08 |
| Погрешность установки уровня синусоидального сигнала, вносимая программным обеспечением | 0,3 | Прямоугольное | 1,73 | 0,17 | 1 | 0,17 | 0,03 |
| Измеренный уровень в петле управления | 0 | Прямоугольное | 1,73 | 0,00 | 1 | 0,00 | 0,00 |
| Испытательный генератор | 0 | Прямоугольное | 1,73 | 0,00 | 1 | 0,00 | 0,00 |
| Рассогласование между испытательным генератором и УСР | 0 | U-образное | 1,41 | 0,00 | 1 | 0,00 | 0,00 |
| Рассогласование между измерителем уровня и УСР | 0,5 | U-образное | 1,41 | 0,35 | 1 | 0,35 | 0,13 |
| | 0,53 |
Суммарная неопределенность, дБ | 0,73 |
Расширенная неопределенность для калибровки, дБ U = u(y)·k, k = 2 | 1,46 |
Таблица G.8
Процедура проведения испытаний при применении прямого
ввода помехи
Условное обозначение | Источник неопределенности Xi | U(xi), дБ | Распределение | Коэффициент | u(xi), дБ | ci | ui(y), дБ | ui(y)2 |
| Калибровка | 1,46 | Нормальное k = 2 | 2 | 0,73 | 1 | 0,73 | 0,53 |
| Измеренный уровень в петле управления | 0,3 | Прямоугольное | 1,73 | 0,17 | 1 | 0,17 | 0,03 |
| Испытательный генератор | 0 | Прямоугольное | 1,73 | 0,00 | 1 | 0,00 | 0,00 |
| Рассогласование между испытательным генератором и УСР | 0 | U-образное | 1,41 | 0,00 | 1 | 0,00 | 0,00 |
| Погрешность установки уровня синусоидального сигнала, вносимая программным обеспечением | 0,3 | Прямоугольное | 1,73 | 0,17 | 1 | 0,17 | 0,03 |
| Устройства развязки | 2,3 | Прямоугольное | 1,73 | 1,33 | 1 | 1,33 | 1,77 |
| | 2,36 |
Суммарная неопределенность, дБ  | 1,54 |
Расширенная неопределенность для калибровки, дБ U = u(y)·k, k = 2 | 3,07 |
G.3.3 Входные величины и примеры расчета расширенной неопределенности
В приведенных ниже примерах предполагается, что для процедуры установки испытательного уровня используется то же оборудование, что и для создания напряжения испытательного уровня (набор измерительного оборудования для установки испытательного уровня изображен на
рисунках 9 c) и
G.5), за исключением измерительных приборов, не применяемых при испытаниях. Однако составляющие погрешности, которые могли бы присутствовать, если бы использовались другие приборы, показаны в
таблицах G.1 -
G.8, но их значения приняты равными нулю (см. примечания под
таблицами G.1 -
G.8).
Очевидно, что составляющие, которые применяются при установке уровня испытательного воздействия и проведении испытаний, не могут быть одинаковыми. Это приводит к различиям бюджетов неопределенности для каждого процесса.
В
таблицах G.1 -
G.8 приведены примеры бюджета неопределенности для установки уровня напряжения испытательного воздействия. Каждый бюджет неопределенности состоит из двух частей: неопределенности для установки уровня испытательного воздействия и неопределенности для испытаний. В процессе процедуры установки испытательного воздействия определяется соотношение между
Ux и
Uизм (см.
рисунок G.5 <1>). Во время проведения испытания воспроизводится только
Ux.
--------------------------------
<1> В оригинальном стандарте IEC 61000-4-6:2013 указана ссылка на рисунок G.1, что не соответствует содержимому текста.
Рисунок G.5 - Схема расположения оборудования
для установки уровня
Модель для процедуры установки уровня напряжения при применении УСР (значения всех параметров выражены в логарифмических единицах):
Пояснение составляющих:
ULMc - значение напряжения Uизм непосредственно на измерителе мощности или преобразованное в дБ (мкВ).
Примечание 1 - Другие символы включены в перечень пояснения терминов, указанный ниже.
Модель для проведения испытания при применении УСР (значения всех параметров выражены в логарифмических единицах):
Ux = ULMc + 20log(5).
Примечание 2 - Символы включены в перечень пояснения терминов, указанный ниже.
Примечание 3 - Одну из двух составляющих (LMC либо TG (испытательный генератор)) включают в
таблицы G.1 и
G.2 для установки уровня и/или испытаний в зависимости от того, используется или нет петля управления для установки выходного уровня генератора сигнала и усилителя. В этом примере испытательный генератор не включен в бюджет неопределенности, потому что он является частью петли управления. Составляющая неопределенности от петли управления определяется измерителем уровня (см. также
примечание 4). Однако испытательный генератор включен в
таблицы G.1 и
G.2, чтобы информировать испытательные лаборатории о необходимости рассмотреть этот пункт в зависимости от конкретной испытательной установки. В этом случае необходим более детальный анализ составляющих неопределенности от испытательного генератора (см. определение терминов).
Примечание 4 - Если одно и то же оборудование применяется для установки уровня и испытаний, то только составляющие повторяемости и линейности вносят в
таблицу G.2 для процедуры испытаний. Составляющей для установки уровня можно пренебречь.
Примечание 5 - Если одна и та же схема применяется для установки уровня и испытаний, то эти составляющие не вносят в
таблицы G.1 и
G.2.
Пояснение терминов:
RCAL - неопределенность, вызванная переходным устройством 150 - 50 Ом. Эта составляющая обычно может быть получена из протокола калибровки. В качестве альтернативы вносимые потери могут быть измерены с применением анализатора цепей (см.
рисунок 8 c)). Максимальное отклонение от номинального уровня потерь (9,5 дБ) и неопределенность калибровки этих вносимых потерь должны быть включены в
таблицы G.1 и
G.2. Если калибровочный сертификат устанавливает только соответствие допустимому отклонению, то рекомендуется применять значение 0,5 дБ.
Примечание 6 - Отклонения могут быть скорректированы при помощи программного обеспечения. В этом случае максимальное отклонение может быть уменьшено до неопределенности интерполяции и неопределенности калибровки.
Примечание 7 - Полное сопротивление переходного устройства 150 - 50 Ом может быть измерено непосредственно анализатором цепей, или его значение может быть получено из сертификата калибровки. В этом случае отклонение от значения 100 Ом и неопределенность калибровки могут быть внесены в
таблицы G.1 и
G.2. Коэффициент чувствительности
ci для этой составляющей соответственно изменен.
SETUP - комбинация неопределенностей, вызванных влиянием схемы расположения оборудования на установку уровня, т.е. соединением калибровочной установки, соединением между УСР и переходным устройством УСР и влиянием опорной пластины заземления, например контакта с опорной пластиной заземления. Эта составляющая может быть получена из воспроизводимости испытаний с изменением условий или оценкой на основе опыта, как показано в примере.
LMc - неопределенность измерения уровня, например вольтметр или измеритель мощности применяется для измерения уровня на выходе УСР. В примере она взята из спецификаций изготовителя, но может быть определена также из других источников.
SWc - это неопределенность, вызванная дискретностью шага перестройки уровня сигнала генератора и погрешностью установки уровня синусоидального сигнала, вносимая программным обеспечением во время процедуры установки уровня. Программное обеспечение обычно может корректироваться испытательной лабораторией.
LMCc - неопределенность, вызванная измерителем уровня, например вольтметром или измерителем мощности, который применяется в контуре (цепи) регулирования уровня выходного сигнала генератора и усилителя. Она может быть взята из спецификаций изготовителя или определена также из других источников.
TGc - неопределенность испытательного генератора, включая генератор частоты, усилитель мощности и аттенюатор. Она может быть взята из спецификаций изготовителя или определена также из других источников.
Примечание 8 - Неопределенность отдельных компонентов испытательного генератора (например, генератора сигнала, стабильности усилителя мощности, скорости изменения усиления усилителя мощности, аттенюатора и т.п.) должна оцениваться отдельно, особенно когда петля управления не используется в испытательной схеме.
MTc - неопределенность из-за суммарного (общего) рассогласования между усилителем, аттенюатором и УСР.
ML - неопределенность из-за рассогласования между УСР и измерителем уровня.
CAL - расширенная неопределенность испытательного уровня напряжения в процессе установки уровня.
LMCt - неопределенность измерителя уровня, например вольтметра, применяемого на выходе усилителя мощности, берется из спецификации изготовителя. В качестве альтернативы может применяться измеритель мощности, чтобы получить более низкую неопределенность.
TGt - неопределенность испытательного генератора, включая генератор частоты, усилитель мощности и аттенюатор. Она может быть взята из спецификаций изготовителя или определена из других источников.
Примечание 9 - Неопределенность отдельных компонентов испытательного генератора (например, генератора сигнала, стабильности усилителя мощности, скорости изменения усиления усилителя мощности, аттенюатора и т.п.) должна оцениваться отдельно, особенно когда петля управления не используется в испытательной схеме.
MTt - неопределенность рассогласования между усилителем, аттенюатором и УСР. Этой составляющей можно пренебречь, если для установки уровня и испытаний применяется одинаковая схема, т.е. аттенюатор и кабели.
SWt - это неопределенность, вызванная дискретностью шага установки уровня сигнала генератора и погрешностью установки уровня синусоидального сигнала, вносимая программным обеспечением во время процедуры испытания. Программное обеспечение обычно может корректироваться испытательной лабораторией.
Модель для процедуры установки уровня напряжения при применении электромагнитных клещей связи (значения всех параметров выражены в логарифмических единицах):
Пояснение составляющих:
ULMc - значение напряжения Uизм непосредственно на измерителе мощности или преобразованное в дБ (мкВ).
Примечание 10 - Другие символы включены в перечень пояснения терминов, указанный ниже.
Модель для проведения испытания при применении электромагнитных клещей связи (значения всех параметров выражены в логарифмических единицах):
Ux = ULMc + 20log(5).
Примечание 11 - Символы включены в перечень пояснения терминов, указанный ниже.
Примечание 12 - Одну из двух составляющих (
LMC либо
TG (испытательный генератор)) включают в
таблицы G.3 и
G.4 для установки уровня и/или испытаний в зависимости от того, используется или нет петля управления для установки выходного уровня генератора сигнала и усилителя. В этом примере испытательный генератор не включен в бюджет неопределенности, потому что он является частью петли управления. Составляющая неопределенности от петли управления определяется измерителем уровня (см. также
примечание 13). Однако испытательный генератор включен в
таблицы G.3 и
G.4, чтобы информировать испытательные лаборатории о необходимости рассмотреть этот пункт в зависимости от конкретной испытательной установки. В этом случае необходим более детальный анализ составляющих неопределенности от испытательного генератора (см. определение терминов).
Примечание 13 - Если одно и то же оборудование применяется для установки уровня и испытаний, то только составляющие повторяемости и линейности вносят в
таблицу G.4 для процедуры испытаний. Составляющей для установки уровня можно пренебречь.
Примечание 14 - Если одна и та же схема применяется для установки уровня и испытаний, то эти составляющие не вносят в
таблицы G.3 и
G.4.
Пояснение терминов:
Несколько терминов в принципе такие же, как в предыдущем примере (метод с применением УСР). Эти термины не определяют, предыдущий пример применяют при консультации.
Примечание 15 - Неопределенность относится к
7.4.1 настоящего стандарта, где используется измерительный датчик и применяется ограничение тока, но не рассматривается в
приложении G. В этом случае значение
U0 не больше того, что определено в соответствии с процедурой установки уровня, но оно уменьшится до неизвестного уровня. Поэтому в этом случае неопределенность не может быть применена к
U0.
AETERM - влияние полного сопротивления ВО, которое должно поддерживаться на уровне 150 Ом. Отклонения от этого значения имеют существенное влияние, особенно в полосе низких частот (до 10 МГц), где направленность электромагнитных клещей слабая. В этом случае составляющая AETERM в бюджете неопределенности может быть больше, чем численное значение, использованное в приведенных примерах. Более низкое значение может использоваться для частот свыше 10 МГц.
Эта составляющая может быть исследована экспериментально с применением анализатора цепей. Коэффициент связи клещей может быть измерен при полном сопротивлении ВО, равном 150 Ом, и сличен с другими значениями полного сопротивления ВО.
Модель для процедуры установки уровня напряжения при применении токовых клещей связи (значения всех параметров выражены в логарифмических единицах):
Пояснение составляющих:
ULMc - значение напряжения Uизм непосредственно на измерителе мощности или преобразованное в дБ (мкВ).
Примечание 16 - Другие символы включены в перечень пояснения терминов, указанный ниже.
Модель для проведения испытания при применении токовых клещей связи (значения всех параметров выражены в логарифмических единицах):
Ux = ULMc + 20log(5).
Примечание 17 - Символы включены в перечень пояснения терминов, указанный ниже.
Примечание 18 - Одну из двух составляющих (
LMC либо
TG (испытательный генератор)) включают в
таблицы G.5 и
G.6 для установки уровня и/или испытаний в зависимости от того, используется или нет петля управления для установки выходного уровня генератора сигнала и усилителя. В этом примере испытательный генератор не включен в бюджет неопределенности, потому что он является частью петли управления. Составляющая неопределенности от петли управления определяется измерителем уровня (см. также
примечание 19). Однако испытательный генератор включен в
таблицы G.5 и
G.6, чтобы информировать испытательные лаборатории о необходимости рассмотреть этот пункт в зависимости от конкретной испытательной установки. В этом случае необходим более детальный анализ составляющих неопределенности от испытательного генератора (см. определение терминов).
Примечание 19 - Если одно и то же оборудование применяется для установки уровня и испытаний, то только составляющие повторяемости и линейности вносят в
таблицу G.6 для процедуры испытаний. Составляющей для установки уровня можно пренебречь.
Примечание 20 - Если одна и та же схема применяется для установки уровня и испытаний, то эти составляющие не вносят в
таблицы G.5 и
G.6.
Пояснение терминов:
Несколько терминов в принципе такие же, как в предыдущем примере (например, в методе с применением УСР). Эти термины не определяют, предыдущий пример применяют при консультации.
Примечание 21 - Неопределенность относится к
7.4.1 настоящего стандарта, где используется измерительный датчик и применяется ограничение тока, но не рассматривается в
приложении G. В этом случае значение
U0 не больше того, что определено в соответствии с процедурой установки уровня, но оно уменьшится до неизвестного уровня. Поэтому в этом случае неопределенность не может быть применена к
U0.
J/G - комбинация неопределенностей вследствие калибровки испытательного приспособления. Эта составляющая может быть получена из повторяемости испытаний с изменением условий или оценкой на основе опыта, как показано в примере.
Модель для процедуры установки уровня напряжения при применении прямого ввода помехи (значения всех параметров выражены в логарифмических единицах):
Пояснение составляющих:
ULMc - значение напряжения Uизм непосредственно на измерителе мощности или преобразованное в дБ (мкВ).
Примечание 22 - Другие символы включены в перечень пояснения терминов, указанный ниже.
Модель для проведения испытания при применении прямого ввода помехи (значения всех параметров выражены в логарифмических единицах):
Ux = ULMc + 20log(5).
Примечание 23 - Символы включены в перечень пояснения терминов, указанный ниже.
Примечание 24 - Одну из двух составляющих (
LMC либо
TG (испытательный генератор)) включают в
таблицы G.7 и
G.8 для установки уровня и/или испытаний в зависимости от того, используется или нет петля управления для установки выходного уровня генератора сигнала и усилителя. В этом примере испытательный генератор не включен в бюджет неопределенности, потому что он является частью петли управления. Составляющая неопределенности от петли управления определяется измерителем уровня (см. также
примечание 25). Однако испытательный генератор включен в
таблицы G.7 и
G.8, чтобы информировать испытательные лаборатории о необходимости рассмотреть этот пункт в зависимости от конкретной испытательной установки. В этом случае необходим более детальный анализ составляющих неопределенности от испытательного генератора (см. определение терминов).
Примечание 25 - Если одно и то же оборудование применяется для установки уровня и испытаний, то только составляющие повторяемости и линейности вносят в
таблицу G.8 для процедуры испытаний. Составляющей для установки уровня можно пренебречь.
Примечание 26 - Если одна и та же схема применяется для установки уровня и испытаний, то эти составляющие не вносят в
таблицы G.7 и
G.8.
Пояснение терминов:
Несколько терминов в принципе такие же, как в предыдущем примере (например, в методе с применением УСР). Эти термины не определяют, предыдущий пример применяют при консультации.
DD - комбинация неопределенностей из-за развязывающих устройств и нагрузки ВО. Хорошая развязка дает меньший эффект влияния нагрузки ВО, плохая развязка дает сильный эффект. Эта составляющая может рассчитываться исходя из полного сопротивления развязывающих элементов.
G.4 Выражение расчета неопределенности измерения и ее применение
Неопределенность измерения рассчитывается в логарифмических единицах для того, чтобы привести ее к однородному виду со всеми составляющими неопределенности (например, характеристика амплитуды вольтметра и вносимые потери при калибровке переходного устройства), обычно выражаемыми в дБ. Отсюда следует, что наилучшая оценка также должна быть выражена в логарифмических единицах (например, в дБ (мкВ)).
Напряжение испытательного уровня должно быть отражено с точки зрения наилучшей оценки напряжения и его расширенной неопределенности. Наилучшей оценкой должно быть среднее значение напряжения U0 для соответствующей полосы частот.
Пример представления неопределенности измерения показан ниже:
В логарифмических единицах:
U0 = 129,5 дБ (мкВ) +/- 1,36 дБ (пример для применения ввода помехи с помощью УСР).
При применении линейной шкалы это будет соответствовать:
U0 = 3 В + (17%) - (14,5%).
Расчетное значение неопределенности измерения может быть использовано для различных целей, например указания стандартов на продукцию или аккредитации лаборатории. Результат данного расчета не используется для регулировки значения испытательного уровня, который применяется для ИО в процессе испытания. Он также не предназначен для использования при оценке требований допустимого отклонения напряжения, как указано в
6.4.
G.5 Библиография
| IEC/TR 61000-1-6:2012 | Electromagnetic compatibility (EMC) - Part 1-6: General - Guide to the assessment of measurement uncertainty Электромагнитная совместимость (ЭМС). Часть 1-6. Общие положения. Руководство по оценке неопределенности измерения |
| UKAS, M3003, Edition 2, 2007 | The Expression of Uncertainty and Confidence in Measurement, www.ukas.com (Неопределенность и достоверность результатов измерений) |
| ISO/IEC Guide 98-3:2008 | Uncertainty of measurement - Part 3: Guide to the expression of uncertainty in measurement (GUM: 1995) (Неопределенность измерения. Часть 3. Руководство по выражению неопределенности измерения) |
(справочное)
ИЗМЕРЕНИЕ ПОЛНОГО СОПРОТИВЛЕНИЯ ВО
H.1 Общие положения
В настоящем приложении приведена информация о том, как проводить измерение общего несимметричного полного сопротивления основного вспомогательного оборудования, используемого вместе с ИО. Детали, касающиеся схемы расположения оборудования для проведения испытания ИО, описаны в основной части текста стандарта. Если вместе с ИО постоянно используется специально предназначенное для него ВО, то оно также должно использоваться в процессе проведения испытания. Для последнего случая ВО рассматривается как часть ИО, и требования по полному сопротивлению, описанные ниже, на него не распространяются.
В настоящем приложении показаны примеры того, как проводить измерение полного сопротивления ВО, а также представлено руководство о том, как добиться приближения общего несимметричного полного сопротивления ВО к идеальному полному сопротивлению 150 Ом.
H.2 Общее несимметричное полное сопротивление
H.2.1 Требования полного сопротивления
В соответствии с испытательной установкой, описанной в
разделах 6 и
7, предпочтительно, чтобы полное сопротивление ВО соответствовало требованиям из
таблицы 3 (для удобства эти требования продублированы в
таблице H.1).
Таблица H.1
Требования полного сопротивления ВО
Наименование параметра | Полоса частот, МГц |
0,15 - 24 | 24 - 80 |
Модуль общего несимметричного полного сопротивления |Zce| | (150 +/- 20) Ом | |
Примечание - Во время проведения испытаний по 7.7 полное сопротивление ВО, вероятно, будет ниже, чем значения, указанные в этой таблице. Для получения дополнительной информации, пожалуйста, обратите внимание на требования пункта 7.7 относительно контроля тока в процессе ввода помехи с применением клещей связи. |
H.2.2 Набор измерительного оборудования с использованием анализатора полного сопротивления
Измерение полного сопротивления ВО производится с помощью схемы расположения оборудования, показанной на
рисунке 8 b) настоящего стандарта. Все жилы кабеля ВО соединяют вместе для обеспечения низкого полного сопротивления на высоких частотах (<< 150 Ом на частотах > 150 кГц) и подключают к анализатору цепей полного сопротивления. Обратите внимание, что в процессе проведения испытания ВО должно быть работоспособно и должно подключаться к сетевому шнуру и другому ВО (при необходимости). Возможно, ВО не будет способно нормально функционировать в той части, к кабелю которой подключен анализатор полного сопротивления.
Примечание - Будьте осторожны с тем, чтобы ВО и анализатор полного сопротивления не получили повреждений от возможного высокого напряжения/тока, когда жилы кабеля ВО соединены вместе. Можно выполнять соединение через конденсаторы емкостью не менее 20 нФ.
H.2.3 Измерение с использованием установки для калибровки испытательных уровней
Измерение полного сопротивления ВО может также производиться с помощью схемы расположения оборудования для установки испытательных уровней, показанной на
рисунке 9 c). В этом случае ВО подключают параллельно соответствующему УСР, а калибровочное сопротивление номиналом 100 Ом соединяют последовательно с полным сопротивлением вольтметра в 50 Ом.
Относительно практической схемы расположения оборудования и работы ВО во время проведения измерения см.
H.2.2.
Полное сопротивление ВО получают путем изменения коэффициента деления напряжения испытательного уровня
U0, получаемого из-за нагрузки ВО. Предельные значения напряжения, считанные с вольтметра с сопротивлением 50 Ом, приведены в
таблице H.2. См.
рисунок H.1.
Таблица H.2
Полученные коэффициенты деления напряжения для измерения
полного сопротивления ВО
Наименование параметра | Полоса частот, МГц |
0,15 - 24 | 24 - 80 |
Модуль общего несимметричного полного сопротивления |Zce| | (150 +/- 20) Ом | |
Идеальное значение модуля общего несимметричного полного сопротивления |Zce| = 150 Ом | 0,111·U0 (-19,1 дБ) | 0,111·U0 (-19,1 дБ) |
Верхний предел напряжения | 0,116·U0 (-18,7 дБ) | 0,123·U0 (-18,2 дБ) |
Нижний предел напряжения | 0,106·U0 (-19,5 дБ) | 0,097·U0 (-20,2 дБ) |
Примечание - Номинальные значения в таблице H.2 представлены без учета погрешности измерения, а все полные сопротивления являются активными сопротивлениями. Это является руководством, а не требованием. |
Рисунок H.1 - Измерение полного сопротивления
с помощью вольтметра
H.2.4 Измерение с использованием схемы расположения оборудования для токового пробника
Измерение полного сопротивления ВО может также производиться с помощью токосъемника, упомянутого в
7.7. В этом случае ВО подключают параллельно соответствующему УСР, а ток, протекающий при вводе помехи с УСР, отслеживается и сравнивается с ожидаемым током от идеального полного сопротивления ВО с номинальным значением 150 Ом.
Полное сопротивление измеряется с помощью схемы расположения оборудования, показанной на
рисунке H.2. Обратите внимание, что в процессе проведения испытания ВО должно быть работоспособно и должно подключаться к сетевому шнуру и другому ВО (при необходимости). Возможно, ВО не будет способно нормально функционировать в части сигнального кабеля из-за того, что УСР может влиять на передачу сигнала между ВО и ИО.
Рисунок H.2 - Измерение полного сопротивления
с помощью токосъемника
Полное сопротивление ВО получают путем изменения коэффициента деления напряжения испытательного уровня
U0, получаемого из-за нагрузки ВО. Предельные значения напряжения, считанные с вольтметра с сопротивлением 50 Ом, приведены в
таблице H.3. Обратите внимание, что рисунки приведены для идеального токового пробника, имеющего коэффициент преобразования 0 дБ (B/A). Если коэффициент преобразования пробника отличается от 0 дБ (B/A), то показания напряжения должны быть скорректированы с поправкой на фактическое значение коэффициента преобразования.
Таблица H.3
Полученные коэффициенты напряжения для измерения полного
сопротивления ВО
Наименование параметра | Полоса частот, МГц |
0,15 - 24 | 24 - 80 |
Модуль общего несимметричного полного сопротивления |Zce| | (150 +/- 20) Ом | |
Идеальное значение модуля общего несимметричного полного сопротивления |Zce| = 150 Ом (при коэффициенте преобразования пробника 0 дБ) | 0,003 333·U0 (-49,5 дБ) | 0,003 333·U0 (-49,5 дБ) |
Верхний предел напряжения (при коэффициенте преобразования пробника 0 дБ) | 0,003 571·U0 (-48,9 дБ) | 0,003 922·U0 (-48,1 дБ) |
Нижний предел напряжения (при коэффициенте преобразования пробника 0 дБ) | 0,003 125·U0 (-50,1 дБ) | 0,002 778·U0 (-51,1 дБ) |
Примечание - Номинальные значения в таблице H.3 представлены без учета погрешности измерения, а все полные сопротивления являются активными сопротивлениями. Это является руководством, а не требованием. |
H.3 Руководство по достижению идеального полного сопротивления ВО
Целью использования основного ВО и в этом случае достижения идеального общего несимметричного полного сопротивления ВО, равного 150 Ом, является получение воспроизводимости результатов испытания ИО.
В случае если УСР не применяется, то для получения воспроизводимых и корректных результатов ВО должно иметь общее несимметричное полное сопротивление 150 Ом. Это может быть достигнуто, если кабели ВО подключены к ИО и имеют следующие свойства:
- используется экранированный кабель, экран которого соединен с металлическими шасси ВО (или с пластиной заземления на его печатной плате);
- используется неэкранированный кабель, но с некоторыми жилами, соединенными с металлическими шасси ВО или пластиной заземления печатной платы или имеющими высокое емкостное соединение с ними.
Чтобы установить полное сопротивление 150 Ом, используя ВО с металлическими шасси, необходимо следовать следующим рекомендациям:
- соединить шасси ВО с опорной пластиной заземления через сопротивление 150 Ом;
- использовать силовой разделительный трансформатор, имеющий малую емкость (менее 100 пФ), для подачи питания на ВО. Не соединять провод защитного заземления напрямую с землей. В целях безопасности можно использовать высокочастотный дроссель. Эта же процедура применяется при питании от источника постоянного тока (с гальванической развязкой) или при питании от батареи;
- по возможности использовать как можно меньше внешних кабелей;
- связать кабели ВО вместе рядом с ВО и разместить ВО на изоляционной подставке высотой 300 мм для того, чтобы уменьшить их взаимодействие с опорной пластиной заземления;
- использовать оптоволоконные преобразователи сигналов для подключения к другим ВО.
Чтобы установить полное сопротивление 150 Ом, используя ВО, у которого шасси сделаны из непроводящего материала, необходимо следовать следующим рекомендациям:
- соединить экран экранированного кабеля с опорной пластиной заземления через сопротивление 150 Ом или соединить пластину заземления печатной платы с опорной пластиной заземления через сопротивление 150 Ом;
- соединить все жилы кабеля ВО вместе в общую точку через конденсаторы и соединить эту точку с опорной пластиной заземления через сопротивление 150 Ом. Будьте осторожны с тем, чтобы ВО не получило повреждений от возможного высокого напряжения/тока, когда жилы кабеля ВО соединены вместе. Можно выполнять соединение через конденсаторы емкостью не менее 20 нФ.
Если несмотря на данные рекомендации не удается достигнуть
ZAE <= 150 Ом, то попробуйте уменьшить
ZAE за счет применения к ВО дополнительных нагруженных УСР, если это возможно. Также смотрите
примечание к таблице H.1.
(справочное)
ВВОД ПОМЕХИ ИЗ ПОРТА В ПОРТ
I.1 Общие положения
Опыт показывает, что некоторые специфичные ИО могут проявлять большую чувствительность к радиочастотным сигналам, когда помеха вводится на один порт, в то время как другой идентичный порт нагружен. Технические комитеты по стандартизации конкретной продукции могут принять решение об использовании метода, описанного в
приложении I, вместо процедуры, изложенной в основной части данного стандарта.
В настоящем приложении приведена информация об испытании портов, которые представлены в ИО в нескольких идентичных экземплярах. В этом приложении представлено описание метода ввода помехи, когда радиочастотный сигнал подается на один из этих идентичных портов, в то время как нагрузочное полное сопротивление устанавливают на другой такой же порт, а не на порт, который был выбран в соответствии с
7.5.
Это испытание проводят дополнительно к испытаниям, указанным в
7.5, с целью оценки устойчивости ИО к радиочастотным сигналам, наведенным на один порт и протекающим в другой идентичный порт.
Примеры идентичных портов (неполный список): локальная сеть передачи данных (Ethernet и т.д.), входы для температурных датчиков Pt100, аналоговые входы/выходы, цифровые входы/выходы, входы для счетчика тахометра.
I.2 Испытательная установка для ввода помехи на идентичные порты
I.2.1 Выбор портов
Ввод помехи производится между двумя идентичными типами портов. Выбранные для проведения испытания два порта должны быть физически размещены близко друг к другу, насколько это возможно. В ИО могут быть несколько групп идентичных наборов портов, в таком случае для испытания выбирают наборы портов каждого типа.
Примечание - Технический комитет по стандартизации конкретной продукции может указать, что испытания требуются только для кабелей и интерфейсов определенных типов, или что испытания требуются только для портов, имеющих кабели, превышающие определенную длину.
Приложение I применяется только к тем портам, которые были выбраны для проведения испытания.
I.2.2 Процедура ввода помехи из порта в порт
Один порт выбирается как порт ввода помехи. Другой порт выбирается как нагружаемый порт, где нагрузка номиналом 50 Ом подключается к УСР. См.
рисунок I.1.
Рисунок I.1 - Пример испытательной установки ввода помехи
из порта в порт
В соответствии с основной частью данного стандарта на всех других портах ИО размещают УСР, используемые как устройства развязки, для которых нагрузка 50 Ом не подключена, как указано в основной части данного стандарта.
Если для объекта испытания доступно больше типов портов, то испытания также повторяют на наборе этих оставшихся портов.
Если невозможно провести испытания на идентичных портах с помощью УСР, то для ввода помехи в идентичные порты применяют общие правила, приведенные в
разделе 7. Руководство по выбору метода ввода помехи представлено на
рисунке 12.
Испытание портов и порядок представления результатов испытания выполняются так же, как указано в основной части данного стандарта.
(справочное)
НАСЫЩЕНИЕ И НЕЛИНЕЙНОСТЬ УСИЛИТЕЛЯ
J.1 Цель ограничения искажения в усилителе
Нелинейность усилителя может влиять на неопределенность сигнала помехи, подаваемого на ИО. Целью является поддержание нелинейности усилителя на достаточно низком уровне, чтобы она не играла преобладающую роль в формировании неопределенности.
Приложение J предназначено для содействия испытательным лабораториям в понимании и ограничении искажения в усилителе.
J.2 Возможные проблемы, вызванные гармониками и режимом насыщения
Работа усилителя в режиме насыщения может привести к следующим сценариям.
a) Гармоники могут оказывать значительное влияние на измеренные значения, полученные во время калибровки испытательного уровня, так как измеритель мощности будет измерять общую мощность как на основной частоте, так и на частоте гармоник. Например, предположим, что вторая и третья гармоники на 15 дБ ниже основной частоты на входе электромагнитных клещей связи, а всеми остальными гармониками можно пренебречь. Далее, предположим, что коэффициент эффективности электромагнитных клещей связи на частоте третьей гармоники на 5 дБ ниже, чем на основной частоте. Уровень напряжения на основной частоте будет только на 10 дБ больше, чем уровень на третьей гармонике. Если провести измерение на полной амплитуде 10 В, то основная частота может составлять только 9,5 В. Это можно считать за допустимую погрешность, если она меньше, чем неопределенность калибровки электромагнитных клещей связи. Частотно-селективное устройство, такое как анализатор спектра, не будет иметь этой погрешности измерения.
b) Гармоники могут стать причиной нарушения работы ИО, когда ИО стабильно работает на заданной основной частоте, но нестабильно - на частоте гармоники. Ложные нарушения работы будут некорректно записаны и могут привести к неправильной обработке данных.
c) Также гармоники могут влиять на результаты испытания, даже если они очень хорошо подавляются в особых условиях. Например, если проводится испытание приемника на частоте 60 МГц, то даже очень слабые гармоники на частоте 20 МГц могут стать причиной перегрузки на входе приемника. Также аналогичная ситуация может возникнуть, если на выходе генератора сигнала есть негармонически зависимые сигналы. Для защиты чувствительного ИО можно использовать фильтр низких частот или узкополосный режекторный фильтр.
d) Насыщение может появиться и без измеряемых гармоник. Это происходит, если усилитель имеет выходной фильтр низких частот, который подавляет гармоники и/или могут применяться внутренняя схема и комбинирование технологий для подавления гармоник на границах полосы пропускания. Такая ситуация также может привести к неверным результатам.
1) Если это происходит в процессе калибровки, то будут получены неверные результаты калибровки, так как в алгоритме, описанном в
6.4.2, используется допущение о нелинейности.
2) В процессе испытания этот тип насыщения приводит к неверной глубине модуляции и гармоникам на частоте модуляции (обычно 1 кГц).
Из приведенных выше примеров следует, что числовой предельный уровень искажений в усилителе не может быть определен, так как влияние искажения сильно зависит от типа ИО.
J.3 Ограничение гармонической составляющей в сигнале помехи
Гармоническая составляющая сигнала помехи может быть ограничена при помощи использования регулируемого/следящего/перестраиваемого фильтра низких частот на выходе усилителя.
Для всех частот, где появляются гармоники на выходе усилителя, гармоники выходного сигнала усилителя должны быть на 15 дБ меньше, чем на основной частоте. Это считается нормальным, за исключением случая, описанного в
J.2, перечисление c).
Это ограничит ошибку уровня напряжения сигнала помехи до 10%. Например, сигнал 10 В, измеренный в широкополосном диапазоне, будет состоять из 9 В на основной частоте и 4,5 В на гармонических частотах. Такая ситуация считается допустимой для неопределенности калибровки.
Для усилителей, содержащих стационарные фильтры низких частот на своем выходе, верхняя основная частота составляет около 1/3 максимальной заданной частоты усилителя.
В ситуациях, когда фильтр низких частот подавляет гармоники насыщенного усилителя, точка насыщения усилителя 2 дБ не должна быть превышена ни при каких условиях (например, наихудшая частота, максимальный уровень напряжения сигнала помехи с модуляцией). В точке насыщения 2 дБ максимальная амплитуда (в вольтах) будет уменьшена на 20%. Это приведет к уменьшению глубины амплитудной модуляции с 80% до 64%, другими словами, уменьшит на 20% выпрямленное в ИО напряжение.
J.4 Влияние характеристики линейности на испытание на устойчивость
J.4.1 Общие положения
Проблемами, которые влияют на результат испытания на устойчивость, являются характеристика линейности усилителя, гармоники и насыщение усилителя.
Предполагается, что в УСР и/или во время процедуры установки уровня клещей связи, описанной в
6.4.2, используемый усилитель должен создавать линейный выходной сигнал, пропорциональный входному сигналу.
Линейность усилителя должна быть подтверждена, чтобы убедиться, что используемый усилитель создает правильный уровень напряжения сигнала помехи на уровне напряжения калибровки или на низких расчетных уровнях.
Также линейность усилителя влияет на глубину амплитудной модуляции (АМ). Следовательно, глубина АМ также нуждается в подтверждении.
J.4.2 Оценка характеристики линейности усилителя
J.4.2.1 Оценка диапазона уровней
Характеристика линейности усилителя должна быть оценена по всему диапазону усилителя, который используется при испытании. От минимального уровня, включая увеличение от модуляции, до максимального уровня, включая увеличение от модуляции.
Максимальный уровень представляется как максимальный уровень CW-сигнала, который необходимо измерить, с увеличением на 5,1 дБ, чтобы учесть составляющую модуляции.
Для расчета различных уровней напряжения испытательного сигнала помехи на основе процесса регулировки уровня одиночного устройства связи оценка диапазона линейности должна проводиться от минимального до максимального выходного сигнала усилителя, используемого при испытаниях. Например, если проводится испытание на уровне 1 В, используя данные, полученные в процессе регулировки на уровне 10 В, то оценка диапазона линейности определяется как выходной сигнал усилителя мощности, необходимый при достижении минимального напряжения 1,8 В и до 18 В (ЭДС).
Также должно учитываться, что для различных устройств связи может потребоваться различная выходная мощность усилителя для достижения требуемого уровня сигнала помехи. Например, при достижении испытательного уровня сигнала помехи 10 В может потребоваться токосъемник большей мощности, чем УСР.
Примечание - Процесс калибровки устройств связи, описанный в
6.4.2, свидетельствует о том, что если максимальная выходная мощность усилителя увеличена на 5,1 дБ, то испытательная лаборатория должна подтвердить допустимое отклонение 2 дБ. Данная процедура применяется только для подтверждения статуса насыщения усилителя, а не для оценки характеристики линейности, изложенной в
приложении J.
Для оценки линейности усилителя важно использовать фактическую нагрузку и соблюдать условия окружающей среды. В качестве такой нагрузки может быть устройство связи и испытательная система, используемая для проведения испытания ИО. Расположение испытательного оборудования показано на
рисунке J.1.
Рисунок J.1 - Схема для измерения линейности усилителя
Линейность усилителя должна быть оценена, по крайней мере, на минимальной, средней и максимальной полосе частот, доступных для усилителя. Например, для усилителя с рабочей полосой частот от 0,15 до 80 МГц оценка должна быть проведена на частотах 0, 15, 40 и 80 МГц.
Примечание - Оценка результатов испытаний усилителя может использоваться для обоснования выбора различных значений частот.
Испытание на линейность должно проводиться для каждой частоты, как указано выше, в соответствии со следующей процедурой.
1) Определить настройки генератора сигнала, необходимые для создания как минимального, так и максимального уровня (см.
J.4.2.1) для соответствующей схемы расположения устройства связи.
2) Выставить на генераторе сигналов минимальное значение, определенное в
шаге 1), и записать данные выходного сигнала генератора и подаваемую мощность усилителя.
3) Увеличить в настройках генератора сигнала значение на 1 дБ и записать данные выходного сигнала генератора и подаваемую мощность усилителя.
4) Повторять
шаги 2) и
3) до тех пор, пока не будет достигнуто максимальное установленное значение на генераторе сигналов, определенное в
шаге 1).
5) Повторять
шаги 1) -
4) для остальных частот.
J.4.2.3 Критерий линейности
Для результатов, полученных в
J.4.2.2, измеренные значения, полученные на выходе усилителя, должны увеличиваться на 1 дБ (+/- 1 дБ) за каждое увеличение на 1 дБ на выходе генератора сигналов (это значит, что отклонение линейности усилителя мощности составляет +/- 1 дБ).
Если результаты измерения, полученные в процессе, определенном в
J.4.2.2, соответствуют характеристике +/- 1 дБ, то усилитель, используемый испытательной лабораторией, удовлетворяет критерию линейности. Если полученные результаты превышают эту характеристику линейности, то дополнительно должны применяться
J.4.2.4 и
J.4.2.5.
На
рисунке J.2 показан пример определения отклонения +1 дБ, минус 1 дБ на основе выходного сигнала усилителя на одной частоте. Выходной сигнал генератора сигналов в этом примере варьируется между минимальным уровнем минус 30 дБм и максимальным уровнем 0 дБм. В этом примере сигнал усилителя превышает допустимое отклонение.
Рисунок J.2 - Характеристика линейности
J.4.2.4 Подтверждение АМ-модуляции
Если оценка результатов, полученных в соответствии с требованием
J.4.2.3, превышает критерий линейности +/- 1 дБ, то испытательная лаборатория должна подтвердить АМ-модуляцию в соответствии со следующей процедурой. Расположение испытательного оборудования показано на
рисунке J.3.
Рисунок J.3 - Схема для измерения глубины модуляции
В качестве испытательной частоты выбираются любые частоты, которые не соответствуют критерию линейности, установленные в
J.4.2.3.
1) Выставить на выходе генератора сигнала максимальное значение, определенное в
J.4.2.1 на соответствующей частоте, и включить амплитудную модуляцию.
2) Выставить в качестве несущей частоты анализатора спектра, показанного на
рисунке J.3, частоту выходного сигнала, определенную в
шаге 1).
3) Настроить анализатор спектра так, чтобы на экране были показаны спектр несущей частоты, спектр верхней боковой полосы и спектр нижней боковой полосы. Например, разрешающая способность по полосе пропускания равна 100 Гц, ширина полосы - 10 кГц.
4) Записать разницу амплитуд (
Lcs) между уровнем несущей частоты (
Lнесущ) и верхней или нижней боковой полосой (
Lбок) (см.
рисунок J.4).
Lcs =
Lнесущ -
Lбок.
Рисунок J.4 - Спектр АМ модулированного сигнала
Если Lcs больше чем 10 дБ (m < 64%) или Lcs меньше чем 6 дБ, то результаты должны быть включены в протокол испытания.
J.4.2.5 Испытания на устойчивость, когда характеристика линейности усилителя превышает критерий
Если оценка результатов, полученных в
J.4.2.3, не соответствует критерию линейности +/- 1 дБ, но соответствует критерию из
J.4.2.4, то необходимо настроить подаваемую мощность в процессе действующего испытания ИО в соответствии со следующими методами.
Первый метод заключается в использовании системы с наличием обратной связи, в которой измеритель мощности используется для контроля выходной мощности испытательного генератора.
Другой метод предназначен для систем без обратной связи, где для каждого необходимого испытательного уровня выполняется калибровка подаваемой мощности.
В обоих случаях должны выполняться требования
6.1.
(справочное)
СВЕДЕНИЯ О СООТВЕТСТВИИ ССЫЛОЧНЫХ МЕЖДУНАРОДНЫХ СТАНДАРТОВ
МЕЖГОСУДАРСТВЕННЫМ СТАНДАРТАМ
Таблица ДА.1
Обозначение ссылочного международного стандарта | Степень соответствия | Обозначение и наименование соответствующего межгосударственного стандарта |
IEC 60050-161:1990 | MOD | ГОСТ 30372-2017 (IEC 60050-161:1990) "Совместимость технических средств электромагнитная. Термины и определения" |
Примечание - В настоящей таблице использовано следующее условное обозначение степени соответствия стандарта: - MOD - модифицированный стандарт. |
[1] | IEC 61000-4-3 | Electromagnetic compatibility (EMC) - Part 4-3: Testing and measurement techniques - Radiated, radio-frequency, electromagnetic field immunity test (Электромагнитная совместимость (ЭМС). Часть 4-3. Методы испытаний и измерений. Испытания на устойчивость к радиочастотному электромагнитному полю) |
[2] | CISPR 16-1-2 | Specification for radio disturbance and immunity measuring apparatus and methods - Part 1-2: Radio disturbance and immunity measuring apparatus - Ancillary equipment - Conducted disturbances (Технические условия на оборудование и методы измерений радиопомех и помехоустойчивости. Часть 1-2. Оборудование для измерения радиопомех и помехоустойчивости. Вспомогательное оборудование. Кондуктивные помехи) |
[3] | CISPR 16-1-4 | Specification for radio disturbance and immunity measuring apparatus and methods - Part 1-4: Radio disturbance and immunity measuring apparatus - Antennas and test sites for radiated disturbance measurements (Технические условия на оборудование и методы измерений радиопомех и помехоустойчивости. Часть 1-4. Оборудование для измерения радиопомех и помехоустойчивости. Антенны и испытательные стенды для измерений излучаемых помех) |
[4] | CISPR 20 | Sound and television broadcast receivers and associated equipment - Immunity characteristics - Limits and methods of measurement (Радио- и телевизионные приемники и связанное с ними оборудование. Характеристики помехоустойчивости. Нормы и методы измерений) |
УДК 621.3967.397:006.354 | | IDT |
Ключевые слова: электромагнитная совместимость, оборудование, устойчивость к электромагнитным помехам, требования, виды испытаний, испытательные уровни, методы испытаний |