Главная // Актуальные документы // Актуальные документы (обновление 2025.02.03-2025.03.01) // Акт (форма)СПРАВКА
Источник публикации
М.: Союздорнии, 1975
Примечание к документу
Название документа
"Методические рекомендации по проектированию и строительству сопряжений автодорожных мостов и путепроводов с насыпью"
"Методические рекомендации по проектированию и строительству сопряжений автодорожных мостов и путепроводов с насыпью"
МЕТОДИЧЕСКИЕ РЕКОМЕНДАЦИИ
ПО ПРОЕКТИРОВАНИЮ И СТРОИТЕЛЬСТВУ СОПРЯЖЕНИЙ
АВТОДОРОЖНЫХ МОСТОВ И ПУТЕПРОВОДОВ С НАСЫПЬЮ
Одобрены Минтрансстроем
Рассматриваются необходимые условия проектирования сопряжений автодорожных мостов и путепроводов с насыпью, даются указания по их конструкции и технологии строительства.
Настоящие "Методические рекомендации" дополняют изданные в 1971 г. "Методические рекомендации по устройству сопряжений автодорожных мостов и путепроводов с насыпью" с учетом накопившегося опыта дорожно-мостовых проектных и строительных организаций по устройству сопряжений мостов и путепроводов с насыпью.
"Методические рекомендации по проектированию и строительству сопряжений автодорожных мостов и путепроводов с насыпью" составлены на основе исследований причин деформаций земляного полотна и покрытия около мостов. Исследования, выполненные Союздорнии, выявили необходимость комплексного подхода к проектированию и строительству мостов с насыпью (мост - земляное полотно - покрытие).
Союздорнии предложены новые конструкции сопряжений (проекты и нормали которых в 1969 - 1970 гг. были разработаны Союздорпроектом и Гипроавтотрансом) и организовано строительство опытных объектов. Наблюдения за состоянием сопряжений в процессе эксплуатации показали существенное улучшение эксплуатационных качеств покрытий около мостов и подтвердили целесообразность принятых технологических и конструктивных решений.
Настоящие "Методические рекомендации" дополняют ранее изданные "Методические рекомендации по устройству сопряжений автодорожных мостов и путепроводов с насыпью" (Союздорнии. М., 1971) с учетом опыта дорожно-мостовых проектных и строительных организаций.
В "Методических рекомендациях" рассмотрены наиболее часто применяемые конструктивные и технологические решения сопряжений в условиях естественных (неукрепленных) грунтов, требующих устройства переходных плит. Устройство сопряжений с применением за мостовыми опорами и в конусах укрепленных грунтов в данной работе не рассматривается.
"Методические рекомендации" составил канд. техн. наук М.М. Журавлев с использованием материалов исследований инж. В.Д. Квасова.
Замечания и пожелания просьба присылать по адресу: 143900 г. Балашиха-6 Московской обл., Союздорнии.
1.1. Сопряжение моста с насыпью должно обеспечивать плавность съезда и въезда автомобиля на мост на весь период эксплуатации дороги.
Плавность проезда по сопряжению определяется допустимыми вертикальными ускорениями, которые испытывает автомобиль при проходе неровности. Величины этих ускорений связываются с физиологией человека и с сохранностью перевозимых грузов. Так, при ускорении (0,2 - 0,5)g (где g - ускорение силы тяжести, равное 9,81 м/с2) работа в автомобиле невозможна; такое ускорение терпимо примерно в течение одной минуты. Сохранность груза в кузове автомобиля обеспечивается при ускорении, не превышающем (0,6 - 0,7)g.
При одной и той же неровности величина ускорения различна в зависимости от типа автомобиля (легковой, автобус, грузовой), степени его загрузки и скорости движения. Наибольшие ускорения (0,7 - 1,0)g допускаются для грузовых автомобилей, эксплуатируемых в тяжелых дорожных условиях.
Расчеты показывают, что при установлении допустимой неровности покрытия определяющим типом автомобиля является легковой, наибольшее вертикальное ускорение которого принято 2,9 м/с2 (0,3g).
1.2. Неровность характеризуют углами перелома профиля покрытия. При въезде на мост по наклонной переходной плите автомобиль испытывает толчки на двух переломах профиля: у начала переходной плиты (вогнутый угол перелома) и у ее конца - на устое (выпуклый угол перелома). Наибольшие углы перелома профиля принимают:

- для дорог I - II категорий;

- для дорог III категории и

- для дорог IV - V категорий.
1.3. Для плавного въезда автомобиля на мост при устройстве сопряжения его с насыпью необходимо:
а) обеспечить надлежащую плотность грунтов земляного полотна по всей его высоте (коэффициент уплотнения грунтов при оптимальной влажности должен быть не менее 0,98 - 1,0);
б) создать надежный отвод поверхностных вод с покрытия и из тела насыпи с применением дренирующей засыпки за опорами и в конусах, дренажных слоев под покрытием с устройством бортовых лотков и противофильтрационной защиты покрытия и обочин в пределах сопряжения;
в) выдержать земляное полотно до устройства постоянного покрытия не менее года, в течение которого происходят основные осадки тела и основания насыпи;
г) уложить переходные плиты длиной, достаточной для перекрытия зоны образования местных просадок и для обеспечения плавного сопряжения проезжей части моста с дорожным покрытием.
1.4. Сопряжения проектируют в соответствии с "Проектом конструкций сопряжений мостов и путепроводов с насыпью", разработанным ГПИ "Союздорпроект" (рабочие чертежи, инв. N 20296-М) и утвержденным Минтрансстроем в 1971 г. Могут быть также использованы "Нормали сопряжений", разработанные Гипроавтотрансом Министерства строительства и эксплуатации автомобильных дорог РСФСР в 1969 г. (серия 3.503-16).
Рекомендуется пользоваться проектом Союздорпроекта 1970 г., имеющим более полные данные об условиях применения переходных плит и о технологии строительных работ.
1.5. Для проектирования сопряжения необходимы следующие данные:
инженерно-геологический разрез основания насыпи вблизи моста с физико-механическими характеристиками грунтов (с компрессионными кривыми), необходимыми для прогноза осадки основания;
высота насыпи, ширина ее поверху и заложение откосов;
физико-механические характеристики грунтов, применяемых для насыпи (в том числе для дренирующей засыпки за опорами и конусов);
конструкция дорожной одежды.
1.6. Высоту насыпи около моста принимают исходя из гидравлических и конструктивных условий с соблюдением требований
СНиП II-Д.5-72 о достаточном возвышении низа дорожной одежды над расчетным уровнем грунтовых или поверхностных вод с 10%-ной вероятностью превышения или над поверхностью земли при необеспеченном стоке.
1.7. Конечную осадку тела уплотненного земляного полотна принимают в зависимости от вида грунта и высоты насыпи по
табл. 1 (данные В.Д. Казарновского и Н.И. Вельмакиной).
Грунты насыпи | Осадка насыпи, %, при ее высоте, м |
до 6 | 6 - 12 | 12 - 24 |
Глины | 0,6 - 0,8 | 1,0 - 1,3 | 1,9 - 2,2 |
Суглинки | 0,5 | 0,8 | 1,4 |
Супеси | 0,3 | 0,6 | 1,3 |
Конечную осадку основания насыпи для грунтов, уплотняющихся под весом насыпи, рассчитывают в соответствии с "Методическими указаниями по проектированию земляного полотна на слабых грунтах" (М., Оргтрансстрой, 1968).
Для грунтов, не уплотняющихся под весом насыпи, осадку основания можно рассчитывать по упрощенному способу инж. В.Д. Квасова
(приложение 1). Через год после отсыпки земляного полотна осадку тела насыпи можно принимать 50%, а основания - 75% от полной.
1.8. Длину переходных плит назначают исходя из допустимых углов перелома профиля
(п. 1.2) при опускании конца переходной плиты на величину суммарной осадки тела насыпи и ее основания, оставшейся по истечении года после отсыпки. Расчетную суммарную осадку можно снизить при учете осадки фундамента устоя, возводимого на естественном основании из грунтов повышенной сжимаемости с условным сопротивлением до 3 кгс/см
2.
Для естественных оснований из малосжимаемых грунтов и для свайных оснований осадку фундамента устоев можно не учитывать.
2. Конструкции сопряжений
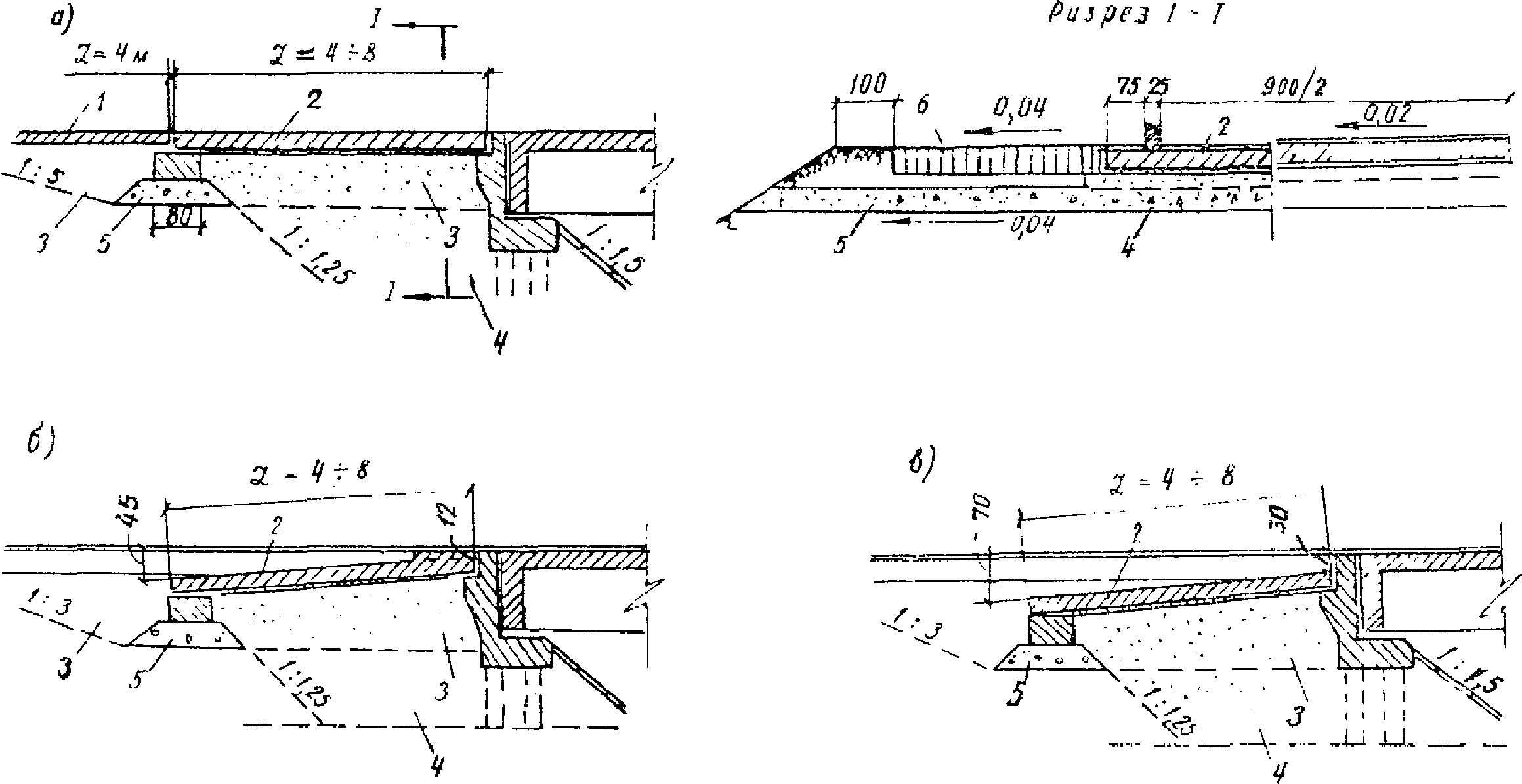
2.1. В конструкцию сопряжений входит часть земляного полотна за береговой опорой моста (отсыпаемая из дренирующего грунта), заканчивающаяся объемлющим опору конусом. Дорожное покрытие в этом месте устраивают из переходных плит.
2.2. В зависимости от типа покрытия, устраиваемого на подходах к мосту, применяют три типа переходных плит: при цементобетонном покрытии - поверхностные плиты (
рис. 1, а), при асфальтобетонном - полузаглубленные и заглубленные (
рис. 1, б, в).
Рис. 1. Конструкции сопряжения моста с насыпью
для цементобетонных покрытий (а)
и для асфальтобетонных - полузаглубленные плиты (б),
заглубленные (в):
1 - промежуточная плита; 2 - переходная плита;
3 - крупно- и среднезернистый песок; 4 - дренирующий грунт;
5 - гравийно-щебеночная подушка; 6 - укрепленный грунт
или асфальтобетон
2.3. Полузаглубленные плиты применяют при асфальтобетонных покрытиях, устраиваемых на жестком и полужестком основаниях. К жесткому относится цементобетонное основание, к полужесткому - основание из каменных материалов, укрепленных цементом, гранулированным доменным шлаком, молотым шлаком, золой уноса и др.
2.4. Заглубленные плиты укладывают при асфальтобетонных покрытиях, устраиваемых на нежестких основаниях из каменных материалов различной прочности, а также шлакового щебня, обработанных органическими вяжущими в установке или на месте производства работ.
2.5. Расстояние от поверхности покрытия до верха переходной плиты у опирания ее на шкафную стенку (а) и на конце плиты (б) принимают по
табл. 2.
Типы переходных плит | Размеры, см |
а | б |
Полузаглубленные | 12 | 45 |
Заглубленные | 30 | 70 |
Во избежание расстройства деформационного шва переходная плита со стороны устоя должна опираться не на верх шкафной стенки, а на ее прилив (см.
рис. 1).
2.6. Длину переходных плит назначают в зависимости от ожидаемых осадок тела и основания насыпи. При недостатке данных о физико-механических характеристиках грунтов в основании насыпи длину переходных плит принимают ориентировочно по
табл. 3.
Высота насыпи, м | Длина переходных плит, м, при грунтах основания насыпи, для категорий дорог |
малосжимаемых | повышенной сжимаемости |
I - II | III | IV - V | I - II | III | IV - V |
2 - 4 | 4 | 4 | 4 | 6 | 4 | 4 |
4 - 5 | 6 | 4 | 4 | 6 | 6 | 4 |
5 - 6 | 6 | 6 | 4 | 8 | 8 | 6 |
6 - 7 | 6 | 6 | 6 | 8 | 8 | 6 |
7 - 8 | 8 | 6 | 6 | 8 | 8 | 8 |
Более 8 | 8 | 8 | 6 - 8 | 8 | 8 | 8 |
Примечания: 1. Длина переходных плит рассчитана при величинах осадок на второй год после отсыпки насыпи. Осадка тела насыпи принята 0,15; 0,20 и 0,28%
Hнас (соответственно для
Hнас = 4, 6, 8 м), основания насыпи - 0,6%
Hнас (малосжимаемые грунты) и 1,0%
Hнас (грунты повышенной сжимаемости). Допускаемые углы перелома профиля соответствуют
п. 1.2.
2. К малосжимаемым грунтам относятся скальные, крупнообломочные и песчаные грунты, твердые и полутвердые супеси, суглинки и глины с коэффициентом консистенции менее 0,25; к грунтам повышенной сжимаемости - супеси, суглинки и глины с коэффициентом консистенции более 0,25.
2.7. При слабых глинистых грунтах в основании насыпи на подходах к мосту проезжей части придается строительный подъем по треугольнику. Максимальная ордината строительного подъема располагается над концом переходной плиты, опирающимся на лежень, и принимается равной ориентировочно 0,7% высоты насыпи.
Разгон строительного подъема в сторону от моста осуществляется на длине, равной двум высотам насыпи.
При устройстве поверхностных плит строительный подъем достигается положением лежня, а для полузаглубленных и заглубленных плит - за счет разной толщины основания покрытия. Строительный подъем целесообразнее устраивать при цементобетонном или асфальтобетонном покрытии, на бетонном основании.
2.8. Переходные плиты применяют либо сборные, либо сборно-монолитные (поверхностные плиты - только сборно-монолитные); для улучшения водонепроницаемости покрытия и уменьшения массы блоков целесообразнее применять сборно-монолитные плиты.
Наружным концом переходные плиты опираются на лежень - обязательный конструктивный элемент при сборных плитах, укладываемый на тщательно уплотненную гравийно-щебеночную подушку толщиной не менее 0,4 м. Сборные плиты объединяют между собой шпоночным швом с установкой проволочной спирали и заполнением бетоном. Сверху швы между плитами заполняют битумной мастикой.
2.9. Поверхности переходных плит и лежня, соприкасающиеся с землей, должны быть покрыты обмазочной гидроизоляцией.
2.10. Часть насыпи за устоями и конусы отсыпают из дренирующего грунта, сопряжение которого с грунтом тела насыпи не должно быть круче 1:1,25 с максимальным размером по низу насыпи при опорах сплошного типа (массивные устои, устои с заборной стенкой и др.) 2,0 м, а при устоях сквозного типа 1,5 м.
2.11. Сопряжение моста с насыпью следует конструировать так, чтобы гравийно-песчаная подушка под лежнем переходной плиты всей своей шириной опиралась на дренирующий грунт (
рис. 2, а) либо на насыпь ниже глубины промерзания (
рис. 2, б, в).
Рис. 2. Схема общей компоновки узла сопряжения моста
с насыпью:
1 - дренирующий грунт; 2 - грунт насыпи;
hпром - глубина промерзания грунта
2.12. В районах недостаточного увлажнения, где средняя многолетняя сумма осадков (период наблюдений не менее 20 лет) за сентябрь и октябрь не превышает 50 мм, а также для песчаных насыпей подушка под лежень может опираться выше глубины промерзания (
рис. 2, г).
В этих районах для предварительно уплотненных насыпей, имеющих высоту более 3 - 4 м, допускается снижение объема дренирующей засыпки
(рис. 3). При этом толщина дренирующей засыпки от верха покрытия для III дорожно-климатической зоны
H' = 2/3 x
Hнас <= 4 м и для IV - V зон
H' = 2/3
Hнас <= 3 м.
Рис. 3. Схема устройства дренирующей засыпки на мостах
в районах недостаточной влажности:
1 - переходная плита; 2 - дренирующий грунт;
3 - грунт насыпи
Снижение объема дренирующей засыпки необходимо учитывать при расчете береговых опор на горизонтальное давление грунта насыпи.
2.13. Для устройства дренирующей засыпки за опорами и конусов применяют грунты и материалы, не увеличивающиеся в объеме при замерзании: крупный и средний песок, мелкий непылеватый песок (частиц менее 0,1 мм не более 25%), металлургический шлак. Коэффициент фильтрации дренирующего грунта после уплотнения до величины 0,98 должен быть не менее 2 - 3 м/сутки.
2.14. Дорожное покрытие и обочины земляного полотна на протяжении длины переходных плит плюс 4 м должны быть водонепроницаемыми, что обеспечивается: а) для асфальтобетонного покрытия - укладкой двух слоев асфальтобетона общей толщиной 7 см ("Рекомендации по устройству асфальтобетонных покрытий повышенной водонепроницаемости на мостах". Союздорнии. М., 1966); б) для цементобетонного покрытия - изготовлением верхней (монолитной) части плиты из бетона повышенной плотности с воздухововлекающими, газообразующими или уплотняющими добавками, вводимыми с водой затворения, согласно
ВСН 85-68; в) для обочин - укладкой асфальтобетона или грунта, обработанного вяжущим. В районах недостаточного увлажнения
(п. 2.12) обочины не укрепляют.
2.15. При расположении моста на вогнутой кривой или при уклоне дорожного покрытия в сторону моста поверхностные воды с покрытия должны отводиться за пределы сопряжения продольными лотками и сбрасываться поперечными лотками, устраиваемыми на откосе насыпи
(рис. 4). Для этого насыпь около моста на длине переходных плит плюс 10 м уширяют на 0,75 м с каждой стороны.
Рис. 4. Пример устройства водоотвода в узле
сопряжения (план):
1 - переходные плиты; 2 - укрепленная обочина;
3 - водоотводный и водосбросный лотки; 4 - лестничный сход;
5 - колесоотбойное ограждение; 6 - бетонный бордюр;
7 - решетчатые укрепления конуса
2.16. При расположении моста или путепровода на выпуклом профиле поверхностную воду также следует отводить продольными лотками за пределы сопряжений и сбрасывать поперечными лотками по откосу насыпи.
Количество поперечных лотков во всех случаях определяется расчетом и исходя из местных условий.
2.17. Неподтапливаемые конусы и откосы, а также подтапливаемые (в случаях облегченного гидравлического режима) можно укреплять, помимо сплошных конструкций, решетчатыми из сборных элементов с заполнением ячеек различными материалами в соответствии с "Техническими указаниями по применению сборных решетчатых конструкций для укреплений конусов и откосов земляного полотна"
ВСН 181-74 (М., Оргтрансстрой, 1974).
На городских путепроводах и неподтапливаемых конусах мостов для заполнения ячеек решетчатых конструкций рекомендуется применять цветной щебень в сочетании с засевом специально подобранных трав.
2.18. Объем работ на устройство одного сопряжения для габарита моста Г-9 (проект Союздорпроекта, 1970) приведен в
табл. 4.
Элемент и материал конструкции | Объем работ при длине переходных плит, м |
4 | 6 | 8 |
Сборный или сборно-монолитный железобетон М-300, м3 | 15,5 | 24,4 | 39,9 |
Гравийно-щебеночная подушка под лежень, м3 | 22 | 23 | 26 |
Покрытие проезжей части, м2 | 36 | 54 | 72 |
Укрепленный грунт обочин, м3 | 18 | 22 | 27 |
2.19. Технико-экономическая эффективность применения рекомендуемых типов сопряжений мостов и путепроводов с насыпью характеризуется экономией приведенной стоимости на мост в среднем 2,8 тыс. руб. за счет снижения себестоимости перевозок и эксплуатационных затрат, а также экономии материала береговых опор. Коэффициент эффективности и срок окупаемости сопряжений превосходят нормативные значения, что свидетельствует о высоких технико-экономических показателях этих конструкций.
3. Технология строительства
3.1. Для обеспечения строительства земляного полотна по всей трассе без разрывов и во избежание неравномерных осадок основания насыпи на подходах к мосту необходимо:
а) сооружать береговые опоры моста или путепровода с опережением возведения насыпи на подходах;
б) уплотнять насыпь на подходах к мосту одновременно с устройством дренирующей засыпки за опорами и конусов.
Строительство береговых опор в разрывах земляного полотна допускается при надлежащем технико-экономическом обосновании. При этом размеры разрыва должны быть не менее 2 - 3 высот насыпи в каждую сторону от моста. Грунт для засыпки разрыва (за пределами дренирующей засыпки) должен быть однороден грунту прилегающей насыпи.
3.2. Строительство сопряжения является частью комплекса по возведению береговых опор моста с насыпью и включает следующие работы:
а) подготовительные работы; в необходимых случаях в соответствии с проектом производят усиление грунтов основания механизированным уплотнением, заменяют слабые грунты, устраивают вертикальные песчаные дрены или дренажные прорези
(п. 3.10);
б) возведение береговых опор;
в) отсыпку участков земляного полотна на подходах к мосту с одновременной отсыпкой дренирующего грунта за опорами и конусов; устройство гравийно-щебеночных подушек под лежень и дренажных слоев под переходными плитами;
г) монтаж сборных или устройство сборно-монолитных оголовков опор и конструкций сопряжений;
д) установку береговых пролетных строений; омоноличивание швов; устройство изоляции и деформационных швов;
е) укладку покрытия на подходах к мосту и на его береговых пролетах;
ж) устройство поверхностного водоотвода возле моста и лестничных сходов;
з) срезку конусов до их проектного очертания, укрепление конусов и обочин земляного полотна возле моста.
В зависимости от типа береговых опор (козловые или стоечные на свайном или естественном основаниях; свайные козлового или вертикального типа) последовательность строительных работ может меняться.
3.3. Применение свайных опор позволяет лучше уплотнить грунты насыпи и конусов и сократить разрыв между сроком окончания сооружения земляного полотна и сроком строительства моста за счет отсыпки нижней части насыпи из дренирующего грунта до забивки свай.
3.4. Сопряжения строят в четыре этапа
<*>:
I этап. При свайных опорах (
рис. 5, а) отсыпают призму из дренирующего грунта с послойным уплотнением до коэффициента 0,98 - 1,0 и забивают с нее сваи береговой опоры.
--------------------------------
<*> Подробнее см. "Технологические карты на обратную засыпку, разравнивание и уплотнение грунта в сопряжении земляного полотна автомобильных дорог с мостами и путепроводами", разработанные в 1975 г. ЦНИИОМТП Госстроя СССР.
Рис. 5. Схемы технологической последовательности
при устройстве сопряжений:
а - при свайных береговых опорах; б - при опорах
на фундаментах; 1 - дренирующий грунт; 2 - свая;
3 - стреловый кран с копровым оборудованием; 4 - граница
приближения тяжелых уплотняющих машин; 5 - зона уплотнения
малогабаритными механизмами; 6 - подушка под лежень
переходных плит; 7 - временное щебеночное покрытие;
8 - переходная плита; 9 - срезаемый слой дренирующего грунта
При высоте насыпи Hнас = 3 м высоту призмы принимают равной (Hнас - 2 м); при Hнас = 4 - 6 м высота призмы - (Hнас - 3 м). При высоте насыпи более 6 м высота призмы определяется наличием копрового оборудования для погружения свай на глубину не менее 4 м ниже подошвы призмы.
При стоечных и козловых опорах на свайном или естественном основании (
рис. 5, б) возводят фундамент и основную часть тела опоры; устанавливают пролетные строения.
II этап. Возводят земляное полотно подхода к мосту на всю высоту сразу же после сооружения береговых опор. Вблизи моста земляное полотно и конусы отсыпают из дренирующего грунта и послойно уплотняют малогабаритными механизмами
(п. 3.16); на расстоянии 2 м и более от моста грунт уплотняют тяжелыми машинами. Целесообразно отсыпать конус несколько больших размеров, чем проектное очертание
(п. 3.11). Одновременно отсыпают и уплотняют гравийно-щебеночную подушку под лежень переходных плит.
Необходимо выполнять систематический контроль за уплотнением.
После возведения земляного полотна на всю высоту дальнейшая последовательность работ зависит от типа покрытия (типа переходных плит).
III этап. При цементобетонном покрытии в пределах длины поверхностных переходных плит плюс 10 м устраивают временное покрытие из щебня или каменной мелочи, которое эксплуатируется в течение года.
При асфальтобетонном покрытии с полузаглубленными и заглубленными плитами роют траншеи под лежни и котлованы под переходные плиты. В траншеи укладывают лежень; в котлованы втрамбовывают щебень слоем 5 см и после устройства щебеночной подушки укладывают переходные плиты; устраивают временное покрытие (на длине переходных плит плюс 10 м) из щебня или каменной мелочи, которое эксплуатируется в течение года.
IV этап. При цементобетонном покрытии с поверхностными плитами удаляют верхний загрязненный слой временного покрытия; при необходимости досыпают основание дорожной одежды и уплотняют его до 0,98 - 1,0. Роют траншеи под лежни и котлованы под переходные плиты. В траншеи укладывают лежень; в котлованы втрамбовывают щебень слоем 5 см и после устройства щебеночной подушки укладывают переходные и промежуточные усиленные дорожные плиты, затем устраивают постоянное покрытие с водоотводными лотками. Срезают конусы до проектного очертания и устраивают укрепление их и обочин.
При асфальтобетонном покрытии с полузаглубленными и заглубленными плитами удаляют верхний загрязненный слой временного покрытия; при необходимости досыпают основание дорожного покрытия до проектной отметки и уплотняют его до 0,98 - 1,0. Укладывают постоянное покрытие с водоотводными лотками. Срезают конусы до проектного очертания и устраивают укрепление их и обочин.
3.5. Дренирующий грунт засыпки за опорами и отсыпки конусов уплотняют при оптимальной влажности послойно до коэффициента уплотнения 0,98 - 1,0. Толщину слоев принимают в зависимости от используемых механизмов (
табл. 22 ВСН 97-63). При ручном уплотнении толщина слоев должна быть не более 10 - 15 см.
При наличии водоемов вблизи трассы целесообразно дренирующий грунт засыпки и конусов перед уплотнением поливать водой, увеличивая влажность грунта против оптимальной на 20%. При этом можно несколько увеличить толщину уплотняемых слоев.
3.6. Необходимо систематически контролировать уплотнение отбором проб и определением плотности и влажности грунта. Плотность грунта определяют методом кольца с режущим краем, а влажность - методом высушивания до постоянной массы.
Плотность и влажность грунтов с каждой стороны моста определяют на каждом метре высоты отсыпанной насыпи в трех местах: на расстоянии 2 - 3 м от береговой опоры, на конусе и на расстоянии 50 м от моста. В последнем случае плотность и влажность определяют по двум пробам, взятым примерно на половине высоты насыпи и на расстоянии 0,7 м от ее верха.
| | ИС МЕГАНОРМ: примечание. В официальном тексте документа, видимо, допущена опечатка: имеется в виду СНиП II-Д.5-72, а не СНиП III-Д.5-72. | |
3.7. При устройстве щебеночной подушки под лежень переходных плит и при укладке щебеночного основания под плиты особенно тщательно следует уплотнять щебень. Нижний слой щебня толщиной 5 см должен быть втрамбован в грунт. Контроль качества уплотнения щебеночного основания осуществляют в соответствии с указаниями
СНиП III-Д.5-72.
3.8. Поверхностные переходные плиты укладывают одновременно с устройством покрытия, т.е. через год после возведения земляного полотна.
Полузаглубленные и заглубленные переходные плиты укладывают в один год с возведением земляного полотна, а покрытие в пределах плит - через год.
При строительстве моста в разрыве насыпи, возводимой на грунтах повышенной сжимаемости, полузаглубленные и заглубленные плиты укладывают через год после засыпки разрыва.
3.9. При возведении насыпей на сжимаемых грунтах и при необходимости открыть движение транспортных средств до истечения годовой выдержки земляного полотна допускают:
а) устройство гравийного или щебеночного покрытия на подходах к мосту (на длине не менее двух высот насыпи) с укладкой переходных плит (после досыпки и доуплотнения верхней части насыпи) через год;
б) временная укладка переходных плит поверхностного типа с последующей съемкой их через год для досыпки и доуплотнения верхней части насыпи и установкой плит в проектное положение.
В обоих случаях в сметах на строительство объектов должны быть предусмотрены средства на окончание работ по устройству сопряжения моста (путепровода) с насыпью.
3.10. Для ускорения срока осадки (консолидации) основания насыпи могут быть применены специальные технологические (временная пригрузка насыпи слоем грунта) или конструктивные (применение вертикальных дрен или дренажных прорезей, частичная или полная замена грунта основания, уположение откосов насыпи, пригрузка ее бермами и др.) мероприятия
<*>.
--------------------------------
<*> См. "
Методические указания по проектированию земляного полотна на слабых грунтах"; "
Методические рекомендации по применению временной пригрузки взамен выторфовывания при сооружении земляного полотна на торфяных болотах" (Союздорнии. М., 1974); "
Методические рекомендации по проектированию и технологии сооружения вертикальных песчаных дрен и песчаных свай при возведении земляного полотна на слабых грунтах" (Союздорнии. М., 1974).
Во всех случаях выбор того или иного технологического или конструктивного решения должен быть обоснован технико-экономическим сравнением.
3.11. Метод временной пригрузки насыпи состоит в том, что насыпь возводят на большую высоту, чем требуется по проекту. Затем по достижении заданной величины консолидации тела и основания насыпи излишек грунта снимается и используется на соседнем участке. Эффективен метод пригрузки при устройстве конусов земляного полотна, где не всегда можно обеспечить необходимое уплотнение грунтов. Для этого конусы отсыпают несколько увеличенных размеров (по отношению к проектному очертанию примерно на 1 м). Через год пригрузочный слой удаляют и укрепляют конусы по их проектному очертанию.
3.12. При применении метода временной пригрузки в некоторых случаях возникает опасность нарушения устойчивости насыпи. В таких случаях метод пригрузки целесообразно сочетать с методом предварительной консолидации, заключающимся в том, что возведение насыпи производят по ступенчатой эпюре, увеличивая высоту насыпи через определенные (обычно 0,5 - 1,5 месяца) промежутки времени. При этом в зависимости от величины безопасной нагрузки, устанавливаемой расчетом, выбирают медленный или быстрый режим отсыпки.
3.13. Специальные конструктивные меры применяют при толщах слабых грунтов более 3 - 4 м. При толще слабых грунтов до 4 м, когда грунты способны выдержать вертикальные стенки, применяют дренажные прорези, заполняемые песком с коэффициентом фильтрации не менее 3 м/сутки.
При толще слабых грунтов более 4 м устраивают вертикальные дрены диаметром 0,2 - 0,5 м, заполняемые таким же песком. Дрены, рассчитанные на нагрузки, могут выполнять и функции песчаных свай.
3.14. Ускорения сроков консолидации и упрочнения грунтов основания насыпи иногда можно достичь мелиорацией - отводом грунтовых вод в пониженные места (метод предварительного осушения). Этот метод при меняют и как самостоятельный, и в сочетании с другими методами ускорения консолидации и повышения устойчивости основания насыпи.
3.15. Эффективно возводить насыпи гидронамывом, так как намывные грунты не требуют дополнительного уплотнения и характеризуются высокой несущей способностью и большим коэффициентом фильтрации.
3.16. Для уплотнения дренирующего грунта и щебеночных оснований при устройстве сопряжений мостов и путепроводов с насыпью применяют механизмы ударного, вибрационного и виброударного действия. Для уплотнения связных и несвязных грунтов в стесненных местах рекомендуется применять серийно изготовляемые ручные электротрамбовки ИЭ Даугавпилсского завода "Электроинструмент"
(табл. 5).
Технические характеристики | Электротрамбовки | Виброплиты |
ИЭ-4502 | ИЭ-4504 | SVP31,5 | SVP63/1 | BSD31,5 |
Масса, кг | 75 | 150 | 500 | 700 | 1100 |
Мощность двигателя, кВт | 1,5 | 3,0 | - | - | - |
Размеры плит, мм | 420 x 380 | 500 x 460 | 2415 x 1125 | 2470 x 1325 | 2880 x 1400 |
Глубина уплотнения, см | 40 | 50 | 60 | 60 | 75 |
Производительность, м3/ч | 35 | 50 | - | - | - |
То же, м2/ч | - | - | 750 | 900 | 450 |
Кроме того, для уплотнения несвязных грунтов, а также гравия и щебня рекомендуется применять импортные (ГДР) самопередвигающиеся виброплиты марок
SVP и
BSD (см.
табл. 5).
3.17. Отдельные этапы устройства сопряжения моста с насыпью регистрируют в журнале работ. После окончания работ по устройству сопряжений составляют акт на скрытые работы
(приложение 2), в котором указывают плотность грунтов земляного полотна, тип и конструкцию переходных плит (поверхностные, заглубленные, полузаглубленные, сборные, сборно-монолитные), их длину, строительный подъем и соответствие выполненных работ проекту.
К акту прикладывают выписку из журнала контроля уплотнения грунта и нивелировочные профили в пределах длин переходных плит плюс 10 м с каждой стороны моста в отметках, увязанных с репером строительства.
Нивелировочные профили прокладывают по оси каждой из полос движения; отметки (в мм) берут на каждом метре длины профиля.
Конструкция сопряжения моста с насыпью должна быть представлена на исполнительном чертеже общего вида моста (путепровода).
3.18. После сдачи моста в эксплуатацию строительные, эксплуатационные и проектные организации в течение трех лет и более ведут наблюдения за состоянием сопряжений. Материалы наблюдений и предложения по совершенствованию конструкций сопряжений для обобщения направляются в Союздорнии.
УПРОЩЕННЫЙ СПОСОБ ОПРЕДЕЛЕНИЯ ОСАДКИ
ГРУНТОВОГО ОСНОВАНИЯ НАСЫПИ
При грунтах, не уплотняющихся под массой насыпи, осадка основания насыпи S определяется по формуле
где
A - параметр, кгс/см, зависящий от геометрических характеристик насыпи (высоты
Hнас и средней ширины - 2
b) и объемной массы грунта

; определяется по
рис. 1;
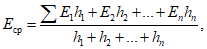
Eср - средневзвешенный модуль деформации грунтов основания в пределах активной зоны, кгс/см2, определяемый по формуле
где E1, E2, ..., En - модули деформаций слоев грунта, определяемые компрессионным испытанием отобранных проб грунта;
h1,
h2, ...,
hn - толщина однородных слоев грунта, см, в пределах активной зоны
Hа, определяемой по
рис. 2.
Рис. 1. Зависимость параметра
A (относительной осадки
основания) от геометрических характеристик насыпи:
а - при объемной массе грунтов основания

;
б - то же при

;
Hнас - высота насыпи; 2b - средняя ширина насыпи
Рис. 2. Мощность активной зоны
Hа в основании насыпи
в зависимости от ее геометрических характеристик
Пример. Насыпь высотой
Hнас = 3,8 м имеет ширину поверху
B = 10 м и откосы 1:1,5. Объемная масса грунтов насыпи

.
Основание насыпи до глубины 2,6 м сложено суглинком твердопластичным (E = 60 кгс/см2), подстилаемым до глубины 7,3 м супесью пластичной (E = 90 кгс/см2). Ниже этих грунтов залегают твердопластичные суглинки (E = 110 кгс/см2).
Определяем геометрическую характеристику
По
рис. 2, интерполируя значениями
Hнас = 3 м и
Hнас = 4 м, получаем для
Hнас = 3,8 м мощность активной зоны
Hа = 10,7 м.
Интерполируя значения высот насыпи (
Hнас = 3 и 4 м) и объемные массы грунтов (

и 2,0 т/м
3), для
Hнас = 3,8 м и

по
рис. 1 находим параметр
A = 482 кгс/см.
По данным о геологическом строении грунтов в пределах активной зоны основания насыпи определяем
Осадка основания насыпи
Форма
на скрытые работы по устройству сопряжений
с насыпью моста через реку _______________
на км ________________ пк ________________
дороги _______________ Поселок ____________
"____" ___________ 19__ г.
Мы, нижеподписавшиеся, представители __________________________________
_______________________________________________________________________
составили настоящий акт в том, что "____" _______________ с.г. произведено
освидетельствование и испытание грунтов земляного полотна на подходах к
мосту, в результате установлено следующее:
1. Насыпь подхода со стороны ______________ отсыпана в ____________
(месяц) ___________ 19__ г. из грунтов ______________. Возле береговых опор
часть насыпи отсыпана __________ 19__ г. из дренирующего грунта
__________________ (наименование грунта) с коэффициентом фильтрации
______________ м/сутки.
Уплотнение грунтов производилось слоями по ______ см (наименование
механизма) ______________.
Коэффициент уплотнения не менее: на расстоянии 2 - 3 м от береговой
опоры ______________; на конусе ______________; на расстоянии 50 м от моста
_______________ (см. прилагаемую выписку из журнала контроля уплотнения).
2. Насыпь подхода со стороны _______________________ (аналогичный
текст, как в
п. 1) ________________________________________________________
Уплотнение щебеночной подушки под лежень и щебеночного основания под
переходные плиты осуществлялось _________________ (наименование механизма).
На основании произведенного освидетельствования считать полотно
подходов к мосту подготовленным для укладки переходных плит.
3. Переходные плиты длиной ______________ м поверхностного,
заглубленного, полузаглубленного типа (ненужное зачеркнуть), уложены
____________ 19__ г. ______________________________________________________
(отразить установку штырей, устройство строительного
___________________________________________________________________________
подъема и др.)
Приложения: 1. Выписка из журнала контроля уплотнения грунта на _______
листах.
2. Нивелировочные профили сопряжений на ___________ листах.
Подписи