Главная // Актуальные документы // Журнал (форма)СПРАВКА
Источник публикации
М.: АООТ "ВТИ", 2002
Примечание к документу
Документ включен в Указатель действующих в электроэнергетике нормативных документов на 01.03.2010, составленный на основе Реестра действующих в электроэнергетике нормативно-технических документов, приложение N 1 к
Приказу РАО "ЕЭС России" от 14.08.2003 N 422 (М.: ООО "Тексус", 2010).
Документ
введен в действие с 1 октября 2001 года.
Название документа
"РД 153-34.1-11.353-2001. Методика выполнения измерений массовых выбросов загрязняющих веществ от котельных установок с применением газоанализаторов с электрохимическими датчиками"
(утв. РАО "ЕЭС России" 29.03.2001)
"РД 153-34.1-11.353-2001. Методика выполнения измерений массовых выбросов загрязняющих веществ от котельных установок с применением газоанализаторов с электрохимическими датчиками"
(утв. РАО "ЕЭС России" 29.03.2001)
Департаментом научно-технической
политики и развития РАО "ЕЭС России"
29 марта 2001 года
МЕТОДИКА
ВЫПОЛНЕНИЯ ИЗМЕРЕНИЙ МАССОВЫХ ВЫБРОСОВ ЗАГРЯЗНЯЮЩИХ
ВЕЩЕСТВ ОТ КОТЕЛЬНЫХ УСТАНОВОК С ПРИМЕНЕНИЕМ
ГАЗОАНАЛИЗАТОРОВ С ЭЛЕКТРОХИМИЧЕСКИМИ ДАТЧИКАМИ
РД 153-34.1-11.353-2001
Введено впервые
Срок действия установлен
с 1 октября 2001 года
до 1 октября 2011 года
Разработано Акционерным обществом открытого типа "Всероссийский теплотехнический научно-исследовательский институт" (АООТ "ВТИ").
Исполнители: М.Я. Мотро, В.С. Бесков, С.Ш. Пинтов, Г.В. Целунова.
Утверждено Департаментом научно-технической политики и развития РАО "ЕЭС России" 29.03.2001.
Первый заместитель начальника А.П. Ливинский.
Срок первой проверки РД - 2006 г.,
периодичность проверки - один раз в 5 лет.
Аттестована 31.03.2001 метрологической службой ВТИ (аттестат аккредитации при ВНИИМС N 01.00038-97).
1. НАЗНАЧЕНИЕ И ОБЛАСТЬ ПРИМЕНЕНИЯ
1.1. Настоящий руководящий документ устанавливает методику выполнения измерений (МВИ) массовых выбросов (массовых расходов) загрязняющих веществ [оксидов азота в пересчете на диоксид азота (далее по тексту -

), монооксида углерода (далее по тексту - CO), диоксида серы (далее по тексту -

)] с дымовыми газами от котельных установок, потребляющих различные виды органического топлива (газ, мазут, уголь).
Массовые выбросы загрязняющих веществ измеряются с применением газоанализаторов с электрохимическими датчиками.
1.2. Положения данной МВИ распространяются на измерения массовых выбросов в сечениях газоходов (далее по тексту - измерительные сечения), расположенных за газоочистной установкой или при отсутствии этой установки (на газомазутных котлах) в любых сечениях газоходов, в которых температура отходящих газов не превышает 600 °C.
1.3. Данная МВИ предназначена для использования при контроле выбросов: периодическом в соответствии с требованиями
РД 153-34.0-02.306-98; при оценке эффективности проводимых мероприятий по их сокращению; при инспекционном.
2.1. Требования к параметрам окружающей среды при проведении измерений:
Температура окружающего воздуха, °C ............................ 0 - 40
Относительная влажность, % .................................... 15 - 90
Атмосферное давление, кПа .................................... 84 - 106
Вибрация:
частота, Гц .............................................. 0,5 - 35
амплитуда, мм ............................................. До 0,75
Напряженность постоянных магнитных
и переменных полей сетевой частоты, А/м .................. Не более 400
2.2. Требования к параметрам и составу анализируемой среды:
Температура
<1>, °C .......................................... 50 - 600
Влажность, г/м3 .............................................. 30 - 240
Давление, кПа ................................................. -5...+5
Содержание:
твердых частиц на входе в пробоотборный зонд, г/м3 ....... 0,01 - 5
сажи
<2>, г/м3 ............................................ 0 - 0,5
водорода (объемная доля), % ............................... 0 - 0,1
метана (объемная доля), % ................................. 0 - 0,1
триоксида серы (объемная доля), % ....................... 0 - 0,007
кислорода (объемная доля), % ............................... 1 - 25
Концентрация, мг/м3:
монооксида углерода ..................................... 80 - 5000
монооксида азота ........................................ 60 - 2000
диоксида азота ............................................ 2 - 100
диоксида серы .......................................... 120 - 5800
Массовый расход (выброс)
<3>, г/с:
монооксида углерода ........................................ 0,1 - 2000
оксидов азота .............................................. 0,2 - 1000
диоксида серы ................................................ 1 - 2500
--------------------------------
<1> При измерении содержания

температура дымовых газов должна быть не менее 100 °C.
<3> Указанные значения относятся к одной котельной установке. Диапазоны изменения массовых расходов (выбросов) в массовых концентраций загрязняющих веществ в зависимости от вида топлива приведены в
Приложении А.
3. ХАРАКТЕРИСТИКА ПРИПИСАННОЙ ПОГРЕШНОСТИ ИЗМЕРЕНИЯ
3.1. Предел приписанной относительной погрешности измерения массового выброса устанавливается +/- 20% для каждого загрязняющего вещества. Расчетные формулы и примеры оценки погрешности приведены в
Приложении Б.
4.1. Измерения массового выброса загрязняющего вещества являются косвенными, осуществляемыми на основе прямых измерений массовой концентрации CO,

, NO и косвенных измерений

(оксидов азота) и объемного расхода уходящих дымовых газов. Массовый выброс i-го загрязняющего вещества

, г/с, через газоход определяют по формуле

, (1)
где

- массовая концентрация i-го загрязняющего вещества в сухих дымовых газах при нормальных условиях
<1>, определяемая в измерительном сечении, мг/м3;

- объемный расход сухих дымовых газов через измерительное сечение при нормальных условиях, м3/ч.
--------------------------------
<1> Здесь и далее нормальные условия: давление 101,3 кПа и температура 0 °C.
4.2. Метод измерения массовых концентраций
4.2.1. Массовые концентрации CO,

и NO измеряют с помощью переносного газоанализатора с электрохимическими датчиками (далее по тексту - газоанализатор) <2>.
--------------------------------
<2> Измеренные значения массовых концентраций CO,

и NO здесь и далее относятся к осушенной пробе дымового газа.
4.2.2. Массовую концентрацию

определяют расчетом по измеренным с помощью газоанализатора значениям массовой концентрации монооксида азота (далее по тексту - NO) по формуле

, (2)
где

и

- плотность, соответственно, диоксида и оксида азота;

- массовая концентрация NO;

- массовая концентрация диоксида азота (далее по тексту -

), содержащегося в анализируемых дымовых газах (определяют, исходя из измеренного значения

как

, где

).
Примечание. Несмотря на то, что ряд газоанализаторов с электрохимическими датчиками имеют датчик для измерения

, представительность результатов анализа этого загрязняющего вещества, как показала практика, не может быть обеспечена. Содержание

в дымовых газах котельных установок составляет, по опытный данным, от 2 до 7% NO, соответственно (0,02 - 0,07)NO; принято 0,05.
4.2.3. Метод измерения массовых концентраций загрязняющих веществ основан на применении в газоанализаторе электрохимических ячеек, являющихся чувствительными элементами датчиков.
4.2.4. Принцип действия электрохимической ячейки состоит в следующем: анализируемый газ поступает через проницаемую мембрану в ячейку, где происходит окислительно-восстановительная реакция с участием компонента, концентрация которого определяется. Сила тока, возникающая в электрохимической ячейке, прямо пропорциональна массовой концентрации определяемого компонента.
4.2.5. Кроме определяемого загрязняющего вещества, на процесс измерения могут влиять и другие компоненты, содержащиеся в газовой пробе, близкие к этому веществу по химической природе. Возникает так называемая перекрестная чувствительность - влияние одного измеряемого компонента на выходной сигнал датчика другого, а также чувствительность к неизмеряемым компонентам. Отдельные компоненты могут оказывать разрушающее действие на датчики. Например, при измерении концентрации CO сильное влияние на выходной сигнал датчика оказывают

- перекрестная чувствительность и

- неизмеряемый компонент (если

и

присутствуют в пробе). Кроме того,

оказывает разрушающее действие на датчик CO. Поэтому электрохимические датчики должны быть снабжены системой компенсации перекрестной чувствительности, а датчик CO - дополнительно иметь компенсацию от влияния водорода и защиту от диоксида серы.
4.2.6. Показания газоанализаторов выражают в единицах массовой концентрации для объема дымовых газов, соответствующего нормальным условиям: температуре 0 °C, абсолютному давлению дымовых газов 101,3 кПа.
4.3. Методы измерения объемного расхода сухих дымовых газов
4.3.1. Для измерения объемного расхода сухих дымовых газов могут использоваться два косвенных (расчетных) метода, в которых исходными данными являются:
- в первом - средняя скорость потока дымовых газов в измерительном сечении, влажность дымовых газов в этом сечении и его площадь, а также средняя температура газового потока и его абсолютное давление;
- во втором - расход топлива, низшая теплота сгорания и влажность рабочей массы топлива, содержание кислорода (далее по тексту -

) в измерительном сечении.
Первый метод может применяться для определения объемного расхода дымовых газов при сжигании природного газа, мазута и угля; второй - только при сжигании природного газа и мазута.
4.3.2. При использовании первого метода по
п. 4.3.1:
- средняя скорость дымовых газов в измерительном сечении определяется в соответствий с
п. 4.4 ГОСТ 17.2.4.06 по динамическому давлению потока дымовых газов в контрольной точке измерительного сечения с учетом среднего коэффициента неравномерности поля динамических давлений (динамическое давление в точке измерительного сечения измеряется по разности полного и статического давлений с помощью пневмометрических (напорных) трубок конструкций, "НИИОГАЗ", Прандтля, Пито и др., к которым подключается прибор для измерения разности давлений);
- влажность дымовых газов измеряется в соответствии с
разделом 3 ГОСТ 17.2.4.08 психрометрическим или конденсационным методом;
- площадь измерительного сечения определяют в соответствии с
пп. 3.4.2 -
3.4.4 ГОСТ 17.2.4.06 с помощью рулетки (наружные или внутренние размеры сечения) и в случае необходимости штангенциркуля (толщину стенки газохода в месте расположения измерительного сечения);
- температуру газового потока измеряют с помощью термоэлектрических термометров, устанавливаемых в средней части измерительного сечения;
- абсолютное давление определяют как сумму атмосферного и статического давления с помощью тех же средств, которые используются для измерения динамического давления.
4.3.3. При определении объемного расхода сухих дымовых газов вторым методом
(п. 4.3.1) специальных методов для измерения расхода, влажности и низшей теплоты сгорания топлива не применяют, а используют результаты штатных определений этих параметров; содержание

измеряют одновременно с концентрацией загрязняющих веществ одним и тем же газоанализатором.
5. СРЕДСТВА ИЗМЕРЕНИЙ, ВСПОМОГАТЕЛЬНЫЕ
УСТРОЙСТВА И МАТЕРИАЛЫ
5.1. Средства измерений, вспомогательные устройства и материалы, используемые при измерении массовой концентрации загрязняющих веществ и содержания кислорода, приведены в таблицах 1 -
3.
Таблица 1
Наименование | Основные технические характеристики | Контролируемый параметр |
1. Многокомпонентный переносной газоанализатор с электрохимическими датчиками в комплекте с пробоотборным зондом. Перечень некоторых типов газоанализаторов с указанием их характеристик приведен в Приложении В | Диапазоны измерения: CO..... 80 - 5000 мг/м3 NO..... 60 - 2000 мг/м3  .... 120 - 6000 мг/м3  ...... 0 - 21 (объемная доля), % Относительная погрешность не более 10% <*> | Массовая концентрация NO, CO,  , объемная доля  |
| Диапазон измерения от 0 °C до 55 °C. Цена деления 1 °C | Температура окружающей среды |
3. Психрометр ПБУ-1 по ТУ 2511-1219 | Пределы измерения от 10% до 100%. Цена деления 0,2% | Относительная влажность окружающей среды (атмосферного воздуха) |
4. Барометр-анероид М 67 по ТУ 2504-1797 | Цена деления 1 мм рт. ст. Погрешность 0,3 мм рт. ст. | Атмосферное давление среды |
5. Ротаметр РМ-0,25Г УЗ по ТУ 25-02.070213 | Диапазон измерения 0 - 250 дм3/ч. Диаметр условного прохода 6 мм. Габариты 26,5 x 360 мм | Расход калибровочного газа |
6. Мановакуумметр двухтрубный жидкостный МВ-2-6000 по ТУ 92-891.0261 | Диапазон измерения -6...+6 кПа. Цена деления 0,01 кПа | Давление (разрежение) анализируемой среды |
7. Цифровой термометр ТТЦ 06-1300 | Диапазон измерения 0 - 1300 °C. Погрешность не более 6 °C | Температура газового потока |
| | ИС МЕГАНОРМ: примечание. В официальном тексте документа, видимо, допущена опечатка: имеется в виду ГОСТ 9293-74, а не ГОСТ 9273. | |
|
<*> Для обеспечения допускаемой погрешности газоанализатора следует использовать поверочные газовые смеси (ПГС) по ТУ 6-16-2956 в баллонах емкостью (4 - 10) л и азот газообразный особой чистоты по ГОСТ 9273. Характеристики ПГС приведены в таблице 2. |
Примечания. 1. СИ по пп. 2 - 4 применяют при контрольных проверках условий измерения. 2. Допускается использование других средств измерений, не уступающих вышеуказанным по техническим характеристикам. 3. Длину зонда газоанализатора по п. 1 выбирают в зависимости от расположения точек отбора пробы по поперечному сечению газохода. |
Таблица 2
Определяемый компонент | Номинальное объемное содержание, ppm | Предел допускаемой абсолютной погрешности, ppm | Номер ГСО по Госреестру |
CO | 280 | +/- 10 | 3808-87 |
2800 | +/- 100 | 3814-87 |
NO | 800 | +/- 40 | 4015-87 |
1100 | +/- 30 | 4018-87 |
| 1400 | +/- 50 | 5894-91 |
Таблица 3
Вспомогательные устройства и материалы
Вспомогательное устройство, материал | Количество и краткая техническая характеристика устройств |
1. Вентиль регулирующий по ТУ 5Л4.463.003-02 | 2 шт. |
2. Трубка соединительная Т-образная (тройник) по ГОСТ 25336 | 2 шт. |
3. Трубка поливинилхлоридная (ПВХ) по ГОСТ 64-2-286 | Диаметр 12 x 2 мм, длина 1 м Диаметр 10 x 2 мм, длина 3 м Диаметр 6 x 1,5 мм, длина 2 м |
5.2. Средства измерений, вспомогательные устройства и материалы, используемые при измерении объемного расхода сухих дымовых газов, приведены в таблицах 4 и
5.
Таблица 4
Наименование | Основные технические характеристики | Контролируемый параметр |
1 | 2 | 3 |
1. Дифференциальный манометр цифровой с обработкой данных ДМЦ-01/М в комплекте с пневмометрической трубкой конструкции "НИИОГАЗ" | Диапазон измерения: динамического давления 0 - 2000 Па, статического давления 0 - 20000 Па. Основная приведенная погрешность измерения не более 1% | Статическое и динамическое давления потока дымовых газов и автоматический расчет скорости и расхода |
| | ИС МЕГАНОРМ: примечание. Постановлением Госстандарта России от 27.07.1999 N 220-ст с 1 июля 2000 года введен в действие ГОСТ 7502-98. | |
|
2. Рулетка металлическая ЗВД-3 по ГОСТ 7502 | Длина - 30 м, цена деления 1 мм | Линейные размеры измерительного сечения |
3. Штангенциркуль ШЦ-2 | Диапазон измерения 0 - 400 мм, погрешность 0,1 мм | Толщина стенки газохода |
|
|
4. Весы лабораторные ВЛР-200М по ГОСТ 24104 | Верхний предел взвешивания 200 г. Погрешность 1 мг | Масса конденсата при определении влажности дымовых газов |
5. Реометр стеклянный лабораторный типа РДС 4 по ГОСТ 9932 | Диапазон измерения расхода 0 - 10 л/мин. Погрешность 2% | Расход пробы дымовых газов при определении влажности дымовых газов |
| | ИС МЕГАНОРМ: примечание. ГОСТ 5072-79 утратил силу с 1 января 1991 года (ИУС "Государственные стандарты", N 11, 1991). | |
|
6. Секундомер механический СО-2 по ГОСТ 5072 | Диапазон измерения 0 - 30 мин. Погрешность 0,2 с | Время отбора пробы при определении влажности дымовых газов |
| | ИС МЕГАНОРМ: примечание. Взамен ГОСТ 27544-87 Постановлением Госстандарта СССР от 30.03.1990 N 691 с 1 января 1991 года введен в действие ГОСТ 28498-90. | |
|
7. Термометр лабораторный по ГОСТ 27544 | Диапазон измерения 0 - 50 °C. Цена деления не более 0,2 °C | Температура пробы в сборнике конденсата при определении влажности дымовых газов |
Примечания. 1. Средства измерений, приведенные в таблице 3, применяются при использовании первого метода по п. 4.3.1. Кроме этих средств используются барометр и цифровой термометр (см. таблицу 1). 2. При использовании второго метода определения объемного расхода сухих дымовых газов по п. 4.3.1 применяется газоанализатор (см. таблицу 1) для измерения содержания кислорода в потоке газов, проходящих через измерительное сечение. Диапазон измерения содержания кислорода (объемная доля) 0,8 - 25%, абсолютная погрешность определения его объемной доли +/- 0,2%. 3. Допускается применение других средств измерений, не уступающих вышеуказанным по техническим характеристикам. |
Таблица 5
Вспомогательные устройства и материалы
Наименование вспомогательного устройства, материала | Количество и краткая техническая характеристика устройств |
| 1 шт. |
| 1 шт. |
3. Трубки медицинские резиновые типа 1 по ГОСТ 3399 или полиэтиленовые по ГОСТ 18599 | Диаметр 10 x 2 мм, длина 4 м |
5.3. Все средства измерений, указанные в
таблицах 1 и
4, должны иметь действующие свидетельства о поверке, а газовые смеси в баллонах под давлением - действующие паспорта.
6. ПОДГОТОВКА К ВЫПОЛНЕНИЮ ИЗМЕРЕНИЙ
6.1. Перед началом выполнения измерений определяют место расположения измерительного сечения и оборудуют рабочие места в соответствии с требованиями
п. 7.1.2.1 ОНД-90.
6.2. Определяют неравномерность полей динамических давлений в измерительном сечении, а если оно выбрано в зоне конвективного газохода, то и неравномерность солей массовых концентраций. Для чего:
6.2.1. Измеряют линейные размеры, выполняют эскиз и проводят (условно) разбивку площади измерительного сечения на равновеликие части, количество которых определяют в соответствии с
пп. 2.5 и
2.6 ГОСТ 17.2.4.06.
6.2.2. Определяют на эскизе координаты "n" точек измерения локальных значений параметров в соответствии с
п. 2.5 ГОСТ 17.2.4.06 и места ввода пневмометрической трубки (пробоотборного зонда), которые должны быть расположены так, чтобы можно было наконечник пневмометрической трубки (пробоотборного зонда) установить в каждую точку. Пример разбивки измерительного сечения, расположения точек измерения и мест ввода пневмометрической трубки показан на рисунке 1.
а)
б)
а - круглое сечение: I и II - места ввода пневмометрической
трубки; 1 - 3 - номера точек измерений; Т - контрольная
точка; б - прямоугольное сечение: I - IV - номера рядов
точек ввода зонда по ширине газохода; 1 - 5 - номера рядов
по глубине газохода;

- места ввода
пневмометрической трубки
Рисунок 1. Разбивка измерительного
сечения газохода на равновеликие площади
6.2.3. В местах ввода пневмометрической трубки (пробоотборного зонда) в стенке газохода сверлят отверстия и приваривают соответствующие штуцера и бобышки для ее крепления.
6.2.4. Подготавливают приборы для измерения динамического давления, массовых концентраций загрязняющих веществ и содержания кислорода в соответствии с их руководствами по эксплуатации.
Примечание. При подготовке приборов следует обратить внимание на герметичность соединительных линий, через которые отбираются пробы и передается воздействие давления (пробоотборные зонды, соединительные трубки, устройства пробоподготовки и т.д.). Герметичность этих устройств проверяют методом отсчета спада давления в замкнутой системе, находящейся под испытательным давлением 1 кПа. Падение давления в этих устройствах за 1 мин не должно превышать 0,05 кПа.
6.2.5. Пневмометрическую трубку (пробоотборный зонд) располагают на рабочей площадке (в среде атмосферного воздуха), подключают к прибору, включают его и после установления рабочего режима контролируют показания, которые должны иметь значения 0 (для приборов, измеряющих динамическое давление, массовые концентрации NO, CO,

) и 20,9 (для прибора, измеряющего содержание

).
6.2.6. Пневмометрическую трубку (пробоотборный зонд), не отключая от прибора, устанавливают в подготовленные места ввода в газоход и измеряют локальные значения динамических давлений (массовых концентраций), помещая наконечник трубки (пробоотборного зонда) в точки сечения, определенные в соответствия с
п. 6.2.2. При этом необходимо следить за тем, чтобы наконечник был направлен навстречу потоку.
Неравномерность поля должна измеряться при стабильной работе котельной установки.
6.2.7. Определяют средний коэффициент неравномерности поля динамических давлений и поля массовых концентраций (при необходимости). Для этого:
- фиксируют значения динамического давления

и массовой концентрации

в точке (далее по тексту - контрольная точка), расположенной в геометрическом центре измерительного сечения;
- определяют средние коэффициенты неравномерности

и

для каждой точки;
где

- динамическое давление в j-ой точке измерительного сечения,

- концентрация i-го загрязняющего вещества в j-ой точке измерительного сечения;
- подсчитывают средние коэффициенты неравномерности полей динамических давлений и массовых концентраций, соответственно:

, (3)

, (4)
где n - количество точек измерения;

- коэффициент неравномерности динамических давлений (индекс p) или концентраций (индекс c) в j-ой точке.
6.2.8. Операции по
пп. 6.2.6 и
6.2.7 проводят для трех технологических режимов работы котельной установки, соответствующих 50, 75, 100% тепловой нагрузки

. Эти измерения для каждого измерительного сечения выполняют 1 раз после его выбора. В последующем пользуются полученными результатами.
6.2.9. После определения средних коэффициентов неравномерности полей динамических давлений и массовых концентраций строят графики функций

и

, которые используют при подсчете массовых выбросов.
6.3. Находят площадь измерительного сечения газохода в соответствии с
п. 3.4 ГОСТ 17.2.4.06.
6.4. Подготовку к выполнению измерений влажности газового потока выполняют в соответствии с
п. 2 ГОСТ 17.2.4.08, а температуры и статического давления - в соответствии с руководством по эксплуатации соответствующих приборов.
6.5. Если котельная установка работает на твердом топливе, то необходимо предусмотреть заземление пробоотборного зонда в процессе измерений во избежание накопления на нем заряда статического электричества.
7. ОПЕРАЦИИ ПРИ ВЫПОЛНЕНИИ ИЗМЕРЕНИЙ
7.1. В зависимости от выбранного метода определения объемного расхода дымовых газовых (см.
п. 4.3.1) выполняют измерения:
- массовой концентрации загрязняющих веществ;
- динамического давления потока дымовых газов в контрольной точке;
- статического давления потока дымовых газов в измерительном сечении;
- влажности дымовых газов;
- температуры газового потока в средней части измерительного сечения;
- атмосферного давления или только массовой концентрации загрязняющих веществ и содержания кислорода.
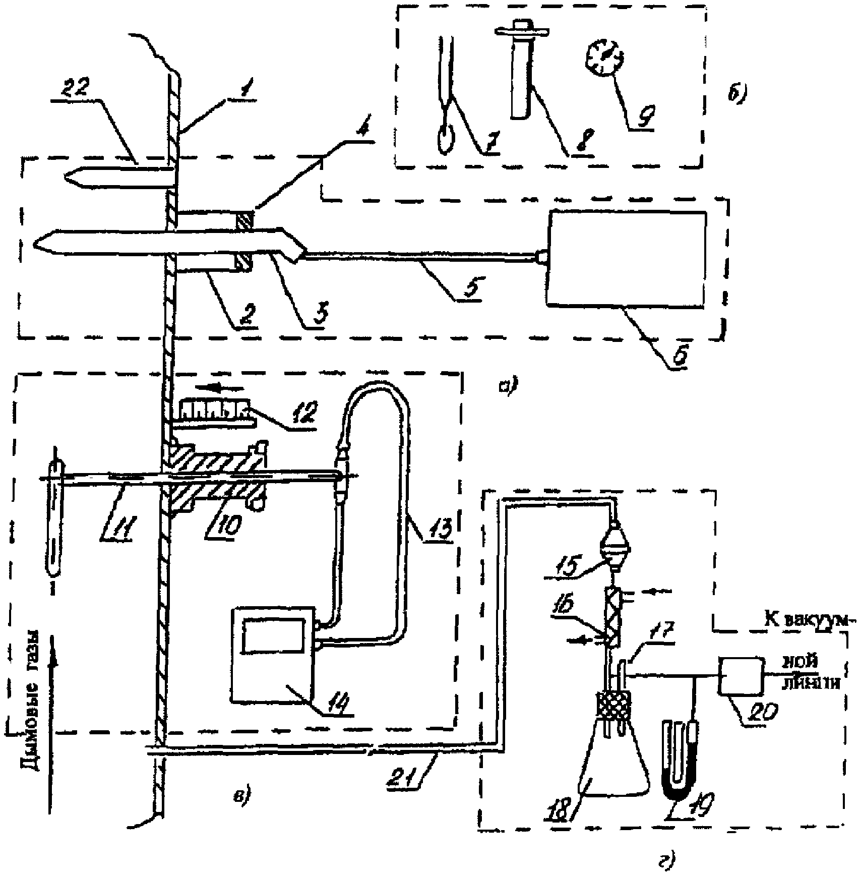
7.2. При измерении массовой концентрации собирают схему, показанную на рисунке 2, а, и проводят следующие операции:
а - схема измерения концентраций; б - приборы для контроля
окружающей среды; в - схема измерения скорости (расхода)
газа; г - схема измерения влажности газа; 1 - газоход;
2 - штуцер; 3 - пробоотборный зонд газоанализатора;
4 - уплотнение; 5 - шланг; 6 - аналитический блок;
7 - термометр; 8 - психрометр; 9 - барометр; 10 - держатель;
11 - напорная трубка; 12 - линейка; 13 - соединительные
штанги; 14 - дифманометр; 15 - фильтр; 16 - холодильник;
17 - термометр; 18 - сборник конденсата; 19 - манометр;
20 - реометр; 21 - линия отбора пробы;
22 - датчик температуры
Примечание. Приборы (поз. 7 - 9 и 22) используют при необходимости контроля условий проведения измерений.
Рисунок 2. Схемы выполнения измерений массовых выбросов
загрязняющих веществ в уходящих дымовых газах
7.2.1. Включают газоанализатор и ожидают завершения процесса его автокалибровки, при этом пробоотборный зонд должен находиться в среде атмосферного воздуха.
7.2.2. После установки показаний кислородного датчика 20,9% и нулевых показаний остальных пробоотборный зонд вводят в газоход таким образом, чтобы проба отбиралась из контрольной точки.
7.2.3. После стабилизации показаний прибора начинают регистрировать результаты измерений в соответствии с инструкцией по его эксплуатации. Одновременно в случае необходимости записывают результаты измерений содержания кислорода.
7.3. Для определения динамического давления собирают схему, показанную на
рисунке 2, в, и проводят измерения в соответствии с инструкцией по эксплуатации дифференциального манометра ДМЦ-01/М. Одновременно с помощью этого же прибора измеряют статическое давление в газовом потоке.
7.4. Влажность в соответствии с
п. 3.2 ГОСТ 17.2.4.08 измеряют по схеме, показанной на
рисунке 2, г.
7.5. Температуру газового потока измеряют в соответствии с инструкцией по эксплуатации цифрового термометра. Датчик вводят в газоход через специальный штуцер и располагают его чувствительный элемент на расстоянии от стенки не меньше 0,2L (L - расстояние между противоположными стенками газохода).
7.6. Измерения должны проводиться в течение 20 мин в одних и тех же условиях при неизменных параметрах, определяющих выбранный режим работы котельной установки, сериями, количество которых должно быть не менее трех. Интервал между сериями должен составлять не менее 3 мин. Количество наблюдений каждого параметра в серии должно быть не менее трех. Измерения в каждой серии проводятся непрерывно в последовательности заполнения горизонтальных строк и фиксируются в журнале,
форма которого приведена в Приложении Г. В период выполнения измерений периодически каждые 10 мин регистрируют атмосферное давление по барометру-анероиду.
8. ОБРАБОТКА РЕЗУЛЬТАТОВ ИЗМЕРЕНИЙ
8.1. За результат измерения данного параметра принимают среднее арифметическое результатов наблюдений, полученных в n сериях измерений.
8.2. Определяют массовый M выброс i-го загрязняющего вещества по результатам выполненных измерений по формуле

, (5)
где

- средний коэффициент неравномерности поля концентрация по измерительному сечению газохода. Для измерительного сечения, находящегося в конвективном газоходе, его определяют в соответствии с
п. 6.2.9, для остальных участков газоходов

;

- результат измерения массовой концентрации i-го загрязняющего вещества, мг/м3. При определении массового выброса

значения

подсчитывают по измеренной массовой концентрации

, как
<*>;

- объемный расход сухих дымовых газов, определяемый по формуле
где

- средний коэффициент неравномерности поля динамических давлений, полученный в соответствии с
п. 6.2.9;

- коэффициент напорной трубки;

,

,

,

,

, S - результаты измерений, соответственно: перепада давления в контрольной точке измерительного сечения, статического давления, температуры, влажности потока дымовых газов, атмосферного давления, площади измерительного сечения.
--------------------------------
<*> В соответствии с формулами, приведенными в
п. 4.2.2, имеем

.
8.3. Определяют массовый выброс i-го загрязняющего вещества по значениям

, полученным на основе измерений штатными приборами и измерений массовых концентраций загрязняющих веществ и содержания кислорода, выполненных по данной МВИ, по формуле

, (7)
где

- объемный расход сухих дымовых газов, подсчитываемый с использованием штатных измерений по формуле

, (8)
при использовании в качестве топлива мазута и

, (9)
при использовании в качестве топлива природного газа,
где

,

- расход топлива (мазута и газа соответственно) на котельную установку, измеряемый штатным расходомерным устройством, т/ч (тыс. м3/ч);

- результат измерения содержания кислорода;

- низшая теплота сгорания рабочей массы топлива, кДж/кг, для твердого и жидкого топлива и кДж/м3 - для газообразного;

- влажность топлива на рабочую массу, %.
За значения

и

принимают последние результаты их определения, полученные при анализе топлива в аналитической лаборатории ТЭС.
Примечание.
Формулы (8),
(9) относятся к случаю сжигания одного вида топлива. При совместном сжигании мазута и природного газа

рассчитывают для каждого топлива в отдельности и полученные результата суммируют.
9. КОНТРОЛЬ ТОЧНОСТИ РЕЗУЛЬТАТОВ ИЗМЕРЕНИЙ
9.1. Точность результатов определения массовых выбросов обеспечивается точностью результатов измерений отдельных параметров.
9.2. Контроль точности результатов измерений массовых концентраций CO, NO,

и содержания

в дымовых газах переносным газоанализатором проводят в случае возникновения сомнений в результатах измерений указанных компонентов, а также периодически по каждому измерительному каналу с помощью баллонов с ПГС.
При отрицательном результате контроля проводят в соответствии с инструкцией по эксплуатации прибора корректировку показаний газоанализатора, относящихся к тем компонентам, погрешность результатов измерений которых превышает допустимую. Эту операцию выполняют, если она предусмотрена в эксплуатационной документации для потребителя. В других случаях газоанализатор следует направить в сервисную службу для корректировки и ремонта.
9.3. Точность результатов измерений температуры, избыточного давления, скорости, площади измерительного сечения, расхода и влажности газового потока контролируют путем проведения периодических поверок средств измерений, используемых при выполнении данных измерений, в соответствии с нормативной документацией по поверке на каждый конкретный тип СИ.
10. ПОКАЗАТЕЛИ ТОЧНОСТИ ИЗМЕРЕНИЙ, СПОСОБЫ
И ФОРМЫ ИХ ПРЕДСТАВЛЕНИЯ
10.1. В качестве показателя точности измерения массовых выбросов загрязняющих веществ принимается интервал, в котором находится абсолютная погрешность измерения.
10.2. Устанавливается следующая форма представления результатов измерения:

, (10)
где

- массовый выброс i-ого загрязняющего вещества, г/с;

и

- нижняя и верхняя границы интервала, в котором находится абсолютная погрешность измерения массового выброса, г/с.
Верхнюю и нижнюю границы интервала находят по значению приписанной относительной погрешности измерения (см.
п. 3.1) как

.
11. ТРЕБОВАНИЯ К КВАЛИФИКАЦИИ ОПЕРАТОРА
К работе по измерению массового выброса загрязняющих веществ с помощью переносного газоаналитического комплекта допускаются лица, имеющие высшее и среднее специальное техническое образование, изучившие инструкции по эксплуатации приборов, входящих в газоаналитический комплект и "
Руководство по контролю источников загрязнения атмосферы" ОНД-90, и имеющие опыт проведения газового анализа не менее 6 мес.
12. ТРЕБОВАНИЯ БЕЗОПАСНОСТИ
12.1. Перед началом работы лица, проводящие измерения состава и расхода дымовых газов с помощью газоаналитического комплекта, должны быть ознакомлены с действующими на данном предприятии правилами безопасности.
12.2. Работы, связанные с отбором проб на высоте, допускается проводить только при наличии прочных устойчивых площадок, огражденных перилами высотой не менее 1 м.
Запрещается устраивать временные настилы на случайных опорах, ставить леса, подмостки на конструкционные элементы, не рассчитанные на дополнительную нагрузку, а также крепить их к малоустойчивым частям здания.
12.3. Монтаж, установку и эксплуатацию приборов проводить в вентилируемых взрывобезопасных существующих или специально построенных помещениях. Концентрация агрессивных и токсичных газов и паров в воздухе помещений должна быть не выше указанных в
ГОСТ 12.1.005 значений. Помещения должны быть освещены в соответствии с действующими нормами
СНиП II-4.
12.4. При проведении ремонтных и монтажных работ приборы должны быть отключены от сети с помощью сетевых разъемов. Баллоны с газами при этом должны быть перекрыты.
12.5. При работе с баллонами, наполненными поверочными газовыми смесями, необходимо соблюдать следующие требования:
- баллоны должны быть установлены на расстоянии не менее 1 м от источника тепла;
- не допускать утечек газа в местах подсоединения баллонов к соединительным шлангам, проверяя их мыльной пеной не реже 1 раза в месяц;
- давление поверочных газовых смесей должно быть не более 50 кПа.
12.6. Эксплуатация электроприборов и электроустановок, используемых в процессе проведения измерений, должна проводиться в соответствии с требованиями
ГОСТ 12.1.019, правилами технической эксплуатации и техники безопасности при эксплуатации электроустановок потребителей, утвержденными Госэнергонадзором РФ.
(справочное)
Минимальные и максимальные значения массовых выбросов
(расходов) загрязняющих веществ, г/с, при нормальной
эксплуатации котлов
Топливо |  в пересчете на  | | CO |
мин. | макс. | мин. | макс. | мин. | макс. |
Уголь | 0,2 | 1000 | 1 | 2500 | 0,1 | 2000 |
Мазут малосернистый | 0,2 | 1000 | 1,5 | 1000 | 0,2 | 2000 |
Мазут, содержащий более 1% серы | 0,2 | 1000 | 3,8 | 2500 | 0,2 | 2000 |
Газ природный | 0,2 | 1000 | - | - | 0,1 | 1500 |
Примечание. Указанные в графах "макс." значения соответствуют блокам 800 МВт, работающим на угле, и блоку 1200 МВт, работающему на газе-мазуте. |
Минимальные м максимальные значения массовых концентраций
загрязняющих веществ, мг/м3, при нормальной
эксплуатации котлов
Топливо | NO | | | CO |
мин. | макс. | мин. | макс. | мин. | макс. | мин. | макс. |
Уголь | 130 | 1600 | 2 | 80 | 430 | 5000 | 12 | 400 |
Мазут малосернистый | 100 | 1300 | 2 | 80 | 600 | 1400 | 30 | 400 |
Мазут, содержащий более 1% серы | 100 | 1200 | 2 | 80 | 1500 | 6000 | 30 | 400 |
Газ природный | 30 | 1500 | 2 | 100 | - | - | 5 | 300 |
(рекомендуемое)
РАСЧЕТНЫЕ ФОРМУЛЫ ДЛЯ ОЦЕНКИ ПОГРЕШНОСТИ ИЗМЕРЕНИЯ
МАССОВОГО РАСХОДА (ВЫБРОСА) ЗАГРЯЗНЯЮЩИХ ВЕЩЕСТВ
ОТ КОТЕЛЬНЫХ УСТАНОВОК
Массовый расход (выброс) данного загрязняющего вещества является косвенно измеряемой величиной, определяемой по формуле

, (Б.1)
где

- среднеарифметическое значение результатов наблюдений за концентрацией i-го загрязняющего вещества (см.
Приложение Г);

- расход сухих газов, находится по формуле

, (Б.2)
если измеряют скорость, площадь сечения газохода, влажность дымовых газов, или

, (Б.3)
если его определяют по измеренным расходу (используют штатные измерения), теплотворной способности и влажности мазута (с учетом данных штатного лабораторного контроля), содержанию кислорода в дымовых газах (измеряют в выбранном сечении), и

, (Б.4)
если определяется по измеренным расходу природного газа (используют штатные измерения), его теплотворной способности (используют данные штатного лабораторного контроля), содержанию кислорода в дымовых газах (измеряют в выбранном сечении).
Для удобства оценки погрешности вводим условные величины:

, (Б.5)

, (Б.6)

, (Б.7)

, (Б.8)

, (Б.9)

. (Б.10)

(Б.11)

(Б.12)

(Б.13)

(Б.14)
Оценка погрешности условных величин:

(Б.15)

; (Б.16)

; (Б.17)

; (Б.18)

; (Б.19)

. (Б.20)
Таблица Б.1
Пример расчета погрешности измерения массовых выбросов через
сечение перед дымососом котла ПТВМ-30 (топливо - мазут)
Параметр | Обозначение | Единица измерения | Значение | Источник информации |
1 | 2 | 3 | 4 | 5 |
Содержание кислорода | | % | 1,5 | Протокол измерений |
Погрешность определения  | | % | 0,1 | Оценка на основе паспортных данных на прибор |
Вспомогательная величина E | E | - | 1,0131 | |
Погрешность определения E | dE | - | 0,0105 | |
Теплотворная способность | Q | кДж/кг | 39356 | Лабораторный журнал энергообъекта |
| | ИС МЕГАНОРМ: примечание. В официальном тексте документа, видимо, допущена опечатка: имеется в виду РД 34.11.321-96, а не РД 34.321-96. | |
|
Погрешность определения Q | dQ | кДж/кг | 130 | |
Содержание влаги в топливе | W | % | 3 | Лабораторный журнал энергообъекта |
| | ИС МЕГАНОРМ: примечание. В официальном тексте документа, видимо, допущена опечатка: имеется в виду РД 34.11.321-96, а не РД 34.321-96. | |
|
Погрешность определения W | dW | % | 0,06 | |
Вспомогательная величина F | F | - | 9,411 | |
Погрешность определения F | dF | - | 0,0358 | |
Расход мазута на котел | | т/ч | 1,8 | Протокол измерений (штатный контроль) |
| | ИС МЕГАНОРМ: примечание. В официальном тексте документа, видимо, допущена опечатка: имеется в виду РД 34.11.321-96, а не РД 34.321-96. | |
|
Погрешность определения  | | т/ч | 0,0036 | |
Объемный расход дымовых газов | | м3/ч | 18876,9 | |
Погрешность определения  | | м3/ч | 704,9 | |
Концентрация NO | | мг/м3 | 150 | Протокол измерений |
Концентрация  (в пересчете на  ) | | мг/м3 | 241 | Расчет по формуле  |
Погрешность определения  | | мг/м3 | 15 | Оценка на основе паспортных данных на прибор |
Погрешность определения  | | мг/м3 | 24 | Расчетные данные |
Концентрация  | | мг/м3 | 500 | Протокол измерений |
Погрешность определения  | | мг/м3 | 50 | Оценка на основе паспортных данных на прибор |
Концентрация CO | | мг/м3 | 0 | Протокол намерений |
Погрешность определения  | | мг/м3 | - | Оценка на основе паспортных данных на прибор |
Коэффициент неравномерности поля концентрации | | - | 0,9 | Протокол измерений |
Погрешность определения  | | - | 0,09 | Оценка на основе специальных измерений |
Массовый выброс  | | г/с | 1,14 | |
Погрешность определения  | | г/с | 0,17 | |
Относительная погрешность определения  | | % | 14,63 | Расчет по формуле  |
Массовый выброс  | | г/с | 2,36 | |
Погрешность определения  | | г/с | 0,26 | |
Относительная погрешность определения  | | % | 11,09 | Расчет по формуле  |
Таблица Б.2
Пример расчета погрешности измерения массовых выбросов через
сечение перед дымососом котла БКЗ-420 (топливо - уголь)
Параметр | Обозначение | Единица измерения | Значение | Источник информации |
1 | 2 | 3 | 4 | 5 |
Коэффициент напорной трубки | | - | 0,56 | Паспорт на напорную трубку |
Погрешность определения  | | - | 0,0168 | То же |
Динамическое давление | | кПа | 200 | Протокол измерений |
Погрешность измерения  | | кПа | 10 | Оценка на основе паспортных данных на прибор ДМЦ |
Температура дымовых газов | | °C | 140 | Протокол измерений |
Погрешность определения  | | °C | 6 | Оценка на основе паспортных данных на прибор ТТЦ |
Вспомогательная величина A | A | - | 5,142 | |
Погрешность определения A | dA | - | 0,1546 | |
Барометрическое давление | | кПа | 100 | Протокол измерений |
Погрешность определения  | | кПа | 0,04 | Оценка на основе паспортных данных на прибор |
Давление дымовых газов | | кПа | -2,5 | Протокол измерений |
Погрешность определения  | | кПа | 0,2 | Оценка на основе паспортных данных на прибор |
Вспомогательная величина B | B | - | 97,5 | |
Погрешность определения B | dB | - | 0,24 | |
Влажность дымовых газов | | г/м3 | 50 | Протокол измерений |
Погрешность определения  | | г/м3 | М | |
Вспомогательная величина C | C | - | 0,938 | |
Погрешность определения C | dC | - | 0,0014 | |
Коэффициент неравномерности поля скоростей | | - | 0,8 | Протокол измерений |
Погрешность определения  | | - | 0,08 | Оценка на основе специальных измерении |
Площадь сечения | S | м2 | 7 | Протокол измерений |
Погрешность определения S | dS | м2 | 0,14 | Расчет |
Объемный расход сухих дымовых газов | | м3/ч | 198472 | |
Погрешность определения  | | м3/ч | 21103,8 | |
Концентрация NO | | мг/м3 | 474 | Протокол измерений |
Концентрация  (в пересчете на  ) | | мг/м3 | 761 | Расчет по формуле  |
Погрешность определения  | | мг/м3 | 50 | Оценка на основе паспортных данных на прибор |
Погрешность определения  | | мг/м3 | 80 | Расчет |
Концентрация  | | мг/м3 | 700 | Протокол измерений |
Погрешность определения  | | мг/м3 | 70 | Оценка на основе паспортных данных на прибор |
Концентрация CO | | мг/м3 | 100 | Протокол измерений |
Погрешность определения  | | мг/м3 | 10 | Оценка на основе паспортных данных на прибор |
Коэффициент неравномерности поля концентраций | | - | 0,95 | Протокол измерений |
Погрешность определения  | | - | 0,09 | Оценка на основе специальных измерений |
Массовый выброс  | | г/с | 39,91 | |
Погрешность определения  | | г/с | 7,07 | |
Относительная погрешность определения  | | % | 17,72 | Расчет по формуле  |
Массовый выброс  | | г/с | 36,69 | |
Погрешность определения  | | г/с | 6,38 | |
Относительная погрешность определения  | | % | 17,40 | Расчет по формуле  |
Массовый выброс CO | | г/с | 5,24 | |
Погрешность определения  | | г/с | 0,91 | |
Относительная погрешность определения  | %CO | % | 17,40 | Расчет по формуле  |
Таблица Б.3
Пример расчета погрешности измерения массовых
выбросов через сечение перед дымососом котла ПТВМ-30
(топливо - природный газ)
Параметр | Обозначение | Единица измерения | Значение | Источник информации |
1 | 2 | 3 | 4 | 5 |
Содержание кислорода | | % | 2 | Протокол измерений |
Погрешность определения  | | % | 0,2 | Оценка на основе паспортных данных на прибор |
Вспомогательная величина G | G | - | 0,9907 | |
Погрешность определения G | dG | - | 0,0105 | |
Теплотворная способность | Q | кДж/кг | 34330 | Лабораторный журнал энергообъекта |
| | ИС МЕГАНОРМ: примечание. В официальном тексте документа, видимо, допущена опечатка: имеется в виду РД 34.11.321-96, а не РД 34.321-96. | |
|
Погрешность определения Q | dQ | кДж/кг | 170 | |
Содержание влаги в топливе | W | % | 0 | Лабораторный журнал энергообъекта |
| | ИС МЕГАНОРМ: примечание. В официальном тексте документа, видимо, допущена опечатка: имеется в виду РД 34.11.321-96, а не РД 34.321-96. | |
|
Погрешность определения W | dW | % | 0 | |
Вспомогательная величина F | F | - | 8,19 | |
Погрешность определения F | dF | - | 0,041 | |
Расход газа на котел | | тыс. м3/ч | 2 | Протокол измерений (штатный контроль) |
| | ИС МЕГАНОРМ: примечание. В официальном тексте документа, видимо, допущена опечатка: имеется в виду РД 34.11.321-96, а не РД 34.321-96. | |
|
Погрешность определения  | | тыс. м3/ч | 0,032 | |
Объемный расход дымовых газов | | м3/ч | 18020,7 | |
Погрешность определения  | | м3/ч | 801,4 | |
Концентрация NO | | мг/м3 | 100 | Протокол измерений |
Концентрация  (в пересчете на  ) | | мг/м3 | 161 | Расчет по формуле  |
Погрешность определения  | | мг/м3 | 15 | Оценка на основе паспортных данных на прибор |
Погрешность определения  | | мг/м3 | 24 | Расчет |
Концентрация  | | мг/м3 | 0 | Протокол измерений |
Погрешность определения  | | мг/м3 | - | Оценка на основе паспортных данных на прибор |
Концентрация CO | | мг/м3 | 150 | Протокол измерений |
Погрешность определения  | | мг/м3 | 15 | Оценка на основе паспортных данных на прибор |
Коэффициент неравномерности поля концентрации | | - | 0,9 | Протокол измерений |
Погрешность  | | - | 0,09 | Оценка на основе специальных измерений |
Массовый выброс  | | г/с | 0,724 | |
Погрешность определения  | | г/с | 0,1345 | |
Относительная погрешность определения  | | % | 18,6 | Расчет по формуле  |
Массовый выброс  | | г/с | 0 | |
Погрешность определения  | | г/с | - | |
Относительная погрешность определения  | | % | - | Расчет по формуле  |
Массовый выброс CO | | г/с | 0,676 | |
Погрешность определения  | | г/с | 0,1003 | |
Относительная погрешность определения  | %CO | % | 14,8 | Расчет по формуле  |
(справочное)
ГАЗОАНАЛИЗАТОРОВ С ЭЛЕКТРОХИМИЧЕСКИМИ ДАТЧИКАМИ
Тип газоанализатора, фирма-изготовитель | Определяемые компоненты | Диапазоны измерения (объемная доля) | Пределы допускаемой погрешности |
1. KM 9106 (QUINTOX), фирма "KANE MAY" (Великобритания) | | 0 - 25% | +/- 0,2%, объемная доля |
CO | 0 - 10000 ppm | +/- 10% |
NO | 0 - 5000 ppm | +/- 5% |
| 0 - 2000 ppm | +/- 5% |
2. TESTO 350, фирма "TESTO GmbH" (Германия) | | 0 - 21% | +/- 0,2%, объемная доля |
CO | 0 - 10000 ppm | +/- 5% |
NO | 0 - 3000 ppm | +/- 5% |
| 0 - 5000 ppm | +/- 5% |
3. MSI 150, фирма "DRAGERWERK" (Германия) | | 0 - 21% | +/- 0,2%, объемная доля |
CO | 0 - 4000 ppm | +/- 10% |
NO | 0 - 2000 ppm | +/- 10% |
| 0 - 4000 ppm | +/- 10% |
4. ДАГ-16, фирма "ДИТАНГАЗ" (Россия, г. Н. Новгород) | | 0 - 20,9% | +/- 0,25%, объемная доля |
CO | 0 - 6000 ppm | +/- 5% |
NO | 0 - 1000 ppm | +/- 10% |
| 0 - 4000 ppm | +/- 10% |
5. ГАЗОТЕСТ-201, фирма НПО "Химавтоматика" (Россия, г. Москва) | | 0 - 21% | +/- 0,4%, объемная доля |
CO | 0 - 1000 ppm | +/- 10% |
NO | 0 - 400 ppm | +/- 10% |
| 0 - 1000 ppm | +/- 10% |
(рекомендуемое)
ЖУРНАЛ РЕГИСТРАЦИИ РЕЗУЛЬТАТОВ ИЗМЕРЕНИЙ
ПАРАМЕТРОВ ПОТОКА ДЫМОВЫХ ГАЗОВ
Место испытаний Номер установки
Дата: Время: начало - окончание - Атмосферное давление  , кПа: Температура окружающего воздуха  , °C: Влажность дымовых газов  , г/м3: Площадь измерительного сечения S, м3: |
Номер серии измерений | Номер наблюдения | Показания газоанализатора | Показания ДМЦ |
 , мг/м3 |  , мг/м3 |  , мг/м3 |  , объемная доля, % | t, °C | Динамическое давление  , Па | Статическое давление  , Па |
1 | 1 | | | | | | | |
| 2 | | | | | | | |
| 3 | | | | | | | |
2 | 1 | | | | | | | |
| 2 | | | | | | | |
| 3 | | | | | | | |
3 | 1 | | | | | | | |
| 2 | | | | | | | |
| 3 | | | | | | | |
| Средние значения |
| | | | | | |
Массовый выброс, г/с | | |
| | |
| | |
Примечания.
1. Предусматривается, что датчик температуры имеется в комплекте газоанализатора. При необходимости эти измерения могут также проводиться с помощью отдельного датчика и соответствующего измерительного прибора.
2. При использовании измерений штатными приборами в графы для

и

записывают

,

, а в графу t - расход топлива В, соответственно заменяя обозначения.
(справочное)
ФОРМУЛЫ (6), (8) И (9) ДЛЯ ВЫЧИСЛЕНИЯ
ОБЪЕМНОГО РАСХОДА СУХИХ ДЫМОВЫХ ГАЗОВ
Формулы получены на основе зависимостей, приведенных в [1] и [2] <*>.
--------------------------------
<*> Здесь и далее [1] -
ГОСТ 17.2.4.06-90. Методы определения скорости и расхода газопылевых потоков, отходящих от стационарных источников загрязнения; [2] - Пеккер Я.Л. Теплотехнические расчеты по приведенным характеристикам топлива (обобщенные методы). М.: Энергия, 1977.
Д.1.
Формула (6) - Расчет расхода сухих дымовых газов по измеренной скорости потока
Д.1.1. Расход дымовых газов V, м3/с, при рабочих условиях - фактических значениях температуры

, °C, атмосферного давления

, кПа, статического давления

, кПа, и влажности

, г/м3, - отделяют в соответствии с [1] по формуле

, (Д.1)
где

- средняя скорость потока дымовых газов, м/с;
S - площадь измерительного сечения газохода, м2.
Д.1.2. Среднюю скорость потока дымовых газов вычисляют по формуле, приведенной в [1]:

, (Д.2)
где

- коэффициент неравномерности поля скоростей;

- динамическое давление в контрольной точке измерительного сечения, Па;

- плотность газа при рабочих условиях, кг/м3.
Д.1.2.1. Динамическое давление определяют по формуле из [1]

, (Д.3)
где p - отсчет по шкале микроманометра, Па;

- коэффициент, зависящий от угла наклона измерительной трубки микроманометра;

- коэффициент напорной трубки, определяемый при ее метрологической аттестации.
При использовании в комплекте с напорной трубкой цифрового дифференциального манометра (например, ДМЦ-01/М) значения динамического давления определяют по формуле

, (Д.4)
где

- измеренный перепад давлений на напорной трубке.
Д.1.2.2. Плотность дымовых газов при рабочих условиях определяют на основе уравнения состояния газов по формуле

, (Д.5)
где

- плотность дымовых газов при нормальных условиях (

;

), кг/м3, принимают равной

[1].
Д.1.3. Расход дымовых газов при нормальных условиях (

, м3/с) с учетом [1] и уравнения состояния газов определяют по формуле

, (Д.6)
или, определяя

в м3/ч, получаем:

. (Д.7)
Д.1.4. Расход сухих дымовых газов при нормальных условиях (

, м3/ч) определяют как разность объемов полного и занимаемого водяными парами по формуле

, (Д.8)
где

- объемная доля водяных паров в потоке дымовых газов.

. (Д.9)
Д.1.5. Значение

определяют с помощью закона Авогадро по формуле

, (Д.10)
где

- влажность потока дымовых газов при нормальных условиях, измеренная в соответствии с
ГОСТ 17.2.4.08, г/м3;

- молярный объем газа при нормальных условиях

;

- молярная масса водяного пара, равная 18 г/моль.

.
Д.2.
Формулы (8) и
(9) для расчета расхода сухих дымовых газов по расходу топлива
Д.2.1. Действительный объем сухих дымовых газов, образующихся при сгорании 1 кг мазута (

, м3/кг) или 1 м3 природного газа (

, м3/м3)
<*> при нормальных условиях, определяют в соответствии с [2] по формуле

, (Д.11)
где

- коэффициент избытка воздуха;
x, a - коэффициенты, зависящие от вида топлива;

- низшая теплота сгорания рабочей массы топлива, кДж/кг для жидкого топлива и кДж/м3 для газообразного топлива;

- влажность топлива на рабочую массу, %.
--------------------------------
<*> Для мазута размерность здесь и далее - м3/кг, для природного газа - м3/м3. Все расчеты для газообразного топлива относятся к 1 м3 сухого газа при нормальных условиях (p = 101,3 кПа; t = 0 °C).
Д.2.1.1. Значения

определяют по формуле, приведенной в [2]:

, (Д.12)
где y - коэффициент, зависящий от вида топлива;

- содержание кислорода в дымовых газах.
Д.2.1.2. Значения коэффициентов x, a, y на основании данных [2] приведены ниже:
Топливо | a | x | y |
Мазут | 1,10 | 15,0 | 0,05 |
Природный газ | 1,11 | 10,6 | 0,1 |
Д.2.2. Объемный расход сухих дымовых газов (

, м3/ч) при сгорании данного количества топлива при нормальных условиях определяют по формуле

, (Д.13)
где В - часовой расход топлива, т/ч (для мазута) или тыс. м3/ч (для природного газа).
Д.2.3. С учетом
формул (Д.11) -
(Д.13) и значений коэффициентов, приведенных в
п. Д.2.1.2, получаем расчетные
формулы (8) и
(9) для определения объемного расхода сухих дымовых газов при использовании в качестве топлива:
мазута

,
природного газа

,
где

,

- соответственно расход мазута или природного газа на котельную установку, измеряемый штатным расходомерным устройством, т/ч (тыс. м3/ч).
(справочное)
ПЕРЕЧЕНЬ
НД, НА КОТОРЫЕ ДАНЫ ССЫЛКИ В РД 153-34.1-11.353-2001
Обозначение НД | Наименование НД | Пункт, в котором имеется ссылка |
1 | 2 | 3 |
| ССБТ. Общие санитарно-гигиенические требования к воздуху рабочей зоны | |
| ССБТ. Электробезопасность. Общие требования и номенклатура видов защиты | |
| Охрана природы. Атмосфера. Методы определении скорости и расхода газопылевых потоков, отходящих от стационарных источников загрязнения | |
| Охрана природы. Атмосфера. Методы определения влажности газопылевых потоков, отходящих от стационарных источников загрязнения | |
ГОСТ 64-2-286-79 | Трубки поливинилхлоридные | |
| Трубки медицинские резиновые | |
| | ИС МЕГАНОРМ: примечание. ГОСТ 5072-79 утратил силу с 1 января 1991 года (ИУС "Государственные стандарты", N 11, 1991). | |
|
ГОСТ 5072-79 | Секундомеры механические | |
| | ИС МЕГАНОРМ: примечание. Постановлением Госстандарта России от 27.07.1999 N 220-ст с 1 июля 2000 года введен в действие ГОСТ 7502-98. | |
|
ГОСТ 7502-80 | Рулетки металлические | |
| Азот газообразный и жидкий. Технические условия | |
| Реометры стеклянные лабораторные | |
| | ИС МЕГАНОРМ: примечание. Взамен ГОСТ 18599-83 Постановлением Госстандарта России от 23.03.2002 N 112-ст с 1 января 2003 года введен в действие ГОСТ 18599-2001. | |
|
ГОСТ 18599-83 | Трубки полиэтиленовые | |
|
|
ГОСТ 24104-88 | Весы лабораторные | |
| Посуда и оборудование лабораторные и стеклянные. Типы, основные параметры и размеры | |
| | ИС МЕГАНОРМ: примечание. Взамен ГОСТ 27544-87 Постановлением Госстандарта СССР от 30.03.1990 N 691 с 1 января 1991 года введен в действие ГОСТ 28498-90. | |
|
ГОСТ 27544-87 | Термометры лабораторные | |
| Термометры жидкостные стеклянные. Общие требования. Методы испытаний | |
ТУ 6-16-2956-87 | Поверочные газовые смеси. Технические условия | |
ТУ 5Л4.463.003-02 | Вентили регулирующие. Технические условия | |
ТУ 25-02.070213-82 | Ротаметры для измерения расхода жидкости и газа типа РМ | |
ТУ 25-04-1797-75 | Барометр-анероид контрольный М-67 | |
ТУ 2511-1219-76 | Психрометр универсального типа | |
ТУ 92-891.0261-91 | Мановакуумметры жидкостные | |
| | ИС МЕГАНОРМ: примечание. В официальном тексте документа, видимо, допущена опечатка: имеется в виду раздел 11, а не пункт 11.1. | |
|
| Руководство по контролю источников загрязнения атмосферы | |
| Строительные нормы и правила. Естественное и искусственное освещение | |
| | ИС МЕГАНОРМ: примечание. В официальном тексте документа, видимо, допущена опечатка: имеется в виду РД 34.11.321-96, а не РД 34.321-96. | |
|
| Нормы погрешности измерений технологических параметров тепловых электростанций и подстанций | |
| Правила организации контроля выбросов в атмосферу на тепловых электростанциях и в котельных | |