Главная // Актуальные документы // ВСН (Ведомственные строительные нормы)
СПРАВКА
Источник публикации
М.: Стройиздат, 1978
Примечание к документу
Введен в действие с 1 июля 1978 года.

Взамен СН 51-64.
Название документа
"ВСН 35-77. Инструкция по проектированию сборных железобетонных крыш жилых и общественных зданий"
(утв. Приказом Госгражданстроя при Госстрое СССР от 23.12.1977 N 250)

"ВСН 35-77. Инструкция по проектированию сборных железобетонных крыш жилых и общественных зданий"
(утв. Приказом Госгражданстроя при Госстрое СССР от 23.12.1977 N 250)


Содержание


Утверждена
Приказом Госгражданстроя
при Госстрое СССР
от 23 декабря 1977 г. N 250
ВЕДОМСТВЕННЫЕ СТРОИТЕЛЬНЫЕ НОРМЫ
ИНСТРУКЦИЯ
ПО ПРОЕКТИРОВАНИЮ СБОРНЫХ ЖЕЛЕЗОБЕТОННЫХ КРЫШ
ЖИЛЫХ И ОБЩЕСТВЕННЫХ ЗДАНИЙ
ВСН 35-77
Срок введения в действие
1 июля 1978 года
Внесена ЦНИИЭП жилища Госгражданстроя.
Утверждена Приказом Государственного комитета по гражданскому строительству и архитектуре при Госстрое СССР от 23 декабря 1977 г. N 250.
Взамен СН 51-64.
Инструкция по проектированию сборных железобетонных крыш жилых и общественных зданий разработана ЦНИИЭП жилища Госгражданстроя.
Инструкция является нормативным документом, регламентирующим применение сборных железобетонных крыш с холодным или теплым чердаком и бесчердачными крышами. В ней содержатся данные по проектированию сборных железобетонных крыш с кровлей из рулонных материалов и кровельными панелями с гидроизоляцией мастичными или окрасочными составами, а также данные по проектированию элементов крыш - теплоизоляции, гидроизоляции, деталей и водоотвода.
В основу Инструкции положены научно-исследовательские работы и обобщение опыта проектирования сборных железобетонных крыш жилых и общественных зданий, проведенные ЦНИИЭП жилища и СибЗНИИЭП Госгражданстроя, АрмНИИСА Госстроя Армянской ССР, АКХ им. К.Д. Памфилова Министерства жилищно-коммунального хозяйства РСФСР И МНИИТЭП Мосгорисполкома.
С введением в действие Инструкции по проектированию сборных железобетонных крыш жилых и общественных зданий утрачивают силу Указания по проектированию бесчердачных крыш жилых и общественных зданий (СН 51-64).
Редакторы - инж. Б.С. Вилков, Г.А. Нечаев (Государственный комитет по гражданскому строительству и архитектуре при Госстрое СССР), докт. техн. наук, проф. А.И. Фоломин, канд. техн. наук Е.И. Кричевская, инж. Б.Б. Шляпин (ЦНИИЭП жилища Госгражданстроя).
1. ОБЩИЕ ПОЛОЖЕНИЯ
1.1. Настоящая Инструкция распространяется на проектирование железобетонных крыш жилых и общественных зданий.
Инструкция не распространяется на проектирование эксплуатируемых плоских крыш и покрытий общественных зданий больших пролетов, криволинейного и складчатого очертания.
При проектировании крыш зданий, возводимых в сейсмических районах, на просадочных грунтах и на подрабатываемых территориях наряду с требованиями настоящей Инструкции необходимо также учитывать специальные требования, предъявляемые соответствующими нормативными документами к строительству зданий в перечисленных условиях.
1.2. В Инструкции приняты следующие определения: сборная железобетонная крыша - верхняя ограждающая конструкция здания для защиты помещений от атмосферных воздействий. Крыши могут быть чердачные и бесчердачные.
Чердачные крыши устраивают с холодным или теплым чердаком.
Чердак - объем, ограниченный покрытием, фризовыми стенами и чердачным перекрытием.
Покрытие - верхняя ограждающая конструкция, одновременно выполняющая несущие, гидроизолирующие, а при бесчердачных (совмещенных) крышах и при теплых чердаках также теплоизолирующие функции.
Кровля - верхний элемент покрытия, защищающий здание от атмосферных осадков.
Защитный слой - элемент кровли, предохраняющий гидроизоляционный ковер от механических повреждений, непосредственного воздействия атмосферных факторов и солнечной радиации.
Скат - наклонная поверхность кровли.
Конек - верхнее горизонтальное ребро крыши, образующее водораздел.
Водосборный лоток - элемент чердачной крыши для сбора и удаления дождевых и талых вод.
Ендова - место пересечения скатов крыши, по которому стекает вода.
Выдра - борозда под выступом, образованным напуском кладки или выступающим бортом.
1.3. Сборные железобетонные крыши классифицируют по следующим основным признакам:
по конструктивному решению - чердачные крыши (с холодным или теплым чердаком) и бесчердачные крыши (покрытия или совмещенные крыши);
по материалу кровли - из рулонных материалов и железобетонных кровельных панелей с гидроизоляцией мастичными или окрасочными составами (безрулонные кровли);
по способу изготовления - крыши из крупных панелей индустриального изготовления и крыши построечного выполнения.
1.4. Сборные железобетонные крыши следует устраивать следующих типов:
I. Чердачные крыши с кровлей из рулонных материалов.
II. Чердачные крыши с кровельными панелями и гидроизоляцией мастичными или окрасочными составами (безрулонная кровля).
III. Бесчердачные крыши (покрытия) из однослойных панелей, выполненных из легких или ячеистых бетонов.
IV. Бесчердачные крыши из многослойных комплексных панелей, состоящих из двух железобетонных панелей с применением эффективного теплоизоляционного материала между ними.
V. Бесчердачные крыши с несущими панелями из тяжелого бетона с укладкой по ним утепляющих панелей или плит из эффективных материалов.
VI. Бесчердачные крыши построечного выполнения многослойной конструкции с засыпным утеплителем и стяжкой под кровлю из рулонных материалов.
1.5. На чердаке должен быть обеспечен сквозной проход высотой не менее 1,6 м вдоль здания. При необходимости устройства проема в противопожарной стене в нем должна быть предусмотрена несгораемая или трудносгораемая дверь с пределом огнестойкости 0,75 ч.
Минимальную высоту чердака (у карниза или в средней части крыши в зависимости от типа водоотвода) следует принимать равной 1,2 м.
1.6. Конструкцию крыши следует выбирать в соответствии с климатическими условиями района строительства по табл. 1.
Таблица 1
────────────┬─────┬────────────────────────────┬──────────────────
Тип зданий │ Тип │ Конструкция крыши │ Климатический
│крыши│ │ район
│ │ ├───┬────┬────┬────
│ │ │ I │ II │III │ IV
────────────┼─────┼────────────────────────────┼───┼────┼────┼────
│ │ Чердачная крыша │ │ │ │
│ │ (с холодным или теплым │ │ │ │
│ │ чердаком) │ │ │ │
Жилые в │ I │ С кровлей из рулонных │ Д │ С │ С* │ С*
пять этажей │ │материалов │ │ │ │
и выше │ II │ С железобетонными │ С │ С │ С │ С
│ │кровельными панелями и │ │ │ │
│ │гидроизоляцией мастичными │ │ │ │
│ │или окрасочными составами │ │ │ │
│ │(безрулонная кровля) │ │ │ │
│ │ │ │ │ │
│ │ Бесчердачная крыша │ │ │ │
│ │ (покрытие) с кровлей │ │ │ │
│ │ из рулонных материалов │ │ │ │
Жилые │ III │ Из однослойных │ Д │ С │ Н │ Н
до четырех │ │комплексных панелей, │ │ │ │
этажей │ │выполненных из легких или │ │ │ │
включительно│ │ячеистых бетонов │ │ │ │
│ IV │ Из многослойных комплекс- │ Д │ С │ Н │ Н
│ │ных панелей, состоящих из │ │ │ │
│ │двух железобетонных панелей │ │ │ │
│ │с применением эффективного │ │ │ │
│ │теплоизоляционного │ │ │ │
│ │материала между ними │ │ │ │
│ V │ С несущими панелями из │ Д │ С │ Н │ Н
│ │тяжелого бетона с укладкой │ │ │ │
│ │по ним утепляющих панелей │ │ │ │
│ │из легких или ячеистых │ │ │ │
│ │бетонов │ │ │ │
│ VI │ Построечного выполнения │ Н │ Д* │ Н │ Н
│ │с засыпным или мелкоблочным │ │ │ │
│ │теплоизоляционным материа- │ │ │ │
│ │лом и стяжкой под кровлю │ │ │ │
│ │из рулонных материалов │ │ │ │
│ │ │ │ │ │
│ │ Бесчердачная крыша │ │ │ │
│ │ (покрытие) с кровлей │ │ │ │
│ │ из рулонных материалов │ │ │ │
Обществен-│III, │ Из однослойных или │ С │ С │ С* │ С*
ные │ IV │многослойных комплексных │ │ │ │
│ │панелей с применением лег- │ │ │ │
│ │ких или ячеистых бетонов, │ │ │ │
│ │а также эффективных тепло- │ │ │ │
│ │изоляционных материалов │ │ │ │
│ V │ С несущими панелями из │ С │ С │ С* │ С*
│ │тяжелого бетона с укладкой │ │ │ │
│ │по ним утепляющих панелей │ │ │ │
│ │из легких или ячеистых │ │ │ │
│ │бетонов или плит из эффек- │ │ │ │
│ │тивных теплоизоляционных │ │ │ │
│ │материалов │ │ │ │
│ VI │ Построечного выполнения │Д* │ Д* │ Д* │ Д*
│ │с засыпным или мелкоблочным │ │ │ │
│ │теплоизоляционным мате- │ │ │ │
│ │риалом и стяжкой под кровлю │ │ │ │
│ │из рулонных материалов │ │ │ │
Условные обозначения:
С - следует применять;
С* - следует применять с защитным слоем гравия (п. 2.29);
Д - допускается применять;
Д* - допускается применять для жилых и общественных зданий (п. 1.8);
Н - не допускается применять.
Примечания. 1. В жилых зданиях до четырех этажей в III и IV климатических районах следует применять чердачные крыши с кровлей из асбестоцементных листов, черепицы и других местных материалов по стропилам.
2. Крыши с теплым чердаком следует применять в жилых зданиях девять и более этажей во II и III климатических районах. Для экспериментального строительства допускается применять крыши с теплым чердаком в жилых зданиях пять этажей во всех климатических районах и в жилых зданиях девять и более этажей в I и IV климатических районах.
1.7. Проектирование крыш следует вести с учетом:
климата района строительства (температура наружного воздуха зимой и летом, инсоляция, атмосферные осадки, скорость ветра);
особых условий строительства (длительно мерзлые грунты, сейсмика, просадочные грунты, подрабатываемые территории);
характеристики зданий (назначение, высота, температурно-влажностной режим);
расположения зданий в системе застройки, планировки и благоустройства территории;
номенклатуры изделий и свойств имеющихся строительных материалов для устройства крыши и технических возможностей строительно-монтажных организаций.
1.8. Бесчердачные крыши (покрытия) построечного выполнения (сборные железобетонные панели перекрытия верхнего этажа, по которым укладывается засыпной теплоизолирующий материал с последующим устройством стяжки и кровли из рулонных материалов) допускается применять в жилых и общественных зданиях с разрешения госстроев союзных республик и при соответствующих технико-экономических обоснованиях. Крыши построечного выполнения допускается устраивать только летом в сухую погоду. При увлажнении теплоизоляционного материала продолжать работу разрешается лишь после его просушки. Эти условия производства работ должны быть оговорены в проекте.
1.9. Уклоны крыш, ендов и водосборных лотков следует назначать в зависимости от их конструкции (табл. 2).
Таблица 2
──────┬───────────────────────────────────────────────┬───────────
Тип │ Конструкция крыши │ Уклон, %
крыши │ │
──────┼───────────────────────────────────────────────┼───────────
I │ Чердачные крыши с кровлей из рулонных │ 2
│материалов │
II │ Чердачные крыши с кровельными панелями │ 5
│и гидроизоляцией мастичными или окрасочными │
│составами (безрулонная кровля) │
│ Водосборные лотки │ 3
III, │ Бесчердачные крыши (покрытия) из однослойных │1,5 <*>; 2
IV, V │и многослойных комплексных панелей, а также │
│с несущими панелями из тяжелого железобетона │
│с укладкой по ним утепляющих панелей из легких │
│или ячеистых бетонов или плит из эффективных │
│теплоизоляционных материалов │
IV │ Бесчердачные крыши (покрытия) построечного │2,5 <*>; 3
│выполнения с засыпным или мелкоблочным │
│теплоизоляционным материалом и стяжкой │
│под кровлю из рулонных материалов │
--------------------------------
<*> Допускается для общественных зданий при применении несущих панелей с преднапряженной арматурой.
Примечания. 1. В конструкциях крыш типа I допускается применять водосборные лотки без уклона.
2. В конструкциях крыш типов I, III, IV, V ендовы допускается выполнять без уклонов.
3. В конструкциях крыш типа VI уклон ендовы следует устраивать не менее 2%.
1.10. Выход на чердак и на крышу следует предусматривать в соответствии с требованиями глав СНиП по противопожарным нормам проектирования зданий и сооружений, по проектированию жилых зданий и по проектированию общественных зданий. Выход на чердак и на крышу в зданиях, оборудованных лифтами, необходимо предусматривать из помещений, смежных с машинными помещениями лифтов.
1.11. В рабочих чертежах крыш необходимо указывать:
конструкцию крыши и кровли, наименования и марки материалов и изделий со ссылками на государственные стандарты или технические условия;
величину уклонов, места установки водосточных воронок и расположения деформационных швов;
детали крыш и кровель в местах примыканий к стенам, фризовым панелям, шахтам и другим конструктивным элементам, конструкции для крепления телевизионных антенн, радиостоек, рекламных установок, иллюминации, молниезащиты, обеспечивающие надлежащую эксплуатацию указанных устройств.
1.12. При проектировании крыш следует предусматривать специальные мероприятия по уменьшению шума от воздушных радиотрансляционных сетей, передающегося в здания через радиотрансляционные стойки и оттяжки.
1.13. Ограждения следует предусматривать, как правило, решетчатые на крышах жилых зданий в три этажа и выше или более 10 м в общественных зданиях. Высота ограждения должна быть не менее 0,6 м.
1.14. При проектировании крыш необходимо делать надписи на чертежах, запрещающие использование карнизных свесов для подвешивания люлек при монтажных и ремонтных работах.
ИС МЕГАНОРМ: примечание.
Постановлением Госстроя СССР от 09.06.1980 N 82 с 1 января 1981 года введены в действие СНиП III-4-80* "Техника безопасности в строительстве".
Подвеска люлек должна осуществляться в соответствии с требованиями главы СНиП по технике безопасности в строительстве.
2. КОНСТРУКЦИИ КРЫШ
Основные требования
ИС МЕГАНОРМ: примечание.
Постановлением Госстроя СССР от 20.08.1984 N 136 с 1 января 1986 года введены в действие СНиП 2.03.01-84* "Бетонные и железобетонные конструкции".
2.1. Расчет конструктивных элементов из железобетона, легкого и ячеистого бетона на прочность, жесткость и трещиностойкость следует производить согласно требованиям главы СНиП по проектированию бетонных и железобетонных конструкций.
2.2. Конструкции крыш следует рассчитывать на постоянную нагрузку (собственный вес) и снеговую нагрузку в соответствии с требованиями глав СНиП - Нагрузки и воздействия и по проектированию бетонных и железобетонных конструкций.
2.3. Для обеспечения осушающей вентиляции во фризовых панелях продольных наружных стен в крышах с холодным чердаком и кровлей из рулонных материалов следует устраивать приточно-вытяжные отверстия с суммарной площадью поперечных сечений с каждой стороны не менее 1/500 площади крыши.
В целях уменьшения перегрева помещений верхнего этажа в III и IV климатических районах необходимо устраивать во фризовых панелях с каждой стороны здания отверстия площадью не менее 1/50 площади крыши. Высота вентиляционных отверстий должна быть не менее 300 мм.
Для исключения прямого попадания атмосферных осадков на чердак приточно-вытяжным отверстиям во фризовых панелях следует придавать в вертикальном разрезе ломаный или ступенчатый профиль. В районах с сильными ветрами для защиты от попадания осадков в вентиляционные отверстия следует устанавливать жалюзи.
Для исключения попадания птиц на чердак с внутренней стороны стены в приточно-вытяжные отверстия должны быть установлены металлические сетки с ячейками 20 x 20 мм.
Крыши с холодным чердаком и кровлей
из рулонных материалов
2.4. В состав крыши с холодным чердаком и кровлей из рулонных материалов входят: покрытие, водосборные лотки или ендовы с воронками для внутреннего водоотвода и кровля из рулонных материалов, фризы, выполняемые из панелей или штучных материалов (в зависимости от конструкции наружных стен), чердачное перекрытие из панелей, выполненных из легких или ячеистых бетонов, совмещающих несущие и теплоизолирующие функции, а также элементы конструкции, расположенные выше чердачного перекрытия из железобетонных панелей.
Крыши с холодным чердаком и кровельными панелями
с гидроизоляцией мастичными или окрасочными составами
(безрулонная кровля)
2.5. В состав крыш с холодным чердаком и кровельными панелями с гидроизоляцией мастичными или окрасочными составами входят элементы, перечисленные в п. 2.4 настоящей Инструкции, за исключением ендов и кровли из рулонных материалов.
Железобетонные кровельные панели и лотки следует выполнять предварительно-напряженными из бетона марки по прочности не менее М 400, по морозостойкости не менее Мрз 200, по водонепроницаемости не менее В-6, по трещиностойкости - I категории.
2.6. При проектировании кровельных панелей и водосборных лотков степень обжатия бетона предварительно-напряженной арматурой из условия обеспечения долговечности конструкции, находящейся в условиях попеременного замораживания и оттаивания, следует принимать не более 0,4 R призменного.
2.7. Стыки между кровельными панелями и водосборными лотками должны быть расположены выше поверхности водоотвода. В стыках необходимо обеспечивать свободу температурных деформаций.
2.8. Железобетонные кровельные панели следует проектировать с продольными и поперечными ребрами. Высота промежуточных продольных ребер назначается по расчету с учетом размещения между ребрами отверстий для пропуска вентиляционных шахт. Крайние несущие продольные ребра, служащие также для образования водонепроницаемых стыков, должны иметь высоту не менее 80 мм. Стыки между этими ребрами должны быть перекрыты плитами-нащельниками (рис. 1,а) или внахлестку выступающим свесом крайнего высокого ребра смежной панели с прокладкой герметика (рис. 1,б).
а
б
Рис. 1. Схемы конструкций стыков кровельных панелей
с гидроизоляцией мастичными или окрасочными составами
а - с перекрытием плитой-нащельником; б - внахлестку;
1 - кровельная панель; 2 - П-образная плита-нащельник;
3 - герметик
Кровельные панели при опорах на водосборный лоток должны иметь нижнее ребро на всю ширину панели; при опоре на наружную стену - верхнее ребро, расположенное выше уровня стока воды.
Толщину плиты кровельных панелей следует принимать не менее 40 мм. Для пропуска через кровельные панели вентиляционных шахт, стояков вытяжной вентиляции из канализации и выходов на крышу в панелях следует предусматривать отверстия с бортиками высотой от 80 до 100 мм по периметру. Для крепления решетчатых ограждений крыш в кровельных панелях должна быть предусмотрена установка закладных деталей.
2.9. Железобетонные водосборные лотки следует проектировать преимущественно однопролетными корытообразного профиля. Высоту несущих продольных ребер лотка необходимо принимать по расчету, но не менее 350 мм; толщину днища - не менее 80 мм; высоту торцовых ребер лотка - на 80 - 100 мм меньше высоты несущих продольных ребер; ширину водосборного лотка - не менее 900 мм.
2.10. В каждом водосборном лотке следует предусматривать установку одной водосточной воронки. Водосточные воронки должны располагаться вблизи смежных торцовых ребер лотков и присоединяться к одному водосточному стояку. В днище лотка должна быть установлена закладная деталь, служащая для крепления водосточной воронки со сливным патрубком.
Крыши с теплым чердаком и кровлей из рулонных материалов
2.11. В состав крыши с теплым чердаком входят: утепленные кровельные и фризовые панели и элементы конструкции, расположенные выше чердачного перекрытия из железобетонных панелей.
2.12. В крышах с теплым чердаком вентиляционные каналы должны быть выведены на чердак и завершены бетонными оголовками высотой 600 мм.
Удаление воздуха из чердака следует предусматривать через одну вытяжную шахту на каждую секцию дома, устанавливаемую на покрытии. Высоту вытяжной шахты следует определять расчетом вентиляции. Отметка верха шахты должна быть не менее 4,5 м от чердачного перекрытия. При этом шахта должна быть на 0,5 м выше покрытия помещения, к стене которого она примыкает. Стояки вытяжной вентиляции из канализации должны быть объединены в пределах секции на чердаке общим стояком, пропускаемым через вытяжную шахту.
Бесчердачные крыши (покрытия)
2.13. Бесчердачные крыши следует проектировать из панелей, совмещающих несущие, тепло- и гидроизоляционные функции. Панели следует проектировать однослойными или многослойными, утепленными эффективными материалами.
Допускается применение бесчердачных крыш, состоящих из несущих панелей и утепляющих однослойных панелей или плит, уложенных на несущие панели перекрытия верхнего этажа. Для утепляющих панелей следует применять легкие или ячеистые бетоны с минимальной маркой по прочности на сжатие, получаемой по расчету на транспортно-монтажные воздействия и эксплуатационные нагрузки.
2.14. В бесчердачных крышах из многослойных комплексных панелей, в которых эффективный теплоизоляционный материал отделяется от жилого помещения слоем тяжелого железобетона толщиной 4 см и менее, над теплоизоляцией должна быть предусмотрена вентилируемая воздушная прослойка.
2.15. При использовании в качестве несущей конструкции сплошных или многопустотных железобетонных панелей перекрытий в целях пароизоляции стыки между панелями следует оклеивать сверху полосами рубероида.
Теплоизоляция
2.16. Толщину теплоизоляционного слоя следует принимать в соответствии с теплотехническим расчетом.
Применение сгораемых и трудносгораемых, а также небиостойких теплоизоляционных материалов не допускается.
Теплозащитные качества участков и узлов с повышенной теплопроводностью следует проверять путем расчета температурных полей.
Влажность теплоизоляционных материалов не должна быть выше предусмотренной государственными стандартами.
2.17. Начальная влажность бетона однослойных и утепляющих панелей должна соответствовать ГОСТ 17077-71.
2.18. Для теплоизоляции следует применять преимущественно плитные материалы. В крышах с холодным чердаком и крышах построечного выполнения допускается применение засыпных утеплителей.
2.19. В крышах с холодным чердаком воздухопроницаемые теплоизоляционные материалы должны быть защищены от инфильтрации холодного воздуха смазкой глиняным или известково-песчаным раствором. Поверхность теплоизоляционного слоя по периметру здания в прикарнизной части крыши должна быть защищена от увлажнения полосой рубероида на ширину 1000 мм.
2.20. Запрещается применение теплоизоляционных материалов, обладающих токсичностью или выделяющих запахи (ввиду возможности их проникания в жилые помещения). К применению могут быть допущены лишь те материалы, которые получили положительную гигиеническую оценку и включены в "Перечень полимерных материалов и изделий, разрешенных к применению в строительстве".
Кровли и гидроизоляция
2.21. Для кровель и гидроизоляции крыш следует применять рулонные материалы или мастичные и окрасочные составы.
2.22. Основания под все виды кровель из рулонных материалов и гидроизоляцию из мастичных или окрасочных составов должны быть ровными, без выбоин и раковин.
2.23. Основанием под кровлю из рулонных материалов служат:
поверхности железобетонных или легкобетонных панелей, выровненные путем затирки цементным раствором марки не ниже М 50 слоем толщиной 5 мм или песчаным асфальтобетоном толщиной 10 мм;
стяжки из цементно-песчаного раствора марки не ниже М 50 толщиной 15 мм по жесткому плитному утеплителю;
стяжки из цементно-песчаного раствора марки не ниже М 100 толщиной 25 мм по уплотненному засыпному теплоизоляционному материалу.
По монолитной и плитной теплоизоляции в осенне-зимний период при отрицательной температуре наружного воздуха допускается применение асфальтобетонной стяжки толщиной 25 мм с сопротивлением сжатию не менее 8 кгс/см2 при температуре 50 °C.
2.24. Выравнивающую стяжку следует разделять температурно-усадочными швами шириной до 5 мм на участки: для цементно-песчаных стяжек размером не более 6 x 6 м; для асфальтобетонных стяжек не более 4 x 4 м.
Температурно-усадочные швы в стяжках должны располагаться над торцовыми швами несущих панелей и над температурно-усадочными швами в слоях монолитной теплоизоляции.
ИС МЕГАНОРМ: примечание.
Взамен ГОСТ 14791-69 Постановлением Госстроя СССР от 22.05.1979 N 71 введен в действие с 1 января 1981 года ГОСТ 14791-79.
Разделительные швы в цементных и асфальтобетонных стяжках следует заполнять мастиками изол по ТУ 21-27-37-74 или УМС-50 по ГОСТ 14791-69.
Поверхность железобетонных или легкобетонных панелей, а также стяжек из цементно-песчаного раствора следует огрунтовывать раствором битума марки V в керосине или соляровом масле в соотношении (по весу) 1:2 - 1:3.
При устройстве асфальтобетонных стяжек и битумных грунтовок по цементно-песчаным стяжкам следует руководствоваться требованиями главы СНиП по производству и приемке работ по кровлям, гидроизоляции, пароизоляции и теплоизоляции.
ИС МЕГАНОРМ: примечание.
С 1 января 1995 года введен в действие ГОСТ 10923-93, утв. МНТКС 10.11.1993.
2.25. Для устройства кровель необходимо применять следующие рулонные материалы по ГОСТ 10923-76:
рубероид кровельный с мелкозернистой посыпкой марок РКМ-350Б, РКМ-350В;
рубероид подкладочный с пылевидной посыпкой марок РПП-350Б, РПП-350В, РПП-300А, РПП-300Б, РПП-300В;
рубероид подкладочный с мелкозернистой посыпкой марок РПМ-300А, РПМ-300Б, РПМ-300В;
рубероид кровельный с крупнозернистой посыпкой марок РКК-500А, РКК-400А, РКК-400Б, РКК-400В;
ИС МЕГАНОРМ: примечание.
Взамен ГОСТ 2697-75 Постановлением Госстандарта СССР от 31.10.1983 N 294 введен в действие с 1 января 1985 года ГОСТ 2697-83.
пергамин кровельный марок П-350, П-300 по ГОСТ 2697-75;
рубероид перфорированный по ТУ 21-27-77;
стеклорубероид марок С-РК, С-РМ по ГОСТ 15879-70;
ИС МЕГАНОРМ: примечание.
Взамен ГОСТ 10296-71 Постановлением Госстроя СССР от 29.12.1978 N 271 с 1 января 1980 года введен в действие ГОСТ 10296-79.
изол по ГОСТ 10296-71, рулонные сетчатые стеклоткани, изготовленные из бесщелочного стекла, с битумными или резино-битумными мастиками для гидроизоляции примыканий;
рубероид наплавляемый марок РМ-500-2, РК-500-2, РМ-420-1, РК-420-1, РМ-350-1 и РК-350-1 по ТУ 21-27-35-74.
2.26. Для наклейки кровельных материалов необходимо применять горячие битумные кровельные мастики по ГОСТ 2889-67.
Марку горячих мастик следует назначать в зависимости от требуемой теплостойкости в соответствии с требованиями главы СНиП по проектированию кровель.
Для гидроизоляции деталей крыш следует применять мастику изол по ТУ 21-27-37-74 Минстройматериалов СССР.
2.27. В зависимости от применяемых материалов и способа приклейки необходимо назначать следующие варианты конструкций кровель из рулонных материалов:
1. Три нижних слоя на горячей битумной мастике со сплошной проклейкой, из:
рубероида кровельного с мелкозернистой посыпкой марок РКМ-350Б, РКМ-350В;
рубероида подкладочного с пылевидной посыпкой марок РПП-350Б, РПП-350В, РПП-300А, РПП-300Б, РПП-300В;
рубероида подкладочного с мелкозернистой посыпкой марок РПМ-300А, РПМ-300Б, РПМ-300В;
ИС МЕГАНОРМ: примечание.
Взамен ГОСТ 2697-75 Постановлением Госстандарта СССР от 31.10.1983 N 294 введен в действие с 1 января 1985 года ГОСТ 2697-83.
пергамина кровельного марки П-350, П-300 по ГОСТ 2697-75.
Один верхний слой из рубероида кровельного с крупнозернистой посыпкой марок РКК-500А, РКК-400А, РКК-400Б, РКК-400В.
2. Три нижних слоя на горячей битумной мастике из стеклорубероида марки С-РМ по ГОСТ 15879-70. Один верхний слой из стеклорубероида марки С-РК.
3. Один нижний слой из сплошного рубероида с точечной или полосовой приклейкой или перфорированного рубероида с точечной приклейкой. Два средних слоя со сплошной приклейкой из:
рубероида кровельного с мелкозернистой посыпкой марок РКМ-350Б, РКМ-350В;
рубероида подкладочного с пылевидной посыпкой марок РПП-350Б, РПП-350В, РПП-300А, РПП-300Б, РПП-300В;
рубероида подкладочного с мелкозернистой посыпкой марок РПМ-300А, РПМ-300Б, РПМ-300В;
пергамина кровельного марок П-350, П-300.
Один верхний слой из рубероида кровельного с крупнозернистой посыпкой марок РКК-500А, РКК-400А, РКК-400Б, РКК-400В.
4. Два слоя (нижних) из рубероида наплавляемого марки РМ-500-2 и один слой (верхний) из рубероида наплавляемого марки РК-500-2.
5. Нижний слой из рубероида наплавляемого марки РМ-500-2, средний слой из рубероида наплавляемого марки РМ-420-1 или РМ-350-1 и верхний слой из рубероида наплавляемого марок РК-500-2, РК-420-1 или РК-350-1.
Примечание. Защитным слоем в кровлях является крупнозернистая посыпка на лицевой поверхности рубероида.
2.28. Для предотвращения образования вздутий между основанием и кровельным ковром следует устраивать дышащие кровли. Нижний слой ковра должен выполняться из сплошного или перфорированного рубероида; слой из сплошного рубероида должен иметь равномерную точечную или полосовую приклейку, составляющую 25 - 35% площади наклеиваемой поверхности.
Раскатку полотнищ рубероида следует предусматривать вдоль ската кровли. Нижний слой из перфорированного рубероида следует укладывать насухо. Приклейка кровли к железобетонному основанию должна осуществляться в процессе сплошной приклейки второго слоя к нижнему.
Воздушная прослойка под нижним слоем кровельного ковра должна быть соединена с наружным воздухом на карнизах и в местах примыкания кровли к выступающим над крышей элементам.
ИС МЕГАНОРМ: примечание.
ГОСТ 8268-74 утратил силу с 1 января 1984 года в связи с изданием Постановления Госстроя СССР от 26.07.1982 N 190. Взамен введен в действие ГОСТ 8268-82.
2.29. Для защиты кровель от действия солнечной радиации в III и IV климатических районах на месте строительства следует устраивать дополнительный слой из гравия, втопленного в горячую битумную мастику слоем 2 мм. Гравий по ГОСТ 8268-74 для защитного слоя кровель должен быть сухим, обеспыленным, иметь зерна размером 5 - 10 мм.
2.30. Для защиты панелей бесчердачных крыш от увлажнения во время транспортировки и монтажа их верхнюю поверхность и боковые грани следует покрывать на заводе мастичными или окрасочными составами.
2.31. Гидроизоляционные мастичные и окрасочные составы для железобетонных кровельных панелей (безрулонных кровель) следует применять при наличии на них технических условий.
Гидроизоляционный слой для кровельных панелей и водосборных лотков должен быть прочным и эластичным во всем интервале эксплуатационных температур, обладать высокой степенью адгезии, стойкостью к ультрафиолетовому облучению и морозостойкостью. Мастичные и окрасочные составы следует наносить на заводах-изготовителях.
При применении гидроизоляции из мастичных и окрасочных составов, указанных в Приложении, следует руководствоваться указаниями главы СНиП по противопожарным нормам проектирования зданий и сооружений.
Детали
2.32. Для повышения эксплуатационной надежности кровель из рулонных материалов следует максимально уменьшить число мест пересечений их трубами, шахтами и другими устройствами.
Места примыкания кровли из рулонных материалов к стенам, вытяжным шахтам и деформационным швам должны быть усилены тремя дополнительными слоями рубероида (верхний слой должен иметь крупнозернистую посыпку).
2.33. При заведении кровли на вертикальные конструкции - стены, шахты и другие элементы здания - неровная поверхность их должна быть оштукатурена цементно-песчаным раствором.
2.34. При примыкании к стенам, возвышающимся над крышей не более чем на 450 мм, кровлю следует заводить на верхнюю грань стены; при большей высоте - закреплять к вертикальным поверхностям в соответствии со схемами, приведенными на рис. 2 и 3.
Рис. 2. Схема примыкания кровли из рулонных материалов
к стене высотой более 450 мм
1 - основная кровля; 2 - три дополнительных слоя кровли
с верхним слоем из рубероида с крупнозернистой посыпкой;
3 - защитный слой; 4 - защитный фартук
из оцинкованной кровельной стали;
5 - герметизирующая мастика;
6 - оси крепежных элементов
(для закрепления кровли и защитных фартуков);
7 - воздушная прослойка,
сообщающаяся с наружным воздухом
Рис. 3. Схема крепления края кровли
из рулонных материалов
к вертикальной поверхности
1 - оси крепежных элементов;
2 - защитный фартук из оцинкованной кровельной стали;
3 - скользящая полоса рулонного материала;
4 - три дополнительных слоя кровли;
5 - основная кровля
Верхний край дополнительных слоев ковра должен быть закреплен и защищен от затекания атмосферных осадков оцинкованной кровельной сталью или парапетными плитками.
В местах примыканий панелей крыш к вертикальной плоскости под кровлю необходимо укладывать скользящую прокладку из рулонного материала. Верхнюю кромку ее следует приклеивать на вертикальном участке и в середине наклонной плоскости бортового камня.
2.35. В ендовах необходимо предусматривать усиление по низу основного кровельного ковра двумя слоями рулонных кровельных материалов, которые должны быть заведены на поверхность ската (от ребра ендовы) не менее чем на 750 мм.
2.36. Конек кровли должен быть усилен на ширину 0,25 м с каждой стороны одним слоем рулонного кровельного материала.
2.37. На карнизных участках кровли при наружном водоотводе необходимо предусматривать два дополнительных слоя рулонного материала шириной не менее 400 мм и слив из оцинкованной кровельной стали. На участках карнизов, выходящих за пределы наружной грани стен, уклон следует принимать не менее чем на примыкающую к карнизу плоскость кровли.
2.38. Деформационные швы должны проходить через все слои крыши и совпадать со швами в стенах и междуэтажных перекрытиях. Конструкция швов должна обеспечивать водонепроницаемость крыши при деформациях здания. Схема деформационного шва с бортами из сборных железобетонных деталей приведена на рис. 4.
Рис. 4. Схема деформационного шва
1 - основная кровля из рулонных материалов;
2 - защитный слой; 3 - три дополнительных слоя кровли;
4 - несгораемый минераловатный утеплитель;
5 - полосы из стали 4 x 40 мм через 500 мм;
6 - фартук из оцинкованной стали;
7 - оси крепежных элементов
2.39. Проектируемая конструкция крыши должна исключать возможность накопления температурных деформаций крыши по длине здания. С этой целью перпендикулярные продольным фасадам здания швы между неутепленными кровельными панелями следует проектировать незаполненными. Швы между утепленными панелями покрытия следует проектировать заполненными. Нижнюю часть шва на высоту 100 мм необходимо заполнять цементно-песчаным раствором, образующим шпонку, обеспечивающую равенство прогибов смежных панелей. Верхнюю часть шва следует заполнять легкосжимаемым теплоизоляционным материалом.
2.40. Для исключения разрыва кровли из рулонных материалов над швом между панелями шириной более 1,5 м необходимо укладывать насухо полоску из рулонного материала шириной 250 мм с приклейкой кромки материала с одной стороны на ширину 50 мм.
2.41. Для крепления стоек антенн и опорных гильз радиостоек в стенах машинных помещений лифтов, выходов на крышу или вентиляционных шахт необходимо предусматривать закладные детали с хомутами. Для крепления предохранительных поясов рабочих и трубопроводов для подачи битумных мастик на крышу в тех же стенах необходимо предусматривать закладные детали с крюками.
В крышах с кровельными панелями и гидроизоляцией мастичными или окрасочными составами при отсутствии конструкций, выступающих над крышей, растяжки антенн следует крепить к монтажным петлям или закладным деталям с крюками, замоноличенными в ребрах кровельных панелей.
В крышах с кровлей из рулонных материалов телевизионную антенну с тремя растяжками допускается крепить к свободно уложенным железобетонным блокам.
2.42. Карнизы при наружном водостоке следует проектировать консольным выпуском панелей покрытия или кровельных панелей за плоскость наружной стены.
2.43. Решетчатое ограждение крыши следует проектировать с приподнятым нижним поясом для обеспечения сдувания снега с крыши.
2.44. Для пропуска через кровлю из рулонных материалов труб, стояков вытяжной вентиляции из канализации и мусоропровода на кровельные панели и бесчердачные крыши следует устанавливать стальные патрубки с фланцами. Эти места должны быть усилены двумя слоями кровельного ковра и защищены зонтом из оцинкованной стали, закрепляемым к трубе обжимным хомутом.
Схема пропуска труб через кровлю из рулонных материалов приведена на рис. 5. Место примыкания кровли к патрубку должно быть защищено мастикой изол. Зазор между трубой и патрубком следует заполнять просмоленной паклей или герметиком.
Рис. 5. Схема пропуска труб через кровлю
из рулонных материалов
а - с устройством переходного бортика;
б - с применением прямоугольного стального патрубка;
1 - основная кровля;
2 - защитный слой;
3 - два дополнительных слоя кровли;
4 - переходной бортик;
5 - ось крепежного элемента;
6 - герметизирующая мастика; 7 - труба;
8 - зажимной хомут;
9 - просмоленная пакля;
10 - зонт из оцинкованной кровельной стали;
11 - прямоугольный стальной патрубок с фланцем;
12 - круглый стальной патрубок с фланцем;
13 - гильза из кровельной стали
2.45. Сопряжение кровельных панелей со стояками вытяжной вентиляции из канализации и мусоропровода в крышах с кровельными панелями и гидроизоляцией мастичными или окрасочными составами следует проектировать с защитой места пропуска стояка металлическим зонтом или фартуком из оцинкованной кровельной стали с обжимными кольцами (рис. 6). На чердаке стояки вытяжной вентиляции должны быть утеплены. Высота стояков над поверхностью кровельных панелей должна быть не менее 1000 мм.
Рис. 6. Схема сопряжения кровельной панели с гидроизоляцией
мастичными или окрасочными составами со стояком
вытяжной вентиляции из канализации
1 - кровельная панель; 2 - ось крепежного элемента;
3 - стояк вытяжной вентиляции из канализации;
4 - защитный фартук из оцинкованной кровельной стали;
5 - утепление стояка; 6 - панель чердачного перекрытия;
7 - компенсационный раструб; 8 - эластичная заделка;
9 - гидроизоляционная мастика
ИС МЕГАНОРМ: примечание.
Взамен ГОСТ 19177-73 Постановлением Госстроя СССР от 07.12.1981 N 204 введен в действие с 1 января 1983 года ГОСТ 19177-81.
2.46. Для заделки сопряжений панелей со стояками вытяжной вентиляции из канализации и другими деталями необходимо применять герметики - пороизол в виде полос или жгутов по ГОСТ 19177-73, а также материалы на основе пенополиуретана, которые следует защищать несгораемыми материалами.
Прокладки следует вводить в швы в сжатом на 50% состоянии и на приклеивающей мастике.
Свойства пороизола и приклеивающей мастики должны удовлетворять требованиям главы СНиП на кровельные, гидроизоляционные и пароизоляционные материалы на органических вяжущих.
При заделке швов следует руководствоваться требованиями Указаний по герметизации стыков при монтаже строительных конструкций.
2.47. В крышах с кровельными панелями и гидроизоляцией мастичными или окрасочными составами стыки кровельных панелей с водосборными лотками следует проектировать с перекрытием продольного ребра лотка ребром кровельной панели.
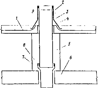
Сопряжение кровельных панелей с вентиляционными шахтами следует проектировать с защитой стыка фартуком из кровельной оцинкованной стали, который необходимо пристреливать дюбелями к стенам вентиляционных шахт с прокладкой полосы технической резины между стеной шахты и фартуком (рис. 7,а) или защитой "замком" (рис. 7,б), которая обеспечивается применением оголовка вентиляционной шахты в виде объемного элемента.
а
б
Рис. 7. Схема сопряжения кровельной панели
с гидроизоляцией мастичными или окрасочными составами
с вентиляционными шахтами
а - с фартуком из оцинкованной кровельной стали;
б - "замком"; 1 - крышка; 2 - оголовок; 3 - фартук
из оцинкованной кровельной стали; 4 - прокладка
из технической резины; 5 - кровельная панель;
6 - вентиляционная шахта
3. ВОДООТВОД
ИС МЕГАНОРМ: примечание.
Постановлением Госстроя СССР от 04.10.1985 N 169 с 1 июля 1986 года введены в действие СНиП 2.04.01-85 "Внутренний водопровод и канализация зданий".
3.1. Сборные железобетонные крыши следует проектировать, как правило, с внутренним водоотводом в соответствии с требованиями главы СНиП по проектированию внутреннего водопровода и канализации зданий.
В зданиях высотой до 5 этажей включительно допускается устройство наружного водоотвода. Наружный неорганизованный водоотвод допускается при отступе здания от красной линии не менее чем на 1,5 м от проекции свеса кровли. При этом обязательно устройство козырьков над входами, а также над балконами верхних этажей.
3.2. Наружный водоотвод должен состоять из желобов, водосточных труб и деталей к ним, соответствующих ГОСТ 7623-75. Трубы должны быть навешены на стену отвесно на расстоянии 200 мм от нее. Отмет наружных водосточных труб должен быть выше верха тротуара (или отмостки) не менее чем на 200 мм.
Расстояние между наружными водосточными трубами должно быть не более 20 м; площадь поперечного сечения водосточных труб необходимо принимать из расчета 1,5 см2 поперечного сечения трубы на 1 м2 площади крыши.
3.3. Расчет системы внутреннего водоотвода, установку ревизий и прочисток следует производить в соответствии с требованиями глав СНиП по проектированию внутреннего водопровода и канализации зданий.
3.4. Водосточные воронки следует устанавливать в водосборных лотках или ендовах. Расстояние между водосточными воронками следует назначать в соответствии с требованиями главы СНиП по проектированию внутреннего водопровода и канализации зданий.
3.5. Сопряжение воронки с крышей должно быть жестким и водонепроницаемым, а сопряжение воронки со стояком - подвижным, осуществляемым при помощи компенсационных раструбов с последующей эластичной заделкой. В кровле из рулонных материалов в местах примыкания водосточной воронки должны быть предусмотрены два дополнительных слоя (рис. 8).
Рис. 8. Схема установки водосточной воронки на крыше
с кровлей из рулонных материалов
1 - основная кровля; 2 - защитный слой;
3 - два дополнительных слоя кровли из мастик,
армированных стеклосеткой или стеклотканью;
4 - струевыпрямитель колпака водосточной воронки;
5 - зажимной хомут;
6 - чаша водосточной воронки
Схема установки водосточной воронки на крыше с железобетонными кровельными панелями и гидроизоляцией мастичными или окрасочными составами представлена на рис. 9.
Рис. 9. Схема установки водосточной воронки на крыше
с железобетонной кровельной панелью и гидроизоляцией
мастичными или окрасочными составами
1 - водосборный лоток; 2 - водосточная воронка;
3 - закладная деталь; 4 - водосточный стояк;
5 - распорный стержень
3.6. Во избежание обмерзания водосточных воронок и водосточных труб следует предусматривать утепление труб в пределах чердака.
3.7. При отсутствии сетей дождевой и общесплавной канализации отвод дождевых и талых вод из систем внутренних водостоков следует принимать на отмостку или в железобетонные отводные лотки с обеспечением мероприятий по предотвращению попадания дождевых и талых вод на тротуары и подъезды к зданиям. Длина лотка, считая от наружной грани стены, должна быть не менее 2,5 м, ширина - от 300 до 350 мм, уклон, равный уклону планировки от здания. При этом должны быть предусмотрены мероприятия, исключающие размыв поверхности земли в зоне расположения лотков.
Открытый выпуск необходимо устраивать на южной стороне здания. Оголовки выпусков следует делать из чугунных или стальных труб на высоте не менее 200 мм от поверхности отмостки или лотка и на расстоянии не менее 150 мм от наружной грани стены.
В подвальном или цокольном этаже здания у водосточного стояка должен быть аварийный выпуск воды в систему канализации на случай замерзания открытого выпуска зимой (рис. 10). В подвале должна быть обеспечена положительная температура.
Рис. 10 Внутренний водоотвод с открытым выпуском воды
1 - водосточный стояк; 2 - отводная трубка в канализацию;
3 - канализационный стояк; 4 - гидравлический затвор;
5 - открытый выпуск
Приложение
ГИДРОИЗОЛЯЦИОННЫЕ МАСТИЧНЫЕ И ОКРАСОЧНЫЕ СОСТАВЫ
Состав I
Битумно-полимерная эмульсия ЭГИК (ТУ МГИ-24-РСФСР-1-68)
Несгораемая битумно-полимерная эмульсия
ЭГИК имеет следующий состав по весу, %:
Водная быстрораспадающаяся
эмульсия . . . . . . . . . . . . . 80
Латекс с содержанием до 30%
сухого вещества . . . . . . . . . 20
Быстрораспадающаяся битумно-полимерная
эмульсия имеет следующий состав, %:
ИС МЕГАНОРМ: примечание.
ГОСТ 11954-66 утратил силу с 1 января 1978 года в связи
с введением в действие ГОСТ 22245-76 (Постановление Госстандарта
СССР от 25.11.1976 N 2649).
Нефтяные дорожные битумы
марок БНД-40/60 и БНД-60/90
по ГОСТ 11954-66 . . . . . . . . . 45 - 50
Вода . . . . . . . . . . . . . . . 45 - 50
Поливинилацетатная эмульсия . . . 1,5 - 1,6
Поверхностно-активное вещество -
эмульгатор . . . . . . . . . . . . 2 - 3
Эмульгатор применяется в виде водного
раствора в следующих соотношениях
по весу, %:
Вода водопроводная . . . . . . . . 95,3 - 95,4
Асидол-мылонафт . . . . . . . . . 2 - 2,4
Жидкое стекло по ГОСТ 13067-67 . . 0,8 - 1,1
ИС МЕГАНОРМ: примечание.
Взамен ГОСТ 2263-71 Постановлением Госстандарта СССР от
30.10.1979 N 4141 с 1 января 1981 года введен в действие
ГОСТ 2263-79.
Едкий натр технический
по ГОСТ 2263-71 . . . . . . . . . 0,8 - 1,2
Удельный вес вводимых в эмульсию жидкого стекла и едкого натра должен быть равен 1,4 г/см3.
Быстрораспадающаяся битумно-полимерная эмульсия поставляется на завод железобетонных конструкций в готовом виде в автогудронаторах и сливается в закрытую емкость.
Эмульсию следует хранить при температуре не ниже +10 °C. Продолжительность хранения не более одного месяца. Через трое суток хранения эмульсию необходимо перемешивать.
Вторым компонентом эмульсии ЭГИК является латекс.
Для приготовления эмульсии ЭГИК могут быть использованы как бутадиенстирольные (дивинилстирольные) латексы, так и хлоропреновые.
Приготовление битумно-полимерной эмульсии ЭГИК должно производиться в смесителях, обеспечивающих рабочее давление от 2,5 до 3 атм.
Процесс приготовления эмульсии ЭГИК состоит из следующих операций: отвешивается быстрораспадающаяся битумно-полимерная эмульсия, процеживается через сито с отверстиями от 1,5 до 2 мм и заливается в емкость смесителя установки; в ту же емкость постепенно наливается латекс; смесь тщательно перемешивается в течение 10 мин до однородного цвета и получения гомогенной массы. При перемешивании не должно образовываться сгустков и расслоений.
В процессе нанесения эмульсии ЭГИК на кровельные элементы необходимо применить коагулятор - 5%-ный водный раствор хлористого кальция по ГОСТ 450-70 в количестве 0,15 - 0,20% объема эмульсии.
Эмульсия ЭГИК наносится в камере, снабженной приточно-вытяжной вентиляцией с пятикратным обменом воздуха в течение часа и емкостью для слива некачественной смеси эмульсии с коагулятором.
Кровельные элементы в камере нанесения должны быть установлены с уклоном не менее 15% к горизонту, что обеспечивает более быстрое выделение воды при взаимодействии эмульсии с коагулятором.
Емкость с эмульсией и баллон с водным раствором хлористого кальция должны быть соединены системой трубопроводов и шлангом с пистолетом-распылителем, который имеет три канала: по двум подается эмульсия и коагулятор, по третьему - сжатый воздух для распыления и смешения эмульсии с коагулятором. Подача компонентов регулируется кранами.
Эмульсия наносится двумя слоями: первый слой толщиной от 2 до 3 мм (в сыром состоянии), второй - толщиной от 4 до 5 мм после 20 мин выдержки первого слоя. Общая толщина слоя в сыром состоянии от 6 до 8 мм.
Норма расхода эмульсии 6 - 8 л на 1 м2 изолируемой поверхности, что соответствует общей толщине слоя в сформировавшемся состоянии 3 - 4 мм.
Для полного формирования гидроизоляционного покрытия на бетонных поверхностях с начальной температурой 45 - 60 °C с последующим обдувом горячим воздухом изделия необходимо выдерживать не менее 4 ч, а при температуре 18 - 20 °C без обдува горячим воздухом - не менее 48 ч.
Состав II
Мастика кровельная хлорсульфополиэтиленовая ХСПЭ
(ТУ 84-257-71)
Сгораемые лак и эмаль на основе ХСПЭ используются в трещиностойких защитных покрытиях несущих и ограждающих железобетонных строительных конструкций.
Пленки, полученные на основе ХСПЭ, весьма эластичны, стойки к истиранию, солнечным лучам, химикатам и озонированию. Они пригодны для работы в пределах рабочих температур от -60 до -130 °C.
В качестве грунтовки применяется лак на основе хлорсульфированного полиэтилена (ХСПЭ), представляющий собой раствор сухого ХСПЭ по ВТУ 59-67 в органическом растворителе (ксилоле, толуоле).
Лак ХСПЭ наносится на очищенную сухую поверхность кистью, валиком или краскораспылителем. Время высыхания при температуре 18 - 20 °C не более 30 мин.
Лак ХСПЭ следует хранить в плотно закрытой таре в неотапливаемом помещении при температуре не выше 20 и не ниже 0 °C. Срок хранения 1 год.
За основные покровные слои применяются 2 - 3 слоя эмали ХСПЭ.
Эмаль ХСПЭ изготовляют на основе лака ХСПЭ и различных пигментов (титановых белил, железного сурика и др.). Рабочая вязкость эмали 50 - 60 с. На грунтовку эмаль наносится валиком, краскораспылителем или кистью. Время высыхания при температуре 18 - 20 °C не более 3 ч. Окончательная выдержка всего покрытия до эксплуатации не менее 10 сут.
Лак и эмаль ХСПЭ следует готовить на заводах строительных красок и в готовом виде доставлять на заводы железобетонных конструкций.
Состав III
Мастика битумно-бутилкаучуковая (холодная)
для устройства безрулонной кровли
и гидроизоляции "Вента"
(ТУ 21-27-39-77)
Сгораемая битумно-бутилкаучуковая мастика представляет собой многокомпонентную однородную жидкую мастику, состоящую из нефтяного битума, бутилкаучука, вулканизирующего компонента, активатора вулканизации, антисептика, наполнителя и растворителя.
Мастика выпускается одной марки - МББ-Х-120. Для приготовления мастики используются отходы производства бутилкаучука (концентрированный раствор бутилкаучука или кусковой бутилкаучук).
Битумно-бутилкаучуковую мастику получают перед ее употреблением смешиванием в равных количествах двух составов мастики "А" и "Б". Состав "Б" отличается от состава "А" тем, что в него входит вулканизирующий компонент, а в состав "А" - активатор вулканизации. Перемешивание составов производится без подогрева.
Температура составов мастики "А" и "Б", а также температура мастики в процессе изготовления не должна превышать 35 °C.
Битумно-бутилкаучуковая мастика должна свободно наноситься скребком по ровной поверхности слоем до 1 мм.
Расход мастики на каждый слой не должен превышать 1 кг на 1 м2 крыши. Каждый последующий слой считается достаточно высохшим, если он не прилипает при ходьбе. Расход мастики на 1 м2 крыши составляет от 1,2 до 3 кг.
Состав IV
ИС МЕГАНОРМ: примечание.
Взамен ГОСТ 5631-70 Постановлением Госстандарта СССР от 13.03.1979 N 895 с 1 января 1980 года введен в действие ГОСТ 5631-79.
Краска БТ-177 (ГОСТ 5631-70).
Сгораемый гидроизоляционный окрасочный состав:
грунтовка - лак БТ-577 (один слой);
гидроизоляция - краска БТ-177 (два слоя для кровельных панелей и три слоя для водосборных лотков).
Битумный лак БТ-577 представляет собой раствор сплава битума с высыхающим маслом в летучих органических растворителях, наносится в качестве грунтовки на очищенную сухую поверхность кистью, валиком или краскораспылителем.
Время высыхания при температуре 18 - 23 °C - 2 ч.
Краска БТ-177 представляет собой суспензию алюминиевой пудры в лаке БТ-577 (20% алюминиевой пудры, 80% лака БТ-577). Готовится непосредственно перед употреблением.
На грунтовку краска БТ-177 наносится кистью, валиком или краскораспылителем. Время высыхания при температуре 18 - 23 °C не более 16 ч.
Расход при однослойном нанесении на 1 м2 крыши, ч:
лак БТ-577 . . . . . . . . . . 80;
краска БТ-177 . . . . . . . . 84.