Главная // Актуальные документы // Ведомость (форма)СПРАВКА
Источник публикации
М.: Стройиздат, 1975
Примечание к документу
Название документа
"Руководство по наблюдениям за деформациями оснований и фундаментов зданий и сооружений"
"Руководство по наблюдениям за деформациями оснований и фундаментов зданий и сооружений"
НАУЧНО-ИССЛЕДОВАТЕЛЬСКИЙ ИНСТИТУТ ОСНОВАНИЙ
И ПОДЗЕМНЫХ СООРУЖЕНИЙ ИМ. Н.М. ГЕРСЕВАНОВА
ГОССТРОЯ СССР
РУКОВОДСТВО
ПО НАБЛЮДЕНИЯМ ЗА ДЕФОРМАЦИЯМИ ОСНОВАНИЙ
И ФУНДАМЕНТОВ ЗДАНИЙ И СООРУЖЕНИЙ
Настоящее Руководство является пособием при проведении наблюдений за деформациями оснований и фундаментов зданий и сооружений.
В нем приводятся рекомендации по размещению, конструкциям и установке знаков, выбору методики измерений и способов обработки результатов.
В
Приложениях даны описания принадлежностей и приспособлений, применяемых при измерениях, а также формы заполнения журналов и ведомостей при наблюдениях различными методами.
Руководство рекомендуется в качестве практического пособия инженерно-техническим работникам, занимающимся наблюдениями за деформациями оснований и фундаментов.
Редактор - инж. Е.М. Перепонова.
Для современного строительства характерны резко выраженный количественный и качественный рост, широкое внедрение новых конструкций и материалов. Как правило, при этом сооружения обладают повышенной чувствительностью к деформации грунтового основания. Поэтому требования к надежности способов фиксирования вертикальных и горизонтальных перемещений, наклонов и других деформаций оснований фундаментов сооружений в настоящее время значительно возросли.
Работы по такого рода измерениям проводятся в основном с применением методов геодезии. По некоторым их видам имеются общеобязательные инструкции и наставления. Однако специфика измерений деформаций оснований фундаментов предъявляет ряд дополнительных требований, отличных от технических требований на общегосударственные геодезические работы.
НИИ оснований и подземных сооружений Госстроя СССР еще в 30-е годы начал проводить наблюдения за осадкой фундаментов зданий и сооружений. На основе ценного экспериментального материала институт разработал целесообразные методы измерения этих осадок. В НИИ оснований впервые была разработана методика измерения осадок фундаментов геометрическим нивелированием короткими лучами, созданы основные конструкции исходных реперов и осадочных марок. В 1955 г., обобщая многолетний опыт, НИИОСП выпустил в свет "Указания по наблюдению за осадками фундаментов зданий и сооружений" У-127-55. В 1966 г. НИИОСП Госстроя СССР и ГПИ Фундаментпроект разработали "Руководство по наблюдению за деформациями фундаментов зданий и сооружений". За последние годы НИИ оснований Госстроя СССР получил от многочисленных организаций письма с пожеланиями и предложениями по усовершенствованию и дополнению этого Руководства. Появилось несколько рецензий с конкретными предложениями включить в новое издание Руководства метод фотограмметрии, гидростатики и тригонометрического нивелирования, которые получили распространение в последнее время. Поэтому настоящее Руководство дополнено рекомендациями по применению этих методов.
При составлении Руководства был использован опыт всех подразделений НИИ оснований и подземных сооружений Госстроя СССР, а также других организаций, ведущих наблюдения за деформациями оснований фундаментов зданий и сооружений: ГПИ Фундаментпроекта, Гидропроекта, УралТИСИЗа, Мосгоргеотреста, Главленинградстроя, Гипроречтранса, Теплоэлектропроекта, Оргэнергостроя и др.
Ценные замечания по переработке Руководства 1967 г. были сделаны доцентом Куйбышевского инженерно-строительного института И.Ф. Болговым, профессором М.И. Горбуновым-Посадовым, канд. техн. наук Д.Е. Польшиным, канд. техн. наук В.В. Михеевым, профессором К.Е. Егоровым, д-ром техн. наук Е.А. Сорочаном, канд. техн. наук М.Г. Ефремовым, канд. техн. наук Н.Я. Рудницким, канд. техн. наук О.В. Китайкиной, а также были получены замечания и предложения из Варшавского политехнического института.
Руководство составлено ст. научным сотрудником НИИОСП Е.М. Перепоновой (лаборатория естественных оснований и конструкций фундаментов, заведующий лабораторией д-р техн. наук Е.А. Сорочан).
В составлении
Приложений и оформлении материала принимали участие инженеры лаборатории Н.М. Богданов и В.Н. Мухатов.
Раздел "Особенности наблюдений за оползнями" составлен гл. специалистом ГПИ Фундаментпроект Ф.Ф. Солдатенковым.
1.1. Настоящее Руководство является пособием по организации и проведению наблюдений за деформациями оснований и фундаментов (осадки, подъемы, сдвиги, крены и т.д.) зданий и сооружений.
1.2. Наблюдения за деформациями оснований и фундаментов проводятся в соответствии с требованиями главы
СНиП II-15-74 "Основания зданий и сооружений. Нормы проектирования".
Примечание. Руководство не охватывает специфики измерений, выполненных на уникальных объектах особого назначения, крупных гидротехнических сооружениях и сооружениях, построенных на подрабатываемых горными выработками территориях.
1.3. Здания и сооружения или их отдельные части, за деформациями оснований и фундаментов которых должны быть организованы наблюдения, выбираются и назначаются проектной организацией по согласованию с организациями, осуществляющими строительство и эксплуатацию.
1.4. Результаты наблюдений показывают, в какой мере проектные решения оснований и фундаментов обеспечивают надежность и эксплуатационную пригодность сооружений, а также дают возможность строителям и эксплуатационникам своевременно принимать необходимые меры по борьбе с возникающими деформациями или устранению последствий таких деформаций. Результаты наблюдений должны рассматриваться вместе с имеющимися данными по геологии и гидрогеологии участка, а также материалами полевых и лабораторных исследований грунтов.
1.5. Наблюдения за деформациями оснований и фундаментов строящихся зданий и сооружений должны производиться с начала их строительства и в первые годы эксплуатации до достижения стабилизации деформаций.
Наблюдения за деформациями оснований и фундаментов зданий и сооружений, находящихся в эксплуатации, проводят в случае появления трещин, раскрытий швов, а также резкого изменения условий работы сооружений.
1.6. В Руководстве рассматриваются методы измерения в натуре следующих деформаций оснований и фундаментов зданий и сооружений: вертикальные перемещения, горизонтальные перемещения и крены.
Вертикальные перемещения подразделяются на:
осадки, происходящие в результате действия нагрузок от фундаментов;
просадки, происходящие в результате уплотнения:
а) просадочного грунта при замачивании; б) рыхлых песчаных грунтов при сотрясениях; в) мерзлых грунтов при оттаивании; г) усадки грунта при уменьшении влажности;
подъемы, происходящие в результате:
а) набухания некоторых видов грунтов при изменении влажности или воздействия ряда химических веществ; б) промерзания и пучения грунтов.
Вертикальные перемещения в натуре могут определяться одним из следующих методов или в случае необходимости их комбинациями:
геометрического нивелирования;
тригонометрического нивелирования;
гидростатического нивелирования;
фотограмметрии.
Вертикальные перемещения, измеренные от неподвижных реперов, - абсолютные вертикальные перемещения (осадки, подъемы). Вертикальные перемещения, измеренные относительно какой-либо точки сооружения, - относительные вертикальные перемещения (осадки, подъемы).
Горизонтальные перемещения (сдвиги) фундамента или сооружения в целом, происходящие под действием горизонтальных сил или при исчерпании несущей способности основания и других факторов.
Горизонтальные перемещения в натуре могут определяться одним из следующих методов или при необходимости их комбинациями:
створных наблюдений;
отдельных направлений, засечек;
триангуляции, трилатерации;
фотограмметрии.
Горизонтальные перемещения, определенные от опорных знаков вне сооружения, - абсолютные горизонтальные перемещения. Горизонтальные перемещения, определенные относительно точки сооружения, - относительные горизонтальные перемещения.
Крен фундамента - деформация, происшедшая в результате неравномерной осадки, просадки, подъема и др. В натуре этот вид деформации измеряется одним из следующих методов, а при необходимости их комбинациями:
визирования (с применением теодолитов);
координирования;
измерением углов или направлений;
фотограмметрии;
механическими способами с применением клинометров и отвесов;
методами нивелирования.
1.7. В Руководстве приняты следующие наименования геодезических знаков, образующих измерительную сеть при наблюдении за деформациями оснований и фундаментов различного типа сооружений:
репер - знак, высотное положение которого является практически неизменным на все время наблюдений за деформациями оснований и фундаментов зданий и сооружений;
марка - знак, жестко укрепленный на конструкции здания (на фундаменте, колонне, стене), меняющий свое положение вследствие осадки, подъема, крена или сдвига фундамента;
опорный знак - знак, практически неподвижный в горизонтальной плоскости. Относительно опорного знака определяются сдвиги и крены зданий и сооружений;
ориентирный знак - знак, который служит для обеспечения исходного ориентирного направления при измерении сдвигов или кренов сооружений.
1.8. Измерения деформаций оснований фундаментов зданий и сооружений проводятся следующими этапами.
Составление рабочей программы, в которой излагаются цели и задачи измерений, намечается размещение геодезических знаков, разрабатывается календарный план измерений и выбирается метод измерений;
организация измерений включает проектирование, изготовление и установку геодезических знаков, которые выполняются в зависимости от метода измерения, инженерно-геологических условий, экономической целесообразности, имеющихся в наличии материалов;
непосредственные измерения, проводящиеся по выбранной заранее методике, согласно календарному плану строительства;
обработка результатов измерения включает поверку полевых журналов, вычисление величин деформаций, оценку точности проведенных полевых работ, составление ведомостей по каждому циклу измерений, графическое оформление;
составление отчета по результатам измерений.
2. СОСТАВЛЕНИЕ РАБОЧЕЙ ПРОГРАММЫ
2.1. Рабочая программа на выполнение работ по наблюдению деформаций оснований и фундаментов зданий и сооружений разрабатывается проектной организацией совместно с организацией, производящей работу, и утверждается до начала производства работ.
2.2. Перед составлением рабочей программы выполняется рекогносцировка на месте. Цель рекогносцировки - осмотреть котлован и зафиксировать его состояние. При наличии фундамента произвести визуальный его осмотр и фотографирование. Кроме того, выбрать окончательно места расположения геодезических знаков (марок и реперов), установить цикличность проведения работ по измерению деформаций, согласовав ее с графиком выполнения строительных работ. Наметить примерную схему измерительной сети.
Для сооружений, находящихся в эксплуатации, необходимо: собрать сведения о состоянии конструкций, наличии и характере трещин; наметить расположение и конструкцию маяков; выяснить по возможности причины появления деформаций, собрать сведения о ранее проведенных работах по измерению деформаций.
2.3. В результате рекогносцировки должны быть составлены следующие документы:
1. Краткая характеристика площадки.
2. Описание состояния котлована и фундаментов сооружения с фотографиями.
3. График выполнения основных этапов строительных работ.
4. Описание мест закладки геодезических знаков, обоснование их выбора.
5. Примерная схема измерительной сети (нивелирование, триангуляция створа и т.п.).
6. Наличие трещин и места закладки маяков в эксплуатируемых сооружениях.
7. Данные о ранее проведенных работах по наблюдению за деформируемостью оснований фундаментов сооружения с отметками знаков и планом их расположения.
2.4. Рабочая программа состоит из краткой пояснительной записки, к которой прикладываются календарный план работ, смета на производство работ, особые условия.
В пояснительной записке указываются:
цели и задачи наблюдений;
инженерно-геологические условия площадки;
сведения о наличии пунктов государственной геодезической сети, а также знаков, установленных для строительных целей;
количество проектируемых знаков для измерения деформаций по их видам;
сведения о ранее выполненных работах по измерению деформаций и связь их с последующими работами;
инструменты и способы измерений;
порядок обработки результатов измерений;
составление отчета по результатам измерений.
В рабочей программе определяется ответственность проектной организации за проект размещения аппаратуры; строительной организации за установку, сохранность и доступность аппаратуры, закладываемой в сооружения; службы геодезии за непосредственные измерения и первичную обработку результатов измерений; научно-исследовательской и проектной организаций за составление научно-технических отчетов.
2.5. Прикладываемый к рабочей программе календарный план должен отражать периодичность проведения циклов измерений.
2.6. Первый цикл измерений осадок проводится сразу же после возведения фундаментов.
Первый цикл измерений сдвигов проводится до приложения горизонтальной нагрузки к сооружению (до засыпки пазух котлована грунтом, до заполнения водохранилища и т.п.).
Сроки проведения последующих циклов измерений устанавливаются проектной или научно-исследовательской организацией в зависимости от инженерно-геологических условий, величины ожидаемых деформаций, степени стабилизации и т.д.
2.7. Количество циклов измерений осадок фундаментов за период достижения полной нагрузки от здания или сооружения на основание должно быть не менее четырех (при 25, 50, 75, 100% всего давления). В эксплуатационный период проводится не менее трех циклов измерений. Сроки циклов измерения осадок в эксплуатационный период назначаются в зависимости от состояния сооружения, скорости протекания осадок и инженерно-геологических условий. Измерения осадок фундаментов рекомендуется продолжать по окончании строительства в течение 5 - 10 лет для глинистых грунтов основания, не обладающих особыми свойствами (просадка, набухание и т.д.), и 2 - 3 лет для песчаных грунтов; ежегодное количество циклов зависит от скорости осадок.
2.8. При проведении наблюдений за общей деформацией зданий и сооружений (осадкой, подъемом, креном и сдвигом) циклы измерений каждого вида деформаций в эксплуатационный период должны совпадать по времени или проходить непрерывно один за другим.
2.9. Наблюдения за осадками и деформациями фундаментов прекращают, если в течение трех циклов измерений величина их колеблется в пределах заданной точности измерений.
2.10. Измерения возобновляются в случае появления трещин в несущих конструкциях сооружений, а также в случае резкого изменения условий работы (увеличение нагрузок, значительный приток воды и т.п.). Цикличность измерений назначается проектной организацией по согласованию с организацией, выполняющей работы, учитывающей состояние конструкции сооружения, его значимость, причины возникновения деформаций и т.д.
3. ИЗМЕРЕНИЕ ВЕРТИКАЛЬНЫХ ПЕРЕМЕЩЕНИЙ
ОСНОВАНИЙ И ФУНДАМЕНТОВ ЗДАНИЙ И СООРУЖЕНИЙ
3.1. Измерение вертикальных перемещений (осадок, просадок, подъемов) оснований и фундаментов может выполняться геометрическим, тригонометрическим, гидростатическим нивелированием, фотограмметрическим способом.
3.2. Геометрическое нивелирование заключается в определении превышения одной точки над другой при помощи горизонтального луча визирования и отвесно установленных в этих точках реек.
3.3. Тригонометрическое нивелирование состоит в определении превышения одной точки над другой путем измерения угла наклона визирного луча и расстояния от инструмента до точек визирования.
3.4. Гидростатическое нивелирование заключается в определении превышения одной точки над другой с использованием основного закона сообщающихся сосудов и находящейся в них жидкости. Поверхность жидкости в сообщающихся сосудах образует горизонтальную плоскость.
3.5. Фотограмметрический способ заключается в периодическом фотографировании фототеодолитом точек сооружения и обработке фотопластин на стереокомпараторе (для определения осадок по оси z).
3.6. Измерения вертикальных перемещений (осадок, подъемов и т.д.) делятся на три класса. Требуемая точность определяет выбор класса измерения и соответствующего метода проведения работ. Точность измерения осадок, подъемов характеризуется средней квадратической ошибкой, полученной из двух циклов измерения:
для I класса +/- 1 мм
" II " +/- 2 "
" III " +/- 5 "
Точность измерения вертикальных перемещений предписывается техническим заданием, составляемым проектно-изыскательской или научно-исследовательской организацией, исходя из принятых в проекте расчетов величины осадок.
3.7. I классом измеряют осадки оснований и фундаментов зданий и сооружений, построенных на скальных и полускальных грунтах, а также уникальных сооружений.
II классом измеряют осадки и подъемы любых зданий и сооружений, построенных на сжимаемых грунтах.
III классом измеряют осадки и просадки любых зданий и сооружений, построенных на насыпных, просадочных, заторфованных и других сильносжимаемых грунтах.
3.8. В каждом отдельном случае класс измерения выбирается в зависимости от предварительно рассчитанной в проекте величины ожидаемой осадки за весь период существования здания или сооружения. Применение того или иного метода измерения может корректироваться в процессе проведения первых трех циклов измерения и выяснения скорости протекания осадок оснований и фундаментов данного сооружения.
Предварительный расчет измерения осадок фундаментов сооружений приведен в табл. 1, где дано условное разделение грунтов в основании на песчаные и глинистые в зависимости от расчетной величины осадки, полученной из проекта, и вычислены средние квадратические ошибки осадки.
Таблица 1
Расчетная величина осадки, мм | Средняя квадратическая ошибка измерений осадки в одном цикле, мм, для периода |
строительного | эксплуатационного |
грунты |
глинистые | песчаные | глинистые | песчаные |
50 | 1 | 1 | 1 | 0,5 |
100 | 1 | 2 | 1 | 0,5 |
150 | 2 | 3 | 2 | 1 |
200 | 3 | 4 | 3 | 1 |
250 | 3 | 5 | 3 | 1 |
300 | 4 | 6 | 4 | 2 |
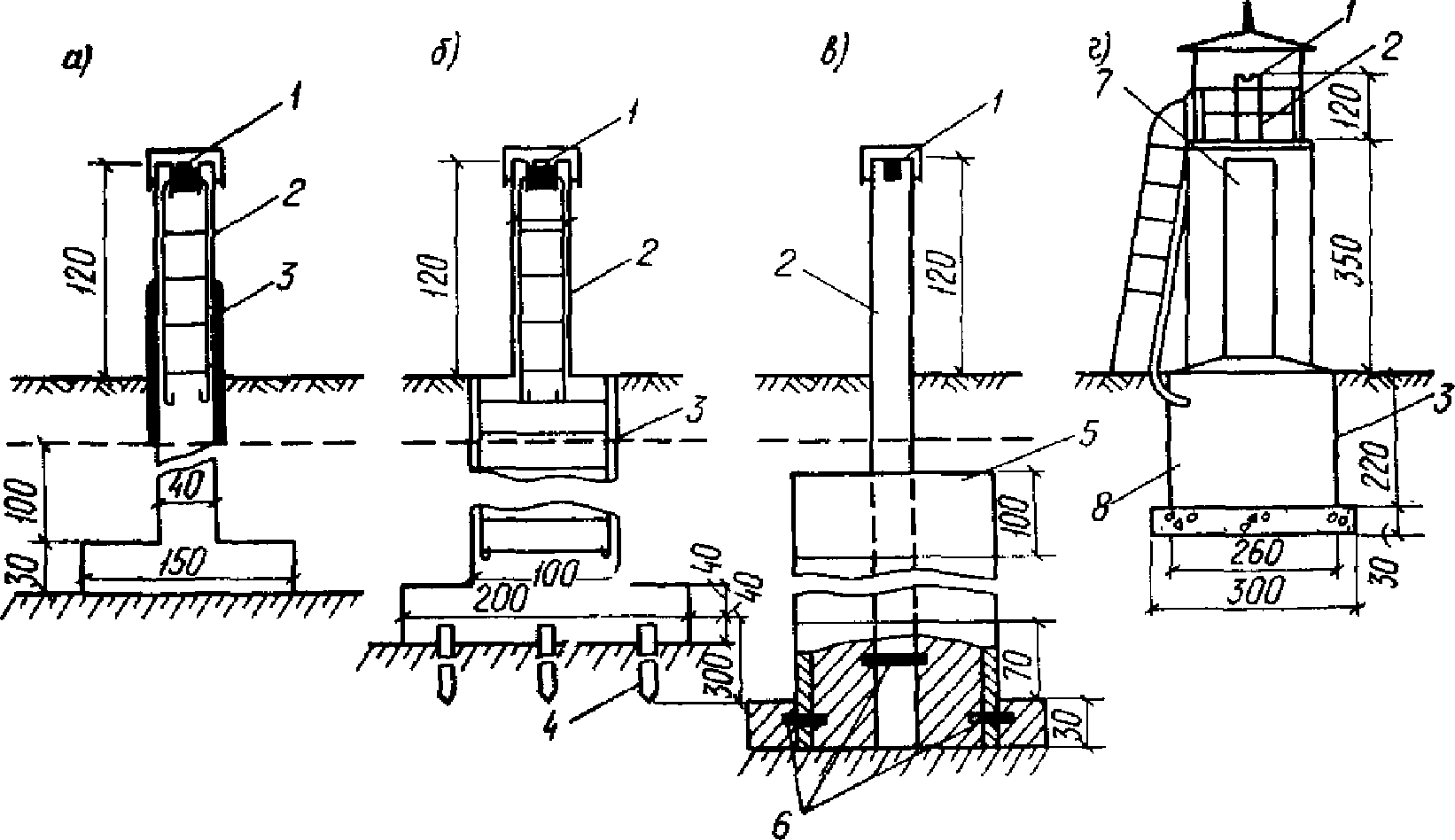
РАЗМЕЩЕНИЕ, КОНСТРУКЦИЯ И УСТАНОВКА ИСХОДНЫХ РЕПЕРОВ
3.9. Перед началом работ по измерению осадок фундаментов устанавливаются исходные геодезические знаки - реперы:
глубинный - фундаментальный геодезический знак, закладываемый в практически несжимаемые грунты;
грунтовый - геодезический знак, закладываемый ниже глубины промерзания грунта;
стенной - геодезический знак, заложенный в стене здания или сооружения, осадку фундамента которых можно считать практически закончившейся.
| | ИС МЕГАНОРМ: примечание. В официальном тексте документа, видимо, допущена опечатка: рисунок 1 в Приложении 1 отсутствует. Возможно, имеется в виду рисунок 30. | |
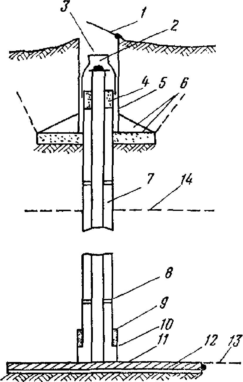
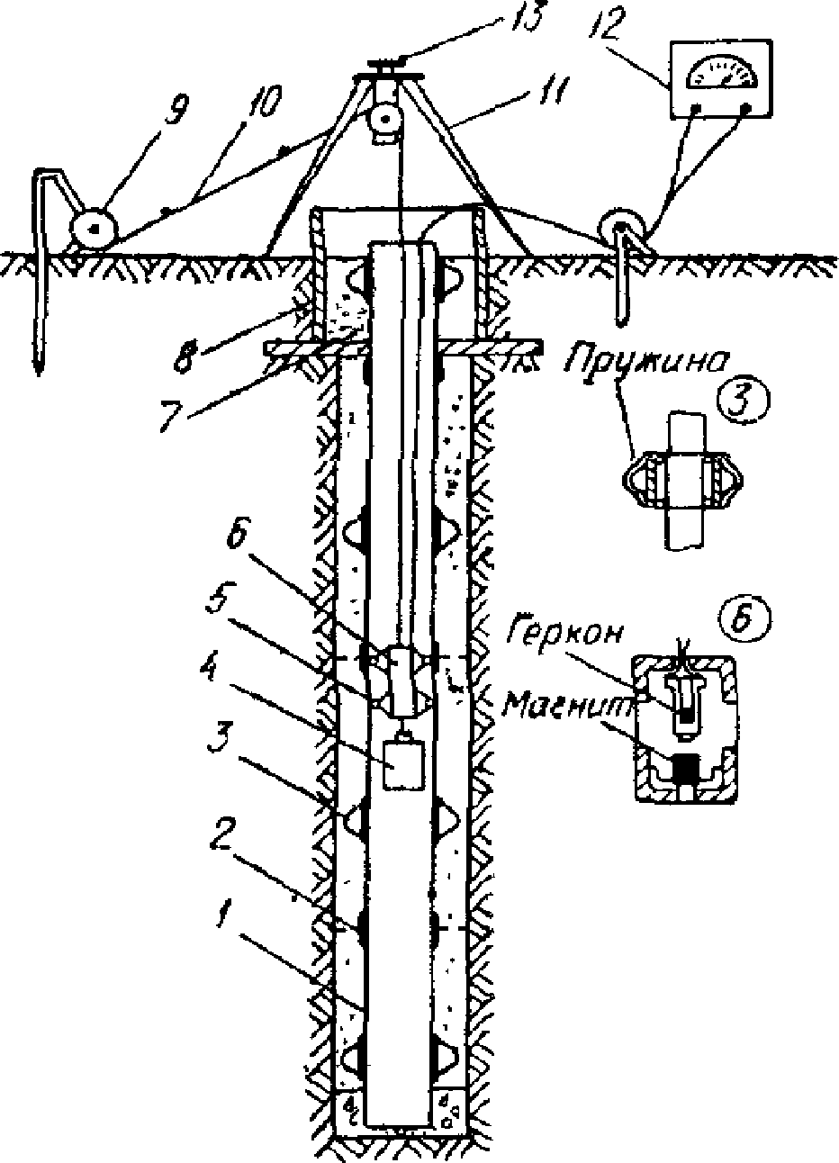
3.10. Реперы глубинные могут быть металлические, биметаллические, биструнные (
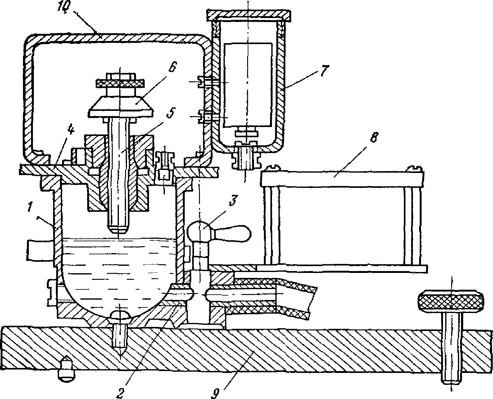
рис. 1, Приложение 1). Глубина заложения глубинных реперов от 2 до 100 м и более. Основание глубинного репера доводится до скального или практически несжимаемого грунта. Устанавливаются глубинные реперы в основном в скважинах. Репер, установленный на поверхностном выходе скальных пород, при соответствующем оформлении головки и колодца, может использоваться как глубинный.
Рис. 1. Глубинный репер с гибкой реперной штангой
1 - шток; 2 - сальник; 3 - инварная проволока;
4 - защитная труба; 5 - труба-люк; 6 - груз;
7 - шкаловая марка; 8 - рычаг; 9 - окно
3.11. Грунтовые реперы могут быть металлическими, железобетонными. Грунтовые реперы устанавливаются в котлованах, скважинах или путем забивки (при использовании свай).
При наличии на строительной площадке набивных или любого вида забивных свай возможно их использование в качестве репера, однако необходимо соответствующее оформление верхней части (колодец, крышки и т.д.).
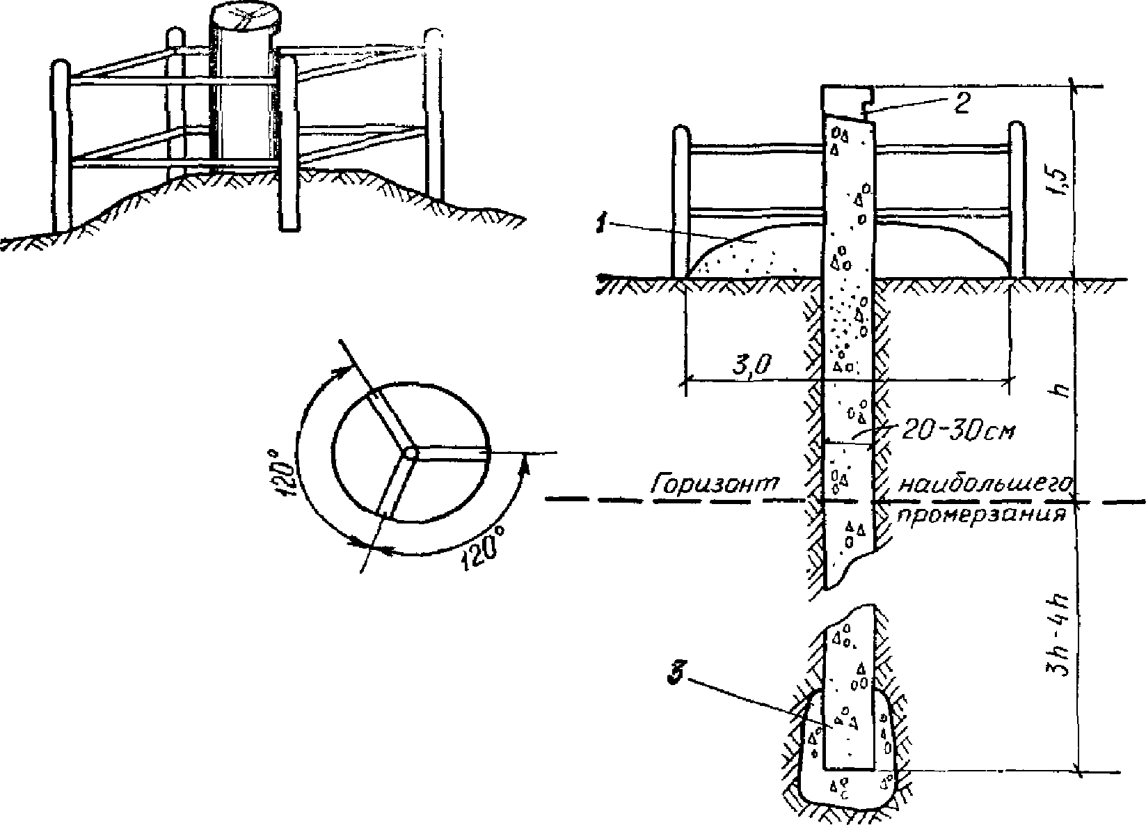
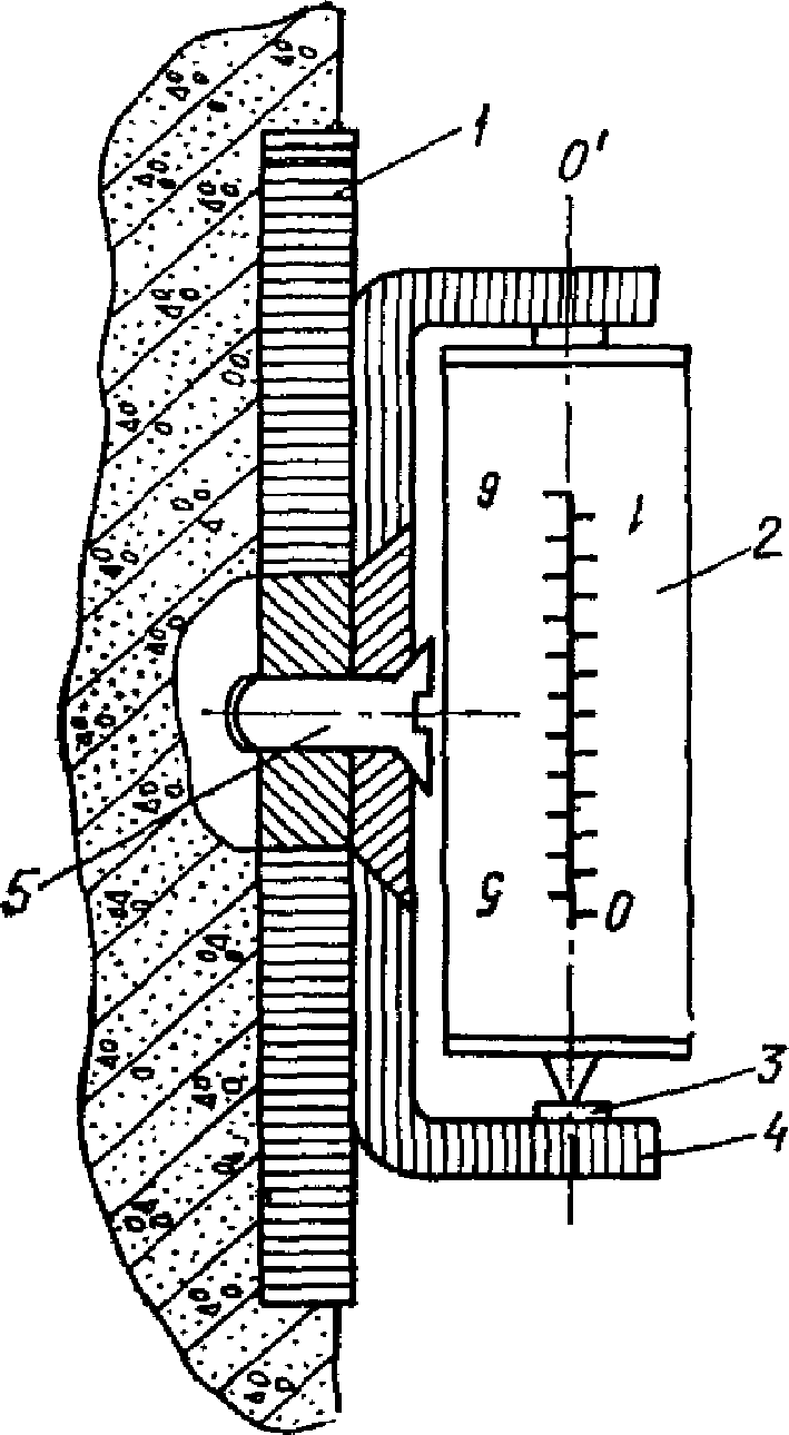
Реперы глубинные размещают возможно ближе к сооружению, допускается установка их в самом сооружении. В этом случае для обеспечения устойчивости глубина их заложения должна быть ниже границы сжимаемой толщи грунтов под сооружением и с основанием в практически несжимаемых грунтах. Грунтовые и стенные реперы размещают вне зоны распространения давления от сооружения. Минимальное удаление грунтового репера от сооружения показано на рис. 2.
Рис. 2. Удаление грунтового репера от сооружения
1 - репер; 2 - эпюра давления в грунтах от фундамента;
3 - изобары в долях давления P; 4 - граница сжимаемой
толщи; 5 - эпюра распределения природного давления;
6 - плоскость, проведенная от грани фундамента;
7 - ширина ленточного фундамента
Практически удаление репера от сооружения для промышленного и гражданского строительства 50 - 100 м, для гидротехнического строительства 100 - 300 м.
3.12. Реперы должны размещаться:
вне проездов, складских территорий, оползневых склонов, свежих насыпей, торфяных болот, подземных выработок и карстовых образований;
на расстоянии, исключающем влияние вибрации от работающих в зданиях или сооружениях машин (молотов, шаровых мельниц и т.п.);
в местах, где возможен в течение всего срока наблюдений беспрепятственный и удобный подход к реперам с рейкой.
Реперы рекомендуется располагать в газонах, скверах, в местах, где отсутствуют подземные коммуникации.
3.13. Реперы глубинные
(Приложение 1) устанавливаются при измерении осадок нивелированием I класса. Количество глубинных реперов должно быть не менее двух. При наблюдении за осадками фундаментов особо ответственных сооружений количество глубинных реперов должно быть не менее трех для одного сооружения. Для развития нивелирной сети устанавливают грунтовые и стенные реперы. Количество реперов должно обеспечивать необходимую точность измерения.
3.14. При измерении осадок нивелированием II и III классов допускается использование только грунтовых реперов (рис. 3), а также реперов, заложенных в стенах зданий и сооружений. Количество грунтовых реперов должно быть не менее трех, стенных - не менее четырех.
Рис. 3. Грунтовые реперы
а - трубчатый: 1 - реперная головка,

;
2 - реперная труба,

; 3 - защитная труба,

;
4 - хомут для удержания защитной трубы; 5 - анкерный лист;
6 - бетонная подушка; 7 - крышка; 8 - кирпичный
или бетонный (сборный) колодец; 9 - люк
с крышкой; 10 - шлак; 11 - бетонная подготовка
б - свайный (устанавливается забивкой или котлованным
способом ниже глубины промерзания на 1 - 2 м): 1 - реперная
головка,

; 2 - свая; 3 - толь или рубероид
при установке в котловане или битумная обмазка
при забивке; 4 - кирпичный или бетонный (сборный)
колодец; 5 - люк с крышкой; 6 - шлак; 7 - бетонная
подготовка при установке в котлован
3.15. При закладке в зданиях стенных реперов необходимо руководствоваться следующим:
здания должны быть построены за несколько лет до закладки знаков в местах, не подверженных оползню и выпучиванию;
при осмотре зданий необходимо убедиться в отсутствии видимых деформаций стен;
не рекомендуется закладывать стенные реперы в сооружениях, расположенных среди железнодорожных путей, а также размещать в цехах и т.д.;
не допускается производить закладку стенных реперов в сооружениях, предназначенных к сносу или капитальному ремонту.
3.16. Закладка глубинных реперов практически может выполняться в любое время года. Пользование реперами допускается не ранее 10 дней после окончания работ по их устройству. Закладку грунтовых и стенных реперов рекомендуется производить в весенне-летний период. При установке грунтовых реперов в зимний период котлованным способом должны быть предусмотрены меры по обеспечению сохранности основания от промораживания.
3.17. В каждом цикле измерений при проведении работ по наблюдению за осадками фундаментов сооружений необходимо контролировать устойчивость исходных реперов. Систематические изменения превышений между реперами от цикла к циклу наблюдений, появление невязок ходов преимущественно с одним знаком свидетельствует об изменении высотного положения исходных реперов.
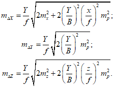
3.18. Для характеристики устойчивости исходных реперов в простых нивелирных ходах при наблюдении за осадкой одиночных зданий или сооружений и установке не более трех реперов критерий неподвижности их M в мм может определяться из формулы:

, (1)
где n - количество станций;

- средняя квадратическая ошибка превышения на одной станции для I класса +/- 0,15 мм, для II класса +/- 0,5 мм, для III класса +/- 1 мм.
3.19. В случае большого количества реперов на строительной площадке сложной нивелирной сети существует несколько методов оценки устойчивости. В
Приложении 2 приведен пример анализа устойчивости реперов нивелирной сети способом корреляционного анализа.
3.20. Проект устройства репера и его конструкция должны согласовываться со всеми службами, имеющими в данном районе подземное хозяйство (кабельные сети, водопровод, канализация), а также с проектной и строительной организацией. Согласование сопровождается схемой расположения репера с привязкой его не менее чем к трем пунктам конструктивными чертежами, а также краткой характеристикой грунтового напластования.
3.21. После установки репера на него передаются отметки от ближайших точек геодезической высотной сети.
В случае дальнего расположения точек геодезической сети отметки могут быть переданы с существующих на объекте строительства реперов. Возможна условная система высот.
3.22. Если реперу угрожает опасность быть разрушенным или изменить свое положение и эту опасность нельзя устранить соответствующими мерами (например, укрепить), следует, не трогая этот репер, установить новый на другом, тщательно выбранном месте, и путем нивелирования связать со старым. Новому реперу присваивается новый номер.
3.23. На каждом репере должны быть четко обозначены организация, дата установки и порядковый номер, который не должен повторяться.
3.24. Установленные реперы должны быть сданы на сохранение по актам строительной или эксплуатационной организациям. Акты составляются в трех экземплярах, каждый из них скрепляют подписями представителей организаций. Акты сдаются на хранение в технические архивы.
РАЗМЕЩЕНИЕ, КОНСТРУКЦИЯ И УСТАНОВКА МАРОК
3.25. Размещение марок на здании или сооружении является одним из основных этапов организационной работы при измерении осадок фундаментов. От правильности размещения марок зависят полнота и четкость выявления осадок фундаментов зданий или сооружений. Места установки марок должна намечать организация, выполняющая измерения по согласованию с проектной и строительной организацией.
Размещение марок должно обеспечивать наиболее благоприятные условия производства нивелирных работ.
На
рис. 4 и
5 приведены примеры размещения нивелирных марок, устанавливаемых в стенах, на колоннах и фундаментах разного рода сооружений.
а)
б)
в)
Рис. 4. Схемы размещения марок на зданиях и сооружениях
а - бумагоделательный комбинат; б - теплоэлектростанция;
в - гидросооружение
а - жилой пятиэтажный дом из крупных панелей серии 1-464;
б - административное здание повышенной этажности; в - жилой
дом повышенной этажности из крупных панелей и блоков
3.26. Марки устанавливают приблизительно на одном уровне. Располагают их на углах здания или сооружения, у осадочного шва по обе стороны, в местах примыкания поперечных и продольных стен. Расстояние между марками зависит от инженерно-геологических условий, конструкции фундаментов, ожидаемой величины осадки и ее неравномерности, а также от цели, с которой проводятся измерения осадок.
3.27. Для жилых и общественных бескаркасных зданий с несущими кирпичными стенами и ленточным фундаментом марки размещаются по периметру через 10 - 15 м. При ширине здания более 15 м марки устанавливаются на поперечных стенах в местах пересечения их с продольной осью.
3.28. Для промышленных сооружений и каркасных жилых и общественных зданий марки устанавливаются на несущих колоннах по периметру здания и внутри него. Марки размещают по поперечным и продольным осям не менее трех в каждом направлении.
3.29. Для бескаркасных крупнопанельных жилых и общественных зданий со сборными фундаментами марки устанавливаются по периметру и осям зданий через 6 - 8 м приблизительно через двойной шаг панелей.
3.30. Для зданий, имеющих свайные фундаменты, марки размещают не более чем через 15 м по продольным и поперечным осям сооружения.
3.31. Для многоэтажных производственных зданий и промышленных сооружений, имеющих сплошную фундаментную плиту, марки следует размещать по разбивочным поперечным и продольным осям плиты и ее периметру из расчета 1 марка на 100 м2 площади.
3.32. На сооружениях типа дымовых труб, доменных печей, силосных башен, элеваторов и др. устанавливается не менее 4 марок по периметру.
3.33. Для гидротехнических сооружений, разделенных на секции, необходимо устанавливать не менее трех марок на каждую секцию, при ширине секций более 15 м - не менее 4 марок. Также рекомендуется устанавливать несколько ярусов марок (на гребне сооружения и в нижней галерее) по периметру верхнего и нижнего бьефов.
3.34. Для причальных и подпорных стен марки устанавливаются по периметру через 15 - 20 м.
3.35. В случае пристройки вновь возводимого здания к существующему место примыкания рассматривают как осадочный шов и марки устанавливают по обе его стороны.
На старом здании можно ограничиться установкой марок на расстоянии 15 - 25 м от места примыкания нового здания.
3.36. Места расположения марок обозначают условными знаками на плане фундаментов здания или сооружения, выполненном в масштабе 1:100 - 1:500. Каждой марке присваивают номер.
3.37. Если в процессе измерения выявляется, что марка уничтожена, то немедленно устанавливается новая марка в радиусе не более 3 м от уничтоженной и на нее передается отметка. Новой марке присваивают тот же номер с добавлением литера "Н".
3.38. Марки служат для установки на них нивелирных реек во время производства работ, поэтому любая конструкция марки должна обеспечивать однозначность установки на ней рейки во все циклы наблюдений, т.е. марка должна иметь строго фиксированную точку.
| | ИС МЕГАНОРМ: примечание. В официальном тексте документа, видимо, допущена опечатка: Приложение 3а отсутствует. Возможно, имеется в виду Приложение 3. | |
3.39. В зависимости от места установки нивелирные марки подразделяются на стенные, плитные, цокольные и т.д. (см.
Приложение 3а).
3.40. После установки марки должны быть привязаны с погрешностью не более 10 см к разбивочным осям, оконным или дверным проемам, выступам, углам зданий и т.д.
ИЗМЕРЕНИЕ ОСАДОК ГЕОМЕТРИЧЕСКИМ НИВЕЛИРОВАНИЕМ I КЛАССА
3.41. Измерение осадок геометрическим нивелированием I класса производится двойным горизонтом в прямом и обратном направлении, способом совмещения, высокоточными нивелирами типа Н1 <*> и самоустанавливающимися типа Ni-002 фирмы "К. Цейсс", ГДР. Измерения в каждом цикле выполняются по однотипной схеме нивелирования, возможно простыми ходами из одного-двух полигонов.
--------------------------------
| | ИС МЕГАНОРМ: примечание. Постановлением Госстандарта СССР от 22.06.1990 N 1756 с 1 июля 1991 года введен в действие ГОСТ 10528-90. | |
<*> В соответствии с классификацией ГОСТ 10528-63 "Нивелиры. Типы. Основные параметры и технические требования".
3.42. Полевые и лабораторные исследования и поверки выполняются для каждого нивелира по получении его с завода, после ремонта, сопровождающегося разборкой инструмента, а также по мере необходимости. Лабораторные поверки и исследования выполняются в соответствии с "Инструкцией по нивелированию I, II, III, IV классов", М., "Недра", 1974. В
Приложении 4 приведены основные полевые поверки нивелиров. Нивелиры и рейки, употребляемые для измерения осадок, не должны использоваться для других работ.
3.43. При измерении осадок фундаментов нивелированием I класса должны применяться штриховые рейки с инварной полосой (рис. 6), на которой нанесены две шкалы, смещенные одна относительно другой на 2,5 мм. Длина реек от 0,1 до 3 м. Штрихи на рейках должны иметь толщину 1 мм, расстояние между осями штрихов 5 мм. На рейке должен иметься круглый уровень с ценой деления 10 - 12' на 2 мм.
Рис. 6. Инварная штриховая рейка
а - изображение рейки в поле зрения трубы нивелира
Ni-002; б - рейка с подпорками для установки
Ошибки метровых интервалов шкал и всей шкалы реек не должны превышать +/- 0,15 мм. Натяжение инварной полосы должно равняться 20 кгс.
3.44. Перед началом работ необходимо убедиться в отсутствии прогибов реек, в четкости нанесения делений и надписей, исправности уровней.
При работе с рейкой следует соблюдать следующие условия:
пятка рейки должна быть абсолютно чистой;
реечник должен устанавливать рейку на высшую точку марки по сигналу наблюдателя легко, без ударов;
рейка при помощи уровня становится вертикально, для ее удерживания применяются подпорки (
рис. 6, б), не допускается перемещение рейки на точке во время отсчитывания. Для уменьшения величины ошибки из-за неправильной установки рейки на марках рекомендуется применять подпятники, у которых центр оградительного кольца лежит на оси рейки;
при работе в темных помещениях на рейку надевается осветительная рамка
(Приложение 5);
ставя рейку на марку, реечник называет ее номер. Без сигнала наблюдателя рейка не снимается;
во время перерывов следует оберегать рейку от ударов, сотрясений, прислонять ребром к стене. По окончании работ хранить рейку в сухом помещении в специальном ящике. На одном объекте в разные циклы измерений рекомендуется использовать одну и ту же рейку.
3.45. Последовательность наблюдений на станции принимается следующая:
установка штатива; штатив нивелира должен устанавливаться на станциях без перекосов и напряжений; две ноги штатива располагаются вдоль линии нивелирования, а третья - попеременно, то справа, то слева; все три ноги штатива должны находиться в одинаковых условиях;
закрепление инструмента;
установка цилиндрического уровня; отклонение от контакта не более двух делений уровня;
отсчитывание по рейке выполняется по одной из следующих программ:
I программа II программа
первый горизонт

;

;

;

;

;

;

;

;
инструмента
второй горизонт

;

;

;

;

;

;

;

,
инструмента
где

- отсчет по основной шкале задней рейки;

- отсчет по дополнительной шкале задней рейки;

- отсчет по основной шкале передней рейки;

- отсчет по дополнительной шкале передней рейки.
При нивелировании одной рейкой в помещениях и при установке инструмента на жесткое основание применяется вторая программа.
3.46. Нивелирный ход по маркам начинают с репера и кончают на нем же или на другом репере. В каждом цикле измерений число станций в замкнутом ходе должно обеспечивать необходимую точность получения величины осадки. При незамкнутом ходе допускается не более одной установки инструмента.
3.47. Длина визирного луча не должна превышать 25 м, высота визирного луча над поверхностью земли или предмета должна быть не менее 0,8 м. В отдельных случаях при работе в подвальных помещениях и длине визирного луча не более 15 м допускается выполнять измерения при высоте визирного луча 0,5 м.
3.48. Наблюдения должны выполняться только при вполне благоприятных условиях видимости и при достаточно отчетливых и спокойных изображениях штрихов реек.
3.49. При выполнении работ в зимний период за 45 мин до начала наблюдений инструмент выносится на улицу для принятия нужной температуры. Передачу отметки на марки, расположенные внутри сооружения, рекомендуется выполнять через оконные проемы, отверстия в полах и стенах (диаметром не менее 0,5 м). Не рекомендуется устанавливать инструмент на границе между теплым и холодным воздухом. При переходе в помещения с большими разницами температур рекомендуется устанавливать марки с двух сторон фундаментов.
3.50. Не рекомендуется вести наблюдения:
в периоды, близкие к восходу и заходу солнца (начинать наблюдения можно примерно через полчаса после восхода солнца и заканчивать их примерно за час до захода солнца);
при колебаниях изображений, затрудняющих точное наведение биссектора на штрих рейки;
при сильном и порывистом ветре;
при сильных и скачкообразных колебаниях температуры воздуха.
Во время нивелирования инструмент должен быть тщательно защищен от солнечных лучей: на станции при помощи зонта, при переносе с одной станции на другую при помощи просторного чехла из плотной материи.
3.51. Неравенство расстояний от нивелира до реек не должно превышать 0,4 м. Накопление неравенств на замкнутый ход допускается не более двух метров. Расстояние измеряют дальномером или тонким стальным тросом. Допускается откладывание равных расстояний с помощью шпагатов.
3.52. Передача отметки с реперов на марки производится в начале цикла измерений. Если период наблюдений одного цикла превышает 10 дней, передача повторяется.
3.53. В качестве переходных точек используются башмаки, забиваемые в грунт, асфальт, деревянные столбы
(Приложение 5). К башмакам предъявляется требование абсолютной устойчивости. При перерыве в работе необходимо сделать привязку к марке.
3.54. На каждой станции надлежит выполнять контроль наблюдений. Этот контроль заключается в следующем:
подсчитывают разность основной и дополнительной шкал каждой рейки, которая должна находиться в пределах двух делений барабана (0,1 мм) (см.
Приложение 6). При большем расхождении наблюдения на станции повторяются;
подсчитывают удвоенные превышения по наблюдениям основной и дополнительных шкал задней и передней реек. Расхождение в удвоенных превышениях по основным и дополнительным шкалам должно быть не более четырех делений барабана (0,2 мм). При больших расхождениях наблюдения необходимо повторить;
вычисляют превышение; расхождение в превышениях при двух горизонтах допускается не более 0,2 - 0,3 мм;
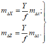
после выполнения замкнутого хода вычисляют его невязку. Она не должна превышать допустимую невязку

, вычисляемую по формуле

, (2)
где n - число станций в нивелирном ходе.
3.55. При использовании самоустанавливающихся нивелиров типа Ni-002 фирмы "К. Цейсс", ГДР, процесс работы упрощается. Не требуется защиты нивелира от солнечных лучей, не проводятся измерения расстояний от нивелира до марок, упрощается горизонтирование визирной оси инструмента. Производительность работы по измерениям осадок повышается приблизительно на 30% с сохранением требуемой высокой точности. Поверки такого типа нивелиров см. в
Приложении 4.
ИЗМЕРЕНИЕ ОСАДОК ГЕОМЕТРИЧЕСКИМ НИВЕЛИРОВАНИЕМ II КЛАССА
3.56. Измерение осадок геометрическим нивелированием II класса производят нивелирами типа Н1 и Н2 с плоскопараллельной пластинкой и контактным уровнем, а также самоустанавливающимися нивелирами типа KONi-007 "К. Цейсс", ГДР. Нивелирование производят одним горизонтом в прямом и обратном направлениях способом совмещения.
Полевые и лабораторные исследования и поверки выполняются для каждого нивелира по получении его с завода, после ремонта, сопровождающегося разборкой инструмента, а также по мере необходимости. Лабораторные поверки и исследования выполняются в соответствии с требованиями "Инструкции по нивелированию I, II, III, IV классов", "Недра", М., 1974, утвержденной ГУГК при Совете Министров СССР.
Основные полевые поверки нивелиров приведены в
Приложении 4.
3.57. При измерении осадок нивелированием II класса должны применяться штриховые рейки с инварной полосой. Допускается использование инварных реек с одной шкалой и толщиной штриха 2 мм. К рейкам предъявляются требования
п. 3.44. Длина реек может быть любой - от 0,1 до 3 м.
3.58. Последовательность наблюдений на станции при работе способом совмещения нивелирами типа Н1 и Н2 следует проводить в соответствии с
п. 3.45.
3.59. Нивелирный ход начинают с репера и кончают на нем же или на другом репере. Количество станций в висячем ходе допускается не более 2. Число станций в замкнутом ходе должно обеспечивать необходимую точность получения величины осадки.
3.60. Длина визирного луча не должна превышать 30 м, в отдельных случаях при вытянутых ходах с применением штриховых реек, имеющих толщину штриха 2 мм, допускается увеличение длины визирного луча до 40 м. Высота визирного луча должна быть не менее 0,5 м над поверхностью земли.
3.61. Неравенство расстояний от нивелира до реек не должно превышать 1 м. Накопление неравенства на замкнутый ход не должно превышать 3 - 4 м.
3.62. Наблюдения должны выполняться при благоприятных условиях видимости и с соблюдением требований
пп. 3.49,
3.50.
3.63. В качестве переходных точек используются башмаки (см.
п. 3.53).
3.64. На каждой станции осуществляется полевой контроль наблюдений. Этот контроль заключается в следующем:
подсчитывают разность основной и дополнительных шкал реек; она должна отличаться от постоянного числа не более чем на 3 деления барабана (0,15 мм). При большем расхождении наблюдения на станции повторяются;
подсчитывают удвоенные превышения по наблюдениям основной и дополнительных шкал задней и передней реек. Расхождение в удвоенных превышениях по основной и дополнительной шкалам должно быть не более 6 делений барабана (0,3 мм). При больших расхождениях наблюдения необходимо повторить;
подсчитывают превышение.
3.65. После выполнения замкнутого хода вычисляется его невязка. Она не должна превышать допустимой невязки

, вычисленной по формуле

, (3)
где n - число станций в нивелирном ходе.
3.66. При использовании самоустанавливающихся нивелиров типа KONi-007 "К. Цейсс", ГДР, процесс работы упрощается. Не требуется защиты нивелира от солнечных лучей, не проводятся измерения расстояний от нивелира до реек, упрощается горизонтирование визирной оси инструмента. Поверки такого типа нивелиров приведены в
Приложении 4.
ИЗМЕРЕНИЕ ОСАДОК ГЕОМЕТРИЧЕСКИМ НИВЕЛИРОВАНИЕМ III КЛАССА
3.67. Измерение осадок геометрическим нивелированием III класса производят нивелирами Н3. Могут быть использованы самоустанавливающиеся нивелиры типа KONi-007, "К. Цейсс", ГДР.
Нивелирование проводят одним горизонтом в прямом или в прямом и обратном направлениях в зависимости от применяемого инструмента и наличия типов реек. Основные полевые поверки приведены в
Приложении 4.
3.68. При измерении осадок нивелированием III класса применяются следующие типы реек:
шашечные двухсторонние длиной 2 - 3 м с сантиметровыми делениями. Отсчеты по красной и черной сторонам рейки должны различаться не менее чем на 100 мм;
штриховые рейки длиной от 0,5 до 3 м односторонние с двумя шкалами или двухсторонние с наименьшим делением в 0,5 см;
может использоваться подвесная рейка длиной от 0,5 до 1,2 м с такими же делениями и шкалами, как у основных реек. Нуль подвесной рейки должен совмещаться с центром отверстия для штифта, на котором подвешивается рейка. К рейкам предъявляются требования, изложенные в
п. 3.44.
3.69. Последовательность наблюдений на станции в случае работы способом совмещения принимается такая же, как указано в
п. 3.45.
Отсчитывание по трем нитям рейки выполняется по программе

,

,

,

, где

,

- отсчет по трем нитям черной и красной сторон задней рейки;

,

- отсчет по трем нитям черной и красной сторон передней рейки.
При выполнении отсчетов по средней нити последовательность наблюдений следующая:
установка и приведение инструмента в рабочее положение;
отсчитывание по средней нити выполняется по программе

,

,

,

.
3.70. Наблюдения должны выполняться при благоприятных условиях видимости с соблюдением правил
пп. 3.48 -
3.50. Нивелирование начинают с репера и кончают на нем же или на другом репере. Количество станций в замкнутом ходе должно обеспечивать необходимую точность получения осадки. Количество висячих станций допускается не более пяти.
3.71. Длина визирного луча должна быть не более 40 м. Высота визирного луча должна быть не менее 0,3 м над поверхностью земли.
Неравенство расстояний от инструмента до реек не должно превышать 2 м, а накопление их в ходе - 5 м.
3.72. В качестве переходных точек используются башмаки (см.
п. 3.53). Допускается использование в качестве переходных точек деревянных кольев с забитым гвоздем, на который устанавливается пятка рейки, металлических костылей, забитых в деревянный столб под углом не менее 30°, и т.д.
3.73. На каждой станции надлежит выполнять контроль наблюдений. Этот контроль заключается в следующем:
при подсчитывании средних превышений из наблюдений по красной и черной сторонам реек расхождение между ними не должно превышать 2 мм;
при использовании инварных штриховых реек и нивелиров типа Н1, Н2 разность превышений по основной и дополнительной шкалам не должна превышать 1,5 мм;
при отсчитывании по трем нитям сравнивают отсчет по средней нити с полусуммой отсчетов по крайним нитям. Расхождение не должно превышать 3 мм.
3.74. Невязка в замкнутом ходе не должна превышать допустимую

, определяемую по формуле

, (4)
где n - число станций в нивелирном ходе.
При прокладывании прямого и обратного хода допустимое расхождение между превышениями подсчитывается по той же формуле.
ОБРАБОТКА РЕЗУЛЬТАТОВ ИЗМЕРЕНИЙ
3.75. По окончании полевых измерений вычисляют во вторую руку превышения между марками и реперами и составляют схему нивелирных ходов, на которую выписывают вычисленные превышения, полученные и допустимые невязки. Округление производят до следующих величин, приведенных в табл. 2.
Таблица 2
Класс нивелирования | Превышение | Отметки, мм | Осадка |
I | 0,01 | 0,1 | 0,1 |
II | 0,1 | 1 | 1 |
III | 0,5 | 1 | 1 |
3.76. После проверки журналов и составления схем ходов нивелирования составляют ведомость превышений и вычисленных отметок марок.
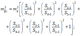
Среднюю квадратическую ошибку осадки

из двух циклов определяют по формуле

, (5)
где

и

- средние квадратические ошибки отметки марки хода, наиболее удаленной от репера в первом и втором циклах наблюдений; в случае простых одиночных ходов их определяют по формуле

, (6)
где

- средняя квадратическая ошибка одной станции для данного класса;
n - количество станций до наиболее удаленной марки хода.
В случае большого количества ходов или полигонов оценку точности производят до и после уравновешивания. Целесообразно при уравнивании применять приближенный метод полигонов проф. В.В. Попова или более строгий метод наименьших квадратов. Сеть уравнивается как свободная.
В
Приложении 7 приведены примеры уравновешивания нивелирных сетей.
Невязки, не превышающие 1 мм в одиночных полигонах, распределяют равномерно по всем превышениям. Форма ведомости отметок и осадок приведена в табл. 3.
N марок | Дата начала наблюдений (первого цикла) | Отметка в последнем цикле в мм | Осадка в мм на |
12/VI-74 | 1/XI-74 | 10/V-74 |
при давлении в кгс/см2 |
0,5 | 1 | 1,5 |
М-1 | 10/V-74 | 10492,2 | 4 | 6,1 | 8 |
М-2 | 10/V-74 | 10549,2 | 5,4 | 7,6 | 8,8 |
М-20 | 10/V-74 | 10336 | 3 | 5,5 | 6,6 |
Средняя осадка | 4,1 | 5,4 | 7,8 |
Ведомость составил ______________________
подпись
Ведомость проверил ______________________
подпись
Примечание. Измерения осадок выполнялись нивелированием I класса.
3.77. Осадки фундамента под каждой маркой вычисляют как разность между отметкой этой марки, полученной в последнем цикле измерений, и отметкой, полученной в первом цикле измерений.
Величину осадки также можно получить методом, предложенным польским проф. Лаззарини, который заключается в совместном уравнивании двух циклов измерений методом наименьших квадратов, что позволяет получить непосредственно величины осадок как неизвестные с их средними ошибками.
3.78. Пользуясь ведомостью осадок, составляют чертеж распределения осадок в плане. Для этого на плане фундаментов здания под номером каждой марки пишут величину ее осадки в миллиметрах.
При значительной неравномерности осадок рекомендуется наносить на чертеже расположения марок изолинии равных осадок, например для 0, 10 и 20 мм и т.д.
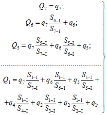
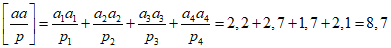
3.79. На основании данных наблюдений вычисляются: средняя осадка, относительные значения прогиба (выгиба), неравномерности осадок соседних фундаментов и крен.
Среднюю осадку

в мм, отнесенную к площади фундамента, вычисляют по формуле

, (7)
где

,

, ...,

- осадка марок N 1, 2, ..., n;

,

, ...,

- площадь подошвы фундаментов, отнесенных к соответствующим маркам.
Допускается среднюю осадку вычислять по формуле

, (8)
где [S] - сумма осадок всех марок на сооружении;
n - число марок.
Одновременно со средней осадкой

указывают наибольшую и наименьшую осадки на всей площади плана фундаментов, принятой к осреднению.
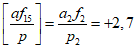
Относительный прогиб (выгиб) f вычисляют по формуле (9) из данных осадок трех смежных марок, расположенных на осях сооружения или вдоль характерных линий плана и отстоящих друг от друга приблизительно на одинаковых расстояниях:

, (9)
где

и

- осадки крайних марок рассматриваемого участка прямой линии, мм;

- осадка средней марки, мм;
L - расстояние между крайними марками, мм.
Относительный прогиб (выгиб), как правило, вычисляют для продольной оси здания, а также для поперечных сечений у торца здания в средней его части, причем обязательно следует указывать направление прогиба (значение f выпуклостью вниз - положительное, выпуклостью вверх - отрицательное).
Относительная неравномерность осадок двух соседних марок определяется разностью их осадок, отнесенной к расстоянию между ними.
Для марок, установленных на концах осей сооружений, вычисляется относительный крен K

, (10)
где

и

- осадки крайних марок по оси сооружений, мм;
L - расстояние между этими марками, мм.
Относительный крен вычисляют для продольной оси здания, а также для поперечных сечений у торцов и в средней части, причем обязательно указывают направления крена (север, восток, юг, запад).
3.80. На основании ведомости осадок составляют ведомости среднемесячных и среднегодовых скоростей осадок V, вычисляемых по формуле

, (11)
где

- средняя осадка сооружения в конце периода;

- то же, в начале периода;
t - период наблюдений.
3.81. По окончании обработки результатов измерений для каждого объекта составляют отчетную карточку, на которую наносят геологию, план фундаментов, развертку осадок по осям и осадку марок во времени (рис. 7).
Рис. 7. Отчетная карточка по объекту
3.82. По этим материалам в первый цикл измерений составляется пояснительная записка с описанием методики измерений, полученных данных и оценкой точности с приложением ведомостей отметок марок. После проведения второго цикла измерений составляется научно-технический отчет, в который включаются:
цели и задачи измерений;
характеристика грунтов, залегающих в основании сооружения, с приложением инженерно-геологического разреза скважин и физико-механическими свойствами грунтов;
конструктивные особенности сооружения и его фундаментов с приложением планов и разрезов фундаментов;
подробное описание методики работ, обработки полевых материалов, оценки точности;
результаты работ с приложением данных, перечисленных в
пп. 3.78 -
3.81.
ИЗМЕРЕНИЕ ОСАДОК ФУНДАМЕНТОВ
МЕТОДОМ ГИДРОСТАТИЧЕСКОГО НИВЕЛИРОВАНИЯ
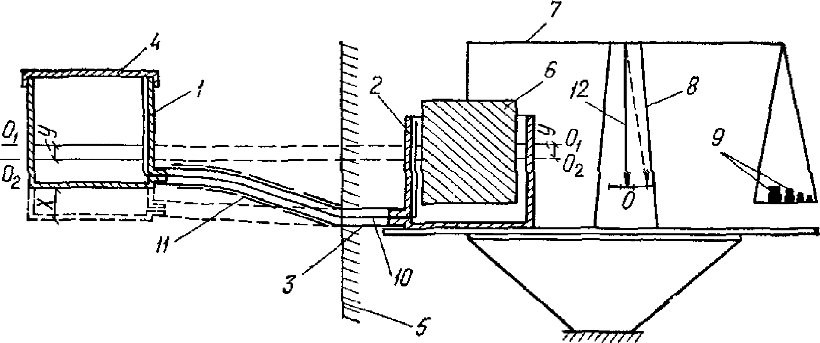
3.83. Гидростатическое нивелирование для определения осадок фундаментов сооружений может быть эффективно использовано в стесненных условиях подвальных помещений, где не могут быть обеспечены условия хорошей видимости наблюдаемых точек, отсутствует удобное место для установки прибора и работы наблюдателя, затруднена работа громоздкостью реек, штативов и т.д. Гидростатическое нивелирование может быть с успехом применено при измерении осадок фундаментов турбогенераторов, бумагоделательных машин, стендов для натяжения арматуры при изготовлении напряженного железобетона и т.д. Для наблюдений за осадками фундаментов технологического оборудования уникальных сооружений типа ускорителей, где невозможно пребывание человека из-за радиационной опасности, целесообразно использование стационарных гидростатических систем с дистанционным управлением. В ряде случаев гидростатическое нивелирование может оказаться единственным техническим средством для наблюдения за осадками.
3.84. Гидростатическое нивелирование заключается в определении разности высот точек инженерного сооружения путем использования основного закона гидростатики - в сообщающихся сосудах свободная поверхность жидкости всегда находится на одинаковом уровне, независимо от поперечного сечения сосуда и массы жидкости. По разности высот столбов жидкости в сообщающихся сосудах находят разность высот точек, на которых установлены сосуды.
3.85. Измерения осадок фундаментов методом гидростатического нивелирования могут быть выполнены двумя видами гидростатических приборов:
переносным шланговым нивелиром;
стационарной гидростатической системой.
3.86. Переносные шланговые нивелиры бывают двух основных типов:
а) с фиксацией положения поверхности жидкости по поплавку. Погрешность отсчета +/- 0,1 мм. К таким нивелирам относятся нивелиры НШТ-1, НШТ-2 и др.;
б) с фиксацией положения поверхности жидкости острием микрометренного винта, точность отсчета от 0,02 мм до 2 - 3 микрон (при использовании электрических контактов). К таким приборам относятся нивелиры Терцаги, Мартина, Мейсера и др.
3.87. Переносные шланговые нивелиры в основном состоят из двух одинаковых водомерных стаканов-пьезометров, соединенных гибким резиновым или пластмассовым шлангом разной длины. Водомерные стаканы представляют собой стеклянные цилиндры длиной от 50 до 200 мм, диаметром от 20 до 50 мм, заключенные в металлические оправы. В нижней части оправ имеются патрубки с кранами для присоединения к шлангу, а в верхней - отверстие для заливки жидкости и соединения полости цилиндра с воздушной средой, перекрываемое либо краном, либо ручным или автоматическим клапаном. В
Приложении 8 приведены описания основных типов переносных гидростатических нивелиров.
3.88. Измерения осадок переносным гидростатическим нивелиром можно проводить двумя способами:
с перестановкой водомерных стаканов;
без перестановки водомерных стаканов.
При способе измерений осадок с перестановкой водомерных стаканов последовательность наблюдений на станции следующая:
закрепление водомерных стаканов на марках;
приведение инструмента с помощью уровней в горизонтальное положение;
фиксирование по отсчетным приспособлениям положения уровня воды на обеих марках;
перестановка водомерных стаканов;
приведение в горизонтальное положение;
повторное фиксирование по отсчетным приспособлениям положения уровня воды на обеих марках.
Превышение h между марками будет равно:

, (12)
где

и

- отсчеты по первому водомерному стакану, установленному на 1-й и 2-й марках;

и

- отсчеты по второму водомерному стакану, установленному на 1-й и 2-й марках.
Для ускорения работы можно брать отсчеты один раз без перестановки водомерных стаканов. Для этого перед началом работы надо определить разность высот сообщающихся сосудов, которая для данной пары водомерных стаканов является постоянной величиной K.
Для определения K достаточно взять отсчеты при двух положениях водомерных стаканов и вычислить по формуле

. (13)
Зная K, можно вычислять превышения без перестановки водомерных стаканов на одной станции по формуле:

.
3.89. Перед началом работы гидростатическим нивелиром нужно проверить, как заполняет вода шланги. Воздушные пузыри и пробки в системе гидростатического нивелира не допускаются. Вода в системе должна быть кипяченой или дистиллированной. Не допускаются перегибы шлангов и провисание.
При проложении нивелирного хода гидростатическим нивелированием водомерные стаканы инструментов устанавливаются или навешиваются на марки или штативы.
Нивелирные ходы (с применением штативов) удобнее прокладывать нивелирами с поплавками, так как эти нивелиры могут измерять большие превышения, чем нивелиры с микрометренным винтом.
3.90. При установке водомерных стаканов на марки и проведении высокоточного гидростатического нивелирования в конструкции сооружений закладываются специальные закладные детали (марки) для того или иного гидростатического нивелира в соответствии с имеющимся в приборе приспособлением для установки.
3.91. При применении переносных гидростатических нивелиров точность получения величины осадки зависит от двух типов ошибок: инструментальных и внешней среды.
Инструментальные ошибки состоят в основном из ошибок установки водомерных стаканов на марки нивелируемых точек; ошибок хода винта отсчетного приспособления; ошибок за температурные деформации отдельных узлов головки гидростатического нивелира; ошибок за счет капиллярных сил смачивания конца штока.
Ошибки внешней среды состоят в основном из ошибок, вызванных: тепловым расширением жидкости в сосудах гидростатического нивелира; изменением давления в помещении нивелирования; изменением плотности жидкости за счет локального распределения пузырьков воздуха; нарушением плоскостности поверхности уровня жидкости воздушными пузырьками; испарением воды в сосудах прибора и ошибок, вызванных загрязнением жидкости в гидростатических приборах.
3.92. Для измерений осадок фундаментов гидростатическим нивелированием с большой точностью (средней квадратической ошибкой осадки +/- 0,1 - 0,3 мм) необходимо: а) герметизировать гидростатическую систему; б) не допускать наличия в системе воздушных пробок; в) соединительные шланги должны находиться приблизительно (до 2 см) в горизонтальной плоскости; г) учитывать с помощью температурных датчиков изменение температуры в головках системы с целью введения поправок в положение уровня жидкости.
Наиболее удобный период наблюдений, когда гидростатическая система или полностью охлаждена, или нагрев ее достиг уровня с незначительным изменением температуры во времени.
3.93. По опытным данным, в закрытых помещениях, где сохраняется постоянство температуры, гидростатическое нивелирование при тщательной работе и высоком классе обработки нивелируемой марки может обеспечить ошибку осадки из двух циклов до 20 мкм.
Для уменьшения влияния температуры возможно соединять водомерные стаканы сложным двойным шлангом. Внутри воздушного шланга большого диаметра проходит жидкостный шланг малого диаметра. Воздушный шланг служит термозащитным средством. Для равномерного распределения воздушных промежутков между шлангами помещена диафрагма с отверстиями для свободного прохода воздуха.
3.94. Стационарная гидростатическая система может состоять из большого количества водомерных стаканов-пьезометров, жестко укрепленных на фундаментах или конструкциях сооружения. Эти системы удобнее для использования, так как всегда готовы для наблюдения; большее число наблюдательных точек обеспечивает большую полноту материалов, причем обслуживать всю систему может один человек.
3.95. По различию в методике измерений абсолютных или относительных осадок стационарные системы можно разделить на два типа: с привязкой к неподвижному исходному реперу и без привязки к реперу.
По конструкции стационарные гидростатические системы можно разбить на замкнутые и разомкнутые или висячие.
3.96. Для заполнения системы водой могут быть рекомендованы два способа:
а) приготавливают бачок с запасом жидкости, по меньшей мере втрое превышающим заполняемый объем шланга, и поднимают его возможно выше от пола. Один конец шланга опускают в жидкость и всасыванием пускают ее в шланг. Следя за тем, чтобы в шланг не засасывался воздух, пропускают жидкость по шлангу до тех пор, пока она не станет вытекать из него непрерывной струей без пузырьков воздуха, затем закрывают выходные и входные отверстия пробками;
б) изгибают конец шланга в форме буквы U, с величиной петли 0,3 - 0,4 м и, плотно вставив в отверстие воронку, заполняют петли жидкостью. Затем, медленно увеличивая размеры петли и следя за тем, чтобы воронка находилась ниже верхней точки перегиба шланга, а уровень жидкости - в широкой части воронки, непрерывно льют в воронку жидкость до заполнения всего шланга. После заполнения концы шланга закрывают пробками.
3.97. Перед устройством стационарной гидростатической системы составляют проект размещения водомерных стаканов-пьезометров, разводки шлангов и установки напорного резервуара с учетом удобного доступа и требований сохранности. Проект согласовывается со строительной организацией или службой эксплуатации.
Напорный резервуар с водой устанавливают на прочной подставке или фундаменте, не имеющем осадок, в стороне от гидростатической системы. При наблюдениях за сооружениями удлиненной формы напорные резервуары лучше размещать с двух сторон сооружения и гидростатическую систему делать замкнутой. Водомерные стаканы целесообразно защищать смотровыми ящиками, открываемыми во время наблюдений. Наполнение системы водой производится через два-три месяца. Воду для удобства наблюдения желательно подкрашивать.
3.98. Точность гидростатического нивелирования с помощью стационарно установленной системы зависит как от факторов, перечисленных в
п. 3.91, так и от конструкции системы, качества жидкости, методики измерений. В
Приложении 8 приведено описание гидростатической системы с автоматическим съемом информации. Эта система была разработана для высокоточных измерений осадок сооружений Ереванского ускорителя и с успехом может применяться на разного рода сооружениях. Точность получения осадки фундаментов с применением такой системы составляет несколько десятков микрометров.
3.99. Не рекомендуется проводить измерения осадок методом гидростатического нивелирования на сооружениях, испытывающих динамические нагрузки.
ИЗМЕРЕНИЕ ОСАДОК ФУНДАМЕНТОВ
МЕТОДОМ ТРИГОНОМЕТРИЧЕСКОГО НИВЕЛИРОВАНИЯ
3.100. Измерение осадок методом тригонометрического нивелирования может выполняться на сооружениях, построенных в условиях крутопадающих склонов, в оврагах, на больших насыпях, естественных холмах, при передаче отметок в глубокие котлованы.
3.101. При измерении осадок эксплуатирующихся сооружений тригонометрическим нивелированием может осуществляться передача отметок в глубокие подвалы.
3.102. Тригонометрическое нивелирование заключается в определении превышения одной точки над другой измерением угла наклона визирного луча и расстояния от инструмента до точек визирования.
3.103. Для измерения осадок методом тригонометрического нивелирования рекомендуется использовать теодолиты средней и высокой точности типа ОТ-02, ТБ-1, Theo-010 и Т-2, снабженные цилиндрическим контактным уровнем и оптическим микрометром. Полевые поверки такого типа теодолитов приведены в
Приложении 4.
3.104. Тригонометрическое нивелирование выполняется короткими лучами (до 100 м) с применением реек, на которых закреплены визирные цели, также возможно применение вешек с подпятниками и круглым уровнем. На вешках укрепляются две визирные цели, отстоящие друг от друга на 1 - 2 м. Перед проведением работ величину вертикального базиса на рейке и на вешке рекомендуется прочно закрепить и прокомпарировать его длину.
3.105. Вертикальный угол или зенитное расстояние для теодолитов типа ТБ-1 определяется по формуле

; (14)

;
для теодолитов типа ОТ-02:
MZ = КЛ + КП - 180°; (15)
Z = КП - КЛ + 90° = КЛ - MZ = MZ - КП,
где КЛ - отсчет по микрометру вертикального круга при круге лево;
КП - отсчет по микрометру вертикального круга при круге право.
После контрольных вычислений места зенита MZ и зенитных расстояний Z отдельно для каждого измерения и визирной цели вычисляются значения превышений между горизонтальной осью вращения трубы теодолита и осью визируемого штриха на рейке или вешке. Это превышение вычисляется по формуле
h = D ctg Z, (16)
где D - горизонтальное проложение, вычисляемое по формуле

, (17)
b - расстояние между визирными целями или вертикальный базис;

- зенитные расстояния или вертикальные углы двух точек на рейке.
3.106. Отметка каждой марки вычисляется по формуле:

. (18)
Осадка S в разных циклах может быть вычислена как разность отметок двух циклов; в случае равноточных измерений, выполненных по однотипной схеме, осадка может быть вычислена как разность превышений соответствующих циклов.
3.107. Для повышения точности тригонометрического нивелирования рекомендуется устанавливать знаки, закрепляющие точки стояния инструмента. Эти знаки могут быть выполнены из металла в виде трубы с отверстием для прикрепления теодолита (рис. 8), забитой сваи с простейшим центрировочным устройством. Кроме того, могут быть использованы окружающие сооружения, устойчивость которых не вызывает сомнения. С применением всех предосторожностей можно получить точность определения осадки в двух циклах измерения, равной II классу геометрического нивелирования.
Рис. 8. Опорный знак
(металлическая труба для установки теодолита)
1 - подставка; 2 - отверстие для закрепления теодолита;
3 - бетонный башмак
3.108. При измерении больших величин осадок сооружений, построенных или строящихся в условиях пересеченной местности и основанных на насыпных или просадочных грунтах, подверженных замачиванию, метод тригонометрического нивелирования может быть выполнен по упрощенной методике. Измерения могут выполняться на штативе, закладка постоянных точек для установки инструмента в виде столбов или труб не обязательна. Однако рекомендуется проводить измерения из середины, что освобождает величину получаемого превышения от влияния кривизны Земли и рефракции. Имеется возможность использования тахеометров и таблиц для вычисления превышений. Расстояния могут быть измерены дальномером. Исключается применение вертикального базиса на рейках и вешках. Точность получения величины осадки из двух циклов составит при таком методе +/- 10 мм - 15 мм. Этот способ применим для фиксирования больших величин осадок, просадок, оползневых явлений, величина которых более 100 мм.
4. ОСОБЕННОСТИ ИЗМЕРЕНИЯ ОСАДОК ФУНДАМЕНТОВ ЗДАНИЙ
И СООРУЖЕНИЙ, ОСНОВАННЫХ НА НАСЫПНЫХ, ПРОСАДОЧНЫХ,
ЗАТОРФОВАННЫХ, ВЕЧНОМЕРЗЛЫХ, ЗАСОЛЕННЫХ,
НАБУХАЮЩИХ ГРУНТАХ
4.1. При организации измерений осадок фундаментов сооружений, построенных на насыпных грунтах, необходимую точность и соответственно применяемый метод рекомендуется рассматривать в зависимости от:
способа укладки, однородности состава и сложения, вида исходного материала, степени уплотнения насыпи.
4.2. Для сооружений, фундаменты которых основываются или основаны на планомерно возведенных насыпях, характеризующихся однородностью состава, и в которых процесс уплотнения закончился, измерения осадок могут выполняться обычными методами геометрического нивелирования I или II класса (см.
главу 3), в зависимости от значимости сооружения и поставленных целей данных наблюдений.
4.3. Для сооружений, фундаменты которых возведены на отвалах грунта и отходах производств, бытовых отбросах, в которых процесс уплотнения продолжается, измерения осадок могут выполняться нивелированием III класса. При расположении сооружений на косогорах рекомендуется применять комбинирование методов тригонометрического и геометрического нивелирования. В качестве исходных знаков могут использоваться свайные реперы, заанкеренные или забитые в коренные породы ниже насыпной толщи на 3,1 - 1,5 м, защищенные колодцами и предохраненные от смерзания с окружающим грунтом. Не рекомендуется использование стенных реперов, установленных в расположенных поблизости зданиях, так как эти здания также могут иметь осадки.
4.4. На вновь построенных или строящихся сооружениях, фундаменты которых основаны на неуплотненных насыпях, измерения осадок выполняются с учащенной цикличностью: в строительный период не менее 5 - 6 раз, в эксплуатационный период в зависимости от развития осадок и значимости сооружения не менее 4 - 5 раз до снижения скорости осадки в 3 - 5 мм в год. Затем цикличность может быть уменьшена до 2 раз в год до полного затухания осадок.
При изменении гидрогеологических условий в основании сооружений и появления деформаций в верхних конструкциях измерения возобновляются с цикличностью 1 раз в месяц, при необходимости и более учащенно.
4.5. При производстве работ по геометрическому нивелированию необходимо использовать специальные подкладки под ножки штатива (см.
Приложение 5).
В качестве временных переходных точек рекомендуется использовать штыри, забитые в стены сооружений. При отсутствии сооружений на строительных площадках в качестве переходных башмаков забивается арматурный стержень длиной 1 - 1,5 м. Длина арматурного стержня увеличивается в случае, если после забивки обнаружена неполная устойчивость башмака.
4.6. Для сооружений, длительное время находящихся в эксплуатации (памятники архитектуры, соборы, башни и т.д.) и построенных на свалках грунта, характеризующихся большой плотностью, но содержащих органические включения, наблюдения за осадкой рекомендуется организовывать как геометрическим нивелированием I класса, так и методом гидростатического нивелирования с установкой в подвальных помещениях стационарных гидростатических систем с дистанционным съемом информации (см.
Приложение 8). Для получения абсолютной величины осадки в этом случае рекомендуется применять комбинацию методов геометрического нивелирования I класса и гидростатического нивелирования.
4.7. При измерении осадок фундаментов сооружений, основанных на просадочных грунтах и расположенных вдали от объектов, несущих воду, измерение осадок ведется обычными способами и методами, описанными в
главе 3.
4.8. При измерении осадок фундаментов сооружений, основанных на просадочных грунтах и имеющих мокрые процессы (бумагоделательные комбинаты и др.), а также в случаях проведения опытных работ по замачиванию основания, измерения просадок возможно выполнять методом геометрического нивелирования III класса. Однако осадочные марки размещаются на сооружениях более учащенно в зависимости от значимости сооружения и величины деформаций.
4.9. При залегании просадочных грунтов под частью сооружения измерения осадок фундаментов организуются для всего сооружения по I классу геометрического нивелирования. Для фиксации осадок фундаментов под машины (бумагоделательные, турбоагрегаты и др.) возможно применение гидростатического нивелирования.
4.10. При установке исходных реперов в районе залегания просадочных грунтов репер должен прорезать всю толщу этих грунтов, а нижний конец репера должен заделываться в кровле подстилающего слоя на глубину не менее 1 м в песчаных и 2 - 3 м в глинистых подстилающих грунтах. При значительной толщине слоя просадочных грунтов допускается нижний конец репера заделывать на глубину 5 - 6 м, а репер должен располагаться на расстоянии не менее тройной толщины слоя просадочного грунта от сооружений, несущих воду (водопровод, канализация и т.п.).
4.11. Пазухи котлованов при устройстве защитных колодцев у реперов засыпают местным грунтом с плотным и послойным трамбованием. Для исключения застоя воды возле крышек реперов, верхнюю часть колодцев поднимают на 0,5 м выше планировочной отметки, а вокруг устраивают кольцевые отмостки (с уклоном 1:4) из асфальта, бетона, кирпича или на подготовке из уплотненного грунта, засеянного травой.
4.12. Для установления центра развития посадок и набуханий грунта от собственного веса и нагрузки сооружений в зоне вероятных источников замачивания устанавливаются поверхностные марки. Марки представляют собой отрезки арматуры

, длиной 50 - 70 см, забиваемые в приямки ниже поверхности земли на 5 - 10 см и защищаемые от повреждений деревянными коробами, заглубленными на 20 см; короба должны иметь откидные крышки.
4.13. Поверхностные марки размещаются через каждые 2 - 3 м по поперечникам, располагаемым через 5 - 10 м, и нивелируются по III классу геометрического нивелирования.
4.14. При измерении осадок фундаментов сооружений, основанных на набухающих грунтах и расположенных вдали от объектов, несущих воду, измерения осадок ведутся обычными способами и методами, описанными в
главе 3.
4.15. При измерении осадок и подъемов фундаментов, основанных на набухающих грунтах, глубину закладки исходных глубинных и грунтовых реперов выбирают на 1 - 2 м ниже подошвы их залегания. При значительной толщине набухающего слоя глубина репера должна быть отнесена к отметке, где природное давление превышает давление набухания (практически порядка 3 кгс/см2).
4.16. При наблюдениях за осадками фундаментов сооружений, основанных на засоленных грунтах, рекомендуется применение геометрического нивелирования I класса с установкой глубинных реперов. Не рекомендуется использовать в качестве исходных реперов знаки, установленные в окружающих сооружениях. Методика измерения, установка реперов и марок должны быть рассчитаны на длительный период наблюдений.
4.17. Цикличность проведения работ по измерению осадок сооружений, основанных на засоленных грунтах, замедленная. В строительный период допускается выполнять измерения при 0, 50, 100% нагрузки; в эксплуатационный период в зависимости от развития скорости осадок - 2 - 3 раза в год. При появлении резких деформаций в конструкциях учащается цикличность выполнения измерений и соответственно устанавливается дополнительное количество марок.
4.18. При измерении осадок фундаментов, основанных на заторфованных грунтах, рекомендуется применение геометрического нивелирования II, III классов, а также гидростатического нивелирования с использованием обычных гидронивелиров ЭНИМС завода "Калибр". Однако для установки гидронивелиров должны быть заложены в стены сооружения подвесные крюки или специальные площадки. Лучше гидростатическое нивелирование организовывать в свободных подвальных помещениях.
4.19. В качестве исходных реперов рекомендуется применять разной длины забивные сваи с забивкой до плотных малодеформируемых грунтов (при наличии свай на строительных площадках) и соответствующим обычным оформлением верха знака (колодец, крышка и т.д.).
4.20. В случае необходимости (размещение сооружения в пересеченной местности) допускается применение тригонометрического нивелирования.
4.21. При измерении осадок фундаментов сооружений, основанных на вечномерзлых грунтах, учитывается принцип использования вечномерзлых грунтов в качестве оснований сооружений; первый принцип - грунты основания используются в мерзлом состоянии в течение всего периода эксплуатации здания или сооружения; второй принцип - грунты основания используются в оттаивающем и оттаявшем состоянии.
4.22. При возведении фундаментов с использованием в качестве основания вечномерзлых грунтов по первому принципу применяется обычная методика измерения осадок по II классу нивелирования, однако при установке осадочных марок на сооружениях с повышенным тепловыделением и открытыми подпольями рекомендуется установка шкаловых марок (см.
Приложение 3), а также марок для установки подвесных реек.
4.23. При возведении фундаментов с использованием в качестве основания вечномерзлых грунтов по второму принципу возможно применение нивелирования II и III классов.
4.24. В качестве исходных реперов могут быть использованы сваи: забивные, которые рекомендуется применять при пластично-мерзлых глинистых грунтах без крупнообломочных включений, погружаемые в пробуренные скважины, диаметр которых превышает наибольший размер поперечного сечения сваи, с заполнением скважин грунтовым раствором, и которые рекомендуется применять при наличии твердомерзлых грунтов и пластично-мерзлых с содержанием крупнообломочных включений.
4.25. В районах с вечномерзлыми грунтами реперы устанавливают близ сооружений на 2 - 3 м ниже расчетной глубины чаши оттаивания под сооружением и не менее тройной толщи слоя сезонного оттаивания, если реперы устанавливают за пределами чаши оттаивания, в стороне от сооружения.
4.26. При закладке исходных реперов в вечномерзлые грунты глубину их установки

можно определить по формуле

, (19)
где G - масса знака;
q - масса грунта, лежащего на его уступах, кг;
T - силы пучения;

- периметр сечения знака в зоне заанкеривания, см;

- нормативное сопротивление мерзлых грунтов сдвигу по боковой поверхности смерзания, кгс/см
2, для i-го слоя принимается по табл. 5 СНиП II-Б.6-66.
Силы пучения T определяются по формуле

, (20)
где

- нормативное значение касательных сил пучения, кгс/см
2,

для районов с температурой грунта -3 °C и выше и

для районов с температурой грунтов ниже -3 °C на глубине 10 м;
F - площадь боковой поверхности части знака, находящегося в пределах сезонно-мерзлого слоя, см2;
n - коэффициент перегрузки сил пучения, равный 1,2 для сливающейся мерзлоты (когда деятельный слой смерзается с верхней границей мерзлоты) и 1,4 для несливающейся мерзлоты.
5. ОСОБЕННОСТИ НАБЛЮДЕНИЙ ЗА ОСАДКАМИ ФУНДАМЕНТОВ
НА ТЕПЛОВЫХ ЭЛЕКТРОСТАНЦИЯХ
5.1. Наблюдения за осадками фундаментов основного оборудования, производственных зданий, гидротехнических сооружений теплоэлектростанций проводятся по проекту организации наблюдений за осадками фундаментов в соответствии с действующими "Правилами технической эксплуатации ТЭЦ", "Энергия", 1968.
5.2. Проект организации наблюдений за осадками фундаментов разрабатывается при проектировании зданий и сооружений электростанций в соответствии с "Указаниями по строительному проектированию тепловых электростанций" (СН 372-67, Стройиздат, 1968).
5.3. Организация, производящая работу по наблюдениям за осадками, совместно с организацией, проектирующей сооружение, составляет рабочую программу на производство работ по измерению деформаций фундаментов зданий и сооружений.
5.4. Материалы наблюдений должны своевременно анализироваться специалистами из строительной, проектной организаций и служб ТЭЦ в процессе строительства и эксплуатации для выявления причин и принятия мер по своевременному устранению обнаруженных недопустимых деформаций.
5.5. Инструментальные наблюдения за осадками фундаментов строящихся зданий и сооружений необходимо начинать в период выполнения строительных работ нулевого цикла, сразу же после возведения фундаментов. Цикличность измерений устанавливается проектной организацией в зависимости от величины ожидаемых деформаций.
5.6. Наблюдения за осадками фундаментов зданий и сооружений в период эксплуатации должны производиться в первые два года эксплуатации не менее 2 раз в год, в дальнейшем, при стабилизации осадок фундаментов, - один раз в 5 лет.
При обнаружении очага интенсивных осадок фундаментов дальнейшее измерение осадок производится по специально разработанной программе в зависимости от влияния деформации на прочность и устойчивость зданий и сооружений, а также на допустимость осадки с учетом характера технологического процесса.
5.7. Наблюдения за деформацией фундамента турбоагрегата должны быть начаты в процессе его возведения до монтажа турбоагрегата, а затем выполняться в следующей последовательности:
два раза в процессе монтажа турбоагрегата;
до и после гидроиспытаний вакуумной системы;
перед пусковыми операциями на турбоагрегате на "холодном" фундаменте;
в процессе эксплуатации через 1 - 3 мес в зависимости от наличия деформации и скорости осадок.
5.8. Размещение осадочных марок и глубинных реперов на зданиях и сооружениях ТЭЦ аналогично общим правилам размещения осадочных марок (см.
пп. 3.25 -
3.40).
Осадочные марки должны быть также размещены на фундаментах основного оборудования (турбин, котлов, шаровых мельниц, питательных насосов, трансформаторов).
На фундаментах котлов устанавливается не менее 6 - 8 марок, на фундаментах турбин не менее 6 при мощности турбоагрегатов до 200 мВт и не менее 12 марок - на фундаментах турбоагрегатов более 200 мВт (по одному горизонту).
5.9. В проектах фундаментов турбоагрегатов должны предусматриваться осадочные марки на трех горизонтах: по верху нижней плиты, на отметке +0,6 м и на верхней плите.
Марки по верху нижней плиты используются только в период строительства фундаментов турбоагрегата. В период эксплуатации из этих марок используются только доступные для нивелирования.
Марки на отметке +0,6 м устанавливаются на наружных гранях стоек фундамента; взаимное смещение в плане марок, расположенных на верхней плите и на отметке 0,6 м, не должно превышать 1 м.
Для головных образцов турбоагрегатов должны предусматриваться марки дополнительно у корпусов подшипников на уровне горизонтального разъема цилиндров.
Расстояние между марками должно измеряться с точностью до 1 см.
5.10. Наблюдения за осадками фундаментов производятся методом высокоточного геометрического нивелирования короткими лучами, обеспечивающим определение осадок с точностью +/- 1 мм.
Нивелирование проводится прецизионными нивелирами с плоскопараллельной пластинкой типа Н1 и Н2 по инварным штриховым рейкам.
В местах вибраций на ТЭЦ не рекомендуется применение нивелиров с самоустанавливающейся линией визирования.
5.11. Для уменьшения неблагоприятного влияния специфических условий работы оборудования ТЭЦ на инструмент должны соблюдаться следующие правила.
При вибрациях должны применяться подкладки под ножки штатива с войлочной и резиновой прокладкой или виброгаситель, закрепляемый на трубе нивелира.
При нивелировании фундаментов машин, вызывающих колебания штрихов рейки, необходимо устанавливать биссектор трубы нивелира на ось симметрии амплитуды колебаний.
При визировании через конвективные потоки необходимо уменьшить длину визирного луча.
Схему сети следует выбирать такой, чтобы расстояния от визирного луча до потока были наибольшими. Чем больше разность температур конвективного потока и окружающей среды, тем сильнее должна быть освещена рейка.
Если разность температур более 20°, то целесообразно применять рейку черного или синего цвета с толщиной штриха до 2 мм.
5.12. Для более достоверного определения неравномерности осадок в поперечном разрезе главного корпуса необходимо продольные основные ходы машинного и котельного отделений при наличии проходов связывать между собой поперечными ходами.
Передача отметок при входе в котельное и машинное отделения (для исключения значительных случайных и систематических ошибок) должна повторяться несколько раз в разных условиях, причем инструмент каждый раз должен принять температуру окружающей среды. Для более точной передачи отметок при входе в главный корпус необходимо устанавливать на одной и той же колонне две марки: одну - вне помещения, а дублирующую - внутри помещения.
5.13. Передача отметок на верх фундаментов турбоагрегатов 200 и 300 мВт производится один раз в начале наблюдений при помощи нивелира и стальной рулетки. Для передачи отметок на верх и учета тепловых деформаций фундаментов турбоагрегатов 500, 800 мВт и более должны быть установлены инварные стержни-отвесы с отметки 0,6 до 10,6 м на колоннах главного корпуса.
5.14. Обработка результатов измерений проводится аналогично общим правилам (
пп. 3.75 -
3.82).
5.15. По измерениям осадок нижней плиты фундамента турбоагрегата определяется деформация только нижней плиты фундамента, а по измерению осадок на отметке обслуживания определяется совместная деформация фундамента вследствие осадок нижней плиты и тепловых воздействий турбоагрегата, вспомогательного оборудования и трубопроводов.
За межремонтный период турбоагрегата стрела прогиба нижней плиты фундамента не должна превышать 1:10000 ее длины.
За линию, от которой ведется определение прогиба фундамента турбоагрегата, должно быть принято положение фундамента, которое было перед пуском турбоагрегата в эксплуатацию после монтажа или после капитального ремонта.
5.16. В техническом отчете по измерениям осадок кроме данных, описанных в
пп. 3.78 -
3.81 Руководства, должно быть дано определение степени опасности неравномерных осадок и их влияния на деформации конструкций и работу оборудования с установлением допустимых величин.
6. ИЗМЕРЕНИЕ СДВИГОВ ФУНДАМЕНТОВ ЗДАНИЙ И СООРУЖЕНИЙ
6.1. Измерение сдвигов фундаментов зданий и сооружений выполняется методами:
створных наблюдений;
отдельных направлений, засечек;
триангуляции и трилатерации;
стереофотограмметрии;
комбинированным.
6.2. Организация, проектирующая сооружение, совместно с организацией, производящей измерения, составляют рабочую программу (
пп. 2.1 -
2.10), устанавливают цикличность и определяют необходимую и достаточную точность получения сдвигов, в зависимости от типа сооружения, грунтов в основании, а также целей и задач наблюдений.
6.3. Организация, производящая измерения, выбирает тот или иной метод наблюдений за сдвигами, проводит предварительный расчет точности получения величины смещения для дальнейшего уточнения методики проведения работ и обеспечения фиксации процесса сдвига.
РАЗМЕЩЕНИЕ, КОНСТРУКЦИЯ И УСТАНОВКА ГЕОДЕЗИЧЕСКИХ ЗНАКОВ
6.4. Размещение геодезических знаков на местности и наблюдаемом сооружении намечается проектной организацией, службой эксплуатации с представителем организации, выполняющей измерения деформаций.
Для строящихся сооружений проектная организация включает запроектированные знаки в проект сооружения.
Из нескольких вариантов размещения знаков следует принимать наиболее благоприятный для исключения ошибок от внешних условий и обеспечивающий надежную устойчивость знаков.
6.5. Исходные (опорные и ориентирные) знаки должны закладываться в стороне от обочин проездов, вне складских территорий и оползневых склонов, в местах, где возможен в течение всего срока наблюдений беспрепятственный и удобный подход к знаку с инструментами.
Как исключение, на территории порта, где пожарные проезды представляют единственную полосу, свободную от грузов, геодезические знаки (скрытого типа) можно устанавливать на обочинах проездов.
Схемы размещения геодезических знаков представлены на
рис. 9,
13,
14,
17,
18.
6.6. Опорные знаки могут быть выступающими над землей и скрытыми
(Приложение 9). Репер, установленный для измерения осадок и имеющий на реперной головке специальную насечку в виде креста или керна, также может служить опорным знаком.
В особых случаях для поднятия знака над поверхностью земли допускается установка опорных знаков на крышах разного рода сооружений. К зданиям и сооружениям предъявляются требования
п. 3.15.
6.7. В верхней части опорного знака в виде столба, выступающего над землей или устроенного на здании или сооружении, для установки инструмента должно быть центрировочное устройство
(Приложение 9).
6.8. Опорные знаки в виде столбов устанавливаются котлованным способом. Скрытые опорные знаки устанавливаются котлованным способом в случае, если уровень грунтовых вод ниже 3 м от поверхности земли. При уровне грунтовых вод менее 3 м опорные знаки устанавливаются бурением и имеют трубчатую конструкцию. Установка скрытых опорных знаков проводится только для случаев, когда по эксплуатационным требованиям выступающие знаки устанавливать запрещено. При использовании скрытых опорных знаков измерения отягощаются дополнительными ошибками центрирования.
6.9. Опорные знаки должны иметь защитное устройство (защитные трубы, доски, толь, сальники) для обеспечения их неподвижности.
6.10. Наблюдения за устойчивостью опорных знаков должны обеспечиваться установкой контрольных опорных знаков. Конструкция и метод установки их может быть таким же, как и основных опорных знаков. Количество контрольных опорных знаков для каждого основного опорного знака должно быть не менее 3.
6.11. Ориентирные знаки могут устанавливаться и иметь конструкцию, аналогичную опорным знакам. В качестве ориентирных знаков могут также быть использованы пункты триангуляции I и II классов, удобные для визирования точки зданий и сооружений (шпили колоколен, церквей, радиомачт, телевышек и т.п.).
6.12. Марки для определения сдвигов сооружений устанавливаются на внутренних и наружных частях сооружений по возможности ближе к основанию.
6.13. На гражданских зданиях марки для определения сдвигов устанавливаются по периметру, не реже чем через 20 м, по углам, по обе стороны осадочных швов. В местах, где горизонтальная нагрузка имеет наибольшую величину, марки устанавливаются не более чем через 10 - 15 м.
6.14. На промышленных зданиях при измерении сдвигов отдельно стоящих фундаментов марки устанавливаются не менее трех на каждый фундамент. Для ленточных фундаментов частота установки марок должна составлять 15 - 20 м.
6.15. На гидротехнических сооружениях, разделенных на секции, марки устанавливаются не менее двух на каждую секцию. При ширине секции более 20 м на секции устанавливают не менее 4 марок. На сооружениях, имеющих протяженность более 20 м (подпорных стенках, причальных сооружениях и т.п.), марки устанавливают не менее двух на 30 м.
6.16. Конструкции марок, устанавливаемых для измерения сдвигов, представлены в
Приложении 10. Установка их выполняется бетонированием в специально оставленные штрабы на фундаменте или сооружении.
6.17. В качестве дополнительных принадлежностей к маркам используются визирные цели
(Приложение 10).
6.18. Ширина изображения на визирных целях в зависимости от расстояния рассчитывается по формуле

, (21)
где u - угловая величина биссектора, с;
L - расстояние от инструмента до наблюдаемого знака, мм;

- 206265.
Длина изображения должна быть равной 3b.
МЕТОД СТВОРНЫХ НАБЛЮДЕНИЙ ДЛЯ ИЗМЕРЕНИЯ СДВИГОВ СООРУЖЕНИЙ
6.19. Метод створных наблюдений при измерении сдвигов применяется в случае неподвижности концевых знаков створа. Метод створа для разного рода сооружений представлен на рис. 9.
Рис. 9. Метод створа для разного рода сооружений
а - стенд для натяжения арматуры; б - гражданское здание,
построенное на косогоре; в - гидротехническое сооружение;
1 - железобетонный фундамент; 2 - металлический
устой; 3 - арматура для натяжения
6.20. При измерении сдвигов методом створных наблюдений могут использоваться любой конструкции теодолиты с накладными цилиндрическими уровнями, а также специальные инструменты (алиниометр, инженерный инструмент конструкции Белицина, лазеры и т.д.).
6.21. Применяемые инструменты до начала наблюдений должны быть исследованы, а материалы исследований надлежащим образом обработаны и оформлены. Поверки и исследования выполняются по соответствующим инструкциям.
6.22. Для наблюдений створным методом в натуре устанавливается визирный створ, закрепленный неподвижными опорными знаками на его концах. Длина линии визирования не должна превышать 500 м. При большей длине створ разбивается на полустворы и четвертьстворы.
6.23. Величина сдвига определяется как разность отклонений марки от линии створа в двух циклах измерений

, (22)
где

- отклонение от створа в первом цикле измерений;

- отклонение от створа во втором цикле измерений.
6.24. Отклонения от створа могут определяться с применением: подвижной визирной цели; неподвижной визирной цели; струн.
6.25. Порядок наблюдений створным методом с использованием подвижной визирной цели следующий:
а) установка инструмента на опорном знаке, расположенном на одном из концов створа; ориентирование трубы по створу;
б) трехкратное отсчитывание при одном круге по неподвижной визирной цели и вычисление среднего отсчета на всех марках, начиная с дальней, от пункта стояния инструмента. Эти действия составляют первый полуприем;
в) переведение трубы через зенит и повторение подпункта "б", начиная с ближней к инструменту марки, - второй полуприем;
г) вычисление среднего отсчета из полуприемов.
Последующие приемы аналогичны первому. По окончании всех приемов на одном опорном знаке створа инструмент переставляется на другой опорный знак и наблюдения повторяются.
6.26. Расхождение между отдельными полуприемами при наблюдениях по подвижной визирной цели не должно превышать 1 мм. Расхождение между отдельными приемами не должно превышать 0,5 мм.
6.27. После окончания каждого приема проверяется неподвижность инструмента. При обнаружении смещения инструмента наблюдения повторяются.
Примечание. В случае применения подвижных визирных целей для каждой из них перед началом работы необходимо определить место нуля - МО (отсчет по шкале цели, когда вертикальная ось цели совпадает с вертикальной осью марки). Для этого в 20 - 40 м от пункта устанавливают инструмент и наводят его точно на неподвижную визирную цель. Затем снимают неподвижную и на ее место устанавливают подвижную визирную цель. Подвижную визирную цель вводят в биссектор трубы и записывают отсчет по шкале цели. Таких отсчетов делают пять при каждом круге инструмента. За МО принимают среднее из десяти отсчетов.
6.28. При применении в створном методе неподвижных визирных целей и измерении малых углов оптическим или окулярным микрометром наблюдения выполняются в следующем порядке:
а) измерение расстояний от пункта стояния инструмента до каждой марки на сооружении. Точность измерения порядка 1/2000; расстояния измеряются один раз в первом цикле;
б) измерение малых углов в прямом и обратном направлении количеством приемов, приведенном в табл. 4.
Таблица 4
Расстояние от опорного знака до марки, м | Точность измерения угла | Число приемов для оптического микрометра | Число приемов для окулярного микрометра |
100 | 2" | 3 | 2 |
200 | 1' | 6 | 4 |
500 | 0,5" | 9 | 6 |
1000 | 0,5" | 18 | 12 |
6.29. При наблюдениях окулярным микрометром допускается:
расхождение между тремя наведениями в полуприемах не более 1,5 деления окулярного микрометра;
расхождение между значениями одного и того же угла, выведенными из полуприемов, не более 1,5 деления окулярного микрометра;
расхождение между значениями одного и того же угла из разных приемов в прямом или обратном ходах не более одного деления окулярного микрометра.
6.30. При наблюдении оптическим микрометром допускается:
расхождение между значениями одного и того же угла, выведенным из полуприемов, не более 3";
расхождение между значениями одного и того же угла из разных приемов в прямом и обратном ходе не более 1,5".
6.31. Положение марки относительно створа определяется по формуле

, (23)
где L - расстояние от опорного знака до марки, мм;

- измеренный малый угол, с;

- 206265.
6.32. Для уменьшения влияния ошибки визирования на длинных створах применяют особые программы наблюдений: частей створа и последовательных створов.
6.33. В программе частей створа (полуствора и четвертьствора) весь створ разбивают примерно на четыре равные части. Вначале определяют положение средней точки 4 относительно 1 - II. Затем относительно створов 1 - 4 и 4 - II находят смещение точек 2 и 6 и уже в каждой четвертой части измеряют отклонения всех остальных точек от створов 1 - 2; 2 - 4; 4 - 6; 6 - II. Определение производят в прямом и обратном направлениях. Приведение измеренных отклонений от частных створов к общему створу I - II выполняют по формулам
(рис. 10):

(24)
Рис. 10. Схема частей створа
6.34. В программе последовательных створов смещение относительно общего створа I - II измеряют только для точки 1 (рис. 11). Затем инструмент переносят в эту точку, устанавливая его вместо марки и относительно створа I - II измеряют смещение точки 2. Инструмент переносят в точку 2 и относительно створа 2 - II измеряют смещение точки 3, и т.д. Дойдя до конечной точки, производят измерения в обратном направлении, т.е. относительно створа II - I наблюдают смещение точки 7; перейдя с инструментом в эту точку, от створа 7 - 1 находят смещение точки 6 и т.д. Таким образом, в этой программе инструмент последовательно устанавливают на все наблюдаемые точки створа, ориентируют по конечному наблюдательному пункту и относительно последовательно изменяемого створа измеряют смещения ближайших по ходу наблюдаемых точек.
Рис. 11. Схема последовательных створов
Приведение смещений к общему створу I - II выполняют по формулам:
а) для прямого хода

(25)
б) для обратного хода

(26)
6.35. Измерение отклонений от створа с помощью струн выполняется стальной проволокой

с натяжением 10 кгс на 100 м. Проволока закрепляется на концевых знаках створа с одной стороны с помощью лебедки, с другой стороны перекидывается через блок с постоянным натяжением.
6.36. На местах установки марок под проволокой закрепляются стационарные или переносные отсчетные приспособления с верньерами или индикаторами часового типа и т.д. На рис. 12 приведено отсчетное приспособление для определения отклонений марок от створа плавающей струной. Положение проволоки в каждом цикле проектируется на отсчетное приспособление.
Рис. 12. Отсчетное приспособление для определения
отклонений марок от створа плавающей струной
1 - консоль из швеллера N 15; 2 - ванна (25 x 12 x 12 см),
наполненная водой; 3 - измерительная линейка;
4 - поплавок с вилкой для струны; 5 - движок
6.37. Измерения выполняются не менее чем тремя приемами со сдвигом струны на 1 - 3 см. Расхождения между приемами не должны превышать 0,3 мм.
6.38. При невозможности закрепить створ на всю длину сооружения натягивают струну между тремя смежными марками, последовательно определяя отклонение от створа каждой средней марки.
6.39. По окончании полевых работ проводят обработку журналов во вторую руку, составляют схемы, проводят оценку точности измерения, производят вычисление отклонений марок от створа и вычисление сдвигов, составляют сводную ведомость
(Приложение 11).
6.40. При методе створных наблюдений
(Приложение 12), когда отклонения марок от створа определялись с помощью подвижной визирной цели, обработка наблюдений выполняется следующим образом.
В соответствии с местом нуля МО подвижной цели определяют в каждом приеме отклонение данной марки от створа по формулам (27) и (28) при визировании с правого опорного пункта (прямой ход)

и с левого (обратный ход)

:

, (27)

, (28)
где

- среднее арифметическое из полуприемов.
Затем вычисляют среднее значение отклонения

из всех приемов в прямом и обратном ходах:

;

. (29)
В итоге

, (30)
где

- расстояние от инструмента до марки в прямом ходе;

- расстояние от инструмента до марки в обратном ходе;
S - сумма

и

.
Смещение за период между двумя циклами определяется по
формуле (22).
Для оценки точности наблюдений вычисляют:
m - среднюю квадратическую ошибку определения отклонения знака от створа одним приемом, мм;
M - среднюю квадратическую ошибку среднего отклонения, мм;

- среднюю квадратическую ошибку среднего результата отклонения из прямого и обратного ходов (

и

), мм;

- среднюю квадратическую ошибку сдвига за период между любыми двумя циклами, мм.

; (31)

; (32)

; (33)

, (34)
где v - уклонение от среднего арифметического;
n - число наведений в одном приеме;
k - количество приемов.
6.41. При методе створных наблюдений, когда отклонения марок от створа определялись с помощью неподвижной визирной цели (измерением малых углов) после обработки полевого журнала (см.
Приложение 12), вычисления линейных величин отклонения выполняют по
формуле (23). Величину сдвига определяют по
формуле (22). Оценку точности выполняют следующим образом:
а) вычисляют среднюю квадратическую ошибку

определения среднего значения прямого

или обратного

угла на каждую марку относительно створа по внутренней сходимости между приемами по формуле

, (35)
где v - уклонения результатов каждого приема от среднего значения угла для каждой марки;
n - число приемов;
б) вычисляют среднюю квадратическую ошибку определения отклонения

, (36)
где L - расстояние от опорного знака до марки, мм;
в) вычисляют среднюю квадратическую ошибку сдвига в двух циклах измерения

. (37)
6.42. Средние квадратические ошибки определения смещения относительно общего створа в методе частей створа будут определяться по формулам:

(38)
6.43. В программе последовательных створов среднюю квадратическую ошибку отклонения от общего створа
(рис. 11) можно вычислить (например, для точки 1) по формуле
для прямого хода

;
для обратного хода

(39)
для среднего результата из прямого и обратного ходов

. (40)
Программа последовательных створов обеспечивает более высокую точность определения смещений и более равномерное распределение весов измерений для средних результатов.
МЕТОД НАПРАВЛЕНИЙ ДЛЯ ИЗМЕРЕНИЯ СДВИГОВ СООРУЖЕНИЙ
6.44. Методом направлений могут измеряться сдвиги любых сооружений, при невозможности закрепить створ или неуверенности в устойчивости концевых знаков створа. Расстояние от опорного знака до контрольной марки на сооружении при этом методе желательно не превышать 1000 м.
6.45. Величины сдвига марки q, мм, на сооружении с каждого опорного знака определяется по расстоянию и изменению ориентирного направления

, (41)
где L - расстояние от опорного знака до контрольной марки на сооружении, мм (может измеряться с точностью 1/2000);

- изменение направления на марку между циклами, с;

- 206265.
6.46. Для измерения сдвига сооружений методом направлений достаточно установить три опорных знака, образующих треугольник с углами не менее 30°. При этом один из опорных знаков следует расположить так, чтобы направление с него на марки было перпендикулярно направлению ожидаемого сдвига (рис. 13).
Рис. 13. Метод направлений
а - принцип получения сдвига;
б - схема расположения знаков; I, II, III - опорные знаки;

,

, ...,

- ориентирные знаки; 1, 2, 3 - марки
6.47. Устойчивость опорных знаков в каждом цикле должна контролироваться любым способом (обратной засечкой, линейной триангуляцией, методом направлений и т.д.).
Величина сдвига марок на сооружении определяется только со знаков, не изменивших своего положения за период между циклами.
В случае устойчивости опорного знака, расположенного на продолжении оси сооружения, величина сдвига может быть получена с одного опорного знака, два других будут служить для контроля.
6.48. Величину и направление сдвига каждой марки определяют графически. Для этого опорные знаки и марки наносят на генеральный план строительства; проводят направления на марки с тех опорных знаков, с которых они наблюдались. Перпендикулярно каждому направлению в произвольном масштабе откладывают частные векторы сдвига, определенные по
формуле (41).
Окончательно полную величину и направление вектора сдвига марки определяют по правилу перпендикуляров от частных векторов
(Приложение 13).
В случае несовпадения направления вектора сдвига с направлением действующей на сооружение горизонтальной силы, величину сдвига марки по направлению силы получают как проекцию вектора сдвига на направление силы.
6.49. При измерении сдвигов методом направлений применяются инструменты, приведенные в табл. 5.
Инструмент | Число приемов | Расхождение между результатами наблюдений на ориентирный пункт в начале и конце полуприема (Замыкание горизонта) | Расхождения при одном положении трубы одного и того же направления | Колебания двойной колимационной ошибки (2с) в приеме | Средние квадратические ошибки направления |
Т05 <*> | 9 | 3" | 3" | 10" | 0,5 |
Т1 | 12 | 4" | 4" | 10" | 1 |
--------------------------------
<*> В соответствии с классификацией ГОСТ 10529-63 "Теодолиты. Типы. Основные параметры и технические требования".
Измерения могут выполняться способом круговых приемов или способом измерения угла во всех комбинациях.
6.50. При применении оптических теодолитов типа Т05, Т1* и измерениях способом круговых приемов полевые наблюдения следует выполнять с точностью не ниже допусков, приведенных в
табл. 5.
6.51. Для оценки точности полной величины сдвига марки за период между двумя циклами наблюдений вычисляют средние квадратические ошибки направлений на марку в каждом цикле:

, (42)
где v - уклонение направления в каждом приеме от среднего значения из всех приемов;
n - число приемов.
Далее вычисляют ошибки изменения направлений

за период между двумя циклами:

, (43)
где

,

- ошибки направления соответственно в первом и втором циклах.
Ошибки частных сдвигов вычисляют по формуле

. (44)
Ошибка полной величины сдвига характеризуется многоугольником погрешности, получающимся при графическом определении сдвига по методу перпендикуляров.
МЕТОД ТРИАНГУЛЯЦИИ ДЛЯ ОПРЕДЕЛЕНИЯ СДВИГОВ СООРУЖЕНИЙ
6.52. Метод триангуляции может применяться для сооружений, располагающихся в пересеченной или горной местности, слабого основания для концевых знаков створа или в случае, когда по каким-либо причинам необходимо координировать опорные знаки и марки на сооружении.
6.53. Метод триангуляции заключается в построении специальной сети триангуляции (рис. 14), состоящей из опорных знаков и марок. В такой сети измеряются базис и углы в треугольниках, решаются треугольники и вычисляются координаты марок на сооружении. Величина и направление горизонтального сдвига сооружения определяются по изменениям координат за промежуток времени между циклами наблюдений.
Рис. 14. Метод триангуляции
6.54. При измерении сдвигов сооружений методом триангуляции допускается условная система координат. В этом случае оси координат X и Y должны совпадать с поперечной и продольной осями сооружения.
Геометрическое построение сети триангуляции должно удовлетворять основным требованиям триангуляции (с учетом типа и расположения сооружения). Триангуляция может строиться в виде сложной сети или в виде одного или нескольких четырехугольников и центральных систем с базисами.
Особенностью триангуляции для измерения сдвига сооружений является то, что при наличии коротких сторон сети она должна обеспечивать получение величин сдвигов с высокой точностью.
6.55. Оценка достоинства геометрического построения сети производится путем вычисления значений обратного веса передачи длин сторон для каждой фигуры и суммы обратных весов, подсчитанных для всех фигур, отделяющих исследуемую сторону от исходной. Обратные веса отдельных фигур для сложных сетей и для сетей с избыточными связями подсчитываются по эквивалентной формуле А.И. Дурнева:

, (45)
где K - число направлений в сети, приведенной к простой сети треугольников;
N - число всех измеренных направлений в данной сети;

, (46)
где

и

- изменения логарифмов синусов связующих углов, соответствующие изменению углов на 1" и выраженные в единицах шестого знака логарифма.
6.56. Наилучшей формой сети является геодезический четырехугольник. Его оценка выполняется по формуле

, (47)
6.57. Длины сторон триангуляции в зависимости от протяженности фронта строительства и размеров сооружений могут колебаться от 0,5 до 3,5 км.
Длина сторон выбирается в зависимости от требуемой точности величины сдвига и ошибки измерения направления по табл. 6.
Таблица 6
Средняя квадратическая ошибка на направления, с | Требуемая средняя квадратическая ошибка определения величины сдвига, мм |
+/- 2 | +/- 4 | +/- 6 | +/- 8 |
Длина линии визирования, м |
+/- 0,5 | 400 | 800 | 1200 | 1600 |
+/- 1 | 200 | 400 | 600 | 800 |
+/- 2 | 100 | 200 | 300 | 400 |
+/- 3 | 70 | 140 | 200 | 300 |
6.58. В качестве базисов измеряются выходные стороны триангуляции. Базисы следует выбирать на ровной открытой местности с учетом размещения сооружений на площадке строительства. Измерение базиса может выполняться базисным прибором БП-2. Вычисление базиса завершается подсчетом общей ошибки его длины, которая вычисляется по формуле

, (48)
где

- средняя квадратическая ошибка измерения при коротких базисах (до 1 км) не должна превышать +/- 0,75 мм;

- ошибка базиса, вызванная погрешностями нивелирования целиков;

- ошибка базиса, вызванная ошибками эталонирования нормального жезла в лаборатории;

- ошибка базиса, возникающая из-за изменения длин проволок между двумя смежными эталонированиями.

, (49)
где

- сумма квадратов уклонений результатов измерений каждой проволокой от среднего значения базиса по всем проволокам;
k - число проволок, которыми измерялся базис;

, (50)
где

- поправка, мм, за приведение базиса к горизонту.

, (51)
где

- длина базиса, м, не приведенная к горизонту.

, (52)
где d - разность между значениями длин каждой проволоки при первом и втором эталонировании;
k - число проволок.
6.59. Относительная ошибка базиса определяется отношением

, где S - длина базиса до приведения его к горизонтальному проложению. Это отношение должно быть не более

.
6.60. Оценка качества результатов угловых измерений производится путем вычисления:
а) средней квадратической ошибки измеренного угла по невязкам треугольников:

, (53)
где

- сумма квадратов невязок треугольников;
n - число треугольников;
б) свободных членов боковых и полюсных условий в геодезических четырехугольниках и центральных системах, которые не должны превышать величин:
| | ИС МЕГАНОРМ: примечание. Формула дана в соответствии с официальным текстом документа. | |

; (54)
в) свободного члена базисного условия между выходными сторонами:

. (55)
В формулах (54), (55):

- сумма квадратов изменений логарифмов синусов связующих углов треугольников;

- средняя квадратическая ошибка измерения угла, принятая для данной триангуляции, с;

- средняя квадратическая ошибка длины базиса.
6.61. Величина и направление сдвига марок на сооружении будет определяться по разностям координат в разных циклах:

, (56)
где

;

- приращения или разности координат в разных циклах измерений.
6.62. Для оценки точности определения горизонтальных смещений по методу триангуляции следует определять средние квадратические ошибки определения абсциссы и ординаты оцениваемого пункта

и

.

, (57)

, (58)
где

- средняя квадратическая ошибка измерения угла, полученная по результатам уравновешивания триангуляции;

и

- величины, обратные весу определения X и Y.
В этом случае средняя квадратическая ошибка определения сдвига пункта (марки) по оси Y определится по формуле

, (59)
по оси X

. (60)
Средняя квадратическая ошибка полного сдвига вычисляется по формуле

. (61)
6.63. В случае, если сеть триангуляции имеет только специальное назначение - измерение сдвига сооружения, - имеется возможность исключить измерение базиса с высокой точностью, т.е. использовать постоянный для всех циклов условный базис, измеренный с ошибкой порядка

.
Из рис. 15, где A и B - неподвижные исходные пункты; C - опорный пункт створа, изменяющий свое положение; l - величина смещения пункта C;

- ошибка измерения базиса;

- ошибка смещения, можно записать

.
Рис. 15. Использование в методе триангуляции
условного базиса
6.64. Этот метод позволяет легче и надежнее выбрать места для закладки исходных пунктов; построить фигуры с хорошей геометрической связью, либо ориентировать сеть на достижение наибольшей точности в нужном направлении; сокращает сроки и объем полевых работ. Однако при этом методе постоянство базиса должно строго контролироваться. При фиксировании изменения опорных знаков базиса возникает необходимость в точном его определении.
ИЗМЕРЕНИЕ ДЕФОРМАЦИЙ МЕТОДОМ СТЕРЕОФОТОГРАММЕТРИИ
6.65. Метод стереофотограмметрии может применяться на любых сооружениях при измерении осадок, сдвигов, кренов, перекосов и других деформаций. Этот метод позволяет измерять деформации большого количества точек в недоступных местах функционирующих сооружений промышленного, гражданского и гидротехнического типа. Преимущество этого метода состоит в возможности получения смещения точек исследуемого сооружения одновременно вдоль трех координатных осей.
6.66. При стереофотограмметрическом методе наблюдений за деформациями сооружений используются комплекты специальных приборов и принадлежностей, включающих фототеодолиты, стереофотограмметрические камеры, теодолиты, дальномерные устройства, базисные рейки, штативы, кассеты и т.д.
6.67. Наиболее распространены в употреблении фототеодолиты "Геодезия", "Фотео" 19/1318 фирмы "К. Цейсс", С-3В, С-5В, TAN. Размеры кадра у камер этих фототеодолитов 13 x 18, фокусное расстояние около 19 см. Фототеодолиты вышеперечисленных марок для сохранения элементов внутреннего ориентирования имеют специальный объектив без перемещений для фокусировки. Для съемок с близких расстояний используются специальные камеры с широкоугольными объективами. Для обработки снимков используются стереокомпараторы отечественные СК-2, стереометры СМ-3 и СМ-4; импортные фирмы "К. Цейсс", 1318, стекометры, стереоавтографы и стереопланиграфы. Получают распространение стереокомпараторы с автоматической регистрацией результатов измерений на перфокартах, перфоленте.
6.68. При стереофотограмметрическом способе определения деформаций существует несколько случаев съемок (рис. 16):
а) оптические оси фототеодолитов устанавливаются горизонтально и перпендикулярно к базису, плоскость снимка вертикальна - нормальный случай съемки;
б) оптические оси фототеодолитов пересекаются под углом

- конвергентный случай съемки. Применяются в основном для определения общего наклона высоких сооружений;
в) оптические оси левого и правого фототеодолитов отклоняются вправо и влево на один и тот же угол

. Применяются для определения деформаций сооружений большой протяженности.
Рис. 16. Основные случаи съемки
| | ИС МЕГАНОРМ: примечание. Текст дан в соответствии с официальным текстом документа. | |
а - нормальный; б - равномерно-отклоненный;
в - конвергентный
Равномерно-отклоненный и конвергентный случаи съемки применяются при измерении деформаций значительно реже нормального.
6.69. Для определения деформаций на сооружении устанавливаются марки, которые в соответствии с календарным планом работ периодически фотографируются на пластинки. Фототеодолит устанавливается на специальные опорные знаки с центрировочными устройствами. Опорные знаки закладываются вне сооружения на расстоянии, предварительно рассчитываемом для необходимой точности. Для получения величины перемещения с точностью в 1 мм расстояние от объекта до исследуемого сооружения не должно превышать 20 м.
6.70. Стереофотограмметрический метод для определения деформаций в зависимости от поставленной задачи может производиться: фотограмметрически в одной плоскости XZ, параллельной плоскости прикладной рамки фотокамеры, и стереофотограмметрически для определения деформаций по любому направлению.
6.71. Координаты точек сооружения при стереофотограмметрическом методе по стереопаре снимков определяются по формулам:
где B - базис фотографирования;
f - фокусное расстояние фотокамеры;

- продольный параллакс определяемой точки;
x, z - координаты определяемой точки на левом снимке.
Для получения координат точек сооружения необходимо измерить на местности базис съемки B, при обработке на снимках измеряется продольный параллакс p и координаты точек x и z.
Координаты X, Y, Z по
формулам (63) могут быть получены при нормальном случае съемки, т.е., когда оптические оси левой и правой фотокамер устанавливаются горизонтально и перпендикулярно к базису, плоскость снимков занимает отвесное положение.
6.72. Деформации из двух циклов измерения вычисляются по формулам:

(64)
6.73. Для получения необходимой точности измеренных деформаций (+/- 1 мм) ошибка ориентирования оптической оси фототеодолита при съемках с концов базиса не должна быть более +/- 5", что обеспечивается специальным ориентирующим устройством. Длина базиса выбирается в зависимости от расстояния до исследуемого объекта приблизительно равной

этой величины. Точность измерения базиса может быть не более 1 мм. Фототеодолит устанавливается в каждом цикле идентично; для этого на опорных знаках базиса должны быть центрировочные устройства. Желательно иметь в кадре исследуемого объекта ориентирные контрольные пункты, не имеющие деформаций, что позволит повысить точность получения деформаций.
6.74. Средние квадратические ошибки по этому методу, исходя из
формул (64), будут определяться:

(65)
6.75. Для определения смещения точек сооружений только в вертикальной плоскости (осадки, прогибы, боковые сдвиги) применяется фотограмметрический способ съемки только с одной точки. Этот метод используется значительно чаще; он исключает измерение базиса и организационно проще. Если объект фотографировался дважды до деформации и после деформации, то координаты точек сооружения можно получить по формулам:

(66)
где

- масштаб изображения на снимке.
Соответственно смещения точек сооружения получим:

(67)
где

,

,

,

- координаты точек на снимке соответственно до и после деформации.
6.76. Смещения

и

могут быть определены как разности измеренных на снимке координат или измерены на компараторе непосредственно. В соответствии с этим фотограмметрический метод можно разделить на два способа определения деформаций: по разностям координат и по смещениям.
6.77. Для непосредственного измерения смещений на левую кассету стереокомпаратора устанавливают снимок, полученный в первом цикле измерений (до деформации), а на правую кассету - снимок, полученный во втором цикле (после деформации), и тщательно ориентируют их.
Величины смещений

и

измеряются винтами продольных

и поперечных q параллаксов, поскольку q измеряется с несколько меньшей точностью, то для повышения точности измерения

снимки рекомендуется поворачивать на 90° и проводить измерения винтами продольного параллакса. Отсчеты выполняют при наведении на неподвижную и определяемую точки и находят их разность:

(68)
Знак минус в формулах (68) поставлен для учета противоположного направления подписей шкал x, z, p, q.
6.78. При фотограмметрическом способе определения деформаций кроме смещений

и

необходимо знать фокусное расстояние f и измерять отстояние Y, т.е. определять масштаб изображения на снимке. Для получения необходимой точности измерения смещений (+/- 1 мм) расстояние от фототеодолита до исследуемого сооружения Y измеряется с точностью 20 - 30 см, а фокусное расстояние - +/- 1 мм.
Значительное влияние на точность получения деформации имеют элементы внешнего ориентирования. При фотограмметрическом способе - это установка прикладной рамки фототеодолита (плоскости фотопластинки) в отвесное положение параллельно плоскости сооружения, т.е. параллельно определяемым смещениям

,

. Для контроля элементов внешнего ориентирования на сооружении или местности намечают или специально устанавливают ориентирные контрольные знаки, которые при фотографировании должны изобразиться на снимках. Эти контрольные ориентирные знаки рекомендуется располагать по возможности ближе к определяемым, а определяемые стремиться помещать в кадре как можно ближе к главной точке снимков.
6.79. Средняя квадратическая ошибка

и

определяется по формуле

(69)
6.80. Комбинированный метод измерения сдвигов сооружений применяется в случае неустойчивости опорных знаков.
6.81. При измерении сдвигов гражданских и промышленных зданий и сооружений комбинируется любой метод створа с методом отдельных направлений. Возможна комбинация метода створа с методом линейной триангуляции. Схема расположения знаков приведена на рис. 17,
18.
Рис. 17. Комбинированный метод
для гидротехнических сооружений
I - VI - опорные знаки; 1 - 14 - марки
для определения сдвига
Рис. 18. Комбинированный метод для жилых зданий
а - схема определения сдвига;
б - конструкция и установка марок на здании
I - VI - опорные знаки; М-1, М-2, М-3 - марки
6.82. Измерение производится в следующем порядке:
на сооружении закрепляют створ с концевыми опорными знаками и проводят створные наблюдения (
пп. 6.19 -
6.43);
на устойчивых местах вне сооружения устанавливают не менее двух опорных знаков, с которых методом направлений контролируют концевые знаки створа; опорные знаки контролируются обратной засечкой с четырех ориентирных знаков (пунктов триангуляции, церквей, радиомачт, телевышек и т.п.).
6.83. При измерении сдвигов гидротехнических сооружений (гидроузлов, причальных и подпорных стен и т.д.) комбинируется метод створа с методом триангуляции. При длине гидротехнического сооружения не более 1000 м возможно комбинирование метода створа с методом отдельных направлений.
6.84. Измерения на гидросооружениях выполняются следующим образом:
устанавливают по обе стороны от сооружения не менее трех опорных знаков с каждой стороны сооружения и строят сеть триангуляции, в которой измеряют базис и углы по программе триангуляции I или II класса;
по разности координат в двух циклах определяют сдвиг концевых знаков створа;
проводят створные наблюдения; при расположении марок в нижней галерее их центры выносят наверх через грузовые шахты или вертикальные трубы при помощи отвесов, зенит-приборов и т.п. (рис. 19);
при вычислении сдвигов марок на сооружении учитывается сдвиг концевых знаков створа.
Рис. 19. Вынос положения марок,
установленных в нижней галерее, к гребню плотины
1 - нижняя галерея; 2 - плотина; 3 - марка
в защитном коробе с крышкой; 4 - смотровая труба;
5 - зенит-прибор; 6 - подвижная визирная цель;
7 - жесткий отвес; 8 - визирная цель
При этом могут возникнуть три случая:
первый - один из концевых знаков створа к моменту проведения очередного цикла измерений сохраняет свое первоначальное положение, а второй - перемещается;
второй - оба концевых знака створа к моменту проведения очередного цикла измерений перемещаются в одном направлении на разные величины;
третий - концевые знаки створа перемещаются в противоположные стороны на разные величины.
В каждом случае, исходя из геометрического построения смещенного створа относительно исходного, вычисляют величину поправки в сдвиг сооружения.
В случае несовпадения осей сооружения с осями координат исходной системы пересчет выполняется по элементарным формулам геодезии.
6.85. При комбинированном методе обработка измерений выполняется отдельно для каждого метода и вычисляется общая средняя квадратическая ошибка сдвига марки в каждом цикле измерений по формуле

, (70)
где

- средняя квадратическая ошибка определения сдвига опорного концевого знака створа, полученная из триангуляционного или какого-либо другого метода;

- средняя квадратическая ошибка определения сдвига марки в створных наблюдениях.
ОБРАБОТКА РЕЗУЛЬТАТОВ ИЗМЕРЕНИЙ
6.86. По окончании полной камеральной обработки цикла измерений сдвигов сооружений составляют:
схемы расположения марок и опорных знаков;
ведомости сдвигов марок, установленных на сооружениях по типу, указанному в табл. 7;
графики и эпюры сдвигов марок с ростом горизонтального давления во времени
(рис. 20).
Таблица 7
Данные | Цикл |
I | II | III | IV | V | VI |
Дата наблюдения (месяц/год) |
Давление | Горизонтальное, тс/м | 0 | 14 250 | 36 000 | 36 000 | 36 000 | 36 000 |
Вертикальное, кгс/см2 | 2 | 2,5 | 3 | 3 | 3 | 3 |
Сдвиг, мм | Марка 1 | 0 | 3 | 3 | 6 | 14 | 16 |
Марка 2 | 0 | 4 | 8 | 13 | 20 | 21 |
Рис. 20. График сдвига марок во времени
а - график давлений; б - график сдвига
По этим материалам в первый цикл измерений составляется пояснительная записка, в которой освещаются цели и задачи измерений на данном объекте, примененная методика работ, организационные работы по изготовлению и установке знаков, полевые работы, камеральная обработка с оценкой точности измерений.
6.87. В последующие циклы составляется научно-технический отчет.
В научно-технический отчет кроме перечисленных в пояснительной записке материалов включаются: характеристики геологического строения основания с физико-механическими свойствами грунтов; конструктивные особенности сооружений и фундаментов (планы и разрезы фундаментов); результаты измерений и их анализ.
К составлению отчета привлекаются специалисты соответствующих профилей (геологи, строители, геодезисты и др.). Отчет подписывается ответственными исполнителями и передается заказчику (проектной или научно-исследовательской организации) для дальнейшего использования.
7. ИЗМЕРЕНИЕ КРЕНОВ СООРУЖЕНИЙ
7.1. Измерение кренов производится на строящихся и уже построенных зданиях и сооружениях по решению авторов проекта или службы эксплуатации.
7.2. Методика измерения выбирается в зависимости от требуемой точности, разрабатывается при составлении рабочей программы и уточняется рекогносцировкой на месте.
7.3. Предельные ошибки измерения крена сооружений представлены в табл. 8, где L - высота сооружения.
Таблица 8
Тип сооружения | Ошибка определения крена |
Гражданские здания и сооружения | 0,0001 L |
Трубы | 0,0005 L |
Фундаменты под машины и агрегаты | 0,00001 L |
7.4. Измерение кренов сооружений выполняется: проектированием (с применением теодолитов); координированием; методом направлений; механическими способами с применением клинометров и отвесов.
7.5. При измерении кренов сооружений проектированием (рис. 21) используются любые теодолиты с накладным уровнем. Проверки и юстировки выполняются по соответствующим инструкциям.
Рис. 21. Метод проектирования при измерении
крена сооружения
А, А' - положение марки в первом и втором циклах измерения;
Б - условно неподвижная цель; a, a' - отсчеты по линейке
в первом и втором циклах измерений, a - a' = q - величина
крена в делениях линейки
Измерения выполняются следующим образом. Теодолит центрируют над опорным знаком и при помощи накладного уровня приводят ось вращения трубы в горизонтальное положение; вверху здания или сооружения выбирают точку (А) для наблюдения или устанавливают марку. В цокольной части намечают условно неподвижную точку (Б), на которую наводят биссектор теодолита и делают отсчет по линейке, верхнюю точку проектируют вниз и также отсчитывают по линейке. Разность отсчетов a' - a в двух циклах, отнесенная к высоте сооружения, позволит определить величину крена. Проектирование выполняется при двух положениях трубы не менее чем тремя приемами.
7.6. При измерении крена труб на цоколь проектируют касательную плоскость к трубе или установленные на поверхности трубы марки. Проектирование также выполняется при двух кругах не менее трех приемов. Отклонение середины проекции в двух циклах измерения, отнесенное к высоте сооружения, дает величину крена. Полная величина крена определяется по правилу сложения векторов с двух взаимно перпендикулярных сторон.
7.7. Метод координирования заключается в следующем: устанавливают два опорных знака и с его концов определяют координаты верхнего и нижнего центров сооружения (например, трубы) по формулам:

; (71)

; (72)

; (73)

; (74)

; (75)

, (76)
где

,

,

,

- координаты опорных знаков, образующих базис;

и

- углы при опорных знаках. Они должны быть не менее 30°.
Величина горизонтальной проекции оси трубы вычисляется по формуле

. (77)
Зная высоту сооружения h, получают его крен

. (78)
Когда основание сооружения с концов базиса не видно, тогда засечками определяют координаты центра верха сооружения, а координаты основания определяют, прокладывая полигонометрический ход от пунктов базиса. Желательно, чтобы этот ход имел не более двух сторон. Оценка точности выполняется по обычным формулам геодезии для прямых засечек и полигонометрии.
7.8. При измерении крена методом направлений (
пп. 6.44 -
6.51) полученную линейную величину сдвига относят к высоте сооружения (от марки до подошвы фундамента) и определяют в угловой мере крен сооружения (рис. 22).
Рис. 22. Метод направлений для измерения крена труб
I, II - опорные знаки;

и

- ориентирные знаки;
a, b - марки;

- приращение угла за время между циклами
7.9. Крены фундаментов под машины и агрегаты в промышленных зданиях и сооружениях измеряются с помощью переносных и стационарных клинометров. В зависимости от деления измерительного винта клинометр позволяет определять наклон в градусной или относительной мере.
Простейший тип переносного клинометра с платформой для его установки приведен на рис. 23.
Рис. 23. Переносной клинометр
1 - уровень; 2 - шарнир; 3 - основание
(устанавливается на измерительную базу); 4 - пружина;
5 - лагеры; 6 - измерительная база; 7 - муфты
Применяемые для целей измерения кренов сооружений отвесы обычно имеют отсчетные устройства и приспособления для натяжения проволок. В качестве отсчетных устройств могут служить координатографы с микроскопами, мессуры, пендаметры и т.д.
В качестве приспособлений для натяжения используются динамометры, гири, поплавки. В зависимости от расположения отсчетного устройства и приспособления условно различают прямые и обратные отвесы (рис. 24,
25).
Рис. 24. Отвес конструкции Гидропроекта
а - схема крепления отвеса; б - створный знак;
в - переносной координатометр; 1 - отвес; 2 - гребень
плотины; 3 - труба

; 4 - неподвижная визирная
цель; 5 - съемная лебедка; 6 - стальная проволока;
7 - крючкообразный фиксатор; 8 - груз; 9 - плита
координатометра; 10 - металлический столик;
11 - линейки с миллиметровыми шкалами
Рис. 25. Обратный поплавковый отвес
а - схема отвеса; б - отсчетное поплавковое устройство;
1 - скважина; 2 - крепление отвеса; 3 - металлическая
труба; 4 - резервуар; 5 - шток; 6 - регулировочная муфта;
7 - стопор; 8 - кольцо; 9 - крестовина; 10 - опорные
пирамиды; 11 - полый кольцевой поплавок; 12 - жидкость;
13 - прецизионные уровни; 14 - регулировочное устройство;
15 - защитная труба; 16 - теплоизоляционный пояс;
17 - смотровые окна; 18 - шкалы; 19 - микроскопы; 20 - штифт
Точность определения крена сооружения отвесами зависит в основном от цены деления и устройства отсчетных приспособлений.
8. НАБЛЮДЕНИЯ ЗА ТРЕЩИНАМИ
8.1. При появлении трещин в несущих конструкциях зданий или сооружений следует организовать систематическое наблюдение за их развитием, с тем чтобы выяснить характер деформации конструкций и степень опасности ее для дальнейшей нормальной эксплуатации.
Примечание. В Руководстве приводятся особенности наблюдений за трещинами, появившимися в результате неравномерных осадок, крена или сдвига фундаментов.
8.2. Наблюдения за развитием трещин проводятся по графику, который в каждом отдельном случае составляется в зависимости от конкретных условий.
8.3. На каждой трещине устанавливают маяк, который при развитии трещины разрывается. Маяк устанавливают в месте наибольшего развития трещины.
8.4. Наблюдения за развитием трещин проводятся в плоскости стены, а когда это необходимо - в пространстве. При наблюдениях за развитием трещин по длине концы трещин во время каждого осмотра фиксируются поперечными штрихами, нанесенными краской или острым инструментом на поверхность стены. Рядом с каждым штрихом проставляют дату осмотра.
8.5. При ширине трещины более 1 мм выполняется измерение глубины ее с помощью впрыскивания краски вглубь. Замер выполняется металлической линейкой с миллиметровыми делениями. Для измерения края трещины осторожно скалываются.
При наблюдениях за развитием трещин по ширине в плоскости стены и в пространстве используются различные измерительные устройства: маяки, щелемеры и т.п., позволяющие получить как качественные, так и количественные показатели развития трещин (см.
Приложение 14). Рядом с каждым установленным маяком подписываются его номер и дата установки.
Расположение трещин схематично наносят на чертежи общего вида, развертки стен здания или сооружения, отмечая номера и дату установки маяков (рис. 26, а). На каждую трещину составляют график ее раскрытия (рис. 26, б).
Рис. 26. Фиксирование развития трещин
а - схематическая зарисовка трещин на чертеже здания;
б - график раскрытия трещин
Трещины и маяки в соответствии с графиком наблюдений периодически осматриваются и по результатам осмотра составляется акт.
В акте осмотра указывается:
дата осмотра;
фамилии и должности лиц, производивших осмотр и составивших акт;
чертеж с расположением трещин и маяков;
сведения о состоянии трещин и маяков во время осмотра и замены разрушившихся маяков новыми;
сведения об отсутствии или наличии новых трещин и установке на них маяков.
9. ОСОБЕННОСТИ НАБЛЮДЕНИЙ ЗА ОПОЛЗНЯМИ
9.1. В задачу геодезических наблюдений за оползнями входит:
установление границ активных оползней и скорости их движений;
определение количественных характеристик движения оползня для выявления роста или затухания оползневого процесса;
определение глубины активных оползневых смещений, а также величин и скоростей подвижек на разных глубинах смещающегося массива;
определение эффективности осуществленных противооползневых мероприятий.
9.2. Измерения оползневых смещений грунтовых масс и сооружений на них может выполняться следующими методами: створных наблюдений; отдельных направлений; триангуляции, прямых и обратных засечек; полигонометрии (короткобазисная параллактическая, дальномерная); стереофотограмметрическим; геометрического и тригонометрического нивелирования; комбинированным (сочетание нескольких вышеперечисленных методов).
9.3. Выбор метода геодезических наблюдений зависит от степени застройки территории, рельефа и залесенности оползня, скорости его движения.
9.4. На участках с интенсивными оползневыми процессами, когда подвижки достигают нескольких десятков сантиметров и даже метров, геодезические наблюдения за оползнями проводятся упрощенными методами: проложением теодолитных ходов точности 1:2000, нивелирования IV класса, линейными промерами между соседними марками и т.п.
9.5. Ошибки положения геодезических знаков, устанавливаемых на сооружениях для измерения смещений, не должны превышать в плане +/- 10 и +/- 2 мм по высоте.
Ошибки положения оползневых марок, устанавливаемых на теле оползня, не должны превышать в плане +/- 40 и +/- 4 мм по высоте.
9.6. Для изучения изменений скоростей смещений различных частей оползневого тела по глубине и определения глубин залегания подошвы оползня устраиваются глубинные марки различных конструкций (тензометрические, струнные, магнитные, чурочные и пр.) с использованием для этой цели скважин и шурфов, пройденных на оползневой территории для решения других задач.
9.7. В зависимости от цели наблюдений геодезические знаки, устанавливаемые в зоне оползневых деформаций, подразделяются на четыре группы: I - опорные знаки и реперы; II - глубинные реперы; III - оползневые марки; IV - стенные марки.
9.8. На каждом оползневом участке устанавливается не менее трех опорных знаков на заведомо неподвижных участках в стороне от оползней (на устойчивых водораздельных участках).
Местоположение опорных знаков устанавливается геодезистом совместно с геологом. Типы опорных знаков и оползневых марок см. на рис. 27,
28.
Рис. 27. Опорные знаки для наблюдений за оползнями
а - тип I: 1 - металлическая труба

;
2 - фланец

, с отверстием в центре

;
3 - болт

; 4 - арматура; 5 - линия глубины
наибольшего промерзания; 6 - верхняя часть знака;
б - тип II: 1 - железобетонный монолит
в виде усеченной четырехгранной пирамиды;
2 - болт
Рис. 28. Оползневые марки
а - тип I: 1 - труба

;
2 - головка с керном в центре и номером марки;
3 - скважина

; 4 - бетон; 5 - насыпной грунт;
б - тип II: 1 - железобетонный монолит (350 x 350 x 200);
2 - болт

; 3 - арматура

; 4 - грунт
9.9. Расположение оползневых марок на изучаемом участке должно соответствовать поставленной задаче, типу оползня и характеру его смещения. Оно должно быть удобным для обработки и интерпретации результатов наблюдений, а также для производства наблюдений и соответствовать условиям видимости.
9.10. Наиболее удобной формой расположения оползневых марок является способ продольных и поперечных створов. Створы оползневых марок располагают по направлению смещения (продольные створы) и перпендикулярно к нему (поперечные створы).
На оползнях, связанных с морской абразией, створы закладываются на характерных участках берега, перпендикулярно к бровке склона. Их длина должна быть не менее тройной высоты берегового обрыва.
Типовые схемы размещения створов на оползнях представлены на рис. 29.
Рис. 29. Примерные схемы размещения продольных
и поперечных створов на оползнях
а - на небольшом оползневом цирке
с двумя ступенями; б - на крупном оползне с цирками
на двух ярусах; в - на небольшом двухъярусном оползне;
г - на крупном оползне с двумя вершинами; д - на оползне
фронтального типа с валами выпирания; е - при оползании
монолитного блока пород, отделившегося по трещине
9.11. Количество оползневых марок на створе и расстояние между ними зависят от размеров и морфологии оползня. Для установления факта смещения достаточно установить 3 - 4 марки. Для изучения механизма оползневого процесса марки следует располагать не реже чем через 10 - 20, а на больших оползнях - через 30 - 40 м друг от друга, при этом на каждую оползневую ступень должно приходиться 2 - 3 марки.
9.12. Для измерения сдвигов и осадок сооружений, расположенных в пределах оползневого участка, устанавливаются стенные марки, количество которых зависит от размера и конструкции сооружения.
9.13. Исходными пунктами для передачи высот на стенные и оползневые марки служат глубинные реперы, устанавливаемые на выходах скал или на водораздельных формах рельефа. Своим основанием глубинные реперы должны опираться на малосжимаемые грунты.
9.14. Количество циклов геодезических наблюдений за оползневыми смещениями и интервалы между ними зависят от скорости смещения оползневого тела и поставленных перед наблюдениями задач, но должно быть не меньше трех в течение года с перерывом в 2 - 4 месяца, а в отдельных случаях - 1 месяц.
9.15. В первом цикле наблюдений на одном из устойчивых участков вблизи от оползня устанавливаются один-два куста грунтовых марок на глубину 0,5; 1; 2; 4 и 6 м.
Результаты наблюдений за вертикальным положением этих марок позволяют определить вертикальные смещения верхней толщи грунта за счет сезонных колебаний температуры и водонасыщенности поверхностного слоя, а также установить глубину заложения марок на оползневом массиве.
9.16. При наблюдениях за оползнями, активизация которых связана с сезонными изменениями влажности грунта, циклы наблюдений проводят до начала снеготаяния, непосредственно после окончания снеготаяния, в периоды максимального положения уровня грунтовых вод и в последующие периоды спада уровня.
9.17. При наблюдениях за оползнями, вызываемыми речной эрозией, один из циклов наблюдений должен быть приурочен к периоду, предшествующему паводку, и один - к периоду, непосредственно следующему за спадом паводковых вод.
9.18. Общая продолжительность геодезических наблюдений за оползнями зависит от цели наблюдений и от полученных результатов, подтверждающих продолжение или затухание оползневого процесса. Наблюдения продолжаются и после построения противооползневых защитных сооружений для определения их эффективности.
9.19. Одновременно с циклами геодезических измерений за оползневыми смещениями производятся контрольные измерения с целью установления неподвижности исходных опорных знаков и глубинных реперов.
9.20. Геодезические измерения за оползнями выполняются теми же инструментами, что и при определении сдвигов и осадок фундаментов зданий и сооружений.
9.21. Сеть опорных пунктов и оползневых марок привязывается в плане и по высоте к Государственной геодезической сети. При расположении оползневого участка на значительном расстоянии от пунктов Государственной геодезической сети допускается создавать опорную сеть в условной системе координат и высот.
10. ТЕХНИКА БЕЗОПАСНОСТИ ПРИ ВЫПОЛНЕНИИ РАБОТ ПО ИЗМЕРЕНИЮ
ДЕФОРМАЦИЙ ОСНОВАНИЙ, ФУНДАМЕНТОВ ЗДАНИЙ И СООРУЖЕНИЙ
10.1. При выполнении работ по измерению деформаций оснований, фундаментов зданий и сооружений следует руководствоваться правилами техники безопасности, изложенными в следующих документах:
главе СНиП II-А.11-70 "Техника безопасности в строительстве";
ведомственных инструкциях, утвержденных в установленном порядке.
Ниже приведены основные пункты правил по технике безопасности при проведении работ по измерению деформаций фундаментов сооружений.
10.2. В течение трех месяцев со дня поступления на работу необходимо обучить рабочих безопасным методам работ по утвержденной программе и организовать экзамен по технике безопасности с выдачей удостоверений о сдаче экзамена.
10.3. Все ИТР и рабочие, производящие работы по измерению деформаций перед началом работ (при оформлении на работу), должны пройти:
вводный инструктаж по технике безопасности;
инструктаж по технике безопасности непосредственно на рабочем месте.
Инструктаж производится также при каждом переходе на другой вид работ или при изменении условий труда.
Ежегодно, независимо от проведения вводного инструктажа при поступлении на работу, должна проводиться проверка знаний правил по технике безопасности всех инженерно-технических работников и рабочих.
10.4. К работам по измерениям деформаций, выполняющимся в подвальных помещениях и на высоте, допускаются только лица, прошедшие медицинскую комиссию и получившие медицинское заключение об их пригодности к работе в данных условиях.
10.5. В проекте производства работ по наблюдению за деформациями должны быть предусмотрены правила техники безопасности, учитывающие специфические особенности производственного процесса на данном объекте. При введении на строительстве новых приемов труда или нового оборудования работы по измерению деформаций должны вестись в соответствии с инструктивными указаниями, разработанными специально для этих случаев и утвержденными в установленном порядке.
10.6. Выполнение мероприятий по технике безопасности, предусмотренных в проекте производства работ, должно обеспечиваться администрацией строительно-монтажной организации.
10.7. Перед началом работ в подвалах и на монтажном горизонте должны быть:
установлены все ограждения, предусмотренные проектом производства работ и требованиями СНиП;
закрыты все проемы и отверстия в перекрытиях;
очищены от грязи, снега и льда стремянки, наклонные лестницы и трапы;
установлены необходимые приспособления для подъема на высоту и спуска в подвал людей;
приняты меры по устройству вентиляции в подвалах, где производятся работы. В связи с этим от исполнителя санитарно-технических работ следует запросить соответствующую справку;
обезопасены подходы к котловану. Проводить измерения на бровках траншей и ходить по ним опасно, поэтому инструмент следует устанавливать не ближе 1 м к бровке.
10.8. Запрещается выполнять работу:
без касок на строительной площадке;
при сильном и порывистом ветре на монтажном уровне;
на проезжей части шоссейных, железных дорог и на монтажных площадках при гололеде, тумане и ограниченной видимости;
в местах уложенного высоковольтного кабеля, отмеченных специальными знаками;
на лесах без ограждения настила прочными поручнями высотой не менее 1 м;
в зоне монтажа строительных конструкций;
внизу у возводящихся стен здания;
в зоне работы башенных кранов и других строительно-монтажных механизмов;
вблизи работающих экскаваторов;
в подвальных помещениях, не имеющих вентиляции;
в зоне взрывных работ.
10.9. При работе на открытом воздухе в зимнее время должны быть предусмотрены:
перерывы в работе для обогревания;
сокращение рабочего дня при значительном понижении температуры.
10.10. При работе на проезжей части дорог с интенсивным движением транспорта инструмент устанавливают по оси дороги, если ширина ее составляет не менее 7 м (на более узких дорогах проезжий транспорт может сбить инструмент и вызвать несчастный случай). При работе на автодорогах и на строительной площадке с большим количеством работающих механизмов должен назначаться наблюдатель-рабочий, освобожденный от всех обязанностей, кроме наблюдения за движущимся транспортом и механизмами.
ИЗГОТОВЛЕНИЕ И УСТАНОВКА ГЛУБИННЫХ РЕПЕРОВ
ДЛЯ НАБЛЮДЕНИЙ ЗА ОСАДКАМИ ФУНДАМЕНТОВ ЗДАНИЙ И СООРУЖЕНИЙ
Конструкция глубинного репера
Глубинный репер для наблюдения за осадками зданий и сооружений состоит из основных конструктивных элементов: реперной трубы, башмака, реперной головки, реперного колодца, защитной трубы, сальника.
Общий вид глубинного репера показан на рис. 30.
Рис. 30. Глубинный репер (общий вид и детали)
1 - реперная труба; 2 - башмак (чугунный или металлический
вида а, б, в); 3 - реперная головка (из нержавеющего
металла вида а, б, в); 4 - сальник; 5 - защитная труба;
6 - реперный колодец; 7 - стальные шпильки; 8 - верхнее
стальное кольцо сальника; 9 - нижнее стальное кольцо
сальника; 10 - засыпка колодца (до реперной головки
сухим шлаком или другими теплоизоляционными материалами);
11 - сварка; 12 - крышка защитной трубы; 13 - кирпичная
стенка колодца; 14 - цементная штукатурка;
15 - засыпка вокруг колодца плотно утрамбованным
грунтом; 16 - бетонное дно колодца; 17 - чугунный
люк с крышкой; 18 - бетонный отлив вокруг колодца;
19 - два слоя толя вокруг защитной трубы;
20 - деревянная крышка, обитая войлоком; 21 - фланец;
22 - соединительная муфта; 23 - гнезда для ключа
1. Реперная труба 1 состоит из соединенных муфтами стальных газовых или буровых труб наружным диаметром 89 мм. Для более длительной сохранности она заполняется цементным раствором или битумом.
Нижний конец реперной трубы запрессован в металлический башмак 2, забетонированный в скважине на такой глубине, где можно считать грунт практически неподвижным и не подвергающимся деформациям.
На верхнем конце репера устраивается специальная реперная головка 3, изготовляемая из бронзы или нержавеющей стали, со шлифованной полусферической поверхностью диаметром 30 - 40 мм. На рисунке представлены три вида головок: а - приваривается, б - бетонируется, в - запрессовывается.
2. Реперный колодец 6 устраивают со стенками из кирпичной кладки или железобетона, бетонного дна и чугунного люка с крышкой.
Колодец предохраняет верхнюю часть репера от смещения вследствие температурных изменений, пучения грунтов от промерзания, а также от случайных воздействий при каких-либо работах вблизи репера. Во избежание передачи возможных вертикальных смещений колодца на реперную трубу, защитную трубу 5 в месте прохода ее через бетонный пол обертывают двойным слоем толя 19.
Дно колодца должно быть выше уровня грунтовых вод и на 0,5 м ниже глубины промерзания грунта. Расстояние между низом чугунной крышки и реперной головкой из условия удобства нивелирования рекомендуется принимать равным 20 см. С целью уменьшения колебаний температуры в колодце в люке, помимо верхней чугунной крышки, устраивают еще и нижнюю деревянную крышку, обитую войлоком 20; кроме того, колодец до уровня реперной головки засыпают сухим шлаком 10 или другим теплоизоляционным материалом.
3. Защитная труба предохраняет реперную трубу от возможных смещений, вызываемых сжатием или набуханием окружающего грунта.
Для центрирования реперной трубы относительно защитной применяются металлические шпильки 7 через 4 - 6 м по высоте.
4. Сальник 4 состоит из стального цилиндра, заполненного сальниковой набивкой с тавотом или тяжелым смазочным маслом. Он наглухо скреплен с нижним концом защитной трубы и служит препятствием для проникновения ила в пространство между реперной и защитной трубами.
Изготовление глубинного репера и его установка
Для установки глубинного репера проводят следующие работы: вспомогательные (выбор местоположения глубинного репера и согласование его с организациями, ведающими подземным хозяйством, а также изготовление репера в мастерских строительства и бурение скважины) и основные (сборка репера на поверхности земли и спуск его по частям в пробуренную скважину).
Вспомогательные работы
После определения общей длины репера устанавливают размеры каждого отрезка (звена) защитных и реперных труб; при этом все соединения реперных труб проектируют так, чтобы их муфты приходились на высоте 0,5 - 1 м над таким же соединением защитных труб.
Репер изготовляют из прямых новых или бывших в употреблении труб; не допускается применение труб: изогнутых, сильно заржавевших, с раковинами, а также с вмятинами, сбитой нарезкой и другими дефектами.
Реперные и защитные трубы должны быть предохранены от коррозии; для этого их очищают от ржавчины, покрывают асфальтовым лаком и обертывают ветошью, пропитанной в горячем битуме.
После изготовления деталей репера проверяют их комплектность и соответствие проектным размерам, а также производят опытную сборку репера, во время которой все сопрягаемые стыки пригоняют и нумеруют.
В намеченном месте для установки глубинного репера бурят скважину диаметром 325 или 219 мм, причем особое внимание должно быть обращено на ее вертикальность. Допускаемое отклонение скважины от вертикали на всю ее длину не должно превышать 0,5 диаметра буровых труб.
Основные работы
До окончания буровых работ реперную установку подносят к скважине и приготовляют к спуску. На нижний конец реперной трубы надевают сальник, производят набивку его и сжатие набивки нижним кольцом. Надевают защитную трубу и приваривают ее к верхнему кольцу сальника.
До опускания реперной установки в скважину во избежание затруднений по поднятию обсадных труб, которыми производилось бурение, необходимо эти трубы слегка сдвинуть с места.
На дно скважины непосредственно перед спуском реперной и защитной труб опускают цементный раствор состава 1:3 в объеме, достаточном для наполнения пространства между башмаком и стенками скважины до уровня фланца 21. Защитную трубу опускают вниз, слегка ударяя по фланцу.
После опускания всей колонны реперных и защитных труб из скважины извлекают буровые обсадные трубы, а пространство между стенками скважины заполняют песком, затем устраивают бетонное дно реперного колодца и выкладывают нижнюю часть стенки.
После приварки (или припайки) реперной головки заканчивают кладку колодца, засыпают пазухи котлована грунтом с плотным трамбованием, устанавливают чугунный люк с крышкой, планируют поверхность земли вокруг люка и устраивают бетонный отлив или отмостку вокруг колодца.
Затем колодец засыпают сухим шлаком, на чем заканчиваются работы по установке репера.
Документация при установке репера
Об установке репера составляют акт, в котором указывают:
а) время окончания работ по установке репера;
б) координаты реперного колодца, отнесенные к капитальным объектам (не подлежащим сносу в срок службы репера);
в) геологический разрез буровой скважины, в которой был установлен репер, с указанием отметки башмака;
г) акт сдачи-приемки репера на хранение соответствующим организациям;
д) отметку головки репера определяют в соответствии с требованием
п. 3.13 не ранее чем через десять дней после установки репера.
О присвоении реперу высотной отметки составляют акт, в котором указывают:
время передачи отметки;
местоположение и отметку исходного местного репера;
какими инструментами передана отметка;
отметку реперной головки с вероятной погрешностью.
КОНТРОЛЬ УСТОЙЧИВОСТИ СИСТЕМЫ ИСХОДНЫХ РЕПЕРОВ
МЕТОДОМ КОРРЕЛЯЦИОННОГО АНАЛИЗА
Данные об устойчивости системы исходных реперов можно получить путем исследования корреляционной взаимосвязи между превышениями в разных циклах наблюдений, т.е. анализа коэффициентов корреляции. Численные зависимости между превышениями, связанными осадками опорных пунктов, находят из уравнений регрессии.
Применение метода корреляционного анализа рассмотрим на конкретном примере наблюдений за устойчивостью системы исходных реперов. Из 33 циклов наблюдений
(табл. 9) вычисляют средние значения превышений

и отклонений

от них:
а также величины:
Ведомость наблюдений за устойчивостью исходных реперов (выборочные циклы).
N циклов | Превышение, мм |
h1 | h2 | h3 |
1 | -18,18 | +17,94 | -24,32 |
3 | 18,34 | 18,69 | 24,85 |
6 | 19,86 | 19,12 | 24,69 |
8 | 19,69 | 19,24 | 24,46 |
11 | 19,84 | 18,92 | 23,20 |
13 | 19,49 | 19,59 | 23,99 |
15 | 20,12 | 19,75 | 24,54 |
17 | 20,34 | 19,16 | 24,18 |
19 | 20,34 | 19,22 | 23,20 |
22 | 20,24 | 20,91 | 23,44 |
25 | 20,69 | 19,99 | 22,76 |
27 | 20,65 | 20,50 | 23,86 |
29 | 20,99 | 21,19 | 23,81 |
31 | 20,45 | 21,85 | 23,11 |
33 | -20,60 | +22,38 | -22,69 |
Среднее из 33 циклов | -20,00 | +19,87 | -23,82 |
Определяют вторые центральные моменты:

(79)
где n - число циклов наблюдений (n = 33), и первые смешанные центральные моменты:

(80)
Находят величины средних квадратических отклонений (стандарты), извлекая квадратный корень из вторых центральных моментов:

(81)
Вычисляют коэффициенты корреляции:
а) парные (между двумя превышениями):

(82)
б) частные:

; (83)

. (84)

;
в) множественные:

(85)
Проверяют значимость коэффициентов корреляции, вычисляя их среднее квадратическое отклонение:

. (86)
Коэффициенты считаются значимыми, если

. (87)
В нашем случае все парные и множественные коэффициенты корреляции, а также первый частный

значимы.
Из анализа коэффициентов корреляции следует, что наиболее тесная взаимосвязь имеется между превышениями

и

. Превышение

мало влияет на связь

и

. Отрицательный парный коэффициент

и частный

показывают, что с уменьшением

возрастает величина

, а так как

и

, то, следовательно, по абсолютной величине оба превышения увеличиваются. А это означает, что

дает осадку.
Малое влияние превышения

на взаимодействие

и

подтверждается тем, что частный коэффициент корреляции

имеет значение, близкое к парному коэффициенту

. Кроме того, множественные коэффициенты

и

равны между собой, а коэффициенты

и

не значимы. Отсюда можно сделать вывод, что наиболее устойчивым является

. Из рассмотрения парного коэффициента корреляции

видно, что с увеличением

увеличивается и

, а так как

, то превышение

уменьшается, т.е. как бы происходит некоторое выпучивание

.
При линейной связи превышений

и

уравнение парной регрессии имеет вид:

, (88)
где

;

,
и, следовательно,

.
В последнем цикле наблюдений

= 20, 60 мм;

= 22, 38 мм и вероятная осадка знака составляет 0,55 мм.
Общее суждение об устойчивости исходных реперов можно получить из дисперсионного анализа. Вычислив средние квадратические ошибки нивелирования в каждом цикле наблюдений и ошибки определения превышений между циклами, проверяют состоятельность нулевой гипотезы о равенстве средних превышений между одноименными реперами в разных циклах. В настоящем примере для

,

,

получены ошибки внутри циклов +/- 0,28 мм, между циклами - около +/- 1 мм, т.е. нулевая гипотеза оказалась несостоятельной.
Исходя из точности нивелирования, вычисляют допустимую величину систематического изменения средних превышений между отдельными циклами наблюдений. Расхождения в средних превышениях, превосходящие эту величину (в нашем примере +/- 0,3 мм), свидетельствуют об осадках исходных реперов.
МАРКИ ДЛЯ ИЗМЕРЕНИЯ ОСАДОК ФУНДАМЕНТОВ
И ПОСЛОЙНЫХ ДЕФОРМАЦИЙ ГРУНТА
Марки для измерения осадок фундаментов зданий и сооружений
1. Стенная марка (уголок) (рис. 31) изготавливается из отрезков угловой стали длиной 12 - 16 см с обработкой рабочей стороны уголка. Для установки марки в стене пробивается отверстие глубиной 10 - 12 см, диаметром 6 - 8 см. Отверстие промывают водой и специально приготовленным раствором (2/3 песка, 1/3 цемента) заделывают уголок, располагая его обработанным ребром вверх под углом 60° к плоскости стены.
Рис. 31. Стенная марка (уголок)
1 - стена из кирпича; 2 - уголок; 3 - цементный раствор
2. Стенные марки закрытого типа (рис. 32) изготавливаются из стали и состоят из головки, наглухо соединенной с хвостовиной, шарового болта и крышки. Головка заподлицо бетонируется в стену. В отверстие при производстве работ ввинчивается шаровой болт, который и служит фиксированной точкой. На
рис. 33, а и
33, б представлены разновидности закрытых марок.
Рис. 32. Стенная марка закрытого типа
1 - головка; 2 - хвостовина;
3 - шаровой болт; 4 - крышка; 5 - ключ
Рис. 33. Марки закрытого типа
а - марка закрытого типа: 1 и 6 - выступы для фиксации
высотной точки; 2 - полый цилиндр; 3 - кронштейн;
4 - высотная точка; 5 - хвостовая часть кронштейна;
б - марка закрытого типа конструкции В.В. Михеева:
1 - корпус; 2 - металлический стержень; 3 - задняя
крышка; 4 - цементный раствор; 5 - стена; в - марка
закрытого типа конструкции Перепоновой Е.М. и др.:
1 - корпус; 2 - головка для установки рейки;
3 - упорная шайба; 4 - крышка; 5 - кольцо;
6 - рейка; 7 - бетон; 8 - сооружение;
9 - резьба
3. Стенные марки в виде отрезка шкалы инварной штриховой рейки (рис. 34) устанавливаются на любых сооружениях при незначительном уклоне здания. Марки приклеиваются эпоксидным или каким-либо другим клеем к стене или колонне. На
рис. 35 представлена разновидность шкаловой марки конструкции М.Е. Пискунова.
Рис. 34. Стенная марка-шкала
Рис. 35. Стенная марка конструкции М.Е. Пискунова
1 - закладная деталь; 2 - инварная полоса;
3 - опорная пятка; 4 - держатель марки;
5 - крепежный винт
4. В фундаменты железобетонных плит устанавливают плитные марки на глубине 5 - 8 см от поверхности плиты. Для сохранности плитные марки защищают металлическим коробом с завинчивающейся крышкой или на шарнире (рис. 36). Внутренний диаметр ограждающего короба должен быть не менее 100 мм для свободной установки пятки нивелирной рейки на головку марки. Полусферическую поверхность головок марок в целях предохранения от коррозии покрывают защитным слоем тавота.
Рис. 36. Плитная марка
а - разрез; б - вид сверху; 1 - крышка;
2 - защитный короб; 3 - марка
5. В гранитный или бетонный цоколь закладывают цокольные марки (рис. 37), представляющие собой заклепку, изготовленную из нержавеющего металла. Диаметр головки 0,5 - 1,5 см, стержень длиной 3 - 4 см в основании раздвоенный.
Рис. 37. Цокольная марка
1 - головка марки R = 8 мм из нержавеющего металла;
2 - гранит или мрамор; 3 - цементный раствор
6. На металлических колоннах устанавливают марки типа уголка, приваренного вертикально к колонне (рис. 38).
Рис. 38. Марка на металлической колонне
1 - часть колонны; 2 - приваренный уголок
7. Марка-дюбель, показанная на рис. 39, устанавливается в кирпичные и бетонные стены с помощью ручной оправки ОД-6. Применяется для кирпичных стен или швов железобетонных панелей. Забивка выполняется вручную.
Рис. 39. Марка-дюбель
а - марка-дюбель с комплектом болтов: 1 - марка
(Ст9 или выше); 2 - крышка (Ст3); 3 - шаровые болты;
4 - рейка; 5 - стена; б - оправка для забивки марки:
1 - полый шарнир; 2 - губки; 3 - кольцо; 4 - боек;
5 - шарнир с пружиной; 6 - патрон; 7 - пружинное кольцо;
8 - пластиковая ручка; 9 - сменные губки; 10 - пружинный
замок; 11 - сменная ограничительная шайба;
12 - запасная трубка; 13 - запасной боек
Марки для измерения послойных деформаций грунта
1. Глубинная трубчатая марка конструкции НИИ оснований предназначена для измерения величины послойного сжатия грунтов основания, залегающих непосредственно под сооружением.
Глубинная марка состоит из внутренней рабочей трубы 2 диаметром 50 мм, с полусферической головкой из малоокисляющегося металла; наружной защитной трубы 3 диаметром 75 - 100 мм; опорного диска с арматурой 4 и сальников 5 из просмоленной пакли (рис. 40).
Рис. 40. Глубинные трубчатые марки
а - схема расположения марок; б - заделка основания марки;
1 - колодец; 2 - рабочая труба

; 3 - защитная
труба

; 4 - опорный знак с арматурой;
5 - сальник; 6 - бетон; 7 - хомут; 8 - зазор
По способу установки различают два вида марок: одни закладываются в буровые скважины, другие - в шурфы.
При установке марок бурением проходку скважины диаметром 127 мм выполняют непосредственно у обреза фундамента. После зачистки забоя в скважину опускается порция жесткого бетона 6 такого объема, чтобы она заполнила скважину на высоту 0,5 - 0,7 м. После этого немедленно опускают собранную на поверхности марку, трамбуют бетон рабочей трубой и забивают в него диск с арматурой.
Защитная труба как при трамбовании, так и при эксплуатации марки удерживается приваренными к ее верхней части хомутами 7, опирающимися на грунт у устья скважины. Для обеспечения самостоятельного перемещения рабочей трубы относительно защитной между нижним обрезом последней и поверхностью бетона оставляют пространство (зазор) размером 50 - 100 см.
После установки глубинной марки затрубное пространство со стороны устья скважины засыпается вынутым грунтом с уплотнением его путем покачивания защитной трубы.
Установка глубинных марок в шурфах отличается от установки в скважинах тем, что к нижним концам марок вне центра приваривают опорные плиты размером 30 x 30 см и толщиной 5 - 8 мм.
После открытия шурфа в отвесную стенку забивают опорную плиту, удерживая марку на весу. Затем на рабочую трубу марки надевают защитную трубу с приваренным вверху удерживающим хомутом, набивают сальники и засыпают шурф частями, послойно трамбуя засыпку до плотности, равной плотности окружающего грунта. Выше на второй проектной глубине устанавливают вторую марку и т.д. Открытие шурфа целесообразно выполнять ступенчато. Марки закладывают кустами по 3 - 5 шт. в зависимости от глубины, до которой исследуются грунты основания. Нижние концы марок заделывают на границах напластований грунта, головки марок выводят в общий смотровой колодец (1).
После установки марок выполняется периодическое нивелирование. Последовательно определяя разность осадок марок, установленных на границах различных слоев грунта, получают величины сжатия каждого слоя, находящегося между опорными дисками марок.
2. Грунтовые марки конструкции Гидропроекта применяются для измерения деформаций земляных сооружений, таких, как русловые земляные плотины, воздвигаемые из разнородных материалов, дамбы-перемычки специального назначения, берегоукрепительные сооружения и т.п. В зависимости от глубины заложения, марки подразделяют на глубинные и поверхностные.
Глубинная железобетонная плита-марка (рис. 41) состоит из защитной трубы-люка диаметром 200 мм с крышкой 1 на шарнире; полусферической головки 2 из малоокисляющегося металла; второй защитной крышки 3; верхнего сальника 4, состоящего из просмоленного жгута; защитной трубы 5 диаметром 100 - 168 мм (на один метр меньше высоты насыпи); металлического листа 6, опирающегося на бетонную подготовку; трубы или базы 7 диаметром 50 - 100 мм и длиной, равной высоте насыпи; распорных диафрагм 8, устраиваемых для удержания трубы марки на оси защитной трубы; нижнего сальника 9 (прокладки из пакли, пропитанной маслом); выдвижного звена 10 защитной трубы; металлического листа 11 размером 1,5 x 1,5 м и такого же размера опорной железобетонной плиты 12.
Рис. 41. Глубинная железобетонная плита-марка
1 - крышка; 2 - полусферическая головка; 3 - защитная
крышка; 4 - сальник; 5 - защитная труба

;
6 - металлический лист; 7 - рабочая труба

;
8 - распорная диафрагма; 9 - сальник; 10 - выдвижное
звено защитной трубы; 11 - металлический лист
1,5 x 1,5 м; 12 - железобетонная плита 1,5 x 1,5 м;
13 - основание; 14 - линия промерзания грунта
Установку глубинной железобетонной плиты-марки производят до отсыпки земли в сооружение в тех местах, в которых планируется наибольшая его высота.
Плиту 12 с прибетонированным к ней металлическим листом 11 укладывают на подготовленное основание 13 по уровню.
Среднюю отметку листа определяют от исходных реперов нивелированием пяти его точек. Плановое положение центра листа определяют промерами от осей возводимого сооружения и контролируют (засечкой) теодолитом с трех станций, находящихся вне сооружения. Далее марку засыпают грунтом.
После возведения земляного сооружения на его гребне 14 по данным ранее выполненных промеров и засечек находят положение центра засыпанной плиты-марки и над ним пробуривают скважину. При этом надо следить за вертикальностью скважины.
По достижении наконечником бурового комплекта металлического листа забой скважины тщательно зачищают, а в обсадную трубу последовательно опускают собранную частями на поверхности и вторично измеренную рулеткой с точностью до 1 мм трубчатую часть марки. Затем оформляют верхнее защитное устройство и производят вторичное нивелирование.
Если заранее предусмотреть постепенное наращивание отдельных звеньев трубы-марки и защитной трубы (через 1 - 1,5 м), то при возведении насыпи гидромеханическим способом представляется возможность определить деформацию основания в зависимости от роста веса сооружения.
Поверхностная грунтовая марка (рис. 42) устанавливается на глубину около 2 м и используется для измерения деформаций поверхности земляных сооружений. Она состоит из защитной трубы-люка диаметром 200 мм, длиной около 1 м, с крышкой 1 на шарнире, полусферической головки 2, приваренной к рабочей трубе 7, заякоренной ниже глубины промерзания 9, и двух опорных металлических листов 6 с косынками жесткости, опирающимися на бетонную подготовку. Один опорный лист служит для удержания трубы люка на глубине 0,6 - 0,7 м от поверхности, а второй служит опорой трубы самой марки.
Рис. 42. Поверхностная грунтовая марка
1 - крышка; 2 - полусферическая головка;
6 - металлические листы; 7 - рабочая труба;
8 - гребень сооружения; 9 - глубина промерзания
По результатам периодического нивелирования марок можно определить величину деформации земляного сооружения только в эксплуатационный период. Деформации тела земляной плотины, происходящие от действия собственного веса в строительный период, такими измерениями выявлены быть не могут.
3. Устройство для измерения послойных деформаций грунтов дорожных насыпей и дамб состоит из устанавливаемых в них осадочных камерных марок и переносного измерительного прибора-консолидометра (рис. 43).
Рис. 43. Консолидометр
1 - камерная осадочная марка; 2 - опорная металлическая
пластина; 3 - водоводная трубка; 4 - дренажная трубка;
5 - насыпь; 6 - бетонная опора; 7 - консолидометр;
8 - стеклянная трубка; 9 - мерная трубка;
10 - подвижная опора; 11 - резиновый шланг;
12 - воронка; 13 - пятка прибора
Камерная осадочная марка 1 представляет собой гальванизированный отрезок трубы диаметром 50 мм и длиной 100 мм, закрытый с обеих сторон днищами и закрепленный на опорной металлической пластине 2 размером 300 x 300 x 10 мм. С нижней стороны в камеру введены две медные трубки. Одна из них - водоводная 3, возвышающаяся над дном камеры на 50 мм, и другая - дренажная 4, закрепленная на уровне дна камеры. Обе трубки выведены с небольшим уклоном к откосу насыпи 5 и закреплены в бетонной опоре 6. Выведенные к откосу насыпи концы трубок между циклами наблюдений закупориваются.
Первоначальное положение конца a водоводной трубки в камере определяется нивелированием от репера, находящегося в стороне от насыпи. Камера и трубки после их установки и нивелирования тщательно засыпаются песком, перед тем как насыпается и уплотняется следующий слой насыпи.
Консолидометр 7 состоит из двух трубок - стеклянной 8 и медной 9 и закрепляемой подвижной опоры 10 для установки на ней нивелирной рейки. Пятка 13 прибора устанавливается на фиксированную точку бетонной опоры 6 и соединяется с водоводной трубкой 3 при помощи резинового шланга 11.
Работа прибора основана на принципе сообщающихся сосудов. Через воронку 12 наливают воду в медную трубку до тех пор, пока вода не установится на максимально высоком уровне. Это произойдет тогда, когда в камере 1 вода начнет переливаться через конец трубки a. В этот момент подвижную опору 10 закрепляют на высоте уровня воды в трубке 8 и нивелируют обычным способом от репера.
Таким образом, в любом последующем цикле наблюдений положение конца трубки a выносят при помощи передвижной опоры 10 к откосу насыпи и нивелируют.
4. Устройство для измерения вертикальных перемещений конструкции Довнаровича С.В. (рис. 44) основано на использовании свойств сообщающихся сосудов и представляет собой гидростатический уровень, приспособленный для измерения вертикальных перемещений внутри массива грунта. Устройство состоит из заполненных до определенного уровня 0 рабочей жидкостью сообщающихся сосудов 1 и 2, соединенных гибким шлангом 3. Сосуд 1 закрывается сверху крышкой 4 и закладывается в грунт, где измеряются перемещения. В сосуд 2, открытый сверху и находящийся вне массива грунта, помещен груз 6, соединенный с коромыслом 7 весов 8. Весы технические до 1 кг. Груз уравновешен разновесами 9, стрелка 12 весов стоит при этом на нуле.
Рис. 44. Схема устройства для измерения
вертикальных перемещений в насыпном массиве грунта
В гибком шланге 3 вмонтирована воздушная трубка 10, соединяющая полость сосуда 1 с атмосферой. Шланг 3 от давления грунта не должен практически деформироваться, для чего шланг армируют или защищают защитным кожухом 11, например, из отрезков стальных труб. Осадка массива грунта (5 - стенка лотка) влечет за собой осадку сосуда 1 и по закону сообщающихся сосудов жидкость из сосуда 2 перетекает по шлангу 3 в сосуд 1 до выравнивания жидкости в сосудах. При этом уровень жидкости в сосуде 2 понизится, давление груза 6 на коромысло весов увеличится, тем самым нарушится равновесие между грузом 6 и разновесами. По количеству разновесов, которое необходимо добавить, для уравновешивания весов вычисляют Y - величину понижения уровня жидкости в сосуде 2. Величина X - осадка сосуда 1, которая соответствует осадке грунта, определяется по формуле:

, (89)
где

- площадь поперечного сечения груза 6;

- площадь поперечного сечения сосуда 2 (между внутренней поверхностью стенок) за вычетом площади наружного сечения трубки 10;

- площадь открытой поверхности жидкости в сосуде 1.
Величину Y по количеству разновесов определяют по результатам предварительной тарировки. При увеличении диаметра груза 6 и сосуда 2 будет соответственно увеличиваться точность измерения осадки сосуда 1. При длительных наблюдениях за осадками жидкость в сообщающихся сосудах должна быть малоиспаримой, в противном случае вводят соответствующие поправки на испарение.
При измерении быстро увеличивающихся осадок во времени (например, осадок в некоторых сильносжимаемых грунтах при относительно высоких нагрузках на грунт) иногда необходимо учитывать сопротивления движению жидкости путем соответствующей тарировки устройства.
5. Устройство конструкции ВНИМИ для измерения послойных деформаций грунтов состоит из устанавливаемых в них глубинных марок и переносного измерительного устройства (рис. 45).
Рис. 45. Глубинная марка конструкции ВНИМИ
1 - винтовая труба; 2 - муфта; 3 - металлическая обойма;
4 - груз; 5 - якорь; 6 - магнитно-герконовый датчик;
7 - бетон; 8 - защитная асбестоцементная труба;
9 - блок; 10 - стальная рулетка; 11 - штатив;
12 - вентилятор; 13 - микрометренный винт
Глубинная марка представляет собой винипластовую трубу 1 с металлическими обоймами 3, имеющими форму стакана. Марка собирается из отдельных звеньев при помощи переходных муфт 2. Свободное перемещение металлических обойм относительно труб ограничено переходными муфтами. Для прочного сцепления с грунтом обоймы с наружной стороны имеют пружины.
Глубинная марка устанавливается бурением скважины. После зачистки забоя в скважину опускается порция жесткого бетона такого объема, чтобы она заполнила скважину на высоту 0,2 м. После этого немедленно спускают собранную на поверхности марку. Пространство между стенками скважины и маркой засыпают грунтом, предварительно подняв металлические обоймы в верхнее положение.
Засыпка производится послойно, с трамбовкой. После засыпки устраивают бетонную подушку на глубину около 2 м от поверхности и колодец с крышкой. Пространство между глубинной маркой и защитной асбестоцементной трубой 8 заполняют бетоном 7.
Измерительное приспособление включает в себя магнитно-герконовый датчик 6, который подвешивается на стальной рулетке 10 или мерной проволоке, штатив 11, снабженный микрометренным винтом 13; вольтметр 12, к которому подведены провода от магнитно-герконового датчика.
В основе работы измерительного приспособления использован принцип электромагнитной индукции. Послойная деформация грунта определяется изменением положения металлических обойм, полученных в двух циклах измерений. Измерения проводят следующим образом.
Над глубинной маркой устанавливают штатив с микрометренным винтом и закрепленным на нем блоком. Через блок перекидывают металлическую рулетку, на одном конце которой подвешен датчик с гирями 4, а другой конец закреплен на втором блоке 9, снабженном стопорной собачкой. Магнитно-герконовый датчик опускают в отверстие глубинной марки. При прохождении через металлические обоймы появляется индукционный ток, который сразу фиксируется на вольтметре. В момент возникновения и исчезновения тока берут отсчет по рулетке. После того как датчик пройдет через последнюю обойму, его поднимают, производя измерения. Средние значения отсчетов при спуске и подъеме определяют истинное положение металлических обойм.
Измерения проводятся относительно самой верхней обоймы, заложенной на глубине 0,1 - 0,5 м от поверхности, которая неподвижна относительно винипластовой трубы и является исходной.
Кроме вышеуказанных измерений в каждом цикле проводят нивелировку верха глубинной марки относительно репера.
6. Устройство конструкции О.К. Ткачева предназначается для измерения послойных деформаций грунтового основания одновременно на разных глубинах по одной вертикальной линии (скважине) под фундаментами зданий и сооружений в течение длительного времени. Устройство собирается из однотипных звеньев (рис. 46). Количество звеньев, их длина и диаметр назначаются исходя из задач детальности исследования слоев грунтового основания. Отдельное звено состоит из основной трубы 1 и патрубка большего диаметра 2, соединенных сваркой. Основная труба входит в патрубок с зазором 3 - 5 мм. Внутренний диаметр основной трубы имеет размеры 30 - 100 мм. К каждому звену приваривается реперный стержень 3 из гладкой стальной арматуры диаметром 6 - 20 мм. Сборка звеньев и приварка реперных стержней производится в горизонтальном положении вблизи пробуренной скважины таким образом, чтобы образовалась колонна длиной, равной глубине исследования основания.
Рис. 46. Многоточечная глубинная марка
а - звено марки; б - марка в собранном виде;
в - деталь верхней части марки; 1 - основная труба;
2 - патрубок; 3 - реперный стержень; 4 - линия
срезки узла после установки марки в скважину
Зазор между основными трубами смежных звеньев устанавливается исходя из предполагаемого перемещения слоев. Устройство в собранном виде показано на рис. 46, б. Перед подъемом колонны в вертикальное положение все реперные стержни, выходящие из верхнего конца колонны на расстоянии 50 - 100 см, свариваются вместе в один узел для того, чтобы колонна при подъеме не нарушилась. Устройство поднимается и погружается краном в пробуренную скважину, диаметр которой в 1,5 - 2 раза больше диаметра колонны и глубина равна длине колонны. Погружение устройства в песках и водонасыщенных глинистых грунтах производится до выбора из скважины обсадных труб. Зазоры, которые образуются после удаления обсадных труб, заделываются песком с послойным уплотнением по глубине (штыкованием, вибрированием колонны и т.п.).
После погружения, не менее чем через 10 дней, производится срезка узла, связывающего реперные стержни. Анкеровка звеньев в соответствующем слое основания и совместность деформаций обеспечивается силами сцепления окружающего грунта с боковой поверхностью звеньев.
Измерение деформаций слоев выполняется по верхним концам реперных стержней, выходящих на дневную поверхность.
При измерении возможны два варианта:
1. Геодезическое нивелирование с установкой рейки на концы каждого стержня.
2. То же, только с установкой рейки на одну точку колонны, а относительные превышения остальных стержней измеряются штангенциркулем (точность 0,1 мм) на месте или по фотоснимкам.
Дополнительные требования, предъявляемые по всем типам устройств для послойных деформаций основания:
для контроля за погрешностью измерения деформаций от собственной массы устройств обязательно устанавливать не менее двух устройств в аналогичных грунтовых условиях на площадках, где перемещения основания от нагрузки отсутствуют;
верхняя часть устройств в подвальных помещениях должна быть сооружена с учетом их сохранности и удобства измерения;
верхняя часть устройств вне зданий и сооружений должна быть расположена в железобетонных колодцах с чугунным люком и крышкой. Глубина колодца - не менее глубины промерзания основания в исследуемом месте.
ПОЛЕВЫЕ ПОВЕРКИ ИНСТРУМЕНТОВ
Полевые поверки нивелиров
Требование поверки | Выполнение | Исправление | Периодичность поверки | Примечания |
Полевые поверки нивелиров, применяемых при нивелировании I и II классов |
1. Оси установочных уровней должны быть перпендикулярны к оси вращения инструмента | Действуя подъемными винтами, приводят пузырьки уровней на середину, поворачивают трубу на 180°. Пузырьки уровней при этом должны оставаться на середине или сместиться не больше чем на одно деление | На одну половину смещения пузырька возвращают, действуя исправительными винтами уровней, а на другую - подъемными винтами | В начале каждого цикла наблюдений | - |
2. Вертикальная нить сетки нитей должна быть параллельна отвесной линии | Ось вращения инструмента тщательно приводят в отвесное положение. Глядя в трубу нивелира, совмещают один конец вертикальной нити с отвесной линией. При этом и вся вертикальная нить должна совпадать с отвесной линией | Слегка ослабив закрепительные винты сетки нитей, устанавливают ее в правильное положение | 2 - 3 раза в год | В качестве отвесной линии может служить тонкий шнур с отвесом в 25 - 30 м от инструмента |
3. Проекции визирной оси и оси цилиндрического уровня на горизонтальную плоскость должны быть параллельны | В 40 м от нивелира устанавливают рейку так, чтобы к ней был обращен один из подъемных винтов. Нивелир приводят в рабочее положение и отсчитывают по рейке; двумя другими винтами дают небольшой боковой наклон нивелиру сначала в одну, а потом в другую сторону, следя, чтобы при этом отсчет по рейке не изменился. В обоих случаях концы уровня не должны расходиться или расходиться одинаково в одну сторону | Установку уровня исправляют его горизонтальными исправительными винтами | В начале и в конце каждого цикла наблюдений | |
4. Угол между проекциями на вертикальную плоскость визирной оси и оси цилиндрического уровня по абсолютной величине не должен превышать 10" | На горизонтальном участке закрепляют две точки на расстоянии 30 м друг от друга. Определяют превышение между ними h1 при двух горизонтах инструмента способом из середины. Переставляют инструмент так, чтобы одно плечо было равно 5, а другое 25 м | Наводят трубу на удаленную рейку и берут по ней отсчет. Прибавив к нему с учетом знака превышение h1, вычисляют отсчет, который должен быть на дальней рейке | Не менее трех раз в течение каждого цикла наблюдений | Производить поверку желательно в пасмурную погоду |
При двух горизонтах вторично определяют превышение между этими же точками h2 Вычисляют угол i по формуле  , где  , мм;  - разность плеч, мм;  - 206265 | Установив барабан микрометра по вычисленному отсчету, наводят трубу на ближнюю рейку и, действуя элевационным винтом, совмещают биссектор со штрихом, соответствующим вычисленному отсчету. Исправляют вертикальными винтами уровня. Поверку повторяют несколько раз. Разошедшиеся при этом концы пузырька уровня совмещают, действуя его вертикальными исправительными винтами | | |
Полевые поверки нивелиров, применяемых при нивелировании III класса |
1. Ось круглого уровня должна быть параллельна оси вращения нивелира | Действуя подъемными винтами, приводят пузырек уровня в нульпункт и поворачивают трубу на 180°. Пузырек при этом должен остаться в нульпункте | На одну половину дуги отклонения пузырек возвращают, действуя винтами уровня, а на другую - подъемными. Исправление также аналогично | В начале каждого цикла наблюдений | Поверку повторять несколько раз |
2. Оси установочных уровней должны быть перпендикулярны к оси вращения нивелира | Поверка производится аналогично соответствующей поверке нивелиров, применяемых при нивелировании I - II классов | То же | То же |
3. Вертикальная нить сетки нитей должна быть параллельна отвесной линии | То же | То же | " | " |
4. Ось цилиндрического уровня должна быть перпендикулярна к оси вращения инструмента | Уровень ставят по направлению двух подъемных винтов и, действуя этими винтами, выводят пузырек на середину. Затем поворачивают трубу на 180°, пузырек при этом должен остаться на середине или сойти с нее не больше чем на одно деление | На одну половину отклонения пузырек возвращают, действуя исправительными винтами, а на другую - подъемными | Ежедневно | Поверку повторять несколько раз |
5. Отсчетный индекс должен иметь вид резко очерченной прямой линии. Эта поверка выполняется лишь для нивелира НС-2 | - | Совмещают изображения противоположных концов пузырька уровня, действуя регулировочным винтом. Пузырек по длине должен быть в пределах от 30 до 60 мм | Каждый раз, когда концы пузырька уровня расходятся | |
6. Угол между проекциями на вертикальную плоскость визирной оси и оси цилиндрического уровня по абсолютной величине не должен превышать 10" | Поверка производится аналогично соответствующей поверке нивелиров, применяемых при нивелировании I - II классов | Исправление отличается лишь тем, что на вычисленный отсчет биссектор устанавливают, передвигая сетку нитей. В нивелире НС-2 на вычисленный отсчет наводят индекс, действуя исправительными винтами оправы объектива | В начале каждого цикла наблюдений и в конце | Поверку повторять несколько раз |
Поверки оптических теодолитов |
1. Ось уровня при алидаде горизонтального круга должна быть перпендикулярна к вертикальной оси вращения инструмента | Действуя подъемными винтами, приводят пузырек цилиндрического уровня на середину, поворачивают горизонтальный круг на 180°. Пузырек уровня при этом должен остаться на середине | На одну половину смещения пузырька возвращают, действуя исправительными винтами уровня, а на другую - подъемными винтами | Перед началом наблюдений | - |
2. Алидада горизонтального круга должна иметь плавное вращение | При плавном вращении алидады горизонтального круга, после нескольких полных оборотов ее в одном направлении, пузырек уровня не должен смещаться более чем на одно деление | В случае тугого вращения алидады необходимо произвести смену смазки вертикальной оси | В начале и конце полевого сезона | - |
3. Визирная ось трубы должна быть перпендикулярна горизонтальной оси вращения трубы (коллимационная ошибка не должна превышать 20") | Измеряется горизонтальное направление на удаленный предмет (не менее 100 м) при двух положениях вертикального круга. Предмет и инструмент должны быть расположены примерно в одной горизонтальной плоскости 2 c = Л - П +/- 180° | Ошибка устраняется смещением сетки зрительной трубы посредством боковых исправительных винтов на величину, равную половине указанного угла, т.е. на величину c | В начале и конце полевого сезона | Ошибка исключается при двух положениях вертикального круга |
4. Ось вращения зрительной трубы должна быть горизонтальна. Смещение изображения отвесной линии не должно превышать 10" | Зрительную трубу наводят на какую-либо высоко расположенную точку при двух положениях трубы, каждый раз беря отсчеты по горизонтальному кругу. Если из разности этих отсчетов вычесть 180°, то получим удвоенную величину ошибки | Ошибка исправляется в мастерской | В начале и конце полевого сезона | Ошибка исключается при двух положениях вертикального круга |
5. Мертвый ход оптического микрометра не должен превышать 1",0 | Проводят 12 установок алидады при КП и КЛ через 15°. При каждой установке берут отсчет дважды: один раз a при совмещении диаметрально противоположных штрихов горизонтального круга поворотом барабана оптического микрометра по ходу часовой стрелки, а другой  при совмещении тех же штрихов вращением барабана против хода часовой стрелки. Для каждой пары отсчетов a и  вычисляют разность d. Среднее значение мертвого хода определяют по формуле  . Отдельные разности  должны быть в пределах от -1" до +1" | При недопустимой величине мертвого хода инструмент передается в мастерскую для ремонта | В начале и конце полевого сезона | |
6. Рен оптического микрометра для горизонтального круга не должен превышать 0,5" | Поворотом барабана микрометра трижды совмещают изображения штрихов: первый раз штрихи A и (A + 180°), второй раз A - i и A + 180° и третий раз A + (A + 180° - i), где i - цена деления на круге (совмещение каждой пары штрихов выполняют дважды). Рены верхнего и нижнего изображения вычисляют по формулам: rв = a - b; rн = n0 + a - c где a, b и c - отсчеты по шкале микрометра при трех совмещениях изображений штрихов. Рен определяют при восьми установках алидады, равномерно расположенных по всему кругу |  и  не должны превышать 0,5". В противном случае в результат вводят поправки, вычисляемые по формуле:  . В случае значительной разности теодолит передается в мастерскую для юстировки | В начале и конце полевого сезона | - |
7. Вертикальные нити биссектора сетки должны быть вертикальны | Наводят биссектор вертикальных нитей сетки трубы на удаленную точку и поворачивают трубу вверх и вниз. Нить биссектора при поворотах трубы должна оставаться на данной точке | Положение сетки регулируют поворотом окулярной части трубы, для чего должны быть отпущены винты кольца, прижимающего выступ окуляра к оправе трубы | Перед началом наблюдений | - |
8. Место зенита вертикального круга должно быть близким к нулю (< 10") | Измеряют вертикальный угол на предмет при двух кругах с тщательным совмещением концов уровня при вертикальном круге. Для теодолитов ОТ-02 v = Л - П; | Место зенита исправляют при помощи исправительных винтов уровня, установленного на алидаде вертикального круга инструмента | То же | - |
Поверки и юстировки самоустанавливающихся нивелиров
Самоустанавливающиеся нивелиры не имеют цилиндрического уровня, для них должны удовлетворяться только следующие дополнительные условия.
1. Ось круглого уровня должна быть параллельна вертикальной оси вращения инструмента.
2. В пределах диапазона работы компенсатора горизонтальная нить сетки должна быть горизонтальна.
3. В пределах работы компенсатора визирная ось должна быть горизонтальна. Это основное условие. Поверки и юстировки выполняются так же, как и для нивелиров с уровнями. В нивелирах фирмы "Филотехника Сальмойраги" юстировка визирной оси может выполняться не смещением сетки при помощи вертикальных винтов, а путем поворота защитного стекла перед объективом зрительной трубы. В нивелирах NA-2 фирмы "Вильд" юстировка визирной оси выполняется при помощи исправительных винтов компенсатора.
ПРИНАДЛЕЖНОСТИ И ПРИСПОСОБЛЕНИЯ
ДЛЯ ИЗМЕРЕНИЯ ОСАДОК ФУНДАМЕНТОВ ЗДАНИЙ И СООРУЖЕНИЙ
1. В качестве башмаков для переходных точек могут быть использованы: арматура, железобетонные костыли, анкеры и т.д.; кроме того, могут устанавливаться постоянные бетонные площадки с зацементированной металлической головкой для установки рейки.
На рис. 47 показаны наиболее распространенные типы башмаков: а - постоянный металлический башмак для забивки в грунт, для такого башмака можно использовать арматуру; б - постоянный металлический башмак для забивки в асфальт, щели между плитами и т.д.; в и е - переносные металлические башмаки для работ в помещении с мягкими полами или на улице; г и д - переносные металлические башмаки для работ в помещении с паркетными полами, полами из метлахской плитки и т.п.
Рис. 47. Башмаки для переходных точек
а - постоянный металлический башмак для забивки
в грунт, длина 0,2 - 0,5 м

; б - постоянный
металлический башмак,

шляпки от 5 до 15 мм;

остова 3 - 10 мм, длина 5 - 30 мм;
в, е - переносные металлические башмаки,

шляпки 5 - 10 мм; г, д - переносные
металлические башмаки,

шляпки 5 - 20 мм
2. Осветительная рамка (рис. 48) укрепляется для искусственного освещения рейки при нивелировании в затемненных подвалах или ночью.
Рис. 48. Осветительная рамка
1 - корпус рамки 90 x 85 x 40 мм изготовляется из металла;
2 - футляр для электробатарейки, прикрепляется винтами
к корпусу; 3 - винт для крепления рамки к рейке;
4 - выключатель; 5 - рефлектор с электролампочкой
3. Металлические подкладки (рис. 49) под ножки штатива изготовляются из металла.
Рис. 49. Металлические подкладки для ножек штатива
1 - шипы (длина 3 мм) вдавливаются в грунт, асфальт;
2 - кольцо для ножки штатива (высота 5 мм)
ФОРМЫ ЗАПИСИ В ПОЛЕВЫХ ЖУРНАЛАХ
ПРИ ИЗМЕРЕНИИ ОСАДОК ФУНДАМЕНТОВ ЗДАНИЙ И СООРУЖЕНИЙ
1. Форма записи в полевом журнале при работе
прецизионным нивелиром по инварным штриховым рейкам
Дата
Объект
Первый горизонт |
Репер 1 | +0,3 (11) | Марка 1 |
881510 (1) | +170190 (7) | 711320 (4) |
299006 (2) | +170186 (8) | 118820 (5) |
592504 (3) | +170188 (9) | 592500 (6) |
| +850,94 (10) |
+850,95 (14) |
Второй горизонт |
Репер 1 | -0,2 (13) | Марка 1 |
871509 (1) | +170192 (7) | 701317 (4) |
279009 (2) | +170194 (8) | 108815 (5) |
592500 (3) | +170193 (9) | 592502 (6) |
| +850,96 (12) |
Примечание. Цифрами в скобках указана последовательность обработки
полевого журнала:
(1) \ - отсчеты по шкалам задней рейки;
(2) /
(3) - постоянное число (1) - (2);
(4) \ - отсчеты по шкалам передней рейки;
(5) /
(6) - то же, что и (3);
(7) - разность (1) - (4);
(8) - разность (2) - (5);
(7) + (8)
(9) - среднее ---------;
2
(9)
(10) - частное ---;
2
(11), (13) - неравенства плеч (в м);
(12) - то же, что и (10);
(10) + (12)
(14) - среднее -----------.
2
2. Форма записи в полевом журнале при работе
способом трех нитей (для II и III классов)
Дата
Объект
Первый горизонт |
Репер 1 | (14) - 1 м | Марка 1 | |
(1) 1276,4 | (4) 54,7 | (6) 425,4 | (9) 54,8 |
(2) 1331,4 | (5) 54,3 | (7) 480,2 | (10) 54,2 |
(3) 1385,4 | (13) +850,97 | (8) 534,4 | |
(11) 1330,97 | | (12) 480,0 | |
Ср. (17) +850,90 |
Второй горизонт |
Репер 1 | (16) + 1 м | Марка 1 | |
1496,2 | 55,8 | 645,8 | 54,4 |
1551,0 | 54,9 | 700,2 | 54,4 |
1605,9 | | 754,6 | |
1551,03 | (15) +850,83 | 700,20 | |
(1), (2), (3) - отсчеты по трем нитям задней рейки;
(4) - разность (2) - (1);
(5) - разность (3) - (2);
(6), (7), (8) - отсчет по трем нитям передней рейки;
(9) - разность (7) - (6);
(10) - разность (8) - (7);
(1) + (2) + (3)
(11) - среднее ---------------;
3
(6) + (7) + (8)
(12) - среднее ---------------;
3
(13) - разность (11) - (12);
(14), (16) - неравенства плеч;
(15) - то же, что и (13);
(13) + (15)
(17) - среднее -----------.
2
3. Форма записи в полевом журнале при работе нивелирами
типа НЗ отсчетами по средней нити (для III класса)
Дата
Объект
Репер 1 | (5) -74 | Марка 1 |
Ч (1) 1834 | (6) -176 | (2) 2008 |
К (4) 6620 | | (3) 6796 |
| | (7) -75 |
(1) - отсчет по черной стороне задней рейки;
(2) - то же, передней рейки;
(3) - отсчет по красной стороне передней рейки;
(4) - то же, задней рейки;
(5) - превышение (1) - (2) по черным сторонам реек;
(6) - превышение (4) - (3) по красным сторонам реек;
(7) - среднее из превышений по красным и черным сторонам реек.
УРАВНОВЕШИВАНИЕ НИВЕЛИРНЫХ СЕТЕЙ
1. Способ полигонов
1. Уравновешивание нивелирной сети способом полигонов заключается в последовательном распределении невязок в каждом полигоне пропорционально обратным весам отдельных секций, входящих в полигон. На практике невязки распределяются пропорционально длинам секций или числу станций в них.
2. Вычисления способом полигонов производятся непосредственно на рабочей схеме сети (рис. 50). Перед вычислениями на рабочую схему наносятся: длины секций (или число станций в секциях); внутри каждого полигона нивелирной сети в специальной рамке записывается невязка этого полигона, над рамкой указывается номер данного полигона; вне полигона против секций красными чернилами наносятся длины секций полигона в долях периметра, принимая периметр за 1 или 100. Под ними чертятся рамки, в которых будут записываться столбиком поправки, приходящиеся на соответствующую секцию.
Рис. 50. Уравнивание способом полигонов
3. Распределение невязок начинается с полигона, имеющего наибольшую по абсолютной величине невязку (в нашем примере полигон II). Первый круг распределения невязок состоит из следующих этапов:
невязка (+15) полигона (II) умножается соответственно на длины секций данного полигона (красные числа вне полигона: 0,42 по секции BC, 0,33 по секции CE, 0,25 по секции BE);
полученные результаты, округленные до целых, записываются в соответствующие рамки, лежащие вне полигона, и им приписывается знак, одинаковый со знаком невязки данного полигона, таким образом найдены поправки превышений по секциям в соответствующих смежных полигонах. Сумма полученных поправок должна быть равна невязке данного полигона.
4. Затем уравнивается смежный полигон (в примере полигон III). Это уравнивание выполняется следующим образом:
Определяется остаточная невязка. Для этого невязка полигона изменяется на величину поправок в секциях, определенных из уравнивания предыдущих полигонов (в примере невязка полигона III получила поправку +5). Полученная остаточная невязка записывается в рамку невязок под предыдущей невязкой (в примере остаточная невязка полигона III - "-7").
Остаточная невязка полигона умножается соответственно на длины секций данного полигона (на красные числа вне полигона), результаты записываются в рамки, лежащие вне полигона, как описывалось выше. После завершения уравнивания полигонов по первому разу, приступают ко второму кругу уравнивания.
5. Второй круг уравнивания отличается от первого тем, что невязка в полигонах уже распределена и новая невязка получается сложением поправок, полученных в секциях полигона из первого круга уравнивания [в примере новая невязка (-4) полигона II получена путем сложения поправок по секциям CE (-2) и BE (2)].
6. Дальнейшие вычисления производятся указанным выше порядком. Закончив второй круг, переходят к третьему и т.д. Вычисления заканчиваются, когда новые поправки в секциях будут нулевыми.
7. По окончании распределения невязок в каждой прямоугольной рамке поправок вычисляют алгебраическую сумму.
8. Окончательная поправка превышения по периферийной секции (по секции, входящей только в один полигон) равна найденной сумме поправок с обратным знаком.
Эта поправка записывается в скобках внутри полигона (например по секции AB поправка равна +6).
Поправка превышения по общей секции смежных полигонов равна разности найденных сумм поправок смежных полигонов [для секции CE поправка будет равна +4 - (-3) = +7, а для EC - +4 - (-3) = +7].
9. Сумма поправок превышений секций должна равняться невязке полигона с обратным знаком.
2. Способ наименьших квадратов
Способ наименьших квадратов является строгим способом уравновешивания нивелирных сетей и может применяться для сетей с большим числом полигонов.
Уравнивание сети проводится следующими этапами:
1. Подсчет невязок в полигонах и между твердыми пунктами сети (рис. 51).
Рис. 51. Уравнивание способом наименьших квадратов
2. Составление условных уравнений сети. Число независимых условий (условных уравнений) в любой нивелирной сети равно числу замкнутых полигонов плюс количество твердых пунктов без одного.
В примере изображена сеть, в данной сети получены три условных уравнения:

(90)
где

- превышения по ходам;

- невязки в полигонах.
Чтобы определить среднюю квадратическую ошибку отметки в самом слабом месте сети - репере 15, вводят весовые уравнения:

(91)
определяющие превышение репера 15 над репером 2.
3. Составляется таблица условных уравнений (табл. 10).
Таблица 10
N хода | a | b | c | f15 | f15' | Li = 1/pi |
1 | +1 | | | | -1 | 2,2 |
2 | +1 | | | +1 | | 2,7 |
3 | +1 | -1 | | | | 1,7 |
4 | +1 | | -1 | | | 2,1 |
5 | | -1 | | | +1 | 1,5 |
6 | | +1 | -1 | | | 2,4 |
7 | | | -1 | | +1 | 3 |
8 | | | -1 | -1 | | 2,5 |
| 12,1 | +3,4 | -7,2 | | | |
В таблице в первом столбце записаны коэффициенты (+1, -1) первого условного уравнения, во втором столбце - второго условного уравнения и т.д. В последней строчке - невязки полигонов, увеличенные в десять раз, чтобы избежать громоздких чисел. Последний столбец - длина ходов или число станций в ходе, необходимое для определения веса ходов по формуле

, (92)
где n - произвольное число: 1, 10, 100;
| | ИС МЕГАНОРМ: примечание. Обозначение дано в соответствии с официальным текстом документа. | |

- длина хода или число станций в ходе.
4. Составляется таблица коэффициентов нормальных уравнений
(табл. 11) по формулам:

(93)
где

;

;

;

;

и т.д.
| | | | | | S |
[a | +8,7 | -1,7 | -2,1 | +2,7 | -2,2 | +17,5 |
[b | | +5,6 | -2,4 | 0 | -1,5 | +3,4 |
[c | | | +10,0 | +2,5 | -3,0 | -2,2 |
[f15 | | | | +5,2 | | |
[f15' | | | | | +6,7 | |
5. Решение нормальных уравнений проводится по схеме Гаусса. В табл. 12 представлен один из способов решения нормальных уравнений.
Таблица 12
k1 | k2 | k3 | f15 | f15' | v | S |
8,7 | -1,7 | -2,1 | +2,7 | -2,2 | +12,1 | +17,5 |
-1,391 | -0,196 | -0,242 | +0,31 | -0,253 | +1,391 | +2,02 |
+0,037 | +5,6 | -2,4 | 0 | -1,5 | +3,4 | +3,4 |
-0,198 | +0,332 | +0,410 | -0,528 | +0,430 | -2,36 | -3,42 |
-1,552 | +5,268 | -2,810 | +0,528 | -1,930 | +5,76 | +6,82 |
| -1,092 | -0,532 | +0,100 | -0,366 | +1,092 | +1,290 |
| +0,081 | +10 | +2,5 | -3 | -7,2 | -2,2 |
| -1,011 | +0,508 | -0,652 | +0,532 | -2,92 | -4,23 |
| | +1,490 | -0,281 | +1,025 | -3,06 | -3,64 |
| | +8,002 | +3,433 | -4,557 | -1,22 | +5,67 |
| | | +0,428 | -0,570 | -0,153 | +0,707 |
| | +0,153 | 5,2 | 6,7 | | |
| | | +0,84 | +0,56 | | |
| | | +0,05 | +0,7 | | |
| | | +1,46 | +2,6 | | |
| | | 2,85 | 2,84 | | |
| | | | | 23,2 | 23,3 |
6. Составляется таблица поправок ходов сети (табл. 13), которые получаются путем подставления полученных из решения нормальных уравнений коррелат в условные уравнения.
Таблица 13
N хода | Длина Li | Lik1 | Lik2 | Lik3 | | (мм) | | |
1 | 2,2 | -3,42 | | | -3,42 | -0,34 | 0,12 | 0,053 |
2 | 2,7 | -4,18 | | | -4,18 | -0,42 | 0,18 | 0,065 |
3 | 1,7 | -2,64 | +1,72 | | -0,92 | -0,09 | 0,01 | 0,005 |
4 | 2,1 | -3,26 | | -0,32 | -3,58 | -0,36 | 0,13 | 0,061 |
5 | 1,5 | | +1,52 | | +1,52 | +0,15 | 0,02 | 0,015 |
6 | 2,4 | | -2,42 | -0,37 | -2,79 | -0,28 | 0,08 | 0,032 |
7 | 3,0 | | | -0,46 | -0,46 | -0,05 | 0 | 0 |
8 | 2,5 | | | -0,38 | -0,38 | -0,04 | 0 | 0 |
0,231 |
7. Вводом полученных поправок в превышения по ходам, получаем уравненные отметки узловых точек. Отметки промежуточных точек получаются пропорциональным распределением невязок между точками.
8. Оценка точности нивелирования может быть проведена по формулам:

. (94)
Отметка уравненного репера 15 от репера 2 получена со средней квадратической ошибкой:

. (95)
ОСНОВНЫЕ ТИПЫ ГИДРОСТАТИЧЕСКИХ НИВЕЛИРОВ
Переносные гидростатические нивелиры
1. Переносные гидростатические нивелиры по устройству и точности делятся на три основные группы:
А. Простейшие гидростатические нивелиры;
Б. Гидростатические нивелиры с поплавками;
В. Гидростатические нивелиры с микрометренным винтом.
А. Простейший гидростатический нивелир имеет вид двух градуированных стаканов, связанных между собой резиновым шлангом. Свободная поверхность подкрашенной воды, заполняющей этот нивелир, находится на одном уровне в обоих стаканах. По разности высот столбов жидкости в сообщающихся сосудах находят разность высот точек, на которых установлены стаканы (рис. 52). Средняя квадратическая ошибка определения разности высот нивелирного хода протяженностью 1 км достигает +/- 15 мм.
Рис. 52. Простейший гидростатический нивелир
Б. Гидростатический нивелир с поплавком типа НШТ
(рис. 53) отличается от простейшего способом отсчитывания. Трубки нивелира имеют шкалу, по которой с помощью свободно плавающего поплавка 4 выполняются отсчеты. Поплавок пустотелый, кольцевой формы, благодаря чему устойчив, пропускает пузырьки воздуха и занимает постоянное положение относительно поверхности жидкости. Точность отсчета по риске поплавка +/- 0,1 мм. Поплавок исключает уровни для установки цилиндров в вертикальное положение. Для установки на марки имеются две опорные пятки. Верхняя 7, укрепленная в корпусе на резьбе, двухсторонняя. Одна плоскость ее используется для прикладывания измерительной головки к определенной точке, а другая для подвески на стенные марки цилиндрической формы. Нижняя 8 опорная пятка параллельно ввинчена в корпус подставки снизу и снабжена как плоскостью, так и острием для установки на грунтовые реперы. Снаружи навинчивается одна съемная опорная пятка для установки на неровные поверхности.

Рис. 53. Переносной гидростатический нивелир НШТ-1
1 - клапан-поплавок; 2 - цилиндр автоматического
клапана; 3 - стеклянный цилиндр автоматического клапана;
4 - кольцевой пустотелый поплавок; 5 - металлический
корпус; 6 - стеклянный цилиндр водомерного стакана;
7 - верхняя пятка, укрепленная в корпусе на резьбе;
8 - нижняя пятка
В. Гидростатические нивелиры с микрометренным винтом
1. Гидростатический нивелир конструкции ЭНИМС
Прибор ЭНИМС состоит из двух стеклянных стаканов, соединенных между собой водяным и воздушным шлангами. Каждый стакан помещается в бронзовом корпусе и сверху герметически закрывается крышкой, в середине которой проходит микрометренный винт с барабаном, точность отсчета по которому равна 0,01 мм. Основанием прибора служит стальная плита, что является конструктивным недостатком, так как при передаче отметок ставит точность измерений в зависимость от чистоты обработки выверяемой поверхности.
Измерение глубины уровня воды в каждом измерительном стакане производится по визуально наблюдаемому контакту острия микрометренного винта с поверхностью воды. Превышения измеряют при прямом и обратном положении стаканов. Максимальное превышение, измеряемое этим гидростатическим нивелиром, около 3 см.
Ошибка определения превышения гидростатическим нивелиром ЭНИМС равна ошибке отсчета по одному из стаканов. В закрытых помещениях, где сохраняется постоянство температуры, гидростатический прибор при тщательной работе и высоком классе обработки нивелируемой поверхности может обеспечить измерение превышений на станции со средней квадратической ошибкой ~ 0,01 мм.
2. Гидростатический нивелир института Унипромедь (рис. 54)
Рис. 54. Гидростатический нивелир института Унипромедь
1 - уровень; 2 - шланг; 3 - металлическая пластина;
4 - опорный винт; 5 - нижняя плита; 6 - уровень;
7 - стеклянная трубочка; 8 - фундаментная плита;
9 - микрометренный винт; 10 - кольцевая
пластинка болта; 11 - шкала; 12 - прижимной
винт; 13 - болт; 14 - 15 - вкладыш
Измерительные стаканы прибора укреплены на металлической пластине 8, которая подвешивается на осадочную марку. С помощью двух взаимно перпендикулярных уровней и опорного винта 4 измерительные стаканы приводятся в вертикальное положение и окончательно закрепляются на марке прижимным винтом 12. Уровень воды определяется при помощи микрометренного винта 9, острие которого соприкасается с поверхностью воды. Отсчет производят по шкале 11 с точностью до миллиметра и по головке винта до сотых долей миллиметра. Отсчеты берутся дважды с перестановкой измерительных стаканов. В благоприятных условиях средняя квадратическая ошибка в определении превышения не превысит величины +/- 0,02 - 0,04 мм.
3. Гидростатический нивелир конструкции МИИГАиКа (рис. 55)
Рис. 55. Ртутный гидронивелир конструкции МИИГАиКа
1 - сосуд; 2 - трубка; 3 - кран; 4 - крышка;
5 - микрометренный винт; 6 - барабан; 7 - гильза
с батареей; 8 - миллиамперметр; 9 - подставка; 10 - ручка
Нивелир состоит из двух металлических сосудов 1 цилиндрической формы с дном в виде полусферы. В нижнюю часть сосуда ввинчивается трубка с краном 8, на второй гофрированный конец которой надевается резиновый шланг, соединяющий оба сосуда. В верхней части сосудов имеется по два окна 12, плотно закрытых плексигласом. Сосуды закрываются крышками 2, в центрах которых расположены микрометренные винты 3 с барабанами 4. Цена одного деления барабана

. Момент контакта заостренного конца микрометренного винта с поверхностью ртути фиксируется визуально или при помощи миллиамперметра путем замыкания или размыкания электрической цепи. Отсчеты берутся по барабанам микрометренных винтов. Затем прибор поворачивают на 180° и производят вторые отсчеты. После этого вычисляется превышение. Если постоянная "K" нивелира известна, то измерительные сосуды можно не переставлять.
Использование в нивелире в качестве жидкости ртути делает прибор менее чувствительным к колебаниям давления и температуры. Однако со временем поверхность ртути в сосудах покрывается пленкой окиси, которая препятствует нормальному контакту и повышает погрешность измерений. Ошибка однократного измерения превышения на станции (при двух положениях прибора составляет +/- 6 - 7 мкм).
4. Гидростатический прибор Терцаги (рис. 56)
Рис. 56. Гидростатический нивелир Терцаги
а - гидростатический нивелир; б - схема определения
превышения; 1 - стеклянная трубка; 2 - соединительный
резиновый шланг; 3 - латунная пластина; 4 - стержень;
5 - колпачки с отсчетным приспособлением
Этот прибор состоит из двух стеклянных трубок 1 диаметром 25 мм и соединительного резинового шланга 2. Трубки, наполненные водой, прикреплены к латунной пластинке 3, имеющей подковообразное отверстие для подвешивания прибора на стержень 4, ввернутый на время измерений в высотную марку закрытого типа. На трубки одеты латунные колпачки с приспособлениями 5 для отсчетов, которые состоят из пластинки с миллиметровыми делениями, заканчивающейся острием, и счетного барабана с нониусом. Пластинка снабжена кремальерой, при помощи которой ее можно опускать вниз до соприкосновения острия с зеркалом воды. Погрешность отсчета по измерительному барабану кремальеры до 0,01 мм. Гидростатическим прибором Терцаги можно измерять превышения до 14 см со средней квадратической ошибкой +/- 0,05 мм.
5. Гидростатический шланговый нивелир Мейссера (рис. 57)
Рис. 57. Гидростатический нивелир Мейссера
1 - марка; 2 - круглый уровень; 3 - ползунок;
4 - измерительный барабан; 5 - контактная пластина;
6 - кран; 7 - воздухопровод; 8 - микрометренный винт;
9 - микрометренный шпиндель; 10 - измерительный шпиндель
Прибор состоит из цилиндров с внутренним диаметром 42 мм, соединенных шлангом длиной 30 - 50 м. Диапазон измерения превышения 10 см. Измерительные цилиндры прибора навешиваются на специальные марки 1 со сферической головкой. Под осадочными марками в местах, отмеченных по специальному шаблону, цементируются два стержня с отверстиями, снабженными винтовой нарезкой. К этим стержням винтами прикрепляется пластинка с откидным хомутом, которым нижняя часть цилиндра крепится к стене. По круглому уровню 2 боковыми зажимными винтами цилиндр приводится в вертикальное положение.
Для ускорения процесса измерений и исключения возможных ошибочных отсчетов в приборе имеется специальный индикатор, дающий световой сигнал в момент соприкосновения измерительного винта (шпинделя) с поверхностью жидкости.
При съемке устраняются возможные пузырьки воздуха в шланге путем надлежащего перемещения последнего; определяют поправку за несовпадение нулевых штрихов шкал, поместив измерительные цилиндры рядом. Отсчеты уровня жидкости берут несколько раз по шкалам обоих цилиндров одновременно.
Погрешность измерения превышения на одной станции (в закрытых помещениях) до +/- 0,01 мм.
Стационарная гидростатическая система
с дистанционным съемом информации
Система состоит из измерительных головок 1, соединенных между собой соединительными шлангами 6; распределительных коробок 2, последовательно включенных в единую цепь; термоизмерительного устройства 5 типа ЭМД-212; пересчетного блока ПС 4 и пульта управления 3 (рис. 58).
Рис. 58. Стационарная гидростатическая
система с дистанционным съемом информации
1 - измерительные головки; 2 - распределительные
коробки; 3 - пульт управления; 4 - пересчетный
блок ПС; 5 - термоизмерительное устройство;
6 - соединительные шланги
В качестве жидкости-заполнителя в системе применяется глубоко обессоленная вода. В целях исключения влияния приточной вентиляции на положение уровня в отдельных головках, воздушные объемы сосудов с жидкостью соединены в единую систему посредством специальных соединений.
Измерительная головка 1 предназначена для фотоэлектрической регистрации уровня жидкости с последующей передачей информации по каналу связи на отсчетные приспособления. Она включает в себя цилиндрический световод, расположенный над жидкостью, и фотоприемник, установленный под уровнем жидкости. Стеклянный световод с одного конца заточен конусообразно под углом полного внутреннего отражения света, падающего сверху от электрической лампочки.
Измерительные головки по три присоединены к распределительным коробкам, подключенным к пульту управления.
Распределительные коробки 2 служат для вывода информации от каждой из измерительных головок в линию связи.
Пульт управления 3 содержит блок питания, системы коммутации головок и управления их работой.
Для температурной коррекции измеряемой величины уровня жидкости в каждой из измерительных головок установлены специальные термодатчики, соединенные посредством той же системы коммутации с автоматическим мостом 5 типа ЭМД-212.
Определение высотного положения контрольных точек проводят следующим образом.
Подается переменное напряжение 220 В на блок питания устройства. Затем при помощи тумблеров, находящихся на пульте управления, включают распределительную коробку и одну из подключенных к ней распределительных головок, соответствующую определяемой точке.
Пуск двигателя измерительной головки также осуществляется с пульта управления, при этом световод начинает перемещаться вниз к уровню жидкости. При движении световода датчик перемещений генерирует счетные импульсы, транслируемые по кабелю на вход пересчетной схемы ПС. В момент касания концов световода уровня жидкости преломленный свет засвечивает фотоприемник, на котором формируется импульс, осуществляющий остановку пересчетной схемы.
Одновременно с электронного моста ЭМД-212 снимаются показания температуры жидкостной среды в данной головке. Включением соответствующих тумблеров осуществляется опрос следующей головки.
Все замеры производятся оператором с пульта управления.
Средняя квадратическая ошибка получения величины осадки из двух циклов измерения с использованием этой системы не превышает 0,1 - 0,2 мм.
ОПОРНЫЕ ЗНАКИ И ЦЕНТРИРОВОЧНЫЕ УСТРОЙСТВА
Опорные знаки
На рис. 59 показаны скрытые опорные знаки. При наблюдениях с таких знаков теодолит устанавливается на штативе и центрируется при помощи оптического отвеса (размеры даны в см).
Рис. 59. Скрытые опорные знаки
а - устанавливаемый бурением: 1 - головка знака
с нарезным крестом; 2 - металлическая труба

,
покрытая асфальтовым лаком; 3 - отмостка; 4 - диафрагма;
5 - защитная труба с крышкой;
6 - башмак знака; 7 - сальник;
б - устанавливаемый котлованным способом:
1 - головка знака; 2 - железобетонный пилон квадратного
сечения (вверху 15 x 15 см, внизу 30 x 30);
3 - защитный смотровой колодец с люком; 4 - отмостка;
5 - теплоизоляционная засыпка; 6 - гидроизоляционный
слой из толя; 7 - фундаментная плита 50 x 50 см
Опорные знаки, выступающие над поверхностью земли, показаны на рис. 60. При наблюдении с таких знаков теодолит устанавливается на наблюдательную тумбу и центрируется с помощью специальных центрировочных устройств.
Рис. 60. Опорные знаки, выступающие над поверхностью земли
а - опорный знак из железобетона, устанавливаемый на песках
и плотных глинах; б - опорный знак из железобетона
со свайным основанием, устанавливаемый на заболоченных,
илистых, просадочных (замачиваемых) и других слабых
грунтах; в - опорный знак (металлическая труба, заполненная
бетоном), устанавливаемый на слабых грунтах; г - опорный
знак, устанавливаемый на песках и плотных глинах;
1 - гнездовой центр с крышкой; 2 - наблюдательная тумба;
3 - защитные приспособления из гидроизоляции; 4 - сваи;
5 - железобетонные кольца

; 6 - крестовины;
7 - ребра жесткости; 8 - железобетонный фундамент
знака; 9 - линия глубины промерзания грунта
Центрировочные устройства
Для опорных знаков, наблюдательная тумба которых представляет железобетонный столб, рекомендуются центрировочные устройства типов А, Б и В.
Тип А (рис. 61)
Рис. 61. Центрировочное устройство типа А
1 - шаровой центрировочный шип; 2 - пружинящие
пластины для крепления подставки теодолита к столбу;
3 - подставка теодолита; 4 - железобетонный столб
Шаровой центрировочный шип 1 ввинчивается в подставку теодолита 3. Теодолит устанавливается на знак, в гнездовом центре которого выточено цилиндрическое отверстие с диаметром, равным диаметру шаровой головки шипа. При установке головка шипа входит в отверстие и тем самым точно центрирует теодолит. Подставка теодолита прикрепляется с помощью пружинящих пластин 2.
Тип Б (рис. 62)
Рис. 62. Центрировочное устройство типа Б
1 - опорная плита; 2 - центрир с уровнем;
3 - закрепительный винт с отверстием; 4 - гнездовой центр;
5 - металлические стойки; 6 - опорные пятки;
7 - наблюдательная тумба
Опорная плита 1 центрируется с помощью жесткого центрира 2 и закрепляется на знаке. На нее устанавливается с помощью винта теодолит.
Тип В (рис. 63)
Рис. 63. Центрировочное устройство типа В
1 - втулка; 2 - бороздки
Массивный диск-столик имеет коническую втулку. Гнездовой центр имеет отверстие под втулку и карданное устройство для приведения оси втулки в вертикальное положение. Борозды наносятся под углом 120°, глубиной до 4 - 5, шириной 5 - 6 мм, V-образной формы. Теодолит к знаку не крепится. На трубчатых знаках в столике делается вырез и теодолит закрепляется становым винтом, доступ к винту через отверстие сбоку в трубе.
Тип Г (рис. 64)
Рис. 64. Центрировочное устройство типа Г
1 - винт; 2 - подставка; 3 - знак
Для опорных знаков, наблюдательная тумба которых представляет металлическую трубу, применяется центрировочное устройство типа Г, снабженное специальной подставкой для теодолита; подставка имеет цилиндрическое отверстие, средняя часть которого выточена в виде сферы. Теодолит одновременно центрируют и закрепляют при помощи винта. Для доступа к винту сбоку в трубе делается вырез.
ПРИМЕНЯЕМЫЕ ДЛЯ ИЗМЕРЕНИЯ СДВИГОВ ЗДАНИЙ И СООРУЖЕНИЙ
Подвижные визирные цели (рис. 65) устанавливаются на опорные и ориентирные знаки, а также на марки в сооружениях для измерения сдвигов методом створа.
Рис. 65. Подвижные визирные цели
а - визирная цель конструкции М.С. Муравьева;
б - визирная цель для знаков с гнездовым центром
Неподвижные визирные цели (рис. 66) устанавливаются на марки в сооружениях при измерении сдвигов окулярным или оптическим микрометром.
Рис. 66. Неподвижные визирные цели
а - визирная цель для трубчатых металлических знаков
и марок; б - визирная цель для железобетонных знаков
Марки с визирными целями, устанавливаемые наглухо на сооружении, приведены на рис. 67.
Рис. 67. Марки с визирными целями, наглухо устанавливаемые
на сооружении, рекомендуемые для метода направлений
а и б - общий вид марок;
в - вид спереди; г - разрез по А-А
УСТАНОВЛЕННЫХ НА ФУНДАМЕНТАХ ЗДАНИЙ И СООРУЖЕНИЙ
Дата начала наблюдений ____________________________________________________
N марок | Сдвиг, м | Средняя квадратическая ошибка сдвига, мм | Сдвиг, мм | Средняя квадратическая ошибка, мм |
| на II цикл измерений | на III цикл измерений |
1 | -5,8 | +/- 0,5 | -9,4 | +/- 0,8 |
2 | -6,5 | +/- 1,2 | -7,2 | +/- 1,4 |
3 | -4,3 | +/- 1,2 | -6,3 | +/- 1,5 |
4 | -5,2 | +/- 1 | -6,6 | +/- 1,2 |
Давление:
вертикальное _________________________________________________
горизонтальное _______________________________________________
Средняя величина сдвига ___________________________________________________
Измерения выполнялись методом _____________________________________________
Исполнители: _______________
(подпись)
_______________
(подпись)
ФОРМЫ ЗАПОЛНЕНИЯ ПОЛЕВОГО ЖУРНАЛА ПРИ ИЗМЕРЕНИЯХ СДВИГОВ
ЗДАНИЙ И СООРУЖЕНИЙ МЕТОДОМ СТВОРНЫХ НАБЛЮДЕНИЙ
1. Определение отклонения марок от створа
с применением подвижной визирной цели
Дата ___________________________ Инструмент ____________________________
Погода _________________________ Подвижная визирная цель _______________
Видимость ______________________ Место нуля 100.26 _____________________
N контрольных знаков | Порядок наведения на марку | Первый прием |
Отсчет по шкале в мм | | Отклонение знака от створа q = МО - a в мм | v | v2 |
КП | КЛ |
1 | I | 93,2 | 92 | 92,6 | +7,66 | +0,16 | 0,0256 |
II | 93 | 92,4 | 92,7 | +7,56 | +0,06 | 0,0036 |
III | 93,4 | 92,2 | 92,8 | +7,46 | -0,04 | 0,0016 |
IV | 93,6 | 92,2 | 92,9 | +7,36 | -0,14 | 0,0196 |
V | 96,2 | 92,4 | 93,4 | +7,46 | -0,04 | 0,0016 |
Среднее | 93,28 | 92,24 | 92,76 | +7,5 | 0 | 0,052 |
Исполнители:
_______________
(подпись)
_______________
(подпись)
2. Определение отклонения марок от створа с применением
неподвижной визирной цели (измерением малых углов)
Дата (цикл) ______________________ Инструмент _________________________
Видимость ________________________ Ход (прямой, обратный) _____________
Температура ______________________
N участков створа | N знаков наблюдения | Отсчеты по микрометру | Угол из полуприемов | Угол отклонения от створа, с |
КЛ | КП |
| Для окулярного микрометра (в делениях микрометра) |
| II | 7,2 | 3,4 | +2 | - |
| | 6,8 | 2,8 | | |
| | 7,8 | 3,4 | | |
Среднее | 7,3 | 3,2 | - | - |
2 | 9,2 | 5,5 | +2,3 | +2,15 |
| | 9,6 | 5,8 | | |
| | 9 | 5 | | |
Среднее | 9,3 | 5,4 | - | - |
Для оптического микрометра, с |
| II | 16 | 7 | +2,6 | - |
| | 16,4 | 6,4 | | |
Среднее | 16,2 | 6,7 | - | - |
2 | 19 | 8,5 | +2 | +2,3 |
| | 18,6 | 8,9 | | |
| Среднее | 18,8 | 8,7 | - | +2,22 |
Исполнители: _______________
(подпись)
_______________
(подпись)
3. Определение отклонений марок
от створа с применением струны
Дата (цикл) ________________________________
Температура ________________________________
N марок | Отсчеты в мм по струне на IV 1974 г. | Среднее, мм, на VI 1974 г. III цикл наблюдений | Среднее, мм, на V 1973 г. II цикл наблюдений | Относительный сдвиг марок, мм |
I | II | III | IV |
1 | 14,1 | 14,2 | 13,9 | 13,9 | 14 | 11 | -3 |
2 | 11,2 | 11 | 10,9 | 11,2 | 11,1 | 8,2 | -2,9 |
3 | 11,8 | 11,5 | 11,6 | 11,5 | 11,6 | 9,2 | -2,4 |
4 | 14,8 | 14,8 | 14,6 | 14,6 | 14,7 | 12,4 | -2,3 |
Исполнители: _______________
(подпись)
_______________
(подпись)
ВЕДОМОСТЬ СДВИГОВ МАРОК, ИЗМЕРЕННЫХ МЕТОДОМ НАПРАВЛЕНИЙ
Наблюдаемая марка | Опорный знак | Измеренные направления | Угловые разности, с | Средняя квадратическая ошибка, с | Расстояния от опорного знака на сооружении, м | Величины частных векторов сдвига, мм | Суммарный вектор (мм) сдвига по направлению горизонтальной силы за период |
1/V-1974 г. | 1/V-1975 г. |
с V-1974 г. по V-1975 г. | с V-1968 г. по V-1975 г. |
4 | VI | 337°47'58,8" | 47'56,2" | +2,6 | +/- 0,6 | 550 | +6,9 | 4,5 +/- 1,3 | 34,3 +/- 4,8 |
| IX | 99°49'09,2" | 49'11,2" | -2 | +/- 0,4 | 250 | -2,4 | - | - |
Исполнители
_______________
(подпись)
УСТРОЙСТВА, ПРИМЕНЯЕМЫЕ ДЛЯ НАБЛЮДЕНИЯ ЗА ТРЕЩИНАМИ
Маяки простейшего вида показаны на рис. 68. Маяк представляет собой гипсовую или алебастровую плитку толщиной около 10 и шириной 50 - 80 мм. Плитка крепится к обоим краям трещины на стене, очищенной от штукатурки. Разрыв маяка свидетельствует о развитии трещины.
Рис. 68. Маяки из гипса
Некоторое, не только качественное, но и количественное, представление о развитии трещины может дать маяк, изображенный на рис. 69.
Рис. 69. Маяк из плексигласа
Он состоит из двух стеклянных или плексигласовых пластинок, имеющих риски и укрепленных на растворе так, чтобы при раскрытии трещины пластинки скользили одна по другой. По изменению расстояний между рисками можно судить о величине раскрытия трещины.
Щелемер конструкции ЛенГИДЭПа (рис. 70) состоит из двух латунных пластин, одна из которых расположена в специально выточенном пазу второй пластины. На обеих пластинах имеются шкалы с миллиметровыми делениями, причем на П-образной пластине сделана прорезь для чтения делений шкалы на внутренней (второй) пластине.
Рис. 70. Щелемер конструкции ЛенГИДЭПа
Пластины крепятся к изогнутым штырям, свободные концы которых заделываются в бетон. Описанный щелемер позволяет определять величину развития трещин по трем направлениям.
Маяк конструкции Белякова изображен в общем виде на рис. 71. Он состоит из двух прямоугольных гипсовых или алебастровых плиток размером 100 x 60 и толщиной 15 - 20 мм. В каждой из плиток на вертикальной и горизонтальной гранях закреплены пять металлических шпилек с острым концом, выступающим на 1 - 2 мм.
Рис. 71. Маяк конструкции Белякова
Для наблюдения за развитием трещины две такие плитки крепят на гипсовом или алебастровом растворе по обе ее стороны так, чтобы шпильки 1, 2, 1', 2' и 3, 4, 3', 4' были расположены на прямых, параллельных друг другу, а шпильки 5 и 5' лежали на перпендикулярах к прямой 3 - 4, как показано на рисунке. Развитие трещины сказывается на относительном расположении шпилек. Во время осмотра на каждую из двух плоскостей маяка накладывают лист плотной бумаги и получают проколы в местах расположения шпилек.
Дальнейшие измерения производятся по проколам при помощи циркуля и масштабной линейки.
Щелемер, у которого счетным механизмом служит мессура, схематически показан на рис. 72. Данные измерений по мессуре увязываются с температурой воздуха, на которую вводится соответствующая поправка; окончательно величину отсчета S в мм определяют по формуле
S = F - klt, (96)
где F - отсчет по мессуре, мм;
k - коэффициент линейного расширения металла плеча мессуры;
t - температура воздуха в момент отсчета, °C;
l - длина плеча мессуры, мм.
Рис. 72. Щелемер с мессурой
1 - мессура; 2 - трещина
Щелемер для длительных наблюдений показан на рис. 73. Он состоит из двух марок, каждая из которых представляет собой цилиндр из некоррозирующего металла с полушаровой головкой, укрепленной на квадратном фланце из листовой стали. Для закрепления фланца в бетоне к нему приваривается анкерная скоба. Пара таких марок устанавливается по обе стороны трещины. Измерение расстояния между марками во время каждого осмотра производится штангенциркулем дважды: в обхват цилиндров и в обхват полушаровых головок с упором ножек штангенциркуля в торцы цилиндров. Однозначность изменений расстояний по обоим измерениям между циклами укажет на отсутствие ошибок при производстве замеров.
Рис. 73. Щелемер для длительных наблюдений
1 - марка; 2 - фланец; 3 - анкерная плита
Щелемер для измерения деформаций широких швов схематически показан на рис. 74. Он состоит из двух отрезков уголкового железа (100 x 100 x 100 мм), прикрепленных к обеим сторонам шва при помощи анкерных болтов. К концам уголков прикрепляются две фасонные пластинки из некоррозирующего металла. При деформациях шва пластинки скользят одна по другой. Деформацию шва определяют как разность расстояний между вертикальными плоскостями пластинок в отдельных циклах измерений.
Рис. 74. Щелемер для измерения широких трещин и швов
Конструкция щелемера или трещиномера может быть различной в зависимости от ширины шва и условий на строительной площадке. Удобны в применении трещиномеры, состоящие из лупы с верньером. На трещине отмечаются только места, где выполняются измерения развития трещин.
Для труднодоступных мест строительства рекомендуется применение дистанционных щелемеров.