Главная // Актуальные документы // Технологическая карта
СПРАВКА
Источник публикации
М., 1975
Примечание к документу
Название документа
"Технологическая карта. Приготовление цементобетонной смеси в смесительной установке непрерывного действия СБ-78"
(НИИ "Органсстрой" 04.12.1975)


"Технологическая карта. Приготовление цементобетонной смеси в смесительной установке непрерывного действия СБ-78"
(НИИ "Органсстрой" 04.12.1975)


Содержание


ТЕХНОЛОГИЧЕСКАЯ КАРТА
ПРИГОТОВЛЕНИЕ ЦЕМЕНТОБЕТОННОЙ СМЕСИ
В СМЕСИТЕЛЬНОЙ УСТАНОВКЕ НЕПРЕРЫВНОГО ДЕЙСТВИЯ СБ-78
Технологическая карта разработана отделом внедрения передового опыта и технического нормирования в строительстве автомобильных дорог и аэродромов (исполнитель Т.П. Багирова) по материалам Ростовской НИС института "Оргтрансстрой".
I. ОБЛАСТЬ ПРИМЕНЕНИЯ
Технологическая карта разработана на основе методов научной организации труда и предназначена для использования при разработке проекта производства работ и организации труда на смесительных установках по приготовлению цементобетонных смесей.
В карте приняты следующие основные условия.
Автоматизированный завод со смесительной установкой СБ-78 работает в общем комплексе машин и механизмов по устройству цементобетонных покрытий автомобильных дорог.
Расходный склад песка и фракционированного щебня открытого типа с разделительными стенками располагается рядом со смесительными установками. На складе должен быть создан запас материалов, достаточный для работы установок в течение 10 дней. Песок и фракционированный щебень к расходному складу доставляют в железнодорожных вагонах или автомобильным транспортом. В случае доставки нефракционированного или загрязненного щебня должна быть организована мойка и сортировка материала на фракции. Песок и щебень подают в питатели дозаторного отделения ковшовыми погрузчиками типа ТО-18 или "Кейс".
Питание смесительной установки цементом осуществляется от расходного склада емкостью 300 т.
Цемент к расходному складу доставляют автоцементовозами.
Площадка завода имеет твердое покрытие, обеспечен водоотвод. Территория завода ограждена временным забором. К заводу подведена вода и электроэнергия.
К смесительной установке проложена подъездная дорога с твердым покрытием. Движение машин организуют по кольцевой схеме без встречного движения.
Для вывоза цементобетонной смеси закреплена колонна автосамосвалов с расчетным числом машин.
Число машин корректируют в зависимости от дальности возки смеси и дорожных условий.
В технологической карте предусмотрена производительность установки 320 м3 в смену.
При изменении условий, принятых в технологической карте, необходима привязка ее к новым условиям.
II. УКАЗАНИЯ ПО ТЕХНОЛОГИИ ПРОИЗВОДСТВЕННОГО ПРОЦЕССА
Автоматизированный цементобетонный завод (ЦБЗ) с установкой СБ-78 предназначен для приготовления жестких и пластичных бетонных смесей с размерами фракций заполнителей до 40 мм.
Техническая характеристика
Производительность, м3/ч . . . . . . . . . . . . . . . . . . . . 60
Количество фракций заполнителей:
песок . . . . . . . . . . . . . . . . . . . . . . . . . . . . . 1
щебень . . . . . . . . . . . . . . . . . . . . . . . . . . . . 3
Наибольший размер заполнителя, мм . . . . . . . . . . . . . . . . 70
Емкость расходных бункеров, м3:
заполнителей . . . . . . . . . . . . . . . . . . . . . . . . . 36
цемента . . . . . . . . . . . . . . . . . . . . . . . . . . . . 12
Установленная мощность, кВт . . . . . . . . . . . . . . . . . . . 57,8
Габаритные размеры, мм:
длина . . . . . . . . . . . . . . . . . . . . . . . . . . . . . 36800
ширина . . . . . . . . . . . . . . . . . . . . . . . . . . . . 2600
высота . . . . . . . . . . . . . . . . . . . . . . . . . . . . 12520
Вес, т . . . . . . . . . . . . . . . . . . . . . . . . . . . . . 3
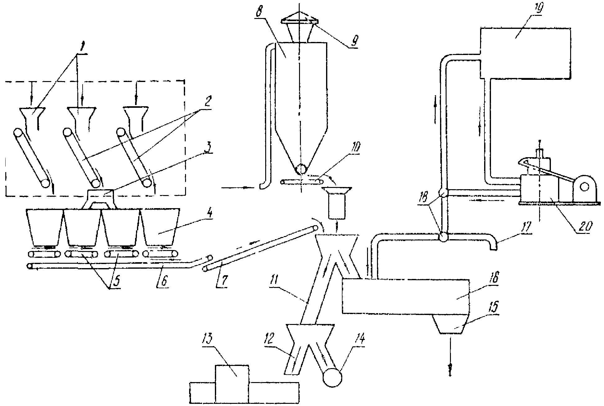
Установка состоит из следующих основных блоков (см. рисунок):
бетоносмесителя непрерывного действия, рабочим органом которого служат валы квадратного сечения, с насаженными на них литыми лопастями из стали 35ГЛ. Рабочие поверхности лопастей расположены под углом 45° относительно оси вала;
расходного бункера цемента, представляющего собой цилиндрическо-коническую емкость и предназначенного для приема цемента и питания цементом дозатора. Бункер оборудован фильтром для очистки отработанного воздуха перед удалением его в атмосферу и автоматическими указателями нижнего и верхнего уровней;
дозировочного узла, состоящего из четырех расходных бункеров для щебня и песка с дозаторами. На наклонной стенке бункера для песка закреплен вибратор В-21. Дозаторы установлены над горизонтальным сборным транспортером, по которому материалы поступают к наклонному транспортеру, а затем в бетоносмеситель.
Технологическая схема работы ЦБЗ со смесителем СБ-78:
1 - питатели; 2 - транспортеры; 3 - двухрукавная течка;
4 - бункера заполнителей; 5 - дозаторы заполнителей;
6 - сборный транспортер; 7 - наклонный транспортер;
8 - бункер цемента; 9 - фильтр; 10 - дозатор цемента;
11 - верхняя течка; 12 - нижняя течка;
13 - автобетоносмеситель; 14 - тарировочный дозатор;
15 - накопительный бункер; 16 - смеситель;
17 - рукав для отвода воды в автобетоносмеситель;
18 - трехходовой кран; 19 - бак для воды;
20 - дозатор воды
Смесительная установка оборудована дозаторами для цемента, воды и добавок.
Управляют установкой из кабины машиниста, а электроаппаратура размещена в специальном помещении. Кабина машиниста оборудована приборами, регистрирующими ход технологического процесса.
Подготовка смесительной установки к работе
До начала выпуска цементобетонной смеси выполняют следующие операции:
проверяют наличие цемента, заполнителей, воды и добавок в расходных емкостях;
включают подачу электроэнергии;
проверяют исправность работы дозаторов;
выдают машинисту установки состав цементобетонной смеси, подобранный лабораторией в соответствии с влажностью материалов;
устанавливают весовые устройства дозаторов в соответствии с составом смеси.
Перед включением в работу агрегатов установки машинист подает два предупредительных звуковых сигнала с интервалом в 1 мин (первый сигнал - продолжительный, второй - короткий).
После этого агрегаты установки включаются в работу в следующем порядке:
бетоносмеситель, насос-дозатор (по кольцевой схеме), наклонный транспортер, сборный транспортер, дозаторы заполнителей, дозатор цемента, трехходовый кран с подачей воды в смеситель.
Через 1 - 2 мин после начала работы вхолостую приступают к выпуску смеси.
Вначале делают пробные замесы в полуавтоматическом режиме.
В этот момент машинист и лаборант определяют путем отбора проб подвижность смеси (осадку конуса). Если осадка конуса отличается от заданной, то дозировку воды изменяют.
Добившись заданной осадки конуса и убедившись в правильной дозировке составляющих материалов, машинист переводит завод на автоматический режим работы.
Приготовление смеси
Завод работает по следующей схеме.
Одноковшовыми погрузчиками щебень двух фракций и песок подают из штабелей, размещенных на открытой площадке, в расходные бункера.
Щебень и песок непрерывно дозируются ленточными маятниковыми дозаторами С-864, на которые материал поступает из расходных бункеров. Затем материалы попадают на сборный транспортер. Вначале на ленту поступает щебень фракции 20 - 40 мм, а затем щебень фракции 5 - 20 мм и песок. Такой порядок дозирования и подачи устраняет налипание мелких частиц материала на ленту транспортера. Со сборного транспортера материалы поступают к наклонному транспортеру. С наклонного транспортера отдозированные материалы через загрузочную воронку подаются в смеситель.
Цемент из расходного бункера через весовой дозатор цемента СБ-71 поступает непосредственно в смеситель.
Вода дозируется насосом-дозатором и подается по трубопроводу непосредственно в смеситель.
При приготовлении бетонной смеси вводят поверхностно-активные добавки, повышающие морозостойкость бетона и удобоукладываемость бетонной смеси, а также уменьшающие водопотребность смеси и расход цемента. Добавки готовят в специальной установке. Расчет ведется на сухое вещество. Для приготовления 1 м3 смеси в воду вводят пластифицирующую добавку - сульфитно-дрожжевую бражку (СДБ) в количестве 0,2 - 0,25% и абиетат натрия (смола воздухововлекающая нейтрализованная - СНВ) в количестве 0,02 - 0,03% веса цемента и вместе с водой подают в мешалку.
В смесителе составляющие бетона интенсивно перемешиваются и транспортируются лопастными валами к выходному отверстию. Из смесителя готовая смесь вначале попадает в накопительный бункер, а затем через челюстной затвор выгружается в автомобили-самосвалы.
В конце дня по окончании выпуска бетонной смеси весь состав бригады приступает к очистке узлов бетоносмесительного завода. Особенно тщательно очищают мешалку.
В мешалку сначала подают щебень и производят ее сухую очистку, затем промывают мешалку водой, а также очищают челюстной затвор накопительного бункера.
Остальные узлы завода очищают сжатым воздухом.
В течение смены и в конце работы подъездные дороги и территорию завода периодически поливают водой для уменьшения пыли. Бульдозером из-под мешалок удаляют остатки просыпавшейся цементобетонной смеси.
Требования к качеству
Составляющие бетонной смеси немедленно после поступления на бетонный завод подвергаются контролю лабораторией ЦБЗ и Центральной лабораторией строительного управления. Качество материалов проверяют внешним осмотром и путем отбора и испытания проб.
Ежедневно вначале первой смены представитель лаборатории ЦБЗ проверяет исправность работы дозаторов. Весовое устройство устанавливается в соответствии с утвержденным главным инженером СУ составом бетонной смеси и с учетом влажности заполнителей.
Открывать весовые шкафы и дозировочные устройства разрешается только работникам лаборатории.
Приготовленная цементобетонная смесь должна иметь хорошо подобранный гранулометрический состав, обладать необходимой подвижностью или жесткостью во время уплотнения.
Смесь должна удовлетворять требованиям ГОСТ 8424-72 "Бетон дорожный".
Качество цементобетонной смеси, получаемое в смесительной установке СБ-78, в первую очередь зависит от непрерывности ее работы, так как при каждой остановке расчетное соотношение компонентов бетонной смеси, в особенности цемента и воды, изменяется.
При одном и том же составе смеси и правильности дозирования подвижность, удобоукладываемость, объемный вес и выход бетона должны быть постоянными.
При выпуске цементобетонной смеси контролируют подвижность смеси (осадку конуса) не менее 5 раз в смену (один раз в час и каждый раз при резком изменении осадки конуса), а объемный вес, фактический состав бетона, качество добавок, содержание пылевидных и глинистых примесей в щебне и песке - один раз в смену.
Указания по технике безопасности
К работе на смесительной установке допускаются лица, достигшие 18-летнего возраста, прошедшие курс обучения, имеющие права на управление смесительной установкой и ее агрегатами и ознакомленные с правилами техники безопасности.
Весь персонал, обслуживающий установку, должен быть обеспечен спецодеждой и индивидуальными средствами защиты.
Перед пуском завода необходимо опробовать работу агрегатов на холостом ходу.
Завод должен быть оборудован надежной звуковой сигнализацией.
Открытые токоведущие части щитков, контактные части штепсельных соединений, выключателей и рубильников электрических машин должны быть защищены крышками или кожухами.
Во время работы завода запрещается производить мелкий ремонт. Очистку бетоносмесителя, смазку и ремонт узлов завода следует производить только после остановки завода.
При внезапной остановке одного из работающих узлов технологического комплекса следует немедленно выключать остальные узлы завода, сначала по направлению к пункту погрузки материала, а затем к узлу выгрузки цементобетонной смеси.
Перед остановкой бетоносмесителя необходимо прекратить подачу в нее материалов. В начале рабочего дня или после остановок завода из-за неисправностей включать отдельные агрегаты завода машинист смесителя должен только по указанию дежурного механика.
Рекомендуемая техническая литература
При приготовлении цементобетонной смеси следует руководствоваться следующими нормативными документами и литературой:
СНиП I-В.2-62 "Вяжущие неорганические материалы и добавки для бетонов и растворов". Госстройиздат, М., 1963
СНиП I-B.1-62 "Заполнители для бетонов и растворов". Госстройиздат, М., 1963
"Инструкция по устройству цементобетонных покрытий автомобильных дорог". ВСН 139-68/Минтрансстрой, "Транспорт", М., 1968
ИС МЕГАНОРМ: примечание.
"Правила техники безопасности при строительстве, ремонте и содержании автомобильных дорог" утратили силу в связи с введением в действие с 1 января 1993 года "Правил охраны труда при строительстве, ремонте и содержании автомобильных дорог", утв. Минтрансстроем, Минтрансом РФ, ЦК профсоюза работников автомобильного транспорта и дорожного хозяйства РФ.
"Правила техники безопасности при строительстве, ремонте и содержании автомобильных дорог". "Транспорт", М., 1969.
III. УКАЗАНИЯ ПО ОРГАНИЗАЦИИ ТРУДА
Работы по приготовлению цементобетонной смеси ведутся в две смены.
В каждую смену смесительную установку должна обслуживать бригада в составе 6 чел., в том числе: машинист смесителя 6 разр. - 1; помощник машиниста (слесарь строительный) 4 разр. - 1; машинист одноковшового погрузчика ТО-18 5 разр. - 1; машинист компрессора 4 разр. - 1; дозировщик компонентов 3 разр. - 1; электрослесарь 5 разр. - 1. Машинист бульдозера 5 разр. и подсобный рабочий 2 разр. в состав звена не включены и оплачиваются отдельно.
Машинист смесителя управляет установкой в процессе работы, подает предупредительные звуковые сигналы перед включением агрегатов, включает агрегаты установки.
Помощник машиниста (слесарь строительный) следит за наличием материалов в расходных бункерах, производит смазку узлов, проверяет состояние шлангов, следит за исправностью агрегатов и узлов установки.
Машинист погрузчика ТО-18 подготавливает машину к работе, обеспечивает бесперебойную подачу материалов в питатели транспортеров, обеспечивает техническое обслуживание погрузчика.
Машинист компрессора обеспечивает бесперебойную подачу цемента в расходный бункер цемента.
Электрослесарь наблюдает за техническим состоянием силового электрооборудования и устраняет все неисправности.
Дозировщик компонентов проверяет наличие заполнителей в расходных бункерах и дозирует добавки согласно рецепту.
Рабочие, не включенные в состав бригады, выполняют следующие работы:
Машинист бульдозера в течение смены надвигает щебень и песок к рабочей площадке погрузчика, следит за состоянием подъездных путей к заводу, в конце смены убирает остатки просыпавшейся смеси под мешалкой.
Подсобный рабочий регулирует подход автосамосвалов под погрузку, ведет учет приготовленной смеси и оформляет накладные.
IV. ГРАФИК ВЫПОЛНЕНИЯ ПРОИЗВОДСТВЕННОГО ПРОЦЕССА
(приготовление цементобетонной смеси на установке СБ-78,
сменная производительность 320 м3)
┌────────────────┬──────┬─────┬───────┬────────────────┬───────────────────────────────┐
│ Наименование │Еди- │Объем│Трудо- │ Состав звена │ Время производственного │
│ операций │ница │работ│емкость│ (бригады) │ процесса │
│ │изме- │на 2 │на весь│ ├───────────────┬───────────────┤
│ │рения │смены│объем │ │ I смена │ II смена │
│ │ │ │работ, │ ├─┬─┬─┬─┬─┬─┬─┬─┼─┬─┬─┬─┬─┬─┬─┬─┤
│ │ │ │чел.-ч │ │1│2│3│4│5│6│7│8│1│2│3│4│5│6│7│8│
├────────────────┼──────┼─────┼───────┼────────────────┼─┴─┴─┴─┴─┴─┴─┴─┴─┴─┴─┴─┴─┴─┴─┴─┤
│Подготовительные│ │ │ 2,0 │Машинист │ │
│работы │ │ │ │смесителя │ │
├────────────────┼──────┼─────┼───────┤ 6 разр. - 1 │ │
│Приготовление │100 м3│ 6,4 │ 90 │Помощник │ │
│цементобетонной │ │ │ │машиниста │ │
│и бетонной смеси│ │ │ │(слесарь │ │
│(подача материа-│ │ │ │строительный) │ │
│лов в расходные │ │ │ │ 4 разр. - 1 │ │
│бункера, │ │ │ │Машинист │ │
│непрерывное │ │ │ │погрузчика ТО-18│ │
│дозирование │ │ │ │ 5 разр. - 1 │ │
│материалов, │ │ │ │Машинист │ │
│подача мате- │ │ │ │компрессора │ Рисунок │
│риалов и воды │ │ │ │ 4 разр. - 1 │ │
│в смеситель, │ │ │ │Дозировщик │ │
│перемешивание и │ │ │ │компонентов │ │
│выпуск готовой │ │ │ │ 3 разр. - 1 │ │
│смеси) │ │ │ │Электрослесарь │ │
├────────────────┼──────┼─────┼───────┤ 5 разр. - 1 │ │
│Остановка │ - │ - │ 1,0 │ │ │
│смесительной │ │ │ │ │ │
│установки для │ │ │ │ │ │
│сдачи смены │ │ │ │ │ │
├────────────────┼──────┼─────┼───────┤ │ │
│Заключительные │ - │ - │ 3,0 │ │ │
│работы (очистка │ │ │ │ │ │
│и промывка │ │ │ │ │ │
│смесителя, │ │ │ │ │ │
│приведение │ │ │ │ │ │
│в порядок │ │ │ │ │ │
│подъездных │ │ │ │ │ │
│путей) │ │ │ │ │ │
└────────────────┴──────┴─────┴───────┴────────────────┴───────────────────────────────┘
Итого на 640 м3 96
Итого на 100 м3 15
Примечания. 1. Цифры над линией - продолжительность операций в минутах.
2. В трудоемкость включено время на отдых в течение смены в размере 8% времени работы.
3. Ежедневный профилактический ремонт производится в ночное время специальной ремонтной бригадой.
V. КАЛЬКУЛЯЦИЯ ЗАТРАТ ТРУДА НА ПРИГОТОВЛЕНИЕ
ЦЕМЕНТОБЕТОННОЙ СМЕСИ В СМЕСИТЕЛЕ СБ-78
(сменная производительность 320 м3)
────────┬─────────────────────┬──────────────┬──────┬─────┬─────┬─────────┬───────┬─────────
Шифр │ Описание работ │ Состав звена │Еди- │Объем│Норма│Расценка,│Норма- │Стоимость
норм │ │ (бригады) │ница │работ│вре- │руб.-коп.│тивное │ затрат
│ │ │изме- │ │мени │ │время │ труда
│ │ │рения │ │ │ │на весь│ на весь
│ │ │ │ │ │ │объем │ объем
│ │ │ │ │ │ │работ, │ работ,
│ │ │ │ │ │ │чел.-ч │руб.-коп.
────────┼─────────────────────┼──────────────┼──────┼─────┼─────┼─────────┼───────┼─────────
Местная │Проверка узлов СБ-78 │Машинист │100 м3│ 6,4 │15,6 │ 10-62 │ 99,84 │ 67-97
норма │перед началом работы.│смесительной │ │ │ │ │ │
СУ-921 │Настройка дозатора │установки │ │ │ │ │ │
треста │цемента и проверка │ 6 разр. - 1 │ │ │ │ │ │
"Дондор-│работы всех │Помощник │ │ │ │ │ │
строй" │дозаторов. Проверка │машиниста │ │ │ │ │ │
│работы узлов │(слесарь │ │ │ │ │ │
│вхолостую. Проверка │строительный) │ │ │ │ │ │
│качества выпускаемого│ 4 разр. - 1 │ │ │ │ │ │
│бетона и │Машинист │ │ │ │ │ │
│корректировка подачи │фронтального │ │ │ │ │ │
│воды и цемента. │погрузчика │ │ │ │ │ │
│Приготовление и │"Кейс" │ │ │ │ │ │
│выпуск товарного │ 6 разр. - 1 │ │ │ │ │ │
│бетона в │Слесарь │ │ │ │ │ │
│автоматическом │по подаче │ │ │ │ │ │
│режиме. Приведение в │цемента │ │ │ │ │ │
│порядок рабочих мест │ 4 разр. - 1 │ │ │ │ │ │
│и смесительной │Дорожный │ │ │ │ │ │
│установки в конце │рабочий по │ │ │ │ │ │
│смены. Обслуживание │обслуживанию │ │ │ │ │ │
│установки, наблюдение│дозаторов │ │ │ │ │ │
│за техническим │инертных │ │ │ │ │ │
│состоянием силового │материалов │ │ │ │ │ │
│оборудования │ 3 разр. - 1 │ │ │ │ │ │
│ │Электрослесарь│ │ │ │ │ │
│ │ 5 разр. - 1 │ │ │ │ │ │
────────┴─────────────────────┼──────────────┼──────┼─────┼─────┼─────────┼───────┼─────────
Итого: на 640 м3│ │ │ │ │ │ 99,84 │ 67-97
на 100 м3│ │ │ │ │ │ 15,6 │ 10-62
VI. ТЕХНИКО-ЭКОНОМИЧЕСКИЕ ПОКАЗАТЕЛИ
──────────────────────────┬──────────┬────────┬─────────┬──────────────────
Наименование показателей │ Единица │По каль-│ По │ На сколько %
│измерения │куляции │графику Б│ показатель по
│ │А │ │графику больше (+)
│ │ │ │ или меньше (-),
│ │ │ │чем по калькуляции
│ │ │ │ Б - А
│ │ │ │ (----- x 100%)
│ │ │ │ А
──────────────────────────┼──────────┼────────┼─────────┼──────────────────
Трудоемкость работ │ чел.-ч │ 15,6 │ 15 │ -3,8
на 100 м3 смеси │ │ │ │
Средний разряд рабочих │ - │ 4,5 │ 4,5 │ -
Среднедневная заработная │руб.-коп. │ 5-48 │ 5-66 │ +3,2
плата одного рабочего │ │ │ │
Коэффициент использования│ Кв │ 0,86 │ 0,86 │ -
установки по времени │ │ │ │
Выработка одного рабочего│ м3 │ 52 │ 53 │ +1,9
VII. МАТЕРИАЛЬНО-ТЕХНИЧЕСКИЕ РЕСУРСЫ
А. Основные материалы
Расход материалов определяется по рецепту цементобетонной смеси. В данной таблице приведен усредненный расход материалов.
────────────────────────────┬────────────┬────────────┬────────────────────
Наименование материалов │ ГОСТ │ Единица │ Количество смеси
│ │ измерения ├─────────┬──────────
│ │ │на 100 м3│ на смену
│ │ │ │ 320 м3
────────────────────────────┼────────────┼────────────┼─────────┼──────────
Цемент М-400 │ 10178-62 │ т │ 38 │ 121,6
Песок │ 8736-67 │ м3 │ 40 │ 128
Щебень фракции 5 - 20 мм │ 8267-64 │ м3 │ 33,8 │ 108,2
Щебень фракции 20 - 40 мм │ 8267-64 │ м3 │ 33,8 │ 108,2
Вода │ 2874-54 │ т │ 14 │ 44,8
Добавка СДБ │ - │ кг │ 76 │ 243,2
Добавка СНВ │ - │ кг │ 7,6 │ 24,3
Б. Машины, оборудование, инструменты, инвентарь
Смесительная установка СБ-78 . . . . . . . . . . . . . . . . 1
Фронтальный погрузчик ТО-18 . . . . . . . . . . . . . . . . 1
Бульдозер Д-271 . . . . . . . . . . . . . . . . . . . . . . 1
Компрессор ЗИФ-ВКС-5 . . . . . . . . . . . . . . . . . . . . 1
Установка по приготовлению добавок . . . . . . . . . . . . . 1
Емкость для воды 50 м3 . . . . . . . . . . . . . . . . . . . 1