Главная // Актуальные документы // РуководствоСПРАВКА
Источник публикации
М.: Недра, 1978
Примечание к документу
Документ утратил силу на территории Российской Федерации в связи с изданием
Приказа Ростехнадзора от 06.12.2018 N 604.
Документ включен в
Перечень нормативных правовых актов и нормативных документов, относящихся к сфере деятельности Федеральной службы по экологическому, технологическому и атомному надзору (раздел I "Технологический, строительный, энергетический надзор") П-01-01-2014 (Приказ Ростехнадзора от 13.01.2015 N 5).
Документ включен в
Перечень нормативных правовых актов и нормативных документов, относящихся к сфере деятельности Федеральной службы по экологическому, технологическому и атомному надзору (раздел I "Технологический, строительный, энергетический надзор") П-01-01-2013 (Приказ Ростехнадзора от 21.10.2013 N 485).
Документ включен в
Перечень нормативных правовых актов и нормативных документов, относящихся к сфере деятельности Федеральной службы по экологическому, технологическому и атомному надзору (раздел I "Технологический, строительный, энергетический надзор") П-01-01-2011 (Приказ Ростехнадзора от 28.07.2011 N 435).
Название документа
"Руководство по изоляции отработанных участков, временно остановленных и неиспользуемых горных выработок в шахтах"
(утв. Минуглепромом СССР 10.12.1976)
"Руководство по изоляции отработанных участков, временно остановленных и неиспользуемых горных выработок в шахтах"
(утв. Минуглепромом СССР 10.12.1976)
Утверждено
Министерством угольной
промышленности СССР
10 декабря 1976 года
Согласовано
с Госгортехнадзором СССР
12 августа 1976 года
РУКОВОДСТВО
ПО ИЗОЛЯЦИИ ОТРАБОТАННЫХ УЧАСТКОВ, ВРЕМЕННО ОСТАНОВЛЕННЫХ
И НЕИСПОЛЬЗУЕМЫХ ГОРНЫХ ВЫРАБОТОК В ШАХТАХ
Своевременная и качественная изоляция отработанных участков и неиспользуемых горных выработок в значительной степени определяет надежность проветривания очистных и подготовительных забоев. Кроме того, изоляция выработанных пространств является наиболее эффективной мерой предотвращения самовозгорания угля и во многих случаях основным средством тушения эндогенных и экзогенных пожаров. Для изоляции участков и выработок используют различные по конструкции и материалу изолирующие сооружения. Наблюдениями установлено, что они нередко имеют значительную воздухопроницаемость, небольшой срок службы и требуют частых ремонтов. Причиной недостаточной прочности и низкой герметичности изолирующих перемычек, рубашек и противопожарных арок является использование конструкций, материалов и технологии возведения, не соответствующих условиям их применения.
Анализ причин возникновения эндогенных пожаров, зарегистрированных на шахтах СССР, показал, что более 40% пожаров произошло из-за несвоевременной и некачественной изоляции выработанных пространств от действующих выработок и поверхности. Ряд пожаров, возникших вследствие низкой герметичности изолирующих сооружений, принес большой материальный ущерб народному хозяйству.
Большие утечки воздуха через изолирующие сооружения снижают эффективность проветривания шахт и приводят к бесполезному расходу электроэнергии. Качество изоляции оказывает значительное влияние на нормальную работу шахты, поэтому совершенствование конструкции изолирующих сооружений имеет актуальное значение.
В последние годы как у нас в стране, так и за рубежом уделяется большое внимание повышению герметичности изолирующих сооружений.
Из практики известны случаи эффективного использования новых материалов и технических решений по совершенствованию конструкций изолирующих сооружений.
Большинство конструкций перемычек и рубашек и материалы для их возведения и покрытия эффективны только в определенных геологических, горнотехнических и климатических условиях. Обычно они разрабатываются в конкретной обстановке, при этом учитываются наличие и возможность использования материалов, предназначенных для других целей, или отходов производства. Некоторые конструкции изолирующих сооружений по техническим и экономическим причинам в настоящее время не могут быть использованы в условиях шахт страны. Отдельные изолирующие сооружения, материалы для возведения и средства повышения их герметичности длительное время используются на угольных шахтах, имеют высокую воздухонепроницаемость и могут быть рекомендованы для широкого внедрения.
Для обобщения практического опыта были проведены наблюдения за эксплуатацией изолирующих сооружений, применяемых в различных геологических и горнотехнических условиях шахт основных бассейнов и месторождений СССР. На основе анализа результатов наблюдений, опыта применения изолирующих сооружений и данных технической литературы в Руководство включены наиболее эффективные конструкции изолирующих перемычек, рубашек и противопожарных сооружений специального назначения.
Руководство составлено с учетом требований "Правил безопасности в угольных и сланцевых шахтах", "Технологических схем очистных и подготовительных работ на угольных шахтах" и бассейновых инструкций по предупреждению и тушению подземных эндогенных пожаров.
1. Выработки и участки, подлежащие изоляции
В соответствии с требованиями § 152 "Правил безопасности в угольных и сланцевых шахтах" ("Недра", 1976) временно остановленные эксплуатационные участки и выработки, а также временно неиспользуемые выработки должны проветриваться. Изоляция таких выработок допускается по разрешению технического директора производственного объединения (главного инженера комбината, треста) и РГТИ.
Выемочные участки, эксплуатация которых закончена, должны быть изолированы. Срок изоляции отработанных участков на пластах угля, не склонного к самовозгоранию, устанавливается главным инженером шахты в зависимости от геологических и горнотехнических условий, но не более двух месяцев, а на самовозгорающихся пластах он должен соответствовать требованиям бассейновых инструкций по предупреждению и тушению эндогенных пожаров.
На пластах угля, склонного к самовозгоранию, при остановке очистных работ на пологих и наклонных пластах на срок более одного месяца, а на крутых - более 15 сут. отработанную часть участка необходимо изолировать и обеспечить проветривание тупиковых выработок. Выработки, имеющие выход на поверхность, могут быть изолированы временно (до одного года) или постоянно при их ликвидации. Временная изоляция таких выработок на срок более одного года допускается с разрешения технического директора объединения по согласованию с РГТИ.
Все горные выработки, не находящиеся в стадии проведения, постоянно или временно не используемые шахтой для вентиляции, транспортирования угля и породы, доставки материалов и людей и не служащие запасными выходами, должны быть изолированы.
Под временно остановленными следует понимать выработки, эксплуатация которых приостановлена на некоторое время в связи с нарушением технологии ведения горных работ (недостаточное проветривание, опасность прорыва воды, пульпы, глины, наличие на верхнем горизонте действующего подземного пожара и т.п.). Введение таких выработок в число действующих может быть разрешено только после устранения опасности в соответствии с требованиями Правил безопасности.
Временно неиспользуемыми следует считать выработки, эксплуатация которых в данный период времени по техническим причинам нецелесообразна. Эти выработки по усмотрению главного инженера шахты могут быть вскрыты и вновь использованы в нужное время при соблюдении требований нормативных документов.
До начала работ по изоляции временно неиспользуемых и остановленных выработок и участков должна быть произведена их маркшейдерская съемка и составлено детальное описание выработок на момент изоляции (тип и состояние крепи, проявление горного давления, наличие притока воды и газовыделения и т.д.). Уточненное положение выработки наносят на план горных работ тушью. Сведения об изолируемых выработках хранят в специальной папке в маркшейдерском бюро шахты.
Для получения разрешения на изоляцию выработок (участка) в производственное объединение (комбинат, трест) представляют утвержденные главным инженером шахты следующие документы:
выкопировку с плана горных работ района расположения изолирующего сооружения (изолируемая выработка и прилегающие к ней выработки и горные работы) с маркшейдерскими данными места возведения изолирующего сооружения;
обоснование причины и сроков изоляции выработки;
проект изолирующего сооружения с указанием конструкции, технологии и мероприятий по безопасному его возведению.
На каждое изолирующее сооружение, возводимое в шахте, составляется проект, который утверждает главный инженер шахты. В проекте дается обоснование необходимости возведения изолирующего сооружения и указывается его назначение. Производится выбор места установки, конструкции, материалов и технологии возведения противопожарной арки, перемычки, рубашки и т.п. Проектом определяются сроки выполнения работ, затрат труда, расход материалов и стоимость изолирующего сооружения. В проекте необходимо учитывать, что временно остановленные и неиспользуемые выработки, пройденные по самовозгорающимся пластам угля и имеющие аэродинамическую связь с поверхностью, сближенными пластами, горными работами или с выработанным пространством на верхнем горизонте или на соседних участках, а также выработки, расположенные в районе действующих или потушенных эндогенных пожаров, должны быть изолированы постоянными изолирующими сооружениями с соблюдением требований настоящего Руководства независимо от продолжительности изоляции.
Разведочные выработки, в том числе тупиковые, проведение которых предусмотрено планом развития горных работ, утвержденным производственным объединением (комбинатом, трестом), и не используемые шахтой для технологических целей, изолируют по проекту, составленному с учетом требований настоящего Руководства. Проект по изоляции этих выработок прилагается к плану развития горных работ шахты. Все тупиковые восстающие скважины на газовых шахтах должны быть изолированы.
При отработке пластов угля, склонных к самовозгоранию, с разделением этажа изоляцию верхних подэтажей необходимо производить при опережении очистных работ на них более одного выемочного столба при подвигании забоев по падению и более 30 м при работе по простиранию. На сверхкатегорных по газу шахтах сроки изоляции выработанного пространства опережающих подэтажей устанавливаются главным инженером шахты по согласованию с РГТИ.
При отработке участка щитовой системой разработки после прохождения щитом вентиляционной сбойки или промежуточного штрека в межщитовых целиках в течение суток следует возвести брусчатую перемычку на мастике или на глинистом растворе. Каждый отработанный щитовой столб следует изолировать постоянной перемычкой на основном штреке.
На участках, отработанных системой с гибким перекрытием по падению, во всех сбойках, соединяющих ходовую печь с выработанным пространством, после прохождения перекрытия возводят брусчатые перемычки.
Изоляция отработанных мощных пологих пластов производится в следующем порядке: первый и второй слои при системе НСО и монтажный слой при системе КТУ изолируют брусчатыми перемычками. Нижний слой на самовозгорающихся пластах изолируют двойными перемычками.
Перемычки, изолирующие слои, возводят в целике между отработанным пространством и гезенком так, чтобы пространство по обе стороны от перемычек было закреплено усиленной крепью на расстоянии 5 м. После полной отработки выемочного столба системой НСО и крыла бремсбергового поля при применении системы КТУ изоляцию осуществляют бетонными перемычками. Пространство между бетонными и ранее установленными брусчатыми перемычками заполняют твердым осадком пульпы. Перемычки возводят по обе стороны от гезенка.
Перед изоляцией выработки ее крепление в месте возведения изолирующего сооружения должно быть усилено. Из выработки независимо от срока, на который она изолируется, должно быть извлечено все электрооборудование и кабели. Из постоянно изолируемых выработок, кроме того, должно быть убрано все технологическое оборудование, а также рельсы, трубы и т.д. До начала работ по изоляции временно остановленных и неиспользуемых выработок для предотвращения их обрушения необходимо восстановить нарушенную крепь, а в местах, подверженных значительному горному давлению, установить дополнительную усиленную крепь.
Если изолируемая выработка сопрягается с другими ранее изолированными выработками, то нужно обследовать перемычки и рубашки, возведенные в них, и при необходимости отремонтировать. В этих выработках в местах возведения изолирующих сооружений для предотвращения передачи блуждающих токов и статического электричества в изолированное пространство должны быть сняты рельсы, трубы, провода, канаты, рамы конвейеров, контактный провод и т.д. на расстоянии не менее 2 м от перемычки (рубашки) в каждую сторону.
На плане горных работ все изолирующие сооружения должны быть нанесены принятыми условными обозначениями с указанием их порядкового номера и даты возведения. В суточный срок производится корректировка плана ликвидации аварий с учетом вновь изолированных выработок и участков.
Изолированные выработки разрешается вскрывать только после того, как отпадает необходимость в их изоляции. Вскрытие изолированных выработок с целью извлечения из них оборудования, крепи и т.п. осуществляется в установленном порядке по специально разработанным мероприятиям.
Вскрытие и разгазование изолированных участков и выработок должно производиться силами ВГСЧ в нерабочие смены в соответствии с требованиями Правил безопасности и "Устава ВГСЧ по организации и ведению горноспасательных работ" ("Недра", 1970).
Контроль за газовым составом и температурой рудничного воздуха в изолированных, временно остановленных и неиспользуемых горных выработках должен производиться в сроки, установленные для изолированных отработанных участков.
Выбор конструкции изолирующих сооружений для изоляции временно остановленных и неиспользуемых выработок и отработанных участков производится в зависимости от геологических и горнотехнических условий и сроков изоляции в соответствии с рекомендациями настоящего Руководства.
2. Требования к изолирующим сооружениям
Отработанные выемочные участки изолируются от действующих горных выработок и поверхности постоянными изолирующими сооружениями. Временно остановленные эксплуатационные участки и выработки, а также временно неиспользуемые выработки должны проветриваться. Изоляция таких выработок допускается по разрешению производственного объединения (комбината, треста) и РГТИ. Все неиспользуемые выработки, пройденные по пластам угля, склонного к самовозгоранию, а также расположенные в районе действующего или потушенного (списанного) эндогенного пожара и в местах геологических нарушений, должны быть изолированы в соответствии с бассейновыми инструкциями.
Выбор конструкции и материалов для возведения изолирующих сооружений производится с учетом назначения, сроков службы, геологических и горнотехнических факторов. Основным требованием, предъявляемым к постоянным изолирующим сооружениям, является их максимальная герметичность. Высокой воздухонепроницаемостью должны обладать как тело перемычек и рубашек, так и вмещающие их горные породы. Все изолирующие сооружения должны быть достаточно устойчивы против горного давления, не разрушаться под действием агрессивной шахтной среды (кислотные и щелочные воды, влажный воздух и др.), не размываться водой и пульпой. Материалы, применяемые для возведения изолирующих перемычек, рубашек и противопожарных арок, должны иметь небольшую массу, быть достаточно огнестойкими, удобными и безопасными для транспортирования и хранения в шахтных условиях. Конструкции изолирующих сооружений должны предусматривать возможность их возведения в минимально короткий срок, что особенно важно при изоляции горных выработок в аварийных условиях. Технология сооружения перемычек, рубашек и противопожарных арок должна быть проста; операции, выполняемые в шахтных условиях, - максимально механизированы и иметь наименьшую трудоемкость.
Количество рабочих, занятых возведением изолирующих сооружений, должно быть не менее двух. При выполнении работ по изоляции в отдаленных выработках, а также в нерабочие смены и дни должно соблюдаться требование § 17 "Правил безопасности в угольных и сланцевых шахтах".
Изолирующие сооружения должны быть экономичными, иметь небольшую первоначальную стоимость и минимальные расходы в процессе эксплуатации. Перемычки, рубашки и противопожарные арки должны быть долговечными, не требовать частых, дорогих и трудоемких ремонтов.
Кроме того, к каждому типу изолирующих сооружений в зависимости от назначения, места возведения и срока службы предъявляются свои специфические требования. Так, фильтрующие перемычки должны хорошо фильтровать воду и удерживать заиловочный материал, перемычки, непосредственно ограждающие очаги пожара, - не разрушаться под действием высоких температур и быть несгораемыми, перемычки с подыливанием - противостоять напору пульпы, водоупорные перемычки - быть устойчивыми к напору воды, а динамически устойчивые - не разрушаться от сейсмических нагрузок.
Параметры изолирующих и специальных сооружений определяются расчетом или по опытным данным, учитывающим особенности эксплуатации в определенных геологических и горнотехнических условиях и закономерности таких явлений, как горное давление, фильтрация воздуха, воды и пульпы через кладку и горные породы, взрывы и т.д.
Изолирующие сооружения могут выполняться из дерева (чураков, брусьев), штучного камня (кирпича, блоков, бетонитов), бетона и железобетона.
Не разрешается сооружать углебетонные, глинобитные перемычки и рубашки, перемычки с засыпкой инертной (сланцевой) пылью, шлаком, штыбом пород и угля. В бетонные перемычки запрещается укладывать отрезки брусьев, чураков, куски горных пород и угля.
Постоянные изолирующие сооружения необходимо располагать в местах, наименее подверженных влиянию очистных работ. Расстояние от противопожарной арки или от перемычки, установленной в квершлаге, до отработанного пласта должно быть не менее 1,5 м в зоне разгрузки и вне зоны влияния очистных работ, не менее 2,5 м в зоне опорного давления при ведении очистных работ в сторону неотработанного массива крыла шахтного поля и не менее 4 м в промежуточной зоне (на границе опорного давления и разгрузки). В зоне опорного давления при ведении очистных работ на выработанное пространство перемычки и арки следует возводить не ближе 7 м от пласта.
Перемычки необходимо возводить на расстоянии не менее 5 м от пересечения выработок. Подход к перемычке должен быть свободен по всему сечению выработки и удобен для выхода рабочих, возводящих ее, в безопасное место. Доступ к изолирующим сооружениям со стороны действующих выработок сохраняется в течение всего срока их эксплуатации. Он должен обеспечивать возможность ремонта перемычек, измерения утечек воздуха через них, набора проб и определения температуры рудничной атмосферы в изолированном пространстве.
Тело перемычки следует сооружать вертикально при угле наклона выработки до 35° и по нормали к почве при ее угле наклона более 35°. Возводить перемычки необходимо по возможности в нетрещиноватых и достаточно прочных породах и угле. Если в месте возведения перемычки породы или уголь имеют трещины, то они должны подвергаться тампонажу при давлении не более 5 кгс/см2.
В тех случаях, когда необходимо возводить изолирующие сооружения в породах или в угле, трещиноватость которых распространяется на значительное расстояние, изоляция выработанных пространств осуществляется перемычками с подыливанием, при этом длина заиловочной пробки должна быть 3 - 5 м в зависимости от состояния горных пород.
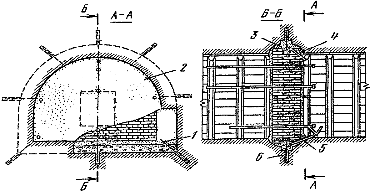
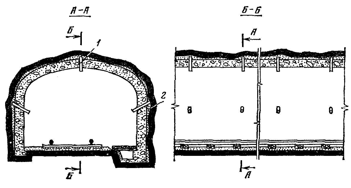
В месте сооружения перемычки выработку очищают от разрыхленного угля и породы, крепь усиливают на 5 м в каждую сторону. Кроме того, со стороны выработанного пространства крепь усиливают дополнительными стойками, кострами и т.п. (рис. 2.1).
Рис. 2.1. Общий вид изолирующей перемычки
1 - дополнительная крепь; 2 - 3 - трубы для измерения
температуры и набора проб воздуха в изолированном
пространстве; 4 - труба для спуска воды
При сроке службы изолирующих сооружений более пяти лет и при их сооружении на пластах угля, опасного по самовозгоранию, подходы к ним должны быть закреплены металлической крепью с железобетонной затяжкой на расстоянии не менее 5 м в обе стороны.
Полностью отработанные блоки, панели, выемочные участки (поля) на пластах угля, склонного к самовозгоранию, необходимо изолировать двойными перемычками с заполнением пространства между ними осадком пульпы. При сооружении двойных перемычек крепь в выработке между ними усиливается одной - двумя стойками под каждый верхняк.
Складирование лесных и других материалов в тупике у перемычки категорически запрещается.
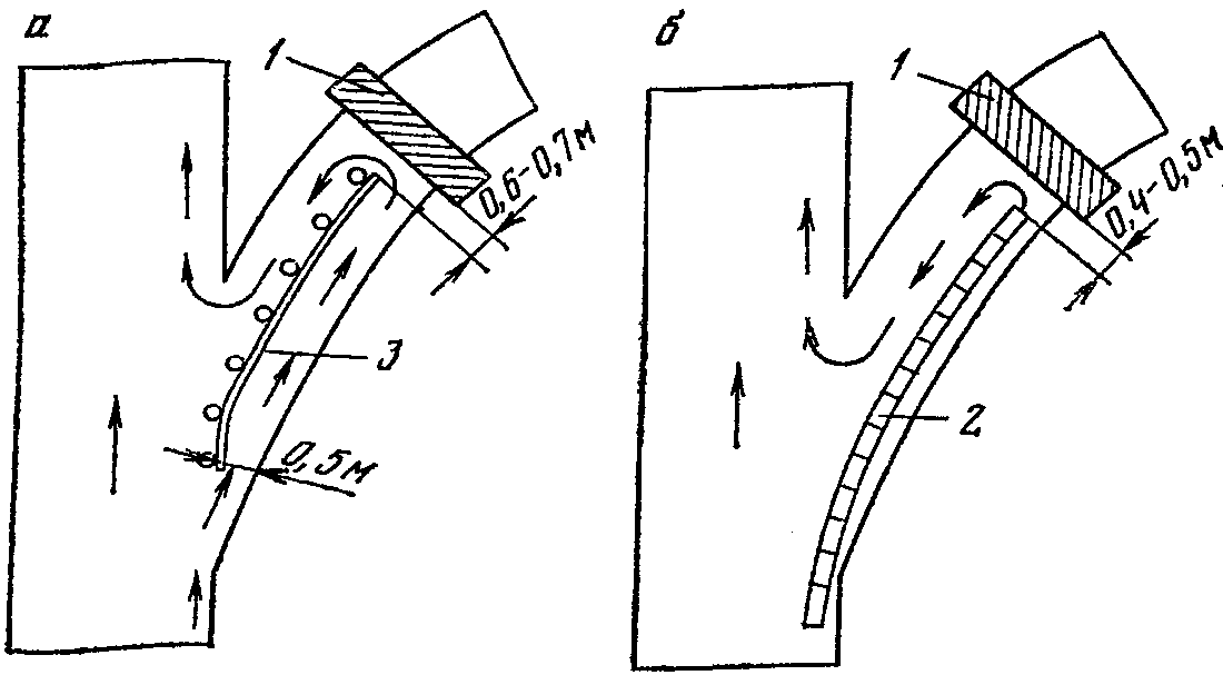
На газовых шахтах (выше первой категории) перемычка должна омываться струей воздуха за счет общешахтной депрессии. Для этой цели на всю высоту действующих и изолируемой выработок устанавливают плотную перегородку, которая должна выходить в действующую выработку не менее чем на 0,5 м, а расстояние ее до перемычки должно составлять 0,6 - 0,7 м (рис. 2.2, а).
При сечении изолируемых выработок до 8 м2 допускается проветривание тупика с помощью металлической трубы, подвешенной под верхняками. Конец трубы в действующей выработке должен быть направлен навстречу струе воздуха. Расстояние от трубы до перемычки должно составлять 0,4 - 0,5 м (рис. 2.2, б).
Рис. 2.2. Схема проветривания тупика у перемычки
1 - перемычка; 2 - вентиляционная труба; 3 - перегородка
Для набора проб воздуха, измерения температуры в изолированном пространстве и выпуска воды в теле перемычки укладывают три трубы в одной плоскости. Трубы должны быть прямыми с ровными концами. Диаметр нижней трубы принимают по расчету в зависимости от притока воды, но не менее 50 мм. Ее снабжают гидрозатвором U- или V-образной формы (рис. 2.3), который заливают водой.
Рис. 2.3. Гидрозатвор
1 - труба; 2 - заглушка с резиновой прокладкой;
3 - 4 - трубы колена
Трубы для набора проб и измерения температуры воздуха должны выступать на 1,5 - 2 м вглубь изолированного участка и на 30 см в сторону действующих выработок. Верхняя контрольная труба устанавливается в непосредственной близости от верхняков.
Участок выработки, прилегающий к перемычке со стороны изолированного пространства, перетягивают затяжками на расстоянии 5 м с целью предохранения труб от засорения. В глухих (без дверей) перемычках трубы размещают в средней части. Концы труб, выходящие в действующие выработки, закрывают пробковыми кранами, задвижками или заглушками. Трубы закрепляются к специально установленным для этой цели стойкам.
Конструкция заглушки показана на рис. 2.4. К концу трубы по винтовой линии приварен отрезок проволоки диаметром 8 - 10 мм. При надевании крышки и повороте ее против часовой стрелки шпенек перемещается вдоль проволоки и прижимает крышку с прокладкой к торцу трубы.
Рис. 2.4. Заглушка
1 - труба; 2 - шпенек; 3 - проволока;
4 - прокладка; 5 - крышка
Применять деревянные пробки для перекрытия труб воспрещается.
Для разведки пожарных участков и контроля за состоянием изолированного пространства делают перемычки с дверьми. Размер прохода должен быть не менее 0,8 x 1 м.
В чураковых и брусчатых перемычках устанавливают деревянные двери в деревянных коробках (рис. 2.5, а); в кирпичных, бетонитовых и бетонных - металлические двери (рис. 2.5, б). Двери могут устраиваться как одинарные, так и двойные (шлюзы). Для предотвращения прососов воздуха через дверь к коробке крепят резиновые прокладки. Двери закрывают на поворотный затвор, имеющий ручки как со стороны действующих выработок, так и со стороны изолированного пространства. Герметизация двери осуществляется прижатием полотна двери съемным воротком. При разведке заперемыченного пространства вороток выкручивается.
Рис. 2.5. Двери для изолирующих перемычек
а - деревянная: 1 - затвор; 2 - коробка;
3 - дверное полотно; 4 - шарнир; 5 - листовое железо;
6 - войлок; 7 - губчатая резина; б - металлическая:
1 - коробка; 2 - шарнир; 3 - дверное полотно;
4 - ручка запора; 5 - запор; 6 - вороток;
7 - прокладка из губчатой резины
Для прохода рабочих в изолированное пространство в процессе возведения перемычки в середине ее на высоте 0,4 - 0,6 м от почвы выработки оставляют окно (лаз) размером не менее 0,7 x 0,7 м.
Окно позволяет выполнять работы по кладке и штукатурке тела перемычки как со стороны действующих выработок, так и выработанного пространства и контролировать качество ее возведения.
Во врубовых перемычках с окном расширения у кровли выработки для заделки верхней ее части делают со стороны изолированного пространства. Это значительно повышает прочность и воздухонепроницаемость кладки и вмещающих пород.
Технология сооружения окна в кирпичных перемычках
(рис. 2.6, а) состоит в следующем.
Перемычку сооружают до высоты 0,4 - 0,6 м от почвы выработки, затем на ложковом ряду 1 делают разбивку окна. Для этого укладывают без раствора кирпичи тычкового ряда 2 с допусками на швы (12 мм), убирают кирпичи, заполняющие окно. Оставшиеся кирпичи укладывают на растворе. Следующие ряды размещают на растворе с таким расчетом, чтобы в боковых стенах окна образовывались выступы в 1/4 кирпича. После укладки девяти рядов окно перекрывают брусом 3, который размещают на кирпичную кладку со стороны изолируемого пространства. На брус укладывают тычковый ряд 4, а затем ложковый 5. Для предотвращения смещения кладки под четвертый, пятый и шестой ряды устанавливают временные стойки, которые после схватывания раствора убирают.
После окончания работ по возведению перемычки окно закладывают кирпичами на цементном растворе. Укладку кирпичей ведут со стороны действующих выработок снизу вверх.
Описанная конструкция окна обеспечивает перевязку швов при его заделке и высокую герметичность тела перемычки.
В блочных (бетонитовых) перемычках (рис. 2.6, б) окно устраивают по той же технологии, что и в кирпичных. Различие в том, что вместо бруса в верхнюю часть окна закладывают металлические балки 8 (тяжелые рельсы, двутавровые балки N 20 и др.).
После окончания работ по возведению перемычки окно закладывают бетонитами на цементном растворе.
Рис. 2.6. Конструкция окон в постоянных
изолирующих перемычках
а - кирпичной; б - блочной; в - бетонной;
1 - 2, 4 - 6 - ряды кирпичной кладки; 3 - брус; 7 - блок;
8 - металлическая балка; 9 - паз; 10 - бетон
В бетонных перемычках для сооружения окна (рис. 2.6, в) на высоте 0,5 м от почвы выработки устанавливают коробчатую опалубку. Затем заливают бетон, после схватывания которого опалубку разбирают.
Внутри окна в нижней и боковых стенах образуют пазы. Верх окна имеет наклон в сторону изолируемого пространства. После завершения работ по возведению перемычки окно со стороны выработанного пространства перекрывают щитом, а со стороны действующих выработок - досками и заливают бетоном. Такая конструкция окна позволяет достичь высокой герметичности тела бетонной перемычки.
2.2. Область применения изолирующих сооружений
На основе детального изучения и анализа материалов участков вентиляции, профилактики и спецучастков шахт, а также результатов наблюдений за условиями эксплуатации перемычек, рубашек, противопожарных арок установлены область применения и срок службы изолирующих сооружений (табл. 2.1).
Таблица 2.1
Вид изолирующего сооружения | Характеристика выработки в месте возведения изолирующего сооружения | Срок службы, мес. | Не рекомендуется применять |
наименование | угол наклона, градус | сечение вчерне, м2 |
(не более) |
| |
1. Временные перемычки |
Щитовые | Печи, сбойки, разрезные печи лав, промежуточные, конвейерные, подэтажные штреки | 25 | 5 | 3 | В выработках, имеющих значительное горное давление |
Пластмассовые | Вентиляционные, откаточные, подэтажные штреки, ходки, уклоны, бремсберги | 25 | 11 | 3 | В выработках, пройденных по самовозгорающимся пластам; в выработках, расположенных в районе очага пожара |
Чураковые | Печи, сбойки, штреки, квершлаги, уклоны, бремсберги | 10 | 8 | 6 | При большом притоке шахтных вод |
Комплектные | Промежуточные и подэтажные штреки, печи, сбойки, ходки, разрезные печи лав | 35 | 11 | 12 | В выработках, непосредственно прилегающих к очагу пожара при гидростатическом давлении |
Шлакоблочные | Откаточные, вентиляционные и полевые штреки, квершлаги, уклоны, бремсберги | 25 | 16 | 12 | В выработках, имеющих значительное горное давление; на пластах, склонных к самовозгоранию |
2. Постоянные изолирующие сооружения |
Перемычки с врубом |
Чураковые | Печи, сбойки, разрезные печи лав | 10 | 5 | 12 | В выработках, непосредственно прилегающих к очагу пожара; в обводненных выработках |
Брусчатые двухрядные | Вентиляционные и промежуточные штреки, ходки, уклоны, бремсберги, сбойки, печи | 10 | 8 | 18 - 24 | В выработках, непосредственно прилегающих к очагу пожара; в выработках, пройденных по самовозгорающимся пластам |
Брусчатые трехрядные | Откаточные, вентиляционные и промежуточные штреки, ходки, уклоны, бремсберги | 15 | 11 | 20 - 50 | В выработках, непосредственно прилегающих к очагу пожара |
Брусчатые торцовые | Откаточные, вентиляционные, конвейерные и промежуточные штреки, ходки, уклоны, бремсберги, разрезные печи лав, печи, сбойки | 25 | 16 | 70 | В выработках, непосредственно прилегающих к очагу пожара; на участках под потушенными пожарами |
Кирпичные в два кирпича | Откаточные, штреки, промежуточные квершлаги, печи, сбойки | 10 | 11 | 25 - 30 | При значительном горном давлении, при гидростатическом давлении |
Кирпичные в три кирпича | Откаточные, штреки, промежуточные квершлаги, уклоны, бремсберги | 20 | 16 | 35 | При значительном (до 1 кгс/см2) гидростатическом давлении |
Бетонитовые | Штреки, бремсберги, уклоны, квершлаги, печи, сбойки | 30 | 16 | 75 | Особых ограничений нет |
Бетонные толщиной 350 мм | Штреки, бремсберги, уклоны, квершлаги | 20 | 11 | 60 - 70 | При слабых породах кровли |
Бетонные толщиной 750 мм | То же | 30 | Более 10 | 75 - 80 | Применяются в любых условиях |
Бетонные толщиной 1000 мм | Полевые штреки | - | Более 10 | 80 - 100 | Особых ограничений нет |
Безврубовые перемычки |
Брусчатые на бетонном основании | Подэтажные, промежуточные, конвейерные и откаточные штреки, ходки, уклоны | 15 | 11 | 55 | В выработках, непосредственно прилегающих к очагу пожара; на участках под потушенными пожарами |
Кирпичные | Откаточные штреки, ходки, уклоны | 10 | 11 | 30 - 40 | При значительном горном давлении |
| Откаточные, вентиляционные и промежуточные штреки, ходки, уклоны, бремсберги | 15 | 16 | 20 - 30 | В выработках, имеющих приток шахтных вод более 0,5 м3/ч |
Бетонные | Откаточные штреки, ходки, уклоны | 15 | 11 | 75 - 90 | Применяются в любых условиях |
Щитовые из досок | Печи, сбойки, разрезные печи лав | 15 | 5 | 6 | В выработках, непосредственно прилегающих к очагу пожара; при гидростатическом давлении, при значительном горном давлении |
Противопожарные арки |
Брусчатые | Промежуточные, подэтажные, конвейерные и вентиляционные штреки, ходки, уклоны, бремсберги | 10 | 11 | 18 | На участках под потушенными пожарами |
Бетонитовые | Откаточные и вентиляционные штреки, уклоны, бремсберги, ходки, промежуточные квершлаги | 15 | 16 | 70 | Применяются в любых условиях |
Железобетонные | Откаточные и полевые штреки, квершлаги | - | Более 10 | 100 | То же |
Кирпичные | Откаточные штреки | - | 11 | 15 | При значительном горном давлении |
Перемычки в наклонных и вертикальных выработках |
Кирпичные | Уклоны, бремсберги, ходки, печи | Более 30 | 16 | 90 | Применяются в любых условиях |
Брусчатые | Уклоны, бремсберги, ходки, печи | Более 30 | 11 | 70 | На пластах угля, склонного к самовозгоранию |
Железобетонные | Уклоны, бремсберги, ходки, печи, шурфы, стволы | Более 30 | Более 10 | Более 100 | Применяются в любых условиях |
Изолирующие рубашки |
Бетонные с открылками | Штреки, квершлаги | - | Более 7 | Более 60 | Применяются в любых условиях |
Растворонаметные | Полевые штреки, квершлаги | - | 16 | 40 | При значительном горном давлении |
--------------------------------
<1> Возводить в сложных геологических и горнотехнических условиях.
2.3. Материалы, применяемые для возведения
изолирующих сооружений
Для изоляции временно остановленных выработок, отработанных и пожарных участков используют разнообразные материалы, применение которых обусловливается назначением, сроком службы, местом установки, требуемой герметичностью изолирующего сооружения и эндогенной пожароопасностью обрабатываемого пласта.
Качество изолирующего сооружения в значительной степени зависит от материалов, из которых они выполнены.
На практике материалы разделяют на вяжущие вещества, искусственные камни, лесные материалы.
Вяжущие вещества
В шахтных условиях в качестве вяжущих веществ наибольшее распространение получили глина, известь и цемент. В последнее время находят применение для этой цели изолирующие мастики, пасты, латексы и др.
Глина для кладки и штукатурки перемычек применяется нормальная с добавкой 10 - 15% песка и жирная с добавкой песка до 30% объема смеси.
Известь используют для приготовления силикатных растворов и изолирующих мастик, а также для побелки изолирующих сооружений и горных выработок.
Цемент в условиях горных выработок следует применять марки не ниже 400. Для изоляционных работ в шахте могут быть использованы различные цементы; область их применения приведена в табл. 2.2.
Таблица 2.2
Наименование цемента | Область применения |
Портландцемент: | |
обыкновенный | Бетонные камни, кладочные и штукатурные растворы для перемычек в сухих и влажных выработках без агрессивных вод |
сульфатостойкий | Кладочные и штукатурные растворы для кирпичных и блочных перемычек, смеси для бетонных и железобетонных изолирующих сооружений, находящихся в условиях постоянного воздействия агрессивных (сульфатных) вод и при систематическом увлажнении и высыхании |
гидрофобный | Кладочные и штукатурные растворы кирпичных и блочных перемычек, смеси для бетонных и железобетонных конструкций. Может храниться в шахтных условиях. Употребляется в основном при ликвидации аварий Кладочные и штукатурные растворы при возведении изолирующих перемычек в аварийных условиях |
быстротвердеющий | Кладочные и штукатурные растворы, смеси для бетонных и железобетонных конструкций. Целесообразно применять при возведении особо ответственных изолирующих сооружений в аварийных условиях |
Глиноземистый цемент Расширяющиеся цементы | Гидроизоляция швов и стыков, заделка трещин. Получение безусадочных и расширяющихся водо- и воздухонепроницаемых бетонов и штукатурок |
Цемент способен к взаимодействию с влагой воздуха, в результате чего снижается его прочность. Поэтому в шахте не рекомендуется создавать больших запасов цемента. Хранить его нужно на поверхности в закрытых помещениях с бетонным или деревянным полом, тщательно оберегая от влаги. В шахту цемент следует доставлять непосредственно перед его применением. В аварийных подземных складах можно хранить гидрофобный портландцемент россыпью, другие виды цементов - только в герметично запаянных полиэтиленовых мешках.
| | ИС МЕГАНОРМ: примечание. Взамен ГОСТ 125-70 Постановлением Госстроя СССР от 19.07.1979 N 123 с 1 июля 1980 года введен в действие ГОСТ 125-79. | |
Гипс. Для возведения перемычек применяется пластифицированный строительный гипс, представляющий собой порошкообразную механическую смесь строительного гипса не ниже I сорта по ГОСТ 125-70 с порошкообразным концентратом сульфитно-спиртовой барды по МРТУ 13-04-35-66 в количестве 0,5% от массы гипса. Приготовление строительного гипса производится в соответствии с ТУ 12.1000.75-73.
Пластифицированный гипс, как и все минеральные вяжущие, является гигроскопичным, поэтому хранить его необходимо в расфасованном виде в сухих отапливаемых помещениях. Гарантийный срок хранения в этих условиях - не более года. В шахте сухой гипс может находиться в необводненных проветриваемых выработках не более одного месяца. При хранении мешки с гипсом должны укладываться в штабели высотой не более 1,8 м (во избежание разрушения нижележащих мешков).
Нефтяные битумы используют для приготовления изолирующих мастик, применяемых при кладке и покрытии перемычек, рубашек и т.д., а также для тампонажа вмещающих пород. Для этой цели пригоден битум марки БН-III.
Латексы используют для изолирующих покрытий. Для этой цели применяют хлоропреновые латексы "Нейрит" марок Л-3, Л-4, Л-7 с концентрацией сухого остатка до 50%. Может быть использован также латекс марок ДВХБ-70, СКМС-30РП.
Добавки к вяжущим веществам
Добавки вводятся для повышения пластичности, водо- и жаростойкости растворов и бетонов. Особенно большое значение имеют добавки, ускоряющие схватывание и твердение цемента. К ним относятся хлористый кальций, жидкое стекло и пр.
Хлористый кальций применяют для приготовления водного раствора, который используют в качестве антипирогена и для приготовления хлоридно-глинистой пасты.
Растворимое (жидкое) стекло используют при изготовлении огнезащитных, изолирующих (силикатных) и жаростойких растворов и бетона. Для этой цели применяют жидкое стекло с модулем 2,5 - 3 и плотностью 1,3 - 1,4 г/см3 при температуре +15 °C.
Поташ (калий углекислый) применяется в качестве противомерзлотной добавки к бетонам и цементным растворам. При введении поташа в состав вяжущего вещества жидкая фаза (вода), необходимая для гидратации цемента, сохраняется при отрицательных температурах, а не превращается в лед. Кроме того, противомерзлотные добавки ускоряют процесс гидратации минерала цементного клинкера, что повышает скорость схватывания композиции и набор "критической" прочности до ее замерзания. Противомерзлотные добавки необходимо использовать при возведении изолирующих сооружений в выработках с отрицательной температурой.
Строительные, огнезащитные и изолирующие растворы
Строительные растворы, применяемые для возведения изолирующих сооружений, получают механическим смешиванием цемента, наполнителя и воды.
В качестве наполнителя используют пески с набуханием при насыщении водой не более 5%. Добавление сланцевой (инертной) пыли в качестве накопителя в строительные растворы не разрешается.
В зависимости от назначения различают растворы для кладки и штукатурки. Их готовят в растворомешалках непосредственно на месте применения или на бетонных заводах. Состав растворов выражается отношением цемента и песка в частях по объему. Область применения цементных растворов дана в табл. 2.3.
Количество частей по объему | Область применения |
цемент | песок |
1 | 1 | Заделка трещин в перемычках и рубашках |
1 | 1,5 | Штукатурка шлакоблочных и бетонных перемычек, кладка и штукатурка кирпичных и блочных перемычек при депрессии более 150 мм вод. ст. |
1 | 2 | Штукатурка бетонных перемычек и рубашек, кладка и покрытие кирпичных и бетонных перемычек при депрессии до 150 мм вод. ст. |
1 | 3 | Кладка кирпичных перемычек |
1 | 4 | Кладка блочных перемычек |
1 | 5 | Кладка перемычек в сухих выработках небольшого сечения (до 10 м2) со сроком службы менее двух лет |
Огнезащитные составы предназначаются для предохранения деревянных шахтных крепей и конструкций от воздействия внешних тепловых импульсов. Их применение ограничивает развитие пожара от внешних причин и распространение его по горным выработкам. Огнезащитные составы приготавливают из десяти частей жидкого стекла и двух частей асбеста. Применяется жидкое растворимое стекло с модулем 2,5 и плотностью 1,35 - 1,4 г/см3 и асбест хризотиловый марок 7-730; 7-450; 7-520; 8-750.
На установленную в шахте крепь смесь наносят форсунками, к которым она подается сжатым воздухом или насосом. Приготавливают ее на поверхности в специальной установке и в готовом виде доставляют к месту применения.
Расход смеси на 1 м2 покрываемой поверхности составляет 2,5 - 3 кг при толщине слоя 2 - 2,5 мм.
Огнезащитный состав следует применять в сухих выработках при отсутствии следов влаги на крепи и влажности древесины не более 50%. Покрытия рекомендуется наносить на ошкуренные элементы деревянной крепи после ее нахождения в шахте более 5 мес на свежей и не менее 7 мес на исходящей струях воздуха. Огнезащитный состав нецелесообразно использовать в выработках с температурой горных пород и рудничного воздуха ниже 5 °C.
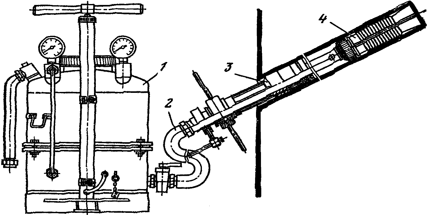
Нанесение огнезащитных составов производится с помощью переносного аппарата АП-1 или насосных установок (см. "Руководство по применению и приготовлению огнезащитного состава ВостНИИ на шахтах восточных районов СССР", изд. ВостНИИ, Кемерово, 1976). Перед нанесением покрытий шахтная крепь очищается от грязи, угольной и сланцевой (инертной) пыли. Обработку крепи ведут до полного исчезновения непокрытых участков.
Приготовление огнезащитного состава производится в установке УОС-2
(рис. 2.7), имеющей следующую техническую характеристику:
Производительность, м3/ч . . . . . . . . . . . . . . . . . | 3 |
Мощность, кВт: | |
двигателя . . . . . . . . . . . . . . . . . . . . . . . . . . . | 17 |
вибратора . . . . . . . . . . . . . . . . . . . . . . . . . . | 0,27 |
Основные размеры установки, мм: | |
ширина . . . . . . . . . . . . . . . . . . . . . . . . . . . . . | 600 |
длина . . . . . . . . . . . . . . . . . . . . . . . . . . . . . . | 2000 |
высота . . . . . . . . . . . . . . . . . . . . . . . . . . . . . | 500 |
Масса, кг . . . . . . . . . . . . . . . . . . . . . . . . . . . . . . . . | 500 |
Рис. 2.7. Установка для приготовления
огнезащитного состава УОС-2
1 - ротор; 2 - лопатка; 3 - люк; 4 - корпус;
5 - узел подшипниковый; 6 - двигатель; 7 - рама;
8 - вибратор; 9 - вибросито; 10 - подвеска; 11 - лоток
Технология приготовления огнезащитного состава заключается в следующем. В вихревой смеситель заливают 100 кг жидкого (растворимого) стекла и засыпают 20 кг асбеста. После этого включают смеситель на 3 мин. За это время происходит тщательное перемешивание исходных материалов до однородной массы. Огнезащитный состав очищают на вибросите, загружают во фляги и отправляют в шахты для использования.
Огнезащитный состав может быть приготовлен также в установке УП-1.
Изолирующие растворы предназначаются для покрытия перемычек, рубашек и тампонажа вмещающих пород с целью повышения их воздухонепроницаемости. К ним относятся силикатный раствор, изолирующая мастика, хлоридно-глинистая паста и составы на основе жидкого стекла и латекса.
Раствор для силикатного покрытия состоит из жидкого стекла и известково-цементной суспензии, которые при смешивании схватываются в прочную, воздухонепроницаемую и нерастворимую в воде массу. Применяемые материалы и их соотношения приведены в табл. 2.4.
Составные части раствора | Соотношение частей | Характеристика составных частей |
по массе | по объему |
Цемент | 1,7 | 2,2 | Портландцемент марки 400 - 500 |
Известь | 1,5 | 0,9 | Молотая кипелка I - II сорта или пушонка I сорта |
Песок | 0,4 | 0,6 | |
Вода | 1,7 | 1,7 | Речной песок, размеры частиц 0,2 - 0,6 мм |
Жидкое (растворимое) стекло | 0,55 | 0,8 | Модуль 2,5; плотность 1,3 - 1,5 г/см3 |
Технология приготовления и применения силикатного раствора описана в
4.1 настоящего Руководства. Кроме того, силикатный раствор можно использовать для огнезащитного покрытия деревянной крепи, вентиляционных и изолирующих сооружений.
Изолирующая мастика представляет собой дисперсную массу, состоящую из мелких частиц битума, равномерно распределенных в смеси воды с твердым эмульгатором. Состав мастики и соотношение частей (% по массе):
Битум БН-Ш . . . . . . . . . . . . . . . . . . . . . . . . . . . . | 20 |
Известь . . . . . . . . . . . . . . . . . . . . . . . . . . . . . . . . . | 6,5 |
Инертная пыль . . . . . . . . . . . . . . . . . . . . . . . . . . | 40 |
Вода . . . . . . . . . . . . . . . . . . . . . . . . . . . . . . . . . . . | 33 |
Пятиокись сурьмы . . . . . . . . . . . . . . . . . . . . . . . | 0,5 |
В жидком состоянии мастика - легкоподвижная смесь, хорошо разбавляемая водой. При испарении воды из мастики битум коагулирует, покрывая тонкой пленкой частицы эмульгатора, склеивает их между собой и заполняет пространство между ними. После испарения влаги мастика превращается в связанный пластичный материал, который обладает высокой воздухонепроницаемостью и не размывается водой.
Хлоридно-глинистая паста состоит из водного раствора реагентов. В качестве реагентов используют хлористый кальций, хлористый натрий и др. Количество реагентов в растворе находят по номограмме (рис. 2.8).
Рис. 2.8. Номограмма для определения
количества реагентов в пасте
Количество воды определяется из расчета получения суспензии с расплывом 12 - 15 см по конусу АзНИИ. Суспензии такой вязкости содержат в своем составе 20 - 25% воды от массы сухой мастики.
Изолирующая паста для относительной влажности

и температуры t = 19,5 °C воздуха в месте возведения перемычек (пример на
рис. 2.8) имеет следующий состав:
| г | % по массе |
Вода . . . . . . . . . . . . . . . . . . . . . . . . . . . . . . . . . . . | 1000 | 25,0 |
Хлористый натрий . . . . . . . . . . . . . . . . . . . . . . . | 82 | 2,05 |
Хлористый кальций . . . . . . . . . . . . . . . . . . . . . . | 142 | 3,55 |
Смачиватель . . . . . . . . . . . . . . . . . . . . . . . . . . . . | 2 | 0,55 |
Глина (влажность 17%) . . . . . . . . . . . . . . . . . . | 2774 | 69,35 |
Изолирующие составы приготавливают в установке УП-1
(рис. 2.9), имеющей следующую техническую характеристику:
Производительность при приготовлении, м3/ч: | |
мастики . . . . . . . . . . . . . . . . . . . . . . . . . . . . | 0,4 |
хлоридно-глинистой пасты . . . . . . . . . . . | 0,6 |
огнезащитного состава . . . . . . . . . . . . . . . | 0,85 |
Вихревой смеситель: | |
объем, л . . . . . . . . . . . . . . . . . . . . . . . . . . . . | 120 |
мощность двигателя, кВт . . . . . . . . . . . . . | 17 |
Битумоварочный котел: | |
объем, л . . . . . . . . . . . . . . . . . . . . . . . . . . . | 50 |
мощность, кВт . . . . . . . . . . . . . . . . . . . . . | 20 |
Вибросито: | |
размер ячеек сита, мм . . . . . . . . . . . . . . . | 2,5 x 2,5 |
мощность, кВт . . . . . . . . . . . . . . . . . . . . . | 0,27 |
Основные размеры установки, мм: | |
высота . . . . . . . . . . . . . . . . . . . . . . . . . . . . | 1720 |
ширина . . . . . . . . . . . . . . . . . . . . . . . . . . . | 1500 |
длина . . . . . . . . . . . . . . . . . . . . . . . . . . . . . | 1850 |
Масса установки, кг . . . . . . . . . . . . . . . . . . . . . | 738 |
Рис. 2.9. Общий вид установки УП-1
1 - труба для выпуска битума; 2 - нагреватель
сливной трубы; 3 - труба - вытяжная с приемником водного
конденсата; 4 - битумоварочный котел; 5 - пульт управления;
6 - двигатель; 7 - площадка и лестница; 8 - вибратор;
9 - вибросито; 10 - лоток; 11 - рама; 12 - смеситель
вихревой; 13 - люк загрузочный
Технология приготовления изолирующей мастики состоит в следующем.
В битумоварочный котел загружают битум и разогревают его при температуре 150 °C до текучего состояния. В смеситель заливают 25 л воды и загружают 30 кг сланцевой пыли, 8,5 кг извести и 0,38 кг сурьмы. Затем включают двигатель вихревой мешалки. При частоте вращения ротора 1500 об./мин внутри корпуса мешалки создается турбулентный поток жидкости, который увлекает за собой твердые частицы сланцевой пыли и извести, дробит их и перемешивает до однородной массы.
Перемешивают исходные материалы в течение 3 - 4 мин, а затем в работающую мешалку подают 15 л расплавленного битума. После подачи битума смеситель работает 2 - 3 мин, в течение которых битум эмульгируется и вся масса превращается в мастику. Мастику выпускают на вибросито, где мелкие фракции через сетку падают в лоток и по нему во флягу, а крупные - по сетке сбрасываются в отвал.
Для приготовления хлоридно-глинистой пасты в вихревую мешалку заливают воду, засыпают соли и загружают глину. Соотношение исходных материалов в пасте определяют по номограмме (см.
рис. 2.8). Затем включают смеситель на 4 - 5 мин, в течение которых происходит дробление глины, растворение солей и перемешивание суспензии до однородной массы. Паста на вибросите очищается от крупных включений, загружается во фляги и направляется в шахту.
Искусственные камни. Бетон и железобетон
Для возведения изолирующих сооружений применяют бетон марок не ниже 100, а в ответственных сооружениях - не ниже 150 - 200. В зависимости от содержания воды бетоны делят на жесткие (осадка конуса СтройЦНИЛ 0 - 1 см), пластичные или подвижные (осадка конуса 1 - 18 см) и литые (осадка конуса более 18 см). Жесткие бетоны при укладке требуют тщательной трамбовки. Пластичные и литые обычно применяют при возведении железобетонных перемычек и противопожарных арок.
Для ускорения твердения в бетонную смесь вводят в небольших количествах (1,5 - 3% массы цемента) хлористый кальций, хлористый натрий и жидкое стекло.
Бетонную смесь приготавливают в шахте, в местах применения бетона, или на поверхности. Расход материалов на 1 м3 бетона приведен в табл. 2.5.
Таблица 2.5
Цемент | Песок | Щебень |
количество частей | кг | м3 | количество частей | кг | м3 | количество частей | кг | м3 |
1 | 360 | 0,270 | 2 | 750 | 0,5 | 3 | 1275 | 0,75 |
1 | 300 | 0,225 | 2 | 665 | 0,45 | 4 | 1520 | 0,9 |
1 | 223 | 0,167 | 3 | 620 | 0,42 | 6 | 1360 | 0,8 |
Необходимо учитывать, что при длительной перевозке бетон расслаивается, схватывается и теряет первоначальные свойства. Поэтому продолжительность его перевозки не должна превышать 1 ч.
Для шахтных перемычек применяют тяжелый бетон, в приготовлении которого используют цемент марки 400 - 500. В качестве заполнителей берут гравий, песок и щебень. Количество воды для жесткого бетона принимают 6 - 6,5% от массы сухой смеси.
Железобетон состоит из металлической арматуры, залитой пластичным (подвижным) или литым бетоном. Арматурой служат рудничные рельсы, специальный прокат, трубы и балки, которые скрепляют проволокой. Количество воды для пластичного (подвижного) бетона принимают 6,5 - 8%, а для литого 8 - 10% от массы сухой смеси.
В отличие от бетона железобетон выдерживает нагрузки не только на сжатие, но и на растяжение. Поэтому он лучше других материалов противостоит горному давлению, напору шахтных вод и взрывам.
Кирпич и блоки
Кирпич глинистый строительный (обыкновенный) изготавливают из суглинков и глин в смеси с песком. Для изоляционных работ в шахте следует использовать стандартный кирпич марок 100 и 150 с водопоглощением не более 8% и теплопроводностью от 0,5 до 0,75 ккал/(м·ч·°C). Для кладки перемычек в сырых выработках, а также для перемычек, предназначенных для удержания заиловочного материала, следует употреблять пережженный кирпич - "железняк", имеющий темно-красный цвет. Такой кирпич почти не впитывает воду. Для сооружения перемычек в условиях периодического увлажнения и высыхания применять кирпич не рекомендуется.
Бетониты изготавливаются из бетона. Для изолирующих сооружений рекомендуется применять бетониты типов Т-1, Т-2 и Т-3 марок 100 - 150.
Шлакоблоки и керамзитоблоки приготавливают из топливных шлаков или керамзита в смеси с цементным раствором. Шлакоблоки и керамзитоблоки пористы, поэтому имеют высокую воздухопроницаемость. Применять их для сооружения изолирующих перемычек целесообразно только в сочетании с воздухонепроницаемыми покрытиями.
Лесные материалы
Для изоляционных работ в шахтах применяют рудничные стойки диаметром 12 - 25 см, очищенные от коры и сучьев, брусья размерами от 16 x 16 до 20 x 20 см, горбыли, доски обрезные и необрезные.
Древесина, предназначенная для возведения крепи и перемычек, должна быть без признаков гнили, червоточины, глубоких трещин и механических повреждений.
Для перемычек со сроком службы до 10 мес можно применять рудничные стойки, ранее использованные для крепи. Их распиливают на чураки и брусья и обрабатывают антисептиком. В качестве антисептиков, служащих для предохранения древесины от гниения, могут быть использованы денитрофенолят натрия, парофазная смола и хлористый цинк.
Лучшие результаты можно получить при антисептической пропитке в горячей и холодной ваннах и при пропитке под давлением.
3. Конструкции и технология возведения
изолирующих сооружений
3.1. Противопожарные арки
В откаточных и вентиляционных штреках, промежуточных квершлагах, пересекающих самовозгорающиеся пласты угля, на участках под списанными пожарами, а также в местах, предусмотренных планом ликвидации аварий, до начала очистных работ возводят противопожарные арки. Сечение арок принимается равным сечению выработок в свету. Они должны устанавливаться не ближе 5 м от места пересечения выработок.
Противопожарные арки - долгосрочные сооружения, поэтому они должны иметь повышенную прочность. Практика показывает, что арки, применяемые в настоящее время, к моменту отработки участка разрушаются и перестают соответствовать своему назначению. Поэтому их следует возводить из бетонитов, железобетона или из бетона в прочных и нетрещиноватых породах. Если противопожарные арки приходится устанавливать в трещиноватых породах или в угле, их обязательно тампонируют на глубину 1 м в породах и 1,8 м в угле. На участках с большим горным давлением допускается сооружение брусчатых противопожарных арок.
Для возведения арок используются брусья, покрытые огнезащитным составом. Покрытие древесины огнезащитным составом может производиться или до спуска ее в шахту, или после возведения изолирующего сооружения. Для изоляции выемочных участков со сроком отработки менее года в выработках сечением 11 м2 вчерне, имеющих незначительное горное давление и обводненность, могут сооружаться кирпичные противопожарные арки.
На участках, расположенных в районе списанного подземного пожара, следует возводить двойные бетонные или бетонитовые противопожарные арки сразу же после проходки нулевого ската (вентиляционной печи). Расстояние между арками должно быть 3 - 5 м. В кровле между ними должны находиться печь, скважина, купол и др. В арках монтируют трубы для заполнения пространства между перемычками осадком пульпы после закладки арок (см.
5.4).
В местах сооружения арок крепь усиливают на 5 м в каждую сторону. На пластах угля, склонного к самовозгоранию, ее выполняют из несгораемого материала или из дерева, покрытого огнезащитным составом.
Для снижения трудоемкости и ускорения работ по закладке арок, что особенно важно в аварийных условиях, следует применять бетониты. Размер арки должен быть таким, чтобы ее проем заполнялся целым числом бетонитов. Кладку блоков необходимо вести на цементном растворе (Ц:П - 1:2; 1:1) со смещением горизонтальных швов. При взятии вруба и сооружении арки нужно придерживаться последовательности, указанной в
3.3.
В выработках, оборудованных ленточными конвейерами, место сооружения противопожарной арки выбирают с таким расчетом, чтобы перемычка располагалась между секциями рамы. В почве выработки делают вруб, который заполняют бетонитами, а в месте установки конвейера сооружают порог из бетонитов шириной не менее толщины перемычки. В бортах арки могут быть размещены концы трех двутавровых балок N 10 или рельсы тяжелого типа.
После окончания работ на участке и демонтажа конвейера арки закладывают по технологии, описанной ниже. В аварийных условиях в окна заводят двутавровые балки и на них укладывают бетониты на цементном растворе. Боковые части арки сооружают также из бетонитов. Пространство между конструкциями конвейера заполняют кирпичом.
На расстоянии не более 20 м от каждой арки в специальной нише должно храниться необходимое количество материалов (блоки, песок, щиты для брусчатых арок, трубы и др.). При сооружении арок в особо ответственных местах в нише, кроме этого, должен находиться гидрофобный или обычный цемент в герметичных полиэтиленовых мешках. Если в перемычке должен быть оставлен проход в изолированное пространство, то в нише хранят металлическую дверь (см.
рис. 2.5, б), а в выработках, оборудованных ленточными конвейерами, - три балки. Кроме того, в нише должны находиться инструменты и приспособления (лопаты, койла, ящик для приготовления растворов и др.). Состояние и сохранность материалов и инструментов должны проверяться не реже двух раз в месяц.
Противопожарные арки на промежуточных квершлагах основных и вентиляционных, горизонтов должны закладываться не позднее чем через 10 дней после окончания всех эксплуатационных работ на участке. В отдельных случаях, например, на участках, оборудованных гидрофицированными комплексами, допускается увеличение срока закладки арок до 1 мес. Окончание работ по изоляции отработанных участков на срок более 1 мес может быть разрешено техническим директором объединения по согласованию с управлением округа Госгортехнадзора СССР.
Противопожарные брусчатые арки
Брусчатые противопожарные арки (рис. 3.1) возводят в заранее подготовленные врубы из брусьев сечением 18 x 18 см на цементном растворе (Ц:П - 1:3) или на мастике. Толщину арки обычно принимают в три бруса. При возведении арок в выработках, пройденных по самовозгорающимся пластам, брусья необходимо покрывать огнезащитным составом.
Рис. 3.1. Противопожарная брусчатая арка
В нижней части брусья располагают так, чтобы средний брус 5 был ниже боковых 4 наполовину своей толщины. В бортовые врубы (от почвы до кровли) укладывают короткие брусья 2 и 3 чередующимися перпендикулярными друг к другу рядами. Боковые стороны внутри арки имеют двойной ряд зубчатых выступов, между которыми в подгон подбивают вертикальный брус 6. Верхнюю часть арки в кровле выкладывают аналогично нижней. Верх арки, где невозможно разместить очередной ряд, закладывают короткими отрезками брусьев 1. Проем в арке закрывают щитами или брусьями. Щиты изготавливают из обрезных досок толщиной 25 - 30 мм, сбитых крест-накрест в два слоя. Между слоями досок прокладывают слой мешковины, войлока или листового железа. Высота щита равна высоте проема в арке, а его ширина на 10 - 15 см больше трети ширины проема. Проем закрывают тремя щитами: сначала прибивают два боковых, а на них внахлестку - третий. В местах примыкания щитов друг к другу и к проему укладывают мешковину или войлок. Со стороны действующих выработок щиты укрепляют укосинами. Затем брусья арки и щиты покрывают огнезащитным составом.
При возведении арок трещиноватые уголь и породы тампонируют пастой, мастикой или цементным раствором.
Кирпичные противопожарные арки
Область применения кирпичных противопожарных арок (рис. 3.2) указана выше. Для их сооружения по периметру выработки берут вруб в соответствии с требованиями
3.3. Со стороны изолируемого пространства в кровле выработки делают расширение для закладки верхней части вруба. Толщину противопожарной арки принимают в два - четыре кирпича в зависимости от сечения выработки.
Рис. 3.2. Кирпичная противопожарная арка
Вруб в почве заливают цементным раствором толщиной 2 - 2,5 см и на него укладывают ряд кирпичей 2, проверяют его горизонтальность и заполняют раствором пустоты в вертикальных швах. Кирпичи перед укладкой очищают от пыли, грязи и смачивают водой. При кладке необходимо следить, чтобы зазоры между кирпичами и стенками вруба были тщательно заполнены цементным раствором. Пустоты больших размеров заполняют битым кирпичом (щебенкой) с цементным раствором.
Следует применять русскую цепную кладку кирпичей, в которой чередуются ложковые (нечетные) ряды с тычковыми (четными). При таком чередовании в двух рядах соблюдается "перевязка" вертикальных швов. В процессе возведения арки необходимо строго следить за тем, чтобы вертикальные швы не проходили на всю толщину кладки и не совпадали между собой в двух последовательно расположенных рядах.
Для повышения устойчивости перемычки внутренние стенки арки выкладывают со стробами.
После возведения боковых "столбов" до уровня кровли выработки на них размещают две - три двутавровые балки 1 (швеллеры, рельсы). На металлические балки укладывают кирпичи. Кладку верхней части арки ведут от бортов к ее центру. Среднюю часть арки, где кладка кирпичей затруднена, заполняют цементным раствором. Для этой цели вруб в кровле перекрывают опалубкой, за которую через трубы с помощью растворонасоса закачивают цементный раствор (Ц:П - 1:3). Арку и прилегающие к ней породы с двух сторон штукатурят цементным раствором и белят или покрывают мастикой.
Закладка проема в арке ведется кирпичом или бетонитами с перевязкой вертикальных швов.
Перед закладкой арки производят ее осмотр. В случае обнаружения горного давления на арку (появление трещин в кладке, разрушение кирпича) перемычку усиливают или сооружают дополнительную подпорную стенку (контрфорс). При значительном разрушении кладки необходимо на некотором расстоянии от арки возвести изолирующую перемычку.
Бетонитовые противопожарные арки
Для сооружения бетонитовых противопожарных арок (рис. 3.3) по периметру выработки делают вруб в соответствии с требованиями
3.3. В зависимости от сечения выработки и ожидаемого горного давления во вруб кровли заводят два - три швеллера или рельса тяжелого типа 3, которые на время работ раскрепляют стойками.
Рис. 3.3. Бетонитовая противопожарная арка
Вруб в почве выработки очищают, смачивают водой и заливают слоем цементного раствора 5 - 8 см. На цементный раствор укладывают нижние ряды бетонитов таким образом, чтобы у почвы со стороны действующей выработки образовался порог высотой 10 - 12 см. После проверки горизонтальности кладки приступают к сооружению бетонитовых "столбов" арки. Кладку ведут на цементном растворе (Ц:П - 1:2) с перевязкой горизонтальных швов. Пустоты между бетонитами 2 и стенками вруба закладывают бетонным боем и заливают цементным раствором.
Для повышения устойчивости перемычки внутренние стенки арки выкладывают со стробами или наклонными плоскостями в сторону изолируемого пространства. После укладки бетонитов во врубы до уровня кровли выработки на них опускают швеллеры (рельсы). Вруб в кровле перекрывают опалубкой, за которую через трубы 4 закачивают растворонасосом цементный раствор (Ц:П - 1:3) 1.
Закладка арки (проема) ведется бетонитами с перевязкой вертикальных швов. Для хранения бетонитов и песка вблизи от арки делается ниша.
Железобетонные противопожарные арки
Для возведения железобетонной арки (рис. 3.4) делают вруб. В кровле делают расширение и во вруб устанавливают в один или в два ряда арматуру 3. В зависимости от формы и сечения выработки, направления величины горного давления арматура может быть выполнена в виде полного (неполного) дверного оклада или балок, заложенных во вруб в кровле. В качестве арматуры можно использовать рельсы, спецпрофиль, швеллеры и т.д. Для удобства монтажа арматуру собирают из отрезков. Отрезки арматуры в месте возведения арки соединяют между собой накладками. После этого приступают к укладке пластичного или литого бетона, который доставляют с поверхности. Опалубку наращивают по мере укладки бетона, сначала заполняют вруб в почве, а затем в бортах. Для связи арки с телом перемычки по всему периметру выработки делают выступы 2.
Рис. 3.4. Железобетонная противопожарная арка
Закладку бетоном 4 вруба в кровле ведут через расширение. Когда укладка бетона становится затруднительной, в расширении размещают два - три коротких отрезка швеллеров или рельсов 1. Расширение по кровле выработки перекрывают опалубкой и через трубы 5 заполняют цементным раствором (Ц:П - 1:2).
Для повышения устойчивости перемычки во внутренних стенках арки делают выступы или наклонные плоскости в сторону изолируемого пространства.
После затвердения цемента опалубку убирают. Раковины и неровности на поверхности бетона, пустоты на сопряжения арки с породами заполняют раствором: арку с обеих сторон штукатурят и железнят. В крепких и нетрещиноватых породах и угле арки можно сооружать заделки поперечных швеллеров.
Закладку арки (проема) производят бетонитами или бетоном.
При длительном сроке службы и неравномерном горном давлении сооружают усиленные железобетонные противопожарные арки. Для возведения арки в качестве арматуры используют горячекатаную сталь переменного профиля диаметром 15 - 20 мм, проволоку диаметром 5 - 8 мм, полосовое железо толщиной не менее 5 мм, отрезки рельсов и балок. Каркас арматуры сваривают на поверхности по форме вруба и доставляют в шахту. Каркас должен состоять из трех частей: двух стоек и верхней части арки. На месте возведения арки арматуру устанавливают во вруб и закрепляют проволокой и штырями через накладки.
Технология укладки бетона и штукатурки арки аналогична описанной выше.
Временные изолирующие перемычки возводят на небольшой срок службы с целью значительного сокращения поступления воздуха в выработку или на участок и ограждения изолированного пространства от доступа в него людей. Временные перемычки просты по конструкции, имеют меньшую герметичность, чем постоянные изолирующие сооружения, не предназначены для удержания пульпы и противодействия напору шахтных вод, взрывной волны и т.д. Если появляется необходимость увеличить срок изоляции выработки (участка) по сравнению с проектным, то на некотором расстоянии от перемычки возводят временную перемычку с большим сроком службы или постоянную перемычку.
Выбор их конструкции производят по сроку службы. В тех случаях, когда перемычка может оказаться под воздействием напора воды (пульпы), горного давления и т.д., независимо от срока службы следует возводить постоянные или специальные сооружения. Временные перемычки допускается возводить в противопожарных арках только тогда, когда не требуется изменять конструкцию последних и временная перемычка не ухудшает качества арки.
Временные комплектные перемычки
Комплектные перемычки рекомендуется сооружать в межщитовых сбойках при щитовой системе разработки и в других аналогичных условиях. Для возведения безврубовой комплектной перемычки в сбойке на расстоянии 2 - 3 м от ходовой печи пробивают сплошной комплект из стоек 1 (рис. 3.5). Концы стоек заводят в кровлю и почву выработки на глубину 0,2 м. Затем по периметру делают паз 5 глубиной 0,2 м, в котором устанавливают доски 2. Необрезные доски, начиная от кровли выработки, прибивают к стойкам внахлестку (рис. 3.5, I), а обрезные - впритык (рис. 3.5, II). На щит навешивают сетку 3, концы которой заводят в паз в почве, бортах и кровле выработки.
Рис. 3.5. Комплектная перемычка
Для контроля за газовым составом и температурой воздуха в выработанном пространстве в теле перемычки укрепляют трубу на расстоянии 20 - 25 см от кровли сбойки. После этого сетку и прилегающий к ней уголь по всему периметру сбойки покрывают мастикой, латексом или пенопластом 4.
Временные пенопластовые перемычки
В последние годы получают распространение перемычки из карбамидного пенопласта, технология приготовления и применения которого разработана ВНИИГД. Его получают при механическом смешивании мочевиноформальдегидной смолы МФ-1, МФРД, МФРМ, предварительно модифицированной резорцином, и вспенивающе-отверждающего продукта АВО-1, содержащего диэтиленгликоль или этиленгликоль.
Для этих же целей могут быть использованы фенолоформальдегидная смола ФРВ-1 и отвердитель ВАГ-2 или ВАГ-3.
Перемычки возводят с помощью установок УППШ-2 или УППД-2 конструкции ВНИИГД.
Сооружают перемычки из пенопласта
(рис. 3.6) в следующем порядке. На участке выработки с наиболее устойчивыми боковыми породами на длине 1,5 м убирают затяжки и выпускают отслоившиеся куски угля и породы. Крепь в месте возведения перемычки не удаляется. По обе стороны от очищенного участка выработки на расстоянии 2 м сооружают рубашку из пенопласта. Для этого в пространство за затяжки подают пенопласт, а затем разбрызгивают его на поверхность затяжек и крепи, после чего приступают к возведению перемычки. С этой целью в середине выработки устанавливают две стойки 1, концы их заводят в кровлю и почву выработки на 0,2 м. Затем навешивают две ограждающие поверхности 2. В качестве последних могут быть использованы плетеная сетка из стальной проволоки диаметром 1,5 - 2 мм с ячейками 4 - 20 мм и ткань рядной пряжи (капроновая сетка N 9 или 13, мешковина и др.). Лучше всего для этой цели использовать капроновую сетку.
Рис. 3.6. Пенопластовая перемычка
В зависимости от сечения выработки и состояния боковых пород расстояние между ограждающими поверхностями для нагнетания пенопласта 3 принимают 0,6 - 1,4 м.
При сооружении перемычки особое внимание следует уделять тщательному уплотнению пенопласта по периметру перемычки на контакте с боковыми породами.
Временные чураковые перемычки
Чураковые перемычки (рис. 3.7) возводят в местах с повышенным горным давлением в выработках, пройденных по углю или смешанным забоем.
Рис. 3.7. Чураковая перемычка
Для сооружения перемычек используется круглый лес диаметром 15 - 18 см, длиной 0,8 м.
Возведение перемычек производят в следующем порядке. После выбора места и выполнения подготовительных работ непосредственно у места сооружаемой перемычки заготавливают весь необходимый материал. По периметру выработки разделывают паз глубиной 18 - 20 см, шириной 0,9 м, затем в почве его смачивают водой и заполняют на 8 - 10 см влажной глиной, пастой или мастикой. На слой изолирующего состава вплотную друг к другу размещают нижний ряд чураков 3. Для более плотного прилегания чураки подбивают кувалдой. Последующие ряды чураков укладывают также на слой влажной глины, пасты или мастики толщиной 3 - 5 см таким образом, чтобы чураки каждого ряда располагались в шахматном порядке по отношению к нижним рядам. Необходимо, чтобы в каждом ряду были чураки одного диаметра. Верхние ряды чураков заводят в паз в кровле.
По мере возведения перемычки все пустоты между чураками, бортами выработки и пазом заполняют влажной глиной, пастой или мастикой и закладывают контрольные трубы в перемычку.
После укладки чураков перемычку расклинивают. Клинья 2 должны иметь длину, равную толщине перемычки. Сначала забивают клинья на половину их длины, причем забивку ведут от краев к центру перемычки. Затем клинья забивают на всю длину в той же последовательности.
Перемычку со стороны действующих выработок штукатурят глиняным раствором 1 толщиной не менее 2,5 см или покрывают мастикой толщиной 0,8 - 1 см.
Заготовку чураков и клиньев целесообразно делать на поверхности.
Временные щитовые перемычки
Временные щитовые перемычки (рис. 3.8) возводят для изоляции выработок на срок не более 3 мес. Их следует сооружать в печах, сбойках, разрезных печах лав, промежуточных, откаточных и вентиляционных штреках. Временные щитовые перемычки не рекомендуется применять в выработках при притоке шахтных вод более 0,5 м3/ч или подлежащих заиливанию.
Рис. 3.8. Щитовая перемычка
Для возведения щитовой перемычки между крепью разбираются затяжки. При креплении выработки сплошняком убирают одну крепежную раму. В середине выработки, закрепленной деревом, устанавливают одну стойку 2 под верхняк, а при креплении металлом или бетоном возводят неполный дверной оклад.
В выработках с крепью из спецпрофиля дверной оклад устанавливают таким образом, чтобы верхняк находился в пазу. При этом паз в кровле делается с учетом диаметра верхняка. В бортах, кровле и почве выработки делают кольцевой паз с таким расчетом, чтобы убрать породу и уголь, потерявшие связь с массивом. Размеры паза: глубина 15 - 20 см, ширина 8 - 10 см. В паз заводят обрезные доски 1 толщиной 1,5 - 2 см и, начиная от кровли, прибивают внахлестку к крепи и стойке. В тех случаях, когда паз в кровле имеет неправильную форму и выровнять его не представляется возможным, верхнюю часть перемычки заделывают отрезками досок
(рис. 3.8, I).
Для контроля за газовым составом и температурой воздуха в изолированном пространстве в теле перемычки укрепляют трубу на расстоянии 25 - 30 см от кровли выработки. В выработках, имеющих приток шахтных вод, в нижней части перемычки укладывают трубу с гидрозатвором.
После возведения перемычки ее тело и сопряжение с породами (углем) по периметру выработки промазывают глиной или покрывают мастикой, латексом, пенопластом.
Временные шлакоблочные перемычки
Для сооружения блочных перемычек (рис. 3.9) используют блоки из топочных и доменных шлаков на цементном растворе (Ц:П - 1:4) размером 19 x 19 x 38 см. Применять их для кладки рекомендуется не раньше, чем через 25 сут. после изготовления.
Рис. 3.9. Шлакоблочная перемычка
Блоки обладают пористостью и имеют высокую воздухопроницаемость, поэтому их необходимо качественно штукатурить цементным раствором (Ц:П - 1:1; 1:2), покрывать силикатным раствором или мастикой.
Блочные перемычки по сравнению с кирпичными менее трудоемки в изготовлении, лучше противостоят действию воды и влаги воздуха. Их целесообразно возводить для изоляции участков в выработках, не испытывающих большого горного давления, в местах, где за ними может быть организован систематический контроль.
Толщину перемычки выбирают в два - три блока в зависимости от сечения выработки и ожидаемого давления. Кладку блоков ведут на цементном растворе с перевязкой швов. Пространство между пазом и кладкой заливают цементным раствором.
Возводят перемычку следующим образом. После выполнения подготовительных работ паз в почве очищают от породы, смачивают водой и заполняют цементным раствором толщиной 4 - 5 см (постель для кладки должна быть горизонтальной). Затем на цементный раствор размещают блоки 2. Перекрытие вертикальных швов между блоками при кладке достигается их смещением в рядах. Пустоты между стенками паза и блоками закладывают боем и заполняют цементным раствором.
В перемычке устанавливают металлическую дверь для доступа в выработанное пространство в случае необходимости. После укладки трех - четырех рядов (0,4 - 0,5 м от почвы выработки) в теле перемычки делают окно, в которое монтируют коробку двери. Укладку блоков в верхней части перемычки ведут от бортов к центру перемычки. Пространство в пазу у кровли, где нельзя разместить целые блоки, заполняют бетонитовым боем с цементным раствором. Со стороны действующих выработок поверхность тела перемычки и прилегающих к ней горных пород на расстоянии не менее 0,6 м штукатурят цементным раствором и белят или покрывают силикатным раствором 1.
3.3. Постоянные перемычки с врубом
Перемычки с врубом для профилактики и тушения подземных пожаров возводят в тех случаях, когда изолирующие сооружения в нормальных или в аварийных условиях могут оказаться под напором воды или пульпы, используемых для профилактики или для тушения подземных пожаров. Прочность перемычек, испытывающих давление более 1 кгс/см2, должна проверяться специальными расчетами.
Для удержания большого гидростатического давления необходимо возводить водоупорные перемычки.
Постоянные перемычки сооружают в противопожарных арках, а при отсутствии их - во врубах. Глубина вруба должна быть такой, чтобы обеспечивалась воздухонепроницаемость пород и угля, вмещающих перемычку. На практике обычно глубину вруба принимают в пределах 1 м по углю и 0,5 м по породе. Ширина вруба не должна превышать толщину перемычки более чем на 10%.
Выемку вруба, как правило, следует производить отбойным молотком или портативной врубовой машиной ПМВ-3. Применение взрывных работ для выемки вруба запрещается.
В выработках сечением более 10 м2 выемку вруба производят в три - четыре этапа (рис. 3.10). Сначала делают вруб в почве и боковых стенках до половины или до трети высоты выработки. После возведения нижней части перемычки I берут вруб в одном из бортов выработки и закладывают его (возводят "столб"). Затем делают вруб в противоположном борту и сооружают второй "столб" II. Только после этого можно приступить к выемке вруба в кровле III центральной части выработки. При сильно нарушенных породах кровля в месте возведения перемычки на время работы по взятию бортовых врубов подкрепляется подхватами.
Рис. 3.10. Схема выемки вруба и закладки перемычки
Разделка вруба за один прием на все сечение допускается только в крепких нетрещиноватых породах и угле.
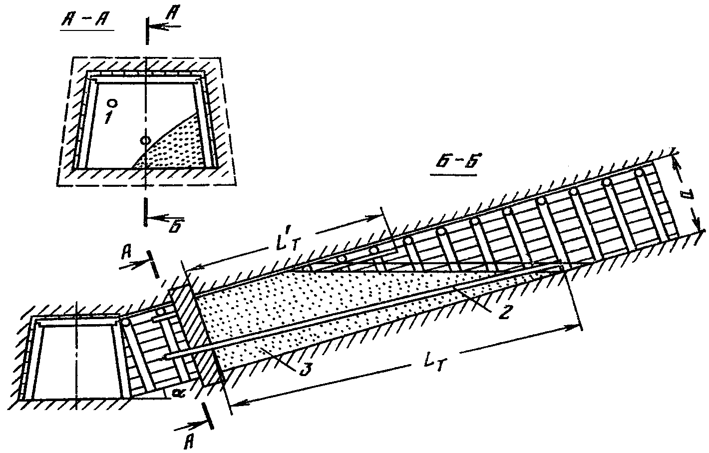
В выработках, имеющих значительный приток шахтных вод (более 1 м3/ч), до начала работ по взятию вруба устраивают порог (рис. 3.11). Его сооружают в 3 - 4 м от места возведения перемычки. Для стока воды у почвы выработки укладывают трубу диаметром 75 мм.
Рис. 3.11. Водоудерживающий порог
1 - труба; 2 - перемычка; 3 - порог
Для удобства заделки центральной части перемычки вруб в кровле выработки расширяют и скашивают под углом 50 - 60° (рис. 3.12). Величина расширения вруба
(табл. 3.1) зависит от материалов и конструкции изолирующего сооружения. Расширение в кровле перетягивают затяжками и закрепляют стойками под верхняк.
Рис. 3.12. Расширение вруба у кровли
Изолирующее сооружение | Размеры расширения (рис. 3.12), м |
а | б |
Перемычка: | | |
чураковая | 1 | 1,0 |
брусчатая торцовая | 1 | 1,0 |
брусчатая двух- и трехрядная | 1 | 0,7 |
кирпичная | 1 | 0,7 |
блочная и бетонитовая | 1 | 0,8 |
бетонная | 1 | 1,0 |
Арка: | | |
железобетонная | Ширина выработки | 1,0 |
брусчатая | То же | 0,7 |
кирпичная | " | 1,0 |
Расширение вруба в кровле может быть выполнено как со стороны действующих выработок, так и со стороны изолируемого пространства. В последнем случае в центре перемычки делают окно размером 0,7 x 0,7 м. После выполнения всех работ по возведению перемычки и ее штукатурки со стороны отработанного участка окно закладывают кирпичом или бетоном. При возведении перемычек из дерева на пластах угля, склонного к самовозгоранию, их покрывают огнезащитным составом.
При наличии в кровле разрушенного или сильно трещиноватого угля расширение вруба не делают.
Ниже приведено описание конструкций и технология возведения перемычек с врубом.
Постоянные чураковые перемычки
Чураковые перемычки (рис. 3.13) следует возводить в выработках, пройденных по углю с повышенным горным давлением.
Рис. 3.13. Чураковая перемычка
Для сооружения перемычек используют круглый лес диаметром 18 - 20 см и длиной 1 м. Перемычки со сроком службы более 6 мес должны возводиться из чураков, пропитанных антисептиком.
Сооружают их в следующем порядке. После выбора места и выполнения подготовительных работ устанавливают дополнительную крепь. Непосредственно у места сооружаемой перемычки заготавливают весь необходимый материал. Проводят разделку вруба и очистку выработки, прилегающей к перемычке. Затем от первой крепежной рамы со стороны изолируемого пространства набивают брусья или пластины 2, к которым на всю длину выработки нашивают доски 3. Обрезные доски прибивают впритык, необрезные - внахлестку. Выполненный таким образом щит должен соприкасаться с углем и отстоять от перемычки на 8 - 10 см. В аварийных условиях доски нашивают по мере возведения перемычки. После этого вруб в почве смачивают водой и заполняют на 10 - 15 см влажной глиной. На слое глины вплотную друг к другу размещают ряд чураков 4. Для более плотного прилегания чураки подбивают кувалдой. Последующие их ряды укладывают также на слой влажной глины толщиной 3 - 5 см таким образом, чтобы чураки каждого верхнего ряда располагались в шахматном порядке по отношению к чуракам нижних рядов. Необходимо, чтобы в каждом ряду были чураки одного диаметра. Верхние ряды заводят во вруб через расширение в кровле.
По мере возведения в перемычку закладывают контрольные трубы, а все пустоты между чураками, бортами выработки, щитом и врубом заполняют влажной глиной.
После укладки чураков перемычку расклинивают. Клинья 5 должны быть длиной, равной толщине перемычки (1 м), и заделаны на три грани. Клинья забивают сначала наполовину их длины (забивку ведут от краев к центру перемычки), затем на всю длину в той же последовательности.
Перемычку со стороны действующих выработок штукатурят глинистым раствором 1 толщиной не менее 2,5 см, расширение в кровле - глинистым раствором и закрепляют стойками под верхняк с перетяжкой кровли.
Чураки и клинья целесообразно заготавливать на поверхности, где этот процесс можно механизировать и выбрать качественную древесину.
Постоянные брусчатые торцовые перемычки
Брусчатые торцовые перемычки (рис. 3.14) возводят в выработках, пройденных по углю или смешанным забоем. Для их возведения используют брусья сечением 16 x 16 см. По длине брусья заготавливают трех размеров: длинные 4 должны быть больше ширины выработки на величину вруба с одной стороны, укороченные 3 - равны величине вруба и короткие 2 - толщине перемычки.
Рис. 3.14. Брусчатая торцовая перемычка
При сроке службы перемычки более года брусья должны быть обработаны антисептиком. Кладку перемычек ведут на мастике или на цементном растворе. При возведении перемычек в выработках, пройденных по самовозгорающимся пластам угля, брусья нужно покрывать огнезащитным составом.
Порядок возведения брусчатых торцовых перемычек следующий. После выбора места, взятия вруба и выполнения подготовительных работ вруб в почве заливают слоем мастики толщиной 5 - 8 см и на него укладывают первый ряд коротких брусьев. Этот ряд заливают мастикой (3 - 5 см) и размещают длинные брусья. Затем проверяют горизонтальность кладки по уровню в двух направлениях. В месте стыков брусьев со стороны изолируемого пространства в выработках, закрепленных деревянной крепью, устанавливают две стойки под верхняк.
На
рис. 3.14 показана брусчатая торцовая перемычка в выработке, имеющей арочное сечение и закрепленной спецпрофилем. Место для возведения перемычки выбирается с таким расчетом, чтобы тело перемычки соприкасалось с арочной крепью 5 со стороны изолируемого пространства.
На участках, имеющих приток шахтных вод, укладку брусьев целесообразно производить на бетонном основании - пороге (см.
рис. 3.25). Укладку последующих рядов ведут таким образом, чтобы короткие, длинные и укороченные брусья чередовались между собой. Длинные брусья заводят во вруб с одной стороны, а оставшуюся часть до стенки противоположного вруба закладывают укороченными брусьями. Необходимо, чтобы последние чередовались по боковым сторонам перемычки, а швы между ними и короткими (поперечными) брусьями не совпадали по вертикали. Все прилегающие поверхности брусьев внутри перемычки должны быть покрыты слоем мастики толщиной не менее 1,5 см. Пустоты между стенками вруба и брусьями заполняют мастикой.
Верхняя часть перемычки, где трудно разместить очередной ряд длинных брусьев, может быть заложена короткими брусьями полного или уменьшенного сечения. Расширение в кровле покрывают изолирующим составом и закрепляют стойками под верхняк с перетяжкой кровли.
Поверхность тела перемычки и прилегающих к ней пород и угля покрывают мастикой или латексом в смеси с жидким стеклом 1. Со стороны изолируемого пространства покрытие наносят на 1/2 - 2/3 высоты нижней части перемычки по мере ее возведения. Со стороны действующих выработок покрытие изолирующими составами производят после окончания всех работ по сооружению перемычки. Изолирующий состав наносят на кладку и вмещающие горные породы на расстоянии не менее 0,6 м от их сопряжения с телом перемычки.
Постоянные брусчатые двух- и трехрядные перемычки
В зависимости от ожидаемого давления горных пород и сечения выработки перемычки могут сооружаться двухрядные (рис. 3.15) и трехрядные. Для их возведения используют брусья сечением от 16 x 16 до 20 x 20 см. При сроке службы перемычки более одного года брусья необходимо пропитывать антисептиком. При возведении перемычек в выработках, пройденных по самовозгорающимся пластам угля, брусья нужно покрывать огнезащитным составом.
Сечение бруса, мм | a, мм |
2 ряда | 3 ряда |
16 x 16 | 345 | - |
18 x 18 | 385 | 580 |
20 x 20 | - | 640 |
Рис. 3.15. Брусчатая двухрядная перемычка
Заготавливают брусья на поверхности. Длину брусьев 2 принимают больше ширины выработки на величину вруба с одной стороны. Оставшееся пространство до стенки вруба с другой стороны закладывают короткими брусьями 3.
При возведении брусчатой перемычки в месте стыков со стороны изолируемого пространства устанавливают две стойки 4 под верхняк. Нижние брусья размещают во вруб в почве выработки на слой цементного раствора (Ц:П - 1:1) толщиной 5 - 8 см. В выработках, имеющих приток шахтных вод, вруб в почве целесообразно заливать бетоном и создавать бетонное основание - порог высотой 0,3 - 0,5 м от почвы выработки (см.
рис. 3.25). Порог предотвращает размыв пород и угля по врубу и увеличивает срок службы перемычки.
Ряды брусьев укладывают на слой мастики толщиной 1 - 1,5 см. При применении мастики благодаря ее пластичности перемычка не теряет герметичности даже при наличии большого горного давления. При ее возведении необходимо короткие отрезки брусьев чередовать по боковым сторонам выработки, а горизонтальные швы в двух- и трехрядных перемычках смещать по вертикали. Все пустоты между стенками вруба и концами брусьев заполняют мастикой.
Верхнюю часть перемычки, где невозможно разместить брус, закладывают отрезками брусьев.
После возведения перемычки ее поверхность и прилегающие породы (уголь) покрывают латексом или мастикой 5. Затем в месте стыков брусьев устанавливают две стойки 1 под верхняк. Стойками 6 закрепляют расширение.
Если перемычка может оказаться под давлением пульпы или воды, ее следует усилить стропильной крепью.
При возведении перемычек в трещиноватых породах (угле) их подвергают тампонажу пастой или мастикой. Методика выполнения тампонажных работ и применяемое оборудование аналогичны тем, которые используют при сооружении безврубовых перемычек.
Постоянные кирпичные перемычки
Кирпичные перемычки (рис. 3.16) наиболее целесообразно сооружать для изоляции пожарных участков. Преимущество кирпичных перемычек по сравнению с бетонными состоит в том, что их прочность (при условии укладки кирпича на растворе из быстротвердеющего цемента) наступает значительно раньше (в 2 - 3 раза).
Рис. 3.16. Кирпичная перемычка
Перемычки из обычного кирпича не рекомендуется возводить на срок более 2 - 2,5 года, так как кирпич в условиях шахты постепенно теряет свою первоначальную прочность. Кирпичные перемычки не следует сооружать на участках с большим давлением горных пород и в местах, где нельзя организовать постоянный контроль за их состоянием. При обнаружении горного давления на перемычку (появление трещин в кладке, разрушение кирпича) следует поставить рядом (впритык) другую перемычку или возвести дополнительную подпорную стенку (контрфорс).
Для кладки перемычек в сырых выработках, а также для перемычек, удерживающих заиловочный материал, следует применять пережженный кирпич. Такой кирпич имеет повышенную хрупкость, но почти не поглощает воду.
В зависимости от ожидаемого горного и гидростатического давления перемычку возводят толщиной в два или в три кирпича.
Порядок сооружения кирпичных перемычек следующий. После выбора места для возведения перемычки, выполнения подготовительных работ, установки дополнительной крепи и заготовки необходимого материала приступают к разделке вруба. Вруб в почве заливают цементным раствором толщиной 2 - 2,5 см, на него укладывают ряд кирпичей 4, проверяют его горизонтальность, заполняют раствором пустоты в вертикальных швах. Кирпич перед укладкой очищают от пыли, грязи и смачивают водой. При кладке зазоры между кирпичами и стенками вруба необходимо тщательно заполнять цементным раствором. Пустоты больших размеров заполняют битым кирпичом (щебенкой) с цементным раствором.
Следует применять русскую цепную кладку кирпичей, в которой чередуются ложковые (нечетные) ряды с тычковыми (четными). При таком чередовании в двух рядах соблюдается полная перевязка вертикальных швов. При возведении перемычки необходимо строго следить за тем, чтобы вертикальные швы не проходили на всю длину и не совпадали между собой в двух последовательно расположенных рядах.
Перемычку сооружают на высоте 0,4 - 0,6 м от почвы выработки. После этого кладку кирпича ведут таким образом, чтобы в теле перемычки образовалось окно 3 для прохода рабочих в изолированное пространство. Конструкция окна и технология его сооружения приведены в
2.1. Наличие окна позволяет выполнять работы по кладке и штукатурке перемычки со стороны изолируемого пространства. Кладку верхней части перемычки ведут от бортов к ее центру. Расширение вруба у кровли закрепляют стойками 2 под верхняк.
Перемычку и прилегающие к ней породы с двух сторон штукатурят цементным раствором и белят или покрывают силикатным раствором 1. Со стороны действующих выработок тело перемычки и породы штукатурят после закладки окна и окончания всех работ по ее сооружению.
Кладочный и штукатурный цементные растворы приготавливают на месте их применения.
Постоянные блочные и бетонитовые перемычки
Для сооружения блочных перемычек (рис. 3.17) используют блоки из топочных и доменных шлаков на цементном растворе (Ц:П - 1:4) размером 19 x 19 x 38 см. Применять их рекомендуется не раньше чем через 25 сут. после изготовления.
Рис. 3.17. Блочная перемычка
Блоки обладают пористостью и имеют высокую воздухопроницаемость, поэтому их необходимо качественно штукатурить цементным раствором (Ц:П - 1:1; 1:2) и покрывать силикатным раствором или мастикой.
Блочные перемычки по сравнению с кирпичными менее трудоемки в изготовлении, лучше противостоят действию воды и влаги воздуха. Их целесообразно возводить для изоляции пожарных участков в выработках, не испытывающих большого горного давления, в местах, где за ними может быть организован систематический контроль. Толщину перемычки выбирают в два - три блока в зависимости от сечения выработки и ожидаемого давления. Кладку блоков ведут на цементном растворе с перевязкой швов. Пространство между врубом и кладкой заливают цементным раствором. Трещиноватые породы или уголь, вмещающие перемычку, необходимо цементировать или тампонировать мастикой. После сооружения перемычки ее поверхность и прилегающие породы штукатурят слоем в 1 см, железнят и белят или покрывают силикатным раствором.
Бетонитовые перемычки целесообразно сооружать в выработках, пройденных по породе, для изоляции отработанных выемочных участков, крыльев, горизонтов шахт и пожарных участков. Срок службы перемычек более 5 лет.
Используются бетониты (бетонные камни) марок Т-1, Т-2 и Т-3. Кладку бетонитов ведут на цементном растворе повышенной прочности (Ц:П - 1:2; 1:3).
Чаще бетонитовые изолирующие перемычки возводят из бетонитов марки Т-1 в три блока. Перемычки, предназначенные для удержания напора пульпы или воды, выполняют из бетонитов марок Т-2 и Т-3, имеющих форму клиньев.
Возводят перемычки следующим образом. После выполнения подготовительных работ вруб в почве очищают от породы, смачивают водой и заполняют цементным раствором (Ц:П - 1:1) слоем 6 - 8 см, на котором размещают бетонитовый бой 2 с таким расчетом, чтобы постель для кладки была горизонтальной. Затем на заполнитель укладывают цементный раствор толщиной 4 - 5 см и на нем размещают бетониты 3. Перекрытие вертикальных швов между бетонитами при кладке достигается их смещением в рядах. Пустоты между стенками вруба и бетонитами закладывают боем и заполняют цементным раствором.
После укладки четырех - шести рядов (0,4 - 0,6 м от почвы выработки) в теле перемычки делают окно 1, которое позволяет вести работы по кладке и штукатурке перемычки со стороны изолируемого пространства. Конструкция окна и технология его сооружения приведены в
2.1. Укладку бетонитов в верхней части перемычки ведут от бортов к центру перемычки. Пространство во врубе у кровли, где нельзя разместить целые блоки, заполняют бетонитовым боем с цементным раствором.
После штукатурки перемычки и вмещающих пород со стороны отработанного пространства и установки стоек в расширении закладывают окно. Размеры окна должны предусматривать возможность его заполнения целыми блоками.
Со стороны действующих выработок поверхность тела перемычки и прилегающих к ней горных пород на расстоянии не менее 0,6 м штукатурят цементным раствором и белят или покрывают силикатным раствором 4.
Постоянные бетонные перемычки
Бетонные перемычки (рис. 3.18) используют для изоляции пожарных и отработанных участков (лав), а также когда они должны противостоять напору (до 1 кгс/см2) воды, пульпы. Толщина перемычек в зависимости от ожидаемого гидростатического и горного давления может быть принята 0,5; 0,75 и 1 м. При гидростатическом давлении более 1 кгс/см2 сооружают специальные водоупорные перемычки, имеющие более сложные конструкции, элементы которых подлежат расчету по специальной методике в каждом отдельном случае.
Рис. 3.18. Бетонная перемычка
Бетонные изолирующие перемычки возводят в следующем порядке: выполняют вспомогательные операции и делают вруб; со стороны изолируемого пространства выработки устанавливают две стойки 2, к которым прибивают опалубку; со стороны действующих выработок ее возводят по мере укладки бетона. При нашивке досок необходимо следить за вертикальностью стенок опалубки и плотностью стыков и швов. В месте расположения окна опалубку перемычки не устанавливают.
Укладку бетона 4 ведут слоями в 25 - 40 см и тщательно трамбуют до появления на его поверхности "цементного молока". Необходимо следить за тем, чтобы бетон заполнял все трещины и пустоты в породах. Укладку бетона ведут от бортов к центру перемычки.
После возведения перемычки на 0,5 м от почвы выработки устанавливают опалубку для окна, раскрепляют ее и производят нашивку досок опалубки перемычки со стороны изолируемого пространства до кровли выработки. Конструкция окна и технология его сооружения приведены в
2.1. В верхнюю часть вруба нагнетают цементный раствор под давлением до 5 кгс/см2 через трубу 6, заложенную в перемычку у кровли.
Трубы для выпуска воды, замера температуры и закачки цементного раствора встраивают по мере укладки бетона.
Через шесть - семь дней после окончания работ по укладке бетона снимают опалубку со стороны изолируемого пространства, выравнивают и штукатурят бетонную стенку. Особое внимание при этом следует обращать на качество заделки пустот в сопряжении тела перемычки с породами и на штукатурку пород на расстоянии не менее 0,5 м.
Затем устанавливают опалубку 1 и заполняют окно бетоном 3. После этого снимают опалубку со стороны действующих выработок, выравнивают бетонную стенку, заделывают цементным раствором (Ц:П - 1:1) раковины и пустоты. Поверхность перемычки железнят и белят или покрывают силикатным раствором 5.
При возведении в трещиноватых породах последние подвергаются тампонажу цементным раствором. Бетонные смеси, как правило, должны готовиться на бетонных заводах и доставляться на шахту в готовом виде. Как исключение допускается приготовление бетона в районе возведения перемычки.
3.4. Перемычки для наклонных и вертикальных выработок
Изолирующие сооружения, возводимые в наклонных (более 30°) и в вертикальных выработках, отличаются тем, что тело перемычки сооружают на опорной плите. Опорную плиту изготавливают из рельсов Р-18, Р-24, двутавровых балок N 10 и 12 или из швеллеров N 10 и 12, которые заводят во вруб.
При выборе размеров вруба необходимо учитывать не только возможность возведения воздухонепроницаемой перемычки, но и создание конструкции, способной нести вес изолирующего сооружения и противостоять давлению горных пород. Перемычка должна сооружаться в крепких нетрещиноватых углях и породах. При необходимости возведения перемычки в нарушенных породах последние укрепляются цементацией. В выработках перемычки устанавливают по нормали к почве, на расстоянии не менее 5 м от пересечения выработок.
Перед началом работы на расстоянии 1,5 - 1,7 м ниже перемычки необходимо возвести вспомогательный полок, который предназначается для удобства ведения работ и предохранения от падения в выработку материалов и оборудования, а также для их размещения во время возведения перемычки. В устье выработки и не выше 20 м от места работы возводят прочные заграждения.
Перемычки в наклонных и вертикальных выработках могут быть как глухими, так и с лядами (дверьми). Ляда выполняется из металлических уголков и листового железа с резиновыми уплотнителями. Она должна открываться только вверх и быть герметичной. Размеры прохода, оборудованного лядой, должны быть не менее 0,7 x 0,7 м.
Для спуска воды и контроля за температурой и газовым составом в изолированном пространстве в перемычку заделывают две трубы. Если перемычка подыливается, то закладывается третья труба, которая должна быть выше заиловочной пробки на 1 м. Трубу для спуска воды делают U-образной формы, ее верхний конец должен размещаться на высоте 1,5 - 2 м от перемычки и иметь перфорацию. Труба для измерения температуры и набора проб размещается рядом с лестницей и закрывается заглушкой. В перемычках, где для усиления изоляции используют глинистую пульпу, контрольная труба должна быть выше изолирующей пробки на 1 м.
При подыливании перемычки снизу, кроме контрольной, в ее теле устанавливают еще две трубы - для подачи пульпы и выпуска осветленной воды. Конец трубы для подачи пульпы должен находиться на 1,5 м выше заиливаемой зоны. Трубу для выпуска воды оборудуют гидрозатвором и делают короче заиловочной на 0,5 м.
Перемычки в наклонных и вертикальных выработках при большом горном давлении боковых пород выполняют из брусьев, а при значительном сроке службы - из бетона или кирпича. Крепь выработки ниже перемычки на расстояние 3 - 4 м должна быть усилена, а борта верхней части вруба перетянуты железобетонными затяжками.
На рис. 3.19 показаны конструкции опорных плит для кирпичных, железобетонных и брусчатых перемычек.
Рис. 3.19. Конструкции опорных плит
а - для кирпичной перемычки;
б - для железобетонной перемычки; в - для брусчатой
перемычки; 1 - рельс; 2 - цементный раствор; 3 - кирпич;
4 - балка; 5 - бетон; 6 - опалубка; 7 - бревно; 8 - брус
Работы по возведению перемычки начинают с подвески крепи к опорному венцу. Подвеска осуществляется при помощи крючков или канатов таким образом, чтобы каждый нижележащий венец был закреплен за вышележащий и через него за опорный. Затем снимают три - четыре венца и приступают к разделке вруба. После окончания работ по возведению перемычки подвешенные венцы подкрепляют стойками.
Перемычки, за состоянием которых невозможно организовать систематический контроль, сверху засыпают инертными материалами. В сухих выработках для этой цели используют сланцевую (инертную) пыль (толщина слоя 2 - 3 м). В выработках, имеющих капеж или приток шахтных вод, применяют пластичную глину, которую укладывают на перемычку слоем в 0,8 - 1 м и тщательно трамбуют. Трубы для набора проб воздуха в изолированном пространстве и спуска воды должны иметь такую длину, чтобы верхний конец первой был выше "подушки" из инертного материала на 0,5 - 0,7 м, а второй - на 0,2 - 0,3 м. Тупик у перемычки со стороны действующих выработок должен проветриваться (см.
рис. 2.2).
Брусчатые перемычки для наклонных и вертикальных выработок
Брусчатые перемычки (рис. 3.20) следует возводить в скатах, печах, шурфах, уклонах и бремсбергах площадью до 11 м2 в свету при наличии большого горного давления. Перемычки этого типа сооружаются глухими в местах, имеющих свободный доступ с выработок, расположенных выше. Технология возведения брусчатых перемычек состоит в следующем.
Рис. 3.20. Брусчатая перемычка для наклонных
и вертикальных выработок
После подвески крепи к опорному венцу в местах возведения перемычки по периметру выработки убирают крепь и делают вруб глубиной не менее 0,5 м по породе и 1 м по углю. Затем по короткой стороне выработки в дополнительные углубления во врубе укладывают балки 3 на расстоянии 0,5 - 0,7 м друг от друга. На балки размещают первый ряд брусьев сечением 16 x 16 см, концы которых заводят во вруб с одной стороны выработки, причем длинные брусья 5 надставляют короткими 4. Концы брусьев второго ряда 2 заводят во вруб с другой стороны выработки. Кладку брусьев производят на цементном растворе или на мастике. Перед укладкой последнего ряда необходимо заполнить цементным раствором все пустоты между брусьями, балками и породами вруба. На третий ряд брусьев заливают цементный раствор 1 слоем 3 - 5 см. После затвердевания цемента поверхность перемычки штукатурят, железнят и белят. Под первый верхний от перемычки круг устанавливают дополнительную крепь.
Кирпичные и бетонитовые перемычки для наклонных и вертикальных выработок
Кирпичные перемычки (рис. 3.21) следует возводить в скатах, сбойках, гезенках, шурфах, бремсбергах и уклонах сечением до 10 м2 в свету.
Рис. 3.21. Кирпичная перемычка для наклонных
и вертикальных выработок
При наличии свободного подхода к перемычке с вышележащей выработки порядок ее сооружения следующий. После подвески крепи к опорному венцу по периметру наклонной выработки делают вруб глубиной не менее 0,5 м по породе и 1 м по углю. Во врубе по короткой стороне выработки в дополнительные углубления укладывают металлические балки 4 на расстоянии 0,5 - 0,7 м друг от друга. При сечении выработки менее 4 м2 укладка балок необязательна.
По длинной стороне выработки укладывают рельсы 3 с расстоянием между центрами 285 мм. Пространство между рельсами закладывают кирпичом 2. Затем кирпич, рельсы и пространство между рельсами и балками во врубах заливают цементным раствором (Ц:П - 1:2; 1:3) слоем 1,5 см. На образованной таким образом опорной плите ведут кирпичную или бетонитовую кладку с перевязкой швов.
При необходимости заиливания вставляют две трубы: одну - для подачи пульпы, другую - для спуска воды, замера температуры и набора проб газа.
Толщину перемычки выбирают в зависимости от ее площади и ожидаемого давления. Обычно кирпичные перемычки сооружают при площади до 5 м2 в три - четыре кирпича или в два блока, а более 5 м2 в четыре - шесть рядов кирпича или в три блока. После окончания кладки поверхность перемычки заливают цементным раствором 1 толщиной 1,5 см. Сопряжение тела перемычки и породы необходимо тщательно заполнить цементным раствором. После затвердевания раствора поверхность перемычки штукатурят, железнят и белят. Устанавливают дополнительную крепь под первый верхний круг.
При отсутствии свободного подхода к месту возведения с расположенной выше выработки в перемычке оставляют проем, который оборудуется герметичной лядой или перекрывается опалубкой. В опалубку монтируют трубу диаметром 50 мм, через которую в проем закачивают цементный раствор.
Железобетонные перемычки для наклонных и вертикальных выработок
Железобетонные перемычки (рис. 3.22) возводят в стволах, шурфах, скатах, уклонах и бремсбергах сечением более 4 м2.
Рис. 3.22. Железобетонная перемычка для наклонных
и вертикальных выработок
При наличии доступа с вышележащих выработок перемычки сооружают в следующем порядке. Монтируют вспомогательный полок. В месте возведения перемычки убирают крепь. Размеры обнажения не должны превышать полуторную толщину перемычки. Для предохранения верхних венцов крепи от смещения их закрепляют отрезками стоек 1. Делают вруб и устанавливают комплект, на который прибивают обрезные доски опалубки 4. Во вруб укладывают балки 3 на расстоянии 0,8 м друг от друга и соединяют стяжными болтами. Для удобства транспортирования и монтажа балки заготавливают разъемными. Соединяют их в месте укладки. Балки 2 размещают во вруб на расстоянии 0,5 м друг от друга. Применение продольных балок при сечении выработки менее 8 м2 необязательно.
В перемычках с проемами лаз обшивают опалубкой 6 и монтируют металлические ляды 5. Металлическую коробку ляды, трубы для спуска воды и измерения температуры и набора проб воздуха в изолированном пространстве прикрепляют к балкам.
Укладку бетона ведут слоями в 16 см и тщательно трамбуют до появления на его поверхности "цементного молока". Необходимо следить, чтобы бетон заполнял все пространство между балками и пустоты во врубе. Толщина слоя бетона над балками должна составлять 8 - 10 см.
После затвердевания бетона раковины и неровности на его поверхности заполняют цементным раствором. Перемычку штукатурят, железнят или покрывают силикатным раствором.
В местах, где отсутствует или затруднен подход с выработок, расположенных выше, перемычки сооружают обязательно с лазом или с окном, заделка которого производится после окончания всех работ по возведению перемычки. Для этого окно снизу обшивают опалубкой, в которой монтируют трубу диаметром 50 мм. Через трубу окно заполняют цементным раствором (Ц:П - 1:2). Работы в этом случае ведут со вспомогательного полка. Если необходимо иметь проход в выработанное пространство, лаз оборудуют лядой.
3.5. Безврубовые перемычки
Практикой установлено, что перемычки с врубом не всегда имеют требуемую герметичность. Устройство врубов ослабляет породы (уголь) и приводит к образованию дополнительных трещин. Наличие вруба не позволяет получить надежного уплотнения тела перемычки с породами, что приводит к утечкам (подсосам) воздуха по контуру перемычки. Кроме того, работы по разделке и закладке вруба трудоемки и занимают от 30 до 80% времени на возведение перемычки, а на закладку вруба расходуется 20 - 50% материалов, идущих на перемычку. Стоимость безврубовых перемычек в 1,5 - 2 раза ниже, чем перемычек с врубом.
Безврубовые перемычки отличаются от обычных отсутствием вруба и наличием серии шпуров, пробуренных во вмещающих породах по периметру выработки в месте возведения перемычки.
Шпуры бурят по одной из схем (рис. 3.23): по схеме рис. 3.23, а - после взятия паза в крепких малонарушенных углях и породах, когда возможно значительно обнажить пространство в месте возведения перемычки; по схеме рис. 3.23, б - в сильнотрещиноватых и нарушенных углях и породах после возведения тела перемычки. Глубина шпуров в зависимости от трещиноватости и состояния пород и угля должна составлять по углю 1,3 - 1,6 м, по породе 0,7 - 1 м.
Рис. 3.23. Схемы бурения тампонажных шпуров
1 - тампонируемая порода (уголь); 2 - шпур;
3 - паз в породе (угле); 4 - труба; 5 - канал в теле
перемычки; 6 - тело перемычки
При тампонаже пород и угля в каждый из шпуров вводят герметизатор и растворонасосом под давлением 3 - 5 кгс/см2 подают раствор, который заполняет щели, трещины и пустоты в породах и угле. В качестве тампонажных растворов могут быть использованы паста, мастика и цементный раствор.
Для усиления связи в теле перемычки и в породах делают паз (канал), в который через трубы нагнетают под давлением цементный раствор, пасту или мастику. Повышение устойчивости безврубовых перемычек против осевых нагрузок достигается применением металлической арматуры, вводимой в шпур и в паз перемычки. На рис. 3.24 показан уплотнительный манжет с арматурой (а) и с анкерным болтом (б) для бетонных перемычек. При возведении брусчатых, кирпичных и блочных перемычек может быть использован трубчатый тампонажный анкер (см.
рис. 5.11).
Рис. 3.24. Уплотнительный манжет
1 - спецпрофиль; 2 - цементный раствор;
3 - анкер; 4 - арматура; 5 - порода
Безврубовые перемычки в нарушенных породах, так же как и перемычки с врубом, не следует возводить на всю высоту выработки, а сооружать в три - четыре приема. Материалом для перемычек может служить кирпич, бетон, брусья, плахи, пенопласт и др.
Ниже даны описание конструкций и технология возведения бетонных, кирпичных, брусчатых и щитовых безврубовых перемычек.
Требования к материалам аналогичны требованиям, предъявляемым для перемычек с врубом.
Безврубовые брусчатые перемычки
Безврубовые брусчатые перемычки (рис. 3.25) предназначаются для изоляции отработанных участков.
Рис. 3.25. Безврубовая брусчатая перемычка
Сооружают перемычки в два бруса сечением 18 x 18 см. В выработках, пройденных по самовозгорающимся пластам угля, перемычки нужно возводить из брусьев, покрытых огнезащитным составом.
В месте возведения перемычки убирают элементы крепи. По периметру выработки делают паз глубиной 15 - 20 см и шириной, равной толщине перемычки. Из паза в породе или угле бурят шпуры 3 длиной соответственно 0,7 - 1 или 1,3 - 1,6 м, в которые нагнетают мастику. В месте стыков брусьев со стороны выработанного пространства устанавливают две стойки, к которым прибивают опалубку 4 на высоту 0,5 м от почвы выработки. Вторую стенку опалубки 7 делают на расстоянии, равном двойной толщине перемычки. Затем устанавливают трубу для спуска воды, а пространство между стенками опалубки закладывают бетоном 2.
Брусья укладывают на затвердевший бетон. Первый ряд брусьев заливают цементным раствором. Длинные брусья 6 заводят в паз и надставляют короткими 5, стыки которых чередуют по боковым сторонам выработки. Нужно следить за тем, чтобы при кладке горизонтальные швы соседних рядов брусьев были смещены по вертикали. Кладку ведут на слой мастики толщиной 2 см.
После размещения верхнего ряда брусьев и заливки их мастикой паз в кровле закладывают отрезками бруса. Брусья, бетонное основание и боковые породы покрывают слоем мастики толщиной 1 см.
В выработке, имеющей арочное сечение и закрепленной спецпрофилем, место возведения безврубовой брусчатой перемычки выбирают с таким расчетом, чтобы при кладке брусья соприкасались с крепежной рамой, со стороны изолируемого пространства. После снятия затяжек берут паз, бурят шпуры и нагнетают тампонажный состав. Затем сооружают опалубку на высоту 0,5 м и закрепляют в выработке. Спецпрофиль должен находиться от внутренней стенки опалубки на расстоянии 5 см. Вторую стенку опалубки располагают на расстоянии 0,75 м от первой. После установки трубы для пуска воды опалубку заполняют бетоном 2.
При неустойчивой породе (угле) бортов и кровли выработки затяжки убирают на высоту 0,7 м от почвы, делают паз, сооружают опалубку и заполняют ее бетоном. Все последующие работы выполняют после затвердевания бетона.
Технология работ по укладке брусьев, покрытию тела перемычки и вмещающих пород мастикой 1 аналогична описанной выше.
Безврубовые кирпичные и бетонитовые перемычки
Безврубовые кирпичные и бетонитовые перемычки используют для изоляции основных выработок (откаточных штреков, ходков, уклонов). Кирпичные перемычки возводят толщиной 2,5 кирпича в выработках со сроком службы менее 3 лет, не имеющих значительного (более 1 м3/ч) притока шахтных вод. Бетонитовые перемычки сооружают толщиной в два блока в выработках, подверженных большому горному давлению.
Перемычки (рис. 3.26) сооружают как в породных, так и в угольных выработках в следующем порядке. В месте их возведения убирают затяжки, очищают борта, кровлю и почву. В породе (угле) по периметру выработки делают паз 10 x 15 см и из него бурят шпуры 6 длиной 1,3 - 1,6 м по углю и 0,7 - 1 м по породе. Расстояние между ними принимают 0,8 - 1 м. В шпуры нагнетают цементный раствор до выхода его из массива или из соседних шпуров. После нагнетания в каждый шпур или через один вводят металлическою арматуру 1 - трубы или стержни диаметром 25 - 30 мм. Длина арматуры зависит от длины шпура и должна равняться суммарной глубине шпура и паза.
Рис. 3.26. Безврубовая кирпичная перемычка
Паз в почве заливают бетоном. После затвердевания бетона на него укладывают кирпичи или бетониты.
Кладку ведут в 2,5 кирпича 5 или в два бетонита на цементном растворе с перевязкой швов таким образом, чтобы по центру периметра перемычки был образован кольцевой канал 3 размером не менее 150 x 150 мм, в который заделывают концы арматуры.
В перемычке оставляют окно для контроля за качеством ее возведения и штукатурки тела перемычки и прилегающих пород со стороны изолируемого пространства. Конструкция окна и технология его сооружения описаны в
2.1. По мере кладки в тело перемычки укладывают шесть - восемь отрезков труб 4 диаметром 40 - 50 мм, один конец которых заводят в канал, другой - в сторону действующих выработок. После возведения перемычки в каждую трубу, начиная от почвы, под давлением не более 5 кгс/см2 подают цементный раствор консистенции 1:1 (цемент:вода). Если во время заполнения канала и паза цементный раствор начинает вытекать в месте сопряжения тела перемычки с вмещающей породой (углем), подачу раствора прекращают. Спустя 5 - 6 ч нагнетание повторяют. Затем закладывают окно; перемычку и прилегающие к ней породы (уголь) со стороны действующих выработок штукатурят и белят или покрывают силикатным раствором 2.
Безврубовые бетонные перемычки
Бетонная безврубовая перемычка (рис. 3.27) возводится в следующем порядке.
Рис. 3.27. Безврубовая бетонная перемычка
В месте сооружения тела перемычки убирают затяжки, разбирают отслоившиеся куски породы и угля по периметру выработки и бурят шпуры длиной 0,7 - 1 м на расстоянии 0,8 - 1 м друг от друга. В шпуры заводят арматуру 1 и анкера 2. Количество и диаметр арматурных штырей и анкерных болтов выбирают в зависимости от состояния пород, сечения выработки и ожидаемого давления. Прогоны спецпрофиля 6, конфигурация и размеры которых определяются формой и периметром выработки, присоединяют к анкерным болтам, закрепленным в породе (угле).
Арматуру заводят в шпуры и в желоб спецпрофиля по мере установки прогонов, которые образуют по всему контакту с породами полый кольцевой канал, соединенный с устьями шпуров. В канал заводят четыре - пять отрезков труб 7 диаметром 40 - 50 мм.
Перемычки сооружают в той же последовательности, что и обычные (врубовые) бетонные. Для этой цели со стороны изолируемого пространства устанавливают две - три деревянные стойки 3, к которым прибивают доски 4 опалубки. Опалубку со стороны действующих выработок возводят по мере укладки бетона. После укладки и схватывания бетона в теле перемычки образуется цементный уплотнительный манжет. Конструкция манжета показана на
рис. 3.24. Затем в кольцевой паз через трубы в несколько приемов закачивают цементный раствор (Ц:П - 1:1) под давлением 3 - 5 кгс/см2. Цементный раствор заполняет пустоты и трещины в породах и скрепляет с ними арматуру, анкера и спецпрофиль. Созданный цементный пояс уплотняет контакт тела перемычки с породами. После схватывания бетона (через 7 - 10 дней) опалубку снимают, цементным раствором выравнивают поверхность бетона, заделывают раковины и пустоты в перемычке и сопряжении с породами. Затем перемычку железнят или покрывают силикатным раствором 5.
Безврубовые гипсовые перемычки
Гипсовые изолирующие перемычки (рис. 3.28) возводят при помощи агрегатов "Монолит" и "Пневмолит" и комплексов "Темп". Толщина изолирующей перемычки из пластифицированного строительного гипса I сорта составляет в зависимости от сечения выработки: 0,8 м - для сечения 4 - 6 м2; 1 м - для сечения 6 - 12 м2; 1,2 м - для сечения 12 - 20 м2. Средний расход гипса на 1 м2 перемычки составляет 1,5 т.
Рис. 3.28. Гипсовая перемычка
Агрегаты "Монолит" и "Пневмолит" при выполнении работ размещают в непосредственной близости (3 - 4 м) от сооружаемой перемычки.
При смешивании гипса с водой (при водо-гипсовом отношении 0,40 - 0,65) образуется подвижная суспензия, которая через 15 - 20 мин схватывается, а через 2 ч затвердевает в прочную массу.
Технология возведения изолирующих гипсовых перемычек подробно описана в инструкциях по эксплуатации агрегатов "Монолит" и "Пневмолит" и состоит в следующем.
В месте сооружения перемычки убирают затяжки в бортах и кровле выработки, обрушают породу (уголь), потерявшую связь с массивом. Почву очищают от кусков породы, штыба и мусора. При притоке воды на почве укладывают трубу для ее стока или делают водоудерживающий порог (см.
рис. 3.11). Затем на расстоянии, равном толщине перемычки, устанавливают два неполных дверных оклада. К стойкам оклада со стороны изолируемого пространства набивают доски и ткань (мешковину). Зазоры между опалубкой и боковыми породами уплотняют мешковиной или промазывают раствором гипса. После этого на дверной оклад со стороны действующих выработок прибивают доски и ткань на высоту 1 - 1,2 м. Пространство между опалубками заполняют гипсовой смесью. Затем, наращивая опалубку на 0,4 - 0,5 м, возводят перемычку до кровли выработки. Для контроля за температурой и газовым составом в изолированном пространстве в перемычке монтируют трубу.
4. Дополнительные средства изоляции
В тех случаях, когда обычными средствами невозможно обеспечить необходимое качество изоляции выработанных пространств, производят повторное покрытие перемычек и прилегающих горных пород изолирующими составами, возведение рубашек и тампонаж пород и угля.
Выбор дополнительных средств изоляции производится с учетом места и количества утечек воздуха, величины депрессии, характера и степени разрушенности горных пород, конструкции, срока службы, состояния и назначения изолирующего сооружения.
4.1. Изолирующие покрытия
Все постоянные изолирующие сооружения независимо от назначения, конструкции и материалов после возведения обязательно штукатурят или покрывают изолирующими составами с целью повышения их герметичности. Штукатурные и изолирующие составы наносят как на вновь возведенные изолирующие сооружения, так и на старые при их ремонте. Составы следует наносить только на поверхности, очищенные от пыли, отслоившихся кусков старой штукатурки, пород и угля. Для штукатурки и нанесения изолирующих покрытий используют латекс, хлоридно-глинистую пасту, изолирующую мастику, силикатный, глинистые и цементные растворы.
Глинистый раствор используют для покрытия чураковых перемычек. Его достоинствами являются недефицитность используемых материалов (глина, песок), простота технологии приготовления и применения; недостатком - малый срок службы.
При ремонте перемычек сначала надо удалить весь старый глинистый раствор, затем приступить к нанесению вновь приготовленного раствора, так как повторные покрытия по старой обмазке лишь на незначительное (менее 1 мес) время повышают воздухонепроницаемость перемычек.
Глинистые растворы не следует применять для обмазки перемычек, возведенных на участках, имеющих значительный приток шахтных вод и относительную влажность воздуха менее 80%, так как в первом случае глинистый раствор может быть размыт, во втором - будет происходить быстрое его высыхание.
Цементный раствор употребляют для покрытия кирпичных, блочных, бетонных и бетонитовых перемычек, противопожарных арок и рубашек. Состав цементного раствора для штукатурки приведен в
табл. 2.3. Штукатурку цементным раствором запрещается применять для покрытия изолирующих сооружений, испытывающих повышенное горное давление.
Силикатный раствор используют для покрытия изолирующих сооружений из кирпича, блоков, бетонитов и бетона как вновь возведенных, так и при ремонте. Состав силикатного раствора дан в
табл. 2.4. Приготовление раствора и нанесение изолирующего покрытия производятся с помощью специальной установки.
Изолирующие мастики применяют для повышения герметичности перемычек. Мастика - универсальное средство, она может быть использована для покрытия как деревянных (чураковых и брусчатых), так и каменных (кирпичных, бетонных и т.п.) изолирующих сооружений. Мастику готовят на шахте с помощью специальной установки УП-1.
Хлоридно-глинистую пасту употребляют для повышения воздухонепроницаемости всех изолирующих сооружений. Кроме того, паста с успехом может быть использована для тампонажа целиков угля с целью повышения их воздухонепроницаемости и подавления очагов самонагревания. Пасту не следует применять на обводненных участках и в выработках с относительной влажностью воздуха менее 75%. Выбор количества составных частей пасты приведен в
2.3.
Пасту приготавливают в шахтных условиях непосредственно в месте ее применения или на поверхности.
Гуммирование изолирующих сооружений и вмещающих их пород целесообразно проводить в аварийных условиях и в наиболее ответственных местах. Для гуммирования используют латекс и раствор хлористого кальция или жидкое стекло.
Область применения изолирующих составов приведена в табл. 4.1.
Таблица 4.1
Изолирующий состав | Срок действия, мес. | Область применения | Не рекомендуется применять для покрытия |
Глинистый раствор (обмазка) | 2 | Чураковые перемычки | Перемычек в обводненных выработках |
Цементно-песчаный раствор (штукатурка) | 4 | Кирпичные, бетонные и блочные перемычки и рубашки | Изолирующих сооружений в выработках со значительным горным давлением |
Силикатный раствор | Не менее 18 | Кирпичные, бетонные, блочные перемычки и рубашки; песчаные породы в сухих и влажных выработках, глинистые породы в сухих выработках | Изолирующих сооружений в выработках с большим горным давлением; чураковых и брусчатых перемычек, возведенных на глине влажных глинистых пород |
Мастика | 18 - 20 | Кирпичные, блочные, бетонные, чураковые и брусчатые перемычки; рубашки и вмещающие их породы | Мокрых поверхностей |
Паста | Не менее 8 | Чураковые и брусчатые перемычки; глинистые и песчаные породы | Перемычек в обводненных выработках и перемычек, подлежащих затоплению |
Латекс | Не менее 7 | Кирпичные, блочные перемычки и рубашки при небольших площадях, песчаные породы, покрываемая поверхность которых должна быть сухой и чистой | Влажных поверхностей перемычек на глине; глинистых пород; бетонных перемычек и рубашек |
Нанесение изолирующих составов на перемычки и рубашки производится с помощью переносного аппарата, схема которого показана на рис. 4.1.
Рис. 4.1. Переносный аппарат для нанесения
изолирующих покрытий
1 - сосуд; 2 - редуктор; 3 - баллон; 4 - бак;
5 - шланг; 6 - разбрызгиватель
Производительность аппарата 40 м2/ч при рабочем давлении сжатого воздуха в сосудах 3 - 5 кгс/см2, высота 705 мм, масса 22 кг. Аппарат может использоваться для побелки горных выработок и перемычек.
Принцип работы аппарата следующий: в сосуд 1 заливают известково-цементную суспензию, а в бак 4 - жидкое стекло. От баллона или с помощью ручного насоса подают в сосуды сжатый воздух давлением 3 кгс/см2, который вытесняет из сосуда по шлангам к разбрызгивателю суспензию и жидкое стекло. В разбрызгивателе они смешиваются и под давлением наносятся на покрываемую поверхность, где схватываются в прочную массу. Для нанесения мастики и пасты их заливают в сосуд 1.
Переносные аппараты АП-1 выпускает опытно-экспериментальный завод ВостНИИ.
4.2. Тампонаж горных пород
На герметичность изолирующих сооружений большое влияние оказывает структурное состояние массива пород и угля. Установлено, что на границе с выработкой в породах (угле) под действием горного давления образуется густая сеть трещин. Максимальная трещиноватость приурочена к зоне разрушений, которая распространяется в угле на глубину до 0,5 м, в породах - до 0,3 м от стенки выработки. При возведении изолирующих перемычек через трещины происходит воздухообмен между выработанным пространством и действующими горными выработками, что значительно снижает эффективность изоляции.
Для устранения фильтрации воздуха через трещины в породах и угле производят их тампонаж или сооружают изолирующие рубашки. Под тампонажем принято понимать искусственное заполнение пустот и трещин в горных породах составами, благодаря чему порода и уголь приобретают необходимую воздухонепроницаемость. В качестве тампонажных составов используют цементный и глинистый растворы, изолирующие пасты и мастики, различные искусственные смолы с отвердителями и др. Рекомендуются параметры тампонажа пород и угля, вмещающих изолирующие сооружения, приведенные в табл. 4.2.
Таблица 4.2
Параметры тампонажа | Горные породы | Место бурения шпуров | Глубина от стенки выработки, м | Характеристика параметров |
единицы измерения | по напластованию | вкрест напластования |
Глубина шпуров | Уголь | Кровля | | м | 1,8 | 1,8 |
То же | Борт | | м | 1,8 | 1,8 |
" | Почва | | м | 1,0 | 1,0 |
Порода | Кровля | | м | 1,0 | 1,0 |
То же | Борт | | м | 1,0 | 1,0 |
Максимальное давление тампонажного состава | Уголь | | До 0,25 | кгс/см2 | 0,25 | 0,25 |
То же | | До 0,65 | кгс/см2 | 1,5 | 1,5 |
" | | До 1,55 | кгс/см2 | 3,0 | 3,0 |
" | | Более 1,6 | кгс/см2 | 5,0 | 5,0 |
Порода | | До 0,3 | кгс/см2 | 1,0 | 1,0 |
То же | | До 0,8 | кгс/см2 | 1,5 | 2,5 |
" | | Более 1 | кгс/см2 | 6,0 | 6,0 |
Расстояние между шпурами (средние значения) | Уголь | Кровля | | м | 1,0 | 0,5 |
То же | Борт | | м | 0,8 | 0,4 |
Песчаник | Кровля | | м | 0,9 | 0,9 |
" | Борт | | м | 0,8 | 0,5 |
Сланец | Кровля | | м | 0,8 | 0,4 |
То же | Борт | | м | 0,7 | 0,3 |
Расход тампонажного состава (средние значения) | Уголь | | До 0,25 | л | 15,0 | 15,0 |
То же | | До 0,65 | л | 12,0 | 12,0 |
" | | До 1,55 | л | 8,0 | 8,0 |
" | | Более 1,6 | л | 5,0 | 5,0 |
Порода | | До 0,3 | л | 17,0 | 17,0 |
То же | | До 0,8 | л | 6,0 | 6,0 |
" | | Более 1 | л | 3,0 | 3,0 |
Консистенция тампонажных составов принимается в зависимости от удельного водопоглощения, которое определяется с помощью специального устройства (рис. 4.2) по следующей методике.
Рис. 4.2. Прибор для определения водопоглощения пород
1 - герметизатор; 2 - шланг; 3 - напорный бак;
5 - манометр; 6 - водомер
В борт, кровлю и почву выработки в месте возведения изолирующего сооружения бурят по два шпура глубиной до 2,5 м. В шпуры на различную глубину вводят герметизатор. Фильтрующий участок шпура должен быть расположен между манжетами герметизатора. Затем в герметизатор от напорного бака подают воду, давление которой контролируется манометром, а расход - водомером.
Удельное водопоглощение пород и угля

[л/(мин·м·кгс/см2)] определяется по уравнению

, (4.1)
где G - расход воды, л;

- давление воды, кгс/см2;
L - длина исследуемой зоны, м;

- время подачи воды, мин.
Установлено, что породы и уголь с удельным водопоглощением менее 0,01 л/(мин·м·кгс/см2) тампонажу не поддаются из-за наличия очень тонких трещин. Для горных пород с удельным водопоглощением более 0,01 л/(мин·м·кгс/см2) консистенция и соотношение частей тампонажных составов подбираются по табл. 4.3.
Таблица 4.3
Удельное водопоглощение, л/(мин·м·кгс/см2) | Цементный раствор | Паста ХГП | Мастика | Мочевиноформальдегидная смола | Быстротвердеющий состав |
Характеристика тампонажного состава |
Водоцементное отношение (по массе) | Отношение твердой фазы к жидкой (по массе) | Расплыв по конусу АзНИИ, см | Отношение смолы к 10%-ному раствору отвердителя (по массе) | Отношение смолы к 20%-ному раствору отвердителя (по массе) |
Менее 0,05 | - | 1:8 | 35 | - | 1:0,2 |
0,05 - 1,0 | 1:4 | 1:6 | 29 | 4:1,0 | 1:0,3 |
1,0 - 3,0 | 1:2 | 1:4 | 22 | 4:1,5 | 1:0,4 |
3,0 - 5,0 | 1:1 | 1:2 | 17 | 4:1,75 | 1:0,5 |
5,0 - 10,0 | 1:0,5 | 1:1 | 13 | - | - |
Более 10 | 1:0,5 | 1:0,5 | 11 | - | - |
Технология тампонажа состоит в бурении шпуров и нагнетании в породы (уголь) тампонажных составов.
Шпуры бурят электрическими сверлами типа СЭР. Диаметр шпуров должен составлять 43 мм. После бурения шпуры следует очистить от штыба и пыли. Затем в шпуры вводят герметизатор. Для этой цели могут быть применены ручные герметизаторы ГР-2, ГТ-1 или анкер-герметизатор АГ-1.
Нагнетание тампонажных составов осуществляется с помощью насосных установок, например, диафрагмового растворонасоса С-154, переносного аппарата АП-1
(рис. 4.1) или тампонажного аппарата АТ-2 (рис. 4.3) конструкции ВО ВНИИГД. Приготовление тампонажных смесей может производиться при небольших объемах - вручную, при значительных - с помощью смесителей.
Рис. 4.3. Схема размещения оборудования
для тампонажа горных пород
1 - тампонажный аппарат АТ-2; 2 - шланг;
3 - герметизатор; 4 - анкер
Область применения тампонажных составов приведена в табл. 4.4.
Таблица 4.4
Тампонажный состав | Область применения | Не рекомендуется применять |
Цементный раствор | Тампонаж устойчивых горных пород. При возведении и ремонте водоупорных, бетонных и железобетонных перемычек. Заполнение закрепного пространства в выработках, пройденных по песчаникам | В выработках, подверженных сильному горному давлению. При возведении и ремонте податливых (брусчатых, чураковых) перемычек и противопожарных арок |
Хлоридно-глинистая паста | Заполнение пустот и трещин значительных размеров в аргиллитах, алевролитах и трещиноватом прочном угле. При возведении и ремонте податливых (чураковых, брусчатых) перемычек и противопожарных арок. Предупреждение и подавление самовозгораний в целиках угля | В обводненных породах и угле. При возведении фильтрующих двойных перемычек с подыливанием. На участках, подлежащих заиливанию и затоплению |
Мочевиноформальдегидная смола | Упрочнение и повышение герметичности пород и угля. Гидроизоляция выработок с небольшим (до 1 м3/ч) притоком воды. Ремонт блочных и кирпичных перемычек | В породах и угле с большим зиянием трещин и при наличии пустот больших размеров |
Изолирующая мастика | Тампонаж горных пород средней устойчивости. При возведении и ремонте брусчатых и чураковых перемычек, рубашек и арок. Заполнение закрепного пространства | В местах, непосредственно прилегающих к очагу пожара |
Быстротвердеющий состав на основе смолы ФРА | Тампонаж пород и угля при возведении и ремонте изолирующих перемычек, противопожарных арок, изолирующих рубашек | В обводненных породах и угле. При наличии больших пустот и трещин |
Изолирующие рубашки предназначаются для ликвидации подсосов (утечек) воздуха через трещины во вмещающих породах и угле.
Изолирующие рубашки применяют:
для предупреждения утечек (подсосов) воздуха из соседних выработок через разделяющие их целики угля (рис. 4.4, а);
для предупреждения утечек (подсосов) воздуха через породы, вмещающие изолирующую перемычку (рис. 4.4, б и в).
Рис. 4.4. Схемы изолирующих рубашек
Размеры рубашек определяются протяженностью и характером разрушения вмещающих пород. Их можно сооружать по всему периметру или только по одному из бортов и кровле выработки.
По конструкции изолирующие рубашки могут быть с открылками, анкерами и др. Их следует возводить таким образом, чтобы сечение выработки в месте их установки не уменьшалось. Перед сооружением рубашки выработку необходимо восстановить до ее проектного сечения и при необходимости заменить деревянную крепь на металлическую.
Пустоты в закрепном пространстве необходимо закладывать породой. Использовать для этой цели древесину и уголь запрещается.
Вывалы и пустоты в пространстве между рубашками и породами заполняют пастой, мастикой, цементно-песчаным (1:4) раствором или глинистой пульпой с помощью подземной насосной установки. Для этого в рубашку закладывают трубы, число и расположение которых определяется объемом и размерами пустот. Сильнотрещиноватый уголь и породу перед возведением рубашки подвергают тампонажу цементным раствором, пастой или мастикой. В этих случаях крепь в выработке перед сооружением рубашки не убирают.
В сухих выработках и при небольшом сроке службы (до двух лет) вместо бетонных можно возводить кирпичные рубашки толщиной 1 - 1,5 кирпича или из блоков. Засыпные и глинобитные рубашки для целей изоляции применять запрещается.
Кирпичные, блочные и особенно бетонные рубашки трудоемки и дороги в изготовлении. Использование силикатного раствора, торкрет- и шприц-бетона для сооружения рубашек является более эффективным и экономичным способом, позволяющим механизировать процессы по возведению изолирующих рубашек.
Рубашки бетонные с открылками
Толщина бетонных рубашек зависит от величины и направления горного давления, формы и сечения выработки, крепости пород и угля. Определяется она расчетом, как и для бетонного крепления.
В прочных породах и угле при установившемся горном давлении сооружают бетонные рубашки облегченного типа (рис. 4.5).
Рис. 4.5. Бетонная рубашка
Перед возведением бетонной рубашки в кровле и бортах выработки обирают отслоившиеся куски угля и породы на глубину 10 - 15 см. По концам рубашки делают пазы для открылок 3 на глубину 50 - 60 см. В почве вдоль бортов выработки выбирают котлован для фундамента на глубину 25 - 30 и ширину 40 - 50 см. Затем устанавливают крепь 4 из металлических балок, рельсов, спецпрофиля и т.п. Фундамент заливают бетоном. Бетон выдерживают три - пять дней, после чего приступают к возведению рубашки. Для этого на расстоянии 20 - 25 см от кровли и бортов устанавливают опалубку, за которую укладывают слоями по 15 - 20 см бетон 2 и тщательно трамбуют. Поверхность рубашки штукатурят цементным раствором, белят или покрывают силикатным раствором 1.
В слабых породах и угле при неустановившемся горном давлении сооружают усиленные бетонные рубашки. Перед возведением рубашки в кровле и бортах выработки делают вруб. Глубина его зависит от степени трещиноватости пород. По концам рубашки сооружают открылки, вруб под которые делают в неразрушенном угле и породах. В почве у бортов выработки выбирают котлован под фундамент. Деревянную крепь выработки заменяют металлической, стойки которой устанавливают в котловане. При неустойчивых породах замену стоек ведут по частям, а котлован проходят по мере установки стоек. На расстоянии 25 - 35 см от борта (стенки вруба) сооружают опалубку, за которую укладывают бетон и тщательно трамбуют. Работы по возведению рубашки ведут с двух сторон выработки. Место стыка заделывают бетоном особо тщательно. В верхнюю часть вруба под открылки устанавливают 4 - 5 труб диаметром 40 - 50 мм и через них нагнетают цементный раствор (Ц:П - 1:2). Опалубку снимают после того, как бетон приобретает некоторую прочность (через 7 - 10 дней). Поверхность бетона штукатурят цементным раствором, белят или покрывают силикатным раствором.
При возведении рубашек в сильнотрещиноватом угле пространство между бетоном и целиком заполняют хлоридно-глинистой пастой или глинистой пульпой.
Растворонаметные рубашки
Растворонаметные рубашки (рис. 4.6) могут быть выполнены из торкрет- и шприц-бетона, которые наносят специальными машинами. Наиболее удобной является машина БМ-60.
Рис. 4.6. Растворонаметная рубашка
В стесненных условиях для торкретирования можно применять переносный аппарат конструкции ИГД им. А.А. Скочинского производительностью 0,3 - 0,5 м3/ч.
Бетон 2 наносят слоем 25 - 30 мм. Если рубашка будет использоваться и как крепь, толщина слоя должна быть 100 - 150 мм и более. Для ускорения схватывания в сухую смесь вводят специальную добавку в количестве 2 - 3% массы цемента. Бетон можно наносить как на сухую, так и на мокрую поверхность. Отскок от поверхности составляет 15 - 20%.
Технология сооружения растворонаметной рубашки следующая: в месте возведения рубашки убирают затяжки и обирают отслоившийся уголь и породу. Смесь, поступающая из сопла машины под большим давлением, проникает в трещины и пустоты, заполняет их и покрывает породы слоем 25 - 30 мм, создавая прочную воздухонепроницаемую рубашку. При значительной трещиноватости породы тампонируют. Для этого бурят шпуры 1 глубиной 0,5 - 0,8 м по породе и 1 - 1,2 м по углю. В качестве тампонажных составов используют цементный раствор и мастику.
Кроме торкрет- и шприц-бетона для возведения рубашек подобного типа можно применять силикатный раствор, изолирующую мастику и огнезащитный состав, а в особо ответственных случаях - латекс и карбамидный пенопласт. Изолирующие составы обычно используют для сооружения рубашек, повышающих герметичность бетонной крепи в горных выработках, снижения воздухо- и водопроницаемости бетонной, кирпичной и блочной крепи в камерах. Изолирующие составы можно применять при возведении рубашек в районе перемычек и противопожарных арок и в выработках с достаточно устойчивыми породами.
Технология нанесения изолирующих составов при возведении рубашек аналогична нанесению покрытий на перемычки
(см. 2).
Для возведения рубашек могут быть использованы карбамидные и фенолоформальдегидные пенопласты.
Исходным сырьем для карбамидных пенопластов служат мочевиноформальдегидная смола и вспенивающе-отверждающий продукт. Гелирование пластмассы происходит через 2 - 5 мин, а полное затвердевание - через несколько часов. Рубашки из карбамидных пенопластов могут сооружаться как с использованием опалубки, так и без нее.
Исходным сырьем для получения фенолоформальдегидного пенопласта служат смола и отвердитель. Для сооружения рубашки возводят опалубку, за которую заливают смесь смолы и отвердителя. По мере заполнения пространства между породами и опалубкой ее наращивают.
5. Специальные способы изоляции
В сложных геологических и горнотехнических условиях применение изолирующих сооружений и дополнительных средств изоляции (тампонажа, покрытия, изолирующих рубашек и т.д.) не предотвращает проникновения воздуха в изолированное пространство. Кроме того, изолирующие сооружения могут подвергаться нагрузкам от воздействия напорных вод, сейсмических волн и взрывов больших количеств ВВ и горючих газов.
В этих случаях необходимо применять специальные средства изоляции, к которым относятся перемычки с заиливанием, водоупорные, динамически устойчивые сооружения и др.
5.1. Перемычки с подыливанием
В тех случаях, когда трещиноватость пород и угля в приконтурной зоне выработки распространяется на значительные расстояния и применение изолирующих сооружений (перемычек и рубашек) и дополнительных средств изоляции (тампонажа и покрытия) не предотвращает проникновения воздуха в выработанное пространство, прибегают к возведению перемычек с подыливанием.
В качестве заиловочного материала обычно используют пульпу, приготовленную из глины и суглинков. В глинистой пульпе не должно быть включений крупнее 2 мм. В основном в ее составе должны преобладать частицы порядка 0,01 мм. Материал для приготовления пульпы должен удовлетворять следующим условиям: запесоченность 25 - 30% (по массе); плотность 2,3 - 2,6; число пластичности 9 - 11.
Пульпа должна быстро расслаиваться и иметь небольшой коэффициент усадки. Ее консистенция (отношение твердой составляющей к воде, т.е. Т:Ж) должна быть 1:1 - 1:2.
В практике обычно пользуются объемной консистенцией пульпы, которая может быть определена по формуле (5.1) или по номограмме
(рис. 5.1).

, (5.1)
где К - консистенция пульпы;

- плотность грунта, г/см3;

- плотность пульпы, г/см3.
Рис. 5.1. Номограмма для определения консистенции пульпы
Плотность пульпы определяют ареометром АГ-1, плотность грунта - пикнометрическим методом (в лаборатории).
Подыливание перемычек происходит вследствие расслоения пульпы и осаждения частиц заиловочного материала. Время осаждения твердых частиц может быть определено по формуле

, (5.2)
где

- время осаждения частиц, ч;

- коэффициент неравномерности оседания твердых частиц, для глинистой пульпы

;

- высота столба пульпы, м;

- гидравлическая крупность твердых частиц, м/с.
Размеры частиц определяют в лаборатории.
Скорость осаждения в воде минеральных примесей (гидравлическая крупность) приведена в табл. 5.1.
Таблица 5.1
Диаметр частиц, мм | Скорость осаждения частиц (см/с) при температуре, °C |
5 | 10 | 15 | 20 |
0,010 | 0,0044 | 0,00512 | 0,00588 | 0,00663 |
0,015 | 0,0099 | 0,0115 | 0,0132 | 0,0149 |
0,02 | 0,0176 | 0,0205 | 0,0235 | 0,0265 |
0,05 | 0,110 | 0,128 | 0,147 | 0,166 |
0,07 | 0,216 | 0,251 | 0,288 | 0,325 |
0,1 | 0,441 | 0,512 | 0,588 | 0,663 |
0,15 | 0,990 | 1,150 | 1,325 | 1,490 |
0,2 | 1,545 | 1,171 | 1,876 | 2,042 |
0,5 | 4,905 | 5,071 | 5,236 | 5,402 |
1,0 | 10,505 | 10,671 | 10,836 | 11,002 |
1,5 | 16,105 | 16,271 | 16,436 | 16,682 |
Продолжительность расслоения пульпы зависит от свойств и гранулометрического состава глины и равна 18 - 20 ч. Ускорение расслоения пульпы достигается введением коагуляторов, в качестве которых могут быть использованы гашеная известь (0,3 - 0,5% объема пульпы), полиакриламид (0,002 - 0,005% объема пульпы) и др.
Одинарные перемычки с подыливанием
Одинарные перемычки с подыливанием сооружают в наклонных выработках или в непосредственной близости от них.
При их возведении в основном используют две схемы. По первой схеме (рис. 5.2) перемычки сооружают в печах, сбойках, гезенках и других выработках с углом наклона более 20° по мере отработки выемочных участков.
Рис. 5.2. Схема перемычки с подыливанием
Заиловочная подушка 3 создается в выработанном пространстве. Ее размеры зависят от трещиноватости пород и должны составлять не менее 5 м. Для подачи пульпы за перемычку закладывают две трубы диаметром 50 - 75 мм. Нижняя труба 2 служит для подачи пульпы и выпуска осветленной воды. Она снабжается клиновой задвижкой.
Верхняя труба 1 оборудуется задвижкой и служит для контроля за уровнем пульпы при ее подаче, спуска воды, для набора проб и измерения температуры воздуха в изолированном пространстве. Перфорированные концы труб в подыливаемой выработке располагают на расстоянии 0,4 м от кровли. При большом притоке шахтной воды в выработке выше зоны заиливания сооружается водоудерживающий порог (см.
рис. 3.11). Для выпуска воды в действующую выработку укладывают трубу диаметром не менее 100 мм.
Длина (м) отрезков труб, находящихся в изолированном пространстве, зависит от высоты a и угла наклона

подыливаемой выработки и определяется по формулам:

; (5.3)

. (5.4)
Подыливание перемычки осуществляют передвижной насосной установкой или от подземного пульповода. Пульпу подают до тех пор, пока не будет обнаружен ее выход через верхнюю трубу. Подача пульпы и выпуск осветленной воды чередуются. Продолжительность расслаивания пульпы составляет 8 - 10 ч.
Для сокращения сроков изоляции в выработку, подлежащую заполнению пульпой, загружают твердую (пластичную) глину, которая после увлажнения набухает и уплотняет перемычку. Количество твердой глины не должно превышать 35 - 40% объема создаваемой пробки.
По второй схеме (рис. 5.3) перемычки сооружают в минусовых, слоевых штреках и других выработках после полной отработки выемочных участков.
Рис. 5.3. Схема подыливания перемычки в минусовом штреке
Пульпу обычно подают сверху из квершлагов, вентиляционных штреков и других выработок через подземные пульповоды. Осветленная вода дренируется через фильтрующие перемычки и трубы, выведенные в изолированное пространство. Верхняя часть трубы перфорируется на 1 - 1,5 м от ее конца.
Величина твердого осадка пульпы выбирается с учетом трещиноватости пород. Конструкция перемычки и ее размеры определяются величиной гидростатического давления пульпы.
Двойные перемычки с заиливанием
Двойные перемычки (рис. 5.4) применяют для изоляции отработанных участков и горизонтов на пластах угля, склонного к самовозгоранию. Их устанавливают как на откаточных, так и на вентиляционных горизонтах. На участках под потушенными пожарами двойные перемычки применяют для изоляции отдельных лав и блоков в пределах выемочного участка.
Рис. 5.4. Схема двойной перемычки
Двойные перемычки возводят на промежуточных квершлагах, в полевых, а также в откаточных, конвейерных и вентиляционных штреках при отработке самовозгорающихся пластов угля. Для изоляции полностью отработанных выемочных участков двойные перемычки устанавливают в заездах на пласт, пройденных по породе, и в охранных надквершлажных целиках. Место возведения перемычек выбирают с таким расчетом, чтобы первая перемычка (со стороны действующих выработок) находилась на расстоянии не менее 5 м от бока квершлага, а вторая - на 3 - 5 м от первой. Расстояние между перемычками определяется степенью трещиноватости пород и угля, системой разработки пласта и прочими геологическими и горнотехническими факторами.
Двойные перемычки устанавливают с таким расчетом, чтобы между ними находилась печь, сбойка или другая восстающая выработка. При отсутствии их в кровле между перемычками бурят скважину или делают нишу (купол), высота которой должна быть на 0,5 м больше глубины вруба перемычки, установленной со стороны действующей выработки. По конструкции двойные перемычки представляют собой две перегородки, расположенные на некотором расстоянии друг от друга. Конструкцию и размеры перемычек выбирают в зависимости от высоты столба пульпы, ожидаемого давления воды, прочности и трещиноватости пород и угля, в которых их возводят.
Материалом для возведения перемычек могут служить брусья, блоки, бетониты и кирпич. Проверка прочности перемычек производится по методике, приведенной в
5.3. Технология их возведения не отличается от ранее описанной.
Величина вруба для перемычек определяется главным инженером шахты в зависимости от состояния вмещающих горных пород. Величина вруба при достаточно прочных породах может быть принята 0,25 - 0,3 м, а в угле 0,5 - 0,6 м.
Состояние перемычки со стороны изолируемого пространства в процессе эксплуатации не может контролироваться. Поэтому она должна быть возведена с особой тщательностью и надежно закреплена укосинами или контрфорсом. Крепь выработки между перемычками должна быть усилена дополнительными стойками под каждый верхняк, производить замену крепи на огнестойкую не обязательно. В месте разделки ниши (купола) выкладывают клетку (костер).
Для подачи пульпы, выпуска воды, образующейся при осветлении пульпы, дренажа шахтной воды из-за перемычек, набора проб воздуха и измерения температуры в изолированном пространстве в перемычках укладывают семь труб.
Трубы Т для подачи пульпы и для выпуска осветленной пульпы (воды) заводят в печь, сбойку, скважину или в нишу (купол). Труба для подачи пульпы 4 должна быть выше кровли выработки не менее 1 м, труба для выпуска осветленной пульпы (воды) 3 расположена ниже трубы для подачи пульпы на 0,3 м. Концы этих труб необходимо снабдить устройствами ("гусаками"), предохраняющими от попадания в став кусков угля, породы, щепы и др. Верхняя труба 5 для выпуска осветленной пульпы (воды) размещается под самыми верхняками и крепится к ним.
Трубу для контроля за состоянием атмосферы в изолированном пространстве 2 пропускают через обе перемычки. Кроме того, в перемычку, расположенную со стороны действующих выработок, устанавливают две трубы 6 и 7 для выпуска осветленной пульпы (воды). Для дренажа воды из изолированного пространства трубу 1 пропускают через обе перемычки и снабжают гидрозатвором. Остальные трубы оборудуют клиновыми задвижками.
Заиливание пространства между перемычками производят в несколько приемов. Время между подачей пульпы определяется в зависимости от материала и консистенции пульпы по
формуле (5.2). Обычно оно составляет 12 - 18 ч. Окончание процесса заиливания считается с момента появления из верхней трубы для спуска воды пульпы консистенции не ниже 1:1 (по объему).
Для сокращения сроков изоляции и снижения расхода пульпы пространство между перемычками заполняют породой или глиной. Породу размещают в середине выработки на расстоянии не менее 0,5 м от бортов и кровли выработки и перемычек. Размер кусков породы должен быть не менее 200 x 200 x 200 мм. Использовать для этой цели мелкие куски, породный и угольный штыб запрещается.
Пульпу для заполнения пространства между двойными перемычками подают от подземного пульповода или с помощью передвижной установки. Последний цикл заполнения пространства между перемычками, а также периодическое (один раз в 2 - 3 мес) пополнение пульпы даже при наличии подземного пульповода целесообразно производить передвижной установкой. После подачи пульпы пульповод необходимо промывать от подземного водовода.
При заиливании пространства между перемычками особое внимание следует уделять контролю за выходом отстоявшейся воды. При прекращении нормального стока воды заиловочные работы должны быть остановлены и приняты меры по спуску воды.
Если наладить надежный контроль за количеством поступающей пульпы и выходом осветленной воды невозможно, применение подземных пульповодов для заполнения пространства между перемычками не разрешается. В этих случаях применяют передвижные установки, а пульпу приготавливают в смесителях.
В процессе заполнения пространства между перемычками пульпой и эксплуатации двойных перемычек необходимо постоянно контролировать выход шахтных вод из изолированного пространства по нижней трубе. При прекращении стока воды трубу необходимо прочистить. Если через эту трубу будет обнаружен выход пульпы в значительных количествах, что будет свидетельствовать о неисправности перемычки со стороны выработанного пространства, то подачу пульпы следует прекратить. Перед второй перемычкой на расстоянии 3 - 4 м необходимо возвести третью перемычку, уложить трубу и заполнить пространство твердым осадком пульпы.
Повышение герметичности бетонной крепи и рубашек
Одним из вариантов применения глинистой пульпы для изоляции является заиливание пространства за бетонной крепью и рубашками.
За бетонной крепью выработок, пройденных по углю, происходит разрушение и отслоение массива. Образование путем фильтрации воздуха в разрыхленном угле приводит к его самовозгоранию.
Для ликвидации прососов воздуха через бетон в крепи пробуривают отверстия 1 (рис. 5.5) и в них заводят инъекционные трубы. Диаметр, число и расположение труб, а также расстояние между ними выбирают в зависимости от размеров пустот, протяженности и сечения выработки. Заиливание пространства за крепью производят глинистой пульпой 2 консистенции не ниже 1:3 или хлоридно-глинистой пастой.
Рис. 5.5. Заполнение закрепного пространства пульпой
или хлоридно-глинистой пастой
Для повышения герметичности поверхность бетонных изолирующих рубашек покрывают мастикой или силикатным раствором.
При возведении рубашек в квершлагах, пересекающих один или несколько отработанных пластов угля, склонного к самовозгоранию, на основных штреках возводят бетонные перемычки. Пространство между перемычками и рубашкой заиливают. Технология работ по сооружению изолирующего пояса аналогична технологии возведения двойных перемычек с заполнением пространства между ними твердым осадком пульпы.
Этот способ может быть использован для снижения воздухопроницаемости целиков угля, в которых возведены вентиляционные перемычки или двери. При небольших пустотах в угле производится его тампонаж хлоридно-глинистой пастой. Для предотвращения прососов воздуха через сильно разрушенный уголь в месте установки вентиляционных сооружений на расстоянии 3 м в обе стороны возводят бетонную рубашку с открылками. Пространство между бетоном и углем заполняют, пастой или заиливают глинистой пульпой.
5.2. Фильтрующие перемычки
Фильтрующие перемычки предназначаются для улавливания минеральных частиц водных суспензий и удержания их за изолирующим сооружением. Использование фильтрующих перемычек уменьшает загрязнение шахтной водоотливной сети и заиливание водосборников.
Для заиловочных работ обычно используют глинистую пульпу, имеющую мелкие частицы [см.
рис. 5.1 и
формулу (5.1)], что вызывает быстрое засорение фильтрующего слоя перемычки. Поэтому фильтрующие перемычки не получили широкого распространения на угольных шахтах.
Расширение области применения перемычек с фильтрующим слоем может быть достигнуто за счет использования коагуляторов и сочетания фильтрации с расслоением пульпы и выпуска осветленной воды через трубы.
Толщина фильтрующего слоя определяется по формуле

, (5.5)
где

- толщина фильтрующего слоя, м;

- коэффициент фильтрации материала, м/ч;

- высота столба пульпы, м;
F - площадь фильтрации, м2;

- время фильтрации, ч;
V - объем пульпы, подлежащей фильтрации, м3;
К - консистенция пульпы.
Фильтрующие перемычки не могут быть использованы как самостоятельные изолирующие сооружения, они являются лишь их составной частью. Фильтрующие перемычки представляют собой каркасы, заполняемые фильтрующими материалами, в качестве которых применяют песок, щебень, минеральную вату и другие, обладающие фильтрационными свойствами. Фильтрующие материалы должны быть однородными, иметь одинаковую крупность частиц и обладать стойкостью к воздействию шахтных вод. Кроме того, они не должны быть склонными к набуханию.
Каркас перемычки должен быть достаточно прочным и не разрушаться от гидростатического давления. В тех случаях, когда фильтрующая перемычка может оказаться под большим давлением воды, со стороны действующих выработок дополнительно возводят перемычку с врубом или водоупорную перемычку. Каркас (тело) фильтрующей перемычки сооружают из досок, бревен или из блоков.
Перед возведением фильтрующих перемычек убирают затяжки, обирают борта выработки от разрушенного угля и восстанавливают сломанное крепление. Со стороны действующих выработок очищают водосборную канаву.
Значения коэффициента фильтрации

для различных материалов приведены в табл. 5.2.
Таблица 5.2
Фильтрующий материал | Коэффициент фильтрации |
наименование | диаметр частиц, мм |
Песок | 0,116 | 0,4248 |
0,186 | 0,666 |
0,640 | 9,570 |
Обломочный материал | 2,0 | 11,232 |
3,6 | 66,450 |
5,86 | 103,320 |
Гравий с песчаным заполнителем | - | 1,25 - 4,17 |
Гравий без заполнителя | - | > 4,20 |
Шлак | 1 | - |
2 | - |
Минеральная вата | 1 | - |
2 | - |
Пример 5.1. Определить толщину фильтрующего слоя при

,

, F = 6 м2,

, К = 1:5.

.
Фильтрующие щитовые перемычки
Фильтрующие щитовые перемычки (рис. 5.6) применяют на участках, где предусматривается использование песка для тушения подземного пожара или ожидается вынос в действующие выработки угольного или породного штыба.
Рис. 5.6. Фильтрующая щитовая перемычка
Для предотвращения размывания пород (угля) в бортах и кровле выработка должна быть перетянута затяжками на расстоянии 5 м в обе стороны от перемычки.
В месте сооружения перемычки под верхняк дверного оклада 1 устанавливают две - три стойки 2. На них укрепляют металлическую сетку 3 с ячейками 1,5 - 2 мм. К стойкам поверх сетки прибивают доски 4 шириной 8 - 10 см на расстоянии 12 - 15 см друг от друга. Вплотную к доскам устанавливают под верхняк четыре - пять стоек 5, которые закрепляют стропильной крепью 6. В верхней части перемычки на расстоянии 0,4 - 0,6 м от верхняков размещают трубы 7 длиной 2 м и диаметром 50 мм. Со стороны действующих выработок трубы снабжают задвижкой или пробковым краном.
Фильтрующие комплектные перемычки
В зависимости от ожидаемого гидростатического давления для фильтрации пульпы можно использовать перемычки облегченного или усиленного типа.
Фильтрующие комплектные перемычки облегченного типа (рис. 5.7) следует применять при давлении пульпы до 2 кгс/см2. В месте их сооружения в почве делают паз глубиной 15 - 20 см и шириной, равной толщине перемычки. В паз со стороны изолируемого пространства под верхняк устанавливают пять - семь стоек 3. На них набивают обрезные доски 6, между которыми оставляют щели в 5 - 7 см. На доски навешивают металлическую сетку 7 с ячейками 3 - 5 мм.
Рис. 5.7. Облегченная фильтрующая комплектная перемычка
На расстоянии, равном толщине фильтрующего слоя, которое определяют расчетом, устанавливают под верхняк три - пять стоек 5. На стойки (начиная от почвы) набивают на расстоянии 5 - 7 см три - четыре доски 1 и сетку 2. Пространство между щитами заполняют фильтрующим материалом 4, который слегка трамбуют. При укладке его необходимо следить за тем, чтобы он плотно прилегал к щитам и бортам выработки. Перемычку укрепляют стропильной крепью.
При возведении перемычек в ее тело укладывают трубы 8 для выпуска осветленной воды. Трубы должны иметь диаметр не менее 50 мм и длину 2 м. На них со стороны действующих выработок устанавливают задвижку или пробковый кран.
На участке, где ожидают значительный (более 3 кгс/см2) гидростатический напор пульпы, возводят комплектные фильтрующие перемычки усиленного типа.
После подготовки выработки к сооружению перемычки и расчистки паза в почве на крепежную раму со стороны изолируемого пространства нашивают обрезные доски. Затем на расстоянии, равном толщине фильтрующего слоя, укладывают и закрепляют в борта выработки горизонтальные стойки. Зазор между стойками должен составлять 2 - 3 см. Пространство между щитами заполняют фильтрующим материалом. После этого устанавливают стойки, которые закрепляют стропильной крепью. Отстоявшаяся вода спускается через уложенную трубу.
5.3. Водоупорные перемычки
В тех случаях, когда перемычки должны не только препятствовать поступлению воздуха в изолированное пространство, но и предотвращать проникновение воды или пульпы в действующие выработки, их возводят водоупорными.
Водоупорные перемычки должны обладать прочностью, достаточной для восприятия гидростатического давления и передачи его породам. Эти перемычки необходимо сооружать в крепких нетрещиноватых породах и угле. При возведении перемычек, предназначенных для удержания значительного гидростатического давления (более 7 кгс/см2) в кровле, бортах и почве выработки делают опорные врубы со скошенными поверхностями, исходя из условий работы перемычки как клина. Опорные поверхности вруба должны составлять с горизонтом угол

.
Нагрузка на опорные поверхности не должна превышать 1/6 - 1/10 величины предела прочности пород на сжатие и не быть выше предела сопротивления материала перемычки сжатию (для бетона нагрузка должна быть меньше 15 - 20 кгс/см2). Величину опорной поверхности определяют исходя из допустимого напряжения пород на сжатие, а ширину выбирают с таким расчетом, чтобы давление на породы не превышало 6,5 кгс/см2.
Водоупорные перемычки необходимо возводить только из бетона. Бетонную смесь готовят на бетонном заводе. При наличии в рудничной воде вредных примесей (кислот, щелочей и т.д.) для бетонной смеси используют силикатный цемент. В качестве наполнителей применяется промытый песок с величиной зерен до 7 мм, гравий или щебень из плотных каменных пород размером 7 - 25 мм. Бетонная смесь должна состоять из одной части цемента, полутора частей песка и двух частей щебня.
Толщина водоупорной перемычки
(рис. 5.8) зависит от величины гидростатического напора, сечения выработки, крепости и состояния пород, от материала перемычки и определяется из условия ее работы на сжатие по формуле

, (5.6)
где

- толщина перемычки из условий ее работы на сжатие, м;
b - ширина выработки, м;
a - высота выработки, м;
p - удельное давление воды на перемычку, тс/м2;

- допустимое напряжение пород на сжатие, тс/м2;

- угол наклона боковых граней, градус.
Рис. 5.8. Схемы водоупорных перемычек
а - в крепких породах; б - в слабых и средней
крепости породах и в угле
При возведении перемычек в породах высокой прочности

, где

- допустимое напряжение бетона на сжатие, во избежание деформации бетона в опорных плоскостях рекомендуется принимать

.
Полученная толщина перемычки должна быть проверена на срез

, (5.7)
где

- толщина перемычки из условий ее работы на срез, м;

- допустимое напряжение бетона на срез, тс/м2;

, (5.8)
где

- временное сопротивление бетона на сжатие, тс/м2;
n - коэффициент запаса.
Кроме того, подсчитанную толщину перемычки

и

следует проверить на водопроницаемость

, (5.9)
где

- толщина перемычки из условий ее водопроницаемости, м;

- коэффициент фильтрации бетона (табл. 5.3), м/ч.
За действительную толщину перемычки принимается наибольшая полученная величина.
Таблица 5.3
Временное сопротивление бетона сжатию, тс/м2 | Коэффициент фильтрации бетона, м/ч |
1170 | 0,00001872 |
1200 | 0,00002730 |
1220 | 0,00003042 |
1400 | 0,00003529 |
Пример 5.2. Рассчитать водоупорную перемычку, сооружаемую в выработке при a = 2,5 м, b = 4 м, пройденной в сланцах с

. Принимаем

, n = 3,

,

.
Ожидаемое гидростатическое давление 100 м вод. ст.

;

;

.
Окончательно принимаем толщину перемычки 1,3 м.
При возведении водоупорной перемычки в угле, слабых и средней крепости породах ее делают многоступенчатой (см.
рис. 5.8, б).
Для разгрузки перемычки от гидростатического давления в передней части устраивается выемка в виде конуса, обеспечивающая передачу давления на вмещающие породы.
При расчете многоступенчатых перемычек принимают толщину одной ступени

. Затем определяют давление воды

, выдерживаемое этой ступенью.

. (5.10)
Зная суммарное давление на перемычку P = Hab и давление, выдерживаемое одной ступенью, определяем число ступеней перемычек N по уравнению

. (5.11)
После этого находим толщину многоступенчатой перемычки

. (5.12)
В зависимости от устойчивости боковых пород толщину одной ступени перемычки при расчетах рекомендуется принимать в пределах

, а угол наклона боковых граней перемычки к горизонтальной оси

; угол между плоскостями вруба

.
Для повышения устойчивости и прочности водоупорных перемычек их изготавливают из железобетона. При возведении перемычки в трещиноватых породах их цементируют и укрепляют анкерами.
Пример 5.3. Рассчитать водоупорную перемычку, сооружаемую в слабых породах при

, b = 4 м, a = 3 м, H = 100 м. Принимаем

,

,

, P = 100 · 4 · 3 = 1200 тс.

;

.
Принимаем водоупорную перемычку из двух ступеней, толщина которой

.
В практике бывает необходимо проверить, выдержит ли возведенная перемычка ожидаемое гидростатическое давление воды или пульпы.
Расчет брусчатой перемычки сводится к определению ее толщины из условий, что брусья в перемычке свободно лежат на двух опорах и работают на продольный изгиб.
Если

, то перемычка выдержит ожидаемое гидростатическое давление

, (5.13)
где

- фактическая толщина перемычки, см;

- расчетная толщина перемычки, см;
n - коэффициент запаса брусьев в горизонтальных рядах,

;

- длина брусьев с учетом их заделки во врубе (

, где b - ширина выработки, см; l - глубина вруба, см), см;
H - гидростатический напор, кгс/см2;

- сопротивление изгибу (для дерева

).
Пример 5.4. Проверить, выдержит ли брусчатая перемычка толщиной

, возведенная в угле с

, гидростатический напор H = 5 кгс/см2, b = 200 см, l = 100 см,

, К = 1,3,

.

.
Так как

, то перемычка не может противостоять ожидаемому давлению.
Расчет кирпичной плоской перемычки производится из условий ее прочности на сжатие и на срез по формуле

, (5.14)
где

- толщина перемычки из условий прочности ее на сжатие, см;
b - ширина выработки, см;

- сопротивление сжатию пород, кгс/см2;
H' - ожидаемое давление воды, кгс/см2.
Толщина перемычки из условия ее на срез определяется по формуле

, (5.15)
где

- толщина перемычки из условия ее прочности на срез, см;

, (5.16)
где

- временное сопротивление кирпича на сжатие, кгс/см2;

- временное сопротивление кирпича на срез, кгс/см2.
Фактическая толщина перемычки должна быть больше, чем ее толщина, определенная из условий сжатия и среза, т.е.

.
Пример 5.5. Проверить, достаточна ли прочность кирпичной перемычки толщиной

, чтобы противостоять напору столба воды 50 м. H' = 5 кгс/см2 при b = 250 см, l = 50 см, a = 200 см,

,

.

;

;

.
Так как

и

, то перемычка выдержит предполагаемый гидростатический напор.
Если перемычка возведена в слабых породах и угле, склонных к размыванию напорными водами, то необходимо проверить ее устойчивость влиянию фильтрации воды в обход тела перемычки.
Длина безопасного пути фильтрации приведена в табл. 5.4.
Таблица 5.4
Величина напора воды в заперемыченном пространстве, м | Длина пути фильтрации воды через слабые породы и уголь, обеспечивающая отсутствие их разрушения и выноса, м |
10 | 40 |
20 | 80 |
30 | 120 |
40 | 160 |
50 | 200 |
60 | 240 |
70 | 280 |
80 | 320 |
Для повышения прочности пород и снижения длины пути фильтрации необходимо принять меры по укреплению пород путем применения цементации, возведения бетонных рубашек, торкретирования и т.д.
Одноступенчатые клинчатые бетонные перемычки
Одноступенчатые перемычки
(рис. 5.9) следует сооружать в крепких породах. После определения толщины перемычки по указанным выше формулам приступают к ее возведению в следующем порядке. В непосредственной близости от места сооружения перемычки заготавливают стойки, доски, трубы, песок и другие необходимые материалы, инструменты и оборудование. Затем кровлю, борта и почву выработки в месте разделки вруба очищают от отслоившихся кусков породы на глубину не менее 10 - 15 см. Взятие вруба производят с помощью отбойного молотка. После этого усиливают крепь по обе стороны от перемычки и очищают вруб и выработку. Крепь со стороны изолируемого пространства усиливают стойкой 3, устанавливаемой в середине выработки под верхняк. На стойке на всю высоту выработки нашивают доски опалубки 6. Со стороны действующих выработок опалубку возводят по мере укладки бетона.
Рис. 5.9. Одноступенчатая клинчатая перемычка
При возведении опалубок необходимо следить за их вертикальностью, плотностью прилегания досок к породам и между собой.
Бетон доставляют с поверхности в готовом виде. Перед его укладкой стенки и почву вруба смачивают водой. Бетон 5 укладывают слоями в 25 - 30 см и тщательно уплотняют вибратором до появления на его поверхности "цементного молока". Необходимо следить, чтобы бетон заполнял все трещины и пустоты в породах и плотно прилегал к опалубкам. Укладку бетона ведут от бортов к центру перемычки.
Во вруб нагнетают цементный раствор (Ц:П - 1:3) под давлением до 5 кгс/см2 через трубы 1, заложенные в перемычку.
Трубы 2 для выпуска воды и контроля за температурой и составом атмосферы в изолированном пространстве (в количестве не менее трех) закладывают в перемычку по мере укладки бетона и оборудуют задвижками 4. На верхней трубе, кроме того, устанавливают манометр, шкала которого должна быть рассчитана на максимальное предполагаемое гидростатическое давление.
Через 10 дней снимают опалубку, цементным раствором (Ц:П - 1:2) выравнивают бетонную стенку, заделывают раковины в кладке и пустоты в сопряжении перемычки с породами. Затем поверхность железнят и белят или покрывают силикатным раствором.
При сооружении перемычек трещиноватые породы цементируют. Работы должны проводиться при постоянном контроле лиц технического надзора.
Во время укладки и твердения бетона нельзя допускать взрывные работы на расстоянии 20 м от сооружаемой перемычки.
Многоступенчатые водоупорные бетонные и железобетонные перемычки
В слабых и средней крепости породах и в угле водоупорные перемычки следует сооружать многоступенчатыми (рис. 5.10).
Рис. 5.10. Многоступенчатая перемычка
Для разгрузки перемычки от давления в передней ее части со стороны изолируемого пространства устраивают выемку в виде конуса, обеспечивающую лучшую передачу гидростатического давления на вмещающие породы. Со стороны действующих выработок у перемычки сооружают рубашку, предотвращающую разрушение пород и увеличивающую путь фильтрации воды.
В тех случаях, когда перемычка должна иметь повышенную прочность, ее возводят железобетонной. Железобетонная перемычка имеет металлический каркас (арматуру), обладает очень высокой прочностью и работает не только на сжатие, но и на растяжение. Металлическая арматура должна находиться под слоем бетона толщиной не менее 20 см, изготовленного из цементов, стойких к воздействию агрессивной среды. В качестве арматуры могут быть использованы отрезки труб, рельсы, балки и т.д. В зависимости от направления ожидаемой нагрузки на перемычку основные элементы арматуры располагают в вертикальном, горизонтальном или в обоих направлениях. Скрепляют элементы арматуры проволокой.
После подготовки вруба и арматуры возводят опалубку. Опалубку со стороны изолируемого пространства сооружают на всю высоту выработки, а со стороны действующих выработок - по мере укладки бетона.
Перед укладкой бетона вруб очищают от породы и мусора и обильно смачивают водой. Опалубку также смачивают водой, чтобы дерево не поглощало влагу из бетона.
Для увеличения сопротивления перемычки на срез в шпуры, пробуренные в породе, вводят стальные штыри 2, связанные с арматурой перемычки.
Укладку бетона ведут слоями в 25 - 40 см. Бетон должен быть однороден, его приготавливают, как правило, на бетонном заводе.
Каждый слой бетона уплотняют вибраторами до появления на его поверхности "цементного молока". Укладку следует вести непрерывно. Если возникает необходимость остановки работ по бетонированию, то поверхность бетона обильно смачивают водой и укрывают мокрыми мешками, рогожей и т.п. Приступая вновь к кладке бетона, поверхность ранее уплотненного слоя предварительно очищают железной щеткой и делают шероховатой, затем покрывают тонким слоем цементного раствора с тем же соотношением цемента и песка, которое применяется для бетона.
Для уменьшения усадки бетона следует избегать применения слишком жирных смесей с уменьшенным количеством воды для затвердения. Для борьбы с послеусадочными зазорами в перемычку до контакта кладки с породами закладывают несколько (8 - 10) труб 3 диаметром 25 - 50 мм. Через трубы после того, как бетон окрепнет, нагнетают цементный раствор (Ц:П - 1:2).
Трубы 5 (не менее трех) для спуска воды и контроля за состоянием атмосферы в изолированном пространстве закладывают по мере укладки бетона и снабжают задвижками. На средней трубе устанавливают манометр 1. Прилегающие к перемычке породы пропитывают цементным раствором, нагнетаемым через трубки 4.
После того как бетон приобретает прочность (через 7 - 10 дней), снимают опалубку. Поверхность перемычки выравнивают, раковины и пустоты немедленно заделывают цементным раствором (Ц:П - 1:1). Затем поверхность перемычки железнят и белят или покрывают силикатным раствором.
5.4. Динамически устойчивые изолирующие сооружения
В условиях шахт Сахалина, Средней Азии и других районов страны, угольные месторождения которых подвержены сейсмическим воздействиям, изоляцию временно остановленных, отработанных и пожарных участков от действующих горных выработок следует производить динамически устойчивыми сооружениями. Такие же перемычки и противопожарные арки должны возводиться в местах, подверженных действию динамических нагрузок, вызванных взрывами большого количества ВВ, например, при торпедировании труднообрушаемой кровли, посадке потолочины с помощью минных камер и т.д.
К динамически устойчивым противопожарным аркам и перемычкам предъявляются те же общие требования, что и к обычным изолирующим сооружениям. Дополнительные требования к ним обусловлены необходимостью повышения прочности и устойчивости тела изолирующего сооружения и снижения трещиноватости вмещающих горных пород, возникающей при сейсмических нагрузках.
Отличительными особенностями возведения изолирующих сооружений этого типа являются анкерование и тампонаж горных пород в местах их возведения. Анкерная крепь и тампонаж пород и угля нашли широкое применение в горной промышленности и достаточно полно освещены в технической литературе. Однако эти способы трудоемки и их выполнение занимает много времени.
Усовершенствованный ВостНИИ трубчатый анкер специально предназначен для возведения изолирующих сооружений. Его применение позволяет совмещать анкерование и тампонаж горных пород.
Трубчатый тампонажный анкер (рис. 5.11) состоит из двух полувтулок 6, стержня 7, трубы (буровой штанги) 5, на одном конце которой имеется резьба, а на другом - два отверстия 8 для выхода тампонажного состава, шайбы 3, натяжной гайки 2, штуцера 1 и резиновой манжеты 4. Полумуфты и стержень стандартного анкера ШК-1 привариваются к трубе или к штанге газовой сваркой.
Рис. 5.11. Трубчатый тампонажный анкер
При сооружении перемычек и арок анкер используется следующим образом.
В шпур на заданную глубину вводится анкер, затем с помощью гайки создается усилие, при котором хвостовик раздвигает полувтулки и заклинивает анкер в породе. На резьбовую часть трубы наворачивается штуцер, к которому подсоединяется шланг от тампонажного агрегата.
Шпуры бурят ручными электросверлами.
Динамически устойчивые изолирующие сооружения могут быть выполнены из брусьев, бетона, гипса и железобетона.
Брусчатые динамически устойчивые перемычки
Для возведения брусчатых перемычек (рис. 5.12) применяют брусья сечением 20 x 20 см. В выработках, пройденных по самовозгорающимся пластам, необходимо использовать брусья, покрытые огнезащитным составом. По длине брусья заготавливают трех размеров: длинные 5, которые должны быть больше ширины выработки на величину вруба с одной стороны, укороченные 4 - равны величине вруба и короткие 6 - равны толщине перемычки.
Рис. 5.12. Брусчатая динамически устойчивая перемычка
Порядок возведения брусчатых торцовых перемычек следующий. После выбора места, взятия вруба и выполнения подготовительных работ в бортах и кровле выработки бурят шпуры 1, укрепляют анкера и производят тампонаж пород. Затем вруб в почве заливают слоем мастики толщиной 5 - 8 см и на него укладывают первый ряд брусьев. На этот ряд заливают мастику (3 - 5 см) и размещают длинные брусья. Проверяют горизонтальность кладки по уровню в двух направлениях. В месте стыков брусья со стороны изолируемого пространства в выработках, закрепленных деревянной крепью, устанавливают две стойки под верхняк.
Место для возведения перемычки выбирается с таким расчетом, чтобы тело перемычки соприкасалось с крепью 2 со стороны изолируемого пространства.
На участках, имеющих приток шахтных вод, укладку брусьев целесообразно производить на бетонное основание (порог). Укладку последующих рядов ведут таким образом, чтобы короткие, длинные и укороченные брусья чередовались между собой. Длинные брусья заводят во вруб с одной стороны, а оставшуюся часть до стенки противоположного вруба закладывают укороченными брусьями. Необходимо следить за тем, чтобы последние чередовались по боковым сторонам перемычки, а швы между ними и короткими (поперечными) брусьями не совпадали по вертикали. Все прилегающие поверхности брусьев внутри перемычки должны быть покрыты слоем мастики толщиной не менее 1,5 см. Пустоты между стенками вруба и брусьями также заполняют мастикой.
Верхняя часть перемычки, где трудно разместить очередной ряд длинных брусьев, может быть заложена короткими брусьями полного или уменьшенного сечения. Расширение в кровле покрывают изолирующим раствором и закрепляют стойками под верхняк с перетяжкой кровли.
Поверхность тела перемычки и прилегающих к ней пород и угля покрывают мастикой 3. Со стороны изолируемого пространства покрытие наносят на 1/2 - 2/3 высоты нижней части перемычки по мере ее возведения. Со стороны действующих выработок покрытие изолирующими составами производят после окончания всех работ по сооружению перемычки. Изолирующий состав наносят на кладку и вмещающие горные породы на расстояние не менее 0,6 м от их сопряжения с телом перемычки.
Бетонные динамически устойчивые перемычки
Бетонные перемычки (рис. 5.13) возводят в следующем порядке: выполняют вспомогательные операции, делают вруб, бурят шпуры и производят анкерование и тампонаж пород.
Рис. 5.13. Бетонная динамически устойчивая перемычка
1 - анкер; 2 - покрытие; 3 и 6 - опалубка;
4 - арматура; 5 - бетон
Со стороны изолируемого пространства в середине выработки устанавливают две стойки, к которым прибивают опалубку; со стороны действующих выработок ее возводят по мере укладки бетона. При нашивке досок необходимо следить за вертикальностью стенок опалубки и плотностью стыков и швов. В месте расположения окна опалубку перемычки не устанавливают. Арматуру к болтам анкера присоединяют по мере укладки бетона. В качестве арматуры используют арматурную сталь диаметром не менее 0,5 мм. Коэффициент армирования перемычки составляет 0,5%. Технология установки арматуры в перемычке аналогична технологии при изготовлении железобетонных изделий. Арматура в теле перемычки должна находиться не ближе 20 см от опалубки.
Укладку бетона ведут слоями в 25 - 40 см и тщательно трамбуют до появления на его поверхности "цементного молока". Необходимо следить, чтобы бетон заполнял все трещины и пустоты в породах. Укладку бетона ведут от бортов к центру перемычки.
После возведения перемычки на 0,5 м от почвы выработки устанавливают опалубку для окна, раскрепляют ее и производят нашивку досок опалубки перемычки со стороны изолируемого пространства до кровли выработки. В верхнюю часть вруба нагнетают цементный раствор под давлением до 5 кгс/см2 через трубку, заложенную в перемычку у кровли.
Трубы для выпуска воды, замера температуры и закачки цементного раствора встраивают по мере укладки бетона.
Через шесть - семь дней после окончания работ по укладке бетона снимают опалубку со стороны изолируемого пространства, выравнивают и штукатурят бетонную стенку. Особое внимание при этом следует обратить на качество заделки пустот в сопряжении тела перемычки с породами и на штукатурку пород на расстоянии не менее 0,5 м. Затем устанавливают опалубку и заполняют окно бетоном. После этого снимают опалубку со стороны действующих выработок, выравнивают бетонную стенку, заделывают цементным раствором (Ц:П - 1:1) раковины и пустоты. Поверхность перемычки железнят, белят или покрывают силикатным раствором.
Бетонные смеси, как правило, должны готовиться на бетонных заводах и доставляться в шахту в готовом виде. Как исключение допускается приготовление бетона в районе возведения перемычки.
Железобетонные динамически устойчивые перемычки
В месте возведения железобетонных перемычек
(рис. 5.14) убирают крепь, обирают нависшие куски породы. Разделывают вруб, с помощью анкера укрепляют и тампонируют породы со стороны изолируемого пространства, устанавливают стойки и к ним прибивают опалубку. После этого монтируют арматуру из арматурной стали диаметром не менее 5 мм. Для этой цели к концам анкеров, выступающим в горную выработку, присоединяют арматуру таким образом, чтобы в теле перемычки было не менее пяти вертикальных и горизонтальных рядов. Арматура должна находиться не ближе 20 см от опалубки. Арматурную сталь вертикальных и горизонтальных рядов перевязывают стальным проводом. Затем устанавливают опалубку со стороны действующих горных выработок и пространство между опалубками заполняют бетоном по технологии, описанной выше.
Рис. 5.14. Железобетонная динамически устойчивая перемычка
1 - анкер; 2 - покрытие; 3 и 6 - опалубка;
4 - арматура; 5 - инъектор
После возведения перемычки ее штукатурят или покрывают силикатным раствором.
Противопожарные динамически устойчивые арки
На откаточных и вентиляционных штреках или на промежуточных квершлагах, пересекающих самовозгорающиеся пласты угля, а также в местах, предусмотренных планом ликвидации аварий, и на участках под потушенными пожарами возводят до начала очистных работ противопожарные арки.
На шахтах, расположенных в сейсмоактивных районах, противопожарные арки должны быть динамически устойчивыми.
Сечение арок принимается равным сечению выработок в свету. Они должны устанавливаться не ближе 5 м от места пересечения выработок. Толщина арки должна быть на 10% больше толщины перемычки, закладываемой в ней.
Противопожарные арки - долгосрочные сооружения, поэтому они должны иметь повышенную прочность. Их следует возводить из железобетона или из бетона в прочных и нетрещиноватых породах.
В местах сооружения арок крепь усиливают на 5 м в каждую сторону. На пластах угля, склонного к самовозгоранию, крепь выполняют из несгораемого материала или из дерева, покрытого огнезащитным составом.
Для снижения трудоемкости и ускорения работ по закладке арок, что особенно важно в аварийных условиях, следует применять бетониты. Размер арки должен быть таким, чтобы ее проем заполнялся целым числом бетонитов. Кладку блоков необходимо вести на цементном растворе (Ц:П - 1:2, 1:1) со смещением горизонтальных швов.
На расстоянии не более 20 м от каждой арки в специальной нише должно храниться необходимое количество материалов (блоки, песок трубы и др.). При сооружении арок в особо ответственных местах в нише, кроме того, должен находиться гидрофобный или обычный цемент в герметичных полиэтиленовых мешках. В тех случаях, когда в перемычке должен быть оставлен проход в изолированное пространство, в нише должна находиться металлическая дверь. Кроме этого, в нише находятся инструменты и приспособления (лопаты, койла, ящик для приготовления раствора и др.). Состояние и сохранность материалов и инструментов должны проверяться не реже двух раз в месяц.
Для возведения железобетонной арки
(рис. 5.15) делают вруб и расширение в кровле, во вруб устанавливают два ряда арматуры. В зависимости от формы и сечения выработки арматура может быть выполнена в виде полного (неполного) дверного оклада или балок, заложенных во вруб в кровле. В качестве арматуры можно использовать рельсы, спецпрофиль, швеллеры и т.д. Для удобства монтажа арматуру собирают из отрезков, длина которых не должна превышать ширину выработки в свету. Отрезки арматуры в месте возведения арки соединяют между собой накладками. После этого приступают к укладке пластичного или литого бетона, который доставляют с поверхности. Опалубку наращивают по мере укладки, сначала заполняют вруб в почве, а затем в бортах. Для связи арки с телом перемычки по всему периметру выработки делают выступы.
Рис. 5.15. Противопожарная динамически устойчивая арка
1 - полоса; 2 - арматура; 3 - бетон; 4 - инъектор;
5 - паз; 6 - фундамент; 7 - щебень; 8 - анкер
Вруб в кровле закладывают бетоном через расширение. Когда укладка бетона становится затруднительной, в расширении размещают два - три коротких отрезка швеллеров или рельсов. Расширение по кровле выработки перекрывают опалубкой и через трубы заполняют цементным раствором (Ц:П - 1:2).
Для повышения устойчивости перемычки во внутренних стенках арки делают выступы или наклонные плоскости в сторону изолируемого пространства.
После затвердевания цемента опалубку убирают. Раковины и неровности на поверхности бетона, пустоты на сопряжении арки с породами заполняют раствором, арку с обеих сторон штукатурят и железнят. В крепких и нетрещиноватых породах и угле арки можно сооружать без заделки поперечных швеллеров.
Закладку арки (проема) производят бетонитами или железобетоном. Для возведения арки в качестве арматуры используют горячекатаную сталь переменного профиля диаметром 15 - 20 мм, проволоку диаметром 5 - 8 мм, полосовое железо толщиной не менее 5 мм, отрезки рельсов и балок.
Каркас арматуры сваривают на поверхности по форме вруба и доставляют в шахту. Каркас должен состоять из трех частей: двух стоек и верхней части арки. На месте возведения арки арматуру устанавливают во вруб и закрепляют проволокой и болтами или штырями через накладки. Технология укладки бетона и штукатурки арки аналогична описанной выше.
6. Изоляция горных работ от поверхности
При ведении горных работ часто возникают условия для воздухообмена между действующими выработками, выработанным пространством и поверхностью. Это приводит к притоку воздуха в изолированные участки и утечкам воздуха из действующих горных выработок, что ухудшает проветривание очистных и подготовительных забоев, способствует возникновению эндогенных пожаров и затрудняет борьбу с ними.
Аэродинамическая связь горных работ с поверхностью может осуществляться через выработки, скважины, провалы и трещины, образовавшиеся при ведении очистных работ, через выемки, оставшиеся после разработки пластов открытым способом, и через воздухопроницаемые породы, находящиеся на выходах пластов угля.
Для сокращения утечек воздуха, предупреждения и тушения подземных эндогенных пожаров наряду с тщательной изоляцией отработанных участков от действующих горных выработок также необходимо принимать меры по изоляции их от поверхности.
6.1. Изоляция выработок, выходящих на поверхность
Сооружения, изолирующие выработки, выходящие на поверхность, предназначаются не только для предотвращения притока воздуха в выработанное пространство, но и для предупреждения попадания в шахту воды, продуктов горения и т.п.
Выработки, имеющие связь с поверхностью, могут быть изолированы временно (до одного года) или постоянно при их ликвидации. При временной изоляции выработок в их устьях и сопряжениях с действующими горными выработками сооружают постоянные перемычки. Постоянную изоляцию (ликвидацию) выработок, имеющих связь с поверхностью, осуществляют заполнением их негорючими материалами. После того как материал осядет, выработки досыпают породой.
Над устьем временно и постоянно изолируемых выработок насыпают слой глины толщиной 1 м. Площадь изолирующего слоя должна быть в 1,5 раза больше площади перемычки. В бетонных перемычках и заглушках скважин укрепляют указатель, представляющий металлический пруток диаметром 20 мм и длиной 1,5 м, к которому приварена пластина 100 x 150 мм толщиной 5 мм. На пластине электросваркой наносят наименование выработки и дату временной (постоянной) изоляции.
Вокруг всех изолируемых выработок на расстоянии 1 м от изоляционного слоя устраивают водоотводную канаву сечением не менее 0,5 м2. Вокруг устья стволов, шурфов и других выработок должно быть установлено ограждение.
Временная и постоянная изоляция выработок не позднее трех дней после окончания работ отражается на плане горных работ.
Изоляция стволов
Временная изоляция стволов (рис. 6.1, а) осуществляется постоянными изолирующими перемычками.
Рис. 6.1. Временная (а) и постоянная (б) изоляция стволов
Во всех горных выработках околоствольного двора на расстоянии не менее 5 м от ствола возводят перемычки из бетона и бетонитов на цементном растворе. Изоляции подлежат вентиляционный канал и все выработки, прилегающие к стволу. Конструкция бетонитовых (блочных) и бетонных перемычек показана на
рис. 3.17 и
3.18, а описание технологии их возведения приведено в
3.3.
Устье ствола перекрывают бетонитовой перемычкой (в два блока), уложенной на рудничные рельсы тяжелого типа или на металлические балки (номером не менее 12). Расстояние между рельсами (балками) должно быть не более половины длины блока. Вместо блоков можно использовать железобетонные плиты, которые размещают в два ряда. Укладку их следует вести также на цементном растворе. Размеры перемычки необходимо принимать в 1,2 раза больше размеров перекрываемой выработки. Сверху перемычку засыпают слоем глины. В перемычке укрепляют указатель. Вокруг устья ствола и вентиляционного канала делают водоотводную канаву и устанавливают ограждение.
Постоянная изоляция стволов
(рис. 6.1, б) при их ликвидации производится после демонтажа всего оборудования, отшивов, лестниц и т.д. Работы ведутся по проекту, составленному главным инженером шахты, утвержденному техническим директором производственного объединения и согласованному с управлением округа Госгортехнадзора. Демонтаж ведется в направлении снизу вверх. Люди, занятые этой работой, обязательно должны иметь предохранительные пояса.
Перед ликвидацией стволов во всех выработках на расстоянии не менее 10 м от сопряжения со стволом возводят постоянные бетонные перемычки (см.
рис. 3.18). Затем стволы засыпают негорючими материалами (песком, скальной или горелой породой). Глину для этой дели применять запрещается из-за возможности перехода ее в жидкое состояние и опасности прорыва в действующие горные выработки. Устье ствола изолируют железобетонной перемычкой (см.
рис. 3.22 и описание в
3.4).
Вокруг устья ствола и вентиляционного канала убирают почвенный слой на глубину 0,5 м. Над стволом и каналом насыпают слой глины, делают водоотводные канавы, ограждения и устанавливают указатель.
Изоляция шурфов
Временная изоляция шурфов
(рис. 6.2, а) осуществляется следующим образом. На расстоянии 5 м от сопряжения шурфа с подводящей горной выработкой устанавливают постоянную изолирующую бетонитовую (см.
рис. 3.17) или кирпичную (см.
рис. 3.18) перемычку. Описание конструкции и технологии их возведения приведено в
3.3. Устье шурфа и вентиляционный канал перекрывают бетонитовыми перемычками в два блока на цементном растворе с перевязкой швов. Перемычки размещают на тяжелые рельсы или на металлические балки (номером не менее 10). Расстояние между балками (рельсами) должно быть не менее половины блока. Размеры перемычки необходимо принимать в 1,2 раза больше размеров перекрываемой выработки. Вместо бетонитов можно использовать железобетонные плиты, которые размещают в два ряда. Укладку их следует вести также на цементном растворе. Сверху перемычек насыпают слой глины, делают ограждения и устанавливают указатель.
Рис. 6.2. Временная (а) и постоянная (б) изоляция шурфов
Постоянная изоляция шурфов (рис. 6.2, б) при их ликвидации осуществляется заполнением негорючим материалом по проекту, утвержденному главным инженером шахты. В шурфах разбирают отшив междулестничным и грузовым отделениями, демонтируют полки и лестницы. Эти работы выполняют в направлении снизу вверх (от горных выработок к устью шурфа). Рабочие, занятые разборкой, должны иметь предохранительные пояса. В подводящей горной выработке на расстоянии 5 м от сопряжения с шурфом сооружают постоянную бетонную или кирпичную перемычку с контрфорсом.
Вокруг устья шурфа и вентиляционного канала убирают почвенный слой на глубину 0,5 м. Шурф засыпают породой (горелой и скальной). Нижнюю часть шурфа на высоту 5 м проиливают с поверхности или из действующих выработок. Затем над устьем шурфа и вентиляционным каналом насыпают изоляционный слой глины, делают водоотводную канаву, устанавливают ограждения и указатель.
Изоляция выработок с углом наклона до 46°, выходящих на поверхность
Временная изоляция выработок с углом наклона до 46°, имеющих выход на поверхность (рис. 6.3, а), осуществляется с помощью бетонных и кирпичных перемычек. Перемычки возводят в шахте на расстоянии 5 м от сопряжения с подводящими выработками, в устье - на расстоянии 2 м от поверхности (измерения производить по почве выработки). При изоляции выработок на срок более 6 мес изолируют перемычками с подыливанием.
Рис. 6.3. Временная (а) и постоянная (б) изоляция
выработок с углом наклона до 45°
На поверхности устье засыпают глиной, делают водоотводную канаву, устанавливают ограждения и указатель.
Постоянная изоляция при ликвидации выработок с углом наклона до 31°
(рис. 6.3, б) состоит в том, что в шахте на расстоянии 10 м от сопряжения с горными выработками выкладывают две клетки ("костра") из деревянных стоек или одну из рельсов. Наклонную выработку от клетки до устья погашают. В выработке на расстоянии 5 м от сопряжения с действующими выработками сооружают бетонитовую или бетонную перемычку, оборудованную трубами для заиливания обрушенного пространства. Трубу для подачи глинистой пульпы выводят в обрушенные породы выше кровли выработки на 0,5 м; трубу для выпуска воды снабжают гидрозатвором.
Провалы и трещины на поверхности, образующиеся при обрушении выработки, засыпают глиной слоем не менее 1 м; поверхность планируют и прикатывают.
Устье выработки засыпают глиной, ограждают, делают водоотводящую канаву и устанавливают указатель.
При постоянной изоляции выработки с углом наклона 31° и выше на расстоянии 10 м от подводящих выработок выкладывают две клетки ("костра") из деревянных стоек или одну из рельсов. На расстоянии 5 м от сопряжения с действующими выработками сооружают бетонную перемычку, оборудованную трубами для подыливания нижней части ликвидируемой выработки. Затем выработку погашают и засыпают горелой и скальной породой. Вокруг устья и вентиляционного канала снимают поверхностный слой на глубину 0,5 м, насыпают изоляционный слой из глины высотой 1 м, делают водоотводящую канаву, устанавливают ограждение и указатель.
Изоляция скважин
При временной изоляции скважины диаметром менее 200 мм (рис. 6.4, а) в нее со стороны подземных горных выработок забивают деревянную пробку длиной 0,8 м. Сбоку на всю длину пробки делают паз и в нем укрепляют трубу диаметром 50 мм и длиной 4,5 м для выпуска воды. Верхний конец трубы должен быть загнутым ("гусак"), нижний - V-образной формы (гидрозатвор). Пробку раскрепляют крепежной рамой.
Рис. 6.4. Временная (а, б) и постоянная (в, г)
изоляция скважин
С поверхности скважину заполняют просеянной до фракции 50 мм глиной на высоту 1,5 м от пробки. Верхний конец дренажной трубы должен находиться выше уровня глины на 1 м. Обсадную трубу на поверхности закрывают металлической заглушкой на резьбе, к которой приварен указатель. Вокруг обсадной трубы заливают бетонную тумбу диаметром на 0,5 м больше диаметра скважины. Высоту тумбы принимают 0,7 м. Нижняя ее часть должна быть заглублена в почву на 0,3 м. Если скважина пройдена по пласту угля, склонного к самовозгоранию, то вокруг нее на глубину 1,5 м делают котлован, который заполняют влажной глиной, затем делают тумбу.
Скважину диаметром более 200 мм при временной изоляции
(рис. 6.4, б) со стороны шахты перекрывают однорезками или брусьями, которые закрепляют стойками под верхняк. В настиле монтируют трубу с "гусаком" в верхней части и гидрозатвором - в нижней. С поверхности скважину заполняют глиной на высоту 2,5 м. Верхний конец дренажной трубы должен находиться над уровнем глины на 1 м. Обсадную трубу на поверхности закрывают металлической, заглушкой с указателем. Над устьем скважины сооружают бетонную тумбу. Если скважина обсажена трубами на всю длину или пересекает пласты угля, то на поверхности вокруг нее делают котлован на глубину 1,5 м, заполняют его влажной глиной, которую затем трамбуют. После этого делают тумбу. Скважину, пройденную по самовозгорающемуся пласту угля, заполняют твердым осадком пульпы на высоту 2,5 м. Для этой цели в пробке и настиле монтируют две трубы: одну - для подачи пульпы, другую для дренажа воды и контроля за составом атмосферы и температуры воздуха в скважине.
Постоянная изоляция скважин осуществляется по проекту, утвержденному главным инженером шахты. Скважины диаметров менее 200 мм при их ликвидации
(рис. 6.4, в) полностью засыпают глиной или заполняют бетоном. В скважину со стороны подземных горных выработок забивают деревянную пробку на высоту 1 м, которую подпирают крепежной рамой. При засыпке скважины глиной первая обсадная труба от устья заполняется бетоном. Крупность гравия (щебня) в бетоне не должна превышать 1/5 диаметра скважины. В бетон на глубину 0,2 м заводят металлический стержень диаметром 20 мм, на нижнем конце которого приварена крестовина, а на верхнем - пластина указателя. Устье скважины засыпают глиной на высоту 1 м.
При постоянной изоляции скважины диаметром более 200 мм
(рис. 6.4, г), подлежащей ликвидации, со стороны горных выработок сооружают опалубку из однорезок. Опалубку раскрепляют стойками под верхняк. Скважину заполняют бетоном на высоту 2,5 м от опалубки. После схватывания бетона скважину на всю длину заполняют негорючим материалом, за исключением глины. Чтобы избежать забучивания скважин при засыпке, размер кусков не должен превышать 1/4 диаметра скважин. Верх скважины на 0,5 м заполняют бетоном, в который вставляют указатель. Над устьем скважины насыпают изоляционный слой глины толщиной 1 м и диаметром, на 1 м больше диаметра скважины. Делают водоотводную канаву и устанавливают указатель.
Особое внимание при временной и постоянной изоляции необходимо уделять скважинам, обсаженным трубами на всю длину. Для предотвращения прососов воздуха между стенками скважины и обсадной трубой пространство между ними необходимо заполнять бетоном, цементным раствором, хлоридно-глинистой пастой или глинистой пульпой консистенции 1:1. Для этого у устья скважины вокруг обсадной трубы делают котлован глубиной 1,5 м и диаметром на 1 м больше диаметра обсадной трубы и заполняют бетоном. В шахте вокруг обсадной трубы делают опалубку, которая должна перекрывать породы и уголь на расстоянии не менее 1 м от скважины. Между трубой и стенками скважины бурят шпур диаметром 45 мм и с помощью герметизатора и растворонасоса нагнетают изолирующий состав. Высота заполнения цементным раствором должна быть не менее 1 м, хлоридно-глинистой пастой - не менее 1,5 м, пульпой - не менее 2,5 м.
6.2. Изоляция провалов и трещин на поверхности
Разработка угольных пластов системами с обрушением кровли вызывает значительные сдвижения горных пород с образованием провалов и трещин на поверхности. Размеры провалов и трещин зависят от глубины горных работ, мощности и угла падения угольного пласта, свойств боковых пород, мощности рыхлых отложений над выходами пластов, от системы разработки, направления и скорости подвигания очистных забоев.
В Прокопьевско-Киселевском районе Кузнецкого бассейна при отработке верхних горизонтов провалы, как правило, образуются даже при выемке тонких крутых пластов. При отработке второго горизонта в тех случаях, когда углы падения пластов меньше 45°, а также при небольших размерах выработанного пространства провалы обычно не образуются. При отработке третьего горизонта провалы, за редким исключением, образуются только на мощных пластах с углом падения свыше 55°. С переходом горных работ на четвертый и более глубокие горизонты нарушения поверхности наблюдаются редко.
Провалы, образующиеся при разработке первого и второго горизонтов на пластах мощностью до 3 м, представляют собой обычно отдельные воронки обрушений. На более мощных пластах угля провалы имеют вид оврагов, размеры которых вкрест простирания равны обычно трех- пятикратной мощности пласта, а по простиранию - размером выемочного участка. Глубина провалов изменяется от 5 до 30 м и более.
По мере углубления горных работ вновь образующиеся провалы обычно не выходят за контуры провалов верхнего этажа, если не считать незначительного смещения зоны провалов в сторону висячего бока пласта.
Сдвижение горных пород в результате подземной разработки приводит к образованию серии трещин, через которые, так же как и через провалы, возможен воздухообмен между подземными выработками и поверхностью.
Для изоляции горных работ от проникновения в них воздуха и предупреждения возникновения подземных пожаров все провалы, образовавшиеся при отработке пластов угля, подлежат засыпке (рис. 6.5). Засыпка провалов должна обеспечить надежное перекрытие выходов пластов, трещин в коренных породах. Изоляционная подушка, создаваемая для этого, должна быть не менее 3 м, считая от уровня коренных пород. Борта провалов должны иметь пологие склоны.
Рис. 6.5. Засыпка провала наносами
1 - канава; 2 - провал, засыпанный глиной;
3 - отработанный пласт
Для засыпки провалов используют рыхлые отложения, расположенные в непосредственной близости от провалов и трещин. Засыпка производится бульдозером, которым грунт со стороны лежащего бока пласта послойно срезается и перемещается в провал. Минимальная мощность наносов, оставляемых над коренными породами, должна быть 3 м. На участках, опасных по прорывам глин, засыпку провалов производить рыхлыми породами в смеси с коренными породами. В качестве материалов для засыпки провалов и трещин могут быть использованы глинистые наносы, шахтные породы, отсевы закладочного материала и т.д.
Глинистые породы (суглинки и супеси) наиболее часто используют для засыпки провалов и трещин. Они в большинстве случаев залегают на выходах пластов и могут быть применены для изоляции с минимальными затратами средств. В глинистых наносах содержится большое количество мелких фракций, которые при уплотнении образуют в провале воздухонепроницаемый слой.
Суглинки и супеси под воздействием влаги приобретают повышенную пластичность. Поэтому в местах, опасных по прорыву глин в горные выработки, наносы могут быть использованы для засыпки провалов только с добавлением 30% (по объему), горелых или 50% коренных пород (сланцев, песчаников).
Породы от вскрышных работ имеют частицы фракций, размеры и количество которых зависят от многих факторов. Обычно они состоят из смеси глинистых наносов и коренных пород (аргиллитов, алевролитов, песчаников). Породы от вскрыши, предназначенные для засыпки провалов, не должны содержать более 20% горючих веществ.
Содержание глинистых грунтов во вскрышных породах зависит от мощности наносов и глубины залегания пласта. Для засыпки провалов могут быть применены породы, содержащие не менее 50% глины. При использовании породы с меньшим содержанием глины после засыпки провала необходимо сверху создать изолирующую подушку из глины толщиной не менее 3 м.
Породы, выдаваемые из шахт, представляют собой механическую смесь угля, углистых сланцев и породы. В своем составе они обычно содержат значительное количество горючих материалов. Для засыпки провалов могут быть использованы породы с содержанием горючих до 20%.
Породы как от вскрышных работ, так и выдаваемые из шахты должны размещаться в провалах слоями. Технология ликвидации провалов в этом случае состоит в том, что поверхность, подлежащую засыпке, покрывают вначале слоем глины толщиной не менее 1 м, затем размещают слой породы толщиной не более 1,5 м. Чередуя слои глины и породы, заполняют объем провала.
Горелые породы (горельники) - полностью перегоревшие породы, в которых содержится менее 5% горючих примесей. Они представляют собой крепкие, пористые глинисто-песчаные трещиноватые породы буровато-красного цвета с кавернами и пустотами.
Горелые породы при засыпке провалов могут быть использованы только в смеси с глиной в количестве 30 - 35%.
Отходы закладочного материала также могут быть использованы для засыпки провалов. Но так как этот материал имеет высокую воздухопроницаемость, то его следует применять в смеси с 20 - 25% глины или после засыпки провала отходами закладки сверху создавать изолирующий слой ("подушку") толщиной не менее 3 м.
Для приведения провалов в безопасное состояние перед засыпкой необходимо взрывным способом ликвидировать навесы и произвести выполаживание бортов.
При мощности наносов до 3 м засыпку провалов следует производить привозным рыхлым грунтом, а на участках, опасных по прорывам глин, - привозными коренными породами. В этом случае породу автосамосвалами транспортируют и складируют по бортам провала, а затем бульдозерами перемещают в провал. После заполнения провала материал уплотняют бульдозерами, а склоны отвала выполаживают.
Для сокращения сроков работы по изоляции привозной материал целесообразно размещать в районе выходов пластов, чтобы в дальнейшем его переместить в образовавшиеся провалы.
Работу по засыпке провалов необходимо вести круглый год. Мерзлую корку наносов в зимнее время следует рыхлить. Материал для засыпки провалов нужно заготавливать по мере их образования. Промерзшую корку целесообразно рыхлить буровзрывным способом, при этом скважины следует располагать таким образом, чтобы при их взрывании исключалось бы образование больших глыб.
Рыхление корки производится на площади, ширина которой равна ширине траншеи, образуемой бульдозером (3 - 3,5 м), а длина не более 40 м. Взорванная корка перемещается бульдозером в провал, и поверх нее насыпаются рыхлые отложения, разрабатываемые бульдозером в образовавшейся траншее. Разработка талых пород ведется непрерывно для того, чтобы не допускать их промерзания. Одновременно производится бурение скважин для следующей траншеи.
Для засыпки в зимнее время целесообразно вдоль выходов пластов в местах образования провалов заранее (летом) заготавливать материал в штабелях
(рис. 6.6). При образовании провалов они заполняются заготовленным материалом. Летом на этих участках производят зачистку и выравнивание поверхности. На участках, не опасных по прорывам глин и имеющих достаточное количество рыхлых отложений, штабеля создают из местного материала, который нагребают на предполагаемые места образования провалов. На шахтных полях, где отсутствуют наносы, штабеля можно создавать из любых привозных негорючих материалов, в том числе из рыхлых глинистых пород. На участках, опасных по прорывам глин, необходимо, чтобы штабеля состояли только из коренных пород. Последние, попадая вместе с наносами в выработанное пространство, не дают глинистым породам приходить в подвижное состояние. На этих участках можно использовать также естественные горелые породы и горелые породы отвалов. Объем и размеры штабелей принимаются по маркшейдерским данным.

Рис. 6.6. Схема закладки штабеля
1 - глина; 2 - порода; 3 - наносы; 4 - пласт угля;
5 - контур будущего провала
Материал для засыпки провалов обычно не требует сортировки. Если коренные породы представлены в основном крупными кусками и рыхлые отложения над выходами пластов имеют незначительную мощность (менее 3 м), то при закладке штабеля добавляют мелкий материал. Штабеля формируют бульдозерами, скреперами, экскаваторами и автосамосвалами.
При крепких труднообрушаемых породах кровли и наносах мощностью менее 3 м во многих случаях целесообразно производить выполаживание бортов и частичную засыпку провала взрывным способом. Взрывание породы производят с применением скважин, котловых и камерных зарядов. Скважинные и котловые заряды следует располагать в несколько рядов с уменьшением их глубины по мере удаления зарядов от границы провала. Скважины и минные камеры целесообразно располагать с висячей и лежачей сторон провала. При проведении минных выработок в породах висячего бока пласта необходимо вести тщательный контроль за поведением пород, поскольку минные выработки и скважины можно располагать только в зоне, безопасной в отношении самопроизвольного обрушения пород. При засыпке провалов коренными породами заряды ВВ в камерах и скважинах необходимо рассчитывать для взрывов на сброс.
Наряду с засыпкой провалов необходимо изолировать все трещины на поверхности. Изоляция трещин производится засыпкой их грунтом и трамбовкой при помощи бульдозера. В зоне трещинообразования мощность создаваемой подушки из насыпного грунта или мощность существующих наносов после засыпки должна быть не менее 3 м. При повторных обрушениях поверхности все вновь образовавшиеся провалы и трещины засыпаются еще раз.
При засыпке провалов воздухопроницаемыми породами над ними следует создавать изоляционный слой из глинистых наносов толщиной не менее 3 м.
Учитывая, что засыпка провалов и трещин преследует не только ликвидацию аэродинамической связи горных работ с поверхностью, но и выравнивание (восстановление) поверхности, после окончания работ следует производить ее планировку.
6.3. Изоляция поверхности, нарушенной
открытыми горными работами
Верхняя часть мощных пластов угля, залегающих на сравнительно небольшой глубине от поверхности, довольно часто разрабатывается открытым способом. При дальнейшей отработке этих пластов подземным способом через оставшиеся на выходах целики угля происходит фильтрация воздуха. Это приводит к самовозгоранию угля как в целиках, так и в отработанном участке. В связи с этим после окончания работ по добыче угля открытым способом выемки разреза должны быть засыпаны не позднее чем через месяц (рис. 6.7).
Рис. 6.7. Засыпка выемки открытых горных работ
1 - канава; 2 - разрез; 3 - глина; 4 - порода;
5 - пласт угля
Перед засыпкой из разреза необходимо удалить весь разрыхленный уголь, а борта, особенно со стороны лежачего бока пласта, зачистить от разрушенного угля; произвести тщательный осмотр угольных уступов. При обнаружении признаков самонагревания уголь из этого района должен быть удален, а место очага проилено глинистой пульпой консистенции не ниже 1:5 (по объему) или обработано 5%-ным раствором хлористого кальция.
Заполнение разреза породой и наносами при наличии в нем очагов самовозгорания угля запрещается.
Выемки засыпают негорючим материалом по технологии, описанной в
6.2. Перед засыпкой дно и борта разреза покрывают слоем глины толщиной не менее 1 м от уровня коренных пород. После этого выемку засыпают не менее чем на 3 м породами вскрыши, в которых не должно содержаться горючих веществ (по данным лабораторных анализов) более 20%. Крупнокусковой материал (более 10 см), используемый для засыпки, проиливают глинистой пульпой консистенции не менее 1:3 (по объему) из расчета 1 м3 пульпы на 5 м3 породы. Затем на слой породы насыпают суглинки или супеси толщиной не менее 3 м. При засыпке выемок только наносами толщина изолирующего слоя должна быть не менее 5 м.
Складирование в выемках, подлежащих подработке, отходов обогащения, пород с шахтных отвалов, мусора и других отходов производства запрещается.
Вокруг выемки разреза на расстоянии 1 м от борта прокапывают водоотливную канаву.
Изоляция выемок после окончания работ отражается на плане поверхности шахты. На выполненные работы составляется акт, утвержденный главным инженером шахты.
7. Организационно-технические мероприятия
7.1. Организация работ по изоляции выработок и участков
При изоляции временно остановленных и неиспользуемых горных выработок и отработанных участков необходимо руководствоваться следующими основными положениями.
Отработанные выемочные поля и прилегающие к ним горные выработки изолируют постоянными перемычками. Временно остановленные и неиспользуемые горные выработки и участки изолируют временными или постоянными изолирующими сооружениями в зависимости от продолжительности изоляции. Конструкции перемычек, рубашек, противопожарных арок определяются горнотехническими и геологическими условиями, в которых они сооружаются.
Все изолирующие сооружения должны иметь порядковый номер по шахте и наноситься на схемы вентиляции в течение суток, а на планы горных работ - не позднее трех суток. Условные обозначения изолирующих сооружений
(рис. 7.1) в зависимости от материала, из которого они выполнены, раскрашивают в цвета: зеленый - бетонные; красный - кирпичные, каменные, блочные; желтый - деревянные. Под условными обозначениями изолирующего сооружения наносят тушью его номер, месяц и год возведения.
| Временная перемычка |
| Постоянная перемычка с врубом |
| Безврубовая перемычка |
| Водоупорная перемычка |
| Взрывоустойчивая перемычка |
| Изолирующая рубашка |
| Противопожарная арка |
Рис. 7.1. Условные обозначения изолирующих сооружений
На каждой возведенной перемычке (постоянной и временной), рубашке, противопожарной арке укрепляют следующую табличку, выполненную масляной краской на металлической пластинке:
Пласт __________________________ Горизонт _____________________________
Наименование выработки ________________________________________________
Название и номер изолирующего сооружения ______________________________
Дата возведения _______________________________________________________
Глубина вруба _________________________________________________________
Толщина _______________________________________________________________
Материал:
тела сооружения ___________________________________
вяжущего покрытия _________________________________
───────────┬───────────────────┬───────────────────────────────┬───────────
│ Температура, °C │ Газовый состав, % │
├───────────────────┴───────────────────────────────┤
Дата замера│ в изолированном пространстве │ Подпись
├────────┬──────────┬────────┬────────┬───────┬─────┤ замерщика
│ вода │ воздух │ CH │ CO │ CO │ O │
│ │ │ 4 │ 2 │ │ 2 │
───────────┴────────┴──────────┴────────┴────────┴───────┴─────┴───────────
Перемычки, установленные в пределах выемочного участка, принимаются начальником участка вентиляции (спецучастка) и участковым маркшейдером. Изолирующие сооружения, возведенные для изоляции отработанного участка (лавы), принимаются комиссией в составе заместителя главного инженера шахты по технике безопасности, участкового маркшейдера, представителя ВГСЧ. Противопожарные арки, перемычки и рубашки, служащие для изоляции выемочного (бремсбергового, уклонного) поля и крыла шахты, а также выработок, выходящих на поверхность, принимаются комиссией в составе главного инженера, главного маркшейдера шахты и представителя ВГСЧ.
Приемку изолирующих сооружений производят по акту, который хранится у начальника участка ВТБ.
приемки изолирующего сооружения
"_____" _______________ 197 г.
Производственное объединение ______________________________________________
Шахта ___________________________
Пласт, горизонт, наименование выработки ___________________________________
___________________________________________________________________________
Тип, номер и дата возведения изолирующего сооружения ______________________
___________________________________________________________________________
Назначение и конструкция изолирующего сооружения (глубина вруба,
толщина, площадь, количество труб) ________________________________________
Материал изолирующего сооружения (кладки, вяжущего покрытия) ______________
Комиссия в составе: _______________________________________________________
___________________________________________________________________________
назначенная _______________________________________________________________
произвела приемку изолирующего сооружения и установила следующее:
1. Соответствие конструкции изолирующего сооружения с проектом
(отступление от проекта) __________________________________________________
2. Состояние подхода и крепи у изолирующего сооружения
3. Способ проветривания тупика ________________________________________
4. Герметичность изолирующего сооружения и газовый состав в
изолированном пространстве ________________________________________________
5. Затраты (чел-смен) на возведение ___________________________________
6. Стоимость (руб.): по материалам ____________________________________
по заработной плате ____________________________________
Заключение комиссии ___________________________________________________
Качество выполнения работ _____________________________________________
Недоделки и сроки их устранения _______________________________________
Изолирующее сооружение N _____ возведено в соответствии с проектом и
после устранения недоделок может быть принято в эксплуатацию.
Подписи:
На обратной стороне
акта помещается выкопировка из плана горных работ, непосредственно прилегающих к изолирующему сооружению, и эскиз сооружения в двух проекциях.
Контроль за герметичностью перемычек, рубашек и арок работниками шахты должен начинаться сразу же после возведения и в дальнейшем осуществляться систематически на протяжении всего срока службы. Начальник подземной противопожарной службы (заместитель начальника ВТБ) должен организовать проверку качества изолирующих сооружений. Осмотр перемычек и рубашек, изолирующих выработанное пространство от действующих горных выработок, производится не реже одного раза в неделю. При осмотре следят за исправностью изолирующего сооружения и подходов к нему, состоянием крепи выработки, плотностью закрытия труб, количеством и температурой воды, вытекающей из изолированного пространства, наличием и местами утечек (подсосов) воздуха через изолирующее сооружение. Результаты осмотра заносят в "Книгу наблюдений за пожарными участками и проверки состояния изолирующих перемычек". Кроме того, не реже одного раза в месяц производится проверка качества изоляции отработанных участков по результатам измерения прососов воздуха через изолирующие сооружения и вмещающие горные породы анемометром или термоанемометром, а также анализов проб воздуха, набранных в изолированном пространстве.
Наблюдения за состоянием противопожарных арок и проверка наличия в нишах материалов для закладки должны производиться еженедельно. Главный инженер шахты и его заместитель обязан не реже одного раза в квартал проверять состояние изолирующих сооружений и не реже одного раза в месяц - записи в "Книге наблюдений за пожарными участками и проверки состояния изолирующих перемычек".
На каждой шахте не реже одного раза в квартал производится проверка качества изолирующих сооружений инспектором спецконторы и представителем ВГСЧ. Осмотру подвергаются не менее 30% всех перемычек, рубашек и противопожарных арок, находящихся в эксплуатации. Результаты проверки оформляются актом, один экземпляр которого передается производственному объединению (комбинату, тресту).
В шахтах, разрабатывающих пласты угля, склонного к самовозгоранию, и мощные пласты, комиссия, назначенная главным инженером шахты, не реже одного раза в месяц должна осматривать изоляцию погашенных выработок, имевших выход на поверхность.
Не реже одного раза в год комиссия под председательством главного инженера шахты осматривает устья изолированных выработок, имевших выход на поверхность. Результаты осмотра оформляются актом.
При временной изоляции выработок, выходящих на поверхность, через каждые 6 мес перемычки в шахте и на поверхности необходимо проверять на герметичность и ремонтировать. После ремонта перемычек над устьем выработок насыпают изоляционный слой.
Контроль за состоянием пожарных участков осуществляет начальник участка ВТБ шахты и представитель ВГСЧ; все изменения, происшедшие на шахте, заносят в книгу. Осмотр перемычек, изолирующих пожарный участок, осуществляется ежесуточно, а в особых случаях, например, при активном подземном пожаре, при неисправностях перемычек или при резких колебаниях состава атмосферы за перемычками, - не реже одного раза в смену. Результаты осмотра заносят в "Книгу наблюдений за пожарными участками и проверки состояния изоляционных перемычек" по следующей форме:
Шахта ____________________________________
Объединение ______________________________
Начата __________________________ 197 г.
Окончена ________________________ 197 г.
──────┬─────┬──────┬──────┬──────┬──────┬───────┬───────────────┬──────────
Число,│Номер│Место-│Состо-│Какой │Приток│Темпе- │Состав воздуха,│Примечание
месяц,│пере-│нахож-│яние │ремонт│воды │ратура │ % │
год │мычки│дение │пере- │необ- │из-за │воздуха├───┬───┬───┬───┤
│ │пере- │мычки │ходимо│пере- │за │ │ │ │ │
│ │мычки │ │про- │мычки,│пере- │CO │CH │CO │O │
│ │ │ │вести │м3/ч │мычкой,│ 2│ 4│ │ 2 │
│ │ │ │ │ │°C │ │ │ │ │
──────┼─────┼──────┼──────┼──────┼──────┼───────┼───┼───┼───┼───┼──────────
│ │ │ │ │ │ │ │ │ │ │
│ │ │ │ │ │ │ │ │ │ │
──────┴─────┴──────┴──────┴──────┴──────┴───────┴───┴───┴───┴───┴──────────
Отбор проб воздуха должен производиться работниками ВГСЧ; место и время отбора проб, а также количество их устанавливает главный инженер шахты по согласованию с ВГСЧ. При резких изменениях температуры или состава воздуха в пожарном участке отбор проб воздуха должен производиться ежесуточно.
В конце книги отведены страницы для регистрации перемычек.
Журнал регистрации перемычек по шахте
Номер перемычки | Местонахождение перемычки | Материал перемычки | Размер перемычки | Размер врубов | Время установки перемычки | Примечание |
| | | | | | |
7.2. Контроль за герметичностью изолирующих сооружений
Герметичность перемычек и рубашек определяется сравнением фактических (измеренных) величин утечек (подсосов) воздуха со средними меньшими значениями воздухопроницаемости изолирующих сооружений.
Средние меньшие значения воздухопроницаемости получены при обработке методом математической статистики результатов наблюдений более чем за 1000 изолирующих сооружений, возведенных в различных геологических и горнотехнических условиях шахт восточных районов страны. Эти значения оптимальных прососов воздуха получены на практике на большом числе изолирующих перемычек и рубашек.
Величина средних меньших значений воздухопроницаемости для основных типов изолирующих сооружений приведена в табл. 7.1.
Тип изолирующего сооружения | Материал | Растворы | Прососы воздуха, м3/(мин·м2) | Средние меньшие значения воздухопроницаемости, м3/(ч·м2·мм вод. ст.) |
кладочные | покрывающие | тампонажные |
Перемычки с врубом | Кирпич | Ц | Ц | - | 0,520 | 3,520 |
Ц | С | - | 0,080 | 0,530 |
Ц | М | - | 0,070 | 0,410 |
Бетон | - | Ц | - | 0,410 | 2,650 |
- | С | - | 0,018 | 0,124 |
- | М | - | 0,021 | 0,140 |
Шлакоблоки | Ц | Ц | - | 0,590 | 4,050 |
Ц | С | - | 0,280 | 1,700 |
Брусья | Ц | Ц | - | 0,150 | 2,800 |
М | М | - | 0,012 | 0,100 |
Безврубовые перемычки | Чураки | Г | Г | - | 0,640 | 5,000 |
Кирпич | Ц | Ц | М | 0,140 | 1,120 |
Ц | М | М | 0,018 | 0,135 |
Бетон | - | Ц | Ц | 0,120 | 1,000 |
- | М | М | 0,011 | 0,900 |
Брусья | М | М | М | 0,010 | 0,090 |
Рубашки | Доски (щиты) | - | М | М | 0,060 | 0,420 |
Бетон | - | Ц | - | 0,430 | - |
- | С | - | 0,006 | - |
Двойные перемычки | | - | М | - | 0,009 | - |
Кирпич | Пространство между перемычками заполнено глинистой пульпой | 0,015 | 0,100 |
Бетон | 0,015 | 0,100 |
Примечание. Г - глинистый раствор, С - силикатный раствор, М - мастика, Ц - цементный раствор.
Герметичность изолирующих сооружений может быть определена по номограмме (рис. 7.2).
Рис. 7.2. Номограмма для определения герметичности
изолирующих сооружений
Номограмма состоит из трех вертикальных и двух наклонных шкал. Крайние вертикальные шкалы справа и слева имеют различные цифровые значения. Если при определении утечек воздуха воздухопроницаемость взята по левому значению шкалы, то и величина утечек воздуха определяется по левому значению шкалы, и наоборот.
Пример 7.1. Измерениями в шахте установлено, что утечки воздуха через оштукатуренную цементным раствором бетонную перемычку сечением S = 15 м2 составят Q = 0,1 м3/с. Депрессия перемычки h = 10 мм вод. ст.
Определить, соответствует ли герметичность бетонной перемычки средним меньшим утечкам воздуха для данного типа изолирующего сооружения.
По
табл. 7.1 находим, что для перемычки, принятой в примере, q = 2,65 м3/(ч·м2·мм вод. ст.). Откладываем на первой шкале номограммы
(рис. 7.2) значение q и через эту точку и точку на шкале "Депрессия", соответствующую 10 мм вод. ст., проводим прямую до пересечения со второй вертикальной шкалой. Затем из точки пересечения на второй вертикальной шкале и через точку 15 м2 на шкале "Сечение изолирующего сооружения" проводим прямую до пересечения со шкалой "Утечки воздуха", на которой берем отсчет, равный 0,12 м3/с.
Сравниваем значение прососов воздуха, полученное по номограмме, с величиной утечки воздуха, измеренной в шахте. Так как

, то бетонная перемычка удовлетворяет предъявленным требованиям.
В тех случаях, когда исходные данные для расчета не вписываются в шкалы номограммы, герметичность изолирующих сооружений может быть определена по формуле

, (7.1)
где

- фактические прососы воздуха через перемычку (рубашку), м3/с;
q - среднее меньшее значение воздухопроницаемости изолирующего сооружения, м3/(ч·м2·мм вод. ст.) (см.
табл. 7.1);
S - площадь изолирующего сооружения, м2;
h - депрессия, мм вод. ст.
Утечки воздуха через изолирующие сооружения определяют одним из следующих способов.
Первый способ состоит в определении количества воздуха, проходящего по выработке до места установки перемычки

и после него

. Замеры в обеих точках производятся одновременно анемометром не менее трех раз.
Величины утечек (подсосов) воздуха

(м3/с) находятся по формулам:
при подсасывании воздуха за перемычку (рубашку)

; (7.2)
при поступлении воздуха из-за перемычки (рубашки)

. (7.3)
При втором способе утечки воздуха через перемычку определяют с помощью вспомогательной перемычки. В этом случае на некотором расстоянии от наблюдаемой перемычки устанавливают временную с открылками, которые тщательно прикрепляют к стенкам выработки. В полотнище временной перемычки делают вертикальную щель. Скорость движения воздуха в щели замеряют анемометром или термоанемометром, который укрепляют около перемычки на штанге или держат на вытянутой руке. При этом вводится поправка на замеренную скорость K = 0,97.
Сопротивление исследуемой перемычки по сравнению с временной очень высоко, поэтому последняя практически не оказывает влияния на прососы воздуха через изолирующее сооружение.
Утечки воздуха q (м3/с) через контрольную перемычку определяются по формуле

, (7.4)
где

,

, ...,

- скорости движения струи воздуха соответственно при первом, втором и i-м замерах, м/с;

- количество замеров;
S - площадь окна, м2.
Наиболее точные результаты определения утечек воздуха через перемычку можно получить при использовании термоэлектрического анемометра АТЭ-2 конструкции ВостНИИ.
Термоэлектрический анемометр состоит из регистрирующего прибора, датчика скорости и датчика направления потока. Принцип действия прибора основан на охлаждении потоком воздуха нити накала термопар датчика и возникающего в результате этого соответствующего изменения электродвижущей силы в термопарах. Изменение электродвижущей силы фиксируется регистрирующим прибором, шкала которого оттарирована в единицах скорости воздушного потока (см/с). Прибор имеет широкий диапазон измерений и может быть применен для замера скорости от 0 до 50 см/с.
Контроль воздухопроницаемости перемычек с помощью термоанемометра производится двумя способами, один из которых применяется для выявления мест, через которые просачивается воздух, а второй - для определения абсолютной величины утечек воздуха через перемычку и вмещающие ее породы.
В первом случае к термоанемометру прикрепляют специальную объемную насадку, представляющую собой усеченный конус. На основании большого диаметра укрепляют резиновое кольцо.
До начала контрольных замеров перемычку и прилегающие к ней породы условно разбивают на квадраты с таким расчетом, чтобы число измерений было не менее шести на 1 м2. В центре каждого квадрата поочередно устанавливают насадку термоанемометра и замеряют величину прососов воздуха. По полученным результатам определяют, какие места перемычки нуждаются в ремонте.
Этим способом можно определить и общие прососы воздуха через перемычку, получая среднюю скорость просачивающегося воздуха как среднее арифметическое из скоростей в каждом квадрате и умножая полученную величину на площадь перемычки. Во избежание ошибок, возможных при этом способе, для определения общей величины утечек воздуха через перемычку с помощью термоанемометра замеры следует производить с использованием паруса.
Если наблюдения за воздухопроницаемостью отдельных изолирующих сооружений позволяют установить степень герметичности каждого из них, то контроль за содержанием кислорода в изолированных участках позволяет оценить весь комплекс мер, использованных для изоляции пожарных или профилактических участков. Такие наблюдения необходимы потому, что воздухообмен между изолированным пространством и действующими выработками может осуществляться не только через вновь возведенные изолирующие сооружения, но и ранее существовавшие, а также через целики угля, состояние которых невозможно проконтролировать, или же через междупластья при разработке сближенных пластов и т.п.
В профилактическом или пожарном участке сразу после окончания работ по изоляции начинаются изменения, вызванные прекращением доступа свежего воздуха. В профилактических участках эти изменения обусловлены процессами сорбции кислорода углем и выделением газов, содержащихся в угле (метана, углекислого газа, азота и др.). В изолированных пожарных участках помимо этих явлений атмосфера обогащается пожарными газами.
При снижении содержания кислорода в изолированном профилактическом участке до 10% и ниже процесс взаимодействия кислорода с углем замедляется и опасность самовозгорания устраняется. Поэтому для профилактических участков такое содержание кислорода может быть принято в качестве контрольной нормы.
При проведении наблюдений за составом атмосферы в пожарных участках необходимо учитывать следующее. Известно, что при снижении содержания кислорода до 12% и менее пламя гаснет. Однако тление продолжается и при снижении содержания кислорода до 5, а иногда до 3%. Поэтому желательно, чтобы содержание кислорода в участках не превышало 3%. Однако в сложных геологических и горнотехнических условиях обеспечить такую изоляцию за счет применения изолирующих сооружений не всегда возможно. В подобных случаях для снижения содержания кислорода в атмосфере изолированного пространства следует применять инертные газы (углекислый, азот, топочный и т.д.).
Контрольные наблюдения за состоянием изоляции по содержанию кислорода в изолированных участках следует начинать сразу после окончания всего комплекса намеченных работ. Если изолирующие сооружения надежно перекроют все пути проникновения воздуха в изолированный пожарный или профилактический участок, в атмосфере этих участков сразу же после окончания изоляционных работ будет наблюдаться сначала резкое, а в дальнейшем постепенное снижение содержания кислорода. Обычно уже через 7 - 10 дней содержание кислорода снижается до 10%. Поэтому, если контрольными наблюдениями не будет обнаружено снижение содержания кислорода, то это будет означать, что в изолированный участок проникает воздух. В этом случае следует еще раз проконтролировать воздухопроницаемость всех изолирующих перемычек и принять при необходимости меры для их ремонта, проверить тщательность засылки провалов и исследовать другие пути проникновения воздуха для того, чтобы их ликвидировать.
Контроль за температурой и газовым составом рудничного воздуха в изолированном пространстве производить на пластах, склонных к самовозгоранию, не реже одного раза в месяц, а на несамовозгорающихся пластах не реже одного раза в квартал.
7.3. Ремонт изолирующих сооружений
В процессе эксплуатации изолирующих сооружений под действием воды, горного давления и влаги воздуха происходит разрушение кладки, покрытия и вмещающих горных пород. Это снижает герметичность перемычек и рубашек и увеличивает прососы воздуха в выработанное пространство. Поэтому все изолирующие сооружения независимо от назначения, срока службы и конструкции должны подвергаться периодическому ремонту.
Виды ремонтов и сроки между ними зависят от многих факторов и устанавливаются в зависимости от состояния изолирующего сооружения. Естественно, что частые и тщательно выполненные ремонты будут способствовать сохранению высоких изолирующих качеств перемычек и рубашек, но вызовут большой дополнительный расход материалов и средств. При производстве ремонтов через большие промежутки времени изолирующее сооружение может разрушаться настолько, что будет невозможно восстановить его герметичность до требуемой величины. Поэтому предупредительные ремонты необходимо проводить через определенное время, в течение которого воздухопроницаемость изолирующего сооружения не превысит допустимой величины.
Наблюдения и анализ материалов профилактических (специальных) участков и участков вентиляции шахт показали, что основным видом ремонта рубашек и перемычек является полная или частичная штукатурка кладки и вмещающих пород. Реже появляется необходимость замены разрушенных частей кладки, устройства контрфорсов и тампонажа горных пород.
Изучение данных, полученных при обследовании изолирующих сооружений в процессе их эксплуатации, и материалов шахт позволило установить оптимальные сроки и виды плановых ремонтов перемычек, рубашек, противопожарных арок и т.д. Объемы ремонтных работ зависят от продолжительности эксплуатации изолирующих сооружений, действия на них горного давления, температуры, влажности воздуха и горных пород.
В табл. 7.2 приведены плановые сроки между ремонтами и виды ремонтных работ для основных типов изолирующих сооружений.
Таблица 7.2
Тип изолирующего сооружения | Материал | Вид ремонта | Сроки между ремонтами, мес (не более) |
кладочный | покрытия |
первый после возведения | последующие |
I. Перемычки с врубом |
Чураковые | Глинистый раствор | Глинистый раствор | Покрытие глинистым раствором | 3 | 2 |
Замена сгнивших чураков, покрытие глинистым раствором | 6 | 2 |
Брусчатые | Цементный раствор | Цементный раствор | Покрытие изолирующими составами | 6 | 5 |
Мастика | Мастика | То же | 12 | 8 |
Кирпичные и блочные | Цементный раствор | Цементный раствор | Покрытие изолирующими составами | 5 | 3 |
То же | Мастика, силикатный раствор | То же | 7 | 5 |
Бетонитовые | " | Цементный раствор | Штукатурка цементным раствором | 8 | 6 |
" | Силикатный раствор | Покрытие силикатным раствором | 11 | 9 |
Бетонные | | Цементный раствор | Штукатурка цементным раствором | 10 | 7 |
| Силикатный раствор | Покрытие силикатным раствором | 12 | 9 |
II. Безврубовые перемычки |
Брусчатые | Мастика | Пенопласт, мастика | Покрытие изолирующими составами | 14 | 12 |
Кирпичные | Цементный раствор | Силикатный раствор | То же | 6 | 5 |
III. Противопожарные арки |
Бетонитовые | Цементный раствор, силикатный раствор | Цементный раствор, силикатный раствор | Покрытие изолирующими составами | 18 | 16 |
Железобетонные | | То же | То же | 20 | 20 |
IV. Изолирующие рубашки |
Бетонные с открылками, растворонаметные | | Цементный раствор, силикатный раствор, мастика, латекс, пенопласты | Частичные покрытия изолирующими составами | 4 | 3 |
V. Перемычки с подыливанием |
Одинарные | | | Дополнительная подача пульпы консистенцией не ниже 1:5 | 6 | 5 |
Двойные | | | То же | 4 | 3 |
Кроме плановых ремонтов может появиться необходимость в выполнении аварийных ремонтов, вызванных разрушением изолирующих сооружений под действием изменившихся нагрузок (напора воды, пульпы, горного давления в др.).
7.4. Техника безопасности при возведении
изолирующих сооружений
Работы по возведению изолирующих сооружений необходимо выполнять в соответствии с требованиями "Правил безопасности в угольных и сланцевых шахтах". Рабочие при сооружении перемычек, рубашек и противопожарных арок должны соблюдать следующие меры безопасности:
1. До начала смены и в процессе работы лично следить за безопасным состоянием рабочего места. При замеченной опасности принять меры к ее немедленному устранению, а если невозможно ее устранить, то необходимо незамедлительно поставить в известность технический надзор.
2. В процессе выполнения работ по изоляции рабочие должны через каждые 2 ч производить замер содержания метана в рудничной атмосфере интерферометром.
3. При обнаружении явлений, которые могут вызвать аварию или несчастный случай или указывают на ненормальное состояние рабочего места (появление дыма, запаха гари, повышение температуры воздуха, увеличение притока воды, усиление осадки кровли, увеличение выделения метана и др.), немедленно прекратить работу, предупредить товарищей, удалиться в безопасное место и сообщить об опасности техническому надзору.
4. Работы по возведению изолирующих сооружений должны выполняться не менее чем двумя рабочими.
5. Материалы доставлять при соблюдении требований, предусмотренных инструкций по безопасным методам работ доставщика-такелажника.
6. В шахте гасить известь запрещается.
7. Цемент из вагонов разгружать только по направлению вентиляционной струи воздуха.
8. До начала работ по разделке вруба на расстоянии 3 м в обе стороны от него крепь должна быть усилена.
9. Перед разборкой и выпуском угля и породы из-за бортов и кровли выработки в месте возведения перемычки тщательно осмотреть борта и кровлю, обращая внимание на расположение и размеры трещин в породе и угле.
10. Отслоившиеся куски угля и породы от бортов выработки опустить на почву с помощью длинных ломов или поддиров, обеспечивающих нахождение рабочего под защитой постоянной крепи.
11. Выпуск отслоившихся кусков угля и породы из кровли выработки производить с прочного полка, установленного под надежной крепью, но не в створе с местом намеченного вруба, с помощью длинных ломов и поддиров.
12. Порядок работ по возведению изолирующих сооружений определяется указаниями горнотехнического надзора.
13. Выработка в месте возведения перемычки должна быть свободной от вагонов и материалов; движение людей по ней должно быть запрещено.
14. Запрещается применение взрывных работ при возведении изолирующих сооружений.
15. Запрещаются работы в наклонных выработках без предохранительных полков. Кладку перемычек высотой более 1,4 м ведут со специальных полков. Ширина полка должна быть не менее 1,2 м, а длина должна равняться ширине выработки в свету.
Складировать материалы на полке, а также передавать материалы и инструменты броском запрещается.
16. Покрытие и побелку изолирующих сооружений разрешается производить только с помощью специальных аппаратов. Рабочим, выполняющим эти операции, запрещается работать в неисправной спецодежде и при отсутствии резиновых рукавиц и защитных очков.
17. При покрытии и побелке рабочие должны находиться в таком месте, чтобы раствор не мог попасть на незащищенные части тела.