Главная // Актуальные документы // РуководствоСПРАВКА
Источник публикации
М.: Стройиздат, 1982
Примечание к документу
При применении документа следует учитывать, что
Приказом Минрегиона РФ от 28.12.2010 N 825 с 20 мая 2011 года введен в действие
СП 51.13330.2011 "Актуализированная редакция СНиП 23-03-2003 "Защита от шума".
Название документа
"Руководство по расчету и проектированию средств защиты застройки от транспортного шума"
"Руководство по расчету и проектированию средств защиты застройки от транспортного шума"
ПО РАСЧЕТУ И ПРОЕКТИРОВАНИЮ СРЕДСТВ ЗАЩИТЫ
ЗАСТРОЙКИ ОТ ТРАНСПОРТНОГО ШУМА
Рекомендовано к изданию секцией строительной акустики N 5 НТС НИИСФ Госстроя СССР.
Изложен метод расчета уровней звука на примагистральной территории застройки, методы определения снижения уровней звука с увеличением расстояния от источника шума, вследствие влияния покрытия территории, поглощения звука в воздухе, затухания звука в полосах зеленых насаждений; описаны методы расчета акустической эффективности экранов различной формы и толщины, даны рекомендации по их проектированию.
Для инженерно-технических работников проектных и строительных организаций.
Руководство разработано к главе
СНиП II-12-77 "Защита от шума" и содержит методы расчета снижения транспортного шума на селитебной территории городов и других населенных пунктов строительно-акустическими средствами, а также рекомендации по их проектированию.
В Руководстве не рассматриваются методы расчета снижения шума средств воздушного транспорта, а также вопросы защиты от шума средствами звукоизоляции и градостроительными методами.
Руководство разработано НИИСФ Госстроя СССР (д-р техн. наук Г.Л. Осипов, канд. техн. наук В.Е. Коробков) при участии МИСИ им. В.В. Куйбышева Минвуза СССР (канд. техн. наук И.А. Шишкин), МНИИТЭП Мосгорисполкома (инж. Э.М. Лалаев, инж. А.С. Прохода), ЦНИИП градостроительства Госгражданстроя (канд. техн. наук Б.Г. Прутков), ТбилЗНИИЭП Госгражданстроя (инж. В.Ш. Буадзе), ДИСИ Минвуза УССР (канд. техн. наук Е.П. Самойлюк), МНИИ гигиены им. Ф.Ф. Эрисмана Минздрава РСФСР (канд. мед. наук И.Л. Карагодина).
При разработке Руководства использованы материалы, полученные в ходе советско-датского сотрудничества по проблемам охраны окружающей среды по теме "Изучение проблем контроля шума в городских и промышленных районах" (проф. Ф. Ингерслев, инж. Й. Краг).
1.1. При разработке проектов генеральных планов городов и детальной планировки их районов необходимо в первую очередь предусматривать градостроительные меры снижения транспортного шума в жилой застройке, в том числе расположение транспортных магистралей в планировочной структуре города, исходя из максимального ограничения распространения шума, функциональное зонирование территории застройки с учетом назначения зданий и требуемой в них степени акустического комфорта, применение планировочных и объемно-пространственных решений застройки, использующих шумозащитные качества городской среды и др. Выполнение этих мероприятий в некоторых случаях позволит обойтись без специальных строительно-акустических мероприятий по защите от шума, а в других случаях снизить затраты на их проведение.
1.2. Выбор тех или иных средств защиты от шума, определение необходимости и целесообразности их применения следует производить на основе расчета уровней звука на селитебной территории и определения требуемого их снижения.
1.3. Наиболее эффективными строительно-акустическими средствами снижения транспортного шума на селитебной территории городов и других населенных пунктов являются экраны, размещаемые между источниками шума и объектами защиты от шума. Экранами могут служить придорожные подпорные, ограждающие и специальные защитные стенки, а также искусственные элементы рельефа местности, а именно: земляные кавальеры, насыпи, выемки.
Экранами могут служить также здания, в помещениях которых допускаются уровни звука более 50 дБА (здания предприятий бытового обслуживания населения, торговли, общественного питания, коммунальных предприятий и др.), жилые и общественные здания с усиленной звукоизоляцией наружных ограждающих конструкций и с централизованными или индивидуальными устройствами приточной вентиляции, совмещенными с глушителями шума, а также жилые здания, в которых со стороны источников шума расположены окна подсобных помещений и не более чем одной жилой комнаты многокомнатных квартир.
1.4. При решении планировочной и объемно-пространственной композиции застройки следует учитывать также экранирующие свойства естественных элементов рельефа местности.
1.5. Обоснование технических решений, обеспечивающих необходимое снижение транспортного шума, должно входить в соответствующий раздел проектов планировки и застройки жилых районов и микрорайонов.
2. ПОРЯДОК РАСЧЕТА ТРЕБУЕМОГО СНИЖЕНИЯ ТРАНСПОРТНОГО
ШУМА НА СЕЛИТЕБНОЙ ТЕРРИТОРИИ
2.1. Для расчета требуемого снижения транспортного шума на селитебной территории и проектирования средств защиты от него застройки необходимы следующие исходные материалы:
а) проект вертикальной планировки территории жилого района или микрорайона с привязкой существующих (опорных) и проектируемых зданий и с указанием их этажности и назначения;
б) вертикальная планировка и поперечные профили улиц и дорог с указанием продольных уклонов и типа дорожного покрытия проезжей части;
в) характеристики движения и состава транспортных потоков (интенсивность движения в обоих направлениях, ед./ч, средневзвешенная или средняя скорость движения, км/ч, доля числа грузовых и общественных транспортных средств от общего числа транспортных средств в потоке) на магистральных улицах и дорогах, а также на жилых улицах с систематическим движением транспорта с интенсивностью не менее 100 ед./ч;
г) интенсивность движения потоков железнодорожных поездов, пар/ч, с выделением числа пар пассажирских, грузовых и электропоездов и указанием скорости их движения;
д) роза ветров по их повторяемости и силе на данной местности.
2.2. Акустический расчет состоит из следующих этапов:
а) выявление источников шума и определение их шумовых характеристик;
б) выбор расчетных точек;
в) разбивка территории застройки на участки, отличающиеся по условиям распространения шума;
г) определение уровней звука в расчетных точках;
д) определение допустимых уровней звука в расчетных точках;
е) определение требуемого снижения уровней звука в расчетных точках.
Для обеспечения требуемого снижения уровней звука выбирают в зависимости от конкретных условий наиболее целесообразные и экономичные средства защиты от шума и производят их расчет и проектирование.
2.3. Основными источниками шума на застраиваемом участке являются транспортные потоки с интенсивностью движения не менее 100 ед./ч и потоки железнодорожных поездов на улицах и дорогах, ограничивающих или пересекающих его территорию.
2.4. Акустический расчет проводится в эквивалентных уровнях звука, дБА. Шумовую характеристику транспортных потоков - эквивалентный уровень звука

, дБА, на расстоянии 7,5 м от оси первой полосы движения транспортных средств следует определять по "Руководству по разработке карт шума улично-дорожной сети городов" (М., Стройиздат, 1980).
Шумовую характеристику потоков железнодорожных поездов - эквивалентный уровень звука

, дБА, на расстоянии 7,5 м от оси колеи, ближней к расчетной точке, следует определять по главе
СНиП II-12-77 "Защита от шума".
2.5. Расчетные точки на площадках отдыха микрорайонов и групп жилых домов, на площадках детских дошкольных учреждений, на участках школ следует намечать на ближайшей к источнику шума границе площадок на высоте 1,5 м от уровня поверхности площадок. Если площадка частично находится в зоне звуковой тени экрана, а частично в зоне попадания прямых звуковых лучей, то расчетная точка должна находиться вне зоны звуковой тени.
2.6. Расчетные точки на территориях, непосредственно прилегающих к жилым домам, зданиям больниц и санаториев, следует намечать на расстоянии 2 м от ограждающих конструкций защищаемого от шума здания на уровне середины окна верхнего этажа.
Если защищаемое от шума здание частично находится в зоне звуковой тени, а частично в зоне попадания прямых звуковых лучей, то расчетная точка должна находиться вне зоны звуковой тени.
Если защищаемое от шума здание расположено на расстоянии менее 50 м от края проезжей части и находится частично или полностью в зоне попадания прямых звуковых лучей, то должна намечаться дополнительная расчетная точка на уровне середины окна первого этажа.
2.7. Разбивка территории застройки на отдельные участки, отличающиеся по условиям распространения шума, производится в следующих случаях:
а) между источником шума и расчетной точкой расположены какие-либо экраны;
б) шум в расчетную точку поступает с двух или более улиц или дорог;
в) улица или дорога в пределах застраиваемого участка изменяет свое направление.
В этих случаях из расчетной точки на плане застраиваемого участка проводят лучи через края экранов, через точки пересечения улиц или дорог, а также через вершины углов поворота улиц или дорог до пересечения с осью первой полосы движения транспортных средств (
рис. 1).
Рис. 1. Примеры разбивки примагистральной территории
застройки на участки, отличающиеся по условиям
распространения шума
2.8. Уровни звука

, дБА, в расчетных точках на площадках отдыха микрорайонов и групп жилых домов, на площадках детских дошкольных учреждений, на участках школ следует определять по формуле

, (1)
где

- уровень звука, дБА, в расчетной точке от i-го экранированного (

) или неэкранированного (

) участка улицы или дороги;

- суммарный уровень звука, дБА, в расчетной точке, определяемый по табл. 1.
──────────────┬───┬───┬───┬───┬───┬───┬───┬───┬───┬───┬───┬───┬───
Разность двух │ 0 │ 1 │ 2 │ 3 │ 4 │ 5 │ 6 │ 7 │ 8 │ 9 │10 │15 │20
складываемых │ │ │ │ │ │ │ │ │ │ │ │ │
уровней звука,│ │ │ │ │ │ │ │ │ │ │ │ │
дБА │ │ │ │ │ │ │ │ │ │ │ │ │
──────────────┼───┼───┼───┼───┼───┼───┼───┼───┼───┼───┼───┼───┼───
Добавка │3,0│2,5│2,0│1,8│1,5│1,2│1,0│0,8│0,6│0,5│0,4│0,2│ 0
к более │ │ │ │ │ │ │ │ │ │ │ │ │
высокому │ │ │ │ │ │ │ │ │ │ │ │ │
из двух │ │ │ │ │ │ │ │ │ │ │ │ │
складываемых │ │ │ │ │ │ │ │ │ │ │ │ │
уровней звука,│ │ │ │ │ │ │ │ │ │ │ │ │
дБА │ │ │ │ │ │ │ │ │ │ │ │ │
──────────────┴───┴───┴───┴───┴───┴───┴───┴───┴───┴───┴───┴───┴───
Сложение уровней звука по
табл. 1 производят последовательно, начиная с максимального в следующем порядке:
1) вычисляют разность двух складываемых уровней звука;
2) определяют добавку к более высокому из двух складываемых уровней звука по
табл. 1 в зависимости от полученной разности этих уровней звука;
3) производят сложение полученной добавки и более высокого из двух складываемых уровней звука;
4) аналогичные действия производят с полученной суммой двух уровней и третьим уровнем и т.д.
2.9. Уровень звука

, дБА, в расчетной точке от i-го неэкранированного участка улицы или дороги следует определять по формуле

, (2)
где

- шумовая характеристика транспортного потока или потока железнодорожных поездов, дБА;

- снижение уровня звука, дБА, в зависимости от расстояния между источником шума и расчетной точкой, определяемое по
разд. 3 настоящего Руководства;

- снижение уровня звука, дБА, вследствие влияния покрытия территории, определяемое по
разд. 3 настоящего Руководства;

- снижение уровня звука, дБА, вследствие затухания звука в воздухе, определяемое по
разд. 3 настоящего Руководства;

- снижение уровня звука, дБА, полосами зеленых насаждений, определяемое по
разд. 5 настоящего Руководства;

- снижение уровня звука, дБА, вследствие ограничения угла видимости улицы или дороги из расчетной точки, определяемое по
разд. 5 настоящего Руководства.
2.10. Уровень звука

, дБА, в расчетной точке от i-го экранированного участка улицы или дороги следует определять по формуле

, (3)

- снижение уровня звука, дБА, i-м экраном, определяемое по
разд. 4 настоящего Руководства.
2.11. Уровни звука

, дБА, в расчетных точках на территориях, непосредственно прилегающих к жилым домам, зданиям больниц и санаториев (в 2 м от ограждающих конструкций), следует определять по формуле

, (4)

- поправка, дБА, учитывающая вклад звуковой энергии, отраженной от ограждающих конструкций зданий,

= 3 дБА.
2.12. Допустимые эквивалентные уровни звука

, дБА, на селитебной территории городов и других населенных пунктов следует принимать по табл. 2.
───────────────────────────────┬──────────┬───────────────────────
Назначение территории │ Время │ Допустимые
│суток, ч │ эквивалентные уровни
│ │звука L , дБА
│ │ A экв. доп
───────────────────────────────┼──────────┼───────────────────────
Территории, непосредственно │С 7 до 23 │ 45
прилегающие к зданиям больниц │С 23 до 7 │ 35
и санаториев │ │
Территории внутри микрорайонов │С 7 до 23 │ 55
и групп жилых домов, │С 23 до 7 │ 45
непосредственно прилегающие │ │
к жилым домам │ │
Территории в 2 м от ограждающих│С 7 до 23 │ 65
конструкций жилых домов, │С 23 до 7 │ 55
обращенных в сторону источников│ │
шума │ │
Площадки отдыха микрорайонов │С 7 до 23 │ 45
и групп жилых домов │С 23 до 7 │ 45
Площадки детских дошкольных │С 7 до 23 │ 45
учреждений и участки школ │С 23 до 7 │ 45
2.13. Требуемое снижение уровней звука

, дБА, в расчетных точках на селитебной территории следует определять по формуле

, (5)

- допустимый эквивалентный уровень звука, дБА.
3. ОПРЕДЕЛЕНИЕ СНИЖЕНИЯ УРОВНЯ ЗВУКА С УВЕЛИЧЕНИЕМ
РАССТОЯНИЯ ОТ ИСТОЧНИКА ШУМА ВСЛЕДСТВИЕ ВЛИЯНИЯ
ПОКРЫТИЯ ТЕРРИТОРИИ И ПОГЛОЩЕНИЯ ЗВУКА В ВОЗДУХЕ
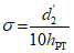
3.1. Снижение уровня звука в зависимости от расстояния между источником шума и расчетной точкой

, дБА, следует определять по формуле (6) или по
рис. 2.

, (6)
где

- кратчайшее расстояние, м, между расчетной точкой (РТ) и акустическим центром источника шума (ИШ), определяемое по
формуле (7) или графически на поперечном профиле улицы или дороги и прилегающей территории застройки (
рис. 3); акустический центр транспортных потоков и потоков железнодорожных поездов при этом следует располагать по оси ближней к расчетной точке полосы (колеи) движения транспортных средств на высоте 1 м от уровня поверхности проезжей части улицы или дороги (головки рельса);

- кратчайшее расстояние, м, между базисной точкой, в которой определена шумовая характеристика источника, и акустическим центром источника шума,

= 7,5 м

, (7)
где

- длина проекции расстояния

на отражающую плоскость, м (см.
рис. 3);

- высота расчетной точки над отражающей плоскостью, м;

- высота акустического центра источника шума над отражающей плоскостью, м.
Рис. 2. График для определения снижения уровня звука
в зависимости от расстояния между источником шума
и расчетной точкой и от разности их высот
Рис. 3. Поперечные профили транспортных магистралей
и прилегающих участков при различном расположении проезжей
части относительно уровня поверхности территории
3.2. Снижение уровня звука вследствие влияния акустически мягкого покрытия территории (рыхлый грунт, трава и др.)

, дБА, следует определять по формуле (8) или по
рис. 4.

, (8)
где

;

,
где d - расчетное расстояние, м (
рис. 5), определяемое по формуле

; величины

,

и S те же, что в
формуле (7).
Рис. 4. Номограмма для определения снижения уровня звука
вследствие его затухания над акустически мягким покрытием
территории при свободном распространении звуковых волн
Рис. 5. Схемы для определения расчетных расстояний
Величина

, дБА, по номограмме определяется в следующем порядке:
1) из точки на оси абсцисс, соответствующей расчетному расстоянию d, м, проводится линия, параллельная наклонным линиям нижней части номограммы до пересечения с горизонтальной линией, соответствующей высоте акустического центра источника шума

, м, над отражающей плоскостью, отложенной на оси ординат нижней части номограммы;
2) из точки пересечения этих линий проводят вертикальную линию до пересечения с горизонтальной линией, соответствующей высоте расчетной точки

, м, над отражающей плоскостью, отложенной на оси ординат верхней части номограммы;
3) если полученная точка пересечения совпала с какой-либо наклонной линией верхней части номограммы, то величина

, дБА, принимается равной значению, соответствующему этой наклонной линии.
Если полученная точка пересечения оказалась между двумя наклонными линиями верхней части номограммы, то величина

, дБА, определяется интерполяцией значений, соответствующих этим наклонным линиям.
Так, например, при d = 170 м,

= 0,5 м и

= 2 м

= 8,2 дБА (см.
рис. 4).
Номограмму
рис. 4 можно использовать при высоте источника шума над отражающей поверхностью не более 1,5 м. В случаях, когда транспортная магистраль расположена на насыпи или эстакаде, снижение уровня звука вследствие влияния покрытия территории следует рассчитывать по
формуле (8).
При распространении шума над акустически жестким покрытием территорий (плотный грунт, асфальт, бетон, вода и др.) его влиянием можно пренебречь

.
3.3. Снижение уровня звука вследствие поглощения звука в воздухе

, дБА, следует определять по формуле

, (9)
где

- коэффициент поглощения звука в воздухе в дБА/100 м,

= 0,5 дБА;
4. ОПРЕДЕЛЕНИЕ СНИЖЕНИЯ УРОВНЯ ЗВУКА ЭКРАНАМИ
4.1. Снижение уровня звука экраном-стенкой

, дБА, следует определять по кривым
рис. 6 в зависимости от разности длин путей звукового луча

, м, и вида источника шума.
Рис. 6. Графики для определения снижения уровня
звука экраном-стенкой
1 - транспортные потоки; 2 - железнодорожные поезда
Разность длин путей звукового луча

, м, в соответствии с расчетными схемами экранов, приведенными на
рис. 7, следует определять по формуле

, (10)
где a - кратчайшее расстояние, м, между акустическим центром источника шума и верхней кромкой экрана; акустический центр транспортных потоков и потоков железнодорожных поездов при этом следует располагать по оси дальней от расчетной точки полосы (колеи) движения транспортных средств на высоте 1 м от уровня поверхности проезжей части улицы или дороги (головки рельса);
b - кратчайшее расстояние, м, между расчетной точкой и верхней кромкой экрана;
c - кратчайшее расстояние, м, между акустическим центром источника шума и расчетной точкой.
Рис. 7. Расчетные схемы для определения снижения уровня
звука экранами
а - стенка; б - в - здание; г - д - насыпь; е - выемка
Расстояния a, b и c следует определять с точностью до сотых долей метра по формулам:

; (11)

; (12)

, (13)
где

- длина проекции расстояния a на горизонтальную плоскость, м;

- длина проекции расстояния b на горизонтальную плоскость, м;

- высота экрана, м;
Если поверхности проезжей части улицы или дороги и прилегающей территории расположены на разных уровнях, то в
формулах (11) -
(13) вместо величин

,

и

следует подставлять отметки уровней акустического центра источника шума

, расчетной точки

и верха экрана

, полученные из проекта вертикальной планировки территории застройки.
Для ориентировочных расчетов величины a, b, c можно определять графически по вычерченной в одинаковом горизонтальном и вертикальном масштабе схеме расположения акустического центра источника шума, экрана и расчетной точки в вертикальной плоскости, перпендикулярной плоскости экрана (см.
рис. 7, а).
4.2. Снижение уровня звука экраном-зданием

, дБА, следует определять по формуле

, (14)
где

- снижение уровня звука экраном-стенкой, дБА, определяемое согласно
п. 4.1 настоящего Руководства;

- дополнительное снижение уровня звука экраном-зданием, дБА, в зависимости от толщины здания w, м, определяемое по номограммам
рис. 8.
Рис. 8. Номограммы для определения дополнительного снижения
уровня звука экраном большой толщины
а - расчетный показатель; б - дополнительное снижение
уровня звука экраном-зданием
Величина

, дБА, определяется для экрана-стенки в плоскости дворового фасада здания (см.
рис. 7, б). Источником шума при этом является мнимый источник ИШ'. Для нахождения местоположения акустического центра мнимого источника шума из вершины экрана-стенки в плоскости дворового фасада следует провести линию, параллельную линии, соединяющей действительный источник шума с вершиной экрана-стенки в плоскости уличного фасада. Из акустического центра действительного источника шума ИШ следует провести линию, параллельную линии, соединяющей расчетную точку с вершиной экрана-стенки в плоскости дворового фасада. Точка пересечения проведенных линий будет являться акустическим центром мнимого источника шума.
Величины a, b и c в
формуле (10) следует определять по формулам:

; (15)

; (16)

, (17)
где

- кратчайшее расстояние, м, между акустическим центром мнимого источника шума ИШ' и уличным фасадом здания в горизонтальной плоскости;

- кратчайшее расстояние, м, между расчетной точкой и дворовым фасадом здания в горизонтальной плоскости;

,

и

- отметки уровней акустического центра мнимого источника шума ИШ', расчетной точки и верха экрана-здания, м;
w - толщина здания, м.
Величина

, дБА, определяется в следующем порядке:
1) определяют углы

и

в градусах в соответствии с
рис. 7, б по вычерченной в одинаковом горизонтальном и вертикальном масштабе схеме расположения акустического центра действительного источника шума, экрана-здания и расчетной точки в вертикальной плоскости, перпендикулярной плоскости экрана;
2) определяют расчетный показатель K по номограмме
рис. 8, а в зависимости от углов

и

в градусах. Так, например, при

= 115° и

= 150° K = 6,4;
3) определяют дополнительное снижение уровня звука экраном-зданием, дБА, по номограмме
рис. 8, б в зависимости от толщины здания

, м, и расчетного показателя K. Так, например, при w = 4 м и K = 6,4

= 6 дБА.
При расположении расчетной точки выше экрана-здания (см.
рис. 7, в) снижение уровня звука

следует определять по
п. 4.1 настоящего Руководства для экрана-стенки в плоскости уличного фасада здания.
4.3. Снижение уровня звука экраном-насыпью

, дБА, следует определять по формуле

, (18)
где

- снижение уровня звука, дБА, экраном большой толщины, определяемое по
п. 4.2 настоящего Руководства;

- поправка, дБА, определяемая в зависимости от значения внешнего угла

, в градусах (см.
рис. 7, г) по табл. 3.
─────────────────────────────┬─────────┬────────┬────────┬────────
Внешний угол бета , град │ 210 │ 225 │ 240 │ 255
s │ │ │ │
─────────────────────────────┼─────────┼────────┼────────┼────────
Поправка Дельта L , дБА │ 6 │ 5 │ 3 │ 1
A бета │ │ │ │
─────────────────────────────┴─────────┴────────┴────────┴────────
Для определения параметров, необходимых для расчета величины

, следует вписать в сечение насыпи фигуру прямоугольного сечения, как это показано на
рис. 7, г.
При расположении расчетной точки выше экрана-насыпи (см.
рис. 7, д) снижение уровня звука

следует определить согласно
п. 4.1 настоящего Руководства для экрана-стенки в передней плоскости фигуры прямоугольного сечения (см.
рис. 7, г) с поправкой

в соответствии с
табл. 3.
4.4. Снижение уровня звука экраном-выемкой

, дБА, следует определять по формуле

, (19)
где

- снижение уровня звука, дБА, экраном-стенкой, определяемое по
п. 4.1 настоящего Руководства;
Схема для расчета снижения уровня звука экраном-выемкой приведена на
рис. 7, е.
4.5. Снижение или повышение уровня звука вследствие влияния покрытия территории

при наличии экранов между источником шума и расчетной точкой следует определять соответственно по
формулам (20) -
(22) или по номограмме
рис. 9 при акустически мягком покрытии территории и по
формулам (24) -
(25) или по номограмме
рис. 10 при акустически жестком покрытии территории:

; (20)

; (21)

; (22)

,
где z - параметр, определяемый по формуле

; (23)
где

- снижение уровня звука экраном, дБА, определяемое согласно
пп. 4.1 -
4.4 настоящего Руководства; при

>= 18 дБА z = 1;

,

;

; (24)

; (25)

.
Рис. 9. Номограмма для определения снижения уровня звука
вследствие его затухания над акустически мягким покрытием
территории при распространении звуковых волн за экраном
Рис. 10. Номограмма для определения повышения уровня звука
вследствие его отражения от акустически жесткого
покрытия территории за экраном
Величина

, дБА, по номограмме
рис. 9 определяется в следующем порядке:
1) из точки на оси абсцисс, соответствующей расчетному расстоянию

, м, проводится линия, параллельная наклонным линиям нижней части номограммы до пересечения с горизонтальной линией, соответствующей высоте экрана

, м, отложенной на оси ординат нижней части номограммы;
2) из точки пересечения этих линий проводится вертикальная линия до пересечения с горизонтальной линией, соответствующей высоте расчетной точки

, м, над отражающей плоскостью, отложенной на оси ординат верхней части номограммы;
3) если полученная точка пересечения совпала с какой-либо наклонной линией верхней части номограммы, то величина

, дБА, принимается равной значению, соответствующему этой наклонной линии.
Так, например, при

= 170 м,

= 3 м и

= 2 м

= 0.
Если полученная точка пересечения оказалась между двумя наклонными линиями верхней части номограммы, то величина

определяется интерполяцией значений, соответствующих этим наклонным линиям.
Величина

, дБА, по номограмме
рис. 10 определяется в следующем порядке:
1) из точки на оси абцисс, соответствующей расчетному расстоянию

, м, проводится вертикальная линия до пересечения с горизонтальной линией, соответствующей высоте расчетной точки

, м, над отражающей плоскостью, отложенной по оси ординат;
2) если полученная точка пересечения совпала с какой-либо наклонной линией номограммы, то величина

, дБА, принимается равной значению, соответствующему этой наклонной линии.
Если полученная точка пересечения оказалась между двумя наклонными линиями номограммы, то величина

, дБА, определяется интерполяцией значений, соответствующих этим наклонным линиям.
Так, например, при

= 170 м,

= 1,5 м

= 17,5 дБА;
5. ОПРЕДЕЛЕНИЕ СНИЖЕНИЯ УРОВНЯ ЗВУКА ВСЛЕДСТВИЕ
ВЛИЯНИЯ ДРУГИХ ФАКТОРОВ ВНЕШНЕЙ СРЕДЫ
5.1. Снижение уровня звука

, дБА, вследствие ограничения угла видимости улицы или дороги из расчетной точки следует определять по формуле (26) или по графику
рис. 11.

, (26)
где

- угол видимости экранированного или неэкранированного участка улицы или дороги из расчетной точки, град (см.
рис. 1).
Рис. 11. График для определения снижения уровня звука
вследствие ограничения угла видимости улицы
или дороги из расчетной точки
5.2. Снижение уровня звука

, дБА, обычными многорядными полосами зеленых насаждений с плотным примыканием крон деревьев между собой и с заполнением подкронового пространства кустарником следует определять по формуле

, (27)
где

- постоянная затухания звука, составляющая для различных полос зеленых насаждений от 0,02 до 0,15 дБ/м; при расчете следует принимать среднее значение постоянной затухания звука, равное 0,08 дБ/м;
B - ширина полосы зеленых насаждений, м.
Формулу (27) можно использовать при ширине полосы зеленых насаждений не более 100 м.
Снижение уровня звука полосами зеленых насаждений следует учитывать только при расчете уровней звука на площадках отдыха микрорайонов и групп жилых домов, на площадках детских дошкольных учреждений и на участках школ.
5.3. В городах и других населенных пунктах, расположенных в районах с постоянными ветрами, при расчете уровней звука на территории жилых районов и микрорайонов с господствующими ветрами по направлению от источников шума следует вводить в
формулы (2) и
(3) поправку на влияние скорости ветра

, дБА, определяемую по формуле

, (28)
где

- повышение уровня звука, дБА, при увеличении скорости ветра на 1 м/с;

- расчетная скорость ветра на территории жилого района или микрорайона, м/с.
Если между источником шума и расчетной точкой расположены экраны, повышение уровня звука, дБА, при увеличении скорости ветра на 1 м/с

= 0,5 дБА.
Если между источником шума и расчетной точкой отсутствуют экраны, поправку на влияние скорости ветра следует учитывать только при расчете уровней звука на площадках отдыха микрорайонов и групп жилых домов, на площадках детских дошкольных учреждений и на участках школ. При этом

= 1 дБА.
Формулу (28) можно использовать при расчете уровней звука на расстояниях от источника шума, не превышающих 200 м и при скорости ветра от 1 до 10 м/с.
6. РЕКОМЕНДАЦИИ ПО ПРОЕКТИРОВАНИЮ ЭКРАНОВ
6.1. Необходимая акустическая эффективность экранов обеспечивается варьированием их высоты, длины, расстояния между источником шума и экраном.
6.2. Снижение уровня звука экраном-стенкой в расчетных точках, расположенных на границе звуковой тени (т.е. на продолжении прямой линии, соединяющей акустический центр источника шума с вершиной экрана), составляет 5 дБА. Для обеспечения более высокой акустической эффективности вершина экрана должна возвышаться над прямой линией, соединяющей акустический центр источника шума с расчетной точкой.
6.3. Для увеличения акустической эффективности экрана и уменьшения его высоты расстояние между источником шума и экраном рекомендуется принимать минимальным с учетом обеспечения безопасности движения и нормальной эксплуатации дороги и транспортных средств.
6.4. Ориентировочные величины снижения уровня звука протяженными экранами-стенками на высоте 1,5 м от уровня поверхности территории при расстоянии между краем проезжей части дороги и экраном, равном 3 м, приведены в табл. 4.
──────────────────────────┬───────────────────┬───────────────────
Расстояние между экраном │ Высота экрана │ Снижение уровня
и расчетной точкой S , м │ h , м │ звука экраном
а │ экр │Дельта L , дБА
│ │ A экр
──────────────────────────┼───────────────────┼───────────────────
10 │ 2 │ 7
│ 4 │ 12
│ 6 │ 16
──────────────────────────┼───────────────────┼───────────────────
20 │ 2 │ 7
│ 4 │ 12
│ 6 │ 15
──────────────────────────┼───────────────────┼───────────────────
50 │ 2 │ 7
│ 4 │ 11
│ 6 │ 14
──────────────────────────┼───────────────────┼───────────────────
100 │ 2 │ 7
│ 4 │ 11
│ 6 │ 13
Значения акустической эффективности, приведенные в
табл. 4, сохраняются при угле видимости экранированного участка улицы из расчетной точки

, равном не менее 160°.
6.5. Для уменьшения высоты экрана-стенки рекомендуется применять комбинированные экраны, состоящие из земляной насыпи или кавальера со стенкой поверху или из выемки со стенкой на бровке.
6.6. Материал для изготовления экранов следует подбирать исходя из конструктивных и экономических соображений (бетон, дерево, сталь, алюминий, пластик и др.). При этом поверхностная плотность экрана-стенки должна быть не менее 20 кг/м2.
6.7. Конструктивные решения экранов, предназначенных для установки на улицах или дорогах с двусторонней застройкой, должны предусматривать наличие звукопоглощающих облицовок (
рис. 12). Звукопоглощающие материалы, используемые для облицовки экранов, должны обладать стабильными физико-механическими и акустическими показателями в течение всего периода эксплуатации, быть биостойкими и влагостойкими, не выделять в окружающую среду вредных веществ в количествах, превышающих предельно допустимые концентрации для атмосферного воздуха.
Рис. 12. Конструктивная схема экрана-стенки
1 - перфорированный профилированный алюминиевый лист;
2 - минеральная вата; 3 - двутавр; 4 - стальная трубка;
5 - бетонный цоколь; 6 - бетонный фундамент
Для увеличения эффективности звукопоглощающих облицовок они должны крепиться на жестком основании непосредственно на поверхности экрана.
Для защиты звукопоглощающего материала от попадания влаги необходимо предусматривать защитное покрытие в виде пленки. Снаружи экран со звукопоглощающей облицовкой должен защищаться перфорированными листами из алюминия, стали или пластика.
Подбор звукопоглощающих материалов и защитных покрытий, а также параметров облицовок следует производить в соответствии с главой
СНиП II-12-77 "Защита от шума".
6.8. Конструкции отдельных элементов экранов должны обеспечивать плотное их примыкание друг к другу для создания акустически непрозрачного экрана (без щелей и отверстий).
6.9. Экраны должны быть долговечными, стойкими к атмосферным воздействиям и вредному влиянию выхлопных газов, рассчитаны на сейсмические и ветровые нагрузки; должны быть транспортабельными; простыми при возведении, монтаже и эксплуатации, а также должны отвечать эстетическим требованиям.
6.10. Наиболее эффективными экранами являются здания, располагаемые вдоль магистральных улиц в виде сплошной фронтальной застройки. Величина снижения уровня звука, обеспечиваемого экранами-зданиями, может достигать 25 - 30 дБА.
6.11. Для создания условий акустического комфорта как в жилых домах, так и на дворовой территории здания-экраны целесообразно проектировать с боковыми объемами, обращенными внутрь двора. Проезды в зданиях-экранах следует предусматривать в боковых объемах.
6.12. В качестве экранов могут использоваться здания различного назначения в соответствии с
п. 1.3 настоящего Руководства.
6.13. Архитектурно-планировочные решения шумозащищенных жилых домов-экранов должны предусматривать ориентацию в сторону транспортных потоков общих коридоров, галерей, кухонь и других подсобных помещений квартир, а также не более одной общей комнаты со специальными шумозащитными окнами в многокомнатных квартирах (3 и более комнат). Пример архитектурно-планировочного решения шумозащищенного жилого дома приведен на рис. 13.
Рис. 13. Рядовая секция 12-этажного крупнопанельного
шумозащищенного жилого дома, предназначенного
для застройки южной, восточной и западной сторон
магистральных улиц
ПРИМЕР РАСЧЕТА
Задание. Определить требуемое снижение уровня звука на площадке отдыха проектируемого жилого микрорайона, подобрать средства защиты от шума и произвести их расчет.
Исходные данные. Источниками шума на территории проектируемого жилого микрорайона являются транспортные потоки на магистральных улицах городского и районного значения с шумовой характеристикой

, равной соответственно 78 и 73 дБА (
рис. 14). Ширина проезжей части улиц составляет соответственно 21 и 14 м, количество полос движения в обоих направлениях - 6 и 4. Вдоль магистральной улицы городского значения на расстоянии 15 м от края проезжей части расположены два двенадцатиэтажных шумозащищенных жилых дома высотой 36 м, а вдоль магистральной улицы районного значения на расстоянии 62 м - один девятиэтажный шумозащищенный жилой дом высотой 27 м. Ширина домов составляет 12 м. Отметка уровня проезжей части улиц - 99,8 м; отметка территории застройки - 100 м. Территория между домами, а также между магистральной улицей районного значения и девятиэтажным жилым домом в основном покрыта травой. Исключение составляют проезды к жилым домам и тротуар шириной соответственно 4 и 3 м. Территория между магистральной улицей городского значения и двенадцатиэтажными домами в основном покрыта асфальтом. Вдоль улиц имеются полосы зеленых насаждений с однорядной посадкой деревьев и кустарников шириной 2 м.

Рис. 14. Расчетная схема для определения уровня звука
на территории застройки
Решение. 1. Намечаем расчетную точку на ближайшей к источнику шума границе площадки отдыха в зоне попадания прямых звуковых лучей (точка 1 на
рис. 14) на высоте 1,5 м (отметка 101,5 м) от уровня поверхности площадки.
2. Территорию застройки разбиваем на отдельные экранированные и неэкранированные жилыми домами участки. Для этого из расчетной точки проводим лучи через края зданий. Так как источниками шума на площадке отдыха являются транспортные потоки на двух пересекающихся улицах, проводим также луч из расчетной точки через точку пересечения осевых линий улиц. В рассматриваемом случае этот луч совпал с лучом, проходящим через край здания. Так как вне участков N 2 - 6 в зонах видимости магистральных улиц городского и районного значения из расчетной точки застройка отсутствует, то крайние участки (N 1 и 7) ограничиваем лучами, параллельными соответствующим улицам (полный угол видимости улицы из расчетной точки равен 180°). Определяем на плане территории застройки углы видимости отдельных участков улиц из расчетной точки с точностью до 1°

= 34°,

= 72°,

= 19°,

= 77°,

= 29°,

= 21°,

= 18°. Расчет уровней звука в точке 1 от неэкранированных и экранированных участков улиц проводим соответственно по
формулам (2) и
(3). Основные результаты расчета сводим в табл. 5.
───────────────────┬──────────────────────────────────────────────
Уровень звука или │ Номера участков
снижение уровня ├──────┬─────┬──────┬──────┬─────┬──────┬──────
звука, дБА │ 1 │ 2 │ 3 │ 4 │ 5 │ 6 │ 7
───────────────────┼──────┼─────┼──────┼──────┼─────┼──────┼──────
L │ 73 │ 73 │ 73 │ 78 │ 78 │ 78 │ 78
A экв │ │ │ │ │ │ │
Дельта L │ 10,6 │10,6 │ 10,6 │ 12 │ 12 │ 12 │ 12
A рас │ │ │ │ │ │ │
Дельта L │ 0,4 │ 0,4 │ 0,4 │ 0,6 │ 0,6 │ 0,6 │ 0,6
A воз │ │ │ │ │ │ │
Дельта L │ 9,2 │ 0 │ 9,2 │ 0 │ 7,6 │ 0 │ 7,6
A пок │ │ │ │ │ │ │
Дельта L │ - │ 29 │ - │ 33,6 │ - │ 33,6 │ -
A экр │ │ │ │ │ │ │
Дельта L │ 0,2 │ 0,2 │ 0,2 │ 0,2 │ 0,2 │ 0,2 │ 0,2
A зел │ │ │ │ │ │ │
Дельта L │ 7,2 │ 4 │ 9,8 │ 3,7 │ 7,9 │ 9,3 │ 10
A альфа │ │ │ │ │ │ │
Сигма Дельта L │ 27,6 │44,2 │ 30,2 │ 50,1 │28,3 │ 55,7 │ 30,4
A │ │ │ │ │ │ │
L │ 45,4 │28,8 │ 42,8 │ 27,9 │49,7 │ 22,3 │ 47
Ai │ │ │ │ │ │ │
3. Определяем снижение уровня звука в зависимости от расстояния S между источником шума и расчетной точкой и разности их высот по
рис. 2. Расстояние S обычно определяют на поперечном профиле улицы и прилегающей территории (
рис. 15). Так как в данном случае проезжая часть улицы расположена практически в одном уровне с территорией застройки, это расстояние можно определить на плане (см.
рис. 14). Для всех участков, прилегающих к одной улице, расстояние S одинаково. Так, для участков N 1 - 3 S' = 120 м, а для участков N 4 - 7 S = 87 м.
Рис. 15. Расчетные схемы для определения снижения уровня
звука экранами-зданиями
4. Определяем снижение уровня звука вследствие его поглощения в воздухе по
формуле (9).
Для участков N 1 - 3

.
Для участков N 4 - 7

5. Определяем снижение уровня звука вследствие влияния покрытия территории на неэкранированных участках N 1, 3, 5 и 7 по номограмме
рис. 4. Расчетные расстояния определяем по формуле

; при этом не учитываем ширину проездов и тротуаров, покрытых асфальтом.
Для участков N 1 и 3 d' = 1,4 x 108 = 151 м.
Для участков N 5 и 7 d = 1,4 x 69 = 97 м.
На участках N 2, 4 и 6 покрытие территории не влияет на снижение уровня звука, так как путь звуковых лучей через верхнюю кромку зданий проходит на большой высоте. Таким образом

= 0.
6. Определяем снижение уровня звука экранами - девятиэтажным жилым домом на участке N 2 и двенадцатиэтажными жилыми домами на участках N 4 и 6 в следующем порядке:
а) определяем снижение уровня звука экранами-стенками в плоскости дворовых фасадов зданий

, дБА (см.
рис. 15) по кривым на
рис. 6 в зависимости от разности длин путей, звукового луча

, м, рассчитываемой по
формуле (10). Расстояния a, b и c определяем графически на поперечном профиле улиц и прилегающей застройки, а для точных расчетов по
формулам (15) -
(17).
На участке N 2:

;

;

;

.
На участках N 4 и 6:

;

;

;

;

;

.
б) Определяем дополнительное снижение уровня звука экраном-зданием

, дБА, в зависимости от толщины здания w, м, по номограммам
рис. 8.
Из расчетной схемы экранов-зданий на поперечном профиле улицы и прилегающей застройки определяем углы

,

(для участка N 2) и

,

(для участков N 4 и 6).
Определяем расчетный показатель K по номограмме
рис. 8, а в зависимости от углов

,

,

,

. K' = 5,1, K = 7,3.
Определяем величину

, дБА, по номограмме
рис. 8, б.

= 7,2 дБА,

= 10,4 дБА.
в) Определяем снижение уровня звука экранами-зданиями по
формуле (14):

;

.
7. Определяем снижение уровня звука полосами зеленых насаждений по
формуле (27) 
.
8. Определяем снижение уровня звука

, дБА, вследствие ограничения угла видимости участков улиц из расчетной точки по графику
рис. 11.
9. Вычисляем суммарное снижение уровня звука

, дБА, на каждом участке территории.
10. Вычисляем уровень звука в расчетной точке

, дБА, от каждого неэкранированного и экранированного участка улицы.
11. Вычисляем суммарный уровень звука в расчетной точке при помощи
табл. 1.

.
12. Определяем допустимый уровень звука в расчетной точке на площадке отдыха микрорайона по
табл. 2.

.
13. Определяем требуемое снижение уровня звука в расчетной точке по
формуле (5).

.
Расчет показал, что предложенный вариант застройки не удовлетворяет требованиям санитарных норм к шумовому режиму на площадке отдыха микрорайона.
14. Как видно из
табл. 5, для обеспечения требуемого снижения уровня звука необходимо ограничить распространение шума на участках N 1, 5 и 7. Одним из возможных вариантов решения этой задачи является размещение в разрыве между двенадцатиэтажными жилыми домами двухэтажных зданий предприятий торговли, общественного питания и бытового обслуживания. Девятиэтажный и двенадцатиэтажный жилые дома, примыкающие к участкам N 1 и 7, следует запроектировать с боковыми объемами, пересекающими эти участки.
15. Примем высоту зданий предприятий торговли, общественного питания и бытового обслуживания равной 9 м, и проведем перерасчет уровня звука на площадке отдыха микрорайона.
Результаты перерасчета сведены в табл. 6.
Таблица 6
───────────────────────────┬──────────────────────────────────────
Уровень звука или снижение │ Номера участков
уровня звука, дБА ├───────┬───────┬──────┬───────┬───────
│ 1 - 2 │ 3 │ 4 │ 5 │ 6 - 7
───────────────────────────┼───────┼───────┼──────┼───────┼───────
L │ 73 │ 73 │ 78 │ 78 │ 78
A экв │ │ │ │ │
Дельта L │ 10,6 │ 10,6 │ 12 │ 12 │ 12
A рас │ │ │ │ │
Дельта L │ 0,4 │ 0,4 │ 0,6 │ 0,6 │ 0,6
A воз │ │ │ │ │
Дельта L │ - │ 9,2 │ - │ - │ -
A пок │ │ │ │ │
Дельта L │ 29 │ - │ 33,6 │ 19,5 │ 33,6
A экр │ │ │ │ │
Дельта L │ 0,2 │ 0,2 │ 0,2 │ 0,2 │ 0,2
A зел │ │ │ │ │
Дельта L │ 2,3 │ 9,8 │ 3,7 │ 7,9 │ 6,6
A альфа │ │ │ │ │
Сигма Дельта L │ 42,5 │ 30,2 │ 50,1 │ 40,2 │ 53
Ai │ │ │ │ │
L │ 30,5 │ 42,8 │ 27,9 │ 37,8 │ 25
Ai │ │ │ │ │
16. Вычисляем суммарный уровень звука в расчетной точке

.
17. Перерасчет показал, что при осуществлении предложенных мероприятий по защите от шума, уровень звука на площадке отдыха микрорайона не будет превышать допустимого уровня звука.