Главная // Актуальные документы // РуководствоСПРАВКА
Источник публикации
М.: Стройиздат, 1980
Примечание к документу
Название документа
"Руководство по проектированию и строительству железобетонных емкостных сооружений с полносборными стенами с применением тиоколовых герметиков"
"Руководство по проектированию и строительству железобетонных емкостных сооружений с полносборными стенами с применением тиоколовых герметиков"
РУКОВОДСТВО
ПО ПРОЕКТИРОВАНИЮ И СТРОИТЕЛЬСТВУ ЖЕЛЕЗОБЕТОННЫХ
ЕМКОСТНЫХ СООРУЖЕНИЙ С ПОЛНОСБОРНЫМИ СТЕНАМИ
С ПРИМЕНЕНИЕМ ТИОКОЛОВЫХ ГЕРМЕТИКОВ
Рекомендовано к изданию секцией несущих конструкций НТС ЦНИИПромзданий.
Содержит основные положения по проектированию и строительству емкостных сооружений для водоснабжения и канализации с полносборными стенами с применением тиоколовых герметиков. Приведены схемы компоновки прямоугольных емкостей с полносборными стенами, примеры раскладки стеновых панелей и конструктивные решения гибких угловых соединений стен, температурно-усадочных и деформационных швов, стыков секций лотков и пропусков трубопроводов через стены сооружений. Дана подробная технология выполнения работ по герметизации сооружений с перечислением марок и свойств применяемых тиоколовых герметиков.
Для инженерно-технических работников проектных и строительных организаций.
Табл. 3, ил. 16.
Стены емкостных сооружений могут иметь жесткие или гибкие сопряжения в углах. Жесткие сопряжения выполняются в виде монолитных угловых участков с усиленным горизонтальным армированием, гибкие - без монолитных зон с герметизацией угловых стыков деформирующимися материалами, обеспечивающими их водонепроницаемость.
Тип сопряжения стен в углах определяется при проектировании, при этом в одном комплексе сооружений могут быть как жесткие, так и гибкие сопряжения.
Гибкие соединения стен в углах с применением тиоколовых герметиков позволяют выполнять стены сооружений полносборными без монолитных участков, а также значительно упростить ряд их конструктивных решений (температурно-усадочные и деформационные швы, стыки секций лотков и др.).
Руководство составлено на основании научно-исследовательских и экспериментальных работ, выполненных в лабораторных и производственных условиях, а также по результатам строительства емкостных сооружений на ряде объектов треста "Мособлспецстрой" N 4 Главмособлстроя, треста Селигерстрой Министерства строительства СССР, спецтреста N 4 Министерства строительства УзССР, треста Ефремовхимстрой Министерства промышленного строительства СССР.
В основу Руководства при его разработке положена типовая серия 3.900-3 "Сборные железобетонные конструкции емкостных сооружений для водоснабжения и канализации", но оно может применяться для емкостных сооружений любых конструкций.
Руководство разработано коллективом отдела инженерных сооружений ЦНИИПромзданий в составе канд. техн. наук Н.А. Ушакова, инженеров А.П. Черномаза и М.А. Шрайбмана.
Замечания и предложения направлять по адресу: Москва, И-238, Дмитровское шоссе, д. 46.
1.1. Руководство распространяется на проектирование и строительство емкостных сооружений для водоснабжения и канализации с гибкими соединениями элементов конструкций с применением вулканизирующихся мастичных материалов - тиоколовых герметиков, в том числе:
а) гибких угловых соединений полносборных стен прямоугольных сооружений;
б) температурно-усадочных и деформационных швов;
в) стыков секций прямоугольных лотков;
г) стыков стен с днищем в цилиндрических сооружениях;
д) мест пропуска труб через стены.
1.2. Тиоколовые герметики характеризуются высокой деформативностью, хорошей адгезией к бетону, бензомаслостойкостью, хорошим сопротивлением ультрафиолетовому облучению, влаговоздухонепроницаемостью. Эти свойства тиоколовых герметиков сохраняются в течение длительного времени (по данным заводов-изготовителей, 20 - 25 лет) в диапазоне температур от минус 40 до плюс 70 °C, что позволяет использовать эти герметики в емкостных сооружениях для создания водонепроницаемых гибких соединений железобетонных элементов.
1.3. Тиоколовые герметики могут применяться во всех канализационных сооружениях, в том числе предназначенных для жидкостей, содержащих щелочи и слабые кислоты (концентрацией до 10%), а также в сооружениях для технического водоснабжения.
1.4. В резервуарах для питьевого водоснабжения в соответствии с разрешением санитарно-эпидемиологического управления Министерства здравоохранения СССР тиоколовые герметики могут быть применены при отношении площади покрытия герметиком к объему воды не более 0,05 м2/м3 и сроке хранения воды в резервуаре не более 10 сут.
2. ПРОЕКТИРОВАНИЕ ЖЕЛЕЗОБЕТОННЫХ ЕМКОСТНЫХ СООРУЖЕНИЙ
С ПРИМЕНЕНИЕМ ТИОКОЛОВЫХ ГЕРМЕТИКОВ
Угловые соединения стен прямоугольных сооружений
2.1. В пересечениях стен с жесткими монолитными участками возникают значительные по величине горизонтальные моменты в связи с чем эти участки требуют резкого увеличения армирования по сравнению с рядовыми панелями. Наличие жестких соединений в углах вызывает также увеличение типоразмеров панелей, так как между средними рядовыми панелями и монолитными угловыми участками в большинстве случаев устанавливаются специальные панели с усиленным горизонтальным армированием. Монолитные участки в пересечении стен, чередуясь с участками из сборного железобетона, значительно затрудняют возведение сборных сооружений, что резко снижает темпы строительства.
2.2. Конструкция железобетонного емкостного сооружения с гибкими соединениями стен в углах <1> позволяет заменить угловые монолитные участки на сборные с применением рядовых панелей и, таким образом, создать полносборные стены из однотипных панелей
(рис. 1). Применение гибких угловых соединений сокращает трудоемкость работ на стройплощадке по возведению угловых участков в 3 - 4 раза, а стоимость стен на 4 - 6%. Трудоемкость выполнения 1 м стыка составляет 0,9 чел.-ч.
--------------------------------
<1> Авт. свид. N 326337 "Емкость для хранения жидкого, сыпучего материала". - Бюл. изобрет., 1972, N 4.
Рис. 1. Схема емкостного сооружения
с консольными стенами с гибкими соединениями в углах:
1 - рядовые стеновые панели; 2 - стеновые панели с плоским
торцом; 3 - перегородочные панели; 4 - гибкий угловой стык
стеновых панелей
2.3. Сооружения с полносборными стенами и гибкими соединениями стеновых панелей в углах по общим конструктивным решениям и габаритным схемам выполняются аналогично сооружениям с жесткими монолитными углами, за исключением угловых участков, которые не имеют монолитных зон и монтируются из тех же панелей, что и рядовые участки, либо из панелей, несколько отличных от рядовых, но изготовляемых в той же опалубке.
2.4. Стеновые панели в углах устанавливаются с зазором в 30 мм, водонепроницаемость которого обеспечивается устройством гибкого стыка, допускающего свободные деформации панелей, равные деформациям рядовых участков стен.
2.5. Гибкие угловые стыки стен могут быть двух типов: шпоночного и компенсаторного (рис. 2).
Рис. 2. Типы гибких стыков стеновых панелей
а - стык шпоночного типа; б - стык компенсаторного типа;
1 - рядовая стеновая панель; 2 - стеновая панель с плоским
торцом; 3 - тиоколовый герметик; 4 - гернит

;
5 - цементный раствор; 6 - профильная тиоколовая лента
2.6. Стык шпоночного типа выполняется путем залива вертикального канала стыка жидким тиоколовым герметиком. Вертикальный канал стыка образуется двумя шнурами гернита, помещенными в зазор между панелями. Шнуры гернита, играющие роль упругой прокладки для тиоколового герметика, закрепляются в зазоре стыка цементным раствором низкой марки. Герметик, применяемый в стыках шпоночного типа, должен обеспечивать возможность заполнения канала стыка без пустот и обладать необходимой деформативностью, прочностью и адгезией к бетону в условиях постоянного увлажнения в напряженном состоянии. Для этих целей рекомендуются тиоколовые герметики АМ-0,5 и Гидром-2.
2.7. Стык компенсаторного типа выполняется путем наклейки на бетонные поверхности лент из тиоколового герметика, армированного стеклотканью.
Угловые стыки компенсаторного типа более трудоемки, чем стыки шпоночного типа, что связано с предварительным изготовлением компенсаторных лент в построечных условиях. При централизованном изготовлении лент трудоемкость стыков компенсаторного типа значительно снижается.
Для изготовления компенсаторных лент должен быть применен герметик, обеспечивающий формование лент (например, АМ-0,5 или У-30МЭС-5). Наклеивать ленты на бетонную поверхность следует на герметике, достаточно вязком, чтобы он не стекал с вертикальных стен, и имеющем хорошую адгезию при постоянном пребывании в воде как к бетону, так и к материалу ленты (герметики АМ-0,5 или КМ-0,5). С целью предохранения профильной ленты от механических повреждений при эксплуатации в петлю компенсатора укладывается на тиоколовом герметике гернитовый шнур.
2.8. Технико-экономические показатели рекомендуемых материалов для стыков шпоночного и компенсаторного типов приведены в табл. 1.
Таблица 1
Наименование | ГОСТ или ТУ | Предел прочности при разрыве, кг/см2, не менее | Жизнеспособность, ч | Деформативность при разрыве, %, не менее | Долговечность, лет | Отпускная цена, руб/кг | Цвет | Предприятия-поставщики |
АМ-0,5 | ТУ 84-246-75 | 3 | 1 - 6 | 200 | 20 - 25 | 4,2 | Светло-серый | Объединение Стройпластмасс (Мытищи Московской обл.) |
Гидром-2 | ТУ 38-105411-72 | 3 | 1 - 10 | 300 - 800 | 20 - 25 | 4 - 5 | Черный | З-д РТИ (Казань) |
КМ-0,5 | ТУ 84-246-75 | 3 | 1 - 6 | 300 | 20 - 25 | 4 - 5 | " | То же |
У-30МЭС-5 | ГОСТ 13489-68 | 10 - 15 | 1 - 4 | 170 | 20 - 25 | 4 | " | З-д РТИ (Казань) |
Гернит | ТУ 480-1-119-71 | 3 | - | - | 10 | 0,65 (руб/м) | Темно-коричневый | З-д "Стройдеталь" Главмособлстроя (ст. Пески Московской обл.), Чимкентский шиноремонтный завод |
Стеклоткань СЭ (ССТЭ-6) | ГОСТ 8481-61 | - | - | - | - | 0,4 - 0,6 (руб/м) | Белый | З-д стеклопластиков и стекловолокна (г. Калинин) |
2.9. Область применения стыков шпоночного типа определяется деформативностью используемого герметика. При этом указанную в характеристике (паспорте) деформативность (или относительное удлинение) рекомендуется использовать только на 15 - 20%, так как деформативность материала в стыках при условии их водонепроницаемости значительно ниже, чем отдельных образцов герметика.
В водосодержащих емкостных сооружениях к внешним Г-образным стыкам, работающим постоянно под гидростатическим давлением жидкости, предъявляются более высокие требования, чем к внутренним Т-образным стыкам, которые работают только в случае опорожнения смежной секции. Поэтому предельную величину раскрытия внешних Г-образных стыков следует принимать на 20 - 40% меньше, чем внутренних Т-образных стыков.
2.10. Деформации гибких угловых стыков шпоночного типа не должны превышать величины

, (1)
где h1 - ширина зазора стыка между стыкуемыми элементами при его герметизации;

- предельные деформации гибких стыков шпоночного типа при ширине зазора стыка 30 мм, приведены в табл. 2.
Вид деформаций | Расположение стыков в сооружении | Предельные деформации для герметиков, мм |
АМ-0,5 | Гидром-2 |
Растяжение | Внешние | 2 | 12 |
Внутренние | 3 | 15 |
Сжатие | Внешние и внутренние | 5 | 18 |
2.11. Предельные деформации стыков компенсаторного типа обусловливаются исключительно формой компенсатора и не зависят от деформативности применяемого герметика.
2.12. Деформации гибких стыков следует определять с учетом взаимных перемещений стыкуемых элементов
(рис. 3) по формуле

, (2)
где h2 - ширина зазора стыка между стыкуемыми элементами в деформированном стыке;

- смещение стыкуемых элементов в направлении, перпендикулярном ширине зазора стыка (h
1 и h
2).
Рис. 3. Схема деформаций гибкого стыка стеновых панелей:
1 - положение панелей при герметизации стыка;
2 - положение панелей после их деформаций
2.13. В угловых стыках шпоночного типа, деформации которых превышают величины, указанные в
табл. 2, рекомендуется ограничивать смещение панелей путем установки связей поверху. Стеновые панели со связями поверху должны быть рассчитаны с учетом ограничения деформаций в углу.
2.14. Для консольных стен высотой менее 4,8 м, деформации гибких угловых стыков которых обычно не превышают величин, указанных в
табл. 2 применительно к герметику Гидром-2, рекомендуются стыки шпоночного типа без ограничения деформаций поверху.
2.15. Для консольных стен высотой 4,8 и 5,4 м, деформации гибких угловых стыков которых, как правило, больше указанных предельных, рекомендуются стыки шпоночного типа с применением герметика Гидром-2 и ограничением деформаций поверху.
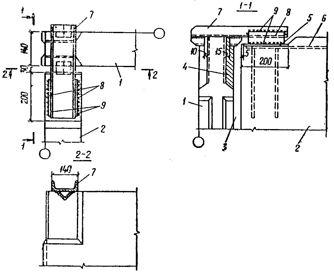
Наиболее целесообразно ограничивать деформации одной из соединяемых панелей, как это изображено на рис. 4. При этом зазор между ограничителем деформаций и панелью назначается из условия деформативности герметика и несущей способности панелей на изгиб в горизонтальной и вертикальной плоскостях. Например, для стеновых панелей по серии 3.900-3 при герметике Гидром-2 величина зазора с внешней стороны может быть допущена 10, а с внутренней - 15 мм.
Рис. 4. Ограничение деформаций
стеновых панелей консольного типа:
1 - рядовая стеновая панель; 2 - стеновая панель с плоским
торцом; 3 - гибкий угловой стык стеновых панелей; 4 -
цементно-тиоколовая паста (наносится до монтажа панелей);
5 - закладная деталь стеновой панели; 6 - верхние
горизонтальные стержни стеновой панели; 7 - ограничитель
деформаций (швеллер N 10); 8 - монтажная накладка;
9 - монтажные сварные швы
Такая конструкция узла дает возможность применять в углах рядовые панели без изменения их армирования, и лишь в одной из панелей необходима дополнительная закладная деталь. Если устройство связей по верху стен нежелательно, гибкие соединения могут быть выполнены с применением стыков компенсаторного типа без ограничений их деформаций поверху.
2.16. Для консольных стен высотой 6 м рекомендуются стыки компенсаторного типа без ограничений деформаций. Применение для этих стен стыков шпоночного типа с ограничением деформаций поверху нецелесообразно, так как потребует усиления арматуры стеновых панелей и значительно усложнит конструкцию закладных деталей.
2.17. Для балочных стен всех высот рекомендуется применять гибкие угловые стыки шпоночного типа с жестким соединением панелей в уровне обвязочной балки, как это показано на рис. 5 и
6, что дает возможность не менять армирование стыкуемых панелей. Допускать смещение верха панелей или свободный поворот обвязочной балки нецелесообразно, так как это приведет к изменению расчетных схем и армирования панелей, примыкающих к углу.
Рис. 5. Схема емкостного сооружения с балочными
стенами, с гибкими соединениями в углах:
А - открытое сооружение; Б - закрытое сооружение
(резервуар); 1 - рядовая стеновая панель; 2 - доборная
стеновая панель с плоским торцом; 3 - поперечная связь;
4 - ригель; 5 - плита покрытия; 6 - гибкий угловой стык
стеновых панелей; 7 - монолитный участок обвязочной балки
Рис. 6. Монолитный участок обвязочной балки
в балочных стенах с гибкими угловыми стыками
1 - рядовая стеновая панель; 2 - доборная стеновая панель
с плоским торцом; 3 - гибкий угловой стык стеновых панелей;
4 - монолитный участок обвязочной балки; 5 - арматурные
выпуски обвязочных балок панелей; 6 - 8 - стержневые
накладки на сварке
2.18. Рекомендуемая область применения гибких угловых стыков стен прямоугольных емкостных сооружений приведена в табл. 3.
Таблица 3
Высота стен, м | Консольные стены | Балочные стены |
стыки шпоночного типа без ограничений деформаций | стыки шпоночного типа с ограничением деформаций | стыки компенсаторного типа | стыки шпоночного типа с жесткими связями поверху |
2,4 и 3 | Гидром-2, АМ-0,5 | - | - | - |
3,6 и 4,2 | Гидром-2 | АМ-0,5* | - | Гидром-2, АМ-0,5 |
4,8 и 5,4 | - | Гидром-2 | АМ-0,5* | - |
6 | - | - | АМ-0,5 | - |
Обозначения:
Гидром-2, АМ-0,5 - марки герметиков, рекомендуемые для указанных в таблице типов стыков и высот стен;
АМ-0,5* - то же, допускаемые;
- - не рекомендуемая область применения, указанных в таблице типов стыков.
2.19. Раскладку стеновых панелей сооружений с гибкими соединениями в углах следует решать таким образом, чтобы полностью исключить монолитные участки стен. Стены сооружений могут быть выполнены либо с применением только рядовых стеновых панелей, либо с частичным использованием доборных панелей. Для удобства выполнения гибких стыков одну из стыкуемых панелей целесообразно изготавливать с плоским торцом. Номенклатура доборных панелей и схема их изготовления в опалубке рядовых панелей показаны на рис. 7.
Рис. 7. Схемы изготовления доборных зеркальных панелей
с плоским торцом в опалубке рядовых панелей
а - изготовление одной пары панелей в двух опалубках;
б - то же, в одной опалубке; в - изготовление двух пар
панелей в двух опалубках; 1 - доборные зеркальные
панели с плоским торцом; 2 - разделительный вкладыш
2.20. Сооружения со стенами, работающими по балочной схеме (см.
рис. 5), следует выполнять с применением доборных панелей, так как это обеспечивает более удачное соединение промежуточных связей и обвязочных балок стеновых панелей. В случае применения основных панелей шириной 3 м промежуточные связи, идущие через 6 м, будут ложиться на вертикальный стык стеновых панелей, вызывая здесь наибольший горизонтальный момент и усложняя конструктивно узел соединения. Смещение панелей на половину их ширины обеспечивает расположение стыков в районе нулевых точек и значительно упрощает решение узла опирания промежуточных связей.
2.21. Сооружения со стенами, работающими по консольной схеме (рис. 8, а), следует выполнять только из рядовых панелей, что позволяет сократить число их типоразмеров и количество вертикальных стыков. При наличии в углах связей по верху панелей такое решение дает возможность разместить крайние вертикальные рядовые стыки панелей в зоне, где действие горизонтальных моментов затухает.
а)
Рис. 8. Варианты раскладки консольных стеновых панелей
в сооружениях с гибкими соединениями в углах
1 - рядовые стеновые панели; 2 - доборные стеновые панели
с плоским торцом; 3 - перегородочные панели; 4 - гибкий
угловой стык стеновых панелей
2.22. При замене в проекте монолитных угловых участков стен на сборные или при выполнении сооружения с взаимозаменяемыми решениями применение доборных панелей позволит не затрагивать раскладку рядовых стеновых панелей, оставляя тем самым весь проект (кроме углов) без изменения (рис. 9).
Рис. 9. Пример замены монолитных угловых
участков стен на сборные
а - сооружения с монолитными угловыми участками; б - то же,
со сборными; 1 - монолитные угловые участки; 2 - рядовые
стеновые панели; 3 - доборные стеновые панели с плоским
торцом; 4 - гибкий угловой стык стеновых панелей
2.23. Пересечения наружных стен могут быть выполнены таким образом, что все стены одного направления располагаются внутри стен другого направления (см.
рис. 8, б). При этом если панели имеют несимметрично расположенные закладные детали, арматурные выпуски, шпонку в одном торце панели при плоском другом торце и т.п., несимметричные детали, возникает необходимость в "зеркальных" панелях. В ряде случаев избежать этого можно, располагая панели в углах по цепочке (см.
рис. 8, в).
2.24. Во внутренних, Т- и крестообразных пересечениях в целях упрощения конструкции узла не рекомендуется совмещать рядовые стыки панелей с гибкими угловыми стыками, что при необходимости всегда может быть достигнуто применением доборных панелей.
Температурно-усадочные и деформационные швы
2.25. Применение тиоколовых герметиков для температурно-усадочных и деформационных швов стен позволяет отказаться от примыкающих к ним монолитных участков, заменив их рядовыми стеновыми панелями.
2.26. Конструкции температурно-усадочных и деформационных швов должны приниматься такими же, как и для гибких угловых стыков, а именно шпоночного и компенсаторного типов. В стенах они идентичны с гибкими угловыми стыками (рис. 10), а в днище имеют некоторые отличия
(рис. 11).
а)
б)
Рис. 10. Температурно-усадочные
и деформационные швы в стенах
а - шпоночного типа; б - компенсаторного типа; 1 - стеновые
панели; 2 - тиоколовый герметик; 3 - гернит

;
4 - цементный раствор; 5 - профильная тиоколовая
лента, приклеенная лента на герметике
а)
б)
Рис. 11. Температурно-усадочные и деформационные швы в днище
а - шпоночного типа; б - компенсаторного типа;
1 - монолитное днище; 2 - бетонная подготовка;
3 - тиоколовый герметик; 4 - гернит

в один слой;
4а - гернит

в один или несколько слоев,
в зависимости от толщины днища; 5 - цементный раствор;
6 - профильная тиоколовая лента, приклеенная на герметике;
7 - защитная плита; 8 - два слоя рубероида
2.27. При выполнении в днище швов шпоночного типа жидкий герметик заливается слоем 30 мм в горизонтальный зазор на предварительно уложенный шнур гернита, после чего в зазор вводится второй шнур гернита, который в целях предохранения от механических повреждений закрывается заподлицо с днищем цементным раствором низкой марки.
2.28. При выполнении в днище швов компенсаторного типа тиоколовая лента наклеивается в предварительно подготовленной нише, которая затем закрывается защитными плитами. Целесообразно применять для этих целей плиты покрытий каналов.
Стыки стеновых панелей с днищем в цилиндрических сооружениях
2.29. Гибкие стыки стеновых панелей с днищем с применением тиоколовых герметиков (рис. 12) позволяют значительно упростить конструкцию цилиндрических сооружений и обеспечить водонепроницаемость стыков. Герметизировать горизонтальный стык между стеной и днищем следует только после натяжения кольцевой арматуры, при этом зазор стыка должен быть в пределах 30 +/- 5 мм, так как при натяжении кольцевой арматуры зазор горизонтального стыка сокращается, монтировать панели необходимо с несколько большим зазором, а именно около 35 мм.
Рис. 12. Стык стеновой панели с днищем
в цилиндрических сооружениях
1 - стеновая панель; 2 - монолитное днище; 3 - тиоколовый
герметик; 4 - гернит

; 5 - цементный раствор М 200;
6 - три слоя рубероида; 7 - выравнивающий слой
цементного раствора
2.30. По конструкции горизонтальный стык цилиндрических сооружений идентичен температурно-усадочным и деформационным швам шпоночного типа в прямоугольных сооружениях. Предельные деформации стыка следует принимать по
табл. 2 как для наружных стыков.
Стыки секций прямоугольных лотков
2.31. Секции прямоугольных лотков следует стыковать между собой с применением тиоколовых герметиков, что обеспечивает водонепроницаемость стыков и допускает при этом некоторое относительное смещение секций.
2.32. При ожидаемых деформациях стыков, вычисленных по
формуле (2), до 2 мм рекомендуется зазор стыков заполнять цементным раствором, а с внутренней стороны его покрывать слоем тиоколового герметика (рис. 13, а).
а)
Рис. 13. Стыки секций лотков
а - с жестким основанием; б - с упругой прокладкой;
1 - секции лотков; 2 - тиоколовый герметик;
3 - гернит

; 4 - цементный раствор М 100
Такая конструкция стыка целесообразна, если секции лотков устанавливаются на общем жестком (соединении) основании, не допускающем значительных смещений.
2.33. При ожидаемых деформациях стыков, вычисленных по
формуле (2), до 10 мм рекомендуется тиоколовый герметик наносить не на жесткое основание из цементного раствора, а на упругую прокладку в виде шнура гернита, введенного предварительно в зазор стыка
(рис. 13, б).
Такая конструкция может быть рекомендована, например, при установке секций лотков по грунтовому основанию без общего фундамента или в местах примыкания лотков к стенам сооружений. Применять этот стык при малых деформациях нецелесообразно, так как он более дорогой, а затраты труда на него выше.
Пропуск трубопроводов через стены сооружений
2.34. Пропуск трубопроводов через стены сооружений с использованием типовых сальников трудоемок в выполнении, так как сальники требуют периодического наблюдения, что затрудняет эксплуатацию сооружения. Применение для этих целей тиоколовых герметиков значительно упрощает строительство и эксплуатацию сооружений и обеспечивает гибкое, полностью водонепроницаемое соединение (рис. 14).
Рис. 14. Пропуск трубы через стену сооружения
1 - труба; 2 - стеновая панель; 3 - тиоколовый герметик;
4 - гернит

; 5 - цементный раствор М 50
2.35. Тиоколовый герметик наносится в зазор между трубой и стенкой на предварительно уложенный шнур гернита, в результате чего образуется тиоколовая шпонка. Для удобства выполнения работ целесообразно диаметр отверстия в стене принимать из условия, чтобы зазор стыка был равен 30 мм. С целью предохранения герметика от механических повреждений его следует закрыть цементно-песчаным раствором низкой марки слоем 10 мм.
2.36. Предельные деформации стыков этого типа такие же, как и для гибких угловых стыков шпоночного типа
(табл. 2).
3. СТРОИТЕЛЬСТВО ЖЕЛЕЗОБЕТОННЫХ ЕМКОСТНЫХ СООРУЖЕНИЙ
С ПРИМЕНЕНИЕМ ТИОКОЛОВЫХ ГЕРМЕТИКОВ
3.1. При выполнении работ, связанных с герметизацией стыков с применением тиоколовых герметиков, следует руководствоваться рабочими чертежами, требованиями главы СНиП по производству и приемке бетонных и железобетонных сборных конструкций и настоящим Руководством.
3.2. Работы по герметизации стыков проводятся специализированным звеном рабочих из двух человек, прошедших обучение.
3.3. Герметизировать стыки следует при температуре не ниже 5 °C, предпочтительно в сухую погоду. При необходимости герметизировать стыки в дождливую погоду место работы должно быть надежно защищено от попадания влаги полиэтиленовой пленкой или брезентом.
3.4. К герметизации стыков тиоколовыми герметиками следует приступать только по достижении монолитным бетоном прочности не ниже 70% проектной.
Применяемые материалы и оборудование
3.5. Гибкие стыки выполняют с применением тиоколовых герметиков - герметизирующих материалов на основе полисульфидных каучуков-тиоколов.
3.6. Для выполнения гибких стыков шпоночного типа применяют двухкомпонентные тиоколовые герметики Гидром-2 и АМ-0,5, область применения которых определена
разделом 1.
3.7. Для герметизации стыков секций лотков и мест пропуска трубопроводов через стены применяют указанные герметики Гидром-2, АМ-0,5 с наполнителем в виде цемента, а также герметик КМ-0,5.
3.8. В качестве упругих прокладок для устройства шпоночных стыков используют гернитовый шнур диаметром 40 мм.
3.9. Для изготовления профильных лент и их приклейки к бетону применяют двухкомпонентный тиоколовый герметик АМ-0,5. Для приклейки профильных лент может быть использован герметик КМ-0,5. Профильные ленты можно изготавливать из трехкомпонентного тиоколового герметика У-30МЭС-5. Использование его для наклейки лент на бетон не допускается. Для армирования профильных лент применяют стеклосетку марки СЭ (ССТЭ-6).
3.10. Герметики, применяемые для герметизации стыков, должны удовлетворять требованиям действующих стандартов или технических условий. При перевозке и хранении герметики должны иметь заводскую упаковку и сопровождаться паспортом. Хранить их следует в сухих складских помещениях при положительной температуре. По истечении срока хранения герметики можно применять только после контрольной проверки лабораторией.
3.11. Герметик Гидром-2 - низковязкая, пастообразная масса черного цвета; состоит из двух компонентов: основной пасты К-0,5 (черного цвета) и вулканизирующей пасты N 30 (черного цвета), которые дозируют в следующем соотношении по весовым частям:
паста К-0,5 - 100 в. ч.;
паста N 30 - 15 - 20 в. ч.
3.12. Герметик АМ-0,5 - вязкая пастообразная масса серого цвета; состоит из двух компонентов:
основной пасты А-0,5 (серого цвета) и вулканизирующей пасты N 30 (черного цвета), которые дозируют в следующем соотношении по весовым частям:
паста А-0,5 - 100 в. ч.;
паста N 30 - 17 - 23 в. ч.
3.13. Герметик КМ-0,5 - вязкая пастообразная масса черного цвета; состоит из двух компонентов: основной пасты К-0,5 (черного цвета) и вулканизирующей пасты N 30 (черного цвета), которые дозируют в следующем соотношении по весовым частям:
паста К-0,5 - 100 в. ч.;
паста N 30 - 15 - 23 в. ч.
3.14. Для регулирования сроков вулканизации герметиков может быть применен ускоритель вулканизации - дифенилгуанидин (ДФГ), который вводят в герметик в количестве 0,02 - 0,1% в зависимости от температуры окружающего воздуха. В жаркую погоду на солнце количество ДФГ должно быть минимальным, так как может вызвать быстрое твердение герметика.
3.15. Герметик У-30МЭС-5 - густая пастообразная масса черного цвета; состоит из трех компонентов, которые дозируют в следующем соотношении по весовым частям:
паста У30 - 100 в. ч.;
паста N 9 - 8 - 9 в. ч.;
дифенилгуанидин (ДФГ) - 0,3 - 0,5 в. ч.
3.16. Герметик приготавливают путем перемешивания составляющих компонентов в металлических ведрах объемом 8 - 10 л, заполняя их не более чем на 2/3. Перемешивать компоненты герметика следует электродрелью, имеющей скорость вращения 400 - 500 об/мин, снабженной смесительной лопастью, в течение 3 - 4 мин или вручную 8 - 10 мин.
3.17. Количество герметика следует приготавливать с учетом возможности его использования в течение 1,5 - 2 ч, так как начинающийся в это время процесс вулканизации затруднит его дальнейшее применение.
3.18. При необходимости разжижать герметик рекомендуется применять растворители: ацетон, толуол, Р-4 или Р-5. Растворитель добавляют в уже приготовленный, перемешанный герметик небольшими порциями и перемешивают электродрелью 30 - 40 с, после чего добавляют новую порцию растворителя и перемешивание повторяется.
Время перемешивания герметика вручную при введении растворителя значительно увеличивается (до 3 - 5 мин).
Растворитель можно вводить также в составляющие компоненты герметика. Для удобства перемешивания герметика целесообразно часть растворителя (около 1/3 общего объема) ввести в вулканизирующую пасту и, перемешав ее до получения однородной массы, смешать с основной герметизирующей пастой.
3.19. Приготовленный герметик должен быть однородным и не иметь следов неразмешанных компонентов или растворителя. Перемешанный герметик в зависимости от марки и температуры окружающего воздуха начинает густеть через 1,5 - 2 ч, добавка ДФГ ускоряет этот процесс. Срок полной вулканизации герметика при температуре 15 - 20 °C - 8 - 10 дней. При более низких температурах срок вулканизации удлиняется до 12 - 15 дней.
3.20. До начала работ по герметизации стыков построечная лаборатория должна уточнить необходимое количество растворителя для разжижения герметика данной партии, а также установить фактические сроки его вулканизации.
3.21. Для нанесения герметиков на поверхность железобетонных панелей можно использовать ручной или пневматический шприц конструкции ЦНИИОМТП Госстроя СССР. При отсутствии шприцев герметик наносят на бетонную поверхность и разравнивают шпателем.
3.22. Ручной шприц конструкции ЦНИИОМТП (рис. 15, а) состоит из цилиндра с резьбой на концах, на одном из которых крепят рабочий наконечник, на другом - рукоятку с расположенным в ней подающим механизмом. Внутри цилиндра имеется поршень, закрепленный на штоке подающего механизма; при продвижении штока поршень через рабочий наконечник выдавливает из цилиндра тиоколовую мастику.
а)
Рис. 15. Шприцы для нанесения тиоколового герметика
а - ручной; б - пневматический
Техническая характеристика шприца
Полезная емкость цилиндра, л ...................................... 0,8
Диаметр поршня, мм ................................................ 60
Ход поршня, мм .................................................... 280
Вес (без мастики), кг ............................................. 1,9
3.23. Пневматический шприц конструкции ЦНИИОМТП
(рис. 15, б) состоит из цилиндра с резьбой на концах, на одном из которых крепят рабочий наконечник, на другом - крышку с ручкой, в которой расположен клапан для регулирования подачи воздуха. Внутри цилиндра имеется плавающий поршень. При нажатии на курок ручки шприца золотник клапана пропускает сжатый воздух в цилиндр под поршень, который, перемещаясь, выдавливает мастику из шприца. При опускании курка золотник клапана перекрывает подачу воздуха в цилиндр и одновременно обеспечивает сброс избыточного давления в цилиндре и прекращает подачу герметика. В комплект входят три сменных цилиндра.
Техническая характеристика шприца
Полезная емкость, л .................................. 1,25; 1,75; 2,25
Диаметр поршня, мм ................................... 80
Ход поршня (максимальный), мм ........................ 250; 350; 450
Вес (без мастики), кг ................................ 1,86; 1,95; 2
3.24. Шприц наполняют мастикой непосредственно на рабочем месте. Перед зарядкой шприца канавки на поверхности поршня заполняют тавотом, техническим вазелином или другой густой смазкой и поршень несколько раз вручную прогоняют в цилиндре для образования на его стенках тонкого слоя смазки, препятствующей прилипанию мастики к стенкам.
3.25. После окончания работ шприц погружают в ацетон, этилацетат или растворитель Р-5. Остатки набухшей завулканизировавшейся мастики перед началом рабочей смены снимают с поверхностей наконечника, стенок цилиндра и поршня.
Подготовка бетонных поверхностей
3.26. От качества подготовки бетонных поверхностей зависят водонепроницаемость и долговечность стыков, так как тиоколовые герметики имеют надежную адгезию только к сухим чистым поверхностям.
3.27. Поверхности стыкуемых элементов в местах их соединения тщательно очищают от пыли и грязи волосяными щетками и промывают струей воды под давлением, после чего просушивают сжатым воздухом. В летнее жаркое время допускается естественная сушка бетонных поверхностей. Начинать работы по герметизации стыков при влажных, загрязненных или пылящих (мелящих) поверхностях не допускается.
3.28. Околы, каверны и местные трещины на кромках стыкуемых элементов заделывают цементно-тиоколовой пастой, состоящей из одной части герметика АМ-0,5 и одной части цемента или одной части герметика Гидром-2 и двух частей цемента.
3.29. Не допускается затирать или оштукатуривать цементным раствором поверхности, на которые впоследствии будет нанесен герметик.
Устройство гибких стыков шпоночного типа в стенах сооружений
3.30. Стыки шпоночного типа (см.
рис. 2, а) выполняют полностью на месте строительства путем заполнения канала стыка разжиженным герметизирующим материалом.
3.31. В зазор стыка, поверхности которого подготовлены в соответствии с указаниями
пп. 2.26 -
2.29, устанавливают на всю высоту вертикальную деревянную рейку-шаблон сечением 20 x 30 мм и закрепляют в том месте зазора, где предусмотрена проектом тиоколовая шпонка.
Длину рейки назначают таким образом, чтобы она выходила на 10 - 15 см над верхом панелей. По обе стороны рейки-шаблона укладывают в зазор стыка гернитовые шнуры. В местные уширения зазора и стыка, которые могут быть ввиду неровности стыкуемых граней панелей, укладывают дополнительные целые или разрезанные вдоль гернитовые шнуры.
3.32. Уложенный в зазор стыка гернитовый шнур затирают цементно-песчаным раствором состава 1:4 на расширяющемся цементе или портландцементе. Толщина раствора, уложенного в зазор, в верхней части стыка не должна превышать 10 мм. В нижней части стыка допускается увеличение слоя раствора до 20 - 25 мм.
Чтобы не допустить появления в уложенном растворе усадочных трещин, необходимо в течение первых суток защитить его от прямых солнечных лучей и обеспечить увлажнение. Появившиеся в растворе трещины во избежание утечки герметика при заполнении канала стыка необходимо затереть цементным тестом.
3.33. Канал стыка до заполнения его герметиком необходимо защитить от попадания в него воды. При попадании в канал стыка воды гернитовые шнуры должны быть удалены и стык просушен.
3.34. Через сутки после укладки раствора рейку-шаблон вынимают и зазор стыка заливают сверху через полиэтиленовую воронку герметиком, приготовленным в соответствии с
пп. 2.16 -
2.20. Для обеспечения необходимой подвижности герметика в него добавляют ацетон или растворитель в количестве: в герметик Гидром-2 - 6 - 8%, в герметик АМ-0,5 - до 15%.
3.35. Если тиоколовый герметик в виде подтеков или капель начал проникать через трещины в цементном растворе, заполнение стыка необходимо прекратить и перейти к заливу других подготовленных стыков, а трещины в зависимости от их величины затереть цементным раствором или тестом и не ранее чем через сутки продолжить заполнение стыка герметиком. Для предотвращения возможных протечек герметика стыки высотой 4,2 м и более целесообразно заливать в два приема: в первый день - на высоту 2,5 - 3 м, на следующие сутки - полностью.
3.36. Ввиду значительной деформативности гернитовых шнуров и замедленного процесса вулканизации герметика в условиях закрытого пространства в канале стыка происходит некоторая осадка герметика по вертикали, которая для Гидрома-2 может достигать 10% высоты стыка. Поэтому через двое суток после налива герметика следует проверить величину его осадки и при необходимости долить стыки тем же герметиком.
Устройство гибких стыков компенсаторного типа
3.37. Стыки компенсаторного типа (см.
рис. 2, б) выполняются путем наклейки на бетонную поверхность заранее изготовленной профильной ленты
(рис. 16, б).
Рис. 16. Профильная тиоколовая лента
и матрица для ее изготовления
а - матрица; б - тиоколовая лента; 1 - деревянный щит;
2 - оргстекло или полиэтилен; 3 - шурупы (через 200 мм
в шахматном порядке); 4 - тиоколовый герметик,
армированный стеклотканью
3.38. Профильные тиоколовые ленты изготавливаются в строительных организациях специализированным звеном из двух человек. Ленты должны быть изготовлены не менее чем за 8 - 10 дней до начала работ по герметизации стыков.
3.39. Для изготовления профильной ленты из герметика применяют матрицу в виде плоского деревянного поддона шириной 300 мм, покрытого антиадгезионным к герметику материалом
(рис. 16, а). В качестве антиадгезионного материала рекомендуется применять листовой полиэтилен, полипропилен или оргстекло, которые закрепляют на деревянном поддоне таким образом, чтобы исключить попадание герметика между листами. Длину матрицы рекомендуется принимать исходя из максимальной высоты стен.
3.40. Для разравнивания мастики на матрице применяют полоски из полиэтилена, полипропилена или оргстекла толщиной 2 - 5 мм.
3.41. Матрицу, установленную в горизонтальном положении на высоте 90 - 100 см, протирают ацетоном или растворителями Р-4, Р-5. Для лучшей удобоукладываемости и исключения возможности образования пузырей в ленте в герметик вводится 10% растворителя.
3.42. В среднюю часть матрицы выливают приготовленный герметик и разглаживают по всей поверхности: при этом боковые части матрицы смазывают герметиком лишь тонким слоем. На герметик накладывают полосу стеклосетки шириной 350 мм, разравнивают, не допуская образования морщин, и плотно прижимают к герметику так, чтобы он проступал через сетку. Сверху на сетку наносят тонкий слой герметика, разжиженного растворителем в количестве 15 - 20%.
3.43. В целях упрощения наклейки лент на бетонные поверхности не следует допускать толщину открылков более 0,5 мм. Открылки ленты должны иметь вид пропитанной герметиком стеклосетки без местных утолщений и наплывов, особенно на участках примыкания к утолщенной части ленты.
3.44. Ленты оставляют в матрицах для предварительной вулканизации на одни сутки при температуре воздуха не ниже 15 °C, после чего их снимают с матриц. При более низких температурах срок предварительной вулканизации следует продлить. Предварительную вулканизацию можно считать законченной, если ленты легко снимаются с матриц и имеют гладкую блестящую поверхность.
3.45. До снятия лент свисающие с матриц кромки стеклосеток и наплывы герметика срезают ножом.
3.46. Для удобства последующей наклейки лент следует отогнуть ее открылки на 180° и проложить под них полиэтиленовую пленку. В лентах, предназначенных для угловых стыков, отгибают один из открылков, а в лентах, предназначенных для температурно-усадочных и деформационных швов, - оба. В таком виде ленты снимают с матрицы и до окончания вулканизации укладывают друг на друга с прокладкой между ними полиэтиленовой пленки и с пригрузом. После полной вулканизации герметика ленты можно свернуть в рулон и в таком виде хранить и транспортировать.
Сворачивание ленты в рулон до полной вулканизации герметика затруднит впоследствии ее использование, так как в этом случае лента приобретает кривизну.
3.47. Профильную ленту необходимой длины промывают ацетоном и насухо вставляют утолщенной частью в зазор стыка согласно проекту так, чтобы плоская сторона ленты была обращена к стеновым панелям. При этом торец ленты должен упираться в фундамент.
3.48. Ленты фиксируют в зазоре стыка точечными прихватками герметиком через 50 - 70 см по высоте стыка. Прихватки необходимо делать как можно глубже в зазоре стыка, отжимая ленту от бетона. Первая снизу прихватка должна быть на высоте не менее 50 см. Для ускорения вулканизации прихваток в герметик вводится ДФГ в количестве до 1%.
После закрепления ленты через 1 - 2 ч в углы между панелями и лентой наносят шприцем или шпателем приготовленный герметик, который затем шпателем разравнивают по панелям полосой, превышающей на 1 - 2 см ширину открылков, и открылки ленты прижимают к панелям. При этом должен быть обеспечен полный контакт открылков с поверхностью плит без образования воздушных пузырей.
3.49. Для соединения торца ленты с фундаментом край ленты несколько отводят в сторону и на фундамент на всю глубину зазора стыка наносят слой герметика толщиной 10 - 15 мм, в который втапливают ленту. На наклеенную ленту кистью наносят герметик, разжиженный растворителем в количестве 15 - 20%, и в петлю компенсатора вставляют шнур гернита.
Устройство температурно-усадочных и деформационных швов
прямоугольных сооружений и стыков между стеновыми панелями
и днищем в цилиндрических сооружениях
3.50. Температурно-усадочные и деформационные швы с применением тиоколовых герметиков в стенах емкостных сооружений (см.
рис. 10) по конструкции и технологии выполнения ничем не отличаются от гибких угловых стыков стен, и при их герметизации следует руководствоваться соответствующими разделами настоящего Руководства.
3.51. При устройстве температурно-усадочных и деформационных швов в днище (см.
рис. 11), а также стыков стеновых панелей с днищем в цилиндрических сооружениях (см.
рис. 12) особое внимание следует уделять бетонированию прилегающих к шву участков днища. Не рекомендуется назначать рабочие швы бетонирования ближе 5 м от температурно-усадочных и деформационных швов. Дефекты в виде раковин, трещин, расслоений в этой части днища должны быть ликвидированы путем удаления некачественного бетона на участке не менее 1 м и повторного бетонирования.
3.52. Зазор стыка в монолитном днище выполняют путем установки при бетонировании деревянного трапециевидного шаблона на всю толщину днища, который через сутки извлекают из бетона. Шаблон легче удалить, если его предварительно (до бетонирования) обернуть полиэтиленовой пленкой. Оборачивать шаблон толем, рубероидом или обмазывать различными эмульсиями и маслами не допускается, так как это нарушит впоследствии адгезию герметика к бетону.
Если шаблон не извлекается свободно из бетона днища, он должен быть удален по частям без нарушения целостности бетонного паза. Выжигать шаблон из шва запрещается.
3.53. Бетонные поверхности, с которыми будет контактировать тиоколовый герметик, должны быть подготовлены в соответствии с
пп. 2.26 -
2.29. Стык до его герметизации необходимо тщательно защищать от попадания влаги и мусора.
3.54. Герметизацию температурно-усадочных и деформационных швов надлежит начинать с горизонтальных участков днища и только после их окончания можно приступать к герметизации вертикальных стыков. Не следует допускать перерывов в герметизации горизонтальных стыков в пределах монолитного фундамента под стены.
3.55. При выполнении в днище шпоночных швов в горизонтальный зазор стыка на всю его глубину вводят шнур гернита диаметром 40 мм, на который наливается подготовленный тиоколовый герметик слоем 30 - 35 мм. Поверх залитого герметика укладывается второй шнур гернита. Для предохранения шва от механических повреждений зазор, оставшийся над верхним шнуром гернита, заполняют цементно-песчаным раствором марки М100.
| | ИС МЕГАНОРМ: примечание. Нумерация пунктов дана в соответствии с официальным текстом документа. | |
2.56. Наиболее ответственным местом в стыках шпоночного типа является узел соединения вертикального и горизонтального шва. В этом месте после заполнения горизонтального стыка герметиком верхние шнуры гернита, подходящие с обеих сторон к стене, отгибают и выводят в зазор между стеновыми панелями на всю высоту монолитного фундамента на расстоянии не менее 50 мм друг от друга. При выполнении вертикального стыка рейку-шаблон опускают до залитого в днище герметика и выведенные наверх шнуры гернита стыкуют с шнурами вертикального шва.
3.57. При выполнении в днище швов компенсаторного типа с применением тиоколовой ленты последнюю вводят в зазор стыка, а ее открылки приклеивают герметиком к горизонтальным поверхностям ниши днища. Для более качественной приклейки открылки ленты следует прижать к днищу досками с пригрузом и оставить в таком положении не менее чем на сутки. После снятия досок и проверки качества наклейки лент для предохранения ленты от повреждений в компенсаторную петлю укладывают шнур гернита, нишу закрывают двумя слоями рубероида и поверх него укладывают железобетонную плиту.
В зазоры между плитой покрытия и монолитным днищем укладывается гернитовый шнур, который закрывается сверху цементно-песчаным раствором М100.
Герметизация стыков секций лотков и мест пропуска
трубопровода через стены
3.58. Стыки секций лотков (см.
рис. 13) и места пропуска трубопроводов через стены (см.
рис. 14) герметизируют путем нанесения в зазор стыка подготовленного герметика при помощи шпателя или шприца. Герметик наносят на упругую прокладку из шнура гернита или на жесткое основание из цементно-песчаного раствора (только для лотков), что определяется проектом.
3.59. Работы по герметизации мест пропуска технологических трубопроводов выполняют только после полной установки и закрепления трубы в проектное положение.
3.60. При выполнении стыков с жесткой основой целесообразно использовать шаблон-рейку сечением 30 x 10 мм, с помощью которого в стыке с внутренней стороны выполняется паз глубиной 10 мм. Заполнять паз герметиком можно не ранее чем через трое суток.
3.61. В стыках с упругой прокладкой гернитовые шнуры закрепляют в зазоре в проектное положение цементно-песчаным раствором. Наносить герметик можно на следующие сутки.
3.62. Герметик, нанесенный в зазор стыка, может до начала вулканизации оплывать; в этом случае следует через сутки дополнить оплывшие места герметиком. Подвижность герметика можно несколько снизить, введя в него небольшое количество цемента, как это указано в
п. 2.28, однако это снижает деформативность материала. Для предотвращения оплывания герметика целесообразно сразу после его нанесения в зазор на стык наложить полоску полиэтиленовой пленки, которая через двое суток свободно снимается.
С целью предохранения стыков в местах пропуска труб через стены от механических повреждений поверх герметика следует нанести слой цементно-песчаного раствора марки М100 толщиной 10 мм.
Контроль качества выполняемых работ
3.63. Контроль качества выполняемых работ по герметизации стыков должен осуществляться техническим персоналом строительства и построечной лабораторией.
3.64. При монтаже сборных угловых участков стен необходимо выдержать указанный в проекте зазор между панелями. В противном случае герметизация стыков значительно усложняется.
3.65. Не допускается нанесение герметика на пыльные, грязные или влажные поверхности, так как в этом случае адгезия герметика с бетонными поверхностями практически отсутствует.
3.66. Особое внимание следует обращать на тщательное перемешивание компонентов герметика. Недостаточно перемешанный и поэтому незавулканизировавшийся герметик, нанесенный на бетонные поверхности, должен быть удален скребками, а поверхность бетона должна быть промыта растворителем. Не допускается применение начавшего густеть герметика, так как при этом резко ухудшается его адгезия к бетону.
3.67. Качество работ по герметизации стыков до гидравлических испытаний определяется визуальным осмотром. В стыках шпоночного типа следует проверить уровень заполнения канала стыка герметиком и оставшуюся пустую часть канала долить герметиком до верха панелей. Воздушные пузыри и пустоты, образовавшиеся при наклейке профильных лент, могут быть обнаружены на ощупь. Их следует разрезать ножом, ввести в разрез герметик и края разреза плотно прижать к панели.
3.68. Прием загерметизированных стыков должен оформляться актом на скрытые работы с приложением технического паспорта применяемой мастики. Наполнение емкости водой допускается не ранее 8 дней после окончания герметизации при температуре окружающего воздуха в этот период не ниже 15 °C. При температуре ниже 15 °C вулканизация герметика замедляется, и сроки залива емкости должны определяться построечной лабораторией в каждом конкретном случае отдельно. Ориентировочно при температуре воздуха не ниже 15 °C для полной вулканизации достаточно 12 - 15 дней.
3.69. Герметизировать стыки следует с соблюдением правил техники безопасности, изложенных в главе по технике безопасности в строительстве.
3.70. Работающие с тиоколовыми герметиками должны быть обеспечены комбинезонами, резиновыми перчатками и рукавицами.
3.71. Тиоколовые герметики - нетоксичные, невзрывоопасные и труднозагораемые материалы, однако рабочие составы, содержащие растворители, необходимо приготавливать на открытом воздухе или в помещении, оборудованном вытяжной вентиляцией и противопожарным инвентарем, при этом запрещается курение и использование открытого огня.
3.72. Герметик легко снимается с рук, если перед работой руки намылить мылом и дать им подсохнуть. Этим будет предотвращена возможность проникновения герметика в поры кожи и облегчено мытье рук.