Главная // Актуальные документы // РуководствоСПРАВКА
Источник публикации
М.: Стройиздат, 1980
Примечание к документу
Название документа
"Руководство по проектированию и применению солнцезащитных средств в промышленных зданиях"
"Руководство по проектированию и применению солнцезащитных средств в промышленных зданиях"
ПО ПРОЕКТИРОВАНИЮ И ПРИМЕНЕНИЮ СОЛНЦЕЗАЩИТНЫХ СРЕДСТВ
В ПРОМЫШЛЕННЫХ ЗДАНИЯХ
Изложены комплексные требования, предъявляемые к солнцезащитным средствам промышленных зданий, критерии оценки эффективности солнцезащиты и методы расчета солнцезащитных устройств. Приведены классификация солнцезащитных средств, последовательность их выбора при проектировании промышленных зданий.
Содержит справочный материал, включающий физико-технические характеристики солнцезащиты, климатические данные по территории СССР, необходимые для расчетов по предлагаемым методам; даны примеры решений.
Для архитекторов и инженеров-строителей.
Руководство разработано НИИСФ Госстроя СССР (канд. техн. наук Н.В. Оболенский, канд. архит. А.И. Пануров, инженеры В.В. Токарев, А.В. Спиридонов. В.А. Могутов), ЦНИИПромзданий Госстроя СССР (канд. техн. наук Ю.П. Александров, канд. архит. Л.А. Скроб) и ВЦНИИОТ ВЦСПС (канд. техн. наук Е.А. Никитина, канд. мед. наук И.Г. Коваленко, инж. О.К. Мешкова).
Прямые солнечные лучи, проникающие в помещения промышленных зданий, в большинстве случаев явление отрицательное в любых климатических условиях. С другой стороны, прямой солнечный свет на фасадах и отраженный и рассеянный в цехах - действенное средство повышения выразительности архитектуры и улучшения освещения в помещениях. Промышленные здания, как правило, характеризуются большими площадями остекления фасадов и покрытий, что порождает известный архитектурный парадокс. Для освещения интерьеров и их связи с внешней средой светопроемы необходимы, а с точки зрения борьбы с теплопотерями, перегревом и слепимостью - они нежелательны. Выход - в оптимальных размерах, расположении и пропорциях светопроемов, регламентируемых требованиями главы
СНиП II-4-79 "Естественное и искусственное освещение" и в применении рациональных солнцезащитных средств.
Практика показывает, что наибольшее число ошибок наблюдается в тех случаях, когда проектировщик решает задачу солнцезащиты некомплексно и на последних стадиях проектирования. Многие здания проектируются вообще без учета инсоляции. Это привело к тому, что в северных и центральных районах страны появились здания со стационарными солнцезащитными устройствами, применяемыми в жарких и тропических районах, а на юге - с чрезмерно большими и незащищенными световыми проемами.
Наиболее распространенной ошибкой является применение массивных теплоемких затеняющих экранов, монолитно связанных с основной ограждающей конструкцией. Такие конструкции аккумулируют солнечное тепло и путем теплообмена со стеклом и стеной передают его в помещение.
Нередки случаи применения солнцезащитных устройств без учета ориентации здания по сторонам горизонта.
Часто значительные по размерам светопроемы заполняют теплозащитным стеклом, эффективным только для уменьшения тепловой радиации солнца и не устраняющим слепимости от прямых солнечных лучей.
Наиболее эффективным солнцезащитным средством является наружное регулируемое устройство, экранирующее прямые лучи в комплексе с теплозащитным остеклением наружного переплета. Однако это дорогостоящий путь решения задачи. Поэтому при проектировании следует руководствоваться определенной последовательностью выбора солнцезащитных средств на основе всестороннего анализа их функциональной эффективности и экономичности. Единовременные затраты на применение солнцезащитных средств окупаются за счет снижения эксплуатационных расходов на вентиляцию и искусственное охлаждение воздуха, улучшения условий и повышения производительности труда. В зданиях, оборудованных системами кондиционирования воздуха или радиационного охлаждения, солнцезащитные средства являются важнейшим фактором, способствующим экономичности и надежности работы этих систем.
До последнего времени эти вопросы решались проектировщиками не всегда правильно из-за отсутствия единых методологических указаний.
Настоящее Руководство должно восполнить этот пробел в практике проектирования промышленных зданий.
1.1. Руководство распространяется на проектирование солнцезащитных средств для производственных и вспомогательных зданий, в которых производится зрительная работа I - IV разрядов при боковом, верхнем и комбинированном естественном освещении.
Материалы Руководства позволяют при проектировании выбирать рациональный вид солнцезащитного средства, прогнозировать качество среды в помещениях и определять функциональную и экономическую эффективность солнцезащиты.
1.2. Солнцезащитные средства (СЗС) подразделяются на:
1) архитектурно-планировочные;
2) конструктивные;
3) технические.
Классификация солнцезащитных средств приводится в табл. 1. Основные типы конструктивных средств (затеняющие и светорегулирующие устройства, изделия из стекла и пластмасс) приводятся в
табл. 2.
Таблица 1
Классификация солнцезащитных средств
Солнцезащитные средства | Назначение | Рекомендуемые материалы и изделия |
1 | 2 | 3 |
I. Архитектурно-планировочные |
1. Рациональное решение генерального плана промышленного комплекса, расположение основных планировочных осей с учетом направления господствующих ветров, зон инсоляции и затенения | Улучшение микроклимата | - |
2. Озеленение и обводнение территории | Улучшение микроклимата | Газоны, кустарники, вьющиеся растения, бассейны, фонтаны и т.п. |
3. Рациональная ориентация светопроемов по сторонам горизонта | Снижение теплопоступлений через вертикальные ограждающие конструкции, улучшение микроклимата помещений | - |
4. Сезонные солнцезащитные средства (перголы, тенты и т.п.) | Защита от перегрева на площадках отдыха | Дерево, металлизированные ткани, перфорированный алюминий |
5. Покрытие дорожек и тротуаров нетеплоемкими материалами | Улучшение микроклимата | Галечник, тощий бетон |
II. Конструктивные |
Наружные солнцезащитные устройства |
6. Козырьки (сплошные и решетчатые) | Защита от перегрева | Асбоцемент, перфорированный железобетон, дерево, алюминий |
7. Жалюзи горизонтальные (стационарные и регулируемые) | Защита от перегрева, улучшение световой среды | То же |
8. Жалюзи вертикальные (стационарные и регулируемые) | Защита от перегрева | Асбоцемент, перфорированный железобетон, дерево, алюминий |
9. Комбинированные устройства (соты, пространственные сетки, решетки и т.п.) | То же | То же |
10. Экраны (сплошные и решетчатые) для светопрозрачных и глухих участков ограждений | " | " |
11. Веерные жалюзи (для зенитных фонарей) | Защита от перегрева и слепимости | " |
Межстекольные солнцезащитные устройства |
12. Жалюзи (регулируемые) | Защита от перегрева, улучшение световой среды | Дерево, алюминий, пластмасса |
13. Шторы светорассеивающие | Защита от перегрева и слепимости | Металлизированные ткани, капрон |
Внутренние солнцезащитные устройства |
14. Жалюзи регулируемые | Улучшение световой среды, визуальная изоляция | Дерево, алюминий, пластмасса |
15. Шторы светорассеивающие | Защита от слепимости, визуальная изоляция | Металлизированные ткани, капрон |
Солнцезащитные изделия из стекла и пластических масс |
16. Теплоотражающие стекла | Защита от перегрева | Селеновые покрытия |
17. Светозащитные стекла (контрастные или серые) | Снижение слепящей яркости светопроемов | Нейтральные добавки |
18. Светорассеивающие стекла и пластмассы (в том числе с переменным профилем) | Защита от слепимости | - |
19. Стевит (термолюкс) | Защита от перегрева, слепимости Постоянная визуальная изоляция | Прокладки из стекловолокна и стеклоткани |
20. Стеклоблоки светорассеивающие | То же | То же |
21. Профильное стекло | " | " |
22. Стеклопластики | " | " |
23. Стеклянные жалюзи с теплоотражающим покрытием | Защита от перегрева | Селеновые покрытия |
24. Пленки с теплоотражающим слоем | То же | Металлические напыления и микропрослойки |
25. Шеды | Защита от перегрева и слепимости | - |
26. Световые шахты | То же | - |
III. Технические |
27. Установки вентиляционные | Ограничение перегрева помещений | - |
28. Установки кондиционирования воздуха | То же | - |
29. Установки радиационного охлаждения воздуха | " | - |
30. Установки водоразбрызгивающие | " | - |
31. Водоналивные крыши-ванны | " | - |
Таблица 2
Классификация основных типов солнцезащитных устройств
Тип СЗУ | Схема устройства |
Горизонтальные | Козырьки решетчатые с вертикальным и наклонным расположением перьев |
| | | |
Козырьки наклонные | Козырьки многоступенчатые |
| | | |
Жалюзи | |
Наружные | Межстекольные | Внутренние |
| | |
Вертикальные | Стационарные | Регулируемые |
| |
Комбинированные | | Стационарные | Полурегулируемые |
| |
Сетки | | | | | |
Сотообразные решетки | | | |
Сдвижные панели - жалюзи | | |
Солнцезащитные панели | С ячейками ромбовидной формы | С ячейками прямоугольной формы |
| |
Из Z образного профильного стекла | Из треугольного профильного стекла |
| |
Фонари с наружной солнцезащитой | Шеды | |
| |
С веерным экраном |
| | | |
Со светорассеивающим куполом | С солнцезащитным сегментом |
| |
С водоразбрызгивающими установками | |
| |
Фонари с внутренней солнцезащитой | С регулируемым экраном | С несущим пленочным экраном |
| |
Жалюзи | Регулируемая штора из пленки или ткани |
| |
2. ТРЕБОВАНИЯ, ПРЕДЪЯВЛЯЕМЫЕ К СОЛНЦЕЗАЩИТЕ
ПРОМЫШЛЕННЫХ ЗДАНИЙ
Архитектурно-строительные требования
2.1. Эффективность солнцезащиты промышленного комплекса зависит от рационального решения генерального плана, которое определяется преимущественным направлением продольных планировочных осей сооружений, близким к гелиотермической оси, характерной для данной местности. Это направление должно быть близким к перпендикулярному по отношению к господствующим ветрам.
2.2. Озеленение и обводнение территории, а также применение сезонных солнцезащитных средств на площадках отдыха должны производиться в зонах, инсолируемых в период летней половины года.
2.3. Архитектурный образ современного промышленного предприятия, размещающегося, как правило, в блокированных зданиях, характеризуется объемной и крупномасштабной композицией. Поэтому солнцезащитные средства должны соответствовать масштабу здания в целом, его тектоническому выражению архитектурных акцентов, отдельных элементов солнцезащиты, образующей пространственную структуру.
2.4. Цветовое решение солнцезащиты должно проектироваться в единстве с цветовым решением фасада здания и его интерьером.
2.5. Солнцезащитные устройства должны соответствовать размерам световых проемов, виду их заполнения, а регулируемые устройства - приемам крепления, чтобы при необходимости обеспечивать полное их затенение или полное освобождение светопроемов от затеняющих элементов.
2.6. Устройства, предназначенные для комплексной защиты от перегрева и слепимости, следует располагать с наружной стороны светопроема или в межстекольном пространстве, а устройства, обеспечивающие защиту от слепимости - внутри помещения. Теплоотражающие и светозащитные стекла рекомендуется применять в одинарных переплетах, в двойных переплетах - с наружной стороны в сочетании с обычным листовым стеклом. Теплопоглощающие стекла в одинарных переплетах не применяются. При их использовании в наружных переплетах необходимо учитывать их периметральное расширение при нагреве и предусматривать соответствующие допуски в размерах.
2.7. Тип и размеры солнцезащитных устройств должны соответствовать ориентации светопроемов по сторонам горизонта и географической широте места строительства. Горизонтальные стационарные устройства эффективны для светопроемов южной ориентации, а устройства с горизонтальными элементами, наклоненными к плоскости фасада под углом 45°, эффективны при восточной и западной ориентации. Вертикальные стационарные устройства рациональны при северо-западной и северо-восточной ориентации. Регулируемые подъемно-поворотные жалюзи универсальны, с их помощью можно защитить помещение от солнца при любой ориентации.
2.8. Солнцезащитные устройства должны обеспечивать удобство и надежность эксплуатации.
Органы управления устройствами должны располагаться не выше 130 см от пола. Усилие, прилагаемое к ним не должно превышать физических возможностей человека.
В современных промышленных зданиях наружные устройства должны являться элементами встроенного оборудования, регулируемого только изнутри помещения. Форма и размеры органов управления должны проектироваться с учетом эргономических свойств человека.
Управление может быть индивидуальным для каждого светопроема или централизованным.
2.9. Солнцезащитные устройства изготовляют по рабочим чертежам, утвержденным в установленном порядке.
2.10. Основным климатическим фактором, определяющим необходимость защиты помещений от перегрева, является продолжительность периода со среднесуточной температурой наружного воздуха tн >= 20 °C.
2.11. Обеспечение теплоустойчивости ограждающих конструкций необходимо предусматривать с учетом продолжительности этого периода равной и более 20 дней в году. При продолжительности этого периода от 20 до 40 дней защиту помещений от перегрева рекомендуется осуществлять с помощью внутренних и межстекольных солнцезащитных устройств; от 40 до 60 дней - с помощью межстекольных и наружных устройств; при периоде более 60 дней - с помощью только наружных устройств в сочетании с теплозащитным остеклением. В гипертермических районах, где чрезмерный перегрев обусловлен высоким термическим фоном окружающей среды и продолжительностью перегревного периода (tн > 20 °C) более 100 дней, эффективная защита от перегрева может быть обеспечена только с помощью наружных солнцезащитных устройств в сочетании с теплозащитным остеклением и техническими средствами искусственного регулирования микроклимата.
На рис. 1 приводится карта климатического районирования территории СССР для выбора солнцезащитных средств по продолжительности перегревного периода с tн > 20 °C.
Рис. 1. Зонирование территории СССР
по продолжительности периода с температурой
наружного воздуха t > 20 °C за год
I - < 20 дней; II - от 20 до 40 дней;
III - от 40 до 60 дней; IV - от 60 до 100 дней;
V - > 100 дней
Зонирование не распространяется на горные районы,
расположенные выше 500 м над уровнем моря.
Заштрихована зона, где рекомендуется расчеты освещенности
помещений производить, исходя из условий преобладающего
ясного неба и учитывать отраженный солнечный свет
при инсоляции застройки
2.12. Защита производственных помещений (с I - IV разрядами зрительных работ) от светового дискомфорта необходима на всей территории СССР при ориентации светопроемов на солнечные азимуты при высоте стояния солнца над горизонтом h0 >= 10°.
2.13. Климатические районы могут иметь дополнительные климатические факторы, характерные для тех или иных местных условий (особенности ветрового режима, смещение периода солнечного сияния в году и т.п., которые следует учитывать при разработке архитектурно-планировочных и конструктивных решений).
В районах с большой запыленностью и со средней скоростью ветра в перегревный период 5 м/с и более необходимо предусматривать регулирование наружных солнцезащитных устройств без открывания оконных переплетов.
В районах с максимальной годовой скоростью ветра более 20 м/с эти устройства должны рассчитываться на прочность с учетом ветровой нагрузки. Регулируемые жалюзи и скручивающиеся шторы применять при этих условиях не рекомендуется. В районах с жарким влажным климатом ограничивается применение ограждений из стеклянных объемных элементов, затрудняющих проветривание помещений.
Требования, определяемые технологией промышленных зданий
2.14. Солнцезащитные средства следует применять в зданиях с преобладающим размещением в них производств с нормальным и постоянным температурно-влажностным режимом.
2.15. В производственных помещениях с постоянным температурно-влажностным режимом и температурой внутреннего воздуха 20 - 22 °C (+/- 1 °C), относительной влажностью воздуха 40 - 50% (+/- 5%) и повышенными требованиями к герметизации ограждающих конструкций, инсоляция не допускается в течение всего года (I группа, табл. 3).
Группа помещений | Помещения | Требования к условиям инсоляции |
I | Производственные помещения I - IV разрядов зрительных работ, где по условиям технологии требуется искусственное поддержание постоянного температурно-влажностного режима | Не допускается в течение всего года |
| Производственные помещения I - IV разрядов зрительных работ, где по условиям технологии не требуется искусственное поддержание постоянного микроклимата | Ограничивается в рабочее время года |
| Производственные помещения V - VII разрядов зрительных работ | Ограничивается в теплый период года |
2.16. В производственных и вспомогательных помещениях с нормальным температурно-влажностным режимом, характеризуемым температурой внутреннего воздуха 18 - 20 °C (+/- 2 - 6 °C), тепловыделениями до 20 ккал/(м
2·ч) и относительной влажностью воздуха от 40 до 60%, инсоляция ограничивается в часы рабочего времени (
II группа, табл. 3).
2.17. В производственных помещениях V - VII разрядов зрительных работ, помещениях предприятий общественного питания, а также в кабинетах и рабочих комнатах инсоляция ограничивается в жаркий период года (
III группа, табл. 3).
2.18. Специальные стеклопакеты рекомендуется применять в помещениях, относимых к IV - VII разрядам по условиям зрительной работы и в которых предъявляются повышенные требования к теплоизоляции светопрозрачных ограждений. Стеклянные блоки и профильное стекло рекомендуется применять в помещениях, не предназначенных для напряженной зрительной работы. В промышленных зданиях с взрывоопасным производством и большой площадью остекления следует использовать солнцезащитные стекла в одинарном переплете.
2.19. Внутренние солнцезащитные устройства рекомендуется применять для административно-конторских помещений, а также для производственных помещений с воздушной средой, содержащей не более 10 мг/м3 пыли, дыма и копоти.
2.20. При эксплуатации внутренних солнцезащитных устройств для поддержания оптимальных уровней освещенности внутри помещения требуется соблюдение регулярных сроков их очистки. Производственные помещения с воздушной средой, содержащей от 5 до 10 мг/м3 пыли, дыма и копоти, предприятия общественного питания чистят 3 раза в год. Производственные помещения с воздушной средой, содержащей не более 5 мг/м3 пыли, дыма и копоти, административно-конторские помещения - 2 раза в год.
Очистка наружных и межстекольных солнцезащитных устройств должна проводиться не реже двух раз в год.
Светотехнические требования
2.21. Солнцезащитные средства должны обеспечивать в рабочее время полное экранирование прямых лучей солнца при любой его высоте и ориентации здания.
2.22. При облачном небе стационарные солнцезащитные устройства не должны снижать уровень освещенности на рабочей поверхности ниже нормируемой.
2.23. Солнцезащитные средства должны удовлетворять также следующим требованиям:
способствовать улучшению светораспределения в помещениях, обеспечивать его равномерность, увеличивая за счет перераспределения световых потоков уровни освещенности в глубине помещения;
при ясном небе обеспечивать на рабочих местах уровни естественной освещенности (300 - 750 лк), способствующие повышению производительности труда при наименьшем зрительном утомлении.
Теплотехнические требования
2.24. Солнцезащитные устройства (СЗУ) должны обеспечивать защиту помещений от теплового дискомфорта в жаркое время года суток, а также совместно с ограждающими конструкциями способствовать обеспечению в помещении рекомендуемых параметров температурного режима;
обеспечивать полное экранирование прямой солнечной радиации в расчетный период.
2.25. Затеняющие устройства должны выполняться из легких материалов, изолированных от основной конструкции здания.
2.26. Солнцезащитные средства должны обеспечивать необходимый воздухообмен в помещении, способствовать выравниванию температуры и скорости движения воздуха в помещении в соответствии с главами СНиП по проектированию.
3. ВЫБОР И ПРОЕКТИРОВАНИЕ СОЛНЦЕЗАЩИТНЫХ СРЕДСТВ
Последовательность выбора солнцезащитных средств
3.1. При проектировании солнцезащитных средств необходимо руководствоваться следующей последовательностью: выбирается рациональное архитектурно-планировочное средство (ориентация, озеленение и т.д.), затем определяется целесообразность применения теплозащитного остекления в зависимости от назначения здания. Если архитектурно-планировочные средства не решают задачи, а специальное остекление по той или иной причине не может быть применено, то переходят к выбору рациональных стационарных устройств (козырьки-экраны и т.п.),
Если все эти средства оказываются неэффективными, выбирают регулируемые устройства. Наилучший вариант решения заключается в применении наружных солнцезащитных устройств в комплексе с солнцезащитным (теплоотражающим) стеклом в наружном переплете.
Учет ориентации зданий при проектировании
солнцезащитных устройств
3.2. Для снижения теплопоступлений в помещения через вертикальные ограждающие конструкции (за счет использования наиболее эффективных и экономичных видов солнцезащитных устройств и принимая во внимание период максимальной температуры наружного воздуха в течение суток) продольную ось здания целесообразно располагать в направлении, так называемой, гелиотермической оси (
рис. 2 прил. 1).
3.3. При двухсторонней планировке помещений и применении наружных регулируемых устройств меридиональное направление продольной оси здания является предпочтительным, так как позволяет при необходимости инсолировать помещение (рис. 2).
Рис. 2. Рациональная ориентация зданий по сторонам горизонта
а - при применении стационарных солнцезащитных устройств;
б - при применении регулируемых солнцезащитных устройств
3.4. При односменном рабочем процессе и при эксплуатации помещения в первую половину дня и если помещение ориентировано на западную четверть горизонта применение солнцезащиты необязательно.
3.5. Если расположение здания на генплане продиктовано градостроительными требованиями или необходимостью учета таких факторов, как господствующие ветры, косые ливни или пыльные бури, то подчиняя им ориентацию фасадов, необходимо применять архитектурно-планировочные и конструктивные солнцезащитные средства, соответствующие данной ориентации.
3.6. Пределы рационального использования основных типов солнцезащитных устройств при условии обеспечения полного затенения в расчетное время показаны на рис. 3.
Рис. 3. Рекомендуемые виды солнцезащитных устройств
в зависимости от климатических условий
и ориентации светопроемов
а - для северных районов: 1 - горизонтальные регулируемые
(убирающиеся внутренние) устройства; 2 - шторы внутренние
б - для центральных районов: 1 - горизонтальные регулируемые
устройства (убирающиеся, междурамные и внутренние);
2 - горизонтальные стационарные (решетчатые);
3 - вертикальные регулируемые; 4 - вертикальные
стационарные; 5 - шторы внутренние и междурамные;
наружные сезонные (съемные); жалюзи и сетка;
маркизы из светорассеивающих металлизированных тканей
в - для южных районов: 1 - горизонтальные регулируемые
(наружные и междурамные в проветриваемом пространстве);
маркизы (сдвижные и складывающиеся); 2 - вертикальные
регулируемые; 3 - вертикальные стационарные;
4 - комбинированные стационарные; 5 - горизонтальные
стационарные; 6 - горизонтальные стационарные, наклонные
к фасаду; 7 - ставни (панели) - жалюзи
(сдвижные, складывающиеся и распашные)
3.7. Для затенения светопроемов, ориентированных на южные стороны горизонта для защиты от высоких лучей солнца, рекомендуются горизонтальные солнцезащитные устройства. Они имеют следующие преимущества перед вертикальными: незначительно ограничивают видимость внешнего пространства из помещения; улучшают равномерность освещения, направляя отраженный световой поток на потолок и в глубину помещения; сохраняют основную направленность световых потоков в помещении; поверхности козырьков или перьев жалюзи, освещенные прямыми лучами солнца, не попадают в поле зрения человека на рабочем месте.
Устройства горизонтального типа с затеняющими элементами, наклонными к плоскости фасада, эффективны также при восточной и западной ориентации.
3.8. Вертикальные стационарные устройства (ребра, жалюзи, конструктивные выступы фасадов) целесообразны для защиты от солнечной радиации при ориентации фасадов здания на северо-запад и северо-восток.
3.9. Комбинированные стационарные устройства (с вертикальными и горизонтальными элементами типа "соты", "дышащие стены", пространственные решетки и т.п.) следует применять при ориентациях, промежуточных между меридиональными и широтными направлениями.
3.10. Регулируемые устройства (автоматические или с ручным приводом) являются универсальным теплозащитным и светорегулирующим средством. С их помощью можно защищать помещения от солнца и высоких яркостей при любой ориентации светопроема. Эти устройства особенно рекомендуются при ориентации светопроема на восточную и западную четверти горизонта, а также при необходимости убирать их в облачную погоду.
3.11. Односторонние фонари верхнего света (Шед) рекомендуется ориентировать на северную четверть горизонта (северо-северо-запад - северо-северо-восток). Такая же ориентация светопроемов рекомендуется для помещений, где требуется рассеянное и равномерное естественное освещение.
3.12. Расчеты инсоляции и связанные с ними выбор и расчеты солнцезащитных средств производят по расчетному времени, которое устанавливается в зависимости от назначения объекта и географического района строительства.
3.13. Расчеты инсоляции фасадов с целью определения видов и размеров солнцезащитных устройств производятся для помещений верхнего этажа здания, который не может быть затенен озеленением или окружающей застройкой.
3.14. За расчетное время принимаются:
при необходимости ограничения перегрева помещений - средний период жарких месяцев года при температуре наружного воздуха больше 20 °C, принимаемой при теплотехнических расчетах;
при определении максимальных теплопоступлений в помещениях с кондиционированием воздуха - наиболее жаркий месяц года, по среднемесячной температуре наружного воздуха;
при устранении слепящего действия инсоляции - рабочее время суток и года в зависимости от назначения помещения.
3.15. При определении продолжительности инсоляции и эффективности выбранных типов солнцезащитных устройств необходимо учитывать разницу между солнечным временем, по которому построены расчетные инсографики, солнечные карты и др., и декретным, принятым на территории СССР. Эта разница во времени может доходить до 1,5 ч, что может повлечь за собой грубую ошибку в графическом изображении азимутов солнца (рис. 4).
Рис. 4. Графическое изображение смещения декретного времени
по отношению к солнечному (на примере г. Ташкента)
Для этого необходимо:
получить разницу во времени между долготой данного пункта и средним меридианом часового пояса по карте часовых поясов (рис. 5);
найти разницу между местным солнечным и поясным временем. Для этого надо разницу в долготах умножить на 4 мин;
определить поясное время данного пункта, для чего полученную разницу в минутах прибавить (отнять) к местному солнечному времени, если долгота данного пункта меньше (больше) долготы среднего меридиана часового пояса;
получить декретное время, прибавив к поясному один час. (
Пример решения см. прил. 2).
Рис. 5. Карта часовых поясов СССР
Получив разницу во времени, необходимо скорректировать соответствующий инсографик и затем производить графические расчеты.
3.16. Для определения условий инсоляции при проектировании солнцезащиты необходимо:
установить продолжительность инсоляции помещений с учетом затенения их окружающей застройкой;
построить схемы затенения фасадов козырьками, экранами, выступами и т.п., являющимися элементами здания;
построить схемы инсоляции поверхностей помещения с учетом затеняющего влияния противостоящих зданий и элементов фасада.
Решение указанных задач производится с помощью специальных расчетных графиков (
прил. 3).
3.17. Принципиальные схемы расчетных инсоляционных графиков представлены на рис. 6 и
7, из которых первый составлен на день весеннего и осеннего равноденствия (22/III и 22/IX), а второй - на день летнего солнцестояния (22/VI).
Рис. 6. Принципиальная схема инсографика
на дни весеннего и осеннего равнодействия
Рис. 7. Принципиальная схема инсографика
на день летнего солнцестояния
Каждый график состоит из двух систем линий:
часовых радиальных линий, представляющих горизонтальные проекции солнечного луча, идущего к расчетной точке в различное время дня;
горизонталей, показывающих их превышение над центральной (расчетной) точкой. На обоих инсографиках при каждой радиальной линии в кружках обозначены часы дня по солнечному времени. Каждая горизонталь имеет цифровое обозначение, выражающее величину ее превышения.
Примеры решения различных задач с помощью инсографиков приведены в
прил. 3.
Расчет солнцезащитных устройств
3.18. Геометрические параметры козырьков и экранов, количество и углы наклона их элементов определяются защитными углами:

- для горизонтальных элементов СЗУ;

- для вертикальных элементов СЗУ (рис. 8).
Рис. 8. Защитные углы

и

для определения
геометрических параметров солнцезащитных устройств
Значения защитных углов приведены в
прил. 5. Для определения выносов горизонтальных элементов СЗУ следует принимать среднее значение защитных углов в средний период жаркой половины года (21 - 22 августа). Пример решения задачи по определению защитного угла

для географической широты 40° с.ш. приведен в
прил. 6.
3.19. Защитный угол позволяет принять любое конструктивное решение СЗУ в зависимости от архитектуры фасадов, т.е. при одном и том же значении

козырек может быть горизонтальным, наклонным, многоступенчатым или решетчатым. При конструировании решетчатого козырька возможно, что перья козырька располагаются, равномерно (рис. 9
а), число и наклон перьев определяется исходя из минимального значения

в летнее время или перья козырька распределяются в зависимости от изменения положения солнца на небосводе (рис. 9
б). Второе решение более экономично, так как предполагает использование меньшего количества элементов.
Рис. 9. Конструктивные схемы решетчатых козырьков
а - с равномерным расположением перьев;
б - с распределением перьев в зависимости от хода солнца
В обоих случаях при выборе расстояний между козырьками и низом перемычки светопроема необходимо учитывать, что первое от фасада перо козырька должно затенять светопроем при наиболее высоком положении солнца на небосводе, т.е. при минимальном значении

в летний период.
Козырек может быть запроектирован свободной формы, соответствующей движению солнца по небосводу в расчетный период (рис. 10). Размеры боковых выносов козырька в зависимости от ориентации светопроема и выбранных защитных углов определяются по графику (
рис. 11).
Рис. 10. Построение козырька свободной формы в зависимости
от движения солнца по небосводу
а - план; б - фасад; в - схема козырька свободной формы
на плане здания цилиндрической формы; г - разрез
Рис. 11. Определение размеров боковых выносов козырьков
(l1 и l2) в зависимости от ориентации (размеры l1 и l2 даны
в относительных единицах от величины превышения козырька
над подоконником - H)
3.20. Защитные углы

, регламентирующие выносы, количество и угол поворота вертикальных экранов, определяют непосредственно по инсоляционному графику (рис. 12) с учетом времени эксплуатации здания и требований к условиям инсоляции помещений. Если указанные условия неприемлемы для данного архитектурного или конструктивного решения, необходимо выбирать комбинированные или регулируемые устройства.
Рис. 12. Определение размеров, количества и угла поворота
вертикальных экранов
3.21. Решение этих задач возможно также с помощью солнечных карт, дающих наглядное представление о положении здания относительно хода солнца в характерное время суток и года в интервале географических широт от 35° до 70° с.ш. (
прил. 4).
4. ОЦЕНКА ЭФФЕКТИВНОСТИ СОЛНЦЕЗАЩИТНЫХ СРЕДСТВ
Комплекс критериев оценки
4.1. Оценку эффективности применения солнцезащитных средств следует производить комплексно по светотехническим, теплотехническим и аэрационным качествам.
4.2. Светотехническую оценку солнцезащитных устройств следует производить по следующим показателям:
коэффициенту экранирования Kэ, характеризующему степень экранирования прямого солнечного света;
коэффициенту светопропускания

;
коэффициенту неравномерности освещения Kр;
характеру светорассеяния;
коэффициенту пространственной зрительной связи Kзс;
коэффициенту прозрачности Kп.
4.3. При теплотехнической оценке эффективности солнцезащиты и качества теплового режима помещения следует учитывать:
величину суммарной солнечной радиации, проходящей в помещение (по величине коэффициента проходящей солнечной радиации

);
температуры элементов конструкции солнцезащитных устройств, поверхностей ограждений и воздуха в объеме помещения.
4.4. Оценка влияния солнцезащитных устройств на аэрационный режим помещения производится на основе анализа полей скорости воздуха (по величине коэффициента неравномерности поля скорости воздуха

)
.
4.5. Коэффициент экранирования - важнейшая характеристика любого солнцезащитного устройства с непрозрачными элементами. Он гарантирует полное экранирование светопроема от прямых солнечных лучей в расчетный период, т.е. он имеет непосредственное отношение к выбору конструкций солнцезащитного устройства, к размерам, количеству и профилю затеняющих элементов.
Коэффициент экранирования Kэ определяют отношением защитного угла к углу 90°:

. (1)
Угол

получаем из выражения

, (2)
где h - высота стояния солнца над горизонтом, град;

- угол между проекцией солнечного луча на горизонтальную поверхность и перпендикуляром к экранируемой плоскости в плане.
В простейшем случае, когда солнечный луч представляет в плане нормаль к экранируемой плоскости, значение

равно зенитному расстоянию солнца
z.
4.6. В пределах территории СССР применять солнцезащитные устройства с коэффициентом экранирования
Kэ <= 0,25 не рекомендуется, так как даже в самых южных районах СССР при ориентации светопроема на юг необходимый защитный угол

при расчете солнцезащитных устройств должен быть больше 23° (из расчета на средний период жаркой половины года).
Отсюда

.
Для всех других географических широт СССР Kэ должно быть больше 0,25.
4.7. При верхнем освещении промышленного здания, при использовании в качестве солнцезащитных экранов опорных граней зенитных фонарей, светопроводных шахт, жалюзи или решетчатых подвесных потолков (
рис. 13) высоту экранирующих элементов следует определять из выражения:
H = l tg h0, (3)
где l - расстояние между нижней точкой облучаемой грани и проекцией верхней экранирующей точки в плане;
h0 - высота стояния солнца над горизонтом.
Рис. 13. Солнцезащитное устройство для зенитных фонарей
4.8. В
табл. 1 -
6 прил. 5 приводятся значения защитного угла

для географических широт от 35 до 60° с.ш. в зависимости от ориентации светопроемов, времени суток и года.
4.9. Коэффициент светопропускания

определяют отношением прошедшего лучистого потока к падающему в долях единицы:

. (4)
| | ИС МЕГАНОРМ: примечание. Текст дан в соответствии с официальным текстом документа. Возможно, имеется в виду рисунок 1. | |
4.10. Солнцезащитное устройство рационально, если его светопропускание

характеризуется пределами:
0,8 >=

>= 0,6 - для северных и центральных районов (II - III
рис. 3);
0,8 >=

>= 0,35 - для южных районов (IV - V
рис. 3).
Величина светопропускания

принимается в зависимости от типа устройства и его конструктивного решения по
табл. 1 прил. 7. На рис. 14 показана зависимость

от угла наклона горизонтальных элементов солнцезащитного устройства.
Рис. 14. Зависимость коэффициента светопропускания

от угла наклона горизонтальных элементов СЗУ

А - светопропускание собственно СЗУ;
Б - с учетом одинарного остекления;
В - с учетом двойного остекления
4.11. Коэффициент неравномерности светораспределения Kр определяется отношением минимальной освещенности помещения к максимальной:
Kр = Emin / Emax. (5)
Значения
Emin и
Emax определяют расчетом согласно
СНиП II-4-79 и "Руководству по расчету и проектированию естественного освещения". Зависимость
Kр от угла наклона горизонтальных элементов солнцезащитного устройства показана на рис. 15.
Рис. 15. Зависимость коэффициента неравномерности Kр
от угла наклона горизонтальных элементов СЗУ
при расположении конструкции СЗУ
от плоскости остекления на расстоянии
А - 200 мм; Б - 100 мм; В - 20 мм
4.12. Значениям
Kр в пределах 0,3 - 0,6 соответствует рекомендуемое распределение яркостей по поверхностям интерьера в поле зрения, определяющее степень зрительного утомления рабочего в процессе работы (рис. 16). Зрительное утомление при применении солнцезащиты в помещениях, где производится работа высокой точности (I - II разряды зрительных работ по
СНиП II-4-79) снижается на 30 - 50% по сравнению с незащищенным светопроемом, что приводит к повышению производительности труда на 2 - 3% и уменьшению брака продукции на 14 - 25%.
Рис. 16. Зависимость зрительного утомления от равномерности
освещения при выполнении точных зрительных работ
4.13. Характер светорассеяния оценивается индикатрисами светорассеяния в вертикальной плоскости (по характерному разрезу помещения) и в горизонтальной плоскости (горизонтальная проекция плоскости, проходящей через световой луч).
4.14. Солнцезащитное устройство обладает оптимальным светорассеянием, если в вертикальной плоскости максимум в индикатрисах светорассеяния направлен вверх от горизонта (угол с горизонтом 45°), а в горизонтальной - светорассеяние равномерно (рис. 17).
Рис. 17. Оптимальный характер светорассеяния СЗУ
а - в вертикальной плоскости; б - в горизонтальной плоскости
4.15. СЗУ обладает допустимым светорассеянием, если оно в вертикальной и горизонтальной плоскостях равномерно или имеет спад силы света от максимума не более чем в 5 раз (на угловом расстоянии 45° от максимума). Устройство непригодно, т.е. обладает недопустимым светорассеянием, если оно характеризуется значительным (более чем в 5 раз) спадом силы света на угловом расстоянии 45° от максимума. Определение допустимых пределов светорассеяния производится по графику, рис. 18.
Рис. 18. Зависимость характера светорассеяния в вертикальной
плоскости от угла наклона горизонтальных элементов СЗУ
А - в точках у противолежащей стены;
Б - в точках непосредственно у светопроема;
I; I' - при расположении СЗУ на расстоянии 200 мм
и II; II' - на расстоянии 20 мм от плоскости остекления
4.16. Коэффициент пространственной зрительной связи
Kз.с выражается произведением показателей горизонтальной и вертикальной обозреваемости внешнего пространства через светопроем (

и

) и коэффициента транспарентности, выраженных в долях единицы:

, (6)
где

и

- угловые размеры горизонтального и вертикального пределов обзора глаза через ячейку солнцезащитного устройства в долях единицы. За единицу приняты горизонтальное поле зрения - 156°, вертикальное - 60°;
Kт - коэффициент транспарентности, выраженный отношением площади проекции прозрачной части ячейки устройства S2 ко всей ее площади S1.
Зависимость Kт от угла наклона горизонтальных элементов солнцезащитного устройства показана на рис. 19.
Рис. 19. Зависимость коэффициента транспарентности Kт
от угла наклона горизонтальных элементов СЗУ
для интервала значений защитного угла 30 - 45 - 60°
4.17. В помещениях I - III групп промышленных зданий (
табл. 3) значение
Kз.с должно быть более 0,4.
При необходимости зрительной изоляции помещения извне значение Kз.с должно быть не более 0,5.
4.18. При применении в качестве солнцезащитных средств специальных типов стекол и изделий из стекла оценка связи с внешним пространством производится по величине коэффициента прозрачности Kп.
4.19. Коэффициент прозрачности Kп определяется отношением видимости предмета через заполнение светопроема V1 к видимости этого же предмета без преграды V2:
Kп = V1/V2. (7)
4.20. Прозрачность элемента оценивается в относительных единицах и измеряется с помощью измерителя видимости Дашкевича. Для практики установлены следующие пределы относительной прозрачности элементов заполнения светопроемов:
оптимальная при Kп >= 0,7;
допустимая при 0,7 > Kп >= 0,8;
недопустимая при Kп < 0,3.
Материалы, обладающие недопустимой прозрачностью (ткани, стеклопластики, темные солнцезащитные стекла, стивит и т.п.) могут применяться в виде регулируемых или съемных элементов заполнения светопроема или в виде непрозрачной его части.
Материалы, обладающие оптимальной и допустимой прозрачностью (контрастные, теплозащитные стекла и т.д.), могут применяться только в качестве средства защиты от высоких яркостей (неба, снега и т.п.) так же, как и светорассеивающие материалы (узорчатые, матовые, парафинированные и т.п.).
В качестве средства защиты от слепимости прямыми солнечными лучами перечисленные материалы неэффективны.
4.21. Теплотехническая эффективность солнцезащитных средств оценивается коэффициентом пропускания солнечной радиации

, определяемым по формуле

, (8)
где
Jпр - суммарная солнечная радиация, прошедшая в помещение через светопроем с солнцезащитой, определяется по таблицам
прил. 8;

- суммарная (прямая и рассеянная) солнечная радиация, поступающая на поверхность ограждения соответствующей ориентации, определяется по СНиП II-A.6-72 "Строительная климатология" или по формуле

, (9)
где Jв - прямая солнечная радиация, поступающая на вертикальную поверхность, ккал/(м2·ч);

- прямая солнечная радиация, поступающая на перпендикулярную солнечным лучам поверхность, ккал/(м
2·ч);

- угол падения солнечных лучей, град.
Угол падения прямой радиации для любого времени суток определяется из выражения

, (10)
где h - высота солнца, град;

- угол между нормалью к плоскости светопроема и южным направлением (азимут светопроема), град;
A - угол между проекцией луча на горизонтальную поверхность и южным направлением (азимут солнца) град.
Почасовые значения прямой радиации
Jв, вычисленные по
формуле 9, суммируются с соответствующими значениями рассеянной радиации
Jр. В результате в суточном цикле определяется интенсивность суммарного солнечного облучения вертикальной поверхности светопроема

. (11)
4.22. Коэффициент пропускания

для различных типов солнцезащитных устройств и стеклянных изделий составляет интервал значений от 0,1 до 0,6 (см.: Справочник проектировщика, ч. II. Вентиляция и кондиционирование воздуха, таблица 2.3 "Теплотехнические характеристики заполнения световых проемов"). Рациональные пределы

регламентируются интервалами значений 0,1 - 0,3.
Зависимость коэффициента

от угла наклона горизонтальных элементов солнцезащиты представлена на рис. 20.
Рис. 20. Зависимость коэффициента пропускания солнечной
радиации от угла наклона горизонтальных элементов СЗУ
при открытом (А) и закрытом (Б) режимах помещения
| | ИС МЕГАНОРМ: примечание. В официальном тексте документа, видимо, допущена опечатка: строительные нормы и правила имеют номер СНиП II-33-75, а не СНиП II-33-76. | |
| | ИС МЕГАНОРМ: примечание. Взамен СНиП II-33-75 Постановлением Госстроя СССР от 15.12.1986 N 49 с 1 января 1988 года введены в действие СНиП 2.04.05-86. | |
4.23. Выбор необходимого солнцезащитного средства проверяется расчетом температурного режима помещения (по амплитудам колебаний температур внутреннего воздуха) при обеспечении нормы допустимых условий в рабочей зоне производственных помещений в соответствии с главой СНиП II-33-76. Расчет параметров температурного режима проводится по методике, изложенной в Справочнике проектировщика "Внутренние санитарно-технические устройства". При этом интенсивность солнечной радиации, прошедшей в помещение, следует определять по таблицам
прил. 8 с учетом принятого коэффициента пропускания

. Зависимость коэффициента амплитуд колебаний температуры внутреннего воздуха от угла наклона горизонтальных элементов солнцезащиты и от коэффициента пропускания солнечной радиации представлена на рис. 21 и
22.
Рис. 21. Зависимость коэффициента амплитуд
колебаний температуры воздуха

от угла наклона
горизонтальных элементов СЗУ при открытом (А)
и закрытом (Б) режимах помещения
Рис. 22. Зависимость коэффициента амплитуд колебаний
температуры воздуха

от коэффициента пропускания
солнечной радиации

при открытом (
А)
и закрытом (Б) режимах помещения
4.24. Оценка аэрационного режима помещений при выборе солнцезащитных средств, а также их аэродинамических качеств производится с помощью коэффициента неравномерности поля скорости воздуха

и коэффициента продуваемости
Ku.
4.25. Коэффициент неравномерности поля скорости

определяется отношением средних минимальных и средних максимальных значений скорости воздуха в пространстве помещения:

. (12)
На рис. 23 представлена зависимость величины

от угла наклонных горизонтальных элементов СЗУ, размещаемого в оконном проеме.
Рис. 23. Зависимость коэффициента неравномерности
поля скорости воздуха

от

при открытом (
А)
и закрытом (Б) режимах помещения
При таком конструктивном решении комфортным условиям аэрационного режима в помещении соответствуют значения

= 0,15 - 0,4.
4.26. Коэффициент продуваемости
Ku определяется отношением локальной скорости воздуха в помещении, оборудованном солнцезащитой

к скорости набегающего на здание воздушного потока

:

. (13)
Коэффициент продуваемости является основной характеристикой, определяющей формирование поля скорости воздуха в помещении.
По величине
Ku оценивают аэродинамические качества СЗУ и аэрационный режим помещения. Зависимость величины
Ku от угла наклона

горизонтальных элементов СЗУ представлена на рис. 24.
Рис. 24. Зависимость коэффициента продуваемости
Ku от

при различном значении угла

Комфортные условия в помещении достигаются при значениях
Ku = 0,3

0,5. При этом указанные значения
Ku свидетельствуют о рациональности применения солнцезащитного устройства.
4.27. Комплексная оценка функциональной эффективности солнцезащиты основывается на взаимосвязи всех групп показателей ее качества: светотехнической, теплотехнической и аэрационной. В качестве основных критериев приняты:
коэффициент неравномерности освещения Kр;
показатель светорассеяния в вертикальной плоскости

;
коэффициент светопропускания

;
коэффициент транспарентности Kт;
коэффициент пропускания солнечной радиации

;
коэффициент амплитуд колебаний температуры воздуха

;
коэффициент неравномерности поля скорости воздуха

.
4.28. Взаимосвязь этих параметров представлена в виде номограммы на
рис. 25. Данный метод взаимоопределения различных показателей и оценка среды в помещении характеризует общие границы сходимости указанных параметров и позволяет выделить зоны комфорта при различных конструктивных решениях солнцезащиты, режима работы помещения и типах светопроема. Достаточным условием для создания в помещении комфортной среды являются следующие пределы значений указанных параметров:
Kр = 0,3 - 0,6;

= 0,35;

= 37° - 40° (у светопроема);

= 19° - 23° (в глубине помещения);
Kт = 0,34 - 0,58;

= 0,1 - 0,3;

= 5 - 10;
Ku = 0,3 - 0,5;

= 0,15 - 0,4;

- угол наклона горизонтальных элементов солнцезащитных устройств, 30° <=

<= 45°.
Рис. 25. Номограмма взаимосвязи показателей
функциональной эффективности СЗУ
4.29. Экономическую оценку эффективности применения солнцезащитных средств промышленных зданий следует определять из сопоставления приведенных затрат на естественное освещение зданий с солнцезащитными устройствами и без них.
4.30. Приведенные затраты по сравниваемым вариантам рассчитывают по формуле
Пi = (Пia - Пic)S, (14)
где Пic и Пia - приведенные затраты соответственно на естественное освещение с солнцезащитными устройствами и без них, руб/м2 развернутой площади;
S - развернутая площадь помещений здания, освещаемых естественным светом, для которой производится расчет приведенных затрат, м2.
4.31. Приведенные затраты следует рассчитывать с учетом стоимостных показателей, включающих капитальные вложения в устройство естественного освещения, санитарно-технического (вентиляционно-отопительного) оборудования, а также эксплуатационные расходы, в состав которых входят показатели, характеризующие трудовой процесс.
4.32. Приведенные затраты на естественное освещение с солнцезащитными устройствами и без них определяют по формулам:
Пia = Kia Eн + Mia, (15)
Пic = Kic Eн + Mic, (16)
где Kia и Kic - себестоимость строительно-монтажных работ при устройстве светопрозрачных конструкций и солнцезащитных устройств;
Eн - нормативный коэффициент эффективности капитальных вложений;
Mic - среднегодовые эксплуатационные затраты с СЗУ;
Mia - без СЗУ.
4.33. Сопоставление капитальных затрат на сооружение светопрозрачных конструкций без солнцезащитных Kia и с солнцезащитными Kic устройствами производят по затратам, необходимым на выполнение светопрозрачных ограждений Kсв, солнцезащитных устройств Kсэ, вентиляционного и отопительного оборудования Kст, а также затрат, связанных с размещением вентиляционного и отопительного оборудования на производственных площадках Kоб:
Kia = Kсв + Kст + Kоб, (17)
Kic = Kсв1 + Kсэ + Kст1 + Kоб1. (18)
4.34. Капитальные затраты на изготовление и монтаж светопрозрачных конструкций в значительной степени зависят от требуемого уровня естественного освещения в помещениях и определяются для каждого конкретного объекта экономическим расчетом. Капитальные затраты на санитарно-техническое оборудование зависят от климатических условий района строительства и физико-технических характеристик ограждений. Они включают затраты, необходимые для удаления избыточных теплопоступлений от солнечной радиации через фонари и окна с помощью приточно-вытяжной вентиляции, а также затраты на отопление помещений.
4.35. Капитальные затраты на санитарно-техническое оборудование производственных зданий в части, зависящей от фонарей

и окон

определяют по формулам:

, (19)

, (20)
где Cпв, Cвв - удельные капитальные затраты на приточную и вытяжную вентиляцию, руб·ч/м3;
gпад - величина теплопоступлений от солнечной радиации на горизонтальную (для фонарей) и вертикальную (для окон) поверхность, ккал/(м2·м);

- приведенный коэффициент энергетической эффективности светопрозрачных конструкций и солнцезащитных устройств;
Fф, Fо - соответственно площадь светопроемов фонарей и окон, м2;
Rоп, Rос - сопротивление теплопередаче покрытий и стены м2·ч·град/ккал;

- температура наиболее холодной пятидневки, град.
4.36. Удельная стоимость устройства систем отопления -

принимается по показателям, приведенным в табл. 4.
Таблица 4
Отопление | Удельная стоимость системы отопления, руб·ч/ккал |
Водяное с радиаторами или бетонными отопительными приборами | 0,014 |
Водяное с конвекторами | 0,012 |
Воздушное с отопительными агрегатами | 0,007 |
Воздушное, совмещенное с приточной вентиляцией | 0,004 |
4.37. Удельные стоимости устройства систем приточной Cпв и вытяжной Cвв вентиляции следует определять по табл. 5.
Таблица 5
Производительность вентиляционных систем, тыс. м3/ч | Удельные стоимости устройства систем вентиляции, руб/ч·м3 |
приточная, Cпв | вытяжная, Cвв |
5 - 10 | 0,067 | 0,039 |
10 - 15 | 0,034 | 0,041 |
15 - 20 | 0,16 | 0,043 |
20 - 25 | 0,07 | 0,045 |
25 - 70 | 0,045 | 0,047 |
4.38. Сопоставление эксплуатационных затрат на светопрозрачные конструкции с солнцезащитными устройствами Mic и без них Mia производят по затратам, необходимым для работы санитарно-технического оборудования Mэн, текущий ремонт и амортизационные отчисления светопрозрачных ограждений - Mсв, солнцезащитных устройств Mсз, вентиляционного и отопительного оборудования Mст, а также затрат, связанных с размещением этого оборудования на производственных площадях Mоб. При этом также учитывается экономическая эффективность, получаемая за счет повышения производительности труда и снижения количества бракованной продукции при применении солнцезащиты Mпр:
Mia = Mэн + Mсв + Mст + Mоб + Mпр, (21)
Mic = Mэн1 + Mсв1 + Mсз + Mст1 + Mоб1. (22)
4.39. Эксплуатационные затраты включают также расходы на очистку светопрозрачных ограждений, текущий ремонт и отчисления на амортизацию.
4.40. Эксплуатационные затраты, необходимые для работы санитарно-технического оборудования производственных зданий в части, зависящей от фонарей

и окон

определяют по формулам:

, (23)

, (24)
где Cтэ - стоимость тепловой энергии, руб/Гкал;
Cээ - стоимость электроэнергии, коп/(кВт·ч);
Nз; Nл - продолжительность соответственно отопительного и вентиляционного периодов, сут;

- средняя температура отопительного периода, град.
Единичные стоимости тепловой Cтэ и электрической Cээ энергии для различных районов СССР принимают по прейскуранту N 09-01.
4.41. Улучшение микроклимата производственных помещений с помощью солнцезащиты способствует повышению производительности труда, снижению себестоимости и улучшению качества выпускаемой продукции. Годовой экономический эффект за счет повышения производительности труда (

) и снижения количества бракованной продукции (

) может быть определен по формуле

, (25)
где P - время использования естественного освещения от рабочего времени, %.
4.42. Экономический эффект, получаемый от повышения производительности труда при применении в производственных помещениях с точными зрительными работами солнцезащитных устройств, определяют по формуле

, (26)
где

- снижение себестоимости выпускаемой продукции за счет применения солнцезащиты, руб.;
Cобщ - фактическая себестоимость годового выпуска продукции, руб.;

- повышение производительности труда за счет применения солнцезащиты, %;

- увеличение заработной платы за счет повышения производительности труда, %;
b - удельный вес заработной платы в составе себестоимости продукции аналога, %.
4.43. Экономический эффект, получаемый за счет уменьшения количества бракованной продукции, определяется по формуле

, (27)
где Ба - годовой фактический объем бракованной продукции, руб.;
Бсз - получаемый объем бракованной продукции после улучшения условий труда за счет применения солнцезащитных устройств.
УПОТРЕБЛЯЕМАЯ ТЕРМИНОЛОГИЯ
Азимут солнца Ао, град - угол по кругу горизонта, отсчитанный от севера или юга и определяющий направление солнечного луча на горизонтальной поверхности (рис. 1).
Рис. 1. Координаты солнца
Высота солнца

, град - угол между солнечным лучом и его проекцией на горизонтальную плоскость
(рис. 1).
Гелиотермическая ось А, град - азимут солнца в момент максимальной температуры наружного воздуха. Изменяет направление в зависимости от географической широты и климата (рис. 2).
Рис. 2. Гелиотермическая ось и изменение ее направления
в зависимости от географической широты
Защитные углы: вертикальный (для горизонтальных защитных устройств)

, град - пространственный угол между фасадом и проекцией луча на вертикальную плоскость, перпендикулярную к зданию; горизонтальный (для вертикальных защитных экранов)

, град - угол между азимутом и линией фасада в плане.
Инсоляция - облучение поверхностей и пространств суммарной солнечной радиацией.
Солнцезащитные средства - архитектурно-планировочные и технические средства для защиты от перегрева и ослепленности прямыми лучами солнца или высокими яркостями.
Расчетное время - время года и суток, принимаемое для расчета инсоляции и солнцезащитных средств.
Микроклимат - климат, создающийся на территориях застройки и в помещениях под влиянием внешних факторов.
Температурный режим помещения - тепловое состояние ограждающих конструкций и среды в помещении. Характеризуется сочетанием температуры внутренней поверхности ограждений и воздуха в объеме помещения.
Аэрация - естественный воздухообмен в помещении и на территории застройки.
ПРИМЕР РАСЧЕТА ДЕКРЕТНОГО ВРЕМЕНИ
Пример: требуется перевести 12 ч местного солнечного времени в ташкентское декретное время. Долгота Ташкента 69°. Город расположен в 5-м часовом поясе, средний меридиан которого имеет долготу 75°.
Разница между долготой Ташкента и средним меридианом часового пояса 75 - 69 = 6°;
разница в минутах между местным солнечным и поясным временем: 4 мин x 6 = 24 мин;
поясное время: 12 ч 00 мин + 0 ч 24 мин;
ташкентское декретное время: 12 ч 24 мин + 1 ч 00 мин = 13 ч 24 мин.
Получив разницу во времени, необходимо скорректировать соответствующий инсографик на кальке и затем производить графические расчеты.
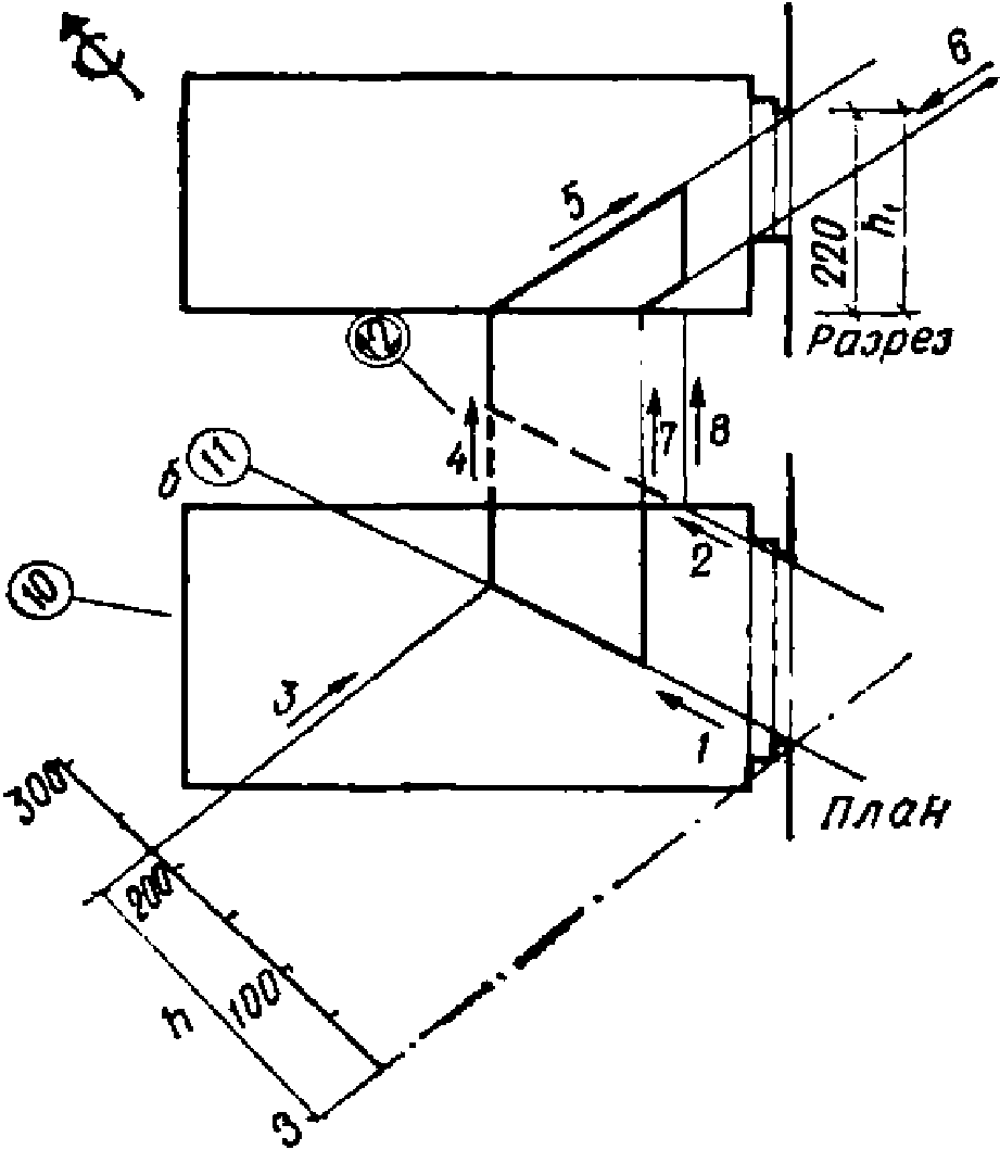
ПРИМЕРЫ РЕШЕНИЯ ЗАДАЧ ПО РАСЧЕТАМ ИНСОЛЯЦИИ
Условия инсоляции определяются методом проекций с числовыми отметками. Расчеты следует производить непосредственно на плане застройки с помощью накладного графика, показанного на
рис. 1 а.
График представляет собой горизонтальную проекцию наклонной плоскости сектора небосвода. Параллельные линии на графике являются горизонталями этой плоскости, превышения которых отсчитываются от нулевой горизонтали, проходящей через расчетную точку O. Сходящиеся в этой точке азимутальные линии есть проекции секторальных углов наклонной плоскости.
Построение графика для дня равноденствия производится следующим образом (рис. 1 б).
Рис. 1. График расчета продолжительности инсоляции
а - график; б - геометрический способ построения графика
Провести две взаимно перпендикулярные линии
mn и kl и вокруг точки
O их пересечения радиусом 6 - 10 см описать полуокружность. Через точку
O провести прямую
AS под углом

(географическая широта, град) к прямой
mn. Из точки
A пересечения прямой
AS с полуокружностью опустить перпендикуляр
AB на прямую
kl и из точки
O радиусом
OB описать четверть окружности
BMc.
На четверти окружности kNn нанести шкалу секторальных углов с градацией через 5°. На отрезках радиальных прямых, заключенных между дугами kNn и BMc, построить прямоугольные треугольники вида MNR.
Вертикальные катеты треугольников проводятся из точек внешней дуги kNn, горизонтальные - из точек внутренней дуги BMc. Через вершины прямых углов треугольников и точку O провести азимутальные линии графика.
На линии mn, начиная от точки O, нанести метрическую шкалу превышений горизонталей наклонной плоскости с градацией через 1 - 2 мм. Шкалу спроектировать на прямую OS и через полученные на ней засечки параллельно линии mn провести горизонтали графика. Цена делений горизонталей назначается в соответствии с масштабом чертежа генплана.
Правая часть графика будет симметрична построенной. График следует скопировать на кальку или какой-либо иной прозрачный материал.
Построение графика для любого другого периода года несколько отличается от построения весенне-осеннего графика, поскольку точка O в эти периоды года не лежит в плоскости солнечной траектории.
Построение этого графика производится в два этапа:
1 - построение проекции траектории солнца на плоскость земли для заданного времени года;
2 - построение расчетного графика. Например, проекция летней траектории солнца на плоскость земли - эллипс, который строится по двум окружностям с радиусами
r1 и
r2 (
рис. 2 а). Первая окружность разбивается на отрезки, соответствующие 15°; построение эллипса и часовых положений солнца на проекции его траектории на поверхность земли аналогичны построению весенне-осенней проекции (
рис. 1 б) путем построения прямоугольных треугольников вида
MNR.
Построение расчетного графика (этап 2) производится на основе построенной ранее проекции траектории солнца на поверхность земли и азимутальных часовых линий.
Расчетный график строится по принципу построения часовых теней от вертикального элемента заданной высоты, расположенного в точке O. Последовательность построения следующая (рис. 2 б).
Рис. 2. а) построение проекции траектории солнца
на плоскость земли для дня летнего солнцестояния;
б) построение расчетного графика
для дня летнего солнцестояния
Направление тени от вертикального элемента в 13 ч находим как продолжение линии, соединяющей проекцию положения солнца в 13 ч с центром окружности O.
Для определения длины тени необходимо из точки проекции B положения солнца в 13 ч провести перпендикуляр BA к линии OB до пересечения с окружностью. Полученную точку A соединить с центром окружности O. Из точки O параллельно BA провести линию OC, на которой отложить высоту вертикального элемента (10 м) в выбранном масштабе (1:500). Из точки C провести линию CD, параллельную AO. Длина тени от вертикального элемента в выбранном масштабе изображения в 13 ч 22 июня будет соответствовать величине отрезка OD. Аналогично строятся тени для других часовых положений солнца. График теней от вертикального элемента получается путем соединения линией концов часовых теней от вертикального элемента одной высоты.
Расчетный график будет представлять собой зеркальное изображение относительно оси восток - запад графика теней. На
рисунке 2 б половина этого графика представлена уже в перевернутом виде. Вторая половина графика будет симметрична первой.
Расчетные графики для другого времени года строятся аналогично. При этом вместо указанного на
рис. 2, а угла склонения солнца

= 23,5° откладывается соответствующее значение этого склонения, приведенное в таблице.
Месяцы | XII | I, XI | II, X | III, IX | IV, VIII | V, VII | VI |
| -23,5° | -20,0° | -10,5° | - | +12,0° | +20,3° | +23,5° |
Пример 1. Определение продолжительности инсоляции точки
на горизонтальной поверхности (рис. 3)
Рис. 3. Определение продолжительности инсоляции
заданной точки
Точка O графика совмещается с заданной точкой, а сам график ориентируется по направлению север - юг. Высота затеняющего здания Hр, т.е. превышение его карниза над заданной точкой составляет 25 м.
На графике отмечается горизонталь, соответствующая высоте этого здания, т.е. горизонталь 25.
Затенение заданной точки O всегда происходит только от той части здания, которая находится между горизонталью и этой точкой (на схеме заштрихована). В данном случае точка O будет затенена с 9 ч до 12 ч.
Следовательно, заданная точка в дни равноденствия будет инсолироваться дважды: с 7 ч до 9 ч и с 12 ч до 17 ч (по нормам инсоляции первый час после восхода солнца и последний час перед его заходом в расчет не принимается).
Пример 2. Построение теней от объекта
на горизонтальной поверхности (рис. 4)
Рис. 4. Построение контуров теней
на горизонтальной поверхности
При построении теней график располагается с разворотом на 180° по отношению к его положению на
рис. 3.
На плане объекта выбирается какой-либо внешний угол, который совмещается с точкой O графика. Азимутальные линии показывают направление теней от данного угла здания в соответствующие часы дня.
Горизонталь, соответствующая высоте здания 25 м, показывает длину тени в различные часы дня (в дни равноденствия тень перемещается на горизонтальной плоскости по прямой линии с запада на восток).
Пример 3. Определение зон инсоляции поверхностей
в помещении (рис. 5)
Рис. 5. Определение зон инсоляции поверхностей в помещении
На плане помещения выбирается внешний угол светопроема (в данном примере угол A), с которым совмещается точка O графика, ориентированного на север.
На
рис. 5 определены границы инсолируемого участка помещения в 11 ч в дни равноденствия. График представлен в виде фрагмента, состоящего из трех азимутальных линий, масштабной шкалы и стрелки, указывающей ориентацию на север. Стрелками показана последовательность построения зоны инсоляции.
Пример 4. Построение тени на фасаде
от противостоящего здания (рис. 6)
Рис. 6. Построение тени на фасаде, отбрасываемой
противостоящим зданием
Точка
O графика совмещается с одним из углов здания
Б с ориентацией на север. Отмечаются горизонталь, соответствующая высоте этого здания (40 м), и азимутальная линия (например, соответствующая 8 ч). На
рис. 6 приведена часть графика. Последовательность решения задачи показана стрелками с цифрами.
1. На линии фасада здания В в плане находим положение тени от угла А здания Б, которое окажется в точке б.
2. На основание фасада с горизонтали 40 проецируем точку а'.
3. На фасаде через точку А' к точке а' проводим линию границы тени.
4. Положение тени от угла А на фасаде находим путем перенесения ее с плана (точка б) на линию 3.
Пример 5. Построение хода тени на фасаде здания
высотой 40 м (рис. 7)
Рис. 7. Пример построения хода тени на фасаде здания
высотой до 40 м
В дни равноденствия тень от какой-либо точки (например, от точки А на рис. 7) проходит на вертикальной плоскости по прямым линиям - соответственно линия а - б на фасаде.
Построение хода тени в дни равноденствий следует проводить в следующем порядке.
График наложить на план здания, совместив точку O с тенеобразующей точкой А (угол карниза) и ориентировать на север;
найти на плане начальное направление тени в момент восхода солнца (6 ч), которое оказывается на пересечении соответствующей азимутальной линии с продолженной линией фасада а;
так как в момент восхода солнца его лучи идут параллельно горизонтальной поверхности земли, то тень от точки А на фасаде будет на том же уровне, т.е. на карнизе. Для того, чтобы найти действительное положение тени на карнизе, достаточно провести вертикаль из точки а на плане до пересечения с линией карниза в точке а на фасаде;
точка б на пересечении линии горизонтали - 40 с линией фасада в плане определяет место, где тень переходит с фасада на поверхность земли;
соединив пунктиром на фасаде точки а и б, получим следы хода тени на фасаде от точки А.
Вертикали, восстановленные из точек пересечения азимутальных линий графика с линией фасада на плане до линий следов тени а - б на фасаде, определяют тень для соответствующих часов дня.
Полученное построение показывает, что затенение фасада начинается в 9 ч 40 мин и заканчивается в 14 ч 30 мин.
Пример 6. Построение схем затенения светопроема козырьками
(рис. 8)
Рис. 8. Построение схем затенения фасада козырьком
(балконом)
Тень построена на 8 ч утра 22 марта.
Схема затенения фасада выступающим элементом строится с помощью накладного инсоляционного графика, центр которого совмещается с характерной точкой выступающего элемента на плане. При этом инсоляционный график накладывается в перевернутом виде, зеркально относительно оси восток - запад.
МЕТОД РАСЧЕТА ИНСОЛЯЦИИ И СОЛНЦЕЗАЩИТНЫХ СРЕДСТВ,
ОСНОВАННЫЙ НА ПРИМЕНЕНИИ СОЛНЕЧНЫХ КАРТ
По солнечным картам, дающим наглядное представление о положении здания относительно хода солнца, можно получить координаты солнца на небосводе (высоту и азимут) в расчетное время суток и года, а также производить расчеты инсоляции с целью определения:
1. Зон затенения территории застройки и озеленения.
2. Продолжительности инсоляции фасадов и помещений и направления солнечных лучей относительно человека в помещении.
3. Зон инсоляции помещений в планах и разрезах.
4. Типов и размеров солнцезащитных устройств.
5. Падающих на фасад зданий теней от различных выступающих частей и солнцезащитных устройств для выявления архитектурной пластики, характерной для здания, строящегося на данной географической широте.
На
рис. 1 -
3 приводятся солнечная карта для

= 40° с.ш. и график защитных углов, позволяющие производить эти операции.
(для расчетов в пределах от 37,5° до 42,5° с.ш.)
Рис. 2. К графическому методу выбора размеров козырьков
и экранов. Радиальные линии определяют эффективность
вертикальных элементов, пунктирные - эффективность
горизонтальных элементов. График накладывается
на солнечную карту, затем очерчиваются границы эффективности
(по времени затенения)
Рис. 3. К графическому методу выбора размеров козырьков
и экранов. При наложении графика
рис. 2 на солнечную карту
по кривым траектории солнца очерчиваются границы (время)
затенения светопроемов
ЗНАЧЕНИЯ ЗАЩИТНЫХ УГЛОВ ДЛЯ РАЗЛИЧНЫХ ГЕОГРАФИЧЕСКИХ РАЙОНОВ
Таблица 1
Значения защитных углов
для географических районов,
расположенных между 32,5 и 37,5° с.ш. (
= 35° с.ш.)
Ориентация (А - А0) | Время года и суток |
лето (22.VI) | весна - осень (22.III - 22.IX) | зима (22.XII) |
8 (16) | 10 (14) | 12 | 8 (16) | 10 (14) | 12 | 8 (16) | 10 (14) | 12 |
70 (290) | 52 | 23 | - | 59 | 24 | - | 75 | - | - |
80 (280) | 53 | 25 | - | 62 | 30 | - | 78 | 38 | - |
90 (270) | 53 | 26 | - | 64 | 35 | - | 80 | 48 | - |
100 (260) | 52 | 28 | - | 65 | 39 | - | 81 | 55 | - |
110 (250) | 50 | 28 | 4 | 63 | 41 | 14 | 82 | 60 | 28 |
120 (240) | 48 | 27 | 6 | 64 | 43 | 19 | 82 | 63 | 39 |
130 (230) | 44 | 26 | 8 | 63 | 44 | 24 | 82 | 65 | 47 |
140 (220) | 38 | 24 | 9 | 61 | 44 | 28 | 82 | 66 | 52 |
150 (210) | 30 | 21 | 10 | 58 | 43 | 30 | 81 | 66 | 55 |
160 (200) | 20 | 17 | 11 | 53 | 41 | 32 | 80 | 66 | 57 |
170 (190) | - | 13 | 12 | 45 | 38 | 34 | 79 | 65 | 58 |
180 | - | 9 | 12 | 32 | 33 | 34 | 76 | 62 | 59 |
Таблица 2
Значения защитных углов
для географических районов,
расположенных между 37,5 и 42,5° с.ш. (
= 40° с.ш.)
Ориентация (А - А0) | Время года и суток |
лето (22.VI) | весна - осень (22.III - 22.IX) | зима (22.XII) |
8 (16) | 10 (14) | 12 | 8 (16) | 10 (14) | 12 | 8 (16) | 10 (14) | 12 |
70 (290) | 52 | 23 | - | 65 | 26 | - | 81 | - | - |
80 (280) | 53 | 26 | - | 67 | 34 | - | 83 | 40 | - |
90 (270) | 53 | 27 | - | 68 | 37 | - | 84 | 52 | - |
100 (260) | 53 | 29 | - | 69 | 44 | - | 84 | 59 | - |
110 (250) | 51 | 30 | 6 | 69 | 47 | 15 | 85 | 64 | 35 |
120 (240) | 49 | 30 | 9 | 69 | 49 | 22 | 85 | 66 | 46 |
130 (230) | 46 | 29 | 11 | 68 | 50 | 27 | 85 | 68 | 53 |
140 (220) | 41 | 28 | 13 | 66 | 50 | 32 | 85 | 69 | 57 |
150 (210) | 34 | 25 | 15 | 63 | 50 | 36 | 85 | 69 | 60 |
160 (200) | 24 | 22 | 16 | 59 | 47 | 38 | 84 | 69 | 63 |
170 (190) | - | 18 | 17 | 50 | 43 | 40 | 83 | 68 | 64 |
180 | - | 14 | 17 | 40 | 40 | 40 | 82 | 67 | 64 |
Таблица 3
Значения защитных углов
для географических районов,
расположенных между 42,5 и 47,5° с.ш. (
= 45° с.ш.)
Ориентация (А - А0) | Время года и суток |
лето (22/VI) | весна - осень (22/III - 22/XI) | зима (22/XII) |
8 (16) | 10 (14) | 12 | 8 (16) | 10 (14) | 12 | 8 (16) | 10 (14) | 12 |
70 (290) | 50 | 21 | - | 61 | 20 | - | 86 | - | - |
80 (280) | 51 | 25 | - | 64 | 30 | - | 87 | 47 | - |
90 (270) | 52 | 28 | - | 66 | 40 | - | 88 | 59 | |
100 (260) | 52 | 30 | - | 68 | 42 | - | 88 | 65 | - |
110 (250) | 52 | 32 | 8 | 68 | 46 | 21 | 88 | 69 | 41 |
120 (240) | 49 | 32 | 12 | 68 | 50 | 29 | 88 | 71 | 52 |
130 (230) | 46 | 32 | 15 | 67 | 50 | 34 | 88 | 73 | 59 |
140 (220) | 41 | 31 | 18 | 66 | 51 | 39 | 88 | 74 | 64 |
150 (210) | 35 | 29 | 20 | 63 | 50 | 42 | 88 | 74 | 66 |
160 (200) | 32 | 27 | 22 | 60 | 50 | 44 | 88 | 74 | 68 |
170 (190) | - | 23 | 22 | 54 | 48 | 45 | 87 | 73 | 69 |
180 | - | 19 | 22 | 46 | 45 | 45 | 85 | 71 | 69 |
Таблица 4
Значения защитных углов
для географических районов,
расположенных между 47,5 и 52,5° с.ш. (
= 50° с.ш.)
Ориентация (А - А0) | Время года и суток |
лето (22/VI) | весна - осень (22/III - 22/IX) |
8 (16) | 10 (14) | 12 | 8 (16) | 10 (14) | 12 |
70 (290) | 50 | 20 | - | 64 | 22 | - |
80 (280) | 52 | 25 | - | 67 | 34 | - |
90 (270) | 53 | 29 | - | 69 | 42 | - |
100 (260) | 53 | 31 | - | 70 | 48 | - |
110 (250) | 62 | 33 | 10 | 71 | 52 | 26 |
120 (240) | 51 | 35 | 14 | 71 | 55 | 34 |
130 (230) | 48 | 35 | 18 | 70 | 57 | 40 |
140 (220) | 44 | 35 | 21 | 69 | 58 | 45 |
150 (210) | 38 | 33 | 23 | 67 | 58 | 48 |
160 (200) | 31 | 31 | 25 | 64 | 57 | 50 |
170 (190) | 21 | 27 | 26 | 59 | 55 | 51 |
180 | - | 23 | 27 | 49 | 53 | 51 |
Таблица 5
Значения защитных углов
для географических районов,
расположенных между 52,5 и 57,5° с.ш. (
= 55° с.ш.)
Ориентация (А - А0) | Время года и суток |
лето (22/VI) | весна - осень (22/III - 22/IX) |
8 (16) | 10 (14) | 12 | 8 (16) | 10 (14) | 12 |
70 (290) | 50 | 20 | - | 66 | 25 | - |
80 (280) | 52 | 26 | - | 69 | 36 | - |
90 (270) | 54 | 30 | - | 70 | 44 | - |
100 (260) | 65 | 34 | - | 72 | 50 | - |
110 (250) | 54 | 37 | 11 | 72 | 54 | 24 |
120 (240) | 52 | 38 | 17 | 72 | 56 | 34 |
130 (280) | 50 | 39 | 21 | 71 | 58 | 41 |
140 (220) | 47 | 39 | 26 | 70 | 59 | 47 |
150 (210) | 41 | 38 | 28 | 68 | 59 | 50 |
160 (200) | 25 | 33 | 31 | 61 | 56 | 54 |
180 | - | 29 | 32 | 53 | 53 | 54 |
Таблица 6
Значения защитных углов
для географических районов,
расположенных между 57,5 и 62,5° с.ш. (
= 60° с.ш.)
Ориентация (А - А0) | Время года и суток |
лето (22/VI) | весна - осень (22/III - 22/IX) |
8 (16) | 10 (14) | 12 | 8 (16) | 10 (14) | 12 |
70 (290) | 49 | 19 | - | 68 | 25 | - |
80 (280) | 51 | 26 | - | 70 | 39 | - |
90 (270) | 53 | 31 | - | 72 | 48 | - |
100 (260) | 54 | 35 | - | 74 | 54 | - |
110 (250) | 54 | 38 | 15 | 74 | 57 | 30 |
120 (240) | 53 | 41 | 21 | 74 | 60 | 40 |
130 (230) | 51 | 42 | 26 | 74 | 62 | 47 |
140 (220) | 48 | 42 | 30 | 72 | 63 | 52 |
150 (210) | 45 | 41 | 33 | 71 | 63 | 55 |
160 (200) | 39 | 39 | 35 | 70 | 62 | 57 |
170 (190) | 30 | 37 | 37 | 65 | 61 | 58 |
180 | - | 34 | 37 | 58 | 59 | 59 |
ПРИМЕР ОПРЕДЕЛЕНИЯ РАСЧЕТНЫХ ЗНАЧЕНИЙ
ЗАЩИТНЫХ УГЛОВ
По
табл. 2 прил. 5 для географической широты 40° с.ш. при южной ориентации фасада находим защитные углы для:
| 10 ч | 12 ч | 14 ч | 16 ч (8 ч) |
Лето | 14 | 17 | 14 | При южной ориентации направление солнечных лучей совпадает с линией фасада |
Весна - осень | 40 | 40 | 40 | 40 |
Среднее значение | 27 | 29 | 27 | 20 |
Принимаем максимальное из полученных средних значений защитных углов

= 29°, чтобы обеспечить затенение светопроемов в течение расчетного периода.
КОЭФФИЦИЕНТЫ СВЕТОПРОПУСКАНИЯ РАЗЛИЧНЫХ ТИПОВ
СОЛНЦЕЗАЩИТНЫХ УСТРОЙСТВ И СТЕКЛЯННЫХ ИЗДЕЛИЙ
Таблица 1
Коэффициенты светопропускания для стекла
и стеклянных изделий
Изделия | Коэффициент светопропускания |
Стекло | |
листовое оконное толщиной, мм: | |
2 | 0,87 |
3 - 4 | 0,85 |
5 - 6 | 0,84 |
витринное неполированное | 0,84 - 0,86 |
полированное марки ПС и крупноразмерное | 0,9 - 0,86 |
светорассеивающее, узорчатое (рифленое, призматическое) | 0,83 - 0,6 |
матовое, матово-узорчатое и "мороз" | 0,6 |
листовое армированное (полированное и неполированное) | 0,64 - 0,55 |
волнистое армированное | 0,65 - 0,6 |
" неармированное | 0,75 - 0,7 |
теплозащитное теплопоглощающее толщиной, мм: | |
1 | 0,8 |
2 | 0,75 |
3 | 0,7 |
4 | 0,65 |
теплоотражающее с покрытием: | |
кобальтовым | 0,2 - 0,8 |
титановым | 0,6 - 0,8 |
олово-сурьмяным | 0,15 - 0,8 |
контрастное | 0,7 |
термолюкс толщиной 6 мм | 0,5 |
термолюкс толщиной, мм: | |
7 | 0,4 |
8 | 0,33 |
Стеклопакеты: | |
двухслойные | 0,7 |
трехслойные | 0,6 |
Профильное стекло | |
швеллерного сечения 250 x 50 | 0,8 |
коробчатого сечения 250 x 40 | 0,65 |
180 x 40 | 0,6 |
Стеклянные светорассеивающие блоки размером, мм: | |
194 x 194 x 98 | 0,5 +/- 5% |
194 x 194 x 60 | 0,55 +/- 5% |
294 x 224 x 98 | 0,55 +/- 5% |
светопропускающие размером, мм: | |
194 x 194 x 98 | 0,55 +/- 5% |
194 x 194 x 60 | 0,6 +/- 5% |
294 x 224 x 98 | 0,6 - 0,55 |
Стеклянные плитки | |
Цветное стекло плоское: | |
синее | 0,01 - 0,2 |
фиолетовое | 0,01 - 0,4 |
зеленое | 0,2 - 0,5 |
желтое | 0,5 - 0,8 |
Декоративное с железистым покрытием | 0,15 - 0,75 |
Стеклопластик: | |
бесцветный | 0,87 - 0,74 |
слабоокрашенный | 0,6 - 0,55 |
Органическое стекло прозрачное | до 0,9 |
Примечание. Коэффициенты светопропускания стеклянных блоков указаны с учетом светлоты отделки торцевых граней: максимум для

= 0,8; минимум для

= 0,04.
Таблица 2
Коэффициенты светопропускания СЗУ
N схемы | Схема | |
1 | Регулируемые жалюзи | 0,75 |
|
2 | Маркизы полупрозрачные | 0,4 |
|
3 | Козырек решетчатый | 0,65 0,82 0,95 |
|
4 | Вертикальные экраны | 0,70 |
|
5 | Регулируемые жалюзи | 0,35 |
|
6 | Козырек сплошной | 0,5 0,8 0,95 |
|
7 | Вертикальные экраны | 0,95 0,85 |
|
8 | Вертикальные экраны | 0,60 |
|
9 | | 0,57 |
а | б | в | г | |
1 | 11 | 11 | 5 | |
10 | | 0,61 |
а | б | в | г | |
1 | 8 | 37 | 5 | 30° |
11 | | 0,54 |
а | б | в | г | |
1 | 7 | 24 | 5 | 45° |
12 | | 0,62 |
а | б | в | г | |
1 | 9 | 37 | 7 | 15° |
13 | | 0,70 |
а | б | в | г | |
1 | 10 | 37 | 5 | 15° |
14 | | 0,55 |
а | б | в | г | |
1 | 7 | 37 | 5 | 45° |
15 | | 0,48 |
а | б | в | г | |
1 | 11 | 11 | 7 | 0° |
16 | | 0,54 |
а | б | в | г | |
1 | 8 | 37 | 7 | 30° |
17 | | 0,52 |
а | б | в | г | |
1 | 7 | 24 | 7 | 30° |
18 | | 0,45 |
а | б | в | г | |
1 | 5 | 37 | 7 | 45° |
19 | | 0,61 |
а | б | в | г | |
1 | 9 | 37 | 10 | 15° |
20 | | 0,50 |
а | б | в | г | |
1 | 6 | 37 | 10 | 30° |
21 | | 0,57 |
а | б | в | г | |
1 | 7 | 37 | 7 | 45° |
22 | | 0,56 |
а | б | в | г | |
1 | 10 | 37 | 10 | 15° |
23 | | 0,49 |
а | б | в | г | |
1 | 9 | 24 | 10 | 15° |
24 | | 0,32 |
а | б | в | г | |
1 | 2 | 37 | 10 | 45° |
СПРАВОЧНЫЕ ДАННЫЕ О СУММАРНОЙ СОЛНЕЧНОЙ РАДИАЦИИ,
ПРОХОДЯЩЕЙ В ПОМЕЩЕНИЕ ЧЕРЕЗ СВЕТОПРОЕМЫ
РАЗЛИЧНОГО ТИПА И ОРИЕНТАЦИИ
Таблица 1
Количество суммарной
солнечной радиации, проникающей
в помещение через одинарное остекление (2-мм) в июле,
ккал/(м2·ч). Северная ориентация
Географическая широта, град с.ш. | Часы суток до полудня | Сумма за сутки |
1 - 2 | 2 - 3 | 3 - 4 | 4 - 5 | 5 - 6 | 6 - 7 | 7 - 8 | 8 - 9 | 9 - 10 | 10 - 11 | 11 - 12 |
40 | | | | | 60 --- 29 | 38 --- 65 | 6 --- 72 | - --- 66 | - --- 58 | - --- 56 | - --- 55 | 208 ----- 802 |
44 | | | | - --- 4 | 73 --- 36 | 33 --- 64 | 1 --- 70 | - --- 66 | - --- 58 | - --- 55 | - --- 54 | 214 ----- 814 |
48 | | | | 14 --- 5 | 80 --- 41 | 27 --- 63 | - --- 69 | - --- 64 | - --- 58 | - --- 55 | - --- 54 | 242 ----- 818 |
52 | | | | 47 --- 12 | 84 --- 50 | 19 --- 63 | - --- 66 | - --- 62 | - --- 58 | - --- 55 | - --- 54 | 300 ----- 840 |
56 | | | 4 -- 2 | 91 --- 17 | 82 --- 51 | 13 --- 61 | - --- 59 | - --- 56 | - --- 53 | - --- 52 | - --- 51 | 380 ----- 804 |
60 | | | 28 --- 6 | 115 ----- 28 | 76 --- 47 | 11 --- 55 | - --- 52 | - --- 50 | - --- 48 | - --- 47 | - --- 46 | 460 ----- 758 |
64 | | 5 -- 9 | 80 --- 17 | 117 ----- 36 | 79 --- 48 | 4 --- 51 | - --- 48 | - --- 47 | - --- 45 | - --- 44 | - --- 44 | 570 ----- 778 |
68 | 7 --- 4 | 63 --- 17 | 118 ----- 41 | 125 ----- 48 | 82 --- 50 | 2 --- 47 | - --- 47 | - --- 46 | - --- 46 | - --- 44 | - --- 43 | 806 ----- 828 |
| часы суток после полудня | |
| 22 - 23 | 21 - 22 | 20 - 21 | 19 - 20 | 18 - 19 | 17 - 18 | 16 - 17 | 15 - 16 | 14 - 15 | 13 - 14 | 12 - 13 | |
S - количество прямой солнечной радиации при безоблачном небе;
D - количество рассеянной солнечной радиации при безоблачном небе.
Таблица 2
Количество суммарной
солнечной радиации, проникающей
в помещение через одинарное остекление (2-мм), в июле,
ккал/(м2·ч). Южная ориентация
Географическая широта, град с.ш. | Часы суток до полудня | Сумма за сутки |
1 - 2 | 2 - 3 | 3 - 4 | 4 - 5 | 5 - 6 | 6 - 7 | 7 - 8 | 8 - 9 | 9 - 10 | 10 - 11 | 11 - 12 |
40 | | | | | - --- 18 | - --- 50 | - --- 65 | 11 --- 72 | 61 --- 73 | 115 ----- 74 | 141 ----- 75 | 656 ----- 854 |
44 | | | | | - --- 21 | - --- 50 | 0,2 ---- 66 | 27 --- 73 | 92 --- 75 | 159 ----- 77 | 190 ----- 77 | 940 ----- 878 |
48 | | | | - --- 5 | - --- 24 | - --- 50 | 1 --- 67 | 50 --- 75 | 135 ----- 79 | 208 ----- 80 | 242 ----- 81 | 1272 ------ 922 |
52 | | | | - --- 7 | - --- 29 | - --- 54 | 8 --- 69 | 71 --- 77 | 165 ----- 81 | 250 ----- 82 | 288 ----- 84 | 1564 ------ 966 |
60 | | | - --- 5 | - --- 14 | - --- 32 | - --- 49 | 32 --- 64 | 135 ----- 74 | 244 ----- 79 | 328 ----- 85 | 381 ----- 88 | 2240 ------ 980 |
64 | | | - --- 7 | - --- 19 | - --- 33 | - --- 48 | 41 --- 63 | 163 ----- 73 | 283 ----- 78 | 369 ----- 86 | 425 ----- 88 | 2562 ------ 990 |
68 | - --- 4 | - --- 7 | - --- 12 | - --- 21 | - --- 35 | 1 --- 50 | 50 --- 63 | 190 ----- 73 | 328 ----- 81 | 410 ----- 87 | 466 ----- 88 | 2890 ------ 1042 |
| часы суток после полудня | |
22 - 23 | 21 - 22 | 20 - 21 | 19 - 20 | 18 - 19 | 17 - 18 | 16 - 17 | 15 - 16 | 14 - 15 | 13 - 14 | 12 - 13 |
Таблица 3
Количество суммарной
солнечной радиации, проникающей
в помещение через одинарное остекление (2-мм) в июле,
ккал/(м2·ч). Восточная (западная) ориентация
Географическая широта, град с.ш. | Часы суток для восточной ориентации | Сумма за сутки |
1 - 2 | 2 - 3 | 3 - 4 | 4 - 5 | 5 - 6 | 6 - 7 | 7 - 8 | 8 - 9 | 9 - 10 | 10 - 11 | 11 - 12 | 12 - 13 | 13 - 14 | 14 - 15 | 15 - 16 | 16 - 17 | 17 - 18 | 18 - 19 | 19 - 20 | 20 - 21 | 21 - 22 |
40 | | | | 11 --- 2 | 182 ----- 47 | 356 ----- 113 | 419 ----- 134 | 396 ----- 120 | 308 ----- 93 | 159 ----- 75 | 26 --- 67 | - --- 60 | - --- 57 | - --- 56 | - --- 55 | - --- 50 | - --- 40 | - --- 19 | | | | 1857 ------ 988 |
44 | | | | 35 --- 5 | 248 ----- 59 | 384 ----- 113 | 428 ----- 131 | 411 ----- 119 | 315 ----- 94 | 161 ----- 73 | 29 --- 66 | - --- 59 | - --- 55 | - --- 55 | - --- 55 | - --- 50 | - --- 40 | - --- 20 | | | | 2011 ------ 994 |
48 | | | | 46 --- 11 | 278 ----- 66 | 401 ----- 116 | 436 ----- 129 | 413 ----- 120 | 316 ----- 94 | 166 ----- 75 | 27 --- 66 | - --- 59 | - --- 55 | - --- 54 | - --- 53 | - --- 49 | - --- 40 | - --- 23 | - -- 4 | | | 2083 ------ 1014 |
52 | | | | 104 ----- 19 | 316 ----- 74 | 422 ----- 120 | 449 ----- 129 | 418 ----- 121 | 318 ----- 94 | 164 ----- 77 | 26 --- 66 | - --- 59 | - --- 55 | - --- 52 | - --- 52 | - --- 49 | - --- 40 | - --- 26 | - -- 9 | | | 2217 ------ 1042 |
56 | | | 26 --- 2 | 193 ----- 27 | 360 ----- 76 | 445 ----- 116 | 459 ----- 122 | 423 ----- 113 | 321 ----- 84 | 163 ----- 70 | 31 --- 62 | - --- 58 | - --- 54 | - --- 51 | - --- 51 | - --- 44 | - --- 40 | - --- 28 | - --- 12 | | | 2421 ------ 1010 |
60 | | | 51 --- 7 | 242 ----- 36 | 381 ----- 78 | 466 ----- 108 | 467 ----- 110 | 428 ----- 98 | 317 ----- 71 | 162 ----- 60 | 27 --- 55 | - --- 51 | - --- 49 | - --- 47 | - --- 46 | - --- 42 | - --- 36 | - --- 23 | - --- 13 | - --- 3 | | 2541 ------ 938 |
64 | | 7 --- 3 | 122 ----- 20 | 268 ----- 49 | 400 ----- 86 | 475 ----- 105 | 484 ----- 106 | 436 ----- 94 | 315 ----- 70 | 164 ----- 57 | 24 --- 52 | - --- 47 | - --- 45 | - --- 43 | - --- 43 | - --- 39 | - --- 34 | - --- 28 | - --- 18 | - --- 9 | | 2695 ------ 948 |
68 | 21 --- 2 | 113 ----- 11 | 217 ----- 33 | 326 ----- 63 | 428 ----- 97 | 496 ----- 107 | 494 ----- 106 | 446 ----- 96 | 334 ----- 70 | 178 ----- 57 | 0,4 ---- 52 | - --- 47 | - --- 45 | - --- 43 | - --- 43 | - --- 39 | - --- 34 | - --- 28 | - --- 21 | - --- 14 | - --- 6 | 3053 ------ 1014 |
| Часы суток для западной ориентации | |
| 20 - 23 | 21 - 22 | 20 - 21 | 19 - 20 | 18 - 19 | 17 - 18 | 16 - 17 | 15 - 16 | 14 - 15 | 13 - 14 | 12 - 13 | 11 - 12 | 10 - 11 | 9 - 10 | 8 - 9 | 7 - 8 | 6 - 7 | 5 - 6 | 4 - 5 | 3 - 4 | 2 - 3 | |
Таблица 4
Количество суммарной
солнечной радиации, проникающей
в помещение через одинарное остекление (2-мм) в июле,
ккал/(м2·ч). Юго-восточная (юго-западная) ориентация
Географическая широта, град с.ш. | Часы суток для юго-восточной ориентации | Сумма за сутки |
2 - 3 | 3 - 4 | 4 - 5 | 5 - 6 | 6 - 7 | 7 - 8 | 8 - 9 | 9 - 10 | 10 - 11 | 11 - 12 | 12 - 13 | 13 - 14 | 14 - 15 | 15 - 16 | 16 - 17 | 17 - 18 | 18 - 19 | 19 - 20 | 20 - 21 | 21 - 22 |
40 | | | | 42 --- 32 | 153 ----- 79 | 254 ----- 103 | 300 ----- 103 | 291 ----- 90 | 227 ----- 76 | 133 ----- 70 | 36 --- 66 | - --- 62 | - --- 58 | - --- 55 | - --- 51 | - --- 38 | - --- 18 | | | | 1436 ------ 901 |
44 | | | | 60 --- 36 | 180 ----- 82 | 282 ----- 105 | 330 ----- 103 | 321 ----- 95 | 255 ----- 79 | 173 ----- 73 | 54 --- 70 | 1 --- 62 | - --- 58 | - --- 55 | - --- 51 | - --- 40 | - --- 20 | | | | 1656 ------ 929 |
48 | | | 2 --- 7 | 80 --- 42 | 197 ----- 82 | 305 ----- 105 | 359 ----- 109 | 351 ----- 103 | 295 ----- 87 | 207 ----- 77 | 96 --- 71 | 13 --- 64 | - --- 60 | - --- 55 | - --- 49 | - --- 40 | - --- 24 | - --- 20 | | | 1905 ------ 979 |
52 | | | 2 --- 13 | 99 --- 48 | 223 ----- 85 | 334 ----- 109 | 381 ----- 112 | 374 ----- 108 | 328 ----- 93 | 241 ----- 79 | 123 ----- 71 | 17 --- 66 | - --- 62 | - --- 58 | - --- 49 | - --- 40 | - --- 25 | - --- 8 | | | 2122 ------ 1026 |
56 | | | 11 --- 18 | 118 ----- 52 | 244 ----- 85 | 353 ----- 102 | 403 ----- 106 | 403 ----- 101 | 359 ----- 89 | 277 ----- 73 | 141 ----- 70 | 21 --- 65 | - --- 62 | - --- 58 | - --- 49 | - --- 38 | - --- 25 | - --- 12 | | | 2330 ------ 1006 |
60 | | 15 --- 8 | 36 --- 24 | 129 ----- 54 | 266 ----- 81 | 370 ----- 94 | 423 ----- 97 | 430 ----- 92 | 386 ----- 81 | 308 ----- 70 | 173 ----- 66 | 38 --- 63 | - --- 60 | - --- 55 | - --- 45 | - --- 36 | - --- 25 | - --- 16 | - --- 4 | | 2574 ------ 971 |
64 | | 15 --- 11 | 67 --- 32 | 177 ----- 57 | 307 ----- 82 | 395 ----- 94 | 460 ----- 95 | 462 ----- 91 | 412 ----- 81 | 340 ----- 71 | 196 ----- 64 | 45 --- 63 | 0,4 ---- 58 | - --- 53 | - --- 43 | - --- 36 | - --- 26 | - --- 17 | - --- 9 | | 2876 ------ 983 |
68 | 6 --- 8 | 23 --- 17 | 86 --- 40 | 211 ----- 61 | 321 ----- 84 | 426 ----- 99 | 490 ----- 99 | 495 ----- 91 | 451 ----- 83 | 373 ----- 70 | 234 ----- 65 | 60 --- 63 | 1 --- 59 | - --- 54 | - --- 43 | - --- 36 | - --- 26 | - --- 20 | - --- 13 | - --- 6 | 3177 ------ 1037 |
| Часы суток для юго-западной ориентации | |
| 21 - 22 | 20 - 21 | 19 - 20 | 18 - 19 | 17 - 18 | 16 - 17 | 15 - 16 | 14 - 15 | 13 - 14 | 12 - 13 | 11 - 12 | 10 - 11 | 9 - 10 | 8 - 9 | 7 - 8 | 6 - 7 | 5 - 6 | 4 - 5 | 3 - 4 | 2 - 3 | |
Таблица 5
Количество суммарной
солнечной радиации, проникающей
в помещение через одинарное остекление (2-мм) в июле,
ккал/(м2·ч). Северо-восточная (северо-западная) ориентация
Географическая широта, град с.ш. | Часы суток для северо-восточной ориентации | Сумма за сутки |
1 - 2 | 2 - 3 | 3 - 4 | 4 - 5 | 5 - 6 | 6 - 7 | 7 - 8 | 8 - 9 | 9 - 10 | 10 - 11 | 11 - 12 | 12 - 13 | 13 - 14 | 14 - 15 | 15 - 16 | 16 - 17 | 17 - 18 | 18 - 19 | 19 - 20 | 20 - 21 | 21 - 22 | 22 - 23 |
40 | | | | 8 --- 1 | 144 ---- 47 | 294 ---- 96 | 305 ---- 110 | 219 ---- 95 | 95 --- 73 | 8 --- 66 | - --- 62 | - --- 59 | - --- 59 | - --- 57 | - --- 55 | - --- 52 | - --- 43 | - --- 20 | | | | | 1073 ------ 895 |
44 | | | | 22 --- 4 | 187 ---- 53 | 310 ---- 98 | 303 ---- 106 | 206 ---- 93 | 73 --- 73 | 2 --- 66 | - --- 62 | - --- 59 | - --- 58 | - --- 57 | - --- 55 | - --- 50 | - --- 41 | - --- 21 | | | | | 1103 ------ 896 |
48 | | | | 36 --- 13 | 215 ---- 60 | 320 ---- 97 | 296 ---- 102 | 186 ---- 91 | 50 --- 74 | 1 --- 66 | - --- 65 | - --- 59 | - --- 57 | - --- 57 | - --- 54 | - --- 49 | - --- 40 | - --- 24 | - -- 6 | | | | 1104 ------ 916 |
52 | | | | 70 --- 22 | 253 ---- 69 | 328 ---- 96 | 291 ---- 100 | 164 ---- 88 | 37 --- 73 | 0,1 ---- 63 | - --- 59 | - --- 58 | - --- 57 | - --- 55 | - --- 54 | - --- 49 | - --- 40 | - --- 25 | - -- 0 | | | | 1143 ------ 916 |
56 | | | 13 --- 3 | 140 ---- 33 | 289 ---- 71 | 337 ---- 92 | 285 ---- 91 | 146 ---- 81 | 21 --- 65 | - --- 57 | - --- 55 | - --- 54 | - --- 53 | - --- 52 | - --- 51 | - --- 49 | - --- 40 | - --- 28 | - --- 11 | | | | 1231 ------ 886 |
60 | | | 35 --- 9 | 232 ---- 40 | 327 ---- 71 | 343 ---- 85 | 283 ---- 77 | 122 ---- 70 | 14 --- 56 | - --- 50 | - --- 50 | - --- 49 | - --- 49 | - --- 49 | - --- 48 | - --- 46 | - --- 40 | - --- 30 | - --- 17 | - -- 5 | | | 1356 ------ 841 |
64 | | 7 --- 5 | 122 ---- 22 | 296 ---- 50 | 362 ---- 75 | 346 ---- 82 | 269 ---- 76 | 104 ---- 67 | 4 --- 53 | - --- 47 | - --- 47 | - --- 47 | - --- 47 | - --- 46 | - --- 46 | - --- 43 | - --- 40 | - --- 32 | - --- 20 | - --- 11 | | | 1510 ------ 856 |
68 | 15 --- 6 | 126 ---- 14 | 239 ---- 32 | 349 ---- 59 | 400 ---- 78 | 353 ---- 82 | 242 ---- 76 | 96 --- 68 | 2 --- 52 | - --- 47 | - --- 47 | - --- 47 | - --- 46 | - --- 45 | - --- 45 | - --- 43 | - --- 41 | - --- 36 | - --- 24 | - --- 16 | - --- 8 | - --- 5 | 1821 ------ 917 |
| Часы суток для северо-западной ориентации | |
| 22 - 23 | 21 - 22 | 20 - 21 | 19 - 20 | 18 - 19 | 17 - 18 | 16 - 17 | 15 - 16 | 14 - 15 | 13 - 14 | 12 - 13 | 11 - 12 | 10 - 11 | 9 - 10 | 8 - 9 | 7 - 8 | 6 - 7 | 5 - 6 | 4 - 5 | 3 - 4 | 2 - 3 | 1 - 2 | |
Таблица 6
Количество суммарной
солнечной радиации, проникающей
в помещение через одинарное остекление (4-мм) в июле,
ккал/(м2·ч). Северная ориентация
Географическая широта, град с.ш. | Часы суток до полудня | Сумма за сутки |
1 - 2 | 2 - 3 | 3 - 4 | 4 - 5 | 5 - 6 | 6 - 7 | 7 - 8 | 8 - 9 | 9 - 10 | 10 - 11 | 11 - 12 |
40 | | | | | 43 --- 23 | 28 --- 50 | 4 --- 56 | - --- 51 | - --- 45 | - --- 43 | - --- 43 | 150 ----- 622 |
44 | | | | - --- 3 | 52 --- 27 | 26 --- 49 | 1 --- 54 | - --- 51 | - --- 45 | - --- 43 | - --- 42 | 158 ----- 628 |
48 | | | | 11 --- 4 | 60 --- 32 | 20 --- 49 | - --- 53 | - --- 49 | - --- 45 | - --- 43 | - --- 42 | 182 ----- 634 |
52 | | | | 30 --- 9 | 61 --- 38 | 14 --- 49 | - --- 51 | - --- 48 | - --- 44 | - --- 43 | - --- 42 | 210 ----- 648 |
56 | | | 3 --- 1 | 72 --- 14 | 60 --- 40 | 10 --- 47 | - --- 46 | - --- 43 | - --- 41 | - --- 40 | - --- 39 | 290 ----- 622 |
60 | | | 16 --- 4 | 82 --- 20 | 58 --- 37 | 6 --- 42 | - --- 40 | - --- 38 | - --- 37 | - --- 36 | - --- 35 | 324 ----- 578 |
64 | | 5 --- 7 | 66 --- 14 | 88 --- 27 | 55 --- 37 | 4 --- 39 | - --- 37 | - --- 36 | - --- 35 | - --- 34 | - --- 34 | 436 ----- 600 |
68 | 6 --- 3 | 58 --- 15 | 95 --- 22 | 93 --- 32 | 56 --- 37 | 2 --- 38 | - --- 37 | - --- 36 | - --- 35 | - --- 34 | - --- 34 | 620 ----- 646 |
| Часы суток после полудня | |
| 22 - 23 | 21 - 22 | 20 - 21 | 19 - 20 | 18 - 19 | 17 - 18 | 16 - 17 | 15 - 16 | 14 - 15 | 13 - 14 | 12 - 13 | |
S - прямая радиация;
D - рассеянная радиация.
Таблица 7
Количество суммарной
солнечной радиации, проникающей
в помещение через одинарное остекление (4-мм) в июле,
ккал/(м2·ч). Южная ориентация
Географическая широта, град с.ш. | Часы суток до полудня | Сумма за сутки |
1 - 2 | 2 - 3 | 3 - 4 | 4 - 5 | 5 - 6 | 6 - 7 | 7 - 8 | 8 - 9 | 9 - 10 | 10 - 11 | 11 - 12 |
40 | | | | | - --- 14 | - --- 38 | - --- 50 | 9 --- 56 | 44 --- 56 | 82 --- 57 | 102 ----- 58 | 474 ----- 658 |
44 | | | | | - --- 16 | - --- 38 | 0,2 ---- 51 | 19 --- 56 | 65 --- 58 | 116 ----- 59 | 140 ----- 60 | 680 ----- 676 |
48 | | | | - --- 4 | - --- 19 | - --- 38 | 2 --- 52 | 37 --- 58 | 96 --- 61 | 152 ----- 62 | 181 ----- 63 | 936 ----- 714 |
52 | | | | - --- 9 | - --- 23 | - --- 42 | 5 --- 54 | 53 --- 60 | 122 ----- 62 | 188 ----- 63 | 223 ----- 65 | 1182 ------ 748 |
56 | | | | - --- 8 | - --- 24 | - --- 42 | 13 --- 53 | 75 --- 60 | 155 ----- 63 | 224 ----- 64 | 264 ----- 68 | 1462 ------ 764 |
60 | | | - --- 4 | - --- 11 | - --- 24 | 0,2 ---- 38 | 27 --- 49 | 101 ----- 57 | 184 ----- 61 | 263 ----- 68 | 308 ----- 71 | 1766 ------ 766 |
64 | | | - --- 5 | - --- 15 | - --- 26 | 0,2 ---- 37 | 34 --- 49 | 118 ----- 56 | 216 ----- 60 | 294 ----- 69 | 345 ----- 72 | 2014 ------ 778 |
68 | - --- 3 | - --- 6 | - --- 9 | - --- 16 | - --- 27 | 0,4 ---- 38 | 38 --- 49 | 146 ----- 56 | 256 ----- 63 | 337 ----- 72 | 389 ----- 74 | 2333 ------ 823 |
| Часы суток после полудня | |
| 22 - 23 | 21 - 22 | 20 - 21 | 19 - 20 | 18 - 19 | 17 - 18 | 16 - 17 | 15 - 16 | 14 - 15 | 13 - 14 | 12 - 13 | |
Таблица 8
Количество суммарной
солнечной радиации, проникающей
в помещение через одинарное остекление (4-мм) в июле,
ккал/(м2·ч). Восточная (западная) ориентация
Географическая широта, град с.ш. | Часы суток для восточной ориентации | Сумма за сутки |
1 - 2 | 2 - 3 | 3 - 4 | 4 - 5 | 5 - 6 | 6 - 7 | 7 - 8 | 8 - 9 | 9 - 10 | 10 - 11 | 11 - 12 | 12 - 13 | 13 - 14 | 14 - 15 | 15 - 16 | 16 - 17 | 17 - 18 | 18 - 19 | 19 - 20 | 20 - 21 | 21 - 22 |
40 | | | | 8 --- 1 | 157 ----- 40 | 307 ----- 98 | 352 ----- 112 | 331 ----- 100 | 243 ----- 74 | 116 ----- 58 | 17 --- 52 | - --- 46 | - --- 44 | - --- 43 | - --- 43 | - --- 38 | - --- 31 | - --- 15 | | | | 1523 ------ 794 |
44 | | | | 22 --- 4 | 214 ----- 51 | 332 ----- 98 | 368 ----- 112 | 339 ----- 98 | 245 ----- 74 | 118 ----- 57 | 20 --- 51 | - --- 46 | - --- 43 | - --- 43 | - --- 42 | - --- 38 | - --- 31 | - --- 16 | | | | 1658 ------ 804 |
48 | | | | 31 --- 8 | 236 ----- 56 | 341 ----- 98 | 370 ----- 110 | 340 ----- 99 | 246 ----- 73 | 118 ----- 58 | 20 --- 51 | - --- 46 | - --- 43 | - --- 41 | - --- 41 | - --- 38 | - --- 31 | - --- 18 | - --- 3 | | | 1702 ------ 814 |
52 | | | | 65 --- 15 | 272 ----- 64 | 364 ----- 104 | 386 ----- 111 | 349 ----- 102 | 248 ----- 73 | 118 ----- 59 | 20 --- 51 | - --- 46 | - --- 43 | - --- 40 | - --- 40 | - --- 38 | - --- 31 | - --- 20 | - --- 7 | | | 1822 ------ 844 |
56 | | | 12 --- 2 | 164 ----- 23 | 306 ----- 64 | 378 ----- 99 | 395 ----- 105 | 354 ----- 96 | 257 ----- 68 | 119 ----- 54 | 20 --- 48 | - --- 44 | - --- 41 | - --- 40 | - --- 39 | - --- 34 | - --- 30 | - --- 21 | - --- 9 | | | 2005 ------ 817 |
60 | | | 35 --- 5 | 209 ----- 31 | 328 ----- 69 | 402 ----- 93 | 402 ----- 95 | 358 ----- 82 | 253 ----- 57 | 122 ----- 46 | 18 --- 43 | - --- 40 | - --- 38 | - --- 37 | - --- 35 | - --- 32 | - --- 28 | - --- 21 | - --- 10 | - --- 2 | | 2127 ------ 763 |
64 | | 6 --- 2 | 102 ----- 16 | 231 ----- 42 | 345 ----- 74 | 410 ----- 91 | 417 ----- 91 | 364 ----- 79 | 253 ----- 56 | 122 ----- 44 | 18 --- 40 | - --- 37 | - --- 35 | - --- 33 | - --- 33 | - --- 30 | - --- 26 | - --- 22 | - --- 14 | - --- 7 | | 2268 ------ 772 |
68 | 16 --- 1 | 90 --- 9 | 181 ----- 28 | 278 ----- 54 | 369 ----- 83 | 428 ----- 92 | 426 ----- 91 | 373 ----- 80 | 264 ----- 56 | 133 ----- 43 | 25 --- 40 | - --- 37 | - --- 35 | - --- 33 | - --- 33 | - --- 30 | - --- 26 | - --- 22 | - --- 16 | - --- 11 | - --- 5 | 2583 ------ 825 |
| Часы суток для западной ориентации | |
| 22 - 23 | 21 - 22 | 20 - 21 | 19 - 20 | 18 - 19 | 17 - 18 | 16 - 17 | 15 - 16 | 14 - 15 | 13 - 14 | 12 - 13 | 11 - 12 | 10 - 11 | 9 - 10 | 8 - 9 | 7 - 8 | 6 - 7 | 5 - 6 | 4 - 5 | 3 - 4 | 2 - 3 | |
Таблица 9
Количество суммарной
солнечной радиации, проникающей
в помещение через одинарное остекление (4-мм) в июле,
ккал/(м2·ч). Юго-восточная (юго-западная) ориентация
Географическая широта, град с.ш. | Часы суток для юго-восточной ориентации | Сумма за сутки |
2 - 3 | 3 - 4 | 4 - 5 | 5 - 6 | 6 - 7 | 7 - 8 | 8 - 9 | 9 - 10 | 10 - 11 | 11 - 12 | 12 - 13 | 13 - 14 | 14 - 15 | 15 - 16 | 16 - 17 | 17 - 18 | 18 - 19 | 19 - 20 | 20 - 21 | 21 - 22 |
40 | | | | 31 --- 24 | 120 ----- 62 | 200 ----- 81 | 234 ----- 81 | 226 ----- 70 | 176 ----- 59 | 98 --- 54 | 12 --- 51 | - --- 48 | - --- 44 | - --- 43 | - --- 40 | - --- 29 | - --- 14 | | | | 1097 ------ 700 |
44 | | | | 44 --- 28 | 136 ----- 62 | 224 ----- 84 | 265 ----- 85 | 257 ----- 76 | 196 ----- 61 | 127 ----- 56 | 37 --- 54 | 0,3 ---- 48 | - --- 44 | - --- 43 | - --- 39 | - --- 31 | - --- 16 | | | | 1286 ------ 725 |
48 | | | 0,5 ---- 6 | 60 --- 32 | 155 ----- 64 | 246 ----- 85 | 290 ----- 88 | 283 ----- 83 | 229 ----- 68 | 170 ----- 59 | 59 --- 55 | 2 --- 49 | - --- 46 | - --- 43 | - --- 38 | - --- 30 | - --- 18 | - --- 3 | | | 1494 ------ 767 |
52 | | | 1 --- 10 | 74 --- 37 | 174 ----- 67 | 267 ----- 87 | 309 ----- 91 | 303 ----- 87 | 294 ----- 75 | 186 ----- 61 | 89 --- 55 | 10 --- 51 | - --- 48 | - --- 44 | - --- 38 | - --- 30 | - --- 20 | - --- 8 | | | 1677 ------ 809 |
56 | | | 8 --- 14 | 90 --- 40 | 194 ----- 68 | 290 ----- 84 | 332 ----- 88 | 327 ----- 82 | 285 ----- 71 | 209 ----- 59 | 101 ----- 54 | 13 --- 51 | - --- 48 | - --- 45 | - --- 38 | - --- 29 | - --- 20 | - --- 9 | | | 1849 ------ 800 |
60 | | 1 --- 6 | 27 --- 18 | 97 --- 42 | 214 ----- 66 | 308 ----- 79 | 354 ----- 81 | 350 ----- 76 | 312 ----- 66 | 262 ----- 59 | 124 ----- 51 | 28 --- 49 | - --- 46 | - --- 43 | - --- 35 | - --- 28 | - --- 20 | - --- 12 | - --- 3 | | 2077 ------ 780 |
64 | | 10 --- 8 | 49 --- 24 | 136 ----- 44 | 248 ----- 66 | 330 ----- 79 | 385 ----- 80 | 387 ----- 76 | 338 ----- 66 | 286 ----- 59 | 146 ----- 50 | 41 --- 49 | - --- 45 | - --- 41 | - --- 33 | - --- 27 | - --- 20 | - --- 13 | - --- 7 | | 2356 ------ 787 |
68 | 1 --- 6 | 19 --- 13 | 63 --- 30 | 159 ----- 47 | 263 ----- 69 | 356 ----- 83 | 410 ----- 83 | 414 ----- 76 | 371 ----- 69 | 300 ----- 57 | 176 ----- 50 | 51 --- 49 | 1 --- 46 | - --- 41 | - --- 33 | - --- 27 | - --- 20 | - --- 16 | - --- 10 | - --- 5 | 2384 ------ 830 |
| Часы суток для юго-западной ориентации | |
| 21 - 22 | 20 - 21 | 19 - 20 | 18 - 19 | 17 - 18 | 16 - 17 | 15 - 16 | 14 - 15 | 13 - 14 | 12 - 13 | 11 - 12 | 10 - 11 | 9 - 10 | 8 - 9 | 7 - 8 | 6 - 7 | 5 - 6 | 4 - 5 | 3 - 4 | 2 - 3 | |
Таблица 10
Количество суммарной
солнечной радиации, проникающей
в помещение через одинарное остекление (4-мм) в июле,
ккал/(м2·ч). Северо-восточная (северо-западная) ориентация
Географическая широта, град с.ш. | Часы суток для северо-восточной ориентации | Сумма за сутки |
1 - 2 | 2 - 3 | 3 - 4 | 4 - 5 | 5 - 6 | 6 - 7 | 7 - 8 | 8 - 9 | 9 - 10 | 10 - 11 | 11 - 12 | 12 - 13 | 13 - 14 | 14 - 15 | 15 - 16 | 16 - 17 | 17 - 18 | 18 - 19 | 19 - 20 | 20 - 21 | 21 - 22 | 22 - 23 |
40 | | | | 4 ---- 0,6 | 124 ---- 22 | 246 ---- 81 | 250 ---- 89 | 164 ---- 73 | 69 --- 57 | 9 --- 51 | - --- 48 | - --- 46 | - --- 46 | - --- 44 | - --- 43 | - --- 40 | - --- 30 | - --- 15 | | | | | 866 ----- 689 |
44 | | | | 15 --- 3 | 163 ---- 46 | 259 ---- 82 | 241 ---- 84 | 153 ---- 72 | 53 --- 57 | 2 --- 51 | - --- 48 | - --- 46 | - --- 45 | - --- 44 | - --- 43 | - --- 39 | - --- 32 | - --- 16 | | | | | 886 ----- 708 |
48 | | | | 24 --- 10 | 185 ---- 58 | 271 ---- 82 | 235 ---- 81 | 136 ---- 70 | 36 --- 57 | 1 --- 51 | - --- 48 | - --- 46 | - --- 45 | - --- 44 | - --- 42 | - --- 38 | - --- 31 | - --- 18 | - --- 4 | | | | 888 ----- 725 |
52 | | | | 44 --- 17 | 218 ---- 59 | 270 ---- 79 | 226 ---- 78 | 119 ---- 68 | 26 --- 56 | 0,1 ---- 49 | - --- 46 | - --- 44 | - --- 44 | - --- 43 | - --- 41 | - --- 38 | - --- 31 | - --- 20 | - --- 6 | | | | 903 ----- 719 |
56 | | | 7 --- 2 | 121 ---- 28 | 249 ---- 61 | 277 ---- 77 | 224 ---- 72 | 105 ---- 62 | 18 --- 50 | - --- 44 | - --- 42 | - --- 41 | - --- 41 | - --- 40 | - --- 40 | - --- 38 | - --- 31 | - --- 21 | - --- 8 | | | | 1001 ------ 698 |
60 | | | 23 --- 7 | 200 ---- 34 | 281 ---- 61 | 281 ---- 70 | 216 ---- 59 | 87 --- 54 | 11 --- 43 | - --- 38 | - --- 38 | - --- 38 | - --- 38 | - --- 38 | - --- 37 | - --- 35 | - --- 31 | - --- 23 | - --- 13 | - --- 4 | | | 1099 ------ 661 |
64 | | 7 --- 4 | 105 ---- 19 | 255 ---- 44 | 307 ---- 64 | 281 ---- 66 | 201 ---- 59 | 78 --- 52 | 4 --- 41 | - --- 37 | - --- 37 | - --- 37 | - --- 36 | - --- 35 | - --- 35 | - --- 34 | - --- 31 | - --- 25 | - --- 16 | - --- 8 | | | 1238 ------ 680 |
68 | 6 --- 5 | 109 ---- 12 | 206 ---- 28 | 300 ---- 50 | 339 ---- 66 | 286 ---- 66 | 183 ---- 59 | 68 --- 52 | 2 --- 40 | - --- 37 | - --- 37 | - --- 37 | - --- 35 | - --- 35 | - --- 35 | - --- 34 | - --- 32 | - --- 27 | - --- 18 | - --- 12 | - --- 6 | - --- 4 | 1499 ------ 727 |
| Часы суток для северо-западной ориентации | |
| 22 - 23 | 21 - 22 | 20 - 21 | 19 - 20 | 18 - 19 | 17 - 18 | 16 - 17 | 15 - 16 | 14 - 15 | 13 - 14 | 12 - 13 | 11 - 12 | 10 - 11 | 9 - 10 | 8 - 9 | 7 - 8 | 6 - 7 | 5 - 6 | 4 - 5 | 3 - 4 | 2 - 3 | 1 - 2 | |
Таблица 11
Количество суммарной
солнечной радиации, проникающей
в помещение через остекление с олово-сурьмяным покрытием
ОС-0.2-0.13 в июле, ккал/(м2·ч). Южная ориентация
Географическая широта, град с.ш. | Часы суток до полудня |
1 - 2 | 2 - 3 | 3 - 4 | 4 - 5 | 5 - 6 | 6 - 7 | 7 - 8 | 8 - 9 | 9 - 10 | 10 - 11 | 11 - 12 |
40 | | | | | - --- 2 | - --- 5 | - --- 7 | 1 --- 7 | 5 --- 8 | 10 --- 8 | 11 --- 8 |
44 | | | | | - --- 2 | - --- 5 | - --- 7 | 2 --- 7 | 7 --- 8 | 12 --- 8 | 16 --- 8 |
48 | | | | - --- 1 | - --- 2 | - --- 5 | - --- 7 | 4 --- 8 | 10 --- 8 | 19 --- 8 | 22 --- 8 |
52 | | | | - --- 1 | - --- 3 | - --- 6 | 1 --- 7 | 6 --- 8 | 15 --- 8 | 26 --- 8 | 29 --- 8 |
56 | | | | - --- 1 | - --- 3 | - --- 5 | 1 --- 7 | 7 --- 8 | 20 --- 8 | 29 --- 8 | 37 --- 10 |
60 | | | - --- 1 | - --- 1 | - --- 3 | - --- 5 | 3 --- 7 | 11 --- 8 | 25 --- 8 | 36 --- 9 | 46 --- 11 |
64 | | | - --- 1 | - --- 2 | - --- 4 | - --- 5 | 4 --- 6 | 14 --- 7 | 28 --- 8 | 44 --- 10 | 50 --- 10 |
68 | - --- - | - --- 1 | - --- 1 | - --- 2 | - --- 4 | - --- 5 | 4 --- 6 | 19 --- 7 | 36 --- 9 | 49 --- 10 | 60 --- 11 |
| Часы суток после полудня |
| 22 - 23 | 21 - 22 | 20 - 21 | 19 - 20 | 18 - 19 | 17 - 18 | 16 - 17 | 15 - 16 | 14 - 15 | 13 - 14 | 12 - 13 |
Таблица 12
Количество суммарной
солнечной радиации, проникающей
в помещение через остекление с олово-сурьмяным покрытием
ОС-0.2-0.13 в июле, ккал/(м2·ч). Северная ориентация
Географическая широта, град с.ш. | Часы суток до полудня |
1 - 2 | 2 - 3 | 3 - 4 | 4 - 5 | 5 - 6 | 6 - 7 | 7 - 8 | 8 - 9 | 9 - 10 | 10 - 11 | 11 - 12 |
40 | | | | | 5 --- 3 | 4 --- 7 | - --- 7 | - --- 7 | - --- 6 | - --- 6 | - --- 6 |
44 | | | | | 6 --- 4 | 3 --- 6 | - --- 7 | - --- 7 | - --- 6 | - --- 6 | - --- 6 |
48 | | | | 3 --- 1 | 7 --- 4 | 2 --- 6 | - --- 7 | - --- 6 | - --- 6 | - --- 6 | - --- 6 |
52 | | | | 6 --- 1 | 8 --- 5 | 2 --- 6 | - --- 7 | - --- 6 | - --- 6 | - --- 6 | - --- 6 |
56 | | | 1 --- - | 9 --- 2 | 7 --- 5 | 1 --- 6 | - --- 6 | - --- 6 | - --- 5 | - --- 5 | - --- 5 |
60 | | | 5 --- 1 | 11 --- 3 | 5 --- 5 | 1 --- 6 | - --- 5 | - --- 5 | - --- 5 | - --- 5 | - --- 5 |
64 | | 1 --- 1 | 10 --- 2 | 12 --- 4 | 6 --- 5 | 1 --- 5 | - --- 5 | - --- 5 | - --- 5 | - --- 4 | - --- 4 |
68 | | 1 --- 1 | 10 --- 2 | 14 --- 3 | 13 --- 4 | 6 --- 5 | - --- 5 | - --- 5 | - --- 5 | - --- 4 | - --- 4 |
| Часы суток после полудня |
| 22 - 23 | 21 - 22 | 20 - 21 | 19 - 20 | 18 - 19 | 17 - 18 | 16 - 17 | 15 - 16 | 14 - 15 | 13 - 14 | 12 - 13 |
Таблица 13
Количество суммарной
солнечной радиации,
проникающей в помещение через остекление с олово-сурьмяным
покрытием ОС-0.2-0.13 в июле, ккал/(м2·ч).
Восточная (западная) ориентация
Географическая широта, град с.ш. | Часы суток для восточной ориентации |
1 - 2 | 2 - 3 | 3 - 4 | 4 - 5 | 5 - 6 | 6 - 7 | 7 - 8 | 8 - 9 | 9 - 10 | 10 - 11 | 11 - 12 | 12 - 13 | 13 - 14 | 14 - 15 | 15 - 16 | 16 - 17 | 17 - 18 | 18 - 19 | 19 - 20 | 20 - 21 | 21 - 22 |
40 | | | | 2 --- - | 27 --- 7 | 53 --- 17 | 58 --- 18 | 51 --- 16 | 34 --- 10 | 14 --- 8 | - --- 7 | - --- 6 | - --- 6 | - --- 6 | - --- 5 | - --- 5 | - --- 4 | - --- 2 | | | |
44 | | | | 6 --- 1 | 37 --- 9 | 80 --- 17 | 60 --- 18 | 53 --- 15 | 35 --- 10 | 14 --- 7 | 5 --- 7 | - --- 6 | - --- 6 | - --- 6 | - --- 6 | - --- 5 | - --- 4 | - --- 2 | | | |
48 | | | | 10 --- 2 | 41 --- 10 | 60 --- 17 | 61 --- 18 | 49 --- 14 | 31 --- 9 | 14 --- 8 | 4 --- 7 | - --- 6 | - --- 6 | - --- 5 | - --- 5 | - --- 5 | - --- 4 | - --- 2 | | | |
52 | | | | 18 --- 3 | 47 --- 11 | 63 --- 18 | 63 --- 18 | 54 --- 16 | 35 --- 10 | 14 --- 8 | 4 --- 7 | - --- 6 | - --- 6 | - --- 5 | - --- 5 | - --- 5 | - --- 4 | - --- 3 | - --- 1 | | |
56 | | | 4 --- - | 27 --- 4 | 54 --- 11 | 66 --- 17 | 64 --- 17 | 55 --- 15 | 40 --- 10 | 15 --- 7 | 2 --- 6 | - --- 6 | - --- 5 | - --- 5 | - --- 5 | - --- 4 | - --- 4 | - --- 3 | - --- 1 | | |
60 | | | 11 --- 1 | 34 --- 5 | 57 --- 12 | 70 --- 16 | 65 --- 15 | 55 --- 13 | 36 --- 8 | 20 --- 6 | 7 --- 6 | - --- 5 | - --- 5 | - --- 5 | - --- 5 | - --- 4 | - --- 4 | - --- 3 | - --- 1 | | |
64 | | 2 --- - | 16 --- 2 | 37 --- 7 | 60 --- 13 | 66 --- 14 | 68 --- 15 | 56 --- 12 | 36 --- 8 | 15 --- 6 | 2 --- 5 | - --- 5 | - --- 5 | - --- 4 | - --- 4 | - --- 4 | - --- 3 | - --- 3 | - --- 2 | - --- 1 | |
68 | 3 --- - | 13 --- 1 | 28 --- 4 | 45 --- 9 | 64 --- 14 | 74 --- 16 | 69 --- 15 | 58 --- 12 | 37 --- 8 | 15 --- 6 | 5 --- 5 | - --- 5 | - --- 5 | - --- 4 | - --- 4 | - --- 4 | - --- 3 | - --- 3 | - --- 2 | - --- 1 | - --- 1 |
| Часы суток для западной ориентации |
| 22 - 23 | 21 - 22 | 20 - 21 | 19 - 20 | 18 - 19 | 17 - 18 | 16 - 17 | 15 - 16 | 14 - 15 | 13 - 14 | 12 - 13 | 11 - 12 | 10 - 11 | 9 - 10 | 8 - 9 | 7 - 8 | 6 - 7 | 5 - 6 | 4 - 5 | 3 - 4 | 2 - 3 |
Таблица 14
Количество суммарной
солнечной радиации,
проникающей в помещение через остекление с олово-сурьмяным
покрытием ОС-0.2-0.13 в июле, ккал/(м2·ч).
Юго-восточная (юго-западная) ориентация
Географическая широта, град с.ш. | Часы суток для юго-восточной ориентации |
2 - 3 | 3 - 4 | 4 - 5 | 5 - 6 | 6 - 7 | 7 - 8 | 8 - 9 | 9 - 10 | 10 - 11 | 11 - 12 | 12 - 13 | 13 - 14 | 14 - 15 | 15 - 16 | 16 - 17 | 17 - 18 | 18 - 19 | 19 - 20 | 20 - 21 | 21 - 22 |
40 | | | | 4 --- 3 | 16 --- 8 | 22 --- 11 | 33 --- 11 | 29 --- 9 | 21 --- 8 | 11 --- 7 | 4 --- 7 | - --- 6 | - --- 6 | - --- 6 | - --- 5 | - --- 4 | - --- 2 | | | |
44 | | | | 6 --- 4 | 18 --- 8 | 31 --- 11 | 36 --- 11 | 36 --- 10 | 26 --- 8 | 15 --- 6 | 6 --- 7 | 0,5 ---- 6 | - --- 6 | - --- 6 | - --- 5 | - --- 4 | - --- 2 | | | |
48 | | | - --- 1 | 8 --- 4 | 20 --- 8 | 33 --- 11 | 43 --- 13 | 38 --- 11 | 30 --- 9 | 20 --- 8 | 8 --- 7 | 1 --- 6 | - --- 6 | - --- 6 | - --- 5 | - --- 4 | - --- 2 | | | |
52 | | | - --- 1 | 9 --- 5 | 24 --- 9 | 39 --- 13 | 45 --- 13 | 44 --- 13 | 36 --- 10 | 22 --- 8 | 10 --- 7 | 2 --- 7 | - --- 6 | - --- 6 | - --- 5 | - --- 4 | - --- 3 | - --- 1 | | |
56 | | | 1 --- 2 | 11 --- 5 | 27 --- 9 | 42 --- 12 | 52 --- 14 | 52 --- 13 | 43 --- 11 | 28 --- 7 | 13 --- 7 | 3 --- 7 | - --- 6 | - --- 6 | - --- 5 | - --- 4 | - --- 3 | - --- 1 | | |
60 | | - --- 1 | 3 --- 2 | 14 --- 5 | 29 --- 9 | 44 --- 11 | 55 --- 12 | 55 --- 12 | 46 --- 10 | 31 --- 7 | 15 --- 7 | 4 --- 6 | - --- 6 | - --- 6 | - --- 6 | - --- 4 | - --- 3 | - --- 2 | | |
64 | | 1 --- 1 | 6 --- 3 | 18 --- 6 | 33 --- 9 | 46 --- 11 | 59 --- 12 | 59 --- 12 | 49 --- 10 | 37 --- 8 | 18 --- 6 | 6 --- 6 | - --- 6 | - --- 5 | - --- 4 | - --- 4 | - --- 2 | - --- 2 | - --- 1 | |
68 | 1 --- 1 | 2 --- 2 | 6 --- 4 | 19 --- 6 | 39 --- 10 | 59 --- 14 | 68 --- 14 | 69 --- 13 | 53 --- 10 | 41 --- 8 | 20 --- 6 | 7 --- 6 | 1 --- 6 | - --- 5 | - --- 4 | - --- 4 | - --- 3 | - --- 2 | - --- 1 | - --- 1 |
| Часы суток для юго-западной ориентации |
| 21 - 22 | 20 - 21 | 19 - 20 | 18 - 19 | 17 - 18 | 16 - 17 | 15 - 16 | 14 - 15 | 13 - 14 | 12 - 13 | 11 - 12 | 10 - 11 | 9 - 10 | 8 - 9 | 7 - 8 | 6 - 7 | 5 - 6 | 4 - 5 | 3 - 4 | 2 - 3 |
Таблица 15
Количество суммарной
солнечной радиации, проникающей
в помещение через остекление с олово-сурьмяным
покрытием ОС-0.2-0.13 в июле, ккал/(м2·ч).
Северо-восточная (северо-западная) ориентация
Географическая широта, град с.ш. | Часы суток для северо-восточной ориентации |
1 - 2 | 2 - 3 | 3 - 4 | 4 - 5 | 5 - 6 | 6 - 7 | 7 - 8 | 8 - 9 | 9 - 10 | 10 - 11 | 11 - 12 | 12 - 13 | 13 - 14 | 14 - 15 | 15 - 16 | 16 - 17 | 17 - 18 | 18 - 19 | 19 - 20 | 20 - 21 | 21 - 22 | 22 - 23 |
40 | | | | 1 --- - | 20 --- 6 | 38 --- 12 | 37 --- 13 | 23 --- 10 | 7 --- 7 | - --- 7 | - --- 6 | - --- 6 | - --- 6 | - --- 6 | - --- 6 | - --- 5 | - --- 4 | - --- 2 | | | | |
44 | | | | 4 --- 1 | 26 --- 7 | 43 --- 14 | 36 --- 13 | 20 --- 8 | 6 --- 7 | 1 --- 7 | - --- 6 | - --- 6 | - --- 6 | - --- 8 | - --- 6 | - --- 5 | - --- 4 | - --- 2 | | | | |
48 | | | | 8 --- 2 | 30 --- 8 | 41 --- 12 | 32 --- 11 | 16 --- 9 | 5 --- 8 | - --- 7 | - --- 6 | - --- 6 | - --- 6 | - --- 6 | - --- 5 | - --- 4 | - --- 4 | - --- 2 | - --- 1 | | | |
52 | | | | 12 --- 4 | 35 --- 10 | 42 --- 12 | 32 --- 11 | 14 --- 9 | 3 --- 7 | - --- 5 | - --- 5 | - --- 5 | - --- 5 | - --- 5 | - --- 5 | - --- 5 | - --- 4 | - --- 3 | - --- 1 | | | |
56 | | | 3 --- 1 | 21 --- 5 | 40 --- 10 | 44 --- 12 | 28 --- 9 | 13 --- 8 | 3 --- 7 | - --- 6 | - --- 6 | - --- 5 | - --- 5 | - --- 5 | - --- 5 | - --- 5 | - --- 4 | - --- 3 | - --- 1 | | | |
60 | | | 8 --- 1 | 35 --- 6 | 49 --- 11 | 44 --- 11 | 28 --- 8 | 16 --- 7 | 6 --- 6 | - --- 5 | - --- 5 | - --- 5 | - --- 5 | - --- 5 | - --- 5 | - --- 5 | - --- 4 | - --- 3 | - --- 2 | - --- 1 | | |
64 | | 2 --- 1 | 18 --- 3 | 44 --- 8 | 46 --- 10 | 41 --- 10 | 27 --- 8 | 10 --- 7 | 1 --- 5 | - --- | - --- 5 | - --- 5 | - --- 5 | - --- 5 | - --- 5 | - --- 4 | - --- 4 | - --- 3 | - --- 2 | - --- 1 | | |
68 | 3 --- 1 | 19 --- 2 | 36 --- 5 | 52 --- 9 | 56 --- 11 | 42 --- 10 | 25 --- 8 | 7 --- 7 | 1 --- 5 | - --- 5 | - --- 5 | - --- 5 | - --- 5 | - --- 5 | - --- 5 | - --- 4 | - --- 4 | - --- 4 | - --- 2 | - --- 2 | - --- 1 | - --- 1 |
| Часы суток для северо-западной ориентации |
| 22 - 23 | 21 - 22 | 20 - 21 | 19 - 20 | 18 - 19 | 17 - 18 | 16 - 17 | 15 - 16 | 14 - 15 | 13 - 14 | 12 - 13 | 11 - 12 | 10 - 11 | 9 - 10 | 8 - 9 | 7 - 8 | 6 - 7 | 5 - 6 | 4 - 5 | 3 - 4 | 2 - 3 | 1 - 2 |
Таблица 16
Количество суммарной (прямой + рассеянной + отраженной)
солнечной радиации, проникающей в помещение через двойное
(2-мм) остекление при безоблачном небе в июле,
ккал/(м2·ч). Северная ориентация
Географическая широта, град с.ш. | Часы суток до полудня | Сумма за сутки |
3 - 4 | 4 - 5 | 5 - 6 | 6 - 7 | 7 - 8 | 8 - 9 | 9 - 10 | 10 - 11 | 11 - 12 |
40 | | | 73 | 85 | 84 | 87 | 88 | 92 | 94 | 1206 |
44 | | 4 | 89 | 82 | 80 | 86 | 87 | 90 | 92 | 1220 |
48 | | 11 | 100 | 77 | 80 | 84 | 86 | 87 | 91 | 1232 |
52 | | 39 | 109 | 76 | 77 | 82 | 84 | 87 | 90 | 1288 |
56 | 3 | 90 | 106 | 71 | 72 | 77 | 80 | 83 | 84 | 1332 |
60 | 22 | 132 | 99 | 64 | 66 | 71 | 74 | 77 | 78 | 1366 |
| Часы суток после полудня | |
| 20 - 21 | 19 - 20 | 18 - 19 | 17 - 18 | 16 - 17 | 15 - 16 | 14 - 15 | 13 - 14 | 12 - 13 | |
Таблица 17
Количество суммарной (прямой + рассеянной + отраженной)
солнечной радиации, проникающей в помещение через двойное
(2-мм) остекление при безоблачном небе в июле,
ккал/(м2·ч). Южная ориентация
Географическая широта, град с.ш. | Часы суток до полудня | Сумма за сутки |
3 - 4 | 4 - 5 | 5 - 6 | 6 - 7 | 7 - 8 | 8 - 9 | 9 - 10 | 10 - 11 | 11 - 12 |
40 | | | 20 | 54 | 76 | 95 | 136 | 186 | 211 | 1556 |
44 | | | 24 | 55 | 77 | 107 | 188 | 243 | 276 | 1940 |
48 | | 6 | 27 | 57 | 78 | 120 | 1201 | 200 | 300 | 2124 |
52 | | 9 | 33 | 61 | 82 | 135 | 223 | 309 | 345 | 2394 |
56 | | 14 | 36 | 61 | 87 | 163 | 264 | 350 | 402 | 2754 |
60 | 6 | 17 | 37 | 62 | 92 | 187 | 293 | 382 | 439 | 3030 |
| Часы суток после полудня | |
20 - 21 | 19 - 20 | 18 - 19 | 17 - 18 | 16 - 17 | 15 - 16 | 14 - 15 | 13 - 14 | 12 - 13 |
Таблица 18
Количество суммарной (прямой + рассеянной + отраженной)
солнечной радиации, проникающей в помещение через двойное
(2-мм) остекление при безоблачном небе в июле, ккал/(м2·ч).
Восточная (западная) ориентация
Географическая широта, град с.ш. | Часы суток для восточной ориентации | Сумма за сутки |
3 - 4 | 4 - 5 | 5 - 6 | 6 - 7 | 7 - 8 | 8 - 9 | 9 - 10 | 10 - 11 | 11 - 12 | 12 - 13 | 13 - 14 | 14 - 15 | 15 - 16 | 16 - 17 | 17 - 18 | 18 - 19 | 19 - 20 | 20 - 21 |
40 | | 10 | 206 | 428 | 514 | 482 | 373 | 220 | 116 | 98 | 93 | 88 | 82 | 69 | 48 | 21 | | | 2848 |
44 | | 33 | 275 | 451 | 512 | 492 | 380 | 217 | 115 | 96 | 90 | 86 | 82 | 69 | 50 | 24 | | | 2972 |
48 | | 37 | 310 | 472 | 520 | 495 | 380 | 227 | 109 | 95 | 87 | 84 | 81 | 69 | 52 | 28 | 5 | | 3051 |
52 | | 96 | 351 | 493 | 531 | 500 | 380 | 224 | 111 | 94 | 86 | 81 | 79 | 69 | 53 | 31 | 10 | | 3189 |
56 | 22 | 198 | 394 | 511 | 532 | 497 | 373 | 208 | 110 | 90 | 85 | 80 | 79 | 65 | 53 | 35 | 15 | | 3345 |
60 | 36 | 248 | 417 | 525 | 530 | 487 | 354 | 202 | 95 | 82 | 79 | 75 | 71 | 61 | 49 | 36 | 17 | 4 | 3368 |
| Часы суток для западной ориентации | |
| 20 - 21 | 19 - 20 | 18 - 19 | 17 - 18 | 16 - 17 | 15 - 16 | 14 - 15 | 13 - 14 | 12 - 13 | 11 - 12 | 10 - 11 | 9 - 10 | 8 - 9 | 7 - 8 | 6 - 7 | 5 - 6 | 4 - 5 | 3 - 4 | |
Таблица 19
Количество суммарной (прямой + рассеянной + отраженной)
солнечной радиации, проникающей в помещение через двойное
(2-мм) остекление при безоблачном небе в июле, ккал/(м2·ч).
Юго-восточная (юго-западная) ориентация
Географическая широта, град с.ш. | Часы суток для юго-восточной ориентации | Сумма за сутки |
3 - 4 | 4 - 5 | 5 - 6 | 6 - 7 | 7 - 8 | 8 - 9 | 9 - 10 | 10 - 11 | 11 - 12 | 12 - 13 | 13 - 14 | 14 - 15 | 15 - 16 | 16 - 17 | 17 - 18 | 18 - 19 | 19 - 20 | 20 - 21 |
40 | | | 63 | 196 | 316 | 367 | 358 | 285 | 196 | 121 | 97 | 88 | 77 | 64 | 44 | 20 | | | 2290 |
44 | | | 82 | 235 | 351 | 395 | 383 | 312 | 234 | 131 | 96 | 89 | 80 | 68 | 49 | 23 | | | 2528 |
48 | | 7 | 96 | 244 | 370 | 435 | 422 | 358 | 265 | 162 | 102 | 90 | 81 | 66 | 49 | 27 | 5 | | 2779 |
52 | | 15 | 125 | 275 | 410 | 460 | 451 | 395 | 295 | 187 | 106 | 92 | 84 | 69 | 50 | 29 | 9 | | 3052 |
56 | | 27 | 144 | 293 | 415 | 474 | 475 | 422 | 325 | 198 | 107 | 92 | 84 | 68 | 49 | 30 | 14 | | 3217 |
60 | 13 | 48 | 158 | 306 | 422 | 482 | 495 | 440 | 350 | 224 | 114 | 89 | 78 | 64 | 47 | 32 | 19 | 5 | 3386 |
| Часы суток для юго-западной ориентации | |
| 20 - 21 | 19 - 20 | 18 - 19 | 17 - 18 | 16 - 17 | 15 - 16 | 14 - 15 | 13 - 14 | 12 - 13 | 11 - 12 | 10 - 11 | 9 - 10 | 8 - 9 | 7 - 8 | 6 - 7 | 5 - 6 | 4 - 5 | 3 - 4 | |
Таблица 20
Количество суммарной (прямой + рассеянной + отраженной)
солнечной радиации, проникающей в помещение через двойное
(2-мм) остекление при безоблачном небе в июле, ккал/(м2·ч).
Северо-восточная (северо-западная) ориентация
Географическая широта, град с.ш. | Часы суток для северо-восточной ориентации | Сумма за сутки |
3 - 4 | 4 - 5 | 5 - 6 | 6 - 7 | 7 - 8 | 8 - 9 | 9 - 10 | 10 - 11 | 11 - 12 | 12 - 13 | 13 - 14 | 14 - 15 | 15 - 16 | 16 - 17 | 17 - 18 | 18 - 19 | 19 - 20 | 20 - 21 |
40 | | 7 | 173 | 355 | 374 | 283 | 162 | 102 | 100 | 98 | 95 | 87 | 78 | 68 | 50 | 22 | | | 2054 |
44 | | 21 | 214 | 372 | 371 | 272 | 143 | 99 | 98 | 96 | 93 | 86 | 81 | 69 | 50 | 24 | | | 2084 |
48 | | 34 | 247 | 377 | 355 | 245 | 126 | 97 | 97 | 95 | 91 | 85 | 76 | 66 | 52 | 28 | 7 | | 2080 |
52 | | 72 | 291 | 384 | 350 | 223 | 115 | 94 | 94 | 93 | 89 | 81 | 76 | 66 | 52 | 31 | 9 | | 2120 |
56 | 10 | 158 | 324 | 388 | 332 | 201 | 97 | 87 | 87 | 87 | 84 | 79 | 73 | 65 | 53 | 34 | 15 | | 2174 |
60 | 28 | 246 | 360 | 388 | 319 | 168 | 86 | 80 | 82 | 81 | 79 | 75 | 69 | 62 | 52 | 38 | 20 | 6 | 2239 |
| Часы суток для северо-западной ориентации | |
| 20 - 21 | 19 - 20 | 18 - 19 | 17 - 18 | 16 - 17 | 15 - 16 | 14 - 15 | 13 - 14 | 12 - 13 | 11 - 12 | 10 - 11 | 9 - 10 | 8 - 9 | 7 - 8 | 6 - 7 | 5 - 6 | 4 - 5 | 3 - 4 | |
Таблица 21
Количество тепла от солнечной радиации
, проникающей
внутрь помещения через горизонтальное одинарное остекление
при безоблачном небе в июле в зависимости от широты
и времени суток. Стекло простое 2-мм
Географическая широта, град с.ш. | Часы суток до полудня | Сумма за сутки |
2 - 3 | 3 - 4 | 4 - 5 | 5 - 6 | 6 - 7 | 7 - 8 | 8 - 9 | 9 - 10 | 10 - 11 | 11 - 12 |
40 | | | | 15 --- 28 | 94 --- 57 | 227 ----- 71 | 368 ----- 86 | 469 ----- 93 | 556 ----- 101 | 590 ----- 104 | 4638 ------ 1080 |
44 | | | | 22 --- 33 | 101 ----- 57 | 234 ----- 70 | 363 ----- 80 | 454 ----- 92 | 531 ----- 97 | 569 ----- 99 | 4548 ------ 1056 |
48 | | | 1 --- 9 | 31 --- 38 | 122 ----- 57 | 242 ----- 67 | 353 ----- 80 | 433 ----- 92 | 506 ----- 95 | 548 ----- 99 | 4472 ------ 1074 |
52 | | | 4 --- 14 | 47 --- 38 | 130 ----- 57 | 246 ----- 68 | 358 ----- 81 | 428 ----- 87 | 493 ----- 93 | 538 ----- 99 | 4488 ------ 1074 |
56 | | | 13 --- 18 | 64 --- 38 | 145 ----- 52 | 244 ----- 66 | 348 ----- 76 | 418 ----- 87 | 480 ----- 90 | 511 ----- 93 | 4446 ------ 1040 |
60 | | 1 --- 4 | 22 --- 21 | 73 --- 38 | 151 ----- 52 | 241 ----- 59 | 333 ----- 64 | 398 ----- 76 | 450 ----- 79 | 490 ----- 77 | 4318 ------ 940 |
64 | | 9 --- 14 | 36 --- 28 | 87 --- 38 | 155 ----- 52 | 240 ----- 57 | 330 ----- 59 | 373 ----- 69 | 430 ----- 67 | 459 ----- 66 | 4238 ------ 900 |
68 | 5 --- 14 | 22 --- 28 | 49 --- 34 | 113 ----- 43 | 161 ----- 52 | 243 ----- 57 | 321 ----- 58 | 369 ----- 64 | 407 ----- 65 | 438 ----- 66 | 4256 ------ 962 |
| Часы суток после полудня | |
| 21 - 22 | 20 - 21 | 19 - 20 | 18 - 19 | 17 - 18 | 16 - 17 | 15 - 16 | 14 - 15 | 13 - 14 | 12 - 13 | |
Таблица 22
Количество тепла от солнечной радиации
, проникающей
внутрь помещения через горизонтальное одинарное остекление
при безоблачном небе в июле в зависимости от широты
и времени суток. Стекло простое 4-мм
Географическая широта, град с.ш. | Часы суток до полудня | Сумма за сутки |
2 - 3 | 3 - 4 | 4 - 5 | 5 - 6 | 6 - 7 | 7 - 8 | 8 - 9 | 9 - 10 | 10 - 11 | 11 - 12 |
40 | | | | 12 --- 14 | 69 --- 44 | 180 ----- 55 | 298 ----- 69 | 398 ----- 79 | 473 ----- 86 | 508 ----- 90 | 3876 ------ 874 |
44 | | | | 18 --- 26 | 75 --- 41 | 180 ----- 54 | 298 ----- 65 | 384 ----- 78 | 456 ----- 84 | 490 ----- 85 | 3802 ------ 866 |
48 | | | 1 --- 7 | 25 --- 29 | 86 --- 44 | 184 ----- 52 | 290 ----- 65 | 362 ----- 77 | 436 ----- 82 | 466 ----- 84 | 3700 ------ 880 |
52 | | | 3 --- 10 | 34 --- 29 | 96 --- 44 | 187 ----- 52 | 285 ----- 64 | 358 ----- 72 | 418 ----- 79 | 457 ----- 84 | 3676 ------ 868 |
56 | | | 9 --- 14 | 40 --- 29 | 104 ----- 40 | 188 ----- 51 | 273 ----- 59 | 349 ----- 72 | 397 ----- 74 | 428 ----- 78 | 3576 ------ 834 |
60 | | 1 --- 3 | 17 --- 16 | 56 --- 29 | 112 ----- 40 | 185 ----- 46 | 269 ----- 52 | 328 ----- 63 | 375 ----- 66 | 410 ----- 64 | 3506 ------ 758 |
65 | | 8 --- 11 | 27 --- 21 | 64 --- 29 | 118 ----- 40 | 187 ----- 43 | 261 ----- 47 | 306 ----- 57 | 354 ----- 55 | 383 ----- 55 | 3416 ------ 716 |
68 | 5 --- 11 | 18 --- 22 | 38 --- 26 | 82 --- 32 | 122 ----- 32 | 181 ----- 44 | 205 ----- 46 | 247 ----- 52 | 277 ----- 54 | 360 ----- 54 | 3070 ------ 746 |
| Часы суток после полудня | |
21 - 22 | 20 - 21 | 19 - 20 | 18 - 19 | 17 - 18 | 16 - 17 | 15 - 16 | 14 - 15 | 13 - 14 | 12 - 13 |
Таблица 23
Количество тепла от солнечной радиации
,
проникающей внутрь помещения через горизонтальное
одинарное остекление при безоблачном небе в июле
в зависимости от широты и времени суток.
Стекло с олово-сурьмяным (ОС) покрытием 0,2 - 0,13
Географическая широта, град с.ш. | Часы суток до полудня | Сумма за сутки |
2 - 3 | 3 - 4 | 4 - 5 | 5 - 6 | 6 - 7 | 7 - 8 | 8 - 9 | 9 - 10 | 10 - 11 | 11 - 12 |
40 | | | | 1 --- 3 | 9 --- 6 | 26 --- 7 | 44 --- 10 | 60 --- 12 | 77 --- 14 | 81 --- 14 | 596 ----- 132 |
44 | | | | 2 --- 3 | 9 --- 6 | 24 --- 7 | 44 --- 10 | 53 --- 11 | 68 --- 12 | 78 --- 14 | 556 ----- 126 |
48 | | | | 2 --- 4 | 10 --- 6 | 24 --- 7 | 43 --- 10 | 56 --- 12 | 71 --- 13 | 76 --- 14 | 564 ----- 132 |
52 | | | | 4 --- 5 | 10 --- 4 | 25 --- 7 | 43 --- 10 | 50 --- 10 | 63 --- 12 | 74 --- 14 | 538 ----- 124 |
56 | | | 1 --- 2 | 8 --- 4 | 14 --- 5 | 28 --- 7 | 41 --- 9 | 49 --- 10 | 61 --- 11 | 65 --- 12 | 534 ----- 120 |
60 | | | 1 --- 2 | 5 --- 4 | 12 --- 5 | 25 --- 6 | 40 --- 8 | 47 --- 9 | 53 --- 9 | 63 --- 10 | 492 ----- 106 |
64 | | | 4 --- 3 | 8 --- 4 | 18 --- 5 | 22 --- 6 | 36 --- 6 | 45 --- 8 | 51 --- 8 | 59 --- 9 | 486 ----- 98 |
68 | | 1 --- 3 | 5 --- 3 | 9 --- 4 | 14 --- 5 | 22 --- 6 | 32 --- 6 | 40 --- 7 | 49 --- 8 | 52 --- 8 | 448 ----- 100 |
| Часы суток после полудня | |
| - | 20 - 21 | 19 - 20 | 18 - 19 | 17 - 18 | 16 - 17 | 15 - 16 | 14 - 15 | 13 - 14 | 12 - 13 | |
Таблица 24
Количество тепла от солнечной радиации
,
проникающей внутрь помещения через горизонтальное
одинарное остекление при безоблачном небе в июле
в зависимости от широты и времени суток.
Стекло с олово-сурьмяным (ОС) покрытием 0,6 - 0,52
Географическая широта, град с.ш. | Часы суток до полудня | Сумма за сутки |
2 - 3 | 3 - 4 | 4 - 5 | 5 - 6 | 6 - 7 | 7 - 8 | 8 - 9 | 9 - 10 | 10 - 11 | 11 - 12 |
40 | | | | 8 --- 14 | 42 --- 28 | 111 ----- 35 | 197 ----- 46 | 262 ----- 52 | 319 ----- 58 | 346 ----- 61 | 2570 ------ 588 |
44 | | | | 11 --- 6 | 47 --- 28 | 117 ----- 34 | 201 ----- 44 | 262 ----- 53 | 308 ----- 56 | 333 ----- 58 | 2558 ------ 578 |
48 | | | | 15 --- 19 | 58 --- 28 | 119 ----- 33 | 192 ----- 43 | 242 ----- 52 | 300 ----- 57 | 321 ----- 58 | 2494 ------ 580 |
52 | | | 3 --- 7 | 22 --- 19 | 59 --- 28 | 125 ----- 33 | 192 ----- 43 | 242 ----- 49 | 286 ----- 54 | 315 ----- 68 | 2488 ------ 582 |
56 | | | 6 --- 9 | 29 --- 19 | 57 --- 26 | 120 ----- 32 | 182 ----- 40 | 236 ----- 49 | 274 ----- 51 | 297 ----- 54 | 2402 ------ 560 |
60 | | 1 --- 2 | 11 --- 10 | 33 --- 19 | 69 --- 26 | 120 ----- 29 | 177 ----- 34 | 220 ----- 42 | 254 ----- 45 | 279 ----- 44 | 2328 ------ 502 |
64 | | 5 --- 7 | 16 --- 14 | 39 --- 19 | 73 --- 26 | 122 ----- 28 | 173 ----- 31 | 202 ----- 38 | 243 ----- 38 | 265 ----- 38 | 2276 ------ 470 |
68 | 3 --- 7 | 11 --- 14 | 24 --- 17 | 50 --- 21 | 77 --- 26 | 115 ----- 28 | 162 ----- 30 | 198 ----- 34 | 220 ----- 35 | 240 ----- 36 | 2200 ------ 496 |
| Часы суток после полудня | |
| 21 - 22 | 20 - 21 | 19 - 20 | 18 - 19 | 17 - 18 | 16 - 17 | 15 - 16 | 14 - 15 | 13 - 14 | 12 - 13 | |
Таблица 25
Прямая солнечная радиация, проникающая внутрь помещения
через наклонное остекление с углом наклона
= 50°,
ккал/(м2·ч). Июль. Северная ориентация
Географическая широта, град с.ш. | Тип стекла | Часы суток до полудня | Сумма за сутки |
3 - 4 | 4 - 5 | 5 - 6 | 6 - 7 | 7 - 8 | 8 - 9 | 9 - 10 | 10 - 11 | 11 - 12 |
40 | 2 мм | | | 27 | 104 | 152 | 193 | 198 | 218 | 226 | 2236 |
4 мм | | | 22 | 76 | 121 | 156 | 168 | 185 | 195 | 1846 |
ОС-0.6-0.52 | | | 14 | 46 | 74 | 103 | 110 | 125 | 133 | 1210 |
ОС-0.2-0.13 | | | 3 | 10 | 16 | 21 | 25 | 30 | 31 | 272 |
50 | 2 мм | | 3 | 69 | 126 | 143 | 145 | 134 | 131 | 131 | 1764 |
4 мм | | 3 | 48 | 93 | 110 | 118 | 114 | 112 | 112 | 1420 |
ОС-0.6-0.52 | | 2 | 31 | 60 | 72 | 76 | 76 | 76 | 76 | 938 |
ОС-0.2-0.13 | | | 6 | 11 | 15 | 16 | 17 | 17 | 18 | 200 |
60 | 2 мм | 1 | 40 | 96 | 120 | 109 | 84 | 53 | 34 | 17 | 1108 |
4 мм | 2 | 31 | 75 | 89 | 84 | 68 | 44 | 28 | 14 | 870 |
ОС-0.6-0.52 | 1 | 19 | 44 | 55 | 55 | 44 | 30 | 19 | 10 | 554 |
ОС-0.2-0.13 | | 3 | 7 | 12 | 11 | 10 | 6 | 4 | 2 | 110 |
| Часы суток после полудня | |
| | 20 - 21 | 19 - 20 | 18 - 19 | 17 - 18 | 16 - 17 | 15 - 16 | 14 - 15 | 13 - 14 | 12 - 13 | |
Таблица 26
Прямая солнечная радиация, проникающая внутрь помещения
через наклонное остекление с углом наклона
= 50°,
ккал/(м2·ч). Июль. Южная ориентация
Географическая широта, град с.ш. | Тип стекла | Часы суток до полудня | Сумма за сутки |
6 - 7 | 7 - 8 | 8 - 9 | 9 - 10 | 10 - 11 | 11 - 12 |
40 | 2 мм | 16 | 117 | 261 | 396 | 483 | 525 | 3596 |
4 мм | 12 | 93 | 211 | 336 | 411 | 453 | 3032 |
ОС-0.6-0.52 | 7 | 57 | 140 | 221 | 277 | 308 | 2020 |
ОС-0.2-0.13 | 2 | 12 | 28 | 51 | 67 | 72 | 464 |
50 | 2 мм | 42 | 164 | 313 | 429 | 507 | 576 | 4062 |
4 мм | 31 | 126 | 254 | 364 | 431 | 496 | 3404 |
ОС-0.6-0.52 | 20 | 82 | 164 | 242 | 295 | 335 | 2276 |
ОС-0.2-0.13 | 8 | 17 | 34 | 55 | 64 | 80 | 516 |
60 | 2 мм | 73 | 195 | 349 | 467 | 544 | 623 | 4502 |
4 мм | 54 | 150 | 282 | 385 | 454 | 522 | 3694 |
ОС-0.6-0.52 | 33 | 98 | 185 | 258 | 307 | 355 | 2472 |
ОС-0.2-0.13 | 7 | 20 | 42 | 55 | 70 | 80 | 548 |
| | Часы суток после полудня | |
| | 17 - 18 | 16 - 17 | 15 - 16 | 14 - 15 | 13 - 14 | 12 - 13 | |
Таблица 27
Прямая солнечная радиация, проникающая внутрь помещения
через наклонное остекление с углом наклона
= 50°,
ккал/(м2·ч). Июль. Восточная (западная) ориентация
Географическая широта, град с.ш. | Тип стекла | Часы суток для восточной ориентации | Сумма за сутки |
3 - 4 | 4 - 5 | 5 - 6 | 6 - 7 | 7 - 8 | 8 - 9 | 9 - 10 | 10 - 11 | 11 - 12 | 12 - 13 | 13 - 14 | 14 - 15 |
40 | 2 мм | | | 46 | 261 | 421 | 517 | 548 | 535 | 452 | 317 | 170 | 56 | 3323 |
4 мм | | | 38 | 193 | 335 | 418 | 465 | 455 | 390 | 274 | 144 | 47 | 2759 |
ОС-0.6-0.52 | | | 24 | 116 | 205 | 277 | 306 | 308 | 265 | 186 | 98 | 31 | 1816 |
ОС-0.2-0.13 | | | 6 | 24 | 43 | 55 | 70 | 74 | 62 | 44 | 23 | 7 | 408 |
50 | 2 мм | | 8 | 141 | 328 | 452 | 521 | 532 | 516 | 439 | 292 | 155 | 38 | 3422 |
4 мм | | 6 | 102 | 241 | 348 | 422 | 451 | 438 | 377 | 252 | 131 | 32 | 2800 |
ОС-0.6-0.52 | | 5 | 63 | 155 | 226 | 273 | 300 | 300 | 255 | 170 | 90 | 22 | 1859 |
ОС-0.2-0.13 | | | 12 | 28 | 46 | 55 | 69 | 66 | 61 | 41 | 20 | 5 | 403 |
60 | 2 мм | 2 | 70 | 196 | 379 | 468 | 515 | 518 | 497 | 387 | 262 | 136 | 13 | 3443 |
4 мм | 4 | 54 | 152 | 281 | 360 | 415 | 426 | 415 | 324 | 220 | 114 | 10 | 2775 |
ОС-0.6-0.52 | 2 | 34 | 95 | 173 | 234 | 273 | 286 | 281 | 220 | 149 | 77 | 7 | 1831 |
ОС-0.2-0.13 | | 4 | 15 | 38 | 48 | 62 | 61 | 64 | 49 | 33 | 18 | 2 | 394 |
| | Часы суток для западной ориентации | |
| | 20 - 21 | 19 - 20 | 18 - 19 | 17 - 18 | 16 - 17 | 15 - 16 | 14 - 15 | 13 - 14 | 12 - 13 | 11 - 12 | 10 - 11 | 9 - 10 | |
ПРИМЕР ОПРЕДЕЛЕНИЯ ГОДОВОЙ ЭКОНОМИЧЕСКОЙ ЭФФЕКТИВНОСТИ
СОЛНЦЕЗАЩИТЫ ЗЕНИТНЫХ ФОНАРЕЙ
Требуется оценить два варианта приведенных затрат на устройство естественного освещения производственного корпуса приборостроительного завода в Ереване с зенитными фонарями, не имеющими солнцезащиты и оснащенными солнцезащитными устройствами. Размер светового проема зенитных фонарей 1,2 x 1,4 м. Для устройства светопропускающего заполнения использованы двухслойные купола из органического стекла. Принятое количество зенитных фонарей обеспечивает в рабочей зоне коэффициент естественной освещенности (КЕО), равный 4%. Расчет производился на участке корпуса, имеющего размеры 18 x 72 м, на котором установлено 72 фонаря.
Капитальные затраты на строительно-монтажные работы и санитарно-технические устройства принимают на основании экономических расчетов, составленных по действующим нормативным документам для 10-го территориального района.
Капитальные затраты на устройство зенитных фонарей с солнцезащитными устройствами - Kic и без них - Kia составляют на выполнение зенитных фонарей Kсв и Kсв1 = 9,47 руб/м2, солнцезащитных устройств - Kсз = 6,32 руб/м2 вентиляционного оборудования, потребного для удаления теплопоступлений от проникающей через зенитные фонари без солнцезащиты инсоляции - Kст = 2,98 руб/м2 и с солнцезащитными устройствами - Kст1 = 0,68 руб/м2; размещение вентиляционного оборудования на производственных площадках: Kоб = 12,8 руб/м2, Kоб1 = 3,84 руб/м2. В расчетах не учитывались капитальные затраты на отопительное оборудование, так как применялись регулируемые солнцезащитные устройства.
Итого, капитальные затраты по устройству естественного освещения приборостроительного завода с помощью зенитных фонарей без солнцезащиты составляют:
Kia = Kсв + Kст + Kоб = 9,47 + 2,98 + 12,80 = 25,25 руб/м2.
Капитальные затраты по устройству естественного освещения с помощью зенитных фонарей, имеющих солнцезащитные устройства, составляют:
Kic = Kсв +Kсз + Kст + Kоб =
= 9,47 + 6,32 + 0,68 + 3,84 = 20,31 руб/м2.
Эксплуатационные затраты включают годовые расходы на эксплуатацию светопрозрачных ограждений без солнцезащиты Mia и с солнцезащитными устройствами Mic. В их число входят расходы на электроэнергию, потребную для работы вентиляционных агрегатов при освещении помещений зенитными фонарями без солнцезащиты: Mэн = 1,02 руб/м2 и с солнцезащитными устройствами - Mэн1 = 0,24 руб/м2, текущий ремонт и амортизационные отчисления на светопрозрачные ограждения: Mсв и Mсв1 = 0,12 руб/м2, солнцезащитные устройства: Mсз = 0,1 руб/м2, вентиляционных агрегатов: Mст = 0,4 руб/м2; Mст1 = 0,08 руб/м2, помещений вентиляционных агрегатов: Mоб = 0,66 руб/м2; Mоб1 = 0,2 руб/м2.
Применение солнцезащитных устройств в зенитных фонарях приборостроительного завода способствует повышению производительности труда на 2% и уменьшению количества брака на 1%. При себестоимости выпускаемой продукции завода, составляющей 3 млн. руб/год, повышении заработной платы за счет снижения себестоимости продукции на 1% и стоимости бракованной продукции 0,2 млн. руб/год экономический эффект составляет: Mпр = 3,2 руб/м2.
Итого, эксплуатационные затраты на естественное освещение приборостроительного завода, осуществляемое зенитными фонарями без солнцезащитных устройств составляют:
Mia = Mэ.н + Mсв + Mст + Mоб + Mпр =
= 1,02 + 0,12 + 0,4 + 0,66 + 3,20 = 5,40 руб/м2.
Эксплуатационные затраты на естественное освещение приборостроительного завода с учетом солнцезащитных устройств зенитных фонарей составляют:
Mic = Mэ.н1 + Mсв1 + Mс.з + Mст1 + Mоб =
= 0,24 + 0,12 + 0,1 + 0,08 + 0,2 = 0,74 руб/м2.
Приведенные годовые затраты на устройство естественного освещения приборостроительного завода в г. Ереване с помощью зенитных фонарей без солнцезащиты:
Пia = EнKia + Mia = 0,12·25,25 + 5,4 = 8,33 руб/м2.
Приведенные годовые затраты на устройство естественного освещения завода при освещении помещений зенитными фонарями с солнцезащитными устройствами составляют:
Пic = EнKic + Mic = 0,12·20,31 + 0,74 = 3,18 руб/м2.
Годовая экономическая эффективность по приведенным затратам при устройстве естественного освещения с помощью солнцезащитных зенитных фонарей на приборостроительном заводе в Ереване, имеющем производственную площадь 37 тыс. м2, составляет:
Пi = (Пia - Пic)S = (8,33 - 3,18)37000 =
= 5,15·37000 = 190000 руб.
1. Аронин А.В. Климат и архитектура. М., Стройиздат, 1959.
2. Гликин С.М., Скроб Л.Л., Бондаренко Г.П. Применение цветного профильного стекла в промышленной архитектуре. - Архитектура СССР, 1975, N 6.
3. Гусев Н.М., Климов Н.Н. - Строительная физика. М., Стройиздат, 1965.
4. Гусев Н.М., Киреев И.Н. Освещение промышленных зданий. М., Стройиздат. 1968.
5. Гусев Н.М., Оболенский Н.В., Никольская Н.П. Солнечная радиация и ее учет в современном строительстве. Труды НИИСФ, вып. 5, 1972.
6. Дроздов В.А. Фонари и окна промышленных зданий. М., 1972.
7. Дунаев Б.А. Контрольно-инсоляционный планшет для расчета инсоляции. - В сб.: Естественное освещение и инсоляция зданий. М., 1968.
8. Ершов А.В. Принципы солнцезащиты зданий в Средней Азии. М., Стройиздат, 1974.
9. Макаревич В.Г. Простейшие графические приемы расчета продолжительности инсоляции и солнцезащиты. МАрхИ, 1971.
10. Оболенский Н.В. Проектирование и расчет солнцезащитных средств. - Архитектура СССР, 1964, N 12.
11. Оболенский Н.В. Светотехнические характеристики солнцезащитных устройств. - В сб.: Естественное освещение и инсоляция зданий. М., 1968.
12. Оболенский Н.В. О комплексе критериев оценки солнцезащитных устройств. Научные труды НИИСФ. Вып. 7. Строительная светотехника. М., 1974.
13. Оболенский Н.В., Бутовский И.Н., Александров Ю.П., Скроб Л.А. Солнцезащитные средства промышленных зданий, ЦИНИС, 1976.
14. Оболенский Н.В., Пануров А.И., Токарев В.В., Могутов В.А. Оценка функциональной эффективности солнцезащитных устройств. Труды НИИСФ, вып. 20 (XXXIV). Строительная светотехника. М., 1978.
15. Роджерс Т.С. Проектирование теплозащиты зданий. Пер. с англ. Янкелева Л.Ф., М., 1966.
16. Скроб Л.А. Борьба с инсоляцией при зенитном естественном освещении. Научные труды ЦНИИНЗ, 1973, вып. 24.
17. Скроб Л.А. Новые солнцезащитные светонепроницаемые конструкции для промышленного строительства. Реферативный сборник "Общие вопросы строительства (отечественный опыт)", М., ЦИНИС, 1974, вып. 11.
18. Соловьев С.П. и др. Специальные строительные стекла. М., Стройиздат., 1971.
19. Суханов И.С. Лучистая энергия солнца и архитектура. Ташкент, Изд-во ФАН, 1973.
20. Тваровский М. Солнце в архитектуре. М., 1977.
21. Уманский Н.Г. Солнцезащитные устройства в зданиях. Госстройиздат, М., 1962.
22. Янкелев Л.Ф., Круглова А.И., Гулабянц Л.А. Расчет тепловых поступлений через окна с теплопоглощающим остеклением. - Водоснабжение и санитарная техника. 1966, N 7.