Главная // Актуальные документы // РуководствоСПРАВКА
Источник публикации
М., "Недра", 1976
Примечание к документу
Документ фактически утратил силу с 01.01.2018 в связи с принятием Федерального
закона от 30.12.2015 N 431-ФЗ, признавшего утратившими силу нормативные акты органов государственной власти СССР, РСФСР и Российской Федерации, регулирующие отношения в сфере геодезии и картографии и принятые до дня вступления в силу указанного Федерального закона.
Название документа
"ГКИНП-38. Руководство по топографическим съемкам в масштабах 1:5000, 1:2000, 1:1000 и 1:500. Высотные сети"
(утв. ГУГК СССР)
"ГКИНП-38. Руководство по топографическим съемкам в масштабах 1:5000, 1:2000, 1:1000 и 1:500. Высотные сети"
(утв. ГУГК СССР)
Главным управлением
геодезии и картографии
при Совете Министров СССР
РУКОВОДСТВО
ПО ТОПОГРАФИЧЕСКИМ СЪЕМКАМ В МАСШТАБАХ
1:5000, 1:2000, 1:1000 И 1:500.
ВЫСОТНЫЕ СЕТИ
Рекомендовано Главным управлением геодезии и картографии при Совете Министров СССР для всех ведомств и учреждений СССР.
В руководстве изложены основные требования к нивелирным сетям, описаны современные инструменты, способы их поверок и исследований, методы нивелирования, которые рекомендуется применять при создании высотных сетей при топографических съемках в масштабах 1:5000, 1:2000, 1:1000 и 1:500.
В отдельных главах рассмотрены инструменты и возможности создания высотных сетей методом тригонометрического нивелирования, а также некоторые вопросы уравнивания нивелирных сетей.
Руководство предназначено для предприятий и организаций всех ведомств, занимающихся топографической съемкой.
В Руководстве по топографической съемке в масштабах 1:5000, 1:2000, 1:1000 и 1:500 освещен весь комплекс топографо-геодезических работ, начиная с создания планово-высотного обоснования до составления оригиналов. Описаны наиболее распространенные современные инструменты, приборы и приспособления, которые применяются при создании крупномасштабных планов.
Методы работы изложены с обоснованием необходимой точности и разъяснением требований существующих инструкций.
Руководство состоит из пяти частей и выпускается следующими отдельными книгами:
Основные положения. Плановые сети. Инструменты.
Полевые работы.
Камеральные работы.
Высотные сети.
Наземные съемки.
Съемка и составление планов подземных коммуникаций. Фототеодолитная съемка.
Руководство рекомендуется в качестве практического пособия для широкого круга специалистов, занимающихся полевыми и камеральными работами по созданию топографических планов, оно также может использоваться изыскателями, проектировщиками инженерных сооружений, научными работниками, преподавателями, студентами, учащимися и слушателями разных учебных заведений.
Все возрастающий размах топографических съемок в масштабах 1:5000, 1:2000, 1:1000 и 1:500 обусловливает ежегодное увеличение объема нивелирных работ разных классов. В связи с этим повышение производительности труда и качества работ при создании высотных сетей имеют большое значение.
В руководстве даны описания нивелиров и реек, их исследования и поверки, особенности закрепления нивелирных линий. Рассмотрены особенности нивелирных работ в различных условиях.
В отдельных главах рассмотрены возможности создания высотных сетей методом тригонометрического нивелирования, а также вопросы уравнивания нивелирных сетей.
ОСНОВНЫЕ ПОЛОЖЕНИЯ
1.1. НИВЕЛИРНЫЕ СЕТИ ПРИ ТОПОГРАФИЧЕСКИХ
СЪЕМКАХ МАСШТАБОВ 1:5000 И КРУПНЕЕ
Высотные сети при топографических съемках масштабов 1:5000, 1:2000, 1:1000 и 1:500 создаются для сгущения существующих сетей государственного нивелирования I, II, III и IV классов. При создании высотной сети имеют в виду не только обеспечение точными высотами крупномасштабных съемок, но и другие виды работ, которые будут производиться после окончания съемок.
Плотность и точность высотных сетей зависит от высоты сечения рельефа, от необходимости обеспечения последующих инженерно-геодезических, маркшейдерских, мелиоративных, землеустроительных и других работ, а также от масштаба съемки.
Сгущение высотных сетей, как правило, производят от общего к частному: сначала прокладывают нивелирные линии высших классов, а затем ходы технического и тригонометрического нивелирования.
Нивелирные сети развиваются в соответствии с требованиями действующей "Инструкции по нивелированию I, II, III и IV классов". Высоты вычисляются в Балтийской системе высот.
Средние погрешности высот пунктов высотного съемочного обоснования относительно ближайших пунктов высотной геодезической сети или принятых исходных пунктов не должны превышать при сечениях рельефа через 0,5 и более метров 1/10 высоты сечения рельефа, при сечении рельефа через 0,25 м - 1/5.
Высота сечения 0,25 м допускается только при съемках асфальтированных и спланированных территорий, т.е. предварительно подготовленных для нивелирования. Участок съемки должен быть очищен от камней, пней, кустарников и т.п. предметов, мешающих точному определению высот.
В настоящее время в большинстве районов страны создана сплошная сеть государственного нивелирования I, II, III и IV классов. На европейской части территории СССР периметры полигонов нивелирования I и II классов в среднем соответственно равны 2800 и 600 км. В районах Сибири и Дальнего Востока периметры полигонов II класса несколько больше. Внутри полигонов II класса, как правило, проложены нивелирные линии III класса, которые образуют 4 - 9 полигонов.
Периметры полигонов нивелирования III класса в основном не превышают 150 км. В горных районах нивелирные линии III класса проложены только по удобным трассам, по долинам между горами. В северных и северо-восточных районах нашей страны периметры полигонов достигают 300 км.
При топографических съемках крупных масштабов линии нивелирования III и IV классов прокладываются с таким расчетом, чтобы они обеспечивали требуемую точность обоснования этих съемок.
Создание высотной основы при крупномасштабных съемках, как правило, приходится выполнять только нивелированием III и IV классов и техническим нивелированием, которые будут рассмотрены в настоящем руководстве.
Нивелирные линии III класса прокладывают в прямом и обратном направлениях способом средней нити или способом совмещения с точностью, обеспечивающей получение невязок в ходах или полигонах, не превышающих по абсолютной величине

где L - периметр полигона или длина хода в км.
Для сгущения нивелирных сетей III класса и непосредственного обеспечения топографических съемок между пунктами высшего класса прокладываются как отдельные линии, так и системы, образующие полигоны IV класса.
Длина линий нивелирования IV класса не должна превышать 50 км. Нивелирование IV класса производится односторонними ходами с точностью, обеспечивающей получение невязок ходов и полигонов, не превышающих по абсолютной величине

где L - длина хода или периметр полигона в км.
Если нивелирные сети создаются на промышленной, строительной площадке или при съемке города, то допускается проложение линий нивелирования по особым программам, но с обязательной привязкой этих сетей к государственной нивелирной сети. Требования к этим сетям перечислены в
п. 1.2.
Для определения высот пунктов съемочного обоснования, а также для определения высот пунктов геодезических сетей сгущения при топографических съемках масштабов 1:5000, 1:2000, 1:1000 и 1:500 развивают сеть технического нивелирования. Эта сеть должна опираться, как правило, не менее чем на три знака высшего класса. В сети технического нивелирования должны по возможности включаться все пункты плановых сетей сгущения. Если плановое сгущение развивается методом полигонометрии, то ходы технического нивелирования совмещают с ходами полигонометрии. Ходы прокладываются в одном направлении. В исключительных случаях разрешается прокладывать висячие ходы, опирающиеся всего на одну точку. В этом случае ходы технического нивелирования прокладываются в прямом и обратном направлениях.
Невязки ходов и полигонов технического нивелирования не должны превышать по абсолютной величине

где L - длина хода или периметр полигона в км. На линиях со значительными уклонами, когда число станций на 1 км хода больше 25, предельную невязку можно подсчитывать по формуле

где n - число штативов в ходе или полигоне.
В зависимости от масштаба фотографирования, высоты сечения и характера рельефа длины ходов технического нивелирования между знаками высших классов, а также между узловыми точками могут быть различны (табл. 1).
Таблица 1
┌─────────────────────────────────────┬───────────────────────────────────┐
│ Линия технического нивелирования │ Длины линий технического │
│ проложена между: │ нивелирования в км при сечении │
│ │ рельефа через │
│ ├───────────┬───────────┬───────────┤
│ │ 0,25 м │ 0,5 м │1 м и более│
├─────────────────────────────────────┼───────────┼───────────┼───────────┤
│Двумя пунктами высшего класса │4,0 │8,0 │16 │
│Пунктом высшего класса и узловой │3,0 │6,0 │12 │
│точкой │ │ │ │
│Двумя узловыми точками │2,0 │4,0 │8 │
│Висячий ход │1,0 │2,0 │4 │
└─────────────────────────────────────┴───────────┴───────────┴───────────┘
Во время проложения нивелирных ходов при топографических съемках определяют дополнительно высоты всех характерных точек местности, достаточно устойчивых по высоте, например: высоты крышек колодцев, край сруба у колодцев, высоты головок рельсов на переездах или около станций, высоты пикетных столбов вдоль шоссейных и железных дорог, высоты крупных валунов и других местных предметов.
Высоты этих точек определяют как промежуточные, включая их в ход. На эти точки должны быть составлены кроки не менее чем с тремя промерами от ближайших ориентиров. Особенно тщательно определяют урезы воды в реках и озерах. В журнале при привязках к урезам воды указывают точное время суток, число и месяц проведения работ.
Если площади топографических съемок масштабов 1:5000 и 1:2000 соответственно меньше 20 и 10 кв. км, то создание высотного съемочного обоснования допускается только методом технического нивелирования.
При топографических съемках с сечением рельефа через 2 или 5 м, а в отдельных случаях и через 1,0 м, в качестве высотного съемочного обоснования могут использоваться знаки, высоты которых определены из тригонометрического нивелирования.
Невязки полигонов и расхождения превышений по отдельным линиям тригонометрического нивелирования при создании высотного съемочного обоснования не должны превышать

где L - периметр полигона или расстояние между твердыми пунктами в км.
Все линии государственного нивелирования I, II, III и IV классов закреплены на местности не реже чем через 5 км постоянными грунтовыми, скальными и стенными знаками. При топографической съемке на линиях нивелирования через 1 - 2 км закладываются дополнительно постоянные и временные знаки. Временными знаками могут служить деревянные столбы, пни ранее срубленных деревьев, выступы на больших камнях и другие местные предметы.
При съемках в масштабе 1:5000 густота пунктов нивелирования должна быть 1 репер на 10 - 15 кв. км, а в масштабе 1:2000 и крупнее - 1 репер на 5 - 7 кв. км. В районах мелиоративного строительства 1 репер должен приходиться на 2 - 4 кв. км снимаемой территории.
Если линия государственного нивелирования проходит через населенный пункт, то в нем обязательно закладывают нивелирные знаки. В населенных пунктах протяженностью более 0,5 км закладывают не менее двух реперов, в городах и поселках городского типа - не менее трех знаков. Знаки не закладываются, если в нивелирную линию можно включить такое же количество существующих надежных стенных и грунтовых знаков. В крупных городах количество знаков, которые должны быть включены в ход, и их размещение устанавливают в каждом случае отдельно, с учетом потребностей города.
На каждом снимаемом объекте независимо от размеров участка и масштаба съемки должно находиться не менее двух постоянных нивелирных знаков. При съемках в масштабе 1:2000 под закрытый дренаж на каждом 1 кв. км съемки должно находиться не менее четырех временных знаков (с учетом постоянных).
При съемке рек нивелирные знаки устанавливают через каждые 3 км. Знаки на местности закладываются с учетом не только их хорошей сохранности и устойчивости, но и удобства использования их при топографо-геодезических, изыскательских и строительных работах.
При выполнении топографических съемок в районах разведки месторождений полезных ископаемых необходимо тригонометрическим нивелированием или техническим нивелированием определять высоты устоев скважин, шурфов, штолен, а также других горных выработок.
При создании высотных сетей на районы, снимаемые стерео-топографическим методом, расстояния между рядами высотных опознаков и между опознаками в рядах должны удовлетворять требованиям, указанным в табл. 2. Нивелирные ходы должны прокладываться параллельно рамкам трапеций.
Таблица 2
┌───────────────────────────┬─────────────────────────────────────────────┐
│ Сечение рельефа, м │ Расстояние, км │
│ ├──────────────────────┬──────────────────────┤
│ │между рядами высотных │ в рядах между │
│ │ опознаков │ высотными опознаками │
├───────────────────────────┼──────────────────────┼──────────────────────┤
│ │ Масштаб 1:5000 │ │
│ │ │ │
│0,5 │2,0 - 2,5 │0,8 │
│1,0 │3,0 - 3,5 │1,3 - 1,5 │
│ │ │ │
│ │ Масштаб 1:2000 │ │
│ │ │ │
│0,5 - 1,0 │2,0 - 2,5 │1,0 │
└───────────────────────────┴──────────────────────┴──────────────────────┘
При создании топографических планов масштаба 1:2000 с сечением рельефа через 0,25 м или при создании цифровых рельефных карт высотные точки определяют одним из следующих вариантов: нивелированием площади по квадратам, стороны которых должны быть равны 20 или 40 м; набором пикетов горизонтальным лучом через 20 м; проложением ходов технического нивелирования вдоль межмаршрутных перекрытий, расстояние между ходами 400 - 450 м.
1.2. ПОСТРОЕНИЕ И РАЗВИТИЕ НИВЕЛИРНЫХ СЕТЕЙ В ГОРОДАХ,
ПОСЕЛКАХ И ПРИ ПРОМЫШЛЕННОМ СТРОИТЕЛЬСТВЕ
Нивелирные сети, создаваемые в городах, поселках и при промышленном строительстве, так же как и при государственном нивелировании, делятся на четыре класса - I, II, III и IV. Требования к методике наблюдений на станции, к инструментам и допускам те же, что и при государственном нивелировании соответствующих классов. Отличие состоит только в допустимых длинах ходов и в частоте закреплений нивелирных линий знаками.
Нивелирная сеть города должна обеспечивать все потребности городского хозяйства и строительства в высотах. Превышения между наиболее удаленными друг от друга точками нивелирной сети должны определяться с погрешностями не более +/- 2 - 3 см.
В Москве, Ленинграде и в ряде других больших городов СССР, площади которых значительно больше 500 кв. км, созданы нивелирные сети I класса.
Схемы построения сетей различны: это или система полигонов, или система ходов в зависимости от очертания городских территорий.
В городах с площадью 50 - 500 кв. км создаются сети или прокладываются системы линий нивелирования II класса, а затем - линии III и IV классов.
Нивелирные линии II класса должны покрывать всю территорию города, как застроенную, так и незастроенную. Расстояния между узловыми точками и линиями в сети II класса не должны превышать 15 км на застроенной и 20 км на незастроенной территории, а периметры полигонов соответственно - 50 и 80 км. Нивелирные знаки на линиях II класса закладывают не реже чем через 2 км на застроенных и 3 км на незастроенных территориях. Предпочтение отдают стенным знакам. Стенные знаки закладывают в прочные каменные, бетонные и железобетонные здания и сооружения, построенные не меньше чем за три года до закладки нивелирного знака.
В небольших городах площадью от 25 до 50 кв. км создается нивелирная сеть III класса, а площадью меньше 25 кв. км - только нивелирная сеть IV класса. При съемке территории площадью от 1,0 до 2,5 кв. км высотная сеть строится в виде системы ходов технического нивелирования, опирающихся на реперы нивелирования IV и высших классов.
Длины основных линий нивелирования III класса не должны превышать 10 км между узловыми точками на застроенных и 15 км на незастроенных территориях.
Внутри нивелирных полигонов II и III классов прокладываются линии сгущения III класса. Эти линии должны образовывать полигоны с периметром около 15 км на застроенной части города и 25 км - на незастроенной территории.
Основные линии III класса прокладываются в прямом и обратном направлениях.
Линии сгущения нивелирования III класса прокладываются только в одном направлении. Все остальные допуски государственного нивелирования должны соблюдаться.
Линии нивелирования III класса, как правило, прокладываются параллельно друг другу и должны быть связаны между собой ходами не реже чем через 5 км на застроенных и 8 км - на незастроенных территориях. Расположение основных линий и линий сгущения нивелирования III класса показано на
рис. 1.
Нивелирные знаки на линиях III и IV классов закладываются на улицах и проездах центральной части населенного пункта не реже чем через 200 - 300 м, на окраинах и в слабо застроенной части города расстояние между знаками можно увеличивать до 800 м; на незастроенной территории знаки закладываются через 0,5 - 2,0 км. В качестве нивелирных знаков в основном применяют стенные реперы.
Длины нивелирных линий IV класса не должны превышать между пунктами высших классов 2 км на застроенных и 4 км на незастроенных территориях, а между узловыми точками - соответственно 1 и 2 км.
Масштаб 1:100000
Рис. 1. Схема построения нивелирной сети города
Периметры полигонов в таких сетях не должны превышать 8 км на застроенной и 12 км на незастроенной территории объекта.
Определение высот пунктов съемочного обоснования производят техническим или тригонометрическим нивелированием. Допуски и требования к нивелированию те же, что и при государственном нивелировании.
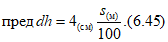
Предельная невязка хода технического нивелирования не должна превышать:

мм или

мм, где L - длина хода или периметр полигона в километрах, n - число станций в ходе или полигоне.
Последняя формула применяется в том случае, когда число станций на 1 км хода больше 25.
Предельная невязка тригонометрического нивелирования вычисляется по формуле
где s - средняя длина линии в сотнях метров, s = [s ] / n;
i
n - число линий в ходе или полигоне.
Нивелирные сети городов и промышленных объектов должны быть обязательно привязаны к государственной нивелирной сети. Для этого в местную сеть необходимо включить не менее двух знаков, имеющих высоты из государственного нивелирования. Если же в районе работ нет знаков государственного нивелирования, то для получения исходных данных прокладывают специальный нивелирный ход, который связывает местную сеть с государственной нивелирной сетью. Выбор исходного репера должен быть согласован с территориальной инспекцией Госгеонадзора ГУГК.
Если высоты знаков государственного нивелирования, принятые за исходные для городской нивелирной сети, вследствие нового уравнивания после повторных измерений или после привязки к государственной нивелирной сети получили другие значения высот, то начало счета высот в городе не изменяют, но составляют дополнительный каталог, в котором приводят новые высоты знаков сети города старших классов. Изменение высот исходных знаков вызывает путаницу, так как не всегда известно, в какой системе дана высота той или иной точки земной поверхности.
Изменение системы высот может быть произведено только по согласованию с органами Государственного геодезического надзора.
При реконструкции нивелирной сети города, например, если в населенном пункте была сеть только III класса, а создается новая нивелирная сеть II класса, начало счета высот также не меняют и используют старые исходные реперы. Подобным образом поступают, если проложено много новых нивелирных линий. Поэтому необходимо уделять особое внимание выбору знаков, которые принимаются за исходные, и следить за их сохранностью. Исходные знаки должны находиться в крупных устойчивых зданиях и сооружениях, сохранность которых гарантируется на многие годы. Могут использоваться в качестве исходных и фундаментальные реперы государственного нивелирования, но необходимо, чтобы была обеспечена их сохранность во времени. Места закладки таких знаков выбирают совместно с Главным архитектором города.
При развитии в городах нивелирных сетей старшего класса необходимо, чтобы не менее чем одна линия проходила через те районы города, где имеются фундаментальные здания из кирпича или железобетона (в целях обеспечения длительной сохранности нивелирных знаков).
При выполнении съемочных работ в районах крупных городов, ГЭС и других крупных уникальных сооружений, расположенных в зонах с сейсмичностью 7 - 9 баллов, желательно одновременно с созданием сети высотного съемочного обоснования создавать нивелирные сети для микросейсморайонирования, для выявления современных вертикальных движений земной коры и действующих разломов. Список городов и районов, где эти работы желательно совмещать, указан в СНиП II-A.12-69.
Высотная сеть города или промышленного объекта в этом случае должна состоять как минимум из четырех полигонов нивелирования II класса с периметрами до 15 км. Невязки этих полигонов не должны превышать

где L - периметр полигона или длина секции в км.
Нивелирование в районах существующих и строящихся ГЭС выполняется по программе нивелирования I класса. Невязки полигонов или отдельных линий не должны быть более

На всех нивелирных линиях знаки закладываются не реже чем через 1 км, вблизи предполагаемых разломов земной коры - чаще (через 200 - 300 м). На каждой стороне разлома должно быть не менее двух знаков. При создании высотных сетей в районах, где выполняется микросейсморайонирование, следует руководствоваться "Инструкцией по сейсмическому микрорайонированию".
1.3. РАСЧЕТ ОЖИДАЕМЫХ ПОГРЕШНОСТЕЙ
ВЫСОТ РЕПЕРОВ СЪЕМОЧНОЙ СЕТИ
После составления проекта создания высотного обоснования топографической съемки необходимо найти и сравнить ожидаемые средние квадратические погрешности с допустимыми наиболее удаленных точек сети от исходных. Случайные средние квадратические погрешности точек можно найти разными способами. Рассмотрим два самых простых способа.
Первый способ следует применять, когда в районе работ имеется густая сеть государственного нивелирования II, III и IV классов, второй, когда в районе работ имеется всего 1 - 2 знака государственного нивелирования или вся высотная основа съемки создается заново от одного репера, принятого за исходный.
Рис. 2. Вычисление случайных погрешностей
узловых точек нивелирной сети III и IV классов
и технического нивелирования
В первом случае погрешности узловых точек вновь создаваемой сети проще всего найти по способу последовательных приближений. Сначала находят погрешности узловых точек, образованных новыми линиями нивелирования старшего класса, а затем - линиями младших классов
(рис. 2) по формулам:
где M , m - средние квадратические погрешности узловых и исходных
i исх
точек; p - вес узловой точки; p' - вес узловой точки из отдельных линий;
i i
m' - случайная средняя квадратическая погрешность отдельного нивелирного
i
хода с учетом погрешностей исходных реперов.
Рис. 3. Вычисление длин эквивалентных линий
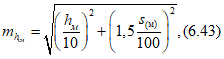
При расчетах значения средних квадратических погрешностей исходных точек принимают равными +/- 30 мм, значения средних квадратических погрешностей на 1 км хода соответственно при нивелировании III, IV классов и технического нивелирования - +/- 5, +/- 10 и +/- 25 мм/км.
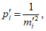
В случае, если сгущение производится проложением отдельных линий между пунктами старшего класса, погрешность любой точки находят по формуле:
где -

- случайная средняя квадратическая погрешность на 1 км хода;
k - наименьшее расстояние от определяемой точки до одной из исходных в км; L - длина нивелирного хода в км.
При k = L / 2 формула принимает вид:
Вычисленные погрешности узловых точек M , не должны превышать 62,5 мм
i
при сечении рельефа через 0,25 и 0,5 м и 125, 250 и 625 мм соответственно
при сечении рельефа 1, 2 и 5 м.
Во втором случае, когда в районе работ предстоит строить сплошную
сеть, погрешность проще находить способом эквивалентной замены. Такая сеть
может состоять из нескольких полигонов одного или нескольких классов
(рис. 3). В сети, состоящей из четырех полигонов, длина эквивалентного хода
L равна 1,5 l, где l - длина хода между соседними узловыми точками. В
экв
сети из 9 полигонов длина эквивалентного хода равна 1,86 l и в сети из 25
полигонов - 2,39 l. Пользуясь этими данными, можно легко найти, каким
должно быть среднее расстояние в сети между узловыми точками, и установить,
удовлетворяет ли сеть требованиям топографических съемок.
Для нахождения погрешности M в этом случае пользуются формулой:
i
На рис. 4 показана сеть, созданная на объекте площадью около 1000 кв. км с сечением рельефа через 1 м. По границам участка съемки по рамкам трапеции масштаба 1:100000 достаточно проложить линии нивелирования III класса. Внутри полигона нивелирования III класса прокладываются линии нивелирования IV класса и технического нивелирования.
Рис. 4. Схема нивелирной сети на объекте
площадью около 1000 кв. км
ПРОЕКТИРОВАНИЕ, РЕКОГНОСЦИРОВКА И ЗАКРЕПЛЕНИЕ
НИВЕЛИРНЫХ СЕТЕЙ
2.1. ПРОЕКТИРОВАНИЕ И РЕКОГНОСЦИРОВКА НИВЕЛИРНЫХ СЕТЕЙ
Технический проект для выполнения крупномасштабной съемки составляется в соответствии с "Инструкцией о порядке составления технических проектов и смет на производство общегосударственных топографо-геодезических работ" издания 1967 г.
Технический проект является тем исходным документом, где устанавливается назначение работ, определяются технические условия, технология, качество выполнения работ, разрабатываются организационно-технические мероприятия по технике безопасности и охране труда, рассчитываются материальные и трудовые ресурсы.
Технический проект на производство работ по развитию нивелирных сетей на объекте съемки должен входить составной частью в общий проект по созданию плановых и высотных сетей, съемочного обоснования и съемочных работ на этом объекте.
Так как при развитии геодезического и съемочного обоснования все плановые пункты должны иметь высотные отметки, то вначале следует проектировать плановые сети, а затем высотные с таким расчетом, чтобы по возможности все плановые пункты были включены в высотную сеть. При развитии плановых сетей методом полигонометрии следует линии нивелирования совмещать с ходами полигонометрии.
Работа по составлению проекта нивелирных сетей выполняется в такой последовательности:
I. Сбор, изучение и систематизация сведений и материалов о ранее выполненных нивелирных работах.
II. Полевое обследование района работ.
III. Составление проекта.
IV. Рекогносцировка запроектированных линий нивелирования.
I. Проектированию высотных геодезических сетей должны предшествовать сбор и анализ сведений и материалов относящихся ко всем ранее выполненным работам по развитию высотной основы на объекте съемки. Эти данные получают в территориальных инспекциях Государственного геодезического надзора или организациях, производивших нивелирные работы.
Сведения о городских нивелирных сетях получают в геодезической службе Управления городского архитектора.
В число указанных сведений должны входить: название и класс линий, год исполнения, название организации, выполнившей нивелирование, схемы линий, карты наиболее крупного масштаба с нанесенным на них расположением реперов (или выкопировки с этих карт), описание местоположения и кроки реперов, типы реперов с указанием глубины их закладки, тип наружного оформления и др.
Район предстоящих работ должен быть изучен по картам наиболее крупного масштаба, по аэроснимкам, а также по литературным и другим источникам. Предметом изучения должны быть физико-географические особенности района работ, условия транспорта, связи, населенность и т.д.
II. При недостаточности этих сведений должно быть проведено специальное обследование района работ, в задачу которого следует включать также изучение особенностей городских и промышленных территорий, входящих в объект съемки и имеющих значение для топосъемочных работ (характер планировки городов, типов зданий и сооружений и т.д.), поиск реперов на ранее проложенных линиях нивелирования и т.д. Указанное обследование должно отвечать также задачам построения плановых сетей.
III. Проектирование линий нивелирования II, III и IV классов выполняют на картах масштабов 1:10000 - 1:25000 и крупнее, на которые предварительно наносят пункты ранее проложенных плановых и высотных сетей, а также пункты вновь запроектированных плановых сетей.
При проектировании линий нивелирования на внегородских территориях должна быть предусмотрена закладка между постоянными знаками временных реперов через 1,0 - 1,5 км, предназначаемых для использования их в качестве высотных точек при съемочных работах.
Независимо от границ съемочного участка, линии нивелирования III класса проектируют, как правило, в пределах полигона II класса, а линии нивелирования IV класса - в пределах полигона III класса.
Развитие нивелирных сетей на территориях городов, поселков и промышленного строительства выполняют в соответствии с
п. 1.2 настоящего руководства.
При примыкании вновь проектируемых линий III и IV классов и технического нивелирования к существующим необходимо руководствоваться следующим:
1. Каждый из концов проектируемой линии должен быть привязан к пункту ранее проложенной высотной сети того же или более высокого класса.
2. При пересечении проектируемой линии с существующей линией нивелирования должна быть обеспечена высотная связь между обеими линиями.
3. Связь проектируемых линий III и IV классов с существующими линиями I, II, III и IV классов выполняют путем включения одного репера существующей линии. Привязка линий III и IV классов к фундаментальным реперам не разрешается (с указанной целью могут быть использованы контрольные реперы - "спутники").
4. Все реперы (грунтовые и стенные) существующих нивелирных линий, расположенные вдоль проектируемой линии, включаются в нее или привязываются к ней, если они расположены в стороне от линии в пределах 3 км.
При проектировании линий нивелирования II, III и IV классов и технического нивелирования необходимо предъявлять к расположению трасс по этим линиям следующие требования:
а) трассы должны располагаться по возможности на участках местности с небольшими уклонами; они не должны пересекать оврагов, рек и других препятствий шириной более 200 м, в исключительных случаях - более 400 м. При наличии более широких водных препятствий следует использовать для передачи высот острова и мели, а также такое время года, когда уровень воды в реках минимальный;
б) следует по возможности избегать выбора трасс, пересекающих болота, торфяники и другие участки с неустойчивыми грунтами; при неизбежности такого выбора необходимо предусматривать наиболее благоприятное время для нивелирования (зимой - по мерзлому грунту, в конце лета, когда грунт подсыхает и т.д.);
в) лучшими трассами для нивелирования являются грунтовые, шоссейные, проселочные дороги, тропы и т.п. с устойчивыми сухими грунтами;
г) в залесенной местности трассы нивелирования следует проектировать с таким расчетом, чтобы при нивелировании не возникала необходимость в порубках;
д) на территориях городов нивелирные трассы следует намечать вдоль улиц с относительно небольшим движением транспорта и пешеходов.
В результате разработки проекта сетей нивелирования должны быть представлены следующие данные для использования их при составлении общего технического проекта на производства геодезических и съемочных работ на объекте:
1. Сведения о ранее исполненных на территории объекта работах по созданию высотной геодезической основы с указанием количества и класса линий, количества и типов заложенных реперов.
2. Краткие обоснования схемы построения вновь запроектированных высотных сетей с указанием их классов, протяженности линий, количества и типов знаков, подлежащих закладке. Схемы связи новых линий с существующими.
3. Проект вновь развиваемых высотных сетей на объекте, составляется на картах масштаба 1:100000 и крупнее. На этих картах должен быть заранее составлен проект развития плановых сетей.
IV. В задачу рекогносцировки вновь прокладываемых линий нивелирования входит перенос проекта высотных сетей в натуру с корректировкой его за счет особенностей местности. Кроме того, при рекогносцировке собирают сведения и данные, которые могут послужить для уточнения проекта, организации и производства последующих работ.
Расположение запроектированных нивелирных трасс может быть изменено, если оно не отвечает перечисленным выше требованиям.
Рекогносцировку начинают с обследования состояния запроектированного примычного пункта и продолжают в направлении намеченной трассы, изучая ее, а также места закладки запроектированных реперов и реперов прежних линий, подлежащих включению в новую линию или привязке к ней.
При розыске реперов прежних линий используют крупномасштабные карты, кроки, описания, опросы местных жителей, внешнее оформление пунктов.
Поиск репера прекращают и считают его утраченным, если использованы все средства поиска или установлено разрушение знака (при строительных, дорожных и других работах) или здания, в котором он был заложен. Прекращение поиска должно быть санкционировано на месте работ начальником партии, которым составляется акт об утрате репера. В акте излагаются способы и средства поиска и причины утраты знака (не найден, разрушен и т.д.). Акт утверждается руководителем работ и инспектором ОТК.
Вновь намечаемые места расположения знаков должны отвечать следующим основным требованиям:
1. В зоне сезонного промерзания условия для устойчивости грунтовых реперов наиболее благоприятны на местных повышениях, по возможности с крупнозернистыми (песчаными, супесчаными) грунтами и с глубиной залегания грунтовых вод не менее 3 - 4 м (определяемой или по местным гидрогеологическим данным, или бурением до глубины 4 - 5 м).
Следует избегать закладки реперов на участках, где наблюдаются карстовые провальные воронки, оползневые явления, а также на участках, затопляемых весенними водами или расположенных в непосредственной близости от береговой кромки, которая может размываться и осыпаться.
В районах подвижных песков места для закладки реперов следует приурочивать к закрепленным растительностью межбарханным понижениям, а также к краям такыров (глинистых плато), менее подверженных увлажнению.
В условиях заболоченных территорий реперы следует закладывать на местных повышениях, где уровень грунтовых вод обычно глубже, а грунты менее увлажнены.
В целях обеспечения длительной сохранности реперов места для их закладки следует намечать вне территорий, где в скором времени могут производиться строительные, дорожные, сельскохозяйственные и другие работы. На это обстоятельство должно быть обращено особое внимание при развитии высотных сетей на пригородных и припоселковых территориях.
При необходимости закладки реперов на крупных пахотных площадях места закладки следует приурочивать к обочинам дорог, к опорам линий электропередачи, воздушных линий связи и к защитным лесополосам. Закладка реперов непосредственно на пашне не допускается.
При необходимости проложения линий нивелирования через территории, где ведется добыча нефти, газа, грунтовых вод и твердых ископаемых (угольных, рудных и др.), должен быть в местных организациях, ведущих эксплуатацию месторождений, получен контур площади, в пределах которой происходит выработка ископаемых. Этот контур наносится на картосхему нивелирных линий в целях учета в дальнейшем возможности оседания реперов в пределах контура за счет осадки земной поверхности, обусловленной выработкой полезных ископаемых. Скорость такой осадки может достигать нескольких сантиметров в год.
2. В районах многолетней мерзлоты устойчивость реперов может быть обеспечена лишь в том случае, если нижняя часть знака с якорем расположена в многолетнемерзлой породе, имеющей достаточно низкую температуру, а следовательно, большую механическую прочность. Такие условия обычно имеют место при небольшой глубине протаивания грунтов, характерной для северных и северо-восточных склонов возвышенностей, для затененных, а также для покрытых значительным моховым или торфяным покровом участков. В тундровых районах многолетнемерзлые породы, в верхнем слое достаточно прочные, часто встречаются на повышенных элементах рельефа, занятых пятнистой тундрой (где зимой снег сдувается, не препятствуя проникновению холода в грунт).
Так как для участков с мощным слоем мха или торфяника характерна высокая льдонасыщенность верхнего слоя многолетнемерзлой породы, то при необходимости выбора пунктов в таких условиях особенно важно полное восстановление торфяного или мохового покрова после закладки репера.
При выборе пунктов следует избегать участков таликов, южных склонов возвышенностей, местных понижений (западин, "полос стока" и т.д.), старых гарей, где многолетняя мерзлота обычно залегает на значительной глубине и имеет небольшую механическую прочность. Реперы, предназначенные для закладки в многолетней мерзлоте и заложенные на указанных выше участках, чаще всего не сохраняют устойчивость.
Не следует допускать также закладку реперов на многолетних буграх пучения ("булгунняхах"), на участках с морозобойными трещинами (заполненными льдом), в условиях неглубокого (до 3 м) залегания подземного льда, а также на участках полигональной тундры.
3. Лучшим видом грунтов в зонах сезонного промерзания, а также многолетней мерзлоты являются скальные породы, к которым всюду, где это возможно, следует приурочивать закладку реперов. При этом скальная порода должна быть достаточно массивной и монолитной.
Нужно учитывать, что встречающиеся иногда на склонах возвышенностей в зоне многолетней мерзлоты скальные крупноглыбистые породы нередко подстилаются сильно увлажненными суглинисто-щебнистыми грунтами, не обеспечивающими стабильность глыб. Вообще следует избегать выбора для закладки реперов небольших скальных выходов (особенно в зоне многолетней мерзлоты), если нет уверенности, что они монолитно связаны с глубоко простирающейся скальной породой.
В случаях, когда скальная порода покрыта слоем рыхлого грунта, устанавливают толщину этого слоя.
4. На городских территориях в области сезонного промерзания при развитии высотных сетей II, III и IV классов и технического нивелирования следует, как правило, проектировать закладку стенных реперов в стены зданий и сооружений, построенных до закладки не менее чем за 7 - 8 лет (для линий нивелирования II класса) и 3 - 4 года (для линий нивелирования III и IV классов).
Не следует использовать для закладки стенных реперов на линиях II и III классов здания, расположенные в непосредственной близости от железнодорожных путей.
Стенные реперы рекомендуется закладывать вблизи перекрестков улиц или вблизи середины кварталов. Стенные реперы должны располагаться на высоте 0,4 - 0,6 м от поверхности земли так, чтобы выступы стен не мешали установке рейки.
На месте закладки стенного репера составляются при рекогносцировке кроки, кроме того, соответствующая часть здания фотографируется и на фотоснимке отмечается кружком место закладки знака, а также указываются расстояния от него до поверхности земли и до ближайшего угла здания (в см).
При развитии в городах плановых сетей методом полигонометрии стенные реперы могут служить одновременно центрами полигонометрических ходов, что должно найти отражение в одновременно составляемом проекте сетей полигонометрии и нивелирования.
Грунтовые реперы на городских территориях разрешается закладывать лишь на участках, где нет надлежащих зданий для закладки стенных реперов, а также в стороне от улиц (предпочтительнее всего в парках и других местах с древесными насаждениями). Выбор мест закладки грунтовых знаков в городах должен быть согласован с организациями, в ведении которых находятся подземные коммуникации.
5. В зоне многолетней мерзлоты при закреплении линий нивелирования II и III классов в городах использование стенных реперов допускается лишь в случаях, когда здания построены на скальном основании. Линии нивелирования сетей сгущения (IV класса и технического нивелирования) могут закрепляться стенными знаками, заложенными в зданиях со свайным основанием и продуваемым подпольем. При установлении глубины закладки грунтовых реперов в городских условиях следует учитывать, что мощность деятельного слоя в этих условиях может быть заметно большей, чем за пределами города.
6. Так как места расположения реперов должны быть опознаны на аэроснимках, то места закладки их следует приурочивать к наиболее характерным контурам и ориентирам местности, что будет также способствовать их быстрому нахождению в натуре.
7. Места расположения реперов должны обеспечивать удобство привязки к ним при нивелировании.
В процессе рекогносцировки на основе изучения конкретных грунтовых, мерзлотных и других условий устанавливаются типы реперов, глубина их закладки, вид наружного оформления и т.д.
Данные о глубине сезонного промерзания грунтов берут со "Схематической карты глубин промерзания и протаивания грунтов на территории СССР для установления глубины закладки центров и реперов" (рис. 5). Эти данные могут быть скорректированы на основе сведений, получаемых от местных метеостанций, ведущих наблюдения за глубиной промерзания почвы.
Рис. 5. Схематическая карта глубин промерзания
и протаивания грунтов на территории СССР для установления
глубины закладки центров и реперов
Условные обозначения:
I - южная граница зоны многолетнемерзлых грунтов;
II - южная граница подзоны с преобладанием
многолетнемерзлых грунтов; III - глубина промерзания грунтов
(в см), принимаемая для расчета глубины закладки знаков;
IV - глубина протаивания грунтов (в см), принимаемая
для расчета глубины закладки знаков; V - глубина протаивания
в горных районах (в см), в числителе - грунтов средней
дисперсности, в знаменателе - мелко- и крупнодисперсных
грунтов, способных подвергаться морозному пучению;
VI - глубина промерзания в горных районах (в см), показатели
те же; VII - высокогорные области с преимущественно
скальными или каменистыми переохлажденными породами;
VIII - южная граница области применения способа закладки
знаков с помощью протаивания мерзлого грунта паром
В зоне многолетней мерзлоты, для которой указанная выше схематическая карта составлена, за недостатком данных, с большой степенью приближения, следует при выборе пунктов определять в местах закладки (щупом или буром) глубину протаивания грунта на момент рекогносцировки. Полную глубину протаивания H определяют по формуле:
h
H = -, (2.1)
n
где h - глубина протаивания на момент рекогносцировки; n - показатель протаивания. Значения h и n должны быть больше нуля.
Приближенные значения показателей протаивания n для северной и южной частей зоны многолетнемерзлых грунтов (граница между ними проходит примерно по 64-й параллели) могут быть получены с помощью графиков (рис. 6), составленных по эмпирическим данным. Достоверность определения полной глубины протаивания указанным выше способом снижается ранней весной и повышается в более поздние сроки.
Рис. 6. График для определения показания протаивания
Места, назначенные при рекогносцировке для закладки реперов, отмечаются: на внегородской территории забитыми в грунт кольями с кольцевой окопкой вокруг него, в городах, при использовании стенных знаков, - мелом или краской на фундаментах и цоколях зданий. Во всех случаях составляются кроки расположения выбранных пунктов, которые в городах целесообразно дополнять фотографиями мест закладки стенных знаков.
Помимо кроки делается описание расположения пункта с указанием расстояний до ближайших долговременных ориентиров (зданий, мостов, столбов воздушной связи, опор электропередачи и др.).
В результате полевой рекогносцировки должны быть представлены:
1. Уточненная схема высотной сети, нанесенная на схему проложенной плановой сети с указанием совмещенных пунктов обеих сетей или геодезических связей между ними.
2. Уточненные схемы узлов связи проектируемых линий II класса с исполненными ранее.
3. Кроки и описания мест закладки реперов.
4. Краткая объяснительная записка, содержащая:
а) сведения о физико-географических особенностях местности, имеющие значение для работ по закреплению и нивелированию линий (грунты, рельеф, заселенность и др.);
б) обоснование внесенных в проект изменений в построении нивелирных сетей;
в) характеристика нивелирных трасс;
г) обоснование принятых типов реперов, способов и глубины их закладки;
д) количество подлежащих закладке грунтовых и стенных реперов, общая протяженность линий нивелирования разных классов;
е) оптимальные сроки выполнения полевых работ и соображения по их организации.
Все эти материалы используются при составлении окончательного проекта высотной сети.
2.2. ТИПЫ НИВЕЛИРНЫХ ЗНАКОВ
Нивелирные знаки (реперы), которыми закрепляют линии нивелирования, должны отвечать следующим основным требованиям:
а) состоять из материала, обеспечивающего длительную сохранность знака в грунтовой среде;
б) обеспечивать стабильность во времени в пределах точности геодезических измерений;
в) иметь конструкцию, позволяющую по возможности механизировать земляные работы при закладке знаков.
Основными материалами, из которых изготовляются знаки, являются бетон, железобетон, а в труднодоступных районах - металлические трубы диаметром 60 мм, покрытые антикоррозийным материалом (битумом, эмалью, эпоксидной смолой, хлорвиниловой лентой и др.).
Наиболее опасным для устойчивости реперов являются деформации грунта при его промерзании (пучение), поэтому конструкции знаков должны обеспечивать сопротивление действию указанных деформаций. С этой целью нижнюю часть знака располагают ниже промерзающего или протаивающего слоя и снабжают якорем. Кроме того, эффективным средством борьбы с выпучиванием реперов является заглубление их верхних частей ниже земной поверхности (обычно на 50 см), поскольку действие сил выпучивания наиболее значительно в самой верхней части деятельного (промерзающего и протаивающего) слоя.
В южной зоне страны, ограниченной с севера линией Ужгород - Харьков - Актюбинск - Караганда - Семипалатинск - оз. Зайсан, допускается располагать верхние части реперов на уровне земной поверхности или выше нее.
К северу и востоку от указанной линии до южной границы области преобладания многолетнемерзлых пород прибегают к заглублению верхних частей реперов ниже земной поверхности и применяют усиленную анкеровку знаков.
В области распространения многолетней мерзлоты можно выделить три зоны: северную, наиболее благоприятную для устойчивости знаков, характеризуемую глубиной протаивания до 1,25 м, среднюю зону и, наконец, южную зону, наименее благоприятную для устойчивости знаков вследствие большой мощности деятельного слоя и малой механической прочности мерзлых пород. Граница между средней и южной зонами проходит по линии: Воркута - Новый Порт - Хантайка (на р. Енисей) - Сунтар (на р. Вилюй) - Олекминск - Алдан - Аян.
В средней и северной зонах можно производить закладку знаков в узкие скважины (диаметром 150 мм), создаваемые бурением или протаиванием.
На всей территории области многолетней мерзлоты нельзя заглублять верхние части реперов ниже земной поверхности, так как последующее вскрытие марок при привязках может привести к нарушению мерзлотного режима грунтов, к образованию термокарстовых явлений, опасных для устойчивости знаков.
При крупномасштабных съемках одним из наиболее употребительных типов реперов на линиях нивелирования следует считать стенной репер, закладываемый в основания достаточно фундаментальных зданий и сооружений.
Стенной репер отливается из чугуна и имеет вид и размеры, приведенные на рис. 7. На передней торцовой части репера помещаются начальные буквы организации, выполняющей работы. Отверстия для закладки репера в стенах и фундаментах зданий и сооружений пробиваются шлямбуром, отбойным молотком или высверливаются механическим буром. Размеры отверстия: по диаметру - 4 см, по глубине - 12 см. После промывки отверстие заполняется цементным раствором пластичной консистенции (1:2), в который вдавливают репер так, чтобы торцовая часть его выступала наружу на 5 см.
Рис. 7. Стенной репер
Аналогичным образом стенной репер закладывается и в скальную породу.
Вводить в эксплуатацию стенной репер следует не ранее чем 3 дня спустя после его закладки.
Если пункты нивелирных сетей совмещаются с пунктами полигонометрии, на верхней части сферической головки репера просверливается отверстие диаметром 2 мм и глубиной 4 - 5 мм, которое должно служить центром полигонометрического пункта.
В качестве внешнего оформления стенного репера служит охранная плита, отливаемая из чугуна или силумина и имеющая надпись рельефными буквами: "Геодезический пункт. Охраняется государством". Общий вид и размеры плиты приведены на рис. 8.
Охранная плита прикрепляется к стене здания или сооружения (рядом с стенным репером или над ним) на зацементированных в стену болтах.
На внегородских территориях в зоне сезонного промерзания на линиях нивелирования III и IV классов закладывают грунтовые реперы типов 4, 5 и 6 (нумерация типов реперов дается в соответствии с принятой в инструктивном документе "Центры и реперы государственной геодезической сети СССР". М., "Недра", 1973).
Репер типа 4 (рис. 9) применяется в южной части зоны с сезонным промерзанием грунтов, ограничиваемой с севера линией Ужгород - Харьков - Актюбинск - Караганда - Семипалатинск - оз. Зайсан. Репер состоит из железобетонного пилона сечением 16 x 16 см, имеющего в верхнем торце марку (тип марки показан на
рис. 10), и бетонного якоря диаметром 50 см и толщиной 20 см (или размером 50 x 50 x 20 см) с отверстием в середине размером 20 x 20 см для установки в него пилона.
Рис. 9. Грунтовый репер нивелирной сети III - IV классов
для южной зоны сезонного промерзания
Рис. 10. Марки для грунтовых реперов
При использовании бурового механизма с диаметром бура 35 см диаметр якоря уменьшается до тех же размеров, высота его, а также глубина закладки увеличиваются на 30 см.
К одной из плоскостей верхней части пилона при изготовлении его прикрепляется на болтах охранная плита указанного на
рис. 8 образца. Длина пилона принимается такой, чтобы верхняя часть его располагалась на 50 см выше земной поверхности, а основание - на 20 см ниже границы наибольшего промерзания грунта.
Надземная часть репера окрашивается масляной краской ярких цветов (оранжевый, желтый, красный).
Внешним оформлением репера, помимо выступающей его части, служит кольцевая канава диаметром (по оси ее) 1,5 м и сечением: по нижнему основанию - 10 см, по верхнему - 60 см, по высоте - 30 см. Часть грунта из канавы укладывается вокруг выступающей части репера в виде кургана (см.
рис. 9). На обжитых территориях канаву можно не делать, если этому препятствуют местные условия.
В северной части зоны сезонного промерзания (к северу от указанной выше границы) линии нивелирования II, III и IV классов закрепляются грунтовыми реперами типа 5
(рис. 11), у которых диаметр (или сторона) бетонного якоря принимается равным 60 см, а высота - 20 см. При использовании бурового механизма, имеющего бур диаметром 50 см (типа БКХМ и др.), разрешается диаметр бетонного якоря уменьшать до 50 см при условии, что высота якоря увеличивается до 35 см. При использовании бурового механизма с диаметром бура 35 см (типа УГБ-50М и др.) размеры якоря принимаются равными: по диаметру - 35 см, по высоте - 80 см, а глубина закладки должна быть на 1 м больше глубины промерзания почвы.
Сечение железобетонного пилона принимается равным 16 x 16 см; пилон может быть заменен отрезком асбоцементной трубы той же длины и диаметром 14 - 16 см, заполненной бетоном. Верхняя часть репера, несущая марку, должна располагаться на 50 см ниже земной поверхности, а нижняя его часть (основание якоря) - на 50 см ниже границы наибольшего промерзания (при диаметре или стороне якоря, равных 60 см); при уменьшении диаметра якоря до 50 и 35 см глубина закладки железобетонного пилона увеличивается соответственно на 15 см и 50 см.
Внешним оформлением репера служит железобетонный опознавательный столб с охранной плитой, устанавливаемый в 1 м от репера в направлении, в котором наименее вероятен заезд на репер случайного транспорта.
Опознавательный столб состоит из железобетонного пилона сечением 16 x 16 см и длиной 2,1 м и бетонного якоря диаметром 50 см и толщиной 20 см (или размером 50 x 50 x 20 см). При установке столба в скважину диаметром 35 см сечение якоря должно соответствовать сечению скважины, а высота якоря принимается равной 50 см. Верхний конец пилона должен иметь скосы на две грани
(рис. 12). К одной из плоскостей верхней части пилона при его изготовлении прикрепляется на болтах охранная плита, которая должна быть обращена в сторону репера. Глубина закладки опознавательного столба должна быть такой, чтобы верхняя грань якоря располагалась на 80 см ниже земной поверхности. Надземная часть пилона окрашивается масляной краской яркого цвета. Канава вокруг репера не делается.
В северных труднодоступных районах зоны с сезонным промерзанием грунтов разрешается железобетонные пилоны в реперах типа 5 заменять металлическими трубами той же длины, диаметром 60 мм при толщине стенок не менее 3 мм (тип 6,
рис. 13). В этих районах опознавательные знаки также делают из труб диаметром 60 мм
(рис. 14). Знак состоит из отрезка трубы длиной 2,5 м, к верхней части которого с помощью приваренных к трубе металлических пластин прикрепляется на болтах охранная плита, а нижняя часть должна иметь бетонный якорь размером 50 x 50 x 20 см или диаметром 35 см и высотой 50 см, если используется буровой механизм с буром диаметром 35 см. К верхней части трубы приваривается заглушка, а труба покрывается антикоррозийным материалом, после чего окрашивается масляной краской яркого цвета. Трубчатый знак устанавливается в 1 м от репера так, чтобы охранная плита была обращена в его сторону.
Рис. 11. Грунтовый репер нивелирной сети I - IV классов
для средней зоны сезонного промерзания грунтов
Рис. 12. Железобетонный опознавательный столб
Рис. 13. Грунтовый репер нивелирной сети
I - IV классов для северных труднодоступных районов
зоны сезонного промерзания грунтов
Рис. 14. Опознавательный знак для северных труднодоступных
районов зоны сезонного промерзания грунтов
Рис. 15. Чугунный колпак (ковер)
При необходимости закладки грунтовых реперов на городских территориях в целях защиты знаков от внешних воздействий и удобства эксплуатации их следует использовать выпускаемые промышленностью чугунные колпаки (коверы) со съемными крышками, устанавливаемые над знаками на бетонных кольцах или подушках <*>
(рис. 15). В этих случаях верхние части пилонов или труб реперов должны располагаться на 10 - 15 см ниже земной поверхности, а верхние части колпаков - на уровне этой поверхности.
--------------------------------
<*> Центры геодезических пунктов для территорий городов, поселков и промышленных площадок. М., "Недра", 1972.
Для закрепления линий нивелирования в зоне многолетней мерзлоты применяются реперы типов 7 и 8, в зоне подвижных песков - репер типа 9 и в скальных грунтах - реперы типов 10 и 11. Описания и чертежи этих знаков, а также фундаментальных реперов приведены в инструктивном документе "Центры и реперы государственной геодезической сети СССР" (М., "Недра", 1973). В этом же документе дается схема областей применения различных типов реперов.
Типы реперов для закрепления линий технического нивелирования в зоне сезонного промерзания грунтов приведены на рис. 16,
17,
18.
Размеры в см
Рис. 16. Реперы для закрепления линий
технического нивелирования
Знаки типов 1т и 2т закладываются на глубину соответственно 65 и 40 см независимо от глубины промерзания почвы.
Особенность их состоит в том, что сильно наклонные боковые стенки бетонных блоков локализуют действие выпучивающих усилий на них и не приводят к остаточному выпучиванию реперов.
Размеры в см
Рис. 17. Реперы для закрепления линий
технического нивелирования, закладываемые
бурением (3т) и в скальную породу (4т)
Размеры в см
Рис. 18. Репер для закрепления линий
технического нивелирования, закладываемый
бурением в зоне многолетней мерзлоты
Репер типа 1т представляет собой бетонный блок в виде усеченной пирамиды с заделанным в него отрезком металлической трубы диаметром 33 - 40 мм и длиной 65 см, имеющим в верхней части марку.
Репер типа 2т состоит из бетонного блока в виде усеченной пирамиды с заделанной в верхнюю его плоскость маркой. Размеры блоков приведены на
рис. 16. Репер типа 3т (см.
рис. 17) предназначен для закладки в пробуренную скважину диаметром 13,5 - 15 см. Глубина скважины принимается такой, чтобы основание ее располагалось на 1 м глубже границы наибольшего промерзания. Нижняя часть скважины на высоту 1 м заполняется жидким бетоном, в который вставляется металлическая труба диаметром 33 - 40 мм, имеющая в верхней части марку. На бетон насыпается слой песка толщиной не менее 10 см, после чего скважина заполняется грунтом с послойным его трамбованием.
Рис. 19. Трубчатый опознавательный знак
для реперов технического нивелирования
Репер типа 4т (см.
рис. 17) предназначен для закладки в скальную породу, если она залегает на глубине более 30 см от земной поверхности. Репер представляет собой отрезок металлической трубы диаметром 33 - 40 мм, имеющий в верхней части марку. Основание трубы цементируется в выемке, сделанной в скальной породе. Если эта порода залегает на глубину до 30 см, то репер состоит из марки, цементируемой в скале.
Верхние части реперов приведенных на
рис. 16 и
17 типов должны располагаться на уровне земной поверхности; на используемые отрезки металлических труб следует нанести антикоррозийное покрытие.
На внегородских территориях используется трубчатый опознавательный знак, устанавливаемый в 1 м от репера. Он состоит из бетонного блока-якоря размером 20 x 20 x 15 см, в который заделан отрезок металлической трубы диаметром 33 - 40 мм и длиной 1 м. К верхнему концу отрезка прикрепляется металлическая табличка, на которой масляной краской (по трафарету) делается надпись, состоящая из начальных букв организации выполняющей работу, и номера геодезического знака. Глубина закладки опознавательного знака 0,5 м
(рис. 19).
В зоне многолетней мерзлоты при рыхлых грунтах линии технического нивелирования закрепляются реперами типа 5т (см.
рис. 18). Знак этого типа предназначен для закладки бурением или протаиванием скважин диаметром 15 см. Он состоит из металлической трубы сечением 40 мм, к нижнему концу которого приварен металлический фланец диаметром 15 см и толщиной 5 - 6 мм, а к верхнему концу - марка.
Длина трубы принимается такой, чтобы верхняя часть знака (марка) располагалась на 20 см выше земной поверхности, а основание знака - на 2 м ниже границы протаивания грунта при глубине протаивания более 1,5 м и на 1,5 м ниже указанной границы при глубине протаивания менее 1,5 м.
При каменистых и щебенистых грунтах, исключающих возможность закладки знаков бурением и протаиванием, а также на территории южной зоны области многолетней мерзлоты следует применять реперы типов 1т или 2т (см.
рис. 16), а при скальных грунтах - типа 4т (см.
рис. 17).
В качестве внешнего оформления реперов типов 1т, 2т, 4т и 5т в зоне многолетней мерзлоты над знаком сооружается курган из минерального грунта или мха, покрытого дерном. Размеры кургана - 1 x 1 м при высоте 50 см. При наличии леса вместо кургана сооружается деревянный сруб размером 1 x 1 x 0,5 м, заполненный грунтом. Непосредственно над репером устанавливается деревянный столб или отрезок металлической трубы диаметром 40 мм и высотой 1 м. К верхней части столба или трубы прикрепляется металлическая трафаретная табличка, а к нижним частям - соответственно деревянный или металлический якорь.
В качестве временных реперов в обжитых районах областей сезонного промерзания и многолетней мерзлоты следует использовать отмеченные масляной краской характерные точки железобетонных опор ЛЭП, мостов, выходов скальных пород, валунов, фундаментов зданий и т.п., а также костыли или гвозди со сферическими шляпками, забитые в строения, в деревянные опоры линий связи, в крепкие пни ранее срубленных деревьев и т.п. Около закрепленных костылями или отмеченных масляной краской (в виде креста) точек для установки рейки делается надпись, например: "ГУГК. Врем. реп. 9" (
рис. 20, е, ж, з).
При отсутствии указанных предметов в зоне сезонного промерзания в качестве временных реперов могут быть использованы специально заложенные знаки, приведенные на
рис. 20, а, б, в, г, д:
а <*> - железобетонный или бетонный столб сечением 12 x 12 см и длиной 90 см, закладываемый в котлован, или той же длины отрезок асбоцементной трубы сечением 12 см, заполненной бетоном и закладываемой в пробуренную скважину. В верхней части знака закладывается марка или гвоздь со сферической головкой;
б <*> - металлическая труба диаметром 35 - 60 мм, отрезок рельса или уголкового железа размером 50 x 50 x 5 мм, 35 x 35 x 4 мм, длиной 100 см с бетонным якорем в виде усеченной пирамиды (четырехгранной) с нижним основанием 20 x 20 см, верхним 15 x 15 см и высотой 20 см. К верхней части трубы репера приваривается металлическая пластинка для надписи, к нижней - два металлических стержня;
--------------------------------
<*> Знаки а, б применяют для долговременного закрепления точек съемочной сети (Инструкция по топографической съемке масштаба 1:5000, 1:2000, 1:1000, 1:500, М., "Недра", 1973).
в - то же, что и для репера б, но закладываемые в пробуренную скважину диаметром 15 см;
г - металлическая труба, штырь, забиваемые в землю, со сторожком;
д - деревянные свайки, столбы, забиваемые или закапываемые в землю.
Внешним оформлением знаков а, б, в служит канава в виде квадрата со стороной 1,5 м и глубиной 0,3 м, шириной в нижней части 0,2 м, в верхней - 0,5 м. Часть грунта из канавы укладывается вокруг выступающей части репера. В районе болот, залесенной местности и вечной мерзлоты канава заменяется срубом (1,0 x 1,0 x 0,3 м). Сруб заполняется землей. В случае невозможности описанного оформления (например, на пригородных территориях) используют трубчатый опознавательный знак с трафаретной табличкой, устанавливаемый в 1 м от временного репера (см.
рис. 19).
Внешним оформлением реперов г, д служит кольцевая канава диаметром 0,8 м.
В тундровых открытых районах закладывают трубчатые временные реперы по типу 5т (см.
рис. 18), а в горной тундре с каменистыми и щебнистыми грунтами - по типу б или 4т (см.
рис. 20 и
17).
Рис. 20. Временные реперы
для зоны сезонного промерзания
а - железобетонный столб; б - металлическая
труба с бетонным якорем; в - металлическая труба,
закладываемая в пробуренную скважину; г - металлический
штырь со сторожком; д - деревянные столбы с гвоздем
со сферической шляпкой; е - валун с нанесенным крестом;
ж - кованый гвоздь, забитый в пень ранее спиленного
дерева; з - кованый гвоздь, забитый в деревянную
опору линии связи
2.3. ИЗГОТОВЛЕНИЕ И ЗАКЛАДКА НИВЕЛИРНЫХ ЗНАКОВ
Для изготовления бетонных и железобетонных элементов реперов следует применять портландцемент, обеспечивающий сравнительно быстрое твердение и высокую прочность бетона. Не рекомендуется использование романцемента, который медленно твердеет и дает недостаточно твердый бетон. При необходимости быстрого схватывания бетона используют быстротвердеющий портландцемент (БТЦ), а также глиноземистый или ангидрито-глиноземистый цемент.
При изготовлении реперов, подлежащих закладке в условиях сульфатной агрессии, необходимо применять портландцемент сульфатостойкий.
Песок для изготовления бетона рекомендуется крупный или средний, с диаметром зерен не менее 1 мм; применение мелкого песка снижает прочность бетона. Оптимальные размеры частиц щебня или гравия 4 - 6 см; щебень обеспечивает большую прочность бетона вследствие угловатой формы частиц.
Высокое качество бетона зависит от чистоты заполнителей (песка, щебня). Количество глинистых и землистых примесей в песке не должно превышать по весу 3 - 5%, а в щебне и гравии - 1 - 2%.
Воду для изготовления бетона следует применять пресную, чистую. Пользоваться болотной, сильно минерализованной или загрязненной водой нельзя. Применение морской воды следует допускать лишь в случаях значительных затруднений с доставкой пресной воды.
Для изготовления железобетонных и бетонных элементов репера, предназначенных для перевозки с баз к местам закладки, следует применять цемент марки 400 - 500, но не ниже 300, а бетонную смесь (цемент, песок, щебень) - в соотношении 1:2:4 (по объему). Такое же соотношение должно сохраняться при изготовлении бетонных и железобетонных пилонов в котлованах.
Воды в бетонной смеси должно быть не больше, чем необходимо для придания ей пластичности, достаточной для заполнения формы без пустот. Избыточная вода в бетонной смеси понижает прочность бетона и повышает его водопроницаемость. Водоцементное отношение (весовое соотношение воды и цемента) не должно быть больше 0,8.
Для обеспечения однородности бетонной смеси она тщательно перемешивается, вначале в сухом виде, а затем с водой. Заполнять опалубки бетоном следует не позднее, чем через 30 мин. после его изготовления.
Во избежание поломок пилонов при перевозках их армируют. В качестве арматуры используют горячекатаную арматурную сталь ("катанку") диаметром 10 - 12 мм (для продольных стержней) и 5 - 6 мм (для поперечных хомутиков).
Арматурные каркасы сваривают или скрепляют вязальной проволокой сечением 1 мм. Ширина каркасов должна быть такой, чтобы толщина слоя бетона снаружи каркаса (защитный слой) была равной 2 см.
Рис. 21. Многоячейковая опалубка
1 - упорный брусок; 2 - клин; 3 - рама;
4 - отверстие для головки марки;
5 - ячейка для изготовления пилона
Железобетонные пилоны для рядовых грунтовых реперов изготавливают в многоячейковых (6 - 8) разборных опалубках, смонтированных на одном щите
(рис. 21).
При изготовлении пилонов на дно каждой ячейки укладывают и утрамбовывают слой бетона толщиной 2 см, на который кладут арматурный каркас. Далее все пространство опалубки заполняют бетоном, одновременно устанавливая в нее марку так, чтобы сферическая головка ее вошла в специально просверленное отверстие в торцевой части опалубки. Бетон в опалубке тщательно утрамбовывают и выравнивают поверхность его заподлицо с краями опалубок.
Для изготовления бетонных якорей с отверстием или выемкой в бетон, заполняющий опалубку, вставляют на глубину 20 см окантованный на четыре грани деревянный вкладыш сечением 20 x 20 см и высотой 30 см, имеющий вверху деревянную ручку. В начале твердения бетона вкладыш вынимают.
При изготовлении бетонных блоков в виде усеченных пирамид опалубки устанавливаются на щитах узкой частью вниз. Если в такой знак должен быть забетонирован отрезок трубы, щит устанавливается над земной поверхностью на высоте, соответствующей длине выступающей над бетонным блоком части трубы.
Пилоны и якори до транспортировки следует выдерживать в тени при температуре по возможности не менее +15 °C в течение 10 - 12 дней, покрыв их смоченными рогожами, мешковиной, опилками и т.п. При небольших положительных температурах (4 - 8 °C) твердение бетона замедляется, а при 0° прекращается. Для ускорения твердения бетона в состав его следует вводить добавки в виде хлористого кальция (3% для неармированного и 2% для армированного бетона) или хлористого натрия (соответственно 2 и 1,5% от веса цемента).
Вынимать бетонные элементы из опалубок следует не раньше, чем через 3 - 5 дней после их изготовления. После снятия опалубок раковины и углубления на боковых стенках пилонов затирают цементным раствором 1:3 (одна часть цемента и три части песка).
Если якори реперов отливаются в скважинах или котлованах, разрешается, при отсутствии щебня и гравия, использовать вместо бетона цементный раствор в соотношении 1:5.
При закладке марок и оснований реперов в скальную породу используют цементный раствор в соотношении 1:3. Такое же соотношение раствора применяют при закреплении оснований пилонов в выемке якоря.
Закладку реперов типов 4 и 5 под бур производят следующим образом. Пробуривают механизмом (типа БКГМ, УГБ-50 и др.) скважину необходимой глубины и наливают на ее дно цементный раствор (1:5) слоем 2 - 3 см. Далее опускают бетонный якорь на дно скважины и в выемку якоря до половины ее высоты наливают цементный раствор (1:3), в который устанавливают основание пилона.
Верхнюю часть пилона с помощью распорки закрепляют в отвесном положении, после чего заполняют скважину грунтом с послойным его трамбованием.
Заполнение грунтом должно производиться сразу после установки пилона с тем, чтобы котлован был засыпан в период до начала схватывания цементного раствора в выемке якоря.
В тех случаях, когда вместо железобетонных пилонов используют асбоцементные трубы диаметром 14 - 16 см, для упрочения связи основания трубы с якорем в нижнюю часть трубы до заполнения ее бетоном вставляют в двух взаимно перпендикулярных направлениях два металлических стержня толщиной 10 - 12 мм и длиной, превышающей на 10 см диаметр трубы. При установке трубы в отверстие в якоре концы стержней размещают в углах выемки.
При изготовлении якорей из бетона в скважинах поступают следующим образом. В выбуренную скважину заливают бетон (1:2:4) до необходимого уровня, после чего в бетон опускают нижнюю часть реперной трубы, закрепляя верхнюю часть с помощью распорок в отвесном положении. Далее на поверхность бетона насыпают слой песка толщиной не менее 10 см и засыпают скважину местным грунтом с послойным его трамбованием.
В зоне многолетней мерзлоты закладку реперов в узкие скважины производят следующим образом. Пробуривают (механическим буром или термобуром) или протаивают (парооттаивателем) скважину диаметром 15 см необходимой глубины, в которую заливают 20 - 25 л грунта густотекучей консистенции и немедленно вслед за этим опускают репер, вдавливая его в текучий грунт так, чтобы основание репера достигло дна скважины. При этом благодаря шахматному расположению полуфланцев якоря грунт заполняет все пространство между ними и после замерзания создает значительное сопротивление выпучивающим усилиям, действующим на репер. Выше якоря пространство между репером и стенками скважины заполняется талым утрамбованным грунтом.
В целях борьбы с коррозией металлических труб, используемых для реперов, следует по возможности применять оцинкованные или эмалированные трубы. При невозможности этого антикоррозийной защитой может служить битумное или эпоксидное покрытие, а также хлорвиниловая липкая изоляционная лента.
Основным условием эффективности битумного покрытия является тщательное удаление с поверхности трубы ржавчины, жировых пятен и т.п., достигаемое механической или химической очисткой. Механическая очистка осуществляется с помощью пескоструйного аппарата, стальных щеток, скребков и т.д. Химическая очистка состоит в погружении труб в раствор серной (15 - 20%), соляной (10 - 12%) или фосфорной (10 - 15%) кислоты, с последующей промывкой водой и нейтрализацией 5-процентным раствором кальцинированной соды.
Перед нанесением битума труба грунтуется раствором 1 части битума в 3 частях бензина. Битум (по возможности марки III) растворяют до текучего состояния и наносят на грунтованную поверхность трубы. После нанесения первого слоя (толщиной 1 - 1,5 мм) и его затвердения наносят второй слой и сразу же трубу обертывают крафт-бумагой.
В грунтах с повышенной минерализацией грунтовых вод количество слоев доводят до трех.
Внутреннюю полость реперной трубы цементным раствором не заполняют, однако должна быть обеспечена герметизация этой полости путем приварки к обоим концам трубы марки и якорного фланца или заделки одного конца в бетонный якорь.
В условиях агрессивных грунтов (в основном в районах Средней Азии) применения металлических якорей допускать не следует. Бетонные же знаки в этих условиях необходимо изготавливать из плотного бетона, что является главной мерой борьбы против разрушающего действия агрессивных грунтовых вод.
Повышение плотности бетона достигается уменьшением в нем количества воды (водоцементное отношение не должно превышать 0,5), увеличением в бетонной смеси количества цемента (до 400 - 450 кг на 1 куб. м бетона) и тщательным трамбованием бетонной массы (лучше всего с применением вибраторов).
В качестве дополнительной меры может быть применено покрытие поверхности бетонных элементов знака битумом. В этом случае обязательно нанесение на знак двух слоев грунтовки, которая обеспечивает проникновение битума в близлежащие к поверхности поры бетона.
В условиях агрессивных грунтов особенно желательно вместо железобетонных пилонов использовать асбоцементные трубы, заполненные бетоном.
При использовании липкой хлорвиниловой пленки последняя обматывается по спирали вокруг металлической трубы сверху вниз (от марки до якоря); в этом случае также желательно предварительное нанесение на очищенную поверхность трубы одного слоя грунтовки.
В качестве антикоррозийного и одновременно противопучинистого средства может быть использовано эпоксидное покрытие, которое уменьшает действие выпучивающих усилий на знак в 3 - 4 раза. Технология этого покрытия описана в документе "Центры и реперы государственной геодезической сети СССР" (М., "Недра", 1973).
При закладке реперов должны строго выполняться требования Правил по технике безопасности на топографо-геодезических работах.
ИНСТРУМЕНТЫ ДЛЯ НИВЕЛИРОВАНИЯ
В зависимости от класса нивелирования к инструментам и рейкам предъявляют различные требования, которые установлены Инструкцией по нивелированию I, II, III и IV классов издания 1974 г. (в дальнейшем изложении именуемая Инструкцией) (табл. 3).
Таблица 3
Класс нивелирования | III | IV | Техническое |
Нормальная длина визирного луча, м | 75 | 100 | 120 |
Средняя квадратическая погрешность определения превышения на станции, мм | +/- 1,5 | +/- 3,0 | +/- 6,0 |
Средняя квадратическая погрешность на 1 км ухода, мм | +/- 4,0 | +/- 8,0 | +/- 20,0 |
Увеличение зрительной трубы не менее, крат. | 30 | 25 | 20 |
Цена деления цилиндрического контактного уровня на 2 мм не более, сек. | 30 | 30 | 45 |
Предел работы компенсатора, мин. | +/- 10 | 15 | +/- 15 |
Рейки | Цельные деревянные шашечные | Складные шашечные |
Цена наименьшего деления шкалы рейки, мм | | 10 | 20 |
Длина рейки, мм | 3000 | 3000 | 4000 |
Допустимое отклонение от номинала любого метрового интервала, мм | +/- 0,50 | +/- 1,00 | +/- 1,00 |
--------------------------------
<*> При нивелировании в горных районах следует применять инварные рейки.
При нивелировании III и IV классов, а также при техническом нивелировании в основном применяются нивелиры Н3 и НВ-1.
Нивелир Н3 от нивелира НВ-1 отличается тем, что на нем установлен более точный цилиндрический уровень, улучшены зрительная труба и внешний вид.
Рис. 24. Поле зрения нивелира Н3
Рис. 25. Оптическая схема нивелира Н3
Нивелир Н3 состоит из зрительной трубы, цилиндрического уровня, изображение которого передано в поле зрения трубы
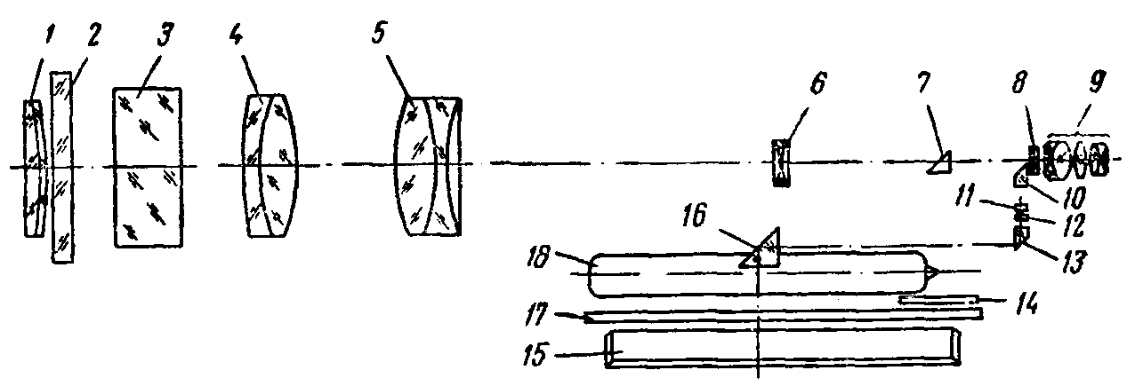
(рис. 24), элевационного винта, которым осуществляется точное совмещение концов пузырька уровня, зажимного и наводящего винтов, круглого установочного уровня, трегера с тремя подъемными винтами и баксы, в которой находится вертикальная ось нивелира. Оптическая схема нивелира показана на
рис. 25. Нивелир юстируется на заводе так, что в окуляре зрительной трубы одновременно резко видны сетка нитей, изображение предметов и изображение концов пузырька уровня.
Если нет резкого одновременного изображения концов пузырька уровня и изображения предмета, на который визируют, то перемещают объектив 1 (см.
рис. 25) вдоль оптической оси.
Основные оптические и конструктивные данные нивелиров Н3 и НВ-1 приведены в табл. 4.
Таблица 4
| Н3 | НВ-1 | Н2 | НА-1 | Ni 007 | Ni В3-6 | НС4 | Ni 025 | НТ | ТН-6 | Ni 050 |
Увеличе- ние зри- тельной трубы, крат. Поле зре- ния трубы по верти- кали Цена де- ления ци- линдриче- ского уровня на 2 мм, сек. Диапазон работы компенса- тора, мин. Наимень- шее рас- стояние визирова- ния, м Цена де- ления ус- тановоч- ного уро- вня на 2 мм, мин. Масса ни- велира, кг Масса упаковоч- ного ящи- ка, кг | 31 1°20' 15 - 2 5 1,8 2,0 | 31 1°20' 17 - 23 - 3 7 - 15 1,8 2,0 | 40 55' 10 - 2,0 С на- сад- кой 1,0 5 6,0 4,8 | 41,8 1°00' 10 - 3,0 5 5,8 5,3 | 31,5 1,3° - +/- 12 2,2 8 3,9 2,8 | 28 или 32 1°20' - +/- 15 3,0 8 2,3 2,3 | 30,5 1°20' - +/- 15 2,5 10 2,0 2,0 | 20 1°40' - +/- 10 1,5 8 1,7 1,7 | 23 1°30' 45 - 1,5 10 1,0 0,7 | 20 1,5° - - 0,8 20 0,75 0,65 | 16 или 18 2°24' - 60 0,9 25 1,0 - |
Нивелир Н3 работает в диапазоне температур от - 40° до + 50 °C. При изменении температуры на 1 °C угол i нивелира изменяется не более чем на 0,8°.
В комплект нивелира НЗ входят: нивелир, штатив, укладочный ящик, становой винт, ЗИП, техническая документация, а также две шашечные трехметровые двухсторонние рейки с сантиметровыми делениями и одна подвесная рейка длиной 1,2 м.
При нивелировании III класса могут также применяться нивелиры с уровнем типа НГ. Отличие нивелира НГ от нивелира Н3 состоит в том, что изображение концов пузырька уровня рассматривается рядом с окуляром зрительной трубы через специальную лупу. Нивелир НГ показан на
рис. 26.
На
рис. 27 и
28 показаны нивелир Н2 и оптическая схема зрительной трубы, а на
рис. 29 - нивелир НА-1. Эти нивелиры применяются при нивелировании III класса в горных районах.
Рис. 28. Оптическая схема нивелира Н2
1 - насадочная линза; 2 - оптический клин;
3 - плоскопараллельная пластинка; 4 - 5 - линзы объектива;
6 - фокусирующая линза; 7 - передающая призма оптического
микрометра; 8 - сетка нитей; 9 - окуляр; 10 - 13 и 16 -
оптическая система для передачи изображения концов пузырька
уровня в поле зрения окуляра; 14 - шпала оптического
микрометра; 15 - зеркало подсветки; 17 - защитное
стекло цилиндрического уровня; 18 - ампула
цилиндрического уровня

Характеристики нивелира НА-1 незначительно отличаются от характеристик Н2. Отличие нивелира Н2 от НА-1 состоит только в более совершенной конструкции инструмента. У нивелира Н2 апохроматическая зрительная труба с увеличением 41,8x, плоскопараллельная пластинка с отсчетным механизмом и цилиндрический уровень, для предохранения от одностороннего нагрева помещены в дополнительный металлический кожух. Кожух значительно уменьшает тепловые воздействия на юстировку нивелира. Перед зрительной трубой помещен защитный клин, который позволяет юстировать угол i нивелира. Оптический микрометр состоит из плоскопараллельной пластинки, маховичка, тяги и отсчетной шкалы, которая жестко связана с тягой. Изображение отсчетной шкалы оптического микрометра в нивелире Н2 передано в поле зрения трубы, что упрощает работу с инструментом
(рис. 30). Плоскопараллельная пластинка и отсчетный микрометр жестко связаны со зрительной трубой. Такая конструкция микрометра значительно уменьшает его мертвый ход. Нивелир Н2 позволяет выполнять визирование на расстояниях от 1,0 до 2,0 м, для этого на зрительную трубу крепят специальную линзу. Основные данные нивелиров приведены в
табл. 4.

Рис. 30. Поле зрения нивелира Н2
Рис. 31. Принцип работы нивелира с компенсатором
3.3. НИВЕЛИР С КОМПЕНСАТОРОМ Ni 007
Принцип работы нивелиров с компенсаторами можно понять из следующего примера. Обратимся к
рис. 31, на котором обозначены:
f - фокусное расстояние объектива зрительной трубы нивелира,

- угол наклона нивелира,
s - расстояние от компенсатора до сетки нитей,

- угол отклонения луча компенсатором.
Предположим, что точка N рейки, находящейся на некотором расстоянии от инструмента, оптический центр объектива O и центр сетки нитей C лежат на одной горизонтальной прямой, т.е. визирная линия инструмента горизонтальна. В этом случае изображение точки N совмещено с центром сетки нитей C
(рис. 31, а), а отсчет по рейке равен N.
Наклоним трубу нивелира вокруг оптического центра объектива на угол

. Центр сетки нитей C сместится относительно первоначального положения на величину
(рис. 31, б) и отсчет по рейке изменится.
Рис. 33. Оптическая схема нивелира Ni007
1 - защитное стекло; 2 - пентапризма; 3 - 4 - линзы
объектива; 5 - компенсатор; 6 - прямоугольная призма
Если же каким-либо способом совместим изображение точки N с центром сетки нитей C, не меняя наклона трубы, и получим первоначальный отсчет по рейке, соответствующий горизонтальному положению визирной линии, то в этом случае визирная линия нивелира станет как бы горизонтальной. Это совмещение изображения сетки нитей с отсчетом N производит компенсатор нивелира.
Имеется несколько путей для совмещения изображения точки N с центром сетки нитей C. В одних нивелирах при наклоне смещается сетка нитей, в других изменяется ход лучей.
Из существующих в настоящее время нивелиров с компенсаторами в СССР при нивелировании III класса наиболее широко применяются нивелиры NiB-3, NiB-4, NiB-5, NiB-6 фирмы MOM (ВНР) и Ni007 Народного предприятия "Карл Цейсе", Йена (ГДР).
Основные требования, которые предъявляются к нивелирам с компенсатором, предназначенным для нивелирования III класса, следующие: компенсатор должен работать в пределах + 10°, время затухания колебаний изображения после механических воздействий на нивелир не должно быть больше 2 сек., точность самоустановки визирной линии в одно и то же положение меньше +/- 0,5°.
Нивелир с компенсатором N 007 предназначен для нивелирования II, III и IV классов. Первые экземпляры нивелиров имели индекс Koni 007. Нивелир N 007 отличается от широко известных нивелиров с уровнем несколько необычной формой
(рис. 32). На
рис. 33 показана оптическая схема зрительной трубы. Внутри вертикального корпуса помещена зрительная труба 3 и 4, компенсатор 5 с демпфером и оптический микрометр 2 в виде наклоняющейся пентапризмы.
Визирный луч проходит через защитное стекло 1 и попадает в пентапризму, которая направляет луч в объектив. Одновременно пентапризму используют в качестве микрометра. Она может поворачиваться (наклоняться) относительно оси, перпендикулярной к визирной линии, на некоторый угол и смещать визирный луч по высоте на 5 мм.
Если нивелир используют при нивелировании III и IV классов, то микрометр выключают. Основные данные нивелира N 007 приведены в
табл. 4.
3.4. НИВЕЛИРЫ NiB-3, NiB-4, NiB-5 и NiB-6
Нивелиры NiB-3, NiB-4 и NiB-5, NiB-6 мало чем отличаются друг от друга (
рис. 34 и
35). Нивелиры NiB-3 и NiB-5 снабжены стеклянными кругами диаметром 82 мм, которые служат для измерения горизонтальных углов, а нивелиры NiB-4 и NiB-6 их не имеют. Отличие же нивелиров NiB-3 и NiB-4 от нивелиров NiB-5 и NiB-6 состоит в том, что у последних нивелиров в поле зрения трубы передано изображение круглого установочного уровня. Это позволяет во время взятия отсчетов по рейке контролировать, в каком положении находится компенсатор. Изображение поля зрения нивелиров NiB-5 и NiB-6 показано на
рис. 36. Пузырек круглого уровня при взятии отсчетов должен находиться внутри круга.
Зрительная труба нивелира аналлатическая, с внутренней фокусировкой, дает прямое изображение. Оптическая схема трубы приведена на
рис. 37. Все оптические детали покрыты противоотражательным слоем "Т". Объектив зрительной трубы состоит из трех линз 5, 6 и 7. Компенсатор, расположенный между нитей 1 и фокусирующей линзой 5, состоит из системы призм Порро второго рода 2, 3, 4. Призма 3 неподвижно скреплена с телом трубы, а призмы 2 и 4 установлены на одной общей оправе, подвешенной на четырех попарно перекрещивающихся стальных нитях диаметром 0,05 мм. Длина нитей около 3 см. Для предохранения нитей от обрыва во время переноски нивелира колебания компенсатора ограничены специально "запорным штифтом" в виде оси. Успокоение колебаний компенсатора производится двойным воздушным демпфером. Компенсатор и окуляр закрыты кожухом, состоящим из двух съемных частей. Оправа сетки нитей снабжена одним котировочным винтом для исправления угла i.
Как видно на
рис. 34,
35, нивелиры i не имеют обычной вертикальной оси, зажимного и наводящего винтов. Они заменены специальной осью и бесконечным микрометренным винтом. Вертикальная ось с бесконечным микрометренным наводящим винтом, подставка с тремя подъемными винтами закрыты кожухом, на котором установлен круглый установочный уровень. Основные данные нивелиров типа NiB приведены в
табл. 4.
Рис. 36. Поле зрения нивелира NiB-5
Рис. 37. Оптическая схема нивелира NiB
1 - сетка нитей; 2, 3 и 4 - призмы компенсатора;
5, 6 и 7 - линзы объектива
Нивелиры NiB могут снабжаться микрометрами с плоскопараллельной пластинкой. В этом случае при нивелировании по инварным рейкам средняя квадратическая погрешность равна +/- 1 мм/км. Точность измерения горизонтальных углов порядка 1 - 2'.
При нивелировании IV класса, кроме нивелиров Н3, НВ-1, NiB-3, 4, 5 и 6 и N 007 могут применяться нивелиры НС-4, Ni 025 Народного предприятия "Карл Цейсс" (Иена) и другие равноценные инструменты. В исключительных случаях можно применять инструменты НТ, но ими следует пользоваться как глухими нивелирами, т.е. при производстве измерений не перекладывать трубу в лагерах.
Общий вид нивелира НС4 показан на
рис. 38, а оптическая схема - на
рис. 39. Между фокусирующей линзой 2 и сеткой нитей 5 находится компенсатор, состоящий из двух прямоугольных призм 3 и 4. Чувствительным элементом компенсатора является нижняя призма 4, подвешенная на двух парах скрещивающихся стальных нитей. Ошибка самоустановки визирной линии в одно и то же положение +/- 0,4".
Рис. 39. Оптическая схема нивелира НС4
1,2 - линзы объектива; 3, 4 - прямоугольные призмы
компенсатора; 5 - сетка нитей; 6 - окуляр
Демпфер воздушный, поршневого типа гасит колебания изображений после механических воздействий на инструмент за 1,3 сек.; микрометренное наведение зрительной трубы по азимуту осуществляется при помощи наводящего винта с бесконечной подачей. Зажимной винт у нивелира отсутствует. Вертикальная ось нивелира имеет такое трение, что при вращении микрометренного наводящего винта зрительная труба медленно поворачивается по азимуту. Нивелир снабжен подъемными винтами с увеличенным шагом резьбы, что позволяет более быстро приводить нивелир в рабочее положение. Нивелир может работать в диапазоне температур от -40° до +50 °C. Основные данные инструмента приведены в
табл. 4.
Ранее эти нивелиры назывались Koni 025
(рис. 40). Оптическая схема устройства нивелира показана на
рис. 41. Зрительная труба, компенсатор с демпфером и бесконечный микрометренный винт, снабженный двумя головками, заключены в общий коробкообразный кожух. На задней стенке кожуха укреплены окуляр и сетка нитей с исправительными винтами. На верхней плоскости кожуха расположен круглый уровень с зеркалом. Нивелир имеет цилиндрическую ось и бесконечный микрометренный винт. Подставка нивелира состоит из трегера, трех подъемных винтов и пластинчатой пружины. В центре пружины находится втулка с резьбой для станового винта. Зрительная труба дает прямое контрастное изображение. Объектив состоит из двух компонентов: неподвижной линзы и двояковогнутой линзы, посредством которой производится фокусирование. Между фокусирующей линзой и сеткой нитей расположен компенсатор с воздушным демпфером. Компенсатор состоит из трех призм. Нижние прямоугольные призмы укреплены на одной общей оправе, которая подвешена на четырех тонких коротких металлических ленточках. Верхняя призма наглухо соединена со зрительной трубой. При наклонах зрительной трубы передняя плоскость первой прямоугольной призмы и задняя плоскость второй прямоугольной призмы занимают отвесное положение. Сложный окуляр зрительной трубы снабжен диоптрийным кольцом. Сетка нитей, кроме горизонтального и вертикального штрихов, имеет два коротких дальномерных штриха. Основные характеристики нивелира приведены в
табл. 4.

Рис. 41. Оптическая схема нивелира N 025
Нивелиры выпускаются как с горизонтальным кругом, так и без него. Цена деления горизонтального круга 10', точность отсчитывания V.
В СССР выпускаются два типа нивелиров: НТ и ТН-6, специально предназначенных для технического нивелирования.
Рис. 43. Оптическая схема нивелира НТ
НТ - глухой нивелир с цилиндрическим уровнем и элевационным винтом. В этом нивелире изображение контактного уровня передано в поле зрения трубы. Нивелир имеет небольшие размеры (140 x 95 x 105 мм) и компактную форму. Общий вид нивелира показан на
рис. 42, а оптическая схема - на
рис. 43.
К нивелиру придается специальный металлический штатив. Головка штатива снабжена шаровой плитой, которая позволяет приводить нивелир в рабочее положение по круглому уровню без помощи подъемных винтов. У НТ нет зажимного и закрепительного винтов. Наведение нивелира на рейку производится от руки.
Инструмент имеет горизонтальный металлический круг, при помощи которого можно измерять углы с погрешностью 0,1°. Отсчеты по горизонтальному кругу производятся при помощи индекса. Нивелир позволяет измерять превышения на станции со средней квадратической погрешностью не более +/- 6 мм при расстоянии между нивелиром и рейками до 150 м.
Основные характеристики нивелира приведены в
табл. 4.
Этот нивелир имеет компенсатор. Общий вид комплекта нивелира показан на
рис. 44. После приведения нивелира в горизонтальное положение по круглому уровню визирная линия устанавливается в горизонтальное положение при помощи компенсатора, состоящего из объектива, отклоняющего зеркала и сетки нитей. Компенсатор подвешен на горизонтальной оси, которая находится в приборных шарикоподшипниках. Демпфирование колебаний компенсатора магнитное. Зрительная труба нивелира дает прямое изображение. Фокусирование осуществляется при помощи кремальеры перемещением зеркала. Окуляр у нивелира поворотный, позволяет выполнять визирование на заднюю и переднюю рейки без перемещения наблюдателя вокруг нивелира, а только путем наведения зрительной трубы на соответствующую рейку и поворотом окуляра на 180°.
Штатив нивелира имеет специальное выдвижное устройство, позволяющее изменять высоту инструмента до 500 мм при визировании на разные рейки. Это изменение высоты учитывается при вычислении превышений. Для того чтобы узнать, на сколько изменилась высота нивелира, необходимо взять отсчет a по штанге, нажать на рычаг выдвижного устройства, поднять или опустить нивелир. Установив нивелир в нужное положение, отпустить рычаг и произвести второй отсчет b по штанге. Разность между отсчетами a и b будет указывать, на сколько изменилась высота нивелира.
Превышение вычисляют по формуле:
h = (з - п) +/- (a - b). (3.1)
В зависимости от оцифровки штанги прибавляют или вычитают разность a - b.
Особенно целесообразно применение таких штативов при работе на линиях затяжными уклонами. Основные технические данные НТ-6 приведены в
табл. 4.
Рис. 44. Комплект нивелира ТН-6
Рис. 46. Оптическая схема нивелира Ni 050
1 и 5 - линзы объектива; 2, 3 и 4 - призмы компенсатора;
6 - сетка нитей; 7 - окуляр
Компенсатор этого нивелира состоит из трех прямоугольных призм, призмы 2 и 4 подвешены (см.
рис. 46). Трегер и подъемные винты заменены двумя клиновидными дисками, расположенными один над другим. Вращая диски, можно устанавливать зрительную трубу в горизонтальное положение по круглому уровню за несколько секунд
(рис. 45).
Фокусирование осуществляется средней призмой 3 компенсатора
(рис. 46). Кремальера фокусирующей призмы имеет бесконечное вращение, т.е. у нее нет упора. При вращении в одну сторону, пройдя через бесконечное расстояние, производят повторное фокусирование на заданное расстояние. Бленда, наглухо закрепленная на зрительной трубе, предохраняет объектив от дождя и солнца. Нивелиры выпускаются как с горизонтальным металлическим кругом, так и без него. Отсчитывание по кругу производят при помощи индекса и лупы. Точность отсчета 0,1°. Основные характеристики нивелира приведены в
табл. 4.
При нивелировании III класса применяются двусторонние цельные трехметровые деревянные рейки с сантиметровыми делениями РНЗ
(рис. 47) и инварные штриховые рейки РН2. Инварные рейки следует применять при нивелировании в горных районах.
Рейки РНЗ изготовляются из хорошо выдержанных, специально обработанных, пропитанных маслом и покрашенных краской брусков хвойных пород леса, длиною несколько более 3000 мм, шириной 60 - 70 мм и толщиной 30 - 40 мм. Деления на рейках обозначают сантиметровыми шашками. На одной стороне рейки шашки наносятся черной краской, на другой - красной. Фон рейки белого или светло-желтого цвета. Нижний и верхний концы бруска имеют металлические оправы. При нивелировании нижний конец рейки (пятка) ставится на выпуклую сферическую поверхность костыля или башмака. Нуль черной стороны рейки совпадает с пяткой рейки. Нуль красной стороны на одной рейке комплекта смещен на 4683, а на второй - на 4783, что позволяет контролировать правильность взятия отсчетов по рейкам. При нивелировании III класса могут применяться рейки, у которых на красной стороне наименьшее деление равно 11/10 см. Надписи дециметровых интервалов делаются арабскими цифрами. В зависимости от типа нивелиров, с которыми будет использован данный комплект реек, оцифровка дается прямой и обратной. Прямая оцифровка применяется тогда, когда зрительная труба нивелира дает прямое изображение (NiB 3-6, N 007, N 025 и N 050 и ряд других инструментов). Обратная оцифровка применяется, как правило, при работе с нивелирами с уровнем. Рейка РНЗ имеет две ручки и круглый установочный уровень с ценой деления 20' на 2 мм. При помощи уровня рейка устанавливается в отвесное положение и удерживается в этом положении во время производства отсчетов.

У реек, предназначенных для нивелирования III класса погрешности сантиметровых делений не должны превышать +/- 0,20 мм, а метровых интервалов +/- 0,50 мм. В комплект реек НР2 и НРЗ входят подвесные деревянные рейки, которые имеют такие же штрихи и шашки, что и трехметровые рейки. Длина этих реек 1,2 м. Ось отверстия для штифта совпадает с нулевым штрихом основной шкалы или с нулем черной стороны рейки.
При нивелировании IV класса применяются те же деревянные рейки, что и при нивелировании III класса, но допускаются несколько большие отклонения метровых интервалов от номинала: до +/- 1,00 мм. При нивелировании IV класса могут применяться односторонние рейки длиной 4 м, а в отдельных случаях - складные рейки. В этом случае при взятии вторых отсчетов по рейкам необходимо изменять высоту инструмента, что замедляет темп работы. Рейки, предназначенные для нивелирования IV класса, могут быть как с установочными уровнями и ручками, так и без них. При техническом нивелировании используются как трехметровые цельные рейки, так и складные одно-двусторонние рейки длиной 3 - 4 м. У реек, предназначенных для технического нивелирования, отклонения метровых интервалов от номинала могут достигать +/- 1,0 мм.
У односторонних реек допускается чередование раскраски метровых интервалов в красный и черный цвет. Масса деревянной трехметровой рейки около 4 кг, инварной - 6,0 кг.
При работе нивелирами с уровнем, как правило, применяются нераздвижные штативы длиной 150 - 180 см
(рис. 48). При работе нивелирами с компенсатором могут применяться штативы с раздвижными ножками
(рис. 49). Длина раздвижных штативов 150 см, со сдвинутыми ножками - около 100 см. Головки у всех штативов металлические, ножки деревянные, у штативов нивелиров ТН-6 ножки металлические. На концах деревянных ножек крепятся металлические наконечники с упорами.
В головке штатива крепится становой винт. Становой винт обеспечивает жесткую связь нивелира со штативом и может свободно перемещаться в пределах центрального отверстия головки.
При работе на твердом грунте лучше применять штативы длиной 160 - 170 см в зависимости от роста нивелировщика, при работе на мягких грунтах и по снегу - длиной 160 - 180 см. При нивелировании по мерзлому грунту и снегу штативы должны быть дополнительно снабжены деревянными удлинителями
(рис. 50) или пластмассовыми (роговыми) вставками в металлические наконечники ножек штатива
(рис. 51). Штативы с удлинителями и вставками при работе по мерзлому грунту более устойчивы во время наблюдений на станции.
Масса нераздвижного штатива 5 - 8 кг, раздвижного - 5 - 6 кг. Во время работы в поле необходимо систематически следить за затяжкой всех неподвижных и подвижных винтов и соединений.
Рис. 48. Штатив нераздвижной
Рис. 49. Штатив с раздвижными ножками
Рис. 50. Удлинитель к штативу
Рис 51. Пластмассовая вставка в металлический
наконечник ножек штатива
Рис. 52. Металлический костыль
При нивелировании III и IV классов и техническом нивелировании могут применяться металлические и деревянные башмаки, костыли и деревянные колья разной длины и толщины. Основное требование, которое предъявляют к ним, это их устойчивость во время измерений и во время перехода наблюдателя с нивелиром со станции на станцию. Наиболее устойчивыми являются костыли и деревянные колья.
Масса металлического башмака 3 - 5 кг, костыля - 0,5 - 3,0 кг в зависимости от длины и формы. Костыли изготавливают вытягиванием или вытачиванием их из металлических стержней
(рис. 52). Для предохранения головки костыля от повреждений при забивании на нее надевают специальный стальной колпачок или шайбу. Во время нивелирования необходимо следить за тем, чтобы головка костыля всегда имела форму сферы. Костыли имеют ручки для вытаскивания их из грунта.
Рис. 53. Деревянный башмак
Металлические башмаки имеют три шипа, которые углубляют в грунт, головку для установки рейки и ручку для переноски. Деревянные башмаки, которые применяются при нивелировании на снегу, показаны на
рис. 53.
В зависимости от трассы и грунта рекомендуется применять переходные точки разных типов:
при работе по плотному и каменистому грунту - металлические костыли длиной до 20 см и толщиной до 2 см, а также металлические башмаки;
при мягких влажных, заболоченных грунтах - деревянные колья, в верхние торцы которых, как правило, бывают забиты гвозди. Диаметр кола 5 - 10 см, длина - в зависимости от грунта. Можно также применять металлические костыли длиной 50 - 60 см и толщиной 3 - 5 см;
при мерзлом грунте - стальные костыли длиной около 10 см и толщиной 1 см и деревянные башмаки. При снеге толщиной более 40 - 50 см применяют деревянные башмаки. Наст в местах установки штатива и башмаков должен быть обязательно разрушен. Башмаки устанавливают на утрамбованный снег. Ножки штатива должны упираться в мерзлый грунт.
При работе на грунтах средней плотности могут применяться металлические башмаки, костыли и колья.
При нивелировании по асфальту рекомендуется применять стальные костыли
длиной 7 - 10 см и толщиной около 1 см. Применение металлических башмаков
нежелательно, так как они могут значительно оседать за время перехода
наблюдателя со станции на станцию, что вызывает значительные накопления
разностей d = h - h со знаком плюс. Если же применяют башмаки, то их
пр обр
следует устанавливать на газоны, бровки дороги, бордюрные камни и т.п., но
не на асфальт.
При нивелировании по полотну железной дороги рейку можно ставить на головку рельса, отмечая места установки реек мелом. После прохождения железнодорожного состава рельс возвращается в прежнее положение. В отдельных случаях в качестве переходных точек можно использовать местные предметы (выступы скал, камней и т.п.), но они должны быть отмечены краской или мелом.
3.13. ПОВЕРКИ И ИССЛЕДОВАНИЯ НИВЕЛИРОВ И РЕЕК
При получении новых инструментов, а также перед выездом в поле наблюдателю необходимо убедиться в полной исправности нивелира и реек путем тщательного осмотра, поверок и исследований. Все нивелиры и рейки должны соответствовать требованиям действующей Инструкции. Отдельные поверки нивелиров и реек периодически производят в полевых условиях. Эти периодические поверки, проводимые в полевых условиях, позволяют убедиться в полной исправности инструментов. Специальные поверки, например исследование хода фокусирующей линзы у нивелиров, предназначенных для передачи высот через препятствия, очень подробно описаны в Инструкции и здесь не приводятся.
3.13.1. ОСМОТР НИВЕЛИРОВ И РЕЕК
Перед выездом на полевые работы исполнитель должен тщательно осмотреть нивелир и рейки и убедиться в их полной исправности. При осмотре нивелира обращают особое внимание на исправность всех его частей; на отсутствие шатаний в подъемных, закрепительных и наводящих винтах; на отсутствие коррозии и раковин на металлических частях и других видимых дефектов инструмента. Визуально проверяют чистоту оптических деталей зрительной трубы, контрастность и четкость одновременного изображения сетки нитей и концов пузырька цилиндрического уровня, плавность вращения окуляра и головки, перемещающей фокусирующую линзу; возможность точной фокусировки на выбранный предмет и на качество изображения. Оптические качества зрительной трубы определяют путем рассматривания рейки, входящей в комплект, установленной на расстояниях 25 и 100 м от нивелира. Если качество зрительной трубы плохое, т.е. изображения штрихов и оцифровки рейки неясные, искаженные или сильно окрашенные, то труба признается плохой, и нивелир следует направить в мастерскую для ремонта.
При осмотре нивелира необходимо проверить исправность зеркала, освещающего уровень, качество работы элевационного винта и оптического микрометра, а также крепления всех подвижных частей нивелира и стопорных винтов.
Элевационный винт и барабан оптического микрометра не должны иметь большого мертвого хода. Изменение наклона зрительной трубы при помощи элевационного винта должно быть плавным, без срывов. Совмещение изображения концов пузырька уровня должно происходить вблизи центральной части окошечка. Барабан оптического микрометра должен вращаться плавно и иметь достаточное трение, чтобы не сползать при крайних отсчетах 0 и 100.
Проверяют исправность штатива, смотрят, подходит ли становой винт к нивелиру. Подтягивают все винты и гайки. Осматривают рейки, обращая особое внимание на качество окраски (штрихов и шашечных делений) и оцифровки, а также на равномерность и чистоту красочных покрытий. На рабочих поверхностях реек не должно быть пятен, царапин и отслаивания краски. Следует проверить крепление металлической фурнитуры и пятки рейки. Пятка должна быть плоской.
3.13.2. ОПРЕДЕЛЕНИЕ ЦЕНЫ ДЕЛЕНИЯ УСТАНОВОЧНОГО УРОВНЯ
Грубый установочный уровень у нивелира затрудняет работу наблюдателя на станциях и снижает производительность труда. При получении нивелира с завода или после ремонта, в случае замены ампулы уровня, необходимо определить цену деления круглого установочного уровня. Определение цены деления установочного уровня можно выполнить при помощи экзаменатора, по рейке или при помощи подъемных винтов подставки нивелира.
Для исследований установочного уровня при помощи экзаменатора могут быть использованы любые экзаменаторы, например с ценой деления 5". Экзаменатор должен быть установлен на прочной каменной или бетонной опоре (столбе). Исследования производят следующим образом. На ампулу уровня крепят шкалу с делениями через 2 мм. Нивелир устанавливают на площадку экзаменатора так, чтобы шкала с делениями была параллельна оси экзаменатора. Вращением измерительного винта экзаменатора и вращением элевационного винта нивелира или одного из подъемных винтов устанавливают пузырек уровня в крайнее рабочее положение так, чтобы отсчет по измерительному винту был равен 0. Производят отсчеты по обоим концам пузырька уровня. Ввинчиванием или вывинчиванием измерительного винта (лучше всего на целое число оборотов) наклоняют площадку экзаменатора на угол альфа и после успокоения пузырька уровня производят отсчеты по его концам при помощи шкалы. Наклоняют площадку на угол 2а и т.д. до тех пор, пока пузырек не переместится к другому краю ампулы. Пример записи в журнал и вычислений дан в табл. 5.
Таблица 5
┌─────────────────────────┬───────────────────────────────────┬───────────┐
│ Отсчет по экзаменатору │ Отсчеты по пузырьку уровня │ Наклон │
│ ├───────────┬───────────┬───────────┤ │
│ │ л │ п │ ср. │ │
├─────────────────────────┼───────────┼───────────┼───────────┼───────────┤
│0' │1,5 │3,5 │2,50 │0,45 │
│5 │1,9 │4,0 │2,95 │0,40 │
│10 │2,3 │4,4 │3,35 │ │
└─────────────────────────┴───────────┴───────────┴───────────┴───────────┘
Цену деления круглого уровня по рейке у нивелиров с уровнем определяют так же, как и цену цилиндрического уровня
(п. 3.13.10).
Рис. 54. Определение цены деления круглого уровня
Определение цены деления установочного уровня при помощи подъемных винтов выполняют в такой последовательности. Определяют величину шага подъемного винта. В зависимости от конструкции винта это делается разными способами. Например, если видна нарезка подъемного винта, то к нему прикладывают бумагу и проводят по ней карандашом. На бумаге отпечатывается ряд черточек, соответствующих шагу винта. Измерив расстояние между крайними черточками и разделив его на число промежутков между черточками, получают величину шага винта в мм. У других нивелиров нужно провести черту карандашом на втулке или стержне подъемного винта, и после того как будет повернут подъемный винт на целое число раз, еще раз проводят черту. Измерив расстояние между черточками и разделив на число оборотов винта, найдем величину его шага. После этого необходимо определить расстояние от центра подъемного винта до середины между двумя другими винтами. Для этого нивелир ставят на бумагу и получают отпечатки всех трех подъемных винтов. Измеряют расстояния, как показано на
рис. 54. Затем на оправу круглого уровня крепят шкалу с делениями через 2 мм. По этой шкале производятся отсчеты при перемещении пузырька уровня. Устанавливают нивелир так, как показано на рис. 54. Действуя подъемными винтами, приводят пузырек уровня в одно из крайних рабочих положений. Отмечают положение подъемного винта С и записывают отсчеты по концам пузырька уровня по шкале. Поворачивают подъемный винт С на 180° или 360°, т.е. до тех пор, пока пузырек уровня не переместится в другое крайнее рабочее положение. Производят вторые отсчеты по концам пузырька уровня.
Цену деления круглого уровня вычисляют по формуле:
где

- число оборотов подъемного винта С;
k - величина шага подъемного винта С в мм;
l - расстояние от центра подъемного винта С до середины между двумя другими винтами в мм; n - число делений, на которое сместился пузырек уровня. При определении цены деления круглого уровня у одного из нивелиров Н3 были получены следующие значения: m = 0,5, k = 1,0 мм, l = 66,0 мм и n = 2,0 деления
Таким образом, цена деления круглого установочного уровня

равна 13,0' на 2 мм. Если цена деления круглого уровня больше 15' на 2 мм, то ампулу у такого уровня следует заменить, так как при приведении вертикальной оси нивелира в отвесное положение по этому уровню не будут видны в поле зрения трубы концы пузырька цилиндрического уровня, а при работе нивелиром с компенсатором могут происходить зависания компенсатора, что затруднит проведение нивелирования.
3.13.3. ПОВЕРКА ПЛАВНОСТИ ВРАЩЕНИЯ НИВЕЛИРА ВОКРУГ
ВЕРТИКАЛЬНОЙ ОСИ. СМАЗКА ОСИ
Чтобы поверить качество вращения нивелира вокруг вертикальной оси, его закрепляют на штативе и медленно вращают вокруг вертикальной оси. Вращение должно быть легким и плавным. В противном случае необходимо произвести чистку и смазку оси.
Как правило, ежегодно перед началом полевых работ производят в мастерских чистку и смазку вертикальной оси нивелира. В исключительных случаях чистку и смазку во время полевых работ выполняют в закрытом чистом помещении с предосторожностями, не допускающими попадания пыли и грязи на разобранные ось и втулку нивелира.
О том, как производить чистку и смазку оси нивелира того или иного типа, можно узнать из описания инструмента. Необходимо лишь помнить, что ось и втулку следует протирать только чистой, стираной материей, слегка смоченной очищенным бензином, а затем такой же, но сухой материей.
Смазку оси и втулку производят часовым маслом. При нивелировании при низких температурах (до -20 - 25 °C) ось и втулку смазывают часовым маслом для низких температур или совсем оставляют без смазки. При повышении температуры до -10 - 15 °C ось и втулка смазываются обычным часовым маслом.
3.13.4. ПОВЕРКА И ЮСТИРОВКА КРУГЛОГО УСТАНОВОЧНОГО УРОВНЯ
Поверку и юстировку круглого установочного уровня (или двух цилиндрических с

) производят следующим образом. Приводят пузырек уровня в нульпункт при помощи подъемных винтов. Поворачивают нивелир вокруг вертикальной оси на 180°. Если пузырек отклонился от середины, то его приводят в первоначальное положение, перемещая на половину отклонения при помощи исправительных винтов уровня, а на другую половину - подъемными винтами. После этого снова поворачивают нивелир на 180°. Если пузырек уровня вновь сойдет с нульпункта, то производят вторичное исправление. Обычно после двух - трех исправлений пузырек уровня остается в нульпункте при повороте нивелира на 180°. После исправлений винты уровня должны быть надежно закреплены. Эту поверку следует делать ежедневно перед началом работ, особенно если нивелирование производится нивелиром с компенсатором.
3.13.5. ПОВЕРКА И РЕГУЛИРОВКА ВРАЩЕНИЯ ПОДЪЕМНЫХ ВИНТОВ
При плотно завинченном становом винте подъемные винты подставки нивелира должны вращаться легко и плавно. Если их вращение затруднено или, наоборот, слишком легкое, регулируют их ход. Это выполняется следующим образом. Не снимая нивелир со штатива, вывинчивают подъемные винты до тех пор, пока не станут видны круглые отверстия на их стержнях. Совмещают их с углублениями, имеющимися на внутренней втулке подъемного винта. При помощи шпильки, вставляемой в это углубление, поворачивают весь винт до тех пор, пока вращение его не будет нормальным. После исправлений первого подъемного винта поверяют следующий винт. Регулировка подъемных винтов осуществляется путем нескольких исправлений и проб хода каждого винта.
3.13.6. ИСПРАВЛЕНИЕ ПАРАЛЛАКСА СЕТКИ НИТЕЙ
При параллаксе плоскость сетки нитей не совпадает с плоскостью изображения рейки, а находится ближе или дальше ее. В этом случае при изменении положения глаза относительно окуляра (выше, ниже) происходит изменение отсчета по рейке на 2 - 3 мм.
Чтобы уничтожить параллакс, необходимо совместить плоскость сетки нитей с плоскостью изображения предмета. Это достигается как перемещением сетки нитей при помощи диоптрийного кольца окуляра, так и изменением фокусировки.
Исправление выполняют до тех пор, пока отсчет по рейке не будет постоянным при изменении положения глаза относительно окуляра.
3.13.7. ПОВЕРКА ПРАВИЛЬНОСТИ УСТАНОВКИ СЕТКИ НИТЕЙ НИВЕЛИРА
Вертикальная нить сетки при положении пузырька установочного уровня в нульпункте должна совпадать с отвесом, а горизонтальная нить перпендикулярна к ней. Поверку делают по отвесу в безветренную погоду или в помещении. На расстоянии 10 - 20 м от отвеса устанавливают нивелир. Тщательно приводят вертикальную ось нивелира по уровню в отвесное положение и наводят вертикальную нить на нить отвеса. Если один конец вертикальной нити сетки отходит от нити отвеса более чем на 0,5 - 1,0 мм, то установку сетки нитей следует исправить при помощи исправительных винтов 1 и 2. На рис. 55 показаны все исправительные винты сетки нитей нивелира НВ-1.
Рис. 55. Крепление сетки нитей нивелира НВ-1
Рис. 56. Поверка горизонтальной нити нивелира
После того как исполнитель убедился, что вертикальная нить сетки установлена правильно, поверяют установку горизонтальной нити. Для этого наводят среднюю горизонтальную нить на какую-нибудь хорошо видимую точку, находящуюся на расстоянии 20 - 25 м от нивелира. Медленно вращают нивелир по азимуту микрометренным винтом и следят, не сходит ли горизонтальная нить сетки с наблюдаемой точки
(рис. 56). Если горизонтальная нить сетки сходит с точки более чем на один мм, то у такого нивелира следует заменить сетку нитей. Поверку выполняют только при получении новых нивелиров или после ремонта. В полевых условиях следует поверять только горизонтальность горизонтальной нити сетки.
После юстировки сетки нитей обязательно определяют, а в случае надобности и исправляют угол i нивелира.
3.13.8. ПОВЕРКИ И ИСПРАВЛЕНИЯ УСТАНОВКИ
ЦИЛИНДРИЧЕСКОГО УРОВНЯ
К цилиндрическому уровню нивелира предъявляются два требования:
1) отвесная плоскость, проходящая через ось уровня, должна быть параллельна отвесной плоскости, проходящей через визирную ось зрительной трубы;
2) величина угла i, т.е. проекция на отвесную плоскость угла между осью уровня и визирной осью трубы, должна быть меньше 10".
Первую поверку делают при получении новых нивелиров, а также перед выездом в поле. Вторую поверку, определение угла i или величины

, выполняют в начале полевого сезона каждый день. Если в течение первых двух недель окажется, что юстировка уровня не меняется, то эту поверку можно выполнять через 10 - 15 дней.
Первую поверку выполняют следующим образом. Устанавливают нивелир на расстоянии 50 - 75 м от рейки так, как показано на
рис. 57. Тщательно приводят вертикальную ось нивелира в отвесное положение при помощи установочного уровня. Точно совмещают элевационным винтом изображение концов пузырька цилиндрического уровня и производят отсчет по рейке или отмечают точно проекцию средней нити на ней при помощи карандаша.
Поворотами подъемных винтов A и B в разные стороны на 2 - 3 полных оборота (см.
рис. 57) дают зрительной трубе нивелира боковой наклон. При этом следят за тем, чтобы горизонтальная нить не сходила с отсчета или с отметки на рейке. Затем наклоняют нивелир в другую сторону, вращая винты A и B в противоположных направлениях.
Если в обоих случаях концы пузырька уровня не отклоняются или смещаются оба раза в одну сторону, то установка уровня правильная. Если же при разных наклонах они расходятся в разные стороны на значительные величины, то исправляют установку цилиндрического уровня боковыми исправительными винтами. При исправлении один исправительный винт вывинчивают, а другой завинчивают, делая это постепенно. Юстировку выполняют методом приближений.
Вторую поверку можно выполнять тремя способами. При нивелировании III и IV классов и техническом нивелировании, как правило, угол i не вычисляют, а находят только величину

.
При первом способе поверки угла i поверку выполняют двойным
нивелированием вперед с концов линии длиной 50 - 75 м. На концах линии
забивают по одному костылю (колу с гвоздем) или устанавливают по
металлическому башмаку. Затем рядом с одним из костылей устанавливают
нивелир, а на другом костыле - рейку. Приводят нивелир в рабочее положение,
наводят его на дальнюю рейку, элевационным винтом совмещают изображение
концов пузырька уровня и производят отсчет по рейке y с точностью до 1 мм.
1
Измеряют высоту нивелира A , т.е. находят расстояние от центра объектива
1
или окуляра до головки костыля, рядом с которым установлен нивелир, при
помощи рулетки или рейки. При помощи рейки высоту нивелира определяют так:
окуляр нивелира устанавливают на расстоянии 3 - 5 см от рейки, которая
стоит на ближнем костыле. Пузырек цилиндрического уровня приводят на
середину. Наблюдатель смотрит на рейку через объектив, а помощник при
помощи движка или каким-либо другим способом отмечает середину видимого
отверстия на рейке и делает по ней отсчет. Этот отсчет является высотой
нивелира над костылем. Отсчет производят по черной стороне рейки.
После этого переносят нивелир ко второму, дальнему костылю.
Аналогично выполняют измерения, что и на первой точке, и получают
2 2
здесь y и y и A , A - соответственно отсчеты по дальней рейке и
1 2 1 2
высоты инструментов в мм, полученные на первой и второй точках; l -
расстояние между костылями в мм.
Пример вычисления угла i первым способом дан в табл. 6.
Таблица 6
ОПРЕДЕЛЕНИЕ УГЛА I (ПЕРВЫЙ СПОСОБ)
Нивелир Н3, l = 60,0 м
┌──────────┬───────────┬───────────┬────────────┬────────────┬────────────┐
│ N │ N │ Высота │ Отсчеты │ x, мм │ x , мм │
│ приема │ костыля │инструмента│ по дальней │ │ ср │
│ │ │ A, мм │рейке y, мм │ │ │
├──────────┼───────────┼───────────┼────────────┼────────────┼────────────┤
│ │1 │1430 │1743 │ │ │
│I │2 │1489 │1170 │ │ │
│ │ │2919 │2913 │+ 3,0 │ │
│II │1 │1469 │1151 │ │ │
│ │2 │1448 │1762 │ │ │
│ │ │2917 │2913 │+ 2,0 │ср. + 2,5 │
└──────────┴───────────┴───────────┴────────────┴────────────┴────────────┘
-2,5 · 206265
= ------------- = +8,6".
60000
Повторяют определение

и берут из двух значений среднее, x и x не
1 2
должны различаться между собой более чем на 2 мм. Если x больше 4 мм, то
ср
исправляют положение цилиндрического уровня. Для этого при помощи
элевационного винта (если нет элевационного винта у нивелира, то при помощи
одного из подъемных винтов) наводят среднюю нить сетки на отсчет по рейке,
равный
Изображения концов цилиндрического уровня разойдутся. Вертикальными исправительными винтами уровня точно совмещают изображения концов пузырька, следя за тем, чтобы отсчет по рейке оставался равным у. Поверку и исправления делают до тех пор, пока величина

не окажется меньше 4 мм. В случае, если исправительными винтами уровня не удается сделать

меньше 4 мм, то исправляют при помощи сетки нитей, перемещая ее вверх - вниз при помощи исправительных винтов. Юстировку при помощи сетки нитей следует производить в мастерских.
Исправление

у отдельных типов нивелиров (например, Н2) можно производить также при помощи защитного стекла, находящегося перед объективом зрительной трубы. Защитное стекло у таких нивелиров выполнено в виде оптического клина с небольшим углом преломления. Для того чтобы уменьшить величину

, вращают защитное стекло вокруг оси, устанавливая тем самым горизонтальную нить сетки на нужный отсчет по рейке, при этом следят, чтобы изображения концов пузырька уровня не разошлись.
У нивелиров с компенсаторами выполняют только вторую поверку. Определяют угол между горизонтальной плоскостью и визирной линией, т.е. угол i. Поверку выполняют теми же способами, что и у нивелиров с уровнями. Исправление производят перемещением сетки нитей или поворотом защитного стекла, находящегося перед объективом. В описаниях инструментов указывается, каким способом лучше исправить угол i.
При втором способе определения угла i также забивают два костыля или
устанавливают два башмака на расстоянии 50 - 75 м друг от друга
(рис. 58).
Устанавливают нивелир строго посередине между костылями и измеряют два раза
превышение по черной стороне реек h . Полученное превышение свободно от
0
ошибок, вызванных неправильной установкой цилиндрического уровня.
Переносят и устанавливают нивелир на расстоянии 10 - 15 м за одним из костылей и вновь измеряют два раза превышение между костылями

. Величину

и угол i в этом случае вычисляют по
формулам (3.7) и
(3.8) (табл. 7):
Рис. 58. Определение угла i нивелира вторым способом
Таблица 7
ОПРЕДЕЛЕНИЕ УГЛА I (ВТОРОЙ СПОСОБ) l = 72,1 м
┌─────────────────────────┬───────────┬───────────┬───────────┬───────────┐
│Превышение, измеренное из│з │1400 │1148 │h │
│середины │ │ │ │ ср │
│ │п │1715 │1465 │-316,0 │
│ │h │-315 │-317 │ │
│ │ 0 │ │ │ │
├─────────────────────────┼───────────┼───────────┼───────────┼───────────┤
│Превышение, измеренное, │з │1470 │1747 │ │
│когда нивелир находился │п │1150 │1429 │ │
│за первым костылем │h │-320 │-318 │-319,0 │
│ │ x │ │ │ │
└─────────────────────────┴───────────┴───────────┴───────────┴───────────┘
-3,0 · 206265
x = -0,3 мм, i = ------------- = -8,6".
72100
Затем, действуя так же, как и при первом способе, исправляют установку цилиндрического уровня.
При третьем способе определения угла i на расстоянии 50 - 75 м друг от друга забивают два костыля (башмака или кола) и определяют превышение между ними с двух станций. Первый раз нивелир устанавливают за первым костылем на расстоянии 3 - 5 м от него, второй раз - на таком же расстоянии за другим костылем.
На первой станции сначала производят отсчет y по ближней рейке и
1
затем, изменив фокусировку трубы, отсчет A по дальней рейке. После этого,
1
сохраняя фокусировку трубы, переходят на вторую станцию, где сначала
производят отсчет A по дальней рейке и затем y по ближней рейке (табл.
2 2
8).
Таблица 8
ОПРЕДЕЛЕНИЕ УГЛА i (ТРЕТИЙ СПОСОБ)
d = 50,5 м
┌────────────┬────────────┬───────────────────────┬───────────┬───────────┐
│ │ │ Отсчеты по рейкам, мм │ │ │
├────────────┼────────────┼───────────┬───────────┼───────────┼───────────┤
│ N │ N │ ближней │ дальней │ x, мм │ x , мм │
│ приема │ костыля │ │ │ │ ср │
├────────────┼────────────┼───────────┼───────────┼───────────┼───────────┤
│ │1 │1400 │1714 │ │ │
│I │2 │1466 │1148 │ │ │
│ │ │2866 │2862 │+2,0 │ │
│II │1 │1432 │1744 │ │ │
│ │2 │1764 │1448 │ │ │
│ │ │3196 │3192 │+2,0 │Ср. +2,0 │
└────────────┴────────────┴───────────┴───────────┴───────────┴───────────┘
+2,0 · 206265
i = ------------- = +8,2".
50500
Угол i вычисляют по формулам:
Для исправления положения уровня поступают так же, как указано в первом способе определения угла i.
3.13.9. ПОВЕРКА НИВЕЛИРОВ С КОМПЕНСАТОРОМ
Перед выездом в поле после выполнения всех поверок у нивелиров с компенсатором следует определить погрешность недокомпенсации. Для этого нивелир устанавливают строго в створе посередине между двумя рейками. При положениях круглого уровня, показанных на
рис. 59, измеряют превышения. Компенсатор при таких наклонах должен работать уверенно, без зависаний. Наблюдения выполняют сериями. В каждой серии при каждом наклоне нивелира измеряют превышения по одной стороне рейки. Перед каждой серией изменяют высоту нивелира. Общее число серий - 5. При нивелировании III класса эту поверку выполняют перед выездом в поле. При этом рейки устанавливают на расстояниях 50 и 100 м от нивелира. После выезда в поле, через 2 - 3 месяца, также выполняют эту поверку на расстоянии 100 м. При нивелировании IV класса и техническом нивелировании исследования выполняют только перед началом полевых работ, а рейки устанавливают на расстоянии 100 м.
При продольных и поперечных наклонах нивелира превышения не должны отличаться от превышения, измеренного при положении пузырька уровня в нульпункте, больше чем на 3 мм при нивелировании III класса и 5 мм при нивелировании IV класса и техническом нивелировании. Например, при исследовании нивелира при продольном наклоне получены следующие значения превышений: продольный наклон +5' - превышение равно + 1,571 м, продольный наклон - 5' - превышение + 1,579 м. При положении пузырька уровня в нульпункте превышение равно + 1,575 м. Такой нивелир нельзя использовать при нивелировании III класса, но его можно применять при нивелировании IV класса и техническом нивелировании. При исследовании другого нивелира были получены соответственно следующие значения превышений: - 2,010, - 2,024 и - 2,016 м. Этот нивелир нельзя применять не только при нивелировании III класса, но и при нивелировании IV класса и техническом нивелировании. Такой нивелир нуждается в заводской юстировке.

Рис. 59. Положение пузырька круглого уровня
при исследованиях компенсатора
При проведении этих исследований рекомендуется рейки устанавливать на костылях или деревянных кольях с гвоздями, крепить в рейкодержателях или привязывать к штативам так, чтобы они во время измерений не меняли своего положения по высоте. Результаты исследований одного нивелира приведены в табл. 9.
Таблица 9
НИВЕЛИР Ni025 N 125674
24 мая 1972 г. Ясно. Спокойно.
Наблюдатель Петров С.Н.
┌──────────┬───────────────┬──────────────────────────────────────────────┐
│ N │Пузырек уровня │ Превышение, м │
│ серии │ в нульпункте ├──────────────────────┬───────────────────────┤
│ │ │ продольный наклон │ поперечный наклон │
│ │ ├──────────────────────┼───────────────────────┤
│ │ │ +5' -5' │ +5' -5' │
├──────────┴───────────────┴──────────────────────┴───────────────────────┤
│ l = 50 м │
│ │
│1 │+1,576 │+1,578 │+1,575 │+1,576 │+1,577 │
│2 │+1,577 │+1,577 │+1,574 │+1,575 │+1,575 │
│3 │+1,575 │+1,576 │+1,576 │+1,577 │+1,575 │
│4 │+1,575 │+1,578 │+1,575 │+1,576 │+1,576 │
│5 │+1,576 │+1,576 │+1,576 │+1,577 │+1,577 │
├──────────┴───────────────┴───────────┴──────────┴───────────┴───────────┤
│Ср. +1,576 +1,577 +1,575 +1,576 +1,576 │
│ │
│ l = 100 м │
│ │
│1 │-0,751 │-0,752 │-0,750 │-0,750 │-0,752 │
│2 │-0,749 │-0,752 │-0,751 │-0,754 │-0,750 │
│3 │-0,753 │-0,753 │-0,748 │-0,752 │-0,748 │
│4 │-0,752 │-0,754 │-0,748 │-0,748 │-0,747 │
│5 │-0,748 │-0,750 │-0,750 │-0,749 │-0,753 │
├──────────┴───────────────┴───────────┴──────────┴───────────┴───────────┤
│Ср. -0,751 -0,752 -0,749 -0,751 -0,750 │
└─────────────────────────────────────────────────────────────────────────┘
Примечание: нивелир N 125674 пригоден для нивелирования III и IV классов.
3.13.10. ОПРЕДЕЛЕНИЕ ЦЕНЫ ДЕЛЕНИЯ УРОВНЯ ПО РЕЙКЕ
Эту поверку выполняют только у вновь поступивших в производство нивелиров, предназначенных для нивелирования III класса, или в случае, когда нивелир не позволяет получить надежные результаты. Такие исследования лучше всего выполнять в тихую и по возможности пасмурную погоду. При ясной и переменной погоде нивелир и уровень должны быть тщательно защищены от воздействий солнечных лучей.
Для исследований выбирают ровную, желательно покрытую травой площадку.
На расстоянии 40 - 60 м от нивелира забивают два костыля или два кола с гвоздями для установки рейки. За полчаса - час до начала определений цены деления уровня нивелир устанавливают в тени на открытом воздухе. Мерной лентой или металлической рулеткой измеряют расстояние от нивелира до рейки с погрешностью +/- 0,2 м.
Наводят трубу на рейку и, действуя элевационным винтом, подводят пузырек уровня к одному из концов ампулы. В поле зрения трубы или в окошке для подсветки уровня производят отсчеты по концам пузырька. Если на ампуле нет делений, то предварительно прикрепляют на ампулу или на защитное стекло шкалу с делениями через 2 мм. Отсчитывают по рейке по средней нити нивелира. Перемещают пузырек уровня к другому концу ампулы уровня при помощи элевационного винта и снова производят отсчеты по концам пузырька уровня и по рейке. Для контроля цену деления уровня определяют дважды. Второй раз рейку ставят на второй костыль, который должен находиться на расстоянии 2 - 3 м от первого.
Если нивелир не имеет элевационного винта, то его устанавливают так, чтобы два подъемных винта располагались на линии, перпендикулярной к направлению на рейку, и, действуя третьим подъемным винтом, осуществляют наклон зрительной трубы нивелира.
Цену деления уровня вычисляют
(табл. 10) по формуле:
где

- цена деления уровня на 2 мм;
h - разность отсчетов по рейке в мм;
n - число делений, на которые переместился пузырек уровня;
k - отношение двух к длине одного деления уровня в мм, длину одного деления шкалы определяют при помощи линейки;
D - расстояние от нивелира до рейки в м.
Таблица 10
ОПРЕДЕЛЕНИЕ ЦЕНЫ ДЕЛЕНИЯ УРОВНЯ ПО РЕЙКЕ
Нивелир Н3 N 124205
24 мая 1972 г. Пасмурно Начало 16 ч 00 мин.
┌─────────────┬───────────────────────────────┬──────────┬────────────────┐
│ Отсчеты по │ Отсчеты по │ Длина │ л - п │
│ рейке │ концам пузырька уровня │ пузырька │ │
├─────────────┼────────────┬──────────────────┼──────────┼────────────────┤
│ │ левый │ правый │ │ │
├─────────────┴────────────┴──────────────────┴──────────┴────────────────┤
│ D = 50,0 м │
│ 1 │
│1750 │12,2 │1,0 │13,2 │+ 11,2 │
│1793 │0,4 │12,8 │13,2 │-12,4 23,6 │
│43 │+11,8 │-11,8 │ │ │
│ │
│ D = 48,3 м │
│ 2 │
│ │
│1822 │11,9 │1,3 │13,2 │+10,6 │
│1862 │0,8 │12,4 │13,2 │-11,6 22,2 │
│40 │+11,1 │-11,1 │ │ │
└─────────────┴────────────┴──────────────────┴──────────┴────────────────┘
3.13.11. ОПРЕДЕЛЕНИЕ КОЭФФИЦИЕНТА ДАЛЬНОМЕРА
Коэффициент дальномера определяют перед выездом в поле. Для определения коэффициента дальномера выбирают ровную площадку, удобную для измерений расстояний мерной лентой или металлической рулеткой. От точки 1, отмеченной колом или костылем, на расстоянии 75 - 100 м забивают на расстоянии 1 м друг от друга два кола. Измеряют расстояние между всеми кольями мерной лентой с погрешностью +/- 0,2 м.
Над точкой 1 устанавливают нивелир, а над одним из кольев - рейку. Берут отсчеты по дальномерным штрихам и средней нити по черной стороне рейки. С целью контроля отсчитывают по всем нитям три раза, изменяя между отсчетами высоту нивелира на 3 - 5 см. Затем все наблюдения повторяют, установив рейку на втором колу.
Коэффициент дальномера K равен частному от деления расстояния между нивелиром и рейкой, полученному при помощи мерной ленты, на среднее из разностей отсчетов по дальномерным штрихам.
Если зрительная труба нивелира имеет постоянную дальномера С, то коэффициент дальномера вычисляют по формуле:
где (н - в) - среднее из разностей отсчетов по нижнему и верхнему
ср
дальномерным штрихам в м, C - постоянная дальномера, взятая из описания
нивелира в м, D - длина базиса в м. При C, равной нулю,
формула (3.12)
принимает вид:
Одновременно с определением коэффициента дальномера вычисляют асимметрию нитей, для чего вычисляют разности
с - в,
н - с,
где с, в и н - отсчеты по соответствующим штрихам сетки нитей.
Асимметрию нитей можно не учитывать при полевых работах, если она меньше 2 мм на расстоянии 75 м. Если же асимметрия больше 2 мм, то при нивелировании не будет соблюдаться допуск, установленный Инструкцией на равенство отсчетов
в + н
с = ------.
2
Пример вычислений коэффициента дальномера и асимметрии нитей дан в табл. 11.
Таблица 11
ОПРЕДЕЛЕНИЕ КОЭФФИЦИЕНТА ДАЛЬНОМЕРА И АСИММЕТРИИ НИТЕЙ
Нивелир Н3 N 02624
15 мая 1972 г. D = 100,00 м D = 101,20 м
1 2
┌───┬─────────────────────────────────┬───────────────────────────────────┐
│ N │ Рейка стоит на костыле N 1 │ Рейка стоит на костыле N 2 │
│п/п├──────────┬───────────┬──────────┼───────────┬──────────┬────────────┤
│ │ отсчеты │ н - с │ с - в │ отсчеты │ н - с │ с - с │
│ │ по нитям │ │ │ по нитям │ │ │
├───┼──────────┼───────────┼──────────┼───────────┼──────────┼────────────┤
│1 │ 874 │ │ │ 749 │ │ │
│ │ 1374 │ 500 │498 │ 1255 │ 506 │ 505 │
│ │ 1872 │ │ │ 1760 │ │ │
│2 │ 971 │ │ │ 994 │ │ │
│ │ 1470 │ 499 │499 │ 1400 │ 506 │ 505 │
│ │ 1969 │ │ │ 1905 │ │ │
│3 │ 1078 │ │ │ 1009 │ │ │
│ │ 1477 │ 499 │500 │ 1513 │ 504 │ 505 │
│ │ 2077 │ │ │ 2018 │ │ │
├───┴──────────┴───────────┴──────────┴───────────┴──────────┴────────────┤
│Среднее 499,3 499,0 505,3 505,0 │
│ 998,3 1010,3 │
└─────────────────────────────────────────────────────────────────────────┘
Постоянная дальномера С равна 0.
100,00
K = ------ = 100,2
1 0,9983
K = 100,2
ср
101,20
K = ------ = 100,2
1,0103
Асимметрия на 100 м равна 0,3 мм и может не учитываться.
При вычислении длин секций, пройденных с нивелиром, у которого постоянная дальномера С

0, следует пользоваться формулой:
где n - число станций в секции;
l - разность отсчетов по дальномерным штрихам при визировании на заднюю и переднюю рейки,
K - коэффициент дальномера;
C - постоянная, взятая из паспорта нивелира.
3.13.12. ПОВЕРКА ПРАВИЛЬНОСТИ УСТАНОВКИ КРУГЛОГО УРОВНЯ
НА РЕЙКЕ
Поверку правильности установки круглого уровня на рейке выполняют ежедневно перед началом работ либо при помощи отвеса, крючка и штифта с острием, укрепленных на рейке, либо при помощи вертикальной нити нивелира. Первым способом пользуются в том случае, когда можно установить рейку в таком месте, чтобы ветер не качал отвес. Второй способ можно применять при любой погоде. Поверку установки уровня при помощи отвеса выполняют так: подвесив на крючок отвес, добиваются положения рейки, при котором острие отвеса находилось бы точно над острием штифта. Если в это время пузырек уровня не находится в нульпункте, то исправительными винтами уровня перемещают его на середину.
При поверке вторым способом рейку устанавливают на расстоянии примерно 50 м от нивелира. Приводят вертикальную ось инструмента в отвесное положение и затем по команде наблюдателя, смотрящего в зрительную трубу, устанавливают рейку так, чтобы ее ребро точно совпадало с вертикальной нитью сетки. Исправительными винтами круглого уровня приводят пузырек на середину ампулы. После этого поворачивают рейку на 90° и повторяют юстировку. Затем вновь устанавливают рейку в первое и второе положения, поверяя, а если нужно, то и исправляя, круглый уровень. Так поступают до тех пор, пока при повороте рейки на 90° уровень не будет требовать юстировки. При поверке рейку лучше держать при помощи двух палок или прислонять к какому-либо предмету (столбу, стене).
3.13.13. ОПРЕДЕЛЕНИЕ СРЕДНЕЙ ДЛИНЫ МЕТРА КОМПЛЕКТА РЕЕК
При нивелировании III класса до и после полевых работ, а также один раз в 1 - 2 месяца определяют среднюю длину метра комплекта реек. При работе в горах определение делают чаще - через 15 - 20 дней.
При нивелировании IV класса среднюю длину метра комплекта реек определяют до и после полевых работ, при техническом нивелировании - до полевых работ.
Длину метра комплекта реек определяют при помощи контрольной линейки в помещении; в полевых условиях эти исследования можно выполнять в палатке или при пасмурной погоде, когда изменение температуры воздуха в течение часа не превышает 2 - 3 °C. За 1 - 2 часа до начала исследований рейки и контрольную линейку вносят в помещение.
Перед началом исследований края шашечных делений, по которым будут производиться отсчитывания, т.е. начала шашечных делений 01, 10, 20 и 29 по черной стороне рейки и 48, 57, 67 и 76 на красной стороне рейки, отмечаются тонкими штрихами при помощи металлической линейки и остро отточенного карандаша.
Исследуемая рейка кладется горизонтально.
При измерениях следует стремиться к исключению влияния изменений температуры рейки и контрольной линейки, провисания рейки, влияния параллакса и бокового освещения. Каждый интервал рейки (1 - 10, 10 - 20, 20 - 29, 48 - 57, 57 - 67 и 67 - 76) измеряют сначала в прямом, а затем в обратном направлениях. При обратных измерениях поворачивают рейку или линейку на 180°. Измерение интервала рейки состоит из двухкратного отсчитывания по концам метрового интервала при помощи контрольной линейки. Сначала отсчитывают левый конец рейки, а затем правый. Отсчеты по контрольной линейке производят при помощи лупы с точностью 0,1 деления, т.е. 0,02 мм. Лучше, когда отсчеты по контрольной линейке выполняют одновременно два наблюдателя. Перед вторым измерением интервала контрольную линейку немного сдвигают.
Разности отсчетов по правому и левому концам контрольной линейки на каждом интервале рейки не должны различаться между собой более чем на 0,1 мм. Если были получены большие расхождения, то контрольную линейку сдвигают еще раз и повторяют измерения. Грубые отсчеты вычеркиваются, а из оставшихся разностей берут среднее.
Перед началом и в конце измерений каждой стороны рейки измеряют и записывают температуру контрольной линейки. В табл. 12 приведен пример компарирования рейки. Показан порядок отсчетов и вычислений. Если определяется средняя длина метра комплекта инварных реек, то измеряют следующие интервалы: 2 - 20, 20 - 40, 40 - 58 (основная шкала) и 62 - 80, 80 - 100, 100 - 118 (дополнительная шкала).
Таблица 12
ОПРЕДЕЛЕНИЕ СРЕДНЕЙ ДЛИНЫ МЕТРА РЕЙКИ N 2342
(ЧЕРНАЯ СТОРОНА)
Контрольная линейка N 0721 15 мая 1972 г.

L = + 0,01 + 0,018 (t - 16,8°) мм.
┌───────┬────────────────────────────┬─────────┬──────────────┬───────────┐
│ Часть │ Отсчеты по линейке, мм │ Среднее │ Поправка │Длина части│
│ рейки ├───────┬──────────┬─────────┤п - л, мм│ за длину │ рейки, мм │
│ │ л │ п │ п - л │ │ контрольной │ │
│ │ │ │ │ │ линейки и │ │
│ │ │ │ │ │температур, мм│ │
├───────┴───────┴──────────┴─────────┴─────────┴──────────────┴───────────┤
│ t = + 8,6°(1) │
│ │
│1 - 10 │0,00(2)│900,14(3) │900,14(6)│ │ │ │
│ │0,44(4)│900,54(5) │900,10(7)│900,12(8)│-0,11 │900,01 │
│10 - 20│0,10 │1000,24 │1000,14 │ │ │ │
│ │0,36 │1000,55 │1000,19 │1000,16 │-0,12 │1000,04 │
│20 - 29│0,08 │900,06 │899,98 │ │ │ │
│ │0,30 │900,24 │899,94 │899,96 │-0,11 │899,85 │
│ │
│ t = + 8,7° │
│ │
│29 - 20│0,14 │900,10 │899,96 │ │ │ │
│ │0,28 │900,18 │899,90 │899,93 │-0,11 │899,82 │
│20 - 10│0,00 │1000,10 │1000,10 │ │ │ │
│ │0,50 │1000,64 │1000,14 │1000,12 │-0,12 │1000,00 │
│10 - 1 │0,12 │900,22 │900,10 │ │ │ │
│ │1,36 │901,48 │900,12 │900,11 │-0,11 │900,00 │
│ │
│ t = + 8,6° │
│ │
│ │3,68 │11204,49 │11200,81 │5600,40 │-0,68 │5599,72 │
└───────┴───────┴──────────┴─────────┴─────────┴──────────────┴───────────┘
Средняя длина метра рейки N 2342 по черной стороне равна:
5599,72
------- = 999,95
5,6
В измеренные длины (графа 6) вводят поправку за приведение контрольной линейки к температуре компарирования рейки. Поправку вычисляют по формуле:
где

- отличие длины метрового интервала контрольной линейки от 1000 мм при температуре эталонирования на компараторе, выписывается из паспорта линейки;

- линейный коэффициент расширения контрольной линейки; если линейка изготовлена из бронзы, то коэффициент расширения принимают равным 0,018 мм на ГС;
t - температура контрольной линейки в момент компарирования рейки;
t - температура контрольной линейки в момент ее эталонирования на
комп
компараторе.
При вычислении поправки на часть метра пользуются формулой:
где k - часть метрового интервала в метрах.
3.13.14. ОПРЕДЕЛЕНИЕ ПОГРЕШНОСТЕЙ ДЕЦИМЕТРОВЫХ ДЕЛЕНИЙ РЕЙКИ
Погрешности дециметровых делений рейки определяются при помощи контрольной линейки в интервале штрихов 1 - 29 по черной стороне и 47 - 76 по красной стороне рейки. При исследованиях выполняются все требования о помещении для компарирования, об укладке рейки и другие, указанные выше. Погрешности дециметровых делений не должны превышать +/- 0,4 мм у реек, предназначенных для нивелирования III класса, +/- 0,6 мм - IV класса и +/- 1,0 мм - при техническом нивелировании. Определение погрешностей дециметровых делений рейки при нивелировании III класса выполняют перед выездом в поле, при нивелировании IV класса и техническом нивелировании - при получении новых реек или при использовании реек, полученных из ремонта.
Прежде чем приступить к определению погрешностей дециметровых делений рейки, отмечают края дециметровых шашек при помощи металлической линейки и тонко отточенного карандаша.
Затем укладывают рейку горизонтально и поверяют полностью сначала черную, а затем красную стороны рейки. Измерения каждого метрового интервала производят дважды. Перед вторым измерением контрольную линейку немного сдвигают. При записях вторых отсчетов записываются только сотые доли мм.
В процессе измерений при помощи левой лупы следят за неподвижностью контрольной линейки во время измерений, а вторую лупу перемещают и при ее помощи производят отсчеты по всем дециметровым шашкам. Перед началом измерения каждого метрового интервала записывают температуру контрольной линейки.
Одновременно с определением погрешностей дециметровых делений рейки поверяют совпадение нулевого деления черной стороны рейки с плоскостью пятки. Отклонения нулевого деления рейки от плоскости пятки не должны превышать +/- 0,5 мм для реек, предназначенных для нивелирования III и IV классов, и +/- 1,0 мм - для реек, применяемых при техническом нивелировании. Эти определения производят при помощи контрольной линейки, измеряя расстояния от плоскости пятки до первого дециметрового штриха. Для удобства отсчитывания к пятке рейки прикладывают ровную тонкую металлическую пластинку, например, лезвие безопасной бритвы.
Пример обработки результатов измерений приведен в табл. 13.
Таблица 13
ОПРЕДЕЛЕНИЕ ПОГРЕШНОСТЕЙ ДЕЦИМЕТРОВЫХ ДЕЛЕНИЙ РЕЙКИ N 2485
Черная сторона
Контрольная линейка N 0721 10 мая 1972 г.
t = +8,7° t = +9,5°
нач кон
┌──────────┬───────────────┬─────────┬──────────┬────────────┬────────────┐
│ N │ Отсчеты по │Разность │Среднее из│Погрешности │ Случайные │
│дециметров│ контрольной │ II - I, │отсчетов, │дециметровых│погрешности │
│ │ линейке, мм │ мм │ мм │ делений, │дециметровых│
│ │ положения │ │ │ мм │ делений 5, │
│ ├───────┬───────┤ │ │ │ мм │
│ │ I │ II │ │ │ │ │
├──────────┼───────┼───────┼─────────┼──────────┼────────────┼────────────┤
│1 │0,00 │0,28 │0,28 │0,14 │ │ │
│2 │100,12 │100,45 │0,33 │100,28 │+0,14 │+0,12 │
│3 │200,03 │200,28 │25 │200,16 │-0,12 │-0,14 │
│4 │300,15 │300,50 │35 │300,32 │+0,16 │+0,14 │
│5 │400,08 │400,33 │25 │400,20 │-0,12 │-0,14 │
│6 │500,20 │500,50 │30 │500,35 │+0,15 │+0,13 │
│7 │600,22 │600,50 │28 │600,36 │+0,01 │-0,01 │
│8 │700,10 │700,44 │34 │700,27 │-0,09 │-0,11 │
│9 │800,14 │800,46 │32 │800,30 │+0,03 │+0,01 │
│10 │900,35 │900,65 │30 │900,50 │+0,20 │-0,18 │
│10 │0,00 │0,40 │0,40 │0,20 │ │ │
│11 │100,05 │100,50 │45 │100,28 │+0,08 │+0,06 │
│12 │200,08 │200,46 │38 │200,27 │-0,01 │-0,03 │
│13 │300,03 │300,38 │35 │300,20 │-0,07 │-0,09 │
│14 │400,12 │400,52 │40 │400,32 │+0,12 │+0,10 │
│15 │500,14 │500,58 │44 │500,36 │+0,04 │+0,02 │
│16 │600,20 │600,56 │36 │600,38 │+0,02 │0,00 │
│17 │700,15 │700,56 │41 │700,36 │-0,02 │-0,04 │
│18 │800,18 │800,55 │37 │800,36 │0,00 │-0,02 │
│19 │900,17 │900,62 │45 │900,40 │+0,04 │+0,02 │
│20 │1000,16│1000,55│39 │1000,36 │-0,04 │-0,06 │
│20 │0,00 │0,16 │0,16 │0,08 │ │ │
│21 │100,16 │100,36 │20 │100,26 │+0,18 │+0,16 │
│22 │200,26 │200,40 │14 │200,33 │+0,07 │+0,05 │
│23 │300,14 │300,26 │12 │300,20 │-0,13 │-0,15 │
│24 │400,00 │400,20 │20 │400,10 │-0,10 │-0,12 │
│25 │500,04 │500,22 │18 │500,13 │+0,03 │+0,01 │
│26 │600,06 │600,26 │20 │600,16 │+0,03 │+0,01 │
│27 │700,10 │700,20 │10 │700,15 │-0,01 │-0,03 │
│28 │800,24 │800,40 │16 │800,32 │+0,17 │+0,15 │
│29 │900,18 │900,34 │16 │900,26 │-0,06 │-0,08 │
└──────────┴───────┴───────┴─────────┴──────────┴────────────┴────────────┘
Систематическая погрешность дециметрового деления
Наибольшая погрешность дециметрового деления - +0,18 и -0,15 мм
Наблюдения и вычисления выполнял Н.С. Петров
Проверил В.Т. Сидоров
В
графу 4 выписывают разности отсчетов I - II. Они в пределах метрового интервала не должны различаться между собой больше чем на 0,1 мм.
В
графу 5 выписывают среднее из двух отсчетов I и II.
В
графу 6 помещают разности между средними отсчетами двух соседних штрихов. Эти величины являются полными погрешностями дециметровых делений рейки. Из этих погрешностей исключают систематическую часть и находят случайные погрешности. Для этого складывают все разности графы 6 и делят сумму на число разностей. В данном примере систематическая погрешность дециметрового деления

Исключая полученное значение из полных погрешностей, находят случайные погрешности дециметрового деления рейки
(графа 7).
3.13.15. ОПРЕДЕЛЕНИЕ РАЗНОСТЕЙ ВЫСОТ НУЛЕЙ РЕЕК
Перед выездом в поле определяют разности высот нулей черных и красных сторон комплекта реек и разности высот нулей красной и черной сторон одной рейки. Эта поверка выполняется следующим образом. На расстоянии 15 - 20 м от нивелира забивают четыре костыля или кола, в торцы которых вбиты гвозди. На каждый костыль поочередно устанавливают обе рейки и производят отсчеты как по черной, так и по красной сторонам. Рейки должны устанавливаться строго отвесно, а отсчеты по рейкам должны производиться со всей тщательностью. Эти действия составляют один прием. Всего делают два приема. Между приемами меняют высоту нивелира более чем на 30 мм. Пример определения разности высот нулей реек дан в табл. 14.
Таблица 14
N приема | N кол. | Отсчеты по рейкам | Разность отсчетов |
N 2481 | N 2482 | N 2481 | N 2482 | N 2481 - N 2482 |
черная | красная | черная | красная | черная | красная |
I II | 1 2 3 4 1 2 3 4 | 1363 1412 1491 1592 1409 1457 1538 1638 | 6150 6200 6276 6379 6197 6245 6325 6426 | 1362 1411 1491 1591 1410 1458 1539 1636 | 6051 6099 6178 6279 6099 6147 6227 6325 | 4787 4788 4786 4787 4787 4788 4787 4788 | 4689 4688 4687 4688 4689 4689 4688 4689 | +1 +1 0 +1 -1 -1 -1 +2 | +99 +101 +98 +100 +93 +98 +98 +101 |
| Ср. | 11900 1487,5 | 50198 6274,8 | 11898 1487,2 | 49405 6175,6 | 38298 4787,2 | 37507 4688,4 | +2 +0,2 | +793 +99,1 |
При определении разности высот черной и красной сторон подвесной рейки последнюю подвешивают на забитый в дерево (столб, здание и т.п.) штифт и производят отсчеты. Значения разностей не должны различаться между собой больше чем на 3 мм. За окончательный результат берут среднее из всех определений.
При нивелировании III и IV классов, если средняя разность высот нулей черных и красных сторон реек меньше +/- 1 мм, а при техническом нивелировании +/- 2 мм, то эти разности не учитываются. Если число штативов в ходе нечетное, то при больших разностях необходимо вводить поправки в превышения.
В примере разность высот нулей реек N 2481 и N 2482 равна: у черных сторон +0,2 мм, у красных сторон +99,1 мм. Разность высот у пары реек равна +0,2 - 99,1 = -98,9 ~- 99 мм.
С величиной 99 +/- 3 мм сравнивают полученные на станции расхождения между превышениями по черной и красной сторонам реек и разности высот нулей реек. Если значения на станции отличаются от этой величины больше чем на 99 +/- 3 мм (96 - 102 мм), то все наблюдения на станции переделывают.
3.13.16. ОПРЕДЕЛЕНИЕ СТРЕЛКИ ПРОГИБА РЕЙКИ
В результате внешних погодных воздействий, а также небрежного обращения с рейками они коробятся. Коробление может быть причиной погрешностей нивелирования. Поэтому раз в месяц следует определять стрелку прогиба.
Рис. 60. Определение стрелки прогиба рейки.
а - стрелка прогиба; б - хранение рейки
Для того чтобы определить стрелку прогиба рейки, ее следует положить на боковое ребро горизонтально, натянуть тонкую металлическую проволоку или нить между концами вогнутой стороны рейки и при помощи линейки или миллиметровой бумаги измерить расстояния от этой нити до поверхности рейки около делений 1,15 и 29 или 48,63 и 77 деревянной рейки и около 2,30 и 58 у инварных реек.
По полученным соответственно расстояниям а , а , и а
(рис. 60, а)
1 2 3
прогиб рейки вычисляют по формуле:
У хороших инварных реек стрелка прогиба должна быть меньше 5 мм, а у
деревянных - меньше 10 мм. Если у инварной рейки a отличается от
2
(a + a ) / 2 больше чем на 5 мм, то такую рейку во время перерывов в
1 3
работе следует класть на упоры под ее серединой или по краям, как показано
на
рис. 60, б. Этим самым будет уменьшаться стрелка прогиба. Так же
поступают и с деревянными рейками.
3.13.17. ОБРАЩЕНИЕ С НИВЕЛИРОМ И РЕЙКАМИ
За сохранность, исправность нивелира, реек, а также всего оборудования и за правильное бережное обращение с ними несет ответственность руководитель бригады. Он обязан обучить всех членов бригады правилам обращения с нивелиром и рейками и следить за их выполнением.
При обращении с нивелиром и рейками следует помнить, что это точные приборы и они требуют к себе бережного отношения.
Укладывать и вынимать нивелир и рейки из упаковочных ящиков следует без больших усилий и нажимов; нивелир при этом необходимо брать за подставку. Во время работы в поле инструмент оберегают от попаданий на него влаги, пыли и грязи; систематически протирают его чистой ветошью или удаляют пыль и грязь при помощи кисти. Трущиеся и ржавеющие части нивелира (подъемные, наводящие винты и другие части) периодически протирают вначале масляной тряпочкой, а затем сухой. Если на нивелир и рейки попала влага, то вначале их следует вытереть тряпкой, затем высушить, снова протереть и смазать металлические открытые части инструмента часовым маслом. Если нивелирование производилось при отрицательной температуре воздуха и инструмент внесен в теплое помещение, следует не менее чем через два часа вынуть его из ящика и протереть.
Оптические части нивелира запрещается протирать тряпочками, замасленными или смоченными спиртом и бензином, - их можно протирать только мягкой белой тканью из льна, тонкого полотна и ватой.
При перерывах в работе на обед или на ночь нивелир и рейки укладывают в упаковочные ящики. Допускается в отдельных случаях хранить рейки в брезентовых чехлах. Запрещается укладывать рейки на землю без чехлов и ящиков.
Нивелир переносят со станции на станцию установленным на штативе в вертикальном положении. Все зажимные винты должны быть закреплены. От воздействий солнечных лучей нивелир при переноске защищают при помощи белого чехла, а во время наблюдений на станции - при помощи зонта. Рейку при переносе следует держать за ручку или укладывать ребром на плечо. Запрещается укладывать рейку плашмя на плечо, так как в этом случае будет стираться ее шкала, что затруднит в дальнейшем производство нивелирования.
При переездах по железной дороге сдавать нивелир в багаж запрещается; на автомобильном и гужевом транспорте инструмент и рейки перевозят в упаковочных ящиках, которые укладывают на сено, стружки и т.п. и обязательно привязывают к кузову.
НИВЕЛИРОВАНИЕ III И IV КЛАССОВ
4.1. ПОГРЕШНОСТИ НИВЕЛИРОВАНИЯ
На точность нивелирования оказывают влияние инструментальные погрешности, личные и погрешности, зависящие от внешних условий. Все эти погрешности взаимосвязаны и трудноразделимы.
1. Погрешность взгляда. Эта погрешность зависит от увеличения зрительной трубы нивелира, ее качества, от качества и цены деления уровня

(в нивелирах с компенсаторами - от погрешности самоустановки визирной линии) и от длины визирного луча. Погрешность взгляда

складывается из следующих погрешностей:
а. Погрешность отсчета по шашечной рейке. Ее влияние может быть оценено по формуле:
При нивелировании способом совмещения эта погрешность аналогична погрешности наведения биссектора на штрих рейки, которая равна
В
формулах (4.1) и
(4.2) введены обозначения: Г - увеличение зрительной трубы, L - расстояние от нивелира до рейки.
б. Погрешность совмещения концов пузырька контактного уровня
здесь

- цена деления уровня на 2 мм.
в. Погрешность округления при отсчете по сантиметровым шашкам деревянной рейки; она равна +/- 0,54 мм.
Погрешность взгляда при нивелировании способом средней нити можно найти по формуле:
а способом совмещения - по формуле:
Погрешность превышения, измеренного на станции по одной стороне рейки, равна
а среднего превышения, измеренного по черной и красной сторонам (основной и дополнительной шкалам) реек,
т.е. погрешность m равна погрешности превышения

.
взг
При нивелировании III класса при длине визирного луча 100 м,
x
увеличении зрительной трубы Г = 30 и цене деления уровня

= 20"
погрешность m будет равна +/- 0,8 мм.
ст
ст
прямой зависимости от длины визирного луча. Поэтому при нивелировании III и
IV классов следует очень осторожно подходить к увеличению расстояний между
нивелиром и рейками, а также к применению новых инструментов, не
предусмотренных Инструкцией.
2. Погрешность, вызванная углом i и его изменениями вследствие тепловых воздействий. Почти на каждом превышении сказывается влияние угла i нивелира, т.е. непараллельности визирной оси зрительной трубы и оси уровня.
Из-за влияния угла i нивелира превышение будет ошибочно на величину
где L и L - расстояния от нивелира до задней и передней реек.
з п
Если принять, что угол i равен 10" и при работе на станции допускают
неравенство расстояний между передней и задней рейками, равное 5, 10 и 25
м, то погрешности в превышениях будут соответственно равны 0,25, 0,50 и
1,25 мм. В ходе эта погрешность будет суммироваться: при

(L - L ) = 500
з п
м и t = 5" погрешность будет равна 1,25 мм, а при i = 10" погрешность будет
25 мм.
Поэтому недопустимо, чтобы при нивелировании на всех станциях разности
L - L были все время с одним и тем же знаком, а угол i был больше
з п
указанного в Инструкции допуска. При работе в поле следует систематически
определять и при необходимости исправлять угол i нивелира.
4.1.1. ВЛИЯНИЕ ТЕПЛОВЫХ ВОЗДЕЙСТВИЙ НА НИВЕЛИР
Угол i нивелира во время наблюдений изменяется вследствие тепловых воздействий (нагрев нивелира лучами солнца и т.д.). Эта причина является одним из важнейших источников погрешностей нивелирования. Их влияние можно свести к минимуму соответствующей методикой наблюдений на станции. Поэтому при нивелировании наблюдения на станции должны строго выполняться в той последовательности, которая установлена Инструкцией.
При работе в поле необходимо защищать нивелир (особенно нивелиры с уровнем) от попаданий на него прямых солнечных лучей, используя зонт или какие-либо другие средства.
В настоящее время отечественной оптико-механической промышленностью выпускаются инструменты для нивелирования III и IV классов, у которых угол i изменяется не больше чем на +/- 0,8" при изменении температуры на 1 °C и для технического нивелирования - на +/- 1,5". У нивелиров с компенсаторами изменение угла i при тепловых воздействиях порядка 0,5" на ГС.
4.1.2. ПЕРЕМЕЩЕНИЯ КОСТЫЛЕЙ И ШТАТИВА
Перемещения отмечаются как во время наблюдений на станции, так и во время перехода наблюдателя со станции на станцию. В зависимости от грунта и его влажности перемещения могут быть различными по величине. Наибольшие перемещения наблюдаются на торфянистых, влажных, мягких и каменистых грунтах.
Особенно сильные оседания штатива отмечаются в начале весны, когда только начинает оттаивать верхний слой грунта. В это время штатив за одну минуту может изменить свое положение на величину до 0,1 мм.
Вследствие перемещений костылей и штатива превышения на станции
измеряются с некоторой погрешностью. Эти погрешности полностью сказываются
на результатах одностороннего нивелирования. В прямом и обратном ходах
погрешность имеет противоположные знаки и в разность d = h - h
пр обр
входит удвоенная величина погрешности. Среднее же превышение в значительной
мере свободно от влияний перемещений костылей и штатива. Поэтому при
нивелировании III класса следует обязательно прокладывать ходы в прямом и
обратном направлениях.
Чтобы ослабить влияние перемещений переходных точек на результаты нивелирования, необходимо выбирать места для установки переходных точек и их типы.
4.1.3. ВЛИЯНИЕ ВЕРТИКАЛЬНОЙ РЕФРАКЦИИ
НА РЕЗУЛЬТАТЫ НИВЕЛИРОВАНИЯ
Влияние рефракции при нивелировании в основном имеет случайный характер. Лишь в отдельные, сравнительно короткие периоды при определенных метеорологических или особых местных условиях влияние рефракции может стать систематическим.
Соответствующим началом и концом работ и условиями прохождения луча над поверхностью земли, которые довольно строго регламентируются Инструкцией, влияние рефракции может быть значительно ослаблено. Поэтому нет особой необходимости учитывать это влияние.
4.1.4. ПОГРЕШНОСТИ НИВЕЛИРОВ С КОМПЕНСАТОРАМИ
Нивелирам с компенсаторами присущи свои инструментальные погрешности. Влияние этих погрешностей на превышение можно оценить по формуле
где d - расстояние от оптического центра объектива трубы до вертикальной оси инструмента; L - расстояние от нивелира до рейки;
f - фокусное расстояние объектива при визировании на расстояние L;
i
s - расстояние от компенсатора до сетки нитей при данной установке
i
нивелира;

- угол отклонения визирного луча компенсатора для данного расстояния и данного a угла наклона инструмента.
В зависимости от конструкции и юстировки нивелира величина погрешности
m изменяется от 0,05 до 0,10 мм и более при наклоне зрительной трубы на
комп
1'. Погрешность сказывается на измеренном превышении тем сильнее, чем хуже
отъюстированы компенсатор нивелира и круглый установочный уровень, поэтому
эту погрешность необходимо определить до выезда в поле. Для борьбы с
погрешностью недокомпенсации наблюдения на станциях следует выполнять по
программе ЗППЗ или ЗППЗ на нечетных и ПЗЗП на четных станциях. Здесь З и П
- отсчеты по задней и передней рейкам по черной и красной сторонам (по
основной и дополнительной шкалам).
Если наблюдения выполняются по программе ЗППЗ, то перед первым визированием на заднюю рейку, а также перед вторым визированием на переднюю рейку следует пузырек круглого уровня приводить в нульпункт при помощи подъемных винтов.
Если наблюдения выполняются по программе ЗППЗ и ПЗЗП, то вертикальную ось нивелира следует приводить в отвесное положение на нечетных станциях, когда труба направлена на заднюю рейку, а на четных - на переднюю. Ежедневно, кроме того, следует поверять, а в необходимых случаях и юстировать круглый установочный уровень и в сроки, указанные ранее, определять величину недокомпенсации.
4.1.5. ГИДРОТЕРМИЧЕСКИЕ ДВИЖЕНИЯ ЗЕМНОЙ ПОВЕРХНОСТИ
В весенне-летний период на территории нашей страны происходит оттаивание и оседание грунта, а в осенне-зимний - замерзание и поднятие, т.е. в течение года наблюдаются гидротермические движения земной поверхности. Эти движения земной поверхности могут быть причиной погрешностей при нивелировании.
Рис. 61. Гидротермические движения
земной поверхности на опытной площадке
с 18 августа 1943 г. по 10 июня 1945 г.
(вверху - ход температуры воздуха)
На рис. 61 показаны смещения земной поверхности в течение года в условиях Верхне-Колымского нагорья.
Под Москвой в 1964 г., после того как началось сильное таяние снега (после 7 апреля), были отмечены значительные опускания земной поверхности. В отдельные сутки эти опускания достигали 3 - 5 мм, в среднем за 25 дней земная поверхность опустилась на 25 мм.
Особенно сильные гидротермические движения земной поверхности могут проявляться в районах с глубоким промерзанием и протаиванием грунта. В этих районах гидротермические движения могут значительно снижать точность нивелирования, особенно при длительных (в течение нескольких дней) перерывах в работе, если наблюдения будут заканчиваться на переходных точках, а не на постоянных или временных знаках.
Сильные гидротермические движения могут значительно снижать точность
при проложении длинных нивелирных ходов. При нивелировании II и III классов
весной и летом гидротермические движения будут проявляться в виде
положительных разностей d = h - h и осенью - отрицательных разностей.
пр обр
4.1.6. ПОГРЕШНОСТИ НИВЕЛИРОВАНИЯ, ВЫЗВАННЫЕ РЕЙКАМИ
При нивелировании III и IV классов, а также при техническом нивелировании применяются в основном деревянные рейки. Этим рейкам свойственны следующие ошибки:
а. Погрешность собственно компарирования деревянных реек. Величина погрешности компарирования тк деревянных реек при помощи контрольных линеек равна +/- 0,03 - 0,05 мм, если при компарировании не были допущены какие-либо грубые нарушения требований Инструкции. Известно, что длина метрового интервала рейки сильно изменяется в зависимости от того, в каком положении компарируется рейка, т.е. как она уложена на горизонтальную плоскость. Если рейка при компарировании прогнулась, как показано на
рис. 62, то длина среднего метра будет меньше, чем когда рейка установлена вертикально. В зависимости от величины прогиба длина метра деревянной рейки может изменяться до 0,2 - 0,3 мм. Поэтому требование Инструкции о том, чтобы при компарировании рейка должна быть горизонтальна, следует строго соблюдать.

В течение времени средняя длина метра комплекта деревянных реек, как правило, изменяется. В большинстве случаев при работе в поле после зимнего перерыва деревянные рейки удлиняются. При резких изменениях погоды возможны также значительные изменения длин реек. В течение суток изменения длины метрового интервала могут достигать 0,05 мм, а суммарные изменения за несколько дней - до 0,2 - 0,5 мм.
Поэтому чем реже компарируются деревянные рейки, тем хуже будут известны длины метровых интервалов в момент нивелирования. В начале и конце полевого сезона следует компарировать деревянные рейки через 15 - 20 дней, а также после резких изменений погоды. При устойчивой погоде компарирования следует делать реже - через 30 - 40 дней.
Неучет поправок за отличие длины метрового интервала рейки от номинала может вызвать значительные ошибки в превышениях.
б. Погрешность из-за неравенства высот нулей реек и несовпадения нулей шкал с плоскостью пяток. Неравенство высот нулей реек вносит погрешность в измеренное превышение при нечетном числе станций в ходе, а также в том случае, если будут нарушены требования Инструкции и один реечник вместе со своей рейкой на всех станциях будет передним, оставляя точку, на которой стоял, заднему реечнику.
В первом случае погрешность равна k; во втором
kn, (4.10)
где k - неравенство высот нулей реек;
n - число штативов.
Влияние этой погрешности может быть исключено, если ввести поправку за неравенство высот нулей реек.
в. Коробление рейки. Коробление рейки происходит под влиянием внешних условий и вследствие небрежного обращения с рейками. Погрешность в длине метрового интервала, вызванную короблением рейки, можно подсчитать по формуле:
где f - стрелка прогиба рейки в мм;
l - длина рейки в мм;
дельта l - изменение длины всей рейки.
Если стрелка прогиба деревянной рейки f = 11 мм, то это вызывает изменение в средней длине метра рейки из-за коробления около 0,1 мм. Поэтому во время работы в поле следует определять стрелку прогиба и хранить рейки так, чтобы она уменьшалась.
г. Погрешность из-за неточной установки рейки в отвесное положение. При нивелировании III и IV классов рейку устанавливают на костыле или башмаке в отвесное положение при помощи круглого уровня с ценой деления 15 - 20' на 2 мм. Отклонение рейки от вертикали, как правило, не будет превышать 5 - 10'. Если обозначить среднее значение угла отклонения рейки от вертикали через эпсилон и принять его равным 10', а через h - превышение, то погрешность превышения будет равна
где

Эта погрешность всегда положительна и не зависит от того,
в какую сторону наклонена рейка. При указанном выше значении

эта
погрешность сравнительно невелика даже при нивелировании в горах; при
h = 500 м m будет +2,1 мм. Поэтому при техническом нивелировании можно
h
применять рейки без уровней, устанавливать их в отвесное положение на глаз.
4.2. МЕТОДЫ НИВЕЛИРОВАНИЯ III И IV КЛАССОВ
Прежде чем приступить к полевым работам, исполнитель должен:
1) тщательно ознакомиться с проектом нивелирной сети или линии, скорректированной по данным рекогносцировки и обследования знаков ранее проложенных линий нивелирования;
2) ознакомиться с техническим предписанием, предусматривающим организацию и технологию работ, с описанием физико-географических особенностей участка, с указанием по технике безопасности, с объемами и сроками исполнения работ (график);
3) изучить соответствующие картографические и аэрофотосъемочные материалы;
4) получить необходимые разрешения на проведение работ. В необходимых случаях исполнителю может быть поручена рекогносцировка ходов и закладка знаков.
Нивелирные ходы III и IV классов должны начинаться и заканчиваться на постоянных знаках. При перерывах в работе меньше чем на 5 дней разрешается заканчивать наблюдения на трех переходных точках (костылях, кольях, башмаках). Костыли и колья забивают, а башмаки устанавливают в ямы глубиной 0,3 м. Нивелирование на станциях перед перерывом выполняют по обычной программе, после чего переходные точки покрывают травой и засыпают землей, с тем чтобы их положение не могло быть нарушено жителями ближайших населенных пунктов. После перерыва повторяют наблюдение на последней станции, а в случае необходимости - и на предпоследней. Из сравнения превышений до и после перерыва устанавливают, какой костыль не изменил своего первоначального положения. Переходные точки считаются сохранившими свое первоначальное положение, если первое и второе значения превышения при нивелировании III класса различаются между собой на величину менее 3 мм и при нивелировании IV класса и техническом нивелировании - менее 5 мм.
При перерывах в работе более чем 5 дней нивелирование следует заканчивать на постоянных или временных знаках.
Нивелирование III и IV классов производят из середины. Нормальная длина визирного луча, минимальная высота визирного луча над подстилающей поверхностью и допустимые неравенства расстояний от нивелира до задней и передней реек на станции и накопления этих неравенств по секции приведены в табл. 15.
Таблица 15
┌─────────────┬──────────────┬──────────────┬─────────────────────────────┐
│ Класс │ Нормальная │ Минимальная │ Неравенство расстояний │
│нивелирования│ длина │ высота │ от нивелира до реек, м │
│ │ визирного │ визирного ├──────────────┬──────────────┤
│ │ луча, м │ луча, м │ на станции │ по секции │
├─────────────┼──────────────┼──────────────┼──────────────┼──────────────┤
│III │75 │0,3 │2 │5 │
│IV │100 │0,2 │5 │10 │
└─────────────┴──────────────┴──────────────┴──────────────┴──────────────┘
Если условия визирования хорошие и отсутствуют сильные колебания
x
изображений, то при работе с нивелирами, которые имеют увеличение 35 , при
нивелировании III класса можно увеличивать длину визирного луча до 100 м.
x
При нивелировании IV класса при работе с нивелирами с увеличением 30
и при хороших условиях видимости длину визирного луча можно увеличивать до
150 м. При этом следует помнить, что в любом случае отсчеты по рейке должны
быть уверенными и надежными.
Для уменьшения влияния угла i нивелира на результаты нивелирований Инструкция требует строгого соблюдения равенства расстояний между нивелиром и задней и передней рейками.
При нивелировании III класса расстояния между нивелиром и рейками можно измерять тросом, просмоленной бечевой или другим способом. При нивелировании IV класса расстояния измеряют шагами, но поверяют их по разности отсчетов средней и одной из дальномерных нитей.
Во время наблюдений на станции нивелир должен быть защищен от солнечных лучей при помощи зонта, а при переходе со станции на станцию - при помощи просторного белого чехла. Во время перерыва нивелир устанавливают в тени.
Наблюдения следует выполнять при вполне благоприятных условиях видимости и достаточно отчетливых и спокойных изображениях. При плавающих изображениях, т.е. при изображениях медленно перемещающихся по высоте, измерения производить не следует. При таких изображениях ошибки превышений на одной станции могут достигать нескольких мм.
Инструкция устанавливает жесткие допуски на минимальную высоту визирного луча над подстилающей поверхностью (см.
табл. 15). Этим самым уменьшается влияние рефракции на результаты нивелирования. Инструкция не рекомендует производить наблюдения в периоды, близкие к восходу, заходу солнца и вблизи полуденного времени, когда происходят большие изменения коэффициента рефракции или наиболее сильные колебания изображений. С меньшей строгостью это правило можно соблюдать осенью, при пасмурной погоде и в районах, расположенных севернее 62-й параллели. Во время полярного лета рекомендуется выполнять нивелирование в вечерние и ночные часы (после 16 часов и до 8 часов следующего дня).
Прямой и обратный ходы при нивелировании III класса прокладывают по одной и той же трассе, по переходным точкам одного и того же типа. Число штативов в прямом и обратном ходах по возможности должно быть равным и четным. При проложении прямого (первого) хода рекомендуется отмечать места установки нивелира и реек с тем, чтобы в обратном (втором) ходе переходные точки и нивелир устанавливались примерно на прежних местах.
Реечник во время нивелирования, после того как на переходную точку была установлена рейка и взяты первые отсчеты, должен оберегать переходную точку от случайных ударов и возможных нарушений ее положения. Рейку на переходную точку следует ставить осторожно, без толчков и сильных надавливаний. Во время нивелирования следят за тем, чтобы головки костылей и башмаков не были деформированы и имели правильную форму, а кроме того, пятки реек и головки костылей и башмаков были чистыми. При переходе со станции на станцию реечник должен класть рейку ребром на плечо или переносить ее за ручку, оберегая окраску штрихов от стирания. Рейка во время работы не должна иметь значительного коробления и изгибов. Рейку устанавливают на переходной точке по уровню точно в отвесное положение. Во время перехода наблюдателя со станции на станцию рейку с переходной точки снимают. При техническом нивелировании можно использовать рейки, у которых нет установочных уровней. Реечник и наблюдатель хорошо видят отклонение рейки от отвесного положения вправо и влево от хода и не видят наклон по ходу. Поэтому для борьбы с наклоном рейки по ходу медленно покачивают рейку взад-вперед в момент взятия отсчетов. Минимальный отсчет является верным.
Штатив на станции должен быть установлен без перекосов и напряжений. Запрещается сильно вдавливать в грунт ножки штатива. Они должны также находиться в одинаковых грунтовых условиях, например при работе среди железнодорожных путей все ножки штатива устанавливают или на бровку полотна, или на шпалы.
Способ нивелирования III класса зависит от типов применяемых нивелиров и реек. В случае использования нивелиров с микрометрами и инварных реек нивелирование выполняют способом совмещения. В случае использования других типов нивелиров наблюдения выполняют способом средней нити.
При нивелировании III класса способом средней нити наблюдения на станции производят в такой последовательности.
1. Приводят вертикальную ось нивелира в отвесное положение по круглому уровню. У отъюстированных нивелиров с уровнем в это время в поле зрения трубы должны быть видны оба конца контактного цилиндрического уровня, а у нивелиров с компенсатором последний должен находиться в рабочем положении. Находится ли компенсатор в рабочем положении, можно определить легким постукиванием пальцем по корпусу нивелира или штатива. Отсчет по рейке во время постукивания не должен меняться больше чем на 1 - 2 мм.
2. Наводят зрительную трубу на черную сторону задней рейки. Вращением элевационного винта точно совмещают изображения концов пузырька уровня и производят отсчет по среднему и обязательно по дальномерным штрихам, проверяя перед каждым отсчетом, совмещены ли концы пузырька уровня. Если у нивелира нет элевационного винта, то совмещение концов пузырька уровня или приведение пузырька уровня на середину производят при помощи подъемных винтов. В этом случае подъемные винты подставки нивелира должны располагаться так, чтобы один был на линии между рейками, а два других - перпендикулярно к ней.
При работе нивелиром с компенсатором, после того как зрительная труба наведена на рейку, следует брать отсчеты. Тем самым нивелиры с компенсатором сокращают затраты времени на наблюдения на станции на 1 - 2 мин.
3. Визируют на черную сторону передней рейки и повторяют все действия, указанные в
п. 2. После взятия отсчета по черной стороне передней рейки ее поворачивают на 180° и производят еще один отсчет по средней нити по красной стороне.
4. Наводят трубу нивелира на заднюю рейку и берут отсчет по средней нити по красной стороне.
Отсчеты по дальномерным нитям при выводе среднего превышения на станции не учитывают, но их используют для контроля.
При нивелировании IV класса и техническом нивелировании наблюдения на станции производятся в той же последовательности, что и при нивелировании III класса. Только отсчеты по черной стороне рейки производят по средней нити и по верхнему дальномерному штриху.
Если при нивелировании IV класса и техническом нивелировании применяют односторонние рейки, то после взятия отсчетов по задней и передней рейкам (
п. 2 и
3) изменяют высоту нивелира примерно на 5 см и еще раз повторяют отсчеты, начиная их с передней рейки.
Перед отсчетами производят точные совмещения концов пузырька уровня нивелира или приведение его точно в нуль-пункт.
При способе совмещения порядок наблюдений на станции следующий: 1) отсчет по основной шкале задней рейки; 2) отсчет по основной шкале передней рейки; 3) отсчет по дополнительной шкале передней рейки; 4) отсчет по дополнительной шкале задней рейки.
Наблюдения производят в такой последовательности:
1) тщательно приводят пузырьки установочных уровней или пузырек круглого уровня нивелира в нульпункт;
2) наводят зрительную трубу на основную шкалу задней рейки, ставят барабан на отсчет 50; вращением элевационного винта приближенно совмещают изображения концов пузырька цилиндрического уровня нивелира и производят дальномерные отсчеты по верхней и нижней нитям;
3) вращением элевационного винта точно совмещают изображения концов пузырька уровня; вращением барабана точно наводят биссектор на ближайший штрих основной шкалы и производят отсчеты по рейке и барабану (до целых делений его шкалы);
4) наводят трубу нивелира на основную шкалу передней рейки и производят все действия, указанные в
п. 2 и
3;
5) наводят трубу на дополнительную шкалу рейки, смещают уровень поворотом элевационного винта на четверть оборота, снова точно совмещают вращением элевационного винта изображения концов пузырька цилиндрического уровня и выполняют остальные действия, перечисленные в
п. 3;
6) наводят нивелир на дополнительную шкалу задней рейки и выполняют действия, указанные в
п. 3.
Отсчеты по рейке производят только после полного успокоения пузырька цилиндрического уровня.
При работе нивелиром с компенсатором отсчет по рейке можно производить сразу же после приведения инструмента с помощью установочного уровня в рабочее положение.
Форма журналов, которые применяются при нивелировании III и IV классов, последовательность записи отсчетов в журнале и порядок вычислений рассматриваются ниже.
4.2.1. ОСОБЕННОСТИ ТЕХНИКИ БЕЗОПАСНОСТИ
ПРИ НИВЕЛИРНЫХ РАБОТАХ
При производстве полевых работ по нивелированию исполнитель (руководитель бригады) обязан строго соблюдать все требования Правил по технике безопасности на топографо-геодезических работах (ПТБ) и Инструкции.
Перед выездом в поле исполнитель совместно с начальником партии или главным инженером экспедиции должны тщательно изучить район работ, расположение нивелирных линий, которые будут нивелироваться бригадой, наличие населенных пунктов, дорог, средств связи и т.п., рассмотреть различные варианты организации работы бригады в поле, наметить наиболее целесообразный вариант для данных условий и составить план работ, который должен обеспечивать безопасность их ведения, выбрать лучшие условия для труда и отдыха.
В плане должна быть указана очередность проложения нивелирных линий, намечено примерное расположение лагерей бригады. В техническом предписании исполнителю должен быть указан вид транспорта как для переезда бригады на участок работ, так и транспорт, которым будет пользоваться бригада на участке, намечен порядок и сроки передвижения бригады по участку. Также должен быть решен вопрос о связи между бригадой и руководством, о снабжении бригады продовольствием и оборудованием, а в необходимых случаях и водой.
Для контроля за соблюдением правил по технике безопасности, производственной санитарии и охраны труда в каждой бригаде (профгруппе) избирается общественный инспектор по охране труда.
До выезда на полевые работы исполнитель (руководитель бригады) обязан:
1) изучить и сдать поверочные испытания по технике безопасности ПТБ;
2) распределить обязанности среди рабочих бригады;
3) провести с рабочими вводный инструктаж по технике безопасности, ознакомить с условиями работы и правилами внутреннего распорядка. Результаты вводного инструктажа заносятся в журнал установленной формы;
4) обучить рабочих практическим приемам безопасной работы при проложении тренировочного нивелирного хода (1 - 1,5 км).
Кроме указанного, ежеквартально все рабочие, независимо от их квалификации и стажа работы, проходят повторный инструктаж, особенно при работе по железным дорогам, улицам с оживленным транспортным движением и вблизи рек.
При передаче высот через водные препятствия шириною более 150 м должен присутствовать начальник партии.
Состав бригады, в зависимости от класса нивелирования, может изменяться от 4 до 6 человек: наблюдатель, его помощник и 2 - 4 рабочих.
Наблюдатель отвечает за выполнение всей работы, порученной бригаде, за состояние трудовой дисциплины и соблюдение всеми членами бригады требований Инструкции и Правил по технике безопасности, за сохранность инструментов и оборудования.
Помощник наблюдателя ведет запись и вычисления в журнале. При техническом нивелировании наблюдатель лично производит записи и вычисления.
Два реечника переносят и устанавливают на переходных точках в отвесное положение рейки, а также переносят и передают мерщику задние башмаки, костыли и другие виды переходных точек. Реечники должны работать с одними и теми же рейками. Обмен рейками между реечниками в процессе нивелирования не допускается. Реечник обязан следить за чистотой пятки рейки и головки переходной точки. По окончании наблюдений на станции задний реечник по знаку наблюдателя переходит с рейкой и костылем (башмаком) на новое место. Передний реечник остается на своем месте, снимает рейку с переходной точки и следит за тем, чтобы ее положение не было нарушено во время перехода наблюдателя со станции на станцию. В случае, если переходная точка по каким-либо причинам изменила положение, реечник об этом должен немедленно сообщить наблюдателю.
Один рабочий при нивелировании III класса измеряет расстояния от нивелира до реек, переносит и забивает костыли, замечает места установки нивелира и реек. От его правильной работы в значительной мере зависит производительность труда в бригаде. Для удобства нивелирование рекомендуется вести с использованием трех переходных точек, забивая заблаговременно передний костыль (устанавливая башмак) на следующей станции.
Другой рабочий при помощи зонта оберегает нивелир от воздействия солнечных лучей на станции и переносит нивелир со станции на станцию. Зонт надевают на специальный деревянный кол, вбитый в землю. В бригадах, которые выполняют нивелирование IV класса и техническое нивелирование, эти обязанности выполняет один из членов бригады.
При нивелировании по железным и шоссейным дорогам, а также на улицах с интенсивным движением в состав бригады должны входить сигнальщики, а бригада должна быть снабжена сигнальным оборудованием. Запрещается работать на полотне железной дороги в красной одежде или с красными рейками.
Приехав на участок работ, бригадир выбирает место и организует лагерь. Лагерь должен располагаться в таком месте, где имеются хорошие условия для отдыха бригады (питьевая вода, удобный подъезд, наличие жилых помещений и т.д.) и оно удовлетворяет требованиям правил по технике безопасности. Автомашины и лодки должны быть специально оборудованы для перевозки людей.
При установлении очередности проложения нивелирных ходов нельзя допускать излишних переездов бригады с одного берега реки на другой. Переправы через реки, озера и другие крупные водоемы, как правило, при нивелировании III и IV классов и техническом нивелировании должны быть редким исключением. При переправах на лодках или на плотах все члены бригады должны надеть на себя индивидуальные спасательные средства: резиновые или пробковые пояса.
Одежда нивелировщиков должна быть удобной, легкой, теплой и не стеснять движений. Особое внимание следует обращать на обувь, так как ежедневно нивелирная бригада большую часть рабочего времени проводит в пеших переходах. При работе летом на солнце все члены бригады для предохранения от солнечных ударов должны пользоваться головными уборами, желательно светлого тона.
4.2.2. О ВЕДЕНИИ ПОЛЕВЫХ ЖУРНАЛОВ
ПРИ НИВЕЛИРОВАНИИ III И IV КЛАССОВ
Результаты нивелирования записывают в журналы, установленной формы: Н-8 и Н-2 (III класс) и Н-3 (IV класс). Журналы являются документами строгого учета. Как сами журналы, так и страницы в них должны быть пронумерованы и заверены отделом технического контроля и руководителем работ. Результаты измерений записывают в журналы простым карандашом, шариковой ручкой или чернилами. Записи необходимо вести четким почерком, не допуская неясных цифр или букв. Неудовлетворительные или неправильные записи аккуратно зачеркивают, а все измерения на станции повторяют вновь, предварительно изменив высоту нивелира не менее чем на 3 см. Причину повторений указывают в примечаниях к тому штативу, который повторяется. Результаты повторных измерений записывают в журнале на новом месте с тем же номером, но с припиской слова "повторный" или "bis". На начальной странице записи хода независимо от способа нивелирования должны быть указаны название или номер начального и конечного репера или марки. На каждой странице журнала указывают начало и конец наблюдений, условия погоды, видимость и температуру воздуха.
Образец заполнения нивелирного журнала III класса (Н-2), который применяется при способе совмещения, показан в табл. 16. В журнале в графах 1 и 2 записывают номер штатива, номера задней и передней реек и показывают, в каком положении находилась рейка в момент привязки к нивелирному знаку и как проектировались нити сетки на рейку.
Таблица 16
Ход от грунт, реп. 4236 до стен марки 2415 25 мая 1972 г.; начало 7 ч 30 мин.;
Условия работы: грунт шоссе конец 8 ч 10 мин.
Изображение спокойное; облачность сплошная Направление и сила ветра: слабый ветер
┌────┬──────────────────┬────────────────────┬─┬────────────────────────────────────┬─────────┐
│N │Зарисовка привязок│ Отсчеты │ │Отсчеты по биссектору нитей (1/2 дм)│ │
│шта-│ │ по дальномерным │ ├──────────────────┬─────────────────┼─────────┤
│тива│ │ нитям (1/2 дм) │ │ основная шкала │ дополнительная │Контроль │
│N │ │ │ │ │ шкала │ │
│рей-│ ├──────────┬─────────┤ ├───────────┬──────┼──────────┬──────┼─────────┤
│ки │ │ з/u │ п/d │ │ Р │ Б │ Р │ Б │ │
├────┼──────────────────┼──────────┼─────────┼─┼───────────┼──────┼──────────┼──────┼─────────┤
│ 1 │ 2 │ 3 │ 4 │5│ 6 │ 7 │ 8 │ 9 │ 10 │
└────┴──────────────────┴──────────┴─────────┴─┴───────────┴──────┴──────────┴──────┴─────────┘
│1 │ │2801(7) │4052(5) │з│34,0(3) │15(4) │93,2(11) │65(27)│59,250 │
│1 - │ │3992(2) │5247(5) │п│46,5(7) │98(3) │105,8(9) │49(70)│59,251 │
│2 │ │1191(2/) │1195(22) │з│-12,5(73) │-83 │-12,6(15) │+16 │+1/+1 │
│ │ │ │ │-│ │(74) │ │(77) │ │
│ │ │ │ │п│ │ │ │ │ │
│ │ │-12,53(24)│-4/-4(23)│и│-12,583(75)│ │-12,584 │ │(19)/(20)│
│ │ │ │ │ │ │ │(18) │ │ │
├────┼──────────────────┼──────────┼─────────┼─┼───────────┼──────┼──────────┼──────┼─────────┤
│2 │ │232 │4368 │з│9,2 │97 │68,5 │47 │59,250 │
│2 - │ │1614 │5772 │п│50,7 │40 │109,9 │70 │59,230 │
│1 │ │ │ │ │ │ │ │ │ │
│ │ │1382 │1404 │з│-41,5 │+57 │-41,4 │-23 │-20/-19 │
│ │ │ │ │-│ │ │ │ │ │
│ │ │ │ │п│ │ │ │ │ │
│ │ │-41,47 │-22/-26 │и│-41,433 │ │-41,423 │ │ │
├────┼──────────────────┼──────────┼─────────┼─┼───────────┼──────┼──────────┼──────┼─────────┤
│3 │ │423 │4727 │з│10,1 │27 │69,3 │85 │59,258 │
│1 - │ │1590 │58С9 │п│53,0 │14 │112,2 │63 │59,249 │
│2 │ │ │ │ │ │ │ │ │ │
│ │ │1167 │1142 │з│-42,9 │+13 │-42,9 │ │-9/-28 │
│ │ │ │ │-│ │ │-42,878 │ │ │
│ │ │ │ │п│ │ │ │ │ │
│ │ │-42,92 │+25/-1 │и│-42,887 │ │ │ │ │
├────┼──────────────────┼──────────┼─────────┼─┼───────────┼──────┼──────────┼──────┼─────────┤
│4 │ │862 │4870 │з│10,9 │30 │70,1 │+22 │59,250 │
│2 - │ │1312 │5320 │п│51,0 │00 │110,2 │80 │59,252 │
│1 │ │ │ │ │ │ │ │ │ │
│ │ │450 │450 │з│-40,1 │+30 │-40,1 │52 │+2/-26 │
│ │ │ │ │-│ │ │ │ │ │
│ │ │ │ │п│ │ │ │ │ │
│ │ │-40,08 │0/-1 │и│-40,070 │ │-40,072 │+28 │ │
├────┼──────────────────┼──────────┼─────────┼─┼───────────┼──────┼──────────┼──────┼─────────┤
│5 │ │272 │4770 │з│8,4 │96 │67,7 │49 │59,253 │
│1 - │ │1415 │5906 │п│53,3 │64 │112,6 │25 │59,261 │
│2 │ │ │ │ │ │ │ │ │ │
│ │ │1143 │1136 │з│-44,9 │+32 │-44,9 │+24 │+8/-18 │
│ │ │ │ │-│ │ │ │ │ │
│ │ │ │ │п│ │ │ │ │ │
│ │ │-44,94 │+7/+6 │и│-44,868 │ │-44,876 │ │ │
├────┼──────────────────┼──────────┼─────────┼─┼───────────┼──────┼──────────┼──────┼─────────┤
│ │ │5333 │5327 │ │72,6 │265 │368,8 │326 │ │
│ │ │ │ │ │254,5 │216 │550,7 │259 │ │
│ │ │ │ │ │-181,9 │+49 │-181,9 │+67 │ │
│ │ │ │ │ │-181,851 │ │-181,833 │ │ │
└────┴──────────────────┴──────────┴─────────┴─┴───────────┴──────┴──────────┴──────┴─────────┘
Продолжение табл. 16
Ход от грунт, реп. 4236 до стен, марки 2415 25 мая 1972 г.; начало 8 ч 12 мин.;
Условия работы: грунт проселочная дорога конец 8 ч 25 мин.
Направление и сила ветра: слабый ветер Изображение спокойное; облачность сплошная
┌────┬──────────────────┬──────────┬─────────┬─┬───────────┬──────┬──────────┬──────┬─────────┐
│ 1 │ 2 │ 3 │ 4 │5│ 6 │ 7 │ 8 │ 9 │ 10 │
├────┼──────────────────┼──────────┼─────────┼─┼───────────┼──────┼──────────┼──────┼─────────┤
│6 │ │1300 │4002 │з│20,4 │00 │79,6 │98 │59,248 │
│ │ │2769 │5475 │п│47,4 │62 │106,7 │15 │59,253 │
│2 │ │1469 │1473 │з│-27,0 │-62 │-27,1 │+33 │+5/-13 │
│- │ │ │ │-│ │ │ │ │ │
│1 │ │ │ │п│ │ │ │ │ │
│ │ │-27,04 │-4/+2 │и│-21,062 │ │-27,067 │ │ │
├────┼──────────────────┼──────────┼─────────┼─┼───────────┼──────┼──────────┼──────┼─────────┤
│7 │ │2892 │4221 │з│35,1 │02 │94,3 │46 │59,244 │
│ │ │4119 │5445 │п│48,3 │89 │107,6 │35 │59,246 │
│1 │ │1227 │1224 │з│-13,2 │-87 │-13,289 │+11 │+2/-11 │
│- │ │ │ │-│ │ │ │ │ │
│2 │ │ │ │п│ │ │ │ │ │
│ │ │-13,28 │+3/+5 │и│-13,287 │ │ │ │ │
└────┴──────────────────┴──────────┴─────────┴─┴───────────┴──────┴──────────┴──────┴─────────┘
│8 │ │2311 │729 │з│24,3 │00 │+83,5 │47 │59,247 │
│ │ │2540 │500 │п│-6,1 │24 │+65,4 │75 │59,251 │
│под-│ │229 │229 │з│+30,4 │-24 │-118,5 │-28 │+4/-7 │
│вес-│ │ │ │-│ │ │ │ │ │
│ная │ │ │ │п│ │ │ │ │ │
│рей-│ │+30,40 │0/+5 │и│+30,376 │ │+30,4 │ │ │
│ка │ │ │ │ │ │ │+30,372 │ │ │
├────┼──────────────────┼──────────┼─────────┼─┼───────────┼──────┼──────────┼──────┼─────────┤
│ │ │ │ │з│79,8 │02 │257,4 │141 │ │
│ │ │Сигма 2925│2926 │п│89,6 │175 │267,4 │125 │ │
│ │ │Сигма │8253 (25)│з│-9,8 │-173 │-10,0 │+10 │ │
│ │ │Сигма │ │-│ │ │ │ │ │
│ │ │8258(24) │ │п│ │ │ │ │ │
│ │ │ │ │и│-9,973 │ │-9,984 │ │ │
├────┼──────────────────┼──────────┼─────────┼─┼───────────┼──────┼──────────┼──────┼─────────┤
│ │ │Сигма │0,00005 │з│152,4 (27) │267 │626,2 (31)│467 │ │
│ │ │16511 │ │ │ │(29) │ │(33) │ │
│ │ │ │ │п│344,1 (23) │391 │818,1 (32)│384 │ │
│ │ │ │ │ │ │(30) │ │(34) │ │
│ │ │0,83 км │(26) │з│-191,7 (37)│-124 │-191,9 │+83 │ │
│ │ │ │ │-│ │(38) │(39) │(40) │ │
│ │ │ │ │п│ │ │ │ │ │
│ │ │ │ │и│-191,824 │ │-191,817 │ │ │
│ │ │ │ │ │(35) │ │(36) │ │ │
└────┴──────────────────┴──────────┴─────────┴─┴───────────┴──────┴──────────┴──────┴─────────┘
Для удобства записей в журнале одной из реек присваивают N 1, другой N 2. Например: рейке N 2345 присваивают N 1, а рейке N 2346 - N 2. В течение полевого сезона нумерация реек не должна меняться.
В
графах 3 и 4 записывают отсчеты по верхней и нижней дальномерным нитям по основной шкале по задней (1 и 2) и передней (5 и 6) рейкам. В графах 6, 7, 8 и 9 записывают отсчеты по задней и передней рейкам и барабану по основной и дополнительной шкалам. Отсчеты (3 и 4) - это отсчеты по основной шкале задней рейки и барабану, (7 и 8) - по основной шкале передней рейки и барабану, (9 и 10, 11 и 12) - соответственно по дополнительной шкале передней и задней реек и барабану. При нивелировании III класса отсчеты по основной шкале (3 и 7) не должны быть меньше 6,0. Если отсчет меньше указанных допусков, то все наблюдения на станции следует повторить, предварительно изменив высоту нивелира или переставив его так, чтобы отсчет по рейке удовлетворял указанным допускам.
После окончания наблюдений на станции приступают к вычислениям. Если помощник наблюдателя успевает одновременно записывать отсчеты и производить вычисления, то эти действия совмещают, но последовательность вычислений остается та же. Вычисляют расстояния от нивелира до задней (2) - (1) = (21) и передней (6) - (5) = (22) реек. Расхождения между (21) и (22) могут достигать при нивелировании III класса 60 кв. мм. Если расхождения между (21) и (22) больше указанных допусков, то переставляют нивелир или переднюю рейку и повторяют все наблюдения на станции. Вычисляют разность (21) - (22) и записывают ее в графу 4 (23), там же подсчитывают накопления этих разностей сигма (23) по ходу. Вычисляют контрольное превышение (24) по разностям между отсчетами по верхним и нижним дальномерным штрихам.
При вычислении превышений на станции сначала находят отдельно разности отсчетов по задней и передней рейкам и разности отсчетов по барабану (3) - (7) = (13) и (4) - (8) = (14), (11) - (9) = (16) и (12) - (10) = (17), а далее по ним вычисляют превышения по основной (15) и по дополнительной (18) шкалам. Находят разности между (15) - (18) = (19). Эта разность (19) не должна превышать 30 делений (1,5 мм) при нивелировании III класса. Накопление этих разностей по ходу выписывают в графе 10 2 (19) = (20).
На каждой странице и в конце хода производят контрольные вычисления суммы 1(21) = (24) и 2(22) = (25), в конце хода они не должны различаться между собой при нивелировании III класса на 100 кв. мм.
По этим суммам находят длину секции в км. Для того чтобы найти длину секции в км, следует сумму (24) + (25) умножить на 0,00005.
Суммируют:
Чтобы найти суммарное превышение по ходу по основной шкале, берут разности между величинами (27) - (28) = (37) и (29) - (30) = (38). Сумма (37) + (38) должна быть точно равна сумме (35), различие будет указывать на наличие ошибок при вычислениях. Таким же образом вычисляют превышения по дополнительной шкале, используя для этого разности (31) - (32) = (39) и (33) - (34) = (40). Так же, как и при отсчетах по основной шкале, суммы (39) + (40) и (36) должны быть точно равны между собой. Разность между (35) и (36) должна быть равна накоплению (20) по всему ходу.
После выполнения нивелирования по секции в прямом и обратном
направлениях независимо от способа нивелирования сравнивают между собой
превышения h , и h .
пр обр
При нивелировании III класса расхождение d = h - h должно быть
пр обр
меньше +/- 10 мм

. В приведенной выше формуле L - расстояние между
смежными знаками в км.
Если расхождения получились больше допустимого, то нивелирование повторяют в одном из направлений. Явно неудовлетворительные значения превышений исключают. Оставшиеся два значения принимают в обработку, если они не расходятся между собой больше указанных допусков и получены из нивелирований в противоположных направлениях.
При нивелировании III класса в обработку включают все три превышения, если они не расходятся между собой более чем на +/- 15 мм

, а повторное превышение не отличается от каждого из первоначальных более чем на +/- 10 мм

.
В табл. 17 показан порядок записи отсчетов и вычислений в журнале Н-8, который применяется при нивелировании III класса при способе средней нити.
Таблица 17
Ход от грунт, реп. 5540 до стен, марки 1112
10 июля 1967 г.; начало 5 ч 20 мин.; конец 7 ч 30 мин.
Погода: ясно, слабый ветер Изображение спокойное
┌──────┬─────────┬───────────────────────┬───────────┬─┬────────────────────────────────┬───────────┐
│N шта-│Зарисовка│ Наблюдения по │Контрольное│ │ Наблюдение по средней линии │ Среднее │
│тива N│привязок │ дальномерным нитям │превышение │ │ │превышение │
│рейки │ │ │ │ │ │ │
├──────┼─────────┼─────────┬─────────────┼───────────┼─┼──────────┬──────────┬──────────┼───────────┤
│ │ │ задняя │ передняя │ │ │ задняя │ передняя │превышение│ мм │
│ │ │ рейка │ рейка │ │ │ рейка │ рейка │ │ │
└──────┴─────────┴─────────┴─────────────┴───────────┴─┴──────────┴──────────┴──────────┴───────────┘
│1 │ │1572 (2) │1812 (5) │-240 (11) │ч│1739 (1) │1971 (4) │-232 (14) │ │
│ │ │1904 (3) │2130 (6) │-226 (12) │к│6430 (8) │5761 (7) │-331 (15) │-231,5 (19)│
├──────┼─────────┼─────────┼─────────────┼───────────┼─┼──────────┼──────────┼──────────┼───────────┤
│1 - 2 │ │ │ │ │ │ │ │ │ │
├──────┼─────────┼─────────┼─────────────┼───────────┼─┼──────────┼──────────┼──────────┼───────────┤
│грунт.│ │332 (9) │318 (10) │+14/14 (13)│ │4691 (16) │4790 (17) │+99 (18) │ │
│реп. │ │ │ │ │ │ │ │ │ │
│5540 │ │ │ │ │ │ │ │ │ │
│ │ │1170 │0631 │+539 │ч│1478 │0937 │+541 │ │
│2 │ │1786 │1241 │+545 │к│6269 │5627 │+642 │+541,5 │
├──────┼─────────┼─────────┼─────────────┼───────────┼─┼──────────┼──────────┼──────────┼───────────┤
│2 - 1 │616 │616 │610 │+6/+20 │ │4791 │4690 │-101 │ │
├──────┼─────────┼─────────┼─────────────┼───────────┼─┼──────────┼──────────┼──────────┼───────────┤
│ │ │0601 │1710 │-1109 │ │0981 │2090 │-1109 │ │
│3 │ │1360 │2470 │-1110 │к│5670 │6881 │-1211 │-1110,0 │
├──────┼─────────┼─────────┼─────────────┼───────────┼─┼──────────┼──────────┼──────────┼───────────┤
│1 - 2 │ │759 │760 │-1/+19 │ │4589 │4791 │+102 │ │
├──────┼─────────┼─────────┼─────────────┼───────────┼─┼──────────┼──────────┼──────────┼───────────┤
│ │ │1883 │0800 │+1083 │ч│2217 │1131 │+1086 │ │
│4 │ │2550 │1485 │+1085 │к│7007 │5821 │+1186 │+1086,0 │
├──────┼─────────┼─────────┼─────────────┼───────────┼─┼──────────┼──────────┼──────────┼───────────┤
│2 - 1 │ │667 │665 │+2/+21 │ │4790 │4690 │-100 │ │
├──────┼─────────┼─────────┼─────────────┼───────────┼─┼──────────┼──────────┼──────────┼───────────┤
│5 │ │0110 │1327 │-1217 │ч│0465 │1678 │-1213 │-1213,5 │
│ │ │0819 │2029 │-1210 │к│5155 │6469 │-1314 │ │
├──────┼─────────┼─────────┼─────────────┼───────────┼─┼──────────┼──────────┼──────────┼───────────┤
│1 - 2 │ │709 │702 │+7/+28 │ │4690 │4791 │+101 │ │
├──────┼─────────┼─────────┼─────────────┼───────────┼─┼──────────┼──────────┼──────────┼───────────┤
│ │ │1354 │0581 │+773 │ч│1670 │0389 │+781 │ │
│6 │ │1985 │1197 │+788 │к│6460 │5579 │+881 │+781,0 │
│ │ │631 │616 │+15/+43 │ │4790 │4690 │-100 │ │
│7 │ │1268 │1572 │-304 │ч│1561 │1870 │-309 │ │
│ │ │1859 │2169 │-310 │к│6251 │6660 │-409 │-309,0 │
├──────┼─────────┼─────────┼─────────────┼───────────┼─┼──────────┼──────────┼──────────┼───────────┤
│1 - 2 │ │591 │597 │-6/+37 │ │4690 │4790 │+100 │ │
├──────┼─────────┼─────────┼─────────────┼───────────┼─┼──────────┼──────────┼──────────┼───────────┤
│Конт- │ │4305 (20)│4268 (21) │913 (22) │ │53353 (23)│54364 (24)│-1011 (25)│-455,5 (26)│
│роль- │ │ │ │-456,5 (27)│ │54364 (24)│ │+100 │ │
│ные │ │ │ │ │ │-1011 (30)│ │-911 (29) │ │
│вычис-│ │ │ │ │ │ │ │-455,5 │ │
│ления │ │ │ │ │ │ │ │ │ │
└──────┴─────────┴─────────┴─────────────┴───────────┴─┴──────────┴──────────┴──────────┴───────────┘
Продолжение табл. 17
Ход от грунт, реп. 5540 до стен, марки 1112
10 июля 1967 г.: начало 7 ч 35 мин.; конец 8 ч 00 мин.
Погода: ясно, слабый ветер Изображение спокойное
┌──────┬─────────┬──────────┬──────────┬───────────┬─┬────────────┬──────────┬────────────┬─────────────┐
│ 1 │ 2 │ 3 │ 4 │ 5 │ │ 6 │ 7 │ 8 │ 9 │
├──────┼─────────┼──────────┼──────────┼───────────┼─┼────────────┼──────────┼────────────┼─────────────┤
│8 │ │1510 │0211 │+1299 │ч│1877 │0576 │+1301 │+1301,5 │
│ │ │2242 │0942 │+1300 │к│6668 │5266 │+1402 │ │
├──────┼─────────┼──────────┼──────────┼───────────┼─┼────────────┼──────────┼────────────┼─────────────┤
│2 - 1 │ │732 │731 │+1/+38 │ │4791 │4690 │-101 │ │
├──────┼─────────┼──────────┼──────────┼───────────┼─┼────────────┼──────────┼────────────┼─────────────┤
│9 │ │1791 │1186 │+605 │ч│2132 │1529 │+503 │+603,0 │
│ │ │2475 │1874 │+601 │к│6822 │6319 │+503 │ │
├──────┼─────────┼──────────┼──────────┼───────────┼─┼────────────┼──────────┼────────────┼─────────────┤
│1 - 2 │ │684 │688 │-4/+34 │ │4690 │4790 │+100 │ │
└──────┴─────────┴──────────┴──────────┴───────────┴─┴────────────┴──────────┴────────────┴─────────────┘
│10 │ │0220 │1044 │+1264 │ч│526 │-739 │+1265 │+1265,0 │
│ │ │0830 │434 │+1264 │к│5316 │-5529 │+10845 │ │
│ │ │ │ │ │ │ │ │-9580 │ │
├──────┼─────────┼──────────┼──────────┼───────────┼─┼────────────┼──────────┼────────────┼─────────────┤
│2 - │ │510 │610 │0/+34 │ │4690 │4790 │+1265 │ │
│подв. │ │ │ │ │ │ │ │ │ │
│стен, │ │ │ │ │ │ │ │ │ │
│марки │ │ │ │ │ │ │ │ │ │
│1112 │ │ │ │ │ │ │ │ │ │
├──────┼─────────┼──────────┼──────────┼───────────┼─┼────────────┼──────────┼────────────┼─────────────┤
│ │ │Сигма 2025│Сигма 2029│Сигма +6333│ч│Сигма 23341 │Сигма 7422│Сигма +15919│Сигма +3169,5│
│ │ │ │ │+3166,5 │к│-7422 │ │-9580 │ │
│ │ │ │ │ │ │ │ │+6339 │ │
├──────┼─────────┼──────────┼──────────┼───────────┼─┼────────────┼──────────┼────────────┼─────────────┤
│ │ │ │ │ │ │15919 │ │+3169,5 │ │
├──────┼─────────┼──────────┼──────────┼───────────┼─┼────────────┼──────────┼────────────┼─────────────┤
│Конт- │ │5331 Сигма│5297 Сигма│+5420 (22) │ │76694 Сигма │61786 │+14908 Сигма│+2714,0 Сигма│
│роль- │ │(20) │(21) │ │ │(23) │(24) │(25) │(26) │
│ные │ │ │ │+2710 (27) │ │-61786 Сигма│ │+100 │ │
│вычис-│ │ │ │ │ │(24) │ │ │ │
│ления │ │ │ │ │ │ │ │ │ │
├──────┼─────────┼──────────┼──────────┼───────────┼─┼────────────┼──────────┼────────────┼─────────────┤
│ │ │ │ │ │ │+14908 (30) │ │-9580 │ │
│ │ │ │ │ │ │ │ │+5428 (29) │ │
│ │ │ │ │ │ │ │ │+2714 │ │
└──────┴─────────┴──────────┴──────────┴───────────┴─┴────────────┴──────────┴────────────┴─────────────┘
В первую графу журнала записывают номера штатива и реек. Первым пишется номер задней рейки. В этой же графе показывают, как устанавливалась рейка на знак или каким образом производилась привязка к нему, а также как проектировались на рейку нити сетки.
Отсчеты по средней нити по черной стороне задней рейки записывают в графу 6 (1), а отсчеты по двум дальномерным штрихам (2 и 3) - в графу 2. Производят отсчеты по средней нити по черной стороне передней рейки и записывают в графу 7(4) и отсчеты по дальномерным штрихам - в графу 3 (5 и 6).
Отсчеты по средней нити по черной стороне рейки (1) и (4) не должны быть меньше 300. В противном случае меняют высоту нивелира или переставляют его так, чтобы отсчет по средней нити был выше указанного допуска, и повторяют все наблюдения на станции.
Производят и записывают отсчеты по средней нити по красной стороне передней (графа 7) (7) и задней (графа 6) (8) реек.
Вычисления в журнале начинают с подсчета расстояний между задней d и
з
передней d рейками и нивелиром (3) - (2) = (9) и (6) - (5) = (10) в графах
n
2 и 3 и с вычисления контрольных превышений в графе 4 (2) - (5) = (11) и
(3) - (6) = (12). Разности (9) - (10) и (12) - (11) должны быть не более 30
мм и равны между собой. Если расхождения больше, то повторяют все измерения
на станции. Величину разности записывают в графу 4 (13). Накопление этой
разности по ходу подсчитывают в этой же графе как сумму 2 (13). Это
накопление по всей секции не должно превышать 50 мм.
Среднее из двух контрольных превышений: [(11) + (12)] / 2 может отличаться от превышения, полученного по средней нити, не более чем на 3 мм, в противном случае повторяют все наблюдения на станции.
Вычисляют превышения по средним нитям по черной и красной сторонам реек (1) - (4) = (14) и (8) - (7) = (15). Сравнивают превышения. Превышения могут различаться между собой на разность высот нулей реек +/- 3 мм (графа 8) (18). Вычисляют разности высот нулей у первой и второй реек (8) - (1) = (16) и (7) - (4) = (17). Разности между величинами (14) - (15) и (17) - (16) должны быть равны между собой, это указывает на правильность вычислений на станции.
При работе с рейками, у которых красная сторона разделена через 11 / 10 см, прежде чем сравнивать превышения, необходимо превышение по красной стороне реек перевести в мм, для чего к измеренному превышению по красной стороне реек следует прибавить 0,1h. Чередование знаков у разностей (15) и у величин (16) и (17) на смежных станциях указывает на правильность записей и вычислений в журнале.
После окончания работ по нивелированию на секции приступают к контрольным вычислениям. На каждой странице и в конце хода подсчитывают:
1. Суммарное расстояние от задней и передней реек до нивелира SS(9) = (20) и SS (10) = (21). Для перевода (20) + (21) в метры необходимо разделить данную сумму на 10. Разность между величинами (21) и (20) должна быть точно равна накоплению неравенства расстояний между нивелиром и рейками (13) по ходу.
2. Суммируют контрольные превышения

Разделив сумму (22) на два, получают среднее контрольное превышение (27).
3. Суммируют все отсчеты по задней и передней рейкам по средней нити и записывают в графу

и в графу

Суммарное среднее превышение, полученное по черной и красной сторонам реек, записывают в графу

Разность между суммами (23) - (24) должна быть точно равна (25). Суммируют средние превышения на станции

и получают (26). (26) должна быть равна 29/2, допускаются небольшие расхождения, вызванные ошибками округлений.
Если на странице и в ходе число штативов нечетное, то к (25) и (23) - (24) = (30) необходимо предварительно прибавить "пяточную" разность с тем знаком, какой она имела на последнем штативе, чтобы получить превышение между реперами. При привязке к стенной марке, если используют подвесную рейку при четном числе штативов, к этим суммам следует также прибавить "пяточную" разность, а также ввести поправку за неравенство нулей красной и черной сторон реек.
После проложения прямого и обратного ходов вычисляют разности
d = h - h . Расхождения d не должны превышать допусков, указанных
пр обр
выше. Если расхождения d окажутся недопустимыми, то прокладывают
дополнительно еще один ход.
Образец записи при нивелировании IV класса в журнале Н-3 дан в табл. 18.
Таблица 18
Дата: 2 июля 1971 г. Погода: ясно, слабый ветер
Начало 7 ч 10 мин. Конец 7 ч 30 мин.
┌─────────┬────────────┬───────────────────────┬───────────┬──────────────┐
│N штатива│Дальномерные│ Отсчеты по рейке │Превышение,│ Среднее │
│ N рейки │ расстояния ├───────────┬───────────┤ мм │превышение, мм│
│ │до задней и │ задняя │передняя │ │ │
│ │ передней │ │ │ │ │
│ │ реек │ │ │ │ │
├─────────┼────────────┼───────────┼───────────┼───────────┼──────────────┤
│ 1 │ 2 │ 3 │ 4 │ 5 │ 6 │
├─────────┼────────────┼───────────┼───────────┼───────────┼──────────────┤
│1 │375(7) │1185(1) │1058(3) │ │ │
│ │ │1560(2) │1430(4) │+130(13) │+130(73) │
│ ├────────────┼───────────┼───────────┼───────────┼──────────────┤
│Грунт. │ │ │ │ │ │
│реп. ├────────────┼───────────┼───────────┼───────────┼──────────────┤
│606 │372(8) │6247(6) │6217(5) │+30(12) │ │
│2 - 1 │ │4687(9) │4787(10) │+100(14) │ │
├─────────┼────────────┼───────────┼───────────┼───────────┼──────────────┤
│ │460 │805 │1008 │ │ │
│2 │ │1265 │1472 │-207 │-207 │
│ ├────────────┼───────────┼───────────┼───────────┼──────────────┤
│1 - 2 │464 │6052 │6159 │-107 │ │
│ │ │4787 │4687 │-100 │ │
├─────────┼────────────┼───────────┼───────────┼───────────┼──────────────┤
│ │ │596 │777 │ │ │
│3 │324 │920 │1103 │-183 │-183 │
│ ├────────────┼───────────┼───────────┼───────────┼──────────────┤
│2 - 1 │326 │5607 │5890 │-283 │ │
│ │ │4687 │4787 │+100 │ │
├─────────┼────────────┼───────────┼───────────┼───────────┼──────────────┤
│ │ │719 │1019 │ │ │
│4 │275 │994 │1293 │-299 │-300 │
│ ├────────────┼───────────┼───────────┼───────────┼──────────────┤
│1 - 2 │274 │5781 │5982 │-201 │ │
│ │ │4787 │4689 │-98 │ │
├─────────┼────────────┼───────────┼───────────┼───────────┼──────────────┤
│ │352 │910 │1043 │ │ │
│5 │ │1262 │1395 │-133 │-133 │
│ ├────────────┼───────────┼───────────┼───────────┼──────────────┤
│2 - 1 │ │5949 │6182 │-233 │ │
│ │352 │4687 │4787 │+100 │ │
├─────────┼────────────┼───────────┼───────────┼───────────┼──────────────┤
│ │402 │860 │729 │ │ │
│6 │ │1262 │1128 │+134 │+135 │
│ ├────────────┼───────────┼───────────┼───────────┼──────────────┤
│1 - 2 │ │6049 │5813 │+236 │ │
│ │399 │4787 │4685 │-102 │ │
├─────────┼────────────┼───────────┼───────────┼───────────┼──────────────┤
│Контроль-│4375(21) │42948(15) │44064(16) │-1116(17) │-558(18) │
│ные вы- │ │-44064 (16)│ │-558(20) │ │
│числения │ │-1116(19) │ │ │ │
└─────────┴────────────┴───────────┴───────────┴───────────┴──────────────┘
Продолжение табл. 18
Дата: 2 июля 1971 г. Погода: ясно, слабый ветер
Начало 7 ч 30 мин. Конец 7 ч 45 мин.
┌─────────┬────────────┬───────────┬───────────┬───────────┬──────────────┐
│ 1 │ 2 │ 3 │ 4 │ 5 │ 6 │
├─────────┼────────────┼───────────┼───────────┼───────────┼──────────────┤
│ │ │657 │894 │ │ │
│7 │190 │847 │1085 │-238 │-238 │
│ ├────────────┼───────────┼───────────┼───────────┼──────────────┤
│2 - 1 │191 │5534 │5872 │-338 │ │
│ │ │4687 │4787 │+100 │ │
├─────────┼────────────┼───────────┼───────────┼───────────┼──────────────┤
│ │380 │1544 │615 │ │ │
│8 │ │1924 │995 │+929 │+930 │
│1 - 2 │380 │6711 │5681 │+1030 │ │
│ │ │4787 │4686 │-101 │ │
├─────────┼────────────┼───────────┼───────────┼───────────┼──────────────┤
│ │ │524 │-763 │ │ │
│9 │418 │942 │-345 │+1287 │+1285 │
│ ├────────────┼───────────┼───────────┼───────────┼──────────────┤
│2 - стен.│418 │1070
<*> │-213
<*> │+1283 │ │
│марка 23 │ │128 │132 │ │ │
├─────────┼────────────┼───────────┼───────────┼───────────┼──────────────┤
│ │Сигма 1977 │Сигма 17028│Сигма 13075│Сигма +3953│ │
│ │ │13075 │ │+1976,5 │+1977 │
├─────────┼────────────┼───────────┼───────────┼───────────┼──────────────┤
│ │ │+3953 │ │ │ │
├─────────┼────────────┼───────────┼───────────┼───────────┼──────────────┤
│ │ │ │ │ │ │
├─────────┼────────────┴───────────┴───────────┴───────────┴──────────────┤
│ │Подсчет по секции от грунт. реп. 606 до стен. марки 23 │
├─────────┼────────────┬───────────┬───────────┬───────────┬──────────────┤
│Контроль-│6352(21) │59976(15) │57139(16) │+2837(17) │+1419 (18) │
│ные вычи-│ │57139(16) │ │+1418,5(20)│ │
│сления │ │+2837(19) │ │ │ │
└─────────┴────────────┴───────────┴───────────┴───────────┴──────────────┘
--------------------------------
<*> При привязке к марке при помощи рулетки изменяли высоту горизонта, отметку по рейке 2 брали по черной стороне.
В первой графе журнала записывают номер штатива и название знака, от которого начинается и на котором заканчивается ход.
При наблюдениях на станции в графу 3 записывают отсчеты по задней рейке по средней нити (2) и по верхнему дальномерному штриху (1). Соответственно в графу 4 записывают отсчеты по передней рейке по среднему и верхнему штрихам (4) и (3). Производят и записывают в те же графы отсчеты по красной стороне передней (5), а затем задней (6) реек. Отсчеты по средней нити (2) и (4) не должны быть меньше 200, в противном случае наблюдения на станции переделывают. После взятия всех отсчетов приступают к контрольным вычислениям и вычислению превышений на станции.
Во второй графе записывают расстояния между нивелиром и рейками, для чего берут разность отсчетов по средней нити и верхнему дальномерному штриху (2) - (1) и (4) - (3). Вычисляют разности высот нулей реек (6) - (2) = (9) и (5) - (4) = (10) и значения превышений по черной стороне (2) - (4) = -(11) и по красной стороне реек (6) - (5) = (12). Находят разности (10) - (9) и (11) - (12), которые должны быть также равны между собой (14) и равны разности высот нулей реек, полученных из исследований +/- 5 мм. Если разности (10) - (9) и (11) - (12) различаются между собой, то это указывает на имеющиеся ошибки в вычислениях. Если разность (14) отличается от разности высот нулей реек больше чем на +/- 5 мм, то станцию переделывают. Как правило, разность высот нулей реек равна 100 мм. Поэтому, если превышение, полученное по черной стороне реек, отличается от превышения, полученного по красной стороне реек, в пределах от 95 до 105 мм, то это значит, что требование соблюдено. При больших отклонениях все наблюдения на станции повторяют.
На каждой странице и в конце хода, как и при нивелировании III класса, выполняют контрольные вычисления. Подсчитывают длину хода (21) в километрах, для этого суммируют разности

делят ее на 5 и получают длину хода в метрах. Суммируют все отсчеты по средней нити по задней

и по передней

рейкам, а также все превышения

и средние превышения

Разность между величинами (15) - (16) = (19) должна быть равна (17), неравенство этих величин указывает на ошибки вычислений. Среднее превышение по ходу (18) при четном числе штативов в ходе должно быть точно равно (17) : 2= (20). Если же число штативов в ходе нечетное, то следует к (17) сначала прибавить разность высот нулей реек (14) с тем же знаком, что и на последнем штативе, и также взять среднее.
По окончании нивелирования по линии между исходными пунктами и в замкнутых ходах подсчитывают невязку, которая не должна превышать

В противном случае ход переделывают в другом направлении. Если после проложения второго хода окажется, что

расходится меньше чем на

а невязка между исходными пунктами остается больше

то об этом сообщают руководителю работ и получают дальнейшие указания.
4.3. СВЯЗЬ НИВЕЛИРНЫХ ЛИНИЙ И ОСОБЕННОСТИ НИВЕЛИРОВАНИЯ
ЧЕРЕЗ ВОДНЫЕ ПРЕПЯТСТВИЯ И ОВРАГИ
4.3.1. СВЯЗЬ НИВЕЛИРНЫХ ЛИНИЙ. ПРИВЯЗКА
К ГРУНТОВЫМ, СТЕННЫМ РЕПЕРАМ И МАРКАМ
Как было изложено выше, при составлении проекта должны быть подробно разработаны связи между вновь прокладываемыми и существующими линиями нивелирования. Все находящиеся вблизи нивелирных линий знаки должны быть включены в ход.
Это относится как к реперам, описание которых имеется у исполнителя, так и к тем, которые будут обнаружены во время нивелирования.
Связь нивелирных линий III, IV классов и линий технического нивелирования между собой и с линиями высших классов осуществляется включением в ход не менее одного, надежно опознанного грунтового или стенного знака.
Рис. 63. Привязка к нивелирным знакам
При нивелировании линий III и IV классов в ходы должны быть включены все пункты триангуляции и полигонометрии, находящиеся на расстоянии до 3 км от прокладываемой линии.
В горных и труднодоступных районах нивелирные линии должны прокладываться так, чтобы была обеспечена возможность получения высот из геометрического нивелирования наибольшего числа пунктов.
Все нивелирные знаки, пункты триангуляции и полигонометрии, которые включаются в ход, должны быть тщательно опознаны, установлены их номера, названия и соответствие их тем знакам, которые должны быть включены в ход согласно проекту.
В нивелирном журнале обязательно делают зарисовку расположения знака и записывают расстояния, измеренные от знака до хорошо опознаваемых на местности предметов.
Фундаментальные реперы в линии нивелирования III и IV классов не включаются.
Все грунтовые и стенные реперы и марки, а также временные реперы должны включаться в нивелирный ход
(рис. 63).
Все включаемые в прокладываемые ходы знаки нивелируются соответственно классу этих ходов. В случае привязки знака висячим ходом нивелирование выполняют в прямом и обратном направлениях. Висячий ход должен быть проложен по наикратчайшей трассе с наименьшим числом штативов.
При привязке к грунтовым реперам рейку устанавливают на головку репера. При привязке к грунтовым и скальным реперам, пунктам триангуляции и полигонометрии или местным предметам, прежде чем на них ставить рейку, необходимо убедиться в том, что место постановки и пятка рейки чистые, что рейка свободно становится на знак. Только после этого можно устанавливать рейку. По окончании работ по привязке к грунтовому реперу или центру триангуляции и полигонометрии над репером должна быть установлена крышка, знак засыпан землей и полностью восстановлено его наружное оформление. Нарушенное оформление может являться причиной утраты знаков и изменения его положения по высоте вследствие морозного пучения и действия других факторов.
При привязке к стенным реперам рейку устанавливают на высшую точку диска или на полочку у старых типов реперов, которые закладывались до 1966 г. Отсчеты по рейке при привязке к грунтовым и стенным реперам производят по обычной методике.
При привязке к стенным маркам подвесную рейку подвешивают на штифт
(рис. 64), который вставляют в отверстие марки. Штифт и отверстие должны быть равных диаметров. Если диаметр отверстия марки больше диаметра штифта, то может возникнуть ошибка в превышении вследствие смещения нуля рейки и ее наклона. При неравенстве диаметров всего на 0,4 мм погрешность может достигать 1 мм.
При нивелировании III, IV классов и техническом нивелировании, кроме способа привязки к стенным маркам при помощи подвесной рейки, могут применяться и другие, менее точные способы. Если у исполнителя нет подвесной рейки или нет возможности установить рейку на стенном репере строго вертикально, то на стену выше или ниже знака, к которому привязываются, проектируют и прочеркивают острым карандашом или ножом положение всех трех нитей сетки. Во время проектирования на стену концы пузырька уровня нивелира должны быть точно совмещены или пузырек уровня должен находиться точно в нуль-пункте. Измеряют при помощи металлической рулетки с точностью до 1 мм расстояние от центра отверстия марки или верхней грани репера до проекций трех нитей на стене и записывают измеренные расстояния в журнал вместо отсчетов по соответствующей рейке. Дальнейшие вычисления производят обычным способом. Так как при этом способе привязки нет возможности получить отсчеты, идентичные отсчетам по красной стороне рейки, то привязку осуществляют дважды путем изменения высоты горизонта инструмента не менее чем на 3 см. Можно выполнять привязку к марке при помощи металлической рулетки. Для этого совмещают нуль рулетки с центром отверстия марки и производят по рулетке все необходимые отсчеты с точностью до 1 мм, которые записывают в журнал, и выполняют вычисления по обычным формулам. Привязку этим способом производят также при двух горизонтах инструмента. Можно выполнять привязку и другими способами, но только такими, которые обеспечивают требуемую точность.

Рис. 64. Привязка к стенным маркам
1 - отсчету по подвесной рейке придается знак плюс;
2 - отсчету по подвесной рейке придается знак минус
При привязке к маркам следует учитывать неравенство высот нулей обычной и подвесной реек, получаемых при компарировании при помощи контрольной линейки. Если привязка осуществляется путем проекции сетки нитей на стену или при помощи металлической рулетки, то учитывают неравенство высот только одной рейки.
Расстояния от нивелира до реек при привязке могут быть уменьшены до 5 м, но в любом случае расстояния между задней и передней рейками и нивелиром должны быть равными. Желательно, чтобы при привязке к знакам расстояния были больше 5 м, так как при визировании на короткие расстояния могут появиться грубые ошибки и просчеты, вызванные неудобством отсчитывания по видимым в трубу нивелира крупным шашкам или штрихам реек.
При привязке к стенным знакам, если средняя нить проектируется ниже центра знака, отсчету по рейке (расстоянию, измеренному при помощи рулетки) придают знак минус, а если выше, то знак плюс. Если при привязке к маркам при помощи подвесной рейки используют нивелиры с плоскопараллельной пластинкой, то отсчеты по барабану всегда имеют знак плюс, независимо от того, куда проектируется средняя нить: выше или ниже марки.
Во избежание повторных измерений (брака), довольно часто возникающих из-за ошибок или небрежности исполнителя, работы по привязке нивелирных ходов к знакам (реперам, маркам) следует выполнять особо тщательно и строго соблюдать все требования Инструкции.
4.3.2. ПЕРЕДАЧА ВЫСОТ ЧЕРЕЗ ВОДНЫЕ ПРЕПЯТСТВИЯ И ОВРАГИ
При выполнении нивелирования III и IV классов может возникнуть необходимость передачи высот через водные препятствия, глубокие овраги и ущелья.
На точность передачи высот через препятствия в основном оказывают влияние три вида погрешностей.
а. Погрешность взгляда. Величина этой погрешности зависит от способа нивелирования, от применяемого нивелира и от ширины препятствия. Погрешность можно вычислить по формуле, приведенной в
п. 4.1.
Если при передаче высот на линии нивелирования III класса предполагают использовать нивелир типа Н3 с увеличением зрительной трубы

уровнем с ценой деления

на 2 мм и К <*> = 30, то погрешность взгляда при ширине препятствия 200 м будет равна +/- 1,6 мм; при ширине препятствия 400 м погрешность становится равной +/- 3,2 мм. Поэтому Инструкция указывает, что при передаче высот через препятствия шириной более 400 м на линиях нивелирования III и IV классов следует применять инструменты и методы, предусмотренные для нивелирования II класса. Отметим, что препятствия шириной более 400 м на линиях нивелирования III и IV классов будут встречаться редко, и их по возможности следует избегать. Даже на линиях нивелирования I и II классов, которые прокладываются во всех районах нашей страны, препятствия шириной более 500 м составляют всего 27%. Поэтому здесь будут подробно рассмотрены только те способы, которые применяются при передаче высот через препятствия шириной до 400 м.
--------------------------------
<*> К - коэффициент, зависящий от способа визирования.
б. Погрешность превышения, вызванная углом i нивелира и его изменениями за время между наблюдениями на разных берегах препятствия. При равенстве расстояний между нивелиром и рейками эта погрешность исключается. Если же угол i изменился за время, между окончанием наблюдений на одном берегу и началом наблюдений на другом, а расстояния между нивелиром и рейками не равны, то превышение будет содержать погрешность, влияние которой можно оценить величиной:
где

- изменение угла i за время между наблюдениями на разных берегах,

- неравенство расстояний между нивелиром и рейками при наблюдениях с противоположного берега.
Угол i у современных нивелиров при изменении температуры на 1 °C изменяется в среднем на 0,5 - 1,5". При обычных погодных условиях летом за 1 ч температура воздуха может измениться на 2 - 4 °C. Таким образом, за время между наблюдениями на разных берегах, т.е. за 30 мин., угол i нивелира может измениться на 1,0 - 1,5", что вызывает погрешность в среднем превышении при передаче высот на расстояние 400 м, равную
Если же изменения угла i будут больше, то соответственно величина погрешности будет больше. Рекомендуется выполнять передачу высот при облачной и пасмурной погоде, когда изменения температуры воздуха наименьшие. Во время измерений следует особенно тщательно оберегать нивелир от воздействий солнечных лучей.
в. Влияние рефракции. Инструкция рекомендует выполнять передачу высот через водное препятствие шириной более 200 м при облачной и пасмурной погоде, а в солнечные дни начинать работу не ранее чем через 3 ч после восхода и заканчивать наблюдения за 3 ч до захода солнца. Наблюдения следует проводить одновременно двумя наблюдателями, двумя инструментами с противоположных берегов.
В зависимости от ширины препятствия передачу высот на линиях нивелирования III и IV классов выполняют разными способами. Независимо от способа передачи высот следует стремиться к тому, чтобы ширина препятствия была минимальной, используя для этого наиболее узкие места, острова, мели и такое время года, когда уровень воды в реке минимальный. При передачах высот через водные препятствия визирный луч не должен проходить над зарослями, островами и мелями. Нивелирование следует выполнять только в такие периоды дня, когда условия для наблюдений благоприятны. Если ширина водного препятствия больше 150 м, то на обоих берегах водного препятствия необходимо заложить по одному постоянному знаку. Превышения между этими знаками должны быть не более 0,5 м.
Подготовительные работы. До начала работ по передаче высот любым способом выполняют детальную рекогносцировку местности. Выбирают места для установки нивелира и реек. При этом следят, чтобы грунт в местах установки нивелира и реек был достаточно твердым, расстояния между нивелиром и рейками наименьшие, на пути луча отсутствовали заросли и мели. Берега в районе передачи высот в топографическом отношении должны быть однообразными.
В случае необходимости закладываются недостающие временные и постоянные грунтовые реперы. Высоты реперов, заложенных на разных берегах, не должны отличаться друг от друга более чем на 0,5 м. Для приближенного определения высот используют горизонт воды в реке. В качестве временных реперов могут использоваться деревянные колья длиной около 1 м и толщиной 10 - 15 см. Колья должны быть забиты за 2 - 3 дня до начала работ по передаче высот. В необходимых случаях под ножки нивелира забивают колья. За 1 - 2 дня до передачи высот изготавливают все необходимое дополнительное оборудование: оттяжки для реек, приспособления для защиты нивелира от воздействий солнечных лучей и т.д. Подготавливают нивелир и рейки к работе. За день до передачи высот определяют угол i нивелира и в необходимых случаях исправляют его. Угол i должен быть равен 2 - 3", т.е. x не должен превышать 1 - 2 мм на 75 м. Во время передачи высот нивелир не юстируют, но каждый день определяют угол i. Выполняют все требуемые Инструкцией поверки и исследования нивелира и реек. В начале полевого сезона исследуют ход фокусирующей линзы. Ход фокусирующей линзы у нивелира, предназначенного для передачи высот, должен быть хорошим, в противном случае нивелир следует заменить.
Детально знакомят и разъясняют обязанности членам бригады. Особое внимание обращают на тех работников, которые будут находиться на другом берегу и производить отсчеты при помощи индекса по рейке. Если бригада до этого не производила работ по передаче высот, то выполняют опытную передачу через препятствие. Особое внимание при этом обращают на соблюдение правил по технике безопасности членами бригады, на связь между членами бригады, находящимися на разных сторонах препятствия. При ширине препятствий до 200 м на линиях III и IV классов передачу высот выполняют одним из двух способов.
На реках с пологими берегами нивелир и рейки устанавливают вблизи уреза воды (рис. 65), причем последние на равных расстояниях от нивелира. Лучи визирования на заднюю и переднюю рейки должны проходить в одинаковых условиях, например над водной поверхностью, при передачах высот через овраги - над поверхностью земли. В этом случае влияние угла i нивелира и рефракции на измеренное превышение будет минимальным.
Рис. 65
При передачах высот этим способом на линиях нивелирования III и IV классов наблюдения на станции выполняют по обычной программе, но двумя приемами (табл. 19).
Таблица 19
Ход от ______ до _____ 24 октября 1969 г.; начало 8 ч 10 мин.,
конец 8 ч 25 мин.
Условия работы: грунт твердый. Изображение спокойное; облачность сплошная
Направление и сила ветра: слабый
┌──────┬────┬─────────────────┬─────────────────────────────────────┬─────┐
│ │ │ Отсчеты по │ Отсчеты по биссектору │ │
│ │ │ дальномерным │ нитей (1/2 дм) │ │
│ │ │ нитям (1/2 дм) │ │ │
│ │ ├───────┬─────────┼───────┬───────────────┬─────────────┤ │
│ │ │ 1 │ п/d │ │основная шкала │дополн. шкала│ │
│ │ │ з/и │ │ │ Р │ Б │ Р │ Б │ │
├──────┼────┼───────┼─────────┼───────┼───────┼───────┼───────┼─────┼─────┤
│ 1 │ 2 │ 3 │ 4 │ 5 │ 6 │ 7 │ 8 │ 9 │ 10 │
├──────┼────┼───────┼─────────┼───────┼───────┼───────┼───────┼─────┼─────┤
│16 │река│1000 │4060 │3 │20,2 │76 │79,5 │20 │ │
│1 - 2 │Сур-│3050 │Средняя │ │ │80 │ │25 │ │
│ │хоб │ │нить │Ср │20,2 │72 │79,5 │30 │ │
│ │ │ │5087 │ │ │76 │ │25 │ │
│ │ │2050 │2054 │ │ │ │ │ │ │
│ │ │-30,60 │-4/10 │ │ │ │ │ │ │
├──────┼────┼───────┼─────────┼───────┼───────┼───────┼───────┼─────┼─────┤
│ │ │ │ │II │50,9 │05 │110,1 │50 │ │
│ │ │ │ │ │ │00 │ │40 │ │
│ │ │ │ │ │ │10 │ │60 │ │
│ │ │ │ │Ср │50,9 │05 │110,1 │50 │ │
│ │ │ │ ├───────┼───────┼───────┼───────┼─────┼─────┤
│ │ │ │ │з - п │-30,7 │+71 │-30,6 │-25 │-4 │
│ │ │ │ │u │-30,629│ │-30,625│ │ │
│ │ │ │ │u │ │-30,627│ │ │ │
│ │ │ │ │ ср │ │ │ │ │ │
└──────┴────┴───────┴─────────┴───────┴───────┴───────┴───────┴─────┴─────┘
Передача высот через водные препятствия шириной 150 - 200 м первым способом.
Этим способом можно передавать высоты через препятствия до 400 м, если
на середине реки имеются острова или мели, позволяющие установить на них
нивелир или рейку так, чтобы расстояния между ними были равными. В этом
случае визирные лучи, идущие как на первую, так и на вторую рейки, будут
находиться в одинаковых условиях. При этом также должно соблюдаться
равенство расстояний Р \ И = ИР
(рис. 66) или Р И = И Р , Р И = И Р
2 1 1 1 2 2 2 2 1
(рис. 67). При осуществлении передачи высот по схеме, показанной на
рис. 67, одновременно перевозят с одного берега на другой нивелир и одну из
реек.
Если же река течет в отвесных берегах или передачу высот производят через глубокие овраги и ущелья и при этом не удается добиться прохождения лучей визирования в одинаковых условиях, то измеренное превышение будет ошибочно из-за влияния рефракции.
Рис. 66 Передача высот через водное препятствие
при наличии островов и мелей
Рис. 67. Передача высот через водное препятствие
при наличии островов и мелей
В этом случае наблюдения следует выполнять вторым способом с обоих берегов
(рис. 68). При передаче высот один луч будет идти над рекой или высоко над землей, а второй - над берегом, рядом с поверхностью земли. Погрешность из-за рефракции при наблюдениях с одного берега будет проявляться с одним знаком, при наблюдениях с другого - с противоположным знаком. Среднее же превышение будет свободно от влияния рефракции. Превышения, измеренные с противоположных сторон препятствия, могут различаться между собой на 10 - 15 мм при ширине препятствия 200 м.
Рис. 68. Передача высот через водное препятствие
шириной 150 - 200 м вторым способом
При использовании деревянных реек порядок наблюдений на станции обычный. Образец записи в журнал дан в табл. 20. В обратном ходе нивелирование через препятствие выполняют обязательно в другую половину дня.
Таблица 20
Дата: 13.09.1971 г. Погода ясно, слабый ветер
Начало 8 ч 35 мин. Конец 10 ч 15 мин.
┌─────┬─────────┬─────────────┬─────────────────┬─────────────┬───────────┐
│N │N пикетов│Дальномерные │Отсчеты по рейке │ Превышение, │ Среднее │
│стан-│ │ расстояния ├────────┬────────┤ мм │превышение,│
│ции │ │ до задней и │ задняя │передняя│ │ мм │
│ │ │передней реек│ │ │ │ │
├─────┼─────────┼─────────────┼────────┼────────┼─────────────┼───────────┤
│21а │Грунт. │Правый 900 │660 │525 │ │ │
│ │реп. 2473│берег │1560 │1428 │+132 │+132,5 │
│ │ ├─────────────┼────────┼────────┼─────────────┼───────────┤
│ │Грунт. │905 │6247 │6214 │+33 │ │
│ │реп. 2495│ │4687 │4786 │ │ │
├─────┼─────────┼─────────────┼────────┼────────┼─────────────┼───────────┤
│21б │ │ │1597 │1470 │+ 127 │+129,0 │
│ │ ├─────────────┼────────┼────────┼─────────────┼───────────┤
│ │ │ │6286 │6255 │+31 │ │
│ │ │ │4689 │4785 │ │ср. +130,8 │
├─────┼─────────┼─────────────┼────────┼────────┼─────────────┼───────────┤
│21в │ │Левый │1111 │980 │ │ │
│ │ │892 │2003 │1880 │+ 123 │+121,0 │
│ │ │берег │6688 │6669 │+ 19 │ │
│ │ ├─────────────┼────────┼────────┼─────────────┼───────────┤
│ │ │900 │4685 │4789 │ │ │
├─────┼─────────┼─────────────┼────────┼────────┼─────────────┼───────────┤
│21а │ │ │1875 │1754 │+121 │+ 122,0 │
│ │ ├─────────────┼────────┼────────┼─────────────┼───────────┤
│ │ │ │6562 │6539 │+23 │ │
│ │ │ │4687 │4785 │1 │ср. +121,5 │
└─────┴─────────┴─────────────┴────────┴────────┴─────────────┴───────────┘
Превышение между грунт, реп. 2473 и грунт, реп. 2495 равно +126 мм.
При передаче высот через препятствия шириной 200 - 400 м наблюдения выполняют способом подвижной марки.
Нивелирование, как правило, выполняется одновременно двумя бригадами с противоположных берегов
(рис. 69) с использованием двух нивелиров и двух комплектов реек. Превышение между реперами, находящимися на разных берегах, определяют сразу для прямого и обратного ходов.
Передачу высот через реки шириной более 150 м производят обязательно в присутствии начальника партии. При передаче высот через препятствия шириной более 200 м на линиях III и IV классов необходима радиосвязь между берегами.
Передачу высот через препятствия шириной 200 - 400 м нивелирами без плоскопараллельных пластинок на линиях нивелирования III и IV классов выполняют при помощи щитков с двумя белыми штрихами способом подвижной марки. Ширина белых штрихов должна быть равна 0,06s мм, где s - ширина препятствия в метрах.
Рис. 69. Передача через препятствия шириной более 200 м
Наблюдения в этом случае выполняются в такой последовательности.
Производят отсчеты обычным образом по черной и красной сторонам ближних
реек Р и Р . Устанавливают щиток на дальней рейке Р таким образом, чтобы
1 2 3
середина белого штриха находилась вблизи средней нити сетки, а концы
пузырька цилиндрического уровня должны быть в это время совмещены.
По команде наблюдателя, передаваемой по радио, помощник, находящийся у
дальней рейки, медленно перемещает щиток до тех пор, пока средняя нить не
окажется точно на середине первого белого штриха щитка. В это время по
команде наблюдателя помощник производит отсчет по черной стороне рейки а
ч
при помощи индекса с точностью 1 мм. Таких совмещений на каждый штрих щитка
и отсчетов по рейке делают четыре и получают средние значения а' и а".
ч ч
Поворачивают щиток и рейку на 180° и производят отсчеты а' и а" по красной
к к
стороне рейки по первому и второму штрихам.
Полные отсчеты по черной и красной сторонам реек равны:
(i)
A = a + c, (4.15)
где i - номер рейки, c - расстояние от середины штриха до индекса.
Перед c ставят знак плюс, если индекс щитка при отсчете находился внизу, и
минус, если - вверху.
Затем такие же наблюдения повторяют на рейку Р . В одной половине
4
визирования щиток перемещают вращением микрометренного винта по ходу
часовой стрелки, в другой - против хода. Одновременно с другого берега
должны выполняться наблюдения другим наблюдателем. После окончания
наблюдений на одном берегу наблюдатели с нивелирами переезжают на другой
берег. Разрыв во времени между концом наблюдений на одном берегу и началом
наблюдений с другого берега должен быть минимальным, не более 30 мин. На
наблюдения всего приема должно затрачиваться около 60 - 80 мин.
На другом берегу наблюдения начинаются с отсчетов по дальним рейкам
и заканчиваются на ближних. Образец наблюдений и вычислений превышений дан
в табл. 21.
Таблица 21
ОБРАЗЕЦ
ЗАПИСИ НАБЛЮДЕНИЙ И ВЫЧИСЛЕНИЙ ПРЕВЫШЕНИЯ МЕЖДУ
ГРУНТ. РЕП. 2022 И 2472 ПРИ НИВЕЛИРОВАНИИ III И IV КЛАССОВ
ЧЕРЕЗ ПРЕПЯТСТВИЕ ШИРИНОЙ 385 М
Наблюдатель: Петров. Начало: 10 ч 10 мин. Конец: 10 ч 32 мин.
Изображение: слабоколеблющееся
Дата: 6.07.1972 г. t = +20,2° t возд = +20,5° Ясно, слабый ветер
возд
Нивелир: Н3 N 12357 Рейки Р и Р установлены на кольях
2 3
Угол: i = +3",0 Рейки Р и Р - на грунтовых реперах
1 4
Примечание. Разность высот нулей
Р и Р = 4687
2 3
Р и Р = 4787
1 4
Расположение реперов и реек
и направление прямого хода
Отсчеты по ближним рейкам
(3) (3)
Б = 2012 Б = 6700
чер кр
(4) (4)
Б = 2292 Б = 7080
чер кр
(3) (4) (3) (4)
Б - Б = -280 Б - Б = -380
чер чер кр кр
РЕЗУЛЬТАТЫ КОМПАРИРОВАНИЯ ЩИТКОВ
┌───────┬────────────────────────────────┬────────────────────────────────┐
│ │ Щиток 1 │ Щиток 2 │
├───────┼────────────────────────────────┼────────────────────────────────┤
│С │75,4 мм │75,0 мм │
│ 1 │ │ │
│С │224,9 мм │225,2 мм │
│ 2 │ │ │
└───────┴────────────────────────────────┴────────────────────────────────┘
Во втором полуприеме из отсчетов по ближним рейкам Р и Р на другом
1 2
берегу реки имеем:
(1) (2) (1) (2)
Б - Б = +315 Б - Б = +418
чер чер кр кр
ОТСЧЕТЫ ПО ДАЛЬНИМ РЕЙКАМ
┌─────────┬───────────────────────────────┬───────────────────────────────┐
│ │ Рейка Р │ Репка Р │
│ │ 1 │ 2 │
│ ├───────────────┬───────────────┼───────────────┬───────────────┤
│ │черная сторона │красная сторона│черная сторона │красная сторона│
├─────────┼───────┬───────┼───────┬───────┼───────┬───────┼───────┬───────┤
│ штрих │ N 1 │ N 2 │ N 1 │ N 2 │ N 1 │ N 2 │ N 1 │ N 2 │
├─────────┼───────┼───────┼───────┼───────┼───────┼───────┼───────┼───────┤
│ │1527 │1682 │6165 │6018 │1210 │1360 │5745 │5601 │
│ │32 │80 │62 │22 │14 │62 │40 │5599 │
│ │24 │78 │68 │16 │09 │58 │50 │5603 │
│ │30 │83 │64 │17 │12 │64 │44 │02 │
├─────────┼───────┼───────┼───────┼───────┼───────┼───────┼───────┼───────┤
│a │1528 │1681 │6165 │6018 │1211 │1361 │5745 │5601 │
├─────────┼───────┼───────┼───────┼───────┼───────┼───────┼───────┼───────┤
│с │-75 │-225 │+75 │+225 │-75 │-225 │+75 │+225 │
├─────────┼───────┼───────┼───────┼───────┼───────┼───────┼───────┼───────┤
│А │1453 │1456 │6240 │6243 │1136 │1136 │5820 │5826 │
├─────────┼───────┼───────┼───────┼───────┼───────┼───────┼───────┼───────┤
│ (1) │1454 │ │6242 │ │1136 │ │5823 │ │
│A │ │ │ │ │ │ │ │ │
├─────────┼───────┼───────┼───────┼───────┼───────┼───────┼───────┼───────┤
│ (4) │2292 │ │7080 │ │2012 │ │0700 │ │
│Б │ │ │ │ │ │ │ │ │
└─────────┴───────┴───────┴───────┴───────┴───────┴───────┴───────┴───────┘
(2) (3) (2) (3)
-838 -838 А - Б = -876 А - Б = -877
2 2 кр кр
(3) (4) (3) (4)
Б - Б = -280 А - Б = -380
2 2 кр кр
(1) (2) (1) (2)
Б - Б = +318 Б - Б = +418
2 2 кр кр
-838 -839
h = -838 мм
ср
Допустимые расхождения между значениями превышений, полученными в полуприеме по разным створам, и расхождения значений превышений, полученных разными наблюдателями, не должны превышать 10 мм. Если окажется, что полученные превышения различаются больше, то необходимо выполнить еще один сдвоенный полуприем и из всех полученных результатов, за исключением грубых, взять среднее.
В исключительных случаях на линиях нивелирования III и IV классов, а также линиях технического нивелирования передача высот через водные препятствия может производиться по льду. Перед началом нивелирования выбирают трассу и очищают ее от снега.
При наблюдениях на станции должны соблюдаться все допуски, установленные Инструкцией для нивелирования соответствующего класса. Нивелирование по льду выполняют по деревянным башмакам или по деревянным кольям, вмороженным в лед. Деревянные колья должны быть длиной 20 - 30 см и диаметром 8 - 10 см. В их торцы вбивают гвозди. В местах постановки нивелира для каждой ножки штатива или вмораживают колья длиной 10 - 15 см и толщиной 8 - 10 см, или используют штативы с деревянными удлинителями ножек.
Последовательность наблюдений на станции та же, что и при обычном нивелировании. Передачу высот по льду выполняют дважды в прямом и дважды в обратном направлениях. При наличии двух бригад нивелирование выполняют навстречу друг другу. Расхождения между средними значениями превышений допускаются не более

при нивелировании III класса и

- при нивелировании IV класса, где L - расстояние в км между реперами, находящимися на разных берегах.
Нивелирование по льду производят в периоды наименьших суточных колебаний льда. При выборе времени суток для производства работ руководствуются данными наблюдений за суточными колебаниями поверхности льда, полученными на ближайших гидрометеорологических станциях. При нивелировании через водоемы, где наблюдаются резкие изменения положения поверхности льда более 10 мм в час, одновременно с нивелированием производят наблюдения за поверхностью льда и вводят поправки в измеренные превышения за эти движения. В этом случае через каждые 10 мин. при помощи нивелира, стоящего на берегу, производят отсчеты по рейке, прикрепленной к вмороженному в лед столбу, отстоящему от берега на 50 - 60 м. Пример записи отсчетов по рейке и введения поправки в превышение дан в табл. 22.
Таблица 22
ОБРАЗЕЦ
ЗАПИСИ НАБЛЮДЕНИЙ ЗА ДВИЖЕНИЕМ ЛЬДА
┌────────────┬──────────┬────────────┬──────────┬────────────┬────────────┐
│ Время │ Отсчет │ Время │ Отсчет │ Время │ Отсчет │
│ │по черной │ │по черной │ │ по черной │
│ │ стороне │ │ стороне │ │ стороне │
│ │ рейки │ │ рейки │ │ рейки │
├────────────┼──────────┼────────────┼──────────┼────────────┼────────────┤
│10 ч 20 мин.│2014 │12 ч 00 мин.│2053 │13 ч 40 мин.│2050 │
│10 30 │2020 │12 10 │2056 │13 50 │2058 │
│10 40 │2025 │12 20 │2058 │14 00 │2045 │
│10 50 │2025 │12 30 │2060 │14 10 │2040 │
│11 00 │2035 │12 40 │2065 │14 20 │2042 │
│11 10 │2038 │12 50 │2070 │14 30 │2044 │
│11 20 │2040 │13 00 │2070 │14 40 │2040 │
│11 30 │2040 │13 10 │2068 │14 50 │2038 │
│11 40 │2042 │13 20 │2055 │15 00 │2035 │
│11 50 │2050 │13 30 │2050 │15 10 │2030 │
└────────────┴──────────┴────────────┴──────────┴────────────┴────────────┘
┌────────┬─────────┬─────────────────────────────┬─────────────┬──────────┐
│ │ │ Измерения │ Изменение │ │
├────────┼─────────┼──────────────┬──────────────┤ положения ├──────────┤
│ Ход │ h , м │ начало │ конец │ поверхности │ h , м │
│ │ изм │ │ │ льда │ испр │
├────────┼─────────┼──────────────┼──────────────┼─────────────┼──────────┤
│Прямо │+0,613 │10 ч 40 мин. │12 ч 30 мин. │-0,035 │+0,578 │
│Обратно │-0,543 │13 10 │15 00 │+0,033 │-0,576 │
│ │+0,070 │ │ │ │+0,002 │
└────────┴─────────┴──────────────┴──────────────┴─────────────┴──────────┘
При нивелировании по льду не допускают скопления людей и транспорта вблизи места работ. Прерывать работы запрещается. Если по какой-либо причине были прекращены работы на трассе, то наблюдения начинаются от репера, находящегося на берегу.
Рис. 70. Забивка кола при передаче
высоты по урезу воды
При передаче высот через препятствия шириной 200 - 400 м при нивелировании IV класса и техническом нивелировании разрешается выполнять передачу высот по урезу воды. Передачу высот по урезу воды производят в тихую и безветренную погоду. На реке выбирают прямолинейный участок со спокойным течением. Вблизи уреза воды на обоих берегах выкапывают Г-образные отводные каналы
(рис. 70). По сигналу в канавах забивают по одному колу так, чтобы верхние срезы кольев оказались одновременно на одном уровне, т.е. на уровне воды. Тотчас же колья связывают нивелированием с соответствующими реперами. Превышение между реперами на берегах равно сумме превышений по ходу, полученному на двух берегах. Например, от реп. 2435 до уреза воды превышение равно -2,345 м, на другом берегу от уреза воды до грунт, реп. 2367 равно +2,998 м, превышение между реперами будет +0,653 м.
Нивелирование по урезу воды производят дважды. Расхождения между значениями превышений допускают до

где L - расстояние между реперами в км.
ТЕХНИЧЕСКОЕ НИВЕЛИРОВАНИЕ
5.1. ТРЕБОВАНИЯ И ОСОБЕННОСТИ ТЕХНИЧЕСКОГО НИВЕЛИРОВАНИЯ
Для определения высот пунктов геодезических сетей и пунктов съемочного обоснования топографических съемок масштаба 1:5000 - 1:500 при съемках рельефа местности и при инженерных изысканиях наряду с нивелированием III и IV классов применяется техническое нивелирование. При техническом нивелировании, когда необходимо знать высоты только отдельных точек, например при создании съемочного обоснования, при высотной привязке аэроснимков или при получении профиля местности, прокладывают отдельные нивелирные ходы. При съемках рельефа отдельных участков местности выполняют нивелирование площади, т.е. определяют высоты точек с определенной плотностью на всем участке. В зависимости от задач нивелирования устанавливают несколько различающихся между собой допусков и программ наблюдений на станции.
Предельные невязки ходов и полигонов технического нивелирования вычисляют по формулам:
где L - длина хода или периметр полигона в км; n - число станций в линии или в полигоне.
Формула (5.2) применяется в случае, когда число станций на 1 км хода больше 25.
5.1.1. ТЕХНИЧЕСКОЕ НИВЕЛИРОВАНИЕ ПРИ СОЗДАНИИ СЪЕМОЧНОГО
ОБОСНОВАНИЯ И ПРИ ПОСТРОЕНИИ ПРОФИЛЕЙ МЕСТНОСТИ
Ходы технического нивелирования должны опираться на знаки нивелирования высшего класса или на узловые точки. На местности эти ходы закрепляют постоянными и временными знаками, а также пикетами - деревянными кольями. Пикеты используют в качестве переходных точек. Рядом с пикетом устанавливают сторожок с указанием номера пикета. Во время технического нивелирования, как правило, ведут абрис, куда заносят наиболее характерные точки рельефа и те дополнительные предметы, высоты которых определяют при продолжении нивелирных ходов. Абрис облегчает нанесение точек, высоты которых определены, на планы или профили местности.
Техническое нивелирование производят из середины. Ход прокладывают в одном направлении. Нормальное расстояние между нивелиром и рейками равно 120 м. При хороших условиях видимости и спокойных изображениях длину луча можно увеличить до 200 м. Высота визирного луча над поверхностью земли не должна быть менее 0,2 м, т.е. отсчет по средней нити нивелира должен быть более 200. Расстояния между нивелиром и рейками измеряют шагами или при помощи дальномера. Неравенство расстояний от нивелира до реек на станции должно быть менее 10 м, накопление этих неравенств на секции не должно превышать 50 м. Нивелировщик, зная длину своего шага, отмеряет нужное расстояние от задней рейки и устанавливает нивелир. Реечник, рейка которого будет стоять на передней переходной точке, измеряет шагами расстояние между задней рейкой и нивелиром. Затем на таком же расстоянии от нивелира устанавливает переднюю рейку.
Во время наблюдений на станции необходимо защищать цилиндрические уровни нивелиров от попадания на них солнечных лучей.
Техническое нивелирование выполняют по деревянным кольям, металлическим башмакам и костылям.
Отсчеты при техническом нивелировании при создании сетей съемочного обоснования производят в том же порядке и в той же последовательности (Зч, Пч, Пк и Зк), что и при нивелировании IV класса, исключая лишь отсчет по верхнему дальномерному штриху, а в
графу 2 журнала (см. табл. 18) записывают расстояние, измеренное шагами. При техническом нивелировании применяют те же журналы, что и при нивелировании IV класса. Порядок вычислений превышений на станции и все контрольные вычисления выполняют в том же порядке, что и при нивелировании IV класса.
Допустимая длина хода, последовательность наблюдений на станции при техническом нивелировании, выполняемом для построения профиля местности, как правило, регламентируются ведомственными инструкциями и указаниями. Допустимую длину хода между нивелирными знаками высших классов вычисляют по формуле:
Считаем, что погрешность m реперов государственного нивелирования I,
исх
II, III и IV классов в среднем для сети близка к +/- 30 мм и случайная
средняя квадратическая погрешность технического нивелирования на 1 км хода
равна +/- 20 мм.
При техническом нивелировании при построении профиля местности перед началом нивелирных работ выполняют подготовку линии к измерениям: провешивают на местности прямые участки линии, измеряют углы поворота в местах излома и т.д. Затем линию разбивают на отрезки определенной длины, например по 100 м. На концах каждого отрезка забивают колышек вровень с уровнем земли. Эти точки называются пикетами, в нивелирном журнале их обозначают буквами ПК с соответствующим номером. Рядом с колышком забивают сторожок, на котором указывают номер пикета. Если между пикетами имеются изгибы местности, которые следует отобразить на профиле, то в таких местах также забивают колышки. Это - плюсовые точки. На сторожках, которые забивают рядом с ними, и в журнале указывают расстояние от предыдущего пикета до данной плюсовой точки, например ПК 46/+84,5. Это означает, что данная точка находится за пикетом N 46 на расстоянии 84,5 м. В случае, если превышение между пикетами больше 3 м и его нельзя измерить с одной станции, забивают одну или несколько дополнительных иксовых точек и определяют превышение между соседними пикетами с двух или с нескольких станций. Иксовая точка служит только для связи смежных пикетов и может находиться вне створа между пикетами.
В результате нивелирования по профилю получают ряд точек с известными высотами. Если необходимо иметь более подробные данные о рельефе местности в некоторой полосе, то нивелируют не только точки по одной линии, но и по обе стороны от нее. Нивелирование этих точек выполняется по поперечникам, которые разбивают перпендикулярно к основной линии. Поперечникам присваивают порядковые номера и указывают номер точки пересечения поперечника с основной линией профиля, например поперечник 8, ПК 45. Расстояния между поперечниками и между точками на поперечниках могут быть различными в зависимости от требований съемки. Как правило, на каждом поперечнике на местности отмечают сторожками 3 - 4 точки относительно средней. Колышки в этих точках не забивают. На поперечниках, так же как и на линии, отмечают все характерные точки местности. Нумерация точек поперечников следующая: всем точкам, расположенным справа по ходу, присваивают нечетные номера, слева - четные или подписывают буквы П и Л. Нулевой поперечник нумеруется от нуля до 10, поперечник N 1 - от 10 до 19, поперечник N 2 - от 20 до 29 и т.д. Если число поперечников большое, например более 999, то после 1000 начинают нумерацию точек поперечников сначала, но к каждому номеру прибавляют букву. Поперечник N 100 будет иметь 01а, 02а и т.д., поперечник N 101 - 10а, 11а и т.д.
Ниже приводятся основные допуски и правила ведения журналов.
Расстояния между нивелиром и рейками не должны превышать 100 м, только при хороших условиях видимости и спокойных изображениях можно увеличивать расстояния до 120 м. Это ограничение вызвано тем, что наблюдения на станции выполняются более продолжительное время, чем при обычном техническом нивелировании. Наблюдатель с одной станции берет большее число отсчетов по рейкам, которые устанавливают, кроме пикетов, на плюсовых точках и точках поперечников, и допускает большие неравенства расстояний от нивелира до задней и передней реек. При нивелировании надо стремиться к компенсации неравенств расстояний. На станциях неравенство расстояний между нивелиром и рейками, установленными на пикетах, должно быть с разными знаками. Например, если на первой станции задняя рейка находилась ближе к нивелиру, чем передняя, то на второй ближе должна быть передняя рейка.
При техническом нивелировании, проводимом для построения профиля местности, кроме реек, применяемых при нивелировании III и IV классов, могут быть использованы складные рейки длиной 4 м, рейки с двухсантиметровыми делениями, рейки с выдвижными пятками, со сменной оцифровкой и с нулем наверху. Выдвижная пятка должна быть длиной около 1 м и жестко соединяться с рейкой. Если применяют рейки с выдвижной пяткой, оцифровка которых возрастает сверху вниз, то каждый метр рейки окрашивают в другой цвет. Высоты плюсовых точек и точек поперечников по этим рейкам можно получать без вычислений, по одному отсчету. В этом случае сначала рейку устанавливают на задний пикет, высота которого известна. Изменяя положение нуля рейки, т.е. увеличивая или уменьшая длину пятки, добиваются того, чтобы три последние цифры отсчета по средней нити нивелира соответствовали трем последним цифрам отметки точки, на которой установлена рейка. Так, если отметка точки 137, 254, то отсчет по средней нити должен быть равен 254. Затем у начала этого метра ставят цифру 7 и соответственно обозначают начало у других. Теперь если взять отсчет по рейке и знать, к какому метру он принадлежит, то сразу получают высоту точки. Отсчет 8,755, высота точки 138,755 м.
Порядок наблюдений на станции при этом виде технического нивелирования несколько отличается от того, который принят при нивелировании IV класса. Сначала рейки устанавливают на точках поперечников, находящихся сзади и спереди от нивелира, и берут отсчеты по черной стороне реек. После того как взяты все отсчеты на точках поперечников, заднюю рейку устанавливают на заднем пикете, а переднюю - на переднем и измеряют превышения по программе нивелирования IV класса, т.е. берут отсчеты Зч, Пч, Пк и Зк. После этого рейки устанавливают на плюсовых точках и берут отсчеты по черной стороне.
На
рис. 71 показан участок линии технического нивелирования между ПК 23 и ПК 26, расположение плюсовых точек и точек на поперечниках, а в табл. 23 дан образец записи журнала.
Таблица 23
ОБРАЗЕЦ ЗАПИСИ
В ЖУРНАЛЕ ТЕХНИЧЕСКОГО НИВЕЛИРОВАНИЯ
N станций N рейки | N реперов, пикетов, промежуточных точек, точек поперечников | Отсчеты по рейкам | Горизонт инстру- мента | Абсолютная отметка, м |
черная сторона | красная сторона | промежуточные точки |
1 | 2 | 3 | 4 | 5 | 6 | 7 |
35 1 - 2 | пк 23 поперечник 28 пк 23281 283 285 282 284 286 пк 23 + 20,0 +31,3 +52,6 пк 24 поперечник 29 пк 24291 293 292 294 296 пк 24 + 26,7 +74,3 +90,5 пк 25 | 0828(12) 2489(13) -1,661 0646 2764 -2,118 0843 2063 -1,220 | 5518(15) 7274(14) -1,756 | 0637(7) 0998(2) 1674(3) 0777(4) 0225(5) 1500(5) 1714(15) 0546(17) 0201(18) 1246(19) 2105(7) 1688(8) 1704(9) 1099(10) 2144(11) 1976(22) 2584(21) 2316(20) ср. -1,658 | 148,367 144,611 | 147,536 147,730 147,369 146,693 147,590 148,142 146,867 146,653 147,821 148,166 147,121 146,262 146,679 146,763 147,268 146,223 146,391 145,783 146,051 145,884 143,768 142,195 142,551 142,547 |
Превышение |
36 2 - 1 37 1 - 2 | пк 25 пк 25 + 50,5 пк 25 + 50,5 пк 25 +70,0 +85,3 пк 26 | поправка за урав. +6 hиспр-1,652 |
5433 7451 -2,018 5530 6853 -1,323 | -2,118 +2 -2,116 2416 2060 -1,222 +1 -1,221 |
В последние годы получил распространение беспикетный способ трассирования с применением радиодальномеров. При этом способе пикеты не отмечают на местности колышками, а устанавливают деревянные столбы в углах поворота и в створе по линии через каждые 500 + 30 м. При помощи дальномера измеряют расстояние, а нивелированием IV класса определяют превышение между столбами.
Рис. 71. Участок линии технического нивелирования
Техническое нивелирование и нивелирование поперечников выполняют без разбивки пикетов. Устанавливают заднюю рейку на точку с известной из нивелирования IV класса высотой, а нивелир, в зависимости от местности, - на расстоянии до 250 м от нее. Производят отсчеты по трем нитям по черной стороне рейки. Вычисляют расстояние от нивелира до рейки и превышение. Переднюю рейку устанавливают на ближайшей характерной точке рельефа за нивелиром и производят отсчеты. Затем реечники устанавливают рейки на всех характерных точках по створу трассы. Отсчеты по задней и передней рейкам берутся попеременно. Правильность определения превышений и расстояний контролируется через каждые 500 м путем сравнения с ранее полученными значениями. Расхождения между превышениями не должны превышать

а между расстояниями - 1,5 м.
5.1.2. ТЕХНИЧЕСКОЕ НИВЕЛИРОВАНИЕ
ПРИ СЪЕМКЕ РЕЛЬЕФА МЕСТНОСТИ
Техническое нивелирование широко применяется при топографических съемках масштаба 1:5000 - 1:500 с сечением рельефа 0,25 м при вертикальной планировке территорий и при инженерных изысканиях. Нивелирование поверхности можно выполнять в зависимости от условий местности и требуемой точности несколькими методами:
1. Метод магистралей в основном применяется при инженерных изысканиях шоссейных и железных дорог, каналов, водопроводов и туннелей, когда необходимо иметь данные о рельефе местности вдоль узкой полосы. Нивелирный ход в этом случае совпадает с прямолинейными участками трассы. Одновременно с проложением основного хода разбивают и нивелируют поперечники.
Рис. 72. Способ параллельных нитей
Рис. 73. Способ полигонов
2. При съемке значительной территории применяют метод параллельных линий. Особенно широко применяется этот метод при съемке равнинной или слегка всхолмленной местности. Сначала прокладывают основной ход или систему ходов по середине участка или по его границам. Затем перпендикулярно к этим ходам прокладывают параллельные съемочные ходы. Схема таких ходов показана на
рис. 72. Основной ход, как правило, нивелируется в прямом и обратном направлениях по программе III или IV класса и закрепляется на местности как постоянными, так и временными знаками. Длины съемочных ходов и расстояния между ними зависят от масштаба съемки и высоты сечения рельефа. Как правило, длины съемочных ходов не должны превышать 1500 м. Если съемочные ходы оказываются длиннее, то прокладывают дополнительно второй магистральный ход, параллельный первому. Расстояния между съемочными ходами и между точками в ходах, высоты которых определяют, зависят от цели съемки, от рельефа местности и в среднем равны 50 - 100 м. Но иногда эти расстояния могут быть увеличены или уменьшены.
3. Способ замкнутых полигонов применяется на местности с четко выраженным рельефом, когда необходимо иметь только общее представление о его характере. По границам съемочного участка прокладывают основной ход, затем по характерным линиям рельефа (водораздел, тальвег и т.д.) прокладывают съемочные ходы. Съемочные ходы дополнительно прокладывают также по всем благоприятным для нивелирования трассам (дорогам и т.п.). Система таких ходов показана на
рис. 73. Расстояния между ходами и длины ходов зависят от требований, предъявляемых к плану. Как правило, расстояния между ходами не должны превышать 500 м, а длины ходов - 2 км.

4. Метод створов применяется при съемке рельефа на местности, бедной контурами. Сначала на местности устанавливают 8 - 10 вех. Вехи должны равномерно располагаться на всей территории, подлежащей съемке
(рис. 74). Между соседними вехами должна быть прямая видимость. Вехи наносят на план, определяя их положения либо аналитическими методами, либо графическими засечками. Строго по створам между вехами прокладывают основные ходы технического нивелирования. Задний реечник устанавливает в створ нивелир и переднюю рейку. Одновременно с изменением превышений при помощи дальномера нивелира определяют точные расстояния между нивелиром и рейками, а также высоту нивелира над колышком, забитым под нивелиром. Длина деревянных колышков 10 - 15 см.
Уравнивают основные нивелирные ходы, вычисляют высоты всех точек и наносят их на план.
После этого приступают к проложению съемочных ходов, которые прокладывают между точками основного хода также строго по створу. Для этого рядом с точками основного хода устанавливают вехи. Как и при проложении основных ходов, нивелировщик измеряет расстояние между нивелиром и рейками при помощи дальномера и высоту нивелира над поверхностью.
В результате измерений получают систему ходов, показанную на
рис. 74. На планшет наносят отметки всех переходных точек и точек стояния нивелира. В зависимости от высоты сечения рельефа длины основных и съемочных ходов могут быть различные. Как правило, они должны быть длиной около 1 км, а полученные невязки должны удовлетворять требованиям технического нивелирования.
При съемке рельефа местности методами 2, 3 и 4 должны соблюдаться все допуски и требования, которые были указаны при техническом нивелировании, прокладываемом при создании съемочного обоснования. Нивелирные журналы применяются те же, что при нивелировании IV класса. При съемках рельефа местности методом 1 соблюдаются требования и используются журналы, указанные при описании технического нивелирования, прокладываемого для построения профиля местности.
5.1.3. НИВЕЛИРОВАНИЕ ПО КВАДРАТАМ
При топографической съемке масштабов 1:5000, 1:2000, 1:1000 и 1:500 участков местности, на которых в ближайшее время предполагают производить работы по орошению или осушению земель, по вертикальной планировке земель, строительство различных сооружений и промышленных объектов, т.е. во всех случаях, когда необходимо иметь точный высотный план местности и точно знать предполагаемый объем земляных работ, выполняют нивелирование по квадратам. На местности при помощи взаимно перпендикулярных линий строят сеть квадратов со сторонами от 10 до 100 м, вершины которых закрепляют кольями. Размеры сторон квадратов зависят от требований, предъявляемых к плану, от рельефа местности, от масштаба топографической съемки, от высоты сечения рельефа и устанавливаются техническим предписанием.
Рис. 75. Разбивка квадратов
При построении квадратов идут от общего к частному. Сначала на местности размечают вершины основных больших квадратов со сторонами от 100 до 1000 м, в которых затем строят более мелкие заполняющие квадраты. В основном квадрате, как правило, бывает 25 - 100 заполняющих квадратов. В случае, если участок съемки очень большой, на местности сначала методом триангуляции, полигонометрии или трилатерации строят сеть крупных квадратов со сторонами в несколько километров, которые затем, в свою очередь, делятся на основные и заполняющие. Ниже приводится подробное описание одного из способов разбивки квадратов на местности
(рис. 75).
Предварительно на плане или карте наиболее крупного масштаба, имеющегося на данный район, наносят границы снимаемого участка и составляют проект разбивки квадратов. По карте устанавливают, какая сторона участка наиболее длинная (в нашем случае такой стороной будет АВ). На эту сторону (или на ее продолжение) из крайних боковых точек участка съемки C и J опускают перпендикуляры JJ' и CC. В необходимом случае перпендикуляр JJ' продолжают вверх. После этого на сторонах C'J' и J'J" откладывают стороны основных квадратов (l). На стороне C'J' или ее продолжении получают ряд точек 1, 2, 3, ..., 7, а на стороне J'J" - соответственно точки 8, 9, ..., 12. После этого из точки J" проводят линию, параллельную J'7, а из точки 7 - линию, параллельную J'J". Точку пересечений этих линий обозначают через 7'. На сторонах прямоугольника J"Т и 77' откладывают стороны основных квадратов (l). Соединив попарно точки 1 и 1', 2 и 2', ..., 12 и 12', получают вершины всех основных квадратов. После этого приступают к перенесению проекта в натуру. Тем или иным способом (засечками, теодолитными ходами или какими-либо другими методами) опознают на местности точки А, В, J, J' и J". В этих точках устанавливают временные реперы и вехи. В качестве временных реперов используют деревянные колья диаметром не менее 10 см и длиной около 100 см. В верхний торец кола забивают гвоздь. При помощи теодолита проверяют, находится ли точка J' на продолжении линии АВ, а точка J - на линии J'J" и равен ли угол J"J'B точно 90°00'. Отклонения этих точек на местности от прямой линии не должны превышать 0,5 мм в масштабе плана.
Далее при помощи мерных приборов и теодолита на линиях J'В и J'J" откладывают стороны основных квадратов, отмечая их концы колышками и вехами. Получают ряд точек 1, 2, ...7 (см.
рис. 75). От линии 7J' при помощи теодолита откладывают угол, равный 90°00', и на расстоянии (7l) забивают кол и устанавливают веху. Получают на местности точку 7'. После этого в точке 7' от линии 77' откладывают угол, равный 90°00', и смотрят, находится ли точка J" на этом направлении. Если отклонение не превышает расстояния, соответствующего 0,5 мм на плане, то приступают к откладыванию основных сторон квадратов на стороне 7J". В противном случае предварительно уравнивают полигон J'77'J", внося необходимые поправки в положение точек 1, 2, ...12, 1', 2', ...12'. По створам находят положения всех остальных вершин квадратов. Для этого в точках 1, 2, 6 устанавливают теодолит, а в точках 2', ..., 6' - вехи. При помощи мерных приборов (мерных лент, дальномеров) и теодолита размечают вершины основных квадратов по линиям 11', 22', ..., 66'. Если на одной линии разбивку начинают с точки 1, то на другой - с точки 2'. При этом необходимо следить, чтобы последние точки при откладывании совпадали с соответствующими точками на линиях J'7 и J"7. Таким образом находят все вершины основных квадратов. После того, как убедятся, что квадраты разбиты правильно, в вершинах закладывают постоянные или временные реперы, которые должны обеспечить длительную сохранность разбивки квадратов на местности. Правильность нахождения вершин квадратов, кроме невязок полигонов, проверяют измерением диагонали квадрата. Длина диагонали должна быть равна 1,4142l. Отклонения в положении всех точек не должны превышать расстояний, соответствующих 0,5 мм на плане. После этого на местности намечают вершины заполняющих квадратов. Для этого на сторонах основных квадратов при помощи теодолита и мерного прибора отмечают колышками вершины заполняющих квадратов, а далее по створам - и все остальные вершины. Если длины сторон основных квадратов меньше 300 м, то разбивку заполняющих квадратов можно выполнять значительно проще и быстрее, используя для этого три заранее размеченных троса. Длина троса должна быть равной целой или половине длины стороны основного квадрата. Тросы должны быть размечены метками, расположенными друг от друга на расстоянии, равном длине стороны заполняющего квадрата. Например, длина основного квадрата равна 100 м, заполняющего - 10 м, разбивочный трос должен быть несколько больше 100 м (102 - 103 м) и размечен одиннадцатью метками через 10 м. Если при разбивке заполняющих квадратов длина троса равна длине основной стороны, то два троса натягивают и закрепляют на двух параллельных сторонах квадрата. Третий трос натягивают между соответствующими метками двух первых. При этом способе разбивки квадратов, как правило, выполняют одновременно и нивелирование. Против меток третьего троса забивают колышки и сторожки с номером точки, сразу же на колышек ставят рейку и наблюдатель производит отсчеты.
После взятия всех необходимых отсчетов третий трос переносят к следующему створу. Таким образом размечают вершины квадратов колышками по второму створу и определяют их высоты. Разбивку этим методом целесообразно производить бригадой в составе 4 рабочих. Двое рабочих натягивают третий трос, двое других забивают по натянутому тросу колышки и сторожки. Нивелирование могут выполнять все четверо рабочих, у каждого из них должна быть рейка. Если длина троса равна половине длины стороны основного квадрата, то сначала необходимо найти середину большого квадрата при помощи тросов или угловой засечкой, а затем произвести разбивку каждой четвертой части. Производят разбивку только тех основных квадратов, в которых выполняют нивелирование. Можно разбивать квадраты и любыми другими способами, но всегда должен быть контроль правильности разбивки квадратов. Все вершины как основных, так и заполняющих квадратов должны иметь номер, который заносят в абрис и указывают на сторожках около вершин квадратов. Одновременно с разбивкой сетки квадратов отмечают все характерные точки местности (перегибы рельефа, вершины повышений, урезы воды, строения и т.п.), которые не совпадают с вершинами квадрата, но показ которых необходим на плане, и также заносят их в абрис. Положение этих точек определяют промерами от вершин ближайших квадратов.
Нумерацию квадратов начинают с верхнего левого угла и кончают правым нижним углом. Вершины основных квадратов оцифровываются римскими цифрами и заглавными буквами, а вершины заполняющих - арабскими цифрами и строчными буквами (рис. 76). Сразу же после разбивки, а еще лучше одновременно с разбивкой сетки заполняющих квадратов приступают к нивелированию. При большом разрыве во времени между этими работами установленные при разбивке сторожки и колышки могут быть уничтожены, точки утеряны. Это вызывает задержку в работах.
Рис. 76. Способ нивелирования по квадратам
После окончания всех работ на пахотных, луговых и других землях, где колышки, вехи и сторожки могут помешать людям, необходимо ненужные для дальнейших работ знаки и колья убрать.
Способ нивелирования выбирается в зависимости от длины сторон заполняющих квадратов и рельефа местности. Но вначале всегда нивелированием III или IV классов определяют высоты вершин у всех или части основных квадратов, прокладывая нивелирные ходы по границам съемочного участка. В необходимых случаях ходы прокладываются и внутри участка так, чтобы при съемке рельефа длины съемочных ходов были не более 1 - 3 км. При съемке рельефа в закрытой местности техническое нивелирование выполняют обходом сторон квадратов. При этом все ходы должны быть между собой увязаны. Нивелирование начинают с обхода наружных сторон квадратов, а затем внутренних. Необходимо стремиться к тому, чтобы суммарная длина всех ходов была минимальной.
При работе в открытой местности, если длины сторон заполняющих квадратов меньше 100 м, нивелир устанавливают примерно в середине группы квадратов таким образом, чтобы по рейке, установленной на любой точке снимаемого с этой станции участка, можно было сделать отсчет (см.
рис. 76). На каждой точке берут только один отсчет по черной стороне рейки. Расстояния между нивелиром и рейками, установленными на самых удаленных точках, должны быть менее 100 м, а число точек, наблюдаемых с одной станции, - не более 25. В журнале станции обозначаются прописными буквами. При нивелировании рейки устанавливают последовательно на всех вершинах квадратов и характерных точках рельефа и берут отсчеты, которые записывают в журнал или наносят на абрис. Для ускорения работы следует иметь несколько реечников, которые идут или по параллельным линиям, или таким образом, чтобы переходы их были минимальными.
Передачу высот на смежные станции производят через связующие точки.
Станции при нивелировании заполняющих квадратов следует располагать так, чтобы ход технического нивелирования получался между реперами высшего класса или узловыми точками.
Рис. 77. Журнал технического нивелирования
Если стороны заполняющего квадрата более 100 м или с одной установки нивелира по условиям местности нельзя пронивелировать несколько квадратов, то инструмент устанавливают точно посередине каждого квадрата и выполняют нивелирование всех его вершин. В этом случае сначала прокладывают замкнутый ход по наружным квадратам
(рис. 77), а затем по внутренним. Измеряя высоту нивелира, установленного посередине квадрата, можно вычислять отметки центров этих квадратов и нанести их на план.
Правильность отсчетов по рейкам при этом способе нивелирования контролируется суммой отсчетов, лежащих накрест на общей стороне квадрата, взятых с двух соседних станций. Две суммы отсчетов, накрест лежащих на общей стороне, должны быть равны между собой, допустимые расхождения - менее 10 мм.
Для того чтобы уравнять полученную систему ходов, достаточно вначале уравнять все накрест лежащие отсчеты по общим сторонам, разбросав невязку поровну на все четыре отсчета, а затем уравнять ход, проложенный по внешнему периметру участка.
5.2. ОСОБЕННОСТИ НИВЕЛИРОВАНИЯ ТЕОДОЛИТАМИ
С САМОУСТАНАВЛИВАЮЩИМИСЯ ИНДЕКСАМИ ВЕРТИКАЛЬНОГО КРУГА
В некоторых современных теодолитах уровень при вертикальном круге заменен оптико-механическим компенсатором. Последний позволяет быстрее и с большей точностью устанавливать по кругу отсчет, равный месту нуля, что необходимо для нивелирования горизонтальным лучом.
В роли оптического компенсатора выступает призма, линза или зеркало, подвешиваемые на пружине или нитях и органически вписывающиеся в отсчетную систему вертикального круга.
Рис. 78. Принцип работы компенсатора теодолита
Принцип действия такого компенсатора основывается на том, что оптическая деталь подвесной системы стремится занять некоторое заданное положение при заранее ограниченных пределах наклона вертикальной оси прибора. Максимальный наклон оси вращения теодолита, при котором возникающие погрешности отсчета по вертикальному кругу не превышают допустимой величины, называют диапазоном действия компенсатора.
Схему действия компенсатора теодолита поясняет
рис. 78. На нем обозначены: П2 - подвешенное зеркало, xx - ось вращения, Л1 и Л2 - объективы отсчетной системы, П1 - неподвижно закрепленное зеркало. На
рис. 78, а показано исходное положение прибора, когда ось xx расположена отвесно, визирная ось трубы горизонтальна, а отсчет по кругу в точке o равен нулю. На
рис. 78, б ось xx наклонена на угол в пределах диапазона наклона компенсатора.
Все оптические детали отсчетной системы, за исключением зеркала П2, также должны наклониться на угол

. Зеркало П2 под действием силы тяжести займет свое прежнее положение (с некоторой погрешностью). Поэтому при горизонтальном положении зрительной трубы отсчет по вертикальному кругу будет по-прежнему равен 0.
В связи с этой конструктивной особенностью теодолита изменяется определение места нуля (МО) вертикального круга. Местом нуля называется отсчет по вертикальному кругу при горизонтальном положении визирной оси зрительной трубы и при наклоне вертикальной оси вращения в пределах диапазона действия компенсатора. Из этого определения следует, что если вертикальная ось теодолита наклонена на малый угол в пределах диапазона действия компенсатора, а на вертикальном круге установлен отсчет, равный месту нуля, то визирная ось трубы будет располагаться горизонтально. Этим обеспечивается возможность выполнения геометрического нивелирования. В отличие от теодолитов с уровнем при вертикальном круге эта операция выполняется значительно быстрее и точнее.
Самоустанавливающимися отсчетными индексами в настоящее время снабжены теодолиты типов Т5К (СССР), Theo 020 (ГДР), Те-Д4 (ВНР) и ряд других.
Некоторые важнейшие характеристики компенсаторов трех теодолитов приведены в табл. 24.
Таблица 24
┌─────────────────────────────┬────────────────┬──────────────────┬───────┐
│ Технические характеристики │ Т5К │ Theo 020 │ Те-Д4 │
├─────────────────────────────┼────────────────┼──────────────────┼───────┤
│Подвешенный элемент │Призма │Линза и 2 призмы │Призма │
│ │Плоская пружина │Плоская пружина │Нити │
│Диапазон действия, мин. │+/- 3 │+/- 4 │+/- 6 │
│Точность самоустановки, сек. │+/- 1,5 │+/- 1 │+/- 1 │
│Время успокоения, сек. │1 │1 │2 │
│ │ │Воздушный │ │
└─────────────────────────────┴────────────────┴──────────────────┴───────┘
Метод нивелирования теодолитов по существу ничем не отличается от принятого для нивелиров. Возможен самый различный порядок чередования отсчетов по рейкам, известный в геометрическом нивелировании. Однако в любом случае необходимо:
- привести по круглому уровню ось вращения в отвесное положение;
- установить наводящим винтом трубы на вертикальном круге отсчет, равный МО.
Операцию по горизонтированию теодолита повторяют на каждой станции один раз, операцию по установке на круге отсчета МО - каждый раз перед отсчитыванием по рейке.
Определение МО при использовании теодолита как нивелира аналогично по смыслу определению угла i у нивелира. Его периодические поверки также обязательны (не реже одного раза в 10 дней и после переездов с объекта на объект).
Для определения МО следует использовать визирные цели, удаленные на расстояние 50 - 150 м и расположенные в горизонте инструмента.
Место нуля, как известно, вычисляют по формуле:
МО = [КЛ + КП + 180°] / 2, (5.4)
где КЛ и КП - отсчеты при круге лево и круге право соответственно. Значение МО, полученное при

, свободно от влияния эксцентриситета вертикального круга теодолита с односторонним отсчетом, что видно из формулы:
здесь

- линейный элемент эксцентриситета; R - радиус вертикального круга;

- угол наклона линии визирования; Р - направление эксцентриситета,

При наличии эксцентриситета вертикального круга установка отсчета

выполняемая при одном из кругов (КЛ и КП), будет содержать погрешность, определяемую формулой:
при КЛ или
при КП.
Механизм действия погрешности за эксцентриситет вертикального круга аналогичен действию угла i у нивелиров.
При неравенстве расстояний s и s до реек А и В возникает погрешность
A B
в превышении, если влияние

' отлично от нуля:
Если при

допустить погрешность в определении превышения

то допустимое неравноплечие будет
3 · 206265"
(s - s ) = ----------- = 40 м, (5.9)
B A доп 15
т.е. при указанных условиях влияние неравноплечия в пределах 40 м практического значения иметь не будет. Однако во избежание систематического накопления погрешностей из-за влияния EPS' следует стремиться к компенсации неравенства плеч в конце хода (секции).
Для проверки величины

на ровной местности устанавливают две рейки A
и B
(рис. 79) на удалении 100 м друг от друга. С помощью нивелира или
теодолита, установленного точно на середине отрезка АВ, определяют
превышение h . Затем устанавливают теодолит на расстоянии кратчайшего
AB
визирования от рейки А (2 - 3 м) и, расположив его трубу в горизонтальном
положении, измеряют с его помощью превышение h' . Нитяным дальномером или
BA
рулеткой определяют расстояния s и s . Поскольку
A B
то
Поверку повторяют 4 - 6 раз и вычисляют среднее значение погрешности

. Расхождения между отдельными определениями значений

не должны превышать 10".
Исследования, связанные с определением диапазона действия компенсатора и точности его самоустановки, выполняют по методике, аналогичной исследованиям компенсатора нивелиров.
Рис 79. Определение погрешности за эксцентриситет лимба
Теодолиты с компенсаторами могут использоваться для геометрического нивелирования IV класса и технического нивелирования; при производстве измерений следует руководствоваться допусками соответствующего класса нивелирования.
5.3. НИВЕЛИРОВАНИЕ ЗАСТРОЕННЫХ ТЕРРИТОРИЙ
Геометрическое нивелирование на застроенных участках применяется при съемке рельефа в масштабах 1:2000, 1:1000, 1:500 с сечением 0,25 - 0,50 м, если рельеф местности спокойный, без больших превышений.
Нивелирование выполняется с целью получения высотного плана территории, продольного и поперечного профилей, необходимых для:
- получения отметок съемочных точек;
- решения вопросов вертикальной планировки;
- проектирования и эксплуатации наземных и подземных инженерных сооружений (водопровода, канализации, водостока, теплосетей, газа и т.п.);
- дорожных работ, прокладки трамвайных сетей и т.п.;
- организации поверхности улиц, площадей, внутриквартальной территории и т.д.
Нивелирование застроенных территорий подразделяется на два вида работ:
1) нивелирование улиц;
2) нивелирование застроенных участков, кварталов.
5.3.1. НИВЕЛИРОВАНИЕ УЛИЦ
Процесс нивелирования улиц начинается с разбивки пикетажа по трассе нивелирного хода вдоль улиц. Трасса нивелирного хода прокладывается по оси проезда, если проезжая часть немощеная, или по одному из лотков проезда (по нижнему), если улица благоустроенная. При наличии на улице водоотводных канав трассу прокладывают по бровке канавы.
Разбивку пикетажа также можно вести по фасадным линиям. Нивелирную трассу обычно прокладывают при помощи стальной ленты. Пикетаж разбивают через 20 м при съемке в масштабе 1:500, через 30 м - 1:1000 и через 50 м - 1:2000. На характерных точках рельефа, на поворотах и на пересечениях проездов по трассе устанавливают плюсовые пикеты.
Связующие точки (обычно это пикеты и плюсовые точки) закрепляются деревянными кольями или металлическими штырями (на благоустроенных проездах).
Рис. 80. Места установок реек при нивелировании улицы
На каждом пикете или плюсовой точке трассы нивелирного хода разбивают поперечники. Поперечники должны занимать перпендикулярное положение к оси проезда. Конечные точки поперечников следует привязывать промерами к линии фасада или к отдельным зданиям, концы поперечников отмечают мелом, краской или сторожками.
Расстояния между точками на поперечниках не должны превышать 20 м для масштаба 1:500, 30 м - для 1:1000, 50 м - для 1:2000 при сечении рельефа 0,25 - 0,50 м. Разбивка поперечников производится с помощью стальной ленты или рулетки.
На поперечниках
(рис. 80) нивелируются точки: у фасадной линии (1 и 7), верх бордюрного камня, или бровка тротуара (2 и 6), низ бордюрного камня, или лоток (3 и 5), ось проезда (4).
На поперечниках нивелируют также точки на бровках канав, на дне канав, а также все характерные точки. При нивелировании точек у фасадной линии 1 и 7 (см.
рис. 80) рейку следует ставить на некотором расстоянии от здания, так как вследствие подсыпки грунта около зданий рельеф может быть искажен.
При нивелировании улиц должны быть получены отметки следующих точек:
- лоток против въезда в квартал;
- все выходы подземных сооружений (нивелируются они по методике, описанной в
п. 5.4),
- при съемке рельефа в масштабе 1:500 нивелируются все входы в здание, при съемке в масштабе 1:1000 нивелируются крайние входы в здание, при съемке 1:2000 получают отметку только одного из входов,
- приямники (дно и верх); нивелирование приямников производится при съемке в масштабах 1:500, 1:1000; для получения отметки верха приямника рейка ставится в средней его части у подошвы водоограждающего устройства; для получения отметки дна производится замер глубины приямника до верха водоограждающего устройства и высоты этого устройства,
- проезжая часть мостов,
- верх и низ подпорных стенок,
- откосы, их верх и подошва,
- пересечения осей и лотков проездов.
При наличии горизонтального плана улицы нивелируемые точки наносятся на копию плана от существующей ситуации.
При отсутствии горизонтального плана разбивку трассы нивелирного хода и поперечников производят с ведением абриса. В абрисе дают привязку точек к фасадам зданий и другой ситуации. На абрисе отмечают положение исходных точек трассы.
Точки поворота оси или лотка при отсутствии планов привязывают при помощи стальных рулеток (тремя промерами к постоянным предметам местности) и зарисовывают в абрис с указанием строений, к которым сделаны привязки.
Нивелирные ходы, прокладываемые по улицам, должны опираться на точки съемочной сети или исходные реперы.
Висячие ходы допускаются в исключительных случаях и должны быть в обязательном порядке пройдены двойным нивелированием.
Определение отметок на улицах производится с точностью и по методике технического нивелирования.
Порядок работы на станциях должен быть следующий:
- нивелир устанавливают в рабочее положение;
- берут отсчеты на заднюю (исходную или связующую) точку по черной стороне рейки;
- берут отсчеты на переднюю точку (связующую) по черной и красной сторонам рейки, вычисляют "пяточную" разность;
- берут отсчет на заднюю точку по красной стороне рейки и вычисляют "пяточную" разность;
- вычисляют превышение между связующими точками;
- приступают к нивелированию промежуточных точек (набору пикетов), при этом берут отсчеты только по черной стороне рейки;
- вычисляют превышения между задней и промежуточными точками;
- заканчивают работу на станции повторным наведением на переднюю связующую точку для контроля устойчивости инструмента в процессе работы на станции, и в журнале отсчет записывается повторным; расхождение между первым и повторным отсчетами не должно превышать 10 мм.
Особое внимание нужно уделять правильной записи нумерации пикетов и нивелирующих точек, соответствию номеров в журнале и на копии плана или на абрисе.
Расхождения в превышениях пикетов (связующих точек), определенных по разным сторонам рейки, не должны превышать 10 мм. Разность в отсчетах по черной и красной сторонам ("пяточная" разность) рейки не должна отличаться от величины постоянной разности более чем на 5 мм. Нормальная длина визирного луча 120 м. При хороших условиях видимости длину луча можно увеличить до 150 м.
При нивелировании улиц ведут нивелирный журнал, где записывают номера пикетов и отсчеты по рейкам. Одновременно на копии плана или на абрисе отмечают положение пикетов и их номера. Отсчеты точек поперечников, находящихся справа по ходу от оси, подписывают буквой "П", влево - буквой "Л", расстояния до точек на поперечниках отсчитываются от оси трассы вправо и влево или присваиваются всем точкам справа по ходу нечетные номера, а слева - четные.
Все записи на рабочей копии или на абрисе и в нивелирном журнале должны быть четкими, не вызывать сомнения в том, к каким точкам они относятся. Журнал должен быть оформлен, страницы пронумерованы, составлено оглавление, в конце записей журнал должен быть подписан исполнителем.
Уравнивание ходов по трассам нивелирных линий производится упрощенными методами. Уравнивание ходов и вычисление отметок по трассе производится в ведомостях.
В результате полевых работ по нивелированию улиц представляются следующие материалы:
- нивелирные журналы;
- рабочая копия горизонтального плана или абрис;
- ведомость вычисления отметок.
По полевому материалу в камеральных условиях составляется план, на который наносятся все занивелированные в натуре пикеты, выписываются отметки пикетов с округлением до сантиметра. По отметкам пикетов на плане проводятся горизонтали. Через поверхности с искусственным покрытием горизонтали не проводятся.
5.3.2. НИВЕЛИРОВАНИЕ ЗАСТРОЕННЫХ УЧАСТКОВ
Производство нивелирования застроенных участков выполняется аналогично нивелированию улиц (проездов).
Как и при нивелировании улиц, здесь могут быть два случая:
- наличие горизонтального плана участка;
- отсутствие горизонтального плана.
В обоих случаях поступают так же, как указано в
5.3.1.
Работа по нивелированию застроенной территории (участка, квартала, промплощадки и т.д.) начинается с рекогносцировки, во время которой намечают расположение нивелирных ходов. Нивелирные ходы намечают по проложенным теодолитным ходам или самостоятельными системами ходов с привязкой к исходным реперам. Связующие точки нивелирного хода выбираются на постоянных предметах (кольцо смотрового колодца, крыльцо здания и т.д.), которые не изменяют своего положения в плане и по высоте в продолжение длительного срока. Эти точки наносятся на копию плана или абрис. Результаты рекогносцировки наносятся на копию горизонтального плана. Если нет копии плана, то результаты заносят в пикетажный журнал.
Для детальной съемки рельефа вся нивелируемая площадь должна быть равномерно покрыта пикетами не реже, чем указано в табл. 25; при этом пикеты должны быть взяты во всех характерных точках с расчетом, чтобы рельеф был выявлен полностью.
Таблица 25
┌───────────────────────────────┬─────────────────────────────────────────┐
│ Масштаб съемки │ Расстояние между пикетами, м │
├───────────────────────────────┼─────────────────────────────────────────┤
│1:500 │20 │
│1:1000 │30 │
│1:2000 │50 │
└───────────────────────────────┴─────────────────────────────────────────┘
На копии плана или на абрисе пикеты и связующие точки нумеруются и положение их отмечается кружком.
При получении пикетов, не привязанных к ситуации, делаются привязки их к существующей застройке. Наиболее распространенным является метод привязки по створам.
При нивелировании застроенных участков определяются отметки тех же точек, что и при нивелировании улиц (см.
5.3.1), но наряду с этим определяют и ряд других:
- при нивелировании внутриквартальных проездов следует определять отметку покрытия по одному из лотков;
- канавы, протоки, ямы, холмы характеризуются не менее чем тремя точками: двумя у краев и одной точкой посередине (наверху и на дне);
- в водоемах дается отметка (в крупных водоемах не менее двух отметок) уреза воды с указанием даты определения;
- места изрытые, карьеры, свалки, места, в которых производятся земляные работы, оконтуриваются, отметки даются по контуру и в характерных местах внутри контура.
Порядок работы на станции, инструменты, методы работы, допуски те же, что и при нивелировании улиц.
В процессе нивелирования на копии плана или на абрисе необходимо показывать направление скатов, лощин, тальвегов стрелками, это облегчит проведение на планах горизонталей.
При нивелировании участков применяемые журналы, записи в них и их оформление, уравнивание ходов и вычисление отметок связующих и промежуточных точек, получаемые полевые материалы, нанесение пикетов с отметками на план и рисовка рельефа те же, что и при нивелировании улиц.
При проведении горизонталей должны выполняться следующие правила:
1) по деревянным временным постройкам горизонтали проводятся пунктиром;
2) горизонтали не проводятся:
- через постоянные деревянные здания и капитальные сооружения,
- через осыпи, по крутым обрывистым скатам, не имеющим естественного покрова, через изрытые места, карьеры, свалки,
- по проездам с искусственным покрытием,
- на участках с искусственными сооружениями (лотки водоотвода, плотины и т.д.).
В этих случаях рельеф характеризуется отметками пикетов, выписанными на плане.
5.4. НИВЕЛИРОВАНИЕ НАЗЕМНЫХ, НАДЗЕМНЫХ И ВЫХОДОВ
ПОДЗЕМНЫХ КОММУНИКАЦИЙ
Инженерные коммуникации могут быть надземные, наземные и подземные.
Подземные инженерные сети, как правило, находятся в грунте, в защитных трубах, конструкциях или блоках, а также в каналах и непроходимых или проходимых туннелях (коллекторах).
В зависимости от рельефа коммуникации могут выходить на поверхность земли и даже находиться над поверхностью земли, т.е. они на отдельных участках могут быть наземными и надземными.
Надземные инженерные сети размещаются на столбах, мачтах, эстакадах, кронштейнах.
По назначению все инженерные сети коммуникаций подразделяются: на водопроводные, теплофикационные, канализационные, энергетические, рельсовые и безрельсовые дороги и т.п.
Коммуникации могут быть совмещенными.
Совмещенные инженерные сети могут образовывать следующие группы:
- тепловые сети с водопроводными сетями, при этом водопроводные сети размещаются под тепловыми;
- тепловые сети с воздуховодами, а в отдельных случаях и с трубопроводами нефтепродуктов, транспортируемых в подогретом состоянии;
- энергетические сети и теплопроводы с некоторыми видами технологических сетей, транспортирующих негорючие и невоспламеняющиеся жидкости, инертные газы.
Нивелирование наземных, надземных, выходов подземных коммуникаций на застроенных территориях производится одновременно с нивелированием проездов и застроенных участков. Методика производства этих работ описана в
5.3. Для корректуры съемок нивелирование наземных, надземных, выходов подземных коммуникаций производится самостоятельно, без разбивки поперечников. В незастроенных территориях нивелирование коммуникаций производится тригонометрическим нивелированием.
При нивелировании выходов подземных коммуникаций определяются отметки следующих точек: колодцев водопровода, канализации, связи, водосточных решеток, газовых коверов. Для получения отметок колодцев или коверов рейка ставится на кольцо колодца, нивелирование производится по двум сторонам рейки или при двух горизонтах инструмента. Расхождения в превышениях, полученных по разным сторонам рейки, не должны превышать 20 мм.
Рис. 81. Элементы земляного полотна
В местах бесколодезного выхода подземных коммуникаций на поверхности земли (в нулевых точках) следует определять отметки верха трубы, короба и т.п.
Нивелирование наземных коммуникаций состоит из нивелирования трамвайных, железнодорожных путей, автомобильных дорог в пределах застроенной территории и т.п.
При нивелировании железнодорожных и трамвайных путей должны быть получены отметки головок рельсов, пересечений путей, крестовин стрелок, земляного полотна у подошвы балластной призмы, бровок полотна, одной - трех точек по большим откосам насыпи или выемки; подошвы и бровки резервов, точек на расстоянии 10 м в сторону от подошвы откосов, насыпи и верхних граней выемок и других элементов земляного полотна, выражающихся в масштабах съемки
(рис. 81).
Нивелирование автомобильных дорог выполняется следующим образом.
На проезжей части щебеночных и гравийных покрытий на каждом поперечнике должно быть пронивелировано не менее трех точек, а для усовершенствованных покрытий и булыжной мостовой - не менее пяти (см.
5.3). В журналах нивелирования должно быть точно указано местоположение нивелируемых на дорогах точек.
При нивелировании коммуникаций могут встречаться малые гидротехнические сооружения: трубы, фильтрующие насыпи, нагорные и водоотводные канавы и т.п. Эти сооружения нивелируются одновременно с другими коммуникациями, отметки передаются на характерные точки. Места установки рейки для труб приводятся на рис. 82.
Рис. 82. Места установок рейки при нивелировании труб
Нивелирование надземных коммуникаций выполняется путем передачи отметок на низкую часть подошвы несущих конструкций (опор, столбов и т.п.) по продольной оси сооружений. Определение высоты опор и перепадов верхнего строения надземных коммуникаций выполняется только по специальному заданию.
Другие коммуникации, встречающиеся при съемках, которые не перечислены в этом параграфе, но по конструкции мало отличающиеся от них, нивелируются так же, как подобные им описанные выше коммуникации.
ТРИГОНОМЕТРИЧЕСКОЕ НИВЕЛИРОВАНИЕ
При высотном обосновании крупномасштабных топографических съемок тригонометрическое нивелирование может быть применено в следующих случаях:
- при развитии сетей сгущения для обеспечения топографической съемки с сечением рельефа 2 и 5 м в горных, предгорных и всхолмленных районах;
- при определении высот опознаков для обеспечения стерео-фотограмметрической съемки с сечением рельефа 2 и 5 м;
- при определении высот точек комбинированной топографической съемки с сечением рельефа 2 и 5 м проложением высотных ходов.
При высотном обосновании топографических съемок с сечением рельефа 1 м тригонометрическое нивелирование применяется лишь в особых случаях.
Исходными для тригонометрического нивелирования служат пункты, высоты которых определены геометрическим нивелированием. Исходные пункты должны располагаться не реже, чем через 5 сторон триангуляции 4 класса, 1 и 2 разрядов или полигонометрии 4 класса, 1 и 2 разрядов. В горной местности число сторон между исходными сторонами может быть увеличено (в зависимости от конкретных условий).
Длины сторон в триангуляции 1 и 2 разрядов, а также в полигонометрии 4 класса, 1 и 2 разрядов приведены в табл. 26.
Таблица 26
s, км | Триангуляция | Полигонометрия |
| 1 р. | 2 р. | 4 кл. | 1 р. | 2 р. |
Маскимальная | 5 | 3 | 2,0 | 0,8 | 0,35 |
Минимальная | 0,5 | 0,25 | 0,25 | 0,12 | 0,08 |
Оптимальная | 2 - 3 | 1 - 1,5 | 0,5 | 0,30 | 0,20 |
6.2. РАБОЧИЕ ФОРМУЛЫ ТРИГОНОМЕТРИЧЕСКОГО НИВЕЛИРОВАНИЯ
Схема измерения превышения h между точками А и В земной поверхности методом тригонометрического нивелирования показана на
рис. 83.
В точке А на высоте i от центра пункта установлен теодолит, в точке В на высоте l - визирная цель (точка наведения горизонтальной нити сетки теодолита).
Рис. 83. Определение превышения методом
тригонометрического нивелирования
Вследствие действия в приземном слое атмосферы вертикальной рефракции визирный луч от трубы к цели пойдет по рефракционной кривой JK.
Поэтому наблюдателю в точке J визирная цель представится по направлению касательной JE к этой кривой.
Превышение h для одностороннего нивелирования в точке А вычисляют по
AB
формуле:
Первый член формулы может быть дан в виде s

. Величины, заключенные в скобки, являются поправками тригонометрического нивелирования.
(Н) <*> - поправка за высоты пунктов А и В
AB
--------------------------------
<*> См. Инструкцию по вычислению нивелировок. М., "Недра", 1971.
где H = 1/2(H' +H') - среднее из приближенных высот точек А и В над
m A B
поверхностью квазигеоида;
N = 1/2(N' + N') - среднее из приближенных высот соответствующих точек
m A B
квазигеоида над эллипсоидом в районе работ; R - средний радиус кривизны
для точки на середине стороны AB; S - расстояние между точками А и В. (K)
AB
- поправка на кривизну Земли и рефракцию вычисляется по формуле:
где K - коэффициент земного преломления для направления АВ; член
AB
s /(2R) = p выражает влияние кривизны Земли.
Таблица поправок (K)AB приведена в прилож. 2. (u) <**> - поправка за AB уклонение отвесных линий.
--------------------------------
<**> Изотов А.А., Пеллинен Л.П. Исследования земной рефракции и методов геодезического нивелирования. Тр. ЦНИИГАиК, вып. 102, 1955, 176 с.
где u - уклонение отвесной линии в плоскости нормального сечения АВ,
A
наблюдаемое в точке A; u - среднее интегральное значение уклонения отвеса
m
по линии АВ; дельта E - поправка за переход от измеренной разности высот к
разности нормальных высот
где g - действительное ускорение силы тяжести;

- нормальное ускорение силы тяжести по линии АВ.
Методы получения поправки дельта E разработаны В.Ф. Еремеевым и описаны в его работе <***>.
--------------------------------
<***> Еремеев В.Ф. Теория ортометрических, динамических и нормальных высот. Тр. ЦНИИГАиК, вып. 86, 1951.
Формула двустороннего тригонометрического нивелирования имеет вид
где поправка за среднюю высоту точек А и В
поправка за вертикальную рефракцию
поправка за уклонение отвесных линий
Величина поправки (u) при двустороннем тригонометрическом нивелировании даже в горных районах не превышает 10 см.
Для решения практических задач применяют упрощенные формулы. Так, превышение из одностороннего нивелирования получают по формуле:
1 - K 2
h = sctgz + i - l + ----- s (6.10)
AB AB A B 2R
Если известны взаимообратные превышения h и h , полученные в разное
AB BA
время, то среднее значение превышения по линии АВ находят по формуле:
В случае одновременного измерения z и z , когда K = K , имеем
AB BA BA AB
6.3. О ТОЧНОСТИ ТРИГОНОМЕТРИЧЕСКОГО НИВЕЛИРОВАНИЯ
Для приближенной оценки точности тригонометрического нивелирования рассмотрим формулу:
поскольку другие члены не характеризуют непосредственно измерительный процесс, а лишь выполняют функции приведения измерений к поверхности относимости.
Считая s, z и K в этой
формуле независимыми переменными и пренебрегая членами высшего порядка, находим
Из этих формул следует, что:
- влияние погрешностей в длине стороны на точность тригонометрического нивелирования незначительно;
- влияние погрешности измерения зенитного расстояния прямо пропорционально длинам сторон;
- влияние погрешности коэффициента рефракции пропорционально квадрату расстояния до цели.
Поэтому суммарная погрешность тригонометрического нивелирования возрастает с квадратом расстояния.
В большинстве случаев

(или

), т.е.

тогда
Средняя квадратическая погрешность превышения в соответствии с этим будет
При m = +/- 3", m = +/- 0,05 и s = 5 км имеем m = +/- 0,13 м; если
z k h
при тех же m и m примем s - 8 и 10 км, то получим m' = +/- 0,28 м и m" =
z k h h
+/- 0,42 м соответственно.
К этому надо добавить, что средняя квадратическая погрешность определения поправок за уклонение отвесных линий и за переход от измеренной разности высот к разности нормальных высот составляет в равнинных районах +/- 0,10 м, в горных +/- 0,30 м.
Анализ формулы для средней квадратической погрешности тригонометрического нивелирования показывает, что при s > 5 км влияние погрешности коэффициента рефракции существенно превосходит влияние погрешности измерения z. При расстояниях s < 4 км тригонометрическое нивелирование дает превышения с погрешностями не более 10 см.
Эти выводы справедливы для равнинной местности. В высокогорной местности условия измерений иные, так как лучше видимость и более высокая стабильность коэффициента рефракции.
6.4. ИНСТРУМЕНТЫ ДЛЯ ТРИГОНОМЕТРИЧЕСКОГО НИВЕЛИРОВАНИЯ
При тригонометрическом нивелировании углы наклона измеряют при помощи теодолита, расстояния - при помощи дальномеров, мерных приборов или находят из решения треугольников.
Теодолиты. При высотном обосновании крупномасштабных съемок могут
использоваться оптические теодолиты ТI ОТ-02М, Т2, ТБ-1, Т5, Т5К, Т15, Т3О,
ТТ4, выпускаемые отечественной промышленностью, а также зарубежные приборы
- Theo010, Theo020 (ГДР), Те-В1 (ВНР). Некоторые характеристики указанных
теодолитов даны в табл. 27. Приняты обозначения: Г - увеличение трубы, ДО -
диаметр светового отверстия объектива, ДВ - диаметр вертикального круга,

- цена деления круга, ТО - номинальная точность отсчета по кругу,

- цена
деления уровня,

) средняя квадратическая погрешность измерения

Таблица 27
┌─────────┬─────┬─────┬─────┬─────┬─────┬───────┬────────┬─────────┬──────┐
│Название │ Г* │ ДО, │ ДВ, │ мю, │ ТО, │ тау/2 │Измеряе-│ m │Масса,│
│теодолита│ │ мм │ мм │мин. │сек. │ мм, │мые │ z │ кг │
│ │ │ │ │ │ │ сек. │величины│(m ),│ │
│ │ │ │ │ │ │ │ │ альфа │ │
│ │ │ │ │ │ │ │ │ сек. │ │
├─────────┼─────┼─────┼─────┼─────┼─────┼───────┼────────┼─────────┼──────┤
│Т1 │40,30│60 │90 │10 │0,1 │10 │z │1,5 │9,0 │
│ОТ-02М │40,30│60 │90 │20 │0,1 │10 │z │1,5 │11,2 │
│Т2 │25 │35 │65 │20 │0,1 │20 │z │2 │5,2 │
│Т5 │25 │35 │70 │60 │6 │15 │альфа │10 │3,5 │
│Т5К │27 │35 │70 │60 │6 │- │альфа │10 │3,5 │
│ТБ-1 │25 │35 │75 │20 │0,1 │15 │z │3 │5,2 │
│Т15 │25 │34 │77 │60 │6 │30 │альфа │20 │3,1 │
│Theo010 │31 │53 │60 │20 │0,1 │20 │z │2 │5,3 │
│Theo020 │25 │35 │74 │60 │6 │- │альфа │8 │4,3 │
│Te-B1 │30 │45 │60 │20 │0,1 │20 │z │3 │5,5 │
│Т3О │20 │27 │72 │10 │60 │45 │альфа │30 │2,2 │
│ТТ4 │25 │34 │55 │20 │1 │35 │альфа │10 │3,9 │
└─────────┴─────┴─────┴─────┴─────┴─────┴───────┴────────┴─────────┴──────┘
Отличительной особенностью современных теодолитов является то, что все они относятся к оптическим. Отсчетная система, включающая оптические детали для передачи изображения штрихов стеклянных кругов, имеет один общий для горизонтального и вертикального кругов отсчетный микроскоп, располагаемый рядом со зрительной трубой.
Отсчитывание по кругам производится либо способом совмещения диаметральных штрихов (Т1, ОТ-02М, Т2, Theo010), либо с помощью шкалового микроскопа (Т5, Т15, ТТ4, Theo020), либо с помощью микроскопа с индексом (Т30).
Отсчитывание по кругам теодолитов типов Т5, Т5К, Т15, Т30, ТТ4, Theo020 выполняется по одному концу диаметра.
Теодолитами измеряют вертикальные углы альфа или зенитные расстояния z.
Вертикальные углы вычисляют по формуле:
где
КЛ + КП + 180°
МО = --------------.
2
Зенитные расстояния вычисляют по формуле:
КЛ - КП +/- 360°
z = КЛ - MZ = MZ - КП +/- 360° = ----------------,
2
где
КЛ + КП + 360°
MZ = --------------.
2
Эти формулы применяют при измерении z теодолитами Т1, Т2, ТБ-1, Theo010.
При работе с теодолитом ОТ-02М вычисления выполняют по формулам:
z = КП - КЛ + 90°,
MZ = КЛ + КП - 180°
Перед началом работ надлежит осмотреть и проверить инструмент. При осмотре следует обратить внимание на плавность вращения алидады и трубы, отсутствие повреждений оптических деталей, исправность работы зажимных и наводящих приспособлений, оценить качество изображения трубы и отсчетного микроскопа.
После внешнего осмотра выполняются следующие поверки теодолита:
- ось уровня при алидаде горизонтального круга должна быть перпендикулярна к вертикальной оси вращения;
- визирная ось трубы должна быть перпендикулярна к горизонтальной оси вращения;
- горизонтальная ось вращения трубы должна быть перпендикулярна к вертикальной оси вращения;
- сетка нитей должна быть установлена правильно;
- место нуля вертикального круга должно быть близким к нулю;
- ось оптических визиров должна быть параллельна визирной оси трубы.
Перед выездом на полевые работы у теодолитов, предназначенных для измерения углов, кроме обычных поверок, необходимо выполнять следующие исследования:
- определение рена отсчетной системы;
- определение погрешности совмещения штрихов вертикального круга;
- исследование эксцентриситета вертикального круга;
- исследование правильности работы компенсатора при вертикальном круге;
- определение коэффициента нитяного дальномера.
В особых случаях определяют поправки SIG у PHI за погрешности диаметров вертикального круга.
Обычно эти исследования проводят совместно с исследованиями, относящимися к горизонтальному кругу.
Более подробно устройство теодолитов, их особенности, поверки и исследования, которые необходимо производить перед началом и во время полевых работ, а также источники погрешности наблюдений рассмотрены в ч. I Руководства и поэтому здесь не приводятся.
Дальномеры. Для линейных измерений в тригонометрическом нивелировании могут быть применены оптические дальномеры, свето- и радиодальномеры. Характеристики наиболее распространенных из них указаны в табл. 28.
Таблица 28
┌──────────┬───────────┬────────────────┬──────────┬────────────┬─────────┐
│ Название │ S, м │ m , см │ Рейка │Потребляемая│Масса, кг│
│дальномера│ │ s │ │мощность, Вт│ │
├──────────┼───────────┼────────────────┼──────────┼────────────┼─────────┤
│ОТД │35 - 400 │2/100 м │Гор. верт.│- │0,5 │
│ДНР-06 │20 - 200 │6/100 м │Верт. │- │0,2 │
│ДН-08 │50 - 700 │8/100 м │Гор. │- │0,5 │
│ДН-10 │20 - 250 │10/100 м │Верт. │- │0,1 │
│ДД-3 │20 - 200 │6/100 м │Верт. │- │0,2 │
│ЕОК-2000 │0 - 2000 │1 │- │8 │12 │
│СМ-3 │20 - 1600 │3 │- │7 │11 │
│РДГВ │0,2 - 30000│ -6 │- │75 │16 │
│ │ │(5 + 3 х 10 s)│ │ │ │
│ЛУЧ │0,2 - 50000│ -6 │- │80 │43,5 │
│ │ │(3 + 3 х 10 s)│ │ │ │
│Redta 002 │2 - 180 │2/100 м │Гор. │- │6,5 │
│ТП │10 - 150 │2,5/100 м │Гор. │- │65 │
└──────────┴───────────┴────────────────┴──────────┴────────────┴─────────┘
Рассмотрим вкратце особенности измерения расстояний оптическими дальномерами. Последние могут быть выполнены в виде отдельных приборов (ОТД), насадок на объектив геодезического прибора (ДНР-06, ДН-08, ДН-10) или в виде составной части прибора, чаще всего тахеометра (ТП, Редта 002).
Оптические дальномеры применяют преимущественно в высотных ходах. Для вычисления расстояний используют формулы, в которые входят постоянное слагаемое C и коэффициент дальномера K.
Среди погрешностей измерения расстояний оптическими дальномерами важнейшими являются погрешности определения значений постоянных K и C.
Так, для дальномера ОТД
где N - количество баз рейки, использованных при измерении параллактического угла;
K - коэффициент дальномера;
C = 0,12 м - постоянное слагаемое дальномера;

- параллактический угол, складывающийся из постоянной части

определяемой перекидным оптическим клином, и переменной части

измеряемой компенсатором;

- поправка за наклон линии;

- поправка за температуру (выбирается из таблиц). При использовании авторедукционного дальномера ДНР-06 для вычисления расстояний применяют формулу:
где L - отсчет по рейке (при отсчете по рейке с двухсантиметровыми делениями величина L представляет сумму двух отсчетов).
Формула (6.17) для вычисления расстояния, измеренного дальномерами ДД-3 и ДН-10, содержит дополнительный член в правой части для приведения наклонного расстояния к горизонту, т.е.
где альфа - угол наклона при наведении средней нити на совмещенный штрих рейки; бета - параллактический угол, равный 34'22",6 у ДД-3 и 17'11",3 у ДН-10. При использовании дальномерной насадки ДН-08 расстояние вычисляют по формуле:
где С = 0,10 (для Т5, Т15),
t - температура измерений;
t - температура, при которой производили определение K. При
0
использовании дальномеров, установленных в тахеометрах ТП и Redta 002,
формула для s аналогична приводимой для ДНР-06.
Для определения коэффициента и постоянного слагаемого дальномера применяют разнообразные способы. Если известно C (из паспорта дальномера), определяют только K; в противном случае (при неизвестных C и K) производят совместное определение постоянных. С этой целью измеряют 6 - 8 отрезков базиса, длина которых известна с ошибкой не более 1:10000, и затем вычисляют либо K по формуле:
либо совместно K и C:
где
n - число измеренных линий; L - отсчет по рейке.
v = CA - B.
Рис. 84. Определение постоянных дальномера
графическим способом
Если возможно измерение коротких расстояний, то постоянное С можно определить по формуле:
С = s - KL, (6.27)
где s < 10 м.
Весьма удобен и прост по исполнению графический способ определения K и C.
Для этого на график наносят
(рис. 84) точки, абсциссы которых - измеренные расстояния, ординаты - величина
В дальнейшем снимаемые с графика поправки

используют для вычисления расстояний по формуле:
где К - номинальное значение коэффициента дальномера.
0
Определение коэффициента дальномера поясняется в табл. 29 (на примере нитяного дальномера).
Таблица 29
Теодолит Т5 N 16042 С = 0
┌────────┬────────────────┬───────────────────────┬──────┬─────────┬──────┐
│ s, м │Сигма , м │s' = s - дельта │Дельта│K = s' / │ v │
│ │ s альфа │ s альфа │L, см │дельта L │ │
├────────┼────────────────┼───────────────────────┼──────┼─────────┼──────┤
│24,02 │0,00 │24,02 │23,9 │100,50 │+0,30 │
│36,10 │-0,01 │36,11 │36,0 │100,31 │+0,11 │
│47,94 │-0,01 │47,95 │47,9 │100,10 │-0,10 │
│54,01 │-0,01 │54,02 │53,8 │100,41 │+0,21 │
│71,88 │-0,02 │71,90 │71,9 │100,00 │-0,20 │
│95,94 │-0,02 │95,96 │95,8 │100,17 │-0,03 │
│119,71 │-0,03 │119,74 │119,7 │100,03 │-0,17 │
│144,02 │-0,04 │144,06 │144,0 │100,04 │-0,16 │
├────────┴────────────────┴───────────────────────┼──────┼─────────┼──────┤
│ │K │100,20 │[vv] =│
│ │ ср │ │0,2516│
└─────────────────────────────────────────────────┴──────┴─────────┴──────┘
Средняя квадратическая погрешность одного определения K:
Относительная средняя квадратическая погрешность одного определения K:
Относительная средняя квадратическая погрешность среднего значения K:
Примечания: 1. Отсчеты

, получены по рейке с сантиметровыми шашечными
делениями:

; l - отсчет по верхней нити сетки; l - отсчет по
B H
нижней нити сетки. 2. Величина m / K не должна быть более 1/300.
K
Коэффициент K дальномеров ОТД и ДН-08 определяют до полевых работ, у остальных типов - не реже одного раза в месяц, а также после падения прибора или механических повреждений.
Снимать дальномерную насадку с трубы теодолита (за исключением ДН-08) после определения K не рекомендуется, так как это приводит к изменению коэффициента на величину до 1:100.
Опыт некоторых производственников показывает, что стабильному поведению коэффициента дальномера способствует закрепление насадки на трубе прибора с помощью клея БФ-2 или щеллачного лака.
Формулы для определения расстояний светодальномерами разнообразны и зависят от методики измерений и конструкции прибора.
Особенности работы со свето- и радиодальномерами рассмотрены в ч. I Руководства и здесь не приводятся.
6.5. ИЗМЕРЕНИЕ ВЕРТИКАЛЬНЫХ УГЛОВ
Вертикальные углы (зенитные расстояния) на пунктах сети или в ходах, как правило, измеряют теми же инструментами, что и горизонтальные углы.
Для измерений используют периоды достаточно четких изображений визирных целей, исключая периоды, близкие в пределах 2 часов к восходу и заходу солнца. По исследованиям ЦНИИГАиК, зенитные расстояния выгоднее всего измерять в периоды наилучшей видимости - от 8 - 9 до 16 - 17 ч.
Необходимо стремиться к тому, чтобы измерения углов в прямом и обратном направлениях производились приблизительно в однообразных условиях.
Углы на пунктах сети измеряют тремя приемами по одной (средней) нити при двух положениях круга. Измерения производят последовательно по всем направлениям вначале при одном круге, затем при другом.
Горизонтальную нить сетки наводят на верхний срез визирной цепи, делая соответствующую зарисовку в журнале наблюдений.
Перед снятием отсчета должен быть приведен на середину пузырек уровня при вертикальном круге, а при наличии компенсатора - пузырек уровня при алидаде горизонтального круга (только один раз после установки теодолита).
Высоту верха визирной цели и оси вращения теодолита определяют дважды аналитически или дважды измеряют непосредственно (рулеткой или мерной лентой) с точностью до 1 см.
Примеры записи наблюдений в журнале приведены в табл. 30 и
31.
Таблица 30
ПРИМЕР ЗАПИСИ В ЖУРНАЛЕ ИЗМЕРЕНИЙ ЗЕНИТНЫХ РАССТОЯНИЙ
Пункт: Орехово Погода: пасмурно, ветер слабый, видимость удовлетворительная
Дата: 26.9.72 изображение спокойное, t = +16 °C,
Начало: 9 ч 50 мин.
Конец: 10 ч 00 мин.
(Теодолит Т2 N 105125)
┌─────────────┬─────────┬────┬──────────────┬─────────┬────────┬─────────┐
│ Название │ Место │ │ Отсчеты по │ Среднее │ MZ │ z │
│ направления │наведения│Круг│вертикальному │ │ │ │
│ │ │ │ кругу │ │ │ │
│ │ │ ├──────────┬───┤ │ │ │
│ │ │ │ I │II │ │ │ │
└─────────────┴─────────┴────┴──────────┴───┴─────────┴────────┴─────────┘
│Каменный, пр.│ │Л │90°52'40" │40"│90°52'40" │0°00'06"│90°52'34"│
│сигн. │ │ │ │ │ │ │ │
│ │ │П │269°07'32"│31"│269°07'32"│ │ │
│ │ │Л │89°46'15" │14"│89°46'14" │ │ │
│Заречное, │ │ │ │ │ │0°00'06"│89°46'08"│
│пир. │ │П │270°13'59"│59"│270°13'59"│ │ │
│Иваново, сл. │ │Л │89°51'14" │13"│89°51'14" │ │ │
│сигн. │ │ │ │ │ │ │ │
│ │ │ │ │ │ │0°00'09"│89°51'05"│
│ │ │П │270°09'04"│03"│270°09'04"│ │ │
└─────────────┴─────────┴────┴──────────┴───┴──────────┴────────┴─────────┘
Таблица 31
ПРИМЕР ЗАПИСИ В ЖУРНАЛЕ ИЗМЕРЕНИЙ ВЕРТИКАЛЬНЫХ УГЛОВ
Дата: 17.8.72 Пункт: пир. Сергунино i = 1,48, l = 5,43 м.
Начало: 15 ч 30 мин. Погода: ясно, ветер слабый, видимость хорошая,
Конец: 15 ч 45 мин. изображение слегка колеблющееся, t = +20 °C
Прием 3 (Теодолит Т5 К N 16042)
┌──────────┬─────────────┬────────────┬─────────────┬──────────┬──────────┐
│ Название │ Место │ Отсчеты КЛ │ по кругу КП │ MO = 1/2 │ альфа = │
│ пунктов │ наведения │ │ │ (КЛ + КП │ КЛ - МО │
│наблюдения│ │ │ │+/- 180°) │ │
└──────────┴─────────────┴────────────┴─────────────┴──────────┴──────────┘
│Иваново, │ │359°59',6 │180"00',6 │+ 0',1 │- 0°00',5 │
│сл. сигн. │ │ │ │ │ │
│Дедково, │ │358°14',2 │1"46',2 │+ 0',2 │- 1°46',0 │
│пир. │ │ │ │ │ │
│Дальняя, │ │358°42',3 │1"17',9 │+ 0',1 │- 1°17',8 │
│веха │ │ │ │ │ │
│Липицы, │ │0°16',0 │179"44',0 │0',0 │+ 0°16',0 │
│пр. сигн. │ │ │ │ │ │
└──────────┴─────────────┴────────────┴─────────────┴──────────┴──────────┘
Колебания значений зенитных расстояний (вертикальных углов) в разных приемах и MO(MZ) внутри приемов не должны превышать величин, указанных в табл. 32.
Таблица 32
┌─────────────────────────────────────┬───────────────────────────────────┐
│ Тип теодолитов │ Допустимые колебания │
│ │ альфа (z) и МО (MZ) │
├─────────────────────────────────────┼───────────────────────────────────┤
│TI, ОТ-02М │8" │
│Т2, ТБ-1, Theo 010, Те-В1 │15" │
│Т5, Т5K Theo 020, ТТ4 │20" │
│Т 1, - 5 │30" │
│Т30, ТОМ │90" │
└─────────────────────────────────────┴───────────────────────────────────┘
6.6. ПРИМЕНЕНИЕ ТРИГОНОМЕТРИЧЕСКОГО НИВЕЛИРОВАНИЯ
В СЕТЯХ СГУЩЕНИЯ
Измерения превышений на пунктах триангуляции и полигонометрии выполняют по всем без исключения сторонам триангуляции 1 и 2 разрядов в прямом и обратном направлениях. Односторонние измерения не допускаются.
Точность тригонометрического нивелирования зависит от длины сторон
сети. В табл. 33 приведены значения оптимальных сторон сети при условии,
что погрешность M высоты пункта триангуляции из тригонометрического
НТ
нивелирования удовлетворяет требованиям, предъявляемым к высотной основе
крупномасштабных топографических съемок.
Таблица 33
┌─────────────────────────┬───────────────────────┬───────────────────────┐
│ Высота сечения │ M , м │ s, км │
│ │ НТ │ │
├─────────────────────────┼───────────────────────┼───────────────────────┤
│2 │+/- 0,09 │4,5 │
│5 │+/- 0,21 │10,5 │
└─────────────────────────┴───────────────────────┴───────────────────────┘
Поскольку в сетях триангуляции 4 класса, 1 и 2 разрядов предельные длины сторон не превышают 6, 5 и 3 км соответственно, тригонометрическое нивелирование обеспечивает достаточную точность для высотного обоснования топографических съемок в горных и предгорных районах.
Основными показателями точности тригонометрического нивелирования являются невязки замкнутых полигонов. Необходимо поставить требования, чтобы последние не превосходили
причем величины
должны встречаться не более чем в 10% случаев.
Превышение на каждом пункте вычисляют по схеме, приведенной в табл. 34.
Таблица 34
┌──────────────────┬────┬─────────┬──────┬────────┬──────┬───────┬────────┐
│ Название пунктов │l, м│ z │ s, м │s ctg z,│ 2 │i1 - l2│ h, м │
│ наблюдения │ │ │ │м │Cs , м│ │ │
├──────────────────┼────┴─────────┴──────┴────────┴──────┴───────┴────────┤
│ │ Липицы, пир. i = 1,42 м │
├──────────────────┼────┬─────────┬──────┬────────┬──────┬───────┬────────┤
│Коноплево, пр. │4,80│90°09'51"│60051 │-17,20 │2,38 │-3,38 │-18,20 │
│сигн. │ │ │ │ │ │ │ │
│Яковлевка, пр. │5,04│90°58'35"│2938 │-50,07 │0,57 │-3,62 │-53,12 │
│сигн. │ │ │ │ │ │ │ │
│Редькино, пир. │4,90│90°06'55"│6424 │-12,92 │2,72 │-3,48 │-13,68 │
│Никольское, сл. │8,96│92°11'11"│5879 │-224,45 │2,28 │-7,54 │-229,71 │
│сигн. │ │ │ │ │ │ │ │
│Кунцево, пр. сигн.│6,10│89°39'50"│6340 │+37,19 │2,65 │-4,58 │+35,16 │
└──────────────────┴────┴─────────┴──────┴────────┴──────┴───────┴────────┘
1 - K
Примечание: C = -----.
2R
После подсчета превышений в сети сравнивают прямые и обратные превышения. Превышения, не удовлетворяющие допускам

, после тщательной проверки вычислений исключаются из обработки или включаются как односторонние.
В горных или других районах со значительными уклонениями отвесных линий и аномалиями силы тяжести необходимо вводить поправки за форму уровенных поверхностей <*>.
--------------------------------
<*> А. Гиршберг, Геодезия. Ч. I. М., "Недра", 1967.
6.7. ПРИМЕНЕНИЕ ТРИГОНОМЕТРИЧЕСКОГО НИВЕЛИРОВАНИЯ
ПРИ СОЗДАНИИ СЪЕМОЧНЫХ СЕТЕЙ
Высотное обоснование съемки на фотопланах, а также привязка высотных опознаков (при высоте сечения рельефа 2 и 5 м) могут развиваться тригонометрическим нивелированием путем проложения основных и съемочных высотных ходов.
Основные высотные ходы служат исходными для развития съемочных ходов и опираются на реперы и марки, высота которых определена из нивелирования IV класса и технического нивелирования.
При съемках с сечением рельефа 2 и 5 м в качестве высотной основы могут использоваться пункты, высоты которых определены техническим или тригонометрическим нивелированием с погрешностями не более 1/10 высоты сечения рельефа.
Основные ходы проектируются в виде отдельных линий или систем с узловыми точками, образующих замкнутые полигоны. Точки высотных ходов должны равномерно распределяться по всей площади съемки. Точки плановых съемочных сетей, находящиеся внутри площади съемки, должны быть включены в высотные ходы.
На смежных точках соседних планшетов намечают общие точки связей. В качестве связующих точек используют постоянные или временные реперы нивелирования, расположенные вблизи рамок трапеций. Если высотное съемочное обоснование развивается одновременно на блок трапеций, то точки связи не намечаются. Во всех остальных случаях наличие хотя бы одной точки связи на две смежные трапеции является обязательным.
Точки основных высотных ходов должны быть опознаны на фотоплане (графическом плане). Если местность бедна контурами, положение точек определяют засечками с точек геометрической сети.
Съемочные высотные ходы опираются на точки основных высотных ходов и пункты геодезической основы. Густота точек съемочных ходов зависит от сложности рельефа, застроенности или залесенности снимаемой территории. Точки съемочных ходов намечают на четких, хорошо опознаваемых контурах.
Высотные ходы прокладываются с установкой инструмента либо в каждой точке хода, либо через точку. Основные высотные ходы способом через точку применяют при альфа < 5°. В этом случае каждое превышение определяют дважды при наведении горизонтальной нити сетки на две высоты рейки, различающиеся на 1 м, и вычисляют среднее превышение из двух измерений.
Для проложения высотных ходов применяют теодолиты Т5, Т5К, Т15, Theo020, Т3О и им равноценные теодолиты или тахеометры. В качестве объектов наблюдения служат рейки типов РН3, РН4 и РНТ, выпускаемые по ГОСТ 11158-65.
В высотных ходах вертикальные углы измеряют одним полным приемом. При наличии значительного эксцентриситета вертикального круга (в Т5 - более 15", в Т15 - более 20") рекомендуется вертикальные углы измерять в прямом и обратном направлениях. Порядок определения влияния эксцентриситета вертикального круга рассмотрен в
главе 4, ч. I и
п. 5.2 настоящей работы.
Работа на каждой точке стояния инструмента производится в такой последовательности:
- устанавливают и горизонтируют теодолит; если ход прокладывается с установкой инструмента в каждой точке, теодолит центрируют с точностью до 5 см над центром точки и измеряют высоту горизонтальной оси с точностью до 1 см (рулеткой или рейкой);
- отсчитывают по дальномеру расстояние до задней рейки;
- измеряют вертикальный угол при двух кругах при визировании на высоту
l задней рейки;
З
- измеряют вертикальный угол при двух кругах при визировании трубы
теодолита на высоту l передней рейки;
П
- отсчитывают по дальномеру расстояние до передней рейки.
При работе через точку порядок чередования отсчетов на две высоты
каждой рейки можно применять такой же, как и при нивелировании III и IV
классов: З П П З , где индексы 1 и 2 означают высоты визирования l и l .
1 1 2 2 1 2
Рейки при измерениях устанавливаются на забитые в землю колья или на башмаки. При этом необходимо строго следить за вертикальностью установки реек.
При привязке хода к стенной марке или реперу вертикальные углы измеряют непосредственно на центр марки, или на полочку репера, или на рейку по трем нитям сетки одним приемом.
В случае привязки к грунтовым реперам и центрам тригонометрических пунктов рейку ставят на марку центра, к которой отнесена его высота.
В полевом журнале должна быть четко и аккуратно приведена схема привязки хода к реперу или марке.
При перерывах в работе следует закреплять точки установки передней рейки и, кроме того, передать высоту на временную марку, в качестве которой используют любую устойчивую точку - крупный камень, пень, строительный гвоздь в столбе или дереве и т.п. После перерыва высотный ход продолжается от точек, к которым была произведена привязка. Контролем неизменности положения этих точек служит сходимость превышения между ними, измеренного до и после перерыва. Допустимое расхождение в превышениях - 4 см на 100 м.
Превышения в высотных ходах, полученные из одностороннего нивелирования, вычисляются по формуле:
Если высоту визирования на рейке сделать равной высоте инструмента
(высота его горизонтальной оси), т.е. i = l , то при s < 270 м
A B
В случае измерения расстояния s мерной лентой или дальномером по горизонтальной рейке формула принимает вид
тогда
Если для измерения расстояний использован дальномер с вертикальной рейкой, то
тогда
Рис. 85. Измерение превышений тригонометрическим
нивелированием методом из середины
где K - коэффициент дальномера; L - отсчет по дальномеру; C - постоянное слагаемое дальномера. При

> 10°
Если C = 0, то
При измерении превышения из середины
(рис. 85) используют формулу:
Для удобства вычислений стремятся к тому, чтобы l = l , тогда
A B
Точность определения превышений существенно повышается, если измерять два угла при визировании на две высоты рейки
(рис. 86). В этом случае
Рис. 86. Измерение превышения методом на две высоты
Из анализа формулы <*> тригонометрического нивелирования применительно к высотным ходам следует
если расстояния измерялись нитяным дальномером, и
если расстояния измерялись дальномером двойного изображения.
--------------------------------
<*> М.А. Гиршберг, Геодезия. Ч. I. М., "Недра", 1967.
При углах < 1°,5 обе формулы в первом приближении приводят к виду
Отсюда следует, что погрешность превышения в высотных ходах пропорциональна расстоянию между нивелируемыми точками.
Из этой же формулы вытекает, что предельное расхождение между прямым и обратным превышениями из двух независимых передач (в частности при измерениях на две высоты рейки) составит
Величины допустимых невязок и длины основных и съемочных высотных ходов приведены в табл. 35.
Таблица 35
┌──────────────────┬─────────────────────┬────────────────────────────────┐
│ Высота │ Длина ходов, км │ Предельная f , невязка, м │
│сечения рельефа, м│ │ h │
│ ├──────────┬──────────┼───────────────┬────────────────┤
│ │ основных │съемочных │ основных │ съемочных │
├──────────────────┼──────────┼──────────┼───────────────┼────────────────┤
│2 │6 │3 │0,50 │0,60 │
│5 │12 │6 │1,0 │1,0 │
└──────────────────┴──────────┴──────────┴───────────────┴────────────────┘
При измерении расстояний нитяным дальномером длина s сторон высотных ходов не должна быть более 250 м, оптимальной величиной следует считать длину стороны 150 м.
При использовании дальномеров двойного изображения, свето- и радиодальномеров длина сторон может возрасти до 1 км, если это не противоречит требованиям, предъявляемым к плотности точек высотной сети.
Образцы записи измерений в журнале даны в табл. 36.
Таблица 36
ЖУРНАЛ ОПРЕДЕЛЕНИЯ ПРЕВЫШЕНИЙ ИЗ ВЫСОТНЫХ ХОДОВ
Дата: 10.06.72
Погода: ясно, тихо, изображение спокойное Наименование хода: пир. Круглое -
пир. Якиманское Теодолит Т15 N 300803, K = 100,0
┌────┬─────┬─────┬─────┬───────────────────────────────┬─────┬─────┬─────┬─────┬─────┬──────┬─────┐
│N │Высо-│N │Высо-│ Отсчеты вертикального круга │Рас- │Гори-│ │ │ │ H │При- │
│точ-│та │точки│та ├───────┬─────────┬─────┬───────┤сто- │зон- │ │ │ │ │меча-│
│ки │инст-│визи-│точки│ КЛ │ КП │ МО │ альфа │яние │таль-│ │ │ │ │ния │
│сто-│ру- │рова-│визи-│ │ │ │ │или │ное │ │ │ │ │ │
│яния│мента│ния │рова-│ │ │ │ │отс- │про- │ │ │ │ │ │
│ │i, м │ │ния │ │ │ │ │чет │ложе-│ │ │ │ │ │
│ │ │ │l, м │ │ │ │ │по │ние │ │ │ │ │ │
│ │ │ │ │ │ │ │ │даль-│ │ │ │ │ │ │
│ │ │ │ │ │ │ │ │номе-│ │ │ │ │ │ │
│ │ │ │ │ │ │ │ │ру │ │ │ │ │ │ │
├────┼─────┼─────┼─────┼───────┼─────────┼─────┼───────┼─────┼─────┼─────┼─────┼─────┼──────┼─────┤
│73 │1,56 │56 │2,00 │1°16,2'│178°44,0'│+0',1│1°16,1'│1410 │ │ │ │ │160,35│Даль-│
│ │ │ │ │ │ │ │ │2588 │ │ │ │ │ │но- │
├────┼─────┼─────┼─────┼───────┼─────────┼─────┼───────┼─────┼─────┼─────┼─────┼─────┼──────┤мер- │
│ │ │ │ │ │ │ │ │117,8│- │+2,60│+2,16│+2,15│162,50│ные │
│ │ │ │ │ │ │ │ │2500 │ │ │ │ │ │от- │
│ │1,56 │56 │2,50 │1°29,8'│178°30,4'│+0',1│1°29,7'│ │- │+3,08│+2,14│ │ │счеты│
│ │ │ │ │ │ │ │ │1910 │ │ │ │ │ │по │
├────┼─────┼─────┼─────┼───────┼─────────┼─────┼───────┼─────┼─────┼─────┼─────┼─────┼──────┤сред-│
│ │ │ │ │ │ │ │ │59,0 │ │ │ │ │ │ней и│
│ │ │ │ │ │ │ │ │x2 │ │ │ │ │ │ниж- │
├────┼─────┼─────┼─────┼───────┼─────────┼─────┼───────┼─────┼─────┼─────┼─────┼─────┼──────┤ней │
│ │ │ │ │ │ │ │ │118,0│ │ │ │ │ │нитям│
└────┴─────┴─────┴─────┴───────┴─────────┴─────┴───────┴─────┴─────┴─────┴─────┴─────┴──────┴─────┘
Примечания: 1. В
графе "горизонтальное проложение" прочерк, поскольку превышение вычислено по формуле

. При вычислении s поправка

вписывается в графу "горизонтальное проложение".
2. При нивелировании из середины
графа "высота инструмента i" не заполняется.
В обработку принимают среднее значение коэффициента, вычисленное по всем тем сторонам сети, вдоль которых известно превышение из геометрического нивелирования.
6.8. СПОСОБЫ ОПРЕДЕЛЕНИЯ КОЭФФИЦИЕНТОВ РЕФРАКЦИИ
Значение коэффициента рефракции необходимо при вычислении высот, полученных из тригонометрического нивелирования. Коэффициент рефракции может быть определен:
а) по измеренным зенитным расстояниям пунктов, высоты которых известны из геометрического нивелирования;
б) из взаимообратных одновременных наблюдений зенитных расстояний.
В первом случае коэффициент K рефракции вычисляют по формуле:
где z - теоретическое значение зенитного расстояния;
о
z - измеренное зенитное расстояние, приведенное к центру пункта;
s - расстояние между пунктами;
К центру пункта зенитное расстояние z' приводят по формуле:
Теоретическое значение зенитного расстояния находят по формуле:
где k = H - H - превышение между пунктами, найденное из
0 2 1
геометрического нивелирования. Из наблюдений взаимообратных зенитных
расстояний z и z коэффициент рефракции определяют по формуле:
12 21
В табл. 37 приведен пример вычисления коэффициента K по измеренным зенитным расстояниям при одностороннем тригонометрическом нивелировании.
Таблица 37
2R = 12769 км
┌────────────────────┬─────────┬──────────────────────────────┬───────────┐
│ Порядок действий │Результат│ Порядок действий │ Результат │
│ │действий │ │ действий │
├────────────────────┼─────────┼──────────────────────────────┼───────────┤
│1 H │180,42 │16 z = (7) + (14) │90°06'04" │
│ 1 │ │ 12 │ │
│ │ │ │ │
│2 H │172,53 │17 z = (10) + (15) │89°56'32" │
│ 2 │ │ 21 │ │
│ │ │ │ │
│3 h = (2) - (1) │-7,89 │18 ро" / (2R) │0,01615 │
│ 0 │ │ │ │
│ │ │ │ │
│4 s │5650 │19 s · ро" / (2R) = (4) · (18)│1'31" │
│ │ │ │ │
│5 l │8,08 │20 90° + (19) │90°01'31" │
│ 1 │ │ │ │
│ │ │ │ │
│8 l │3,66 │21 h · ро" / s = (3) · (13) │-4'48" │
│ 2 │ │ │ │
│ │ │ │ │
│11 l - l = │+4,42 │22 z = (20) - (21) │90°06'19" │
│ 1 2 │ │ 012 │ │
│ (5) - (8) │ │ │ │
│ │ │ │ │
│9 l │6,50 │23 z = (20) + (21) │89°56'43" │
│ 2 │ │ 021 │ │
│ │ │ │ │
│12 l - l = │5,12 │24 z - z = (22) - (16) │+15" │
│ 2 1 │ │ 012 12 │ │
│ (9) - (6) │+1,38 │25 z - z = (23) - (17) │+11" │
│ │ │ 012 21 │ │
│ │ │ │ 5│
│13 ро" / s │36,51 │26 ро"s │11653 · 10 │
│ │ │ │ │
│14 (12) · (13) │+0'50" │27 2R / ро"s │0,010958 │
│ │ │ │ │
│15 (11) · (13) │+2'41" │28 K = (27) · (24) │0,160 │
│ │ │ 1 │ │
│ │ │ │ │
│7 z' │90°05'14"│29 K = (27) · (25) │0,123 │
│ 12 │ │ 2 │ │
│ │ │ │ │
│10 z' │89°53'51"│30 K │0,142 │
│ 21 │ │ ср │ │
└────────────────────┴─────────┴──────────────────────────────┴───────────┘
Не исключены и другие возможности определения коэффициента вертикальной рефракции, в частности, при уравнивании обширных сетей, когда наряду с высотами определяемых пунктов в качестве неизвестных фигурируют коэффициенты рефракции <*>.
6.9. АНАЛИТИЧЕСКИЙ СПОСОБ ОПРЕДЕЛЕНИЯ ВЫСОТ ЗНАКОВ
В тех случаях, когда непосредственно с помощью мерного прибора измерить высоту знака не представляется возможным, применяют аналитический способ, заключающийся в следующем.
Устанавливают теодолит (рис. 87) на расстоянии D от знака CJS. Расстояние D, измеренное дважды лентой, дальномером или рулеткой, должно быть не менее полуторной высоты знака. Одним полным приемом измеряют вертикальные углы

при визировании на верх визирного цилиндра, инструментального столика и вспомогательного столика A. Последний устанавливают над центром C знака так, чтобы точка визирования находилась на высоте i инструмента относительно поверхности земли.
Рис. 87. Аналитический способ определения высоты знака
Если

, в измеренное расстояние D вводят поправку

за наклон линии.
Высота 1 верха визирного цилиндра над центром знака вычисляется по формуле:
Высота l инструментального столика составит
Определение высоты знака аналитическим способом должно быть выполнено дважды с двух разных базисов. Расхождения между двумя определениями высоты не должны превышать 5 см.
Пример вычислений дан в табл. 38.
Таблица 38
ПРИМЕР ВЫЧИСЛЕНИЯ ВЫСОТЫ ЗНАКА
(С ИСПОЛЬЗОВАНИЕМ ТАБЛИЦ НАТУРАЛЬНЫХ ЗНАЧЕНИЙ
ФУНКЦИЙ И АРИФМОМЕТРА)
┌────────┬─────────────────────────────────────┬─────────────┬────────────┐
│Порядок │ Обозначения │ 1 │ 2 │
│действия│ │ определение │определение │
├────────┼─────────────────────────────────────┼─────────────┼────────────┤
│1 │D' │45,65 │52,11 │
│2 │гамма │1°15,2' │1°11,0' │
│ │ 2 │ │ │
│6 │гамма D = -2D' sin гамма / 2 │-0,01 │-0,01 │
│ │ гамма │ │ │
│7 │D = D' + дельта D гамма │45,64 │52,10 │
│3 │альфа │31°40,4' │28°26,3' │
│4 │бета │28°39,2' │25°35,2' │
│8 │tg альфа │0,61697 │0,54158 │
│9 │tg бета │0,02188 │0,02066 │
│10 │tg ро │0,54642 │0,47882 │
│11 │tg альфа - tg гамма │0,59509 │0,52092 │
│12 │tg бета - tg гамма │0,52454 │0,45816 │
│14 │l │28,62 │28,65 │
│13 │D (tg альфа - tg гамма) │27,16 │27,14 │
│5 │альфа │1,46 │1,51 │
│15 │D (tg бета - tg гамма) │23,94 │23,87 │
│16 │J │25,40 │25,38 │
│17 │l │28,64 м │ │
│ │ ср │ │ │
│18 │l │25,39 м │ │
│ │ ср │ │ │
└────────┴─────────────────────────────────────┴─────────────┴────────────┘
6.10. ПРЕДВАРИТЕЛЬНЫЕ ВЫЧИСЛЕНИЯ
К предварительным вычислениям относятся просмотр и проверка полевых журналов, составление ведомости превышений (в две руки), вычисление высот знаков (во вторую руку).
При проверке полевых журналов обращают внимание на правильность вычисления углов наклона, сходимость длин линий из прямых и обратных измерений, правильность вычисления поправок, правильность вычисления превышений, соблюдение допусков при сравнении прямых и обратных превышений.
При вычислении поправок в превышения или при вычислении горизонтальных проложений используют следующие таблицы:
1. П.И. Дурнева. Таблицы для вычисления горизонтальных проложений и превышений при работе с дальномерами ДД3 и ДД5. М., "Недра", 1964. 141 с.
2. Г.Г. Егоров. Таблицы превышений, вычисленных по горизонтальным проложениям для углов наклона от 0 до 30°. М., Геодезиздат, 1956. 46 с.
3. Л.П. Недешева. Таблицы для вычисления расстояний, измеренных дальномерными насадками ДНТ, ДНТ-2, ДНБ-2. М., Госгеолтехиздат, 1962. 58 с.
4. Л.П. Недешева. Таблицы поправок за наклон отрезков линий (по разностям высот конечных точек). М., "Недра". 1965. 63 с.
5. А.С. Никулин. Тахеометрические таблицы. М., "Недра", 1973. 314 с.
6. Ф.И. Макеев. Тахеометрические таблицы. М., Гослесбумиздат, 1963. 318 с.
7. В.Н. Ганьшин, Л.С. Хренов. Тахеометрические таблицы. М., Гослесбумиздат, 1955. 247 с.
8. В.Н. Ганьшин, Л.С. Хренов. Таблицы для геодезического нивелирования. М., Геодезиздат, 1961. 131 с.
После проверки полевых журналов среднее превышение и длины линий суммируют по секциям, если между определенными пунктами прокладывался высотный ход, и выписывают в ведомость превышений.
Расстояние выписывают с точностью до 1 м, превышение - до 0,01 м.
ВЫЧИСЛЕНИЕ ВЫСОТ НИВЕЛИРНЫХ ЗНАКОВ
При вычислении высот нивелирных знаков необходимо соблюдать все требования, указанные в Инструкции по вычислению нивелировок (М., "Недра", 1971. 108 с).
Прежде чем приступить к уравниванию отдельных нивелирных линий, необходимо выполнить предварительные вычисления: проверить материалы исследований нивелиров и реек, выполнить контроль нивелирных журналов, проверить правильность их оформления, составить ведомость превышений и высот пунктов нивелирования, выполнить оценку качества нивелирования, составить и вычертить схему нивелирных линий. Только после этого можно приступать к уравниванию нивелирных сетей, т.е. к вычислению уравненных значений высот знаков. Полевые материалы должны удовлетворять всем требованиям "Инструкции по нивелированию I, II, III, IV классов". Уравнивание считается предварительным, если и высоты знаков получены на основе предварительных исходных данных, например, в местной системе высот или если нивелирная сеть была уравнена по частям, упрощенными способами.
При всех вычислениях необходимо удерживать определенное число значащих цифр (табл. 39).
Таблица 39
Класс нивелиро- вания | Превыше- ние по станциям, мм | Превыше- ние между знаками, мм | Среднее превышение из прямого и обратного ходов, мм | Поправка за среднюю длину метра комплекта реек, мм | Предвари- тельная высота, мм | Поправка из урав- нивания, мм |
III IV Техничес- кое | 0,1 1 1 | 1 1 1 | 1 1 1 | 1 1 1 | 1 1 1 | 1 1 1 |
Правильность результатов нивелирования обеспечивается надежным контролем работы нивелирных бригад в поле и контролем всех вычислений.
Нивелирные журналы III и IV классов и журналы технического и тригонометрического нивелирования в камеральных условиях проверяют в одну руку.
Проверку журналов желательно вести на настольных суммирующих машинах с печатающей приставкой. Особое внимание при вычислениях обращают на правильность высот знаков, принятых за исходные. Правильность выписанных данных должна быть заверена ответственным лицом и указан источник, откуда взяты эти данные. Все найденные ошибки при камеральном контроле в полевых журналах и в ведомостях превышений должны быть исправлены. Неверные цифры зачеркивают, не затемняя написанного прежде, и над ними надписывают новые результаты красными чернилами. Записи полевых измерений не исправляются. О каждой найденной ошибке в измерениях сообщается руководителю работ. На каждом вычислительном документе, а также на проверенных материалах должна быть подпись вычислителя и дата. Считка материалов фиксируется подписями обоих исполнителей. Обнаруженные ошибки в вычислениях должны быть обязательно исправлены независимо от их величины и характера.
Нивелирные сети, как правило, уравниваются раздельно: сначала уравнивают нивелирную сеть III класса, затем сеть нивелирования IV класса, при этом считают знаки нивелирования III класса безошибочными. После этого уравнивают линии и сети технического и тригонометрического нивелирования. В отдельных случаях одновременно могут сразу уравниваться нивелирные сети двух классов, например нивелирная сеть IV класса и сеть технического нивелирования. Желательно, чтобы вся сеть низшего класса, находящаяся в пределах полигона старшего класса, уравнивалась вся сразу. В настоящее время уравнивание нивелирных сетей независимо от класса производят на ЭВМ. О том, как нивелирные сети уравнивают на ЭВМ, описано в одном из томов Руководства по топографическим съемкам масштабов 1:5000, 1:2000, 1:1000 и 1:500.
7.1.1. ПРОВЕРКА НИВЕЛИРНЫХ ЖУРНАЛОВ
По окончании проверки превышений в полевом журнале делают запись: "при камеральной обработке журнал проверил" и указывают фамилию, дату и ставят подпись.
При техническом и тригонометрическом нивелировании постраничный контроль делают только один раз в поле или в камеральных условиях, а инспектор ОТК по выбору проверяет отдельные журналы. В камеральных условиях результаты контрольных вычислений заносят в итоговые листки. Образец итогового листка приведен ниже.
Итоговый листок
Линия нивелирования III класса: от грунт. реп. 184 до грунт. реп. 627
Секция: от грунт. реп. 5540 до стен. реп. 10542
Исполнитель: ст. техник Новиков В.А.
Дата: 10 мая 1973 г.
Измеренное превышение h = +111,733 м
изм
Поправка

Исправленное превышение h = +111,726 м
Длина секции L = 2,0 км, число штативов 60
Составил: техник Максимов И.В.
Проверил: ст. техник Кузьмин В.А.
12 сентября 1973 года
После подсчета превышений между соседними знаками в них вводят поправку за среднюю длину метра комплекта реек. Поправку вычисляют по формуле:
где

- поправочный коэффициент, h - превышение в м.
Рис. 88. График интерполирования
поправки за среднюю длину метра комплекта реек
Для удобства нахождения

строят график интерполирования. На миллиметровой бумаге показывают все результаты компарирования реек как до и после полевых работ, так и во время них. На график наносят средние значения метра комплекта реек, например деревянные рейки НРЗ N 2465 и 2466 при помощи контрольной линейки компарировались 8 мая, 16 июня, 20 июля, 15 августа и 20 сентября. Результаты этих компарирований приведены в табл. 40 и показаны на
рис. 88.
Таблица 40
┌───────────────┬─────────────────────────────────────────────────────────┐
│ N рейки │ Средняя длина метра реек │
│ ├──────────┬───────────┬───────────┬──────────┬───────────┤
│ │ 8 мая │ 16 июня │ 20 июля │15 августа│20 сентября│
├───────────────┼──────────┼───────────┼───────────┼──────────┼───────────┤
│2465 │ │ │ │ │ │
│Черная │1000,03 │1000,23 │1000,25 │1000,18 │1000,25 │
│Красная │1000,05 │1000,38 │1000,42 │1000,40 │1000,50 │
│2466 │ │ │ │ │ │
│Черная │999,70 │999,90 │1000,00 │1000,02 │1000,12 │
│Красная │999,95 │1000,20 │1000,25 │1000,20 │1000,25 │
├───────────────┼──────────┼───────────┼───────────┼──────────┼───────────┤
│Среднее │999,93 │1000,18 │1000,23 │1000,20 │1000,28 │
└───────────────┴──────────┴───────────┴───────────┴──────────┴───────────┘
При вычислении поправки

с графика интерполирования берут поправочный коэффициент

на день производства нивелирования и умножают его на превышение. Рассмотрим это на примере. Прямой нивелирный ход III класса прокладывали 10 мая, обратный - 8 июня. При нивелировании применяли рейки, результаты компарирования которых приведены на графике (см.
рис. 88) и в
табл. 40. Превышение, полученное в прямом ходе, оказалось равным +111,733 м и в обратном -111,709 м. Длина хода 2,0 км. На графике интерполирования находим поправочные коэффициенты

и

на 10 мая и 8 июня. Они соответственно равны -0,06 мм и +0,14 мм. Поправка в превышение, измеренное 10 мая, равна
8 июня -
После введения поправок имеем:
h = +111,733 - 0,007 = +111,726 м,
пр
h = -111,709 - 0,016 = -111,725 м.
обр
Если без введения поправок за среднюю длину метра комплекта реек
расхождение превышений h - h = +24 мм и не удовлетворяет требованиям
пр обр
нивелирования III класса + 10 мм

, то после введения поправок
расхождение уменьшилось до +1 мм и полученные результаты удовлетворяют всем
требованиям Инструкции. Подобным же образом вычисляют поправку за среднюю
длину метра комплекта реек при нивелировании IV класса.
Перед уравниванием нивелирных сетей и линий II класса, а в горных и высокогорных районах - линий нивелирования III класса во все превышения вводят поправку за переход к нормальным высотам. О том, как вводят эти поправки, подробно описано в "Инструкции по вычислению нивелировок".
После того как были выполнены проверки всех полевых материалов и введены все поправки, приступают к составлению ведомостей превышений. Ведомости превышений и высот пунктов нивелирования всех классов составляют в две руки и считывают. При составлении ведомости превышений один вычислитель выбирает данные из полевых нивелирных журналов, а другой - из итоговых листков. В ведомости превышений, кроме постоянных реперов, включают все надежные временные знаки. Временные знаки должны быть включены как в прямой, так и в обратный ходы. Если вычисления высот предварительные, то об этом делают запись на всех вычислениях. Ведомость превышений и высот знаков нивелирования III класса показана в табл. 41, знаков нивелирования IV класса - в
табл. 42.
Таблица 41
ВЕДОМОСТЬ ПРЕВЫШЕНИЙ И ВЫСОТ ЗНАКОВ НИВЕЛИРОВАНИЯ III КЛАССА
┌────┬───────┬────────────┬───────────┬─────┬───────────────┬──────┬───────┬─────┬───────┬──────┬──────┐
│N │Тип │Описание │Расстояние,│Число│ Измеренные │Раз- │Среднее│По- │Урав- │Высота│Приме-│
│сек-│и номер│местоположе-│ км │шта- │ превышения, м │ность │превы- │прав-│ненные │в Бал-│чания │
│ции │нивели-│ния нивелир-│ │тивов│ │превы-│шение, │ка за│превы- │тийс- │ │
│ │рного │ного знака │ │ │ │шений │м │урав-│шения, │кой │ │
│ │знака, │ ├────┬──────┼─────┼───────┬───────┼──────┤ │нива-│м │систе-│ │
│ │тип │ │меж-│от на-│ход │ ход │ ход │прямо-│ │ние, │ │ме │ │
│ │центра │ │ду │чаль- │прямо│ прямо │обратно│го и │ │мм │ │высот,│ │
│ │ │ │зна-│ного │ход │ │ │обрат-│ │ │ │м │ │
│ │ │ │ками│пункта│об- │ │ │ного │ │ │ │ │ │
│ │ │ │ │ │ратно│ │ │хода │ │ │ │ │ │
│ │ │ │ │ │ │ │ │ │ │ │ │ │ │
│ │ │ │ │ │ │ │ │ │ │ │ │ │ │
├────┼───────┼────────────┼────┼──────┼─────┼───────┼───────┼──────┼───────┼─────┼───────┼──────┼──────┤
│1 │ 2 │ 3 │ 4 │ 5 │ 6 │ 7 │ 8 │ 9 │ 10 │ 11 │ 12 │ 13 │ 14 │
├────┴───────┴────────────┴────┴──────┴─────┴───────┴───────┴──────┴───────┴─────┴───────┴──────┴──────┤
│ Линия N 10 от грунт. реп. 5540 до смен. реп. 513. Предприятие N 7 N-43 51, 52 │
│ Исполнитель: ст. техник Петров Н.Н. Дата: 1 - 2.VII.73 г. │
├────┬───────┬────────────┬────┬──────┬─────┬───────┬───────┬──────┬───────┬─────┬───────┬──────┬──────┤
│ │Грунт. │Глазаниха, │ │0,0 │ │ │ │ │ │ │ │72,963│Высота│
│ │реп. │ст., в 4,9 │ │ │ │ │ │ │ │ │ │ │полу- │
│ │5540, │км к с.-в. │ │ │ │ │ │ │ │ │ │ │чена │
│ │тип 116│от нее, по │ │ │ │ │ │ │ │ │ │ │из │
│ │ │дороге на │ │ │ │ │ │ │ │ │ │ │урав- │
│ │ │ст. Мошное, │ │ │ │ │ │ │ │ │ │ │нива- │
│ │ │в 30 м к │ │ │ │ │ │ │ │ │ │ │ния │
│ │ │сев. от │ │ │ │ │ │ │ │ │ │ │ │
│ │ │дороги, │ │ │ │ │ │ │ │ │ │ │ │
│ │ │в 500 м к │ │ │ │ │ │ │ │ │ │ │ │
│ │ │вост. от │ │ │ │ │ │ │ │ │ │ │ │
│ │ │моста через │ │ │ │ │ │ │ │ │ │ │ │
│ │ │р. │ │ │ │ │ │ │ │ │ │ │ │
│ │ │Серебрянка │ │ │ │ │ │ │ │ │ │ │ │
│ │ │ │ │ │ │ │ │ │ │ │ │ │ │
│1а │Врем. │Глазаниха, │0,7 │0,7 │8 │+0,524 │-0,527 │-3 │+0,526 │- │+0,526 │ │ │
│ │реп., │ст., в 4,2 │ │ │- │ │ │ │ │ │ │ │ │
│ │пень с │км к с.-в. │ │ │8 │ │ │ │ │ │ │ │ │
│ │гвоздем│от нее, в 15│ │ │ │ │ │ │ │ │ │ │ │
│ │ │м к зап. │ │ │ │ │ │ │ │ │ │ │ │
│ │ │от переезда │ │ │ │ │ │ │ │ │ │ │ │
│ │ │через ж.д. │ │ │ │ │ │ │ │ │ │ │ │
│ │ │ │ │ │ │ │ │ │ │ │ │ │ │
│1б │Грунт. │Глазаниха, │2,0 │2,7 │19 │+2,210 │-2,214 │-4 │+2,212 │-1 │+2,211 │73,489│ │
│ │реп. │ст., в 2,2 │ │ │- │ │ │ │ │ │ │ │ │
│ │10542, │км к с.-в. │ │ │19 │ │ │ │ │ │ │ │ │
│ │тип 121│от нее, в 45│ │ │ │ │ │ │ │ │ │ │ │
│ │ │м к сев. от │ │ │ │ │ │ │ │ │ │ │ │
│ │ │дороги на │ │ │ │ │ │ │ │ │ │ │ │
│ │ │ст. Мошное │ │ │ │ │ │ │ │ │ │ │ │
│ │ │ │ │ │ │ │ │ │ │ │ │ │ │
│2а │Врем. │426 км ж.д.,│1,7 │4,4 │16 │-0,342 │+0,346 │+4 │-0,344 │-1 │-0,345 │75,700│ │
│ │1 реп.,│7 пикет, в 5│ │ │- │ │ │ │ │ │ │ │ │
│ │пикет- │м к сев. от │ │ │17 │ │ │ │ │ │ │ │ │
│ │ный │ж.д. полотна│ │ │ │ │ │ │ │ │ │ │ │
│ │ │ │ │ │ │ │ │ │ │ │ │ │ │
│2б │Стен. │Серебрянка, │1,8 │6,2 │20 │-1,512 │+1,514 │+2 │-1,513 │-1 │-1,514 │75,355│ │
│ │реп., │р., в сев. │ │ │- │ │ │ │ │ │ │ │ │
│ │502 │устое путе- │ │ │21 │ │ │ │ │ │ │ │ │
│ │ │провода на │ │ │ │ │ │ │ │ │ │ │ │
│ │ │428 км ж.д. │ │ │ │ │ │ │ │ │ │ │ │
│ │ │ │ │ │ │ │ │ │ │ │ │ │ │
│3а │Врем. │Ивановка, с,│2,8 │9,0 │28 │+4,124 │-4,110 │+14 │+4,117 │-1 │+4,116 │73,841│ │
│ │реп. │в 0,5 км от │ │ │- │ │ │ │ │ │ │ │ │
│ │межевой│него по │ │ │29 │ │ │ │ │ │ │ │ │
│ │столб с│дороге в с. │ │ │ │ │ │ │ │ │ │ │ │
│ │гвоздем│Крутое, │ │ │ │ │ │ │ │ │ │ │ │
│ │ │справа от │ │ │ │ │ │ │ │ │ │ │ │
│ │ │дороги │ │ │ │ │ │ │ │ │ │ │ │
│ │ │ │ │ │ │ │ │ │ │ │ │ │ │
│3б │Сигн. 2│Ивановка, с,│3,0 │12,0 │30 │+4,571 │-4,566 │+5 │+4,568 │-1 │+4,567 │77,957│ │
│ │кл. │в 2,5 км к │- │ │- │ │ │ │ │ │ │ │ │
│ │ │ю.-з. от │3,1 │ │31 │ │ │ │ │ │ │ │ │
│ │ │него, у │ │ │ │ │ │ │ │ │ │ │ │
│ │ │перекрестка │ │ │ │ │ │ │ │ │ │ │ │
│ │ │дорог │ │ │ │ │ │ │ │ │ │ │ │
│ │Иванов-│с. Глазаниха│ │14,6 │ │ │ │ │ │ │ │82,524│ │
│ │ка, │- с. │ │ │ │ │ │ │ │ │ │ │ │
│ │тип 1 │Ивановка, с.│ │ │ │ │ │ │ │ │ │ │ │
│ │ │Яр - │ │ │ │ │ │ │ │ │ │ │ │
│ │ │с. Сашино │ │ │ │ │ │ │ │ │ │ │ │
│ │ │ │ │ │ │ │ │ │ │ │ │ │ │
│4 │Стен. │Никольское, │2,6 │ │28 │+3,854 │-3,866 │-12 │+3,860 │-1 │+3,859 │86,383│Высота│
│ │реп., │с. зд. школы│ │ │- │ │ │ │ │ │ │ │полу- │
│ │511 │ │ │ │26 │ │ │ │ │ │ │ │чена │
│ │ │ │ │ │ │ │ │ │ │ │ │ │из │
│5 │Стен. │Серебрянка, │3,4 │18,0 │36 │+2,095 │-2,081 │+14 │+2,088 │-1 │+2,087 │88,470│урав- │
│ │реп. │р., в южн. │ │ │- │ │ │ │ │ │ │ │нива- │
│ │513 │устое моста,│ │ │36 │ │ │ │ │ │ │ │ния │
│ │ │в 3 м к │ │ │ │ │ │ │ │ │ │ │сети │
│ │ │сев. от с. │ │ │ │ │ │ │ │ │ │ │III │
│ │ │Никольское │ │ │ │ │ │ │ │ │ │ │класса│
│ │ │ │ │ │ │ │ │ │ │ │ │ │1972 │
│ │ │ │ │ │ │ │ │ │ │ │ │ │г. │
├────┼───────┼────────────┼────┼──────┼─────┼───────┼───────┼──────┼───────┼─────┼───────┼──────┼──────┤
│ │ │Итого по │18,0│18,0 │184 │+15,524│-15,504│+20 │+15,514│-7 │+15,507│ │ │
│ │ │линии │ │ │ │ │ │ │ │ │ │ │ │
└────┴───────┴────────────┴────┴──────┴─────┴───────┴───────┴──────┴───────┴─────┴───────┴──────┴──────┘
Разность высот исходных данных Вычислял: ст. техник Петров Н.Н.
H - H = +15,507
к н
Полученная невязка Считывали: читал техник Марфина,
Допустимая невязка слушал техник Миронов
Поправка на 1 км хода

Октябрь 1973 г.
Таблица 42
ВЕДОМОСТЬ ПРЕВЫШЕНИЙ И ВЫСОТ ПУНКТОВ НИВЕЛИРОВАНИЯ IV КЛАССА
┌────┬───────────┬──────────────┬──────────────┬────────┬────────┬───────┬───────┬───────┐
│N │Тип и номер│ Описание │Расстояние, км│ Число │Измерен-│Поправ-│Высота │Приме- │
│сек-│нивелирного│местоположения├───────┬──────┤штативов│ные пре-│ка за │в │чания │
│ции │знака, тип │ нивелирного │ между │от на-│ │вышения,│уравни-│Балтий-│ │
│ │ центра │ знака │знаками│чаль- │ │м │вание, │ской │ │
│ │ │ │ │ного │ │ │мм │системе│ │
│ │ │ │ │пункта│ │ │ │высот, │ │
│ │ │ │ │ │ │ │ │м │ │
├────┼───────────┼──────────────┼───────┼──────┼────────┼────────┼───────┼───────┼───────┤
│ 1 │ 2 │ 3 │ 4 │ 5 │ 6 │ 7 │ 8 │ 9 │ 10 │
├────┴───────────┴──────────────┴───────┴──────┴────────┴────────┴───────┴───────┴───────┤
│ Линия N 12 от стен. реп. 124 до стен. реп. 2463 │
│ Исполнитель: техник Коровин М.Н. Дата 15.VIII.1972 г. │
│ │
│ │Стен. реп. │Березовка, с.,│ │0,0 │ │ │ │251,768│Высота │
│ │124 │зд. школы │ │ │ │ │ │ │получе-│
│ │ │ │ │ │ │ │ │ │на из │
│ │ │ │ │ │ │ │ │ │уравни-│
│ │ │ │ │ │ │ │ │ │вания │
│ │ │ │ │ │ │ │ │ │сети │
│ │ │ │ │ │ │ │ │ │III кл.│
│ │ │ │ │ │ │ │ │ │1971 г.│
│1а │Врем. реп.,│Северка, р., │2,0 │2,0 │10 │+0,623 │+5 │252,396│ │
│ │гвоздь │мост в 2 км к │ │ │ │ │ │ │ │
│ │кованый │сев. от с. │ │ │ │ │ │ │ │
│ │ │Березовка, │ │ │ │ │ │ │ │
│ │ │верхний гвоздь│ │ │ │ │ │ │ │
│ │ │в сев. устое │ │ │ │ │ │ │ │
│ │ │моста │ │ │ │ │ │ │ │
│1б │Грунт. реп.│Ново- │2,1 │4,1 │11 │+2,055 │+5 │254,456│ │
│ │115, │Березовка, │ │ │ │ │ │ │ │
│ │ │с., в 1,5 км к│ │ │ │ │ │ │ │
│ │тип 118 │вост. от него,│ │ │ │ │ │ │ │
│ │ │в 2,2 км от с.│ │ │ │ │ │ │ │
│ │ │Матвеевка, в │ │ │ │ │ │ │ │
│ │ │25 км к югу от│ │ │ │ │ │ │ │
│ │ │дороги │ │ │ │ │ │ │ │
│2а │Врем. реп.,│Ново- │2,0 │6,1 │10 │+0,225 │+5 │254,686│ │
│ │камень │Березовка, с.,│ │ │ │ │ │ │ │
│ │ │в 0,5 км к югу│ │ │ │ │ │ │ │
│ │ │от него, │ │ │ │ │ │ │ │
│ │ │большой валун │ │ │ │ │ │ │ │
│ │ │на дороге в с.│ │ │ │ │ │ │ │
│ │ │Березовка, в │ │ │ │ │ │ │ │
│ │ │25 м к сев. от│ │ │ │ │ │ │ │
│ │ │дороги. Место │ │ │ │ │ │ │ │
│ │ │постановки │ │ │ │ │ │ │ │
│ │ │рейки отмечено│ │ │ │ │ │ │ │
│ │ │красной │ │ │ │ │ │ │ │
│ │ │краской │ │ │ │ │ │ │ │
│2б │Сигн. 2 кл.│Матвеевка, с.,│1,9 │8,0 │10 │+0,926 │+4 │255,616│ │
│ │Матвеевка, │в 4 км к с.-в.│ │ │ │ │ │ │ │
│ │тип 2 │от него, у │ │ │ │ │ │ │ │
│ │ │полевого стана│ │ │ │ │ │ │ │
│3а │Врем. реп.,│Матвеевка, с.,│2,2 │10,2 │11 │+0,643 │+5 │256,264│ │
│ │межевой │в 2 км к с.-в.│ │ │ │ │ │ │ │
│ │столб │от него, │ │ │ │ │ │ │ │
│ │ │межевой столб │ │ │ │ │ │ │ │
│ │ │рядом с │ │ │ │ │ │ │ │
│ │ │перекрестком │ │ │ │ │ │ │ │
│ │ │дорог: с. │ │ │ │ │ │ │ │
│ │ │Матвеевка - │ │ │ │ │ │ │ │
│ │ │с. Новое │ │ │ │ │ │ │ │
│ │ │и с. Рябово - │ │ │ │ │ │ │ │
│ │ │с. Кон │ │ │ │ │ │ │ │
│3б │Стен. реп.,│Матвеевка, │2,0 │12,2 │10 │+1,765 │+5 │ │Высота │
│ │2463 │с. здание │ │ │ │ │ │ │258,034│
│ │ │школы │ │ │ │ │ │ │получе-│
│ │ │ │ │ │ │ │ │ │на из │
│ │ │ │ │ │ │ │ │ │уравни-│
│ │ │ │ │ │ │ │ │ │вания │
│ │ │ │ │ │ │ │ │ │сети │
│ │ │ │ │ │ │ │ │ │IV кл. │
│ │ │ │ │ │ │ │ │ │1972 г.│
├────┼───────────┼──────────────┼───────┼──────┼────────┼────────┼───────┼───────┼───────┤
│ │ │Итого по линии│12,2 │12,2 │62 │+6,237 │+29 │ │ │
└────┴───────────┴──────────────┴───────┴──────┴────────┴────────┴───────┴───────┴───────┘
Разность высот исходных пунктов Вычислял: техник Коровин М.Н.
H - H = +6,266 м;
к н
Полученная невязка

Считывали: читал Коровин,
Допустимая невязка

слушал Иванов
Поправка на 1 км

7.1.2. ОЦЕНКА КАЧЕСТВА НИВЕЛИРОВАНИЯ
Оценку качества нивелирования производят по разностям d = h - h ,
пр обр
по невязкам полигонов f, по расхождению между превышениями, полученными
из нивелирования, и по разности высот точек, принятых за исходные.
Качество нивелирования III класса характеризуют величинами разностей
h - h по отдельным секциям, по накоплению этих разностей на ряде
пр обр
секций, на участках, исполненных одним наблюдателем, и на всей линии или на
группе линий; значениями средних квадратических случайных

и
систематических

погрешностей нивелирования на 1 км двойного хода и
невязками полигонов. При образовании разностей d превышениям, измеренным
в ходах обратного направления, приписывают обратный знак, т.е. знак
превышения, измеренного в прямом ходе.
Число разностей d или невязок полигонов f при вычислении средних
квадратических случайных и систематических d погрешностей должно быть
достаточно велико. При числе разностей d, равном l , случайная погрешность
2
вычисляется с погрешностью 20%, при d = 20 погрешность уменьшается до 10%.
Качество нивелирования IV класса и технического нивелирования характеризуется невязками полигонов f, расхождениями между превышениями, полученными нивелированием, и по разности высот исходных реперов, т.е.
где H и H - высоты конечной и начальной точек, полученные из
к н
нивелирования высшего класса или в результате уравнивания.
Возможные накопления случайных погрешностей при нивелировании III класса в разностях d подсчитывают по формуле

Среднюю квадратическую случайную погрешность

на 1 км двойного нивелирного хода вычисляют по формуле:
где n - число секций в линии,
l - длина секции в км,
i
d = h - h в мм.
i пр обр
Среднюю квадратическую систематическую погрешность

на 1 км двойного нивелирного хода выполняют по формуле:
где

- накопление разностей d на участке линии, исполненной одним
i
наблюдателем, или на всей линии в мм; L - длина соответствующего участка
линии или всей линии в км; [L] - суммарная длина всех линий в км.
При нивелировании III класса длины линий, как правило, значительно
короче 100 км. Действие систематических погрешностей в накоплениях
разностей

на таких коротких линиях проявляется незначительно, поэтому
a следует вычислять только для группы линий общей длиной более 100 км.
При нивелировании III класса составляют сводную таблицу разностей d по
секциям, в которой показывают, как они распределяются по величине у
отдельных наблюдателей, по всей линии или по группе линий. Полученные
расхождения d при нивелировании III класса разбивают на три группы: до 5 мм

, от 5,1 мм

до 10 мм

и свыше 10 мм

(табл. 43). Все секции,
в которых получены расхождения d = h - h соответственно больше 10 мм пр обр

, выписывают в отдельную таблицу, в которой дают объяснение полученным
недопустимым расхождениям.
Таблица 43
ХАРАКТЕРИСТИКА КАЧЕСТВА НИВЕЛИРОВАНИЯ III КЛАССА
НА ОБЪЕКТЕ ПЕТРОВСКИЙ
┌────────────┬───────────┬───────────────────────────────┬────────────────┐
│ Фамилия │ Число │ Число секций, удовлетворяющих │ Средние │
│исполнителя:│ секций │ допуску │ квадратические │
│ название │ │ │ погрешности на │
│ линий │ │ │ 1 км хода, мм │
│ ├───────────┼──────────┬──────────┬─────────┼─────────┬──────┤
│ │протяжен- │ до +/- 5 │ от +/- 5 │ свыше │случайные│систе-│
│ │ность, км │ мм │ мм │ +/-10 │ │мати- │
│ │ │ │ _ │ _ │ │ческие│
│ │ │ │ \/L - до │ мм \/L │ │ │
│ │ │ │ _ │ │ │ │
│ │ │ │10 мм \/L │ │ │ │
├────────────┼───────────┼──────────┼──────────┼─────────┼─────────┼──────┤
│Броновицкий │ │ │ │ │ │ │
│Н.А. │ │ │ │ │ │ │
│ │ │ │ │ │ │ │
│Грунт. реп. │10 │6 │4 │- │+/- 2,5 │- │
│2405 - │---- │---- │---- │ │ │ │
│стен. реп. │52,1 │31,5 │20,6 │ │ │ │
│127 │ │ │ │ │ │ │
│Стен. реп. │9 │5 │3 │1
<*> │+2,8 │- │
│127 - ск. │---- │---- │---- │----- │ │ │
│реп. 124 │47,3 │26,6 │14,7 │6,0 │ │ │
│Ск. реп. │12 │8 │4 │- │+/- 2,3 │- │
│163 - │---- │---- │---- │ │ │ │
│стен. марка │59,0 │40,3 │18,7 │ │ │ │
│18 │ │ │ │ │ │ │
│Ск. реп. 17 │15 │10 │5 │- │+/- 2,3 │- │
│- ск. реп. │---- │---- │---- │ │ │ │
│167 │74,6 │50,3 │24,3 │ │ │ │
├────────────┼───────────┼──────────┼──────────┼─────────┼─────────┼──────┤
│Сумма │46 │29 │16 │1 │+/- 2,5 │+/- │
│ │----- │----- │---- │--- │ │0,2 │
│ │233,0 │148,7 │78,3 │6,0 │ │ │
│ │ │ │ │ │ │ │
│Маркин В.Н. │ │ │ │ │ │ │
│ │ │ │ │ │ │ │
│Грунт. реп. │11 │7 │4 │- │+/- 2,5 │- │
│2703 - ск. │---- │---- │---- │ │ │ │
│реп. 169 │52,4 │33,3 │19,1 │ │ │ │
│Ск. реп. │14 │10 │4 │- │+/- 2,2 │- │
│183 - грунт.│---- │---- │---- │ │ │ │
│реп. 75 │70,3 │49,1 │21,2 │ │ │ │
│Ск. реп 169 │9 │4 │4 │1
<**> │+2,8 │- │
│- ск. реп. │---- │---- │---- │------ │ │ │
│16 │45,2 │19,2 │19,8 │6,2 │ │ │
├────────────┼───────────┼──────────┼──────────┼─────────┼─────────┼──────┤
│Сумма │34 │21 │12 │1 │+/- 2,5 │+/- │
│ │----- │----- │---- │--- │ │0,3 │
│ │167,9 │101,6 │60,1 │6,2 │ │ │
├────────────┼───────────┼──────────┼──────────┼─────────┼─────────┼──────┤
│Всего по │80 │5 │28 │2 │+/- 2,5 │+/- │
│объекту │----- │----- │----- │---- │ │0,2 │
│ │400,9 │250,3 │138,4 │12,2 │ │ │
└────────────┴───────────┴──────────┴──────────┴─────────┴─────────┴──────┘
--------------------------------
<*>

Ход проложен в горной местности.
<**>

Ход проложен в горной местности.
При нивелировании всех классов подсчитывают невязки во всех вновь образованных полигонах. Невязки нивелирных полигонов III класса в горных и высокогорных районах подсчитывают в системе нормальных высот. Для этого сначала вычисляют поправки за переход к нормальным высотам и вводят их в превышения. Невязки полигонов, образованные линиями нивелирования одного класса, не должны превышать допусков, установленных для соответствующего класса нивелирования. Невязки полигонов III класса не должны превышать 10 мм

, IV класса - 20 мм

и полигоны технического нивелирования - 50 мм

. Невязки полигонов тригонометрического нивелирования не должны быть больше 20 см

.
Если полигоны образованы линиями нивелирования разных классов, то допустимую невязку подсчитывают по формуле:
где L и L - суммарные длины линий нивелирования соответствующих
i j
классов;
K и K - коэффициенты, зависящие от класса нивелирования. При
i j
нивелировании III класса K = 100, IV класса K = 400 и при техническом
нивелировании K = 2500. Например, нивелирный полигон образован линиями
нивелирования III и IV классов. Общая длина линий нивелирования III класса
- 75 км, IV класса - 36 км, допустимая невязка равна:
Полученные и допустимые невязки полигонов нивелирования III и IV классов и технического нивелирования выписывают на схему, которую прилагают к ведомости превышений.
По невязкам полигонов, образованных одноклассными линиями нивелирования, вычисляют случайные средние квадратические погрешности на 1 км нивелирного хода по формуле:
где f - полученная невязка полигона в мм; p - периметр полигона в км; N - число полигонов.
При нивелировании IV класса, техническом и тригонометрическом нивелированиях случайную среднюю квадратическую погрешность на 1 км хода, кроме того, вычисляют по разностям превышений, полученным из нивелирования, и по разности высот исходных точек по формуле:
где d = h - (H - H ) в мм,
изм к н
H и H - высоты исходных точек;
к н
l - длина нивелирной линии в км; n - число линий.
7.1.3. УСТАНОВЛЕНИЕ ВЕСОВ НИВЕЛИРНЫХ ЛИНИЙ ПРИ УРАВНИВАНИИ
При уравнивании линий нивелирования одного класса веса этих линий определяют по формулам:
c
p = -, (7.8)
L
c
p = -, (7.9)
n
где L - длина линии в км;
n - число штативов в линии;
c - постоянный коэффициент, который берется с таким расчетом, чтобы веса у линий, как правило, находились в пределах от 1 до 10. Если некоторые линии проложены только в одном направлении, то их веса уменьшают в два раза.
Если совместно уравниваются сети нивелирования двух классов одновременно, то длины линий низшего класса заменяют эквивалентными или приведенными длинами линий высшего класса. Приведенную эквивалентную длину вычисляют по формулам:
L = kL, (7.10)
экв
n = kn, (7.11)
экв
где k - коэффициент эквивалентности, который вычисляют, исходя из соотношения весов при равных длинах линий или равном числе штативов. Например,
Таким образом, коэффициент эквивалентности между III и IV классами нивелирования равен 4 и между нивелированием IV класса и техническим нивелированием также равен 4. Если же значения случайных средних квадратических погрешностей на 1 км нивелирного хода будут различаться больше, то соответственно коэффициент эквивалентности также увеличивается.
При совместном уравнивании двух линий нивелирования III и IV классов длиной 10 км вес линии нивелирования III класса (при c = 100) будет равен
вес линии нивелирования IV класса - 2,5.
7.2. УРАВНИВАНИЕ ОДИНОЧНОЙ ЛИНИИ
Между точками H и K с известными высотами HH и HK проложен нивелирный
ход длиной L км, закрепленный несколькими нивелирными знаками. При
нивелировании превышение между точками H и K оказалось равным h , а по
изм
разности высот H - H = h . Необходимо уравнять этот ход и получить
K H 0
отметки всех промежуточных точек, в том числе точки M.
Точка находится на расстоянии n от исходной точки с высотой H . Высоту
H
точки M можно определить дважды, относительно K и H
Высоты точки M будут различаться между собой на величину
-f = H' - H" = H - H - h .
M M к н изм
Значения высот H и H" неравноточные, так как H имеет погрешность,
м м м
равную

а H" равную

и соответственно веса
м
1 1
p' = - и p" = -----.
n L - n
По формуле общей арифметической средины будем иметь
После несложных преобразований и подстановок получим, что высота точки будет равна
Таким образом, чтобы уравнять нивелирный ход между двумя твердыми точками, достаточно в измеренные превышения ввести поправки, вычисленные по формуле:
где c - поправка на 1 км нивелирного хода;

- поправка в измеренное превышение;
f - (H - H ) - h ;
к н изм
l - длина секции в км;
L - длина нивелирной линии в км.
Пример уравнивания одиночного хода приведен в ведомостях превышений в
табл. 41 и
42, а пример уравнивания высотного хода - в табл. 44.
Таблица 44
┌────────────────┬──────┬───────┬────────────┬───────────────┬────────────┐
│ Название точек │ s, м │ h, м │дельта h, м │ Уравненное │ H, м │
│ хода │ │ │ │ превышение, м │ │
├────────────────┼──────┼───────┼────────────┼───────────────┼────────────┤
│Реп. 4256 Оп. │920 │+34,13 │+0,05 │+34,18 │680,42 │
│14 Оп. 16 │1532 │+90,37 │+0,08 │+90,45 │714,6 │
│Дубовый, │814 │+17,80 │+0,04 │+17,84 │805,1 │
│пир. │ │ │ │ │822,9 │
│ │1024 │+48,91 │+0,06 │+48,97 │871,9 │
│Реп. 4817 │1360 │+58,82 │+0,07 │+58,89 │930,75 │
├────────────────┼──────┼───────┼────────────┼───────────────┼────────────┤
│Сигма │5650 │+250,03│+0,30 │+250,33 │ │
└────────────────┴──────┴───────┴────────────┴───────────────┴────────────┘
l = +250,33 - 250,03 = +0,30 м,
Невязку f одиночного высотного хода подсчитывают по формуле:
где H - отметка конечной точки хода; H - отметка начальной точки
к н
хода;

- сумма измеренных превышений.
Уравнивание заключается в распределении невязки хода пропорционально длине секций. По исправленным таким образом превышениям вычисляют окончательные отметки точек хода.
Для определения погрешности любой точки нивелирного хода можно воспользоваться формулой:
где m - случайная средняя квадратическая погрешность отметки точки М;
М
m - погрешность исходных реперов;
исх

- случайная средняя квадратическая погрешность на 1 км нивелирного хода;
L - общая длина линии в км;
n - расстояние от начальной точки хода H до точки в км.
н
7.3. УРАВНИВАНИЕ НИВЕЛИРНЫХ СЕТЕЙ МЕТОДОМ ПОЛИГОНОВ
Способ основан на последовательном распределении невязок в каждом полигоне пропорционально длине линий, образующих его, или пропорционально числу штативов в этих линиях. При уравнивании нивелирных сетей этим методом не требуется составлять и решать условные уравнения способом наименьших квадратов. Вычисления выполняют по специальным схемам. Нормальные коррелаты получают непосредственно на схеме. Уравнивание выполняют методом последовательных приближений. В наиболее крупном, легко читаемом и удобном для вычислений масштабов (длины линий на схеме не должны быть короче 3 см) вычерчивают две схемы нивелирных линий, подлежащих уравниванию. На первой схеме
(рис. 89) показывают направления нивелирования на отдельных секциях, значения измеренных превышений между условными точками, длины отдельных линий или число штативов в них, периметры и невязки полигонов, названия узловых точек и исходных знаков и их высоты. На этой же схеме после окончания уравнивания выписывают поправки и уравненные превышения. На второй схеме
(рис. 90) выполняют уравнивание сети. Полигону с наибольшей невязкой f присваивают N 1, полигону со следующей по величине невязкой - N 2 и т.д. Невязки во всех полигонах подсчитывают по ходу часовой стрелки. Невязки вычисляют и в тех полигонах, которые опираются на твердые знаки, принятые при уравнивании за неизменные.
Около каждой линии снаружи полигона помещают по одной табличке
поправок. Все внутренние линии имеют по две таблички, расположенные по
разные стороны от линии. Над табличками выписывают длины линий, выраженные
в сотых долях от общей длины периметра полигона. Например, полигон N 1
состоит из четырех линий длиной l , l , l и l . Периметр равен
1 2 3 4
p = l + l + l + l . Отношение, выраженное в сотых долях, для первой
1 1 2 3 4
линии будет равно
k = l / p . (7.22)
1 1
Соответственно для второй, третьей и четвертой линий:
k = l / p , k = l / p и k = l / p . (7.23)
2 2 1 3 3 1 4 4 1
Рис. 89. Уравнивание нивелирной сети методом полигонов
Рис 90. Уравнивание нивелирной сети методом полигонов
Контролем правильности вычислений служит сумма чисел k + k + k + k
1 2 3 4
которая должна быть равна точно 1,00. На схеме 2 эти цифры выписывают над
табличками поправок снаружи тех линий, к которым они относятся, т.е. за
пределами полигона N 1. Эти цифры выписываются красными чернилами и
называются красными числами. Подобным образом вычисляют красные цифры во
всех остальных полигонах. В полигонах, опирающихся на твердые точки,
периметр равен сумме длин нивелирных линий между этими пунктами по наиболее
короткому расстоянию. После того как вычислены все красные числа,
приступают к уравниванию. Для этого во всех полигонах распределяют невязки
прямо пропорционально красным числам. Начинают распределение невязок с
полигона N 1. Для того чтобы найти поправку в каждую линию, умножают
невязку на все красные числа полигона (fk ). Полученные результаты
i
выписывают с округлением до целых мм в таблички под соответствующими
красными цифрами, находящимися за пределами полигона. Поправки выписывают с
тем же знаком, что и невязка полигона. Контролем правильности вычислений
является сумма поправок в полигоне, которая должна быть точно равна
невязке. После того как распределили всю поправку в первом полигоне,
вычисляют поправку во втором полигоне. Так как из первого полигона во
второй перешла часть невязки, равная поправке для общей линии, то ее
суммируют с невязкой второго полигона. Полученную сумму распределяют
пропорционально красным цифрам. Подсчитывают невязки в следующих полигонах
с учетом поправок, перешедших из первых полигонов, и распределяют их
пропорционально соответствующим красным цифрам.
Для удобства вычислений и для исключения возможных ошибок при вычислениях под невязкой полигона выписывают все поправки со своими знаками, перешедшие из других полигонов, и все цифры суммируют. В табличках учтенные поправки подчеркивают одной чертой. После распределения невязки в полигоне ее подчеркивают двумя чертами.
После того как все невязки будут распределены первый раз, приступают к повторному их распределению. Для этого суммируют в полигоне N 1 все поправки, а в остальных полигонах - только те поправки, которые не были учтены при первом уравнивании невязок, и распределяют их прямо пропорционально соответствующим красным числам. Распределение невязок продолжают до тех пор, пока они во всех полигонах не станут равными 1 - 2 мм. Оставшиеся невязки целиком относят на наружные линии полигонов. На этом уравнивание прекращают и приступают к вычислению суммарной поправки для каждого превышения между узловыми точками. Для этого суммируют все числа в табличках поправок. Поправка в превышение равна сумме поправок, находящихся у данной линии внутри полигона, минус сумма поправок, написанных около этой же линии вне полигона. На схеме N 2 все вычисленные поправки написаны около линий в скобках. Сумма поправок в каждом полигоне должна быть равна невязке с обратным знаком.
Для заключительного контроля поправки выписывают на схему N 1 и еще раз вычисляют невязки полигонов. Все невязки должны быть равны 0. Затем находят высоты всех узловых точек и вычисляют превышения между соседними знаками обычным способом, распределяя невязку пропорционально длинам секций.
Уравнивание нивелирной сети этим способом, как правило, выполняют при помощи линейки или все вычисления производят в уме.
Для оценки точности при уравнивании нивелирных сетей этим способом применяют формулы (7.24) и
(7.25):
где m - случайная средняя квадратическая погрешность на 1 км
км
нивелирного хода;
v - поправка в превышение по отдельной линии в мм,
i
L - длина линии в км;
i
r - число уравнений, возникающих в сети,
r = q - u,
q - число линий в сети,
u - число определяемых узловых точек в сети. Среднюю квадратическую
погрешность отметки точки относительно твердых точек можно получить по
приближенной формуле:
где 1 / p - сумма обратных весов линий, соединяющих твердые точки с
Нв
данной узловой точкой, вычисляется как
здесь L - длина хода в км от исходной точки i.
i
7.4. Уравнивание системы нивелирных линий
с одной узловой точкой
Одним из наиболее простых способов уравнивания сети нивелирных линий, сходящихся в одной точке, является способ уравнивания системы нивелирных линий с одной узловой точкой. При этом способе уравнивания необходимо определить только одно неизвестное - отметку узловой точки. Уравнивание этим способом не требует приближений.
Применяя формулу общей арифметической средины, сразу же находят уравненное значение узловой точки K:
n
где Н', Н", ..., Н - отметки точки K, полученные от соответствующих
K K K
твердых точек А, В, ...L;
c c c
p = --; p = --; ...; p = --,
1 L 2 L n L
1 2 n
L - длина нивелирной линии.
Определив разности

,

, ...,

получаем поправки во все нивелирные линии. Поправки распределяем обычным порядком во все превышения пропорционально расстоянию между смежными знаками или пропорционально числу штативов в этих секциях.
Среднюю квадратическую погрешность на единицу веса вычисляем по формуле:
где z - число линий в сети.
Случайную среднюю квадратическую погрешность на 1 км нивелирного хода в этом случае вычисляют по формулам:

при


при

где [n] - суммарное число штативов на всех линиях; [L] - общая длина линий в км.
На
рис. 91 показан пример уравнивания нивелирной сети III класса, заимствованный из "Инструкции по вычислению нивелировок" (М., "Недра", 1971). В этом примере веса линий вычислялись по формуле p = c/n, а отметка узловой точки 15705 - по формуле:
где H - приближенное значение высоты узловой точки;
K

- отличие значений отметок этой точки, полученной по отдельным ходам, от

вычисляют как разность
0
Как правило, H принимают равной минимальной и округленной до целых
K
i
дециметров отметке точки H . В примере получены три отметки репера 15705:
K
0
121,242 м, 121,203 м и 121,230 м. H принимают равным 121,200 м.
K
Рис. 91. Уравнивание системы нивелирных линий
с одной узловой точкой
Уравненная высота грунт. реп. 15705
0,042 · 0,30 + 0,003 · 0,23 + 0,30 · 0,35
H = 121,200 + ----------------------------------------- = 121,227 м,
16705 0,30 + 0,23 + 0,35
Средняя квадратическая погрешность единицы веса
Средняя квадратическая погрешность нивелирования на 1 км хода
Примечание: p = 100 / n.
7.5. Способ узлов (приближений)
Данный способ имеет широкое применение при уравнивании нивелирных сетей низших классов и сетей тригонометрического нивелирования. Достоинством способа являются простота и однообразие вычислительных действий при уравнивании. Ошибка, допущенная в вычислениях, только замедлит процесс сходимости, но не проявится в окончательных результатах.
Прежде чем приступить к уравниванию сети этим способом, необходимо установить, большое ли число приближений потребует уравнивание данной сети. Для этого можно воспользоваться формулой:
где r - число полигонов в сети;
k - число точек, принятых за исходные;
u - число точек, высоты которых определяют.
Если окажется, что значительно меньше 1,5, то при уравнивании потребуется выполнить большое число приближений, поэтому уравнивание данной сети лучше выполнить каким-либо другим способом.
Как и при других способах уравнивания высотных сетей, прежде всего составляют схему нивелирной сети. На схеме показывают исходные и определяемые точки, высоты исходных точек, измеренные превышения, длины ходов или длины сторон при уравнении сетей тригонометрического нивелирования и веса этих линий.
Уравнивание сети по способу узлов начинают с вычисления приведенных весов для каждой узловой точки по формуле:
n
где p', p", ..., p - веса отдельных нивелирных линий или сторон,
i
сходящихся в данной узловой точке i, [p ] - сумма всех этих весов.
i
Приведенные веса вычисляются в сотых долях. Правильность вычисления
J
приведенных весов контролируют суммированием. Сумма [р ] приведенных весов
i
должна быть точно равна 1,00.
Затем, используя приведенные веса, вычисляют высоты узловых точек по формулам арифметической средины. Вычисления высот начинают с той узловой точки, которая имеет наибольшее число связей с исходными пунктами. Значения высоты у второй и последующих точек вычисляют с учетом полученной высоты первой узловой точки и т.д. Вычисления продолжают до тех пор, пока новое приближение не даст практически такие же значения отметок. Расхождения в высотах точек нивелирных сетей не должны превышать 1 - 2 мм, а в сетях тригонометрического нивелирования - нескольких сантиметров.
Ниже рассмотрен пример уравнивания сети тригонометрического нивелирования способом узлов (
рис. 92 и
табл. 45). Значения высот находят по формуле:
где H - приближенное значение высоты; p - вес превышения; Н -
0 i i
отметки пункта i.
Таблица 45
ПРИМЕР УРАВНИВАНИЯ ВЫСОТ СЕТИ ТРИГОНОМЕТРИЧЕСКОГО
НИВЕЛИРОВАНИЯ ПО СПОСОБУ УЗЛОВ (ПРИБЛИЖЕНИЙ)
┌─────────┬────────┬────────┬───────┬──────────┬─────────────────┬────────┐
│Название │Исходные│Превыше-│Рассто-│ Веса │ Приближения │Поправки│
│исходных │ высоты │ния │яния ├─────┬────┼─────┬─────┬─────┤ -1 │
│и опреде-│ H, м │h , м │s, км │ p │ P │ I │ II │ III │ 10 │
│ляемых │ │ ср │ │ │ │ │ │ │ │
│пунктов │ │ │ │ │ │ │ │ │ │
├─────────┴────────┴────────┴───────┴─────┴────┴─────┴─────┴─────┴────────┤
│ п. Гремячий │
│ │
│Привалово│ │+74,60 │4,60 │4,72 │0,35│ │471,4│471,4│ -2 │
│Демьяново│516,42 │-45,25 │6,17 │2,62 │0,20│471,2│471,2│471,2│ -4 │
│Рыжкино │460,75 │+11,14 │4,92 │4,13 │0,30│471,9│471,9│471,9│ +3 │
│Дубки │ │+100,85 │7,20 │1,97 │0,15│ │471,3│471,8│ +2 │
│ │ │ │ ├─────┼────┼─────┼─────┼─────┴────────┤
│ │ │ │ │13,44│1,00│471,6│471,5│471,6 [p'ню] =│
│ │ │ │ │ │ │ │ │ -0,03 │
│ п. Дубки │
│ │
│Демьяново│516,42 │-146,13 │6,35 │2,49 │0,18│ │370,3│370,3│ -7 │
│Гремячий │ │-100,85 │7,20 │1,97 │0,14│370,3│370,6│370,8│ -2 │
│Привалово│ │-25,56 │3,28 │9,63 │0,68│370,8│371,2│371,2│ +2 │
│ │ │ │ ├─────┼────┼─────┼─────┼─────┴────────┤
│ │ │ │ │14,09│1,00│370,5│371,0│371,0 [p'ню] =│
│ │ │ │ │ │ │ │ │ -0,02 │
│ п. Привалово │
│ │
│Рыжкино │46075 │-63,85 │3,47 │8,30 │0,37│396,9│396,9│396,9│ +1 │
│Дубки │ │+25,56 │3,28 │9,63 │0,40│396,0│396,6│396,6│ -2 │
│Гремячий │ │-74,60 │4,60 │4,72 │0,23│397,0│396,9│397,0│ +2 │
│ │ │ │ ├─────┼────┼─────┼─────┼─────┴────────┤
│ │ │ │ │22,65│1,00│396,8│396,8│396,8 [p'ню] =│
│ │ │ │ │ │ │ │ │ +0,01 │
└─────────┴────────┴────────┴───────┴─────┴────┴─────┴─────┴──────────────┘
Веса двусторонних превышений вычисляют по формуле:
p = 100 / 2, км . (7.36)
Веса односторонних превышений принимают равными половине веса соответствующего двустороннего превышения. Веса превышений можно выбирать из
таблицы, данной в прилож. 1.
Далее вычисляют приведенные веса
где [p ] - сумма весов на пункте; p' - вес отдельной линии.
i i
Рис. 92. Схема уравнивания высот пунктов триангуляции
Вычисление высот в первом приближении начинают с пунктов, имеющих наибольшее число связей с исходными (см.
табл. 45).
При вычислении высот последующих пунктов за исходные принимают ранее вычисленные высоты всех смежных пунктов.
Второе и следующие приближения производятся с учетом предыдущих приближений. Приближения вычисляют до тех пор, пока высоты одних и тех же пунктов не будут одинаковыми из двух последовательных приближений. Значения высот, найденные в последнем приближении, принимают за окончательные высоты пунктов. Значения высот, получаемые в каждом из приближений, записывают в столбик вблизи соответствующих пунктов с точностью до 0,1 м.
Среднюю квадратическую погрешность определения высоты пункта вычисляют по формуле:
где

, h - уравненные превышения, получаемые как разности
ур
окончательных высот пунктов; h - средние измеренные значения превышений;
ср
n - число передач высоты на данном пункте (число сторон, по которым
передана высота со смежных пунктов).
Средняя квадратическая погрешность определения высоты пункта в среднем для всей сети тригонометрического нивелирования будет
где q - число определяемых пунктов.
В тех случаях, когда высотные ходы образуют систему с одной или несколькими узловыми точками, производится уравнивание высот узловых точек на схеме методом последовательных приближений аналогично тому, как это было показано при уравнивании сети тригонометрического нивелирования (см.
рис. 92). Затем уравненные высоты выписывают в ведомость превышений для вычисления высот пунктов в ходах (см.
табл. 44).
Вес превышения высотного хода рассчитывают по формуле:
Высоты узловых точек вычисляют до 0,01 м, но расхождения между результатами последнего и предыдущего приближений допускаются до 0,03 м.
Среднюю квадратическую погрешность единицы веса находят по формуле:
где k - число направлений уравниваемой сети;
n - число определяемых пунктов. Средняя квадратическая погрешность уравненной высоты
где q - число направлений на пункте, по которым переданы высоты.
В среднем для всей сети
При составлении каталога высот пунктов следует уделять внимание тому, к какому центру знака (верхнему, среднему, нижнему) отнесена вычисленная из нивелирования высота.
Так же уравнивают сеть геометрического нивелирования.
7.6. Уравнивание системы нивелирных линии
способом эквивалентной замены
В основе способа эквивалентной замены лежит способ уравнивания системы
нивелирных линий с одной узловой точкой или способ уравнивания нивелирной
линии между двумя твердыми точками. На рис. 93 показана нивелирная есть из
семи линий нивелирования III класса и одной нивелирной линии IV класса.
Линии опираются на 5 исходных точек. Требуется найти уравненные высоты
точек K, М и N. Прежде чем приступить к уравниванию этой сети, необходимо
вычислить приведенную длину нивелирной линии IV класса L , для чего ее
8
умножим на 4.
Рис. 93. Уравнивание сети нивелирных линий
методом эквивалентной замены
По способу одной узловой точки определим высоту K относительно исходных точек A, B и C. Она будет равна
A
где H = H + h с весом p = 1 / L ;
K A A 1 1
B
H = H + h " " p = 1 / L ;
K B B 2 2
C
H = H + h " " p = 1 / L .
K C C 3 3
Вес вычисленной отметки H равен сумме весов отдельных линий
к
где L - длина линии, эквивалентной линиям L , L и L . Значит,
1,2 и 3 1 2 3
три нивелирные линии заменяем одной линией L .
1,2 и 3
Так же заменяем линии L и L эквивалентной линией L . После этого
7 8' 7,8'
отметку точки M нетрудно найти по способу уравнивания нивелирных линий с
одной узловой точкой. В точке М сходятся три линии, которые имеют длины
L + L , L + L и L .
1,2 и 3 4 7,8' 6 5
В результате вычислений получим три отметки M с весами, равными
p , p и p . Дальнейшее уравнивание сети выполняем способом
1,2,3+4 7,8'+6 5
одной узловой точки. При уравнивании нивелирных сетей способом
эквивалентной замены сети могут иметь различный вид. Постепенно заменяя
отдельные линии эквивалентными линиями, приводим систему линий или к одной
линии, которая проложена между двумя твердыми точками, или к нескольким
линиям, сходящимся в одной точке.
Пример уравнивания методом эквивалентной замены дан в табл. 46. В графы 1, 2, 3, 4 и 5 выписываем номера линий, названия точек, между которыми они проложены, значения измеренных превышений, длины и веса линий. В графах 6, 7, 8 и 9 вычисляем предварительные отметки точек K и N и уравненные значения отметок всех точек. Нивелирную сеть уравниваем способом одной узловой точки (стен. марка 506). Отметку точки 506 находим, используя предварительные отметки грунт, реп. 164 и стен. реп. 2155 и длины эквивалентных ходов I и II.
Таблица 46
УРАВНИВАНИЕ ВЫСОТ УЗЛОВЫХ ТОЧЕК СПОСОБОМ
ЭКВИВАЛЕНТНОЙ ЗАМЕНЫ (III КЛАСС)
┌───┬──────┬───────┬──────┬──────┬────────┬───────┬───────┬──────┬────┬────┬─────┐
│N │Наз- │Изме- │Длина │Вес │Исходные│Вычис- │Остаток│p эп- │Поп-│ 2 │ 2│
│ли-│вание │ренное │линий │p = │
<*> в │ленные │эпси- │силон │рав-│ню │p ню │
│ний│нача- │превы- │L, км │100/L │уравнен-│отмет- │лон, │ │ка │ │ │
│ │льной │шение, │ │ │ные │ки, м │мм │ │ню, │ │ │
│ │и │м │ │ │отметки,│ │ │ │мм │ │ │
│ │конеч-│ │ │ │м │ │ │ │ │ │ │
│ │ной │ │ │ │ │ │ │ │ │ │ │
│ │точек │ │ │ │ │ │ │ │ │ │ │
│ │хода │ │ │ │ │ │ │ │ │ │ │
├───┼──────┼───────┼──────┼──────┼────────┼───────┼───────┼──────┼────┼────┼─────┤
│1 │Стен. │+2,763 │25,0 │4,0 │155,627 │158,390│+90 │360 │+18 │324 │1440 │
│ │реп. │ │ │ │
<*> │ │ │ │ │ │ │
│ │2463 -│ │ │ │158,408 │ │ │ │ │ │ │
│ │грунт.│ │ │ │ │ │ │ │ │ │ │
│ │реп. │ │ │ │ │ │ │ │ │ │ │
│ │164 │ │ │ │ │ │ │ │ │ │ │
│2 │Грунт.│+7,462 │16,4 │6,1 │150,968 │158,430│+130 │793 │-22 │484 │2852 │
│ │реп. │ │ │ │
<*> │ │ │ │ │ │ │
│ │276 - │ │ │ │158,408 │ │ │ │ │ │ │
│ │грунт.│ │ │ │ │ │ │ │ │ │ │
│ │реп. │ │ │ │ │ │ │ │ │ │ │
│ │164 │ │ │ │ │ │ │ │ │ │ │
│3 │Стен. │-2,854 │19,4 │5,2 │161,263 │158,408│+108 │542 │0 │0 │0 │
│ │реп. │ │ │ │
<*> │ │ │ │ │ │ │
│ │246 - │ │ │ │158,408 │ │ │ │ │ │ │
│ │грунт.│ │ │ │ │ │ │ │ │ │ │
│ │реп. │ │ │ │ │ │ │ │ │ │ │
│ │164 │ │ │ │ │ │ │ │ │ │ │
├───┼──────┴───────┴──────┼──────┼────────┼───────┼───────┼──────┼────┼────┼─────┤
│ │L = 1/[p] = 6,5 │ │[15,3] │ │ │[1695]│ │ │ │
│ │ 1,2,3 │ │ │ │ │ │ │ │ │
│ │ │ Н = 158,300 + [p эпсилон] / [p] = 158,411 │ │
│ │ │ 164 │ │ │ │ │ │ │
│7 │Стен. │-16,853│26,4 │3,8 │202,434 │185,581│+81 │308 │+16 │256 │973 │
│ │реп. │ │ │ │
<*> │ │ │ │ │ │ │
│ │2563 -│ │ │ │185,597 │ │ │ │ │ │ │
│ │стен. │ │ │ │ │ │ │ │ │ │ │
│ │реп. │ │ │ │ │ │ │ │ │ │ │
│ │2155 │ │ │ │ │ │ │ │ │ │ │
│8 │Марка │+2,636 │8,5 │2,9 │182,963 │185,598│+98 │284 │-1 │1 │1 │
│ │25 - │ │
<**> │ │
<*> │ │ │ │ │ │ │
│ │стен. │ │ │ │185,597 │ │ │ │ │ │ │
│ │реп. │ │ │ │ │ │ │ │ │ │ │
│ │2155 │ │ │ │ │ │ │ │ │ │ │
├───┼──────┴───────┴──────┼──────┼────────┼───────┼───────┼──────┼────┼────┼─────┤
│ │L = 1 / [p] = 17,2│[6,7] │ │ │ │[592] │ │ │ │
│ │ 7,8 │ │ │ │ │ │ │ │ │
│ │ │H = 185,500 + [p эпсилон] / p = 185,888 │ │
│ │ │ 2155 │ │
│1, │Грунт.│+10,766│6,5 │ │158,408 │158,411│+77 │524 │-3 │16 │194 │
│2, │реп. │ │8,3 │ │169,170 │169,177│ │ │-4 │ │ │
│3+4│164 - │ │ │ │ │ │ │ │-- │ │ │
│ │марка │ │ │ │ │ │ │ │-7 │ │ │
│ │506 │ │ │ │ │ │ │ │ │ │ │
│5 │Грунт.│L = 14,8│6,8 │167,004 │ │ │ │ │ │ │
│ │реп. │ 1,2,3+4 │ │
<*> │ │ │ │ │ │ │
│ │2126 -│+ 2,153│16,9 │5,9 │169,170 │169,157│+57 │336 │+13 │169 │997 │
│ │марка │ │ │ │ │ │ │ │ │ │ │
│ │506 │ │ │ │ │ │ │ │ │ │ │
│7, │Стен. │-16,400│17,2 │ │185,597 │185,888│ │ │-9 │81 │243 │
│8+ │реп. │ │16,3 │ │ │ │ │ │-9 │ │ │
│46 │2155 -│ │ │ │ │ │ │ │--- │ │ │
│ │марка │ │ │ │169,170 │169,188│+88 │264 │-18 │ │ │
│ │506 ├───────┴──────┼──────┤ │ │ │ │ │ │ │
│ │ │L = 33,5 │3,0 │ │ │ │ │ │ │ │
│ │ │ 7,8+6 │ │ │ │ │ │ │ │ │
├───┼──────┼───────┬──────┼──────┼────────┼───────┼───────┼──────┼────┼────┼─────┤
│ │ │ │ │[15,7]│ │ │ │[1104]│ │ │ │
└───┴──────┴───────┴──────┴──────┴────────┴───────┴───────┴──────┴────┴────┴─────┘
--------------------------------
<*> Отметки исходных точек.
<**> Ход нивелирования IV класса.
Полученные в результате уравнивания поправки

в превышения распределяют пропорционально длинам отдельных линий
Для вычисления средней квадратической погрешности единицы веса пользуются формулой:
где s - число нивелирных линий в сети; l - число определяемых точек в сети.
7.7. СОСТАВЛЕНИЕ КАТАЛОГОВ ВЫСОТ ПУНКТОВ НИВЕЛИРОВАНИЯ
После окончания уравнивания нивелирных линий на каждый завершенный объект составляется "Каталог высот пунктов нивелирования". При составлении каталога следует руководствоваться "Инструкцией по составлению каталогов высот пунктов нивелирования" и "Инструкцией по вычислению нивелировок". Обе инструкции изданы в 1971 г. издательством "Недра". Здесь же приведем только некоторые основные указания по составлению нивелирных каталогов, взятые из этих инструкций.
Каталоги составляются по форме, приведенной в табл. 47. Нивелирные линии в каталоге помещают по классам в порядке убывания их точности. Первыми помещают линии старшего класса. Каждой линии и каждому нивелирному знаку присваивают свой номер. Номер у знаков сохраняется на всех линиях один и тот же. Каталог составляют в две руки. Принятый ОТК каталог размножают при помощи множительных аппаратов в пяти или шести экземплярах. Если нивелирный объект находится на территориях двух инспекций Госгеонадзора, то каталог размножают в шести экземплярах и каждая инспекция получает по одному экземпляру. Каталоги рассылают: Центральному фонду ГУГК при СМ СССР (ЦКГФ) - два экземпляра, Центральной геодезической части ВТС - два экземпляра и территориальной инспекции Госгеонадзора ГУГК - один экземпляр.
Таблица 47
СПИСОК ПРЕВЫШЕНИЙ И ВЫСОТ ПУНКТОВ НИВЕЛИРОВАНИЯ
┌───┬───────┬──────────────┬─────┬────────┬────────────┬────────┬───────┬───────┐
│ │Тип │ Описание │Рас- │Измерен-│ Поправки, │Уравнен-│Расхож-│Высота │
│ │знака, │местоположения│сто- │ное пре-│ мм │ное пре-│дение │над │
│ │номер │ нивелирного │яние │вышение,├──────┬─────┤вышение,│между │уровнем│
│ │(назва-│ знака │от │м │за пе-│из │м │прямым │моря, м│
│ │ние) │ │на- │ │реход │урав-│ │и об- │ │
│ │пункта,│ │чаль-│ │к нор-│нива-│ │ратным │ │
│ │тип │ │ного │ │маль- │ния │ │ходами,│ │
│ │центра │ │пунк-│ │ным │ │ │мм │ │
│ │ │ │та, │ │высо- │ │ │ │ │
│ │ │ │км │ │там │ │ │ │ │
├───┼───────┼──────────────┼─────┼────────┼──────┼─────┼────────┼───────┼───────┤
│ 1 │ 2 │ 3 │ 4 │ 5 │ 6 │ 7 │ 8 │ 9 │ 10 │
├───┴───────┴──────────────┴─────┴────────┴──────┴─────┴────────┴───────┴───────┤
│ Линия N 3. Березняки - Ивановка. Нивелирование II класса, 1964 г. │
│ Предприятие N 6. Работа N 1 │
│ │
│42 │Марка │Березняки, │0 │-11,1732│-0,8 │-0,2 │-11,1742│-1,2 │185,323│
│ │151 │ст., вод. │ │ │ │ │ │ │ │
│ │ │башня, южн. │ │ │ │ │ │ │ │
│ │ │сторона │ │ │ │ │ │ │ │
│43 │Стен. │Березняки, │ │ │ │ │ │ │ │
│ │реп. │ст., зд. депо,│2,7 │-2,4014 │-0,7 │-0,4 │-2,4025 │-0,5 │174,149│
│ │2161 │сев. сторона │ │ │ │ │ │ │ │
│44 │Грунт. │Ельдин, с., у │ │ │ │ │ │ │ │
│ │реп. │юго-зап. угла │ │ │ │ │ │ │ │
│ │2832, │ограды │9,8 │-1,081 │ │ │ │ │171,746│
│ │тип 121│кладбища │ │ │ │ │ │ │ │
│ │ │ │ │ │ │ │ │ │ │
│ │ │Контрольный │ │ │ │ │ │ │170,665│
│ │ │репер 3183 в │ │ │ │ │ │ │ │
│ │ │верхней │ │ │ │ │ │ │ │
│ │ │плоскости │ │ │ │ │ │ │ │
│ │ │монолита │ │ │ │ │ │ │ │
│ │
│ Линия N 21. Грунт. реп. 136 - марка 2085, нивелирование III класса 1964 г. │
│ Предприятие N 6. Работа N 1 │
│ │
│418│Грунт. │Озерный, с., в│0 │-1,590 │ │ │ │ │192,551│
│ │реп. │3 км к югу от │ │ │ │ │ │ │ │
│ │136, │него, в 0,3 км│ │ │ │ │ │ │ │
│ │тип │к сев.-вост. │ │ │ │ │ │ │ │
│ │116 │от оз. │ │ │ │ │ │ │ │
│ │ │Травянистое, у│ │ │ │ │ │ │ │
│ │ │пол. стана │ │ │ │ │ │ │ │
│ │ │клх. │ │ │ │ │ │ │ │
│ │ │"Коммунизм" │ │ │ │ │ │ │ │
└───┴───────┴──────────────┴─────┴────────┴──────┴─────┴────────┴───────┴───────┘
Составительный оригинал каталога хранится в организации, составившей его.
В каталог включают все новые и старые линии нивелирования, имеющиеся на объекте и совместно уравненные.
Исходными данными для составления каталога служат каталоги высот пунктов нивелирования и дополнения к ним, составленные ранее, ведомости превышений и высот знаков уравненных нивелирных линий и материалы переуравнивания нивелирных сетей. В каталог выписывают только те высоты старых знаков, которые являются начальными и конечными точками уравниваемых линий нивелирования на данном объекте. Кроме постоянных знаков, в каталог включают все надежные временные реперы, особенно в малообжитых и труднодоступных районах.
К каждому каталогу прилагают пояснение (объяснительную записку) и схему нивелирных линий. В пояснении к каталогу указывают, в какой системе высот уравнены нивелирные линии. Как правило, нивелирные линии уравнивают в Балтийской системе высот. Указывают перечень включенных в каталог работ по нивелированию с указанием организации, выполнившей полевые работы, класс, год или годы их выполнения. Дают качественные характеристики всех линий, их случайные и систематические средние квадратические погрешности на 1 км хода, невязки полигонов и другие данные. Отдельно приводят список нивелирных линий (участок линий) и отдельных секций, где невязки недопустимы. К каталогу прилагают чертежи всех центров и реперов, которыми закреплены линии нивелирования, а также приводят сведения о закреплении отдельных линий. В заключении приводят сведения о всех произведенных работах по обследованию и восстановлению линий, выполненных после окончания работ по созданию сети, сообщают данные о всех утраченных нивелирных знаках за это время и о тех нивелирных работах, которые не включены в каталог, указывают причины невключения и принятые в каталоге сокращения.
В конце каталога помещают алфавитный указатель пунктов нивелирования, содержащий номера знаков или их названия, вид знака, его номер по каталогу и номенклатуру трапеции в масштабе 1:1000000, на которой данный знак находится.
В алфавитный указатель сначала выписывают знаки нивелирования, имеющие номер в порядке их возрастания, а затем в соответствии с алфавитом - пункты, имеющие названия.
ТАБЛИЦА ВЕСОВ P ПРЕВЫШЕНИЙ ДВУСТОРОННЕГО
ТРИГОНОМЕТРИЧЕСКОГО НИВЕЛИРОВАНИЯ
┌──────────┬────────┬─────────┬────────┬────────┬────────┬────────┬───────┐
│ s , км │ p │ s , км │ p │ s , км │ p │ s , км │ p │
│ 1 │ │ 1 │ │ 1 │ │ 1 │ │
├──────────┼────────┼─────────┼────────┼────────┼────────┼────────┼───────┤
│ │ │3,0 │11,11 │6,0 │2,78 │9,0 │1,23 │
│0,1 │10000 │1 │10,41 │1 │2,69 │1 │1,21 │
│2 │2500 │2 │9,77 │2 │2,60 │2 │1,18 │
│3 │1111 │3 │9,18 │3 │2,52 │3 │1,16 │
│4 │625 │4 │8,65 │4 │2,44 │4 │1,13 │
│0,5 │400 │3,5 │8,16 │6,5 │2,37 │9,5 │1,11 │
│6 │278 │6 │7,72 │6 │2,30 │6 │1,09 │
│7 │204 │7 │7,30 │7 │2,23 │7 │1,06 │
│8 │156 │8 │6,93 │8 │2,16 │8 │1,04 │
│9 │123 │9 │6,57 │9 │2,10 │9 │1,02 │
│1,0 │100 │4,0 │6,25 │7,0 │2,04 │10,0 │1,00 │
│1 │82,6 │1 │5,95 │1 │1,98 │1 │0,98 │
│2 │69,4 │2 │5,67 │2 │1,93 │2 │0,96 │
│3 │59,2 │3 │5,41 │3 │1,88 │3 │0,94 │
│4 │51,0 │4 │5,17 │4 │1,83 │4 │0,92 │
│1,5 │44,4 │4,5 │4,94 │7,5 │1,78 │10,5 │0,91 │
│6 │39,1 │6 │4,73 │6 │1,73 │6 │0,89 │
│7 │34,6 │7 │4,53 │7 │1,69 │7 │0,87 │
│8 │30,9 │8 │4,34 │8 │1,64 │8 │0,86 │
│9 │27,7 │9 │4,16 │9 │1,60 │9 │0,84 │
│2,0 │25,0 │5,0 │4,00 │8,0 │1,56 │11,0 │0,83 │
│1 │22,7 │1 │3,84 │1 │1,52 │1 │0,81 │
│2 │20,7 │2 │3,70 │2 │1,49 │2 │0,80 │
│3 │18,9 │3 │3,56 │3 │1,45 │3 │0,78 │
│4 │17,4 │4 │3,43 │4 │1,42 │4 │0,77 │
│2,5 │16,0 │5,5 │3,31 │8,5 │1,38 │11,5 │0,76 │
│6 │14,8 │6 │3,19 │6 │1,35 │6 │0,74 │
│7 │13,7 │7 │3,08 │7 │1,32 │7 │0,73 │
│8 │12,8 │8 │2,97 │8 │1,29 │8 │0,72 │
│9 │11,9 │9 │2,87 │9 │1,26 │9 │0,71 │
└──────────┴────────┴─────────┴────────┴────────┴────────┴────────┴───────┘
ТАБЛИЦА ПОПРАВОК В ПРЕВЫШЕНИЯ ЗА КРИВИЗНУ ЗЕМЛИ И РЕФРАКЦИЮ
┌─────┬─────┬─────┬─────┬─────┬─────┬──────┬─────┬─────┬──────┬─────┬─────┐
│ s , │A , м│Дель-│ s , │A , м│Дель-│ s , │A , м│Дель-│s , км│A , м│Дель-│
│ 1 │ 1 │та │ 1 │ 1 │та │ 1 │ 1 │та │ 1 │ 1 │та │
│ км │ │ │ км │ │ │ км │ │ │ │ │ │
├─────┼─────┼─────┼─────┼─────┼─────┼──────┼─────┼─────┼──────┼─────┼─────┤
│0,000│0,00 │ │3,000│0,61 │5 │6,000 │2,46 │8 │9,000 │5,52 │13 │
│100 │0,00 │ │100 │0,66 │4 │100 │2,54 │8 │100 │5,65 │12 │
│200 │0,01 │1 │200 │0,70 │4 │200 │2,63 │9 │200 │5,77 │13 │
│300 │0,01 │0 │300 │0,74 │5 │300 │2,71 │8 │300 │5,90 │13 │
│400 │0,02 │1 │400 │0,79 │5 │400 │2,79 │9 │400 │6,03 │13 │
│0,500│0,02 │0 │3,500│0,84 │4 │6,500 │2,88 │9 │9,500 │6,16 │13 │
│600 │0,03 │1 │600 │0,89 │5 │600 │2,97 │9 │600 │6,29 │13 │
│700 │0,04 │1 │700 │0,93 │5 │700 │3,06 │9 │700 │6,42 │13 │
│800 │0,06 │2 │800 │0,98 │6 │800 │3,15 │9 │800 │6,55 │13 │
│900 │0,07 │1 │900 │1,04 │5 │900 │3,24 │10 │900 │6,68 │13 │
│1,000│0,08 │1 │4,000│1,09 │6 │7,000 │3,34 │10 │10,000│6,82 │13 │
│100 │0,10 │2 │100 │1,15 │5 │100 │3,44 │10 │100 │6,96 │13 │
│200 │0,12 │2 │200 │1,20 │6 │200 │3,54 │10 │200 │7,10 │13 │
│300 │0,13 │1 │300 │1,26 │6 │300 │3,64 │10 │300 │7,24 │13 │
│400 │0,15 │2 │400 │1,32 │6 │400 │3,74 │10 │400 │7,38 │14 │
│1,500│0,17 │2 │4,500│1,38 │6 │7,500 │3,84 │10 │10,500│7,52 │14 │
│600 │0,20 │3 │600 │1,44 │7 │600 │3,94 │10 │600 │7,66 │15 │
│700 │0,22 │2 │700 │1,51 │6 │700 │4,04 │11 │700 │7,81 │14 │
│800 │0,25 │3 │800 │1,57 │7 │800 │4,15 │11 │800 │7,95 │15 │
│900 │0,27 │2 │900 │1,64 │6 │900 │4,26 │10 │900 │8,10 │15 │
│2,000│0,30 │3 │5,000│1,70 │7 │8,000 │4,36 │11 │11,000│8,25 │15 │
│100 │0,33 │3 │100 │1,77 │7 │100 │4,47 │12 │100 │8,40 │16 │
│200 │0,36 │3 │200 │1,84 │8 │200 │4,59 │11 │200 │8,56 │15 │
│300 │0,39 │3 │300 │1,92 │7 │300 │4,70 │11 │300 │8,71 │15 │
│400 │0,43 │3 │400 │1,99 │7 │400 │4,81 │12 │400 │8,86 │16 │
│2,500│0,46 │3 │5,500│2,06 │8 │8,500 │4,93 │11 │11,500│9,02 │16 │
│600 │0,50 │4 │600 │2,14 │8 │600 │5,04 │12 │600 │9,18 │11 │
│700 │0,63 │3 │700 │2,22 │7 │700 │5,16 │12 │700 │9,34 │16 │
│800 │0,57 │4 │800 │2,29 │8 │800 │5,28 │12 │800 │9,50 │16 │
│900 │ │4 │900 │2,37 │9 │900 │5,40 │12 │900 │9,66 │ │
└─────┴─────┴─────┴─────┴─────┴─────┴──────┴─────┴─────┴──────┴─────┴─────┘
II. Таблица коэффициентов Е
B \ K | 0,08 | 0,09 | 0,10 | 0,11 | 0,12 | 0,13 |
0 - 15° | 1,062 | 1,050 | 1,038 | 1,026 | 1,015 | 1,003 |
15 - 30 | 1,060 | 1,048 | 1,037 | 1,025 | 1,014 | 1,003 |
30 - 45 | 1,059 | 1,047 | 1,035 | 1,023 | 1,012 | 1,001 |
45 - 60 | 1,057 | 1,045 | 1,034 | 1,022 | 1,011 | 1,000 |
60 - 75 | 1,054 | 1,044 | 1,032 | 1,021 | 1,009 | 0,997 |
| 0,14 | 0,15 | 0,16 | 0,17 | 0,18 | 0,19 |
0 - 15° | 0,991 | 0,979 | 0,969 | 0,957 | 0,946 | 0,934 |
15 - 30 | 0,991 | 0,979 | 0,968 | 0,956 | 0,944 | 0,934 |
30 - 45 | 0,990 | 0,978 | 0,966 | 0,955 | 0,944 | 0,933 |
45 - 60 | 0,988 | 0,977 | 0,965 | 0,953 | 0,942 | 0,931 |
60 - 75 | 0,985 | 0,975 | 0,963 | 0,952 | 0,940 | 0,928 |
Помещенные в таблице веса рассчитаны по формуле:
100
p = ---,
2
s
где s - длина стороны в км.
Для односторонних превышений вес уменьшается в два раза.
Таблица I содержит поправки за кривизну Земли и рефракцию, рассчитанные по формуле:
1 - K 2
A = ----- s
2R
для широт В = 45:60° при K = 0,13.
В приведенной формуле А - поправки в превышение; фигурирующая в
таблице I величина дельта - табличная разность для соседних значений А.
При значениях B и K, отличных от указанных выше, величину А также находят по
таблице I по заданным s (км), но затем умножают на поправочный коэффициент Е, выбираемый из
таблицы II по действительным значениям В и K. В этом случае
Поправка

всегда положительна.
Александров Т.Ф. Нивелирные работы. Гостехиздат УССР, Киев, 1952. 112 с.
Ардасенов В.Д., Кольцов В.П. Исследование нивелира НС4 с самоустанавливающейся линией визирования. Известия вузов. "Геодезия и аэрофотосъемка", 1971, N 2, с. 43 - 50.
Инструкция по нивелированию I, II, III, IV классов. М, "Недра", 1966 и 1974. 120 и 160 с.
Инструкция по топографической съемке в масштабах 1:5000, 1:2000, 1:1000 и 1:500. М., "Недра", 1973. 176 с.
Инструкция по вычислению нивелировок. М., "Недра", 1971. 108 с.
Инструкция по составлению каталогов высот пунктов нивелирования. М., "Недра", 1971. 57 с.
Инструкция по топографо-геодезическим работам для городского, поселкового и промышленного строительства СН 212-62. М., Госстройиздат, 1962. 100 с.
Кольцов В.П., Ардасенов В.Д. Новый нивелир Н2. "Геодезия и картография", 1972, N 10, с. 10 - 14.
Коськов Б.И. Справочное руководство по съемке городов. М., "Недра", 1968. 240 с.
Кочетов Ф.Г. Нивелиры с самоустанавливающейся линией визирования. М., "Недра", 1969. 128 с.
Леонтович В.Г. Нивелирование при инженерных работах. М., "Геодезиздат", 1959. 384 с.
Мещерский И.Н. Нивелир с самоустанавливающейся линией визирования NiB-3. "Геодезия и картография", 1963, N 6, с. 6 - 11.
Мещерский И.Н. Исследование нивелира N 007. "Геодезия и картография", 1964, N 5, с. 18 - 23.
Мещерский И.Н. Исследование нивелира N 025. "Геодезия и картография", 1965, N 9, с. 21 - 26.
Мещерский И.Н., Энтин И.И. Ошибки нивелирования, вызванные применением инварных реек. Тр. ЦНИИГАиК, вып. 147, 1962, с. 65 - 91.
Основные положения по созданию топографических планов масштабов 1:5000, 1:2000, 1:1000 и 1:5000. М., 1970. 15 с.
Попов В.В. Уравновешивание полигонов. М., Геодезиздат, 1954, 159 с.
Правила по технике безопасности на топографо-геодезических работах. М., "Недра", 1969 и 1973. 112 и 176 с.
Тамутис З.П. Уравновешивание нивелирования и полигонометрин. М., Госгеолтехиздат, 1963. 142 с.
Толгский В.С. Геодезия в городском строительстве. М., Геодезиздат, 1958. 295 с.
Успенский М.С. Исследования по закреплению геодезических пунктов на территории СССР. Тр. ЦНИИГАиК, вып. 167, 1962. 192 с.
Центры геодезических пунктов для территорий городов, поселков и промышленных площадок. М., "Недра", 1972. 24 с.
Энтин И.И. Высокоточное нивелирование. Тр. ЦНИИГАиК, вып. 111, 1956. 340 с.