Класс бетона (марка бетона) | Модуль упругости, МПа | Расчетные сопротивления растяжению Rbt, МПа | Рекомендуемая группа пола (см. п. 1.4) | |
на статические нагрузки | на динамические, многократно повторяющиеся нагрузки | |||
В15 (М200) | 24000 | 1,30 | 0,975 | |
1,2 | 0,9 | |||
1,05 | 0,8 | |||
0,69 <*> | 0,52 <*> | |||
В22,5 (М300) | 29000 | 1,65 | 1,25 | |
1,5 | 1,13 | |||
1,35 | 1,0 | |||
0,90 <*> | 0,675 <*> | |||
В30 (М400) | 33000 | 1,95 | 1,46 | |
1,8 | 1,35 | |||
1,6 | 1,2 | |||
1,1 <*> | 0,825 <*> | |||
Грунт и засыпка | Содержание зерен, по массе, крупнее | Коэффициент постели K0, Н/см3, при расположении грунта основания | |
выше зоны опасного капиллярного поднятия грунтовых вод <1> | в зоне опасного капиллярного поднятия грунтовых вод | ||
1 | 2 | 3 | 4 |
Песок крупный и гравелистый | 0,5 мм, более 50% | 85 | 80 |
Песок средней крупности | 0,25 мм, более 50% | 70 | 65 |
Песок мелкий | 0,1 мм, более 75% | 60 | 45 |
Супесь | 0,05 мм, более 50% | 40 | 30 |
Песок пылеватый | 0,1 мм, менее 75% | 50 | 35 |
Суглинок, глина | 0,05 мм, более 40% | 65 | 45 |
Супесь, суглинок и глина пылеватые | 0,05 мм, менее 40% | 75 | 55 |
Засыпка с применением шлака из высококалорийных углей (донецких, кузнецких, карагандинских) | 2 мм, более 80% | 70 | - |
Засыпка с применением шлака из бурых углей (подмосковных, черемховских) | 2 мм, более 70% | 60 | - |


(4)Марки транспортных средств | Количество осей, шт. | Нагрузка на колесо P, тс (кН) | Площадь следа колеса F, см2 | Удельное давление на пол P = P/F, кгс/см2 (МПа) | Диаметр круга следа колеса , см2 | |
1 | 2 | 3 | 4 | 5 | 6 | |
Автомобили: | ||||||
ГАЗ-51А | 2 | 2,0 (20) | 500 | 4 (40) | 25 | |
ГАЗ-52-03 | ||||||
ГАЗ-53Ф | 2 | 2,25 (22,5) | 640 | 3,5 (35) | 28,5 | |
ГАЗ-53 | ||||||
ЗИЛ-585 | 2 | 2,72 (27,2) | 650 | 4,2 (42) | 29 | |
Урал-377 | 3 | 2,75 (27,5) | 640 | 4,3 (43) | 28,5 | |
ГАЗ-93А | 2 | 2,85 (28,5) | 710 | 4 (40) | 30 | |
ГАЗ-53А | 2 | 2,80 (28,0) | 580 | 4,8 (48) | 27 | |
ЗИЛ-164 | 2 | 3,08 (30,8) | 720 | 4,3 (43) | 30 | |
ЗИЛ-ММЗ-585 | 2 | 2,85 (28,5) | 570 | 5 (50) | 2,7 | |
ЗИЛ-164А | 2 | 3,1 (31) | 620 | 5 (50) | 28 | |
ЗИЛ-ММЗ-555 | 2 | 3,25 (32,5) | 540 | 6 (60) | 26 | |
ЗИЛ-130 | 2 | 3,50 (35,0) | 600 | 5,8 (58) | 28 | |
МАЗ-205 | 2 | 4,20 (42,0) | 700 | 6 (60) | 30 | |
ЯАЗ-210 | 3 | 4,50 (45,0) | 750 | 6 (60) | 31 | |
КрАЗ-219Б | 3 | 4,70 (47) | 780 | 6 (60) | 31,5 | |
МАЗ-503 | 2 | 4,70 (47,0) | 780 | 6 (60) | 31,5 | |
МАЗ-500 | 2 | 5,0 (50,0) | 830 | 6 (60) | 33 | |
МАЗ-200 | ||||||
КрАЗ-221 | 3 | 8,10 (81,0) | 1590 | 5,1 (51) | 45 | |
Автопогрузчики: | ||||||
4000; 4043М | 2 | 3,64 (36,4) | 490 | 7,4 (74) | 25 | |
4003; 4045М | 2 | 5,12 (51,2) | 850 | 6 (60) | 33 | |
Электрокары: | ||||||
ЭК-1,5 | 2 | 0,62 (6,25) | 42 | 15 (150) | 7,3 | |
ЭК-2 | 2 | 0,67 (6,75) | 56 | 15,7 (157) | 8,3 | |
ТС | 2 | 1,20 (12,0) | 78 | 15,3 (153) | 10 | |
Трайлер Т-101 | 3 | 6,44 (64,4) | 1073 | 6 (60) | 37 | |
ИС МЕГАНОРМ: примечание. Взамен СНиП III-В.14-72 Постановлением Госстроя СССР от 04.12.1987 N 280 с 1 июля 1988 года введены в действие СНиП 3.04.01-87. |
;
, где aр и bр - расчетные длина и ширина прямоугольного следа (aр >= bр), см, определяемые по п. 1.9; l - характеристика гибкости плиты бетонного подстилающего слоя, см, принимаемая по табл. 5 или определяемая по формуле
(9)Значения K1 при | |||||
0,1 | 0,2 | 0,4 | 0,6 | 0,8 | |
0,1 | 140,0 | - | - | - | - |
0,2 | 135,7 | 132,5 | - | - | - |
0,4 | 127,1 | 123,9 | 118,3 | - | - |
0,6 | 119,3 | 116,2 | 110,8 | 105,9 | - |
0,8 | 112,2 | 109,3 | 103,9 | 99,2 | 95,0 |
1,0 | 105,7 | 102,9 | 97,7 | 93,1 | 89,0 |
1,2 | 99,7 | 97,0 | 91,9 | 87,5 | 83,5 |
1,4 | 94,3 | 91,6 | 86,7 | 82,4 | 78,5 |
1,6 | 89,4 | 86,8 | 82,0 | 77,8 | 74,0 |
1,8 | 84,8 | 82,3 | 77,6 | 73,5 | 69,9 |
2,0 | 80,6 | 78,1 | 73,5 | 69,5 | 66,0 |
2,2 | 76,7 | 74,3 | 69,8 | 65,9 | 62,5 |
2,4 | 73,1 | 70,7 | 66,4 | 62,6 | 59,3 |
2,6 | 69,7 | 67,4 | 63,2 | 59,6 | 56,3 |
2,8 | 66,6 | 64,4 | 60,3 | 56,8 | 53,5 |
3,0 | 63,7 | 61,5 | 57,6 | 54,1 | 50,9 |
3,2 | 61,0 | 58,9 | 55,1 | 51,6 | 48,5 |
3,4 | 58,5 | 56,4 | 52,7 | 49,3 | 46,3 |
3,6 | 56,1 | 54,1 | 50,5 | 47,2 | 44,3 |
3,8 | 53,9 | 51,9 | 48,4 | 45,3 | 42,4 |
4,0 | 51,9 | 50,0 | 46,4 | 43,5 | 40,7 |
4,2 | 49,9 | 48,1 | 44,8 | 41,7 | 39,0 |
4,4 | 48,0 | 46,3 | 43,1 | 40,1 | 37,4 |
4,6 | 46,3 | 44,6 | 41,5 | 38,6 | 36,0 |
4,8 | 44,7 | 43,0 | 40,0 | 37,2 | 34,7 |
5,0 | 43,2 | 41,5 | 38,6 | 35,9 | 33,5 |
5,2 | 41,8 | 40,2 | 37,3 | 34,7 | 32,3 |
5,4 | 40,4 | 38,9 | 36,1 | 33,5 | 31,1 |
5,6 | 39,1 | 37,6 | 34,9 | 32,4 | 30,1 |
5,8 | 37,9 | 36,4 | 33,8 | 31,3 | 29,1 |
6,0 | 36,7 | 35,3 | 32,7 | 30,3 | 28,1 |
6,5 | 34,0 | 32,7 | 30,2 | 28,0 | 26,0 |
7,0 | 31,7 | 30,5 | 28,2 | 26,1 | 24,1 |
7,5 | 29,7 | 28,5 | 26,4 | 24,4 | 22,5 |
8,0 | 27,8 | 26,7 | 24,7 | 22,9 | 21,1 |
9,0 | 24,7 | 23,7 | 21,9 | 20,3 | 18,77 |
10,0 | 22,2 | 21,3 | 19,73 | 18,27 | 16,88 |
11,0 | 20,2 | 19,39 | 17,94 | 16,59 | 15,33 |
12,2 | 18,18 | 17,48 | 16,16 | 14,95 | 13,88 |
Значения K1 при | |||||
1,0 | 1,2 | 1,4 | 1,6 | 1,8 | |
1,0 | 85,4 | - | - | - | - |
1,2 | 80,0 | 76,9 | - | - | - |
1,4 | 75,2 | 72,1 | 69,3 | - | - |
1,6 | 70,7 | 67,7 | 64,9 | 62,3 | - |
1,8 | 66,6 | 63,7 | 60,9 | 58,4 | 56,1 |
2,0 | 62,9 | 60,0 | 57,3 | 54,9 | 52,6 |
2,2 | 59,4 | 56,6 | 54,0 | 51,6 | 49,3 |
2,4 | 56,2 | 53,5 | 50,9 | 48,5 | 46,3 |
2,6 | 53,3 | 50,6 | 48,1 | 45,7 | 43,5 |
2,8 | 50,6 | 47,9 | 45,4 | 43,2 | 41,0 |
3,0 | 48,1 | 45,4 | 43,0 | 40,8 | 38,7 |
3,2 | 45,7 | 43,2 | 40,8 | 38,6 | 36,6 |
3,4 | 43,6 | 41,1 | 38,8 | 36,6 | 34,6 |
3,6 | 41,6 | 39,1 | 36,9 | 34,8 | 32,8 |
3,8 | 39,8 | 37,3 | 35,1 | 33,1 | 31,2 |
4,0 | 38,1 | 35,7 | 33,5 | 31,5 | 29,7 |
4,2 | 36,5 | 34,2 | 32,1 | 30,1 | 28,3 |
4,4 | 35,0 | 32,7 | 30,7 | 28,8 | 27,0 |
4,6 | 33,6 | 31,4 | 29,4 | 27,5 | 25,7 |
4,8 | 32,4 | 30,2 | 28,2 | 26,3 | 24,5 |
5,0 | 31,2 | 29,0 | 27,0 | 25,2 | 23,5 |
5,2 | 30,0 | 27,9 | 25,9 | 24,1 | 22,5 |
5,4 | 28,9 | 26,9 | 24,9 | 23,1 | 21,5 |
5,6 | 27,9 | 25,9 | 24,0 | 22,2 | 20,6 |
5,8 | 26,9 | 24,9 | 23,1 | 21,4 | 19,82 |
6,0 | 26,0 | 24,1 | 22,3 | 20,6 | 19,08 |
6,5 | 24,0 | 22,1 | 20,4 | 18,89 | 17,43 |
7,0 | 22,3 | 20,5 | 18,89 | 17,40 | 16,02 |
7,5 | 20,8 | 19,15 | 17,60 | 16,16 | 14,84 |
8,0 | 19,5 | 17,95 | 16,49 | 15,14 | 13,87 |
9,0 | 17,31 | 15,93 | 14,65 | 13,43 | 12,29 |
10,0 | 15,56 | 14,32 | 13,15 | 12,07 | 11,05 |
11,0 | 14,13 | 13,01 | 11,95 | 10,95 | 10,03 |
12,2 | 12,73 | 11,72 | 10,76 | 9,87 | 9,04 |
Значения K1 при | |||||
2,0 | 2,2 | 2,4 | 2,6 | 2,8 | |
2,0 | 50,4 | - | - | - | - |
2,2 | 47,2 | 45,2 | - | - | - |
2,4 | 44,3 | 42,3 | 40,4 | - | - |
2,6 | 41,5 | 39,6 | 37,8 | 36,1 | - |
2,8 | 39,0 | 37,1 | 35,4 | 33,8 | 32,2 |
3,0 | 36,7 | 34,9 | 33,2 | 31,6 | 30,0 |
3,2 | 34,7 | 32,9 | 31,2 | 29,6 | 28,0 |
3,4 | 32,8 | 31,0 | 29,4 | 27,8 | 26,3 |
3,6 | 31,0 | 29,2 | 27,5 | 26,1 | 24,7 |
3,8 | 29,4 | 27,6 | 26,0 | 24,5 | 23,2 |
4,0 | 27,9 | 26,1 | 24,5 | 23,1 | 21,8 |
4,2 | 26,5 | 24,8 | 23,3 | 21,9 | 20,6 |
4,4 | 25,2 | 23,6 | 22,1 | 20,7 | 19,47 |
4,6 | 24,0 | 22,4 | 21,0 | 19,64 | 18,43 |
4,8 | 22,9 | 21,4 | 19,96 | 18,65 | 17,46 |
5,0 | 21,9 | 20,4 | 19,00 | 17,73 | 16,57 |
5,2 | 20,9 | 19,43 | 18,11 | 16,88 | 15,75 |
5,4 | 19,96 | 18,57 | 17,28 | 16,09 | 15,0 |
5,6 | 19,13 | 17,78 | 16,51 | 15,36 | 14,3 |
5,8 | 18,37 | 17,04 | 15,81 | 14,69 | 13,66 |
6,0 | 17,67 | 16,36 | 15,16 | 14,07 | 13,08 |
6,5 | 16,08 | 14,85 | 13,72 | 12,71 | 11,8 |
7,0 | 14,75 | 13,59 | 12,53 | 11,59 | 10,75 |
7,5 | 13,63 | 12,54 | 11,55 | 10,66 | 9,88 |
8,0 | 12,71 | 11,66 | 10,72 | 9,89 | 9,15 |
9,0 | 11,24 | 10,29 | 9,43 | 8,68 | 8,02 |
10,0 | 10,09 | 9,22 | 8,44 | 7,76 | 7,15 |
11,0 | 9,17 | 8,37 | 7,66 | 7,04 | 6,49 |
12,2 | 8,26 | 7,54 | 6,91 | 6,34 | 5,84 |
Значения K1 при | |||||
3,0 | 3,2 | 3,4 | 3,6 | 3,8 | |
3,0 | 28,5 | - | - | - | - |
3,2 | 26,6 | 25,2 | - | - | - |
3,4 | 24,9 | 23,5 | 22,1 | - | - |
3,6 | 23,3 | 21,9 | 20,7 | 19,47 | - |
3,8 | 21,9 | 20,6 | 19,43 | 18,23 | 17,07 |
4,0 | 20,6 | 19,38 | 18,21 | 17,08 | 15,98 |
4,2 | 19,4 | 18,22 | 17,1 | 16,03 | 15,0 |
4,4 | 18,29 | 17,16 | 16,09 | 15,08 | 14,11 |
4,6 | 17,28 | 16,19 | 15,17 | 14,22 | 13,31 |
4,8 | 16,35 | 15,31 | 14,34 | 13,44 | 12,59 |
5,0 | 15,5 | 14,51 | 13,59 | 12,74 | 11,94 |
5,2 | 14,72 | 13,78 | 12,91 | 12,1 | 11,35 |
5,4 | 14,0 | 13,1 | 12,28 | 11,52 | 10,82 |
5,6 | 13,34 | 12,48 | 11,7 | 10,99 | 10,34 |
5,8 | 12,74 | 11,92 | 11,18 | 10,5 | 9,89 |
6,0 | 12,19 | 11,4 | 10,70 | 10,06 | 9,48 |
6,5 | 10,99 | 10,28 | 9,65 | 9,08 | 8,58 |
7,0 | 10,01 | 9,35 | 8,78 | 8,27 | 7,83 |
7,5 | 9,19 | 8,58 | 8,06 | 7,6 | 7,2 |
8,0 | 8,50 | 7,94 | 7,45 | 7,03 | 6,67 |
9,0 | 7,44 | 6,94 | 6,52 | 6,15 | 5,83 |
10,0 | 6,63 | 6,18 | 5,8 | 5,48 | 5,21 |
11,0 | 6,01 | 5,59 | 5,25 | 4,95 | 4,7 |
12,2 | 5,4 | 5,03 | 4,72 | 4,46 | 4,23 |
Значения K1 при | |||||
4,0 | 4,2 | 4,4 | 4,6 | 4,8 | |
4,0 | 14,91 | - | - | - | - |
4,2 | 13,99 | 13,0 | - | - | - |
4,4 | 13,18 | 12,25 | 11,31 | - | - |
4,6 | 12,45 | 11,60 | 10,76 | 9,89 | - |
4,8 | 11,79 | 11,02 | 10,28 | 9,52 | 8,72 |
5,0 | 11,2 | 10,50 | 9,84 | 9,16 | 8,38 |
5,2 | 10,67 | 10,03 | 9,43 | 8,82 | 8,06 |
5,4 | 10,19 | 9,6 | 9,05 | 8,5 | 7,76 |
5,6 | 9,75 | 9,2 | 8,70 | 8,19 | 7,47 |
5,8 | 9,34 | 8,83 | 8,37 | 7,9 | 7,2 |
6,0 | 8,96 | 8,49 | 8,06 | 7,62 | 6,94 |
6,5 | 8,13 | 7,73 | 7,36 | 6,99 | 6,36 |
7,0 | 7,44 | 7,08 | 6,77 | 6,45 | 5,85 |
7,5 | 6,85 | 6,54 | 6,25 | 5,97 | 5,42 |
8,0 | 6,35 | 6,07 | 5,81 | 5,56 | 5,05 |
9,0 | 5,56 | 5,32 | 5,09 | 4,88 | 4,41 |
10,0 | 4,97 | 4,75 | 4,55 | 4,35 | 3,93 |
11,0 | 4,48 | 4,29 | 4,12 | 3,93 | 3,55 |
12,2 | 4,03 | 3,86 | 3,7 | 3,53 | 3,19 |
Значения K1 при | |||||
5 | 5,2 | 5,4 | 5,6 | 5,8 | |
5,0 | 7,73 | - | - | - | - |
5,2 | 7,43 | 6,91 | - | - | - |
5,4 | 7,14 | 6,64 | 6,23 | - | - |
5,6 | 6,87 | 6,38 | 5,98 | 5,65 | - |
5,8 | 6,62 | 6,15 | 5,76 | 5,43 | 5,15 |
6,0 | 6,38 | 5,93 | 5,55 | 5,23 | 4,96 |
6,5 | 5,84 | 5,41 | 5,07 | 4,77 | 4,53 |
7,0 | 5,37 | 4,98 | 4,65 | 4,38 | 4,17 |
7,5 | 4,96 | 4,59 | 4,29 | 4,06 | 3,88 |
8,0 | 4,62 | 4,26 | 3,99 | 3,8 | 3,65 |
9,0 | 4,04 | 3,75 | 3,53 | 3,39 | 3,26 |
10,0 | 3,6 | 3,35 | 3,18 | 3,06 | 2,94 |
11,0 | 3,25 | 3,03 | 2,89 | 2,77 | 2,67 |
12,2 | 2,92 | 2,73 | 2,61 | 2,51 | 2,41 |
Значения K1 при | |||||
6 | 6,5 | 7 | 7,5 | 8 | |
6,0 | 4,73 | - | - | - | - |
6,5 | 4,32 | 3,92 | - | - | - |
7,0 | 3,99 | 3,63 | 3,33 | - | - |
7,5 | 3,73 | 3,4 | 3,12 | 2,91 | - |
8,0 | 3,51 | 3,2 | 2,94 | 2,74 | 2,57 |
9,0 | 3,14 | 2,86 | 2,64 | 2,46 | 2,37 |
10,0 | 2,83 | 2,58 | 2,38 | 2,22 | 2,09 |
11,0 | 2,57 | 2,34 | 2,17 | 2,02 | 1,897 |
12,2 | 2,32 | 2,11 | 1,956 | 1,825 | 1,711 |
Значения K1 при | ||||
9 | 10 | 11 | 12,2 | |
9,0 | 2,05 | - | - | - |
10,0 | 1,853 | 1,668 | - | - |
11,0 | 1,687 | 1,518 | 1,38 | - |
12,2 | 1,521 | 1,368 | 1,244 | 1,122 |
Класс (марка) бетона | h, см | Значение l, см, при K0, Н/см3 | |||||||||||
30 | 35 | 40 | 45 | 50 | 55 | 60 | 65 | 70 | 75 | 80 | 85 | ||
1 | 2 | 3 | 4 | 5 | 6 | 7 | 8 | 9 | 10 | 11 | 12 | 13 | 14 |
B15 (М200) | 10 | 51,2 | 49,2 | 47,6 | 46,2 | 45,0 | 44,0 | 43,0 | 42,2 | 41,3 | 40,7 | 40,0 | 39,4 |
B22,5 (М300) | 10 | 53,6 | 51,6 | 49,9 | 48,5 | 47,2 | 46,1 | 45,1 | 44,2 | 43,4 | 42,7 | 42,0 | 41,4 |
11 | 57,6 | 55,5 | 53,6 | 52,1 | 50,7 | 49,5 | 48,6 | 47,5 | 46,6 | 45,8 | 45,1 | 44,1 | |
12 | 61,5 | 58,4 | 57,2 | 55,6 | 54,3 | 52,9 | 51,7 | 50,7 | 49,6 | 48,9 | 48,1 | 47,4 | |
13 | 65,2 | 62,9 | 60,8 | 59,0 | 57,5 | 56,1 | 54,9 | 53,8 | 52,8 | 52,0 | 51,1 | 50,3 | |
14 | 69,03 | 66,4 | 64,2 | 62,4 | 60,8 | 59,3 | 58,1 | 56,9 | 55,9 | 55,0 | 54,0 | 53,2 | |
15 | 72,8 | 70,0 | 67,7 | 65,7 | 63,9 | 62,4 | 61,1 | 59,9 | 58,8 | 57,8 | 56,9 | 56,0 | |
16 | 76,3 | 73,4 | 71,0 | 69,0 | 67,2 | 65,6 | 64,2 | 62,9 | 61,7 | 60,7 | 59,7 | 58,8 | |
17 | 81,7 | 76,8 | 74,3 | 72,2 | 70,3 | 68,6 | 67,1 | 65,9 | 64,7 | 63,5 | 62,5 | 61,5 | |
18 | 83,4 | 80,2 | 77,6 | 75,3 | 73,3 | 71,6 | 70,1 | 68,7 | 67,4 | 66,3 | 65,2 | 64,2 | |
19 | 86,8 | 83,5 | 80,7 | 78,5 | 76,4 | 74,6 | 73,0 | 71,5 | 70,2 | 69,0 | 67,9 | 67,0 | |
20 | 90,2 | 86,8 | 84,0 | 81,5 | 79,4 | 77,6 | 75,9 | 74,3 | 73,0 | 71,7 | 70,6 | 69,6 | |
21 | 93,6 | 90,0 | 87,1 | 84,6 | 82,3 | 80,5 | 78,7 | 77,2 | 75,6 | 74,4 | 73,3 | 72,1 | |
22 | 96,9 | 93,3 | 90,1 | 87,6 | 85,3 | 82,3 | 81,5 | 79,9 | 78,4 | 77,0 | 75,9 | 75,7 | |
23 | 100,2 | 96,4 | 93,4 | 90,5 | 88,2 | 86,1 | 84,3 | 82,6 | 81,1 | 79,7 | 78,4 | 77,2 | |
24 | 103,4 | 99,5 | 96,3 | 93,4 | 91,0 | 88,9 | 87,0 | 85,3 | 83,7 | 82,3 | 80,9 | 79,7 | |
25 | 106,7 | 102,6 | 99,3 | 96,4 | 93,9 | 91,7 | 89,6 | 87,9 | 86,3 | 84,8 | 83,5 | 82,2 | |
26 | 109,8 | 105,7 | 102,2 | 99,3 | 96,7 | 94,4 | 92,4 | 90,5 | 88,9 | 87,3 | 86,0 | 84,7 | |
27 | 113,0 | 108,7 | 105,1 | 102,0 | 99,4 | 97,1 | 95,0 | 93,1 | 91,4 | 89,9 | 88,4 | 87,1 | |
28 | 116,1 | 111,7 | 108,1 | 104,9 | 102,2 | 99,8 | 97,6 | 95,7 | 93,9 | 92,3 | 90,9 | 89,5 | |
29 | 119,2 | 114,7 | 110,9 | 107,7 | 104,9 | 102,4 | 100,2 | 98,3 | 96,5 | 94,8 | 93,3 | 91,9 | |
30 | 122,3 | 117,7 | 113,8 | 110,5 | 107,6 | 105,1 | 102,8 | 100,8 | 98,9 | 97,2 | 95,7 | 94,3 | |
B30 (М400) | 10 | 55,4 | 53,3 | 51,6 | 50,1 | 48,8 | 47,6 | 46,6 | 45,7 | 44,8 | 44,1 | 43,3 | 42,7 |
11 | 59,5 | 57,3 | 55,4 | 53,8 | 52,4 | 51,1 | 50,0 | 49,1 | 48,2 | 47,3 | 46,6 | 45,9 | |
12 | 63,5 | 61,1 | 59,1 | 57,4 | 55,9 | 54,6 | 53,4 | 52,4 | 51,4 | 50,5 | 49,7 | 49,0 | |
13 | 67,5 | 64,9 | 62,8 | 61,0 | 59,4 | 58,0 | 56,7 | 55,6 | 54,6 | 53,6 | 52,8 | 52,0 | |
14 | 71,3 | 63,6 | 66,4 | 64,4 | 62,8 | 61,3 | 60,0 | 58,8 | 57,7 | 56,7 | 55,8 | 55,0 | |
15 | 75,1 | 72,3 | 69,9 | 67,9 | 66,1 | 64,5 | 63,2 | 61,9 | 60,8 | 59,7 | 58,8 | 57,9 | |
16 | 78,9 | 75,8 | 73,3 | 71,2 | 69,4 | 67,7 | 66,3 | 65,0 | 63,8 | 62,7 | 61,7 | 60,8 | |
17 | 82,5 | 79,4 | 76,8 | 74,5 | 72,6 | 70,9 | 69,4 | 68,0 | 66,7 | 65,6 | 64,6 | 63,6 | |
18 | 86,1 | 82,8 | 80,1 | 77,8 | 75,8 | 74,0 | 72,4 | 71,0 | 69,7 | 68,5 | 67,4 | 68,4 | |
19 | 89,7 | 86,3 | 83,5 | 81,0 | 78,9 | 77,1 | 75,4 | 73,9 | 72,5 | 71,3 | 70,2 | 69,1 | |
20 | 93,2 | 89,7 | 86,7 | 84,2 | 82,0 | 80,1 | 78,4 | 76,8 | 75,4 | 74,1 | 72,9 | 71,8 | |
21 | 96,6 | 93,0 | 89,9 | 87,3 | 85,1 | 83,1 | 81,3 | 79,7 | 78,2 | 76,9 | 75,6 | 74,5 | |
22 | 100,1 | 96,3 | 93,1 | 90,4 | 88,1 | 86,0 | 84,2 | 82,5 | 81,0 | 79,6 | 78,3 | 77,1 | |
23 | 103,5 | 99,6 | 96,3 | 93,5 | 91,1 | 88,9 | 87,0 | 85,3 | 83,7 | 82,3 | 81,0 | 79,8 | |
24 | 106,8 | 102,8 | 99,4 | 96,5 | 94,0 | 91,8 | 89,8 | 88,1 | 86,4 | 85,0 | 83,6 | 82,3 | |
25 | 110,2 | 106,0 | 102,5 | 99,5 | 96,9 | 94,7 | 92,6 | 90,8 | 89,1 | 87,6 | 86,2 | 84,9 | |
26 | 113,4 | 109,2 | 105,6 | 102,5 | 99,8 | 97,5 | 95,4 | 93,5 | 91,8 | 90,2 | 88,7 | 87,4 | |
27 | 116,7 | 112,3 | 108,6 | 105,4 | 102,7 | 100,3 | 98,1 | 96,2 | 94,4 | 92,8 | 91,3 | 89,9 | |
28 | 119,9 | 115,4 | 111,6 | 108,4 | 105,4 | 103,1 | 100,8 | 98,9 | 97,0 | 95,4 | 93,8 | 92,4 | |
29 | 123,1 | 118,5 | 114,6 | 111,3 | 108,4 | 105,8 | 103,4 | 101,5 | 99,6 | 97,9 | 96,3 | 94,9 | |
30 | 126,3 | 121,5 | 117,5 | 114,1 | 111,1 | 108,5 | 106,2 | 104,1 | 102,2 | 100,4 | 98,8 | 97,3 | |
; rр - определяется по п. 1.9; Pр и l - определяются по п. 2.3.Значения коэффициента K3 | |||||||
K3 | K3 | K3 | K3 | ||||
0,02 | 145,9 | 0,42 | 97,9 | 2,1 | 17,88 | 4,1 | 2,92 |
0,04 | 142,9 | 0,44 | 96,0 | 2,2 | 15,95 | 4,2 | 2,78 |
0,06 | 139,9 | 0,46 | 94,2 | 2,3 | 14,13 | 4,3 | 2,65 |
0,08 | 137,1 | 0,48 | 92,4 | 2,4 | 12,5 | 4,4 | 2,53 |
0,1 | 134,3 | 0,5 | 90,7 | 2,5 | 11,05 | 4,5 | 2,43 |
0,12 | 131,6 | 0,6 | 82,6 | 2,6 | 9,73 | 4,6 | 2,34 |
0,14 | 128,9 | 0,7 | 75,2 | 2,7 | 8,55 | 4,7 | 2,25 |
0,16 | 126,3 | 0,8 | 68,6 | 2,8 | 7,56 | 4,8 | 2,16 |
0,18 | 123,8 | 0,9 | 62,5 | 2,9 | 6,74 | 4,9 | 2,08 |
0,2 | 121,3 | 1,0 | 56,9 | 3,0 | 6,08 | 5,0 | 2,0 |
0,22 | 118,9 | 1,1 | 51,7 | 3,1 | 5,52 | 5,1 | 1,925 |
0,24 | 116,6 | 1,2 | 47,0 | 3,2 | 5,05 | 5,2 | 1,855 |
0,26 | 114,3 | 1,3 | 42,6 | 3,3 | 4,65 | 5,3 | 1,79 |
0,28 | 112,1 | 1,4 | 38,6 | 3,4 | 4,31 | 4,5 | 1,729 |
0,3 | 109,9 | 1,5 | 34,8 | 3,5 | 4,02 | 5,5 | 1,671 |
0,32 | 107,8 | 1,6 | 31,4 | 3,6 | 3,77 | 5,6 | 1,616 |
0,34 | 105,7 | 1,7 | 28,2 | 3,7 | 3,56 | 5,7 | 1,563 |
0,36 | 103,7 | 1,8 | 25,3 | 3,8 | 3,38 | 5,8 | 1,511 |
0,38 | 101,7 | 1,9 | 22,6 | 3,9 | 3,21 | 5,9 | 1,46 |
0,4 | 99,8 | 2,0 | 20,2 | 4,0 | 3,06 | 6,0 | 1,41 |
и h'/l, rр - определяется по п. 1.9; Pр и l - по п. 2.3.Значения K2 при h'/l | |||||||
0,1 | 0,2 | 0,4 | 0,6 | 0,8 | 1 | 2 | |
0,1 | 99 | 107 | 115 | 119 | 122 | 124 | 130 |
0,2 | 82 | 90 | 99 | 105 | 108 | 111 | 117 |
0,3 | 67 | 76 | 86 | 92 | 96 | 99 | 106 |
0,4 | 55 | 65 | 75 | 81 | 85 | 88 | 95 |
0,5 | 45 | 55 | 65 | 71 | 75 | 78 | 85 |
0,6 | 36 | 46 | 56 | 62 | 66 | 69 | 77 |
0,7 | 29 | 38 | 48 | 54 | 58 | 62 | 69 |
0,8 | 23 | 32 | 42 | 47 | 51 | 55 | 63 |
0,9 | 19 | 27 | 36 | 41 | 45 | 49 | 57 |
1,0 | 15 | 23 | 31 | 36 | 40 | 43 | 51 |
1,1 | 12 | 19 | 27 | 32 | 35 | 38 | 46 |
1,2 | 9 | 15 | 23 | 28 | 31 | 34 | 41 |
1,3 | - | 12 | 19 | 24 | 27 | 30 | 36 |
1,4 | - | 10 | 16 | 20 | 23 | 26 | 32 |
1,5 | - | - | 13 | 17 | 20 | 22 | 28 |
1,6 | - | - | 11 | 14 | 17 | 19 | 25 |
1,7 | - | - | - | 12 | 14 | 16 | 22 |
1,8 | - | - | - | 10 | 12 | 14 | 19 |
1,9 | - | - | - | - | 10 | 12 | 17 |
2,0 | - | - | - | - | 9 | 10 | 15 |
, то задаются большим значением h;
для бетона класса B22,5 (марки М300), то сохраняя h = 10 см, повторным расчетом устанавливают более низкий класс (марку) бетона.Значения коэффициента K4 при Xi/l | |||||
0 | 0,05 | 0,1 | 0,15 | 0,2 | |
0 | - | 255,8 | 191,7 | 154,4 | 128,0 |
0,05 | 322,1 | 257,0 | 194,6 | 156,2 | 129,1 |
0,1 | 257,7 | 234,2 | 192,7 | 157,8 | 131,0 |
0,15 | 220,2 | 208,8 | 183,1 | 155,5 | 131,4 |
0,2 | 193,8 | 187,1 | 170,4 | 149,8 | 129,5 |
0,25 | 173,4 | 169,0 | 157,6 | 142,1 | 125,5 |
0,3 | 156,7 | 153,7 | 145,5 | 133,6 | 120,2 |
0,35 | 142,8 | 140,6 | 134,4 | 125,2 | 114,3 |
0,4 | 130,8 | 129,1 | 124,3 | 117,1 | 108,2 |
0,45 | 120,4 | 119,0 | 115,2 | 109,4 | 102,0 |
0,5 | 111,1 | 110,0 | 106,9 | 102,1 | 96,0 |
0,55 | 102,8 | 101,9 | 99,4 | 95,4 | 90,2 |
0,6 | 95,3 | 94,6 | 92,5 | 89,1 | 84,7 |
0,65 | 88,6 | 88,0 | 86,2 | 88,3 | 79,5 |
0,7 | 82,4 | 81,9 | 80,4 | 77,9 | 74,6 |
0,75 | 76,7 | 76,3 | 75,0 | 72,9 | 70,0 |
0,8 | 71,6 | 71,2 | 70,0 | 68,2 | 65,7 |
0,9 | 62,3 | 62,0 | 61,1 | 59,7 | 57,8 |
1,0 | 54,3 | 54,1 | 53,4 | 52,3 | 50,8 |
1,1 | 47,4 | 47,2 | 46,7 | 45,8 | 44,6 |
1,2 | 41,5 | 41,3 | 40,8 | 40,1 | 39,1 |
1,3 | 36,2 | 36,1 | 35,7 | 35,1 | 34,3 |
1,4 | 31,6 | 31,5 | 31,2 | 30,7 | 30,1 |
1,5 | 27,6 | 27,5 | 27,2 | 26,8 | 26,3 |
Значения коэффициента K4 при Xi/l | |||||
0,25 | 0,3 | 0,35 | 0,4 | 0,45 | |
0 | 107,8 | 91,6 | 78,0 | 66,5 | 56,6 |
0,05 | 108,6 | 92,1 | 78,4 | 66,8 | 56,8 |
0,1 | 110,2 | 93,4 | 79,5 | 67,7 | 57,5 |
0,15 | 111,4 | 94,7 | 80,7 | 68,8 | 58,5 |
0,2 | 111,2 | 95,3 | 81,6 | 69,8 | 59,6 |
0,25 | 109,5 | 94,9 | 82,0 | 70,5 | 60,4 |
0,3 | 106,6 | 93,5 | 81,5 | 70,6 | 60,8 |
0,35 | 102,7 | 91,2 | 80,3 | 70,2 | 60,9 |
0,4 | 98,4 | 88,3 | 78,5 | 69,2 | 60,5 |
0,45 | 93,7 | 84,9 | 76,2 | 67,7 | 59,6 |
0,5 | 88,9 | 81,3 | 73,6 | 65,9 | 58,4 |
0,55 | 84,2 | 77,6 | 70,7 | 63,7 | 56,9 |
0,6 | 79,5 | 73,7 | 67,6 | 61,4 | 55,2 |
0,65 | 75,0 | 70,0 | 64,5 | 58,9 | 53,3 |
0,7 | 70,7 | 66,3 | 61,4 | 56,4 | 51,3 |
0,75 | 66,6 | 62,7 | 58,4 | 53,9 | 49,3 |
0,8 | 62,7 | 59,2 | 55,4 | 51,3 | 47,1 |
0,9 | 55,4 | 52,7 | 49,6 | 46,3 | 42,8 |
1,0 | 48,9 | 46,7 | 44,2 | 41,5 | 38,7 |
1,1 | 43,1 | 41,3 | 39,3 | 37,1 | 34,7 |
1,2 | 37,9 | 36,4 | 34,8 | 33,0 | 31,0 |
1,3 | 33,3 | 32,1 | 30,7 | 29,2 | 27,8 |
1,4 | 29,2 | 28,2 | 27,1 | 25,8 | 24,4 |
1,5 | 25,6 | 24,7 | 23,8 | 22,7 | 21,5 |
Значения коэффициента K4 при Xi/l | |||||
0,5 | 0,55 | 0,6 | 0,65 | 0,7 | |
0 | 47,8 | 40,2 | 33,4 | 27,3 | 21,8 |
0,05 | 48,1 | 40,4 | 33,5 | - | - |
0,1 | 48,7 | 40,9 | 34,0 | 27,8 | 22,3 |
0,15 | 49,5 | 41,6 | 34,6 | - | - |
0,2 | 50,5 | 42,5 | 35,5 | 29,2 | 23,6 |
0,25 | 51,4 | 43,4 | 36,3 | - | - |
0,3 | 52,0 | 44,2 | 37,1 | 30,8 | 25,2 |
0,35 | 52,4 | 44,7 | 37,8 | - | - |
0,40 | 52,4 | 45,0 | 38,3 | 32,1 | 26,5 |
0,45 | 52,0 | 45,0 | 38,5 | - | - |
0,5 | 51,3 | 44,7 | 38,5 | 32,7 | 27,4 |
0,55 | 50,4 | 44,1 | 38,2 | - | - |
0,6 | 49,2 | 43,4 | 37,8 | 32,6 | 27,7 |
0,65 | 47,8 | 42,4 | 37,2 | - | - |
0,7 | 46,2 | 41,2 | 36,4 | 31,7 | 27,3 |
0,75 | 44,6 | 39,9 | 35,4 | - | - |
0,8 | 42,8 | 38,6 | 34,4 | 30,3 | 26,4 |
0,9 | 39,2 | 35,6 | 32,0 | 28,5 | 25,1 |
1 | 35,7 | 32,6 | 29,6 | 26,5 | 23,5 |
1,1 | 32,2 | 29,6 | 27,0 | 24,4 | 21,8 |
1,2 | 28,9 | 26,7 | 24,5 | 22,3 | 20,0 |
1,3 | 25,8 | 24,0 | 22,1 | 20,1 | 18,19 |
1,4 | 22,9 | 21,4 | 19,75 | 18,1 | 16,42 |
1,5 | 20,3 | 18,96 | 17,57 | 16,14 | 14,69 |
Значения коэффициента K4 при Xi/l | |||||
0,75 | 0,8 | 0,85 | 0,9 | 0,95 | |
0 | 16,95 | 12,55 | 8,59 | 5,02 | 1,80 |
0,1 | 17,38 | 12,95 | 8,95 | 5,34 | 2,09 |
0,2 | 18,53 | 14,0 | 9,92 | 6,24 | 2,93 |
0,3 | 20,0 | 15,43 | 11,27 | 7,52 | 4,14 |
0,4 | 21,5 | 16,88 | 12,71 | 8,93 | 5,51 |
0,5 | 22,5 | 18,08 | 14,0 | 10,25 | 6,86 |
0,6 | 23,1 | 18,85 | 14,94 | 11,33 | 8,03 |
0,7 | 23,1 | 19,16 | 15,5 | 12,09 | 8,94 |
0,8 | 22,6 | 19,03 | 15,66 | 12,49 | 9,53 |
0,9 | 21,7 | 18,52 | 15,46 | 12,55 | 9,81 |
1,0 | 20,0 | 17,71 | 14,96 | 12,32 | 9,82 |
1,1 | 19,21 | 16,69 | 14,24 | 11,88 | 9,61 |
1,2 | 17,75 | 15,94 | 13,37 | 11,27 | 9,23 |
1,3 | 16,24 | 14,31 | 12,40 | 10,34 | 8,72 |
1,4 | 14,73 | 13,04 | 11,37 | 9,73 | 8,11 |
1,5 | 13,23 | 11,76 | 10,31 | 8,86 | 7,44 |
Значения коэффициента K4 при Xi/l | |||||
1,0 | 1,05 | 1,1 | 1,15 | 1,2 | |
0 | -1,1 | -3,71 | -6,07 | -8,19 | -10,07 |
0,1 | -0,83 | -3,46 | -5,84 | -7,97 | -9,86 |
0,2 | -0,07 | -2,75 | -5,16 | -7,33 | -9,27 |
0,3 | 1,08 | -1,66 | -4,13 | -6,35 | -8,35 |
0,4 | 2,42 | -0,37 | -2,89 | -5,16 | -7,2 |
0,5 | 3,78 | 0,98 | -1,56 | -3,86 | -5,94 |
0,6 | 5,01 | 2,25 | -0,28 | -2,58 | -4,67 |
0,7 | 6,02 | 3,34 | 0,87 | -1,4 | -3,46 |
0,8 | 6,77 | 4,21 | 1,84 | -0,34 | -2,36 |
0,9 | 7,24 | 4,83 | 2,59 | 0,51 | -1,41 |
1,0 | 7,46 | 5,23 | 3,13 | 1,17 | -0,64 |
1,1 | 7,46 | 5,42 | 3,48 | 1,66 | -0,04 |
1,2 | 7,29 | 5,43 | 3,65 | 1,98 | 0,41 |
1,3 | 6,98 | 5,29 | 3,68 | 2,15 | 0,71 |
1,4 | 6,55 | 5,04 | 3,6 | 2,22 | 0,89 |
1,5 | 6,05 | 4,71 | 3,43 | 2,18 | 0,98 |
Значения коэффициента K4 при Xi/l | |||||
0 | 0,1 | 0,2 | 0,3 | 0,4 | |
1,5 | 27,6 | 27,2 | 26,3 | 24,7 | 22,7 |
1,6 | 24,0 | 23,7 | 22,9 | 21,6 | 19,92 |
1,7 | 20,8 | 20,6 | 19,94 | 18,85 | 17,45 |
1,8 | 18,06 | 17,87 | 17,3 | 16,38 | 15,17 |
1,9 | 15,64 | 15,46 | 14,98 | 14,20 | 13,17 |
2,0 | 13,47 | 13,33 | 12,93 | 12,27 | 11,39 |
2,1 | 11,57 | 11,45 | 11,11 | 10,56 | 9,81 |
2,2 | 9,91 | 9,81 | 9,52 | 9,05 | 8,41 |
2,3 | 8,45 | 8,37 | 8,12 | 7,71 | 7,17 |
2,4 | 7,17 | 7,10 | 6,89 | 6,54 | 6,08 |
2,5 | 6,05 | 5,99 | 5,81 | 5,51 | 5,12 |
2,6 | 5,07 | 5,02 | 4,87 | 4,61 | 4,27 |
2,7 | 4,22 | 4,18 | 4,05 | 3,82 | 3,53 |
2,8 | 3,48 | 3,44 | 3,33 | 3,14 | 2,89 |
2,9 | 2,83 | 2,8 | 2,71 | 2,55 | 2,34 |
3,0 | 2,28 | 2,25 | 2,17 | 2,04 | 1,86 |
3,2 | 1,4 | 1,38 | 1,33 | 1,23 | 1,1 |
3,4 | 0,77 | 0,76 | 0,72 | 0,65 | 0,56 |
3,6 | 0,33 | 0,32 | 0,29 | 0,25 | 0,19 |
3,8 | 0,03 | 0,03 | 0,01 | -0,02 | -0,07 |
4,0 | -0,16 | -0,16 | -0,18 | -0,21 | -0,24 |
4,5 | -0,36 | -0,36 | -0,36 | -0,37 | -0,39 |
5,0 | -0,31 | -0,31 | -0,32 | -0,32 | -0,33 |
5,5 | -0,21 | -0,21 | -0,21 | -0,21 | -0,21 |
6,0 | -0,13 | -0,13 | -0,13 | -0,12 | -0,12 |
Значения коэффициента K4 при Xi/l | ||||
0,5 | 0,6 | 0,65 | 0,7 | |
1,5 | 20,3 | 17,57 | 16,14 | 14,69 |
1,6 | 17,87 | 15,56 | 14,33 | 13,08 |
1,7 | 15,67 | 13,7 | 12,66 | 11,58 |
1,8 | 13,69 | 12,01 | 11,12 | 10,19 |
1,9 | 11,91 | 10,47 | 9,71 | 8,91 |
2,0 | 10,31 | 9,08 | 8,42 | 7,74 |
2,1 | 8,89 | 7,83 | 7,26 | 6,67 |
2,2 | 7,68 | 6,72 | 6,22 | 5,71 |
2,3 | 6,51 | 5,73 | - | - |
2,4 | 5,51 | 4,84 | - | - |
2,5 | 4,63 | 4,05 | - | - |
2,6 | 3,85 | 3,36 | - | - |
2,7 | 3,17 | 2,75 | - | - |
2,8 | 2,58 | 2,22 | - | - |
2,9 | 2,07 | 1,70 | - | - |
3,0 | 1,63 | 1,36 | - | - |
3,2 | 0,94 | 0,74 | - | - |
3,4 | 0,44 | 0,3 | - | - |
3,6 | 0,1 | -0,01 | - | - |
3,8 | -0,13 | -0,21 | - | - |
4,0 | -0,28 | -0,33 | - | - |
4,5 | -0,4 | -0,41 | - | - |
5,0 | -0,33 | -0,33 | - | - |
5,5 | -0,21 | -0,21 | - | - |
6,0 | -0,12 | -0,12 | - | - |
Значения коэффициента K4 при Xi/l | |||||
0,75 | 0,8 | 0,85 | 0,9 | 0,95 | |
1,5 | 13,23 | 11,76 | 10,31 | 8,86 | 7,44 |
1,6 | 11,81 | 10,53 | 9,26 | 7,99 | 6,75 |
1,7 | 10,48 | 9,37 | 8,26 | 7,15 | 6,07 |
1,8 | 9,24 | 8,28 | 7,32 | 6,35 | 5,4 |
1,9 | 8,09 | 7,26 | 6,42 | 5,58 | 4,74 |
2,0 | 7,03 | 6,31 | 5,58 | 4,85 | 4,11 |
2,1 | 6,05 | 5,44 | 4,81 | 4,17 | 3,53 |
2,2 | 5,19 | 4,65 | 4,1 | 3,55 | 2,99 |
2,3 | - | 3,94 | - | - | - |
2,4 | - | 3,3 | - | - | - |
2,5 | - | 2,73 | - | - | - |
2,6 | - | 2,22 | - | - | - |
2,7 | - | 1,78 | - | - | - |
2,8 | - | 1,39 | - | - | - |
2,9 | - | 1,05 | - | - | - |
3,0 | - | 0,75 | - | - | - |
3,2 | - | 0,3 | - | - | - |
3,4 | - | -0,02 | - | - | - |
3,6 | - | -0,24 | - | - | - |
3,8 | - | -0,37 | - | - | - |
4,0 | - | -0,43 | - | - | - |
4,2 | - | -0,45 | - | - | - |
4,4 | - | -0,45 | - | - | - |
4,6 | - | -0,43 | - | - | - |
4,8 | - | -0,39 | - | - | - |
5,0 | - | -0,33 | - | - | - |
5,5 | - | -0,21 | - | - | - |
6,0 | - | 0,12 | - | - | - |
Значения коэффициента K4 при Xi/l | |||||
1,0 | 1,05 | 1,1 | 1,15 | 1,2 | |
1,5 | 6,05 | 4,71 | 3,43 | 2,18 | 0,98 |
1,6 | 5,53 | 4,34 | 3,19 | 2,08 | 1,0 |
1,7 | 5,0 | 3,94 | 2,9 | 1,9 | 0,95 |
1,8 | 4,45 | 3,51 | 2,59 | 1,7 | 0,86 |
1,9 | 3,9 | 3,08 | 2,27 | 1,49 | 0,74 |
2,0 | 3,38 | 2,66 | 1,95 | 1,26 | 0,59 |
2,1 | 2,89 | 2,26 | 1,63 | 1,02 | 0,43 |
2,2 | 2,43 | 1,88 | 1,33 | 0,8 | 0,28 |
2,3 | 2,01 | - | - | - | 0,13 |
2,4 | 1,63 | - | - | - | -0,02 |
2,5 | 1,29 | - | - | - | -0,15 |
2,6 | 0,98 | - | - | - | -0,28 |
2,7 | 0,7 | - | - | - | -0,39 |
2,8 | 0,46 | - | - | - | -0,48 |
2,9 | 0,25 | - | - | - | -0,56 |
3,0 | 0,07 | - | - | - | -0,62 |
3,2 | -0,21 | - | - | - | -0,71 |
3,4 | -0,39 | - | - | - | -0,75 |
3,6 | -0,49 | - | - | - | -0,76 |
3,8 | -0,55 | - | - | - | -0,74 |
4,0 | -0,57 | - | - | - | -0,7 |
4,2 | -0,56 | - | - | - | -0,64 |
4,4 | -0,52 | - | - | - | -0,57 |
4,6 | -0,47 | - | - | - | -0,5 |
4,8 | -0,4 | - | - | - | -0,43 |
5,0 | -0,34 | - | - | - | -0,35 |
5,5 | -0,21 | - | - | - | -0,2 |
6,0 | -0,11 | - | - | - | -0,11 |
Значения коэффициента K4 при Xi/l | |||||
1,2 | 1,3 | 1,4 | 1,5 | 1,6 | |
0 | -10,07 | -13,26 | -15,78 | -17,72 | -19,15 |
0,1 | -9,86 | -13,08 | -15,62 | -17,57 | -19,01 |
0,2 | -9,27 | -12,55 | -15,15 | -17,14 | -18,63 |
0,3 | -8,35 | -11,73 | -14,41 | -16,46 | -18,02 |
0,4 | -7,2 | -10,69 | -13,45 | -15,59 | -17,21 |
0,5 | -5,94 | -9,51 | -12,34 | -14,55 | -16,24 |
0,6 | -4,67 | -8,26 | -11,14 | -13,41 | -15,17 |
0,7 | -3,46 | -7,02 | -9,92 | -12,24 | -14,05 |
0,8 | -2,36 | -5,85 | -8,73 | -11,08 | -12,91 |
0,9 | -1,41 | -4,80 | -7,62 | -9,95 | -11,77 |
1,0 | -0,64 | -3,88 | -6,61 | -8,87 | -10,68 |
1,1 | -0,04 | -3,1 | -5,71 | -7,87 | -9,66 |
1,2 | 0,41 | -2,45 | -4,91 | -6,97 | -8,71 |
1,3 | 0,71 | -1,93 | -4,22 | -6,18 | -7,84 |
1,4 | 0,89 | -1,52 | -3,65 | -5,49 | -7,06 |
1,5 | 0,98 | -1,22 | -3,18 | -4,89 | -6,36 |
1,6 | 1,0 | -1,0 | -2,79 | -4,37 | -5,73 |
1,7 | 0,95 | -0,85 | -2,48 | -3,93 | -5,18 |
1,8 | 0,86 | -0,76 | -2,23 | -3,55 | -4,7 |
1,9 | 0,74 | -0,72 | -2,04 | -3,23 | -4,27 |
2,0 | 0,59 | -0,7 | -1,88 | -2,96 | -3,9 |
2,1 | 0,43 | -0,71 | -1,75 | -2,72 | -3,58 |
2,2 | 0,28 | -0,72 | -1,66 | -2,52 | -3,29 |
2,3 | 0,13 | - | -1,58 | - | -3,03 |
2,4 | -0,02 | - | -1,53 | - | -2,81 |
2,5 | -0,15 | - | -1,49 | - | -2,62 |
2,6 | -0,28 | - | -1,45 | - | -2,44 |
2,7 | -0,39 | - | -1,41 | - | -2,28 |
2,8 | -0,48 | - | -1,37 | - | -2,13 |
2,9 | -0,56 | - | -1,33 | - | -1,99 |
3,0 | -0,62 | - | -1,28 | - | -1,86 |
3,2 | -0,71 | - | -1,21 | - | -1,63 |
3,4 | -0,75 | - | -1,12 | - | -1,43 |
3,6 | -0,76 | - | -1,02 | - | -1,24 |
3,8 | -0,74 | - | -0,92 | - | -1,08 |
4,0 | -0,7 | - | -0,82 | - | -0,93 |
4,2 | -0,64 | - | -0,72 | - | -0,79 |
4,4 | -0,57 | - | -0,62 | - | -0,66 |
4,6 | -0,5 | - | -0,53 | - | -0,54 |
4,8 | -0,43 | - | -0,44 | - | -0,43 |
5,0 | -0,35 | - | -0,35 | - | -0,34 |
5,5 | -0,2 | - | -0,19 | - | -0,18 |
6,0 | -0,11 | - | -0,10 | - | -0,08 |
Значения коэффициента K4 при Xi/l | |||||
1,7 | 1,8 | 2,0 | 2,2 | 2,4 | |
0 | -20,15 | -20,78 | -21,18 | -20,72 | -19,67 |
0,1 | -20,03 | -20,67 | - | - | - |
0,2 | -19,68 | -20,35 | -20,83 | -20,43 | -19,43 |
0,3 | -19,12 | -19,85 | - | - | - |
0,4 | -18,38 | -19,17 | -19,84 | -19,61 | -18,74 |
0,5 | -17,49 | -18,35 | - | - | - |
0,6 | -16,5 | -17,42 | -18,35 | -18,35 | -17,67 |
0,7 | -15,44 | -16,42 | - | - | - |
0,8 | -14,34 | -15,37 | -16,54 | -16,77 | -16,31 |
0,9 | -13,22 | -14,29 | - | - | - |
1,0 | -12,12 | -13,23 | -14,58 | -15,02 | -14,77 |
1,1 | -11,08 | -12,2 | - | - | - |
1,2 | -10,11 | -11,21 | -12,64 | -13,22 | -13,15 |
1,3 | -9,2 | -10,27 | - | - | - |
1,4 | -8,38 | -9,39 | -10,82 | -11,48 | -11,54 |
1,5 | -7,57 | -8,58 | - | - | - |
1,6 | -6,88 | -7,83 | -9,16 | -9,85 | -10,01 |
1,7 | -6,26 | -7,14 | - | - | - |
1,8 | -5,7 | -6,52 | -7,71 | -8,38 | -8,6 |
1,9 | -5,2 | -5,96 | - | - | - |
2,0 | -4,74 | -5,45 | -6,49 | -7,09 | -7,33 |
2,1 | -4,33 | -4,98 | - | - | - |
2,2 | -3,97 | -4,56 | -5,45 | -5,97 | -6,2 |
2,3 | - | -4,18 | - | - | - |
2,4 | - | -3,83 | -4,57 | -5,0 | -5,21 |
2,5 | - | -3,52 | - | - | - |
2,6 | - | -3,24 | -3,83 | -4,18 | -4,35 |
2,7 | - | -2,99 | - | - | - |
2,8 | - | -2,76 | -3,21 | -3,49 | -3,62 |
2,9 | - | -2,54 | - | - | - |
3,0 | - | -2,34 | -2,69 | -2,9 | -2,99 |
3,2 | - | -1,99 | -2,25 | -2,4 | -2,46 |
3,4 | - | -1,68 | -1,87 | -1,98 | -2,01 |
3,6 | - | -1,42 | -1,55 | -1,62 | -1,64 |
3,8 | - | -1,19 | -1,28 | -1,32 | -1,33 |
4,0 | - | -1,0 | -1,05 | -1,07 | -1,06 |
4,2 | - | -0,83 | - | - | - |
4,4 | - | -0,68 | - | - | - |
4,5 | - | -0,61 | -0,61 | -0,6 | -0,57 |
4,6 | - | -0,55 | - | - | - |
4,8 | - | -0,43 | - | - | - |
5,0 | - | -0,33 | -0,32 | -0,3 | -0,27 |
5,5 | - | -0,17 | -0,15 | -0,13 | -0,11 |
6,0 | - | -0,07 | -0,05 | -0,04 | -0,03 |
Значения коэффициента K4 при Xi/l | |||||
2,6 | 2,8 | 3,0 | 3,2 | 3,4 | |
0 | -18,21 | -16,51 | -14,71 | -12,9 | -11,15 |
0,2 | -18,01 | -16,35 | -14,57 | -12,79 | -11,06 |
0,4 | -17,43 | -15,87 | -14,17 | -12,46 | -10,79 |
0,6 | -16,53 | -15,11 | -13,54 | -11,94 | -10,36 |
0,8 | -15,37 | -14,13 | -12,72 | -11,26 | -9,8 |
1,0 | -14,04 | -12,99 | -11,76 | -10,45 | -9,12 |
1,2 | -12,61 | -11,75 | -10,71 | -9,56 | -8,37 |
1,4 | -11,16 | -10,48 | -9,62 | -8,62 | -7,57 |
1,6 | -9,76 | -9,24 | -8,52 | -7,67 | -6,75 |
1,8 | -8,45 | -8,04 | -7,45 | -6,74 | -5,95 |
2,0 | -7,24 | -6,93 | -6,44 | -5,85 | -5,18 |
2,2 | -6,15 | -5,91 | -5,51 | -5,02 | -4,45 |
2,4 | -5,19 | -4,99 | -4,67 | -4,25 | -3,78 |
2,6 | -4,35 | -4,18 | -3,92 | -3,57 | -3,17 |
2,8 | -3,62 | -3,48 | -3,26 | -2,97 | -2,64 |
3,0 | -2,98 | -2,87 | -2,68 | -2,45 | -2,17 |
3,2 | -2,44 | -2,34 | -2,18 | -1,99 | -1,75 |
3,4 | -1,98 | -1,89 | -1,76 | -1,59 | -1,4 |
3,6 | -1,6 | -1,52 | -1,4 | -1,25 | -1,09 |
3,8 | -1,28 | -1,21 | -1,1 | -0,98 | -0,84 |
4,0 | -1,01 | -0,94 | -0,85 | -0,75 | -0,63 |
4,5 | -0,53 | -0,47 | -0,4 | -0,33 | -0,27 |
5,0 | -0,24 | -0,2 | -0,15 | -0,11 | -0,07 |
5,5 | -0,09 | -0,06 | -0,03 | - | - |
6,0 | -0,01 | 0,01 | 0,02 | 0,03 | 0,04 |
Значения коэффициента K4 при Xi/l | |||||
3,6 | 3,8 | 4,0 | 4,2 | 4,4 | |
0 | -9,5 | -7,96 | -6,58 | -5,3 | -4,21 |
0,2 | -9,42 | -7,9 | -6,5 | -5,26 | -4,18 |
0,4 | -9,2 | -7,72 | -6,35 | -5,14 | -4,09 |
0,6 | -8,85 | -7,43 | -6,12 | -4,96 | -3,94 |
0,8 | -8,39 | -7,05 | -5,81 | -4,71 | -3,74 |
1,0 | -7,83 | -6,59 | -5,44 | -4,41 | -3,5 |
1,2 | -7,2 | -6,07 | -5,02 | -4,07 | -3,23 |
1,4 | -6,52 | -5,51 | -4,56 | -3,7 | -2,94 |
1,6 | -5,83 | -4,98 | -4,09 | -3,32 | -2,63 |
1,8 | -5,15 | -4,36 | -3,62 | -2,94 | -2,32 |
2,0 | -4,49 | -3,81 | -3,16 | -2,56 | -2,02 |
2,2 | -3,86 | -3,28 | -2,72 | -2,19 | -1,72 |
2,4 | -3,28 | -2,78 | -2,3 | -1,85 | -1,44 |
2,6 | -2,75 | -2,33 | -1,92 | -1,54 | -1,18 |
2,8 | -2,28 | -1,93 | -1,58 | -1,26 | -0,95 |
3,0 | -1,87 | -1,57 | -1,28 | -1,01 | -0,75 |
3,2 | -1,51 | -1,25 | -1,01 | -0,78 | -0,57 |
3,4 | -1,19 | -0,98 | -0,78 | -0,59 | -0,41 |
3,6 | -0,92 | -0,75 | -0,58 | -0,43 | -0,28 |
3,8 | -0,7 | -0,56 | -0,42 | -0,29 | -0,17 |
4,0 | -0,52 | -0,4 | -0,29 | -0,18 | -0,09 |
4,5 | -0,2 | -0,13 | -0,06 | 0 | 0,05 |
5,0 | -0,03 | 0,01 | 0,05 | 0,07 | 0,08 |
6,0 | 0,05 | 0,06 | 0,06 | 0,06 | 0,06 |
Значения коэффициента K4 при Xi/l | |||||
4,6 | 4,8 | 5,0 | 5,2 | 5,4 | |
0 | -3,27 | -2,48 | -1,81 | -1,27 | -0,83 |
0,2 | -3,25 | -2,46 | -1,8 | -1,26 | -0,82 |
0,4 | -3,18 | -2,4 | -1,76 | -1,22 | -0,79 |
0,6 | -3,06 | -2,31 | -1,69 | -1,17 | -0,75 |
0,8 | -2,9 | -2,19 | -1,6 | -1,1 | -0,7 |
1,0 | -2,71 | -2,04 | -1,49 | -1,02 | -0,64 |
1,2 | -2,5 | -1,87 | -1,36 | -0,92 | -0,57 |
1,4 | -2,27 | -1,69 | -1,22 | -0,82 | -0,49 |
1,6 | -2,03 | -1,5 | -1,07 | -0,71 | -0,41 |
1,8 | -1,78 | -1,31 | -0,92 | -0,59 | -0,33 |
2,0 | -1,53 | -1,12 | -0,77 | -0,48 | -0,24 |
2,2 | -1,29 | -0,93 | -0,63 | -0,37 | -0,16 |
2,4 | -1,07 | -0,76 | -0,50 | -0,27 | -0,09 |
2,6 | -0,87 | -0,6 | -0,37 | -0,18 | -0,02 |
2,8 | -0,69 | -0,46 | -0,26 | -0,1 | 0,03 |
3,0 | -0,52 | -0,32 | -0,16 | -0,03 | 0,07 |
3,2 | -0,38 | -0,21 | -0,08 | 0,03 | 0,11 |
3,4 | -0,25 | -0,12 | -0,02 | 0,07 | 0,13 |
3,6 | -0,15 | -0,05 | 0,04 | 0,1 | 0,15 |
3,8 | -0,07 | 0,01 | 0,08 | 0,12 | 0,16 |
4,0 | -0,01 | 0,05 | 0,1 | 0,13 | 0,16 |
4,5 | 0,08 | 0,12 | 0,13 | 0,14 | 0,14 |
5,0 | 0,09 | 0,10 | 0,11 | 0,11 | 0,1 |
6,0 | 0,06 | 0,06 | 0,05 | 0,04 | 0,04 |
Значения коэффициента K4 при Xi/l | |||||||
5,4 | 5,6 | 5,8 | 6,0 | 6,5 | 7,0 | 8,0 | |
0 | -0,83 | -0,48 | -0,2 | 0 | 0,24 | 0,25 | 0,1 |
0,2 | -0,82 | -0,47 | -0,2 | 0 | 0,24 | 0,25 | 0,1 |
0,4 | -0,79 | -0,45 | -0,19 | 0,01 | 0,24 | 0,25 | 0,1 |
0,6 | -0,75 | -0,42 | -0,17 | 0,02 | 0,24 | 0,25 | 0,1 |
0,8 | -0,70 | -0,38 | -0,14 | 0,04 | 0,25 | 0,24 | 0,09 |
1,0 | -0,64 | -0,34 | -0,11 | 0,06 | 0,25 | 0,23 | 0,09 |
1,5 | -0,45 | -0,2 | -0,02 | 0,12 | 0,25 | 0,22 | 0,08 |
2,0 | -0,24 | -0,05 | 0,08 | 0,16 | 0,24 | 0,19 | 0,06 |
2,5 | -0,05 | 0,07 | 0,15 | 0,19 | 0,22 | 0,17 | 0,05 |
3,0 | 0,07 | 0,14 | 0,19 | 0,2 | 0,19 | 0,14 | 0,04 |
3,5 | 0,14 | 0,17 | 0,18 | 0,18 | 0,15 | 0,1 | - |
4,0 | 0,16 | 0,16 | 0,15 | 0,15 | 0,11 | 0,07 | - |
5,0 | 0,1 | 0,09 | 0,08 | 0,07 | 0,05 | - | - |
6,0 | 0,04 | 0,03 | 0,02 | 0,02 | - | - | - |
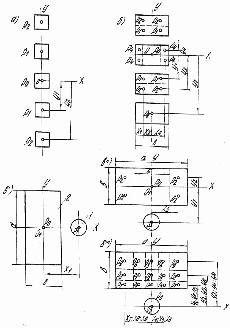
Характеристика нагрузок | Рисунок | Расчетные центры | |
количество | расположение - в центре тяжести следа | ||
1 | 2 | 3 | 4 |
Нечетное количество одинаковых нагрузок, расположенных в одном ряду | 1, а | 1 | Средней нагрузки |
То же, четное количество нагрузок | 1, б | 1 | Одной из двух средних нагрузок |
Различные по площади следа опирания | 1, в | 2 | Каждой отдельной нагрузки |
Нагрузки с удлиненными следами, расположенными в зоне загружения шириной b <= 4,4l, длиной a > b | 2, а, в | 1 | Нагрузки, ближайшей к центру тяжести зоны загружения |
Нагрузки с удлиненными следами, расположенными параллельно оси OY в зоне загружения шириной b > 4,4l, длиной a > b | 2, б', б" | 2 - 3 | Каждой отдельной нагрузки, кроме крайних |
То же, перпендикулярно оси OY | 2, г | 1 | Средней нагрузки на расстоянии L от края ее следа (см. табл. 10) |
b, см | 4,4l | 4,5l | 4,6l | 4,8l | 5l | 5,5l | 6l | 6,5l | 7l и более |
L, см | 2,2l | 1,84l | 1,67l | 1,52l | 1,4l | 1,26l | 1,18l | 1,13l | 1,1l |
Класс бетона (марка бетона) | Расчетное сопротивление растяжению, МПа | Показатель надежности расчетных сопротивлений | Вероятность отказа подстилающего слоя, % | |
на статические нагрузки | на динамические многократно повторяющиеся нагрузки | |||
B15 (М200) | 1,3 | 0,975 | 2,05 | 2,02 |
1,2 | 0,9 | 2,47 | 0,68 | |
1,05 | 0,8 | 3,08 | 0,11 | |
0,69 <*> | 0,52 <*> | 4,56 | 0,0026 | |
B22,5 (М300) | 1,65 | 1,25 | 2,09 | 1,83 |
1,5 | 1,13 | 2,58 | 0,5 | |
1,35 | 1,0 | 3,06 | 0,12 | |
0,9 <*> | 0,675 <*> | 4,5 | 0,0034 | |
B30 (М400) | 1,95 | 1,46 | 2,06 | 1,97 |
1,8 | 1,35 | 2,47 | 0,68 | |
1,6 | 1,2 | 3,01 | 0,14 | |
1,1 <*> | 0,825 <*> | 4,4 | 0,0054 | |