Главная // Актуальные документы // Рекомендация / РекомендацииСПРАВКА
Источник публикации
М.: НИИЖБ Госстроя СССР, 1988
Примечание к документу
Название документа
"Рекомендации по определению агрессивности грунтов по отношению к бетону фундаментов в районах вечной мерзлоты"
(утв. НИИЖБ Госстроя СССР 07.04.1988)
"Рекомендации по определению агрессивности грунтов по отношению к бетону фундаментов в районах вечной мерзлоты"
(утв. НИИЖБ Госстроя СССР 07.04.1988)
директором НИИЖБ Госстроя СССР
7 апреля 1988 года
РЕКОМЕНДАЦИИ
ПО ОПРЕДЕЛЕНИЮ АГРЕССИВНОСТИ ГРУНТОВ ПО ОТНОШЕНИЮ
К БЕТОНУ ФУНДАМЕНТОВ В РАЙОНАХ ВЕЧНОЙ МЕРЗЛОТЫ
Печатаются по решению секции коррозии и спецбетонов НТС НИИЖБ Госстроя СССР от 4 декабря 1987 г.
В Рекомендациях изложены методы анализа засоленных грунтов и оценки их коррозионной активности по отношению к бетонам. Дано описание методики отбора и подготовки проб грунтов для лабораторных испытаний и изложены методы исследования химического состава поровых растворов грунтов.
Рекомендации предназначены для инженерно-технических работников проектно-изыскательских и строительных организаций.
Настоящие Рекомендации разработаны на основании обобщения результатов лабораторных исследований засоленности грунтов Центральной Якутии, лабораторных и натурных исследований их коррозионной активности по отношению к бетонам, данных обследований состояния фундаментных конструкций зданий и сооружений с различным сроком эксплуатации.
Рекомендации предназначены для определения агрессивности грунтов по отношению к бетону фундаментов зданий и сооружений в районах распространения вечной мерзлоты при проведении инженерно-строительных изысканий и обследований эксплуатируемых зданий и сооружений.
В разработке Рекомендаций принимали участие: НИИЖБ (д-р техн. наук, проф. Ф.М. Иванов, канд. техн. наук Н.К. Розенталь, инж. Г.В. Любарская, канд. техн. наук М.М. Капкин); Якутпромстройниипроект (канд. техн. наук Л.Г. Хаустова, инж. О.И. Матвеева); ЯкутТИСИЗ (инж. Ф.Е. Попенко); Институт биологии ЯФ СО АН СССР (д-р хим. наук Л.Г. Еловская, канд. техн. наук А.К. Коноровский).
При внедрении новых разработок НИИЖБ оказывает научно-техническую помощь на основе хозяйственных договоров и консультативную помощь с оплатой работ по гарантийным письмам.
Адрес института: 109389, Москва, 2-я Институтская ул., д. 6.
Дирекция НИИЖБ
1.1. Настоящие Рекомендации распространяются на методы определения агрессивности засоленных грунтов по отношению к бетону конструкций в районах распространения вечной мерзлоты.
1.2. В Рекомендациях учтены следующие особенности грунтовых условий в районах распространения вечномерзлых грунтов и особенности процессов коррозии бетона:
а) слой сезонного оттаивания отличается стабильным запасом солей;
б) коррозионные процессы в бетоне развиваются на участках фундаментов, граничащих с поверхностным слоем грунтов.
1.3. Определение агрессивности грунтов по отношению к бетону конструкций производится по результатам химического анализа поверхностного слоя сезонного оттаивания грунтов толщиной 60 см по следующим показателям: суммарное содержание солей (сухой остаток), содержание сульфатов и гидрокарбонатов (бикарбонатов).
2. ОТБОР И ПОДГОТОВКА ГРУНТА ДЛЯ ИСПЫТАНИЯ
2.1. Образцы грунта отбирают в верхнем его слое толщиной 60 см. Количество образцов для каждой характерной разновидности грунта должно быть не менее трех.
2.2. Масса отобранного образца должна быть не менее 500 г, а при наличии ледяных включений - около 1000 г.
2.3. Образцы грунта необходимо отбирать, сохраняя его естественную влажность. Недопустимо вытекание воды из образцов при их отборе и транспортировании.
2.4. Каждый образец помещают в сосуд или полиэтиленовый мешочек и сопровождают документом, данные с которого переносятся в журнал для регистрирования образцов.
2.5. В рабочий журнал должны быть занесены следующие сведения:
наименование объекта;
дата отбора пробы;
место и точка отбора пробы (глубина отбора пробы);
дата производства анализа;
наименование и адрес лаборатории, производящей анализ.
2.6. Доставленные в лабораторию образцы грунта помещают в кристаллизатор и, периодически перемешивая, доводят до воздушно-сухого состояния (высушиванием в течение недели при комнатной температуре).
3. ИЗВЛЕЧЕНИЕ ПОРОВОГО РАСТВОРА ИЗ ГРУНТА
| | ИС МЕГАНОРМ: примечание. Взамен ГОСТ 25100-82 Постановлением Минстроя России от 20.02.1996 N 18-10 с 1 июля 1996 года введен в действие ГОСТ 25100-95. | |
3.1. Определяют вид грунта (механический состав) по ГОСТ 25100-82 и в соответствии с "Методами исследования физических свойств почв и грунтов" (М.: Высшая школа, 1973).
3.2. Определяют гигроскопическую влажность грунта

по
ГОСТ 5180-84.
3.3. Отбирают пробу грунта P массой 250 - 300 г.
3.4. Рассчитывают количество воды В для увлажнения грунта до полной влагоемкости

, которую принимают равной: для песков - 22,7%, супесей - 28,3%, легких суглинков - 36,5%, средних суглинков - 42%, тяжелых суглинков и глин - 43,7%. Количество воды рассчитывают по формуле

.
3.5. Пробу грунта переносят в чашку, приливают рассчитанное количество воды и перемешивают с помощью стеклянной палочки до однородного состояния. Во избежание испарения влаги чашку с грунтом накрывают полиэтиленовой пленкой или стеклом и выдерживают сутки до установления равновесной концентрации согласно "Руководству по отбору и лабораторным исследованиям грунтов, грунтовых и поровых вод с целью определения их агрессивности и коррозионной активности" (М.: РосглавНИИстройпроект, 1972).
3.6. Отжимают под давлением поровой раствор с помощью прибора, описанного в
Приложении 1 к настоящим Рекомендациям.
4. ОПРЕДЕЛЕНИЕ СУММАРНОГО СОДЕРЖАНИЯ СОЛЕЙ,
СУЛЬФАТОВ И ГИДРОКАРБОНАТОВ В ПОРОВОМ РАСТВОРЕ
А. Определение в поровом растворе суммарного
содержания солей (сухого остатка)
4.1. Отбирают пипеткой 10 мл порового раствора, помещают его в доведенную до постоянной массы фарфоровую чашку и производят выпаривание воды на водяной или песчаной бане (следует следить за тем, чтобы вода не кипела и не было разбрызгивания раствора в конце выпаривания. По окончании выпаривания чашку с полученным сухим остатком обтирают сначала фильтровальной бумагой, смоченной разбавленной соляной кислотой (для удаления возможной накипи или загрязнений из песка), а затем сухой бумагой. После этого чашку сушат в термостате при температуре 150 - 180 °C в течение 3 ч. После охлаждения в эксикаторе чашку взвешивают, затем снова помещают в термостат на 1 ч. Определение можно считать законченным, если разность между двумя взвешиваниями не будет превышать +/- 0,001 г.
4.2. Суммарное содержание солей в поровом растворе, г/л, подсчитывают по формуле

,
где а - масса чашки с сухим остатком, г;
б - масса пустой чашки, г;
V - объем раствора, взятого для выпаривания, мл.
Б. Определение в поровом растворе содержания сульфатов
Реактивы:
10%-ный раствор

;
10%-ный раствор HCl;
0,1%-ный раствор метилового красного;
1%-ный раствор

.
4.3. Отбирают 5 - 10 мл порового раствора, переносят в химический стакан, подкисляют соляной кислотой по метиловому красному до явно кислой реакции и нагревают до кипения.
Если при нагревании подкисленного раствора выпадает небольшой хлопьевидный осадок коллоидов, осадок отфильтровывают через маленький фильтр с синей лентой, промывают горячей дистиллированной водой, подкисляют HCl и после этого приступают к осаждению сульфатов.
4.4. Осаждение иона

проводят следующим образом.
В горячий раствор приливают при помешивании 10 мл нагретого до кипения 10%-ного раствора

. Кипятят раствор 3 - 5 мин, закрывают стеклом и оставляют стоять на горячей бане 30 - 60 мин. Отфильтровывают осадок через двойной беззольный фильтр с синей лентой. Промывают осадок дистиллированной водой до исчезновения реакции на ион хлора (проба по

). Осадок с фильтром переносят в предварительно прокаленный и взвешенный фарфоровый тигель, озоляют и прокаливают в муфельной печи в течение 20 - 30 мин при температуре 800 - 850 °C. Тигель охлаждают в эксикаторе и взвешивают. Прокаливание повторяют до получения постоянной массы.
4.5. Содержание иона

, г/л, подсчитывают по формуле

,
где a - масса осадка

, г;
0,4112 - коэффициент пересчета

на сульфат-ион;
V - объем раствора, взятого для определения, мл.
В. Определение в поровом растворе иона

Реактивы:
0,05 м раствор соляной кислоты;
1%-ный раствор фенолфталеина;
0,1%-ный раствор метилового оранжевого.
4.6. Берут 25 мл порового раствора, помещают в химический стаканчик и на потенциометре (pH-метре) со стеклянным электродом определяют pH порового раствора.
4.7. При pH порового раствора меньше 8,2 - растворимых карбонатов нет. В пробу порового раствора (10 мл) прибавляют 2 - 4 капли раствора метилового оранжевого, титруют соляной кислотой при постоянном помешивании раствора до перехода желтой окраски в слабо-розовую.
4.8. Содержание иона

, мг/л, рассчитывают по формуле

,
где

- объем раствора соляной кислоты, израсходованной на определение, мл;
М - молярность раствора соляной кислоты;
V - объем порового раствора, мл;
61 - эквивалентный вес иона

.
4.9. При pH более 8,2 в присутствии растворимых карбонатов определяют оба вида щелочности. В пробу порового раствора (10 мл) прибавляют 3 капли фенолфталеина и осторожно по каплям титруют раствором соляной кислоты до обесцвечивания раствора. Отмечают объем израсходованной кислоты. Далее к этому же раствору прибавляют 3 капли раствора метилового оранжевого и титруют тем же раствором соляной кислоты до перехода желтой окраски жидкости в слабо-розовую.
4.10. Содержание иона

, мг/л, рассчитывают по формуле

,
где

- объем раствора соляной кислоты, израсходованной на титрование порового раствора с фенолфталеином, мл;

- объем раствора соляной кислоты, израсходованной на титрование порового раствора с метиловым оранжевым, мл;
61 - эквивалентный вес иона

;
V - объем раствора, взятого для определения, мл.
5. ОЦЕНКА АГРЕССИВНОСТИ ГРУНТОВ
ПО ОТНОШЕНИЮ К БЕТОНУ ФУНДАМЕНТОВ
Оценку степени агрессивности воздействия грунтов следует производить путем сопоставления результатов химического анализа поровых растворов по суммарному содержанию солей, содержанию сульфатов и гидрокарбонатов, определяемых по
пп. 4.1 -
4.10 настоящих Рекомендаций, со значениями показателей агрессивности (по СНиП 2.03.11-85 "Защита строительных конструкций от коррозии" (соответственно по
табл. 5 и
6).
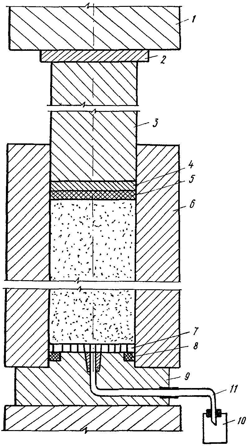
ПРИБОР ДЛЯ ОТЖАТИЯ ПОД ДАВЛЕНИЕМ ПОРОВЫХ РАСТВОРОВ
Прибор
(рис. 1) состоит из трех частей: рабочего цилиндра (6), куда помещается проба грунта, поршня (3) и поддонника (9). В поддоннике выполнено отверстие диаметром 1,5 мм, по которому стекает раствор. В выходное отверстие поддонника вставляется игла-капилляр из нержавеющей стали, в качестве которой может быть использована игла к шприцам N 12150. Капилляр непосредственно соединяется с приемником раствора (10). Для герметичности между стенками цилиндра и поддонника помещается резиновая прокладка (8), над которой размещается пистон (7) - стальная круглая пластина с сеткой (отверстия диаметром 0,5 - 1 мм). Для уплотнения в верхней части пресс-формы, между поршнем и пробой грунта помещаются эбонитовый диск (4) и резиновая прокладка (5). Внешний диаметр цилиндра равен 80 мм, внутренний - 40 мм; высота цилиндра - 180 мм. Детали пресс-формы изготовляются из нержавеющей стали марки 1Х18Н9Т. Для уменьшения трения в процессе отжатия и облегчения извлечения образца грунт помещается в бумажный стакан (гильзу из кальки, пропитанной смесью вазелина с графитом). В качестве источников давления могут быть использованы гидравлические или винтовые прессы или автомобильные домкраты.

Схема прибора для отпрессовывания поровых растворов:
1 - площадки пресса; 2 - стальная прокладка; 3 - поршень;
4 - эбонитовый диск; 5 - резиновая прокладка; 6 - цилиндр;
7 - пистон; 8 - резиновое кольцо; 9 - поддонник;
10 - приемник; 11 - Z-образная игла-капилляр
Процесс подготовки прибора к работе следующий:
1. Трущиеся части смазывают вазелином, цилиндр устанавливают на поддонник.
2. В цилиндр помещают бумажную промасленную гильзу.
3. В гильзу между слоями фильтровальной бумаги засыпают слой дренажной подсыпки толщиной 2 - 3 мм, в качестве которой используют отмытый 10%-ный HCl и прокаленный кварцевый песок.
4. Грунт засыпают по частям (по 4 - 5 столовых ложек) и равномерно уплотняют ручным деревянным или эбонитовым уплотнителем так, чтобы верхняя часть цилиндра на высоту 40 - 50 мм оставалась полой.
5. В цилиндр помещают поршень.
6. Пресс-форму устанавливают между плитами пресса. Давление, необходимое для выделения раствора, обычно составляет 10 - 20 МПа.
После отжатия раствора из образца поддонник убирают, цилиндр с поршнем помещают в другой цилиндр с большим внешним диаметром, куда выталкивается образец.