Главная // Актуальные документы // ПособиеСПРАВКА
Источник публикации
М.: Прейскурантиздат, 1988
Примечание к документу
Название документа
"Пособие по тепловой обработке железобетонных изделий продуктами сгорания природного газа (к СНиП 3.09.01-85)"
"Пособие по тепловой обработке железобетонных изделий продуктами сгорания природного газа (к СНиП 3.09.01-85)"
ПО ТЕПЛОВОЙ ОБРАБОТКЕ ЖЕЛЕЗОБЕТОННЫХ ИЗДЕЛИЙ
ПРОДУКТАМИ СГОРАНИЯ ПРИРОДНОГО ГАЗА
Рекомендовано к изданию секцией N 3 технологии бетона Научно-технического совета НИИЖБ Госстроя СССР.
Приведены рекомендации по тепловой обработке тяжелых, мелкозернистых и легких бетонов в среде продуктов сгорания природного газа с учетом активности цемента при пропаривании, конструктивные решения и принцип работы установок периодического и непрерывного действия.
Для инженерно-технических работников заводов, проектных и научно-исследовательских организаций строительной индустрии.
Табл. 6, ил. 6.
Разработано НИИЖБ Госстроя СССР (доктора техн. наук, проф. Б.А. Крылов, проф. Л.А. Малинина, канд. техн. наук Н.Н. Куприянов, инженеры М.В. Работина, Н.Л. Колесников, В.В. Пешков, Т.Б. Мишина), ВНПО Союзпромгаз (кандидаты техн. наук Э.Б. Пинсон, К.Н. Звягинцев, инженеры В.М. Архангельский, В.Е. Андреев), СФ ВНИИСТ (канд. техн. наук Е.И. Слепокуров, инженеры Л.В. Соколова, К.В. Скарбялюс), ВЗИСИ (д-р техн. наук, проф. А.Н. Счастный, инж. И.Э. Пинсон), ИСиА Госстроя БССР (кандидаты техн. наук Б.А. Плющ, Э.Л. Каплан, В.М. Солдаткин), ЦНИИЭПсельстрой (кандидаты техн. наук Б.И. Костенко, Д.С. Михановский, инж. С.П. Прохоров).
Замечания и предложения по содержанию Пособия просим направлять в НИИЖБ по адресу: 109389, Москва, 2-я Институтская, 6.
1.1. Настоящее Пособие распространяется на изготовление бетонных и железобетонных изделий из мелкозернистых бетонов и бетонов на плотных и пористых заполнителях и цементах общестроительного назначения с использованием продуктов сгорания природного газа для тепловой обработки.
Пособие не распространяется на изготовление изделий из специальных видов бетона при использовании некоторых методов уплотнения бетонной смеси (прессование, вибропрессование и т.д.), на эксплуатацию изделий в химически агрессивной, водной или газовой среде, а также на тепловую обработку бетона в кассетах и термоформах.
1.2. Тепловую обработку изделий осуществляют в тепловых агрегатах периодического или непрерывного действия (ямных, щелевых) с использованием в качестве теплоносителя продуктов сгорания природного газа при заданных температурно-влажностных условиях твердения бетона. Применение продуктов сгорания в установках, имеющих тепловые отсеки (кассеты, термоформы и т.п.), не рекомендуется.
1.3. Продукты сгорания получают путем сжигания природного, попутного или смешанного газа в теплогенераторах ТОК-1, ТОК-1А или ТОБ-2. Ориентировочный расход природного газа на тепловую обработку 1 м3 легких бетонов классов до В 7,5 - 10 м3, тяжелых - 10 - 18 м3.
1.4. Установки прогрева можно размещать в помещениях цехов, отнесенных к категориям пожарной опасности Г или Д, или на открытых полигонах. Дополнительные требования к этим помещениям к вентиляции при размещении в них установок прогрева не предъявляются.
1.5. Проектирование, монтаж и эксплуатацию оборудования осуществляют в соответствии с Правилами безопасности в газовом хозяйстве, утвержденными Госгортехнадзором СССР 26 июня 1979 г., требованиями главы
СНиП II-37-76 "Газоснабжение. Внутренние и наружные устройства", Правилами технической эксплуатации электроустановок потребителей Госэнергонадзора СССР и с учетом требований настоящего Пособия.
1.6. Составы бетонов и режимы тепловой обработки необходимо назначать с учетом активности цементов при пропаривании.
1.7. Составы бетона и режимы тепловой обработки должны обеспечивать получение бетонов, отвечающих требованиям прочности и другим свойствам, нормируемым в стандартах или технических условиях для конструкций конкретных видов.
2.1. Для производства бетонных и железобетонных изделий необходимо использовать цементы, соответствующие требованиям
ГОСТ 10178-85.
2.2. Активность цемента при пропаривании, характеризующую кинетику твердения бетона при тепловой обработке, определяют по
ГОСТ 310.4-81*.
2.3. Активности цемента при тепловой обработке оценивают по ее фактической величине по
ГОСТ 22236-85 или по коэффициенту эффективности при пропаривании


,
где

- активность цемента при пропаривании;

- активность цемента нормального твердения в возрасте 28 сут.
Для экспрессного определения коэффициента эффективности используют гарантированную марку цемента, указанную в паспорте.
2.4. В зависимости от коэффициента эффективности цемента при тепловой обработке группу цемента определяют по табл. 1.
Таблица 1
Группа цемента | Вид цемента | |
I | Высокоэффективный |  0,68 |
II | Среднеэффективный | 0,57 - 0,67 |
III | Низкоэффективный |  0,56 |
Характеристика цементов по группам приведена в
Приложении.
2.5. Цементы I группы обладают интенсивным ростом прочности и обеспечивают, как правило, получение требуемой распалубочной, передаточной и отпускной прочности в зависимости от марки бетона при режимах тепловой обработки общей продолжительностью до 15 ч.
2.6. Цементы II группы обладают средним ростом прочности и обеспечивают получение требуемой прочности бетонов при режимах тепловой обработки общей продолжительностью более 15 ч.
2.7. Цементы III группы обладают медленным ростом прочности. Их применение наиболее целесообразно при изготовлении изделий без тепловой обработки.
Для получения бетонов проектных классов В15 - В25 (марок М200 - М300) требуется увеличенный расход цемента, и проектирование составов бетона следует производить для получения необходимой отпускной или передаточной прочности.
2.8. В качестве крупного и мелкого заполнителей следует применять щебень и песок, удовлетворяющие требованиям
ГОСТ 10268-80.
2.9. Качество воды для приготовления бетонной смеси должно отвечать требованиям
ГОСТ 23732-79.
2.10. Для получения бетонов с заданными свойствами по морозостойкости, водонепроницаемости, долговечности, удобоукладываемости бетонной смеси и т.д. следует использовать различные химические добавки.
3. ВЫБОР РЕЖИМОВ ТЕПЛОВОЙ ОБРАБОТКИ ИЗДЕЛИЙ
3.1. Тепловая обработка бетона назначается с целью ускорения его твердения для получения требуемой распалубочной, отпускной, передаточной или проектной прочности при соответствующих нормативных расходах цемента и тепловой энергии.
3.2. Общий цикл тепловой обработки состоит из предварительного выдерживания при температуре окружающей среды, подъема температуры, изотермического прогрева при заданной температуре и охлаждения (остывания).
3.3. При подъеме температуры в среде с пониженной относительной влажностью допускается тепловая обработка без предварительного выдерживания.
3.4. Скорость подъема температуры среды в камере, как и при пропаривании, может быть постоянной, постоянно возрастающей, ступенчатой. Чем ниже относительная влажность среды, тем выше может быть скорость ее подъема, и при постоянном ее значении может быть увеличена для тяжелых и легких конструкционных бетонов до 30 - 40 °C/ч, для конструкционно-теплоизоляционных бетонов до 40 - 50 °C/ч, для мелкозернистых бетонов - 20 - 30 °C/ч. При большей скорости подъема температуры среды для мелкозернистых бетонов после прогрева изделий до 30 - 40 °C предусмотреть выдержку в течение 1 - 1,5 ч.
3.5. Охлаждение изделий с обычным армированием следует проводить в камере в течение 2 ч. Для предварительно пряженных изделий, прогреваемых в силовых формах, время охлаждения должно быть минимальным и передачу напряжения следует производить на горячий бетон с температурой не менее 65 °C.
3.6. Оптимальной температурой изотермического прогрева для тяжелых, мелкозернистых и легких конструкционных бетонов, приготовленных на портландцементах и БТЦ, является 80 - 85 °C, на шлакопортландцементе и для легких конструкционно-теплоизоляционных бетонов - 90 - 95 °C. Для легких конструкционно-теплоизоляционных бетонов допускается повышение температуры среды до 110 °C.
3.7. С уменьшением относительной влажности среды снижается температура прогрева бетона. Поэтому ориентировочную температуру прогрева при различной относительной влажности среды следует принимать по температуре поверхности бетона по табл. 2.
─────────────┬────────────┬──────────────────────────────────────────────────────
Относительная│Психро- │ Температура, °C
влажность │метрическая ├─────┬───────────┬─────┬───────────┬─────┬────────────
среды, % │разность, °C│среды│поверхности│среды│поверхности│среды│поверхности
│ │ │ бетона │ │ бетона │ │ бетона
─────────────┴────────────┴─────┴───────────┴─────┴───────────┴─────┴────────────
100 0 60 80 100
80 5 - 6 60 55 80 75 100 95
60 10 - 13 50 70 90
40 20 - 25 40 60 80
3.8. Время изотермического прогрева зависит от температуры и относительной влажности среды, группы применяемого цемента, марки цемента и класса бетона, величины отпускаемой или передаточной прочности и ориентировочно следует назначать по табл. 3.
─────────┬───────┬───────────┬──────┬───────────────────────────────────────────────────────────────────────────────────────────────
Проектный│Группа │ К │Темпе-│ Прочность бетона в возрасте 28 сут R, %, при режиме прогрева, ч
класс │цемента│ п │ратура├───────────────────────────────┬───────────────────────────────┬───────────────────────────────
бетона │ │ │бето- │ 2 + 3(2) + 6 + 2 │ 2 + 3(2) + 12 + 2 │ 2 + 3(2) + 18 + 2
(марка) │ │ │на, °C├───────────────────────────────┴───────────────────────────────┴───────────────────────────────
│ │ │ │ Продолжительность последующего остывания, ч
│ │ │ ├───────┬───────┬───────┬───────┬───────┬───────┬───────┬───────┬───────┬───────┬───────┬───────
│ │ │ │ 0,5 │ 4 │ 12 │ 24 │ 0,5 │ 4 │ 12 │ 24 │ 0,5 │ 4 │ 12 │ 24
─────────┼───────┼───────────┼──────┼───────┼───────┼───────┼───────┼───────┼───────┼───────┼───────┼───────┼───────┼───────┼───────
В15 │ I │>= 0,68 │ 80 │57 - 65│60 - 67│63 - 68│64 - 69│65 - 71│67 - 72│69 - 73│70 - 73│71 - 75│73 - 76│74 - 76│75 - 77
(М200) │ II │0,57 - 0,67│ 80 │52 - 61│56 - 64│59 - 65│60 - 66│61 - 67│63 - 69│66 - 70│67 - 70│68 - 72│70 - 74│72 - 75│73 - 75
│ III │<= 0,56 │ 80 │45 - 55│49 - 57│51 - 59│52 - 60│53 - 61│56 - 63│59 - 65│60 - 66│61 - 67│63 - 68│67 - 71│69 - 72
─────────┼───────┼───────────┼──────┼───────┼───────┼───────┼───────┼───────┼───────┼───────┼───────┼───────┼───────┼───────┼───────
В25 │ I │>= 0,68 │ 80 │62 - 69│65 - 71│67 - 72│68 - 73│69 - 74│71 - 75│72 - 75│73 - 75│74 - 76│75 - 77│76 - 78│77 - 79
(М300) │ │ │ 60 │43 - 51│47 - 54│50 - 56│51 - 57│52 - 58│55 - 60│57 - 61│58 - 62│62 - 66│64 - 67│66 - 68│68 - 70
│ II │0,57 - 0,67│ 80 │56 - 64│60 - 67│63 - 68│64 - 68│64 - 69│67 - 72│69 - 73│70 - 74│71 - 75│72 - 75│74 - 76│75 - 77
│ │ │ 60 │36 - 45│40 - 48│43 - 50│44 - 51│46 - 53│50 - 56│52 - 57│53 - 58│57 - 62│60 - 64│63 - 66│64 - 66
│ III │<= 0,56 │ 80 │49 - 58│53 - 61│56 - 63│57 - 63│57 - 64│60 - 66│63 - 68│64 - 69│65 - 70│68 - 72│71 - 73│72 - 74
─────────┼───────┼───────────┼──────┼───────┼───────┼───────┼───────┼───────┼───────┼───────┼───────┼───────┼───────┼───────┼───────
В30 │ I │>= 0,68 │ 80 │67 - 73│70 - 75│72 - 76│73 - 77│76 - 80│77 - 80│78 - 80│79 - 80│79 - 80│80 - 81│81 - 82│82 - 83
(М400) │ │ │ 60 │49 - 56│53 - 59│57 - 62│58 - 63│60 - 65│62 - 66│65 - 68│66 - 69│70 - 73│73 - 75│75 - 76│76 - 77
│ II │0,57 - 0,67│ 80 │62 - 69│65 - 70│68 - 73│69 - 74│71 - 76│73 - 77│75 - 78│76 - 79│77 - 79│78 - 80│79 - 80│80 - 81
│ │ │ 60 │43 - 51│46 - 53│50 - 56│52 - 57│54 - 60│57 - 62│60 - 64│61 - 65│64 - 68│67 - 70│70 - 72│71 - 73
│ III │<= 0,56 │ 80 │55 - 63│58 - 65│62 - 68│63 - 69│64 - 72│67 - 72│70 - 74│71 - 75│73 - 77│76 - 79│78 - 80│79 - 80
─────────┼───────┼───────────┼──────┼───────┼───────┼───────┼───────┼───────┼───────┼───────┼───────┼───────┼───────┼───────┼───────
В40 │ I │>= 0,68 │ 80 │72 - 77│74 - 78│76 - 79│77 - 79│80 - 83│81 - 83│82 - 83│82 - 84│83 - 84│83 - 84│84 - 85│84 - 85
(М500) │ │ │ 60 │55 - 61│58 - 63│61 - 65│63 - 66│65 - 69│67 - 71│69 - 72│70 - 73│73 - 75│75 - 76│77 - 78│78 - 80
│ II │0,57 - 0,67│ 80 │67 - 73│70 - 75│72 - 76│73 - 77│74 - 78│76 - 79│77 - 79│78 - 79│80 - 82│81 - 82│82 - 83│83 - 84
│ │ │ 60 │50 - 57│53 - 60│57 - 62│58 - 63│59 - 64│61 - 65│64 - 67│65 - 68│68 - 71├70 - 72│73 - 74│74 - 75
│ III │<= 0,56 │ 80 │60 - 67│63 - 69│66 - 70│67 - 71│67 - 72│70 - 74│72 - 75│73 - 76│75 - 78│77 - 79│78 - 79│79 - 81
Примечания. 1. Режимы тепловой обработки составлены для изделий толщиной до 160 мм. С увеличением толщины изделий до 300 и 400 мм длительность изотермического прогрева следует увеличить соответственно на 1 и 2 ч.
2. Данные в
таблице приведены для бетонов без химических добавок.
3. Для нагрева бетона до 60 °C режим прогрева складывается с учетом значений, указанных в скобках.
4. В
графах 5 -
16 первое значение прочности соответствует меньшей величине

для каждой группы цемента, второе - большей.
3.9. Оптимальными режимами тепловой обработки тяжелых, мелкозернистых и конструкционных легких бетонов являются комбинированные режимы с переменной относительной влажностью среды, заключающиеся в подъеме температуры среды продуктов сгорания природного газа с относительной влажностью 20 - 60% с последующим их увлажнением на стадии изотермического прогрева до относительной влажности 80 - 100%.
3.10. Оптимальными режимами тепловой обработки легких конструкционно-теплоизоляционных бетонов в среде продуктов сгорания природного газа является температура 90 - 95 °C и относительная влажность среды 20 - 60%. Это способствует снижению отпускной влажности изделий при более равномерном распределении влаги внутри материала.
3.11. Ориентировочное нарастание прочности тяжелого, мелкозернистого и легкого бетонов проектных классов В15 - В40 (марок М200 - М500) зависит от режима тепловой обработки и группы применяемого цемента (см.
табл. 3).
3.12. При режимах с суточным оборотом форм и тепловых агрегатов температура среды на стадии изотермического прогрева может быть снижена для цементов I и II групп до 60 - 65 °C.
3.13. Ориентировочные режимы тепловой обработки тяжелых и мелкозернистых бетонов проектных классов В30 - В40 (марок М400 - М500) при температуре изотермического прогрева 60 - 65 °C представлены в
табл. 3.
3.14. В тепловых агрегатах с хорошей теплоизоляцией при термическом сопротивлении теплопередачи ограждения не менее 1,32 м2 x °C/Вт целесообразно применять для цементов I и II групп термосные режимы тепловой обработки с укороченной изотермической выдержкой, обеспечивающей прогрев бетона всех изделий в менее нагретой части камеры до 80 °C, а при суточном обороте для бетона класса В30 (марка М400) и выше - до 60 °C с последующим твердением в условиях медленного остывания без подачи тепла.
3.15. Ориентировочные режимы тепловой обработки изделий из легких конструкционно-теплоизоляционных бетонов, обеспечивающих получение 80% отпускной прочности бетона через 12 ч после окончания режима тепловой обработки, приведены в табл. 4.
Таблица 4
─────────────────┬───────┬────────────────────────────────────────
Проектные классы│Группа │ Режим тепловой обработки, ч,
(марки) бетона │цемента│ при толщине изделий, мм
│ ├────────────────────┬───────────────────
│ │ до 300 │ 301 и св.
─────────────────┴───────┴────────────────────┴───────────────────
В3,5 - В7,5 I 9 (2 + 5 + 2) 11 (2 + 7 + 2)
(М50 - М100) II 11 (2 + 7 + 2) 13 (2 + 9 + 2)
III 14 (2 + 10 + 2) 16 (2 + 12 + 2)
3.16. При назначении режимов тепловой обработки многослойных изделий, состоящих из тяжелых и легких бетонов, следует учитывать условия формования "лицом" вверх или вниз. Температурно-влажностные условия режима тепловой обработки следует назначать по верхнему слою бетона, контактирующему с теплоносителем. За расчетную толщину изделия следует принимать толщину за вычетом высоты слоя утеплителя.
3.17. Продолжительность выдерживания распалубленных изделий в цехе при температуре наружного воздуха ниже 0 °C после окончания тепловой обработки следует принимать 12 ч. При отсутствии необходимых площадей длительность выдерживания может быть сокращена до 8 - 6 ч. В этих случаях необходимо длительность изотермического выдерживания увеличивать соответственно на 0,5 или 1 ч. На полигонах остывание изделий в камерах должно продолжаться до перепада температур между изделием и наружным воздухом не более 40 °C.
3.18. При прогреве бетона в продуктах сгорания природного газа без увлажнения среды, в том числе и при термосных режимах, необходимо предусматривать защиту тяжелого бетона изделий от испарения влаги.
3.19. Для защиты бетона изделий от испарения влаги могут быть использованы любые известные способы, такие как различные пленкообразующие, влагонепроницаемые и гидрофобизирующие составы, смазки и т.д.
3.20. Нанесение защитного слоя следует проводить сразу же после окончания формовки и отделки верхней открытой поверхности изделий.
3.21. В качестве гидрофобизирующих и влагозащитных покрытий могут быть использованы, например, эмульсол, машинное масло или составы, применяемые на заводах железобетонных изделий для смазки металлических форм. Предварительно смазку следует проверить на испарение в лабораторных условиях в сушильном шкафу при температуре 100 °C. Смазку, налитую в металлическую или стеклянную банку слоем 3 - 5 мм, взвешивают с точностью 0,1 г до и после окончания прогрева. Время прогрева принимают равным длительности принятого на заводе режима тепловой обработки. Если вес ее не изменился, значит смазка пригодна для защиты бетона изделий от испарения влаги.
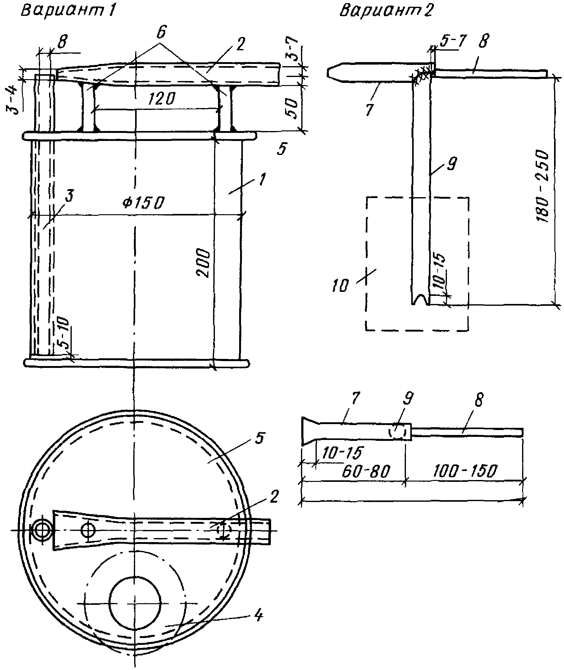
Смазку наносят с помощью установок СМЖ-18А или упрощенно пульверизатором путем мелкого набрызга (рис. 1). Ориентировочный расход смазки 90 - 100 г/м2. Количество наносимой смазки уточняется в каждом конкретном случае. Поверхность изделия должна быть увлажненной до конца изотермического прогрева.
Рис. 1. Разбрызгиватель эмульсола (вариант 1 и 2)
1 - бачок (V = 3,6 л) из оцинкованной стали

;
2 - труба (диаметр 1/2"), подающая сжатый воздух;
3 - труба, подающая эмульсол

; 4 - наливная воронка;
5 - крышка из стального листа

; 6 - стойки

;
7 - труба (диаметр 1/2"); 8 - труба

; 9 - труба

;
10 - емкость для эмульсола (V = 1 - 10 л)
3.22. Отсутствие испарения влаги повышает температуру бетона. При температуре среды 90 - 95 °C бетон прогревается до 80 - 85 °C.
4. КОНТРОЛЬ РЕЖИМА ТЕПЛОВОЙ ОБРАБОТКИ
4.1. При тепловой обработке изделий из бетонов продуктами сгорания природного газа оператор контролирует и заносит в журнал лабораторного контроля следующие показатели:
номер загружаемой камеры;
тип, количество изделий;
время окончания загрузки камеры;
время начала и конца тепловой обработки;
температуру и относительную влажность среды в камере - 1 раз в час;
разрежение в камере - 1 раз в час за цикл прогрева и при каждой регулировке.
4.2. Контроль за температурным режимом камер тепловой обработки производят путем измерения температуры среды на участке циркуляционного трубопровода на выходе из камеры до теплогенератора.
4.3. Контроль за температурным режимом осуществляют с помощью дистанционных регистрирующих или показывающих приборов, термоэлектрическими преобразователями (термопарами) или термометрами.
4.4. Разрежение в камере тепловой обработки контролируют с помощью тягонапоромера.
4.5. Относительную влажность циркулирующих продуктов сгорания природного газа определяют с помощью прибора АПВ-201 или по психрометрической
таблице по показаниям температуры сухого и мокрого термоэлектрических преобразователей, а также с помощью других известных способов.
4.6. Состав уходящих газов определяют 1 - 2 раза в месяц с помощью прибора ГХП-100 или прибора для химического анализа газов другого типа с точностью определения не ниже 5% измеряемой величины.
4.7. Прочность бетона в изделиях контролируют испытанием отобранных из заводских замесов контрольных образцов, отформованных и прогретых совместно с изделиями. Образцы отбирают и испытывают в соответствии с действующими нормативными документами.
4.8. Другие технологические требования должны соответствовать действующим техническим условиям на изготовление изделий.
4.9. Формы с контрольными образцами при тепловой обработке следует располагать в ямной камере на верхнем изделии по центру стены, у которой находится теплогенератор.
4.10. При тепловой обработке тяжелых и мелкозернистых бетонов без увлажнения среды верхнюю открытую поверхность образцов покрывают эмульсолом или другим защитным составом.
5. КОНСТРУКЦИИ И ПРИНЦИПЫ РАБОТЫ
УСТАНОВОК ПЕРИОДИЧЕСКОГО ДЕЙСТВИЯ
Установка с теплогенератором ТОК-1
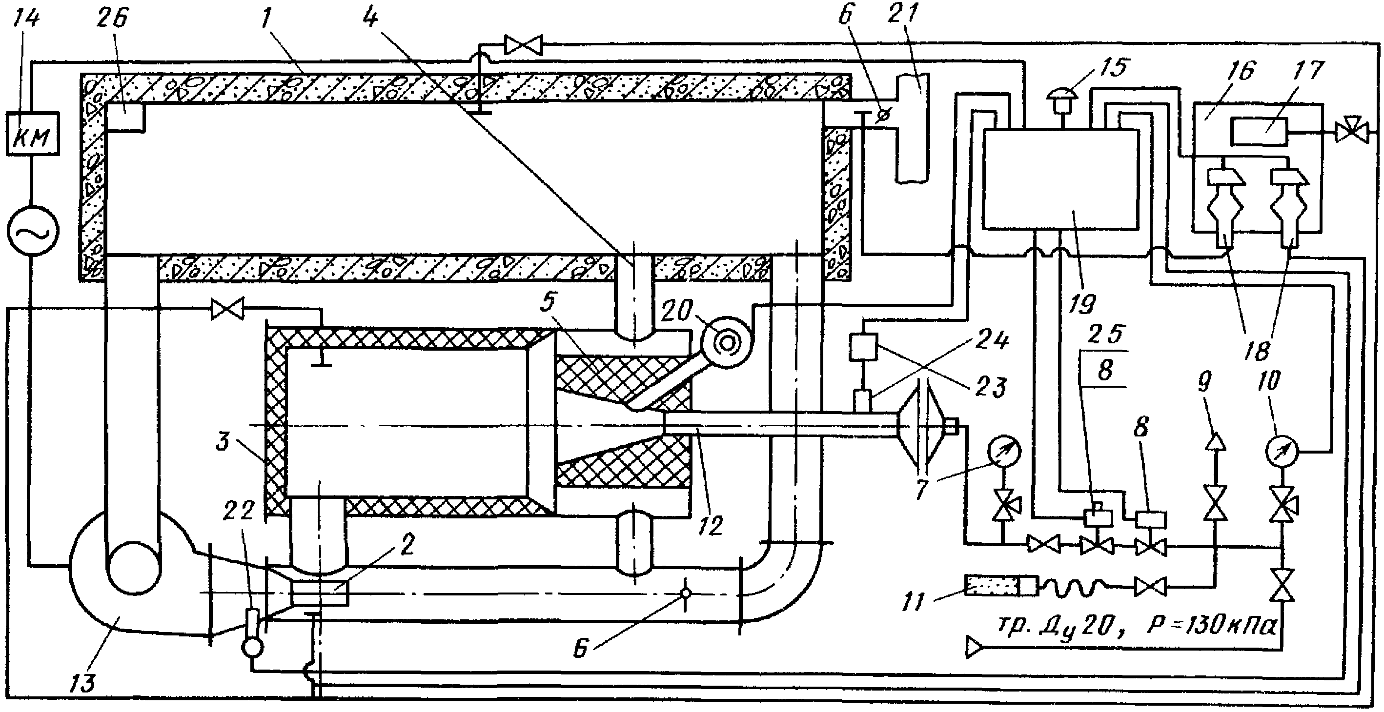
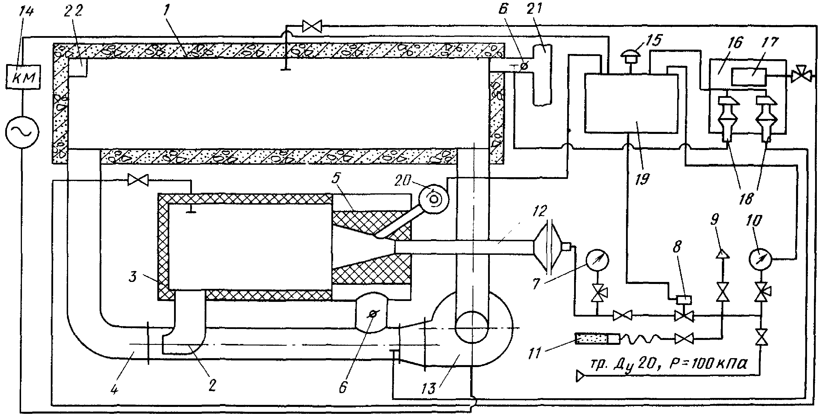
5.1. Устройство установки представлено на принципиальной схеме (рис. 2).
Рис. 2. Принципиальная схема установки тепловлажностной
обработки железобетона с теплогенератором ТОК-1
1 - камера тепловлажностной обработки; 2 - эжектор;
3 - теплогенератор; 4 - газоход рециркуляции; 5 - туннель;
6 - заслонки; 7 - манометр; 8 - электромагнитный вентиль;
9 - свеча; 10 - электроконтактный манометр; 11 - запальник;
12 - горелка; 13 - рециркуляционный вентилятор;
14 - магнитный пускатель; 15 - звонок; 16 - приборная
панель; 17 - тягонапоромер; 18 - датчик-реле напора и тяги;
19 - щит контроля и управления; 20 - фотодатчик;
21 - вентиляционная система; 22 - отвод в канализацию
Теплогенератор состоит из двух труб, расположенных горизонтально одна над другой, соединенных между собой двумя патрубками. Верхняя труба является камерой сгорания, которая футерована внутри шамотной массой. Один торец камеры сгорания закрыт крышкой, футерованной с внутренней стороны. В другой торец камеры встроено газогорелочное устройство, состоящее из инжекционной горелки с керамическим туннелем. Нижняя труба с одной стороны соединена газоходом с камерой тепловой обработки, с другой - через переходник с рециркуляционным вентилятором. Патрубок, выполненный в виде колена, соединяющего нижнюю трубу с камерой сгорания, является эжектором. В другом патрубке установлена заслонка, предназначенная для изменения величины разрежения в камере сгорания. Рециркуляционный вентилятор всасывающим патрубком соединяется с камерой тепловой обработки.
Вентиляционная система состоит из вытяжного патрубка, шибера, вентилятора и дымовой трубы. Эта система может быть единой для нескольких камер, для чего и в этом случае устраивается общий коллектор. Система вентиляции предназначена для создания в камере тепловой обработки разрежения 5 - 15 Па и удаления избыточного количества теплоносителя, образующегося вследствие сжигания газа в горелке.
Техническая характеристика теплогенератора ТОК-1
Номинальная тепловая мощность
<1>, МДж/ч ............... 780
Коэффициент избытка воздуха горелки .................... 1,02 - 1,08
Коэффициент рабочего регулирования по тепловой мощности 2,75
Номинальное давление газа перед горелкой, кПА .......... 80
Температура теплоносителя на выходе из теплогенератора,
K (°C) ............................................. Не более 453 (180)
Скорость теплоносителя на выходе из теплогенератора, м/с 25
Производительность вентилятора, м3/с (м3/ч) ............ 1,95 (7000)
Габариты, мм:
теплогенератора .................................... 2865 x 850 x 1200
панели приборной ................................... 240 x 420 x 402
щита управления .................................... 400 x 600 x 250
Масса, кг
теплогенератора .................................... 675 +/- 20
панели приборной ................................... 6 +/- 0,2
щита управления .................................... 26 +/- 0,8
--------------------------------
<1> Указана для газа с низшей теплотой сгорания 35,7 МДж/м3.
5.2. После загрузки изделий камера закрывается, включают вентиляторы вентиляционной и рециркуляционной систем.
За счет энергии воздуха, обтекающего эжектор, в эжекторе и теплогенераторе создается разрежение.
В зависимости от положения заслонки изменяется количество рециркулянта (воздуха), проходящего через теплогенератор. Это позволяет с помощью заслонки регулировать разрежение в теплогенераторе, обеспечивая условия для устойчивой работы инжекционной горелки.
5.3. Ручным запальником разжигают горелку. Продукты сгорания, выходящие из туннеля горелки, смешиваются в теплогенераторе с рециркулянтом (в начальный момент - воздухом), вследствие чего температура в теплогенераторе снижается до 500 - 700 °C. С такой температурой газы из теплогенератора отсасываются эжектором. После повторного смешения на выходе из эжектора с основным потоком рециркулянта от вентилятора газы поступают в камеру тепловой обработки. При этом температура газов на 40 - 80 °C (в зависимости от расхода природного газа горелкой) выше, чем температура газов в камере. Скорость повышения температуры в камере регулируют вручную, изменяя расход газа горелкой. Поток газов, поступающих в камеру, попадает в зазор между стеной камеры и штабелем изделий, растекается по стене камеры и огибает камеру по периметру, подсасывая и перемешивая среду внутри камеры. Толщина слоя газов, движущегося вдоль стен, равна 100 - 150 мм. До того как газы отбираются из камеры на рециркуляцию вентилятором, их температура становится равной средней температуре газов в камере. После прогрева изделий в течение требуемого времени до заданной температуры выключают горелку, охлаждают изделия, вентилируют камеру и открывают ее крышку.
5.4. Теплогенератор целесообразно размещать вплотную к камере вдоль ее стены. Отверстия для ввода и вывода рециркулируемых газов следует располагать по возможности в нижней части стены камеры, вдоль которой расположен теплогенератор. Отверстие для ввода рециркулируемых газов следует обязательно размещать в углу камеры вплотную к внутренней поверхности стены, перпендикулярной теплогенератору. Это обеспечивает попадание потока нагретых газов в промежуток между стеной камеры и штабелем изделий, защищает изделия от местного перегрева, рациональную схему движения теплоносителя в камере и способствует выравниванию температуры и состава среды по объему камеры.
При невозможности осуществить ввод газов в нижней части камеры поток газов направляют вдоль перпендикулярной теплогенератору стене, вниз под углом к горизонтальной плоскости. Ось потока должна быть направлена в угол, образуемый полом и стеной камеры.
Отверстие для вывода рециркулируемых газов при необходимости может быть отнесено на 0,5 - 1 м от угла камеры.
5.5. Каждая камера должна быть оборудована индивидуальным теплогенератором (теплогенераторами). Использование одного теплогенератора для обслуживания двух или нескольких камер не рекомендуется.
5.6. Ограждающие конструкции камер тепловой обработки должны обеспечивать надежную герметичность, достаточную прочность и требуемую теплоизоляцию, иметь сопротивление теплопередачи не менее 1,32 м2 x °С/Вт. Стены камер рекомендуется выполнять из керамзитобетона или других разновидностей легких бетонов с объемной массой 1000 - 1200 кг/м3.
5.7. Крышка камеры должна быть паронепроницаемой с надежным гидравлическим затвором.
5.8. Пол камеры должен быть бетонным с вбетонированными по уровню подкладками под нижнее изделие высотой от пола 100 - 150 мм. Для камер тепловой обработки продуктами сгорания природного газа без увлажнения среды, проектирование и строительство системы канализации, сбора и отвода конденсата не требуется.
5.9. На стене камеры, вдоль которой направляется поток выходящих из отверстия рециркулируемых газов, не должно быть каких-либо устройств, препятствующих движению этого потока (стойки, направляющие или другие).
При наличии таких устройств на стене, противоположной той, вдоль которой размещен теплогенератор, эти устройства должны быть отнесены от стены внутрь камеры на расстояние 100 - 150 мм, по всей высоте камеры.
Для двух других стен камеры допускается размещение стоек, направляющих и др. вплотную к стенам.
5.10. При оборудовании камеры канализацией необходимо предусмотреть гидрозатвор или другое устройство, препятствующее подсосу воздуха из канализации в камеру или выбиванию газов из камеры в канализацию.
Установка с теплогенератором ТОК-1А
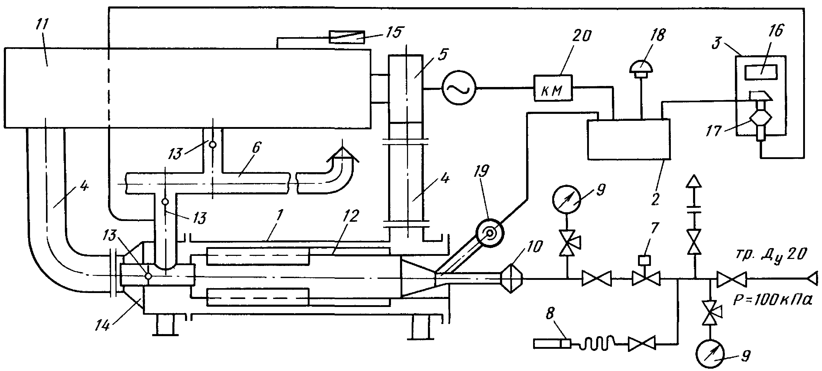
5.11. Устройство установки представлено на принципиальной схеме (рис. 3).
Рис. 3. Принципиальная схема установки тепловлажностной
обработки железобетона с теплогенератором ТОК-1А
1 - камера тепловлажностной обработки; 2 - эжектор;
3 - теплогенератор; 4 - газоход; 5 - туннель; 6 - заслонка;
7 - манометр; 8 - электромагнитный вентиль; 9 - свеча;
10 - электроконтактный манометр; 11 - запальник;
12 - горелка; 13 - рециркуляционный вентилятор;
14 - магнитный пускатель; 15 - звонок; 16 - приборная
панель; 17 - тягонапоромер; 18 - датчик реле напора и тяги;
19 - щит контроля и управления; 20 - фотодатчик;
21 - вентиляционная система; 22 - термоэлектрический
преобразователь; 23 - газосветный трансформатор;
24 - свеча зажигания; 25 - кнопка "Розжиг";
26 - отвод в канализацию
Нагреватель теплогенератора выполнен из двух труб, расположенных горизонтально одна над другой, соединенных между собой двумя патрубками. Верхняя труба является камерой сгорания и футерована изнутри. Один торец камеры сгорания закрыт крышкой, футерованной с внутренней стороны. К фланцу другого торца крепится газогорелочное устройство, состоящее из горелки инжекционной и горелочного туннеля. Нижняя труба (газоход рециркуляции) одним концом соединена с камерой тепловлажностной обработки, другим концом с рециркуляционным вентилятором, всасывающий патрубок которого соединен с камерой тепловой обработки. В нижней трубе расположен эжектор. Заслонка предназначена для подстройки (только в период наладки) величины разрежения в нагревателе в зависимости от характеристик камеры и системы рециркуляции. Величина разрежения в камере сгорания контролируется по тягонапоромеру. Газоход, сообщающий камеру сгорания с камерой тепловой обработки, либо с атмосферой, служит для стабилизации разрежения в камере сгорания при изменении расхода газа горелкой.
Техническая характеристика теплогенератора ТОК-1А
Номинальная тепловая мощность
<1>, МДж/ч ............... 780
Коэффициент избытка воздуха горелки .................... 1,02 - 1,08
Коэффициент рабочего регулирования по тепловой мощности 3,2
Номинальное давление газа перед горелкой, кПА .......... 105 +/- 25
Температура теплоносителя на выходе из теплогенератора,
K (°C) .............................................. Не более 453 (180)
Скорость теплоносителя на выходе из теплогенератора, м/с 25
Производительность вентилятора, м3/с (м3/ч) ............ 1,95 (7000)
Габариты, мм:
теплогенератора .................................... 2720 x 590 x 1200
панели приборной ................................... 300 x 460 x 400
щита управления .................................... 585 x 1000 x 600
Масса, кг
теплогенератора .................................... 510
панели приборной ................................... 11
щита управления .................................... 82
--------------------------------
<1> Указана для газа с низшей теплотой сгорания 35,7 МДж/м3.
5.12. Газоходом камеру сгорания теплогенератора целесообразно сообщать с камерой тепловой обработки. Длина и сопротивление этого газохода должны быть минимальными.
5.13. После загрузки изделий камера тепловой обработки закрывается крышкой, включается вентиляционная система, рециркуляционный вентилятор, электрической свечой зажигания разжигается горелка.
Продукты сгорания, выходящие из туннеля горелки, смешиваются в топочной камере с рециркулянтом и отсасываются эжектором, повышая температуру теплоносителя, отбираемого вентилятором из камеры тепловой обработки.
5.14. Нагретый теплоноситель по газоходу рециркуляции вновь подается в камеру, повышая в ней температуру. Процесс нагрева осуществляется так же, как и при использовании теплогенератора ТОК-1 (см.
п. 5.3).
5.15. Продолжительность периодов подъема температуры, изотермического прогрева и общее время прогрева отрабатывается автоматически (задается с помощью двух реле времени, входящих в автоматику теплогенератора ТОК-1А). При использовании теплогенератора ТОК-1А с установками непрерывного действия, реле времени отключаются и не производят выключение теплогенераторов (инструкция по эксплуатации приведена в паспорте теплогенератора ТОК-1А).
5.16. Поддерживание заданной температуры в камере в период изотермического выдерживания обеспечивается системой автоматического регулирования, состоящей из датчиков температуры - термоэлектрического преобразователя, регулятора температуры - самопишущего потенциометра КСП-3 и двухпозиционного регулирующего органа - электромагнитного вентиля СВМГ, изменяющего расход газа горелкой в зависимости от температуры в камере от минимального до максимального.
5.17. По окончании установленного времени прогрева горелка автоматически выключается, включается звуковой сигнал, загорается лампа "прогрев окончен". После вентиляции камеры и охлаждения изделий открывают крышку камеры и выгружают изделия.
5.18. При применении теплогенераторов ТОК-1А необходимо соблюдать требования настоящего Пособия, изложенные в
пп. 5.5 -
5.10.
При невозможности обеспечить эти рекомендации и размещение установок прогрева на полигоне, как исключение, допускается газоходом сообщать камеру сгорания теплогенератора с атмосферой. В этом случае при наладке теплогенератора заслонка должна быть установлена в положение, при котором в газоходе обеспечивается разрежение.
При размещении установок прогрева в цехе необходимо согласовать решение о возможности сообщения камеры сгорания с атмосферой с разработчиком теплогенератора - ВНПО Союзпромгаз.
Установка с теплогенератором ТОБ-2
5.19. Устройство установки представлено на принципиальной схеме (рис. 4).
Рис. 4. Принципиальная схема установки тепловлажностной
обработки железобетона с теплогенератором ТОБ-2
1 - нагреватель; 2 - щит управления;
3 - приборная панель; 4 - рециркуляционный газоход;
5 - рециркуляционный вентилятор; 6 - вентиляционная система;
7 - электромагнитный вентиль; 8 - запальник; 9 - манометр;
10 - горелка; 11 - камера тепловлажностной обработки;
12 - внутренняя труба; 13 - шибер; 14 - дымораспределитель;
15 - тягомер; 16 - тягонапоромер;
17 - датчик реле напора и тяги; 18 - звонок;
19 - фотодатчик контроля факела; 20 - магнитный пускатель
Техническая характеристика теплогенератора ТОБ-2
Номинальная тепловая мощность
<1>, МДж/ч .......... 715
Номинальный расход газа при теплоте сгорания
35,7 МДж/м3, м3/ч ............................. 20
Номинальное давление газа перед горелкой, кПА ..... 80
Коэффициент рабочего регулирования по тепловой
мощности ...................................... 2,75
Коэффициент избытка воздуха горелки ............... 1,02 - 1,08
Производительность вентилятора, м3/с (м3/ч) ....... 1,1 - 1,4 (4000 - 5000)
Температура уходящих газов при расходе газа
20 м3/ч и нагреве воздуха, K (°C) ............. Не более 930 (657)
Разница температуры теплоносителя на выходе
из теплогенератора и на входе в теплогенератор
при расходе газа 20 м3/ч, K:
для смеси продуктов сгорания и воздуха ........ 100 - 140
для воздуха ................................... 60 - 100
Габариты, мм:
нагревателя ................................... 4235 x 890 x 540
панели приборной .............................. 240 x 420 x 420
щита управления ............................... 400 x 600 x 250
Масса, кг
нагревателя ................................... 850
панели приборной .............................. 6 +/- 0,2
щита управления ............................... 26 +/- 0,8
--------------------------------
<1> Указана для газа с низшей теплотой сгорания 35,7 МДж/м3.
5.20. Нагреватель ТОБ-2 представляет собой две концентрические трубы. Наружная труба является частью корпуса, внутренняя труба обогревается установленной в ней горелкой с керамическим туннелем и снабжена ребрами для увеличения поверхности теплообмена с рециркулируемым в промежутке между трубами и теплоносителем.
На первом по ходу продуктов сгорания участке внутренняя труба оребрена только снаружи для улучшения ее охлаждения, на втором - ребра пропущены сквозь эту трубу для улучшения теплоотдачи от продуктов сгорания к рециркулируемому теплоносителю. Рециркуляционный вентилятор отбирает теплоноситель (воздух или смесь продуктов сгорания и воздуха) из камеры тепловой обработки и через газоход рециркуляции направляет его в промежуток между трубами.
Теплогенератор ТОБ-2 может работать в двух режимах: первый - с подмешиванием к циркулирующим газам продуктов сгорания, второй - без подмешивания.
В зависимости от положения шиберов продукты сгорания либо подмешиваются к рециркулируемому теплоносителю (при первом режиме один шибер закрыт, второй - открыт), либо отводятся в вентиляционную систему (при втором режиме первый шибер открыт, второй закрыт).
Нагретый теплоноситель через газоход рециркуляции возвращается в камеру тепловой обработки, повышая в ней температуру. Скорость повышения температуры регулируется вручную изменением количества газа, поступающего в горелку, с помощью крана.
5.21. При работе теплогенератора в первом режиме разрежение в топке обеспечивается за счет эжекции в дымораспределителе продуктов сгорания рециркулируемым теплоносителем и регулируется шибером. Процесс прогрева происходит так же, как при использовании ТОК-1 или ТОК-1А (см.
п. 5.3).
Уходящие газы отводятся из камеры в вентиляционную систему. Разрежение в камере регулируется шибером. С уходящими газами из камеры тепловой обработки выводятся водяные пары, образующиеся за счет сушки бетона или увлажнения продуктов сгорания.
5.22. При работе теплогенератора во втором режиме подогрев рециркулируемого теплоносителя происходит без подмешивания к нему продуктов сгорания от горелки, через стенку оребренной внутренней трубы. Разрежение в топке обеспечивается вентиляционной системой и регулируется шибером.
Шибер на выходе из камеры в вентиляционную систему полностью закрывается, рециркуляция теплоносителя осуществляется в замкнутом контуре. Это способствует повышению влажности среды в камере и резко уменьшается расход воды и тепла на увлажнение продуктов сгорания.
5.23. По окончании прогрева выключают горелку, вентилируют камеру, охлаждают изделия и производят их выгрузку, либо выключают рециркуляцию, закрывают шибер в вентиляционной системе и производят термосное выдерживание изделий перед выгрузкой.
5.24. При применении теплогенератора ТОБ-2 необходимо соблюдать требования настоящего Пособия, изложенные в
пп. 5.5 -
5.10.
5.25. При эксплуатации оборудования на открытых полигонах при температуре окружающего воздуха ниже 5 °C необходимо утеплить щит управления, а при температуре ниже 15 °C - электромагнитные вентили СВМГ.
6. КОНСТРУКЦИИ И ПРИНЦИПЫ РАБОТЫ
УСТАНОВОК НЕПРЕРЫВНОГО ДЕЙСТВИЯ
6.1. Устройство установок прогрева непрерывного действия представлено на принципиальных схемах "а" и "б" (рис. 5).
Рис. 5. Схема подключения теплогенераторов
к щелевой (туннельной) камере
1 - камера; 2 - рециркуляционный вентилятор;
3 - теплогенератор; 4 - шибер; 5 - вентилятор дымососа;
6 - дымовая труба
При использовании теплогенераторов ТОК-1 и ТОБ-2 для вентиляционных камер пригодна схема "а" (см.
рис. 5), позволяющая использовать напор рециркулируемых газов после вентиляторов для вывода газов в атмосферу (без установки в системе вентиляции дополнительного вентилятора). При использовании теплогенераторов ТОК-1А давление в газоходе от вентилятора к теплогенератору недостаточно для удаления уходящих газов, и перед дымовой трубой следует устанавливать вентилятор.
Отбор уходящих газов по схеме "б" (см.
рис. 5) осуществляют на расстоянии 1 - 3 м от торцов камеры с помощью перфорированных труб или коробов, размещаемых возможно ближе к потолку по всей ширине камеры.
6.2. В зависимости от конструкции и расположения камеры (в блоке или обособленная, в цехе или вне цеха, напольная, заглубленная или размещенная под полом) теплогенераторы размещаются:
вдоль стены камеры, вплотную к ней;
на расстоянии 8 - 10 м от камеры;
на крыше камеры.
6.3. Теплогенераторы размещают таким образом, чтобы отбор из камеры рециркулируемых газов осуществлялся в начале и конце камеры - на расстоянии 6 - 15 м от ее торцов (15 м - со стороны выхода изделий при необходимости их охлаждения). Это уменьшает давление газов в торцах камеры, упрощает их герметизацию и предотвращает выбивания газов в цех.
6.4. Рециркулируемые продукты сгорания от теплогенераторов подаются под вагонетки, выходят из-под вагонеток в зазор между изделиями, стенами и потолком камеры и движутся в этом зазоре к рециркуляционному вентилятору, нагревая изделия. При необходимости в подвагонеточном пространстве могут быть устроены поперечные перегородки, организующие движение газов с установкой гибких завес над изделиями.
6.5. При размещении теплогенераторов на крышах смежных камер целесообразно заделывать рециркуляционные газоходы от теплогенераторов в стены камер.
6.6. Отбор газов на рециркуляцию (от камеры к теплогенератору) производится через стену камеры или через ее крышу.
6.7. Загрузочный и выгрузочный торцы камеры необходимо герметизировать (например, с помощью гибких завес).
6.8. Для контроля температурного режима работы камеры по ее длине устанавливают 5 - 6 термоэлектрических преобразователей или термометров сопротивления с вторичными показывающими или регистрирующими приборами.
7. ВЫБОР НЕОБХОДИМОГО КОЛИЧЕСТВА ТЕПЛОГЕНЕРАТОРОВ
7.1. Количество теплогенераторов, необходимых для обслуживания одной камеры периодического или непрерывного действия, рекомендуется определять по табл. 5 и
6, составленным с учетом опыта проектирования и эксплуатации установок прогрева.
Таблица 5
───────────────────┬────────────────┬─────────────────────────────
Время работы │ Объем бетона, │ Число теплогенераторов
теплогенератора, ч│ загружаемого │ для прогрева, шт.
│ в камеру, м3 ├─────────────┬───────────────
│ │с увлажнением│без увлажнения
───────────────────┴────────────────┴─────────────┴───────────────
7 5 1 1
10 1 1
15 2 1
20 2 1
25 2 2
──────────────────────────────────────────────────────────────────
9 5 1 1
10 1 1
15 1 1
20 2 1
25 2 1
──────────────────────────────────────────────────────────────────
11 5 1 1
10 1 1
15 1 1
20 2 1
25 2 1
──────────────────────────────────────────────────────────────────
13 и более 5 1 1
10 1 1
15 1 1
20 1 1
25 2 1
────────────────────────┬─────────────────────────────────────────
Производительность │Число теплогенераторов для прогрева, шт.
камеры, м3/ч ├───────────────────┬─────────────────────
│ с увлажнением │ без увлажнения
────────────────────────┴───────────────────┴─────────────────────
1 1 1
2 1 2
3 2 2
4 2 3
5 2 3
6 и более 3 4
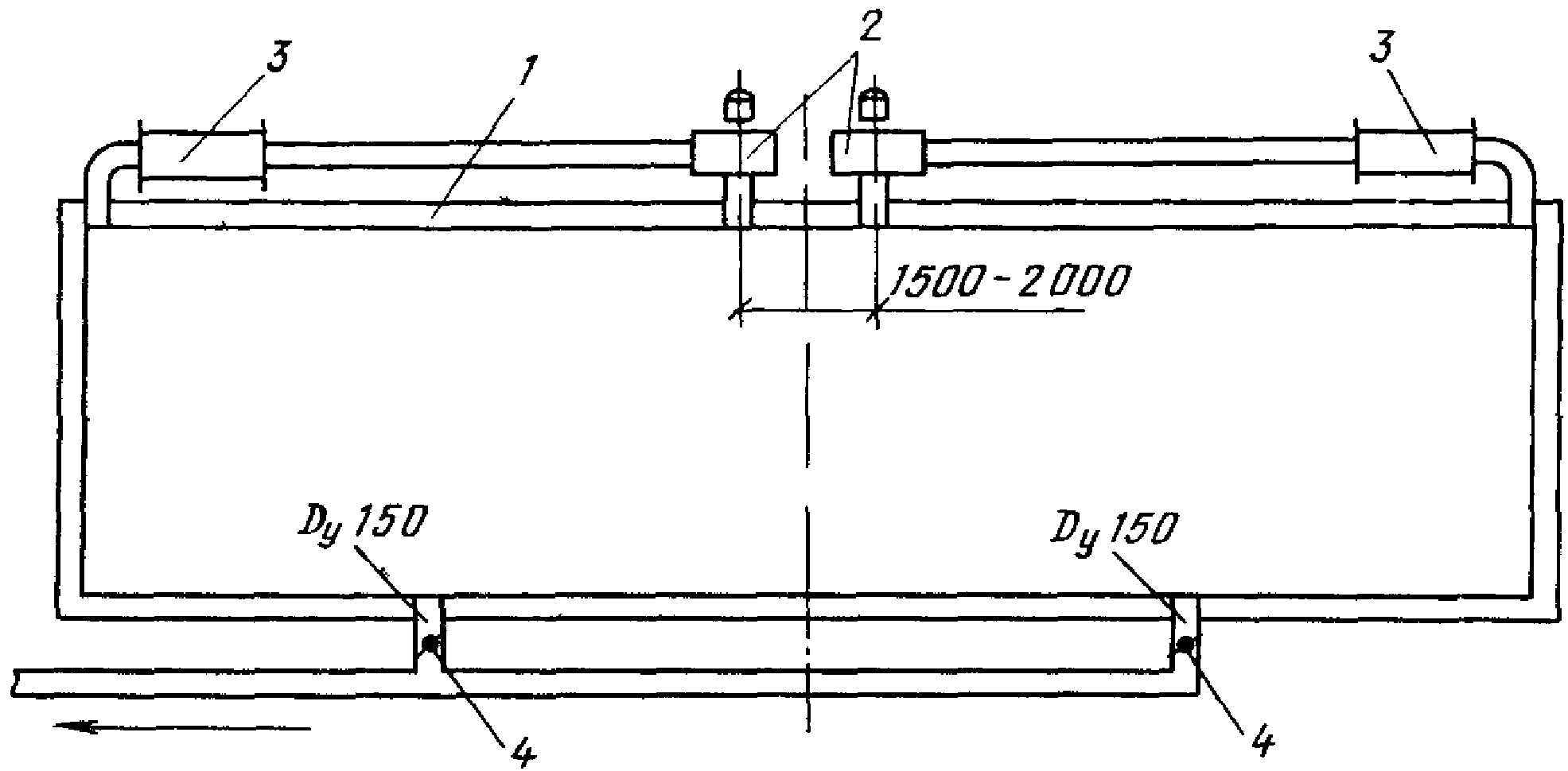
7.2. Рекомендуемая схема расстановки двух теплогенераторов для обслуживания одной камеры представлена на рис. 6. При объеме камеры более 200 м3 обязательна установка двух теплогенераторов.
Рис. 6. Схема подключения двух теплогенераторов
к камере периодического действия
1 - камера; 2 - рециркуляционный вентилятор;
3 - теплогенератор; 4 - шибер
7.3. При производительности одной щелевой или туннельной камеры более 6 м3 бетона в час схема расстановки теплогенераторов и их количество должны быть согласованы с ВНПО "Союзпромгаз".
8.1. Газоходы рециркуляции выполняются из стальных труб любого типа с толщиной стенки не менее 1 мм.
Для газохода от теплогенератора в камеру рекомендуется применять трубу диаметром 325 мм. Допускается применение трубы диаметром 325 - 350 мм. При увеличении длины рециркуляционного газохода рекомендуется удлинительный участок монтировать между теплогенератором и рециркуляционным вентилятором. При длине газохода от камеры (или от рециркуляционного вентилятора) до теплогенератора до 10 м рекомендуется применять трубу диаметром 325 мм, допускается применение трубы диаметром 325 - 350 мм.
При длине газохода от камеры (или от рециркуляционного вентилятора) до теплогенератора свыше 10 м следует применять трубу диаметром 400 - 450 мм.
8.2. Соединение газоходов рециркуляции с теплогенератором, рециркуляционным вентилятором и камерой тепловой обработки должно исключать выбивание рециркулируемых газов или подсасывание в систему атмосферного воздуха.
8.3. Повороты газоходов рециркуляции должны быть выполнены в соответствии с нормами радиуса гибки труб.
8.4. Газоходы рециркуляции должны быть теплоизолированы снаружи. Температура наружной поверхности теплоизоляции не должна превышать 45 °C.
8.5. Конструкция газоходов рециркуляции должна учитывать их температурное расширение при нагреве до 150 °C (газоход от теплогенератора в камеру) и до 100 °C (газоход от камеры к теплогенератору). При общей длине газоходов рециркуляции не более 5 м, их температурное расширение можно не учитывать.
8.6. При применении теплогенератора ТОК-1 газоход рециркуляции от теплогенератора в камеру должен быть не длиннее 5 м и иметь не более одного поворота до 90°. Газоход рециркуляции от камеры к теплогенератору должен быть не длиннее 40 м и иметь не более двух поворотов до 90°.
8.7. При применении теплогенератора ТОК-1А газоход рециркуляции от теплогенератора в камеру должен быть не длиннее 10 м и иметь не более двух поворотов до 90°. Газоход рециркуляции от камеры к теплогенератору должен быть не длиннее 40 м и иметь не более двух поворотов до 90° при условии, что суммарное количество поворотов в газоходах рециркуляции не должно быть более трех.
8.8. Требования к газоходам рециркуляции теплогенератора ТОБ-2 такие же, как при применении теплогенератора ТОК-1А (см.
п. 8.7).
9.1. Системы вентиляции предназначены для предотвращения попадания продуктов сгорания в помещение цехов и рабочие зоны (при размещении камер на полигоне) и обеспечения разрежения 5 - 10 Па (0,5 - 1 мм вод. ст.).
9.2. Газоходы вентиляции целесообразно выполнять из стальных труб. Отверстия для вывода уходящих газов из камер в вентиляционную систему не рекомендуется размещать напротив отверстий, через которые в камеру подаются рециркулируемые газы из теплогенератора.
9.3. Диаметры газоходов определяются расчетом с учетом
п. 9.9.
9.4. При применении теплогенераторов ТОК-1 и ТОК-1А для прогрева изделий без увлажнения продуктов сгорания объем газов, отводимых от установки прогрева, принимается 300 м3/ч для каждого теплогенератора при температуре отводимых газов 100 °C.
При применении теплогенераторов ТОК-1 и ТОК-1А для прогрева изделий из тяжелого бетона с увлажнением продуктов сгорания объем газов, отводимых из установки прогрева, принимается 400 м3/ч при температуре парогазовой смеси 100 °C.
9.5. При применении теплогенераторов ТОБ-2 во втором режиме (см.
п. 5.22) температура газов на выходе из теплогенератора может достигать 600 °C. Целесообразно разбавлять газы на выходе из теплогенератора воздухом для снижения их температуры до 300 °C, а перед вентилятором вентиляционной системы повторно разбавлять воздухом до температуры 100 °C.
Объем газов на выходе из теплогенератора ТОБ-2 при расчетах следует принимать равным 260 м3 при температуре 600 °C; после первого разбавления воздухом - 540 м3/ч при температуре 300 °C; после повторного разбавления - 1250 м3/ч при 100 °C.
9.6. Подсосы воздуха обеспечиваются устройством в вентиляционном газоходе отверстий, площадь которых изменяется с помощью манжет-хомутов, или через патрубки с шиберами, приваренными к вентиляционному газоходу.
9.7. Соединения, повороты и теплоизоляция газоходов вентиляции должны выполняться с учетом требований, предъявляемых к газоходам рециркуляции (см.
пп. 8.2 -
8.4).
9.8. В газоходе вентиляции на выходе из каждой камеры прогрева должен быть установлен шибер, снабженный указателем положения и надежным фиксатором. Рукоятка шибера должна располагаться в легко доступном месте, удобном для обслуживания. Желательно применение выдвижных шиберов.
9.9. При применении теплогенераторов ТОК-1 и ТОК-1А на выходе из камеры прогрева в вентиляционный газоход должна быть установлена стальная диафрагма толщиной 1,5 - 3 мм. Площадь отверстия диафрагмы должна быть такой, чтобы при расходах газов через диафрагмы по
пп. 9.4,
9.5 между диафрагмой и открытым шибером было разрежение 100 - 150 Па (10 - 15 мм вод. ст.). Это необходимо для контроля работы вентиляционной системы с использованием датчика-реле напора и тяги, входящего в автоматику ТОК-1 и ТОК-1А.
9.10. Газоходы вентиляции должны быть выполнены таким образом, чтобы исключить скопление конденсата, перекрывающего их сечение. Для сброса конденсата рекомендуется прокладка газоходов под углом к горизонтальной плоскости, применение при необходимости конденсатосборников и конденсатоотводных трубок с гидрозатворами. Сброс конденсата следует осуществлять в камеры прогрева или канализацию.
9.11. Конструкции газоходов вентиляции должны учитывать их температурное расширение при нагреве до 100 °C.
9.12. Для вентиляционных систем целесообразно использовать вентиляторы Ц-1446 N 4, входящие в комплект поставки ТОК-1, ТОК-1А и ТОБ-2.
Могут использоваться и другие вентиляторы, отвечающие требованиям к напору и производительности.
10.1. Системы увлажнения предназначены для повышения относительной влажности среды продуктов сгорания природного газа в установках прогрева.
10.2. В настоящее время проходят промышленные испытания нескольких вариантов увлажнителей, а также опытного образца нового парогазогенератора ПАР-430, результаты которых будут опубликованы в печати.
Системы канализации, применяющиеся в установках прогрева (только при увлажнении среды), аналогичны применяющимся в типовых проектах камер, работающих на паре.
Обязателен учет требований
п. 5.10.
12. СИСТЕМЫ АВТОМАТИКИ БЕЗОПАСНОСТИ
12.1. Автоматика безопасности теплогенератора ТОК-1, предусмотренная паспортом теплогенератора и входящая в комплект поставки, отключает подачу газа в горелку при:
погасании факела;
отключении электроэнергии;
уменьшении разрежения перед шибером вентиляционной системы (см.
п. 9.9).
12.2. Для контроля разрежения используется датчик-реле напора и тяги ДНТ-100, входящий в комплект поставки теплогенератора ТОК-1.
12.3. Кроме контроля параметров, перечисленных в
п. 12.1, необходимо предусмотреть при разработке рекомендаций конкретного объекта, отключение подачи газа в горелки при:
а) резком падении или повышении давления газа перед теплогенератором;
б) уменьшении напора рециркулянта, создаваемого рециркуляционным вентилятором ниже 1 кПа (ниже 100 мм вод. ст.).
12.4. Для обеспечения
п. 12.3 "а" необходимо вместо манометра ОБМ, входящего в комплект поставки ТОК-1, установить электроконтактный манометр ЭКМ-IV (см.
рис. 2). Контакты ЭКМ-IV подключить параллельно контактам датчика-реле напора и тяги.
12.5. Для обеспечения
п. 12.3 "б" необходимо на панели приборной установить дополнительный, не входящий в комплект поставки ТОК-1 датчик-реле напора и тяги ДНТ-100.
Нормально открытые контакты дополнительного датчика подключить параллельно к нормально закрытым контактам датчика.
12.6. Отключение подачи газа должно сопровождаться звуковой и световой сигнализацией.
12.7. Автоматика безопасности теплогенератора ТОК-1А, предусмотренная паспортом теплогенератора и входящая в комплект поставки, отключает подачу газа в горелку при:
погасании факела;
отключении электропитания;
повышении давления газа перед теплогенератором выше 0,135 МПа.
12.8. Понижение давления газа перед теплогенератором ниже 0,008 МПа.
12.9. Понижение разрежения в камере сгорания ниже 5 Па.
12.10. Понижение разрежения в камере прогрева ниже 5 Па.
12.11. Отключение подачи газа сопровождается звуковой и световой сигнализацией с указанием параметра, по которому произошло отключение.
12.12. Автоматика безопасности теплогенератора ТОК-1А не требует доукомплектования и полностью обеспечивает требования правил безопасности в газовом хозяйстве.
12.13. Автоматика безопасности теплогенератора ТОБ-2, предусмотренная паспортом теплогенератора и входящая в комплект поставки, отключает подачу газа в горелку при:
погасании факела;
отключении электропитания;
уменьшении разрежения в дымораспределителе (см.
рис. 5) ниже 50 Па (5 мм вод. ст.).
12.14. При применении теплогенератора ТОБ-2 необходимо учитывать требования
пп. 12.3 "а",
12.3 "б", по установке дополнительного датчика-реле напора и тяги ДНТ-100 для контроля давления в газоходе от вентилятора к теплогенератору и установке вместо манометра ОБМ манометра ЭКМ-IV.
12.15. Запрещается устройство обводных (байпасных) газопроводов, подающих газ к горелке теплогенератора, минуя электромагнитный вентиль автоматики безопасности.
13.1. Температура окружающего воздуха при эксплуатации нагревателя, панели приборной 258 - 313 К, щита контроля и управления 278 - 313 К.
13.2. Теплогенератор устанавливается на бетонном фундаменте. Для установок периодического действия высота теплогенератора не должна превышать высоту камеры при снятой крышке.
13.3. Щит контроля и управления, панель приборную располагают в освещенных местах, удобных для обслуживания, но не далее 6 м от теплогенератора. Расстояние от них до ближайшего оборудования со стороны обслуживания должно быть не менее 1 м.
13.4. Монтаж щита контроля и управления, панели приборной должен быть выполнен в соответствии с требованиями "
Правил устройства электроустановок", утвержденными Госэнергонадзором СССР.
13.5. Нагреватель, щит контроля и управления, панель приборная, вентилятор должны быть заземлены в соответствии с
ГОСТ 12.1.030-81.
13.6. Приборы, имеющие специальный вывод "земля", должны заземляться медным проводом сечением не менее 1,5 мм2.
13.7. Монтаж установок прогрева должен осуществляться в полном соответствии с проектом.
13.8. Первичный пуск теплогенератора должен производить специально обученный персонал соответствующей службы предприятия или специализированная организация.
13.9. К работе с теплогенератором допускаются лица не моложе 18 лет, обученные работе с ними, прошедшие медицинское освидетельствование и сдавшие экзамены на право обслуживания газового и электрооборудования.
13.10. При эксплуатации установок прогрева инструкция, утвержденная главным инженером предприятия, и схема газоснабжения установок должны быть вывешены на рабочем месте.
13.11. Участок тепловой обработки, в котором размещены теплогенераторы, должен быть обнесен защитными ограждениями, за пределы которых допуск посторонних лиц запрещается.
13.12. Газопроводы к теплогенераторам следует размещать таким образом, чтобы исключить их повреждение транспортируемыми грузами: в проемах колонн, бороздах стен и т.д. Газопроводы к теплогенераторам по окончании монтажных работ должны быть тщательно продуты сжатым воздухом и испытаны согласно "Правилам безопасности в газовом хозяйстве".
13.13. Работа теплогенератора осуществляется под надзором оператора. При смежном расположении теплогенераторов допускается обслуживание одним оператором участка тепловой обработки, на котором установлено не более 10 теплогенераторов ТОК-1 или ТОБ-2 или не более 20 теплогенераторов ТОК-1А.
13.14. Обслуживающему персоналу запрещается оставлять без присмотра работающий теплогенератор, а также эксплуатировать его при наличии неисправностей.
13.15. Перед розжигом горелки теплогенератора следует убедиться, что системы автоматики безопасности вентиляции и рециркуляции исправлены, горелочный камень (туннель) не имеет сколов, трещин или оплавлений.
13.16. На крышке камеры периодического действия во время работы теплогенератора рекомендуется устанавливать переносную предупредительную табличку с надписью "газ", видимую с места крановщика. Снимать табличку следует после окончания вентиляции камеры (не раньше чем через 30 мин после выключения горелки при открытом шибере вентиляционной системы).
13.17. Съем крышки камеры прогрева осуществляется только с разрешения лица, ответственного за газовое хозяйство цеха (участка).
13.18. Запрещается перемещение грузов кранами непосредственно над теплогенераторами. Как исключение, допускается размещение теплогенераторов под площадками обслуживания камер или под защитными устройствами, аналогичными по конструкции площадкам обслуживания.
13.19. Запрещается нахождение людей и размещение грузов (крышек камер, изделий и т.д.) на крышках камер с работающими теплогенераторами.
13.20. Запрещается розжиг теплогенератора при нахождении крана над установкой прогрева.
13.21. Запрещается остановка кабины крана над камерами с работающими теплогенераторами на срок, превышающий время, необходимое для выполнения транспортной операции.
13.22. Запрещается эксплуатация теплогенератора при закрытой или прикрытой шайбе - регуляторе подачи воздуха в горелку. Шайба должна быть открыта полностью.
13.23. Подача газа в горелку теплогенератора должна быть немедленно прекращена при:
неисправности системы автоматики безопасности;
отсутствии разрежения в камере прогрева;
неисправностях в системах вентиляции, рециркуляции, отсутствии герметичности газоходов, неисправностях шиберов, невозможности их фиксации и обнаружении утечек газа;
наличии околов, трещин или оплавлений горелочного камня (туннеля);
выбивании пламени в смотровой лючек, увеличении шума;
появлении вибраций при работе теплогенератора.
13.24. Повторный розжиг разрешается только после выявления и устранения неисправности.
ПРОИЗВОДСТВО ЦЕМЕНТА ЗАВОДАМИ-ИЗГОТОВИТЕЛЯМИ
──────────────────────────────────────────────────┬───────────────
Завод-изготовитель │Группа цемента
──────────────────────────────────────────────────┴───────────────
Акмянский II
Амвросиевский II
Ангарский II
Араратский III
Ахангаранский I
Ачинский I
Балаклейский II
Бахчисарайский I
Безмеинский I
Бекабадский II
Белгородский II
Броценский III
Брянский III
Волковысский II
Волховский II
Вольский "Большевик" II
Вольский "Октябрь" II
Воркутинский II
Воскресенский I
"Гигант" I
Горнозаводский I
Днепродзержинский II
Днепропетровский II
Душанбинский I
Енакиевский I
Жигулевский I
Здолбуновский III
Ивано-Франковский II
Каменец-Подольский I
Кантский II
Карагандинский II
Карадагский III
Карачаевочеркесский II
Косинский II
Катав-Ивановский II
Киевский II
Коркинский II
Косогорский II
Краматорский II
Краснодарский III
Красноярский II
Криворожский II
Кричевский III
Кузнецкий III
Курментинский III
Кувасайский II
Кундинский "Пунане Кунда" II
Липецкий II
Магнитогорский II
Михайловский II
Михайловский "Спартак" II
Мордовский II
Новоийский I
Невьянский II
Нижнетагильский II
Николаевский III
Новотроицкий II
Норильский II
Новороссийский "Красный Октябрь" III
Новороссийский "Первомайский" III
Новороссийский "Победа Октября" II
Новороссийский "Пролетарий" II
Одесский II
Ольшанский III
Пикалевский I
Подгоренский II
Подольский II
Поронайский III
Рижский II
Руставский III
Рыбницкий II
Савинский I
Себряковский II
Семипалатинский II
Сланцевский II
Спасский II
Старооскольский III
Стерлитамакский II
Сухоложский II
Теплоозерский I
Тимлайский II
Тонкинский II
Ульяновский I
Усть-Каменогорский II
Чернореченский II
Чечено-Ингушский II
Чимкентский III
Щуровский II
Якутский III
Яшкинский III