Главная // Актуальные документы // ПособиеСПРАВКА
Источник публикации
М.: Стройиздат, 1988
Примечание к документу
Название документа
"Пособие по проектированию гидравлического транспорта (к СНиП 2.05.07-85)"
(утв. Приказом Союзпромтрансниипроекта от 28.03.1986 N 67)
"Пособие по проектированию гидравлического транспорта (к СНиП 2.05.07-85)"
(утв. Приказом Союзпромтрансниипроекта от 28.03.1986 N 67)
Приказом Союзпромтрансниипроекта
от 28 марта 1986 г. N 67
ВСЕСОЮЗНЫЙ ПРОЕКТНЫЙ И НАУЧНО-ИССЛЕДОВАТЕЛЬСКИЙ ИНСТИТУТ
ПРОМЫШЛЕННОГО ТРАНСПОРТА (ПРОМТРАНСНИИПРОЕКТ)
ГОССТРОЯ СССР
ПОСОБИЕ
ПО ПРОЕКТИРОВАНИЮ ГИДРАВЛИЧЕСКОГО ТРАНСПОРТА
(к СНиП 2.05.07-85)
Рекомендовано к изданию решением секции Научно-технического совета Промтрансниипроекта Госстроя СССР.
Разработано к
СНиП 2.05.07-85 в части, касающейся проектирования гидравлического транспорта.
Содержит расчеты гидравлических и технических параметров системы, рекомендации по выбору транспортного оборудования, а также методам повышения надежности гидротранспорта.
Для инженерно-технических работников проектных организаций.
Разработано Промтрансниипроектом (кандидаты техн. наук В.Л. Орешкин, Ю.Ш. Слепой, инж. М.Д. Колбенева) при участии ВНИПИИстройсырья (инж. К.С. Бассоло), Атомтеплоэлектропроекта (инж. Д.С. Седлович), Механобра (инж. Г.Т. Сазонов, канд. техн. наук Г.А. Райлян).
1.1. Требования настоящего пособия распространяются на проектирование промышленного гидравлического транспорта (в дальнейшем - гидротранспорта) разработанных грунтов и нерудных полезных ископаемых крупностью 0,1 - 10 мм; продуктов обогащения рудных полезных ископаемых крупностью 0,03 - 0,3 мм; золы и шлака тепловых электростанций крупностью 0,025 - 10 мм. К продуктам обогащения относятся флотационные концентраты, промежуточные продукты и отвальные хвосты обогащения.
1.2. Основными сооружениями системы гидротранспорта являются перекачивающие станции, пульпопроводы и водопроводы с запорной и другой арматурой, температурными компенсаторами, пульпоприемные камеры (зумпфы).
1.3. Режим работы систем гидротранспорта разработанных грунтов и нерудных полезных ископаемых принимается, как правило, сезонным и синхронным с работой гидромеханизированного завода; круглогодовой режим работы систем гидротранспорта и независимый режим работы гидротранспорта и завода с организацией промежуточного склада транспортируемого материала обосновывается проектом.
Режим работы систем гидротранспорта продуктов обогащения, а также золы и шлака тепловых электростанций должен быть увязан с режимом работы основного производства.
2. ГИДРАВЛИЧЕСКИЕ РАСЧЕТЫ НАПОРНЫХ ПУЛЬПОПРОВОДОВ
2.1. Гидравлические расчеты гидротранспорта необходимы для определения удельных потерь напора на трение и местные сопротивления, критической скорости движения пульпы, диаметра пульпопровода, дальности транспортирования одним или несколькими насосами (одной или несколькими насосными станциями).
Энергетически наиболее выгоден гидротранспорт при рабочих скоростях

, равных или несколько больших критических скоростей

, при которых на дне трубопровода начинает образовываться неподвижный слой выпавших из пульпы частиц материала.
Для обеспечения устойчивой эксплуатации системы принимается

. В случае, когда трубопровод составлен из труб различного диаметра, приведенное равенство соблюдается для участков труб наибольшего диаметра.
При транспортировании мелкозернистых неслеживающихся материалов допускается режим работы с частичным заилением. При этом толщина слоя заиления не должна превышать 1/10 диаметра пульпопровода.
В практике проектирования гидротранспорта для расчета критических скоростей и потерь напора применяются методики, дифференцированные в зависимости от вида транспортируемого материала.
При проектировании гидромеханизированных карьеров нерудного сырья для расчетов гидротранспорта применяется методика, предложенная в Инструкции по расчету гидротранспорта песчаных и песчано-гравийных материалов, разработанной институтами ВНИИжелезобетон и Проектгидромеханизация.
Для расчета параметров напорного режима гидравлического транспортирования продуктов обогащения применяется методика, разработанная Институтом гидромеханики АН УССР и Механобром.
При проектировании систем гидрозолоудаления тепловых электростанций для расчета гидротранспорта золы и золошлаковых смесей применяются "Рекомендации по гидравлическому расчету систем напорного гидротранспорта золошлаковых материалов" П61-77 (Л., ВНИИГ, 1977). Эти рекомендации приняты за основу в приведенном в Пособии гидравлическом расчете пульпопроводов для транспортирования золошлаковых материалов.
2.2. Гидравлические расчеты напорных пульпопроводов для транспортирования разработанных грунтов и нерудных полезных ископаемых рекомендуется выполнять по методике, приведенной в
пп. 2.3 -
2.5. Исходными данными при этом являются:

- требуемая производительность гидротранспорта по твердому материалу, м3/ч;
d - крупность твердого материала, мм;

- плотность материала (отношение плотной твердой основы скелета к объему этого скелета), т/м3;

- плотность воды, т/м3;
m - пористость твердого материала, определяемая по формуле

,
где

- плотность породы в естественном сложении (с порами).
2.3. Расход пульпы

, м3/ч, определяется по формуле

, (1)
где n - удельный расход воды на транспортирование 1 м3 твердого материала в массиве, м3/м3, принимается по соответствующим нормам технологического проектирования.
Критическая скорость движения гидросмеси

, м/с, определяется по формуле

, (2)
где S - объемная концентрация гидросмеси;
g - ускорение свободного падения, м/с2;
D - диаметр трубопровода, м;

- средний коэффициент лобового сопротивления (коэффициент сопротивления частиц разнородного грунта при свободном падении в воде).
Объемная концентрация пульпы определяется по формуле

. (3)
Плотность пульпы

, т/м3, определяется по формуле

. (4)
2.4. Удельные потери напора для пульпы

, м/м, определяются по формуле

; (5)
где

- удельные потери напора для воды, м/м:

; (6)
v - скорость движения воды, м/с;

- коэффициент сопротивления трения для гладких труб, определяемый по формуле:

, (7)
где Re - число Рейнольдса:

, (8)
где

- кинематический коэффициент вязкости, м2/с.
Расчетные величины

для воды, подсчитанные по формуле 7, приведены в табл. 1.
Таблица 1
────────────┬──────────────────────────────────────────────────────────────
Скорость │ Диаметр трубопровода, м
движения ├──────┬──────┬──────┬──────┬──────┬──────┬──────┬──────┬──────
воды, м/с │ 0,2 │ 0,3 │ 0,4 │ 0,5 │ 0,6 │ 0,8 │ 1 │ 1,2 │ 1,4
────────────┴──────┴──────┴──────┴──────┴──────┴──────┴──────┴──────┴──────
Трубопроводы гидравлически гладкие
1 │ 1,66 │ 1,54 │ 1,45 │ 1,4 │ 1,35 │ 1,3 │ 1,27 │ 1,24 │ 1,21
2 │ 1,46 │ 1,35 │ 1,29 │ 1,24 │ 1,19 │ 1,14 │ 1,13 │ 1,1 │ 1,07
3 │ 1,35 │ 1,26 │ 1,19 │ 1,15 │ 1,12 │ 1,07 │ 1,05 │ 1,03 │ 1,01
4 │ 1,29 │ 1,19 │ 1,14 │ 1,1 │ 1,07 │ 1,02 │ 1 │ 0,98 │ 0,96
5 │ 1,23 │ 1,15 │ 1,1 │ 1,06 │ 1,03 │ 0,98 │ 0,96 │ 0,95 │ 0,93
Трубопроводы шероховатые (с коррозированной поверхностью стенок)
1 │ 1,93 │ 1,77 │ 1,66 │ 1,58 │ 1,54 │ 1,42 │ │ │
2 │ 1,85 │ 1,70 │ 1,59 │ 1,51 │ 1,45 │ 1,36 │ │ │
3 │ 1,82 │ 1,67 │ 1,56 │ 1,48 │ 1,43 │ 1,34 │ │ │
4 │ 1,80 │ 1,65 │ 1,55 │ 1,47 │ 1,41 │ 1,32 │ │ │
5 │ 1,79 │ 1,64 │ 1,54 │ 1,46 │ 1,40 │ 1,32 │ │ │
2.5. Гидравлические расчеты проводятся в следующем порядке.
1. По заданному гранулометрическому составу материала определяется значение коэффициента транспортабельности

для каждой фракции по табл. 2.
────────────────────────────────┬────────────────────────────────
Размер фракций, мм │ пси
│ i
────────────────────────────────┼────────────────────────────────
40 - 80 │ 1,7
20 - 40 │ 1,8
10 - 20 │ 2
7 - 10 │ 1,95
5 - 7 │ 1,9
3 - 5 │ 1,75
2 - 3 │ 1,5
1 - 2 │ 1,2
0,5 - 1 │ 0,75
0,25 - 0,5 │ 0,40
0,1 - 0,25 │ 0,10
0,1 │ 0,02
2. Определяется среднее значение коэффициента транспортабельности

для материала в целом по формуле

, (9)
где

,

,

- коэффициенты транспортабельности отдельных фракций (принимаются по
табл. 2);

,

,

- содержание данной фракции, %.
3. По найденному значению

определяется величина

по табл. 3.
Таблица 3
──────────┬───────┬──────────┬───────┬──────────┬───────┬──────────┬───────
пси │ C │ пси │ C │ пси │ C │ пси │ C
ср │ фи │ ср │ фи │ ср │ фи │ ср │ фи
──────────┼───────┼──────────┼───────┼──────────┼───────┼──────────┼───────
0,1 │ 21,7 │ 0,195 │ 8,8 │ 0,46 │ 2,83 │ 0,95 │ 1,07
0,105 │ 20,2 │ 0,2 │ 8,5 │ 0,48 │ 2,67 │ 1 │ 1
0,11 │ 18,9 │ 0,21 │ 8 │ 0,5 │ 2,52 │ 1,05 │ 0,94
0,115 │ 17,8 │ 0,22 │ 7,6 │ 0,52 │ 2,39 │ 1,1 │ 0,88
0,12 │ 16,9 │ 0,23 │ 7,1 │ 0,54 │ 2,28 │ 1,15 │ 0,82
0,125 │ 16 │ 0,24 │ 6,7 │ 0,56 │ 2,16 │ 1,2 │ 0,79
0,13 │ 15,1 │ 0,25 │ 6,3 │ 0,58 │ 2,07 │ 1,25 │ 0,75
0,135 │ 14,5 │ 0,26 │ 6 │ 0,6 │ 1,98 │ 1,3 │ 0,71
0,14 │ 13,7 │ 0,27 │ 5,75 │ 0,62 │ 1,89 │ 1,35 │ 0,68
0,145 │ 13,2 │ 0,28 │ 5,47 │ 0,64 │ 1,82 │ 1,4 │ 0,64
0,15 │ 12,6 │ 0,29 │ 5,21 │ 0,66 │ 1,74 │ 1,45 │ 0,61
0,155 │ 12 │ 0,3 │ 4,97 │ 0,68 │ 1,67 │ 1,5 │ 0,58
0,16 │ 11,5 │ 0,32 │ 4,57 │ 0,7 │ 1,6 │ 1,7 │ 0,49
0,165 │ 11,1 │ 0,34 │ 4,22 │ 0,72 │ 1,55 │ 1,8 │ 0,46
0,17 │ 10,6 │ 0,36 │ 3,91 │ 0,74 │ 1,49 │ 1,9 │ 0,43
0,175 │ 10,2 │ 0,38 │ 3,64 │ 0,76 │ 1,43 │ 2 │ 0,4
0,18 │ 9,9 │ 0,4 │ 3,41 │ 0,78 │ 1,39 │ 2,1 │ 0,37
0,185 │ 9,6 │ 0,42 │ 3,18 │ 0,85 │ 1,24 │ 2,2 │ 0,35
0,19 │ 9,1 │ 0,44 │ 2,98 │ 0,9 │ 1,15 │ 2,3 │ 0,33
4. По заданному значению

определяется производительность по пульпе

по
формуле (1), объемная концентрация S и плотность пульпы

по
формулам (3) и
(4).
5. Предварительно назначается диаметр пульпопровода D и по
формуле (2) определяется критическая скорость движения пульпы

. Предварительное определение этих величин рекомендуется проводить по табл. 4, а также по
Прил. 1.
Таблица 4
────────────────────┬──────────────────────────────────────────────────────
Производительность │ Диаметр трубопровода, мм, в зависимости
по пульпе, м3/ч │ от транспортируемых грунтов
├─────────────────┬──────────────────┬─────────────────
│ песчаных │гравелистых песков│ гравийных
────────────────────┼─────────────────┼──────────────────┼─────────────────
10000 │ 1000 │ 900 │ 900
6000 │ 800 │ 700 │ 600
4000 │ 600 │ 500 │ 450
2000 │ 500 │ 450 │ 400
1300 │ 400 │ 400 │ 350
800 │ 350 │ 300 │ 250
6. Определяется расчетная скорость движения пульпы

по формуле

. (10)
7. Проверяется отношение

; при значительных отклонениях полученной величины от 1,1 выбирается новый диаметр пульпопровода и перечисленные выше параметры определяются заново.
9. Определяются потери напора по пульпе

при расчетной скорости

по формуле

, (11)
Рис. 1. Графики зависимости удельных потерь напора воды
от скоростей движения ее в напорных трубопроводах
при диаметрах труб, мм:
1 - 200; 2 - 250; 3 - 300; 4 - 350; 5 - 400; 6 - 500;
7 - 600; 8 - 700; 9 - 800; 10 - 900
10. При

потери напора

корректируются по формуле

, (12)
где

- удельные потери напора на трение в пульпопроводе для воды при

.
11. При

(гидротранспорт с частичным заилением) потери напора

определяются по формуле

, (13)
где

- коэффициент, зависящий от отношения

, определяется по табл. 5.
Таблица 5
──────────┬────────┬────────┬────────┬─────────┬─────────┬─────────
Q /Q │ 1 │ 1,1 │ 1,2 │ 1,3 │ 1,4 │ 1,5
кр з │ │ │ │ │ │
──────────┼────────┼────────┼────────┼─────────┼─────────┼─────────
K │ 1 │ 1,013 │ 1,024 │ 1,035 │ 1,045 │ 1,054
з │ │ │ │ │ │

и

- расход пульпы собственно при критической скорости и расчетный при заилении, м3/с.
2.6. Гидравлические расчеты напорных пульпопроводов продуктов обогащения рудных полезных ископаемых рекомендуется выполнять по методике, изложенной в
пп. 2.7 -
2.44.
Для выполнения расчетов необходимы следующие исходные данные:

- общий расход пульпы, выходящий из обогатительной фабрики, м3/с;
d - крупность твердого материала, мм;

- плотность, т/м3;
S - объемная концентрация гидросмеси;

,

- плотность и вязкость транспортирующей жидкости при заданной температуре, т/м3, м2/с;
t - температура пульпы и ее колебания, °C.
2.7. Исходные данные ситового состава записываются по форме, приведенной в табл. 6.
─────────────┬───────┬───────┬─────────┬───────────┬───────────┬───────────
Фракция, мм │ n │ d │ n d │сумма n d │ сумма n │d , мм
│ i │ i │ i i │ i i │ i │ ср i
─────────────┴───────┴───────┴─────────┴───────────┴───────────┴───────────
В таблице

- средняя крупность частиц в пределах

и

стандартной фракции;

- удельный вес i фракции в долях единицы;

;

;

.
2.8. По данным
табл. 6 строятся графики в логарифмической сетке

и

.
2.9. Значение

при

принимается за

.
2.10. По графику

определяется средняя крупность частиц

, соответствующая

.
2.11. Определяется коэффициент разнородности твердого материала j по формуле

. (14)
2.12. Определяется средневзвешенная крупность частиц

, мм, которые могут считаться мелкими при

, по формуле:

, (15)
где

- средневзвешенная масса мелкой частицы,

.
2.13. По графику

определяется содержание в твердом материале частиц крупностью

, т.е.

при

; в случае, если

, принимается

и

.
2.14. Средневзвешенный диаметр частиц

, которые относятся к категории крупных, определяется по формуле

. (16)
2.15. Определяется объемная концентрация мелких частиц в трубопроводе

по формуле

, (17)
где S - объемная концентрация пульпы в трубопроводе, определяемая по формуле

; (18)
Т/Ж - отношение массы твердого материала к массе воды в единице объема пульпы.
Плотность пульпы

определяется по формуле

.
2.16. Определяется концентрация "крупных" частиц в трубопроводе

по формуле

. (19)
2.17. Определяется плотность несущей жидкости - смеси воды с мелкими частицами твердого

по формуле

. (20)
2.18. Определяется предельно возможная концентрация твердого материала в трубопроводе

по формуле

, (21)
где m - пористость крупных частиц твердого материала.
2.19. Определяется коэффициент F, учитывающий влияние мелких частиц на снижение энергозатрат при гидротранспорте

. (22)
2.20. Определяется коэффициент M, зависящий от концентрации мелких частиц в трубопроводе

, (23)
где l - основание натуральных логарифмов.
2.21. Определяется кинематический коэффициент вязкости несущей жидкости

по формуле

, (24)
где

- кинематический коэффициент вязкости для воды, м2/с.
2.22. Определяется коэффициент

, учитывающий влияние характеристик твердого материала, по формуле

. (24а)
2.23. Определяется в первом приближении диаметр трубопровода

. (25)
2.24. Для найденных значений

,

и D вычисляются значения

и

.
2.25. По табл. 7 определяются коэффициенты

и

.
Таблица 7
────────┬──────────────────────────────────────────────────────────────────
100 d/D │ Диаметр трубы, м
├────────┬────────┬────────┬─────────┬─────────┬─────────┬─────────
│ 0,30 │ 0,40 │ 0,50 │ 0,60 │ 0,70 │ 0,80 │ 0,90
────────┼────────┼────────┼────────┼─────────┼─────────┼─────────┼─────────
1 │ 2 │ 3 │ 4 │ 5 │ 6 │ 7 │ 8
────────┼────────┼────────┼────────┼─────────┼─────────┼─────────┼─────────
0,05 │ 0,050 │ 0,051 │ 0,052 │ 0,053 │ 0,054 │ 0,055 │ 0,056
0,10 │ 0,090 │ 0,100 │ 0,110 │ 0,125 │ 0,140 │ 0,150 │ 0,180
0,15 │ 0,120 │ 0,130 │ 0,155 │ 0,180 │ 0,210 │ 0,230 │ 0,250
0,20 │ 0,140 │ 0,170 │ 0,205 │ 0,240 │ 0,270 │ 0,300 │ 0,330
0,30 │ 0,180 │ 0,210 │ 0,260 │ 0,300 │ 0,340 │ 0,375 │ 0,410
0,40 │ 0,215 │ 0,275 │ 0,325 │ 0,370 │ 0,400 │ 0,435 │ 0,475
0,50 │ 0,230 │ 0,305 │ 0,360 │ 0,405 │ 0,440 │ 0,475 │ 0,505
0,60 │ 0,240 │ 0,330 │ 0,380 │ 0,430 │ 0,470 │ 0,505 │ 0,535
0,70 │ 0,277 │ 0,350 │ 0,400 │ 0,450 │ 0,490 │ 0,530 │ 0,560
0,80 │ 0,250 │ 0,365 │ 0,410 │ 0,465 │ 0,510 │ 0,545 │ 0,580
0,90 │ 0,255 │ 0,375 │ 0,420 │ 0,480 │ 0,530 │ 0,565 │ 0,605
1,0 │ 0,260 │ 0,385 │ 0,430 │ 0,490 │ 0,540 │ 0,580 │ 0,615
1,5 │ 0,270 │ 0,402 │ 0,460 │ 0,530 │ 0,580 │ 0,630 │ 0,665
2,0 │ 0,280 │ 0,415 │ 0,470 │ 0,550 │ 0,595 │ 0,650 │ 0,690
2,5 │ 0,285 │ 0,425 │ 0,480 │ 0,565 │ 0,605 │ 0,665 │ 0,705
3,0 │ 0,290 │ 0,430 │ 0,490 │ 0,575 │ 0,620 │ 0,675 │ 0,715
3,5 │ 0,295 │ 0,435 │ 0,500 │ 0,585 │ 0,630 │ 0,680 │ 0,725
4,0 │ 0,300 │ 0,450 │ 0,510 │ 0,595 │ 0,635 │ 0,685 │ 0,730
4,5 │ 0,300 │ 0,450 │ 0,520 │ 0,600 │ 0,640 │ 0,690 │ 0,735
5,0 │ 0,300 │ 0,450 │ 0,530 │ 0,600 │ 0,640 │ 0,690 │ 0,735
2.26. Определяется оптимальная скорость движения пульпы

по формуле

. (26)
2.27. Определяется число Рейнольдса

. (27)
При 100 d/D < 0,05 коэффициент

принимается равным 100 d/D.
2.28. Определяется коэффициент гидравлического сопротивления трубопровода

по следующим формулам.
Для новых стальных труб или труб, внутренняя поверхность которых отшлифована,

. (28)
Для труб, находившихся в эксплуатации, или труб с коррозированной внутренней поверхностью

. (29)
2.29. Определяется параметр

, учитывающий влияние характеристик твердого материала и пульпы:

, (30)
где

- относительная плотность твердого материала;

- коэффициент формы твердых частиц.
2.30. Определяется составляющая удельных потерь напора

, обусловленная взвешиванием и переносом крупных частиц, при

по формуле

. (31)
2.31. Определяется величина

по формуле

; (32)
если

, то

,
если

, то

.
2.32. В зависимости от значения

задается вариационный ряд значений:
2.33. Для ряда выбранных значений определяются значения Re,

,

,

,

по
формулам (27) -
(32); результаты расчетов записываются по форме, приведенной в табл. 8.
─────────────┬──────────────┬───────────────┬───────────────┬──────────────
v, м/с │ лямбда │ i │ K │ v/v
│ │ 0v │ 0 │ 0
─────────────┼──────────────┼───────────────┼───────────────┼──────────────
v │ │ │ │
1 │ │ │ │
v │ │ │ │
2 │ │ │ │
v │ │ │ │
3 │ │ │ │
2.34. По данным
табл. 8 строятся совместно графики

и

.
Проекция точки пересечения графиков на ось v определяет значение критической скорости движения пульпы

.
2.35. Величину

следует уточнить по формуле Г.Т. Сазонова

, (33)
где размерности входящих величин: g, м/с2;

, м;

, т/м3.
Из полученных значений

следует выбрать меньшее, при n = 1 принимать

по графику.
2.36. Фактическая скорость движения пульпы

в трубопроводе с принятым диаметром определяется по
формуле (10).
2.37. При

следующим этапом расчета является определение удельных потерь напора в трубопроводе (см. ниже).
2.38. При

задаются новые приближенные значения диаметра трубопровода и начиная с
п. 2.24 весь цикл расчета повторяется до приближения

к

, после чего определяются удельные потери напора в трубопроводе.
2.39. Принимается ближайшее большее стандартное значение диаметра трубопровода.
2.40. Для принятого диаметра трубопровода определяются значения

, Re,

,

.
2.41. Определяются удельные потери напора

для несущей жидкости при

по
формуле (35).
2.42. Определяются удельные потери напора

для крупных частиц по участкам трубопровода по формуле

, (34)
где

- угол наклона трубопровода к горизонтальной поверхности.
2.43. Определяется суммарная величина удельных потерь напора для пульпы

по формуле

. (35)
2.44. Для выбора оптимальных параметров гидротранспорта институтом Механобр разработана программа GIDRON для реализации расчетов на ЭВМ ЕС-1033.
2.45. Гидравлические расчеты напорных пульпопроводов золы и шлака рекомендуется выполнять по методике, изложенной в
п. 2.46 -
2.54.
Основными исходными данными являются:

- производительность гидротранспорта по твердому материалу, т/ч;

- выход шлака, т/ч;

- плотность твердого материала, т/м3;
L - дальность транспортирования, м;

- высота подъема пульпы, м.
Методика и порядок гидравлических расчетов в данном случае регламентируются Рекомендациями по гидравлическому расчету систем напорного гидротранспорта золошлаковых материалов, пп. 61 - 77 (Л., ВНИИГ, 1977).
Расчетные зависимости по определению критических скоростей, приведенные в Рекомендациях ВНИИГом, подвергнуты аналитической трансформации, не затрагивающей физическую интерпретацию явлений, но существенно упрощающей процедуру расчета.
2.46. Расчетная скорость движения пульпы

при совместном транспорте золы и шлака определяется по формуле

. (36)
При транспорте золы (без шлака)

. (37)
При транспорте жидкого шлака (без золы)

. (38)
2.47. Объемный расход пульпы

определяется по формуле

, (39)
где D - принятый диаметр трубопровода, м.
2.48. Объемный расход воды (водной составляющей пульпы)

определяется по формуле

. (40)
2.49. Объемная концентрация

определяется по формуле

. (41)
2.50. Плотность пульпы

определяется по формуле

. (42)
2.51. Удельные потери напора

определяются по формуле

. (43)
2.52. Потери напора

на длине L трубопровода определяются по формуле

. (44)
2.53. Потери напора при подъеме пульпы на высоту

определяются по формуле

. (45)
2.54. Выбор наивыгоднейшего режима гидротранспорта золошлаковой пульпы определяется сравнением различных вариантов

, D и

, величины которых в общем заключены в пределах:

;
D = 0,20 - 0,80 м;

.
3. ГИДРАВЛИЧЕСКИЕ РАСЧЕТЫ БЕЗНАПОРНЫХ ПУЛЬПОПРОВОДОВ
3.1. Целью гидравлических расчетов безнапорных пульпопроводов и лотков является определение основных параметров безнапорного гидротранспорта, в том числе размеров живого сечения потока пульпы, скорости ее движения, удельных гидравлических потерь и геометрического уклона.
3.2. Безнапорный гидротранспорт следует проектировать таким образом, чтобы скорость движения пульпы обеспечивала движение твердых частиц во взвешенном состоянии

. Параметры безнапорного режима гидравлического транспортирования определяются по методике В.С. Кнороза и П.Д. Евдокимова.
3.3. Расчеты безнапорного транспорта разработанных грунтов и нерудных полезных ископаемых выполняются на основе исходных данных, приведенных в
разд. 2, в следующем порядке:
1) определяются потери напора

по методике, приведенной для соответствующих материалов в
разд. 2;
2) определяется минимальный уклон трубы (лотка) по формуле

, (46)
где

- коэффициент, принимаемый равным для металлических труб 1,1; для деревянных лотков 1,2;
3) определяется ширина лотка по дну b, исходя из равенства гидравлических радиусов напорного при

и безнапорного гидротранспорта:
b = 2Dh / (4hD). (47)
Рекомендуются отношения: b/h = 3 при b = 1,25 м; b/h = 4 при b = 1,5 м.
3.4. Расчеты безнапорного гидротранспорта продуктов обогащения выполняются на основе исходных данных, приведенных в
разд. 2, в следующем порядке:
1) предварительно назначается ширина лотка b;
2) определяется геометрический уклон дна лотка i по формуле Шези

, (48)
где

- подача по пульпе, м3/с;

- глубина потока пульпы в критическом безнапорном режиме, м

;

- коэффициент Шези;

;
n - коэффициент шероховатости лотка;
R - гидравлический радиус потока, м

;
3) назначается высота борта лотка, которая должна составлять не менее

.
3.5. Уклоны дна каналов и лотков для безнапорного гидротранспорта золы и шлака назначаются исходя из технико-экономических соображений. Уклоны лотков (каналов) рекомендуются не менее, %:
для золы 1,0
" твердого шлака 1,5
" жидкого шлака 1,8 - 2,0
При совместном безнапорном гидротранспорте золы и шлака уклоны дна лотков принимаются такими же, как при раздельном гидротранспорте соответствующего вида шлака.
4. РАСЧЕТЫ ГИДРОАБРАЗИВНОГО ИЗНОСА И СРОКОВ СЛУЖБЫ
НАПОРНЫХ СТАЛЬНЫХ ПУЛЬПОПРОВОДОВ
4.1. Расчеты гидроабразивного износа и сроков службы напорных пульпопроводов рекомендуется проводить в соответствии с Руководством по расчету долговечности трубопроводов гидротранспортных систем и методам ее повышения, разработанным Институтом горной механики им. Г.Л. Цулукидзе Академии наук Грузинской ССР. Руководство не распространяется на трубопроводы, по которым транспортируются пульпы, содержащие только тонкодисперсные классы твердых материалов, образующих структурные жидкости, а также на режим работы со слоем заиления твердых материалов в нижней части сечения трубы.
4.2. Время работы пульпопровода до износа толщины стенки на 1 мм

определяется по формуле

, (49)
где

- объем (масса) пропущенного по пульпопроводу твердого материала, вызвавшего уменьшение толщины стенки на 1 мм, м3/мм (т/мм);

- годовая производительность системы гидротранспорта по твердому материалу, м3/год (т/год).
4.3. Величина

определяется по формуле:
при транспортировании частиц твердого материала крупностью до 2 мм:

; (50)
при транспортировании частиц крупностью более 2 мм

, (51)
где

- коэффициент абразивности эталонного материала (песок, нормальный для испытания цементов по ГОСТ 6139-78, содержание

,

), принимается равным

;
A - коэффициент абразивности частиц твердого материала
(табл. 9);

- гидравлическая крупность для средневзвешенных частиц

, м/с;

- коэффициент износостойкости материала пульпопровода
(табл. 10);

- коэффициент дальности транспортирования, учитывающий изменение абразивных свойств твердого материала по длине транспортирования
(рис. 2);

- коэффициент относительной гидроабразивности - отношение коэффициентов абразивности транспортируемого и эталонного твердых материалов; значения

для систем гидротранспорта рекомендуется определять экспериментально с учетом химической активности несущей среды. Методика определения

дана в Руководстве (см.
п. 4.1), ориентировочные значения

приведены в
табл. 11;

- коэффициент наклона труб, учитывающий износ стенок в зависимости от угла наклона пульпопровода
(табл. 12);

- коэффициент приведенной плотности, учитывающий влияние плотности пульпы для частиц крупностью до 2 мм, принимается в зависимости от

:

, кг/м3 < 1100 1100 - 1300 > 1300

1

0,7
для частиц крупностью 2 - 100 мм при любой плотности пульпы определяется по формуле

, (52)
где n - содержание в пульпе частиц класса 0 - 1 мм.
Рис. 2. График изменения коэффициента

в зависимости
от расстояния транспортирования L, км
1 - для малоабразивных материалов с твердостью H = 2 - 2,5
по шкале Мооса; 2 - для материалов средней абразивности
при 2,5 < H <= 4,5; 3 - для высокоабразивных материалов
при H => 5 - 7
────────────────────────────────────────┬──────────────────────────────────
Материал │ Коэффициент абразивности частиц
├───────────────────┬──────────────
│средней окатанности│ окатанных
────────────────────────────────────────┼───────────────────┼──────────────
Кварц │ 8,65 │ 5,6
Гранит │ 8,5 │ 5,5
Песчаник на карбонатном цементе │ 4,62 │ 3,1
Песчаник на глинистом цементе, │ 4,26 │ 2,9
песчано-гравийная смесь │ │
Алевролит, пески крупнозернистые │ 3,7 │ 2,1
Супеси (тяжелые), пески среднезернистые │ 3,3 │ 1,23
Известняк │ 1,09 │ 0,58
Мрамор │ 0,87 │ 0,45
Аргиллит │ 0,4 │ 0,47
Суглинки │ 0,1 │
Примечания. 1. При наличии в пульпе различных твердых материалов коэффициент абразивности A определяется по формуле

,
где

- процентное содержание материала,

- коэффициент его абразивности.
2. При отсутствии данных о содержании песчаника в транспортируемых суглинках и аргиллите табличные значения A для этих материалов должны быть увеличены исходя из условий содержания в них 20% кварца.
───────────────────────────────────┬──────────────────────────────
Материал труб │ K
│ и
───────────────────────────────────┼──────────────────────────────
Сталь: │
Ст.3 (эталон) │
5 │ 1
10 │ 1,1 - 1,15
20 │ 1,15
35 │ 1 - 1,15
40 │ 1,25
45 │ 1,3
40Х │ 1,35
25Г2 │ 1,35
09Г2С │ 1,35
3Х13 │ 1,65
30ХГС │ 1,3
30ХГСА │ 1,5
4Х13 │ 1,5
Х12 │ 1,5 - 2
Х18 │ 1,5 - 2,5
Наплавки: │ 1,5 - 2,5
Т-590 │ 3,1
"Сормаит 1" │ 3,2 - 5,3
Полиэтилен │ 0,45 - 0,7
Поливинилхлорид │ 0,8 - 0,9
Полиуретан на основе СКУ │ 1,5 - 3
Хромистый чугун Н2Х28Н2 │ 4
───────────────────────────────────┬──────────────────────────────
Транспортируемый материал │ К
│ г
───────────────────────────────────┼──────────────────────────────
Эталонный песок │ 1
Глинистые пески │ 0,8 - 1
Суглинки │ 0,6 - 0,8
Кварцевый песок при d, мм: │
до 2 │ 1,8 - 2,1
2 - 3 │ 2,7 - 3
Гравийно-галечниковый грунт │ 2 - 2,5
Хвосты флотации углеобогатительных │
фабрик при зольности, %: │
до 60 │ 0,4 - 0,6
св. 60 │ 0,8 - 0,9
Флотоконцентрат │ 0,3 - 0,5
Водоугольная суспензия │ 0,2 - 0,25
d = 0,3 мм │
Уголь класса 0,6 мм │ 0,8 - 1
Шламы алюминиевых заводов: │
SiO = 10% при d, мм: │
2 │
до 0,2 │ До 0,1
до 0,2 - 0,3 │ 0,15 - 0,25
св. 0,3 │ 0,2 - 0,3
SiO = 20% при d, мм: │
2 │
до 0,2 │ 0,1 - 0,15
0,2 - 0,3 │ 0,2 - 0,3
св. 0,3 │ 0,4 - 0,6
>> 0,4 │ 0,7 - 1,5 (2)
Продукты сгорания твердых топлив │
зола │ 0,2 - 0,65
твердый шлак │ 0,35 - 0,7
жидкий " │ 1,0 - 1,3
золошлак: │
твердый шлак + зола │ 0,4 - 0,7
жидкий шлак + зола │ 0,7 - 1
Хвосты обогащения ГОКов
<**> при, │
мм: │
до 0,1 │ 0,1 - 1,5
│ 2
0,1 - 0,25 │ 0,2 - 0,4 (0,6)
св. 0,25 - 0,4 │ 0,45 - 0,65 (0,9)
--------------------------------
<*> Нижние значения

относятся к продуктам сгорания менее прочного топлива (например, угли месторождений Красноярского края, Кузнецкие, Львовско-Волынские, Челябинские сланцы и т.п.), верхние - относительно прочного (например, угли Донецкие, Экибастузские, Кизеловские и т.п.).
<**> Верхние предельные значения

относятся к отходам с содержанием

(или других высокоабразивных материалов) св. 70%.
───────────┬───────────────────────────────────────────────────────────────
Угол │ Коэффициенты наклона труб при крупности частиц
наклона │ твердого материала, мм
пульпо- ├───────────────────────────────┬───────────────────────────────
провода │ до 2 │ 2 и более
бета, град ├───────────────┬───────────────┼───────────────┬───────────────
│ нисходящий │ восходящий │ нисходящий │ восходящий
│ поток │ поток │ поток │ поток
───────────┼───────────────┼───────────────┼───────────────┼───────────────
0 - 15 │ 1 - 1,07 │ 1 - 0,96 │ 1 - 1,4 │ 1 - 0,95
15 - 30 │ 1,07 - 1,4 │ 0,96 - 0,93 │ 1,4 - 2 │ 0,95 - 0,89
30 - 40 │ 1,4 - 1,55 │ 0,93 - 0,88 │ 2 - 2,25 │ 0,89 - 0,86
40 - 60 │ 1,55 - 1,15 │ 0,88 - 0,68 │ 2,25 - 1,65 │ 0,86 - 0,65
60 - 75 │ 1,15 - 0,65 │ 0,68 - 0,45 │ 1,65 - 1,25 │ 0,65 - 0,4
75 - 90 │ 0,65 - 0,4 │ 0,45 - 0,3 │ 1,25 - 0,4 │ 0,40 - 0,3
4.4. Расчетную толщину износа стенок пульпопровода

следует определять по формуле

, (53)
где

- расчетный ресурс эксплуатации пульпопровода за весь срок службы, лет;
n - число рабочих положений труб при осуществлении профилактических поворачиваний;

- коэффициент неравномерности изнашивания;

- коэффициент использования ресурсов толщины стенок при профилактическом поворачивании.
Величины n,

,

определяются по табл. 13 (для мелко- и среднезернистых частиц твердого материала) и по
табл. 14 (для частиц крупностью 2 - 100 мм).
───────────────┬───────────────────────────────────────────────────────────
Коэффициент │ Значение коэффициента при d < 2 мм и фи , град
│ м
├──────────────┬──────────────┬──────────────┬──────────────
│ 0 - 45 │ 45 - 90 │ 90 - 120 │ 120 - 180
───────────────┼──────────────┼──────────────┼──────────────┼──────────────
n │ 6 │ 4 │ 3 │ 2
│ │ │ │
пси │ 0,45 │ 0,55 │ 0,6 │ 0,75
│ │ │ │
K │ 0,8 │ 0,8 │ 0,9 │ 0,9
дельта │ │ │ │
─────────────────┬─────────────────────────────────────────────────────────
Коэффициент │ Значение коэффициентов в зависимости от угла наклона
│ пульпопровода бета, град
├──────────────────┬──────────────────┬───────────────────
│ 0 - 25 │ 25 - 45 │ 45 - 75
─────────────────┴──────────────────┴──────────────────┴───────────────────
Скорость движения пульпы

n │ 6 │ 4 │ 3
│ │ │
пси │ 0,5 │ 0,6 │ 0,65
│ │ │
K │ 0,8 │ 0,8 │ 0,9
дельта │ │ │
Скорость движения пульпы

n │ 4 │ 3 │ 2
│ │ │
пси │ 0,55 │ 0,65 │ 0,75
│ │ │
K │ 0,8 │ 0,9 │ 0,9
дельта │ │ │
При этом в
табл. 13 угол сектора максимального износа

определяется по формуле

, (54)
где

- эмпирический коэффициент (

= 2000 при d < 0,5 мм;

= 1600 при d > 0,5 - 1,5 мм);

- коэффициент угла наклона пульпопровода, определяется по графику, приведенному на рис. 3.
Рис. 3. График зависимости коэффициента

от угла наклона пульпопровода

, град
4.5. Уточнение толщины стенок пульпопровода с учетом условий эксплуатации и коррозии стенок

определяется по формуле

, (55)
где

- коэффициент, учитывающий условия эксплуатации системы гидротранспорта; для проектируемых систем принимается для труб: из малоуглеродистых сталей, часто находящихся в резерве без консервации - 1,35; из коррозионно-стойких материалов или работающих постоянно и находящихся в резерве в состоянии консервации независимо от материала труб - 1;

- минимально допустимая из условий прочности толщина стенок труб, определяемая по
СНиП 2.05.06-85.
Полученное по
формуле (55) значение

округляется до ближайшей стандартной толщины

в соответствии с действующим ГОСТом на трубопроводы. Если значение

превышает максимальную толщину стенки трубопровода, предусмотренную ГОСТом, оно уменьшается до ближайшей величины, выбираемой из стандартного ряда толщин.
4.6. Технический ресурс пульпопровода T (чистое время работы до предельного износа за весь период эксплуатации) определяется по формуле

. (56)
4.7. Фактический срок службы пульпопровода до предельного износа

, лет, определяется по формуле

, (57)
где

- суммарное время всех простоев пульпопровода до истечения ресурса T, лет.
4.8. Время работы пульпопровода до очередного профилактического поворачивания

, лет, определяется по формуле

. (58)
4.9. Ориентировочный срок службы криволинейных участков труб пульпопровода

при

следует определять по формуле

, (59)
где R - радиус поворота криволинейного участка трубы, м.
4.10. При расчетах следует учитывать, что износ в стыковых соединениях труб, особенно в фланцевых и быстроразъемных, на 25 - 50% больше износа на прямолинейных участках.
5. ТЕПЛОТЕХНИЧЕСКИЕ РАСЧЕТЫ НАПОРНЫХ ПУЛЬПОПРОВОДОВ
5.1. Теплотехнические расчеты напорных пульпопроводов выполняются в целях определения длины незамерзающего пульпопровода при заданных зимних условиях эксплуатации, продолжительности пребывания пульпы в трубопроводе при внезапной и непредусмотренной остановке работы гидротранспорта.
5.2. Длина незамерзающего пульпопровода

может быть определена по формуле

, (60)
где

- удельная теплоемкость пульпы, кДж/(кг x °C), определяется по
табл. 15;

- плотность пульпы, т/м3;

- производительность по пульпе, м3/ч;

- начальная температура пульпы в зумпфе, °C;

- температура пульпы на расстоянии

от насоса, °C;

- расчетный напор, развиваемый насосом, м вод. ст.;

- коэффициент теплоотдачи для неизолированных стальных труб, Вт/(м2 x °C), определяется по
табл. 16;
t - температура наружного воздуха, °C.
───────────────────┬──────┬──────┬──────┬──────┬──────┬──────┬──────┬──────
Плотность пульпы, │ 1000 │ 1032 │ 1065 │ 1102 │ 1142 │ 1230 │ 1330 │ 1450
кг/м3 │ │ │ │ │ │ │ │
───────────────────┼──────┼──────┼──────┼──────┼──────┼──────┼──────┼──────
Удельная тепло- │ 4,19 │ 4,01 │3,855 │ 3,64 │ 3,52 │ 3,18 │ 2,84 │ 2,51
емкость пульпы, │ │ │ │ │ │ │ │
кДж/(кг x °C) │ │ │ │ │ │ │ │
────────────────────┬──────────────────────────────────────────────────────
Диаметр │ Значение коэффициента мю при скорости ветра, м/с
пульпопровода, ├──────────┬──────────┬──────────┬──────────┬──────────
мм │ 1 │ 3 │ 6 │ 9 │ 12
────────────────────┼──────────┼──────────┼──────────┼──────────┼──────────
400 │ 5,93 │ 13,49 │ 22,79 │ 30,59 │ 44,54
500 │ 5,65 │ 12,79 │ 21,52 │ 29,08 │ 36,4
600 │ 5,38 │ 12,21 │ 20,82 │ 27,69 │ 34,19
700 │ 5,23 │ 11,86 │ 20 │ 27,1 │ 33,26
800 │ 5,06 │ 11,4 │ 19,42 │ 25,82 │ 32,33
900 │ 4,88 │ 11,07 │ 18,72 │ 25,24 │ 31,4
1000 │ 4,74 │ 10,76 │ 18,14 │ 24,19 │ 29,77
5.3. Продолжительность пребывания пульпы в неутепленном пульпопроводе (воды в трубопроводе) диаметром 300 - 600 мм при остановке гидротранспорта рекомендуется определять по графику, приведенному на рис. 4 (составлен по опытным данным ВНИИГ им. Б.Е. Веденеева).
Рис. 4. График для определения допустимой продолжительности
остановки наполненного водой неутепленного трубопровода
диаметром 300 - 600 мм
5.4. Количество сальниковых компенсаторов

, необходимое для установки на прямолинейном участке пульпопровода длиной

, определяется по формуле

, (61)
где

- расстояние между сальниковыми компенсаторами, определяемое по формуле

,

- свободный ход сальникового компенсатора, равный 0,15 - 0,2 м;

= 0,000011 - коэффициент линейного расширения стали, 1/°C;

- изменение температуры стенок пульпопровода с учетом нагрева солнцем опорожненной трубы, °C;

- коэффициент запаса, принимаемый равным 1,15 - 1,2.
5.5. Укладка трубопроводов "змейкой" без использования компенсаторных устройств для работы в низкотемпературных условиях допускается при обосновании соответствующими статическими и прочностными расчетами с учетом наиболее неблагоприятного сочетания нагрузок.
6. РАСЧЕТЫ И ВЫБОР ОБОРУДОВАНИЯ
6.1. Целью расчетов оборудования гидротранспорта является определение параметров насосов и их приводов, позволяющее выбрать типы и количество оборудования для устойчивой работы системы гидротранспорта в заданных пределах выхода пульпы от технологического процесса предприятия.
6.2. Определение параметров насосов и мощности их приводов производится на основе расчетов суммарных потерь напора в системе гидротранспорта. Расчет потерь напора в системе ведется по формуле

, (62)
где

- глубина всасывания пульпы - расстояние от устья всасывающей трубы до горизонта воды, м;

- геодезическая высота подъема пульпы - расстояние от горизонта воды до оси выпускного сечения трубы на карте намыва, м;
L - длина трубопроводов, м;

- сумма всех потерь напора на местные сопротивления в арматуре, фасонных частях трубопроводов, м:

;

- коэффициент, учитывающий отдельные местные сопротивления;

- разность скоростных напоров в конечном и начальном сечениях трубопровода, м вод. ст.
Для учета возможного снижения напора пульпонасосов в процессе эксплуатации за счет гидроабразивного износа следует ввести коэффициент запаса

. В этом случае требующийся напор, по которому должны выбираться насосы, составит:

. (63)
6.3. Для расчетов на уровне проектных проработок суммарные потери напора в системе гидротранспорта можно определить по формуле

, (64)
где

- коэффициент, учитывающий местные потери напора. Величина его может приниматься в пределах 1,05 - 1,1 в зависимости от дальности транспортирования и сложности трассы.
6.4. Рабочий режим гидротранспортной системы определяется графическим путем по точке пересечения напорной характеристики насоса с характеристикой трубопровода. Паспортная характеристика грунтового насоса дается при работе на воде. Пересчет напорной характеристики с воды на пульпу можно производить по формуле

, (65)
где

- КПД насоса при перекачке пульпы

.
Для систем гидротранспорта, перекачивающих песчано-гравийные смеси, пересчет напора насоса с воды на гидросмесь предпочтительней производить по формуле, в которой учитывается гидравлическая крупность материала:

, (66)
где S - концентрация пульпы;

- коэффициент транспортабельности, определяемый по
формуле (9).
6.5. Вакуумметрическая высота всасывания по паспортным данным соответствует работе на воде. Для практических расчетов можно принимать

. (67)
6.6. Характеристика системы трубопроводов при работе на воде, т.е. зависимость сопротивления трубопроводов от объемной подачи

, представляет собой кривую, имеющую уравнение параболы. Характеристика строится по данным расчета потерь напора при различных подачах, по уравнению

, (68)
где

- статический напор, который при работе на воде соответствует геодезической высоте подъема

;
K - коэффициент пропорциональности, который для расчетной подачи Q вычисляется по формуле

.
Характеристика системы трубопроводов при работе на пульпе

строится на основе расчета потерь напора по
формуле (58) для отдельных величин подачи

в пределах заданного диапазона изменения производительности от

до

.
6.7. Режимы работы (параметры) определяются графическим путем по точкам пересечения напорной характеристики насоса, пересчитанной по вышеприведенной методике для условий работы на пульпе, и характеристики системы трубопроводов, построенной в пределах

и

.
6.8. Необходимая мощность привода грунтового насоса N определяется по формуле

. (69)
6.9. Выбор насоса производят по каталогам-справочникам, содержащим рабочие характеристики насосного оборудования.
Технические данные грунтовых насосов, применяемых для гидротранспорта, приведены в
Прил. 3.
В случае, когда номенклатура выпускаемых промышленностью насосов не содержит насоса, параметры которого в точности соответствуют требуемым, выбирается ближайший по параметрам. При этом представляется возможность:
изменить характеристику выбранного насоса за счет изменения частоты вращения рабочего колеса (см.
разд. 9, табл. 18) или уменьшения диаметра колеса за счет подрезки (см.
разд. 9, табл. 19);
произвести подгонки режима работы, изменив диаметр выбранного трубопровода или принятую концентрацию гидросмеси.
6.10. При существенном изменении гидравлического сопротивления пульпопровода в зависимости от условий транспортирования и объема пульпы, поступающей от технологического процесса, рекомендуется в целях сокращения непроизводительного расхода электроэнергии и уменьшения абразивного износа оборудования применение привода насосов с регулируемой частотой вращения.
7. ПЕРЕКАЧИВАЮЩИЕ СТАНЦИИ
7.1. Компоновка насосной станции производится в зависимости от ее расположения на генплане предприятия, рельефа местности, направления и условий отвода пульпы от станции. Здание насосной станции должно иметь наиболее простую форму в плане и состоять из одного или нескольких параллельных пролетов с минимальным числом типоразмеров конструкций по длине и высоте.
7.2. Для обеспечения надежности работы системы гидротранспорта на насосных станциях должны предусматриваться резервные насосы, количество которых рекомендуется принимать по соответствующим нормам технологического проектирования.
7.3. В помещении пульпонасосной станции технологическое оборудование, арматуру и трубопроводы следует размещать с учетом необходимости обеспечения к ним доступа людей для обслуживания, осмотра или замены.
Ширину проходов следует принимать, м:
между машинами ................................................... 1,2;
между стеной и машиной ........................................... 1;
местных сужений при соблюдении нормальных рабочих проходов
между машинами и между стеной и машиной, к машинам и механизмам
для обслуживания и ремонта, к бакам, чанам и резервуарам
для обслуживания и ремонта ....................................... 0,9.
7.4. Размеры фундаментов под агрегаты пульпонасосной станции выбираются в зависимости от габаритов агрегата, грунтовых условий в соответствии с динамическими и статическими расчетами. При предварительной установке насосов на отдельном фундаменте массу фундамента рекомендуется назначать не менее чем в 3 раза превосходящей собственную массу насоса.
7.5. Пульпонасосные станции первого подъема фабрик по обогащению руд следует располагать в здании корпуса обогащения либо на площадке обогатительных фабрик в непосредственной близости от здания корпуса обогащения.
Во избежание затопления насосных станций первого подъема при остановке насосов следует устраивать аварийные самотечные отводы, по возможности с автоматическим переключением потока пульпы из зумпфа в аварийный отвод (лоток), и аварийные бассейны (камеры), объем которых должен назначаться из расчета приема пульпы в течение 0,5 ч (1 ч) работы пульпонасосной станции. При этом должны быть предусмотрены эффективные средства для опорожнения аварийных бассейнов (камер).
7.6. Помещение насосной станции должно быть оборудовано дренажным приямком вместимостью не менее 1 - 3 м3 для сбора дренажных вод и вод после гидроуборки помещения. Уклон пола в помещении станции должен быть не менее 1%, а уклон дренажного лотка - 1,5%, что должно обеспечивать свободный гидросмыв с полов и транспортирование продукта смыва к дренажному приямку. В качестве дренажных рекомендуются насосы типа "Гном" или центробежные самовсасывающие насосы типа НЦС. Для резервирования дренажных насосов допускается использовать водоструйный эжектор, присоединенный к системе уплотнительной воды.
7.7. Для эксплуатации оборудования, арматуры и трубопроводов насосные станции должны быть оборудованы электрическими кранами.
7.8. В отдельно стоящей насосной станции должна быть предусмотрена монтажная площадка для проведения укрупнительной сборки, ремонта и ревизии оборудования и арматуры. Размеры монтажной площадки в плане определяются габаритами применяемого оборудования, приближением крюка крана и видом внешнего транспорта. Доставлять оборудование, арматуру и материалы на монтажную площадку следует наружным монорельсом, автокраном, автомашиной или лебедкой. В помещении пульпонасосной станции для производства мелкого ремонта следует предусматривать мастерскую или свободное место для установки верстака и необходимого механического оборудования.
7.9. При разработке архитектурно-строительных решений отдельно стоящих насосных станций следует предусматривать санитарно-бытовые и служебные помещения. Состав этих помещений и их показатели назначаются в соответствии с требованиями "Санитарных норм проектирования промышленных предприятий"
СН 245-71.
8. РАСЧЕТЫ УСТРОЙСТВ ЗАЩИТЫ ОТ ГИДРАВЛИЧЕСКИХ УДАРОВ
8.1. Причинами возникновения гидравлических ударов (резкого повышения давления) в напорных коммуникациях могут являться: резкое закрытие какого-либо запорного устройства, закупорка пульпопровода, резкое изменение плотности пульпы, внезапная остановка насоса, скопление воздуха в отдельных повышенных участках пульпопровода.
8.2. При быстром перекрытии потока пульпы и при отсутствии в пульпе свободного воздуха максимальная величина превышения давления над рабочим (гидравлического удара)

в пульпопроводе определяется по формуле Н.Е. Жуковского:

, (70)
где a - скорость распространения ударной волны в пульпопроводе, м/с (при

определяется по табл. 17, при больших давлениях - по специальным методикам);

- изменение скорости движения пульпы, м/с, принимается равным

;
g - ускорение свободного падения (9,8 м/с2).
Таблица 17
─────────┬─────────┬───────────────────────────────────────────────────────
Внутрен- │Толщина │ Скорость распространения волны гидравлического удара,
ний │стенки │ м/с, при движении пульпы с частицами
диаметр │пульпо- │ твердого материала крупностью, мм
пульпо- │провода, ├──────────────────────────┬────────────────────────────
провода, │мм │ до 3 │ более 3
мм │ ├────────────┬─────────────┼──────────────┬─────────────
│ │максимальная│ минимальная │ максимальная │ минимальная
─────────┼─────────┼────────────┼─────────────┼──────────────┼─────────────
200 │ 6 │ 1250 │ 1200 │ │
200 │ 8 │ 1250 │ 1150 │ │
300 │ 9 │ 1150 │ 1060 │ 1100 │ 1100
400 │ 10 │ 1060 │ 970 │ 1020 │ 930
500 │ 10 │ 970 │ 920 │ 930 │ 860
600 │ 12 │ 920 │ 850 │ 860 │ 800
700 │ 12 │ 850 │ 790 │ 800 │ 740
800 │ 12 │ 790 │ 740 │ 740 │ 680
900 │ 15 │ 740 │ 720 │ 680 │ 640
1000 │ 15 │ 720 │ 640 │ 640 │ 580
1200 │ 15 │ 660 │ 640 │ │
8.3. При медленном перекрытии потока пульпы и при отсутствии в пульпе свободного воздуха

определяется по формуле:

, (71)
где l - длина пробега ударной волны по пульпопроводу от пульпонасосной станции до перекрываемой задвижки, м;

- время закрытия задвижки, с.
8.4. Для защиты пульпопроводов от гидравлических ударов необходимо соблюдать требования к трассе пульпопроводов, предусмотренные
СНиП 2.05.07-85, а также можно предусматривать следующие методы и средства:
сброс пульпы через насос в обратном направлении;
впуск воздуха в поток пульпы;
предохранительные устройства со срезными пальцами, разрывными шайбами и т.д.;
воздушные колонны и другие гасители гидравлических ударов.
8.5. В верхних точках переломов продольного профиля трассы напорных пульпопроводов следует предусматривать впускно-выпускные клапаны (вантузы) для выпуска воздуха. Диаметр впускно-выпускного отверстия вантуза

определяется по формуле

, (72)
где

- скорость движения воздуха, ориентировочно принимается при опорожнении равной 10 - 15 м/с, при наполнении трубопровода - 40 - 50 м/с.
8.6. При

, равном 300 - 400 мм, на пульпопроводе следует установить несколько вантузов с суммарной площадью впускно-выпускных отверстий равной площади диаметром

.
8.7. Воздушные колонны рекомендуется устанавливать вблизи очагов гидравлических ударов - обратных клапанов, около насосных станций. Диаметр колонн принимается равным или большим диаметра защищаемого пульпопровода. Объем колонн

при атмосферном давлении (объем воздуха), необходимый для уменьшения максимального давления при гидравлическом ударе до допустимой величины, можно определить по упрощенной формуле Н.Е. Жуковского:

, (73)
где K - коэффициент, принимаемый равным 2,2 при установке колонны на магистрали, и 1,1 - при установке колонны у задвижки или обратного клапана;

- фаза удара, равная L/a, с;

- гидродинамическое давление в колонне, принимаемое равным

, м;

- напор, развиваемый пульпонасосом, м;
H - допустимое давление в трубах, исходя из их прочности с учетом гидроабразивного износа, м;
L - длина пульпопровода, м.
8.8. В многоступенчатых системах гидротранспорта с последовательно соединенными насосами на насосных станциях следует предусматривать установку гасителей гидравлического удара с обратным клапаном двойного действия и обводной трубой (байпасом).
8.9. При необходимости более детального расчета гидродинамических параметров можно воспользоваться "Руководством по защите напорных гидротранспортных систем от гидравлических ударов ВСН 01-81", разработанным институтом горной механики АН ГССР.
9. ВЫБОР ОПТИМАЛЬНОГО СПОСОБА РЕГУЛИРОВАНИЯ
ПРОИЗВОДИТЕЛЬНОСТИ СИСТЕМЫ ГИДРОТРАНСПОРТА
9.1. Система гидротранспорта в процессе эксплуатации может быть выведена из расчетного режима в силу влияния на ее работу многих факторов: изменения количества пульпы, поступающей от технологического процесса предприятия, изменения условий транспортирования (дальности транспортирования на карту намыва, высоты карты намыва, глубины разрабатываемого забоя), изменения гидравлической крупности материала, износа насосов и др. В этих случаях для поддержания оптимального режима работы системы гидротранспорта должна регулироваться ее производительность.
При проектировании системы гидротранспорта необходимо выбрать способ регулирования режима работы насосов, который оптимизировал бы работу системы в заданном диапазоне изменения производительности.
В последние годы разработаны новые способы и устройства регулирования производительности систем гидротранспорта. Регулирование объемной подачи пульпы позволяет снизить расходы балластной воды и тем самым энергозатраты на гидротранспорт. Кроме того, за счет регулирования скорости движения пульпы при транспортировании мелкофракционных материалов (хвостов флотации углеобогатительных фабрик, горно-обогатительных комбинатов и др.) можно обеспечить минимальный износ и соответственно максимальную долговечность гидротранспортного оборудования.
За критерий оптимальности способа регулирования принимается минимум приведенных расходов, определяемый технико-экономическим расчетом.
9.2. Определяющим элементом при выборе способа регулирования производительности системы гидротранспорта является ее назначение в общей технологической цепи предприятия. В соответствии с этим системы гидротранспорта можно разделить на две группы.
К первой группе относятся системы гидротранспорта с земснарядами, предназначенные только для перемещения нерудных материалов и не связанные с другими технологическими процессами. Задачей регулирования для таких систем является обеспечение максимальной производительности по твердому

. Основные способы регулирования производительности гидротранспортной системы земснарядов приведены в табл. 18.
───────────────────────────┬─────────────────────────┬─────────────────────
Способ и устройство │ Область применения │ Технические данные
регулирования │ │
───────────────────────────┼─────────────────────────┼─────────────────────
I. Изменение частоты │ │
вращения электропривода │ │
Частотные преобразователи │Асинхронные коротко- │Частота тока
(типа ЭКТ-160 и др.) │замкнутые и реактивные │f = 5 - 80 Гц,
│электродвигатели │эта = 0,92 - 0,87
│мощностью до 200 кВт │
Асинхронный регулируемый │Асинхронные электро- │Частота вращения
двигатель АРД-250 │двигатели с фазным │колеса насоса
│ротором мощностью 250 кВт│n = 525 - 700 об/мин
Асинхронно-вентильный │То же, мощностью │Диапазон
каскад АВК (с частотными │100 - 2000 кВт │регулирования
преобразователями │ │(1,0 - 0,7) n
ПАВК-ТДП2) │ │ ном
│ │при эта = 0,96
│ │частота тока
│ │f = 0,5 - 50 Гц
Система САВК-4/18 - │Синхронные электро- │ -
регулируемый синхронный │двигатели мощностью │
(вентильный) двигатель │630 - 1000 кВт │
с тиристорными │ │
преобразователями │ │
Пускатели частотные │То же, мощностью │ -
высоковольтные типа │1000 и более кВт │
ПЧВ-6000/400, ПЧВ-6000/800 │ │
(система по ХЭМЗ) │ │
II. Изменение скольжения │ │
двигателя относительно │ │
приводного агрегата │ │
(насоса) │ │
Индукторные муфты │Приводы насосов мощностью│Номинальный передава-
скольжения (ИМС) │до 200 кВт │емый крутящий момент
│ │от 75 до 200 кгм
│ │(для муфт
│ │ИМС75 - ИМС200)
│ │ 3
│ │N = n
Гидродинамические муфты │То же, мощностью │
(Харьковский завод │до 130 кВт │
"Кондиционер") │ │
III. Изменение диаметра │ │
рабочего колеса насоса │ │
Подрезка рабочих колес по │Для уменьшения объемной │Соотношение рабочих
диаметру │подачи пульпы насосом │параметров см. в
│ │изменения диаметра
│ │колеса (1 - 0,9)
Наплавка рабочих колес │Для повышения напора │Диапазон изменения
по диаметру │насоса │диаметра колеса
│ │(1 - 1,05)
IV. Повышение всасывающей │ │
способности системы │ │
Эжекторное устройство │Гидротранспорт │Оптимизируется
│из глубоких забоев │по ро
│ │ тр max
Погружной бустерный насос │То же │То же
Отключение отдельных насо- │Крупные системы │Оптимизируется
сов в системе, скомпоно- │гидротранспорта │по режиму работы
ванной из агрегатов различ-│обогатительных фабрик, │(производительности)
ной производительности │заводов, ГРЭС │предприятий
────────────────────────────────────┬──────────────────────────────────────
Способ регулирования │ Соотношение рабочих параметров
│ при регулировании
────────────────────────────────────┼──────────────────────────────────────
Изменение частоты вращения │При Н = 0: Q /Q = n /n
рабочего колеса насоса от n до n │ геод ном i ном i
н i │
Параметры: │
доп │ 2
Q , Н , N , Н - подача, напор, │Н /Н = (n /n )
н н н вак │ н 1 н i
мощность и допустимая вакуумметри- │ 3
ческая высота всасывания при │N /N = (n /n )
скорости вращения n ; │ н i ном i
ном │
│
доп │ доп доп 2
Q , Н , N , Н - те же параметры │Н = Н - (Н - Н )(n /n )
i i i вак │ вак а а вак i ном
при скорости вращения n │
i │
│
H - превышение барометрического │При H > 0 соотношение параметров
а │ геод
давления над давлением паров │определяется графо-аналитическим
перекачиваемой жидкости │способом
│
Подрезка рабочего колеса │D /D <= Q /Q - допустимая
от D до D │ к1 к кр 1
к к1 │величина обточки
│
Параметры: │
│ 1,6
Q , Н , N - подача, напор │Q /Q = (D /D )
н н н │ 1 2 к1 к
и мощность насоса с нормальным │
рабочим колесом D │
к │
│ 2,5
Q , Н , N - те же параметры │H /H = (D /D )
1 1 1 │ 1 н к1 к
с подрезанным колесом до D │
к1 │
│ 4
Q - подача, соответствующая │N /N = (D /D )
кр │ 1 н к1 к
критической скорости │
транспортирования │
│ 1,6
Наплавка рабочего колеса │Q /Q = (D /D )
от D до D │ нп н к1нп к
к кнп │
│
Параметры: │
│ 2,5
Q , Н , N - подача, напор │H /H = (D /D )
нп нп нп │ нп н к1нп к
и мощность насоса с наплавленными │ 4
лопастями колеса │N /N = (D /D )
│ нп н к1нп к
Ко второй группе можно отнести гидротранспортные системы обогатительных фабрик, заводов, ТЭС. Их задача - обеспечить перемещение определенного количества твердого материала (отходов производства), которое обусловлено производительностью предприятия. В этих условиях технико-экономические показатели системы гидротранспорта определяются концентрацией пульпы S, поэтому способ регулирования здесь должен обеспечить транспорт поступившего объема пульпы при минимальных энергетических затратах.
Такие системы гидротранспорта проектируются, как известно, на максимальную производительность, поэтому регулировать производительность насосной установки приходится в сторону ее уменьшения.
9.3. Наиболее рациональным способом регулирования производительности насосов является изменение частоты вращения рабочего колеса насоса.
Диапазон регулирования частоты вращения привода насоса определяется по формуле

, (74)
где

- стандартная частота вращения нерегулируемого привода, соответствующая паспортной характеристике насоса;

- минимальная частота вращения привода насоса, требуемая по условиям эксплуатации систем гидротранспорта;

- мощность электропривода, которая требуется для перекачки пульпы с минимальными параметрами транспортирования (

,

);

- мощность электропривода, требуемая для перекачки пульпы с максимальными параметрами транспортирования (которые при проектировании приняты в качестве номинальных

;

).
Средняя величина глубины регулирования производительности для крупных железорудных ГОКов определяется по формуле

и составляет 10 - 12%.
При выборе способа регулирования гидротранспортных установок, работающих на удалении отходов обогащения нерудного сырья, диапазон регулирования производительности определяется на основе величины нормативного коэффициента неравномерности подачи сырья на обогатительную фабрику.
9.4. Для обеспечения надежности работы системы гидротранспорта с учетом регулирования ее производительности необходимо произвести проверочный гидравлический расчет системы для нижней границы расчетного диапазона регулирования.
9.5. Для регулирования электропривода систем гидротранспорта институтом ВНИИЭлектропривод разработаны асинхронно-вентильные каскады (АВК). Система АВК строится на основе агрегатов серии ТДП-2 (тиристорные диодные преобразователи), выпускаемых Саранским заводом "Электровыпрямитель", и станций управления, выпускаемых Чебоксарским электроаппаратурным заводом. Агрегаты ТДП-2 предназначены для плавного регулирования скорости вращения асинхронных двигателей с фазным ротором мощностью от 100 до 2000 кВт, с номинальным током ротора до 2500 А и номинальным напряжением до 1700 В, рабочим напряжением ротора до 700 В. Технические данные агрегатов ТДП-2 приведены в табл. 20.
Таблица 20
─────────────────┬──────────┬──────────────────────────────────┬───────────
Тип агрегата │Номиналь- │Параметры роторной цепи двигателя │ Линейное
│ная ├──────────────┬──────────┬────────┤напряжение
│мощность, │напряжение при│номиналь- │сверхток│ питающей
│кВт │ минимальной │ный ток │фазы, А │ сети, В
│ │ скорости, В │фазы, А │ │
─────────────────┼──────────┼──────────────┼──────────┼────────┼───────────
ТДП2-0630/400-1Т │ 360 │ 350 \ │ │ │ 400
│ │ > │ 630 │ 1100 │
ТДП2-0630/400-2Т │ 720 │ 700 / │ │ │ 400 x 2
│ │ │ │ │
ТДП2-1250/400-1Т │ 720 │ 350 \ │ │ │ 400
│ │ > │ 1250 │ 2200 │
ТДП2-1250/400-2Т │ 1440 │ 700 / │ │ │ 400 x 2
│ │ │ │ │
ТДП2-2500/400-2Т │ 1440 │ 350 \ │ │ │ 400
│ │ > │ 2500 │ 4400 │
ТДП2-2500/400-4Т │ 2880 │ 700 / │ │ │ 400 x 2
Примечание. Частота тока питающей сети 50 Гц, роторной цепи 0,5 - 50 Гц.
Привод является перспективным для пульпонасосов, оборудованных асинхронными электродвигателями с короткозамкнутыми роторами мощностью до 200 кВт. Разработаны преобразователи серии ЭКТ мощностью до 500 кВт.
Асинхронный регулируемый двигатель типа АРД-250 номинальной мощностью 250 кВт предназначен для привода насосов типа 12Гр-8Т и подобных ему по параметрам, обеспечивая изменение частоты их вращения в диапазоне 525 - 700 об/мин; номинальное напряжение статора 6000 В; номинальный ток статора 21,5 А; масса электродвигателя - 3760 кг; шкафа управления - 1150 кг. Возможно включение асинхронно регулируемого двигателя в единую систему автоматического управления техническим процессом всего предприятия.
Регулируемый электропривод по системе САВК-500-4/18-УХЛ-4 имеет упрощенную силовую часть и упрощенную логику в сравнении с приводом с пускателями ПЧВ-6000/400 и ПЧВ-6000/800 завода ХЭМЗ, что обеспечивает ему КПД 92 - 93%. Кроме того, он требует гораздо меньшей площади (размещение преобразователей ПЧВ-6000/800 требует помещения размером 9 x 12 м).
10. ВЫБОР И РАЗМЕЩЕНИЕ КОНТРОЛЬНО-ИЗМЕРИТЕЛЬНЫХ ПРИБОРОВ
В СИСТЕМЕ ГИДРОТРАНСПОРТА
10.1. Основными задачами контрольных наблюдений процесса транспорта являются проверка соответствия фактических параметров системы гидротранспорта заданным, оценка количества транспортируемого материала, определение абразивного износа трубопроводов и оборудования.
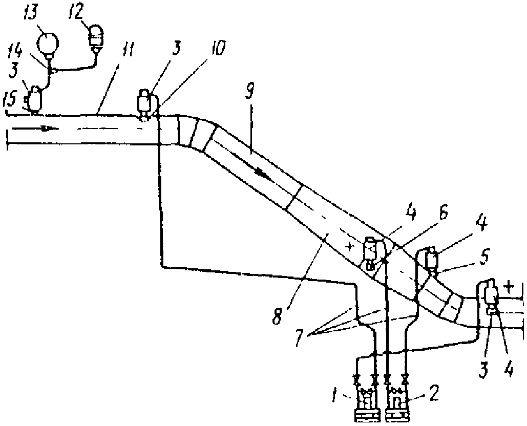
10.2. Для контроля работы и учета производительности системы гидротранспорта может быть применен комплект приборов, разработанных Институтом гидромеханики АН УССР. На рис. 5 в качестве примера приведена схема установки комплекса приборов на нисходящем наклонном пульпопроводе.
Рис. 5. Схема размещения комплекта приборов контроля
и учета производительности системы гидротранспорта
1 и 2 - дифманометры ДМ соответственно плотномера
и расходомера; 3 - отборник давления плюсовый плотномера;
4 - отстойник с эластичным разделителем; 5 и 6 - отборники
давления расходомера соответственно минусовый и плюсовый;
7 - трубка импульсная 12 x 2,5; 8 - корпус расходомера
700/504 мм; 9 - трубопровод напорный наклонный диаметром
500 мм; 10 - датчик шаровой - отборник давления минусовый
плотномера; 11 - трубопровод напорный горизонтальный
диаметром 500 мм; 12 - реле давления РД-М5 (или РД-3-01);
13 - манометр; 14 - тройник для соединения импульсных
трубок; 15 - штуцер
10.3. Для контроля расхода пульпы выпускаются индукционные расходомеры ИР-51, изготовитель - Таллинский приборостроительный завод.
10.4. На всасывающем патрубке пульпонасоса первой ступени рекомендуется устанавливать мановакуумметр с пределами измерения 1,0 - 1,5 кг/см2. Для измерения давления на входе и выходе насоса рекомендуется на всасывающем и нагнетательных патрубках пульпонасоса второй ступени (без разрыва потока пульпы) устанавливать датчик типа МЭД, подключенный к вторичному прибору КСД-2-003 на заданный интервал давлений.
10.5. Для измерения и записи колебаний пульпонасосов рекомендуется использовать вибрографы М-ВЭГИК с гальванометрами М001-2А и сейсмодатчиками ОСП с гальванометрами М002.
10.6. Для определения величины гидравлических сопротивлений на различных участках трубопровода рекомендуется использовать самопишущие манометры МТС-11 и МТС-12, дифманометры ДМ-5М и ДМ-50 и пьезометры.
10.7. Для контроля состояния стенок металлических трубопроводов можно использовать портативные ультразвуковые приборы "Кварц-16" (изготовитель - Кишиневский завод "Электроточприбор") в количестве не менее двух на систему гидротранспорта.
10.8. В системе гидротранспорта должны также предусматриваться следующие приборы: счетчики часов работы насосов; указатели уровня пульпы с контактными устройствами в зумпфах пульпонасосов и насосов осветленной воды; реле уровня в дренажных приямках; термометры для измерения температуры пульпы и температуры подшипников насосов.
РАСЧЕТНЫЕ ВЕЛИЧИНЫ КРИТИЧЕСКИХ СКОРОСТЕЙ И УДЕЛЬНЫХ ПОТЕРЬ
НАПОРА ПРИ ГИДРОТРАНСПОРТЕ ПЕСКОВ И ПЕСЧАНО-ГРАВИЙНЫХ СМЕСЕЙ
────────────┬───────┬──────────────────────────────────────────────────────
Наименование│Диаметр│ Отношение твердого к жидкому
грунта │трубо- ├──────────┬──────────┬──────────┬──────────┬──────────
│про- │ 1:5 │ 1:7 │ 1:10 │ 1:15 │ 1:25
│вода, ├────┬─────┼────┬─────┼────┬─────┼────┬─────┼────┬─────
│мм │v │i │v │i │v │i │v │i │v │i
│ │ кр │ пкр │ кр │ пкр │ кр │ пкр │ кр │ пкр │ кр │ пкр
────────────┼───────┼────┼─────┼────┼─────┼────┼─────┼────┼─────┼────┼─────
Песок │ 600 │2,91│0,023│2,61│0,018│2,31│0,015│2,01│0,012│1,68│0,008
пылеватый │ 500 │2,66│0,024│2,38│0,019│2,11│0,016│1,84│0,012│1,54│0,009
при │ 400 │2,38│0,025│2,13│0,02 │1,89│0,016│1,64│0,013│1,37│0,009
С = 13 │ 300 │2,06│0,027│1,84│0,022│1,64│0,018│1,42│0,014│1,19│0,01
фи │ 250 │1,88│0,028│1,68│0,023│1,49│0,019│1,39│0,015│1,09│0,001
│ │ │ │ │ │ │ │ │ │ │
Песок мелкий│ 600 │3,91│0,039│3,5 │0,032│3,11│0,026│2,7 │0,02 │2,26│0,014
при │ 500 │3,57│0,041│3,20│0,033│2,83│0,027│2,47│0,021│2,06│0,015
С = 4 │ 400 │3,19│0,043│2,86│0,035│2,54│0,038│2,21│0,022│1,85│0,016
фи │ 300 │2,76│0,046│2,48│0,038│2,2 │0,03 │1,91│0,024│1,46│0,018
│ 250 │2,52│0,048│2,26│0,04 │ 2 │0,032│1,74│0,025│1,46│0,018
│ │ │ │ │ │ │ │ │ │ │
Песок │ 600 │4,2 │0,044│3,76│0,036│3,34│0,029│2,9 │0,023│2,43│0,016
средне- │ 500 │3,83│0,044│3,43│0,038│3,05│0,03 │2,65│0,024│2,22│0,017
зернистый │ 400 │3,43│0,049│3,07│0,04 │2,72│0,032│2,37│0,025│1,98│0,018
при │ 300 │2,97│0,052│2,66│0,043│2,36│0,035│2,05│0,027│1,72│0,019
С = 3 │ 250 │2,71│0,055│2,43│0,045│2,15│0,036│1,87│0,028│1,57│0,02
фи │ │ │ │ │ │ │ │ │ │ │
Песчано- │ 600 │4,49│0,05 │4,02│0,041│3,57│0,033│3,1 │0,026│2,60│0,018
гравийная │ 500 │4,1 │0,052│3,67│0,043│3,26│0,034│2,83│0,027│2,37│0,019
смесь с │ 400 │3,66│0,055│3,28│0,045│2,91│0,036│2,53│0,028│2,12│0,02
содержанием │ 300 │3,17│0,059│2,84│0,049│2,52│0,039│2,19│0,03 │1,84│0,022
гравия до │ 250 │2,9 │0,062│2,59│0,051│2,3 │0,041│ 2 │0,032│1,68│0,023
10% при │ │ │ │ │ │ │ │ │ │ │
С = 2,3 │ │ │ │ │ │ │ │ │ │ │
фи │ │ │ │ │ │ │ │ │ │ │
│ │ │ │ │ │ │ │ │ │ │
То же, │ 600 │4,95│0,06 │4,44│0,049│3,94│0,039│3,42│0,031│2,87│0,022
10 - 20% │ 500 │4,52│0,063│4,05│0,051│3,59│0,041│3,13│0,032│2,62│0,023
при │ 400 │4,04│0,066│3,62│0,054│3,21│0,044│2,80│0,034│2,34│0,24
С = 1,55 │ 300 │3,5 │0,071│3,14│0,058│2,78│0,047│2,42│0,036│2,03│0,026
фи │ 250 │3,2 │0,074│2,86│0,061│2,54│0,049│2,21│0,038│1,85│0,028
│ │ │ │ │ │ │ │ │ │ │
То же, │ 600 │5,53│0,074│4,95│0,06 │4,39│0,048│3,82│0,037│3,2 │0,027
20 - 30% │ 500 │5,04│0,077│4,52│0,063│4,01│0,05 │3,49│0,039│2,92│0,028
при │ 400 │4,51│0,081│4,04│0,066│3,59│0,053│3,12│0,041│2,61│0,03
С = 0,75 │ 300 │3,91│0,087│3,5 │0,071│3,11│0,057│2,7 │0,044│2,26│0,032
фи │ 250 │3,57│0,091│3,2 │0,074│2,83│0,06 │2,47│0,047│2,06│0,034
НОМОГРАММА ДЛЯ ОПРЕДЕЛЕНИЯ КРИТИЧЕСКИХ СКОРОСТЕЙ
И УДЕЛЬНЫХ ПОТЕРЬ НАПОРА ПРИ ГИДРОТРАНСПОРТЕ РАЗРАБОТАННЫХ
ГРУНТОВ И НЕРУДНЫХ ПОЛЕЗНЫХ ИСКОПАЕМЫХ
Правила пользования номограммой
Для определения критической скорости

необходимо:
соединить прямой линией заданные значения S и D и получить точку на промежуточной шкале

;
соединить точку, полученную на промежуточной шкале

, с расчетным значением на шкале

;
на шкале

прочесть искомый результат.
Для определения линейных потерь напора по пульпе

при рабочей скорости

используется шкала A. На ней каждому значению отношения

соответствует коэффициент A, на который необходимо умножить значение линейных потерь напора по воде

(при расчетной скорости)

.
ТЕХНИЧЕСКИЕ ХАРАКТЕРИСТИКИ ЦЕНТРОБЕЖНЫХ ГРУНТОВЫХ НАСОСОВ
─────────────┬─────────┬──────┬──────┬─────┬───────┬─────┬───────────┬─────
Марка насоса │ Подача │Напор,│Час- │КПД, │Допус- │Мощ- │Нормативный│Диа-
├────┬────┤ м │тота │%, не│каемый │ность│ размер │метр
│м/ч3│л/с │ │вра- │менее│кавита-│на- │проходного │рабо-
│ │ │ │щения,│ │ционный│соса,│ сечения │чего
│ │ │ │об/мин│ │запас, │кВт, │проточного │коле-
│ │ │ │ │ │м, не │не │тракта, мм,│са,
│ │ │ │ │ │более │более│не менее │мм
─────────────┼────┼────┼──────┼──────┼─────┼───────┼─────┼───────────┼─────
ГрТ 50/16 │50 │13,9│16 │1450 │63 │2 │5 │40 │225
ГрТ 100/40 │100 │27,8│40 │1450 │55 │4 │30 │50 │365
ГрТ 160/71а │160 │44,5│63 │1450 │57 │5 │70 │55 │434
ГрТ 160/31,5 │160 │44,5│31,5 │1450 │66 │5 │25 │55 │325
ГрУ 160/16 │160 │44,5│16 │1450 │62 │4 │13 │55 │254
ГрТ 400/40 │400 │111 │40 │965 │67 │5,5 │85 │85 │515
ГрУ 400/20 │400 │111 │20 │965 │64 │4,5 │42 │85 │405
ГрТ 800/71 │800 │222 │71 │965 │65 │8 │250 │100 │730
ГрТ 800/71-Б │800 │222 │71 │965 │65 │8 │250 │100 │730
ГрУ 800/40 │800 │222 │40 │965 │65 │6 │170 │115 │700
ГрТ 1250/71 │1250│347 │71 │965 │67 │7,5 │420 │120 │710
ГрТ 1250/71-Б│1250│347 │71 │965 │67 │7,5 │420 │120 │710
ГрТ 1600/50 │1600│445 │50 │725 │69 │7 │340 │140 │840
ГрК 1600/50 │1600│445 │50 │725 │69 │7 │340 │140 │840
ГрК 1600/50М │1600│445 │50 │725 │69 │7 │340 │140 │840
ГрУ 1600/25 │1600│445 │25 │725 │65 │7 │170 │140 │650
ГрУ 2000/63 │2000│555 │63 │580 │68 │7 │650 │180 │1050
ГрТ 4000/71 │4000│1110│71 │485 │73 │8 │1260 │230 │1390
ГрТ 8000/71 │8000│2220│71 │375 │74 │8,5 │3200 │310 │
Примечания. 1. Отклонение напора от величин, указанных в таблице, допускается в пределах +/- 5%.
2. Для насосов с деталями проточной части из абразивного материала на органической связке или с рабочими колесами, оснащенными отбойными лопатками, допускается принимать КПД на 6% менее указанного.
3. Мощность насоса при работе на пульпе должна изменяться пропорционально соотношению плотностей пульпы и воды.
ТЕХНИЧЕСКИЕ ДАННЫЕ СТАЛЬНЫХ ТРУБ (ЭЛЕКТРОСВАРНЫЕ
ПРЯМОШОВНЫЕ И СПИРАЛЬНО-ШОВНЫЕ ГОСТ 10704-76*;
ГРУППА ПОСТАВКИ В,

)
────────────┬──────────────────────────────────────────────────────────────────
Диаметр │ Масса 1 м труб, кг, при толщине стенки, мм
трубы, мм │
──────┬─────┼─────┬─────┬─────┬──────┬─────┬─────┬─────┬─────┬─────┬─────┬─────
услов-│внеш-│ 4 │ 5 │ 6 │ 7 │ 8 │ 9 │ 10 │ 11 │ 12 │ 13 │ 14
ный │ ний │ │ │ │ │ │ │ │ │ │ │
──────┼─────┼─────┼─────┼─────┼──────┼─────┼─────┼─────┼─────┼─────┼─────┼─────
200 │219 │21,2 │26,4 │ │ │ │ │ │ │ │ │
250 │273 │26,5 │33,0 │ │ │ │ │ │ │ │ │
300 │325 │31,7 │39,5 │47,2 │ │ │ │ │ │ │ │
350 │377 │26,8 │45,9 │54,9 │ │ │ │ │ │ │ │
400 │426 │41,63│51,91│62,15│72,33 │87,47│92,56│102,6│112,6│122,4│ │
450 │478 │ │58,33│69,84│81,33 │92,73│104,1│115,4│126,7│137,9│ │
500 │530 │51,79│64,61│77,39│90,11 │102,9│115,4│118,0│140,5│153,0│ │
600 │630 │ │77,07│92,33│107,5 │122,7│137,8│152,9│167,9│182,9│ │
700 │720 │ │88,17│105,7│123,1 │140,5│157,8│175,1│192,3│209,5│ │
800 │820 │ │100,5│120,5│140,33│160,2│180,0│199,5│219,5│239,1│ │
900 │920 │ │ │ │157,6 │179,2│202,2│224,4│246,6│268,7│290,8│312,8
1000 │1020 │ │ │ │ │199,7│224,4│249,1│273,7│298,3│322,8│347,3
1100 │1120 │ │ │ │ │219,4│246,5│273,7│300,8│327,9│354,9│381,9
1200 │1220 │ │ │ │ │ │268,8│298,4│328,0│357,5│387,0│416,4