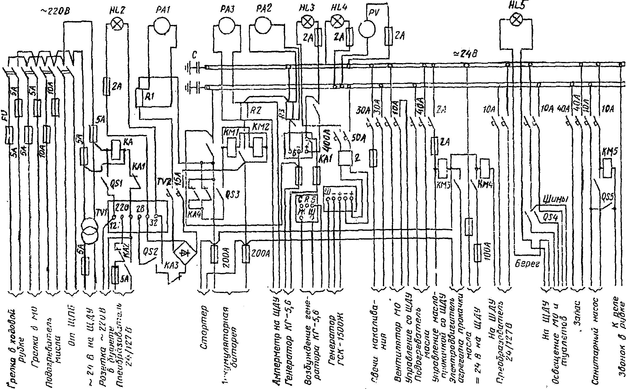
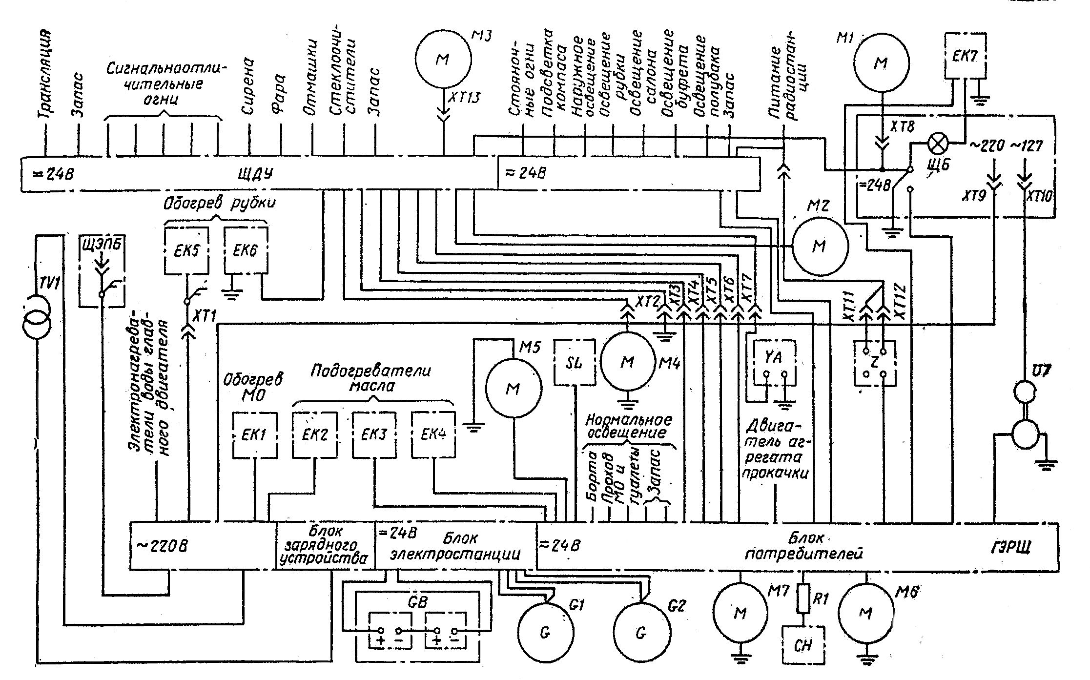
Главная // Актуальные документы // ПереченьСПРАВКА
Источник публикации
М.: "Транспорт", 1980
Примечание к документу
Название документа
"Руководство по технической эксплуатации скоростного пассажирского флота"
(утв. Минречфлотом РСФСР 28.09.1979)
"Руководство по технической эксплуатации скоростного пассажирского флота"
(утв. Минречфлотом РСФСР 28.09.1979)
Заместитель министра
речного флота
В.В.ТРОФИМОВ
28 сентября 1979 года
РУКОВОДСТВО ПО ТЕХНИЧЕСКОЙ ЭКСПЛУАТАЦИИ
СКОРОСТНОГО ПАССАЖИРСКОГО ФЛОТА
В руководстве изложены особенности организации технической эксплуатации скоростных пассажирских судов.
Руководство предназначается для специалистов пароходств, судоремонтных предприятий, ремонтно-эксплуатационных баз флота и плавсостава Министерства речного флота РСФСР, осуществляющих техническую эксплуатацию скоростных пассажирских судов.
Руководство разработано Горьковским институтом инженеров водного транспорта, Главфлотом Минречфлота, Московским пароходством.
1.1.
Соотношение единиц физических величин в ранее действующих системах (МКГСС, СГС) и в международной системе (СИ) приведены в прил. 1.
1.2. К скоростным судам относятся суда на подводных крыльях (СПК), на воздушной подушке и глиссирующие. Основные технические
данные этих судов приведены в прил. 2.
1.3. Ответственность за правильную организацию технической эксплуатации скоростного пассажирского флота в каждом пароходстве возлагается на службу судового хозяйства (ССХ).
1.4. В пассажирских портах руководство технической эксплуатацией скоростных пассажирских судов осуществляет механик-наставник (групповой механик) по скоростным судам, который подчинен главному инженеру пассажирского порта.
1.5. В портах руководство технической эксплуатации скоростных пассажирских судов осуществляет механик-наставник (групповой механик), который подчинен заместителю начальника порта по флоту, а где его нет, главному инженеру порта или его заместителю по флоту.
1.6. Ответственность за правильную организацию технической эксплуатации скоростного пассажирского судна несет капитан-механик.
1.7. Техническая эксплуатация скоростных пассажирских судов осуществляется судовыми экипажами. Судовой экипаж обеспечивает постоянную готовность судна к работе по назначению, поддержание между плановыми ремонтами и заводскими техническими обслуживаниями технико-эксплуатационных характеристик в заданных пределах, а также исправное техническое состояние и содержание судна и судовой техники.
1.8. В навигационный период ежедневное и очередное техническое обслуживание (ТО) выполняется:
на судах, экипажи которых работают без совмещения профессий - в полном объеме силами судовых экипажей;
на судах, экипажи которых работают с совмещением профессий, - силами судовых экипажей и специалистами береговых производственных участков (БПУ).
1.9. Техническая эксплуатация скоростных пассажирских судов (судовой техники) должна производиться в соответствии с данным руководством, правилами технической эксплуатации, инструкциями заводов-строителей, заводов-поставщиков судовой техники и другими нормативными документами, утвержденными Минречфлотом и пароходствами.
Точное выполнение положений настоящего Руководства должно обеспечить повышение уровня технической эксплуатации скоростных пассажирских судов.
В "Руководстве" единицы физических величин соответствуют СТ СЭВ 1052-78.
2. ВОЖДЕНИЕ СУДОВ И ОБЕСПЕЧЕНИЕ БЕЗОПАСНОСТИ ИХ ЭКСПЛУАТАЦИИ
При управлении скоростными судами в рейсе, кроме соблюдения общепринятых правил судовождения, следует руководствоваться изложенными ниже правилами, обусловленными ходовыми качествами и особенностями конструкции скоростных судов.
2.1. Вождение судов типа "Метеор" и "Ракета"
Суда на подводных крыльях (СПК "Метеор", "Ракета") имеют три качественно различных режима движения:
движение в водоизмещающем состоянии (плавание);
переходный режим (глиссирование);
ход на подводных крыльях.
В отличие от судов водоизмещающего типа СПК весьма чувствительны к перегрузке по водоизмещению, которая приводит к затяжному выходу на крылья, увеличивает нагрузку главных дизелей и тем самым способствует снижению их моторесурса. В процессе эксплуатации перегрузка судна по водоизмещению недопустима.
Нормы загрузки составляют: для СПК типа "Метеор" 13 т (пассажировместимость 150 чел. на экскурсионно-прогулочных линиях и 124 чел. на эксплуатационных), для СПК типа "Ракета" 5 т (пассажировместимость 64 чел. на экскурсионно-прогулочных линиях и 50 чел. на эксплуатационных).
В процессе эксплуатации контроль за загрузкой судов производится по количеству принятых пассажиров. Ответственность за соблюдение норм загрузки возлагается на капитана (капитана-механика) судна или лицо, его замещающее.
2.1.2. Управление судном при движении в водоизмещающем состоянии
Управление СПК при движении в водоизмещающем состоянии в основном не отличается от управления обычным судном. Однако следует иметь в виду, что габариты судна по ширине и осадке определяются размерами крыльевого устройства, а не корпуса.
При движении судов передним ходом в водоизмещающем состоянии рекомендуется поддерживать частоту вращения главных дизелей не свыше:
а) 1100 об./мин. - для СПК типа "Метеор";
б) 900 об./мин. - для СПК "Ракета".
Частота вращения главных дизелей на заднем ходу не должна превышать 850 об./мин. Непрерывная работа на заднем ходу более одного часа не допускается.
Циркуляция на корпусе совершается при минимальном радиусе закругления 4 - 5 длин корпуса для СПК типа "Метеор" и 2 - 3 длины корпуса для СПК типа "Ракета".
Во время циркуляции разрешается полная перекладка руля. Частота вращения главных дизелей во время циркуляции не должна превышать на СПК типа "Метеор" и "Ракета" 900 об./мин.
Работа главных дизелей СПК типа "Метеор" "враздрай" разрешается только при положении рукояток управления подачей топлива на упорах реверсирования (700 - 750 об./мин.).
2.1.3. Управление судном на переходном режиме движения
Переходный режим - разгон теплохода для выхода на крылья или торможение с полного хода до режима плавания или остановки теплохода.
При выходе на крылья СПК обладают сравнительно меньшим запасом остойчивости, чем в водоизмещающем состоянии.
В связи с этим судоводителю надлежит:
а) перед началом разгона убедиться, что нет скопления пассажиров на одном борту и начальный статический крен отсутствует или не превышает 2,5 - 3° (при наличии статического крена более 3° выход судна на крылья не производить до устранения крена; для уменьшения начального крена разрешается плавная перекладка руля на накрененный борт так, чтобы угол перекладки не превышал 3 - 6°);
б) не затягивать время выхода на крылья; разгон судна осуществлять по возможности на прямом курсе (не допускать крутой циркуляции и резкой перекладки рулей в режиме выхода на крылья);
в) в случае необходимости резкого изменения курса в процессе разгона снизить обороты главных дизелей до перехода судна в водоизмещающее состояние и произвести маневр с помощью рулей.
Разгон судна можно производить двумя способами.
Разгон первым способом:
а) убедиться в том, что рычаг управления реверсом находится в положении "Вперед";
б) плавным перемещением рычага управления дизелем вывести дизель на эксплуатационный режим (1550 - 1600 об./мин.) в течение 120 с (не менее).
Примечание. На судах типа "Метеор" перемещаются синхронно оба рычага управления.
При значительной перегрузке главных дизелей прекратить разгон судна. Движение не продолжать до выяснения и устранения причин перегрузки.
Разгон вторым способом:
а) убедиться в том, что рычаг управления реверсом находится в положении "Вперед";
б) ступенчатым перемещением рычага управления дизелем через 100 - 150 об./мин., с выдержкой на каждом режиме 20 - 25 с, вывести дизель на эксплуатационный режим в течение 120 с (не менее).
Значения частоты вращения дизелей и ориентировочная выдержка времени на каждой ступени для случая полной загрузки СПК типа "Метеор" и "Ракета" при отсутствии начального крена и дифферента, ветра и волнения приведены в табл. 1.
Таблица 1
ЗНАЧЕНИЯ ЧАСТОТЫ ВРАЩЕНИЯ ДИЗЕЛЕЙ И ВЫДЕРЖКИ ВРЕМЕНИ
ПРИ СТУПЕНЧАТОМ СПОСОБЕ РАЗГОНА СПК ТИПА "МЕТЕОР" И "РАКЕТА"
Номер ступени | Частота вращения дизеля, об./мин. | Ориентировочная выдержка времени на каждой ступени, с |
начальная | конечная |
I | 700 | 1100 | 30 |
II | 1100 | 1200 | 30 |
III | 1200 | 1350 | 40 |
IV | 1350 | 1450 | 20 |
V | 1450 | 1550 - 1600 | 20 |
Если судно имеет затяжной выход на крылья, то дальнейшая его эксплуатация запрещается до обнаружения и устранения причины этого явления.
Для торможения движения СПК типа "Метеор" и "Ракета" с полного хода следует:
а) плавно снизить частоту вращения дизелей перемещением рычагов управления дизелями из положения "Полный" до положения "Упор реверса", после чего установить рычаги управления реверсом в положении "Стоп";
б) сделать выдержку времени 2 - 3 с на холостом ходу до восстановления давления масла 0,6 - 0,9 МПа по приборам "Давление масла на входе".
Не допускать перемещения рычагов управления реверсом без выдержки на холостом ходу, так как дизель может остановиться;
в) перевести рычаги управления реверсом из положения "Стоп" в положение "Назад" (750 об./мин.).
2.1.4. Управление судном при движении на крыльях
Движение на крыльях является основным режимом движения судна.
Во время движения на крыльях судно обладает достаточной остойчивостью и управляемостью, однако не следует допускать значительного скопления пассажиров на каком-либо борту, так как при необходимости внезапного снижения скорости или маневра и перехода в водоизмещающее состояние углы крена значительно возрастают.
При выполнении циркуляции на тихой воде угол перекладки рулей на борт не должен превышать 10 - 12°.
Во избежание неблагоприятного воздействия на пассажиров не следует производить резкую перекладку рулей с борта на борт. Не рекомендуется также совершать крутую циркуляцию (т.е. циркуляцию на минимальном радиусе). Минимальный радиус циркуляции на крыльях составляет для судов типа "Метеор" 15 - 17 длин корпуса (525 - 600 м), а для судов типа "Ракета" 6 - 7 длин корпуса (160 - 190 м).
При движении на крыльях на эксплуатационном режиме частота вращения главных дизелей должна составлять 1550 - 1600 об./мин. Если частота вращения главного дизеля начинает падать более чем на 50 об./мин. (например, при совершении судном циркуляции, прохождении мелководья, усилении ветра и т.п.), необходимо плавной перестановкой рукоятки управления дизелем снизить частоту вращения на 100 - 150 об./мин.
Во время движения судна на крыльях судоводитель обязан внимательно наблюдать за водной поверхностью, не допуская столкновения с плавающими предметами или посадку на мель.
Признаком попадания на крылья или стойки каких-либо предметов служит появление ярко выраженных "усов", сопровождающееся потерей скорости движения и перегрузкой главных дизелей.
В случае невозможности избежать столкновения, судоводитель должен принять все меры для снижения силы удара, сообразуясь с обстановкой (снизить частоту вращения дизелей, отвернуть от заданного курса и т.д.).
При попадании посторонних предметов на крылья и стойки, при повреждениях гребного винта и вала в результате столкновения дальнейшее движение судна на крыльях запрещается до устранения неисправности или освобождения крыльевого устройства.
При попадании посторонних предметов на крыльевое устройство рекомендуется попытаться освободиться от них, переводя судно в водоизмещающее положение и дав задний ход с последующим разворотом или другим маневром по усмотрению судоводителя.
Во время прохождения на крыльях вблизи отстоя флота, ремонтных баз, земснарядов, плавучих кранов и т.п., а также при расхождении со встречными судами и при обгоне необходимо удаляться от них на максимально возможное расстояние, а в случае большого волнообразования обеспечить режим движения, при котором не возникает угрозы судам и сооружениям.
2.1.5. Управление судном при движении на волнении
В водохранилищах разряда "О" для судов типа "Метеор" разрешается плавание на крыльях при высоте волны не свыше 1,3 м.
Плавание на крыльях в водохранилищах разряда "О" для судов типа "Ракета" разрешается при высоте волны не свыше 0,8 м, на корпусе - не свыше 1,5 м.
При движении судна на волнении не рекомендуется, чтобы оно находилось лагом к волнам или под курсовым углом к ним, близким к 45° (за нулевой принимается угол при движении попутно волне).
Для устойчивого движения на крыльях в условиях волнения необходимо придерживаться следующих правил:
а) если произошел "срыв" движения на крыльях на заданном курсе, то нельзя повторно выходить на крылья, не изменяя курса. В этом случае следует развернуть судно курсом к волне 0° или 180°, после чего осуществить разгон ступенчатым методом, при котором время разгона устанавливается в зависимости от величины волнения;
б) частоту вращения главных дизелей (т.е. скорость движения) выбирать так, чтобы не ощущалось "тряски" в результате ударов корпуса о воду, а колебания частоты вращения не превышали 50 об./мин.
Следует помнить, что при движении за волной нагрузка на главные дизели больше, а скорость хода меньше, чем при движении против волны;
в) не допускать перегрузки главных дизелей;
г) не осуществлять крутую циркуляцию или резкую перекладку рулей на борт. Количество пассажиров, находящихся на одном борту, не должно превышать 30 чел. для судов типа "Метеор" и 10 чел. для судов типа "Ракета".
2.1.6. Подход и отход от причала и швартовка судов
Суда на подводных крыльях, в отличие от водоизмещающих судов, имеют высокую скорость при производстве маневров, при подходе и отходе от причала (около 20 км/ч), поэтому следует проявлять особую осторожность во время выполнения судном этих операций. При движении со скоростью 20 км/ч после выключения реверсивной муфты (перевод рукоятки управления муфтой в положение "Стоп") судно до полной остановки проходит путь, равный примерно трем длинам корпуса.
Инерционные качества СПК при движении на крыльях ориентировочно характеризуются данными табл. 2.
Таблица 2
ИНЕРЦИОННЫЕ КАЧЕСТВА СПК ПРИ ДВИЖЕНИИ НА КРЫЛЬЯХ
Наименование маневра | Путь в длинах корпуса (расстояние, м) | Время, с |
Метеор | Ракета | Метеор | Ракета |
Выбег с "Полного вперед" до полной остановки судна при выключенной муфте | 8 (250) | 4,5 (120) | 120 | 80 |
Выбег с "Полного вперед" до полной остановки при реверсировании главных дизелей и при работе на "Малый назад" | 5 (175) | 2 (50) | 35 | 20 |
Рекомендуется следующий порядок подхода судна к причалу:
а) не доходя до причала 250 - 300 м для судов типа "Метеор" и 100 - 150 м для судов типа "Ракета", плавно поставить рычаг управления дизелем на упор реверсирования, что приведет к снижению частоты вращения дизеля до минимально устойчивой, скорость судна резко упадет и в дальнейшем оно будет продолжать движение в водоизмещающем состоянии;
б) за 50 - 75 м до причала следует проверить работу дистанционного управления, для чего, установив рычаг управления реверсивной муфты на "Стоп" и убедившись в том, что муфта разобщила главный дизель с валопроводом (выдержка примерно 3 с), возвратить рычаг в положение "Вперед";
в) за 20 - 25 м до причала рычаг управления реверсивной муфтой поставить в положение "Стоп", а на судне типа "Ракета" одновременно переключить выпуск отработавших газов за борт, противоположный причальной стенке. Судно должно направляться к причалу так, чтобы расстояние между привальным брусом и стенкой не превышало 1 - 1,5 м;
г) перед совпадением посадочных площадок среверсировать главный дизель, поставив рычаг управления муфтой в положение "Назад". При полном совпадении посадочных площадок рычаг управления муфтой установить в положение "Стоп";
д) используя рули и подводный выпуск отработавших газов, подвести судно вплотную к причалу и отшвартоваться.
При швартовке судов типа "Метеор" рекомендуется учитывать преимущества двухвальной установки - возможность использования одного из двух дизелей, работу главных дизелей "враздрай" и т.п.
Подход к причалу или другому судну следует осуществлять так, чтобы не вызывать повреждений привальных брусьев, леерного ограждения и наружной обшивки, для чего, в соответствии с изложенными выше рекомендациями, внимательно контролировать скорость движения судна.
С целью предупреждения нарушения антикоррозийного покрытия при швартовке судна не допускать трения и ударов корпуса о сваи, брусья и другие предметы и сооружения, а также о привальные брусья других судов.
При отходе от причала перед включением реверсивной муфты необходимо обеспечить просвет между привальным брусом судна и стенкой в пределах 1 - 1,5 м.
Использование привальных брусьев для упора при отходе от причала или от другого судна не рекомендуется (допускается в исключительных случаях), так как приводит к образованию вмятин и задиров на корпусе и привальных брусьях.
2.1.7. Снятие судов с мели
При посадке судна на мель необходимо:
а) установить рычаг управления дизелем в положение "Упор реверса", а рычаг управления реверсом в положение "Стоп";
б) переместить рычаг управления дизелем в положение "Стоп";
в) пройти в салоны и при необходимости организовать помощь пострадавшим пассажирам;
г) выяснить аварийную обстановку: произвести круговой обмер глубины футштоком, определить грунт;
д) в зависимости от степени аварии вызвать соответствующие суда или плавсредства;
е) высадить пассажиров на другое судно;
ж) при мягком грунте произвести его подмыв с помощью другого судна, при этом следить за равномерностью подмыва под носовым и кормовым крыльями;
з) снять судно с мели с помощью другого судна, при этом буксирный канат можно крепить за стойки носового крыла или за пуговицы на стойках кормового крыла.
Снятие судна с твердого или каменистого грунта, а также с каких-либо подводных препятствий должно осуществляться с помощью плавкрана.
В случае посадки судна на мель носовым крылом при движении в водоизмещающем состоянии следует:
а) переключить дизель на холостой ход;
б) перевести пассажиров из носового салона в средний и кормовой салоны на судах типа "Метеор";
в) управляя дизелем на режиме заднего хода, попытаться сойти с мели.
Если попытка сойти с мели собственными силами не удалась, вызвать вспомогательные плавсредства и с их помощью снять судно с мели, как указано выше, помогая работой обоих дизелей на режиме заднего хода.
2.2. Вождение судов типа "Заря" и "Зарница"
Суда типа "Заря" и "Зарница" имеют аналогичные движительные комплексы и рулевые устройства. Поэтому для данных судов могут быть применены одни и те же правила вождения.
2.2.1. Начало движения и увеличение скорости до номинальной
Движение судна можно начинать после осмотра механизмов, устройств и прогрева дизеля.
Маневры, связанные с отходом судна от причала, необходимо производить при пониженной частоте вращения главного дизеля путем перемещения рукоятки управления реверсивными заслонками на передний и задний ход и перекладкой рулей ни необходимый борт и угол.
Для обеспечения забора воды водометом при работающем гребном винте необходимо перекрыть заслонки заднего хода.
При работе движителя с частотой вращения 850 об./мин. забор воды происходит через 20 - 30 с после закрытия заслонок.
В зависимости от положения реверсивных заслонок судно при работающем движителе может иметь:
а) задний ход - заслонки закрыты;
б) отсутствие хода - заслонки слегка приоткрыты;
в) передний ход - заслонки открыты частично или полностью.
После полного открытия реверсивных заслонок дальнейшее увеличение скорости достигается увеличением частоты вращения главного дизеля до номинальных значений.
При движении желательно равномерное распределение пассажиров и багажа по салону.
Частоту вращения главного дизеля судов типа "Заря" можно увеличивать непрерывным плавным передвижением рукоятки подачи топлива, доводя частоту вращения до эксплуатационной (n = 1450 об./мин.) в течение 20 - 30 с или ступенчатым способом с кратковременной выдержкой на каждом режиме.
Изменение скорости движения и высоты воздушной подушки судов типа "Зарница" обеспечивается изменением частоты вращения главного дизеля от 500 до 1500 об./мин.
В случае хода порожнем судов типа "Зарница" необходимо принять балласт в носовую балластную цистерну в количестве, обеспечивающем устойчивое движение судна на воздушной подушке.
Во избежание повреждений гибких ограждений судов типа "Зарница" реверсивные заслонки должны быть поставлены в положение, соответствующее отсутствию хода судна до полного наполнения воздушной подушки, после чего дается задний ход.
2.2.2. Изменение направления движения
Изменение направления движения на переднем ходу осуществляется перекладкой рулей на соответствующий борт и угол.
Для уменьшения радиуса поворота необходимо снизить скорость судна путем уменьшения частоты вращения дизеля, а если этого недостаточно, то следует снижать скорость закрытием заслонок.
Скорость движения судов типа "Зарница" можно снижать дополнительно перекрытием заслонки вентилятора (если глубина реки достаточна для движения в водоизмещающем положении).
При малой осадке парусность судов сравнительно велика. Поэтому при сильном ветре и маневрировании на малой частоте вращения дизеля судоводитель должен внимательно следить за ветровым дрейфом судна.
2.2.3. Управление судном при прохождении
перекатов и засоренных участков фарватера
Нормальная эксплуатация судов типа "Заря" возможна при гарантированных глубинах на песчаных перекатах не менее 0,5 м, на каменистых - 0,6 м.
Прохождение перекатов с предельными глубинами можно рекомендовать для судов типа "Заря" на скорости около 30 км/ч - 1200 об./мин. главного дизеля.
Нормальная эксплуатация судов типа "Зарница" возможна при гарантированных глубинах на перекатах не менее указанных в табл. 3.
Таблица 3
ГАРАНТИРОВАННАЯ ГЛУБИНА НА ПЕРЕКАТЕ, ПРИ КОТОРОЙ
ВОЗМОЖНА ЭКСПЛУАТАЦИЯ СУДОВ ТИПА "ЗАРНИЦА"
Режим движения | Частота вращения главного дизеля, об./мин. | Грунт на перекате | Гарантированная глубина, м |
для судна без удлинителя водозабор ника | для судна с удлинителем водозаборника |
На воздушной подушке (основной режим) | 1400 - 1500 | мягкий | 0,5 | 0,55 |
твердый (каменистый, галечный) | 0,6 | 0,65 |
На воздушной подушке со сниженной скоростью или на плаву | менее 1400 | мягкий | 0,7 | 0,75 |
твердый | 0,8 | 0,85 |
Для судов типа "Зарница" рекомендуется преодолевать перекаты, двигаясь прямолинейно на воздушной подушке при частоте вращения главного дизеля 1400 - 1500 об./мин.
При прохождении засоренных участков реки наибольшие помехи работе водомета судов типа "Заря" и "Зарница" оказывают щепа, кора и другие плавающие предметы, которые могут забить решетку водозаборника.
Преодоление засоренных участков небольшой протяженности рекомендуется при номинальной или слегка сниженной частоте вращения главного дизеля.
В случае попадания в водомет посторонних предметов необходимо немедленно остановить дизель (если это не создает опасности по условиям плавания) и принять меры к очистке движителя.
В случае посадки судна на мель не разрешается работа дизеля, если водозаборник касается грунта или имеется опасность попадания в него большого количества грунта, камней, гальки и других посторонних предметов.
Съем с мели необходимо производить с помощью буксирного судна (буксирные концы крепить к пуговицам для подъема судна, проложив между корпусом и канатом прокладку из дерева).
Суда типа "Заря" могут сниматься с мели работой водомета с закрытыми заслонками и перекладкой руля с борта на борт в случае, если команда убедилась, что водомет не будет подсасывать со дна гальку и камни.
Для обеспечения съема с мели судов типа "Зарница" допускается (как исключение) подъем судна на воздушной подушке. В этом случае карданный вал привода водометного движителя должен быть отсоединен от главного дизеля, а прием воды на охлаждение главного дизеля должен осуществляться через бортовой приемник при закрытом клапане подачи воды к дейдвудному подшипнику.
2.2.4. Подходы судов к необорудованному берегу
Для обеспечения подхода судна типа "Заря" носом к необорудованному берегу его корпус выполнен с плавным подъемом от миделя в нос. Это обеспечивает возможность выхода носовой оконечности на сухой берег для удобной посадки пассажиров без применения специальных причальных сооружений.
Выход судов типа "Зарница" носовой частью на берег обеспечивается воздушной подушкой.
При слабом течении и на спокойной воде подходы судов типа "Заря" и "Зарница" следует осуществлять перпендикулярно к береговой черте; на сильном течении - ориентируя судно под углом 60 - 70° носом против течения. На сильном течении в момент соприкосновения штевней судна с берегом для удержания кормы от навала необходимо произвести быструю перекладку рулей в сторону берега.
Подходы судов типа "Заря" следует производить с положением рукоятки подачи топлива на упоре реверсирования с закрытием заслонок для уменьшения скорости за 10 - 15 м от берега и окончательным гашением скорости после соприкосновения с берегом.
Подходить к берегу на судах типа "Зарница" следует на воздушной подушке при несколько сниженной частоте вращения дизеля, уменьшая скорость движения с помощью реверсивных заслонок. После касания грунта штевнями скегов необходимо увеличить частоту вращения дизеля и плавным открытием реверсивных заслонок создать необходимую тягу для выхода судна носовой частью на берег.
При работе судов типа "Заря" и "Зарница" на регулярной линии места подхода к необорудованному берегу рекомендуется протралить и обозначить. Глубины в районе водозаборника водометного движителя должны быть не менее 1,2 м.
Остановка судов типа "Заря" и "Зарница" производится уменьшением частоты вращения главного дизеля и поворотом реверсивных заслонок в нейтральное положение.
Уменьшение скорости движения судна перед его остановкой можно достичь следующими способами:
а) уменьшением частоты вращения главного дизеля;
б) изменением положения реверсивных заслонок.
3. ТЕХНИЧЕСКАЯ ЭКСПЛУАТАЦИЯ ЭЛЕМЕНТОВ СКОРОСТНЫХ СУДОВ
Все элементы скоростных судов (корпус, устройства, системы, судовая силовая установка, электрооборудование и т.д.) должны в общей части удовлетворять требованиям Правил Речного Регистра РСФСР и
Правил технической эксплуатации речного транспорта.
Для конструкции корпуса и надстройки судов типа "Метеор" и "Ракета" использованы дюралюминиевые сплавы листовой Д16АТ и профильный Д16Т. Часть конструкций выполнена из сплавов АМг и АМц, отдельные узлы стальные.
Корпус и надстройка судов типа "Заря" и "Зарница" изготовлены из сплавов АМг5 и АМг61. Основным видом соединения деталей и узлов, изготовленных из этих сплавов, является аргонодуговая сварка.
В период эксплуатации и обслуживания корпуса и надстройки судов следует:
а) содержать корпус и надстройку в постоянной чистоте, не допускать наличия воды и мусора в отсеках судна; при обнаружении воды в отсеках - осушить их, а при обнаружении мусора - очистить;
б) избегать ударов и трения корпуса при швартовке судна к причалу, другим сооружениям или судам;
в) своевременно выявлять все повреждения, обращать особое внимание на подводную часть корпуса, стыки и пазы обшивки, реданы, выкружки гребных валов, места расположения и крепления крыльев, а также зоны действия отработавших газов и районы аккумуляторных шкафов;
г) обращать внимание на носовую и кормовую оконечности привальных брусьев с целью обнаружения трещин, вмятин и пробоин на брусьях;
д) следить за состоянием оконных стоек надстройки с целью выявления трещин;
е) следить за состоянием набора и переборок корпуса судна с целью своевременного выявления механических повреждений и коррозии;
ж) после подъема и установки судна в док, на слип или стапель-сани корпус и детали устройств подготовить к осмотру - смыть с них мазут и грязь, протереть сухой ветошью;
з) выполнять в полном объеме и в срок плановые технические обслуживания в соответствии с
разд. 5 и
прил. 3 - 9;
и) при обнаружении повреждений лакокрасочного покрытия, механических повреждений, коррозии, ослабления заклепочных швов устранить их способом, указанным в табл. 4.
Таблица 4
ПЕРЕЧЕНЬ
ОСНОВНЫХ НЕИСПРАВНОСТЕЙ КОРПУСА И НАДСТРОЙКИ
И СПОСОБЫ ИХ УСТРАНЕНИЯ
Неисправность | Способ устранения |
Повреждение лакокрасочного покрытия, коррозия | Выявление повреждений лакокрасочного покрытия и коррозии производить визуально. Наличие очагов коррозии под слоем лакокрасочного покрытия обнаруживается по вспучиванию лакокрасочного покрытия в виде темных бугорков |
Внешним признаком коррозии для деталей из алюминиевых и магниевых сплавов является появление на их поверхности серовато-белого налета в виде сыпи, а для остальных деталей - появление коричневато-красного налета (ржавчины). Если коррозия металла вызвана внутренними причинами, деталь заменить |
Если коррозия вызвана внешними причинами, устранить их, а продукты коррозии удалить |
При повреждении покрытия корпуса и появлении коррозии поврежденные места зачистить, обезжирить, загрунтовать и закрасить |
Большие механические повреждения обшивки. Повреждения набора и обшивки в виде трещин | При больших механических повреждениях обшивки решение об устранении повреждений принимать в каждом отдельном случае индивидуально. Механические повреждения набора и обшивки в виде трещин устранять путем установки накладок |
Повреждения заклепочных швов | При визуальном осмотре заклепочных швов ослабление заклепок определяется по отставанию лакокрасочного покрытия по краям заклепки, по темным следам металлической пыли (в конструкциях надстройки) в направлении потока воздуха. При сильном ослаблении заклепки под ее головкой имеется зазор. Если визуально ослабление заклепки не просматривается, но она вызывает подозрение, необходимо ее обстукать легким деревянным: или свинцовым молоточком (масса молоточка 0,2 кг) |
При обстукивании сорванные заклепки выскакивают из своих отверстий, а ослабевшие поворачиваются и вибрируют, что можно обнаружить, приложив палец к их головкам. Повреждения заклепочных швов в виде выпадания или ослабления заклепок устранять путем высверливания старых заклепок и замены их новыми следующего большего по нормам диаметра |
3.2.1. Рулевое устройство
3.2.1.1. Требования к техническому состоянию рулевого устройства судов типа "Метеор", "Ракета", "Заря", "Зарница":
а) рулевое устройство судна должно удовлетворять требованиям Правил Речного Регистра РСФСР и обеспечивать надежное управление судном;
б) капитан-механик судна должен систематически, не реже одного раза в неделю, осмотреть рулевое устройство и проверить исправность всех доступных узлов и деталей (без разборки);
в) в случае касания судном грунта или удара рулем, должен быть произведен внеочередной осмотр;
г) перед каждым выходом судна в рейс капитан-механик или лицо, его замещающее, должны осмотреть и проверить в действии рулевое устройство, а при заходе в канал и шлюзованные системы проверить исправность рулевого устройства в действии.
Результаты осмотра и проверки должны быть отражены в вахтенном журнале.
3.2.1.2. Обслуживание рулевого устройства судна типа "Метеор"
В состав рулевого устройства входят два балансирных руля и румпельное устройство.
Рули расположены за кормовым крылом в районе шпангоутов N 56 и 57.
Перо каждого руля изготовлено из плиты сплава АМг61 толщиной 35 мм.
Перо руля крепится к двум опорам. Верхней опорой служит баллер, вращающийся в подшипнике, установленном в корпусе судна, нижней опорой - петля, укрепленная на плоскости кормового крыла и имеющая подшипник с резиновой втулкой.
Система управления рулями гидравлическая (рис. 1). Управление рулями осуществляется поворотом штурвального колеса или штурвала. Повороту штурвального колеса или штурвала влево или вправо до отказа соответствует перекладка рулей на 35° влево или вправо от нейтрального положения. Контролируются углы перекладки по указателю поворота, расположенному в рубке на щите тахометров главных двигателей. Датчик указателя имеет механическую связь с баллером руля.
Рис. 1. Принципиальная схема гидравлической системы
управления судов типа "Метеор":
1 - гидроцилиндр силовой; 2 - руль управления; 3 - клапан
разъемный; 4 - насос ручной; 5 - насос электроприводной;
6 - бак расходный; 7 - фильтр; 8 - рукав гибкий
шумопоглощающий; 9 - манометр воздушный; 10 - редуктор
воздушный; 11 - баллон воздушный; 12 - колесо штурвальное;
13 - штурвал; 14 - кран-манипулятор; 15 - редуктор; 16 - бак
заправочный; 17 - вентили гидравлики; 18 - коробка
клапанная; 19 - клапан обратный; 20 - манометр
гидравлический; 21 - гидронасос; 22 - цилиндр-датчик;
23 - цилиндр-исполнитель; 24 - гидрозамок односторонний;
25 - гидрозамок двусторонний; 26 - реле давления;
27 - пневмогидроаккумулятор; 28 - автомат
разгрузки насосов; 29 - гидронасос
Гидросистема управления рулями предусматривает позиционное управление посредством крана-манипулятора и управление посредством гидромотора ГМ-36, работающего в режиме насоса. Кроме того, на ранее построенных судах (до 1975 г.) предусмотрено управление рулями посредством аварийного румпеля.
Гидросистема управления рулями имеет гидравлические баки, источники давления, силовые приводы, агрегаты и трубопроводы. Трубопроводы по своему назначению делятся на магистрали всасывания, нагнетания и слива.
В качестве рабочей жидкости в системе используется масло АМГ-10
ГОСТ 6794-75.
Рабочая жидкость содержится в двух гидравлических баках - заправочном, расположенном в ходовой рубке на правом борту у шпангоута N 11, и расходном, расположенном на продольной переборке у правого борта между шпангоутами N 39 - 40.
Давление в гидросистеме управления рулями при позиционном управлении создается двумя насосами НШ-10Е с приводами от главных дизелей через редукторы (на ранее построенных судах установлены насосы 465П).
При малой частоте вращения главных дизелей недостаток гидросистемы по производительности восполняется автоматическим включением электроприводного насоса 465М, расположенного на правом борту в районе шпангоутов N 39 - 40.
Для защиты гидросистемы от перегрузки предусмотрен автомат разгрузки 577-98.287 (на ранее построенных судах установлен автомат разгрузки ГА-77В), переключающий гидронасосы на холостой ход при давлении в системе 6,5 МПа и на рабочий ход при давлении в системе 4,5 МПа. Автомат разгрузки размещен в блок-панели, расположенной на правом борту в районе шпангоутов N 40 - 41, и управляется через специальную статическую линию, связывающую его с пневмогидроаккумулятором 577-99.2054.
В трубопроводах нагнетания каждого гидронасоса установлены обратные клапаны.
Для защиты от загрязнения перед автоматом разгрузки и расходным баком установлены фильтры 577-99.247 (на ранее построенных судах перед баком устанавливался фильтр 14ГФ-19С1).
В магистрали нагнетания системы за автоматом разгрузки для контроля за работой гидронасосов установлены два реле давления ГА135-30.
Величина давления гидросистемы управления контролируется по двум гидравлическим манометрам МА-160.
Источником давления в гидросистеме при управлении рулями посредством гидромотора служит сам гидромотор, работающий в режиме гидронасоса с приводом от рулевой машины.
Силовым гидроприводом управления рулями является гидроцилиндр, расположенный по ДП в районе шпангоута N 57 под главной палубой.
Для запирания полостей гидроцилиндра при попеременной подаче рабочей жидкости в его бесштоковую или штоковую полости в зависимости от направления перекладки рулей предусмотрен двусторонний гидрозамок. Для слива излишков рабочей жидкости в заправочный бак при подаче ее в бесштоковую полость силового гидроцилиндра служит односторонний гидрозамок. Оба гидрозамка расположены на передней стенке в ходовой рубке.
Для опрессовки и прокачки гидросистемы управления рулями предусмотрен ручной насос НРВД-3, расположенный у правого борта на шпангоуте N 39.
Материал трубопроводов гидросистемы выбран в зависимости от назначения магистрали. Трубопроводы напорных, сливных и распределительных магистралей выполнены из стали Х18Н10Т, трубопроводы всасывающих магистралей - из алюминиевых сплавов.
Соединения труб со штуцерами арматуры и агрегатов выполнены согласно требованиям
ГОСТ 13954-74, 13977-74 "Соединения трубопроводов по наружному конусу".
В целях снижения передачи шума и вибрации из машинного отделения в салоны и в рубку, а также обеспечения подвижности соединений трубопроводов с гидроцилиндрами и гидронасосами применены гибкие рукава. По шпангоуту N 56 соединение рукавов с трубопроводом выполнено разъемными клапанами, обеспечивающими перекрытие подачи рабочей жидкости при демонтаже силового гидроцилиндра.
Маркировка труб произведена с учетом рабочей среды, которую несет этот трубопровод, и принадлежности трубопровода к системе.
В процессе эксплуатации и обслуживания рулевого устройства необходимо следить за отсутствием течи в соединениях, за состоянием шплинтовки соединений, за состоянием выводов и паянных концов проводов электропроводки, особенно в местах, подверженных вибрации, следить за плотностью соединений всасывающих трубопроводов, за отсутствием касания трубопроводов между собой и корпусом. В случае обнаружения течи подтянуть накидные гайки стандартным ключом. Применение дополнительных рычагов к стандартным ключам запрещается.
Перед затяжкой накидных гаек убедиться, что давление в гидросистеме отсутствует.
Для нормальной и бесперебойной работы гидросистемы необходимо тщательно фильтровать рабочую жидкость. С этой целью не реже чем через 60 ч работы производить промывку фильтрующих элементов фильтра тонкой очистки. Промывку фильтрующих элементов производить в бензине Б70 волосяной щеткой с жестким ворсом. Окончательную промывку производить в масле АМГ-10
ГОСТ 6794-75.
При проведении ремонта гидросистемы произвести смену рабочей жидкости и если в процессе эксплуатации была произведена замена рабочей жидкости, то необходимо перед пуском насосов отвернуть на один - два оборота заглушку на корпусе насосов для удаления воздуха. Затем плотно завернуть заглушку и застопорить проволокой.
Во время промывки гидросистемы, осмотра, демонтажа и монтажа агрегатов курить категорически запрещается. Осмотр гидросистемы проводить при хорошем освещении. Ящики для промасленных тряпок должны быть металлические и закрывающиеся. Категорически запрещается оставлять в них промасленные тряпки после работы.
На месте осмотра и промывки оборудования гидросистемы должен быть установлен комплект противопожарного инвентаря. Необходимо помнить, что гидросистема имеет агрегаты с золотниковыми парами, безотказность работы которых зависит от чистоты рабочей жидкости. Поэтому при замене или регулировании агрегатов необходимо строго следить за чистотой гидросистемы.
Замену агрегатов, расстыковку трубопроводов выполнять в условиях, исключающих попадание песка, копоти и влаги в открытые места системы.
При демонтаже агрегатов, расстыковке трубопроводов гидросистемы пользоваться чистыми инструментами и приспособлениями.
Протирать агрегаты чистыми салфетками, промытыми в чистом бензине Б70.
Перед демонтажем и расстыковкой трубопроводов гидросистемы необходимо арматуру, трубки, штуцеры агрегатов и отсек, где происходит демонтаж, тщательно протереть, очистив их от пыли, грязи, масла и копоти.
Для того чтобы не обливать рабочей жидкостью агрегаты, коммуникацию и элементы конструкции судна, в зоне демонтажа необходимо применять противни, специальные желоба, коврики, поролоновые губки, целлофановые и хлорвиниловые фартуки. Пролитое масло необходимо немедленно вытирать.
Открытые концы трубопроводов и агрегатов после демонтажа необходимо закрывать чистыми заглушками, промытыми в бензине, или завязывать целлофаном или салфетками.
Заливаемая в гидросистему рабочая жидкость должна храниться в специальной опломбированной таре.
Перед демонтажом агрегатов и трубопроводов электросеть гидросистемы должна быть обесточена.
В случае понижения уровня жидкости во время эксплуатации выяснить причины утечки, устранить их и заполнить бак до положенного уровня маслом АМГ-10.
Использовать отработавшее масло АМГ-10 или рабочую жидкость другой марки запрещается.
Перед заправкой гидросистемы маслом АМГ-10 необходимо убедиться в том, что в нем отсутствуют вода и механические примеси. Присутствие воды в масле приводит к коррозии арматуры, агрегатов, трубопроводов и сокращает срок их службы.
Заправку рабочей жидкостью необходимо производить через воронку, снабженную щелковым фильтром в следующем порядке:
а) проверить правильность заряда газовой камеры пневмогидроаккумулятора;
б) подготовить рабочую жидкость АМГ-10, которая должна быть только в герметично закрытых и опломбированных банках. На каждой банке должна быть бирка с указанием марки рабочей жидкости, завода-изготовителя, партии выпуска, номера свидетельства лаборатории о годности;
в) подготовить емкость на 5 - 10 л для сбора рабочей жидкости при удалении воздуха из гидросистемы, брезентовые коврики 0,4 x 0,6 м для предохранения аппаратуры от попадания на нее масла, обтирочный материал, поролоновые губки и ветошь;
г) поочередно в заливные горловины каждого гидробака вставить чистую воронку, покрытую шелковым полотном;
д) заполнить заправочный бак до половины (не менее) рабочей жидкостью;
е) залить 36 л рабочей жидкости в расходный бак. Уровень заливаемой рабочей жидкости контролировать по шкале спиртометра СМ-58К;
ж) отвернуть на один - два оборота заглушки на корпусах насосов НШ-10Е или 465П и проследить за заполнением внутренних полостей гидронасосов рабочей жидкостью. Заглушки плотно завернуть и застопорить проволокой;
з) прокачать гидросистему.
Гидросистему управления рулями прокачивают рабочей жидкостью для удаления из нее воздуха.
Прокачивание можно производить только при заправленной гидросистеме рабочей жидкостью в следующем порядке:
а) открыть вентиль на силовом гидроцилиндре;
б) сделать по 100 - 150 оборотов штурвала в каждую сторону, при этом следить за уровнем рабочей жидкости в заправочном баке;
в) удалить воздух из корпуса электроприводного насоса. Для чего отворачивают на один - два оборота заглушку на корпусе и следят за заполнением внутренней полости насоса рабочей жидкостью до полного удаления воздуха, затем плотно заворачивают ее и крепят проволокой;
г) пустить электроприводной насос. Поставить кран-манипулятор в крайнее положение и прокачать систему в течение 3 - 5 минут. Затем переложить кран-манипулятор в другое крайнее положение и повторить прокачку, следя за уровнем рабочей жидкости в заправочном и расходном баках. При необходимости произвести дозаливку;
д) закрыть и закрепить проволокой вентиль на силовом гидроцилиндре и произвести 10 - 15 полных перекладок штурвального колеса;
е) выключить электроприводной насос;
ж) произвести 10 - 15 полных перекладок руля вращением штурвала.
Перекладка рулей должна происходить плавно, без задержек и рывков, что свидетельствует об отсутствии воздуха в системе.
Обслуживание пневмогидроаккумулятора.
Пневмогидроаккумулятор служит для выравнивания колебаний давления и покрытия пиковых расходов в гидросистеме. Он состоит из цилиндра, поршня и крышек. Поршень делит аккумулятор на две полости - пневматическую и гидравлическую. Пневматическая полость заряжается воздухом давлением 3 МПа.
Демонтаж и монтаж пневмогидроаккумулятора производить следующим образом.
При демонтаже:
а) убедиться в отсутствии давления рабочей жидкости в гидросистеме и в аккумуляторе;
б) убедиться в отсутствии давления воздуха в воздушной системе;
в) отсоединить от пневмогидроаккумулятора трубопроводы гидравлической и воздушной систем;
г) отвернуть болты крепления хомутов, вынуть валики хомутов;
д) снять агрегат, проверить прокладку под хомутами, при необходимости заменить.
Монтаж агрегата провести в обратной последовательности и восстановить шплинтовку проволокой.
Заправка пневматической полости пневмогидроаккумулятора производится от воздушного баллона стеклоочистителя или от береговой станции сжатого воздуха.
Давление воздуха в пневмогидроаккумуляторе необходимо контролировать с помощью специального приспособления в следующем порядке:
а) снизить давление в гидросистеме до атмосферного;
б) ввернуть в гнездо приспособления манометр МВ-60М;
в) подсоединить приспособление к зарядному штуцеру пневмогидроаккумулятора;
г) вращением маховика приспособления по часовой стрелке открыть зарядный клапан пневмогидроаккумулятора. По манометру проверить давление воздуха в пневмогидроаккумуляторе. Давление должно быть 3 МПа. Если давление больше установленного, избыток необходимо стравить, слегка отворачивая игольчатую пробку и следя за давлением в пневмогидроаккумуляторе по манометру. При падении давления в пневматической полости аккумулятор необходимо дозарядить;
д) после окончания проверки закрыть клапан пневмогидроаккумулятора, вращая маховик приспособления против часовой стрелки. Отвернув игольчатую пробку приспособления, стравить давление в приспособлении, приспособление снять, зарядный штуцер заглушить.
Обслуживание гидросистемы управления рулями при длительном отстое.
При низкой температуре окружающего воздуха во избежание конденсирования влаги в системе (в случае если система не подвергается разборке) сливать рабочую жидкость запрещается.
Особой внутренней консервации агрегаты не требуют. Наличие рабочей жидкости в системе обеспечивает их сохранность.
Если система подвергается частичной разборке, необходимо:
а) залить рабочую жидкость в цилиндр управления рулями и заглушить его;
б) неснятые участки труб заглушить;
в) снятые трубопроводы при установке на место тщательно промыть в бензине Б70 с последующими продуваниями осушенным сжатым воздухом.
Во время технической эксплуатации рулевого устройства необходимо выполнять в полном объеме и в срок плановые технические обслуживания в соответствии с
разд. 5 и
прил. 3 - 6.
При обнаружении несправностей в гидросистеме управления рулями необходимо устранить их способом, указанным в табл. 5.
Таблица 5
ПЕРЕЧЕНЬ
ОСНОВНЫХ НЕИСПРАВНОСТЕЙ В ГИДРОСИСТЕМЕ
УПРАВЛЕНИЯ И СПОСОБЫ ИХ УСТРАНЕНИЯ
Неисправность | Причина | Способ устранения |
Падение давления в сети источников питания | Подсос воздуха насосами, мало рабочей жидкости в расходном баке | Дозаправить расходный бак |
Негерметичность всасывающих магистралей или корпусов насосов | Устранить негерметичность всасывающих магистралей и уплотнений корпусов насосов |
Воздух в корпусах насосов | Заполнить насосы рабочей жидкостью |
Заедание золотников автомата разгрузки в положении "Холостой ход" | Заменить автомат разгрузки насосов. Отказавший автомат отправить на ремонт |
Повышение уровня рабочей жидкости (с одновременным ее потемнением) в баках гидросистемы | Негерметичность уплотнительных сальников шестеренного насоса на дизеле | Заменить уплотнительные сальники насоса |
Утечка воздуха из пневмогидроаккумулятора, приводящая к частому срабатыванию автомата разгрузки при нейтральном положении крана-манипулятора | Неисправен зарядный клапан пневмогидроаккумулятора. Неисправна резиновая диафрагма диафрагменного пневмогидроаккумулятора. Неисправны уплотнительные кольца поршневого ппевмогидроаккумулятора | Заменить зарядный клапан |
Пневмогидроаккумулятор снять и отправить в мастерскую для замены диафрагмы |
Давление на электроманометре в рубке понижается | Пневмогидроаккумулятор снять и отправить в мастерскую для замены уплотнительных колец |
Люфт на штурвале управления | Воздух в магистрали и силовом гидроцилиндре | Произвести прокачку гидросистемы управления |
Гидропривод рулей отрабатывает команды с опозданием | Зависание поршней в гидрозамках | Гидрозамки снять и отправить в мастерскую для проверки |
3.2.1.3. Обслуживание рулевого устройства судов типа "Ракета".
На судне установлен один полубалансирный руль обтекаемого профиля, изготовленный из стали Х18Н1, а начиная с 1967 г. - из сплава Х16АТ.
Перо руля крепится на двух опорах. Верхней опорой служит баллер, вращающийся в подшипнике, установленном в корпусе судна; нижней опорой - петля, укрепленная на плоскости кормового крыла и имеющая подшипник с резиновой втулкой. Перекладка руля осуществляется при помощи гидравлической системы (рис. 2). В случае выхода из строя гидравлической системы управление судном может осуществляться аварийным румпелем.
Рис. 2. Схема рулевого устройства судов типа "Ракета":
1 - гидроцилиндр силовой; 2 - руль управления;
3 - гидрозамок; 4 - вентиль; 5 - клапан обратный;
6 - гидронасос; 7 - машина рулевая; 8 - бак заправочный
Гидравлическое управление рулем осуществляется с помощью штурвала рулевой машины, от которого через редуктор приводится в действие гидронасос. От насоса рабочая жидкость под давлением через гидрозамок подается к силовым гидроцилиндрам, которые осуществляют поворот руля. Подвод рабочей жидкости к гидроцилиндрам производится через штуцерно-поворотные устройства. С помощью обратных клапанов обеспечивается возможность подпитывания системы рабочей жидкостью от заправочного бака и отклонение его от системы, когда последняя находится под давлением. В качестве рабочей жидкости в системе используется масло АМГ-10
ГОСТ 6794-75.
На судах старой постройки используется рулевое устройство с штуртросной проводкой.
В процессе эксплуатации и обслуживания рулевого устройства необходимо следить за отсутствием течи в соединениях, за состоянием шплинтовки соединений и разобщительных вентилей гидроцилиндров, за отсутствием касания трубопроводов между собой и корпусом.
Уровень масла в заправочном баке должен быть не менее 3/4 полного объема.
При наличии воздуха в гидросистеме необходимо произвести прокачивание системы с помощью гидронасоса. В процессе прокачивания поршня силовых гидроцилиндров следует перемещать в крайние положения два - три раза с помощью румпеля.
В случае использования аварийного румпеля для управления судном необходимо открыть вентили на гидроцилиндрах.
Заправку системы гидравлического управления рулями рабочей жидкостью производить, выполняя требования
п. 3.2.1.2.
Обслуживание гидравлической системы управления производить в соответствии с
п. 3.2.1.2.
Обслуживание рулевого устройства с штуртросной проводкой выполнять в соответствии с требованиями
п. 3.2.1.4.
Во время технической эксплуатации рулевого устройства необходимо выполнять в полном объеме и в срок плановые технические обслуживания в соответствии с
разд. 5 и
прил. 3 - 6.
При обнаружении неисправностей в гидросистеме управления необходимо устранить их. Способы устранения основных неисправностей гидросистем управления приведены в
п. 3.2.1.2.
3.2.1.4. Обслуживание рулевого устройства судов типа "Заря" и "Зарница".
Рулевое устройство судов типа "Заря" выполнено из двух балансирных рулей с тросиковым приводом к ним от ручной рулевой машины, установленной в рулевой рубке
(рис. 3). Рули выполнены стальными коваными заодно с баллерами.
Реверсивное устройство выполнено из двух заслонок, связанных между собой регулируемой тягой, и штуртросного привода от ручной реверсивной колонки.
При повороте (закрытии) заслонок поток от водометной трубы направляется в каналы заднего хода.
Рулевое
(рис. 4) и реверсивное
(рис. 5) устройства судов типа "Зарница" аналогичны подобным устройствам судов типа "Заря".
Рис. 3. Схема рулевого устройства судов типа "Заря":
1 - колонка штурвальная; 2 - калитки направляющие;
3 - румпель руля; 4 - сектор руля; 5 - канат
стальной; 6 - тяга
Во время эксплуатации соединения румпелей и секторов с баллерами, соединения тяг и заслонок должны быть исправны.
Сальниковая набивка верхних подшипников баллеров рулей и заслонок должна находиться в исправном состоянии. Крепление верхних подшипников баллеров рулей и заслонок всех деталей приводов реверсивного и рулевого устройства должно быть исправно.
В районе органов управления реверсивно-рулевого устройства и канатов штуртросной проводки не должно быть посторонних предметов.
Перекладка рулей и поворот реверсивных заслонок должны осуществляться без заедания и перегрузок.
Во время эксплуатации при продолжительной работе приводов реверсивного и рулевого устройства необходимо своевременно выбирать слабину штуртросной проводки с помощью натяжных талрепов, периодически смазывать канаты.
Рис. 4. Схема рулевого устройства судов типа "Зарница":
1, 8 - калитки направляющие: 2 - сектор руля; 3 - тяга;
4 - канат стальной; 5 - румпель руля; 6 - талреп;
7 - амортизатор пружинный; 9 - устройство дифференциальное;
10 - штурвал; 11 - колонка рулевая
Необходимо периодически, не реже двух раз в навигацию, добавлять смазочный материал в узлы трения реверсивно-рулевого устройства.
Изменение направления движения судна "Вперед" или "Назад" должно осуществляться поворотом обеих заслонок штурвалом реверса в соответствии со стрелкой-указателем. Нормальный реверс судна должен осуществляться при пониженной частоте вращения главного дизеля.
Рис. 5. Схема реверсивного устройства судов типа "Зарница":
1, 6 - калитки направляющие; 2 - канат стальной;
3 - сектор заслонки; 4 - тяга: 5 - румпель заслонки;
7 - талреп; 8 - амортизатор пружинный; 9 - барабан;
10 - штурвал заслонки
Изменение курса движения судна на переднем ходу "Лево" или "Право" должно осуществляться поворотом рулевого колеса соответственно на левый или правый борт. Угол перекладки контролируется по шкале аксиометра.
Во время технической эксплуатации рулевого устройства необходимо выполнять в полном объеме и в срок плановые технические обслуживания в соответствии с
разд. 5 и
прил. 3 - 9.
3.2.2. Крыльевые устройства и гибкие ограждения
Крыльевое устройство обеспечивает за счет возникающих на крыльях гидродинамических сил подъем корпуса судна над водой, что приводит к уменьшению сопротивления движению судна и повышению его скорости.
Судоводитель должен знать, что стабильность хода и скорость движения судна на подводных крыльях в значительной мере зависит от состояния крыльевого устройства.
Гибкие ограждения образуют полость, в которой находится сжатый воздух у судов на воздушной подушке. Стабильность движения судна на воздушной подушке зависит в значительной мере от состояния гибких ограждений.
3.2.2.1. Обслуживание крыльевых устройств судов типа "Ракета" и "Метеор".
В состав крыльевого устройства входят два основных несущих крыла - носовое и кормовое, два закрылка (или подкрылка) и кронштейны, посредством которых крылья крепятся к корпусу судна.
Крыло состоит из верхнего и нижнего листов, соединенных между собой с помощью носового и кормового ножей клиновидного профиля. По концам крыла установлены концевые шайбы.
Свободные объемы в крыльях и концевых кронштейнах, исключая водоводы, заполнены пенопластом.
Элементы крыльев изготовлены из нержавеющей стали марки Х18Н10Т. Закрылки (подкрылки т/х типа "Метеор" изготовлены сварными из алюминиево-магниевого сплава АМг61; т/х типа "Ракета" - клепаными из сплава Д16). Соединение крыльев с кронштейнами фланцевое на болтах. После окончательного монтажа крыльев к кронштейнам фланцы кронштейнов и стоек крыльев соединяются горизонтальными контрольными прихватами по четыре с каждой стороны.
Во время эксплуатации судна крылья, стойки и кронштейны должны быть свободны от посторонних предметов (канатов, бревен, ветвей, травы).
При появлении ненормальностей во время движения судна на крыльях - крен, затяжной (более 3 мин.) выход на крылья, нарушение стабильности движения - необходимо в первую очередь убедиться в отсутствии посторонних предметов на крыльевом устройстве, при обнаружении удалить их и после этого произвести проверку ходовых качеств судна. В случае повторения ненормальных явлений судно необходимо поднять на стапель для осмотра состояния крыльевого устройства, гребного винта, руля, проверки установочных углов крыльев, а также для удаления катодного осадка, если последний имеется на крыльях.
После подъема судна на стапель необходимо с поверхностей крыльев, стоек кронштейнов подкрылков, а также гребных винтов удалить (смыть) грязь, водоросли, мазут и обтереть указанные поверхности ветошью, смоченной в дизельном топливе, а затем протереть насухо.
Частицы, осевшие на поверхности крыльев, стоек, кронштейнов и прочих деталей крыльевого устройства, а также катодный осадок, удалить фетровыми кругами с пастой ГОИ или мелкой шлифовальной шкуркой.
В случае длительного отстоя судна слить воду из крыльев через заглушки, а при отсутствии последних воду удалить через дренажные отверстия ручным насосом.
Категорически запрещается продувание плоскостей крыльев и закрылков сжатым воздухом во избежание их раздутия.
При осмотре судна должно быть обращено особое внимание на малейшие неисправности в крыльевом устройстве, так как оставленные без внимания дефекты могут привести к поломке устройства и аварии судна.
При осмотре, проверке крыльевого устройства необходимо:
а) убедиться в отсутствии выбоин, задиров, загибов острых кромок, царапин на поверхности крыльев, закрылков, стоек и кронштейнов;
б) убедиться в отсутствии трещин по целому металлу и сварным швам крыльевого устройства;
в) проверить частоту дренажных отверстий крыльев и закрылков;
г) убедиться в надежности крепления крыльев и закрылков - к кронштейнам и кронштейнов к корпусу, в отсутствии нарушения контрольных прихваток, в надежности крепления заглушек;
д) убедиться в отсутствии коррозии и нарушении лакокрасочного покрытия на закрылках и стойках закрылков;
е) проверить сопротивление изоляции в соединении закрылков с кронштейнами, которое при сухом состоянии корпуса и крыльев должно быть не менее 5 кОм.
Во время эксплуатации необходимо выполнять в полном объеме и в срок плановые технические обслуживания крыльевого устройства в соответствии с
разд. 5 и
прил. 3 - 6.
При обнаружении повреждений крыльевого устройства необходимо устранить их способом, указанным в табл. 6.
Таблица 6
ПЕРЕЧЕНЬ
ОСНОВНЫХ НЕИСПРАВНОСТЕЙ КРЫЛЬЕВОГО УСТРОЙСТВА
И СПОСОБЫ ИХ УСТРАНЕНИЯ
Неисправность | Способ устранения |
Загибы и забоины кромок крыльев. Трещины на элементах крыльевого устройства | Загибы и забоины кромок крыльев необходимо выправить, тщательно запилить или заточить и отполировать. Трещины, обнаруженные на крыльях, стойках, кронштейнах и на сварных швах, необходимо засверлить по концам, вырубить на всю глубину, сварить, тщательно зачистить по профилю поверхности и отполировать |
Сварку трещин надо производить проковкой каждого валика при температуре 80 - 100 °C |
Ослабление болтовых соединений крыльевого устройства | Затянуть болтовые соединения крыльевого устройства динамометрическим ключом с приложением следующего момента затяжки: |
7300 Н·м - для болтов М14 x 1,5 |
11550 Н·м для болтов М16 x 1,5 |
17800 Н·м - для болтов М18 x 1,5 |
При этом все гайки должны быть застопорены шайбами |
Нарушение контрольных прихваток | Контрольные прихватки восстановить |
Ослабление заглушек в дренажных отверстиях | Заглушки в дренажных отверстиях необходимо ввернуть до отказа и раскернить по диаметру шляпки |
Коррозия на закрылках | Зачистить корродирующие участки и восстановить лакокрасочное покрытие |
Большие отклонения установочных углов крыльев от номинальных значений | Произвести перестановку углов крыльев. Для этого необходимо: |
ослабить болты фланцевого разъема там, где предполагается установка клиновой прокладки; |
подбором временных прокладок установить крыло (закрылок) так, чтобы установочный угол его был в допустимых пределах отклонения от номинальных значений (отклонения, установочных углов крыльев от номинальных значений не должны превышать для судов типа "Ракета" - +/- 2 мин., для судов типа "Метеор" - +/- 5 мин.); |
произвести обмер, изготовить и установить клиновую прокладку. Болты затянуть динамометрическим ключом с рабочим моментом затяжки, указанным выше. Затяжка болтов производится равномерно в два - три приема; |
приварить контрольные прихватки по фланцевым соединениям |
3.2.2.2. Обслуживание гибких ограждений судов типа "Зарница".
Во время эксплуатации судна необходимо следить за целостностью полотнищ и состоянием деталей крепления.
Детали крепления, болты, гайки, штыри должны быть надежно закреплены.
В местах отстоя судна, где температура понижается ниже -30 °C, на период зимнего отстоя необходимо снять гибкие ограждения, очистить их от грязи и хранить в сухом вентилируемом помещении в пределах температур от -30 до +50 °C.
При обнаружении повреждений гибких ограждений необходимо устранить их способом, указанным в табл. 7.
Таблица 7
ПЕРЕЧЕНЬ
ОСНОВНЫХ НЕИСПРАВНОСТЕЙ ГИБКИХ ОГРАЖДЕНИЙ
И СПОСОБЫ ИХ УСТРАНЕНИЯ
Неисправность | Способ устранения |
Мелкие повреждения полотнищ | Восстановить целостность полотнищ путем наложения заплат из той же ткани |
Значительные повреждения полотниц | Заменить поврежденные полотнища новыми |
Потеря деталей крепления | Заменить утерянные детали крепления новыми |
3.2.3. Якорное устройство
Якорное устройство скоростных судов должно удовлетворять требованиям Правил Речного Регистра РСФСР и обеспечивать при любых условиях плавания быструю отдачу, подъем якорей и надежную стоянку на них судна.
Якорное устройство в период эксплуатации судна всегда должно быть готово к действию. Капитан судна или лицо, замещающее его, должны ежедневно перед выходом в рейс осматривать якорное устройство, проверять техническое состояние всех его деталей и узлов.
Во время эксплуатации якорного устройства необходимо следить за наличием смазочного материала на всех трущихся частях лебедки, за уровнем масла в редукторе, за надежностью крепления якорей тормозом и стопорами, за надежностью соединений коренных концов якорных канатов с устройствами для их отдачи, за исправностью устройств для закрепления и отдачи коренного конца якорного каната.
В процессе эксплуатации необходимо следить за наличием и состоянием кожухов на якорно-швартовных механизмах и постоянно поддерживать их в исправности.
В период эксплуатации необходимо следить за состоянием якорного каната. Освидетельствование якорного каната должно производиться в установленные сроки.
Осмотр и обслуживание электрооборудования якорных устройств должны производиться в объеме и в сроки, предусмотренные графиками технического обслуживания, составленными в соответствии с действующими Правилами обслуживания электрооборудования и ухода за ним.
Во время эксплуатации необходимо выполнять в полном объеме и в срок плановые технические обслуживания в соответствии с
разд. 5 и
прил. 3 - 9.
При обнаружении повреждений якорного устройства необходимо устранить их способом, указанным в табл. 8.
Таблица 8
ПЕРЕЧЕНЬ
ОСНОВНЫХ НЕИСПРАВНОСТЕЙ ЯКОРНЫХ УСТРОЙСТВ
И СПОСОБЫ ИХ УСТРАНЕНИЯ
Неисправность | Способ устранения |
Загрязнения, коррозия, повреждение лакокрасочного покрытия на деталях устройств | Грязь и коррозию удалить, лакокрасочное покрытие восстановить |
Ослабление крепления устройства и его узлов | При ослаблении крепления гайки подтянуть |
Отсутствие смазочного материала на трущихся поверхностях деталей якорных устройств | Смазочный материал на трущихся поверхностях возобновить |
Отсутствие или недостаточное количество масла в редукторе якорной лебедки | Долить масло в редуктор |
Обрыв более 20% проволок в канате | Канат заменить новым |
3.2.4. Швартовное устройство
Во время эксплуатации скоростных судов швартовные кнехты, киповые планки, утки, клюзы и их крепления к корпусу судна должны быть исправны. Износ этих деталей, при котором образуются острые кромки, приводящие к загибу, заломам и разрывам швартовных канатов, не допускается.
Все соединения должны быть тщательно выполнены, все колышки вытравлены. Ходовой конец швартовов должен иметь сгон и находиться на верху бухты.
При эксплуатации капроновых канатов должны быть соблюдены следующие требования:
а) поверхности барабанов швартовных механизмов, шкивов, кнехтов не должны иметь выбоин, заусениц, ржавчины;
б) диаметр барабана, на который выбирается капроновый канат, должен быть не менее шестикратного диаметра каната, диаметр шкива - не менее 6 - 8 диаметров и по ширине - на 25% более диаметра каната;
в) в качестве стопора необходимо использовать только растительный канат;
г) на кнехты должны накладываться не менее восьми шлагов, причем верхние шлаги должны быть закреплены охватками из растительного каната;
д) капроновые канаты допускается использовать и хранить в интервале температур от -20 до +40 °C;
е) во избежание искрения капронового каната вследствие накопления статического электричества, его необходимо периодически (не реже одного раза в два месяца) обрабатывать двухпроцентным раствором хлористого натрия в течение суток.
Запрещается использовать капроновые канаты, если:
а) обнаружены признаки истирания с разрывом волокон (разрывы, смещение прядей и другие явные дефекты);
б) при рабочих нагрузках канат удлиняется более чем на 25% и после снятия нагрузки не восстанавливает свою первоначальную длину.
При обнаружении неисправностей швартовных устройств во время эксплуатации необходимо устранить их способом, указанным в табл. 9.
Таблица 9
ПЕРЕЧЕНЬ
ОСНОВНЫХ НЕИСПРАВНОСТЕЙ ШВАРТОВНЫХ УСТРОЙСТВ
И СПОСОБЫ ИХ УСТРАНЕНИЯ
Неисправность | Способ устранения |
Загрязнения, повреждение лакокрасочных покрытий | Грязь удалить, лакокрасочное покрытие восстановить |
Износ бросательных концов и кранцев | Изношенные концы и кранцы заменить |
Ослабление креплений кнехтов, киповых планок | При ослаблении крепления гайки подтянуть |
3.3.1. Противопожарная система
Противопожарное оборудование должно соответствовать нормам Речного Регистра РСФСР, поддерживаться в исправном состоянии и быть готово к немедленному действию по прямому назначению.
Противопожарный инвентарь должен находиться на штатных местах.
Противопожарная сигнализация должна содержаться в исправном состоянии.
3.3.1.1. Противопожарная система судов типа "Метеор" и "Ракета".
Для ликвидации местных очагов пожара на судах имеются следующие противопожарные средства (
рис. 6 и
7):
а) четыре огнетушителя ОХП-10;
б) два огнетушителя ОУ-8;
в) два огнетушителя ОУ-5;
г) два пожарных ведра;
д) два пожарных топора;
е) два покрывала (кошма).
Рис. 6. Схема размещения противопожарного
инвентаря судов типа "Метеор":
1 - огнетушитель ОУ-5; 2 - топор пожарный; 3 - огнетушитель
ОХП-10; 4 - кошма; 5 - огнетушитель ОУ-8; 6 - ведро пожарное
Огнетушители ОУ-5, ОУ-8, ОХП-10 применяются для тушения воспламеняющихся веществ. Для тушения электрооборудования применяются только огнетушители ОУ-5 и ОУ-8.
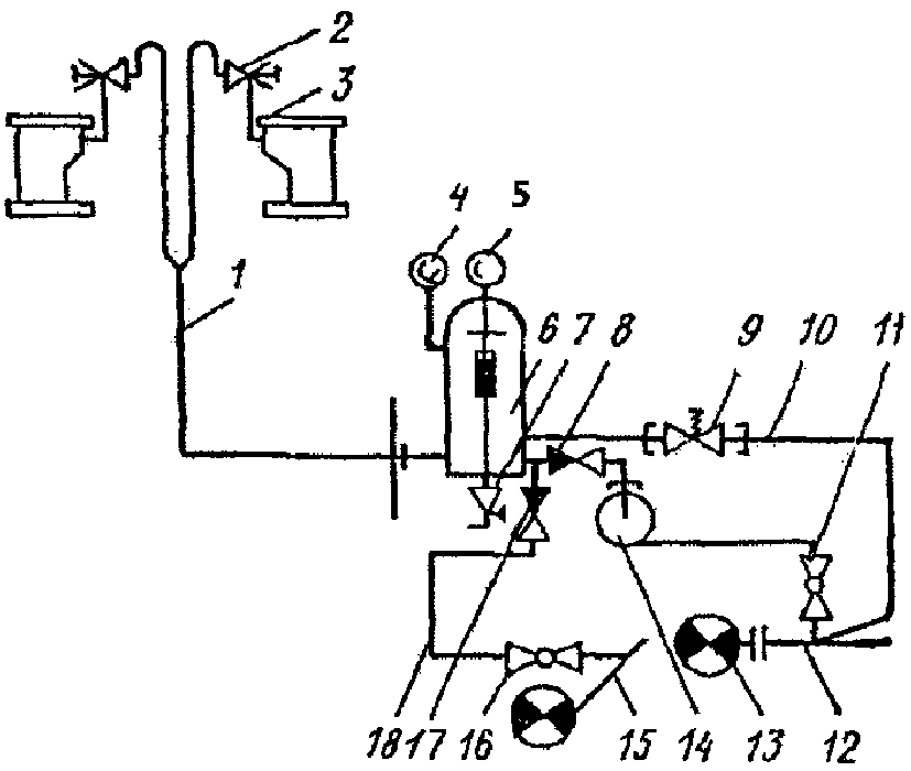
Для ликвидации очагов пожара в машинном отделении предназначена система пожаротушения составом "3,5"
(рис. 8).
В состав системы входят два баллона с огнегасящим составом "3,5" вместимостью 20 л каждый, две головки-затвора ГЗСМ, два манометра, предохранительный и расходный трубопроводы, обратный клапан, вентиляционные трубопроводы, ручной привод управления головками-затворами, распылительный коллектор.
Рис. 7. Схема размещения противопожарного
инвентаря судов типа "Ракета":
1 - топор пожарный; 2 - ведро пожарное;
3 - огнетушитель ОХП-10; 4 - кошма; 5 - огнетушитель
ОУ-8; 6 - огнетушитель ОУ-5
Огнегасящий состав "3,5" в одном баллоне представляет собой 15 кг смеси бромистого этила (95,8%) и хлороформа марки "4" или "4ДА" (4,2%) плюс 6,4 кг обезвоженной углекислоты. Баллон дополнительно заполняется сжатым воздухом до суммарного давления (7,5 +/- 0,5) МПа при температуре 20 °C. Допуск по углекислоте +10%, по смеси бромистого этила и хлороформа +2,5%.
Два баллона с головками-затворами ГЗСМ, запорными кранами и манометрами размещены в газонепроницаемой выгородке станции пожаротушения. От баллонов в машинное отделение идут трубопроводы, заканчивающиеся распылительным коллектором для выпуска огнегасящего состава. Кроме того, от баллонов на тентовую палубу идет предохранительный трубопровод, который заканчивается вентиляционным патрубком для стравливания огнегасящего состава из баллонов в атмосферу при подрыве предохранительной мембраны.
Рис. 8. Принципиальная схема системы пожаротушения
составом "3,5":
1 - клапан невозвратный; 2 - манометры; 3 - головки-затворы
ГЗСМ; 4 - баллоны; 5 - трубопроводы вентиляционные;
6 - трубопровод предохранительный; 7 - коллектор
распылительный; 8 - трубопровод расходный;
9 - выгородка станции пожаротушения
Для вентиляции выгородки станции пожаротушения предусмотрены вентиляционные трубопроводы; один из них заканчивается на тентовой палубе вентиляционным вдувным козырьком, а другой - вентиляционным патрубком.
В нижней части вентиляционного трубопровода расположена спускная пробка для слива образующегося конденсата. Между баллонами установлен обратный клапан, который служит для того, чтобы при разрядке одного баллона огнегасящий состав не попадал в другой, уже разряженный баллон.
Управляется система дистанционно с пульта сигнализации и пожаротушения в рубке. Для подачи сигнала о пожаре в машинном отделении (МО) имеется система сигнализации. На случай отказа системы дистанционного пуска предусмотрен ручной привод, расположенный над выгородкой станции пожаротушения.
К эксплуатации системы пожаротушения составом "3,5" допускаются лица, получившие инструктаж по технике безопасности при работе со сжатыми газами и токсическими жидкостями и газами.
Во время эксплуатации необходимо произвести осмотр баллонов с составом "3,5", ручного привода, невозвратного клапана, трубопроводов.
При осмотре каждого баллона необходимо проверить:
а) надежность крепления баллонов;
б) наличие и исправность пломб на баллоне, баллон с поврежденной пломбой заменить;
в) давление в баллоне по манометрам. Давление должно соответствовать данным табл. 10. Допустимое отклонение давления в баллоне +/- 7% от указанного в таблице. Баллон с пониженным давлением заменить;
Таблица 10
ДАВЛЕНИЕ В БАЛЛОНЕ С СОСТАВОМ "3,5"
Температура заряда в баллоне, °C | -60 | -30 | -20 | 0 | +20 | +30 | +50 |
Давление в баллоне, МПа | 3,8 | 5,1 | 5,4 | 0,4 | 7,3 | 8,2 | 9,9 |
г) пиропатрон и штепсельный разъем электропроводки на отсутствие на них бензина, масла, воды, керосина. При обнаружении последних штепсельный разъем протереть насухо, а пиропатрон заменить. Не допускать ударов по баллону, затвору, манометру, а также прямого нагрева баллона источниками тепла. Надежность вскрытия головки-затвора без выпуска заряда (см. ниже);
д) по паспорту срок годности баллона. По истечении срока годности, указанного на баллоне, он должен быть переосвидетельствован и предъявлен Речному Регистру РСФСР.
Проверку головки-затвора на надежность вскрытия проводить в следующем порядке:
а) баллон надежно укрепить на штатном месте или в соответствующем приспособлении. Зажимное приспособление баллона должно быть закреплено на фундаменте так, чтобы выдержать без опрокидывания толчок, возникающий при случайном выпуске заряда из баллона;
б) надежно навернуть на рабочий штуцер заглушку;
в) установить пиропатрон и присоединить запал;
г) снять предохранительный замок с конца пускового рычага;
д) взорвать пиропатрон замыканием электрической цепи, после чего затвор должен вскрыться.
Для закрытия затвора необходимо:
а) снять пломбу с нажимного винта, отвернуть винт, завести носок откидного рычага под ось-защелку и затем завернуть нажимной винт до отказа. Для этого пользоваться только специальным торцовым ключом, входящим в комплект головки-затвора ГЗСМ;
категорически воспрещается применение других ключей для увеличения силы зажима клапана, так как от этого головка-затвор может не вскрываться;
б) закрыть замок на пусковом рычаге и медленно отвернуть заглушку на рабочем штуцере на один - два оборота, выдержать, пока из затвора стравится остаток заряда, после чего заглушку отвернуть до отказа и навернуть предохранительную заглушку с двумя отверстиями, которая поставляется в комплекте;
в) проверить герметичность закрытия затвора баллона нанесением мыльной пены на отверстия предохранительной заглушки рабочего штуцера;
г) затянуть контргайку нажимного винта и опломбировать его. Результаты перепроверки вскрытия затвора и новую массу заряда баллона нанести на бирку с указанием даты проверки.
Порядок замены баллона следующий:
а) снять крышку станции пожаротушения;
б) отсоединить трубопровод от головки-затвора, отвернув накидную гайку с рабочего штуцера;
в) отсоединить запал от затвора и вынуть с осторожностью пиропатрон;
г) отсоединить канат ручного привода от пускового рычага;
д) отсоединить предохранительный трубопровод от штуцера предохранительного устройства;
е) навернуть заглушки на штуцер запала и рабочий штуцер;
ж) поставить рычаг запорного механизма головки-затвора на предохранительный замок;
з) снять баллон и вместе с биркой отправить на заряд, сделав на бирке запись о причине снятия с судна;
и) получить заряженный баллон с биркой, проверить наличие пломбы, заглушек, предохранительного замка на пусковом рычаге, вес заряда, сличить давление, записанное на бирке, с показанием манометра. Оно должно соответствовать указанному в
табл. 10. Перед установкой баллона на судно необходимо проверить надежность вскрытия головки-затвора;
к) закрепить баллон на месте, снять заглушки, присоединить трубопроводы. Поставить новый пиропатрон и, убедившись в отсутствии напряжения в цепи пиропатрона, навернуть пирозапал;
л) снять замок с пускового рычага;
м) подсоединить канат ручного привода к пусковому рычагу;
н) ответственному лицу сделать отметку на бирке об установке баллона и поставить свою подпись.
В случае смены баллона по причине саморазряда необходимо поставить новую мембрану. При замене баллона необходимо соблюдать правила по технике безопасности.
При осмотре ручного привода убедиться:
а) в отсутствии механических повреждений и коррозии на поверхности деталей привода, деталей его крепления к корпусным конструкциям;
б) в исправности канатов и в их натяжении. Длина канатов должна быть отрегулирована так, чтобы они находились в натянутом состоянии при исходном положении пусковых рукояток ручного привода и закрытых механизмах головок баллонов;
в) в целости и исправности пломб на пусковых рукоятках, а в случае их отсутствия поставить новые пломбы.
При осмотре обратного клапана необходимо убедиться:
а) в отсутствии механических повреждений, коррозии, грязи на внешней поверхности. Грязь удалить ветошью, смоченной бензином Б70;
б) в надежности штуцерных соединений клапана с трубопроводами. При необходимости подвернуть накидные гайки.
При осмотре трубопроводов необходимо убедиться:
а) в отсутствии механических повреждений, коррозии, повреждений лакокрасочного покрытия на трубопроводах и деталях их крепления. Они должны быть плотно закреплены в скобках для исключения вибрации. В местах касания трубопроводов между собой или с корпусными конструкциями должны быть поставлены дюритовые муфты;
б) в отсутствии засоренности выпускных отверстий на распылительном коллекторе.
При возникновении пожара в МО на т/х "Метеор" срабатывает следующая сигнализация:
а) в рубке на пульте:
гаснет сигнальная лампа "Готовность схемы";
мигает сигнальная лампа "Пожар в МО" и звенит звонок;
загорается сигнальная лампа "Основной баллон";
б) в машинном отделении мигают красные лампы "Покинь МО".
С получением сигнала о возникновении пожара в МО необходимо, исходя из условий судоходной обстановки, принять решение о тушении пожара.
При необходимости тушения пожара составом "3,5" следует:
а) остановить главные дизели;
б) снять звуковой сигнал;
в) убедиться в отсутствии людей в машинном отделении (людям, находящимся в МО, покинуть помещение и закрыть дверь);
г) сорвать пломбу с выключателя "Основной баллон" на пульте в рубке и пустить состав "3,5", установить выключатель в нижнее положение. При этом:
гаснет сигнальная лампа "Основной баллон", что свидетельствует о выпуске состава из основного баллона, и загорается лампа "Резервный баллон";
загорается сигнальная лампа "Потребители отключены", что свидетельствует об отключении питания вентиляторов МО и электродвигателя топливного насоса;
загораются сигнальные лампы "Захлопка закрыта" и "Воздухозаборник закрыт";
д) при повторной вспышке пожара произвести пуск состава из резервного баллона, для чего сорвать пломбу и поставить выключатель "Резервный баллон" в нижнее положение.
При выпуске состава гаснет сигнальная лампа "Резервный баллон". При этом необходимо учесть, что пуск состава из резервного баллона возможен только после пуска состава из основного баллона (выключатель должен находиться в нижнем положении).
В случае отказа при пуске состава "3,5" с пульта из рубки состав можно выпустить ручным приводом, расположенным над выгородкой станции пожаротушения, для чего необходимо:
а) сорвать пломбу и повернуть на себя рукоятку "Основной баллон";
б) при повторной вспышке повернуть на себя рукоятку "Резервный баллон".
После выпуска состава "3,5" из системы категорически запрещается входить в машинное отделение без соответствующей спецодежды и противогаза марки А.
Примечание. Суда типа "Ракета" оборудованы звуковой и световой системой извещения о повышении температуры в машинном отделении. Пуск системы пожаротушения составом "3,5" и закрытие воздухозаборника производится вручную.
После ликвидации пожара в машинном отделении составом "3,5" следует привести систему в исходное состояние, для чего необходимо:
а) возвратить выключатели подачи состава "Основной баллон" и "Резервный баллон" на пульте в рубке в верхнее положение и опломбировать их. При исправной электросхеме система приходит в исходное состояние;
б) открыть вручную крышки воздухозаборников МО;
в) открыть вентиляционную захлопку;
г) провентилировать МО;
д) промыть МО горячей водой;
е) продуть сжатым воздухом трубопроводы системы;
ж) заменить разряженные баллоны вновь заряженными и установить их на место;
з) проверить работу всей системы сигнализации нажатием кнопки "Контроль системы".
При обнаружении неисправностей противопожарной системы во время эксплуатации необходимо устранить их способами, указанными в табл. 11.
Таблица 11
ПЕРЕЧЕНЬ
ОСНОВНЫХ НЕИСПРАВНОСТЕЙ ПРОТИВОПОЖАРНОЙ СИСТЕМЫ
И СПОСОБЫ ИХ УСТРАНЕНИЯ
Неисправность | Причина исправности | Способ устранения |
Утечка заряда через клапан головки-затвора | Попадание между клапаном и седлом клапана посторонних частиц. Наличие радиальных рисок на клапане или седле клапана | Продуть клапан путем ослабления нажимного винта |
Разрядить баллон, разобрать головку, притереть седло, промыть, продуть сжатым воздухом (или протереть), собрать и испытать на герметичность |
Утечка заряда через соединения рабочего штуцера, предохранительного штуцера или манометра | Ослабло резьбовое соединение, разрушены прокладки | Подтянуть соединения. Если утечка продолжается, выпустить заряд и заменить прокладки |
Утечка заряда через резьбовое соединение затвора с баллоном | Недостаточное уплотнение конической резьбы (подтягивание затвора не дает результатов) | Выпустить заряд. Вывернуть затвор, прочистить резьбу и ввернуть вновь затвор на свинцовом глете по ГОСТ 5539-73, разведенном в глицерине |
Не представляется возможным произвести заряд баллона | Произошла поломка деталей затвора: нажимного винта, носка откидного рычага, оси-защелки | Вышедшие из строя детали заменить на новые и проверить исправность действия затвора |
Произошел разряд с разрывом мембраны при давлении менее (16,0 +/- 1,0) МПа | Мембрана затянута с повышенным усилием. Длительное нахождение баллона при повышенной температуре | Вывернуть штуцер, вынуть мембрану, заменить новой. Баллон зарядить вновь |
При заряде происходит сильная утечка через уплотнительное кольцо | Загрязнение уплотнительного кольца механическими примесями, попадающими при заряде | Разобрать затвор, снять кольцо, промыть и удалить грязь. Проверить отсутствие на поверхности кольца продольных рисок, собрать затвор и опрессовать его воздухом под давлением 16,0 МПа в течение 5 мин. При наличии глубоких продольных рисок кольцо заменить |
Пиропатрон дал взрыв, затвор не вскрылся | Не снят предохранительный замок затвора | Отсоединить замок от пускового рычага, не снимая его с предохранительного штуцера |
При замыкании электрической цепи пиропатрон не дал взрыва | Отсутствие контакта с пиропатроном, погнут фиксирующий штифт пирозапала | Поджать накидную гайку пирозапала. Отвернуть накидную гайку, выправить или заменить штифт |
Нарушен контакт соединения проводов | Найти неисправность соединений и устранить ее |
Система пожаротушения составом "3,5" может быть переведена на работу
составом "Фреон 114 В ".
2
Огнегасящий состав "Фреон 114 В ", применяемый для тушения пожара, -
2
тяжелая бесцветная жидкость, свободная от механических примесей со
следующими характеристиками;
плотность - 2,18 г/куб. см;
температура кипения - не ниже +46 °C;
температура замерзания - -112 °C;
реакция - нейтральная;
химическая формула - С Р В - тетрафтордибромэтан ГОСТ 15899-70.
2 4 2
При замене состава "3,5" на состав "Фреон 114 В " в системе
2
пожаротушения МО для судов типа "Метеор" необходимо пользоваться ведомостью
рабочих конструкторских документов 342Э-526-020, для судов типа "Ракета" -
340Э-526-020. Для системы пожаротушения составом "Фреон 114 В "
2
электрические схемы и схемы сигнализации о пожаре по судну в целом остаются
без изменений.
Действие системы основано на вытеснении сжатым воздухом огнегасящего
состава "Фреон 114 В " из баллонов-хранителей. Два баллона-хранителя
2
состава "Фреон 114 В " "Основной" и "Резервный" приняты в соответствии с
2
ГОСТ 949-73, с расчетной вместимостью по 10 л каждый для судов типа
"Метеор" и по 6 л каждый для судов типа "Ракета". В каждом баллоне хранится
7,2 л состава "Фреон 114 В " для судов типа "Метеор" и 4 л для судов типа
2
"Ракета".
По желанию судовладельца баллоны-хранители состава могут быть
оставлены вместимостью по 20 л. В этом случае состава "Фреон 114 В " в
2
каждом баллоне должно быть 10 л (21,8 кг), подкачивание воздуха должно
производиться до давления (8,5 +/- 0,5) МПа.
Обслуживание системы, пуск в действие, вывод из действия производить в соответствии с инструкцией по обслуживанию 342Э-075-004 для судов типа "Метеор" и 340Э-075-020 для судов типа "Ракета".
3.3.1.2. Противопожарная система т/х "Заря".
Для ликвидации местных очагов пожара на судне имеются следующие противопожарные средства:
а) два огнетушителя ОХП-10;
б) три огнетушителя ОУ-5.
Для ликвидации очагов пожара в машинном отделении предназначена система пожаротушения составом "3,5" (рис. 9).
Рис. 9. Система пожаротушения составом "3,5"
судов типа "Заря":
1 - баллоны; 2 - коллектор распылительный
Описание системы пожаротушения составом "3,5", обслуживание, возможные неисправности и способы их устранения см.
п. 3.3.1.1.
3.3.1.3. Противопожарная система т/х "Зарница".
Для ликвидации очагов пожара в машинном отделении предназначена система жидкостного тушения.
Система жидкостного тушения состоит из трубопроводов, распиливающих устройств и огнетушителей типа ОУБ-7 по ГОСТ 11154-74 с огнегасительным составом "ЧНД" (рис. 10).
Рис. 10. Схема жидкостного тушения судов типа "Зарница":
1 - трубопровод системы жидкостного тушения;
2 - распылитель; 3 огнетушитель ОУВ-7
Тушение пожара в машинном отделении осуществляется огнегасительным составом, который подается по трубопроводам к распыливающим устройствам, расположенным на подволоке машинного отделения. В качестве распыливающих устройств применены насадки-распылители. Пуск огнетушителей - ручной, из ниши огнетушителей.
Для ликвидации местных очагов пожара на судне имеются следующие противопожарные средства
(рис. 11):
а) три огнетушителя ОПМ;
б) один огнетушитель ОУ-5;
в) два парусиновых ведра;
г) кошма (войлок).
Рис. 11. Схема размещения противопожарного
снабжения судов типа "Зарница":
1 - кошма для тушения пожара в футляре; 2 - ведро
парусиновое; 3 - огнетушитель ОПМ; 4 - огнетушитель ОУ-5
Во время эксплуатации должны соблюдаться следующие правила:
а) огнетушители должны быть опломбированы на запорном вентиле;
б) пломбу разрешается срывать только при пожаре;
в) к обслуживанию системы допускаются лишь члены команды, знающие устройство и работу огнетушителей;
г) пуск огнетушителей производится по специальному указанию вахтенного начальника;
д) перед пуском системы главный дизель должен быть остановлен, а отверстия приточной вентиляции машинного отделения - перекрыты; необходимо проверить отсутствие людей в машинном отделении;
е) общий уход за огнетушителями производится в соответствии с инструкцией на их эксплуатацию;
ж) ежедневно следует проверять герметичность трубопроводов;
з) запрещается складывать посторонние предметы, затрудняющие доступ к противопожарным средствам в помещениях судна.
3.3.2. Система водоснабжения
Система водоснабжения судов типа "Метеор" состоит из систем питьевой и мытьевой воды, которые выполнены автономными.
В состав системы питьевой воды
(рис. 12) входят: цистерна питьевой воды вместимостью 190 л, сборник питьевой воды вместимостью 8 л, бак питьевой воды вместимостью 110 л, расходный бак вместимостью 20 л, кипятильник, холодильник, посудомойка, стаканомойка, трубопроводы, заливная горловина, водоразборный кнопочный кран.
Рис. 12. Схема системы питьевой воды судов типа "Метеор":
1, 3, 5, 6, 7, 11, 12, 13, 15, 18, 20, 22, 27, 28,
32 - трубопроводы; 2 - холодильник; 4 - кипятильник;
8 - посудомойка; 9 - стаканомойка; 10 - смеситель;
14 - сборник питьевой воды вместимостью 8 л; 16 - патрубок;
17 - цистерна питьевой воды вместимостью 190 л; 19 - кран
проходной; 21 - кран проходной; 23 - заливная горловина;
24 - бак питьевой воды вместимостью 110 л; 25 - кран
для умывальника; 26 - умывальник; 29 - бак расходный
вместимостью 20 л; 30 - ниша; 31 - кран
водоразборный кнопочный
Заправку системы питьевой водой, общий запас которой составляет 300 л, осуществляют через заливную горловину в баке питьевой воды. Две емкости в системе предусмотрено из условий размещения.
В состав системы мытьевой воды
(рис. 13) входят агрегат ЭЦН-104, пневмоцистерна с реле давления и манометром, предохранительный клапан, два невозвратных клапана, сливной кран, два проходных крана, трубопроводы.
Вода для смыва унитазов забирается из отливного трубопровода 12 системы охлаждения главного дизеля и проходит через проходной кран 11, агрегат ЭЦН-104, невозвратный клапан 8, пневмоцистерну 6 и по трубопроводу 1 к сливным клапанам 2 унитазов. При ходе судна на крыльях подача воды к унитазам осуществляется за счет скоростного напора через проходной кран 16.
Система водоснабжения судов типа "Ракета" состоит из двух автономных систем питьевой и мытьевой воды.
Рис. 13. Схема системы мытьевой воды судов типа "Метеор":
1, 10, 12, 18 - трубопроводы; 2 - клапаны сливные;
3 - унитазы; 4 - реле давления; 5 - манометр;
6 - пневмоцистерна; 7 - кран сливной; 8, 17 - клапаны
невозвратные; 9 - клапан предохранительный; 11, 16 - краны
проходные; 13, 15 - кингстоны; 14 - агрегат ЭНЦ-104
В состав системы питьевой воды
(рис. 14) входят бак некипяченой воды, сборник, кипятильник, бак электрический, бак охлажденной воды. Бак некипяченой воды вместимостью 80 л расположен в рубке, оборудован заливной горловиной и люком для промывки бака.
Рис. 14. Схема системы питьевой воды судов типа "Ракета":
1 - сборник питьевой воды; 2 - кран проходной;
3 - кран трехходовой; 4 - бак некипяченой воды вместимостью
80 л; 5 - бак охлажденной воды вместимостью 25 л;
6 - борт судна; 7 - стаканомойка; 8 - раковина моечная;
9 - бак электрический вместимостью 8 л; 10 - вентиль угловой
запорный; 11 - кипятильник; 12 - холодильник водяной
Сборник питьевой воды предназначен для создания напора в трубопроводе кипяченой воды и для ее хранения. Он расположен в машинном отделении.
Кипятильник непрерывного действия, предназначенный для кипячения воды во время работы главного дизеля, установлен в машинном отделении на выхлопном коллекторе главного дизеля.
Для подогрева кипяченой воды на стоянке предусмотрен электрический бак вместимостью 8 л, установленный в нише буфета. Во время хода судна он заполняется горячей водой из кипятильника. Охлажденная кипяченая вода хранится в баке охлажденной воды вместимостью 25 л, установленном в нише буфета. Для охлаждения воды после кипячения имеется холодильник поверхностного типа, установленный на трубопроводе забортной воды главного дизеля.
Некипяченая питьевая вода принимается в бак некипяченой воды от берегового водопровода через горловину. Контроль за уровнем воды в баке ведется через прозрачную крышку люка. Заполнение системы водой необходимо производить только при неработающем главном дизеле.
В состав системы мытьевой воды (рис. 15) входят расходный бак вместимостью 30 л, электроприводной центробежный насос ЭЦН-104, песчаный фильтр и трубопровод с арматурой.
Рис. 15. Схема системы мытьевой воды судов типа "Ракета":
1 - цистерна фекальная; 2 - фильтр песчаный; 3 - раковина
умывальника; 4 - кран туалетный; 5 - унитаз; 6 - отвод
на мытье палубы; 7 - кран проходной; 8 - бак расходный
вместимостью 30 л; 9 - микрореле поплавкового типа;
10 - электронасос санитарный; 11 - кран трехходовой;
12 - кингстон отливной системы охлаждения и подогрева
главного дизеля; 13 - клапан смывной; 14 - отвод
на промывку фекальной цистерны
Наполнение расходного бака, а также подача воды на мытье палуб и на промывку фекальной цистерны на ходу осуществляется за счет скоростного напора воды, а на стоянке - электронасосом ЭЦН-104, расположенным в машинном отделении.
Система водоснабжения судов типа "Заря"
(рис. 16) подразделяется на систему питьевой и забортной воды.
Рис. 16. Схема системы водоснабжения
и сточно-фановой судов типа "Заря":
1 - цистерна питьевой воды вместимостью 100 л;
2 - цистерна забортной воды вместимостью 80 л; 3 - труба
для откачки фекальной цистерны; 4 - кран трехходовой;
5 - насос ручной; 6 - бачок питьевой воды вместимостью 40 л;
7 - клапан невозвратный; 8 - кингстон донный; 9 - устройство
поплавковое замерное; 10 - шпигат запорный; 11 - цистерна
фекальная вместимостью 400 л; 12 - фильтр воздушный
Питьевая вода принимается из берегового водопровода в цистерну питьевой воды. Из цистерны питьевая вода поступает к водоразборному крану умывальника в туалете.
Для снабжения пассажиров кипяченой водой в районе 29 - 30 шп. левого борта установлен бачок питьевой воды.
Забортная вода подается в цистерну забортной воды ручным насосом или от напорной магистрали насоса забортной воды главного дизеля при его работе. Из цистерны забортной воды вода поступает на смыв унитаза.
В систему бытового водоснабжения судов типа "Зарница"
(рис. 17) входит расходная цистерна, из которой вода поступает к водоразборному крану умывальника.
Система водоснабжения во время эксплуатации должна поддерживаться в исправном состоянии.
Рис. 17. Схема систем бытового водоснабжения
и сточно-фановой судов типа "Зарница":
1 - патрубок воздушный; 2 - патрубок приемный; 3 - кран
водоразборный; 4 - умывальник; 5 - унитаз; 6 - цистерна
фекальная вместимостью 50 л; 7 - клапан педальный
промывочный; 8 - клапан диафрагменный; 9 - клапан запорный;
10 - канистра для раствора хлорной извести; 11 - захлопка
запорная бортовая; 12 - цистерна расходная
вместимостью 150 л
Во время эксплуатации систем водоснабжения необходимо:
а) следить за исправностью работы насосов; следить за плотностью всех соединений трубопроводов;
б) периодически, не реже одного раза в месяц, производить пополнение или замену сальниковых уплотнений кранов и насосов;
в) не реже одного раза в месяц производить промывку или замену фильтрующего слоя;
г) не реже одного раза в месяц производить очистку внутренних полостей всех емкостей системы питьевой воды (баков, сборников, кипятильников, холодильников). После очередной чистки систему промывать кипятком в течение 30 мин.
После проведения ремонтных работ (замена или устранение повреждений трубопроводов, насосов, дюритовых муфт и т.д.) перед началом эксплуатации судна, после ремонта судна и по особому требованию органов санитарного надзора необходимо производить дезинфекцию (хлорирование) системы питьевой воды.
Хлорирование производить хлорной известью или гипохлоритом кальция следующим образом:
а) приготовить в отдельной емкости (ведре, бачке) раствор хлорной извести или гипохлорита кальция из расчета 0,3 кг сухой хлорной извести или 0,15 кг гипохлорита кальция на 1 куб. м воды системы питьевой воды и дать отстояться в течение 30 мин.;
б) заполнить бак питьевой воды береговой водой. Раствор хлорной извести или гипохлорита кальция заливать в бак отдельными порциями с равномерным распределением в течение всего времени заполнения бака водой;
в) открыть краны всех потребителей и сливать воду до тех пор, пока в воде не будет ощущаться запах хлора;
г) закрыть все краны и прекратить подачу воды в бак питьевой воды, как только он будет заполнен;
д) закрыть бак и заполненную систему оставить на 8 ч, а на кранах вывесить предупреждающие надписи;
е) через 8 ч снова открыть краны всех потребителей и спустить всю воду из системы;
ж) заполнить систему чистой береговой водой. Затем спустить всю воду через краны и взять пробу на остаточный хлор.
Во время технической эксплуатации системы водоснабжения необходимо выполнить в полном объеме и в срок плановые технические обслуживания в соответствии с
разд. 5 и
прил. 3 - 9.
При обнаружении неисправностей в системе водоснабжения необходимо устранить их способом, указанным в табл. 12.
Таблица 12
ПЕРЕЧЕНЬ ОСНОВНЫХ НЕИСПРАВНОСТЕЙ В СИСТЕМЕ
ВОДОСНАБЖЕНИЯ И СПОСОБЫ ИХ УСТРАНЕНИЯ
Неисправность | Способ устранения |
Подтекание воды из дюритовых соединений | Подтянуть хомуты |
Механические повреждения клапанов и кранов, нарушающие их нормальную работу | Клапаны и краны заменить |
Механические повреждения деталей крепления клапанов с трубопроводами | Поврежденные детали заменить |
Коррозия и нарушение лакокрасочного покрытия на устройствах и трубопроводах системы водоснабжения | Поврежденные места зачистить, обезжирить, загрунтовать и закрасить |
3.3.3. Сточно-фановая система
Сточно-фановая система судов типа "Метеор"
(рис. 18) состоит из двух умывальников, двух тарельчатых унитазов, сточных трубопроводов, коллектора, вентиляционного трубопровода, захлопки, унитарного патрона, озонатора, фекальной цистерны, магистральных и фановых трубопроводов.
Рис. 18. Схема сточно-фановой системы судов типа "Метеор":
1 - захлопка; 2, 3, 5, 7, 9, 11, 14 - трубопроводы;
4 - патрон унитарный; 6 - унитаз тарельчатый; 8 - озонатор;
10 - умывальник; 12 - коллектор; 13 - цистерна
фекальная вместимостью 600 л
Сточные воды от унитазов и умывальников по сточному и магистральному трубопроводам отводятся в фекальную цистерну, откуда через патрубок, оборудованный унитарным патроном, откачиваются на специальные станции. Фановый трубопровод оборудован захлопкой, которая может пломбироваться. Фекальная цистерна оборудована вентиляционным трубопроводом с озонатором.
Сточно-фановая система судов типа "Ракета"
(рис. 19) состоит из двух умывальников, двух унитазов, сточных трубопроводов, вентиляционной трубы, захлопки, унитарного патрона, озонатора, фекальной цистерны, фанового трубопровода.
Рис. 19. Схема сточно-фановой системы судов типа "Ракета":
1 - унитаз с педальным приводом; 2 - патрон унитарный;
3 - сифон бутылочный; 4 - трубопровод фановый; 5 - раковина;
6 - захлопка; 7 - озонатор; 8 - труба вентиляционная;
9 - цистерна фекальная вместимостью 400 л
Сточные воды отводятся в фекальную цистерну. Из фекальной цистерны сточные воды через патрубок, оборудованный унитарным патроном, откачиваются на специальные станции.
На конце фанового трубопровода имеется захлопка, которая может пломбироваться.
Сточно-фановая система судов типа "Заря" (см.
рис. 16) состоит из умывальника, унитаза, фекальной цистерны и трубопроводов.
Фекальная цистерна оборудована донным кингстоном, замерным поплавковым устройством, воздушным фильтром, патрубками и горловиной. В цистерне, в верхней ее части, расположена труба с отверстиями по всей длине, через которую производится промывка цистерны от напорной трубы насоса забортной воды главного дизеля.
Сточно-фановая система судов типа "Зарница" (см.
рис. 17) состоит из умывальника, унитаза, фекальной цистерны, трубопроводов, бортовой запорной захлопки.
Во время эксплуатации сточно-фановых систем необходимо:
а) следить за плотностью всех соединений трубопроводов;
б) следить за исправностью действия педальных приводов унитазов;
в) производить проверку исправности заглушки закрытия стока из фекальной цистерны за борт и ее привода;
г) производить промывку унитарного патрона после каждой выкачки фекалий;
д) периодически не реже одного раза в месяц промывать фекальную цистерну;
е) производить чистку фекальной цистерны один раз в год;
ж) производить откачку вод из фекальной цистерны на судно-сборщик. При этом должна быть взята справка о количестве сданных фекальных вод, которая прилагается к топливным отчетам.
Во время технической эксплуатации сточно-фановой системы необходимо выполнять в полном объеме и в срок плановые технические обслуживания в соответствии с
разд. 5 и
прил. 3 - 9.
При обнаружении неисправностей в сточно-фановой системе необходимо устранить их способом, указанным в табл. 13.
Таблица 13
ПЕРЕЧЕНЬ
ОСНОВНЫХ НЕИСПРАВНОСТЕЙ В СТОЧНО-ФАНОВОЙ СИСТЕМЕ
И СПОСОБЫ ИХ УСТРАНЕНИЯ
Неисправность | Способ устранения |
Нарушение герметичности в соединениях трубопроводов | Подтянуть болты соединений |
Механические повреждения деталей крепления устройств системы | Детали крепления заменить новыми. Отсутствующий и неисправный крепеж заменить новым |
Механические повреждения устройств системы (унитазов и т.д.) | Поврежденные устройства заменить новыми |
Замерзание воды в трубопроводах | Произвести оттаивание путем обкладывания замерзшего участка ветошью, смоченной горячей водой |
3.3.4. Система отопления и вентиляции
Вентиляция помещений судов типа "Метеор"
(рис. 20) осуществляется через вдувные и вытяжные козырьки, установленные на тенте, через открывающиеся окна и решетки. В носовом салоне дополнительно имеется вентиляционный люк на тенте.
Вентиляция машинного отделения на стоянках осуществляется электровентиляторами, а во время движения машинное отделение вентилируется свежим воздухом, идущим от воздухозаборника к нагнетателям двигателей.
Система отопления судов типа "Метеор" состоит из двух водовоздушных калориферов, вентилятора и каналов. Вода в калориферы подается из внутреннего контура системы охлаждения левого главного дизеля.
Воздух, подогретый калориферами, подается электровентилятором по магистральному каналу в отапливаемые помещения.
На стоянке, при подаче электроэнергии от береговой сети, обогрев кают и машинного отделения осуществляется стационарными электрогрелками, салоны обогреваются переносными электровентиляторами.
Рис. 20. Схема системы отопления и вентиляции
судов типа "Метеор":
1 - козырек вдувной тентовый вентиляционный;
2 - электровентилятор; 3 - козырек вытяжной:
4 - электровентилятор; 5 - блок калориферов; 6 - козырек
вытяжной тентовый вентиляционный; 7 - электровентилятор;
8 - короб вентиляционный; 9 - канал вентиляционный;
10 - козырек бортовой вытяжной; 11 - решетка вентиляционная
Система вентиляции судов типа "Ракета"
(рис. 21) состоит из заслонки воздухозаборника, установленного в носовой части рубки, заслонки отсоса воздуха из салона, вентилятора машинного отделения, вытяжных козырьков из туалетов и кормового воздухозаборника на задней стенке рубки для подачи воздуха в машинное отделение при работе главного дизеля.
Система отопления судов типа "Ракета" состоит из водовоздушного калорифера, электровентилятора и заслонки. Вода в калорифер подается из внутреннего контура системы охлаждения главного дизеля.
Рис. 21. Схема системы отопления и вентиляции
судов типа "Ракета":
1 - воздухозаборник; 2 - вентилятор машинного
отделения; 3 - воздухозаборник кормовой; 4 - заслонка
воздухозаборника: 5 - форточка сдвижная; 6 - калорифер
водовоздушный; 7 - заслонка; 8 - электровентилятор;
9 - щит отбойный; 10 - заслонка отсоса воздуха из салона
На судах типа "Заря" предусмотрена естественная приточно-вытяжная вентиляция
(рис. 22), осуществляется за счет скоростного напора воздуха на ходу судна. Забор воздуха для вентиляции и отопления производится с помощью воздухозаборника, расположенного в районе 24 - 27 шп. на крыше надстройки.
Пройдя через калорифер, воздух попадает в перфорированный канал и далее в салон.
В летнее время забор воздуха для вентиляции салона осуществляется также через отверстия в козырьке ходовой рубки. Вытяжка из салона осуществляется через решетки на кормовой стенке салона, каналы и далее через общий козырек на крыше надстройки. Вытяжка из носовой части салона происходит через вентиляционные жалюзи, установленные на подволоке.
Рис. 22. Схема системы вентиляции и воздушного
отопления судов типа "Заря":
1 - фланец с сеткой;
2 - воздухораспределитель поворотный; 3 - калорифер;
4 - вентиляция вдувная естественная;
5 - вентиляция вытяжная естественная
Подсланевое пространство пассажирского салона вентилируется через вентиляционные решетки в районе 28 - 29 шп.
Для вентиляции ходовой рубки предусмотрена подача воздуха через поворотный воздухораспределитель, установленный в козырьке ходовой рубки. Вытяжка осуществляется через жалюзи в дверях.
Вентиляция других помещений осуществляется через решетки, вентиляционные жалюзи, а также с помощью вытяжных козырьков.
На судах типа "Зарница" имеется совмещенная система вентиляции и воздушного отопления
(рис. 23). Она может быть как с собственными вентиляторами, так и с отбором воздуха от главных вентиляторов.
Рис. 23. Схема системы вентиляции и воздушного
отопления судов типа "Зарница":
I - вариант с собственными вентиляторами; II - вариант
с отбросом воздуха от главного вентилятора;
1 - воздухонагреватель; 2 - электровентилятор; 3 - решетка
регулируемая; 4 - воздухозаборник; 5 - головка запорная;
6 - задвижка; 7 - решетка жалюзийная
В первом случае в холодное время года наружный воздух забирается двумя электровентиляторами через воздухозаборник.
Из воздухонагревателей нагретый воздух поступает по бортовым каналам в салон.
Электровентиляторы и воздухонагреватели установлены в скегах в районе 32 - 34 шп.
В летнее время наружный воздух подается в салон с помощью вентиляционных головок, установленных на крыше салона и развернутых на приток.
Вытяжка воздуха осуществляется через вентиляционные решетки, расположенные на подволоке в районе 33 - 35 шп., и жалюзийную решетку, расположенную на кормовой стенке воздухозаборников в районе 35 шп.
В случае работы системы с отбором воздуха от главных вентиляторов в зимнее время наружный воздух из напорной шахты главного вентилятора направляется через два последовательно соединенные воздухонагревателя в бортовые каналы и далее через жалюзийные решетки в обслуживаемые помещения.
В летнее время система работает в режиме вентиляции. Вытяжка воздуха осуществляется по бортовым каналам за счет разрежения в воздухоприемной шахте главного вентилятора, а также естественным путем через вентиляционные головки, расположенные на крыше салона и рубки.
Подача воздуха в машинное отделение для обоих вариантов осуществляется двумя вентиляционными головками за счет скоростного напора, получаемого при движении судна, а также за счет разрежения в машинном отделении, создаваемого работающим главным дизелем.
Во время эксплуатации систем отопления и вентиляции необходимо один раз в неделю:
а) проверить соединения водяного трубопровода во избежание утечки воды из главного дизеля;
б) производить осмотр калориферов и электровентиляторов;
в) производить осмотр приводного устройства вентиляционных козырьков и вентиляционного люка;
г) производить осмотр и замену смазочного материала в "трещетках" открывающихся фрамуг окон салона и в приводах воздушных заслонок;
д) следить за исправностью вентиляционных каналов.
При обнаружении неисправностей в системе отопления и вентиляции необходимо устранить их способом, указанным в табл. 14.
Таблица 14
ПЕРЕЧЕНЬ
ОСНОВНЫХ НЕИСПРАВНОСТЕЙ В СИСТЕМЕ ОТОПЛЕНИЯ
И ВЕНТИЛЯЦИИ И СПОСОБЫ ИХ УСТРАНЕНИЯ
Неисправность | Способ устранения |
Механические повреждения деталей крепления устройств системы | Детали крепления заменить новыми. Отсутствующий и неисправный крепеж заменить новым |
Коррозия и нарушение лакокрасочного покрытия на устройствах и каналах системы отопления и вентиляции | Поврежденные места зачистить, обезжирить, загрунтовать и закрасить |
В состав системы осушения судов типа "Метеор"
(рис. 24) входят помпа вспомогательного агрегата ДГКП-10-1, ручной насос, приемные сетки основной и дополнительной магистрали, клапанная коробка, невозвратно-запорные клапаны с приводами для управления с палубы, трубопроводы и арматура.
Рис. 24. Схема системы осушения судов типа "Метеор":
1 - кран манипуляторный; 2, 15 - сетки приемные;
3, 13 - рукава резино-тканевые; 4 - агрегат ДГКП-10-1;
5 - коробка клапанная; 6 - насос ручной; 7 - кран
проходной; 8 - кран трехходовой; 9 - кран
перекрывной; 10, 11, 12 - трубопроводы; 14 - клапан
невозвратно-запорный; 16 - магистраль основная
Основным средством для удаления за борт воды, скапливающейся в отсеках судна, служит самовсасывающая помпа агрегата ДГКП-10-1.
Резервным средством для откачки из машинного отделения подсланевых вод служит ручной насос. Откачка воды производится с помощью гибкого резино-тканевого рукава с приемной сеткой на конце.
Для осушения отсеков на судах типа "Ракета" (рис. 25) предусмотрен ручной осушительный насос.
Рис. 25. Схема системы осушения судов типа "Ракета":
1 - клапан сливной; 2 - шланг переносный; 3 - втулки
палубные; 4 - шланг дюритовый с приемным патрубком;
5 - насос ручной; 6 - трубопровод сливной
Осушительный насос снабжен дюритовым шлангом длиной 4,0 м с приемным патрубком.
Откачка воды из отсеков корпуса производится через палубные втулки с помощью переносного шланга длиной 8,0 м. Шланг расположен в кладовой под посадочным трапом. Палубные втулки расположены в районе 5, 10, 18, 28 шп.
Система осушения машинного отделения судов типа "Заря"
(рис. 26) автономная и обслуживается ручным насосом или насосом станции сбора загрязненных вод, соединяемым с системой через унифицированную втулку на кормовой стенке надстройки.
Рис. 26. Схема систем осушительной и балластной
судов типа "Заря":
1 - труба водометная; 2 - сетка приемная; 3 - клапан
проходной запорный; 4 - втулка измерительная; 5 - патрубок
вентиляционный; 6 - насос ручной системы водоснабжения;
7 - ручной насос осушительной системы; 8 - клапан
невозвратно-запорный; 9 - штуцеры для зачистки МО
переносными шлангами; 10 - кран трехходовой;
11 - втулка для выдачи подсланевых под
На приемном трубопроводе предусмотрен штуцер с гайкой-заглушкой для присоединения, при необходимости, гибкого шланга для зачистки любого участка трюма машинного отделения. Через аналогичный штуцер на напорном трубопроводе ручного насоса и присоединяемый к нему шланг возможен сбор подсланевых вод в переносную емкость или выдача их на станцию сбора.
Трюм пассажирского салона и отсеки форпика обслуживаются балластно-осушительным трубопроводом, В качестве балластного и осушительного насосов использован водометный двигатель.
Для осушения скегов обоих бортов в районе всех помещений судов типа "Зарница" (рис. 27) предусмотрен переносный осушительный насос.
Рис. 27. Схема систем балластной и осушительной
судов типа "Зарница":
1 - цистерна подсланевой воды; 2 - насос ручной;
3 - сигнализатор; 4 - кран трехходовой; 5 - труба воздушная;
6 - шланг с щелевым приемником; 7 - втулка измерительная
с футштоком; 8 - цистерны балластные
Наличие воды в машинном отделении и окончание осушения определяется с помощью датчика СДК-60. Датчик выдает сигнал на световое табло, установленное в ходовой рубке.
Загрязненная вода перекачивается с помощью ручного насоса в переносные бачки или непосредственно сдается на станцию подсланевых вод.
При сдаче судов в эксплуатацию представитель завода обязан проверить наличие на судне схемы опломбировки и произвести опломбирование системы выкачки подсланевых вод из машинного отделения.
Во время эксплуатации систем осушения необходимо:
а) следить за плотностью соединения приемных шлангов или патрубков отливного трубопровода с насосом;
б) следить за плотностью соединений ручного насоса, периодически наполнять сальник уплотнительным материалом;
в) один раз в навигацию производить разборку насоса для осмотра и ремонта;
г) следить за состоянием невозвратно-запорных клапанов с приводом для управления с палубы и клапанной коробки; не допускать наличия в палубной втулке и в пазах заглушек загрязнений.
При обнаружении неисправностей в системе осушения необходимо устранить их способом, указанным в табл. 15.
Таблица 15
ПЕРЕЧЕНЬ ОСНОВНЫХ НЕИСПРАВНОСТЕЙ В СИСТЕМЕ
ОСУШЕНИЯ И СПОСОБЫ ИХ УСТРАНЕНИЯ
Неисправность | Способ устранения |
Подсос воздуха через неплотности в разъемных соединениях корпуса насоса или фланцах трубопровода | Проверить разъемные соединения, затянуть болты, сменить прокладки |
Плохо притерты клапаны насоса, попадание посторонних предметов в приемный клапан | Открыть фланец, просмотреть клапаны, очистить их от грязи и притереть к седлам |
Вакууметрическая высота всасывания насоса менее 5 м | Очистить приемную сетку, уменьшить сопротивление всасывающего трубопровода |
Порваны или изношены манжеты поршня | Заменить манжеты |
Неисправны клапаны или краны системы | Неисправные клапаны и краны демонтировать и заменить новыми |
Механические повреждения деталей крепления клапанной коробки, клапанов и кранов системы с трубопроводами | Поврежденные детали крепления заменить новыми |
3.3.6. Балластная система судов типа "Зарница"
В балластную систему судов типа "Зарница" (см.
рис. 27) входят две балластные цистерны, трубопровод с арматурой, воздушные трубы, сигнализатор.
Каждая балластная цистерна оборудована воздушной трубой и водомерной колонкой.
Во время эксплуатации наполнение балластных цистерн производить, учитывая количество и место расположения пассажиров в салоне.
Удаление балласта из цистерн производить после выхода судна на воздушную подушку, при этом следить за отсутствием крена и дифферента судна.
Запрещается выпускать судно в плавание в случаях:
а) водотечности балластных цистерн;
б) неисправности трубопроводов балластной системы и запорной арматуры.
При обнаружении неисправностей в балластной системе необходимо устранить их способом, указанным в табл. 16.
Таблица 16
ПЕРЕЧЕНЬ ОСНОВНЫХ НЕИСПРАВНОСТЕЙ БАЛЛАСТНОЙ
СИСТЕМЫ И СПОСОБЫ ИХ УСТРАНЕНИЯ
Неисправность | Способ устранения |
Неисправные клапаны или краны системы | Неисправные клапаны и краны демонтировать и заменить новыми |
Нарушение герметичности в соединениях трубопроводов | Подтянуть болты соединений |
Механические повреждения крепления устройств системы | Детали крепления заменить новыми. Отсутствующий и неисправный, крепеж заменить новым |
Шпигатная система судов типа "Метеор"
(рис. 28) состоит из приемных конусов, снабженных решетками, и отводных труб.
Приемные конусы служат для сбора скапливающейся воды и для ее отвода за борт через отводные трубы.
Рис. 28. Схема расположения шпигатов судов типа "Метеор":
1 - приемный конус; 2 - отводная труба
3.3.7. Шпигатная система судов типа "Метеор" и "Ракета"
Для удаления воды с палубы надводного борта на судах типа "Ракета" предусмотрено шесть шпигатов, установленных по бортам в проходах кормовой части судна в районе 28, 36 и 45 шп. и два шпигата в санузлах
(рис. 29).
В носовой части судна в районе третьего шпангоута установлены два шпигата, состоящие из труб и конуса с решетками. Для удаления воды с тентовой палубы в кормовой части судна в диаметральной плоскости предусмотрен шпигат, являющийся продолжением мерной стойки.
В процессе эксплуатации судов необходимо:
а) не реже двух раз в навигацию, а также после зимнего отстоя проверять внешним осмотром состояние всех деталей шпигатной системы, обратив особое внимание на места соединения алюминиевых и полиэтиленовых труб;
б) проверять состояние сварных швов и общее состояние труб во избежание попадания воды в корпус; особенно тщательно следует проверять состояние загудронированной поверхности в туалетах.
Рис. 29. Схема расположения шпигатов судов типа "Ракета"
Очистка шпигатной системы при засорении производится механическим путем (гнутой проволокой и т.п.).
В случае выхода из строя полиэтиленовых труб допускается их замена трубами из алюминиево-магниевого сплава. В случае провисания полиэтиленовых труб допускается подвеска их на хомутах с мягкой прокладкой к набору корпуса.
На судах типа "Метеор", "Ракета", "Заря" в качестве главных дизелей используются быстроходные дизели 12ЧНСП 18/20 различных модификаций. На судах типа "Заря", "Метеор", "Ракета" применяются дизели М400, М401А и М401В, основные технические данные которых приведены в табл. 17.
Таблица 17
ОСНОВНЫЕ ТЕХНИЧЕСКИЕ ДАННЫЕ ДИЗЕЛЕЙ СУДОВ
ТИПА "МЕТЕОР", "РАКЕТА", "ЗАРЯ"
Технические данные | Марка дизеля |
М400 | М401А и М401В |
Тип | Четырехтактный, жидкостного охлаждения |
Расположение цилиндров | V-образное под углом 60° |
Число цилиндров | 12 | 12 | 12 |
Порядок нумерации цилиндров | От нагнетателя - реверсивной муфте |
Порядок работы цилиндров: | |
дизеля правого вращения | 1л-6пр-5л-2пр-3л-4пр-6л-1пр-2л-5пр-4л-3пр |
дизеля левого вращения | 1пр-6л-4пр-3л-2пр-5л-6пр-1л-3пр-4л-5пр-2л |
Срок работы дизеля гарантийный до первой переборки, ч | 1000 | 3000 |
Срок работы дизеля до первой переборки (до подъема блоков), ч | 1000 - 1500 | 3000 |
Срок работы дизеля до капитального ремонта | 4000 | 8000 |
Мощность дизеля, кВт: | | |
номинальная | 663 | 736 |
максимальная | 810 | 810 |
на заднем ходу | 184 | 184 |
Частота вращения, об./мин.: | | |
номинальная | 1600 | 1550 |
максимальная | 1800 | 1600 |
на заднем ходу | 750 | 750 |
Частота вращения холостого хода на упоре реверсирования, об./мин. | 850 | 850 |
Продолжительность непрерывной работы, ч: | | |
на мощности 736 кВт | Не более 15 | - |
на максимальной мощности | Не более 1 | Не более 1 |
на заднем ходу | Не более 1 | - |
на холостом ходу | Не более 1 | Не более 2 |
Суммарное время работы на максимальной мощности | Не более 5% от установленного срока службы | Не более 5% от установленного срока службы |
Топливо: | | |
основное | Дизельное "ДС" по ГОСТ 4749-73 |
| | ИС МЕГАНОРМ: примечание. Взамен ГОСТ 305-73 Постановлением Госстандарта СССР от 31.03.1982 N 1386 с 1 января 1983 года введен в действие ГОСТ 305-82. | |
|
заменитель | Дизельное "ДЛ" по ГОСТ 4749-73 и марки "Л" по ГОСТ 305-73 содержанием серы до 0,2% |
Удельный расход топлива на номинальной мощности, кг/(кВт·ч) | 0,250 +/- 0,012 | 0,224 +/- 0,011 |
Масло: | |
основное | Авиационное марки МК-22 по ГОСТ 10113-62 с добавлением присадки ЦИАТИМ-339 по ГОСТ 8312-77 в количестве 3% по массе |
заменитель | Масло МС-20П по ТУ 38-1-01-265-72 и масло  ТУ 38-101-235-72 |
Удельный расход масла на номинальной мощности, кг/(кВт·ч) | Не более 0,008 | Не более 0,008 |
Габаритные размеры, мм: | | |
длина | 2600 | 2825 |
ширина | 1220 | 1252 |
высота | 1250 | 1250 |
Масса дизеля (сухого) кг | Не более 1860 | Не более 2000 |
На судах типа "Зарница" устанавливаются дизели типа 3Д12, основные технические данные которых приведены в табл. 18. Дизели выпускаются с правым - 3Д12А и левым - 3Д12АЛ направлением вращения коленчатого вала.
Таблица 18
ОСНОВНЫЕ ТЕХНИЧЕСКИЕ ДАННЫЕ ДИЗЕЛЕЙ СУДОВ ТИПА "ЗАРНИЦА"
Технические данные | Марка дизеля |
3Д12А, 3Д12АЛ |
Тип | Четырехтактный жидкостного охлаждения |
Расположение цилиндров. | V-образное под углом 60° |
Число цилиндров | 12 |
Порядок нумерации цилиндров | От насоса забортной воды к маховику |
Порядок работы цилиндров: | |
ЗД12А | 1л-6пр-5л-2пр-3л-4пр-6л-1пр-2л-5пр-4л-3пр |
ЗД12АЛ | 1-пр-6л-5пр-2л-3пр-4л-6пр-1 л-2пр-5л-4пр-3л |
Срок работы дизеля гарантийный до первой переборки, ч | 3500 |
Срок работы дизеля до первой переборки (до подъема блоков), ч | 3500 |
Срок работы дизеля до капитального ремонта, ч | 9000 |
Номинальная мощность дизеля <*>, кВт | 221 |
Частота вращения, соответствующая поминальной мощности, об./мин. | 1350 или 4500 |
Продолжительность непрерывной работы, на номинальной мощности, ч | Не оговаривается |
Топливо | По ГОСТ 4749-73 при температуре окружающего воздуха: выше 0 °C - "ДЛ", не ниже минус 5 °C - "ДС" |
Удельный расход топлива на номинальной мощности <**>, кг/(кВТ·ч) | 0,227 +/- 0,011 |
Масло для эксплуатации при температуре окружающей среды: | |
не ниже минус 5 °C | Марок: |
| | ИС МЕГАНОРМ: примечание. Постановлением Госстандарта СССР от 19.12.1984 N 4742 с 1 января 1985 года введен в действие ГОСТ 12337-84. | |
|
| М-20Г по ГОСТ 12337-66; М-20В по МРТУ 12Н N 142-64; МС-20 по МРТУ 384-156-65; М-128 по МРТУ 12Н N 3-62; 14В по МРТУ 12Н N 5-62; М-14ВЦ по ТУ 38-101150-71 |
Примечание. Допускается применение масла марки М-206 по МРТУ 38-1-181-65 при работе на топливе по ГОСТ 4749-73 |
|
|
выше 0 °C к до минус 15 °C | М-16В по ТУ 38-1-0121-70; МТ-16П по ГОСТ 6360-58; МТ-16П с присадкой МНИ ИП-22К по РТУ РСФСР N НП 27-62 |
Удельный расход масла на номинальной мощности, кг/кВт·ч <***> | Не более 0,007 |
Габаритные размеры, мм: | |
длина | 2390 |
длина с валом отбора мощности | 2464 |
ширина | 1052 |
высота | 1158,5 |
Масса дизеля (сухого) в алюминиевом исполнении, кг | 1815 |
--------------------------------
<*> Приведена мощность на фланце ведомого вала реверс-редуктора при переднем ходе с подключенными агрегатами систем дизеля, при разрежении на впуске 0,04 МПа и противодавлении на выпуске 0,009 МПа, загрузке зарядного генератора на 75% его номинальной мощности, нормальных атмосферных условиях.
<**> Приведен удельный расход топлива на номинальной мощности, приведенной к нормальным атмосферным условиям и теплоте сгорания 42700 кДж/кг для дизелей с частотой вращения 1500 об./мин., соответствующей номинальной мощности, без разрежения на впуске.
<***> Приведен удельный расход масла на номинальной мощности, приведенной к нормальным атмосферным условиям.
Эксплуатацию и обслуживание главных дизелей необходимо производить в соответствии с инструкциями заводов-изготовителей и требованиями Речного Регистра РСФСР.
Во время эксплуатации главных дизелей необходимо:
а) периодически проверять уровни в расходных топливных и масляных цистернах и в расширительных баках системы охлаждения;
б) контролировать интенсивность охлаждения системы выпуска отработавших газов с помощью аэротермометра;
в) периодически проверять наличие запаса воздуха в пусковых баллонах и в случае необходимости производить их пополнение;
г) периодически проверять напряжение аккумуляторных батарей при стартерном пуске дизеля.
Запрещается работа главных дизелей при:
а) обнаружении трещин и свищей в головках и самих блоках, повреждении трубопроводов, обслуживающих дизель, а также повреждении навешенных механизмов;
б) неисправности систем пуска и реверсивной муфты;
в) неисправности всережимного регулятора и системы дистанционного гидравлического управления дизелем;
г) повышении вибрации дизеля и валопровода, появлении резких ударов и стуков вследствие погнутости лопастей гребных винтов;
д) неисправной работе топливной аппаратуры;
е) сильной окраске отработавших газов в черный или голубой цвет;
ж) падении давления в смазочной системе на основном эксплуатационном режиме и падении давления топлива перед топливным насосом;
з) повышении температуры в системах охлаждения выше предельных значений;
и) обводнении и загрязнении топлива и масла.
Во время эксплуатации необходимо регулярно производить записи в формуляре дизеля после:
а) установки дизеля на судно;
б) проведенного очередного технического обслуживания N 3 и 4;
в) каждой аварии и повреждения;
г) окончания навигации;
д) при сдаче дизеля в ремонт;
е) каждого ремонта;
ж) окончания каждого месяца.
В формуляр должны заноситься следующие данные:
а) по окончании каждого месяца продолжительность работы дизеля на каждом режиме с указанием частоты вращения коленчатого вала и температурных режимов в системах смазочной и охлаждения;
б) сведения об объемах работ, проведенных во время каждого технического обслуживания или ремонта;
в) сведения о замене деталей дизеля на запасные;
г) сведения о проведенных регулировках дизеля;
д) сведения о консервациях и расконсервациях дизеля.
Во время технической эксплуатации главных дизелей необходимо выполнять в полном объеме и в срок плановые технические обслуживания в соответствии с
разд. 5 и
прил. 3 - 9.
При обнаружении неисправностей главных дизелей необходимо устранить их. Если для устранения неисправности требуется остановка дизеля, а по условиям работы в данный момент это невозможно, то необходимо принять все меры к тому, чтобы не допустить повреждения дизеля.
Основные неисправности в работе дизеля, их причины и способы устранения приведены в
прил. 10 и
11.
При обнаружении дефектов на гарантийном дизеле потребитель имеет право предъявить рекламацию заводу-изготовителю. Порядок составления рекламационных актов приведен в
прил. 12.
Порядок списания дизелей приведен в
прил. 13.
3.4.2.1. Во время эксплуатации необходимо периодически не реже одного раза в неделю проверять крепление шпилек и гаек фланца дейдвудной трубы и в случае необходимости производить их подтягивание.
Набивка сальника должна затягиваться без перекосов таким образом, чтобы при незначительных ослаблениях гаек через сальник начинала сочиться вода.
3.4.2.2. На судах типа "Метеор", "Ракета" необходимо следить за состоянием дюритовой муфты. На ее поверхности не должно быть трещин.
3.4.2.3. Не допускать появления вибрации валопровода и кормовой части судна.
Вибрация может возникнуть по следующим причинам:
нарушена центровка валопровода и дизеля;
нарушена центровка всей линии валопровода из-за деформации гребного вала или кронштейнов;
большой износ резинометаллических подшипников валопровода;.
нарушена работа топливной аппаратуры дизеля;
ослабло крепление дизеля к фундаменту;
нарушено крепление движителя;
наличие погнутости, повреждения кромок лопастей движителя.
При появлении вибрации следует проверить центровку валопровода и дизеля. Допускается величина смещения в горизонтальной и вертикальной плоскостях не более +/- 0,1 мм.
Излом между фланцем полумуфт валопровода и дизеля допускается не более 0,15 мм на 1 м.
Примечание. Центровку валопровода и дизеля производить на судне, установленном в стапельное положение (на ровный киль).
3.4.2.4. Отличительной особенностью судов типа "Зарница" является наличие карданного вала в валопроводе и в приводе вентилятора.
Во время эксплуатации необходимо периодически, не реже одного раза в неделю, прошприцевать подшипниковые узлы и сочленения карданного вала валопровода и вентилятора.
Необходимо также не реже двух раз в месяц контролировать и при необходимости регулировать зазор в муфте предельного момента привода вентилятора.
3.4.2.5. Во время технической эксплуатации валопровода необходимо выполнять в полном объеме и в срок плановые технические обслуживания в соответствии с
разд. 5 и
прил. 3 - 9.
3.4.2.6. При обнаружении неисправностей в валопроводе необходимо устранить их способом, указанным в табл. 19.
Таблица 19
ПЕРЕЧЕНЬ
ОСНОВНЫХ НЕИСПРАВНОСТЕЙ ВАЛОПРОВОДОВ И СПОСОБЫ ИХ УСТРАНЕНИЯ
Неисправность | Способ устранения |
Износ более 1/3 набивки сальникового уплотнения | Набивку полностью заменить |
Большой износ резинометаллических подшипников. Зазор между валом и рабочей поверхностью резино-металлического подшипника более 1,2 мм | Подшипники заменить |
Выкрашивание и отслоение резины в подшипниках | Поврежденные подшипники заменить |
Механические повреждения деталей крепления валопровода | Детали крепления заменить новыми. Отсутствующий и неисправный крепеж заменить новым |
Механические повреждения валов валопровода. Биение валов в пролете между подшипниками более 0,5 мм | Валопровод демонтировать |
Заменить или выправить поврежденный вал |
Примечание. В связи с затуханием процесса навигационной эрозии допускается эксплуатация движителей с эрозионными разрушениями по глубине до 40% толщины корня лопасти и до 60% - на периферии. При больших глубинах эрозии необходимо произвести подварку гребных винтов.
Во время технической эксплуатации движителей (при подъеме судна на берег в период навигации) необходимо убедиться в надежном креплении движителей на гребном валу и в отсутствии трещин, забоин, выкрашивания, погнутостей лопастей, повреждений кромок лопастей и других дефектов.
При невозможности устранения обнаруженных дефектов движителя на месте заменить его.
3.4.4. Система охлаждения и прогрева
Схемы систем охлаждения и прогрева изображены для судов типа: "Метеор" на
рис. 30, "Ракета" на
рис. 31, "Заря" на
рис. 32, "Зарница" на
рис. 33.
Во время эксплуатации замкнутый контур системы охлаждения заливается 1,0 - 1,1% раствором хромика в воде. Заполнение системы контролируется по уровню в расширительном бачке.
В холодное время года перед пуском дизеля производится прогрев воды электрическими грелками до 40 - 50 °C. Минимально допустимая температура воды, при которой разрешается пуск дизеля, -20 °C.
Рис. 30. Схема системы охлаждения
и прогрева судов типа "Метеор":
1 - кингстон приемный; 2 - кран проходной; 3 - клапан
невозвратный; 4 - пневмоцистерна; 5 - фильтр забортной воды;
6 - кран трехходовой; 7 - двигатель главный; 8 - холодильник
питьевой воды; 9 - электрогрелка для подогрева воды;
10 - холодильник водяной; 11 - регулятор температуры воды;
12 - холодильник масляный; 13 - насос забортной воды;
14 - насос пресной воды; 15 - кингстон отливной;
16 - калорифер; 17 - втулка наливная палубная; 18 - бак
водяной расширительный; 19, 20 - датчики аэро-
и электротермометров и комбинированного реле;
21 - фильтр-отстойник; 22 - клапан невозвратный
Рис. 31. Схема системы охлаждения
и прогрева судов типа "Ракета":
1 - дизель главный; 2 - глушитель вспомогательного дизеля;
3 - компрессор; 4 - подшипник дейдвуда; 5 - бак санитарный;
6 - фильтр; 7 - насос забортной воды вспомогательного
дизеля; 8 - насос пресной воды вспомогательного дизеля;
9 - дизель вспомогательный; 10 - глушитель главного дизеля;
11 - холодильник комбинированный; 12 - насос циркуляционный;
13 - калорифер; 14 - заливная горловина; 15 - бак
расширительный; 16 - патрубок вентиляционный; 17 - насос
забортной воды главного дизеля; 18 - насос
пресной воды главного дизеля
Рис. 32. Схема системы водяного
охлаждения судов типа "Заря":
1 - клапан запорный; 2 - блок-агрегат системы охлаждения;
3 - холодильник водоводяной; 4 - холодильник водомасляный;
5 - датчик сигнализации температуры; 6 - датчик
дистанционного термометра; 7 - датчик штатного термометра;
8 - цистерна расходного масла; 9 - задвижка клинкетная;
10 - фильтр; 11 - радиатор воздушного отопления; 12 - ящик
кингстонный; 13 - втулка палубная; 14 - бачок
расширительный; 15 - электронагреватель; 16 - дизель
главный; 17 - рубашка выхлопа; 18 - насос;
19 - подогреватель; 20 - клапан невозвратный; 21 - подшипник
упорный; 22 - фонарь смотровой с крылаткой;
23 - труба дейдвудная
Рис. 33. Схема систем топливной, смазочной, охлаждения
и предпускового прогрева судов типа "Зарница":
1 - котел подогревателя; 2 - клапан электромагнитный;
3 - цистерна масляная циркуляционная; 4 - клапан проходной
запорный; 5 - холодильник водомасляный; 6 - дросселирующее
сужение на трубе; 7 - приемник воды бортовой;
8 - холодильник водоводяной; 9 - бачок расширительный;
10 - регулятор температуры; 11 - подогреватель; 12 - насос
масляный; 13 - насос топливоподкачивающий; 14 - бачок
сливной; 15 - реле давления; 16 - реле комбинированное;
17 - подшипник упорный; 18 - насос ручной; 19 - аппарат
спрямляющий водометного движителя; 20 - клапан невозвратный;
21 - бачок компенсационный; 22 - фильтр; 23 - кран
трехходовой; 24 - цистерна топливная; 25 - втулка;
26 - головка вентиляционная; 27 - агрегат
насосный подогревателя
При работе дизеля необходимо следить за температурой воды в замкнутом контуре на входе и выходе из дизеля.
Во время технической эксплуатации систем охлаждения и прогрева необходимо выполнять в полном объеме и в срок плановые технические обслуживания в соответствии с
разд. 5 и
прил. 3 - 9.
При обнаружении неисправностей системы охлаждения и прогрева необходимо устранить их способом, указанным в табл. 20.
Таблица 20
ПЕРЕЧЕНЬ
ОСНОВНЫХ НЕИСПРАВНОСТЕЙ СИСТЕМЫ ОХЛАЖДЕНИЯ И ПРОГРЕВА
Неисправность | Способ устранения |
Нарушение герметичности в соединениях трубопроводов | Подтянуть болты соединений |
Механические повреждения деталей крепления устройств системы | Детали крепления заменить новыми. Отсутствующий и неисправный крепеж заменить новым |
Нарушение герметичности чувствительного элемента термостата | Термостат заменить новым |
Выход из строя электронагревателя электрогрелки | Неисправный электронагреватель заменить новым |
Износ резиновой прокладки кингстона | Прокладку заменить |
Повреждения клапанов и кранов системы | Неисправные клапаны и краны отремонтировать или заменить |
Вместимость запасной масляной цистерны для судов типа "Метеор" составляет 150 л, "Ракета" - 80 л, "Заря" - 80 л, "Зарница" - 100 л.
При работе дизеля необходимо следить за температурой и давлением масла в системе, которые должны находиться в пределах требований инструкции завода-изготовителя дизеля.
Необходимо периодически проверять плотность соединений трубопроводов и сальников.
Рис. 34. Схема смазочной системы судов типа "Метеор":
1 - дюритовый шланг; 2 - кран трехходовой; 3 - холодильник
масляный; 4 - насос ручной; 5 - фильтр масляный;
6 - регулятор температуры масла; 7 - агрегат предварительной
прокачки топлива и масла; 8 - фильтр закрытого приема масла;
9 - бак масляный расходный; 10 - кран перекрывной;
11 - бак масляный запасной; 12 - фильтр расходного масляного
бака; 13 - датчики аэро- и электротермометров
и комбинированного реле; 14 - дизель
главный; 15 - сливная горловина
Рис. 35. Схема смазочной системы судов типа "Ракета":
1 - дизель; 2 - сетка предохранительная; 3 - заливная
горловина; 4 - бак запаса масла; 5 - охладитель водомасляный
комбинированный; 6 - колонка указательная;
7 - электрогрелки; 8 - бак расходный масляный; 9 - фильтр
сдвоенный отливной; 10 - агрегат предварительной прокачки;
11 - насос прокачивающий ручной; 12 - фильтр
масляный путевой сдвоенный
Рис. 36. Схема смазочной системы судов типа "Заря":
1 - блок-агрегат системы охлаждения главного дизеля;
2 - холодильник водомасляный; 3 - регулятор температуры
масла; 4 - фильтр масляный; 5 - цистерна запасного масла;
6 - цистерна расходного масла; 7 - агрегат предварительной
прокачки масла и топлива; 8 - бидон; 9 - датчик сигнализации
температуры масла; 10 - датчик дистанционного термометра;
11 - датчик термометра, установленного на щите приборов
двигателя; 12 - насос ручной масляный; 13 - дизель главный;
14 - датчик термометра, установленного на щите приборов
двигателя; 15 - датчик дистанционного термометра;
16 - фильтр масляный
Смена масла должна производиться по браковочным параметрам, указанным в действующих инструктивных материалах, утвержденных Минречфлотом.
При смене масла необходимо производить чистку масляного бака, фильтров и промывку всей системы чистым дизельным топливом.
Во время технической эксплуатации масляной системы необходимо выполнять в полном объеме и в срок плановые технические обслуживания в соответствии с
разд. 5 и
прил. 3 - 9.
Не разрешается эксплуатация дизеля при неисправностях смазочной системы, приведенных в
прил. 10 и
11.
Запас топлива: т/х "Метеор" - 3,2 т, т/х "Ракета" - 1,4 т, т/х "Заря" - 2,5 т, т/х "Зарница" - 0,5 т.
Во время работы дизеля необходимо:
а) следить за уровнем топлива в расходных баках;
б) ежедневно контролировать состояние соединений и сальников, не допуская течи;
в) ежедневно спускать отстой из топливных баков.
Не реже одного раза в неделю промывать фильтры грубой очистки. После длительной стоянки или при попадании воздуха в систему необходимо при прокачке удалить воздух, открыв краны на топливном фильтре.
Во время технической эксплуатации топливной системы необходимо выполнять в полном объеме и в срок плановые технические обслуживания в соответствии с
разд. 5 и
прил. 3 - 9.
При обнаружении неисправностей топливной системы необходимо устранить их способом, указанным в табл. 21.
Таблица 21
ПЕРЕЧЕНЬ
ОСНОВНЫХ НЕИСПРАВНОСТЕЙ ТОПЛИВНОЙ СИСТЕМЫ
И СПОСОБЫ ИХ УСТРАНЕНИЯ
Неисправность | Способ устранения |
Нарушение герметичности в соединениях трубопроводов | Подтянуть болты соединений |
Механические повреждения деталей крепления устройств системы | Детали крепления заменить новыми. Отсутствующий и неисправный крепеж заменить новым |
Выход из строя фильтрующих элементов фильтров | Непригодные фильтрующие элементы фильтров заменить |
Повреждение кранов системы | Неисправные краны заменить |
Рис. 37. Схема топливной системы судов типа "Метеор":
1 - дизель главный; 2 - дизель вспомогательный; 3 - кран;
4 - агрегат ЭЦН-104; 5 - фильтр закрытого приема топлива;
6 - баки топливные; 7 - бачок; 8 - кран трехходовой;
9 - фильтр топливный путевой; 10 - клапан невозвратный;
11 - кран трехходовой; 12 - агрегат предварительной
прокачки топлива и масла; 13 - насос ручной; 14 - кран
сливной; 15 - кран перекрывной;
16 - указатель уровня топлива
Рис. 38. Схема топливной системы судов типа "Ракета":
1 - бак топливный; 2 - указатель уровня; 3 - насос
на вспомогательном дизеле; 4 - дизель вспомогательный;
5 - предохранитель огневой; 6 - дизель главный; 7 - агрегат
предварительной прокачки; 8 - насос на главном дизеле;
9 - клапан невозвратный; 10 - кран трехходовой; 11 - фильтр
грубой очистки; 12 - топливный насос РН-20 ручной;
13 - кран проходной; 14 - заливная горловина
Рис. 39. Схема топливной системы судов типа "Заря":
1 - цистерна утечного топлива, 2 - агрегат предварительной
прокачки масла и топлива; 3 - патрубок с предохранительной
сеткой; 4 - отсек дизельного топлива левого борта;
5 - втулка палубная; 6 - насос ручной топливный; 7 - кран
трехходовой; 8 - цистерна резервного топлива; 9 - отсек
дизельного топлива правого борта; 10 - фильтр дизельного
топлива; 11 - подогреватель; 12 - дизель главный
3.4.7. Система сжатого воздуха
Схемы систем сжатого воздуха изображены для судов типа: "Метеор" на
рис. 40, "Ракета" на
рис. 41, "Заря" на
рис. 42.
Во время технической эксплуатации системы сжатого воздуха необходимо ежедневно производить осмотр трубопроводов, арматуры и баллонов. Особое внимание должно быть обращено на исправность пломб манометров и предохранительных клапанов. Каждый манометр перед началом навигации должен быть проверен и иметь соответствующий аттестат проверки.
Воздушные баллоны и воздухопроводы в процессе эксплуатации должны подвергаться наружному осмотру, внутреннему освидетельствованию и гидравлическому испытанию в соответствии с "Правилами классификации и технического надзора за судами".
По требованию Речного Регистра РСФСР могут проводиться внеочередные освидетельствования и гидравлические испытания воздушных баллонов и воздухопроводов.
Если при освидетельствовании обнаружены дефекты, дальнейшая эксплуатация воздушных баллонов запрещается.
Результаты всех осмотров и освидетельствований, в том числе и внеочередных, обнаруженные дефекты должны заноситься в шнуровую книгу воздухохранителя.
Во время технической эксплуатации системы сжатого воздуха необходимо выполнять в полном объеме и в срок плановые технические обслуживания в соответствии с
разд. 5 и
прил. 3 - 6.
При обнаружении неисправностей системы сжатого воздуха необходимо устранить их способом, указанным в табл. 22.
Таблица 22
ПЕРЕЧЕНЬ
ОСНОВНЫХ НЕИСПРАВНОСТЕЙ СИСТЕМЫ СЖАТОГО ВОЗДУХА
Неисправность | Способ устранения |
Нарушение герметичности в соединениях трубопроводов | Подтянуть накидные гайки соединения |
Выход из строя фильтрующего устройства воздушного фильтра | Фильтрующее устройство заменить |
Механические повреждения деталей крепления устройств системы | Детали крепления заменить новыми. Отсутствующий и неисправный крепеж заменить новым |
Повреждения клапанов системы | Неисправные клапаны заменить |
Рис. 40. Схема системы сжатого воздуха судов типа "Метеор":
1, 2, 3, 4, 12, 13 - трубопроводы продувки;
5, 17 - манометры; 6 - водомаслоотделитель; 7 - дизель
вспомогательный; 8 - трубопровод напорный; 9 - дизели
главные; 10 - трубопровод подачи воздуха к дизелям;
11 - баллон вместимостью 40 л; 14 - фильтр воздушный;
15 - электропневмоклапан; 16 - клапан угловой запорный;
18 - датчик электроманометра; 19 - клапан невозвратный;
20 - баллон вместимостью 20 л привода стеклоочистителя
Рис. 41. Схема системы сжатого воздуха судов типа "Ракета":
1 - компрессор КГ-150; 2 - дизель главный; 3 - баллоны;
4 - кран пусковой; 5 - кран запорный;
6 - водомаслоотделитель; 7 - клапан редукционный; 8 - клапан
невозвратный; 9 - водозаборник концевого кронштейна
Рис. 42. Схема системы сжатого воздуха судов типа "Заря":
1 - баллон; 2 - блок-агрегат баллонов сжатого воздуха;
3 - манометр; 4 - клапан к манометру; 5 - клапан
невозвратный; 6 - клапан запорный; 7 - датчик давления;
8 - клапан электромагнитный; 9 - клапан предохранительный
сигнальный; 10 - дизель главный; 11 - клапан пусковой
ручной; 12 - водомаслоотделитель; 13 - электрокомпрессор
ЭК2-150/1 (только для экспорта); 14 - бачок сбора
продуктов продувки компрессора
3.4.8. Система выпуска отработавших газов
Схемы систем выпуска отработавших газов изображены для судов типа: "Метеор" - на
рис. 43, "Ракета" - на
рис. 44.
Во время работы дизеля необходимо обращать особое внимание на герметичность системы выпуска, чтобы не допускать задымления машинного отделения.
Необходимо также контролировать температуру парогазовой смеси за тройником системы. Повышенная температура свидетельствует о неисправной работе системы орошения.
Не реже одного раза в месяц следует осматривать тройник и в случае необходимости очищать отверстия орошения.
Рис. 43. Система выпуска отработавших
газов судов типа "Метеор":
1 - дизель главный; 2 - тройник системы; 3 - трубопровод
выпускной главного дизеля; 4 - глушитель главного дизеля;
5 - агрегат ДГКП-10; 6 - трубопровод
выпускной вспомогательного дизеля
Рис. 44 Система выпуска отработавших
газов судов типа "Ракета":
1 - клапан переключения; 2 - переходник; 3 - газосборник;
4, 5 - трубопровод выпускной левого и правого борта
При осмотре и проверке системы выпуска отработавших газов необходимо убедиться:
а) в отсутствии механических повреждений, коррозии, повреждений лакокрасочного покрытия выпускного трубопровода глушителя;
б) в отсутствии пропуска газов, охлаждающей воды, в отсутствии механических повреждений в узлах соединения компенсаторов;
в) в целости и надежности крепления всех фланцевых соединений и креплений экранов в тройнике, колене и глушителе, креплений глушителя и тройника к кронштейнам.
Обнаруженные неисправности устранить.
Перед постановкой судна на зимний отстой необходимо очищать глушители и газовыпускной тракт от нагара и копоти.
3.5. Автоматизация управления и контроль
3.5.1. Система дистанционного управления подачей топлива и реверса
3.5.1.1. На судах типа "Заря" проекта N Р-83 система дистанционного управления дизелями штуртросная, на судах типа "Заря" проекта N 946 - гидравлическая.
Системы дистанционного гидравлического управления дизелями на судах типа "Метеор", "Ракета" и "Заря" аналогичны.
Для управления каждым дизелем предусмотрены две автономные системы - система управления подачей топлива и система управления реверсом.
Система управления подачей топлива (см.
рис. 1) состоит из следующих узлов: заправочного бака; цилиндра-датчика подачи топлива; рычага подачи топлива в рубке; цилиндра-исполнителя подачи топлива; рычага подачи топлива, установленного на дизеле.
Для подачи топлива к дизелю рычаг подачи топлива в рубке переводится плавно в положение "Полный". При этом шток цилиндра-датчика выдвигается и поршень вытесняет рабочую жидкость из штоковой полости гидроцилиндра. Вытесненная рабочая жидкость поступает в штоковую полость цилиндра-исполнителя, перемещая его шток на уборку. Рабочая жидкость из штоковой полости цилиндра-исполнителя по трубопроводу поступает в бесштоковую полость цилиндра-датчика. Шток цилиндра-исполнителя, переместившись, поворачивает рычаг на дизеле на увеличение подачи топлива.
Для уменьшения подачи топлива рычаг подачи топлива в рубке переводится в положение "Упор реверса", затем в положение "Стоп". Подача топлива в дизель прекращается.
Шток цилиндра-датчика вдвигается в цилиндр, поршень вытесняет из бесштоковой полости рабочую жидкость, которая по трубопроводу поступает в бесштоковую полость цилиндра-исполнителя. Шток цилиндра-исполнителя выдвигается, поршень вытесняет рабочую жидкость из штоковой полости, и рабочая жидкость по трубопроводу поступает в штоковую полость цилиндра-датчика. Шток цилиндра-исполнителя, переместившись, поворачивает рычаг на дизеле на уменьшение подачи топлива.
Система дистанционного гидравлического управления реверсом состоит из заправочного бака, цилиндра-датчика реверса, рычага реверса на дизеле, цилиндра-исполнителя реверса и рычага реверса в рулевой рубке.
Реверсирование производится только при установке рычага управления подачей топлива в положение "Упор реверса". Реверсирование осуществляется плавным, без рывков, перемещением рычагов реверса в рулевой рубке в положения "Вперед" или "Назад". Взаимодействие штоков цилиндра-датчика, цилиндра-исполнителя и рычага на дизеле аналогично описанному выше. Для перевода рычага реверса из положения "Вперед" ("Назад") в положение "Назад" ("Вперед") его необходимо сначала перевести в положение "Стоп", выдержать 1 - 1,5 с, а затем перевести в заданное положение.
Для удаления воздуха из системы управления дизелем предусмотрена прокачка ее рабочей жидкостью от сети источников давления системы управления рулями через вентили гидравлической системы.
Во время эксплуатации системы управления подачей топлива и реверса необходимо один раз в неделю проверять и подтягивать, в случае необходимости, все соединения трубопроводов, восстанавливать стопорение их элементов проволокой, а также контролировать крепления и соединения цилиндров-датчиков и цилиндров-исполнителей.
Заправка системы рабочей жидкостью производится следующим образом. Заправочный бак заливается рабочей жидкостью через фильтр при открытых запорных клапанах. Рабочая жидкость из бака протекает в трубопровод. Штоки цилиндров-исполнителей отсоединяются от секторов в машинном отделении и производится медленная прокачка цилиндров для удаления воздуха из системы. Прокачка считается законченной, если будет отсутствовать пружинящий участок при ходе поршня в цилиндре. После заполнения цилиндров-исполнителей производится заполнение цилиндров-датчиков в рубке. Цилиндры-датчики заполняются аналогично, только поршни приводятся в движение рукояткой управления. Заполнение системы заканчивается тогда, когда воздух будет полностью удален из нее. Окончив заполнение системы, необходимо закрыть клапаны на заправочном баке в рубке.
Далее исправность системы проверяется перестановкой рычагов управления из рубки. Если при проверке обнаруживается холостой ход штока какого-нибудь из цилиндров (присутствие воздуха в системе), то в этом случае открываются только те клапаны заправочного бака, которые обеспечивают доступ рабочей жидкости в трубопровод с обнаруженным воздухом. Прокачивание рабочей жидкости в данном трубопроводе повторяется. Если после прокачки присутствие воздуха в системе не обнаруживается, то необходимо соединить штоки цилиндров-исполнителей с секторами головок управления в машинном отделении. Для этого рычаг подачи топлива необходимо поставить в положение "Глуши", а рычаг реверса - в положение "Стоп", открыть закрытые клапаны заправочного бака и поставить рукоятки управления в рубке в такое положение, в каком находятся исполнители, т.е. подачи топлива в положение "Глуши", а реверс в положение "Стоп". Одновременно необходимо убедиться в правильности регулировки системы. Положение рычагов управления должно быть отрегулировано так, чтобы обеспечивался запас хода в обоих направлениях.
Один раз в навигацию или в случае ремонта гидросистемы необходимо произвести смену рабочей жидкости, для чего следует:
а) удалить из системы отработавшую рабочую жидкость;
б) очистить заправочный бак;
в) промыть систему чистой рабочей жидкостью.
Промывку системы производить в следующем порядке:
а) заполнить систему чистой рабочей жидкостью;
б) поработать рычагами подачи топлива и реверса в течение 30 мин.;
в) удалить рабочую жидкость из системы;
г) залить систему чистой рабочей жидкостью и подготовить ее к действию.
При обнаружении неисправностей в системе управления подачей топлива и реверса необходимо устранить их. Основные неисправности системы управления подачей топлива и реверса аналогичны неисправностям гидравлической системы управления рулями, приведенным в
п. 3.2.1.2.
Во время эксплуатации систем управления подачей топлива и реверса особое внимание следует уделять люфтам на рычагах управления дизелями. При появлении люфтов на рычагах управления дизелями необходимо произвести прокачку гидросистемы для удаления воздуха из трубопроводов и цилиндров.
3.5.1.2. На судах типа "Зарница" система дистанционного управления предназначена для управления главным дизелем и дроссельными заслонками воздухоприемной шахты вентилятора из рубки без вахты в машинном отделении.
Пуск дизеля после длительной стоянки производится с местного поста на дизеле.
Пуск прогретого дизеля осуществляется дистанционно с пульта управления после предварительного прокачивания масла.
Система дистанционного управления дизелем и вентилятором (рис. 45) состоит из штуртросной проводки 1 и 2, соединяющей органы управления дизелем и дроссельными заслонками воздухоприемной шахты вентилятора, в рубке и машинном отделении.
Рис. 45. Схема системы управления главным двигателем
и вентилятором судов типа "Зарница"
Стальной канат диаметром 3,3 мм направляется роликами, собранными в калитки 3.
На дизеле стальной канат закреплен на блоке 4, посаженном на валике механизма управления частотой вращения вала дизеля. Механизм управления - дифференциальный и поэтому переход с дистанционного управления на местное осуществляется без каких-либо переключений. Управление с местного поста производится штатной рукояткой на щитке приборов. При переходе на дистанционное управление, рукоятка фиксируется зубчатым сектором в положении, соответствующем частоте вращения холостого хода 500 - 600 об./мин.
Рукоятки управления дизелем 5 и дроссельными заслонками воздухоприемной шахты вентиляторов 6 фиксируются от самопроизвольного перемещения зубчатыми секторами. Этим обеспечивается фиксирование рукояток в любом положении, а следовательно и возможность изменения режимов работы дизеля и вентилятора. Фиксация снимается нажатием кнопки рукоятки. Увеличение частоты вращения дизеля и величины открытия заслонок воздухоприемной шахты вентилятора производится перемещением рукояток в направлении носа судна.
Обслуживание штуртросной проводки системы дистанционного управления главным дизелем и вентилятором аналогично обслуживанию штуртросной проводки рулевого устройства
(п. 3.2.1.4).
3.5.2. Приборы контроля и сигнализации
Контроль за работой каждого главного дизеля осуществляется с помощью контрольно-измерительных приборов и аварийно-предупредительной сигнализации (АПС).
Измерительные преобразователи (датчики) контрольно-измерительных приборов и аварийно-предупредительной сигнализации размещены на дизеле и в его системах, а указатели и сигнальные лампы на щите приборов в машинном отделении и панелях приборов в рубке.
На щитки ходовой рубки т/х "Метеор" и "Ракета" выводятся лампы аварийной сигнализации и кнопка аварийной остановки главных дизелей, сигнализаторы минимального уровня масла в цистернах, масла в расходном бачке, воды в расширительном баке системы охлаждения, сигнализаторы минимального давления масла, температуры масла и охлаждающей воды, сигнализация перегрева газовыхлопа, пожарная сигнализация. На щитках ходовой рубки т/х "Метеор" имеются, кроме того, сигнализаторы наличия воды в трюмах. На щитках ходовой рубки т/х "Заря" и "Зарница" имеются сигнализаторы минимального давления масла, температуры масла и охлаждающей воды, пожарной сигнализации.
В процессе эксплуатации судна необходимо строго придерживаться правил по установке и эксплуатации измерительных приборов.
Все приборы должны ежегодно проверяться и иметь соответствующие свидетельства и пломбы.
Выпуск судна в рейс с неисправными АПС и контрольно-измерительными приборами запрещается.
При обнаружении неисправностей аварийно-предупредительной сигнализации необходимо устранить их способом, указанным в табл. 23.
Таблица 23
ПЕРЕЧЕНЬ
ОСНОВНЫХ НЕИСПРАВНОСТЕЙ АПС
Неисправность | Причина неисправности | Способ устранения |
Ложное срабатывание сигнализации | Неисправен датчик | Отсоединить провода от датчика и проверить его омметром. Если контакты датчика замкнуты, а контролируемый параметр не достиг величины, подрегулировать датчик. Датчик, не поддающийся регулировке, заменить |
Замыкание проводов на выводах датчика | Проверить омметром. Замыкание устранить |
Звенит звонок. Ни одна из сигнальных ламп не горит | Сгорела сигнальная лампа контроля данного параметра | Нажать кнопку "Проверка схемы", при этом должны гореть все сигнальные лампы системы. Лампы, которые не горят, неисправны и подлежат замене |
Сигнализация не срабатывает при превышении одним из контролируемых параметров предела установки | Неисправен соответствующий датчик | Произвести проверку схемы аналогично. вышеизложенному. Если сигнальная лампа данного параметра горит, схема исправна и следует проверить (заменить) датчик |
Обрыв соединительных проводов датчика | Проверить тестером наличие питания ("плюс") на одном из выводов датчика и исправность провода от датчика до блока реле. Обрыв устранить |
При срабатывании сигнализации звонок не звенит | Неисправен звонок | Нажать кнопку "Проверка схемы". Если звонок не звенит, неисправен звонок или обрыв в цепи питания |
Сигнализация не работает | Сработал автомат защиты на щите управления | Включить автомат защиты на щите управления |
Сгорел предохранитель в щите управления | Заменить предохранитель в щите управления |
На скоростных судах в качестве основного принят постоянный ток напряжением 24 - 27,5 В. Передача электроэнергии осуществляется по однопроводной системе с использованием корпуса в качестве обратного провода ("Метеор", "Ракета" N 1 - 10, 101 и далее) и по двухпроводной системе ("Ракета" N 11 - 100).
На судах типа "Заря" передача энергии осуществляется по двухпроводной системе. Исключение составляют цепи щита подогревателя дизеля и пиропатронов системы пожаротушения, которые по конструктивным соображениям не могут быть изолированы от корпуса судна и поэтому питание указанных потребителей выполнено по однопроводной системе.
Эксплуатационному персоналу, обслуживающему суда с однопроводной системой распределения электроэнергии, следует помнить о недостатках этой системы, требующих особого внимания:
а) короткие замыкания на корпус могут сопровождаться электрической дугой;
б) возможны ложные включения электрооборудования при понижении сопротивления или повреждении изоляции сети;
в) автоматы защиты типа АЗС имеют тепловой расщепитель и поэтому они предохраняют цепи от перегрузки и глухих коротких замыканий;
г) повышенная трудоемкость измерений сопротивления изоляции сети.
3.6.1. Описание схем распределения электроэнергии
скоростных судов
Основные элементы схемы распределения электроэнергии судов типа "Метеор" показаны на
рис. 46.
Рис. 46. Схема распределения
электроэнергии судов типа "Метеор"
G1 и G2 - генераторы типа ГСК-1500Ж, мощностью по 1 кВт, напряжением 27 В каждый. Генераторы навешены на главные дизели и должны обеспечивать питание всех потребителей и подзаряд аккумуляторной батареи на ходу судна.
G3 - генератор типа КГ-5,6, мощностью 5,6 кВт, напряжением 28 В, соединенный с дизелем 2Ч8,5/11. Генератор является резервным и должен обеспечивать питание всех потребителей и подзаряд аккумуляторной батареи при стоянке судна или при выходе из строя генераторов G1 и G2.
GB1 - аккумуляторная батарея напряжением 24 В, электрическим зарядом (емкостью) 360 А·ч, состоящая из четырех батарей типа 6СТК-180М. Аккумуляторная батарея должна обеспечивать питанием все потребители судна в любом режиме работы.
ГЭРЩ - главный электрораспределительный щит. Осуществляет распределение электроэнергии и защиту потребителей от коротких замыканий и перегрузки.
ЩДУ - щит дистанционного управления в рубке. Осуществляет дистанционное управление потребителями, контроль работы электростанции и главных дизелей, питание и защиту потребителей, получающих электроэнергию непосредственно от него.
ЩЭПБ - щит электропитания с берега. Осуществляет распределение электроэнергии переменного тока 220 В. Кроме потребителей, получающих питание непосредственно от ЩЭПБ, от него получают питание через понижающие трансформаторы секции постоянно-переменного тока ГЭРЩ и зарядное устройство аккумуляторной батареи.
ЩП - щит предохранительный. Осуществляет защиту от коротких замыканий щита электронагревателей, получающего питание от сети 220 В переменного тока.
ЩЭН - щит электронагревателей. Осуществляет распределение электроэнергии 220 В переменного тока к нагревателям воды и масла.
ЩКО - щит камбузного оборудования. Осуществляет питание и защиту приборов буфета и холодильной установки, в качестве двигателя которой используется генератор ГСК-1500Ж.
РК - регуляторная коробка типа РК-1500Р, которая состоит из регулятора напряжения, объединенного реле, дополнительных сопротивлений и фильтра и выполняет следующие функции:
регулирует напряжение генератора ГСК-1500Ж;
защищает генератор от обратного тока;
защищает генератор от перегрузок;
обеспечивает параллельную работу генератора с другим навешенным генератором и аккумуляторной батареей;
защищает радиоаппаратуру от радиопомех, возникающих при работе генератора.
Z - фильтр типа СФ-1А. Не допускает распространения радиопомех по проводам.
РВ - регулятор напряжения типа Р-27. Предназначен для поддержания постоянства напряжения генератора G3.
TV1 - трансформатор типа ОСР-0,7 мощностью 0,7 кВ·А, напряжением 220/30-2/-24 В, предназначен для снабжения электроэнергией переменного тока зарядного устройства.
TV2 - трансформатор типа ОСР-0,7, предназначен для снабжения электроэнергией переменного тока секции постоянно-переменного тока ГЭРЩ.
ВДУ - вольтодобавочное устройство, для обеспечения нормальной работы радиостанции при снижении напряжения аккумуляторной батареи.
GB2 - батарея вольтодобавочного устройства, состоящая из двух элементов напряжением 2 В каждый.
QS - разъединитель типа РЦ1-1500 на 1500 А. Предназначен для соединения аккумуляторной батареи с ГЭРЩ.
М7 - электростартер для пуска дизеля 2Ч8,5/11.
R1 - добавочный резистор.
M1 - электродвигатель якорной лебедки, в качестве которого используется генератор типа ГСР-3000, мощностью 3 кВт, напряжением 28,5 В.
ЩУ - щит управления якорной лебедкой, состоящий из контактора, реле, амперметра и автомата защиты. Предназначен для управления и защиты от перегрузок электродвигателя якорной лебедки.
М2 - электродвигатель для привода вентилятора салона, в качестве которого используется генератор автомобильный типа Г-20. Пуск и остановка электродвигателя со ЩДУ.
М3 - электродвигатель типа МП-100Б1, мощностью 100 Вт, напряжением 24 В, осуществляет привод санитарного насоса.
K1 - контактор типа КМ25Д производит включение электродвигателя санитарного насоса.
SL - поплавковое реле с микровыключателем КВ-6, осуществляет автоматическое управление электродвигателем санитарного насоса.
М4 и М5 - электродвигатели типа УЗ-620, мощностью 120 Вт, напряжением 24 В. Предназначены для привода вентиляторов МО. Пуск и остановка производятся с ГЭРЩ.
М6 - электродвигатель, мощностью 220 Вт, напряжением 124 В. Предназначен для привода топливоперекачивающего насоса. Управление двигателем с ГЭРЩ. Отключение производится со ЩДУ.
ЕК1 - ЕК6 - электрогрелки. Предназначены для обогрева кают команды, машинного отделения, подогрева масла и воды главных дизелей.
ЕК7, ЕК8 - электротермос для подогрева воды в буфете.
ЕК9 - электроплитка.
ХТ1 - ХТ7 - разъемные контактные соединения.
Главный электрораспределительный щит
(рис. 47) судов типа "Метеор" имеет следующие секции шин:
а) постоянного тока 24 В;
б) постоянно-переменного тока 24 В;
в) дистанционного отключения электродвигателей механизмов машинного отделения.
Схемой щита предусмотрено:
а) питание всех потребителей от аккумуляторной батареи;
питание всех потребителей от ходовых генераторов ГСК-1500Ж;
б) питание всех потребителей от вспомогательного генератора КГ-5,6;
в) питание части потребителей от сети переменного тока 24 В, подаваемого через трансформатор питания с берега;
г) параллельная работа двух ходовых генераторов ГСК-1500Ж и каждого из них с аккумуляторной батареей;
д) параллельная работа вспомогательного генератора КГ-5,6 с аккумуляторной батареей.
Параллельная работа генераторов ГСК-1500Ж с генератором КГ-5,6 не допускается.
На ГЭРЩ установлены следующие основные аппараты и приборы:
а) два переключателя QS1 и QS2, с помощью которых можно выбрать режим работы генераторов (двух навешенных генераторов ГСК-1500Ж или одного из них, или генератора КГ-5,6); дифференциальное реле направления тока КА типа ДМР-400Д, предназначенное для автоматического включения генератора КГ-5,6, на шины ГЭРЩ при напряжении генератора 26 - 27 В и для отключения генератора при понижении напряжения генератора (при появлении обратного тока от батареи к генератору). Реле также предотвращает возможность подключения генератора к судовой сети при неправильной полярности на его зажимах;
б) вольтметр PV для контроля напряжения на шинах;
в) два амперметра: РА1 - для контроля работы генераторов ГСК-1500Ж; РА2 - для контроля работы генератора КГ-5,6;
г) переключатель QS3 для переключения питания секции постоянно-переменного тока с основной секции (от аккумуляторов или генераторов) на питание с берега (через понижающий трансформатор);
Рис. 47. Схема главного распределительного
щита судов типа "Метеор"
д) автоматы защиты QS1 - QF23 на соответствующий ток (номинальный ток каждого автомата указан на схеме), установленные для коммутации потребителей электроэнергии и для защиты цепей от перегрузки и токов короткого замыкания;
е) предохранители FU на соответствующий ток (номинальные токи плавких вставок указаны на схеме), установленные для защиты цепей от токов короткого замыкания;
ж) HL1 - лампа сигнальная;
з) EL1, EL2 - лампы осветительные.
Основные элементы схемы распределения электроэнергии судов типа "Ракета"
(рис. 48).
G1 - генератор типа ГСК-1500Ж, мощностью 1,0 кВт, напряжением 27 В. Генератор навешен на главный дизель и должен обеспечивать питание всех потребителей и подзаряд аккумуляторной батареи на ходу судна.
G2 - резервный генератор типа КГ-5,6, мощностью 5,6 кВт, напряжением 28 В, соединенный с дизелем типа 2Ч8,5/11. Генератор должен обеспечивать питание всех потребителей и подзаряд аккумуляторной батареи на стоянке судна и на ходу при выходе из строя генератора G1.
GB - аккумуляторная батарея, напряжением 24 В, электрическим зарядом (емкостью) 360 А·ч, состоящая из двух батарей типа 6СТК-180М. Аккумуляторная батарея должна обеспечивать питание всех потребителей в любом режиме работы судна.
ГЭРЩ - главный электрораспределительный щит.
ЩДУ - щит дистанционного управления в ходовой рубке.
ЩЭПБ - щит электропитания с берега. От него получают питание блок ГЭРЩ переменного тока 220 В, зарядное устройство и потребители постоянно-переменного тока 24 В.
TV1 - трансформатор питания с берега, мощностью 0,7 кВ·А, напряжением 220/30-27-24 В. Предназначен для преобразования электроэнергии, подаваемой с берега, напряжением 220 В на соответствующее напряжение, подаваемое на зарядное устройство.
ЩБ - щит буфета, питает потребители следующих напряжений: 24 В постоянного тока, 220 В переменного тока, 127 В переменного тока.
М7 - стартер для пуска дизеля 2Ч8,5/11.
R1 - добавочный резистор.
СН - свечи накаливания дизеля 2Ч8,5/11.
М1 и М3 - электродвигатели переносных вентиляторов.
М2 - электродвигатель вентилятора салона, в качестве которого используется генератор постоянного тока Г-20. Управление вентилятором производится с ЩДУ.
М4 - электродвигатель циркуляционного насоса системы обогрева, мощностью 100 Вт, получает питание от ЩДУ. Управление насосом из рулевой рубки с ЩДУ.
М5 - электродвигатель санитарного насоса, мощностью 100 Вт. Управление насоса автоматическое с помощью контактора, установленного на ГЭРЩ, и поплавкового реле.
SL - реле поплавковое с микровыключателем типа КВ-6, осуществляет автоматическое управление электродвигагелем санитарного насоса.
М6 - электродвигатель типа УЭ-120 осуществляет привод вентилятора машинного отделения. Пуск и остановка М6 производится с ГЭРЩ, а аварийная остановка с ЩДУ.
UZ - преобразователь одноякорный типа ОП-120-13 осуществляет преобразование электроэнергии с напряжения 24 В постоянного тока на напряжение 127 В переменного тока для питания щита буфета.
Z - фильтр типа ФЕ-70-220, осуществляет защиту радиостанции от помех.
YA - электроклапан постоянного тока типа АСП для остановки главного дизеля.
ЕК7 - нагревательный элемент электробака для кипячения воды типа БП-8, мощностью 850 Вт, напряжением 24 В.
XT1 - ХТ13 - разъемные контактные соединения.
ЕК1 - ЕК6 - электрические грелки, предназначенные для обогрева рубки, машинного отделения подогрева масла.
Рис. 48. Схема распределения электроэнергии судов
типа "Ракета"
Главный электрораспределительный щит
(рис. 49) судов типа "Ракета" имеет четыре блока:
а) блок электростанции 24 В постоянного тока;
б) блок потребителей 24 В постоянно-переменного тока;
в) блок питания с берега 220 В переменного тока;
г) блок зарядного устройства.
Схемой щита предусмотрено:
а) питание всех потребителей от аккумуляторной батареи;
б) параллельная работа генератора ГСК-1500Ж с аккумуляторной батареей;
в) параллельная работа генератора КГ-5,6 с аккумуляторной батареей;
г) питание части потребителей от сети переменного тока 220 В через трансформатор 220/24 В;
д) подзаряд аккумуляторной батареи от береговой сети 220 В переменного тока через специальное зарядное устройство.
Параллельная работа генераторов ГСК-1500Ж и КГ-5,6 не допускается.
На ГЭРЩ установлены следующие аппараты и приборы:
а) TV1 - трансформатор дежурного освещения для преобразования электроэнергии 220 В переменного тока на напряжение 24 В переменного тока, подаваемое на шины 24 В постоянно-переменного тока;
б) пять переключателей, предназначенных: QS1 - для выбора режима нагревателей воды главных дизелей; QS2 - для задания режима подзаряда аккумуляторной батареи от береговой сети; QS3 - для выбора генераторов, работающих на шины ГЭРЩ (навешенный и вспомогательный); QS4 - для подключения ламп, освещающих ГЭРЩ и контролирующих работу генератора;
QS5 - для выбора режима работы санитарного насоса;
в) три амперметра, предназначенные: РА1 - для контроля тока заряда аккумуляторной батареи при подзаряде от береговой сети; РА2 - для контроля тока генераторов; РА3 - для контроля режима работы и тока аккумуляторной батареи;
г) РV - вольтметр для контроля напряжения на шинах 24 В постоянного тока;
д) РК - регуляторная коробка типа РК-1500Р для регулирования напряжения генератора ГСК-1500Ж, защиты генератора от обратного тока и перегрузок;
е) Z - фильтр для защиты от распространения радиопомех по проводам;
ж) КА1 - дифференциальное реле направления тока типа ДМР-400Д, предназначенное для автоматического включения генератора КГ-5,6, на шины ГЭРЩ и для отключения генератора при понижении напряжения (при появлении обратного тока);
з) PH - регулятор напряжения типа Р-27 для регулирования напряжения генератора КГ-5,6;
и) HL1, HL3, HL4 - сигнальные лампы для указания о наличии напряжения на соответствующих шинах ГЭРЩ; HL2 - сигнальная лампа для указания о наличии напряжения на зарядном устройстве; HL5 и HL6 - лампы, предназначенные для освещения щита и сигнализации о работе генераторов (при работе генератора ГСК-1500Ж или генератора КГ-5,6 горит одна из этих ламп; при питании с берега горят обе лампы);
к) КМ1 - КМ8 - контакторы типа КМ для дистанционного управления соответствующими потребителями, КМД - контактор для осуществления блокирования между питанием шин постоянно-переменного тока 24 В от электростанции и береговой сети;
л) QF1 - QF19 - автоматы защиты на соответствующий номинальный ток;
м) FU - предохранители на соответствующий ток.
Рис. 49. Схема главного электрораспределительного
щита судов типа "Ракета" однопроводной системы
распределения электроэнергии
Особенности схемы ГЭРЩ судов типа "Ракета" при двухпроводной системе распределения электроэнергии
(рис. 50):
а) отсутствуют соединения источников и приемников с корпусом судна, каждый приемник электроэнергии соединен с электрораспределительными щитами двумя проводами (кроме радиостанции и стартера);
б) на ГЭРЩ установлено реле КА, осуществляющее подключение аккумуляторных батарей на подзаряд от береговой сети и предотвращающее питание остальных потребителей от трансформатора зарядного устройства;
в) на ряде судов защитные аппараты установлены только в плюсовом проводе.
Основные элементы схемы питания электроустановок, напряжением 24 Б, судов типа "Заря"
(рис. 51).
G - генератор типа ГСК-1500, мощностью 1 кВт, напряжением 27 В. Генератор навешен на главный дизель и должен обеспечивать питание всех потребителей и подзарядку аккумуляторных батареи на ходу судна.
GB1 и GB2 - четыре кислотные аккумуляторные батареи типа 6CTMK-128MC. Обеспечивают питание потребителей напряжением 24 В, контроля, сигнализации и пуска главного дизеля.
U - зарядное устройство типа BCA-6K предназначено для подзаряда аккумуляторных батарей от береговой сети 220 В.
ГЭРЩ - главный электрораспределительный щит 24 В. Осуществляет распределение электроэнергии. Щит оборудован пакетными выключателями, низковольтными выключателями и блоками защиты на всех линиях, а также снабжен необходимой сигнальной и измерительной аппаратурой.
Для освещения щита предусмотрена лампа, которая включается при открывании двери ниши.
Панель управления пульта, установленного в рубке, предусмотрена для дистанционного контроля и управления приводами и потребителями 24 В, дистанционного контроля за напряжением аккумуляторных батарей и сопротивлением изоляции. Панель оборудована кнопками управления, низковольтными выключателями, блоками защиты и необходимой контрольно-измерительной и сигнальной аппаратурой.
ЩП - щит электроподогревателя. Осуществляет управление электродвигателем М2 электроподогревателя.
ЩК - щит с контактором ЩКМ-14.
Рис. 50. Схема главного электрораспределительного
щита судов типа "Ракета" двухпроводной системы
распределения электроэнергии
Рис. 51. Схема питания электроустановок 24 В
судов типа "Заря"
ЩКСД - щит контроля и сигнализации главного дизеля. Расположен в машинном отделении. Служит для управления электропривода агрегата прокачки масла и топлива.
M1 - электродвигатель постоянного тока типа МПБ-58. Служит для привода агрегата прокачки масла и топлива.
РК - регуляторная коробка типа РК-1500А, состоящая из регулятора напряжения, реле, конденсаторов, выполняет следующие функции: регулирует напряжение генератора ГСК-1500; защищает генератор от обратного тока; защищает генератор от перегрузок; защищает радиоаппаратуру от радиопомех, возникающих при работе генератора.
Z - фильтр типа СФ-1А. Не допускает распространения радиопомех по проводам.
R1 - реостат регулировочный Р-0,5,
СН - свечи накаливания дизеля 2Ч8,5/11.
НА1 - трещотка постоянного тока ТРФ-24. Устанавливается в пульте управления.
СЯ - соединительный ящик СЯ-10.
1Г3 и 2Г3 - головка затвора ГЗСМ.
НА2 - электросирена ЭСС-1-1.
НА3 и НА4 - звуковой сигнал С-101.
КС - коробка соединительная Т-9-4М.
ЕК1 - ЕК3 - электронагреватель трубчатый НВС-0,30/0,3.
XT - разъемное контактное соединение.
Основные элементы схемы распределения электроэнергии, напряжением 220 В, судов типа "Заря" (рис. 52).
Рис. 52. Схема распределения электроэнергии
220 В судов типа "Заря"
ЭРЩ - электрораспределительный щит ЩПЛ-6 по нормам ОН9-281-67 служит для распределения электроэнергии 220 В, установлен в МО. Щит оборудован пакетными выключателями, предохранителями и конденсаторами:
ХТ1 - разъемное контактное соединение. Вилка 6ДК.266.018, розетка 5ДК.573.011. Служит для подачи питания с берега на распределительный щит.
QF - автоматический выключатель двухполюсный АП50-2МТ.
ХТ2 - розетка с выключателем Р18С (3 А; 250 В).
ЕК1, ЕК2 и ЕК5 - электронагреватель ЭН-1500.
ЕК3 и ЕК4 - грелка электрическая ГСЭ-1200.
ЕК6 - грелка электрическая ГСЭ-600.
EL - светильник надпалубный 1У исполнения с молочным колпаком СС-328.
Основные элементы схемы питания потребителей судов типа "Зарница"
(рис. 53),
ЭРЩ - щит электрораспределительный.
ЩП - щит типа ЩЛ2.
GB1 - GB4 - аккумуляторная батарея типа 6СТЭ-128.
КС1 - коробка соединительная с блоком защиты типа Б3-20.
КС2 - коробка соединительная типа КСЗ-2.
QS1 - разъединитель типа РТ-1 (24 В, 1500 А).
M1 и М2 - электродвигатели стеклоочистителя.
Q52 - Q54 - выключатель однополосный типа НВ-45М,
ЕК1 - ЕК4 - трубчатый электронагревательный элемент.
TV - трансформатор однофазный;
ЩЭПБ - щит электропитания с берега.
XT - разъемное соединение контактное.
КС3 - коробка соединительная с блоком защиты типа БЗ-20.
3.6.2. Обслуживание электрооборудования скоростных судов
Во время эксплуатации все электрооборудование должно содержаться в исправном состоянии, сухим и чистым, с подтянутыми крепежными и сальниковыми соединениями, с закрытыми и открытыми крышками. Таблички и надписи на электрооборудовании должны быть четкими и понятными. Утерянные и пришедшие в негодность таблички, бирки и надписи подлежат восстановлению.
Корпуса (кожухи), крышки и защитные сетки электрооборудования должны быть исправны, надежно закреплены и не должны иметь перекосов, вмятин, трещин, выгораний и т.п.
При появлении в местах расположения электрооборудования парения, масляной пыли, брызг топлива и воды, которые не удается устранить быстро, электрооборудование надлежит закрыть чехлами, кожухами, щитами или другими подходящими приспособлениями. В дальнейшем необходимо выяснить и устранить причины появления воды, масла или топлива.
Рис. 53. Схема питания потребителей судов типа "Зарница"
Металлические детали электрооборудования не должны иметь следов коррозии; все виды коррозии необходимо устранять.
Краска и лак, нанесенные на корпуса и детали электрооборудования, не должны иметь дефектов; поврежденные места надлежит исправлять.
Запрещается:
а) окрашивать детали, если краска может нарушить нормальное действие электрооборудования (контакты, места соединения проводов, пружины и т.п.), а также закрашивать таблички с номинальными данными, обозначениями, указывающими включенное и отключенное положения;
б) брать питание для временных и переносных устройств, (светильников, электроинструмента, вентиляторов и т.п.) от частей электрооборудования, не предназначенных для этой дели;
в) применять ацетон для протирки коллекторов электрических машин;
г) эксплуатировать генератор ГСК-1500Ж без коробки релерегулятора;
д) осуществлять подзаряд аккумуляторной батареи от береговой сети током более 20 А (на судах типа "Метеор", где для подзаряда от береговой сети установлены два трансформатора, включенные параллельно, допускается подзаряд током не более 40 А);
е) проверять сопротивление изоляции судовой сети 24 В мегомметрами или другими испытательными приборами с напряжением выше 100 В
(прил. 12);
ж) производить разборку автоматов защиты сети;
з) применять для удаления ржавчины или солей с аккумуляторных батарей металлические предметы, наждачную или стеклянную бумагу;
и) применять для замены перегоревших плавких вставок некалиброванные вставки;
к) включать холодильную установку при неработающих ходовых или вспомогательном генераторах;
л) включать агрегат прокачки масла и стартер с интервалом менее 30 с;
м) оставлять электрическую сеть под напряжением при уходе персонала с судна;
н) находиться с открытым огнем вблизи аккумуляторных батарей.
Во время технической эксплуатации электрооборудования необходимо выполнять в полном объеме и в срок плановые технические обслуживания в соответствии с
разд. 5 и
прил. 3 - 9.
При обнаружении неисправностей электрооборудования необходимо устранить их способом, указанным в табл. 24.
Таблица 24
ПЕРЕЧЕНЬ
ОСНОВНЫХ НЕИСПРАВНОСТЕЙ ЭЛЕКТРООБОРУДОВАНИЯ
И СПОСОБЫ ИХ УСТРАНЕНИЯ
Неисправность | Причина | Способ устранения |
Береговой источник не подключается к шинам электрораспределительного щита | Нет питания в розетке берегового источника | Проверить с помощью контрольной лампы на 220 В наличие питания в розетке берегового источника. При отсутствии питания выяснить и устранить его причину |
Сгорели предохранители "Питание с берега" на электрораспределительном щите | Заменить сгоревшие предохранители однотипным из ЗИПа |
Ходовой генератор не подключается к шинам электрораспределительного щита | Переключатель управления генератором находится в нейтральном положении | Поставить переключатель управления генератором. в положение "Ходовые генераторы" |
Сгорел предохранитель в электрораспределительном щите | Заменить сгоревший предохранитель однотипным из ЗИПа |
Отказ в работе ходового генератора | Сгорел предохранитель в электрораспределительном щите | Заменить сгоревший предохранитель однотипным из ЗИПа |
Неисправен генератор или аппараты, работающие с ним в комплекте | Проверить нагрузку на работающем генераторе. При значении тока нагрузки более 36 А отключить неответственные потребители |
Отказ в работе ходовых генераторов | Неисправность генераторов или цепей их подключения | Отключить все потребители, за исключением потребителей, обеспечивающих, безопасность движения. При первой же остановке попытаться ввести в действие хотя бы один генератор аналогично вышеизложенному |
Нет питания на шинах управления в рубке | Сгорели предохранители в ГЭРЩ | Заменить сгоревшие предохранители однотипными из ЗИПа |
3.7. Радиооборудование и связь
При техническом обслуживании радиооборудования и связи скоростных судов следует пользоваться соответствующими инструкциями на аппаратуру радиооборудования и связи.
Во время эксплуатации радиооборудования и связи необходимо следить за надежностью крепления приборов и кабельных линий. Приборы необходимо держать всегда закрытыми. Открывать приборы следует только при необходимости.
Ежемесячно необходимо проверять и подтягивать крепления крышек приборов, а также гайки уплотнительных сальников.
Необходимо своевременно заменять резиновые уплотнительные прокладки, пришедшие в негодность.
4. ОРГАНИЗАЦИЯ РАБОТЫ СУДОВОГО ЭКИПАЖА
ПО ТЕХНИЧЕСКОЙ ЭКСПЛУАТАЦИИ
4.1. Режим работы судового экипажа
4.1.1. Типовые штаты скоростных пассажирских судов утверждаются Министерством речного флота РСФСР.
4.1.2. Типовые штаты скоростных пассажирских судов устанавливаются в зависимости от продолжительности работы экипажа судна в течение суток и продолжительности рейса.
4.1.3. Рабочим временем экипажа считается время:
а) подготовки судна к рейсу и уборка судна после окончания рейса, входящие в ежедневное техническое обслуживание;
б) несения вахт по утвержденным графикам (в том числе во время движения и во время стоянок);
в) охраны судна, если она не обеспечивается работниками пунктов стоянок;
г) выполнения ежедневного и очередного технического обслуживания.
4.1.4. Режим работы судового экипажа устанавливается графиком несения вахт, который составляется в зависимости от продолжительности работы экипажа в течение суток и участков со сложными условиями плавания.
4.2. Отстой судов, их хранение и техническое обслуживание
в ночное время
4.2.1. Отстой судов должен производиться в соответствии со схемой организации технического и хозяйственного обслуживания скоростных пассажирских судов в навигационный период, которая разрабатывается пароходствами.
В схеме указывается:
наименование судна, приписка судна (владелец флота);
линии эксплуатации судна;
пункты ночного отстоя и ответственный за организацию ночного отстоя судов;
исполнитель проведения технического обслуживания и навигационного ремонта в конечных пунктах;
организация отдыха и питания экипажа;
пункты снабжения продуктами буфетов, бункеровки топливом и смазочным материалом, приема питьевой воды, сдачи подсланевых вод;
место смены вахт.
4.2.2. Охрану скоростных судов необходимо организовать в соответствии с § 25 "Устава службы на судах Министерства речного флота РСФСР" в зависимости от конкретных условий.
4.2.3. Ночное время по возможности использовать для проведения ежедневного технического обслуживания (подготовка судна к рейсу и послерейсовый осмотр).
4.3. Ведение судовой документации
4.3.1. На судах скоростного пассажирского флота должно быть обеспечено регулярное ведение следующей судовой технической документации:
единого вахтенного журнала;
формуляров на технические средства судна;
единой книги осмотра судна;
журналов СД-36, прогноза погоды.
Перечень судовой документации, которая должна быть на борту судна, приведен в прил. 13.
4.3.2. Записи в едином вахтенном журнале производить в соответствии с требованиями прилагаемой к нему инструкции.
4.3.3. Записи в формуляр вносятся после выполнения очередных технических обслуживаний N 3 и 4, замене отдельных узлов и деталей агрегатов, а также выполнении ремонтных работ.
4.3.4. Ежемесячно составляется отчет о расходе топлива и смазочного материала.
4.4. Распределение по заведованию.
4.4.1. Для содержания скоростного пассажирского судна в хорошем техническом состоянии все элементы корпуса и надстройки, механизмы, системы, устройства, запасные детали, инвентарь и оборудование распределяются между отдельными членами экипажа расписанием по заведованию, утвержденным капитаном судна.
4.4.2. Капитан судна несет полную ответственность за техническое состояние и содержание судна.
4.4.3. Капитан-дублер и первый штурман обязаны обеспечивать исправное техническое состояние и содержание корпуса, надстроек, всех помещений, устройств и оборудования помещений судна, радиооборудования судна.
4.4.4. Механик скоростного судна несет ответственность за техническое состояние и содержание судовой энергетической установки, системы управления энергетической установкой и рулевым устройством.
4.4.5. Первый помощник механика обязан обеспечить хорошее техническое состояние и содержание главного дизеля и электрооборудования судна.
4.4.6. Второй помощник механика обязан обеспечить хорошее техническое состояние и содержание вспомогательных механизмов, систем энергетической установки и общесудовых систем.
4.4.7. При совмещении профессий обязанности по заведованию устанавливаются в зависимости от совмещаемых должностей.
4.4.8. Моторист-рулевой обязан обеспечивать хорошее техническое состояние оборудования судовых помещений и содержание машинного отделения.
4.4.9. Матрос обязан обеспечивать хорошее содержание судовых помещений, швартовных устройств, надстройки и корпуса судна.
4.5. План организации технической эксплуатации
на научной основе
Основными направлениями организации технической эксплуатации на научной основе являются: применение инструментальных методов безразборной диагностики; повышение надежности отдельных элементов судна на основе анализа, выявления и устранения причин, вызывающих постепенные и внезапные отказы; установление признаков, характеризующих нарушение нормального режима работы судовых механизмов и оборудования и предшествующих преждевременному выходу их из строя, и принятие необходимых мер для предотвращения прогрессирующих износов; определение оптимальных режимов работы судовых дизелей в зависимости от путевых условий и характера судового хода, оптимальной системы технического обслуживания, периодичности и номенклатуры работ при проведении технического обслуживания в зависимости от количества часов, проработанных оборудованием; рациональное распределение трудовых затрат по техническому обслуживанию между судовыми экипажами, береговыми производственными участками (БПУ) и производственными цехами судоремонтных предприятий в навигационный и межнавигационный периоды.
5. ТЕХНИЧЕСКОЕ ОБСЛУЖИВАНИЕ СКОРОСТНЫХ СУДОВ
5.1.1. Техническое обслуживание скоростных судов представляет комплекс работ для поддержания их в работоспособном состоянии, обеспечения безопасного плавания и технико-эксплуатационных показателей, предусмотренных в нормативно-технической документации.
5.1.2. Техническое обслуживание включает:
а) ежедневное техническое обслуживание, в которое входит подготовка судна к рейсу и послерейсовый осмотр;
б) очередные технические
обслуживания N 1 - 4 для судов типа "Ракета", "Метеор", "Заря";
г) заправку и дозаправку топливом, маслом, гидросмесью, водой;
д) консервацию во время приведения судна в зимовочное состояние и расконсервацию при подготовке к навигации.
5.1.3. Ответственными за своевременное и полное выполнение технического обслуживания являются капитан (капитан-механик) теплохода и механик-наставник (групповой механик).
5.1.4. Механик-наставник (групповой механик) обязан постоянно контролировать сроки и качество выполнения технического обслуживания.
5.1.5. Технические обслуживания должны осуществляться в соответствии с общим планом-графиком пароходства и индивидуальными графиками для судов.
5.1.6. Трудоемкость технического обслуживания скоростных судов (в человеко-часах) по видам обслуживания представлена в табл. 25.
Таблица 25
ТРУДОЕМКОСТЬ ТЕХНИЧЕСКОГО ОБСЛУЖИВАНИЯ СКОРОСТНЫХ СУДОВ
Вид обслуживания | Трудоемкость, чел.-ч |
т/х "Ракета" | т/х "Метеор" | т/х "Заря" | т/х "Зарница" |
Ежедневное техническое обслуживание | 4 | 6,9 | 3,7 | 4,9 |
Очередное ТО N 1 | 10 | 15,6 | 6,9 | 11,43 |
Очередное ТО N 2 с дизелями: | | | | |
М400 | 31,8 | 56,2 | 27,2 | 49,70 |
М400А-1, М401В-1 | 33,3 | 59,2 | 28,7 | - |
Очередное ТО N 3 с дизелями: | | | | |
М400 | 106,9 | 174,4 | 101,3 | 64,90 |
М400А-1, М401В-1 | 97,4 | 155,4 | 91,8 | - |
Очередное ТО N 4 <*> с дизелями: | | | | |
М400 | 127,4 | 201,9 | 110,3 | - |
М401А-1, М401В-1 | 124,2 | 195,5 | 107,1 | - |
--------------------------------
<*> Трудоемкость очередного ТО N 4 указана без ТО ДГК через 1500 ч его работы (75 чел.-ч).
5.2. Ежедневное техническое обслуживание
Ежедневное техническое обслуживание включает подготовку судна к рейсу и послерейсовый осмотр. Производится в пунктах отстоя.
Перед выходом судна в рейс проводятся контрольные проверки в целях осуществления надзора за качеством и установленной периодичностью проведения технического обслуживания, а также своевременного выявления неисправностей рулевых устройств, систем дистанционного управления и средств автоматики.
По прибытии теплохода в пункт отстоя вахтенным начальником теплохода, совместно с представителем цеха (участка) технического обслуживания (групповым механиком), осуществляется технический осмотр судна и судового оборудования.
Осмотр дизелей проводить до их остановки.
5.2.1. Подготовка судов типа "Ракета", "Метеор", "Заря"
к рейсу
5.2.1.1. Проверить дистанционное управление:
а) герметичность пневматических и гидравлических элементов и соединений трубопроводов; состояние штуртросной проводки (осмотром);
б) согласование рукояток постов управления в рулевой рубке и на дизеле, наличие фиксации положения рукояток (осмотром);
в) исправность контрольно-измерительных приборов;
г) исправность подсветки шкал указателей тахометров и поста дистанционного управления (ДУ) в рулевой рубке (опробованием);
д) давление воздуха в пусковых баллонах (осмотром);
е) исправность работы системы ДУ путем пуска и остановки главных дизелей;
ж) исправность устройства аварийной остановки главных дизелей (осмотром).
5.2.1.2. Проверить рулевое устройство:
а) надежность присоединения кабелей и проводов;
б) исправность пусковых устройств, органов управления;
в) работу гидравлического привода путем пуска и остановки;
г) соответствие скорости перекладки руля требованиям Речного Регистра РСФСР (не более 30 с при перекладке с борта на борт);
д) уровень рабочей жидкости в наполнительных баках и резервной цистерне и работу штатной сигнализации по нижнему допустимому уровню;
е) герметичность насосов и системы;
ж) давление воздуха в пневмогидроаккумуляторе;
з) нулевую установку аксиометра;
и) состояние штуртросной проводки.
а) целостность гибких проводов на щитах АПС;
б) наличие сигнальных ламп на пульте управления в ходовой рубке и на щитах АПС в машинном отделении;
в) работу световой и звуковой сигнализации путем опробования.
5.2.1.4. Проверить работу коммутатора сигнальных огней (КСО):
а) путем опробования на срабатывание звукового сигнала и блинкеров;
б) путем переключения на аварийный источник питания.
5.2.1.5. Проверить работу светоимпульсных отмашек:
а) исправность выключателей и сигнальной лампы на пульте управления.
б) работу отмашки в дневном и ночном режиме путем опробования подачи световых сигналов "Вперед", "Назад" левого и правого бортов.
в) соответствие частоты вспышек требованиям Правил плавания по внутренним судоходным путям (40 +/- 5 в минуту).
г) исправность светоарматуры и уплотнений сальников (обращается внимание на отсутствие влаги и грязи).
5.2.1.6. Проверить работу якорного устройства согласно
разделу 3.2.
5.2.1.7. Осушить все отсеки.
5.2.1.8. Проверить:
а) работу сирены;
б) работу радиостанции и трансляционной сети (в соответствии с инструкцией);
в) давление в баллонах системы пожаротушения составом "3,5" на соответствие паспортному.
5.2.1.9. Перед пуском дизеля температура масла и воды в системе внутреннего контура должна быть не ниже 20 °C. Подогрев производится от электронагревателей с питанием от береговой сети 220 В.
5.2.1.10. Перед пуском дизеля проверить:
а) уровни:
масла в расходном баке и воды в расширительном баке. Пуск не разрешается при уровне масла ниже отметки 1/3 полной емкости; воды ниже отметки 1/2 полной емкости;
жидкости АМГ-10 в подпитывающем баке;
топлива в цистернах и расходном баке.
Примечание. После ночной стоянки слить отстой из масляных и топливных цистерн;
б) давление воздуха в баллонах. При давлении ниже 10 МПа подкачать воздух до 15 МПа и продуть баллоны для удаления конденсата;
в) исправность механизмов управления дизелем следующим образом:
открыть вентили и прокачать гидросистему для удаления воздуха. Если при прокачивании отсутствует сопротивление движению рукоятки, то это говорит о наличии воздуха в системе. Рукояткой экстренного пуска переместить рейку топливного насоса на полную подачу и убедиться в плавном ее возвращении в исходное положение. Рукоятку крана блокировки установить в фиксированное положение гидравлического управления (надпись "Гидр."). Рукоятку гидравлического управления поставить на фиксаторы в положение "Стоп".
Перемещать рукоятку гидравлического управления реверсивной муфтой можно только после установки рычага управления дизелем в положение "Упор реверса";
г) положение спускных и перекрывающих кранов дизеля и систем топливной, смазочной, охлаждения (все краны должны находиться в рабочем положении);
д) положение заслонки автомата предельной частоты вращения.
5.2.1.11. Перед пуском дизеля обязательно провернуть коленчатый вал с помощью ручного поворотного устройства не менее чем на два оборота или сжатым воздухом при давлении 0,8 - 1,2 МПа на три - четыре оборота. Давление замеряется манометром на редукторе.
Перед этим поставить рукоятку перепускного клапана гидравлического управления в положение "Стоп", надеть на штырь рычаг ручного управления и включить муфту на передний ход.
После проворачивания рычаг ручного управления поставить в положение "Стоп", снять его со штыря, поставить рукоятку перепускного крана в положение гидравлического управления ("Гидр.").
Пустить агрегат предварительной прокачки масла и после достижения давления 0,1 МПа в течение не более 1 мин. открыть пусковой клапан системы сжатого воздуха. После начала работы на топливе закрыть главный пусковой клапан и остановить агрегат предварительной прокачки.
5.2.1.12. После пуска прогреть дизель на холостом ходу при частоте вращения вала 850 об./мин. до температуры воды на выходе из дизеля не ниже 50 °C, масла не ниже 40 °C. Убедиться, что давление масла на входе в дизель не ниже 0,6 МПа и показание манометра устойчиво.
Проверить время переключения реверс-муфты с переднего хода на задний и обратно при работе дизеля на холостом ходу. Время переключения с переднего хода на задний или обратно должно быть не более 6 с при давлении масла 0,6 МПа.
Для проверки отсутствия пропусков и надежности крепления дюритовых соединений осмотреть при работающем дизеле все соединения трубопроводов систем смазочной, охлаждения и подачи топлива. Проверить соответствие показаний контрольно-измерительных приборов в рубке и МО.
5.2.2. Послерейсовый осмотр судов типа "Ракета", "Метеор",
"Заря"
5.2.2.1. Проверить исправность насоса высокого давления и форсунок при работе дизеля на холостом ходу. Проверить на ошупь наличие пульсации стенок трубопроводов высокого давления. При отсутствии пульсаций форсунка должна быть заменена исправной. Если после этого пульсация не появится, то необходимо проверить насос высокого давления.
5.2.2.2. На главном двигателе проверить:
герметичность уплотнений гильз моноблоков и сальников водяных насосов;
плотность сальников топливоподкачивающих насосов;
состояние пароотводных штуцеров блоков.
5.2.2.3. Разобрать масляные фильтры, убедиться в отсутствии стружки и повреждений сеток, промыть дизельным топливом, собрать и установить на место, прокачать масляную систему для удаления воздуха.
5.2.2.4. Заправить маслом и водой агрегат ДГК-10-1 (ДГКП-10-1). Проверить работу фрикционной муфты и натяжения текстропных ремней компрессора.
5.2.2.5. Осмотреть системы водоснабжения и фановую, обнаруженные неисправности устранить.
5.2.2.6. Произвести внешний осмотр электрооборудования. Убедиться в отсутствии повреждений соединительных и заземляющих проводов. Удалить пыль, масло и влагу с доступных частей, устранить причину попадания влаги и масла.
5.2.2.7. Осмотреть аккумуляторные батареи. Убедиться в отсутствии течи корпусов аккумуляторов. Подключить батарею на шины ГЭРЩ, включить в сеть электродвигатель агрегата прокачки главного дизеля и измерить напряжение батареи. При напряжении ниже 21 В поставить батарею на заряд.
5.2.2.8. Произвести проверку радиотрансляционной сети. Осмотреть посты связи, убедиться в наличии микрофонов на штатных местах.
5.2.2.9. Произвести уборку салонов, посадочных площадок, рулевой рубки, туалетов.
5.2.3. Подготовка судов типа "Зарница" к рейсу
5.2.3.1. Осмотреть носовое гибкое ограждение, убедиться в целости полотнищ и проверить состояние деталей крепления.
5.2.3.2. Проверить состояние якорного каната и его соединения с якорем и барабаном вьюшки, а также вьюшки с фундаментом. Для судов без вьюшки проверяется соединение якорного каната с обухом.
5.2.3.3. Проверить крепление киповых планок и уток.
5.2.3.4. Осмотреть леерные ограждения.
5.2.3.5. Произвести осмотр реверсивно-рулевого устройства и кроме того:
проверить натяжение канатов штуртросной проводки, при этом обращать особое внимание на равномерность их натяжения;
переложив рули с борта на борт рулевым колесом, обратить особое внимание на соответствие показаний аксиометра действительному положению рулей. Рули должны перекладываться плавно, без заеданий и перегрузок;
проверить реверсивные заслонки "Вперед" и "Назад" штурвалом заслонок. Заслонки должны перекладываться плавно, без заеданий и перегрузок.
5.2.3.6. Осушить все отсеки и скеги. Собрать подсланевые воды (если есть бак). Убедиться в отсутствии течи в корпусе.
5.2.3.7. Проверить дистанционное управление главным дизелем.
5.2.3.8. Убедиться в исправности фланцевых соединений линии валопровода и привода вентилятора.
5.2.3.9. Проверить уровни масла и топлива, а также воды в расширительном бачке. Слить отстой воды из масляной и топливной цистерн.
5.2.3.10. Подготовить дизель к пуску:
а) включить устройство прогрева масла и воды в системах внутреннего контура дизеля. При температуре окружающего воздуха ниже 5 °C (весенний, осенний периоды) прогреть воду и масло до температуры не ниже 40 °C;
б) провернуть дизель вручную за карданный вал на два оборота;
в) прокачать дизель маслопрокачивающим насосом до давления в смазочной системе 0,25 МПа;
г) проверить напряжение аккумуляторных батарей;
д) вентили всех систем дизеля поставить в рабочее положение.
5.2.3.11. Пустить дизель и прогреть на холостом ходу при частоте вращения вала 600 - 800 об./мин., с постепенным переходом на 1000 - 1100 об./мин., пока температура воды и масла на выходе не достигнет 45 °C.
Осмотреть при работающем дизеле все соединения трубопроводов. Убедиться в отсутствии пропусков и надежном креплении дюритовых соединений. Убедиться в наличии давления, в смазочной системе. Давление масла на входе в дизель должно быть не менее 0,5 МПа,
5.2.3.12. Проверить:
а) соответствие показаний приборов в рубке и машинном отделении и работу АПС (см.
п. 5.2.1.3);
б) светоимпульсные отмашки и сигнально-отличительные огни. Проверяют визуально путем включения тумблеров на пульте;
в) работу сирены;
г) работу радиостанции "Кама-С" (при наличии);
д) звонковую связь;
е) наличие огнетушителей.
5.2.4. Послерейсовый осмотр судов типа "Зарница"
5.2.4.1. Проверить исправность насоса высокого давления и форсунок при работе дизеля на холостом ходу (см.
5.2.2.1).
5.2.4.2. Проверить на дизеле крепление насосов, фильтров и других навешенных механизмов.
5.2.4.3. Проверить соединения в линии валопровода.
5.2.4.4. Проверить сальники валопровода (трубы водометного движителя).
5.2.4.5. Наполнить смазочным материалом масленку упорного подшипника валопровода.
5.2.4.6. Проверить наличие воды в бачке для охлаждения дейдвудного подшипника.
5.2.4.7. Проверить крепление вентилятора и муфты предельного момента.
5.2.4.8. Поджать колпачки масленок носового и кормового подшипников валопровода до выхода смазочного материала через контрольные отверстия.
5.2.4.9. Проверить соединение ремней секторов с баллерами и тягами рулей и заслонок.
5.2.4.10. Осмотреть фановую систему, обнаруженные недостатки устранить.
5.2.4.11. Произвести внешний осмотр электрооборудования (см.
п. 5.2.2.6).
5.2.4.12. Осмотреть аккумуляторные батареи (см.
п. 5.2.2.7).
5.3. Техническое обслуживание
5.3.1. Нормативы календарной продолжительности стоянок для выполнения очередных технических обслуживаний судов типа "Ракета", "Метеор", "Заря" указаны в табл. 26.
Таблица 26
НОРМАТИВЫ ПРОДОЛЖИТЕЛЬНОСТИ СТОЯНОК СУДОВ ТИПА "РАКЕТА",
"МЕТЕОР", "ЗАРЯ" ПРИ ВЫПОЛНЕНИИ ТО N 1 - 4
Номер очередного технического обслуживания | Время до соответствующего ТО, ч | Продолжительность стоянок, ч |
М400 | М400А | М401В | "Ракета", "Заря" | "Метеор" |
| 60 | 60 | - | - |
| 360 | 250 | - | - |
| 540 | 500 | 36 | 48 |
| 1000 | 1000 | 48 | 72 |
Очередные
ТО N 1 и
2 производятся без специальной остановки теплохода в пунктах отстоя судов, после окончания рейсовых заданий.
Продолжительность стоянки теплоходов при проведении очередных
ТО N 3 и
4 учитывается при составлении планов эксплуатационной работы судов, утверждаемых начальником пароходства.
Переборки дизелей производятся в соответствии с требованиями инструкции по их эксплуатации и Руководства Минречфлота РСФСР по переработке дизелей М400- и М401А.
5.3.2. Нормативы календарной продолжительности стоянок для выполнения очередных технических обслуживаний судов типа "Зарница" указаны в табл. 27.
Таблица 27
НОРМАТИВЫ ПРОДОЛЖИТЕЛЬНОСТИ СТОЯНОК СУДОВ ТИПА "ЗАРНИЦА"
ПРИ ПРОВЕДЕНИИ ТО N 1 - 3
Номер очередного технического обслуживания | Время до соответствующего ТО, ч | Продолжительность стоянок, ч |
| 100 | - |
ТО N 2 | 500 | 18 |
ТО N 3 | 1000 | 36 |
Очередное
ТО N 1 проводится в пунктах ночного отстоя.
5.3.3. При каждом очередном ТО следующего номера для судов всех типов необходимо выполнять работы, входящие в регламент всех очередных ТО предшествующих номеров и, кроме того, все остальные работы, входящие в регламент данного очередного ТО.
5.3.4. Номер очередного ТО, дата его проведения и перечень работ, выполненных сверх указанных в регламенте, записываются в единый вахтенный журнал судна.
5.4. Приведение судна в зимовочное состояние
Поднять теплоход на слип в соответствии с
прил. 14. Осмотреть теплоход в объеме очередного ТО N 4 (N 3). Выявленные неисправности зафиксировать в вахтенном журнале для дальнейшего устранения.
5.4.1. Корпус, надстройка, устройства
5.4.1.1. Промыть корпус теплохода мыльным теплым раствором, удалить с него масляные пятна бензином Б70, уайт-спиритом или эмульгатором ОП-7. Промытый корпус насухо протереть, особое внимание обратить на полное удаление влаги с заклепочных швов внутренних помещений, доступных для осмотра и выполнения работ.
5.4.1.2. Наружную обшивку теплохода в местах, имеющих повреждение лакокрасочного покрытия и коррозию, зачистить, обезжирить и загрунтовать грунтом ВЛ-02.
5.4.1.3. Открыть крышки палубных люков и горловин, осмотреть отсеки корпуса, при наличии в них воды слить ее, осушить и очистить отсеки.
5.4.1.4. Произвести полную приборку помещений теплохода.
5.4.1.5. Стекла окон и дверей вымыть, протереть и оклеить с наружной стороны упаковочной бумагой, используя крахмальный клей или клей на основе поливинилового спирта.
5.4.1.6. Трущиеся поверхности петель и замков дверей, крышек люков и горловин очистить от старого смазочного материала и смазать тонким слоем новой смазки ЦИАТИМ-201.
5.4.1.7. Смазать ЦИАТИМ-201 слоем толщиной 1 мм резиновые уплотнители дверей, открывающихся окон и иллюминаторов для предотвращения примерзания к комингсам.
5.4.1.8. Полированные поверхности крыльев, изготовленных из нержавеющей стали, а также поверхности гребных валов и винтов протереть ветошью, смоченной в дизельном топливе, до полной их очистки, а затем протереть сухой ветошью.
5.4.1.9. Детали крыльевого и рулевого устройств, изготовленные из алюминиево-магниевого сплава, очистить от грязи и мазута уайт-спиритом или эмульгатором ОП-7, в случае необходимости удалить с них коррозию, зачистить и загрунтовать.
5.4.1.1. Вывернуть из крыльев сливные пробки, во избежание утери прикрепить проволокой в районах их расположения. Слить воду из плоскостей крыльев.
5.4.1.11. Осмотреть якорную лебедку, заменить масло в корпусе редуктора, заполнить новым смазочным материалом масленки, смазать солидолом червяк, червячное колесо и другие детали, имеющие трущиеся поверхности. Надеть на электродвигатель лебедки полихлорвиниловый чехол и обвязать шпагатом.
5.4.2.1. Слить топливо, масло и воду из систем энергетической установки, для чего вывернуть спускные пробки и во избежание утери прикрепить проволокой в районах их расположения.
5.4.2.2. Нанести консервирующий смазочный материал на детали и узлы, не защищенные лакокрасочным покрытием.
5.4.2.3. Смазать резиновые подшипники валопроводов спирто-глицериновой смесью.
5.4.2.4. Нанести консервирующий смазочный материал на валы в пролетах между подшипниками, на свертные муфты.
5.4.2.5. Произвести консервацию главных и вспомогательных дизелей в соответствии с указаниями прилагаемых к ним инструкций, если дизели не демонтируются.
5.4.2.6. Составить дефектную ведомость на восстановление и ремонт всей энергетической установки.
5.4.3.1. Слить рабочую жидкость из гидробака.
5.4.3.2. Снять фильтры, промыть их элементы и установить на место.
5.4.3.3. Снять и промыть гидробаки, осмотреть их внутреннюю поверхность на отсутствие механических повреждений, коррозии, убедиться в отсутствии в них посторонних предметов. Осмотреть сварные швы и фланцевые соединения, убедиться в их целости, устранить выявленные неисправности и установить баки на место.
5.4.3.4. Разрядить газовую полость пневмогидроаккумулятора, слить отстой и зарядить вновь.
5.4.3.5. Заправить гидросистему свежей рабочей жидкостью.
5.4.4.1. Смазать техническим вазелином стальные детали всех систем.
5.4.4.2. Спустить всю воду из трубопроводов систем и емкостей через спускные пробки и сливные краны. Емкости и трубы очистить, промыть и просушить продувкой сжатым воздухом давлением 0,1 - 0,15 МПа.
5.4.4.3. Насухо протереть и покрыть тальком или мелом дюритовые соединения.
5.4.4.4. Высыпать из озонатора активированный уголь.
5.4.4.5. Поставить в открытое положение заслонку сточнофановой системы, клапаны системы осушения, краны систем питьевой и мытьевой воды.
5.4.4.6. Заглушить деревянными пробками забортные отливные отверстия шпигатной системы и системы осушения.
5.4.4.7. Промыть водой унитарный патрон и фекальную цистерну.
5.4.4.8. Произвести консервацию агрегата ЭДН-104 с применением масла МК-22 или МС-20 при температуре 70 - 90 °C. Перед консервацией промыть насосную часть агрегата в чистом бензине. При промывке дренажное отверстие закрыть. После консервации все отверстия агрегата ЭЦН-104 закрыть заглушками. Электродвигатель консервации не подвергать.
5.4.4.9. Вывернуть спускные пробки и во избежание утери прикрепить проволокой в районах их расположения.
5.4.4.10. Произвести консервацию агрегата ФАК-0,7Е2 согласно инструкции 3423-545-247-4 810И.
5.4.5. Электрооборудование
5.4.5.1. Провести дефектацию электрооборудования. Оборудование, аппаратуру, требующие ремонта, снять с судна и сдать в ремонт.
5.4.5.2. Снять с судна аккумуляторные батареи и сдать на хранение в специально оборудованную аккумуляторную мастерскую предприятия, где производится зимний отстой. Обслуживание аккумуляторных батарей при хранении производить в соответствии с инструкцией завода-изготовителя.
5.4.5.3. Снять с токораспределительных устройств контрольно-измерительные приборы и проверить наличие клейма и срок госпроверки. Приборы, требующие проверки, сдать на Госпроверку, остальные приборы сдать на хранение в специально оборудованное помещение.
5.4.5.4. Произвести консервацию электрооборудования, для чего:
а) произвести техническое обслуживание N 2 (в соответствии с Правилами обслуживания судового электрооборудования и ухода за ним) консервируемого электрооборудования (электрических машин, аппаратуры, установленной на ГЭРЩ, кабелей и проводов оборудования, снятого в ремонт и на хранение);
б) обернуть картоном коллекторы и кольца электрических машин;
в) смазать техническим вазелином промытые и просушенные стальные и чугунные части электрических машин;
г) смазать тонким слоем технического вазелина все обработанные неокрашенные и гальванически незащищенные металлические поверхности и наружные никелированные детали электрических аппаратов;
д) проверять состояние уплотнительных прокладок защитных оболочек электрических аппаратов;
е) изолировать концы отключенных кабелей и проводов с помощью влагостойкого материала;
ж) прикрепить к концам отключенных кабелей и проводов бирки с указанием места подключения.
Примечание. Запрещается покрывать смазочным материалом: коллекторы, контакты и контактные соединения; детали, изготовленные из электроизоляционных материалов; детали, защищенные лакированными покрытиями; наконечники кабелей и проводов.
5.4.5.5. Обернуть лицевые панели токораспределительных устройств полиэтиленовой (целлофановой) пленкой или пропарафиненной бумагой и закрепить ее шпагатом.
5.4.5.6. Обернуть ответные части штепсельных разъемов демонтированных агрегатов (щитков, пультов) пленкой и пропарафиненной бумагой.
5.4.5.7. Обернуть фонари сигнально-отличительных огней и светосигнальные приборы отмашек пропарафиненной или промасленной бумагой и закрепить бумагу шпагатом.
5.4.6.1. Демонтировать блоки радиостанций и отнести для хранения и проверки в специально предусмотренные помещения или радиомастерскую.
5.4.6.2. Обернуть розетки и вилки электрических соединителей кабелей целлофановой пленкой или пропарафиненной бумагой и завязать шпагатом.
5.4.6.3. Сдать ящики с ЗИПом в радиомастерскую для проверки и пополнения в соответствии с перечнем.
Примечание. Консервацию радиооборудования при необходимости производить в соответствии с рекомендациями технических описаний и инструкций по эксплуатации, прилагаемых к радиооборудованию.
5.4.6.4. Зачехлить судно после проведения всех работ по подготовке к зимнему отстою.
СООТНОШЕНИЕ ЕДИНИЦ ФИЗИЧЕСКИХ ВЕЛИЧИН
В РАНЕЕ ДЕЙСТВУЮЩИХ СИСТЕМАХ (МКГСС, СГС)
И В МЕЖДУНАРОДНОЙ СИСТЕМЕ (СИ)
Наименование величины | Значения |
в прежних единицах | в единицах СИ |
Сила, сила тяжести (все) | 1 кгс | 9,80665 Н |
Момент силы, момент пары сил | 1 кгс · м | 9,80665 Н · м |
Импульс силы | 1 кгс · с | 9,80665 Н · с |
Давление | 1 кгс/кв. см | 98066,5 Па |
1 мм вод. ст. | 9,80665 Па |
1 мм рт. ст. | 133,332 Па |
1 бар | |
Напряжение (механическое) | 1 кгс/кв. мм | |
Мощность | 1 л.с. | 735,499 Вт |
Динамическая вязкость | 1 П (пуаз) | 0,1 Па · с |
Кинематическая вязкость | 1 Ст (стокс) | |
Количество теплоты, термодинамический потенциал (энтальпия, внутренняя энергия) | 1 кал | 4,1868 Дж |
Удельный расход топлива | 1 кг/(л.с. · ч) | 0,736 кг/(кВт · ч) |
ОСНОВНЫЕ ТЕХНИЧЕСКИЕ ДАННЫЕ
СКОРОСТНЫХ ПАССАЖИРСКИХ СУДОВ
Параметры и характеристика судна | "Ракета" | "Метеор" | "Заря" | "Зарница" |
Класс Речного Регистра РСФСР | "О" | "О" | "Л" | "Л" |
Габаритные размеры, м: | | | | |
длина | 26,96 | 34,6 | 22,1 | 22,3 |
ширина | 5,0 | 9,5 | 3,93 | 4,05 |
высота от основной линии <*> | 5,0 | 6,25 | 3,22 | 3,11 |
высота подводного борта <**>, м | 0,26 | 0,42 | - | 0,45 |
Осадка, м: | | | | |
на плаву | 1,8 | 2,35 | 0,4 | 0,55 |
при ходе на крыльях <***> | 1,1 | 1,2 | - | 0,2 |
Водоизмещение, т: | | | | |
в полном грузу | 25,43 | 53,4 | 24,51 | 15,39 |
порожнем | 18,06 | 36,4 | 14,09 | 10,81 |
Главный дизель: | | | | |
тип | М400 или М401 | М400 или М401 | М400 или М401 | 3Д6Н-235 или 3Д12А |
количество | 1 | 2 | 1 | 1 |
Автономность плавания, км | 500 | 600 | 900 | 270 |
Скорость эксплуатационная, км/ч | 60 | 65 | 43 | 34 |
Пассажировместимость, чел. | 64 | 124 | 63 | 48 |
Мест для экипажа | нет | дежурная каюта | 2 | нет |
--------------------------------
<*> У "Ракеты" высота судна при заваленной мачте; у "Зари" - по верхним съемным частям.
<**> У "Зарницы" высота скегов.
<***> У "Зарницы" осадка при ходе на воздушной подушке.
ОЧЕРЕДНОЕ ТЕХНИЧЕСКОЕ ОБСЛУЖИВАНИЕ N 1 (60 Ч)
СУДОВ ТИПА "РАКЕТА", "МЕТЕОР", "ЗАРЯ"
Выполняются все работы по ежедневному техническому
обслуживанию и кроме того:
Объект обслуживания или регламентные работы | Методические указания | Трудоемкость, чел.-ч |
т/х "Ракета" | т/х "Метеор" | т/х "Заря" |
1.1. Корпус, надстройка и устройства |
1.1.1. Выполнить работы ежедневного технического обслуживания | | | | |
1.2. Главные дизели |
1.2.1. Проверить крепления дизеля к фундаментной раме фланца вала реверсивной муфты с фланцем гребного вала | Проверить крепления, при обнаружении слабины - подтянуть | 0,5 | 1,0 | 0,5 |
1.2.2. Смазать оси рычагов и соединения тяг управления | Зашприцевать графитный смазочный материал через тавотницу на корпусе управления и на оси рычагов управления с помощью шприца. Смазать графитным смазочным материалом шарнирные соединения тяг | 0,3 | 0,6 | 0,3 |
1.2.3. Обслуживание всережимного регулятора и механизма перемещения рейки насоса | В отверстие на кронштейне колпака регулятора, закрытое пружинной заглушкой, и в отверстие головки рычага, связанного с рейкой топливного насоса, залить дизельное масло | 0,2 | 0,4 | 0,2 |
1.3. Система охлаждения |
1.3.1. Разборка и промывка фильтра забортной воды | Разобрать и промыть водой, убедиться в отсутствии повреждений, собрать фильтр забортной воды | 0,3 | 0,6 | 0,3 |
1.3.2. Промывка стекла расширительных бачков | | 0,3 | 0,6 | 0,3 |
1.4. Смазочная система |
1.4.1. Выполнить работы ежедневного технического обслуживания | | | | |
1.5. Топливная система |
1.5.1. Выполнить работы ежедневного технического обслуживания | | | | |
1.6. Система сжатого воздуха |
1.6.1. Выполнить работы ежедневного технического обслуживания | | | | |
1.7. Реверс-муфта и валопровод |
1.7.1. Обслуживание системы управления дизелем и муфтой производится через 120 ч (через ТО) | Произвести регулировку центровочных винтов осей рычагов на пульте управления и на реверс муфте | 0,3 | 0,6 | 0,3 |
1.8. Аварийно-предупредительная сигнализация и защита |
1.8.1. Проверка срабатывания автомата предельной частоты вращения | Расходить и смазать детали движения автомата. Произвести вручную трехкратное срабатывание автомата на неработающем дизеле посредством рукоятки | 0,1 | 0,2 | 0,1 |
1.9. Система водоснабжения |
1.9.1. Выполнить работы ежедневного технического обслуживания | При повышении давления в пневмоцистерне выше 0,2 МПа сдать полностью воду через сливной кран, устранить неисправность, снова заполнить цистерну водой | | | |
1.10. Фановая система |
1.10.1 Выполнить работы ежедневного технического обслуживания | | | | |
1.11. Рулевое управление |
1.11.1. Проверить: крепление силового гидроцилиндра рулей; | | 0,8 | 1,0 | - |
надежность контровки соединений в силовом гидроцилиндре; |
работу аварийного гидронасоса; |
работу гидромотора путем трехкратной перекладки рулей с борта на борт |
1.12. Элетрооборудование |
1.12.1. Аккумуляторные батареи, электродвигатели, генераторы | Проверить: | 0,8 | 1,3 | 0,8 |
состояние междуэлементных соединений и контактных зажимов При обнаружении налета удалить его ветошью, смоченной керосином; |
отсутствие влаги и "ползучих" солей на поверхности элементов; |
уровень электролита над пластиками с помощью стеклянной трубки (должен быть 10 - 15 мм). При необходимости долить дистиллированную воду; |
напряжение по отдельным элементам (не менее 1,86 В) |
Проверить состояние коллекторов и щеток, надежность подсоединения проводов |
1.12.2. Осмотреть электрооборудование системы пуска ДГК-10-1 (ДГКП-10-1) | Протереть оборудование и устранить причину попадания топлива и смазочного материала | 0,2 | 0,2 | 0,2 |
1.12.3 Осмотреть пирозапалы баллонов состава "3,5" | Проверить состояние изоляции и надежность подсоединения проводов | 0,1 | 0,1 | 0,1 |
1.12.4. Осмотреть ГЭРЩ | Проверить соответствие предохранителей паспортным данным. | 0,1 | 0,1 | 0,1 |
1.13. Радиостанция и трансляционная сеть |
1.13.1 Выполнить работы ежедневного технического обслуживания | | | | |
1.14. Агрегат ДГК-10-1 (ДГКП-10-1) |
1.14.1. Смазывание стержней клапанов дизельным топливом, а верхних наконечников штоков и игольчатых подшипников - маслом | | | | |
1.14.2. Заполнение маслом колпачковых масленок | | | | |
1.14.3. Снятие крышек лючков и проверка контровки шатунных болтов (через 120 ч работы) | | | | |
1.14.4. Промывка топливных и масляных фильтров, замена фильтрующего элемента фильтра тонкой очистки, очистка воздушного фильтра (через 120 ч работы) | | 1,0 | 1,0 | - |
1.14.5. Проверка зазоров: между клапанами и коромыслами; между декомпрессионным валиком и тарелкой штанги. Проверка крепления головки цилиндров, узлов и механизмов, крепления дизеля к фундаментной раме (через 120 ч работы) | | - | - | - |
1.14.6. Разборка и осмотр компрессора. Сборка с регулировкой зазоров в соответствии с требованиями инструкции по обслуживанию (через 120 ч работы) | | 1,0 | 1,0 | - |
| Очередное техническое обслуживание N 1 | 6,0 | 8,7 | 3,2 |
Итого, с учетом ежедневного технического обслуживания | 10,0 | 15,6 | 6,9 |
В том числе, по дизелям | 0,9 | 11,8 | 5,9 |
ОЧЕРЕДНОЕ ТЕХНИЧЕСКОЕ ОБСЛУЖИВАНИЕ N 2
СУДОВ ТИПА "РАКЕТА", "МЕТЕОР", "ЗАРЯ"
(260 Ч С ДИЗЕЛЯМИ М401А-1 И М401В-1; 360 Ч С ДИЗЕЛЕМ М400)
Выполняются все работы
по ежедневному техническому обслуживанию,
очередному ТО N 1 и, кроме того:
Объект обслуживания и регламентные работы | Методические указания | Трудоемкость, чел.-ч |
т/х "Ракета" | т/х "Метеор" | т/х "Заря" |
2.1. Корпус, надстройка и устройства |
2.1.1. Произвести полную приборку помещений, промыть корпус и надстройку теплым мыльным раствором и протереть насухо | | 7,0 | 14,0 | 6,0 |
2.1.2. Осмотреть аварийно-спасательное имущество | Убедиться в отсутствии повреждений нагрудников и спасательных кругов | 0,1 | 0,2 | 0,1 |
2.1.3. Осмотреть противопожарные средства | Убедиться в отсутствии повреждений и коррозии на огнетушителях, проверить надежность крепления | 0,1 | 0,2 | 0,1 |
2.1.4. Осмотреть якорное устройство | Убедиться: | 1,3 | 2,0 | 1,3 |
в отсутствии повреждений, грязи, коррозии; |
в надежности крепления лебедки; |
в наличии масла в корпусе редуктора лебедки (должно быть 0,5 м); |
в отсутствии повреждений якорного каната |
Произвести отдачу и подъем якоря, убедиться в исправности действия лебедки ленточного тормоза, тралового механизма, стопора |
2.2. Главные дизели |
2.2.1. Проверить крепление и затяжку всех агрегатов, штуцеров и хомутов топливного, масляного, водяного и воздушных трубопроводов дизеля, впускных и выпускных коллекторов | Без надобности резьбовые соединения не подтягивать. Обслуживающему персоналу категорически запрещается подтягивать гайки стяжных шпилек коренных подшипников во избежание обрыва | 1,5 | 3,0 | 1,5 |
2.2.2. Промыть проточную часть компрессора дизелей М401А-1, М401В-1 | Отсоединить корпус в сборе, промыть стенки и лопатки диффузора, колесо компрессора (не снимая) и корпус с входником (не разъединяя). | 3,0 | 6,0 | 3,0 |
После промывки бензином или дизельным топливом снятые детали поставить на место |
2.2.3. Проверить состояние крепления анкерных связей (после переборки) | Снять крышки блока, проверить анкерные связи, установить крышки на место | 6,0 | 12,0 | 6,0 |
2.2.4. Промыть сетку нагнетателя дизеля М400 | | 0,5 | 1,0 | 0,5 |
2.3. Система охлаждения |
2.3.1. Взять на анализ пробу воды из внутреннего контура. При необходимости добавить раствор присадки | | 0,5 | 1,0 | 0,5 |
2.4. Смазочная система |
2.4.1. Произвести ревизию масляной системы дизеля. Отобрать пробы, сдать в лабораторию на анализ слитого масла на вязкость, температуру вспышки, содержание воды | | 1,5 | 3,0 | 1,5 |
При замене промыть систему чистым дизельным топливом |
По результатам анализа принимается решение или продолжать работать на том же масле, или заменить его |
2.4.2. Очистка и промывка ротора маслонагнетающего насоса с центрифугой дизеля М400 | Очистить масляную центрифугу, отложения удалить деревянной лопаткой. Барабан и конус промыть керосином | 1,0 | 2,0 | 1,0 |
2.5. Топливная система |
2.5.1. Выполнить работы ежедневного технического обслуживания | | | | |
2.6. Система сжатого воздуха |
2.6.1. Выполнить работы ежедневного технического обслуживания | | | | |
2.7. Реверсивная муфта и валопровод |
2.7.1. Проверить затяжку тормозной ленты реверсивной муфты и отрегулировать. (Первая проверка на новом дизеле или в случае установки новой тормозной ленты производится через 120 ч) | | 1,5 | 3,0 | 1,5 |
2.7.2. Проверить затяжку гайки носка выходного вала реверс-редуктора | | 0,1 | 0,2 | 0,1 |
2.8. Аварийно-предупредительная сигнализация и защита |
2.8.1. Разобрать, промыть тройник всасывающего трубопровода и автомат предельной частоты вращения, собрать и проверить в работе | | 0,7 | 1,4 | 0,7 |
2.9. Система водоснабжения |
2.9.1. Выполнить работы ежедневного технического обслуживания | | | | |
2.10. Фановая система |
2.10.1. Выполнить работы ежедневного технического обслуживания | | | | |
2.11. Рулевое управление |
2.11.1. Обслуживание гидравлической системы рулевого управления | Разобрать, промыть бензином и продуть сжатым воздухом фильтры насоса гидравлического управления, собрать, прокачать систему для удаления воздуха | 0,5 | 1,5 | - |
2.11.2. Обслуживание рулевого и реверсивного устройства | Проверить состояние сальниковой набивки верхних подшипников баллеров, рулей и заслонок | | | |
Износ сальниковой набивки должен быть не более 1/3. Смазать канаты штуртросной проводки в районе перегибов солидолом или графитным смазочным материалом. Добавить смазочный материал (солидол или графитный) в узлы трения. Проверить крепление верхних подшипников баллеров рулей, заслонок, всех деталей привода | - | - | 1,0 |
2.12. Электрооборудование |
2.12.1. Обслуживание генераторов | Продуть коллекторы сжатым воздухом. Если угольная пыль не выдувается, протереть ветошью с бензином коллектор, щеткодержатели и лобовые части обмоток (в доступных местах) | 1,5 | 3,0 | 1,5 |
Промыть и заполнить подшипники свежим смазочным материалом ТСА или НК50, проверить муфты |
2.12.2. Обслуживание коллекторов и щеток электродвигателей | Прочистить и протереть ветошью с бензином пазы и поверхности коллекторов. При необходимости заменить изношенные и притереть новые щетки | 1,0 | 2,0 | 1,0 |
2.12.3. Осмотр электрощитов | Проверить: | 1,0 | 1,0 | 1,0 |
состояние пайки и крепления проводов; |
надежность крепления аппаратов и приборов; |
состояние поверхности изоляции трансформаторов (отсутствие потемнения); |
нулевые положения стрелок приборов (откорректировать при необходимости) |
2.12.4. Регулировка напряжения генераторов | Установить напряжение 27 - 29 В и отрегулировать равномерное распределение нагрузки | 1,0 | 1,5 | 1,0 |
2.13. Радиостанция и трансляционная сеть |
2.13.1. Выполнить работы ежедневного технического обслуживания | Проверить радиостанцию в действии на всех режимах | | | |
2.14. Агрегат ДГК-10-1 (ДГКП-10-1) |
2.14.1. Проверка угла опережения подачи топлива. Разборка форсунок, удаление нагара с иглы и корпуса распылителей, регулировка давления впрыска форсунок | | 2,0 | 2,0 | |
| Очередное техническое обслуживание N 2 без учета работ по п. 2.1.1: | | | |
с дизелем М400 | 21,8 | 40,6 | 20,3 |
с дизелями М401А-1, М401В-1 | 23,3 | 43,6 | 21,8 |
Итого, с учетом ежедневного технического обслуживания и очередного ТО N 1: | | | |
с дизелем М400 | 31,8 | 56,2 | 27,2 |
с дизелями М401А-1, М401-1 | 33,3 | 59,2 | 28,7 |
В том числе, по дизелям: | | | |
М400 | 20,7 | 41,4 | 20,7 |
М401А-1, М401В-1 | 22,2 | 41,4 | 22,2 |
ОЧЕРЕДНОЕ ТЕХНИЧЕСКОЕ ОБСЛУЖИВАНИЕ N 3
СУДОВ ТИПА "РАКЕТА" "МЕТЕОР", "ЗАРЯ"
(500 Ч С ДИЗЕЛЯМИ М401А-1, М401В-1;
540 Ч С ДИЗЕЛЕМ М400)
Выполняются все работы по ежедневному техническому
обслуживанию, очередным ТО N 1 и 2 и, кроме того:
Объект обслуживания и регламентные работы | Методические указания | Трудоемкость, чел.-ч |
т/х "Ракета" | т/х "Метеор" | т/х "Заря" |
3.1. Корпус, надстройка и устройства |
3.1.1. Поднять теплоход на слип | Осмотреть пуговицы для подъема. Подъем производить в соответствии с прил. 14 | 7,5 | 12,8 | 7,5 |
3.1.2. Осмотреть подводную часть теплохода | Убедиться в отсутствии: | 0,5 | 1,0 | 0,5 |
механических повреждений обшивки, коррозии, нарушения покрытий, заклепочных швов, особенно на реданах и в зонах крепления стоек крыльев; |
механических повреждений носового крыла, закрылков, стоек и их крепления, разрыва болтов; | 0,2 | 0,2 | 0,2 |
механических повреждений дейдвудной трубы, вертикального листа, болтовых соединений, износа резиновых подшипников; | 0,2 | 0,4 | 0,2 |
трещин в кронштейнах, разрыва болтов, ослабления и износа резиновых подшипников; | 0,2 | 0,2 | 0,2 |
трещин и изгибов гребных и промежуточных валов, износа шеек, ослабления продольно-свертных муфт; | 0,2 | 0,4 | 0,2 |
погибов, эрозии, выкрашивания кромок лопастей винтов, трещин лопастей и ступицы, ослабления гайки и посадки винта на конусе вала | 0,5 | 1,0 | 0,5 |
Проверить лопасти шаговым угольником; | | | |
механических повреждений кормового крыла, ослабления крепления стоек, трещин в коробках и засорения входного сечения водозаборников; | 0,2 | 0,2 | 0,2 |
механических повреждений и коррозии пера руля и баллера, ослабления и износа петли руля. Неисправности устранить | 0,1 | 0,2 | 0,1 |
3.2. Главные дизели |
3.2.1. Снять верхние крышки моноблоков. Проверить и отрегулировать зазоры между тарелками клапанов и затылками кулачков распределительных валиков | Убедиться в отсутствии ненормальных износов, наволакивания металла и задиров поверхностей кулачков и тарелок клапанов | 3,5 | 7,0 | 3,5 |
Проверить подвижность клапанов. Осмотреть контровку шестерен, состояние пружин клапанов. Прочистить масляные отверстия распределительных валиков. (Для дизеля М400) | Установить зазоры в пределах 0,9 - 1,0 мм. Опрессовать смазочную систему, убедиться, что масло вытекает из всех отверстий кулачков |
3.2.2. Снять и очистить сетки на боковых крышках моноблоков (для дизеля М400 | | 0,5 | 1,0 | 0,5 |
3.2.3. Проверить и отрегулировать угол опережения подачи топлива | При необходимости восстановить величину угла ((26 - 29)° до ВМТ или точнее - по формуляру дизеля) | 3,0 | 3,0 | 3,0 |
3.2.4. Промыть фильтр суфлера дизеля | Снять верхнюю крышку суфлера и вынуть фильтр для промывки. Фильтр тщательно продуть воздухом и установить на место | 0,5 | 1,0 | 0,5 |
3.2.5. Проверить техническое состояние и регулировку воздухораспределителя и пусковых клапанов | Работы производить в соответствии с "Инструкцией по эксплуатации дизелей" | 5,0 | 10,0 | 5,0 |
3.2.6. Обслуживание всережимного регулятора и механизма перемещения рейки насоса | Разобрать, промыть масляный фильтр регулятора. Собрать, прокачать маслом. Проверить работу катаракта и подачу рейки топливного насоса | 0,5 | 1,0 | 0,5 |
3.2.7. Проверить состояние тяг управления дизелем и контровку упоров регулировки топливоподачи | В случае повышения зазоров произвести регулировку | 0,3 | 0,6 | 0,3 |
3.3. Система охлаждения |
3.3.1. Промыть водяные и масляные холодильники | Работы производить при повышении нормальных температур воды и масла | 4,0 | 8,0 | 4,0 |
3.3.2. Вскрыть крышки насосов внутреннего контура и забортной воды, осмотреть крепление рабочих колес, шарикоподшипников | Обнаруженные дефекты устранить | 6,0 | 12,0 | 6,0 |
3.4. Смазочная система |
3.4.1. Очистка и промывка ротора маслонагнетающего насоса с центрифугой дизелей М401А-1, М401В-1 | Очистить масляную центрифугу, отложения удалить деревянной лопаткой. Барабан и конус промыть керосином | 1,0 | 2,0 | 1,0 |
3.5. Топливная система |
3.5.1. Осмотр и промывка топливных фильтров | Разобрать, промыть дизельным топливом, осмотреть фильтрующие элементы. Собрать фильтры, прокачать систему топливом для удаления воздуха | 2,0 | 4,0 | 2,0 |
3.5.2. Проверка форсунок в случае неудовлетворительной работы (для дизеля М400) | Опрессовать форсунки, отрегулировать давление начала впрыска, проверить качество распыла, неисправные заменить | 8,0 | 16,0 | 8,0 |
3.6. Система сжатого воздуха |
3.6.1. Выполнить работы ежедневного технического обслуживания и очередных ТО N 1 и 2 | | | | |
3.7. Реверсивная муфта и валопровод |
3.7.1. Проверить регулировку фрикциона синхронизатора | Работу производить в соответствии с "Инструкцией по эксплуатации дизелей" | 3,0 | 6,0 | 3,0 |
3.8. Аварийно-предупредительная сигнализация и защита |
3.8.1. Проверить систему пожарной сигнализации на срабатывание путем подогрева одного датчика спиртовым факелом | | 0,2 | 0,2 | 0,2 |
3.9. Система водоснабжения |
3.9.1. Выполнить работы ежедневного технического обслуживания | | | | |
3.10. Фановая система |
3.10.1. Выполнить работы ежедневного технического обслуживания | | | | |
3.11. Рулевое управление |
3.11.1. Выполнить работы ежедневного технического обслуживания и очередных ТО N 4 и 2 | | | | |
3.12. Электрооборудование |
3.12.1. Проверка сопротивления изоляции | Работу производить в соответствии с требованиями прил. 12 | 18 | 18 | 18 |
3.13. Радиостанция и трансляционная сеть |
3.13.1. Проверить сопротивление изоляции антенных устройств и линий питания громкоговорителей относительно корпуса | | 10 | 10 | 10 |
3.14. Агрегат ДГК-10-1 (ДГКП-10-1) |
3.14.1. Через 200 ч работы снять свечи и промыть их в бензине | | 1,0 | 1,0 | - |
| Очередное техническое обслуживание N 3: | | | |
с дизелем М400 | 75,1 | 118,2 | 74, 1 |
с дизелями М401А-1, М401В-1 | 64,1 | 96,2 | 63,1 |
Итого, с учетом ежедневного технического обслуживания и очередных ТО N 1, N 2: | | | |
с дизелем М400 | 106,9 | 174,4 | 101,3 |
с дизелями М401А-1, М401В-1 | 97,4 | 155,4 | 91,8 |
В том числе по дизелям: | | | |
М400 | 57,0 | 114 | 57 |
М401А-1, М401В-1 | 47,5 | 95 | 47,5 |
ОЧЕРЕДНОЕ ТЕХНИЧЕСКОЕ ОБСЛУЖИВАНИЕ N 4 (1000 Ч)
СУДОВ ТИПА "РАКЕТА", "МЕТЕОР", "ЗАРЯ"
Выполняются все работы
по ежедневному техническому обслуживанию,
очередным ТО N 1, 2, 3 и, кроме того:
Объект обслуживания и регламентные работы | Методические указания | Трудоемкость, чел.-ч |
т/х "Ракета" | т/х "Метеор" | т/х "Заря" |
4.1. Корпус, надстройка и устройства |
4.1.1. Вскрыть все крышки палубных люков и горловин, осмотреть обшивку внутри отсеков, набор, переборки | Убедиться: | 2 | 3 | 2 |
в отсутствии механических повреждений, коррозии лакокрасочных покрытий; |
в отсутствии повреждений заклепочных швов |
4.1.2. Произвести ревизию дверей, крышек люков, иллюминаторов | Устранить обнаруженные неисправности, восстановить лакокрасочное покрытие | 0,5 | 0,5 | 0,5 |
4.2. Главный дизель |
4.2.1. Произвести освидетельствование дизеля М400 | Установить уровень технического состояния и возможность дальнейшей эксплуатации до полной переборки (текущего ремонта) | 6,0 | 12,0 | 6,0 |
4.2.2. Снять верхние крышки моноблоков. Проверить и отрегулировать зазоры между тарелками клапанов и затылками кулачков распределительных валиков. Проверить подвижность клапанов. Осмотреть контровку шестерен, состояние пружин клапанов. Прочистить масляные отверстия распределительных валиков (для дизелей М401А-1, М401В-1) | Убедиться в отсутствии ненормальных износов, наволакивания металла и задиров поверхностей кулачков и тарелок клапанов. Проверить посадку замков тарелок клапанов. Установить зазоры в пределах 0,9 - 1,0 мм. Опрессовать масляную систему, убедиться, что масло вытекает из всех отверстий кулачков | 3,5 | 7,0 | 3,5 |
4.2.3. Снять и очистить сетки на боковых крышках моноблоков (для дизелей М401А-1, М401ВМ) | | 0,5 | 1,0 | 0,5 |
4.3. Система охлаждения |
4.3.1. Выполнить работы ежедневного технического обслуживания и очередных ТО N 1, 2, 3 | | | | |
4.4. Смазочная система |
4.4.1. Произвести смену масла в редукторах агрегатов прокачки масла | | 0,5 | 0,5 | 0,5 |
4.5. Топливная система |
4.5.1. Проверка форсунок в случае неудовлетворительной работы (для дизелей М401А-1, М401ЕМ) | Опрессовать форсунки, отрегулировать давление начала впрыска, проверить качество распыла, неисправные заменить | 8,0 | 16,0 | 8,0 |
4.5.2. Заменить фильтрующий элемент ЭТФ-4 топливного фильтра 2ТФ-4 (для дизелей М401А-1, М401В-1) | | 0,3 | 0,6 | 0,3 |
4.6. Система сжатого воздуха |
4.6.1. Выполнить работы ежедневного технического обслуживания и очередных ТО N 1, 2, 3 | | | | |
4.7. Реверсивная муфта и валопровод |
4.7.1. Выполнить работы ежедневного технического обслуживания и очередных ТО N 1, 2, 3 | | | | |
4.8. Аварийно-предупредительная сигнализация и защита |
4.8.1. Выполнить работы ежедневного технического обслуживания и очередных ТО N 1, 2, 3 | | | | |
4.9. Система водоснабжения |
4.9.1. Выполнить работы ежедневного технического обслуживания | | | | |
4.10. Фановая система |
4.10.1. Выполнить работы ежедневного технического обслуживания | | | | |
4.11. Рулевое управление |
4.11.1. Выполнить работы ежедневного технического обслуживания и очередных ТО N 1, 2 | | | | |
4.12. Электрооборудование |
4.12.1. Выполнить работы ежедневного технического обслуживания и очередных ТО N 1, 2, 3 | | | | |
4.13. Радиооборудование |
4.13.1. Выполнить работы ежедневного технического обслуживания и очередных ТО N 1, 2, 3 | | | | |
4.14. Агрегат ДГК-10-1 (ДГКП-10-1) через 500 ч его работы |
4.14.1. Осмотреть сальники насоса системы охлаждения | Устранить дефекты | 0,5 | 0,5 | - |
4.14.2. Проверить насос агрегата | Разобрать, проверить состояние деталей, устранить дефекты, собрать | 3,0 | 3,0 | - |
4.14.3. Перебрать компрессор через 300 ч работы | В соответствии с инструкцией по обслуживанию компрессора К2-150 | 8,0 | 8,0 | - |
4.14.4. Выполнить ТО через 1500 ч работы вспомогательного дизеля | В соответствии с "Инструкцией по эксплуатации дизеля" | 75,0 | 75,0 | - |
Очередное техническое обслуживание N 4: | | | |
с дизелем М400 | 20,5 | 27,5 | 9,0 |
с дизелями М401-А-1, М401В-1 | 26,8 | 40,0 | 15,3 |
Итого, с учетом ежедневного технического обслуживания и очередных ТО N 1, 2, 3, но без учета технического обслуживания ДГК (п. 4.14.6): | | | |
с дизелем М400 | 127,4 | 201,9 | 110,3 |
с дизелями М401-А-1, М401В-1 | 124,2 | 195,5 | 107,1 |
В том числе по дизелям: | | | |
М400 | 63,5 | 126,5 | 63,5 |
М401А-1, М401В-1 | 60,3 | 120,1 | 60,3 |
ОЧЕРЕДНОЕ ТЕХНИЧЕСКОЕ ОБСЛУЖИВАНИЕ N 1
СУДОВ ТИПА "ЗАРНИЦА" (100 - 120 Ч)
Выполняются все работы по ежедневному техническому
обслуживанию и, кроме того:
Объект обслуживания и регламентные работы | Методические указания | Трудоемкость, чел.-ч |
1.1. Корпус и надстройка |
1.1.1. Уборка и мытье надводной части корпуса | | 2,0 |
1.2. Главный дизель |
1.2.1. Проверка крепления дизеля к фундаменту и соединения с фланцем приводного механизма | Проверить крепежные детали. При обнаружении слабины - подтянуть | 0,5 |
1.2.2. Обслуживание всережимного регулятора и механизма перемещения рейки насоса | Убедиться в отсутствии заеданий в механизме. Добавить масло в корпус топливного насоса и в корпус регулятора до уровня контрольной пробки | 0,5 |
1.3. Система охлаждения |
1.3.1. Через осмотр (через 200 ч) провести анализ воды внутреннего контура. При необходимости добавить раствор присадки до концентрации 0,010 - 0,011 кг хромпика на 1 л дистиллированной воды | Взять пробу и сдать на анализ | 0,2 |
1.3.2. Осмотр и промывка фильтра забортной воды | Обратить внимание на целостность сетки | 0,2 |
1.4. Смазочная система |
1.4.1. Осмотр и промывка масляных фильтров | Убедиться в отсутствии стружки в масле, чистоту оценить визуально, выпустить воздух после сборки | 0,5 |
1.4.2. При первых двух обслуживаниях N 1 промыть смазочную систему и заменить масло | Записать смену масла в формуляр дизеля | 1,0 |
1.5. Топливная система |
1.5.1. Промывка и осмотр топливного фильтра | Чистоту оценить визуально. После сборки удалить воздух | 0,5 |
1.6. Аварийно-предупредительная сигнализация и защита |
1.6.1. Выполнить работы ежедневного технического обслуживания | | |
1.7. Валопровод и движитель |
1.7.1. Смазать кардан нигролом из пресс-масленки | Смазывание производить до появления нигрола в контрольных отверстиях | 0,15 |
1.7.2. Контроль и регулировка зазора в муфте предельного момента | Регулировка производится динамометрическим ключом на усилие 180 Н·м | 0,4 |
1.7.3. Проверить набивку и крепление дейдвудного устройства | При износе сальниковой набивки на 1/3 заменить ее. Крепления подтянуть, контровку восстановить | 0,3 |
1.8. Главный вентилятор |
1.8.1. Выполнить работы ежедневного технического обслуживания | | |
1.9. Реверсивно-рулевое устройство |
1.9.1. Проверить состояние сальниковой набивки верхних подшипников баллеров рулей и заслонок | Износ сальниковой набивки допускается не более 1/3 | 1,0 |
1.9.2. Смазать канаты штуртросной проводки | Канаты смазать смазочным материалом в районе перегибов | 0,5 |
1.9.3. Добавить смазочный материал в узлы трения | | |
1.10. Судовые устройства и системы |
1.10.1. Выполнить работы ежедневного технического обслуживания | | |
1.11. Электрооборудование, освещение, связь |
4.11.1. Проверка уровня и плотности электролита аккумуляторных батарей | Уровень электролита над пластинками определить с помощью стеклянной трубки. Уровень должен быть 10 - 15 мм | 0,6 |
Очередное техническое обслуживание N 1 без учета работ по п. 1.1.1 | 6,55 |
Итого, с учетом ежедневного технического обслуживания | 11,45 |
В том числе по дизелю | 7,1 |
ОЧЕРЕДНОЕ ТЕХНИЧЕСКОЕ ОБСЛУЖИВАНИЕ N 2
СУДОВ ТИПА "ЗАРНИЦА" (500 - 600 Ч)
Выполняются все работы
по ежедневному техническому обслуживанию,
очередному ТО N 1 и, кроме того:
Объект обслуживания и регламентные работы | Методические указания | Трудоемкость, чел.-ч |
2.1. Корпус и надстройка |
2.1.1. Подъем судна и осмотр подводной части корпуса и канала подачи воздуха в носовую часть | Подъем производить в соответствии с прил. 14. Трещины, изгибы, разрывы не допускаются. Лопатки шибера нагнетателя, при подъеме должны быть закрыты | 14,0 |
2.1.2. Окраска обшивки в местах нарушения покрытия | | 4,0 |
| | 8,0 |
2.1.4. Проверить канал заднего хода | Убедиться в отсутствии трещин | 1,0 |
2.2. Главный дизель |
2.2.1. Проверить крепление конической шестерни на шлицах валика насоса забортной воды | При обнаружении разбега на шлицах насос снять, затянуть гайку шестерни, застопорить | 1,0 |
2.2.2. Заправить и смазать радиально-упорный подшипник насоса забортной воды | Проверить состояние шариковых подшипников насоса | 0,2 |
2.2.3. Осмотреть крепление головки цилиндров и картера к блоку | Проверять затяжку гаек стяжных и сшивных шпилек и шпилек картера | 3,0 |
2.2.4. Промыть катаракт к заправить дизельным топливом (10 куб. см) | | 0,5 |
2.2.5. Проверить регулировку форсунок на давление и качество распыла | Прочистить засорившиеся отверстия и отрегулировать затяжку пружин при наличии ненормальной работы | 4,0 |
2.2.6. Проверить состояние дистанционного управления дизеля | Устранить дефекты и отрегулировать | 1,0 |
2.3. Система охлаждения |
2.3.1. Промыть полость забортной воды водяного охлаждения | | 0,5 |
2.4. Смазочная система |
2.4.1. Взять пробу масла, сдать на анализ и по результатам анализа продолжать работу на том же масле или заменить его | При замене масла промыть масляный бак, трубную полость водомасляного охладителя и внешние трубопроводы. Залить систему чистым маслом | 1,5 |
2.5. Топливная система |
2.6.1. Слить отстой из топливного бака, промыть бак, трубопровод и фильтр | | 1,0 |
2.6. Аварийно-предупредительная сигнализация и защита |
2.6.1. Выполнить работы ежедневного технического обслуживания | | |
2.7. Валопровод и движитель |
2.7.1. Проверка зазора в дейдвуде при подъеме судна на берег | Записать в формуляр валопровода результаты замеров | 0,5 |
2.7.2. Осмотреть крепления спрямляющего аппарата к корпусу | Устранить слабину | 0,25 |
2.7.3. Проверить состояние ротора и стенок водомета | Убедиться в отсутствии трещин | 1,0 |
2.8. Главный вентилятор |
2.8.1. Тщательный осмотр ротора и корпуса, особенно по заклепочным швам и в районе кормового подшипника | Трещины ротора и корпуса не допускаются | 6,0 |
2.9. Реверсивно-рулевое устройство |
2.9.1. Проверить крепление верхних подшипников баллеров рулей, заслонок всех деталей привода | Убедиться в отсутствии слабины в креплениях, при необходимости подтянуть крепежные детали | 0,5 |
2.10. Судовые устройства и системы |
2.10.1. Освидетельствование якорного каната | Износ прядей и жил больше 10% не допускается | 0,25 |
2.10.2. Смазывание подшипников вьюшки | | 0,3 |
2.10.3. Проверка состояния воздушных труб, водомерных колонок, сигнализации, уровня воды, насоса, шлангов, трубопроводов | Убедиться в исправности системы и механизмов, устранить обнаруженные подтекания | 0,5 |
2.10.4. Проверить состояние воздушных каналов и нагревателей системы вентиляции и воздушного отопления | Убедиться в отсутствии вмятин, трещин, засоренности и забивки сеток и жалюзи | 0,25 |
2.11. Электрооборудование, освещение, связь |
2.11.1. Произвести техническое обслуживание электрооборудования на дизеле | Проверить состояние зарядного генератора, стартера, реле-регулятора | 1,0 |
Очередное техническое обслуживание N 2 без учета работ по п. 2.1.2 и 2.1.3 | 38,25 |
Итого, с учетом ежедневного технического обслуживания и очередного ТО N 2 | 49,70 |
В том числе по дизелям | 20,8 |
ОЧЕРЕДНОЕ ТЕХНИЧЕСКОЕ ОБСЛУЖИВАНИЕ N 3
СУДОВ ТИПА "ЗАРНИЦА" (1000 - 1100 Ч)
Выполняются все работы
по ежедневному техническому обслуживанию,
очередным ТО N 1 и 2 и, кроме того:
Объект обслуживания и регламентные работы | Методические указания | Трудоемкость. чел.-ч |
3.1. Корпус и надстройка |
3.1.1. Выполнить работы ежедневного технического обслуживания и очередных ТО N 1, 2 | | |
3.2. Главный дизель |
3.2.1. Проверить зазоры между тарелками клапанов и затылками кулачков, проверить подвижность клапанов в направляющих втулках, осмотреть пружины и шестерни | Убедиться в отсутствии ненормальных износов и наволакивания металла. Проверить подачу масла. Отрегулировать зазоры между тарелками клапанов и затылками кулачков | 3,0 |
3.2.2. Сменить масло в корпусе регулятора | | 0,2 |
3.2.3. Произвести ревизию насосов внутреннего контура и забортной воды | Проверить состояние подшипников и уплотнения. Убедиться в надежности крепления шестерен и в отсутствии ненормальных износов | 4,0 |
3.2.4. Проверить угол опережения подачи топлива | Отрегулировать угол согласно "Инструкции по эксплуатации дизеля" | 2,0 |
3.3. Система охлаждения |
3.3.1. Удалить накипь из системы | Промыть водоводяной охладитель, зарубашечное пространство выпускного коллектора и цилиндров раствором из 1 кг кальцинированной соды на 10 л воды и, пустив дизель, проработать (800 - 1000 об./мин.) в течение 20 - 25 мин. Оставить раствор в системе на 10 ч, после чего еще раз пустить дизель и, проработав 20 - 25 мин., слить раствор. Два раза промыть систему чистой водой и наполнить систему | 6,0 |
3.4. Смазочная система |
3.4.1. Выполнить работы ежедневного технического обслуживания и очередных ТО N 1, 2 | | |
3.5. Топливная система |
3.5.1. Выполнить работы ежедневного технического обслуживания и очередных ТО N 1, 2 | | |
3.6. Аварийно-предупредительная сигнализация и защита |
3.6.1. Выполнить работы ежедневного технического обслуживания | | |
3.7. Валопровод и движители |
3.7.1. Выполнить работы ежедневного технического обслуживания и очередных ТО N 1, 2 | | |
3.8. Главный вентилятор |
3.8.1. Выполнить работы ежедневного технического обслуживания и очередных ТО N 1, 2 | | |
3.9. Реверсивно-рулевое устройство |
3.9.1. Выполнить работы ежедневного технического обслуживания и очередных ТО N 1, 2 | | |
3.10. Судовые устройства и системы |
3.10.1. Выполнить работы ежедневного технического обслуживания и очередных ТО N 1, 2 | | |
3.11. Электрооборудование, освещение, связь |
3.11.1. Выполнить работы ежедневного технического обслуживания и очередных ТО N 1, 2 | | |
Очередное техническое обслуживание N 3 | 15,2 |
Итого, с учетом ежедневного технического обслуживания и очередных ТО N 1, 2 | 64,9 |
В том числе по дизелю | 36,0 |
ВОЗНИКАЮЩИЕ ПРИ ЭКСПЛУАТАЦИИ ДИЗЕЛЕЙ М400, М401А, М401В.
ПРИЧИНЫ И СПОСОБЫ ИХ УСТРАНЕНИЯ
Неисправность | Причины и признаки неисправности | Способ устранения |
Дизель не пускается или пускается с трудом, после начала работ останавливается |
Не подается топливо | Воздух в топливной системе | Включить подкачивающий агрегат и прокачать топливную систему. Для выпуска воздуха во время прокачивания открыть краны на топливных фильтрах дизеля и отвернуть гайку на штуцере насоса для крепления манометра. Отвернуть гайку трубопроводов высокого давления у форсунок и проворачивать дизель до тех пор, пока не потечет топливо без пузырьков воздуха |
Топливный насос не подает топливо | Закрыт запорный кран | Открыть кран |
Засорен топливный трубопровод | Проверить трубопровод топливной системы |
Засорен путевой топливный фильтр | Промыть путевой топливный фильтр |
Неисправна система пуска | Давление пускового воздуха недостаточно | Увеличить давление воздуха в баллоне до 13,5 - 15 МПа |
Потери давления воздуха из-за неплотностей в соединениях пусковой системы | Проверить пусковую систему и устранить неплотности |
Нарушена установка золотников воздухораспределителей | Проверить регулировку золотников воздухораспределителей и произвести регулировку, как указано в разделе "Регулировка воздухораспределителей" в "Инструкции по эксплуатации дизеля" |
Пригорели или заедают пусковые клапаны | Отвернуть колпачки и проверить легкость перемещения клапанов. В случае заедания снять клапаны и добиться, чтобы они свободно перемещались в корпусе. Если этого добиться невозможно, то клапаны заменить |
Дизель недостаточно прогрет | Прогреть дизель горячей водой, обеспечив нагрев стенок блоков до 40 - 50 °C. При прогреве воды, находящейся в системе охлаждения дизеля, паром, давление пара должно быть не выше 0,15 МПа |
Закрыта воздушная заслонка или срабатывает автостоп | Проверить работу автостопа перемещением тройника-рукоятки на себя; затем включением ручки аварийной остановки на щите в рубке, убедиться в исправности электропневмоклапана |
Недостаточное давление масла, поступающего в регулятор | | Рычаг управления дизелем поставить на упор реверсирования, включить подкачивающий агрегат и подкачать масло до давления 0,1 МПа в главной магистрали. Рычаг регулятора, связанный с рейкой насоса, должен при этом перемещаться в сторону увеличения подачи топлива. Если рычаг не перемещается, выяснить причину и устранить |
Дизель не развивает максимальной частоты вращения |
Недостаточное давление топлива, поступающего в насос | Топливные фильтры загрязнены | При давлении топлива меньше 0,2 МПа промыть путевой топливный фильтр и, если это окажется недостаточным, промыть топливные фильтры дизеля |
Редукционный клапан топливоподающего насоса не садится на свое седло; попал посторонний предмет | Снять клапан и удалить предмет, мешающий осадке клапана |
Топливный насос высокого давления подает недостаточное количество топлива | Нарушилась регулировка или управление (рычаг управления дизеля дощел до упора максимальной частоты вращения) | Отрегулировать длину тяг управления, как указано в "Инструкции по эксплуатации дизеля" в разделе "Установка тяг управления дизелем" |
Нарушилась установка упора максимальной частоты вращения, максимальной подачи топлива регулятора (эти упоры опломбированы) | До окончания заводской гарантии снятие пломб с указанных упоров не разрешается. Топливный насос с регулятором заменить |
Не работает один или несколько цилиндров | Неисправности топливного насоса: зависание плунжера, поломка пружины плунжера | Заменить неисправный топливный насос |
Неисправности форсунок: зависание иглы, подтекание распылителя, засорение сопловых отверстий | Заменить неисправную форсунку |
Неправильно установлен угол опережения подачи топлива | | Проверить угол опережения подачи топлива, как указано в "Инструкции по эксплуатации дизеля" в разделе "Проверка угла опережения подачи топлива" |
Неисправны невозвратные клапаны или двухходовые краны прокачивающего агрегата | Топливо уходит в цистерну | Притереть или заменить клапаны или краны |
Перегрузка дизеля | Коррозия подводной части судна, повреждение крыльев | Осмотреть подводную часть, при необходимости поднять судно на слип, очистить и восстановить качество поверхностей и установочные углы крыльев |
Погнутость лопастей гребного винта в сторону повышения крутящего момента | Осмотреть гребной винт. При необходимости поднять кормовую часть, выправить лопасти или заменить винт |
Наличие посторонних предметов в крыльевом устройстве | Удалить посторонние предметы. Если перегрузка ликвидирована не полностью - проверить состояние крыльевого устройства |
Дизель работает неравномерно |
Нарушение нормальной работы регулятора вследствие произвольного включения упора пуска | Невозвратный клапан пропускает масло из смазочной системы дизеля в трубку подвода масла к упору пуска | На работающем дизеле отсоединить от невозвратного клапана, через который дизель прокачивается маслом от подкачивающего агрегата, трубку подвода масла к упору пуска и убедиться в том, что невозвратный клапан негерметичен. Снять невозвратный клапан и промыть его. Если этого недостаточно, клапан заменить |
Неисправно устройство аварийного останова дизеля | Клапан стравливает масло в картер | Притереть клапан или заменить |
Засорен жиклер масляного катаракта всережимного регулятора | | Прочистить жиклер |
Дизель вибрирует |
Не работает одна или несколько форсунок | | Определить неисправные форсунки по пульсации трубок высокого давления |
Не работает один или несколько плунжеров топливного насоса | При прогретом дизеле появляется большой дым на выпуске | При малой частоте вращения вала поочередно отдать гайки трубок высокого давления и наблюдать за подачей топлива. При проворачивании вала вручную и при установке полной подачи топлива, оно должно равномерно вытекать из трубок высокого давления. Насос заменить |
Нарушение центровки дизеля с гребным валом | Ослабло крепление дизеля к фундаменту | Подтянуть гайки крепления дизеля к фундаменту. Проверить и восстановить центровку с гребным валом в пределах допусков |
Поломка или деформация гребного вала или винта | | Заменить неисправные детали |
Дизель дымит |
Неисправность форсунок | Плохое распыление топлива | Заменить форсунки из неснижаемого запаса |
Зависание нагнетательного клапана насоса высокого давления | | Заменить топливный насос высокого давления |
Перегрузка дизеля | | Снизить частоту вращения. Устранить причины перегрузки |
Неправильно отрегулирован или сбился угол опережения подачи топлива | Угол опережения менее указанного в формуляре | Проверить и отрегулировать угол опережения подачи топлива |
Не работает нагнетатель дизеля (дизель М400) | Износились сухари фрикционной шестерни | Работа дизеля с неисправным нагнетателем запрещается. Фрикционную шестерню и сухари проверить на прилегание по краске. При площади контакта менее 75% притереть. Осмотреть штифты сухарей. При необходимости узел заменить |
Не работает турбокомпрессор дизеля (дизель М401) | | Проверить легкость вращения ротора, состояние лопаток и подшипников. Турбокомпрессор заменить исправным |
Повышенное задымление в картере дизеля |
Большой износ цилиндровых втулок. Износ компрессионных колец. Начинает прогорать поршень | Нагар на сетках фильтра | Поднять моноблоки, выяснить причину неисправности и заменить неисправные детали |
Прочие неисправности дизеля |
Переполнение картера дизеля маслом при работе с малой частотой вращения | Попадание воздуха в масляный фильтр на выходной магистрали | Удалить воздух из масляного фильтра и магистрали |
Закоксование сеток фильтра | Закоксованные сетки заменить |
Не откачано масло после остановки дизеля | Удалить масло ручным насосом из картера |
Манометр смазочной системы показывает ненормальное давление масла | Закрыт или неполностью открыт кран на магистрали, подающей масло к маслонагнетательному насосу | Открыть кран на магистрали полностью |
Попадание в трубопровод входной смазочной магистрали постороннего предмета | Проверить трубопровод |
Загрязнение масляного фильтра на входной магистрали | Промыть масляный фильтр |
Подсос воздуха в маслонагнетательный насос (стрелка манометра при этом сильно колеблется) | Найти место подсоса и устранить неисправность |
Неисправен масляный манометр | Заменить манометр |
Неисправен редукционный клапан маслонагнетательного насоса: под клапан попал посторонний предмет; ослабла затяжка пружины клапана | Вывернуть клапан, удалить предмет и промыть клапан; увеличить затяжку пружины редукционного клапана, застопорить регулировочный винт |
Разжижение масла дизельным топливом (возможно повышение уровня масла в расходном баке) | Попадание топлива в картер дизеля из топливного насоса вследствие его неисправности | Для определения неисправности отсоединить от штуцеров насоса все трубки, подающие топливо к форсункам. Ручкой аварийного пуска установить полную подачу топлива. Поочередно присоединяя к каждому штуцеру насоса форсунки (трубку в форсунку использовать из одиночного комплекта запасных частей) и проворачивая дизель вручную, определить - какая секция не обеспечивает подачу топлива форсункой. Неисправный топливный насос заменять |
Пробивание топлива через соединения топливоподводящего штуцера с корпусом форсунки | Определить неисправное соединение. При отсутствии повреждения резьбы подтянуть штуцер. При повреждении резьбового соединения форсунку и штуцер заменить |
ВОЗНИКАЮЩИЕ ПРИ ЭКСПЛУАТАЦИИ ДИЗЕЛЯ 3Д12А.
ПРИЧИНЫ И СПОСОБЫ ИХ УСТРАНЕНИЯ
Неисправность | Причины и признаки неисправности | Способ устранения |
Туго поворачивается или совсем не поворачивается коленчатый вал |
Задир или выплавление; подшипника коленчатого вала; подшипников валиков передач; поршня, заглушки поршневого пальца, подшипника распределительного вала; втулки верхней головки шатуна | На щелях масляного фильтра наличие стружки свинцовистой бронзы, алюминия или бронзы | Дизель разобрать отремонтировать |
| |
Заклинивание масляного или циркуляционного насоса, или насоса забортной воды | | Поочередно снять и устранить неисправность |
Дизель не пускается или пускается с трудом, после начала работы останавливается |
Не подается топливо | Наличие воздуха в топливоподающей системе | Удалить воздух из системы |
Подкачивающей насос не подает топливо | Снять крышку смотрового лючка нижней части картера, провернуть коленчатый вал и убедиться в исправности привода топливоподкачивающего насоса. Снять топливоподкачивающий насос для осмотра и ремонта его |
Засорены трубопроводы от топливного фильтра к топливному насосу, от топливоподкачивающего насоса к топливному фильтру | Не вытекает топливо из отвернутых винтов топливного насоса для удаления воздуха из-под отвернутых пробок на крышке топливного фильтра | |
Засорен топливный фильтр | Топливо не вытекает или медленно вытекает из-под отвернутых пробок на крышке топливного фильтра | Разобрать и промыть фильтр |
Неисправна система пуска сжатым воздухом | | |
Неисправны: | | |
пусковые клапаны, | Пригорание или заедание пусковых клапанов | Зачистить и притереть клапаны |
воздухораспределитель | Риски и задиры на соприкасающихся поверхностях корпуса воздухораспределителя и распределительного диска | Осмотреть и устранить неисправности |
Неправильно отрегулирован воздухораспределитель. При пуске дизеля воздухом слышится шипение во впускном коллекторе | Отрегулировать воздухораспределитель |
Электростартер развивает недостаточную частоту вращения | Не полностью заряжены аккумуляторы | Проверить заряд аккумуляторных батарей и при необходимости подзарядить. Если дизель оборудован воздушным пуском, пустить его сжатым воздухом и зарядить аккумуляторные батареи |
Холодный дизель (при температуре окружающего воздуха ниже 5 °C). При проворачивании коленчатого вала топливо поступает нормально | Низкая температура охлаждающей жидкости и масла | Прогреть дизель посредством залива в систему охлаждения подогретой охлаждающей жидкости или при помощи подогревателя |
Износ поршневых колец или закоксование их в канавках поршней | Коленчатый вал легко поворачивается вручную | Снять блоки цилиндров, выявить характер неисправности и устранить ее |
Нарушена плотность прилегания клапанов газораспределения к седлам | При пуске воздухом наблюдается пропуск воздуха в коллектор впуска. При снятом коллекторе впуска и закрытых клапанах выпуска наблюдается пропуск воздуха в выпускные окна | Притереть клапаны к их седлам |
Неправильно установлен угол опережения подачи топлива топливным насосом | | Проверить и установить угол опережения подачи топлива по записи в формуляре |
Форсунки не подают распыленное топливо в цилиндры | Неплотно затянуты штуцеры трубок высокого давления к корпусам форсунок | Проверить плотность затяжки штуцеров трубок высокого давления |
Некачественный распыл | Проверить качество распыла |
Поломка пружины форсунки | Заменить пружину |
Неисправный распылитель | Разобрать, промыть и проверить, в случае необходимости заменить новым |
Масляный насос не подает или мало подает масла в главную магистраль | Показание манометра смазочной системы на щитке приборов ниже 0,25 МПа. Устройство остановки дизеля при падении давления масла не включает подачу топлива в топливный насос высокого давления | Вывернуть зажим подвода масла к масляному насосу и убедиться в том, что шестерни нагнетающей секции вращаются. Вывернуть редукционный клапан вместе с корпусом из масляного насоса и убедиться в отсутствии посторонних тел под редукционным клапаном. Осмотреть редукционный клапан, седло клапана и удалить загрязнения |
Дизель не развивает мощности |
Снижается частота вращения коленчатого вала под нагрузкой | Загрязнен топливный фильтр | Промыть фильтр |
Изменился угол опережения подачи топлива | Положение риски на муфте привода топливного насоса не соответствует записи в формуляре | Восстановить угол опережения подачи топлива по записи в формуляре |
Неисправен топливный насос: завис плунжер или поломалась пружина плунжера | | Снять топливный насос и отправить в ремонт |
Неисправен нагнетательный клапан или поломалась пружина клапана | При отсоединенной трубке высокого давления, проворачивании дизеля воздухом или стартером и прокачивании маслом давлением не ниже 0,3 МПа не вытекает топливо из нажимного штуцера топливного насоса или топливо фонтанирует | Не снимая топливный насос с дизеля, заменить нагнетательный клапан комплектно с седлом или пружину клапана |
Закоксованы или изношены поршневые кольца | Коленчатый вал легко поворачивается. Заметно дымление из сапуна | Удалить нагар. Освободить закоксованные или заменить изношенные поршневые кольца. Для осмотра колец демонтировать блоки с дизеля |
Форсунки не подают распыленное топливо в цилиндры | Неисправны форсунки (неплотно затянуты штуцеры трубок высокого давления, ослабла затяжка или поломалась пружина форсунки, неисправен распылитель и др.) | На режиме холостого хода установить частоту вращения коленчатого вала 800 - 900 об./мин.: отключить по одной форсунке частичным отворачиванием нажимных гаек крепления трубок высокого давления к штуцерам топливного насоса до появления из-под отвернутой гайки брызг топлива. Отсутствие брызг топлива свидетельствует о том, что не работает секция топливного насоса (завис плунжера, поломалась пружина). В этом случае заменить топливный насос. Проверить работу дизеля на слух по выходу отработавших газов из выпускной трубы. При отключении исправной форсунки выпуск отработавших газов становятся более неравномерным и повышается вибрация дизеля. При отключении или включении неисправной форсунки изменений на выпуске и вибрации дизеля нет. Если таким способом не удалось определить неисправную форсунку, нужно на том же режиме отключить все форсунки блока, в котором предполагается неисправная. Включением и отключением по одной форсунке этого блока определить неисправную. При работе исправной форсунки из выпускной трубы появится струя газов, температура которых значительно выше температуры воздуха, выходящего из выпускной трубы или неработающих форсунок. |
Разрегулировалось газораспределение | | Включение неработающей форсунки не вызовет никаких изменений на выпуске |
Дизель недостаточно прогрет | Температура охлаждающей жидкости и масла на выходе из дизеля ниже 45 °C | Прогреть дизель |
Нарушена плотность прилегания клапанов газораспределения к седлам | При пуске дизеля воздухом наблюдается пропуск воздуха в коллектор впуска | Притереть клапаны к седлам |
Плохое топливо или наличие в нем воды | | Проверить качество топлива и при несоответствии его требованиям соответствующего стандарта промыть систему питания, а топливо заменить |
Нарушилось регулирование подачи топлива секциями топливного насоса | Дизель работает неравномерно | Отрегулировать топливный насос на равномерность подачи секциями |
Большой износ насосных пар. Топливный насос подает недостаточное количество топлива | При отсоединенной трубке слива из корпуса насоса, трубке слива из форсунок слив топлива из корпуса насоса на режиме номинальной или полной мощности более 400 куб. см за 20 мин. (износ плунжерных пар) | Отправить топливный насос в ремонт |
Дизель работает неравномерно |
Мало или много масла в корпусе регулятора | На режиме номинальной или полной мощности неравномерность работы ощущается на слух, при этом стрелка тахометра колеблется больше чем на +/- 40 об./мин. | Отвернуть контрольную пробку на крышке корпуса регулятора, добавить до нормального уровня или слить излишек масла |
Заедает поршень в корпусе катаракта топливного насоса | | Промыть полость катаракта и залить 10 куб. см профильтрованного дизельного топлива. Если в результате проведенной работы неисправность не будет устранена, очистить поверхность поршня и полость катаракта |
Неравномерная подача топлива секциями топливного насоса | | Отрегулировать топливный насос на равномерность подачи секциями |
Дизель идет в разнос |
Неисправность регулятора или заедание рейки топливного насоса | Быстрое возрастание частоты вращения выше максимальной | Немедленно остановить дизель, для чего поставить рукоятку управления числом оборотов в положение "Остановка", закрыть доступ воздуха в цилиндры, закрыть кран подачи топлива. Снять топливный насос для ремонта |
Дизель стучит |
Увеличен угол опережения подачи топлива | Положение риски на муфте привода топливного насоса не соответствует записи в формуляре | Восстановить угол опережения подачи топлива согласно записи в формуляре |
Дизель нагружен без предварительного прогрева | Температура охлаждающей жидкости и масла ниже 45 °C | Прогреть дизель на частичных нагрузках |
Значительный слой нагара на поверхностях камеры сгорания и днищах поршней | Работа дизеля на непредусмотренных маслах, длительная эксплуатация при малых частоте вращения и нагрузке, а также на холостом ходу | Удалить нагар |
Заедают клапаны в направляющих втулках, поршень ударяет по клапанам | Слышится стук поршней по клапанам | Промыть клапаны керосином или дизельным топливом, осмотреть пружины клапанов. Поломанные заменить |
Увеличенный зазор между поршневыми кольцами и канавками поршня | | Заменить поршневые кольца, а при необходимости поршни |
Увеличенный зазор между поршневым пальцем и отверстиями в приливах или между поршневым пальцем и втулкой верхней головки шатуна | | Проверить зазоры и при необходимости заменить негодные детали |
Попадание посторонних предметов в цилиндры через впускные и выпускные окна, в картер через сапун и под крышку головки блока цилиндров | | Установить местонахождение посторонних предметов и удалить их. Если посторонние предметы нанесли повреждение деталям дизеля, заменить поврежденные детали |
Увеличенный зазор между шатунным вкладышем и шатунной шейкой коленчатого вала | | Проверить зазор и при необходимости заменить вкладыши |
Дизель дымит |
Неисправность форсунок | Плохое распыление топлива | Проверить и отрегулировать форсунки на величину давления начала подъема иглы и качество распыла топлива. Прочистить отверстия распылителей |
Топливный насос подает избыточное количество топлива | | Проверить и отрегулировать топливный насос |
Неправильно отрегулирован или сбился угол опережения | Угол опережения менее указанного в формуляре | Проверить и отрегулировать угол опережения подачи топлива |
Некачественное топливо | | При несоответствии топлива стандартам промыть систему и заменить топливо |
Закоксование или износ поршневых колец | Обильное проникновение масла в камеру сгорания | Удалить нагар или заменить поршневые кольца |
Дизель перегружен | | Снизить нагрузку |
Местные нагревы |
Нагрев коробки валика привода распределительных валов в месте расположения бронзовой втулки | | Снять крышку головки блока, вал впуска и валик привода распределительных валов. Прокачать смазочную систему маслопрокачивающим насосом. При малой подаче масла прочистить каналы. Проверить состояние шеек и подшипников валов газораспределения, шейки и бронзовой втулки валика привода распределительных валов. При наличии незначительных повреждений зачистить шейки от налипшего алюминия и бронзы, прочистить масляные каналы в первом подшипнике и в валах. Подшипники и втулки пришабрить по шейкам. Промыть и продуть масляные трубопроводы, прочистить маслоподводящие каналы. Промыть масляный фильтр |
Греется корпус подшипников механизма передач | | Снять валики, зачистить налипший алюминий и подшабрить подшипники. Проверить подачу масла маслопрокачивающим насосом. Снять и промыть масляные трубопроводы и прочистить маслоподводящие каналы. Промыть масляный фильтр |
Прочие неисправности дизеля |
Ослабла затяжка стяжных шпилек крепления рубашки цилиндров | Пропуск отработавших газов в стыке между головкой и рубашкой цилиндров | Произвести затяжку стяжных шпилек. Если пробивание газов не прекратится, заменить прокладку между головкой и рубашкой цилиндров |
Неплотная затяжка гаек крепления фланцев коллектора или коробление фланцев | Пробивание отработавших газов через уплотнительные прокладки под фланцами коллектора | Заменить поврежденные уплотнительные прокладки. Если пробивание газов продолжается, то снять коллектор и припилить плоскости фланцев с проверкой по плите (коробление не более 0,2 мм) |
Перегрев дизеля. Подплавление резиновых колец уплотнения гильз цилиндров и перепускных трубок из рубашки в головку блока. Наличие воды в масле | Течь охлаждающей жидкости в стыке между головкой и рубашкой цилиндров или через нижний пояс уплотнения гильз цилиндров в рубашке | Заменить поврежденные резиновые уплотнительные кольца. При обнаружении воды в масле промыть систему смазки и заменить масло |
Осмотреть поршни и гильзы цилиндров на отсутствие задиров |
Трещина в рубашке, ведущая в колодец стяжной шпильки | Течь охлаждающей жидкости из контрольного отверстия рубашки цилиндров | Заменить рубашку |
Под шайбу, установленную под гайкой стяжной шпильки, попало постороннее тело. Повреждены сопрягающиеся поверхности | Течь масла из контрольного отверстия рубашки цилиндров | Отвернуть гайку, удалить постороннее тело. Устранить повреждение поверхности, при необходимости заменить шайбу |
Оборвалась стяжная шпилька крепления блока цилиндров | Течь масла из контрольного отверстия рубашки цилиндров. Пробивание газов | Дизель отправить в ремонт |
Штуцер подвода топлива к форсунке пропускает топливо | Течь топлива под крышку головки блока, разжижение масла | Проверить затяжку штуцеров в корпусах форсунок. Масло заменить |
Уровень масла в масляном баке при работе дизеля остается постоянным или повышается | Заменить неисправную трубку высокого давления или корпус форсунки |
Смазочная система |
Подсос воздуха в трубопроводе подвода масла к масляному насосу | Стрелка манометра колеблется | Устранить подсос воздуха в маслопроводе |
Применение некачественного масла | Низкое давление масла в главной смазочной магистрали | При несоответствии масла стандартам смазочную систему промыть и масло заменить |
Засорилась фильтрующая сетка на трубе подводы из бака к масляному насосу дизеля | Низкое давление масла в главной смазочной магистрали | Промыть фильтрующую сетку |
Загрязнение или заедание в открытом состоянии редукционного клапана масляного насоса | Низкое давление масла в главной смазочной магистрали | Вывернуть из корпуса насоса корпус редукционного клапана вместе с клапаном. Не нарушая его регулирования и пломбировки, промыть в керосине или дизельном топливе, промыть седло редукционного клапана, устранить заедание клапана. Установить на место все детали. Законтрить корпус редукционного клапана стопорной шайбой |
Износ бронзовой втулки гильзы подвода смазочного материала к хвостовику коленчатого вала | | Притереть втулку по торцу. При износе по диаметру более 0,3 мм втулку заменить |
Увеличенные зазоры в коренных и шатунных подшипниках коленчатого вала | | Если давление масла в главной магистрали меньше 0,5 МПа при чистом масляном фильтре, дизель направить в капитальный ремонт |
Высокая температура масла | | Промыть масляные радиаторы или охладители |
Система охлаждения |
Поломка рабочего колеса циркуляционного насоса | Высокая температура охлаждения | Во время работы дизеля проверить интенсивность вытекания жидкости из пароотводной трубки. Интенсивное вытекание свидетельствует об исправности циркуляционного насоса. При слабом вытекании жидкости освободить отводящий патрубок корпуса циркуляционного насоса и, поворачивая коленчатый вал дизеля, убедиться в том, что рабочее колесо насоса вращается. Если рабочее колесо не вращается, открыть крышку люка нижней части картера и убедиться, что шестерня нижнего вертикального валика вращается при поворачивании коленчатого вала дизеля. В зависимости от результатов осмотра принять меры к восстановлению работоспособности системы охлаждения |
Резкое изменение температуры охлаждающей жидкости выше допустимого предела | Вытек заполнитель термосистемы | Заменить термосистему |
Регулирующий клапан потерял подвижность в верхнем положении | Прочистить клапан |
Температура охлаждающей жидкости удерживается на уровне ниже 75 °C | Регулирующий клапан потерял подвижность в нижнем положении | Прочистить клапан |
Насос забортной воды и привод |
Задиры на волокнитовой шайбе | Течь воды через уплотнение валика | Притереть шайбу на плите или заменить |
Подсос воздуха в системе | Недостаточная подача насоса | Проверить герметичность трубопровода от кингстона до насоса и устранить подсос воздуха |
Высокая температура охлаждающей жидкости |
Засорилась сетка фильтра на всасывающем трубопроводе | | Прочистить сетку |
Поломка рабочего колеса или валика насоса | Насос не подает воду | Заменить валик с рабочим колесом |
Ослабло крепление конической шестерни | Осевой разбег конической шестерни | Подтянуть гайку конической шестерни и застопорить ее |
Не поступает смазочный материал к ведущей шестерне привода насоса | Греется привод насоса забортной воды | Снять привод, проверить отверстия для подвода масла в шестерне и зазоры между шестерней и втулкой. По диаметру 40 мм зазор должен быть 0,050 - 0,112 мм. По диаметру 45 мм зазор должен быть 0,075 - 0,142 мм |
Задир в подшипниках ведущей конической шестерни | | Снять привод, вынуть шестерни, поставить новые втулки и расточить. Шестерню зачистить и отполировать |
Поломался рессорный валик | Насос не вращается | Снять привод и заменить рессорный валик |
Поломка зубьев конических шестерен | | Снять крышку лючка на корпусе привода, осмотреть шестерни. При необходимости заменить |
Охладители воды и масла |
Течь в местах развальцовки и пайки трубок охладителя воды. Трещина в трубке охладителя воды | При работе дизеля уровень охлаждающей жидкости в расширительном баке системы охлаждения повышается. При стоянке дизеля уровень жидкости в расширительном баке понижается | Установить место течи и запаять, заглушить с обеих сторон или заменить дефектную трубку. Внутренний контур системы охлаждения промыть, заменить охлаждающую жидкость |
Течь в местах развальцовки и пайки трубок охладителя масла. Трещина в трубке охлаждения | При работе дизеля уровень в масляном баке понижается. Наличие масла в расширительном баке системы охлаждения. При стоянке дизеля уровень в масляном баке повышается. Наличие воды в масляном баке | Установить место течи и запаять. Заглушить с обеих сторон или заменить дефектную трубку. Смазочную систему дизеля промыть, заменить масло |
Примечание. Наибольшее количество заглушенных трубок в одном охладителе - 30 шт. и не более 5 шт. в любом из секторов, ограниченных сегментами под крышками |
Электрооборудование дизеля |
При включении стартера якорь не поворачивается | Ослабло крепление проводов на зажимах | Затянуть зажимы проводов на щитке управления и приборов, контакторе и стартере |
Сработал автомат защиты сети | Включить автомат |
Обрыв провода в пусковой цепи стартера | Найти место обрыва провода и устранить его |
Неисправен включатель стартера | Заменить включатель |
Якорь стартера вращается с недостаточной скоростью | Разряжены аккумуляторные батареи | Зарядить батареи |
Плохие контакты проводов, питающих стартер | Подтянуть зажимы проводов, зачистить контакты |
Пробуксовка дисков трения муфты привода стартера | Направить стартер в ремонт |
При включении стартера слышен стук шестерни о зубчатый венец маховика | Забоины на зубьях шестерни стартера и венца маховика | Зачистить забоины |
Не выдержаны зазоры между зубьями шестерни стартера и венца маховика | Проверить установку стартера на дизеле по величине бокового и торцового зазоров между зубьями шестерни стартера и венца маховика |
После пуска дизеля шестерня стартера не вышла из зацепления с венцом маховика | Слышен "вой" шестерни стартера, вращающейся с большой частотой вращения | Немедленно остановить дизель. Выключить разъединитель стартерной цепи. Если шестерня стартера выходит из зацепления с венцом маховика только под воздействием большого внешнего усилия, отправить стартер в ремонт |
Сработал автомат защиты сети | Включить автомат |
При неработающем дизеле и включенном разъединителе вольтамперметр не показывает напряжение аккумуляторных батарей | Обрыв или ненадежный контакт проводов, питающих вольтамперметр | Проверить крепление проводов и состояние проводниковой перемычки, соединяющей панель приборов с кронштейном щитка при однопроводной системе |
Неисправен вольтамперметр. Переносная лампа, включенная в розетку, горит | Заменить вольтамперметр |
При работающем дизеле и включенном разъединителе вольтамперметр не показывает зарядный ток генератора | Генератор не возбуждается: обрыв провода от электрического соединителя "Ш" генератора к разъему реле-генератора; загрязнение или обгорание контактов регулятора напряжения | При работе дизеля с частотой вращения, превышающей 800 об./мин., замкнуть выводы "Я" и "Ш" на реле-регуляторе. Если генератор даст напряжение, неисправен регулятор напряжения. Отправить регулятор в ремонт |
Неисправен генератор (короткое замыкание, обрыв цепи обмоток, загрязнение коллектора, неплотное прилегание или износ щеток и др.) | Замкнуть выводы "Я" и "Ш" на реле-регуляторе. Подсоединить переносную лампу к выводам "+Я" и "-Я" генератора. Если лампа не горит, генератор неисправен. После проверки состояния коллектора и щеток, при необходимости отправить генератор в ремонт |
Генератор сильно греется | Перегрузка генератора - разрегулировались ограничители тока | Отправить реле-регулятор в ремонт |
Короткое замыкание обмотки якоря или обмоток возбуждения | Отправить генератор в ремонт |
Сильно искрят щетки | Слабо прижимаются щетки к коллектору | Проверить состояние щеток и щеткодержателей. Подогнать щетки или заменить в случае износа |
При остановке дизеля реле обратного тока не отключает генератор | Амперметр показывает большой разрядный ток | Выключить разъединитель сети |
Сваривание контактов реле направления тока | Реле-регулятор направить в ремонт |
Быстрый разряд аккумуляторных батарей | Отсутствует зарядный ток | Проверить генератор и реле-регулятор. Устранить выявленные неисправности |
Ускоренный саморазряд вследствие утечки тока по загрязненной поверхности аккумуляторов. Сульфатация пластин | Протереть поверхность батарей сначала тряпкой, смоченной в водном растворе кальцинированной соды, а затем насухо. Если саморазряд продолжается, отправить батарею на зарядную станцию |
При включенном стартере вольтамперметр показывает 17 - 18 В, якорь стартера вращается медленно | Окисление или ослабление затяжки зажимов проводов | Зачистить наконечники и зажимы, смазать их техническим вазелином |
Разряжена батарея | Зарядить ее |
Быстрая убыль электролита в элементах в результате "выкипания" или расплескивания через вентиляционные отверстия | Нарушилось регулирование ограничителей тока | Реле-регулятор направить в ремонт |
Быстрая убыль электролита в отдельных элементах | Механическое повреждение батареи | Аккумуляторную батарею направить в ремонт |
Не работает электродвигатель маслопрокачивающего насоса | Сработал автомат защиты сети | Включить автомат |
Обрыв проводов | Устранить обрыв |
Неисправен включатель | Заменить включатель |
Неисправен электродвигатель | Отправить в ремонт |
ЗАМЕР СОПРОТИВЛЕНИЯ ИЗОЛЯЦИИ ЭЛЕКТРИЧЕСКИХ СЕТЕЙ
1.1. Для измерения сопротивления изоляций электрической сети 24 В, аппаратов, приборов по отношению к корпусу судна, необходимо пользоваться мегомметрами с рабочим напряжением до 100 В.
1.2. Величины сопротивления изоляции должны соответствовать нормам, приведенным в "Правилах классификации и технического надзора за судами".
1.3. Перед измерением сопротивления изоляции следует убедиться в исправности мегомметра: при вращении рукоятки прибора и при разомкнутых измерительных проводах стрелка должна остановиться в положении "00", при вращении рукоятки прибора и при замкнутых между собой измерительных проводах стрелка должна остановиться в положении "0".
1.4. Измерение сопротивления изоляции должно проводиться при отключенных источниках электроэнергии.
1.5. Измеренные значения сопротивления изоляции должны записываться в специально заведенной тетради. Результаты каждого последующего измерения должны сравниваться с предыдущими. В случае снижения сопротивления по сравнению с предыдущим замером необходимо принять меры для отыскания и устранения причин ухудшения изоляции.
2. Измерение сопротивления изоляции на судах
с двухпроводной системой распределения электроэнергии
2.1. Обесточить сеть, отключив источники электроэнергии.
2.2. Отключить потребители, отрицательный полюс которых соединен с корпусом судна (радиостанция и т.п.).
2.3. Провести измерение сопротивления изоляции проводов, электрораспределительных щитов, электрических машин в следующем порядке:
а) отключить все выключатели, а при отсутствии таковых вынуть предохранители;
б) присоединить один провод мегомметра к любой неокрашенной металлической детали, имеющей надежный контакт с корпусом судна;
в) присоединить свободный измерительный провод к положительной шине щита или к жиле кабеля;
г) вращая рукоятку мегомметра, произвести отсчет по шкале прибора;
д) отсоединить провод мегомметра от шины, щита или жилы кабеля и присоединить его к отрицательной шине или жиле;
е) вращая рукоятку мегомметра, вновь произвести отсчет по шкале прибора;
ж) при измерении сопротивления изоляции электрических машин следует измерять сопротивление изоляции как обмотки якоря, так и обмотки возбуждения, если в процессе измерения они не связаны между собой.
2.4. По окончании измерения сопротивления изоляции вставить вынутые предохранители.
3. Измерение сопротивления изоляции на судах с однопроводной
системой распределения электроэнергии
3.1. Обесточить сеть, отключить источник электроэнергии.
3.2. Отключить потребители электроэнергии, отсоединить минусовые провода от корпуса судна (в сетях освещения и сигнализации изъять лампы).
3.3. Отсоединить фильтры и регуляторные коробки.
3.4. Измерить сопротивление изоляции в соответствии с
п. 2.3.
3.5. По окончании измерения вставить вынутые предохранители, лампы, присоединить отсоединенные провода и устройства, включить выключатели, необходимые для нормальной работы судна.
СУДОВОЙ ДОКУМЕНТАЦИИ, КОТОРАЯ ДОЛЖНА БЫТЬ НА БОРТУ СУДНА
На судах скоростного флота должны быть:
1. Технический паспорт судна
2. Формуляры и паспорта на судовые механизмы
3. Единый вахтенный журнал
4. Книга документов Речного Регистра РСФСР на годность судна к плаванию (РР-1)
5. Шнуровая книга воздухохранителей (РР-11)
6. Информация об остойчивости
7. Паспорт на гребные винты
8. Единая книга осмотра судна
9. Инструкция по эксплуатации судовых механизмов, устройств, систем и конструкций
10. Графики проведения технических обслуживаний
11. Техническая документация по судну
12. Правила и положения по технической эксплуатации
ПОДЪЕМ И УСТАНОВКА СУДНА НА СТАПЕЛЬ-САНИ И КИЛЬБЛОКИ
1.1. Подъем судна из воды производится для осмотра подводной части корпуса, крыльевого устройства, рулей, гребных винтов и валов, а также для установки судна на штатные стапель-сани или кильблоки на период зимнего отстоя или ремонта.
1.2. Судно необходимо поднимать только в состоянии порожнем.
1.3. В зависимости от наличия в порту или на заводе технических средств для подъема могут быть использованы плавучие или береговые краны, слипы, док-понтоны, пневмокатки и другие средства, обеспечивающие безопасное и удобное выполнение подъема.
1.4. Подъем и установку судна необходимо производить плавно, без резких рывков и толчков, при строгом соблюдении требований по технике безопасности.
1.5. Судно должно устанавливаться на штатные стапель-сани или кильблоки, изготовленные заводом-строителем или ремонтным заводом по чертежам, согласованным с проектантом судна.
1.6. При подъеме и установке судна необходимо руководствоваться требованиями настоящего руководства.
1.7. В каждом случае подключения электросети судна к береговой сети его заземлить.
2. Подъем судна береговыми или плавучими
подъемными средствами
2.1. Все канаты, применяемые для подъема судна, должны удовлетворять требованиям Речного Регистра РСФСР.
2.2. Для подъема судна требуются краны грузоподъемностью не менее:
для СПК типа "Ракета" - 30 т;
для СПК типа "Метеор" - 50 т;
для судна типа "Заря" - 25 т;
для судна типа "Зарница" - 15 т.
2.3. Высота подъема судна определяется в каждом отдельном случае положением кильблоков штатного стапеля или стапель-саней над уровнем воды.
2.4. СПК типа "Ракета" следует поднимать с использованием распорной балки и канатов, застрапливая их за специальные пуговицы, закрепленные на бортах. Подъем судна производить только после проверки надежности крепления пуговиц к корпусу и стропов на пуговицах.
2.5. После установки судна на кильблоки стапеля или стапель-сани, до отдачи с пуговиц, проверить правильность установки и надежность положений судна на кильблоках или стапель-санях.
2.6. СПК типа "Метеор" поднимать стальными канатами с использованием полотенец, подведенных под корпус судна. Операции по подъему судна необходимо выполнять в следующей последовательности:
присоединить к проушинам балки два каната длиной по 10 м и четыре каната длиной по 3,3 м;
с помощью десятиметровых канатов подвесить балку на гак крана и опустить ее над судном;
подвести полотенца под корпус судна, используя предварительно подведенные пеньковые канаты: для этого необходимо на середине каната привязать два груза массой по 3 - 4 кг на расстоянии 10 м друг от друга, затем опустить канат с грузом с носа в воду и провести его вдоль корпуса вручную под крыльями судна до 42 шп.;
у подведенного каната выбрать слабину, отвязать груз, привязать полотенце и протащить канат с полотенцем под корпусом судна на другой борт; полотенце при этой операции не должно перекручиваться;
концы полотенца пропустить в отверстия, специально сделанные в привальном брусе у 42 шп. и скобками соединить со стальными канатами;
аналогично заводится и соединяется с канатами полотенце, размещаемое у 25 шп. Подъем судна производится после проверки состояния облегания полотенцами корпуса судна.
2.7. При подъеме судна с помощью крана или другого средства руководствоваться действующими Правилами Речного Регистра РСФСР.
3. Установка на стапель-сани или на кильблоки
3.1. На зимний отстой судно устанавливается на стапель-сани или основные (штатные) кильблоки. Кроме того, должны быть поставлены дополнительные клетки под крылья и упор (деревянный брус сечением 100 x 100 мм) под форштевень.
3.2. Стапель-сани или основные кильблоки размещаются на площадке, предварительно выровненной и выверенной, а также укрепленной с учетом действия паводковых вод, образующихся от таяния снегов.
3.3. Перед установкой судна на стапель-сани или основные кильблоки необходимо:
проверить исправность стапель-саней или основных кильблоков;
удалить со стапель-саней и кильблоков все посторонние предметы.
3.4. Судно должно быть поставлено так, чтобы кильблоки располагались под шпангоутами (
рис. 14.1,
рис. 14.2):
| СПК "Ракета" | СПК "Метеор" |
Носовой кильблок | 18 шп. | 15 шп. |
Кормовой кильблок | 39 шп. | 41 шп. |
Рис. 14.1. Схема постановки т/х "Ракета" на кильблоки
Рис. 14.2. Схема постановки т/х "Метеор" на кильблоки
3.5. Обводы кильблоков должны соответствовать обводам шпангоутов, под которыми они размещаются. Ширина бруса кильблока должна быть не менее 300 мм, толщина мягкой подушки в смятом положении около 50 мм.
3.6. СПК типа "Ракета" устанавливаются на стапель-сани, поставляемые заводом-строителем вместе с судном (рис. 14.3).
Рис. 14.3. Схема постановки т/х "Ракета" на стапель-сани
3.7. СПК типа "Метеор" устанавливаются на стапель-сани (рис. 14.4).
Рис. 14.4. Схема постановки т/х "Метеор" на стапель-сани
3.8. При установке судна на ремонт или отстой под крылья в районе бортовых стоек должны быть подведены дополнительные клетки из брусьев или домкраты.
3.9. Плоскости кильблоков должны совпадать с плоскостями шпангоутов, под которыми они установлены. Все кильблоки и клетки выполняются из брусьев: подпоры должны быть надежно закреплены. При установке судна на кильблоки отстояние от грунта до нулевого пояса обшивки должно быть не менее 1600 мм.
3.10. СПК типа "Метеор" при необходимости могут быть установлены на наклонной площадке слипа.
3.11. Установку теплохода на стапель-сани или кильблоки во время мороза производить не рекомендуется; эта операция должна быть выполнена до наступления морозов.
В том случае, если подъем судна производится в мороз, необходимо:
выявить места образования льда на обшивке, крыльевом устройстве, рулях, винтах;
удалить лед, примерзший к корпусу и деталям крыльевого устройства, крыльях, винтах, не допуская при этом их повреждений;
убедиться в полном отсутствии льда на обшивке И крыльях судна в районах размещения подушек кильблоков.
3.12. Суда типа "Зарница" устанавливаются после подъема на стапель-сани. Во время подъема судно должно находиться в порожнем состоянии.
Устанавливается судно на кильблоки таким образом, чтобы крен не превышал 8°.
3.13. Подъем кормовой части судов типа "Зарница" для осмотра и ремонта движительно-рулевого комплекса производится двумя вариантами:
опоры кессона располагают под скегами, при этом длина опорной поверхности под каждым скегом должна быть не менее двух метров;
опоры равномерно располагают под днищем судна, при этом они должны быть распределены по всей ширине днища от скега до скега и захватывать не менее пяти флор.
Дифферент судна при подъеме кессоном допускается не более 5°, и носовая оконечность должна находиться на плаву.
3.14. Суда типа "Заря" после подъема на берег устанавливаются на клетки, которые располагаются под шпангоутами 6, 22, 33, 43, 49.