Главная // Актуальные документы // ПереченьСПРАВКА
Источник публикации
СПб., Российский морской регистр судоходства, 2009
Примечание к документу
Название документа
"НД 2-020101-058. Правила классификации и постройки малых прогулочных судов"
(утв. Росморречфлотом 21.10.2009)
"НД 2-020101-058. Правила классификации и постройки малых прогулочных судов"
(утв. Росморречфлотом 21.10.2009)
ПРАВИЛА КЛАССИФИКАЦИИ И ПОСТРОЙКИ МАЛЫХ ПРОГУЛОЧНЫХ СУДОВ
НД 2-020101-058
Правила классификации и постройки малых прогулочных судов Российского морского регистра судоходства утверждены в соответствии с действующим положением и вступают в силу с момента опубликования.
Правила учитывают применимые для целей классификации прогулочных судов требования Директивы 94/25/ЕС Европейского Парламента и Совета от 16 июня 1994 г. с учетом Директивы 2003/44/ЕС от 16 июня 2003 г.
Требования, изложенные в настоящих Правилах, в полной мере применяются к судам, судовым механизмам, устройствам, оборудованию и материалам, документация на которые представляется на рассмотрение Российскому морскому регистру судоходства после вступления в силу настоящих Правил.
Во всех других случаях требования, изложенные в настоящих Правилах, применяются в той мере, в какой это целесообразно и возможно, что является предметом специального рассмотрения Регистром.
1. ОБЛАСТЬ РАСПРОСТРАНЕНИЯ
1.1. Область распространения настоящих Правил классификации и постройки малых прогулочных судов <1> Российского морского регистра судоходства <2> установлена с учетом применимых положений Директив Европейского Парламента и Совета 94/25/ЕС от 16 июня 1994 г. и 2003/44/ЕС от 16 июня 2003 г. (Directive 94/25/EC of The European Parliament and of The Council of 16 June 1994 on the approximation of the laws, regulations and administrative provisions of the Member States relating to recreational craft. Directive 2003/44/EC of The European Parliament and of The Council of 16 June 2003 amending Directive 94/25/EC) <3>.
--------------------------------
<1> Далее - настоящие Правила.
<2> Далее - Регистр.
<3> Далее - Директива 94/25/ЕС и Директива 2003/44/ЕС.
1.2. Требования настоящих Правил распространяются на прогулочные суда с наибольшей длиной корпуса от 2,5 м до 24 м включительно, определяемой согласно
3.2, и пассажировместимостью не более 12 чел., а также их составные части.
1.3. Требования настоящих Правил не распространяются на:
спортивные и военные суда, гоночные суда, в том числе суда для тренировок;
каноэ, байдарки, гондолы, водные велосипеды и другие типы гребных судов;
водные лыжи, санки, "бананы" и подобные типы буксируемых плавсредств;
доски для серфинга и виндсерфинга, в т.ч. укомплектованные механическим двигателем;
надувные и каркасно-тканевые суда;
персональные суда;
экранопланы;
подводные аппараты;
антикварные исторические суда и их копии;
экспериментальные суда,
а также на малые суда, используемые в качестве судового оборудования (спасательные и рабочие шлюпки, плоты) на борту судов, которые не являются прогулочными.
1.4. Требования настоящих Правил применяются к:
1. Самоходным судам с корпусом, предназначенным для движения в режимах: водоизмещающем, переходном и/или глиссирующем со скоростью менее 14,0 м/с, независимо от мощности главных двигателей;
2. Несамоходным и стоечным судам, в том числе, на которых установлены механизмы и оборудование с суммарной мощностью первичных двигателей энергетической установки 100 кВт и более;
3. Материалам и изделиям, предназначенным для установки на вышеуказанных судах.
1.5. Настоящие Правила состоят из следующих частей:
III. "Устройства, оборудование и снабжение";
IV. "Остойчивость, запас плавучести и надводный борт";
V. "Механическая установка. Механизмы. Системы и трубопроводы";
VII. "Электрическое оборудование";
VIII. "Радио и навигационное оборудование";
IX. "Спасательные средства";
X. "Противопожарная защита";
XII. "Средства по предотвращению загрязнения с судов".
1.6. На малые прогулочные суда распространяются также, где это целесообразно и применимо, требования следующих правил Регистра:
1. Правил классификации и постройки морских судов (частей: X. "Котлы, теплообменные аппараты и сосуды под давлением"; XII. "Холодильные установки"; XIII. "Материалы"; XIV. "Сварка"; XVI. "Конструкция и прочность корпусов судов и шлюпок из стеклопластика");
2. Правил по оборудованию морских судов (для прогулочных судов проектных категорий A, A1 и A2, указанных в
3.2.1);
3. Правил классификации и постройки высокоскоростных судов (для прогулочных судов, способных развить скорость движения, превышающую 40,0 км/ч);
4. Правил обмера морских судов;
5. Правил обмера судов внутреннего плавания;
6. Правил по грузоподъемным устройствам морских судов;
7. Правил классификации и постройки судов внутреннего плавания (для Европейских внутренних водных путей);
8. Правил классификационных освидетельствований судов в эксплуатации.
1.7. При применении настоящих Правил следует учитывать соответствующие положения Общих положений о классификационной и иной деятельности.
1.8. Настоящими Правилами определяются требования, при выполнении которых судну может быть присвоен класс Регистра.
1.9. Требования настоящих Правил по согласованию с Регистром могут применяться для классификации судов, не перечисленных в
1.2 и
1.4.
По согласованию с Регистром требования настоящих Правил могут быть применены к прогулочным судам с пассажировместимостью более 12 чел., но не более 36 чел., и/или с длиной корпуса более 24 м, но не более 40 м. При этом:
1. Прогулочные суда с пассажировместимостью более 12 чел. подлежат специальному рассмотрению Регистром с учетом требований настоящих Правил и положений Директивы Европейского Парламента и Совета N 98/18/ЕС от 17 марта 1998 г. (Council Directive 98/18/EC of 17 March 1998 on Safety Rules and Standards for Passenger Ships) <1>;
--------------------------------
<1> Далее - Директива 98/18/ЕС.
2. Морские прогулочные суда с длиной корпуса более 24 м подлежат специальному рассмотрению Регистром с учетом требований настоящих Правил и применимых положений Правил классификации и постройки морских судов.
1.10. Прогулочные суда, указанные в
1.2 и
1.4 и предназначенные для эксплуатации на Европейских внутренних водных путях, должны также удовлетворять применимым положениям Резолюции ЕЭК ООН N 61 от 16 марта 2006 г. "Рекомендации, касающиеся согласованных на европейском уровне технических предписаний для внутреннего плавания" (United Nations. Economic Commission for Europe. Resolution No. 61 "Recommendations on Harmonized Europe-wide Technical Requirements for Inland Navigation Vessels", 2006) <1>.
--------------------------------
<1> Далее - Резолюция ЕЭК ООН N 61.
1.11. Требования настоящих Правил распространяются на все суда, проекты которых представлены Регистру на рассмотрение после даты вступления в силу настоящих Правил.
Некоторые требования настоящих Правил применяются к судам в эксплуатации, независимо или зависимо от даты постройки, если об этом указано в Правилах.
К судам, которые находятся в постройке на момент вступления в силу настоящих Правил, требования последних применяются при необходимости, по решению Регистра, насколько это возможно и целесообразно.
К судам, которые переоборудуются или модернизируются после вступления в силу настоящих Правил, их требования применяются в объеме насколько это возможно и целесообразно, если в Правилах не оговорено иное.
При переклассификации находящегося в эксплуатации судна, классифицированного по иным Правилам, требования настоящих Правил применяются для обоснования решений о присвоении класса Регистра.
1.12. Подтверждение соответствия требованиям Правил является прерогативой Регистра и осуществляется в соответствии с установленным Регистром порядком.
Любые утверждения о соответствии объекта наблюдения Регистра требованиям Правил, сделанные или документально оформленные иной, чем Регистр, организацией или не имеющие должным образом оформленного подтверждения Регистра, не могут служить подтверждением такого соответствия.
2. ОБЩИЕ ОПРЕДЕЛЕНИЯ И ПОЯСНЕНИЯ
2.1. В настоящих Правилах приняты следующие определения и пояснения, если иное не оговорено специально в отдельных частях Правил.
"Банан" и подобные - несамоходные надувные плавучие средства, которые буксируются моторным судном и предназначены для непродолжительной водной спортивно-развлекательной прогулки пассажиров, которые сидят на оборудованных местах на надувном корпусе плавучего средства сверху.
Беспалубное судно - судно, которое на длине менее 2/3 длины судна от носовой оконечности является палубным судном, и/или которое имеет кокпиты с общим коэффициентом объема

, и/или не удовлетворяющие требованиям
разд. 10 части III "Устройства, оборудование и снабжение".
Водный велосипед - плавучее средство, которое движется за счет физической силы человека путем приведения в действие винта/винтов или гребного колеса/колес и предназначено для перевозки одного или больше лиц, которые располагаются на специальных местах для сидения на корпусе судна.
Высота волн - характеристика рассматриваемого в настоящих Правилах волнения с определениями и обозначениями:
значительное волнение -

,
волны 1-процентной обеспеченности -

;
волны 3-процентной обеспеченности -

;
волны 5-процентной обеспеченности -

.
Для оценки сопоставимости этих величин допускается применение зависимости:
Высота значительного волнения

- средняя высота одной трети наиболее высоких из всей совокупности высот волн при непрерывном длительном наблюдении (в пределах квазистационарности волнения).
Высота волн 1-процентной обеспеченности

- расчетная высота нерегулярного волнения, при назначении которой предполагается, что при непрерывном длительном наблюдении 1% фактических волн могут иметь высоту, превышающую расчетную.
Высота волн 3-процентной обеспеченности

- расчетная высота нерегулярного волнения, при назначении которой предполагается, что при непрерывном длительном наблюдении 3% фактических волн могут иметь высоту, превышающую расчетную.
Высота волн 5-процентной обеспеченности

- расчетная высота нерегулярного волнения, при назначении которой предполагается, что при непрерывном длительном наблюдении 5% фактических волн могут иметь высоту, превышающую расчетную.
Глиссирующее судно - судно, которое при движении с определенной скоростью поддерживается главным образом за счет гидродинамических сил. Режим глиссирования соответствует скорости движения судна, при которой число Фруда по водоизмещению:
где v - скорость движения судна, м/с;
g - ускорение свободного падения, м/с2;
V - объемное водоизмещение судна по ватерлинии, м3.
Для переходного режима

.
Защищенная акватория - участок водной акватории, примыкающий к берегу и защищенный от волнения и ветра естественным образом либо защищенный от волнения гидротехническим сооружением.
Катамаран - судно, которое состоит из двух корпусов, соединенных мостовой конструкцией.
Катер - моторное судно с длиной корпуса от 6,0 м до 15,0 м включительно, кроме судов, несущих парусное вооружение.
Международный рейс - рейс между портами разных государств.
Место убежища - любая естественно или искусственно защищенная акватория, которая может быть использована судном как убежище при возникновении обстоятельств, которые угрожают его безопасности.
Открытое судно - палубное судно, у которого люковые закрытия не имеют достаточной прочности, жесткости или степени водонепроницаемости, или на котором люки не имеют закрытий.
Палубное судно - судно, у которого горизонтальная проекция площади, ограниченной бортовой линией, состоит из водонепроницаемой палубы и/или надстройки и которое имеет быстроосушаемые кокпиты, соответствующие требованиям
разд. 10 части III "Устройства, оборудование и снабжение" и
разд. 2 -
4 части IV "Остойчивость, запас плавучести и надводный борт", и/или водонепроницаемые кокпиты, соответствующие требованиям
разд. 10 части III "Устройства, оборудование и снабжение", с суммарным объемом меньше чем

, и все закрытия имеют достаточную прочность, жесткость и степень водонепроницаемости, соответствующие требованиям
разд. 9 части III "Устройства, оборудование и снабжение".
Пассажир - любое лицо на борту прогулочного судна, кроме капитана и членов экипажа, а также детей возрастом до одного года.
Пассажировместимость - наибольшее количество пассажиров, допускаемых к нахождению на конкретном судне.
Персональное судно - прогулочное судно с длиной корпуса менее 4 м, на котором установлен двигатель внутреннего сгорания с водометным насосом в качестве основного источника пропульсивной силы, предназначенное для движения по поверхности воды в переходном или глиссирующем режиме и эксплуатации одним или несколькими лицами, которые находятся на корпусе судна в положении сидя, стоя или на коленях, но не внутри корпуса. К таким судам относятся: водный мотоцикл, водный скутер и им подобные.
Плавучая дача (плавучий дом) - самоходное или несамоходное судно, включая стоечное судно, оборудованное для отдыха и/или проживания людей на воде.
Прогулочное судно - судно любого типа, независимо от средств движения, используемое на некоммерческой основе исключительно в целях отдыха на воде.
Расстояние до места убежища - максимально допустимое расстояние в морских милях (или километрах), которое измеряется вдоль кратчайшего безопасного в навигационном отношении пути от любой точки на избранном для плавания судна маршруте, к ближайшему доступному порту или месту убежища.
Судно моторное - судно с двигателем (двигателями) внутреннего сгорания пропульсивной установки мощностью не менее определенной по
формуле (1.2.3.2) части I "Классификация".
Судно моторно-парусное - судно моторное с парусным вооружением площадью не менее определенной по
формуле (1.2.3.1) части I "Классификация".
Судно парусное - судно с парусным вооружением площадью не менее определенной по
формуле (1.2.3.1) части I "Классификация".
Судно парусно-моторное - судно парусное с двигателем (двигателями) внутреннего сгорания пропульсивной установки мощностью меньше определенной по
формуле (1.2.3.2) части I "Классификация".
Судно с вспомогательным подводным крылом/крыльями - судно, которое спроектировано таким образом, что во время движения значительная часть его массы поддерживается гидродинамическими силами, которые образуются на подводном крыле/крыльях.
Туристическое судно - прогулочное судно, годное по своей конструкции и мореходным качествам для совершения многодневных плаваний по планируемому туристическому маршруту (маршрутам).
Тримаран - судно, у которого главный средний корпус соединен мостовой конструкцией с двумя боковыми корпусами.
Шлюпка - общее название гребных и моторных малых судов, входящих в оборудование и устанавливаемых на судах для различных целей.
Яхта - прогулочное палубное самоходное судно, исключая гребные суда, предназначенное для водных прогулок с проживанием на воде и имеющее закрытые помещения, предназначенные для размещения всех лиц, предусмотренных к нахождению на судне.
Яхта моторная - яхта с двигателем (двигателями) внутреннего сгорания пропульсивной установки мощностью не менее определенной по
формуле (1.2.3.2) части I "Классификация".
Яхта моторно-парусная - яхта моторная с парусным вооружением площадью не менее определенной по
формуле (1.2.3.1) части I "Классификация".
Яхта парусная - яхта с парусным вооружением площадью не менее определенной по
формуле (1.2.3.1) части I "Классификация".
Яхта парусно-моторная - яхта парусная с двигателем (двигателями) внутреннего сгорания пропульсивной установки мощностью меньше определенной по
формуле (1.2.3.2) части I "Классификация".
3. ОСНОВНЫЕ ДАННЫЕ О СУДНЕ
Данный раздел в соответствии с Директивой 94/25/ЕС устанавливает однородность определений главных размерений и данных о состоянии нагрузки прогулочного судна согласно стандарту ИСО 8666:2002 "Малые суда. Основные данные".
Обозначения, применяемые в настоящих Правилах, указываются в скобках при их отличии от ИСО 8666:2002.
3.1. ОПРЕДЕЛЕНИЯ И ПОЯСНЕНИЯ
3.1.1. В настоящей части Правил приняты следующие определения и пояснения
Ватерлиния, WL (ВЛ) - линия пересечения плоскости поверхности спокойной воды с корпусом судна, при плавании судна без крена и дифферента.
Ватерлиния конструктивная,

, (КВЛ) - ватерлиния готового к эксплуатации судна в состоянии полной нагрузки.
Линия ширстрека - линия пересечения палубы с бортами корпуса судна, а в случае отсутствия палубы - верхний край корпуса судна, исключая фальшборт.
Ширина транца,

- максимальная ширина корпуса по верхней кромке транца, однако не выше линии ширстрека, исключая выступающие части (расширения) корпуса. Если брызгоотражатели действуют как скулы или часть глиссирующей поверхности, то их учитывают при измерении ширины транца.
Для судна с округленной или заостренной кормой или с транцем шириной, меньшей чем половина максимальной ширины судна, ширину транца определяют как наибольшую ширину корпуса на (или ниже) линии ширстрека в кормовой четверти длины корпуса.
Водоизмещение,

- масса воды, замещенной судном. Водоизмещение измеряют в килограммах или тоннах.
Водоизмещение в полном грузу,

,

- масса воды, замещенной готовым к эксплуатации судном в состоянии полной нагрузки.
Водоизмещение объемное,

, (V) - объем воды, замещенной судном, который соответствует массе воды по водоизмещению, как определено выше, м3.
Вместимость цистерны - максимально возможный объем резервуара, используемый при эксплуатации судна.
3.1.2. Основные обозначения (сокращения) и единицы их измерения, используемые в различных частях настоящих Правил, приведены в табл. 3.1.2.
Таблица 3.1.2
Обозначения (сокращения) и единицы измерения
Обозначения (сокращения) | Определения | Единица измерения |
1 | 2 | 3 |
| Проектная площадь парусности | м2 |
| Ширина корпуса | м |
| Максимальная ширина | м |
| Ширина по ватерлинии | м |
| Ширина транца | м |
| Максимальная высота борта | м |
| Высота борта на миделе (высота борта) | м |
F | Надводный борт | мм |
| Надводный борт в корме | мм |
| Надводный борт в носу | мм |
| Надводный борт на миделе | мм |
| Надводный габарит | м |
| Длина корпуса (длина наибольшая) | м |
| Максимальная длина (габаритная длина) | м |
| Длина по ватерлинии | м |
| Масса судна брутто | кг, т |
| Водоизмещение в полном грузу | кг, т |
| Масса судна порожним | кг, т |
| Масса судна нетто | кг, т |
| Масса при эксплуатационных испытаниях | кг, т |
| Масса судна при перевозке на трейлере | кг, т |
| Наибольшая нагрузка (дедвейт) | кг, т |
T(d) | Осадка | м |
| Осадка конструктивная | м |
| Максимальная осадка | м |
| Минимальная осадка | м |
| Объемное водоизмещение | м3 |
V | Объем судна | м3 |
| Объем корпуса | м3 |
| Объем надстройки | м3 |
WL(ВЛ) | Ватерлиния | |
| Ватерлиния конструктивная | |
| Угол килеватости | град. |
3.2. ОПРЕДЕЛЕНИЕ РАЗМЕРЕНИЙ СУДНА
3.2.1. Размеры должны быть установлены для судна без крена и дифферента на тихой воде при водоизмещении по конструктивную ватерлинию, если не оговорено иное.
3.2.2. Размеры судна должны быть измерены перпендикулярно миделевой, диаметральной или основной плоскости либо параллельно ватерлинии судна как расстояния между двумя перпендикулярами к соответствующим плоскостям.
3.2.3. Габаритная длина судна,

Габаритная длина включает все структурные и неотъемлемые части корпуса судна такие, как форштевень, ахтерштевень, фальшборт и другие устройства и сооружения, присоединенные к корпусу судна.
Если применимо, габаритная длина должна включать такие части, как рангоут, бушприт, площадки, привальные брусья, стационарные кранцы, навесные рули, крепления подвесного двигателя, забортные движительные агрегаты, водометы и любые другие сооружения, например платформы для плавания и/или посадки на судно.
Забортные движительные агрегаты, водометы и все подвижные части должны быть измерены в их нормальном эксплуатационном режиме к их максимальному продольному простиранию, когда судно готово к движению.
Эта длина исключает подвесные двигатели, а также любой другой тип оборудования, которое может быть отделено без использования инструментов.
Рис. 3.2.3-1. Определение размерений

и

для моторных
однокорпусных судов
Рис. 3.2.3-2. Определение размерений

и

для парусных
однокорпусных судов
Рис. 3.2.3-3. Определение размерений

,

,

и

для многокорпусных судов
3.2.4. Длина корпуса,

Эта длина включает все структурные и неотъемлемые части судна такие, как деревянные, пластмассовые или металлические форштевни или ахтерштевни, фальшборты и соединения корпуса с палубой.
Эта длина исключает сменные части, которые могут быть отделены неразрушающим способом, не затрагивая структурную целостность корпуса судна, например: рангоутное дерево, бушприты, фальшборты и площадки судна, стыки верхней оконечности форштевня, рулей, забортных движительных агрегатов, подвесных двигателей и их креплений, платформ для плавания и посадки на судно, привальные брусья и стационарные кранцы.
Эта длина не исключает съемные части корпуса, которые действуют как гидростатическая или динамическая поддержка, когда судно находится соответственно в покое или на ходу.
Для многокорпусного судна длина каждого корпуса должна быть измерена индивидуально. В качестве длины корпуса такого судна должна быть принята длина наибольшего из его корпусов.
3.2.5. Длина по ватерлинии,

Длину корпуса по ватерлинии определяют с учетом
3.2.1 и
3.2.2 для ватерлинии, соответствующей положению готового к эксплуатации судна в состоянии полной проектной нагрузки, при плавании судна без крена и дифферента.
3.2.6. Максимальная ширина,

Максимальная ширина измеряется с учетом
3.2.1 и
3.2.2 между перпендикулярами к основной плоскости, проходящими через наиболее удаленные части судна.
Максимальная ширина включает все структурные или неотъемлемые части судна типа свесов (кринолинов) корпуса, соединений корпуса с палубой, фальшборт, привальные брусья, стационарные кранцы и леерное ограждение, а также другие выступающие части судна.
3.2.7. Ширина корпуса,

Ширина корпуса измеряется с учетом
3.2.1 и
3.2.2 между перпендикулярами к основной плоскости, проходящими через наиболее удаленные части корпуса.
Ширина корпуса включает все структурные или неотъемлемые части судна типа расширения (продления) корпуса, соединений корпуса с настилом палубы и фальшборты.
Ширина корпуса исключает сменные части, которые могут быть отделены неразрушающим способом и, не затрагивая целостность судна, например: привальные брусья, кранцы, поручни и подпорки, простирающиеся за борт судна, и другое подобное оборудование.
В ширину корпуса должны быть включены съемные части корпуса, которые действуют как гидростатическая или динамическая поддержка, когда судно находится соответственно в покое или на ходу.
Для многокорпусных судов ширина корпуса должна быть измерена соответственно для каждого индивидуального корпуса.
Примечания:
1 - касательная линия к миделевому шпангоуту при наличии перегиба.
Верхнее положение

зависит от угла наклона борта корпуса или настила палубы

в районе соединения фактической палубы с бортом. При

применяется более низкое положение, а при

применяется более высокое положение.
T(d) - в тексте остальных частей и разделов настоящих Правил для обозначения осадки будет использоваться обозначение d.
Рис. 3.2.7. Определение размерений

,

, D и T(d)
3.2.8. Ширина по ватерлинии,

Ширина по ватерлинии должна быть измерена с учетом
3.2.1 и
3.2.2 как максимальное расстояние между точками пересечения поверхности корпуса плоскостью ватерлинии при определенном состоянии нагрузки судна.
Для многокорпусных судов ширина по ватерлинии должна быть установлена для каждого корпуса индивидуально.
3.2.9. Высота борта максимальная,

Высота борта максимальная измеряется как вертикальное расстояние между линией ширстрека на половине ватерлинии,

, и самой низкой точкой киля. При этом следует иметь в виду, что на традиционном судне с развитым килем или со строительным дифферентом наклон киля может увеличивать высоту борта в корму судна и, соответственно, килевая точка для этого измерения не будет находиться в полудлине ватерлинии или полудлине длины корпуса.
3.2.10. Высота борта на миделе (высота борта),

Высота борта на миделе должна быть измерена в полудлине ватерлинии

как расстояние между линией палубы и самой низкой точкой киля в том же самом сечении.
3.2.11. Надводный борт, F
Надводный борт должен быть измерен как кратчайшее расстояние между линией ширстрека в определенном продольном местоположении и плоскостью ватерлинии при определенном состоянии нагрузки судна.
3.2.12. Надводный борт в корме,

Надводный борт в корме должен быть измерен в соответствии с 3.2.11 в кормовой точке линии ширстрека.
3.2.13. Надводный борт на миделе,

Надводный борт на миделе должен быть измерен в соответствии с 3.2.11 в полудлине корпуса.
3.2.14. Надводный борт в носу,

Надводный борт в носу должен быть измерен в соответствии с
3.2.11 в самой носовой точке линии ширстрека.
3.2.15. Осадка, T(d)
Осадка должна быть измерена как вертикальное расстояние между ватерлинией судна в полностью загруженном готовом к эксплуатации состоянии и определенной точкой подводной части корпуса (см.
рис. 3.2.7).
3.2.16. Максимальная осадка,

Максимальная осадка должна быть измерена до самой низкой точки подводной части корпуса или присоединяемого устройства, включая опускные кили, в их самом низком положении.
3.2.17. Минимальная осадка

Минимальная осадка измеряется до самой низкой точки судна или невыдвигающегося присоединяемого устройства, в зависимости от того, что ниже. Все подвижные подводные части судна должны быть подняты в их самое высокое положение.
3.2.18. Осадка конструктивная,

Осадка конструктивная должна быть измерена между пересечением корпуса с диаметральной плоскостью судна в самой низкой точке корпуса. В случаях, где киль не может быть легко отделен от корпуса, осадка конструктивная должна быть определена в точке пересечения наименее крутой касательной к поверхности корпуса с диаметральной плоскостью.
3.2.19. Высота помещения
Высота помещения должна быть измерена как вертикальное расстояние от наивысшей плоскости покрытия пола каюты/отсека до нижней стороны палубного бимса или зашивки подволока (в зависимости от того, что ниже) в назначенном месте. Строитель может указывать высоту помещения и в других местах (например, над койкой).
3.2.20. Надводный габарит,

Надводный габарит должен быть измерен как вертикальное расстояние от поверхности воды при водоизмещении судна порожнем и до самой высокой точки судовой конструкции или мачты.
Строитель может указать в Руководстве для владельца судна о необходимости учитывать поправку к указанному надводному габариту на топовый огонь и, возможно, установленную антенну (антенны).
3.2.21. Угол килеватости,

Угол килеватости - углом наклона днища от горизонтального положения в поперечном сечении судна, град, измеряемый в соответствии с
рис. 3.2.21.
Примечание: без учета редана и других выступающих частей.
a) Плоское днище
Примечание: килеватость измеряют между точками пересечения с килем и скулой.
b) Вогнутое днище с килем
Примечание: килеватость измеряют между 1/4 и

.
c) Выпуклое днище
Примечание: килеватость измеряют между основной линией и внешним концом крыла.
d) Вогнутое днище с крылом
Обозначения: 1 - высота, 2 - ширина.
Вычисление угла килеватости:

Рис. 3.2.21. Определение килеватости
3.2.22. Проектная площадь парусности,

Проектную площадь парусности судна, м2, определяют как сумму проектируемых профильных площадей всех парусов, которые могут быть одновременно установлены при движении судна курсом "бейдевинд" и присоединены к гикам, гафелям, бушпритам или другому рангоуту, и площади косых парусов мачт к наиболее удаленным фока-штагам, постоянно присоединенных при эксплуатации судна (без наложений друг на друга); при этом передние и задние шкаторины косых парусов принимаются как прямые линии.
Площадь косых парусов для каждой мачты должна быть определена как:
где I и J - расстояние между передней кромкой мачты, кормовой кромкой фока-штага и линией палубы у борта, как показано на
рис. 3.2.22.
Примечание. Мачту, имеющую профиль крыла, характеризует ее поперечное сечение, которое имеет гладкий переход в кормовой оконечности в парус, таким образом способствуя его движущей силе. Поперечные сечения мачт обычно имеют овальную, иногда - круглую или прямоугольную форму.
Рис. 3.2.22. Измерение площади парусности
Если фока-штаги между мачтами не достигают палубы, площадь косых парусов должна быть принята как показано на рис. 3.2.22 (P и E), в случае если паруса являются несущими, что может быть установлено по наличию соответствующих укреплений (оттяжек).
Площадь рангоута не включают в определяемую проектную площадь парусов, кроме мачт, имеющих профиль крыла.
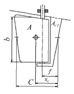
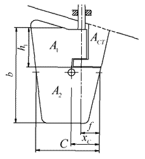
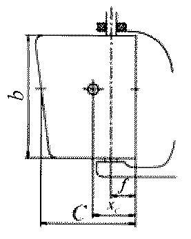
3.2.23. Объем судна, V
Объем малого судна, м3, определяется по следующей формуле:
где

- объем корпуса, м3;

- объем надстройки, м3.
Объем судна должен быть установлен для каждого элемента принятыми в морской архитектуре методами или в соответствии с приблизительной оценкой, изложенной в
3.2.23.1 и
3.2.23.2.
Объем может быть установлен на основании измерений, выполненных как указано на
рис. 3.2.23.
Рис. 3.2.23. Измерения для определения объема
3.2.23.1. Объем корпуса,

Используя приближенный метод, объем корпуса, м3, может быть определен на основании измерений, выполненных согласно рис. 3.2.23, по формуле
3.2.23.2. Объем надстройки,

Объем надстройки, м3, должен быть определен как сумма объемов для каждой части надстройки выше бортовой линии палубы. Любое пространство, которое является "открытым" не более чем с одной стороны, должно быть включено в вычисление.
"Открытый" в этом смысле означает, что не более 10% площади может быть закрыто конструкцией надстройки.
Объемы менее 0,05 м3 могут не учитываться.
3.2.24. Масса судна нетто,

Масса судна нетто должна включать также все закрепленное и перемещаемое оборудование, поставленное строителем в комплектации судна, но не должна включать устройства, используемые при перевозке или транспортировке судна.
3.2.25. Масса судна брутто,

Масса судна брутто включает в себя массу судна нетто в соответствии с 3.2.24, а также такие устройства, как стапель, трейлер и т.п.
3.2.26. Масса судна порожним,

3.2.26.1. Конструкции и оборудование, включаемые в

Масса судна порожним должна включать:
1. Все конструктивные детали, включая балластный киль и/или выдвижной киль/шверт/шверцы, а также руль/рули;
2. Балласт, включая и переменный балласт (твердый или жидкий), который используется и/или предусмотрен строителем к погрузке на судно при его эксплуатации;
3. Внутренние конструкции и оборудование, включая: переборки и выгородки, изоляцию, настилы, встроенную мебель, плавучие материалы, окна, люки и двери, материалы обшивки;
4. Двигатель и топливная/масляная система.
Двигатель и топливные/масляные системы, установленные стационарно.
Стационарно установленные двигатель и топливные/масляные системы представляют собой двигатель (двигатели), расположенный внутри судна, включая все снабжение и устройства управления, необходимые для его работы, и постоянно установленные топливные/масляные системы, включая их цистерны.
Подвесные двигатели.
Масса судна должна быть указана с массой подвесного двигателя (двигателей), включая:
массу самого тяжелого двигателя (двигателей), рекомендованного к применению строителем судна, независимо от того, что упаковка машинного и относящегося к нему оборудования при отгрузке судна строителем может осуществляться отдельно;
массу любой стационарно установленной топливной/масляной системы;
массу устройств управления двигателем и рулем;
5. Внутреннее оборудование, включая:
все оборудование, постоянно находящееся на судне в эксплуатации, например: резервуары (вкладные цистерны и канистры), систему/системы сточных и хозяйственно-бытовых вод, оборудование для хранения и перемещения воды, осушительную систему (системы), камбузные и нагревательные устройства, холодильное оборудование, систему (системы) вентиляции;
электрическую установку и оборудование, включая аккумуляторные батареи;
установленное навигационное и электронное оборудование;
противопожарное оборудование;
постельные принадлежности и элементы интерьера;
6. Внешнее оборудование
Для всех судов в массу внешнего оборудования включают:
все постоянно установленные стандартные или специфичные палубные дельные вещи и оборудование, например: поручни, площадки и пульты, бушприты и их оснащение, платформы для купания, внешние трапы, рулевое устройство, лебедки, шлюпочный (катерный) тент (тенты), навесы, оснащение кокпита, решетки, сигнальные мачты;
якоря, якорные тросы и цепи;
незакрепленное внешнее оборудование, например: кранцы, тросы, фалинь.
Для судна с парусным вооружением в массу внешнего оборудования дополнительно включают: мачты, гики, шпринт и различные реи, стоячий и бегучий такелаж, стандартные рабочие и штормовые паруса, стандартное снабжение.
3.2.26.2. Изделия, оборудование и иное, не включаемое в

:
незакрепленное внутреннее оборудование, например: столовые приборы, посуда, посуда камбуза, постельное и камбузное белье;
незакрепленное электронное и навигационное оборудование (например, штурманские карты и др.);
инструменты, запасные части;
дополнительные (запасные) паруса;
оборудование спасательное, в т.ч. персональное;
провизия и другие запасы, если они предусмотрены в документации судна;
трюмная вода;
сточные воды;
питьевая вода;
топливо- и смазочное масло;
личное оборудование;
спасательный плот;
судовая шлюпка;
экипаж и пассажиры;
перевозимый груз, если он предусмотрен в документации судна.
3.2.27. Масса судна при эксплуатационных испытаниях,

Масса судна при эксплуатационных испытаниях должна включать все постоянно установленное, стандартно предусмотренное оборудование и изделия. Кроме того, судно должно быть оснащено всеми нестационарно устанавливаемыми изделиями и оборудованием, необходимыми для безопасной эксплуатации судна, например:
тросами;
якорями/цепями/такелажем;
рабочими парусами;
двигателем (двигателями);
аккумуляторными батареями.
Кроме того, должны быть включены следующие массы:
количества людей, необходимого для безопасного испытания судна;
наполнения по крайней мере 25%, но не более 50% вместимости постоянно устанавливаемых топливных цистерн, или одного переносного резервуара для двигателя, который будет по крайней мере на 50% полон в начале каждого испытания судна;
оборудования для личной безопасности всех людей, находящихся на борту судна.
В массу судна при эксплуатационных испытаниях, если в них нет необходимости при проведении испытаний, не должны включаться следующие массы:
пресной воды;
сточных вод;
провизии и других запасов;
не закрепленного внутреннего оборудования, например: столовых приборов, посуды, посуды камбуза, запасных частей и т.д.
3.2.28. Масса судна при перевозке на трейлере,

3.2.28.1. Общие требования
Масса судна при перевозке на трейлере должна быть определена для судна, рекламируемого как судно, перевозимое на трейлере, чтобы позволить владельцу/пользователю идентифицировать массу дополнительного оборудования, которое разрешено транспортировать, не превышая возможности трейлера.
Масса должна включать изделия и оборудование, указанные в
3.2.28.2, а также изделия для закрепления судна на трейлере. Масса трейлера должна быть указана отдельно, даже в том случае, если постройку/продажу судна и трейлера осуществляет строитель/дилер.
Строитель/дилер должен составить перечень частей, компонентов и оборудования, которые включены в эту массу, как определено выше, и должен заявить полную (суммарную) массу, кг. Это может быть указано в Руководстве для владельца судна или в описании изделия.
Любые изделия и оборудование, обычно поставляемые для судна строителем/дилером, не предназначенные для размещения на судне или трейлере при транспортировке трейлером, должны быть указаны в списке отдельно.
3.2.28.2. Конструкции, оборудование, изделия и др., входящие в

:
1. Конструкции.
Конструкции, составленные из всех конструктивных деталей, включая балластный киль и/или опускной/выдвижной киль (шверт/шверцы) и руль (рули).
Если переменный балласт или части балластного киля не должны перевозиться на трейлере, эти части должны быть конкретно указаны и внесены в перечень невключаемого оборудования (см.
3.2.28.4);
2. Внутренние конструкции и оборудование.
Внутренние конструкции и оборудование включают: переборки и выгородки, изоляцию, настилы, встроенную мебель, плавучие материалы, окна, люки и двери, материалы обшивки;
3. Внутреннее оборудование, включая:
все оборудование, постоянно находящееся на судне в эксплуатации, например:
систему (системы) сточных и хозяйственно-бытовых вод, оборудование для хранения и перемещения воды, осушительную систему (системы), камбузные и нагревательные устройства, холодильное оборудование, систему (системы) вентиляции;
электрическую установку и оборудование, включая аккумуляторные батареи;
установленное навигационное и электронное оборудование;
противопожарное оборудование;
постельные принадлежности и элементы интерьера;
4. Внешнее оборудование.
Для всех судов в массу внешнего оборудования включают:
все постоянно установленные палубные дельные вещи, например: поручни, площадки и пульты, бушприты и их оснащение, платформы для купания, внешние трапы, рулевое устройство, лебедки, шлюпочный (катерный) тент (тенты), навесы, оснащение кокпита, решетки, сигнальные мачты;
якоря, якорные тросы и цепи;
незакрепленное внешнее оборудование, например: кранцы, тросы, фалини.
Для судна с парусным вооружением в массу внешнего оборудование дополнительно включают: мачты, гики, шпринт и различные реи, стоячий и бегучий такелаж, стандартные рабочие и штормовые паруса, стандартное снабжение;
5. Двигатель и топливная/масляная системы.
Двигатель и топливные/масляные системы, установленные стационарно.
Стационарно установленные двигатель и топливные/масляные системы представляют собой двигатель (двигатели), расположенный внутри судна, включая все снабжение и устройства управления, необходимые для работы, и постоянно установленные топливные/масляные системы, включая их цистерны.
Подвесные двигатели.
Масса судна должна быть указана с массой подвесного двигателя (двигателей), включая:
массу самого тяжелого двигателя (двигателей), рекомендованного к применению строителем судна, независимо от того, что упаковка машинного и относящегося к нему оборудования при отгрузке судна строителем может осуществляться отдельно;
массу любой стационарно установленной топливной/масляной системы;
массу устройств управления двигателем и рулем;
6. Цистерны и их содержимое:
содержимое постоянно установленных топливных/масляных цистерн;
переносные резервуары (емкости) и их содержимое;
содержимое цистерн пресной воды.
Масса жидкостей должна быть рассчитана и соответствовать полному объему цистерн (резервуаров), пригодных к эксплуатации при перевозке судна на трейлере.
3.2.28.3. Конструкции, оборудование, изделия и др., не входящие в

:
незакрепленное внутреннее оборудование (например: столовые приборы, посуда, посуда камбуза, постельное и камбузное белье);
незакрепленное электронное и навигационное оборудование (например, штурманские карты и др.);
инструменты, запасные части;
дополнительные (запасные) паруса;
оборудование спасательное, в т.ч. персональное;
провизия и другие запасы, если они предусмотрены в документации судна;
трюмная вода;
балластная вода;
сточные воды;
перевозимый груз, если он предусмотрен в документации судна.
3.2.28.4. Исключения и дополнения
Строитель/дилер может исключить изделия и оборудование, требуемые к внесению в перечень согласно
3.2.28.2, что в таком случае должно быть четко указано в списке исключений. Вышеуказанное неприменимо к конструктивным деталям судна или постоянно закрепленным изделиям и оборудованию, необходимым для безопасной эксплуатации судна.
При включении в

оборудования или изделий, указанных в
3.2.28.3, строитель должен внести соответствующие дополнения в перечень изделий, включенных в

.
3.2.29. Наибольшая нагрузка (дедвейт),

Термин "наибольшая нагрузка", согласно его определению в ИСО 14946, следует понимать как рекомендованная строителем наибольшая нагрузка, определенная исходя из принятых нормативов по размещению и массе грузов: людей, их личных вещей, запасов и других позиций, входящих в состав дедвейта (наибольшей нагрузки) судна.
Дедвейт судна не должен превышать полную нагрузку, которую можно добавить к массе судна порожним, не нарушая требований по остойчивости, надводному борту и условиям плавания, определенных в настоящих Правилах с учетом класса судна или в ИСО 12217 с учетом проектной категории судна.
Площадь для сидения - место на открытой части судна или в кокпите для сидения каждого человека с размерами не менее 500 мм x 750 мм.
Для судов проектной категории C и D площадь палубы около кокпита может использоваться для этой цели.
Сиденье - любая поверхность, горизонтальная или почти горизонтальная, где человек может сидеть, с минимальными размерами 400 мм x 750 мм. Рекомендуется принимать ширину сиденья 500 мм.
3.2.29.2. Максимальное количество людей
Максимальное количество людей, находящихся на судне в момент его эксплуатации, не должно превышать:
1. Количества людей, для которого судно удовлетворяет требованиям по надводному борту, остойчивости и району плавания в соответствии с требованиями настоящих Правил;
2. Количества людей, для которых площадь для сидения определена строителем с размерами, указанными в
3.2.29.1.
3.2.29.3. Состав дедвейта
Как минимум, в состав дедвейта должны входить следующие массы:
1. Количества людей в соответствии с требованием
3.2.29.2 массой по 75 кг на каждого человека. Когда проектом предусматривается наличие на судне детей, указанное выше максимальное число людей может быть превышено при условии, что масса каждого ребенка составляет не более 37,5 кг и максимально допустимая масса людей не превышена;
2. Основного оборудования судна, определяемого как

, но не менее 10 кг;
3. Запасов и груза, если он предусмотрен документацией судна, сухой провизии, жидких судовых запасов (расходных материалов, не указанных в 3.2.29.3.4 или 3.2.29.3.5) и различного оборудования, не включенного в массу судна порожним или в 3.2.29.3.2;
4. Жидких судовых запасов (пресной воды, топлива, масла) в переносных резервуарах, заполненных максимально;
5. Жидких судовых запасов (пресной воды, топлива, масла) в постоянно установленных резервуарах, заполненных максимально;
6. Спасательного плота или шлюпки, если они предусмотрены документацией судна.
3.2.29.4. Информация в Руководстве для владельца судна
3.2.29.4.1. Строитель должен четко указать в Руководстве для владельца судна максимально допускаемое количество людей в соответствии с
3.2.29.3.1. Если документацией судна предусматривается возможность замены взрослого пассажира детьми в соответствии с
3.2.29.3.1, то любые изменения расположения сидений, если они необходимы, должны быть также указаны в Руководстве для владельца судна.
3.2.29.4.2. Строитель должен четко указать в Руководстве для владельца судна наибольшую нагрузку, рекомендованную им в соответствии с
3.2.29.3. Перечисленное в
3.2.29.3.1,
3.2.29.3.5 и
3.2.29.3.6 должно быть указано с примечанием, что максимально рекомендованный дедвейт включает только эти изделия, с указанием их типовых характеристик.
3.3. ОСНОВНЫЕ ТРЕБОВАНИЯ К СОСТОЯНИЮ НАГРУЗКИ СУДНА
3.3.1. Нагрузка судна при испытаниях
Для определения маневренных и максимальных скоростных характеристик судна масса судна должна соответствовать указанному в
3.2.27.
3.3.2. Нагрузка судна в готовом к эксплуатации состоянии
Судно находится в готовом к эксплуатации состоянии, когда:
полностью заполнены топливные/масляные цистерны;
полностью заполнены цистерны пресной воды;
вода в резервуарах для наживки и в живорыбных садках - в предназначенных пределах.
Массы жидкостей должны быть измерены или рассчитаны для полного объема цистерны, предназначенного к использованию.
Массы подвесных двигателей и аккумуляторных батарей должны соответствовать самой высокой номинальной мощности, на которую спроектировано судно.
3.3.3. Нагрузка судна в полностью готовом к эксплуатации состоянии
Судно оборудовано и загружено согласно
3.3.2 и дополнительно включает:
массу людей (75 кг на каждого человека), предусмотренную проектом судна при их нормальном размещении в кокпите;
массу персонального и основного оборудования судна, определяемую как

, но не менее 10 кг;
массу спасательного плота и/или шлюпки, если это предусмотрено в документации судна.
Проектант/строитель должен указать массу и соответствующую для данного состояния нагрузки судна осадку.
3.4. ДОПУСКАЕМЫЕ ОТКЛОНЕНИЯ ОСНОВНЫХ ДАННЫХ О СУДНЕ
3.4.1. Опубликованные данные
Данные считаются опубликованными, если они указаны в Руководстве для владельца судна или если они используются как спецификация в брошюрах или другом печатном материале, используемом при продаже судна.
Опубликованные данные должны быть в пределах следующих допусков:
Опубликованные данные | |
Линейные измерения, судно с жестким корпусом | +/- 1 |
Площади парусности | +/- 5 |
Водоизмещение | +/- 10 |
Объемы | +/- 5 |
Массы | +/- 5 |
| +/- 5 |
<1> Некоторые данные включают предельные отклонения, например максимальную длину или максимальную массу для перевозки на трейлере. В этих случаях допуск в сторону увеличения не применяется. |
<2> Скорость судна при эксплуатационных испытаниях согласно 3.2.27, если никакая другая масса или состояние нагрузки не определены. |
3.4.2. Предварительная спецификация
Предварительная спецификация измерений, водоизмещения и масс должна быть идентифицирована соответствующим термином типа "предварительная", "приблизительная", "оценочная", "изменяемая" и т.д. Если это применяется, отклонения не должны превышать +/- 3% по измерениям и +/- 15% - по массам, водоизмещению и объемам.
3.5. РУКОВОДСТВО ДЛЯ ВЛАДЕЛЬЦА СУДНА
3.5.1. Все прогулочные суда должны быть снабжены Руководством для владельца судна, содержащим информацию, необходимую для безопасной эксплуатации судна, оборудования, устройств, систем и защиты окружающей среды.
Информация не должна включать сведения по техническому обслуживанию, кроме обычных регулярных проверок, предназначенных для выполнения действий по управлению судном. Руководство может содержать чек-лист, определяющий порядок действий, которые необходимо выполнить перед эксплуатацией судна.
Руководство должно быть выполнено в бумажном виде, на языке, приемлемом или необходимом в стране предполагаемой эксплуатации. Руководство может быть многоязычным.
Если в Руководстве содержится более четырех страниц, оно должно иметь оглавление с указанием номеров страниц. Информация может быть представлена в виде текста, символов и пиктограмм.
Руководство для владельца судна может быть также в электронном виде при выполнении следующих условий:
обеспечена защита данных от редактирования;
Руководство установлено в предназначенный для этого компьютер, подключенный к основному и аварийному источникам питания, который всегда доступен для использования при эксплуатации судна;
яркость изображения данных на мониторе компьютера не должна мешать несению вахты в темное время суток;
Руководство дополнительно хранится на средстве резервирования.
Следующие данные, если необходимо, должны быть отражены в Руководстве для владельца судна, требования к которому определены в стандарте ИСО 10240:2004:
габаритные размеры судна;
размерения корпуса;
осадка (осадки);
надводный габарит;
объемы резервуаров (цистерн), включая полезные объемы и мертвый запас;
проектная площадь парусности;
масса при эксплуатационных испытаниях (только моторные суда);
масса судна для перевозки на трейлере (если применимо);
масса судна порожнем;
нагрузка судна в полностью готовом к эксплуатации состоянии;
наибольшая нагрузка (дедвейт).
Другие необходимые сведения приведены также в других частях настоящих Правил.
3.6.1. Общие положения
Настоящие требования распространяются на малые прогулочные суда, построенные в странах ЕС, а также на суда, построенные в других странах, но предназначенные для эксплуатации в странах ЕС. Поскольку малые прогулочные суда строятся во всем мире, разработан стандарт ISO 14945, определяющий требования к Табличке строителя для судостроителей в странах ЕС и за его пределами. Данные требования упрощают продвижение на рынке в странах ЕС малых прогулочных судов без дополнительных требований относительно маркировки.
3.6.2. Определения и пояснения
В настоящей главе приняты следующие определения и пояснения.
Проектная категория - состояние моря и ветра, при которых возможна безопасная эксплуатация судна.
По условиям плавания применяются следующие проектные категории:
A: Океанская - судно спроектировано для совершения не ограниченных по дальности рейсов при силе ветра более 8 баллов (по шкале Бофорта) и характерной высоте волны более 4 м, но исключая ненормальные условия, и предназначено преимущественно для автономного плавания.
B: Морская с допустимым удалением от берега - судно спроектировано для совершения дальних рейсов при силе ветра до 8 баллов включительно и характерной высоте волны до 4 м включительно.
C: Прибрежная - судно спроектировано для плавания в прибрежных водах, больших заливах, устьях, озерах и реках при силе ветра до 6 баллов включительно и характерной высоте волны до 2 м включительно.
D: Защищенные воды - судно спроектировано для плавания в защищенных прибрежных водах, маленьких заливах, маленьких озерах, реках и каналах, при силе ветра до 4 баллов включительно, характерной высоте волны до 0,3 м и со случайными волнами максимальной высотой до 0,5 м, например, от проходящих судов.
Табличка строителя - этикетка или табличка для отображения основной информации для пользователя, связанной с особенностями эксплуатации малого прогулочного судна, на котором она установлена.
Символ "человек" - обозначает человека массой 75 кг.
Символ "чемодан" - обозначает массу груза, который можно переносить во время движения судна, (личного оборудования, личных спасательных средств, запасных частей, инструментов, сухой провизии, рыболовной снасти, портативных резервуаров и т.д.).
Символ подвесного двигателя - обозначает общую максимальную массу рекомендованного подвесного двигателя (двигателей).
Примечание: масса груза должна быть указана в килограммах.
3.6.3. Общие требования
3.6.3.1. Все прогулочные суда должны быть снабжены Табличкой строителя, содержащей информацию строителя.
3.6.3.2. Материал и установка
Табличка строителя должна быть изготовлена в виде твердой пластины или гибкой этикетки и прикреплена к судну способом, исключающим возможность ее удаления без применения инструмента. Альтернативно, для нанесения информации строителя может использоваться корпус судна.
3.6.3.3. Маркировка
Знаки и другая маркировка на Табличке строителя могут быть нанесены резцом, способом выжигания, травления, гравировки, рельефным способом, с помощью трафарета или напечатаны, защищены постоянным пластиковым покрытием или другим подходящим способом. В качестве альтернативы информация может быть напечатана или выгравирована непосредственно на корпусе судна. Знаки должны быть четкими, контрастными, хорошо различимыми на основном фоне.
Краски, используемые для нанесения знаков на табличку, должны быть устойчивыми к выцветанию.
3.6.3.4. Размер знаков
Обязательная информация должна быть нанесена знаками высотой не менее 5 мм.
Дополнительная информация должна быть нанесена знаками высотой не менее 3 мм.
3.6.3.5. Размер пиктограмм и символов
Пиктограммы и символы должны быть высотой не менее 8 мм.
3.6.3.6. Расположение
Табличка строителя должна быть расположена на хорошо видимом легкодоступном месте, предпочтительно в кокпите или около главного поста управления рулем. В любом случае Табличка строителя должна быть отделена от идентификационного номера корпуса судна.
3.6.4. Информация на Табличке строителя
3.6.4.1. На Табличку строителя должно быть нанесено следующее:
1. Информация о строителе;
2. Проектная категория судна;
3. Рекомендованная строителем максимальная нагрузка, исключая массу топлива и воды при заполненных цистернах, обозначается с помощью символов "человек" и "чемодан";
4. Масса двигателя/двигателей (для судна, оборудованного подвесным двигателем/двигателями) обозначается с помощью символа подвесного двигателя;
5. Максимальное число людей, на которое рассчитано судно, обозначается с помощью символа "человек".
3.6.4.2. Если строитель применяет один и тот же тип корпуса для судов разных проектных категорий, информация на Табличке строителя должна позволять четко идентифицировать максимальное число людей и максимальную нагрузку для конкретной проектной категории.
3.6.4.3. Табличка строителя может содержать дополнительную информацию. Нанесение дополнительной информации не должно осуществляться в ущерб обязательной информации, предпочтительно отделять ее от обязательной информации с помощью линии или иным способом.
4. ПРОЕКТНАЯ КАТЕГОРИЯ СУДНА И ГИДРОМЕТЕОРОЛОГИЯ
4.1.1. Прогулочные суда, в зависимости от проектной категории судна и потребностей владельца, предположительно могут эксплуатироваться как на акваториях морской среды, так и на внутренних водных акваториях.
4.1.2. Проектная категория прогулочного судна, определенная в
4.2, консолидирована с имеющейся классификацией различных акваторий, установленной следующими нормативными документами:
1. Директивой 94/25/ЕС;
2. Правилами классификации и постройки морских судов Регистра;
3. Резолюцией ЕЭК ООН N 61;
4. Директивой 98/18/ЕС касательно правил и норм безопасности для пассажирских судов каботажного плавания.
4.1.3. Для эксплуатации прогулочного судна на акваториях океанов, морей, классифицированных внутренних водных путей, а также на акваториях и водоемах, не относящихся к классифицированным внутренним водным путям (см.
разд. 5), установлены соответствующие проектные категории судна: A, B, C и D с учетом следующих положений:
1. Проектная категория прогулочного судна определяется условиями плавания по ветру и волнению, включая волнение от судоходства для судов проектной категории D, с ограничением максимально разрешенного удаления от берега или места убежища;
2. Взаимосвязь между ветром и волнением с привязкой к удаленности от береговой линии принята:
для океанических и морских акваторий - на основании основных характеристик полностью развитого волнения по спектру Пирсона-Московица, приведенных в табл. 4.1.3.2-1;
для внутренних водных путей - на основании их классификации по зонам судоходства 1, 2 и 3 в соответствии с Резолюцией ЕЭК ООН N 61, а также взаимосвязью характеристик, отображенной на
рис. 4.1.3.2-2.
Таблица 4.1.3.2-1
Основные характеристики полностью развитого океанического
и морского волнения (по Пирсону-Московицу)
Сила ветра по шкале Бофорта на высоте 6,0 м | Балл волнения по 9-балльной шкале Бофорта | Высота волны, м | Период волны, с | Длина волны, м | Длина разгона волны, мили | Время разгона волны, ч |
Балл и название ветра | Скорость ветра, м/с |
пределы | замеры | | |
1 | 2 | 3 | 4 | 5 | 6 | 7 | 8 | 9 | 10 |
1 тихий | 0,6 - 1,7 | 1,0 | 0 | < 0,05 | < 0,10 | 0,3 - 1,9 | 0,3 | 5 | 0,3 |
2 легкий | 1,8 - 3,3 | 2,6 | 1 | 0,15 | 0,20 | 0,4 - 2,8 | 2,0 | 8 | 0,6 |
3 слабый | 3,4 - 5,2 | 4,4 | 2 | 0,40 | 0,52 | 0,8 - 5,0 | 6,1 | 9,8 | 1,7 |
5,1 | 0,55 | 0,72 | 1,0 - 6,0 | 8,2 | 10 | 2,4 |
4 умеренный | 5,3 - 7,4 | 6,2 | 3 | 0,79 | 1,0 | 1,0 - 7,0 | 12 | 18 | 3,8 |
7,0 | 3 | 1,0 | 1,3 | 1,4 - 7,6 | 16 | 24 | 4,8 |
5 свежий | 7,5 - 9,8 | 8,2 | 4 | 1,4 | 1,9 | 2,0 - 8,8 | 22 | 40 | 6,6 |
9,3 | 4 - 5 | 1,8 | 2,4 | 2,5 - 10,0 | 27 | 55 | 8,3 |
9,8 | 4 - 5 | 2,0 | 2,6 | 2,8 - 10,6 | 30 | 65 | 9,2 |
6 сильный | 9,9 - 12,4 | 10,3 | 5 | 2,2 | 2,9 | 3,0 - 11,1 | 35 | 75 | 10 |
11,3 | 5 | 2,7 | 3,5 | 3,4 - 12,2 | 40 | 100 | 12 |
7 крепкий | 12,5 - 15,2 | 12,6 | 5 - 6 | 3,3 | 4,4 | 3,8 - 13,6 | 50 | 140 | 15 |
13,4 | 6 | 3,7 | 4,9 | 4,0 - 14,5 | 55 | 180 | 17 |
14,4 | 6 | 4,4 | 5,7 | 4,5 - 15,5 | 65 | 230 | 20 |
8 очень крепкий | 15,3 - 18,2 | 15,7 | 6 - 7 | 5,1 | 6,8 | 4,8 - 17,0 | 80 | 290 | 24 |
16,4 | 6 - 7 | 5,7 | 7,5 | 5,0 - 17,5 | 85 | 340 | 27 |
17,5 | 7 | 6,4 | 8,5 | 5,5 - 18,5 | 100 | 420 | 30 |
9 шторм | 18,3 - 21,5 | 19,0 | 7 - 8 | 7,6 | 10,0 | 6,0 - 20,5 | 115 | 530 | 37 |
20,6 | 8 | 8,9 | 11,7 | 6,5 - 21,7 | 135 | 710 | 42 |

Рис. 4.1.3.2-2. Основные характеристики развития ветровых
волн 1-процентной обеспеченности на мелководных акваториях
внутренних водных путей
4.1.4. Для всех проектных категорий A и B, указанных в
4.2.1, характеристики ветра и волнения приняты согласно Правилам классификации и постройки морских судов Регистра и с учетом нормативов Директивы 94/25/ЕС.
4.1.5. Для всех проектных категорий C, указанных в
4.2.2, характеристики волнения приняты согласно Резолюции ЕЭК ООН N 61 с учетом нормативного ветра по Директиве 94/25/ЕС.
Для всех проектных категорий C характеристики волнения приняты при воздействии нормативного ветра со стороны берега на открытую акваторию либо при воздействии ветра на акваторию, защищенную близкорасположенными берегами.
При этом рассматриваются акватории, расцениваемые как глубоководные по отношению к высоте волн, на которых не наблюдается образование разрушающих и встречных (толчея) волн.
4.1.6. Для проектной категории D, указанной в
4.2.3, характеристика волнения оценивается, как это принято Директивой 2003/44/ЕС Европейского Парламента и Совета от 16 июня 2003 г.
4.2.1. Океанические и морские
Проектная категория A - океаническое плавание без ограничений (типичны высоты волн 3-процентной обеспеченности 10,0 м и ветер 10 баллов).
Проектная категория A1 - плавание в морских районах на волнении с высотой волны 3-процентной обеспеченности 8,5 м и при ветре более 8 баллов, с удалением от места убежища не более 200 миль и допустимым расстоянием между местами убежища не более 400 миль.
Проектная категория A2 - плавание в морских районах на волнении с высотой волны 3-процентной обеспеченности 7,0 м и при ветре более 8 баллов, с удалением от места убежища не более 100 миль и допустимым расстоянием между местами убежища не более 200 миль.
Проектная категория B - плавание в морских районах на волнении с высотой волны 3-процентной обеспеченности 5,5 м и при ветре не более 8 баллов, с удалением от места убежища не более 50 миль и допустимым расстоянием между местами убежища не более 100 миль.
Проектная категория C - прибрежное плавание при благоприятных погодных условиях на волнении с высотой волны 3-процентной обеспеченности 3,0 м и при ветре не более 6 баллов, с удалением от места убежища не более 20 миль в пределах морского побережья, где судну может быть оказана экстренная помощь, или без ограничений на внутренних водных путях в
Зонах 1,
2 и
3.
Проектная категория C1 - прибрежное плавание при благоприятных погодных условиях на волнении с высотой волны 3-процентной обеспеченности 2,0 м и при ветре не более 6 баллов, с 5-мильным удалением от береговой линии и 15-мильным удалением от места убежища, в пределах морского побережья, где судну может быть оказана экстренная помощь, или без ограничений на внутренних водных путях в
Зонах 1,
2 и
3.
Проектная категория C2 - прибрежное плавание при благоприятных погодных условиях на волнении с высотой волны 5-процентной обеспеченности 1,2 м и при ветре не более 6 баллов, с 3-мильным удалением от береговой линии и 6-мильным удалением от места убежища, в пределах внутренних водных путей
Зоны 1 или морского побережья, где судну может быть оказана экстренная помощь, или без ограничений на внутренних водных путях в
Зонах 2 и
3.
Проектная категория C3 - прибрежное плавание при благоприятных погодных условиях на волнении с высотой волны 5-процентной обеспеченности 0,6 м и при ветре не более 6 баллов, с удалением от береговой линии до 1 км для моторных, парусных и буксируемых судов в пределах внутренних водных путей
Зоны 1 и
2 или морского побережья, где судну может быть оказана экстренная помощь, или без ограничений на внутренних водных путях в
Зоне 3.
Проектная категория D - защищенное плавание при благоприятных погодных условиях на волнении с высотой волны 5-процентной обеспеченности 0,3 м и при ветре не более 4 баллов, с удалением от береговой линии до 200 м в пределах внутренних водных путей
Зоны 1,
2 и
3 или морского побережья, где судну может быть оказана экстренная помощь, или без ограничений по неклассифицированным внутренним водным путям.
4.3.1. Общие положения
Принципы гидрометеорологии для малых прогулочных судов основаны на следующих положениях:
1. Давление ветра для прогулочных судов будет определяться с учетом высоты положения центра парусности над ватерлинией судна, находящегося на вершине волны, применительно к проектной категории судна;
2. Суда будут эксплуатироваться при волнении с отношением высоты волны h к ее длине

менее 1/8 и не будут эксплуатироваться на водных акваториях, где присутствуют толчея, устьевые волны или опрокидывание волн на мелководье;
3. Назначенные для проектных категорий судов B, C, C1, C2 и D ограничения, указанные в
4.2 и основанные на применимых нормах действующих правил различных классификационных обществ и данных
табл. 4.1.3.2-1 или
рис. 4.1.3.2-2, обеспечивают их своевременное и безопасное следование к месту убежища или берегу.
4.3.2. Определения и пояснения
Скорость ветра выражается числом метров, которое проходит воздушная масса в одну секунду.
Шквал - внезапное и сильное появление ветра или резкое временное изменение его направления, либо резкое увеличение его скорости.
Волны на водной поверхности по происхождению (силам, вызывающим волнение) подразделяются на следующие типы:
ветровые - образующиеся под действием ветра. Ветровые волны несимметричны, наветренный склон их пологий, подветренный - крутой;
толчея - хаотическое нагромождение волн, образующихся при встрече прямых волн с отраженными;
устьевые - возникающие в устьях рек при их впадении в моря, озера и реки в районах отмели (бара);
и измеряются следующими характеристиками:
длина волны,

- расстояние по горизонтали между соседними гребнями или подошвами волн, м;
высота волны, (h) - расстояние по вертикали от подошвы до вершины волны, м;
скорость волны,

- расстояние, которое проходит в единицу времени гребень или подошва волны в направлении ее движения;
период волны,

- промежуток времени, за который последовательно проходят через одну и ту же точку два соседних гребня волн, с;
крутизна волны,

- угол склона волны. Крутизну волн также характеризует отношение высоты волны h к ее длине

, которое зависит от глубины водной акватории и обычно составляет менее 1/15 на морях и океанах и менее 1/10 на водохранилищах и озерах, при максимальном значении 1/8;
фронт волны - линия, перпендикулярная направлению движения волны.
4.3.3. Оценка волнения
Степень волнения оценивают по 9-балльной шкале, см. табл. 4.3.3.
Таблица 4.3.3
Шкала волнений (шкала Бофорта)
Высота волн (пределы), м | Балл волнения | Характеристика волнения | Признаки для определения состояния водной поверхности |
0 | 0 | Отсутствует | Зеркально-гладкая поверхность |
До 0,25 | I | Слабое | Рябь, появляются небольшие гребни волн |
0,25 - 0,75 | II | Умеренное | Небольшие гребни волн начинают опрокидываться, но пена не белая, а "стекловидная" |
0,75 - 1,25 | III | Значительное | Небольшие волны, гребни некоторых из них опрокидываются, образуя местами белую клубящуюся пену - "барашки" |
1,25 - 2,0 | IV | Волны принимают хорошо выраженную форму, повсюду образуются "барашки" |
2,0 - 3,5 | V | Сильное | Появляются высокие гребни, их пенящиеся вершины занимают большие площади, ветер начинает срывать пену с гребней волн |
3,5 - 6,0 | VI | Гребни очерчивают длинные валы ветровых волн; пена, срываемая с гребней ветром, начинает вытягиваться полосами по склонам волн |
6,0 - 8,5 | VII | Очень сильное | Длинные полосы пены, срываемой ветром, покрывают склоны волн, местами сливаясь, достигают их подошв |
8,5 - 11,0 | VIII | Пена широкими плотными сливающимися полосами покрывает склоны волн, отчего поверхность становится белой, только местами во впадинах волн видны свободные от пены участки |
11,0 и более | IX | Исключительное | Поверхность моря покрыта плотным слоем пены, воздух наполнен водяной пылью и брызгами, видимость значительно уменьшена |
4.3.4. Оценка силы ветра и ветровая нагрузка
Скорость ветра оценивают по 12-балльной шкале на высоте 10,0 м над уровнем водной поверхности, в соответствии с единой шкалой по оценке скорости ветра, которая установлена с 1 августа 1975 г. директивой Главного Управления Гидрометеослужбы при Совете Министров СССР (ГУГМС), см. табл. 4.3.4.
Таблица 4.3.4
Скорость ветра по шкале ГУГМС
Ветер | Скорость ветра (средняя) м/с | Состояние водной поверхности |
баллы | термин |
0 | Штиль | 0 - 0,2 | Зеркально-гладкая |
(0) |
1 | Тихий | 0,3 - 1,5 | Рябь |
(1,0) |
2 | Легкий | 1,6 - 3,3 | Легкое волнение на воде |
(3,0) |
3 | Слабый | 3,4 - 5,4 | Небольшие гребни волн начинают опрокидываться, образуя стекловидную пену |
(5,0) |
4 | Умеренный | 5,5 - 7,9 | Небольшие волны; гребни некоторых из них опрокидываются, образуя местами белую клубящуюся пену - "барашки" |
(7,0) |
5 | Свежий | 8,0 - 10,0 | Хорошо развитые в длину, но не очень крупные волны, повсюду образуются "барашки" |
(9,0) |
6 | Сильный | 10,1 - 13,8 | Начинают образовываться крупные волны. Белые пенистые гребни занимают значительные площади (вероятны брызги). Ветер начинает срывать пену с гребней волн |
(12,0) |
7 | Крепкий | 13,9 - 17,1 | Волны громоздятся, пена, срываемая ветром с гребней волн, ложится полосами по ветру |
(15,0) |
8 | Очень крепкий | 17,2 - 20,7 | Умеренно высокие длинные волны. Длинные полосы пены, срываемой ветром, покрывают склоны волн, местами сливаясь, достигают их подошв |
(19,0) |
9 | Шторм | 20,8 - 24,4 | Высокие волны. Гребни волн опрокидываются и рассыпаются в брызги, ухудшая видимость. Пена широкими плотными полосами покрывает склоны волн, отчего поверхность становится белой и только местами во впадинах волн видны свободные от пены участки |
(23,0) |
10 | Сильный шторм | 24,5 - 28,5 | Очень высокие волны с загибающимися вниз гребнями. Поверхность моря покрыта слоем пены, воздух наполнен водяной пылью и брызгами, видимость значительно уменьшается |
(27,0) |
11 | Жестокий шторм | 28,6 - 32,0 | Исключительно высокие волны. Поверхность моря покрыта плотным слоем пены. Горизонтальная видимость минимальна |
(31,0) |
12 | Ураган | Свыше 32,0 |
Расчетное давление ветра определяют как сумму статической (средней) и динамической (пульсационной) составляющих.
Расчетное давление ветра определяют применительно к высоте центра парусности судна с учетом высоты ветровых волн, которые определены настоящими Правилами для района плавания судна, соответствующего назначаемому классу Регистра, как это требуется в
части IV "Остойчивость, запас плавучести и надводный борт".
4.3.4.1. Определение статической составляющей давления ветра
Статическую составляющую ветровой нагрузки

, определяют по формуле
где

- скорость ветра на уровне 10 м над водной поверхностью, принимаемая как среднее значение диапазона скорости ветра, указанного в
табл. 4.3.4;
k - коэффициент, учитывающий изменение ветрового давления по высоте и принимаемый равным:
0,75 - для высот 5,0 м и менее;
1,0 - для высот 10,0 м и более.
Промежуточные значения определяются линейной интерполяцией.
4.3.4.2. Определение динамической составляющей давления ветра.
Динамическую составляющую ветровой нагрузки

, определяют по формуле
где

- коэффициент пульсаций ветрового давления, принимаемый равным:
0,85 - для высот 5,0 м и менее;
0,76 - для высоты 10,0 м;
0,69 - для высоты 20,0 м.
Промежуточные значения определяются линейной интерполяцией.

- коэффициент корреляции пульсаций ветрового давления, принимаемый в соответствии с данными табл. 4.3.4.2.
Таблица 4.3.4.2
Коэффициент корреляции пульсаций ветрового давления
Размер объекта перпендикулярно направлению ветра, м | Высота центра парусности судна над ватерлинией, м |
2,5 | 5,0 | 10 |
0,1 | 0,95 | 0,92 | 0,88 |
5,0 | 0,89 | 0,87 | 0,84 |
10 | 0,85 | 0,84 | 0,81 |
20 | 0,80 | 0,78 | 0,76 |
40 | 0,72 | 0,72 | 0,70 |
Примечание. Промежуточные значения определяются линейной интерполяцией. |
5. КАТЕГОРИИ ВНУТРЕННИХ ВОДНЫХ ПУТЕЙ
5.1. Классификация Европейских внутренних водных путей по зонам судоходства соответствует принятой Резолюции ЕЭК ООН N 61, включающей следующие положения:
1. Зона судоходства определяется максимальной значительной высотой волнения, соответствующей волне 5-процентной обеспеченности:
Зона 1 - волны высотой до 2,0 м;
Зона 2 - волны высотой до 1,2 м;
Зона 3 - волны высотой до 0,6 м;
2. Значительная высота волнения представляет собой среднее арифметическое от наибольших высот волн, измеренных между подошвой и вершиной волны, число которых составляет 10% от общего числа волн при непродолжительном наблюдении.
5.2. Перечень Европейских внутренних водных путей, географически разделенных на
Зоны 1,
2 и
3, указан в Приложении.
Реки, озера и водохранилища, расположенные на территории Европы и не указанные в Приложении, относятся к неклассифицированным водным путям с характеристиками защищенной акватории.
ПЕРЕЧЕНЬ ЕВРОПЕЙСКИХ ВНУТРЕННИХ ВОДНЫХ ПУТЕЙ, ГЕОГРАФИЧЕСКИ
РАЗДЕЛЕННЫХ НА ЗОНЫ 1, 2 И 3
ГЕРМАНИЯ
Эмс: от линии, соединяющей купол церкви в Делфзейле и маяк в Кнокке, в сторону открытого моря до 53°30' северной широты и 6°45' восточной долготы, т.е. в сторону к морю от места разгрузки сухогрузных судов на Старом Эмсе
<1>.
ПОЛЬША
Поморская бухта: к югу от линии, соединяющей мыс Норд-Перд на острове Рюген и маяк в Нехоже.
Гданьский залив: к югу от линии, проходящей через маяк в Хеле и маяк в Крынице.
РОССИЙСКАЯ ФЕДЕРАЦИЯ
Выгозеро.
Волгоградское водохранилище: от Увекского моста до плотины Волгоградской ГЭС.
Волго-Каспийский канал: от 217 буя (146,0 км) до Астраханского приемного маяка.
Воткинское водохранилище: от пристани Частые до плотины Воткинской ГЭС.
Дон: от города Азова до порта Таганрог.
Камское водохранилище: от города Березники до плотины Камской ГЭС.
Куйбышевское водохранилище: по реке Волга от поселка Камское Устье до плотины Куйбышевской ГЭС; по реке Каме от Чистополя до поселка Камское Устье.
Мезень: от устья реки Большая Чеца до Мезенского приемного буя.
Нижне-Камское водохранилище: от пункта Усть-Бельск (1766 км) до плотины Нижне-Камской ГЭС;
Печора: от острова Алексеевский до линии мыс Болванский Нос - северная оконечность острова Ловецкий.
Рыбинское водохранилище: за исключением северной части, от города Череповец до деревни Вичелово.
Северная Двина: по Маймаксанскому рукаву от поселка Лапоминка до южной оконечности острова Мудьюгский; по Мурманскому рукаву до острова Кумбыш.
Цимлянское водохранилище: от Пятиизбянских рейдов до плотины Цимлянской ГЭС.
УКРАИНА
Днепровско-Бугский лиман: до порта Очаков.
Южный Буг: ниже Николаевского морского порта.
Каховское водохранилище: от плотины Каховской ГЭС до пристани Беленькая (180 км).
Кременчугское водохранилище: от плотины Кременчугской ГЭС до села Топиловка (70 км).
ГЕРМАНИЯ
Эмс: от линии, пересекающей реку Эмс рядом с входом в гавань Папенбург между насосной станцией Дымер и началом дамбы в Хальте, до линии, соединяющей купол церкви в Делфзейле и маяк в Кнокке
<1>.
--------------------------------
<1> Относится к судам, зарегистрированным в другой стране в соответствии с положениями статьи 32 договора о районе Эмс-Долларт от 8 апреля 1960 г. (Federal Law Gazette 1963, II, page 602).
Яде: внутрь от линии, связывающей верхний маяк в Шиллингхерне и купол церкви в Лангвардене.
Везер: от железнодорожного моста в Бремене до линии, соединяющей купола церквей в Лангвардене и Каппеле с боковыми рукавами: Вестергате, Рекумдер-Лох, Рехтер Небенарм и Швайбург.
Эльба: от нижней границы порта Гамбург до линии, соединяющей береговой знак Дезе и северо-западную точку верхнего русла реки (Диксанд) с рукавом Эльбы и следующими притоками: Эсте, Люэ, Швинге, Осте, Пиннау, Крюккау и Штер (в каждом случае от плотины до устья).
Бухта Мельдорфер-Хафен: внутрь от линии, соединяющей северо-западную точку верхнего русла реки (Диксанд) и западную оконечность пирса в Бюзуме.
Айдер: от канала Гизелау до плотины на Лидере.
Фленсбургский залив: внутрь от линии, соединяющей маяк Кекенис и Биркнак.
Шлей: внутрь от линии, соединяющей оконечности пирса Шлеймюнде.
Эккернфердер-Бухт: внутрь от линии, соединяющей Бокнис-Экк к северо-западной точке побережья поблизости от Дениш-Нинхоф.
Кильская бухта: внутрь от линии, проходящей через маяк Бюльк до морского мемориала Лабе.
Северо-Балтийский канал (Кильский канал): от линии, соединяющей оконечности пирса в Брунсбюттеле до линии, соединяющей маяки у входа в Киль-Хольтенау, включая Оберейдерзее с Энге, Аудорфер-Зее, Бергштедтер-Зее, Шимауер-Зее, Флемхудер-Зее и Ахтерверер Шиффартсканал.
Траве: от железнодорожного моста и моста Холштен (Штадттраве) в Любеке до линии, соединяющей обе внешние оконечности пирса в Травемюнде, включая Петенитцер Вик и Дассовер-Зее.
Леда: от входа во внешнюю гавань морского шлюза в Лере до устья.
Хунте: от гавани Ольденбурга и от отметки, находящейся в 140 м вниз по течению от Амалиенбрюкке в Ольденбурге, до устья.
Лезум: от городского железнодорожного моста в Бремене до устья.
Эсте: от шлюза в Букстехуде вниз по течению до плотины на Эсте.
Люэ: от промышленного предприятия, расположенного в 250 м вверх по течению от автодорожного моста на магистрали Маршдамм-Хорнебург, до плотины на Люэ.
Швинге: от пешеходного моста, расположенного вниз по течению от бастиона Гюльденштерн в Штаде до плотины на Швинге.
Порт Фрайбург: от шлюза Фрайбурга на Эльбе до устья.
Осте: от дамбы промышленного предприятия, расположенного в Бремерферде, до плотины на Осте.
Пиннау: от железнодорожного моста в Пиннеберге до плотины на Пиннау.
Крюккау: от водяной мельницы в Эльмсхорне до плотины на Крюккау.
Штер: от водомерного поста в Рензинге до плотины на Штере.
Висмарская бухта, Кирхзее, Брейтлинга, Зальцхаффе и Висмара:
акватория, ограниченная со стороны моря линией, соединяющей Хохен-Вишендорф-Хук и маяк Тиммендорф, а также маяк Голлвитц на острове Пель и южную точку полуострова Вустров.
Унтерварнов и Брейтлинг: акватория, ограниченная со стороны моря линией, соединяющей крайние северные точки западного, центрального и восточного пирсов в Варнемюнде.
Водная поверхность между материком и полуостровами Дарсс и Цингст, а также островами Хиддензе и Рюген (включая портовую зону Штральзунда): акватория, ограниченная со стороны моря, между: полуостровом Цингст и островом Бокк линией, проходящей по параллели 54°27' северной широты;
островами Бокк и Хиддензе линией, соединяющей северную точку острова Бокк и южную точку острова Хиддензе;
островом Хиддензе и островом Рюген (Буг) линией, соединяющей юго-восточную точку Нойбессин с Бугер-Хакеном.
Грайфсвальдер-Бодден и портовая зона Грайфсвальда, включая реку Рикк: акватория, ограниченная со стороны моря линией, соединяющей восточную точку Тиссовер-Хакен (Зюдперд) с восточной точкой острова Руден и дальше с северной точкой острова Узедом (54°10'37" северной широты, 13°47'51" восточной долготы).
Водная поверхность между материком и островом Узедом (Пенештром, включая портовую зону Вольгаста, Ахтервассер, Щецинский залив): акватория, обозначенная с востока границей Федеративной Республики Германии и Польской Республики, проходящей через Щецинский залив.
НИДЕРЛАНДЫ
Долларт.
Эмс.
Ваддензее: включая соединения с Северным морем.
Эйссельмер: включая Маркермер и Эймер, но исключая Гаувзе.
Водные пути Роттердама и Шер.
Холландс-Дип.
Харрингвлит и Вуил Гат: включая водные пути между Гуре-Оверфлакке, с одной стороны, и Ворне-Путтен и Хуксе Вард - с другой.
Хеллегат.
Волкерак.
Краммер.
Гревелингенмер и Брауверсхафенсе-Гат: включая все водные пути между Схувен-Дейвеландом и Гуре-Оверфлакке.
Кетен. Мастгат. Зейпе. Восточная Шельда и Ромпот: включая водные пути между Валхереном, Норд-Бевеландом и Зейд-Бевеландом, с одной стороны, и Схувен-Дейвеландом и Толеном - с другой, исключая канал Шельда-Рейн.
Шельда и Западная Шельда и ее дельта: включая водные пути между Зеландией-Фландрией, с одной стороны, и между Валхереном и Зейд-Бевеландом - с другой, исключая канал Шельда-Рейн.
Бредил.
Берский канал и близлежащие порты.
Каландский канал: к западу от порта Бенелюкс.
Краббенкрек.
ПОЛЬША
Одер: от Щецина до Свиноуйсце, включая Щецинский залив (от границы с Германией) и Каменьскую бухту.
Вислинский залив: до польско-российской границы.
Мазурское поозерье: в том числе озера Снярдвы, Негоции и Мамры.
РЕСПУБЛИКА МОЛДОВА
Дубоссарское водохранилище.
Костештское водохранилище.
РОССИЙСКАЯ ФЕДЕРАЦИЯ
Белая: от Ямалинского Яра (1786 км) до устья.
Беломорский входной канал: до приемного буя.
Веселовское водохранилище.
Вислинский и Калининградский заливы, включая Калининградский морской порт и канал до линии, соединяющей головы северного и южного молов порта Балтийск.
Волга: от города Тверь до поселка Коприно (включая Иваньковское и Угличское водохранилища); от плотины Рыбинской ГЭС до устья реки Елнать; от плотины Горьковской ГЭС до устья реки Сура; от плотины Чебоксарской ГЭС до поселка Камское устье; от плотины Куйбышевской ГЭС до Сызранского моста; от плотины Саратовской ГЭС до Увекского моста; от плотины Волгоградской ГЭС до поселка Красные Баррикады.
Волго-Балтийский канал: от Онежского озера до плотины Шекснинской ГЭС, включая Сизьминский разлив.
Волго-Донской канал: от города Волгоград до Пятиизбянских рейдов.
Волго-Каспийский канал: от поселка Красные Баррикады (0-й км) до 217-го буя (146-й км).
Горьковское водохранилище.
Дон: от города Ростов-на-Дону до города Азов.
Иваньковское водохранилище.
Кама: от плотины Камской ГЭС до пристани Частые; от плотины Боткинской ГЭС до пункта Усть-Бельск (1766 км); от плотины Нижне-Камской ГЭС до города Чистополь.
Канал им. Москвы: от пристани Большая Волга до шлюза N 7.
Краснодарское водохранилище.
Кубенское озеро.
Куршский залив до линии, соединяющей головы северного и южного молов входных ворот порта Клайпеда.
Мезень: от города Мезень до устья реки Большая Чеца.
Нева: от истока до границы внутренних водных путей, а именно: по реке Большая Нева до Благовещенского моста; по реке Малая Нева до створа 1-й линии Васильевского острова; по реке Большая Невка до створа стрелки Елагина острова; по реке Средняя Невка до верхнего мыса устья реки Чухонка (вход в гребной канал); по реке Малая Невка до Петровского моста.
Невская губа: от границы внутренних водных путей до дамбы вдоль линии Горская - Кронштадт - Ораниенбаум.
Озеро Белое.
Озеро Ильмень.
Печора: от поселка Усть-Цильма до города Нарьян-Мар.
Псковское озеро.
Рыбинское водохранилище: от города Череповец до села Вичелово.
Саратовское водохранилище: от Сызраньского моста до плотины Саратовской ГЭС.
Северная Двина: от устья реки Пинега до устья реки Уйма; по Маймаксанскому рукаву от устья реки Уйма до поселка Лапоминка; по Никольскому рукаву и протокам между островами Ягры, Угломин и Никольский до юго-западной оконечности острова Ягры.
Свирь.
Угличское водохранилище.
Чебоксарское водохранилище.
Чудское озеро.
Шекснинское водохранилище.
УКРАИНА
Днепр: ниже порта Киев (за исключением районов, отнесенных к
Зоне 1) и участок от пристани Теремцы до плотины Киевской ГЭС.
Южный Буг: от села Терноватое до Николаевского морского порта.
Днестровский лиман.
Днестровское водохранилище: от плотины до села Днестровка (60 км).
Каховское водохранилище: выше пристани Беленькая (180 км).
Днепровское водохранилище.
Кременчугское водохранилище: выше села Топиловка (70 км).
Днепродзержинское водохранилище.
Каневское водохранилище: от плотины Каневской ГЭС до пристани Ново-Украинка.
Киевское водохранилище: от плотины Киевской ГЭС до пристани Теремцы на Днепре и до пристани Выдумка на Припяти.
Печенежское водохранилище.
Краснооскольское водохранилище.
Бурштынское водохранилище.
Озеро Свитязь.
ФРАНЦИЯ
Дордонь: вниз по течению от каменного моста в Либурне.
Гаронна: вниз по течению от каменного моста в Бордо.
Жиронда.
Луара: вниз по течению от моста Ододин на рукав реки Мадлен и вниз по течению от моста Пирмиль на рукав реки Пирмиль.
Рона: вниз по течению от моста Тренктай в Арле.
Сена: вниз по течению от моста Жан-д'Арк в Руане.
ЧЕШСКАЯ РЕСПУБЛИКА
Водохранилище Липно.
АВСТРИЯ
Дунай.
БЕЛАРУСЬ
Днепр: от устья реки Лещ до пристани Любеч.
Неман: от города Мосты до границы с Литвой.
Припять: от шлюза Стахово до границы с Украиной.
Западная Двина: от устья реки Усвяч до города В. Двинск.
Сож: от деревни Гроново до устья.
Березина: от города Борисов до устья.
Днепро-Бугский канал: от города Брест до шлюза Стахово.
Микашевичский канал: от города Микашевичи до реки Припять.
БЕЛЬГИЯ
Морская Шельда (вниз по течению от якорной стоянки в Антверпене).
БОЛГАРИЯ
Дунай.
ВЕНГРИЯ
Дунай.
ГЕРМАНИЯ
Дунай: от Кельхайма (2414,72 км) до германско-австрийской границы.
Рейн: от германско-швейцарской границы до германско-нидерландской границы.
Эльба: от устья Эльбы - канала Зейтен до нижней границы порта Гамбурга.
Мюриц.
НИДЕРЛАНДЫ
Рейн.
Снекер-Мер.
Кувордер-Мер.
Хегер-Мер.
Флюссен.
Слотер-Мер.
Чеке-Мер.
Белаккер-Вейде.
Белтер-Вейде.
Рамс-Дип.
Кетел-Мер.
Зварте-Мер.
Велуве-Мер.
Эммер.
Алкмардер-Мер.
Грузе.
Внешний Эй.
Внутренний Эй.
Нордзе-канал.
Порт Эймейден.
Портовая зона Роттердама.
Ньиве Маас.
Норд.
Ауде Маас.
Бенеден Мерведе.
Ньиве Мерведе.
Дордтсхе Киль.
Бовен Мерведе.
Ваал.
Бейландс-канал.
Бовен Рейн.
Паннеосденс-канал.
Гелдерсе Эиссел.
Недер Рейн.
Лек.
Канал Амстердам-Рейн.
Версе-Мер.
Канал Рейн-Шельда; до устья в Волкераке.
Амер.
Бергсе-Маас.
Мез: вниз по течению от Венло.
Гоимер.
Европорт.
Каландский канал: к востоку от порта Бенилюкс.
Хартельский канал.
ПОЛЬША
Одер: вверх по течению от Щецина, за исключением участка от отметки 704,1 км до отметки 542,4 км, который образует государственную границу между Германией и Польшей.
Западный Одер: вверх по течению от Щецина до государственной границы между Германией и Польшей (отметка 17,1 км).
Восточно-Западный водный путь (реки Варта, Нотец, Брда и Быгдощский канал).
Висла.
РЕСПУБЛИКА МОЛДОВА
Днестр.
Прут: от Костештской ГЭС до устья.
РОССИЙСКАЯ ФЕДЕРАЦИЯ
Белая: от верховьев до Ямалинского Яра (1 786 км).
Беломорско-Балтийский канал.
Волга: от верховьев до города Твери.
Воронежское водохранилище.
Дон: от верховьев до Пятиизбянских рейдов и от плотины Цимлянской ГЭС до города Ростов-на-Дону.
Кама: от верховьев до города Березники.
Маныч: от плотины Веселовского водохранилища до устья.
Мезень: от верховьев до города Мезень.
Ока (приток реки Волга): от верховьев до устья.
Печора: от верховьев до поселка Усть-Цильма.
Северная Двина: от верховьев до устья реки Пинега.
Озера, каналы и реки, не отнесенные к
Зонам 1 и
2.
РУМЫНИЯ
Дунай.
СЕРБИЯ
Дунай
СЛОВАКИЯ
Дунай.
УКРАИНА
Днепр: выше пристани Теремцы и участок от порта Киева до плотины Киевской ГЭС и рукав Старый Днепр (за островом Хортица).
Припять: выше пристани Выдумка.
Десна и другие притоки Днепра.
Южный Буг: выше села Терноватое.
Днестр: выше села Днестровка.
Дунай.
Ладыжинское водохранилище.
Днестровское водохранилище: от села Днестровка (60 км от плотины) до села Вильховцы (190 км от плотины).
Другие водные пути, не отнесенные к
Зонам 1 и
2.
ФРАНЦИЯ
Рейн.
ХОРВАТИЯ
Дунай.
ЧЕШСКАЯ РЕСПУБЛИКА
Эльба: от шлюза Ловосице до шлюза Усти-над-Лабем.
ШВЕЙЦАРИЯ
Рейн: от Базеля до Нифера (Кембс).
1. ОПРЕДЕЛЕНИЯ И ПОЯСНЕНИЯ
1.1. Определения и пояснения, относящиеся к общей терминологии настоящих Правил, приведены в Общих
положениях.
1.2. В настоящей части Правил приняты следующие определения и пояснения.
1.2.1. Классификация - разработка, публикация и применение Правил, постоянное выполнение которых вместе с надлежащим уходом за судном со стороны судовладельца или оператора обеспечит:
1. Конструктивную прочность и целостность корпуса и его частей, включая конструктивную противопожарную защиту;
2. Достаточный запас плавучести и остойчивости во всех предусмотренных случаях нагрузки и определенных условиях плавания;
3. Безопасную и надежную работу его пропульсивной установки, систем и устройств управления судном, других систем, вспомогательных механизмов, устройств, оборудования и снабжения, включая противопожарное;
и тем самым позволит безопасно эксплуатировать судно в соответствии с его назначением.
1.2.2. Типы малых прогулочных судов, в зависимости от предусмотренной движущей силы:
моторное - судно, движение которого осуществляется механической движительной установкой (гребной винт, гребные колеса, водомет, воздушный винт и т.п.) с первичным двигателем внутреннего сгорания;
парусное - судно, для движения которого используется энергия ветра, преобразуемая с помощью парусов;
самоходное - моторное или парусное суда;
несамоходное - судно, для целенаправленного движения которого используют объект или устройство, расположенные за пределами судна;
стоечное - несамоходное судно, предназначенное для эксплуатации по назначению на стоянке.
1.2.3. При сочетании движущих сил "двигатель и парус" или "парус и двигатель" малое прогулочное судно рассматривается, соответственно, как моторно-парусное или парусно-моторное в зависимости от следующего:
1. Судно, на котором предусмотрено осуществление поступательного движения энергией ветра, рассматривается как парусное, если площадь парусного вооружения, м2:
где V - объемное водоизмещение в полном грузу, м3;
g - гравитационная постоянная

.
При меньшей площади парусного вооружения судна требования настоящих Правил в части остойчивости и надводного борта парусных судов не применяются.
Площадь парусного вооружения

, определяется согласно
3.2.22 Общих положений;
2. Судно с парусным вооружением площадью не менее указанной в
формуле (1.2.3.1) и пропульсивной установкой соответственно рассматривается как моторно-парусное, если номинальная мощность двигателей пропульсивной установки судна, кВт;
При меньшей мощности пропульсивной установки судно считается парусно-моторным.
Моторно-парусные и парусно-моторные суда должны полностью удовлетворять требованиям, предъявляемым к парусным судам, а также удовлетворять требованиям, предъявляемым к судам, на борту которых установлены двигатели внутреннего сгорания.
1.2.4. Судно рассматривается как высокоскоростное, если оно способно развить скорость движения, превышающую 40,0 км/ч.
2.1.1. Присвоение судну класса Регистра означает подтверждение Регистром соответствия конструкции судна применимым требованиям Правил Регистра, а его технического состояния - условиям эксплуатации судна, и принятие судна на учет Регистра на установленный период, с проведением всех необходимых видов освидетельствований.
2.1.2. Регистр может присвоить класс судну по результатам освидетельствования при его постройке, а также присвоить или возобновить класс судну, находящемуся в эксплуатации.
2.1.3. Возобновление класса судна означает подтверждение Регистром соответствия конструкции судна и его технического состояния условиям, на которых был ранее присвоен класс, и продление действия документов Регистра на установленный Правилами период.
2.1.4. Класс малым прогулочным судам присваивается или возобновляется Регистром на различные сроки в зависимости от проектной категории судна:
судам проектных категорий A, A1, A2 и B - на пятилетний период, с условием проведения в течение указанного периода промежуточных освидетельствований для подтверждения класса через каждые 12 мес.;
судам проектных категорий C, C1, C2, C3 и D - на шестилетний период для самоходных судов и на восьмилетний период для несамоходных и стоечных судов, с условием проведения в течение указанного периода промежуточных освидетельствований для подтверждения класса через каждые 24 мес.
В обоснованных случаях Регистр может присвоить или возобновить класс на меньший срок.
Промежуточные освидетельствования для подтверждения класса проводятся в течение трех месяцев до или после наступления каждого из указанных выше сроков, но без влияния на сроки последующих очередных освидетельствований для возобновления класса.
2.1.5. Наличие у судна действующего класса Регистра означает, что техническое состояние судна полностью или в степени, признанной Регистром достаточной, удовлетворяет тем требованиям Правил, которые на него распространяются в соответствии с назначением, условиями эксплуатации и символом класса судна.
Наличие у судна действующего класса удостоверяется наличием на судне действующего Классификационного свидетельства установленной формы.
2.1.6. Классификационное свидетельство теряет силу, и действие класса автоматически приостанавливается в следующих случаях:
1. Непредъявление судна в целом или отдельных его элементов к назначенному периодическому или внеочередному освидетельствованию в предписанный срок (если очередное освидетельствование не завершено или не предполагается его завершить до возобновления эксплуатации к установленной дате; если промежуточное освидетельствование не завершено в пределах трех месяцев от установленной даты в каждом периодическом цикле освидетельствований);
2. Непредъявление судна для завершения соответствующего освидетельствования или если в Правилах Регистра не предусмотрено иное;
3. После аварийного случая (судно должно быть предъявлено к внеочередному освидетельствованию в порту, где произошел аварийный случай, либо в первом порту захода, если аварийный случай произошел в море);
4. Введение не одобренных Регистром конструктивных изменений и/или изменений в снабжении судна в сторону уменьшения от предписанного Правилами;
5. Выполнение ремонта элементов судна без одобрения и/или без освидетельствования Регистром;
6. Эксплуатация судна с осадкой, превышающей регламентированную Регистром для конкретных условий, а также эксплуатация судна в условиях, не соответствующих присвоенному классу судна или установленным при этом Регистром ограничениям;
7. Несвоевременное выполнение предписанных конкретных требований, являющихся при предыдущем освидетельствовании судна условием присвоения или сохранения класса Регистра;
8. Приостановление по инициативе или по вине судовладельца процесса проводимого Регистром освидетельствования судна;
9. Вывод судна из эксплуатации на продолжительный (более трех месяцев) период для выполнения выставленных Регистром требований (кроме случая нахождения судна в ремонте для этих целей).
О приостановке действия класса судна и прекращении действия Классификационного свидетельства судовладелец извещается Регистром.
2.1.7. Приостановленный класс судна восстанавливается при удовлетворительных результатах соответствующего периодического или внеочередного освидетельствования, выполненного Регистром при предъявлении судна. На период приостановления класса до его восстановления судно считается утратившим класс Регистра.
Класс может быть приостановлен на срок не более шести месяцев.
2.1.8. Класс судна снимается Регистром в следующих случаях:
1. По окончании максимально установленного срока приостановления класса;
2. Когда восстановление класса представляется Регистру и/или судовладельцу невозможным;
3. Когда судовладелец переводит судно в класс другого классификационного органа;
4. По желанию судовладельца.
Снятие класса судна означает прекращение технического наблюдения за судном и прекращение действия Классификационного свидетельства.
2.1.9. Класс судна аннулируется в связи с гибелью судна или его списанием.
Присваиваемый Регистром судну класс состоит из основного символа и дополнительных знаков и словесных характеристик, определяющих конструкцию и назначение судна.
Дополнительные знаки и словесные характеристики добавляются к основному символу класса в последовательности, определенной положениями настоящей главы.
2.2.1. Основной символ класса
2.2.1.1. Основной символ присваиваемого Регистром судну класса состоит из знаков:
KM

, KM

,(KM)

- для моторных и моторно-парусных судов;
K

, K

, (K)

- для несамоходных, парусных и стоечных судов;
KE

, KE

, (KE)

- для несамоходных, парусных, парусно-моторных и стоечных судов, имеющих на борту энергетическую установку с первичным двигателем мощностью 100 кВт и более.
2.2.1.2. В зависимости от того, по каким правилам и какой классификационной организацией освидетельствовано судно, основной символ класса устанавливается следующим образом:
1. Судам, которые построены по правилам Регистра и освидетельствованы Регистром, присваивается класс с основным символом: KM

, или KE

, или K

(см.
2.2.1.1);
2. Судам, которые полностью (либо их корпус, механическая установка, механизмы или оборудование) построены и/или изготовлены по правилам другой, признанной Регистром, классификационной организации и освидетельствованы этой организацией в постройке, при их классификации Регистром присваивается класс с основным символом: KM

, или KE

, или K

(см.
2.2.1.1);
3. Судам, которые полностью (либо их корпус, механическая установка, механизмы или оборудование) построены и/или изготовлены без освидетельствования признанной Регистром классификационной организацией или вообще без освидетельствования классификационной организацией, при их классификации Регистром присваивается класс с основным символом: (KM)

, или (KE)

, или (K)

(см.
2.2.1.1).
2.2.2. Знаки проектной категории судов
Знак проектной категории судна (A, A1, A2, B, C, C1, C2, C3 или D) принимается в соответствии с
4.2 Общих положений и указывается в символе класса после основного символа класса судна.
Для прогулочных судов, на которые распространяются требования настоящих Правил, знаки проектной категории A, A1 и A2 могут устанавливаться в каждом конкретном случае только по специальному решению Главного управления Регистра.
В любом случае для судов проектной категории A длина судна должна быть более 24 м.
2.2.3. Знак ледового усиления.
Если судно имеет специальные ледовые усиления, к основному символу класса добавляется символ Ice, после которого в символ класса записывается в скобках толщина мелкобитого льда, см, при которой допускается эксплуатация судна, например: Ice (5) или Ice (10). Указанный случай является предметом специального рассмотрения Регистром.
Знак ледового усиления указывают в символе класса после знака, приведенного в
2.2.2.
2.2.4. Знак деления на отсеки
Возможность внесения знака деления на отсеки в символ класса судна является предметом специального рассмотрения Регистром.
2.2.5. Знак ограничения плавания по сезонному периоду
В зависимости от того, имеет ли судно необходимую прочность корпуса, остойчивость и запас плавучести, специально предусмотренное оборудование, изоляцию и обогрев помещений, а также соответствующее аварийно-спасательное снабжение, в символе класса указывается знак ограничения плавания по сезонному периоду.
Сезонные периоды для соответствующих зон и районов определены в Правилах о грузовой марке морских судов Регистра.
Знак ограничения плавания по сезонному периоду обозначается буквой T, с указанием после нее соответствующей цифры 0, 1, 2 или 3, а именно:
T0 - для судов, построенных, оборудованных и оснащенных для плавания в летний период в зимней сезонной зоне или районе; также возможно плавание в зонах с обозначением T1 и T2;
T1 - для судов, построенных, оборудованных и оснащенных для возможности круглогодичного плавания в летней зоне; также возможно плавание в зоне с обозначением T2;
T2 - для судов, построенных, оборудованных и оснащенных для плавания в летний период в летней зоне;
T3 - для судов, построенных, оборудованных и оснащенных для круглогодичного плавания в тропической зоне и тропическом сезонном районе; также возможно плавание в зоне с обозначением T2.
Возможность присвоения того или иного знака ограничения плавания по сезонному периоду является в каждом случае предметом специального рассмотрения Регистром.
Знак ограничения плавания по сезонному периоду указывают в символе класса после знаков, указанных в
2.2.2 или после знаков, указанных в
2.2.3 и
2.2.4, если они применимы.
2.2.6. Знак ограничения плавания по времени суток
Для судов проектных категорий C2, C3 и D могут быть допущены ограничения по плаванию судов только в светлое время суток. В этом случае в символе класса судна добавляется знак O. Возможность присвоения такого знака является в каждом случае предметом специального рассмотрения Регистром.
Знак ограничения плавания по времени суток указывается в символе класса после знаков, указанных в
2.2.5.
2.2.7. Знак автоматизации
Знак AUT (сокращение слова "automation") может быть добавлен к основному символу класса судна, которое удовлетворяет требованиям
части VI "Автоматизация".
Знак автоматизации указывается в символе класса после знаков, приведенных в
2.2.5, или после знака, приведенного в
2.2.6, если он применим.
2.2.8. Словесная характеристика в символе класса
2.2.8.1. Для всех прогулочных судов к основному символу класса добавляется основная словесная характеристика:
Pleasure craft - в общем случае;
Pleasure yacht - только для яхт.
Основная словесная характеристика указывается после знаков, предусмотренных
2.2.4 -
2.2.7.
2.2.8.2. Судам, удовлетворяющим определенному объему требований настоящих Правил, учитывающих их конструктивные особенности или назначение, при необходимости назначается одна или несколько дополнительных словесных характеристик, как указано ниже.
Дополнительные словесные характеристики указываются в скобках после основной словесной характеристики.
Дополнительная словесная характеристика может отображать:
1. Определение движущих сил:
(Sailing) - для парусных судов;
(Sailing-motor) - для парусно-моторных судов;
(Motor-sailing) - для моторно-парусных судов;
(Tow) - буксируемое судно;
(Berth-connected) - стоечное судно;
2. Конструктивные особенности судна;
(Catamaran) или (Trimaran) или (Proa) - для многокорпусных судов;
(Hydroplane) - для глиссирующих судов;
3. Особенности назначения судна:
(Touristy) - туристическое;
(Water-bower) - плавучая дача;
(Water-house) - дом для проживания на воде;
и другие.
2.2.8.3. Изменение конструктивных особенностей или назначения судна является предметом специального рассмотрения Регистром.
2.2.9. Дополнительные характеристики
При выполнении определенных требований настоящих Правил, обусловленных конструктивными особенностями либо эксплуатационными качествами судна, выполнение которых не отражается в знаках и в словесной характеристике символа класса, подтверждение соответствия судна таким требованиям удостоверяется записью в разделе "прочие характеристики" Классификационного свидетельства (например, что судну установлены дополнительные ограничения плавания и др.).
2.2.10. Пример записи символа класса судна:
1. Моторно-парусной яхты-катамарана:
KM

C2 Ice (5) T2 O AUT Pleasure Yacht
(Motorsailing Catamaran)
где: KM

- основной символ класса моторного судна, построенного в соответствии с Правилами Регистра под его техническим наблюдением;
C2 - проектная категория судна;
Ice (5) - корпус судна имеет ледовые усиления для плавания в мелкобитом льду толщиной 5 см;
T2 - ограничения плавания по сезонному периоду;
O - разрешено плавание только в светлое время суток;
AUT - управление судном автоматизировано;
Pleasure - прогулочное судно;
Yacht - яхта;
Motor-sailing - моторно-парусное судно;
Catamaran - двухкорпусное судно;
2. Стоечного судна для проживания:
KE

C3 T1 Pleasure craft (Berth-connected Water-house)
где: KE

- основной символ класса несамоходного судна, имеющего на борту энергетическую установку с первичным двигателем мощностью более 100 кВт, построенного в соответствии с Правилами Регистра под его техническим наблюдением;
C3 - проектная категория судна;
T1 - ограничения плавания по сезонному периоду;
Pleasure craft - прогулочное судно;
Berth-connected - стоечное судно;
Water-house - дом для проживания на воде.
2.3. ИЗМЕНЕНИЕ СИМВОЛА КЛАССА
2.3.1. Регистр может исключить или изменить в символе класса соответствующий знак при изменении или нарушении условий, послуживших основанием для введения данного знака в символ класса.
2.4.1. Наличие у судна класса Регистра подтверждается оформлением и выдачей на судно Классификационного свидетельства установленной формы.
2.4.2. Любые другие судовые документы, выдаваемые на судно по поручению Администрации флага судна, оформляются на условиях и по форме, оговариваемых указанным поручением.
2.4.3. Кроме указанного в 2.4.1 Классификационного свидетельства, на судно передаются разработанные проектантом или судовладельцем и одобренные Регистром Информация об остойчивости и Руководство для владельца судна. Требования по содержанию этих документов указаны в соответствующих частях настоящих Правил (см.
3.5 Общих положений и
1.3.16 части IV "Остойчивость, запас плавучести и надводный борт").
3. ТЕХНИЧЕСКАЯ ДОКУМЕНТАЦИЯ СУДНА
3.1. ПРОЕКТНАЯ ДОКУМЕНТАЦИЯ ДЛЯ СУДНА В ПОСТРОЙКЕ
3.1.1. Общие требования
До начала постройки судна на рассмотрение Регистру должна быть представлена проектная документация, позволяющая убедиться, что требования Правил применительно к данному судну выполнены.
Документация должна представляться, как правило, в трех экземплярах и быть укомплектована согласно приведенным в
3.1.2 -
3.1.12 перечням, с учетом особенностей архитектурно-конструктивного типа и назначения судна.
Приведенные в
3.1.3 -
3.1.12 документы могут быть соответственно объединены при условии отражения всех конструктивных решений, необходимых для возможности проверки выполнения всех требований Правил.
Требования по содержанию перечисленных в настоящем разделе документов указаны в соответствующих частях Правил.
Объем документации, представляемой на рассмотрение для судов и изделий специальной конструкции, определяется в каждом конкретном случае особо.
В случае возникновения сомнений в обеспечении безопасности эксплуатации судна или недостаточной полноты представленной документации Регистр имеет право запросить дополнительную документацию по рассматриваемым вопросам для принятия окончательного решения.
Вся представляемая на рассмотрение документация должна быть составлена на русском или английском языке. На оборудование, устройства и изделия, подлежащие техническому наблюдению Регистра при изготовлении, представляется Свидетельство Регистра о соответствии или сертификат одного из признанных классификационных обществ.
В составе технической документации может быть представлена декларация изготовителя или иная информация с указанием конкретных технических параметров и характеристик, подтверждающих пригодность этих изделий для эксплуатации на судне.
Одновременно с проектной документацией судна или отдельных его частей Регистру представляется перечень методических материалов, использовавшихся при разработке проекта. Если использовались готовые машинные программы, по которым не известна методическая сторона расчетов, то указывается название программы, юридический адрес ее автора и год разработки программы.
При положительных результатах рассмотрения техническая документация одобряется или принимается к сведению с постановкой соответствующих штампов Регистра (см. разд. 8 части II "Техническая документация" Правил технического наблюдения за постройкой судов и изготовлением материалов и изделий для судов).
Срок действия одобрения Регистром технической документации судна ограничивается сроком действия контракта на постройку судна или серии судов. При этом в период строительства судов по одобренной Регистром технической документации выполнение требований циркулярных указаний Регистра с установленными сроками внедрения является обязательным.
3.1.2. Материалы общего характера представляются в следующем объеме:
1. Спецификация общесудовая;
2. Чертеж общего расположения;
3. Перечень комплектующего оборудования, снабжения и материалов, подлежащих техническому наблюдению Регистра, с указанием основных технических данных, предприятия-изготовителя и наличия одобрения Регистра или иного, признанного им органа;
4. Программа швартовных и ходовых испытаний построенного судна;
5. Руководство для владельца судна.
3.1.3. Документация по корпусу:
1. Определение размеров элементов конструкций корпуса и, если требуется Правилами, расчеты общей и местной прочности;
2. Чертеж мидель-шпангоута с типовыми конструктивными сечениями и основными узлами набора, на котором должны быть указаны размеры всех основных элементов корпуса, включая надстройки и рубки, их материал с указанием категорий и марок, расстояния между основными связями набора, главные размерения судна и их соотношения;
3. Конструктивный чертеж с указанием главных размерений судна и их соотношений, переборок, встроенных цистерн, блоков плавучести, надстроек и рубок, кокпитов, с расстояниями между основными связями набора;
4. Конструктивные чертежи палуб и платформ;
5. Конструктивный чертеж двойного дна (днища);
6. Растяжка наружной обшивки;
7. Чертежи продольных, поперечных и транцевых переборок;
8. Чертежи форштевня, ахтерштевня и балластного киля, включая их соединения с корпусом;
9. Чертеж соединений каркаса корпуса, гибких и эластичных элементов между собой и с корпусом;
10. Чертеж мостовых соединений многокорпусных судов;
11. Чертежи фундаментов главных двигателей и механизмов, чертежи крепления подвесных двигателей и воздушных винтов;
12. Таблица сварки корпуса, содержащая следующие сведения:
наименование соединяемых элементов и их толщину;
форму или условные обозначения подготовки кромок;
марки и категории основного металла;
марки и категории сварочных материалов;
способ сварки и положение шва в пространстве.
| | ИС МЕГАНОРМ: примечание. В официальном тексте документа, видимо, допущена опечатка: пункт 3.1.2.12 в тексте документа отсутствует. | |
Если перечисленные в 3.1.2.12 сведения приведены в полном объеме на чертежах корпуса судна, таблицу сварки допускается не представлять;
13. Схема испытаний непроницаемости корпуса с таблицей напоров;
14. Описание технологии постройки корпуса с указанием характеристик производства, включая контроль качества при изготовлении.
3.1.4. Документация по устройствам, оборудованию, снабжению и сигнальным средствам:
1. Схема расположения отверстий в корпусе, надстройках и рубках с указанием высоты комингсов и типа закрытий отверстий (двери, люки, иллюминаторы, забортные отверстия и донно-бортовая арматура и т.п.);
2. Расчет прочности закрытий отверстий (при отсутствии технических характеристик закрытия);
3. Чертеж общего расположения рулевого (с чертежами руля и баллера), якорного, швартовного и швертового устройств, рангоута и такелажа, с основными данными по примененному оборудованию;
4. Расчеты рулевого, якорного, швартовного и швертового устройств, рангоута и такелажа, крепления внешнего и внутреннего балласта;
5. Чертеж общего расположения спасательных средств с указанием основных данных по примененным средствам;
6. Чертеж общего расположения сигнальных средств с указанием их характеристик;
7. Чертеж ограждения, предотвращающего падение людей за борт;
8. Ведомость спасательных и сигнальных средств с указанием их технических данных (допускается совместно с
3.1.2.3).
3.1.5. Документация по остойчивости, запасу плавучести и надводному борту:
1. Теоретический чертеж;
2. Гидростатические кривые;
3. Расчеты и кривые плеч остойчивости формы (пантокарены) с эскизами учитываемых объемов корпуса;
4. Расчетные материалы, связанные с начальной остойчивостью и проверкой остойчивости судна в соответствии с настоящими Правилами весовые таблицы для различных случаев нагрузки судна с указанием распределения груза, топлива, запасов воды и жидкого балласта по цистернам, расчеты элементов плавучести и начальной остойчивости, парусности, крена от скопления пассажиров, поправок на влияние свободных поверхностей жидких грузов, углов заливания и т.п.; схема расположения палубных грузов; схема отсеков и отверстий, а также таблица координат угловых точек отсеков и цистерн;
5. Диаграммы статической и динамической остойчивости, расчеты остойчивости по требованиям настоящих Правил, сводная таблица результатов проверки остойчивости для различных случаев нагрузки;
6. Расчет надводного борта;
7. Расчет аварийной посадки и остойчивости (для судов, удержание на плаву которых обеспечивается в поврежденном состоянии);
8. Чертеж грузовой марки (если наносится);
9. Предварительная Информация об остойчивости.
3.1.6. Документация по противопожарной защите:
1. План противопожарной защиты с указанием огнестойких, огнезадерживающих и негорючих конструкций, дверей, закрытий, проходов, каналов и т.п. в этих конструкциях, опасных зон, путей эвакуации и аварийных выходов, размещения средств тушения пожара;
2. Подробное описание противопожарной защиты судна, с указанием примененных на судне теплоизоляционных, отделочных, конструкционных материалов, мест, где они установлены, и степени их горючести, расчет количества горючих материалов на 1 м3 объема типовых помещений;
3. Принципиальные схемы и расположение бытовых установок сжиженного газа;
4. Принципиальные схемы противопожарных систем;
5. Ведомость противопожарного снабжения с указанием его технических данных (допускается совместно с
3.1.2.3).
3.1.7. Документация по механическим установкам:
1. Чертеж общего расположения механизмов, котлов и оборудования в машинных помещениях с указанием проходов и путей выхода;
2. Схемы и описание дистанционного управления главными механизмами со сведениями об оборудовании дистанционных постов управления органами управления, приборами индикации и сигнализации, средствами связи и другими устройствами;
3. Общий вид валопровода с раскрытием конструкции и размеров гребного, промежуточного и упорного валов, их подшипников и деталей соединения валов и соединительных муфт, дейдвудной трубы и деталей дейдвудного устройства, включая уплотнения; информация о параметрах центровки валопровода;
4. Расчеты прочности валопровода и передач к движителям, данные по ресурсу передач;
5. Расчет валопровода и передач к движителям на крутильные колебания в системе "двигатель-винт" для главных установок с ДВС мощностью более 75 кВт. Для главных установок с турбо- и электроприводом, а также на дизель-генераторы и вспомогательные механизмы необходимость расчета крутильных колебаний является в каждом случае предметом специального рассмотрения Регистром;
6. Чертеж гребного винта (и расчет его прочности), воздушного винта или иного движителя (не требуется представления отдельно при представлении в комплекте с главным двигателем или линией вала), вентиляторов для создания воздушной подушки, чертежи винтов ВРШ с механизмами регулирования шага, деталей механизма изменения шага винта, расчеты прочности лопастей, данные об их ресурсе;
7. Схемы дистанционного управления рулевыми колонками (подвесными двигателями);
8. Схемы систем главного двигателя: топливной, масляной, охлаждения, газоотвода - с расчетами и характеристиками оборудования, трубопроводов, материалов и арматуры;
9. Чертежи крепления и заземления главных двигателей, дизель-генераторов и котлов, чертежи установки механизмов;
10. Расчеты мощности главных двигателей, энергетического комплекса судов на воздушной подушке и подвесных двигателей:
минимально необходимой, обеспечивающей выполнение требования
2.3.1 части V "Механические установки. Механизмы. Системы и трубопроводы";
максимально допустимой, обеспечивающей выполнение требований
2.3.2 -
2.3.4 части V "Механические установки. Механизмы. Системы и трубопроводы".
3.1.8. Документация по общесудовым системам:
1. Схемы систем: осушительной, вентиляции, бытовой сжиженного газа, отопления с характеристиками оборудования, трубопроводов, материалов и арматуры, с указанием размещения и узлов крепления донной и бортовой арматуры и нанесением водонепроницаемых и противопожарных переборок;
2. Расчеты систем;
3. Расчеты запасов топлива и питьевой воды.
3.1.9. Документация по электрическому оборудованию:
1. Принципиальные схемы генерирования и распределения электроэнергии от основных и аварийных источников с указанием потребителей;
2. Принципиальная схема сигнально-отличительных фонарей;
3. Принципиальные схемы распределительных щитов, пультов управления и других распределительных щитов нетипового исполнения;
4. Принципиальные схемы электроприводов судовых устройств и механизмов;
5. Результаты расчета необходимой мощности судовой электростанции и/или емкости аккумуляторных батарей;
6. Результаты расчета сечения кабелей с указанием их типов, токов и защиты;
7. Схемы защитного заземления.
3.1.10. Документация по автоматизации:
принципиальные и функциональные схемы ДАУ и АПС.
3.1.11. Документация по радионавигационному оборудованию:
1. Ведомость установленного на судне радионавигационного оборудования (фирма-изготовитель, тип, наличие одобрения Регистра);
2. Блок-схема соединений радионавигационного оборудования (все блоки, питание, антенны);
3. Чертежи размещения (не менее чем в двух проекциях) всех блоков радионавигационного оборудования и антенн;
4. Расчет емкости резервного источника питания (аккумуляторной батареи) средств связи.
3.1.12. Документация по средствам предотвращения загрязнения с судов:
1. Схема расположения оборудования и устройств по предотвращению загрязнения с судов;
2. Расчеты необходимой вместимости цистерн для нефтесодержащих и сточных вод, нефтеостатков, устройств для сбора мусора и схема размещения на судне;
3. Схемы систем с расчетами и характеристиками оборудования, трубопроводов, материалов и арматуры;
4. Инструкции по эксплуатации средств предотвращения загрязнения (могут быть включены в Руководство для владельца судна).
3.2. ПРОЕКТНАЯ ДОКУМЕНТАЦИЯ ДЛЯ ВОССТАНАВЛИВАЕМЫХ
И ПЕРЕОБОРУДУЕМЫХ СУДОВ
3.2.1. До начала переоборудования или восстановления классифицируемого (или классифицированного) Регистром судна следует представить на рассмотрение и одобрение проектную документацию по тем частям корпуса, устройств, механизмов, оборудования или систем, которые подлежат переоборудованию или восстановлению, а при необходимости - и откорректированные общие материалы и документы по остойчивости, надводному борту и делению на отсеки.
3.2.2. При установке на судне в эксплуатации новых механизмов или устройств, отличающихся от первоначальных, и на которые распространяются требования настоящих Правил, необходимо предъявить Регистру на рассмотрение и одобрение дополнительную проектную документацию новых установок, связанных с этими механизмами или устройствами, в объеме, требуемом для судна в постройке (см.
3.1), а также документы, предусмотренные "Номенклатурой объектов технического наблюдения РС" и подтверждающие изготовление материалов и изделий в соответствии с одобренной технической документацией.
1.1. ОБЛАСТЬ РАСПРОСТРАНЕНИЯ
1.1.1. Требования настоящей части распространяются на суда длиной от 2,5 до 24 м с корпусом сварной конструкции из стали или алюминиевых сплавов, а также с корпусом из стеклопластика.
1.2.1. Все конструкции, регламентируемые настоящей частью Правил, подлежат освидетельствованию Регистром. С этой целью должен быть обеспечен доступ для их освидетельствования.
Конструкции, регламентируемые настоящей частью Правил, должны соответствовать одобренной технической документации, указанной в
части I "Классификация".
1.3. ОПРЕДЕЛЕНИЯ, ОБОЗНАЧЕНИЯ И ПОЯСНЕНИЯ
1.3.1. Определения и пояснения, относящиеся к общей терминологии Правил, приведены в Общих
положениях и в
части I "Классификация". В настоящей части приняты следующие определения, обозначения и пояснения.
Верхняя палуба - самая верхняя непрерывная по всей длине судна палуба.
Высота борта судна D - расстояние по вертикали, м, измеренное на миделе, от верхней кромки горизонтального киля или от точки притыкания внутренней поверхности наружной обшивки к брусковому килю до верхней кромки бимса верхней палубы у борта.
Длина судна L - расстояние, м, измеренное на уровне летней грузовой ватерлинии от передней кромки форштевня до кормовой кромки рудерпоста или оси баллера руля (если рудерпост отсутствует), или 96% длины судна, измеренной на уровне этой ватерлинии от передней кромки форштевня до крайней кромки кормовой оконечности судна, смотря по тому, что больше.
Однако при этом L может приниматься не более 97% длины судна, измеренной на уровне максимальной летней ватерлинии.
При необычной форме носовой или кормовой оконечности судна L является предметом специального рассмотрения Регистром.
Катамаран - судно, состоящее из двух корпусов, соединенных платформой, расположенной на уровне верхних палуб.
Кормовой перпендикуляр - вертикальная линия в диаметральной плоскости судна, ограничивающая в кормовой оконечности длину судна L.
Коэффициент общей полноты

- коэффициент, определяемый при длине L, ширине B и осадке d по формуле
Максимальная летняя ватерлиния - ватерлиния, находящаяся на уровне центра круга грузовой марки при положении судна без крена и дифферента.
Мидель - поперечное сечение корпуса, проходящее через середину длины L.
Надстройка - закрытое палубой сооружение на верхней палубе, простирающееся от борта до борта или отстоящее от любого из бортов судна на расстоянии не более 4% ширины судна.
Непроницаемая конструкция - конструкция, не пропускающая воду или другие жидкости.
Нижние палубы - палубы, расположенные ниже верхней палубы. При наличии нескольких нижних палуб они называются: вторая, третья и т.д., считая от верхней палубы.
Носовой перпендикуляр - вертикальная линия в диаметральной плоскости судна, проходящая через точку пересечения максимальной летней ватерлинии с передней кромкой форштевня.
Оконечности - части длины судна, расположенные вне пределов средней части длины судна.
Осадка судна d - расстояние по вертикали, м, измеренное на миделе, от верхней кромки горизонтального киля или от точки притыкания внутренней поверхности наружной обшивки к брусковому килю до максимальной летней ватерлинии.
Шпангоуты - вертикальные балки (связи) бортового набора, установленные в плоскости флоров или скуловых бракет.
Палуба надводного борта - палуба, от которой рассчитывается надводный борт.
Палуба надстройки - палуба, ограничивающая ярус надстройки сверху. При наличии нескольких ярусов надстройки палубы надстройки называются: палуба надстройки первого, второго и т.д. яруса, считая от верхней палубы.
Палуба переборок - палуба, до которой доведены главные поперечные водонепроницаемые переборки в случае деления судна на отсеки.
Палуба рубки - палуба, ограничивающая ярус рубки сверху. При наличии нескольких ярусов рубки палубы рубки называются: палуба рубки первого, второго и т.д. яруса, считая от верхней палубы. Если рубка устанавливается на палубе надстройки первого, второго и т.п. яруса, палуба рубки называется соответственно палубой рубки второго, третьего и т.д. яруса.
Платформа - нижняя палуба, простирающаяся лишь на части длины или ширины судна.
Расчетная палуба - палуба, составляющая верхний пояс поперечного сечения корпуса судна. Такой палубой может быть палуба квартердека вне переходного участка (см.
2.12.1.2).
Рубка - закрытое палубой сооружение на верхней палубе или палубе надстройки, отстоящее хотя бы от одного из бортов на расстоянии более 4% ширины судна.
Спецификационная скорость

- наибольшая скорость судна, уз, на тихой воде при осадке по максимальную летнюю ватерлинию и номинальной мощности энергетической установки.
g = 9,81 м/с2 - ускорение свободного падения.

- плотность морской воды.
Средняя часть - участок длины судна, равный 0,4L (по 0,2L в нос и корму от миделя), если нет особых указаний.
Ширина судна B - наибольшая ширина, м, измеренная на миделе между наружными кромками шпангоутов.
Шпация - расстояние между балками основного набора

, принимаемое исходя из нормальной шпации.
2.1.1. Основные положения по определению размеров элементов корпусных конструкций.
2.1.1.1. Размеры элементов корпусных конструкций регламентируются для стальных сварных корпусов судов, у которых соотношения главных размерений не превышают значений, указанных в табл. 2.1.1.1, а нормальная шпация

, определяемая по
формуле (2.1.1.1), не выходит за следующие пределы:
для судов проектных категорий A и A1 - от

до

;
для судов проектных категорий A2 и B - от

до

;
для судов проектных категорий C, C1, C2, C3 и D - от

до

.
Таблица 2.1.1.1
Соотношение главных размерений судна | Проектная категория |
A | A1 | A2 | B | C и C1 | C2, C3 и D |
L / D | 18 | 19 | 20 | 21 | 22 | 23 |
B / D | 2,5 | 2,5 | 3 | 3 | 3 | 4 |
Размеры связей, обеспечивающих прочность корпусов судов, конструкция и главные размерения которых не регламентируются настоящими Правилами, являются предметом специального рассмотрения Регистром.
Размеры элементов корпусных конструкций глиссирующих судов и катамаранов дополнительно должны удовлетворять требованиям Правил классификации и постройки высокоскоростных судов.
2.1.1.2. Определение размеров элементов корпуса в настоящей части Правил производится по формулам для минимальных размеров в зависимости либо от длины, либо от шпации корпуса судна. Определение размеров по формулам в зависимости от внешних нагрузок и геометрических характеристик корпусных конструкций производится для проверки принятых минимальных размеров, а также в случаях, если формулы для минимальных размеров элементов корпуса не указаны в настоящей части Правил (в этом случае - см. п. п. 2.1.1.3 и
2.1.1.4 настоящей части Правил).
2.1.1.3. В качестве расчетных характеристик стальных конструкций корпуса в настоящих Правилах принимаются:

- верхний предел текучести обычной судостроительной стали, равный 235 МПа;

- расчетный нормативный предел текучести по нормальным напряжениям, равный для обычной судостроительной стали 235 МПа;

- расчетный нормативный предел текучести по касательным напряжениям, равный

.
2.1.1.4. Требования к прочности конструктивных элементов и конструкций в целом при определении их размеров и прочностных характеристик формулируются в настоящих Правилах путем задания нормативных значений допускаемых напряжений для расчетных нормальных

и касательных

напряжений (где

и

- коэффициенты допускаемых нормальных и касательных напряжений соответственно).
Значения

и

приводятся в соответствующих главах настоящей части Правил.
2.1.1.5. Толщина элементов корпуса судна, определенная в соответствии с требованиями настоящей части Правил, должна быть не менее минимальной толщины, указанной для конкретных конструкций в соответствующих главах настоящей части Правил.
Для судов проектных категорий A2, B, C, C1, C2, C3 и D допускается уменьшение минимальной толщины элементов корпуса, но не более чем указано в табл. 2.1.1.5.
Таблица 2.1.1.5
Допускаемое уменьшение минимальной толщины элементов
корпуса
Элементы корпуса | Проектная категория |
A2 и B | C, C1, C2, C3 и D |
Рамные связи в районе балластных отсеков | 15% | 30% |
Прочие элементы корпуса | 10% | 20% |
Во всех случаях, если это специально не оговорено, толщина связей корпуса должна быть не менее 4 мм.
2.1.1.6. Требования по определению размеров связей корпуса в настоящей части Правил основаны на предположении, что при постройке и в эксплуатации осуществляются меры по защите корпуса от коррозии в соответствии с действующими стандартами и иными действующими нормативными документами.
Во всех случаях внутренние поверхности цистерн должны иметь защитные эпоксидные или эквивалентные им антикоррозионные покрытия, выполненные в соответствии с рекомендациями изготовителя, одобренными Регистром. Наиболее предпочтительны светлые тона покрытий. В необходимых случаях в дополнение к покрытиям может применяться анодная защита от коррозии.
2.1.2. Учет коррозионного износа
2.1.2.1. Запас на износ

, принимается для конструкций, планируемый срок службы которых превышает 12 лет, и определяется по формуле
где u - среднегодовое уменьшение толщины связи, мм/год, вследствие коррозионного износа или истирания, принимаемое с учетом условий эксплуатации;
T - планируемый срок службы конструкции, годы, если срок службы специально не устанавливается, следует принимать T = 24.
Для конструкций, у которых планируемый срок службы меньше 12 лет,

.
2.1.2.2. При отсутствии специальных требований к условиям эксплуатации и средствам защиты корпуса от коррозии при определении размеров связей по Правилам следует руководствоваться данными по среднегодовому уменьшению толщины связей u, приведенными в табл. 2.1.2.2.
Таблица 2.1.2.2
Среднегодовое уменьшение толщины элементов конструкций
корпуса
N п/п | Элемент конструкции корпуса | u, мм/год |
1 | 2 | 3 |
1 | Настил палуб и платформ | |
1.1 | Верхняя палуба | 0,1 |
1.2 | Нижняя палуба | 0,11 |
1.3 | Палуба в жилых помещениях* | 0,14 |
2 | Бортовая обшивка | |
2.1 | Борт: | |
2.1.1 | надводный | 0,1 |
2.1.2 | в районе переменных ватерлиний | 0,17 |
2.1.3 | ниже района переменных ватерлиний | 0,14 |
3 | Днищевая обшивка | |
3.1 | Днище при отсутствии второго дна: | |
3.1.1 | включая скулу | 0,14 |
3.1.3 | в районе топливных цистерн | 0,17 |
3.1.4 | в районе балластных отсеков | 0,2 |
3.2 | Днище при наличии второго дна: | |
3.2.1 | включая скулу | 0,14 |
3.2.2 | в районе топливных цистерн | 0,15 |
3.2.3 | в районе балластных отсеков | 0,2 |
4 | Настил второго дна | |
4.1 | Второе дно: | |
4.1.1 | в районе топливных цистерн | 0,12 |
4.1.2 | в районе балластных отсеков | 0,15 |
4.1.3 | в районе котельного отделения | 0,3 |
4.1.4 | в районе машинного отделения | 0,2 |
4.2 | Междудонный лист: | |
4.2.2 | междудонный лист (наклонный и горизонтальный) | 0,2 |
4.2.3 | междудонный лист в котельном отделении: наклонный | 0,28 |
5 | Переборки между балластными отсеками: | |
5.1 | верхний пояс (0,1D от верхней палубы) | 0,13 |
5.2 | средний пояс | 0,15 |
5.3 | нижний пояс | 0,16 |
6 | Набор палуб и платформ | |
6.1 | Продольные подпалубные балки и бимсы палуб и платформ, ограничивающих: | |
6.1.1 | трюмы | 0,12 |
6.1.5 | топливные цистерны | 0,15 |
6.1.6 | балластные отсеки | 0,18 |
6.2 | Карлингсы, рамные бимсы палуб и платформ, ограничивающих: | |
6.2.1 | трюмы | 0,12 |
6.2.2 | топливные цистерны | 0,19 |
6.2.3 | балластные отсеки | 0,21 |
7 | Набор бортов и переборок | |
7.1 | Продольные балки, основные и рамные шпангоуты, распорки, вертикальные стенки и горизонтальные рамы бортов и переборок, ограничивающих: | |
7.1.1 | трюмы | 0,1 |
7.1.2 | топливные цистерны | 0,18 |
7.1.3 | балластные отсеки | 0,21 |
8 | Набор днища и второго дна | |
8.1 | Вертикальный киль, днищевые стрингеры, флоры и продольные балки днища при отсутствии второго дна: | |
8.1.1 | в сухих отсеках | 0,14 |
8.1.2 | в балластных отсеках | 0,2 |
8.1.3 | в районе под котлами | 0,3 |
8.2 | Вертикальный киль, днищевые стрингеры, флоры и продольные балки днища и второго дна в отсеках двойного дна: | |
8.2.1 | не предназначенных для заполнения | 0,14 |
8.2.2 | в топливных цистернах | 0,15 |
8.2.3 | в балластных цистернах | 0,2 |
8.2.4 | в районе под котлами | 0,25 |
9 | Надстройки, рубки и фальшборт | |
9.1 | Обшивка | 0,1 |
9.2 | Набор | 0,1 |
Для стенок, разделяющих отсеки разного назначения, u определяется как среднее значение для смежных отсеков.
Для судов ограниченного района плавания, предназначенных для эксплуатации только в пресноводных бассейнах, величина u может быть уменьшена в 2,5 раза; для судов, предназначенных для эксплуатации в пресноводных бассейнах только часть времени, u определяется линейной интерполяцией пропорционально этой части времени.
В обоснованных случаях по согласованию с судовладельцем может быть допущено уменьшение размеров отдельных связей корпуса до значений, согласованных с Регистром.
На чертежах корпусных конструкций, представляемых на рассмотрение Регистру, совместно с уменьшенными размерами должны быть указаны размеры без уменьшения.
Суда, для которых Регистром допущено уменьшение размеров связей, получают в Классификационном свидетельстве специальную отметку (см.
2.2.9 части I "Классификация").
2.1.2.3. Коэффициент

, учитывающий поправку на износ к площади сечения стенки и моменту сопротивления балок катаного профиля, определяется по формуле
где

при W < 200 см3;

при W > 200 см3.
где W - момент сопротивления рассматриваемой балки согласно
2.1.6.4.2;
2.1.3. Материалы
2.1.3.1. Материалы, применяемые для изготовления элементов конструкций корпуса, регламентируемых настоящим разделом Правил, должны удовлетворять требованиям части XIII "Материалы" Правил классификации и постройки морских судов.
2.1.3.2. Для изготовления элементов конструкций корпуса предусматривается применение судостроительной стали нормальной прочности с пределом текучести

.
2.1.4. Расчетные нагрузки
2.1.4.1. В настоящем пункте приведены основные формулы для определения расчетных нагрузок, связанных с воздействием моря на корпус судна, и ускорений судна при качке, а также нагрузок от топлива и жидкого балласта.
2.1.4.2. Нагрузки от ударов волн в носовую часть днища и развал бортов, а также аварийные нагрузки приводятся в пунктах, относящихся к соответствующим конструкциям.
2.1.4.3. Правила определения значения и точки приложения расчетной нагрузки приводятся в главах, относящихся к конкретным конструкциям. Если подобные указания отсутствуют, нагрузка принимается на нижней кромке пластины, на середине расчетного пролета балки или в центре площади, воспринимающей распределенное давление.
2.1.4.4. Основным параметром расчетных нагрузок и ускорений, воспринимаемых корпусом судна со стороны моря, является волновой коэффициент

, определяемый в зависимости от длины судна по формуле
2.1.4.5. Для судов ограниченного района плавания волновой коэффициент

должен быть умножен на редукционный коэффициент

, определяемый по табл. 2.1.4.5.
Район плавания | |
A1 | 1 |
A2 | |
B | |
C и C1 | |
C2, C3 и D | |
2.1.4.6. Внешние нагрузки на корпус судна со стороны моря
2.1.4.6.1. Расчетное давление p, кПа, действующее на корпус судна со стороны моря, определяется по формулам:
для точек приложения нагрузок, расположенных ниже летней грузовой ватерлинии
для точек приложения нагрузок, расположенных выше летней грузовой ватерлинии
где

- статическое давление, кПа, определяемое по формуле

- отстояние точки приложения нагрузки от максимальной летней ватерлинии, м;

- см. 2.1.4.6.2.
2.1.4.6.2. Расчетное давление, обусловленное перемещениями корпуса относительно профиля волны,

, определяется по формулам:
для точек приложения нагрузок, расположенных ниже летней грузовой ватерлинии
для точек приложения нагрузок, расположенных выше летней грузовой ватерлинии
где


- коэффициент, равный 0,8 и 0,5 для поперечных сечений в нос и корму от миделя, соответственно;

- отстояние рассматриваемого поперечного сечения от ближайшего (носового или кормового) перпендикуляра, м;
В любом случае произведение

должно приниматься не менее 0,6.
Распределение нагрузки

по контуру поперечного сечения судна показано на рис. 2.1.4.6.2.
Рис. 2.1.4.6.2
2.1.4.7. Ускорения судна при качке
Расчетное ускорение a, м/с2, при качке судна на волнении определяется по формуле
где

- проекция ускорения центра тяжести судна на соответствующее направление;

и

- проекции ускорения в рассматриваемой точке от килевой и бортовой качки на соответствующие направления.
Проекции ускорения для рассматриваемой точки на вертикальное (индекс z), горизонтально-поперечное (индекс y) и горизонтально-продольное направления (индекс x) определяются по следующим формулам:
где

- см.
табл. 2.1.4.5 (

для судов неограниченного района плавания);

и

- периоды килевой и бортовой качки, с, определяемые по формулам;
где c - числовой коэффициент, определяемый по данным близкого по типу судна. В первом приближении c = 0,8;
h - метацентрическая высота для наиболее неблагоприятных условий эксплуатации; для судна в полном грузу. Если нет более точных данных,


- расчетный угол дифферента, рад;

- см. табл. 1.4.4.3 части II "Корпус" Правил классификации и постройки морских судов (

для судов неограниченного района плавания);

- расчетный угол крена, рад;

- отстояние рассматриваемой точки от поперечной плоскости, проходящей через центр тяжести судна, м;

и

- отстояние рассматриваемой точки соответственно от диаметральной плоскости и от горизонтальной плоскости, проходящих через центр тяжести судна, м.
Суммарное ускорение в вертикальном направлении

, от всех видов качки может определяться по формуле:
где

в носовой части судна;

в кормовой части судна;
2.1.4.8. Нагрузки от топлива и балласта
Расчетное давление

, на конструкции полностью заполненных отсеков определяется по следующим формулам:
где

- плотность топлива или водяного балласта, т/м3, в зависимости от того, что применимо;

- расчетное ускорение в вертикальном направлении согласно
2.1.4.7;

- отстояние рассматриваемой связи от уровня палубы (крыши цистерны), измеренное в диаметральной плоскости, м;

- высота воздушной трубы над палубой (крышей цистерны), м, но не менее 1,5 м для балластных цистерн и цистерн пресной воды, 2,5 м для цистерн топлива и масла; минимальные ограничения значения

не устанавливаются для малых расширительных и масляных цистерн вместимостью менее 3 м3;

- давление, кПа, на которое отрегулирован предохранительный клапан, если он установлен, но не менее 15 кПа для балластных цистерн и цистерн пресной воды, 25 кПа для цистерн топлива и масла; минимальные ограничения значения

не устанавливаются для малых расширительных и масляных цистерн вместимостью менее 3 м3;
l и b - длина и ширина отсека, измеренные на середине его высоты, м; если величина l и/или b по высоте отсека изменяется скачкообразно, измерение l и/или b выполняется посередине высоты каждой из частей отсека, где l и b изменяются незначительно; соответственно
формуле (2.1.4.8-2) и
(2.1.4.8-3) используются для каждого измеренного значения l и b,
в зависимости от того, что больше.
2.1.5. Общая продольная и поперечная прочность
2.1.5.1. Продольная прочность корпуса судна обычного архитектурно-конструктивного типа, включая беспалубные суда длиной менее 6 м, у которых отношение L/D <= 10, не регламентируется настоящими Правилами. Корпус судна необычного архитектурно-конструктивного типа, включая беспалубные суда длиной более 6 м, подлежит проверке общей продольной прочности в соответствии с применимыми требованиями Правил классификации и постройки морских судов.
2.1.5.2. При необходимости Регистр может потребовать расчеты общей поперечной прочности корпуса судна, выполненные по одобренному Регистром методу.
2.1.6. Геометрические характеристики сварных конструкций
2.1.6.1. Общие положения
2.1.6.1.1. В настоящем пункте изложены общие требования к элементам обшивки (настила) и набора корпуса.
2.1.6.1.2. Под листовым элементом понимается участок обшивки или настила, ограниченный подкрепляющим набором. К листовым элементам относятся участки настилов палуб, платформ, второго дна и участки обшивки днища, борта, переборок, а также стенок балок рамного набора.
2.1.6.1.3. В настоящей части Правил под набором корпуса понимаются балки основного и рамного набора, которые подкрепляют листовые конструкции. Балки рамного набора являются также опорами для балок основного набора. К балкам основного набора относятся продольные балки по палубам, бортам, продольным переборкам, настилу второго дна и днищу, стойки и горизонтальные балки переборок, шпангоуты, бимсы, балки бракетных флоров и т.п. К балкам рамного набора относятся рамные бимсы, карлингсы, рамные шпангоуты, бортовые стрингеры, флоры, днищевые стрингеры, вертикальный киль, рамные стойки и горизонтальные рамы переборок и т.п.
2.1.6.1.4. Размеры балок основного и рамного набора определяются требуемыми моментом сопротивления, моментом инерции, площадью поперечного сечения стенки, толщиной стенки и свободного пояска, а также его шириной.
Геометрические характеристики поперечного сечения балок, если нет особых указаний, определяются с учетом присоединенного пояска.
Если балка устанавливается неперпендикулярно к присоединенному пояску, момент сопротивления должен быть увеличен пропорционально

(где

- угол, град, между плоскостью стенки балки и перпендикуляром к обшивке (настилу) в рассматриваемом поперечном сечении балки). При

увеличения момента сопротивления, как правило, не требуется.
2.1.6.1.5. Округление требуемых размеров связей, кроме толщины, должно производиться, как правило, в сторону увеличения. Толщина листов должна округляться до ближайших 0,5 или целого числа миллиметров.
2.1.6.2. Обозначения
В настоящем пункте приняты следующие обозначения:
l - длина пролета рассматриваемой балки, определяемая согласно
2.1.6.3.1, м;
p - расчетное давление в точке приложения нагрузки, определяемое в соответствующих главах настоящего раздела Правил, кПа;
a - расстояние, м, между рассматриваемыми балками основного или рамного набора, продольного или поперечного; при расположении балок на разных расстояниях под a понимается полусумма отстояний соседних балок от рассматриваемой балки;
h - высота стенки балки, см;

- расчетный нормативный предел текучести, МПа, по нормальным напряжениям, определяемый согласно
2.1.1.3;

- расчетный нормативный предел текучести, МПа, по касательным напряжениям, определяемый согласно
2.1.1.3;

- запас на износ, мм, определяемый согласно
2.1.2.1;
s - толщина листов, мм;
W - момент сопротивления балок, см3;
I - момент инерции балок, см4;

- ширина отсека, м, измеряемая посередине его длины как расстояние между бортами на уровне верхней кромки флора.
2.1.6.3. Пролет и присоединенный поясок балки
2.1.6.3.1. Длина пролета балки основного и рамного набора l измеряется вдоль свободного пояска балки как расстояние между ее опорными сечениями. Если не оговорено особо, при установке концевых книц опорные сечения принимаются посередине длины кницы. При этом положение опорного сечения выбирается таким образом, чтобы высота концевой кницы в этом сечении не была меньше высоты стенки рассматриваемой балки (см. рис. 2.1.6.3.1).
Рис. 2.1.6.3.1
Для криволинейной балки длина пролета принимается равной длине хорды, соединяющей ее опорные сечения.
2.1.6.3.2. Толщина присоединенного пояска принимается равной его средней толщине в рассматриваемом сечении балки набора.
2.1.6.3.3. Ширина присоединенного пояска

, балок основного набора определяется по формулам:
где

и

- отстояние рассматриваемой балки набора от ближайших балок того же направления, расположенных по обе стороны от рассматриваемой балки, м,
в зависимости от того, что меньше.
2.1.6.3.4. Ширина присоединенного пояска балок рамного набора

, определяется по формуле
где


,

- отстояние рассматриваемой рамной балки от ближайших рамных балок того же направления, расположенных по обе стороны от рассматриваемой балки, м;
k - коэффициент, определяемый по табл. 2.1.6.3.4 в зависимости от c, приведенного пролета

и числа балок n, поддерживаемых рассматриваемой рамной балкой.
Таблица 2.1.6.3.4
Число балок n | k при  |
1 | 2 | 3 | 4 | 5 | 6 | 7 и более |
>= 6 | 0,38 | 0,62 | 0,79 | 0,88 | 0,94 | 0,98 | 1 |
<= 3 | 0,21 | 0,4 | 0,53 | 0,64 | 0,72 | 0,78 | 0,8 |
Примечание. Для промежуточных значений  и n коэффициент k определяется линейной интерполяцией. |
Для свободно опертых по концам рамных балок длина приведенного пролета

, для жестко заделанных балок

. Условия опирания концов балок набора (жесткая заделка, свободная опора) определяются, исходя из общеинженерных принципов с учетом реальной конструкции (наличие книц, приварка стенок, поясков и т.п.), и характеризуются наличием или отсутствием действия изгибающего момента в опорном сечении балки.
2.1.6.4. Размеры элементов конструкции корпуса
2.1.6.4.1. Момент сопротивления W, см3, балок основного набора катаного профиля должен быть не менее:
где W' - момент сопротивления рассматриваемой балки, см3, определяемый согласно 2.1.6.4.2;

- множитель, учитывающий поправку на износ, определяемый согласно
2.1.2.3.
Момент сопротивления составных сварных балок должен удовлетворять требованиям 2.1.6.4.2, при этом толщина элементов профиля должна быть увеличена на величину запаса на износ

.
2.1.6.4.2. Момент сопротивления рассматриваемой балки без учета запаса на износ, см3, определяется по формуле
где Q = pat - поперечная нагрузка на рассматриваемую балку, кН;
m,

- коэффициенты изгибающего момента и допускаемых напряжений, определяемые в соответствующих главах настоящей части Правил.
2.1.6.4.3. Площадь поперечного сечения стенки балки основного и рамного набора с учетом вырезов (нетто)

, должна быть не менее:
для балок набора катаного профиля
где

и

- максимальное значение перерезывающей силы и коэффициент допускаемых касательных напряжений, определяемые в соответствующих главах Правил;
для составных сварных балок требуемая площадь поперечного сечения стенки должна определяться по формуле (2.1.6.4.3-2) с последующим увеличением толщины на величину

.
2.1.6.4.4. Толщина настила или обшивки s, мм, нагруженных поперечной нагрузкой, должна быть не менее:
где m,

- коэффициенты изгибающего момента и допускаемых напряжений, определяемые в соответствующих главах Правил;
k = 1,2 - 0,5 a / b, но не более 1;
a и b - меньший и больший размеры сторон опорного контура листового элемента, м.
2.1.7. Соединения и детали сварных конструкций
2.1.7.1. Общие требования
2.1.7.1.1. Изменения формы или сечения связей в сварных конструкциях корпуса должны выполняться плавными. Все вырезы должны иметь скругленные углы и гладкие кромки.
2.1.7.1.2. По длине корпуса должно предусматриваться плавное изменение размеров профилей и толщины листов продольных связей.
2.1.7.1.3. Необходимо обеспечивать непрерывность возможно большего числа основных продольных связей, а в районах их окончания предусматривать плавное изменение сечений наряду с другими мерами, способствующими уменьшению концентрации напряжений.
2.1.7.1.4. В непроницаемых конструкциях, а также в проницаемых, расположенных в районах интенсивной вибрации, должны быть предусмотрены ребра жесткости и детали, предотвращающие образование жестких точек в обшивке (настиле) у кромок поясков балок и концов книц.
2.1.7.1.5. Длина участка листа настила или обшивки между концом балки и стенкой, ближайшей к ней, перпендикулярной по направлению к связи, должна быть возможно меньшей, однако не более 4s или 60 мм в зависимости от того, что меньше (s - толщина листа, мм).
2.1.7.1.6. В настоящей части Правил к конструкциям, подверженным интенсивной вибрации, отнесены конструкции корпуса, расположенные в местах установки устройств, механизмов и оборудования, являющихся вероятными источниками вибрации.
При этом для всех типов судов к районам интенсивной вибрации относятся районы, расположенные под нижней непрерывной на протяжении машинного отделения платформой и ограниченные:
в кормовой оконечности - сечением, отстоящим в нос от ступицы гребного винта на два его диаметра, однако не менее чем до переборки ахтерпика;
в машинном отделении - переборками отсека.
Переборки, ограничивающие отсек машинного отделения, переборка ахтерпика, а также нижняя непрерывная платформа в указанных районах по длине судна рассматриваются как конструкции, подверженные интенсивной вибрации.
2.1.7.1.7. В местах окончания фальшборта, скуловых килей и деталей, привариваемых к корпусу, а также, как правило, полос ватервейса, высота их должна постепенно уменьшаться на длине не менее 1,5 высоты этих связей. Концы фальшборта должны плавно сходить на "нет". Указанное рекомендуется также для концов участков ватервейса.
2.1.7.1.8. Сварные соединения, сварочные материалы, методы сварки, контроля и испытаний сварных соединений должны отвечать требованиям части XIV "Сварка" Правил классификации и постройки морских судов.
2.1.7.2. Соединение балок набора
2.1.7.2.1. Соединение балок набора, как правило, должно выполняться встык. По согласованию с Регистром допускается соединение внахлестку, за исключением районов интенсивной вибрации, соединений балок рамного набора и районов, подверженных большим сосредоточенным нагрузкам.
2.1.7.2.2. Соединения балок основного набора
2.1.7.2.2.1. Размеры книц c, см, измеренные в соответствии с
рис. 2.1.7.2.2.1, если нет других указаний, должны определяться по формуле
где W - момент сопротивления сечения закрепляемой балки, требуемый Правилами, см3;
s - толщина кницы, мм.
Толщина кницы принимается равной толщине стенки закрепляемой балки. Она может быть уменьшена на 1 мм, если толщина стенки больше 7 мм; на 2 мм, если толщина стенки больше 12 мм.
Если кница соединяет две балки разного профиля, при определении размеров кницы используются характеристики меньшего профиля.
Высота кницы h (см. рис. 2.1.7.2.2.1) должна быть не менее 0,7 требуемого размера c.
Указанные размеры книц относятся к случаю, когда соединяемые балки не привариваются одна к другой или торцы балок не привариваются к листам обшивки (настила). При этом зазор не должен превышать 40 мм или 25% c (в зависимости от того, что меньше), в противном случае может быть потребовано соответствующее увеличение c.
2.1.7.2.2.2. При длине свободной кромки кницы l, мм, (см.
рис. 2.1.7.2.2.1) больше 45s (s - толщина кницы, мм) необходимо наличие фланца (пояска). Ширина фланца должна быть не менее 50 мм, ширина пояска - не менее 75 мм. Толщина пояска не должна быть меньше толщины кницы. Ширина фланца (пояска) должна отвечать требованиям
2.1.7.3.1.
2.1.7.2.2.3. Размеры книц могут быть уменьшены:
на 10% - если балки привариваются одна к другой или к листам обшивки (настила);
на 15% - при наличии фланца или пояска;
на 25% - если балки привариваются одна к другой, а кницы имеют фланец или поясок.
2.1.7.2.2.4. При наличии зазора между торцом бимса и шпангоутом в районе усиления бортов судов, швартующихся в море, бимсовая кница должна иметь поясок или фланец.
2.1.7.2.3. Соединения балок рамного набора рекомендуется выполнять скругленными кницами с плавным изменением высоты стенок и размеров пояска.
2.1.7.2.3.1. Высота и ширина книц, соединяющих балки рамного набора между собой или с переборками, должны быть (если нет особых указаний) не менее высоты стенки рамной балки (или меньшей из соединяемых рамных балок). Толщина кницы принимается равной меньшей толщине стенки соединяемых рамных балок. Зазоры в соединениях рамных балок не допускаются.
2.1.7.2.3.2. В соединениях балок рамного набора кницы должны иметь по свободной кромке поясок или отогнутый фланец. Если свободные пояски книц переходят в пояски балок рамного набора, то при различных размерах свободных поясков балок ширина и толщина свободного пояска по кромке кницы должны плавно изменяться. Площадь свободного пояска (или фланца) приставной кницы следует принимать не менее 0,8 площади меньшего пояска соединяемых балок рамного набора.
Если расстояние между концами кницы, мм, превышает 160s (s - толщина кницы, мм), параллельно линии, соединяющей концы кницы, на расстоянии a, равном 1/4 высоты кницы или 35 ее толщинам (в зависимости от того, что меньше), должно быть установлено подкрепляющее ребро.
В зависимости от размеров и конфигурации книц должны быть предусмотрены дополнительные подкрепления книц ребрами жесткости и бракетами.
2.1.7.2.3.3. Радиус скругленных книц не должен быть меньше высоты меньшей из соединяемых рамных балок.
2.1.7.2.3.4. Конструкции узлов соединения балок основного набора с поддерживающими их балками рамного набора должны соответствовать стандартам.
2.1.7.3.1. Высота h и толщина стенок

рамных балок (и балок основного набора составного профиля), а также площадь их поперечного сечения регламентируются в соответствующих главах настоящей части Правил. Ширина свободного пояска рамной балки b, мм, измеренная от ее стенки, должна быть не более:
где

- толщина пояска рамной балки, мм.
Как правило, толщина пояска не должна превышать утроенной толщины стенки.
2.1.7.3.2. В стенках балок рамного набора допускаются вырезы для облегчения конструкции, прохода балок и т.п.
Суммарная высота вырезов в одном сечении не должна превышать 0,6 высоты балки.
Расстояние от кромок любых вырезов в балках рамного набора до кромок вырезов для прохода балок основного набора должно быть не менее высоты последних. Отверстия в стенках рамных балок, за исключением вырезов для прохода балок основного набора, должны располагаться на расстоянии не менее половины высоты рамной балки от конца книц, закрепляющих ее. При невозможности выполнения этого требования наличие отверстий должно быть компенсировано местным утолщением стенки, установкой заделок и т.п.
Во всех случаях площадь поперечного сечения рамной балки (за вычетом вырезов) должна быть не менее требуемой в соответствующих главах настоящей части Правил.
Требования к вырезам во флорах, в днищевых стрингерах и вертикальном киле - см.
2.4.2.6.
2.1.7.4. Детали сварных конструкций
2.1.7.4.1. В местах окончания балок набора их пояски и/или стенки следует срезать "на ус" в зависимости от конструкции узла.
2.1.7.4.2. Ширина фланца (пояска) книц или бракет должна быть не менее восьми толщин кницы (бракеты), если нет специальных указаний в соответствующих главах настоящей части Правил.
2.1.7.4.3. Кромки книц, поясков и стенок балок должны быть обварены вокруг и не иметь кратеров. Указанное относится также к вырезам для водо- и воздухопротоков, прохода балок и сварных швов. Если эти вырезы доводятся до обшивки (настила), их длина, измеренная по обшивке (настилу), должна соответствовать
2.1.7.5.7.
2.1.7.4.4. Сварные швы должны располагаться в наименее напряженных сечениях конструкции, по возможности дальше от мест резкого изменения сечения связей, вырезов и мест, деформированных в холодном состоянии.
2.1.7.4.5. Стыковые соединения поясков пересекающихся балок, воспринимающих динамически переменную нагрузку (например, в районах интенсивной вибрации), должны быть выполнены с плавными переходами при помощи специальных крестовин.
2.1.7.4.6. Следует избегать скученности сварных швов, пересечений их под острым углом, а также близкого расположения параллельных стыковых швов или угловых швов со стыковыми. Расстояние между параллельными сварными швами, независимо от их направления, должно быть не менее:
200 мм - между параллельными стыковыми швами;
75 мм - между параллельными угловым и стыковым швами;
50 мм - между параллельными угловым и стыковым швами на длине не более 2 м.
По согласованию с Регистром допускается уменьшение расстояния между сварными швами.
Угол между двумя стыковыми швами должен быть не менее 60° (см. рис. 2.1.7.4.6).
Рис. 2.1.7.4.6
2.1.7.4.7. Монтажные стыки (пазы) листов обшивки и настилов должны располагаться от параллельных им переборок, палуб, настила второго дна и рамных связей на расстоянии не менее 200 мм.
В монтажных стыках сварных балок набора стык стенки балки должен располагаться на расстоянии не менее 150 мм от стыка пояска той же балки.
По согласованию с Регистром допускается совмещение стыков стенки и пояска в следующих случаях:
при обеспечении полного провара в соединении стенки с пояском на участке не менее 100 мм в каждую сторону от стыка и неразрушающем контроле стыка каждой третьей балки;
при перекрытии стыка элементами набора (кницами, бракетами и т.п., установленными в плоскости стенки) на протяжении не менее ширины пояска в каждую сторону от стыка.
2.1.7.5. Типы и размеры угловых швов
2.1.7.5.1. Расчетная толщина a, мм, угловых швов тавровых соединений при ручной и полуавтоматической сварке должна быть не менее:
где

- коэффициент прочности сварного шва, принимаемый по табл. 2.1.7.5.1-1;
| | ИС МЕГАНОРМ: примечание. В официальном тексте документа, видимо, допущена опечатка: рисунок 1.7.5.1-1 в тексте документа отсутствует. Возможно, имеется в виду рисунок 2.1.7.5.1-1. | |
s - меньшая толщина соединяемых деталей, мм.
N п/п | Соединение | Коэффициент прочности сварного шва  |
1 | 2 | 3 |
1 | Двойное дно | |
1.1 | Вертикальный и туннельный киль к горизонтальному килю | 0,35 |
1.2 | То же, к настилу второго дна | 0,25 |
1.3 | То же, к настилу второго дна в машинном отделении и под упорными подшипниками | 0,35 |
| Флоры к вертикальному и туннельному килям под машинами, котлами, упорными подшипниками, а также на 0,25L от носового перпендикуляра | 0,35 |
1.5 | Флоры к вертикальному и туннельному килям в остальных районах | 0,25 |
1.6 | Флоры к крайнему междудонному листу и к настилу второго дна | 0,35 |
| Флоры непроницаемые и участки стрингеров или киля, ограничивающих цистерны по периметру, стенки и днища сточных колодцев между собой, к настилу второго дна, флорам и стрингерам | 0,35 |
| Флоры и днищевые стрингеры к наружной обшивке на 0,25L от носового перпендикуляра | 0,25 |
| То же, в остальных районах | 0,2 |
1.10 | Флоры и днищевые стрингеры к настилу второго дна под машинами, котлами и упорными подшипниками | 0,25 |
1.11 | То же, в остальных районах | 0,15 |
1.12 | Флоры к днищевым стрингерам на 0,25L от носового перпендикуляра | 0,25 |
1.13 | То же, в остальных районах | 0,2 |
1.14 | Крайний междудонный лист к наружной обшивке | 0,35 |
1.15 | Наклонный междудонный лист к настилу второго дна | 0,35 |
1.16 | Нижние балки и бракеты бракетных флоров к наружной обшивке | 0,15 |
1.17 | Верхние балки и бракеты флоров к настилу второго дна | 0,1 |
1.18 | Бракеты, поперечные балки (см. 2.4.4.5) к стенкам туннельного киля, горизонтальному килю, наружной обшивке и настилу второго дна | 0,35 |
| Флоры при продольной системе набора к наружной обшивке, настилу второго дна, вертикальному и туннельному килям, крайнему междудонному листу при расстоянии между флорами менее 2,5 м вне районов, указанных в 1.4 и 1.7 | 0,25 |
| То же, при расстоянии между флорами 2,5 м и более - во всех районах | 0,35 |
| Продольные балки к наружной обшивке на 0,25L от носового перпендикуляра | 0,17 |
| То же, в остальных районах | 0,13 |
1.23 | Продольные балки к настилу второго дна | 0,1 |
1.24 | Бракеты при продольной системе набора (см. 2.4.2.4.2) к наружной обшивке, крайнему междудонному листу, настилу второго дна и продольным балкам | 0,25 |
2 | Одинарное дно | |
2.1 | Вертикальный киль к горизонтальному килю | 0,35 |
2.2 | Вертикальный киль к пояску | 0,25 |
2.3 | Флоры к вертикальному килю и продольным переборкам | 0,45 |
2.4 | Флоры и стенки днищевых стрингеров к их поискам и к наружной обшивке под машинами, котлами и упорными подшипниками, а также в ахтерпике | 0,25 |
2.5 | Флоры и стенки днищевых стрингеров к наружной обшивке в остальных районах | |
2.6 | То же, к их пояскам в остальных районах | 0,15 |
2.7 | Стенки днищевых стрингеров к флорам | 0,2 |
2.8 | Продольные днищевые балки к наружной обшивке | |
3 | Бортовой набор | |
3.1 | Шпангоуты (в том числе рамные) и бортовые стрингеры к наружной обшивке в районе 0,25L от носового перпендикуляра, в цистернах, в машинном отделении, в районе ледовых усилений, а также в районах усилений бортов судов, швартующихся в море к судам или морским сооружениям | 0,17 |
3.2 | То же, в остальных районах | 0,13 |
3.3 | Шпангоуты (в том числе рамные) и бортовые стрингеры к их пояскам в районах, указанных в 3.1 | 0,13 |
3.4 | То же, в остальных районах | 0,1 |
3.5 | Шпангоуты (в том числе рамные) и бортовые стрингеры к наружной обшивке в ахтерпике | 0,25 |
3.6 | То же, к их пояскам | 0,17 |
3.7 | Бортовые стрингеры к рамным шпангоутам | 0,25 |
3.8 | Продольные бортовые балки к наружной обшивке | 0,17 |
3.9 | То же, к их пояскам | 0,15 |
3.10 | Скуловые кницы к крайнему междудонному листу и пояскам флоров вне двойного дна | |
3.11 | То же, к наружной обшивке | 0,25 |
4 | Палубный набор и палубы | |
4.1 | Рамные бимсы и карлингсы к палубному настилу | 0,17 |
4.2 | То же, к их пояскам | 0,13 |
4.3 | Консольные бимсы к палубному настилу | 0,25 |
4.4 | Стенки рамных бимсов и карлингсов между собой и с переборками | 0,25 |
4.5 | Бимсы в районе цистерн, ахтерпика, форпика и концевые люковые бимсы к палубному настилу | 0,15 |
4.6 | То же, в остальных районах | 0,1 |
4.7 | Продольные подпалубные балки к палубному настилу и к их пояскам | 0,1 |
4.8 | Стрингер расчетной палубы к наружной обшивке | |
4.9 | То же, других палуб и платформ | |
4.10 | Комингсы люков к палубе в углах люков | |
4.11 | То же, в остальных районах | |
4.12 | Пояски комингсов люков к стенкам комингсов | 0,25 |
4.13 | Вертикальные бракеты, горизонтальные и вертикальные ребра к стенкам комингсов | 0,2 |
4.14 | Наружные стенки и наружные переборки надстроек и рубок к палубе | 0,35 |
4.15 | Прочие стенки и переборки надстроек и рубок к палубе | 0,25 |
4.16 | Стойки фальшборта к листам фальшборта | 0,2 |
4.17 | То же, к палубе и планширю | 0,35 |
4.18 | Пиллерсы и палубы к настилу второго дна, кницы пиллерсов к пиллерсам, палубам, второму дну и прочим связям | 0,35 |
5 | Переборки и выгородки | |
| Форпиковая и ахтерпиковая переборки, переборки цистерн, переборки (в том числе отбойные) в ахтерпике - по периметру | 0,35 |
5.2 | Прочие водонепроницаемые переборки (включая отбойные) к днищевой обшивке или второму дну, к наружной обшивке в районе скулы | 0,35 |
5.3 | То же, к бортам и палубе | 0,25 |
5.4 | Грани вертикальных гофров коробчатых переборок к второму дну или к верхнему пояску нижней балки коробчатого профиля | 0,35 |
5.5 | Обшивка туннеля гребного вала по периметру | 0,35 |
5.6 | Стойки и горизонтальные балки к листам переборок, перечисленных в 5.1, а также отбойных переборок | 0,15 |
5.7 | То же, прочих переборок | 0,1 |
5.8 | Вертикальные и горизонтальные рамы к листам переборок, перечисленных в 5.1, а также к отбойным переборкам | 0,17 |
5.9 | То же, к их пояскам | 0,13 |
5.10 | Вертикальные и горизонтальные рамы к листам прочих переборок | 0,13 |
5.11 | То же, к их пояскам | 0,1 |
5.12 | Поперечные переборки к отбойным переборкам | |
6 | Кницы и ребра жесткости | |
6.1 | Кницы, соединяющие балки набора между собой | |
6.2 | Ребра жесткости и кницы (см. 2.1.7.3.2) для подкрепления рамных балок, флоров и т.д. | 0,1 |
7 | Фундаменты под главные механизмы и котлы, фундаменты механизмов | |
7.1 | Стенки фундаментов к наружной обшивке, настилу второго дна и палубному настилу | |
7.2 | Верхние опорные листы (пояски) к стенкам фундаментов, бракетам и кницам | |
7.3 | Бракеты и кницы фундаментов к стенкам фундаментов, наружной обшивке, настилу второго дна (пояскам флоров) и палубному настилу | |
7.4 | Бракеты и кницы к их поискам | 0,25 |
<1> Требуется двусторонний непрерывный шов. |
<2> Требуется обеспечить сквозной провар на всю толщину. |
<3> Угловые швы, соединяющие пояски балок со стенками, должны иметь в районе книц коэффициент прочности сварного шва 0,35. Пояски книц должны привариваться к ним тем же швом, что и поясок балки в пролете между кницами. |
<4> Конструкции под стенками балок, бракет и книц фундаментов должны привариваться к настилу второго дна и палубы двусторонним непрерывным угловым швом с коэффициентом прочности сварного шва 0,35. |
Тип углового шва | |
Двусторонний непрерывный | 1,0 |
Шахматный, цепной и гребенчатый | t/l |
Односторонний непрерывный | 2,0 |
Односторонний прерывистый | 2t/l |
Соотношение между катетом углового шва и высотой равнобедренного треугольника, вписанного в сечение валика (см. рис.
2.1.7.5.1-2), должно приниматься равным k = 1,4a или a - 0,7k. При замене предусмотренной ручной сварки автоматической толщина или катет шва (в зависимости от того, что принято в основу расчета) могут быть уменьшены, но не более чем на 30% для однослойных швов. Для многослойных швов величина указанного уменьшения является предметом специального рассмотрения Регистром.
а)
б)
в)
Если толщина более тонкого из соединяемых элементов менее 0,5 толщины более толстого элемента, размеры швов подлежат особому рассмотрению Регистром.
Толщина углового шва a должна быть не менее:
2,5 мм при s <= 4 мм;
3,0 мм при 4 < s <= 10 мм;
3,5 мм при 10 < s <= 15 мм;
0,25 s при s > 15 мм.
Назначаемые по расчету размеры угловых швов должны быть не более a <= 0,7 s (k <= s).
2.1.7.5.2. Соединения внахлестку, если они допускаются (см.
2.1.7.2.1), должны выполняться по периметру непрерывным швом с коэффициентом прочности 0,4. Величина перекроя должна быть не менее b = 2s + 25, но не более 50 мм (где s - меньшая толщина соединяемых деталей, мм).
2.1.7.5.3. Соединения балок основного набора (бимсов, продольных подпалубных балок, шпангоутов, стоек переборок и т.п.) с поддерживающими их связями (карлингсами, рамными бимсами, бортовыми стрингерами, горизонтальными рамами и т.п.) должны выполняться швом с коэффициентом прочности 0,35.
При этом площадь поперечного сечения f, см2, сварных швов, соединяющих стенки балок основного набора с поддерживающими их связями, должна быть не менее определяемой по формуле
где p - условная нагрузка, указанная в соответствующих главах настоящей части Правил, кПа;
a - расстояние между балками, м;
l - пролет балки, м;
Площадь поперечного сечения f сварных швов определяется как сумма произведений толщины углового шва на длину шва каждого участка соединения балки с поддерживающей связью.
2.1.7.5.4. Связи, разрезающиеся на связях другого направления, должны находиться в одной плоскости. Величина несовпадения плоскостей должна быть не более половины толщины разрезаемой связи. Если непрерывность этих связей достигается непосредственной приваркой к стенке конструкции, на которой они разрезаются, толщина углового шва должна определяться в зависимости от толщины разрезаемой связи, или сварка должна выполняться со сквозным проваром. При толщине более тонкой из соединяемых деталей меньше 0,7 толщины более толстой детали, толщину углового шва следует определять с соблюдением конкретных условий нагрузки в этом районе пересечения.
Если продольные балки разрезаются на поперечных переборках, конструкция соединения должна отвечать следующим требованиям:
1. При установке книц с обеих сторон переборки в одной плоскости площадь сварного шва

, соединяющего кницы (и торцы балок, если они привариваются) с поперечными переборками (см.
рис. 2.1.7.5.4, а), должна быть не менее определяемой по формуле
где

- площадь поперечного сечения продольной балки (без присоединенного пояска), см2;
2. При установке одной непрерывной кницы, ввариваемой в соответствующую прорезь в листе переборки (см.
рис. 2.1.7.5.4, б), площадь поперечного сечения кницы в плоскости переборки должна быть не менее

;
Рис. 2.1.7.5.4
3. Протяженность книц

, вдоль продольных балок должна быть не менее определяемой по формуле
где

- площадь сварного шва, соединяющего торцы балок с поперечными переборками, см2;
a - принятая расчетная толщина углового шва, соединяющего кницу с продольной балкой, мм.
2.1.7.5.5. Двусторонние непрерывные швы должны предусматриваться (см. также
сноску 1 к табл. 2.1.7.5.1-1):
1. В районе установки фундаментов устройств, механизмов и оборудования, являющихся вероятными источниками вибрации - для приварки набора к днищевой обшивке и к настилу второго дна, подпалубного набора к настилу палубы;
2. В ахтерпике;
3. В районах у опор и у концов балок - для приварки балок к листам настилов или обшивки (см.
2.1.7.5.7);
4. Для конструкций, обеспечивающих непроницаемость.
2.1.7.5.6. Односторонние непрерывные швы не допускаются:
1. В районах 0,2L от носового перпендикуляра - для приварки бортового набора к обшивке и 0,25L от носового перпендикуляра - для приварки набора к днищевой обшивке;
2. В районах интенсивной вибрации (см.
2.1.7.1.6);
3. Для приварки бортового набора судов, швартующихся в море к судам или морским сооружениям;
4. В соединениях, где угол между стенкой профиля и листом отличается от прямого угла более чем на 10°.
2.1.7.5.7. Для всех типов прерывистых швов длина приварки l (см.
рис. 2.1.7.5.1-1) не должна приниматься менее 15a (a - см.
2.1.7.5.1) или 50 мм, в зависимости от того, что больше. Расстояние между приварками (t - l) для цепного и гребенчатого швов, (t - 21)/2 для шахматного шва не должно превышать 15s (где s - толщина листа настила (обшивки) или стенки профиля, в зависимости от того, что меньше, мм). В любом случае расстояние между приварками (длина выреза у гребенчатого набора) не должно превышать 150 мм.
Прерывистые или непрерывные односторонние швы, соединяющие балки набора с листами обшивки или настила, должны заменяться в районах у опор и у концов балок двусторонними непрерывными швами, имеющими ту же толщину шва, что и прерывистый (односторонний непрерывный) шов на остальной длине балки. Длина участков с двусторонними швами должна быть не менее суммы длины кницы и высоты профиля, если устанавливается кница, и удвоенной высоты профиля, если кница отсутствует. В местах прохода балок через поддерживающие конструкции (рамные бимсы, карлингсы, флоры и т.п.) указанное усиление должно предусматриваться с каждой стороны от опоры. При применении односторонних непрерывных швов по противоположной стороне стенки присоединяемой детали на расстояниях, не превышающих 500 мм, должны быть предусмотрены приварки длиной не менее 50 мм. Толщина шва приварки должна быть такой же, как у одностороннего непрерывного шва.
2.1.7.5.8. Шахматные точечные швы и односторонние прерывистые (см.
рис. 2.1.7.5.1-1, г,
д) допускаются в конструкциях рубок и надстроек второго яруса и ярусов, расположенных выше, на закрытых участках палуб надстроек первого яруса, шахт и выгородок внутри корпуса, не испытывающих вибрационных и ударных нагрузок и не подверженных действию усиленной коррозии, при условии, что максимальная толщина листа или стенки профиля не превышает 7 мм. Диаметр точки d, мм, должен быть не менее определяемого по формуле
Если по формуле
(2.1.7.5.8) d > 12 мм, следует уменьшить шаг или выбрать другой тип шва.
2.1.7.5.9. Гребенчатый набор не допускается;
1. В районах 0,2L от носового перпендикуляра - для бортового набора и 0,25L от носового перпендикуляра - для соединения набора с днищевой обшивкой;
2. В районе интенсивной вибрации (см.
2.1.7.1.6);
3. Для бортового набора судов, швартующихся в море к судам или морским сооружениям;
4. В соединении вертикального киля с горизонтальным;
5. Для балок набора верхней палубы - под рубками в местах окончания последних на расстоянии менее 0,25 высоты рубки от пересечения боковой и концевой переборок.
2.1.7.5.10. В гребенчатом наборе (см.
рис. 2.1.7.5.1-1) должна предусматриваться круговая обварка гребенок. Высота выреза в стенке профиля не должна превышать 0,25 высоты профиля или 75 мм, в зависимости от того, что меньше. Вырезы должны выполняться с закруглением по радиусу не менее 25 мм. Расстояние между кромками соседних вырезов l (длина гребенки) должно быть не менее длины выреза. Вырезы в шпангоутах, бимсах, стойках и подобных конструкциях должны отстоять от концов балок, а также от мест пересечения с поддерживающими конструкциями (палубными, бортовыми стрингерами, карлингсами и т.п.) не менее чем на две высоты профиля, а от концов книц - не менее чем на 0,5 высоты профиля.
2.1.7.5.11. В наборе цистерн (включая цистерны двойного дна) должны быть предусмотрены отверстия, обеспечивающие свободный доступ воздуха к воздушным трубам и перетекание жидкости.
Вырезы в продольных балках рекомендуется выполнять эллиптической формы с отстоянием кромки выреза от настила палубы или днищевой обшивки не менее чем на 20 мм.
В районах вырезов для водо- и воздухопротоков, для проходов профилей и сварных швов швы должны выполняться двусторонними по обе стороны выреза на длине 50 мм.
2.1.7.5.12. Если приварка элементов конструкции таврового соединения угловым швом невозможна, допускается сварка пробочным швом (см.
рис. 2.1.7.5.12, а) или прорезным швом в шип (см.
рис. 2.1.7.5.12, б).
Длина l и шаг t должны назначаться так же, как для сварки гребенчатым швом в соответствии с требованием
2.1.7.5.10.
Сварка пробочным швом должна выполняться с круглыми или удлиненными прорезями, толщина шва должна составлять 0,5 толщины листа. Концы прорезей при сварке пробочным швом должны иметь, как правило, форму полукруга. Удлиненные прорези следует располагать длиной в направлении присоединяемых деталей (см.
рис. 2.1.7.5.12, б).
Сплошная заварка прорези не допускается.
В районах интенсивной вибрации (см.
2.1.7.1.6) вместо сварки прорезным или пробочным швом рекомендуется применять сварные швы с полным проваром на остающейся подкладке (см.
рис. 2.1.7.5.12, в).
Рис. 2.1.7.5.12
Испытания корпусов судов должны производиться в соответствии с Приложением 1 к части II "Корпус" Правил классификации и постройки морских судов, в зависимости от того, что применимо.
2.2.1. Общие положения
2.2.1.1. В настоящей главе приводятся требования к толщине наружной обшивки днища и борта, толщине и ширине ширстрека, горизонтального киля, шпунтовых поясьев, а также к минимальной строительной толщине этих связей и оформлению вырезов в них. Требования относятся ко всем районам по длине судна и высоте борта, если специально не оговорены дополнительные требования к толщине обшивки.
2.2.1.2. В настоящей главе приняты следующие обозначения:

- расчетное статическое давление согласно
2.1.4.6.1;

- расчетное давление, обусловленное перемещением корпуса судна относительно профиля волны согласно
2.1.4.6.2;

- расчетное давление от балласта или топлива согласно
2.1.4.8.
2.2.2. Конструкция
2.2.2.1. Не допускаются вырезы в верхней кромке ширстрека, а также в наружной обшивке борта, если отстояние верхней точки выреза от расчетной палубы составляет менее половины высоты выреза. Иные случаи являются предметом специального рассмотрения Регистром.
Прямоугольные вырезы в наружной обшивке борта должны иметь углы с радиусом скругления не менее 0,1 высоты или ширины выреза в зависимости от того, что меньше, но не менее 50 мм.
Во всех случаях, когда при наличии вырезов можно ожидать значительного ослабления общей или местной прочности корпуса, в районе вырезов должны быть предусмотрены подкрепления.
Подкрепления в форме утолщенных вварных листов обязательны для вырезов, расположенных в пределах района, отстоящего от миделя на 0,35L, у которых отстояние верхней точки выреза от расчетной палубы менее высоты выреза. Минимальная ширина утолщенного вварного листа, измеренная от верхней или нижней точки выреза, должна составлять 0,25 высоты или длины выреза в зависимости от того, что меньше; общая ширина, измеренная вне выреза должна быть больше минимальной не менее чем на 0,25 высоты или длины выреза в зависимости от того, что меньше. Минимальное отстояние конца утолщенного вварного листа от ближайшей к нему точки выреза, измеренное вдоль судна, должно составлять 0,35 высоты или длины выреза в зависимости от того, что меньше. Углы утолщенного вварного листа должны быть скруглены. Толщина утолщенного вварного листа должна быть не менее 1,5s. Допускается установка утолщенного вварного листа по всему периметру выреза.
2.2.3. Нагрузки на наружную обшивку
Внешнее давление p, кПа, на наружную обшивку днища и борта определяется по формуле
В качестве расчетного должно приниматься внешнее давление или давление изнутри в зависимости от того, что больше.
Давление

выше летней грузовой ватерлинии должно быть не менее

, определяемого по формуле
Для судов проектных категорий ограниченного района плавания величина

может быть уменьшена умножением на коэффициент

, определяемый по
табл. 2.1.4.5.
2.2.4. Размеры листовых элементов наружной обшивки
2.2.4.1. Толщина наружной обшивки днища и борта должна быть не менее определяемой по
формуле (2.1.6.4.4). При этом:
m = 15,8;
для днищевой обшивки

в средней части судна длиной 12 м при поперечной системе набора;

в средней части судна длиной 24 м при поперечной системе набора;
при 12 < L < 24 м

определяется линейной интерполяцией;

в средней части судна при продольной системе набора;

в оконечностях в пределах участков 0,1L от носового или кормового перпендикуляра.
Для промежуточных районов между средней частью и указанными участками оконечностей

определяется линейной интерполяцией;
для бортовой обшивки в районе (0,4 - 0,5)D от основной плоскости

в средней части судна;

в оконечностях в пределах участков 0,1 L от носового или кормового перпендикуляра.
Для промежуточных районов между средней частью и указанными участками оконечностей

определяется линейной интерполяцией;
в районе ниже 0,4/D от основной плоскости

определяется линейной интерполяцией между

для днищевой обшивки и

для бортовой обшивки в районе (0,4 - 0,5)D от основной плоскости,
в районе выше 0,5/D от основной плоскости

определяется линейной интерполяцией между

на уровне верхней палубы и

для бортовой обшивки в районе (0,4 - 0,5)D от основной плоскости.
2.2.4.3. Толщина скулового пояса должна приниматься равной толщине обшивки днища или борта в зависимости от того, что больше.
2.2.4.4. Ширина горизонтального киля

, должна быть не менее определяемой по формуле
Толщина горизонтального киля должна быть на 2 мм больше толщины обшивки днища.
2.2.4.5. Ширина ширстрека

, должна быть не менее определяемой по формуле (2.2.4.4). Толщина ширстрека в средней части судна должна быть не менее толщины прилегающих листов обшивки борта или настила палубы (палубного стрингера), в зависимости от того, что больше. В оконечностях ширстрек может иметь толщину, равную толщине бортовой обшивки в данном районе.
2.2.4.6. Листы наружной обшивки, примыкающие к ахтерштевню, а также листы, расположенные в местах крепления лап кронштейнов гребных валов, должны иметь толщину s, мм, не менее определяемой по формуле
s = 0,1L + 4,4. (2.2.4.6-1)
Указанная толщина должна быть обеспечена после выполнения горячей гибки, если таковая применялась.
2.2.4.7. Толщина шпунтовых поясьев наружной обшивки, непосредственно примыкающих к брусковому килю, должна быть не менее толщины, требуемой для горизонтального киля, а их ширина - не менее половины ширины, требуемой для горизонтального киля согласно
2.2.4.4.
2.2.4.8. Во всех случаях толщина наружной обшивки

, должна быть не менее определяемой по формуле
Для судов проектных категорий A и A1, если принятая шпация меньше нормальной (см.
2.1.1.1), допускается уменьшение минимальной толщины наружной обшивки пропорционально отношению принятой шпации к нормальной, но не более чем на 10%.
2.2.5. Специальные требования
2.2.5.1. Верхняя кромка ширстрека должна быть гладкой, а ее углы - скруглены в поперечном направлении.
2.2.5.2. Крепление скуловых килей к наружной обшивке следует осуществлять через промежуточный элемент - накладную полосу, привариваемую по периметру к наружной обшивке сплошным угловым швом. Соединение скуловых килей с этим элементом должно быть относительно слабее, чем соединение самого элемента с наружной обшивкой. Однако оно должно быть достаточно надежным, чтобы сохранить скуловые кили в обычных условиях эксплуатации судна. Промежуточный элемент следует выполнять непрерывным по длине скулового киля. Скуловые кили должны оканчиваться на подкрепленном участке наружной обшивки при плавном уменьшении их высоты у концов.
2.2.5.3. Толщина стенки приварных патрубков донной и бортовой арматуры должна быть не менее толщины наружной обшивки, определенной согласно
2.2.4.8, или 12 мм, в зависимости от того, что больше.
2.3.1. Общие положения
2.3.1.1. В настоящей главе приводятся требования к днищевому набору на судах без второго дна и в местах, где второе дно отсутствует, а также к флорам, вертикальному килю, днищевым балкам, элементам их соединения - кницам и бракетам.
2.3.1.2. В настоящей главе приняты следующие обозначения:

- длина рассматриваемого отсека (трюма, танка, машинного отделения и т.п.), м;

- ширина рассматриваемого отсека, м;

- ширина судна в рассматриваемом сечении, м, на уровне летней грузовой ватерлинии.
2.3.2.2. Конструкция вертикального киля должна отвечать следующим требованиям:
1. Вертикальный киль должен идти вдоль всего судна, насколько это практически возможно;
2. При продольной системе набора по обеим сторонам вертикального киля между флорами, а также между флором и поперечной переборкой должны быть предусмотрены кницы с фланцами. Отстояние книц друг от друга или от флора, или от поперечной переборки не должно превышать 1,2 м.
Кницы должны быть доведены до свободного пояска вертикального киля, если его стенка подкреплена вертикальными ребрами жесткости, или до второго снизу горизонтального ребра жесткости, если стенка вертикального киля подкреплена горизонтальными ребрами жесткости.
Кницы у днищевой обшивки должны доходить до ближайшей продольной днищевой балки и привариваться к ней.
2.3.2.3. При поперечной системе набора флоры, как правило, должны быть установлены на каждом шпангоуте.
Если флоры разрезаются на вертикальном киле, пояски флоров должны быть приварены встык к пояску вертикального киля. Если фактический момент сопротивления флоров менее чем в 1,5 раза превышает требуемый согласно
2.3.4.1.2, ширина их поясков в местах притыкания к пояску вертикального киля должна быть удвоена, или должны быть установлены горизонтальные кницы соответствующих размеров.
Пояски флоров могут быть заменены отогнутыми фланцами.
Флоры с отогнутыми фланцами не допускаются в районе машинного отделения и в ахтерпике.
2.3.2.4. При продольной системе набора, если вертикальный киль выше флора в месте их соединения, в плоскости стенки флора по обеим сторонам вертикального киля должны быть установлены кницы. Кница должна быть приварена к свободному пояску флора, стенке и свободному пояску вертикального киля. Свободная кромка кницы должна быть подкреплена пояском, угол ее наклона к пояску флора не должен превышать 45°.
Такие же требования предъявляются к соединению стрингера с флором, если в месте их соединения стрингер выше флора.
2.3.2.5. Расстояние между днищевыми стрингерами, а также расстояние от вертикального киля или борта судна до днищевого стрингера не должно превышать 2,2 м. Стенки днищевых стрингеров должны разрезаться на флорах и привариваться к ним. Пояски стрингеров должны привариваться к пояскам флоров.
2.3.2.7. В машинном отделении вертикальный киль может отсутствовать, если продольные балки машинного фундамента простираются от носовой переборки до кормовой машинного отделения и заканчиваются за переборкой кницами согласно
2.3.5.1.
2.3.2.8. Подкрепление стенок вертикального киля, днищевых стрингеров и флоров должно выполняться в соответствии с
2.1.7.3.
2.3.2.9. Соединение продольных днищевых балок с поперечными переборками должно обеспечивать сохранение эффективной площади сечения этих балок.
2.3.3. Нагрузки на конструкции одинарного дна
2.3.3.1. Статическое давление

в
формуле (2.2.3-1) должно определяться при осадке по максимальную летнюю ватерлинию.
2.3.4. Размеры связей одинарного дна
2.3.4.1. При поперечной системе набора днищевой набор должен удовлетворять следующим требованиям:
1. Высота флоров в диаметральной плоскости должна быть не менее

. В любом случае

не следует принимать меньше

. Уменьшение высоты флоров допускается не более чем на 10% при обеспечении требуемого момента сопротивления флора.
| | ИС МЕГАНОРМ: примечание. Нумерация пунктов дана в соответствии с официальным текстом документа. | |
В машинном отделении высота стенки флора между продольными фундаментными балками должна быть не менее 0,65 требуемой высоты в диаметральной плоскости. При этом уменьшение момента сопротивления флора по сравнению с требованиями 2.3.4.1.2 более чем на 10% не допускается.
На расстоянии

от диаметральной плоскости высота флоров должна быть не менее 50% требуемой высоты в диаметральной плоскости;
2. Момент сопротивления флоров в диаметральной плоскости должен быть не менее определяемого в
2.1.6.4.1 и
2.1.6.4.2. При этом:
m = 13;

;

, но не менее

;
p - согласно
2.3.3.1, но не менее 35 кПа.
На участках длиной

от борта площадь сечения стенки флора должна быть не менее определяемой в
2.1.6.4.3. При этом:
При определении p и l применяются ограничения, указанные выше;
3. Момент сопротивления вертикального киля должен быть больше момента сопротивления флора в диаметральной плоскости согласно
2.3.4.1.2 не менее чем в 1,6 раза. Высота вертикального киля должна быть равна высоте флора в месте их соединения;
4. Момент сопротивления днищевого стрингера должен быть не меньше момента сопротивления флора в диаметральной плоскости согласно
2.3.4.1.2. Высота стрингера должна быть равна высоте флора в месте их соединения.
2.3.4.2. Связи одинарного дна должны иметь толщину, s, мм, не менее определяемой по формуле
У вертикального киля

должна быть увеличена на 1,5 мм, но не должна превышать толщину горизонтального киля; у флоров толщина стенки может не превышать толщину наружной обшивки днища.
2.3.5. Специальные требования
2.3.5.1. Крепление концов днищевых связей и подкрепления стенок рамных балок должны отвечать следующим требованиям:
1. Вертикальный киль и днищевые стрингеры должны крепиться к поперечным переборкам кницами. Размеры книц - см.
2.1.7.2.3;
2. Высота книц может быть уменьшена до половины высоты вертикального киля, если поясок вертикального киля приваривается к поперечной переборке. Кницы могут не устанавливаться при уширении пояска вертикального киля в месте его притыкания к поперечной переборке не менее чем в два раза. Если вертикальный киль не устанавливается в машинном отделении, то в местах обрыва вертикальный киль за переборкой должен заканчиваться плавно снижающейся кницей, имеющей длину, равную удвоенной высоте вертикального киля, но не менее трех шпаций.
2.3.5.2. При поперечной системе набора вырезы во флорах допускаются диаметром не более 0,5 их высоты в данном месте. Кромка выреза не должна располагаться от пояска флора ближе, чем на 0,25 его высоты в данном месте. Расстояние между кромками соседних вырезов должно быть не менее высоты флора. Листы флора при наличии выреза должны быть подкреплены вертикальными ребрами жесткости.
2.3.5.3. В стенках стрингеров и флоров должны быть предусмотрены отверстия для протока воды.
2.4.1. Общие положения
В настоящей главе приводятся требования к конструкциям двойного дна, включающим набор днища до верха закругления скулы, настил второго дна с набором, вертикальный или туннельный киль, стрингеры и полустрингеры, междудонный лист с подкрепляющими их ребрами жесткости, бракеты, кницы и промежуточные подкрепляющие стойки в междудонном пространстве, кингстонные ящики и сточные колодцы.
2.4.2.1. Вертикальный киль должен быть продлен как можно дальше в нос и в корму к штевням и по возможности соединяться с ними. В средней части судна на длине не менее 0,6L вертикальный киль должен быть, как правило, непрерывным. При продольной системе набора двойного дна по обеим сторонам вертикального киля должны устанавливаться бракеты, которые должны быть доведены до ближайшей продольной балки или облегченного стрингера и приварены к ним. Расстояние между бракетами не должно превышать 1,2 м.
2.4.2.2. Вместо вертикального киля может устанавливаться туннельный киль, состоящий из двух стенок, расположенных по обе стороны от диаметральной плоскости. Ширина туннельного киля должна обеспечивать доступ ко всем его конструкциям. Ширина туннельного киля более 1,9 м является предметом специального рассмотрения Регистром.
По днищу и настилу второго дна между стенками туннельного киля в плоскости каждого шпангоута должны быть установлены поперечные балки с кницами или бракеты.
При продольной системе набора по обеим сторонам туннельного киля на каждой шпации должны быть установлены бракеты, по конструкции аналогичные бракетам вертикального киля.
Если туннельный киль, устанавливаемый только на части длины судна, прерывается и переходит в вертикальный, стенки туннельного и вертикального килей должны перекрывать друг друга на длине не менее одной шпации и заканчиваться кницами с поясками. При этом, если места перехода расположены в пределах 0,6L, средней части судна, длина книц должна быть не менее трех шпаций, в остальных районах - не менее двух.
2.4.2.3. Конструкции днищевых стрингеров и междудонного листа должны отвечать следующим требованиям:
1. Расстояние между днищевыми стрингерами, днищевым стрингером и вертикальным килем или междудонным листом, измеренное на уровне настила второго дна, не должно превышать 4,2 м при поперечной системе набора и 5,0 м при продольной системе набора;
2. При продольной системе набора двойного дна могут быть установлены облегченные стрингеры (панели с большими вырезами - см.
2.4.2.6.2 и
2.4.2.6.4) вместо продольных балок по днищу и второму дну;
3. Если на судне устанавливаются два симметричных относительно диаметральной плоскости туннеля, их конструкции являются предметом специального рассмотрения Регистром;
4. В районе машинного отделения расположение днищевых стрингеров должно быть согласовано с расположением фундаментов под механизмы, котлы и упорные подшипники так, чтобы по крайней мере одна из продольных балок фундамента была совмещена в одной плоскости с днищевым стрингером. В плоскости второй продольной балки фундамента в этом случае должен быть предусмотрен дополнительный стрингер.
При невозможности совмещения стрингеров с продольными балками фундамента под каждой из них должны быть поставлены дополнительные стрингеры.
По согласованию с Регистром вместо дополнительных стрингеров могут быть допущены полустрингеры, приваренные только к настилу второго дна и флорам;
5. Наклонный междудонный лист, если он устанавливается, должен продолжаться по всей длине двойного дна.
2.4.2.4. Расположение и конструкция флоров должны отвечать следующим требованиям:
1. При поперечной системе набора двойного дна сплошные флоры должны быть установлены на каждом шпангоуте:
в машинном и котельном отделениях;
в носовой оконечности в районе 0,25L, от носового перпендикуляра;
на судах, которые во время отлива при стоянке могут оказаться на грунте.
В прочих районах допускается установка сплошных флоров через пять шпаций или 3,6 м, в зависимости от того, что меньше. В этом случае между ними должны быть установлены открытые флоры (бракетные или облегченные).
Бракетные флоры состоят из нижних (по днищу) и верхних (по второму дну) балок, соединенных бракетами у вертикального киля, днищевых стрингеров и междудонного листа (см. рис. 2.4.2.4.1-1).
Рис. 2.4.2.4.1-1
Облегченные флоры состоят из листовых панелей, имеющих между стрингерами большие вырезы плавной формы (см. рис. 2.4.2.4.1-2);
2. При продольной системе набора двойного дна сплошные флоры, как правило, должны быть установлены на расстоянии, не превышающем двух шпаций;
в машинном и котельном отделениях;
в носовой оконечности в районе 0,25L от носового перпендикуляра;
на судах, которые во время отлива при стоянке могут оказаться на грунте.
В прочих районах допускается установка сплошных флоров через пять шпаций или 3,6 м, в зависимости от того, что меньше. Если вместо продольных балок днища и второго дна установлены облегченные стрингеры (см.
2.4.2.3.2), указанное расстояние между сплошными флорами может быть увеличено, но не более чем в два раза.
При поперечной системе набора борта и продольной системе набора двойного дна между сплошными флорами на каждом шпангоуте должны быть установлены бракеты, подкрепляющие междудонный лист, доведенные до ближайших продольных балок днища и второго дна или до ближайшего дополнительного стрингера и приваренные к ним (см. рис. 2.4.2.4.2).
Рис. 2.4.2.4.2
В районе фундамента под главный двигатель сплошные флоры должны быть установлены на каждом шпангоуте и доведены до ближайшего стрингера, расположенного вне фундамента;
3. Независимо от требований, указанных в
2.4.2.4.1 и
2.4.2.4.2, сплошные флоры должны устанавливаться:
под пиллерсами и концами продольных полупереборок;
под седлами и по концам фундаментов котлов;
под поперечными переборками и наклонными листами нижних трапецеидальных коробок гофрированных переборок;
под фундаментами опорных подшипников.
В указанных случаях установка флоров по всей ширине судна не обязательна. Допускается установка частичных флоров с доведением их до ближайшего к подкрепляемой конструкции днищевого стрингера.
2.4.2.5. Расположение ребер жесткости по стенкам вертикального и туннельного килей, стрингеров и флоров должно отвечать следующим требованиям:
1. При поперечной системе набора и высоте сплошных флоров более 900 мм должны быть установлены вертикальные ребра жесткости. Расстояние между ребрами должно быть не более 1,5 м. Расстояние между вертикальными ребрами жесткости по облегченным флорам не должно превышать 2,2 м.
При продольной системе набора ребра жесткости по сплошным флорам должны быть установлены в плоскости продольных балок днища и второго дна. Ребра должны быть доведены до продольных балок и приварены к ним.
Ребра жесткости должны быть установлены под пиллерсами, у концов книц концевых стоек продольных полупереборок и т.п.;
2. По непроницаемым участкам сплошных флоров должны быть установлены вертикальные ребра жесткости на расстоянии не более 0,9 м друг от друга.
2.4.2.6. Вырезы и лазы должны отвечать следующим требованиям:
1. Для доступа ко всем частям двойного дна должно быть предусмотрено необходимое число вырезов (лазов) в настиле второго дна, стрингерах и флорах. Размеры всех вырезов (в том числе и для облегчения) должны отвечать требованиям стандартов или других нормативных документов, признанных Регистром.
Вырезы для водо- и воздухопротока и для прохода сварных швов - см.
2.1.7.5.11;
2. Вырезы в вертикальном киле, стрингерах и флорах должны иметь плавную закругленную форму. Наименьшая допускаемая высота панели, примыкающей к обшивке днища или к настилу второго дна, приведена в табл. 2.4.2.6.2. Минимальная высота панели в районе выреза, кроме того, не должна быть менее 1/8 длины выреза.
Связь | Наименьшая допускаемая высота панели (в долях высоты связи) |
Вертикальный киль | 0,3 |
Днищевые стрингеры | 0,25 |
Облегченные стрингеры | 0,15 |
Флоры: | |
сплошные | 0,25 |
облегченные | 0,2 |
Указанная в
табл. 2.4.2.6.2 высота панели может быть уменьшена при условии соответствующего подкрепления панели. Кроме того, панели облегченных стрингеров и флоров должны отвечать требованиям
2.4.4.5.4, и, если высота панели

, больше 25s (где s - толщина стенки облегченного стрингера или флора, мм), свободная кромка панели должна быть подкреплена;
3. Расстояние между кромками соседних вырезов в вертикальном киле, днищевых стрингерах и сплошных флорах должно быть не менее половины длины большего выреза.
Отстояние кромок вырезов во флорах от продольных переборок, вертикального киля, днищевых стрингеров, наклонного междудонного листа и внутренних кромок бортовых скуловых цистерн должно быть не менее половины высоты вертикального киля в данном районе. Отстояние кромки выреза в облегченном флоре от стрингера должно быть не менее четверти высоты вертикального киля.
В исключительных случаях может быть допущено отступление от этих требований;
4. В стенке облегченного стрингера между соседними флорами и в стенке облегченного флора между соседними стрингерами разрешается делать один или несколько последовательных вырезов. В последнем случае между вырезами должны устанавливаться вертикальные ребра жесткости. Длина одного выреза не должна превышать 1,2 принятой высоты вертикального киля и 0,7 расстояния между флорами (стрингерами) или между флором (стрингером) и вертикальным ребром жесткости (см.
рис. 2.4.2.4.1-2), в зависимости от того, что меньше. Расстояние между кромками вырезов в облегченных стрингерах и флорах не должно быть меньше половины высоты вертикального киля в данном районе;
5. Вырезы, как правило, не допускаются;
в вертикальном киле на протяжении 0,75L от носового перпендикуляра;
в вертикальном киле и стрингерах (облегченных стрингерах) под пиллерсами и на участках, примыкающих к поперечным переборкам (между переборкой и крайним флором при поперечной системе набора; на расстоянии, равном высоте двойного дна, при продольной системе набора);
во флорах под пиллерсами;
во флорах в районе окончания книц, подкрепляющих в поперечном направлении фундаменты под главные механизмы;
во флорах между бортом и ближайшим облегченным стрингером, если расстояние между флорами увеличено согласно
2.4.2.4.2.
В исключительных случаях вырезы в указанных районах могут быть допущены при условии надлежащего подкрепления стенок вблизи вырезов;
6. В бракетах допускаются круглые облегчающие отверстия диаметром не более 1/3 ширины или высоты бракеты, в зависимости от того, что меньше.
2.4.2.7. Соединение продольных балок днища и второго дна с непроницаемыми флорами должно обеспечивать сохранение эффективной площади сечения указанных балок.
2.4.3. Нагрузки на конструкции двойного дна
2.4.3.1. Внешнее давление на конструкции двойного дна определяется по
формуле (2.2.3-1).
2.4.3.2. Нагрузки на конструкции двойного дна изнутри определяется по формуле для испытаний:
где

- вертикальное отстояние настила второго дна от верха воздушной трубы, м.
2.4.4. Размеры связей двойного дна
2.4.4.1. Высота двойного дна h, м, у вертикального киля должна определяться по формуле
h = (L - 40)/570 + 0,04B + 3,5d/L, (2.4.4.1)
но при этом быть не менее 0,65 м.
2.4.4.2. Вертикальный киль и стрингеры должны отвечать следующим требованиям:
1. Толщина вертикального (туннельного) киля, мм, должна быть не менее определяемой по формуле
где h - требуемая согласно
2.4.4.1 высота вертикального киля, м;

- фактическая высота вертикального киля, м;
| | ИС МЕГАНОРМ: примечание. В официальном тексте документа, видимо, допущена опечатка: пункт 1.1.5.1 в тексте документа отсутствует. Возможно, имеется в виду пункт 2.1.2.1. | |

, но не более 11,2.
Во всех случаях толщина вертикального киля должна быть не менее чем на 1 мм больше толщины сплошного флора;
2. Толщина стрингеров должна быть не менее толщины сплошных флоров;
3. В оконечностях на протяжении 0,1L от носового и кормового перпендикуляров толщина стенки вертикального киля может быть на 10% меньше его толщины в средней части судна, но не менее минимальной толщины согласно
2.4.4.9.
Толщина стенок туннельного киля должна быть не менее 0,9 толщины, требуемой для вертикального киля в данном районе;
4. Толщина непроницаемых участков вертикального киля и стрингеров должна быть не менее определяемой по
формуле (2.1.6.4.4). При этом:
p - согласно
формулам (2.1.4.8-4) и
(2.1.4.8-5) на уровне середины высоты вертикального киля (стрингера), в зависимости от того, что больше (при отсутствии предохранительного клапана принимается

);
m = 15,8;
если вертикальный киль (стрингер) подкреплен вертикальными бракетами или ребрами жесткости, в средней части судна

при L = 12 м;

при L = 24 м;
при 12 < L < 24 м

определяется линейной интерполяцией;
если вертикальный киль (стрингер) подкреплен горизонтальными ребрами жесткости, в средней части судна
в оконечностях в пределах участков 0,1L, от носового или кормового перпендикуляра
Для промежуточных районов между средней частью и указанными участками оконечностей

определяется линейной интерполяцией.
Толщина непроницаемых участков вертикального киля и стрингеров может быть не более толщины примыкающих к ним листов наружной обшивки.
2.4.4.3. Флоры должны отвечать следующим требованиям:
1. Толщина сплошных флоров, мм, должна быть не менее определяемой по формуле
где

, но не более 6,5 - при поперечной системе набора;

- при продольной системе набора;

- коэффициенты, определяемые соответственно по табл. 2.4.4.3-1 и
2.4.4.3-2;
a - расстояние между ребрами жесткости, м, но не более фактической высоты двойного дна;
Таблица 2.4.4.3-1
Коэффициент

Система набора | |
1 | 2 | 3 | 4 | 5 |
Поперечная | 1 | 1,15 | 1,20 | 1,25 | 1,30 |
Продольная | - | 1,25 | 1,45 | 1,65 | 1,85 |
Условные обозначения: |
 - расстояние между сплошными флорами, м; |
a - шпация, м. |
Таблица 2.4.4.3-2
Коэффициент

Система набора | Число стрингеров на один борт |
0 | 1 | 2 | 3 и более |
Поперечная | 1 | 0,97 | 0,93 | 0,88 |
Продольная | 1 | 0,93 | 0,86 | 0,80 |
2. Стенки флоров должны быть подкреплены ребрами жесткости.
Толщина стенок сплошных флоров

, в районе от форпиковой переборки до 0,25L от носового перпендикуляра, в машинном отделении и пиках, а также судов, которые при стоянке во время отлива могут оказаться на грунте, должна быть не менее:
при поперечной системе набора
при продольной системе набора
3. Непроницаемые флоры должны иметь толщину не менее определяемой по
формуле (2.1.6.4.4). При этом:
m - 15,8;
Во всех случаях толщина непроницаемых флоров должна быть не менее требуемой для сплошных флоров в данном районе судна.
2.4.4.4. Настил второго дна и междудонный лист должны отвечать следующим требованиям:
1. Толщина настила второго дна, включая крайний междудонный лист, должна быть не менее определяемой по
формуле (2.1.6.4.4). При этом:
m = 15,8;
p - максимальное расчетное давление согласно
2.4.3.2;

в средней части судна длиной 12 м при поперечной системе набора;

в средней части судна длиной 24 м при поперечной системе набора.
При 12 < L < 24 м

определяется линейной интерполяцией;

в средней части судна при продольной системе набора;

в оконечностях в пределах участков 0,1L от носового или кормового перпендикуляра.
Для промежуточных районов между средней частью и указанными участками оконечностей

определяется линейной интерполяцией;
2. В любом случае толщина настила второго дна

, должна быть не менее определяемой по формуле:
Для судов проектных категорий A и A1, если принятая шпация меньше нормальной (см.
2.1.1.1), допускается уменьшение минимальной толщины настила второго дна пропорционально отношению принятой шпации к нормальной, но не более чем на 10%. Во всех случаях минимальная толщина должна быть не менее 5,5 мм.
В машинном отделении при отсутствии деревянного настила

должна быть увеличена на 2 мм.
2.4.4.5. Балки основного набора по днищу и второму дну должны отвечать следующим требованиям:
1. Момент сопротивления продольных балок по днищу и второму дну, а также нижних и верхних балок бракетных флоров и туннельного киля должен быть не менее определяемого в
2.1.6.4.1. При этом:
p - расчетное давление, определяемое для продольных балок днища и нижних балок бракетных флоров и туннельного киля согласно
2.4.3.1, для продольных балок второго дна и верхних балок бракетных флоров и туннельного киля - согласно
2.4.3.2, кПа;
m = 12;
l - длина расчетного пролета балки, м, определяемая: для продольных балок по днищу и второму дну - как расстояние между флорами; для нижних и верхних балок бракетных флоров - как расстояние между концами бракет или между концом бракеты и днищевым стрингером; для туннельного киля - как расстояние между стенками;
для продольных балок днища

в средней части судна;

в оконечностях в пределах участков 0,1L от носового или кормового перпендикуляра.
Для промежуточных районов между средней частью и указанными участками оконечностей

определяется линейной интерполяцией;
для продольных балок второго дна

в средней части судна;

в оконечностях в пределах участков 0,1L от носового и кормового перпендикуляра.
Для промежуточных районов между средней частью и указанными участками оконечностей

определяется линейной интерполяцией;
для нижних балок бракетных флоров и туннельного киля
для верхних балок бракетных флоров и туннельного киля
2. При наличии промежуточных подкрепляющих стоек между балками днища и второго дна, установленных по середине их пролета, момент сопротивления этих балок может быть уменьшен на 35%;
3. Если отношение длины пролета продольной балки по днищу или второму дну к ее высоте меньше 10, площадь стенки балки должна быть не менее определяемой по
формуле (2.1.6.4.3-1) при

(p, l - расчетное давление и длина расчетного пролета балки согласно
2.4.4.5.1),

для продольных балок днища и

для продольных балок второго дна;
4. Момент сопротивления панели, примыкающей к обшивке днища или настилу второго, по центру выреза облегченных днищевых стрингеров и флоров должен удовлетворять требованиям
2.4.4.5.1 соответственно к продольным и поперечным балкам по днищу и второму дну. При этом расчетный пролет l принимается равным наибольшей длине выреза за вычетом радиуса его закругления. В состав сечения панели включается присоединенный поясок обшивки днища (настила второго дна) согласно
2.1.6.3.3 и
2.1.6.3.4, а также поясок или горизонтальное ребро жесткости, подкрепляющее свободную кромку панели, если таковые устанавливаются.
2.4.4.6. Ребра жесткости по непроницаемым участкам вертикального (туннельного) киля, стрингеров и флоров должны отвечать следующим требованиям:
1. Момент сопротивления вертикальных ребер по непроницаемым участкам вертикального (туннельного) киля, стрингеров и флоров должен быть не менее определяемого по
2.1.6.4.1. При этом:
l - длина пролета ребра, определяемая как расстояние между балками, к которым приваривается ребро, или, если ребро не находится в плоскости днищевых балок и балок второго дна, как высота двойного дна, м;
m = 8 и 10 для ребер, срезанных "на ус" и приваренных к балкам основного набора днища и второго дна соответственно;
2. Момент сопротивления горизонтальных ребер жесткости по вертикальному (туннельному) килю и стрингерам должен быть не менее определяемого в
2.1.6.4.1. При этом:
l - расстояние между флорами или флорами и бракетами (см.
2.4.2.2), м;
m = 12;

в средней части судна;

в оконечностях в пределах участков 0,1L от носового или кормового перпендикуляра.
Для промежуточных районов между средней частью и указанными участками оконечностей

определяется линейной интерполяцией.
2.4.4.7. Промежуточные подкрепляющие стойки между продольными балками днища и второго дна, а также между нижними и верхними балками бракетных флоров должны отвечать следующим требованиям:
1. Площадь поперечного сечения промежуточных стоек f, см2, должна быть не менее определяемой по формуле
где p - расчетное давление, определяемое как наибольшая из величин p или

согласно
2.4.3.1 или
2.4.3.2 в зависимости от того, что больше, кПа;
l - длина расчетного пролета подкрепляемых балок, м;
h - высота поперечного сечения стойки, см;
2. Момент инерции промежуточных стоек i, см4, должен быть не менее определяемого по формуле
где f - площадь поперечного сечения стоек согласно
2.4.4.7.1;
l - длина стойки, м.
2.4.4.8. Толщина бракет вертикального (туннельного) киля и междудонного листа, а также бракет, бракетных флоров и бракет, соединяющих продольные балки по днищу и второму дну с непроницаемыми флорами, если балки на них разрезаются, должна быть не менее толщины сплошных флоров, принятой в данном районе.
Длина бракет у вертикального киля и междудонного листа в плоскости бракетного флора должна быть не менее 0,75 высоты вертикального киля. Свободные кромки бракет должны иметь фланцы или пояски. Днищевой стрингер в плоскости бракетного флора должен быть подкреплен вертикальным ребром жесткости, профиль которого выбирается таким же, как профиль верхней балки флора.
Длина бракет, соединяющих продольные балки по днищу и настилу второго дна с непроницаемыми флорами, должна быть не менее 2,5 высоты днищевой балки (см. рис. 2.4.4.8).
Рис. 2.4.4.8
Размеры книц, с помощью которых закрепляются поперечные балки туннельного киля, определяются согласно
2.1.7.2.2.
2.4.4.9. Внутри двойного дна элементы конструкции, включая балки основного набора, ребра жесткости, кницы и т.п., должны иметь толщину

, не менее определяемой по формуле

вертикального киля должна быть увеличена на 1,5 мм.
2.4.5. Специальные требования
2.4.5.1. Прерывистое двойное дно и подкрепления в местах изменения высоты двойного дна должны оформляться с учетом следующих требований;
1. В местах, где двойное дно прерывается, должен быть обеспечен плавный переход от продольных связей двойного дна к продольным связям за его пределами.
Настил второго дна постепенно (на длине не менее трех шпаций) должен переходить в пояски вертикального киля и днищевых стрингеров одинарного дна. Ширина этих поясков у границы двойного дна должна быть не менее половины расстояния между соседними днищевыми стрингерами.
Междудонный лист должен быть продолжен за пределы двойного дна в виде кницы, имеющей высоту, равную высоте междудонного листа, а длину не менее трех шпаций, с пояском или фланцем по свободной кромке;
2. При изменении высоты двойного дна со сломами один слом должен располагаться на поперечной переборке, другой на сплошном флоре. Допускается, однако, чтобы оба слома были расположены на сплошных флорах; в этом случае конструкция является предметом специального рассмотрения Регистром;
3. При изменении высоты двойного дна с уступом последний должен, как правило, располагаться на поперечной переборке.
В месте уступа должен быть предусмотрен перепуск настила второго дна, имеющего меньшую высоту, на участке длиной две шпации. В нос (или в корму) от окончания участка перепуска настила второго дна должны быть выполнены общие требования для прерывистого двойного дна.
При расположении уступа вне района 0,5L средней части судна, а также при высоте уступа менее 660 мм конструкция двойного дна в районе перепуска в каждом случае является предметом специального рассмотрения Регистром;
4. В районе уступа должны быть обеспечены непрерывность и снижение концентрации напряжений в местах изменения высоты вертикального киля, днищевых стрингеров, междудонных листов и продольных балок второго дна (при продольной системе набора).
2.4.5.2. Сточные колодцы, кингстонные и ледовые ящики должны отвечать следующим требованиям:
1. Объем сточных (осушительных) колодцев указан в части VIII "Системы и трубопроводы" Правил классификации и постройки морских судов.
Толщина стенок и дна сточного колодца должна превышать толщину водонепроницаемых флоров не менее чем на 2 мм;
2. Толщина флоров, стрингеров и настила второго дна, являющихся стенками кингстонных и ледовых ящиков, должна быть на 2 мм больше, чем требуется согласно
2.4.4.2 -
2.4.4.4.
В любом случае толщина стенок кингстонных и ледовых ящиков должна быть не менее требуемой в
2.2.4.1 для наружной обшивки в рассматриваемом районе.
2.4.5.3. При устройстве топливных цистерн в двойном дне, помимо общих требований к их устройству, горловины в настиле второго дна для доступа в цистерны в районе машинного и котельного отделений должны иметь комингсы высотой не менее 0,1 м.
2.4.5.4. Если фундаментная рама главного двигателя и упорный подшипник устанавливаются непосредственно на настил второго дна, под опорными частями фундаментной рамы и упорного подшипника необходимо предусматривать вварные опорные листы толщиной не менее требуемой
2.11.3.1. Размеры вварных опорных листов должны обеспечивать размещение упорных элементов и крепление механизма и быть во всяком случае не менее опорных частей фундаментной рамы механизма. При установке фундаментной рамы и упорного подшипника на настил второго дна в районе их установки должны быть предусмотрены по ширине каждого вварного опорного листа два стрингера или стрингер и полустрингер, верхняя часть которых высотой не менее 0,2 высоты стрингера должна иметь толщину, равную толщине утолщенного листа, либо по всей высоте иметь толщину, требуемую в
2.11.3 для стенки фундамента.
Между стрингерами с учетом расположения отверстий под болты крепления механизма должно быть установлено продольное ребро жесткости размерами, указанными выше для верхней части стрингеров.
Для двигателей малой мощности по согласованию с Регистром допускается установка по ширине утолщенного листа только одного стрингера.
2.4.5.5. Настил углубления под картер двигателя, а также части стрингеров и флоров, ограничивающих его, должны иметь толщину на 2 мм больше толщины настила второго дна в этом районе. Минимальное расстояние от настила углубления до днищевой обшивки должно быть не менее 460 мм.
2.5.1. Общие положения
2.5.1.1. В настоящей главе приводятся требования к шпангоутам, рамным шпангоутам, продольным бортовым балкам, бортовым стрингерам.
2.5.2. Конструкция
2.5.2.1. При поперечной системе набора борта может быть предусмотрена установка бортовых стрингеров.
При поперечной системе набора борта могут устанавливаться, а при продольной системе набора борта должны устанавливаться рамные шпангоуты. Плоскость их установки должна совпадать с плоскостью установки сплошных флоров, а также с плоскостью рамных бимсов, если таковые имеются.
2.5.2.2. В машинном отделении бортовой набор должен быть усилен установкой рамных шпангоутов и стрингеров.
Рамные шпангоуты должны быть установлены на расстоянии, не превышающем 5 нормальных шпаций или 3 м в зависимости от того, что больше. Расположение рамных шпангоутов должно быть согласовано с положением двигателя; они должны быть установлены по крайней мере у каждого из торцов двигателя. По высоте борта рамные шпангоуты должны быть доведены до ближайшей непрерывной в районе машинного отделения платформы. В плоскости рамных шпангоутов должны быть предусмотрены рамные бимсы.
Бортовые стрингеры в машинном отделении должны располагаться таким образом, чтобы измеренное по вертикали расстояние между ними, а также между бортовым стрингером и палубой или настилом второго дна (верхней кромкой флора) не превышало 2,5 м.
2.5.3. Нагрузки на конструкции борта
2.5.3.1. Расчетное давление на конструкции наружного борта определяется согласно
2.2.3. В районе цистерн следует учитывать дополнительное расчетное давление согласно
2.1.4.8.
2.5.4. Размеры связей бортовых конструкций
2.5.4.1. Момент сопротивления трюмных шпангоутов при поперечной системе набора должен быть не менее определяемого в
2.1.6.4.1. При этом:
p - согласно 2.5.3; при этом величина p для наружного борта должна быть не менее определяемой по формуле:
где z - отстояние середины пролета шпангоута от максимальной летней ватерлинии, м;
l - длина пролета между соседними опорами, измеряемая согласно
2.1.6.3.1, м; опорами шпангоута являются: днище, палуба или платформа, бортовые стрингеры, если не оговорено иное;
m = 12 при определении момента сопротивления в опорном сечении шпангоута с учетом попадающей в это сечение кницы, если таковая установлена;
m - 18 при определении момента сопротивления в пролете;
Для судов проектных категорий ограниченного района плавания величина

может быть уменьшена умножением на коэффициент

, определяемый по
табл. 2.1.4.5.
2.5.4.2. Момент сопротивления шпангоутов в междупалубных помещениях должен быть не менее определяемого в
2.1.6.4.1. При этом:
p - расчетное давление согласно
2.5.3;
l - длина пролета между соседними опорами, измеряемая согласно
2.1.6.3.1, м; опорами шпангоута являются палубы и платформы;
m = 10;
Указанное выше относится к случаю, когда нижний конец шпангоута в твиндеке не усилен кницей. Если нижний конец шпангоута подкреплен кницей высотой не менее 0,1l и момент сопротивления шпангоута у палубы с учетом кницы не менее 1,75 момента сопротивления, определенного выше, момент сопротивления шпангоута в твиндеке может быть уменьшен на 30%.
2.5.4.3. Момент сопротивления продольных бортовых балок должен быть не менее определяемого в
2.1.6.4.1. При этом:
a - расстояние между продольными балками, м;
l - среднее расстояние между рамными шпангоутами или диафрагмами, м;
m = 12;

в районе (0,4 - 0,5)D от основной плоскости.
Для района ниже 0,4D от основной плоскости

определяется линейной интерполяцией между

для днищевых продольных балок по
2.4.4.5.1 и

в районе (0,4 - 0,5)D от основной плоскости.
Для района выше 0,5D от основной плоскости

определяется линейной интерполяцией между

для продольных балок расчетной палубы по
2.6.4.2 и

в районе (0,4 - 0,5)D от основной плоскости.
2.5.4.4. Момент сопротивления бортовых стрингеров при поперечной системе набора борта должен быть не менее определяемого в
2.1.6.4.1.
При этом:

определяется так же, как для продольных бортовых балок наружного борта согласно
2.5.4.3;
l - расстояние между рамными шпангоутами, а при их отсутствии между поперечными переборками, включая концевые кницы, м;
a - расстояние между бортовыми стрингерами, м;
m = 18.
Площадь поперечного сечения стенки бортового стрингера за вычетом вырезов, см2, должна быть не менее определяемой в
2.1.6.4.3. При этом:
n = 0,5;
При наличии рамных шпангоутов размеры сечения бортового стрингера могут быть выбраны на основании расчета бортового перекрытия как стержневой системы. Расчетные нагрузки должны выбираться согласно
2.5.3.1, коэффициенты допускаемых напряжений - согласно настоящему пункту.
2.5.4.5. Момент сопротивления рамных шпангоутов в трюмах и междупалубных помещениях должен быть не менее определяемого в
2.1.6.4.1 и
2.1.6.4.2. При этом:
l - расстояние между верхней кромкой флора одинарного дна или настилом второго дна и нижней кромкой рамного бимса, м;
a - расстояние между рамными шпангоутами, м;
m = 10 для шпангоутов в междупалубных помещениях;
m = 11 в трюмах;
Площадь поперечного сечения стенки рамного шпангоута за вычетом вырезов, см2, должна быть не менее определяемого в
2.1.6.4.3. При этом:
n = 0,5;
Размеры сечения рамных шпангоутов при поперечной системе набора могут быть выбраны на основании расчета бортового перекрытия согласно требованиям
2.5.4.4. Коэффициенты допускаемых напряжений при этом должны выбираться согласно требованиям настоящего пункта.
Высота стенки рамного шпангоута на однопалубных судах может быть принята переменной по высоте борта с уменьшением ее у верхнего конца и увеличением у нижнего. Это изменение высоты не должно превышать 10% ее среднего значения.
Требования к подкреплениям рамных шпангоутов - см.
2.1.7.3.
2.5.4.6. Бортовой набор в машинном отделении и цистернах должен отвечать следующим требованиям:
1. Размеры шпангоутов в машинном отделении определяются согласно
2.5.4.1. При этом:
l - длина пролета, измеряемая между бортовыми стрингерами, или нижним бортовым стрингером и настилом второго дна (верхней кромкой флора), или верхним бортовым стрингером и нижней кромкой бимса.
Размеры продольных балок определяются согласно
2.5.4.3.
Размеры рамных шпангоутов определяются согласно
2.5.4.5. При этом:
l - длина пролета, измеряемая от настила второго дна (верхней кромки флора) до нижней кромки рамного бимса;
2. В машинном отделении допускается не устанавливать рамные шпангоуты и бортовые стрингеры, требуемые согласно
2.5.2.2, при условии, что момент сопротивления основного шпангоута, см3, будет не менее определяемого по формуле
где

- момент сопротивления основного шпангоута согласно
2.5.4.6.1;
3. Рамные шпангоуты в машинном отделении должны иметь высоту профиля не менее 0,1 пролета и толщину стенки не менее 0,01 высоты стенки плюс 3,5 мм;
4. Высота стенки бортового стрингера в машинном отделении должна быть равна высоте стенки рамного шпангоута.
Толщина стенки бортового стрингера может быть на 1 мм меньше толщины рамного шпангоута. Толщина свободного пояска бортового стрингера должна быть равна толщине свободного пояска рамного шпангоута.
2.5.5. Специальные требования
2.5.5.1. При поперечной системе набора борта должно быть обеспечено надежное соединение нижних концов шпангоутов с днищевыми конструкциями с помощью скуловых книц или других эквивалентных им по прочности конструкций. Скуловые кницы должны отвечать следующим требованиям:
1. По высоте скуловые кницы должны полностью перекрывать скулу. Свободная кромка скуловой кницы должна иметь фланец или должна быть подкреплена пояском, размеры которых выбираются согласно
2.1.7.2.2.2.
Толщина скуловой кницы принимается равной толщине сплошных флоров в рассматриваемом районе корпуса, но может не превышать толщину стенки шпангоута более чем в 1,5 раза.
Размеры вырезов в скуловых кницах должны быть такими, чтобы ни в одном месте ширина листа с одной стороны выреза была не менее 1/3 ширины кницы.
В любом случае размеры скуловых книц должны быть не менее требуемых в
2.1.7.2.2;
2. Конструкция крепления конца шпангоута к скуловой книце должна быть такой, чтобы ни в одном сечении момент сопротивления не был меньше требуемого для шпангоута;
3. При наклонном междудонном листе двойного дна скуловая кница должна быть доведена до настила второго дна, а ее поясок (фланец) должен быть приварен к этому настилу;
4. При горизонтальном междудонном листе двойного дна или поперечной системе набора одинарного дна ширина скуловой кницы должна выбираться из условия, чтобы момент сопротивления ее сечения в месте соединения с настилом второго дна или верхней кромкой флора не менее чем в два раза превышал момент сопротивления шпангоута.
Свободный поясок (фланец) скуловой кницы может быть приварен к настилу второго дна, или свободному пояску (фланцу) флора, либо срезан "на ус". В случае приварки свободного пояска (фланца) в месте приварки стенка флора должна быть подкреплена вертикальным ребром жесткости или кницей, также приваренными к настилу второго дна или пояску (фланцу) флора.
Высота скуловой кницы должна быть не менее ее ширины;
5. При продольной системе набора одинарного дна скуловая кница должна быть доведена по крайней мере до ближайшей к борту продольной балки днища и приварена к ней. Момент сопротивления кницы в сечении, перпендикулярном наружной обшивке, где кница имеет наибольшую ширину, должен не менее чем в два раза превышать момент сопротивления шпангоута.
2.5.5.2. Верхние концы шпангоутов во всех помещениях должны быть доведены до палуб (платформ) с минимальным зазором. Бимсы палуб (платформ) с поперечной системой набора должны быть доведены с минимальным зазором до внутренней кромки шпангоута.
Для верхних палуб (за исключением судов, швартующихся в море) допускается конструкция, в которой бимсы доводятся до наружной обшивки с минимальным зазором, а шпангоуты - до бимсов.
Размеры книц, подкрепляющих верхние концы шпангоутов, должны отвечать требованиям
2.1.7.2.2. При продольной системе набора палубы кница должна быть доведена по крайней мере до ближайшей к борту продольной балки палубы и приварена к ней.
2.5.5.3. Если шпангоут разрезан на палубе, крепление его нижнего конца должно быть выполнено с помощью кницы, отвечающей требованиям
2.1.7.2.2. Кница может не устанавливаться, если концы разрезанного шпангоута приварены к настилу палубы сверху и снизу и обеспечен полный провар.
2.5.5.4. Бортовые стрингеры должны крепиться к рамным шпангоутам кницами, доходящими до свободного пояска рамного шпангоута и приваренными к нему.
В настоящей главе приводятся требования к конструкциям палуб и платформ судов, у которых ширина больших одинарных вырезов не превышает 0,7 ширины судна в районе выреза.
Настоящая глава содержит требования к настилу, балкам основного и рамного набора палуб и платформ: продольным подпалубным балкам, бимсам, рамным бимсам, карлингсам, концевым люковым бимсам.
Дополнительные требования к участкам верхней палубы, расположенным под надстройками, приведены в
2.12.5.1 -
2.12.5.3.
2.6.2. Конструкция
2.6.2.1. Должна быть обеспечена конструктивная непрерывность карлингсов расчетной палубы в средней части судна. Если карлингсы разрезаются на поперечных переборках, их стенки должны привариваться к поперечным переборкам и крепиться к ним кницами.
Соединение поясков карлингса и рамного бимса должно выполняться с помощью крестовины, толщина которой должна быть равна большей толщине этих поясков.
2.6.2.2. Карлингсы и рамные бимсы в местах установки пиллерсов должны быть подкреплены кницами или бракетами.
В местах соединения рамных бимсов с карлингсами при разной высоте их стенок стенка карлингса должна быть подкреплена кницами, устанавливаемыми в плоскости рамного бимса. Кницы должны быть приварены к свободному пояску рамного бимса, стенке и свободному пояску карлингса.
В местах соединения карлингсов с обыкновенными бимсами стенка карлингса должна быть подкреплена вертикальными ребрами жесткости.
2.6.2.3. Соединение продольных подпалубных балок с поперечными переборками должно обеспечивать сохранение эффективной площади сечения указанных балок.
2.6.3. Нагрузки на палубные конструкции
2.6.3.1. Расчетное давление на открытых участках верхней палубы должно быть не менее определяемого по формуле
где

- волновая нагрузка на уровне палубы согласно
2.1.4.6.2;

в носовой оконечности в пределах 0,2L от носового перпендикуляра;

в средней части и в корму от средней части судна;
в промежуточном районе между носовой оконечностью и средней частью судна

определяется линейной интерполяцией.
У судов ограниченного района плавания величина

может быть уменьшена умножением на коэффициент

, определяемый по
табл. 2.1.4.5.
2.6.3.2. Для палуб и платформ, предназначенных для размещения экипажа, пассажиров и оборудования, расчетное давление должно быть не менее 3,5 кПа.
Для платформ в машинном отделении минимальное расчетное давление должно составлять 18 кПа.
Водонепроницаемые нижние палубы и платформы дополнительно рассчитываются на нагрузки при испытаниях, кПа, определяемые по формуле
где

- вертикальное отстояние настила палубы (платформы) от верха воздушной трубы, м.
2.6.4. Размеры палубных связей
2.6.4.1. Толщина настила палубы
2.6.4.1.1. Толщина настила расчетной палубы вне линии люковых вырезов с учетом продольных подпалубных балок основного и рамного набора должна определяться с учетом
2.1.5.
2.6.4.1.2. Толщина настила палуб и платформ должна быть не менее определяемой по
формуле (2.1.6.4.4). При этом:
m = 15,8;
для расчетной палубы в средней части длины судна при поперечной системе набора

при длине судна 12 м;

при длине судна 24 м.
При 12 < L < 24 м

определяется линейной интерполяцией.

в средней части судна при продольной системе набора;

в оконечностях в пределах участков 0,1L от носового и кормового перпендикуляра.
Для промежуточных районов между средней частью и указанными участками оконечностей

определяется линейной интерполяцией;
для второй непрерывной палубы, расположенной выше 0,5D от основной плоскости:

в средней части судна длиной 12 м при поперечной системе набора;

в средней части судна длиной 24 м при поперечной системе набора.
При 12 < L < 24 м

определяется линейной интерполяцией.

в средней части судна при продольной системе набора;

в оконечностях в пределах участков 0,1L от носового или кормового перпендикуляра.
Для промежуточных районов между средней частью и указанными участками оконечностей

определяется линейной интерполяцией;
для остальных нижних палуб и платформ

.
2.6.4.1.3. При кормовом расположении машинного отделения толщина настила и размеры продольных балок палубы перед ютом и кормовой рубкой не должны уменьшаться на участке длиной не менее ширины выреза для машинной шахты, считая в корму от носовой переборки юта (кормовой рубки).
Если носовая кромка выреза машинной шахты расположена от носовой переборки юта (кормовой рубки) на расстоянии, меньшем ширины выреза, может быть потребовано дополнительное усиление палубы в этом районе.
2.6.4.1.4. Если толщина настила расчетной палубы принимается меньше толщины обшивки борта, должен быть предусмотрен палубный стрингер. Ширина палубного стрингера верхней палубы b, мм, должна быть не менее определяемой по формуле
b = 5L + 800, (2.6.4.1.4)
а толщина палубного стрингера должна быть не менее толщины бортовой обшивки.
2.6.4.1.5. Толщина листов настила палуб и платформ

, должна быть не менее:
для верхней палубы между бортом и линией больших вырезов в средней части судна
для верхней палубы в оконечностях судна и внутри линии больших вырезов, а также для второй палубы
для третьей и других нижележащих палуб и платформ
Для судов проектных категорий A и A1, если принятая шпация меньше нормальной (см.
2.1.1.1), допускается уменьшение минимальной толщины настила палуб и платформ пропорционально отношению принятой шпации к нормальной, но не более чем на 10%.
Во всех случаях минимальная толщина должна быть не менее 5,5 мм.
2.6.4.2. Момент сопротивления поперечного сечения продольных подпалубных балок должен быть не менее определяемого в
2.1.6.4.1 и
2.1.6.4.2.
При этом:
m = 12;
для верхней палубы

в средней части судна;

в оконечностях в пределах участков 0,1L, от носового или кормового перпендикуляра.
Для промежуточных районов между средней частью и указанными участками оконечностей

определяется линейной интерполяцией;
для остальных палуб
2.6.4.3. При поперечной системе набора палуб момент сопротивления бимсов должен быть не менее определяемого в
2.1.6.4.1. При этом:
m = 10;
2.6.4.4. Размеры подпалубного рамного набора: рамных бимсов, карлингсов и концевых люковых бимсов - должны быть выбраны на основании расчета палубного перекрытия как стержневой системы, за исключением случаев, указанных в
2.6.4.5 -
2.6.4.7. Расчетные нагрузки должны выбираться согласно
2.6.3. При наличии пиллерсов в зависимости от их расположения должно быть учтено взаимодействие палубного перекрытия с выше- и/или нижележащими конструкциями.
Коэффициенты допускаемых напряжений должны приниматься:
для расчетной палубы
при расчете карлингсов

в средней части судна длиной 12 м;

в средней части судна длиной 24 м.
При 12 < L < 24 м

определяется линейной интерполяцией;

в оконечностях в пределах участков 0,1L от носового или кормового перпендикуляра.
Для промежуточных районов между средней частью и указанными участками оконечностей

определяется линейной интерполяцией;
при расчете рамных бимсов и полубимсов, а также концевых рамных бимсов
при расчете рамных связей по касательным напряжениям
для рамных связей остальных палуб и платформ
2.6.4.5. Рамные полубимсы, рамные бимсы и концевые рамные бимсы, которые можно рассматривать как балки на жестких опорах, должны иметь момент сопротивления сечения не менее определяемого в
2.1.6.4.1 и
2.1.6.4.2, площадь сечения стенки за вычетом вырезов - не менее определяемой в
2.1.6.4.3. При этом:
m = 10;
2.6.4.6. Карлингсы должны отвечать следующим требованиям:
1. Карлингсы и продольные комингсы люков, которые можно рассматривать как балки на жестких опорах, должны иметь момент сопротивления сечения не менее определяемого в
2.1.6.4.1 и
2.1.6.4.2, площадь сечения стенки за вычетом вырезов не менее определяемой в
2.1.6.4.3. При этом:
m = 10 для разрезных карлингсов;
m = 12 для непрерывных карлингсов при определении момента сопротивления в опорном сечении с учетом попадающей в это сечение кницы, если таковая установлена;
m = 18 для непрерывных карлингсов при определении момента сопротивления в пролете карлингса;
2. Толщина стенки карлингса может приниматься не более толщины настила палубы.
2.6.4.7. Если балка подпалубного рамного набора может рассматриваться как изолированная, момент сопротивления ее сечения должен быть не менее определяемого в
2.1.6.4.1 и
2.1.6.4.2. При этом расчетные нагрузки и коэффициент

выбираются так же, как в
2.6.4.4; m = 10.
Площадь сечения стенки такой балки должна быть не менее определяемой по
формуле (2.1.6.4.3-1). При этом коэффициент

определяется так же, как в
2.6.4.4;
2.6.5. Специальные требования
2.6.5.1. Требования к оформлению одинарных вырезов, приведенные ниже, относятся к вырезам, размеры которых не превышают указанных в
2.6.1.
Предполагается, что вырезы расположены большей стороной вдоль судна. При другом расположении вырезов их оформление является предметом специального рассмотрения Регистром.
2.6.5.1.1. Минимальный радиус скруглений углов больших вырезов r (см. рис. 2.6.5.1.1), включая вырезы машинно-котельных шахт, может приниматься равным 0,15 м.
Рис. 2.6.5.1.1
2.6.5.1.2. В районе A (см. рис. 2.6.5.1.1) не следует располагать стыки листов палубного настила, стыковые соединения продольных балок основного и рамного набора, выполнять отверстия, приваривать к настилу палуб скобы, рамы и т.п., а также монтажные детали.
В районе C (см. рис. 2.6.5.1.1) допускается располагать лишь малые вырезы, как правило, круглой или эллиптической формы, с минимальным размером выреза, не превышающим 20s (где s - толщина палубного настила, мм). Следует по возможности избегать выхода сварных швов на продольные кромки вырезов.
Если палубный настил прерывается у шахты машинного отделения и приваривается к нему, должна применяться сварка с полным проваром.
2.6.5.1.3. При необходимости компенсации потерянной площади поперечного сечения палубы в районе изолированного выреза должно выполняться подкрепление, конструкция которого показана на
рис. 2.6.5.1.3. Значение коэффициента k выбирается в зависимости от соотношения толщины палубного настила s, толщины подкрепляющего листа

и ширины выреза b но не следует принимать его менее чем

.
2.6.5.1.4. Толщина листов палубного настила между поперечными кромками соседних, последовательно расположенных больших вырезов и машинных шахт (см.
2.6.5.1.1) в пределах их ширины за вычетом поперечных размеров скругления должна быть не менее указанной в
2.6.4.1.5.
У поперечных кромок изолированных вырезов толщина

допускается на участке, показанном на рис. 2.6.5.1.4.
Рис. 2.6.5.1.4
2.6.5.2. Толщина комингсов вентиляторов (вентиляционных труб, каналов, шахт и т.д.) на палубе надводного борта и квартердека, а также на открытых палубах надстроек, расположенных в пределах 0,25L от носового перпендикуляра, s, мм, должна быть не менее определяемой по формуле
где

- внутренний диаметр или длина большей стороны сечения комингса, мм.
При этом толщина s должна быть не менее 7, но может не превышать 10 мм.
На судах проектных категорий A2, B, C, C1, C2, C3 и D толщина комингсов вентиляторов s, мм, должна быть не менее определяемой по формулам:
s = 0,01d + 4 (2.6.5.2-2)
или
в зависимости от того, что больше,
где d - внутренний диаметр или длина большей стороны сечения комингса, мм;

- толщина настила палубы, мм.
Толщина комингсов на палубах первого яруса надстроек, расположенных вне пределов 0,25L от носового перпендикуляра, может быть на 10% меньше требуемой для комингсов на палубе надводного борта и возвышенном квартердеке.
Если толщина стального настила палубы меньше 10 мм, в районе комингса должен быть установлен вварной или накладной лист толщиной не менее 10 мм, длиной и шириной не менее удвоенного диаметра или удвоенной длины большей стороны сечения комингса.
При надежной перевязке комингса с подпалубным набором установка вварного или накладного листа не требуется.
Если комингс вентиляторов имеет высоту более 0,9 м и при этом не поддерживается соседними корпусными конструкциями, необходима установка книц, крепящих комингс к палубе.
Конструкция комингсов сходных и световых люков должна быть эквивалентной по прочности конструкции комингсов грузовых люков; при этом толщина комингсов не должна приниматься менее 7 мм, но может не превышать толщины палубы у комингса.
2.7. ПЕРЕБОРКИ И ТУННЕЛЬ ГРЕБНОГО ВАЛА
2.7.1. Общие положения и определения
2.7.1.1. В настоящей главе приводятся требования к переборкам и туннелю гребного вала.
2.7.1.2. В настоящей главе приняты следующие определения.
Водонепроницаемая (аварийная) переборка - переборка, препятствующая распространению воды между судовыми помещениями в случае аварии.
Непроницаемая переборка - переборка, не пропускающая воду и другие жидкости.
Переборка цистерны - переборка, ограничивающая балластную, топливную или иную цистерну.
Полупереборка - переборка в отсеке или его части, основное назначение которой - обеспечение дополнительной опоры палубным конструкциям.
2.7.1.3. Если предусматривается обеспечение непотопляемости судна, число и расположение водонепроницаемых переборок (а также частичных водонепроницаемых переборок) следует принимать в соответствии с требованиями части V "Деление на отсеки" Правил классификации и постройки морских судов.
Все водонепроницаемые поперечные переборки, расположенные между форпиковой и ахтерпиковой переборками, как правило, должны быть доведены до палубы надводного борта.
2.7.2. Конструкция
2.7.2.1. К конструкции непроницаемых переборок шахт лага, эхолота, аварийного выхода, туннеля гребного вала и т.п. предъявляются те же требования, что и к поперечным непроницаемым переборкам.
Допускается устройство водонепроницаемых уступов и выступов переборок.
Полупереборки должны быть плоскими.
2.7.2.2. Плоские переборки должны быть подкреплены стойками или горизонтальными балками. Стойки и горизонтальные балки плоских переборок могут поддерживаться горизонтальными рамами или рамными стойками соответственно.
Горизонтальные рамы и рамные стойки должны быть подкреплены согласно требованиям
2.1.7.3.
Полупереборки должны быть подкреплены стойками.
2.7.2.3. Крепление концов балок набора переборок должно отвечать следующим требованиям:
1. Концы стоек и горизонтальных балок переборок, как правило, должны закрепляться кницами, отвечающими требованиям
2.1.7.2.2. Для закрепления концов основного набора переборки форпика ниже палубы надводного борта установка книц обязательна;
2. Кницы, крепящие стойки поперечных переборок к настилам палуб и второго дна (обшивке днища), при поперечной системе набора должны быть доведены до ближайшего к переборке бимса или флора и приварены к ним.
Кницы, крепящие горизонтальные балки переборок к борту или другой переборке, при поперечной системе набора последних должны быть доведены до ближайшего к переборке шпангоута или стойки переборки и приварены к ним;
3. Если стойки переборок разрезаются на палубах, платформах или горизонтальных рамах и кницы не устанавливаются, концы стоек должны быть приварены к настилу палубы, платформы или стенке горизонтальной рамы, либо срезаны "на ус";
4. Закрепление концов рамных стоек и горизонтальных рам должно отвечать требованиям
2.1.7.2.3.
Кницы горизонтальных рам поперечных переборок при отсутствии на одной высоте с ними горизонтальных рам продольных переборок и/или бортовых стрингеров должны быть доведены до ближайшей стойки продольной переборки и/или ближайшего шпангоута и приварены к ним.
Если рамная стойка поперечной переборки не лежит в одной плоскости с вертикальным килем или днищевым стрингером, в двойном дне под кницей, крепящей нижний конец рамной стойки, должна устанавливаться бракета.
2.7.3. Нагрузки на переборки
2.7.3.1. Расчетное давление p, кПа, на конструкции водонепроницаемых переборок и туннеля гребного вала определяется по формуле
где

для конструкций форпиковой переборки;

в остальных случаях;

- отстояние, измеренное в диаметральной плоскости, от точки приложения расчетной нагрузки до ее верхнего уровня, м; верхним уровнем нагрузки являются: палуба переборок - для водонепроницаемых переборок и туннеля гребного вала; верхняя кромка форпиковой переборки - для форпиковой переборки. При установке на палубе переборок в плоскости водонепроницаемых переборок или в непосредственной близости от них частичных водонепроницаемых переборок

измеряется до верхней кромки последних.
В любом случае расчетное давление для конструкций водонепроницаемых переборок должно быть не менее 12 кПа, а для конструкций форпиковой переборки - не менее 16 кПа.
2.7.3.2. Расчетное давление на переборки цистерн определяется согласно
2.1.4.8.
2.7.4. Размеры связей переборок
2.7.4.1. Толщина обшивки переборок должна быть не менее определяемой по
формуле (2.1.6.4.4). При этом:
m = 15,8;
Листы обшивки водонепроницаемых переборок могут иметь толщину менее на 1 мм.
Толщина обшивки водонепроницаемых переборок и переборок масляных цистерн

, должна быть не менее:
Толщина нижних листов переборок должна быть на 1 мм больше указанной и не менее 6 мм.
Для переборок цистерн (за исключением масляных) толщина обшивки, поясков и стенок балок набора

, должна быть не менее определяемой по формуле
где

Листы обшивки переборок могут иметь толщину, не превышающую толщины соответствующих поясьев наружной обшивки и настила палуб при одинаковых пролетах пластин и пределах текучести стали. Указанное также относится к соотношению толщины нижних листов переборок и настила второго дна (днища).
Ширина нижнего и верхнего поясьев переборок определяется согласно
2.7.5.1.
В местах прохода дейдвудных труб листы переборок должны иметь удвоенную толщину.
2.7.4.2. Момент сопротивления стоек или горизонтальных балок переборок должен быть не менее определяемого в
2.1.6.4.1 и
2.1.6.4.2. При этом:
m - по табл. 2.7.4.2;
Таблица 2.7.4.2
Элементы набора | m |
Однопролетные стойки: | |
оба конца срезаны "на ус" | 8 |
верхний конец срезан "на ус", а нижний приварен к опорной конструкции | 9 |
оба конца приварены к опорной конструкции | 10 |
верхний конец приварен к опорной конструкции, а нижний подкреплен кницей <1> | 14 |
оба конца подкреплены кницами | 18 |
Многопролетные стойки: | |
в пролете | 18 |
в промежуточном опорном сечении, если стойка проходит через опорную конструкцию, не разрезаясь <2> | 12 |
Горизонтальные балки | 12 |
<1> Дополнительно выполняется проверка прочности в опорном сечении с учетом кницы в его составе при m =12. |
<2> С учетом кницы в опорном сечении, если она установлена. |
Толщина стенок и поясков балок набора и подкрепляющих их книц у переборок цистерн (за исключением масляных) должна быть не менее требуемой
формулой (2.7.4.1-2).
2.7.4.3. Рамный набор переборок должен отвечать следующим требованиям:
1. У рамных стоек переборок, в конструкции которых отсутствуют горизонтальные рамы, и у горизонтальных рам переборок, в конструкции которых отсутствуют рамные стойки, момент сопротивления сечения и площадь сечения стенки за вычетом вырезов должны быть не менее определяемых в
2.1.6.4.1 -
2.1.6.4.3. При этом:
m, n определяются по табл. 2.7.4.3.1;
l - длина пролета, включающая кницы, м;
Таблица 2.7.4.3.1
Балка набора | m | n |
Рамная стойка: | | |
в трюмах | 11 | 0,5 |
в твиндеках | 10 | 0,5 |
Горизонтальная рама в цистернах | 10 | 0,5 |
2. В случаях когда в составе конструкции переборки имеются и рамные стойки, и горизонтальные рамы, размеры этих балок должны быть определены по расчету перекрытия как стержневой системы при действии расчетных нагрузок согласно
2.7.3 и коэффициентах допускаемых напряжений согласно
2.7.4.3.1;
3. Толщина стенок и поясков рамных балок и подкрепляющих их книц и ребер у переборок цистерн (за исключением масляных) должна быть не менее требуемой
формулой (2.7.4.1-2).
2.7.4.4. Размеры элементов полупереборок должны отвечать следующим требованиям;
2. Стойки полупереборок, поддерживающие рамные и концевые рамные бимсы, должны отвечать требованиям для соответствующих пиллерсов (см.
2.9).
В любом случае эйлеровы напряжения стойки

, определяемые согласно
2.9.4.1, должны быть не менее:
Момент инерции и площадь сечения стойки, используемые для определения ее эйлеровых напряжений, должны вычисляться с учетом присоединенного пояска обшивки полупереборки шириной, равной половине расстояния между стойками.
2.7.4.5. Размеры элементов туннеля гребного вала, включая его выгородки и рецесс, а также непроницаемых переборок шахт лага, эхолота, аварийного выхода и т.д. должны отвечать требованиям, предъявляемым к размерам элементов водонепроницаемых переборок.
Если туннель гребного вала проходит через отсек, предназначенный для балласта, размеры его элементов должны соответствовать требованиям, предъявляемым к размерам элементов непроницаемых переборок, ограждающих указанный отсек.
При сводчатой форме крыши туннеля гребного вала толщина настила крыши может быть уменьшена на 10%.
2.7.5. Специальные требования
2.7.5.1. Ширина нижнего пояса переборки, считая от уровня второго дна, или, если оно отсутствует, от днища судна, должна быть не менее 0,62 м у судов длиной 24 м и не менее 0,4 м у судов длиной 12 м. Для промежуточных значений длины судна ширина указанного пояса определяется линейной интерполяцией. При этом если двойное дно подходит к переборке только с одной стороны, нижний пояс переборки должен выступать не менее чем на 0,3 м над уровнем второго дна.
2.8. НОСОВАЯ И КОРМОВАЯ ОКОНЕЧНОСТИ
2.8.1. Общие положения и обозначения
2.8.1.1. В настоящей главе приводятся требования к следующим конструкциям; форпику и бульбу, если последний предусматривается, днищу в районе 0,25L в корму от носового перпендикуляра, борту в районе 0,15L в корму от носового перпендикуляра, конструкциям, расположенным в корму от переборки ахтерпика, а также конструкциям усилений днища и борта в носу в районе действия ударного давления.
В настоящей главе принимается, что верхней границей форпика и ахтерпика является непроницаемая палуба или платформа, расположенная непосредственно над максимальной летней ватерлинией.
2.8.1.2. В настоящей главе приняты следующие обозначения:

- наименьшая расчетная осадка (на носовом перпендикуляре), м;

- угол между вертикалью и прямой линией, соединяющей точки пересечения максимальной летней ватерлинии и верхней открытой палубы с бортом судна в поперечном сечении, отстоящем на расстоянии 0,05L от носового перпендикуляра (см.
рис. 2.8.1.2-1), град;

- угол между касательной к ватерлинии, расположенной посередине вертикального расстояния между максимальной летней ватерлинией и верхней открытой палубой на носовом перпендикуляре, и линией, параллельной диаметральной плоскости, в поперечном сечении судна, отстоящем на расстоянии 0,05L от носового перпендикуляра (см.
рис. 2.8.1.2-2), град.
Рис. 2.8.1.2-1. Схема определения угла

1 - верхняя открытая палуба;
2 - ватерлиния для определения угла

;
3 - носовой перпендикуляр;
4 - область ударных давлений;

- вертикальное расстояние между ГВЛ и верхней открытой палубой на носовом перпендикуляре.
Рис. 2.8.1.2-2. Схема определения угла

и области
действия ударного давления волн (заштрихована)
2.8.2. Конструкция
2.8.2.1. Предусматриваются следующие системы набора оконечностей:
поперечная - для днища в пиках;
поперечная или продольная - для остальных конструкций.
2.8.2.2. Флоры в форпике устанавливаются на каждом шпангоуте. Их высота должна быть не менее требуемой в
2.4.4.1, но не более 2,25 м, толщина - не менее требуемой
формулой (2.4.4.3.1) при k = 1 и a = 0,6 м; однако нет необходимости делать их толще днищевой обшивки в данном районе. Стенки флоров должны быть подкреплены вертикальными ребрами жесткости, устанавливаемыми на расстоянии не более 0,6 м друг от друга.
Пояски флоров должны иметь толщину не менее толщины флоров и ширину согласно
2.1.7.3.1.
В диаметральной плоскости должен устанавливаться днищевой стрингер, являющийся продолжением вертикального киля в районе трюмов и состоящий из разрезных на флорах листов с пояском по верхней кромке. Высота и толщина листов днищевого стрингера, а также толщина и ширина его пояска должны быть такими же, как у флоров.
Если установка вертикальных листов стрингера невозможна, пояски флоров должны быть соединены между собой в диаметральной плоскости угольником, тавровой балкой или балкой другого профиля, имеющего ширину и толщину полок такие же, как у поясков флоров.
2.8.2.3. При поперечной системе набора борта форпика по крайней мере до палубы, расположенной непосредственно над максимальной летней ватерлинией, должны быть установлены бортовые стрингеры. Расстояние между бортовыми стрингерами, измеренное по вертикали, не должно, как правило, превышать 2 м.
Бортовые стрингеры должны поддерживаться распорными бимсами, установленными через шпангоут и опирающимися по возможности на продольную переборку в диаметральной плоскости.
Свободная кромка бортовых стрингеров должна быть подкреплена пояском, имеющим толщину не менее толщины стенки стрингера и ширину согласно
2.1.7.3.1. Стенка стрингера на каждом шпангоуте должна быть подкреплена кницами с размерами сторон не менее 1/2 высоты стенки стрингера, а в местах установки распорных бимсов - не менее требуемых в
2.1.7.2.2. Толщина книц должна быть не менее толщины стенки стрингера.
Вместо распорных бимсов бортовые стрингеры могут поддерживаться рамными шпангоутами, установленными не далее 3 м друг от друга.
Вместо бортовых стрингеров с распорными бимсами или рамными шпангоутами рекомендуется установка проницаемых платформ. В этом случае расстояние между платформами может быть увеличено до 2,5 м. Бимсы проницаемых платформ должны устанавливаться на каждом шпангоуте.
При продольной системе набора борта форпика расстояние между рамными шпангоутами должно быть не более 2,4 м. В местах прохода или закрепления рамных шпангоутов на палубах и платформах должны быть установлены рамные бимсы.
Флоры, в плоскости которых отсутствуют рамные шпангоуты, должны соединяться кницами с ближайшими бортовыми продольными балками.
2.8.2.4. Носовой бульб должен быть подкреплен платформами, расстояние между которыми по вертикали не должно превышать 2 м. Бимсы платформы должны устанавливаться на каждом шпангоуте.
Если протяженность бульба в нос от носового перпендикуляра превышает 0,03L, в диаметральной плоскости должна быть установлена проницаемая переборка, подкрепленная стойками на каждом шпангоуте.
При протяженности бульба менее 0,03L он может быть подкреплен установкой в диаметральной плоскости рамной балки, являющейся продолжением вертикального киля.
Конструкция носовой оконечности при наличии бульба должна обеспечивать свободное прохождение якоря мимо бульба при антикрене 5°.
В районе возможного касания якоря должны быть предусмотрены промежуточные шпангоуты, а также увеличение толщины наружной обшивки бульба.
2.8.2.5. Конструкция днища в носовой оконечности вне форпика на судне с одинарным дном должна отвечать требованиям
2.3.2 и
2.3.4 и дополнительно следующему требованию:
в районе 0,25L, от носового перпендикуляра при поперечной системе набора расстояние между днищевыми стрингерами, а также от вертикального киля или борта судна до днищевого стрингера не должно превышать 1,1 м.
2.8.2.6. Конструкция двойного дна в носовой оконечности вне форпика должна удовлетворять требованиям
2.4.2 и приведенным ниже требованиям.
В районе 0,25L от носового перпендикуляра расстояние между стрингерами должно быть не более 2,2 м. В этом районе при поперечной системе набора должны быть дополнительно установлены полустрингеры, приваренные к днищу и флорам. Расстояние между стрингерами и полустрингерами не должно превышать 1,1 м. Эти полустрингеры должны быть продлены по возможности дальше в нос, а их свободные кромки должны быть подкреплены фланцами или поясками.
Флоры должны быть подкреплены ребрами жесткости в плоскости каждого полустрингера и в плоскости каждой продольной балки днища при продольной системе набора.
2.8.2.7. При поперечной системе набора борта в районе 0,15L от носового перпендикуляра, вне форпика, на уровне бортовых стрингеров форпика должны быть установлены интеркостельные бортовые стрингеры. Высота и толщина стенки стрингера должны быть равны, соответственно, высоте и толщине стенки шпангоута. Бракеты, образующие стенку стрингера, должны быть приварены к стенкам шпангоутов и наружной обшивке. На свободной кромке стрингер должен иметь свободный поясок толщиной не менее толщины стенки и шириной согласно
2.1.7.3.1.
Допускается конструкция интеркостельного бортового стрингера из того же профиля, что и шпангоуты.
Поясок (фланец) стрингера не следует приваривать к пояскам шпангоутов.
Интеркостельные стрингеры должны крепиться к переборкам кницами.
Если расстояние между шпангоутами не превышает их удвоенной высоты, допускается выполнять интеркостельные стрингеры без свободного пояска или фланца. При этом их толщина s, мм, должна быть не менее

или s = 0,05h в зависимости от того, что больше, где l - протяженность свободной кромки стрингера между шпангоутами, мм; h - высота стрингера, мм.
На судах, имеющих характеристику

или значительный развал шпангоутов в носу, должны быть предусмотрены рамные шпангоуты и поддерживаемые ими бортовые стрингеры. Расстояние между рамными шпангоутами не должно превышать 5 шпаций.
При продольной системе набора борта в носу вне форпика расстояние между рамными шпангоутами должно быть не более 3 м. В трюмах, а также в твиндеках и надстройках судов, имеющих характеристику

или значительный развал шпангоутов в носу, должна быть предусмотрена установка между рамными шпангоутами вертикальной интеркостельной связи, имеющей размеры бортовых продольных балок. Конструкция указанной связи должна быть аналогичной конструкции интеркостельных бортовых стрингеров, требуемых при поперечной системе набора. Интеркостельная связь может заканчиваться на верхней и нижней бортовых продольных балках трюма, твиндеков и надстройки. Каждая вторая бортовая продольная балка должна соединяться с рамными шпангоутами кницами, доведенными до свободного пояска шпангоута.
2.8.2.8. В районе до 0,1L от носового перпендикуляра пролет рамных бимсов открытых палуб не должен превышать 3 м, а пролет карлингсов - 3,6 м.
В районе до 0,2L от носового перпендикуляра момент сопротивления сечения рамных бимсов открытых палуб должен быть не менее требуемого для карлингсов при одинаковых пролетах и расстояниях между балками.
2.8.2.9. Конструкция в корму от переборки ахтерпика должна иметь достаточную жесткость в вертикальной и горизонтальной плоскостях. С этой целью может быть потребована установка дополнительных продольных переборок или платформ, утолщение настила палубы и наружной обшивки, а также перевязка продольных связей днища и верхней палубы пиллерсами или раскосами. Если свес кормы велик, рекомендуется установка дополнительных продольных проницаемых переборок по правому и левому борту.
При наличии плоского участка днища могут быть потребованы дополнительные подкрепления для восприятия нагрузок от ударного давления.
2.8.2.10. Флоры в ахтерпике должны отвечать требованиям
2.8.2.2.
На одновинтовых судах флоры должны быть подняты над дейдвудной трубой не менее чем на 0,8 м. Если это требование окажется практически невыполнимым, сверху дейдвудной трубы на каждом шпангоуте должны устанавливаться поперечные связные полосы с поясками по обеим кромкам. Толщина этих полос должна быть не менее толщины флора. При длине полосы более 1,5 м на ее середине должно быть поставлено ребро жесткости.
Флоры с отогнутыми фланцами не допускаются.
Вырез во флорах для пропуска дейдвудной трубы следует подкреплять пояском. Вырезы во флорах, расположенные ниже дейдвудной трубы, должны подкрепляться поясками или ребрами жесткости.
2.8.2.11. При поперечной системе набора борта ахтерпика конструкция распорных бимсов и стрингеров, бимсовых книц, соединения шпангоутов со стрингерами, расстановка и конструкция рамных шпангоутов и проницаемых платформ должны соответствовать требованиям
2.8.2.3. Расстояние между бортовыми стрингерами, измеренное по вертикали, не должно превышать 2,5 м. При этом пролет шпангоута, намеренный по борту, не должен превышать 3,5 м.
На двух- и многовинтовых судах с крейсерской и транцевой кормой расстояние между стрингерами, измеренное по борту, не должно превышать 2 м; при этом один из стрингеров должен устанавливаться у верхней кромки выкружки или в плоскости кронштейна гребного вала. При установке рамных шпангоутов расстояние между ними не должно быть более 2,4 м.
При продольной системе набора борта ахтерпика должны выполняться соответствующие требования
2.8.2.3.
2.8.2.12. Концы балок набора ахтерпика (включая набор палуб, платформ и переборок), а также концы горизонтальных и, по возможности, вертикальных ребер жесткости флоров должны быть закреплены.
Пояски флоров и рамных бимсов ахтерпика должны срезаться на "ус" в местах соединения флоров и рамных бимсов с продольными переборками. При этом стойки переборок должны крепиться к пояскам флоров кницами, установленными с обеих сторон переборок.
Указанное относится также к узлам соединения карлингсов и днищевых стрингеров с поперечными переборками.
2.8.2.13. Расстояние между обыкновенными или поворотными шпангоутами может быть таким, как в середине длины судна, но не более 750 мм. В диаметральной плоскости должен устанавливаться стрингер одинаковой высоты с флорами. При наличии транцевой кормы и/или плоского участка днища должны быть установлены днищевые стрингеры, расположенные на расстоянии не более 2 м друг от друга.
При полной крейсерской корме и при пролете шпангоута от верхней кромки флоров до ближайшей палубы более 2,5 м должны предусматриваться дополнительные подкрепления в виде рамных шпангоутов и бортового стрингера.
2.8.2.14. При использовании пиков в качестве цистерн рекомендуется установка в диаметральной плоскости отбойной переборки.
2.8.3. Нагрузки на конструкции оконечностей
2.8.3.1. Расчетное давление на конструкции в оконечностях судна определяется при действии эксплуатационных нагрузок, указанных в
2.2 -
2.7, а также экстремальных нагрузок, приведенных в
2.8.3.2.
Размеры конструктивных элементов носовой оконечности в районе действия ударного давления должны быть проверены на действие экстремальных нагрузок согласно 2.8.3.2 для судов с характеристикой

или имеющих значительный развал шпангоутов в носу.
2.8.3.2. Экстремальные значения расчетного гидродинамического давления

, при ударах волн в борт носовой оконечности должны определяться по формуле
где

| | ИС МЕГАНОРМ: примечание. В официальном тексте документа, видимо, допущена опечатка: пункт 1.1.2 в тексте документа отсутствует. | |

- см. 1.1.2;
Действие ударного давления распространяется по высоте на часть борта, расположенную выше балластной ватерлинии, а по длине - на часть борта, простирающуюся в корму до поперечного сечения, отстоящего на

от носового перпендикуляра, и в нос до пересечения верхней палубы с форштевнем (см.
рис. 2.8.1.2-2).
2.8.4. Размеры конструктивных элементов оконечностей
2.8.4.1. Толщина наружной обшивки, размеры конструктивных элементов одинарного и двойного дна, а также бортового набора при действии эксплуатационных нагрузок, определяемых в
2.2,
2.3,
2.4,
2.5, должны отвечать требованиям
2.2.4,
2.3.4,
2.4.4 и
2.5.4. Кроме того, при определении размеров конструктивных элементов форпика и ахтерпика должны быть выполнены следующие требования:
m = 12;
l - расстояние между бортовыми стрингерами, измеренное по обшивке;
2. Размеры распорных бимсов должны отвечать требованиям
2.9.4.1;
3. При определении момента сопротивления и площади сечения рамных шпангоутов следует принимать:
m = 10;
где p - расчетное давление согласно
2.5.3, кПа;
a - расстояние между рамными шпангоутами, м;
l - пролет рамного шпангоута, измеренный между верхней кромкой флора и палубой (платформой), ограничивающей форпик (ахтерпик), или ближайшей к днищу проницаемой платформой, если она имеется, либо между проницаемыми платформами, палубой и проницаемой платформой за вычетом высоты рамного бимса соответствующей палубы (платформы), м;
4. Толщина настила и набор проницаемой платформы должны отвечать требованиям
2.6.4 для платформ в оконечностях. При этом расчетная нагрузка не должна приниматься менее 3,5 кПа.
Толщина настила проницаемых платформ

, должна определяться по формуле
но при этом быть не менее 5 мм;
5. Если форпик (ахтерпик) используется в качестве цистерн, размеры их конструктивных элементов должны отвечать также требованиям, предъявляемым к конструктивным элементам цистерн.
2.8.4.2. Размеры конструктивных элементов борта носовой оконечности в районе действия экстремальных нагрузок, определяемых согласно
2.8.3.2, должны отвечать требованиям
2.2.4 и
2.5.4, а также следующим дополнительным требованиям:
m = 15,8;
2. Момент сопротивления балки основного набора, см3, должен быть не менее определяемого по формуле
m = 16, если балки проходят, не разрезаясь, через стенки опорных конструкций;
m = 8, если балки разрезаны на опорах;
m = 28, если с обеих сторон опорной конструкции опорные сечения балки подкреплены кницами, высота и длина которых не менее 1,5 высоты балки;
3. Площадь поперечного сечения балки основного набора, см3, или сварных швов, соединяющих разрезные балки с опорными конструкциями, должна быть не менее определяемой по формуле

- длина периметра сечения балки, см;
2.8.4.3. Размеры шпангоутов в кормовом подзоре должны быть не меньше, чем размеры шпангоутов в ахтерпике, если их пролет не превышает 2,5 м. При большем пролете размеры шпангоутов должны быть соответственно увеличены. Толщина флоров и стрингеров должна быть не менее требуемой согласно 2.8.4.4.
2.8.4.4. Бортовые стрингеры форпика и ахтерпика должны иметь площадь сечения стенки

, не менее определяемой по формуле
Ширина бортового стрингера b, м, должна быть не менее определяемой по формуле
B = 0,24 + 0,005L. (2.8.4.4-2)
Толщина стенки бортового стрингера, мм, должна быть не менее:
но не менее 5 мм.
2.8.4.5. Толщина наружной обшивки бульба должна быть не менее 0,08L + 6.
2.8.5. Специальные требования
2.8.5.1. У судов с неповоротными насадками в районе крепления насадок следует устанавливать поперечные переборки или рамные связи.
2.8.5.2. В районах криволинейных участков корпуса (подъем днища, развал бортов) рекомендуется устанавливать набор под углом к наружной обшивке, близком к прямому.
2.8.5.3. На многовинтовых судах прочность и жесткость конструкций в районе крепления дейдвудной трубы, кронштейнов и мортир гребных валов является предметом специального рассмотрения Регистром.
2.9. ПИЛЛЕРСЫ И РАСПОРНЫЕ БИМСЫ
2.9.1. Общие положения и обозначения
2.9.1.1. В настоящей главе приводятся требования к размерам пиллерсов, устанавливаемых в корпусе, надстройках и рубках, и к распорным бимсам в пиках.
2.9.1.2. В настоящей главе приняты следующие обозначения:
l - длина пиллерса (распорного бимса), м, измеренная: для пиллерса - между свободным пояском карлингса (или рамного бимса, если пиллерс поддерживает рамный бимс) и настилом палубы (или второго дна); для распорного бимса - между внутренними кромками шпангоутов левого и правого борта или от внутренней кромки шпангоута до прочной опоры в диаметральной плоскости судна;
f - площадь поперечного сечения пиллерса (распорного бимса), см2;
i - наименьший момент инерции поперечного сечения пиллерса (распорного бимса), см4;

- наружный диаметр пиллерса, мм.
2.9.2. Конструкция
2.9.2.1. Как правило, оси пиллерсов в междупалубных помещениях должны располагаться на одной вертикали, концы пиллерсов должны подкрепляться кницами.
Если нижний конец трубчатого пиллерса не имеет книц, настил палубы (второго дна) под ним должен быть усилен установкой накладного или утолщенного вварного листа (P - согласно
2.9.3.1).
Стенка балки набора, к которой крепится верхний конец пиллерса, должна быть подкреплена кницами, чтобы обеспечить передачу нагрузки на пиллерс.
Пиллерсы должны устанавливаться на сплошные флоры и стрингеры, которые должны быть подкреплены вертикальными бракетами. Вырезы во флорах и стрингерах под пиллерсами не допускаются.
2.9.2.2. Концы пиллерсов должны крепиться кницами или иными одобренными Регистром конструкциями, обеспечивающими надежную передачу усилий на нижележащие конструкции корпуса:
в цистернах, под водонепроницаемыми платформами, палубными рубками, концевыми переборками надстроек, брашпилями, лебедками, шпилями и т.п.;
в носовой оконечности судов, имеющих спецификационную скорость

или значительный развал шпангоутов в носу.
2.9.3. Расчетные нагрузки
2.9.3.1. Нагрузка на пиллерс P, кН, определяется по формуле
где p - расчетное давление на вышележащую палубу согласно
2.6.3, кПа;

- расстояние, измеренное вдоль карлингсов между серединами их пролетов, м;

- средняя ширина площади палубы, поддерживаемой пиллерсом, включая большие вырезы, расположенные в рассматриваемом районе, м;

- сумма нагрузок от расположенных выше пиллерсов, определенных с учетом
2.6.3, которые могут передаваться на рассматриваемый пиллерс, кН.
2.9.3.2. Нагрузка на распорный бимс P, кН, определяется по формуле
P = pac, (2.9.3.2)
где

- расчетное давление на борт судна в месте расположения распорного бимса, определяемое согласно
2.1.4.6.1 и
2.1.4.6.2, кПа;
a - расстояние между шпангоутами, на которых устанавливаются распорные бимсы, м;
c - полусумма пролетов шпангоута, измеренных по вертикали, примыкающих сверху и снизу к рассматриваемому бимсу, м.
2.9.4. Размеры пиллерсов и распорных бимсов
2.9.4.1. Площадь поперечного сечения пиллерсов и распорных бимсов f, см2, должна быть не менее определяемой методом последовательных приближений по формуле
k = 2 - коэффициент запаса устойчивости;

- критические напряжения, определяемые по формулам:

при

;

при

,
где эйлеровы напряжения

, вычисляемых по формуле

- надбавки на износ, см2, определяемые по следующим формулам:
для трубчатых пиллерсов
для коробчатых пиллерсов
где

- длина периметра поперечного сечения, см;
для пиллерсов и распорных бимсов составного профиля (двутавровых, из швеллеров и т.п.)
2.9.4.2. Толщина стенок трубчатых пиллерсов s, мм, должна приниматься не менее определяемой по формуле
Толщина стенок пиллерсов составного профиля (коробчатых, из швеллеров или двутавровых и т.п.) s, мм, должна быть не менее определяемой по формуле
где

- высота стенки профиля, мм.
Толщина стенки пиллерса, как правило, не должна быть менее 6 мм.
На малых судах по согласованию с Регистром допускается уменьшение толщины стенок пиллерсов до 5 мм при сохранении требуемой площади поперечного сечения.
2.10. ШТЕВНИ, КИЛИ, КРОНШТЕЙНЫ РУЛЯ И ГРЕБНОГО ВАЛА
2.10.1. Общие положения
В настоящей главе приводятся требования к конструкции и размерам форштевня, ахтерштевня (рудерпоста, старнпоста), подошвы ахтерштевня, кронштейнов полуподвесного руля и гребных валов, брускового киля, неповоротной насадки гребного винта.
2.10.2. Конструкция
2.10.2.1. Рекомендуется использовать брусковый или листовой форштевень сварной конструкции. В нижней части форштевень должен соединяться с брусковым или горизонтальным килем и по возможности с вертикальным килем.
Листовая часть сварного форштевня должна быть подкреплена поперечными бракетами. Расположение бракет по высоте форштевня должно быть согласовано с набором корпуса. Поперечные бракеты, подкрепляющие листовой форштевень, устанавливаются не реже чем через 1 м ниже летней грузовой ватерлинии и не реже чем через 1,5 м выше ее. Бракеты по длине должны перекрывать стыковые соединения форштевня с наружной обшивкой, доводиться до ближайших шпангоутов и привариваться к ним.
Отдельные бракеты, которые не могут быть доведены до набора, должны иметь заднюю кромку, образованную по плавной кривой.
При достаточно большом радиусе закругления форштевня рекомендуется в его диаметральной плоскости устанавливать ребро жесткости со свободным пояском.
2.10.2.2. Конструкция ахтерштевня одновального судна должна отвечать следующим требованиям:
1. Размеры ахтерштевня должны быть такими, чтобы конструктивные зазоры между гребным винтом, с одной стороны, ахтерштевнем и рулем, с другой стороны (см. рис. 2.10.2.2.1), были не менее указанных в
табл. 2.10.2.2.1;
Рис. 2.10.2.2.1
Размер | a | b | c | d | e |
Зазор, мм | | | | | 200 - 250 |
 - радиус винта, мм. |
2. Следует выполнять подошву ахтерштевня с плавным подъемом в корму;
3. Старнпост должен иметь подкрепляющие поперечные бракеты у сварного ахтерштевня и ребра жесткости у литого ахтерштевня. Бракеты и ребра должны устанавливаться не реже чем через 1 м; их расположение должно быть согласовано с набором корпуса;
4. Ахтерштевень должен быть надежно закреплен в корпусе судна.
Нижняя часть ахтерштевня должна протягиваться в нос от старнпоста и крепиться своими бракетами (ребрами) не менее чем к одному флору.
Рудерпост должен протягиваться выше кормового подзора на величину, достаточную для его крепления к транцевому флору.
Толщина транцевого и дополнительного транцевого флоров должна быть увеличена по сравнению с толщиной флоров ахтерпика. Как правило, их следует доводить до ближайшей палубы или платформы.
2.10.2.3. Конструкция ахтерштевня двухвального судна должна отвечать требованиям к конструкции старнпоста одновального судна согласно
2.10.2.2.
2.10.2.4. Ахтерштевень трехвального судна должен отвечать требованиям к ахтерштевню одновального судна согласно
2.10.2.2 и
2.10.4.2.
2.10.2.5. Рулевой кронштейн полуподвесного руля должен быть надежно соединен с соответствующими флорами ахтерпика и его диаметральной отбойной переборкой.
Кронштейн сварной конструкции должен быть внутри подкреплен поперечными бракетами; основные его несущие связи должны быть доведены до ближайшей палубы или платформы; толщина флоров, с которыми соединяется кронштейн, должна быть увеличена по сравнению с толщиной флоров ахтерпика.
2.10.2.6. Лапы двухлапных кронштейнов бортовых гребных валов должны располагаться по отношению друг к другу под углом, близким к 90°. Осевые линии лап должны пересекаться на оси гребного вала.
Конструкция кронштейнов гребных валов, лапы которых располагаются под углом, меньшим 80° и большим 100°, и дополнительные подкрепления корпуса судна в районе таких кронштейнов являются предметом специального рассмотрения Регистром.
Расположение кронштейнов относительно корпуса должно обеспечивать, возможно, больший зазор между кромкой лопасти гребного винта и корпусом, но не менее 25% диаметра гребного винта.
2.10.2.7. Наружная и внутренняя обшивки неповоротной насадки гребного винта должны быть подкреплены набором, расположение и размеры элементов которого определяются в соответствии с 2.4.2.2 части III "Устройства, оборудование и снабжение" Правил классификации и постройки морских судов.
Поперечные диафрагмы в насадке должны, как правило, располагаться в плоскости флоров ахтерпика.
В месте крепления насадки к корпусу судна должен быть обеспечен плавный переход от насадки к корпусу. В нижней части насадка должна быть соединена с корпусом. При креплении насадки к корпусу судна кронштейнами должна быть обеспечена их надежная конструктивная перевязка с набором кормовой оконечности корпуса и внутренним набором насадки. Конструкция кронштейнов должна отвечать требованиям
2.10.2.6. В верхней и нижней частях обшивки насадки должны предусматриваться спускные пробки из материала, не подверженного коррозии.
2.10.3. Расчетные нагрузки
Расчетная нагрузка для конструкций подошвы ахтерштевня и кронштейна полуподвесного руля принимается равной условной расчетной реакции нижней опоры пера руля

в соответствии с 2.2.4.12 части III "Устройства, оборудование и снабжение" Правил классификации и постройки морских судов. При этом в формулах (2.2.4.7-2) - (2.2.4.7-4) указанной части коэффициент

следует принимать равным нулю.
2.10.4. Размеры форштевня, ахтерштевня, кронштейнов руля и гребного вала, брускового киля и неповоротной насадки гребного винта
2.10.4.1. Форштевень должен отвечать следующим требованиям:
1. Брусковый форштевень на участке от киля до максимальной летней ватерлинии должен иметь площадь поперечного сечения f, см2, не менее определяемой по формуле
f = 1,3L - 4. (2.10.4.1.1)
Площадь сечения форштевня может быть уменьшена для судов проектных категорий:
A2 и B - на 10%;
C, C1, C2, C3 и D - на 20%.
Выше летней грузовой ватерлинии площадь сечения форштевня может постепенно уменьшаться до 70% площади, установленной выше;
2. Толщина листов сварного форштевня s, мм, должна определяться по формуле
s = 0,085L + 5,5, (2.10.4.1.2)
но при этом быть не менее 7 мм.
Толщина листов форштевня может быть уменьшена для судов проектных категорий:
A2 и B - на 5%;
C, C1, C2, C3 и D - на 10%.
Толщина листов форштевня выше летней грузовой ватерлинии может постепенно уменьшаться до толщины прилегающих к форштевню листов наружной обшивки.
Толщина и ширина листов форштевня в месте их соединения с горизонтальным килем должны быть не менее толщины и ширины последнего.
При уменьшении расстояния между бракетами, подкрепляющими форштевень, на 0,5 м против требуемого в
2.10.2.1 толщина листов форштевня может быть уменьшена на 20%. При меньшем снижении расстояния между бракетами допустимое уменьшение толщины листов форштевня определяется линейной интерполяцией;
3. Толщина бракет, подкрепляющих форштевень, должна быть не менее толщины наружной обшивки, примыкающей к форштевню.
Толщина стенки и полки ребра, подкрепляющего форштевень в диаметральной плоскости, должна быть не менее толщины его бракет.
2.10.4.2. Ахтерштевень одновального судна должен отвечать следующим требованиям:
1. Старнпост сплошного прямоугольного сечения на участке от киля до кормового подзора должен иметь длину

и ширину

сечения, мм, не менее определяемых по формулам:
Размеры сечения старнпоста могут быть уменьшены для судов проектных категорий:
A2 и B - на 5%;
C, C1, C2, C3 и D - на 10%.
Выше кормового подзора площадь сечения ахтерштевня может плавно уменьшаться. При этом площадь его сечения нигде не должна становиться меньше 40% требуемой площади старнпоста, отвечающей указанным выше размерам;
2. Основные размеры поперечного сечения старнпоста литого ахтерштевня с рулем, имеющим верхнюю и нижнюю опоры, устанавливаются согласно
рис. 2.10.4.2-1 в зависимости от базовой толщины

, определяемой по следующей формуле:
1 - ребро жесткости, 2 - примыкающий лист наружной обшивки;
r - литейный радиус
Толщина ребер жесткости должна быть не менее чем на 50% больше толщины обшивки, примыкающей к ахтерштевню;
3. Основные размеры поперечного сечения старнпоста сварного ахтерштевня с рулем, имеющим верхнюю и нижнюю опоры, устанавливаются по
рис. 2.10.4.2-2, где

- согласно
2.10.4.2.2. Толщина поперечных бракет должна быть не менее чем на 20% больше толщины обшивки, примыкающей к ахтерштевню.

;

; R - гибочный радиус
Допускается применение сварного старнпоста иной конструкции, эквивалентной по прочности указанной;
4. Толщина стенки дейдвудного яблока после обработки отверстия должна составлять не менее 30% диаметра гребного вала;
5. Момент сопротивления сечения подошвы ахтерштевня относительно вертикальной оси

, должен быть не менее определяемого по формуле
Момент сопротивления сечения рудерпоста относительно горизонтальной продольной оси

, должен быть не менее определяемого по формуле
где

при наличии рудерпоста;

при отсутствии рудерпоста или если рудерпост съемный;

- отстояние рассматриваемого сечения подошвы ахтерштевня от оси вращения руля, м (не следует принимать

менее

и более

);

- длина пролета подошвы ахтерштевня, измеряемая от оси вращения руля до начала скругления около скругления, м;

- длина пролета рудерпоста, измеряемая по вертикали от середины толщины подошвы ахтерштевня на оси вращения руля до начала скругления в верхней части рудерпоста, м.
Момент сопротивления сечения подошвы ахтерштевня относительно горизонтальной поперечной оси должен быть не менее

, где

- согласно
формуле (2.10.4.2.5-1). Момент сопротивления сечения рудерпоста относительно горизонтальной поперечной оси должен быть не менее

, где

- согласно
формуле (2.10.4.2.5-2);
6. Размеры сечений элементов ахтерштевня допускается определять на основании прямого расчета прочности, принимая значение коэффициента допускаемых напряжений

и внешние нагрузки согласно 2.2 части III "Устройства, оборудование и снабжение" Правил классификации и постройки морских судов.
2.10.4.3. Размеры сечения ахтерштевня двухвального судна должны отвечать требованиям к размерам сечения старнпоста одновального судна согласно
2.10.4.2 со следующими изменениями:
1. Ширина сечения ахтерштевня сплошного прямоугольного сечения может быть уменьшена на 50% против требуемой в
2.10.4.2.1;
2. Размеры сечения ахтерштевня литой или сварной конструкции могут быть уменьшены против требуемых соответственно в
2.10.4.2.2 и
2.10.4.2.3 из расчета, чтобы моменты сопротивления их сечений относительно горизонтальных продольной и поперечной осей уменьшились не более чем на 50%. При этом толщина стенок ахтерштевня должна быть не менее 7 мм.
2.10.4.4. У кронштейна полуподвесного руля с одной петлей на кронштейне момент сопротивления сечения относительно горизонтальной продольной оси, см3, должен быть не менее определяемого по формуле

- отстояние по вертикали от середины толщины петли руля на кронштейне до рассматриваемого сечения, м (не следует принимать

менее

и более

);

- длина пролета кронштейна, измеряемая по вертикали от середины толщины петли руля на кронштейне до точки пересечения оси кронштейна с наружной обшивкой, м;
У кронштейна сварной листовой конструкции толщина листовых элементов во всех случаях должна быть не менее 7 мм.
Размеры элементов кронштейна допускается определять на основании прямого расчета прочности, принимая коэффициент допускаемых напряжений

и внешние нагрузки согласно 2.2 части III "Устройства, оборудование и снабжение" Правил классификации и постройки морских судов.
2.10.4.5. Площадь поперечного сечения каждой из лап кронштейна бортовых гребных валов должна быть не менее 60% площади сечения гребного вала в плоскости кронштейна, толщина сечения лапы не менее 45%, а толщина ступицы - не менее 35% диаметра вала. Длина ступицы принимается согласно 5.6.1 части VII "Механические установки" Правил классификации и постройки морских судов.
Кронштейны сварной конструкции должны иметь прочность не менее указанной выше. Толщина листов при этом должна быть не менее 7 мм.
Площадь сечения сварного шва, крепящего каждую лапу к корпусу, должна быть не менее 25% площади поперечного сечения гребного вала. При креплении лап фланцами толщина последних должна быть не менее 25% диаметра вала.
2.10.4.6. Брусковый киль должен иметь высоту

и ширину

поперечного сечения, мм, не менее определяемой по формулам:
Высота и ширина сечения брускового киля могут быть уменьшены для судов проектных категорий:
A2 и B - на 5%;
C, C1, C2, C3 и D - на 10%.
2.10.4.7. Толщина наружной и внутренней обшивок неповоротной насадки должна соответствовать 2.4.2 части III "Устройства, оборудование и снабжение" Правил классификации и постройки морских судов с учетом следующего:
ширина среднего пояса внутренней обшивки должна приниматься не менее расстояния от

, в нос от концевых кромок лопастей винта до

в корму от кромок, где

- внутренний диаметр насадки гребного винта;
толщина носового участка внутренней и наружной обшивок должна быть не менее требуемой для бортовой обшивки (см.
2.2.4.1 для поперечной системы набора).
Ширина крепления насадки гребного винта к корпусу судна должна быть не менее

.
Площадь поперечного сечения соединения должна быть не менее требуемой
2.10.4.2.5 для подошвы ахтерштевня. При наличии опоры пера руля в пятке ахтерштевня соединение насадки гребного винта с подошвой ахтерштевня является предметом специального рассмотрения Регистром.
Для двухвинтовых судов, когда насадка гребного винта не закреплена к корпусу судна в нижней части, ширина верхнего крепления ее к корпусу должна быть не менее

.
Вал насадки гребного винта крепится к корпусу судна с помощью кронштейнов, их прочность должна отвечать требованиям
2.10.4.5.
В районе крепления насадки гребного винта к корпусу толщина элементов набора должна быть не менее требуемой по формуле (2.4.2.2-2) части III "Устройства, оборудование и снабжение" Правил классификации и постройки морских судов.
2.11. ФУНДАМЕНТЫ ПОД МЕХАНИЗМЫ И КОТЛЫ
2.11.1. Общие положения
2.11.1.1. В настоящей главе приводятся требования к конструкции и размерам фундаментов под главные механизмы и котлы, палубные, вспомогательные и другие механизмы, агрегаты и устройства.
2.11.1.2. Требования настоящей главы являются минимальными. Должны быть также выполнены указания, касающиеся конструкции и размеров деталей фундамента, которые содержатся в технической документации механизма, агрегата или устройства, устанавливаемого на этот фундамент.
2.11.2. Конструкция фундаментов
2.11.2.1. Конструкция фундамента должна отвечать следующим общим требованиям;
1. Фундамент должен иметь прочную и жесткую конструкцию, обеспечивающую надежное крепление механизма, агрегата или устройства и передачу усилий на набор корпуса, обладающий достаточной прочностью. При необходимости набор должен быть подкреплен;
2. Конструкция должна исключать резонансную вибрацию фундамента в целом и его элементов на всех спецификационных режимах работы механизма;
3. При установке фундамента на непрерывные продольные связи расчетной палубы и двойного дна (днища) элементы фундамента не должны заканчиваться на неподкрепленных участках настилов (обшивки). Крепление фундамента к верхней кромке ширстрека является предметом специального рассмотрения Регистром;
4. Конструкция фундамента должна обеспечивать доступ для осмотра настила (обшивки) под ним. Должно быть исключено скопление воды под фундаментом.
В отдельных случаях по согласованию с Регистром допускается выполнение конструкции фундамента герметичной с заполнением внутренней полости химически нейтральным материалом с хорошей адгезией.
2.11.2.2. Фундамент под главные механизмы и котлы, как правило, должен состоять из двух продольных вертикальных листов (стенок) (для среднеоборотных двигателей и двигателей большой мощности из четырех стенок (по две с каждой стороны двигателя)) и горизонтальных поясков (опорных листов), предназначенных для непосредственного крепления к ним механизма (котла). Стенки должны быть подкреплены бракетами (кницами) с поясками (фланцами) по свободным кромкам.
У фундамента с четырьмя стенками опорный лист крепится к двум стенкам, расположенным по одну сторону механизма; в наружных стенках должны быть вырезы для доступа в фундамент. У среднеоборотных двигателей эти вырезы не должны доходить до опорного листа. Наружные стенки могут выполняться наклонными.
Все стенки должны совмещаться с основными или дополнительными днищевыми стрингерами.
2.11.2.3. Установка механизмов и другого оборудования на наружной обшивке корпуса, на непроницаемых переборках, палубах и платформах (в том числе на стенках и крышах цистерн), на настиле второго дна и обшивке туннеля гребного вала допускается при креплении их к балкам набора, к специально установленным ребрам жесткости или на кронштейнах, соединенных с балками набора или ребрами жесткости.
Установка малогабаритных механизмов и оборудования на указанные выше конструкции на наварышах не допускается.
2.11.3. Размеры конструкций фундаментов
2.11.3.1. Толщина деталей фундамента главного механизма или котла s, мм, должна быть не менее определяемой по формуле
где Q - масса механизма (котла) в рабочем состоянии, т;

- коэффициент, определяемый по табл. 2.11.3.1-1;
Таблица 2.11.3.1-1
Фундамент под механизм (котел) | |
Опорный лист | | Бракеты, кницы |
Главный двигатель внутреннего сгорания | 4,65 | 3,0 | 2,5 |
Главный турбозубчатый агрегат, главный дизель-генератор и гребной электродвигатель | 4,15 | 2,7 | 2,7 |
Котел | 3,65 | 2,4 | 2,4 |
<1> В конструкции фундамента с четырьмя стенками толщина стенок может приниматься равной толщине бракет и книц. |
Масса механизма (котла), т | <= 20 | > 20 | > 50 | > 100 | |
| <= 50 | <= 100 | <= 200 | > 200 |
| 4 | 3 | 2 | 1 | 0 |
2.11.3.2. Толщина деталей фундамента главного двигателя внутреннего сгорания s, мм, должна определяться по формуле
где N - спецификационная мощность двигателя, кВт;

и

- коэффициенты, определяемые по табл. 2.11.3.2,
но при этом быть не менее требуемой в
2.11.3.1.
Таблица 2.11.3.2
N, кВт | Число стенок | Коэффициент | Опорный лист | Стенка | Бракеты, кницы |
<= 1000 | 2 | | 1,7 | 1,1 | 0,9 |
| 6 | 4 | 3 |
4 | | 1,4 | 0,9 | 0,9 |
| 5 | 3 | 3 |
> 1000 | 2 | | 1,0 | 1,0 | 0,7 |
| 13 | 5 | 5 |
4 | | 0,8 | 0,7 | 0,7 |
| 11 | 5 | 5 |
2.12. НАДСТРОЙКИ, РУБКИ, КВАРТЕРДЕК
2.12.1. Общие положения, определения и обозначения
2.12.1.1. В настоящей главе приводятся требования к конструкциям средних надстроек, у которых продольные стенки совпадают с бортами судна, а также средних надстроек с не совпадающими с бортом продольными стенками, бака и юта с совпадающими с бортом стенками, а также рубок и квартердека.
Возможность и объем применения требований настоящей главы к длинным надстройкам с не совпадающими с бортом продольными стенками, а также к длинным рубкам являются предметом специального рассмотрения Регистром.
2.12.1.2. В настоящей главе приняты следующие определения
Квартердек - возвышенная уступом на неполномерную высоту твиндека кормовая часть верхней палубы.
Концевые участки надстроек и рубок - участки, измеренные от концевых переборок, длиной, м, не менее определяемой по формуле
Переходный участок квартердека - участок, измеренный от носовой кромки уступа до кормовой кромки настила верхней палубы, продолжающийся под палубой квартердека.
2.12.1.3. В настоящей главе приняты следующие обозначения:

- ширина палубы надстройки или рубки, измеренная посередине ее длины, за вычетом ширины больших вырезов, машинных шахт, если таковые имеются, м;
h - высота первого яруса надстройки или рубки, м;

- длина надстройки (рубки), измеренная между концевыми переборками; длина бака (юта), измеренная от носового (кормового) перпендикуляра до концевой переборки бака (юта), м;

- ширина судна на уровне верхней палубы в рассматриваемом сечении, м;
b - ширина рубки, м.
2.12.2. Конструкция
2.12.2.1. Для первого яруса длинной средней надстройки вне концевых участков, удлиненного бака (юта) вне концевого участка должны выполняться требования, предъявляемые к верхней палубе согласно
2.6 и борту в районе верхнего междупалубного помещения согласно
2.2 и
2.5.
2.12.2.2. Нижний пояс бортовой обшивки и обшивки продольных переборок средних надстроек, нижний пояс бортовых стенок рубок, установленных на расчетной палубе, должны быть изготовлены из стали той же категории, что и расчетная палуба в данном районе. Ширина нижнего пояса должна быть не менее 0,5h.
2.12.2.3. Концевые переборки надстроек и рубок, по возможности, должны располагаться в одной плоскости с поперечными переборками корпуса или возможно ближе к ним.
Внутри надстроек и рубок должны быть предусмотрены рамные шпангоуты или рамные стойки, переборки или полупереборки, установленные в плоскости рамных связей и переборок нижележащих конструкций корпуса. Рамные стойки концевых переборок должны располагаться в одной плоскости с рамными стойками переборок корпуса.
2.12.2.4. Нижние концы стоек концевых переборок надстроек и рубок первого яруса должны быть приварены к палубе. Нижние концы стоек боковых переборок рубки первого яруса должны быть закреплены к палубе кницами.
2.12.2.5. Должны быть предусмотрены необходимые подкрепления конструкций рубок и надстроек в местах установки спускоподъемных устройств для спасательных и дежурных шлюпок, а также для спасательных плотов.
2.12.3. Расчетные нагрузки
2.12.3.1. Расчетные нагрузки на борта надстроек и палубы надстроек и рубок должны отвечать следующим требованиям:
1. Расчетное давление на борта надстроек определяется согласно
2.2.3;
2. Расчетное давление на открытые участки палуб надстроек и рубок определяется по формуле
но должно быть не менее

,
где

- волновая нагрузка на уровне палубы согласно
2.1.4.6.2;

для палубы бака, а также той части палубы средней надстройки, которая расположена в пределах участка 0,2L от носового перпендикуляра;

для палубы юта, а также той части палубы средней надстройки, которая расположена в пределах участка 0,2L от кормового перпендикуляра;

для палуб средних надстроек и рубок, расположенных в пределах средней части судна.
Для участков палуб средней надстройки и рубок, расположенных вне средней части судна и вне пределов участков, отстоящих на 0,2L от носового или кормового перпендикуляра,

определяется линейной интерполяцией.
Для палуб надстроек и рубок первого яруса

, определяется по следующим формулам:
для палуб бака, а также той части палубы средней надстройки, которая расположена в пределах участка 0,2L от носового перпендикуляра
для палуб юта, а также средней надстройки
Для палуб надстроек и рубок второго и других вышележащих ярусов
Для судов ограниченного района плавания величина

может быть уменьшена умножением на коэффициент

, определяемый по
табл. 2.1.4.5.
2.12.3.2. Давление на концевые переборки надстроек и рубок и боковые переборки рубок p, кПа, определяется по формуле

при этом c >= 0,5;

при

;

при

;
для боковых переборок рубок коэффициент k принимается переменным по длине переборки. С этой целью рубка разбивается на равные участки длиной не более 0,15L каждый; при этом за величину

принимается расстояние между кормовым перпендикуляром и серединой рассматриваемого участка;

- не должен приниматься меньше 0,6 и больше 0,8; для кормовых концевых переборок, расположенных в нос от миделя, принимается равным

;

- вертикальное расстояние от максимальной летней ватерлинии до середины ширины рассматриваемого листа или пролета стойки.
Переборка | Конструкция | n |
Носовая | Незащищенная | Первый ярус | |
Второй ярус | |
Третий ярус | |
Защищенная |
Кормовая | Расположенная в корму от миделевого сечения | |
Расположенная в нос от миделевого сечения | |
 - длина судна; |
X - отстояние рассматриваемой переборки от кормового перпендикуляра, м. |
|
<1> Формула применяется также для боковых переборок рубок. |
Приведенные значения коэффициента n относятся к судну, имеющему надводный борт, равный минимальному базисному для судов типа "B", и стандартную высоту надстроек согласно разд. 4 Правил о грузовой марке морских судов. Если палуба, на которой находится рассматриваемый ярус надстройки, вследствие увеличенного надводного борта по сравнению с базисным, находится по высоте вышеустановленного стандартного положения, то соответствующее ее положению значение коэффициента n может определяться линейной интерполяцией между значениями этого коэффициента для надстроек со стандартным и фактическим положением палуб под надстройками.
В любом случае расчетное давление не должно приниматься менее указанного в табл. 2.12.3.2-2.
Таблица 2.12.3.2-2
Расчетное давление p, кПа |
для незащищенной носовой переборки первого яруса | в остальных случаях |
15,6 | 7,8 |
Для судов проектных категорий ограниченного района плавания расчетное давление может быть уменьшено умножением на коэффициент

, определяемый по
табл. 2.1.4.5.
2.12.4. Размеры конструкций надстроек, рубок и квартердека
2.12.4.1. Толщина бортовой обшивки средних надстроек, бака и юта должна определяться согласно
2.2.4.1 при действии расчетных нагрузок согласно
2.12.3.1.1. Для средних надстроек, бака и юта

.
Во всех случаях толщина бортовой обшивки средних надстроек, бака и юта

, должна быть не менее:
для надстроек нижнего яруса
для надстроек остальных ярусов
Для судов проектных категорий A и A1, если принятая шпация меньше нормальной (см.
2.1.1.1), допускается уменьшение минимальной толщины пропорционально отношению принятой шпации к нормальной, но не более чем на 10%.
2.12.4.2. Толщина настила палуб средних надстроек, бака и юта, а также рубок должна определяться согласно
2.6.4.1.1 и
2.6.4.1.2 при действии расчетных нагрузок согласно
2.12.3.1.2. Для средних надстроек, бака, юта, а также рубок

.
Во всех случаях толщина настила палуб средних надстроек, бака и юта, а также рубок

, должна быть не менее определяемой по формулам:
для открытой палубы бака
для палуб надстроек и рубок нижнего яруса в остальных случаях
для палуб надстроек и рубок остальных ярусов
Для судов проектных категорий A и A1, если принятая шпация меньше нормальной (см.
2.1.1.1), допускается уменьшение минимальной толщины пропорционально отношению принятой шпации к нормальной, но не более чем на 10%.
Для судов длиной менее 20 м минимальная толщина может быть уменьшена до 3 мм по согласованию с Регистром.
| | ИС МЕГАНОРМ: примечание. В официальном тексте документа, видимо, допущена опечатка: формула 1.6.4.4 в тексте документа отсутствует. Возможно, имеется в виду формула 2.1.6.4.4. | |
2.12.4.3. Толщина листов обшивки концевых переборок надстроек, бортовых и концевых переборок рубок должна быть не менее определяемой по
формуле (1.6.4.4). При этом:
m = 15,8;
Толщина обшивки боковых переборок рубок может быть не более толщины бортовой обшивки надстроек согласно
2.12.4.1 при их одинаковом расположении по длине судна и высоте борта.
Толщина нижнего листа обшивки концевых переборок первого яруса надстроек (рубок) должна увеличиваться на 1 мм по сравнению с расчетной. Ширина нижнего листа должна быть не менее 0,5 м.
Если носовая переборка рубки выполнена скругленной в плане по всей ширине рубки, толщина ее обшивки может быть уменьшена на 0,5 мм по сравнению с расчетной.
2.12.4.4. Во всех случаях толщина обшивки концевых переборок надстроек, бортовых и концевых переборок рубок

, должна быть не менее определяемой по формулам:
для нижнего яруса
для остальных ярусов
Для судов длиной менее 20 м минимальная толщина может быть уменьшена до 3 мм по согласованию с Регистром.
2.12.4.5. Набор бортов, палуб и концевых переборок бака, юта, средней надстройки, квартердека и рубок должен отвечать следующим требованиям:
1. Бортовой набор надстроек должен отвечать требованиям к бортовому набору в междупалубных помещениях согласно
2.5.4.2 -
2.5.4.5 при использовании расчетных нагрузок согласно
2.12.3.1.1. Для продольных балок и бортовых стрингеров средней надстройки, бака и юта

;
2. Подпалубный набор надстроек и рубок должен удовлетворять требованиям
2.6.4.2 -
2.6.4.7 при использовании расчетных нагрузок согласно
2.12.3.1.2. Для продольных балок и карлингсов средней надстройки, бака и юта

;
3. Момент сопротивления стоек концевых переборок надстроек, бортовых и концевых переборок рубок должен быть не менее определяемого согласно
2.1.6.4.1. При этом:
m = 12, если нижний конец стойки крепится к палубе кницей;
m = 10, если нижний конец стойки приварен к палубе;
m = 8, если нижний конец стойки срезан "на ус".
Момент сопротивления стоек бортовых переборок рубок может быть не более момента сопротивления шпангоутов надстроек согласно
2.12.4.5.1 при их одинаковом расположении по длине судна и высоте борта.
2.12.4.6. Размеры связей переборок и полупереборок внутри надстроек и рубок, если не оговорено иное, должны отвечать требованиям
2.7.4.5.
2.12.5. Специальные требования
2.12.5.1. В местах установки концевых переборок должны выполняться следующие требования:
1. Если концевая переборка надстройки не совпадает с поперечной переборкой корпуса, в нижележащем помещении под концевой переборкой должны быть предусмотрены полупереборки, пиллерсы или, по крайней мере, усиление шпангоутов и бимсовых книц;
2. В сечении, где концевые переборки надстроек и рубок опираются на продольные подпалубные связи, а боковые переборки рубок - на поперечные подпалубные связи расположенной ниже палубы (переборки и полупереборки, карлингсы, рамные бимсы и др.), стенки указанных подпалубных связей должны быть подкреплены кницами или бракетами.
2.12.5.2. Конструкция у концов надстроек должна отвечать следующим требованиям:
1. У концов средней надстройки, бака и юта бортовая обшивка должна быть продолжена за концевую переборку и плавно по кривой сведена к борту на длине

(см.
рис. 2.12.5.2), определяемой по формуле
По согласованию с Регистром величина

может быть уменьшена при условии увеличения толщины нижнего пояса бортовой обшивки надстройки, ширстрека и палубного стрингера в районе, указанном на рис. 2.12.5.2;
2. Притупление нижней части криволинейной кромки выступающей части бортовой обшивки надстройки должно быть удалено и подвергнуто механической обработке.
Криволинейная кромка должна быть подкреплена полосой, смещенной вниз от кромки на 50 мм. Концы полосы срезаются "на ус".
Устройство вырезов в выступающей части бортовой обшивки надстройки, как правило, не допускается. Соединение этих листов с фальшбортом должно быть подвижным;
3. У концов средней надстройки, продольные стенки которой не совпадают с бортом судна, крепление концов продольных стенок к палубе должно быть выполнено в виде плавного перехода скругленной кницы от продольной стенки надстройки к короткому карлингсу, подкрепляющему палубу под этой стенкой, с одновременным усилением палубного стрингера в районе, указанном на
рис. 2.12.5.2.
2.12.5.3. Конструкция уступа в месте соединения верхней палубы с палубой квартердека должна отвечать следующим требованиям:
1. Настил верхней палубы в корму от уступа может не продолжаться;
2. Палубный стрингер верхней палубы должен быть продлен дальше настила верхней палубы на две шпации.
Палубный стрингер верхней палубы должен при этом суживаться от полной своей ширины до ширины, равной высоте шпангоута, к которому он приваривается;
3. Стрингер квартердека должен быть продлен в нос в виде кницы, плавно сходящей к борту на расстоянии, равном трем шпациям. Выступающие за уступ листы палубного стрингера квартердека должны быть подкреплены ребрами жесткости, а свободные кромки листов - поясками или фланцами;
4. Ширстрек квартердека должен быть продлен в нос от конца листа палубного стрингера, выступающего за переборку уступа, не менее чем на 1,5 высоты уступа и плавно сведен "на нет" к верхней кромке ширстрека борта судна. Остальные конструктивные требования - см.
2.12.5.2.3;
5. Между палубами в месте уступа следует установить по ширине судна на расстоянии не более 1,5 м друг от друга вертикальные диафрагмы толщиной не менее толщины листов переборки уступа.
Листы диафрагм должны подкрепляться вертикальными стойками.
Горизонтальные кромки диафрагм должны быть приварены к палубам, а вертикальные кромки - с одной стороны к переборке уступа, а с другой - к специальной опорной переборке, состоящей из сплошного листа, идущего по всей ширине судна и приваренного к палубам. Опорная переборка должна иметь толщину не менее толщины листа переборки уступа и может иметь вырезы между диафрагмами;
6. При установке опорной переборки у концов диафрагм должны быть установлены кницы (см. рис. 2.12.5.3.6);
1 - опорная переборка; 2, 6 - кницы; 3 - квартердек;
4 - диафрагма; 5 - переборка уступа; 7 - верхняя палуба;
8 - ребро в плоскости кницы
Рис. 2.12.5.3.6
7. Если квартердек примыкает к средней надстройке, он должен быть продлен от уступа внутрь средней надстройки на две шпации, однако не менее чем на величину возвышения надстройки над квартердеком.
Палубный стрингер квартердека должен быть продлен дальше в нос на две шпации с постепенным уменьшением ширины, как указано в
2.12.5.3.2.
Подкрепления между верхней палубой и квартердеком в месте уступа должны соответствовать
2.12.5.3.5 и
2.12.5.3.6 с учетом, что уступ расположен по длине судна.
Выступающие в корму за надстройку листы ее бортовой обшивки в этом случае должны плавно по кривой сводиться "на нет" к ширстреку на длине не менее 1,5 высоты уступа (см. также
2.12.5.2.1);
8. Если уступ квартердека расположен не далее 0,25L от кормового перпендикуляра, подкрепления должны отвечать следующим требованиям:
настил верхней палубы можно не продолжать в корму за уступ по всей ширине судна, однако стрингер верхней палубы, а также стрингер и ширстрек квартердека должны быть протянуты соответственно в нос и в корму, как указано в
2.12.5.3.3 и
2.12.5.3.4.
2.12.5.4. Для конструкций рубок допускается применение алюминиевых сплавов. Палубы жилых и служебных помещений, расположенных над машинными помещениями, должны быть стальными.
2.12.5.5. Связи вертолетных площадок и поддерживающие их конструкции должны отвечать следующим требованиям:
1. Связи вертолетной площадки в соответствии с ее расположением по длине судна и высоте борта должны соответствовать требованиям к связям открытой палубы согласно
2.6 или палуб надстройки (рубки) согласно
2.12.4.2 и
2.12.4.5.2. В любом случае расчетное давление должно быть не менее:
2. Связи вертолетной площадки должны отвечать требованиям к связям палуб, предназначенных для перевозки груза согласно
2.6. Расчетная нагрузка определяется исходя из наибольшей массы вертолетов и оборудования, размещаемых на этой площадке в процессе эксплуатации и дополнительного давления 0,5 кПа от снежного покрова или льда;
3. Связи вертолетной площадки должны отвечать требованиям к связям палубы накатных судов согласно 3.2 части II "Корпус" Правил классификации и постройки морских судов. При этом расчетная нагрузка в условиях посадки вертолета определяется, исходя из следующего:

- условная нагрузка на ось; принимается равной максимальному взлетному весу вертолета, кН;

- условное число колес на оси;
n = 1 - число колес в группе;

- размеры отпечатка колеса;

- коэффициент динамичности;
4. Если вертолетная площадка не является палубой надстройки или рубки, ее опорные конструкции должны соответствовать требованиям к пиллерсам согласно
2.9 и (или) полупереборкам согласно
2.7.4.4 при действии расчетных нагрузок согласно
2.12.5.5.1 и
2.12.5.5.3;
5. Если вертолетная площадка имеет конструкции, выступающие за линию борта, требования к ней являются предметом специального рассмотрения Регистром.
2.13.1. Общие положения
Вырезы в палубах и платформах над машинными отделениями должны быть ограждены прочными машинными шахтами.
Шахты могут не предусматриваться только в том случае, если помещение, расположенное на палубе или платформе, является частью машинного отделения.
2.13.2. Конструкция
2.13.2.1. Если в палубе в районе машинного отделения имеются большие вырезы, в районе машинной шахты должны быть предусмотрены дополнительные пиллерсы и рамные бимсы.
2.13.2.2. При устройстве в расчетной палубе выреза для машинной шахты должны быть выполнены требования
2.6.5.1 о подкреплении палубы в углах вырезов и при необходимости компенсации вырезов.
2.13.3. Размеры конструкций машинных шахт
2.13.3.1. Часть шахты, расположенная в закрытых помещениях (междупалубных помещениях, юте, средней надстройке, рубке), должна отвечать требованиям к полупереборкам согласно
2.7.4.4. Расстояние между стойками не должно превышать 0,9 м.
Толщина обшивки части шахты, расположенной в юте, средней надстройке или рубке, может быть уменьшена против указанной на 0,5 мм.
2.13.3.2. Часть шахты, расположенная ниже палубы переборок, должна отвечать требованиям
2.7.2.3,
2.7.4.1 -
2.7.4.3 для водонепроницаемых переборок, если при обеспечении непотопляемости она рассматривается как непроницаемая конструкция.
2.13.3.3. Часть шахты, расположенная выше открытой палубы, должна отвечать требованиям
2.12 для рубок, расположенных в том же районе судна. При определении расчетной нагрузки по
формуле (2.12.3.2) следует принимать

.
2.14.1. Общие положения
Фальшборт прочной конструкции должен быть установлен в местах, указанных в 8.6 части III "Устройства, оборудование и снабжение" Правил классификации и постройки морских судов.
2.14.2. Конструкция
2.14.2.1. Высота фальшборта от верхней кромки стального настила палубы, а при наличии деревянного настила - от верхней кромки последнего до верхней кромки планширя или поручня - должна отвечать требованиям 8.6.2 части III "Устройства, оборудование и снабжение" Правил классификации и постройки морских судов.
2.14.2.2. Вырезы в фальшборте для проходов должны выполняться с обеспечением плавного (при радиусе не менее 100 мм) перехода обшивки фальшборта к ширстреку.
В районе до 0,07L от носового перпендикуляра приварка обшивки фальшборта к ширстреку обязательна.
2.14.2.3. Фальшборт должен быть подкреплен стойками, расстояние между которыми должно быть не более 1,8 м. При значительном развале бортов, а также для судов с минимальным надводным бортом в указанном районе может быть потребована установка стоек на каждом шпангоуте.
2.14.2.4. Стойки должны располагаться в плоскости бимсов, книц и т.п. конструкций и привариваться к планширю, фальшборту и палубе. Соединение стоек с фальшбортом должно предусматриваться на длине не менее 1/2 высоты фальшборта.
При приварке стоек к палубе необходимо предусматривать в них отверстия достаточных размеров для протока воды к шпигатам. На участке под стойкой сварное соединение бимса (кницы) с настилом палубы не должно быть слабее соединения стойки с палубой.
Непосредственно под нижними концами стоек не допускаются вырезы в стенках бимсов и зазоры между торцом шпангоута и палубой.
Вырезы для облегчения стойки должны быть не более 1/2 ее ширины в каждом сечении.
Свободные кромки стоек должны быть подкреплены фланцами или поясками.
Как правило, фланцы (пояски) стоек не должны привариваться к настилу палубы и к планширю.
Фланцы (пояски), устанавливаемые по наружной кромке стойки, не должны привариваться к ребру жесткости (фланцу), подкрепляющему нижнюю кромку фальшборта, имеющего сплошной вырез.
2.14.2.5. Планширь должен иметь фланец (поясок) или должен быть изготовлен из полособульбового профиля.
Нижняя кромка фальшборта над сплошной прорезью должна быть подкреплена горизонтальным ребром жесткости или фланцем.
В районе швартовных клюзов, киповых планок и креплений обухов для вант должны быть предусмотрены дополнительные подкрепления фальшборта.
2.14.3. Нагрузки на фальшборт
Расчетным давлением на фальшборт p, кПа, является внешнее давление, определяемое согласно
2.1.4.6.2. При этом оно должно приниматься не менее:
но не менее 15 кПа.
Для судов проектных категорий ограниченного района плавания величина

может быть уменьшена умножением на коэффициент

, определяемый по
табл. 2.1.4.5.
2.14.4. Размеры связей фальшборта
2.14.4.1. Толщина обшивки фальшборта s, мм, определяется по формуле
s = 0,065L + 1,75, (2.14.4.1)
но при этом должна быть не менее 3,0.
Толщина фальшборта надстроек, расположенных вне 1/4 длины судна от носового перпендикуляра, а также фальшборта второго яруса рубок или надстроек может быть уменьшена на 1 мм.
Для третьего и вышерасположенных ярусов рубок толщина фальшборта может быть не более толщины, требуемой для обшивки боковых переборок рубки третьего яруса.
2.14.4.2. Момент сопротивления стойки фальшборта, примыкающей к настилу палубы, должен быть не менее определяемого в
2.1.6.4.1. При этом:
m = 2;
Если в фальшборте делаются вырезы для проходов или предусматриваются расширительные соединения, момент сопротивления стоек у концов этих вырезов или расширительных соединений должен быть увеличен на 25%.
Ширина верхнего конца стойки должна быть равна ширине планширя.
3. КОРПУС ИЗ АЛЮМИНИЕВЫХ СПЛАВОВ
3.1.1. К корпусу из алюминиевых сплавов применяются все положения и требования к корпусу из стали, указанные в
разд. 2.
3.1.2. Размеры элементов конструкции корпуса из алюминиевых сплавов должны определяться пересчетом (см.
3.2.1) соответствующих размеров элементов корпуса из стали.
3.1.3. Материалы, применяемые для изготовления элементов конструкций корпуса, регламентируемых настоящим разделом, должны удовлетворять требованиям
разд. 3 части XI "Материалы".
3.2. ОСНОВНЫЕ ПОЛОЖЕНИЯ ПО ОПРЕДЕЛЕНИЮ РАЗМЕРОВ
ЭЛЕМЕНТОВ КОРПУСНЫХ КОНСТРУКЦИЙ
3.2.1. Пересчет необходимо производить по формулам, указанным в табл. 3.2.1, без учета ограничений минимальных размеров связей стальных конструкций.
Таблица 3.2.1
Параметр | Расчетная формула |
Толщина наружной обшивки настила палубы (без покрытия), обшивки переборок, внутренних выгородок и других деталей из листов | для надстроек: |
|
|
|
для основного корпуса: |
|
|
| |
Момент сопротивления балок | |
| |
Площадь сечении пиллерсов | |
| |
Момент инерции пиллерсов и балок | |
Примечания: 1.  - условный предел текучести алюминиевого сплава, МПа. |
2. Требуемые Правилами S, W, f и l могут приниматься без учета запаса на износ. |
3.3. СПЕЦИАЛЬНЫЕ ТРЕБОВАНИЯ
3.3.1. Если сплошные сварные (угловые и стыковые) швы расположены в районах максимальных напряжений, то в зависимости от применяемого алюминиевого сплава и метода сварки следует учитывать уменьшение прочности в районе сварного шва.
3.3.2. Для конструкций из алюминиевых сплавов в соединениях, указанных в
табл. 2.1.7.5.1-1, не допускается:
1. Применять прерывистые швы (за исключением гребенчатого набора);
2. Применять гребенчатый набор в районах интенсивной вибрации (см.
2.1.7.1.6).
Толщина швов должна быть не менее 3 мм, но не более 0,5s (s - см.
2.1.7.5.1).
3.3.3. Размеры поперечных сечений ахтерштевня и форштевня, брускового киля и кронштейнов гребного вала должны быть в 1,3 раза больше размеров сечений, предписываемых при применении стали.
3.3.4. Конструктивные элементы рубки из алюминиевых сплавов определяются пересчетом согласно
3.2.1. Минимальные размеры конструкций принимаются одинаковыми с минимальными размерами для стальной рубки.
3.3.5. По согласованию с Регистром допускается применение биметаллических (сталь-алюминий) прессованных элементов для соединения конструкций из стали и из алюминиевых сплавов.
3.3.6. Определение степени участия рубок из алюминиевых сплавов в общем изгибе корпуса и напряжений в корпусе судна и рубке должно выполняться по методике, согласованной с Регистром.
4. КОРПУС ИЗ СТЕКЛОПЛАСТИКА
4.1.1. Область распространения
Требования настоящего раздела распространяются на суда из стеклопластика, у которых соотношения главных размерений находятся в пределах:
длина судна к высоте борта

;
ширина судна к высоте борта

;
длина судна к его ширине

.
Если отношения главных размерений выходят за указанные пределы, конструкция и размеры связей корпуса являются предметом специального рассмотрения Регистром.
Размеры элементов корпусных конструкций глиссирующих судов и катамаранов дополнительно должны удовлетворять требованиям Правил классификации и постройки высокоскоростных судов.
4.1.2. Определения и пояснения
Однослойная конструкция - конструкция, которая состоит из пластины, подкрепленной набором.
Двухслойная конструкция - конструкция, которая состоит из двух пластин, соединенных набором, расположенным между ними.
Трехслойная конструкция - конструкция, которая состоит из двух пластин, соединенных между собой средним слоем из пенопласта, сот и т.п., причем средний слой является несущим и воспринимает нагрузку совместно с пластинами.
4.1.3. Общие требования
4.1.3.1. Требования настоящего раздела применимы:
1. Если наружная обшивка формуется как одно целое или в виде двух половин (правой и левой), соединяемых по килю и штевням;
2. Для судов, имеющих следующие соединения секций корпуса:
наружной обшивки в диаметральной плоскости;
палубы с бортом;
надстроек и рубок с палубой;
3. При однослойной конструкции наружной обшивки, настила палубы и прочных переборок судов;
4. При одно- и трехслойной конструкциях стенок рубок и надстроек судов.
4.1.3.2. Размеры связей двух- и трехслойной конструкций, а также применение композитных конструкций являются в каждом случае предметом специального рассмотрения Регистром, если в настоящей части отсутствуют специальные требования.
4.1.3.3. На чертежах конструкций из стеклопластика необходимо указывать не только толщину пластин, мм, но и число слоев армирующего материала и суммарную массу армирующего материала, кг, приходящуюся на 1 м2 поверхности пластика.
4.1.3.4. Во всех случаях технология формования корпуса должна быть одобрена Регистром.
4.1.3.5. Регистр может одобрить иные, отличающиеся от приведенных в настоящей части, конструкторские решения при условии выполнения требований 1.3.4.1 Общих положений о классификационной и иной деятельности.
4.1.4. Объем освидетельствований
4.1.4.1. Общие положения по освидетельствованию корпуса изложены в Общих
положениях о классификационной и иной деятельности.
4.1.4.2. После рассмотрения и одобрения технического проекта судна в целом освидетельствованию Регистром при изготовлении корпуса подлежат:
1. Исходные материалы для формования корпусных конструкций;
2. Состояние и микроклимат производственных помещений;
3. Технологическая оснастка, применяемая при формовании корпусных конструкций;
4. Формование секций наружной обшивки с набором;
5. Формование секций палубы;
6. Формование переборок;
7. Формование цистерн;
8. Формование надстроек и рубок;
9. Формование фундаментов под главные двигатели, а также под другие механизмы и устройства, подлежащие освидетельствованию Регистром;
10. Формование комингсов, тамбуров и подобных ограждений вырезов в корпусе;
11. Штевни и кронштейны гребных валов.
4.1.4.3. До начала изготовления конструкций, перечисленных в
4.1.4.2, Регистру должна быть представлена на одобрение техническая документация по корпусу в объеме, предусмотренном в
части I "Классификация".
4.1.4.4. В процессе изготовления конструкции корпуса, перечисленные в
4.1.4.2, подлежат освидетельствованию в отношении выполнения требований части XIII "Материалы" Правил классификации и постройки морских судов, а также соответствия одобренной Регистром технической документации.
4.1.4.5. Методика проведения и результаты испытаний жесткости и прочности готовых конструкций в каждом случае являются предметом специального рассмотрения Регистром.
4.1.5. Материалы
4.1.5.1. В настоящей части предусмотрено применение типов стеклопластиков, перечисленных в
Приложении 1.
4.1.5.2. Помимо перечисленных в
Приложении 1, могут быть применены стеклопластики с другими сочетаниями армирующих материалов и связующих, а также с другими схемами армирования после представления Регистру исчерпывающих сведений о механических свойствах стеклопластиков и одобрения последних.
4.1.6. Система набора и шпация
4.1.6.1. В настоящей части предусмотрено применение поперечной системы набора корпуса судов. Конструкция и размеры связей корпуса при продольной или смешанной системе набора являются предметом специального рассмотрения Регистром.
4.1.6.2. Нормальная шпация поперечного набора приведена в табл. 4.1.6.2.
Длина судна, м | Шпация, мм |
15 и менее | 350 |
более 15 | 400 |
Если принятая шпация отличается от приведенной в
табл. 4.1.6.2, производится пересчет толщины и размеров связей в соответствии с требованиями
4.2.2,
4.2.3 и
4.2.5.
4.1.6.3. В форпике шпация должна быть не более: 300 мм при L = 15 м и менее;
350 мм при L > 15 м.
4.1.6.4. Расстояние между стойками поперечных водонепроницаемых переборок принимается равным шпации набора корпуса.
Для переборки форпика расстояние между стойками принимается равным шпации в носовой оконечности.
Шпация стенок надстройки или рубки принимается равной шпации корпуса однослойной конструкции.
4.1.7. Приформовки и соединения
4.1.7.1. Приформовочные угольники продольного и поперечного наборов формуются на месте (мокрые угольники), армирующий материал - стеклохолст. В виде исключения допускается стеклоткань сатинового и полотняного переплетений. Жгутовая стеклоткань не допускается. Соединяемые поверхности перед приформовкой необходимо тщательно зачистить.
По согласованию с Регистром может быть допущена формовка угольников методом напыления.
4.1.7.2. Толщина приформовочного угольника должна быть равна 1/2 толщины приформовываемой стенки Т-образной балки набора и толщине стенки П-образной балки набора. Ширина приформовочного угольника и схема укладки армирующих слоев должны отвечать требованиям, приведенным на
рис. 4.1.7.2-1 и
4.1.7.2-2. В любом случае ширина должна быть не менее 30 мм для приформовочных угольников набора и 50 мм для приформовочных угольников поперечных водонепроницаемых переборок.
а) размеры приформовки
б) схема укладки слоев при приформовке полосами
стеклохолста или стеклоткани
а) размеры приформовки
б) схема укладки слоев при приформовке полосами
стеклохолста или стеклоткани
| 3 | 4 | 5 | 6 | 8 | 10 | 12 | 14 |
| 30 | 30 | 40 | 50 | 60 | 70 | 90 | 100 |
4.1.7.3. Толщина приформовочных угольников переборок, платформ, стенок надстроек и рубок должна быть равна толщине обшивки переборки, настила платформы, стенки надстройки и рубки соответственно.
4.1.7.4. Для болтовых соединений должны выполняться следующие требования:
1. Отстояние болтов от кромки пластины должно быть не менее трех диаметров болта;
2. Диаметр болта должен быть равен толщине наиболее толстого из соединяемых листов;
3. Шаг болтов должен быть не менее четырех диаметров болта;
4. Детали болтовых соединений должны иметь надежное антикоррозионное покрытие или должны изготавливаться из коррозионно-стойких материалов;
5. Под гайку и головку болта должны быть подложены шайбы диаметром, равным не менее 2,5 диаметра болта; толщина шайбы - 0,1 диаметра болта, но не менее 1,5 мм.
4.1.7.5. Конструкции соединений, выполненных с применением клепки, подлежат специальному рассмотрению Регистром.
4.1.7.6. Соединение листов неответственных или малонагруженных конструкций допускается выполнять в виде формованного стыка (см.
рис. 4.1.7.6). Соединяемые поверхности перед наложением накладок необходимо тщательно зачистить.

- ширина накладки

;

- толщина соединяемых пластин;

- толщина накладки

| | Номера слоев стеклоткани накладки |
1 | 2 | 3 | 4 | 5 | 6 | 7 | 8 | 9 | 10 | 11 | 12 | 13 | 14 |
Ширина накладки, мм |
6 | 3 | 100 | 150 | 150 | 200 | 200 | 250 | 300 | | | | | | | |
8 | 4 | 100 | 100 | 150 | 150 | 150 | 200 | 250 | 250 | 300 | | | | | |
10 | 3 | 100 | 100 | 150 | 150 | 200 | 200 | 250 | 250 | 300 | 300 | | | | |
14 | 7 | 100 | 100 | 150 | 150 | 200 | 200 | 250 | 250 | 300 | 300 | 330 | 350 | 400 | 400 |
Примечания: 1. Направление основы стеклоткани накладки должно быть перпендикулярно к стыку секций. |
2. Зазор - 1 - 2 мм. |
3. Материал накладки - стеклопластик на основе стеклоткани сатинового или полотняного переплетения. |
Применение стеклохолста не допускается. |
4.1.7.7. При изготовлении наружной обшивки судна в виде двух половин (правого и левого борта) их соединение в диаметральной плоскости следует выполнять посредством накладок (см.
рис. 4.1.7.7). Накладки должны формоваться на основе стеклоткани типа III или IV для всех длин корпуса. Толщина каждой накладки s должна быть равна 0,7 толщины горизонтального киля

(см.
табл. 4.2.2.1). Полная ширина накладки должна быть не менее

.
4.1.7.8. Толщина накладок должна уменьшаться к краям до толщины одного слоя стеклоткани. Уменьшение толщины обеспечивается постепенным увеличением ширины накладываемых лент: первый слой накладки формуется на основе ленты шириной 100 мм (по 50 мм на сторону), последующие ленты (по одной или по две - три) накладываются с шириной 140, 180 мм и т.д.
4.1.7.9 Соединение палубы с бортом следует выполнять внешними и внутренними приформовочными угольниками (накладками) в соответствии с рис. 4.1.7.9. Угольники должны формоваться на основе стеклоткани типов III и IV. Развернутая ширина приформовочных угольников 2b должна быть не менее

(где

- толщина ширстрека). Толщину приформовочного угольника следует принимать равной

.
Распределение слоев в приформовочных угольниках должно выполняться в соответствии с требованиями
4.1.7.2.

- толщина ширстрека;

- толщина настила палубы;
s - толщина приформовочного угольника;
b - 1/2 развернутой ширины угольников
Примечание. Со стороны наружной обшивки поверхности палубы и борта должен быть уложен дополнительный слой ткани, перекрывающий приформовочный угольник на 100 - 150 мм с каждого края, с направлением основы вдоль корпуса судна.
Рис. 4.1.7.9
4.2. ОСНОВНЫЕ ПОЛОЖЕНИЯ ПО ОПРЕДЕЛЕНИЮ РАЗМЕРОВ ЭЛЕМЕНТОВ
КОРПУСНЫХ КОНСТРУКЦИЙ
4.2.1. Общие требования
4.2.1.1. Толщина листов наружной обшивки, настилов палуб, обшивки переборок и т.п. должна определяться по
рис. 4.2.1.1-1,
4.2.1.1-2 и
4.2.1.1-3 в зависимости от приведенного в
табл. 4.2.2.1 изгибающего момента

, допускаемого для участка обшивки шириной 1 см.
Обозначения армирующего материала:

- Стеклохолст (X);

- Жгутовая стеклоткань (рогожка) параллельной укладки (P);

- Жгутовая стеклоткань, уложенная под углом 45° (+45 °P)

- Жгутовая стеклоткань, уложенная под углом -45° (-45 °P)

- Стеклоткань или стеклосетка параллельной укладки (T) или (C)
По
рис. 4.2.1.1-1 определяется толщина листов из стеклопластика с содержанием стекла, указанным в строке 1
табл. 1 -
6 Приложения 2.
По
рис. 4.2.1.1-2 и 4.2.1.1-3 определяются толщины стеклопластиков с содержанием стекла, указанным в строках 2 и 3 указанных таблиц.
Структуры армирования, указанные в строках 1 и 2
табл. 1,
2,
5 и
6 Приложения 2, используются для формования наружной обшивки, настила палубы, обшивки переборок и т.п. Структура армирования, указанная в строке 3
табл. 3 и
6 и в строке 2
табл. 1, используется для выполнения набора, который должен формоваться в специальных приспособлениях и обжиматься при изготовлении.
4.2.1.2. Для балок набора корпуса в настоящих Правилах предусматривается применение П-образных профилей из стеклопластика типа

и Т-образных профилей со свободным пояском из стеклопластика типа

и стенкой из стеклопластика типа

.
4.2.1.3. Размеры балок набора определяются по
рис. 4.2.1.3-1,
4.2.1.3-2 и
4.2.1.3-3 в зависимости от момента сопротивления поперечного сечения балок с присоединенным пояском.
a = (1,4 ... 2,0)h;
b = (0,7 ... 1,0)h;
b | | |
(1/1,5 ... 1/1,3)h | (1/10 ... 1/20)h | (2 ... 3)s |
|
Примечания: 1. Свободный поясок из стеклопластика типа

, присоединенный поясок из стеклопластика типа

, причем

(где E - модуль упругости).
2. Стенка из стеклопластика типа

.
По
рис. 4.2.1.3-1 определяются размеры элементов сечения балок П-образного профиля.
По
рис. 4.2.1.3-2 и 4.2.1.3-3 определяются размеры элементов сечения балок Т-образного профиля, причем рис. 4.2.1.3-3 представляет собой начальную часть
рис. 4.2.1.3-2, показанную в укрупненном масштабе.
Размеры балок днищевого набора (вертикального киля и днищевых стрингеров) определяются в соответствии с требованиями
4.2.3.5.
а) профиль в виде заготовки
б) профиль, формуемый на месте на заполнителе из пенопласта
в) то же, с усилением свободного пояска
г) профиль, формуемый на месте на оформителе
из листового алюминия
Примечания: 1. Усиление свободного пояска - на основе стеклоткани или стекложгута.
2. Рисунок не регламентирует соотношений размеров для продольного набора.
4.2.1.4. Допускается определение размеров связей расчетным методом в соответствии с
Приложением 3.
4.2.1.5. Ширина присоединенного пояска принимается равной 1/6 пролета балки набора, если пластина выполнена из стеклопластиков типов I, V - VIII, и 1/10 пролета, если пластина выполнена из стеклопластика типа II, но в любом случае не более расстояния между параллельными балками набора.
4.2.2.1. Толщина наружной обшивки днища и борта определяется по
рис. 4.2.1.1-1 и
4.2.1.1-2 в зависимости от допускаемого изгибающего момента, приведенного в табл. 4.2.2.1.
Длина судна, м | Шпация, мм | | Ширина, мм |
днища | борта | горизонтального киля | ширстрека |
5 | 350 | 1,4 | 0,8 | 400 | 300 |
7,5 | 350 | 2,0 | 1,3 | 475 | 400 |
10 | 350 | 3,1 | 2,0 | 550 | 475 |
12 | 350 | 4,2 | 2,8 | 600 | 575 |
15 | 350/400 | 5,2/6,7 | 3,5/4,5 | 675 | 650 |
17,5 | 400 | 8,0 | 5,2 | 750 | 750 |
20 | 400 | 9,0 | 6,0 | 825 | 825 |
22,5 | 400 | 10,2 | 6,7 | 875 | 925 |
25 | 400/450 | 11,4/13,6 | 7,5/9,5 | 950 | 1000 |
Примечания: 1. Если принятая в проекте шпация отличается от приведенной в графе 2, то  изменяется пропорционально квадрату отношения принятой шпации к табличной. |
2. Для промежуточных длин судна  определяется интерполяцией. |
3. Толщина горизонтального киля и ширстрека принимается равной 1,5 толщины днищевой обшивки. |
4. В графе 5 приведена ширина горизонтального киля на оба борта. |
5. Переход от толщины горизонтального киля и ширстрека к толщине наружной обшивки осуществляется на участке, ширина которого определяется из расчета 50 мм на каждые 5 мм толщины указанных связей. |
6. Для судов длиной 15 и 25 м в числителе приведены величины для меньшей шпации, в знаменателе - для большей. |
7. К днищевой обшивке относятся участки наружной обшивки: |
на судах с остроскулыми обводами от линии киля до скулы; |
на судах со скругленной скулой от линии киля до 1/3 D. |
4.2.2.2. Минимальная толщина наружной обшивки должна быть:
1. Не менее 4 мм для борта и 5 мм для днища при однослойной конструкции с любым типом армирования;
2. Не менее 3 мм для борта и 4 мм для днища при двух- или трехслойной конструкции.
4.2.2.3. Для наружной обшивки допускается применение стеклопластика следующих типов:
для корпусов длиной 15 м и менее - I; для корпусов длиной от 5 до 10 м - II; для корпусов длиной от 5 до 24 м - V; для корпусов длиной от 10 до 24 м - VII.
4.2.2.4. При толщине наружной обшивки от 3 до 6 мм стыки армирующего материала должны иметь перекрой 40 мм. Пазы укладываются без перекроя.
При толщине наружной обшивки 6 мм и более допускается укладка стыков и пазов армирующего материала встык без перекроя. В этом случае должно быть не менее восьми слоев армирующего материала.
4.2.2.5. В каждом соседнем слое пазы и стыки армирующего материала должны быть разнесены не менее чем на 100 мм.
Совмещение пазов и стыков в одном сечении допускается не менее чем через 6 слоев.
4.2.2.6. Жгутовая стеклоткань в слоях диагонального армирования не должна иметь стыков.
4.2.2.7. Толщина и ширина горизонтального киля и ширстрека определяются по табл. 4.2.2.1 (см.
примечание 3).
4.2.2.8. Толщина обшивки кормовой оконечности (в том числе транца) должна быть не менее толщины обшивки днища.
4.2.2.9. Толщины наружной обшивки и ширстрека в форпике принимаются такими же, как для средней части корпуса судна.
4.2.2.10. Горизонтальный киль и ширстрек должны выполняться заформовкой дополнительных слоев армирующего материала вперемежку с основными слоями наружной обшивки равномерно по толщине последней.
Изменение толщины следует проводить в соответствии с табл. 4.2.2.1 (см.
примечание 5).
4.2.3.1. Флоры должны быть установлены на каждом шпангоуте.
4.2.3.2. В плоскости каждого рамного шпангоута должен быть установлен усиленный флор. Высота усиленных флоров принимается одинаковой с высотой вертикального киля или днищевых стрингеров в зависимости от того, что больше.
4.2.3.3. Размеры флора выбираются, как указано в
4.2.1.2, в зависимости от его момента сопротивления, приведенного в табл. 4.2.3.3.
Таблица 4.2.3.3
Длина судна, м | Расчетная нагрузка, кПа | Момент сопротивления П-образного профиля, см3, для шпации 400 мм при длине пролета, м |
0,50 | 0,75 | 1,00 | 1,50 | 2,00 | 2,50 |
5,0 | 20,0 | 15 | 25 | 50 | 100 | - | - |
7,5 | 30,0 | 20 | 40 | 70 | 150 | 260 | - |
10,0 | 40,0 | 30 | 50 | 90 | 200 | 350 | - |
12,0 | 25,0 | 15 | 30 | 60 | 130 | 220 | 350 |
15,0 | 30,0 | 20 | 40 | 70 | 150 | 270 | 420 |
17,5 | 35,0 | 25 | 50 | 80 | 180 | 310 | 490 |
20,0 | 38,0 | 30 | 60 | 90 | 200 | 350 | 560 |
22,5 | 43,0 | 35 | 70 | 100 | 230 | 400 | 630 |
25,0 | 47,0 | - | 80 | 110 | 250 | 440 | 690 |
27,5 | 51,0 | - | - | 120 | 280 | 490 | 760 |
30,0 | 55,0 | - | - | - | 300 | 530 | 830 |
Примечания: 1. В таблице даны моменты сопротивления для шпации 400 мм; для других шпаций момент сопротивления изменяется пропорционально отношению: шпация, мм/400. |
2. При использовании Т-образного профиля момент сопротивления может быть снижен в три раза. |
3. Длина пролета измеряется по концам флора, если киля нет; от киля до конца флора, если есть киль и нет днищевого стрингера; между килем и стрингером или от стрингера до конца флора, смотря по тому, какой пролет больше. |
4. Для судов длиной от 5 до 10 м расчетная нагрузка принята с учетом возможного удара воды о днище при сбросе на воду. |
5. Для судов длиной более 10 м расчетная нагрузка равна максимальной высоте борта при L / D = 6 + 0,5 м. |
6. Если расчетная нагрузка значительно отличается от принятой в таблице, допустимо снижение момента сопротивления пропорционально отношению: расчетная нагрузка фактическая/расчетная нагрузка табличная. |
4.2.3.4. Минимальная толщина флоров должна быть 2 мм для П-образного профиля и 4 мм - для Т-образного профиля.
4.2.3.5. Если 1/2 ширины судна, измеренной по верхней кромке флоров, больше 0,75 м, должен быть установлен вертикальный киль. Если эта величина превышает 2,5 м, то, кроме вертикального киля, необходима установка одного днищевого стрингера с каждого борта. Размеры вертикального киля и днищевых стрингеров приведены в табл. 4.2.3.5.
Таблица 4.2.3.5
Длина судна, м | Шпация, мм | Вертикальный киль, мм | Днищевый стрингер, мм |
высота | толщина | Сечение свободного пояска | высота | толщина | Сечение свободного пояска |
5,0 | 350 | 150 | 8 | 60 x 12 | - | - | - |
7,5 | 350 | 180 | 9 | 70 x 14 | - | - | - |
10,0 | 350 | 210 | 10 | 80 x 15 | - | - | - |
12,0 | 350 | 240 | 11 | 90 x 15 | - | - | - |
15,0 | 350 | 270 | 12 | 100 x 15 | 200 | 10 | 80 x 15 |
17,5 | 400 | 300 | 13 | 110 x 16 | 225 | 11 | 90 x 15 |
20,0 | 400 | 330 | 14 | 120 x 18 | 250 | 12 | 100 x 15 |
22,5 | 400 | 370 | 15 | 130 x 20 | 275 | 13 | 110 x 16 |
25,0 | 400 | 410 | 16 | 140 x 22 | 300 | 14 | 110 x 16 |
27,5 | 450 | 440 | 17 | 150 x 24 | 325 | 15 | 120 x 18 |
30,0 | 450 | 470 | 18 | 160 x 26 | 350 | 16 | 130 x 20 |
Примечания: 1. Размеры в таблице даны для Т-образного профиля с пояском из стеклопластика типа  и стенкой из стеклопластика типов  ,  ,  |
2. При использовании П-образного профиля из стеклопластика типа  момент сопротивления его должен быть увеличен в три раза. |
3. Размеры балок продольного набора даны для отсеков, длина которых составляет 30% длины судна для судов длиной от 5 до 20 м и 20% - для судов длиной от 20 до 24 м. При большей длине отсека размеры балок продольного набора должны быть рассмотрены особо. |
4. При отклонении фактической шпации от табличной прочные размеры киля и стрингеров не изменяются. |
5. Для промежуточной длины судна момент сопротивления определяется интерполяцией. |
4.2.3.6. Пересечение днищевых стрингеров и флоров выполняется как показано на
рис. 4.2.3.6-1 и
4.2.3.6-2 - без надреза флоров. Пересечение стрингеров с усиленными флорами выполняется вполурез (см.
рис. 4.2.4.6).
Примечание. Балка набора устанавливается в первую очередь и на рамной связи не режется.
Примечание. Балка набора устанавливается в первую очередь и на рамной связи не режется.
4.2.3.7. Уменьшение высоты прерывистой продольной связи до высоты флора должно предусматриваться на протяжении не менее трех шпаций для каждого конца связи.
4.2.3.8. Во флорах и днищевых стрингерах должны быть предусмотрены водопротоки. Рекомендуемая технология выполнения водопротока показана на
рис. 4.2.3.8.
h = 10 ... 25 мм; b = 4h
Примечание. Прорезать на расстоянии 1/4 шпации от места пересечения с флором.
4.2.3.9. Соединение днищевого набора с бортовым допускается производить посредством накладок и приформовок.
4.2.4. Бортовой набор
4.2.4.1. Размеры шпангоутов выбираются согласно требованиям
4.2.1.2 в зависимости от момента сопротивления, приведенного в табл. 4.2.4.1.
Таблица 4.2.4.1
Длина пролета, м | Момент сопротивления профиля, см3 |
П-образного | Т-образного |
при шпации, мм | при шпации, мм |
350 | 400 | 450 | 350 | 400 | 450 |
1,0 | 47 | 54 | 61 | 12 | 18 | 20 |
1,2 | 76 | 87 | 98 | 29 | 29 | 33 |
1,4 | 107 | 128 | 138 | 35 | 41 | 46 |
1,6 | 147 | 159 | 180 | 47 | 53 | 59 |
1,8 | 200 | 228 | 256 | 70 | 76 | 85 |
2,0 | 290 | 330 | 370 | 93 | 110 | 123 |
2,2 | 369 | 420 | 470 | 123 | 140 | 157 |
2,4 | 500 | 570 | 640 | 150 | 189 | 210 |
Примечание. При наличии бортового стрингера момент сопротивления шпангоута должен приниматься равным 1,5 величины, определенной по таблице для пролета, измеренного от палубы до бортового стрингера или от бортового стрингера до флора, в зависимости от того, что больше. |
4.2.4.2. Расстояние между соседними переборками, полупереборками и рамными шпангоутами не должно превышать шести шпаций.
4.2.4.3. Момент сопротивления рамного шпангоута должен быть не менее пятикратного момента сопротивления основного шпангоута.
4.2.4.4. При длине пролета шпангоута более 2,4 м необходима установка бортового стрингера.
4.2.4.5. Момент сопротивления бортового стрингера должен быть равен моменту сопротивления рамного шпангоута.
4.2.4.6. Пересечение рамного шпангоута и бортового стрингера производится только вполурез (см.
рис. 4.2.4.6).
Примечания: 1. Рамные связи устанавливаются вполурез.
2. Длина наружной накладки должна быть не более трех ширин пояска продольного набора. Перекрой в соседних слоях - 20 мм. Толщина накладки должна быть равна толщине пояска поперечного набора.
4.2.4.7. Пересечение бортового стрингера и шпангоута производится, как указано на
рис. 4.2.3.6-1 и
4.2.3.6-2, без надреза бортовой ветви поперечного набора.
4.2.5.1. Толщина настила верхней палубы определяется по
рис. 4.2.1.1-1 и
4.2.1.1-2 в зависимости от допускаемого изгибающего момента, приведенного в табл. 4.2.5.1.
Длина судна, м | Шпация, мм | | Ширина палубного стрингера |
5 | 350 | 0,8 | 300 |
7,5 | 350 | 1,3 | 400 |
10 | 350 | 2,0 | 475 |
12 | 350 | 2,8 | 575 |
15 | 350/400 | 3,5/4,5 | 650 |
17,5 | 400 | 5,2 | 750 |
20 | 400 | 6,0 | 825 |
22,5 | 400 | 6,7 | 925 |
25 | 400/450 | 7,5/9,5 | 1000 |
Примечания: 1. При отклонении от табличной шпации  изменяется пропорционально квадрату отношения принятой шпации к табличной. |
2. Толщина палубного стрингера принимается равной толщине ширстрека (см. табл. 4.2.2.1). |
3. Для промежуточных длин судна  определяется интерполяцией. |
4.2.5.2. Минимальная толщина настила палубы должна быть равна 4 мм.
4.2.5.3. Толщина и ширина палубного стрингера определяются по
табл. 4.2.5.1.
4.2.5.4. Для настила палубы допускается применение стеклопластика следующих типов:
для корпусов длиной 15 м и менее - I;
для корпусов длиной от 5 до 30 м - VI;
для корпусов длиной от 10 до 30 м - VIII.
Настил палубы судов длиной от 5 до 10 м может изготавливаться из стеклопластика типа II.
4.2.5.5. Укладка армирующего материала должна выполняться в соответствии с требованиями
4.2.2.4.
4.2.5.6. В местах, подвергающихся сильному истиранию, должны быть предусмотрены утолщения в виде накладок толщиной не менее 3 мм, если палуба в этих местах не покрывается специальным защитным слоем.
4.2.5.7. Размеры бимса выбираются согласно требованиям
4.2.1.2 в зависимости от момента сопротивления, приведенного в табл. 4.2.5.7.
Таблица 4.2.5.7
Длина пролета бимса, м | Момент сопротивления профиля, см3 |
П-образного | Т-образного |
при шпации, мм | при шпации, мм |
350 | 400 | 450 | 350 | 400 | 450 |
1,0 | 16 | 18 | 20 | - | - | - |
1,2 | 24 | 27 | 30 | - | - | - |
1,4 | 33 | 38 | 43 | - | - | - |
1,6 | 43 | 49 | 55 | 15 | 17 | 19 |
1,8 | 52 | 59 | 66 | 18 | 20 | 22 |
2,0 | 65 | 74 | 83 | 23 | 25 | 27 |
2,2 | 80 | 90 | 100 | 26 | 30 | 34 |
2,4 | 98 | 110 | 124 | 32 | 37 | 42 |
Примечание. Расчетная длина пролета бимса измеряется между концами бимсовых книц от конца кницы до карлингса или между карлингсами, смотря по тому, что больше. |
4.2.5.8. В плоскости каждого рамного шпангоута должен быть установлен рамный бимс, момент сопротивления которого должен быть не менее пятикратного момента сопротивления основного бимса.
4.2.5.9. Размеры карлингса выбираются согласно
4.2.1.2 в зависимости от момента сопротивления, приведенного в табл. 4.2.5.9.
Таблица 4.2.5.9
Длина пролета карлингса, м | Момент сопротивления профиля, см3, при ширине поддерживаемой палубы, м |
1,0 | 1,25 | 1,50 | 1,75 | 2,0 |
1,8 | 95 | 120 | 140 | 165 | 190 |
2,0 | 120 | 150 | 180 | 210 | 240 |
2,2 | 140 | 175 | 210 | 250 | 280 |
2,4 | 170 | 210 | 250 | 300 | 340 |
2,6 | 200 | 250 | 300 | 350 | 400 |
2,8 | 230 | 290 | 345 | 400 | 460 |
Примечания: 1. Моменты сопротивления приведены для Т-образного профиля. Для П-образного профиля момент сопротивления, взятый по таблице, должен быть увеличен в три раза. |
2. Пролет карлингса - наибольший из пролетов карлингса, измеренный между опорами (центрами пиллерсов, переборками, концевыми люковыми бимсами). |
4.2.6.1. Настоящим разделом Правил предусматривается применение пиллерсов трубчатого сечения из алюминиевых сплавов.
По согласованию с Регистром для изготовления пиллерсов допускается применение других материалов.
В любом случае материал пиллерсов должен отвечать требованиям части XIII "Материалы" Правил классификации и постройки морских судов.
4.2.6.2. Размеры пиллерсов из алюминиевого сплава принимаются по табл. 4.2.6.2.
Таблица 4.2.6.2
Поддерживаемая площадь l x b, м2 | Высота пиллерса, м |
1,8 | 2,0 | 2,2 | 2,4 | 2,6 | 2,8 | 3,0 |
1,8 | 85/70 | 85/70 | 85/70 | 85/70 | 85/70 | 85/70 | 95/80 |
2,5 | 85/70 | 85/70 | 85/70 | 85/70 | 95/80 | 95/80 | 105/90 |
3,0 | 85/70 | 95/80 | 95/80 | 95/80 | 95/80 | 105/90 | 105/90 |
4,0 | 85/70 | 95/80 | 95/80 | 105/90 | 105/90 | 110/90 | 110/90 |
5,0 | 95/80 | 95/80 | 105/90 | 105/90 | 110/90 | 110/90 | 120/90 |
6,0 | 95/80 | 105/90 | 105/90 | 105/90 | 110/90 | 120/90 | 120/90 |
Примечания: 1. В числителе приведен наружный диаметр трубы, в знаменателе - внутренний, мм. |
2. l - расстояние между центрами соседних пролетов карлингса, м; b - ширина палубы, поддерживаемая карлингсом, м. |
4.2.6.3. Крепление пиллерсов к набору должно производиться башмаками из алюминиевого сплава или из стали, соединяемыми с набором на болтах.
4.2.7. Переборки
4.2.7.1 Толщина листов обшивки переборок определяется по
рис. 4.2.1.1-1,
4.2.1.1-2 и
4.2.1.1-3 в зависимости от допускаемого изгибающего момента, приведенного в табл. 4.2.7.1.
Полная высота переборки, м |  , при шпации, мм |
300 | 350 | 400 | 450 |
1,25 | 0,9 | - | - | - |
1,50 | 1,1 | 1,5 | - | - |
1,75 | 1,3 | 1,8 | 2,3 | - |
2,00 | 1,5 | 2,0 | 2,7 | 3,4 |
2,25 | 1,7 | 2,3 | 3,0 | 3,8 |
2,50 | 1,9 | 2,6 | 3,3 | 4,2 |
2,75 | 2,1 | 2,8 | 3,7 | 4,6 |
3,00 | 2,2 | 3,1 | 4,0 | 5,1 |
3,25 | 2,4 | 3,3 | 4,3 | 5,5 |
3,50 | 2,6 | 3,6 | 4,7 | 5,9 |
3,75 | 2,8 | 3,8 | 5,0 | 6,3 |
4,00 | 3,0 | 4,1 | 5,3 | 6,8 |
4,25 | 3,2 | 4,3 | 5,7 | 7,2 |
4,50 | - | 4,6 | 6,0 | 7,6 |
4,75 | - | - | 6,3 | 8,0 |
5,00 | - | - | - | 8,4 |
Примечания: 1.  приведен для нижнего пояса обшивки переборки. |
2. Допускается уменьшение толщины переборки по высоте, причем толщина переборки у верхней палубы должна быть не менее 1/2 толщины нижнего пояса. |
3. Ширина каждого пояса должна быть 0,7 ... 1,0 м. |
4. Для переборки промежуточной высоты  определяется интерполяцией. |
4.2.7.2. Минимальная толщина листов обшивки водонепроницаемых переборок должна быть равна 4 мм.
4.2.7.3. Для листов обшивки переборок допускается применение стеклопластика типов

,

или

.
4.2.7.4. Размеры стоек переборок выбираются согласно
4.2.1.2 в зависимости от момента сопротивления, приведенного в табл. 4.2.7.4.
Таблица 4.2.7.4
Длина пролета стойки, м | Момент сопротивления стойки, см3 |
от палубы до днища или шельфа при шпации, мм | от шельфа до днища при шпации, мм |
300 | 350 | 400 | 450 | 300 | 350 | 400 | 450 |
1,25 | 15 | 18 | 20 | 23 | 24 | 29 | 33 | 37 |
1,50 | 25 | 29 | 33 | 37 | 30 | 35 | 40 | 45 |
1,75 | 40 | 47 | 54 | 60 | 50 | 59 | 67 | 76 |
2,00 | 55 | 64 | 73 | 92 | 80 | 92 | 105 | 105 |
2,25 | 80 | 93 | 105 | 105 | 95 | 110 | 125 | 140 |
2,50 | 95 | 110 | 125 | 140 | 130 | 150 | 170 | 190 |
2,75 | 130 | 150 | 170 | 190 | 170 | 200 | 225 | 260 |
3,00 | 160 | 187 | 210 | 240 | 225 | 260 | 300 | 335 |
Примечания: 1. Моменты сопротивления приведены для стоек Т-образного сечения. |
2. Для стоек П-образного сечения с пояском, армированным стеклохолстом, момент сопротивления по сравнению с табличным должен быть увеличен в три раза. |
4.2.7.5. Максимальный пролет стойки не должен превышать 3 м. На переборках высотой более 3 м должен устанавливаться горизонтальный шельф, момент сопротивления которого должен быть не менее пятикратного момента сопротивления стойки.
4.2.7.6. При наличии шельфа в диаметральной плоскости должна устанавливаться усиленная стойка того же профиля, что и шельф.
4.2.7.7. Конструкция вырезов в переборках должна отвечать требованиям
4.2.10.
4.2.7.8. Продольные балки набора корпуса не должны разрезаться на переборках. Размеры вырезов, предусматриваемых в переборках для пропуска этих связей, должны превышать на 3 - 4 мм по высоте и по ширине размеры балок продольного набора, а после установки переборок на место заформовываться стекложгутом и покрываться не менее чем тремя слоями стеклоткани.
4.2.7.9. Шельфы переборок должны располагаться в одной плоскости с бортовыми стрингерами и перевязываться с ними кницами, высота которых должна быть равна высоте стенки бортового стрингера.
4.2.7.10. Стойки переборок, опирающиеся на продольные балки, должны соединяться с ними накладками и приформовками.
4.2.7.11. Стойки переборок, опирающиеся на днище или на палубу, должны перевязываться с ближайшей поперечной связью короткими продольными балками, высота которых должна быть равна высоте стоек. Соединение этих коротких продольных балок со стойками должно выполняться в соответствии с
4.2.7.9.
4.2.8. Цистерны
4.2.8.1. Толщина листовых элементов конструкций, ограничивающих цистерны, определяется по
рис. 4.2.1.1-1,
4.2.1.1-2 и
4.2.1.1-3 в зависимости от допускаемого изгибающего момента

, приведенного в
табл. 4.2.7.1, причем в
табл. 4.2.7.1 вместо полной высоты переборки принимается расстояние до верхней кромки воздушной трубы (см. также
4.2.7.2).
4.2.8.2. Размеры балок набора должны определяться по табл. 4.2.8.2.
Таблица 4.2.8.2
Высота водяного столба, м | Момент сопротивления П-образного профиля, см3, при шпации 400 мм и длине пролета, м |
0,50 | 0,75 | 1,00 | 1,25 |
2,00 | 10 | 25 | 50 | 70 |
2,50 | 15 | 30 | 60 | 85 |
3,00 | 20 | 40 | 70 | 100 |
3,50 | 25 | 45 | 80 | 120 |
4,00 | 30 | 50 | 90 | 140 |
4,50 | 35 | 55 | 100 | 160 |
5,00 | 40 | 65 | 110 | 175 |
Примечания: 1. Размеры в таблице приведены для П-образного профиля. Материал - стеклопластик на основе стеклохолста (тип  ). При использовании Т-образного профиля с пояском из стеклопластика типа  момент сопротивления может быть уменьшен в три раза. |
2. В таблице приведены моменты сопротивления для шпации 400 мм. Для других шпаций момент сопротивления изменяется пропорционально отношению: шпация, мм/400. |
3. Расчетный напор измеряется от середины высоты стойки или от крышки до верхней кромки воздушной трубы. |
4. Длина пролета стоек измеряется от днища до крыши цистерны. Длина пролета бимсов измеряется между стенками или от стенки до отбойной переборки. |
4.2.8.3. Толщина крайнего междудонного листа в районе расположения цистерн двойного дна должна быть равна толщине наружной обшивки в этом районе.
4.2.8.4. Для стенок и крыши цистерн допускается применение стеклопластика типов

,

или

.
4.2.8.5. Топливные цистерны из стеклопластика должны иметь заземляющие устройства для отвода электростатического заряда, одобренные Регистром.
4.2.8.6. Конструкция горловин и крышек к ним должна обеспечивать водонепроницаемость цистерн.
Рекомендуемая конструкция горловины в крыше цистерны показана на
рис. 4.2.8.6.
a - минимальное расстояние от края до болтов,
a >= 3d (где d - диаметр болта); h - высота, обеспечивающая
возможность установки болта или гайки;

Примечание. Расстояние между болтами должно быть не более 4d.
4.2.8.7. В балках набора, расположенных внутри цистерны, должны быть предусмотрены водопротоки и вентиляционные отверстия.
4.2.9. Надстройки и рубки
4.2.9.1. Наружная обшивка надстроек, являющаяся продолжением бортовой обшивки судна, должна составлять с ней единое целое. Толщина наружной обшивки надстройки должна быть равна толщине бортовой обшивки. Переход от толщины ширстрека к толщине обшивки надстройки должен производиться в соответствии с
табл. 4.2.2.1.
4.2.9.2. Стенки надстроек, не доходящих до борта, и рубок могут быть одно- или трехслойной конструкции. Материал обшивки стенок надстроек и рубок - стеклопластик на основе стеклохолста или жгутовой стеклоткани (тип

или

). Материал набора - стеклопластик типа

.
4.2.9.3. Двухслойная конструкция надстроек и рубок подлежит специальному рассмотрению Регистром.
4.2.9.4. Для трехслойных конструкций толщина среднего пенопластового слоя должна быть равна 30 - 50 мм. Средняя плотность пенопласта для стенок надстроек должна быть не менее 100 и не более 200 кг/м3.
4.2.9.5. Толщина стенок концевых переборок надстроек, а также толщина всех наружных стенок рубок принимается согласно табл. 4.2.9.5-1 для однослойной конструкции и
4.2.9.5-2 - для трехслойной конструкции.
Таблица 4.2.9.5-1
Стенки надстроек и рубок однослойной конструкции
со шпацией 400 мм
Длина судна, м | Толщина стенки, мм |
5 | 4 |
10 | 6 |
15 | 8 |
20 | 10 |
25 | 10 |
30 | 10 |
Примечания: 1. Для других шпаций толщина изменяется пропорционально отношению: шпация, мм/400, но должна быть не менее 4 мм. |
2. Материал - стеклопластик на основе стеклохолста (тип  ). |
3. Для судов промежуточных длин толщина стенки определяется интерполяцией. |
Таблица 4.2.9.5-2
Стенки надстроек и рубок трехслойной конструкции
со шпацией 800 мм и толщиной среднего слоя 30 - 50 мм
Длина судна, м | Толщина пластины, мм |
внешней | внутренней |
5 | 3 | 2,5 |
10 | 4 | 3 |
15 | 7 | 3,5 |
20 | 8 | 4 |
25 | 8 | 4 |
30 | 8 | 4 |
Примечание. Для других шпаций толщина внешней пластины изменяется пропорционально отношению: шпация, мм/800, но не менее 3 мм. |
| | ИС МЕГАНОРМ: примечание. В официальном тексте документа, видимо, допущена опечатка: таблица 2.9.6-1 в тексте документа отсутствует. Возможно, имеется в виду таблица 4.2.9.6-1. | |
4.2.9.6. Размеры стоек стенок рубок и надстроек определяются по табл. 2.9.6-1 для однослойной конструкции и
4.2.9.6-2 для трехслойной конструкции.
Таблица 4.2.9.6-1
Стойки надстроек и рубок однослойной конструкции
со шпацией 400 мм
Длина пролета стойки, м | Момент сопротивления П-образного профиля, см3 |
1,0 | 18 |
1,2 | 25 |
1,4 | 38 |
1,6 | 49 |
1,8 | 53 |
2,0 | 74 |
2,2 | 90 |
2,4 | 105 |
Примечания: 1. Для других шпаций момент сопротивления изменяется пропорционально отношению: шпация, мм/400. |
2. Для пролета стоек промежуточных длин момент сопротивления определяется интерполяцией. |
Таблица 4.2.9.6-2
Стойки надстроек и рубок однослойной конструкции
со шпацией 800 мм
Длина пролета стойки, м | Момент сопротивления П-образного профиля, см3 |
1,0 | 37 |
1,2 | 52 |
1,4 | 75 |
1,6 | 98 |
1,8 | 120 |
2,0 | 150 |
2,2 | 194 |
2,4 | 215 |
Примечания: 1. Для других шпаций момент сопротивления изменяется пропорционально отношению: шпация, мм/800. |
2. Шпация продольных стенок надстроек должна быть согласована со шпацией бимсов палубы надстройки. |
3. Для пролета стоек промежуточных длин момент сопротивления определяется интерполяцией. |
4.2.9.7. Толщина настила и размеры набора палуб, надстроек и рубок выбираются в соответствии с требованиями
4.2.5 и
4.2.6.
4.2.10. Вырезы в конструкциях
4.2.10.1. Круглые вырезы в наружной обшивке, настиле палубы и обшивке водонепроницаемых переборок диаметром менее 150 мм могут не подкрепляться.
4.2.10.2. Круглые вырезы в наружной обшивке диаметром 150 м и более должны подкрепляться сатиновой или жгутовой стеклотканью в соответствии с
рис. 4.2.10.2.
Примечания: 1. Подкрепление производить только стеклотканью, основу которой направлять вдоль корпуса.
2. Толщина накладки равна толщине связи. Если положение отверстия определено заранее, накладка заформовывается внутрь между слоями основного материала; в противном случае накладка укладывается на внутреннюю поверхность обшивки между шпангоутами в пределах одной шпации, как указано на рисунке.
3. Не допускается располагать отверстие на расстоянии, меньше чем d/2 от шпангоута.
Конструкция подкрепления вырезов другой формы является в каждом случае предметом специального рассмотрения Регистром.
4.2.10.3. Круглые вырезы в настиле палубы диаметром 150 мм и более и прямоугольные вырезы любых размеров должны подкрепляться сатиновой или жгутовой стеклотканью.
Примечания: 1. Подкрепление производить только стеклотканью, основу которой следует направлять вдоль корпуса.
2. Толщина накладки равна толщине связи. Накладка формуется между слоями основного материала, если положение отверстия заранее известно, или на верхней поверхности палубы.
Примечания: 1. Подкрепление следует производить только стеклотканью с направлением основы параллельно диаметральной плоскости судна.
2. Слои ткани, образующие накладку, располагать между армирующими слоями настила палубы.
3. Суммарная толщина подкрепляющих слоев должна быть равна толщине палубного настила.
4.2.10.4. Вырезы в стенках набора для облегчения конструкции не допускаются.
4.2.10.5. Вырезы в стенках набора для пропуска кабелей, трубопроводов и т.п., имеющие диаметр более 1/3 высоты стенки балки, должны подкрепляться накладками.
4.2.10.6. Размеры вырезов и конструкция закрытий в наружной обшивке и водонепроницаемых переборках на судах, деление на отсеки которых регламентируется частью V "Деление на отсеки" Правил классификации и постройки морских судов, являются в каждом случае предметом специального рассмотрения Регистром.
4.2.11. Фальшборт
4.2.11.1. Толщина фальшборта должна быть равна 1/2 толщины бортовой обшивки, но не менее 4 мм.
4.2.11.2. Стойки фальшборта должны устанавливаться на каждом втором бимсе.
4.2.11.3. Для судов длиной более 15 м обшивка фальшборта не должна представлять собой единое целое с обшивкой борта и площадь ее сечения не должна учитываться при определении момента сопротивления корпуса судна.
4.2.11.4. Конструкция фальшборта судов, швартующихся в море, является в каждом случае предметом специального рассмотрения Регистром.
4.2.12. Фундаменты
4.2.12.1. Для продольных балок фундаментов под главные двигатели по возможности должны быть использованы днищевые стрингеры. Там, где это невозможно, устанавливаются дополнительные днищевые продольные балки с толщиной стенки, равной толщине днищевого стрингера.
4.2.12.2. Продольные балки машинного фундамента должны переходить сквозь поперечные переборки, ограничивающие машинный отсек, и продолжаться за переборки не менее чем на три шпации, снижаясь до высоты флора в конце третьей шпации.
4.2.12.3. Балки фундамента должны быть надежно соединены с поперечными бракетами, установленными на каждом шпангоуте.
4.2.12.4. Для изготовления фундаментов по особому согласованию с Регистром могут быть допущены сталь или алюминиевые сплавы.
4.2.12.5. Крепление лап двигателя может осуществляться металлическими вставками, заформованными в верхних поясках балок посредством установки на болтах верхнего металлического угольника или другим способом, одобренным Регистром.
4.2.13. Штевни, кронштейны гребных валов и боковые кили
4.2.13.1. Форштевень может быть из стеклопластика или композитным (с применением металла).
4.2.13.2. Для армирования форштевня применяются стеклоткани, жгутовые стеклоткани и жгуты (ровницы). Применение стеклохолста не допускается.
4.2.13.3. Металлические детали форштевня могут быть изготовлены из алюминиевого сплава или из стали, имеющей надежное антикоррозионное покрытие. Металлические детали, как правило, должны заформовываться внутрь сечения форштевня.
4.2.13.4. Сечение форштевня, изготовленного из стеклопластика, должно иметь форму прямоугольника шириной b и высотой l, определяемыми по формулам, мм:
b = 1,5L + 30;
l = 2,5b, (4.2.13.4)
где L - длина судна, м.
Толщина наружной оболочки форштевня, армируемой стеклотканью типов II, III или IV, должна быть равна 1,5 толщины ширстрека. Оболочка форштевня внутри должна быть заполнена стеклопластиком, армированным стекложгутами, направленными вдоль форштевня.
4.2.13.5. При композитной конструкции форштевня ширина брускового сердечника из алюминиевого сплава

, высота

и суммарная ширина форштевня

определяются по формулам, мм:
где L - длина судна, м;
s - толщина наружной оболочки форштевня, определенная в соответствии с
4.2.13.4.
4.2.13.6. Ширина стального сердечника может составлять 3/4 ширины алюминиевого (см.
4.2.13.5). Высота сердечника определяется в соответствии с
4.2.13.5.
4.2.13.7. Ахтерштевень (если он устанавливается) может быть металлическим или композитным (из стеклопластика с металлом). Размеры и конструкция ахтерштевня являются в каждом случае предметом специального рассмотрения Регистром.
4.2.13.8. Кронштейны гребных валов должны быть выполнены с учетом указаний 2.10.4.5 части II "Корпус" Правил классификации и постройки морских судов. Крепление лап кронштейнов должно выполняться на болтах. Внутри корпуса в районе креплений следует предусмотреть накладки из стеклопластика толщиной, равной удвоенной толщине обшивки, и подкрепления набора, согласованные с Регистром.
4.2.13.9. Если на судне предусматриваются боковые кили, то они должны быть выполнены из стеклопластика типа II. Крепление боковых килей к корпусу должно осуществляться на приформовочных угольниках (без болтов), устанавливаемых с обеих сторон пластины бокового киля. Толщина приформовочных угольников должна быть равна толщине пластины киля. Конструкция боковых килей должна быть такой, чтобы при обрыве боковых килей не повреждалась наружная обшивка судна.
4.2.14. Шахты машинно-котельных отделений, комингсы люков и вентиляторов.
4.2.14.1. Конструкция и размеры шахт машинно-котельных отделений, комингсов люков и вентиляторов являются в каждом случае предметом специального рассмотрения Регистром.
РЕКОМЕНДУЕМЫЕ ТИПЫ СТЕКЛОПЛАСТИКОВ
1. Для корпусных конструкций судов и спасательных шлюпок из стеклопластиков рекомендуются следующие восемь типов стеклопластиков:
тип I - на основе стеклохолста, который для придания более гладкой поверхности может быть облицован стеклосеткой или стеклотканью с наружной стороны или с обеих сторон в один или в два слоя (обозначение X);
тип II - на основе жгутовой стеклоткани (рогожки) параллельной укладки, т.е. все слои стеклоткани укладываются основой вдоль одного направления (обозначение P);
тип III - на основе сатиновой стеклоткани параллельной укладки (обозначение T);
тип IV - на основе стеклоткани или стеклосетки полотняного переплетения параллельной укладки (обозначение или C);
тип V - на основе сочетания стеклохолстов и жгутовой стеклоткани параллельной укладки по 50% по толщине; при этом слои холста и ткани должны быть расположены вперемежку по всей толщине;
тип VI - то же соотношение по толщине, что и у типа V, но все слои холста должны быть сосредоточены в средней части по толщине пластины, а снаружи и изнутри должны укладываться слои жгутовой стеклоткани по 1/4 толщины с каждой стороны;
тип VII - на основе параллельно-диагонального армирования жгутовой стеклоткани под углами +45° и -45° к направлению параллельной части основы, которая должна занимать 1/2 толщины пластины, а диагональные части - под углами +45° и -45° по 1/4 толщины, причем все слои с параллельным расположением основы должны быть расположены вперемежку равномерно по всей толщине пластины;
тип VIII - слои с диагональным армированием должны занимать среднюю часть толщины пластины, а слои с параллельным армированием должны располагаться по наружной и внутренней поверхностям пластины (пакетное расположение).
Стеклопластики типов II, V, VI, VII и VIII должны покрываться снаружи и изнутри одним-двумя слоями стеклоткани или стеклосетки.
2. Схемы армирования приведенных выше типов стеклопластиков приведены на
рис. 1.
X - стеклохолст, P - жгутовая стеклоткань (рогожка) параллельной укладки; жгутовая стеклоткань, уложенная под углом +45° или -45°; или C - стеклоткань или стеклосетка параллельной укладки. Типы стеклопластиков (в процентах показана доля толщины, занимаемая слоями с данным армированием): тип I - X 100%; II - P 100%; типы III и IV - T 100% (или C 100%); типы V и VI - X 50%, P 50%; типы VII и VII - 0° P 50%, +45° P 25%, -45° P 25%
Рис. 1. Схемы армирования. Армирующий материал
ФИЗИКО-МЕХАНИЧЕСКИЕ СВОЙСТВА СТЕКЛОПЛАСТИКОВ
Физико-механические свойства стеклопластиков в зависимости от схем армирования, приведенных в
Приложении 1, должны соответствовать значениям, приведенным в табл. 1 -
6.
Таблица 1
Физико-механические свойства стеклопластиков на основе
стеклохолста и полиэфирного связующего [тип I].
В сухом состоянии при 20 °C
N п/п | Тип | Содержание стекла, % | Средняя плотность, кг/м3 | Модуль, МПа | Коэффициент Пуассона | Предел прочности, МПа |
по массе | по объему | нормальной упругости | сдвига в плоскости листа | при растяжении | при сжатии | при сдвиге в плоскости листа |
1 | | 25 | 15 | 1,45 | | | 0,35 | 80,0 | 110,0 | 40,0 |
2 | | 30 | 18 | 1,50 | | | 0,35 | 90,0 | 120,0 | 50,0 |
Примечания: 1. Содержание стекла по объему и средняя плотность стеклопластика приведены для средней плотности стекла 2550 - 2600 кг/м3 и средней плотности связующего в отвержденном виде 1200 - 1250 кг/м3. |
2. Модуль нормальной упругости приведен для растяжения-сжатия. |
3. Для толщины 4 мм и менее предел прочности при растяжении снижается по сравнению с приведенным в таблице на 20%. |
Таблица 2
Физико-механические свойства стеклопластиков на основе
жгутовой стеклоткани параллельной укладки и полиэфирного
связующего [тип II]. В сухом состоянии при 20 °C
N п/п | Тип | Содержание стекла, % | Средняя плотность, кг/м3 | Модуль, МПа | Коэффициент Пуассона | Предел прочности, МПа |
по массе | по объему | нормальной упругости | сдвига в плоскости листа | при растяжении | при сжатии | при сдвиге в плоскости листа |
1 | | 45 | 28 | 1600 | | | | | | 60,0 |
2 | | 50 | 32 | 1640 | | | | | | 70,0 |
3 | | 55 | 37 | 1700 | | | | | | 80,0 |
Примечания: 1. Содержание стекла по объему и средняя плотность стеклопластика приведены для средней плотности стекла 2550 - 2600 кг/м3 и средней плотности связующего в отвержденном виде 1200 - 1250 кг/м3. |
2. Модуль нормальной упругости приведен для растяжения-сжатия. |
3. В числителе приведены значения для направления по основе, в знаменателе - по утку. |
4. Жгутовая стеклоткань имеет соотношение разрывных усилий по основе и по утку, равное 1:1. |
Таблица 3
Физико-механические свойства стеклопластиков на основе
стеклоткани сатинового переплетения параллельной укладки
и полиэфирного связующего [тип III]. В сухом состоянии
при 20 °C
N п/п | Тип | Содержание стекла, % | Средняя плотность, кг/м3 | Модуль, МПа | Коэффициент Пуассона | Предел прочности, МПа |
по массе | по объему | нормальной упругости | сдвига в плоскости листа | при растяжении | при сжатии | при сдвиге в плоскости листа |
1 | | 45 | 28 | 1600 | | | | | | 80,0 |
2 | | 49 | 31 | 1640 | | | | | | 85,0 |
3 | | 52 | 34 | 1670 | | | | | | 90,0 |
Примечания: 1. Содержание стекла по объему и средняя плотность стеклопластика приведены для средней плотности стекла 2550 - 2600 кг/м3 и средней плотности связующего в отвержденном виде 1200 - 1250 кг/м3. |
2. Модуль нормальной упругости приведен для растяжения-сжатия. |
3. В числителе приведены значения для направления по основе, в знаменателе - по утку. |
4. Жгутовая стеклоткань имеет соотношение разрывных усилий по основе и по утку, равное 2:1. |
Таблица 4
Физико-механические свойства стеклопластиков на основе
стеклосетки или стеклоткани полотняного переплетения
параллельной укладки и полиэфирного связующего [тип IV].
В сухом состоянии при 20 °C
N п/п | Тип | Содержание стекла, % | Средняя плотность, кг/м3 | Модуль, МПа | Коэффициент Пуассона | Предел прочности, МПа |
по массе | по объему | нормальной упругости | сдвига в плоскости листа | при растяжении | при сжатии | при сдвиге в плоскости листа |
1 | | 45 | 28 | 1600 | | | | | | 80,0 |
2 | | 49 | 31 | 1640 | | | | | | 85,0 |
3 | | 52 | 34 | 1670 | | | | | | 90,0 |
Примечания: 1. Содержание стекла по объему и средняя плотность стеклопластика приведены для средней плотности стекла 2550 - 2600 кг/м3 и средней плотности связующего в отвержденном виде 1200 - 1250 кг/м3. |
2. Модуль нормальной упругости приведен для растяжения-сжатия. |
3. В числителе приведены значения для направления по основе, в знаменателе - по утку. |
4. Жгутовая стеклоткань имеет соотношение разрывных усилий по основе и по утку, равное 1:1. |
Таблица 5
Физико-механические свойства стеклопластиков смешанного
армирования с заполнением 1/2 толщины стеклохолстом и 1/2
толщины жгутовой стеклотканью параллельной укладки
на основе полиэфирного связующего [типы V и VI].
В сухом состоянии при 20 °C
N п/п | Тип | Содержание по массе, % | Средняя плотность, кг/м3 | Модуль, МПа | Коэффициент Пуассона | Предел прочности, МПа |
стеклохолста | жгутовой стеклоткани | стекла | нормальной упругости | сдвига в плоскости листа | при растяжении | при сжатии | при сдвиге в плоскости листа |
1 | | 25 | 50 | 37,5 | 1550 | | | | | | 55,0 |
|
2 | | 30 | 55 | 42,5 | 1600 | | | | | | 65,0 |
|
Примечания: 1. Средняя плотность стеклопластика приведена для средней плотности стекла 2550 - 2600 кг/м3. |
2. Модуль нормальной упругости приведен для растяжения-сжатия. |
3. В числителе приведены значения для направления по основе, в знаменателе - по утку. |
Таблица 6
Физико-механические свойства стеклопластиков
с параллельно-диагональным армированием на основе жгутовой
стеклоткани, уложенной в 1/2 всех слоев параллельно
и по 1/4 слоев диагонально под углами +45° и -45°,
с полиэфирными связующими [типы VII и VIII].
В сухом состоянии при 20 °C
N п/п | Тип | Содержание стекла, % | Средняя плотность, кг/м3 | Модуль, МПа | Коэффициент Пуассона | Предел прочности, МПа |
нормальной упругости | сдвига в плоскости листа | при растяжении | при сжатии | при сдвиге в плоскости листа |
1 | | 45 | 1600 | | | | | | 56,0 |
|
2 | | 50 | 1650 | | | | | | 68,0 |
|
3 | | 55 | 1700 | | | | | | 79,0 |
|
Примечания: 1. Средняя плотность стеклопластика приведена для средней плотности стекла 2550 - 2600 кг/м3 и средней плотности связующего в отвержденном виде 1,20 - 1,25 г/см3. |
2. Модуль нормальной упругости приведен для растяжения-сжатия. |
3. В числителе приведены значения для направления по основе, в знаменателе - по утку. |
4. Жгутовая стеклоткань имеет соотношение разрывных усилий по основе и по утку, равное 1:1. |
Для каждого типа стеклопластика в зависимости от относительного содержания стекловолокна по массе в таблицах приведены соответствующие величины физико-механических свойств.
Физико-механические свойства, такие как относительное содержание стекла по объему, средняя плотность, модуль сдвига в плоскости листа, коэффициент Пуассона и предел прочности при сдвиге в плоскости листа, определяются только при испытании данного типа стеклопластика на допуск.
ОПРЕДЕЛЕНИЕ РАЗМЕРОВ СВЯЗЕЙ КОРПУСОВ СУДОВ
РАСЧЕТНЫМ МЕТОДОМ
1. Кроме приведенного в настоящей части Правил табличного способа назначения размеров корпуса, допускается определение размеров связей расчетным методом, одобренным Регистром.
2. Исходные данные для проведения пересчета по отдельным связям корпуса и выполнения расчета прочности по корпусу в целом (общей и местной) приведены в табл. 1,
2 и
3.
Таблица 1
| Максимальный изгибающий момент при общем изгибе, кН/м |
5 - 10 | |
15 - 24 | |
(  - полное водоизмещение, м2) |
<1> Изгибающий момент для судов длиной 10 - 15 м определяется линейной интерполяцией. |
Вид нагрузки | Расчетная формула или значение, кПа |
Местная нагрузка на обшивку днища и борта | |
Местная нагрузка на верхнюю палубу в районе: | |
в нос от переборки форпика | 15 |
в остальных районах | 5 |
То же, для судов проектных категорий C2, C3 и D: | |
в нос от переборки форпика | 10 |
в остальных районах | 4 |
Примечания: 1.  - расстояние от рассматриваемой связи до верхней палубы;  - для всех районов, кроме наружной обшивки форпика;  - для районов в нос от переборки форпика. |
2. Нагрузка для судов промежуточной длины определяется интерполяцией. |
Вид нагрузки | Допускаемые напряжения |
Напряжения общего и местного изгиба: | |
при кратковременном действии нагрузки для стеклопластика типа I | |
|
то же, для стеклопластика типов II - VIII | |
|
при длительном непрерывном действии нагрузки для всех типов стеклопластика | |
|
при сдвиге в плоскости листа для всех типов стеклопластика | |
при сдвиге в приформовках и при междуслойном сдвиге | |
При отрыве приформовок: | |
кратковременная нагрузка | |
длительное действие нагрузки | |
Примечания:  - допускаемое нормальное напряжение; |
 - допускаемое напряжение сдвига; |
 и  - пределы прочности для сухих образцов при t = 20 °C (см. Приложение 2). |
3. Допускаемые напряжения принимаются как часть расчетных пределов прочности при сжатии, растяжении или сдвиге. Для знакопеременных напряжений растяжения и сжатия и для изгиба за допускаемые напряжения принимаются эти величины для растяжения или сжатия, смотря по тому, какие из них меньше.
4. Расчетные значения для модулей нормальной упругости и сдвига принимаются равными

и

где E и G - модули нормальной упругости и сдвига, определяемые для сухого материала при 20 °C (см.
Приложение 2).
5. Коэффициент запаса устойчивости для элементов конструкции корпуса должен быть не менее указанного в табл. 4.
Таблица 4
Рассчитываемый элемент конструкции | Коэффициент запаса |
Вертикальный киль, днищевые стрингеры и карлингсы | 3 |
Горизонтальный киль, ширстрек и палубный стрингер | 1,5 |
6. Допускаемые стрелки прогиба, вычисленные с учетом сдвига, принимаются равными 1/400 длины - для корпуса в целом; 1/50 пролета - для обшивки; 1/100 пролета - для балок набора.
7. Для наружной обшивки и настила верхней палубы допускается редуцирование, причем момент инерции после редуцирования должен составлять не менее 95% момента инерции, рассчитанного в первом приближении (без редуцирования).
ЧАСТЬ III. УСТРОЙСТВА, ОБОРУДОВАНИЕ И СНАБЖЕНИЕ
1.1. ОБЛАСТЬ РАСПРОСТРАНЕНИЯ
1.1.1. Требования настоящей части распространяются на судовые устройства, оборудование и снабжение, применяемые на малых прогулочных судах.
1.1.2. Более подробно область распространения определена в соответствующих разделах настоящей части.
1.1.3. Грузоподъемные устройства, указанные в
1.3.1.6, должны отвечать требованиям Правил по грузоподъемным устройствам морских судов.
1.2. ОПРЕДЕЛЕНИЯ И ПОЯСНЕНИЯ
1.2.1. В настоящей части приняты следующие определения и пояснения.
Битенг - стальная или чугунная тумба, устанавливаемая на палубе судна для закрепления буксирного троса или якорного каната.
Брашпиль - якорный механизм с горизонтальной осью вращения приводного вала, предназначенный для постановки и подъема якорей, а также выбирания швартовных канатов.
Весло - приспособление для гребли, имеющее лопасть, с помощью которой создается упор. Весла могут быть одинарными однолопастными или двухлопастными и распашными.
Вспомогательный рулевой привод - оборудование, не являющееся любой частью главного рулевого привода, необходимое для управления судном в случае выхода из строя главного рулевого привода, за исключением румпеля, сектора и других элементов, предназначенных для этой же цели.
Выдвижная движительно-рулевая колонка (ВДРК) - поворотная колонка, конструкция которой обеспечивает возможность подъема винта в нерабочем состоянии внутрь корпуса судна.
Главный рулевой привод - механизмы, исполнительные приводы перекладки руля, силовые агрегаты рулевого привода, если таковые имеются, а также вспомогательное оборудование и средства приложения крутящего момента к баллеру (например, румпель или сектор), необходимые для перекладки руля с целью управления судном в нормальных условиях эксплуатации.
Главный рулевой привод может быть действующим от источника энергии или ручным.
Грузоподъемное устройство - устройство, предназначенное для выполнения работ, связанных с переносом различных грузов судовыми средствами.
Движительно-рулевой комплекс (ДРК) - это движущий и управляющий элемент судна. К ДРК относятся весла, парус, руль, поворотные колонки, крыльчатые движители, подруливающие устройства и забортные подвесные моторы.
Дельные вещи - вспомогательные детали вооружения, которые служат для крепления и проводки такелажа: битенги; блоки, кнехты, киповые планки, обухи, роульсы для проводки такелажа под палубу, швартовные утки, кулачковые стопора, такелажные скобы и т.п.
Закрывающее устройство - устройство, предназначенное для закрытия отверстий в корпусе или надстройке судна: лацпорты, крышки грузовых люков, двери, люки сходные и светлые, иллюминаторы, окна и т.п.
Захват - любая часть судна, за которую можно схватиться рукой, чтобы уменьшить риск падения за борт, даже если это не является ее основной функцией.
Киповая планка - стальная или чугунная отливка специальной формы, устанавливаемая на планшире фальшборта и предназначенная для направления швартовного каната на кнехт или швартовный барабан шпиля. Может быть простой или с роульсами для уменьшения износа швартовных канатов.
Кнехт - стальная или чугунная (литая или сварная) тумба для крепления швартовов на судне. Кнехт может быть одиночным, двойным прямым и крестовым.
Крыльчатый движитель - движитель с вертикальной осью вращения, представляющий собой систему вертикальных лопастей, расположенных на вращающемся барабане, размещенном заподлицо с днищем судна.
Леерное ограждение - ограждение на открытой палубе судна, состоящее из стоек и протянутых между ними тросов или труб.
Палпит - релинг жесткой конструкции рамного типа.
Парусное вооружение - совокупность устройств, предназначенных для движения судна заданным курсом, с использованием энергии ветра.
Поворотная колонка (типа "азипод") - открытый гребной винт или гребной винт в направляющей насадке, установленный в устройстве, позволяющем поворачивать его вокруг вертикальной оси на 360°. Поворотные колонки большой мощности могут использоваться в качестве основного движительно-рулевого средства.
Подруливающее устройство (ПУ) - поперечный канал в корпусе судна с размещенным в нем гребным винтом.
Релинг - трубчатый леер.
Рулевое устройство - устройство, предназначенное для управления судном и удержания его на заданном курсе.
Руль - одна или несколько несущих поверхностей (крыльев или пластин), угол установки которых относительно ДП судна (угол перекладки) может изменяться судоводителем.
Руль балансирный - руль, часть площади которого расположена на передней кромке руля для уменьшения крутящего момента.
Руль небалансирный - руль, у которого ось баллера совпадает с передней кромкой руля или проходит в непосредственной близости от нее.
Руль обтекаемый - руль, имеющий в поперечном сечении симметричный авиационный профиль.
Руль пластинчатый - руль простейшей конструкции, представляющий собой в поперечном сечении плоскую пластину.
Руль подвесной - руль, который удерживается полностью за счет крепления в верхней части к баллеру.
Руль полуподвесной - руль, который в верхней части крепится к баллеру, имеет в средней части одну или несколько опор к кронштейну/рудерпосту или дейдвуду и не имеет опоры в нижней части (пятке).
Руль простой - руль, который в верхней части крепится к баллеру и имеет опору в нижней части (пятке), а также может иметь в средней части одну или несколько опор к кронштейну/рудерпосту или дейдвуду при установке за ними.
Силовая система - гидравлическое или механическое устройство, предназначенное для создания усилия с целью поворота баллера руля или поворотной насадки, состоящее из силового агрегата или агрегатов рулевого привода и связанных с ними трубопроводов и арматуры, а также исполнительного привода перекладки руля или поворотной насадки. Силовые системы могут иметь общие механические элементы, т.е. румпель, сектор и баллер или другие элементы, предназначенные для той же цели.
Силовой агрегат рулевого привода:
при электрическом рулевом приводе - электродвигатель со связанным с ним электрооборудованием;
при электрогидравлическом рулевом приводе - электродвигатель со связанным с ним электрооборудованием и соединенным с ним насосом;
при ручном гидравлическом рулевом приводе - ручной привод и соединенный с ним насос.
Система управления рулевым приводом - устройство, применяемое с главным рулевым приводом, действующим от источника энергии, с помощью которого команды передаются с ходового мостика к силовым агрегатам рулевого привода. Системы управления рулевым приводом включают датчики, приемники, гидравлические насосы системы управления и связанные с ними двигатели, органы управления двигателями, трубопроводы и кабели.
Средства активного управления судами (САУ) - специальные движительно-рулевые устройства и их любое сочетание либо между собой, либо с главными движителями, способные создавать упор или тягу, направленные как под фиксированным углом к диаметральной плоскости судна, так и под изменяемым углом, на всех ходовых режимах, или на части режимов, включая малые хода, а также при отсутствии хода. Средствами активного управления судами являются: стационарные и выдвижные винторулевые колонки, водометы, подруливающие устройства, забортные подвесные моторы и другие устройства подобного назначения.
Стопоры - специальные устройства, предназначенные для удержания якоря в клюзе в походном положении и крепления якорных цепей при якорной стоянке.
Страховочный пояс (пояс безопасности) - комплект ремней, соединенных между собой, который человек надевает вместе со страховочным линем, имеющим на концах карабины, один из которых крепится на страховочном поясе, а второй - на надежно закрепленном на судне элементе (на палубе, рубках, надстройке и т.д.), и предназначенный для обеспечения безопасности во время работы экипажа на палубе в сложных штормовых условиях.
Судовые устройства - комплексы судового оборудования и обслуживающих механизмов, предназначенные для обеспечения необходимых эксплуатационных и навигационных качеств судна.
Транцевый руль - пластинчатый руль, размещаемый на транце судна.
Тросовый талреп - стяжка из троса, применяемая на судах в качестве заменителя винтовых талрепов для обеспечения натяжения тросов леерного ограждения или найтовов.
Швартовная утка - стальная, чугунная или из цветных металлов отливка специальной формы, предназначенная для крепления стальных швартовных канатов диаметром менее 8 мм и растительных и синтетических окружностью менее 60 мм.
Швартовно-буксирное устройство - устройство, служащее для обеспечения надежной стоянки судна у пирса или другого плавучего сооружения (судна, бочки, дебаркадера), а также оказания буксировочной помощи другому подобному судну или обеспечения возможности собственной буксировки другим судном.
Швартовный клюз - стальная или чугунная отливка с овальным отверстием, устанавливаемая в фальшборте судна или на палубе и предназначенная для направления швартовного каната на кнехт.
Шверт, шверц, шверцы - устройство в виде крыла, опускаемое за борт малых судов для уменьшения их дрейфа.
Шверц рулевой - приставная часть руля, служащая для увеличения площади пера последнего, когда того требуют условия плавания.
Шпиль швартовный - швартовный механизм с вертикальной осью вращения приводного вала, предназначенный исключительно для выбирания швартовных канатов при подтягивании судна к пирсу.
Шпиль якорно-швартовный - якорный механизм с вертикальной осью вращения приводного вала, предназначенный для постановки и подъема якорей, а также выбирания швартовных канатов.
Якорное устройство - устройство, служащее для обеспечения надежной стоянки судна в море, на рейде и в других местах, удаленных от берега, путем крепления за грунт с помощью якоря и якорного каната (цепи или троса).
Якорные клюзы - специальные отливки, устанавливаемые на палубе и борту судна и служащие для направления якорной цепи.
1.3. ОБЪЕМ ОСВИДЕТЕЛЬСТВОВАНИЙ
1.3.1. Освидетельствованию Регистром при изготовлении подлежат следующие изделия, входящие в состав судовых устройств.
1.3.1.1. Рулевое устройство:
2. Перо руля;
3. Съемные рудерпосты;
4. Штыри рулей и поворотных насадок;
6. Детали соединений баллера, баллера с пером руля и поворотной насадкой, соединений съемного рудерпоста с ахтерштевнем (муфты, шпонки, болты, гайки и т.д.);
7. Детали системы ограничителей перекладки пера руля;
10. Детали ручного штуртросового рулевого привода;
11. Детали и узлы ручного валикового привода;
12. Детали и узлы дистанционного ручного привода.
1.3.1.2. Якорное устройство:
1. Якоря;
2. Якорные цепи или тросы;
3. Якорные стопоры;
4. Устройства для крепления и отдачи коренного конца якорной цепи или троса;
5. Якорные клюзы.
1.3.1.3. Швартовное устройство:
2. Швартовные кнехты, утки, киповые планки, клюзы, роульсы и стопоры.
1.3.1.4. Буксирное устройство:
2. Буксирные битенги, кнехты, киповые планки, клюзы и стопоры.
1.3.1.5. Рангоут и такелаж:
1. Рангоут подвижный и неподвижный;
2. Такелаж стоячий и бегучий;
4. Путенсы, бейфуты, кнехты, утки, киповые планки, роульсы и стопоры;
5. Сигнальные мачты.
1.3.1.6. Грузоподъемное устройство - в объеме, установленном в Правилах по грузоподъемным устройствам морских судов, включая:
1. Судовые грузовые стрелы, краны и подъемники грузоподъемностью 1 т и более;
2. Судовые лифты с электроприводом, которые предназначены для подъема и спуска людей и/или грузов в кабине, движение которой осуществляется канатами, со скоростью не более 1,0 м/с;
3. Судовые подъемные платформы, подъем и спуск которых осуществляется со скоростью не более 0,1 м/с.
1.3.1.7. Закрывающие устройства:
1. Все закрывающие устройства, расположенные на наружных поверхностях корпуса, надстроек и рубок судна;
2. Все закрывающие устройства, расположенные внутри судна на водонепроницаемых конструкциях.
1.3.1.8. Оборудование помещений:
1. Наклонные и вертикальные трапы;
2. Леерное ограждение, фальшборт и переходные мостики.
| | ИС МЕГАНОРМ: примечание. В официальном тексте документа, видимо, допущена опечатка: пункты 1.3.1.3.5 и 1.3.1.9 в тексте документа отсутствуют. Возможно, имеются в виду пункты 1.3.1.1.5 и 1.3.5.9. | |
1.3.2. Освидетельствование Регистром изделий, указанных в
1.3.1.1.5,
1.3.1.1.8,
1.3.1.1.9,
1.3.1.1.10,
1.3.1.3.5,
1.3.1.3.2,
1.3.1.4.2,
1.3.1.5.3,
1.3.1.5.4 и
1.3.1.9, ограничивается только рассмотрением технической документации.
1.3.3. На все изделия, перечисленные в
1.3.1, Регистру должны быть представлены:
1. Сборочный чертеж;
2. Расчеты по судовым устройствам;
3. Чертежи узлов и деталей, если они изготавливаются не по стандартам или техническим условиям, согласованным с Регистром.
1.3.5. Следующие устройства, оборудование и снабжение подлежат освидетельствованию Регистром в процессе постройки судна:
1. Рулевое устройство;
2. Якорное устройство;
3. Швартовное устройство;
4. Буксирное устройство;
5. Парусное вооружение;
6. Грузоподъемное устройство;
7. Сигнальные мачты;
8. Закрывающие устройства;
1.4.1. Материалы для изготовления устройств, оборудования и снабжения, если иное не оговорено в Правилах специально, должны соответствовать требованиям, указанным в документации одобренного Регистром проекта.
1.4.2. Сварка элементов конструкций судовых устройств, оборудования и снабжения должна быть выполнена в соответствии с требованиями части XIV "Сварка" Правил классификации и постройки морских судов.
1.5. УЧЕТ ИНЕРЦИОННЫХ НАГРУЗОК
1.5.1. В расчетах судовых устройств должны учитываться инерционные нагрузки, возникающие при движении судна на волнении.
Величину инерционных нагрузок определяют ускорения, которые возникают при качке и при ударах о волну.
Определение ускорений, возникающих при качке, выполняется согласно
2.1.4.7 части II "Корпус". Необходимость определения ускорений, возникающих при ударах о волну, является в каждом конкретном случае предметом специального рассмотрения Регистром.
1.6. СПЕЦИАЛЬНЫЕ ПРОЧНЫЕ КОНСТРУКЦИИ
1.6.1. В якорном, швартовном и буксирном устройствах должны быть предусмотрены прочные конструкции, воспринимающие усилия, действующие в тросах и цепях. При этом прочные конструкции якорного и швартовного устройств могут использоваться в буксирном устройстве.
Разрывное усилие тросов/цепей, применяемых в этих устройствах, не должно превышать 80% предельной нагрузки соответствующей прочной конструкции.
Согласно ISO 15084:2003 таких прочных конструкций должно быть не менее:
1. На всех судах - одна прочная конструкция в носовой части для якорного и буксирного устройств;
2. На судах длиной

- по крайней мере одна прочная конструкция для швартовного устройства в корме;
3. На судах длиной

- по крайней мере по одной дополнительной, к указанной в 1.6.1.1 либо 1.6.1.2, прочной конструкции для швартовного устройства в носу и в корме;
4. На судах длиной

- по крайней мере по одной дополнительной, к указанным в 1.6.1.3, прочной конструкции для швартовного устройства по левому и правому борту.
1.6.2. При проектировании прочных конструкций должны быть учтены требования ISO 15084:2003 в части определения размеров, подкреплений, коррозионной стойкости и маркировки.
1.7. РУКОВОДСТВО ДЛЯ ВЛАДЕЛЬЦА СУДНА
1.7.1. В Руководстве для владельца судна в обеспечение выполнения требований ISO 15084:2003 по якорному и швартовно-буксирному устройствам должно быть указано следующее:
1. Информация о предельной (разрушающей) нагрузке прочных (несущих) конструкций якорного и швартовно-буксирного устройств;
2. Информация о назначении прочной конструкции при ее соответствующей маркировке судостроителем, в случаях, когда ее назначение не самоочевидно (например: прочная конструкция предназначена для постановки на якорь и/или буксирования);
3. Указания о необходимости выполнения буксировки другого судна или буксирования собственного судна на малом ходу и предупреждение о недопустимости превышения скоростного режима при буксировке водоизмещающего судна;
4. Указание о способе крепления буксирного троса для обеспечения возможности его отдачи под нагрузкой;
5. Информация об ответственности за обеспечение судна соответствующими швартовными и буксирными тросами, якорной цепью, якорными тросами и якорем. Разрывное усилие швартовных и буксирных тросов, якорных тросов и цепей не должно превышать 80% разрушающего усилия соответствующей прочной конструкции.
Судовладельцы также должны учитывать то, какие действия будут необходимы при закреплении буксирного троса на борту судна;
6. Информация о примененных неметаллических прочных конструкциях. Для неметаллических прочных конструкций должен быть учтен их ограниченный срок службы. Они должны быть заменены, как только они проявят любые признаки ухудшения, видимые поверхностные трещины или остаточные деформации.
Примечание. Изделия темного цвета в меньшей степени подвержены разрушению от воздействия ультрафиолетовых лучей, чем изделия светлых тонов.
2.1.1. Каждое судно должно иметь надежное рулевое устройство, обеспечивающее его управляемость и устойчивость на курсе в предусмотренных условиях эксплуатации. Такими устройствами могут быть: рулевое устройство, крыльчатый движитель, движительно-рулевая поворотная колонка (типа "азипод"), забортный подвесной мотор (моторы) и прочие устройства, одобренные Регистром.
Стоечные суда могут не иметь рулевого устройства.
На несамоходном судне, с учетом района плавания и условий эксплуатации, по согласованию с Регистром можно не устанавливать рулевое устройство или ограничиться установкой стабилизатора. Проектная категория, район плавания и условия эксплуатации несамоходного судна, при которых может быть допущено отсутствие рулевого устройства или установка только стабилизаторов, в каждом случае является предметом специального рассмотрения Регистром.
2.1.2. Место рулевого должно быть расположено таким образом, чтобы обеспечивался надлежащий обзор вокруг судна. Если с аварийного поста управления не обеспечивается необходимый обзор, то должен быть обеспечен голосовой контакт с членом экипажа, имеющим такой обзор.
2.1.3. Управление судном может осуществляться отклонением пера руля (рулей), рулевого весла, поворотом сопла водомета, изменением вектора тяги подвесного мотора и поворотно-откидной колонки или другими способами. Поворот пера руля может осуществляться румпелем либо рулевым приводом. Для аварийного управления должен быть предусмотрен румпель или другое механическое устройство (кроме судов проектных категорий C, C1, C2, C3 и D).
2.1.4. Угол отклонения пера руля (или направление вектора тяги) должен быть виден рулевому непосредственно или через индикатор.
2.1.5. Конструкция рулевого устройства должна обеспечивать легкий доступ для контроля и обслуживания отдельных элементов. Рядом с рулевым устройством не следует располагать оборудование и снабжение, которое может нарушить работу этого устройства. Рулевое устройство должно быть спроектировано так, чтобы перо руля не могло ударяться об обшивку корпуса, исключая возможность повреждения одного из элементов рулевого устройства.
2.1.6. Требования настоящего раздела распространяются на рулевые устройства, которые имеют рули типов, приведенных на
рис. 2.1.6. Для рулевых устройств с поворотными насадками и рулями, конструкция которых отличается от приведенных на
рис. 2.1.6, рекомендуется применять требования, изложенные в гл. 2.2 части III "Устройства, оборудование и снабжение" Правил классификации и постройки морских судов Регистра.
а) простой небалансирный многоопорный руль
б) простой балансирный руль
в) полуподвесной балансирный руль
г) подвесной балансирный руль
Рулевые устройства необычной конструкции: руль с ротором, с закрылками, многоперьевые рули типа рулей Енкеля и т.п., а также движительно-рулевые колонки (типа "азипод"), крыльчатые движители и т.п., в каждом случае являются предметом специального рассмотрения Регистром.
С учетом назначения, особенностей судна и предполагаемых режимов его эксплуатации по согласованию с Регистром может быть допущено, чтобы регламентируемая управляемость судна на малых ходах обеспечивалась совместным действием средств, указанных в
2.1.1, и средств активного управления судном (САУС).
2.1.7. В любом случае руль должен иметь не менее двух опор, при этом в зависимости от типа рулевого устройства одной из опор (нижней) может служить штырь пера руля. Не допускается использование в качестве опоры силовой системы (исполнительного механизма рулевого привода), если она специально не предназначена для указанной цели.
Количество штырей руля, являющихся опорами его пера, Регистром не регламентируется.
2.1.8. При проверке штырей руля и подшипников баллера на удельное давление, последнее не должно превышать значений, приведенных в табл. 2.1.8.
Таблица 2.1.8
Материалы для пар трения | Удельное давление p, МПа, при смазывании |
Водой | Маслом |
Нержавеющая сталь или бронза по бакауту | 2,4 | - |
Нержавеющая сталь или бронза по текстолиту или по синтетическим материалам | по особому согласованию с Регистром | - |
Нержавеющая сталь по бронзе или наоборот | 6,9 | - |
Сталь по баббиту | - | 4,4 |
2.2. ИСХОДНЫЕ РАСЧЕТНЫЕ ПАРАМЕТРЫ
2.2.1. Исходные расчетные параметры, установленные в настоящей главе, действительны только для выбора конструктивных элементов обычных рулей и не могут быть использованы для определения выходных характеристик рулевых приводов. Методы установления этих характеристик Регистром не регламентируются, а соответствующие расчеты согласованию с ним не подлежат. Указанные характеристики приводов Регистр проверяет только во время ходовых испытаний судна на предмет их соответствия требованиям
2.9.2,
2.9.3 и
2.9.7.
2.2.2. Расчетные нагрузки и крутящие моменты для рулей
2.2.2.1. Условная расчетная нагрузка F, Н, действующая на перо руля на переднем ходу, должна определяться по формуле

- относительное удлинение пера руля,

;
b - средняя высота погруженной части пера руля, м;

- эффективная площадь руля вместе с кронштейном (скегом), м2;
A - площадь пера руля, м2, (для транцевого руля - только площадь погруженной его части);

- площадь кронштейна (скега) руля, м2;

- коэффициент, принимаемый по
табл. 2.2.2.1-2, где

- весовое водоизмещение судна при осадке по конструктивную ватерлинию;

- расчетная скорость судна, уз., определяемая в зависимости от типа судна, согласно
2.2.2.2.
Таблица 2.2.2.1-1
Коэффициенты

для рулей различного удлинения
| 0,5 | 1,0 | 1,5 | 2,0 | 2,5 | 3,0 | 3,5 | 4,0 |
| 61 | 93 | 113 | 126 | 135 | 140 | 141 | 141 |
Таблица 2.2.2.1-2
Коэффициент

для судов разных типов
Тип судна | |
Моторные суда | 1,2 |
Несамоходные суда | 1,1 |
Парусные, парусно-моторные и моторно-парусные суда: | |
| 1,6 |
| |
| |
2.2.2.2. Расчетная скорость судна,

, принимается как

из двух величин:

или

где

- фактическая максимальная скорость судна, уз.
2.2.3. Изгибающие моменты, действующие на перо руля
2.2.3.1. Балансирный трехопорный руль.
Наибольшая величина изгибающего момента

, действующего на перо руля, должна определяться по формуле
Величина изгибающего момента баллера руля, Нм, на средней опоре должна определяться по формуле
где F - расчетная гидродинамическая нагрузка, Н, согласно
2.2.2.1;
b - средняя высота погруженной части пера, м.
Рис. 2.2.3.1. Нагрузка, изгибающие моменты и поперечные
силы на балансирном руле с подпятником
2.2.3.2. Балансирный подвесной руль
Величина изгибающего момента

, в произвольном горизонтальном сечении пера руля должна определяться по формуле
где F - расчетная гидродинамическая нагрузка, Н, согласно
2.2.2.1;

- площадь, м2, части пера руля ниже рассматриваемого сечения;

- расстояние, м, по вертикали от центра тяжести отрезанной площади

до рассматриваемого сечения;
A - площадь, м2, пера руля, согласно
2.2.2.1.
Величина изгибающего момента в баллере руля,

, в районе нижнего подшипника должна определяться по формуле
где F - расчетная гидродинамическая нагрузка, Н, согласно
2.2.2.1;

- расстояние, м, по вертикали от центра тяжести площади пера руля до центра нижнего подшипника.
Рис. 2.2.3.2. Нагрузка, изгибающие моменты и перерезывающие
силы в случае балансирного подвесного руля
2.2.3.3. Балансирный полуподвесной руль
Наибольшая величина изгибающего момента на пере руля

, должна определяться по формуле
где F - расчетная гидродинамическая нагрузка, Н, согласно
2.2.2.1;

- площадь, м2, части пера руля ниже рассматриваемого сечения;

- расстояние, м, по вертикали от центра тяжести площади

до рассматриваемого сечения;
A - площадь, м2, пера руля согласно
2.2.2.1.
Величина изгибающего момента в баллере руля

, в районе нижнего подшипника должна определяться по формуле
где F - расчетная гидродинамическая нагрузка, Н, согласно
2.2.2.1;
h - средняя высота, м, погруженной части пера.
Рис. 2.2.3.3. Нагрузка, изгибающие моменты и перерезывающие
силы в случае балансирного полуподвесного руля
2.2.3.4. Простой небалансирный многоопорный руль
У простого руля, имеющего опоры на петлях, баллер по всей высоте до верхнего опорного подшипника работает только на кручение. Выше верхнего опорного подшипника баллер, кроме крутящего момента, воспринимает также изгибающий момент от усилия, прилагаемого к румпелю или сектору для поворота руля.
Этот изгибающий момент определяется по формуле
где F - расчетная гидродинамическая нагрузка, Н, согласно
2.2.2.1;

- см. 2.2.4;

- расстояние от центра верхнего опорного подшипника до оси румпеля или сектора, м;

- радиус сектора или размеры плеча румпеля, м.
Крутящий момент от действия гидродинамической нагрузки на перо руля

, определяется по формуле
где F - расчетная гидродинамическая нагрузка, Н, согласно
2.2.2.1;
r - радиус действия силы, м;

, если ось вращения находится на пере руля;

, если ось вращения находится перед пером руля;

- для рулей с подпятником и кронштейном (скегом) большой площади

;

- расстояние по горизонтали между точкой, в которой приложена равнодействующая гидродинамических сил, и передней кромкой пера (или стабилизатора) в соответствии с величиной, показанной на
рис. 2.2.4.1 -
2.2.4.5.
f - расстояние по горизонтали между осью вращения пера и передней кромкой пера (или кронштейна), измеряемое на высоте точки, в которой приложена равнодействующая гидродинамических сил согласно
рис. 2.2.4.1 -
2.2.4.5.
C = A/b,

Рис. 2.2.4.1. Руль с подпятником без скега
Рис. 2.2.4.2. Руль с подпятником и узким скегом
C = A/b,

Рис. 2.2.4.3. Руль с подпятником и большим скегом
C = A/b,

Рис. 2.2.4.4. Балансирный подвесной руль
Рис. 2.2.4.5. Балансирный полуподвесной руль
2.3. КОНСТРУКЦИЯ ПЕРА РУЛЯ
2.3.1. Перо руля может быть изготовлено из металла, ламината, сплошной древесины или фанеры.
Толщина обшивки пера должна быть не меньшей, чем минимальная толщина обшивки для судов, указанная в
части II "Корпус". Расстояние между ребрами жесткости такого руля не должно превышать шпации судна, рассчитанной по данным нагрузки на дно в районе кормы, и принятой толщины обшивки пера.
2.3.2. В произвольном сечении пера руля приведенные напряжения от изгиба и скручивания

, определенные по формуле (2.3.2), не должны быть большими 0,3 предела прочности на изгиб данного материала:
где

- нормальные напряжения от изгиба, МПа;

- касательные напряжения от скручивания, МПа.
В случае применения для изготовления пера руля нескольких разных материалов, условие относительно приведенных напряжений надлежит проверить для каждого из них.
2.3.3. Металлическая обшивка пера руля должна быть приварена к ребрам жесткости угловым швом. Везде, где не представляется возможным применить угловые швы, допускается применение пробочных швов.
2.3.4. Перо руля может быть изготовлено из массивного ламината, изготовленного в двух зеркально симметричных формах и склеенных, при условии:
склеивание пера осуществляется по технологии, одобренной Регистром;
изготовленное перо испытывается на изгиб нагрузкой, равной

, где

- изгибающий момент согласно
2.2.3.
Если эти условия не выдержаны, тогда требуется дополнительное крепление половин пера путем наложения снаружи полос ламината на его нижнем, переднем и верхнем краях.
2.3.5. Внутренняя полость объемного пера руля должна быть надлежащим образом законсервирована.
Рекомендуется заполнение полости пера материалом, который не впитывает воду. Перо объемного руля, изготовленное из металла или ламината и не заполненное, должно быть подвергнуто испытаниям на плотность давлением 2,5 м водяного столба. Это требование не касается перьев рулей, изготовленных из нержавеющей стали.
2.4.1. Баллер руля должен проходить сквозь корпус внутри прочной трубы, и должны быть применены соответствующие уплотняющие сальники, не допускающие проникновения забортной воды внутрь корпуса судна. Разрешается также применение трубы из искусственного материала при соблюдении следующих условий:
подшипники баллера неподвижно закреплены на корпусе;
труба доведена до высоты, составляющей минимум 0,75 высоты надводного борта в корме;
гарантирована водонепроницаемость всего оборудования при любых условиях эксплуатации.
2.4.2. Баллер руля и другие основные детали рулевого устройства, кроме случаев, оговоренных особо, изготавливаются из стали с пределом текучести не менее 235 МПа. Баллер должен быть, соответственно, прочно соединен с пером руля. Соединение конструкций пера и баллера не должно иметь мест с ослабленной прочностью.
2.4.3. Диаметры сплошного металлического баллера руля

(см.
рис. 2.4.3), мм, не должны быть менее определенных по следующим формулам:
для рулей опертых и полуподвесных:
для подвесных рулей:
для рулей опертых и полуподвесных:
для баллеров, проходящих по всей высоте пера:
где

- крутящий момент согласно
2.2.4, Нм;

- изгибающий момент согласно
2.3.2, Нм;

- предел прочности примененного материала на растяжение, МПа;

- предел текучести примененного материала, МПа.
2.4.4. Допускается изготовление баллеров рулей из труб
Диаметр такой трубы и толщина ее стенок должны быть приняты такими, чтобы прочность при кручении или при совместном действии кручения и изгиба полого баллера была такой же, как и для сплошного баллера.
При применении материала той же прочности диаметр полого баллера (трубчатого) надлежит принимать таким, чтобы была выдержана следующая зависимость:
где

- диаметр сплошного баллера, мм;

- наружный диаметр баллера из трубы, мм;

- внутренний диаметр баллера из трубы, мм.
Не рекомендуется использование труб со стенками толщиной менее

.
2.4.5. В конструкции баллера должны быть предусмотрены меры против случайного его выхода (смещения) из подшипников.
2.5.1. Конструкция постоянного (стационарного) транцевого руля должна отвечать требованиям
2.3.1 -
2.3.5.
2.5.2. Если применяется съемное перо руля, то надлежит обеспечить его от самопроизвольного подъема во время движения. При этом конструкция такого пера, как и ярма, должна отвечать требованиям
2.3.1 -
2.3.5.
2.5.3. Диаметры стальных штырей

,

и

, на которые навешивается транцевый руль, показанные на
рис. 2.5.3, не должны быть менее чем:
где

- диаметр верхнего штыря;

- диаметр нижнего штыря, если точка приложения силы F находится между штырями;

- диаметр нижнего штыря, если точка приложения силы F находится ниже этого штыря;
F - расчетная гидродинамическая нагрузка согласно
2.2.1, Н;
t - расстояние по вертикали между нижним штырем и точкой, в которой приложена сила F, мм;
a - расстояние по вертикали между штырями, мм.
Однако не следует принимать диаметры штырей

меньшими, чем:

- для конструкционной стали;

- для нержавеющей стали.
Рис. 2.5.3. Транцевые рули
2.5.4. На руле, навешенном на штырях, должны быть предусмотрены приспособления, предотвращающие случайный его подъем и выпадание.
2.5.5. Конструкция оковок для навешивания руля на корму должна соответствовать нагрузкам, действующим в местах крепления оковок.
Толщина плоских оковок, к которым крепятся штыри руля, не должна быть менее 0,2 диаметра указанных штырей.
2.6. СОЕДИНЕНИЕ БАЛЛЕРА С ПЕРОМ РУЛЯ
2.6.1. Отдельные конструктивные элементы соединения баллера с пером руля должны быть приняты в соответствии с нагрузками, указанными в
2.2.2 и
2.2.3.
2.6.2. В случае применения фланцевых соединений диаметр болтов

, соединяющих фланцы, не должен быть менее определяемого по формуле
где

- диаметр баллера, определенный согласно
2.4.3, мм;
n - количество болтов, которое не должно быть менее чем:
n = 4 - для судов длиной менее 12 м;
n = 6 - для судов длиной 12 - 24 м;
r - среднее расстояние от оси болтов до середины штырей, мм;

- предел текучести материала баллера, МПа;

- предел текучести материала болтов, МПа.
2.6.3. Все болты должны быть призонными, за исключением случаев установки шпонки, когда достаточно иметь только два призонных болта. Гайки должны иметь нормальные размеры. Болты и гайки должны быть надежно застопорены. По меньшей мере два болта должны находиться перед осью вращения баллера руля.
2.6.4. Расстояние осей болтов от края фланца не должно быть менее диаметра болта.
2.6.5. Предел текучести стали, из которой изготовлен болт, не должен быть ниже 235 МПа.
2.6.6. Фланец соединения должен быть изготовлен из одной заготовки с баллером. Допускается приваривание фланца к баллеру, конец которого осажен до диаметра, на 10% превышающего расчетный (не менее чем

), а высота осаждения не должна быть менее толщины фланца. Для судов длиной менее 12 м, при использовании нержавеющей стали и принятии величины диаметра баллера, на 10% превышающей расчетную, можно использовать приваривание фланца без осаживания конца баллера. Способ соединения подлежит согласованию с Регистром.
2.6.7. Толщина фланцев должна быть не менее расчетного диаметра болта, определенного для n = 6.
2.6.8. Фланцы соединения надлежит обеспечить шпонкой, но в случае применения болтов диаметром, на 10% превышающего требуемый, шпонку можно не применять.
2.6.9. В случае применения конических соединений, коническая часть баллера должна удовлетворять зависимости:
где

- диаметр баллера в наибольшем сечении конуса, мм;

- диаметр баллера в наименьшем сечении конуса, мм;
l - длина конуса, мм.
2.6.10. Коническое соединение должно быть обеспечено соответствующей шпонкой.
2.6.11. Размеры примененной гайки не должны быть менее следующих:
внутренний диаметр нарезки

,
высота гайки

;
наружный диаметр гайки

или

- в зависимости от того, какая из величин больше.
Гайка должна быть надежно застопорена от самоотдачи.
2.6.12. Другие типы соединений баллера руля являются предметом специального рассмотрения Регистром.
2.7.1. В отношении подшипников баллера и штырей, воспринимающих поперечную нагрузку, должно выполняться требование
2.1.8.
Площадь подшипника руля

, (произведение высоты на диаметр) не должна быть менее:
где R - расчетная величина силы реакции, Н, возникающей от нагрузки, рассчитанной согласно
2.2.1;

- допустимое давление, МПа, зависящее от материала подшипника:

- для мягкого синтетического материала (тефлон);

- для твердого синтетического материала (полиамиды);

- для стали и бронзы.
2.7.2. Высота подшипников должна быть не менее диаметра баллера в месте установки подшипника, однако не должна превышать 1,2 диаметра баллера для подшипника из металла или двух диаметров для подшипника из синтетического материала.
2.7.3. В случае применения стальной втулки подшипника она может быть изготовлена только из нержавеющий стали. При применении нержавеющий стали для подшипника баллера руля, также изготовленного из нержавеющей стали, надлежит предусмотреть мероприятия против затирания.
2.7.4. Втулки (вкладыши) подшипников должны быть надежно зафиксированы в корпусе подшипника во избежание случайного сдвига.
Для восприятия массы руля и баллера один из подшипников должен быть упорным, способным нести осевую нагрузку, равную не менее массы руля и баллера.
Должны быть приняты меры против аксиального смещения баллера вверх на величину более допускаемой конструкцией рулевого привода. Жесткость корпусных конструкций, несущих подшипники баллера и штырей (опоры), должна быть проверена на действие усилий, оговоренных в
2.2.3 применительно к конкретному случаю. Упругое перемещение опоры под этой нагрузкой не должно превышать одностороннего зазора в подшипнике.
2.8. СКЕГ И ПОДПЯТНИК РУЛЯ
2.8.1. Конструкция опоры руля в виде скега или подпятника должна быть жесткой и прочной.
Напряжения, возникающие в произвольном сечении от расчетной поперечной реакции в подшипнике пяты руля, не должны превышать

(предела прочности на растяжение).
Если применена опора, не удовлетворяющая этому условию, то конструкция руля и его баллера должна удовлетворять требованиям для рулей без нижней опоры.
2.9. РУМПЕЛЬ И СЕКТОР РУЛЯ
2.9.1. Размеры румпеля или плеча (плеч) сектора руля следует определять в зависимости от расчетного крутящего момента и применяемого материала.
Момент сопротивления при изгибе

, румпеля или плеча (плеч) сектора в месте соединения со ступицей не должен быть менее:
Момент сопротивления при изгибе, мм3, на конце румпеля не должен быть менее:
где

- расчетный крутящий момент, Нм, согласно
2.2.4;

- предел прочности примененного материала на растяжение, МПа;
k - коэффициент, зависящий от материала:
k = 0,40 - для металлов;
k = 0,15 - для клееной древесины;
k = 0,09 - для сплошной древесины.
2.9.2. В случае применения поднимающегося румпеля, его крепление к баллеру (или транцевому рулю) должно выдерживать расчетную нагрузку также при положении румпеля, поднятом до угла 20°.
2.9.3. Размеры аварийного румпеля должны определяться для момента, равного 0,7 расчетного.
2.9.4. Длину аварийного румпеля надлежит принимать такой, чтобы обеспечить надежное управление рулем не более чем двумя лицами непосредственно или с помощью талей.
2.9.5. В случае применения четырехгранного выступа на торце баллера для установки аварийного румпеля сторона квадрата не должна быть менее чем

, а его высота - не менее

, где

- диаметр головы баллера руля согласно
2.4.3.
2.9.6. Наружный диаметр ступицы сектора или румпеля не должен быть менее 1,8 диаметра баллера в месте ее насаживания, а ее высота - не менее этого диаметра. Ступицы, состоящие из нескольких частей, должны соединяться по меньшей мере четырьмя болтами, по два с каждой стороны баллера.
Общая площадь сечения всех болтов, мм2, не должна быть менее:
где

- расчетный крутящий момент, Нм;
f - расстояние оси болтов от оси баллера, мм.
2.9.7. Конструкция сектора рулевого устройства с механическим приводом должна удовлетворять требованиям
2.9.1.
2.10. КОМПЛЕКТАЦИЯ РУЛЕВЫХ УСТРОЙСТВ РУЛЕВЫМИ ПРИВОДАМИ
2.10.1. Любое судно должно иметь два рулевых привода - главный и вспомогательный, если специально не указано иное.
Механические рулевые устройства должны обеспечивать:
возможность перекладки руля с борта на борт в пределах не менее +/- 35°. Для подвесного мотора этот угол должен быть не менее +/- 30°;
ограничение максимальных отклонений руля при помощи ограничителей;
безопасное восприятие нагрузок, вытекающих из расчетного крутящего момента от действия силы давления на перо руля, всеми элементами устройства;
касательное усилие на ободе рулевого колеса не более 200 Н;
информацию о положении пера руля относительно диаметральной плоскости при помощи установленного соответствующего указателя на месте рулевого;
применение аварийного румпеля или другого аварийного рулевого привода, удовлетворяющего требованиям
2.9.3.
2.10.2. Главный рулевой привод должен обеспечивать перекладку полностью погруженного руля при максимальной скорости переднего хода судна с 35° одного борта на 30° другого борта за время, не превышающее 30 с.
2.10.3. Вспомогательный рулевой привод должен быть независимым от главного привода и должен обеспечивать перекладку руля на угол с 20° одного борта на 20° другого борта за время, не превышающее 60 с, при скорости переднего хода судна, равной половине максимальной скорости, но не менее:
для судов проектных категорий A, A1, A2, B, C и C1 - 5 уз.;
для судов проектных категорий C2, C3 и D - половины максимальной скорости.
Допускается, чтобы главный и вспомогательный рулевые приводы имели некоторые общие части (например, румпель, сектор, редуктор, цилиндровый блок и т.п.) при условии, что конструктивные размеры этих частей будут увеличены в соответствии с 6.2.8.2 части IX "Механизмы" Правил классификации и постройки морских судов.
2.10.4. Главный рулевой привод может быть ручным, если требование
2.10.2 выполняется при усилии на рукоятке штурвала не более 120 Н и числе оборотов штурвала не более 25 за одну полную перекладку. Если указанное условие не выполняется, главный рулевой привод должен приводиться в действие от источника энергии.
В качестве главного рулевого привода может быть использован румпель, если требование
2.10.2 выполняется при усилии на румпеле не более 160 Н на каждого работающего; при этом вспомогательный рулевой привод может не устанавливаться.
2.10.5. Если главный рулевой привод включает в себя два одинаковых силовых агрегата, вспомогательный рулевой привод может не устанавливаться.
2.10.6. Вспомогательный рулевой привод может быть ручным, если требование
2.10.3 выполняется при усилии на рукоятке штурвала не более 160 Н на каждого работающего и числе оборотов штурвала не более 25 за одну полную перекладку.
В качестве вспомогательного рулевого привода могут использоваться румпель-тали или румпель, если требование
2.9.3 выполняется при усилии в ходовом конце лопаря румпель-талей или на румпеле не более 160 Н на каждого работающего.
Во всех остальных случаях вспомогательный рулевой привод должен приводиться в действие от источника энергии.
2.10.7. Рулевое устройство должно иметь ограничители поворота руля, допускающие его перекладку на каждый борт только до угла

:
где

- максимальный угол перекладки руля, на который настроены конечные выключатели рулевого привода, как правило, должен приниматься

.
Все детали ограничителей, в том числе и те, которые одновременно являются деталями рулевого привода, должны быть рассчитаны на усилия, соответствующие предельному крутящему моменту на баллере

, определенному по формуле
При этом напряжения в этих деталях не должны превышать 0,95 предела текучести их материала.
2.10.8. Ручной рулевой валиковый привод в части конструкции, объема стендовых испытаний и документации должен соответствовать требованиям стандарта ISO 13929:2001.
2.10.9. Ручной рулевой штуртросовый привод должен в части конструкции, объема стендовых испытаний и документации соответствовать требованиям стандарта ISO 8847:1987.
2.10.10. На судах с подвесным забортным двигателем дистанционный ручной рулевой привод в общем случае должен в части конструкции, объема стендовых испытаний и документации соответствовать требованиям стандарта EN 28848:1993, либо EN 29775:1993 при мощности подвесного мотора в пределах от 15 до 40 кВт.
2.10.11. В штуртросовом рулевом приводе разрывное усилие тросовых рулевых тяг, Н, должно быть не менее определенного по формуле
где

- расчетный крутящий момент, Нм, согласно
2.2.4;

- радиус сектора, м.
Тросы рулевых тяг должны быть из нержавеющей стали.
Талрепы и соединяющие элементы должны быть приняты соответственно прочности тяги. Диаметр направляющих блоков не должен быть меньше шестнадцати диаметров троса.
2.10.12. На судах с забортным подвесным двигателем двигатель должен быть оснащен соответствующим рычагом румпеля для соединения с рулевым приводом. В установках с двумя двигателями оба двигателя должны быть соединены между собой.
При этом должны быть обеспечены требования
2.10.1 в отношении углов перекладки и наличия ограничителей (механических упоров).
2.10.13. На судах с забортным подвесным двигателем должна быть предусмотрена в качестве аварийного средства движения и управления как минимум одна пара распашных весел с уключинами при

.
При

судно должно комплектоваться двумя двигателями.
2.10.14. Во всем остальном рулевые приводы должны соответствовать применимым требованиям
частей V "Механические установки. Механизмы. Системы и трубопроводы" и
VII "Электрическое оборудование".
2.11. ГЕЛЬМПОРТОВАЯ ТРУБА
2.11.1. Конструкция гельмпортовой трубы должна иметь прочность, которая бы обеспечивала ей противостояние усилиям, возникающим на рулевом устройстве. Гельмпортовая труба должна быть подкреплена в продольном и поперечном направлениях и иметь привязку к продольному и поперечному набору судна.
Минимальная толщина стенки трубы из металлических материалов должна определяться по формуле
где

- длина судна по КВЛ, м;
k - коэффициент, учитывающий тип материала: для обычной углеродистой стали k = 1,0;
для сталей с другими характеристиками -
где

- предел текучести стали, Н/мм2;

- предел прочности стали при растяжении, Н/мм2;
для алюминиевых сплавов, стойких в морской воде -
где

- 0,2% предел текучести алюминиевого сплава, Н/мм2;

- предел прочности алюминиевого сплава при растяжении, Н/мм2.
2.11.2. На судах с корпусом из стеклопластика гельмпортовая труба должна иметь такую же прочность, что и обшивка днища.
Гельмпортовая труба должна проходить сквозь корпус судна до пересечения с палубой или должна заканчиваться сальником, установленным выше действующей ватерлинии судна.
На высоте 200 мм от действующей ватерлинии для продолжения гельмпортовой трубы могут применяться шланги или рукава типа шлангов из согласованного с Регистром материала.
2.11.3. На судах проектных категорий A, A1, A2, B и C, у которых верх гельмпортовой трубы конструктивно не соединен с днищем кокпита или главной палубой судна и находится во внутреннем подпалубном пространстве, в верхней части гельмпортовой трубы должно быть установлено сальниковое уплотнение, исключающее проникновение забортной воды через гельмпортовую трубу внутрь корпуса судна. Конкретные типы конструкции этих сальников определяются в зависимости от назначения судна, его размеров и т.д., и являются предметом специального рассмотрения Регистром. Однако каковыми бы ни были конструкции этих сальников, все они должны быть выполнены таким образом, чтобы при любых обстоятельствах они были доступными для осмотра и обслуживания их командой судна.
3.1.1. Каждое судно, за исключением судов проектной категории D, должно быть оборудовано якорным устройством, обеспечивающим возможность длительной стоянки судна вдали от берега на течении и при максимальном ветре и волнении, допустимом для плавания этого судна, а также быструю и безопасную отдачу и подъем предусмотренных якорей во всех возможных ситуациях.
Суда проектной категории D якорного устройства могут не иметь.
3.1.2. В состав якорного устройства судна должны входить следующие элементы:
якорь (один или несколько);
якорные цепи и/или тросы;
механизмы для отдачи и подъема якорей (если необходимо);
приспособления для крепления якорей на судне (если необходимо);
устройства для крепления и отдачи коренных концов якорных цепей и/или тросов (если необходимо).
3.2. ХАРАКТЕРИСТИКА ЯКОРНОГО СНАБЖЕНИЯ
3.2.1. Требуемое оборудование якорями, цепями и тросами должно определяться по
табл. 3.2.1.1 и
3.2.1.2 на основании характеристики снабжения.
Характеристика снабжения,

, определяется по формуле
где L - расчетная длина судна, м, равная половине суммы длины корпуса

и длины по КВЛ;
B - наибольшая ширина судна, м, измеренная по наружным кромкам обшивки от одного борта до другого без учета привальных брусьев;

- условная высота борта, м, равная высоте борта судна D плюс 1/6 высоты киля, измеренная в поперечной плоскости на середине длины судна по КВЛ;
A = 0,5 объема надстроек, м3, при этом надстройки и палубные рубки, шириной менее B / 4, могут не учитываться.
Таблица 3.2.1.1
Якоря, якорные цепи/канаты и буксирные канаты парусных,
парусно-моторных и моторно-парусных судов
Характеристика снабжения  | Водоизмещение  | Масса якорей, кг | Якорная цепь или канат | Буксирный канат |
| 2-й якорь | | Диаметр, мм | Длина, м | |
| |
<= 10 | <= 0,15 | 2,5 | - | - | - | 8 | | 12 |
<= 10 | 0,20 | 3,0 | - | - | - | 8 | 12 |
<= 10 | 0,30 | 3,5 | - | - | - | 8 | 12 |
<= 10 | 0,40 | 4,5 | - | - | - | 8 | 12 |
<= 10 | 0,50 | 5,0 | - | - | - | 10 | 12 |
<= 10 | 0,60 | 5,5 | - | - | - | 10 | 14 |
<= 10 | 0,75 | 6,5 | - | - | - | 10 | 14 |
<= 10 | 1,00 | 7,5 | - | - | - | 10 | 14 |
<= 10 | 1,50 | 8,7 | - | - | - | 10 | 14 |
<= 10 | 2,00 | 10,5 | 9,0 | 22,5 | 6,0 | 12 | 16 |
15 | 3,00 | 12,0 | 10,0 | 24,0 | 6,0 | 12 | 18 |
20 | 4,00 | 13,0 | 10,5 | 25,0 | 6,0 | 12 | 18 |
25 | 5,00 | 13,5 | 11,0 | 26,0 | 7,0 | 14 | 18 |
30 | 6,00 | 15,0 | 13,0 | 27,0 | 7,0 | 14 | 18 |
40 | 8,00 | 17,0 | 15,0 | 29,0 | 8,0 | 16 | 20 |
55 | 12,00 | 21,0 | 18,0 | 32,5 | 8,0 | 18 | 22 |
70 | 17,00 | 25,0 | 21,0 | 36,0 | 9,0 | 24 | | 22 |
90 | 23,00 | 29,0 | 25,0 | 40,0 | 10,0 | 26 | 22 |
110 | 29,00 | 34,5 | 29,0 | 43,0 | 10,0 | 28 | 24 |
130 | 36,00 | 40,0 | 34,0 | 47,0 | 11,0 | - | | 24 |
155 | 44,00 | 46,5 | 40,0 | 52,5 | 13,0 | - | 24 |
180 | 52,00 | 53,0 | 45,0 | 57,0 | 13,0 | - | 24 |
210 | 57,00 | 62,0 | 53,0 | 62,0 | 13,0 | - | 26 |
245 | 72,00 | 73,5 | 62,0 | 68,0 | 14,0 | - | | 26 |
280 | 84,00 | 84,0 | 71,0 | 74,0 | 16,0 | - | 26 |
300 | 100,00 | 95,0 | 81,0 | 78,0 | 16,0 | - | 26 |
<1> Для судов проектных категорий C2, C3 и D допускается применение якорей без штока с массой не менее 1,33 от указанной в таблице. |
<2> Применяется индивидуально к каждому якорю. |
|
<4> Номинальный диаметр трехпрядного крученого полиамидного каната согласно табл. 4.5.1. |
Таблица 3.2.1.2
Якоря, якорные цепи/канаты и буксирные канаты моторных,
гребных и несамоходных судов
Характеристика снабжения  | Водоизмещение  | Масса якорей, кг | Якорная цепь или канат | Буксирный канат |
| 2-й якорь | | Диаметр, мм | Длина, м | |
| |
<= 10 | <= 0,15 | 2,5 | - | - | - | 8 | | 12 |
- | 0,20 | 3,0 | - | - | - | 8 | 12 |
- | 0,30 | 3,5 | - | - | - | 8 | 12 |
- | 0,40 | 4,5 | - | - | - | 8 | 12 |
- | 0,50 | 5,0 | - | - | - | 10 | 12 |
- | 0,60 | 5,5 | - | - | - | 10 | 14 |
- | 0,75 | 6,5 | - | - | - | 10 | 14 |
- | 1,00 | 7,5 | - | - | - | 10 | 14 |
- | 1,50 | 8,7 | - | - | - | 10 | 14 |
<= 10 | 2,00 | 9,0 | - | 20,0 | 6,0 | 12 | 16 |
15 | 3,00 | 10,0 | - | 22,0 | 6,0 | 12 | 18 |
20 | 4,00 | 11,0 | - | 23,0 | 6,0 | 12 | 18 |
25 | 5,00 | 12,0 | - | 24,0 | 6,0 | 12 | 18 |
30 | 6,00 | 13,0 | - | 25,0 | 7,0 | 14 | 18 |
40 | 8,00 | 14,0 | 12,0 | 26,0 | 7,0 | 14 | 20 |
55 | 12,00 | 18,0 | 15,0 | 29,0 | 8,0 | 16 | 22 |
70 | 17,00 | 21,0 | 18,0 | 32,5 | 8,0 | 18 | | 22 |
90 | 23,00 | 25,0 | 21,0 | 36,0 | 9,0 | 24 | 22 |
110 | 29,00 | 29,0 | 25,0 | 38,5 | 10,0 | 26 | 24 |
130 | 36,00 | 34,5 | 29,0 | 42,0 | 10,0 | 28 | | 24 |
155 | 44,00 | 40,0 | 34,0 | 47,0 | 11,0 | - | 24 |
180 | 52,00 | 46,0 | 39,0 | 51,0 | 13,0 | - | 24 |
210 | 57,00 | 52,5 | 44,0 | 55,5 | 13,0 | - | 26 |
245 | 72,00 | 61,0 | 52,0 | 61,0 | 13,0 | - | | 26 |
280 | 84,00 | 70,5 | 60,0 | 66,5 | 14,0 | - | 26 |
300 | 100,0 | 79,5 | 67,5 | 70,0 | 16,0 | - | 26 |
<1> Для судов проектных категорий C2, C3 и D допускается применение якорей без штока с массой не менее 1,33 от указанной в таблице. |
<2> Применяется индивидуально к каждому якорю. |
|
<4> Номинальный диаметр трехпрядного крученого полиамидного каната согласно табл. 4.5.1 |
3.2.2. В случае легкого судна, водоизмещение которого менее указанного в графе 2
табл. 3.2.1.1 и
3.2.1.2, якорное оборудование может быть выбрано на основе средней величины между водоизмещением и характеристикой якорного оборудования. Массы якорей должны в этом случае определяться интерполяцией, а калибры (диаметры) звеньев цепи и длины цепей и тросов округляться до ближайшей большей величины.
Для судов проектных категорий C2, C3 и D выбор якорного оборудования может осуществляться по характеристике Nc с поправочным коэффициентом, равным 0,75.
3.2.3. Для судов водоизмещением менее 1,5 т выбор якорного оборудования должен выполняться на основе величины водоизмещения.
3.2.4. Для стоечных судов выбор якорного оборудования должен выполняться по
табл. 3.2.1.2 на основе характеристики согласно
3.2.1.
3.2.5. Для якорей, снабженных якорными канатами, является обязательным крепление каната к якорю через отрезок цепи соответствующего калибра длиной не менее одной смычки, указанной в
3.4.1.5.
3.3.1. Массы якорей, указанные в
табл. 3.2.1.1 и
3.2.1.2, относятся к якорям повышенной держащей силы.
Для признания якоря якорем повышенной держащей силы необходимо провести испытания по одобренной Программе испытаний. Требования к изготовлению якорей указаны в разд. 3 части III "Устройства, оборудование и снабжение" Правил классификации и постройки морских судов и гл. 3.5 части IV "Техническое наблюдение за изготовлением изделий" Правил технического наблюдения за постройкой судов и изготовлением материалов и изделий для судов. При положительных результатах освидетельствования якорей проверяется маркировка якоря, проставляется клеймо Регистра и оформляется Свидетельство.
Для снабжения судов также допускаются якоря следующих типов:
холла;
грузона;
адмиралтейские.
3.3.2. При установке двух якорей масса каждого отдельного якоря может отклоняться на величину до 7% от указанной в
табл. 3.2.1.1 и
3.2.1.2, при этом суммарная масса двух якорей не должна быть меньше предусмотренной.
3.3.3. Материалы для якорей должны соответствовать требованиям части XIII "Материалы" Правил классификации и постройки морских судов Регистра. Якоря массой более 75 кг и их якорные цепи должны быть испытаны в присутствии представителя Регистра. Якоря массой менее 75 кг и якоря, предназначенные для судов проектных категорий C1, C2, C3 и D, могут проходить соответствующие испытания на заводе-изготовителе без присутствия представителя Регистра.
3.3.4. Парусные однокорпусные и многокорпусные суда проектных категорий A, A1, A2, B и C должны быть укомплектованы плавучим якорем с диаметром раструба в пределах между 10% и 15% длины корпуса судна

.
Плавучий якорь должен быть укомплектован якорным канатом из трехпрядного нейлонового троса длиной, равной

и диаметром, эквивалентным буксирному канату для данного судна.
Для заглубления плавучего якоря должен быть предусмотрен груз массой около 20 кг.
3.4.1. Якорные канаты/тросы и цепи.
3.4.1.1. На судне водоизмещением 1,5 т и менее буксирный канат может использоваться в качестве якорного каната.
3.4.1.2. Якорные цепи могут иметь короткие звенья или звенья с распорками. Они должны изготовляться из мягкой стали или специальной стали в соответствии с требованиями части XIII "Материалы" Правил классификации и постройки морских судов.
3.4.1.3. Допускается использование якорных цепей с короткими звеньями, имеющими диаметр, определенный для якорных цепей с распорками.
3.4.1.4. Якорные канаты должны иметь длину в 1,5 раза больше по сравнению с указанной для якорной цепи в
табл. 3.2.1.1 и
3.2.1.2 и оснащены коушем на одном конце.
3.4.1.5. Между канатом и якорем должна быть вставлена на скобах якорная смычка, калибр которой определяется в соответствии с графой 6
табл. 3.2.1.1 или
3.2.1.2, и длиной согласно табл. 3.4.1.5.
Таблица 3.4.1.5
Калибр (номинальный диаметр) цепи якорной смычки, мм | Длина цепи якорной смычки, м |
6 - 8 | 6,0 |
9 - 16 | 12,5 |
Якорные цепи и якорные смычки должны иметь по концам усиленные звенья. Между якорем и якорной цепью должен быть предусмотрен вертлюг.
3.4.1.6. Крепление коренного конца якорной цепи к корпусу судна должно быть выполнено так, чтобы в случае опасности его можно было отдать в любое время с легкодоступного, безопасного для команды места. Коренной конец должен быть рассчитан на усилие по крайней мере на 15% больше номинального разрывного усилия цепи, но не более чем на 30%.
3.4.1.7. Для обслуживания якорей массой от 30 кг до 50 кг рекомендуется применение якорных лебедок. На парусных судах для отдачи и подъема таких якорей могут использоваться шкотовые лебедки.
3.4.1.8. Для обслуживания якорей массой более 50 кг применение якорных механизмов является обязательным. В качестве якорных механизмов рекомендуется использовать шпили или брашпили, судовые лебедки и т.п. механизмы.
3.4.1.9. Якорные механизмы должны отвечать требованиям
3.7. Если якоря с массой более 50 кг должны работать с тросами/канатами, якорная лебедка должна быть оснащена тросовым барабаном, позволяющим выполнять быструю отдачу коренного конца во всех возможных ситуациях. Безопасность его работы должна быть подтверждена практически.
3.4.1.10. На всех судах, где допускается использование буксирного троса в качестве якорного каната, должны быть предусмотрены детали, обеспечивающие соединение буксирного каната с цепной смычкой.
3.5.1. Для укладки якорной цепи должен быть оборудован цепной ящик.
Если один цепной ящик предназначается для двух цепей, то в нем должна быть предусмотрена внутренняя переборка, обеспечивающая раздельную укладку каждой цепи. Поперечные размеры и высота цепного ящика должны обеспечивать прямое и беспрепятственное прохождение цепи к трубе цепного клюза даже при полностью выбранной цепи.
3.5.2. На судах, имеющих цепной ящик, должны быть приняты меры по предотвращению затопления смежных отсеков при затоплении цепного ящика через трубы цепного клюза.
3.6. РАЗМЕЩЕНИЕ ЯКОРНОГО ОБОРУДОВАНИЯ НА СУДНЕ
3.6.1. При размещении якорного оборудования на судне должно быть учтено фактическое количество и масса якорей, форма обводов корпуса судна в районах штатного размещения элементов якорного оборудования, размещение деталей швартовного оборудования, а также расположение носовой форпиковой переборки, транцевой доски и переборок ахтерпика.
3.6.2. Взаимное расположение якорных клюзов, якорей, якорных цепей и цепного ящика должно обеспечивать укладку всей длины якорной цепи с минимальным использованием для этого ручного труда экипажа судна.
3.6.3. Штатными местами для якорей должны быть носовая и/или кормовая части судна. Тип и конструктивное оформление этих конкретных штатных мест хранения якорей на судне зависят от разработанного и принятого к реализации конкретного проекта судна, одобренного Регистром.
3.6.4. Независимо от типа, основным требованием к месту хранения является обеспечение надежности хранения на нем якоря при любых кренах и дифферентах судна, соответствующих его проектной категории.
3.6.5. Якорные клюзы должны удовлетворять следующим требованиям:
внутренний диаметр клюзового отверстия, если оно круглое, или наименьший диаметр, если оно овальное или близкое к овальному, должен быть не менее 10 калибров якорной цепи или четырех диаметров якорного каната, а толщина стенки трубы клюза должна быть не менее 0,5 калибра цепи;
если на судне используются стопоры для закрепления якорной цепи, то излом при ее прохождении через стопор и клюз должен быть минимальным.
3.6.6. Крепление якорей на судне должно обеспечивать их надежную фиксацию на местах укладки при любых реальных кренах и дифферентах судна.
3.6.7. Для судов проектных категорий A, A1, A2 и B надежное крепление якоря и якорной цепи "по-походному" должно обеспечиваться при предельно допустимых углах крена. Крепление и расположение якорной цепи в цепном ящике должно также обеспечивать, чтобы после возвращения судна в нормальное ходовое положение якорная цепь не была спутана, а находилась в состоянии, готовом к вытравливанию при необходимости отдачи якоря.
3.6.8. Стопоры, удерживающие якорь и якорную цепь, должны быть установлены так, чтобы стопорение и освобождение цепей якорей выполнялось безопасно и достаточно легко.
3.7.1. Область применения
| | ИС МЕГАНОРМ: примечание. В официальном тексте документа, видимо, допущена опечатка: пункты 3.4.10 и 3.4.11 в тексте документа отсутствуют. | |
Требования настоящей главы применимы к якорным механизмам (брашпилям, шпилям и лебедкам), которыми оборудуется судно в соответствии с требованиями 3.4.10 и 3.4.11.
3.7.2. Тип привода
3.7.2.1. Ручной привод допустим в качестве основного (первичного).
Рукоятки ручного привода должны быть снабжены защитой от обратного вращения.
3.7.2.2. Для брашпилей с приводом от источника энергии рекомендуется наличие аварийного привода, независимого от основного привода. Если аварийный привод является ручным, он должен быть устроен таким образом, чтобы включение привода, действующего от источника энергии, не могло стать источником какой-либо опасности.
3.7.3. Защита от перегрузки
Если привод якорного механизма может развивать момент, создающий момент на звездочке более 0,5 пробной нагрузки якорной цепи, то должна быть предусмотрена защита от превышения указанной нагрузки, устанавливаемая между приводом и механизмом.
3.7.4. Разобщительные муфты сцепления
Якорные механизмы должны иметь разобщительные муфты сцепления между звездочкой и приводным валом.
3.7.5. Тормоза
Якорные механизмы должны быть оснащены тормозами, которые гарантируют безопасное торможение и удержание якоря и цепи, когда звездочка отключена от вала. Кроме того, в случае несамотормозящегося механизма должны быть предусмотрены средства, предотвращающие полное вытравливание цепи при отказе привода с включенной звездочкой.
3.7.6. Цепные звездочки
Цепные звездочки якорных механизмов должны иметь не менее пяти кулачков. Для звездочек с горизонтальным расположением оси угол охвата цепью должен составлять не менее 115°, а с вертикальным расположением оси - не менее 150°.
3.7.7. Мощность и прочностные размеры
3.7.7.1 Должна быть обеспечена возможность подъема тройной массы якоря со средней скоростью 3 м/мин. В случае ручных брашпилей усилие на рукоятке не должно превышать 15 кг при радиусе приблизительно 35 см и частоте вращения 30 об/мин.
3.7.7.2. Должна быть обеспечена способность привода выдерживать кратковременную перегрузку при отрыве якоря от грунта.
3.7.7.3. Определение прочностных размеров элементов привода должно выполняться в соответствии с обычной практикой проектирования судовых механизмов на основе требований
разд. 3 части V "Механические установки. Механизмы. Системы и трубопроводы".
4. ШВАРТОВНОЕ И БУКСИРНОЕ УСТРОЙСТВА
4.1.1. Каждое судно должно оборудоваться швартовным устройством, обеспечивающим надежное и безопасное выполнение швартовных операций.
Проектирование швартовного устройства должно производиться в комплексе одновременно с проектированием якорного и буксирного устройств судна.
4.1.2. Швартовное устройство судна должно состоять из следующих основных механизмов и оборудования (с учетом водоизмещения и размеров судна):
механизмов, обеспечивающих швартовку судна;
швартовных канатов;
деталей и оборудования, служащих для закрепления и направления швартовных канатов (кнехты, киповые планки, роульсы, утки, швартовные клюзы и т.д.);
оборудования и устройств вспомогательного назначения, обычно используемых при выполнении операций по швартовке судна (стопоры швартовных канатов, вьюшки, кранцы, привальные брусья и т.д.).
При этом должно быть обеспечено, чтобы при любых вариантах швартовки на кнехте или швартовной утке крепился только один швартовный канат. Не допускается проводка более одного швартовного каната через бортовой швартовный клюз или киповую планку.
На каждом судне должен быть предусмотрен бросательный канат (линь) длиной не менее 16 м.
4.2. ШВАРТОВНОЕ ОБОРУДОВАНИЕ СУДНА
4.2.1. Каждое судно должно быть укомплектовано швартовными канатами в количестве:
1 шт. - для судов длиной

,
2 шт. - для судов длиной

.
Номинальный диаметр каната должен быть в соответствии с табл. 4.2.1.
Таблица 4.2.1
Номинальный диаметр каната
Водоизмещение судна, т | Номинальный диаметр трехпрядного крученого полиамидного каната <1>,  |
<= 0,2 | 10 |
0,6 | 12 |
1,0 | 14 |
2,0 | 14 |
6,0 | 16 |
12,5 | 18 |
25,0 | 20 |
50,0 | 22 |
75 | 24 |
100 и более | 26 |
|
Длина швартовных канатов должна быть:

- при комплектации судна одним канатом;
не менее

и

, соответственно - при комплектации судна двумя канатами.
4.2.2. Швартовные кнехты, битенги и утки должны быть изготовлены из металла (углеродистая конструкционная сталь, нержавеющая сталь, латунь, бронза, алюминий).
Литые кнехты и битенги, а также бортовые швартовные клюзы могут изготавливаться из чугуна. На судах длиной

до 6 м включительно швартовные утки могут быть изготовлены из дерева, окованного металлом, крепящиеся к установочному фундаменту или на деревянных судах - непосредственно к палубе судна.
4.2.3. Наружный диаметр тумбы кнехта или битенга должен быть не менее 5 диаметров швартовного синтетического каната, а высота - достаточной для размещения четырех наложенных друг на друга шлагов каната. Для обеспечения надежности закрепления швартовных концов на битенгах и кнехтах должны быть установлены краспицы диаметром не менее 1,2 диаметра швартовного каната.
4.2.4. Кнехты, битенги, утки, киповые планки, швартовные клюзы, а также их фундаменты должны быть выбраны таким образом, чтобы при действии на них усилия, равного разрывному усилию швартовного или буксирного, а также якорного каната или цепи, для которых они предназначены, напряжения в них не превышали 0,75 предела текучести их материала.
4.2.5. В качестве швартовных механизмов рекомендуется использование шпилей и лебедок с различными механическими приводами (ручным, электрическим или гидравлическим).
4.3. РАЗМЕЩЕНИЕ ШВАРТОВНОГО УСТРОЙСТВА НА СУДНЕ
4.3.1. Общее расположение швартовных механизмов и оборудования должно определяться размерами судна. Взаимное расположение швартовных механизмов и оборудования на судне должно обеспечивать безопасные и удобные условия работы со швартовными канатами.
4.3.2. Для обеспечения надежной швартовки судна к причальным сооружениям швартовные механизмы и оборудование должны размещаться в носовой и кормовой оконечностях судна.
4.3.3. При установке как швартовных механизмов с приводами, так и битенгов, и шпилей без приводов должна обеспечиваться возможность подачи (выборки) швартовных канатов на любой борт без соскальзывания этих канатов с барабанов, турачек, кнехтов, уток и роульсов в работе.
4.3.4. Для обеспечения равномерности укладки швартовных канатов на барабанах шпилей и лебедок расстояние от оси барабана швартовного механизма до устройства, изменяющего направление каната (клюза, киповой планки, роульса), должно быть не менее 7 длин барабана.
4.3.5. Расстояние от оси роульса до оси швартовного барабана (турачки) швартовного механизма должно быть не менее 50 диаметров швартовного каната.
4.3.6. Угол наклона каната, идущего с киповой планки на утки или кнехты, в вертикальной плоскости должен составлять не более 15°.
4.3.7. При общем расположении кнехта или швартовной утки в нос от мидель-шпангоута судна соответствующий ему клюз должен быть установлен еще дальше в нос от кнехта или утки. При расположении кнехта или швартовной утки в корму от мидель-шпангоута судна соответствующий ему клюз должен быть установлен еще дальше в корму от кнехта или утки.
4.3.8. Расстояние от киповой планки или швартовного клюза до соответствующих им кнехтов или швартовных уток не должно быть менее 40 диаметров швартовного каната.
4.4. БУКСИРНОЕ УСТРОЙСТВО
4.4.1. Общие положения
4.4.1.1. На каждом судне должна быть обеспечена возможность безопасной буксировки данного судна другим судном при ветре и волнении, характерными для категории проекта этого судна.
4.4.1.2. На моторных и моторно-парусных судах рекомендуется также предусмотреть возможность оказания буксировочной помощи другому судну, аналогичного данному или меньших размерений, своими штатными средствами с использованием собственного двигателя пропульсивной установки.
4.4.1.3. Выбор количества и номенклатуры оборудования и механизмов буксирного устройства, а также расположение их на судне должно производиться проектантом в соответствии с конструктивными особенностями корпуса и типом этого судна, а также спецификой его палубного оборудования.
4.4.2. Требования к буксирному устройству
Буксирное устройство судна должно состоять из:
оборудования для закрепления и направления буксирных канатов.
Проектирование буксирного устройства и разработка способов буксировки судна должны осуществляться комплексно с проектированием якорного и швартовного устройств.
4.4.3. Буксирный канат
4.4.3.1. Для моторного, моторно-парусного и парусно-моторного судна, если проектом предусматривается возможность оказания буксировочной помощи другому судну, рекомендуется производить проверку разрывного усилия буксирного каната по расчетной тяге двигателя. Разрывное усилие каната, кН, должно быть не менее:
где

- расчетная тяга, кН;
K - коэффициент запаса прочности для буксирного каната:
5 <= K <= 7 - для синтетических канатов;
K > 2 - для стальных тросов;

- эффективная мощность пропульсивной установки судна, кВт.
4.4.3.2. Длина буксирного каната, с учетом
4.4.3.1, должна составлять не менее величины, определяемой следующей зависимостью:
при этом полученная по указанной зависимости длина буксирного каната в зависимости от проектной категории судна должна быть не менее:
120 м - для судов проектной категории A;
100 м - для судов проектной категории A1 и A2;
70 м - для судов проектной категории B;
40 м - для судов проектных категорий C, C1, C2, C3 и D.
4.4.3.3. Буксирный канат на одном конце должен иметь огон, а на другом конце должна быть наложена соответствующая марка или применены иные приспособления, препятствующие его раскручиванию.
4.4.3.4. Буксирный канат может использоваться в качестве перлиня для вспомогательного якоря.
4.5. ШВАРТОВНЫЕ И БУКСИРНЫЕ КАНАТЫ
4.5.1. Швартовные и буксирные канаты могут изготавливаться из растительных или синтетических волокон. Разрывное усилие каната в целом должна соответствовать величинам, приведенным в табл. 4.5.1.
Таблица 4.5.1
Характеристики канатов из синтетических волокон
1. Значения характеристик и торговые названия |
Буквенное обозначение | Полиамид | Полиэфир | Полипропилен |
PA | PES | PP |
Торговое название | Perlon | Trevira | Poly |
Nylon | Diolen | Polyprop |
| Terylene | Hostalen |
Плотность, кг/дм3 | 1,14 | 1,38 | 0,19 |
Удлинение при разрыве, % | 35-50 | 20 - 40 | 20 - 40 |
Точка плавления, °C | 225 - 250 | 260 | 163 - 174 |
Светостойкость | хорошая | очень хор. | хорошая при УФ стабилизации |
2. Механические характеристики трехпрядных крученых канатов |
| | |
Номин. диаметр, мм | Миним. разрывное усилие <2>, кН | Номин. диаметр, мм | Миним. разрывное усилие <2>, кН | Номин. диаметр, мм | Миним. разрывное усилие <2>, кН |
6 | 7,35 | 6 | 5,80 | 6 | 5,90 |
8 | 13,20 | 8 | 10,50 | 8 | 10,40 |
10 | 20,40 | 10 | 16,80 | 10 | 15,30 |
12 | 29,40 | 12 | 24,00 | 12 | 21,70 |
14 | 40,20 | 14 | 33,70 | 14 | 29,90 |
16 | 52,00 | 16 | 43,40 | 16 | 37,00 |
18 | 65,70 | 18 | 54,80 | 18 | 47,20 |
20 | 81,40 | 20 | 68,20 | 20 | 56,90 |
22 | 98,00 | 22 | 82,00 | 22 | 68,20 |
24 | 118,00 | 24 | 98,50 | 24 | 79,70 |
26 | 137,00 | 26 | 115,50 | 26 | 92,20 |
<1> Отвечающие требованиям 6.2 части XIII "Материалы" Правил классификации и постройки морских судов и изготовленные по стандартам, согласованным с Регистром. |
<2> Следует учитывать, что минимальное разрывное усилие снижается в следующих случаях: |
сплесневание (около 10%); |
действие солнечной радиации; |
внутренний нагрев при работе; |
внешний нагрев от трения (клюзы, турачка шпиля). |
При наличии узлов следует принимать в расчет снижение прочности на 50%. |
При намокании тяговое усилие у полиамидных тросов снижается на 10 - 15%. |
Также могут применяться стальные тросы, изготовленные по стандартам, согласованным с Регистром.
4.5.2. Диаметр швартовного или буксирного каната не должен быть менее 10 мм.
4.5.3. Для изготовления швартовных и буксирных канатов должны применяться высококачественные материалы, отвечающие требованиям соответствующих действующих стандартов.
4.5.4. В зависимости от типа и в случае необходимости канаты из искусственных волокон могут содержать покрытие, защищающее его от ультрафиолетового излучения.
4.5.5. Любая обработка, направленная на предотвращение гниения каната и обеспечивающая водоотталкивающие свойства, не должна ухудшать другие его характеристики, снижать прочность или существенно увеличивать массу.
5. РАНГОУТ И ТАКЕЛАЖ СУДОВ С ПАРУСНЫМ ВООРУЖЕНИЕМ
5.1.1. Область распространения
5.1.1.1. Требования настоящего раздела распространяются на парусное вооружение парусных, парусно-моторных и моторно-парусных судов.
5.1.1.2. Требования настоящего раздела применимы при условии, что эксплуатация судна будет выполняться с соблюдением хорошей морской практики, при которой количество и площадь поднятых парусов не превышают установленных проектом судна для расчетной силы ветра.
5.1.1.3. Требования настоящего раздела составлены применительно к судам с парусным вооружением бермудского типа, наиболее широко используемого на малых прогулочных судах.
Применение требований настоящего раздела к судам с прямым или гафельным парусным вооружением, или парусным вооружением иного типа, является в каждом случае предметом специального рассмотрения Регистром, если конкретно не указано иное.
5.1.2. Определения и пояснения
5.1.2.1. В настоящем разделе приняты следующие определения и пояснения.
Бейдевинд - курс парусного судна относительно направления ветра, при котором его диаметральная плоскость составляет с линией ветра угол менее 90°, считая от носа судна.
Бушприт - горизонтальный или наклонный рангоут, укрепленный на носу судна и выступающий впереди форштевня.
Ванты - канаты стоячего такелажа, которыми укрепляются на борт судна мачты и стеньги.
Ванты нижние (основные) - ванты, удерживающие колонну мачты (от палубы к наиболее низкому узлу).
Вант-путенсы - металлические полосы на наружном борту судна, с набором которого крепятся к вант-путенсам нижние талрепы вант и фордунов.
Гафель - наклонный рангоут, упирающийся одним концом (своей "пяткой") в мачту и служащий для постановки четырехугольного триселя и топселя.
Гик - горизонтальный рангоут, закрепленный подвижно у нижней части мачты и служащий для крепления нижней шкаторины триселя.
Допустимая нагрузка - условная нагрузка, которая при долговременном действии не вызовет повреждений конструкции.
Кливер - треугольный передний парус, ставящийся над бушпритом.
Колонна мачты - нижняя часть мачты, от степса к нижнему узлу (крестовины, салинга и т.д.).
Коэффициент безопасности - частное при делении разрушающей нагрузки на допустимую нагрузку.
Неполный передний треугольник (мелкое вооружение) - схема такелажа, если точка крепления форштага находится на 0,75 - 0,9 высоты мачты.
5.1.2.2. Основные типы малых парусных судов.
Иол - тип двухмачтового парусного вооружения с грот и бизань мачтами, если бизань находится сзади головы баллера руля.
Кеч - тип двухмачтового парусного вооружения с грот и бизань мачтами, если бизань находится впереди головы баллера руля.
Шлюп - тип одномачтового парусного вооружения с гротом и стакселем.
5.1.2.3. Парусное вооружение
Высота переднего треугольника I - расстояние от точки крепления штага на мачте до точки пересечения линий передней кромки мачты с палубой или рубкой или продолжения, если необходимо.
Основа переднего треугольника J - расстояние от точки крепления штага на корпусе до точки пересечения линий передней кромки мачты с палубой или рубкой или продолжения, если необходимо.
Длина нижней шкаторины грота E - расстояние вдоль гака от передней до задней точки.
Высота подъема грота P - расстояние вдоль мачты от верхней кромки гика возле мачты или нижней точки грота до верхней точки грота.
Площадь парусов - состав парусов, предусмотренный для движения под парусом при обусловленной силе ветра и соблюдении требований относительно остойчивости судна и нагрузок на элементы вооружения. В зависимости от силы ветра допустимая площадь парусов, как правило, распределяется на основную, уменьшенную и штормовую.
Рис. 5.1.2.1. Основные размеры парусного вооружения
Площадь парусов основная - состав парусов, предусмотренный для движения под парусом курсом бейдевинд при ветре силой до 4 - 6 баллов, за исключением парусов для легкой погоды.
Площадь парусов уменьшенная - состав парусов, предусмотренный для движения под парусом курсом бейдевинд при ветре силой 6 - 7 баллов.
Площадь парусов штормовая - состав парусов, которые поднимают для движения под парусом курсом бейдевинд при силе ветра 8 баллов и более.
Пролет мачты - часть мачты между двумя очередными узлами.
Пяртнерс - специально обустроенное отверстие в палубе, сквозь которое проходит мачта.
Разрушающая нагрузка - условная нагрузка, которая вызовет повреждение конструкции в виде разрыва, изгиба, среза, потери форм и др.
Рангоут - совокупность приспособлений, служащих для постановки и несения парусов и др. (мачты, стеньги, реи, гафели, гики, бушприт, выстрелы и т.п.).
Салинг (рама из краспиц/крестовин) - поперечные брусья на мачте, упрочняющие ее при совместной работе с вантами.
Стаксель - треугольный парус, который устанавливается передней шкаториной по штагу.
Стеньга - рангоут, являющийся продолжением основной части мачты.
Такелаж - общее название всех снастей, служащих как для удержания рангоута в надлежащем положении, так и для подъема, спуска и поворачивания отдельных его снастей, а также для постановки и уборки отдельных парусов.
Такелаж бегучий - не закрепленный наглухо с ходовым концом, имеющим свободное движение.
Такелаж стоячий - удерживающий рангоут в надлежащем положении.
Тип парусного вооружения - особенности конструкции рангоута и форм парусов, а также такелажа, определяющие тип парусного вооружения судна, как показано на рисунке ниже:
Прямое
Гафельное
Бермудское
Топсель - треугольный парус, поднимаемый над гафелем.
Трисель - треугольный или четырехугольный парус, который устанавливается одной шкаториной по мачте.
Узел мачты - место крепления на мачте стоячего (неподвижного) такелажа.
Фордуны - снасти стоячего такелажа, поддерживающие стеньгу с боку и идущие от нее до вант-путенсов.
Штаги - канаты стоячего такелажа, которые служат для укрепления мачт в направлении оконечностей судна и несения парусов (стакселей и кливеров).
5.2.1. Давление от действия ветра на надводную часть судна
Допустимую нагрузку на такелаж судна следует определять в зависимости от среднего напора ветра p, кН/м2, определенного для принятой допустимой площади парусов, по меньшей мере для трех главных вариантов: основного, уменьшенного и штормового - по формулам (5.2.1.1-1) -
(5.2.1.1-2),
(5.2.1.2).
5.2.1.1. Однокорпусные суда
Давление ветра для однокорпусных судов:
где

- коэффициент, который учитывает вариант площади парусов:

- для основной площади парусов;

- для уменьшенной площади парусов;

- для штормовой площади парусов;
S - площадь проекции парусов, рангоута и корпуса судна к конструктивной ватерлинии при очерченной площади парусов, м2;
Z - вертикальное расстояние от центра величины к геометрическому центру площади парусов S, м;

- плотность воды, кг/м3;
D - водоизмещение судна, кН;

- наибольшая величина плеча восстанавливающего момента в границах углов наклона до 60°, м.
Для расчетов должно приниматься такое состояние загрузки судна, при котором произведение

будет наибольшим. Для судов длиной менее 15 м достаточно принять за D конструктивное водоизмещение

, а за

- наибольшую величину восстанавливающего момента в границах угла крена 90°.
где

- площадь i-го элемента;

- вертикальное расстояние от центра величины судна к центру площади элемента

;
n - количество элементов, на которые распределена площадь S.
В том случае, если известна полная характеристика остойчивости судна, можно пользоваться приближением:

- для парусных судов с внешним балластом;

- для остальных парусных судов;

- для моторно-парусных судов,
где

- начальная поперечная метацентрическая высота, м.
5.2.1.2. Многокорпусные суда
Давление ветра для многокорпусных судов, кН/м2:
где

- максимальный восстанавливающий момент, кНм, который необходимо принимать по наибольшей величине из двух максимальных восстанавливающих моментов:
для судна с минимальными запасами и минимальным экипажем;
для судна с полными запасами и максимальной численностью людей на борту;

- возможный прирост максимального восстанавливающего момента за счет применения устройств, изменяющих остойчивость судна во время движения, кНм;
5.2.2. Инерционные нагрузки от качки судна
Для однокорпусных судов необходимо принимать во внимание инерционные силы

, перпендикулярные к вехе мачты, возникающие при плавании с наклоном и при движении на волнении:
для основной площади парусов -
для уменьшенной и штормовой площади парусов -
где z, y - расстояние, соответственно, по вертикали и по ширине судна от центра масс судна до центра масс элемента вооружения, м;

- период поперечной качки судна, с, принимается

;

- длина судна по ватерлинии, м;

- вес элемента вооружения, кН.
5.2.3. Сжимающая сила от действия вант
Для определения размеров мачт необходимо для каждой мачты определить при допустимой нагрузке наибольшую сжимающую силу

, возникающую под действием вант. Силу

определяют как минимум для трех вариантов площади парусов по формуле:
где

- наклоняющая сила, возникающая от действия давления ветра и массовых сил, действующих на i-й узел, определенная по
формуле 5.3.2.2-1 или
5.3.2.2-2;

- расстояние по вертикали от палубы к i-го узлу, м;
b - расстояние по горизонтали от оси мачты к вант-путенсам, м.
5.2.4. Нагрузка для грот-мачты с типичным вооружением
Нагрузка на такелаж и рангоут типичных одномачтовых судов или иолов и кечей с бермудским типом парусного вооружения определяется при допустимой нагрузке, сжимающей грот-мачту при действии вант, в зависимости от силы

, определяемой по формулам (5.2.4.1-1) и
(5.2.4.2).
5.2.4.1. Для однокорпусных судов, кН:
где

- коэффициент восстанавливающего момента:

- для судов с внешним балластом и при

;

- для судов с внешним балластом и при

;

- для судов без внешнего балласта;

- для судов без балласта;

- расстояние по горизонтали от оси грот-мачты до вант-путенсов, м.

- восстанавливающий момент при крене судна 30°, кНм.
Для судов с внешним балластом

определяется со снаряжением, но без запасов и экипажа, а для остальных судов

следует принимать как большее из двух моментов: момент для снаряженного судна без запасов и экипажа

или момент для снаряженного судна с запасами и экипажем

.
Если величина

неизвестна, допускается принять:
где D' - водоизмещение снаряженного судна без запасов и экипажа;
D" - водоизмещение снаряженного судна с запасами и экипажем.
Для судов с внешним балластом и судов, имеющих конструкцию компромиссного типа, величину

допускается принять по приближенной формуле:
где D,

- водоизмещение и метацентрическая высота при соответствующем состоянии нагрузки.
5.2.4.2. Для многокорпусных судов, кН:
где

- максимальный восстанавливающий момент согласно
5.2.1.2;

- возможный прирост восстанавливающего момента согласно
5.2.1.2;

- расстояние по горизонтали от вехи грот-мачты к вант-путенсам, м.
5.2.5. Нагрузка для бизань-мачты с типичным вооружением
Сила

, сжимающая бизань-мачту типичных бермудских иолов и кечей под действием вант, определяется по формулам:
для однокорпусных судов -
для многокорпусных судов -
где

- если высота бизань-мачты не превышает 0,58 высоты грот-мачты;

- если высота бизань-мачты не превышает 0,68 высоты грот-мачты;

- если высота бизань-мачты не превышает 0,75 высоты грот-мачты.
Величины в скобках применяются к мачтам, дополнительно нагруженным штагом.
Для бизань-мачты с высотой более 0,75 высоты грот-мачты нагрузку следует определять в соответствии с
5.2.3;

- коэффициент восстанавливающего момента согласно
5.2.4.1;

- восстанавливающий момент при наклоне на угол 30°, кНм;

- максимальный восстанавливающий момент согласно
5.2.1.2;

- возможный прирост восстанавливающего момента согласно
5.2.1.2;

- расстояние по горизонтали от оси бизань-мачты до вант-путенсов бизань-мачты, м.
5.2.6. Прочие нагрузки
Если на мачте устанавливаются ступени для подъема наверх, то каждая ступень должна выдерживать нагрузку не менее 200 кг.
5.3.1. Общие положения
5.3.1.1. Проекция угла

между вантами и мачтой (см.
табл. 5.3.3.1-1) на плоскость, перпендикулярную к диаметральной плоскости, не должна быть менее 10°. Применение такелажа, у которого углы

, является предметом специального рассмотрения Регистром.
5.3.1.2. Для судов с конструктивным водоизмещением менее 1200 кг может применяться вооружение без бакштагов и ахтерштага. В этом случае необходимо, чтобы проекция угла

между нижними вантами и мачтой (см.
табл. 5.3.3.1-1) на диаметральную плоскость составляла не менее 5°.
5.3.1.3. Передние нижние ванты допускается заменить штагом колонны мачты. Угол между этим штагом и мачтой должен быть не менее 5° при типе такелажа "а" и "б" (см.
табл. 5.3.3.1-1) и 7,5° - для вооружения с неполным передним треугольником.
5.3.1.4. Для вооружения с неполным передним треугольником при применении одиночных задних нижних вант без штага колонны (см.
табл. 5.3.3.1-1, тип вооружения "в3"), крестовины должны быть отклонены от плоскости миделя в сторону кормы на угол, проекция которого на горизонтальную плоскость составляет от 20° до 32°.
Длина крестовин должна быть такой, чтобы проекция угла

(между верхними вантами, наклонными в корму, и мачтой) на диаметральную плоскость составляла не менее 5°, а проекция угла

(между этими вантами и мачтой) на плоскость, перпендикулярную к диаметральной плоскости, составляла не менее 10°. Нижние ванты должны быть также наклонны в корму таким образом, чтобы проекция угла

(между этими вантами и мачтой) на диаметральную плоскость составляла не менее 5°.
Для судов с типом такелажа "а" и "б"
(табл. 5.3.3.1-1) угол отклонения крестовин от плоскости миделя подлежит специальному рассмотрению Регистром.
5.3.2. Определение размеров такелажа общим методом
5.3.2.1. Для определения допустимых внешних нагрузок на мачту необходимо очертить заменяющие площади парусов F следующим способом:
1. Для бермудского типа вооружения заменяющая площадь F = 0,5S, которая приходится на мачту, принимается в виде прямоугольного треугольника (см. рис. 5.3.2.1.1).
Рис. 5.3.2.1.1
2. Для гафельного типа вооружения площадь паруса S делится на три части

,

и

.
Заменяющая площадь F, приходящаяся на мачту (см.
рис. 5.3.2.1.2), состоит из:
площади

, в виде прямоугольного треугольника;
площади

, сосредоточенной на месте блока Гарди;
площади

, сосредоточенной на месте блока дирикфала;
3. Для стакселя заменяющая площадь F, приходящаяся на мачту, сосредоточена в точке крепления штага и определяется по формуле
F = Sb/(a + b), (5.3.2.1.3)
где a и b - расстояния от оковок до центра площади паруса (см. рис. 5.3.2.1.3);
Рис. 5.3.2.1.3
4. Для брифока заменяющая площадь паруса F сосредоточена в месте подвешивания реи (см. рис. 5.3.2.1.4) и составляет: F = 0,675S.
Рис. 5.3.2.1.4
5.3.2.2. Допустимая внешняя нагрузка на мачту определяется воздействием силы

, приложенной в точках воздействия, т.е. в узлах мачты. Силу следует определять по крайней мере для трех вариантов площади парусов по формулам:
для однокорпусных судов -
для многокорпусных судов -
где

- заменяющая площадь парусов, м2, которая приходится на узел и определяется согласно
5.3.2.1;
p - среднее давление ветра для данного варианта парусного вооружения, которое определяется согласно
5.2.1;

- инерционная сила, определяемая в
5.2.2 и приведенная к i-му узлу
5.3.2.3. Силу

, возникающую в вантах под нагрузкой

, следует определять по крайней мере для трех вариантов площади парусов (основной, уменьшенной и штормовой) с помощью методов, общепризнанных в механике. Допускается также определение нагрузок на ванты графическим методом или с помощью расчетов, равнозначных черчению плана Кремона, с применением упрощений (например, не принимается во внимание такелаж подветренного борта и узлы мачты считаются шарнирами).
5.3.2.4. Размеры каждой ванты должны определяться по тому варианту площади парусов, при котором на нее будет действовать наибольшая сила

.
Разрывная нагрузка

, определяется по формуле
где

- коэффициент запаса прочности:

- для нижних вант;

- для других вант;

- сила, кН, возникающая в ванте под действием допустимой нагрузки, определяемая согласно
5.3.2.3.
5.3.2.5. Разрывную нагрузку для штагов

следует определять, исходя из действия давления ветра на соответствующий стаксель, по формуле:
где S - площадь стакселя, поднятого на данном штаге, м2;
p - среднее давление ветра согласно
5.2.1.
Необходимо принимать наибольшую из возможных величин S · p, определенных для разных допустимых вариантов площади парусов.
Однако сила

не может быть меньшей, чем определенная в зависимости от разрывной силы наиболее прочной ванты R:
где

- коэффициент прочности штага:

- для наиболее низкого штага и штага колонны мачты;

- для стень-штага и фордунов.
5.3.2.6. Разрывную нагрузку

, для ахтерштага, бакштага, фордунов и стень-вант следует определять по формуле
где

- коэффициент ахтерштага:

- для бакштага, фордунов и стень-вант;

- для ахтерштага;

- для ахтерштага при применении гика для стакселя;

- для ахтерштага при применении триселя с длиной нижней шкаторины более 1,3J, см.
рис. 5.1.2.1;

- коэффициент распределения нагрузки:

- для одного ахтерштага, а также для бакштагов;

- для двойных ахтерштагов;

- для фордунов и стень-вант;

- разрывная сила соответствующего штага, определенная согласно
5.3.2.5;

- угол между штагом и мачтой;

- угол между мачтой и: ахтерштагом, или бакштагом, или фордуном, или стень-вантой.
5.3.2.7. В случае применения натяжителя, вызывающего в тросе напряжение

, разрывное усилие этого троса

не может быть меньшим, чем определенное по формуле
5.3.2.8. Для реевых и гафельных парусов необходимо проверить, чтобы силы, возникающие в ахтерштагах, бакштагах, фордунах и стень-вантах на полных курсах под действием ветра давлением:
p = 0,250 кН/м2 - для основной площади парусов;
p = 0,572 кН/м2 - для уменьшенной площади парусов,
не превышали 0,5 от разрывного усилия применяемых тросов.
5.3.3. Такелаж некоторых типичных одномачтовых судов
5.3.3.1. Если такелаж одномачтового судна является типичным и соответствует указаниям
табл. 5.3.3.1-1 и
5.3.3.1-2 при выполнении условия:
IJ/PE <= 1,6, (5.3.3.1-1)
разрывные силы R в вантах, штагах и ахтерштагах можно определять по формуле:

- сила, сжимающая мачту под действием вант, согласно
5.2.4;
I - высота переднего треугольника, м;
J - нижняя основа переднего треугольника, м;
E - длина нижней шкаторины грота, м;
P - высота, на которую поднимается грот, м, см.
рис. 5.1.2.1.
|
|
|
|
|
Примечание: аш - ахтерштаг; бш - бакштаг; ш - штаг; шк - штаг колонны. |
Таблица 5.3.3.1-2
Величины коэффициентов k для такелажа грот-мачты
Тип такелажа | Ванта 1 единая | Штаг колонны (шк) | Ванта 1 двойная | Ванта 2 | Ванта 3 | Ванта 4 | Штаг (ш) |
Тип а | 1,4 | 1,3 | 1,3 | 1,15 | - | - | 1,2 |
Тип б | 1,3 | 1,25 | 1,25 | 1,5 | 0,8 | 1,15 | 1,2 |
Тип в | 1,4 | 0,8 | 1,3 | 1,2 | - | - | 1,1 |
5.3.3.2. Если нижние ванты расположены в плоскости мачты (вантовый штаг; тип такелажа "а3" и "б3"), то с целью обеспечения достаточного натяжения штага колонны следует устанавливать бакштаги.
5.3.3.3. Если угол

между вантами и мачтой в проекции на плоскость, перпендикулярную к диаметральной плоскости судна, превышает 10°, то при определении разрывных нагрузок для ванты вместо соответствующих коэффициентов k, указанных в
табл. 5.3.3.1-2, допускается принимать коэффициенты k', определяемые по формуле
Если угол

между штагом колонны и мачтой превышает 5° для топового вооружения или 7,5° - для вооружения с неполным передним треугольником, то вместо коэффициента k, указанного в
табл. 5.3.3.1-2 допускается принимать, соответственно, коэффициент k", определяемый по формуле
Коэффициент k" не должен приниматься менее 0,8k.
5.3.3.4. В случае применения натяжения ахтерштага за разрывную нагрузку форштага

, необходимо принимать наибольшую из двух величин, определяемых согласно
5.3.3.1 и формуле
где

- угол между ахтерштагом и мачтой;

- угол между форштагом и мачтой;

- напряжение ахтерштага под действием натяжения, кН,
5.3.4. Такелаж типичных иолов и кечей
5.3.4.1. Расчеты такелажа грот-мачты бермудских иолов и кечей можно осуществлять так же, как и для одномачтового судна в соответствии с
5.3.3.
5.3.4.2. Если такелаж бизань-мачты является типовым и соответствует указанному на
рис. 5.3.4.2, то разрывные нагрузки R в такелаже можно определить по
формуле (5.3.3.1-2), принимая соответствующие величины коэффициентов по табл. 5.3.4.2, а величину силы

для нее определить согласно
5.2.5.
Таблица 5.3.4.2
Величины коэффициентов и для такелажа бизань-мачты
Ванта 1 одинарная | Ванта 1 двойная | Ванта 2 | Ванта 3 | Штаг |
1,26 | 0,66 | 0,60 | 0,95 | 1,20 |
Рис. 5.3.4.2. Типовой такелаж бермудских иолов и кечей
5.3.5. Такелаж бушприта
5.3.5.1. При нагрузке бушприта в диаметральной плоскости судна силами, равными 0,625 разрывных нагрузок штагов, усилие в тросах или цепях ватерштагов не должны превышать 0,9 их разрывных усилий, а при применении прутьев - не должна быть превышена граница пластичности.
5.3.5.2. Поперечную нагрузку на бушприт следует принимать равную 0,165 разрывной нагрузки соответствующих штагов. Возникающие при этой нагрузке внутренние силы в ватербакштагах не должны превышать 0,9 разрывной нагрузки принятого троса или цепи, а при применении прутьев - не должна быть превышена граница пластичности.
5.3.6. Талрепы и оковка
Разрывное усилие требуемых талрепов и оковок

, следует определять в зависимости от разрывной нагрузки соответствующего троса по формуле:
где

- коэффициент талрепов и оковок:

- для талрепов вант;

- для талрепов штагов;

- для вант-путенсов;

- для штагов;

- для оковок на мачтах;
R - расчетное разрывное усилие соответствующего троса, кН.
При нагрузке, равной 0,9 от расчетного разрывного усилия соответствующего троса, не должны быть разорваны сплетения и обжатые концы на тросах.
5.4.1.1. Для судов с типовым такелажем, удовлетворяющим условиям
5.3.1.1, моменты инерции площади поперечного сечения пролетов мачты при изгибе поперек судна

, а также момент инерции площади поперечного сечения пролетов мачты при изгибе в диаметральной плоскости судна

не должны быть меньше определенных по формулам:

- коэффициент крепления мачты;

- для мачт, которые проходят сквозь палубу;

для мачт, установленных на палубе;
m - коэффициент, учитывающий характеристику материала;
m = 0,034 - для стали;
m = 0,100 - для сплава алюминия;
m = 0,725 - для древесины (сосна, ель);
m = 7060/E - для других материалов, где E - модуль Юнга, МПа;
l - длина рассматриваемого пролета, м;
h - расстояние по вертикали от палубы или пяты мачты, если мачта оперта на палубу, к месту крепления наиболее низкого штага, который несет паруса, м;

- сила, сжимающая мачту под действием вант, определяемая согласно
5.2.3,
5.2.4 или
5.2.5; при определении моментов инерции для верхних пролетов мачты силу

, следует уменьшить на величину:
0,14 - от разрывного усилия двойных нижних вант;
0,23 - от разрывного усилия одинарной нижней ванты;
0,20 - от разрывного усилия других вант, которые находятся ниже рассматриваемого пролета и его не нагружают; при этом надо иметь в виду ванты надводного борта.
Таблица 5.4.1.1
Величины коэффициентов пролета

Тип такелажа | Колонна мачты | Другие пролеты |
Без крестовин | | - |
Один салинг (пара крестовин) | | 3,5 (3,6) |
Два салинга и больше | | 3,8 |
Величины в скобках относятся к такелажу типа "в". |
Рис. 5.4.1.1-1. Коэффициент штага

для типов такелажа
а1, а2, в1 и в2
Рис. 5.4.1.1-2. Коэффициент штага

для типов такелажа
б1 и б2
1 - одинарные (на борт) нижние ванты;
2 - двойные (на борт) нижние ванты;
3 - штаг колонны мачты.
При применении штагов и ахтерштагов повышенной прочности, воспринимающих усилия, вызванные действием натяжителя, силу

необходимо увеличить, определяя прирост

к силе

по формуле
где

- принятое увеличение разрывного усилия троса, обусловленное действием закрепленного на нем натяжителя, кН;
При применении одинарных (на борт) нижних вант и штага колонны мачты для расчетов необходимо принимать большую из двух величин коэффициентов

.
5.4.1.2. В случае одинарных нижних вант, расположенных в плоскости мачты

при наличии штага колонны мачты и бакштагов, в вычислениях моментов инерции

следует принимать коэффициент штага

для такелажа типа "а3", либо

- для такелажа типа "б3".
Если приняты одинарные нижние ванты без штага колонны мачты и бакштагов (тип "а4", "б4" или "в4"), то для вычисления моментов инерции

следует принять коэффициент штага

. Для такелажа типа "а3" следует принимать коэффициент штага

.
Для такелажа с большим количеством крестовин (салингов) следует принимать коэффициент

так, как для такелажа типа "б".
5.4.1.3. Для судов с нетипичным неподвижным такелажем следует для расчетов мачт принимать следующие модели:
для изгиба поперек судна - балка, закрепленная одним концом упруго, на втором конце свободно закрепленная, с жесткой опорой на месте крепления нижних вант, см.
рис. 5.4.1.3.1.
для изгиба в диаметральной плоскости судна - балка, упруго закрепленная одним концом, на втором конце свободно закрепленная, с дополнительной упругой опорой на месте крепления нижних вант, см.
рис. 5.4.1.3-2.
б)
Упругое крепление в сечении пяртнерса учитывается влиянием подпалубной части мачты (
рис. 5.4.1.3-1а и
5.4.1.3-2а). Для мачты, которая стоит на палубе, следует вместо упругого крепления в сечении пяртнерса ввести шарнирную подпору (
рис. 5.4.1.3.1б и 5.4.1.3.2б).
Для вычислений следует принимать величину критической силы

, определяемую по формуле
не менее, чем:

- для мачт, нагруженных штагом, который несет парус;

- для остальных мачт,
где

- сила, кН, сжимающая мачту под действием вант, определяемая согласно
5.2.3,
5.2.4 или
5.2.5;

- сумма составляющих от разрывных усилий штагов и ахтерштагов, кН, направленных вдоль оси мачты.
5.4.1.4. Для мачт с постоянным поперечным сечением, сохраняющимся по крайней мере до 0,7 их высоты, у которых момент инерции поперечного сечения вблизи топа мачты составляет не менее 0,6 момента инерции поперечного сечения части с постоянным поперечным сечением, допускается не вычислять моменты инерции

пролетов, расположенных выше колонны, если их длина не превышает длину колонны.
5.4.1.5. Для мачт с переменным поперечным сечением или с большей конусностью, чем указана в 5.4.1.4, следует поделить каждый пролет на два или три равных отрезка и для вычисления величины моментов инерции

и

следует принять их средние значения I, см4, определенные по формулам;

-
если пролет разделен на два отрезка; (5.4.1.5-1)

-
если пролет разделен на три отрезка, (5.4.1.5-2)
где

,

,

и

- значения моментов инерции

или

в точках деления пролета, без учета местных усилий и напряжений.
Момент инерции самого слабого сечения не может быть менее 0,3 момента инерции самого прочного сечения.
5.4.1.6. При такелаже с неполным передним треугольником необходимо проверить, являются ли показатели прочности мачты при изгибе

и

, в пересечении крепления штага или ванты не менее определяемых по формулам:
где

- допускаемые напряжения для материала мачты при изгибе, МПа;

- восстанавливающий момент, согласно
5.2.4;

- расстояние, м, от топа мачты до места крепления вант, см.
рис. 5.4.1.6;
P - высота подъема грота, м, согласно
5.3.3.1;
R - разрывное усилие для штага, кН, согласно
5.3.3.1;

- расстояние, м, от топа мачты до места крепления штага, см.
рис. 5.4.1.6;

- угол между мачтой и штагом.
Рис. 5.4.1.6. Размеры топа мачты
Показатели прочности на изгиб на топе мачты не должны быть менее 0,2 соответствующего показателя в месте крепления штага или ванты. Если применяется штаг/контрштаг, обеспечивающий равноценную прочность мачты, то расчет по
формуле (5.4.1.6-2) не требуется.
5.4.1.7. Критерием предыдущего выбора площади поперечного пересечения мачты является:
достижение наименьшей массы, а именно, применение, как правило, полых деревянных мачт и трубчатых мачт из сплавов легких металлов;
достижение возможно большей жесткости мачты в направлении действия штагов, которая определяется моментами инерции площади ее поперечного сечения относительно диаметральной плоскости судна.
Стенки полых деревянных мачт не должны быть тоньше 18% от соответствующего размера поперечного сечения. Рекомендуется принимать толщину стенок, равную 20% от соответствующего размера поперечного сечения.
5.4.2. Крестовины
5.4.2.1. Момент инерции площади поперечного сечения крестовины

, относительно осей x и y не должен быть меньше вычисленного по формуле
где

- коэффициент материала:

- для стали;

- для сплавов алюминия;

- для древесины (ясень, дуб);

- для других материалов, где E - модуль Юнга, мПа;

- сила, сжимающая крестовину, кН;

- длина крестовины, м.
5.4.2.2. Проверка устойчивости и прочности крестовины на сжатие, а также прочности оковок на крестовине должна быть выполнена при нагрузке, равной

.
5.4.2.3. Конструкция оковки должна обеспечить удержание ванты, при этом крестовина не должна перемещаться вдоль ванты.
5.4.3. Гики
5.4.3.1. Для гиков парусов, имеющих мачтовую шкаторину, моменты сопротивления поперечного сечения на изгиб, см3, относительно горизонтальной

и вертикальной

осей не должны быть меньше определяемых по формулам:
где

- коэффициент, учитывающий свойства материала:

- для углеродной стали;

- для сплавов алюминия с пределом прочности на растяжение

;

- для древесины (сосна);

- для других материалов

, МПа;

- сила, Н, сжимающая мачту под действием вант, определяемая согласно
5.2.3,
5.2.4 или
5.2.5;

- длина гика, м.
5.4.3.2. При конструировании гиков необходимо принимать во внимание способ крепления и рифления парусов. Проектирование оковки гика требует учета надежности крепления его к мачте, а также крепления к нему шкота и топенанта. Оковка пятки гика должна удовлетворять условиям полного шарнира, то есть должно быть возможным вращение гика относительно трех осей.
5.4.4. Гафели
Выбор гафелей является предметом специального рассмотрения Регистра.
5.4.5. Бушприты
5.4.5.1. Если угол между ватерштагом и осью бушприта составляет 14° и более, то напряжения сжатия в бушприте при нагрузке, равной 0,625 разрывного усилия штагов, не должны быть больше:
0,68 предела прочности на сжатие - для деревянных бушпритов;
0,9 предела текучести - для металлических бушпритов.
5.4.5.2. Если угол между ватерштагом и осью бушприта составляет менее 14°, то необходимо определить напряжения изгиба и сжатия в бушприте при нагрузке, равной 0,625 разрывного усилия штагов. При этом сумма напряжений не должна превышать:
0,85 предела прочности на сжатие - для деревянных бушпритов;
предела текучести - для металлических бушпритов.
5.5. МАТЕРИАЛ РАНГОУТА И ТАКЕЛАЖА
5.5.1. Материалы для изготовления рангоута, такелажа, оковок и элементов соединения такелажа должны соответствовать требованиям части
XI "Материалы". Изделия, применяемые в рангоуте и такелаже, должны быть изготовлены в соответствии с нормативно-техническими документами, признанными Регистром.
5.5.2. Для изготовления стоячего такелажа должны применяться стальные канаты без органического сердечника. Проволоки тросов стоячего такелажа должны иметь цинковое покрытие в соответствии с признанными стандартами.
При необходимости могут применяться прутковая сталь и такелажные цепи.
5.5.3. В бегущем такелаже должны применяться канаты из растительных или синтетических волокон. Для судов, не оснащенных такелажными лебедками, рекомендуется применение синтетических канатов с многопрядным крученым сердечником, защищенным плетеной оболочкой.
Стальные канаты допускается применять в бегущем такелаже при условии, что для работы с ними предусмотрены лебедки.
5.6. МОНТАЖ И ЭКСПЛУАТАЦИЯ РАНГОУТА
5.6.1. Мачта, проходящая сквозь палубу, должна соответствующим образом крепиться в пяртнерсе. Рекомендуются следующие крепления:
расклинивание - для деревянных мачт;
с применением резиновых прокладок вокруг мачты - для тонкостенных металлических мачт.
При такелаже типа "а3" или "б3", см.
табл. 5.3.3.1-1, должны быть возможны перемещения в направлении нос-корма и ограничено движение поперек судна.
Шпор мачты, опирающейся на киль, должен надежно соединяться со степсом или соединительной конструкцией.
5.6.2. Рекомендуется создание натяжения в такелаже таким образом, чтобы:
исключить отклонения мачты в направлении, перпендикулярном к диаметральной плоскости судна, в то же время допускаются соответствующие отклонения мачты от прямолинейной формы в диаметральной плоскости судна;
подветренные ванты не провисали при наклоне судна на 35°, что отвечает начальному натяжению, равному 0,16 - 0,18 от разрывного усилия для применяемого троса (ванты такелажа типа "а3" или "б3", см.
табл. 5.3.3.1-1, должны натягиваться значительно слабее);
прогиб штагов не превышал 0,04 их длины в условиях движения судна под парусом курсом бейдевинд при нагрузке штагов парусом.
5.6.3. Рекомендуется применение шарниров на всех стяжках, а также на обоих концах форштагов.
5.6.4. Соединители такелажа должны быть соответствующей конструкции, исключающей случайные ослабления натяжения.
5.6.5. Деревянные мачты с электрическими проводами, проведенными внутри мачты, следует обеспечить защитой от возможного попадания и скопления воды внутри мачты.
5.6.6. Мачта парусного и парусно-моторного судна должна иметь не менее двух фалов, способных держать парус.
5.7.1. Комплектация парусами
5.7.1.1. Каждое судно должно иметь комплект парусов, обеспечивающий его эксплуатацию в предусмотренных условиях плавания.
| | ИС МЕГАНОРМ: примечание. В официальном тексте документа, видимо, допущена опечатка: таблица 5.7.1.2 в тексте документа отсутствует. Возможно, имеется в виду таблица 5.7.1. | |
5.7.1.2. Каждое судно должно иметь обязательный комплект штормовых парусов, удовлетворяющий требования табл. 5.7.1.2.
Таблица 5.7.1
Обязательный комплект штормовых парусов
Тип паруса | Проектная категория судна |
A, A1 и A2 | B | C | C1 | C2 | C3 | D |
Трисель | + | + | - | - | - | - | - |
Стаксель штормовой | + | + | - | - | - | - | - |
Стаксель уменьшенный | + | + | + | + | - | - | - |
Рифление грота | + | + | + | + | + | - | - |
5.7.1.3. Для судов длиной до 12 м проектных категорий C, C1 или C2 вместо уменьшенного стакселя и рифления грота могут быть использованы патент-риф и закрутки стакселя на штаг.
5.7.1.4. Альтернативно 5.7.1.3, для судов проектных категорий C, C1 или C2 вместо рифления грота может быть предусмотрен трисель.
5.7.1.5. Если судно оборудовано эффективной мачтой-крылом, то трисель не обязателен.
5.7.2. Размеры и конструкция парусов
5.7.2.1. Трисель
Площадь триселя должна быть не более 0,175PE, где P - высота подъема грота; E - длина нижней шкаторины грота.
Трисель должен иметь такую конструкцию, которая допускает его использование без применения гика. В триселе не допускается применение лат и фаловой планки.
5.7.2.2. Штормовой стаксель
Площадь штормового стакселя должна быть не более

, а длина его передней шкаторины не более 0,65I; где I - высота переднего треугольника. Штормовой стаксель должен иметь возможность ставиться без обтекателя форштага.
5.7.2.3. Уменьшенный стаксель
Площадь уменьшенного стакселя должна быть не более

; где I - высота переднего треугольника.
5.7.2.4. Возможность рифления грота
Необходимо обеспечить возможность уменьшения площади грота за счет использования рифления. При этом длина передней шкаторины зарифленного грота должна быть не более 0,6P в наиболее зарифленном состоянии.
5.7.3. Материал парусов
5.7.3.1. Настоящие требования к парусине, используемой для пошива парусов, распространяются на суда дедвейтом до 150 т.
Взамен парусины могут применяться специальные парусные ткани из синтетических материалов, если имеется соответствующий сертификат изготовителя, подтверждающий их назначение для этих целей.
Ткани из ароматических полиамидов, волокон углерода и подобных материалов запрещается применять для штормовых парусов.
Рекомендуется изготавливать штормовые паруса из яркого материала или наносить на них полосы красного, оранжевого или желтого цветов.
5.7.3.2. Для пошива парусов рекомендуется применение следующих типов парусины:
Гафельные паруса и фока-стаксель - парусина N 3.
Внутренний и наружный кливеры - парусина N 4.
Топселя и стакселя - парусина N 5.
Штормовые треугольные паруса - парусины N 2 и N 1.
6.1.1. Требования настоящего раздела распространяются только на сигнальные мачты, т.е. на мачты, предназначенные для несения сигнальных средств: огней, сигнальных фигур, антенн и пр. Если кроме сигнальных средств мачты или их части несут на себе грузовые стрелы или другие грузоподъемные устройства, то эти мачты или их части должны отвечать требованиям Правил по грузоподъемным устройствам морских судов.
Требования, изложенные в
6.2 -
6.4, не распространяются на стоечные суда. Сигнальные мачты стоечных судов должны обеспечивать возможность несения сигнальных средств.
6.1.2. Расположение, высота и оснащение сигнальных мачт сигнальными средствами должны отвечать требованиям
11.3.
6.1.3. Если сигнальные мачты устраиваются заваливающимися, то для операций с ними должны быть установлены специальные механизмы, либо должна быть предусмотрена соответствующая проводка от других палубных механизмов. Привод механизма может быть ручным, если сам механизм является самотормозящимся, а усилие на рукоятке в любой момент заваливания или подъема мачты не превышает 160 Н.
6.2. МАЧТЫ, РАСКРЕПЛЕННЫЕ СТОЯЧИМ ТАКЕЛАЖЕМ
6.2.1. Наружный диаметр d и толщина стенки t у основания мачт, мм, изготовленных из стали с верхним пределом текучести от 215 до 255 МПа, раскрепленных с каждого борта двумя вантами, должны быть не менее:
d = 22l; (6.2.1-1)
t = 0,2l + 3, (6.2.1-2)
где l - длина мачты от основания до места закрепления вант, м.
При сохранении толщины стенки по всей длине l диаметр мачты может постепенно уменьшаться кверху, достигая у места закрепления вант значения 0,75d.
Длина мачты от места закрепления вант до топа должна быть не более 1/3l.
Раскрепление мачты вантами должно быть следующим:
1. Расстояние a, м, точки крепления нижнего конца ванты от поперечной плоскости, проходящей через точку крепления ванты к мачте, должно быть не менее:
a = 0,15h, (6.2.1.1)
где h - высота точки крепления ванты к мачте над точкой крепления нижнего конца этой ванты, м;
2. Расстояние b, м, точки крепления нижнего конца ванты от продольной плоскости, проходящей через точку крепления ванты к мачте, должно быть не менее:
b = 0,30h. (6.2.1.2)
3. Расстояние a не должно быть больше b.
6.2.2. Разрывное усилие тросов в целом F, кН, для вант, раскрепляющих мачту, как указано в
6.2.1, должно быть не менее:
Во всем остальном тросы для вант должны отвечать требованиям 3.15 части XIII "Материалы" Правил классификации и постройки морских судов.
Съемные детали вант (скобы, талрепы и т.п.) должны быть выбраны таким образом, чтобы их допускаемая нагрузка была бы не менее 0,25 разрывного усилия в целом тросов, указанных выше.
изготовления мачты из стали повышенной прочности, легких сплавов, стеклопластика или дерева (дерево должно быть 1-го сорта);
раскрепления мачты стоячим такелажем иначе, чем указано в
6.2.1;
установки на мачте, кроме реи, огней и сигнальных фигур, также другого оборудования, при этом значительного по массе, например, радиолокационных антенн с площадками для их обслуживания, "вороньих гнезд" и т.п.,
следует поступать, как указано в
6.4.
6.2.4. Проволоки тросов стоячего такелажа должны иметь цинковое покрытие в соответствии с признанными стандартами.
6.3. МАЧТЫ, НЕ РАСКРЕПЛЕННЫЕ СТОЯЧИМ ТАКЕЛАЖЕМ
6.3.1. Наружный диаметр d и толщина стенки t, мм, у основания мачт, изготовленных из стали с верхним пределом текучести от 215 до 255 МПа, должны быть не менее:
t = 1/70d, (6.3.1-2)
где l - длина мачты от основания до топа, м;
a - возвышение основания мачты над центром тяжести судна, м.
Наружный диаметр мачты может постепенно уменьшаться кверху, достигая на расстоянии 0,75l от основания 0,5d.
Толщина стенки мачты в любом случае не должна быть менее 4 мм.
Закрепление мачт у основания должно соответствовать жесткой заделке во всех направлениях.
изготовления мачты из стали повышенной прочности, легких сплавов, стеклопластика или дерева (дерево должно быть 1-го сорта);
установки на мачте, кроме реи, огней и сигнальных фигур, также другого оборудования, особенно значительного по массе, например, радиолокационных антенн с площадками для их обслуживания, "вороньих гнезд" и т.д.
следует поступать, как указано в 6.4.
6.4. МАЧТЫ ОСОБОЙ КОНСТРУКЦИИ
6.4.1. В случаях, указанных в
6.2.3 и
6.3.2, а также при установке двуногих, трехногих и других подобных мачт должен быть произведен подробный расчет прочности этих мачт. Этот расчет должен быть представлен на рассмотрение Регистру.
6.4.2. Расчет должен исходить из того, что на каждый элемент мачты действует горизонтальная сила

, определяемая по формуле
где

- масса элемента, кг:

- возвышение центра тяжести элемента над центром тяжести судна, м;

- площадь парусности элемента, м2;
T - период свободных колебаний судна, с;

- амплитуда качки судна, рад;
r - полувысота волны, м;
g - ускорение силы тяжести, равное 9,81 м/с2;
p - удельное давление ветра, Па, принимаемое соответственно категории судна.
Расчет должен быть произведен как при бортовой, так и при килевой качке; при этом следует принимать

, соответствующей углу 40° при бортовой качке и 5° - при килевой.
6.4.3. При действии нагрузок, указанных в
6.4.2, элементы конструкций мачты должны удовлетворять требованиям, изложенным в
5.4.1.
7. ОГРАЖДЕНИЯ НА ОТКРЫТЫХ ПАЛУБАХ
7.1.1. Открытые пространства палуб, где могут находиться люди, должны ограждаться по периметру фальшбортом или леерным ограждением, тросовым либо релингами (трубчатыми леерами), достаточной прочности, с высотой не менее 900 мм над палубой и расстоянием между леерами не более 300 мм, если в
7.1.3 и
7.1.4 не указано иное. Расстояние между нижним релингом палпита и судовой конструкцией (палубой) не должно превышать 360 мм. На всех судах с промежуточными леерами высота нижнего леера над рабочей палубой должна быть не более 230 мм.
Смежные поверхности также должны быть безопасны для перемещения людей во всех предусмотренных ситуациях.
Интервалы между стойками леерного ограждения не должны превышать 2,2 м.
Если общая линия ограждений прерывается бортовыми или кормовым проходами, то эти проходы должны быть снабжены надежными закрытиями.
7.1.2. На судах, в проекте которых предусматривается размещение детей на судне, леерное ограждение должно быть обтянуто сеткой с размером диагонали ячейки не более 100 мм.
7.1.3. Стоечные суда должны иметь высоту ограждений не менее 1100 мм, при этом расстояние между промежуточными леерами не должно превышать 250 мм, а расстояние между палубой и самым нижним промежуточным леером не должно превышать 230 мм.
7.1.4. На парусных судах допускается устанавливать ограждение с высотой не менее указанной в табл. 7.1.4, если ограждение высотой 900 мм создает помехи в работе с парусным вооружением.
Таблица 7.1.4
Проектные категории | Высота ограждения, мм | Примечания |
A | 600 | |
A1, A2 и B | 600 | |
450 | |
C | 450 | |
C1, C2, C3 и D | 450 | Для палубных судов (см. типы A, B и C в 1.2 части IV "Остойчивость, запас плавучести и надводный борт") [3] |
C2, C3 и D | | Для палубных судов с  |
[1] На каждом борту судна должен иметься проход достаточной ширины с нескользящей поверхностью и выступом, требуемым 7.1.8. |
[2] На каждом борту судна леера, ведущие к кокпиту, должны удовлетворять требованиям 7.3 и 7.4. |
[3] Рекомендуется носовой палпит. |
[4] Рекомендуется кормовой палпит. Если кормовой палпит не предусмотрен, то леерное ограждение должно идти от носового палпита до кормовой кромки кокпита и вокруг задней части кокпита. |
[5] Леерное ограждение не требуется, если обеспечиваются другие меры безопасности, соответствующие типу судна, в том числе поручни и захваты на рубках. |
7.1.5. На судне с открытым в корму кокпитом должны устанавливаться соответствующие страховочные леера таким образом, чтобы не было вертикальных проемов, превышающих 500 мм.
7.1.6. На парусном судне со штагом должно устанавливаться впереди и вокруг штага сплошное или сетчатое носовое ограждение по крайней мере такой же высоты, что и прилегающие релинги.
Сетчатое ограждение с размером диагонали ячейки более 250 мм не должно применяться.
Для доступа к бушприту или проведения швартовных операций допускается наличие проема в передней части ограждения. В этом случае должны быть предусмотрены страховочные леера, позволяющие закрыть этот проем, и установленные согласно
7.1.5.
7.1.7. Трапы, ведущие во внутренние помещения судна, сходные люки и переходные мостики должны быть оборудованы поручнями.
7.1.8. На судах проектных категорий A, A1, A2 и B в местах установки леерного ограждения должен быть предусмотрен выступ палубы у борта высотой не менее 25 мм, предотвращающий соскальзывание ступни человека за борт.
7.1.9. Релинги и леерные стойки на всех судах должны быть прочно закреплены. Если есть гнезда или штыри, они должны быть закреплены сквозными болтами, вклеены или приварены. Крепления релинга (релингов) и/или леерных стоек должны механически удерживать их без помощи лееров. Релинги и/или леерные стойки без гнезд или штырей, должны быть закреплены сквозными болтами, вклеены или приварены.
7.1.10. Леера должны быть изготовлены из многожильного стального нержавеющего троса, диаметром не менее указанного в табл. 7.1.10.
Таблица 7.1.10
Длина корпуса судна, м | Минимальный диаметр троса, мм |
| 3,0 |
| 4,0 |
| 5,0 |
7.2.1. Релинги и леерные стойки должны быть прочно закреплены на палубе судна. Если применяются тросовые леера, то заделка концов тросов должна быть прочной, надежной и основываться на использовании традиционных схем, основанных на плетении огонов с использованием коушей или на применении специальных стальных обжимок, одевающихся на трос со вставленным в огон коушем.
7.2.2. Для натяжения лееров рекомендуется использование специальных натяжных талрепов, изготовленных из нержавеющей стали.
Тросовый талреп из синтетического троса допускается на всех судах для натяжения лееров, при условии, что перекрываемый им промежуток не превышает 1000 мм. Все тросы, детали и места крепления, а также любые стропки должны образовывать систему сплошного леерного ограждения, которая во всех точках обладает разрывной прочностью, по меньшей мере равной прочности троса, требуемого для лееров.
7.2.3. Весь крепеж и любые детали, входящие в систему тросовых леерных ограждений, должны обладать разрывной прочностью в 1,2 раза выше прочности леерного троса.
7.2.4. Леера должны постоянно поддерживаться леерными стойками и не должны проходить с наружной стороны леерных стоек.
7.2.5. Леерные стойки и релинги в местах крепления лееров должны иметь соответствующие приспособления или отверстия для обеспечения прочного крепления к ним леера.
7.2.6. Полная высота релинга или палпита в носу и на корме парусного судна должна быть не менее указанной в табл. 7.2.6.
Таблица 7.2.6
Высота релингов в оконечностях судна
Длина судна, м | Проектные категории | Минимальная высота, мм |
При однородном леере | |
| A, A1 и A2 | Неприменимо | 610/305 |
B | 560/280 |
C и C1 | 460 | 560/280 |
| A | Неприменимо | 610/305 |
A1 и A2 |
B |
C и C1 |
<1> Через дробь указана высота до оси среднего релинга. |
7.2.7. Оси оснований стоек релингов и леерных стоек не должны отстоять внутрь от бортовой кромки рабочей палубы на величину 5% максимальной ширины корпуса судна или 150 мм, в зависимости от того, что больше. Основания леерных стоек не должны находиться за пределами рабочей палубы.
При изготовлении леерные стойки испытываются на прочность. При стендовых испытаниях в направлении, перпендикулярном к оси, стойки должны выдерживать нагрузку в 560 Н без разрушений.
При установке на судне ось леерной стойки не должна отклоняться более чем на 10° от вертикали в любой точке выше 50 мм над палубой при воздействии на леерную стойку пробной нагрузкой в 280 Н в горизонтальном направлении перпендикулярно лееру.
7.2.8. Основание стойки или релинга должно включать втулку или гнездо, в которое вставляется стойка или релинг, но не должно включать пластину основания, через которую может осуществляться соединение с палубой или корпусом.
7.2.9. Основания леерных стоек и палпита должны иметь у опоры момент сопротивления, см3, не менее:
где a - интервал между стойками, м;
h - высота стойки, м;

- предел текучести материала, МПа.
Основания леерных стоек и палпита должны быть закреплены при помощи сквозных болтов или приварены.
Вставные стойки должны иметь фиксацию у основания.
7.2.10. Если судно имеет бушприт, то в районе бушприта палпит может иметь только средний жесткий леер, однако при этом должно быть предусмотрено приспособление для установки верхнего леера для обеспечения целостности палпита по горизонтали в штормовых погодных условиях.
7.2.11. При заделке концов тросов обязательным является обеспечение:
1. Изолированности каболок и прядей троса в месте контакта с деталью (нагелем), о который он трется. Это обеспечивается наличием коуша;
2. Радиуса изгиба троса не менее минимально допустимого для данного диаметра и материала.
7.3. ШТОРМОВЫЕ СТРАХОВОЧНЫЕ ЛЕЕРА
7.3.1. На парусных судах проектных категорий A, A1, A2 и B должны быть предусмотрены в снабжении штормовые страховочные леера, а также соответствующие места и крепления для их установки. Для парусных судов проектных категорий C и C1 установка таких лееров рекомендуется.
Штормовые страховочные леера предназначены для подвижного крепления к ним индивидуальных страховочных поясов команды и пассажиров судна.
7.3.2. Штормовые страховочные леера устанавливаются на палубе судна по обоим бортам в районе ватервейсов или недалеко от фальшбортов с внутренней стороны от леерных стоек.
7.3.2.1. Каждый штормовой страховочный леер должен иметь свое индивидуальное крепление в носовой (в районе штага) и в кормовой (в районе кормовых стоек релинга над кокпитом) частях судна.
7.3.2.2. В районах выходов людей из внутренних помещений на палубу штормовой страховочный леер должен располагаться таким образом, чтобы человек имел возможность пристегнуться к нему раньше, чем выйдет полностью на палубу. Человек должен оставаться пристегнутым к штормовому лееру даже при поперечных перемещениях по палубе в районах оконечностей судна, а также в средней части судна, если это необходимо для работы с парусным вооружением.
7.3.2.3. Для штормового страховочного леера должен применяться трос из нержавеющей стали диаметром не менее 8 мм и значением предела текучести материала не менее 220 МПа или равнопрочный ему синтетический.
7.3.2.4. Длина штормового страховочного леера должна выбираться в соответствии с конкретными размерами судна, его палубы и установленного на ней оборудования, но не менее той, которая необходима для нормальных перемещений людей по палубе судна, пристегнутых своими страховочными линями к штормовым леерам.
7.3.2.5. Если на судне установлено носовое ограждение с открытой передней частью, штормовые страховочные леера должны быть проведены достаточно далеко вперед, чтобы обеспечить защиту людей, работающих за ограждением палпита, например, на бушприте.
7.4. КРЕПЛЕНИЯ ДЛЯ СТРАХОВОЧНЫХ ПОЯСОВ
7.4.1. На открытой палубе должны быть предусмотрены эффективные средства для закрепления линей страховочных поясов, включая штормовые леера по сторонам и на концах рубок.
7.4.2. Места закрепления поясов должны быть расположены с учетом вероятной необходимости работ на палубе и над палубой. В общем случае места закрепления должны быть предусмотрены в следующих местах:
1. У выходов на палубу;
2. По обеим сторонам кокпита.
7.4.3. Если специально не оговорено иное, леера (стационарные или съемные) должны проходить по обоим бортам судна, чтобы дать возможность членам экипажа перемещаться вдоль верхней палубы при плохих погодных условиях.
7.5.1. На судах проектных категорий A, A1, A2 и B по контуру основной палубы должен быть установлен фальшборт высотой не менее 900 мм от палубы. На судах проектных категорий C, C1 и C2 фальшборт может быть установлен только в носовой части судна. На парусных судах проектных категорий B, C, C1 и C2 фальшборт может не устанавливаться.
7.5.2. Если из каких-либо соображений принимается меньшая высота фальшборта, то на планшире фальшборта должно быть установлено леерное ограждение для обеспечения требуемой высоты. Фальшборт должен иметь сплошной планширь, за исключением мест, где установлены изделия швартовно-буксирного устройства.
7.5.3. Если фальшборт на открытых палубах образует места скопления воды, то должны быть предусмотрены эффективные мероприятия по ее удалению (штормовые портики и шпигаты). Общая площадь штормовых портиков и шпигатов одного борта должна обеспечивать эффективное удаление основной массы воды с палубы при нулевом крене не более, чем за 15 с.
7.5.4. Фальшборт, независимо от места установки на основной палубе, не должен отстоять от ширстрека на величину более 5% максимальной ширины корпуса судна или 150 мм, в зависимости от того, что больше.
7.5.5. Прочность фальшборта должна соответствовать требованиям части
II "Корпус".
7.6. ЛЕЕРА ПАРУСНЫХ СУДОВ
7.6.1. Общие положения
Для целей данной главы термин "ограждение" может употребляться вместо термина "леер" и/или "релинг".
Для многокорпусных судов любые отклонения высот палубных ограждений, величин интервалов в ограждениях, креплений ограждений являются предметом специального рассмотрения Регистром.
7.6.2. Постоянный релинг
7.6.2.1. Постоянный носовой релинг (впереди форштага) и кормовой релинг (если только леера не смонтированы как равноценная замена кормовому релингу) должен быть предусмотрен на однокорпусных судах проектных категорий A, A1, A2, B, C и C1.
Для судов длиной до 8,5 м допускается, чтобы носовой релинг находился в корму от форштага при условии, что верхняя передняя перемычка релинга находится в пределах 405 мм от форштага.
7.6.2.2. Тримаран, независимо от проектной категории, должен быть оборудован носовым релингом на главном корпусе. Этот релинг с каждого борта должен быть соединен с верхними и нижними леерами, окружающими главный корпус и поддерживаемыми стойками. Леера могут прерываться там, где размещаются сетки или поперечные крылья за пределами главного корпуса.
7.6.2.3. Катамаран, независимо от проектной категории, должен быть оборудован носовым и/или кормовым релингом, на котором оканчиваются леера.
7.6.2.4. На всех судах высота верхних поручней релингов над рабочей палубой должна быть не ниже верхних лееров, высота которых над ватерлинией должна быть по существу такой же, как высота верхнего леера у передней части кокпита.
7.6.3. Леера
7.6.3.1. Допускается не крепить леера к носовому релингу, если они крепятся или проходят через достаточно раскрепленные стойки, установленные внутри носового релинга и перекрываемые носовым релингом так, чтобы зазор между верхним леером и носовым релингом не превышал 150 мм.
Для судов с длиной корпуса 5,5 м и менее леерное ограждение и кормовой релинг рекомендуются, однако носовой релинг является обязательным.
7.6.3.2. На всех судах леера должны иметь постоянные поддерживающие средства и не должны проходить с наружной стороны леерных стоек.
7.6.3.3. На всех судах леера должны быть достаточно натянуты. Когда к лееру посередине между стойками прикладывается отклоняющая сила 50 Н, леер не должен прогибаться более, чем на 50 мм.
7.6.4. Опорные подкосы и окончания на однокорпусных судах
При условии, что замкнутое леерное ограждение поддерживается стойками и релингами, основания которых находятся в пределах рабочей палубы, окончания лееров и опорные подкосы могут быть закреплены на корпусе в корму от рабочей палубы.
7.6.5. Сетки-трамплины, леера, стойки и релинги всех многокорпусных судов.
7.6.5.1. Сетки-трамплины должны быть из прочной, плотно переплетенной ткани водопроницаемой выработки или плетеными с ячейкой не более 50,8 мм (2 дюйма). Точки их крепления на конструкции яхты должны быть расположены так, чтобы избежать истирания. Соединения между трамплинами или сетками и судном должны быть таким, чтобы нога человека не могла застрять в них.
7.6.5.2 Сетка-трамплин должна быть прочно закреплена на поперечных и продольных линях через равные промежутки и крепко пришита к ликтросу. Лини, используемые для натяжения сеток, должны натягиваться индивидуально или не более четырех точек крепления подряд могут подсоединяться к одному соединительному линю.
7.6.5.3. Сетка-трамплин должна выдерживать полный вес экипажа как в нормальных рабочих условиях плавания, так и в случае переворачивания судна.
7.6.5.4. Тримаран с двумя поперечными балками должен иметь сетку, закрывающую пространство между основным корпусом и каждым из вспомогательных боковых корпусов/поплавков.
На тримаране сетка в носовой части каждого борта крепится в точке крепления носового релинга основного корпуса и средней частью носовой поперечной балки. В кормовой части сетку с каждого борта рекомендуется крепить в районе кокпита или поста управления, в зависимости от того, что из них расположено дальше в корму, и точкой пересечения кормовой поперечной балки и вспомогательного корпуса/поплавка.
7.6.5.5. Если сетка простирается до основания релинга, должен быть предусмотрен дополнительный леер от верха релинга до середины носовой поперечной балки или снаружи от нее.
7.6.5.6. У тримаранов с одной поперечной балкой между главным корпусом и каждым бортовым корпусом/поплавком сетка должна располагаться по меньшей мере между двумя прямыми линиями, идущими от точки пересечения поперечной балки с поплавком, одна - до кормового конца носового релинга главного корпуса в передней части яхты, другая - до самой кормовой части кокпита или поста управления (в зависимости от того, что из них расположено дальше в корму) в кормовой части яхты.
7.6.5.7. У тримаранов с постом управления на поплавке, даже если он используется только иногда (например, как аварийный пост управления), независимо от наличия на нем кокпита, такие поплавки должны быть оборудованы леерами, которые должны простираться до поста управления, защищая его по дуге радиусом 3 м и с центром на посту управления. Когда производится измерение между леерами, размеры должны браться при натянутых леерах.
7.6.5.8. У катамаранов общая поверхность сетки должна быть ограничена:
1. С боков - корпусами;
2. В продольном направлении - сечением, проходящим через основание штага, и сечением, проходящим через самую заднюю точку гика, когда гик находится в диаметральной плоскости.
Катамаран с центральной кабиной, не касающейся воды, может удовлетворять требованиям для тримарана.
7.6.5.9. Каждый корпус катамарана должен быть оборудован леерами, идущими от носа до транца.
Катамараны, у которых нет носовой или кормовой поперечной балки, должны быть оборудованы поперечными леерами на краях сетки впереди и сзади. Эти леера должны быть прикреплены к носовым и кормовым релингам или стойкам. Тесьма, строп или трос диаметром не менее 6 мм, проведенные зигзагом, должны соединять леера и сетку.
8. ОСНОВНЫЕ, ЗАПАСНЫЕ И АВАРИЙНЫЕ ВЫХОДЫ
8.1.1. Каждый корпус судна, в котором есть жилые помещения, независимо от категории проекта, должен иметь по меньшей мере два выхода: основной и аварийно-спасательный.
Каждый корпус многокорпусного судна проектных категорий A, A1, A2, B, C, C1 и C2, имеющий жилые помещения, должен иметь люк для прохода в корпус и выхода из него в случае опрокидывания.
Каждое жилое помещение, которое либо используется для сна или отдыха, либо подвержено повышенному риску пожара, должно иметь два выхода: основной и аварийный.
Только в исключительных случаях может быть допущен один, основной выход, ведущий на открытую палубу, когда установка второго выхода отрицательно влияет на общую безопасность судна. При этом длина такого помещения не должна превышать 8 м.
8.1.2. Выходы должны быть постоянно доступны, а их закрытия - находиться в постоянной готовности для открытия их изнутри и снаружи помещения без применения специального инструмента.
8.1.3. Выход, расположенный в верхней части помещения, должен быть снабжен трапом, ступенями или иными постоянно закрепленными точками опоры, с расстоянием от верхней точки опоры до центра отверстия выхода не более 1,2 м.
8.1.4. Все выходы, кроме главного, должны иметь соответствующую маркировку и надпись "Выход" или "Аварийный выход".
8.1.5. Когда предусматривается единственный выход из указанного в
8.1.1 помещения, на судне обязательно должны быть установлены эффективные детекторы дыма и соответствующая система оповещения о пожаре, способном отрезать путь к единственному выходу из помещения находящихся в нем людей.
8.1.6. Все однокорпусные парусные суда длиной 8,5 м и более, независимо от проектной категории, должны иметь по меньшей мере два выхода (основной и аварийно-спасательный) из корпуса судна. Один выход должен быть расположен впереди передней мачты, кроме случая, когда конструктивные особенности не позволяют его установить.
8.1.7. Каждый выходной люк должен открываться как снаружи, так и изнутри.
8.1.8. В случае опрокидывания судна аварийно-спасательный люк не должен находиться под водой.
8.1.9. Минимальные размеры выходов
Люки должны иметь следующие минимальные характеристики в свету:
при круглой форме - диаметр в свету не менее 450 мм;
при любой другой форме - наименьший размер 380 мм и площадь не менее 0,18 м2 в свету комингса, при этом просвет по комингсу люка должен иметь такую конфигурацию, чтобы в него вписывался круг диаметром 380 мм. Некоторые примеры показаны на рис. 8.1.9.
Рис. 8.1.9
8.1.10. Конструкция закрытий
8.1.10.1. Крышки аварийных люков должны свободно открываться изнутри и снаружи, когда они закрыты, но не задраены.
8.1.10.2. Петля или петли крышки аварийного люка, который открывается наружу, должны быть такими, чтобы крышка люка не могла быть вырвана ударом волны, когда люк частично или полностью открыт.
8.1.10.3. Когда для закрытия вертикального отверстия используются сдвижные щиты или закладные доски, они должны быть установлены и закреплены таким образом, чтобы исключалось их смещение при любом крене или дифференте судна.
8.2. ПУТИ ЭВАКУАЦИИ НА СУДАХ ДЛИНОЙ 15 М И МЕНЕЕ
8.2.1. Расстояние до ближайшего выхода на открытую палубу судна не должно превышать 5,0 м. Если путь к выходу проходит рядом с машинным отделением, это расстояние не должно превышать 4,0 м.
Это расстояние измеряется в горизонтальной плоскости, как кратчайшее расстояние между центром выхода и самым дальним местом помещения, где человек может стоять, на средине высоты (высота не менее 1,6 м).
8.2.2. Если предусмотрен только один путь эвакуации, он не должен проходить над варочным или отопительным прибором.
8.2.3. Если жилые или спальные места отделены от ближайшего выхода переборкой с дверью или иным подобным образом, и этот выход находится за камбузом или машинным отделением, то должен быть предусмотрен второй выход.
8.3. ПУТИ ЭВАКУАЦИИ НА СУДАХ ДЛИНОЙ БОЛЕЕ 15 М
8.3.1. Общие требования
8.3.1.1. Один из путей эвакуации через, над или около машинного отделения может быть допущен только при наличии второго.
8.3.1.2. Если расстояние от ближайшей из сторон пути эвакуации до камбузной плиты или горелки любого иного прибора с открытым пламенем составляет менее 750 мм, наличие второго пути эвакуации обязательно.
8.3.1.3. Для камбуза, расположенного в отдельном помещении, второй выход не требуется, если тупиковая его часть, расположенная за плитой, составляет не более 2,0 м.
8.3.1.4. Любой путь эвакуации не должен проходить над камбузной плитой или отопительным прибором с открытым пламенем.
8.3.2. Открыто расположенные помещения
Если жилые или спальные помещения не отделены от ближайшего выхода, т.е. перемещение людей не требует прохода через любую дверь, исключая выход из туалета или душевой, должны выполняться следующие требования:
1. Расстояние к ближайшему выходу не должно превышать

;
2. Это расстояние должно быть измерено в горизонтальной плоскости как кратчайшее между ближайшей частью выхода и самым дальним местом помещения, где человек может стоять, в средине высоты (высота не менее 1,6 м).
8.3.3. Замкнуто расположенные помещения
8.3.3.1. Если жилые или спальные помещения отделены от ближайшего главного выхода переборками и дверями, для путей эвакуации и выходов из помещений должны быть выполнены следующие условия.
8.3.3.2. Каждая группа помещений, в пределах отсека, должна иметь более одного пути эвакуации, выходящего в конце на открытую палубу, за исключением одиночной каюты или отсека, предназначенного для размещения не более четырех человек, с выходом на открытую палубу, исключающим прохождение вблизи или над машинным отделением или над камбузом.
8.3.3.3. Для индивидуальных кают, предназначенных для размещения не более четырех человек и не содержащих варочные или нагревательные приборы с открытым пламенем, аварийные выходы могут являться коллективным путем эвакуации длиной до 2,0 м, измеренный от двери или выхода до места слияния двух аварийных выходов.
8.3.3.4. Помещения душевых и туалетов рассматриваются как часть помещения или коридора, куда выходят их двери, и обособленного аварийного выхода не требуют.
8.3.3.5. При многоуровневом расположении помещений выходы должны вести к различным частям или отсекам судна, насколько это возможно.
9. ЛЮКИ, ДВЕРИ, ИЛЛЮМИНАТОРЫ, ОКНА, КРЫШКИ И ГОРЛОВИНЫ
Требования настоящего раздела распространяются на все типы закрывающих устройств, устанавливаемых на малых прогулочных судах.
Материалы, применяемые в закрывающих устройствах, должны соответствовать требованиям
части X "Противопожарная защита".
9.1. ОПРЕДЕЛЕНИЯ И ПОЯСНЕНИЯ
9.1.1. В настоящем разделе приняты следующие определения и пояснения.
Водонепроницаемость - способность закрывающего устройства или приспособления предотвратить проникновение воды внутрь судна.
Входная дверь - дверь или иное закрывающее устройство, закрывающее проход к помещениям команды.
Глухой иллюминатор - иллюминатор, оборудованный неоткрывающимся стеклом.
Закрывающее устройство - изделие, используемое для закрытия отверстий в корпусе или надстройке судна. Например - окна, бортовые иллюминаторы, штормовые крышки, крышки люков, двери, сдвижные устройства, люки аварийных выходов.
Люк аварийного выхода - изделие, предназначенное для обеспечения выхода и служащее средством спасения жизни в случае аварии или опрокидывания судна.
Окно - изделие, снабженное стеклом. "Иллюминатор" обычно обозначает малогабаритное окно.
Палубный иллюминатор - глухой иллюминатор, устанавливаемый в настилах открытых палуб для обеспечения доступа света в помещение.
Палубный люк - изделие, устанавливаемое на палубах и наклонных стенках надстроек или рубок.
Район расположения оборудования - один из районов внешней поверхности судна, как изложено ниже и показано на
рис. 9.1.1:
Район I - бортовая часть корпуса судна, расположенная ниже ватерлинии, включая внутренние борта многокорпусного судна и транец.
Район II (IIa или IIb) - открытые участки палуб корпуса, а также стенки 1-го яруса надстроек и рубок в пределах

от носового перпендикуляра;
бортовая часть корпуса судна, расположенная выше ватерлинии, включая внутренние борта многокорпусного судна и транец;
открытые участки палуб корпуса, 1-го яруса надстроек или рубок, днище кокпитов, а также наружные стенки 1-го яруса надстроек и рубок при их наклонах к горизонту менее 25° в продольном направлении, а в поперечном направлении; менее 50° - для парусных однокорпусных или менее 25° - для парусных многокорпусных и моторных судов.
Район III - наружные стенки 1-го яруса надстроек и рубок, не входящие в район I или II.
Район IV - палубы и наружные стенки 2-го и выше ярусов надстроек и рубок. Части района III, защищенные от прямого воздействия волн. Стенки внутри кокпита, тыловые стенки надстроек и рубок всех ярусов.
Моторные суда
Парусные однокорпусные
Парусные многокорпусные
a) Район I
Моторные суда
Парусные однокорпусные
Парусные многокорпусные
b) Район II (IIa и IIb)
Моторные суда
Парусные однокорпусные
Парусные многокорпусные
c) Район III
Моторные суда
Парусные однокорпусные
Парусные многокорпусные
d) Район IV
Рис. 9.1.1. Типовые районы для малых судов. Районы условно
показаны в виде заштрихованных участков
Сдвижное закрытие - устройство, которое может сдвигаться (скользить) в пазах или раме.
Сдвижное закрытие рамное - устройство, имеющее плоскость, механически скрепленную с рамой, которая может скользить в пазах.
Сдвижное закрытие безрамное - устройство, имеющее плоскость, скользящую в пазах или раме.
Створчатый иллюминатор - иллюминатор с открывающимся стеклом, обеспечивающий доступ воздуха в помещение.
Степень водонепроницаемости - способность закрывающего устройства или приспособления противостоять проникновению воды, согласно следующим условиям воздействия:
Степень 1 - обеспечена непроницаемость под напором в погруженном состоянии.
Водонепроницаемыми считаются элементы конструкции корпуса судна или закрытия отверстий в корпусе, которые предотвращают любое проникновение воды при воздействии жидкости под указанным давлением без ограничения по времени воздействия.
Степень 2 - обеспечена непроницаемость при воздействии волн (временное погружение в воду, накат волн и другие возможные влияния).
Водонепроницаемыми считаются элементы конструкции корпуса судна или закрытия отверстий в надводной части корпуса, которые предотвращают любое проникновение воды внутрь корпуса при воздействии в течение одной минуты давления воды, соответствующего водяному столбу высотой 10 м, или струи воды под давлением не менее 100 кПа в течение 10 мин на всю поверхность и элементы конструкции или закрытия с расстояния не более 1,5 м.
Степень 3 - обеспечена непроницаемость при непогоде.
Водонепроницаемыми считаются элементы конструкции корпуса судна или закрытия отверстий в надводной части корпуса, которые предотвращают любое проникновение воды внутрь корпуса при воздействии струи воды под давлением не менее 100 кПа на всю поверхность и элементы конструкции или закрытия с расстояния не более 3,0 м.
Степень 4 - обеспечена брызгонепроницаемость.
Закрытие считается брызгонепроницаемым, если при воздействии на всю поверхность и элементы закрытия рассеянной струей воды под напором не менее 100 кПа с расстояния не более 3,0 м оно пропускает только небольшое количество воды внутрь корпуса.
Штормовая крышка - вторичное водонепроницаемое закрытие, присоединенное к окну, люку или двери, которое может быть присоединено снаружи или изнутри судна.
9.2.1. Обеспечение водонепроницаемости.
9.2.1.1. Во избежание затопления все изделия должны быть изготовлены и смонтированы так, чтобы соответствовать требуемой степени водонепроницаемости, когда они закрыты.
9.2.1.2. Степень водонепроницаемости изготовленного закрывающего устройства должна быть проверена его изготовителем перед установкой на судно.
| | ИС МЕГАНОРМ: примечание. В официальном тексте документа, видимо, допущена опечатка: требование 9.10 в тексте документа отсутствует. Возможно, имеется в виду требование 10.6. | |
9.2.1.3. Степень водонепроницаемости любого закрывающего устройства, установленного на внешние поверхности судна, должна быть испытана в соответствии с требованиями
9.10.
9.2.1.4. Степень водонепроницаемости любого закрывающего устройства, установленного не на внешние поверхности судна, должна быть проверена на меловый оттиск по уплотнению.
9.2.2. Минимальная степень водонепроницаемости.
9.2.2.1. Требуемая минимальная степень водонепроницаемости закрывающего устройства зависит от района расположения на судне и района плавания судна. Требуемая минимальная степень водонепроницаемости указана в табл. 9.2.2.
Таблица 9.2.2
Минимальная степень водонепроницаемости
Тип судна | Район расположения изделия | Тип изделия | Проектные категории |
A, A1, A2 и B | C и C1 | C2 и C3 | D |
Все суда | Район I | Все | 1 | 1 | 1 | 1 |
Район II | Все | 2 | 2 | 3 | 4 |
Сдвижная крышка люка сходного трапа | 3 | 4 |
Район III | Все | 2 |
Парусные однокорпусные суда | Район IV | Все | 3 | 3 |
Моторные | Все | 4 |
Все многокорпусные суда |
Примечание. Указанные степени водонепроницаемости относятся не только к закрытиям. Степень водонепроницаемости любого устройства, не являющегося частью закрытия (например, вентилятор) должна отвечать требованиям настоящих Правил. Водонепроницаемость закрытий и комплектующих изделий, установленных в кокпитах, должна отвечать настоящим требованиям. |
9.2.2.2. Необходимая степень водонепроницаемости любого изделия после установки на судне должна отвечать требованиям 9.10 и
табл. 9.2.2.
Если строителем судна проводятся испытания закрытий и комплектующих изделий перед установкой их на судно, должен использоваться метод, требуемый в 9.10.
9.2.3. Дополнительные требования по водонепроницаемости
9.2.3.1. Сдвижные закрытия не должны применяться в районе I.
9.2.3.2. Крышки палубных люков на боковых корпусах тримаранов не должны быть сдвижными.
9.2.4. Общие требования к отверстиям и их закрытию в корпусе, на верхней палубе, в надстройках и рубках.
При монтаже изделий должны выполняться требования, указанные в табл. 9.2.4-1 и
9.2.4-2:
Таблица 9.2.4-1
Изделие | Проектные категории |
A, A1, A2 и B | C, C1, C2 и C3 |
Крышки палубных люков | | |
Крышки кокпитов | | |
Сдвижные крышки | | |
Доступы в каюты | | |
Вентиляционные каналы для жилых помещений | | |
Вентиляционные каналы для МО | | |
Все трубы | | |
Швертовый колодец | | |
Труба цепного клюза | | |
[1] - Закрытие, обеспечивающее непроницаемость степени 2. |
[2] - Брызгонепроницаемое закрытие. |
[3] - Для судов, не использующих паруса для движения: |
все закрытия (отверстия), погружаемые в воду при крене в диапазоне от 0 до 50°, если ситуация требует, должны предусматриваться защищенными от атмосферных влияний, чтобы гарантировать предел остойчивости до 50°; |
суда с пределом остойчивости менее 50° не освобождаются от необходимости выполнения этого требования. |
Для судов, которые могут использовать паруса для движения: |
все закрытия (отверстия), погружаемые в воду при крене в диапазоне от 0 до 90°, если ситуация требует, должны предусматриваться защищенными от атмосферных влияний, чтобы гарантировать предел остойчивости до 90°; |
суда с пределом остойчивости менее 90° не освобождаются от необходимости выполнения данного требования. |
[4] - Высота комингса должна быть по крайней мере 50 мм. Съемные комингсы на судах проектной категории C2 должны соответствовать требованию [5]. |
[5] - Высота комингсов дверей, ведущих в подпалубные пространства, не должна быть менее величин, указанных в табл. 9.2.4-2. |
[6] - Могут располагаться только выше главной палубы в защищенных местах таким образом, чтобы даже при плохой погоде двигатели могли сохранять работоспособность как можно дольше. |
[7] - Должна предусматриваться возможность организации закрытия, защищающего от атмосферных воздействий (например, укрывание брезентом) в случае штормовой погоды. |
[8] - Расстояние безопасности от плоскости действующей ватерлинии до самой низкой точки, где не обеспечивается водонепроницаемость, должно быть по крайней мере 100 мм. Части швертового колодца выше этого уровня могут быть брызгонепроницаемыми. |
[9] - Могут располагаться только на палубе надстройки или рубки. Люки со сдвижными крышками в передней части судна должны иметь высоту комингса не менее 150 мм над палубой надстройки или рубки. |
Расположение | Высота комингсов, мм |
Моторные суда | Парусные суда |
В боковых и задних стенках, доступных с главной палубы | 150 | 150 |
В боковых и задних стенках, доступных из кокпита | 380 | 460 |
от пола кокпита | от пола кокпита |
Везде, если этот доступ ведет непосредственно в подпалубные пространства | 460 | 460 |
Примечание: Съемные комингсы в проемах дверей должны допускать их фиксацию на месте установки. |
9.2.5. Дополнительные требования к изделиям, расположенным в районе II
9.2.5.1. Нижняя кромка любого открывающегося отверстия изделий должна располагаться от ватерлинии судна на расстоянии не менее указанного в
6.4.2 -
6.4.5 части IV "Остойчивость, запас плавучести и надводный борт".
Минимальный неподкрепленный размер изделия не должен превышать 300 мм.
Указанные требования не применяются к крышкам аварийных эвакуационных люков парусных судов.
9.2.5.2. Все открывающиеся изделия должны открываться внутрь, за исключением палубных крышек и крышек эвакуационных люков на парусных судах.
9.2.5.3. На судах проектных категорий A, A1, A2, B, C или C1 не допускается, чтобы любая часть обрамления дельной вещи, установленная на борту судна, выступала за касательные к борту корпуса плоскости, проходящие через точки пересечения с бортовыми кромками палубы, либо привального бруса, вмонтированного кранца или встроенного обтекателя, если они являются неотъемлемой частью корпуса.
9.3. ЗАЩИТА ОТ АТМОСФЕРНЫХ ВОЗДЕЙСТВИЙ
9.3.1. Общие требования к крышкам люков
Люки, ведущие во внутренние помещения судна, должны быть снабжены средствами их брызгонепроницаемого закрытия. Крышки люков могут быть откидывающимися на петлях или шарнирах, сдвижными на ползунах или роликах, однако во всех случаях они должны быть постоянно прикреплены к судну и снабжены необходимыми запирающими устройствами, способными удерживать их в закрытом положении при кренах и дифферентах, возможных в назначенных судну условиях плавания. Люки с откидывающимися крышками, расположенные в нос от передней мачты, должны иметь петли, установленные только на передней кромке люка.
9.3.2. Люки, открытые на ходу судна.
В общем случае в море все входные люки должны быть закрыты. Однако, если люк может быть открытым в море в течение длительного времени, то он должен отвечать следующим требованиям:
1. Иметь минимальные размеры, насколько это выполнимо (площадь вертикального просвета должна быть не более 0,4 м2 в плане);
2. Располагаться в ДП или настолько близко к ДП, насколько это выполнимо;
3. Быть установлен на судах проектных категорий A, A1, A2, B, C или C1 таким образом, чтобы открываться на высоте не менее 300 мм над уровнем верхней палубы, прилегающей со стороны открывания.
9.3.3. Глубина шпунтового паза на сдвижных крышках
Глубина шпунтового паза должна быть достаточной, чтобы не допускать выскакивания полотнища. Для полотнищ без рамки, сделанных из пластиков или материалов с подобным модулем упругости, эта глубина должна быть по крайней мере 12 мм.
9.3.4. Упоры
Сдвижное устройство должно быть оснащено упорами на каждом конце его хода, чтобы предотвратить выход из пазов скользящей части устройства (рамки).
9.3.5. Замки (запирающие устройства)
Каждое изделие должно иметь запирающее устройство, удерживающее его в закрытом положении и действующее по крайней мере изнутри.
На дверях эта система должна действовать с обеих сторон.
На судах проектных категорий A, A1, A2, B, C или C1, если дверь, ведущая в помещения команды, используется совместно с крышкой люка сходного трапа, запирающее устройство должно действовать тогда, когда и дверь и люк закрыты вместе. В этом случае, если дверь сходного трапа выполнена с "закладными досками", запирающее устройство может действовать между верхней панелью "закладных досок" и люком.
9.4.1. Все наружные двери могут быть установлены только выше палубы надводного борта или над днищем кокпита.
Водонепроницаемость наружных дверей, в зависимости от места их установки, должна быть 2, 3 или 4 степени.
9.4.2. Носовые двери
Устройство носовых дверей допустимо лишь в случае, если вода при случайном проникновении через них ни в коем случае не может проникнуть в помещения, расположенные под палубой надводного борта.
9.4.3. Бортовые и кормовые двери
9.4.3.1. Высота комингса для бортовых и кормовых дверей на судах проектных категорий A, A1 и A2 должна быть не менее 300 мм. Для судов проектных категорий B, C или C1 эта высота может быть уменьшена до 230 мм.
9.4.3.2. На судах проектных категорий C2 или C3 высота комингсов дверей сходных люков, тамбуров сходных трапов и отверстий для доступа в надстройки и рубки должна быть не менее 150 мм.
9.4.3.3. На судах проектной категории D высота комингсов дверей сходных люков, тамбуров сходных трапов и отверстий для доступа в надстройки и рубки должна быть не менее 50 мм.
9.4.3.4. Двери должны быть постоянно навешенными
Двери, имеющие водонепроницаемость 2 или 3 степени, для открывания, закрывания и задраивания должны иметь быстродействующие приспособления, которыми можно оперировать с обеих сторон.
Все наружные двери должны открываться наружу, открывание внутрь надстройки или рубки является в каждом случае предметом специального рассмотрения Регистром.
9.4.3.5. Число задраивающих устройств на двери, имеющей водонепроницаемость 2 или 3 степени, должно быть не менее двух на каждой кромке двери в непосредственной близости от каждого угла двери. Расстояние между задраивающими устройствами не должно быть более 1,5 м.
9.4.4. Наружные двери, имеющие водонепроницаемость 2 или 3 степени, должны быть изготовлены из металла.
Наружные двери, имеющие водонепроницаемость 4 степени, допускается изготавливать из дерева или других неметаллов.
9.4.5. Двери на палубе надводного борта в надстройку или рубку, открывающие доступ непосредственно в МО или подпалубные пространства корпуса, должны быть водонепроницаемыми, а высота их комингсов не должна быть ниже 460 мм над палубой.
9.4.6. Дверные проемы со съемными секциями "закладные доски"
Двери, сделанные со съемными секциями, обычно называемыми "закладными досками", допускаются к использованию на судах проектных категорий C1, C2, C3 или D, при этом:
1. Они должны быть оснащены устройством для удерживания их в рабочем положении, когда они используются, и приводиться в действие по крайней мере изнутри;
2. Их хранение на судне должно быть непосредственно вблизи проема двери;
3. Они должны быть простыми в использовании без применения инструментов;
4. Если съемные секции закладных досок не используются, то они должны иметь места постоянного хранения и крепления.
9.5.1. Количество иллюминаторов в наружной обшивке корпуса судна ниже палубы надводного борта должно быть сведено к минимуму, совместимому с конструкцией и условиями эксплуатации судна, включая исключение их повреждения при возможных швартовках к другим судам.
Иллюминаторы в наружной обшивке корпуса в районе машинного отделения не допускаются.
9.5.2. Иллюминаторы в наружной обшивке корпуса судна, установленные ниже палубы надводного борта, должны быть глухими, круглой формы.
Иллюминаторы в световом люке машинного отделения должны быть глухими.
Если допущено применение открывающихся иллюминаторов в указанном районе, то должно быть обеспечено выполнение требований
6.4.2 и
6.4.3, а также и
2.6 части IV "Остойчивость, запас плавучести и надводный борт".
9.5.3. Иллюминаторы могут быть круглыми и прямоугольными. В любом случае иллюминаторы должны иметь размеры соответственно категории проекта и гарантировать водонепроницаемость.
9.5.4. На судах проектных категорий A, A1 или A2, бортовые иллюминаторы не должны располагаться так, чтобы их нижние кромки оказались ниже линии, проведенной параллельно палубе надводного борта и имеющей свою самую низкую точку на расстоянии 500 мм над летней грузовой ватерлинией.
Для судов проектных категорий B или C это расстояние может быть уменьшено до 300 мм, а для судов проектных категорий C1, C2, C3 или D - до 150 мм.
9.5.5. Иллюминаторы в наружной обшивке корпуса ниже палубы надводного борта и в лобовых стенках закрытых надстроек и рубок первого яруса, а также лобовых стенках закрытых надстроек и рубок второго яруса на 0,25 длины судна

от носового перпендикуляра должны быть:
тяжелыми, со штормовыми крышками, постоянно навешенными на их корпусе - на судах проектных категорий A, A1 или A2;
нормальными, со штормовыми крышками, постоянно навешенными на их корпусе - на судах проектных категорий B, C или C1;
облегченными, без штормовых крышек - на судах проектных категорий C2, C3 или D, однако они должны быть водонепроницаемыми и глухими, т.е. неоткрывающимися.
Окна надстроек, рубок и тамбуров сходных трапов судов проектных категорий C1, C2, C3 или D, расположенные над палубой надводного борта, могут быть только непроницаемыми при непогоде и открывающимися.
9.5.6. Иллюминаторы в закрытых надстройках и рубках первого яруса, кроме указанных в
9.5.5, должны быть:
нормальными, со штормовыми крышками, постоянно навешенными на их корпусе - на судах проектных категорий A, A1 или A2;
облегченными, со штормовыми крышками, постоянно навешенными на их корпусе - на судах проектных категорий B, C или C1.
9.5.7. Иллюминаторы в закрытых надстройках и рубках второго яруса, кроме указанных в
9.5.5, должны быть такими же, как это требуется в 9.5.6, если эти иллюминаторы дают непосредственный доступ к открытому трапу, ведущему в расположенные ниже помещения.
В каютах и подобных помещениях закрытых надстроек и рубок второго яруса вместо иллюминаторов, указанных в
9.5.6 допускается устанавливать иллюминаторы или рубочные окна без штормовых крышек.
9.5.8. Иллюминаторы и окна надстроек, рубок и тамбуров сходных трапов на судах проектных категорий C1, C2, C3 или D, расположенные над палубой надводного борта, могут быть только водонепроницаемыми при непогоде и открывающимися, однако стекло должно быть безосколочным, толщиной не менее 6 мм.
9.5.9. Иллюминаторы, установленные на корпусе судна ниже уровня верхней палубы, должны обладать водонепроницаемостью, а их прочность должна быть не менее прочности конструкций корпуса в местах, где они установлены.
9.5.10. Не допускается установка иллюминаторов в основном корпусе многокорпусных судов ниже уровня верхней палубы, если прочность стекла или способа его крепления к раме не эквивалентна прочности, требуемой для элементов конструкции, на которых они закреплены.
9.5.11. На судах проектных категорий A, A1, A2, B, C или C1 должны иметься заглушки (в количестве 50% от числа окон каждого размера на судне), которые могут быть надежно закреплены на месте окна в случае разрушения стекла.
9.5.12. Стекла иллюминаторов и окон
9.5.12.1. Стекла, как правило, должны быть изготовлены из закаленного или отожженного небьющегося стекла ("ESG"). Допускается применение многослойного стекла ("MSG"), листового материала из акрила и поликарбоната или эквивалентного им материала.
На судах проектных категорий A, A1, A2, B, C или C1 оконные стекла из пластмасс должны быть из материала, стойкого к воздействию ультрафиолетовых лучей (UV).
9.5.12.2. У окон с силикатным стеклом ("ESG", "MSG") стекла должны иметь металлические рамки, плотно прикручиваемые к корпусу окна. Ширина опорной поверхности стекла против рамки должна быть по крайней мере 6,0 мм.
9.5.12.3. Стекла из акриловых или поликарбонатных листов должны крепиться при помощи рамок. Они могут также быть прикреплены непосредственно к обшивке или наружной стенке при условии, что болтовое крепление будет способным противостоять возникающим напряжениям и гарантирует длительную водонепроницаемость. Ширина опорной поверхности стекла должна составлять 3% от самой короткой стороны стекла, но не менее 20 мм.
Допускаются иные конструктивные решения, обеспечивающие равноценную безопасность. Прочность должна быть подтверждена испытаниями и/или расчетом.
9.5.12.4. Секции с резиновыми уплотнениями могут применяться только на судах проектных категорий C2, C3 или D, если самая короткая сторона окна составляет не более 300 мм и радиус округления - по крайней мере 50 мм.
9.5.12.5. Толщины оконного стекла должны определяться по формуле
где F - площадь поверхности стекла, м2;

- надводный борт, м;
y - высота центра окна, м, над плоскостью действующей ватерлинии, соответствующей

;
n - коэффициент, принимаемый в соответствии с табл. 9.5.12.5-1.
Таблица 9.5.12.5-1
Значения коэффициента n
Тип окна и его расположение | Материал стекла | n | |
Проектные категории |
A, A1, A2 и B | C, C1, C2, C3 и D |
Окна в корпусе и передних стенках надстроек | Отожженное небьющееся стекло (ESG) | 12,0 | 11,0 | 6 |
Поликарбонат (PC) | 15,6 | 14,0 | 5 |
Акриловое многослойное стекло (MSG) | 18,0 | 16,0 | 5 |
Окна в тыловых стенках или нишах бортовых стенок надстроек | Отожженное небьющееся стекло (ESG) | 9,6 | 8,6 | 4 |
Поликарбонат | 12,5 | 11,0 | 5 |
Акриловое многослойное стекло (MSG) | 14,4 | 13,0 | 5 |
В зависимости от района расположения на судне минимальная толщина стекла не должна быть меньше приведенной в табл. 9.5.12.5-2.
Таблица 9.5.12.5-2
Минимальная толщина стекла
Материал | Обозначение | Коэффициент безопасности,  | Толщина пластин  |
Проектные категории |
Любая | | |
Район установки на судне |
Район I | Район II | Районы III и IV |
Полиметилметакрилат | РММА | 3,5 | | 6 | 5 | 4 |
Поликарбонат | PC | 3,5 | | 6 | 5 | 4 |
Монолитное закаленное стекло <1> | TG | 4,0 | | 4 | 4 | 3 |
| LG | 4,0 | | 4 | 4 | 3 |
|
<**> - C, C1, C2, C3 или D. |
<1> В районе I стекло допускается, если это стекло ударостойкое или обеспечена штормовая крышка. |
9.5.12.6. Для иллюминаторов световых люков и крышек палубных люков может использоваться только акриловый или поликарбонатный листовой материал. Толщина стекол из этих материалов должна быть на 25% больше, чем у иллюминаторов в корпусе или на передних стенках согласно
9.5.12.5, но не менее 7,0 мм.
9.6.1. Штормовые крышки должны отвечать требованиям части III "Устройства, оборудование и снабжение" Правил классификации и постройки морских судов. Штормовые крышки иллюминаторов, установленных в районе I, должны быть постоянно закреплены к изделию, его набору или корпусу судна и сохранять работоспособность даже в случае поломки открывающейся части илюминатора.
9.7. СХОДНЫЕ, СВЕТОВЫЕ ЛЮКИ И ПАЛУБНЫЕ ИЛЛЮМИНАТОРЫ
9.7.1. Наружные отверстия в палубах, предназначенные для установки сходных трапов в подпалубные помещения, должны быть защищены крышками, постоянно навешенными на комингсы.
Крышки, имеющие водонепроницаемость 2 или 3 степени, должны быть изготовлены из металла.
Крышки, имеющие водонепроницаемость 4 степени, допускается изготавливать из дерева или других неметаллов.
Толщина полотнища металлической крышки должна равняться 0,01 расстояния между ребрами жесткости, подкрепляющими полотнище, но не менее 2 мм.
9.7.2. Световой люк должен быть эффективной брызгонепроницаемой конструкции и располагаться в ДП судна или настолько близко к ДП, насколько это выполнимо, если он не должен служить средством эвакуации из отсека под палубой.
Если установлен световой люк открывающегося типа, он должен быть снабжен надежным средством, способным удерживать его в закрытом положении.
Световой люк, служащий средством эвакуации, должен открываться с любой стороны (с палубы и из помещения).
Если прочность стекла или способа его крепления к рамке не эквивалентна прочности, требуемой для элементов конструкции, на которых они закреплены, должна быть предусмотрена съемная заглушка, которая может быть надежно закреплена на этом месте в случае разрушения стекла.
Толщина стекла должна соответствовать требуемой
9.5.12, с учетом возможной нагрузки от палубного груза.
9.7.3. Палубные иллюминаторы должны быть глухими. Палубные иллюминаторы, установленные в районах I и II, должны иметь постоянно навешенную или иным способом прикрепленную (например, на цепочке) штормовую крышку, устроенную таким образом, чтобы ею можно было легко и надежно закрывать и задраивать иллюминатор.
9.7.4. Больший из размеров палубных иллюминаторов не должен превышать 200 мм. Толщина стекла иллюминатора должна быть не менее 15 мм, при этом стекло должно быть закаленным. К металлическому настилу иллюминаторы должны крепиться с помощью рамок.
9.7.5. Прочность стекла и способа его крепления к рамке должна быть эквивалентна прочности элементов судовой конструкции, в которую устанавливается иллюминатор.
9.7.6. Штормовые крышки палубных иллюминаторов в задраенном состоянии должны быть непроницаемыми при воздействии моря. Непроницаемость должна быть обеспечена с помощью резиновой или другой подходящей прокладки.
С той же целью стекла иллюминаторов должны иметь по контуру уплотнение из резины или другого подходящего материала.
9.8 ТРЕБОВАНИЯ К МАТЕРИАЛАМ
9.8.1. Листовые материалы
9.8.1.1. Общие требования
Пластины, применяемые в оборудовании, должны быть изготовлены из прозрачного глянцевого материала типа полиметилметакрилата (РММА), поликарбоната (PC), отожженного стекла, химически упрочненного стекла или многослойного стекла, см.
табл. 9.8.3-1;
либо непрозрачного листового материала типа фанеры (PW), стеклопластика (GRP), алюминиевого сплава, стали, и т.д.;
либо любого другого материала, равноценного по прочности и жесткости.
9.8.1.2. Механические характеристики материалов приведены в
табл. 9.8.3-2.
9.8.2. Листовой акриловый материал
Полиметилметакрилат (РММА), изготовленный техникой иной, чем литье, должен иметь механические свойства и сопротивление старению, по крайней мере равные литому.
9.8.3.1. Ограничения по применению
В районе I судна стекло не должно применяться на парусных судах независимо от категории проекта и на моторных судах с проектной категорией A, A1, A2 и B, за исключением случая применения высокоударостойкого стекла или если изделие снабжено штормовой крышкой.
В районе II на моторных судах использование монолитного и многослойного стекла допускается без ограничений.
На парусных судах ни монолитное, ни многослойное стекло не должно применяться в местах в нос от фок-мачты, кроме случаев применения высокоударостойкого стекла или если изделие снабжено штормовой крышкой. Характеристики высокоударостойкого стекла - см.
табл. 9.8.3-2.
Ограничение не применяется, если пластина защищена от ударов одобренным устройством. Например, наружная защитная решетка, защитные прутки.
Таблица 9.8.3-1
Типы высокоударостойкого стекла
Тип стекла | Требования |
Многослойное стекло (лицевые поверхности AG, TG или CG) | Минимальная толщина лицевых поверхностей 4 мм, минимальная толщина промежуточных слоев 2,3 мм |
Пуленепробиваемое стекло | Классы с FB2 по FB7 с испытаниями согласно EN 1063 |
Ударостойкое стекло | Класс 4 с испытаниями согласно EN356 |
Примечания: AG - отожженное стекло; |
TG - закаленное стекло; |
CG - химически закаленное стекло. |
Могут быть допущены другие типы стекла, если плоская пластина 400 x 400 мм выдержит энергию воздействия 300 Дж, полученную в результате падения твердого предмета (стальной шар), и обеспечит водонепроницаемость степени 1 или 2 или 3 при испытании. |
9.8.3.2. Монолитное стекло
Монолитное стекло должно быть изготовлено только из отожженного стекла или химически упрочненного стекла.
Таблица 9.8.3-2
Средние значения механических характеристик
основных материалов
Материал | Обозначение | Предел прочности при изгибе  | Модуль упругости E (МПа) |
Полиметилметакрилат | РММА | 110 | 3000 |
Поликарбонат | PC | 90 | 2400 |
Закаленное стекло | TG | 200 | 72600 |
Химически упрочненное стекло | CG | | 72600 |
Отожженное стекло | AG | 40 | 72600 |
<1> Величина относится к случаю глубины химического упрочнения 30  . |
AG - отожженное стекло; |
TG - закаленное стекло; |
CG - химически закаленное стекло. |
9.8.3.3. Многослойное стекло
Стеклянные слои, используемые в многослойном стекле, могут быть выполнены из любого типа стекла.
9.8.4. Специальные требования
9.8.4.1. Способ закрепления кромок
Правила не предписывают конкретных конструктивных решений по закреплению кромок пластин, однако в качестве возможных рекомендуются типовые решения стандарта ISO 12216:2002, а именно:
1. Свободно опертые пластины - пластины, установленные без клея и прокладок в пазах рамки или крепящиеся к судовой стенке при помощи эластомера;
2. Гибко закрепленные пластины - пластины, установленные в пазах рамки на эластомере или крепящиеся к кромкам выреза в стенке при помощи профиля из эластомера по типу автомобильных стекол;
3. Частично зафиксированные пластины - пластины, крепящиеся непосредственно к судовой стенке или к рамке исключительно при помощи клея, клея и болтов (винтов) либо при помощи клея, болтов и накладки. Этот тип крепления кромок может быть достигнут одним из следующих способов:
соединение с применением накладки. Фиксация кромки достигается путем прижима пластины по ее периферии между обшивкой корпуса судна или рамкой и накладкой. Рамка должна быть механически закреплена и/или приклеена к конструкции судна;
соединение при помощи приклеивания. Фиксация кромки достигается путем приклеивания пластины по ее периферии к обшивке корпуса судна, к конструкции судна или к рамке. Это приклеивание может быть выполнено в шпунте или по лицевой поверхности, или с использованием любой комбинации этих методов приклеивания;
соединение прямым закреплением. Фиксация кромки достигается путем крепления пластины по ее периферии к обшивке корпуса, судовой конструкции или к рамке при помощи соответствующего механического крепежа, установленного надлежащим образом. Таким крепежом могут быть болты, заклепки, самонарезающие винты или любые иные соответствующие крепежные изделия.
Примечание. Даже при самом лучшем способе крепления полная неподвижность кромки пластины, не подкрепленной ребрами жесткости по ее периферии, не может быть достигнута. Поэтому такие пластины должны рассматриваться, в лучшем случае, как частично фиксированные.
9.8.4.2. Расположение на судне
9.8.4.2.1. Свободно опертые пластины
На судах проектных категорий A, A1, A2, B или C применение свободно опертых пластин не допускается в районах I и II судна.
На судах других проектных категорий и в иных районах судна свободно опертые пластины могут применяться при условии выполнения всех следующих требований:
примененный материал - РММА или PC;
толщина пластины равна 1,3 толщины, требуемой согласно
9.5.12.5;
крепеж пластины (откидные болты, фиксаторы, и т.д.) установлен с промежутком не более 250 мм.
Вышеупомянутые ограничения не применяются, если изделие оборудовано штормовой крышкой.
9.8.4.2.2. Гибко закрепленные пластины
Гибко закрепленные пластины допускаются к применению только на моторных судах проектных категорий C1, C2 или C3 в районах III и IV судна.
9.8.4.2.3. Частично зафиксированные пластины
Частично зафиксированные пластины, изготовленные из материалов, иных чем стекло, могут применяться на судах всех категорий проекта и во всех районах местоположения на судне при условии выполнения требований
9.8.3.
Частично зафиксированные пластины, изготовленные из стекла, допускаются на парусных судах независимо от категории проекта и на моторных судах проектных категорий A, A1, A2, B или C при условии применения высокоударостойкого стекла или если изделие снабжено штормовой крышкой. При этом следует избегать непосредственного контакта металла со стеклом.
9.8.4.3. Требования к соединениям
9.8.4.3.1. Крепление пластин и рамок
Пластины и рамки могут быть прикреплены механическими средствами, клеем или при помощи эластомера (каучукоподобного упругого полимера). Все типы креплений должны гарантировать водонепроницаемость и прочность пластины и рамки при действии нагрузок, от нормального рабочего давления.
| | ИС МЕГАНОРМ: примечание. В официальном тексте документа, видимо, допущена опечатка: пункт 9.10.2.1 в тексте документа отсутствует. | |
Каждая часть механических элементов, крепящих изделия к судну, должна выдерживать без разрушения двойную нагрузку от давления, указанного в 9.10.2.1. Это требование должно быть проверено для изделий, открываемых внутрь, у которых петли, замки или любая другая часть шарнирного узла между пластиной и опорой должна быть проверена расчетом или испытанием.
9.8.4.3.2. Крепление частично фиксированных пластин
Механический крепеж не должен создавать концентрацию напряжений из-за перекоса или температурных деформаций. Например, не должны применяться болты в отверстиях, зенкованных под острым углом, и винты с потайной головкой в конических гнездах.
9.8.4.3.3. Крепление приклеенных пластин
Клеевые соединения должны быть стойкими или быть защищены от воздействия солнечной радиации (ультрафиолетовые лучи, тепло и т.д.) и любых воздействий со стороны окружающей среды или моющих химических веществ, которые обычно используются при постройке и эксплуатации судна.
Клеевые соединения должны отвечать требованиям одного из следующих пунктов:
1. Испытание на внутреннее давление согласно ISO 12216:2002 (D3.2);
2. Испытание на отрыв согласно ISO 12216:2002 (D3.3);
3. Технология и условия приклеивания, принятые у изготовителя, и прочность сцепления, проверенная расчетом, должны обеспечивать пробное давление при испытании согласно ISO 12216:2002 (D3.2.2).
Вышеупомянутые требования должны быть подтверждены после любого изменения в технологии приклеивания или материале.
9.9.1. Высота комингсов горловин Регистром не регламентируется
9.9.2. Крышки горловин должны быть металлическими
Толщина крышек должна соответствовать толщине обшивки или настила перекрытий, на которых они установлены.
9.9.3. Крышки горловин должны надежно крепиться к комингсу или обделке с помощью болтов или шпилек с гайками.
9.9.4. Крышки в задраенном состоянии должны быть непроницаемыми как для воды, так и для жидких запасов, для которых предназначены отсеки и цистерны, под внутренним напором, соответствующим испытательному напору для рассматриваемого отсека или цистерны.
Непроницаемость должна быть обеспечена с помощью резиновой или другой подходящей прокладки. Прокладка должна быть стойкой в среде упомянутых жидких запасов.
Настоящий раздел определяет требования к кокпиту, который выполнен как "водонепроницаемый" или "быстроотливной", в части его осушения самотеком, без использования любых насосов или иных средств отлива воды за борт.
10.1. ОПРЕДЕЛЕНИЯ И ПОЯСНЕНИЯ
10.1.1. В настоящем разделе приняты следующие определения и пояснения.
Быстроотливной кокпит - кокпит или ящик, с характеристиками и производительностью осушения, которые соответствуют всем требованиям данного раздела соответственно классу судна.
Верх кокпита - уровень верхней палубы или верхней кромки наружного борта в районе кокпита, через которую возможно заливание кокпита со стороны борта.
Водонепроницаемый кокпит - кокпит, который удовлетворяет требованиям данного раздела в отношении водонепроницаемости и высоты порога, но не в отношении системы осушения.
Высота днища кокпита,

- возвышение днища кокпита над ватерлинией, в состоянии полной нагрузки судна без крена.
Высота комингса,

- высота постоянного комингса или вершины откидного комингса в закрытом положении.
Высота наполнения кокпита,

- высота воды, удерживающейся в кокпите в состоянии полной нагрузки судна без крена, измеренная между днищем кокпита и точкой перелива воды за борт.
Примечания: 1. Этот термин соответствует высоте от самой низкой точки, где область разлива, м2, превышает

, и, обычно до самой низкой точки верхней кромки кокпита.
2. Для оценки

каждое закрытие, включая дверь прохода внутрь судна, считают закрытым.
Двери прохода - дверь или закрытие, закрывающее открытый проход.
Днище кокпита - самая низкая поверхность кокпита, где вода собирается перед осушением. Днище кокпита может иметь один или несколько уровней.
Примечание. Устройство, приподнятое на постоянный уровень от корпусной части днища кокпита, например: решетки, подставки, мостиковая палуба - не рассматривают как часть днища кокпита.
Система осушения - слив, позволяющий удалить воду за борт самотеком. В качестве системы осушения может быть:
отливная труба за борт выше или ниже ватерлинии;
часть кокпита, оснащенная прямым выпуском за борт;
шпигат или штормовой шпигат и т.д.
Закладные комингсы - закрытие для открытого прохода, состоящее из нескольких подвижных панелей, которые для закрытия прохода укладывают один над другим.
Примечания: 1. Широко применяется на парусных и парусно-моторных судах.
2. Количество установленных панелей зависит от погодных условий, чтобы составить необходимую высоту комингса.
Закрывающее устройство - изделие, используемое для закрытия отверстий в кокпите, корпусе или надстройке, например: крышка люка, окно, иллюминатор, дверь, закрытие мотора, закладные доски и т.д.
Кокпит - открытое встроенное в палубе устройство, предназначенное для размещения экипажа и всех средств управления судном.
Примечание: Это устройство применяется преимущественно на парусных и парусно-моторных судах.
Для целей настоящего раздела - любой объем, открытый для воздействия воды, который способен даже кратковременно удерживать воду от дождя, заливания волнами, крена судна и т.п.
Это означает следующее:
кокпит может быть расположен в средней или кормовой части внутри судна;
некоторые кокпиты конструктивно могут распространяться по всей длине судна;
кокпит может иметь открытую кормовую часть;
фальшборты могут создать кокпит или ящик.
Комингс - конструкция, окаймляющая вырез в палубе, платформе, переборке, выгородке и т.п.
Комингс кокпита - порог (барьер), выше которого вода из кокпита может поступать в открытый проход и затапливать закрытое помещение судна.
Примечание. Крышки шкафчиков кокпита или любое другое открывающееся отверстие, иное чем открытый проход, и ведущее в "небыстроотливные" части судна, не учитывают при определении высоту комингсов, если их закрытия полностью удовлетворяют требованиям по водонепроницаемости, изложенным в
10.6.
Коэффициент объема кокпита,

- отношение между объемом кокпита и запасом плавучести судна, определяемый по формуле:
Минимальная высота основы кокпита,

- минимальное значение

, требуемое настоящими Правилами.
Минимальная высота комингса,

- минимальное значение высоты комингса, требуемое настоящими Правилами.
Мостиковая палуба - площадка над днищем кокпита, на которую обычно становятся перед входом внутрь судна через открытый проход.
Объем кокпита,

- объем воды, м3, который может в какой-то момент содержаться в кокпите перед сливом через систему осушения и является объемом, верхний уровень которого находится ниже верхней точки высоты

.
Основа кокпита - горизонтальная поверхность(и) кокпита, на которой обычно находится экипаж при управлении судном.
Откидной комингс - любое подвижное закрытие, которое постоянно прикреплено к судну и которое вместе с постоянным комингсом составляет более высокий комингс, чем постоянный. Например, скользящие или навесные двери, люки, скользящие брусья, исключая закладные доски. Крепление тросовым талрепом не рассматривается как постоянное крепление к корпусу судна.
Открытый проход - проем (отверстие люка или двери), служащий для перемещения экипажа внутрь судна. На судне может быть несколько открытых проходов.
Постоянный комингс - комингс, являющийся закрепленной, составной и постоянной частью кокпита или корпуса судна.
Рецесс - местное углубление, ниша или выемка, обычно в переборке корпуса. На некоторых судах, имеющих кормовое расположение двигателя, это может быть выгородка в ахтерпиковой переборке, предусмотренная для установки двигателя, при этом носовая часть этой выгородки может быть поднята до уровня палубы.
Самоотливной кокпит - кокпит, в котором вода может осушаться за борт при некоторых состояниях судна, но без точно установленной скорости осушения, высот днища или комингсов кокпита.
Степень водонепроницаемости - способность закрывающего устройства, приспособления или поверхности противостоять поступлению воды. Степень водонепроницаемости установлена следующей:
Степень 1. Обеспечивается водонепроницаемость при непрерывно погруженном в воду состоянии.
Степень 2. Обеспечивается водонепроницаемость при временном погружении в воду.
Степень 3. Обеспечивается водонепроницаемость от брызг воды.
Степень 4. Обеспечивается водонепроницаемость от капель воды, падающих под углом до 15 ° от вертикали.
Примечание: Подробно см. в
разд. 9.
10.1.2. В настоящем разделе приняты следующие обозначения.
Символ | Единица измерения | Значение символа |
| м | Длина корпуса судна |
| м | Максимальная ширина корпуса судна |
| м | Надводный борт посередине судна |
d | мм | Диаметр системы осушения, мм |
D | м | Диаметр системы осушения, м |
| м | Высота наполнения кокпита |
| м | Высота днища кокпита над ватерлинией |
| м | Требуемая высота днища кокпита над ватерлинией |
| м | Высота комингса |
| м | Требуемая высота комингса |
| - | Коэффициент объема кокпита |
| мин | Максимально допустимое время осушения |
| м3 | Объем кокпита |
Высоты, измеренные от днища кокпита, имеют символы, начинающиеся h, тогда как высоты, измеренные от ватерлинии, имеют символы, начинающиеся Н. |
10.1.3. В настоящем разделе приняты следующие цифровые обозначения к рисункам:
1 - ватерлиния;
2 - днище кокпита;
3 - точка перелива за борт;
4 - верх кокпита;
5 - уровень сидений;
6 - система осушения;
7 - открытый проход;
8 - вершина постоянного комингса;
9 - вершина откидного комингса;
10 - мостиковая палуба;
11 - решетчатая основа кокпита;
12 - проходное сечение решетки;
13 - вершина комингса при использовании закладных досок.
10.2.1. Кокпит должен быть неотъемлемой прочной конструкцией корпуса судна
Кокпит должен быть водонепроницаемым, то есть все отверстия в корпусе кокпита, расположенные ниже уровня точки перелива за борт, должны быть оборудованы герметичными закрытиями, за исключением отверстий, указанных в
10.4.2.2. Нижняя кромка комингса отверстия открытого прохода в кокпитах с открытым транцем не должна быть расположена ниже верха кокпита.
Требования настоящего раздела должны быть удовлетворены при состоянии нагрузки судна, соответствующей полному водоизмещению, и положении судна без крена в спокойной воде.
10.2.3. Водонепроницаемые кокпиты и ящики
10.2.3.1. Водонепроницаемые кокпиты и ящики должны иметь:
комингсы, соответствующие требованиям
10.5.1;
степень водонепроницаемости, соответствующую требованиям
10.6.
10.2.3.2. Для оценки остойчивости и непотопляемости судна, выполняемой согласно требованиям
части IV "Остойчивость, запас плавучести, надводный борт", водонепроницаемые и самоотливные кокпиты/ящики должны быть учтены с массой заполняющей их воды.
10.2.4. Быстроотливные кокпиты и ящики
10.2.4.1. Быстроотливные кокпиты и ящики должны иметь:
высоту днища, соответствующую требованиям
10.4;
систему осушения, соответствующую требованиям
10.7 -
10.13;
комингсы, соответствующие требованиям
10.5.2;
степень водонепроницаемости, соответствующую требованиям
10.6.
10.2.4.2. Для оценки остойчивости и непотопляемости судна, выполняемой согласно требованиям
части IV "Остойчивость, запас плавучести, надводный борт", кокпиты и ящики, полностью удовлетворяющие требованиям, предъявляемым к быстроотливным кокпитам, могут быть учтены без массы заполняющей их воды.
10.2.5. Самоотливные кокпиты и ящики
Самоотливные кокпиты, не являющиеся быстроотливными, должны рассматриваться как водонепроницаемые кокпиты.
10.2.6. Закрывающие устройства, применяемые в водонепроницаемых и быстроотливных кокпитах и дающие доступ во внутренние части судна, должны удовлетворять требованиям
разд. 9 и
10.6.
10.2.7. В инструкции по эксплуатации судна должно быть описание кокпитов и ящиков, предусмотренных на судне, с указанием их типа.
10.3. ТИПОВЫЕ КОНСТРУКЦИИ И ОСНОВНЫЕ ХАРАКТЕРИСТИКИ
10.3.1. Кокпиты с плоским днищем
10.3.1.1. Кокпит с откидным комингсом
Рис. 10.3.1.1

и

измеряют в центре днища кабины. Высоту комингса

измеряют от ближайшей точки днища.
10.3.1.2. Кокпит с открытым транцем и откидным комингсом
Рис. 10.3.1.2
Если ничто не задерживает воду в кокпите

, система осушения может не требоваться, однако должны быть выполнены требования к минимальной высоте комингса

.
10.3.1.3. Кокпит с открытым проходом в транце
Рис. 10.3.1.3
На левом борту может потребоваться дополнительная система осушения.
10.3.1.4. Кокпит с транцевой дверью, имеющей просвет у основы
Рис. 10.3.1.4
Дверь предполагают закрытой. Просвет между дверью и основой кокпита рассматривают как штормовой шпигат системы осушения. Его размеры могут быть достаточны, чтобы обеспечить требуемое время осушения. Однако 90% объема кокпита необходимо осушать при 10° крена, что может потребовать наличия дополнительной системы осушения на левом борту.
10.3.1.5. Кокпит с мостиковой палубой, решетчатой основой и закладными досками над комингсом.
Рис. 10.3.1.5
Приподнятая основа решетчатого типа не изменяет требований к высоте комингса над днищем кокпита. Решетка в любом случае не должна ослаблять эффективность системы осушения и должна иметь общее проходное сечение не менее 3-кратного сечения системы осушения.
10.3.2. Кокпиты с многоуровневым днищем
Рис. 10.3.2
Кокпиты с многоуровневым днищем должны удовлетворять общим требованиям и требованиям, предъявляемым к кокпитам с плоским днищем с учетом следующего.
10.3.2.1. Высота днища кокпита над ватерлинией,

, должна быть измерена от ватерлинии, назначенной согласно
10.2.2, вверх до центра самого низкого уровня днища. При этом допускается применять исключения, изложенные в
10.4.2.
10.3.2.2. Высоту наполнения кокпита

измеряют от точки перелива воды за борт до точки, в которой была измерена высота

.
10.3.2.3. Объем кокпита определяют как сумму объемов, находящихся над каждым уровнем днища кокпита, которые определяют умножением площади горизонтальной проекции плоскости уровня на соответствующую уровню высоту наполнения. При этом состояние судна должно соответствовать требованиям
10.2.1.
10.3.2.4. Высоту комингса открытого прохода

определяют как расстояние от нижней кромки отверстия прохода до ближайшей точки на условной плоскости одноуровневого днища. Условная плоскость одноуровневого днища должна быть параллельна горизонтальной плоскости ватерлинии, удовлетворяющей требованиям
10.2.1, и соответствовать горизонтальному положению при котором условные исключения и добавления объемов над/под всеми уровнями днища были равны. Установленная высота комингса открытого прохода

должна удовлетворять требованиям
10.5.
| | ИС МЕГАНОРМ: примечание. В официальном тексте документа, видимо, допущена опечатка: пункт 12.3.1.5 в тексте документа отсутствует. Возможно, имеется в виду пункт 10.3.1.5. | |
10.3.2.5. Минимальная высота комингса

, требуемая в
10.5, во всех случаях должна быть обеспечена и от ближайшего к отверстию уровня днища. Возвышения над наивысшим уровнем днища, например указанная в
12.3.1.5 палуба мостика, могут быть зачтены в требуемую высоту комингса.
10.3.2.6. Время осушения, требуемое
10.8, устанавливают для кокпита с многоуровневым днищем исходя из суммарного объема, определяемого согласно
10.3.2.3. Время осушения объемов отдельных уровней не должно превышать времени, требуемого
10.8.
10.3.2.7. В расчете сечения системы осушения, установленного в определенных 10.3.2.8 уровнях, необходимо учитывать перетекание из объемов, расположенных над более высокими уровнями днища, даже в тех случаях, когда они также оснащены системой осушения. Предполагая равномерное понижение уровня воды, в расчетах рекомендуется принимать, что объем воды, расположенный над более высокими уровнями, будет перетекать в более низкие уровни от точки, находящейся в центре масс перетекающего объема.
10.3.2.8. Днище многоуровневого кокпита необходимо оснастить системой осушения на тех уровнях, из которых вода не может перетечь на более низкие уровни или за борт.
10.4. ВЫСОТА ДНИЩА БЫСТРООТЛИВНОГО КОКПИТА НАД ВАТЕРЛИНИЕЙ
10.4.1. Минимальная высота днища быстроотливного кокпита над ватерлинией

, м, должна быть не менее указанной в табл. 10.4.1.
Таблица 10.4.1
Минимальная высота днища
Проектная категория | Высота,  |
A, A1 и AII | 0,15 |
B | 0,1 |
C, C1, CII и CIII | 0,075 |
D | 0,05 |
Примечание. Требуемое
10.8 максимально приемлемое время осушения должно обеспечиваться и при применении больших высот, чем указанные минимальные значения.
10.4.2. Исключения к
10.4.1 для колодцев и рундуков
10.4.2.1. До 10% суммарной горизонтальной проекции поверхности днища кокпита может быть расположено ниже высоты, требуемой
10.4.1. Среди этих поверхностей те, которые содержат воду после осушения кокпита, необходимо учитывать при оценке состояния судна с массой содержащейся в них воды.
10.4.2.2. Рундуки, расположенные в днище и стенках кокпита и предназначенные для хранения спасательных плотов, льда, рыбы, наживки и т.д., не считаются частью кокпита и могут не соответствовать требованиям
10.2.4, если их закрытия не удовлетворяют всем требованиям
10.6, при условии, что они водонепроницаемы по отношению к внутренним помещениям судна.
В этом случае их необходимо считать заполненными водой при оценке состояния судна.
В случае удовлетворения требований
10.2.4 и
10.6 эти рундуки учитывают со штатной нагрузкой, соответствующей рассматриваемому состоянию судна.
10.5. ВЫСОТА КОМИНГСА И ОТВЕРСТИЯ В КОКПИТАХ
10.5.1. Водонепроницаемые кокпиты
Отверстия, расположенные в водонепроницаемых кокпитах, должны иметь комингс высотой, превышающей не менее чем на 0,05 м высоту наполнения кокпита

, определенную для состояний судна согласно
10.2.1 и
10.3.
Водонепроницаемые кокпиты высотой ниже высоты наполнения кокпита

не должны иметь никаких отверстий, сообщающихся с внутренними помещениями судна, за исключением указанных в
10.4.2.2.
10.5.2. Быстроотливные кокпиты
Отверстия, расположенные в быстроотливных кокпитах, должны иметь комингс над днищем кокпита высотой

, не менее высоты

указанной в табл. 10.5.2.
Таблица 10.5.2
Минимальная высота комингса,

Проектная категория | Высота комингса, h, м |
Парусные однокорпусные | Парусные многокорпусные и не парусные |
A, AI и AII | 0,3 | 0,2 |
B | 0,25 | 0,15 |
C и CI | 0,2 | 0,125 |
CII | 0,15 | 0,1 |
CIII | 0,1 | 0,075 |
D | 0,05 | 0,05 |
Для конкретного судна может потребоваться высота комингса, превышающая указанную, исходя из обеспечения необходимой остойчивости и непотопляемости, определяемой согласно части IV "Остойчивость, запас плавучести и надводный борт". |
Отверстия, расположенные в быстроотливных кокпитах ниже высоты наполнения кокпита

, должны иметь закрывающие устройства, соответствующие требованиям
10.6.2.
При измерении высоты комингса все закрывающие устройства, за исключением основного прохода, предполагаются закрытыми, а откидные (сдвижные) части комингса основного прохода - закрепленными в положении, образующем наибольшую высоту комингса основного прохода.
Высота комингса должна быть измерена вертикально от плоскости днища кокпита до ближайшей точки кромки отверстия, через которое возможно поступление воды внутрь судна.
Если днище кокпита не плоское, высота комингса должна быть измерена от кромки отверстия до самой близкой точки днища кокпита.
Значение

необходимо использовать и при рассмотрении кокпитов с многоуровневым днищем.
10.6. ВОДОНЕПРОНИЦАЕМОСТЬ
10.6.1. Водонепроницаемость кокпитов
Все поверхности водонепроницаемых и быстроотливных кокпитов ниже высоты наполнения кокпита

должны соответствовать 1 степени водонепроницаемости, включая поверхности помещений, указанных в
10.4.2.2.
10.6.2. Водонепроницаемость закрытий
Степень водонепроницаемости закрытий, расположенных на поверхностях быстроотливных кокпитов, за исключением указанных в
10.4.2.2, должны соответствовать требованиям, изложенным в табл. 10.6.2.
Таблица 10.6.2
Водонепроницаемость закрытий
Расположение закрывающего устройства в кокпите | Степень водонепроницаемости |
На днище и площадках | 2 |
На стенках до  | 2 |
На стенках между  и  | 3 |
На стенках выше  | 4 |
Примечание. Для конкретного судна может потребоваться водонепроницаемость выше указанной, исходя из обеспечения необходимой остойчивости, и запас плавучести, определяемой согласно части IV "Остойчивость, запас плавучести и надводный борт". |
Закрывающие устройства, расположенные на днище, площадках или стенках быстроотливного кокпита до высоты

, должны быть оснащены комингсами высотой не менее 12 мм и уплотнениями, а также испытаны на водонепроницаемость согласно требованиям, изложенным в
разд. 9.
Откидные комингсы и закладные доски должны иметь устройство, сохраняющее их в месте, где они могут быть использованы, которое, как минимум, будет доступно изнутри.
Откидные комингсы и закладные доски должны соответствовать требованиям
разд. 9.
Откидные комингсы должны быть съемными только с использованием инструментов.
Если закрывающее устройство содержит закладные доски, то на судне должен быть их 100% запас, расположенный в непосредственной близости около этого закрывающего устройства, с готовностью к немедленному использованию без применения инструментов.
10.7. ОСУШЕНИЕ БЫСТРООТЛИВНОГО КОКПИТА
10.7.1. Осушение должно осуществляться только самотеком
10.7.2. Не менее 98% объема кокпита должно осушаться самотеком в положении судна без крена на тихой воде, с учетом любых ниш в соответствии с
10.4.2.
10.7.3. Требования в
10.5.1 и
10.5.2 должны быть выполнены, когда судно накренено на любой борт, с учетом следующего:
1. На парусных однокорпусных судах система осушения должна обеспечивать осушение по крайней мере 90% объема кокпита

при угле крена 30° или угле крена, при котором палуба у борта начинает касаться воды, если он составляет менее 30°.
2. На непарусных судах и всех многокорпусных судах система осушения должна обеспечивать осушение по крайней мере 90% объема кокпита V при угле крена 10°.
10.8.1. Время осушения - время, за которое кокпит должен быть осушен от полной высоты наполнения,

, до допускаемого остатка 0,1 м над днищем кокпита.
Требования к времени осушения установлены в зависимости от района плавания судна и с учетом коэффициента объема кокпита,

- соотношения объема кокпита, определяемого согласно
10.1, и запаса плавучести судна. Кокпит большего, относительно запаса плавучести судна, объема требует, соответственно, меньшего времени осушения.
| | ИС МЕГАНОРМ: примечание. В официальном тексте документа, видимо, допущена опечатка: таблица 10.8 в тексте документа отсутствует. Возможно, имеется в виду таблица 10.8.1. | |
Время осушения не должно превышать указанное в табл. 10.8.
Таблица 10.8.1
Максимальное время осушения,

Проектная категория | |
A, AI и AII |  , но не более 5 |
B |  , но не более 5 |
C |  , но не более 5 |
CI |  , но не более 5 |
CII |  , но не более 5 |
CIII |  , но не более 5 |
D |  , но не более 5 |
Время осушения должно быть обеспечено при закрытом положении всех закрывающих устройств, расположенных в кокпите.
Если обеспечено сечение сливного трубопровода, м2, более или равное

, то определение времени осушения не требуется.
Объем кокпита

должен быть измерен от его днища до верхней точки

, с возможным учетом исключений
10.4.2, предполагая, что все закрывающие устройства закрыты.
Фактически обеспеченное время осушения должно быть измерено на испытаниях первого судна серии. Судно должно иметь водоизмещение, близкое к водоизмещению в полном грузу, и посадку по проекту. Кокпит заполняют водой до

и измеряют время слива воды от

до 0,1 м воды над центром поверхности днища кокпита. Точку, расположенную на 0,1 м выше центра днища кокпита, рекомендуется обозначить.
10.9. КОЛИЧЕСТВО ОТВЕРСТИЙ СИСТЕМЫ ОСУШЕНИЯ
| | ИС МЕГАНОРМ: примечание. В официальном тексте документа, видимо, допущена опечатка: пункт 12.7 в тексте документа отсутствует. Возможно, имеется в виду пункт 10.7. | |
10.9.1. Каждый быстроотливной кокпит должен иметь по крайней мере два отверстия для осушения: один на левом и один на правом борту, если одно отверстие не позволяет осушить кокпит при крене судна на любой борт, в соответствии с требованием
12.7.
10.10. РАЗМЕРЫ ОТВЕРСТИЙ СИСТЕМЫ ОСУШЕНИЯ
10.10.1. Размеры проходного сечения отверстий
Размер проходного сечения отверстий должен обеспечивать требуемое
10.8 время осушения кокпита. Расчет проходного сечения отверстий должен быть выполнен при проектировании судна в соответствии с
10.10.3.
Минимальное проходное сечение отверстия круглой формы должно быть диаметром не менее 25 мм. Отверстия другой формы должны иметь площадь поперечного сечения не менее 500 мм2 и любой из размеров этого сечения - не менее 20 мм.
Должна быть исключена возможность непреднамеренного закрытия отверстий для осушения, в том числе незакрепленным оборудованием, такелажем или иными предметами.
10.10.2. Защитные сетки
Если отверстия системы осушения оборудованы защитными сетками, решетками или иными устройствами, препятствующими попаданию в систему осушения посторонних предметов, необходимо учитывать, что ячейки малых размеров могут закупориваться.
Минимальный размер ячеек в защитной сетке, в любой части этих устройств, должен иметь сечение не менее 125 мм2 (или диаметр 12 мм), а суммарное поперечное сечение этих отверстий - не менее 1,5 поперечного сечения отверстия системы осушения. Если эти условия не выполнены, потери напора от защитной сетки необходимо учитывать.
10.10.3. Расчет сечения системы осушения
При проектировании судна проходное сечение отверстий, необходимое для осушения кокпита за требуемый
10.8 промежуток времени, должно быть определено расчетом, в котором должны быть учтены все потери напора в трубопроводе системы осушения, включая потери на входе и выходе. Высота напора, при расположении выхода трубопровода ниже ватерлинии, должна быть измерена вверх от действующей ватерлинии, определенной с учетом требований
10.2.1.
Расчет требуемого сечения может быть выполнен методами, изложенными в Приложениях B, C, D и E стандарта ИСО 11812:2001 "Малые суда. Водонепроницаемые и быстроотливные кокпиты".
10.11. КОЖУХ ОПУСКАЕМОГО КИЛЯ И ДРУГИЕ ТИПЫ
СИСТЕМЫ ОСУШЕНИЯ
10.11.1. Кожух опускаемого киля и другие типы отверстий могут использоваться для осушения, если они предназначены для этой цели.
10.12. ТРУБОПРОВОД СИСТЕМЫ ОСУШЕНИЯ
10.12.1. Размеры и конструкция трубопровода должны учитывать все варианты нагрузки при эксплуатации судна.
Трубопровод должен быть защищен от повреждения случайными предметами, хранящимися на судне, от ударов и образования вмятин.
Трубопровод не должен захватывать воду и должен использоваться только для осушения кокпита. Это требование не распространяется на кожухи опускного киля или забортные колодцы и шахты, используемые для осушения.
Трубопровод рекомендуется выполнять без изгибов. Если предусмотрены изгибы трубопровода, они должны выполняться по радиусу не менее 10 диаметров во избежание засорения на участках изгибов.
Кингстоны, арматура системы осушения в корпусе и составные части трубопровода должны соответствовать требованиям
части V "Механические установки. Механизмы. Системы и трубопроводы".
10.13. АРМАТУРА СИСТЕМЫ ОСУШЕНИЯ
10.13.1. Выход трубопровода системы осушения, проходящего через корпус, должен быть расположен выше ватерлинии. Если кокпит не является частью корпуса и выход трубопровода расположен ниже ватерлинии или на высоте до

выше ватерлинии, он должен быть оснащен кингстоном согласно
10.12.
На
рис. 10.13.1 показано выходное отверстие системы осушения, объединенной с корпусом, позволяющее не устанавливать кингстон.
1 - ватерлиния; 2 - отверстие в корпусе выше

,
кингстон не требуется; 3 - в этой области выходное
отверстие должно являться неотъемлемой частью корпуса
Рис. 10.13.1. Система осушения как неотъемлемая
часть корпуса
10.14. ПОСТОЯННО ОТКРЫТЫЕ ВЕНТИЛЯЦИОННЫЕ ОТВЕРСТИЯ
10.14.1. Самая низкая точка незакрываемых вентиляционных отверстий, через которые вода может попасть внутрь судна, должна быть над днищем кокпита на высоте более

и 0,3 м.
Постоянно открытые вентиляционные отверстия должны быть оснащены устройствами, обеспечивающими водонепроницаемость 4 степени. Для конкретного судна может потребоваться водонепроницаемость выше 4 степени, исходя из обеспечения необходимой остойчивости и непотопляемости, определяемой согласно
части IV "Остойчивость, запас плавучести и надводный борт".
11.1.1. Настоящий раздел устанавливает основные требования, которым должны удовлетворять судовые сигнальные средства.
Требования настоящего раздела распространяются на суда, эксплуатирующиеся исключительно на внутренних водных путях, не классифицированные Резолюцией N 30 Рабочей группы ЕЭК-ООН по внутреннему водному транспорту от 12 декабря 1992 г., и должны применяться с учетом Правил судоходства, действующих на этих внутренних водных путях.
11.1.2. В зависимости от нахождения судна в том или ином районе плавания количество судовых сигнальных средств, их основные характеристики и размещение на судах должны соответствовать:
Международным правилам предупреждения столкновения судов в море (МППСС-72);
Европейским правилам судоходства по внутренним водным путям (ЕПСВВП);
Основным положениям о плавании по Дунаю (ОППД) или
Правилам плавания по внутренним водным путям Российской Федерации (ППВВП).
| | ИС МЕГАНОРМ: примечание. В официальном тексте документа, видимо, допущена опечатка: пункт 10.1.4 в тексте документа отсутствует. Возможно, имеется в виду пункт 11.1.4.1. | |
11.1.3. В настоящем разделе приняты следующие определения и пояснения
Белый огонь, красный огонь, зеленый огонь, желтый огонь и синий огонь - огни, соответствующие требованиям
10.1.4 и
10.2, а также требованиям МППСС-72 или ЕПСВВП, в зависимости от основного района плавания судна.
Бортовые огни - зеленый огонь на правом борту и красный огонь на левом борту судна, каждый из которых освещает непрерывным светом дугу горизонта в 112,5° и установлен таким образом, чтобы светить от направления прямо по носу до 22,5° позади траверза соответствующего борта. На малом судне (судне длиной менее 20 м) бортовые огни могут быть скомбинированы в одном фонаре, выставляемом в диаметральной плоскости судна.
Кормовой огонь - белый огонь, расположенный, насколько это практически возможно, ближе к корме судна, освещающий непрерывным светом дугу горизонта в 135° и установленный таким образом, чтобы светить от направления прямо по корме до 67,5° в сторону каждого борта.
Короткий звук - звук продолжительностью около 1 с.
Круговой огонь - белый огонь, освещающий непрерывным светом дугу горизонта в 360°.
Малое судно - любое прогулочное судно, длина корпуса которого меньше 20 м, за исключением судов, на которых разрешено перевозить более 12 пассажиров.
Моторное судно - любое судно, использующее собственную силовую установку, за исключением судов, двигатели которых используются только для совершения небольших перемещений или для увеличения их маневренности в определенных условиях. Судно, передвигающееся с помощью паруса и одновременно использующее свою силовую установку, следует считать моторным судном.
Парусное судно - любое судно, передвигающееся с помощью паруса.
Плавучее сооружение - любое плавучее сооружение, относящееся, в основном, к стоечным судам.
Плавучее средство - плавучее сооружение, не имеющее механических установок, предназначенное для работы на водных акваториях.
Проблесковый огонь - белый огонь, дающий проблески через регулярные интервалы с частотой 120 и более проблесков в минуту.
Продолжительный звук - звук продолжительностью около 4 с, причем интервал между двумя последовательными звуками равен примерно 1 с.
Районы судоходства - судоходные районы, бассейны и/или акватории, на которые могут распространяться требования нижеуказанных Правил:
бассейны морей и океанов, где применяются Правила МППСС-72;
внутренние водные пути, на которых применяются Правила ЕПСВВП или ОППД;
внутренние водные пути, на которых применяются Правила ППВВП;
внутренние водные пути с морским режимом судоходства, где применяются Правила МППСС-72.
Светоимпульсное (световое) сигнальное устройство - устройство с белым проблесковым огнем с дугой освещения в 112,5° от траверза судна в сторону носа (с перекрытием диаметральной плоскости на 22,5°) и 112,5° от траверза судна в сторону кормы (с перекрытием диаметральной плоскости на 22,5°). Могут использоваться светоимпульсные (световые) сигнальные огни того же цвета, что и цвет огней, соответствующий борту судна.
Серия очень коротких звуков - серия по меньшей мере из шести звуков продолжительностью около 1/4 с каждый, паузы между которыми составляют около 1/4 с.
Соединение плавучего материала - плот, а также любое сооружение, соединение или устройство, предназначенное для плавания и не являющееся судном или плавучей установкой, например соединение буксируемого плавучего средства типа "банан" с буксировщиком (лодкой, катером или водным мотоциклом);
Судно - морское судно или судно внутреннего плавания, в частности малое судно и плавучее средство.
Счаленная группа - соединение, состоящее из счаленных борт о борт судов, ни одно из которых не размещается впереди моторного судна, обеспечивающего движение группы.
Топовый огонь - белый огонь, расположенный в диаметральной плоскости судна, освещающий непрерывным светом дугу горизонта в 225° и установленный таким образом, чтобы светить от направления прямо по носу до 22,5° позади траверза каждого борта.
Трехтональный звуковой сигнал - три раза повторяющийся сигнал из серии трех звуков разной тональности, следующих непосредственно один за другим, общей продолжительностью около 2 с. Частота звуков должна быть в пределах от 165 до 297 Гц, а разница между самым высоким и самым низким звуками должна составлять по крайней мере два полных тона. Каждая серия должна начинаться с самого низкого тона и оканчиваться самым высоким тоном.
Частый проблесковый огонь - ритмичный огонь с 50 - 60 проблесками в минуту.
| | ИС МЕГАНОРМ: примечание. В официальном тексте документа, видимо, допущена опечатка: пункты 10.1.5 и 10.1.6 в тексте документа отсутствуют. Возможно, имеются в виду пункты 11.1.5 и 11.1.6. | |
Яркий огонь, ясный огонь и обыкновенный огонь - огни, характеристики которых соответствуют требованиям
10.1.5,
10.1.6 и
10.2, а также требованиям МППСС-72 или ЕПСВВП, в зависимости от основного района плавания судна.
11.1.4. Цветовые характеристики сигнальных огней
11.1.4.1. Для огней применяется пятицветная система сигнализации, которая состоит из следующих цветов:
белый, красный, зеленый, желтый, синий.
Эта система определена рекомендациями Международной комиссии по светотехнике (публикация МКС N 2.2 (ТС-1.6) 1975 г. "Цвет световых сигналов").
11.1.4.2. Границы хроматического расположения сигнальных огней определяются координатами угловых точек, указанными в табл. 10.1.4.2, секторов хроматической диаграммы публикации МКС N 2.2 (ТС-1.6) 1975 г. (см. диаграмму цветности на
рис. 11.1.4).
Таблица 11.1.4.2
Цвет сигнального огня | Координаты угловых точек |
Белый | X | 0,310 | 0,443 | 0,500 | 0,500 | 0,453 | 0,310 |
Y | 0,283 | 0,382 | 0,382 | 0,440 | 0,440 | 0,348 |
Красный | X | 0,690 | 0,710 | 0,680 | 0,660 | | |
Y | 0,290 | 0,290 | 0,320 | 0,320 | | |
Зеленый | X | 0,009 | 0,284 | 0,207 | 0,013 | | |
Y | 0,720 | 0,520 | 0,397 | 0,494 | | |
Желтый | X | 0,612 | 0,618 | 0,575 | 0,575 | | |
Y | 0,382 | 0,382 | 0,425 | 0,406 | | |
Синий | X | 0,136 | 0,218 | 0,185 | 0,102 | | |
Y | 0,040 | 0,142 | 0,175 | 0,105 | | |
2360К отвечает свету, который излучается вакуумной лампой
накала; 2848К отвечает свету, который излучается
газонаполнительной лампой накала
Рис. 11.1.4. Диаграмма цветности МКС
11.1.5. Сила света и дальность видимости судовых сигнальных огней
11.1.5.1. Общие положения
11.1.5.1.1. В зависимости от силы света сигнальные огни подразделяются на:
обычные огни;
ясные огни;
яркие огни.
11.1.5.1.2. Соотношения между

,

и t:

- фотометрическая сила света, кд, которая измеряется при нормальном напряжении для электрических огней;

- сила света в эксплуатационных условиях, кд;
t - дальность видимости, км.
Учитывая, например, износ источника света, загрязнения оптического устройства и изменения напряжения в судовой электрической сети, величина

сокращается на 25% относительно величины

.
Соответственно,

.
Соотношение между

и t сигнальных огней определяется по следующей формуле:
Коэффициент атмосферного пропускания q принят равным 0,76, что соответствует метеорологической видимости 14,3 км (ок. 8 морских миль).
11.1.5.2. Сила света и дальность видимости
| | ИС МЕГАНОРМ: примечание. В официальном тексте документа, видимо, допущена опечатка: таблица 10.1.5 в тексте документа отсутствует. Возможно, имеется в виду таблица 11.1.5. | |
В табл. 10.1.5 указаны границы, которые допускаются для

,

и t, в зависимости от характера сигнальных огней. Указанные величины применяются к световому потоку, который излучается фонарем.
Таблица 11.1.5
Предельные величины для

,

и t
Характер сигнальных огней | Цвет сигнальных огней |
Белый | Зеленый и красный | Желтый | Синий |
min | max | min | max | min | max | min | max |
обычный | | 2,7 | 10,0 | 1,2 | 4,7 | 1,1 | 3,2 | 0,9 | 2,7 |
| 2,0 | 7,5 | 0,9 | 3,5 | 0,8 | 2,4 | 0,7 | 2,0 |
t | 2,3 | 3,7 | 1,7 | 2,8 | 1,6 | 2,5 | 1,5 | 2,3 |
ясный | | 12,0 | 33,0 | 6,7 | 27,0 | 4,8 | 20,0 | 6,7 | 27,0 |
| 9,0 | 25,0 | 5,0 | 20,0 | 3,6 | 15,0 | 5,0 | 20,0 |
t | 3,9 | 5,3 | 3,2 | 5,0 | 2,9 | 4,6 | 3,2 | 5,0 |
яркий | | 47,0 | 133,0 | | | | | | |
| 35,0 | 100,0 | | | | | | |
t | 5,9 | 8,0 | | | | | | |
Примечание.  и  указаны в кд, t - в км. |
11.1.6. Дисперсия сигнальных огней
11.1.6.1. Дисперсия света в горизонтальной плоскости
11.1.6.1.1. Величины силы света, указанные в
11.1.5.2, действительны для всех направлений в горизонтальной плоскости, которая проходит через фокус оптического устройства или через световой центр источника света, надлежащим образом отрегулированного в полезном секторе вертикально установленного фонаря.
11.1.6.1.2. Минимальная требуемая сила света топовых, кормовых и бортовых огней должна обеспечиваться по дуге горизонта в пределах предписанных секторов, не доходя 5° до границ секторов в направлении 22,5° позади траверза. Далее сила света может уменьшаться до 50% на границах секторов; затем она должна постепенно уменьшаться с тем чтобы в пределах 5° за границами предписанных секторов свет практически исчезал.
11.1.6.1.3. Установленные на судне бортовые огни должны обеспечивать в направлении по носу минимальную требуемую силу света. Сила света должна уменьшаться, приближаясь практически к нулю на расстоянии от 1° до 3° за границами требуемого сектора.
11.1.6.1.4. Для двухцветных и трехцветных фонарей дисперсия силы света должна быть равномерной, для того чтобы в пределах 3° в обе стороны от границ требуемых секторов не превышалась максимально допустимая сила света и обеспечивалась минимальная требуемая сила света.
11.1.6.1.5. Дисперсия света фонарей в горизонтальной плоскости должна быть равномерной по всему сектору, для того чтобы минимальные и максимальные величины, которые наблюдаются, не отличались от фотометрической силы света более чем в 1,5 раза.
11.1.6.2. Дисперсия света в вертикальной плоскости
В пределах до +/- 5° вертикальной плоскости и до +/- 7,5° горизонтальной плоскости сила света должна составлять:
в первом случае - не менее 80%;
во втором случае - не менее 60% от силы света, и при этом не должна превышать ее в 1,2 раза.
11.2. НАВИГАЦИОННЫЕ И ТЕХНИЧЕСКИЕ ТРЕБОВАНИЯ
К СИГНАЛЬНО-ОТЛИЧИТЕЛЬНЫМ ФОНАРЯМ И СИГНАЛЬНЫМ ФИГУРАМ
11.2.1. Сигнально-отличительные фонари
11.2.1.1. Сигнально-отличительные фонари, допускаемые для установки на судах, по конструкции, материалам, способу установки и основным характеристикам должны удовлетворять требования настоящего раздела и их необходимо изготавливать в соответствии с условиями, согласованными с Регистром.
11.2.1.2. Если в настоящем разделе не оговорено иное, огни сигнальных фонарей должны излучать постоянный и ровный свет.
11.2.1.3. Сигнально-отличительные фонари должны иметь углы освещения и дальность видимости в зависимости от длины судна по нормам, указанным в табл. 11.2.1- 1 и
11.2.1-2.
Таблица 11.2.1-1
Сигнально-отличительные огни судов, эксплуатирующихся
исключительно на внутренних водных путях
Российской Федерации
N | Тип фонаря и цвет огня | Длина судна  | Тип огня | Секторы освещения в горизонтальной плоскости, град. |
Угол освещения | Углы видимости |
1 | Топовый белый | | яркий | 225 | От диаметральной плоскости судна со стороны носа по 112,5° на каждый борт |
| ясный |
| - |
2 | Бортовой зеленый | | ясный | 112,5 | От направления прямо на нос до 22,5° в корму от траверза судна |
| обычный |
| - |
3 | Бортовой красный | | ясный | 112,5 | От направления прямо на нос до 22,5° в корму от траверза судна |
| обычный |
| - |
4 | Кормовой белый | | ясный либо обычный | 135 | От направления прямо на корму до 67,5° в сторону каждого борта |
|
| - |
5 | Круговой белый | | ясный | 360 | По всему горизонту |
| обычный |
6 | Круговой: | любая | ясный либо обычный | | |
красный | 360 | По всему горизонту |
зеленый | 360 | По всему горизонту |
7 | Комбинированный фонарь зеленый с красным | | обычный | 225 | По 112°, 5 по обе стороны от диаметральной плоскости прямо на нос судна: Пр.Б - зеленый сектор; Л.Б - красный сектор |
| - |
8 | Стояночный белый | любая | обычный | 360 | По всему горизонту |
9 | Светоимпульсный сигнал |  днем | яркий | 112,5 + + 112,5 | От траверза судна в сторону носа с перекрытием от диаметральной плоскости 22,5°, а также от траверза судна в сторону кормы с перекрытием диаметральной плоскости 22,5° |
 ночью | ясный |
10 | Световой сигнал: | 360 | По всему горизонту |
Синий | любая | обычный |
Желтый | ясный или обычный |
Примечание. Допускается применение на судах фонарей, отвечающих требованиям Международных правил МППСС-72. |
Таблица 11.2.1-2
Дальность видимости сигнально-отличительных огней судов,
эксплуатирующихся на акваториях, где действуют МППСС-72
<1>
N | Тип сигнально-отличительного фонаря и цвет огня | Длина судна  |
12 - 24 | Менее 12 |
Дальность видимости, мили |
1 | Топовый белый | | 2 |
2 | Бортовой зеленый | 2 | 1 |
3 | Бортовой красный | 2 | 1 |
4 | Кормовой белый | 2 | 2 |
5 | Круговые: белый, красный, зеленый или желтый | 2 | 2 |
6 | Соединенный трехцветный с общим углом освещения 360° | | 1 |
(2 для белого сектора) |
7 | Соединенный двухцветный (зеленый/красный) | 2 | 1 |
| | ИС МЕГАНОРМ: примечание. В официальном тексте документа, видимо, допущена опечатка: таблица 10.2.1.1 в тексте документа отсутствует. Возможно, имеется в виду таблица 11.2.1.1. | |
|
<1> Углы освещения и углы видимости те же, что приведены в табл. 10.2.1.1. |
<2> На судах длиной 20 м и более дальность видимости топового огня - 5 миль, а на судах длиной менее 20 м дальность видимости топового огня - 3 мили. |
11.2.1.4. Углы видимости огней в вертикальной плоскости должны быть не менее 10°, а для моторно-парусных судов в районах действия МППСС-72 - не менее 25°, по обе стороны от горизонтальной плоскости, которая проходит через центр источника света.
11.2.1.5. Все судовые сигнально-отличительные фонари должны безотказно работать в условиях, указанных в
2.2 части VII "Электрическое оборудование".
11.2.1.6. Сигнально-отличительные фонари должны быть изготовлены из коррозионно-стойких материалов или иметь надежное антикоррозийное покрытие.
11.2.1.7. Конструкция электрических фонарей должна быть водозащищенной (IP 56). Конструкция фонарей должна обеспечивать сток конденсата и приток свежего воздуха в той мере, в какой это позволяет требуемая степень защищенности.
11.2.1.8. Конструкция сигнально-отличительных фонарей должна обеспечивать возможность их открытия и закрытия, а также замены ламп без использования инструмента. Конструкция корпуса фонарей должна обеспечивать быструю замену электрических или керосиновых ламп. Конструкция керосиновых фонарей должна быть такой, чтобы в них можно было вставлять лампу с поставленным ламповым стеклом.
11.2.1.9. Лампы в фонарях должны устанавливаться вертикально, находясь в фокусе линзы и отражателя. При этом должно исключаться самоотвинчивание лампы или самораскручивание патрона.
Использование в сигнально-отличительных фонарях ламп с двойной нитью не допускается.
11.2.1.10. Внутренние поверхности сигнально-отличительных фонарей должны быть покрыты защитным слоем, стойким к действию температуры и влаги, не влияющим на цветовые и световые характеристики фонарей.
11.2.1.11. В сигнально-отличительных фонарях с цветными огнями могут применяться стекла или светофильтры, окрашенные по всему сечению или по наружному слою.
Применение цветных линз является в каждом случае предметом специального рассмотрения Регистром.
Внутренние и наружные поверхности линз и гладких стекол должны быть гладкими, а стекло не должно иметь инородных включений, пузырей и забоин, ухудшающих характеристики фонаря.
Внутренние и наружные поверхности светофильтров должны быть лишены забоин и вмятин по крайней мере в степени, определяемой в согласованных с Регистром национальных стандартах или одобренных им технических условиях. Стекла светофильтров не должны иметь пузырей, инородных включений и свищей.
11.2.1.12. Для изготовления цветных линз, стекол и светофильтров допускается использование пластмасс, если тон их цвета не хуже, а термостойкость, коэффициент пропускания, кривые светораспределения и долговечность не ниже, чем у изделий из стекла.
11.2.1.13. У съемных светофильтров должно быть по всему периметру металлическое армирование или другая равноценная защита от отколов и механических повреждений, возможных при эксплуатации и хранении.
11.2.1.14. Светофильтры бортовых опознавательных огней и их арматура должны быть сконструированы так, чтобы была исключена возможность установки красного светофильтра в фонарь правого борта и зеленого - в фонарь левого борта.
11.2.1.15. Отражатели, используемые в фонарях, должны быть сферической формы с полированной поверхностью. Отражатели следует устанавливать так, чтобы их фокус находился в центре источника света. Коэффициент отражения должен быть не меньше 50%. Диаметр отражателей и углы захвата должны быть согласованы с геометрическими параметрами лампы.
11.2.1.16. Фонари с цветными огнями следует окрашивать в цвет, соответствующий цвету фонаря.
11.2.1.17. На каждом фонаре должны быть поставлены марка изготовителя, заводской номер, дата изготовления, наименование фонаря, клеймо Регистра или признанного Регистром другого классификационного общества.
11.2.1.18. Переносные фонари должны иметь ручки для переноса и подъема.
Если предусматривается подъем фонарей один под другим, фонари должны иметь внизу вторую ручку.
11.2.2. Сигнально-проблесковые фонари
11.2.2.1. Фонарь-вспышка должен быть электрическим, иметь соответствующие линзы и обеспечивать подачу одиночных или групповых вспышек в соответствии с Международными правилами предупреждения столкновения судов в море (МППСС-72) и Европейскими правилами судоходства по внутренним водным путям (ЕПСВВП).
Управление вспышками этих фонарей рекомендуется автоматизировать.
11.2.2.2. Фонарь, сопровождающий звуковые сигналы, должен быть электрическим и обеспечивать подачу светового сигнала одновременно с действием звукового сигнала.
11.2.3. Сигнальные фигуры
11.2.3.1. Сигнальные фигуры должны иметь соответствующие устройства для крепления их к фалам, на которых они поднимаются, и для соединения с другими фигурами. Фигуры складного типа должны иметь устройства, удерживающие их во время поднятия в раскрытом положении и предотвращающие самопроизвольное складывание этих фигур.
Устройства, соединяющие фигуры между собой (кроме конусов), должны обеспечивать сохранение установленных между ними расстояний.
Сигнальные фигуры (цилиндры, шары, конусы и сдвоенные конусы), применяемые на судах, эксплуатирующихся на внутренних водных путях, должны отвечать следующим требованиям:
их цвет не должен быть ни блеклым, ни загрязненным;
высота цилиндров должна быть не менее 0,8 м и диаметр - не менее 0,5 м;
диаметр шаров - не менее 0,6 м;
высота конусов - не менее 0,6 м и диаметр основания - не менее 0,6 м;
высота ромбов или сдвоенных основаниями конусов - не менее 0,8 м и диаметр основания - не менее 0,5 м.
Указанные в настоящих Правилах цилиндры, шары, конусы, ромбы или сдвоенные основаниями конусы могут быть заменены иными устройствами, создающими на удалении то же самое изображение.
11.2.3.2. Сигнальные щиты, применяемые на судах, эксплуатирующихся на внутренних водных путях, должны отвечать следующим требованиям:
если не оговорено иное - щиты должны быть прямоугольными;
цвет щитов не должен быть ни блеклым, ни загрязненным.
Рекомендуется устанавливать щиты бортовых огней такой длины, чтобы расстояние от наружной кромки линзы или гладкого стекла фонаря до передней поперечной ширмы было не менее 0,6 м. Вместо щитов допускается использование бортовых стенок надстройки или рубки.
11.2.4. Сигнальные флаги, вымпелы и сигнальное полотнище
11.2.4.1. Сигнальные флаги должны быть изготовлены из шерстяной флажной ткани достаточной прочности и стойкости окраски. Допускается изготовление флагов из синтетических материалов.
11.2.4.2. Сигнальные флаги должны быть квадратными, со стороной квадрата не менее 500 мм.
На судах, эксплуатирующихся на внутренних водных путях, длина и ширина флага должны быть не менее 1,0 м или не менее 0,6 м для малых судов, а длина вымпела должна быть не менее 1 м при ширине у основания - не менее 0,5 м.
11.2.4.3. На каждом судне должно быть предусмотрено полотнище размером 1 м x 0,8 м с нанесенными на нем регистровым N, названием, портом приписки, N причала.
11.2.5. Пиротехнические сигнальные средства
11.2.5.1. Пиротехнические средства, предназначенные для подачи сигнала бедствия, должны быть безопасными при обращении, а также при хранении в течение всего гарантийного срока службы.
11.2.5.2. Пиротехнические сигнальные средства следует беречь от влаги и механических повреждений. Коробки для хранения пиротехнических сигнальных средств должны открываться без помощи каких-либо инструментов.
11.2.5.3. На каждом пиротехническом сигнальном средстве несмываемой краской должны быть нанесены: клеймо завода-изготовителя, дата выпуска, срок хранения, назначение и инструкция по применению. На сигнальных ракетах стрелкой должно быть обозначено направление вылета.
11.2.5.4. Конструкция сигнальных ракет должна предусмотреть их запуск "с руки" и со специального устройства.
11.2.5.5. Все пиротехнические сигнальные средства должны быть влагостойкими, стойкими к вибрационным воздействиям и не гаснуть при скорости ветра до 30 м/с. Они должны сохранять свои свойства при температуре воздуха от -45 до +45 °C и во время дождя.
11.2.5.6. Парашютная ракета должна:
находиться в водостойком корпусе;
быть снабжена четко иллюстрирующими способ использования рисунками или краткой инструкцией, нанесенными на ее корпусе;
иметь встроенное запальное средство; иметь такую конструкцию, которая не причиняла бы неудобства держащему ее человеку при использовании ракеты в соответствии с инструкцией завода-изготовителя.
11.2.5.7. При запуске ракеты в вертикальном направлении она должна достигать высоты не менее 300 м. По достижении верхней точки траектории или вблизи от нее ракета должна выпускать парашютный сигнал, который, в свою очередь, должен:
гореть ярко-красным огнем;
гореть равномерно со средней силой света не меньше 30000 кд;
иметь длительность горения не менее 40 с;
иметь скорость снижения не более 5 м/с;
не повреждать во время горения свой парашют или его крепление.
11.2.5.8. Фальшфейер должен:
быть снабжен краткой инструкцией или рисунками, нанесенными на его корпусе и четко иллюстрирующими способ использования фальшфейера;
находиться в водостойком корпусе;
иметь встроенное запальное средство;
иметь такую конструкцию, чтобы не причинять неудобства держащему его человеку и не подвергать опасности коллективное спасательное средство горящими или тлеющими остатками при его использовании в соответствии с инструкцией завода-изготовителя;
гореть ярко-красным огнем;
гореть равномерно со средней силой света не менее 15000 кд;
иметь длительность горения не менее 1 мин;
продолжать горение после погружения его на 10 с в воду на глубину 100 мм.
11.2.5.9. Плавучая дымовая шашка должна:
находиться в водостойком корпусе;
гореть без вспышек при использовании ее в соответствии с инструкцией изготовителя;
быть снабжена краткой инструкцией или рисунками, нанесенными на ее корпусе и четко иллюстрирующими способ использования плавучей дымовой шашки;
равномерно испускать дым хорошо видимого цвета в течение не менее 3 мин, находясь на плаву на тихой воде;
не выбрасывать пламени в течение всего времени действия дымовой шашки;
не заливаться водой на волнении;
продолжать дымообразование при погружении ее на 10 с в воду на глубину 100 мм.
11.2.6. Звуковые сигнальные средства
11.2.6.1. Создаваемые сигналы должны быть чистыми, без искажений.
11.2.6.2. Конструкция и материалы звуковых сигнальных средств должны обеспечивать дальность слышимости не менее регламентированной в табл. 11.2.6.2.
Таблица 11.2.6.2
Дальность слышимости звуковых сигнальных средств
Тип звукового сигнального средства | Дальность слышимости, км | Уровень на расстоянии 1 м в 1/3 октавной полосе, дБ, отнесенный к  |
Электросирена воздушная | 2,0 | |
Электрическое сигнальное устройство автомобильного типа | 1,5 | |
Колокол или плита | 1,0 | |
Свисток | 1,0 | 120 |
11.2.6.3. Для судов длиной 12 м и более подачу звуковых сигналов рекомендуется автоматизировать, предусмотрев возможность подачи сигналов вручную и изменения времени подачи сигналов в любой момент времени управления судном.
11.2.6.4. Колокол должен издавать громкий звук чистого тона и быть изготовлен из коррозионно-стойкого материала, не требующего антикоррозионной защиты. Окраска колокола не допускается.
Диаметр раструба колокола должен быть не менее 200 мм. Масса "языка" колокола должна составлять не менее 3% массы колокола.
11.2.6.5. Механически действующие звуковые сигнальные устройства, применяемые на судах, эксплуатирующихся на внутренних водных путях, должны подавать звуковые сигналы, имеющие следующие характеристики.
11.2.6.5.1. Частота:
1. Основная частота звуковых сигналов моторных судов, за исключением судов длиной менее 20 м, должна составлять 200 Гц с допустимым отклонением +/- 20%;
2. Для немоторных судов и судов длиной менее 20 м частота звука должна быть выше 350 Гц;
3. Для тритональных звуковых сигналов, подаваемых судами, совершающими плавание в условиях ограниченной видимости с использованием радиолокаторов, основные частоты звуков должны составлять 165 - 297 Гц с интервалом по крайней мере в 2 полных тона между наиболее высоким и наиболее низким тонами.
11.2.6.5.2. Уровень звукового давления:
1. Для моторных судов длиной более 20 м взвешенный уровень звукового давления должен составлять 120 - 140 дБ (А);
2. Для не моторных судов и судов длиной менее 20 м взвешенный уровень звукового давления должен составлять 100 - 125 дБ (А);
3. Для тритональных звуковых сигналов, подаваемых судами, совершающими плавание в условиях ограниченной видимости с использованием радиолокаторов, взвешенный уровень звукового давления каждого звука должен составлять 120 - 140 дБ (А).
Указанные уровни звукового давления измеряются или определяются на расстоянии 1 м спереди от центра рупора, причем измерение по возможности должно производиться на открытой местности.
11.3. УСТАНОВКА СИГНАЛЬНЫХ СРЕДСТВ НА СУДАХ
11.3.1. Сигнально-отличительные фонари
11.3.1.1. Сигнально-отличительные фонари должны устанавливаться на штатных местах стационарно либо должны быть подъемными с помощью специальных устройств на бегучем такелаже.
11.3.1.2. Размещение сигнально-отличительных фонарей должно быть выполнено в соответствии с районом судоходства и обеспечивать их беспрепятственную видимость во всех секторах освещения.
Детальные требования по составу и несению сигнально-отличительных фонарей изложены, соответственно, в Международных правилах предупреждения столкновения судов (МППСС-72), Европейских правилах судоходства по внутренним водным путям (ЕПСВВП), Основных положениях о плавании по Дунаю (ОППД) и Правилах плавания по внутренним водным путям Российской Федерации (ППВВП).
11.3.1.3. На всех штатных местах установки сигнально-отличительных фонарей должны быть предусмотрены специальные приспособления, обеспечивающие быструю и правильную установку и крепление фонарей.
11.3.1.4. Точность установки фонарей секторного огня следует проверять положением их относительно линии диаметральной плоскости судна.
Горизонтальность установки фонарей должна проверяться при нулевом крене и дифференте относительно состояния судна.
11.3.1.5. Все топовые фонари должны иметь снизу ограждающие щитки, предотвращающие ослепление людей на мостике и палубе.
Ограждающие щитки должны быть окрашены в матовый черный цвет.
11.3.1.6. Бортовые отличительные фонари должны быть установлены на одинаковой высоте симметрично относительно диаметральной плоскости судна и расположены на одной линии, перпендикулярной к этой плоскости.
11.3.1.7. Бортовые фонари со стороны, обращенной к диаметральной плоскости судна, должны быть ограждены фонарными щитами с двумя поперечными ширмами (передней и задней), установленными перпендикулярно к щиту.
Щиты должны быть такой длины, чтобы расстояние от наружной кромки линзы или гладкого стекла фонаря до задней кромки передней поперечной ширмы было не менее 0,6 м.
Передняя поперечная ширма должна быть такой ширины, чтобы линия, соединяющая ее наружную кромку с внутренней кромкой нити накала или горелки фонаря, была параллельной диаметральной плоскости судна.
Задняя поперечная ширма должна быть такой ширины, чтобы закрывала полностью фонарь с кормы, но не мешала видеть огонь на 22,5° позади траверза судна.
Высота щита и ширм должна быть не менее высоты корпуса фонаря. Внутренние поверхности фонарных щитов должны быть матовыми и окрашенными в черный цвет.
11.3.1.8. Фонари с углом видимости в горизонтальной плоскости 360°, за исключением якорных фонарей, должны устанавливаться таким образом, чтобы их огни не закрывались мачтами, стеньгами или надстройками в секторах, превышающих 6°. При этом следует рассматривать фонарь как круговой источник света диаметром, равным наружному диаметру источника света (нити накаливания электролампы, пламени горелки).
Если выполнить это требование путем установки только одного кругового фонаря практически неосуществимо, должны быть установлены два круговых фонаря, расположенные или снабженные щитами таким образом, чтобы они были видны, насколько это практически возможно, как один огонь на расстоянии одной мили и более. Щиты, используемые для этих целей, должны закрывать фонари менее чем на 180°.
11.3.1.9. На судах с механическим приводом, предназначенных для эксплуатации или эксплуатирующихся на акваториях, где действуют МППСС-72, запасные топовый, бортовые и кормовой фонари должны быть установлены на штатном месте, либо должны быть использованы сдвоенные электрические фонари (фонари с двумя источниками света, один из которых имеет питание от судовой сети, а другой - от аварийного источника электроэнергии).
11.3.2. Сигнальные фигуры
Размещение сигнальных фигур, в зависимости от предусмотренного района плавания судна, должно удовлетворять, соответственно, требованиям МППСС-72 или ЕПСВВП и ОППД, либо ППВВП.
11.3.3. Звуковые сигнальные средства
11.3.3.1. Свистки или тифоны, устанавливаемые стационарно, должны быть размещены над верхней палубой на возможно большей высоте, не менее чем на 0,5 м превышающей надстройки и другие конструкции на этой палубе, которые могли бы мешать распространению звука; при этом их раструбы должны быть направлены прямо по ходу судна.
11.3.3.2. Кнопки для управления стационарно установленным свистком или тифоном должны размещаться на постах управления судном.
11.3.3.3. Колокол должен устанавливаться стационарно на открытом месте бака.
11.3.4. Хранение переносных сигнальных средств на судах
Переносные сигнальные средства должны храниться в специальных легкодоступных кладовых, рундуках или шкафах, которые рекомендуется располагать вблизи рулевой рубки.
11.4. СНАБЖЕНИЕ СУДОВ СИГНАЛЬНЫМИ СРЕДСТВАМИ
11.4.1. На судах должны применяться электрические сигнально-отличительные фонари. На судах, не имеющих собственных источников электрической энергии, допускается применение фонарей, работающих на иных источниках белого света, одобренного Регистром типа.
11.4.2. При использовании электрических сигнально-отличительных фонарей должно быть предусмотрено их переключение на аварийный источник тока.
11.4.3. Применяемые на судах звуковые сигнальные средства должны обеспечивать безотказное действие, требуемую силу звука, а также продолжительность и чистоту звучания.
11.4.4. Каждое судно проектных категорий A, A1, A2 и B, C, C1 должно быть снабжено следующими запасными частями и материалами для фонарей:
1. По одному светофильтру на каждый цветной фонарь, если в фонаре не применена цветная линза;
2. По одной электролампе на каждый электрический фонарь;
3. Горючей смесью для запасных масляных фонарей в количестве, обеспечивающем горение всего комплекта фонарей в течение:
32 ч - для судов проектных категорий A, A1, A2 и B;
16 ч - для судов остальных проектных категорий;
4. По одному фитилю на каждый масляный фонарь;
5. Для фонарей, иных чем электрические, состав запасных частей в каждом случае является предметом специального рассмотрения Регистром;
6. Шестью ламповыми стеклами, если все масляные фонари имеют одинаковый размер стекол; в противном случае должно быть предусмотрено по два ламповых стекла на каждый фонарь.
11.5. НОРМЫ СНАБЖЕНИЯ СИГНАЛЬНО-ОТЛИЧИТЕЛЬНЫМИ ФОНАРЯМИ
И СИГНАЛЬНЫМИ ФИГУРАМИ
11.5.1. Суда, предназначенные для эксплуатации на внутренних водных путях Российской Федерации и акваториях, где действуют требования Европейских правил судоходства по внутренним водным путям (ЕПСВВП), должны быть оборудованы сигнально-отличительными фонарями и быть обеспечены сигнальными фигурами в соответствии с нормами, приведенными в табл. 11.5.1-1 и
11.5.1-2.
Таблица 11.5.1-1
Нормы обеспечения судов для эксплуатации на внутренних
водных путях
Тип судна и длина корпуса  | Сигнально-отличительные фонари | Сигнальный конус |
Топовый | Бортовые | Кормовой | Светоимпульсные отмашки | Круговые | Стояночные |
Зеленый | Красный | Белый | Красный | Зеленый | Проблесковый |
Моторное | | 1 | 1 | 1 | 1 | 4 | 1 | 2 | - | - | | - |
| 1 | | | | - | 1 | 1 | - | - | | - |
| - | - | - | - | - | 1 | - | - | - | | - |
Парусное | | - | 1 | 1 | 1 | - | - | | | - | | - |
| - | | | | - | - | - | - | - | | - |
| - | - | - | - | - | | - | - | - | - | - |
Парусное судно, идущее под парусом и одновременно использующее свою силовую установку | 1 | - | - | 1 | - | - | - | - | - | - | |
Стоечные суда | - | - | - | - | - | 1 | - | - | - | - | - |
<1> Судно, пришвартованное к берегу, должно нести белый круговой огонь, видимый со всех сторон и размещенный со стороны фарватера на высоте не менее 3 м. Этот огонь может быть заменен двумя обычными белыми огнями, установленными в носовой и в кормовой частях судна, которые видимы со всех сторон и размещены со стороны фарватера. |
<2> Могут быть объединены в одном фонаре, устанавливаемом по оси судна в носовой части. |
<3> Может быть исключен, но в этом случае топовый огонь должен быть заменен белым круговым огнем, видимым со всех сторон. |
<4> Малое судно на стоянке должно нести белый круговой огонь, расположенный так, чтобы он был виден со всех сторон. |
|
<6> Могут быть объединены в одном фонаре, устанавливаемом в носовой части с сохранением кормового огня, или см. сноску 5. |
<7> Бортовые и кормовой огни могут быть объединены в одном фонаре, размещаемом на самой верхней части мачты. |
<8> Парусные суда длиной менее 7 м могут нести белый круговой огонь, видимый со всех сторон, и показывать второй обычный белый огонь при приближении других судов. |
<9> Черный конус, устанавливаемый вершиной вниз. |
Таблица 11.5.1-2
Дополнительные сигналы судов, эксплуатирующихся
на внутренних водных путях
Характеристики судна | Сигнальные огни | Сигнальные фигуры |
Круговой белый | Круговой зеленый | Круговой красный | Проблесковый | Сигнальный шар | Сигнальный конус | Ромб | Флаг | Вымпел |
Суда, потерявшие управление | | | | - | | - | | | - |
Суда, ограниченные в маневре | | | | - | | - | | - | - |
Суда  , которым разрешено перевозить более 12 пассажиров | - | - | - | - | - | - | | - | - |
Судно, стоящее на открытом месте и не сообщенное с берегом | | - | - | - | | - | - | - | - |
<1> Ночью - один красный огонь, который на судах длиной менее 20 м может быть заменен белым, либо два красных огня, расположенных вертикально, на расстоянии 1 м. |
Днем - красный сигнальный флаг либо два черных сигнальных шара, расположенных вертикально, на расстоянии 1 м друг от друга. |
<2> Ночью - три круговых огня, расположенных вертикально, на расстоянии 1 м друг от друга, из которых верхний и нижний красные, а средний - белый. |
Днем - два черных шара и ромб между ними, на расстоянии не менее 1 м. |
<3> Днем - сдвоенный желтый ромб. |
<4> Ночью - два белых круговых огня, видимых со всех сторон; первый - в носовой части на высоте не ниже 4 м; второй - в кормовой части на высоте не ниже 2 м и, как минимум, на 2 м ниже первого. |
Днем - черный шар в передней части, расположенный так, чтобы он был виден со всех сторон. |
11.5.2. Суда, предназначенные для эксплуатации или эксплуатирующиеся на акваториях, где действуют требования МППСС-72, должны быть оборудованы сигнально-отличительными фонарями и быть обеспечены сигнальными фигурами по нормам, приведенным в табл. 11.5.2-1 и
11.5.2-2.
Таблица 11.5.2-1
Нормы обеспечения судов, эксплуатирующихся в районах
судоходства, где действуют МППСС-72
N п/п | Типы судов | Сигнально-отличительные фонари | Сигнальные фигуры |
Топовый | | Кормовой | Круговые | Шар | Конус | Ромб |
Зеленый | Красный | Белый | Красный |
1 | Самоходные суда: | | | | | | | | | |
1.1 | Длиной 12 м и более; | 1 | 1 | 1 | 1 | 1 | 2 | 3 | один на судно, имеющее паруса | |
1.2 | Длиной до 12 м; | | | | | | - | 1 | - |
1.3 | Длиной менее 7 м и с максимальной скоростью не более 7 уз. | | | | | | - | | - |
| | |
3 | Несамоходные суда | - | | | | 1 | | | - | |
<1> На суднах длиной менее 20 м могут быть скомбинированы в один фонарь. |
<2> Только для буксируемых судов, если длина буксира превышает 200 м. Может быть заменен двумя конусами, соединенными между собой основаниями. |
<3> Могут быть заменены одним белым круговым огнем. |
<4> Если установка топового или белого кругового огня практически невозможна в диаметральной плоскости, он может быть смещен относительно диаметральной плоскости судна; при этом бортовые огни должны быть скомбинированы в один фонарь, который устанавливается в диаметральной площади судна, или, насколько это практически возможно, близко к продольной плоскости, где установлен топовый или белый круговой огонь. |
<5> Может использоваться вместо топового и кормового огней. |
<6> Выставляются, если это практически возможно. |
<7> Если парусное судно движется на веслах, то огни могут быть объединены в одном фонаре. |
<8> Требуется на якоре, только в узком проходе, на фарватере, месте якорной стоянки или поблизости от них, где, как правило, плавают другие суда. |
<9> Требуется, если судно буксируется у борта или на тросе. |
<10> Только для судов длиной 12 м и более. |
|
Примечание: |
Поскольку требования настоящих Правил не распространяются на буксиры и толкачи, выполнение операции буксирования может осуществляться только в дневное время, в условиях хорошей видимости. |
Таблица 11.5.2-2
Нормы обеспечения дополнительными сигналами судов,
эксплуатирующихся в районах судоходства,
где действует МПСС-72
N п/п | Типы судов | Фонари | Сигнальные фигуры |
Круговые | Проблесковый | Конус | Ромб |
Белый | Красный | Зеленый | Желтый |
1 | Суда, ограниченные в возможности маневрирования <1> | 1 | 2 | - | - | - | 1 |
<1> Фонари и сигнальные фигуры не требуются для судов длиной менее 12 м. |
| | ИС МЕГАНОРМ: примечание. В официальном тексте документа, видимо, допущена опечатка: таблица 11.5.3 в тексте документа отсутствует. Возможно, имеется в виду таблица 11.5.1-2. | |
Дополнительные сигнальные средства судов, ограниченных в возможности маневрировать, приведены в
табл. 11.5.3.
11.5.3. Судно длиной 20,0 м и более, предназначенное для эксплуатации или эксплуатирующееся на акваториях, где действуют требования ЕПСВВП, должно быть снабжено одним желтым шаром - сигнальной фигурой, используемой в случае его буксирования другим судном.
11.6. НОРМЫ ОБЕСПЕЧЕНИЯ СУДОВ ПИРОТЕХНИЧЕСКИМИ
СИГНАЛЬНЫМИ СРЕДСТВАМИ
11.6.1. К пиротехническим сигнальным средствам относятся ракеты или гранаты, которые выбрасывают красные звезды, ракеты сигнала бедствия парашютные (судовые), фальшфейеры красного цвета, дымовой сигнал - выпуск дыма оранжевого цвета.
11.6.2. Навигационные и технические требования, которым должны отвечать пиротехнические сигнальные средства, приведены в
10.2.5.
11.6.3. Обеспечение судов пиротехническими сигнальными средствами следует принимать по нормам, приведенным в табл. 11.6.3.
Таблица 11.6.3
Нормы обеспечения судов пиротехническими
сигнальными средствами
Проектная категория судна | Количество |
Парашютная ракета (судовая) бедствия <1> | Граната или ракета звуковая <2> | Фальшфейер красный | | Однозвездная ракета зеленая <2> | Однозвездная ракета красная <2> |
A, A1, A2 и B | | 6 | | 6 | 6 | 6 |
C | 3 | - | 3 | 3 | - | - |
C1 | 3 | - | 3 | 3 | - | - |
C2 | 3 | - | 3 | 3 | - | - |
| - | - | - | - | - | - |
<1> Суда, совершающие международные морские рейсы, снабжаются 12 парашютными ракетами. При этом наличие фальшфейеров рекомендуются. |
|
<3> Суда при эксплуатации на внутренних водных путях могут снабжаться парашютными ракетами - 3 шт. и фальшфейерами красными - 3 шт. |
<4> Суда проектных категорий A, A1, A2 и B, дополнительно снабжаются двумя плавучими дымовыми шашками. Помимо этого суда проектной категории A дополнительно снабжаются шестью судовыми парашютными ракетами бедствия. |
Пиротехническими сигнальными средствами обеспечиваются суда, которые эксплуатируются на море или в водохранилищах.
11.6.4. Для запуска ракет сигнала бедствия на леерном ограждении или фальшборте судна следует установить специальный стакан с прорезью с наклоном наружу под углом 60 - 70°.
11.6.5. Допускается замена парашютных (судовых) ракет сигнала бедствия ракетами шестизвездными судовыми красными, кроме судов, которые совершают международные морские рейсы.
11.7. НОРМЫ ОБЕСПЕЧЕНИЯ ЗВУКОВЫМИ СИГНАЛЬНЫМИ СРЕДСТВАМИ
11.7.1. Все суда с механическим приводом длиной 12 м и более для подачи звуковых сигналов должны быть снабжены свистком и колоколом.
11.7.2. Суда длиной менее 12 м в районе действия требований МППСС-72 и суда внутреннего плавания длиной 7 - 12 м должны иметь звуковое средство для возможности подать эффективный звуковой сигнал короткими и длинными звуками.
11.7.3. На несамоходных судах, на которых предусмотрено наличие экипажа, следует устанавливать сигнальный колокол или металлическую плиту.
11.7.4. На морских судах и судах внутреннего плавания длиной менее 12 м допускается использование сигнальных средств автомобильного типа.
11.7.5. В тех случаях, когда положениями настоящих Правил или другими применяемыми положениями предусмотрены звуковые сигналы иные, чем удары колокола, эти звуковые сигналы должны подаваться:
1. На борту моторных судов длиной 20 м и более, а также на всех судах, оснащенных радиолокационным оборудованием, - посредством механически действующих звуковых сигнальных приборов, устанавливаемых на достаточной высоте, чтобы звуковые сигналы могли свободно распространяться вперед, а также, по возможности, назад; сигнальные приборы должны отвечать требованиям
11.2.6.5;
2. На борту немоторных судов и на борту моторных судов длиной менее 20 м, машинное оборудование которых не имеет прибора для подачи сигналов посредством трубы или соответствующего рожка, эти сигналы должны отвечать требованиям
11.2.6.5.1.1 -
11.2.6.5.1.2.
11.7.6. Звуковые сигналы моторных судов длиной 20 м и более должны сопровождаться световыми, синхронизированными с ними сигналами. Указанные световые сигналы должны быть желтого цвета, их должно быть хорошо видно со всех сторон. Данное положение не распространяется на световые и звуковые сигналы, которые подаются с помощью радиолокационной установки судами, идущими вниз по течению, и на удары или звон колокола.
11.7.7. В случае движения судов в составе предписанные звуковые сигналы должны подаваться, если специально не оговорено иное, только судном, на борту которого находится судоводитель состава.
11.7.8. Судно, терпящее бедствие, должно подавать сигналы посредством повторяющихся ударов в колокол или продолжительных звуковых сигналов. Указанные сигналы допускается заменять или дополнять подачей визуальных сигналов.
11.7.9. Для обеспечения слышимости звуковых сигналов взвешенный уровень звукового давления в рулевой рубке на уровне головы рулевого не должен превышать 70 дБ(А), если судно совершает плавание в нормальных эксплуатационных условиях. По согласованию с Регистром может допускаться уровень звукового давления 75 дБ(А).
11.7.10. Звон колокола должен иметь продолжительность около 4 с. Он может быть заменен серией ударов металла о металл той же продолжительности.
11.7.11. В дополнение требований настоящих Правил каждое судно длиной 20 м и более должно, в случае необходимости, подавать сигналы, указанные в
11.1.3.
Нормы снабжения судов для эксплуатации на внутренних водных путях.
12. АВАРИЙНОЕ СНАБЖЕНИЕ, ЗАПАСНЫЕ ЧАСТИ И ИНСТРУМЕНТ
12.1.1. Предметы снабжения, перечисленные в
табл. 12.2.1 и
12.2.2, но предназначенные для других целей, могут быть зачислены в аварийное снабжение, если они имеют соответствующую маркировку и место их постоянного хранения расположено выше палубы переборок, при ее наличии.
12.2.1. Суда длиной более 12 м, за исключением судов проектных категорий C1, C2, C3 и D, рекомендуется укомплектовывать аварийным снабжением. Нормы снабжения судов длиной менее 12 м определяются по усмотрению судовладельца.
Примерный перечень аварийного снабжения указан в табл. 12.2.1.
N п/п | Наименование и единицы измерения | Размер | Кол. |
1 | Мат шпигованный, шт. | 0,4 x 0,5 м | 1 |
2 | Набор такелажного инструмента, компл. | | 1 |
3 | Набор слесарного инструмента, компл. | | 1 |
4 | Пробки сосновые для судов с иллюминаторами в корпусе, шт. | Диаметр бортового иллюминатора | |
5 | Пробки сосновые, шт. | 10 x 30 x 150 мм | 2 |
6 | Парусина суровая, м2 | | 2 |
7 | Пакля просмоленная, кг | | |
8 | Болт с 6-гранной головкой, шт. | М16 x 260 мм | 2 |
9 | Шестигранная гайка | М16 | 4 |
10 | Шайба под гайку | М16 | 8 |
11 | Цемент быстросхватывающийся, кг | | |
12 | Песок природный, кг | | |
13 | Ускоритель затвердевания бетона, кг | | |
14 | Сурик, кг | | 5 |
15 | Топор плотничный, шт. | | 1 |
16 | Пила-ножовка | 600 мм | 1 |
17 | Ведро с линем, шт. | | 1 |
18 | Фонарь взрывозащищенный, шт. | | 1 |
19 | Упор раздвижной, шт. | | 1 |
<1> Для каждого типоразмера. |
<2> Для судов длиной менее 12 м, норма - 50 кг; |
<3> Для судов длиной менее 12 м, норма - 5 кг; |
<4> Для судов длиной менее 12 м, норма - 50 кг; |
<5> Для судов длиной менее 12 м, норма - 2,5 кг. |
12.2.2. На судах из стеклопластика, за исключением судов проектных категорий C1, C2, C3 и D, должно быть предусмотрено снабжение, указанное в табл. 12.2.2, при этом его количество должно быть установлено применительно к конкретному судну.
N п/п | Наименование |
1 | Стеклоткань |
2 | Стекложгут |
3 | Связующая смола с отвердителем |
12.2.3. Наборы такелажного и слесарного инструмента, указанные в
табл. 12.2.1, рекомендуется укомплектовывать в соответствии с табл. 12.2.3.
N п/п | Наименование | Размер | Количество на 1 набор |
Такелажный | Слесарный |
1 | Рулетка измерительная | 2000 мм | 1 | - |
2 | Молоток слесарный | 0,5 кг | 1 | 1 |
| Кувалда | 3,0 кг | - | 1 |
4 | Мушкель такелажный | - | 1 | - |
5 | Пробойник (конопатка) | - | 1 | - |
6 | Зубило | 20 x 200 мм | 1 | 1 |
7 | Свайка | 200 мм | 1 | - |
| Долото плотницкое | 20 мм | 1 | - |
9 | Бурав спиральный | | 1 | - |
| Клещи | 200 мм | 1 | - |
11 | Просечка | | - | 1 |
| То же | | - | 1 |
13 | Напильник трехгранный | 300 мм | - | 1 |
14 | Напильник полукруглый | 300 мм | - | 1 |
| Клещи универсальные | 200 мм | - | 1 |
16 | Отвертка | b = 10 мм | - | 1 |
17 | Ключ гаечный разводной | до 36 мм | - | 1 |
18 | Ключ гаечный | 24 мм | - | 1 |
19 | Нож такелажный | - | 1 | - |
20 | Станок ножовочный | - | - | 1 |
21 | Полотно ножовочное | - | - | 6 |
22 | Сумка для инструмента | - | 1 | 1 |
Примечание. Для судов из стеклопластика не требуется наличие снабжения, указанного в п. п. 3, 8 - 10, 12 - 15, 19, 20, 22. |
12.2.4. Для судов проектных категорий A, A1, A2 и B следует предусмотреть аварийный запас питьевой воды не менее 9 л на человека в специально предназначенном контейнере(ах).
12.2.5. Для моторных судов проектных категорий C, C1, C2, C3 и D с длиной корпуса менее 6 м требуется наличие комплекта гребных весел.
12.3. ХРАНЕНИЕ АВАРИЙНОГО СНАБЖЕНИЯ
12.3.1. Аварийное снабжение должно храниться, по возможности, на двух аварийных постах, один из которых должен быть расположен в машинном отделении. Аварийными постами могут служить ящики или места, отведенные на палубе или в помещениях.
В аварийном посту, расположенном в машинном помещении, должно храниться снабжение, необходимое для производства аварийных работ внутри этого помещения. Остальное аварийное снабжение, как правило, должно храниться в аварийных постах, расположенных выше палубы переборок. Допускается расположение аварийного поста ниже палубы переборок при условии обеспечения постоянного доступа к этому посту.
12.3.2. На судах, где требование
12.3.1 выполнить не представляется возможным, допускается хранение аварийного снабжения только на одном аварийном посту.
12.3.3. Перед аварийным постом должен быть предусмотрен свободный проход шириной не менее 0,6 м.
Проходы к аварийным постам должны быть по возможности прямыми и короткими.
12.4.1. Предметы аварийного снабжения или тара для их хранения должны быть окрашены синей краской либо полностью, либо полосой. Тара для хранения аварийного имущества должна иметь четкую надпись с указанием наименования материала, массы и допустимого срока его хранения.
12.4.2. У аварийных постов должны быть нанесены четкие надписи "Аварийный пост".
12.5. ЗАПАСНЫЕ ЧАСТИ К УСТРОЙСТВАМ
12.5.1. Все суда должны быть укомплектованы запасными частями, необходимыми для обеспечения надежной эксплуатации судовых устройств. Перечень запасных частей приведен в табл. 12.5.1. Таблица устанавливает только номенклатуру изделий, а типоразмеры и количество изделий снабжения определяются требованиями соответствующих разделов настоящих Правил.
Таблица 12.5.1
Запчасти к судовым устройствам
N п/п | Наименование | Проектные категории судна |
A, A1, A2 и B | C | C1 |
1 | Якорное устройство | | | |
1.1 | Запасная концевая скоба | + | - | - |
1.2 | Запасная соединительная скоба | + | - | - |
2 | Рулевое устройство | | | |
2.1 | Запасная втулка подшипника баллера | + | + | - |
2.2 | Запасная втулка подшипника штыря | + | + | - |
2.3 | Аварийный румпель | + | + | + |
2.4 | Комплект румпель-талей <1> | + | + | + |
<1> Для судов с рулевым приводом, действующим от источника энергии. При этом позиция 2.3 не требуется. |
12.6. ИНСТРУКЦИИ ПО ЭКСПЛУАТАЦИИ
12.6.1. На борту судна рекомендуется иметь необходимые инструкции по эксплуатации и техническому обслуживанию механизмов и вспомогательного оборудования.
РЕКОМЕНДАЦИИ ПО НОРМИРОВАНИЮ УПРАВЛЯЕМОСТИ
1.1. Определения и пояснения
1.1.1. Для целей настоящих Рекомендаций приняты следующие определения и пояснения:
Средняя точка судна - точка в ДП судна, находящаяся на середине действующей ватерлинии.
Скорость судна v - для водоизмещающих моторных судов - скорость судна, равная по меньшей мере 90% достижимой скорости судна или скорость судна при мощности двигателей не менее 85% от номинальной.
Маневренная скорость судна

- для судов, движущихся в переходном и глиссирующем режимах, а также для высокоскоростных судов - скорость, при которой обеспечивается безопасное маневрирование судна в стесненной акватории. Эта скорость, как правило, соответствует водоизмещающему режиму.
Маневр циркуляции - маневр, выполняемый как вправо, так и влево при углах перекладки руля на 35° или при максимальном угле перекладки, допустимой при скорости судна на испытаниях.
Установившаяся циркуляция - маневр циркуляции, когда кинематические параметры движения судна можно считать постоянными во времени.
Тормозной путь - расстояние, проходимое средней точкой судна в направлении первоначального курса от положения, в котором был дан полный задний ход, до положения, когда судно остановилось относительно воды.
Средство активного управления - устройство, способное создавать боковую силу при неработающем главном двигателе и/или отсутствии хода относительно воды.
Галс - совокупность курсов парусного судна относительно ветра одного борта.
Поворот парусного судна - смена галса.
Поворот оверштаг - поворот, когда парусное судно пересекает линию ветра носом.
Поворот фордевинд - поворот, когда парусное судно пересекает линию ветра кормой.
1.2. Общие требования
1.2.1. Методики и расчетные параметры, изложенные в
2.2 и
3.1, действительны только для целей определения конструктивно-архитектурной компоновки судна на начальных стадиях проектирования и содержат рекомендации общего характера, которые не могут учесть особенностей конкретного судна.
Для целей настоящих Правил подход к нормированию управляемости заключается в следующем:
1. Площадь пера руля и эффективность рулевого комплекса рекомендуется оценивать на стадии проектирования судна;
2. Требования к элементам маневренности судна - циркуляции, тормозному пути, устойчивости на курсе, управляемости парусных судов - проверяются на ходовых испытаниях головного судна;
3. Решение о соответствии судна требованиям к управляемости в целом принимается по результатам испытаний.
2. УПРАВЛЯЕМОСТЬ МОТОРНЫХ СУДОВ
2.1. Диаметр установившейся циркуляции
2.1.1. Требования настоящей главы распространяются на суда, оборудованные стационарными либо подвесными моторами. Подруливающие устройства и подобные средства активного управления рассматриваются как вспомогательные и не учитываются при выполнении требований настоящего раздела.
2.1.2. Фактические характеристики циркуляции проверяются во время испытаний судна.
2.1.3. Для водоизмещающих судов (движущихся в режиме Fr < 0,5) диаметр установившейся циркуляции на любой борт должен составлять:
где

- диаметр установившейся циркуляции, м;

- длина судна по ватерлинии, в состоянии без хода, м.
2.1.4. Для высокоскоростных судов, эксплуатируемых в переходном

или глиссирующем

режимах, диаметр установившейся циркуляции на скорости маневрирования должен составлять:

- для глиссирующих и полуглиссирующих судов;

- для судов на подводных крыльях, скеговых судов на воздушной подушке и судов, имеющих в подводной части скег.
2.1.5. Скорость маневрирования и безопасные режимы маневрирования высокоскоростных судов должны быть указаны в Руководстве для владельца судна.
2.2.1. Требования к площади пера руля распространяются на суда со стационарно установленным двигателем и гребным винтом. Требования не применяются к судам с подвесными моторами, водометами, кольцевыми поворотными насадками и другими подобными средствами управления.
2.2.2. Минимально необходимая площадь пера руля определяется как:
где

- минимальная площадь пера руля, м2; для судов с двумя рулями в качестве

используется суммарная площадь рулей. Если руль имеет скег, то площадь руля

рассчитывается аналогично величине

, определяемой в
гл. 2.2;

- площадь погруженной части ДП судна, включая киль и дейдвуд, но без учета швертов, шверцев, кронштейнов и выступающих частей, м2;

- коэффициент, учитывающий основные размерения судна, вычисляемый по формуле:
где B - ширина судна;

- усредненная осадка площади погруженной части ДП судна

, вычисляемая как удвоенное расстояние от конструктивной ватерлинии до параллельной ей нейтральной оси инерции площади

. Для судов с простой формой площади погруженной части

может быть принята равной осадке судна на миделе;

- коэффициент общей полноты;

- коэффициент, учитывающий расположение руля и винта:

для рулей, установленных за диском винта;

для иного их расположения;

- коэффициент количества рулей:

при установке одного руля;

при установке двух рулей побортно;

- коэффициент, учитывающий тип и место установки руля:

для руля, установленного под днищем;

для транцевого навесного руля;

для транцевого навесного руля, установленного за ахтерштевнем или скегом;

- коэффициент относительного удлинения пера руля:

для руля с

;

для рулей с

;

- средняя высота пера руля, м;

- коэффициент относительного расположения геометрического центра площади погруженной части ДП по длине судна:

- расстояние, м, от геометрического центра площади погруженной части ДП до миделя судна с учетом знака, значение положительно в нос судна;

- коэффициент относительного расположения центра водоизмещения по длине судна:

- расстояние, м, от центра водоизмещения до миделя судна, с учетом знака, значение положительно в нос судна.
2.2.3. Площадь пера руля может быть уменьшена по сравнению с требуемой, если Регистру будет доказано расчетами либо экспериментальным методом выполнение требований, изложенных в
2.1.
2.3. Тормозной путь судна
Тормозной путь судна не должен превышать

2.4. Устойчивость на курсе
В ходе испытаний должна быть продемонстрирована способность судна устойчиво двигаться прямым курсом, без постоянной перекладки руля с борта на борт, обусловленной рыскливостью судна.
3. УПРАВЛЯЕМОСТЬ ПАРУСНЫХ СУДОВ
3.1. Критерий эффективности руля
3.1.1. Требования к критерию эффективности руля применяются для парусных судов длиной более

.
3.1.2. Критерий эффективности руля парусного судна
где

- коэффициент количества рулей;

- при установке одного руля;

- при установке двух рулей побортно;

- коэффициент расположения и типа руля:

- для руля, установленного под днищем консольно или со скегом;

- для навесного на транец руля;

- для руля, навешенного на ахтерштевень;

- коэффициент относительного удлинения пера руля;

для руля с

;

для рулей с относительным удлинением

;

- расстояние от геометрического центра пера руля до средней точки судна, м;

- средняя высота пера руля, м;

- площадь пера руля, м2; для судов с двумя рулями в качестве

используется суммарная площадь рулей.
Если руль имеет скег, то площадь руля

рассчитывается аналогично величине

в
гл. 2.2 настоящей части Правил;

- высота геометрического центра парусов над КВЛ, м;
SA - площадь основных парусов, м2.
3.1.3. Определенное по
формуле (3.1.2) значение

не должно быть меньше минимального значения

, определяемого как:
Рис. 3.1. Элементы парусного судна
3.2. Управляемость парусных судов со стационарным двигателем
3.2.1. В качестве минимальной площади пера руля судна принимается наибольшая из площадей, полученных согласно
2.2 для моторного судна и согласно
3.1 для парусного судна.
3.2.2. Для моторно-парусного или парусно-моторного судна требуется удовлетворение требований к элементам циркуляции при его движении под двигателем, как для моторных судов в
2.1.
ЧАСТЬ IV. ОСТОЙЧИВОСТЬ, ЗАПАС ПЛАВУЧЕСТИ И НАДВОДНЫЙ БОРТ
1.1. ОБЛАСТЬ РАСПРОСТРАНЕНИЯ
1.1.1. Требования настоящей части распространяются на суда, подлежащие техническому наблюдению Регистра в соответствии с требованиями
разд. 1 Общих положений.
Допуск судов к эксплуатации в бассейнах, не соответствующих условиям для проектной категории судна, принятым в настоящих Правилах, является предметом специального рассмотрения Регистром.
1.1.2. Требования настоящей части распространяются на суда в эксплуатации в той мере, в какой это целесообразно и осуществимо, однако они обязательны для строящихся судов, а также судов, подвергающихся переоборудованию или капитальному ремонту, если в результате этого изменяется их остойчивость или высота надводного борта.
1.1.3. Регистр может допустить отступления от требований настоящей части при условии обеспечения равноценных замен в конструкции судна или введения специальных ограничений по условиям плавания. Отступления, равноценные замены и введенные ограничения должны быть записаны в Руководстве для владельца судна.
1.2. ОПРЕДЕЛЕНИЯ И ПОЯСНЕНИЯ
1.2.1. Определения и пояснения, относящиеся к общей терминологии Правил, приведены в Общих
положениях,
частях I "Классификация" и
II "Корпус".
В настоящей части приняты следующие определения и пояснения.
Водоизмещение судна полное,

- масса судна в состоянии с полной нагрузкой, включающая массу судна порожнем

и наибольшую нагрузку

, определение которых изложено в разд. 3 Общих положений о малых прогулочных судах.
Воздушный ящик - герметичный объем корпусной конструкции.
Восстанавливающий момент,

- момент, создаваемый силами тяжести и плавучести при данном угле крена судна.
Грузовая ватерлиния (ГВЛ)- ватерлиния, соответствующая посадке судна при полном водоизмещении с проектным дифферентом без крена.
Действительная площадь парусности,

- фактическая площадь конкретной комбинации парусов парусного судна.
Жидкий груз - все имеющиеся на судне жидкости, включая жидкие судовые запасы, балласт и др.
Жидкие судовые запасы - хозяйственно-бытовая и питьевая вода, топливо, масло в постоянно установленных резервуарах.
Запас плавучести - объем непроницаемой при воздействии моря надводной части корпуса выше грузовой ватерлинии, включая объемы водонепроницаемых надстроек и рубок.
Проектная категория судна - допускаемые для судна условия эксплуатации в соответствии с
4.2 Общих положений.
Колодец - любой объем, который может содержать воду, открытый сверху (кокпиты, колодцы, ниши или пространства, огражденные комингсами либо фальшбортами).
Метацентрическая высота начальная,

- возвышение метацентра над центром массы судна в отсутствие крена судна, служащее мерой поперечной остойчивости судна при малых накренениях.
Метацентрическая высота начальная исправленная, h - метацентрическая высота

, исправленная вследствие влияния свободных поверхностей жидкостей.
Минимальная эксплуатационная нагрузка - сумма следующих масс:
масса минимального экипажа, размещенного в диаметральной плоскости вблизи наиболее высокого поста управления. При этом масса минимального экипажа принимается: 75 кг при

, 150 кг при

, 225 кг при

;
спасательное снабжение с массой не менее

;
снабжение и съемное оборудование, обычно находящиеся на судне;
водяной балласт в цистернах, которые должны быть заполнены при эксплуатации судна;
спасательный плот (если он предусмотрен), установленный в штатном месте;
не более 10% от полного количества запасов топлива, пресной воды и провизии.
Минимальное эксплуатационное водоизмещение,

- масса судна, состоящая из массы судна порожнем при минимальной эксплуатационной нагрузке.
Мидель-шпангоут судна - поперечное сечение корпуса судна, которое находится на середине длины по ватерлинии

.
Моменты кренящие - условные расчетные значения статически и динамически приложенных к судну моментов, соответствующие расчетной схеме их действия на судно.
Моменты предельно допустимые - расчетные значения моментов, предельно допустимых из условия обеспечения требуемых показателей остойчивости судна при его статических или динамических наклонениях.
Надводный борт, F - расстояние по вертикали, измеренное на мидель-шпангоуте от плоскости ватерлинии при максимальной осадке до палубной линии. При отсутствии палубы надводным бортом считается расстояние, измеренное от плоскости максимальной осадки до самой нижней кромки постоянной бортовой обшивки.
Надстройка - закрытое прочное и водонепроницаемое сооружение на палубе надводного борта, простирающееся от борта до борта судна или имеющее бортовые стенки, отодвинутые внутрь от борта на расстояние, составляющее не более 4% ширины

.
Надувной мешок - емкость из гибкого материала, которая должна быть постоянно надута при эксплуатации судна.
Опрокидывание - состояние, когда судно, наклоняемое из положения без крена, достигает некоторого угла крена, от которого оно не способно самостоятельно возвратиться в исходное положение.
Опрокидывающий момент - условный расчетный минимальный динамически приложенный кренящий момент, приводящий к опрокидыванию судна.
Объемное водоизмещение судна,

- объем погруженной части судна при соответствующей нагрузке.
Основной критерий остойчивости - отношение предельно допустимого момента к кренящему моменту от воздействия ветра или ветра и волн.
Основные паруса - паруса, которые могут быть поставлены при благоприятных условиях плавания.
Отверстия, считающиеся открытыми, - отверстия в верхней палубе или бортах корпуса, а также в палубах, бортах и переборках надстроек и рубок, устройства для закрывания которых не отвечают требованиям
разд. 9 части III "Устройства, оборудование и снабжение" в отношении непроницаемости при воздействии моря, прочности и надежности. Малые отверстия, такие как забортные отверстия судовых систем и трубопроводов, фактически не влияющие на остойчивость при динамическом крене судна, не считаются открытыми.
Палуба надводного борта - непрерывная палуба, относительно которой рассчитывается надводный борт судна.
Плечо остойчивости, l, (плечо статической остойчивости) - плечо действия пары сил тяжести и плавучести при крене судна.
Площадь парусности,

- площадь проекции надводной части судна без установленных парусов (корпуса, надстроек, рубок и рангоута, а также устанавливаемых на судне тентов и обвесов), находящегося в положении без крена, на диаметральную плоскость.
Поправка на свободные поверхности - поправка к значению начальной метацентрической высоты, учитывающая снижение остойчивости судна под влиянием свободных поверхностей жидких грузов.
Посадка судна - положение судна на воде, характеризуемое осадкой на миделе d, креном

и дифферентом

. Если не указано иное, все размеры и определения относятся к посадке судна на тихой воде с проектным водоизмещением и дифферентом, без крена.
Предельная численность людей, CL - максимальное число людей на борту судна, определяемое исходя из массы одного человека 75 кг, и не превышающее число предусмотренных мест размещения.
Предельно допустимый угол крена
- угол крена, превышение которого настоящими Правилами не допускается.
Проектный дифферент - продольный наклон судна в положении без крена, при размещении людей, грузов и оборудования в соответствии с указаниями конструктора либо изготовителя судна.
Расстояние безопасности - расстояние, измеренное по вертикали, между плоскостью наибольшей разрешенной осадки и самой низкой точкой отверстия, считающегося открытым или имеющего степень водонепроницаемости закрытия 2, 3 или 4.
Расчетная скорость ветра,

- скорость ветра, используемая при расчетах остойчивости и плавучести прогулочных судов.
Состояние судна порожнем - состояние судна без людей и запасов, полностью оборудованное для плавания, как это определено в 3.2.26 Общих положений о малых прогулочных судах.
Состояние судна с полной нагрузкой - состояние судна порожнем, к которому добавлена максимальная нагрузка при предусмотренных проектом дифференте и размещении людей.
Степень водонепроницаемости закрытия - способность устройства или поверхности противостоять поступлению воды. Степени водонепроницаемости установлены следующими;
Степень 1. Обеспечивается водонепроницаемость при постоянном погружении в воду.
Степень 2. Обеспечивается водонепроницаемость при временном погружении в воду и заливании волной.
Степень 3. Обеспечивается водонепроницаемость от брызг воды.
Степень 4. Обеспечивается водонепроницаемость от капель воды, падающих под углом до 15° от вертикали.
Судно порожнем - полностью готовое к плаванию судно, как это определено в
3.2.26 Общих положений.
Тип судна - для целей настоящей части Правил суда подразделяются на пять типов, которым дано условное обозначение: A, B, C, D или E:
Тип A - палубные суда. Палубным судном считается судно, у которого горизонтальная проекция площади, ограниченной бортовой линией, состоит из: водонепроницаемой палубы и надстройки, и/или
быстро осушаемого колодца или кокпита, соответствующего требованиям
разд. 10 части III "Устройства, оборудование и снабжение" и требованиям
разд. 2 -
5 настоящей части, и/или
водонепроницаемых колодцев или кокпитов, соответствующих требованиям
разд. 10 части III "Устройства, оборудование и снабжение", с суммарным объемом менее

;
при условии, что все закрытия судна имеют достаточную прочность, жесткость и степень водонепроницаемости, соответствующие требованиям
разд. 9 части III "Устройства, оборудование и снабжение", а также:
для судов проектных категорий A и A1 - площадь горизонтального сечения всех колодцев должна быть менее

, при этом площадь горизонтального сечения всех передних колодцев должна быть менее

на длине

;
для судов проектных категорий A2 и B - площадь горизонтального сечения всех колодцев должна быть менее

, при этом площадь горизонтального сечения всех передних колодцев должна быть менее

на длине

.
Тип B - понтоны и приравненные к ним суда. Эти суда должны иметь непрерывную водонепроницаемую палубу с отверстиями небольшого размера для доступа к отсекам, причем указанные отверстия должны закрываться стальными или равноценными им водонепроницаемыми закрытиями, оснащенными прокладками. При повреждении одного любого отсека водонепроницаемая палуба таких судов должна оставаться над поверхностью воды по всему периметру.
Тип C - открытые суда. Открытыми судами считаются суда типа A или B, у которых люковые закрытия не имеют достаточной прочности, жесткости, или степени водонепроницаемости, либо на которых люки не имеют закрытий.
Тип D - частично запалубленные суда. Такими считаются суда, у которых более 2/3 длины судна (включая 1/3 длины от носовой оконечности) можно рассматривать как суда типа A или B и которые на остальной длине судна имеют кокпиты, удовлетворяющие требованиям
разд. 10 части III "Устройства, оборудование и снабжение".
Тип E - беспалубные суда. Беспалубными судами считаются суда, у которых менее 2/3 длины судна можно рассматривать как суда типа A или B и/или которые имеют кокпиты с суммарным коэффициентом по объему

, и/или кокпиты, не удовлетворяющие требованиям
разд. 10 части III "Устройства, оборудование и снабжение".
Угол заката

диаграммы статической остойчивости - угол крена, град., отличный от нуля, при котором восстанавливающий момент равен нулю; определяется при симметричной относительно диаметральной плоскости нагрузке судна.
Угол заливания

- угол крена, при котором происходит заливание внутренних помещений судна через отверстия, считающиеся открытыми, или через борт, либо через комингсы.
Угол максимума

диаграммы статической остойчивости - угол крена, при котором плечо статической остойчивости максимально.
Центр бокового сопротивления (ЦБС) - геометрический центр проекции подводной части судна на диаметральную плоскость, включая выступающие части.
Центр парусности (ЦП) - геометрический центр соответствующей площади парусности.
Ширина между ЦВ корпусов

- расстояние между центрами величины крайних корпусов многокорпусного судна.
Элемент плавучести - вкладные емкости, надувные мешки и материалы с низкой плотностью, обеспечивающие необходимый запас плавучести судна при повреждении корпуса.
1.3. ОБЩИЕ ТЕХНИЧЕСКИЕ ТРЕБОВАНИЯ
1.3.1. Расчеты должны выполняться общепринятыми в теории корабля методами. В случае применения вычислительных машин методика расчета и программа вычислений должны быть одобрены Регистром.
1.3.2. Масштаб теоретического чертежа должен быть не менее 1:20; при этом наибольшая ордината должна быть не менее 100 мм. При расчете плеч остойчивости формы без применения ЭВМ ширина проекции "корпус", с которой снимаются ординаты для расчета, должна быть не менее 300 мм. Если теоретический чертеж построен как математическая модель корпуса с применением ЭВМ и расчеты плавучести и остойчивости выполняются также с применением ЭВМ, с автоматическим переводом формы корпуса в программу расчета, требование по размерам проекции "корпус" может не выполняться.
1.3.3. Расчет плеч остойчивости формы
1.3.3.1. Расчет плеч остойчивости формы должен выполняться по ватерлинию, параллельную конструктивной. Если форма и устройство судна таковы, что влияние сопутствующего наклонениям дифферента существенно сказывается на значениях восстанавливающего момента, расчеты плеч остойчивости формы необходимо выполнять с учетом сопутствующего дифферента.
Надстройки, расположенные выше палубы надводного борта при расчете плеч остойчивости формы, не учитываются.
1.3.3.2. На диаграмме интерполяционных кривых плеч остойчивости формы в малом масштабе должна быть приведена схема расположения комингса трюма, а также схода в машинное отделение, рубку и обозначены углы заливания со ссылкой на открытое отверстие.
1.3.3.3. К расчетам плеч остойчивости формы должна быть приложена кривая углов заливания через самое низкое, считающееся открытым, отверстие в борту, палубе, надстройке.
1.3.4. При всех вариантах нагрузки, возможных в эксплуатации, жидкий балласт может быть принят в днищевые цистерны хозяйственно-бытовой или питьевой воды только в случае форс-мажорной ситуации.
1.3.5. Если в процессе нормальной эксплуатации судна предусматриваются худшие в отношении остойчивости варианты нагрузки по сравнению с перечисленными, для них остойчивость должна быть проверена дополнительно.
1.3.6. Для всех рассматриваемых вариантов нагрузки должны быть построены диаграммы статической остойчивости, рассчитанные с учетом поправок на влияние свободных поверхностей жидких грузов. Поправки вычисляются в соответствии с требованиями
1.3.4.
1.3.7. Ширина выгородок на палубе не должна превышать 1 м. При большей ширине объем поступающей воды в выгородку при заливании рассматривается как жидкий груз.
1.3.8. При наличии отверстий, считающихся открытыми, через которые вода может попадать внутрь корпуса, диаграммы остойчивости считаются действительными до угла заливания.
1.3.9. Расчет влияния жидких грузов
1.3.9.1. В число цистерн, учитываемых при подсчете влияния жидких судовых запасов на остойчивость при больших углах крена, должны включаться цистерны каждого вида жидкого груза и балласта, в которых по условиям эксплуатации могут быть одновременно свободные поверхности. Для учета влияния свободных поверхностей надлежит составить одну расчетную комбинацию из одиночных цистерн или их сочетания по каждому виду жидкого груза. Из числа возможных в эксплуатации сочетаний цистерн по отдельным видам жидких грузов либо одиночных цистерн следует выбрать такие, чтобы создаваемый ими суммарный кренящий момент

от переливания жидкости при крене судна 30° имел наибольшее значение.
При этом во всех случаях поправка должна вычисляться при заполнении цистерны на 50% ее вместимости.
1.3.9.2. В расчет не включаются цистерны, удовлетворяющие условию:
где

,

,

- габариты (по основным плоскостям): ширина, высота и объем цистерны, соответственно;

- плотность;

- коэффициент общей полноты цистерны;

- водоизмещение при наихудшем по величине h и l варианте нагрузки;

- безразмерный коэффициент, определяемый по табл. 1.3.9.2.
Таблица 1.3.9.2
Коэффициент

| |
20 | 0,111 |
10 | 0,113 |
5 | 0,114 |
2 | 0,094 |
1 | 0,049 |
0,5 | 0,024 |
0,2 | 0,010 |
0,1 | 0,005 |
| | ИС МЕГАНОРМ: примечание. В официальном тексте документа, видимо, допущена опечатка: пункт 1.3.4.1 в тексте документа отсутствует. | |
1.3.9.3. Отбор цистерн, входящих в расчетную комбинацию для учета влияния свободных поверхностей на начальную остойчивость, следует производить в соответствии с указаниями 1.3.4.1 с той разницей, что, исходя из начальной остойчивости, цистерны надлежит отбирать по наибольшей величине

, равной произведению собственного момента инерции свободной поверхности при положении судна без крена на плотность жидкого груза.
1.3.9.4. В расчет не включаются цистерны, удовлетворяющие условию:
где

- поправка к коэффициенту остойчивости, учитывающая влияние жидких грузов;

- водоизмещение, соответствующее варианту минимальной нагрузки судна, нормируемому настоящими Правилами.
Обычные остатки жидкостей в опорожненных цистернах при расчетах не учитываются.
1.3.10. На планах палуб судов должны быть указаны районы, предусмотренные для размещения и перемещения людей, а также максимально возможное скопление людей для наихудшего случая их размещения по одному борту.
1.3.11. Расчет парусности
1.3.11.1. В площадь парусности судна должны быть зачтены проекции на диаметральную плоскость; всех сплошных стенок и поверхностей корпуса, надстроек и рубок судна; рангоута и такелажа, вентиляторов, шлюпок, палубных механизмов, всех тентов, которые могут оказаться натянутыми при штормовой погоде, а также проекции боковых поверхностей предусмотренных палубных грузов.
При наложении одной на другую проекций от различных элементов суммирование для сплошных элементов не производится. Проекция несплошных поверхностей, наложенная на проекции сплошных элементов, в площадь парусности не включается.
Для парусных судов площадь парусности судна определяется при несении каждого предусмотренного комплекта парусов с учетом рифления. Варианты площади парусности парусного судна используются при оценке остойчивости с соответствующими значениями балльности или скорости ветра, согласно предусмотренному к использованию комплекту парусов, с учетом изложенного в
5.7.1 части III "Устройства, оборудование и снабжение".
1.3.11.2. Парусность несплошных поверхностей лееров, такелажа и разных мелких предметов рекомендуется учитывать путем увеличения вычисленной для минимальной осадки суммарной площади парусности сплошных поверхностей на 5% и статического момента этой площади на 10%.
Указанные приближенные приемы учета парусности несплошных поверхностей и мелких предметов не являются обязательными. При необходимости эти части парусности могут быть определены более детально. В этом случае при вычислении парусности несплошных поверхностей, как то: рангоута и такелажа судов, лееров, ферм решетчатого типа и т.п. - засчитываемые габаритные площади должны умножаться на коэффициенты заполнения, принимаемые равными:
0,6 - для лееров, затянутых сеткой;
0,2 - для лееров, не затянутых сеткой;
0,5 - для конструкций решетчатого типа;
0,6 - для такелажа.
Площадь проекций надводной части корпуса судна, а также надстроек и рубок обычного (необтекаемого) типа следует принимать с коэффициентом обтекания, равным 1. Площади проекции надстроек и рубок обтекаемого типа можно принимать с коэффициентом обтекания не менее 0,6, если это подтверждено соответствующими экспериментально-расчетными данными.
Площади проекций элементов судна, расположенных отдельно и имеющих обтекаемую форму (мачт, дымовых труб, вентиляторов и т.п.), следует принимать с коэффициентом обтекания 0,6.
1.3.11.3. Положение центра парусности должно определяться способом, обычно применяемым для нахождения координат центра тяжести плоской фигуры.
1.3.12. Диаграмма статической остойчивости должна быть построена до угла 80° с шагом 10°.
Диаграмма остойчивости судна, для которого спрямление крена предусмотрено силами экипажа, должна быть построена до угла 180° с шагом 10°.
Диаграмма статической остойчивости судна должна быть построена, как минимум, до угла заливания

или угла заката

, в зависимости от того, что больше.
Диаграммы остойчивости должны быть построены с учетом возможного влияния свободных поверхностей жидкостей.
Поправка к метацентрической высоте на влияние свободных поверхностей жидкостей, в конкретном случае нагрузки судна, вычисляется для цистерн, имеющих свободные поверхности жидкостей, принимая их заполнение, при котором поправка максимальна в пределах заполнения емкости, независимо от фактического, для положения судна без крена и дифферента.
Цистерна, заполненная жидкостью более чем на 98% ее объема, считается полностью заполненной.
Обычные остатки жидкостей в опорожненных цистернах (высотой до 50 мм) в расчетах остойчивости не учитываются.
1.3.13. Состояние нагрузки
1.3.13.1. Если не указано иное, проверка остойчивости судна должна быть произведена для следующих вариантов нагрузки:
судно с полной нагрузкой при осадке по грузовую марку;
судно с минимальной эксплуатационной нагрузкой;
судно с минимальной эксплуатационной нагрузкой без экипажа.
| | ИС МЕГАНОРМ: примечание. В официальном тексте документа, видимо, допущена опечатка: пункт 1.3.7.1 в тексте документа отсутствует. | |
1.3.13.2. В зависимости от типа и назначения судов, в дополнение к требованиям 1.3.7.1 остойчивость судов должна быть проверена в соответствии с требованиями
2.7.
1.3.13.3. Если в процессе нормальной эксплуатации судна предусматриваются худшие, с точки зрения остойчивости, варианты нагрузки по сравнению с перечисленными в 1.3.7.1 либо указанными в
2.7, то для них также должна быть проверена остойчивость.
1.3.13.4. Масса находящегося на судне твердого балласта должна включаться в состав нагрузки "судно порожнем".
1.3.14. Для всех рассматриваемых вариантов нагрузки должны быть построены диаграммы остойчивости, рассчитанные с учетом поправки на влияние свободных поверхностей жидких грузов, включая свободные поверхности накапливаемых нефтесодержащих смесей, определяемых согласно
2.3.3 части XII "Средства по предотвращению загрязнения с судов".
1.3.15. Должны быть составлены сводные таблицы результатов расчета водоизмещения, положения центра тяжести, начальной остойчивости и дифферента, а также сводные таблицы результатов проверки остойчивости на соответствие требованиям настоящей части.
1.3.16. Требования к Информации об остойчивости
1.3.16.1. Для обеспечения остойчивости судна в эксплуатации на судно должна быть выдана одобренная Регистром Информация об остойчивости, содержащая:
1. Основные характеристики судна и данные результатов расчетов посадки и остойчивости, в том числе и в поврежденном состоянии, а также и испытаний для типовых, предусмотренных проектом, вариантов нагрузки;
2. Данные результатов кренования;
3. Эксплуатационные ограничения, ограничения по погоде и т.п., необходимые для обеспечения безопасности судна от опрокидывания и заливания;
4. Указания, графики, таблицы и другие данные для возможности оценки остойчивости судна в эксплуатации, по фактической нагрузке;
5. Указания об обязательных мероприятиях при вынужденной буксировке другого судна с целью оказания помощи;
6. Рекомендации о мероприятиях, улучшающих остойчивость судна.
1.3.16.2. В Информации об остойчивости следует отметить большую зависимость остойчивости судна от способов его эксплуатации. Капитан обязан соблюдать ограничения по эксплуатации судна, оговоренные в Информации, режимные мероприятия, а также осуществлять все необходимые мероприятия по обеспечению остойчивости судна во всех условиях эксплуатации и в аварийных ситуациях.
Информация об остойчивости должна содержать запись: "Удовлетворение требованиям настоящей Информации не освобождает капитана, а при его отсутствии - лицо, отвечающее за безопасность судна, от ответственности за остойчивость и необходимый запас плавучести судна при эксплуатации".
1.3.16.3. При разработке указаний владельцу/капитану они должны включать рекомендации по выбору направления и скорости движения судна по отношению к волнению с учетом опасности возникновения опрокидывания вследствие брочинга или попадания в режим резонанса (основного и параметрического) бортовой качки.
Для любого судна в Информацию об остойчивости должны быть включены следующие сведения:
"При ходе на попутном волнении интенсивностью более IV баллов, со скоростью судна больше .... м/с, судно может опрокинуться.
При плавании лагом к волнению с интенсивностью волн, близкой к максимально допустимой для плавания судна, судно может опрокинуться".
Максимально допустимая скорость судна на попутном волнении, м/с, определяется по формуле
В рекомендациях капитану могут быть применены следующие разделы из циркуляра ИМО MSC.l/Circ.1228:
предупреждения;
опасные явления;
эксплуатационные рекомендации, как избегать опасных условий, включающие полезные, по мнению разработчика, сведения.
Рекомендации не должны быть перегружены общеизвестными положениями хорошей морской практики.
1.3.16.4. Информация об остойчивости должна составляться на основании расчетов, выполненных в соответствии с настоящими Правилами.
| | ИС МЕГАНОРМ: примечание. В официальном тексте документа, видимо, допущена опечатка: требования 1.3.10.2.1 и 1.3.10.2.2 в тексте документа отсутствуют. | |
Для головного (первого) судна серии Информация об остойчивости должна быть подтверждена опытом кренования этого судна, при этом выявленные расхождения с проектными величинами должны удовлетворять требованиям 1.3.10.2.1 и 1.3.10.2.2.
Для судов серийной постройки Информация об остойчивости должна быть подтверждена опытом кренования/взвешивания, выполненным в соответствии с требованиями
1.4.
Информация об остойчивости, составленная для первого судна одной серии, может быть использована для последующих судов этой серии, если результаты кренования/взвешивания сравниваемых судов удовлетворяют следующим условиям:
1. Различие в водоизмещении судна порожнем не превышает 2% и в аппликате центра тяжести не превышает 5%, но составляет не более 4 см;
2. Различие в абсциссе центра тяжести не превышает 1% от длины судна между перпендикулярами;
3. В наихудших, в отношении остойчивости, случаях нагрузки, пересчитанных на основании кренования судна, удовлетворяются требования настоящей части.
1.3.16.5. Для судов проектных категорий A, A1, A2 или B Информация об остойчивости должна содержать сведения об аварийной остойчивости и плавучести, составленные на основе расчетов.
1.3.16.6. Для судов, имеющих возможность восстановления судна из опрокинутого положения силами экипажа, в Информации об остойчивости должны быть даны соответствующие рекомендации на основании расчетов, подтвержденные опытным путем при испытании судна.
1.3.16.7. Информация об остойчивости должна быть одобрена Регистром.
1.3.16.8. Информация об остойчивости может быть включена отдельным разделом в состав Руководства для владельца судна, одобренного Регистром. В случае выпуска Информации об остойчивости отдельным документом Руководство для владельца судна должно содержать запись об обязательном выполнении требований Информации об остойчивости.
1.4. ОПЫТ КРЕНОВАНИЯ И ВЗВЕШИВАНИЯ
1.4.1. Кренованию должны подвергаться:
1. Суда серийной постройки согласно
1.4.2;
2. Каждое судно несерийной постройки;
3. Каждое судно после восстановительного ремонта;
4. Суда после значительного ремонта, переоборудования или модернизации согласно
1.4.3;
5. Суда после укладки постоянного твердого балласта согласно
1.4.4;
6. Суда, находящиеся в эксплуатации, через промежутки времени, не превышающие 10 лет, если это необходимо в соответствии с
1.4.5;
7. Суда, остойчивость которых неизвестна или должна быть проверена;
8. Суда при первоначальном освидетельствовании с целью назначения класса согласно требованиям настоящих Правил.
1.4.2. Из серии судов, строящихся на каждом заводе, кренованию должны быть подвергнуты:
1. Первое, а затем каждое пятое судно серии (т.е. шестое, одиннадцатое и т.д.). Остальные суда серии должны быть подвергнуты взвешиванию в соответствии с
1.4.14.
В зависимости от сезонных условий во время сдачи судна допускается по согласованию с Регистром перенос кренования очередного судна на ближайшее судно серии. Начиная с двенадцатого судна серии, Регистр может ограничиться требованием кренования меньшего числа судов, если к удовлетворению Регистра будет установлено, что при постройке судов серии обеспечивается стабильность их массы и положения центра тяжести в пределах, оговоренных в 1.4.2.2;
2. Серийное судно, на котором конструктивные изменения по сравнению с первым судном серии по данным расчета вызывают:
2.1. Изменение водоизмещения судна порожнем более чем на 2%; или
2.2. Возрастание аппликаты центра тяжести порожнем, превышающее одновременно 4 см и величину, вычисленную по формулам:
в зависимости от того, что меньше,
где

- водоизмещение судна порожнем;

- водоизмещение судна при наихудшем, по величине h или

, варианте нагрузки;

- максимальное плечо диаграммы статической остойчивости при наихудшем, по его значению, расчетном варианте нагрузки;
h - исправленная начальная метацентрическая высота при наихудшем, по ее значению, расчетном варианте нагрузки; или
2.3. Нарушение требований настоящей части Правил для проектных вариантов нагрузки при
где

- расчетная аппликата центра тяжести судна порожнем до (после) конструктивных изменений;

- условная аппликата центра тяжести судна порожнем.
Такое судно считается первым, в отношении остойчивости, судном новой серии, и порядок кренования последующих судов должен соответствовать требованиям
1.4.2.1.
1.4.3. После восстановления, значительного ремонта, переоборудования или модернизации кренованию должны быть подвергнуты суда, на которых конструктивные изменения по данным расчетов вызывают:
1. Изменение нагрузки (суммарная масса снимаемых и добавляемых грузов) более чем на 6% водоизмещения судна порожнем; или
2. Изменение водоизмещения судна порожнем более чем на 2%; или
3. Возрастание аппликаты центра тяжести судна порожнем более чем на величину, вычисленную согласно
1.4.2.2.2; или
4. Нарушение требований настоящей части для проектных вариантов нагрузки при условии, оговоренном в
1.4.2.2.3.
Если в соответствии с результатами расчета кренование не требуется, должно быть проведено взвешивание в соответствии с
1.4.14.
Независимо от представленных расчетов Регистр может согласно
1.4.1.7 потребовать проведения кренования, исходя из технического состояния судна.
1.4.4. После укладки постоянного твердого балласта каждое судно должно быть подвергнуто кренованию.
Судно может быть освобождено от кренования в том случае, если к удовлетворению Регистра будет установлено, что при укладке балласта налажен надежный контроль, обеспечивающий проектные значения массы и положения центра тяжести балласта, либо они могут быть достаточно надежно подтверждены расчетным путем.
1.4.5. С целью определения необходимости проведения опыта кренования в соответствии с
1.4.1.6 должно проводиться периодическое взвешивание судна (опытное определение водоизмещения порожнем и абсциссы центра тяжести). Взвешивание должно производиться через промежутки времени, не превышающие 5 лет.
Если по результатам взвешивания будет обнаружено отклонение водоизмещения судна порожнем более чем на 2% или отклонение продольного положения центра тяжести более чем на 1% длины судна по сравнению с одобренной Информацией об остойчивости, то в этом случае судно должно быть подвергнуто кренованию.
1.4.6. Если по результатам кренования вновь построенного судна аппликата центра тяжести судна порожнем превышает проектную величину настолько, что это вызывает нарушение требований настоящей части, к Протоколу кренования должно быть приложено расчетное разъяснение причин таких изменений.
По результатам анализа представленных материалов либо при их отсутствии Регистр может потребовать проведения повторного (контрольного) кренования судна. В этом случае на рассмотрение Регистру представляются оба Протокола кренования.
1.4.7. За исключением судов, совершающих международные рейсы, по желанию судовладельца Регистр может освободить от кренования вновь построенное судно, если при аппликате центра тяжести судна порожнем, увеличенной на 20% по сравнению с проектной, требования настоящей части не нарушаются.
1.4.8. Нагрузка судна при креновании должна быть максимально близкой к его водоизмещению порожнем. Масса недостающих грузов не должна превышать 2% водоизмещения судна порожнем, а масса излишних грузов, исключая крен-балласт и балласт, указанный в 1.4.9, - 4%.
1.4.9. Метацентрическая высота судна при креновании должна быть не менее 0,20 м. Для достижения этого допускается прием необходимого балласта. В случае приема жидкого балласта цистерны должны быть тщательно запрессованы.
1.4.10. Для замеров углов крена при креновании на судне должно быть установлено не менее двух весок длиной не менее 2 м или не менее двух приборов, одобренных Регистром, либо применено специальное устройство, одобренное Регистром для проведения кренования.
1.4.11. При качественно выполненном креновании полученное значение метацентрической высоты принимается в расчет без вычета из него вероятной ошибки опыта.
Кренование признается качественным:
1. Если для каждого замера выполняется условие
где

- метацентрическая высота, полученная по отдельному замеру;

- метацентрическая высота, полученная при креновании;
n - число замеров.
Замеры, не отвечающие этому условию, исключаются из обработки с соответствующими изменениями их общего числа n и повторным вычислением метацентрической высоты

.
Из расчета исключается не более одного замера (большее число замеров может быть исключено только в обоснованных случаях по согласованию с Регистром);
2. Если вероятностная ошибка опыта
отвечает условию

при

; (1.4.11.2-1)

при

. (1.4.11.2-2)
Здесь коэффициент

принимается по табл. 1.4.11:
Таблица 1.4.11
Коэффициент

n | 8 | 9 | 10 | 11 | 12 | 13 | 14 | 15 | 16 |
| 5,4 | 5,0 | 4,8 | 4,6 | 4,5 | 4,3 | 4,2 | 4,1 | 4,0 |
3. Если с учетом величин h и

и при наихудших, по их значениям, расчетных вариантах нагрузки выполняется условие
где

или

,
в зависимости от того, что меньше, но не менее 4 см;
4. Если общее число удовлетворительных замеров не менее 8.
1.4.12. При невыполнении требований
1.4.11 допускается по согласованию с Регистром принимать в расчет полученное при креновании значение метацентрической высоты за вычетом из него вероятной ошибки опыта, вычисленной согласно
1.4.11.2.
1.4.13. Кренование должно проводиться в соответствии с Инструктивными указаниями по кренованию судов (см. 2.17 части V "Техническое наблюдение за постройкой судов" Правил технического наблюдения за постройкой судов и изготовлением материалов и изделий для судов) в присутствии инспектора Регистра.
Могут применяться и другие способы опытного определения веса судна порожнем и его координат центра тяжести, если к удовлетворению Регистра будет показано, что достоверность результатов опыта отвечает настоящим требованиям.
1.4.14. Взвешивание судна означает определение водоизмещения судна порожнем и абсциссы его центра тяжести опытным путем в соответствии с Инструктивными указаниями по взвешиванию судов (см. 2.17 части V "Техническое наблюдение за постройкой судов" Правил технического наблюдения за постройкой судов и изготовлением материалов и изделий для судов). Взвешивание выполняется с целью:
1. Определения необходимости проведения опыта кренования в соответствии с
1.4.5;
2. Определения возможности применения в документации по остойчивости значений водоизмещения судна порожнем и координат его центра тяжести, полученных: опытом кренования ближайшего судна серии - для серийных судов, построенных на одной и той же верфи по одним и тем же чертежам и не подвергающихся кренованию в соответствии с
1.4.2.1;
расчетом - для любого серийного судна, имеющего известные отличия от ближайшего подвергнутого кренованию судна, которые не превышают значений, указанных в
1.4.2.2, или для судна в эксплуатации, которое претерпело изменения и для которого изменения водоизмещения порожнем могут быть просчитаны и не превышают значений, указанных в
1.4.3.
В каждом из указанных случаев, если данные по судну порожнем, полученные в результате взвешивания, отличаются от принятых в Информации об остойчивости: по водоизмещению порожнем - не более чем на 2% и по продольному положению центра тяжести судна порожнем - не более чем на 1% от длины судна между перпендикулярами, корректировки документации по остойчивости не требуется. В противном случае судно должно быть подвернуто кренованию с последующей корректировкой документации по остойчивости.
1.5. ОТСТУПЛЕНИЯ ОТ ПРАВИЛ
1.5.1. Если в отношении какого-нибудь судна возникают сомнения в достаточности его остойчивости при формальном удовлетворении требований настоящей части Правил, Регистр может потребовать провести проверку остойчивости судна по дополнительным критериям.
В случае если требования настоящей части Правил будут признаны чрезмерно жесткими, Регистр по обоснованному заявлению проектанта и судовладельца может допустить соответствующие отступления от этих требований применительно к данному судну.
1.5.2. Если судно того или иного района плавания не соответствует требованиям настоящей части, Регистр в каждом случае может либо ограничить район плавания судна, либо наложить другие ограничения в зависимости от показателей остойчивости судна и условий его эксплуатации и назначения.
2.1. ОСНОВНЫЕ КРИТЕРИИ ОСТОЙЧИВОСТИ
2.1.1. Требования о выполнении основных критериев остойчивости применяются ко всем судам в водоизмещающем режиме плавания.
2.1.2. Остойчивость судна считается достаточной, если при наихудшем, в отношении остойчивости, варианте нагрузки, при плавании в предусмотренном районе эксплуатации и при следовании к месту убежища судно удовлетворяет критериям, которые установлены соответственно его проектной категории и типу.
2.1.3. Остойчивость судна оценивается по следующим основным критериям:
Критерий погоды с учетом разрушающегося волнения - оценивает остойчивость судна в условиях разрушающегося волнения. Данный критерий применяется для оценки остойчивости однокорпусных судов проектных категорий A, A1, A2, B и C. Для многокорпусных судов этих проектных категорий применяется критерий погоды.
Критерий погоды - оценивает остойчивость судна для плавания в предусмотренном районе эксплуатации. Критерий погоды применяется для оценки остойчивости всех судов категорий C1 и C2.
Критерий остойчивости на вершине волны - оценивает остойчивость однокорпусных суднов проектных категорий A, A1, A2 и B.
Критерий ветростойкости - оценивает остойчивость судов проектных категорий C3 и D.
Критерий погоды определяется отношением моментов
где

- предельно допустимый момент, кН · м, определяемый согласно
2.3.2, с учетом качки судна на волнении согласно
2.2.2;

- кренящий момент, кН · м, от воздействия ветровой нагрузки, определяемый согласно
2.2.1.
2.1.5. Критерий погоды с учетом разрушающегося волнения
Критерий погоды с учетом разрушающегося волнения определяется отношением моментов
где

- предельно допустимый момент, кН · м, указанный в
2.1.4, с учетом качки судна на волнении согласно
2.2.2, однако для судов проектной категории C допускается определять расчетную амплитуду бортовой качки только согласно
2.2.2.2;

- динамический кренящий момент, кН · м;

- кренящий момент, кН · м, от воздействия ветровой нагрузки, определяемый согласно
2.2.1;

- кренящий момент, кН · м, от удара разрушающейся волны, определяемый согласно
2.2.3.
Если данный критерий остойчивости обеспечить не представляется возможным, то параметры диаграммы остойчивости подлежат специальному рассмотрению Регистра с учетом предусмотренных в проекте возможностей спрямления судна из положения вверх килем.
2.1.6. Критерий остойчивости на вершине волны
Данный критерий определяет достаточность начальной остойчивости судна с учетом потерь площади действующей ватерлинии, которая рассчитывается, исходя из неравенства
где h - начальная метацентрическая высота, м;

- приращение плеча статической остойчивости, м, определяемое согласно
2.2.4.
2.1.7. Критерий ветростойкости
Критерий ветростойкости определяется отношением моментов
где

- предельно допустимый момент, кН · м, определяемый согласно
2.3.3;

- кренящий момент, кН · м, от воздействия ветровой нагрузки, определяемый согласно
2.2.1;

- критерий ветростойкости, принимаемый равным:
1,0 - для судов типа A или B;
1,15 - для судов типа D или C;
1,50 - для судов типа E.
2.1.8. Остойчивость на циркуляции
| | ИС МЕГАНОРМ: примечание. В официальном тексте документа, видимо, допущена опечатка: пункт 1.1.3.2 части I в тексте документа отсутствует. | |
2.1.8.1. Остойчивость моторных судов, удовлетворяющих требованиям 1.1.3.2
части I "Классификация", должна быть проверена на воздействие кренящего момента, действующего на судно в эволюционный период циркуляции при наихудшем, в отношении остойчивости, варианте нагрузки.
Угол статического крена на циркуляции не должен превышать;
угла 12° или 80% значения угла заливания; или
угла, при котором палуба надводного борта входит в воду; или
угла, при котором середина скулы выходит из воды; или
угла 15° с учетом совместного действия имитированного кренящего момента от скопления пассажиров на одном борту, определяемого в
2.5 настоящей части Правил;
смотря по тому, который из углов меньше.
2.1.8.2. Кренящий момент, действующий на судно в эволюционный период циркуляции,

, рассчитывают по методике, согласованной с Регистром, либо определяют по формуле
где L и d - длина судна и его осадка по действующей ватерлинии, м;

- водоизмещение при осадке по действующую ватерлинию, кН;

- возвышение центра тяжести судна над основной плоскостью, м;
v - скорость полного хода на тихой воде на прямом курсе, м/с;
c - коэффициент, определяемый по маневренным испытаниям судна-прототипа, но не менее 0,2.
2.1.9. Дополнительные критерии
В зависимости от назначения судна, особенностей его конструкции и режимов плавания должны выполняться дополнительные требования, изложенные в
2.7.
2.2. РАСЧЕТ ПАРАМЕТРОВ ВНЕШНЕГО ВОЗДЕЙСТВИЯ
2.2.1. Кренящий момент

, от давления ветра на надводную часть судна определяется по формуле
где

- площадь парусности судна, м2, которую для судов проектных категорий A, A1, A2 и B в случае, если

, следует принять равной

;

- расчетное давление ветра, Па.
Для всех типов судов расчетное давление ветра

, определяется по формуле
где

и

- статическая и динамическая составляющие ветровой нагрузки, определяемые согласно
4.3.4 Общих положений.
Для расчета статической и динамической составляющих ветровой нагрузки рассматривают давление ветра на высоте, принимаемой равной сумме высоты центра парусности судна над ватерлинией с половиной высоты волн 3%-ной обеспеченности,

, в соответствии с районом плавания судна;

- возвышение центра парусности над плоскостью ватерлинии, м;

- средняя осадка площади погруженной части диаметральной плоскости судна,

с учетом корпусных килей, но без учета швертов/шверц и выступающих частей, вычисляемая как удвоенное расстояние от конструктивной ватерлинии до параллельной ей нейтральной оси инерции площади

. Для судов с простой формой площади погруженной части

может быть принята равной осадке судна на миделе;

- коэффициент, учитывающий влияние сил сопротивления воды боковому дрейфу судна на плечо кренящей пары, принимаемый по табл. 2.2.1-1 в зависимости от отношения

;

- коэффициент, учитывающий влияние сил инерции на плечо кренящей пары z, определяемой по
табл. 2.2.1-2 в зависимости от отношения

(

- возвышение центра массы над основной плоскостью судна, м).
| < 2,5 | 3,0 | 4,0 | 5,0 | 6,0 | 7,0 | 8,0 | 9,0 | > 10,0 |
| 0,40 | 0,41 | 0,46 | 0,60 | 0,81 | 1,00 | 1,20 | 1,28 | 1,30 |
| <= 0,15 | 0,20 | 0,25 | 0,30 | 0,35 | 0,40 | >= 0,45 |
| 0,66 | 0,58 | 0,46 | 0,34 | 0,22 | 0,10 | 0 |
2.2.2. Расчетная амплитуда бортовой качки

, принимается для однокорпусных судов как наибольшее из значений, определенных требованиями
2.2.2.1 -
2.2.2.3, соответственно типу судна и характеристикам рассматриваемого района плавания, или по другим методикам, которые признаны Регистром для малых прогулочных судов.
Для катамаранов расчетная амплитуда бортовой качки определяется в соответствии с
2.2.2.3 и
2.7.5. Расчеты бортовой качки иных многокорпусных судов подлежат специальному рассмотрению Регистра.
Для парусных судов, при расчетах вариантов с несением парусов суммарной площадью более 25% от стандартной, расчетная амплитуда качки определяется только требованиями
2.2.2.3.
2.2.2.1. Расчетную амплитуду бортовой качки 3%-ной обеспеченности,

, рекомендуется определять по формуле
2.2.2.1.1. Дисперсия углов крена

, определяется по формуле
где

- начальная метацентрическая высота, м;

- угол статического крена, рад:

;

- кренящий момент от расчетного давления ветра, кН · м, определяемый согласно
2.2.1;

- весовое водоизмещение судна при рассматриваемом варианте нагрузки, т;

- момент инерции масс судна относительно центральной продольной оси, проходящей через центр тяжести судна, кг · м · с2;

- момент инерции присоединенных масс воды относительно центральной продольной оси, проходящей через центр тяжести судна, кг · м · с2;

- множитель, вычисленный по формуле

- максимальное плечо диаграммы статической остойчивости, м.
2.2.2.1.2. Дисперсия угловых скоростей бортовой качки

определяется по формуле
где

- безразмерный коэффициент интенсивности волнового возмущающего момента, определяемый по формуле (2.2.2.1.3);

- безразмерный коэффициент интенсивности ветрового возмущающего момента, определяемый по
формуле (2.2.2.1.4);
W - коэффициент демпфирования бортовой качки, определяемый в
2.2.2.1.6.
2.2.2.1.3. Безразмерный коэффициент интенсивности волнового возмущающего момента

определяется по следующему выражению:
где

- редукционный коэффициент, определяемый согласно
2.2.2.1.5;

- высота волны 3%-ной обеспеченности, м, определяемая в зависимости от района плавания;

- средняя частота волнения, 1/с;

- средний период, с, рассматриваемого волнения, определяемый по
рис. 1 и
табл. 2 Приложения.
2.2.2.1.4. Безразмерный коэффициент интенсивности ветрового возмущающего момента определяется по формуле
где

- кренящий момент от расчетного давления ветра, кНм, определяемый согласно
2.2.1.
2.2.2.1.5. Редукционный коэффициент

определяется по формуле
где

- параметр, определяемый в зависимости от коэффициента вертикальной полноты корпуса

, ширины

, осадки

, поперечного метацентрического радиуса r и начальной метацентрической высоты h по следующей формуле:

- частота собственных бортовых колебаний судна,

, вычисляемая:
для однокорпусных судов - по формуле
для катамаранов - по формуле
2.2.2.1.6. Коэффициент демпфирования бортовой качки, W, определяется по следующим формулам:
1. Для судов с гладкими формообразованиями корпуса
где

- коэффициент, определяемый по
рис. 3-4 и
3-5 Приложения;
2. Для судов с гладкими формообразованиями корпуса при наличии скуловых или днищевых килей
где

- площадь скулового или днищевого киля, м2;

- расстояние от центра тяжести судна до центра площади киля, м;

- сумма расчетных значений, вычисленных для каждого киля, при наличии нескольких килей, м5;
3. Для судов с остроскулыми формообразованиями корпуса
либо по приближенной формуле
где k = 0,003 - размерный коэффициент,

;

- коэффициент общей полноты судна;

- осадка судна, м,
2.2.2.1.7. Момент инерции массы судна

, относительно продольной оси, проходящей через центр тяжести судна, определяют по нагрузке масс судна, при наличии разбивки нагрузки на большое количество мелких статей. При отсутствии детальной нагрузки массы судна допускается определение этой величины по одной из следующих эмпирических формул:
по формуле Павленко
по формуле Шиманского
по формуле Дуайра
либо оценочно
где

- радиус инерции массы относительно центральной продольной оси, проходящей через центр тяжести судна, который для судов различных типов изменяется в пределах

; при этом большие значения соответствуют остроскулым судам.
2.2.2.1.8. Момент инерции присоединенных масс воды

, относительно продольной оси, проходящей через центр тяжести судна, определяют по формуле
где

- коэффициент общей полноты судна;
2.2.2.2. Расчет амплитуды качки для непарусных судов
2.2.2.2.1. Амплитуда качки, град., судна с круглой скулой, не снабженного скуловыми килями и брусковым килем, вычисляется по формуле
где

- безразмерные множители;
Y - множитель, град.
Множитель Y принимается по табл. 2.2.2.2.1-1 в зависимости от проектной категории судна и отношения

.
Таблица 2.2.2.2.1-1
Множитель Y
Проектные категории | 0,04 и менее | |
0,05 | 0,06 | 0,07 | 0,08 | 0,09 | 0,10 | 0,11 | 0,12 | 0,13 и более |
A, A1 и A2 | 24,0 | 25,0 | 27,0 | 29,0 | 30,7 | 32,0 | 33,4 | 34,4 | 35,3 | 36,0 |
B, C, C1, C2 и C3 | 16,0 | 17,0 | 19,7 | 22,8 | 25,4 | 27,6 | 29,2 | 30,5 | 31,4 | 32,0 |
Множитель

принимается по табл. 2.2.2.2.1-2 в зависимости от отношения B/d.
Таблица 2.2.2.2.1-2
Множитель

B / d | |
2,4 и менее | 1,0 |
2,5 | 0,98 |
2,6 | 0,96 |
2,7 | 0,95 |
2,8 | 0,93 |
2,9 | 0,91 |
3,0 | 0,90 |
3,1 | 0,88 |
3,2 | 0,86 |
3,3 | 0,84 |
3,4 | 0,82 |
3,5 и более | 0,80 |
Множитель

принимается по табл. 2.2.2.2.1-3 в зависимости от коэффициента общей полноты судна Св.
Таблица 2.2.2.2.1-3
Множитель

Св | 0,45 и менее | 0,5 | 0,55 | 0,6 | 0,65 | 0,7 и более |
| 0,75 | 0,82 | 0,89 | 0,95 | 0,97 | 1,0 |
2.2.2.2.2. Если судно имеет скуловые кили или брусковый киль, или то и другое вместе, амплитуда качки, град., должна вычисляться по формуле
где k - коэффициент, определяемый по табл. 2.2.2.2.2 в зависимости от отношения

, в котором

- суммарная габаритная площадь скуловых килей, либо площадь боковой проекции брускового киля, либо сумма этих площадей, м2.
Таблица 2.2.2.2.2
Коэффициент k
| О | 1,0 | 1,5 | 2,0 | 2,5 | 3,0 | 3,5 | 4,0 и более |
k | 1,00 | 0,98 | 0,95 | 0,88 | 0,79 | 0,74 | 0,72 | 0,70 |
2.2.2.2.3. Амплитуду качки судна с острой скулой следует принимать равной 70% амплитуды, вычисленной по
формуле (2.2.2.2.1).
2.2.2.2.4. Амплитуда качки судов, снабженных успокоителями качки, должна определяться без учета их работы.
2.2.2.2.5. Расчетные значения амплитуды качки следует округлять до целых градусов.
2.2.2.3. Расчетную амплитуду бортовой качки необходимо принимать не менее значений, указанных в 2.2.2.3.1 и
2.2.2.3.2.
2.2.2.3.1. Для парусных и непарусных судов проектных категорий A, A1, A2, B, C, C1 и C2 расчетная амплитуда бортовой качки

, должна приниматься не менее определенной по формуле

- коэффициент, учитывающий вероятность резонанса колебаний при положении судна лагом к волне, определяемый по
табл. 2.2.2.3.1;

- средняя частота волнения,

;

- средний период, с, рассматриваемого волнения, определяемый по
рис. 1 Приложения.
Таблица 2.2.2.3.1
Коэффициент

Проектная категория | | Соотношение частот:  |
<= 0,5 | 0,75 | 0,87 | 1,0 | 1,25 | 1,5 | 2,0 | >= 2,5 |
A, A1 или A2 | 25 | 1,0 | 1,4 | 1,8 | 2,0 | 1,8 | 1,5 | 1,2 | 1,1 |
B | 20 |
C, C1 и C2 | 15 |
Для парусных судов при расчетах вариантов с несением парусов суммарной площадью более 25% от максимальной явление резонанса не учитывают, и амплитуда качки принимается равной углу

волнового склона.
2.2.2.3.2. Для непарусных судов длиной 6,0 м и более, согласно требованиям ИСО 12217-1:2002, расчетная амплитуда бортовой качки, град., должна приниматься не менее:
для проектных категорий A, A1 или A2
для проектной категории B
где

- объемное водоизмещение судна, м3.
2.2.3. Динамический кренящий момент от удара разрушающейся волны, кН · м, характеризуется кинетической энергией, приобретенной судном после удара волны, и определяется по формуле
где

- максимальная площадь, м2, проекции на диаметральной плоскости боковой поверхности корпуса, надстроек и рубок судна, захваченная разрушающейся волной по высоте

и на длине

, которые указаны в
табл. 2 Приложения;

- расчетное давление, кПа, наибольшей разрушающейся волны, указанное в
табл. 2 Приложения;

- время действия, с, наибольшей разрушающейся волны, указанное в
табл. 2 Приложения;

- возвышение центра площади

над плоскостью действующей ватерлинии, м;

- средняя осадка, м, площади погруженной части диаметральной плоскости судна,

, с учетом корпусных килей, но без учета швертов/шверц и выступающих частей, вычисляемая как удвоенное расстояние от конструктивной ватерлинии до параллельной ей нейтральной оси инерции площади

. Для судов с простой формой площади погруженной части

может быть принята равной осадке судна на миделе;
2.2.4. Приращение плеча статической остойчивости,

, определяется по формуле

- коэффициент вертикальной полноты;

- коэффициент общей полноты.
В случае если в результате расчетов

, то принимается

.
2.3. ПРЕДЕЛЬНО ДОПУСТИМЫЙ КРЕНЯЩИЙ МОМЕНТ
2.3.1. Предельно допустимый кренящий момент,

, определяется по диаграмме статической остойчивости одним из изложенных методов в зависимости от применяемого критерия оценки остойчивости судна.
В качестве предельно допустимого угла крена

при воздействии кренящего момента принимается наименьший из углов:
для парусных судов - угла заливания

и угла заката диаграммы

;
для непарусных судов - угла заливания

, угла заката диаграммы

и 50°.
2.3.2. Для оценки критерия погоды и критерия погоды с учетом разрушающего волнения

определяется по диаграмме статической остойчивости с учетом предельно допустимого угла крена

и амплитуды бортовой качки

.
Предельно допустимый кренящий момент

определяется геометрическим построением (см. рис. 2.3.1) при равенстве площадей

диаграммы статической остойчивости.
Рис. 2.3.1. Определение предельно допустимого момента

Значение момента

, соответствует водоизмещению судна

, умноженному на плечо статической остойчивости

, которое определено отрезком ОМ диаграммы статической остойчивости.
2.3.3. Для оценки критерия ветростойкости предельно допустимый кренящий момент

, определяют по диаграмме статической остойчивости, с учетом предельно допустимого угла крена

, по формуле
где

- максимальное плечо статической остойчивости, м, измеренное при максимуме диаграммы статической остойчивости либо при угле

, в зависимости от того, что меньше.
2.4. ДИАГРАММА СТАТИЧЕСКОЙ ОСТОЙЧИВОСТИ
2.4.1. Диаграмма статической остойчивости однокорпусных судов должна удовлетворять требованиям 2.4.1.1 -
2.4.1.6.
2.4.1.1. Максимальное плечо диаграммы статической остойчивости

должно быть не менее 0,25 м при угле крена

.
По согласованию с Регистром угол, который соответствует максимуму диаграммы статической остойчивости, может быть уменьшен до 25°.
При наличии у диаграммы статической остойчивости двух максимумов, вследствие влияния надстроек или рубок, необходимо, чтобы первый, от прямого положения, максимум диаграммы соответствовал крену не менее 25°.
Граница положительной статической остойчивости (угол заката диаграммы) должна быть не менее 60° для судов проектных категорий A, A1, A2 и B.
Площадь под положительной частью диаграммы статической остойчивости должна быть не менее 0,055 м · рад до угла крена 30° и не менее 0,09 м · рад до угла крена 40°. Площадь между углами крена 30° и 40° должна быть не менее 0,03 м · рад.
2.4.1.2. Судно должно удовлетворять перечисленным в настоящей главе требованиям при учете в диаграммах статической остойчивости поправки на свободные поверхности согласно
1.3.9.
2.4.1.3. Судам, которые не удовлетворяют требованиям настоящей главы по углу заката диаграммы, вследствие ее обрыва при угле заливания, может быть разрешено плавание только как для судов проектных категорий C, C1 или C2, в зависимости от ветрового давления, которое выдерживает судно во время проверки по критерию остойчивости. Тем не менее при этом необходимо, чтобы условный угол заката диаграммы, определенный в предположении непроницаемости закрытий отверстий под влиянием моря, из-за которых происходит заливание, был не менее того, который требуется в настоящей главе.
2.4.1.4. Судам, имеющим отношение B/D > 2, разрешается плавание при уменьшенном угле заката диаграммы и угле, соответствующем максимальному плечу диаграммы, по сравнению с требуемым в
2.4.1:
1. Для угла заката диаграммы - на величину

, определяемую по формуле
в зависимости от отношения B/D и критерия остойчивости K.
При B/D > 2,5 и K > 1,5 принимают B/D = 2,5 и К = 1,5.
Значение

округляется до целого числа;
2. Для угла, соответствующего максимальному плечу диаграммы, - на величину, равную половине снижения угла заката диаграммы.
2.4.1.5. Для судов, которые рассматриваются как парусные, угол заката диаграммы статической остойчивости должен быть не менее:
1. Для судов проектных категорий A, A1 и A2 водоизмещением

более 3000 кг:

, но не менее 100°;
2. Для судов проектной категории B водоизмещением

более 1500 кг:

, но не менее 95°;
3. Для судов проектных категорий C, C1 или C2, независимо от водоизмещения:

должен быть не менее 90°;
4. Для судов проектных категорий C3 или D, независимо от водоизмещения:

должен быть не менее 75°;
5. При наличии в составе корпуса элементов плавучести общим объемом не менее:

угол заката диаграммы статической остойчивости может быть:

- для судов проектных категорий A, A1 и A2;

- для судов проектных категорий C, C1 или C2.
2.4.1.6. Для судов, которые рассматриваются как непарусные, должно выполняться следующее:
1. Максимальный восстанавливающий момент

, при угле крена

должен быть:

- для судов проектных категорий A, A1 и A2;

- для судов проектной категории B.
При этом при угле крена 30° плечо восстанавливающего момента

- для всех судов;
2. Максимальный восстанавливающий момент

при угле крена

:

- для судов проектных категорий A, A1 и A2;

- для судов проектной категории B.
При этом при угле крена

плечо восстанавливающего момента

- для всех судов.
Примечание.

- угол крена, град., при котором плечо восстанавливающего момента максимально при условии, что это выполняется на части диаграммы статической остойчивости, построенной до угла заливания.
2.5. МЕТАЦЕНТРИЧЕСКАЯ ВЫСОТА
2.5.1. Исправленная начальная поперечная метацентрическая высота h всех судов при всех вариантах нагрузки, за исключением "судно порожнем", должна иметь значение не менее 0,5 м.
Начальная поперечная метацентрическая высота h моторных судов длиной

в состоянии минимальной эксплуатационной нагрузки, но без экипажа, должна быть не менее 0,5 м.
2.5.2. Для непарусных судов начальная поперечная метацентрическая высота h в состоянии с полной нагрузкой при наиболее неблагоприятном для остойчивости размещении людей должна быть не меньше величины

, определяемой как:
где

- кренящий момент из-за смещения людей к борту, кН · м;

- допускаемый угол крена судна при смещении людей к одному борту, град., определяемый согласно
2.5.2.2;

- масса судна в соответствующем состоянии нагрузки, т;
g - ускорение свободного падения, м/с2.
2.5.2.1. Кренящий момент

, определяется по расчетной схеме скопления людей у одного борта, соответствующей наиболее опасному их размещению из реально возможного в нормальных условиях эксплуатации судна.
Размещение людей у одного борта принимается на площадях, свободных от оборудования и устройств, с учетом ограничения допуска пассажиров на ту или иную часть палубы.
В рассматриваемые площади должны быть включены площади кокпитов и палуб, на которых могут размещаться люди на ходу судна, включая площади, на которых люди могут стоять, сидеть, ходить или лежать.
В рассматриваемые площади должны быть включены площади, используемые при управлении судном, для доступа в отсеки, для отдыха, для подъема и настройки парусов.
В рассматриваемые площади не включаются: ветровые стекла, крыша рулевой рубки, если на ней не предусмотрено размещение людей, участки палубы, наклоненные более 15° к горизонту, и участки палубы шириной менее 100 мм.
Для судов длиной

допускается в расчете не принимать размещение людей стоя, если стоячее положение людей не предусмотрено условиями эксплуатации судна.
При определении кренящего момента плотность размещения людей принимают:
на судах, совершающих рейсы продолжительностью более 24 ч, - 4 чел. на 1 м2 свободной площади;
на судах, совершающих рейсы продолжительностью менее 24 ч, - 6 чел. на 1 м2 свободной площади палубы.
Площади наружных проходов, расположенных у фальшборта или леерного ограждения, принимаются с коэффициентом 0,75 при ширине от 0,7 до 1,0 м и с коэффициентом 0,5 при ширине 0,7 м и менее.
Площади проходов между диванами (скамейками, креслами), где могут скапливаться пассажиры дополнительно к сидящим на своих местах, принимаются с коэффициентом 0,5.
Масса одного человека принимается равной 75 кг, а центр тяжести стоящего человека - на высоте 1,1 м от палубы, сидящего - на высоте 0,3 м над сиденьем.
2.5.2.2. Для судов длиной не более 24 м допускаемый угол крена судна

при реально возможном смещении людей к одному борту при наиболее неблагоприятном состоянии нагрузки судна определяют по формуле
2.6. ТРЕБОВАНИЯ К УГЛАМ ЗАЛИВАНИЯ
2.6.1. Для судов длиной

угол крена, при котором начинается заливание судна через борт, комингс либо забортные отверстия при их общей площади более

, должен быть не менее значений, приведенных в табл. 2.6.1.
Таблица 2.6.1
Требования к углам заливания судов с

Проектные категории | Угол заливания  (определяется как наибольшая из нижеследующих величин) |
|
A, A1 и A2 | | 40° |
B | |
C, C1, C2 и C3 | |
D | | - |
|
A, A1, A2, и B | 40° | - |
C, C1, C2 и C3 | 35° | - |
D | 30° | - |
|
2.6.2. Альтернативно, вместо критерия угла заливания для непарусных судов с

может быть применен критерий высоты надводного борта в накрененном положении при смещении людей согласно
2.5. Надводный борт в накрененном положении, определяемый как вертикальное расстояние от плоскости воды до нижней кромки борта, комингса или отверстия, через которые вода может проникнуть внутрь судна, должен быть не менее значений, приведенных в
табл. 2.6.4.
2.6.3. Для парусных судов проектных категорий C, C1, C2, C3 или D, плавучесть которых обеспечивается только элементами плавучести, или имеющих возможность спрямления из опрокинутого положения силами экипажа, требования
табл. 2.6.1 не являются обязательными.
2.6.4. Для парусных судов с

вместо угла заливания нормируется высота надводного борта в накрененном положении при случаях смещения людей, рассматриваемых в настоящей главе. Значения надводного борта судна в накрененном положении должны быть не менее значений, приведенных в табл. 2.6.4.
Таблица 2.6.4
Минимальный надводный борт в накрененном положении судна
Проектные категории | | |
Суда всех типов | Суда типов C, E | Суда типов A, B, D |
Судно, плавучесть которого обеспечивается только элементами плавучести | Прочие суда |
C, C1, C2 и C3 | | 150 мм | - | 100 мм |
D | | 10 мм | 250 мм | 10 мм |
2.6.5. Обрыв диаграммы статической остойчивости при угле заливания в соответствии с
2.4.1.3 при углах крена менее 40° не допускается.
2.7. ДОПОЛНИТЕЛЬНЫЕ ТРЕБОВАНИЯ К ОСТОЙЧИВОСТИ
2.7.1. Прогулочные суда
2.7.1.1. Остойчивость прогулочных судов должна полностью соответствовать требованиям
2.1.
Для состояний нагрузки, указанных в 2.7.1.2.1 и 2.7.1.2.2, должна быть проверена также остойчивость, удовлетворяющая требованиям
2.7.1.3 -
2.7.1.4.
2.7.1.2. Проверка остойчивости прогулочных судов по критериям, указанным в
2.1.4 -
2.1.7, должна быть выполнена при следующих состояниях нагрузки судна:
1. В полном грузу - с полным грузом, людьми, багажом и полными запасами;
2. С минимальной эксплуатационной нагрузкой.
Регистр может потребовать выполнения проверки остойчивости судна также при неполном числе пассажиров, если такое состояние нагрузки предполагается менее благоприятным, чем перечисленные.
При проверке остойчивости судна по основным критериям принимается, что все пассажиры находятся на штатно предусмотренных местах, а размещение грузов соответствует нормальным условиям эксплуатации данного судна. Команда судна располагается на своих рабочих местах.
2.7.1.3. Проверка остойчивости прогулочных судов для состояний нагрузки, указанных в
2.7.1.2.1 и
2.7.1.2.2, должна быть выполнена для случая совместного воздействия кренящих моментов от ветровой нагрузки на наветренный борт и максимально возможного скопления людей на подветренном борту.
Угол крена судна при реально возможном смещении людей к одному борту определяют для размещения стоящих людей из расчета 6 человек на 1 м2 открытой палубы при массе одного человека 75 кг.
2.7.1.4. Проверка остойчивости прогулочных судов для состояний нагрузки, указанных в
2.7.1.2.1 и
2.7.1.2.2, должна быть выполнена для случая воздействия совместного максимально возможного скопления людей у одного борта и возникающего во время эволюционного периода циркуляции кренящего моментов, определяемого в соответствии с 2.7.1.5.
2.7.1.5. Допускаемый угол крена судна

, при реально возможном смещении людей к одному борту при наиболее неблагоприятном состоянии нагрузки судна не должен превышать указанный в
2.5.2.2 при проверке остойчивости на соответствие требованиям
2.7.1.3 и
2.7.1.4.
2.7.2. Плавучие дачи
2.7.2.1. При проверке остойчивости плавучих дач, при скоплении пассажиров на одном борту согласно
2.7.1.3, палуба судна не должна входить в воду. При ограничении угла крена углом заливания допускаемый угол крена следует принимать не более 0,8 угла заливания. Угол крена от скопления пассажиров во всех случаях не должен превышать 12°.
2.7.2.2. Плечо диаграммы статической остойчивости

при угле максимума

должно быть не менее

и 0,2 м.
Для стоечных судов рекомендуется при проверке остойчивости также учитывать фактические ветровые нагрузки для предусмотренных районов стоянки, принимаемые на основании данных от местных гидрометеостанций.
2.7.3. Многокорпусные суда
2.7.3.1. При проверке остойчивости многокорпусных судов, при скоплении пассажиров на одном борту в условиях
2.7.1.3 -
2.7.1.4, палуба любого из корпусов судна не должна входить в воду, при этом: у катамарана скула любого из корпусов не должна выходить из воды, а у тримарана - допускается отрыв от воды не более одного корпуса.
Плечо диаграммы статической остойчивости

при угле максимума

должно быть не менее

и не менее 0,2 м.
2.7.4. Катамараны
2.7.4.1. Настоящие требования распространяются на катамараны проектных категорий C, C1, C2 и C3 при условии, что предельно допустимый угол крена катамарана при равнообъемном наклонении не превышает угла, когда плоскость ватерлинии касается скулы выходящего из воды корпуса в сечении мидель-шпангоута.
2.7.4.2. Приведенное плечо кренящего момента, м, для катамаранов при динамическом действии ветра на судно вычисляется по формуле
где

- возвышение центра парусности над основной плоскостью судна, м;
d - средняя осадка катамарана по действующую ватерлинию, м.
2.7.4.3. Расчетную амплитуду бортовой качки, град., для катамаранов соответствующего класса следует принимать по
табл. 2.7.4.3 в зависимости от qB и V/2L (B, L и V - ширина, длина и объемное водоизмещение катамарана, соответственно), при этом множитель

, следует определять по формуле
где

- ордината поперечного метацентра, м;

- ордината центра тяжести катамарана, м;
i - относительный момент инерции массы с учетом присоединенной массы жидкости, м · с2;
где

- относительный горизонтальный клиренс корпусов катамарана;
C - расстояние между внутренними бортами корпусов на мидель-шпангоуте на уровне действующей ватерлинии, м;
B - ширина корпуса катамарана, м, на уровне действующей ватерлинии на мидель-шпангоуте;
g - ускорение свободного падения, м/с2;
Величину

необходимо определять согласно 2.7.4.4
Проектная категория | Параметр  | Расчетные амплитуды бортовой качки  , град., при значениях V 2L, м2 |
< 1,0 | 2,0 | 3,0 | 4,0 | 5,0 | 6,0 | 7,0 | 8,0 | 9,0 | > 10 |
C и C1 | < 10 | 11,3 | 9,9 | 8,3 | 6,8 | 6,0 | 5,7 | 5,5 | 5,3 | 5,2 | 5,1 |
20 | 12,0 | 10,5 | 8,9 | 7,4 | 6,6 | 6,2 | 6,0 | 5,9 | 5,7 | 5,6 |
30 | 13,2 | 11,9 | 10,3 | 8,7 | 7,8 | 7,5 | 7,3 | 7,1 | 7,0 | 6,9 |
40 | 14,8 | 13,9 | 12,3 | 10,6 | 9,6 | 9,3 | 9,1 | 9,0 | 8,8 | 8,7 |
> 50 | 16,5 | 15,5 | 13,9 | 12,2 | 11,3 | 10,8 | 10,6 | 10,5 | 10,3 | 10,2 |
C2 и C3 | < 10 | 6,6 | 5,7 | 4,5 | 3,7 | 3,1 | 2,7 | 2,5 | 2,4 | 2,3 | 2,2 |
20 | 7,5 | 6,5 | 5,3 | 4,3 | 3,6 | 3,2 | 2,9 | 2,7 | 2,6 | 2,5 |
30 | 8,9 | 8,2 | 6,8 | 5,7 | 4,8 | 4,2 | 3,7 | 3,5 | 3,4 | 3,3 |
40 | 10,7 | 10,0 | 8,6 | 7,2 | 6,1 | 5,3 | 4,7 | 4,4 | 4,2 | 4,1 |
> 50 | 12,4 | 11,1 | 9,6 | 8,1 | 6,9 | 5,9 | 5,3 | 5,0 | 4,8 | 4,7 |
2.7.4.4. Ордината поперечного метацентра катамаранного судна определяется по формуле
где

- коэффициент полноты площади действующей ватерлинии корпусов катамарана;
b - отношение ширины корпуса В к осадке d катамарана;

- коэффициент полноты водоизмещения корпусов катамарана.
2.7.4.5. Динамически приложенный кренящий момент, кН · м, действующий на катамаран в эволюционный период циркуляции, определяется по формуле
где

- скорость катамарана перед входом на циркуляцию, принимаемая равной скорости полного хода на прямом курсе, м/с;

- вес катамарана при осадке по действующую ватерлинию, кН;

- возвышение центра тяжести катамарана над основной плоскостью, м;
L и d - соответственно, длина катамарана и его средняя осадка по действующую ватерлинию, м.
2.7.5. Суда с динамическими принципами поддержания
Настоящие требования применяются к моторным глиссирующим и полуглиссирующим судам, движущимся в режиме Fr > 1.
2.7.5.1. Остойчивость судов с динамическими принципами поддержания определяется расчетно-экспериментальным путем.
Удовлетворение требованиям, предусматривающим проведение экспериментальных исследований, может быть доказано расчетами, результатами испытаний близкого судна-прототипа или такой их комбинации, которая целесообразна для конкретного судна. Такое доказательство должно быть согласовано с Регистром.
2.7.5.2. Указанные суда в водоизмещающем режиме плавания должны соответствовать общим требованиям 2.1 для моторных судов соответствующего назначения.
2.7.5.3. Остойчивость судов с динамическими принципами поддержания следует проверять при всех состояниях нагрузки, указанных в
1.3.13.1 и
2.7.1.2, при двух режимах:
1. Плавания в водоизмещающем режиме;
2. Движения в эксплуатационном режиме.
Характеристики остойчивости должны быть окончательно откорректированы для режима плавания по результатам кренования, а в эксплуатационном режиме - по данным натурных испытаний при наиболее неблагоприятных условиях эксплуатации, проводимых в процессе приемо-сдаточных испытаний судна. Программа испытаний, отчет, а также составленная на основании расчетов и эксперимента Информация об остойчивости судна являются предметом специального рассмотрения Регистром.
Примечание. Экспериментальную проверку остойчивости на натурных судах допускается проводить только для наихудшего в отношении остойчивости варианта нагрузки, который следует определять по результатам расчетов или модельных испытаний.
Значения предельно допустимых углов крена следует уточнять с помощью экспериментальной зависимости угла крена от кренящего момента, скорости судна и угла перекладки руля.
2.7.5.4. В Информации об остойчивости должны быть указаны рекомендации по снижению скорости на циркуляции и на волнении.
2.7.6. Быстроходные водоизмещающие суда
2.7.6.1. Остойчивость быстроходных водоизмещающих судов

должна быть проверена при испытаниях головного судна.
Проверка остойчивости должна быть проведена на циркуляции на тихой воде при последовательном ступенчатом возрастании угла перекладки руля, включая максимальный, на борт, противоположный скоплению пассажиров, и при последовательном ступенчатом возрастании значений частоты вращения двигателей, включая наибольшую.
2.7.6.2. При испытании прогулочного судна для обеспечения соответствующего водоизмещения, положения центра тяжести и начального угла крена при скоплении пассажиров на одном борту необходимо использовать специально принятый на судно и раскрепленный твердый балласт.
2.7.6.3. В процессе испытаний в протоколе следует фиксировать:
водоизмещение;
осадку носом и кормой;
частоту вращения двигателей и соответствующую скорость судна;
глубину акватории;
состояние погоды;
начальные углы крена;
углы крена для каждого режима испытаний;
углы перекладки руля;
уровень поверхности воды по борту при крене.
2.7.6.4. Полученные при испытаниях углы крена необходимо сравнивать с соответствующими допустимыми углами крена по дополнительным требованиям к различным типам судов.
2.7.6.5. По результатам испытаний в Информацию об остойчивости судна следует внести необходимые ограничения по сочетанию частот вращения главного двигателя и углов перекладки руля.
| | ИС МЕГАНОРМ: примечание. Нумерация пунктов дана в соответствии с официальном текстом документа. | |
2.7.6.6. Программа испытаний, протокол, а также составленная на основании расчетов и испытаний Информация об остойчивости судна требуют одобрения Регистра.
2.7.9. Парусные суда
2.7.9.1. Общие требования к остойчивости
Остойчивость парусных судов должна быть определена для всех, предусмотренных согласно
5.7 части III "Устройства, оборудование и снабжение", вариантов оснащения судна парусами, и отвечать требованиям
2.1.
2.7.9.2. Ветростойкость парусного судна проектных категорий C3 и D
Проверка ветростойкости судна выполняется по методу ИСО 12217-2:2002 для судов длиной

, строительство которых будет осуществляться на соответствие требованиям Директивы 94/25/ЕС.
2.7.9.2.1. Проверка производится в состоянии нагрузки порожнем, к которому должен быть добавлен вес 75 кг, приложенный в диаметральной плоскости судна вблизи места рулевого. Паруса должны быть подготовлены к постановке. Шверты и подъемные кили должны быть подняты, за исключением случая, когда предусмотрена их обязательная фиксация в нижнем положении на ходу судна.
2.7.9.2.2. Расчетная скорость ветра,

, кренящая судно на угол

, определяется по формуле
где

- восстанавливающий момент, соответствующий углу крена

;

- высота геометрического центра парусности парусного судна над ватерлинией;

- заглубление геометрического центра бокового сопротивления ниже ватерлинии.
Если угол заливания

, то в расчете принимается

.
2.7.9.2.3. Судно считается полностью соответствующим критерию ветростойкости, если расчетная величина

составляет не менее

, приведенной в табл. 2.7.9.2.3.
Таблица 2.7.9.2.3
Требования к скорости ветра

Проектная категория | C3 | D |
Суда, не указанные ниже | 13 | 8 |
Суда, плавучесть которых обеспечивается только элементами плавучести | 11 | 6 |
2.7.9.2.4. Если расчетная скорость ветра меньше требуемой по
табл. 2.7.9.2.3, то судно может быть допущено к эксплуатации при условии внесения требований по уменьшению парусности

в Информацию об остойчивости.
2.7.9.3. Остойчивость многокорпусных парусных судов.
2.7.9.3.1. Проверка остойчивости многокорпусного парусного судна выполняется по методу ИСО 12217-2:2002 для судов, строительство которых будет осуществляться на соответствие требованиям Директивы 94/25/ЕС.
2.7.9.3.1.1. Если у многокорпусного судна

, то оно должно соответствовать требованиям для однокорпусных судов.
2.7.9.3.1.2. Фактор размера F многокорпусного судна

рассчитывается как:
2.7.9.3.1.3. Для обеспечения безопасности многокорпусного судна в условиях разрушающихся волн оно должно соответствовать требованиям к фактору размера судна, представленным в табл. 2.7.9.3.1.3.
Таблица 2.7.9.3.1.3
Требования к фактору размера судов с

Проектная категория по Директиве 94/25/ЕС | Требуемый фактор размера многокорпусного судна, не менее |
L/B < 2,2 | 2,2 <= L/B < =3,2 | L/B > 3,2 |
A | | 40000 | |
B | | 15000 | |
C | не применяется |
Примечание. Для катамаранов принимается

, для тримаранов принимается

.
| | ИС МЕГАНОРМ: примечание. В официальном тексте документа, видимо, допущена опечатка: пункты 2.7.9.3.2 и 2.7.9.3.3 в тексте документа отсутствуют. | |
2.7.9.3.1.4. Альтернативно, если судно может быть восстановлено из опрокинутого положения силами экипажа, то требования 2.7.9.3.2 и 2.7.9.3.3 не применяются.
2.7.9.3.1.5. Рекомендации по несению парусов, сведения об опасных углах крена и методах спрямления перевернутого многокорпусного судна должны быть приведены в Информации об остойчивости.
2.7.9.3.1.6. При наличии обитаемых помещений внутри корпусов катамараны должны быть оборудованы люками для доступа в корпус и выхода наружу в случае опрокидывания судна. Требования распространяются на суда, построенные в 2001 г. и после указанной даты.
В опрокинутом состоянии катамарана люк должен быть над поверхностью воды.
2.7.9.4. Индекс остойчивости
2.7.9.4.1. Проверка парусного судна по индексу остойчивости выполняется по методу ИСО 12217-2:2002 для судов, строительство которых будет осуществляться на соответствие требованиям Директивы 94/25/ЕС и с присвоением судну проектной категории, соответственно указанной в Директиве и стандартах ИСО.
2.7.9.4.1.1. Индекс остойчивости STIX должен быть не менее значений, приведенных в табл. 2.7.9.4.1.1 в зависимости от района плавания.
Таблица 2.7.9.4.1.1
Требования к индексу STIX
Проектная категория по ИСО 12217 | A | B | C | D |
STIX >= | 32 | 23 | 14 | 5 |
Индекс STIX используется для комплексной оценки надежности однокорпусных парусных судов длиной

.
Если составляющие STIX факторы FDS, FIR, FKR и др., получаемые расчетом, окажутся вне допустимых пределов, то их значение должно быть принято равным верхней или нижней границе данного фактора, соответственно.
Индекс STIX определяется по формуле
где

при наличии у судна блоков плавучести и обеспечении

в затопленном состоянии. В противном случае принимается

.
2.7.9.4.1.2. Фактор динамической остойчивости FDS с пределами значений 0,5 <= FDS <= 1,5, определяется по формуле
где

- площадь положительной части диаграммы статической остойчивости, м · град.;
2.7.9.4.1.3. Фактор восстановления из опрокинутого положения FIR с пределами значений 0,4 <= FIR <= 1,5, определяется по формулам:

при m < 40000 кг; (2.7.9.4.1.3-1)

при m >= 40000 кг, (2.7.9.4.1.3-2)
где m - масса судна в соответствующем состоянии нагрузки, кг.
2.7.9.4.1.4. Фактор восстановления из положения "мачтой на воде" FKR с пределами значений 0,5 <= FKR <= 1,5, определяется по формулам;

при


при

FKR = 0,5 при

где

- плечо статической остойчивости при

, м;

- высота центра парусности парусного судна над ватерлинией, м;
2.7.9.4.1.5. Фактор водоизмещения - длины FDL с пределами значений 0,75 <= FDL <= 1,25, определяется по формуле
где
2.7.9.4.1.6. Фактор ширины-водоизмещения FBD с пределами значений 0,75 <= FBD <= 1,25, определяется по формулам:

при


при


при

где
2.7.9.4.1.7. Фактор ветрового момента FWM с пределами значений 0,5 <= FWM <= 1,0, определяется по формулам:
FWM = 1 при


при

где

- скорость ветра, м/с;

- плечо статической остойчивости при

, м;

- заглубление центра бокового сопротивления ниже ватерлинии при опущенных швертах, килях, рулях, м;
2.7.9.4.1.8. Фактор заливания FDF с пределами значений 0,5 <= FDF <= 1,25, определяется по формуле
2.7.10. Проверка остойчивости судна, для обеспечения запаса плавучести которого используются элементы плавучести.
2.7.10.1. Состояние нагрузки непарусного судна при проверке запаса плавучести должно включать не менее 25% запасов и снабжения, входящих в полную нагрузку. Эта нагрузка должна быть принята на уровне жилой палубы (или кокпита) в диаметральной плоскости в районе миделя.
2.7.10.2. Запас плавучести парусных судов проверяется в состоянии полной нагрузки.
2.7.10.3. Если запас плавучести судна обеспечивается воздушными ящиками, то в ходе проверки число открытых ящиков должно быть принято в соответствии с табл. 2.7.10.3.
Таблица 2.7.10.3
Число воздушных ящиков, рассматриваемых как открытые
Общее число воздушных ящиков | Число воздушных ящиков, рассматриваемых как открытые |
< 4 | один наибольший |
4 ... 8 | два наибольших |
> 8 | три наибольших |
2.7.10.4. Судно при полном его затоплении водой должно оставаться на плаву при приложении дополнительной нагрузки, значение которой приведено в табл. 2.7.10.4, к внутренней поверхности днища судна или месту обычного размещения людей.
Таблица 2.7.10.4
Нагрузка для проверки запаса плавучести
Проектная категория | A, A1, A2 и B | C, C1, C2 и C3 | D |
Нагрузка, кг | | 60 + 15n | 50 + 10n |
Примечания:  - наибольшая нагрузка (дедвейт) судна; |
n - разрешенное к размещению число людей на борту судна. |
2.7.10.5. При выполнении требований
2.7.10.3 судно должно оставаться на плаву при крене и дифференте не более 12°, и при этом не менее 2/3 периметра его палубы (или планширя) должны выступать над водой.
2.7.10.6. Для судов длиной

с блоками плавучести, в условиях
2.7.10.3, положительная плавучесть должна быть обеспечена при приложении дополнительной нагрузки 75 кг на днище судна.
2.7.10.7. Однокорпусное парусное судно должно быть снабжено элементами плавучести, общий объем которых должен составлять не менее объемного водоизмещения судна в полном грузу.
2.7.10.8. Если для обеспечения запаса плавучести многокорпусного парусного судна используются элементы плавучести, то их общий объем должен составлять не менее 120% объемного водоизмещения судна в полном грузу.
2.7.10.9. Полностью затопленное судно не должно опрокидываться при приложении к его борту кренящей нагрузки, равной 6n (n - разрешенное число людей на борту судна), кг, но не менее 15 кг.
Точки приложения кренящей нагрузки должны приниматься на борту попеременно на расстоянии

от носа и кормы. Если носовая или кормовая границы кокпита находятся ближе к миделю, то точки приложения кренящей нагрузки должны соответствовать указанным границам.
2.7.10.10. Проверку остойчивости затопленного судна следует выполнить, попеременно прикладывая всю нагрузку к носовой и кормовой точкам, для правого и левого бортов. При этом крен судна не должен превышать 45°.
2.7.10.10.1. Заполненное водой судно, полностью снаряженное и с грузом, имитирующим вес двигателя, батарей и др., с постоянным оснащением в соответствии с
рис. 2.7.10.10.1-1 и
2.7.10.10.1-2, должно быть проверено действием кренящей нагрузки

, определяемой как:
где N - общее число людей, разрешенное для размещения на судне.
Рис. 2.7.10.10.1-1. Масса подвесного бензинового двигателя
в зависимости от мощности
Рис. 2.7.10.10.1-2. Общая масса якоря, якорного троса,
швартовного оснащения, весел, огнетушителя и др.
в зависимости от полной длины судна (массу, кг, следует
округлять в большую сторону до ближайшего числа, кратного 5)
2.7.10.10.2. Точки приложения кренящей нагрузки должны приниматься на борту попеременно на расстоянии

от носа и кормы. Если носовая или кормовая границы кокпита находятся ближе к миделю, то точки приложения кренящей нагрузки должны соответствовать этим границам.
Проверку остойчивости заполненного водой судна следует выполнить, попеременно прикладывая всю нагрузку к носовой и кормовой точкам, для правого и левого бортов. При этом крен судна не должен превышать 45°.
2.7.10.10.3. Массы (грузы), которые имитируют вес двигателя и оснащения, должны быть, насколько это возможно, расположены на своих штатных местах.
2.7.10.10.4. Элементы плавучести должны быть расположены так, чтобы моторное судно имело положительную остойчивость и при наклоне на 60°.
2.7.10.10.5. Парусное судно не должно переворачиваться и должно оставаться на плаву после прикосновения топа мачты (без парусов) к поверхности воды.
3.1.1. Запас плавучести малых прогулочных судов должен обеспечиваться в зависимости от класса судна.
3.1.1.1. Запас плавучести для судов проектных категорий A, A1, A2 и B должен быть таким, чтобы при затоплении любого одного водонепроницаемого отсека судно не погружалось выше предельной линии погружения, и выполнялись требования
3.1.3.1.
3.1.1.2. Запас плавучести для судов проектных категорий C, C1, C2, C3 и D должен обеспечивать положительную плавучесть при затоплении любого одного отсека и выполнение требований
3.1.3.2.
3.1.1.3. Для судов проектной категории D, по согласованию с Регистром, запас плавучести может не обеспечиваться, если в комплекте судна имеются индивидуальные спасательные средства для каждого человека, находящегося на борту.
3.1.1.4. Запас плавучести судна должен быть указан в Руководстве для владельца судна и в Информации об остойчивости.
3.1.2. Запас плавучести поврежденного судна может обеспечиваться одним из следующих способов:
1. Делением корпуса на водонепроницаемые отсеки;
2. Установкой элементов плавучести в корпусе, надстройках и рубках судна, в том числе мягких, наполненных вспененными полимерами либо воздухом с избыточным давлением до 10 кПа (сверх атмосферного);
3. Применением мягких элементов плавучести, надуваемых при повреждении судна и прочно закрепленных внутри или снаружи корпуса судна;
4. Любой комбинацией из вышеперечисленных способов.
Материал, конструкция и крепление к судну применяемых элементов плавучести и систем, обеспечивающих наполнение мягких элементов, должны быть одобрены Регистром.
3.1.3. Остойчивость поврежденного судна должна соответствовать следующим требованиям:
1. В конечной стадии затопления для судов проектных категорий A, A1, A2 и B поперечная метацентрическая высота для ненакрененного судна должна быть не менее 0,05 м для всех случаев нагрузки судна;
2. В конечной стадии затопления для судов проектных категорий C, C1, C2, C3 и D остойчивость поврежденного судна, которое отвечает требованиям по запасу плавучести, должна соответствовать требованиям
2.7.10.
3.1.4. Предельной линией погружения для судов типов A, B и D является ватерлиния, при которой:
палуба надводного борта не входит в воду;
расстояние от нижней кромки отверстий, не имеющих закрытий не менее степени 2 водонепроницаемости, до аварийной ватерлинии составляет не менее величины надводного борта, назначенного судну.
Суда типов C и E относятся к судам, которые должны удовлетворять только требованиям к величине запаса плавучести.
3.1.5. Требования к диаграмме статической остойчивости поврежденного судна являются в каждом случае предметом специального рассмотрения Регистром.
3.2.1. Конструктивные мероприятия, связанные с делением на отсеки, должны удовлетворять требованиям по прочности и герметичности конструкций, изложенным в
части II "Корпус",
части III "Устройства, оборудование и снабжение" и
части V "Механические установки. Механизмы. Системы и трубопроводы".
3.2.2. Водонепроницаемыми (в значении, предусмотренном в
3.1.2.1) считаются только те отсеки, длина которых составляет по крайней мере 10% длины судна, но не менее 2 м, кроме форпика и ахтерпика.
3.2.3. Если длина отсека, примыкающего к таранной переборке, составляет менее 10% длины судна или менее 2 м, то при расчете аварийной посадки и остойчивости форпик и этот отсек рассматриваются как затопляемые одновременно, однако их общая длина должна быть не менее предписываемой в 3.2.2.
3.2.4. Все поперечные переборки деления на отсеки должны быть водонепроницаемыми и доводиться до верхней палубы или палубы переборок. Кроме того, помещения для размещения экипажа и пассажирские помещения должны отделяться от машинного помещения и грузовых трюмов водонепроницаемыми переборками.
При наличии на судне машинного помещения требуется установка водонепроницаемых переборок, отделяющих его от других помещений судна.
3.2.5. Поперечная переборка может иметь уступ (выступ) при условии, что все части этого уступа (выступа) находятся на расстоянии от наружной обшивки более 1/5 ширины судна, но не менее 0,5 м. Если это требование не выполнено, то длину отсека определяют как расстояние до ближайшего выступа этой переборки.
Трубопроводы, имеющие открытые отверстия, и вентиляционные каналы должны прокладываться таким образом, чтобы в случае течи не допустить затопления других помещений или резервуаров. В этом отношении безопасность считается обеспеченной, если трубопроводы или вентиляционные каналы находятся на расстоянии более одной пятой ширины судна от обшивки борта судна, но не менее 0,5 м, причем это расстояние должно измеряться перпендикулярно диаметральной плоскости судна на уровне максимальной осадки. Если применение этого положения невозможно, трубопроводы, проходящие через несколько отсеков и имеющие в них открытые отверстия, должны иметь закрытия, дистанционно управляемые с места, находящегося выше верхней палубы или палубы переборок; это правило применяется также в том случае, если высота этих трубопроводов над обшивкой днища судна составляет менее 0,2 м.
Прокладка кабелей должна производиться таким образом, чтобы не нарушать водонепроницаемости конструкций, разделяющих судно на водонепроницаемые отсеки.
3.2.6. Водонепроницаемые окна могут устраиваться в бортовой обшивке ниже предельной линии погружения при условии, что они не могут быть открыты и являются достаточно прочными.
3.2.7. Проницаемость отсеков, как правило, следует принимать равной 95%. Если расчетами установлено, что средняя проницаемость какого-либо отсека составляет менее 95%, в качестве расчетной проницаемости может быть принята данная меньшая величина. Однако ни при каких условиях проницаемость не может быть принята меньше следующих значений:
для помещений для экипажа и пассажиров - 95%;
для машинных помещений - 85%,
для багажных помещений и кладовых для провизии - 75%;
для двойного дна, топливных и других цистерн (в зависимости от того, что приводит к более тяжелым последствиям) - 0 - 95%.
3.2.8. В корпусах судов длиной

должна быть установлена водонепроницаемая носовая таранная переборка в районе

от носовой точки длины

, но не далее 1,5 м, а также кормовая водонепроницаемая переборка, отделяющая отсек либо кокпит для подвесного или стационарного мотора.
3.2.9. Поперечные водонепроницаемые переборки, делящие судно на отсеки, исключая переборки машинного помещения, могут быть снабжены люками, имеющими степень водонепроницаемости 1, для прохода из отсека в отсек, которые по своей конструкции и расположению могут быть использованы в любом положении судна, включая и опрокинутое.
У верхней и нижней частей комингса этого люка или, соответственно, на люке должны быть установлены смотровые устройства, имеющие степень водонепроницаемости 1 и огнезадерживающую конструкцию типа "B", или иные конструкции равной прочности, позволяющие убедиться в безопасности открытия люка перед выполнением этого действия.
Каждый люк должен быть оснащен автоматическим устройством, сигнализирующим о его открытом положении (негерметичном прилегании к комингсу), с соответствующим световым и квитируемым звуковым сигналами на посту управления судном.
При оборудовании судна такими конструкциями в Руководстве для владельца судна и в Информации об остойчивости должны быть даны четкие указания по их использованию, включая необходимость держать их постоянно закрытыми в плавании, особенно при ухудшении погодных условий, движении судна в узостях или районах с интенсивным движением и т.п. опасностях.
На переборках (с обеих сторон) в районе установки таких люков должны быть соответствующие указания по их использованию.
3.2.10. В корпусах многокорпусного парусного судна длиной

должны быть предусмотрены поперечные переборки (либо блоки плавучести), расположенные так, чтобы при затоплении не менее половины длины одного корпуса судно оставалось на плаву и сохраняло положительную остойчивость.
3.2.11. Если в корпусе многокорпусного судна длиной

не предусмотрены обитаемые, служебные или грузовые помещения, то длина отсека в нем не должна превышать 4 м.
4. ТРЕБОВАНИЯ К ЭЛЕМЕНТАМ ПЛАВУЧЕСТИ
4.1. Элементы плавучести должны соответствовать требованиям табл. 4.1.
Таблица 4.1
Требования к элементам плавучести
Требования | Встроенный воздушный ящик | Жесткая вкладная емкость | Надуваемый мешок | Материал с низкой плотностью |
Воздухонепроницаемость | И | И | О | - |
Стойкость к механическим повреждениям | О | О | О | О |
Возможность удаления воды | О | О | - | - |
Стойкость к солнечному излучению | - | О | О | О |
Клапан для надувания | - | - | О | - |
Стойкость к температурам от -40 до +60 °C | - | - | - | О |
Водопоглощение не более 8% от объема | - | - | - | О |
Надежное крепление к судну | - | О | О | О |
Покрытие или стойкость к воздействию жидкостей | - | - | О | О |
Надпись "Не прокалывать" | О | О | О | - |
Условные обозначения: О - проверяется осмотром при освидетельствовании судна Регистром; |
И - проверяется испытаниями при очередном освидетельствовании судна Регистром. |
4.2. Воздухонепроницаемость встроенных воздушных ящиков и вкладных емкостей проверяется давлением в соответствии с табл. 4.2.
Таблица 4.2
Давление для проверки непроницаемости
Начальное давление | 12,5 кПа (1,25 м водяного столба) |
Максимальное падение давления в течение не более 30 с | 0,75 кПа (75 мм водяного столба) |
Максимальное падение давления в течение не более 60 мин | 7,5 кПа (750 мм водяного столба) |
4.3. Водопоглощение материала с низкой плотностью, который используется для элементов плавучести, не должно превышать 8% их объема после полного погружения в воду и выдержки в этом состоянии в течение 8 сут.
5.1.1 Однокорпусные суда проектных категорий A, A1, A2, B и C должны быть конструктивно выполнены как суда типов A, B, либо D. Кокпиты этих судов, если они предусмотрены, должны быть быстроотливными. Это требование неприменимо к судам с надувным корпусом.
5.1.2. Многокорпусное парусное судно любой категории должно быть конструктивно выполнено как судно типов A, B, либо D на всех корпусах. Это требование может не применяться к судам проектной категории D.
5.1.3. Высокоскоростные моторные суда должны иметь палубу в носовой трети корпуса. Альтернативно может быть установлен брызгозащитный козырек или тент, эффективно защищающий кокпит от попадания брызг и захлестывания волной.
5.1.4. Если кокпит судна быстроотливной, то требование 5.1.3 может не применяться к судам проектных категорий C3 и D.
5.2.1. Все отверстия, ведущие внутрь корпуса судна или закрытых надстроек, должны быть оборудованы непроницаемыми при воздействии моря закрытиями в соответствии с требованиями по непроницаемости, изложенными в
разд. 9 части III "Устройства, оборудование и снабжение" и
4.7 -
4.9 части V "Механические установки. Механизмы. Системы и трубопроводы".
5.2.2. Не допускается наличие отверстий, расположенных на высоте менее 0,2 м над грузовой ватерлинией, кроме отверстий, являющихся аварийными выходами или устройствами систем, снабженных специальными закрытиями.
5.2.3. Отверстия, открывающиеся внутрь судна (колодцы подвесного мотора и т.д.), должны рассматриваться как отверстия, через которые возможно заливание.
5.2.4. Требования настоящей главы не применяются к отверстиям в корпусе, которые являются:
1. Отверстиями, ведущими в водонепроницаемые колодцы общим объемом менее

или быстро осушаемые колодцы и кокпиты;
2. Сливными отверстиями водонепроницаемых колодцев, заполнение которых водой не приводит к затоплению либо опрокидыванию судна;
3. Отверстиями, открывание которых предусмотрено только в порту базирования;
4. Открывающимися отверстиями в бортах, соответствующими степени водонепроницаемости 2, которые должны быть постоянно закрыты в ходовом режиме судна;
5. Выхлопными трубами двигателей или других отверстий, которые подсоединены только к судовым системам;
6. Отверстиями в стенках ниши подвесного мотора (см.
рис. 5.2.4.6):
соответствующими степени водонепроницаемости 2 и расположенными на расстоянии 0,1 м над конструктивной ватерлинией (КВЛ);
соответствующими степени водонепроницаемости 3 и расположенными на расстоянии 0,2 м над грузовой ватерлинией и при этом выше кромки транца в месте подвешивания мотора, при условии установки шпигатов для стока воды из ниши;
соответствующими степени водонепроницаемости 4 и расположенными на расстоянии 0,2 м над грузовой ватерлинией и при этом выше кромки транца в месте подвешивания мотора, при условии установки шпигатов для стока воды из ниши. При этом длина внутреннего пространства, в которое может попасть вода, не должна превышать

при высоте отделяющего это пространство комингса не менее 0,2 м над КВЛ (см.
рис. 5.2.4.6).
1 - ватерлиния при 100% нагрузке (КВЛ); 2 - отверстие со степенью водонепроницаемости 3; 3 - шпигат ниши подвесного мотора; 4 - отверстие со степенью водонепроницаемости 4; 5 - пространство корпуса, быстрое осушение которого невозможно
Рис. 5.2.4.6. Отверстия в нише подвесного мотора
5.2.5. Соответствующие записи-предупреждения "SAFETY PRECAUTION" в отношении закрывания отверстий, указанных в
5.2.4.3 и
5.2.4.4, должны быть сделаны в Руководстве для владельца судна.
6. НАДВОДНЫЙ БОРТ И ГРУЗОВАЯ МАРКА
6.1.1. В настоящем разделе предполагается, что род и размещение груза, балласта, запасов и т.п. обеспечивают достаточную остойчивость судна и не создают в его конструкциях чрезмерных напряжений.
Надводный борт и расстояние безопасности, в соответствии с требованиями настоящего раздела, назначаются, исходя из предположения, что плавание судов проектных категорий C, C1, C2, C3 и D будет приостанавливаться, когда погодные условия таковы, что возникает опасность превышения предельной высоты волн, характеризующего районы, для эксплуатации в которых предназначено судно, и что при этих условиях суда, находящиеся в пути, будут направляться в убежища в возможно более короткие сроки.
6.1.2. Регистр должен удостовериться, что прочность конструкций судна достаточна для осадки, соответствующей назначенному надводному борту и району плавания.
Судно, построенное и поддерживаемое в соответствии с требованиями правил Регистра или правил другого признанного классификационного общества, рассматривается как имеющее достаточную прочность для соответствующего надводного борта.
6.1.3. Значение надводного борта указывается в Свидетельстве о годности к плаванию.
6.1.4. Судам, конструктивные особенности которых делают применение требований настоящего раздела нецелесообразным или практически невозможным, Регистр назначает надводный борт таким образом, чтобы условия безопасности были эквивалентны предписанным в настоящем разделе.
6.2. ПАЛУБНАЯ ЛИНИЯ И ГРУЗОВАЯ МАРКА
6.2.1. Палубная линия представляет собой горизонтальную линию длиной 200 и шириной 20 мм. Данная линия наносится по середине длины каждого борта судна таким образом, чтобы ее верхняя кромка проходила через точку, в которой продолженная наружу верхняя поверхность палубы надводного борта пересекает наружную поверхностью бортовой обшивки судна.
В тех случаях, когда нанести палубную линию указанным способом невозможно или неудобно, она может быть нанесена на другом уровне, при условии, что величина надводного борта будет соответственно исправлена.
Палубная линия не наносится, если не наносится грузовая марка.
6.2.2. Грузовая марка
6.2.2.1. Знак грузовой марки представляет собой кольцо с наружным диаметром 200 и шириной 20 мм, разделенное вертикальной линией шириной 20 мм и пересеченное горизонтальной линией длиной 300 и шириной 20 мм таким образом, чтобы верхняя кромка этих линий проходила через центр кольца.
Центр кольца помещается на середине длины судна на расстоянии, равном назначенному для данного района плавания надводному борту, измеренному по вертикали вниз от верхней кромки палубной линии (см. рис. 6.2.2.1).
Рис. 6.2.2.1. Грузовая марка
6.2.2.2. На всех судах длиной менее 10 м грузовая марка может не наноситься.
6.2.2.3. Знаки грузовой марки наносятся на оба борта судна.
6.2.2.4. Буквы должны быть стандартного шрифта высотой 75 мм.
6.2.2.5. Знак грузовой марки и буквы должны быть нанесены белой краской на темном фоне или черной краской на светлом фоне. Они могут быть наварены либо нанесены другим одобренным способом, обеспечивающим их долговечность.
6.3. НАЗНАЧЕНИЕ МИНИМАЛЬНОГО НАДВОДНОГО БОРТА
6.3.1. Условия назначения надводного борта
6.3.1.1. Конструкция судов и устройств должна предотвращать заливание трюмов или ограничивать его последствия при нормальных условиях плавания в районе, для которого эти суда предназначены.
В той мере, в какой это возможно и необходимо, на судах должны устанавливаться водонепроницаемые переборки, обеспечивающие эффективное деление на отсеки, а также соответствующие системы осушения отсеков.
6.3.1.2. Конструкция надстроек и комингсов, расположенных на палубе надводного борта, должна соответствовать требованиям
части II "Корпус".
6.3.1.3. Высота комингсов закрытий, расположенных в любой части судна, должна соответствовать указанной в
разд. 9 части III "Устройства, оборудование и снабжение".
| | ИС МЕГАНОРМ: примечание. Нумерация пунктов дана в соответствии с официальным текстом документа. | |
6.3.1.4. Двери закрытых надстроек и крышки сходных люков в помещении внутри корпуса должны соответствовать требованиям
разд. 9 части III "Устройства, оборудование и снабжение".
6.3.1.6. Конструкция иллюминаторов, окон и световых люков должна соответствовать требованиям
разд. 9 части III "Устройства, оборудование и снабжение".
6.3.1.7. Высота надводного борта должна быть не менее требуемой в
6.4.3.
6.3.1.8. Для судов типа C минимальный надводный борт должен быть назначен не менее базисного, указанного в
6.4.1, при этом расстояние безопасности, определенное в
6.4.2 и
6.4.3, не должно уменьшаться.
6.3.1.9. Для судов типа E минимальный надводный борт должен быть назначен не менее расстояния безопасности, определенного в
6.4.2 и
6.4.3.
6.3.1.10. Для судов типов A, B и D минимальный надводный борт может быть установлен не менее базисного, с учетом изложенного в 6.3.2 и
6.3.3, при этом расстояние безопасности, определенное согласно
6.4.2 и
6.4.3, не должно уменьшаться.
6.3.2. Надводный борт судов проектных категорий A, A1, A2 и B
6.3.2.1. Надводный борт судну, удовлетворяющему требованиям настоящих Правил, должен быть назначен не менее базисного надводного борта, указанного в
табл. 6.4.1.
6.3.2.2. Базисный надводный борт должен быть увеличен на величину поправок, указанных в 6.3.2.3 -
6.3.2.5.
6.3.2.3. Поправка на высоту борта
Если расчетная высота борта D превышает

, базисный надводный борт должен быть увеличен на величину, мм:
Если D меньше

, уменьшение базисного надводного борта не производится.
6.3.2.4. Поправка на высоту комингсов
Судну может быть увеличен базовый надводный борт в том случае, если высота хотя бы одного из комингсов палубных отверстий, ведущих в помещения, которые при проверке непотопляемости рассматриваются как самостоятельные отсеки, меньше требуемой настоящими Правилами.
Увеличение высоты базисного надводного борта должно составлять:
где

- наибольшая разность необходимой и фактической высот комингса.
6.3.2.5. Поправка на угол входа палубы в воду <1>.
--------------------------------
<1> Угол входа палубы в воду - угол, измеренный в сечении на середине длины судна между ватерлинией и прямой, которая соединяет точку пересечения ватерлинии с диаметральной плоскостью и точку, которая расположена на борту судна на уровне расчетной высоты борта.
Независимо от требований
6.3.2.1,
6.3.2.3 и
6.3.2.4 надводный борт прогулочных судов должен быть таким, чтобы угол входа палубы в воду был не менее 12° для судна длиной до 15 м и не менее 6° для судна длиной 24 м. Промежуточные значения определяются линейной интерполяцией.
6.3.2.6. Минимальная высота надводного борта в носовой части
6.3.2.6.1. Высота надводного борта в носовой части, которая определяется как расстояние по вертикали на носовом перпендикуляре между ватерлинией, которая соответствует назначенному надводному борту при наибольшем расчетном дифференте на нос, и верхней кромкой открытой палубы у борта, должна быть не менее величины, мм:
6.3.2.6.2. Протяженность седловатости или надстройки, за счет которых достигается высота борта в носовой части, указанная в
6.3.2.6.1, должна удовлетворять требованиям
6.3.2.6.5 или
6.3.2.6.6, соответственно.
6.3.2.6.3. Независимо от требования
6.3.2.6.1, минимальная высота защищенного надводного борта в носовой части, которая измеряется аналогично высоте в носовой части в соответствии с
6.3.2.6.1, но до верхней кромки планширя фальшборта или козырька, должна быть не менее

.
6.3.2.6.4. Если высота защищенного надводного борта в носовой части достигается за счет фальшборта или козырька, то они должны простираться от форштевня до точки, расположенной на расстоянии не менее

в корму от носового перпендикуляра.
6.3.2.6.5. Протяженность седловатости, за счет которой достигается высота борта в носовой части, указанная в
6.3.2.6.1, должна составлять не менее

, от носового перпендикуляра. При этом каждая точка действительной седловатости должна располагаться не ниже линии квадратичной параболы, на

от носового перпендикуляра касательной к прямой, которая проведена через точку действительной седловатости на средине длины судна и проходит через точку на носовом перпендикуляре, которая соответствует минимальной высоте в носовой части судна.
6.3.2.6.6. Протяженность надстройки, за счет которой достигается высота борта в носовой части судна, указанная в
6.3.2.6.1, должна составлять не менее

от носового перпендикуляра в корму. Надстройка должна быть закрытой.
6.3.2.7. Минимальная высота надводного борта в корме
6.3.2.7.1. Минимальная высота надводного борта в корме, которая определяется аналогично
6.3.2.6.1, но на кормовом перпендикуляре при наибольшем расчетном дифференте на корму, должна составлять не менее половины высоты надводного борта в носовой части, указанной в
6.3.2.6.1.
6.3.2.7.2. Если высота надводного борта в корме, указанная в 6.3.2.7.1, достигается за счет седловатости или надстройки, то их протяженность должна составлять не менее половины требуемых в
6.3.2.6.5 и
6.3.2.6.6, соответственно.
6.3.3. Надводный борт судов проектных категорий C, C1, C2 и C3
6.3.3.1. Надводный борт судну, удовлетворяющему требованиям настоящих Правил и не имеющему водонепроницаемых надстроек, назначается не менее базисного, указанного в
табл. 6.4.1.
6.3.3.3. Для судов проектных категорий C и C1, относящихся к типам A, B или D, высота в носовой части должна составлять не менее 500 мм, а высота в корме - не менее минимальной высоты надводного борта в средней части судна.
Для судов проектных категорий C и C1, относящихся к типам C или E, высота в носовой части и в корме должна определяться в соответствии с изложенным в
6.3.2.6 и
6.3.2.7.
6.3.3.4. Для судов проектных категорий C2, C3 и D, относящихся к типам A, B или D, не требуется увеличение высоты надводного борта в носовой части и в корме.
Для судов проектных категорий C2, C3 и D, относящихся к типам C или E, высота надводного борта в носу на длине

должна быть увеличена согласно рис. 6.3.3.4.
1 - ватерлиния; 2 - минимальный надводный борт
Рис. 6.3.3.4. Требуемое увеличение высоты надводного борта
| | ИС МЕГАНОРМ: примечание. В официальном тексте документа, видимо, допущена опечатка: требование 3.3 в тексте документа отсутствует. | |
6.3.3.5. Для судов проектных категорий C2, C3 и D, удовлетворяющих требованиям 3.3, допускается локально уменьшать высоту надводного борта на 20% в месте установки подвесного мотора.
6.4. БАЗИСНЫЙ НАДВОДНЫЙ БОРТ И РАССТОЯНИЕ БЕЗОПАСНОСТИ
6.4.1. Базисный надводный борт

определяют по табл. 6.4.1 в зависимости от проектной категории и типа судна.
Таблица 6.4.1
Характеристики судна | Базисный надводный борт F, мм |
Проектные категории |
Тип | Длина  | A | A1 | A2 | B | C | C1 | C2 | C3 | D |
A | 24 | 500 | 400 | 300 | 250 | 200 | 150 | 100 |
20 | - | 375 |
15 | - | 340 |
<= 10 | - |
B | 24 | 500 | 400 | 400 | 400 | 235 | 180 | 160 | 120 | 100 |
20 | - | 375 | 375 | 375 |
15 | - | 340 | 340 |
<= 10 | - |
C | Любая | Эксплуатация запрещена | 1000 | 600 | 300 | 100 |
D | Любая | Эксплуатация запрещена | 400 | 300 | 250 | 200 | 100 |
E | Любая | Эксплуатация запрещена | 1900 | 1000 | 500 | 400 |
Примечание. Для промежуточных значений  величины  определяются линейной интерполяцией. |
6.4.2. Расстояние безопасности определяют по табл. 6.4.2 и
6.4.3, в зависимости от проектной категории и типа судна, а также месторасположения закрывающих устройств на корпусе и надстройках судна в районах, определенных в
9.1 части III "Устройства, оборудование и снабжение".
Таблица 6.4.2
Расстояние безопасности
Тип судна | Расстояние безопасности, мм |
Проектные категории |
A | A1 | A2 | B | C | C1 | C2 | C3 | D |
C | Эксплуатация запрещена | 1200 | 1000 | 500 | 250 |
D | Эксплуатация запрещена | 800 | 700 | 600 | 300 | 200 |
6.4.3. Расстояние безопасности, определенное согласно
6.4.2, должно быть увеличено до величин, указанных в табл. 6.4.3 и определяемых стандартами ИСО 12217-1:2002, ИСО 12217-2:2002 и ИСО 12217-3:2002 в зависимости от конструктивного типа, длины и проектной категории судна.
Таблица 6.4.3
Расстояние безопасности
Проектные категории | Тип судна | Расстояние безопасности, м |
Суда длиной  |
C1 и C2 | Все типы | не менее 0,3 м |
C3 и D | A, B |  , но не менее 0,20 м |
Все типы | не менее 0,2 м |
Суда длиной  |
С1 и C2 | A, B |  , но не менее 0,3 м |
D |  - для судов со стационарными главными двигателями, и не менее 0,3 м - для остальных |
C, E | |
C3 и D | A, B | |
D |  - для судов со стационарными главными двигателями, и  - для остальных |
C, E |  , но не менее 0,40 м |
D | C, E | не менее 0,40 м |
Парусные суда длиной  |
A, A1, A2 и B | A, B | |
C | A, B, D | |
C1 | A, B |  , но не более 0,75 м |
D |  , но не более 0,90 м |
C | |
C2 | A, B, D |  , но не более 0,70 м |
C, E | |
C3 | A, B, D |  , но не более 0,40 м |
С, Е |  , но не более 0,70 м |
D | Все типы |  , но не более 0,40 м |
Непарусные суда длиной  |
A, A1, A3 и B | A, B | |
C | A, B, D | |
C1 | C |  , но не более 1,3 м |
A, B, D |  , но не более 0,75 м |
A, B, D |  , но не более 0,75 м, если высота и углы заливания определены от ватерлинии, соответствующей водоизмещению, определенному как 133% от максимально допустимого |
C2 | E |  , но не более 1,3 м |
C |  , но не более 1,2 м |
A, B, D |  , но не более 0,75 м |
A, B, D |  , но не более 0,75 м, если высота и углы заливания определены от ватерлинии, соответствующей водоизмещению, определенному как 133% от максимально допустимого |
C3 | E |  , но не более 0,75 м |
C |  , но не более 0,6 м |
A, B, D |  , но не более 0,4 м |
A, B, D |  , но не более 0,4 м, если высота и углы заливания определены от ватерлинии, соответствующей водоизмещению, определенному как 133% от максимально допустимого |
D | Все типы |  , но не более 0,4 м |
A, B, D |  , но не более 0,4 м, если высота и углы заливания определены от ватерлинии, соответствующей водоизмещению, определенному как 133% от максимально допустимого |
6.4.4. Для судов проектных категорий C, C1, C2, C3 и D допускается наличие забортных отверстий, расположенных в кормовой четверти длины корпуса

, при их общей площади не более

, и высоте от ГВЛ не менее 75% от требуемой по
6.4.3.
6.4.5. Высота заливания парусных судов через открытые колодцы килей и швертов должна быть не менее половины минимального расстояния безопасности, определенного в
6.4.3.
6.5.1. Шкалы осадки должны быть градуированы по крайней мере в дециметрах. Указанная шкала должна быть нанесена хорошо видимой краской путем чередования полос разных цветов и находиться в диапазоне осадок от минимально до максимально возможной при эксплуатации судна.
Шкалы осадки должны быть нанесены на судах длиной более 6,0 м.
Шкалы осадки на судах длиной более 15 м должны быть нанесены в носовой и кормовой оконечностях судна.
Шкалы осадок на судах длиной более 12 м должны быть наварены либо нанесены другим одобренным Регистром способом, обеспечивающим их долговечность.
ВСПОМОГАТЕЛЬНЫЕ МАТЕРИАЛЫ ДЛЯ РАСЧЕТОВ ОСТОЙЧИВОСТИ
1. ПАРАМЕТРЫ НЕРЕГУЛЯРНОГО ВОЛНЕНИЯ
Рис. 1. Параметры нерегулярного волнения
2. ХАРАКТЕРИСТИКИ ВОЛНОВЫХ ВОЗДЕЙСТВИЙ РАЗВИВАЮЩЕГОСЯ
ВОЛНЕНИЯ РАЗЛИЧНОЙ ИНТЕНСИВНОСТИ
Характеристика | Ед. изм. | Степень волнения, баллы |
2 | 3 | 4 | 5 | 6 | 7 | 8 |
Основные параметры расчетного спектра ветрового волнения |
Высота волнения,  | м | 0,52 | 1,25 | 2,0 | 3,5 | 6,0 | 8,5 | 11,0 |
Средний период развивающегося волнения,  | с | 2,0 | 3,1 | 4,0 | 5,2 | 6,8 | 8,1 | 9,2 |
Дисперсия волновых ординат,  | м2 | 0,001 | 0,056 | 0,143 | 0,438 | 1,29 | 2,58 | 4,33 |
Характеристики наибольшей разрушающей волны |
Длина,  | м | 3,1 | 7,5 | 12,0 | 21,1 | 35,6 | 50,7 | 95,0 |
Скорость,  | м/с | 2,2 | 3,4 | 4,2 | 5,6 | 7,3 | 8,7 | 9,9 |
Высота,  | м | 0,24 | 0,6 | 0,9 | 1,6 | 2,8 | 3,9 | 5,1 |
Период,  | с | 1,1 | 1,6 | 2,1 | 2,8 | 3,6 | 4,3 | 4,9 |
Время действия,  | с | 0,27 | 0,4 | 0,5 | 0,7 | 0,9 | 1,1 | 1,2 |
Давление,  | кПа | 2,4 | 5,8 | 9,2 | 16,0 | 27,5 | 39,0 | 50,0 |
Характеристики наибольшей плунжерно разрушающейся волны на волнении заданной интенсивности определены с помощью следующей совокупности оценок:
высота волн 3%-ной обеспеченности,

максимальная высота волнения, мм

высота обрушающегося участка, м

длина обрушающегося участка, м

периодичность воздействия волн, с

скорость обрушения, м/с

время действия, с

давление в основе обрушения, кПа

3. НОМОГРАММЫ ДЛЯ РАСЧЕТА МОМЕНТА ИНЕРЦИИ ПРИСОЕДИНЕННЫХ
МАСС ВОДЫ И КОЭФФИЦИЕНТА ДЕМПФИРОВАНИЯ
Рис. 3-1. Номограмма для определения приведенного момента
инерции присоединенных масс воды,

Рис. 3-2. Номограмма для определения приведенного момента
инерции присоединенных масс воды,

, для судов
с большим соотношением

Рис. 3-3. Номограмма для определения приведенного момента
инерции присоединенных масс воды,

, для судов
с большим соотношением

Рис. 3-4. Номограмма для определения приведенного
коэффициента демпфирования,

, для судов с большим
коэффициентом общей полноты
Рис. 3-5. Номограмма для определения приведенного
коэффициента демпфирования,

, для судов с малым
коэффициентом общей полноты
ЧАСТЬ V. МЕХАНИЧЕСКИЕ УСТАНОВКИ. МЕХАНИЗМЫ. СИСТЕМЫ И ТРУБОПРОВОДЫ
1.1. ОБЛАСТЬ РАСПРОСТРАНЕНИЯ
1.1.1. Требования настоящей части распространяются на механические установки, механизмы, движители, системы и трубопроводы, применяемые на малых прогулочных судах.
1.1.2. Область распространения требований настоящей части определена в
разд. 2 -
4.
1.2. ОПРЕДЕЛЕНИЯ И ПОЯСНЕНИЯ
1.2.1. Определения и пояснения, относящиеся к общей терминологии Правил, приведены в Общих
положениях.
В настоящей части приняты следующие определения и пояснения.
Арматура - запорные, регулирующие и другие устройства, предназначенные для управления распределением и регулирования расхода и других параметров перемещаемой среды путем полного или частичного закрытия проходного сечения.
Вспомогательные механизмы - механизмы, обеспечивающие работу главных механизмов, снабжение судна электроэнергией и другими видами энергии, а также функционирование систем и устройств, подлежащих техническому наблюдению Регистра.
Вспомогательное средство активного управления судном - движительно-рулевое устройство, обеспечивающее движение судна и его управляемость на малых ходах или управляемость судном без хода при наличии основных средств движения и управления судном и используемое либо совместно с последним, либо при неработающих основных средствах движения и управления.
Выход - отверстие в переборке или палубе, снабженное закрытием и предназначенное для прохода людей.
Выходной путь - путь, ведущий от самого нижнего уровня настила машинного помещения к выходу из этого помещения.
Главные двигатели - механизмы, предназначенные для приведения в действие движителей.
Главные механизмы - механизмы в составе пропульсивной установки.
Главное средство активного управления судном - движительно-рулевое устройство в составе пропульсивной установки.
Двигатели подвесные - главные двигатели, устанавливаемые на транце малого судна.
Дистанционное управление (ДУ) - дистанционное изменение частоты вращения, направления вращения, а также дистанционный пуск и остановка механизмов.
Машинное отделение - машинное помещение, в котором находятся главные механизмы, а на судах с гребными электрическими установками - главные генераторы.
Машинные помещения - помещения, содержащие главные механизмы, валопроводы, котлы, двигатели внутреннего сгорания, электрогенераторы и другие основные электрические механизмы, установки вентиляции и кондиционирования воздуха, рулевые машины и другие подобные помещения.
Местный пост управления - пост, оборудованный органами управления, контрольно-измерительными приборами и, если необходимо, средствами связи, предназначенными для управления, расположенный вблизи механизма или непосредственно на нем.
Напряжения от крутильных колебаний - напряжения от переменного момента, наложенного на средний момент.
Оборудование - различного рода фильтры, теплообменные аппараты, цистерны и другие устройства, служащие для обеспечения нормальной работы механической установки.
Огнестойкость трубопроводов - способность трубопроводов сохранять прочностные и функциональные характеристики в течение установленного времени при воздействии пламени.
Пластмассы - термопластические (термопласты) и термореактивные (реактопласты) материалы с армированием и без него, такие как поливинилхлорид (PVC) и армированная волокном пластмасса (FRP).
Пропульсивная установка - комплекс механизмов и устройств, предназначенный для выработки, преобразования и передачи энергии, обеспечивающей движение судна на всех спецификационных режимах хода, и состоящий из движителей, валопроводов, главных судовых передач и главных двигателей.
Расчетная мощность - максимальная, не ограниченная по времени мощность, принимаемая в расчетах, регламентируемых Правилами, и указываемая в документах, выдаваемых Регистром.
Расчетная частота вращения - частота вращения, соответствующая расчетной мощности.
Система - совокупность трубопроводов, механизмов, аппаратов, устройств и емкостей, предназначенных для выполнения определенных функций по обеспечению эксплуатации судна.
Стационарно установленные двигатели - главные двигатели, установленные стационарно в помещении машинного отделения или в специальном отсеке, или в специально выделенном на палубе пространстве.
Средства активного управления судном (САУС) - специальные движительно-рулевые устройства и их любое сочетание либо между собой, либо с главными движителями, способные создавать упор или тягу, направленные как под фиксированным углом к диаметральной плоскости судна, так и под изменяющимся углом, либо на всех ходовых режимах, либо на части режимов, включая малые хода, а также при отсутствии хода.
Средствами активного управления судами являются поворотные винтовые колонки, включая откидные и выдвижные винторулевые колонки, активные рули, крыльчатые движители, водометы, движители в поперечном канале (подруливающие устройства), раздельные поворотные насадки и другие устройства подобного назначения, специальные движительно-рулевые устройства и подвесные двигатели малых судов, их любое сочетание между собой, либо с главными движителями, способные создавать упор или тягу, направленные как под фиксированным углом к диаметральной плоскости судна, так и под изменяющимся углом, либо на всех ходовых режимах, либо на части режимов, включая малые хода, а также при отсутствии хода.
Трубопровод - совокупность труб, арматуры, фасонных частей, соединений труб, любых внутренних и наружных облицовок, покрытий изоляции, деталей крепления и защиты труб от повреждений, предназначенных для транспортирования жидких, газообразных и многофазных сред, а также передачи давления и звуковых волн.
Фасонные части трубопроводов - колена, тройники, переборочные и палубные стаканы и другие детали трубопроводов, предназначенные для разветвления линий трубопроводов, изменения направления движения транспортируемой среды и обеспечения непроницаемости корпусных конструкций.
Ходовой мостик - помещение или его часть, открытое или ограниченное съемными конструкциями пространство, откуда обычно осуществляется навигация и управление движением судна, в котором расположены органы управления главным рулевым приводом (системой управления рулевым приводом), органы дистанционного управления главными и вспомогательными двигателями, ВРШ, главными и вспомогательными САУС, контрольно-измерительные приборы, приборы аварийно-предупредительной сигнализации и средства связи.
2. МЕХАНИЧЕСКИЕ УСТАНОВКИ
2.1. ОБЛАСТЬ РАСПРОСТРАНЕНИЯ
2.1.1. Требования настоящего раздела распространяются на судовые механические установки, подразделяемые согласно 2.1.2, оборудование машинных помещений, валопроводы, движители и запасные части моторных, моторно-парусных, парусно-моторных и самоходных судов, а также несамоходных и стоечных судов, оборудованных механизмами и системами, как это определено в
1.2.2 части I "Классификация" и
разд. 2 Общих положений.
2.1.2. Механические установки малых судов подразделяются:
1. По месту установки главных двигателей:
в закрытом машинном помещении;
в открытом машинном пространстве (кокпите, моторном отсеке);
на транце судна;
на открытой палубе или в гондоле (с воздушным винтом);
2. По типу используемого топлива главными двигателями:
дизельные, с температурой вспышки топлива не ниже 55 °C. Применение дизельного топлива с температурой вспышки ниже 55 °C является в каждом случае предметом специального рассмотрения Регистром;
карбюраторные (бензиновые).
2.1.3. Для судов прибрежных и защищенных районов плавания (проектные категории C, C1, C2, C3 и D, см.
4.2.2 и
4.2.3 Общих положений) в качестве главных двигателей допускается применение двигателей внутреннего сгорания, которые серийно изготавливаются для автомобильной промышленности и имеют сертификат завода-изготовителя.
2.1.4. Для судов прибрежных районов плавания (проектные категории C, C1, C2 и C3, см.
4.2.2 Общих положений) доработка такого двигателя и его испытания должны выполняться при техническом наблюдении Регистра, согласно одобренной Регистром в составе проекта судна технической документации и программы испытаний.
2.1.5. Для судов защищенных районов плавания (проектная категория D, см.
4.2.3 Общих положений) применение главных двигателей и соответствующих движущих систем (редуктор - линия валов - движитель), изготовленных без технического наблюдения Регистра, если их мощность не превышает 25 кВт, является предметом специального рассмотрения Регистром.
2.2. ОБЪЕМ ТЕХНИЧЕСКОГО НАБЛЮДЕНИЯ
2.2.1. Техническому наблюдению Регистра, включая одобрение технической документации в соответствии с
3.1.7 части I "Классификация", подлежат следующие детали и изделия:
1. Валопроводы в сборе, включая гребные валы, подшипники опорные, упорные и дейдвудные в сборе, уплотнения дейдвудных устройств в сборе;
2. Движители, в том числе крыльчатые и водометные и воздушные винты, движительно-рулевые колонки, подвесные двигатели, подруливающие устройства, механизмы изменения шага ВРШ, системы управления движителями.
2.2.2. Техническому наблюдению Регистра подлежит монтаж механического оборудования машинных помещений, а также испытания следующих составных частей механической установки:
1. Главных механизмов;
2. Теплообменных аппаратов и сосудов под давлением;
4. Систем управления, контроля и сигнализации механической установки;
5. Валопроводов и движителей;
6. Средств активного управления судами.
2.2.3. Механическая установка после монтажа на судне механизмов, оборудования, систем и трубопроводов должна быть испытана по одобренной Регистром программе.
2.3. МОЩНОСТЬ ГЛАВНЫХ ДВИГАТЕЛЕЙ
2.3.1. Мощность главных двигателей, обеспечивающих движение малого прогулочного судна, должна обеспечивать:
1. Скорость на тихой воде не менее:
для судов проектных категорий A, A1, A2, B, C, C1 и C2 - 6 уз. (~ 11 км/ч);
для судов проектных категорий C3 и D - 6 км/ч, но не менее скорости, обеспечивающей выполнение требований
2.2.2.2 части III "Устройства, оборудование и снабжение";
2. Возможность работы на задний ход для необходимой маневренности судна при всех нормальных условиях эксплуатации. Мощность, передающаяся на движитель при его работе на задний ход, должна быть не менее 70% номинальной мощности переднего хода;
3. При возможном превышении судном скорости 14,0 м/с, судно дополнительно должно удовлетворять требованиям Правил классификации и постройки высокоскоростных судов, при этом суда с длиной корпуса 8,0 м и менее должны быть испытаны в соответствии с требованиями стандарта ИСО 11592-2001.
2.3.2. Установка главных двигателей суммарной мощностью, превышающей требования 2.3.3 -
2.3.5, является в каждом случае предметом специального рассмотрения Регистром.
2.3.3. Максимально допустимая мощность главных двигателей пропульсивной установки, установленной на транце прогулочного судна, имеющего длину корпуса 8,0 м и менее, определяется согласно
2.3.4, в зависимости от:
1. Фактора

, определяемого по формуле
где

- длина корпуса судна, м, см.
3.2.4 Общих положений;

- ширина транца, м, см.
3.1 Общих положений;
2. Конструктивного исполнения пропульсивной установки:
осуществляющей активное управление судном (см. определение "САУС" в
1.2);
не обеспечивающей активное управление судном;
3. Угла килеватости,

, определяемого согласно
3.2.21 Общих положений.
2.3.4. Максимально допустимая мощность пропульсивной установки, установленной на транце прогулочного судна, имеющего длину корпуса 8,0 м и менее, определяется в соответствии с 2.3.4.1 и 2.3.4.2:
верхняя линия графика используется при угле килеватости

;
нижняя линия графика используется при угле килеватости

;
2. При значении фактора

по приведенным ниже формулам:
для пропульсивной установки, кВт, осуществляющей активное управление судном, независимо от значения угла килеватости
для пропульсивной установки, кВт, не обеспечивающей активное управление судном, при угле килеватости

для пропульсивной установки, кВт, не обеспечивающей активное управление судном, при угле килеватости

2.3.5. Максимально допустимую мощность подвесных двигателей судов с наибольшей длиной корпуса 5,5 м и менее рекомендуется определять в зависимости от коэффициента K по совмещенному графику
(рис. 2.3.5) с учетом следующего:
1. Для моторных лодок с ДУ и высотой транца более 510 мм при K >= 52 - по графику N 1;
2. Для моторных лодок с высотой транца менее 510 мм при K >= 52 - по графику N 2;
3. Для всех моторных лодок со скругленными скуловыми обводами - по графику N 3;
4. Для моторных лодок, указанных в 2.3.5.1 и при K < 52 - по графику N 4;
5. Максимально допустимая мощность подвесных моторов во всех случаях не должна быть более 100 кВт.
Коэффициент K определяется по совмещенному графику,
рис. 2.3.5, в зависимости от ширины транца и длины корпуса судна или по формуле
Рис. 2.3.5. Максимально допустимая мощность подвесных
двигателей судов с наибольшей длиной корпуса 5,5 м и менее
2.4. УСТРОЙСТВА И ПОСТЫ УПРАВЛЕНИЯ. СРЕДСТВА СВЯЗИ
2.4.1. Главные и вспомогательные механизмы, необходимые для обеспечения движения, управления и безопасности судна, должны быть оборудованы средствами, обеспечивающими их работу и управление.
2.4.2. Главные двигатели судов проектных категорий A, A1, A2, B и C должны быть оборудованы пневматической или электростартерной системой пуска.
Двигатели с электростартерным пуском должны быть оборудованы навешенными на них генераторами и снабжены устройством для автоматической подзарядки пусковых аккумуляторных батарей.
2.4.3. Главные двигатели судов проектных категорий C1, C2, C3 и D могут быть оборудованы как электростартерной системой пуска, так и устройством ручного пуска посредством пускового рычага или пускового шнура.
2.4.4. Если предусматривается, кроме электростартерного, также и ручной пуск двигателя, то при включении электростартерного привода ручной привод должен отключаться автоматически или должны быть предусмотрены блокирующие устройства, исключающие возможность одновременной работы различных пусковых приводов.
Конструкция пускового рычага ручного привода или пускового шнура должна обеспечивать безопасность пуска.
Пусковой шнур должен быть оборудован устройством, обеспечивающим самоотсоединение от двигателя.
Пусковой рычаг должен быть оборудован устройством, исключающим поступательное перемещение в направлении, противоположном прикладываемому усилию, необходимому для пуска двигателя.
2.4.5. Конструкция и расположение пусковых и реверсивных устройств должны обеспечивать возможность пуска и реверсирования каждого механизма одним человеком. При этом усилие на одном рычаге не должно превышать 160 Н.
Направление перемещения рычагов и маховиков управления должно обозначаться стрелками и соответствующими надписями.
В постах управления на ходовом мостике перемещение рычагов управления главными механизмами в направлении от себя или вправо или вращение маховиков по часовой стрелке должно соответствовать движению судна в направлении переднего хода.
Конструкция устройств управления должна исключать возможность самопроизвольного изменения заданного им положения.
Подвесные двигатели должны иметь устройство, не допускающее пуск двигателя в сцеплении с движителем, за исключением случаев, когда:
статический упор, развиваемый двигателем, не превышает 500 Н;
двигатель имеет ограничитель, обеспечивающий упор до 500 Н в момент его пуска.
2.4.6. Продолжительность реверсирования (период от момента перекладки органа управления до начала работы движителя с противоположным по направлению упором), в зависимости от скорости судна, не должна превышать:
1. Для двигателей внутреннего сгорания мощностью 55 кВт и более:
на полном ходу - 25 с;
на малом ходу - 15 с;
2. Для двигателей внутреннего сгорания мощностью менее 55 кВт:
на полном ходу - 10 с;
на малом ходу - 5 с.
2.4.7. Главные двигатели, устанавливаемые стационарно, и подвесные двигатели мощностью более 15 кВт, как правило, должны иметь дистанционное управление (ДУ) или систему дистанционного автоматизированного управления (ДАУ).
Система ДАУ должна отвечать требованиям
части VI "Автоматизация".
Главные двигатели мощностью менее 25 кВт, устанавливаемые в открытых машинных помещениях или на транце (см.
2.1.2.1) судов проектных категорий C2, C3 и D, могут не иметь ДУ или ДАУ.
2.4.8. Конструкция системы дистанционного автоматизированного управления главными механизмами при управлении с ходового мостика должна предусматривать подачу аварийно-предупредительного сигнала в случае выхода ее из строя. До перехода на местное управление должны сохраняться заданные частота вращения и направление упора гребного винта, если это возможно. В частности, потеря питания (электроэнергии, воздуха, гидроэнергии) не должна вести к значительному изменению мощности главных двигателей или изменению направления вращения движителей.
При дистанционном управлении с помощью механических связей подача аварийно-предупредительного сигнала о выходе из строя ДУ может не предусматриваться.
2.4.9. Посты управления главными механизмами и движителями на ходовом мостике, при любом виде дистанционного управления, должны быть оборудованы:
1. Устройствами для управления главными двигателями и движителями. Для установок с ВРШ, крыльчатыми и подобными им движителями, в постах управления на ходовом мостике допускается предусматривать устройство для управления только движителями;
2. Указателями:
частоты и направления вращения гребного вала, если установлен винт фиксированного шага;
частоты вращения гребного вала и положения лопастей, если установлен винт регулируемого шага;
частоты вращения главного двигателя при наличии разобщительной муфты;
3. Индикацией, указывающей на готовность к работе главных двигателей и систем дистанционного управления;
4. Индикацией, указывающей, из какого поста ведется управление;
5. Средствами связи в соответствии с
2.4.17;
6. Устройством для экстренной остановки главных двигателей, независимо от системы управления. Если для отключения главных двигателей от движителей применяются разобщительные муфты, в постах управления на ходовом мостике допускается предусматривать экстренное отключение только муфт;
7. Устройством принудительного отключения автоматической защиты по всем параметрам, за исключением тех, превышение которых может привести к серьезному повреждению, полному выходу из строя или взрыву;
8. Индикацией об отключении защиты, сигнализацией срабатывания защиты и сигнализацией срабатывания устройства экстренной остановки;
9. Сигнализацией низкого давления пускового воздуха, настроенной на давление, обеспечивающее трехкратный пуск подготовленных к действию главных двигателей;
10. Сигнализацией минимального давления в гидросистеме ВРШ, сигнализацией о перегрузке главных двигателей, работающих на ВРШ.
2.4.10. Посты управления на ходовом мостике, при дистанционном управлении с помощью механических связей подвесными моторами и стационарно установленными в открытых машинных помещениях главными двигателями, должны быть оборудованы:
1. Устройствами для управления главными двигателями и движителями;
2. Указателями;
частоты вращения гребного вала или главного двигателя;
частоты вращения гребного вала и положения лопастей, если установлен винт регулируемого шага;
3. Индикацией, указывающей на готовность к работе главных двигателей и систем дистанционного управления (рекомендуется);
4. Устройством для экстренной остановки главных двигателей. Если для отключения главных двигателей от движителей применяются разобщительные муфты, допускается предусматривать экстренное отключение только муфт.
2.4.11. Конструкция устройств экстренной остановки главных двигателей и принудительного отключения защиты должна исключать случайное их включение.
2.4.12. При дистанционном управлении должны быть предусмотрены местные посты управления главными двигателями и движителями.
При дистанционном управлении с помощью механических связей местные посты могут не предусматриваться.
Местный пост управления главными двигателями должен быть оборудован контрольно-измерительными приборами согласно
3.2.3.
2.4.13. Дистанционное управление главными двигателями и движителями должно осуществляться с одного поста управления. Переключение управления между ходовым мостиком и машинным отделением должно быть возможным только из машинного отделения.
2.4.14. Дистанционное управление главными двигателями из рулевой рубки должно осуществляться одним органом управления для каждого движителя с автоматическим выполнением всех режимов, включая, если необходимо, средства предотвращения перегрузки и продолжительной работы в запретных зонах частот вращения главных двигателей. В установках с ВРШ может применяться система с двумя элементами управления.
2.4.15. Режимы работы главных двигателей, задаваемые из ходового мостика, включая реверсирование с полного переднего хода в случае необходимости, должны выполняться в автоматической последовательности с временными интервалами, приемлемыми для главных двигателей. Задаваемые режимы должны индицироваться на местных постах управления главными двигателями.
2.4.16. Контрольно-измерительные приборы, за исключением жидкостных термометров, должны быть проверены компетентными органами, признанными Регистром.
Точность измерения тахометров должна быть не ниже +/- 2,5%. При наличии запретных зон по частоте вращения точность измерения должна быть не ниже +/- 2,0%, а запретные зоны должны быть отмечены хорошо видимой краской на шкалах тахометров или другим способом.
2.4.17.1. Для судов проектных категорий A, A1, A2 и B при наличии местных постов управления главными механизмами должно быть предусмотрено по меньшей мере два независимых средства связи для передачи команд с ходового мостика в машинное помещение или пост управления, откуда обычно осуществляется управление частотой вращения и направлением упора движителей.
Одно из средств связи должно обеспечивать визуальную индикацию команд и ответов как в машинном помещении, так и на ходовом мостике, и должно быть оборудовано звуковым сигналом, хорошо слышимым в любом месте машинного помещения при работающих механизмах и по тону звука отличающимся от других сигналов в данном помещении.
2.4.17.2. Для судов проектных категорий C, C1, C2 и C3 при наличии местных постов управления главными механизмами должно быть предусмотрено средство связи для передачи команд с ходового мостика в машинное помещение или пост управления, откуда обычно осуществляется управление частотой вращения и направлением упора движителей, которое должно обеспечивать визуальную индикацию команд и ответов как в машинном помещении, так и на ходовом мостике, и должно быть оборудовано звуковым сигналом, хорошо слышимым в любом месте машинного помещения при работающих механизмах и отличающимся по тону звука от других сигналов в данном помещении.
2.5.1. Закрытые машинные помещения
2.5.1.1. Машинное помещение должно быть изолировано от смежных отсеков водонепроницаемой переборкой, удовлетворяющей требованиям
2.2.2 и
2.3 части X "Противопожарная защита".
2.5.1.2. Главные двигатели и вспомогательные механизмы должны размещаться в машинных помещениях таким образом, чтобы из их постов управления и мест обслуживания были обеспечены свободные проходы к выходным путям. Ширина проходов по всей длине должна быть не менее 500 мм.
2.5.1.3. Ширина трапов на выходных путях и ширина дверей в выходах должна быть не менее 500 мм.
2.5.1.4. Выходы из машинных помещений должны вести в такие места, из которых имеются свободные пути на открытую палубу.
Мастерские, помещения установок жидкого топлива, котлов, для испытания топливной аппаратуры и прочие, выгороженные внутри машинных помещений, могут иметь выходы в эти помещения.
ЦПУ и помещение ГРЩ, выгороженные внутри машинного отделения, кроме входов в машинное отделение, должны иметь независимый выходной путь.
При небольших размерах машинного отделения (не более 35 м2) или близкого расположения выходов из этих помещений по отношению к выходу из машинного отделения (не более 5 м) по согласованию с Регистром независимый выходной путь из ЦПУ может не предусматриваться.
Если два смежных машинных помещения сообщаются при помощи дверей, и каждое из этих помещений имеет только по одному выходному пути через шахту, то эти пути должны быть расположены по противоположным бортам.
Второго выходного пути не требуется из:
1. Машинного помещения площадью не более 25 м2, если имеющийся выход ведет не в смежное машинное или жилое помещение;
2. Вспомогательных помещений, выгороженных внутри машинного помещения, имеющего два выходных пути;
3. Закрытых центральных постов управления, в которых расположены главные распределительные щиты;
4. Помещений, в которых отсутствуют механизмы, работающие на жидком топливе.
2.5.1.5. Все двери, а также крышки сходных и световых люков, через которые возможен выход из машинных помещений, должны открываться как изнутри, так и снаружи. На крышках сходных и световых люков должна быть четкая надпись, запрещающая укладывание на них каких-либо предметов.
2.5.1.6. Вентиляция закрытых машинных помещений должна удовлетворять требованиям
4.9.
2.5.1.7. Движущиеся части механизмов и оборудования должны быть закрыты кожухами.
2.5.1.8. Листы съемных настилов (пайолы) в машинных помещениях должны быть изготовлены из рифленого металла. Они должны быть надежно установлены на специальных рамках или на наборе корпуса судна и снабжены закрепляющими устройствами, предотвращающими их выпадение со штатных мест при больших кренах и дифферентах судна, и иметь нескользящую поверхность. Все движущиеся части механизмов и приводы, представляющие опасность для обслуживающего персонала, должны быть ограждены поручнями и кожухами.
2.5.2. Открытые машинные пространства (кокпиты, моторные отсеки)
2.5.2.1. На судах, корпус которых изготовлен из горючих материалов, ограничивающие конструкции машинного пространства, в котором стационарно устанавливается двигатель внутреннего сгорания, должны быть защищены негорючим термоизоляционным материалом и тонколистовой сталью.
2.5.2.2. Флоры, установленные перед двигателем и за ним, должны быть водонепроницаемыми и образовывать сборный поддон. Верхний край водонепроницаемых флоров, огораживающих машинное пространство (двигатель), должен быть на 150 мм выше уровня настила, примыкающего к ним извне машинного пространства.
Под топливными цистернами, канистрами, фильтрами, арматурой и всеми другими узлами топливной системы, из которых возможна утечка топлива, должны быть предусмотрены поддоны.
2.5.2.3. При размещении в одном отсеке топливные цистерны и канистры должны быть расположены на расстоянии не менее 800 мм от двигателя и газовыпускных трубопроводов.
2.5.2.4. Съемные настилы должны быть соответствующим образом установлены, закреплены и иметь нескользящую поверхность.
2.6. РАСПОЛОЖЕНИЕ МЕХАНИЗМОВ И ОБОРУДОВАНИЯ
2.6.1. Расположение главных двигателей, вспомогательных механизмов, оборудования, трубопроводов и арматуры должно обеспечивать свободный доступ к ним для обслуживания и аварийного ремонта, при этом должны быть также выполнены требования, изложенные в
2.5.1.1.
2.6.2. Главные двигатели и механизмы с горизонтальным расположением вала следует устанавливать параллельно диаметральной плоскости судна.
| | ИС МЕГАНОРМ: примечание. В официальном тексте документа, видимо, допущена опечатка: пункт 1.3.1 части V в тексте документа отсутствует. | |
Установка таких механизмов в ином направлении допустима при условии, что их конструкция приспособлена к работе в условиях, указанных в 1.3.1.
2.6.3. Механизмы и оборудование, входящие в состав механической установки, должны устанавливаться и закрепляться на прочных и жестких фундаментах. Конструкция фундаментов должна соответствовать требованиям, изложенным в
части II "Корпус".
2.6.4. Главные двигатели, редукторные передачи, упорные подшипники валопроводов должны частично крепиться к судовым фундаментам плотно пригнанными (призонными) болтами. Вместо таких болтов могут применяться специальные упоры.
2.6.5. Болты, крепящие главные двигатели и вспомогательные механизмы, подшипники валопровода к судовым фундаментам, концевые гайки валов, а также болты, соединяющие части валопровода, должны быть надежно застопорены для предотвращения самопроизвольного ослабления.
2.6.6. При необходимости установки механизмов на амортизаторах, конструкция последних должна быть одобрена Регистром.
Амортизирующие крепления механизмов и оборудования должны:
сохранять виброизолирующие свойства при работе амортизированных механизмов и оборудования в условиях, оговоренных в 1.3.1;
быть стойкими к воздействию агрессивных сред и температур;
иметь податливую заземляющую перемычку достаточной длины для предотвращения помех радиоприему и выполнения требований техники безопасности;
исключать создание помех работе другого оборудования, устройств и систем.
2.6.7. Установка оборудования на подкладках из полимерного материала является в каждом случае предметом специального рассмотрения Регистром.
2.6.8. Установка подвесных двигателей на транце судна должна обеспечивать надежность крепления и предусматривать дополнительный трос крепления двигателя к транцу или к какой-либо прочной конструкции корпуса.
2.6.9. Установка стационарных подвесных карбюраторных (бензиновых) двигателей
2.6.9.1. Карбюраторные (бензиновые) стационарные двигатели, а также подвесные двигатели не должны применяться на судах проектных категорий A, A1, A2 и B.
2.6.9.2. Карбюраторные (бензиновые) стационарные двигатели, а также подвесные двигатели могут применяться на судах проектных категорий C1, C2, C3 и D, у которых произведение длины судна на его ширину не превышает 20, при условии выполнения следующих требований к стационарно установленным двигателям.
2.6.9.2.1. На судах открытого типа и в открытых машинных помещениях (моторных отсеках), стационарно установленные двигатели должны быть закрыты кожухами, изготовленными из негорючих материалов.
2.6.9.2.2. На съемных кожухах двигателей должны быть установлены вентиляционные трубы диаметром не менее 80 мм, одна из которых должна не доходить до днища корпуса судна на 70 мм, а другая - начинаться от отверстия в самой верхней части крышки кожуха.
На верхних концах вентиляционных труб должны быть установлены вентиляционные головки с пламепрерывающей арматурой.
2.6.9.2.3. Всасывающие трубы карбюраторов должны быть выведены за пределы съемных кожухов и возвышаться над ними не менее чем на 500 мм. На концах всасывающих труб должны быть предусмотрены вентиляционные головки с пламепрерывающей арматурой.
2.6.9.2.4. При установке двигателей в закрытых машинных помещениях приемное отверстие всасывающей трубы карбюраторов должно быть расположено на высоте не менее 300 мм над крышками цилиндров и снабжено пламепрерывающей сеткой. При отсутствии всасывающих труб на входе воздуха в карбюратор должна быть установлена пламепрерывающая арматура.
2.7. РАСПОЛОЖЕНИЕ ТОПЛИВНЫХ ЦИСТЕРН
2.7.1. Расположение топливных цистерн и баков должно отвечать требованиям
4.10.2.
2.7.2. Цистерны с нефтепродуктами не должны размещаться над трапами, над двигателями внутреннего сгорания, над механизмами и оборудованием с температурой поверхности под изоляцией больше 220 °C, газовыпускными трубами, дымоходами, электрическим оборудованием и постами управления главными механизмами и должны быть удалены от указанного оборудования и механизмов, насколько это практически возможно. Топливные цистерны должны располагаться на расстоянии не менее 800 мм от двигателя и газовыпуска, если между ними нет металлической переборки.
2.8. ИЗОЛЯЦИЯ НАГРЕВАЮЩИХСЯ ПОВЕРХНОСТЕЙ
2.8.1. Все части механизмов, оборудования и трубопроводов, нагревающиеся свыше 60 °C и представляющие опасность для обслуживающего персонала, должны быть оборудованы устройствами, предотвращающими или ограничивающими тепловое излучение.
2.8.2. Нагревающиеся свыше 220 °C поверхности механизмов, оборудования и трубопроводов должны быть изолированы. Должны быть приняты меры для предотвращения разрушения изоляции от вибрации и механических повреждений.
| | ИС МЕГАНОРМ: примечание. В официальном тексте документа, видимо, допущена опечатка: пункты 2.3.7 и 2.3.8 в тексте документа отсутствуют. | |
2.8.3. Изоляционные материалы и покрытия изоляции должны соответствовать требованиям 2.3.7, 2.3.8 и
части X "Противопожарная защита".
2.9.1. Общие требования
2.9.1.1. Минимальные диаметры валов, без учета припуска на последующую проточку валов в период эксплуатации, определяются формулами, приведенными в настоящем разделе. При этом предполагается, что крутильные колебания будут соответствовать требованию
2.11.
2.9.1.2. На судах, где нет препятствия свободному выходу гребного вала из дейдвудного устройства, должно быть предусмотрено устройство, исключающее выход гребного вала при его поломке из сальника, или выполнены меры, предотвращающие затопление машинного отделения в случае потери гребного вала.
2.9.1.3. Валы рекомендуется изготавливать из стали с временным сопротивлением от 400 МПа до 800 МПа.
Применение иных материалов является в каждом случае предметом специального рассмотрения Регистром.
Во всех случаях временное сопротивление в
формуле (2.9.2.1) должно приниматься не более 800 МПа для промежуточного и упорного вала и не более 600 МПа - для гребного вала.
2.9.1.4. Рекомендуется устанавливать гребные валы, имеющие один упорный подшипник, воспринимающий нагрузки переднего и заднего ходов, и два опорных подшипника, воспринимающих весовые нагрузки самого вала и изгибающие нагрузки, возникающие при возможных деформациях корпуса судна на большом волнении.
В конструкциях валопроводов допускается обоснованное использование любых конструкций и узлов (редукторов, карданных и гибких валов и т.п. конструкций).
Рекомендуется использовать такую конструкцию редуктора, которая позволяла бы устанавливать в его корпусе упорные подшипники переднего и заднего ходов судна и носовой опорный подшипник гребного вала. Кормовой опорный подшипник гребного вала рекомендуется устанавливать или в стойке на корпусе судна, или непосредственно перед выходом гребного вала из корпуса в районе ахтерштевня или контртимберса.
2.9.2. Конструкция и размеры валов
2.9.2.1 Промежуточный вал
Диаметр промежуточного вала,

, или диаметр гребного вала при едином вале от двигателя до винта, см, должен быть не менее определяемого по формуле
где N - расчетная мощность, передаваемая промежуточным валом, кВт;
n - расчетная частота вращения промежуточного вала,

;

- допускаемое касательное напряжение в поперечном сечении вала, МПа;
k = q(a - 1) - для установок с двигателями внутреннего сгорания;

или, при отсутствии данных по моментам инерции масс, величина q может быть назначена соответственно:
q = 0,5 для установок с двухтактными двигателями;
q = 0,4 для установок с четырехтактными двигателями;

- момент инерции масс гребного вала с винтом, без учета присоединенной массы воды, кг · м2;

- момент инерции масс силовой установки без редуктора, кг · м2;

- момент инерции масс силовой установки с редуктором, кг · м2;

- момент инерции всех вращающихся и поступательно движущихся масс силовой установки, кг · м2;

- момент инерции масс маховика, кг · м2;

- расчетная частота вращения вала двигателя,

;
a - коэффициент, представляющий собой отношение максимального индикаторного момента по сумме измерений всего двигателя к среднему индикаторному крутящему моменту. Значение коэффициента должно определяться из суммарной диаграммы касательных усилий, построенной для всего двигателя, или по табл. 2.9.2.1, справедливой только при одинаковых углах расположения кривошипов.
Таблица 2.9.2.1
Число цилиндров | Тип ДВС |
Четырехтактный | Двухтактный |
1 | 14,0 | 8,0 |
2 | 6,40 | 3,8 |
3 | 4,50 | 2,6 |
4 | 2,80 | 2,2 |
5 | 2,40 | 1,8 |
6 | 2,15 | 1,5 |
7 | 2,20 | 1,30 |
8 | 2,00 | 1,20 |
9 | 1,85 | 1,15 |
10 | 1,60 | 1,15 |
11 | 1,50 | 1,10 |
12 | 1,40 | 1,05 |
Диаметр промежуточного вала должен быть принят не менее 25 мм.
2.9.2.2. Расчетный диаметр гребного вала

, должен быть не менее определяемого по формуле
где k - коэффициент, принимаемый в зависимости от конструкции вала:
для участка вала от большого основания конуса или наружного фланца гребного вала до носовой кромки ближайшего к движителю подшипника (но во всех случаях не менее

):
1,22 - если применяется бесшпоночное соединение гребного винта с валом или при соединении винта с фланцем, откованным заодно с валом;
1,26 - если соединение гребного винта с валом осуществляется с помощью шпонки (шпонок);
для участка вала от носовой кромки ближайшего к движителю подшипника до носового торца носового уплотнения дейдвудной трубы (для всех типов исполнения) - 1,15.
На участке вала в нос от носового торца носового дейдвудного уплотнения (сальника) диаметр вала может быть постепенно уменьшен до фактического диаметра промежуточного вала.
При применении поверхностного упрочнения диаметры гребных валов могут быть уменьшены по согласованию с Регистром.
Участки гребного вала, имеющие контакт с водой, в случае, когда вал не имеет сплошной облицовки или другой эффективной защиты, должны иметь наружный диаметр, который на 5% больше определенного по
формуле (2.9.2.2).
2.9.2.3. Диаметр упорного вала выносного подшипника скольжения на расстоянии одного диаметра упорного вала по обе стороны гребня вала, а для подшипников качения - в пределах корпуса подшипника, должен быть не менее 1,05 диаметра промежуточного вала, определенного по
формуле (2.9.2.1).
Вне указанных расстояний диаметр вала может быть постепенно уменьшен до диаметра промежуточного вала.
2.9.2.4. Гребные валы должны быть надежно защищены от коррозии.
Для валов, изготовленных из коррозионно-стойкой стали, защитное покрытие не требуется при условии, что поверхности, соприкасающиеся с морской водой, будут отполированы.
Для судов проектных категорий A, A1, A2, B, C и C1 гребной вал, изготовленный из углеродистой или низколегированной стали, должен иметь облицовку из сплавов, обладающих высокой коррозионной стойкостью к морской воде.
Для судов проектных категорий C2, C3 и D применение облицовок рекомендуется.
Толщина облицовки должна быть не менее 5 мм.
При несплошных облицовках участок вала между облицовками должен быть защищен от воздействия морской воды одобренным Регистром способом.
Облицовки должны быть насажены на вал с натягом. Применение штифтов и других деталей для крепления облицовок на валу не допускается.
2.9.2.5. Если в валу выполнено осевое отверстие, его диаметр не должен превышать 0,4 расчетного диаметра вала.
При необходимости диаметр осевого отверстия может быть увеличен до определяемого по формуле:
где

- диаметр осевого отверстия;

- фактический диаметр вала;
d - расчетный диаметр вала без осевого отверстия.
2.9.2.6. Диаметр вала, в котором выполнен продольный вырез, должен быть увеличен не менее чем на 0,2 расчетного диаметра вала. При этом длина выреза должна быть не более 1,4, а ширина - не более 0,2 расчетного диаметра вала.
Утолщенная часть вала должна выступать на 0,25 расчетного диаметра вала по обе стороны выреза.
Переход с одного диаметра на другой должен быть плавным. Концы выреза должны быть закруглены радиусом, равным половине ширины выреза, а кромки - радиусом не менее 0,35 ширины выреза; поверхности выреза должны быть гладкими.
2.9.2.7. Если на валу выполнено радиальное или поперечное отверстие, то диаметр вала должен быть увеличен на отрезке длины не менее семи диаметров отверстия. Отверстие должно находиться в середине утолщенной части вала, а его диаметр не должен превышать 0,3 расчетного диаметра вала.
Во всех случаях, независимо от диаметра отверстия, диаметр вала должен быть увеличен не менее чем на 0,1 расчетного диаметра. Кромки отверстия должны быть закруглены радиусом не менее 0,35 диаметра отверстия, а его поверхность должна быть гладкой.
2.9.2.8. Диаметр вала, имеющего шпоночный паз, должен быть увеличен не менее чем на 0,1 расчетного диаметра вала. Для участков вала на расстоянии не менее 0,2 расчетного диаметра вала от шпоночного паза увеличение диаметра не обязательно.
Если шпоночный паз выполнен на наружном конце гребного вала, увеличение диаметра гребного вала не обязательно.
Радиус закругления между боковыми стенками и дном шпоночного паза должен быть не менее 0,0125 диаметра вала, но не менее 1 мм.
2.9.2.9. Шпоночные пазы на конусах валов со стороны большого основания конуса должны быть лыжеобразными, а на конусах под гребной винт должны иметь дополнительную ложкообразную разделку.
Расстояние от большого основания конуса до ложкообразного окончания шпоночного паза для наружного конца гребного вала диаметром больше 100 мм должно быть не менее:
0,2 расчетного диаметра вала - при отношении глубины шпоночного паза к диаметру вала меньше 0,1;
0,5 требуемого диаметра вала - при отношении глубины шпоночного паза к диаметру вала больше 0,1.
Лыжеобразное окончание шпоночного паза на конусах валов под соединительные муфты не должно выходить за пределы большого основания конуса.
Для валов диаметром менее 100 мм выполнение лыжеобразного окончания шпоночного паза не обязательно.
Если шпонка крепится в шпоночном пазу винтами, то первый винт от большого основания конуса вала должен размещаться на расстоянии не менее 1/3 длины конуса вала. Глубина отверстий не должна быть больше диаметра винта. Кромки отверстий должны быть закруглены. Если в конструкции вала предусмотрены глухие осевые отверстия, то кромки отверстия и конец сверления должны быть также закруглены. Радиус закругления должен быть не менее указанного в
2.9.2.8.
2.9.2.10. Конус гребного вала под гребной винт при применении шпонки должен выполняться с конусностью не более 1:12, а при бесшпоночном соединении - согласно 2.9.2.11.
2.9.2.11. Концы валов при бесшпоночной посадке гребных винтов и муфт должны выполняться с конусностью не более 1:15.
Бесшпоночное соединение гребного винта с гребным валом должно выполняться без промежуточной втулки между ступицей и валом.
2.9.2.12. При монтаже бесшпоночного соединения осевое перемещение ступицы гребного винта или муфты по отношению к валу с момента получения металлического контакта на конусной поверхности после устранения зазора определяется по формулам гл. 5.4 части VII "Механические установки" Правил классификации и постройки морских судов.
2.9.2.13. Гайки крепления гребного винта или муфты на конусе вала должны иметь надежное стопорное устройство.
Внешний диаметр резьбы гайки крепления гребного винта на конусе гребного вала должен быть не менее 0,6 диаметра основания конуса.
Стопорные устройства концевых гаек гребных винтов и муфт должны быть закреплены на валах.
При валах диаметром меньше 100 мм стопорение гайки может быть допущено относительно ступицы винта.
2.9.3. Соединение валов
2.9.3.1. Соединение фланцев валов должно выполняться плотно пригнанными болтами. Возможность применения фланцевых соединений без плотно пригнанных болтов является в каждом случае предметом специального рассмотрения Регистром.
2.9.3.2. Диаметр болтов соединительных фланцев, мм, должен быть не менее определяемого по формуле (5.3.2) части VII "Механические установки" Правил классификации и постройки морских судов.
2.9.3.3. Толщина соединительных фланцев промежуточного и упорного валов, а также внутреннего конца гребного вала должна быть не менее 0,2 требуемого диаметра промежуточного вала или не менее диаметра болта, определенного согласно 2.9.3.2, для материала, из которого изготовляется вал, в зависимости от того, что больше.
2.9.3.4. Шпоночные пазы на концах валов для муфтовых втулок соединительных фланцев должны соответствовать
2.9.2.8,
2.9.2.9.
2.9.4. Подшипники валов
2.9.4.1. Длина ближайшего к движителю подшипника должна приниматься по табл. 2.9.4.1.
Таблица 2.9.4.1
Относительная длина подшипника
Материал подшипника | |
Белый металл | |
Бакаут, ДСП | 4 |
Резина и другие одобренные Регистром синтетические материалы при водяной смазке | |
<1> L - длина подшипника; d - расчетный диаметр вала в районе подшипника. |
<2> Длина подшипника может быть уменьшена, если давление на подшипник не превышает 0,8 МПа. В этом случае за нагрузку следует принимать массу гребного вала и винта, полагая, что она действует только на кормовой подшипник. Во всех случаях длина подшипника не должна быть меньше 2 фактических диаметров вала в районе подшипника. |
<3> Длина подшипника может быть уменьшена до двух расчетных диаметров вала в районе подшипника. |
2.9.4.2. Охлаждение и смазка дейдвудных подшипников водой должны быть принудительными.
Рекомендуется оборудовать систему подачи воды указателем потока или сигнализацией по минимальному потоку, с учетом конструкции дейдвудного устройства.
Клапан, отсекающий подачу воды на дейдвудные подшипники, должен устанавливаться на дейдвудной трубе или на переборке ахтерпика.
2.9.4.3. При масляной смазке дейдвудных подшипников должны быть применены уплотнения гребного вала признанного Регистром типа.
Напорные масляные емкости должны располагаться выше предельной линии погружения и быть оборудованы указателями уровня.
Рекомендуется применение принудительного охлаждения смазочного масла и контроль температуры масла или вкладыша подшипника с учетом конструкции дейдвудного устройства.
2.9.4.4. Расстояние между центрами соседних подшипников валопровода, при отсутствии в пролете сосредоточенных масс, должно удовлетворять условию:
где l - расстояние между серединами соседних подшипников, м;
d - диаметр вала между подшипниками, м;

- коэффициент, принимаемый:
14 - при n <= 500 об/мин;

- при n > 500 об/мин;
n - расчетная частота вращения вала, об/мин.
2.9.4.5. Рекомендуется стремиться к минимальному числу опор валопровода и максимально возможной длине пролетов между ними.
Максимальная допустимая длина пролетов между опорами (подшипниками) валов, определенная согласно
2.9.4.4, должна быть проверена расчетом изгибных колебаний.
2.9.5. В составе валопровода должно быть предусмотрено тормозное устройство. В качестве такого устройства могут быть тормоз, стопорное устройство, предотвращающее вращение валопровода в случае выхода из строя главного двигателя.
Для валопроводов диаметром менее 60 мм такое устройство рекомендуется.
2.9.6. Карданные валы
В составе валопровода, в качестве промежуточных валов, допускается применение карданных валов при представлении Регистру соответствующих расчетов прочности валов и шарнирных соединений.
На судах проектных категорий A, A1, A2 и B применение карданных валов является предметом специального рассмотрения Регистром.
2.9.7. Гидравлические испытания
2.9.7.1. Облицовки гребных валов и дейдвудные трубы после завершения механической обработки должны быть испытаны давлением 0,2 МПа.
2.9.7.2. Уплотнения дейдвудной трубы, при масляной смазке дейдвудных подшипников, после монтажа должны быть испытаны на плотность давлением, равным высоте столба жидкости в напорных цистернах при рабочем уровне. Испытания, как правило, должны проводиться при проворачивании гребного вала.
2.10.1. Требования настоящей главы распространяются на металлические гребные винты фиксированного шага цельнолитые, со съемными лопастями, изменяемого шага и регулируемого шага.
Конструкция винтов или лопастей из неметаллических материалов является в каждом случае предметом специального рассмотрения Регистром.
2.10.2.1. Толщина лопасти гребного винта, мм, в двух контролируемых профилях должна быть не менее определяемой по формуле
где

- максимальная толщина спрямленного профиля на соосном цилиндрическом сечении лопасти, что измеряется по нормали от нагнетающей стороны (входной кромки) или геометрической хорды профиля, для измеряемого профиля ближайшего к ступице, т.е. на радиусе:
0,20R - для цельнолитых винтов, если радиус ступицы меньше 0,20R;
0,25R - для цельнолитых винтов, если радиус ступицы равен или больше 0,20R;
0,30R - для винтов со съемными лопастями;
0,35R - для ВРШ;
0,6R - для всех винтов, независимо от диаметра ступицы;
A - коэффициент, определяемый по
табл. 2.10.2 для рассчитываемого радиуса, а также в зависимости от угла отклонения лопасти винта; если угол отклонения лопасти отличается от величин, перечисленных в таблице, коэффициент A необходимо принимать как для ближайшего большего значения величины угла;
N - расчетная мощность главного двигателя, кВт;
n - расчетная частота вращения гребного вала,

;
Z - количество лопастей;

- спрямленная ширина лопасти на расчетном радиусе, м;
D - диаметр винта, м;
R - радиус винта, м;
H /D - относительный шаг на радиусе 0,7R;

, но не более чем:
610 МПа - для медных сплавов;
570 МПа - для стали;

- временное сопротивление материала лопасти, МПа.
Радиус лопасти | Угол отклонения лопасти, что измеряется на нагнетающей стороне лопастей, град. |
0 | 2 | 4 | 6 | 8 | 10 | 12 | 14 | 16 |
0,20R | 390 | 391 | 393 | 395 | 397 | 400 | 403 | 407 | 411 |
0,25R | 378 | 379 | 381 | 383 | 385 | 388 | 391 | 394 | 398 |
0,30R | 367 | 368 | 369 | 371 | 373 | 376 | 379 | 383 | 387 |
0,35R | 355 | 356 | 357 | 359 | 361 | 364 | 367 | 370 | 374 |
0,60R | 236 | 237 | 238 | 240 | 241 | 243 | 245 | 247 | 249 |
2.10.2.2. Толщина кромки лопастей винта не должна быть менее 0,0035D. Промежуточные толщины лопасти должны быть подобраны таким образом, чтобы линии, соединяющие точки максимальных толщин сечений от корневого через промежуточные до концевых кромок, имели плавный характер.
Толщина лопасти, определенная согласно
2.10.2 и 2.10.3, в обоснованных случаях может быть уменьшена при условии предоставления Регистру подробных расчетов прочности.
2.10.3. Ступица и детали крепления лопастей
2.10.3.1. Радиусы галтелей перехода лопасти в ступицу должны составлять по всасывающей стороне не менее 0,04D, а по нагнетательной стороне - не менее 0,03D (D - диаметр гребного винта). При отсутствии уклона лопасти радиус галтелей по обеим сторонам должен быть не менее 0,03D.
Допускается плавный переход лопасти в ступицу переменным радиусом.
2.10.3.2. Свободные полости между ступицей гребного винта и конусом вала, а также под обтекателем должны быть заполнены инертной, в отношении коррозионного воздействия, массой.
2.10.3.3. Диаметр болтов (шпилек), крепящих лопасти к ступице винта, или внутренний диаметр резьбы этих болтов (шпилек), в зависимости от того, что меньше, должен быть не менее определяемого по формуле
где k = 0,33 - при трех шпильках со стороны нагнетательной поверхности;
0,30 - при четырех шпильках со стороны нагнетательной поверхности;
0,28 - при пяти шпильках со стороны нагнетательной поверхности;
| | ИС МЕГАНОРМ: примечание. В официальном тексте документа, видимо, допущена опечатка: пункт 6.2.1 в тексте документа отсутствует. | |
s - наибольшая фактическая толщина лопасти в расчетном корневом сечении (см. 6.2.1), мм;
b - ширина спрямленного цилиндрического сечения лопасти в расчетном корневом сечении, м;

- временное сопротивление материала лопастей, МПа;

- временное сопротивление материала болтов (шпилек), МПа;
d - диаметр окружности расположения центров шпилек; при расположении шпилек не по окружности d = 0,85l, где l - расстояние между наиболее удаленными шпильками, м.
2.10.4. Балансировка винтов
Окончательно обработанный винт должен быть статически отбалансирован.
2.10.5. Винты регулируемого шага, изменяемого шага, со складывающимися лопастями
2.10.5.1. Силовая система гидравлики ВРШ, механизм изменения шага, система защиты главного двигателя от перегрузки, система смазки ВРШ должны отвечать требованиям 6.5 части VII "Механические установки" Правил классификации и постройки морских судов.
2.10.5.2. Конструкция винтов изменяемого шага и винтов со складывающимися лопастями является в каждом случае предметом специального рассмотрения Регистром.
2.10.6. Иные движители
Конструкция иных движителей (например, водометных, гребных колес, воздушных винтов) является в каждом случае предметом специального рассмотрения Регистром.
2.11. КРУТИЛЬНЫЕ КОЛЕБАНИЯ
2.11.1. Требования настоящей главы распространяются на механические установки с главными двигателями мощностью 37 кВт и более.
2.11.2. Для механических установок с главными двигателями мощностью от 37 до 75 кВт расчет крутильных колебаний должен содержать следующий комплекс технических документов:
1. Технические характеристики основных элементов системы;
2. Результаты расчета частот свободных колебаний всех форм, имеющих резонансы в диапазоне от 0,2 до 1,2 номинальной частоты вращения вала;
3. Результаты определения расчетных напряжений в опасных сечениях валов от всех существенных резонансов. Если зона резонанса главного порядка находится вблизи диапазона 0,85 - 1,05 рабочих частот вращений валов (холостого хода, номинальных оборотов переднего или заднего ходов) или частот собственных колебаний судовых корпусных конструкций, то для этих диапазонов должны быть вычислены напряжения от нерезонансных вынужденных колебаний, возникающие от действия резонансных частот главного порядка.
Допускаемые напряжения от резонансных, околорезонансных и нерезонансных вынужденных колебаний при длительной работе не должны превышать определяющихся 2.11.3.
2.11.3. Для механических установок с главными двигателями мощностью 75 кВт и более должны выполняться требования разд. 8 части VII "Механические установки" Правил классификации и постройки морских судов в той мере, насколько они применимы в зависимости от типа установки. Там, где отсутствует или трудно достижима техническая возможность выполнения измерений крутильных колебаний на судне (например, в установках с водометами, подвесными двигателями, ВРК и т.п.), расчетом должно быть подтверждено отсутствие опасных резонансных колебаний во всем рабочем диапазоне частот вращения на всех спецификационных режимах работы установки.
2.12. СРЕДСТВА АКТИВНОГО УПРАВЛЕНИЯ СУДАМИ
2.12.1. Общие требования
2.12.1.1. Требования настоящего раздела относятся к САУС, как они определены в
1.2.
Требования к поворотным насадкам и рулевой части активных рулей изложены в
части III "Устройства, оборудование и снабжение".
2.12.1.2. В случае установки САУС как главного движительно-рулевого устройства на моторных судах проектных категорий A, A1, A2 и B их должно быть, как правило, не менее двух.
При этом должны быть предусмотрены посты управления, оборудованные необходимыми приборами и, при необходимости, средствами связи, как указано в
2.4.
2.12.1.3. Установка одного САУС в качестве главного движительно-рулевого устройства допускается на моторных судах проектных категорий C, C1, C2, C3 и D, а также на парусно-моторных и моторно-парусных судах.
2.12.1.4. Требования по установке механизмов и оборудования САУС указаны в
2.2.
2.12.1.5. Для главных САУС размеры и материалы валов, муфт, соединительных болтов, движителей, зубчатых передач, а также электрооборудование должны отвечать требованиям соответствующих частей и разделов настоящих Правил, кроме того, должны выполняться применимые требования соответствующих разделов настоящих Правил, которые относятся к рулевым устройствам.
При отсутствии в Правилах требований к отдельным элементам САУС возможность их применения является в каждом случае предметом специального рассмотрения Регистром.
2.12.1.6. Расчеты зубчатых передач САУС должны выполняться соответственно требованиям, изложенным в 4.2 части IX "Механизмы" Правил классификации и постройки морских судов в той мере, насколько они применимы и достаточны, если в настоящих Правилах не оговорено иное.
2.12.1.7. Помещения, в которых находятся механизмы САУС, должны быть оборудованы соответствующими средствами вентиляции, пожаротушения, осушения, обогрева и освещения.
2.12.2. Требования к конструкции, средствам аварийно-предупредительной сигнализации, гидравлическим испытаниям должны выполняться соответственно требованиям, изложенным в 7.2 - 7.4 части VII "Механические установки" Правил классификации и постройки морских судов в той мере, насколько они применимы и достаточны, если в настоящих Правилах не оговорено иное.
2.13.1. Там, где необходимо, должны быть предусмотрены соответствующие меры, чтобы вибрация, возникающая во время работы механизмов и оборудования, не создавала опасного влияния на людей и не была препятствием для нормальной эксплуатации судна.
2.13.2. Нормы вибрации распространяются на двигатели внутреннего сгорания мощностью 55 кВт и более с частотой вращения

, требования к которым регламентирует разд. 9 части VII "Механические установки" Правил классификации и постройки морских судов в той мере, насколько они применимы и достаточны в каждом конкретном случае.
2.14.1. Материалы, предназначенные для изготовления деталей валопроводов и движителей, должны отвечать требованиям, указанным в графе 4 табл. 1.3.2.3 и в 2.4.1 - 2.4.6 части VII "Механические установки" и соответствующих разделов части XIII "Материалы" Правил классификации и постройки морских судов в той мере, насколько они применимы и достаточны, если в настоящих Правилах не оговорено иное.
2.14.2. Сварка и неразрушающий контроль сварных соединений должны выполняться в соответствии с требованиями части XIV "Сварка" Правил классификации и постройки морских судов в той мере, насколько они применимы и достаточны, если в настоящих Правилах не оговорено иное.
2.15.1. Нормы запасных частей не регламентируются. Рекомендуется хранить на судне минимальное количество запасных частей к механизмам и оборудованию, которое обеспечивает ход судна и его безопасность, а также иметь набор специальных инструментов и приспособлений, необходимых для разборки и сборки механизмов в эксплуатационных условиях.
Запасные части и специальные приспособления (при их наличии) должны быть надежно закреплены в доступных местах и защищены от коррозии.
3.1. ОБЛАСТЬ РАСПРОСТРАНЕНИЯ. ОБЪЕМ НАБЛЮДЕНИЯ
3.1.1. Требования настоящего раздела распространяются на следующие двигатели и механизмы:
1. Двигатели внутреннего сгорания, главные;
2. Двигатели внутреннего сгорания приводные для источников электроэнергии или вспомогательных механизмов, агрегаты в сборе;
4. Насосы, входящие в состав систем, регламентируемых требованиями
разд. 4 настоящей части и
части X "Противопожарная защита", за исключением насосов с ручным приводом;
5. Компрессоры воздушные с механическим приводом;
6. Сепараторы центробежные топлива и масла;
7. Турбонагнетатели двигателей внутреннего сгорания;
8. Вентиляторы, входящие в состав систем, регламентируемых требованиями разд. 4;
9. Приводы рулевые;
10. Механизмы якорные;
11. Механизмы швартовные;
12. Приводы гидравлические.
3.1.2. Наблюдению Регистра при изготовлении подлежат двигатели и механизмы, перечисленные в
3.1.1.
Объем технического наблюдения, испытания гидравлические, испытания в действии, общие технические требования, материалы и сварка должны соответствовать требованиям 1.2 - 1.6 части IX "Механизмы" Правил классификации и постройки морских судов в той мере, насколько они применимы и достаточны, если в настоящих Правилах не оговорено иное.
3.2. ДВИГАТЕЛИ ВНУТРЕННЕГО СГОРАНИЯ
3.2.1. Общие положения
3.2.1.1. Требования настоящей главы распространяются на все двигатели внутреннего сгорания мощностью 37 кВт и выше.
Распространение этих требований на двигатели внутреннего сгорания мощностью менее 37 кВт в каждом случае является предметом специального рассмотрения Регистром.
3.2.1.2. Двигатели должны допускать возможность работы с перегрузкой не менее 10% расчетной мощности в течение не менее 1 ч.
3.2.1.3. Двигатели, предназначенные для использования в качестве главных, должны также отвечать требованиям
2.3.
3.2.1.4. Неравномерность частоты вращения дизель-генераторов переменного тока, предназначенных для параллельной работы, должна быть такой, чтобы амплитуда угловых колебаний вала генератора была не более 3,5°/P, где P - число пар полюсов генератора.
3.2.1.5. Дизель-генераторы, предназначенные для использования в качестве аварийных, должны иметь автономные системы топлива, охлаждения и смазки.
Под автономностью систем охлаждения следует понимать их независимость от оборудования, приведенного в
разд. 4.
3.2.1.6. Двигатели, предназначенные для привода аварийных генераторов, которые также могут быть использованы как источники электроэнергии для неаварийных целей, должны быть оборудованы топливными и масляными фильтрами, а также приборами, сигнализацией и защитными устройствами, как это требуется для привода основных источников электроэнергии при безвахтенном обслуживании.
При этом расходные топливные цистерны должны иметь сигнализацию по нижнему уровню топлива, который соответствует объему расходной топливной цистерны аварийного дизель-генератора.
Кроме того, такие двигатели должны иметь конструкцию и систему обслуживания, гарантирующие их постоянную готовность к использованию в качестве аварийных при нахождении судна в море.
| | ИС МЕГАНОРМ: примечание. В официальном тексте документа, видимо, допущена опечатка: таблица 1.3.2 в тексте документа отсутствует. | |
3.2.1.7. Расчетная мощность двигателей должна определяться при условиях окружающей среды, приведенных в табл. 1.3.2.
3.2.1.8. Трубопроводы топлива, смазочного масла, арматура, фланцевые соединения, фильтры должны быть экранированы или защищены таким образом, чтобы в случае их повреждения исключалось попадание нефтепродуктов на горячие поверхности.
3.2.2. Остов, коленчатый вал, продувка и наддув, топливная аппаратура, смазка, пусковые устройства, газовыпуск, управление, защита и регулирование, демпфер крутильных колебаний, антивибратор.
3.2.2.1. Остов, коленчатый вал, продувка и наддув, топливная аппаратура, смазка, пусковые устройства, газовыпуск, управление, защита и регулирование, демпфер крутильных колебаний, антивибратор должны соответствовать требованиям 2.3 - 2.11, 2.13 части IX "Механизмы" Правил классификации и постройки морских судов в той мере, насколько они применимы и достаточны, если в настоящих Правилах не оговорено иное.
3.2.3. Контрольно-измерительные приборы и приборы сигнализации
Главные и вспомогательные двигатели должны быть оборудованы приборами для измерения:
1. Давления масла перед двигателем;
2. Давления (или потока) пресной воды (охлаждающей среды) в системе охлаждения двигателя;
3. Давления пускового воздуха перед главным пусковым клапаном или пусковым устройством (при системе пуска сжатым воздухом);
4. Температуры выпускных газов в газовыпускном трубопроводе;
5. Температуры масла на входе в двигатель;
6. Температуры пресной воды (охлаждающей среды) на выходе из двигателя и на входе в двигатель.
Для агрегатированных двигателей с компенсационной емкостью, установленной на двигателе, допускается - только температуры пресной воды (охлаждающей среды) на выходе из двигателя;
7. Температуры головки блока цилиндров двигателей с непосредственным воздушным охлаждением.
Примечание. В зависимости от конструктивных особенностей двигателей перечень контрольно-измерительных приборов может быть изменен по согласованию с Регистром.
3.2.3.2. Каждый приводной двигатель мощностью более 37 кВт должен быть оборудован средствами предупредительной звуковой и световой сигнализаций, подающей сигналы при снижении давления масла в системе циркуляционной смазки ниже допустимого предела.
3.2.3.3. Местные посты управления главными двигателями должны быть оборудованы приборами для измерения:
1. Давления масла перед двигателем и редукторной передачей;
2. Давления (или потока) пресной воды (охлаждающей среды) в системе охлаждения двигателя;
3. Давления пускового воздуха перед главным пусковым клапаном или пусковым устройством (при системе пуска сжатым воздухом);
4. Силы тока и напряжения в цепи зарядки пусковых аккумуляторных батарей (при системе электростартерного пуска);
5. Частоты вращения коленчатого вала, а при наличии разобщительных муфт - прибором измерения частоты вращения гребного вала;
6. Температуры головки блока цилиндров двигателей с непосредственным воздушным охлаждением.
Примечание. В зависимости от конструктивных особенностей двигателей перечень контрольно-измерительных приборов может быть изменен по согласованию с Регистром.
3.2.3.4. Местные посты управления главными реверсивными двигателями или главными двигателями с реверс-редукторными передачами дополнительно к приборам, перечисленным в
3.2.3.3, должны оборудоваться:
указателями направления вращения гребного вала;
устройствами экстренной остановки двигателей или отключения муфт, действующими независимо от дистанционного управления.
Примечание. Подвесные двигатели (навешенные на транец) оборудуются измерительными приборами с учетом особенности их конструкции и рекомендаций изготовителя.
3.2.3.5. Местные посты управления вспомогательными двигателями должны быть оборудованы приборами для измерения:
1. Давления масла перед двигателем и редукторной передачей;
2. Давления (или потока) пресной воды (охлаждающей среды) в системе охлаждения двигателя;
3. Силы тока и напряжения в цепи зарядки пусковых аккумуляторных батарей (при системе электростартерного пуска), рекомендуется;
4. Частоты вращения коленчатого вала.
3.2.4. Маркировка двигателей
3.2.4.1. Каждый двигатель должен иметь маркировку, содержащую следующую информацию:
торговую марку или торговое обозначение производителя двигателя;
тип двигателя, его группу (семейство), если применяется;
идентификационный номер двигателя;
мощность и частоту вращения;
маркировку

, если это необходимо.
3.2.4.2. Маркировка должна быть нанесена несмываемой краской. При использовании наклейки или таблички их крепление должно оставаться надежным на протяжении стандартного срока эксплуатации двигателя и исключать возможность их отсоединения без их повреждения.
3.2.4.3. Маркировка должна быть нанесена на части двигателя, при съеме которых его работа становится невозможной.
3.2.4.4. Маркировка должна располагаться таким образом, чтобы она была видна человеку среднего роста, после того как двигатель будет смонтирован со всеми необходимыми для эксплуатации компонентами.
3.3. ПЕРЕДАЧИ, РАЗОБЩИТЕЛЬНЫЕ МУФТЫ
3.3.1. Передачи, разобщительные муфты двигателей и механизмов, перечисленных в
3.1.1, должны соответствовать требованиям разд. 4 части IX "Механизмы" Правил классификации и постройки морских судов в той мере, насколько они применимы и достаточны, если ниже не оговорено иное.
3.4. ВСПОМОГАТЕЛЬНЫЕ МЕХАНИЗМЫ
3.4.1. Компрессоры воздушные с механическим приводом, вентиляторы и турбонагнетатели, сепараторы центробежные с механическим приводом должны соответствовать требованиям разд. 5 части IX "Механизмы" Правил классификации и постройки морских судов в той мере, насколько они применимы и достаточны, если ниже не оговорено иное.
3.5.1. Рулевые приводы, якорные и швартовные механизмы должны соответствовать требованиям разд. 6 части VIII "Механизмы" Правил классификации и постройки судов внутреннего плавания (для Европейских внутренних водных путей) в той мере, насколько они применимы и достаточны, если ниже не оговорено иное.
3.6. ПРИВОДЫ ГИДРАВЛИЧЕСКИЕ
3.6.1. Приводы гидравлические механизмов, перечисленных в
3.1.1, должны соответствовать требованиям разд. 7 части VIII "Механизмы" Правил классификации и постройки судов внутреннего плавания (для Европейских внутренних водных путей) в той мере, насколько они применимы и достаточны, если ниже не оговорено иное.
4. СИСТЕМЫ И ТРУБОПРОВОДЫ
4.1. ОБЛАСТЬ РАСПРОСТРАНЕНИЯ
4.1.1. Требования настоящей части распространяются на следующие системы и трубопроводы, применяемые на судах:
1. Осушительные и сточные;
2. Балластные;
3. Жидкого топлива;
4. Смазочного масла;
5. Водяного охлаждения;
6. Сжатого воздуха;
7. Воздушные, переливные, измерительные;
8. Газовыпускные;
9. Вентиляции;
10. Гидравлических приводов;
11. Бытового сжиженного газа.
Системы и трубопроводы стоечных судов должны соответствовать требованиям настоящей части в той мере, насколько они применимы и достаточны, если в настоящих Правилах не оговорено иное.
4.1.2. Топливо, применяемое на судах, должно соответствовать требованиям
2.1.2.1.
| | ИС МЕГАНОРМ: примечание. В официальном тексте документа, видимо, допущена опечатка: пункт 2.3.6 в тексте документа отсутствует. | |
4.13. Механизмы и другие элементы систем, указанных в
4.1.1, должны сохранять работоспособность в условиях окружающей среды, приведенных в 2.3.6.
4.1.4. Для определения видов испытаний, типов соединений, термической обработки, режимов сварки трубопроводы разделены на три класса в соответствии с табл. 4.1.4.
Таблица 4.1.4
Проводимая среда | Класс I | Класс II | Класс III |
Воспламеняющиеся среды, подогретые до температуры выше температуры вспышки или с температурой вспышки ниже 60 °C, сжиженные газы | Без специальных мер предосторожности | При наличии специальных мер предосторожности <1> | - |
Топливо, смазочное масло, масло для гидравлических систем - с температурой вспышки 60 °C и выше <2> | p > 1,6 или t > 150 | p <= 1,6 и t <= 150 | p <= 0,7 и t <= 60 |
| p > 4,0 или t > 300 | p <= 4,0 и t <= 300 | p <= 1,6 и t <= 200 |
<1> Меры предосторожности, направленные на уменьшение возможных утечек и ограничение последствий утечек путем надлежащей прокладки трубопроводов, использования специальных каналов, защитных кожухов, экранирования и т.п., являются в каждом случае предметом специального рассмотрения Регистром. |
<2> p - расчетное давление, МПа; t - расчетная температура, °C (см. 4.2). |
<3> Включая воду, воздух, газы, невоспламеняющиеся гидравлические жидкости. |
<4> Безнапорные трубопроводы (сточные, переливные, газовыпускные, воздушные и пароотводные от предохранительных клапанов), относящихся к классу III независимо от температуры. |
4.1.5. Арматура трубопроводов всех классов, а также закрытия воздушных труб, гибкие соединения, компенсаторы, механические соединения, электроизолирующие соединения могут поставляться на прогулочные суда с копией Свидетельства о типовом одобрении Регистра.
В случае, если типовое одобрение Регистра отсутствует, возможна приемка указанного оборудования инспектором Регистра для использования на конкретном судне после проверки сертификатов изготовителя, проверки соответствия применяемых материалов требованиям Правил и проведения испытаний.
4.1.6. Защита и изоляция трубопроводов
4.1.6.1. Стальные трубы забортной воды, а также воздушные, измерительные и переливные трубы водяных и балластно-топливных цистерн должны быть защищены от коррозии способом, одобренным Регистром.
В качестве защиты стальных труб могут применяться гальванические покрытия, горячая оцинковка, пластмассовые покрытия, а также для наружных поверхностей - лакокрасочные покрытия.
После окончания всех сварочных работ при изготовлении участков трубопроводов, поврежденные участки покрытия необходимо возобновить или защитить эти участки труб иным способом, одобренным Регистром.
Применение гальванических покрытий труб не освобождает от мер по защите трубопроводов от контактной и электрохимической коррозии.
4.1.6.2. Если применяется донная и бортовая арматура из цветных сплавов, должна быть предусмотрена защита наружной обшивки судна и всех элементов системы, находящихся в соприкосновении с этой арматурой, от контактной коррозии. Протекторная защита от контактной коррозии приемных и отливных приварных патрубков с арматурой должна быть выполнена с использованием стандартных кольцевых концевых или кольцевых межфланцевых протекторов, устанавливаемых на фланцах патрубков. Допускается применение электроизолирующих соединений сопрягаемых элементов, выполненных по одобренным стандартам, при этом донно-бортовая арматура должна иметь изоляцию с обеих сторон с обязательным замером сопротивления изоляции соединения после монтажа.
4.1.6.3. При соединении стальных трубопроводов забортной воды с арматурой, корпусами насосов, агрегатов и теплообменников из цветных сплавов должны быть приняты меры по защите от контактной коррозии.
4.1.6.4. Скорость потока для участков трубопроводов, включающих в свой состав фасонные элементы, дроссельные диафрагмы, а также бортовые и кингстонные патрубки, не должна превышать значений, указанных в табл. 4.1.5.4.
Таблица 4.1.5.4
Материал трубопровода | Допустимая скорость потока, м/с |
Сталь, в том числе оцинкованная | 2,5 |
Медно-никелевые и алюминиево-латунные сплавы | 2,0 |
4.1.6.5. Защита от избыточного давления
4.1.6.5.1. Трубопроводы, в которых может возникнуть давление, превышающее расчетное, должны быть оборудованы предохранительными устройствами, которые должны исключать повышение давления в трубопроводах выше расчетного.
Отвод топлива от предохранительных клапанов насосов, перекачивающих воспламеняющиеся жидкости, должен направляться во всасывающую полость насоса или всасывающий трубопровод. Указанное требование не распространяется на центробежные насосы.
4.1.6.5.2. Если на трубопроводе предусматривается редукционный клапан, за ним должен устанавливаться манометр и предохранительный клапан. Допускается устройство байпаса редукционного клапана.
4.1.6.6. Изоляция трубопроводов
Изоляция трубопроводов должна соответствовать требованиям
2.8.
4.1.7. Гибкие соединения (шланги)
4.1.7.1. Тип и конструкция гибких соединений, применяемых в системах, перечисленных в
4.1.1, должны быть одобрены Регистром. Материал гибких соединений должен быть выбран с учетом применяемых проводимых сред, давлений, температур и окружающих условий. Разрывное давление гибких соединений (кроме систем вентиляции) должно превышать расчетное давление не менее чем в 4 раза.
4.1.7.2. В трубопроводах, проводящих топливо, масло и другие воспламеняющиеся жидкости, а также связанных с приводом водонепроницаемых дверей или отверстиями в наружной обшивке, могут применяться только огнестойкие гибкие соединения, выполненные в виде готовых вставок с концевыми деталями (фланцами или штуцерами), применение стяжных хомутов не допускается. При расположении таких гибких соединений в машинных помещениях следует предусмотреть возможность их отключения в случае повреждения. Отключающие клапаны должны располагаться в легко доступных местах в непосредственной близости от соединений таким образом, чтобы их замена могла быть выполнена без остановки других механизмов.
4.1.7.3. Под огнестойким понимается такое соединение, которое, будучи присоединенным к трубопроводу, в котором циркулирует вода с температурой не ниже 80 °C при максимальном рабочем давлении, выдерживает нагрев огнем в течение 30 мин при температуре 800 °C и сохраняет непроницаемость во время и после испытаний пробным давлением. Альтернативой этому испытанию являются огневые испытания, указанные выше, с давлением циркулирующей воды, равным 0,5 МПа, с последующим гидравлическим испытанием на двойное расчетное давление.
4.1.7.4. В случае когда гибкое соединение изготовлено из стали или другого равноценного материала, удовлетворяющего требованиям Регистра в отношении огнестойкости, испытание на огнестойкость не требуется.
4.1.7.5. В трубопроводах, перечисленных в
4.1.6.2, с внутренним диаметром не более 10 мм и расчетным давлением проводимой среды p <= 0,34 МПа, а также при внутренних диаметрах больших 10 мм и расчетным давлением проводимой среды p <= 0,25 МПа, могут применяться огнестойкие гибкие соединения с огнестойкими топливными шлангами, соответствующими международному стандарту ISO 7840:2004.
4.1.7.6. Для рукавных соединений (шлангов), предназначенных для приема и/или выдачи нефтесодержащих жидкостей, внутренним диаметром до 63 мм и расчетным давлением проводимой среды p <= 0,25 МПа, могут применяться неогнестойкие топливные шланги, соответствующие международному стандарту ISO 8469:2006.
4.1.8. Сварка и неразрушающие методы контроля сварных соединений
Сварка и неразрушающие методы контроля сварных соединений трубопроводов должны выполняться в соответствии с требованиями части XIV "Сварка" Правил классификации и постройки морских судов.
4.1.9. Механизмы, оборудование и устройства автоматизации
4.1.9.1. Насосы, вентиляторы, компрессоры и их электроприводы, применяемые в системах, которые регламентируются настоящей частью Правил, должны соответствовать требованиям
разд. 3 настоящей части и
части VII "Электрическое оборудование".
4.1.9.2. Устройства автоматизации систем должны соответствовать требованиям
части VI "Автоматизация".
4.1.9.3. Теплообменные аппараты и сосуды под давлением, применяемые в системах, должны соответствовать требованиям части X "Котлы, теплообменные аппараты и сосуды под давлением" Правил классификации и постройки морских судов.
4.2. МЕТАЛЛИЧЕСКИЕ ТРУБОПРОВОДЫ
4.2.1. Материалы, применяемые для труб и арматуры, и их испытания, должны соответствовать требованиям части XIII "Материалы" Правил классификации и постройки морских судов.
Топливные трубопроводы должны быть выполнены из стали или другого материала, удовлетворяющего требованиям Регистра в отношении прочности и огнестойкости.
Эти требования распространяются на масляные трубопроводы, расположенные в машинных помещениях, и трубопроводы, проводящие другие воспламеняющиеся нефтепродукты, включая гидравлические и термальные жидкости, если они расположены в помещениях, имеющих источники воспламенения.
4.2.2. Трубы и арматура из углеродистой и углеродисто-марганцевой стали, как правило, должны применяться для сред с температурой не выше 400 °C, а из низколегированной - не выше 500 °C.
Применение этих сталей для сред с температурой выше указанной может быть допущено при условии, что их механические свойства и предел длительной прочности отвечают действующим стандартам и гарантируются изготовителем стали при данной повышенной температуре.
Трубы и арматура для сред с температурой выше 500 °C должны изготавливаться из легированной стали. Это требование не распространяется на газовыпускные трубопроводы.
4.2.3. Трубы из меди и медных сплавов должны быть бесшовными или другого типа, одобренного Регистром.
Медные трубы для трубопроводов классов I и II должны быть бесшовными.
Трубы и арматура из меди и медных сплавов, как правило, должны применяться для сред с температурой не более 200 °C, а медно-никелевых сплавов - для сред с температурой не более 300 °C. Бронзовая арматура может быть допущена для сред с температурой до 260 °C.
4.2.4. Применение труб и арматуры из чугуна с шаровидным графитом или из алюминиевых сплавов для трубопроводов, перечисленных в
4.1.1, является в каждом случае предметом специального рассмотрения Регистром.
4.2.5. Толщина стенок труб
4.2.5.1. Толщина стенок труб (кроме чугунных и из алюминиевых сплавов), работающих под внутренним давлением, должна приниматься не менее указанной в табл. 4.2.5.1.
Наружный диаметр, мм | Минимальная толщина стенок труб, мм |
Стальные трубопроводы | Медные | Из медных сплавов |
Систем, за исключением указанных в графах 3 и 4 | Цистерн, встроенных в корпус (вентиляционные, переливные, измерительные) | Забортной воды (осушительные, балластные, охлаждающие, водотушения и т.п.) |
6,0 | - | - | - | 1,0 | 0,8 |
10,2 | 1,6 | - | - | 1,0 | 0,8 |
12,0 | 1,6 | - | - | 1,2 | 1,0 |
14,0 | 1,6 | - | - | 1,2 | 1,0 |
16,0 | 1,8 | - | - | 1,2 | 1,0 |
22,0 | 2,0 | - | 3,2 | 1,2 | 1,0 |
25,0 | 2,0 | - | 3,2 | 1,5 | 1,0 |
26,9 | 2,0 | - | 3,2 | 1,5 | 1,0 |
30,0 | 2,0 | - | 3,2 | 1,5 | 1,0 |
32,0 | 2,0 | - | 3,2 | 1,5 | 1,2 |
38,0 | 2,0 | 4,5 | 3,6 | 1,5 | 1,2 |
42,4 | 2,0 | 4,5 | 3,6 | 1,5 | 1,2 |
45,0 | 2,0 | 4,5 | 3,6 | 1,5 | 1,2 |
48,3 | 2,3 | 4,5 | 3,6 | 2,0 | 1,5 |
54,0 | 2,3 | 4,5 | 4,0 | 2,0 | 1,5 |
57,0 | 2,3 | 4,5 | 4,0 | 2,0 | 1,5 |
63,5 | 2,3 | 4,5 | 4,0 | 2,0 | 1,5 |
70,0 | 2,6 | 4,5 | 4,0 | 2,0 | 1,5 |
76,0 | 2,6 | 4,5 | 4,5 | 2,0 | 1,5 |
82,5 | 2,6 | 4,5 | 4,5 | 2,0 | 1,5 |
89,0 | 2,6 | 4,5 | 4,5 | 2,5 | 2,0 |
101,6 | 2,9 | 4,5 | 4,5 | 2,5 | 2,0 |
Примечание: |
1. Указанные в таблице толщины и диаметры труб могут по согласованию с Регистром приниматься по ближайшим размерам национальных или международных стандартов. |
2. Указанные в таблице значения не требуют увеличения толщины на минусовый допуск при изготовлении и на утонение при гибке трубы. |
3. Указанные в таблице значения не распространяются на трубы из нержавеющих сталей, минимальные толщины которых являются предметом специального рассмотрения Регистром. |
4. Для больших, чем указаны в таблице, диаметров труб минимальные толщины являются в каждом случае предметом специального рассмотрения Регистром. |
5. Если трубы снабжены надежной защитой, то по усмотрению Регистра толщины стенок труб, указанных в графах 3, 4, могут быть уменьшены на величину не более 1 мм. |
6. Указанные в графе 3 толщины для измерительных труб относятся к участкам труб, расположенных вне цистерн, для которых эти трубы предназначены. |
7. Для труб с резьбовыми соединениями толщина стенки указана для минимальной толщины в нарезной части трубы. |
Толщина стенок осушительных, воздушных, переливных и измерительных труб, проходящих через топливные и балластные цистерны, топливных труб, проходящих через балластные цистерны, является в каждом случае предметом специального рассмотрения Регистром.
Параметры
табл. 4.2.5.1 не распространяются на трубы газовыпускной системы.
4.2.5.2. Толщины стенок труб из чугуна с шаровидным графитом, алюминиевых сплавов, титановых сплавов и коррозионно-стойких сплавов являются в каждом случае предметом специального рассмотрения Регистром.
4.2.5.3. Толщина стенок стальных труб системы углекислотного тушения от баллонов до пусковых клапанов должна быть не менее 4,0 мм, от пусковых клапанов до выпускных сопел - не менее 3,0 мм.
4.2.6. Радиусы погибов труб. Термическая обработка после гибки
Радиусы погибов труб и термическая обработка после гибки должны соответствовать требованиям 2.2 части VIII "Системы и трубопроводы" Правил классификации и постройки морских судов в той мере, насколько они применимы и достаточны, если ниже не оговорено иное.
4.2.7. Типы соединений
4.2.7.1. Допускается использование сварных, фланцевых, резьбовых и механических соединений, выполненных в соответствии со стандартами, одобренными Регистром.
4.2.7.2. Сварные, фланцевые, резьбовые и механические соединения должны отвечать требованиям 2.4 части VIII "Системы и трубопроводы" Правил классификации и постройки морских судов в той мере, насколько они применимы и достаточны, если ниже не оговорено иное.
4.3. ТРУБОПРОВОДЫ ИЗ ПЛАСТМАСС
4.3.1. Область распространения. Общие требования
4.3.1.1. Настоящие требования распространяются на все трубопроводы, изготовленные из пластмасс.
Требования не распространяются на гибкие неметаллические соединения, резиновые шланги, а также механические соединения, применяемые в системах с металлическими трубами.
4.3.1.2. Общие требования к трубам и фасонным элементам из пластмасс изложены в 6.8 части XIII "Материалы" Правил классификации и постройки морских судов.
4.3.2. Требования к трубопроводам в зависимости от их назначения
4.3.2.1. Огнестойкость
4.3.2.1.1. Трубы и фасонные элементы, от целостности которых существенно зависит безопасность судна, должны удовлетворять требованиям огнестойкости.
Таблица 4.3.2.1.1
Область применения пластмассовых трубопроводов
N п/п | Проводимая среда | Тип системы | Расположение |
A | G | H | I | J | K |
1 | Воспламеняющиеся жидкости с температурой вспышки более 60 °C | Топливная | + | О | О | О | У1 | У1 |
Масляная | + | - | - | О | У1 | У1 |
Гидравлические | + | О | О | О | У1 | У1 |
2 | Забортная вода | Осушительная | У1 | О | О | О | - | У1 |
Дренажные трубопроводы внутренних помещений | | О | О | О | О | О |
Санитарные стоки (внутренние) | О | О | О | О | О | О |
Дренаж с открытых палуб | | О | О | О | | О |
Водопожарная | У1 | - | О | О | + | У1 |
Балластная | У3 | О | О | О | У2 | У2 |
Системы охлаждения ответственного назначения | У3 | - | О | О | - | У2 |
Системы охлаждения неответственного назначения | О | О | О | О | О | О |
3 | Пресная вода | Системы охлаждения ответственного назначения | У3 | О | О | О | О | О |
Системы охлаждения неответственного назначения | О | О | О | О | О | О |
4 | Прочие среды | Воздушных, измерительных, переливных труб: водяных танков и сухих отсеков | О | О | О | О | О | О |
Воспламеняющихся жидкостей,  | + | О | О | О | + | + |
Системы управления пневматические | | О | О | О | | |
Воздушные для хозяйственных нужд | О | О | О | О | О | О |
Пара низкого давления, водяного отопления | У2 | О | О | О | О | О |
Условные обозначения: |
A - машинные помещения; |
G - топливные танки и шахты; |
H - балластные танки и шахты; |
I - коффердамы, сухие отсеки и пр.; |
J - жилые, служебные помещения и посты управления; |
K - открытые палубы; |
О - испытания на огнестойкость не требуется; |
"-" - не применяется; |
"+" - только металлические материалы с точкой плавления выше 925 °C. |
|
<1> Для осушительных трубопроводов, обслуживающих только данное помещение, "О" может использоваться вместо "У1". |
<2> Шпигаты открытых палуб должны быть "+", если они не снабжены соответствующими средствами закрытия. |
<3> Когда не предусмотрены функции управления, "О" может использоваться вместо "У1". |
4.3.2.1.2. В зависимости от свойств трубопроводов сохранять свою целостность при испытании на огнестойкость по методике, изложенной в Приложении 1 и 2 к Резолюции ИМО А.753(18), установлены три уровня огнестойкости:
У1 - для трубопроводов, выдержавших испытания на огнестойкость в сухом состоянии в течение 1 ч;
У2 - для трубопроводов, выдержавших испытания на огнестойкость в сухом состоянии в течение 30 мин;
У3 - для трубопроводов, выдержавших испытания на огнестойкость в заполненном состоянии в течение 30 мин.
Область применения трубопроводов из пластмасс, в зависимости от уровня огнестойкости, месторасположения и проводимых сред, приведена в
табл. 4.3.2.1.1.
4.3.2.2. Распространение пламени, огнезащитные покрытия
4.3.2.2.1. Все трубы, кроме расположенных на открытых палубах, в коффердамах и т.п., должны иметь характеристику медленного распространения пламени по поверхности, не превышающую средних значений, регламентированных резолюцией ИМО А.653(16), и определенную по методике, приведенной в Приложении 3 к резолюции, с учетом изменений, обусловленных криволинейной поверхностью труб, или по другим одобренным Регистром стандартам.
4.3.2.2.2. Если для обеспечения требуемого уровня огнестойкости применяются огнезащитные покрытия, они должны отвечать требованиям
части XI "Материалы".
Огнезащитные покрытия должны применяться в соответствии с одобренными рекомендациями изготовителя.
4.3.2.2.3. Нанесение огнезащитных покрытий в местах соединений должно производиться после проведения гидравлических испытаний системы, в соответствии с рекомендациями изготовителя труб, по методике, одобренной Регистром в каждом конкретном случае.
4.3.3. Требования к монтажу
4.3.3.1. Работы по монтажу должны производиться в соответствии с рекомендациями изготовителя.
4.3.3.2. Расстояния между опорами не должны превышать расстояний, рекомендованных изготовителем.
При выборе опор и расстояний между ними должны учитываться размеры труб, механические и физические свойства материала труб, масса труб и находящейся в них жидкости, рабочая температура, влияние теплового расширения; нагрузки внешних сил, осевые силы, гидравлические удары, вибрация, которые могут возникнуть в системе. Должно быть учтено возможное совместное действие вышеназванных нагрузок.
Нагрузка от веса трубы должна быть равномерно распределена по всей несущей поверхности опоры. Необходимо принять меры по сведению к минимуму износа труб в местах их контакта с опорами.
4.3.3.3. Компоненты системы, имеющие значительную массу, должны иметь отдельные опоры. При прокладке трубопроводов должны учитываться периодически действующие сосредоточенные нагрузки.
При необходимости трубы должны быть защищены от механических повреждений.
4.3.3.4. При прокладке пластмассовых трубопроводов через водонепроницаемые и огнестойкие палубы и переборки должны быть выполнены требования
4.5.1.1,
4.5.1.4 и
4.5.1.5.
4.3.3.5. При монтаже пластмассовых трубопроводов должен предусматриваться компенсационный допуск на относительное смещение между трубопроводами и стальными конструкциями с учетом разницы в коэффициентах теплового расширения и деформации корпуса судна.
При расчете тепловых расширений необходимо учитывать рабочую температуру системы и температуру, при которой производится монтаж.
4.3.3.6. При прокладке трубопровода должны учитываться периодически действующие сосредоточенные нагрузки, если их воздействие возможно. Как минимум, должна учитываться сила, создаваемая нагрузкой одного человека массой 100 кг в середине пролета любой трубы с наружным диаметром более 100 мм.
4.3.3.7. В системах перекачки жидкостей, таких как дизельное топливо и бензин, должны применяться трубы из материалов, проводящих электричество.
Независимо от перекачиваемых жидкостей, пластмассовые трубы, проходящие через взрывоопасные зоны, должны быть из материалов, проводящих электричество.
Сопротивление в любой точке системы трубопроводов относительно земли должно быть не более

. Предпочтительно, чтобы трубы и фасонные элементы, имеющие электропроводящие слои, имели одинаковую проводимость.
Такие трубы должны быть в достаточной степени защищены от повреждения электрическими разрядами, вызванными разностью проводимости электропроводящих слоев.
По окончании монтажа должно быть проверено заземление. Провода заземления должны быть доступны для осмотра.
4.3.3.8. Трубопроводы могут соединяться с использованием клеевых, сварных, фланцевых и других соединений.
Прочность соединений должна быть не меньше прочности трубопровода, в котором они установлены.
4.3.3.9. До начала работ должна быть разработана и одобрена технология соединений (стыков) труб.
4.3.3.10. Одобрению технологии должны предшествовать освидетельствования и испытания, изложенные в настоящем разделе.
4.3.3.11. В технологии соединений стыков должно быть отражено следующее: применяемые материалы, используемый инструмент и оснастка, требования по подготовке стыков, температурный режим, требования по размерам и допускам, а также критерии приемки после завершения работ и испытаний.
4.3.3.12. Для проведения контроля качества соединений труб необходимо в соответствии с принятой технологией подготовить контрольные узлы, которые должны включать, как минимум, по одному стыку трубы с трубой и трубы с фасонным элементом.
В контрольный узел должна входить труба максимального диаметра.
4.3.3.13. После затвердевания стыка контрольного соединения должно быть произведено гидравлическое испытание давлением, в 2,5 раза превышающим расчетное, в течение 1 ч. При этом протечек и разрушений не допускается.
4.3.3.14. Система трубопроводов ответственного назначения после монтажа на судне должна быть испытана гидравлическим давлением, превышающим расчетное давление в системе не менее чем в 1,5 раза.
Система трубопроводов неответственного назначения после монтажа на судне может быть испытана на плотность рабочим давлением.
4.4.1. Конструкция, маркировка, расположение и установка арматуры
4.4.1.1. Конструкция клапанов должна удовлетворять требованиям 4.1.1 части VIII "Системы и трубопроводы" Правил классификации и постройки морских судов.
4.4.1.2. Маркировка арматуры
4.4.1.2.1. Запорная арматура должна снабжаться хорошо видимой прикрепленной планкой с четкой надписью, указывающей ее назначение.
4.4.1.2.2. Дистанционно управляемая арматура в постах управления должна иметь прикрепленные отличительные планки, определяющие ее назначение, а также указатель положений "открыто" и "закрыто".
Если дистанционное управление предназначено только для закрывания арматуры, установка указателей не обязательна.
4.4.1.3. Расположение и установка
4.4.1.3.1. Арматура, устанавливаемая на водонепроницаемых переборках, должна крепиться к приварышам на шпильках или устанавливаться на переборочных стаканах.
Отверстия под крепежные шпильки в приварышах не должны быть сквозными.
4.4.1.3.2. Контрольно-измерительные приборы в системах топлива и смазки должны оборудоваться клапанами или кранами с целью отсечения этих приборов от трубопроводов.
Чувствительные элементы термометров должны помещаться в плотных втулках.
4.4.1.3.3. Смотровые стекла на топливных и масляных трубопроводах должны быть жаростойкими.
4.4.2. Фильтры
4.4.2.1. Фильтры должны оборудоваться устройством, позволяющим убедиться в отсутствии давления перед их вскрытием.
Трубки от таких устройств должны выводиться в поддоны таким образом, чтобы предотвращалось разбрызгивание.
4.4.2.2. Фильтры, входящие в системы с горючей рабочей средой, должны устанавливаться на безопасном расстоянии от возможных источников воспламенения.
4.4.3. Кингстонные и ледовые ящики. Донная и бортовая арматура. Отверстия в наружной обшивке
4.4.3.1. Кингстонные и ледовые ящики
4.4.3.1.1. Если судно имеет специальные ледовые усиления, удовлетворяющие требованиям Правил, и в символе класса имеется знак "Ice", при котором допускается эксплуатация судна в мелко битом льду, один из кингстонных ящиков должен быть ледовым.
4.4.3.1.2. Приемная арматура забортной воды должна размещаться непосредственно на кингстонных ящиках.
4.4.3.1.3. Допускается приемную арматуру забортной воды устанавливать на приварышах или на приварных патрубках, размещаемых непосредственно на днищевой обшивке корпуса.
4.4.3.1.4. Патрубок должен быть с приварным фланцевым соединением. Толщина стенки патрубка должна быть не менее минимальной толщины наружной обшивки днища, однако она не должна быть менее 6 мм.
Отверстия в наружной обшивке кингстонных ящиков, приемных приварышей и патрубков должны оборудоваться защитными решетками. Вместо решеток допускается выполнять отверстия или щели в корпусе судна. Суммарная площадь отверстий или щелей должна быть не менее 2,5-кратной площади сечения установленной приемной арматуры забортной воды.
Диаметр отверстий или ширина щели в решетке или в наружной обшивке должны быть около 20 мм.
Рекомендуется оборудовать решетки кингстонных ящиков продувкой сжатым воздухом. Давление сжатого воздуха в системе не должно превышать 0,3 МПа. На трубопроводах продувания должны предусматриваться невозвратно-запорные клапаны.
4.4.3.1.5. Должна быть предусмотрена возможность доступа внутрь кингстонных ящиков через съемные решетки или через горловины бортовых кингстонных и ледовых ящиков, если горловина расположена выше самой высокой ватерлинии.
4.4.3.1.6. Ледовые и днищевые кингстонные ящики судов, имеющих в символе класса знак "Ice", должны быть оборудованы рециркуляцией охлаждающей воды.
Для ледового ящика трубы рециркуляции охлаждающей воды должны подводиться в верхнюю и нижнюю часть ящика, при этом общая площадь сечения этих труб должна быть не менее сечения отливной магистрали охлаждающей воды.
Для кингстонных ящиков диаметр трубы рециркуляции охлаждающей воды должен быть не менее 0,85 диаметра отливной магистрали.
4.4.3.2. Отверстия в наружной обшивке. Донная и бортовая арматура
4.4.3.2.1. Расположение приемных и отливных отверстий в наружной обшивке судна должно исключать возможность:
1. Приема сточных, хозяйственно-бытовых вод и других нечистот насосами забортной воды;
2. Попадания сточных, хозяйственно-бытовых и отливных вод в помещения судна через иллюминаторы, а также в спасательные шлюпки и плоты при спуске их на воду.
Если невозможно выполнить требование 4.4.3.2.1, отливные отверстия должны быть снабжены устройствами, предотвращающими попадание отливных вод в помещения судна, в спасательные шлюпки и плоты.
4.4.3.2.2. Отливные забортные отверстия из помещений, расположенных как на палубе надводного борта, так и ниже палубы надводного борта, могут быть оборудованы только одним невозвратно-запорным клапаном с местным управлением.
4.4.3.2.3. Шпигатные и сточные трубы с открытых палуб и из помещений, выводимые за борт на расстоянии менее 600 мм над самой высокой ватерлинией, должны быть снабжены невозвратными клапанами (захлопками), устанавливаемыми у обшивки.
Клапаны могут не предусматриваться, если толщина стенок этих труб, устанавливаемых ниже палубы надводного борта, будет не менее толщины обшивки корпуса, однако она не должна быть менее 5 мм.
4.4.3.2.4. Забортные и отливные отверстия систем и трубопроводов главных и вспомогательных механизмов, расположенных в машинных помещениях, должны быть снабжены легкодоступными клапанами и клинкетами с местным управлением. Приводы управления должны иметь индикатор, показывающий, открыт или закрыт клапан.
4.4.3.2.5. Приводы управления приемной донной, а также бортовой арматурой должны располагаться в легкодоступных местах и снабжаться устройствами, показывающими, открыт или закрыт клапан.
4.4.3.2.6. В машинных помещениях органы управления приемной донной, а также бортовой отливной арматурой систем забортной воды, расположенных ниже ватерлинии, а также эжекторной системы осушения, должны располагаться так, чтобы было достаточно времени для доступа и приведения их в действие с мест, находящихся выше уровня воды, поступающей в помещение.
Рекомендуется органы управления приемной донной, а также бортовой отливной арматурой систем забортной воды, расположенных ниже ватерлинии, располагать над палубой надводного борта.
4.4.3.2.7. Донная и бортовая арматура должна устанавливаться на приварышах.
Допускается установка на приварных патрубках с приварными фланцевыми соединениями.
Толщина стенки патрубка должна быть не менее минимальной толщины наружной обшивки корпуса в оконечностях судна.
Отверстия под крепежные шпильки в приварышах не должны быть сквозными.
4.4.3.2.8. Никакие детали донно-бортовой арматуры, устанавливаемой ниже палубы переборок, а также их уплотняющие прокладки не должны изготавливаться из материалов, легко разрушающихся при пожаре.
4.4.3.2.9. Штоки и запорные детали донной и бортовой арматуры должны изготавливаться из коррозионно-стойких материалов.
4.5. ПРОКЛАДКА ТРУБОПРОВОДОВ
4.5.1. Прокладка трубопроводов через водонепроницаемые и огнестойкие конструкции
4.5.1.1. Число проходов трубопроводов через водонепроницаемые переборки должно быть минимальным.
Через таранную переборку ниже палубы переборок может проходить только один трубопровод для операций с жидкостью, находящейся в форпике.
На трубопроводе, проходящем через таранную переборку, должен устанавливаться запорный клапан непосредственно на таранной переборке со стороны форпика, управляемый из легкодоступного места с палубы переборок.
На трубопроводах, проходящих через таранную переборку выше палубы переборок или палубы надводного борта, запорный клапан может не устанавливаться.
4.5.1.2. Прокладка трубопроводов через водонепроницаемые переборки, палубы и другие водонепроницаемые конструкции должна выполняться с применением стаканов, приварышей или иных соединений, обеспечивающих непроницаемость конструкции.
Отверстия под крепежные шпильки не должны проходить через водонепроницаемые конструкции, а должны заканчиваться в приварыше.
Не допускается применять прокладки из материалов, легко разрушающихся при пожаре.
4.5.1.3. При проходе трубопроводов через огнестойкие конструкции должны быть выполнены требования
части X "Противопожарная защита".
4.5.1.4. При проходе труб из пластмасс через водонепроницаемые переборки и палубы, ограничивающие водонепроницаемые отсеки, в местах прохода этих труб должны устанавливаться клапаны с приводом, выведенным выше палубы переборок.
Клапаны должны быть из стали или другого равноценного по огнестойкости материала.
4.5.1.5. В местах прохода труб из пластмасс через переборку главной противопожарной вертикальной зоны должны устанавливаться переборочные стальные стаканы необходимой длины и клапаны с приводом для закрытия с обеих сторон переборок. Клапаны должны быть из стали или другого равноценного по огнестойкости материала.
4.5.2. Прокладка трубопроводов в помещениях и цистернах
4.5.2.1. Прокладка трубопроводов пресной воды через цистерны топлива и масла, а также прокладка трубопроводов топлива и масла через цистерны пресной воды допускается только в нефтенепроницаемых тоннелях.
Прокладка трубопроводов забортной воды и масла, а также воздушных, измерительных и переливных труб через цистерны топлива допускается при условии применения бесшовных труб, не имеющих разъемных соединений внутри этих цистерн.
4.5.2.2. Трубопроводы, проходящие в цепных ящиках и других помещениях, в которых они могут подвергаться механическим повреждениям, должны быть соответствующим образом защищены.
4.5.2.3. Топливные трубопроводы не должны прокладываться через жилые и служебные помещения, а также под зашивкой. Исключение составляют трубопроводы приема топлива, которые допускается прокладывать через санитарные помещения при использовании труб без разъемных соединений.
4.5.2.4. Трубопроводы систем и вентиляционные каналы в необходимых местах должны иметь устройства для спуска или продувания рабочей среды или влаги.
4.5.2.5. Над и за главными распределительными щитами, а также пультами управления ответственными устройствами и механизмами, прокладка трубопроводов, находящихся под давлением, не допускается.
С лицевой и боковой сторон этих распределительных щитов и пультов управления такие трубопроводы могут прокладываться на расстоянии не менее 500 мм при условии, что на протяжении 1000 мм от пультов и щитов они не будут иметь разъемных соединений или на соединениях будут установлены оградительные кожухи.
4.5.2.6. На судах катамаранного типа трубопроводы, соединяющие одноименные системы каждого корпуса судна, при прокладке по общей верхней палубе должны быть в надлежащих местах снабжены компенсаторами и защищены от повреждений.
Повреждения этих трубопроводов не должны приводить к нарушению работы систем, которые они соединяют.
4.6. ОСУШИТЕЛЬНАЯ СИСТЕМА. БАЛЛАСТНАЯ СИСТЕМА
4.6.1. Насосы
4.6.1.1. На каждом самоходном судне с главными двигателями общей мощностью 220 кВт и более, установленными в отдельном отсеке корпуса, должно быть не менее двух осушительных насосов с механическим приводом, из которых один насос должен быть стационарным и подключенным к осушительной системе.
В качестве осушительных насосов могут применяться санитарные или насосы общесудового назначения, с достаточной подачей. В качестве одного из осушительных насосов может быть использован насос, приводимый в действие главным двигателем или водоструйный эжектор.
Если в качестве осушительных насосов применяются пожарные насосы, должно быть выполнено требование
6.3 части X "Противопожарная защита".
4.6.1.2. На каждом самоходном судне с главными двигателями общей мощностью менее 220 кВт, установленными в отдельном отсеке корпуса, должно быть не менее двух осушительных средств, одним из которых может быть стационарный насос с механическим приводом или эжектор, а другим - ручной насос, с подачей каждого насоса не менее указанной в табл. 4.6.1.2. Применение переносного насоса с механическим приводом, вместо стационарного, является предметом специального рассмотрения Регистра.
Длина корпуса судна,  | Подача насосов осушительной системы, м3/ч | Диаметры трубопроводов, мм |
Магистральных | Отростков |
L < 7 | 3 | 25 |
7 <= L < 12 | 5 | 32 |
12 <= L < 15 | 5 | 32 |
15 <= L <= 24 | 6 | 40 | 32 |
На судах, не имеющих водопожарной системы, допускается установка одного ручного осушительного насоса. При этом осушение отсеков допускается осуществлять с помощью гибкого шланга.
4.6.1.3. На самоходном судне с двигателями, установленными в открытом пространстве (кокпите или на транце), подача насосов и внутренние диаметры труб осушительной системы не должны быть менее указанных в
табл. 4.6.1.2.
Также должны удовлетворяться следующие требования в зависимости от размеров судна:
1. При длине корпуса судна 7 м и менее - должен быть, как минимум, один ручной осушительный насос, который может быть переносным. По согласованию с Регистром, вместо насоса может быть применен нетонущий черпак;
2. При длине корпуса судна от 7 до 12 м - должен быть, как минимум, один стационарно установленный ручной насос, который должен иметь возможность обслуживаться из кокпита при закрытых входных трапах и люках.
Рекомендуется иметь на судне второй насос, стационарно установленный или переносной, такой же подачи.
3. При длине корпуса судна 12 м и более - должно иметься два насоса, один из которых должен быть с механическим приводом.
При этом один насос должен иметь возможность обслуживаться из кокпита при закрытых входных трапах и люках.
4.6.1.4. Несамоходные суда и стоечные суда, оборудованные источниками энергии или получающие электроэнергию с берега, оборудуются средствами осушения соответственно так же, как самоходные суда с главными двигателями мощностью менее 220 кВт, установленными в отдельном отсеке корпуса, или с двигателями, установленными в открытом пространстве (кокпите или на транце).
4.6.1.5. Для осушения несамоходных судов с экипажем, не имеющих механизмов с механическим приводом, достаточно устанавливать один или несколько ручных насосов, суммарной подачей не менее указанной в табл. 4.6.1.5.
Таблица 4.6.1.5
| Суммарная подача насосов, м3/ч |
До 50 | 4 |
Более 50 | 6 |
<1> Определения L, B, D (длины, ширины и высоты борта, м) указаны в разд. 1 части II "Корпус". При этом D измеряется в каждом конкретном случае до палубы надводного борта. |
4.6.1.6. На многокорпусных судах (катамаранах, тримаранах) каждый корпус должен быть оборудован автономной осушительной системой, соответствующей требованиям настоящей главы.
4.6.1.7. Осушительные центробежные насосы должны быть самовсасывающими, или система должна оборудоваться устройством удаления воздуха. Рекомендуется установка одного из насосов поршневого типа.
4.6.1.8. Каждый осушительный насос, требуемый в
4.6.1.1, должен иметь подачу Q, м3/ч, не менее определенной по формуле
где d - внутренний диаметр магистрали, мм, требуемый в
4.6.2.1.
Один из осушительных насосов может быть заменен двумя насосами, общая подача которых должна быть не менее определенной по формуле (4.6.1.8).
4.6.1.9. Осушение кокпитов может осуществляться гравитационным методом согласно требованиям
разд. 10 части III "Устройства, оборудование и снабжение".
4.6.2. Диаметры трубопроводов
4.6.2.1. Внутренний диаметр

, осушительной магистрали и приемных отростков, непосредственно присоединяемых к насосу, за исключением случая, указанного в 4.6.2.2, должен определяться по формуле
4.6.2.2. Внутренний диаметр

, приемных отростков, присоединяемых к магистрали, а также диаметр приемного трубопровода ручного насоса должны определяться по формуле
где l - длина осушаемого отсека, измеренная по его днищу, м;
B, D - см.
4.6.1.4, при этом для многокорпусных судов за ширину B принимается ширина одного корпуса.
4.6.2.3. Внутренний диаметр магистрали и приемных отростков, определяемых по
формулам 4.6.2.1 и
4.6.2.2, должен быть не менее 40 мм. На судах длиной менее 10 м допускается уменьшение этой величины до 20 мм. Внутренний диаметр магистрали и приемных отростков, непосредственно присоединяемых к насосу, во всех случаях должен быть не менее диаметра патрубка насоса.
4.6.2.4. Площадь сечения трубопровода, соединяющего распределительную приемную коробку с осушительной магистралью, должна быть не менее суммарной площади сечения двух наибольших отростков, присоединяемых к этой коробке, но не более площади сечения магистрального трубопровода.
4.6.2.5. Диаметр отростка для аварийного осушения машинного отделения должен быть не менее диаметра приемного патрубка насоса.
4.6.3. Прокладка трубопроводов
4.6.3.1. Расположение осушительных трубопроводов, а также их приемных отростков должно быть таким, чтобы обеспечивалась возможность осушения любого водонепроницаемого отсека любым из насосов, требуемых в
4.6.1.1,
4.6.1.2,
4.6.1.4,
4.6.1.8.
Из помещений, в которых отсутствуют осушительные отростки, отвод воды должен предусматриваться другим способом.
4.6.3.2. Система должна быть устроена так, чтобы исключалась возможность поступления забортной воды внутрь судна, а также воды из одного водонепроницаемого отсека в другой в случае разрыва трубы или иного ее повреждения в любом другом отсеке вследствие столкновения или посадки на мель. Для этого приемные клапаны открытых концов осушительных трубопроводов, присоединяемых непосредственно к коробкам, должны быть невозвратного типа. Если имеется только одна общая система трубопроводов для всех насосов, то должна быть предусмотрена возможность управления необходимыми клапанами, обслуживающими приемные патрубки, с мест, расположенных выше главной палубы. Допускаются также другие эквивалентные устройства.
4.6.3.3. Расположение трубопроводов должно быть таким, чтобы обеспечивалась возможность осушения машинных отделений через приемные отростки, непосредственно присоединенные к насосу, при одновременном осушении остальных отсеков другими насосами.
4.6.3.4. Расположение осушительных трубопроводов должно обеспечивать возможность работы одного из насосов в случаях, когда остальные насосы неработоспособны или используются для других целей.
4.6.3.5. Осушительные трубопроводы, как правило, должны прокладываться вне междудонного пространства. Если трубопровод прокладывается в междудонном пространстве, на приемных отростках в каждом водонепроницаемом отсеке должны устанавливаться невозвратные клапаны.
4.6.3.6. Расположение и количество приемных отростков должны выбираться в каждом случае в зависимости от формы и размеров отсеков.
Приемные отростки осушения должны быть расположены в каждом отсеке таким образом, чтобы они обеспечивали наиболее полное осушение отсека при крене до 5° на любой борт.
4.6.3.7. По длине судна приемные отростки осушительной системы должны быть расположены следующим образом:
на судах, плавающих без дифферента, - у кормовых переборок носовых отсеков и у носовых переборок кормовых отсеков;
на судах, постоянно имеющих дифферент на корму, - у кормовых переборок отсеков.
4.6.3.8. Пики и помещения рулевых машин могут иметь автономное осушение ручными насосами или водяными эжекторами, а также при помощи сточных труб, выведенных в машинное отделения или смежный отсек.
Сточные трубы должны снабжаться легкодоступными самозапорными клапанами или клинкетами, установленными на переборке со стороны смежного отсека, при условии, что управление клинкетами будет производиться с палубы, их диаметр должен быть не менее 39 мм.
4.6.3.9. Осушение цепных ящиков может осуществляться ручными насосами, водяными эжекторами или путем спуска воды через сточные отверстия в отсек форпика.
4.6.4. Осушение закрытых машинных помещений
4.6.4.1. Расположение и число приемников системы осушения в машинно-котельных отделениях должны приниматься согласно
4.6.3.1 -
4.6.3.7, при этом один из приемников следует присоединять непосредственно к независимому осушительному насосу.
4.6.4.2. На приемных отростках осушения машинных отделений должны устанавливаться легкодоступные грязевые коробки или приемники с сетками в тех случаях, когда к ним имеется доступ для очистки. Трубы между грязевыми коробками и льялами должны быть по возможности прямыми, на нижних концах этих труб не должны устанавливаться приемники с сетками.
4.6.4.3. На каждом самоходном судне проектных категорий A, A1, A2 или B с главными двигателями общей мощностью 220 кВт и более, помимо приемных отростков, требуемых в
4.6.3.1, должно быть предусмотрено аварийное осушение машинных отделений. Для этого наибольший по подаче насос забортной воды с механическим приводом должен иметь непосредственные приемные отростки с невозвратно-запорными клапанами, расположенные на уровне, обеспечивающем осушение машинного отделения. Диаметр отростка должен равняться диаметру приемного патрубка насоса.
Подача насоса должна превышать требуемую в
4.6.1.8 на величину, признанную Регистром достаточной.
Приводные штоки невозвратно-запорных клапанов, устанавливаемых на приемных отростках, должны быть выведены на достаточную высоту над настилом машинного отделения и иметь надпись "Только для аварийного осушения".
Использование пожарных насосов для аварийного осушения машинных отделений должно выполняться согласно
6.3 части X "Противопожарная защита".
Для парусно-моторных и моторно-парусных судов это требование носит рекомендательный характер.
4.6.4.4. На отростке для аварийного осушения не должны устанавливаться приемные сетки и фильтры.
4.6.4.5. На судах с электрической гребной установкой должно быть предусмотрено осушение колодцев под гребными электрическими двигателями, а также автоматическое сигнализирующее устройство, срабатывающее, когда вода в этих колодцах превысит допустимый уровень.
4.6.5. Балластная система
4.6.5.1. Балластная система должна обслуживаться по крайней мере одним насосом. Подачу балластного насоса рекомендуется определять, исходя из условия обеспечения скорости воды не менее 2 м/с при диаметре приемного трубопровода, вычисленном по
формуле (4.6.5.4) для наибольшей балластной цистерны.
Каждый корпус судна катамаранного типа должен быть оборудован автономной балластной системой, если она предусматривается.
4.6.5.2. В качестве балластных насосов могут быть использованы насосы общесудового назначения с достаточной подачей, в том числе осушительный, пожарный или резервный насос охлаждающей воды.
Насосы, применяемые для откачки балластной воды из цистерн двойного дна, должны быть самовсасывающими.
Применение пожарных насосов допускается при условии выполнения требования
6.3 части X "Противопожарная защита".
4.6.5.3. Балластные цистерны, как правило, не должны использоваться для размещения топлива.
Возможные отступления от этого требования в каждом конкретном случае являются предметом специального рассмотрения Регистром.
Применение резервного насоса в качестве балластного, так же, как балластного насоса в качестве резервного охлаждающего или пожарного, не допускается.
4.6.5.4. Внутренний диаметр отростков балластных трубопроводов

, для отдельных цистерн должен определяться по формуле
где v - вместимость балластной цистерны, м3.
Диаметр отростков может приниматься по ближайшему стандартному размеру.
Диаметр балластной магистрали должен быть не менее наибольшего диаметра приемного отростка, определяемого по формуле 4.6.5.4.
4.6.5.5. Расположение приемных отростков должно быть таким, чтобы обеспечивалась откачка воды из любой балластной цистерны, когда судно находится в прямом положении или имеет крен 5°.
4.7. СИСТЕМЫ ВОЗДУШНЫХ, ПЕРЕЛИВНЫХ
И ИЗМЕРИТЕЛЬНЫХ ТРУБОПРОВОДОВ
4.7.1. Воздушные и переливные трубы, переливные цистерны
4.7.1.1. Каждая цистерна, предназначенная для хранения жидкости, каждый заполняемый коффердам, а также ледовые и кингстонные ящики должны быть оборудованы воздушными трубами, отвечающими требованиям настоящей главы.
Воздушные трубы ледовых и кингстонных ящиков должны оборудоваться запорными клапанами, установленными непосредственно на ящиках.
Воздушные трубы цистерн второго дна и цистерн, стенками которых является наружная обшивка корпуса, а также ледовых и кингстонных ящиков, должны быть выведены выше палубы переборок (главной палубы).
4.7.1.2. Воздушные трубы цистерн должны быть выведены из верхней ее части, как правило, из места, наиболее удаленного от наполнительного трубопровода. Число и расположение труб должны выбираться в зависимости от формы и размера цистерны и исключать образование воздушных мешков.
Если воздушные трубы топливных цистерн используются в качестве переливных (воздушно-переливные трубы), должны быть выполнены требования
4.7.1.8.
Объединение воздушных труб цистерн с неоднородными жидкостями не допускается.
4.7.1.3. Высота воздушных труб, измеряемая от палубы до уровня жидкости в трубе при ее заполнении, должна составлять не менее:
на судах проектных категорий A и A1: 760 мм - для труб, установленных на палубе надводного борта, и 450 мм - для труб, установленных на палубах, расположенных выше;
на судах проектных категорий A2 и B: 600 мм - для труб, установленных на палубе надводного борта, и 380 мм - для труб, установленных на палубах, расположенных выше;
на судах проектных категорий C и C1: 450 мм - для труб, установленных на палубе надводного борта, и 300 мм - для труб, установленных на палубах, расположенных выше;
на судах проектных категорий C2, C3 и D - 250 мм.
Воздушные трубы должны располагаться в местах, где исключается возможность их повреждения.
4.7.1.4. Выходной конец каждой воздушной трубы должен выполняться в виде колена, обращенного отверстием вниз, или иметь другую конструкцию, согласованную с Регистром.
Выходные концы воздушных труб, расположенных на открытых палубах, рекомендуется оборудовать постоянно прикрепленными автоматически действующими закрытиями, обеспечивающими свободный проход воздуха и жидкости и исключающими возможность проникновения воды в цистерны.
Воздушные трубы вкладных масляных цистерн, не оборудованных подогревом, могут выводиться в помещения, в которых установлены цистерны; при этом в случае переполнения цистерн должна исключаться возможность попадания масла на электрическое оборудование и нагретые поверхности.
4.7.1.5. Суммарная площадь сечения воздушных труб цистерн, наполнение которых производится гравитационным способом, должна быть не менее суммарной площади сечения наполнительных труб этой цистерны.
Суммарная площадь сечения воздушных труб цистерны, заполняемой судовыми или береговыми насосами, должна составлять не менее 1,25 площади сечения наполнительного трубопровода цистерны.
Площадь сечения общей воздушной трубы от нескольких цистерн должна составлять не менее 1,25 площади общего наполнительного трубопровода этих цистерн.
4.7.1.6. Воздушные трубы топливных и масляных цистерн в районе жилых помещений не должны иметь разъемных соединений.
4.7.1.7. Выходные концы воздушных труб должны снабжаться планками с отличительной надписью.
4.7.1.8. Топливные цистерны, заполняемые насосами, должны оборудоваться переливными трубами, направляющими топливо в переливную цистерну или в цистерну запаса, вместимость которой должна быть не менее вместимости переливной цистерны в соответствии с
4.7.1.15.
Площадь сечения воздушной трубы цистерны, оборудованной переливной трубой, должна быть не менее 1/3 площади сечения наполнительного трубопровода.
При объединении воздушных труб от нескольких цистерн, оборудованных переливными трубами, площадь сечения общей воздушной трубы должна быть не менее 1/3 площади сечения общей наполнительной трубы этих цистерн.
Воздушные трубы, которые одновременно являются и переливными, не должны присоединяться к воздушной трубе переливной цистерны.
4.7.1.9. Внутренний диаметр воздушной трубы во всех случаях должен быть не менее 40 мм.
Расположение воздушных труб должно исключать возможность образования гидравлических затворов в трубах.
4.7.1.10. Объединение переливных труб из нескольких цистерн, встроенных в корпус и расположенных в разных водонепроницаемых отсеках, в общий коллектор или трубу должно выполняться выше самой высокой ватерлинии судна.
4.7.1.11. Переливные трубы расходных и отстойных топливных и масляных цистерн должны проводиться в цистерны, расположенные ниже указанных цистерн.
4.7.1.12. Переливные трубы должны доводиться до днища переливных цистерн с минимальным зазором, при этом площадь проходного сечения зазора должна быть не менее площади сечения переливной трубы.
4.7.1.13. Внутренний диаметр переливных труб должен быть не менее 50 мм.
4.7.1.14. На вертикальных участках переливных труб в хорошо видимом и легкодоступном месте должно устанавливаться смотровое стекло или устройство, сигнализирующее о переливе топлива.
Смотровые стекла на топливных и масляных трубопроводах должны быть жаростойкими.
4.7.1.15. Вместимость переливной топливной цистерны должна быть не менее 10-минутной максимально допустимой пропускной способности системы приема топлива.
Переливная цистерна должна быть оборудована световой и звуковой сигнализацией, срабатывающей при заполнении ее объема на 75%.
4.7.1.16. Воздушные трубы картеров двигателей внутреннего сгорания должны соответствовать требованиям
3.2.2.
4.7.2. Измерительные устройства
4.7.2.1. Каждая цистерна, предназначенная для хранения жидкости, коффердамы и сухие отсеки, имеющие осушение, а также льяла и колодцы, не имеющие свободного доступа, должны оборудоваться измерительными трубами для измерения уровня, как правило, выводимыми на открытые палубы. Для цистерн допускается применение других измерительных устройств одобренной Регистром конструкции.
Измерительные трубы должны быть по возможности прямыми и не препятствовать замеру футштоком.
Вывод измерительных труб вкладных цистерн на открытую палубу не является обязательным.
Выходные концы измерительных труб топливных и масляных цистерн не должны выводиться в помещения, где может возникнуть опасность воспламенения утечек из измерительных труб. Запрещается выводить измерительные трубы топливных цистерн в жилые и служебные помещения.
Допускаются другие средства замера уровня жидкого топлива при условии, что они защищены кожухом из стали или другого материала, стойкого в пожарном отношении.
Указатели уровня жидкости топливных и масляных цистерн должны отвечать требованиям
4.10.2.3.8.
4.7.2.2. Измерительные трубы топливных и масляных цистерн допускается выводить над настилом машинного помещения при условии, что эти трубы должны оборудоваться самозапорными клапанами, а высота их должна быть не менее 0,5 м от уровня настила. Ниже самозапорных клапанов должны устанавливаться пробные клапаны самозапорного типа. Указанные трубы не должны использоваться в качестве воздушных.
4.7.2.3. Под открытыми концами измерительных труб должны предусматриваться приварные накладные планки или другое усиление, предохраняющее обшивку (днище) от повреждения футштоком.
При закрытых нижних концах измерительных труб, имеющих вырезы, подобное усиление должно быть предусмотрено в заглушке трубы.
4.7.2.4. Внутренний диаметр измерительных труб должен быть не менее 25 мм.
Выходные концы измерительных труб должны снабжаться планками с отличительной надписью.
4.7.2.5. Концы измерительных труб, выведенных на открытые палубы, должны снабжаться плотными пробками.
Пробки и резьбовая часть палубных втулок измерительных труб на открытых палубах должны быть из бронзы или латуни. Применение других материалов является в каждом случае предметом специального рассмотрения Регистром.
Применение закрытий иных типов является в каждом случае предметом специального рассмотрения Регистром.
Самозапорная арматура измерительных труб междудонных топливных цистерн должна быть коррозионно-стойкой и исключать искрообразование.
Если измерительные трубы возвышаются над открытыми палубами, они должны располагаться в местах, исключающих возможность их повреждения, или иметь соответствующие ограждения.
4.8. ГАЗОВЫПУСКНАЯ СИСТЕМА
4.8.1. Газовыпускные трубопроводы
4.8.1.1. Газовыпускные трубопроводы должны выводиться, как правило, на открытую палубу.
4.8.1.2. Если газовыпускные трубопроводы выводятся через бортовую обшивку или транец вблизи ватерлинии или под воду, должны быть предусмотрены устройства, предотвращающие возможность попадания забортной воды в двигатель.
Внутри машинного помещения должна быть выполнена петля, верхняя часть которой должна быть выше самой высокой ватерлинии.
4.8.1.3. Газовыпускные трубопроводы должны прокладываться на расстоянии не менее 450 мм от топливных цистерн.
4.8.1.4. Каждый главный двигатель должен иметь газовыпускной трубопровод. В необходимых случаях могут быть допущены отступления, которые являются предметом специального рассмотрения Регистром.
Газовыпускные трубопроводы дизель-генераторов могут объединяться в общий газовыпускной трубопровод. При этом общий газовыпускной трубопровод должен иметь надежно действующие устройства, предотвращающие поступление газов из общего трубопровода в трубопроводы неработающих двигателей, а также повреждение любого двигателя при его пуске.
На судах прибрежного района плавания допускается объединение трубопроводов главных и вспомогательных двигателей, если соблюдены указанные выше защитные меры.
4.8.1.5. Газовыпускные трубопроводы двигателей внутреннего сгорания должны быть, как правило, изготовлены из стальных труб.
Газовыпускные трубы с "мокрым" выхлопом или при охлаждении отработавших газов охлаждающей водой двигателя могут быть изготовлены полностью или частично из пластмассовых труб или гибкого шланга.
4.8.1.6. Газовыпускные трубопроводы двигателей внутреннего сгорания должны быть теплоизолированы изолирующим материалом или двойными стенками. Температура на поверхности изоляции не должна превышать 60 °C.
Материал, используемый для теплоизоляции, должен быть негорючим, в машинном помещении поверхность изоляции должна быть непроницаемой для нефтепродуктов и их паров.
Газовыпускные трубы с "мокрым" выхлопом или двойными стенками, охлаждаемыми водой, допускается не изолировать, если температура на поверхности трубопроводов не прывышает 60 °C.
4.8.1.7. Газовыпускные трубы двигателей должны снабжаться тепловыми компенсаторами.
4.8.1.8. Газовыпускные трубопроводы, проходящие через жилые помещения или рулевую рубку, должны быть выгорожены внутри этих помещений газонепроницаемым защитным кожухом. Пространство между газовыпускными трубами и защитным кожухом должно сообщаться с атмосферой.
4.8.2. Глушители, искрогасители, теплообменники
4.8.2.1. Газовыпускные трубы двигателей должны снабжаться, как правило, глушителями и, при необходимости, искрогасителями.
4.8.2.2. Глушители и искрогасители должны располагаться таким образом, чтобы обеспечивалась возможность их очистки. Для этой цели они должны оборудоваться лючками, спускными кранами или пробками.
4.8.2.3. При установке теплообменных аппаратов, которые работают на тепле отработавших газов двигателей, должны предусматриваться устройства, предотвращающие возможное попадание воды в двигатель вследствие протечек в теплообменниках или по причине их повреждений.
4.9.1. Вентиляционные каналы и головки. Приемные отверстия
4.9.1.1. Прокладка вентиляционных каналов через водонепроницаемые переборки ниже палубы переборок (главной палубы) не допускается.
4.9.1.2. Шахты и вертикальные вентиляционные каналы, проходящие через водонепроницаемые палубы, в пределах одного водонепроницаемого отсека ниже палубы переборок должны быть водонепроницаемыми и равнопрочными местным конструкциям корпуса судна.
4.9.1.3. Вентиляционные каналы, проходящие через главные огнезадерживающие переборки, должны иметь стальные противопожарные заслонки, установленные, как правило, на переборках и снабжаемые местными приводами, действующими с обеих сторон переборок.
Места установки заслонок и приводы управления ими должны быть легкодоступными и окрашены красной краской. Должны быть предусмотрены устройства, показывающие, открыта или закрыта заслонка. Если заслонка устанавливается не на переборке, то канал между переборкой и заслонкой должен иметь изоляцию, равноценную огнестойкости переборки.
4.9.1.4. Вентиляционные каналы, ведущие к машинным и другим помещениям, оборудованным средствами объемного пожаротушения, должны иметь закрытия, предотвращающие движение газов. Приемные и вытяжные отверстия систем вентиляции этих помещений должны быть оборудованы герметичными крышками или запорными устройствами, а также при их установке в указанных помещениях - иметь приводы для их закрытия из мест, расположенных вне помещений, оборудованных средствами объемного пожаротушения.
4.9.1.5. Вентиляционные каналы должны быть изолированы в местах возможного отпотевания, а на участках, где возможно скопление воды, должны снабжаться спускными пробками.
4.9.1.6. Вентиляционные головки приточной вентиляции, а также приемные отверстия системы вентиляции должны располагаться в таких частях судна, где вероятность забора воздуха, загрязненного газами, парами нефтепродуктов и т.п., была бы сведена к минимуму и исключалась возможность попадания забортной воды в вентиляционные каналы.
На судах с ледовыми усилениями каналы приема воздуха должны быть защищены от попадания в них снега. Рекомендуется воздухозаборные устройства размещать с обоих бортов и оборудовать обогревом.
4.9.1.7. Должна быть предусмотрена возможность закрытия главных приемных и выпускных отверстий всех систем вентиляции помещений согласно 4.9.1.9.
4.9.1.8. Вентиляционные трубы из помещений, расположенных ниже палубы надводного борта, должны иметь прочный комингс.
Конструкция комингсов должна отвечать требованиям
части II "Корпус".
Толщина металлического комингса должна быть не менее толщины палубы в этом районе.
4.9.1.9. Требования к закрытиям приемных и выпускных отверстий системы вентиляции и высоте их комингсов должны соответствовать
9.2.2 и
9.2.4 части III "Устройства, оборудование и снабжение".
4.9.1.10. Системы вентиляции камбузов не должны соединяться с системами вентиляции, обслуживающими другие помещения.
Каналы вытяжной вентиляции от камбузных плит должны выполняться из стали, если они проходят через жилые помещения или помещения, в которых имеются горючие материалы. Каждый такой канал должен снабжаться легко снимаемым уловителем жира, а также противопожарной заслонкой в нижнем конце канала.
4.9.2. Вентиляция машинных помещений
4.9.2.1. Вентиляция машинных помещений должна обеспечивать во всех условиях эксплуатации, включая штормовые условия, достаточный приток воздуха, необходимый для работы с полной мощностью механизмов, а также для безопасности и удобства обслуживающего персонала.
Вентиляция должна обеспечивать удаление газов тяжелее воздуха из нижних районов этих помещений, с мест под настилом, с мест, в которых находится оборудование топливной системы и расходные цистерны.
Необходимо предусмотреть отключение искусственной вентиляции машинных помещений с легко доступного места вне машинного отделения.
4.9.2.2. Закрытые машинные помещения, в которых установлены карбюраторные (бензиновые) двигатели, должны быть оборудованы, кроме естественной приточной вентиляции, дополнительно искусственной вытяжной вентиляцией, обеспечивающей по крайней мере 10-кратный обмен воздуха в час, исходя из объема порожнего помещения.
Искусственная вытяжная вентиляция должна обслуживаться вентилятором искробезопасного исполнения, электродвигатель должен быть взрывозащищенного исполнения или размещаться вне потока вытяжного воздуха.
Каналы естественной вентиляции должны иметь поперечное сечение:
F = 40V, см2, но не менее 45 см2, (4.9.2.2)
где V - объем порожнего помещения, м3.
4.9.2.3. Закрытые пространства, в которых установлены карбюраторные (бензиновые) двигатели и бензиновые цистерны или канистры с топливом, должны быть оборудованы естественной приточно-вытяжной вентиляцией с раздельными приточными и вытяжными каналами.
4.9.2.4. Помещения для переносных канистр с бензином должны быть оборудованы естественной приточно-вытяжной вентиляцией, обеспечивающей удаление воздуха из верхней зоны вентилируемого помещения.
Приточный воздух должен подводиться в нижнюю зону вентилируемого помещения.
Поперечное сечение каналов вентиляции должно быть не менее 20 см2.
Отверстия вытяжных вентиляционных каналов должны выводиться в места, где выходящие газы не представляют пожарной опасности.
4.9.3. Вентиляция аккумуляторных помещений и ящиков
4.9.3.1. Система вентиляции аккумуляторных помещений и ящиков должна быть независимой и обеспечивать удаление воздуха из верхней зоны вентилируемых помещений.
Каналы вытяжной вентиляции должны быть газонепроницаемыми.
4.9.3.2. Приточный воздух должен подводиться в нижнюю зону вентилируемого помещения.
4.9.3.3. Наружные концы каналов должны выполняться таким образом, чтобы исключалась возможность попадания в них морской воды, атмосферных осадков и твердых тел.
Пламепрерывающая арматура не должна устанавливаться.
Отверстия вытяжных вентиляционных каналов должны выводиться в места, где выходящие газы не представляют пожарной опасности.
4.9.3.4. Вентиляция аккумуляторных ящиков зарядной мощностью батарей, не превышающей 0,2 кВт, может осуществляться через отверстия в нижней и верхней частях ящика, обеспечивающие удаление газов.
4.9.3.5. Расход воздуха Q, м3/с, при вентиляции аккумуляторного помещения или ящика должен быть не менее определяемого по формуле
где I - максимальный зарядный ток во время выделения газов, но менее 0,25 максимального тока зарядного устройства, А;
n - число элементов батареи.
4.9.3.6. Сечение канала F, м2, естественной вытяжной вентиляции аккумуляторных помещений и ящиков должно быть не менее определяемого по формуле
F = 1,04Q, но не менее 0,004 м2, (4.9.3.6)
4.9.3.7. Естественная вентиляция помещений может применяться, если:
2. Угол отклонения вентиляционного канала от вертикали составляет 45°;
3. Число колен канала не больше двух;
4. Длина вентиляционного канала не превышает 5 м;
5. Действие вентиляции не зависит от направления ветра;
6. Сечение вентиляционного канала принимается не менее определенного по
формуле (4.9.3.6).
Если расход воздуха, вычисленный по
формуле (4.9.3.5), составляет

и более, аккумуляторное помещение должно оборудоваться системой искусственной вытяжной вентиляции.
Внутренние поверхности вытяжных каналов и вентиляторов должны быть защищены от действия электролита.
Двигатели вентиляторов не должны размещаться в потоке вытяжных газов.
Конструкция вентиляторов должна соответствовать требованиям
разд. 3.
4.10.1. Насосы. Прокладка трубопроводов
4.10.1.1. Для перекачки топлива должны быть предусмотрены топливоперекачивающий насос с механическим приводом и резервный насос, который может быть ручным.
В качестве резервного насоса может быть использован любой пригодный для этой цели насос, в том числе насос сепаратора топлива.
На судах прибрежного плавания может быть установлен один насос.
На судах с суточным расходом топлива менее 1000 кг допускается устанавливать один ручной насос.
4.10.1.2. Если топливные цистерны систематически используются в качестве балластных цистерн, должны быть предусмотрены надежные устройства, отключающие балластную систему от этих цистерн при нахождении в них топлива, а также топливную систему при нахождении в них балласта.
4.10.1.3. Топливоперекачивающие насосы, а также насосы сепараторов, кроме местного управления, должны иметь средства для их остановки из всегда доступных мест вне помещений, в которых они установлены.
С нагнетательной и приемной сторон топливных насосов необходимо устанавливать запорные клапаны.
4.10.1.4. Прокладка трубопроводов дизельного топлива
4.10.1.4.1. Топливные трубопроводы, арматура и их соединения должны удовлетворять требованиям
4.2.1,
4.2.2,
4.2.3,
4.2.5.
Топливные трубопроводы должны быть надлежащим образом закреплены и защищены от механических повреждений.
4.10.1.4.2. Топливные трубопроводы должны быть отделены от трубопроводов других систем, не должны прокладываться над двигателями внутреннего сгорания, газовыпускными трубопроводами, щитами электрооборудования и пультами управления.
В исключительных случаях допускается прокладка трубопроводов над указанным выше оборудованием при условии, что в этих районах они не будут иметь разъемных соединений.
4.10.1.4.3. С лицевой и боковой сторон распределительных щитов и пультов управления топливные трубопроводы могут прокладываться на расстоянии не менее 500 мм при условии, что на протяжении 1000 мм от пультов и щитов они не будут иметь разъемных соединений или на соединениях будут установлены оградительные кожухи и в соответствующих местах будут установлены поддоны, предотвращающие попадание топлива на оборудование или источники воспламенения.
4.10.1.4.4. Приемные трубопроводы топлива от цистерн вместимостью более 50 л, а также трубопроводы, предназначенные для выравнивания уровня жидкости в цистернах, расположенных вне междудонного пространства, должны быть оборудованы запорными клапанами, установленными непосредственно на цистернах, с дистанционными закрытиями из всегда доступных мест, расположенных вне того помещения, в котором находятся цистерны.
4.10.1.4.5. Для удаления воды на расходных и отстойных цистернах должны предусматриваться клапаны самозапорного типа и трубопроводы в сточные цистерны.
На сточных трубопроводах должны устанавливаться жаростойкие смотровые стекла. При наличии поддонов вместо стекол допускается применение открытых воронок.
4.10.1.4.6. Цистерны, насосы, фильтры и другое оборудование в местах возможной утечки топлива должны снабжаться поддонами.
Сточные трубы от поддонов должны быть отведены в сточные цистерны.
Внутренний диаметр сточных труб должен быть не менее 25 мм.
Отвод сточных труб в льяла не допускается.
На судах прибрежного плавания, на поддонах допускается установка запорных пробок или местных сточных труб с запорными устройствами, позволяющими осуществлять сбор утечек топлива в переносные емкости.
4.10.1.4.7. Сточные цистерны должны быть оборудованы датчиком АПС о заполнении на 80% объема цистерны.
Если сточная цистерна является общей для сточных труб из поддонов или емкостей, расположенных в разных водонепроницаемых отсеках, то должны быть предусмотрены конструктивные меры, предотвращающие перелив воды из одного затопленного отсека в другой через открытые концы сточных труб.
4.10.1.5. Бензиновые трубопроводы
4.10.1.5.2. Топливный трубопровод должен быть доступен для осмотра на всем своем протяжении. Количество разъемных соединений трубопровода должно быть минимальным. Соединения труб должны быть выполнены без прокладок.
4.10.1.5.3. Для удаления воды на расходных и отстойных цистернах должны предусматриваться клапаны самозапорного типа и трубопроводы в сточные цистерны.
На сточных трубопроводах должны устанавливаться жаростойкие смотровые стекла.
При отсутствии сточных цистерн удаление воды из расходных цистерн должно предусматриваться в переносную емкость, оборудованную огнепреградительной сеткой.
В этом случае самозапорный клапан должен иметь гайку-заглушку на сливном конце.
4.10.2. Расположение топливных цистерн и топливных баков
4.10.2.1. Расположение топливных цистерн и топливных баков для топлива с температурой вспышки не ниже 55 °C (дизельное топливо).
4.10.2.1.1. Топливные цистерны, как правило, должны составлять часть корпусных конструкций судна и, по возможности, располагаться за пределами машинных отделений.
Если топливные цистерны, за исключением цистерн двойного дна, размещаются рядом или внутри машинного отделения, их поверхности в машинном отделении должны быть минимальными и предпочтительно должны иметь общую границу с цистернами двойного дна.
Если топливные цистерны располагаются внутри машинного отделения, то в них не должно располагаться топливо с температурой вспышки ниже 60 °C.
Топливные цистерны не должны иметь общие стенки с цистернами запаса пресной воды.
4.10.2.1.2. Топливные баки и вкладные топливные цистерны должны располагаться на непроницаемых для топлива поддонах.
4.10.2.2. Расположение топливных цистерн для топлива с температурой вспышки ниже 43 °C (дизельное топливо и бензин)
4.10.2.2.1. Топливо должно храниться только во вкладных цистернах, размещенных в отдельном отсеке, отделенном от машинного отделения и жилых отсеков газонепроницаемой переборкой и имеющем автономную естественную вентиляцию, обеспечивающую удаление паров топлива из любой точки отсека.
4.10.2.2.2. Каждая цистерна и отсек, в котором расположена цистерна, должны быть оборудованы воздушной трубой, выведенной на открытую часть палубы.
Воздушные трубы отсека и цистерн должны быть раздельными.
Выходные концы воздушных труб должны быть оборудованы постоянно прикрепленными головками с двойными огнепреградительными сетками и поплавком. Высота воздушных головок должна отвечать требованиям
4.7.1.3.
4.10.2.2.3. Топливные цистерны, расположенные в открытых машинных помещениях (отсеках), в надстройках, а также в других местах, подверженных влиянию атмосферы, должны быть защищены от воздействия солнечных лучей.
4.10.2.2.4. Топливные цистерны должны быть заземлены на судовой фундамент или плиту заземления.
4.10.2.2.5. Закрытый отсек, в котором размещаются вкладные цистерны, для хранения бензина должен быть оборудован системой углекислотного или аэрозольного пожаротушения.
4.10.2.2.6. Топливные баки, которые поставляются в комплекте с подвесными двигателями, должны иметь штатное крепление во избежание их перемещения и повреждения топливного трубопровода или гибкого топливного шланга.
4.10.2.3. Топливные цистерны
4.10.2.3.1. Топливные цистерны должны быть изготовлены из углеродистой стали, коррозионно-стойкой стали или из сплавов алюминия.
На топливных цистернах, изготовленных из сплавов алюминия, не должна устанавливаться арматура из медных сплавов.
4.10.2.3.2. Толщина стенок топливных цистерн должна быть не менее указанной в табл. 4.10.2.3.2.
Таблица 4.10.2.3.2
Емкость цистерны, дм3 | Минимальная толщина стенок, мм |
Углеродистая сталь | Коррозионно-стойкая сталь | Сплав алюминия |
< 100 | | 1 | 2 |
100 - 200 | 3 | 1,5 | 3 |
200 - 500 | 4 | 2 | 4 |
500 - 1000 | 5 | 3 | 5 |
<1> Для оцинкованных (по внешней стороне) цистерн допускается 1,5 мм. |
Материалы, применяемые для изготовления топливных цистерн, должны соответствовать требованиям
части XI "Материалы".
Применение иных материалов является в каждом случае предметом специального рассмотрения Регистром.
4.10.2.3.3. Крепление топливных цистерн, изготовленных из сплавов алюминия, должно быть из сплавов алюминия или из коррозионно-стойкой стали.
4.10.2.3.4. Внутренние поверхности топливных цистерн не должны быть окрашены или оцинкованы. Внешняя поверхность топливных цистерн должна быть надежно защищена от коррозии.
Конструкция топливных цистерн и их установка должны исключать возможность сбора на их внешней поверхности воды.
4.10.2.3.5. Конструкция цистерны должна выдерживать пробное давление не менее 0,02 МПа. При необходимости конструкция цистерны должна иметь жесткости или внутренние переборки.
4.10.2.3.6. Топливные цистерны для бензина, по возможности, не должны иметь отверстий и арматуры, расположенных не на верхней плоскости (на крыше) цистерны.
Если все же арматура устанавливается на боковых стенках, она должна устанавливаться непосредственно на стенке на приварышах.
4.10.2.3.7. Топливные цистерны должны иметь горловины для осмотра внутренней поверхности:

- для цистерн объемом от 50 до 500 дм3;
350 x 450 мм - для цистерн объемом более 500 дм3.
4.10.2.3.8. Каждая топливная цистерна должна иметь устройство замера уровня или количества топлива.
4.10.2.3.8.1. Топливные цистерны для дизельного топлива могут быть оборудованы измерительными трубами или указательными колонками.
Указательные колонки должны иметь прозрачные небьющиеся вставки из искусственного материала или стекла, сохраняющие свои свойства при воздействии топлива.
Между указателем уровня и цистерной в нижней части должен быть установлен самозакрывающийся запорный орган. Если указатель уровня соединяется с цистерной ниже самого высокого возможного уровня жидкости, такой орган должен быть установлен и в верхней части цистерны.
Применение иных устройств замера уровня топлива является в каждом случае предметом специального рассмотрения Регистром.
4.10.2.3.8.2. Топливные цистерны для бензина должны быть оборудованы датчиком уровня с указателем, установленным на посту управления судном.
Датчик должен быть искробезопасного исполнения.
4.10.2.3.9. Могут применяться топливные цистерны для дизельного топлива и бензина, соответствующие требованиям международного стандарта ISO 21487:2006.
4.10.2.4. Топливные цистерны не должны непосредственно примыкать к жилым помещениям. Воздушное пространство между топливной цистерной и жилым помещением должно эффективно вентилироваться.
Топливные цистерны, расположенные в машинном помещении (см.
1.2.1 части X "Противопожарная защита"), должны быть изготовлены из стали или равноценного материала.
4.10.3. Наполнение цистерн и переносных канистр запаса топлива
4.10.3.1. Прием жидкого топлива на судно должен производиться через постоянный трубопровод, снабженный арматурой, обеспечивающей подачу топлива во все цистерны основного запаса.
Приемные трубопроводы топлива на многокорпусных судах должны допускать заполнение и перекачку топлива из цистерн одного корпуса в цистерны другого.
Трубопровод наполнения топлива должен доводиться до днища цистерны с зазором не менее 1/2 внутреннего диаметра трубы.
4.10.3.2. Место приема топлива должно быть ограждено комингсом, предотвращающим распространение топлива при утечках из наполнительного трубопровода.
Приемная труба должна иметь надежное закрытие. Если в качестве приемного устройства применяются палубные втулки, они должны иметь пробку, изготовленную из сплавов на медной основе.
4.10.3.3. Наполнительные трубопроводы цистерн, расположенных выше второго дна, а также наполнительные трубопроводы цистерн междудонного пространства должны присоединяться к их верхним частям.
Если это неосуществимо, наполнительные трубы должны иметь невозвратные клапаны, устанавливаемые непосредственно на цистернах.
Когда наполнительная труба используется в качестве приемной, вместо невозвратного клапана следует устанавливать запорный клапан с дистанционным закрытием, выведенным в доступное место за пределами помещения, в котором находится цистерна.
4.10.3.4. Приемный трубопровод бензина должен обеспечивать электрическую проводимость от приемной втулки до заполняемых цистерн.
4.10.3.5. Приемный трубопровод бензина должен быть оборудован легкодоступным водоотделителем-сепаратором, при отсутствии которого заправка топлива должна производиться через воронку с водоотделительной сеткой (с ячейкой 0,5 x 0,5 мм).
4.10.3.6. Для наполнения топливных цистерн, расположенных в открытых машинных помещениях (отсеках), должен быть предусмотрен выведенный на уровень открытой палубы патрубок с ограждением, предотвращающим попадание топлива внутрь корпуса, оборудованный закрытием, выполненным из металла, исключающего искрообразование, либо из негорючего материала, стойкого к воздействию топлива и не поглощающего его.
4.10.3.7. Переносные топливные баки, которые поставляются в комплекте с подвесными двигателями, должны наполняться вне пределов судна.
4.10.4. Подвод топлива к двигателям внутреннего сгорания
4.10.4.1. Оборудование топливной системы должно обеспечивать подвод топлива, надлежащим образом подготовленного и очищенного в степени, требуемой для данного двигателя.
4.10.4.2. Система подвода топлива к двигателям, установленным в машинных помещениях или отсеках, должна быть стационарной.
На расходных цистернах рекомендуется установка быстрозапорного клапана с дистанционным закрытием, выведенным в доступное место за пределами помещения, в котором находится цистерна.
4.10.4.3. Система подвода топлива к двигателям (подвесным двигателям), установленным на транце судна, может быть выполнена из гибких соединений (шлангов), отвечающих требованиям
4.1.6.2.
4.10.4.4. Топливные фильтры, устанавливаемые на трубопроводах подвода топлива к двигателям, должны обеспечивать их очистку без прекращения работы двигателя.
4.10.4.5. Подвод топлива к карбюраторным (бензиновым) двигателям внутреннего сгорания
4.10.4.5.2. Трубопровод и арматура должны быть расположены на стороне двигателя, противоположной выхлопному коллектору.
4.10.4.5.3. Трубопровод от топливной расходной цистерны (или расходного бака-канистры, которая поставляется в комплекте с подвесными двигателями) к двигателю должен быть оборудован быстрозапорным клапаном с дистанционным закрытием, выведенным в доступное место за пределами помещения/пространства, в котором находится цистерна или бак.
Клапан должен устанавливаться непосредственно на стенке цистерны или расходного бака-канистры.
4.11. СИСТЕМА СМАЗОЧНОГО МАСЛА
4.11.1. Масляные насосы двигателей внутреннего сгорания, передач и муфт
4.11.1.1. При одном главном двигателе на моторных судах проектных категорий A, A1, A2 и B должно быть не менее двух насосов циркуляционной смазки равной подачи - основного и резервного, один из которых может иметь привод от главного двигателя.
Резервный насос может не предусматриваться при наличии на судне запасного насоса, доступного к монтажу в судовых условиях.
На парусно-моторных и моторно-парусных судах резервный насос может не предусматриваться.
4.11.1.2. При наличии двух и более главных двигателей на судах проектных категорий A, A1, A2 и B достаточно предусматривать по одному масляному насосу для каждого двигателя и один резервный насос с независимым приводом и подачей, достаточной для обеспечения работы каждого из двигателей.
Резервный насос может не предусматриваться при наличии на судне запасного насоса, доступного для монтажа в судовых условиях.
На парусно-моторных и моторно-парусных судах резервный насос может не предусматриваться.
4.11.1.3. Насосы смазочного масла главных зубчатых передач, если они независимы от систем смазки главных двигателей, должны соответствовать требованиям
4.11.1.1 и
4.11.1.2 для главных двигателей.
4.11.2. Подвод смазочного масла к двигателям и передачам
4.11.2.1. Трубопроводы системы смазочного масла не должны соединяться с трубопроводами другого назначения.
4.11.2.2. В системе циркуляционной смазки должна быть предусмотрена эффективная очистка масла, при этом должна быть предусмотрена возможность очистки масляного фильтра без остановки двигателя и должны быть установлены:
1. На всасывающем трубопроводе насоса зубчатых передач, как правило, - магнитный фильтр;
2. На всасывающем трубопроводе насоса - один фильтр грубой очистки (сетка); на нагнетательном трубопроводе насоса главного двигателя - два параллельных фильтра, или один сдвоенный переключаемый фильтр, или один самоочищающийся фильтр.
Пропускная способность каждого масляного фильтра должна превышать на 10% наибольшую подачу насоса.
4.11.2.3. Система смазочного масла должна снабжаться манометром, показывающим давление масла после фильтра перед поступлением в двигатель.
Манометр, показывающий давление масла за маслоохладителем или за фильтром перед поступлением в двигатель стационарно устанавливаемых двигателей, должен быть вынесен на пост управления.
| | ИС МЕГАНОРМ: примечание. В официальном тексте документа, видимо, допущена опечатка: требование 4.10.1.7 в тексте документа отсутствует. | |
4.11.2.4. В части сбора утечек смазочного масла применимы требования 4.10.1.7.
4.11.3. Масляные цистерны
4.11.3.1. Масляные цистерны не должны иметь общих стенок с цистернами пресной воды.
4.11.3.2. На судах проектных категорий A, A1, A2 и B должна быть предусмотрена запасная цистерна вместимостью, достаточной для заполнения системы маслом до рабочего состояния.
Цистерна должна располагаться вне двойного дна.
На парусно-моторных и моторно-парусных судах запасная цистерна может не предусматриваться.
4.11.3.3. Приемные трубы от цистерн должны быть снабжены запорными клапанами, установленными непосредственно на цистернах.
4.11.3.4. Для масляных цистерн, расположенных в машинных помещениях, должны быть выполнены требования 4.10.1.7 и
2.7.2.
4.12. СИСТЕМЫ ОХЛАЖДЕНИЯ ДВИГАТЕЛЕЙ ВНУТРЕННЕГО СГОРАНИЯ
4.12.1. Насосы
4.12.1.1. Система водяного охлаждения главных двигателей судов проектных категорий A, A1, A2 и B должна соответствовать следующим требованиям.
4.12.1.1.1. Система охлаждения забортной водой одного главного двигателя должна быть оборудована двумя насосами, один из которых является резервным. Подача резервного насоса должна быть не менее подачи основного насоса. По крайней мере один из насосов должен иметь независимый привод.
Резервный насос может не предусматриваться при наличии на судне запасного насоса, доступного к монтажу в судовых условиях.
Система охлаждения главного двигателя пресной водой должна соответствовать этим же требованиям.
Допускается иметь один общий резервный насос с независимым приводом для пресной и забортной воды, подача которого должна быть не менее подачи основных насосов, при этом должны быть приняты меры, не допускающие смешение пресной и забортной воды.
На парусно-моторных и моторно-парусных судах резервный насос может не предусматриваться.
4.12.1.1.2. В системе охлаждения забортной водой двух и более главных двигателей, обслуживаемых каждый отдельным насосом охлаждения, должен устанавливаться один резервный насос с независимым приводом, обеспечивающий работу каждого двигателя на максимальной нагрузке.
Резервный насос может не предусматриваться при наличии на судне запасного насоса, доступного к монтажу в судовых условиях.
Система охлаждения главного двигателя пресной водой должна соответствовать этим же требованиям.
Допускается устанавливать один общий резервный насос с независимым приводом для пресной и забортной воды, подача которого должна обеспечивать охлаждение пресной или забортной водой любого из двигателей, при этом должны быть приняты меры, не допускающие смешение пресной и забортной воды.
На парусно-моторных и моторно-парусных судах резервный насос может не предусматриваться.
4.12.1.1.3. Охлаждение нескольких двигателей допускается производить одним насосом с независимым приводом. В этом случае подача насоса должна быть достаточной для одновременного охлаждения всех двигателей при работе их на максимальной нагрузке. При этом должен быть предусмотрен один резервный насос, подача которого должна быть не менее подачи основного насоса, охлаждающего одновременно все двигатели.
На охлаждающем трубопроводе перед каждым двигателем должен быть предусмотрен клапан для регулирования количества охлаждающей воды.
4.12.1.1.4. В установках со знаком автоматизации в символе класса должны предусматриваться отдельные резервные насосы охлаждения для пресной и забортной воды, подача которых должна быть не менее подачи основных насосов.
4.12.1.2. Система водяного охлаждения главных двигателей судов проектных категорий C, C1 и C2 должна соответствовать следующим требованиям.
4.12.1.2.1. Система охлаждения забортной водой одного главного двигателя должна быть оборудована, как правило, одним насосом с приводом от главного двигателя, однако должны быть предусмотрены: возможность непосредственного охлаждения двигателя забортной водой или наличие на судне запасного насоса, доступного к монтажу в судовых условиях.
4.12.1.2.2. В системе охлаждения забортной водой двух и более главных двигателей, обслуживаемых каждый отдельным с приводом от главного двигателя насосом охлаждения. Резервирование охлаждения забортной водой не является обязательным.
4.12.1.3. В качестве резервных охлаждающих насосов могут применяться осушительные или другие насосы общесудового назначения, используемые только для чистой воды.
Применение для этой цели пожарных насосов допускается при условии выполнения требований
части X "Противопожарная защита".
4.12.2. Прокладка трубопроводов
4.12.2.1. Система водяного охлаждения главных двигателей судов проектных категорий A, A1, A2 и B должна обслуживаться не менее чем двумя кингстонными ящиками - днищевым и бортовым или днищевым и ледовым, расположенными в машинном отделении и соединенными между собой.
4.12.2.2. Система водяного охлаждения главных двигателей судов проектных категорий C и C1 может обслуживаться одним кингстонным ящиком - днищевым, бортовым или ледовым.
4.12.2.3. Система водяного охлаждения главных двигателей судов проектных категорий C2, C3 и D может быть оборудована только донной арматурой приема забортной воды, которая должна удовлетворять требованиям
4.4.3.1.
4.12.2.4. В системах охлаждения главных двигателей, установленных на транце, допускается самостоятельный прием забортной воды.
В системах охлаждения вспомогательных двигателей допускается самостоятельный прием забортной воды, оборудованный только донной арматурой приема забортной воды, которая должна удовлетворять требованиям
4.4.3.1.
4.12.2.5. На приемных магистралях охлаждающей забортной воды главных и вспомогательных двигателей внутреннего сгорания следует устанавливать фильтры. Фильтры должны оборудоваться устройством, позволяющим убедиться перед их вскрытием в отсутствии давления. Должна предусматриваться возможность очистки фильтра без прекращения работы охлаждающих насосов.
4.12.3. Охлаждение двигателей внутреннего сгорания
4.12.3.1. В системе охлаждения двигателя пресной водой должна быть предусмотрена расширительная цистерна, уровень воды в которой должен быть выше максимального уровня воды в двигателе. Расширительная цистерна должна присоединяться к приемным трубопроводам насосов и может быть общей в системе охлаждения нескольких двигателей.
Цистерна должна быть оборудована устройством контроля уровня жидкости.
В системе охлаждения двигателей расположение отливного трубопровода забортной воды должно обеспечивать заполнение водой самых высоких охлаждаемых полостей двигателей, водо- и маслоохладителей, а также исключать образование застойных зон.
4.12.3.2. В системе охлаждения двигателей внутреннего сгорания пресная охлаждающая вода может охлаждаться в водоохладителях, охлаждаемых забортной водой, потоком воздуха или в килевых системах охлаждения.
4.12.3.3. Система охлаждения должна быть оборудована термометрами и устройством для регулирования температуры охлаждающей воды.
Рекомендуется оборудовать систему охлаждения предупредительной сигнализацией предельной температуры охлаждающей воды.
4.12.4. Килевые системы охлаждения стационарно установленных двигателей внутреннего сгорания
4.12.4.1. Для судов проектных категорий A, A1 и A2, имеющих один главный двигатель, должно быть предусмотрено не менее двух забортных охладителей, один из которых является резервным.
Для судов, имеющих два и более главных двигателя, должен быть предусмотрен один резервный охладитель, обеспечивающий работу каждого из двигателей.
4.12.4.2. Каждый охладитель должен быть оборудован устройством для отвода воздуха.
Должны быть предусмотрены устройства для спуска охлаждаемой среды из охладителей.
4.12.5. Система воздушного охлаждения
4.12.5.1. Главные двигатели внутреннего сгорания с системой непосредственного охлаждения воздухом моторно-парусных и парусно-моторных судов, а также судов прибрежного плавания должны быть оборудованы приводным от двигателя нагнетателем охлаждающего воздуха.
На судне должен быть предусмотрен запасной нагнетатель охлаждающего воздуха и элементы привода, позволяющие установить его в судовых условиях.
Для вспомогательных двигателей это требование необязательно.
Применение главных двигателей внутреннего сгорания с системой непосредственного охлаждения воздухом на судах проектных категорий A, A1, A2, B и C в каждом случае является предметом специального рассмотрения Регистром.
4.12.5.2. При двигателях внутреннего сгорания с непосредственным воздушным охлаждением или с воздушным охлаждением теплообменника пресной воды выбрасываемый воздух не должен вызывать недопустимого подогрева окружающей среды машинного помещения.
Как правило, отработавший воздух должен быть выведен в специальных каналах на открытую часть палубы.
4.13. СИСТЕМА СЖАТОГО ВОЗДУХА
4.13.1. Число воздухохранителей, компрессоры, запас пускового воздуха и прокладка трубопроводов
4.13.1.1. Если на судне предусмотрены главные или вспомогательные двигатели внутреннего сгорания, пуск которых осуществляется сжатым воздухом или сжатым газом от газоотборочных устройств двигателей, требования к числу воздухохранителей, компрессорам и запасу пускового воздуха с учетом всех потребителей, прокладке трубопроводов должны отвечать требованиям разд. 16 части VIII "Системы и трубопроводы" Правил классификации и постройки морских судов в той мере, насколько они применимы и достаточны, если ниже не оговорено иное.
4.13.1.2. Воздухохранители должны быть оборудованы устройством для полного удаления из них влаги.
Воздухохранители должны отвечать требованиям, указанным в разд. 6 части X "Котлы, теплообменные аппараты и сосуды под давлением" Правил классификации и постройки морских судов в той мере, насколько они применимы и достаточны, если ниже не оговорено иное.
4.13.2. Трубопроводы сжатого воздуха пневматических приборов, общесудовых потребителей, систем управления и автоматизации на судах без системы пуска двигателей сжатым воздухом
4.13.2.1. Если на судне предусмотрен тифон, вместимость специального воздухохранителя для тифона должна определяться из условия непрерывного действия тифона в течение 2 мин, при этом часовая подача компрессора должна быть не менее требуемой для непрерывного действия тифона в течение 8 мин.
Если устанавливается воздухохранитель, предназначенный для работы тифона и других потребителей, вместимость его должна быть увеличена по сравнению с требуемой для тифона, при этом должна быть предусмотрена автоматическая подкачка воздухохранителя или сигнализация, включающаяся при снижении запаса воздуха в воздухохранителе до предусмотренного только для тифона.
4.13.2.2. Если на судне предусмотрен тифон, допускается установка одного компрессора с независимым приводом с подачей не менее расхода на тифон согласно
4.13.2.1.
Если на судне не предусматривается тифон, компрессор может быть навешенным на главный двигатель или с ручным приводом, при условии возможности заполнения воздухохранителя береговыми средствами.
4.13.2.3. Воздухохранители должны отвечать требованиям
4.13.1.2.
4.14. СИСТЕМЫ СЖИЖЕННОГО ГАЗА
4.14.1. Общие требования
4.14.1.1. Требования настоящей главы распространяются на стационарные установки, работающие при давлении до 500 мм вод. ст. и состоящие, в общем виде, из одного баллона для газа с массой газа не более 11 кг, одного или нескольких регуляторов давления, распределительной сети и максимум двух одновременно потребляющих газ приборов. Более сложные системы являются предметом специального рассмотрения Регистром.
4.14.1.2. На судах должны использоваться установки одобренного типа, соответствующие требованиям настоящей части Правил и изготовленные в соответствии с предписаниями компетентной организации. Установки, не являющиеся стационарными, могут использоваться только в том случае, если они отвечают особым требованиям, предписанным компетентной организацией.
4.14.1.3. На судах допускается применение только топливного углеводородного сжиженного газа с названием "пропан", "бутан", "пропилен", "бутилен", соответствующего требованиям действующих национальных стандартов. Установки, работающие на газе, должны во всех своих деталях быть пригодными для использования газа "пропан".
4.14.1.4. Установки, работающие на сжиженном газе, допускается использовать на судах только для бытовых целей: приготовления пищи и в водо- или воздухоподогревателях, потребляющих не более 1,5 кг сжиженного газа в час. Применение сжиженного газа в иных целях является предметом специального рассмотрения Регистром.
4.14.1.5. Не допускается расположение элементов установок, работающих на сжиженном газе, в машинном помещении.
4.14.1.6. Элементы установок сжиженного газа не допускается располагать в пределах грузовых помещений.
4.14.1.7. Обслуживание установкой газовых приборов, разделенных грузовой зоной или встроенной цистерной, не допускается.
4.14.1.8. Отверстия в палубе, расположенные на расстоянии менее 3 м от дверей или других типов закрытий помещений или пространств, в которых расположены элементы бытовых установок сжиженного газа, должны иметь комингсы не менее 150 мм.
4.14.1.9. Все оборудование судовых бытовых установок, включая газопроводы, должно иметь надежное крепление.
4.14.1.10. Возле газового баллона рекомендуется размещать предупреждающую надпись "БАЛЛОН ГАЗА. ВЕНТИЛЬ ОТКРЫВАТЬ НА ВРЕМЯ ПОЛЬЗОВАНИЯ ГАЗОВЫМ ПРИБОРОМ. ПЕРЕД ПОГАСАНИЕМ ПЛАМЕНИ ВЕНТИЛЬ ЗАКРЫТЬ".
4.14.2. Сосуды сжиженного газа
К установке на судно допускаются только баллоны, соответствующие национальным стандартам, с массой наполнения до 11 кг.
В особых случаях Регистр может допустить баллоны с большей массой наполнения.
4.14.3. Потребители газа и помещения для их установки
4.14.3.1. Все потребители газа, устанавливаемые на судне, должны иметь одобрение компетентной организации.
4.14.3.2. Потребители газа должны быть снабжены устройствами, эффективно препятствующими утечке газа в случае потухания горелки и пускового факела. Для водо- и воздухоподогревателей данное устройство должно иметь контрольное пламя.
Отсутствие такого устройства может быть допущено по согласованию с Регистром для приборов, установленных в помещениях выше верхней палубы и эксплуатируемых только в присутствии обслуживающего персонала.
4.14.3.3. Водо- и воздухоподогреватели должны быть оборудованы дымоходами, если их конструкцией предусмотрен отвод продуктов сгорания за пределы помещения.
4.14.3.4. Размещение потребляющего газ оборудования в рулевой рубке допускается только в случае отсутствия каналов, создающих возможность проникновения газа во внутренние помещения судна.
4.14.3.5. Помещения, в которых установлены потребители газа, должны быть оборудованы в соответствии с изложенным в
2.4, а также должны удовлетворять следующим требованиям:
1. Располагаться не ниже верхней палубы и иметь естественную вентиляцию, обеспечивающую эффективное удаление продуктов сгорания и воздухообмен и не имеющую запорных приспособлений на вентиляционных каналах и решетках.
Установки с баллонами емкостью не более 3 кг сжиженного газа могут устанавливаться ниже палубы в жилых помещениях при условии, что газовый прибор будет смонтирован непосредственно на баллоне или будет соединен с баллоном эластичным газопроводом длиной не более 1,5 м, а баллон будет расположен так, чтобы обеспечивался свободный и быстрый доступ к вентилю, перекрывающему поступление газа;
2. Иметь выход на открытую палубу и открывающийся иллюминатор (окно). Допускается не предусматривать в камбузе открывающийся иллюминатор (окно), если открывающийся иллюминатор или дверь, выходящие непосредственно на открытую палубу, расположены в смежном нежилом помещении или коридоре;
3. Если помещение хотя бы частично находится ниже верхней палубы, оно должно быть оборудовано искусственной вентиляцией, а над газовой плитой должен быть установлен вытяжной колпак;
4. В нижней части помещения подогревателей должна быть предусмотрена вентиляционная решетка с площадью поперечного сечения не менее 0,02 м2 на каждый водоподогреватель;
5. Переборки и палубы должны быть непроницаемыми; комингсы дверных вырезов должны быть высотой не менее 150 мм. Установка трапов и лифтов из них в нижерасположенные помещения не допускается;
6. Высота помещения должна быть не менее 2,2 м. При устройстве вытяжного зонта, выходящего за габаритные размеры плиты, высота помещений может быть уменьшена до 1,9 м;
7. У входа в помещение потребителей газа должен быть установлен порошковый или углекислотный огнетушитель;
8. На видном месте должна быть укреплена табличка с инструкцией по эксплуатации установок и технике безопасности.
4.14.3.6. Расстояние от газовых приборов до переборок должно быть не менее 75 мм.
4.14.4. Распределительный пост
4.14.4.1. Распределительный пост должен размещаться на открытой палубе в специальном шкафу или в газонепроницаемой выгородке надстройки с дверью, которая должна открываться снаружи с открытой палубы.
4.14.4.1.1. При необходимости должны быть предусмотрены конструктивные мероприятия, исключающие повышение температуры баллонов, размещенных в посту, выше 40 °C.
4.14.4.1.2. Не должно предусматриваться искусственное освещение, в исключительных случаях освещение должно осуществляться электрическими лампами одобренного типа взрывобезопасного исполнения, при этом выключатель должен находиться на внешней стороне поста.
4.14.4.1.3. При утечке газа не должна возникать угроза его проникновения во внутренние помещения судна или его контакта с возможными источниками возгорания.
4.14.4.1.4. На внешней стороне поста или на дверях должна быть хорошо видимая надпись "ОПАСНО: ГАЗ!" и пиктограмма (условное обозначение), предупреждающая об опасности взрыва и запрещающая применение открытого огня и курение.
4.14.4.1.5. Распределительный пост должен иметь достаточную вентиляцию через отверстия в верхней и нижней его части.
4.14.4.1.6. Специальный шкаф распределительного поста должен быть изготовлен из негорючего материала и не должен располагаться возле фальшборта.
4.14.4.2. В зависимости от количества установленных баллонов распределительный пост должен отвечать следующим требованиям.
4.14.4.2.1. При установке одного баллона, подключенного к сети, для присоединения редукционного клапана, расположенного на головке баллона, к трубопроводу сжиженного газа может применяться резинотканевый рукав с металлическими хомутами, обеспечивающими герметичность и надежность крепления. В посту может быть установлен один запасной баллон.
4.14.4.2.2. При установке двух баллонов, подключенных к сети, один из которых является расходным, а другой - резервным, подключение обоих баллонов к коллектору распределительной сети выполняется согласно 4.14.4.2.1. Между каждым баллоном и коллектором должен устанавливаться запорный клапан или кран, а в посту должна иметься надпись, запрещающая одновременное использование обоих баллонов. В посту может быть установлен один запасной баллон.
4.14.4.3. Устанавливаемые на судне баллоны должны иметь клейма компетентных органов, а также данные о дате гидравлических испытаний пробным давлением и роде наполняемого газа.
4.14.4.4 Баллоны сжиженного газа должны устанавливаться вертикально, клапанами вверх, в специальных гнездах из материала, исключающего искрообразование, и крепиться к конструкциям поста быстроразъемными соединениями.
4.14.4.5. Не допускается размещение в распределительном посту оборудования, которое не имеет к нему отношения.
4.14.4.6. Запасные и пустые баллоны должны храниться в шкафу или в закрытом помещении, отвечающем требованиям
4.14.4.
4.14.5. Трубопроводы сжиженного газа и их арматура
4.14.5.1. Трубопроводы сжиженного газа должны выполняться из бесшовных стальных или медных труб внутренним диаметром не менее 6 мм.
4.14.5.2. Толщина стенок трубопроводов должна соответствовать требованиям графы 2 или 5
табл. 4.2.5.1.
4.14.5.3. Соединения трубопроводов должны быть сварными. Резьбовые или фланцевые соединения допускаются только в местах присоединения контрольно-измерительных приборов, потребителей газа и арматуры.
4.14.5.4. У выхода за пределы распределительного поста на трубопроводе должен быть установлен запорный кран или клапан, управляемый извне помещения. Если такое исполнение невозможно, то с наружной стороны поста у выхода трубопровода должен устанавливаться второй запорный кран или клапан.
4.14.5.5. Трубопроводы от распределительного поста до мест потребления газа должны быть проложены по открытой палубе и защищены от механических повреждений.
Не допускается прокладка трубопроводов сжиженного газа через жилые, служебные и машинные помещения.
4.14.5.6. Если на судне предусматривается установка нескольких потребителей газа, то на каждом ответвлении от общего трубопровода к потребителю должна быть установлена запорная арматура.
4.14.5.7. Редукционные клапаны, устанавливаемые в системе, должны обеспечивать давление газа, подводимого к потребителям, но не более 0,005 МПа.
В случае применения двухступенчатых редукционных клапанов промежуточное давление должно быть не более 0,25 МПа.
Редукционный клапан или первая ступень снижения давления при двухступенчатых редукционных клапанах должны быть установлены в распределительном посту установки; при этом клапан должен быть установлен на участке трубопровода от баллона до запорного клапана и крепиться к переборкам поста или к коллектору поста.
4.14.5.8. Запорные клапаны на трубопроводе должны быть расположены в легкодоступном месте.
Запорный клапан должен иметь ограничитель, допускающий поворот на 90°, и указатель положений "открыто" и "закрыто".
4.14.5.9. Вся арматура должна быть изготовлена из бронзы, латуни или из другого коррозионно-стойкого материала.
4.14.6. Испытание установки сжиженного газа
4.14.6.1. Трубопроводы сжиженного газа от баллонов до редукционных клапанов должны испытываться:
в цехе - гидравлическим давлением 2,5 МПа;
на судне - давлением воздуха 1,7 МПа.
Трубопроводы сжиженного газа от редукционных клапанов до потребителей газа на судне после монтажа должны испытываться на герметичность воздухом с избыточным давлением 0,02 МПа.
4.14.6.2. Вся установка сжиженного газа после монтажа ее на судне должна быть проверена на герметичность при действии нормального рабочего давления в системе. Проверка производится с помощью мыльного раствора, при этом не должно наблюдаться утечки газа.
4.14.6.3. Должна быть проверена нормальная работа потребителей газа, включая автоматическое приспособление для прекращения подвода газа к потребителю.
4.15. КАЛОРИФЕРНЫЕ УСТАНОВКИ И ОТОПИТЕЛЬНЫЕ ПРИБОРЫ
4.15.1. Калориферные установки
4.15.1.1. Калориферная установка - установка для нагрева воздуха, в которой воздух нагревается, проходя через камеру сгорания калорифера.
4.15.1.2. Калориферы не должны располагаться в жилых и служебных помещениях.
Помещения, в которых расположены калориферы, считаются машинными помещениями категории A, забор обогреваемого воздуха должен производиться извне машинных помещений. Воздухозаборные устройства калориферов, расположенные на открытых частях палубы, должны быть защищены от попадания брызг и атмосферных осадков.
4.15.1.3. Теплообменные аппараты камер сгорания калориферов должны быть герметичны и испытаны давлением не менее 0,1 МПа.
4.15.1.4. Вентиляционные каналы горячего воздуха и трубопроводы отвода продуктов сгорания должны быть изготовлены из стали или равноценного по огнестойкости материала. На трубопроводах отвода продуктов сгорания не должно быть запорной арматуры.
4.15.1.5. Подвод воздуха для горения должен осуществляться автономной воздуходувкой. Перед включением форсунки калорифера топочная камера должна вентилироваться с помощью воздуходувки не менее 5 с.
4.15.1.6. Трубопроводы подвода топлива к калориферам должны отвечать требованиям
4.10. Возможность попадания топлива на трубопроводы горячего воздуха и уходящих газов должна быть исключена.
4.15.1.7. Подача топлива к калориферу должна автоматически прекращаться при:
обрыве факела;
прекращении или недостаточном напоре воздуха для горения;
превышении температуры нагреваемого воздуха выше заданного значения;
обрыве электропитания.
После срабатывания защиты приведение в действие калорифера должно быть возможно только с местного поста управления.
4.15.1.8. Должна предусматриваться возможность выключения подачи топлива, воздуходувок нагреваемого воздуха и воздуха для горения из двух мест, одно из которых расположено вне машинного помещения.
4.15.2. Отопительные приборы
4.15.2.1. Все обогреватели должны быть такой конструкции и размещены таким образом, чтобы от них не могли воспламениться оборудование, а также одежда и багаж лиц, находящихся в помещении.
4.15.2.2. Обогреватели должны устанавливаться на расстоянии не менее 50 мм от бортов или от переборок. Если борта или переборки обшиты деревом, фанерой или другим горючим материалом, то участки, на которых расположены нагревательные элементы, должны быть защищены тепловой изоляцией из негорючего материала. Если такая тепловая изоляция отсутствует, нагревательные элементы должны отстоять от деревянной, фанерной или другой горючей зашивки не менее чем на 150 мм.
1.1. ОБЛАСТЬ РАСПРОСТРАНЕНИЯ И ОБЩИЕ ТРЕБОВАНИЯ
1.1.1. Требования настоящей части распространяются на автоматизированные и дистанционно управляемые механические установки малых судов, для которых предусмотрен дополнительный знак автоматизации AUT в символе класса судна (см.
2.2.7 части I "Классификация").
1.1.2. Требования настоящей части должны выполняться, если предусматривается эксплуатация механической установки судна без постоянного присутствия обслуживающего персонала в машинных помещениях.
Требования настоящей части не распространяются на суда, имеющие подвесной двигатель, управляемый с места его установки.
1.1.3. Для судов с электродвижением объем автоматизации для получения знака автоматизации в символе класса является предметом специального рассмотрения Регистром.
1.1.4. Механическое, электрическое и электронное оборудование, а также конструктивные элементы систем автоматизации и сами механизмы должны отвечать требованиям соответствующих частей настоящих Правил.
1.1.5. Требования настоящей части распространяются на оборудование автоматизации, согласно
1.3.2, также в случаях, когда в целом судну не присваивается знак AUT в символе класса.
1.2. ОПРЕДЕЛЕНИЯ И ПОЯСНЕНИЯ
1.2.1. В настоящей части приняты следующие определения и пояснения
Автоматизированная механическая установка - установка, оборудованная автоматизированным управлением главными и вспомогательными механизмами и их системами, средствами дистанционного контроля, сигнализации и автоматической защиты.
Система дистанционного автоматизированного управления (ДАУ) - система управления, с помощью которой можно задавать с дистанционного поста желаемый режим работы механизма однократным воздействием на орган управления (например, рукоятку), выполняющая в дальнейшем автоматически все промежуточные действия.
Система дистанционного управления (ДУ) - система управления, при использовании которой для выполнения промежуточных действий требуется воздействие оператора на органы управления, расположенные на дистанционном посту.
Система аварийно-предупредительной сигнализации (АПС) - оборудование, предназначенное для сигнализации о достижении контролируемыми параметрами установленных предельных значений и об изменении нормальных режимов работы механизмов и устройств.
Система защиты - оборудование, предназначенное для определенного автоматического воздействия на управляемую установку с целью предупреждения аварии или ограничения ее последствий.
Система индикации - оборудование, предназначенное для получения визуальной информации о значениях определенных физических параметров или об изменении определенных состояний механизмов и устройств.
Местный пост управления - пост в непосредственной близости или непосредственно на механизме, оборудованный органами управления, контрольно-измерительными приборами и средствами связи, предназначенный для управления механизмом.
Устройство автоматизации - часть системы автоматизации, составленная из элементов, соединенных в одно конструктивное и функциональное целое.
Элемент системы автоматизации - самостоятельное в конструктивном отношении изделие (например, усилитель, датчик, реле, логический элемент), используемое в устройствах и системах автоматизации.
1.3. ОБЪЕМ ТЕХНИЧЕСКОГО НАБЛЮДЕНИЯ
1.3.1. Общие положения о порядке классификации, технического наблюдения за проектированием и постройкой судов, изготовлением оборудования и деталей оборудования, освидетельствования, а также требования к технической документации, предъявляемой на рассмотрение и одобрение Регистру по судну в целом, изложены в
части I "Классификация" настоящих Правил и в Общих положениях о классификационной и иной деятельности.
1.3.2. Техническому наблюдению на судне при изготовлении и в эксплуатации подлежат следующие элементы, устройства и системы автоматизации:
1. Главных механизмов и движителей;
2. Электростанций;
3. Вспомогательных механизмов;
4. Вспомогательных котлов;
5. Аварийно-предупредительной сигнализации;
6. Других систем по требованию Регистра.
1.4. ТЕХНИЧЕСКАЯ ДОКУМЕНТАЦИЯ
1.4.1. Для перечисленного в
1.3.2 оборудования автоматизации техническая документация должна быть представлена Регистру в следующем объеме:
1. Описание принципа действия с указанием технических параметров, объема выполняемых автоматизированных операций, условий эксплуатации и других данных;
2. Чертеж общего вида;
3. Принципиальные и функциональные схемы;
4. Спецификация с указанием применяемых материалов и комплектующих изделий, в которых указаны все используемые элементы и приборы с их техническими характеристиками;
5. Перечень контролируемых параметров АПС и защиты;
6. Программа испытаний;
7. Номенклатура запасных частей.
1.4.2. Техническая документация по автоматизации в составе технического проекта судна должна быть представлена Регистру на рассмотрение до начала постройки судна в объеме, указанном в
части I "Классификация".
2. КОНСТРУКЦИЯ ОБОРУДОВАНИЯ АВТОМАТИЗАЦИИ
2.1. АВТОМАТИЗИРОВАННЫЕ ГЛАВНЫЕ МЕХАНИЗМЫ
2.1.1. Автоматизированные главные механизмы должны быть оборудованы:
1. Устройствами для дистанционного автоматизированного управления из рулевой рубки;
2. Световой сигнализацией о готовности главных механизмов (систем) к работе;
3. Сигнализацией о неисправности в системе управления и по предельным значениям контролируемых параметров;
4. Устройствами автоматической защиты, срабатывающими при выходе контролируемых параметров за пределы допустимых значений, при которых возникает угроза аварии, а также сигнализацией о срабатывании защиты;
5. Устройством для перевода управления главными механизмами с дистанционного на ручное с местного поста управления, независимо от положения рукоятки дистанционного поста управления.
2.1.2. Питание гидравлических и пневматических систем управления должно производиться от двух источников. Второй источник должен автоматически включаться при падении давления с подачей сигнала АПС.
2.1.3. Питание электрических и электронных систем управления должно осуществляться как от основного, так и от аварийного источников энергии. Цепи питания систем управления должны быть независимыми от цепей питания защиты и аварийно-предупредительной сигнализации.
2.1.4. В установках с двумя и более двигателями, работающими на один вал, система защиты должна предусматривать автоматическое отключение неисправного двигателя таким образом, чтобы оставшиеся в работе двигатели обеспечивали ход и маневрирование судна.
Система защиты главных двигателей, кроме защиты по частоте вращения, должна быть отключаемой, при этом сигнал об отключении должен быть подан в рулевую рубку и машинное отделение на посты управления.
2.1.5. Должно быть предусмотрено устройство для дистанционной экстренной остановки главных двигателей, независимое от системы управления и АПС.
2.1.6. Выход из строя системы дистанционного управления главными механизмами не должен приводить к возрастанию скорости судна, изменению направления упора винта или непреднамеренному запуску главных механизмов, а также должна быть обеспечена возможность немедленной остановки главных механизмов с дистанционного поста управления.
2.1.7. При неисправностях в системе питания систем управления переключение источников питания систем управления может производиться вручную с поста управления или автоматически, в зависимости от назначения системы.
2.1.8. На судах с главными механизмами мощностью 220 кВт и менее с вспомогательным навешенным оборудованием объем средств контроля, сигнализации и защиты может быть сокращен.
2.1.9. Для двигателей мощностью 220 кВт и менее допускается применение систем ДУ.
2.1.10. Для вспомогательных механизмов, работа которых требуется только при определенных условиях эксплуатации, может быть предусмотрено управление из рулевой рубки с подачей сигнала АПС и индикации о потребности включения этих вспомогательных механизмов.
2.1.11. Давление и температура в ответственных системах механической установки должны регулироваться автоматически.
2.2 АВТОМАТИЗИРОВАННЫЕ СУДОВЫЕ ЭЛЕКТРОСТАНЦИИ
2.1.1. Технические свойства судовой электростанции, состоящей из нескольких генераторных агрегатов, при одиночной работе генераторов должны отвечать следующим требованиям по обеспечению питания электрической энергией судна:
1. Автоматический пуск резервных генераторных агрегатов при срабатывании аварийной защиты и обесточивании шин ГРЩ;
2. Дистанционный пуск резервного генератора при срабатывании аварийной сигнализации;
3. Автоматическое включение на шины ГРЩ резервного агрегата, при обязательном отключении от шин работавшего агрегата, и прием нагрузки;
4. Автоматическое отключение неответственных потребителей электроэнергии при перегрузке генератора.
2.2.2. Технические свойства судовой электростанции должны обеспечивать непрерывность питания электрической энергией, обеспечивая при параллельной работе генераторов:
1. Автоматический пуск резервных генераторных агрегатов путем выбора последовательности их пуска;
2. Автоматическую синхронизацию, прием и распределение нагрузки;
3. Автоматическое отключение неответственных потребителей электроэнергии при перегрузке генератора (генераторов).
2.2.3. Технические свойства судовой электростанции, состоящей из одного генераторного агрегата, должны отвечать следующим требованиям по обеспечению питания электрической энергией судна:
1. Дистанционный пуск генератора;
2. Автоматическое отключение неответственных потребителей электроэнергии при перегрузке генератора.
2.2.4. При восстановлении напряжения судовой сети после обесточивания включение ответственных механизмов, необходимых для управления судном, должно осуществляться автоматически по заданной программе, причем не должна возникать перегрузка электростанции.
2.2.5. Приводные механизмы генераторов с автоматическим пуском должны быть готовыми к немедленному пуску.
При неготовности пуска должна быть предусмотрена индикация, предупреждающая о невозможности пуска агрегата.
2.2.6. Если не предусмотрена параллельная работа валогенератора и дизель-генератора и подача энергии осуществляется валогенератором, должно предусматриваться его автоматическое отключение независимо от напряжения (частоты) при пуске дизель-генератора. При раздельной работе валогенератора и дизель-генератора на не сообщенные между собой секции ГРЩ отключение валогенератора может не предусматриваться.
2.2.7. Допускается применение дизель-генераторов с устройством для дистанционного пуска и остановки приводных двигателей, синхронизацией, подключением и распределением нагрузки из рулевой рубки.
2.2.8. Контролируемые параметры автоматизированных судовых электростанций (кроме аварийных), места замера, предельные значения параметров и виды автоматической защиты и индикации параметров приведены в
табл. 2.9.7.
2.3. АВТОМАТИЗИРОВАННЫЕ КОТЕЛЬНЫЕ УСТАНОВКИ
2.3.1. Требования настоящей главы распространяются на котельные установки с топочными устройствами, работающими на жидком топливе.
2.3.2. Паровые котлы должны быть снабжены автоматическими регуляторами уровня воды и давления пара.
2.3.3. Должна быть обеспечена возможность дистанционного отключения котельных установок с поста управления, в котором предусмотрена постоянная вахта.
2.3.4. В автоматических топочных устройствах подача топлива к форсункам должна прекращаться автоматически в следующих случаях:
1. При отсутствии пламени с момента начала подачи топлива в течение не более 5 с;
2. При снижении параметров воздуха, предназначенного для распыления топлива;
3. При недостаточной вентиляции топочного пространства.
2.3.5. Приведение в действие котельных установок из холодного состояния и после срабатывания защиты должно быть возможно только с местного поста управления.
2.3.6. Система автоматизации утилизационных водогрейных котлов, работающих под давлением, должна предусматривать автоматическое переключение устройства, регулирующего направления потока выпускных газов через котел или непосредственно в атмосферу, в зависимости от температуры в котле.
2.4. АВТОМАТИЗИРОВАННЫЕ ОСУШИТЕЛЬНЫЕ УСТАНОВКИ
МАШИННЫХ ПОМЕЩЕНИЙ
2.4.1. Автоматизированные осушительные установки в зависимости от уровня воды в колодцах автоматически должны вводить в действие соответствующие осушительные насосы. При этом должна быть предусмотрена сигнализация о работе насосов.
2.4.2. Должен быть предусмотрен сигнал, если после включения осушительных насосов уровень воды поднимается или не падает.
2.4.3. Для сигнализации максимально допустимого уровня должен быть установлен отдельный датчик, независимый от датчиков, установленных для управления осушительными насосами.
2.5. АВТОМАТИЗИРОВАННЫЕ КОМПРЕССОРНЫЕ УСТАНОВКИ
2.5.1. Пополнение воздухохранителей пускового воздуха, тифона, а также воздуха для питания систем автоматизации должно быть автоматическим.
Для автоматизированных компрессоров необходимо предусматривать также возможность их пуска и остановки из рулевой рубки.
2.5.2. Система сжатого воздуха должна иметь устройства для автоматического осушения.
2.5.3. Автоматическое включение воздушных компрессоров должно осуществляться при снижении давления в воздухохранителях не более чем на 30% номинального и выключение - при достижении 97 - 103% номинального давления.
2.6. АВТОМАТИЗИРОВАННЫЕ НАСОСНЫЕ УСТАНОВКИ
2.6.1. Система автоматизированного управления насосами при неисправностях насосов или предельно допустимых отклонениях параметров в ответственных циркуляционных системах должна автоматически включать резервные насосы и выполнять необходимые переключения в системах. При этом сигнал о неисправности основного насоса и о пуске резервного должен быть выведен на систему АПС.
2.6.2. У насосов одинаковой мощности электрическая схема должна быть выполнена таким образом, чтобы любой из них мог быть использован в качестве основного насоса.
2.7. УСТРОЙСТВА В РУЛЕВОЙ РУБКЕ
2.7.1. Должны быть предусмотрены средства дистанционного управления главными и вспомогательными механизмами и движителями.
2.7.2. Должна быть предусмотрена возможность независимой экстренной остановки главного двигателя из рулевой рубки.
2.7.3. Должно быть предусмотрено устройство АПС, извещающее о неисправностях механизмов и установок в машинном помещении. Должна быть предусмотрена индикация, показывающая частоту и направление вращения винта, а также шаг винта регулируемого шага.
2.7.4. Должна быть предусмотрена индикация о включении или выключении разобщительной муфты главных механизмов.
2.7.5. В рулевой рубке должны быть предусмотрены отдельные сигналы; "Вода в машинном помещении", "Пожар в машинном помещении", "Выход из строя системы АПС".
2.7.6. Органы управления, приборы индикации и сигнализации в рулевой рубке должны быть расположены на пультах, приспособленных для обслуживания одним человеком.
Световая сигнализация должна быть выполнена таким образом, чтобы она не оказывала слепящего действия на судоводителя и была ясно видима в дневное время.
Должна быть предусмотрена регулировка яркости свечения ламп исполнительной сигнализации.
2.7.7. На судах с открытым машинным отделением, открытым ходовым мостиком, с главными механизмами суммарной мощностью менее 220 кВт и подвесными моторами объем и перечень устройств систем автоматизации по согласованию с Регистром может быть уменьшен.
2.8. УСТРОЙСТВА В МАШИННОМ ОТДЕЛЕНИИ
2.8.1. Должен быть предусмотрен местный пост управления главной силовой установкой.
2.8.2. Должно быть предусмотрено табло для размещения АПС и индикации по параметрам, расположенное вблизи поста управления главной силовой установкой.
2.8.3. Устройства управления вспомогательными механизмами следует размещать вблизи поста управления силовой установкой.
2.8.4. Для главных двигателей мощностью менее 220 кВт с механической системой дистанционного управления местные посты и табло АПС могут не предусматриваться.
2.9. СИСТЕМЫ АВАРИЙНО-ПРЕДУПРЕДИТЕЛЬНОЙ СИГНАЛИЗАЦИИ,
ЗАЩИТЫ И ИНДИКАЦИИ МЕХАНИЧЕСКОЙ УСТАНОВКИ
2.9.1. Система АПС механической установки должна включать световой и акустический сигналы, если режимные параметры превышают допустимые ограничения. При этом сигнал не должен включаться при допустимых отклонениях режимных параметров, вызванных маневрированием. Сигналы должны подаваться в помещении МО и в рулевой рубке.
2.9.2. Независимо от объема автоматизации установок, а также наблюдения за их работой, АПС должна подавать световой и звуковой сигналы:
1. При достижении контролируемых параметров предельных значений;
2. При срабатывании систем защиты;
3. При отсутствии энергии для питания отдельных систем автоматизации;
4. При включении аварийных источников.
Световые сигналы должны быть выполнены в виде мигающего света. При подтверждении (квитировании) световые сигналы должны переходить в постоянное свечение. Погасание светового сигнала происходит после устранения неисправности.
2.9.3. В служебных и жилых помещениях экипажа должна быть предусмотрена сигнализация вызова механиков в машинное помещение, квитируемая вручную или автоматически, если сигнал не был подтвержден.
2.9.4. Для механических установок с главными двигателями мощностью менее 220 кВт, подвесными моторами и механической системой дистанционного управления объем сигналов системы АПС по согласованию с Регистром может быть уменьшен.
2.9.5. Системы защиты автоматизированных механизмов должны предусматриваться только для параметров, отклонения которых могут привести к серьезному повреждению или полному выходу механизма из строя.
2.9.6. Системы индикации должны быть выполнены таким образом, чтобы информация представлялась в единицах измеряемых величин, без пересчета.
2.9.7. Контролируемые параметры установок и систем, места замера, предельные значения параметров и виды автоматической защиты и индикации параметров приведены в табл. 2.9.7.
N п/п | Контролируемый параметр | Место замера | Предельные значения параметров (АПС) | Автоматическая защита | Индикация параметров в рулевой рубке | Пояснения |
1 | 2 | 3 | 4 | 5 | 6 | 7 |
1 | Главные двигатели внутреннего сгорания |
1.1 | Давление смазочного масла | На входе в двигатель | Мин. | Остановка двигателя | Постоянная или по вызову | - |
1.2 | Температура смазочного масла | На входе в двигатель | Макс. | - | Постоянная или по вызову | - |
1.3 | Перепад давления смазочного масла | На фильтре | Макс. | - | Постоянная или по вызову | - |
1.4 | Давление или поток охлаждающей среды | На входе в двигатель | Мин. | Снижение нагрузки | Постоянная или по вызову | - |
1.5 | Температура охлаждающей среды | На выходе из двигателя | Макс. | Снижение нагрузки | Постоянная или по вызову | - |
1.6 | Уровень охлаждающей среды | В расширительном баке | Мин. | - | - | Для автономного бака |
1.7 | Давление или поток забортной охлаждающей воды | В системе забортной охлаждающей воды | Мин. | - | Постоянная или по вызову | - |
1.8 | Температура отходящих газов | В магистральном трубопроводе | Макс. | - | - | - |
1.9 | Давление пускового воздуха | Перед пусковым клапаном | Мин. | - | - | - |
1.10 | Давление воздуха | В системе управления двигателем | Мин. | - | - | - |
1.11 | Уровень топлива | В расходной цистерне | Мин. | - | - | - |
1.12 | Утечка топлива | Из трубопровода высокого давления | Наличие топлива | - | - | - |
1.13 | Частота вращения двигателя | - | Макс. | Остановка двигателя | Постоянная или по вызову | - |
1.14 | Питание систем ДАУ, сигнализации и защиты | На входе систем | Отсутствие питания | - | - | - |
1.15 | Давление масла в гидравлической системе ВРШ | За фильтром | Мин. | - | Постоянная или по вызову | - |
1.16. | Уровень гидравлического масла ВРШ | В напорной цистерне | Мин. | - | - | - |
2 | Редукторы |
2.1 | Давление смазочного масла | На входе в редуктор | Мин. | Остановка двигателя | - | - |
2.2 | Температура смазочного масла | В редукторе | Макс. | - | - | - |
3 | Двигатели внутреннего сгорания для привода генераторов |
3.1 | Давление смазочного масла | На входе в двигатель | Мин. | Остановка двигателя | - | - |
3.2 | Давление или поток охлаждающей среды | На входе в двигатель | Мин. | - | - | - |
| | ИС МЕГАНОРМ: примечание. Нумерация пунктов дана в соответствии с официальным текстом документа. | |
|
3.3 | Температура охлаждающей среды | На выходе из двигателя | Макс. | - | - | - |
3.5 | Частота вращения двигателя | Предельный регулятор | Макс. | Остановка двигателя | - | - |
4 | Судовая сеть |
4.1 | Напряжение | ГРЩ | Мин., Макс. | - | - | - |
4.2 | Сопротивление изоляции | ГРЩ | Мин. | - | - | - |
5 | Пусковые компрессоры |
5.1 | Температура воздуха | На выходе из компрессора | Макс. | Остановка компрессора | - | - |
6 | Цистерны |
| | ИС МЕГАНОРМ: примечание. Нумерация пунктов дана в соответствии с официальным текстом документа. | |
|
6.1 | Уровень утечного топлива | В цистерне утечного топлива | Макс. | - | - | - |
6.3 | Уровень топлива | В расходных цистернах | Мин. | - | - | - |
6.4 | Уровень хозяйственно-бытовых и сточных вод | В цистернах | Макс. | - | - | - |
7 | Осушительные установки |
7.1 | Аварийный уровень воды | Льяльные колодцы | Макс. | - | - | Сигнализация выводится в рулевую рубку |
8 | Разное |
8.1 | Система обеспечения безопасности котельной установки | Блок питания | Выход из строя | Остановка котла | - | |
8.2 | Система АПС | Блок питания | Выход из строя | - | - | - |
8.3 | Система защиты | Блок питания | Выход из строя | - | - | - |
2.9.8. В Руководстве для владельца судна должна содержаться информация по предельным значениям параметров и видам защиты и индикации параметров.
ЧАСТЬ VII. ЭЛЕКТРИЧЕСКОЕ ОБОРУДОВАНИЕ
1.1. ОБЛАСТЬ РАСПРОСТРАНЕНИЯ
1.1.1. Требования настоящей части распространяются на электрические установки судов, указанных в
1.2 Общих положений и имеющих судовую электрическую сеть, подлежащую техническому наблюдению Регистра, а также на отдельные виды электрического оборудования в соответствии с
1.3.
1.1.2. Требования настоящей части применяются к электрическим системам и оборудованию, установленным стационарно.
Применение переносных электрических систем и оборудования является предметом специального рассмотрения Регистром.
1.1.3. Электрическое оборудование, не указанное в
1.3, должно быть спроектировано и изготовлено в соответствии с национальными стандартами таким образом, чтобы его неисправность не приводила к возникновению пожара или к поражению людей электрическим током.
1.1.4. В случае применения электрической сети для питания бытовых устройств с напряжением выше безопасного необходимо выполнять дополнительные требования
разд. 10.
1.1.5. В случае применения электрической сети с напряжением выше безопасного для питания устройств, которые могут оказать влияние на безопасность плавания и маневренность судов проектных категорий A, A1, A2, B, C или C1, должны быть выполнены соответствующие требования части XI "Электрическое оборудование" Правил классификации и постройки морских судов, а для судов проектных категорий C2, C3 и D - соответственно требования части IX "Электрическое оборудование" Правил классификации и постройки судов внутреннего плавания (для европейских внутренних водных путей).
| | ИС МЕГАНОРМ: примечание. В официальном тексте документа, видимо, допущена опечатка: требование 1.3.2.2 в тексте документа отсутствует. Возможно, имеется в виду требование 1.3.3. | |
1.1.6. Требования настоящей части не распространяются на электрическое оборудование хозяйственного, бытового и технологического назначения, кроме требований
1.3.2.2.
1.2. ОПРЕДЕЛЕНИЯ И ПОЯСНЕНИЯ
1.2.1. В настоящей части приняты следующие определения и пояснения
Аварийное освещение - освещение помещений и пространств судна, а также пространства за бортом в местах посадки в спасательные шлюпки и плоты светильниками, получающими питание от аварийного или аварийного переходного источника электрической энергии.
Аварийный источник электрической энергии - источник электрической энергии, предназначенный для питания необходимых судовых потребителей при исчезновении напряжения на главном распределительном щите.
Аварийный распределительный щит - распределительный щит, который предназначен для приема электрической энергии непосредственно от аварийного или аварийного переходного источника электрической энергии в случае выхода из строя основного источника электрической энергии и его распределения аварийным потребителям.
Безопасное напряжение - напряжение, не представляющее опасности для персонала. Это условие считается выполненным, если обмотки трансформаторов, преобразователей и других устройств для понижения напряжения являются электрически раздельными и пониженное напряжение этих устройств или источников электрической энергии не превышает:
50 В - между полюсами при постоянном токе;
50 В - между фазами или между фазами и корпусом судна при переменном токе.
Валогенераторы - генераторы, приводимые в действие от главных нереверсивных механизмов и питающие судовую электрическую сеть или отдельные потребители.
Ветрогенератор - генератор, приводимый в действие от нереверсивного механизма, использующего энергию ветра, и питающий в буферном режиме одну или несколько аккумуляторных батарей.
Внешний источник электрической энергии - источник электрической энергии, расположенный вне судна, предназначенный для питания всех электрических устройств и систем, необходимых для поддержания судна в эксплуатационном состоянии при отстое, ремонте и других навигационных либо эксплуатационных случаях, не прибегая при этом к использованию аварийного источника электрической энергии. Главный распределительный щит - распределительный щит, который предназначен для приема электрической энергии непосредственно от основного и внешнего источников электрической энергии и распределения его судовым потребителям.
Доступный - означает доступный во время освидетельствования без применения специального инструмента.
Заземление - электрическое соединение заземляемой части электрического оборудования с корпусом судна.
Защита - постоянная защита одного или нескольких изолированных проводов посредством изоляционной ленты, резиновых и пластиковых оболочек или термочувствительных трубок.
Зона защиты молниезащитного устройства - область, внутри которой пространство судна защищено от прямых ударов молнии.
Корпус судна - все металлические части судна, имеющие надежное электрическое соединение с наружной металлической обшивкой. Для судов с токонепроводящим корпусом - специальное устройство, указанное в
2.5.2.6.
Молниеуловитель - верхняя часть молниезащитного устройства, предназначенная для непосредственного восприятия атмосферных разрядов.
Система распределения - система элементов, предназначенных для распределения энергии и/или управления на судне, таких как замыкатели, контакторы, реле, предохранители, измерительные приборы, контрольные лампы.
Солнечная батарея - специальная сборка кристаллов, преобразующая световую энергию в электрическую, питающую в буферном режиме одну или несколько аккумуляторных батарей.
Основной источник электрической энергии - источник электрической энергии, предназначенный для питания всех электрических устройств и систем, необходимых для поддержания нормального эксплуатационного состояния судна и нормальных условий обитаемости на нем, не прибегая при этом к использованию аварийного источника электрической энергии.
Отводящий провод - провод, электрически соединяющий молниеуловитель с заземлением.
1.3. ОБЪЕМ ТЕХНИЧЕСКОГО НАБЛЮДЕНИЯ
1.3.1. Общие положения, относящиеся к порядку классификации, техническому наблюдению за постройкой судна, изготовлением оборудования и освидетельствованиям, а также требования к технической документации изложены в Общих
положениях и в
части I "Классификация".
1.3.2. Техническому наблюдению на судне подлежат следующие виды оборудования, систем и устройств:
источники электрической энергии;
системы распределения;
электрические приводы судовых механизмов;
электрическое освещение;
сигнально-отличительные огни;
сигнализация и внутрисудовая связь;
радио- и навигационное оборудование;
кабельная сеть;
другие, не перечисленные выше, - по требованию Регистра.
1.3.3. Электрическое оборудование хозяйственного, бытового и технологического назначения подлежит наблюдению на судне только в отношении:
1. Влияния работы этого оборудования на качество электрической энергии судовой электростанции;
2. Выбора типов и сечения кабелей и проводов, а также способов прокладки кабелей;
3. Сопротивления изоляции, заземления и устройств защиты.
2.1. РАЗМЕЩЕНИЕ ЭЛЕКТРИЧЕСКОГО ОБОРУДОВАНИЯ
2.1.1. Электрическое оборудование должно устанавливаться таким образом, чтобы был обеспечен легкий доступ к органам управления и ко всем частям, требующим ухода, осмотра и замены.
2.1.2. Электрическое оборудование в местах установки должно иметь надежную защиту от повышения температуры, вызываемого внешними источниками тепла, для исключения превышения допустимой для их безопасной эксплуатации температуры.
2.1.3. Электрическое оборудование, охлаждаемое воздухом, должно располагаться таким образом, чтобы забор охлаждающего воздуха не производился из мест, в которых воздух может быть загрязнен веществами, вредно действующими на изоляцию.
2.1.4. Электрическое оборудование должно крепиться таким образом, чтобы не уменьшалась прочность и не нарушалась непроницаемость палуб, переборок и обшивки корпуса.
2.1.5. Не допускается крепление электрических приборов непосредственно к стенкам топливных цистерн. Расстояние от этих устройств до стенок цистерн должно составлять не менее 75 мм.
2.1.6. Генераторы, пускатели и прочие электрические устройства, навешенные на двигатели внутреннего сгорания, должны быть установлены таким образом, чтобы они были, по возможности, максимально отдалены от топливной системы.
2.1.7. На судне должна находиться схема электрической системы с указанием всех электрических цепей и расположения электрических устройств с идентификацией применяемых проводов, замыкателей, контакторов, реле и предохранителей, а также описанием примененных символов.
2.1.8. В помещениях судна, в которых могут скапливаться легковоспламеняющиеся газы, электрическое оборудование должно быть взрывозащищенного исполнения.
2.1.9. Если корпуса электрического оборудования выполнены из иного материала, чем конструкции, на которых они установлены, то в случае необходимости должны быть приняты меры для исключения электролитической коррозии.
2.2.1. В качестве номинальных рабочих температур окружающего воздуха и охлаждающей воды для электрического оборудования должны применяться указанные в табл. 2.1.1.
Таблица 2.1.1
N п/п | Место расположения оборудования | Температура окружающего воздуха и охлаждающей воды, °C |
Суда проектных категорий A, A1, A2 и B | Суда проектных категорий C, C1, C2, C3 и D, эксплуатирующиеся вне тропической зоны |
Воздух | Вода | Воздух | Вода |
1 | Машинные и специальные электрические помещения, камбузы | +45 ... 0 | +32 | +40 ... 0 | +25 |
2 | Открытые палубы | +45 ... -25 | - | +40 ... -25 | - |
3 | Другие помещения | +40 ... 0 | - | +40 ... 0 | - |
Примечание. Электронные элементы и устройства, предназначенные для вмонтирования в распределительные щиты, пульты или кожухи, должны надежно работать при температуре окружающей среды до 55 °C. |
Температура до 70 °C не должна вызывать повреждений элементов, устройств и систем. |
2.2.2. Электрическое оборудование должно надежно работать в условиях относительной влажности воздуха 80 +/- 3% при температуре +40 +/- 2 °C, а также при относительной влажности воздуха 92 +/- 3% при температуре +25 +/- 2 °C. На судах, которые эксплуатируются в зимних условиях, электрическое оборудование, установленное на палубе, должно быть приспособлено к работе при температурах до -25 °C.
Если электрическое оборудование установлено в помещениях, оборудованных устройствами для поддержания заданной температуры, то в качестве номинальной рабочей температуры окружающего воздуха для такого электрического оборудования могут быть приняты меньшие значения, но не ниже +35 °C, при следующих условиях:
1. Оборудование не является аварийным и расположено вне машинных помещений;
2. Заданная температура в помещении поддерживается, по крайней мере, двумя холодильными установками так, что при выходе из строя любой из них оставшиеся обеспечивают поддержание заданной температуры;
3. Оборудование, устанавливаемое в таких помещениях, должно безопасно работать при температуре +45 °C в течение времени, необходимого для достижения номинальной рабочей температуры окружающего воздуха. При этом холодильное оборудование должно надежно работать при температуре окружающего воздуха +45 °C;
4. В посту управления, где предусмотрена постоянная вахта, должна быть предусмотрена звуковая и световая сигнализации о неисправности холодильной установки.
2.2.3. Электрическое оборудование должно надежно работать при вибрациях с частотами от 2 до 80 Гц, а именно при частотах от 2 до 13,2 Гц с амплитудой перемещений +/- 1 мм и при частотах от 13,2 до 80 Гц с ускорением +/- 0,7g. Электрическое оборудование, установленное на источниках вибрации (дизели, компрессоры и т.п.) или в румпельном отделении, должно надежно работать при вибрациях от 2 до 100 Гц, а именно: при частотах от 2 до 25 Гц с амплитудой перемещения +/- 1,6 мм и при частотах от 25 до 100 Гц с ускорением +/- 4g.
Электрическое оборудование должно надежно работать также при ударах с ускорением +/- 5,0 g и частоте в пределах от 40 до 80 ударов в минуту.
Частоты собственных колебаний фундаментов, креплений и подвесок машин, приборов и других электрических устройств не должны находиться в пределах 2 - 100 Гц.
| | ИС МЕГАНОРМ: примечание. Нумерация пунктов дана в соответствии с официальным текстом документа. | |
2.2.4. Электрическое и электронное оборудование должно безотказно работать при длительном крене судна до 15° и дифференте до 5° и кратковременном крене судна до 30° и дифференте до 20°. Аварийное оборудование должно, кроме того, надежно работать при длительном крене до 22,5° и дифференте до 10°, а также при одновременном крене и дифференте в указанных выше пределах.
2.2.4. Допускаемые отклонения параметров питания
2.2.4.1. Электрическое оборудование должно оставаться работоспособным при отклонениях напряжения питания и частоты от номинальных значений, указанных в табл. 2.2.4.1.
Параметры | Отклонение от номинальных значений |
Длительное | Кратковременное |
% | % | время, с |
Напряжение | +6 ... -10 | +/-20 | 1,5 |
Частота | +/- 5 | +/-10 | 5 |
Примечание. При питании от аккумуляторной батареи: |
длительное изменение напряжения должно находиться в пределах от +30% до -25% для оборудования, питающегося от аккумуляторной батареи, подключенной к зарядному устройству; |
длительное изменение напряжения должно находиться в пределах от +20% до -25% для оборудования, не подключенного к батарее во время зарядки. |
Данные
табл. 2.2.4.1 не учитываются, если в отдельных разделах настоящей части Правил предписываются иные значения отклонений частоты от номинальной величины.
Для механизмов и устройств, которые должны и могут работать при более высоких значениях отклонений, чем указано в
табл. 2.2.4.1, допускаются отдельные ограниченные сети с такими отклонениями.
2.3.1. Конструктивные материалы
2.3.1.1. Конструктивные части электрического оборудования должны изготовляться из материалов прочных, по крайней мере, трудновоспламеняющихся, устойчивых к воздействию влажного воздуха и паров масла и топлива или должны быть надежно защищены от воздействия этих факторов.
2.3.1.2. Винты, гайки, петли и подобные детали, предназначенные для крепления закрытий электрического оборудования, установленного на открытой палубе и в помещениях с повышенной влажностью, должны изготовляться из коррозионно-стойких материалов и/или иметь надежное антикоррозионное покрытие.
2.3.1.3. Все токоведущие части электрических устройств должны изготовляться из меди, медных сплавов или других материалов, обладающих равноценными свойствами, за исключением:
1. Элементов реостатов, которые должны изготовляться из механически прочных материалов с высоким удельным сопротивлением, выдерживающих высокую температуру;
2. Короткозамкнутых обмоток роторов асинхронных и синхронных двигателей, которые допускается изготовлять из алюминия или его сплавов, стойких к условиям эксплуатации судна;
3. Угольных щеток, металлокерамических контактов и других подобных частей, когда это обусловлено требуемыми свойствами;
4. Элементов электрического оборудования, которые непосредственно присоединены к корпусу судна, использованному в качестве обратного провода при однопроводной системе.
Применение для токоведущих частей других материалов является в каждом случае предметом специального рассмотрения Регистром.
2.3.2. Изоляционные материалы
2.3.2.1. Изоляционные материалы частей, находящихся под напряжением, должны обладать соответствующей диэлектрической прочностью, быть устойчивыми против появления токов утечки по поверхности, влаго- и маслостойкими, а также достаточно прочными или должны быть соответствующим образом защищены.
Температура нагрева токоведущих частей и мест их соединения при номинальной нагрузке не должна превышать допустимой температуры нагрева изоляционных материалов.
2.3.2.2. Для охлаждения неизолированных частей электрического оборудования допускается применение невоспламеняющихся жидкостей.
Применение для этой цели воспламеняющихся масел является в каждом случае предметом специального рассмотрения Регистром.
2.3.2.3. Для изоляции обмоток машин, аппаратов и других ответственных устройств должны применяться изоляционные материалы в соответствии с согласованными стандартами. Рекомендуется применение изоляционных материалов не ниже класса E.
2.3.2.4. Провода, используемые для внутренних соединений электрических устройств, должны иметь изоляцию, изготовленную, по крайней мере, из трудновоспламеняющихся материалов, а у аппаратов с повышенным нагревом - из негорючих материалов.
2.3.2.5. Изоляционные материалы, применяемые для изготовления кабелей, приведены в
9.4.
2.4. КОНСТРУКТИВНЫЕ ТРЕБОВАНИЯ И СТЕПЕНЬ ЗАЩИТЫ
ЭЛЕКТРИЧЕСКОГО ОБОРУДОВАНИЯ
2.4.1. Общие требования
2.4.1.1. Части, требующие замены во время эксплуатации, должные легко демонтироваться.
2.4.1.2. При применении винтовых креплений должны быть предусмотрены меры, исключающие самопроизвольное отвинчивание винтов и гаек, а в местах, требующих частого демонтажа и открывания, - их утерю.
2.4.1.3. Уплотнительные прокладки частей электрического оборудования (дверец, крышек, смотровых отверстий, сальников и т.п.) должны обеспечивать соответствующую степень защиты в условиях эксплуатации. Уплотнения должны быть прикреплены к кожуху или крышке.
2.4.1.4. Электрическое оборудование, в котором может происходить образование конденсата, должно снабжаться устройствами для отвода воды. Внутри оборудования должны быть предусмотрены каналы, обеспечивающие отвод конденсата со всех частей оборудования. Обмотки и части под напряжением должны быть расположены или защищены таким образом, чтобы они не подвергались воздействию конденсата, который может скапливаться внутри оборудования.
2.4.1.5. Электрическое оборудование с принудительной вентиляцией, предназначенное для установки в нижних частях влажных помещений, должно иметь такую систему вентиляции, чтобы попадание влаги и масляных паров внутрь оборудования было минимальным.
2.4.1.6. Если в пульте или щите управления применены измерительные приборы с подводом к ним масла, пара или воды, должны быть приняты меры, исключающие возможность попадания этих компонентов на части, находящиеся под напряжением, при повреждении приборов или трубопроводов.
2.4.2. Внутренний монтаж
2.4.2.1. Весь внутренний монтаж электрического оборудования должен быть выполнен многопроволочным проводом. Применение однопроволочных проводов является в каждом случае предметом специального рассмотрения Регистром.
2.4.2.2. Для внутреннего монтажа распределительных устройств, пультов управления и других устройств распределения, коммутации и т.п. должны применяться провода площадью сечения не менее 0,75 мм2.
Для систем управления, защиты, измерения параметров, сигнализации и внутренней связи допускается применение проводов площадью сечения не менее 0,5 мм2. Для электронных и электрических устройств преобразования и передачи слабых сигналов могут применяться провода площадью сечения менее 0,5 мм2, что в каждом случае является предметом специального рассмотрения Регистром.
2.4.2.3. Токоведущие части должны быть закреплены так, чтобы они не несли дополнительной механической нагрузки; причем не следует применять винты, ввинчиваемые непосредственно в изоляционный материал.
2.4.2.4. Концы многопроволочных жил кабелей и проводов должны быть обработаны в зависимости от типа применяемого зажима или должны иметь кабельные наконечники.
2.4.2.5. Изолированные провода должны укладываться и крепиться таким образом, чтобы способ их крепления и расположения не уменьшал сопротивления изоляции и они не подвергались повреждениям вследствие электродинамических усилий, вибраций и сотрясений.
2.4.2.6. Должны быть приняты меры, чтобы температуры, допустимые для изолированного провода в нормальных эксплуатационных условиях или за время отключения тока короткого замыкания, не были превышены.
2.4.2.7. Подключение изолированных проводов к клеммам или шинам должно выполняться таким образом, чтобы в номинальном рабочем режиме изоляция провода не подвергалась воздействию температуры перегрева.
2.4.3. Степень защиты электрического оборудования
2.4.3.1. В зависимости от места установки должно применяться электрическое оборудование с соответствующим защитным исполнением, или должны приниматься другие меры для защиты оборудования от вредных влияний окружающей среды и защиты персонала от поражения электрическим током.
2.4.3.2. Минимальные степени защиты электрического оборудования, установленного в помещениях и пространствах судна, должны выбираться согласно табл. 2.4.3.2.
Таблица 2.4.3.2
N п/п | Место установки электрического оборудования | Характеристика помещений | Степень защиты |
1 | Взрывоопасные помещения и пространства (см. 2.7) | С возможностью образования взрывоопасных смесей паров, газов или пыли с воздухом | Ex |
2 | Жилые помещения и помещения общего использования, а также коридоры, не имеющие непосредственного выхода на открытую палубу | Сухие | IP20 |
3 | Помещения, имеющие непосредственный выход на открытую палубу, машинное отделение | С повышенной влажностью | IP23 |
4 | Камбузы, душевые, умывальники, туалеты, аккумуляторные ящики и шкафы, шахты вентиляторов, ведущие на открытую палубу, и т.п. | Брызги воды | IP44 |
5 | Открытые палубы | Заливание водой | IP56 |
Примечание. Если оболочка оборудования не обеспечивает требуемой степени защиты, следует применять иные методы или иное расположение оборудования для обеспечения степени защиты, требуемой в таблице. |
2.5.1. Металлические корпуса электрического оборудования должны иметь заземляющий зажим, обозначенный символом

, если в настоящей части не указано иное.
В зависимости от назначения электрического оборудования должна быть предусмотрена возможность заземления внутри или снаружи корпуса.
2.5.2. Части, подлежащие заземлению
2.5.2.1. Все металлические части электрического оборудования, не находящиеся под напряжением, но с которыми возможно соприкосновение персонала в эксплуатационных условиях, за исключением перечисленных в
2.5.3, должны иметь надежный электрический контакт с частью, снабженной заземляющим зажимом (см. также
2.5.3).
2.5.2.2. Защитные заземления не требуются для следующих видов оборудования:
1. Электрического оборудования, питаемого током безопасного напряжения, если не возникает необходимости в подавлении радиопомех;
2. Электрического оборудования, имеющего двойную или усиленную изоляцию;
3. Металлических частей электрического оборудования, закрепленных в изоляционном материале или проходящих сквозь него и изолированных от находящихся под напряжением частей таким образом, что в нормальных рабочих условиях они не могут оказаться под напряжением или соприкасаться с заземленными частями;
4. Корпусов специально изолированных подшипников, изолированных с целью предотвращения перетекания циркуляционных токов;
5. Цоколей патронов и крепежных элементов люминесцентных ламп, абажуров и отражателей, кожухов, прикрепленных к патронам или светильникам, изготовленным из изоляционного материала или ввинченным в такой материал;
6. Крепежных элементов кабелей;
7. Одиночного потребителя с напряжением до 250 В, получающего питание от разделительного трансформатора;
8. Съемных или открывающихся частей металлических шкафов, ограждений и т.п., если на съемных (открывающихся) частях не установлено электрическое оборудование или напряжение установленного электрооборудования не превышает 42 В переменного тока или 55 В постоянного тока.
2.5.2.3. Вторичные обмотки измерительных трансформаторов тока и напряжения должны быть заземлены.
2.5.2.4. Наружные заземляющие провода должны быть доступны для контроля и защищены от ослабления и механических повреждений.
2.5.2.5. Заземлять электрическое оборудование на трубопроводы, баллоны для сжатых газов и цистерны нефтепродуктов запрещается.
2.5.2.6. Для судов с корпусом, не проводящим токи, в качестве заземлителя необходимо использовать специальный медный лист площадью не менее 0,5 м2 и толщиной не менее 2 мм или лист из углеродистой стали площадью не менее 1,5 м2 и толщиной не менее 6 мм, прикрепленный к подводной части наружной обшивки ниже ватерлинии при осадке судна порожнем и используемый для заземления всех устройств, установленных на судне.
Вместо специального листа допускается использовать металлический форштевень или другие металлические конструкции судна (например, металлический кронштейн гребного вала), погруженные в воду во всех условиях плавания.
2.5.3. Заземляющие зажимы и проводники
2.5.3.1. Стационарное электрическое оборудование, металлические трубопроводы и наружные металлические оболочки (оплетки) кабелей, применяемые для защиты от механических повреждений, металлические оболочки (оплетки) кабелей и экраны жил, применяемые для экранирования, должны быть заземлены по обоим концам. Заземление необходимо выполнять с применением наружных проводников, жилы заземления в питающем кабеле или с использованием непосредственного электрического контакта между корпусом оборудования и металлическим корпусом судна.
Для кабелей, уложенных по дереву или синтетическому материалу, достаточно одного заземления. При переменном токе однопроводные кабели и фидеры должны быть заземлены только в одной точке.
Надежность заземления электрического оборудования, оболочек кабеля считается достаточной, если выполняются параметры, приведенные в табл. 2.5.3.1-1.
Таблица 2.5.3.1-1
Вид заземления | Способ заземления |
Отдельным проводником | Жилой кабеля | Непосредственным контактом |
Значение сопротивления, Ом, не более |
Защитное | 0,1 | 0,4 | 0,1 |
Экранирующее | 0,02 | - | 0,02 |
Для заземления, выполняемого наружным заземляющим проводником, должны применяться медные проводники. Можно также применять проводники из другого коррозионно-стойкого металла, но при условии, что их сопротивление не будет превышать сопротивления требуемого медного проводника. Площадь сечения медного проводника должна быть не менее указанной в табл. 2.5.3.1-2.
Площадь сечения жилы кабеля, присоединенной к потребителю, мм2 | Площадь сечения наружного заземляющего проводника, мм2 |
однопроволочного | многопроволочного |
От 0,5 до 4 | 4 | 2,5 |
От 4 до 16 | 1/2 площади сечения жилы кабеля, присоединенной к потребителю |
От 16 до 35 | 16 | 16 |
От 35 до 120 | 1/2 площади сечения жилы кабеля, присоединенной к потребителю |
Более 120 | 70 |
Для заземления, выполняемого специальной жилой питающего кабеля, площадь сечения этой жилы должна быть равна номинальной площади сечения жилы питающего кабеля - для кабелей площадью сечения до 16 мм2, и, по крайней мере, равна 1/2 площади сечения жилы питающего кабеля, но не менее 16 мм2 - для кабелей площадью сечения от 16 мм2 до 35 мм2.
2.5.3.2. Цепи заземления стационарного оборудования не должны иметь отключающих устройств.
2.5.3.3. Заземление экранирующих оболочек и металлических оплеток кабелей должно выполняться одним из следующих способов:
1. Медным заземляющим проводом площадью сечения не менее 2,5 мм2 - для кабелей площадью сечения жилы до 25 мм2 и не менее 4 мм2 - для кабелей площадью сечения жилы более 25 мм2;
2. Креплением оплетки или металлической оболочки к корпусу судна с помощью прочной, хорошо проводящей ток и надежно прилегающей скобы;
3. Кольцами, находящимися в кабельных сальниках, при условии, что они изготовлены из коррозионно-стойкого материала, хорошо проводят ток и достаточно упруги.
Заземление должно выполняться на обоих концах кабеля. Экранирующие оболочки кабелей конечных ответвленных цепей допускается заземлять только со стороны питания.
2.5.3.4. Крепление заземляющих проводников к металлическому корпусу судна или заземляющей шине должно быть выполнено болтами диаметром не менее 6 мм. Для крепления проводов площадью сечения жилы до 2,5 мм2 допускаются болты диаметром 4 мм, а для проводов площадью сечения жилы до 4 мм2 - болты диаметром 5 мм. Эти болты не должны использоваться для других целей, кроме крепления заземляющих проводников.
Болты, ввинчиваемые в материал без гаек, должны быть из латуни или из другого материала, стойкого к коррозии.
Контактные поверхности на электрическом оборудовании, а также на корпусе судна в местах прилегания проводника заземления, должны быть зачищены до металлического блеска и надежным способом защищены от коррозии.
2.5.3.5. Заземление передвижного или переносного электрического оборудования должно выполняться с помощью специальной жилы в гибком питающем кабеле посредством контактного соединения в штепсельном устройстве. Площадь сечения заземляющей жилы должна соответствовать требованию
табл. 2.5.3.1-2.
2.6.1. Общие требования
2.6.1.1. Суда проектных категорий A, A1, A2, B, C или C1 должны быть оборудованы молниезащитными устройствами, защищаемая зона которых должна перекрывать все оборудование, требующее молниезащиты. Также рекомендуется оборудовать молниезащитными устройствами суда проектных категорий C2 и C3.
Суда, на которых вторичные проявления молнии могут привести к пожарам и взрывам, должны иметь устройства молниезащитного заземления, исключающие возможность образования вторичных искрений.
2.6.1.2. Молниезащитное устройство должно состоять из молниеуловителя, отводящего провода и заземления. На металлических мачтах допускается не устанавливать специальные молниезащитные устройства, если конструктивно предусмотрен надежный электрический контакт мачты с металлическим корпусом судна или с местом заземления.
2.6.2. Молниеуловитель
2.6.2.1. На металлических судах в качестве молниеуловителей следует использовать собственные вертикально протяженные конструкции: мачты, полумачты, надстройки и т.п., если предусмотрен надежный электрический контакт таких конструкций с металлическим корпусом судна.
Дополнительные молниеуловители должны применяться только в тех случаях, когда собственные элементы конструкции не обеспечивают молниезащиту.
2.6.2.2. Если на топе металлической мачты установлено электрическое оборудование, должен быть предусмотрен надежно заземленный молниеуловитель.
2.6.2.3. На каждой мачте или стеньге, изготовленной из непроводящего материала, должно быть установлено надежно заземленное молниезащитное устройство.
2.6.2.4. Молниеуловитель должен быть изготовлен из прута сечением не менее 12 мм2. В качестве материала прута могут применяться медь, медные сплавы или сталь, защищенная от коррозии. Для алюминиевых мачт должен применяться алюминиевый молниеуловитель.
2.6.2.5. Молниеуловитель должен крепиться к мачте таким образом, чтобы он возвышался над топом мачты или любым устройством, находящимся в топе мачты, не менее чем на 300 мм.
2.6.2.6. Молниезащитная мачта должна иметь такую высоту, чтобы она могла обеспечить желательную зону защиты согласно 2.6.2.6.1,
2.6.2.6.2 или
2.6.2.6.3 соответственно.
2.6.2.6.1. Для высоты мачты, не превышающей 15 м от уровня воды, радиус области защиты должен быть приблизительно равен высоте мачты, h (см.
рис. 2.6.2.6.1-1 и
2.6.2.6.1-2).
Рис. 2.6.2.6.1-1. Парусное судно с мачтой, не превышающей
15 м от уровня воды
Рис. 2.6.2.6.1-2. Непарусное судно с мачтой,
не превышающей 15 м от уровня воды
2.6.2.6.2. Для высоты мачты более 15 м величина области защиты рассчитывается на основе искрового промежутка удара молнии. Так как удар молнии может попасть в любой заземленный предмет в пределах точки искрового промежутка, от которой происходит конечный пробой заземления, область защиты определяется дугой окружности (см. рис.
2.6.2.6.2).
Рис. 2.6.2.6.2 Судно с мачтой/мачтами выше 15 м
от уровня воды
2.6.2.6.3. Область защиты, представленная любой конфигурацией мачт или других возвышений, проводящих и заземленных объектов, может быть определена графически. При этом увеличение высоты мачты выше искрового промежутка не будет увеличивать зону защиты.
Радиус дуги - искровой промежуток, равный 30 м. Дуга проходит сквозь вершину мачты тангенциально к поверхности воды. Если используется более одной мачты, область защиты определяется дугами ко всем мачтам.
2.6.3. Отводящий провод
2.6.3.1. Отводящий провод должен изготавливаться из медного прута, полосы или многопроволочного провода площадью сечения не менее 100 мм2.
2.6.3.2. Отводящие провода должны прокладываться по наружной стороне мачт и надстроек с наименьшим числом изгибов, которые должны быть плавными и с возможно большим радиусом.
2.6.3.3. Отводящие провода не должны проходить через взрывоопасные пространства и помещения.
2.6.3.4. На судах с неметаллическим корпусом отводящий провод молниезащитного устройства следует прокладывать на всем его пути (включая соединение с заземлением) отдельно, не подсоединяя к шинам защитного и рабочего заземлений.
2.6.4. Заземление
2.6.4.1. На композитных судах в качестве заземления может применяться металлический форштевень или другие металлические конструкции, погруженные в воду во всех условиях плавания.
2.6.4.2. Необходимо предусмотреть устройства, обеспечивающие подсоединение молниезащитного устройства или стального корпуса судна к заземлителю на берегу, когда судно находится в доке или на стапеле.
2.6.4.3. На судах с токонепроводящим корпусом необходимо предусмотреть устройства, обеспечивающие подсоединение молниезащитного устройства к заземлителю на берегу, когда судно находится в доке или на стапеле.
2.6.4.4. Многокорпусные суда должны быть обеспечены заземлением для каждого корпуса.
2.6.5. Соединения в молниезащитном устройстве
2.6.5.1. Соединения между молниеуловителем, отводящим проводом и заземлением должны выполняться сваркой или болтовыми соединениями.
2.6.5.2. Площадь контактной поверхности при применении болтовых соединений между отводящим проводом и молниеуловителем должна быть не менее 300 мм2 для меди и медных сплавов и не менее 1000 мм2 - для других материалов.
Соединяющие зажимы и соединительные болты должны быть изготовлены из меди, медных сплавов или стали, имеющей защиту от коррозии.
2.6.6. Устройства молниезащитного заземления
2.6.6.1. Молниезащитному заземлению подлежат изолированные металлические конструкции, подвижные соединения, трубопроводы, экраны электрических сетей и линий связи, узлы ввода во взрывоопасные помещения.
2.6.6.2. Металлические части, находящиеся вблизи отводящих проводов, должны быть заземлены, если они не расположены на заземленных конструкциях или не имеют иного металлического контакта с корпусом судна. Устройства или металлические части, находящиеся на расстоянии до 200 мм от отводящих проводов, должны быть соединены с отводящим проводом таким образом, чтобы исключалась возможность образования вторичных искрений.
2.6.6.3. Все соединения элементов должны быть доступны для контроля и защищены от механических повреждений.
2.7. ЭЛЕКТРИЧЕСКОЕ ОБОРУДОВАНИЕ ВЗРЫВОЗАЩИЩЕННОГО
ИСПОЛНЕНИЯ
2.7.1. Требования настоящей главы относятся к оборудованию, которое устанавливается в закрытых и полузакрытых помещениях и пространствах судна, в которых могут образовываться взрывоопасные смеси паров, газов или пыли с воздухом. К таким помещениям и пространствам относятся малярные, фонарные (для масляных фонарей), аккумуляторные и помещения, в которых находятся цистерны, механизмы и трубопроводы для воспламеняющихся жидкостей с температурой вспышки паров 55 °C и ниже.
2.7.2. Во взрывоопасных помещениях и пространствах допускается устанавливать электрическое оборудование только взрывозащищенного исполнения с уровнем взрывозащиты, соответствующим категории и группе наиболее опасной газовой смеси.
Такое электрическое оборудование должно соответствовать одному из следующих исполнений:
искробезопасное Exi,
с оболочкой под избыточным давлением Exp,
с взрывонепроницаемой оболочкой Exd,
с повышенной надежностью против взрыва Exe.
2.7.3. В помещениях, в которых пыль или волокно могут образовать взрывоопасные смеси с воздухом, должно устанавливаться электрическое оборудование со степенью защиты не ниже IP65.
Если появление взрывоопасной пылеволокнистой смеси может возникнуть временно в результате повреждения или неплотностей работающих технологических устройств или прекращения действия вентиляции, то в таких случаях допускается установка электрического оборудования со степенью защиты IP55.
Электрическое оборудование, установленное в подобных помещениях, должно иметь такую оболочку, чтобы температура ее верхних горизонтальных или наклонных к горизонтали под углом до 60° элементов в условиях длительной работы была, по крайней мере, на 75 °C ниже температуры тления пыли, имеющейся в данном помещении (температуру тления следует определять для слоя пыли толщиной 5 мм).
2.7.4. Светильники во взрывозащищенном исполнении должны быть установлены таким образом, чтобы вокруг них, за исключением места крепления, оставалось свободное пространство шириной не менее 100 мм.
2.7.5. Каждое оборудование, установленное во взрывоопасных помещениях и пространствах, кроме пожарных извещателей, должно иметь выключатель, отключающий все провода под напряжением и установленный в безопасном месте вне взрывоопасных помещений и пространств.
2.7.6. Непосредственное крепление электрического оборудования к стенкам цистерн горючих жидкостей не допускается. Во всех случаях электрическое оборудование должно крепиться на расстоянии не менее 75 мм от стенок цистерн.
2.7.7. Во взрывоопасных помещениях и пространствах разрешается прокладывать кабели, предназначенные только для электрического оборудования, установленного в этих помещениях и пространствах. Допускается прокладка транзитных кабелей через упомянутые помещения и пространства при условии выполнения требований 2.7.8 -
2.7.12.
2.7.8. Кабели, проложенные во взрывоопасных помещениях и пространствах, должны иметь:
1. Металлическую броню или оплетку, покрытую неметаллической оболочкой, или
2. Свинцовую оболочку с дополнительной механической защитой, или
3. Медную оболочку или оболочку из нержавеющей стали (только для кабелей с минеральной изоляцией).
2.7.9. Кабели, проходящие через взрывоопасные помещения и пространства, следует защищать от механических повреждений.
2.7.10. Все экраны, а также металлические оплетки кабелей цепей питания электрических двигателей и цепей освещения, проходящих через взрывоопасные помещения и пространства или питающих электрическое оборудование, установленное в этих помещениях, должны быть заземлены на обоих концах.
2.7.11. Кабели искробезопасных цепей могут использоваться только для одного устройства и должны прокладываться отдельно от других кабелей.
2.7.12. Кабели переносных электрических устройств, за исключением кабелей искробезопасных цепей, не должны проходить через взрывоопасные помещения и пространства.
2.8. ЭЛЕКТРОМАГНИТНАЯ СОВМЕСТИМОСТЬ
2.8.1. Общие требования
2.8.1.1. Настоящие требования распространяются на электрическое оборудование, оборудование автоматизации, а также на радио- и навигационное оборудование судов для обеспечения электромагнитной совместимости на борту судна.
2.8.1.2. Оборудование должно безотказно работать при помехах, имеющих следующие параметры:
1. Постоянное и переменное (50 Гц) магнитное поле - в соответствии с табл. 2.8.1.2.1.
Таблица 2.8.1.2.1
Класс оборудования | Напряженность, А/м |
Постоянное поле | Переменное поле (50 Гц) |
1 | 100 | 100 |
2 | 400 | 400 |
3 | 1000 | 1000 |
Допускается установка оборудования:
класса 1 - на расстоянии 2 м и более от мощного источника поля (шинопровод, групповой трансформатор);
класса 2 - на расстоянии 1 м и более от мощного источника поля;
класса 3 - без ограничения расстояния от любого источника поля;
| | ИС МЕГАНОРМ: примечание. В официальном тексте документа, видимо, допущена опечатка: рисунок 2.8.1.2.2 в тексте документа отсутствует. Возможно, имеется в виду рисунок 2.8.1.2. | |
2. Гармонические составляющие напряжения по цепям питания - в соответствии с графиком высших гармоник судовой сети, изображенным на
рис. 2.8.1.2.2 в логарифмическом масштабе;
3. Электростатические разряды - с амплитудой напряжения 8 кВ;
4. Радиочастотные электромагнитные поля в диапазоне 30 - 500 МГц со среднеквадратическим значением напряженности поля 10 В/м;
5. Наносекундные импульсы напряжения с амплитудой 2 кВ по силовой сети питания и 1 кВ для сигнальных кабелей и кабелей управления длительностью 5/50 нс;
6. Радиочастотные помехи по цепям проводимости в диапазоне 0,01 - 50 МГц со среднеквадратическим значением напряжения 1 В и 30-процентной модуляцией на частоте 1 МГц;
7. Микросекундные импульсы напряжения по цепям питания с амплитудой 1 кВ для симметричной подачи импульсов и 2 кВ для несимметричной подачи импульсов длительностью 1,2/50 мкс.
Рис. 2.8.1.2. График высших гармонических составляющих
судовой сети
2.8.1.3. Значение коэффициента несинусоидальностью кривой напряжения силовой сети питания не должно превышать 10% и определяется по формуле
где

- действующее значение напряжения сети;

- напряжение гармонической составляющей n-го порядка;
n - порядок высшей гармонической составляющей.
Значение

регламентируется для полностью укомплектованной судовой электроэнергетической системы.
По особому согласованию с Регистром допускается использование отдельных шин с

для питания мощных источников гармонических составляющих напряжения и невосприимчивого к ним электрооборудования при условии, что указанные шины подключаются к основным шинам сети через развязывающие устройства (см.
2.8.2.2).
2.8.1.4. Уровни напряжения радиопомех, создаваемых в цепях питания, не должны превышать следующих значений в указанных ниже диапазонах частот:
для оборудования, размещаемого на открытой палубе и ходовом мостике
10 - 150 кГц - 96 - 50 дБ;
150 - 350 кГц - 60 - 50 дБ;
350 кГц - 30 МГц - 50 дБ;
для оборудования, размещаемого в машинных и других закрытых помещениях судна
10 - 150 кГц - 120 - 69 дБ;
150 - 500 кГц - 79 дБ;
500 кГц - 30 МГц - 73 дБ.
Для измерения уровня напряжения радиопомех должен использоваться эквивалент сети и квазипиковый измерительный приемник. Ширина полосы пропускания приемника при измерениях в частотном диапазоне от 10 до 150 кГц должна быть 200 Гц, а в частотном диапазоне от 150 кГц до 30 МГц - 9 кГц.
2.8.1.5. На судах, для которых ограничение уровня радиопомех от силовых полупроводниковых преобразователей в соответствии с требованиями
2.8.1.4 не представляется возможным, сеть питания средств автоматизации, радио- и навигационного оборудования должна иметь гальваническую развязку, обеспечивающую затухание не менее 40 дБ в диапазоне частот 0,01 - 30 МГц, с сетью питания этих преобразователей.
Кабели питания оборудования с уровнями радиопомех, превышающими указанные в
2.8.1.4, должны прокладываться на расстоянии не менее 0,2 м от кабелей других групп оборудования при длине совместной прокладки более 1 м (см.
2.8.2.8).
2.8.1.6. Уровни создаваемого электромагнитного поля радиопомех на расстоянии 3 м от оборудования не должны превышать следующих значений в указанных ниже диапазонах частот:
для оборудования, размещаемого на открытой палубе и ходовом мостике
150 - 300 кГц - 80 - 52 дБ;
300 кГц - 30 МГц - 52 - 34 дБ;
30 - 2000 МГц - 54 дБ, за исключением диапазона 156 - 165 МГц, где он устанавливается равным 24 дБ;
для оборудования, размещаемого в машинных и других закрытых помещениях судна
150 кГц - 30 МГц - 80 - 50 дБ;
30 - 100 МГц - 60 - 54дБ;
100 - 2000 МГц - 54 дБ, за исключением диапазона 156 - 165 МГц, где он устанавливается равным 24 дБ.
Для измерений должен использоваться квазипиковый измерительный приемник. Ширина полосы пропускания приемника в диапазоне частот от 150 кГц до 30 МГц и от 156 до 165 МГц должна быть 9 кГц, а в диапазоне частот от 30 до 156 МГц и от 165 МГц до 1 ГГц - 120 кГц.
2.8.2. Меры обеспечения электромагнитной совместимости
2.8.2.1. Для защиты радиооборудования от электромагнитных помех следует учитывать требования, содержащиеся в части VIII "Радио- и навигационное оборудование" Правил по оборудованию морских судов.
2.8.2.2. Для разделения судовой сети питания следует применять вращающиеся преобразователи, специальные трансформаторы и фильтры.
2.8.2.3. Экран или металлическую броню силовых кабелей следует соединять с металлическим корпусом соответствующего оборудования и заземлять как можно чаще, как минимум, на каждом конце.
2.8.2.4. Экраны сигнальных кабелей следует заземлять в одной точке на стороне блока обработки первичного сигнала. При этом кабель должен иметь внешнюю изолирующую оболочку.
2.8.2.5. Должна соблюдаться непрерывность экранирования, для чего экраны кабелей следует соединять с корпусами оборудования, в кабельных ответвительных и распределительных ящиках, в проходах кабелей через переборки.
2.8.2.6. Заземление, выполненное с целью защиты от помех, должно иметь электрическое сопротивление не более 0,02 Ом, минимально возможную длину, вибрационную и коррозионную устойчивость, доступность для проверки.
2.8.2.7. Экраны кабелей не должны использоваться в качестве обратного провода.
2.8.2.8. Судовые кабели делятся по типу передаваемых сигналов на группы:
1. Коаксиальные кабели радиоприемных устройств и видеосигналов с уровнем сигналов 0,1 мкВ - 500 мВ;
2. Экранированные или коаксиальные кабели с аналоговыми и цифровыми сигналами с уровнем сигналов 0,1 - 115 В;
3. Экранированные кабели устройств телефонии и радиотрансляции с уровнем сигналов 0,1 - 115 В;
4. Неэкранированные и расположенные ниже палубы и экранированные и расположенные на открытой палубе кабели силовой сети, сети освещения, управления и сигнализации с уровнем сигналов 10 - 1000 В;
5. Коаксиальные или экранированные кабели передающих антенн радиопередатчика, радиолокационной станции, эхолота, силовых полупроводниковых преобразователей с уровнем сигналов 10 - 1000 В.
2.8.2.9. Кабели одной группы могут прокладываться в одной трассе, если разница уровней передаваемых сигналов не влияет на работу оборудования, чувствительного к помехам.
Кабели (трассы) разных групп при длине параллельной прокладки более 1 м должны быть удалены друг от друга не менее чем на 0,1 м, а их пересечение должно выполняться под прямым углом. Кабели радиолокационной станции и эхолотов, указанные в
2.8.2.8.5, должны прокладываться в двойном экране или, при коаксиальном исполнении, внутри металлической трубы. Внешний экран должен заземляться вместе с основным экраном кабеля.
Переносные кабели выносных вибраторов эхолотов могут быть допущены с одинарным экраном при допустимой электромагнитной совместимости.
2.8.2.10. При установке электрического оборудования и прокладке кабелей вблизи магнитных компасов, а также для защиты от помех другого навигационного оборудования должны учитываться требования
части VIII "Радио- и навигационное оборудование".
2.8.2.11. На всех судах из токонепроводящих материалов, на которых Правилами требуется установка радиооборудования, все кабели, расположенные в радиусе 9 м от антенн, должны быть экранированы или защищены от излучения помех другими способами, а все оборудование должно иметь устройства для подавления радиопомех (см.
2.8.1.4).
3. ИСТОЧНИКИ ЭЛЕКТРИЧЕСКОЙ ЭНЕРГИИ
3.1.1. Суда, на которых установлены электрические устройства, должны быть оборудованы основным источником электрической энергии мощностью, обеспечивающей питание всех электрических устройств судна в условиях, указанных в
3.1.5.
3.1.2. В качестве основного источника электрической энергии допускается использование, как минимум, одного из указанных вариантов:
1. Генератора с приводом от двигателя пропульсивной установки и генератора с приводом от индивидуального двигателя внутреннего сгорания;
2. Генератора с приводом от индивидуального двигателя внутреннего сгорания и аккумуляторной батареи, одной или нескольких, работающей в буферном режиме с генератором;
3. Генератора с приводом от двигателя пропульсивной установки и аккумуляторной батареи, одной или нескольких, работающей в буферном режиме с генератором;
4. Генератора с приводом от пропульсивной установки и аккумуляторной батареи, одной или нескольких, работающей в буферном режиме с генератором;
5. Одной или нескольких аккумуляторных батарей.
Для судов проектных категорий A, A1, A2 и B в качестве основного источника электрической энергии допускается применение источников электрической энергии, указанных в
3.1.2.1 - 3.1.2.4, при этом мощность генератора должна быть достаточной для питания основных потребителей в ходовом режиме с одновременной зарядкой аккумуляторных батарей.
3.1.3. На судах, где основным источником электрической энергии является аккумуляторная батарея, в том числе работающая в буферном режиме с генератором, ее емкость должна быть достаточной для питания без дополнительной подзарядки от судового зарядного устройства, а также с учетом
3.2.14, требуемых потребителей в течение:
24 ч - для судов проектных категорий A, A1, A2 или B;
16 ч - для судов проектных категорий C или C1;
8 ч - для судов проектных категорий C2 или C3.
3.1.4. В случае, если аккумуляторная батарея используется одновременно для пуска основных двигателей внутреннего сгорания, ее емкость должна быть достаточной для выполнения требований 3.1.5 и
3.2.8.
3.1.5. Определение состава и мощности источников электрической энергии (емкости и количества аккумуляторных батарей согласно
3.1.3 и 3.1.4) должно производиться с учетом следующих режимов работы судна:
1. Ходового режима;
2. Маневров;
3. Во время пожара, пробоины корпуса или других влияющих на безопасность плавания судна условий при работе основного источника электрической энергии;
4. Других режимов в соответствии с назначением судна.
3.2.1. Аккумуляторные батареи должны быть установлены выше уровня льял в сухих местах, легко доступных, вентилируемых и не подверженных непосредственному воздействию внешних факторов, таких как высокая или низкая температура, брызги воды и механические повреждения.
3.2.2. Аккумуляторные батареи не должны устанавливаться вблизи топливного бака или топливного фильтра.
Любой металлический элемент топливной системы, находящийся в пределах 300 мм выше батареи, должен быть электрически изолирован.
3.2.3. Аккумуляторные батареи мощностью более 0,2 кВт (66 А · ч при 24 В и 135 А · ч при 12 В) должны быть установлены в специальном помещении или ящиках. Это требование не относится к аккумуляторам, которые не требуют обслуживания.
3.2.4. Кислотные и щелочные аккумуляторы не должны устанавливаться в одном помещении или в одном ящике.
Емкости и принадлежности, предназначенные для обслуживания аккумуляторной батареи с разными электролитами, должны храниться в отдельности.
3.2.5. Помещение и ящики для аккумуляторов должны иметь соответствующую вентиляцию, которая предотвращает образование и накопление взрывоопасных смесей.
3.2.6. Аккумуляторные батареи должны располагаться так, чтобы при наклоне судна до 45° не происходило разливание электролита.
3.2.7. Батарея пусковых аккумуляторов главных двигателей мощностью не более чем 75 кВт может быть применена для питания систем освещения судна.
3.2.8. Емкость аккумуляторной батареи для запуска двигателя должна обеспечивать 6 пусков двигателя, с учетом того, что время каждого пуска составляет по меньшей мере 5 с, и должна отвечать рекомендациям производителя двигателя. В случае отсутствия требований производителя двигателя, емкость пускового аккумулятора Q, А · ч, можно определить по формуле
где k - коэффициент емкости аккумулятора:
k = 70 - для напряжения 12 В;
k = 35 - для напряжения 24 В;

- номинальная мощность стартера, кВт.
3.2.9. Схема зарядки аккумуляторной батареи от основного источника должна обеспечивать зарядку батареи на протяжении не более 8 ч.
3.2.10. При подборе емкости кислотных аккумуляторов назначения иного, чем пусковое, необходимо принимать их разрядку не более 50% номинальной емкости. Для щелочных аккумуляторов можно принимать большую разрядку в соответствии с рекомендациями производителя аккумулятора.
3.2.11. Стартер главного двигателя должен питаться от стартерной батареи, а также аварийно от другой батареи с достаточной емкостью.
На судах с главным двигателем мощностью не более 40 кВт допускается применение одной пусковой батареи, которая также питает систему электроосвещения.
3.2.12. Батарея пусковых аккумуляторов должна быть расположена по возможности как можно ближе к главному двигателю.
3.2.13. В электрической цепи батареи пусковых аккумуляторов не следует использовать защиту от перегрузки.
3.2.14. Аккумуляторные батареи не должны применяться для питания потребителей с напряжением ниже, чем полное напряжение всех элементов батареи.
| | ИС МЕГАНОРМ: примечание. Нумерация пунктов дана в соответствии с официальным текстом документа. | |
3.2.25. Рекомендуется применение аккумуляторов, которые не требуют обслуживания.
3.3. АВАРИЙНЫЕ ЭЛЕКТРИЧЕСКИЕ УСТАНОВКИ
3.3.1. На каждом судне проектных категорий A, A1, A2, B, C и C1 должен быть установлен автономный аварийный источник электрической энергии.
Автономный аварийный источник электрической энергии должен быть расположен выше аварийной ватерлинии, требуемой условиями обеспечения запаса плавучести согласно
части IV "Остойчивость, запас плавучести и надводный борт". Для судов проектных категорий C и C1 допускается автономный аварийный источник электрической энергии устанавливать в машинном отделении.
В качестве автономного аварийного источника электрической энергии допускается применение аккумуляторной батареи, одной или нескольких, работающей в буферном режиме с ветрогенератором или солнечной батареей.
3.3.2. Если в качестве аварийного источника электрической энергии применяется аккумуляторная батарея, ее емкость должна быть достаточной для питания в течение не менее 25% времени, указанного в
3.1.3, следующих потребителей:
мест хранения спасательных средств, аварийного имущества, пожарного инвентаря;
трапов, коридоров, выходов из машинного отделения;
пассажирских помещений;
машинного помещения;
рулевой рубки;
мест размещения и спуска коллективных спасательных средств;
мест сбора и посадки в спасательные средства на палубе и за бортом и мест, в которых сосредотачивается экипаж в случае аварийной ситуации;
всех постов (пультов) управления, а также помещений главного и аварийного распределительных щитов;
помещений аварийного источника электрической энергии;
помещения рулевого привода;
пожарного насоса, аварийного осушительного насоса и мест установки пусковых устройств этих механизмов;
2. Сигнально-отличительных фонарей;
3. Средств радиосвязи, если собственная аварийная батарея отсутствует;
4. Звуковых сигнальных средств;
5. Средств внутренней связи, авральной сигнализации и сигнализации обнаружения пожара.
3.3.3. На судах, где основным источником электрической энергии является источник, указанный в
3.1.2.2 -
3.1.2.4, работающий в буферном режиме с аккумуляторной батареей, указанная батарея может рассматриваться как аварийный источник электрической энергии.
3.3.4. На судах, где основным источником электрической энергии является аккумуляторная батарея, установка аварийного источника электрической энергии не требуется, при условии, что ее емкость достаточна для выполнения требований
3.3.2.
3.3.5. Если аварийным источником электрической энергии является аккумуляторная батарея, то она и аварийный распределительный щит должны устанавливаться в разных помещениях.
3.3.6. На судах, где основным источником электрической энергии является источник, указанный в
3.1.2.1, генератор с индивидуальным приводом, установленный на судне в соответствии с
3.3.1, может рассматриваться как аварийный источник электрической энергии. В этом случае должна быть предусмотрена возможность испытания всей установки, указанной в
3.1.2.1, вместе с устройствами автоматического пуска индивидуального привода генератора.
3.3.7. В центральном посту управления или на главном распределительном щите должна быть предусмотрена возможность контроля разрядки любой аккумуляторной батареи, являющейся аварийным источником питания.
3.3.8. Аварийные источники электрической энергии должны иметь защиту только от коротких замыканий. Если аварийным источником является генератор с приводом от индивидуального двигателя внутреннего сгорания, в центральном посту управления или в месте несения вахты должна быть предусмотрена световая и звуковая сигнализации о перегрузке генератора.
3.3.9. Аварийный распределительный щит должен быть установлен возможно ближе к аварийному источнику электрической энергии.
3.3.10. Если аварийным источником электрической энергии является генератор с приводом от индивидуального двигателя внутреннего сгорания, аварийный распределительный щит должен устанавливаться в одном помещении с генератором, за исключением того случая, когда такое размещение отрицательно влияет на работу распределительного щита. В этом же помещении должны также находиться все пусковые и зарядные устройства, а также стартерные аккумуляторные батареи для пуска аварийного агрегата.
3.3.11. Аварийный генератор должен:
1. Приводиться в действие двигателем внутреннего сгорания;
2. Запускаться автоматически при исчезновении напряжения в основной сети, а также автоматически включаться на шины аварийного распределительного щита. Общее время пуска и приема нагрузки генератором не должно превышать 45 с;
3. Если автоматическое включение аварийного агрегата согласно 3.3.11.2 не обеспечивается в течение 45 с, должен быть предусмотрен аварийный переходный источник электрической энергии, который должен включаться немедленно при обесточивании.
3.3.12. Если аварийным источником электрической энергии является аккумуляторная батарея, она должна:
1. Работать без подзарядки при сохранении изменений напряжения на зажимах в пределах 12% номинального напряжения в течение полного периода разрядки;
2. Автоматически включаться на шины аварийного распределительного щита при исчезновении напряжения в основной сети.
3.3.13. Емкость батареи, являющейся переходным аварийным источником электрической энергии, должна быть достаточной для обеспечения в течение 30 мин питания следующих потребителей:
1. Освещения и необходимых сигнально-отличительных фонарей;
2. Всех средств внутренней связи и оповещения, необходимых в аварийных условиях;
3. Системы авральной сигнализации и сигнализации обнаружения пожара;
4. Ламп дневной сигнализации, звуковых сигнальных средств (свистки, гонги и др.).
Потребители, перечисленные в 3.3.13.2, 3.3.13.3 и 3.3.13.4, могут не питаться от переходного источника, если они имеют собственные аккумуляторные батареи, обеспечивающие их питание в течение требуемого времени.
3.3.14. В нормальных эксплуатационных условиях аварийный распределительный щит должен питаться от главного распределительного щита. Фидер питания должен иметь защитные устройства от перегрузки и короткого замыкания, установленные на главном распределительном щите.
На аварийном распределительном щите следует предусмотреть выключатель, который должен автоматически отключаться при исчезновении напряжения на шинах главного распределительного щита.
Если предусматривается питание главного распределительного щита от аварийного, автоматический выключатель на аварийном распределительном щите должен быть оборудован, по крайней мере, защитными устройствами от короткого замыкания.
3.3.15. Кабели, питающие аварийные потребители, должны прокладываться таким образом, чтобы затопление потребителей ниже палубы переборок не лишило питания остальных потребителей, находящихся выше этой палубы.
3.3.16. Распределительные устройства аварийных потребителей должны находиться выше палубы переборок.
3.4. ПИТАНИЕ ОТ ВНЕШНЕГО ИСТОЧНИКА ЭЛЕКТРИЧЕСКОЙ ЭНЕРГИИ
3.4.1. Если предусматривается питание судовой сети от внешнего источника электрической энергии, на судне должен быть установлен щит питания от внешнего источника.
3.4.2. На щите питания от внешнего источника электрической энергии должны быть предусмотрены:
1. Клеммы фидерного устройства для подключения гибкого кабеля;
2. Коммутационные и защитные устройства для включения и защиты стационарно проложенного кабеля главного распределительного щита (при расстоянии между щитом питания от внешнего источника электрической энергии и главным распределительным щитом менее 10 м по длине кабеля защитное устройство допускается не устанавливать);
3. Вольтметр или сигнальные лампы о наличии на клеммах напряжения от внешнего источника тока;
4. Устройство или возможность включения устройства для контроля полярности или порядка следования фаз. Рекомендуется предусмотреть переключатель фаз;
5. Клемма для подключения нейтрального провода от внешнего источника, а также специально промаркированная клемма для подключения провода защитного заземления с берега;
6. Табличка, указывающая систему распределения, напряжение, род тока и частоту;
7. Устройство для механического закрепления конца гибкого кабеля, подведенного к щиту, и скобы для подвески кабеля, которые должны располагаться на щите питания от внешнего источника или вблизи него.
3.4.3. Щит питания от внешнего источника электрической энергии должен быть подключен к главному распределительному щиту стационарно проложенным кабелем.
3.4.4. На судах с электрической установкой малой мощности допускается подключение питания от внешнего источника электрической энергии с помощью штепсельных устройств. Штепсельное устройство номинальным током более 16 А должно иметь выключатель с блокировкой, исключающей возможность разъединения или соединения вилки со штепселем в положении выключателя "включено". Штепсельное подключение должно быть защищено от механического повреждения и заливания водой. Штепсельное устройство должно быть сконструировано таким образом, чтобы исключалось прикосновение к токоведущим частям во всех возможных эксплуатационных случаях и его самопроизвольное разъединение.
3.4.5. В Руководстве для владельца судна должна содержаться информация о мерах предосторожности при подключении/отключении электропитания с берега. Если судно получает питание с берега, в Руководстве должна содержаться информация об опасности плавания вблизи кабелей берегового электропитания и необходимости использования при этом соответствующей таблички "ОСТОРОЖНО"/"SAFETY PRECAUTIONS".
3.5. АЛЬТЕРНАТИВНЫЕ ИСТОЧНИКИ ЭЛЕКТРИЧЕСКОЙ ЭНЕРГИИ
3.5.1. Для питания судовых потребителей допускается применение одного или обоих из указанных вариантов альтернативных источников электрической энергии:
1. Ветрогенератора и аккумуляторной батареи, одной или нескольких, работающих в буферном режиме с генератором;
2. Солнечной батареи и аккумуляторной батареи, одной или нескольких, работающих в буферном режиме с солнечной батареей.
3.5.2. Если альтернативные источники электрической энергии устанавливаются на судне дополнительно к требованиям
3.1 и/или
3.3 для их совместного использования, системы распределения электрической энергии с учетом ветрогенератора и/или солнечной батареи должны быть одобрены Регистром.
4. РАСПРЕДЕЛЕНИЕ ЭЛЕКТРИЧЕСКОЙ ЭНЕРГИИ
4.1.1. Каждая электрическая цепь, которая отходит от распределительного щита, должна быть оборудована коммутационно-защитным устройством.
4.1.2. Конечные цепи электрического освещения помещений не должны быть нагружены током более 10 А. От этих электрических цепей можно питать каютные вентиляторы и прочие мелкие потребители.
4.2. СИСТЕМЫ РАСПРЕДЕЛЕНИЯ ЭЛЕКТРИЧЕСКОЙ ЭНЕРГИИ
4.2.1. В электрических системах на судах должны применяться следующие схемы распределения электрической энергии постоянного тока:
1. Двухпроводная изолированная, или
2. Двухпроводная с отрицательным заземленным полюсом;
3. Трехпроводная с общим отрицательным полюсом.
4.2.2. Применение однопроводной системы распределения электрической энергии постоянного и переменного тока с использованием корпуса судна в качестве обратного провода не допускается, за исключением ограниченных и местно заземленных систем (например, стартерных).
4.2.3. Допускается размещение распределительных устройств (ГРЩ, АРЩ) в пульте, расположенном в рулевой рубке.
4.2.4. От шин главного распределительного щита должны получать питание по отдельным фидерам следующие потребители (при их наличии на судне):
1. Электрические приводы рулевых устройств (см. также
5.2.2);
2. Электрические приводы якорного устройства;
3. Электрические приводы пожарных насосов;
4. Электрические приводы осушительных насосов;
5. Секционные щиты электрического освещения;
6. Щит радиооборудования;
7. Щит навигационного оборудования;
8. Щит сигнально-отличительных фонарей;
9. Распределительные устройства объединенного пульта управления;
10. Щит станции автоматической сигнализации обнаружения пожара;
11. Электрические приводы механизмов, обеспечивающих работу главных механизмов;
12. Щиты электрических приводов грузовых, швартовных, шлюпочных и других устройств, вентиляции и нагревательных приборов;
13. Зарядные устройства стартерных аккумуляторных батарей и батарей, питающих ответственные устройства;
14. Другие, не перечисленные выше потребители, - по требованию Регистра.
Допускается питание потребителей, перечисленных в
4.2.4.4,
4.2.4.6,
4.2.4.7,
4.2.4.8,
4.2.4.10, 4.2.4.11, 4.2.4.13 от распределительного устройства, указанного в
4.2.4.9, по отдельным фидерам, имеющим коммутационные и защитные устройства.
4.2.5. Конечные ответвленные цепи на номинальный ток более 16 А должны питать не более одного потребителя.
4.2.6. Цепи питания для более мелких групп потребителей должны предусматриваться на номинальный ток, не превышающий 16 А. Эти цепи не должны одновременно питать осветительные и нагревательные приборы.
4.3. РАСПРЕДЕЛИТЕЛЬНЫЕ ЩИТЫ
4.3.1. Конструкция распределительных щитов
4.3.1.1. Каркасы, лицевые панели и кожухи главных, аварийных, секционных и групповых распределительных щитов должны изготавливаться из металла или из другого прочного негорючего материала.
4.3.1.2. Распределительные щиты должны иметь достаточно жесткую конструкцию, выдерживающую механические напряжения, возникающие в условиях эксплуатации и вследствие коротких замыканий.
4.3.1.3. Распределительные щиты должны быть, по крайней мере, защищены от проникновения капель. Этой защиты не требуется, если щиты предназначены для установки в местах, где отсутствуют условия для попадания в распределительные щиты вертикально падающих капель (см. также
4.3.6.2).
4.3.1.4. Распределительные щиты, предназначенные для установки в местах, доступных посторонним лицам, должны быть снабжены дверцами, открывающимися специальным ключом, одинаковым для всех распределительных щитов на судне.
4.3.1.5. Конструкция дверец распределительных щитов должна быть такой, чтобы после их открывания был обеспечен доступ ко всем частям, требующим ухода, а части, расположенные на дверцах и находящиеся под напряжением, должны быть защищены от случайного прикосновения.
Открывающиеся панели и дверцы, на которых расположены электрическая аппаратура управления и измерительные приборы, должны быть надежно заземлены не менее чем одной гибкой перемычкой.
4.3.1.6. Генераторные панели главных распределительных щитов должны освещаться светильниками, получающими питание со стороны генератора перед главным выключателем или не менее чем от двух разных систем сборных шин, при наличии таких систем.
4.3.1.7. Освещение лицевой стороны панелей распределительных щитов не должно мешать наблюдению и вызывать слепящего действия.
4.3.1.8. Конструкция распределительных щитов должна обеспечивать доступ ко всем частям, требующим обслуживания.
Дверцы распределительных щитов и распределительных шкафов должны быть оборудованы устройствами для фиксирования в открытом положении.
Приборы и устройства, требующие наблюдения и обслуживания, не должны располагаться выше 1,8 м.
4.3.1.9. Каждое распределительное устройство на напряжение 50 В и выше, которое имеет коммутационную и защитную аппаратуру и на котором не установлен вольтметр, должно быть снабжено сигнальной лампой, показывающей наличие напряжения на шинах.
4.3.2. Шины и неизолированные провода
4.3.2.1. Предельная температура нагрева шин и неизолированных проводов распределительных щитов при номинальной нагрузке и при коротком замыкании или допустимой для медных шин односекундной нагрузке короткого замыкания должна определяться по национальным стандартам.
4.3.2.2. Уравнительные шины должны быть рассчитаны, по крайней мере, на 50% номинального тока наибольшего генератора, подключаемого к главному распределительному щиту.
4.3.2.3. Если шина соприкасается с изолированными частями или находится вблизи них, ее тепловое влияние в рабочем режиме или при коротком замыкании не должно вызывать превышения температуры, допустимой для данного изоляционного материала.
4.3.2.4. Шины и неизолированные провода в распределительных щитах должны обладать динамической и термической устойчивостью при протекании токов короткого замыкания, возникающих в соответствующих местах цепи. Электродинамические усилия, возникающие в шинах и неизолированных проводах при коротких замыканиях, должны определяться по национальным стандартам.
4.3.2.5. Изоляторы и другие части, предназначенные для крепления шин и неизолированных проводов, должны выдерживать усилия, возникающие во время коротких замыканий.
4.3.2.6. Соединение шин должно выполняться таким образом, чтобы исключалась возможность появления коррозии в местах их соединения.
4.3.3. Выбор коммутационных электрических аппаратов
4.3.3.1. Коммутационные электрические аппараты должны соответствовать, по крайней мере, национальным стандартам и должны быть подобраны таким образом, чтобы:
1. В нормальном режиме работы их номинальные напряжения, номинальные токи и допустимые температуры не были превышены;
2. Выдерживать без повреждения и нагрева выше предельной температуры предусмотренные перегрузки в переходных режимах;
3. Их характеристики в режиме короткого замыкания соответствовали фактическому коэффициенту мощности короткозамкнутой цепи, а также характеру изменения сверхпереходного и переходного тока короткого замыкания.
4.3.3.2. Номинальная отключающая способность коммутационных электрических аппаратов, предназначенных для отключения токов короткого замыкания, должна быть не менее ожидаемого тока короткого замыкания в месте их установки в момент отключения.
4.3.3.3. Номинальная включающая способность автоматических выключателей и выключателей, которые могут быть включены в электрическую цепь, замкнутую накоротко, должна быть не менее ожидаемого максимального тока включения в месте их установки при коротком замыкании.
4.3.3.4. Ток электродинамической стойкости электрических аппаратов, не предназначенных для отключения токов короткого замыкания, должен быть не менее ожидаемого максимального тока короткого замыкания в месте их установки.
4.3.3.5. Ток термической стойкости электрических аппаратов при коротком замыкании должен соответствовать ожидаемому току короткого замыкания в месте их установки с учетом продолжительности короткого замыкания, обусловленной селективным действием устройств защиты.
4.3.3.6. Применение автоматического выключателя, не обладающего отключающей и/или включающей способностью, соответствующей максимальному ожидаемому току короткого замыкания в месте, где он установлен, допускается при условии, что он защищен со стороны генератора предохранителями и/или автоматическим выключателем, имеющим, по крайней мере, необходимые номиналы для токов короткого замыкания и не являющимся автоматическим выключателем генератора.
Характеристики устройства защиты, составленного таким образом, должны быть такими, чтобы;
1. При отключении максимального ожидаемого тока короткого замыкания автоматический выключатель на стороне нагрузки не повреждался до степени непригодности к дальнейшей работе;
2. При включении автоматического выключателя на максимальный ожидаемый ток короткого замыкания остальная часть установки не повреждалась; при этом допускается, чтобы автоматический выключатель, установленный на стороне нагрузки, не был немедленно пригодным к дальнейшей работе.
4.3.3.7. В электрических цепях с номинальным током нагрузки, превышающим 320 А, для защиты от перегрузок должны устанавливаться автоматические выключатели. Рекомендуется применение автоматических выключателей при токе более 200 А.
4.3.3.8. Выключатели в цепях генераторов постоянного тока смешанного возбуждения, предназначенных для параллельной работы, должны иметь полюс в уравнительном проводе, механически сопряженный с остальными полюсами выключателя таким образом, чтобы он включался до подключения остальных полюсов к шинам и отключался после их отключения.
4.3.4. Расположение коммутационных электрических аппаратов и измерительных приборов
4.3.4.1. Аппараты, измерительные и контрольные приборы, относящиеся к соответствующим генераторам и другим крупным ответственным устройствам, следует устанавливать на распределительных устройствах, относящихся к этим генераторам и устройствам. Это требование может быть не выполнено для генераторов, если имеется центральный пульт управления, на котором установлены коммутационная аппаратура и измерительные приборы нескольких генераторов.
4.3.4.2. Для каждого генератора постоянного тока должны устанавливаться на главном и аварийном распределительных щитах по одному амперметру и вольтметру.
4.3.4.3. Для каждого генератора переменного тока должны быть установлены на главном распределительном щите, а для аварийного генератора - на аварийном распределительном щите следующие измерительные приборы:
1. Амперметр с переключателем для измерения тока в каждой фазе;
2. Вольтметр с переключателем для измерения фазных или линейных напряжений;
3. Частотомер (допускается применение одного сдвоенного частотомера для генераторов, работающих параллельно, с переключателем на каждый генератор);
4. Ваттметр (для мощности генератора свыше 50 кВА);
5. Другие необходимые приборы.
4.3.4.4. Для судов с установкой малой мощности, на которых не предусматривается параллельная работа генераторов, допускается устанавливать на главном и аварийном распределительных щитах один комплект измерительных приборов, предусмотренных в
4.3.4.2 и
4.3.4.3, обеспечивающих возможность измерений на каждом установленном генераторе.
4.3.4.5. В цепях ответственных потребителей с номинальным током от 20 А и более должны устанавливаться амперметры. Эти амперметры допускается устанавливать на главном распределительном щите или у постов управления. Допускается установка амперметров с переключателями, но не более чем на шесть потребителей.
4.3.4.6. На главном распределительном щите в фидере питания от внешнего источника электрической энергии должны быть предусмотрены:
1. Коммутационные и защитные устройства;
2. Вольтметр или сигнальная лампа;
3. Устройство защиты от обрыва фаз;
4. Устройство защиты от пониженного напряжения.
4.3.4.7. На главных и аварийных распределительных щитах для каждой сети изолированных систем должно быть установлено переключаемое или для каждой сети отдельное устройство для измерения и индикации сопротивления изоляции.
Ток утечки на корпус, обусловленный работой измерительного устройства, в любых случаях не должен превышать 30 мА.
Должна быть предусмотрена световая и звуковая сигнализации о недопустимом понижении сопротивления изоляции всех контролируемых сетей.
На судах без постоянной вахты в машинном помещении такая сигнализация должна устанавливаться также в месте, откуда осуществляется управление судном.
4.3.4.8. Измерительные приборы должны иметь шкалы с запасом по делениям, превышающие номинальные значения измеряемых величин.
Следует применять измерительные приборы с пределами шкал не менее следующих:
1. Вольтметры - 120% номинального напряжения;
2. Амперметры для генераторов, не работающих параллельно, и потребителей - 130% номинального тока;
3. Амперметры для генераторов, работающих параллельно, - предел шкалы тока нагрузки 130% номинального тока и предел шкалы обратного тока 15% номинального тока (последнее - только для генераторов постоянного тока);
4. Ваттметры для генераторов, не работающих параллельно, - 130% номинальной мощности;
5. Ваттметры для генераторов, работающих параллельно, - предел шкалы мощности нагрузки 130% и предел шкалы обратной мощности 15%;
6. Частотомеры - +/- 10% номинальной частоты.
Указанные пределы шкал могут быть изменены по согласованию с Регистром.
4.3.4.9. Номинальные напряжения, токи и мощности цепей гребной электрической установки и генераторов должны быть отмечены на шкалах измерительных приборов ясно видимыми отметками.
4.3.4.10. Выключатели должны устанавливаться и подключаться к шинам таким образом, чтобы в положении "выключено" подвижные контакты и вся связанная с выключателем защитная и контрольная аппаратура не находились под напряжением.
4.3.4.11. Если в цепях распределительных щитов устанавливаются выключатели с предохранителями, предохранители должны быть обязательно расположены между шинами и выключателями. Применение другой последовательности установки допускается только по согласованию с Регистром.
4.3.4.12. Предохранители в распределительных щитах, установленных на фундаменте на уровне настила, должны быть расположены на уровне не ниже 150 мм и не выше 1800 мм от настила. Находящиеся под напряжением открытые части распределительных щитов должны быть расположены на высоте не менее 150 мм над настилом.
Органы управления аппаратов генераторов должны быть расположены не ниже 800 мм от настила. Органы управления других аппаратов должны быть расположены не ниже 300 мм от настила.
4.3.4.13. Предохранители в распределительных щитах должны устанавливаться таким образом, чтобы доступ к ним был легким и замена плавких вставок не вызывала опасности для обслуживающего персонала.
4.3.4.14. Ввинчиваемые предохранители должны быть установлены таким образом, чтобы питающие провода были подключены к нижнему выводу.
4.3.4.15. Предохранители, защищающие полюсы или фазы одной цепи, должны быть установлены рядом горизонтально или вертикально с учетом конструкции предохранителя.
Взаимное расположение предохранителей в цепи переменного тока соответственно последовательности фаз должно быть слева направо или сверху вниз.
В цепи постоянного тока предохранитель положительного полюса должен быть расположен слева, сверху или ближе к обслуживающему персоналу.
4.3.4.16. Ручные приводы регуляторов напряжения, установленных на главном или аварийном распределительном щите, должны располагаться вблизи измерительных приборов, относящихся к соответствующим генераторам.
4.3.4.17. Амперметры генераторов постоянного тока со смешанным возбуждением, предназначенных для параллельной работы, должны быть установлены в цепи полюса, не соединенного с уравнительным проводом.
4.3.4.18. Для подключения подвижных или ограниченно подвижных приборов должны применяться многопроволочные гибкие провода.
4.3.4.19. Органы управления коммутационных электрических аппаратов, панели, отходящие электрические цепи на распределительных щитах, измерительные приборы должны иметь надписи.
Коммутационные положения аппаратов должны быть обозначены.
Должны быть также указаны номинальные токи установленных предохранителей и выключателей, вставки автоматических выключателей и электротепловых реле.
4.3.4.20. Каждая цепь, отходящая от распределительного щита, должна быть снабжена выключателем, отключающим все полюса и/или фазы. Выключатели могут не устанавливаться во вторичных распределительных коробках освещения, имеющих общий выключатель, а также в цепях приборов, устройств блокировки и сигнализации, местного освещения щитов, защищенных предохранителями.
4.3.5. Световая сигнализация
Для световой сигнализации должны применяться цвета, указанные в табл. 4.3.5. Применение иных способов световой сигнализации, чем указаны в табл. 4.3.5, например, буквенных символов, является в каждом случае предметом специального рассмотрения Регистром.
Таблица 4.3.5
Цвет | Значение | Род сигнала | Состояние устройства |
Красный | Опасность | Мигающий | Аврал в опасных состояниях, требующих немедленного вмешательства |
Постоянный | Аврал в опасных состояниях, обнаруженных, но еще не устраненных |
Желтый | Внимание | Мигающий | Ненормальные состояния, но не требующие немедленного устранения |
Постоянный | Состояние среднее между ненормальным и безопасным. Состояние ненормальное, обнаруженное, но еще не устраненное |
Зеленый | Безопасность | Мигающий | Механизмы включились в работу из резервного состояния |
Постоянный | Нормальный режим работы и действия |
Синий | Информация | Постоянный | Механизмы и устройства готовы к пуску. Напряжение в сети. Все в порядке |
Белый | Общая информация | Постоянный | Сигналы, рассветляемые при необходимости: надписи, касающиеся автоматического действия; другие дополнительные сигналы |
4.3.6. Размещение распределительных устройств
4.3.6.1. Распределительные устройства должны устанавливаться в местах, где исключена возможность концентрации газов, паров воды, пыли и кислотных испарений.
4.3.6.2. Если распределительное устройство с защитным исполнением IP10 и ниже располагается в специальном помещении, шкафу или нише, то такие помещения должны быть изготовлены из негорючего материала или иметь облицовку из такого материала.
4.3.6.3. Размещение трубопроводов и цистерн вблизи распределительных щитов должно соответствовать требованиям
части V "Механические установки. Механизмы. Системы и трубопроводы".
4.3.6.4. Щит сигнально-отличительных фонарей должен располагаться в рулевой рубке в легкодоступном и видном для вахтенного персонала месте.
4.3.6.5. Главный распределительный щит и генераторные агрегаты рекомендуется располагать в одном помещении.
Выгородка в пределах главных границ машинного помещения, предусмотренная для центрального поста управления механизмами, где располагается ГРЩ, не считается отделяющей ГРЩ от генераторных агрегатов.
По согласованию с Регистром допускается размещение главного и аварийного распределительных щитов в рулевой рубке.
4.3.6.6. Если на судне используются постоянный и переменный ток, то электрооборудование должно получать питание от отдельных распределительных щитов или от общего щита с перегородкой или ясно и четко отделенными друг от друга секциями постоянного и переменного тока. Должны быть приведены электромонтажные схемы щита.
4.3.7. Доступ к распределительным щитам
4.3.7.1. С передней стороны распределительного щита должен быть проход шириной не менее 600 мм.
4.3.7.2. С задней стороны вдоль свободно стоящих распределительных щитов должен быть обеспечен проход шириной не менее 600 мм.
По согласованию с Регистром допускается уменьшение этого прохода до 500 мм в отдельных местах.
4.3.7.3. Пространство позади свободно стоящих распределительных щитов с открытыми частями, находящимися под напряжением, должно быть выгорожено и снабжено дверями.
4.3.7.4. Проходы, указанные в
4.3.7.1 и 4.3.7.2, измеряются от наиболее выступающих частей аппаратуры и конструкций щита до выступающих частей оборудования или конструкций корпуса.
5. ЭЛЕКТРИЧЕСКИЕ ПРИВОДЫ СУДОВЫХ МЕХАНИЗМОВ И УСТРОЙСТВ
5.1.1. Посты управления приводов должны удовлетворять соответствующим требованиям
разд. 3 части V "Механические установки. Механизмы. Системы и трубопроводы".
5.1.2. Механизмы с электрическим приводом должны иметь световую сигнализацию о включении электропривода.
5.1.3. Устройства, имеющие автоматическое, дистанционное и местное управление, должны быть выполнены таким образом, чтобы при переходе на местное управление автоматическое и дистанционное управление отключалось.
При этом местное управление должно быть независимым от автоматического или дистанционного.
5.1.4. Пуск механизмов, электрические двигатели или аппаратура которых требуют во время нормальной работы дополнительной вентиляции, должен быть возможен только при действующей вентиляции.
5.1.5. Системы управления механизмов, работа которых при определенных обстоятельствах может угрожать безопасности людей или судна, должны снабжаться кнопками или другими отключающими устройствами, обеспечивающими отключение питания электрического привода.
Эти кнопки и/или другие отключающие устройства безопасности должны быть защищены от случайного приведения в действие и должны быть расположены у постов управления или в других местах, обеспечивающих безопасность эксплуатации.
5.1.4. В электрических приводах устройств и механизмов, в которых во избежание повреждений или аварийных случаев требуется ограничение движения, должны быть предусмотрены конечные выключатели, обеспечивающие надежное отключение электрического двигателя.
5.2. КОММУТАЦИОННАЯ И ПУСКОРЕГУЛИРУЮЩАЯ АППАРАТУРА
5.2.1. Коммутационная аппаратура в цепях электрических приводов, не являющихся одновременно защитным устройством от токов короткого замыкания, должна выдерживать ток короткого замыкания, который может протекать в месте ее установки в течение времени, необходимого для срабатывания защиты.
5.2.2. Пускорегулирующая аппаратура должна допускать возможность пуска электрического двигателя только из нулевого положения.
5.2.3. Для каждого электрического двигателя мощностью 0,5 кВт и более и его пускорегулирующей аппаратуры должно быть предусмотрено устройство для отключения питания; при этом, если пускорегулирующая аппаратура установлена на главном или другом распределительном щите в этом же помещении и обеспечена ее видимость с места установки электрического двигателя, то для этой цели допускается использование выключателя, установленного на щите.
Если требования о расположении пускорегулирующей аппаратуры, изложенные выше, не выполнены, следует предусмотреть:
1. Устройство, блокирующее выключатель на распределительном щите в выключенном положении, или
2. Дополнительный выключатель вблизи электрического двигателя, или
3. Такую установку предохранителей в каждом полюсе или фазе, чтобы они могли быть легко вынуты и вновь вставлены обслуживающим персоналом.
5.3. ЭЛЕКТРИЧЕСКИЕ ПРИВОДЫ И УПРАВЛЕНИЕ РУЛЕВЫХ УСТРОЙСТВ
5.3.1. В дополнение к требованиям 6.2 части IX "Механизмы" Правил классификации и постройки морских судов и
2.11 части III "Устройства, оборудование и снабжение" настоящих Правил рулевые устройства должны удовлетворять требованиям настоящей части.
5.3.2. Каждый электрический или электрогидравлический рулевой привод должен получать питание по отдельному фидеру, проложенному непосредственно от главного распределительного щита в разных трассах (см. также
9.3.1.8).
В случае применения в главном распределительном щите секционированных сборных шин питание фидеров рулевых приводов должно осуществляться от разных секций.
Один из фидеров может получать питание через аварийный распределительный щит.
Один из рулевых приводов (вспомогательный) должен получать питание от аварийного источника электрической энергии.
5.3.3. Пуск и остановка электрических двигателей привода руля, кроме электрических двигателей рулей с непосредственным электрическим приводом, должны осуществляться из румпельного помещения и из рулевой рубки.
5.3.4. Пусковые устройства должны обеспечивать повторный автоматический запуск электрических двигателей при восстановлении напряжения после перерыва в подаче питания.
При наличии нескольких постов управления электрическими приводами рулевого устройства должен быть предусмотрен переключатель, обеспечивающий работу по выбору только с одного поста.
5.3.5. Направление вращения штурвала или движения рукоятки управляющего аппарата должно соответствовать направлению перекладки пера руля. В системе кнопочного управления кнопки должны быть расположены таким образом, чтобы включение кнопки, находящейся с правой стороны, обеспечивало движение пера руля вправо, а находящейся с левой стороны - движение его влево.
5.3.6. В румпельном помещении должны быть предусмотрены средства отключения любой системы управления с мостика от рулевого привода, который она обслуживает.
5.4. ЭЛЕКТРИЧЕСКИЕ ПРИВОДЫ ЯКОРНЫХ И ШВАРТОВНЫХ МЕХАНИЗМОВ
5.4.1. В дополнение к требованиям разд. 6 части IX "Механизмы" Правил классификации и постройки морских судов электроприводы брашпилей, якорно-швартовных шпилей и швартовных лебедок должны удовлетворять требованиям настоящей части Правил.
5.4.2. При применении электрических двигателей переменного тока с короткозамкнутым ротором электрические приводы якорного и швартовного механизмов после 30-минутной работы при номинальной нагрузке должны обеспечивать возможность стоянки под током электрического двигателя при номинальном напряжении в течение не менее 30 с для якорных механизмов и 15 с для швартовных механизмов. Для двигателей с переключаемыми полюсами это требование действительно для работы двигателей с обмоткой, создающей наибольший пусковой момент. Электрические двигатели постоянного тока и переменного тока с фазным ротором должны выдерживать указанный выше режим стоянки под током, но при моменте, в два раза превышающем номинальный, причем напряжение может быть ниже номинального.
После режима стоянки под током превышение температуры должно быть не более 130% допустимого значения для примененной изоляции.
5.4.3. У якорно-швартовных шпилей и швартовных лебедок на ступенях скоростей, предназначенных только для швартовных операций, должна быть предусмотрена защита от перегрузки электрического двигателя.
5.4.4. Электрические приводы якорных шпилей или брашпилей должны получать питание от шин главного распределительного щита.
5.5. ЭЛЕКТРИЧЕСКИЕ ПРИВОДЫ НАСОСОВ
5.5.1. Электрические двигатели топливных и маслоперекачивающих насосов и сепараторов, а также насосов циркуляции органических теплоносителей должны быть оборудованы дистанционными отключающими устройствами, находящимися вне помещений этих насосов и вне шахт машинных помещений, но в непосредственной близости от выхода из этих помещений.
5.5.2. Отключающие устройства электрических приводов, указанные в 5.5.1, должны быть размещены на видимых местах, закрыты стеклом и снабжены поясняющими надписями.
5.5.3. Электрические двигатели аварийных пожарных насосов должны иметь устройства дистанционного пуска, расположенные выше палубы переборок.
Устройства дистанционного пуска должны иметь световую сигнализацию о включении электрического привода.
5.5.4. Пожарные насосы с дистанционным управлением должны иметь также местный пост управления.
5.5.5. Электрические двигатели насосов перекачки, сдачи или сброса нефтесодержащих и сточных вод должны иметь устройства дистанционного отключения, установленные в районе расположения выходных патрубков, если не предусмотрена телефонная связь между местом наблюдения за сбросом и местом управления откачивающими насосами.
5.5.6. Местный пуск пожарных и осушительных насосов должен быть возможен даже в случае повреждения их цепей дистанционного управления, включая аппаратуру защиты.
5.6. ЭЛЕКТРИЧЕСКИЕ ПРИВОДЫ ВЕНТИЛЯТОРОВ
5.6.1. Электрические двигатели вентиляторов машинных помещений должны иметь не менее двух отключающих устройств, причем одно из них должно находиться вне этих помещений и их шахт, но в непосредственной близости от выхода из этих помещений.
Рекомендуется располагать эти отключающие устройства в месте, общем с такими же устройствами, указанными в
5.5.1.
5.6.2. Электрические двигатели вентиляторов камбуза должны иметь отключающие устройства, расположенные в местах, легко доступных с главной палубы, но вне шахт машинных помещений.
Электрические двигатели вытяжной вентиляции камбузных плит независимо от числа отключающих устройств должны иметь отключающее устройство, расположенное непосредственно в помещении камбуза.
5.6.3. Электрические двигатели общесудовой вентиляции должны иметь устройство дистанционного отключения их, которое должно быть расположено в рулевой рубке.
5.6.4. Электрические двигатели вентиляторов помещений, которые защищены системой объемного пожаротушения, должны иметь отключающее устройство, автоматически срабатывающее при пуске системы пожаротушения в данное помещение.
6. ЭЛЕКТРИЧЕСКОЕ ОСВЕЩЕНИЕ
6.1.1. Во всех судовых помещениях, местах и пространствах, освещение которых является важным для обеспечения безопасности плавания, управления механизмами и устройствами, обитаемости и эвакуации пассажиров и экипажа, должны быть установлены стационарные светильники основного освещения, которые получают питание от основного источника электрической энергии.
Перечень помещений, мест и пространств, где в дополнение к светильникам основного освещения должны быть установлены светильники аварийного освещения, указан в
3.3.2.1.
6.1.2. Установка светильников должна выполняться таким образом, чтобы исключался нагрев кабелей и близлежащих материалов до температуры, превышающей допустимую, и выделяемое ими тепло не могло вызвать возгорание расположенных вблизи них воспламеняющихся предметов и их элементов.
6.1.3. Светильники наружного освещения должны устанавливаться таким образом, чтобы они не создавали световых помех судовождению и не препятствовали распознаванию сигнально-отличительных огней.
6.1.4. В светильниках для внутреннего электромонтажа должны быть предусмотрены термостойкие провода.
На корпусе светильника должен быть предусмотрен болт для заземления. Все металлические части светильника должны иметь надежный электрический контакт между собой.
6.2. ПИТАНИЕ ЦЕПЕЙ ОСНОВНОГО ОСВЕЩЕНИЯ
6.2.1. Фидеры питания цепей основного освещения должны получать питание от главного распределительного щита или от отдельных распределительных щитов основного освещения по отдельным фидерам. От щитов основного освещения допускается осуществлять питание электрических приводов неответственного назначения мощностью до 0,25 кВт и отдельных каютных электрических грелок с номинальным током до 10 А.
6.2.2. Защитные устройства конечных ответвленных цепей освещения должны рассчитываться на номинальный ток не более 16 А, суммарный ток нагрузки подключенных потребителей не должен превышать 80% номинального тока защитного устройства.
6.2.3. Светильники основного освещения коридоров, салонов и проходов, ведущих к коллективным спасательным средствам и на палубу к местам эвакуации (при наличии более одного светильника), машинных отделений должны получать питание не менее чем по двум независимым фидерам с таким расположением светильников, чтобы даже в случае выхода из строя одного из фидеров обеспечивалась возможно большая равномерность освещения. Эти фидеры должны получать питание от разных групповых щитов, которые в случае применения секционированных шин освещения в главном распределительном щите должны получать питание от разных секций шин.
6.2.4. Светильники местного освещения в жилых помещениях, а также штепсельные розетки должны получать питание от щита освещения по отдельному фидеру, другому, чем фидер питания светильников общего освещения.
Данное требование не относится к индивидуальным штепсель-трансформаторам.
6.2.5. При расчете сечения кабеля мощность каждой штепсельной розетки при напряжении 110 В и выше должна приниматься за 100 Вт. Расчетная мощность штепселя при переносном освещении при напряжении 12 В должна приниматься равной 15 Вт, а при 24 В - равной 25 Вт.
6.3.1. Освещенность отдельных помещений, мест и пространств, указанных в
3.3.2, при аварийном освещении должна быть не менее 10% общей освещенности при основном освещении (см.
6.6). Допускается, чтобы освещенность от светильников аварийного освещения в машинном помещении составляла 5% освещенности при основном освещении, если предусмотрены штепсельные розетки, питаемые от сети аварийного освещения. Это освещение должно быть таким, чтобы можно было легко заметить путь выхода к местам эвакуации (или обеспечить освещенность 0,5 лк).
6.3.2. Для получения требуемой в 6.3.1 освещенности светильники аварийного освещения с лампами накаливания могут комбинироваться с люминесцентными лампами.
6.3.3. Светильники основного освещения допускается использовать в качестве светильников аварийного освещения, если они могут получать питание также и от аварийных источников энергии.
6.3.4. Сети аварийного и основного освещений должны быть по возможности независимы друг от друга. При выходе из строя одной из них другая должна функционировать таким образом, чтобы исключалась полная потеря освещения помещений и основных проходов и трапов.
6.3.5. Для аварийного освещения могут применяться стационарные светильники со встроенными аккумуляторами и с автоматической подзарядкой их от сети основного освещения с релейным переключателем.
6.3.6. Каждый светильник аварийного освещения и патрон комбинированных ламп (см.
6.3.3) должен быть обозначен красным цветом.
6.4. ВЫКЛЮЧАТЕЛИ В ЦЕПЯХ ОСВЕЩЕНИЯ
6.4.1. Во всех цепях освещения должны быть применены двухполюсные выключатели.
В сухих жилых и служебных помещениях допускается применение однополюсных выключателей в цепях, отключающих одиночные светильники или группы светильников на номинальный ток не более 6 А, а также светильников на безопасное напряжение.
6.4.2. Для стационарных светильников наружного освещения должны быть предусмотрены устройства централизованного отключения всех светильников из рулевой рубки или из другого постоянного вахтенного поста на верхней палубе.
6.4.3. Выключатели цепей освещения помещений станций пожаротушения, служебных помещений с высокой степенью пожарной опасности, бань, душевых и других особо сырых помещений должны находиться с внешней стороны этих помещений.
6.4.4. В цепях аварийного освещения не должны применяться местные выключатели светильников. Допускается применение местных выключателей в цепях светильников аварийного освещения, которые в нормальных условиях являются светильниками основного освещения.
Аварийное освещение в рулевой рубке должно быть оборудовано выключателем.
Светильники аварийного освещения мест посадки в спасательные средства, которые в нормальных условиях являются светильниками основного освещения, должны включаться автоматически при обесточивании судна.
6.5.1. Штепсельные розетки для переносного освещения должны быть установлены, при наличии на судне указанных помещений и оборудования, по крайней мере:
1. На палубе вблизи брашпиля;
2. В помещении рулевого устройства;
3. В помещении аварийного агрегата;
4. В машинных помещениях;
5. В рулевой рубке.
6.5.2. Штепсельные розетки, питаемые разными напряжениями, должны иметь конструкцию, исключающую соединение вилок для одного напряжения с розеткой для более высокого напряжения.
На штепсельной розетке или у места установки ее должно быть указано напряжение питания.
6.5.3. Штепсельные розетки для переносного освещения и других потребителей электрической энергии, установленные на открытых палубах, должны быть закреплены штепсельным разъемом вниз.
6.5.4. Штепсельные розетки не должны устанавливаться в машинных помещениях ниже настила, в закрытых помещениях сепараторов топлива и масла или в местах, где требуется оборудование одобренного безопасного типа.
6.5.5. Штепсельные розетки с номинальным током более 16 А должны иметь выключатель с блокировкой, исключающей возможность разъединения или соединения вилки со штепселем в положении выключателя "включено" и табличку с указанием напряжения.
6.5.6. В помещениях ванных и умывальных допускается устанавливать розетки только с допустимым рабочим напряжением до 50 В. Исключение могут составлять розетки с разделяющими трансформаторами для электробритв или с защитой с использованием автоматических выключателей с дифференциальным реле < 30 мА.
6.5.7. Не допускается применение штепсельных вилок с разрезными штырями. Штыри штепсельных вилок для тока более 10 А должны быть цилиндрическими сплошными или полыми.
6.5.8. Штепсельные розетки и вилки для подключения потребителей, требующих заземления, должны иметь контакты для подключения заземляющих жил кабеля потребителя. При соединении вилки со штепсельной розеткой заземляющая часть вилки должна входить в контакт с заземляющей частью штепсельной розетки до соединения токоведущих штырей.
6.5.9. Штепсельные розетки с корпусами, начиная с IP55, должны быть изготовлены таким образом, чтобы обеспечивалась степень защиты, независимо от того, находится вилка в розетке или нет.
6.6.1. Освещенность помещений и пространств должна соответствовать нормам, установленным действующими Государственными санитарными правилами для судов Российской Федерации или нормативными документами администраций других государств.
Указанные требования не относятся к судам, имеющим основное освещение, питаемое напряжением ниже 30 В.
6.7. СИГНАЛЬНО-ОТЛИЧИТЕЛЬНЫЕ ФОНАРИ
6.7.1. Щит сигнально-отличительных фонарей должен получать питание по двум фидерам;
1. По одному фидеру от главного распределительного щита через аварийный распределительный щит (если он имеется);
2. По второму фидеру от ближайшего группового щита, который не получает питания от аварийного распределительного щита.
6.7.2. Для судов, на которых основным источником электрической энергии является аккумуляторная батарея и на которых главный распределительный щит установлен в рулевой рубке, управление сигнально-отличительными фонарями допускается производить непосредственно с главного распределительного щита.
6.7.3. На судах, у которых сигнально-отличительные фонари получают питание от аккумуляторной батареи, работающей в буфере с зарядным агрегатом при ходовом режиме судна, второй фидер питания щита сигнально-отличительных фонарей допускается не предусматривать.
6.7.4. Цепи питания сигнально-отличительных фонарей должны быть выполнены по двухпроводной системе, и в каждой цепи должен быть предусмотрен двухполюсный выключатель, установленный на щите сигнально-отличительных фонарей.
6.7.5. Каждая цепь питания сигнально-отличительных фонарей должна иметь защиту в обоих проводах и индикацию о включении сигнально-отличительного фонаря.
Устройство индикации о включении и его повреждение не должно препятствовать функционированию контролируемого им огня.
Падение напряжения на распределительном щите, питающем сигнально-отличительные фонари, включая и систему сигнализации действия фонарей, не должно превышать 5% при номинальном напряжении до 30 В и 3% - при напряжении свыше 30 В.
6.7.6. Независимо от индикации о включении, требуемой в
6.7.5, должна быть предусмотрена световая и звуковая сигнализации, действующие автоматически в случае выхода из строя любого сигнально-отличительного фонаря при включенном выключателе.
Питание звуковой сигнализации должно осуществляться от другого источника или фидера, чем источник или фидер питания щита сигнально-отличительных фонарей, либо от аккумуляторной батареи.
Для судов, на которых имеется возможность контролировать работу сигнально-отличительных фонарей непосредственно из рулевой рубки, допускается не предусматривать звуковую сигнализацию.
6.7.7. Питание фонарей, не относящихся к фонарям ходовой сигнализации, допускается осуществлять от отдельных распределительных коробок или от ближайшего распределительного щита освещения. Огни, поднимаемые временно, могут получать питание от штепсельных розеток сети освещения.
7. СИГНАЛИЗАЦИЯ И ВНУТРИСУДОВАЯ СВЯЗЬ
7.1. Суда, на которых сигнал общей тревоги, передаваемый голосом, не будет слышен во всех местах, где предусмотрено нахождение людей во время рейса, должны оборудоваться электрической авральной сигнализацией, обеспечивающей хорошую слышимость во всех местах судна.
Внутрисудовая связь, как минимум, должна обеспечивать выполнение требований
2.4.17 части V "Механические установки. Механизмы. Системы и трубопроводы". Оборудование остальных помещений судна внутрисудовой связью выполняется по согласованию с заказчиком.
7.2. Звуковые приборы сигнала общей тревоги должны устанавливаться в следующих местах:
1. В машинных помещениях;
2. В общественных помещениях, если их площадь превышает 150 м2;
3. В коридорах жилых, служебных и общественных помещений;
4. На открытых палубах;
5. В производственных помещениях.
7.3. Система авральной сигнализации должна получать питание от основного и аварийного источников электрической энергии.
Допускается питание авральной сигнализации от судовой сети и от отдельной аккумуляторной батареи, включающейся автоматически при исчезновении напряжения судовой сети.
7.4. В электрических цепях питания авральной сигнализации должна предусматриваться защита только от короткого замыкания. Устройства защиты должны устанавливаться в обоих проводах фидера питания, а также в цепях каждого звукового прибора. Защита нескольких звуковых приборов одним общим защитным устройством допускается, если в помещениях, где они установлены, обеспечена хорошая слышимость других звуковых приборов, имеющих независимую защиту.
7.5. Электрическая авральная сигнализация должна приводиться в действие при помощи самовозвратного двухполюсного замыкателя, устанавливаемого в рулевой рубке и в помещении, если оно имеется, предназначенном для несения вахтенной службы при стоянке судна в порту.
7.6. Звуковые приборы, замыкатели и распределительные устройства системы электрической авральной сигнализации должны иметь хорошо видимые отличительные обозначения.
8.1.1. Защита должна выбираться с учетом характеристик тока защищаемых устройств таким образом, чтобы ее срабатывание наступало при всех недопустимых перегрузках.
8.1.2. Защита от перегрузки должна быть установлена:
1. Не менее чем в одной фазе или в положительном полюсе при двухпроводной системе;
2. В каждом положительном полюсе при трехпроводной системе;
3. Не менее чем в двух фазах - при изолированной трехпроводной системе трехфазного тока;
4. Во всех фазах - при трехфазной четырехпроводной системе.
8.1.3. Защита от коротких замыканий должна устанавливаться в каждом изолированном полюсе системы постоянного тока, а также в каждой фазе системы переменного тока. Уставки по току устройств защиты от короткого замыкания должны соответствовать не менее чем 200% номинального тока защищаемого электрического оборудования. Срабатывание защиты может быть без выдержки времени или с выдержкой времени, необходимой для получения соответствующей избирательности.
Устройство защиты от токов короткого замыкания может использоваться для защиты как самого электрооборудования, так и его кабеля питания.
8.1.4. Если на отдельных участках цепи питания предусмотрено уменьшение площади сечения кабеля, для каждого кабеля меньшей площади сечения должна быть установлена дополнительная защита, если стоящая выше защита не защищает кабель меньшей площади сечения.
8.1.5. В цепях питания аварийного распределительного щита, а также в цепях питания аварийных потребителей не должны применяться защитные устройства, исключающие возможность немедленного повторного включения после срабатывания защиты.
8.2.1. Для генераторов, не предназначенных для параллельной работы, должны быть установлены устройства защиты от перегрузок и короткого замыкания; при этом для генераторов мощностью до 30 кВт в качестве устройств защиты могут применяться предохранители.
8.2.2. Для генераторов, предназначенных для параллельной работы, должны быть установлены по крайней мере следующие устройства защиты:
1. От перегрузок;
2. От короткого замыкания;
3. От обратного тока или от обратной мощности;
4. От минимального напряжения.
Следует применять такие устройства защиты генераторов от перегрузок, которые имеют световую и звуковую сигнализации о перегрузке, действующие с выдержкой до 15 мин для нагрузок от 100 до 110% номинального тока, и выключение генераторов с выдержкой времени, соответствующей термической постоянной времени защищаемого генератора для нагрузок в пределах от 110 до 150% номинального тока.
Следует, чтобы для уставки защиты на 150% номинального тока генератора выдержка не превышала 2 мин для генератора переменного тока и 15 с для генератора постоянного тока. Перегрузка свыше 150% номинального тока генератора может быть допущена там, где это требуется условиями эксплуатации и допускается конструкцией генератора.
Уставки защиты от перегрузки и выдержки времени должны быть подобраны к перегрузочным характеристикам приводного двигателя генератора таким образом, чтобы двигатель мог в течение принятой выдержки времени развивать необходимую мощность.
Для защиты генератора от перегрузки не должны применяться защитные устройства, которые исключают немедленное повторное включение генератора.
8.2.3. Должны быть установлены устройства, автоматически и избирательно отключающие неответственные потребители при перегрузке генераторов. Отключение потребителей может быть выполнено в одну или несколько ступеней соответственно перегрузочной способности генератора.
Это требование по согласованию с Регистром может не применяться для судов с электрической установкой, имеющей достаточный резерв.
8.2.4. Защита генераторов, предназначенных для параллельной работы, от обратного тока или от обратной мощности должна быть подобрана к характеристикам приводного двигателя внутреннего сгорания. Пределы уставок указанных видов защиты должны соответствовать приведенным в табл. 8.2.4.
Таблица 8.2.4
Род тока | Пределы уставок защиты от обратного тока или от обратной мощности |
Переменный | 8 - 15% номинальной мощности генератора, кВт |
Постоянный | 2 - 15% номинального тока генератора, А |
Защита генераторов постоянного тока от обратного тока должна устанавливаться в полюсе, противоположном тому, в котором находится уравнительный провод. При снижении приложенного напряжения на 50% защита от обратной мощности или от обратного тока должна быть еще способна к действию, хотя значения обратного тока или обратной мощности могут быть другими.
8.2.5. Защита от минимального напряжения должна обеспечивать возможность надежного подключения генераторов к шинам при напряжении 85% и более номинального и исключить возможность подключения генераторов к шинам при напряжении менее 35% номинального, а также отключать генераторы при снижении напряжения на их зажимах в пределах от 70 до 35% номинального.
Защита от минимального напряжения должна действовать с выдержкой времени на отключение генераторов от шин при снижении напряжения и должна действовать без выдержки времени при попытке подключения к шинам генератора до достижения указанного выше минимального напряжения.
8.2.6. В системах возбуждения генераторов допускается применение предохранителей в качестве устройств защиты для полупроводниковых элементов.
8.3. ЗАЩИТА ЭЛЕКТРИЧЕСКИХ ДВИГАТЕЛЕЙ
8.3.1. На фидерах, отходящих от распределительных щитов, питающих электрические двигатели мощностью выше 0,5 кВт, должны устанавливаться устройства защиты от токов короткого замыкания и перегрузок, а также устройство нулевой защиты, если не требуется повторного автоматического пуска электрического двигателя.
Защитные устройства по перегрузке и нулевой защите допускается устанавливать в пусковых устройствах электрических двигателей.
8.3.2. Устройства защиты от перегрузки электрических двигателей с продолжительным режимом работы должны отключать защищаемый электродвигатель в диапазоне 105 - 125% номинального тока.
Защиту электрических двигателей от перегрузок допускается заменять световой и звуковой сигнализацией, что в каждом случае является предметом специального рассмотрения Регистром.
8.3.3. В цепях питания электрических приводов пожарных насосов не должны применяться устройства защиты от перегрузки, работающие на принципе электротепловых или температурных реле.
Устройства защиты от перегрузки допускается заменять световой и звуковой сигнализацией.
8.4. ЗАЩИТА РУЛЕВЫХ УСТРОЙСТВ
8.4.1. Для электрических двигателей и систем управления электрического или электрогидравлического рулевого устройства должно быть предусмотрено устройство защиты только от токов короткого замыкания. Должна быть установлена световая и звуковая сигнализации о перегрузке двигателя и выходе из строя любой из фаз фидера, питающего электродвигатель.
Если предусматриваются биметаллические реле для сигнализации о перегрузке электродвигателя, то они должны быть выбраны на 0,7-кратный номинальный ток электродвигателя.
Устройство защиты цепи управления рулевыми приводами должно по крайней мере соответствовать 2-кратному максимальному току цепи управления.
8.4.2. Автоматические выключатели, защищающие электрические двигатели постоянного тока от короткого замыкания, должны иметь уставки на выключение без выдержки времени при токе не менее 300% и не более 400% номинального тока защищаемого электрического двигателя, а электродвигатели переменного тока - на выключение без выдержки времени при токе не менее 125% наибольшего пускового тока защищаемого двигателя.
Если в качестве такой защиты применяются предохранители, следует выбирать номинальный ток плавкой вставки предохранителей на одну ступень выше, чем это вытекает из значений пусковых токов электрического двигателя.
8.4.3. Для электрических двигателей приводов средств активного управления судами должна быть предусмотрена защита от перегрузки и от токов короткого замыкания.
Устройства защиты от перегрузки указанных электродвигателей должны иметь световую и звуковую сигнализации о перегрузке и отключать электродвигатель в диапазоне нагрузок, указанных в
8.3.2.
Защита от токов короткого замыкания должна соответствовать требованиям
8.4.2.
9.1.1. На судах необходимо применять кабели с медными многопроволочными жилами в изоляции из нераспространяющего горение материала, площадью поперечного сечения жилы не менее:
1. 1 мм2 - для одножильных кабелей, отдельно установленных, длиной более 200 мм;
2. 0,75 мм2 - для экранированных многожильных кабелей.
9.1.2. Необходимо, чтобы все провода в электрических системах судна были соответственно обозначены, с целью идентификации их назначения:
1. Заземляющие провода должны иметь изоляцию зеленого цвета с желтыми полосами;
2. Все провода, соединенные с минусовым полюсом, должны иметь изоляцию синего цвета;
3. Другие способы идентификации проводов, иные, чем цвета изоляции, перечисленные в 9.1.2.1 и 9.1.2.2, могут быть применены при условии их описания в электрической схеме системы.
9.2. ПОДБОР КАБЕЛЕЙ ПО НАГРУЗКЕ
9.2.1. Длительную допустимую токовую нагрузку кабелей по току при температуре окружающей среды +30 °C необходимо принимать в зависимости от предельной температуры изоляции в соответствии с табл. 9.2.1 для выбранного вида изоляции.
Номинальное сечение жил мм2 | Длительная допустимая токовая нагрузка одно- и двухжильных кабелей, ампер |
60 °C | 70 °C | 85 - 90 °C | 105 °C | 125 °C |
0,75 | 8 | 10 | 12 | 16 | 20 |
1 | 12 | 14 | 18 | 20 | 25 |
1,5 | 16 | 18 | 21 | 25 | 30 |
2,5 | 20 | 25 | 30 | 35 | 40 |
4 | 30 | 35 | 40 | 45 | 50 |
6 | 40 | 45 | 50 | 60 | 70 |
10 | 60 | 65 | 70 | 90 | 100 |
16 | 80 | 90 | 100 | 130 | 150 |
25 | 110 | 120 | 140 | 170 | 185 |
35 | 140 | 160 | 185 | 210 | 225 |
50 | 180 | 210 | 230 | 270 | 330 |
70 | 220 | 265 | 285 | 330 | 360 |
95 | 260 | 310 | 330 | 390 | 410 |
120 | 300 | 360 | 400 | 450 | 380 |
150 | 350 | 380 | 430 | 475 | 520 |
9.2.2. При определении длительной допустимой токовой нагрузки кабелей по току, при температуре окружающей среды +60 °C, необходимо принимать поправочные коэффициенты в соответствии с табл. 9.2.2.
Предельная температура жил, °C | Величина поправочных коэффициентов |
70 | 0,75 |
85 - 90 | 0,82 |
105 | 0,86 |
125 | 0,89 |
9.2.3. Независимо от подбора кабелей в соответствии с
табл. 9.2.1 и
9.2.2 номинальное сечение жилы S, мм2, в зависимости от принятого допустимого падения напряжения, не должно быть меньшим рассчитанного по формуле
S = 2 · k · P · l, (9.2.3)
где k - коэффициент допустимого падения напряжения - см. табл. 9.2.3;
P - максимальная мощность, которая отбирается в данной электрической цепи, Вт;
l - длина кабеля от источника питания к потребителю, м.
При подборе сечения кабелей должны быть также выполнены требования производителей для оборудования, подключаемого в отдельных электрических цепях.
Таблица 9.2.3
Номинальное напряжение, В | 5%-е падение напряжения для электрических цепей, питающих сигнально-отличительные огни | 10%-е падение напряжения для других электрических цепей | 3%-е падение напряжения, рекомендованное для всех электрических цепей |
12 | | | |
24 | | | |
9.3.1. Прокладка кабелей
9.3.1.1. Кабели должны быть проложены по возможности по прямым и доступным трассам. Трассы должны проходить через места, в которых кабели не будут подвергаться продолжительному воздействию масла, топлива, воды и чрезмерного внешнего подогрева. Кабельные трассы должны находиться на расстоянии не менее 100 мм от источников тепла.
9.3.1.2. На расстоянии не менее 50 мм от двойного дна и от цистерн топлива или масла не должны прокладываться никакие кабели.
Кабели должны находиться на расстоянии не менее 20 мм от наружной обшивки, а также от противопожарных, водонепроницаемых и газонепроницаемых переборок и палуб.
9.3.1.3. Кабели с наружной металлической оболочкой допускается прокладывать на конструкциях из легкого металла или крепить с помощью скоб из легкого металла только в случае применения надежной антикоррозионной защиты.
9.3.1.4. Рекомендуется не прокладывать кабели под настилом машинных помещений. Если такая прокладка необходима, то кабели должны прокладываться в металлических трубах или в закрытых каналах (см.
9.3.5).
9.3.1.5. Прокладка кабелей с изоляцией на разные допустимые температуры в общих кабельных трассах должна осуществляться таким образом, чтобы кабели не нагревались выше допустимой температуры.
9.3.1.6. Кабели с разными защитными оболочками, из которых менее стойкие могут подвергаться повреждению, не должны прокладываться в общей трубе, общем желобе или другим способом совместной незакрепленной прокладки.
9.3.1.7. Жилы многожильных кабелей не должны использоваться для питания и управления не связанных друг с другом ответственных устройств.
Многожильный кабель не допускается одновременно применять для безопасного напряжения и рабочих напряжений, превышающих безопасные.
9.3.1.8. При питании устройств по двум отдельным фидерам они должны прокладываться разными трассами, по возможности на максимальном расстоянии друг от друга в горизонтальном и вертикальном направлениях.
9.3.1.9. При прокладке кабелей в каналах и других конструкциях, изготовленных из горючих материалов, районы прокладки кабелей должны быть защищены от возгорания с помощью огнезащитных средств, таких как облицовка, покрытия или пропитка.
9.3.1.10. Прокладываемые кабели не должны быть утоплены в тепловую или звуковую изоляцию, если она изготовлена из горючих материалов. От такой изоляции кабели должны быть отделены облицовкой из негорючего материала или расположены на расстоянии не менее 20 мм от нее.
При прокладке в тепловой или звуковой изоляции, изготовленной из негорючих материалов, кабели должны быть рассчитаны с соответствующим снижением нагрузки.
9.3.1.11. Кабели, прокладываемые в охлаждаемых помещениях, должны иметь защитную оболочку из металла, полихлоропреновой резины или из другого материала, стойкого к влиянию холодильного агента.
Если кабели имеют броню, она должна быть надлежащим образом защищена от коррозии.
9.3.1.12. Кабель в охлаждаемых помещениях должен прокладываться на перфорированных панелях или мостах и крепиться таким способом, чтобы сохранилось свободное пространство между кабелем и стенками помещения. Панели, мосты и крепежные скобы должны быть защищены от коррозии.
Если кабели пересекают тепловую изоляцию охлаждаемого помещения, они должны проходить через нее под прямым углом в соответствующей втулке, уплотненной с обеих сторон.
9.3.1.13. При прокладке кабелей должны быть выдержаны минимальные внутренние радиусы изгибов кабелей в соответствии с табл. 9.3.1.13.
Таблица 9.3.1.13
Тип кабеля | Внешний диаметр кабеля, мм | Минимальный радиус изгиба кабеля |
Материал изоляции кабеля | Вид защитной оболочки кабеля |
Резина или поливинилхлорид | Бронирование металлической лентой или проволокой | Любой | 10d |
Металлическая оплетка | Любой | 6d |
Сплав свинца и броня | Любой | 6d |
Другие оболочки | До 9,5 | 3d |
9,5 до 25,4 | 4d |
свыше 25,4 | 6d |
Этиленпропиленовая резина или полиэтилен сетчатой структуры | Полупроводящая и/или металлическая | | 10d |
9.3.1.14. Кабели и заземляющие перемычки оборудования, установленного на амортизаторах, должны быть подведены таким образом, чтобы они не повреждались в условиях эксплуатации.
9.3.1.15. Кабели, прокладываемые на открытых частях судна и мачтах, должны быть защищены от прямого воздействия солнечной радиации.
9.3.2. Крепление кабелей
9.3.2.1. Кабели должны быть соответственно закреплены с помощью скоб, зажимов, обойм и т.п., изготовленных из металла либо негорючего или трудновоспламеняющегося материала.
Поверхность крепления должна быть достаточно широкой и не должна иметь острых краев.
Крепления должны быть подобраны таким образом, чтобы кабели крепились прочно без повреждения их защитных оболочек.
9.3.2.2. Расстояния между креплениями кабелей при горизонтальной прокладке не должны превышать приведенных в табл. 9.3.2.2.
Таблица 9.3.2.2
Внешний диаметр кабеля, мм | Расстояние между креплениями для кабелей, мм |
свыше | до | без брони | с броней |
- | 8 | 200 | 250 |
8 | 13 | 250 | 300 |
13 | 20 | 300 | 350 |
20 | 30 | 350 | 400 |
30 | - | 400 | 450 |
При вертикальной прокладке кабелей эти расстояния могут быть увеличены на 25%.
9.3.2.3. Крепление кабелей должно быть выполнено таким образом, чтобы механические усилия, возникающие в кабелях, не передавались на их вводы и присоединения.
9.3.2.4. Кабельные трассы и кабели, прокладываемые параллельно обшивке корпуса судна, должны крепиться к набору корпуса, а не к обшивке.
На водонепроницаемых переборках и мачтах кабели должны крепиться на специальных конструкциях (кассетах, мостах, подушках и т.п.).
9.3.2.5. Кабели, идущие параллельно переборкам, подверженным отпотеванию, должны прокладываться на мостиках или на перфорированных панелях таким образом, чтобы сохранилось пространство между кабелями и переборками.
9.3.2.6. Кабельные трассы должны прокладываться с минимальным количеством пересечений. В местах пересечения кабеля должны применяться мостики. Между мостиком и перекрещивающейся с ним кабельной трассой должен оставаться воздушный зазор не менее 5 мм.
9.3.2.7. Для судов из непроводящих материалов допускается равноценная замена требований по прокладке, креплению и уплотнению проходов кабелей и кабельных трасс, предъявляемых Правилами к стальным судам, обусловленных технологией изготовления корпусов из непроводящих материалов, применяемыми материалами и т.п.
9.3.3. Проходы кабелей через палубы и переборки
9.3.3.1. Проходы кабелей через водонепроницаемые, газонепроницаемые и противопожарные переборки и палубы должны быть уплотнены.
Уплотнения в местах проходов кабелей через указанные переборки и палубы не должны снижать их непроницаемость, причем на кабели не должны передаваться усилия, возникающие от упругих деформаций корпуса.
9.3.3.2. При прокладке кабеля через проницаемые переборки или элементы набора толщиной менее 6 мм в отверстия для прохода кабелей должны устанавливаться облицовки и втулки, предохраняющие кабель от повреждений.
При толщине переборок или набора 6 мм и более устанавливать облицовку или втулку не требуется, но кромки отверстия должны быть закруглены.
9.3.3.3. Прокладка кабелей через водонепроницаемые палубы должна быть выполнена одним из следующих способов:
1. В металлических трубах (стояках), выступающих над палубой на высоту не менее 900 мм, в местах, где возможны механические повреждения кабеля, и на высоту не менее высоты комингса дверей для данного помещения, где такая возможность отсутствует;
2. В общих металлических стаканах или в коробках с дополнительной защитой кабелей кожухами высотой, указанной в 9.3.3.3.1. Коробки должны быть уплотнены кабельными массами, а трубы должны иметь сальники или быть уплотнены кабельной массой.
9.3.4. Уплотнительные массы
9.3.4.1. Для заполнения кабельных коробок в водонепроницаемых переборках и палубах должны применяться уплотнительные массы, обладающие хорошим сцеплением с внутренними поверхностями кабельных коробок и оболочками кабелей, стойкими к воздействию воды и нефтепродуктов, не дающими усадок и нарушений герметичности при длительной эксплуатации в условиях, оговоренных в
2.2.1 и
2.2.3.
9.3.4.2. Уплотнения кабельных проходов через противопожарные переборки должны быть такими, чтобы они выдержали стандартное испытание огнестойкости, предусмотренное для переборки данного типа в
части X "Противопожарная защита".
9.3.5. Прокладка кабелей в трубах и кабельных каналах
9.3.5.1. Металлические трубы и каналы, в которых прокладываются кабели, должны быть защищены от коррозии с внутренней и наружной стороны. Внутренняя поверхность труб и каналов должна быть ровной и гладкой. Концы труб и каналов должны быть обработаны или защищены таким образом, чтобы при втягивании кабели не подвергались повреждению. Кабели с оболочкой из свинца, не имеющие дополнительного защитного покрытия, не должны прокладываться в трубах и каналах.
9.3.5.2. Радиус изгиба трубы и канала должен быть не меньше допустимого для проложенного в ней кабеля самого большого диаметра (см.
9.3.1.13).
9.3.5.3. Суммарная площадь поперечных сечений всех кабелей, определенная по их внешним диаметрам, не должна превышать 40% площади внутреннего поперечного сечения трубы и канала.
9.3.5.4. Трубы и каналы должны быть механически и электрически непрерывными и быть надежно заземлены, если это заземление уже не осуществлено способом прокладки труб и каналов.
9.3.5.5. Трубы и каналы должны прокладываться так, чтобы в них не могла скапливаться вода. При необходимости в трубах и каналах должны предусматриваться вентиляционные отверстия по возможности в самых высоких и низких точках так, чтобы обеспечивалась циркуляция воздуха и предотвращалась конденсация паров. Отверстия в трубах и каналах допускаются только в местах, где это не увеличивает опасности взрыва или пожара.
9.3.5.6. Трубы и каналы для прокладки кабелей, которые проложены вдоль корпуса судна и в которых могут возникать повреждения, вызванные деформацией корпуса судна, должны иметь компенсационные устройства.
9.3.5.7. Если в соответствии с
9.3.1.1 разрешено применение кабелей с горючей оболочкой, то их прокладка должна производиться в металлических трубах.
9.3.5.8. Кабели, проложенные в трубах и каналах по вертикали, должны быть закреплены так, чтобы они не повреждались от растяжения из-за собственного веса.
9.3.6. Подключение и соединение кабелей
9.3.6.1. Концы кабеля с резиновой изоляцией, вводимые в машины, аппараты, распределительные устройства и другое оборудование, должны иметь контактное, защитное и уплотнительные оконцевания, обеспечивающие надежный электрический контакт и не допускающие проникновения влаги внутрь кабеля, а также защищающие изоляцию жил кабеля от механических повреждений, воздействия воздуха и масляных паров.
В местах подключения жилы кабеля с резиновой изоляцией должны иметь защиту изоляции от повреждения (перетирания и т.п.).
9.3.6.2. Защитная оболочка кабеля, вводимого в устройство, должна входить внутрь устройства не менее чем на 10 мм.
9.3.6.3. Соединение кабелей в местах их разветвления должно производиться в разветвительных коробках с помощью зажимов.
9.3.6.4. Если при прокладке кабелей требуются добавочные соединения, они должны осуществляться в соответствующих соединительных коробках, снабженных зажимами. Соединение в целом должно быть защищено от влияния внешних условий.
Допустимость применения соединения кабелей и применение других способов соединения кабелей, кроме указанного выше, является в каждом случае предметом специального рассмотрения Регистром.
9.4. ИЗОЛЯЦИОННЫЕ МАТЕРИАЛЫ
9.4.1. Для изоляции кабелей и проводов могут быть применены изоляционные материалы, указанные в табл. 9.4.1.
Таблица 9.4.1
Обозначение изоляции | Нормативные типы изоляционных материалов | Допустимая рабочая температура, °С <1> |
PVC/A | Поливинилхлорид обычный | 60 |
PVC/D | Поливинилхлорид теплостойкий | 75 |
EPR | Этиленпропиленовая резина | 85 |
XLPE | Полиэтилен сетчатой структуры | 85 |
S95 | Кремнийорганическая резина | 95 |
<1> Температура провода для расчета допустимой длительной нагрузки кабеля. |
10. ДОПОЛНИТЕЛЬНЫЕ ТРЕБОВАНИЯ К СИСТЕМАМ И ОБОРУДОВАНИЮ
С НАПРЯЖЕНИЕМ ВЫШЕ БЕЗОПАСНОГО
10.1.1 Требования настоящего раздела распространяются на силовое электрическое оборудование и системы освещения с рабочим напряжением выше безопасного, а также на такое же оборудование бытового назначения.
Электрические устройства должны быть изготовлены так, чтобы они обеспечивали нормальную работу при изменениях напряжения и частоты, указанных в табл. 10.1.1.
Таблица 10.1.1
N п/п | Параметр | Отклонение от номинальной величины |
длительное | кратковременное |
величина, % | время, с |
1 | Напряжение от генераторов | + 6 | + 20 | 1,5 |
- 10 | -30 | |
2 | Частота | +/- 5 | +/- 10 | 5 |
10.2. ЗАЩИТНЫЕ ЗАЗЕМЛЕНИЯ
10.2.1. Металлические корпуса электрического оборудования, работающего при напряжении, превышающем безопасное, и не обладающего двойной или усиленной изоляцией, должны иметь заземляющий зажим, обозначенный символом

.
В зависимости от назначения электрического оборудования должна быть предусмотрена возможность заземления внутри или снаружи корпуса.
10.2.2. Части, подлежащие заземлению
10.2.2.1. Металлические части электрического оборудования, к которым возможно прикосновение во время эксплуатации и которые в случае повреждения изоляции могут оказаться под напряжением (за исключением указанных в 10.2.2.2), должны иметь надежный электрический контакт с частью, снабженной заземляющим зажимом (см. также
10.2.3).
10.2.2.2. Защитные заземления не требуются для следующих видов оборудования:
1. Электрического оборудования, имеющего двойную или усиленную изоляцию;
2. Металлических частей электрического оборудования, закрепленных в изоляционном материале или проходящих сквозь него и изолированных от находящихся под напряжением частей таким образом, что в нормальных рабочих условиях они не могут оказаться под напряжением или соприкасаться с заземленными частями;
3. Корпусов специально изолированных подшипников;
4. Цоколей патронов и крепежных элементов люминесцентных ламп, абажуров и отражателей, кожухов, прикрепленных к патронам или светильникам, изготовленным из изоляционного материала или ввинченным в такой материал;
5. Крепежных элементов кабелей;
6. Одиночного потребителя с напряжением до 250 В, получающего питание от разделительного трансформатора.
10.2.3. Заземляющие зажимы и проводники
10.2.3.1. Стационарное электрическое оборудование должно быть заземлено с помощью наружных заземляющих проводников или жилы замещения в питающем кабеле. При использовании для заземления одной из жил питающего кабеля она должна присоединяться к заземленной части оборудования внутри его корпуса. Допускается не применять специального заземления с помощью наружных заземляющих проводников, если установка оборудования обеспечивает надежный электрический контакт между корпусом оборудования и корпусом судна во всех эксплуатационных условиях.
Для заземления, выполняемого наружным заземляющим проводником, должны применяться медные проводники. Можно также применять проводники из другого коррозионно-стойкого металла, но при условии, что их сопротивление не будет превышать сопротивления требуемого медного проводника. Площадь сечения медного заземляющего проводника должна быть не менее указанной в табл. 10.2.3.2. Для заземления, выполняемого специальной жилой питающего кабеля, площадь сечения этой жилы должна быть равна номинальной площади сечения жилы питающего кабеля для кабелей площадью сечения жилы до 16 мм2 и, по крайней мере, равна 1/2 площади сечения жилы питающего кабеля, но не менее 16 мм2 - для кабелей площадью сечения жилы более 16 мм2.
10.2.3.2. Заземление передвижных, съемных и переносных потребителей должно производиться через заземленное гнездо штепсельной розетки или другое заземленное контактное устройство и медную заземляющую жилу питающего гибкого кабеля. Площадь сечения заземляющей жилы должна быть не менее номинальной площади сечения жилы питающего гибкого кабеля для кабелей площадью сечения жилы до 16 мм2 и, по крайней мере, равна 1/2 площади сечения жилы питающего гибкого кабеля, но не менее 16 мм2 - для кабелей площадью сечения жилы более 16 мм2.
Таблица 10.2.3.2
Площадь сечения жилы кабеля, мм2, присоединенной к потребителю | Площадь сечения наружного заземляющего провода, мм2 |
однопроволочного | многопроволочного |
До 2,5 включительно | 2,5 | 1,5 |
От 4 до 120 | Половина площади сечения жилы кабеля, присоединенной к потребителю, но не менее 4 |
Более 120 | 70 | 70 |
10.2.3.3. Проводники и жилы, заземляющие оборудование, должны быть неотключаемыми.
10.2.3.4. Заземление электрического оборудования, установленного во взрывоопасных помещениях и пространствах, должно быть выполнено наружным заземляющим проводником, независимо от способа крепления этого оборудования.
10.3. УСТРОЙСТВА ЗАЩИТНОГО ОТКЛЮЧЕНИЯ
10.3.1. Для защиты персонала от поражения электрическим током и защиты отдельных видов электрического оборудования от однофазных замыканий на корпус должны применяться устройства защитного отключения.
10.3.2. Устройства защитного отключения должны устанавливаться в цепях питания розеток, предназначенных для питания переносного оборудования и в цепях питания каютных розеток, а также розеток в общественных и иных помещениях с напряжением выше безопасного (50 В).
10.3.3. Устройства защитного отключения должны иметь уставки срабатывания по току нулевой последовательности в пределах 10 - 30 мА.
10.3.4. Для электрического оборудования ответственного назначения установка устройств защитного отключения не допускается.
10.4. РУКОВОДСТВО ДЛЯ ВЛАДЕЛЬЦА СУДНА
10.4.1. В Руководстве для владельца судна необходимо поместить информацию о мерах безопасности при работе с электрооборудованием, включая, где применимо, информацию, требуемую стандартами ИСО 13297 "Малые суда. Электрические системы низковольтных сетей переменного тока" и ИСО 10133 "Малые суда. Электрические системы низковольтных сетей постоянного тока", например:
действия по изменению положения переключателя при заряде аккумуляторных батарей;
процедура замены предохранителя и других съемных электрических элементов;
предупреждения "SAFETY PRECAUTION" об опасности взрыва, пожара в соответствующих помещениях, где предварительно отсутствовала надлежащая вентиляция;
предупреждения "SAFETY PRECAUTION" об опасности поражения электрическим током.
ЧАСТЬ VIII. РАДИО- И НАВИГАЦИОННОЕ ОБОРУДОВАНИЕ
1.1. Требования настоящей части распространяются на радио- и навигационное оборудование малых прогулочных судов. В отношении всего не оговоренного в настоящей части или оговоренного частично на радио- и навигационное оборудование малых прогулочных судов распространяются требования частей IV "Радиооборудование" и V "Навигационное оборудование" Правил по оборудованию морских судов, которые не входят в противоречие с требованиями настоящей части, что является предметом специального рассмотрения Регистра.
2.1. ФУНКЦИОНАЛЬНЫЕ ТРЕБОВАНИЯ
2.1.1. Радиооборудование, установленное на судне, должно обеспечивать:
1. Передачу оповещений при бедствии в направлении "судно - берег";
2. Прием оповещений при бедствии в направлении "берег - судно";
3. Передачу и прием оповещений при бедствии в направлении "судно - судно";
4. Передачу и прием сообщений на месте бедствия;
5. Передачу сигналов для определения местоположения;
6. Прием навигационных и метеорологических предупреждений, другой срочной информации по безопасности на море.
2.2. СОСТАВ РАДИООБОРУДОВАНИЯ СУДНА
2.2.1. В зависимости от морских районов плавания (ГМССБ) и удаления от места убежища малые прогулочные суда должны быть укомплектованы радиооборудованием в соответствии с требованиями табл. 2.2.1.
Таблица 2.2.1
Морские районы ГМССБ | | A1 и A2 | A1 |
Удаление от места убежища (не более) | Без ограничений | 150 миль | 20 миль | 3 миль | 200 м |
УКВ радиотелефонная станция с кодирующим устройством ЦИВ | 2 | 1 | 1 | - | - |
ПВ радиотелефонная станция с кодирующим устройством ЦИВ <2> | 1 | 1 | - | - | - |
Судовая земная станция ИНМАРСАТ или ПВ/КВ радиотелефонная станция с кодирующим устройством ЦИВ | 1 | - | - | - | - |
Приемник службы НАВТЕКС | 1 | 1 | Р | - | - |
Спутниковый АРБ системы КОСПАС-САРСАТ | 1 | 1 | Р | - | - |
Радиолокационный ответчик | 1 | 1 | Р | | - |
УКВ аппаратура двусторонней радиотелефонной связи | 2 | 1 | 1 | | - |
<1> Состав радиооборудования судов неограниченного района плавания является предметом специального рассмотрения Регистром. |
<2> Не требуется при наличии ПВ/КВ радиотелефонной станции с кодирующим устройством ЦИВ. |
<3> Не требуется при наличии стационарной УКВ радиотелефонной станции. |
|
Примечание. |
P - рекомендуется, при этом состав установленного на судне радиооборудования должен обеспечивать выполнение всех функциональных требований, указанных в 2.1. |
Радиооборудование судов неограниченного района плавания должно соответствовать требованиям ГМССБ. Состав радиооборудования судов неограниченного района плавания является предметом специального рассмотрения Регистром.
2.2.2. Самоходные суда с мощностью главного двигателя не менее 55 кВт и несамоходные суда валовой вместимостью 80 и более, предназначенные для эксплуатации на внутренних водных путях РФ, должны быть укомплектованы УКВ радиотелефонной станцией, работающей в диапазонах частот 300,025 - 300,225 и 336,025 - 336,500 МГц.
При плавании по внутренним водным путям других государств необходимо руководствоваться соответствующими требованиями Администраций этих государств.
2.2.3. Капитан судна должен иметь информацию о границах зон действия береговых УКВ, ПВ радиостанций на предстоящий маршрут плавания (морские районы A1, A2).
2.2.4. Спутниковый АРБ системы КОСПАС-САРСАТ должен быть свободно всплывающим, располагаться в легкодоступном месте и иметь возможность приводиться в действие вручную.
2.2.5. Спутниковый АРБ должен быть зарегистрирован в соответствующей базе данных, что должно быть документально подтверждено.
2.2.6. Антенны должны быть расположены на максимально возможной высоте.
Если антенна установлена на мачте, несущей паруса, судно должно быть снабжено аварийной антенной.
2.2.7. Инструкции по работе с установленным на судне радиооборудованием, обеспечивающим радиосвязь при бедствии, срочности и безопасности, должны быть вывешены в месте расположения радиооборудования.
2.2.8. На каждом судне, на котором установлено требуемое настоящей частью радиооборудование и совершающем плавание с удалением от мест убежища более 3 миль, должен находиться, по меньшей мере, один квалифицированный специалист для обеспечения радиосвязи при бедствии и для обеспечения безопасности, имеющий соответствующий подтверждающий документ.
2.2.9. На каждом судне, на котором установлено требуемое настоящей частью радиооборудование, должно быть разрешение на право его эксплуатации - лицензия, выданная в установленном порядке.
2.3. ИСТОЧНИКИ ЭЛЕКТРИЧЕСКОЙ ЭНЕРГИИ
2.3.1. На каждом судне должны быть, по крайней мере, два источника электрической энергии для питания радиооборудования: основной и резервный.
2.3.2. В течение всего времени, когда судно находится в море (в рейсе), должна быть обеспечена бесперебойная подача электрической энергии, достаточной для работы радиоустановок, а также для зарядки резервного источника электрической энергии.
2.3.3. Резервный источник электрической энергии, независимый от основного источника электрической энергии, должен быть предусмотрен для осуществления радиосвязи при бедствии и в целях безопасности как минимум в течение 1 ч в случае выхода из строя основного и, если имеется, аварийного источников электроэнергии.
2.3.4. Резервный источник электрической энергии (аккумуляторная батарея радиооборудования) должен быть установлен высоко, насколько это практически возможно, с целью исключения выхода его из строя в случае затопления.
2.3.5. Если резервный источник электрической энергии состоит из перезаряжаемой аккумуляторной батареи, должны быть предусмотрены средства автоматической зарядки такой батареи, которые могут ее перезарядить до требуемой емкости в течение 10 ч.
3. НАВИГАЦИОННОЕ ОБОРУДОВАНИЕ
3.1.1. В зависимости от проектной категории и удаления от места убежища малые прогулочные суда должны быть укомплектованы навигационным оборудованием в соответствии с требованиями табл. 3.1.1.
Таблица 3.1.1
Проектная категория судна | A | A1 | A2 | B | C | C1 | C2 | C3 | D |
Удаление от места убежища (не более) | Без ограничений | 200 миль | 100 миль | 50 миль | 20 миль | 15 миль | 6 миль | 1 км | 200 м |
Компас магнитный | 1 | 1 | 1 | 1 | 1 | 1 | 1 | - | - |
Приемоиндикатор системы радионавигации | 1 | 1 | 1 | 1 | 1 | - | - | - | - |
Радиолокационная станция | 1 | 1 | 1 | 1 | Р | - | - | - | - |
Эхолот | 1 | 1 | 1 | 1 | Р | - | - | - | - |
| 1 | 1 | 1 | 1 | - | - | - | - | - |
Аппаратура автоматической идентификационной системы (АИС) | Р | Р | Р | Р | - | - | - | - | - |
Радиолокационный отражатель <2> | 1 | 1 | 1 | 1 | 1 | 1 | 1 | - | |
Барометр | 1 | 1 | 1 | 1 | | | | | |
Лампа дневной сигнализации | 1 | 1 | 1 | 1 | 1 | 1 | | | |
<1> Лаг может не устанавливаться в случае, когда приемоиндикатор системы радионавигации обеспечивает постоянное и достоверное измерение пройденного расстояния в районе предстоящего плавания. |
<2> Не требуется, если эффективная площадь рассеяния судна достаточна для его обнаружения с помощью радиолокационной станции. |
|
Примечание. |
Р - рекомендуется. |
3.1.2. Парусные суда проектных категорий A, A1, A2 и B с удалением от мест убежища более 20 миль должны быть снабжены анемометром и кренометром. Многокорпусное парусное судно должно быть оборудовано анемометром, обеспечивающим индикацию скорости ветра на каждом посту управления рулем.
3.1.3. Суда проектных категорий A, A1, A2 и B с удалением от мест убежища более 20 миль должны иметь Международный свод сигналов, откорректированные навигационные карты и пособия, необходимые для предстоящего рейса. Допускается применение карт и пособий в электронном виде.
3.2.1. Судно должно быть укомплектовано эффективным магнитным компасом или другим средством определения курса, а также средством коррекции курса и пеленга (действующей таблицей девиации, обновляемой ежегодно).
3.2.2. Надлежащим образом откорректированный магнитный компас или другое средство должны быть независимы от основного источника электрической энергии.
3.2.3. Если корпус судна металлический, должна быть обеспечена возможность компенсации девиации магнитного компаса, включая креновую, по коэффициентам B, C и D (см. стандарт ISO 1069).
3.2.4. Магнитный компас или его репитер должны быть размещены таким образом, чтобы обеспечивалось четкое снятие отсчета картушки компаса рулевым с места управления судном. Для судов, совершающих плавание в темное время суток, должна быть обеспечена подсветка картушки.
3.2.5. На судне должны быть предусмотрены средства для взятия пеленгов по дуге горизонта 360°, насколько это практически возможно.
3.3. ПРИЕМОИНДИКАТОР СИСТЕМЫ РАДИОНАВИГАЦИИ
3.3.1. Приемоиндикатор системы радионавигации должен обеспечивать автоматическое определение координат в любое время в течение предполагаемого рейса.
3.3.2. Должен быть обеспечен автоматический ввод координат судна от приемоиндикатора системы радионавигации в радиооборудование, предназначенное для автоматической передачи оповещений о бедствии.
3.3.3. Приемоиндикатор должен получать питание от основного, аварийного (если имеется) и резервного (аккумуляторы радиооборудования ГМССБ) источников электрической энергии (см.
2.3).
ЧАСТЬ IX. СПАСАТЕЛЬНЫЕ СРЕДСТВА
1.1. ОБЛАСТЬ РАСПРОСТРАНЕНИЯ
1.1.1. Требования настоящей части распространяются на суда, построенные после вступления настоящих Правил в силу, снабжение которых спасательными средствами и устройствами подлежит освидетельствованию Регистром, а также на спасательные средства и устройства, предназначенные для установки на указанных судах.
1.1.2. На судах, построенных до вступления в силу настоящих Правил, при замене спасательных средств и устройств или при проведении на них ремонта, переоборудования и модификации существенного характера, во время которых производится замена их спасательных средств или устройств либо установка дополнительных спасательных средств или устройств, такие спасательные средства и устройства, насколько это целесообразно и практически возможно, должны отвечать применимым требованиям настоящей части Правил.
Если коллективное спасательное средство, не являющееся надувным спасательным плотом, заменяется без замены спускового устройства либо наоборот, то это коллективное спасательное средство или спусковое устройство может быть того же типа, что и заменяемое коллективное спасательное средство или спусковое устройство.
1.1.3. Общие положения по объему и порядку наблюдения за спасательными средствами и устройствами, их изготовлением, а также требования к представляемой Регистру технической документации и указания о документах, выдаваемых Регистром на спасательные средства и устройства, изложены в части I "Положения об освидетельствованиях" и части II "Спасательные средства" Правил по оборудованию морских судов, а также и в
части I "Классификация" настоящих Правил.
К надувным спасательным плотам могут применяться требования, изложенные в стандартах ИСО 9650-1:2005, ИСО 9650-2:2005 и ИСО 9650-3:2005, гармонизированных Руководством по применению Директив 94/25/ЕС и 2003/44/ЕС.
1.2. ОПРЕДЕЛЕНИЯ И ПОЯСНЕНИЯ
1.2.1. Определения и пояснения, относящиеся к общей терминологии Правил, приведены в Общих
положениях.
В настоящей части приняты следующие определения и пояснения.
Гидротермокостюм - защитный костюм из водонепроницаемого материала, предназначенный для предохранения организма человека от переохлаждения в холодной воде.
Коллективное спасательное средство - средство, способное обеспечить сохранение жизни людей, терпящих бедствие, с момента оставления ими судна.
Наименьшая эксплуатационная осадка - осадка судна, при которой оно находится на ровном киле, без груза, с 10% запасов и топлива, а в случае пассажирского судна, кроме того, с полным числом пассажиров и экипажа с их багажом.
Надувное средство - средство, плавучесть которого обеспечивается нежесткими, заполняемыми газом камерами, и которое обычно хранится ненадутым до подготовки его к использованию.
Надутое средство - средство, плавучесть которого обеспечивается нежесткими, заполненными газом камерами и которое хранится надутым и находится в постоянной готовности к использованию.
Обнаружение - определение местонахождения спасаемых и спасательных средств.
Положительная остойчивость - способность коллективного спасательного средства возвращаться в первоначальное положение после прекращения действия кренящего момента.
Посадочный штормтрап - штормтрап, предусмотренный в местах посадки в спасательные средства после спуска их на воду.
Световозвращающий материал - материал, отражающий в противоположном направлении луч света, направленный на него.
Теоретическая высота борта - расстояние, измеренное по вертикали от верхней кромки горизонтального киля до верхней кромки бимса палубы надводного борта у борта. На деревянных и композитных судах это расстояние измеряется от нижней кромки килевого шпунта. Если днище на середине длины судна имеет вогнутую форму или имеются утолщенные шпунтовые поясья, высота борта измеряется от точки пересечения продолженной плоской части днища с боковой поверхностью киля.
На судах, имеющих закругленное соединение палубы с бортом, теоретическая высота борта должна измеряться до точки пересечения продолженных теоретических линий палубы и борта, как если бы это соединение имело угловую конструкцию.
Если палуба надводного борта в продольном направлении имеет уступ и возвышенная часть палубы простирается над точкой измерения теоретической высоты борта, эта высота борта должна измеряться до условной линии, являющейся продолжением нижней части палубы параллельно возвышенной части.
Теплозащитное средство - мешок или костюм из водонепроницаемого материала с низкой теплопроводностью, предназначенный для восстановления температуры тела человека, побывавшего в холодной воде.
2. СПАСАТЕЛЬНОЕ СНАБЖЕНИЕ
2.1.1. Настоящая часть устанавливает нормы обеспечения судов спасательными средствами, а также технические требования, которым должны удовлетворять спасательные средства и их размещение на судне.
2.1.2. Спасательные средства должны изготавливаться с учетом требований настоящих Правил, в соответствии с действующими стандартами и техническими условиями, одобренными Регистром, а также требованиями стандартов ИСО 9650-1:2005, ИСО 9650-2:2005 и ИСО 9650-3:2005, гармонизированных Руководством по применению Директив 94/25/ЕС и 2003/44/ЕС.
2.1.3. Материалы, которые используются для изготовления спасательных средств, должны удовлетворять требованиям части XIII "Материалы" Правил классификации и постройки морских судов, а также требованиям стандартов ИСО 9650-1:2005, ИСО 9650-2:2005 и ИСО 9650-3:2005, гармонизированных Руководством по применению Директив 94/25/ЕС и 2003/44/ЕС.
2.1.4. Спасательные средства должны удовлетворять следующим общим требованиям:
1. Изготавливаться из материалов, одобренных Регистром;
2. Не приходить в негодность при хранении их при температуре воздуха от -30 до +65 °C;
3. Оставаться годными к эксплуатации при температуре воды от 0 °C (при использовании в морской воде от -1 °C) до +30 °C;
4. Быть стойкими к гниению, воздействию морской воды, нефти, нефтепродуктов или грибка;
5. Быть стойкими к длительному воздействию солнечных лучей (не терять своих качеств);
6. Быть хорошо видимого цвета;
7. Быть снабженными световозвращающим материалом на тех участках, где это будет способствовать их обнаружению, с учетом требований данного раздела;
8. Сохранять положительную остойчивость и удовлетворительно функционировать на волнении.
2.1.5. Должен быть установлен срок службы спасательных средств и предметов их снабжения, подверженных утрате своих качеств с течением времени. Такие спасательные средства и предметы их снабжения должны иметь маркировку с указанием сроков службы или даты их замены.
2.1.6. Маркировка на спасательных средствах должна выполняться несмываемой краской.
2.1.7. По согласованию с Регистром от выполнения некоторых требований настоящей части могут освобождаться отдельные суда, которые во время рейса удаляются от ближайшего берега на расстояние не более 20 миль, если защищенный характер и условия эксплуатации таковы, что применение таких требований излишне или нецелесообразно.
2.2. ОБЩИЕ ТРЕБОВАНИЯ ПО ОБЕСПЕЧЕНИЮ СУДОВ
СПАСАТЕЛЬНЫМИ СРЕДСТВАМИ
2.2.1. Суда должны быть обеспечены спасательными средствами в зависимости от проектной категории и условий эксплуатации.
2.2.2. Обеспечение судов средствами радиосвязи спасательных средств должно выполняться согласно требованиям
части VIII "Радио- и навигационное оборудование".
2.2.3. Обеспечение судов коллективными спасательными средствами
2.2.3.1. Суда проектной категории A должны быть укомплектованы спасательными плотами, соответствующими типу IA стандарта ИСО 9650-1:2005, такой вместимости и в таком количестве, чтобы в случае потери одного из плотов с наибольшей вместимостью или его повреждения, не поддающегося ремонту в судовых условиях, вместимости оставшихся плотов было достаточно для размещения в них всех людей, находящихся на борту судна. Суда неограниченного района плавания, эксплуатация которых предусматривается в летний период в зимней сезонной зоне или районе (знак ТО в символе класса), должны быть укомплектованы спасательными плотами, соответствующими требованиям Конвенции СОЛАС.
2.2.3.2. Суда проектной категории A1, имеющие на борту 15 чел. и более, должны быть укомплектованы спасательными плотами согласно
2.2.3.1.
2.2.3.3. Суда проектной категории A1, имеющие на борту менее 15 чел., и суда проектной категории A2 должны быть укомплектованы спасательными плотами согласно
2.2.3.1, общей вместимостью, соответствующей, по меньшей мере, общему количеству людей на борту.
2.2.3.4. Суда проектной категории B должны быть укомплектованы спасательными плотами, соответствующими типу IB стандарта ИСО 9650-1:2005 в количестве, указанном в табл. 2.2.3.4.
Проектная категория судна | Количество людей, обеспечиваемых коллективными спасательными средствами, % |
Надувные плоты |
B и C | 100 |
C1 при  | |
C2, C3 и D при  | |
C1 и C2 при  | |
C3 при  | |
<1> Допускается использование надувных средств не ниже типа I с баллоном сжатого воздуха для надувания. |
<2> Требуется при эксплуатации при температуре воды ниже 20 °C, см. также 2.2.4.5. |
<3> Требуется при эксплуатации в холодное время года, см. также 2.2.4.5. |
Суда проектных категорий C, C1, C2 и C3 должны быть укомплектованы спасательными плотами, соответствующими типу II стандарта ИСО 9650-2:2005 в количестве, указанном в
табл. 2.2.3.4.
2.2.3.5. На всех судах, за исключением судов проектной категории D с длиной корпуса 6,0 м и менее, должны быть предусмотрены места для размещения и крепления коллективных спасательных средств.
В Руководстве для владельца судна должны быть указаны: тип, количество и места размещения коллективных спасательных средств.
2.2.4. Обеспечение судов индивидуальными спасательными средствами
2.2.4.1. Судно должно быть снабжено спасательными жилетами, исходя из обеспечения 100% людей, находящихся на борту.
2.2.4.2. На судах, предназначенных для перевозки организованных групп людей, и разъездных судах, должен быть предусмотрен один дополнительный спасательный жилет.
2.2.4.3. Должны быть предусмотрены детские спасательные жилеты с учетом вероятного количества и возраста детей, находящихся на борту, с условием обеспечения каждого ребенка спасательным жилетом.
2.2.4.4. Суда, не снабженные спасательными плотами, и которые эксплуатируются при низких температурах воды (ниже 12 °C), должны быть снабжены гидротермокостюмами для каждого лица, находящегося на борту. В районах, где нельзя рассчитывать на скорую помощь, рекомендуется обеспечение гидротермокостюмами при температуре воды ниже 20 °C.
2.2.4.5. Обеспечение судов спасательными кругами должно отвечать нормам, приведенным в табл. 2.2.4.5.
Таблица 2.2.4.5
Тип или назначение судна | Длина корпуса судна, м | |
Всего | В том числе |
С самозажигающимся буйком | Со спасательным линем |
Прогулочные, для перевозки организованных групп людей | <= 24 | 4 | | На каждой палубе на каждом борту не менее одного |
Глиссирующие | <= 24 | 2 | - | 1 |
Несамоходные | <= 24 | 2 | 1 | 1 |
Иных типов и назначений | <= 24 | 2 | | 1 |
Примечания: |
<1> На судах проектной категории A, A1, A2, B и C должно быть предусмотрено два спасательных круга с самозажигающимся буйком и один спасательный круг должен быть снабжен вехой с флажком и фонарем в верхней ее части. |
<2> С уменьшением длины судна, в том числе стоечного, допускается уменьшать количество спасательных кругов: менее 15 м - до 2 шт., менее 7 м - до 1 шт. |
<3> На судах проектной категории D, обладающих плавучестью в затопленном состоянии, спасательный круг не является обязательным. |
<4> На судах, не обеспеченных надувными плотами, а также на судах, не обеспеченных спасательными кругами из расчета один круг на два человека, должна быть предусмотрена возможность удерживаться людям, находящимся в воде, за заполненное водой судно, находящееся как в нормальном, так и в перевернутом положении. |
2.2.4.6. На стоечных судах длиной 24 м и менее должно быть по два спасательных круга на каждой из палуб. При уменьшении длины учитывается
примечание 2 к табл. 2.2.4.5.
Один из кругов, расположенных на главной палубе, должен быть оснащен спасательным линем.
2.2.4.7. Корпус плавающей дачи по периметру в районе ватерлинии должен быть обнесен спасательным леером диаметром не менее 8 мм.
2.2.4.8. На судах проектной категории A, A1, A2, B и C, на которых экипажу приходится работать на палубе в сложных штормовых условиях, должны быть предусмотрены страховочные пояса по одному на каждого члена экипажа.
2.2.4.9. Любое судно должно иметь аптечку для оказания первой медицинской помощи.
2.3. ТРЕБОВАНИЯ К СПАСАТЕЛЬНЫМ СРЕДСТВАМ
2.3.1. Спасательные средства, применяемые на судах в соответствии с требованиями настоящих Правил, должны соответствовать требованиям части II "Спасательные средства" Правил по оборудованию морских судов, если в настоящих Правилах не указано иное.
К надувным спасательным плотам могут применяться требования, изложенные в стандартах ИСО 9650-1:2005, ИСО 9650-2:2005 и ИСО 9650-3:2005, гармонизированных Руководством по применению Директив 94/25/ЕС и 2003/44/ЕС.
2.3.2. Требования к вехе при спасательном круге
2.3.2.1. Веха при спасательном круге должна быть выполнена таким образом, чтобы она сохраняла остойчивость при расположении на ее верхней части флага (470 x 360 мм, цвет флага оранжевый), а также фонаря на высоте 2 м над поверхностью воды.
2.3.2.2. Во время эксплуатации судна веха должна находиться в готовом для использования (собранном) состоянии. Если веха выполнена по телескопическому принципу и раздвигается автоматически, то процесс раздвижения должен происходить за промежуток времени не более 20 с.
2.3.2.3. Веха должна быть соединена со спасательным кругом плавучим линем длиной 3 м.
2.3.2.4. Фонарь должен иметь независимое питание и включаться при сбросе круга и вехи на воду.
2.3.3. Требования к страховочному поясу
2.3.3.1. Страховочный пояс должен состоять из тканых ремней и рассчитываться таким образом, чтобы страховочный линь (строп) охватывал грудную клетку на уровне подмышек. Страховочный пояс должен быть регулируемым, чтобы его можно было надеть как на легкую, так и на утепленную верхнюю одежду.
2.3.3.2. Если страховочный пояс выполнен вместе с каким-либо другим элементом одежды, таким как спасательный жилет, то весь комплекс должен удовлетворять также требованиям соответствующих стандартов для комбинированной одежды.
2.3.3.3. Ширина главного(ых), воспринимающего(их) основную нагрузку ремня(ей) страховочного пояса должна быть не менее 38 мм, а ширина поддерживающих ремней не должна быть менее 19 мм.
2.3.3.4. Страховочный линь (строп) должен рассчитываться таким образом, чтобы:
1. Он был готов к отделению от страховочного пояса человеком с помощью карабина, соединенного или со страховочным поясом, или со страховочным линем; или
2. (Только для страховочных поясов, изготовленных до 1 января 1994 г.) Страховочный линь был постоянно присоединен к страховочному поясу. Страховочный линь не должен быть длиннее 2 м, расстояние от человека до точки крепления, включая любые устройства, не должно быть более 2 м, свободный конец страховочного линя (стропа) должен иметь карабин.
2.3.3.5. Для легкой идентификации и ускорения процесса одевания страховочного пояса элементы, которые охватывают грудь и плечи, рекомендуется делать различного цвета.
2.3.3.6. Пряжа, используемая для тканых изделий, должна состоять из ярких, непрерывных многоволоконных полиамидных (нейлон) или полиэфирных ниток, имеющих одинаковые разрывные характеристики. Минимальная разрывная нагрузка тканых ремней должна быть не менее 10 кН на 25 мм ширины.
2.3.3.7. Страховочный линь (строп) должен быть:
в виде бечевы из полиамидных волокон (нейлон), имеющей диаметр не менее 12 мм и выдерживающей разрывную нагрузку не менее 20,4 кН; или
в виде тканого ремня, изготовленного из яркого, хорошо сцепляющегося сплошного плотноволокнистого полиамида (нейлона), выдерживающего разрывную нагрузку не менее 20,4 кН.
2.3.3.8. Во всяком случае, треть экипажа должна быть обеспечена страховочными линями длиной 1 м или иметь на страховочном лине длиной 2 м карабин, установленный на его середине.
2.3.3.9. Карабины должны быть самозамыкающимися. Раскрытие карабина должно быть достаточным, чтобы принять и целиком охватить металлический цилиндр диаметром 12 мм. Карабины должны выдерживать минимальную нагрузку 14,7 кН без разрушения или явных признаков деформаций или повреждений.
2.3.3.10. Металлические элементы, входящие в состав страховочных поясов, не должны влиять на работу компаса.
2.3.3.11. Следует предусматривать использование страховочных поясов для детей.
2.3.3.12. Конструкция страховочных поясов и их элементов подлежит специальному рассмотрению Регистром.
2.4. РАЗМЕЩЕНИЕ СПАСАТЕЛЬНЫХ СРЕДСТВ НА СУДНЕ
2.4.1. Коллективные спасательные средства следует располагать в легкодоступных местах, где не имеется препятствий для сбора и посадки людей. Места размещения коллективных спасательных средств должны быть безопасны относительно пожара, навала других судов, а также их повреждения ударами волн.
2.4.2. Коллективные спасательные средства следует располагать, насколько это практически возможно, как можно далее от кормового подзора (т.е. в районе вертикальных участков борта судна) и пропульсивных движителей.
2.4.3. Спасательные плоты, указанные в
2.2.3, должны храниться полностью укомплектованными, в контейнерах изготовителя плота и должны быть размещены так, чтобы ни они, ни приспособления для их установки не мешали использованию любого другого спасательного средства.
2.4.4. Спасательные плоты должны быть размещены таким образом, чтобы вместимость всех плотов на каждом борту составляла не менее 50% числа людей, находящихся на судне.
2.4.5. Каждый спасательный плот должен устанавливаться со своим фалинем, постоянно закрепленным к судну.
2.4.6. Каждый спасательный плот или группа плотов должны быть закреплены на приспособлениях для их хранения при помощи гидростатических разобщающих устройств, обеспечивающих их свободное всплытие так, чтобы спасательные плоты всплывали и надувались автоматически.
2.4.7. Спасательные плоты должны устанавливаться так, чтобы можно было отдать вручную все крепления одного плота или контейнера одновременно. К местам размещения плотов должен быть обеспечен постоянный простой и легкий доступ.
2.4.8. Спасательные плоты должны устанавливаться так, чтобы их можно было легко переместить с одного борта судна на другой или перенести с места хранения к леерному ограждению в течение 15 с.
2.4.9. Спасательный плот может храниться на рабочей палубе, на крыше рубки или специальном месте (местах) хранения, с которого обеспечивается его свободное всплытие и которое отвечает следующим требованиям:
1. Является водонепроницаемым или быстроотливным, за исключением того случая, когда оно полностью находится над уровнем рабочей палубы;
2. Закрывающую его крышку можно открыть независимо от давления воды.
2.4.10. Спасательный плот (плоты) в мягкой упаковке (саквояже), если его масса не превышает 40 кг, может храниться под палубой рядом с выходом (трапом).
2.4.11. На многокорпусных судах спасательные плоты должны быть размещены так, чтобы они были доступны для использования как при прямом, так и при опрокинутом положении судна.
2.4.12. Спасательные круги должны быть размещены равномерно по обоим бортам судна на видных и легкодоступных местах. Не допускается глухое крепление спасательных кругов, которое препятствует их свободному всплытию в случае, когда судно тонет.
2.4.13. Если в снабжение судна входят два круга со спасательным линем или самозажигающимися буйками/вехой, то эти круги следует располагать на противоположных бортах.
2.4.14. Спасательный круг с плавучим якорем или страховочным стропом (без якоря), с самозажигающимся огнем/вехой должен находиться на месте, доступном для немедленного использования рулевым.
2.4.15. Спасательные жилеты должны храниться в легкодоступных местах так, чтобы обеспечивалось максимальное удобство их распределения между людьми на борту судна и надевания.
2.4.16. Следует предусмотреть места хранения спасательных жилетов для членов экипажа, несущих вахту.
2.4.17. Если спасательные жилеты предназначаются для групп людей, то около мест их хранения должна быть надпись: "Спасательные жилеты".
2.4.18. Детские спасательные жилеты должны храниться отдельно, и место их хранения должно быть обозначенное надписью "Спасательные жилеты для детей".
2.4.19. Гидротермокостюмы индивидуального пользования и теплозащитные средства могут храниться в индивидуальных шкафах каждого члена команды или каждого пассажира или все вместе для всех людей на борту - в специально отведенных легкодоступных местах, обозначенных надписью "Теплозащитные средства".
2.4.20. Страховочные пояса должны храниться в предназначенных для этого местах.
2.4.21. Лодка (Dinghy)
2.4.21.1. Каждое судно проектной категории A, A1, A2, B и C рекомендуется укомплектовывать легкой весельной лодкой с жестким или надувным корпусом.
2.4.21.2. На лодке должна быть нанесена отчетливая маркировка, указывающая максимально возможное для безопасной перевозки количество человек весом по 75 кг и название судна, к которому она относится.
2.4.21.3. Надувная лодка должна регулярно проверяться владельцем/управляющим на годность к эксплуатации и поддерживаться в надлежащем состоянии.
2.4.22. Индивидуальная одежда
Владелец судна и капитан этого судна обязаны заблаговременно уведомить всех лиц, которые будут находиться на борту судна в рейсе, о следующих требованиях, предъявляемых к личной одежде.
2.4.22.1. Каждый член экипажа должен иметь подходящую для окружающих условий одежду, а каждый пассажир - одежду, обеспечивающую теплоизоляцию при преобладающих температурах воздуха и воды в географических районах плавания судна в соответствующее время года (сезон).
2.4.22.2. На судах, предназначенных для эксплуатации в высоких широтах, каждый человек, находящийся на борту, должен иметь гидротермокостюм подходящего размера, чтобы уменьшить вероятность быстрого переохлаждения при попадании в воду.
2.4.22.3. Для перемещения по палубе судна каждый человек, находящийся на борту, должен иметь нескользящую обувь.
2.4.23. Судовые планы расположения спасательных средств и устройств
2.4.23.1. Для каждого судна, за исключением судов проектной категории D с длиной корпуса 6,0 м и менее, должен быть составлен и размещен на судне судовой план спасательных средств и устройств.
2.4.23.2. План расположения спасательных средств может быть включен в Руководство для владельца судна, см.
2.2.3.5.
2.4.23.3. План должен быть составлен в соответствии с требованиями стандарта ИСО 17631:2002 "Суда и морская технология. Планы пожарной защиты судна, спасательные средства и устройства для эвакуации".
2.4.23.4. В Руководстве для владельца судна должна содержаться информация по оказанию первой медицинской помощи, например: при гипотермии (переохлаждении организма), утоплении, ожогах, травмах, шоковом состоянии и др.
ЧАСТЬ X. ПРОТИВОПОЖАРНАЯ ЗАЩИТА
1.1. ОБЛАСТЬ РАСПРОСТРАНЕНИЯ
1.1.1. Требования настоящей части применяются к судам, указанным в
разд. 1 Общих положений, в объеме требований, изложенных в соответствующих разделах настоящей части.
1.1.2. Противопожарная защита судов, на которых устанавливается оборудование, использующее твердое топливо, подлежит специальному рассмотрению Регистром.
1.2. ОПРЕДЕЛЕНИЯ И ПОЯСНЕНИЯ
1.2.1. В настоящей части приняты следующие определения и пояснения.
Автоматическая противопожарная система - противопожарная система, автоматически активируемая специальным устройством по достижении предварительно установленного температурного предела.
Бензин - углеводородное топливо или его смеси, жидкое при атмосферном давлении, используемое в двигателях с принудительным зажиганием. В этом определении керосин не расценивается как бензин.
Выход - дверь, люк или любое иное устройство, ведущие к открытой палубе непосредственно или через другие помещения судна.
Дизельное топливо - углеводородное топливо или его смеси, жидкое при атмосферном давлении, используемое в двигателях с воспламенением от сжатия.
Доступность - приспособленность пространства к осмотру, включая открытие закрывающего устройства с использованием предназначенного инструмента, без нарушения конструкции судна или оборудования.
Доступность постоянная - приспособленность пространства к незамедлительному осмотру, с открытием закрывающих устройств без использования какого-либо инструмента.
Путь эвакуации - кратчайший путь от любой точки, где может находиться человек в закрытом пространстве судна, до самого близкого выхода наружу.
Защита конструктивная противопожарная - комплекс пассивных средств конструктивной противопожарной защиты, направленных на:
предотвращение возникновения пожаров;
ограничение распространения огня и дыма по судну;
создание условий безопасной эвакуации людей из судовых помещений и с судна, а также для успешного тушения пожара.
Материал, равноценный стали - негорючий материал, который в силу своих свойств или благодаря изоляции, которая покрывает его, имеет конструктивные свойства и огнестойкость, равноценные стали в течение всего времени соответствующего огневого воздействия при стандартном испытании на огнестойкость (например, алюминиевый сплав с соответствующей изоляцией).
Машинные пространства - отсек или пространство открытого типа или закрытого кожухом, где размещен двигатель внутреннего сгорания.
Машинные помещения - помещения, содержащие главные механизмы, валопроводы, котлы, двигатели внутреннего сгорания, электрогенераторы и другие основные электрические механизмы, установки вентиляции и кондиционирования воздуха, рулевые машины и другое подобное оборудование.
Медленное распространение пламени - означает, что поверхность, характеризующаяся подобным образом, в соответствии с положениями резолюции ИМО А.754(18) "Рекомендация по испытаниям на огнестойкость перекрытий классов "A", "B" и "F" с учетом положений "Международного кодекса по применению процедур испытаний на огнестойкость" <1>, принятого резолюцией MSC.61(67), с поправками, в достаточной степени ограничивает распространение пламени.
--------------------------------
<1> Далее - Кодекс процедур огневых испытаний.
Негорючие, огнестойкие и огнезадерживающие конструкции - конструкции соответственно класса "A" или "B", как определено ниже. Огнестойкие и огнезадерживающие конструкции испытываются на степень огнестойкости в соответствии с Кодексом процедур огневых испытаний.
Негорючий материал - материал, который в процессе испытаний при нагревании до 750 °C не горит и не выделяет горючих газов в количестве, достаточном для его самовозгорания. Любой другой материал считается горючим.
Огнезадерживающие конструкции или конструкции типа B - конструкции, образованные переборками, палубами, подволоками или зашивками, которые должны быть:
| | ИС МЕГАНОРМ: примечание. В официальном тексте документа, видимо, допущена опечатка: пункт 2.3.13 в тексте документа отсутствует. | |
полностью изготовлены из негорючих материалов. Допускается применение горючей облицовки (см. 2.3.13);
изготовлены так, чтобы сохранять непроницаемость для пламени в течение 30 мин стандартного испытания на огнестойкость;
снабжены изоляцией такой толщины, чтобы средняя температура поверхности на противоположной огневому воздействию стороне не повышалась более чем на 140 °C по сравнению с начальной и в любой точке, включая любое соединение, не повышалась более чем на 225 °C по сравнению с начальной при воздействии пламени с любой стороны. В зависимости от времени, в течение которого обеспечивается соблюдение указанного перепада температур в процессе стандартного испытания на огнестойкость, конструкциям присваиваются следующие обозначения: B-15 - в течение 15 мин, B-0 - 0 мин.
Огнестойкие конструкции или конструкции типа A - это конструкции, которые образованы переборками или палубами и которые должны:
быть изготовлены из стали или из другого равноценного материала;
иметь соответствующие элементы жесткости;
быть изготовлены так, чтобы сохранять непроницаемость для дыма и пламени в течение 60 мин стандартного испытания на огнестойкость;
быть изолированы одобренными негорючими материалами так, чтобы средняя температура на стороне, противоположной огневому воздействию, не повышалась более чем на 140 °C по сравнению с начальной; при этом температура в любой точке, включая любое соединение, не должна повышаться более чем на 180 °C по сравнению с начальной.
В зависимости от времени, в течение которого обеспечивается соблюдение указанного перепада температур в процессе стандартного испытания на огнестойкость, конструкциям присваиваются следующие обозначения: A-60 - в течение 60 мин; A-30 - 30 мин; A-15 - 15 мин; A-0 - 0 мин.
Опасная зона - зона, где фактически имеется повышенный риск возникновения пожара, причиной которого может быть:
наличие открытого огня (плита, обогреватель, постоянно установленные лампы и т.п.);
наличие тепла и/или возможность образования электрических искр вблизи огнеопасных жидкостей и их паров (например, в машинном помещении);
возможность образования электрических искр вблизи огнеопасных жидкостей и их паров (например, в топливных отсеках с временным электрооборудованием);
электрооборудование (главный щит, аккумуляторные батареи).
Пространство камбуза - открытое или замкнутое пространство или помещение, в котором установлена камбузная плита.
Система пожаротушения - стационарно установленная система, предназначенная для подачи огнетушащего вещества к защищаемым помещениям или непосредственно в них и конструктивно связанная с корпусом судна.
Снабжение противопожарное - переносные активные средства борьбы с пожаром. К ним относятся: пожарные рукава с присоединенной арматурой, ручные пожарные стволы, переносные огнетушители, пожарные покрывала, водораспылительные приставки, пожарные ведра.
Испытание на огнестойкость стандартное - испытание, проводимое согласно требованиям Кодекса процедур огневых испытаний.
Топливный отсек - специально выделенное пространство на судне, содержащее постоянно установленную топливную цистерну или предназначенное для хранения переносных топливных баков.
Топливное пространство - открытое или замкнутое пространство, в котором расположены топливные трубопроводные линии, арматура, топливные цистерны или пространство, предназначенное для хранения переносного топливного бака или двигателя с топливным баком.
Огнетушащие вещества - вещества, применяющиеся для тушения пожара.
Устройство с открытым пламенем - любой прибор, который по своей конструкции позволяет осуществить прямой физический контакт с открытым пламенем.
Устройство с закрытым пламенем - агрегат, имеющий систему горения, в которой поступающий в зону горения воздух и выходящие продукты сгорания проходят внутри канала с герметичным соединением, ограждая камеру сгорания, торцы которого расположены снаружи судна.
1.3. ОБЪЕМ ТЕХНИЧЕСКОГО НАБЛЮДЕНИЯ
1.3.1. Общие положения, относящиеся к порядку классификации, техническому наблюдению за постройкой судов, изготовлением материалов и изделий, классификационным освидетельствованиям, а также требования к технической документации, предъявляемой на рассмотрение и одобрение Регистру, изложены в Общих
положениях и в
части I "Классификация".
1.3.2. Техническому наблюдению Регистра подлежат:
1. Конструктивная противопожарная защита;
2. Материалы, в отношении их противопожарных свойств, требования к которым определяются настоящей частью;
3. Системы пожаротушения;
4. Противопожарное снабжение,
в объеме требований, регламентируемых настоящей частью.
1.4. ТЕХНИЧЕСКАЯ ДОКУМЕНТАЦИЯ
1.4.1. Техническая документация по противопожарной защите судна должна быть представлена Регистру на рассмотрение до начала постройки судна в объеме, указанном в
части I "Классификация".
2. КОНСТРУКТИВНАЯ ПРОТИВОПОЖАРНАЯ ЗАЩИТА
2.1.1. Особого внимания при определении мероприятий для предотвращения возникновения пожара и распространения огня требуют следующие зоны и пространства на судне:
машинные помещения, места с высокой температурой воздуха и пространства вокруг двигателей;
топливные отсеки, места заливочных горловин топлива и незащищенные топливные трубопроводы;
пространства вокруг нагревательных приборов с открытым пламенем;
камбуза и системы сжиженного газа;
пространства над нагретыми участками механизмов с целью недопущения прокладки электрических кабелей над ними;
зоны конструктивной противопожарной защиты с прилегающими конструкциями;
основные и запасные выходы из помещений судна.
2.2. ТРЕБОВАНИЯ К РАСПОЛОЖЕНИЮ
2.2.1. Пространства, в которых размещены бензиновые двигатели или емкости для бензина, должны быть отделены от примыкающих пространств с соблюдением следующего:
1. Разграничивающие конструкции должны быть герметичными;
2. Места прохода кабелей, трубопроводов и т.п. должны быть герметизированы соответствующими уплотнениями;
3. Двери, люки и т.п. конструкции для прохода или доступа должны иметь соответствующие герметичные уплотнения;
4. Герметичность граничного соединения должна быть подтверждена документально или испытанием.
2.2.2. Размещение емкостей для бензина должно соответствовать требованиям, изложенным в
4.10.2 части V "Механические установки. Механизмы. Системы и трубопроводы".
2.2.3. Проходы через пространства не должны быть затрудненными, минимальная ширина проходов должна быть не менее 500 мм.
2.3. ТРЕБОВАНИЯ К МАТЕРИАЛАМ И КОНСТРУКЦИИ
ПРОТИВОПОЖАРНОЙ ЗАЩИТЫ
2.3.1. Требования конструктивной противопожарной защиты распространяются на суда проектных категорий A, A1, A2, B и C.
2.3.2. Корпуса судов проектных категорий A, A1, A2 и B должны быть изготовлены из негорючих материалов.
При применении для этих целей сплавов алюминия и/или горючих материалов, равноценность конструктивной противопожарной защиты должна обеспечиваться безусловным выполнением требований
2.3.4 и
2.3.12. Для древесных материалов температура, указанная в
2.3.12.1, должна быть не выше 150 °C.
2.3.3. Корпуса судов проектной категории C могут быть изготовлены из горючих материалов, однако конструкции корпуса должны быть защищены от возгорания во всех помещениях внутри корпуса, которые могут быть отнесены к опасным зонам или которые предназначены для пребывания экипажа либо пассажиров, или в которых расположены посты управления, соответственно установленной негорючей изоляцией и зашивкой таким образом, чтобы эта конструктивная защита была идентична конструкции типа B-15.
2.3.4. Для машинных помещений, их шахт и помещений, которые предназначены для хранения горючих жидкостей, конструктивная защита должна быть идентична типу A-30 на судах проектных категорий A, A1, A2, B и C.
2.3.5. В местах соединения металлической основы конструкции типа A, кроме A-0, с металлическими палубами, переборками, бортами и набором корпуса, а также в местах прохода через металлическую основу конструкции типа A труб, кабелей и каналов вентиляции для уменьшения теплопередачи должна быть предусмотрена изоляция близлежащих конструкций негорючими материалами с одной или двух сторон от конструкции типа A на расстояние не менее 500 мм. Указанное расстояние изоляции может быть уменьшено в том случае, если стандартными огневыми испытаниями будет доказана возможность изоляции на меньшем расстоянии.
2.3.6. Переборки конструкций типа A или B, имеющие основу из алюминиевого сплава или иного разрушающегося в огне либо горючего материала, должны иметь изоляцию с обеих сторон основы, если они являются несущими и/или обеспечивающими непотопляемость судна, в т.ч. выгородки блоков плавучести. Палубы конструкций типа A, имеющие основу из алюминиевого сплава или иного разрушающегося в огне либо горючего материала, должны быть изолированы снизу.
2.3.7. Если конструкция типа A разделяет два смежных помещения, в одном из которых полностью отсутствует горючая среда, или эта конструкция является внешней поверхностью корпуса, надстроек или рубок, то эта конструкция может быть типа A-0, если она выполнена непрерывной.
2.3.8. Непрерывные подволоки и зашивки типа B, совокупно с палубами и переборками, которые принадлежат к ним, должны полностью или частично отвечать требованиям к изоляции и огнестойкости перекрытий, определенным соответствующими таблицами огнестойкости.
2.3.9. Все переборки типа B должны простираться от палубы к палубе и к внешней обшивке или до других предельных поверхностей. Однако, если с обеих сторон переборки установлены непрерывные подволоки и/или зашивки типа B, переборки могут заканчиваться в таком непрерывном подволоке или зашивке.
2.3.10. За исключением багажных отделений и холодильных помещений служебных помещений, изоляционные материалы должны быть негорючими.
Не требуется, чтобы антиконденсатные материалы и клеи, а также изоляция холодных трубопроводов и их арматуры были негорючими, но их количество должно быть сведено к практически возможному минимуму, а их открытые поверхности должны иметь характеристики медленного распространения пламени.
2.3.11. В помещениях, где находятся или могут проникать нефтепродукты, поверхность изоляции должна быть непроницаемой для нефтепродуктов и их паров.
2.3.12. Если для изготовления корпуса, надстроек и рубок применяются алюминиевые сплавы или неметаллические материалы, то должно быть обеспечено следующее:
1. Изоляция изготовленных из указанных материалов конструкций типа A или B должна быть такой, чтобы в любой момент огневого воздействия при стандартном испытании на огнестойкость образцов таких конструкций температура основы не превышала начальной более чем на 200 °C.
Время стандартного испытания на огнестойкость конструкций типа A допускается сократить до 30 мин;
2. Должны быть предприняты необходимые меры к тому, чтобы изготовленные из этих материалов детали колонн, пиллерсов и прочие элементы конструкций, которые служат опорой для мест расположения и спуска спасательных шлюпок и плотов, а также мест посадки в них, соответствовали требованиям к повышению температуры:
основы перекрытий типа A - в течение 1 ч;
элементы, служащие опорой для перекрытий типа B, - в течение 30 мин;
3. Использование горючих материалов для изготовления элементов конструкций, обрешетника, зашивок переборок, мебели и т.п. в корпусе, надстройках и рубках, изготовленных из алюминиевых сплавов или неметаллических материалов, должно быть ограничено.
Подволоки коридоров и помещений должны быть изготовлены из негорючих материалов.
2.3.13. Масса горючих материалов, которые применяются для изготовления внутренних переборок, обрешетника, зашивок, декоративного обрамления, мебели и другого оснащения постов управления, жилых и хозяйственных помещений (кроме саун и помещений, указанных в
2.3.10), в случаях, если применение таких материалов не противоречит требованиям настоящей части, не должна превышать 45 кг на 1 м2 площади палубы каждого помещения.
Регистр может пересмотреть указанное предельное количество таких материалов в зависимости от типа и назначения судна.
2.3.14. Наклонные и вертикальные трапы должны быть жестко закреплены и изготовлены из стали или другого равноценного по огнестойкости материала, включая ступени. На судах, имеющих две или более палубы или развитые надстройки, трапы внутри судна должны быть выгорожены, по крайней мере, огнезадерживающими конструкциями с самозакрывающимися дверями типа не ниже B-0.
2.3.15. Первичные палубные покрытия, если они применяются в жилых и служебных помещениях и постах управления, должны быть из одобренного материала, который не является легковоспламеняющимся и/или представляющим опасность в отношении выделения токсичных или взрывоопасных веществ при повышенных температурах, что определяется Кодексом процедур огневых испытаний.
2.3.16. Краски, лаки и прочие отделочные материалы, применяемые на открытых поверхностях внутри помещений, не должны приводить к образованию чрезмерного количества дыма и токсичных веществ, что определяется Кодексом процедур огневых испытаний.
2.3.17. В жилых и служебных помещениях допускается установка негорючих переборок, зашивок и подволоков с горючей облицовкой толщиной не более 2 мм, кроме коридоров, выгородок трапов, а также постов управления, где толщина горючей облицовки не должна превышать 1,5 мм.
2.3.18. Контейнеры для отходов должны изготовляться из негорючих материалов и не иметь отверстий в стенках или днищах.
2.4. ЗАЩИТА ВАРОЧНЫХ И ОТОПИТЕЛЬНЫХ ПРИБОРОВ
2.4.1. Материалы, используемые около варочных или отопительных приборов
2.4.1.1. Материалы и отделка, используемые около открытого пламени варочных или отопительных приборов, в пределах диапазонов, определенных на
рис. 2.4.1.1, и с учетом возможности перемещения пламени горелки до угла 20° для парусных однокорпусных или 10° для многокорпусных и моторных судов, где печи установлены на карданной подвеске, должны отвечать следующим требованиям:
1. Свободно висящие занавески или другие ткани не должны размещаться в Зонах 1 и 2;
2. Незащищенные материалы, установленные в Зонах 1 и 2, должны быть из стекла, керамики, алюминия, сплавов железа или других материалов с подобными негорючими характеристиками;
3. Материалы, установленные в Зоне 2 должны быть термически изолированы от опорного основания, чтобы предотвратить воспламенение основания, если температура их поверхности превышает 80 °C.
1 - Зона 1
2 - Зона 2
3 - для сжиженного газа
4 - для жидкого топлива
5 - центр горелки
Рис. 2.4.1.1. Пространства, требующие использования
специальных материалов
Теплоизоляция может обеспечиваться воздушным зазором или использованием соответствующего материала.
2.4.2. Обеспечение общей безопасности
2.4.2.1. Если применяются вытяжные трубы, они должны быть экранированы таким образом, чтобы избежать перегрева или повреждения смежных материалов или конструкций судна.
2.4.2.2. Для варочных и нагревательных приборов, в которых используется жидкое (при атмосферном давлении) топливо, должны быть выполнены следующие требования:
1. Печи и нагревательные элементы должны быть надежно закреплены;
2. Горелки (форсунки) открытого пламени должны быть оснащены каплесборником;
3. Установленные водоподогреватели открытого пламени должны иметь соответствующую вентиляцию и теплоизоляцию газохода;
4. Приборы, в которых используется бензин, не должны устанавливаться;
5. Емкости для топлива, не являющиеся частью варочного или нагревательного прибора, а также подводящие топливо трубопроводы должны соответствовать требованиям
4.10.2 части V "Механические установки. Механизмы. Системы и трубопроводы";
6. Емкости для топлива, не являющиеся частью варочного или нагревательного прибора, должны быть установлены вне Зоны 2, указанной на
рис. 2.4.1.1;
7. На емкости для топлива должен быть установлен запорный клапан, доступный постоянно. Если емкость расположена вне камбуза, второй клапан должен быть установлен на топливопроводе в пространстве камбуза, вне Зоны 2, указанной на
рис. 2.4.1.1, в легкодоступном месте. Это требование может не применяться в случае, если емкость расположена ниже, чем плита/нагреватель, и исключена возможность поступления топлива самотеком. Любой клапан, установленный на топливном резервуаре, который расположен в машинном помещении, должен управляться извне машинного помещения;
8. Отверстия трубопроводов наполнения емкостей для топлива должны иметь четкую маркировку с указанием типа топлива, используемого в системе.
2.5. ЗАЩИТА МАШИННЫХ ПОМЕЩЕНИЙ И ТОПЛИВНЫХ ЦИСТЕРН
2.5.1. Машинные и топливные пространства должны быть оборудованы необходимой вентиляцией.
2.5.2. Материал, используемый для изоляции машинных пространств, должен:
1. Быть негорючим и представлять поверхность, не абсорбирующую нефтепродукты и их пары;
2. Иметь индекс окисления (OI), по крайней мере, 21 в соответствии с ИСО 4589-3:1996 при температуре окружающей среды 60 °C.
2.5.3. Электрооборудование, устанавливаемое в помещениях, содержащих:
бензиновые двигатели и/или емкости с бензином;
бензопроводы и/или их арматуру;
газовые баллоны сжиженного горючего газа и/или газопроводы;
переносные емкости для бензина и/или подвесные двигатели с встроенной емкостью для бензина,
должно соответствовать исполнению, защищенному от воспламенения окружающих горючих газов.
2.5.4. Трубопроводы топливных систем и установленные топливные цистерны должны соответствовать требованиям
части V "Механические установки. Механизмы. Системы и трубопроводы".
2.5.5. Топливные цистерны
Топливные цистерны, трубопроводы и арматура должны быть отделены или защищены от любого источника высокой температуры. Все цистерны должны иметь вентиляцию.
Бензин должен храниться в цистернах, не являющихся частью корпуса которые;
1. Изолированы от машинного помещения и других источников воспламенения;
2. Отделены от жилых помещений.
Дизельное топливо должно храниться в цистернах, являющихся частью корпуса.
2.5.6. Топливо с температурой вспышки ниже 55 °C (бензин и дизельное топливо)
2.5.6.1. Расположение топливных цистерн, их материалы и оборудование должны соответствовать требованиям
4.10.2.2 части V "Механические установки. Механизмы. Системы и трубопроводы".
2.5.6.2. Закрытый отсек, в котором размещаются емкости для хранения топлива, должен быть оборудован системой углекислотного или аэрозольного тушения.
2.6.1. Сауна должна быть отделена от других помещений конструкциями типа A-60, за исключением помещений, расположенных внутри ее периметра. Пространство сауны может включать в себя раздевальные, душевые/ванные и туалеты.
2.6.2. Душевые или ванные с непосредственным входом в сауну могут рассматриваться как часть сауны. В таких случаях дверь между сауной и душевой/ванной может не отвечать требованиям противопожарной безопасности.
2.6.3. В сауне допускается традиционная деревянная зашивка переборок и подволоков. Подволок над печью должен обшиваться негорючей пластиной, с отступом, по крайней мере, 30 мм от подволока. Расстояние от нагревательных поверхностей до горючих материалов должно быть не менее 500 мм, или горючие материалы должны быть защищены (например, негорючей пластиной, с отступом, по крайней мере, 30 мм).
2.6.4. В сауне допускаются традиционные деревянные полки.
2.6.5. Дверь сауны не должна иметь замков и должна открываться нажатием изнутри.
2.6.6. Электрические печи саун должны иметь таймеры и должны отвечать требованиям разд. 15 части XI "Электрическое оборудование" Правил классификации и постройки морских судов, а кабели и провода - требованиям 16.8 указанной части Правил.
2.7. МЕСТНОЕ ПЕЧНОЕ ОТОПЛЕНИЕ (ПЕЧИ/КАМИНЫ)
2.7.1. Применение местного печного отопления, работающего на твердом топливе, допускается на несамоходных и стоечных судах, за исключением помещений, где размещаются емкости с жидким топливом и/или баллоны со сжатыми и сжиженными газами, либо оборудование, использующее жидкое топливо и/или сжиженный газ.
2.7.2. Кирпичные печи/камины должны отвечать следующим требованиям;
1. Толщина внешних кирпичных стенок огневых камер должна быть не менее 250 мм;
2. Толщина внешних кирпичных стенок дымоходов должна быть не менее 120 мм;
3. Толщина кирпичной кладки верхнего перекрытия должна быть не менее 250 мм;
4. Под печи должен быть отделен от палубного настила из горючего материала кирпичной кладкой толщиной не менее 250 мм;
5. Огневая камера камина должна быть отделена от палубного настила из горючего материала кирпичной кладкой толщиной не менее 350 мм;
6. Проход дымоходов через конструкции судна должен выполняться с местным утолщением кирпичной стенки не менее 500 мм;
7. Кирпичные печи должны быть облицованы металлическими кожухами.
2.7.3. Не допускается установка в судовых помещениях металлических отопительных печей без кирпичной футеровки или водяного контура.
2.7.4. Печи для отопления должны находиться на расстоянии не менее 500 мм от конструкций из горючих материалов. Если эти конструкции защищены тепловой изоляцией из негорючего материала, это расстояние должно быть не менее 250 мм.
Минимальное расстояние не регламентируется в том случае, если участки конструкций, которые примыкают к печам, изготовлены целиком из негорючих материалов.
2.7.5. Расстояние от топочной дверцы до переборки из горючего материала должно быть не менее 1,25 м. Если переборка выполнена из негорючего материала или изолирована по поверхности стальными листами толщиной 5 мм, это расстояние может быть уменьшено до 1 м.
2.7.6. Расстояние от открытой огневой камеры камина до переборки из горючего материала должно быть не менее 2,5 м. Если переборка выполнена из негорючего материала или изолирована по поверхности стальными листами толщиной 5 мм, указанное расстояние может быть уменьшено до 2 м.
2.7.7. Перед топочной и поддувальной дверцей печей и открытой огневой камерой камина на полу должны быть предусмотрены стальные листы или поверхность из негорючего материала размером не менее 500 мм от передней стенки печи/камина.
2.7.8. Печи/камины должны быть расположены так, чтобы никакое оборудование и снабжение не подвергалось опасности возгорания, даже в случае перегрева печи/камина. Не следует устанавливать печи/камины близи трюмных переборок.
2.7.9. Дымовые трубы печей/каминов должны быть расположены так, чтобы они были выше самой высокой надстройки на 0,5 м.
Места прохода дымовых труб через переборки и палубы должны быть изолированы таким образом, чтобы температура в месте их соприкосновения не превышала 60 °C.
Расстояние от дымовой трубы или дымохода до горючей конструкции должно быть не менее 350 мм.
Трубы должны быть стальными с кожухами или должны иметь теплоизоляцию.
Дымовые трубы должны быть надежно закреплены и оборудованы искроуловителями.
3. ПРОТИВОПОЖАРНОЕ ОБОРУДОВАНИЕ И СНАБЖЕНИЕ
3.1.1. Оснащение судна противопожарным оборудованием должно быть выполнено в соответствии с размерами судна и установленными двигателями с учетом наличия нагревательных приборов с открытым пламенем.
3.2. КЛАССИФИКАЦИЯ ПОЖАРОВ ПО ИСО 3941:1977
3.2.1. Класс A: пожары от возгорания твердых материалов, обычно органического происхождения, при горении которых обычно имеет место формирование накаляющихся и тлеющих угольков.
Класс B: пожары от возгорания жидкостей или пропитанных жидкостью твердых материалов.
Класс C: пожары от возгорания газов.
Класс D: пожары с горением металлов.
3.3. РАЗМЕЩЕНИЕ ОБОРУДОВАНИЯ
3.3.1. Пространства судна должны быть оборудованы:
переносными огнетушителями в соответствии с требованиями
разд. 4, или:
стационарными противопожарными системами в соответствии с требованиями
разд. 5 и переносными огнетушителями в соответствии с требованиями
разд. 4.
3.4. ОБОРУДОВАНИЕ ПОМЕЩЕНИЯ КАМБУЗА
3.4.1. Камбуз должен быть снабжен одним или более переносными огнетушителями и пожарным покрывалом, в соответствии с требованиями
разд. 4, или системой водного тумана.
3.5. ОБОРУДОВАНИЕ МАШИННОГО ПОМЕЩЕНИЯ
3.5.1. Защита машинного помещения и топливных цистерн
Защита машинного помещения и топливных цистерн должна осуществляться в соответствии с требованиями табл. 3.5.1.
Таблица 3.5.1
Защита машинного и/или топливного отсека
Тип | Тип судна и расположение двигателя | Тип и мощность двигателя | Обеспечение защиты |
Суда без машинного помещения | Беспалубное судно со стационарным(и) двигателем(ями) или их частью над основанием кокпита и почти вертикальным капотом | Бензиновый двигатель мощностью менее 120 кВт | Стационарная противопожарная система, соответствующая требованиям разд. 5; либо |
Дизельный двигатель | переносной огнетушитель, огнетушащей способностью, пригодной для полного заполнения машинного пространства через пожарное отверстие в капоте двигателя |
Беспалубное судно с бензиновым подвесным двигателем на транце и открыто расположенной переносной емкостью для топлива | Согласно изложенному в 4.3.7. |
Нет специальных требований при одном подвесном двигателе мощностью менее 25 кВт |
Беспалубное судно с бензиновым(и) подвесным(и) двигателем(ями) на транце и открыто расположенными переносными емкостями для топлива, числом более чем одна к каждому двигателю | Стационарная противопожарная система для защиты топливного отсека, соответствующая требованиям разд. 5, либо переносной огнетушитель огнетушащей способностью, пригодной для полного заполнения топливного отсека или полного охвата пространства с емкостями |
Все суда | Топливные емкости для бензина размещены в закрытом пространстве |
Суда с машинным помещением | Мотор ниже основания кокпита или внутри судна | Бензиновый двигатель | Стационарная противопожарная система, соответствующая требованиям разд. 5 |
Дизельный двигатель/двигатели общей мощностью не более 120 кВт | Стационарная противопожарная система, соответствующая требованиям разд. 5; либо |
переносной огнетушитель, огнетушащей способностью, пригодной для полного заполнения машинного пространства через пожарное отверстие в капоте двигателя |
Дизельный двигатель/двигатели общей мощностью более 120 кВт | Стационарная противопожарная система, соответствующая требованиям разд. 5 |
3.5.2. Тип и объем огнетушителя
Огнетушитель должен быть соответствующего типа для тушения пожара в машинном помещении.
Объем огнетушащей среды переносного огнетушителя должен быть достаточным для объема машинного помещения.
Выпускное отверстие огнетушителя должно быть оснащено так, чтобы огнетушащая среда могла быть выпущена в машинное помещение без открытия главного входа или люка доступа.
3.5.3. Пожарное отверстие
Пожарное отверстие должно быть:
четко обозначено;
размера, соответствующего выпускному соплу предусмотренного огнетушителя;
постоянно готовым к открытию для выпуска огнетушащей среды в машинное пространство;
расположено так, чтобы требуемый по размеру огнетушитель мог быть использован в положении, которое позволит осуществить полный выпуск огнетушащей среды.
3.6. ДРУГИЕ ЗАМКНУТЫЕ ПРОСТРАНСТВА
Другие замкнутые пространства должны быть приспособлены к подаче огнетушащей среды. Кроме того, если они предназначены для хранения топлива или другого огнеопасного груза или изделий, они должны быть защищены, как определено в
3.5.1 для помещений, содержащих главные и вспомогательные двигатели общей мощностью не более 120 кВт.
3.7.1. Защита площади открытой палубы на судах длиной 15 м и менее, а также на всех судах без энергетической установки, может обеспечиваться пожарными ведрами (ковшами).
3.7.2. Защита площади открытой палубы на судах длиной более 15 м должна обеспечиваться через шланги водопожарной системы, соответствующей требованиям
разд. 6, и пожарными ведрами.
| | ИС МЕГАНОРМ: примечание. В официальном тексте документа, видимо, допущена опечатка: пункт 10.1.4 в тексте документа отсутствует. Возможно, имеется в виду пункт 10.1.1.4. | |
3.7.3. Тип, количество и размещение ведер, указанных в 3.7.1 и 3.7.2, должно быть принято согласно
10.1.4.
4. ПЕРЕНОСНЫЕ ОГНЕТУШИТЕЛИ
4.1.1. Настоящий раздел определяет требования относительно огнетушащей способности, количества, расположения и хранения переносных огнетушителей на борту судна. В настоящем разделе не определяются технические требования непосредственно конструкции огнетушителей, так как они устанавливаются национальными нормативно-техническими документами.
4.2.1. Любой переносной огнетушитель должен быть постоянно доступен и готов к применению.
4.2.2. Если переносной огнетушитель несудового исполнения расположен в местах, не защищенных от брызг воды или водной пыли, сопло огнетушителя и триггерное устройство должны быть экранированы.
4.2.3. Огнетушитель может храниться в специальном шкафчике или другом защищенном или закрываемом пространстве. На шкафчике или части двери закрываемого пространства должен быть нанесен соответствующий символ, указывающий, что в шкафчике помещен огнетушитель.
4.2.4. Переносные огнетушители с двуокисью углерода могут быть расположены в помещении, где расположено электрооборудование (например, электродвигатели, распределительный щит, аккумуляторное отделение).
4.3. ТИП, ОБЪЕМ И КОЛИЧЕСТВО ПЕРЕНОСНЫХ ОГНЕТУШИТЕЛЕЙ
4.3.1. На судне должны быть установлены переносные огнетушители одобренного Регистром типа в соответствии с 4.3.2 -
4.3.8.
4.3.2. Количество переносных огнетушителей должно соответствовать требованиям
4.3.6 -
4.3.8.
4.3.3. На судах должны применяться переносные огнетушители для тушения пожаров класса A и B огнетушащей способностью не ниже 5A/34B.
4.3.4. Масса заряда углекислотного огнетушителя должна составлять не более 2,0 кг. В каждой опасной зоне (помещении) должен располагаться один огнетушитель такого типа.
4.3.5. В местах установки углекислотных огнетушителей, кроме открытых площадок, согласно
8.4 в непосредственной близости к огнетушителю или на самом огнетушителе должна быть прикреплена предупреждающая табличка о мерах предосторожности при его использовании.
4.3.6. Суда, оснащенные устройством с открытым пламенем, должны быть снабжены;
1. Одним или несколькими переносными огнетушителями, общей огнетушащей способностью не ниже 8A/68B; либо
2. Одним пожарным покрывалом размером, достаточным для укрытия камбузной плиты, и переносным огнетушителем огнетушащей способностью не ниже 5A/34B.
4.3.7. Суда с подвесным мотором мощностью более 25 кВт должны быть оснащены одним или несколькими переносными огнетушителями общей огнетушащей способностью не ниже 8A/68B.
4.3.8. Оснащение судна переносными огнетушителями должно быть выполнено с учетом следующих требований по их размещению:
1. Один переносной огнетушитель огнетушащей способностью не ниже 5A/34B - в пределах одного метра от главного поста управления рулем судна на судах длиной менее 10,0 м;
2. Один переносной огнетушитель огнетушащей способностью не ниже 5A/34B - в пределах двух метров от главного поста управления рулем судна на судах длиной 10,0 м и более;
3. Один переносной огнетушитель огнетушащей способностью не ниже 8A/68B - в пределах двух метров от устройства с открытым пламенем, расположенный таким образом, чтобы быть доступным в случае пожара. Для камбузных плит - два огнетушителя либо один и пожарное покрывало согласно
4.3.6, расположенные таким образом, чтобы быть доступными в случае пожара;
4. Один переносной огнетушитель огнетушащей способностью не ниже 4A/34B либо 8A/68B, в зависимости от мощности установленных двигателей внутреннего сгорания, с учетом
4.3.7, вне машинного помещения, но не далее 2,0 м от пожарного отверстия, указанного в
3.5.3;
5. Один переносной огнетушитель огнетушащей способностью не ниже 4A/34B - на расстоянии не далее 5,0 м по горизонтали от любого местонахождения людей на судне длиной менее 10,0 м;
6. Один переносной огнетушитель огнетушащей способностью не ниже 4A/34B - на расстоянии не далее

по горизонтали от любого местонахождения людей на судне длиной 10,0 м и более;
7. Один переносной огнетушитель огнетушащей способностью не ниже 5A/34B - на каждые 20,0 м2 площади защищаемого пространства судна длиной 10,0 м и более. Если какая-либо защищаемая часть (пространство или группа кают, не разделенных на зоны) судна защищена автоматической системой пожаротушения, то достаточно установки только одного переносного огнетушителя огнетушащей способностью не ниже 5A/34B в этой части судна.
Требования настоящего раздела применяются к системам пожаротушения, которые приводятся в действие автоматически или вручную, способны к тушению пожаров класса A или B.
5.1.1. Системы пожаротушения с ручным пуском
Стационарно установленные системы, приводимые в действие вручную, должны запускаться из рулевой рубки. Если расстояние от указанного места до защищаемого пространства составляет более 5,0 м, у защищаемого пространства должно быть дополнительно установлено пусковое устройство.
5.1.2. Системы пожаротушения с автоматическим пуском
Стационарные системы с автоматическим пуском должны удовлетворять требованиям
5.2.
5.1.3. Комбинированные системы пожаротушения
Расположение комбинированной (активизируемой автоматически или вручную) системы должно обеспечивать возможность оператору вручную переводить систему в режим ручного или автоматического управления. Система должна удовлетворять требованиям
5.2.
5.1.4. Системы газового тушения
Расположение оборудования стационарной системы газового тушения должно быть выполнено в отдельном замкнутом пространстве и таким образом, чтобы никакие ее части не были расположены и не проходили через помещения для экипажа.
Замкнутое пространство, в котором размещена такая система, может иметь открытые, закрываемые и герметизированные отверстия для следующих целей:
прохода кабелей и трубопроводов;
доступа для обслуживания оборудования системы.
Компоненты стационарной системы должны быть надежно закреплены с учетом вибрации, ударов, возможных в процессе предусмотренных условиями эксплуатации судна.
5.2.2. Управление пуском систем пожаротушения, активизируемых вручную
Устройства пуска должны быть хорошо видимы, и их положение должно быть четко обозначено с указанием принадлежности к защищаемому пространству.
Устройства пуска должны быть доступны постоянно.
5.2.3. Трубопроводы систем
5.2.3.1. Трубопроводы и арматура противопожарных систем и компоненты их крепления могут быть изготовлены из стали, меди, медно-никелевых сплавов, а также биметаллов, один из слоев в которых составляет указанный материал.
5.2.3.2. Если для изготовления любых компонентов систем, указанных в 5.2.3.1, применяются неметаллические материалы, то их огнестойкость должна быть не ниже огнестойкости стали.
5.2.3.3. Припой, который применяется для соединений в системах трубопроводов, должен иметь температуру плавления не ниже 600 °C.
5.2.3.4. Количество и расположение выпускных сопел должны гарантировать эффективное тушение пожара в пределах защищаемого пространства.
5.2.4. Контроль выпуска огнетушащего вещества
Должен быть обеспечен визуальный контроль выпуска огнетушащего вещества.
5.2.4.1. Звуковой сигнал предупреждения должен подаваться до начала пуска огнетушащего вещества.
5.2.4.2. Если в защищаемом пространстве установлено более одной системы пожаротушения, то любой из них должно быть достаточно для защиты пространства, если они не предназначены только для совместного действия.
5.3. СИСТЕМА УГЛЕКИСЛОТНОГО ТУШЕНИЯ
5.3.1. Подача 85% расчетного количества углекислого газа для тушения пожара должна быть обеспечена в течение:
1. Не более 2 мин - для машинных помещений и других помещений, где применяется жидкое топливо или имеются другие воспламеняющиеся жидкости;
2. Не более 10 мин - для помещений, в которых не перевозится и не применяется жидкое топливо или другие воспламеняющиеся жидкости.
5.3.2. Для хранения углекислого газа должны применяться баллоны и резервуары одобренного типа.
5.3.3. Число баллонов для хранения сжиженного углекислого газа определяется в зависимости от степени их наполнения (количества углекислого газа на 1 л вместимости).
5.3.4. Оборудование станции углекислотного пожаротушения должно соответствовать требованиям
5.1.4,
5.2.1 и
5.2.2, а также 5.3.4.1 -
5.3.4.8.
5.3.4.1. Станции углекислотного пожаротушения, за исключением предназначенных для машинных помещений, должны размещаться в помещениях, расположенных на открытых палубах или непосредственно под ними, имеющих вход с открытой палубы. Размещение станций пожаротушения для машинных помещений, при котором отсутствует непосредственный выход из них на открытую палубу, допустимо только при наличии дистанционного управления пуском огнетушащего вещества из рулевой рубки или другого помещения, которое имеет непосредственный выход на открытую палубу.
5.3.4.2. Баллоны должны быть установлены в вертикальном положении рядами на прокладки, которые могут быть из дерева.
5.3.4.3. На станции углекислотного пожаротушения должно быть устройство для взвешивания баллонов или измерения уровня жидкости в них.
5.3.4.4. Каждый баллон должен быть обозначен порядковым номером.
5.3.4.5. Двери станций должны иметь маркировку, открываться наружу и быть постоянно закрытыми на замок, который имеет 2 ключа, один из которых должен храниться вблизи замка в закрытом ящичке с застекленной стенкой, а другой - в рулевой рубке.
5.3.4.6. В помещении станции, на определенном месте вблизи пусковых устройств, должна быть вывешена схема системы пожаротушения с указанием пусковых устройств и защищаемых помещений, а также инструкция по обслуживанию и введению системы в действие.
5.3.4.7. Освещение станции должно быть естественным и электрическим, с питанием от основной сети и от аварийного источника.
5.3.4.8. Станции углекислотного пожаротушения должны быть оборудованы независимой системой вытяжной и приточной вентиляции. Приемные отверстия вытяжных каналов должны располагаться в нижних зонах помещений станций.
5.3.5. Клапаны баллонов должны удовлетворять следующим требованиям:
1. Иметь предохранительные устройства. Разрыв предохранительных мембран должен происходить в случае повышении давления в баллоне до значения (1,3 +/- 0,1)P, МПа, где P - расчетное давление в баллоне. Для клапанов с прорезными мембранами, которые установлены дополнительно к предохранительным мембранам, давление разрыва прорезных мембран должно не менее чем на 1,0 МПа превышать верхнее предельное значение разрыва предохранительных мембран. Должно быть предусмотрено контрольное устройство, которое указывает на срабатывание предохранительного устройства;
2. Устройство для открывания клапана должно быть рычажного типа и обеспечивать полное открывание клапана поворотом рычага на угол не более 90°. Устройство должно допускать возможность индивидуального или группового открывания клапанов;
3. Иметь трубки с косым срезом, которые не доходят до днища баллонов на 5 - 15 мм. Диаметр проходного сечения указанных трубок, а также трубок, которые соединяют клапаны баллонов с коллектором, должен быть не менее 10 мм.
5.3.6. Отвод газа от предохранительных устройств клапанов баллонов должен осуществляться за пределы станции в атмосферу по отдельному трубопроводу, имеющему на выходном отростке звуковое сигнальное устройство.
5.3.7. Труба, соединяющая баллон со сборным коллектором группы баллонов, должна быть цельнотянутой красномедной. Допускается применение специальных гибких рукавов из одобренных материалов.
На трубопроводе должен быть установлен невозвратный клапан, который должен располагаться на входе в коллектор так, чтобы исключалась возможность накопления воды над ним. Дренажное устройство коллекторов должно обеспечивать их полное осушение.
5.3.8. На распределительном коллекторе станции углекислотного пожаротушения должен быть установленный манометр со шкалой, превышающей давление гидравлического испытания баллонов не менее чем на 1,0 МПа. Цена деления шкалы манометра должна быть не более 0,5 МПа.
5.3.9. Материалы, применяемые для уплотнений арматуры и гибких рукавов, должны сохранять работоспособность при температурах до минус 30 °C.
5.3.10. Суммарная площадь проходных сечений сборных коллекторов, а также площадь проходного сечения распределительного коллектора, должны быть не больше суммы проходных сечений клапанов баллонов, одновременно открываемых для наибольшего по объему защищенного помещения.
5.3.11. Площадь проходных сечений трубопроводов для отдельных защищенных помещений должна быть не больше суммарной площади проходных сечений клапанов баллонов, которые одновременно открываются для данного помещения.
5.3.12. Каждый трубопровод к отдельному защищаемому помещению должен быть оборудован индивидуальным запорным устройством. Толщина стенок трубопроводов определяется в соответствии с требованиями
4.2.5.3 части V "Механические установки. Механизмы. Системы и трубопроводы".
5.3.13. Суммарная площадь выпускных отверстий сопел в защищаемом помещении должна быть не более 85% суммарной площади проходного сечения распределительного трубопровода.
5.3.14. В глушителях, утилизационных котлах и дымоходах вместо сопел допускаются перфорированные трубы. Сумма площадей перфорации трубы должна быть на 10% меньше площади ее проходного сечения.
5.3.15. Пусковые устройства системы на станции пожаротушения должны обеспечивать одновременное открывание клапанов баллонов.
| | ИС МЕГАНОРМ: примечание. В официальном тексте документа, видимо, допущена опечатка: пункт 5.2.5.3 в тексте документа отсутствует. | |
5.3.16. Стационарные установки углекислотного пожаротушения должны быть оснащены предупредительной сигнализацией о пуске газа, согласно 5.2.5.3.
5.3.17. В помещениях, которые защищаются углекислотной системой пожаротушения, должно быть предусмотрено закрытие всех отверстий, через которые может поступать воздух и/или выходить огнетушащий газ. Средства управления закрытиями отверстий должны размещаться за пределами помещений, которые они обслуживают, или в месте, доступ к которому в случае пожара не будет прегражден.
5.3.18. Рядом с каждым входом и выходом из помещения, в которое может подаваться углекислый газ, должна быть размещена табличка установленного образца, с описанием сигнала тревоги и действий при его подаче.
5.3.19. В обоснованных случаях допускается оборудовать местные станции для отдельных защищаемых помещений.
Для защиты глушителей двигателей внутреннего сгорания, дымоходов и других замкнутых объемов допускается устанавливать баллоны внутри машинных помещений.
5.4. АЭРОЗОЛЬНАЯ СИСТЕМА ПОЖАРОТУШЕНИЯ
5.4.1. Общие положения
5.4.1.1. В системе аэрозольного пожаротушения должны применяться генераторы огнетушащего аэрозоля одобренного Регистром типа.
5.4.1.2. Система аэрозольного пожаротушения должна включать в себя:
генераторы огнетушащего аэрозоля;
блок управления системой (БУС);
устройства оповещения о запуске системы аэрозольного пожаротушения;
кабельные трассы.
5.4.1.3. При пуске системы должно обеспечиваться:
| | ИС МЕГАНОРМ: примечание. В официальном тексте документа, видимо, допущена опечатка: требование 5.2.5.3 в тексте документа отсутствует. | |
автоматическое включение сигнализации предупреждения в защищаемом помещении в соответствии с требованиями 5.2.5.3;
автоматическое отключение вентиляции в защищаемом помещении.
5.4.1.4. Для машинных и других помещений, где применяются жидкое топливо и воспламеняющиеся жидкости, время рабочего режима генератора (подачи расчетного количества аэрозоля) должно быть обеспечено в течение не более 2 мин.
5.4.1.5. Расположение генераторов в защищаемом помещении должно обеспечивать равномерное распределение огнетушащего аэрозоля. При наличии в защищаемом помещении застойных зон, образованных оборудованием и ограждающими конструкциями, должна предусматриваться подача огнетушащего аэрозоля непосредственно в застойные зоны.
5.4.1.6. Генераторы при установке должны быть ориентированы так, чтобы при их работе струи огнетушащего аэрозоля не оказывали теплового воздействия на пути эвакуации, судовое оснащение, кабельные трассы, аварийное освещение, предупредительную сигнализацию, топливные и масляные цистерны и трубопроводы.
5.4.2. Генераторы огнетушащего аэрозоля
5.4.2.1. Генератор огнетушащего аэрозоля должен состоять из корпуса, в котором размещается заряд аэрозолеобразующего состава, узла запуска, электрического разъема и устройства крепления к судовым конструкциям. Корпус генератора должен иметь устройство (сопло) для выпуска аэрозоля.
5.4.2.2. Каждый тип генератора должен иметь данные о величине расстояния (по оси аэрозольной струи) от места ее выхода из генератора к границе тепловой зоны с температурой +70 °C.
5.4.2.3. Время выхода генератора на рабочий режим с момента пуска не должен превышать 10 с.
Время рабочего режима генератора не должно быть менее 20 с.
5.4.2.4. Корпус генератора, его основание и детали крепления к нему должны быть из негорючих материалов.
5.4.2.5. Генераторы должны иметь устройство для обеспечения автоматического (самопроизвольного) запуска при повышении температуры окружающего воздуха свыше 250 °C.
5.4.3. Блок управления системой аэрозольного пожаротушения (БУС)
5.4.3.1. БУС должен отвечать требованиям
разд. 2 части VII "Электрическое оборудование".
5.4.3.2. БУС должен обеспечивать дистанционный запуск всех генераторов в защищаемом помещении одновременно.
5.4.3.3. При защите системой нескольких помещений БУС должен обеспечивать раздельный запуск генераторов в каждом помещении.
5.4.3.4. Питание БУС должно осуществляться от двух независимых источников питания - основного и аварийного.
5.4.3.5. БУС должен обеспечивать автоматический контроль исправности пусковых электрических цепей с сигнализацией о неисправности (например: обрыв, замыкание на корпус и т.п.) на лицевой панели.
5.4.4. Местные станции аэрозольного тушения
5.4.4.1. В обоснованных случаях для отдельных защищаемых помещений может быть допущено устройство местных станций с одним или двумя генераторами и установкой пускового устройства в районе входа в помещение (без оборудования БУС).
5.4.5. Кабельные трассы
5.4.5.1. Кабельные трассы должны отвечать требованиям
разд. 8 части VII "Электрическое оборудование".
5.4.5.2. Пусковые кабельные трассы должны быть выполнены из экранированных кабелей с заземлением экранов.
5.5. ВОДОПОЖАРНАЯ СИСТЕМА
5.5.1. Общие положения
5.5.1.1. Для целей противопожарной защиты, наряду со специальными пожарными насосами, могут использоваться санитарные, осушительные и другие насосы с подачей и напором не менее расчетных значений для пожарных насосов.
5.5.1.2. Самоходные суда с мощностью главных двигателей 120 кВт и более, несамоходные суда со стационарным источником энергии мощностью 120 кВт и более должны быть оборудованы стационарной водопожарной системой с пожарным насосом, имеющим механический привод. Такой насос, трубопроводы и водозаборные отверстия должны размещаться в машинном помещении.
5.5.1.3. По согласованию с Регистром, стационарную водопожарную систему можно не устанавливать на судах с максимальной численностью лиц на борту менее трех человек и/или с длиной корпуса 15 м и менее.
5.5.1.4. Суда, не указанные в
5.5.1.2 и 5.5.1.3, должны быть оснащены соответствующими стационарными ручными насосами либо мотопомпами, которые, как и их трубопроводы и водозаборные отверстия, должны быть установлены за пределами машинного помещения.
5.5.1.5. Для постоянно пришвартованных к берегу стоечных судов, в качестве альтернативного средства тушения пожара, подача воды в водопожарную систему может обеспечиваться береговой водопожарной системой с подачей и напором не менее расчетных значений для пожарных насосов, при этом соединение систем должно выполняться с учетом возможных перемещений судна.
5.5.1.6. Подача пожарного насоса стационарной системы водяного пожаротушения должна быть достаточной для обеспечения одновременной работы двух ручных стволов с наибольшим диаметром насадки, принятой для данного судна, при давлении возле самого отдаленного крана 0,2 МПа.
Иные системы водяного пожаротушения должны быть спроектированы таким образом, чтобы обеспечить подачу, по крайней мере, одной струи воды в любое место судна, при давлении возле самого отдаленного крана 0,2 МПа.
5.5.1.7. Если на судне предусматриваются системы пожаротушения, потребляющие воду от пожарных насосов (водораспыления, орошения и т.п.), то насос водопожарной системы должен обеспечивать подачу воды в любую часть судна и параллельную работу одной из вышеуказанных систем, потребляющей наибольшее количество воды.
5.5.1.8. При использовании насоса с механическим приводом противопожарная магистраль должна быть оборудована, по меньшей мере, одним пожарным краном, который должен располагаться на палубе, и одним пожарным краном, расположенным на напорной магистрали возле пожарного насоса (между насосом и запорным клапаном).
5.5.1.9. Если ручные насосы и насосы с механическим приводом включены в общую противопожарную магистраль, с напорной стороны они должны быть оснащены невозвратно-запорным клапаном.
5.5.2. Требования к пожарным насосам
5.5.2.1. Пожарные насосы должны приводиться в действие от независимого источника механической энергии.
Регистр может допустить применение пожарных насосов с приводом от главного двигателя при условии, что конструкция пропульсивного комплекса обеспечивает действие пожарного насоса на стоянке судна и обеспечивает отключение насоса при его движении.
По согласованию с Регистром может быть допущена клиноременная передача от главного двигателя к насосу, обеспечивающая передачу крутящего момента также при разрыве одного из ремней.
5.5.2.2. Допускается использование пожарного насоса для других судовых целей (например, для обмыва палубы, клюзов и т.п.).
Регистр может допустить использование пожарного насоса для других систем (осушения, аварийного осушения моторного отсека) при условии обеспечения их одновременной работы, с удовлетворением требований настоящих Правил к этим системам.
5.5.2.3. Насосы и трубопроводы, предназначенные для пожаротушения, не допускается использовать для перекачивания нефтепродуктов, масла или других воспламеняющихся жидкостей, а также в качестве балластных насосов для цистерн, попеременно заполняемых топливом и балластом.
5.5.2.4. Насосы, которые могут создать в пожарном трубопроводе давление выше допустимого, должны быть снабжены перепускными клапанами для отвода воды из напорного в приемный трубопровод.
Пожарный насос должен быть оборудован манометром, установленным на напорном трубопроводе до разобщительных клапанов.
Перепускные клапаны должны быть отрегулированы на давление, превышающее рабочее давление в пожарном трубопроводе не более чем на 10%.
5.5.2.5. Стационарный пожарный насос и соответствующий ему кингстон должны быть установлены ниже ватерлинии судна порожнем.
По согласованию с Регистром насос может быть установлен выше ватерлинии, если при этом предусмотрены надежные самовсасывающие устройства.
5.5.3. Трубопроводы
5.5.3.1. Диаметр магистральных трубопроводов водопожарной системы и отростков от них должен быть таким, чтобы скорость движения воды в трубопроводах ни на одном из участков не превышала 4 м/с.
5.5.3.2. Если на судне предусмотрено отопление помещений, то участки магистральных трубопроводов водопожарной системы, проходящие через неотапливаемые помещения и расположенные на открытых палубах, должны иметь запорную арматуру для отключения их от трубопроводов, проходящих через отапливаемые помещения, а также приспособлены для спуска воды.
5.5.3.3. У пожарного насоса на приемном и напорном трубопроводах должны быть установлены запорные клапаны. На приемных трубопроводах допускается установка клинкетов.
На напорных трубопроводах центробежных насосов должны быть предусмотрены невозвратно-запорные клапаны.
5.5.3.4. Трубопроводы водопожарной системы должны быть изготовлены из стальных бесшовных труб.
5.5.3.5. Арматура должна быть изготовлена из стали, бронзы, меди или, по согласованию с Регистром, из других материалов.
5.5.4. Пожарные краны
5.5.4.1. Каждый пожарный кран должен быть оборудован запорным клапаном и стандартной соединительной головкой быстросмыкающегося типа. Краны, установленные на открытых палубах, должны также быть снабжены быстросмыкающейся головкой-заглушкой.
5.5.4.2. Пожарные краны должны быть расположены на судне таким образом, чтобы была обеспечена подача, по крайней мере, одной струи воды в любое место судна стандартными рукавами длиной не более 10 м.
5.5.4.3. Пожарные краны следует располагать:
на открытых палубах - в районе выходов;
внутри помещений - в коридорах и вестибюлях, в машинно-котельных помещениях.
Пожарные краны следует устанавливать на расстоянии не более 1,35 м от палуб или настилов.
5.5.4.4. Все пожарные краны должны быть окрашены в красный цвет и пронумерованы.
5.5.5. Пожарные рукава и стволы
5.5.5.1. На судах должны применяться пожарные рукава, допущенные к применению компетентными органами.
5.5.5.2. Пожарные рукава должны удовлетворять следующим требованиям:
1. Иметь длину, равную приблизительно 2/3 длины судна, но не более 15 м;
2. Быть изготовленными из одобренных износостойких материалов, не поддающихся разрушению микроорганизмами (гниению);
3. Иметь диаметр рукавов и присоединительной арматуры, соответствующий присоединяемым к ним стандартным ручным стволам, а также пожарным кранам судна.
5.5.5.3. Количество пожарных рукавов должно быть равно количеству кранов, установленных на судне.
5.5.5.4. Каждый пожарный рукав в собранном виде с пожарным стволом должен размещаться на рукавных катушках или кассетах в непосредственной близости к крану, для которого он предназначен. На открытых палубах рукава следует хранить в вентилируемых шкафах, имеющих соответствующую маркировку.
5.5.5.5. Стволы должны быть комбинированного типа, обеспечивающие получение как компактной, так и распыленной струи.
5.5.5.6. Стандартный диаметр насадки должен приниматься, по меньшей мере, равный 6 мм.
5.5.6. Испытания на прочность и герметичность
Водопожарная система должна быть испытана на прочность и герметичность после монтажа на судне в соответствии с нормами, указанными в табл. 5.5.6.
Таблица 5.5.6
Трубопроводы и арматура | Пробное гидравлическое давление, МПа |
В цехе | На судне |
Трубопроводы от кингстонов до насосов | - | 0,2 |
Трубопроводы от насосов до кранов | | В действии в сборе с системой |
Арматура | 1,5p, но не менее 0,2 МПа |
p - рабочее давление в системе; |
|
<1> Если испытание указанным давлением планируется производить после монтажа на судне, испытание в цехе можно не производить. |
6. РАБОТОСПОСОБНОСТЬ СИСТЕМ
6.1. Стационарные системы должны быть работоспособны при температурах окружающей среды, соответствующих предусмотренным проектом условиям эксплуатации.
6.2. Каждая система должна быть снабжена Инструкцией по эксплуатации. Если на судне используются системы газового пожаротушения, то в Инструкцию должны быть включены указания о необходимости и способе вентиляции пространства перед его осмотром для оценки повреждений и/или последующего включения двигателя, а также по оказанию помощи человеку, случайно пострадавшему при тушении пожара от воздействия газа.
7. РАСЧЕТНОЕ КОЛИЧЕСТВО ОГНЕТУШАЩЕГО ВЕЩЕСТВА
7.1.1. Расчетное количество огнетушащего вещества должно быть определено применительно к чистому объему пространства, за вычетом объемов, занимаемых оборудованием. В вычитаемые объемы не включается мебель и оборудование, внутрь которого возможно проникновение огнетушащего вещества.
7.1.2. Если расчетный объем пространства составляет 10,0 м3 и менее, то расчетное количество огнетушащего вещества необходимо увеличить на 10%. При объемах пространства более 20,0 м3 увеличение не требуется. Промежуточные значения определяются линейной интерполяцией.
7.2. РАСЧЕТНОЕ КОЛИЧЕСТВО УГЛЕКИСЛОГО ГАЗА СТАЦИОНАРНОЙ
ПРОТИВОПОЖАРНОЙ СИСТЕМЫ
7.2.1. Количество углекислого газа, кг, должно быть определено по формуле
где V - расчетный объем наибольшего защищаемого помещения, м3;

- коэффициент, принимаемый равным:
0,3 - для машинных помещений, расчетный объем которых определен с учетом полного объема шахт;
0,35 - для машинных помещений, расчетный объем которых определен без учета объема шахт по уровню, на котором площадь горизонтального сечения шахт равна 40% площади горизонтального сечения машинного помещения или меньше ее.
Для машинных помещений принимают тот коэффициент

, при котором достигается большее значение G.
7.3. РАСЧЕТНОЕ КОЛИЧЕСТВО АЭРОЗОЛЕОБРАЗУЮЩЕГО ВЕЩЕСТВА
АЭРОЗОЛЬНОЙ СИСТЕМЫ ПОЖАРОТУШЕНИЯ
7.3.1. Расчетная масса аэрозолеобразующего состава, кг, должна быть определена по формуле
где V - расчетный объем защищаемого помещения, м3;

- объем j-го воздухохранителя, м3, см.
4.13.1 части V "Механические установки. Механизмы. Системы и трубопроводы";
n - количество воздухохранителей в защищаемом помещении;
j - порядковый номер воздухохранителя;

- рабочее давление в j-ом воздухохранителе, МПа;

- атмосферное давление, МПа;
q - нормативная огнетушащая способность аэрозоля, кг/м3;
k - коэффициент запаса, равный 1,5.
7.3.2. Нормативная огнетушащая концентрация аэрозоля зависит от типа генератора и, как правило, не должна превышать 0,2 кг/м3.
7.3.3. Расчетное число генераторов, шт., должно быть определено по формуле
N = G/m, (7.3.3)
где G - расчетная масса аэрозолеобразующего состава, кг;
m - масса заряда в одном генераторе, кг.
8. ВИЗУАЛЬНО ОТОБРАЖАЕМАЯ ИНФОРМАЦИЯ
8.1. Следующая табличка должна быть установлена около устройства пуска стационарной системы, которая защищает помещение, рассматриваемое как герметизированное от смежных пространств:
Цвет фона таблички - желтый
8.2. Следующая табличка должна быть установлена около устройства пуска стационарной системы, которая защищает пространство, рассматриваемое как не герметизированное от смежных пространств:
Цвет фона таблички - желтый
8.3. Следующая табличка должна быть установлена около каждого входа в защищаемое пространство, если система огнетушения использует газ:
Цвет фона таблички - желтый либо оранжевый
8.4. Следующая табличка должна быть установлена около каждого (либо на каждом) углекислотного огнетушителя:
Цвет фона таблички - желтый либо оранжевый
9. ИСПЫТАНИЯ УСТРОЙСТВ С ОТКРЫТЫМ ПЛАМЕНЕМ
9.1. Испытания выполняются непосредственно на судне, на фактически предусмотренном месте установки устройства.
При испытании каждая из горелок (форсунок) открытого пламени должна быть закрыта металлической пластиной диаметром 200 мм и толщиной 3 мм +/- 0,2 мм. Огонь должен гореть во всех горелках устройства одновременно в течение 10 мин, средства управления должны быть установлены на максимум. Требования
2.4 должны быть выполнены.
10. РУКОВОДСТВО ДЛЯ ВЛАДЕЛЬЦА СУДНА
10.1. ПРОТИВОПОЖАРНОЕ ОБОРУДОВАНИЕ
10.1.1. В Руководстве для владельца судна должна содержаться следующая информация о противопожарном оборудовании.
10.1.1.1. Переносные огнетушители
Судно должно быть оборудовано переносными огнетушителями следующего типа и мощности, в количестве и в следующих местах:
Номер 1: огнетушащей способностью не ниже ....................
месторасположение ............................................
Номер 2: огнетушащей способностью не ниже ....................
месторасположение ............................................
Номер n: огнетушащей способностью не ниже ....................
месторасположение ............................................
10.1.1.2. Противопожарное покрывало
Противопожарное покрывало должно быть расположено в следующем месте: (Описание положения).
10.1.1.3. Указания по обслуживанию противопожарного оборудования
Периодически необходимо выполнять:
проверку противопожарного оборудование в интервалах, обозначенных на оборудовании;
замену переносных огнетушителей до истечения срока годности зарядки на идентичные по огнетушащей способности;
пополнение огнетушащим веществом разряженных стационарных систем или замену в них огнетушащего вещества по истечении срока годности.
Судно должно иметь в снабжении, на каждые полные или неполные 6,0 м длины судна, по крайней мере, одно ведро (ковш) емкостью не менее 10,0 л. Пожарные ведра должны быть снабжены пеньковым концом достаточной длины и храниться в легкодоступном месте. Все пожарные ведра должны быть окрашены в красный цвет и иметь надпись "ПОЖАРНОЕ".
10.2.1. Суда длиной до 15 м могут иметь Инструкцию, содержащую информацию о составе оборудования и систем пожаротушения, а также их техническом обслуживании. Инструкция должна находиться на борту судна в доступном месте.
10.2.2. Для судов длиной 15 м и более Руководство для владельца судна должно содержать следующие сведения для капитана и команды:
размещение постов управления;
расположение огнестойких и огнезадерживающих конструкций;
помещения, оборудованные стационарными системами пожаротушения с указанием места нахождения арматуры и места управления их работой;
расположение пожарных кранов и стволов;
размещение противопожарного оборудования;
места управления вентиляцией и места установки заслонок с указанием группы обслуживаемых помещений;
краткое описание действия систем пожаротушения и конструкционные особенности противопожарной защиты.
10.2.3. Насколько это практически возможно, символы, используемые в Руководстве, должны соответствовать резолюции ИМО А.952(23) "Графические символы, относящиеся к судовым схемам противопожарной защиты".
10.2.4. Сведения в Руководстве должны быть на национальном и английском или французском языке.
10.2.5. Руководство должно быть представлено на рассмотрение и одобрение PC. Одобренная копия должна находиться на борту судна в доступном месте.
10.2.6. Руководство должно быть своевременно актуализировано по любым изменениям, и эти изменения должны быть зарегистрированы фактически.
10.2.7. Места расположения соответствующего противопожарного оборудования должны быть обозначены.
1.1. ОБЛАСТЬ РАСПРОСТРАНЕНИЯ
1.1.1. Требования настоящей части распространяются на материалы и изделия, подлежащие в соответствии с требованиями других частей настоящих Правил освидетельствованию Регистром при изготовлении.
Требования, относящиеся к выбору и применению материалов и изделий, изложены в соответствующих частях настоящих Правил.
Требования к объему освидетельствований и испытаний при первоначальном освидетельствовании производства материалов и изделий, а также при осуществлении технического наблюдения Регистра в процессе их изготовления изложены в части III "Техническое наблюдение за изготовлением материалов" Правил технического наблюдения за постройкой судов и изготовлением материалов и изделий для судов.
1.1.2. Кроме удовлетворения требованиям настоящей части, материалы и изделия должны отвечать требованиям соответствующих частей настоящих Правил.
1.1.3. Материалы, применяемые для постройки прогулочных судов, должны также соответствовать требованиям стандартов ISO 12215-1:2000, ISO 12215-2:2000 и ISO 12215-3:2000.
1.1.4. Материалы, применяемые для постройки корпусов судов проектных категорий A, A1, A2 и B, должны соответствовать требованиям, изложенным в части XIII "Материалы" и разд. 7 части XVI "Конструкция и прочность корпусов судов и шлюпок из стеклопластика" Правил классификации и постройки морских судов. Применение иных материалов подлежит специальному рассмотрению Регистром.
1.1.5. Материалы, применяемые для постройки судов из железобетона, должны соответствовать требованиям Правил постройки корпусов морских судов и плавучих сооружений с применением железобетона Регистра.
1.1.6. Материалы, к которым в силу условий их работы в конструкции или изделии предъявляются требования, не предусмотренные настоящей частью, а также не регламентированные настоящей частью материалы, химический состав, механические и эксплуатационные свойства которых не рассматривались Регистром для данного назначения, подлежат специальному рассмотрению Регистром.
Материалы, изготавливаемые в соответствии с международными или национальными стандартами или по спецификациям, или иной технической документации, могут быть допущены Регистром для конкретного назначения при условии выполнения требований Правил. При этом стандарты, спецификации или иная техническая документация признается Регистром посредством ее внесения в соответствующий документ Регистра и/или простановкой штампа.
Регистр может допустить поставку материалов и изделий только по стандартам, спецификации или специальной технической документации. При наличии различий между указанной выше документацией и Правилами, испытания материалов и их оценка должны осуществляться с учетом наиболее жестких требований.
1.1.7. Указанные ниже материалы и изделия, подлежащие освидетельствованию Регистром, поставляются с свидетельствами Регистра и должны изготавливаться предприятиями, имеющими Свидетельство о признании изготовителя (СПИ) (см. часть III "Техническое наблюдение за изготовлением материалов" Правил технического наблюдения за постройкой судов и изготовлением материалов и изделий для судов):
1. Прокат из судостроительной стали;
2. Прокат из стали для котлов и сосудов, работающих под давлением, классов I и II;
3. Стальные трубы для котлов и теплообменных аппаратов, а также для трубопроводов классов I и II;
4. Стальные поковки и отливки;
5. Отливки из чугуна;
6. Отливки из цветных и легких сплавов;
7. Полуфабрикаты из цветных и легких сплавов;
8. Цепи и тросы;
9. Сталь для цепей;
10. Слябы, блюмы и заготовки для проката судостроительной и котельной стали, если они изготавливаются на отдельном от прокатного производства предприятии.
1.1.8. Указанные ниже материалы и изделия, подлежащие освидетельствованию Регистром (см.
1.1.1), могут поставляться с сертификатами изготовителя при условии наличия у предприятия, системы качества, признанной уполномоченной на то организацией или Регистром, и Свидетельства о типовом одобрении (СТО).
1. Материалы для армированных пластмассовых конструкций;
2. Слоистые текстильные материалы;
3. Световозвращающие материалы;
4. Пенопласт;
5. Антикоррозионные покрытия;
6. Арматура и трубы из пластмассы.
1.2. ОПРЕДЕЛЕНИЯ И ПОЯСНЕНИЯ
1.2.1. Определения и пояснения, относящиеся к общей терминологии, указаны в Общих
положениях.
Определения и пояснения, относящиеся к терминологии настоящей части Правил, указаны в части XIII "Материалы" Правил классификации и постройки морских судов.
1.3.1. Общие положения, определяющие объем и порядок осуществления освидетельствования, изложены в 1.3 части XIII "Материалы" Правил классификации и постройки морских судов.
1.4. МАРКИРОВКА И ДОКУМЕНТЫ
1.4.1. Положения, определяющие необходимость маркировки и порядок выдачи документов, изложены в 1.4 части XIII "Материалы" Правил классификации и постройки морских судов.
1.5. ЛАБОРАТОРИИ, ПРОВОДЯЩИЕ ИСПЫТАНИЯ
1.5.1. Положения настоящей главы распространяются на лаборатории, проводящие испытания материалов, подлежащих освидетельствованию Регистром.
1.5.1. Лаборатории, указанные в 1.5.1, должны соответствовать требованиям, изложенным в 1.5 части XIII "Материалы" Правил классификации и постройки морских судов.
2.1. Материалы, применяемые для постройки прогулочных судов, должны соответствовать требованиям разд. 3 части XIII "Материалы" Правил классификации и постройки морских судов. Применение иных материалов подлежит специальному рассмотрению Регистром.
3.1. Для корпусных конструкций прогулочных судов, эксплуатация которых предусматривается в водах морей и соленых лиманов или озер, должны применяться деформируемые алюминиевые сплавы, соответствующие требованиям разд. 5 части XIII "Материалы" Правил классификации и постройки морских судов. Для прочих судов допускается, с учетом изложенного в
1.1.6, применение материалов, изготовленных в соответствии с национальными или международными стандартами.
4.1. Для изготовления элементов устройств и оборудования судна, а также средств крепления (заклепки, шурупы, винты и др.) должны применяться сплавы меди, поддающиеся пластической обработке, с механическими свойствами и химическим составом, удовлетворяющими требованиям соответствующих стандартов или техническим условиям, согласованным с Регистром.
4.2. Для литья элементов устройств и оборудования (в т.ч. гребных винтов) необходимо применять сплавы меди, рекомендованные разд. 2 части XIII "Материалы" Правил классификации и постройки морских судов Регистра.
5.1.1. Для изготовления корпусных конструкций и оборудования малого судна должны применяться сорта древесины и фанеры, указанные в
табл. 5.1.1-1 и
5.1.1-2, с соблюдением соответствия характеристик требованиям национальных стандартов и стандарту ISO 12215-3:2000.
Таблица 5.1.1-1
N п/п | Торговое название | Стойкость к гниению | Импрегнирование | Склеиваемость | Средняя плотность, кг/м3 | Прочность при изгибе, МПа | Прочность при растяжении, МПа | Прочность при сжатии, МПа | Модуль упругости при изгибе, МПа |
1 | Береза | Н | Л | Л | 650 | 120 | 137 | 43 | 15000 |
2 | Ольха черная | Н | Л | Л | 550 | 90 | 90 | 40 | 9000 |
3 | Бук | Н | Л | Л | 690 | 120 | 135 | 60 | 14000 |
4 | Дуб | Т | В | Л | 670 | 95 | 90 | 52 | 11000 |
5 | Дуб | Т | В | Л | 720 | 110 | 90 | 60 | 13000 |
6 | Ясень | Н | Л | Л | 680 | 120 | 130 | 52 | 13400 |
7 | Ильм | Н | Д | Л | 680 | 80 | 80 | 56 | 11000 |
8 | Вяз | Н | Д | Л | 680 | 80 | 80 | 56 | 11000 |
9 | Смерека | Д | Л | Л | 450 | 68 | 84 | 40 | 10000 |
10 | Модрина | Д | Д | Л | 590 | 93 | 107 | 53 | 12000 |
11 | Ель | Н | Л | Л | 470 | 68 | 80 | 43 | 10000 |
12 | Сосна обычная | Д | Л | Л | 520 | 82 | 104 | 47 | 12000 |
13 | Сосна смолистая | Д | Д | Д | 670 | 102 | | 50 | 12000 |
14 | Дугласия | Д | Д | Л | 510 | 82 | 105 | 47 | 12000 |
15 | Пероба | Т | В | Д | 700 | 108 | | 63 | 12500 |
16 | Тиама, Геду нохор | Д | Д | Л | 550 | 78 | | 48 | 10000 |
17 | Сапелли | Д | Д | Л | 640 | 69 | 85 | 57 | 9800 |
18 | Сипо, Утиле | Т | Д | Л | 630 | 100 | 110 | 58 | 11000 |
19 | Гуареа, Боссе | Т | В | Л | 600 | 94 | 52 | | 11000 |
20 | Магон африканский | Д | В | Л | 500 | 75 | 75 | 43 | 9500 |
21 | Магон американский | Т | В | Л | 540 | 82 | 90 | 45 | 9500 |
22 | Тик | В | В | В | 670 | 100 | 115 | 60 | 13000 |
23 | Окуме, Габун | Н | | | 430 | 72 | 58 | 39 | 3000 |
24 | Макоре | В | В | Л | 620 | 103 | 85 | 53 | 11000 |
25 | Агба, Итола | Т | Д | Л | 490 | 62 | 52 | 40 | 6500 |
26 | Афрормозия, Кокродуа | В | В | Л | 700 | 120 | 60 | | 11600 |
27 | Идикбо, Фрамире | Т | Д | Л | 550 | 74 | 42 | | 8000 |
28 | Меранти | Т | Д | Л | 560 | 105 | 129 | 53 | 12000 |
29 | Янг | Д | Д | Л | 760 | 125 | 140 | 70 | 16000 |
30 | Кедр красный | Т | Д | Л | 390 | 53 | 50 | 32 | 7500 |
31 | Ироко, Кампала | В | Д | | 620 | 95 | 79 | 55 | 11000 |
32 | | Н | | | 160 | 19 | 40 | 10 | 2600 |
<1> Материал для сердцевины 3-слойных ламинатов |
Таблица 5.1.1-2
Применимость пород древесины для корпуса
| Киль | Дейдвуд | Штевни | Стрингеры | Флоры | Шпангоут | Обшивка | Бимсы | Кницы | Стрингеры палуб | Стенки рубок | Фанера |
клееный | гнутый | ниже ВЛ | выше ВЛ | палуб | вертикальная | горизонтальная | обычная | формованная |
1 | 2 | 3 | 4 | 5 | 6 | 7 | 8 | 9 | 10 | 11 | 12 | 13 | 14 | 15 | 16 | 17 | 18 |
1 | - | - | - | - | - | - | - | - | - | - | - | C | C | - | - | B | B |
2 | - | - | - | - | - | - | - | - | - | - | - | - | - | - | - | B | - |
3 | - | - | - | - | - | - | B | - | - | - | - | C | C | - | - | B | - |
4 | B+ | B | B | B | B | B+ | A | B | C | - | B+ | B | A | B | B | - | - |
5 | B+ | B | B | B | B | B+ | A | B | B | - | B+ | B | A | B | B | - | - |
6 | - | - | - | - | - | - | B | - | - | - | B | - | - | - | - | - | - |
7 | B++ | B | B | C | - | - | - | - | - | - | - | - | - | - | - | - | - |
8 | - | - | - | B | - | - | A+ | - | - | - | - | C | C | - | - | - | - |
9 | - | - | - | C | - | - | - | - | C | B | B++ | - | - | - | - | - | - |
10 | C++ | - | - | B | - | B++ | - | B | C | - | B++ | - | - | - | - | - | - |
11 | - | - | - | C | - | - | - | - | C | - | C++ | - | - | - | - | - | - |
12 | C++ | C | C | B | - | - | - | B | B | B | B++ | - | - | C | - | C | - |
13 | - | - | - | B | - | - | - | A | B | B | B++ | - | - | - | - | - | - |
14 | C++ | C | C | B | - | - | - | B | B | B | B++ | - | - | C | - | - | - |
15 | - | - | - | - | - | - | - | B | B | A | - | B | B | B | - | - | - |
16 | - | - | - | - | - | - | - | B | B | B | - | - | - | - | - | - | - |
17 | - | - | - | - | - | - | - | - | - | - | - | - | - | - | - | B | - |
18 | - | - | - | - | - | - | - | B | B | B | - | - | - | - | - | A | B |
19 | - | - | - | - | - | - | B | - | - | - | - | - | - | - | - | A | B |
20 | C++ | C | C | C | C | B++ | - | C | B | B | B++ | - | - | C | B | A | A |
21 | B+ | B | B | - | B | - | - | B | B | - | B++ | - | - | B | A | A | A |
22 | A+ | A | A | A | A | A+ | - | A | A | A | A+ | A | A | A | A | - | - |
23 | - | - | - | - | - | - | - | - | - | - | - | - | - | - | - | B | - |
24 | - | - | - | - | - | - | - | - | B | B | B | - | - | B | B | A | B |
25 | - | - | - | - | - | - | - | - | - | - | - | - | - | - | - | B | - |
26 | B+ | B | B | B | B | B+ | B | B | B | B | B | B | B | B | B | A | B |
27 | - | - | - | - | - | - | - | - | - | - | - | - | - | - | - | A | B |
28 | C+ | C | C | - | B | - | - | B | C | - | B+ | B | B | - | B | A | B |
29 | C+ | C | C | - | C | C | - | B | C | - | - | - | - | - | - | - | - |
30 | - | - | - | - | - | - | - | C | C | - | - | - | - | - | - | B | A |
31 | - | - | - | B | A | A | - | A | A | A | - | - | - | A | - | - | - |
Примечания: |
Пригодность древесины определяется по трехступенчатой шкале: |
A - наиболее предпочтительно; |
B - соответствует; |
C - допускается. |
2. Породы древесины, обозначенные знаком "+" применяются в качестве килей, шпангоутов и бимсов как в природной форме, так и склеенные из слоев. Породы древесины, обозначенные знаком "++", могут использоваться только клееными из слоев. |
3. Средняя плотность, приведенная в таблице, относится к древесине, высушенной до влажности 15 - 20%. |
4. Стойкость древесины относительно гниения определяется по четырехступенчатой шкале: |
Н - неустойчивая; |
Д - достаточно стойкая; |
Т - стойкая; |
В - исключительно стойкая. |
5. Степень, с которой древесина поддается импрегнации, определяется по трехступенчатой шкале: |
Л - легко поглощает импрегнант; |
Д - достаточно легко поглощает импрегнант; |
В - тяжело поглощает импрегнант. |
6. Степень, с которой древесина соединяется синтетическими клеями, определяется по трехступенчатой шкале: |
Л - легкое получение стойкого соединения клеем; |
Д - достаточно легкое получение клеевого соединения; |
В - тяжелое получение стойкого клеевого соединения. |
Применение других сортов древесины, фанеры или шпона подлежит специальному рассмотрению Регистром.
5.2.1. Для многослойных конструкций палуб, стен надстройки и рубок можно использовать древесину бальса, разрезанную поперек на слои. Влажность этой древесины не должна превышать 12%. Материал, служащий для двустороннего покрытия сердцевин из бальса, должен иметь прочность, достаточную для восприятия нагрузок, а клей должен быть на полиэстеровой смоле. Бальса должна иметь прочность на срез не менее, чем указано в табл. 5.2.1.
Таблица 5.2.1
Удельная плотность, кг/м3 | Прочность на срез, МПа |
95 | 1,10 |
130 | 1,80 |
175 | 2,00 |
5.3. КАЧЕСТВО СПЛОШНОЙ ДРЕВЕСИНЫ
5.3.1. Древесина должна быть надлежащим образом выдержана, не иметь древесной сердцевины, заболони, гнили, поражений насекомыми, расслоений, продольных трещин и других дефектов, которые будут неблагоприятно влиять на пригодность материала. Она также должна быть, как правило, свободна от сучков.
5.3.2. Древесина для элементов закладки должна быть умеренно выдержана, а там, где существует риск чрезмерного пересыхания, должна быть пропитана горячим льняным маслом или олифой сразу после установки, чтобы предотвратить растрескивание.
5.3.3. Материал для обшивки корпуса и палубного настила должен быть, как правило, прямослойным и, для палубного настила, четвертной распиловки.
5.3.4. Древесина пред использованием должна храниться в сухих условиях при влажности не более 20%. Следует не допускать чрезмерного пересыхания древесины во время постройки.
5.3.5. Влажность материалов, предназначенных для склеивания, должна составлять около 15%. При использовании резорциновых клеев рекомендуется поддерживать содержание влаги, незначительно превышающее эту величину, а при использовании фенольных и мочевиноформальдегидных смол - несколько ниже этой величины. Рекомендуется искусственная сушка, примерно до 15% влажности, материала, который должен быть использован для ламинированных деталей.
5.3.6. Содержание влаги в обшивке корпуса и палубном настиле, которые должны быть покрыты защитной обшивкой с использованием синтетических смол, должно быть настолько низким, насколько это практически возможно, чтобы исключить влияние на прочность сцепления обшивки.
5.4.1. Фанера, предназначенная для выполнения внешней обшивки или палубы, должна быть изготовлена из элементов хорошего качества, как для внешних, так и для внутренних слоев. Древесина, используемая для изготовления элементов фанеры, должна быть твердой и стойкой породы, а технология изготовления должна обеспечивать стойкость фанеры к действию воды. Фанера, изготовленная из менее твердых пород древесины, может быть принята при условии усиления стойкости этой древесины относительно гниения применением соответствующих средств.
Листы фанеры должны храниться в горизонтальном положении, на ровной основе, с обеспечением хорошего проветривания и в сухом помещении. Влажность не должна превышать 15%.
В конструкциях корпуса судна не разрешено применение фанеры, не имеющей сертификата Регистра. Слои шпона должны соединяться клеящими веществами фенольного типа (водотермостойкими), признанными Регистром. Породы древесины, пригодные для изготовления фанеры, рекомендованы
табл. 5.1.1-1 и
5.1.1-2. Применение других пород древесины должно быть согласованно с Регистром.
Прочая фанера, применяемая для обстройки и оборудования судна, может быть изготовлена из менее долговечных пород древесины, которые обработаны древесными консервантами.
5.5. НАСЫЩЕНИЕ (ИМПРЕГНАЦИЯ) ДРЕВЕСИНЫ
5.5.1. Поверхности стыковки конструктивных элементов, таких как шпангоуты, бимсы, продольные элементы и флоры, должны быть пропитаны противогрибковыми средствами и средствами против червей. Эти средства должны применяться также для пропитки всех поверхностей конструктивных элементов, изготовленных из пород древесины, приведенных в
табл. 5.1.1-1 как Н - неустойчивая или Д - достаточно стойкая.
Рекомендуется пропитка всех поверхностей элементов, изготовленных даже из пород древесины, обозначенных как Т - стойкие и В - исключительно стойкие.
Рекомендуется использование противогрибковых средств и средств против червей, одной из двух групп:
водные растворы хромомедных или меднохромоарсеновых солей;
металлоорганические и органические растворы, такие как нафтенианы цинка и меди, а также пентахлорофенол в органических растворителях.
При отборе противогрибковых средств следует учитывать их влияние на средства консервации поверхности (краски или ламинирование), если обшивка снаружи должна быть ими покрыта.
Применение других типов консервирующих средств является предметом специального рассмотрения Регистром.
6.1. ТИПЫ СТЕКЛОПЛАСТИКОВ
6.1.1. Для корпусных конструкций судов из стеклопластиков рекомендуются следующие восемь типов стеклопластиков:
Тип I - на основе стеклохолста (мата), который для придания более гладкой поверхности может быть облицован стеклосеткой или стеклотканью с наружной стороны или с обеих сторон в один или в два слоя (обозначение X).
Тип II - на основе ровинговой стеклоткани (жгутовой рогожки) параллельной укладки, т.е. все слои стеклоткани укладываются основой вдоль одного направления (обозначение P).
Тип III - на основе сатиновой стеклоткани параллельной укладки (обозначение T).
Тип IV - на основе стеклоткани (обозначение T) или стеклосетки (обозначение C) полотняного переплетения параллельной укладки.
Тип V - на основе сочетания стеклохолстов (матов) и ровинговой стеклоткани параллельной укладки по 50% по толщине; при этом слои холста (мата) и ткани должны быть расположены вперемежку по всей толщине.
Тип VI - то же соотношение по толщине, что и у типа V, но все слои холста (мата) должны быть сосредоточены в средней части по толщине пластины, а снаружи и изнутри должны укладываться слои жгутовой стеклоткани по 1/4 толщины с каждой стороны.
Тип VII - на основе параллельно-диагонального армирования жгутовой стеклоткани под углами +45° и -45° к направлению параллельной части основы, которая должна занимать 1/2 толщины пластины, а диагональные части - под углами +45° и -45° по 1/4 толщины, причем все слои с параллельным расположением основы должны быть расположены вперемежку и равномерно по всей толщине пластины.
Тип VIII - слои с диагональным армированием должны занимать среднюю часть толщины пластины, а слои с параллельным армированием должны располагаться по наружным поверхностям пластины (пакетное расположение).
Схемы армирования приведенных типов стеклопластиков показаны на
рис. 6.1.1.
Рис. 6.1.1. Схемы армирования
Типы стеклопластиков (в процентах указана доля толщины, занимаемая слоями с данным армированием):
I - X 100%; II - P 100%; III и IV - T 100% (или C 100%); V и VI - X 50%, P 50%; VII и VIII - 0° P 50%, +45° P 25%, -45° P 25%.
Стеклопластики типов II, V, VI, VII и VIII должны покрываться снаружи и изнутри одним - двумя слоями стеклоткани или стеклосетки.
Для каждого типа стеклопластика, в зависимости от относительного содержания стекловолокна по массе, в таблицах 6.2 приведены соответствующие величины физико-механических свойств.
6.2. ФИЗИКО-МЕХАНИЧЕСКИЕ СВОЙСТВА СТЕКЛОПЛАСТИКОВ
6.2.1. Физико-механические свойства стеклопластиков находятся в прямой зависимости от типа армирования, рассмотренного в
6.1.1, а также и от удельного содержания армирующего волокна в пластике.
Осредненные физико-механические свойства стеклопластиков в зависимости от типа армирования приведены в табл. 6.2.1-1.
Таблица 6.2.1-1
Осредненные физико-механические свойства стеклопластиков
на основе стекловолокна и полиэфирного связующего,
в сухом состоянии при 20 °C
Тип | Содержание стекла, % по массе | Средняя плотность, кг/м3 | Масса армирующего материала на 1 м2 пластика толщиной 1 мм, г | Модуль, МПа | Коэффициент Пуассона | Предел прочности, МПа | Характеристика армирующего материала и схемы армирования |
нормальной упругости | сдвига в плоскости пластины | растяжение | сжатие | сдвиг в плоскости |
I | 30 | 1430 | 430 | | | 0,30 | 100 | 130 | 70 | Стекломат с хаотическим расположением нитей |
II | 56 | 1700 | 936 | | | | | 80 | Ровинговая стеклоткань параллельной укладки |
III | 50 | 1640 | 820 | | | | | Стеклоткань сатинового переплетения (8/3) параллельной укладки |
IV | 50 | 1640 | 820 | | | | | Стеклоткань полотняного переплетения параллельной укладки |
V | 44 | 1560 | | | | | | Смешанное армирование с заполнением 1/2 толщины стекломатом и 1/2 толщины ровинговой стеклотканью параллельной укладки |
VI |
VII | 55 | 1700 | 936 | | | | | Параллельно-диагональное на основе ровинговой стеклоткани; 1/2 всех слоев - параллельная, по 1/4 слоев диагональные под углом +45°/-45° |
VIII |
Примечания: 1. Для стеклопластика типов V - VI в графе 4 указана в числителе масса для стекломата, а в знаменателе - масса для ровинговой стеклоткани, то есть в сумме на 1 мм толщины масса армирующего материала составит 685 г. |
2. Соотношение разрывных усилий по основе и по утку принято равным: |
1:1 - для ровинговой стеклоткани и стеклоткани полотняного переплетения; |
2:1 - для сатиновой стеклоткани. |
Физико-механические свойства стеклопластиков в зависимости от удельной массы армирующего волокна для конкретного типа армирования приведены в табл. 6.2.1-2 -
6.2.1-10.
Таблица 6.2.1-2
Физико-механические свойства стеклопластиков на основе
стеклохолста с полиэфирным связующим [тип I],
в сухом состоянии при 20 °C
N п/п | Тип | Содержание стекла, % | Средняя плотность, кг/м3 | Модуль, МПа | Коэффициент Пуассона | Предел прочности, МПа |
по массе | по объему | нормальной упругости | сдвига в плоскости | растяжение | сжатие | сдвиг в плоскости |
1 | | 20 | 12 | 1400 | | | 0,35 | 70,0 | 110,0 | 50,0 |
2 | | 25 | 15 | 1450 | | | 0,35 | 80,0 | 115,0 | 60,0 |
3 | | 30 | 18 | 1500 | | | 0,35 | 90,0 | 120,0 | 70,0 |
Примечание: Для толщины 4 мм и менее предел прочности при растяжении снижается по сравнению с приведенным в таблице на 20%. |
Таблица 6.2.1-3
Физико-механические свойства стеклопластиков на основе
ровинговой (жгутовой) стеклоткани параллельной укладки
с полиэфирным связующим [тип II],
в сухом состоянии при 20 °C
N п/п | Тип | Число слоев на 1 см | Содержание стекла, % | Средняя плотность, кг/м3 | Модуль, МПа | Коэффициент Пуассона | Предел прочности, МПа |
по массе | по объему | нормальной упругости | сдвига в плоскости | растяжение | сжатие | сдвиг в плоскости |
1 | | 10 | 45 | 28 | 1600 | | | 0,12 | 180,0 | 140,0 | 60,0 |
2 | | 12 | 50 | 32 | 1650 | | | 0,12 | 210,0 | 145,0 | 70,0 |
3 | | 14 | 55 | 37 | 1700 | | | 0,12 | 240,0 | 150,0 | 80,0 |
4 | | 16 | 60 | 42 | 1750 | | | 0,12 | 280,0 | 155,0 | 90,0 |
Примечание: Ровинговая стеклоткань имеет соотношение разрывных усилий по основе и по утку, равное 1:1. |
Таблица 6.2.1-4
Физико-механические свойства стеклопластиков на основе
ровинговой (жгутовой) стеклоткани диагональной укладки
с полиэфирным связующим [тип II-д],
в сухом состоянии при 20 °C
N п/п | Тип | Число слоев на 1 см | Содержание стекла, % | Средняя плотность, кг/м3 | Модуль, МПа | Коэффициент Пуассона | Предел прочности, МПа |
по массе | по объему | нормальной упругости | сдвига в плоскости | растяжение | сжатие | сдвиг в плоскости |
1 | | 10 | 45 | 28 | 1600 | | | 0,50 | 120,0 | 80,0 | 100,0 |
2 | | 12 | 50 | 32 | 1650 | | | 0,50 | 150,0 | 110,0 | 110,0 |
3 | | 14 | 55 | 37 | 1700 | | | 0,50 | 180,0 | 145,0 | 120,0 |
4 | | 16 | 60 | 42 | 1750 | | | 0,50 | 210,0 | 145,0 | 130,0 |
Таблица 6.2.1-5
Физико-механические свойства стеклопластиков на основе
стеклоткани сатинового переплетения параллельной укладки
с полиэфирным связующим [тип III],
в сухом состоянии при 20 °C
N п/п | Тип | Число слоев на 1 см | Содержание стекла, % | Средняя плотность, кг/м3 | Модуль, МПа | Коэффициент Пуассона | Предел прочности, МПа |
по массе | по объему | нормальной упругости | сдвига в плоскости | растяжение | сжатие | сдвиг в плоскости |
1 | | 18 | 45 | 28 | 1600 | | | | | | 80,0 |
2 | | 20 | 49 | 31 | 1650 | | | | | | 90,0 |
3 | | 22 | 52 | 34 | 1700 | | | | | | 100,0 |
4 | | 24 | 55 | 37 | 1750 | | | | | | 100,0 |
5 |  сат/сфер | 9 | 50 | 30 | 1100 | | | | | | 30,0 |
Примечание: Сатиновая стеклоткань имеет соотношение разрывных усилий по основе и по утку, равное 2:1. |
Таблица 6.2.1-6
Физико-механические свойства стеклопластиков на основе
стеклоткани сатинового переплетения диагональной укладки
с полиэфирным связующим [тип III-д],
в сухом состоянии при 20 °C
N п/п | Тип | Число слоев на 1 см | Содержание стекла, % | Средняя плотность, кг/м3 | Модуль, МПа | Коэффициент Пуассона | Предел прочности, МПа |
по массе | по объему | нормальной упругости | сдвига в плоскости | растяжение | сжатие | сдвиг в плоскости |
1 | | 18 | 45 | 28 | 1600 | | | 0,50 | 160 | 160,0 | 130,0 |
2 | | 20 | 49 | 31 | 1650 | | | 0,50 | 170 | 170 | 140,0 |
3 | | 22 | 52 | 34 | 1700 | | | 0,50 | 180 | 180 | 150,0 |
4 | | 24 | 55 | 37 | 1750 | | | 0,50 | 190 | 200 | 150,0 |
Таблица 6.2.1-7
Физико-механические свойства стеклопластиков на основе
стеклосетки или стеклоткани полотняного переплетения
параллельной укладки и полиэфирного связующего [тип IV],
в сухом состоянии при 20 °C
N п/п | Тип | Содержание стекла, % | Средняя плотность, кг/м3 | Модуль, МПа | Коэффициент Пуассона | Предел прочности, МПа |
по массе | по объему | нормальной упругости | сдвига в плоскости | растяжение | сжатие | сдвиг в плоскости |
1 | | 45 | 28 | 1600 | | | 0,13 | 130,0 | 160,0 | 60,0 |
2 | | 49 | 31 | 1640 | | | 0,13 | 230,0 | 170,0 | 85,0 |
3 | | 52 | 34 | 1670 | | | 0,13 | 240,0 | 180,0 | 90,0 |
Примечание: Стеклоткань полотняного переплетения имеет соотношение разрывных усилий по основе и по утку, равное 1:1. |
Таблица 6.2.1-8
Физико-механические свойства стеклопластиков смешанного
армирования с заполнением 1/2 толщины стеклохолстом и 1/2
толщины жгутовой стеклотканью параллельной укладки
на основе полиэфирного связующего [типы V и VI],
в сухом состоянии при 20 °C
N п/п | Тип | Содержание по массе, % | Средняя плотность, кг/м3 | Модуль, МПа | Коэффициент Пуассона | Предел прочности, МПа |
стекло-холста | жгутовой стекло-ткани | стекла | нормальной упругости | сдвига в плоскости листа | при растяжении | при сжатии | при сдвиге в плоскости листа |
1 | | 25 | 50 | 37,5 | 1550 | | | 0,21 | 135,0 | 77,0 | 55,0 |
2 | | 30 | 55 | 42,5 | 1600 | | | 0,21 | 160,0 | 80,0 | 65,0 |
Таблица 6.2.1-9
Физико-механические свойства стеклопластиков
с параллельно-диагональным армированием на основе
ровинговой (жгутовой) стеклоткани, уложенной в 1/2 всех
слоев параллельно и по 1/4 слоев диагонально под углами
+45° и -45°, и полиэфирным связующим [типы VII и VIII],
в сухом состоянии при 20 °C
N п/п | Тип | Число слоев на 1 см | Содержание стекла, % | Средняя плотность, кг/м3 | Модуль, МПа | Коэффициент Пуассона | Предел прочности, МПа |
по массе | по объему | нормальной упругости | сдвига в плоскости | растяжение | сжатие | сдвиг в плоскости |
1 | | 10 | 45 | 28 | 1600 | | | 0,30 | 150,0 | 110,0 | 85,0 |
2 | | 12 | 50 | 32 | 1650 | | | 0,30 | 180,0 | 130,0 | 95,0 |
3 | | 14 | 55 | 37 | 1700 | | | 0,30 | 210,0 | 150,0 | 105,0 |
4 | | 16 | 60 | 42 | 1750 | | | 0,30 | 240,0 | 165,0 | 145,0 |
Таблица 6.2.1-10
Физико-механические свойства стеклопластиков
с параллельно-диагональным армированием на основе
стеклоткани сатинового переплетения, уложенной в 1/2 всех
слоев параллельно и по 1/4 слоев диагонально под углами
+45° и -45°, и полиэфирным связующим [типы VII и VIII],
в сухом состоянии при 20 °C
N п/п | Тип | Число слоев на 1 см | Содержание стекла, % | Средняя плотность, кг/м3 | Модуль, МПа | Коэффициент Пуассона | Предел прочности, МПа |
по массе | по объему | нормальной упругости | сдвига в плоскости | растяжение | сжатие | сдвиг в плоскости |
1 | | 18 | 45 | 28 | 1600 | | | | | | 105,0 |
2 | | 20 | 49 | 31 | 1650 | | | | | | 115,0 |
3 | | 22 | 52 | 34 | 1700 | | | | | | 125,0 |
4 | | 24 | 55 | 37 | 1750 | | | | | | 135,0 |
Во всех таблицах настоящей главы указаны значения физико-механических свойств стеклопластиков для средней плотности армирующего стекла 2550 - 2600 кг/м3 и средней плотности полиэфирного связующего 1200 - 1250 кг/м3 в отвердевшем виде.
Во всех таблицах настоящей главы указаны значения модуля нормальной упругости для растяжения. При сжатии и изгибе модуль нормальной упругости принимается равным указанному для растяжения.
Во всех таблицах настоящей главы, при дробных значениях данных, в числителе приведены значения для направления по основе, в знаменателе - по утку.
Для стеклопластика типа I при толщине 4 мм и менее расчетное разрушающее напряжение при растяжении снижается на 20% по сравнению с приведенным в
табл. 6.2.1-2.
7. ПЛАСТМАССЫ И МАТЕРИАЛЫ ОРГАНИЧЕСКОГО ПРОИСХОЖДЕНИЯ
7.1. Пластмассы и материалы органического происхождения, применяемые для постройки прогулочных судов, должны соответствовать требованиям, изложенным в разд. 6 части XIII "Материалы" Правил классификации и постройки морских судов, с учетом требуемых механических характеристик, указанных в 7.2. Применение иных материалов подлежит специальному рассмотрению Регистром.
7.2. Требуемые механические характеристики:
1. Прочность при растяжении полоски ткани шириной 5 см должна быть не менее 1471,5 Н/5 см (для моторных судов);
2. Прочность на разрыв по надрыву не должна быть менее 73,58 Н (для моторных судов);
3. Прочность адгезии резины и текстиля должна быть не менее 24,53 Н/см (для моторных судов).
8.1. Материалы, используемые для крепежа, должны быть из следующих металлов:
медь;
орудийная бронза;
сталь с гальванопокрытием;
кремнистая бронза;
алюминиевая бронза;
нержавеющая сталь;
монель.
8.2. Стальной крепеж должен быть гальванизирован в горячей ванне.
Винты и шурупы малых размеров, для которых неприменим горячий способ оцинковки, могут быть покрыты цинком методом гальванизации, при условии получения покрытия толщиной не меньше 24 мкм.
8.3. Нержавеющий стальной крепеж должен быть изготовлен из аустенитной стали.
8.4. Латунный крепеж не должен применяться для конструкционных целей.
Алюминиевая бронза может применяться для болтов больших размеров там, где требуется повышенная прочность.
8.5. Должны быть приняты надлежащие меры для изоляции алюминиевых сплавов от древесины и несовместимых металлов. Краски, содержащие свинец, ртуть или медь, не должны использоваться совместно с этими сплавами.
ЧАСТЬ XII. СРЕДСТВА ПО ПРЕДОТВРАЩЕНИЮ ЗАГРЯЗНЕНИЯ С СУДОВ
1.1. ОБЛАСТЬ РАСПРОСТРАНЕНИЯ
1.1.1. Требования настоящей части применяются к судам, указанным в
разд. 1 Общих положений в объеме, определенном положениями соответствующих разделов настоящей части, и распространяются на суда, проекты которых представлены на рассмотрение Регистру после даты вступления в силу настоящих Правил.
Требования настоящей части применяются к судам в эксплуатации в объеме, определенном в Общих
положениях.
1.2. ОПРЕДЕЛЕНИЯ И ПОЯСНЕНИЯ
1.2.1. Определения и пояснения, относящиеся к общей терминологии Правил, приведены в Общих
положениях и
части I "Классификация" настоящих Правил.
В настоящей части приняты следующие определения и пояснения.
Администрация - правительство государства, по уполномочию которого эксплуатируется судно. В отношении судна, имеющего право плавать под флагом какого-либо государства, Администрацией является правительство этого государства.
Валовая вместимость - вместимость, рассчитанная в соответствии с правилами обмера судов, содержащимися в
Приложении 1 к Международной конвенции по обмеру судов 1969 г. или в соответствии с положениями другой конвенции, которая вступит в силу вместо вышеуказанной
Конвенции.
Международный рейс - означает рейс судна, выполняемый в порты, судоверфи, удаленные от берега терминалы, находящиеся под юрисдикцией другой страны или в обратном направлении.
Приемные сооружения - плавучие или стационарные сооружения для приема с судов любых видов загрязнения с целью дальнейшей их передачи в очистные сооружения, утилизации и т.п.
Сброс - любой сброс с судна в водную среду вредных веществ или стоков, содержащих такие вещества, какими бы причинами он ни вызывался, включая любую утечку, слив, удаление, разлив, протекание, откачку, выделение или опорожнение.
Под определение "сброс" не подпадает сброс в значении, предусмотренном
Конвенцией по предотвращению загрязнения моря сбросами отходов и других материалов, заключенной в Лондоне в ноябре 1972 г., а именно:
любое преднамеренное удаление в водную среду отходов или других материалов с судов:
в целях обеспечения безопасности судна и находящихся на его борту людей или спасения человеческой жизни на море; или
в результате повреждения судна или его оборудования при условии, что до и после случившегося повреждения были приняты все разумные предупредительные меры для предотвращения или сведения к минимуму такого сброса;
выброс вредных веществ для проведения правомерных научных исследований по уменьшению или ограничению загрязнения.
Судно - означает любое судно, указанное в
1.2 Общих положений.
Организация - Международная морская организация (ИМО).
Танк - закрытое помещение, образованное постоянными элементами конструкции судна и предназначенное для перевозки жидкости наливом.
Число людей - экипаж, пассажиры и специальный персонал по числу мест для размещения их на судне.
Главные механизмы - механизмы, использующие в качестве рабочей среды нефтяное топливо, в составе пропульсивной установки судна.
Вспомогательные механизмы - механизмы, использующие в качестве рабочей среды нефтяное топливо, обеспечивающие снабжение судна электроэнергией и другими видами энергии, а также функционирование систем и устройств судна.
1.3. ТЕХНИЧЕСКАЯ ДОКУМЕНТАЦИЯ
| | ИС МЕГАНОРМ: примечание. В официальном тексте документа, видимо, допущена опечатка: пункты 3.1.13.1, 3.1.13.2, 3.1.13.3 и 3.1.13.4 в тексте документа отсутствуют. Возможно, имеются в виду пункты 3.1.12.1, 3.1.12.2, 3.1.12.3 и 3.1.12.4. | |
1.3.1. Регистру предоставляется документация, указанная в
3.1.13.1 и
3.1.13.2 части I "Классификация", в составе проектов всех судов.
В составе проектов судов с проектной категорией A, A1, A2, B, C и C1 либо предназначенных для нахождения на борту 10 человек и более, Регистру представляется документация, указанная в
3.1.13.3 и
3.1.13.4 части I "Классификация".
2. КОНСТРУКЦИЯ, ОБОРУДОВАНИЕ И УСТРОЙСТВА СУДОВ
ПО ПРЕДОТВРАЩЕНИЮ ЗАГРЯЗНЕНИЯ НЕФТЬЮ
2.1.1. Для целей настоящего раздела суда, указанные в
1.2 Общих положений, подразделяются на следующие категории:
категория 1 - суда с главными механизмами, стационарно установленными на судне;
категория 2 - суда, оснащенные в качестве главных механизмов только подвесными двигателями, расположенными вне корпуса судна с навешенными механизмами, которые полностью обеспечивают их работоспособность.
Суда, на которых имеется иное оборудование, использующее в качестве рабочей среды нефть, должны рассматриваться как суда категории 2.
2.1.2. Следует принимать все необходимые меры для обеспечения сбора, хранения на борту и сдачи в приемные устройства нефтесодержащих отходов, образующихся на борту судов.
Стационарно расположенные двигатели внутреннего сгорания или оборудование, использующие в качестве рабочей среды жидкое топливо, при размещении их на судне на открытой палубе или вне закрытого отсека корпуса должны размещаться в водонепроницаемом контуре (в кожухе, контейнере и т.п.), в котором имеются устройства для сбора утечек топлива и масла из указанного оборудования и должны быть предусмотрены средства для их удаления в специальные цистерны/емкости.
Под арматурой топливных и масляных цистерн должны быть установлены поддоны для сбора случайных утечек.
Поддоны должны быть эффективными при крене как минимум до 30° для парусных однокорпусных и 20° - для иных судов и дифференте до 10°.
Сбор нефтесодержащих отходов из поддонов должен быть предусмотрен в специальные цистерны/емкости.
2.1.3. Устройство систем, расположение трубопроводов и гидравлические испытания арматуры и трубопроводов должны удовлетворять требованиям
части V "Механические установки. Механизмы. Системы и трубопроводы".
Электрические системы должны удовлетворять требованиям
части VII "Электрическое оборудование".
2.2. ОПРЕДЕЛЕНИЯ И ПОЯСНЕНИЯ
2.2.1. В настоящем разделе приняты следующие определения и пояснения.
Миллионные доли

- части нефти на миллион частей воды по объему.
Нефтесодержащая вода - смесь воды с любым содержанием нефти, образующаяся в ходе эксплуатации судна.
Нефтесодержащие отходы - нефтяные остатки и нефтесодержащие льяльные воды.
Нефть - нефть в любом виде, включая сырую, жидкое топливо, масло, нефтяные остатки, нефтяные осадки и очищенные нефтепродукты.
Нефтяное топливо - любая нефть, используемая в качестве топлива для главных двигателей и вспомогательных механизмов судна, на борту которого такая нефть находится.
Нефтяные осадки - часть нефти, которая в силу своей консистенции не поддается обычной откачке и обработке и требует особых приемов или приспособлений для ее удаления с судна.
Нефтяные остатки - отсепарированный шлам, отработанное масло, нефть из сепараторов льяльных вод, утечки топлива и масла.
Отработанное масло - отработанное смазочное масло, масло из цистерн гидравлики или другая жидкость на углеводородной основе, которые более непригодны для использования в механизмах вследствие износа и загрязнения.
Отсепарированный шлам - шлам, образовавшийся вследствие пурификации топлива и смазочного масла.
Сепаратор льяльных вод на

- любая комбинация из сепаратора, фильтра, коалисцера, а также единая установка, спроектированная для сброса стока с содержанием нефти не более

.
Цистерна льяльных вод - цистерна для сбора и накопления нефтесодержащих льяльных вод.
Цистерны нефтеостатков - цистерны отсепарированного шлама, цистерны для сбора утечек топлива и масла, цистерны отработанного масла.
Шламовые цистерны - цистерны для накопления отсепарированного шлама.
2.3. СБОР И СОХРАНЕНИЕ НЕФТЕСОДЕРЖАЩИХ ОТХОДОВ
2.3.1. Суда, указанные в
2.1.1, должны быть оборудованы цистернами для сбора и сохранения на борту нефтесодержащих отходов.
2.3.1.1. Суда категории 1 длиной 15 м и более, имеющие гребные установки с дейдвудными устройствами, предусматривающими при их нормальной эксплуатации протечки воды внутрь корпуса судна, должны быть оборудованы цистернами для сбора и сохранения на борту нефтесодержащих льяльных вод, вместимость которых составляет не менее 10% от объема максимальных запасов топлива, а для высокоскоростных судов - не менее 7%.
При двух- или трехвальной гребной установке с дейдвудными устройствами расчетное количество накопления должно быть увеличено соответственно на 15% или 25%.
2.3.1.2. Суда категории 1 с гребной установкой без дейдвудного устройства, указанного в
2.3.1.1, оборудуются сборными цистернами нефтяных остатков в соответствии с требованием 2.3.1.3.
2.3.1.3. На судах категории 1 главные и вспомогательные механизмы должны оборудоваться поддонами/комингсами для сбора утечек топлива и масла из них, и должны быть предусмотрены средства для удаления нефтяных остатков из них в сборные стационарные или переносные цистерны/емкости.
На судах категории 2 указанное применяется насколько это целесообразно и практически выполнимо.
2.3.1.4. При отсутствии фильтрующего оборудования на

цистерны, указанные в
2.3.1.1, могут использоваться для сбора нефтеостатков, таких как протечки топлива и масла.
2.3.2. Емкость сборных цистерн нефтеостатков

должна, в зависимости от того, что больше, быть не менее 10 л или приниматься по следующей формуле:
где C - суточный расход топлива, л;
T - время прохождения между пунктами сдачи нефтеостатков в приемные устройства, сут. (при отсутствии данных принимается не менее 3,0 сут.).
2.3.3. В случае необходимости сохранения отработанного масла на судне должна быть предусмотрена цистерна отработанного масла, вместимость которой составляет не менее 150% от суммарного объема масел, используемых на судне, включая масла из картеров всех двигателей внутреннего сгорания и всех установленных механизмов, а также содержащегося в установках с гидравлической жидкостью.
2.3.4. В случае, если общее количество масла из картеров всех двигателей внутреннего сгорания и всех установленных механизмов вместе с установками с гидравлической жидкостью составляет 300 л и более, цистерна отработанного масла должна быть стационарного типа.
2.3.5. Должны быть задокументированы и указаны в Руководстве для владельца судна соответствующие процедуры/инструкции по сбору и сохранению на борту нефтесодержащих отходов и их последующей сдачи в приемные сооружения.
2.3.6. На судах длиной менее 15 м допускается накапливать нефтесодержащие льяльные воды в льялах машинных помещений/отсеках с последующей сдачей их в приемные сооружения.
Эти накапливаемые нефтесодержащие льяльные воды должны быть учтены в расчетах остойчивости судна с учетом их свободной поверхности.
2.3.7. При необходимости сброса льяльных вод в море (когда не обеспечивается необходимая автономность плавания из-за недостаточной емкости сборных танков/льял машинных помещений) любое судно может быть оснащено сепаратором льяльных вод на

.
При наличии сепаратора судно оборудуется сборной цистерной нефтеостатков.
2.3.8. При наличии стационарной цистерны для сбора нефтяных остатков система выдачи нефтеостатков в приемные сооружения должна быть снабжена специальным насосом, удовлетворяющим требованиям
2.3.15.
2.3.9. Цистерны для сбора и сохранения на борту нефтесодержащих отходов должны быть металлическими.
2.3.10. Конструкция стационарных цистерн должна отвечать требованиям
части II "Корпус".
Толщина стенок переносных емкостей должна быть не менее 1,0 мм для стали и 1,5 мм для алюминия и его сплавов.
Переносные цистерны/емкости, выполненные из неметаллических материалов, подлежат особому рассмотрению Регистра.
2.3.11. Внутренние поверхности днища и вертикальные стенки стационарной емкости для сбора нефтяных остатков, за исключением встроенных в корпус судна цистерн, должны быть гладкими (наружный набор). При этом днище должно иметь уклон в сторону приемного патрубка.
2.3.12. Расположение сборных цистерн в машинном помещении/отсеках, их систем и оборудования должно удовлетворять требованиям
части V "Механические установки. Механизмы. Системы и трубопроводы".
2.3.13. Стационарные сборные цистерны должны быть оборудованы:
1. Горловиной для очистки и осмотра;
2. Вентиляционной трубой с пламяпрерывающей арматурой;
3. Устройством подачи оптического и акустического сигнала по достижении 80-процентного заполнения цистерны. Сигнал должен подаваться в рулевую рубку или центральный пост управления при их наличии на судне;
4. Оборудованием для подогрева, если цистерна расположена в месте, где при эксплуатации возможна отрицательная температура;
5. Устройством измерения уровня жидкости.
2.3.14. Вместо стационарной сборной цистерны допускается установка переносной цистерны (цистерн), если емкость каждой не превышает 25 л. Переносные емкости для сбора нефтесодержащих отходов должны быть герметичной конструкции, с расчетным объемом заполнения, составляющим 85% от полного объема.
2.3.15. Насос должен быть самовсасывающим, способным работать в режиме сухого трения и иметь характеристики, обеспечивающие перекачку образующихся на борту нефтеостатков. Насос должен быть пригоден для перекачки высоковязких нефтяных остатков, если такие образуются на судне.
Сторона нагнетания насоса должна соединяться только с трубопроводом, ведущим для сдачи нефтеостатков в приемные устройства или для их сжигания в судовом инсинераторе, если применимо.
2.3.16. Регистру должен быть представлен расчет вместимости цистерн для сбора нефтесодержащих льяльных вод и цистерн нефтеостатков с учетом предполагаемого района плавания и условий эксплуатации судна.
2.4. СИСТЕМЫ СБОРА, СДАЧИ И СБРОСА НЕФТЕСОДЕРЖАЩИХ ОТХОДОВ
2.4.1. Каждое судно, указанное в
2.3.1.1, должно быть оборудовано системой сбора льяльных вод машинных помещений в сборные цистерны для сбора нефтесодержащих льяльных вод.
Система сбора льяльных вод должна состоять из специально предназначенных для этих целей и стационарно установленных насоса, трубопроводов и арматуры.
2.4.2. Каждое судно, для сдачи нефтесодержащих льяльных вод и нефтяных остатков из стационарных сборных цистерн и льял машинных помещений в приемные сооружения должно быть оборудовано трубопроводом, оснащенным стандартным соединением (см.
рис. 2.4.2-2), либо палубным фитингом, соответствующим указанному на
рис. 2.4.2-1, оснащенным резьбовой пробкой с прокладкой для водонепроницаемости соединения. При этом для возможности подсоединения к приемным сооружениям, оснащенным фланцевым стандартным соединением (см.
рис. 2.4.2-2), требуется иметь в снабжении судна соответствующее переходное соединение. Внутренний диаметр трубопровода должен быть не менее 30 мм. Для судов, эксплуатирующихся на внутренних водных путях стран ЕС, может применяться быстроразъемное соединение в соответствии с стандартом EN 1305:1996.
Рис. 2.4.2-1. Палубный фитинг в соответствии
с ИСО 8099:2000
Примечание. Фланец изготавливается из стали или эквивалентного материала с плоской торцевой поверхностью. Этот фланец вместе с прокладкой из нефтестойкого материала рассчитывается на рабочее давление 0,6 МПа. Соединение осуществляется с помощью шести болтов требуемой длины, диаметром 20 мм.
Рис. 2.4.2-2. Фланец стандартного соединения
Трубопровод может быть выведен в одном, удобном для присоединения шлангов месте судна с возможностью выдачи нефтесодержащих отходов на оба борта и иметь отличительные планки.
Система сдачи нефтесодержащих отходов в приемные устройства должна оборудоваться откачивающими средствами. В случае когда это нецелесообразно и конструктивно практически неприменимо, откачка нефтесодержащих отходов должна выполняться откачивающими средствами приемных сооружений.
2.4.3. Пуск и остановка откачивающих средств, осуществляющих выдачу нефтесодержащих отходов в приемные сооружения, должны производиться вручную. Должна быть предусмотрена возможность пломбирования концевой арматуры трубопровода выдачи нефтесодержащих отходов в приемные устройства.
3. СРЕДСТВА ПО ПРЕДОТВРАЩЕНИЮ ЗАГРЯЗНЕНИЯ СТОЧНЫМИ ВОДАМИ
3.1.1. Если сточные воды смешаны с отходами или другими загрязненными водами, на которые распространяются другие положения настоящей части, в дополнение к требованиям настоящего раздела выполняются требования других разделов настоящих Правил.
3.1.2. Суда, эксплуатация которых предусматривает пребывание на борту судна членов экипажа и/или пассажиров, кроме судов, указанных в 3.1.3, должны быть оборудованы:
цистерной для сбора сточных вод и хозяйственно-бытовых (если применимо) вод;
трубопроводами сбора в сборную цистерну (цистерны) и системой трубопроводов со стандартными сливными соединениями, указанными на
рис. 3.5.7-2 для их сброса в приемные сооружения.
3.1.3. По согласованию с Регистром суда, предназначенные для автономного плавания продолжительностью не более 8 часов и численности людей на борту не более 6 человек, кроме указанных в
3.2.2, вместо указанного в
3.1.2 допускается оборудовать, как минимум, стандартным переносным биотуалетом, расположенным в отдельном помещении.
3.1.4. В дополнение к указанному в
3.1.2 суда могут быть оснащены установкой для обработки сточных и хозяйственно-бытовых вод (если применимо) или системой для измельчения и обеззараживания сточных/ хозяйственно-бытовых вод, соответствующими требованиям
3.9 и
3.10.
3.1.5. Устройство систем, расположение трубопроводов и гидравлические испытания арматуры и трубопроводов систем сбора, сдачи и сброса сточных вод должны удовлетворять требованиям
части V "Механические установки. Механизмы. Системы и трубопроводы".
Электрические системы должны удовлетворять требованиям
части VII "Электрическое оборудование".
3.2. ОБЛАСТЬ РАСПРОСТРАНЕНИЯ
3.2.1. Требования настоящего раздела распространяются на оборудование и устройства судов, предназначенные для предотвращения загрязнения сточными водами, и применяются в полном объеме ко всем судам, если в настоящих правилах специально не оговорено иное.
3.2.2. Требования настоящего раздела к малым прогулочным судам с длиной корпуса равной 6 м или менее (катерам и лодкам, определение которых дано в Общих
положениях), применяются насколько это целесообразно и практически возможно в зависимости от условий эксплуатации судна и количества людей на борту.
3.3. ОПРЕДЕЛЕНИЯ И ПОЯСНЕНИЯ
3.3.1. В настоящем разделе приняты следующие определения и пояснения.
Сборная цистерна - цистерна для сбора и хранения необработанных сточных вод, активного ила и шлама из установки для обработки сточных вод.
Сточные воды:
стоки и прочие отходы из всех типов туалетов и писсуаров;
стоки из лабораторий и медицинских помещений (амбулаторий и т.п.) через расположенные в таких помещениях раковины, ванны и шпигаты;
стоки из помещений, в которых содержатся животные;
стоки от шпигатов, которые установлены в помещениях, указанных выше;
прочие сточные воды, если они смешаны с перечисленными выше стоками.
Установка для обработки сточных вод - установка, в которой сточные и, если применимо, хозяйственно-бытовые воды подвергаются очистке и обеззараживанию.
Система для измельчения и обеззараживания сточных вод - установка, в которой сточные воды подвергаются обеззараживанию и содержащиеся в сточных водах твердые частицы подвергаются измельчению.
Хозяйственно-бытовые воды:
стоки из умывальников, душевых и ванн;
стоки от моек и оборудования камбуза.
3.4. ОБЪЕМ ТЕХНИЧЕСКОГО НАБЛЮДЕНИЯ
3.4.1. Техническому наблюдению Регистра при изготовлении подлежат;
1. Установки для обработки сточных вод, включая относящиеся к ним трубопроводы, насосы, электрическое оборудование, дозирующие устройства, устройства для обеззараживания, устройства для управления, регулирования и контроля;
2. Системы для измельчения и обеззараживания сточных вод;
3. Сборные цистерны, включая относящиеся к ним оборудование, устройства для управления, регулирования и контроля.
3.4.2. При монтаже на судне наблюдению Регистра подлежат;
1. Установки для обработки сточных вод;
2. Системы для измельчения и обеззараживания сточных вод;
3. Сборные цистерны;
4. Оборудование и система трубопроводов для удаления сточных вод.
3.4.3. На рассмотрение Регистру, кроме указанной в
3.1.12 части I "Классификация", должна быть представлена следующая техническая документация по оборудованию и устройствам:
1. Чертеж емкости для сбора сточных вод;
2. Схема системы трубопроводов сдачи сточных вод в приемные устройства;
3. Документация по установке для обработки сточных вод:
техническое описание и принцип работы;
чертежи общего вида установки;
расчет пропускной способности установки;
схема систем трубопроводов установки с указанием обслуживающих механизмов;
принципиальная электрическая схема;
схемы управления, регулирования, контроля, сигнализации и защиты;
программа испытаний установки;
4. Чертежи и схемы систем для измельчения и обеззараживания сточных вод.
Система должна быть работоспособна в диапазоне температур окружающей среды от 0 °C до +45 °C и должна выдержать в осушенном состоянии диапазон температур окружающей среды от -25 °C до +45 °C.
Устройство систем, расположение трубопроводов и гидравлические испытания арматуры и трубопроводов систем сбора, сдачи и сброса сточных вод должны удовлетворять требованиям части V "Механические установки. Механизмы. Системы и трубопроводы".
Электрические системы должны удовлетворять требованиям
части VII "Электрическое оборудование".
3.5.2. Материалы
Системы должны быть выполнены из материалов, устойчивых к воздействию:
сточных вод;
пресной и морской воды;
дезинфекционных средств, дезодораторов и растворов антифриза, рекомендованных изготовителем системы;
бытовых освежающих средств, рекомендованных изготовителем системы;
химических соединений, в твердой, жидкой или газообразной форме, предположительно образующихся при работе системы.
3.5.3. Конструкция и монтаж систем сбора сточных вод
3.5.3.1. Система должна быть работоспособной при крене до 20° на любой борт и дифференте до 10° на нос или корму.
3.5.3.2. Оборудование туалетов должно оснащаться устройствами, исключающими проникновение запаха от необработанных сточных вод в судовые помещения.
3.5.3.3. Утечка сточных вод при 90% заполнении сборной цистерны не должна проходить:
за пределы судна при крене судна на любой борт до 30° для парусного однокорпусного судна или 20° - для другого судна;
внутрь судна при максимальном ожидаемом крене и дифференте, то есть 45° - для парусного однокорпусного судна и 30 ° - для моторного судна или парусного многокорпусного судна.
3.5.3.4. Трубопроводы или палубные фитинги для выдачи должны располагаться в местах, удобных для подсоединения к приемным сооружениям.
3.5.3.5. Сборная цистерна должна иметь устройства визуальной индикации при ее заполнении на 80%.
3.5.3.6. Сборная цистерна объемом более 40 л должна для промывок, чистки и обслуживания иметь соответствующее отверстие с водонепроницаемым закрытием.
3.5.3.7. Сборные цистерны не должны иметь общих переборок с цистернами питьевой/мытьевой воды.
3.5.3.8. Гибкие соединения и трубопроводы должны быть надежно закреплены в положении, предотвращающем их повреждение от трения или вибрации.
3.5.3.9. Сборные цистерны и соединения трубопроводов должны быть доступны для осмотра и обслуживания.
3.5.4. Системы вентиляции стационарных сборных цистерн
Система вентиляции стационарных сборных цистерн должна обеспечить вентилирование газов за пределы судна при крене судна до 20° при заполнении емкости цистерны на 90%.
3.5.4.1. Стационарные сборные цистерны емкостью менее 400 л.
Минимальный внутренний диаметр вентиляционной трубы должен быть 19 мм или не менее 16 мм, если цистерна оснащена вакуумным клапаном минимальной общей площадью сечения 1100 мм2.
3.5.4.2. Стационарные сборные цистерны емкостью 400 л и более.
Минимальный внутренний диаметр вентиляционной трубы должен быть 38 мм или, если используется несколько вентиляционных труб, их внутренний диаметр должен быть по крайней мере 19 мм; объединенное поперечное проходное сечение должно быть по крайней мере эквивалентно сечению одной вентиляционной трубы, равному 1100 м2.
Вентиляционные трубы внутренним диаметром не менее 16 мм могут использоваться, если цистерна оснащена вакуумным клапаном с минимальной общей площадью сечения по крайней мере 1100 мм2.
Если установлен вакуумный клапан, о необходимости открытия клапана до начала выдачи должно быть указано соответствующим знаком/надписью, расположенными около места выдачи сточных вод.
3.5.4.3. Внутренний диаметр соединений
Внутренний диаметр соединений, которыми соединен вентиляционный трубопровод, должен быть не менее 75% внутреннего диаметра трубопровода выдачи.
3.5.4.4. Работоспособность системы вентиляции
Проект и конструкция вентиляционной системы должны обеспечивать ее работоспособность при условиях окружающей среды, указанных в
3.5.1 и
3.5.3.1. Вентиляционный трубопровод должен без повреждений выдерживать падение давления на 50 кПа ниже атмосферного.
3.5.4.5. Проходное сечение
Площадь минимального сечения и эквивалентное гидравлическое сопротивление любых фильтров, установленных в вентиляционной системе, должно быть не меньше, чем наименьшее проходное сечение вентиляционной трубы или ее соединений.
3.5.5. Трубопроводы и/или гибкие соединения
Трубопровод или гибкое соединение между туалетом и сборной цистерной, а также между цистерной и палубным фитингом/трубопроводом для выдачи, должны быть короткими, насколько это практически возможно, а его внутренняя поверхность должна:
быть гладкой и без недопустимых изгибов, чтобы обеспечить свободное поступление сточных вод;
иметь внутренний диаметр в соответствии с рекомендациями изготовителя туалета; или
иметь минимальный внутренний диаметр 38 мм, если рекомендации отсутствуют.
3.5.6. Удаление сточных вод за борт в разрешенных районах
Системы с возможностью удаления за борт сточных/хозяйственно-бытовых вод (если применимо) в разрешенных районах должны быть оснащены клапаном непосредственно у наружной обшивки судна.
Клапан должен иметь возможность пломбирования в закрытом положении.
Пуск и остановка откачивающих средств должны производиться вручную.
Любой клапан, используемый для прямого удаления за борт, должен удовлетворять требованиям
части V "Механические установки. Механизмы. Системы и трубопроводы" и обеспечивать герметичность в закрытом положении.
3.5.7. Сдача сточных вод в приемные сооружения
3.5.7.1. Каждое судно, оборудованное стационарными сборными цистернами для сдачи сточных и хозяйственно-бытовых (если применимо) вод в приемные сооружения, должно быть оборудовано трубопроводом, оснащенным фланцевыми соединениями международного образца (см.
рис. 3.5.7-2), либо палубным фитингом, соответствующим указанному на
рис. 3.5.7-1, оснащенному резьбовой пробкой с прокладкой для водонепроницаемости соединения.
Рис. 3.5.7-1. Палубный фитинг, в соответствии
с ИСО 8099:2000
Примечание. Фланец предназначен для труб с внутренним диаметром до 100 мм и изготавливается из стали или эквивалентного материала с плоской торцовой поверхностью. Этот фланец вместе с соответствующей уплотнительной прокладкой рассчитывается на рабочее давление 0,6 МПа. Для судов, имеющих теоретическую высоту борта 5,0 м или менее, внутренний диаметр сливного соединения может быть 38 мм. Соединение осуществляется с помощью четырех болтов требуемой длины, диаметром 16 мм.
Рис. 3.5.7-2. Фланец стандартного соединения
Для возможности подсоединения к приемным сооружениям, оснащенным фланцевыми соединениями стандартного образца (см. рис. 3.5.7-2), необходимо иметь в снабжении судна соответствующее переходное соединение. Для судов, эксплуатирующихся на внутренних водных путях стран ЕС, может применяться быстроразъемное соединение в соответствии со стандартом EN 1305:1996.
3.5.7.2. Система выдачи должна оборудоваться откачивающими средствами. Если это нецелесообразно и конструктивно практически неприменимо, осушение сборных цистерн должно выполняться откачивающими средствами приемных сооружений (см.
рис. 3.8.1 и
3.8.2).
Трубопровод может быть выведен в одном, удобном для присоединения шлангов месте, с возможностью выдачи на оба борта и иметь отличительные планки.
3.5.7.3. Палубные фитинги для трубы выкачки должны быть обозначены, по крайней мере, следующим символом:
Символ должен быть помещен непосредственно около фитинга или на нем.
3.6. ТРЕБОВАНИЯ К СБОРНЫМ ЦИСТЕРНАМ
3.6.1. Цистерны для сбора сточных вод могут быть встроенными в корпус или вкладными, в том числе переносными.
3.6.2. Требования для стационарных сборных цистерн
3.6.2.1. Конструкция цистерны должна обеспечивать удаление по крайней мере 90% содержимого через палубный фитинг/трубопровод выдачи. Внутренние поверхности стационарных цистерн должны иметь уклон днища в сторону патрубка опорожнения.
3.6.2.2. Стационарные цистерны должны быть оборудованы устройствами для возможности промывки водой и дезинфекции.
3.6.2.3. Стационарные цистерны, встроенные в корпус судна, должны быть отделены коффердамами от цистерн питьевой, мытьевой воды, а также от жилых и служебных помещений. Вкладные и переносные цистерны следует располагать в отдельном помещении/отсеке судна или в машинном помещении, оборудованных средствами эффективной вентиляции.
| | ИС МЕГАНОРМ: примечание. Нумерация пунктов дана в соответствии с официальным текстом документа. | |
3.6.2.5. Конструкция цистерн, включая закрытия отверстий/горловин должна обеспечивать газонепроницаемость и водонепроницаемость.
3.6.2.6. Цистерна должна быть испытана на предмет отсутствия протечек избыточным давлением 25 кПа в течение 5 мин.
3.6.3. Требования для переносных сборных цистерн
3.6.3.1. Переносные цистерны должны иметь вместимость менее 20 л и не должны соединяться с судовой арматурой, расположенной на наружной обшивке судна.
3.6.3.2. Внутренний диаметр трубопровода вентиляции для переносных цистерн, если применимо, должен быть не менее 16 мм и иметь разъем для его отсоединения от цистерны. Все отверстия цистерны оборудуются закрытиями, которые гарантируют водонепроницаемость и газонепроницаемость, в том числе при ее транспортировке.
3.6.3.3. Ручки или углубления для переноса цистерны должны располагаться в местах, которые позволят безопасно транспортировать и опорожнять цистерну.
3.6.3.4. Цистерна должна иметь инструкцию по ее безопасному отсоединению, транспортировке и выгрузке содержимого.
3.6.3.5. Цистерна должна надежно крепиться к судовым конструкциям.
3.6.4. Емкость сборных цистерн
Суммарная вместимость сборной цистерны/цистерн сточных вод должна определяться с учетом предполагаемого района плавания, режима эксплуатации судна и числа людей на борту. Расчет суммарной вместимости цистерны/цистерн должен быть предоставлен Регистру на рассмотрение.
При этом емкость сборных цистерн V должна определяться следующей формулой:
V = f · K · N · T, (3.6.4)
где K - расчетные значения накопления сточных и хозяйственно-бытовых (если применимо) вод, л/чел · сут, которые принимаются согласно нормам, установленным Администрацией флага;
N - максимальное допустимое число людей на борту;
T - время прохождения между пунктами сдачи сточных вод в приемные устройства, сут;
f = 0,3 - коэффициент, учитывающий возможность эксплуатации судна в районах, разрешенных для сброса необработанных сточных вод.
В случае отсутствия такой возможности f = 1.
3.6.5. Идентификация
На изготовленные цистерны/емкости должна быть отчетливо нанесена следующая информация:
название или торговая марка изготовителя;
название и/или модельный номер;
номер нормативного документа, требованиям которого емкость соответствует;
символ "Туалетная емкость для сточных вод", как указано в
3.5.7.3, или на языке, понятном в стране использования;
емкость цистерны, л.
3.7. РУКОВОДСТВО ДЛЯ ВЛАДЕЛЬЦА СУДНА
3.7.1. Документация по эксплуатации и обслуживанию системы должна быть включена в Руководство для владельца судна, снабжена чертежом системы сточных вод и должна содержать, по крайней мере, следующую информацию:
1. Описание действия системы и ее обслуживания;
2. Способ управления трехходовым клапаном:
закрытие;
предотвращение небрежной разгрузки;
3. Вместимость сборной цистерны, л;
4. Средства, допустимые для использования: дезодораторы; растворы антифриза;
5. Описание процедуры выдачи, включая использование вакуумного клапана, если он применен;
6. Указание о необходимости опорожнения системы для возможности хранения судна при отрицательных температурах.
3.8. ТИПОВЫЕ СХЕМЫ ТУАЛЕТНЫХ СИСТЕМ
1 - палубный фитинг для выдачи;
2 - вентиляционный трубопровод;
3 - всасывающий клапан с насосом (если применимо);
4 - сборная цистерна;
5 - труба выдачи;
6 - P-сифон.
Рис. 3.8.1. Туалетная система с палубным фитингом
для выдачи
1 - палубный фитинг для выдачи;
2 - сифон (необходим, если система расположена ниже ватерлинии);
3 - вентиляционный трубопровод;
4 - трехходовой клапан;
5 - всасывающий клапан с насосом (если применимо);
6 - сборная цистерна;
7 - насос-измельчитель;
8 - трубопровод удаления за борт;
9 - отливной клапан.
Рис. 3.8.2. Туалетная система с палубным фитингом
для выдачи и оборудованием для удаления за борт в море
3.9. УСТАНОВКИ ДЛЯ ОБРАБОТКИ СТОЧНЫХ ВОД
3.9.1. Номинальная пропускная способность установки для обработки сточных вод, л/сут, должна быть не менее суточного накопления сточных вод и хозяйственно-бытовых вод (если применимо), определяемого согласно требованиям
3.6.4.
3.9.2. Установка для обработки сточных вод, все относящиеся к ней насосы и другое комплектующее оборудование, трубопроводы и арматура, соприкасающиеся со сточными водами, должны быть надежно защищены от их агрессивного воздействия.
3.9.3. Установки для обработки сточных вод должны обеспечивать степень очистки согласно действующим международным и национальным нормам. При этом требуемая степень очистки должна достигаться только путем очистки и обеззараживания сточных вод.
3.9.4. Установки для обработки сточных вод должны быть испытаны пробным давлением, равным 1,5 давления водяного столба, измеренного от днища цистерны до нижнего санитарного прибора, не имеющего запора на отливном трубопроводе, но не менее 25 кПа.
Трубопроводы должны быть испытаны пробным гидравлическим давлением

(где p - рабочее давление).
3.9.5. Установки для обработки сточных вод должны быть испытаны на заводе-изготовителе или на судне по согласованной с Регистром программе.
3.9.6. Установки для обработки сточных вод допускается размещать в машинных помещениях или в отдельных помещениях с принудительной вытяжной вентиляцией.
3.9.7. Должна быть предусмотрена возможность промывки и обеззараживания установки, обслуживающих ее механизмов и трубопроводов для выполнения работ, связанных с проверкой или ремонтом установки.
3.10. СИСТЕМЫ ДЛЯ ИЗМЕЛЬЧЕНИЯ И ОБЕЗЗАРАЖИВАНИЯ СТОЧНЫХ ВОД
3.10.1. Системы должны удовлетворять требованиям
3.9.
3.10.2. Системы для измельчения и обеззараживания должны обеспечивать измельчение содержащихся твердых частиц до размеров не более 25 мм.
4. ТРЕБОВАНИЯ К ОБОРУДОВАНИЮ И УСТРОЙСТВАМ СУДОВ
ПО ПРЕДОТВРАЩЕНИЮ ЗАГРЯЗНЕНИЯ МУСОРОМ
4.1.1. Все суда с экипажем на борту должны быть оснащены устройствами для сбора и хранения хозяйственного мусора и пищевых отходов, образуемых в результате эксплуатации судна.
4.1.2. Устройства для обработки мусора, инсинераторы и их системы должны отвечать требованиям
части V "Механические установки. Механизмы. Системы и трубопроводы",
части VII "Электрическое оборудование", а устройства для управления, регулирования и контроля - требованиям
части VI "Автоматизация" настоящих Правил.
4.2.1. Инсинератор, установленный на судне 1 января 2000 года или после этой даты, должен соответствовать требованиям Резолюции ИМО МЕРС.76(40) и иметь одобрение Регистра по поручению Администрации.
4.2.2. Инсинераторы, установленные на существующих судах с договорной датой поставки на судно до 1 января 2000 г., могут иметь типовое одобрение в соответствии с требованиями Резолюции МЕРС.59(33) или других нормативных документов.
4.2.3. В местах, где могут произойти утечки топлива и нефтеостатков, должны быть предусмотрены поддоны и их эффективное осушение. Утечки топлива и нефтеостатков, собираемые в поддонах, должны отводиться в систему трубопроводов сбора утечек нефти.
4.2.4. Должны быть предусмотрены специальные емкости для сбора золы из инсинераторов после сжигания мусора.
4.2.5. Инсинераторы могут устанавливаться в машинных или отдельных помещениях.
4.2.6. Система подачи топлива к форсункам должна предусматривать возможность их отключения из двух мест, одно из которых должно располагаться за пределами помещения, в котором размещен инсинератор.
4.3. УСТРОЙСТВА ДЛЯ СБОРА МУСОРА
4.3.1. Устройства для сбора мусора должны быть съемными.
4.3.2. Регистру должен быть представлен расчет суммарной вместимости емкостей для сбора мусора с учетом предполагаемого района плавания, режима эксплуатации судна и числа людей на борту.
Вместимость емкостей для сбора хозяйственного мусора и пищевых отходов

должна определяться следующей формулой:
где

- накопление хозяйственного мусора в соответствии с режимом эксплуатации судна в расчете на 1 чел. · сут, м3:
сухого бытового мусора - 0,002;
твердых пищевых отходов - k · 0,004;
пластмассы - k · 0,000015,
где k = 5,0 - для судов, выполняющих рейсы продолжительностью 8 ч и более;
k = 1,0 - для судов, выполняющих рейсы продолжительностью менее 8 ч;
N - максимальное допустимое количество людей на борту;
T - периодичность опорожнения емкостей для сбора мусора в пунктах сбора, сут.
Суммарная емкость устройств для сбора хозяйственного мусора и пищевых отходов для судов, выполняющих рейсы продолжительностью 16 ч и более, должна составлять не менее двухсуточной нормы их накопления.
4.3.3. Устройства для сбора мусора должны иметь отчетливую маркировку, отражающую категорию собираемого мусора (пластмасса, пищевые отходы, другой мусор) и различаться по цвету.
4.3.4. Устройства для сбора мусора должны иметь легко очищаемые внутренние поверхности.
4.3.5. Устройства для сбора мусора должны иметь плотно закрывающиеся крышки, устанавливаться в хорошо вентилируемых местах, а также должны иметь устройства для надежного крепления на судне.
4.3.6. В качестве устройств для сбора мусора внутри помещений судна могут использоваться отдельные емкости с закрепленными крышками (банки, бочки, ведра).
4.3.7. На судах с длиной корпуса менее 10 м хозяйственный мусор и пищевые отходы могут собираться в отдельные плотные полиэтиленовые мешки с последующей сдачей в приемные устройства.
4.3.8. Удаление мусора из устройств для сбора мусора допускается только в приемные устройства или для сжигания в судовом инсинераторе, если применимо (при отсутствии ограничений Администраций), а также в разрешенных морских районах (в зависимости от категории мусора).
5. ТРЕБОВАНИЯ К ДВИГАТЕЛЯМ ВНУТРЕННЕГО СГОРАНИЯ
ПО ПРЕДОТВРАЩЕНИЮ ЗАГРЯЗНЕНИЯ АТМОСФЕРЫ ВЫХЛОПНЫМИ ГАЗАМИ
5.1.1. Общие требования
5.1.1.1. Положения настоящего раздела применяются ко всем двигателям внутреннего сгорания, установленным на судах.
5.1.1.2. Двигатели, на которые распространяются положения, указанные в
5.2.1 и
5.2.2, должны пройти первичное освидетельствование на заводе-изготовителе. Соблюдение требований проверяется посредством использования процедуры испытаний, указанной в стандартах ISO 8178-1:1996; ISO 8178-4:1996, в Приложении VI к МАРПОЛ 73/78 и Техническом кодексе по контролю выбросов окислов азота из судовых дизелей <1>.
--------------------------------
<1> Далее - Технический кодекс по

.
5.1.1.3. Во избежание сертификационных испытаний каждого судового двигателя на соответствие нормам выбросов, на предприятии-изготовителе может быть принята одна из двух концепций по ИСО 8178 - концепция семейства двигателей или группы двигателей.
5.1.1.4. Концепция семейства двигателей по ИСО 8178-7 может применяться к любым серийно выпускаемым судовым двигателям, конструкция которых обеспечивает подобные характеристики выбросов и которые при установке на судне не требуют конструктивных изменений или регулировок, способных повлиять на выбросы.
5.1.1.5. Концепция группы двигателей по ИСО 8178-8 может применяться к главным судовым двигателям мелкосерийного производства с подобной конструкцией, которые могут потребовать незначительных настроек и конструктивных изменений при установке для эксплуатации на судне.
5.1.2. Определения и пояснения
Определения и пояснения, относящиеся к общей терминологии настоящей части, приведены в
1.2.
В настоящем разделе приняты следующие определения и пояснения.
Базовый судовой двигатель для определения выбросов - судовой двигатель, обладающий совокупностью характерных признаков семейства или группы (см.
5.1.1.3), имеющий наибольшие выбросы.
Восстановленный двигатель - означает уже находившийся в эксплуатации отремонтированный двигатель, который аналогичен заменяемому двигателю с точки зрения мощности, числа оборотов коленчатого вала и назначения двигателя (определение Резолюции ЕЭК ООН N 61).
Выброс - масса окиси углерода (CO), углеводородов (HC), окиси азота

и частиц (PT), поступающих в атмосферу с отработавшими газами.
Группа двигателей (по определению Резолюции ЕЭК ООН N 61)- совокупность двигателей, отобранных изготовителем и утвержденных компетентным органом, которые все по своей конструкции должны иметь аналогичные характеристики, касающиеся уровня выбросов выхлопных газов и загрязняющих воздух частиц и удовлетворять требованиям настоящей части; при этом допускается регулировка или модификация отдельных двигателей в установленных пределах после проведения типового испытания на стенде завода-изготовителя.
Значительная модификация двигателя - модификация двигателя, которая:
потенциально может создать превышение пределов выбросов, указанных в
5.2. Это не касается обычной замены компонентов двигателя, которая не влияет на уровень выбросов;
увеличивает номинальную мощность двигателя более чем на 15%.
Испытательный цикл - совокупность фиксированных по частоте вращения и мощности режимов работы дизеля на стенде, устанавливаемых в соответствии с его назначением и реализуемых в процессе испытаний для вычисления средневзвешенных выбросов.
Компоненты - взаимозаменяемые детали, которые влияют на характеристику выбросов и идентифицированы их конструктивными или заводскими номерами.
Номинальная мощность - максимальная длительная эффективная мощность, указанная на фирменной маркировке и в Техническом файле/паспорте выбросов судового дизеля.
Номинальная частота вращения - частота вращения коленчатого вала в минуту, при которой достигается номинальная мощность, указанная на фирменной маркировке и в Техническом файле/паспорте выбросов судового дизеля.
Окислы азота - смесь различных окислов азота, образовавшихся в процессе горения топлива в цилиндре дизеля, обозначаемая символом

.
Отработавшие газы (ОГ) - смесь продуктов полного сгорания топлива, избыточного воздуха и различных микропримесей (как газообразных, так и в виде жидких и твердых частиц), поступающая из цилиндров дизеля в его выпускную систему и далее в атмосферу.
Пропульсивный двигатель - двигатель внутреннего сгорания с воспламенением от искры или от сжатия, который используется для получения энергии, обеспечивающей движение судна, в том числе двух- и четырехтактный двигатель, двигатель для привода движительно-рулевой колонки с интегрированным выхлопным трубопроводом или без него, а также подвесной двигатель.
Регулировки - состояние (настройка) регулируемых элементов, влияющих на характеристики выбросов в пределах допусков, разрешенных Техническим файлом/паспортом выбросов судового дизеля.
Семейство двигателей - совокупность двигателей, отобранных изготовителем и утвержденных компетентным органом, которые все по своей конструкции должны иметь аналогичные характеристики, касающиеся уровня выбросов выхлопных газов и загрязняющих воздух частиц и удовлетворять требованиям настоящей части.
Судовой дизель - поршневой двигатель внутреннего сгорания с воспламенением от сжатия, работающий на жидком или на двух видах топлива (по газодизельному циклу).
Тип двигателя - двигатели, идентичные с точки зрения своих основных характеристик; должен быть изготовлен по меньшей мере один двигатель данного типа (определение Резолюции ЕЭК ООН N 61).
Технический файл выбросов судового дизеля - документ, содержащий детальную опись компонентов, регулировок и рабочих параметров, которые влияют на выбросы.
Журнал регистрации параметров двигателя - документ для записи всех изменений параметров, замен компонентов и регулировок, если они имели место в эксплуатации.
5.2.1. Уровни выбросов окиси углерода (CO), углеводородов (HC), окиси азота

и частиц (PT) из пропульсивных двигателей (карбюраторных и дизельных), которые установлены на судах, эксплуатирующихся в морской среде или на внутренних водных путях стран, не входящих в ЕС, не должны превышать значений, указанных в табл. 5.2.1 в соответствии с Директивой 2003/44/ЕС. Указанные двигатели, которые подвергались значительной модификации, должны соответствовать требованиям настоящего правила.
Таблица 5.2.1
Ограничения по содержанию выбросов
Тип двигателя | Окись углерода  , г/кВт · ч | Гидрокарбонаты  , г/кВт · ч | Окислы азота  , г/кВт · ч | Частицы PT, г/кВт · ч |
А | В | n | А | В | n |
Двухтактный карбюраторный | 150,0 | 600,0 | 1,0 | 30,0 | 100,0 | 0,75 | 10,0 | Не применяется |
Четырехтактный карбюраторный | 150,0 | 600,0 | 1,0 | 6,0 | 50,0 | 0,75 | 15,0 |
Двигатель с воспламенением от сжатия | 5,0 | 0 | 0 | 1,5 | 2,0 | 0,5 | 9,8 | 1,0 |
Примечание: A, B и n - соответствующие постоянные;  - номинальная мощность двигателя, кВт. Измерение отработанных газов выполняется в соответствии с гармонизированным стандартом EN ISO 8178-1:1996. |
Для двигателей мощностью более 130 кВт может применяться цикл испытаний ЕЗ в соответствии с Техническим кодексом по  . |
5.2.2. Уровни выбросов любых дизельных двигателей номинальной мощностью более 19 кВт, указанных в
5.1.1.1, которые установлены на судах длиной 20 м и более, эксплуатирующихся на внутренних водных путях стран ЕС, не должны превышать значений, указанных в
табл. 5.2.2-2, в зависимости от номинальной мощности

. Как эквивалентные могут применяться требования к уровням выбросов, указанные в табл. 5.2.2-1 для пропульсивных дизельных двигателей. Карбюраторные пропульсивные двигатели должны соответствовать
5.2.1.
Таблица 5.2.2-1
Категория | Рабочий объем SV, л Полезная мощность P, кВт | Окись углерода (CO), г/(кВт · ч) | Сумма углеводородов и окислов азота  , г/(кВт · ч) | Частицы (РТ) г/(кВт · ч) |
V1:1 | 0,9 > SV и P >= 37 | 5,0 | 7,5 | 0,40 |
V1:2 | 0,9 <= SV < 1,2 | 5,0 | 7,2 | 0,30 |
V1:3 | 1,2 <= SV < 2,5 | 5,0 | 7,2 | 0,20 |
V1:4 | 2,5 <= SV < 5,0 | 5,0 | 7,2 | 0,20 |
V2:1 | 5 <= SV < 15,0 | 5,0 | 7,8 | 0,27 |
V2:2 | 15 <= SV < 20 и P < 3300 | 5,0 | 8,7 | 0,50 |
V2:3 | 15 <= SV < 20 и P >= 3300 | 5,0 | 9,8 | 0,50 |
V2:4 | 20 <= SV < 25 | 5,0 | 9,8 | 0,50 |
V2:5 | 25 <= SV < 30 | 5,0 | 11,0 | 0,50 |
Номинальная мощность  | Окись углерода (CO), г/(кВт · ч) | Углеводороды (HC), г/(кВт · ч) | Окислы азота  , г/(кВт · ч) | Частицы (PT) г/(кВт · ч) |
| 5,5 | 1,5 | 8,0 | 0,8 |
| 5,0 | 1,3 | 7,0 | 0,4 |
| 5,0 | 1,3 | 6,0 | 0,3 |
| 3,5 | 1,0 | 6,0 | 0,2 |
| 3,5 | 1,0 | 6,0 при  | 0,2 |
 при  |
11,0 при  |
5.2.3. Требования к дизельным двигателям, указанным в
5.2.2, не применяются к двигателям, установленным на судне до 1 июля 2007 г., а также к восстановленным двигателям, установленным до 31 декабря 2011 г. включительно на борту судов, эксплуатировавшихся по состоянию на 1 января 2002 г.
5.2.4. При применении требований
5.2.1 и
5.2.2 к двигателям, установленным на судах, эксплуатирующихся в морской среде, на внутренних водных путях стран ЕС и вне них, принимаются более жесткие указанные нормативы выбросов.
| | ИС МЕГАНОРМ: примечание. Взамен ГОСТ Р 52408-2005 Приказом Росстандарта от 26.12.2014 N 2144-ст с 1 мая 2015 года введен в действие ГОСТ Р 52408-2014. | |
5.2.5. После монтажа на судне, но до ввода в эксплуатацию, двигатели проверяются методом сверки параметров или другими предусмотренными одобренными методами в соответствии с ISO 8178-2:1996 (ГОСТ Р 52408-2005).
На борту судна должны храниться одобренный РС Технический файл/паспорт выбросов судового дизеля, разработанный изготовителем, и Журнал регистрации параметров/конструктивных изменений двигателя.
6. ПРЕДОТВРАЩЕНИЕ ИСПОЛЬЗОВАНИЯ ОЗОНОРАЗРУШАЮЩИХ ВЕЩЕСТВ
6.1. ОБЛАСТЬ РАСПРОСТРАНЕНИЯ
6.1.1. Требования настоящего раздела распространяются на новые установки, устанавливаемые на судах после 19 мая 2005 г.
6.2. ОПРЕДЕЛЕНИЯ И ПОЯСНЕНИЯ
6.2.1. Определения и пояснения, относящиеся к общей терминологии Правил, приведены в
разд. 2 Общих положений и в
1.2 настоящей части.
В настоящем разделе приняты следующие определения и пояснения.
Новые установки - процесс установки на судне систем, оборудования, включая новые переносные огнетушители, изоляции или других материалов, но исключая ремонт или зарядку ранее установленных систем, оборудования, изоляции или других материалов, а также перезарядку переносных огнетушителей.
Озоноразрушающие вещества - подлежащие контролю вещества, определенные в
п. 4 статьи I Монреальского протокола по веществам, разрушающим озоновый слой 1987 г. и перечисленные в
Приложениях A, B, C или E к указанному Протоколу.
6.3. ОЗОНОРАЗРУШАЮЩИЕ ВЕЩЕСТВА
6.3.1. Эксплуатация новых установок, содержащих озоноразрушающие вещества, указанные ниже, запрещаются на всех судах, за исключением новых установок, содержащих гидрохлорфторуглероды (ГХФУ), эксплуатация которых разрешается до 1 января 2020 г.
Озоноразрушающие вещества, которые могут быть обнаружены на судне, включают, но не ограничиваются следующим:
Группа I (хлорфторуглероды):
ХФУ-11 - трихлорфторметан,

;
ХФУ-12 - дихлордифторметан,

;
ХФУ-113 - 1,1,2-трихлор-1,2,2-трифторэтан,

;
ХФУ-114 - 1,2-дихлор-1,1,2,2-тетрафторэтан,

;
ХФУ-115 - хлорпентафторэтан,

;
Группа II (галоны):
Галон 1211 - бромхлордифторметан,

;
Галон 1301 - бромтрифторметан,

;
Галон 2402 - 1,2-дибром-1,1,2,2-тетрафторэтан,

(также известен как Галон 114B2).
6.3.2. Любые преднамеренные выбросы озоноразрушающих веществ запрещены. Преднамеренные выбросы включают выбросы, происходящие в ходе технического обслуживания, ремонта или перемещения систем или оборудования. Преднамеренные выбросы не включают минимальные утечки, связанные с возвратом или рециркуляцией озоноразрушающего вещества.
6.3.3. Озоноразрушаюшие вещества, указанные в
6.3.1, и оборудование, содержащее такие вещества, при удалении их с судов должны доставляться в надлежащие приемные сооружения.
7. ШУМ, ПРОИЗВОДИМЫЙ СУДАМИ
7.1.1. Шум, производимый судном на ходу, и, в частности, шум, производимый воздухозаборниками и выхлопными устройствами, должен ограничиваться надлежащими средствами.
7.1.2. Уровень шума, производимого судном на ходу, не должен превышать 75 дБ(А) на расстоянии 25 м от борта судна.
7.1.3. Уровень шума, производимого судном, стоящим на стоянке, не должен превышать 65 дБ(А) на расстоянии 25 м от борта судна.
7.1.4. Определение уровня шума производится в соответствии со стандартом ISO 14509:2000.
7.2. ОСНОВНЫЕ ТРЕБОВАНИЯ К УРОВНЮ ШУМА
7.2.1. Прогулочные суда, имеющие стационарно установленные двигатели, включая двигатели с интегрированным и выпускным трубопроводом или без него для привода движительно-рулевых колонок или подвесные двигатели, а также персональные суда должны отвечать следующим основным требованиям к уровню шума.
7.2.1.1. Указанные суда должны быть спроектированы, изготовлены и смонтированы таким образом, чтобы уровень шума, измеренный согласно стандарту ISO 14509:2000, не превышал ограничений, указанных в табл. 7.2.1.
Таблица 7.2.1
Мощность одного двигателя, кВт | Максимальное звуковое давление, дБА |
| 67 |
| 72 |
| 75 |
Для силовых установок с двумя и более двигателями любого типа может применяться превышение указанных уровней не более чем на 3 дБА. |
7.2.1.2. Как альтернатива выполнению испытаний/измерений на уровень шума в соответствии с
7.2.1.1, прогулочные суда со стационарным двигателем, включая двигатель для привода движительно-рулевой колонки без интегрированного выпускного трубопровода, считаются удовлетворяющими требованиям по уровню шума, если при максимальной скорости движения судна не достигается превышение значения числа Фруда, установленного равным 1,1, и при этом соотношение номинальной мощности двигателя, кВт, к водоизмещению судна при эксплуатационных испытаниях, т, (см.
3.2.27 Общих положений) не превышает число 40, при условии, что двигатель и выхлопная система установлены в соответствии с требованиями технических условий изготовителя двигателя.
7.2.1.3. Число Фруда определяется величиной отношения максимальной скорости судна V, м/с, к квадратному корню из произведения длины судна по конструктивной ватерлинии на гравитационную постоянную g = 9,8 м/с2.
7.2.1.4. В дополнение к
7.2.1.2 прогулочные суда со стационарным двигателем, включая двигатель для привода движительно-рулевой колонки без интегрированного выпускного трубопровода, могут считаться удовлетворяющими требованиям по уровню шума, если их ключевые конструктивные параметры одинаковы либо близки к параметрам сертифицированных типовых судов в пределах допусков, указанных в
7.2.1.1.
Сертифицированным типовым судном считают судно со стационарным двигателем или двигателем для привода движительно-рулевой колонки без интегрированного выпускного трубопровода, которое по результатам испытаний, выполненных в соответствии с
7.2.1.1, соответствует требованиям по уровню шума, и его соответствующие конструктивные параметры и уровень шума были включены в опубликованный список сертифицированных типовых судов.
8.1. ОПРЕДЕЛЕНИЯ И ПОЯСНЕНИЯ
8.1.1. Сжигание на судне - сжигание отходов и других материалов на борту судна, если такие отходы или другие материалы образовались в ходе обычной эксплуатации данного судна.
8.2.1. Сжигание на судне твердых отходов допускается только в судовом инсинераторе, имеющем одобренную конструкцию.
8.2.2. Инсинератор, установленный на судне 1 января 2000 г. или после этой даты, должен соответствовать требованиям Резолюции МЕРС 76(40) и иметь типовое одобрение Регистра.
9. СОДЕРЖАНИЕ СЕРЫ В СУДОВОМ ТОПЛИВЕ
9.1. ОПРЕДЕЛЕНИЯ И ПОЯСНЕНИЯ
9.1.1. Район контроля выбросов

- морской район, в котором требуется принятие специальных обязательных мер в отношении выбросов

с судов с целью предотвращения, сокращения и сохранения под контролем загрязнения атмосферы

и сопутствующего отрицательного воздействия на сушу и морские районы. Районы контроля выбросов

включают районы, перечисленные в правиле 14 Приложения VI к МАРПОЛ 73/78/97 с дополнениями.
9.2.1. Содержание серы в любом жидком топливе, используемом на судне, не должно превышать 4,5% по массе.
9.2.2. При нахождении судов в пределах морских районов контроля выброса окислов серы

должно выполняться одно из следующих условий:
1. Содержание серы в жидком топливе, используемом на судах в пределах районов контроля выброса окислов серы

, не превышает 1,50% массы;
2. Как альтернатива на судах может применяться система очистки выхлопных газов, одобренная Администрацией с учетом положений Регламента ЕС N 2009/2002 для уменьшения общего выброса окислов серы из главных и вспомогательных двигателей до пределов, эквивалентных ограничениям по содержанию серы в жидком судовом топливе, указанном в 9.2.2.1;
3. Топливная система судов, использующих разные виды топлива, должна быть спроектирована так, чтобы иметь возможность быть промытой от всех видов топлива с содержанием серы более 1,5% по массе до входа в районы контроля выбросов

или другие районы, установленные Администрацией.
9.2.3. Содержание серы в жидком топливе, используемом на судне, эксплуатирующемся в территориальных водах стран ЕС, включая внутренние водные пути и порты, должно удовлетворять требованиям Директивы Европейского парламента и Совета 2005/33/ЕС с поправками.