Главная // Актуальные документы // ПереченьСПРАВКА
Источник публикации
М.: НИИЖБ Госстроя СССР, 1984
Примечание к документу
Название документа
"Рекомендации по производству железобетонных самонапряженных труб со стальным цилиндром"
(утв. НИИЖБ Госстроя СССР 02.01.1984)
"Рекомендации по производству железобетонных самонапряженных труб со стальным цилиндром"
(утв. НИИЖБ Госстроя СССР 02.01.1984)
директором НИИЖБ
2 января 1984 года
РЕКОМЕНДАЦИИ
ПО ПРОИЗВОДСТВУ ЖЕЛЕЗОБЕТОННЫХ САМОНАПРЯЖЕННЫХ
ТРУБ СО СТАЛЬНЫМ ЦИЛИНДРОМ
Печатается по решению секции заводской технологии НТС НИИЖБ от 5 декабря 1983 г.
Приведены основные положения по технологии производства сборных железобетонных самонапряженных труб со стальным цилиндром классов по прочности I, II и III (под расчетное давление соответственно 1,5; 1,0 и 0,5 МПа) диаметром 400 - 600 мм, длиной 10 м с гибким стыком, уплотненным резиновым кольцом, а также характеристики основных материалов, последовательность основных технологических переделов и методы контроля качества бетона и изделий.
Предназначены для инженерно-технических работников предприятий по производству железобетонных труб.
Применяемые в мелиоративном строительстве напорные предварительно напряженные трубы со стальным цилиндром, изготовляемые по трехступенчатой технологии, имеют ряд конструктивных недостатков, снижающих эксплуатационные качества трубопровода.
С целью повышения несущей способности и долговечности труб этого класса, а также технологичности их изготовления разработана новая конструкция напорной трубы со стальным цилиндром - самонапряженная, изготовляемая по одноступенчатой технологии с использованием напрягающего цемента НЦ-20 и НЦ-40 (см.
Прил. 3).
Рекомендации составлены на основе результатов исследований и конструктивных разработок НИИЖБ, а также опытного изготовления самонапряженных труб со стальным цилиндром на Московском заводе железобетонных труб (Главмоспромстройматериалы) и Энгельсском заводе ЖБИ-6 (Главволговодстрой).
В Рекомендациях учтены основные положения "Инструкции по проектированию самонапряженных железобетонных конструкций" СН 511-78 (М., 1979) и технических условий ТУ 33-6-82 Минводхоза СССР "Трубы железобетонные напорные со стальным сердечником" (М., 1982).
Рекомендации разработаны НИИЖБ Госстроя СССР (д-р техн. наук В.В. Михайлов, кандидаты техн. наук С.Л. Литвер и С.А. Селиванова, инж. А.Г. Корганов) при участии МИСИ им. В.В. Куйбышева Минвуза СССР (канд. техн. наук А.К. Карасев).
Все замечания и предложения по содержанию Рекомендаций просим направлять в НИИЖБ по адресу: 109389, Москва, 2-я Институтская ул., д. 6.
Дирекция НИИЖБ
1. ОБЛАСТЬ ПРИМЕНЕНИЯ И ОСНОВНЫЕ ПОЛОЖЕНИЯ
1.1. Настоящие Рекомендации распространяются на производство, испытание и приемку напорных самонапряженных железобетонных раструбных труб диаметром

со стальным цилиндром из бетона на напрягающем цементе (НЦ) классов по прочности I, II и III под эксплуатационное давление соответственно 1,5; 1,0 и 0,5 МПа и содержат основные положения по технологии производства, а также требования, учитывающие особенности НЦ и конструкцию труб.
1.2. Материалы и изделия, используемые при изготовлении напорных самонапряженных железобетонных труб со стальным цилиндром, а также методу их испытания должны удовлетворять требованиям соответствующих ГОСТ и ТУ, а также положениям настоящих Рекомендаций.
1.3. При монтаже трубопроводов из напорных самонапряженных труб со стальным цилиндром необходимо руководствоваться "Временной инструкцией по монтажу трубопроводов из железобетонных напорных труб с металлическим сердечником" (М., Минводхоз СССР, 1977).
1.4. Проектная глубина укладки самонапряженных труб зависит от конкретных условий строительства, а также от величины вертикальной нагрузки от слоя почвы и транспорта.
1.5. Трубы следует укладывать на спрофилированное грунтовое основание с углом охвата 90° и засыпкой пазух до оси трубопровода песчаным грунтом с уплотнением последнего до K > 0,95.
1.6. Конструкция труб должна соответствовать рабочим чертежам.
Примечание. Союзводканалпроектом разработаны чертежи N 2579-80 (для труб диаметром

), а Мосинжпроектом - альбом ПС-164, 1982 (для труб диаметром

), предназначенные для опытного производства самонапряженных труб с арматурным каркасом и стальным цилиндром из бетона на НЦ-20 и НЦ-40 классов по прочности I и II.
1.7. Напорная самонапряженная труба представляет собой сварной цилиндр с концевыми обечайками (втулка и раструб с элементом усиления) и внутренним слоем из напрягающего бетона, в котором размещен арматурный каркас. Изготовление стального цилиндра и концевых обечаек (с учетом защиты от коррозии), а также уплотнение стыка с помощью резиновых колец производят по ТУ 33-6-82. Полезная длина трубы 10 м.
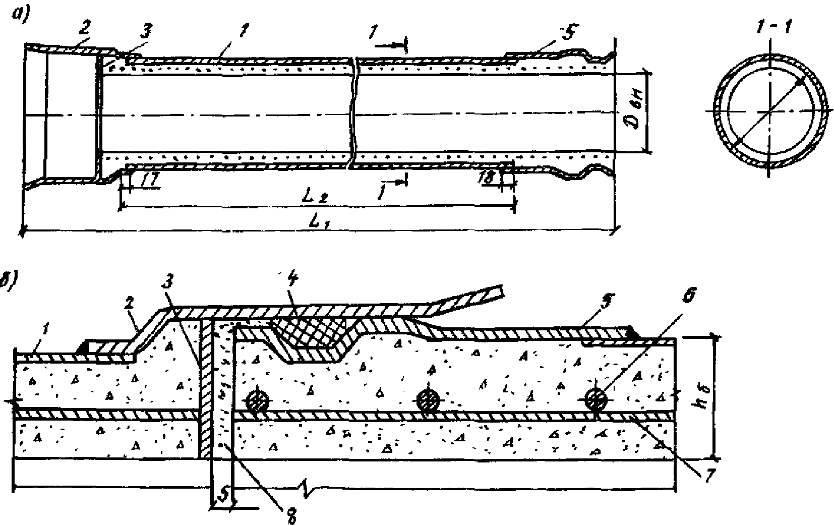
Опалубочный чертеж и схема стыкового соединения труб приведены на рис. 1, а, б.
Рис. 1. Самонапряженная напорная труба
со стальным цилиндром
а - труба в разрезе; б - стыковое соединение;
1 - стальной цилиндр; 2 - раструб; 3 - элемент усиления
раструба; 4 - резиновое уплотняющее кольцо; 5 - втулка;
6, 7 - детали арматурного каркаса (6 - спираль,
7 - продольные стержни); 8 - цементный раствор
для зачеканки шва
1.8. Защиту наружной поверхности стального цилиндра производят с помощью изоляционных материалов, отвечающих требованиям
ГОСТ 9.015-74 (см.
пп. 7.1 и
7.2 настоящих Рекомендаций).
2.1. Напрягающий цемент по качеству должен удовлетворять требованиям ТУ 21-20-18-80, а по самонапряжению, прочности на сжатие и растяжение - требованиям проекта.
Во избежание изменения свойств напрягающего цемента в результате загрязнения другими видами вяжущего необходимо обеспечивать автономность его использования, начиная с момента разгрузки.
Для НЦ, срок хранения которого составляет более 3 мес, следует провести дополнительные испытания.
2.2. Заполнители - песок и щебень - должны отвечать требованиям
ГОСТ 10268-80. Размер фракции щебня - 3 - 10 мм.
2.3. Стальные сварные цилиндры, концевые обечайки и элементы усиления раструба изготовляются согласно чертежам из следующих материалов:
| | ИС МЕГАНОРМ: примечание. Приказом Ростехрегулирования от 20.07.2007 N 185-ст с 1 января 2008 года введен в действие ГОСТ 380-2005. | |
стальные цилиндры - из углеродистой горячекатаной стали обыкновенного назначения ВСт3сп толщиной

(предпочтительнее

) - ГОСТ 380-71;
| | ИС МЕГАНОРМ: примечание. Взамен ГОСТ 1050-74 Постановлением Госстандарта СССР от 24.11.1988 N 3811 с 1 января 1991 года введен в действие ГОСТ 1050-88. | |
калиброванные концевые обечайки - из качественной полосовой углеродистой стали 08КП толщиной

- ГОСТ 1050-74;
элементы усиления раструба - из полосовой стали ВСт3сп толщиной

- ГОСТ 380-71.
2.4. Арматурные каркасы изготовляют в соответствии с чертежами из низкоуглеродистой холоднотянутой проволоки класса Вр-I
(ГОСТ 6727-80).
2.5. Вода затворения должна удовлетворять требованиям
ГОСТ 23732-79.
2.6. Качество резины уплотняющих колец должно удовлетворять требованиям ТУ 1051222-78.
3. ИЗГОТОВЛЕНИЕ, ОСНАЩЕНИЕ И ИСПЫТАНИЕ СТАЛЬНЫХ ЦИЛИНДРОВ
3.1. Стальной цилиндр сваривают из поставляемой в рулонах стальной полосы на сварочном станке, предпочтительнее конструкции, разработанной в институте им. Патона.
3.2. Арматурные каркасы изготовляют на каркасо-сварочных машинах и оснащают проволочными фиксаторами в соответствии с рабочими чертежами.
На пост изготовления каркасов продольные стержни поступают после правки и резки, проволока для спирали - в бухтах заводской поставки.
Примечание. Допускается применение арматурных каркасов, состоящих из двух частей, соединенных путем сварки внахлестку продольных стержней с перепуском спиральной арматуры не менее одного полного витка.
3.3. Готовые каркасы следует хранить в закрытом помещении штабелями высотой не более 3 рядов, уложенными через деревянные прокладки толщиной не менее 25 мм.
3.4. Запрещается применение каркасов, не удовлетворяющих геометрическим размерам, указанным в рабочих чертежах, а также с перебитой продольной или спиральной арматурой, не закрепленными концевыми витками (брак сварки в местах пересечения спирали с продольной арматурой) и наличием ржавчины.
3.5. Для изготовления втулок, раструбов и элементов усиления раструба используют обычно применяемое для этих целей оборудование с соответствующей доработкой и модификацией узлов, предназначенных для изготовления элементов усиления.
3.6. С целью защиты от коррозии втулки и раструбы подвергают металлизации.
3.7. На посту сборки втулку и раструб приваривают к стальному цилиндру, установленному на стенде, предназначенном для гидравлических испытаний, после чего цилиндр проверяют на герметичность швов. При обнаружении течи дефекты устраняют и цилиндр испытывают при внутреннем давлении P в зависимости от толщины его стенок

:
при

............ P = 1,1 МПа;
при

............. P = 1,8 МПа.
3.8. Выдержавший испытание стальной цилиндр подают на пост оснастки, на котором внутрь цилиндра со стороны втулочного конца вводят арматурный каркас, стержни которого приваривают к раструбу.
4.1. Для изготовления напорных самонапряженных труб со стальным цилиндром рекомендуется применять бетонную смесь состава по массе НЦ:П:Щ = 1:0,70:1,55 при расходе НЦ около 700 кг/м3.
| | ИС МЕГАНОРМ: примечание. В официальном тексте документа, видимо, допущена опечатка: пункты 9.6 - 9.8 отсутствуют. | |
Примечание. Применение бетонных смесей с меньшим расходом НЦ возможно только при условии обеспечения заданных значений самонапряжения и прочности бетона (см. пп. 9.6 - 9.8 настоящих Рекомендаций).
| | ИС МЕГАНОРМ: примечание. Формулы даны в соответствии с официальным текстом документа. | |
4.2. Расход воды затворения назначается заводской лабораторией, исходя из условия обеспечения подвижности бетонной смеси в деле, равной ОК = 4 - 10 см, при исходном значении

. Если

, для его снижения в бетонную смесь вместе с водой рекомендуется вводить пластифицирующие добавки - С-3 или декстрин - в количестве 0,2 - 0,5% массы НЦ.
4.3. Бетонную смесь приготовляют в смесителях принудительного действия. Время перемешивания смеси на НЦ с нормальными сроками схватывания или при введении пластифицирующих добавок, должно составлять не менее 2 мин.
При необходимости использования НЦ с ускоренным (менее 30 мин) или так называемым "ложным" схватыванием, его, перед подачей воды затворения, рекомендуется предварительно смешать с увлажненным до W = 5 - 7% заполнителем при тщательном перемешивании в течение 2 - 3 мин.
5.1. Формование самонапряженных труб со стальным цилиндром производят без форм на усиленных с учетом массы трубы ременных центрифугах (рис. 2).
Рис. 2. Схема устройства ременной центрифуги
1 - электродвигатель; 2 - шкив ведущего вала; 3 - станина;
4 - верхний шкив; 5 - верхний щит; 6 - стальной цилиндр;
7 - ремни; 8 - винт регулировки положения верхнего шкива;
9 - шкив ведомого вала
5.2. Для обеспечения геометрических размеров сечения и повышения устойчивости при центрифугировании стального цилиндра его оснащают съемными бандажами с их равномерным распределением по длине цилиндра в обе стороны, начиная от середины.
Бандаж выполняется в виде челюстного зажима (со статической и динамической балансировкой массы) и представляет собой два ребра, связанные жесткой стальной полосой, которая одновременно служит беговой дорожкой для ремней центрифуги
(рис. 3). Число бандажей уточняется в процессе наладки производства, однако оно не должно быть менее пяти.
Примечание. Для сокращения времени оснащения стального цилиндра бандажами и освобождения от них готового изделия целесообразно предусмотреть специальные, попеременно используемые для тех и других целей, стапели с фиксированными относительно длины изделия гнездами для установки бандажей с заданным шагом.
Рис. 3. Бандаж челюстного типа (схема)
5.3. Формование самонапряженных труб диаметром

производят при трехразовом послойном центрифугировании по схеме: загрузка смеси, ее распределение и уплотнение. Удаление шлама производят при съеме изделия с центрифуги.
Режимы центрифугирования приведены в табл. 1.
Таблица 1
Последовательность послойного центрифугирования с частотой вращения n, об/мин, в течение времени t, мин | |
400 ----- 55 | 500 ----- 65 | 110 ----- 75 |
Загрузка | | | |
| 150 | 130 | 110 |
| 1,5 | 1,5 | 5,5 |
Распределение | | | |
| 200 | 180 | 160 |
| 3 | 4 | 5 |
Уплотнение (не менее) <**> | | | |
| 500 | 450 | 400 |
 - 1-й слой | 5 |
2-й слой | 8 |
3-й слой | 12 |
--------------------------------
<*> Над чертой -

, под чертой -

.
<**> Расчетное значение

, где

и

- соответственно наружный и внутренний радиус трубы, см; P - прессующее давление, принимаемое из условия качественного уплотнения равным P >= 0,1 МПа.
Время

, необходимое для завершения процесса уплотнения при полной загрузке центрифуги, корректируется по методике
Прил. 2.
5.4. Бетонную смесь в стальной цилиндр подают одновременно с двух концов с помощью транспортера или питателей ложкового типа. Для труб с

следует использовать только транспортерные питатели, для труб

- предпочтительнее ложковые, что обеспечивает одновременную подачу смеси по всей длине трубы в один или несколько приемов в зависимости от геометрии питателя и расхода бетонной смеси на изделие.
5.5. Перед включением центрифуги следует отрегулировать взаимное расположение обоих питателей и стального цилиндра с учетом возможного проседания последнего (например, в результате вытягивания ремней в процессе формования).
Регулировку исходного положения следует производить путем измерения величины зазора

(расстояние между нижней частью стального цилиндра и введенного в него питателя), исходя из условия обеспечения

,
где a - фактическое значение амплитуды смещения консолей питателей;

- толщина стенки трубы.
Просадку стального цилиндра на ремнях центрифуги следует контролировать не реже 2 раз в смену путем измерения величины зазора -

- расстояние между верхней поверхностью стального цилиндра и ложкой питателя в опрокинутом положении (или слоем бетона при использовании транспортера), исходя из условия обеспечения

.
5.6. Отформованные изделия загружают в специальные металлические контейнеры с мягкими ложементами и направляют на тепловлажностную обработку (ТВО).
6. ТЕПЛОВЛАЖНОСТНАЯ ОБРАБОТКА САМОНАПРЯЖЕННЫХ ТРУБ
6.1. Тепловлажностную обработку (ТВО) и последующее водное выдерживание (ПВВ) труб осуществляют в ямных камерах по режимам, указанным в табл. 2.
Таблица 2
Вид ТВО | Условия выдерживания до ТВО | ТВО |
пар, t = 60 °C | вода, t = 60 °C |
подъем температуры, ч | изотермия, ч | гидроизотермия, ч |
А (комбинированный прогрев) <*> | В камере по мере ее загрузки | 1,5 - 2 | 1,5 - 1 | 5 - 8 |
Б (гидротермальный прогрев) <**> | В цехе при t ~= 18 °C, 5 - 7 ч (до R = 5 - 7 МПа) | - | - | 5 - 8 |
--------------------------------
<*> Подачу пара в камеру начинают через 30 - 40 мин после загрузки в нее последнего контейнера. Общее время загрузки камеры определяется ее вместимостью и циклом формования.
После пропаривания камеру заполняют горячей водой, не допуская свободного выхода пара в атмосферу.
<**> В течение всего срока выдерживания до ТВО торцы труб должны быть герметизированы пленкой, удалять которую следует непосредственно перед загрузкой труб в камеру.
| | ИС МЕГАНОРМ: примечание. Нумерация пунктов дана в соответствии с официальным текстом документа. | |
6.5. По окончании гидроизотермального прогрева трубы оставляют в камере для последующего водного выдерживания (ПВВ) в течение 24 ч (не менее).
Примечания: 1. ПВВ можно осуществлять в естественно остывающей после гидроизометрии или в холодной воде с t = 5 - 20 °C. Горячую (после ТВО) или теплую (после ТВО + ПВВ) воду используют для следующего цикла ТВО, доводя ее температуру до t = 60 °C.
2. Увеличение продолжительности ПВВ, а также приемы, обеспечивающие сохранение влаги в бетоне изделия (например, герметизация торцов после ПВВ), создают условия для большего самонапряжения бетона.
6.6. Режимы ТВО и ПВВ необходимо корректировать с учетом условий производства и требуемых значений прочности и самонапряжения бетона труб.
6.7. По окончании цикла ТВО воду спускают, извлекают контейнеры с готовыми изделиями и передают их на пост (стапель) для снятия бандажей.
7. АНТИКОРРОЗИОННАЯ ЗАЩИТА СТАЛЬНОГО ЦИЛИНДРА
7.1. Защиту стального цилиндра от коррозии осуществляют на специальном посту в зависимости от вида изоляционного покрытия до или по окончании изготовления изделия (технология выполнения защитного покрытия в настоящих Рекомендациях не рассматривается).
7.2. В качестве антикоррозионной защиты стального цилиндра можно применять:
металлизацию (до изготовления трубы);
покрытие мастиками (резинобитумные -
ГОСТ 15836-79; битумно-полимерная - ТУ 102-186-78) в сочетании с бумажным обертыванием (после изготовления трубы);
покрытие <*> малоцементными растворами водной дисперсии полимера (ВДП) на основе синтетического каучука стирольного марки СКС-65ГП (ТУ 400-1-146-78) - после изготовления труб.
--------------------------------
<*> Разработано НИЛ ФХММ и ТП Главмоспромстройматериалов.
8. ПРИЕМКА, КОНТРОЛЬ КАЧЕСТВА И ХРАНЕНИЕ ТРУБ
8.1. Приемка готовых изделий осуществляется ОТК завода партиями по мере изготовления согласно рабочим чертежам и требованиям действующих стандартов с учетом результатов текущих лабораторных испытаний (1 раз в смену) по прочности и самонапряжению.
8.2. В партию входит 100 изделий, последовательно изготовленных по одному и тому же режиму из материалов одной поставки при неизменном составе бетона.
При изменении технологических параметров изделия относят:
при числе до 50 шт. - к предыдущей партии;
при числе более 50 шт. - к самостоятельной партии.
8.3. Контроль качества самонапряженных труб со стальным цилиндром производится:
а) при налаженном производстве - выборочно путем испытаний на трещиностойкость одной трубы из 5 партий. Если при изготовлении одной из этих партий имело место нарушение технологического режима - испытывают дополнительно еще 1 трубу из этой партии;
б) на стадии освоения производства, а также в том случае, когда прочности и самонапряжения бетона после ТВО + ПВВ составляют менее 50% относительно требуемых (см.
п. 9.5 настоящих Рекомендаций), необходимо провести дополнительные испытания труб путем опрессовки при нормативном давлении

: в первом случае испытывают 1 трубу от суточного выпуска, во втором - 1 трубу от сменного выпуска.
8.4. Испытание самонапряженных труб внутренним давлением производят на стенде с заглушками, имитирующими стыковые соединения трубопровода, при:
ступенчатом

повышении давления (опрессовка и испытание на трещиностойкость) со скоростью 0,1 МПа/мин;
выдерживанием на каждой ступени в течение 10 мин;
замером деформаций стенки трубы в кольцевом направлении. Относительные деформации

замеряют с помощью рычажных тензометров на базе 100 мм (при этом цена деления соответствует

), устанавливаемых перед испытанием на поверхности стального цилиндра в кольцевом направлении в 3 - 5 точках по его длине (см.
рис. 4,
Прил. 1).
Примечания: 1. Трубы испытывают в водонасыщенном состоянии. Если до испытания имело место воздушное хранение продолжительностью более 12 ч, перед испытанием трубы необходимо выдержать в воде не менее 3 сут.
2. Опрессовку труб проводят после окончания цикла ТВО + ПВВ при

, испытание на трещиностойкость - в возрасте не менее 3 сут при

.
Рис. 4. Схема расположения тензометров на поверхности
стального цилиндра
а - в кольцевом направлении; б - по длине
1 - поверхность цилиндра; 2 - петля (на поверхности
цилиндра) для крепления тензометра; 3 - крючок
(на базе тензометра), не касающийся поверхности цилиндра;
4 - тензометр; 5 - опорные призмы; 6 - база тензометра
8.5. Трубы считаются выдержавшими испытание на прочность и трещиностойкость, если значения

не превышают указанных в табл. 3.
Класс трубы | Предельные относительные деформации при испытании давлением, МПа |
при опрессовке | на трещиностойкость |
| | | |
I | | | | |
II | | | | |
III | | | | |
Примечание.

;

, где индексы 1 и 3 - возраст бетона к моменту испытаний.
В противном случае всю партию труб необходимо выдержать в течение 7 сут в воде при t = 20 - 25 °C и одну из труб испытать опрессовкой (при

) и на трещиностойкость (при

).
Если и после повторных испытаний значение

будет выше указанных в
табл. 3, всю партию труб следует отнести к соответствующему (более низкому) классу.
8.6. После испытаний внутренним давлением, замеров и визуального контроля каждую трубу маркируют путем нанесения несмываемой краски на наружную поверхность раструба с указанием предприятия-изготовителя, марки трубы, даты ее изготовления и приемки ОТК, а также массы трубы и номера партии. На каждую партию составляется паспорт.
8.7. Готовые изделия хранят на складе рассортированными по партиям с учетом даты изготовления, уложенными в штабеля высотой в 4 трубы.
8.8. Общая технологическая схема производства самонапряженных напорных раструбных труб со стальным цилиндром приведена на рис. 5.
Рис. 5. Технологическая схема производства
самонапряженных труб со стальным цилиндром
1 - приготовление бетонной смеси; 2 - изготовление
стальных цилиндров; 3, 4 - изготовление втулок и раструбов
с элементами ужесточения; 5 - металлизация втулок
и раструбов; 6 - сборка и испытание стальных цилиндров;
7 - изготовление арматурных каркасов; 8 - оснащение
стального цилиндра арматурным каркасом; 9 - стапели
для установки бандажей на стальные цилиндры
(перед центрифугированием) и освобождения от них
готовых изделий; 10 - посты центрифугирования;
11 - камеры для гидроизотермальной обработки;
12 - испытание труб; 13 - пост защиты
стального цилиндра от коррозии
9. КОНТРОЛЬ КАЧЕСТВА САМОНАПРЯЖЕННОГО БЕТОНА
9.1. Контроль качества бетона производят 1 раз в смену, а также при изменении состава бетона, качества составляющих или при нарушении режима ТВО на образцах-призмах размером 4 x 4 x 16 или 5 x 5 x 20 см, твердевших в условиях, адекватных условиям твердения изделий:
а) по самонапряжению - на образцах, твердевших при связанном расширении (в динамометрических кондукторах);
б) по прочности - на образцах, твердевших при свободном (в обычных формах) и при связанном (в динамометрических кондукторах) расширении.
9.2. Контрольные образцы изготовляют в лаборатории:
а) либо из пробы сухой смеси, отобранной из бетоносмесителя с последующим затворением водой до В/Ц, близкого к В/Ц при центрифугировании - 0,32 - 0,35;
б) либо из пробы смеси, отобранной из бетоносмесителя, пока значение В/Ц при порционной подаче воды не превышает 0,35.
Подвижность смеси при изготовлении образцов должна обеспечивать качественное уплотнение на лабораторной виброплощадке.
Общее число контрольных образцов - 9 шт., из которых 6 шт. - для твердения при связанном расширении и 3 шт. - для твердения при свободном расширении.
9.3. Контроль прочности бетона производят путем испытаний образцов-призм на растяжение при изгибе

, затем их половинок на сжатие

:
а) после ТВО + ПВВ .................. на образцах свободного расширения
б) одновременно с испытанием трубы
внутренним давлением ............. на образцах связанного расширения
в) в возрасте 28 сут ................ то же
9.4. Контроль самонапряжения бетона осуществляют путем обмера кондукторов с образцами по методике ТУ 21-20-18-20 или СН 511-78 в сроки, указанные в
п. 9.3 настоящих Рекомендаций. Величину самонапряжения

определяют по формуле

,
где K - коэффициент, соответствующий изменению напряжения в образцах-призмах при деформации кондуктора с образцом на 0,01 мм и принимаемый равным:
для призм размером 4 x 4 x 16 мм .............. K = 0,125 МПа;
для призм размером 5 x 5 x 20 мм .............. K = 0,1 МПа;

- деформации кондуктора с образцом относительного исходного замера без образца (в сотых долях миллиметра).
Примечание. Замеры самонапряжения бетона образцов следует производить в водонасыщенном состоянии (минимальная продолжительность водонасыщения после воздушного хранения - 3 сут) при нормальной температуре кондуктора. Охлаждение кондуктора допускается только с помощью холодной воды. Воздушное охлаждение запрещается.
9.5. При контроле качества изделий следует исходить из следующих требований:
а) прочность на сжатие

должна быть не менее:
после ТВО + ПВВ -

;
в возрасте 28 сут -

;
б) прочность на растяжение при изгибе

и по самонапряжению

в возрасте 28 сут - не менее:

;

(для труб класса III

);
в) эффективная прочность

для труб классов I и II в возрасте 28 сут - не менее

.
Таблица 4
Перечень
дополнительного оборудования лаборатории и ОТК,
необходимого для контроля качества напрягающего
цемента и бетона
Оборудование | Назначение | Количество |
Динамометрические кондукторы размером, см: | Для обеспечения условий твердения образцов-призм с ограничением их деформации в течение контрольного срока (связанное расширение): | |
4 x 4 x 16 | при испытании НЦ по ТУ 21-20-18-80 (  , R) | 30 шт. |
5 x 5 x 20 | для контроля напрягающего бетона (  , R) | С учетом периодичности контроля (6 шт. в смену), но не менее 30 шт. |
Съемная оснастка (борта и днища) к динамометрическим кондукторам размером, см: | Для изготовления образцов-призм связанного расширения (суточная оборачиваемость) | |
4 x 4 x 16 | | 30 шт. |
5 x 5 x 20 | | 30 шт. |
Измерительное устройство, в том числе: | Для замера удлинения образцов-призм связанного расширения и выгиба пластин кондукторов | 3 шт. |
стойка |
индикатор часового типа с ценой деления 0,01 |
Набор стальных эталонов | Для поверки измерительного устройства и установки исходного положения индикатора при замерах кондукторов или призм свободного расширения | По 2 комплекта к каждому измерительному устройству |
Емкость с водой | Для твердения (хранения) контрольных образцов | В зависимости от количества образцов |
Тензометры (рычажные с базой 100 мм) | Для замера деформаций стального цилиндра | 10 шт. |
Примечания: 1. За чертежами на кондукторы и их оснастку, а также на стойку и эталоны к измерительному устройству следует обращаться в НИИЖБ.
2. Индикаторы часового типа выпускаются заводом "Красный инструментальщик" (Киров, ул. Маркса, 18), тензометры рычажные - заводом ЗОКИО Госстроя СССР (Москва, 2-я Институтская ул., д. 6).
СПОСОБ КОНТРОЛЯ ЗАВЕРШЕНИЯ ПРОЦЕССА УПЛОТНЕНИЯ
ПРИ ЦЕНТРИФУГИРОВАНИИ ТРУБЧАТЫХ ИЗДЕЛИЙ <*>
--------------------------------
<*> А. с. N 1020776. Способ контроля завершения процесса центрифугирования трубчатых железобетонных изделий/С.А. Селиванова, А.Г. Каганов. - Б.И., 1983, N 20.
1. Данный способ контроля заключается в оценке изменения влажности в пробах шлама, отбираемых небольшими порциями последовательно в процессе центрифугирования. Контроль завершения уплотнения производится с периодичностью, соответствующей действующим технологическим регламентам, а также при замене материалов и изменении условий формования.
2. Первую пробу шлама отбирают примерно во второй половине технологического цикла, последующие - с интервалом, равным не более четверти расчетного технологического цикла.
3. Процесс уплотнения считается завершенным, если

,
где

и

- соответственно последующая и предыдущая проба.
4. Время от начала уплотнения до момента отбора пробы

принимают за продолжительность уплотнения данной бетонной смеси при данных условиях формования.
5. Для осуществления контроля необходимы:
пробоотборник - емкость с высотой бортов 3 - 4 мм и основанием, повторяющим очертание внутренней поверхности трубы (остальные его габариты задаются из условия обеспечения отбора пробы в количестве 100 - 200 г);
противни для высушивания проб, 1 комплект (6 шт.);
сушильный шкаф;
весы.
6. Перед отбором пробы центрифугу останавливают. Отбор пробы шлама производят из нижней части трубы путем погружения пробоотборника в шлам на одинаковую для всех проб глубину, которая ориентировочно определяется высотой бортов пробоотборника. Затем шлам переливают в противень, высушивают и определяют влажность отобранной пробы, %

,
где

и

- масса шлама соответственно до и после высушивания.
САМОНАПРЯЖЕННАЯ ТРУБА СО СТАЛЬНЫМ ЦИЛИНДРОМ
Для обеспечения гидромелиоративного строительства к 1981 г. задействовано около 60 предприятий по выпуску предварительно напряженных труб на эксплуатационное давление 1 - 1,5 МПа, объем выпуска которых в настоящее время составляет 2000 км/год.
Однако качество таких труб не всегда отвечает требованиям эксплуатационных условий, что в большей мере связано с самой конструкцией трубы. В частности, наличие необжатого защитного слоя бетона, подверженного повышенному трещинообразованию создает благоприятные условия для развития коррозии преднапряженной арматуры и стального цилиндра и преждевременного выхода их из строя, а центральное расположение стального цилиндра по сечению трубы уменьшает ее поперечную прочность при действии внешних нагрузок от вышележащего слоя почвы и подвижных объектов.
С целью повышения несущей способности и долговечности труб со стальным цилиндром была разработана новая усовершенствованная конструкция - труба напорная самонапряженная со стальным цилиндром <*> (схемы напорных труб со стальным цилиндром той и другой конструкции приведены на рис. 6).
--------------------------------
<*> А. с. N 994851. Многослойная армированная труба/В.В. Михайлов, И.Н. Дмитриев, А.Д. Деминов и др. - Б.И., 1983, N 5.
Рис. 6. Напорные трубы со стальным цилиндром
а - самонапряженная; б - железобетонная преднапряженная
1 - резинобитумная защита с бумажным обертыванием;
2 - напрягающий бетон; 3 - арматурный каркас; 4 - стальной
цилиндр; 5 - преднапряженная арматура в виде обмотки;
6 - дефекты в виде усадочных трещин и отслоений
(характерно только для преднапряженной трубы);
7 - наружный и внутренний слой из мелкозернистого бетона
Отличительной особенностью нового решения является применение напрягающего бетона с размещением всего его объема внутри стального цилиндра, что позволяет в наиболее полной мере использовать свойства напрягающего цемента и создать условия для его твердения, близкие к объемному ограничению деформаций, в результате чего обеспечивается формирование структуры повышенной плотности, прочности на растяжение и сжатие, а также равномерное обжатие бетона по всему сечению трубы и предварительное растяжение всего металла конструкции (стальной цилиндр и арматурный каркас, располагающийся в слое бетона) без применения специальных механических приемов.
Защита наружной поверхности стального цилиндра от коррозии обеспечивается путем нанесения изоляционных материалов, указанных в ГОСТ 9.015-74, а также более новых, отвечающих тем же требованиям.
Защита внутренней поверхности стального цилиндра и арматурного каркаса от проникновения транспортируемой жидкости обеспечивается слоем напрягающего бетона, который сохраняет свою целостность при нагрузках от внутреннего давления, на 20% превышающих эксплуатационные.
Самонапряженные трубы характеризуются возрастанием несущей способности в процессе эксплуатации трубопровода благодаря свойству НЦ увеличивать в течение года прочность бетона в 1,2 - 1,4 раза. При этом они обладают способностью выполнять свои функции даже при полной коррозии стального цилиндра (случай исчерпания действия защитного покрытия) в диапазоне эксплуатационных давлений 0,6 - 1,5 МПа (см. табл. 5), в то время как преднапряженная труба полностью утрачивает свои функции.
Таблица 5
Сравнительные характеристики напорных железобетонных труб
со стальным цилиндром диаметром

и их металлоемкость с учетом долговечности 50 лет
| Внутреннее давление после коррозии стального цилиндра для труб с  | Внешняя нагрузка на трубу, кН, для конструкции | Расход металла, т/км |
в целом до коррозии при | после коррозии стального цилиндра при | без учета срока службы | с учетом срока службы 50 лет |
раскрытии трещин до, мм | разрушении | раскрытии трещин до, мм | разрушении |
0,05 | 0,2 | 0,05 | 0,2 |
Преднапряженная со стальным цилиндром  | 0 | 17 | 40 | 60 | 0 | 0 | 0 | 38,7 | ----------- 194 |
Самонапряженная со стальным цилиндром  и арматурным каркасом: | | | | | | | | | |
усиленным | | 80 | 120 | 250 | 70 | 100 | 180 | 38,3 | 38,3 |
легким | | 70 | 100 | 250 | 60 | 90 | 150 | 31,5 | 31,5 |
То же,  (без арматурного каркаса) | | 70 | 100 | 250 | 60 | 90 | 150 | 33,0 | 33,0 |
--------------------------------
<*> Срок эксплуатации принят: преднапряженной трубы - 10 лет в агрессивном и 25 лет - в нормальном грунте; самонапряженной - 50 лет в том и другом грунте.
<**> После коррозии стального цилиндра воспринимает эксплуатационные нагрузки классов, соответственно, I, II и III.
<***> Над чертой - в нормальных грунтах, под чертой - в агрессивных.
Самонапряженные напорные трубы со стальным цилиндром изготовляются на основе напрягающего цемента, выпускаемого промышленностью по ТУ 21-20-18-80 Минпромстройматериалов СССР.
При работе с напрягающим цементом особые технологические требования предъявляются только на стадии тепловой обработки, однако при наличии на предприятии нескольких видов цемента необходимо принимать меры для обеспечения чистоты использования напрягающего цемента в деле.
Производство самонапряженных труб целесообразно организовывать в первую очередь на действующих предприятиях по выпуску предварительно напряженных напорных труб со стальным цилиндром. Использование основного технологического оборудования, несмотря на введение при этом новых постов (размещение готовых арматурных каркасов в стальном цилиндре и защита наружной поверхности последнего от коррозии) позволяет в целом упростить технологию изготовления (исключаются такие переделы, как навивка преднапряженной арматуры, формование наружного слоя и второй цикл тепловой обработки), повысить несущую способность и долговечность, а также снизить металлоемкость напорных труб со стальным цилиндром.
Сравнительные характеристики напорных труб со стальным цилиндром (предварительно напряженных и самонапряженных) по средним результатам испытаний с учетом долговечности и металлоемкость приведены в
табл. 5.