Главная // Актуальные документы // ОДМ (Отраслевой дорожный методический документ)
СПРАВКА
Источник публикации
М., 2024
Примечание к документу
Текст документа приведен в соответствии с публикацией на сайте https://rosavtodor.gov.ru/ по состоянию на 17.06.2024.

Документ рекомендован к применению с 14.06.2024 Распоряжением Росавтодора от 14.06.2024 N 1453-р.
Название документа
"ОДМ 218.1.3.002-2024. Отраслевой дорожный методический документ. Разметка дорожная горизонтальная со структурной и профильной поверхностью. Рекомендации по применению"
(издан на основании Распоряжения Росавтодора от 14.06.2024 N 1453-р)

"ОДМ 218.1.3.002-2024. Отраслевой дорожный методический документ. Разметка дорожная горизонтальная со структурной и профильной поверхностью. Рекомендации по применению"
(издан на основании Распоряжения Росавтодора от 14.06.2024 N 1453-р)


Содержание


Издан на основании
Распоряжения Федерального
дорожного агентства
от 14 июня 2024 г. N 1453-р
ОТРАСЛЕВОЙ ДОРОЖНЫЙ МЕТОДИЧЕСКИЙ ДОКУМЕНТ
РАЗМЕТКА ДОРОЖНАЯ ГОРИЗОНТАЛЬНАЯ
СО СТРУКТУРНОЙ И ПРОФИЛЬНОЙ ПОВЕРХНОСТЬЮ.
РЕКОМЕНДАЦИИ ПО ПРИМЕНЕНИЮ
ОДМ 218.1.3.002-2024
ОКС 93.080.01
Предисловие
1. РАЗРАБОТАН Обществом с ограниченной ответственностью Центром инженерно-технических исследований "Дорконтроль" (ООО ЦИТИ "Дорконтроль").
2. ВНЕСЕН Управлением научно-технических исследований, информационных технологий и хозяйственного обеспечения Федерального дорожного агентства.
3. ИЗДАН на основании распоряжения Федерального дорожного агентства от 14.06.2024 N 1453-р.
4. ИМЕЕТ РЕКОМЕНДАТЕЛЬНЫЙ ХАРАКТЕР.
5. ВВЕДЕН ВПЕРВЫЕ.
1. Область применения
Настоящий отраслевой дорожный методический документ (далее - ОДМ) устанавливает рекомендации по применению горизонтальной дорожной разметки со структурной и профильной поверхностью на автомобильных дорогах общего пользования.
2. Нормативные ссылки
В настоящем отраслевом дорожном методическом документе использованы нормативные ссылки на следующие стандарты:
ГОСТ 12.4.103-2020 Межгосударственный стандарт. Система стандартов безопасности труда. Одежда специальная защитная, средства индивидуальной защиты ног и рук. Классификация
ГОСТ ISO/IEC 17025-2019 Межгосударственный стандарт. Общие требования к компетентности испытательных и калибровочных лабораторий
ГОСТ 32757-2014 Межгосударственный стандарт. Дороги автомобильные общего пользования. Временные технические средства организации дорожного движения. Классификация
ГОСТ 32829-2014 Межгосударственный стандарт. Дороги автомобильные общего пользования. Материалы для дорожной разметки. Методы испытаний
ГОСТ 32830-2014 Межгосударственный стандарт. Дороги автомобильные общего пользования. Материалы для дорожной разметки. Технические требования
ГОСТ 32848-2014 Межгосударственный стандарт. Дороги автомобильные общего пользования. Изделия для дорожной разметки. Технические требования
ГОСТ 32849-2014 Межгосударственный стандарт. Дороги автомобильные общего пользования. Изделия для дорожной разметки. Методы испытаний
ГОСТ 32952-2014 Межгосударственный стандарт. Дороги автомобильные общего пользования. Разметка дорожная. Методы контроля
ГОСТ 32953-2014 Межгосударственный стандарт. Дороги автомобильные общего пользования. Разметка дорожная. Технические требования
ГОСТ 33151-2014 Межгосударственный стандарт. Дороги автомобильные общего пользования. Элементы обустройства. Технические требования. Правила применения
ГОСТ 33220-2015 Межгосударственный стандарт. Дороги автомобильные общего пользования. Требования к эксплуатационному состоянию
ГОСТ 33382-2015 Межгосударственный стандарт. Дороги автомобильные общего пользования. Техническая классификация
ГОСТ Р 50597-2017 Национальный стандарт Российской Федерации. Дороги автомобильные и улицы. Требования к эксплуатационному состоянию, допустимому по условиям обеспечения безопасности дорожного движения. Методы контроля
ГОСТ Р 51256-2018 Национальный стандарт Российской Федерации. Технические средства организации дорожного движения. Разметка дорожная. Классификация. Технические требования
ГОСТ Р 52575-2021 Национальный стандарт Российской Федерации. Дороги автомобильные общего пользования. Материалы для дорожной разметки. Технические требования
ГОСТ Р 52289-2019 Национальный стандарт Российской Федерации. Технические средства организации дорожного движения. Правила применения дорожных знаков, разметки, светофоров, дорожных ограждений и направляющих устройств
ГОСТ Р 53172-2022 Национальный стандарт Российской Федерации. Дороги автомобильные общего пользования. Изделия для дорожной разметки. Микростеклошарики. Технические требования
ГОСТ Р 53173-2022 Национальный стандарт Российской Федерации. Дороги автомобильные общего пользования. Изделия для дорожной разметки. Микростеклошарики. Методы контроля
ГОСТ Р 54306-2022 Национальный стандарт Российской Федерации. Дороги автомобильные общего пользования. Изделия для дорожной разметки. Полимерные ленты. Технические требования
ГОСТ Р 54307-2022 Национальный стандарт Российской Федерации. Дороги автомобильные общего пользования. Изделия для дорожной разметки. Полимерные ленты. Методы испытаний
ГОСТ Р 58350-2019 Национальный стандарт Российской Федерации. Дороги автомобильные общего пользования. Технические средства организации дорожного движения в местах производства работ. Технические требования. Правила применения
ГОСТ Р 58368-2019 Национальный стандарт Российской Федерации. Дороги автомобильные общего пользования. Демаркировка дорожной разметки. Технические требования. Методы контроля
ГОСТ Р 59123-2020 Национальный стандарт Российской Федерации. Система стандартов безопасности труда. Средства индивидуальной защиты. Общие требования и классификация
Примечание - При пользовании настоящим отраслевым дорожным методическим документом целесообразно проверить действие ссылочных стандартов (сводов правил и (или) классификаторов) в информационной системе общего пользования - на официальном сайте национального органа Российской Федерации по стандартизации в сети Интернет или по ежегодно издаваемому информационному указателю "Национальные стандарты", который опубликован по состоянию на 1 января текущего года, и по выпускам ежемесячно издаваемого информационного указателя "Национальные стандарты" за текущий год. Если заменен ссылочный стандарт (документ), на который дана недатированная ссылка, то рекомендуется использовать действующую версию этого стандарта (документа) с учетом всех внесенных в данную версию изменений. Если заменен ссылочный стандарт (документ), на который дана датированная ссылка, то рекомендуется использовать версию этого стандарта (документа) с указанным выше годом утверждения (принятия). Если после утверждения настоящего стандарта в ссылочный стандарт (документ), на который дана датированная ссылка, внесено изменение, затрагивающее положение, на которое дана ссылка, то это положение рекомендуется применять без учета данного изменения. Если ссылочный стандарт (документ) отменен без замены, то положение, в котором дана ссылка на него, рекомендуется применять в части, не затрагивающей эту ссылку.
3. Термины и определения
В настоящем отраслевом дорожном методическом документе применены термины по ГОСТ 32953, а также следующие термины с соответствующими определениями:
3.1.
восстановление разметки: Проведение работ по приведению параметров разметки к нормативным требованиям.
[ГОСТ Р 51256-2018, пункт 3.1.16]
3.2.
горизонтальная дорожная разметка со структурной поверхностью: Разметка, выполненная из отдельных фрагментов, степень заполнения линий которой при нанесении составляет от 25% до 75% и толщиной не менее 1,5 мм.
Примечание - Степень заполнения линий - отношение площади покрытия разметочным материалом к площади поверхности разметки в ее внешних границах, выраженное в процентах. Допускается в случае применения соответствующих материалов и технологий нанесение разметки со структурной поверхностью на линии со сплошной поверхностью при соблюдении требований настоящего стандарта.
[ГОСТ Р 51256-2018, пункт 3.1.5]
3.3.
демаркировка дорожной разметки: Удаление дорожной разметки различными методами.
Примечание - Под удалением дорожной разметки следует понимать устранение видимости дорожной разметки.
[ГОСТ Р 58368-2019, статья 3.6]
3.4.
желтое заполнение разметки: Нанесенное между линиями 1.14.1 горизонтальной разметки покрытие, выполненное краской (эмалью) по ГОСТ 32830, или покрытием противоскольжения по ГОСТ 32753.
[ГОСТ Р 51256-2018, пункт 3.1.17]
3.5.
изделия для разметки: Штучные формы, полимерные ленты и микростеклошарики, предназначенные для устройства горизонтальной дорожной разметки.
[ГОСТ 32848, пункт 3.1.1]
3.6.
комбинированная разметка: Сочетание горизонтальной разметки со сплошной и структурной поверхностью.
[ГОСТ Р 51256-2018, пункт 3.1.18]
3.7.
краска (эмаль) для дорожной разметки автомобильных дорог: Жидкий пигментированный материал, имеющий среду в виде раствора пленкообразующего вещества в органических растворителях, либо имеющий в качестве пленкообразующего вещества водную дисперсию синтетических полимеров или другие типы связующих веществ и образующий при нанесении на дорожное покрытие, а также на искусственные сооружения и элементы обустройства автомобильных дорог, непрозрачное покрытие, соответствующее требованиям, предъявляемым к дорожной разметке.
[ГОСТ 32830, пункт 3.1.2]
3.8.
материалы для дорожной разметки: Материалы, предназначенные для нанесения дорожной разметки на автомобильных дорогах и улицах с усовершенствованным покрытием.
Примечание - После нанесения и высыхания (отверждения) материалы определяют эксплуатационные свойства дорожной разметки.
[ГОСТ 32830, пункт 3.1.1]
3.9.
микростеклошарики; МСШ: Прозрачные частицы стекла сферической формы, применяемые в качестве световозвращающих элементов для горизонтальной дорожной разметки.
[ГОСТ 32848, пункт 3.1.4]
3.10.
полимерные ленты: Изделия, изготовляемые из полимерных материалов в заводских условиях, предназначенные для устройства разметки.
Примечание - Свойства полимерных лент задаются в процессе их производства.
[ГОСТ 32848, пункт 3.1.3]
3.11.
спрей-пластик для дорожной разметки автомобильных дорог: Холодный пластик или термопластик, наносимые методом распыления толщиной слоя до 1,5 мм.
[ГОСТ 32830, пункт 3.1.5]
3.12.
термопластик для дорожной разметки автомобильных дорог: Материал в порошкообразной форме, образующий при нанесении на дорожное покрытие, а также на искусственные сооружения и элементы обустройства автомобильных дорог, после расплавления и отверждения покрытие, соответствующее требованиям, предъявляемым к дорожной разметке.
[ГОСТ 32830, пункт 3.1.3]
Примечание - Термопластик для дорожной разметки автомобильных дорог также может быть в виде готовых брикетов либо гранул.
3.13.
холодный пластик для дорожной разметки автомобильных дорог: Материал на основе реакционно-способных полимеров, содержащий пигменты и наполнители, отверждаемый в результате химической реакции и образующий при нанесении на дорожное покрытие, а также на искусственные сооружения и элементы обустройства автомобильных дорог, после отверждения покрытие, соответствующее требованиям, предъявляемым к дорожной разметке.
[ГОСТ 32830, пункт 3.1.4]
4. Общие положения
4.1. Целью применения горизонтальной дорожной разметки со структурной и профильной поверхностью является обеспечение более высоких значений удельного коэффициента световозвращения при сухом и мокром состоянии покрытия, а также возникновения вибрационного (шумового) эффекта неподрессоренных масс транспортного средства при наезде колеса на указанную горизонтальную дорожную разметку.
4.2. Технические требования к горизонтальной дорожной разметке со структурной и профильной поверхностью содержатся (в том числе для временной горизонтальной дорожной разметки при соответствующем обосновании) в ГОСТ 32953 и ГОСТ Р 51256. Правила применения горизонтальной дорожной разметки со структурной и профильной поверхностью содержатся в ГОСТ Р 52289-2019 (подраздел 6.2).
4.3. Со структурной и профильной поверхностью рекомендуется применять горизонтальную дорожную разметку, в первую очередь, 1.1 - 1.4, 1.9. Разметку 1.5 - 1.8, 1.10, 1.11 (номера по ГОСТ Р 51256) со структурной и профильной поверхностью рекомендуется применять при соответствующем технико-экономическом обосновании. Применение горизонтальной дорожной разметки 1.12, 1.14.1, 1.14.2 по ГОСТ Р 51256 рекомендуется в виде комбинированной разметки или разметки со структурной поверхностью.
4.4. Расположение горизонтальной дорожной разметки со структурной и профильной поверхностью определяется заказчиком исходя из условий обеспечения безопасности дорожного движения.
5. Горизонтальная дорожная разметка со структурной и профильной поверхностью
5.1. Классификация горизонтальной дорожной разметки со структурной и профильной поверхностью
5.1.1. В соответствии с ГОСТ Р 51256 горизонтальная дорожная разметка со структурной и профильной поверхностью по свойствам поверхности классифицируется на:
- горизонтальную дорожную разметку со структурной поверхностью;
- горизонтальную дорожную разметку с профильной поверхностью;
- комбинированную горизонтальную дорожную разметку (рисунок 1).
1 - высота выступа горизонтальной дорожной разметки;
2 - высота выступа структурной горизонтальной дорожной
разметки в виде "капли"; 3 - высота выступа комбинированной
горизонтальной дорожной разметки со структурной
поверхностью; 4 - ширина линии комбинированной
горизонтальной дорожной разметки, равная ширине
горизонтальной дорожной разметки по ГОСТ Р 51256
и ГОСТ Р 52289; 5 - длина элемента в виде "капли"
Рисунок 1 - Пример комбинированной горизонтальной
дорожной разметки
5.1.2. Горизонтальная дорожная разметка со структурной поверхностью классифицируется на:
- горизонтальную дорожную разметку со стохастически распределенными агломератами;
- горизонтальную дорожную разметку в виде различных упорядоченно расположенных геометрических фигур;
- горизонтальную дорожную разметку в виде прямоугольников на полную ширину и пропусков между ними;
- горизонтальную дорожную разметку в виде "гребенки" - сочетания сплошной линии и прямоугольников.
Различные варианты горизонтальной дорожной разметки со структурной поверхностью приведены на рисунках 2 - 6.
1 - высота выступов структурной горизонтальной дорожной
разметки в виде стохастически распределенных агломератов;
2 - ширина линии, равная ширине горизонтальной дорожной
разметки по ГОСТ Р 51256 и ГОСТ Р 52289
Рисунок 2 - Пример структурной горизонтальной дорожной
разметки со стохастически распределенными агломератами
1 - ширина линии, равная ширине горизонтальной дорожной
разметки по ГОСТ Р 51256 и ГОСТ Р 52289; 2 - длина элемента
в виде "капли"; 3 - высота выступов структурной
горизонтальной дорожной разметки в виде "капли"
Рисунок 3 - Пример структурной горизонтальной
дорожной разметки в виде "капли"
1 - ширина линии, равная ширине горизонтальной дорожной
разметки по ГОСТ Р 51256 и ГОСТ Р 52289; 2 - сторона
элемента в виде "шахматной доски"; 3 - высота выступов
структурной горизонтальной дорожной разметки в виде
"шахматной доски"
Рисунок 4 - Пример структурной горизонтальной
дорожной разметки в виде "шахматной доски"
1 - высота выступов горизонтальной дорожной разметки
со структурной поверхностью; 2 - ширина линии, равная ширине
горизонтальной дорожной разметки по ГОСТ Р 51256
и ГОСТ Р 52289; 3 - длина элемента "прямоугольника";
4 - расстояние между элементами "прямоугольников"
Рисунок 5 - Пример горизонтальной дорожной разметки
со структурной поверхностью в виде элементов
"прямоугольников" и пропусков между ними
1 - высота выступа сплошной линии; 2 - ширина сплошной
линии; 3 - ширина выступающих элементов "прямоугольников";
4 - длина выступающих элементов "прямоугольников";
5 - расстояние между соседними выступающими элементами
"прямоугольников"; 6 - высота выступающих
элементов "прямоугольников"
Рисунок - 6 Пример горизонтальной дорожной разметки
со структурной поверхностью в виде "гребенки"
Допускается устройство горизонтальной дорожной разметки со структурной поверхностью в ином варианте при соблюдении содержащихся в настоящем документе рекомендаций.
5.1.3. Вибрационный эффект неподрессоренных масс транспортных средств (и, как следствие, шумовой эффект) возникает при наезде колес транспортных средств на горизонтальную дорожную разметку в виде "прямоугольников" на полную ширину линии, горизонтальную дорожную разметку в виде "гребенки", горизонтальную разметку с профильной поверхностью.
5.2. Технические требования к горизонтальной дорожной разметке со структурной и профильной поверхностью
5.2.1. Рекомендуемые первоначальные значения удельного коэффициента световозвращения горизонтальной дорожной разметки со структурной и профильной поверхностью, комбинированной горизонтальной дорожной разметки для условий темного времени суток при мокром покрытии (во время дождя) приведены в таблице 1.
Таблица 1
Значения удельного коэффициента световозвращения
горизонтальной разметки при мокром покрытии RW
от класса разметки
Цвет разметки
Класс
Удельный коэффициент световозвращения горизонтальной разметки для условий темного времени суток при мокром покрытии (во время дождя) RW, мкд·лк-1·м-2, не менее
Белый
RW4
75
Белый, желтый, оранжевый
RW3
50
Синий, красный, зеленый, черный
RW0
Не нормируется
5.2.2. Удельный коэффициент световозвращения, удельный коэффициент светоотражения при диффузном дневном или искусственном освещении для горизонтальной дорожной разметки со структурной и профильной поверхностью, комбинированной горизонтальной дорожной разметки при сухом покрытии нормируется в соответствии с ГОСТ Р 51256 и ГОСТ Р 52289. Коэффициент яркости горизонтальной дорожной разметки со структурной и профильной поверхностью не нормируется в соответствии с требованиями ГОСТ Р 51256.
5.2.3. Ширина линий горизонтальной дорожной разметки со структурной и профильной поверхностью назначается по ГОСТ Р 52289.
5.2.4. Рекомендуемые размеры в плане элементов, из которых состоит горизонтальная дорожная разметка со структурной поверхностью, составляют:
- разметка в виде "капли" - (0,02 - 0,05) м;
- разметка в виде "прямоугольников" ("шахматной доски") - (0,03 - 0,05) м x (0,03 - 0,05) м;
- разметка в виде "прямоугольников" во всю ширину линии, равной ширине разметки по ГОСТ Р 51256 и ГОСТ Р 52289, длиной элементов (0,03 - 0,10) м и расстоянием между элементами (0,03 - 0,10) м;
- разметка в виде "гребенки" - ширина сплошной линии не менее 0,05 м, общая ширина линии в соответствии с ГОСТ Р 51256 и ГОСТ Р 52289, длина выступающих элементов (0,05 - 0,10) м, расстояние между соседними выступающими элементами (0,05 - 0,10) м.
5.2.5. Рекомендуемая степень заполнения (площадь заполнения) горизонтальной дорожной разметки со структурной поверхностью по ГОСТ Р 51256, с учетом возможности отведения воды.
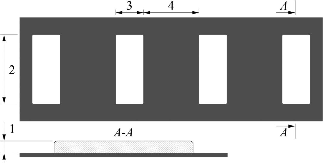
5.2.6. Рекомендуемые размеры в плане элементов, из которых состоит горизонтальная дорожная разметка с профильной поверхностью, составляют:
- разметка в виде "прямоугольников" во всю ширину линии, равной ширине разметки по ГОСТ Р 51256 и ГОСТ Р 52289, длиной элементов (0,03 - 0,10) м и расстоянием между элементами (0,10 - 1,0) м (рисунок 7).
1 - превышение горизонтальной разметки над поверхностью,
на которую она нанесена; 2 - ширина линии, равная ширине
горизонтальной дорожной разметки по ГОСТ Р 51256
и ГОСТ Р 52289; 3 - длина элемента "прямоугольника";
4 - расстояние между элементами "прямоугольников";
5 - высота выступа горизонтальной дорожной разметки;
6 - высота выступа горизонтальной дорожной разметки
с профильной поверхностью
Рисунок 7 - Пример горизонтальной дорожной разметки
с профильной поверхностью
5.2.7. Рекомендуемая высота выступов горизонтальной дорожной разметки со структурной, профильной поверхностью и комбинированной разметки над поверхностью, на которую она нанесена, - (3 - 6) мм.
6. Материалы и изделия для устройства горизонтальной дорожной разметки со структурной и профильной поверхностью
6.1. Для устройства горизонтальной дорожной разметки со структурной и профильной поверхностью используют следующие типы материалов по ГОСТ 32830 и ГОСТ Р 52575:
- термопластики;
- холодные пластики.
6.2. Материалы для устройства горизонтальной дорожной разметки со структурной и профильной поверхностью должны соответствовать требованиям ГОСТ 32830 и ГОСТ Р 52575 с учетом используемого оборудования для нанесения разметки.
6.3. При выборе и заказе материалов рекомендуется уведомлять производителя (поставщика), что данные материалы планируется использовать для нанесения горизонтальной дорожной разметки со структурной или профильной поверхностью.
6.4. Рекомендуемые расходы материалов для устройства горизонтальной дорожной разметки со структурной и профильной поверхностью приведены в таблице 2.
Таблица 2
Рекомендуемые расходы материалов для устройства
горизонтальной дорожной разметки со структурной
и профильной поверхностью
Горизонтальная дорожная разметка
Тип материала
Расход материала, кг/м2
Разметка со структурной поверхностью
Термопластик
4,5 - 7,0
Холодный пластик
4,0 - 5,5
Разметка с профильной поверхностью
Термопластик
7,5 - 10,0
Холодный пластик
7,0 - 9,0
Комбинированная разметка
Термопластик
6,5 - 10,0
Холодный пластик
3,5 - 8,5
Примечание - расход материала указан на площадь линии разметки 1 м2 со структурной или профильной поверхностью.
6.5. При соответствующем обосновании возможно применение полимерных лент с профильной поверхностью по ГОСТ 32848 и ГОСТ Р 54306.
7. Рекомендации по применению и нанесению горизонтальной дорожной разметки со структурной и профильной поверхностью, комбинированной горизонтальной дорожной разметки
7.1. Рекомендации по нанесению на различные покрытия автомобильных дорог
7.1.1. Горизонтальную дорожную разметку со структурной и профильной поверхностью и комбинированную разметку рекомендуется применять на автомобильных дорогах, верхний слой покрытия которых выполнен из асфальтобетонных смесей, щебеночно-мастичных асфальтобетонных смесей, цементобетонных смесей.
7.1.2. При нанесении горизонтальной дорожной разметки со структурной и профильной поверхностью и комбинированной разметки на цементобетонные покрытия рекомендуется применять холодные пластики (с использованием праймеров в случае наличия рекомендаций производителя).
7.1.3. При нанесении горизонтальной дорожной разметки со структурной и профильной поверхностью и комбинированной разметки на цементобетонные покрытия применение термопластиков целесообразно при наличии соответствующих рекомендаций производителей материалов, в том числе с использованием праймеров (грунтовок) для дорожной разметки.
7.2. Подготовительные работы перед нанесением горизонтальной дорожной разметки со структурной и профильной поверхностью
7.2.1. При разработке технического задания на устройство горизонтальной дорожной разметки со структурной и профильной поверхностью оценивается состояние верхнего слоя покрытия участков автомобильных дорог для нанесения на них дорожной разметки. В случае наличия дефектов, которые могут повлиять на качество и продолжительность функциональной долговечности разметки, предусматриваются и реализуются мероприятия по ликвидации этих дефектов до начала устройства горизонтальной дорожной разметки.
7.2.2. При разработке технического задания на устройство горизонтальной дорожной разметки со структурной и профильной поверхностью оценивается состояние дорожной разметки на участках автомобильных дорог и искусственных сооружений для нанесения на них дорожной разметки. При этой оценке целесообразно проанализировать следующие показатели:
- сохранность горизонтальной дорожной разметки по площади и наличие дефектов;
- типы материалов (краски, термопластики, холодные пластики) и изделий (штучные формы и полимерные ленты), которые были использованы при нанесении существующей горизонтальной дорожной разметки;
- возвышение существующей горизонтальной дорожной разметки, выполненной термопластиками, холодными пластиками, штучными формами и полимерными лентами, над поверхностью покрытия, на которую она нанесена;
- соответствие расположения существующей горизонтальной дорожной разметки проекту организации дорожного движения или схеме дорожной разметки, в соответствии с которой планируется устройство новой структурной или профильной дорожной разметки;
- соответствие проекта организации дорожного движения или схемы горизонтальной дорожной разметки фактическому расположению других технических средств организации дорожного движения и элементов обустройства автомобильных дорог.
7.2.3. На основе выполненного анализа (по 7.2.2) предусматриваются работы по ликвидации старой горизонтальной дорожной разметки в следующих случаях:
- при определенной сохранности старой горизонтальной дорожной разметки по [1];
- если суммарное возвышение существующей и новой разметки над уровнем покрытия, на которое разметка нанесена, может превысить 6 мм (ГОСТ 32953, ГОСТ Р 51256);
- если выявлено несоответствие проекта организации дорожного движения (схемы горизонтальной дорожной разметки) существующей разметке;
- если выявлены несоответствия геометрических параметров дорожной разметки ГОСТ 32953 и ГОСТ Р 51256.
Ликвидация старой горизонтальной дорожной разметки проводится в соответствии с ГОСТ Р 58368.
7.2.4. При выявлении несоответствия проекта организации дорожного движения или схемы дорожной разметки фактическому расположению других технических средств организации дорожного движения и элементов обустройства автомобильных дорог рекомендуется обращаться к заказчику с целью уточнения и, при необходимости, актуализации проекта организации дорожного движения или схемы дорожной разметки.
7.2.5. Планирование сроков проведения работ по устройству горизонтальной дорожной разметки со структурной и профильной поверхностью выполняется в координации с периодами выполнения других работ по содержанию на данном участке автомобильной дороги (включая работы по демаркировке старой разметки) с целью снижения вероятности отрицательного влияния на качество и продолжительность функциональной долговечности вновь наносимой горизонтальной дорожной разметки.
7.2.6. До начала производства работ по устройству горизонтальной дорожной разметки со структурной и профильной поверхностью выполняются работы по техническому обслуживанию оборудования и транспортных средств, которые планируется использовать, а также метрологическому обеспечению средств измерений, входящих в состав разметочного оборудования (машин) и приспособлений, используемых для нанесения дорожной разметки и контроля ее качества.
7.2.7. До начала производства работ производится инструктаж специалистов, которые будут их выполнять.
7.2.8. До начала работ все бригады обеспечиваются временными техническими средствами организации дорожного движения по ГОСТ 32757, ГОСТ Р 58350, средствами индивидуальной защиты специалистов, средствами измерений и приспособлениями для проведения операционного контроля качества выполнения работ.
7.2.9. Горизонтальная дорожная разметка со структурной и профильной поверхностью, комбинированная горизонтальная дорожная разметка наносятся на покрытия автомобильных дорог, не имеющих дефектов по ГОСТ 33220 и ГОСТ Р 50597, которые могут повлиять на качество и продолжительность функциональной долговечности разметки.
7.2.10. До начала производства работ по нанесению горизонтальной дорожной разметки со структурной и профильной поверхностью выполняется очистка дорожного покрытия от пыли и загрязнений механическим или ручным способом.
7.3. Рекомендации по выбору мест нанесения горизонтальной дорожной разметки со структурной и профильной поверхностью, комбинированной дорожной разметки
7.3.1. Рекомендации по применению горизонтальной дорожной разметки со структурной и профильной поверхностью, комбинированной дорожной разметки в зависимости от категории автомобильной дороги приведены в таблице 3.
Таблица 3
Рекомендации по применению горизонтальной дорожной разметки
со структурной и профильной поверхностью, комбинированной
дорожной разметки в зависимости от категории
автомобильной дороги
Разновидность горизонтальной дорожной разметки со структурной и профильной поверхностью, комбинированной дорожной разметки
Категория автомобильной дороги по ГОСТ 33382
Типы и разновидности горизонтальной дорожной разметки по ГОСТ Р 51256
Горизонтальная дорожная разметка с профильной поверхностью
IА, IБ, IВ
Краевые линии
II, III, IV
Разделение встречных транспортных потоков, краевые линии
Горизонтальная дорожная разметка со структурной поверхностью
Краевые линии, линии разделения транспортных потоков попутного направления
II, III, IV
Разделение встречных транспортных потоков, краевые линии
Комбинированная горизонтальная дорожная разметка
IА, IВ
Краевые линии, линии разделения транспортных потоков попутного направления, 1.12, 1.14.1, 1.14.2
II, III, IV
Разделение встречных транспортных потоков, краевые линии
7.3.2. Горизонтальную дорожную разметку со структурной и профильной поверхностью, комбинированную горизонтальную дорожную разметку рекомендуется наносить в местах концентрации дорожно-транспортных происшествий и в других случаях с целью повышения безопасности дорожного движения.
7.3.3. Устройство горизонтальной дорожной разметки со структурной и профильной поверхностью, комбинированной горизонтальной дорожной разметки рекомендуется производить с учетом подраздела 4.3.2 ГОСТ 33151.
7.3.4. Не рекомендуется нанесение горизонтальной дорожной разметки с профильной поверхностью, обеспечивающей вибрационный эффект неподрессоренных масс транспортных средств, на участках дорог с ограничением по уровню шума.
7.4. Рекомендации по соблюдению технологий устройства горизонтальной дорожной разметки со структурной и профильной поверхностью
7.4.1. При нанесении горизонтальной дорожной разметки со структурной и профильной поверхностью холодными пластиками важно соблюдать рекомендации производителя материала по введению инициатора полимеризации в зависимости от условий окружающей среды, так как избыток или недостаток данного продукта может сказаться на технологичности материала, а впоследствии на функциональной долговечности разметки, выполненной данным материалом.
7.4.2. При нанесении горизонтальной дорожной разметки со структурной и профильной поверхностью термопластиками рекомендуется следить за температурой расплава. Фактическая температура укладки мелких отдельных агломератов может быть недостаточно высока для обеспечения стабильной термической связи с поверхностью, для нанесения на ней дорожной разметки.
7.4.3. При нанесении структурной и профильной разметки целесообразно выполнять точные настройки машины в соответствии с инструкциями производителей разметочной техники.
7.4.4. При нанесении горизонтальной дорожной разметки со структурной и профильной поверхностью руководствоваться [1].
8. Восстановление горизонтальной дорожной разметки со структурной и профильной поверхностью, комбинированной горизонтальной дорожной разметки
8.1. При износе и разрушении по площади горизонтальной дорожной разметки со структурной и профильной поверхностью, комбинированной горизонтальной дорожной разметки, а также при снижении ниже допустимых значений удельных коэффициентов световозвращения, удельного коэффициента светоотражения при диффузном дневном или искусственном освещении (по ГОСТ Р 51256) рекомендуется ее восстановление следующими путями:
- в случае, если ранее горизонтальная дорожная разметка была выполнена термопластиками, восстановление выполнять термопластиками, наносимыми методом распыления толщиной слоя до 1,5 мм (спрей-пластиками);
- в случае, если ранее горизонтальная дорожная разметка была выполнена холодными пластиками, восстановление выполнять холодными пластиками, наносимыми методом распыления толщиной слоя до 1,5 мм (спрей-пластиками);
- применение красок (эмалей) для восстановления горизонтальной дорожной разметки со структурной и профильной поверхностью возможно для возобновления фотометрических и колориметрических параметров при рекомендациях производителей красок (в том числе на водной основе) для восстановления линий разметки из термопластика и холодного пластика.
8.2. Превышение восстановленной горизонтальной дорожной разметки со структурной и профильной поверхностью, комбинированной горизонтальной дорожной разметки (с учетом выступов) над поверхностью, на которую она нанесена, - не более 6 мм по ГОСТ 32953, ГОСТ Р 51256.
8.3. Восстановление горизонтальной дорожной разметки со структурной и профильной поверхностью, комбинированной горизонтальной дорожной разметки путем использования спрей-пластиков рекомендуется выполнять не более двух раз. В дальнейшем целесообразно проведение демаркировки горизонтальной дорожной разметки.
9. Контроль качества горизонтальной дорожной разметки со структурной и профильной поверхностью, комбинированной горизонтальной дорожной разметки
9.1. Контроль качества горизонтальной дорожной разметки со структурной и профильной поверхностью, комбинированной горизонтальной дорожной разметки выполняется на всех этапах ее жизненного цикла и включает входной контроль используемых материалов (термопластики, холодные пластики) и изделий (микростеклошарики, полимерные ленты), операционный контроль, приемочный и эксплуатационный контроль качества.
9.2. Входной, инспекционный операционный, приемочный и эксплуатационный контроли качества проводятся организацией, имеющей компетентную дорожную лабораторию в соответствии с ГОСТ ISO/IEC 17025 с применением поверенных (калиброванных) средств измерений и аттестованного испытательного оборудования. Операционный контроль качества осуществляется постоянно организацией, выполняющей работы по нанесению дорожной разметки с использованием поверенных (калиброванных) средств контроля. Выборочно заказчиком проводится инспекционный операционный контроль качества нанесения дорожной разметки.
9.3. Входной контроль материалов и изделий для дорожной разметки проводится по ГОСТ 32829, ГОСТ 32849, ГОСТ Р 53173, ГОСТ Р 54307 на соответствие ГОСТ 32830, ГОСТ 32848, ГОСТ Р 53172, ГОСТ Р 54306, техническому заданию и рекомендуемым параметрам материалов и изделий, представленных в настоящем ОДМ.
9.4. Результаты входного контроля качества предоставляются заказчику подрядной организацией перед началом выполнения работ по нанесению горизонтальной дорожной разметки и в процессе выполнения работ при поступлении новых объемов материалов и изделий.
9.5. При производстве работ по нанесению горизонтальной дорожной разметки со структурной и профильной поверхностью, комбинированной горизонтальной дорожной разметки подрядной организацией проводится операционный контроль качества на соответствие требуемым параметрам. Результаты операционного контроля заносятся в журнал производства работ и оказания услуг по нанесению дорожной разметки. Результаты инспекционного операционного контроля заносятся в установленную форму по [1].
9.6. Приемочный контроль качества проводится по ГОСТ 32952 с целью приемки выполненных работ по нанесению горизонтальной дорожной разметки и подтверждения ее соответствия требованиям Контракта. Результаты приемочного контроля качества предоставляются заказчику. В случае выявления несоответствия полученных результатов, в т.ч. по отдельным параметрам, заказчик выдает предписание подрядной организации об исправлении выявленных недостатков с последующей проверкой исполнения предписаний.
9.7. В ходе приемочного контроля рекомендуется оценивать степень заполнения линий горизонтальной дорожной разметки со структурной поверхностью, результат которого принимается за начальное состояние для дальнейшего учета износа и разрушения по площади. Степень заполнения линий горизонтальной дорожной разметки со структурной поверхностью определяется в соответствии с ГОСТ 32952-2014 (подраздел 3.14), с занесением полученных результатов в графы "Примечания" журналов производства работ и ведомостей (актов) приемочного контроля качества.
9.8. Эксплуатационный контроль горизонтальной дорожной разметки проводится с целью определения соответствия характеристик дорожной разметки контрактным обязательствам и нормативным документам в процессе эксплуатации. По результатам эксплуатационного контроля качества, предоставленных заказчику, принимается решение о восстановлении горизонтальной дорожной разметки до нормативных требований.
9.9. Оценку износа и разрушения горизонтальной дорожной разметки по площади при проведении эксплуатационного контроля качества горизонтальной дорожной разметки со структурной поверхностью рекомендуется выполнять с учетом начального положения степени заполнения линий.
9.10. Инспекционный операционный, приемочный и эксплуатационный контроль проводится по ГОСТ 32952 и "Рекомендациям по контролю качества горизонтальной дорожной разметки" [2].
9.11. Результаты контроля качества горизонтальной дорожной разметки со структурной и профильной поверхностью, комбинированной горизонтальной дорожной разметки заносятся в акты или ведомости установленной формы по [1].
10. Охрана труда и окружающей среды при устройстве дорожной разметки со структурной и профильной поверхностью, комбинированной горизонтальной дорожной разметки
10.1. Положения по охране труда и окружающей среды при устройстве дорожной разметки со структурной и профильной поверхностью, комбинированной горизонтальной дорожной разметки содержатся в сопроводительной документации производителей материалов и изделий, инструкций по эксплуатации разметочных машин и оборудования.
10.2. При работе с микростеклошариками (по ГОСТ 32848 и ГОСТ Р 53172, в случае попадания их на покрытие (за пределы линий разметки) в количестве, способном повлиять на безопасность движения транспортных средств и пешеходов, микростеклошарики удаляют до начала движения по этому участку.
10.3. К работе по устройству дорожной разметки со структурной и профильной поверхностью, комбинированной горизонтальной дорожной разметки допускаются лица, прошедшие инструктаж по технике безопасности, промсанитарии с регистрацией в журнале по технике безопасности и обеспеченные специальной одеждой и средствами индивидуальной защиты в соответствии с ГОСТ Р 59123 и ГОСТ 12.4.103.
10.4. Безопасность производства работ отражается в соответствующих схемах организации дорожного движения в местах производства работ, утвержденных в установленном порядке.
11. Назначение и обеспечение гарантийных обязательств
Гарантийные обязательства горизонтальной дорожной разметки со структурной и профильной поверхностью, комбинированной горизонтальной дорожной разметки в соответствии с ГОСТ Р 51256.
БИБЛИОГРАФИЯ
[1]
ОДМ 218.6.020-2016 Методические рекомендации по устройству дорожной разметки. Изданы на основании распоряжения Федерального дорожного агентства от 29.08.2016 N 1731-р
[2]
Рекомендации по контролю качества горизонтальной дорожной разметки. Приняты и введены в действие письмом Государственной службы дорожного хозяйства Министерства транспорта Российской Федерации (Росавтодор) от 22.01.2004 г. N ОС-28/352-ис
ОКС 93.080.01
Ключевые слова: дорожная разметка, горизонтальная дорожная разметка со структурной и профильной поверхностью, комбинированная горизонтальная дорожная разметка, контроль качества
Руководитель
разработки,
Генеральный директор
ООО ЦИТИ "Дорконтроль"
В.Н.СВЕЖИНСКИЙ
Исполнители:
С.В.ГАВРИЩУК
И.С.АРЧИБАСОВ