Главная // Актуальные документы // НормыСПРАВКА
Источник публикации
М.: УГПС МВД РФ, ВНИИПО МВД РФ, 1998
Примечание к документу
Документ утратил силу с 01.01.2021 в связи с изданием
Постановления Правительства РФ от 11.07.2020 N 1034.
Введен в действие с 1 июня 1998 года.
Название документа
"НПБ 253-98. Оборудование противодымной защиты зданий и сооружений. Вентиляторы. Метод испытания на огнестойкость"
(утв. Приказом ГУГПС МВД РФ от 29.05.1998 N 39)
"НПБ 253-98. Оборудование противодымной защиты зданий и сооружений. Вентиляторы. Метод испытания на огнестойкость"
(утв. Приказом ГУГПС МВД РФ от 29.05.1998 N 39)
Утверждены и введены в действие
Приказом ГУГПС МВД РФ
от 29 мая 1998 г. N 39
НОРМЫ ПОЖАРНОЙ БЕЗОПАСНОСТИ
ОБОРУДОВАНИЕ ПРОТИВОДЫМНОЙ ЗАЩИТЫ ЗДАНИЙ И СООРУЖЕНИЙ.
ВЕНТИЛЯТОРЫ. МЕТОД ИСПЫТАНИЯ НА ОГНЕСТОЙКОСТЬ
THE EQUIPMENT OF SMOKE CONTROL SYSTEMS. FANS.
THE TEST METHOD FOR THE FIRE RESISTANCE
НПБ 253-98
Разработаны Главным управлением Государственной противопожарной службы (ГУГПС) МВД России (В.Е. Татаров, В.В. Орлов), Всероссийским научно-исследовательским институтом противопожарной обороны (ВНИИПО) МВД России (И.И. Ильминский, П.П. Девлишев).
Внесены и подготовлены к утверждению нормативно - техническим отделом ГУГПС МВД России.
Дата введения в действие 1 июня 1998 г.
Вводятся впервые.
1. Настоящие нормы устанавливают метод испытания на огнестойкость вентиляторов, используемых для механического побуждения тяги в системах аварийной противодымной вентиляции, а также в системах общеобменной, местной вытяжной вентиляции и кондиционирования, предназначенных для функционирования в режиме противодымной вентиляции при пожарах в зданиях и сооружениях различного назначения.
2. В настоящих нормах использованы ссылки на следующие нормативные документы:
2.1.
ГОСТ 12.3.018-79. ССБТ. Системы вентиляционные. Методы аэродинамических испытаний
2.2.
ГОСТ 10921-90. Вентиляторы радиальные (центробежные) и осевые. Методы аэродинамических испытаний
| | ИС МЕГАНОРМ: примечание. ГОСТ Р 50431-92 утратил силу с 1 июля 2002 года в связи с введением в действие ГОСТ Р 8.585-2001, утв. Постановлением Госстандарта РФ от 21.11.2001 N 474-ст. | |
2.3. ГОСТ Р 50431-92. Термопары. Номинальные статические характеристики преобразования
2.4.
ГОСТ 12.2.003-91. Оборудование производственное. Общие требования безопасности
2.5.
ГОСТ 12.1.019-79*. Электробезопасность. Общие требования и номенклатура видов защиты
2.6.
ГОСТ Р 30247.0-94. Конструкции строительные. Методы испытания на огнестойкость. Общие требования.
III. КРИТЕРИИ ОГНЕСТОЙКОСТИ
3. Огнестойкость вентилятора - способность вентилятора сохранять функциональное назначение при перемещении высокотемпературной газовой среды при пожаре.
4. Огнестойкость вентилятора определяется временем от начала нагревания перемещаемой газовой среды до наступления одного из предельных состояний.
5. Различают два вида предельных состояний конструкций вентиляторов по огнестойкости:
разрушение;
потеря функциональной способности.
5.1. Наступление предельного состояния по разрушению характеризуется следующими признаками:
а) разрушением одного или нескольких узлов конструкции вентилятора;
б) воспламенением в узле привода вентилятора;
в) образованием в корпусе вентилятора трещин или отверстий с выбросом через них нагретых газов.
5.2. Наступление предельного состояния по потере функциональной способности характеризуется снижением производительности или давления вентилятора, приведенных к нормальным (стандартным) условиям (барометрическое давление

= 103,3 кПа, температура

= 20 °C) более чем на 20% по сравнению с данными аэродинамической характеристики вентилятора, указанными в технической документации.
IV. СУЩНОСТЬ МЕТОДА И РЕЖИМЫ ИСПЫТАНИЯ
6. Испытание заключается в определении времени, по истечении которого достигается одно из предельных состояний конструкции вентилятора по
п. 5.
7. Перед началом испытаний значения производительности и давления испытываемого вентилятора устанавливаются в диапазоне, соответствующем рабочему участку аэродинамической характеристики вентилятора, приведенной в технической документации на изделие, и в процессе испытаний регулировке не подлежат.
8. Температура газовой среды, поступающей в вентилятор в процессе испытаний, должна изменяться в соответствии с соотношением

,
где

- изменение во времени температуры газовой среды на входе в вентилятор относительно начальной температуры окружающей среды, °C;

- время от начала нагрева, мин, и поддерживаться до окончания испытаний постоянной по достижении значения, равного (в зависимости от назначения вентилятора):
а) 400 °C - для вентиляторов систем, обслуживающих помещения на путях эвакуации из зданий и сооружений, смежные с горящим (коридоры, холлы и др.);
б) 600 °C - для вентиляторов систем, обслуживающих непосредственно горящее помещение.
Допускаемые отклонения от расчетных значений температур по
пп. а, б должны соответствовать требованиям
ГОСТ Р 30247.0.
9. С учетом особенностей схемных решений систем вытяжной противодымной вентиляции и обслуживаемых ими помещений указанные в
п. 8 температурные режимы могут быть изменены при наличии расчетного обоснования.
V. СТЕНДОВОЕ ОБОРУДОВАНИЕ И ИЗМЕРИТЕЛЬНАЯ АППАРАТУРА
10. Стенд для проведения испытания вентиляторов состоит из печи внутренним размером не менее 1,5 х 2 х 2 м, выравнивающего и дросселирующего устройств, воздуховодов обвязки вентиляторов (обязательные
Приложения 1, 2).
Печь должна быть оборудована форсунками, работающими на жидком топливе, и обеспечивать требуемые тепловые режимы по
п. 8.
Выравнивающее устройство выполняется по
ГОСТ 10921 в виде сеток, спрямляющих решеток и т.п., площадь проходного сечения которых должна составлять не менее 50% площади всасывающего воздуховода обвязки вентилятора.
Дросселирующее устройство должно обеспечивать возможность регулирования подачи испытываемого вентилятора в диапазоне значений, соответствующих рабочему участку аэродинамической характеристики изделия.
11. Испытательный стенд оснащается средствами измерения давления, температуры и расхода газа.
11.1. Для измерения расхода газов, перемещаемых вентилятором, используются комбинированные приемники давления (КПД) по
ГОСТ 12.3.018 с диаметром приемной части, не превышающим 8% внутреннего диаметра круглого или ширины прямоугольного воздуховода.
11.2. Координаты точек последовательного размещения комбинированного приемника давления в мерном сечении I-I воздуховода (обязательные
Приложения 1, 2) при измерении расхода газов следует определять по
ГОСТ 12.3.018.
11.3. Для измерения статических давлений в мерных сечениях следует устанавливать не менее четырех приемников в виде трубок с внутренним диаметром от 2 до 5 мм, расположенных равномерно по периметру воздуховода на его поверхности. Приемники статического давления должны быть соединены между собой трубкой с диаметром, превышающим диаметр отверстий приемников более чем в 2 раза.
11.4. Для регистрации давления газовой среды следует применять приборы (манометры, микроманометры и т.п.) класса точности не ниже 1,0.
| | ИС МЕГАНОРМ: примечание. ГОСТ Р 50431-92 утратил силу с 1 июля 2002 года в связи с введением в действие ГОСТ Р 8.585-2001, утв. Постановлением Госстандарта РФ от 21.11.2001 N 474-ст. | |
11.5. Для измерения температуры газового потока на входе в вентилятор (сечение II-II), на выходе из него (сечение III-III), а также в сечении установки расходомерного устройства (I-I) следует применять термоэлектрические преобразователи (ТЭП) с диаметром электродов не более 0,7 мм. Номинальные статические характеристики и пределы допускаемых отклонений термоэлектродвижущей силы (т.э.д.с.) ТЭП должны соответствовать ГОСТ Р 50431 или индивидуальным градуировкам.
При этом в соответствии с обязательным Приложением 1 термоэлектрические преобразователи должны устанавливаться в мерных сечениях II-II и III-III на расстоянии не более 0,1 d от оси воздуховодов.
Расстояние от входного и выходного фланцев вентилятора до мерных сечений II-II и III-III соответственно не должно превышать 100 мм.
Термоэлектрический преобразователь в сечении I-I располагается на расстоянии от 5 до 15 мм от центра приемного отверстия полного давления КПД, позади него по потоку.
11.6. Для регистрации измеряемых температур следует применять приборы класса точности не ниже 1,0.
11.7. Для измерения интервалов времени должны использоваться секундомеры с погрешностью измерения, составляющей не более 10 с в течение 1 часа.
VI. ПОДГОТОВКА К ИСПЫТАНИЯМ
12. На испытания представляется вентилятор, укомплектованный электроприводом и соответствующей требованиям конструкторской и/или проектной документации коммутационной аппаратурой.
13. Испытываемый образец вентилятора должен быть отрегулирован и установлен на стенде с присоединением к воздуховодам обвязки, согласно требованиям конструкторской документации по монтажу.
14. Непосредственно перед проведением испытания должна быть снята аэродинамическая характеристика вентилятора посредством его дросселирования при температуре окружающей среды. К испытанию допускаются вентиляторы, соответствующие данным технической документации и (для серийно выпускаемых изделий) прошедшие технический контроль на предприятии-изготовителе.
VII. ПОСЛЕДОВАТЕЛЬНОСТЬ ПРОВЕДЕНИЯ ИСПЫТАНИЯ
15. Испытание должно проводиться при температуре окружающей среды от 0 до 40 °C, если условия применения вентиляторов не определяют иных требований.
16. Для проведения испытания включается вентилятор, установленный на стенде, после чего в течение двух минут, необходимых для стабилизации режима его работы, производится внешний контроль работоспособности основных узлов стендового оборудования и измерительной аппаратуры. Началом испытания является момент включения форсунок печи.
17. В процессе испытания проводится контроль и осуществляются измерения следующих параметров:
температуры на входе в вентилятор;
температуры на выходе из вентилятора (для всех вентиляторов, кроме крышных);
температуры в сечении установки расходомера;
разности давлений на входе и выходе вентилятора (для крышных вентиляторов - разности давлений на входе в вентилятор и наружного);
перепада давлений на КПД;
состояния конструкции испытываемого образца (наличие вибраций, биений рабочего колеса, воспламенение в узле привода, образование сквозных трещин и отверстий в корпусе с выбросом нагретых газов, появление отказов, приводящих к остановке рабочего колеса и т.п.).
18. Окончание испытания должно соответствовать моменту наступления одного из предельных состояний конструкции вентилятора по огнестойкости.
VIII. ОБРАБОТКА РЕЗУЛЬТАТОВ ИЗМЕРЕНИЙ
19. Обработка результатов измерения осуществляется по следующим формулам:
19.1. Производительность вентилятора

,
где

,

- средняя скорость газового потока в сечении воздуховода,

;
F - площадь поперечного сечения воздуховода, м2;

- перепад давления на комбинированном приемнике давления в i-й точке сечения воздуховода, Па;
n - количество точек отбора давления;

- температура газа в i-й точке сечения воздуховода, °C.
19.2. Статическое давление для крышного вентилятора

,
где

- температура газового потока перед вентилятором, °C;

- статическое давление перед вентилятором в сечении I-I (обязательное
Приложение 2) относительно барометрического давления (для крышных вентиляторов), Па.
19.3. Полное давление вентилятора

,
где

- статическое давление вентилятора, Па;

,

- абсолютное статическое давление потока перед вентилятором в сечении II-II и за ним в сечении III-III (см. обязательное
Приложение 1), Па;

- динамическое давление вентилятора;

- средняя скорость газового потока в сечении III-III,

;

- температура газового потока в сечении III-III, °C.
19.4. Приведение полученных значений давления, развиваемого вентилятором, к нормальным условиям производится по формуле

,
где

- приведенное значение давления, Па;

для центробежных и осевых вентиляторов и

- для крышных, Па.
19.5. Средняя скорость газового потока в выходном сечении вентилятора определяется по формуле

,
где

- производительность вентилятора,

;

- площадь сечения III-III, м2.
20. Аэродинамические характеристики, определяемые в испытаниях при температуре окружающей среды и приведенные к нормальным условиям, должны приводиться в виде графических зависимостей в координатах

для крышных вентиляторов и в координатах

для центробежных и осевых.
IX. ОЦЕНКА РЕЗУЛЬТАТОВ ИСПЫТАНИЯ
21. Огнестойкость вентилятора определяется интервалом времени до наступления одного из предельных состояний по
пп. 5.1, 5.2 и температурой перемещаемой им газовой среды, при которой это предельное состояние достигнуто. Пример записи в отчете об испытаниях: "Фактический предел огнестойкости радиального вентилятора типа ВР-86-77-5ДУ составляет 1,5 часа при температуре 600 °C".
22. Отчет об испытании, составленный по рекомендуемой форме, должен содержать следующие данные:
22.1. Наименование организации, проводящей испытания;
22.2. Наименование и адрес заказчика;
22.3. Характеристика объекта испытаний;
22.4. Метод испытания;
22.5. Процедура испытания;
22.6. Испытательное оборудование;
22.7. Результаты испытаний;
22.8. Оценка результатов испытаний.
23. При испытаниях вентиляторов на огнестойкость должны соблюдаться требования безопасности и производственной санитарии согласно
ГОСТ 12.2.003 и
ГОСТ 12.1.019.
24. К испытанию допускаются лица, ознакомленные с техническим описанием и инструкцией по эксплуатации испытательного стенда.
25. Лица, производящие пуск и остановку вентилятора, должны во время испытания находиться около выключающих устройств.
26. Перед проведением испытания необходимо проверить надежность крепления вентилятора, а также приборов и оборудования, необходимых для стендового испытания.
27. Все быстро движущиеся и вращающиеся части стендовой установки должны иметь ограждения.
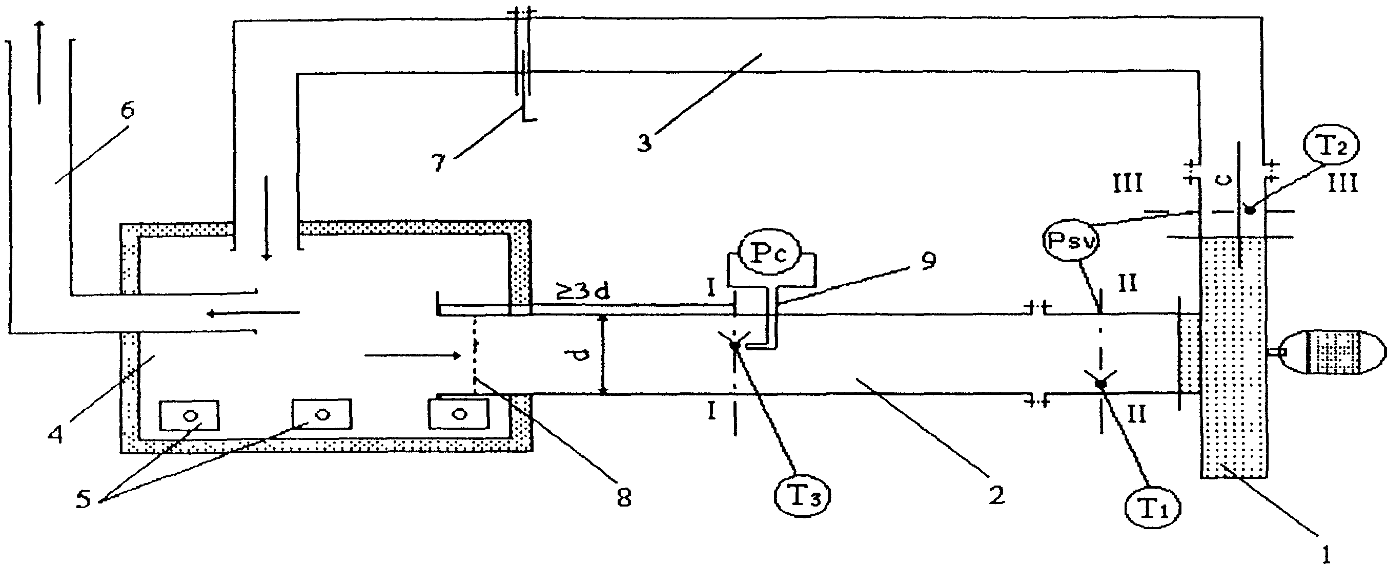
(обязательное)
Рис. 1.1. Схема стенда для испытания вентиляторов
1 - испытываемый образец вентилятора; 2 - всасывающий
воздуховод; 3 - нагнетательный воздуховод; 4 - печь;
5 - форсунки; 6 - дымоход; 7 - дросселирующее устройство;
8 - выравнивающее устройство; 9 - комбинированный приемник
давления (КПД); I-I, II-II, III-III - мерные сечения; -
термоэлектрический преобразователь (ТЭП); T1, T2, T3 -
температуры на входе и выходе из вентилятора и в сечении
измерения расхода газов соответственно;

- статическое
давление вентилятора;

- перепад давления на КПД
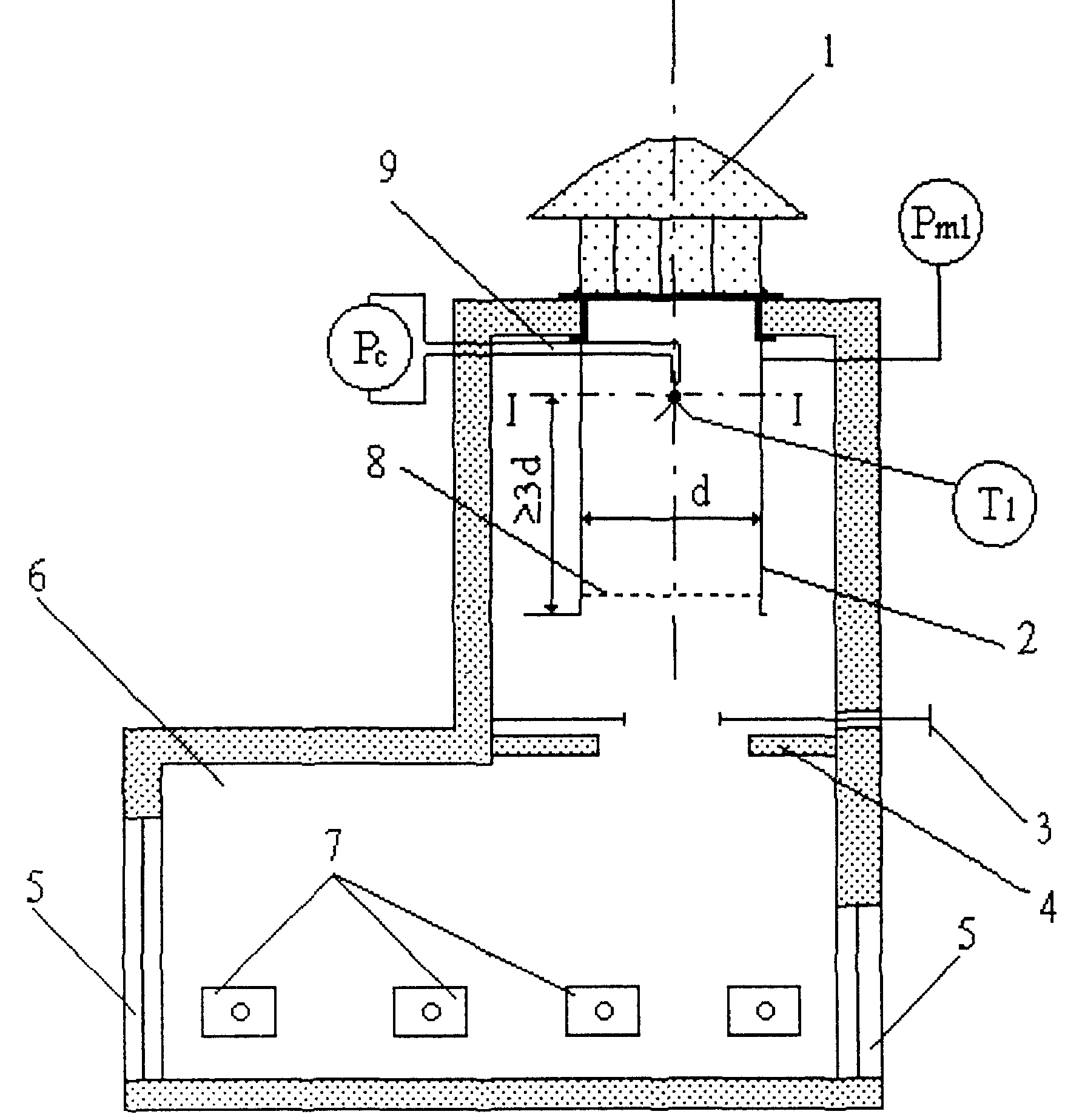
(обязательное)
Рис. 2.1. Схема стенда для испытания
крышных вентиляторов
1 - испытываемый образец вентилятора; 2 - всасывающая
камера; 3 - дроссельная диафрагма; 4 - перегородка;
5 - технологические проемы; 6 - печь; 7 - форсунки;
8 - выравнивающее устройство; 9 - комбинированный приемник
давления (КПД); I-I - мерное сечение; - термоэлектрический
преобразователь (ТЭП); Т1 - температура на входе в вентилятор,

- статическое давление вентилятора;

- перепад
давления на комбинированном приемнике давления (КПД)