Главная // Актуальные документы // МетодикаСПРАВКА
Источник публикации
М.: Издательство стандартов, 1975
Примечание к документу
Документ утратил силу в связи с изданием письма ФГУП "ВНИИФТРИ" от 06.04.2011 N 13-19/1670.
Название документа
"МИ 24-74. Методика аттестации климатического испытательного оборудования"
(утв. Протоколом ВНИИФТРИ от 24.04.1974 N 3)
"МИ 24-74. Методика аттестации климатического испытательного оборудования"
(утв. Протоколом ВНИИФТРИ от 24.04.1974 N 3)
Протоколом Научно-технического совета
всесоюзного научно-исследовательского
института физико-технических
и радиотехнических измерений
(ВНИИФТРИ)
от 24 апреля 1974 г. N 3
МЕТОДИКА АТТЕСТАЦИИ КЛИМАТИЧЕСКОГО
ИСПЫТАТЕЛЬНОГО ОБОРУДОВАНИЯ
МИ 24-74
Разработана Всесоюзным научно-исследовательским институтом физико-технических и радиотехнических измерений (ВНИИФТРИ).
Директор Коробов В.К.
Руководитель темы Кальман И.Г.
Исполнитель Якобсон Б.М.
Подготовлена к утверждению сектором госиспытаний и стандартизации (ВНИИФТРИ).
Руководитель сектора Турунцова И.И.
Исполнитель Генфон И.Ш.
Утверждена научно-техническим советом всесоюзного научно-исследовательского института физико-технических и радиотехнических измерений (ВНИИФТРИ), Протокол N 3 от 24 апреля 1974 г.
В настоящем документе предлагается консультативный материал по методам аттестации испытательных камер отечественного производства, а также нестандартных камер, оборудованных на предприятиях СССР, предназначенных для получения в них необходимых температур и относительной влажности.
Инструкция предусматривает методы определения рабочих характеристик (температуры, относительной влажности) незагруженных испытательных камер объемом не менее 0,05 м3 в области температур от 173,15 до 433,15 K и относительной влажности от 10 до 100% при положительных температурах окружающего воздуха.
1. УСЛОВИЯ ПРОВЕДЕНИЯ АТТЕСТАЦИИ
1.1. Аттестуемая камера должна быть исправной.
1.2. Условия окружающей среды должны быть нормальными (если в техдокументации на камеру не указаны иные условия): температура воздуха 288,15 - 308,15 K; относительная влажность воздуха 50 - 80%; атмосферное давление 630 - 800 мм рт. ст.
2. ПОДГОТОВКА К АТТЕСТАЦИИ
2.1. Аттестацию камеры по
пп. 3.1 -
3.5 проводят после изготовления и ремонта камеры.
Аттестацию камеры по
пп. 3.1 -
3.3,
3.5 проводят не реже одного раза в год, по
п. 3.4 - не реже одного раза в три года.
2.1.1. Операции, предусматриваемые после ремонта камеры, выполняют только после ремонта холодильных агрегатов, нагревателей, системы вентиляции и других важнейших узлов камеры, которые непосредственно влияют на изменение режима испытаний.
После ремонта остальных узлов камеры, не влияющих на ее технические характеристики, аттестацию проводят по усмотрению владельца камеры.
2.2. Перед проведением аттестации выполняют следующие операции.
2.2.1. Выбирают и подготавливают к работе приборы и технические средства, необходимые для проведения аттестации.
2.2.1.1. При аттестации рекомендуется использовать приборы и технические средства, указанные в
Приложении 1. Разрешается использовать другие приборы, пределы измерения и класс точности которых не хуже, чем у приборов, указанных в
Приложении 1.
2.2.1.2. Все подлежащие поверке приборы, используемые при аттестации, должны иметь свидетельства о поверке.
2.2.1.3. Вторичные измерительные приборы поверяют и регулируют совместно с первичными измерительными приборами по методике, указанной в
Приложении 2.
2.2.1.4. Настройку электронного автоматического измерительного моста, применяемого для определения характеристик испытуемой камеры, производят согласно методике настройки моста КСМ-4 для измерения температур от 193,15 до 433,15 K с точностью 0,1 K, изложенной в
Приложении 3.
2.2.2. Термометры сопротивления размещают в полезном объеме камеры в местах, указанных на
чертеже, на расстоянии 100 мм от стенок.
Термометры сопротивления соединяют проводами с автоматическим измерительным мостом через штатные коммутирующие устройства или шлюзы камеры.
Схема размещения в камере датчиков
температуры (влажности)
2.2.2.1. Рядом с контрольным ТСП, помещаемым возможно ближе к центру камеры, размещают термометр для измерения отрицательной температуры.
2.2.2.2. В камерах большого объема количество датчиков может быть увеличено при условии выполнения изложенных принципов аттестации.
2.2.3. Выбирают из ниже указанного ряда температур значения базовой и предельных температур, используемых при аттестации камеры: 78,15; 188,15; 213,15; 223,15; 228,15; 233,15; 243,15; 248,15; 263,15; 268,15; 273,15; 313,15; 318,15; 323,15; 328,15; 333,15; 343,15; 358,15; 373,15; 398,15; 428,15; 473,15; 523,15; 588,15; 673,15; 773,15 K.
| | ИС МЕГАНОРМ: примечание. В официальном тексте документа, видимо, допущена опечатка: условные обозначения, принятые в настоящей методике, даны в Приложении 4, а не в Приложении 1. | |
Условные обозначения, принятые и настоящей методике, даны в
Приложении 1.
3.1. Определение пределов воспроизводимой температуры в полезном объеме камер и времени их достижения.
3.1.1. Включают камеру. Задают базовую температуру tб = 298,15 +/- 2 K (по задающему прибору).
3.1.2. При достижении tб камеру выдерживают при этой температуре не менее 30 мин, после чего включают измерительный мост и производят измерение и запись температуры.
Показания задающего прибора-самописца и лабораторного термометра регистрируют одновременно. Производят запись не менее трех циклов регулирования или за время не менее 30 мин. Если регистрация циклов регулирования затруднена, выключают диаграмму моста. Рекомендуется устанавливать скорость перемещения диаграммы 600 мм/ч.
3.1.3. После проверки камеры при нормальной температуре производят измерения при предельно достижимой отрицательной температуре t-пр. Задают требуемую t-пр. Камеру выводят на заданный режим.
Через каждые 10 K проверяют и записывают температуру по контрольному лабораторному термометру. Одновременно фиксируют показания температуры по задатчику и самописцу камеры. Время достижения каждого температурного предела (в т.ч. и момент прохождения точки с температурой 273,15 K) регистрируют при помощи секундомера или часов.
В момент достижения заданного режима останавливают секундомер, включают измерительный мост и производят запись не менее трех циклов регулирования t-пр (или за время не менее 30 мин). При этом отмечают наибольшие колебания температуры.
Если при достижении заданной предельной температуры не включается автоматика камеры, регулирующая поддержание в камере заданного режима, то необходимо найти такую предельную температуру, при которой автоматика начинает работать. Для этого рекомендуется задать температуру на 10 K ниже той, при которой произведена проверка, (а при измерениях по
п. 3.1.5 на 10 K выше) и повторить операцию. Изменяя далее величину установки в пределах 10 K методом последовательного приближения, находят искомую температуру. Полученные данные заносят в таблицу, приведенную в
Приложении 5.
За момент выхода камеры в заданный режим принимают момент регистрации tср.ст.
3.1.4. Перед проверкой камеры в режиме предельно достижимой положительной температуры камеру выдерживают при нормальной температуре, для чего задатчикам устанавливают температуру tб и камеру выводят в этот режим. Включают измерительный мост и производят запись температуры.
Через каждые 10 K по контрольному термометру фиксируют время достижения каждого значения температуры. При этом по контрольному ТСП отмечают наибольшие колебания температуры. Полученные данные заносят в таблицу, приведенную в
Приложении 5.
3.1.5. Выдержав камеру при температуре t
б не менее 30 мин, устанавливают предельно достижимый режим, характеризуемый положительной температурой t
+пр.
В процессе вывода камеры в этот режим в области положительных температур выполняют все рассмотренные выше операции.
3.1.6. Для камер с регулируемой мощностью нагрева (охлаждения), необходимо также произвести измерения, характеризующие скорость изменения при различных (не менее двух) мощностях нагрева.
3.2. Определение неравномерности распределения температуры и относительной влажности в полезном объеме камеры
3.2.1. Датчики влажности размещают в полезном объеме камеры: контрольный - возле контрольного ТСП, остальные - в тех местах полезного объема камеры, в которых ТСП регистрируют наибольшие отклонения от показаний контрольного ТСП.
Датчики влажности подключают к автоматическому измерительному мосту.
Вблизи контрольного датчика влажности помещают психрометр.
Примечание. При использовании вместо электролитических датчиков психрометров их размещают в тех же местах, где должны быть электролитические датчики.
Измерение влажности рекомендуется производить при температурах от 273,15 до 333,15 K в режиме, выбираемом при помощи психрометрической таблицы (см.
Приложение 8) и характеризуемом минимальными температурой и относительной влажностью.
3.2.2. Включают камеру. При достижении заданного режима (по показаниям контрольных приборов) включают диаграммы мостов.
Печатающие устройства мостов должны быть отрегулированы так, чтобы запись температуры и влажности производилась приблизительно в одно время и в одних и тех же местах камеры. После установления заданного режима производят измерения не менее чем при трех циклах регулирования (или за время не менее 30 мин), если трудно зафиксировать цикл регулирования).
3.2.3. Все регулирующие устройства камеры устанавливают в положения, соответствующие относительной влажности

при той же температуре. В процессе вывода камеры в этот режим через каждые 10 - 15% производят запись относительной влажности на диаграмме моста.
При использовании психрометров влажность повышают ступенями через 10 - 15% и на каждой ступени производят регулирование, а показания психрометров заносят в таблицу по форме, приведенной в
Приложении 5. При достижении значения относительной влажности, равного 95%, необходимо тщательно контролировать, в каких местах камеры и когда будет достигнута относительная влажность

. Визуальный контроль за наступлением точки росы рекомендуется осуществлять при помощи зеркала, помещенного в центре камеры. Запотевание поверхности зеркала свидетельствует о наступлении точки росы. Этот момент сопровождается контрольным измерением всех параметров.
3.2.4. Выключают диаграммы мостов и камеру. Камеру открывают и проветривают.
3.2.5. Все регулирующие устройства камеры устанавливают в положения, соответствующие следующему температурному режиму, который на 5 - 10 K выше предыдущего, что фиксируют по показаниям "сухого" термометра. Включают камеру. При достижении новой установленной температуры повторяют операции, предусмотренные в
пп. 3.2.2 -
3.2.5.
3.2.6. По результатам измерений для каждой камеры вычерчивают графики с указанием

по экспериментальным значениям

при заданных температурах.
Заданные значения температуры t из диаграмм вместе с предельными значениями

заносят в таблицу по форме, приведенной в
Приложении 5.
Неравномерность распределения температуры

и относительной влажности

определяют как разность между максимальными и минимальными значениями t и

в полезном объеме камер.
3.3. Определение колебаний температуры и относительной влажности в полезном объеме камеры
3.3.1. Определение колебаний температуры и относительной влажности производят одновременно с определением неравномерности температуры и относительной влажности по
п. 3.2.
Все данные, необходимые для определения колебаний

и

, берут из диаграммы записи температуры и влажности или из показания "сухих" и "влажных" термометров (см. таблицу
Приложения 5) и результаты вычислений также заносят в таблицу (см.
Приложение 6).
3.3.2. В камерах нестандартного типа объемом более 1,0 м3, где неравномерность и колебания температуры и влажности могут достигать величин более допустимых ГОСТ 10370-71, перемещением датчиков находят область с наиболее оптимальными режимами, которые соответствуют ГОСТ 10370-71.
3.3.3. При каждом значении заданной температуры пределы регулирования выбирают так, чтобы относительная влажность в камере при минимальной температуре цикла не достигла в этой точке 100%.
3.3.4. Колебания температуры

и относительной влажности

определяют как разность их наибольшего и наименьшего значений в исследуемом месте камеры при любом из циклов регулирования.
3.3.5. Скорость диаграммы моста выбирают такой, чтобы время цикла опроса датчиков температуры и влажности было не более половины времени цикла регулирования.
3.3.6. Датчики влажности при температурах ниже 273,15 K, а также выше 343,15 K убирают из камеры.
3.3.7. При работе с психрометрами Августа показания "сухого" и "влажного" термометров заносят в таблицу (см.
Приложение 5).
3.4. Определение погрешностей измерения, задания и регистрации температуры и относительной влажности
3.4.1. Датчики температуры и влажности размещают в камере в местах, указанных на
чертеже 1.
Датчики терморегулятора, самописца, термометр лабораторный, контрольный ТСП помещают рядом, желательно в центре камеры.
В случае если невозможно датчики терморегулятора и самописца камеры поместить в центре камеры, контрольный ТСП и датчик влажности, лабораторный термометр и психрометр помещают вблизи датчиков камеры.
3.4.2. Погрешности измерения температуры и влажности определяют по формулам

; (1)

. (2)
3.4.3. Погрешности задания температуры и влажности определяют по формулам

; (3)

. (4)
3.4.4. Погрешность самопишущих приборов определяют по формулам

; (5)

, (6)
где измерение

и t
с производят при помощи шкальной линейки самописца.
3.4.5. Определение погрешностей t производят не менее чем при трех разных значениях отрицательной и трех значениях положительной температур.
Перед заданием очередного режима камера должна проветриваться.
3.5. Определение значения допустимых тепловыделений в полезном объеме камеры
3.5.1. В полезный объем камеры помещают нагреватель. Он должен быть удален от датчиков, размещенных в центре камеры так, чтобы не оказывать на них непосредственного воздействия.
3.5.2. Задают предельную, достижимую в камере отрицательную температуру. Включают мост и производят запись температуры.
3.5.3. После установления в камере заданного режима включают нагреватель.
Регулируя реостатом мощность нагревателя, находят такой режим, при котором температура в камере не будет превышать заданной (с учетом допустимых в этом случае отклонений).
3.5.4. Мощность нагревателя увеличивается ступенями величиной не более 0,1 от номинальной мощности. На каждой из этих ступеней камеру выдерживают не менее 15 - 20 мин. Заданную мощность и время выдержки регистрируют. Результаты измерений заносят в таблицу, форма которой приведена в
Приложении 6.
Для стандартных камер объемом до 1,0 м3 значения допустимых тепловыделений, не влияющих на характерные камеры, должны соответствовать ГОСТ 10370-71. Для остальных камер допустимые тепловыделения должны быть предусмотрены в технической документации.
3.6. Проверка срабатывания тепловой защиты камеры
3.6.1. Проверку срабатывания тепловой защиты камеры производят при отключенной автоматике в режиме ручного управления камерой. Задатчик температуры устанавливают в положение, соответствующее значению, превышающему предельную регистрируемую температуру.
3.6.2. Включают камеру. По контрольному термометру фиксируют температуру, при которой срабатывает тепловая защита камеры, и включают аварийную сигнализацию.
Если тепловая защита и аварийная сигнализация камеры срабатывают при температуре, превышающей заданную не менее чем на 20%, камеру выключают и проверяют исправность и работоспособность цепи аварийного выключателя.
4. ОБРАБОТКА РЕЗУЛЬТАТОВ АТТЕСТАЦИИ
4.1. Результаты аттестации оформляют в протоколы по форме, указанной в
Приложении 7.
4.2. Пригодной к эксплуатации считают камеру, аттестация которой продемонстрировала ее соответствие требованиям технической документации.
Справочное
Наименование, тип прибора, приспособления, средства измерения | Пределы измерения | Класс точности и точностные характеристики | Количество | Назначение | Номер ГОСТ или ТУ |
1. Мост автоматический уравновешенный КСМ-4 двенадцатиточечный | От 73,15 до 203,15 K | 0,25 | 1 | Для автоматической записи температуры в различных точках полезного объема камеры | ГОСТ 7164-71 Модификация Ч.2.540.50.201 |
2. Мост автоматический уравновешенный КСМ-4 двенадцатиточечный | От 203,15 до 453,15 K | 0,25 | 1 | То же | То же |
3. Мост автоматический уравновешенный КСМ-4 двенадцатиточечный | От 273,15 до 773,15 K | 0,25 | 1 | " | " |
4. Мост автоматический уравновешенный КСМ-4 двенадцатиточечный (переделанный на УДРОПВ - 0,1 (02, 03)Т | От 273,115 до 373,15 K | 0,25 | 1 | Для записи температуры и влажности в различных точках камеры одновременно | " |
| | ИС МЕГАНОРМ: примечание. Постановлением Госстандарта России от 22.12.1994 N 339 с 1 июля 1995 года введен в действие ГОСТ 7165-93. | |
|
5. Мост одинарно-двойной Р-329 | От 10-6 до 106 Ом | 0,05 | 3 | Для проверки шкал приборов в совокупности с первичными приборами и для подгонки согласующих сопротивлений | ГОСТ 7165-66 |
6. Гальванометр ГПЗ-2 | Нуль-индикатор | Постоянная  | 1 | Для регистрации баланса сопротивлений и термометров | ГОСТ 7324-68 |
7. Термометры сопротивления платиновые ТСП гр. 22 МИ (длина 80 - 100 мм с латунной оболочкой) | От 73,15 до 823,15 K | К-П | 12 | Для измерения температуры в различных точках полезного объема камеры | ТУБШО.282.010 |
или ТСП типов ИС568А, ИС545А | От 469,16 до 573,15 K | То же | 12 |
8. Термометр сопротивления образцовый ПТС-100 (индивидуальная градуировка) | От 23,15 до 273,15 K | 1-й разряд | 1 | Для градуировки приборов и поверки ТСП | ГОСТ 12877-67 |
9. Термометр лабораторный ТЛ-1 | 273,15 +/- 2,5 K | | 1 | Для определения точки 0 °C | По заводским ТУ |
10. Термометр метеорологический ТМ-9 | От 198,15 до 298,15 K | | 1 | Для визуального определения порядка отрицательных температур | ГОСТ 4497-52 |
или ТМ-15 | От 173,15 до 293,15 K | | 1 |
| | ИС МЕГАНОРМ: примечание. ГОСТ 215-73 утратил силу с 1 апреля 1989 года ("ИУС", N 4, 1989). Постановлением Госстандарта СССР от 30.03.1990 N 691 с 1 января 1991 года введен в действие ГОСТ 28498-90. | |
|
11. Термометры лабораторные | От 243,15 до 473,15 K | | Один набор | Для визуального определения температуры | ГОСТ 215-73 |
12. Телескопическое устройство (бинокль, труба, бинокль БПС, БПШ и т.п.) | 4x - 6x | | 1 | Для визуального наблюдения за измерительными приборами, размещенными в камере | |
13. Датчики влажности ЭВЧ-01 (02.03) | Относительная влажность от 30 до 90% | Погрешность не более 5% | 6 | Для измерения относительной влажности | ТУ 16.529.399-7 |
14. Психрометр Августа | 273,15 K 333,15 K Относительная влажность от 6 до 100% | | 6 | Для измерения относительной влажности в различных точках камеры при отсутствии ЭВЧ | |
15. Секундомер или часы | То же | - | 1 | Для регистрации времени достижения значений температуры, влажности | |
16. Течеискатель галоидный ГТИ-3 | От 760 до 1,1 мм рт.ст. | | 1 | Для проверки холодильного агрегата и трубопроводов | |
17. Источник постоянного тока | 15 В | | 6 | Для питания моста Р-329 | ГОСТ 296-68 |
18. Сосуд Дьюара (открытый) | Диаметр 120 - 150 мм | - | 1 | Для проверки температуры 0 °C | Нестандартный |
19. Пробирка ПХ или ПЦ | Диаметр 30 мм, высота 270 мм Диаметр 44 - 60 мм, высота 100 - 155 мм | - | 1 | Для операции проверки ТСП при t = 0 °C | ГОСТ 10515-63 |
20. Колба коническая (жаростойкая) | Диаметр горла 40 - 60 мм | - | 1 | Для операции проверки ТСП при t = 373,15 K | ГОСТ 10515-63 |
21. Электронагреватель | 220 В | - | 1 | Для подогрева воды | ГОСТ 306-69 |
22. Ваттметр ЭДВ | 0 - 300 В, 0 - 10 А | Кл. 0,2 | 1 | Для измерения мощности тепловыделений | ГОСТ 8476-60 (ОПП 533.069-53) |
23. Электронагреватель закрытого типа | 1 кВ · А | - | 2 | Для задания мощности тепловыделений | |
24. Реостат регулировочный ТСП-2 (3, 4) | 0,25 - 7 А | - | 2 | Для регулирования мощности нагревателя | ТУ 21-90-54 |
Справочное
ПРОВЕРКА ВТОРИЧНЫХ ПРИБОРОВ В СОВОКУПНОСТИ С ПЕРВИЧНЫМИ
Вторичные приборы (самописцы и терморегуляторы) перед аттестацией камер рекомендуется проверять совместно с первичными (термометрами сопротивления).
1. Проверка первичных приборов
Ввиду того, что термометры сопротивления (ТСП) не всегда имеют сопротивление R0 = 100 Ом, необходимо установить действительное значение сопротивления каждого ТСП. В качестве реперных точек рекомендуются температуры 273,15; 373,15 (температура кипящей воды) и 77,35 K (температура кипящего азота).
В соответствии с инструкцией по поверке термометров сопротивления N 159-60 проверка осуществляется следующим образом.
Исследуемый ТСП присоединяют к клеммам "X" моста Р-329 и помещают в пробирку с трансформаторным маслом, в которой находится контрольный лабораторный термометр типа ТЛ-1 с ценой деления 0,05 K. ТЛ-1 должен быть установлен в вертикальном положении так, чтобы нулевая отметка его шкалы возвышалась над поверхностью масла не более чем на 5 мм. Пробирку с ТЛ-1 в трансформаторном масле погружают в сосуд Дьюара, наполненный до краев чистым размельченным льдом, залитым дистиллированной водой, перемешанным и утрамбованным до полного увлажнения по всей массе и удаления в смеси льда из воды пузырьков воздуха.
Через 30 мин после достижения по контрольному термометру температуры 273,15 K производят измерения.
После проверки величины сопротивления при температуре 273,15 K ТСП прополаскивают бензином и проверяют его показания в других реперных точках.
Затем ТСП погружают в жидкий азот. После прекращения бурной тепловой реакции производят измерения, аналогичные измерениям, проводимым в процессе контроля величины сопротивления при температуре 273,15 K.
Проверку величины сопротивления ТСП при температуре кипящей воды производят после проверки в жидком азоте. ТСП, выдержанный в нормальных условиях в течение 10 - 15 мин, погружают в кипящую дистиллированную воду с учетом атмосферного давления. Температуру воды контролируют лабораторным термометром ТЛ-4. Остальные измерения аналогичны рассмотренным выше.
По трем точкам (77,35; 273,15; 373,15 K) вычерчивают на миллиметровой бумаге кривую изменения сопротивления. По графику определяют значения сопротивлений данного ТСП для всех точек шкалы терморегулятора.
2. Проверка вторичных приборов совместно с первичными
В диагональ терморегулирующего моста вместо датчика температуры (ТСП) и согласующего сопротивления включают измерительный мост типа Р-329. При помощи этого моста устанавливают сопротивление, соответствующее по величине сопротивлению ТСП при задаваемых температурах. Задатчикам поочередно задают сперва температуру 273,15 K, а затем предельные положительную и отрицательную температуры для данной камеры. Регулируя величину сопротивления моста Р-329, по контрольному измерительному прибору камеры выставляют соответствующие значения температуры. Аналогичным образом через каждые 10 K проверяют и выставляют промежуточные значения температуры. Составляют поправочную таблицу.
При невозможности описанным способом выставить температуру 273,15 K подгоняют согласующее сопротивление камеры. В качестве последнего используют катушки с манганиновой проволокой диаметром 0,3 - 0,4 мм и сопротивлением 7 - 8 Ом/м.
Самопишущие приборы проверяют аналогичным образом.
Примечание. При проверке величины сопротивления ТСП при температуре 373,15 K необходимо учитывать атмосферное давление окружающей среды, которое существенно влияет на температуру кипения воды.
Справочное
НАЛАДКА ЭЛЕКТРОННОГО АВТОМАТИЧЕСКОГО МОСТА ПЕРЕМЕННОГО
ТОКА КСМ-4 С ПРЕДЕЛАМИ ИЗМЕРЕНИЯ ОТ 203,15 до 453,15 K
НА ПРЕДЕЛЫ ИЗМЕРЕНИЙ ОТ 173,15 ДО 433,15 K И ПРИМЕНЕНИЯ
ЕГО ДЛЯ ОПРЕДЕЛЕНИЯ ХАРАКТЕРИСТИК КЛИМАТИЧЕСКИХ
ИСПЫТАТЕЛЬНЫХ КАМЕР С ТОЧНОСТЬЮ 0,1 K
Один из трех автоматических мостов КСМ-4 модификации 42.540.50.201, рекомендованный для аттестации камер, имеет пределы измерения от 203,15 до 453,15 K с точностью 2 K. Исходя из требований действующей нормативной технической документации на методы испытаний, необходимо расширить диапазон измеряемых величин в пределах от 173,15 до 433,15 K с точностью 0,1 K. Описанная ниже методика обеспечивает расширение температурного диапазона от 173,15 до 433,15 K.
Наладку моста осуществляют следующим образом.
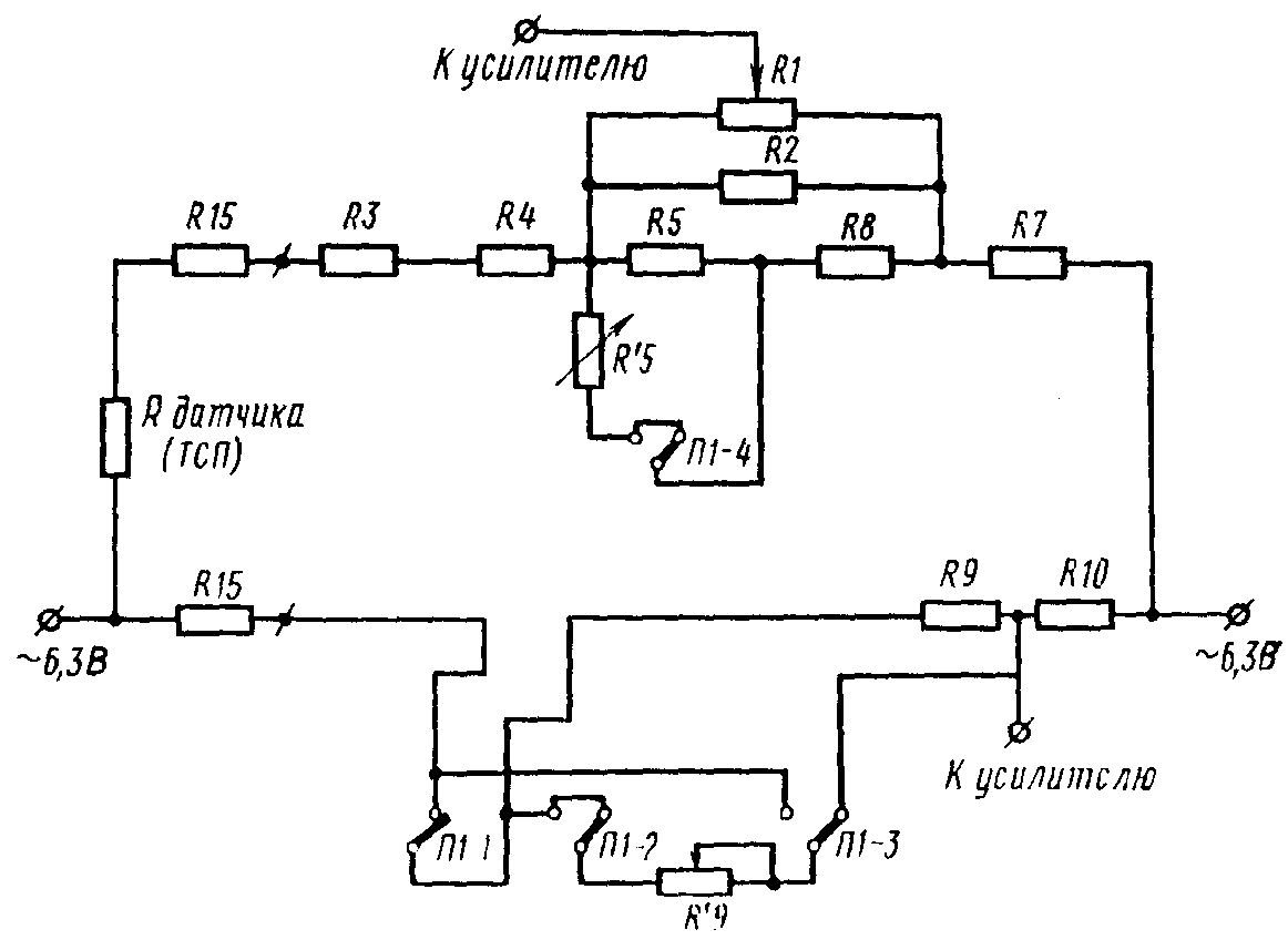
В электронную схему моста КСМ-4 включают два магазина сопротивления R'5 и R'9 (см.
чертеж). Магазин R'5 включают параллельно сопротивлению R5. С его помощью задают пределы измерения. Магазин R'9 служит для балансировки измерительной схемы моста и вывода указателя на середину шкалы. Его включают либо параллельно сопротивлению R9 (при измерениях в диапазоне температур 173,15 - 313,15 K), либо последовательно с ним (при измерениях в диапазоне температур свыше 313,15 K).
Схема подключения ТСП и дополнительных сопротивлений
R'9 и R'5 к мосту КСМ-4
Перед началом измерений все датчики температуры приводят к единому значению так, чтобы на диаграмме моста их отметки лежали на одной вертикальной прямой. Для приведения датчиков к единому значению производят следующие операции.
1. Датчики температуры подключают к мосту КСМ-4.
2. Последовательно с каждым датчиком температуры подключают добавочные переменные сопротивления (либо кусок манганиновой проволоки с R = 0,5 Ом), необходимые для осуществления регулировки.
3. Датчики температуры помещают в пробирки с маслом, которые размещают в сосуде Дьюара, наполненном льдом. При температуре 273,15 K (контролируют лабораторным термометром) включают мост и на диаграмме моста регистрируют показания датчиков.
4. Датчик, имеющий наибольшее отклонение вправо, принимают за базовый. По нему выставляют другие. Подгонку осуществляют увеличением их добавочных сопротивлений. В результате подгонки на диаграмме моста получают вертикальную линию из отметок разных датчиков.
Затем датчики температуры вынимают из пробирки с маслом, ополаскивают в бензине и в горячей воде и помещают в колбу с дистиллированной водой. Колбу устанавливают на электрической плитке. При закипании воды сопротивлением R'9 указатель моста выставляют на середину шкалы и производят трех-четырехкратную регистрацию показаний каждого датчика.
Таким образом устанавливают погрешность всех датчиков в диапазоне температур и соответствующие поправки.
Шаг измерения пределов температуры рекомендуется принимать равным 0 K. В этом случае шкала и диаграмма моста будут иметь развертку в пределах 0 K, а каждое малое деление будет соответствовать 0,1 K.
Справочное
tб | - | базовая температура, устанавливаемая в полезном объеме перед началом аттестации, при естественных атмосферных условиях. |
t-пр; t+пр | - | предельно достижимые отрицательная и положительная температуры в камере. |
 ;  | - | время достижения предельной отрицательной и положительной предельных температур (от базовой температуры). |
 ;  | - | разность показаний температуры и относительной влажности двух любых датчиков, характеризующая погрешность температуры и относительной влажности в камере. |
| - | относительная влажность в камере. |
t | - | показание "сухого" термометра в камере. |
t' | - | показания "влажного" термометра. |
 ;  | - | величина, характеризующая колебания температуры и относительной влажности в точке камеры. |
| |  ;  |
t к;  | - | значения температуры и отрицательной влажности, показанные контрольным ТСП и датчиком влажности. |
t з;  | - | значения температуры и относительной влажности по задатчику. |
t с;  | - | значения температуры и относительной влажности, показанные самопишущим прибором. |
| - | температура на диаграмме КСМ-4 в i-й точке, соответствующая температуре i-го датчика. |
a, b, ... i, l | - | индексы порядковых номеров датчиков. |
N | - | общее количество датчиков. |
 ;  | - | отклонения значений температуры контрольного ТСП и относительной влажности от среднего значения температуры и относительной влажности в камере. |
| - | абсолютная погрешность задатчика и самописца, характеризующая отклонение показаний логометра и самописца от показаний контрольного ТСП и контрольного датчика влажности. |
tср.ст. | - | среднестатистическая температура в полезном объеме камеры - такая температура, которая включает в себя показания всех ТСП в камере с допуском +/- 3 K при температуре 373,15 +/- 5 K, при температуре до 473,15 K и +/- 10 K при температуре свыше 473,15 K. |
Время достижения заданной температуры по tк | Время выхода на режим с момента включения камеры | Показания контрольного ТСП tк | Заданная температура tз | Показания самопишущего прибора tс | Колебания температуры в различных точках полезного объема при автоматическом регулировании | Погрешность | Неравномерность распределения температуры |
Экстремальные значения температур и колебания температуры в n точках камеры | Измерения | Задатчика | Самописца | timax | timin | |
1 | .. | n - 1 | n | | | /tз/ - /tк/ | /tс/ - /tк/ |
t1max | t1min | | .. | tn - 1max | tn - 1min | | tnmax | tnmin |
| | | | | | | | | | | | | | | | | | | | |
| | | | | | | | | | | | | | | | | | | | |
| | | | | | | | | | | | | | | | | | | | |
| | | | | | | | | | | | | | | | | | | | |
| | | | | | | | | | | | | | | | | | | | |
| | | | | | | | | | | | | | | | | | | | |
| | | | | | | | | | | | | | | | | | | | |
| | | | | | | | | | | | | | | | | | | | |
Показания термометров "сухого" и "влажного" и относительная влажность в n точках камеры |
1 | 2 | 3 | .... | n - 1 | n | Максимальные значения температуры и влажности в камере | Неравномерность температуры и влажности |
t1контр | | | t2 | | | t3 | | | ... | tn - 1 | | | tn | | | tкmax | | | | |
| | | | | | | | | | | | | | | | | | | | |
| | | | | | | | | | | | | | | | | | | | |
| | | | | | | | | | | | | | | | | | | | |
Справочное
Электрическое напряжение, B | Сила тока, A | Мощность, B · A | Время выдержки, мин | Температура, °C |
| | | | |
| | | | |
| | | | |
Справочное
ГЛ. ИНЖЕНЕР ПРЕДПРИЯТИЯ
___________________________
"___"______________ 19__ г.
ПРОТОКОЛ
поверки и аттестации камеры типа __________________________________________
зав. N ____________________________________________________________________
Комиссия в составе: председатель ________________________________
(фамилия, имя,
___________________________________________________________________________
отчество, предприятие)
и членов __________________________________________________________________
(фамилия, имя, отчество, предприятие)
___________________________________________________________________________
___________________________________________________________________________
___________________________________________________________________________
___________________________________________________________________________
на основании ______________________________________________________________
___________________________________________________________________________
______________________________ 19___ г. исследовала характеристики камеры
____________________ типа ___________________ N ________________ с полезным
объемом _____________________________ с целью оценки ее пригодности для
проведения испытаний промышленных изделий.
Проверкой документации и внешним осмотром камеры установлена ее
подготовленность к аттестации:
а) контрольно-измерительные приборы поверены;
б) камера цела;
в) функциональные узлы камеры и агрегатов _____________________________
Для проведения аттестации использованы следующие средства:
Наименование | Тип (ГОСТ) | Номер |
| | |
| | |
| | |
Аттестация проводилась при незагруженном полезном объеме в следующих
условиях:
температура воздуха в помещении t
<2> ______________ °C;
ср.
относительная влажность фи = ______________ %;
ср.
атмосферное давление P = _______________ мм рт. ст.
ср.
В результате проведенных изменений установлено следующее:
___________________________________________________________________________
___________________________________________________________________________
___________________________________________________________________________
___________________________________________________________________________
___________________________________________________________________________
(Указать предельные значения достигнутых температур, время их
достижения, скорость изменения температур в конце процесса, базовую
температуру, установку задатчика, время циклов регулирования,
неравномерность распределения и колебания температуры при определенных
установках задатчика и т.д.)
Заключение комиссии ___________________________________________________
___________________________________________________________________________
Рекомендация комиссии _________________________________________________
___________________________________________________________________________
___________________________________________________________________________
Приложение к протоколу (диаграмма, таблицы, графики и т.п.)
___________________________________________________________________________
___________________________________________________________________________
Подписи:
--------------------------------
<1> На заводе-изготовителе камер протокол может утверждаться начальником ОТК.
<2> Среднее значение во время проведения аттестации.
ПСИХРОМЕТРИЧЕСКАЯ ТАБЛИЦА
| °C, 0 | 2 | 4 | 6 | 8 | 10 | 12 | 14 | 16 | 18 | 20 | 22 | 24 | 26 | 28 | 30 | 32 | 34 | 36 | 38 | 40 | 42 | 44 |
95 | | 0,2 | 0,2 | 0,2 | 0,3 | 0,3 | 0,3 | 0,4 | 0,4 | 0,4 | 0,5 | 0,5 | 0,5 | 0,5 | 0,6 | 0,6 | 0,6 | 0,7 | 0,7 | 0,7 | 0,7 | 0,8 | 0,8 |
90 | | 0,5 | 0,6 | 0,6 | 0,7 | 0,7 | 0,8 | 0,8 | 0,9 | 0,9 | 1,0 | 1,0 | 1,1 | 1,2 | 1,3 | 1,3 | 1,4 | 1,4 | 1,5 | 1,5 | 1,6 | 1,6 | 1,6 |
85 | | 0,8 | 0,9 | 1,0 | 1,1 | 1,2 | 1,2 | 1,3 | 1,4 | 1,5 | 1,6 | 1,7 | 1,8 | 1,9 | 2,0 | 2,1 | 2,1 | 2,2 | 2,3 | 2,4 | 2,5 | 2,5 | 2,6 |
80 | | 1,1 | 1,2 | 1,3 | 1,5 | 1,6 | 1,7 | 1,8 | 1,9 | 2,1 | 2,2 | 2,3 | 2,5 | 2,6 | 2,7 | 2,8 | 3,0 | 3,1 | 3,2 | 3,3 | 3,4 | 3,5 | 3,6 |
75 | | 1,4 | 1,6 | 1,7 | 1,8 | 2,0 | 2,2 | 2,3 | 2,5 | 2,6 | 2,8 | 3,0 | 3,1 | 3,3 | 3,4 | 3,6 | 3,7 | 3,9 | 4,0 | 4,1 | 4,3 | 4,4 | 4,5 |
70 | | 1,7 | 1,9 | 2,1 | 2,3 | 2,5 | 2,7 | 2,9 | 3,1 | 3,3 | 3,5 | 3,6 | 3,8 | 4,0 | 4,2 | 4,4 | 4,6 | 4,8 | 4,9 | 5,1 | 5,2 | 5,4 | 5,6 |
65 | | | 2,3 | 2,5 | 2,7 | 2,9 | 3,2 | 3,4 | 3,6 | 3,8 | 4,1 | 4,3 | 4,5 | 4,7 | 5,0 | 5,2 | 5,4 | 5,6 | 5,8 | 6,0 | 6,2 | 6,4 | 6,6 |
60 | | | 2,6 | 2,9 | 3,1 | 3,4 | 3,7 | 3,9 | 4,2 | 4,5 | 4,7 | 5,0 | 5,3 | 5,5 | 5,8 | 6,0 | 6,3 | 6,5 | 6,8 | 7,0 | 7,3 | 7,5 | 7,8 |
55 | | | 3,0 | 3,2 | 3,5 | 3,8 | 4,1 | 4,4 | 4,8 | 5,1 | 5,4 | 5,7 | 6,0 | 6,3 | 6,6 | 6,9 | 7,2 | 7,5 | 7,8 | 8,1 | 8,4 | 8,7 | 9,0 |
50 | | | 3,3 | 3,6 | 4,0 | 4,3 | 4,7 | 5,0 | 5,3 | 5,7 | 6,1 | 6,4 | 6,8 | 7,2 | 7,5 | 7,9 | 8,2 | 8,6 | 8,9 | 9,3 | 9,6 | 9,9 | 10,2 |
45 | | | 3,7 | 4,0 | 4,4 | 4,8 | 5,2 | 5,6 | 6,0 | 6,4 | 6,8 | 7,2 | 7,6 | 8,0 | 8,4 | 8,8 | 9,2 | 9,6 | 10,0 | 10,4 | 10,8 | 11,1 | 11,5 |
40 | | | | | | 5,3 | 5,7 | 6,1 | 6,6 | 7,0 | 7,5 | 7,9 | 8,4 | 8,9 | 9,3 | 9,8 | 10,2 | 10,7 | 11,2 | 11,6 | 12,0 | 12,5 | 12,3 |
35 | | | | | | 5,8 | 6,8 | 6,8 | 7,3 | 7,8 | 8,3 | 8,8 | 9,3 | 9,8 | 10,3 | 10,8 | 11,3 | 11,9 | 12,3 | 12,8 | 13,3 | 13,8 | 14,3 |
30 | | | | | | | | | 7,9 | 8,4 | 9,0 | 9,6 | 10,2 | 10,7 | 11,3 | 11,9 | 12,5 | 13,1 | 13,6 | 14,2 | 14,8 | 15,3 | 15,9 |
25 | | | | | | | | | 8,5 | 9,1 | 9,8 | 10,4 | 11,0 | 11,7 | 12,3 | 13,0 | 13,6 | 14,3 | 14,9 | 15,5 | 16,2 | 16,8 | 17,4 |
20 | | | | | | | | | | | 10,6 | 11,2 | 11,9 | 12,6 | 13,4 | 14,1 | 14,8 | 15,6 | 16,8 | 17,0 | 17,8 | 18,5 | 19,2 |
15 | | | | | | | | | | | | | | | | | | | | | 19,5 | 20,3 | 21,1 |
10 | | | | | | | | | | | | | | | | | | | | | 21,2 | 22,1 | 23,0 |
| 0 | 2 | 4 | 6 | 8 | 10 | 12 | 14 | 16 | 18 | 20 | 22 | 24 | 26 | 28 | 30 | 32 | 34 | 36 | 38 | 40 | 42 | 44 |
Продолжение
Психрометрическая таблица
| 46 | 48 | 50 | 52 | 54 | 56 | 58 | 60 | 62 | 64 | 66 | 68 | 70 | 72 | 74 | 76 | 78 | 80 | 82 | 84 | 86 | 88 | °C 90 | |
95 | 0,8 | 0,8 | 0,9 | 0,9 | 0,9 | 0,9 | 0,9 | 1,0 | 1,0 | 1,0 | 1,0 | 1,0 | 1,0 | | | | | | | | | | | 95 |
90 | 1,7 | 1,7 | 1,8 | 1,8 | 1,9 | 1,9 | 2,0 | 2,0 | 2,0 | 2,1 | 2,1 | 2,1 | 2,2 | | | | | | | | | | | 90 |
85 | 2,7 | 2,7 | 2,8 | 2,9 | 2,9 | 3,0 | 3,1 | 3,1 | 3,2 | 3,2 | 3,3 | 3,3 | 3,4 | 3,4 | 3,5 | 3,5 | | | | | | | | 85 |
80 | 3,7 | 3,8 | 3,8 | 3,9 | 4,0 | 4,1 | 4,2 | 4,2 | 4,3 | 4,4 | 4,5 | 4,6 | 4,6 | 4,7 | 4,8 | 4,9 | 5,0 | 5,1 | 5,1 | 5,2 | 5,3 | | | 80 |
75 | 4,7 | 4,8 | 4,9 | 5,0 | 5,1 | 5,2 | 5,4 | 5,5 | 5,6 | 5,7 | 5,8 | 5,9 | 6,0 | 6,1 | 6,2 | 6,3 | 6,4 | 6,5 | 6,6 | 6,7 | 6,8 | | | 75 |
70 | 5,7 | 5,9 | 6,0 | 6,2 | 6,3 | 6,5 | 6,6 | 6,7 | 6,9 | 7,0 | 7,1 | 7,3 | 7,4 | 7,5 | 7,7 | 7,8 | 7,9 | 8,1 | 8,2 | 8,4 | 8,5 | 8,6 | 8,8 | 70 |
65 | 6,8 | 7,0 | 7,2 | 7,4 | 7,6 | 7,7 | 7,9 | 8,1 | 8,3 | 8,4 | 8,6 | 8,8 | 8,9 | 9,1 | 9,3 | 9,4 | 9,6 | 9,8 | 9,9 | 10,1 | 10,2 | 10,4 | 10,5 | 65 |
60 | 8,0 | 8,2 | 8,5 | 8,7 | 8,9 | 9,1 | 9,4 | 9,6 | 9,8 | 10,0 | 10,1 | 10,3 | 10,5 | 10,7 | 10,9 | 11,1 | 11,2 | 11,4 | 11,6 | 11,9 | 12,0 | 12,2 | 12,3 | 60 |
55 | 9,2 | 9,5 | 9,7 | 10,0 | 10,3 | 10,5 | 10,8 | 11,0 | 11,2 | 11,5 | 11,7 | 11,9 | 12,1 | 12,3 | 12,6 | 12,8 | 13,0 | 13,2 | 13,4 | 13,7 | 13,9 | 14,1 | 14,3 | 55 |
50 | 10,5 | 10,8 | 11,1 | 11,4 | 11,7 | 12,0 | 12,3 | 12,5 | 12,8 | 13,1 | 13,3 | 13,6 | 13,9 | 14,2 | 14,4 | 14,7 | 14,9 | 15,2 | 15,4 | 15,7 | 15,9 | 16,1 | 16,4 | 50 |
45 | 11,8 | 12,2 | 12,6 | 12,9 | 13,3 | 13,6 | 13,9 | 14,2 | 14,6 | 14,9 | 15,2 | 15,5 | 15,8 | 16,1 | 16,4 | 16,7 | 17,0 | 17,3 | 17,5 | 17,8 | 18,1 | 18,4 | 18,7 | 45 |
40 | 13,3 | 13,7 | 14,1 | 14,5 | 14,9 | 15,3 | 15,7 | 16,1 | 16,4 | 16,8 | 17,4 | 17,5 | 17,9 | 18,2 | 18,5 | 18,9 | 19,2 | 19,6 | 19,9 | 20,2 | 20,5 | 20,8 | 21,2 | 40 |
35 | 14,3 | 15,3 | 15,7 | 16,2 | 16,7 | 17,1 | 17,6 | 18,0 | 18,4 | 18,8 | 19,2 | 19,7 | 20,1 | 20,5 | 20,9 | 21,3 | 21,6 | 22,0 | 22,4 | 22,5 | 23,2 | 23,5 | 23,8 | 35 |
30 | 16,5 | 17,0 | 17,6 | 18,1 | 18,7 | 19,2 | 19,7 | 20,2 | 20,6 | 21,1 | 21,6 | 22,0 | 22,5 | 23,0 | 23,4 | 23,9 | 24,3 | 24,7 | 25,2 | 25,6 | 26,0 | 26,5 | 26,9 | 30 |
25 | 18,1 | 18,7 | 19,3 | 19,9 | 20,6 | 21,2 | 21,8 | 22,4 | 22,9 | 23,6 | 24,1 | 24,6 | 25,1 | 25,7 | 26,2 | 26,7 | 27,2 | 27,8 | 28,3 | 28,8 | 29,3 | 29,8 | 30,3 | 25 |
20 | 20,0 | 20,7 | 21,4 | 22,1 | 22,8 | 23,5 | 24,2 | 24,9 | 25,5 | 26,2 | 26,8 | 27,5 | 28,1 | 28,8 | 29,4 | 30,0 | 30,6 | 31,2 | 31,8 | 32,4 | 33,0 | 33,6 | 34,2 | 20 |
15 | 21,9 | 22,8 | 23,6 | 24,4 | 25,2 | 26,0 | 26,8 | 27,6 | 28,4 | 29,2 | 29,9 | 30,7 | 31,5 | 32,2 | 33,0 | 33,7 | 34,5 | 35,2 | 35,9 | 36,6 | 37,7 | 38,0 | 38,7 | 15 |
10 | 24,0 | 25,0 | 25,9 | 26,9 | 27,8 | 28,8 | 29,7 | 30,7 | 31,6 | 32,6 | 33,6 | 34,5 | 35,4 | 36,3 | 37,1 | | | | | | | | | 10 |
| 46 | 48 | 50 | 52 | 54 | 56 | 58 | 60 | 62 | 64 | 66 | 68 | 70 | 72 | 74 | 76 | 78 | 80 | 82 | 84 | 86 | 88 | 90 | |
Верхний и нижний ряды чисел - указания "сухого" термометра.
В вертикальных столбцах между одинаковыми значениями "сухого" термометра - разница показаний "сухого" и "влажного" термометров.
Правый и левый столбцы - относительная влажность в процентах.