Главная // Актуальные документы // МетодикаСПРАВКА
Источник публикации
М., ОАО "ВТИ", 2004
Примечание к документу
Документ
введен в действие с 1 апреля 2002 года.
Название документа
"СО 34.44.222-2001 (РД 153-34.1-44.222-2001). Топливо твердое минеральное. Метод отбора проб газообразных выбросов энергетических установок при сжигании твердого топлива для определения концентрации паров ртути. Методика выполнения измерений массовой концентрации ртути с помощью непламенной атомной абсорбции"
(утв. РАО "ЕЭС России" 29.12.2001)
"СО 34.44.222-2001 (РД 153-34.1-44.222-2001). Топливо твердое минеральное. Метод отбора проб газообразных выбросов энергетических установок при сжигании твердого топлива для определения концентрации паров ртути. Методика выполнения измерений массовой концентрации ртути с помощью непламенной атомной абсорбции"
(утв. РАО "ЕЭС России" 29.12.2001)
Департаментом научно-технической
политики и развития
РАО "ЕЭС России"
29 декабря 2001 года
ТОПЛИВО ТВЕРДОЕ МИНЕРАЛЬНОЕ
МЕТОД ОТБОРА ПРОБ ГАЗООБРАЗНЫХ ВЫБРОСОВ ЭНЕРГЕТИЧЕСКИХ
УСТАНОВОК ПРИ СЖИГАНИИ ТВЕРДОГО ТОПЛИВА ДЛЯ ОПРЕДЕЛЕНИЯ
КОНЦЕНТРАЦИИ ПАРОВ РТУТИ
МЕТОДИКА ВЫПОЛНЕНИЯ ИЗМЕРЕНИЙ МАССОВОЙ КОНЦЕНТРАЦИИ
РТУТИ С ПОМОЩЬЮ НЕПЛАМЕННОЙ АТОМНОЙ АБСОРБЦИИ
СО 34.44.222-2001
(РД 153-34.1-44.222-2001)
Срок действия
с 1 апреля 2002 года
до 1 апреля 2012 года
Разработано Открытым акционерным обществом "Всероссийский теплотехнический научно-исследовательский институт" (ОАО "ВТИ").
Исполнитель Н.В. Киселева (ОАО "ВТИ").
Утверждено Департаментом научно-технической политики и развития РАО "ЕЭС России" 29.12.2001 г.
Первый заместитель начальника А.П. Ливинский.
Срок первой проверки стандарта организации - 2007 г., периодичность проверки - один раз в 5 лет.
1. НАЗНАЧЕНИЕ И ОБЛАСТЬ ПРИМЕНЕНИЯ
Методика выполнения измерений (МВИ) содержания паров ртути в газовых потоках с помощью атомно-абсорбционного спектрофотометра предназначена для периодического контроля состава уходящих дымовых газов, образующихся при сжигании твердого топлива и бытовых отходов в топках котельных агрегатов и специальных энергетических установок.
Проводимые исследования позволят оценить соблюдение норм предельно допустимых концентраций паров ртути, выбрасываемых в атмосферу.
Настоящая методика выполнения измерений аттестована ОАО "ВТИ" в соответствии с
ГОСТ Р 8.563-96. Свидетельство о метрологической аттестации N 004/00. Действительно до 20.04.05.
2. УСЛОВИЯ ВЫПОЛНЕНИЯ ИЗМЕРЕНИЙ
Требования к параметрам и составу анализируемой пробы:
Температура, °C ..................................... от 80 до 200
Разряжение в потоке, кПа ............................ не выше 2
Давление в потоке, кПа .............................. не выше 5
Влажность, г/м3 ..................................... не более 240
Содержание ртути, мг/м3 ............................. от 0,0005 до 0,2
3. ХАРАКТЕРИСТИКИ ПОГРЕШНОСТИ ИЗМЕРЕНИЙ
Приписанная граница относительной погрешности измерения содержания ртути устанавливается равной +/- 15% при достоверной вероятности P = 0,95.
Настоящий стандарт организации устанавливает методику выполнения измерения массовой концентрации паров ртути в дымовых газах, образующихся при сжигании твердого топлива и бытовых отходов в топках котельных агрегатов и специальных энергетических установок, методом атомно-абсорбционной спектроскопии (метод "холодного пара").
5. СРЕДСТВА ИЗМЕРЕНИЙ, ВСПОМОГАТЕЛЬНЫЕ УСТРОЙСТВА
И МАТЕРИАЛЫ
При выполнении измерений применяют средства измерений и технические средства, приведенные в таблице 1.
Таблица 1
Наименование средства измерений, технического средства | Обозначение стандарта, ТУ и типа средств измерений, его метрологические характеристики или ссылки на чертеж или приложение | Наименование измеряемой величины |
1 | 2 | 3 |
1. Атомно-абсорбционный спектрофотометр с комплектом: | SP 2900; длина волны 253,7 нм; фирма PYE UNICAM | Масса ртути |
анализатор холодных паров ртути; | | |
реакционный сосуд; | | |
кварцевая измерительная ячейка; | | |
компрессор | | |
2. Государственный стандартный образец ртути | ГСО РР-3497 | |
3. Калориметрическая бомба с источником питания | | |
|
|
4. Весы лабораторные 2 кл | ГОСТ 24104, предел взвешивания 200 г | Масса адсорбента |
5. Барометр-анероид | | Атмосферное давление |
6. Термометр ртутный | Предел измерения от 0 °C до 50 °C, цена деления шкалы 0,1 °C | Температура воздуха около места отбора пробы |
7. Колбы мерные | ГОСТ 1770, вместимость 50 см3, 100 см3 и 1000 см3 | Объем реактивов |
8. Пипетки мерные | | Объем реактивов |
9. Бюретки | ГОСТ 29251 вместимость 5 см3 и 10 см3 | Объем реактивов |
<*> Или другие с погрешностью измерений +/- 0,1 кПа. |
Вспомогательные устройства и материалы, используемые при выполнении измерения, приведены в таблице 2.
Таблица 2
Наименование вспомогательного устройства, материала | Обозначение стандарта, ТУ, краткая техническая характеристика устройства, материала |
1 | 2 |
1. Шкаф сушильный с терморегулятором | Температура нагрева (200 +/-5) °C |
2. Аспиратор для отбора проб | Модель 822 |
3. Шнур электрообогреваемый | |
4. Вата стеклянная | |
| | ИС МЕГАНОРМ: примечание. ГОСТ 3279-76 утратил силу с 1 января 2010 года в связи с введением в действие ГОСТ Р 53224-2008 (Приказ Ростехрегулирования от 25.12.2008 N 719-ст). ГОСТ Р 53224-2008 утратил силу с 1 августа 2017 года в связи с введением в действие ГОСТ Р 53224-2016 (Приказ Росстандарта от 08.09.2016 N 1081-ст). | |
|
5. Волокно хлопковое. Технические условия | ГОСТ 3279 |
6. Стаканы | |
7. Вода дистиллированная | |
8. Кислота азотная | |
9. Кислота соляная | |
10. Калий марганцовокислый | |
11. Гидроксиламин солянокислый | |
12. Олово двуххлористое | ТУ 6-09-5384 (раствор с массовой долей 10%) |
13. Ртуть (II) хлорная | МРТУ 6-09-5322-68 х.ч. |
14. Ртуть окись желтая | ГОСТ 5230 |
15. Кислород | |
16. Уголь активированный | Марки АГ-3 |
17. Силикагель С-300 КХ | ТУ 6-09-31-107 |
18. Фильтры беззольные ("белая лента") | ТУ 6-09-1678 |
19. Проволока для запала, константовая | Диаметром от 0,1 мм до 0,2 мм и длиной 100 мм. ГОСТ 5307 |
20. Трубки хлорвиниловые | Общая длина 1 м |
Допускается применение других аналогичных средств измерения и лабораторного оборудования соответственно с метрологическими и техническими характеристиками, а также других материалов и реактивов по качеству не ниже класса точности измерений, указанных в настоящем стандарте организации.
6. ОПЕРАЦИИ ПРИ ПОДГОТОВКЕ К ВЫПОЛНЕНИЮ ИЗМЕРЕНИЙ
6.1. Отбор пробы из газового потока
6.1.1. Пробы газа отбираются после золоуловителей за дымососом на прямом участке газохода. Замеры проводятся в основном по оси газохода.
Пробы газа отбирают не менее 4 раз. Интервалы между отдельными отборами должны быть минимальными, чтобы выполнить отбор при постоянном режиме работы котла.
6.1.2. Место отбора пробы газа из потока дымовых газов определяется конкретной задачей выполняемой работы и находится, как правило, в одном из сечений газохода, имеющем штатную точку пробоотбора в стенке газохода. В месте ввода пробоотборного зонда в газовый поток должен быть установлен штуцер с внутренним диаметром, превышающим поперечный габаритный размер устанавливаемого зонда.
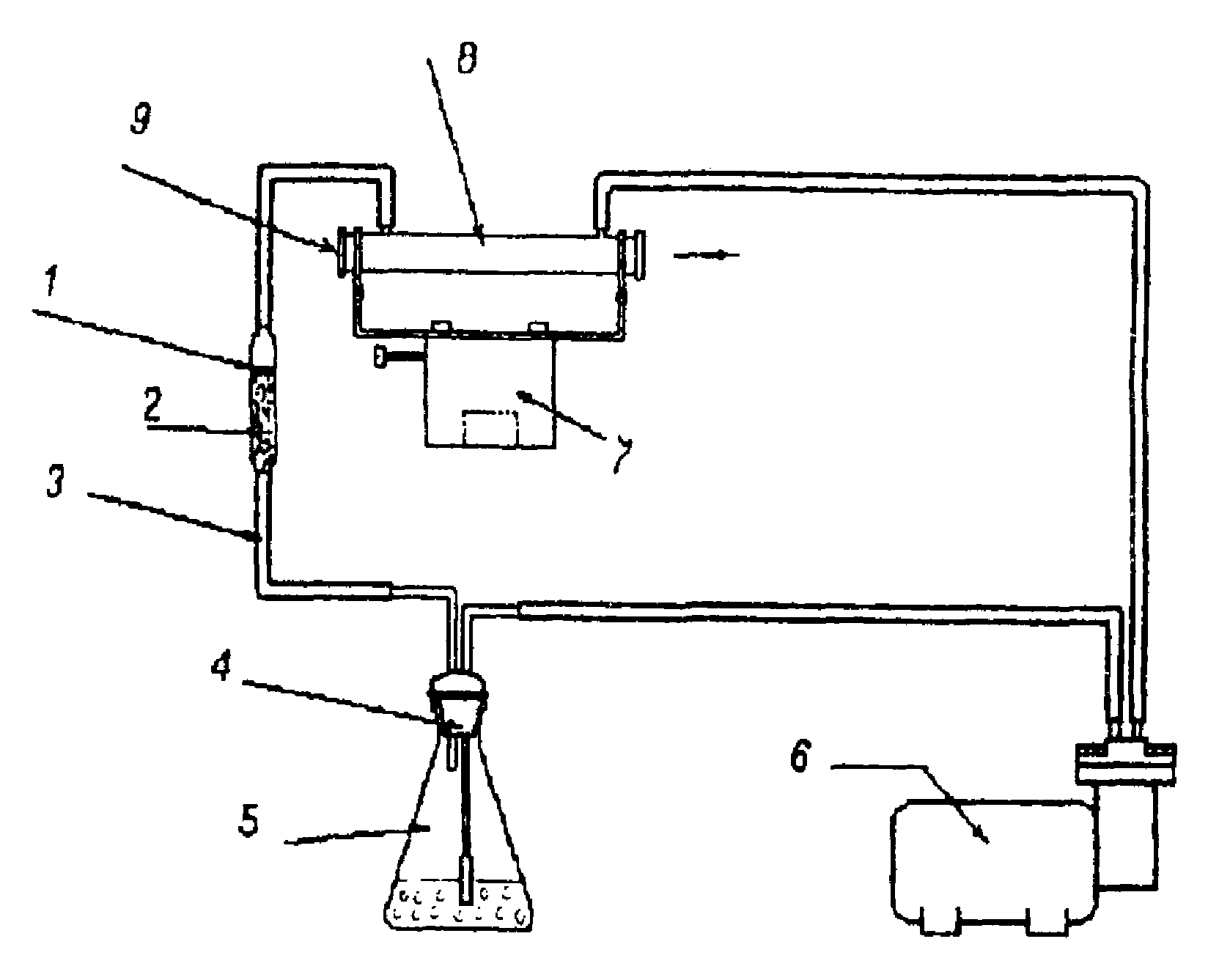
1 - газоход котла; 2 - насадка уплотнительная; 3 - электронагреватель 220 В; 4 - пробоотборный зонд; 5, 9 - трехходовые краны; 6, 8 - вата; 7 - поглотительные трубки; 10 - осушитель; 11 - термометр; 12 - аспиратор
Рисунок 1а. Схема отбора паров ртути
6.1.3. Отбор проб из газового потока проводят с помощью пробоотборного устройства, схема которого показана на рисунке 1а. Пробу из потока дымовых газов отбирают через штуцер, устанавливаемый в стенке газохода 1 с уплотнительной насадкой 2. Пробоотбор производят при помощи пробоотборного зонда 4 (фторопластовой трубки с внутренним диаметром 0,008 м), имеющего наконечник, повернутый навстречу потоку дымовых газов.
При отборе пробы из газового потока, имеющего температуру 80 °C и ниже, должны быть предусмотрены устройства дополнительного подогрева газа, прокачиваемого через пробоотборный зонд 4 (например, электрический обогрев зонда, показанный на
рисунке 1а). Проба газа, отобранная при визуальном обнаружении капель влаги на стенках пробоотборного зонда, не может служить исходным материалом для получения достоверных результатов в этом измерении.
6.1.4. При отборе пробы газ из газового потока прокачивается с помощью аспиратора 12 через две последовательно соединенные встык поглотительные трубки 7, заполненные адсорбентом. Общий вид такой трубки и ее характерные размеры показаны на
рисунке 1б. Адсорбент (активированный уголь) размещают в средней расширенной до диаметра 20 - 25 мм части трубки 7. Общая длина поглотительной трубки составляет 100 - 150 мм. С обоих концов каждой трубки устанавливаются фильтры 6 и 8 - тампоны из ваты. Трехходовые краны 5 и 9 позволяют направлять отбираемый газ через байпасную линию. Установленный осушитель 10 служит для предотвращения попадания влаги в аспиратор 12. Температура газа в тракте пробоотборного устройства контролируется термометром 11. Необходимый расход газа через линию пробоотбора устанавливают и регулируют встроенным вентилем аспиратора 12.
Рисунок 1б. Поглотительная трубка (стекло)
6.1.5. Перед началом отбора трехходовые краны 5 и 9 переводят в положение продувки пробоотборной линии через байпас. Регулируя поток газового потока через пробоотборное устройство с помощью вентиля аспиратора 12, устанавливают его значение таким образом, чтобы оно соответствовало расходу газа, проходящего через поглотительные трубки, равному 1 - 2 дм3/мин.
6.1.6. Трехходовые краны 5 и 9 переводят в положение, соответствующее проходу газа через поглотительные трубки 7, и одновременно включают секундомер.
6.1.7. После пропускания 10 - 40 дм3 газа (при этом длительность отбора составляет 10 - 20 мин) фиксируют его расход, температуру, время окончания отбора, барометрическое давление, а также температуру окружающего воздуха на месте отбора пробы.
6.1.8. Поглотительные трубки отсоединяют от пробоотборной линии и закрывают их пробками с обоих концов.
6.2. Подготовка к выполнению измерений
6.2.1. После завершения отбора пробы газа активированный уголь извлекают из обеих поглотительных трубок. Адсорбент каждой поглотительной трубки взвешивают, перемешивают, истирают в агатовой ступке, после чего отбирают навеску номинальной массой 1 г в тигель калориметрической бомбы. В случае ожидаемого высокого содержания ртути в газовом потоке следует брать навеску массой около 0,5 г, а при ожидаемом низком содержании - не менее 2 г.
Взвешивание навески производят на аналитических весах с точностью +/- 0,2 мг.
6.2.2. Тигель с навеской адсорбента помещают в крепление калориметрической бомбы. Запальную проволоку прикрепляют к внутренней арматуре бомбы, плотно присоединяя один ее конец к кислородоподводящей трубке, а другой - к токоведущему штифту, при этом среднюю часть проволоки погружают в навеску адсорбента. В корпус бомбы заливают 10 см3 азотной кислоты плотностью 1,4 г/см3.
6.2.3. Закрывают крышку калориметрической бомбы и ее внутренний объем осторожно заполняют кислородом, для чего кислородоподводящую трубку подсоединяют к выпускному клапану и открывают редуктор кислородного баллона, доводя давление внутри бомбы до 2,9 МПа. После получения нужного значения давления сначала закрывают выпускной клапан, затем вентиль баллона и отсоединяют кислородоподводящую трубку от бомбы.
6.2.4. Герметичность бомбы проверяют погружением ее в калориметрический сосуд с водой. Выделение пузырьков кислорода из бомбы не допускается. В случае их появления бомбу разгерметизируют и вновь заполняют кислородом, выполняя операции, указанные в
п. п. 6.2.3 и 6.2.4.
6.2.5. Подсоединяют электрическую цепь зажигания к контактам, размещенным на крышке бомбы. Включают мешалку для перемешивания воды в калориметрическом сосуде, а затем включают цепь зажигания.
6.2.6. После сгорания навески бомбу выдерживают 15 мин в калориметрическом сосуде, затем вынимают из сосуда, в течение 3 - 5 минут через клапан стравливают газ из внутреннего объема бомбы и открывают крышку.
6.2.7. Жидкость из внутреннего объема бомбы количественно переносят в стакан вместимостью 200 - 250 см3. Тщательно обмывают дистиллированной водой внутренние стенки бомбы, крышку, электроды и тигель, собирая в тот же стакан промывные воды, при этом общий объем раствора не должен превышать 100 см3. Затем раствор фильтруют в реакционный сосуд объемом 150 см3. При фильтрации используют беззольный фильтр (типа "белая лента").
6.3. Подготовка атомного абсорбционного спектофотометра для анализа раствора, содержащего ртуть
6.3.1. Определяют начальные значения абсорбции, для чего проводят измерения поглощения в соответствии с "Техническим описанием и инструкцией по эксплуатации" прибора при отсутствии раствора в реакционном сосуде. Прибор считается готовым к измерению, если начальное значение абсорбции не превышает 1 - 2 деления шкалы.
Для анализа раствора, содержащего ртуть, используется анализатор холодных паров ртути. Анализатор включает в себя реакционный сосуд, компрессор и измерительную кварцевую ячейку.
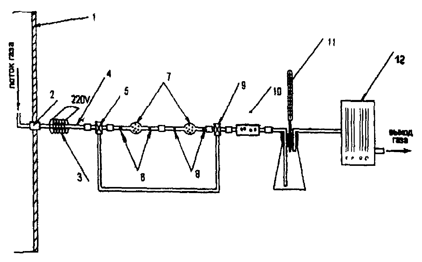
Для получения воздушного потока, содержащего пары ртути, собирают схему, показанную на
рисунке 2.
1 - пористая пластинка; 2 - ловушка с ватой; 3 - шланги соединительные; 4 - дрексель; 5 реакционный сосуд; 6 - микрокомпрессор; 7 - блок для установки кюветы; 8 - кварцевая ячейка; 9 - поток резонансного излучения (ртутная лампа)
Рисунок 2. Схема установки для определения ртути
Раствор, содержащий ртуть, помещают в реакционный сосуд, где с помощью химической реакции ртуть восстанавливается в растворе до элементарного состояния. Затем пропускают через этот раствор воздушный поток (барботаж раствора), с помощью которого дополнительно интенсифицируют процесс испарения ртути. Полученный воздушный поток, содержащий пары ртути, через ловушку направляется в кварцевую измерительную ячейку длиной 150 мм. Измерительную ячейку размещают на место горелки и после установления в ней стационарной концентрации паров ртути проводят измерения поглощения, используя ртутную лампу с длиной волны 253,7 нм.
6.3.2. Градуировка прибора (построение градуировочного графика). В несколько мерных колб вместимостью 100 см3 вводят соответственно 0; 0,5; 1,0; 1,5; 2,0; 2,5; 3,0 см3 рабочего раствора N 4, отмеряя раствор пипеткой (или бюреткой), и доливают дистиллированной водой до метки.
Технология приготовления стандартных и рабочих растворов N 1, 2, 3, 4 приведена в
Приложении А.
Полученные растворы будут содержать 0; 0,05; 0,1; 0,15; 0,2; 0,25; 0,3 мкг ртути соответственно; эти растворы переносят в конические колбы вместимостью 150 см3, добавляют по капле

до тех пор, пока раствор не приобретет розовый цвет. Перед подсоединением конической колбы к компрессору в полученный раствор добавляют 5 см3 раствора солянокислого гидроксиламина (исходный раствор при этом обесцвечивается); затем в этот же раствор вливают 4 - 5 см3 раствора хлористого олова и сразу же присоединяют колбу к компрессору; примерно через 30 с включают компрессор. На регистрирующем приборе считывают высоту пика или показания прибора.
По результатам калибровки строят градуировочный график, на котором по оси ординат отложены показания прибора, а по оси абсцисс - соответствующее количество ртути.
7.1. К анализируемому раствору, полученному после сожжения адсорбента в калориметрической бомбе, добавляют те же реактивы и в той же последовательности, как для построения градуировочного графика.
Реакционный сосуд подключают к компрессору и включают его.
7.2. На регистрирующем приборе считывают показания прибора, которые откладывают на полученном графике, и определяют массу ртути.
Количество ртути в анализируемой пробе определяют как для 1-й, так и для 2-й поглотительных трубок, а затем результаты суммируют.
7.3. Одновременно готовят "холостую" пробу и проводят опыт через все стадии анализа аналогично описанному в
п. п. 7.1 и 7.2, исключая отбор дымовых газов.
8.1. Вычисляют количество (массу) ртути в мг, содержащееся в 1-й поглотительной трубке

, 2-й трубке

, холостой пробе

по формуле
где а - измеренное количество ртути в данной пробе, мг;
в - масса адсорбента, содержащегося в поглотительной трубке (см.
п. 6.2.1), г;
к - масса навески адсорбента, помещаемой в тигель (см.
п. 6.2.1), г.
8.2. Концентрацию ртути

в дымовых газах, мг/м3, вычисляют по формуле
где

- объем отобранного газа, м3, определяемый на основании данных, полученных в соответствии с
п. 6.1.3,

- объем отобранного газа, дм3/мин;
T - время отбора пробы, мин;
B - барометрическое давление, мм рт. ст.;

- разряжение у аспиратора, мм рт. ст.;

- температура газа у аспиратора, °C.
9. ОФОРМЛЕНИЕ РЕЗУЛЬТАТОВ ИЗМЕРЕНИЙ
Результаты измерений записывают в таблицу, форма которой приведена ниже.
Дата отбора пробы | Наименование точки отбора | Содержание ртути, мг/м3 |
1 | 2 | 3 |
.............................. | ........................................ | ................................... |
Протокол испытаний должен включать следующее:
- наименование заказчика;
- условия отбора проб дымовых газов (дата отбора пробы, наименование точки и места отбора);
- марка топлива (уголь, месторождение) или другой вид топлива;
- тепловая нагрузка котла;
- топливный баланс котла;
- данные анализа пробы (ртуть, мг/м3).
Протокол подписывается заведующим лабораторией и руководителем работы.
10. ТРЕБОВАНИЯ К КВАЛИФИКАЦИИ ОПЕРАТОРА
К выполнению анализа допускаются лица, имеющие высшее или среднее техническое образование, опыт работы в химической лаборатории, освоившие методику выполнения измерений на атомно-абсорбционном спектрофотометре в соответствии с "Техническим описанием и инструкцией по эксплуатации", прилагаемой к прибору.
11. ТЕХНИКА БЕЗОПАСНОСТИ ПРИ ПОДГОТОВКЕ
И ВЫПОЛНЕНИИ ИЗМЕРЕНИЙ
Перед началом работы по отбору проб дымовых газов исполнители должны быть ознакомлены с действующими на производстве ТЭС правилами техники безопасности. Работы, связанные с отбором проб на высоте, допускается проводить только при наличии прочных и устойчивых площадок, огражденных перилами высотой не менее 1 м и бортовыми досками.
Участки газоходов, вблизи которых проводится измерение, должны быть изолированы, если температура стенок выше 45 °C.
Запрещается устройство временных настилов на случайных опорах. Запрещается ставить леса и подмостки на конструкционные элементы, не рассчитанные на дополнительную нагрузку.
Допускается устанавливать аппаратуру на рабочей площадке только при условии, что приняты меры, исключающие их падение с площадки.
Работы при анализе проб газа должны выполняться с соблюдением "Основных правил безопасной работы", принятых в химических лабораториях.
Растворы, применяемые для определения ртути, в мерные пипетки отбираются с помощью резиновой груши.
Категорически запрещается производить отбор используемых растворов в пипетки ртом.
Лабораторные помещения, в которых выполняются химические анализы, должны быть оборудованы приточно-вытяжной вентиляцией, вытяжными шкафами и соответствовать санитарным нормам.
(обязательное)
А.1. Приготовление стандартных растворов
Для приготовления стандартных растворов, содержащих 1 г/дм3 ртути, могут быть использованы следующие реактивы: ртуть (II) хлорная

, оксид ртути (HgO), а также государственный стандартный образец ГСО РР-3497.
А.1.1. Растворяют 1,3520 г

в мерной колбе емкостью 1000 см3 в дистиллированной воде, доливают водой до метки и тщательно перемешивают.
А.1.2. Растворяют 1,080 г HgO в 20 см3 соляной кислоты с концентрацией 5 моль/л (уд. вес = 1,085 г/см3) в стакане емкостью 100 см3. Затем раствор количественно переносят в мерную колбу емкостью 1000 см3, тщательно ополаскивают стаканчик дистиллированной водой, которую также переносят в колбу. Раствор доливают до метки дистиллированной водой и перемешивают.
А.1.3. Растворы ГСО хранят в запаянных маркированных стеклянных ампулах вместимостью 6 см3.
Вскрывают ампулу с массовой концентрацией ртути (II) 1 мг/см3, отбирают пипеткой нужный объем (2,5 см3, 5 см3 соответственно), переносят его в мерную колбу 25 или 50 см3 и доводят до метки дистиллированной водой.
Концентрация ртути в полученном растворе составляет 0,1 г/дм3.
Стандартные растворы хранят не более 3 месяцев в посуде из полимерного материала.
А.2. Приготовление рабочего стандартного раствора
Рабочие стандартные растворы N 1 - 4, содержащие 0,0001 - 0,1 г/дм3 ртути, готовят разбавлением исходного стандартного раствора ртути раствором азотной кислоты 1:4.
А.2.1. Раствор N 1. 10 см3 исходного стандартного раствора ртути переносят в мерную колбу вместимостью 100 см3, доливают до метки раствором азотной кислоты и перемешивают (содержание ртути в полученном растворе составляет 0,1 г/дм3).
А.2.2. Раствор N 2. 10 см3 раствора N 1 переносят в мерную колбу вместимостью 100 см3, доливают до метки раствором азотной кислоты и перемешивают (содержание ртути в полученном растворе составляет 0,01 г/дм3).
А.2.3. Раствор N 3. 10 см3 раствора N 2 переносят в мерную колбу вместимостью 100 см3, доливают до метки раствором азотной кислоты и перемешивают (содержание ртути в полученном растворе составляет 0,001 г/дм3).
А.2.4. Раствор N 4. 10 см3 раствора N 3 переносят в мерную колбу вместимостью 100 см3, доливают до метки раствором азотной кислоты и перемешивают (содержание ртути в полученном растворе составляет 0,0001 г/дм3). Растворы по
п. п. 2.1,
2.2, 2.3, 2.4 готовят в день проведения анализа.
А.2.5. На основе ГСО путем последовательного разбавления готовят рабочие растворы по
п. п. 2.2,
2.3, 2.4.
А.2.6. Калий марганцовокислый

, 5%-ный раствор. 5 г

растворяют в 75 см3 дистиллированной воды, нагретой до 60 °C. После охлаждения раствор переносят в мерную колбу емкостью 100 см3 и доводят объем дистиллированной водой до метки.
А.2.7. Гидроксиламин солянокислый, 1,5%-ный раствор. 1,5 г гидроксиламина солянокислого растворяют в мерной колбе емкостью 100 см3 и доводят объем дистиллированной водой до метки.
А.2.8. Олово двуххлористое

, 10%-ный раствор. 10 г

растворяют в 45 см3 концентрированной соляной кислоты

при нагревании. После охлаждения раствор переносят в мерную колбу емкостью 100 см3 и осторожно доводят до метки дистиллированной водой.
(справочное)
ПЕРЕЧЕНЬ НОРМАТИВНЫХ ДОКУМЕНТОВ, НА КОТОРЫЕ ИМЕЮТСЯ ССЫЛКИ
В СО 34.44.222-2001(РД 153-34.1-44.222-2001)
Обозначение НД | Наименование НД | Пункт, в котором имеется ссылка |
1 | 2 | 3 |
| Калориметр сжигания с бомбой жидкостной | |
| Посуда мерная лабораторная стеклянная. Цилиндры, мензурки, колбы, пробирки. Технические условия | |
| Кислота соляная. Технические условия | |
| | ИС МЕГАНОРМ: примечание. ГОСТ 3279-76 утратил силу с 1 января 2010 года в связи с введением в действие ГОСТ Р 53224-2008 (Приказ Ростехрегулирования от 25.12.2008 N 719-ст). ГОСТ Р 53224-2008 утратил силу с 1 августа 2017 года в связи с введением в действие ГОСТ Р 53224-2016 (Приказ Росстандарта от 08.09.2016 N 1081-ст). | |
|
ГОСТ 3279-76 | Волокно хлопковое. Технические условия | |
| Кислота азотная. Технические условия | |
ГОСТ 5230-77 | Ртуть окись желтая. Технические условия | |
| Проволока константовая неизолированная. Технические условия | |
| Гидроксиламин солянокислый | |
| Резиновые технические трубки с внутренним диаметром 5, 8, 10 мм | |
| Кислород газообразный технический и медицинский. Технические условия | |
| Вода дистиллированная. Технические условия | |
ГОСТ 8010-90 | ГСП. Методика выполнения измерений | |
| Калий марганцовокислый. Технические условия | |
|
|
ГОСТ 24104-88 | Весы лабораторные общего назначения и образцовые. Общие технические условия | |
| Посуда и оборудование лабораторные стеклянные. Типы, основные параметры и размеры | |
| Посуда лабораторная стеклянная. Пипетки градуированные. Часть 1. Общие требования | |
ГОСТ 29251-77 | Посуда лабораторная стеклянная. Бюретки. Часть 1. Общие требования | |
ГСО РР-3497-86 | Государственный стандартный образец для приготовления стандартного раствора ртути | |
ТУ 6-09-31-107 | Силикагель | |
ТУ 6-09-1678-77 | Фильтры обеззоленные ("белая лента") | |
ТУ 6-09-5384-88 | Олово двуххлористое | |
МРТУ 6-09-5322-68 | Ртуть (II) хлорная | |