Главная // Актуальные документы // МетодикаСПРАВКА
Источник публикации
М.: Стройиздат, 1988
Примечание к документу
Название документа
"Рекомендации по доставке бетонных смесей автотранспортными средствами"
"Рекомендации по доставке бетонных смесей автотранспортными средствами"
ПО ДОСТАВКЕ БЕТОННЫХ СМЕСЕЙ АВТОТРАНСПОРТНЫМИ СРЕДСТВАМИ
Рекомендованы к изданию решением секции организации и технологии строительства Научно-технического совета ЦНИИОМТП Госстроя СССР.
Содержат данные о существующих способах, средствах и режимах доставки автомобилями и дополнительным оборудованием тяжелых и легких бетонных смесей.
Освещены вопросы выбора технологии доставки, подбора состава и определения исходной температуры транспортируемых в различных атмосферно-климатических условиях бетонных смесей и количества средств доставки.
Для инженерно-технических работников строительных организаций.
Необходимость издания настоящих Рекомендаций обусловлена значительным объемом и высокой стоимостью транспортируемых бетонных смесей, реальной опасностью ухудшения их свойств и возможностью их значительных потерь, а также отсутствием единого документа подобного рода.
Представленные Рекомендации имеют целью довести до широкого круга специалистов в систематизированной и удобной для практического применения форме новые и традиционные, но разрозненные сведения по вопросам транспортирования тяжелых и легких бетонных смесей, а также необходимые аспекты их приготовления и укладки, объединенные в единую технологию доставки бетонных смесей.
При составлении Рекомендаций использованы научные разработки, труды и другие опубликованные материалы ЦНИИОМТП, НИИЖБ, БелНИИУС, МИСИ, ТИСИ, НИСИ, ТашНИИМСХ, ИПИ, ВНИИСТ, Гидропроекта, СибЗНИИЭП, Красноярского ПромстройНИИпроекта, ВНИИстройдормаша, Минуралсибстроя СССР, Норильского горно-металлургического комбината, ЦНИИЭП жилища.
Рекомендации разработаны ЦНИИОМТП Госстроя СССР (канд. техн. наук В.И. Остромогольский).
Замечания и предложения по Рекомендациям просим направлять в ЦНИИОМТП Госстроя СССР по адресу: 127434, Москва, Дмитровское шоссе, 9.
1.1. Доставка бетонных смесей - это комплексный технологический процесс, включающий транспортирование, приготовление смеси и управление ее свойствами в процессе транспортирования, погрузочные и разгрузочные операции, подогрев и распределение выгружаемой смеси, перегрузку смеси во внутриобъектное бетоноподающее оборудование. Кроме того, приведены примеры определения исходных составов и температур транспортируемых смесей.
1.2. Процесс доставки бетонных смесей отличается тем, что во время его осуществления происходит значительное изменение свойств смесей, в связи с чем требуется единый методический подход к выбору и обоснованию способов, средств и режимов его осуществления, изложенный в настоящих Рекомендациях.
1.3. Основная исходная предпосылка настоящих Рекомендаций - обеспечение строительных объектов бетонными смесями с заданными и необходимыми им свойствами и температурой смеси, а также их поставкой в необходимых объемах и темпе.
1.4. В Рекомендациях рассмотрен процесс доставки в зависимости от процессов и средств как приготовления, так и внутриобъектной обработки смесей, их подачи и укладки.
1.5. Рекомендации предусматривают использование как самых современных, так и традиционных средств и способов доставки бетонной смеси и рассматривают вопросы их совместной и отдельной применимости с единых научно-методических позиций.
1.6. Настоящие Рекомендации содержат сведения по технологии доставки тяжелых и легких бетонных смесей в готовом виде с различными видами их побуждения, в том числе пластифицирующего перемешивания, а также без побуждения. Кроме того, они содержат материалы по доставке сухих бетонных смесей, содержащих высушенные и увлажненные заполнители. В Рекомендациях освещены вопросы использования специальных химических добавок при доставке бетонных смесей в различных условиях.
1.7. Большое внимание в Рекомендациях уделено вопросам установления допустимых, расстояний транспортирования, выбора средств, способов и режимов доставки, в том числе при различных климатических и температурных условиях, определения исходных температур, подвижностей и составов транспортируемых смесей, расчета необходимого количества автомобильных средств. Освещены вопросы отпуска, приема и гарантий качества доставляемых автомобилями бетонных смесей, а также техники безопасности работ по доставке.
1.8. Доставка бетонных смесей должна осуществляться в соответствии с технологическими картами, утвержденными Госстроем СССР или госстроями союзных республик и строительными министерствами СССР.
1.9. Все специализированные автотранспортные средства для доставки бетонных смесей должны удовлетворять соответствующим техническим требованиям, утвержденным Госстроем СССР.
2. ТЕХНОЛОГИЯ И СРЕДСТВА ДОСТАВКИ ТЯЖЕЛЫХ И ЛЕГКИХ БЕТОННЫХ СМЕСЕЙ
2.1. Бетонные смеси представляют собой упруговязкопластичную массу с изменяющимися во времени и в процессе различных операций свойствами. При этом в целях качественного строительства необходимо, чтобы показатели свойств и температура бетонной смеси и приготовленных из нее бетонов после всех операций находились на определенном допустимом уровне, а общая продолжительность всех операций Tоб, включающая продолжительность загрузки смеси в автомобиль Tз, ее доставки в нем, в том числе порционной Tд, и разгрузки Tр, выдерживания на объекте до укладки Tв, внутриобъектной подачи Tп и укладки Tу, а также допускаемого технологического резерва времени Tт.р, не должна превышать сроков начала схватывания смеси, ее жизнеспособности Tж, предопределяемого как свойствами смеси, так и ее податливостью к переработке, подаче, укладке и уплотнению имеющимися средствами
Tоб = (Tз + Tд + Tр + Tв + Tп + Tу + Tт.р) <= Tж. (1)
2.2. Процесс транспортирования бетонных смесей, часто осуществляемый на значительные расстояния в неприспособленных для этого автосамосвалах, особенно интенсивно способствует ухудшению свойств смесей, ввиду чего специализированные средства, предназначенные для доставки бетонных смесей, и ее технология должны обеспечивать максимально возможное сохранение свойств и температуры смесей, исключать попадание в нее атмосферных осадков, не нарушать ее однородности, исключать потери цементного молока или раствора в пути, обеспечивать предохранение от вредного воздействия положительных и отрицательных температур, а также ветра и солнечных лучей.
2.3. Транспортирование бетонной смеси должно быть организовано так, чтобы на месте укладки она имела заданную подвижность, температуру и однородность, а изготовленный из нее бетон должен иметь проектную марку по прочности и, при необходимости, морозостойкости, водонепроницаемости, истираемости и другим требующимся характеристикам.
2.4. Существуют различные методы доставки бетонных смесей, однако всегда следует учитывать, что эффект воздействия, а также допустимая длительность каждой операции могут изменяться за счет усиливающего или компенсирующего воздействия или длительности других операций и имеющегося резерва времени (например, расслоение перевезенной смеси может компенсироваться ее перемешиванием на строительном объекте, а длительная, порционная доставка - сокращением сроков хранения смеси на объекте перед укладкой или технологическим резервом времени).
2.5. Бетонные смеси поставляются изготовителем в следующих видах:
а) готовой затворенной водой смеси;
б) частично приготовленной бетонной смеси, затворенной частью необходимого количества воды с последующим добавлением в пути или по прибытии на объект оставшейся части воды и дополнительным перемешиванием всей массы смеси;
в) сухих смесей, содержащих высушенные заполнители (насыпная смесь вяжущего с крупным и мелким заполнителем);
г) сухих смесей, содержащих влажные заполнители;
д) расфасованных в специальную тару (резиновые или бумажные мешки и т.п.) сухих смесей, содержащих высушенные заполнители.
2.6. Для транспортирования бетонной смеси в зависимости от ее первоначальной подвижности, скорости схватывания применяемого цемента, дальности и температурно-влажностных условий перевозок, а также состояния дорог могут применяться автобетоносмесители и автобетоновозы. В отдельных случаях транспортирование бетонной смеси может осуществляться в усовершенствованных автосамосвалах, бадьях и бункерах, установленных на автомашинах (автобадьевозы), а также на железнодорожных платформах с мото- или электротягой. Виды и характеристики основных используемых автосредств для транспортирования бетонной смеси и ее компонентов приведены в
прил. 1 -
4. Все автотранспортные средства должны иметь характеристику вместимости их кузовов и смесительных барабанов при перевозке бетонных смесей различной плотности.
2.7. Для обеспечения необходимых свойств и температуры смеси применяется введение в них специальных химических добавок, а также подогрев, охлаждение и термоизоляция как самих смесей, так и их составляющих.
2.8. Выбор средств и режимов перевозок бетонных смесей, а также определение допустимого времени и дальности их транспортирования (с целью сохранения свойств смеси) должны устанавливаться с учетом местных условий по методике, изложенной в настоящей главе.
2.9. В целях предотвращения расслоения и сохранения технологических свойств перевозимой бетонной смеси рекомендуется следующее:
перевозки бетонной смеси осуществлять по дорогам и подъездным путям, покрытым жестким покрытием, не имеющим выбоин и других дефектов;
транспортирование бетонной смеси организовать так, чтобы максимально сократить количество перегрузочных операций и по возможности осуществлять разгрузку смеси непосредственно в бетонируемую конструкцию или бетоноукладочное оборудование, что может быть обеспечено устройством подъездных путей к месту ее укладки;
ограничить высоту свободного падения бетонной смеси при выгрузке ее из автотранспортных средств 1,5 м. В противном случае автотранспорт должен быть снабжен специальными лотками для подачи смеси к месту укладки;
перевозки бетонных смесей в зимних условиях или в условиях сухого и жаркого климата рекомендуется осуществлять согласно специальным организационно-техническим мероприятиям по предохранению смесей от переохлаждения или от перегревания;
при транспортировании бетонных смесей в зимних условиях пункты перегрузок смеси защищать от ветра и снега;
во избежание перегрева бетонной смеси при перевозках в условиях высоких положительных температур необходимо красить кузова специальных автомашин в белый цвет.
2.10. Рекомендуется оснащать специальный автотранспорт для перевозок бетонных смесей оборудованием для радиосвязи с центральным диспетчерским пунктом и со строительными объектами.
2.11. Емкости, в которых перевозится бетонная смесь, должны систематически очищаться и промываться. Не рекомендуется в процессе очистки кузова подвергать его ударному воздействию ручным инструментом (кувалда, лом и т.д.).
ТРАНСПОРТИРОВАНИЕ И ПРИГОТОВЛЕНИЕ АВТОБЕТОНОСМЕСИТЕЛЯМИ
2.12. Автобетоносмесители - специализированные машины для перевозки сухих бетонных смесей и приготовления в пути следования готовых бетонных смесей. Автобетоносмесители могут быть использованы для перевозки готовых смесей с побуждением их в пути, а также частично приготовленной смеси. Загрузка автобетоносмесителей сухой смесью и водой или готовой смесью производится на специализированных заводах товарного бетона.
2.13. Автобетоносмеситель (рис. 1) состоит, как правило, из шасси базового автомобиля, привода или дополнительного двигателя для вращения смесительного барабана, бака для воды, смесительного барабана с аварийным люком, загрузочного устройства, устройства ручного управления смесительным барабаном, навесного оборудования для распределения смеси при ее выдаче.
Рис. 1. Схема автобетоносмесителя СБ-92
1 - кабина; 2 - привод; 3 - бак для воды; 4 - смесительный
барабан; 5 - загрузочная воронка; 6 - лоток; 7 - рычаги
управления смесительным барабаном
2.14. Для доставки бетонных смесей при низких отрицательных температурах используются автобетоносмесители с подогреваемым водяным баком, а для доставки при высоких положительных и отрицательных температурах - с термоизолированным водяным баком и бетоносмесительным барабаном (рис. 2).
Рис. 2. Схема зимнего автобетоносмесителя
1 - базовое автошасси; 2 - двигатель смесительного
барабана; 3 - редуктор смесительного барабана; 4 - водяной
бак; 5 - термоизолятор водяного бака; 6 - змеевик
для пропуска выхлопных газов; 7 - водяной насос;
8 - термоизолятор насоса; 9 - бетоносмесительный барабан;
10 - термоизоляция бетоносмесительного барабана;
11 - разбрызгиватель водяной системы; 12 - термоизоляция
подводящей трубы и разбрызгивателя; 13 - прибор
регулирования подачи воды; 14 - сливная труба;
15 - термоизоляция приборов регулирования подачи воды
и сливной трубы; 16 - магистральная водоподающая труба;
17 - термоизоляция магистральной трубы; 18 - сливная труба;
19 - термоизоляция сливной трубы; 20 - газоподающая труба;
21 - термоизоляция газоподающей трубы (только
по согласованию с автомобильным заводом);
22 - двигатель базового автошасси
2.15. В зависимости от вида смеси, загружаемой в барабан автобетоносмесителя, возможна его работа в трех режимах:
а) при доставке сухой смеси, содержащей высушенные заполнители, - включение барабана в пути следования или на строительном объекте за 10 - 20 мин до разгрузки (режим А);
б) при доставке сухой смеси, содержащей влажные заполнители, или частично затворенной смеси - включение барабана непосредственно после его наполнения (режим Б);
в) при доставке готовой смеси (режим В) - периодическое включение и выключение барабана во время транспортирования смеси до объекта или постоянное вращение барабана с минимальной частотой при периодическом увеличении частоты вращения (пластифицирующее перемешивание).
2.16. Рекомендуемые параметры основных режимов доставки бетонных смесей в автобетоносмесителях представлены в табл. 1.
Таблица 1
Режим доставки | Вид перевозимой смеси | Стадии доставки |
загрузка барабана | предварительное перемешивание или приготовление | транспортирование | периодическое пластифицирующее перемешивание | приготовление или доготовка | выгрузка |
Скорость движения автобетоносмесителя, км/ч |
0,0 | не более 10 | 20,0 - 30,0 | не более 10 | не более 5,0 - 10,0 | 0,0 - 5,0 |
частота, об/мин | время, мин | частота, об/мин | время, мин | частота, об/мин | время, мин | частота, об/мин | время, мин | частота, об/мин | время, мин | частота, об/мин | время, мин |
А | Сухая, содержащая высушенные заполнители | 8 - 16 -------- 6 - 8 | Переменное из расчета 1,5 - 2 м3 массы в минуту | 4 - 8 -------- 2 - 5 | 5 - 8 -------- 5 - 8 | - | - | - | - | 6 - 12 -------- 4 - 8 | 15 ---- 20 | 6 - 12 -------- 5 - 8 | - |
Б | Сухая, содержащая влажные заполнители | 8 - 16 -------- 6 - 8 | 4 - 8 -------- 2 - 5 | 5 - 10 -------- 5 - 10 | - | - | - | - | 6 - 12 -------- 4 - 8 | 20 ---- 25 | 6 - 12 -------- 5 - 8 | Переменное из расчета 0,5 - 2,5 м3 смеси в минуту |
Частично затворенная | 8 - 16 -------- 8 - 12 | 6 - 10 -------- 4 - 6 | 10 - 15 -------- 10 - 15 | Не более 3,5 | 18 - 20 Постоянное -------------------- Периодическое | - | 6 - 12 -------- 4 - 8 | 15 ---- 20 | 6 - 12 -------- 5 - 8 |
В | Готовая бетонная | 10 - 18 -------- 8 - 16 | 6 - 12 -------- 4 - 8 | 15 - 20 -------- 20 - 25 | Не более 3,5 | 18 - 20 Постоянное -------------------- Периодическое | 18 - 20 -------- 16 - 18 | Переменное ------------ 3 - 13 | - | 6 - 12 -------- 5 - 8 |
--------------------------------
<*> Над чертой приведены значения параметров доставки тяжелых бетонных смесей, под чертой - легких бетонных смесей.
Доставка бетонной смеси автобетоносмесителем при постоянном вращении барабана с частотой выше 2 - 3,5 об/мин не рекомендуется.
2.17. При эксплуатации автобетоносмесителей в режиме А исходные компоненты смеси должны быть сухими, влажность песка - не более 0,5%, иначе в барабане смесителя образуются комья слипшегося с заполнителем цемента, что в дальнейшем значительно ухудшает качество бетона и препятствует выгрузке бетонной смеси из барабана.
2.18. Кузова автобетоносмесителей рекомендуется промывать водой после каждой перевозки бетонной смеси и после каждой рабочей смены.
ТРАНСПОРТИРОВАНИЕ АВТОБЕТОНОВОЗАМИ
2.19. Автобетоновозы - специализированные машины, предназначенные для перевозок готовых бетонных смесей и растворов на расстояния до 45 км. Они имеют высокие кузова каплевидной формы, расположенные в зоне минимальной вибрации рамы базового автомобиля (зона комфорта), благодаря чему обеспечивается сохранность перевозимой бетонной смеси от расслоения и разбрызгивания. Для предохранения смеси от воздействия атмосферных осадков и ветра кузов имеет крышку, а для предохранения смеси от воздействия отрицательных и положительных температур - двойную обшивку с пространством между ее листами, которое позволяет снабдить кузов специальным термоизолятором. Некоторые автобетоновозы снабжены термоактивными кузовами, позволяющими осуществлять подогрев смеси без ее пригорания (см.
разд. 7) выхлопными газами автомобиля.
2.20. Автобетоновоз (рис. 3) состоит из собственно базовой автомашины, ковшеобразного кузова (иногда внутри кузова размещены вращающиеся лопасти) со специальной крышкой, опорно-поворотного круга и платформы (при разгрузке смеси только назад этот круг отсутствует), которая дает возможность значительно увеличить высоту выгрузки смеси и поворачивать кузов на 90° в горизонтальной плоскости, системы управления кузовом, дозирующего устройства, крепящегося к опорной части платформы или расположенного внутри кузова.
Рис. 3. Схема автобетоновоза с трехсторонней разгрузкой
на двух уровнях
1 - шасси; 2 - кузов; 3 - передняя крышка кузова;
4 - задняя крышка кузова; 5 - поворотная рама;
6 - опорное устройство
ТРАНСПОРТИРОВАНИЕ АВТОСАМОСВАЛАМИ
2.21. В условиях отсутствия специального транспорта допустимо применение автосамосвалов при транспортировании бетонных смесей лишь на короткие расстояния и только при осуществлении следующих мероприятий:
в целях уменьшения потерь бетонной смеси в результате ее выплескивания в момент уменьшения или увеличения скорости, а также при резком торможении или начале движения рекомендуется наращивать борта его кузова не менее чем на 40 см;
для ликвидации утечки растворной части бетонной смеси рекомендуется уплотнять место примыкания заднего борта к кузову прокладками из листовой резины, транспортерных лент или шлангов
(рис. 4). Может быть также сделан неоткрывающийся наклонный задний борт аналогично конструкциям автобетоновозов;
в целях сохранения температуры бетонной смеси, перевозимой автосамосвалами при температурах наружного воздуха выше +10 и ниже -5 °C, рекомендуется устраивать термоизоляцию кузова аналогично термоизоляции автобетоновоза;
в отдельных случаях при перевозке смеси зимой на расстояния до 5 км возможно применение автосамосвалов с кузовами, обогреваемыми выхлопными газами (
рис. 5 и
п. 7.7 настоящих Рекомендаций).
Рис. 4. Примыкание заднего борта к кузову автосамосвала
1 - кузов: 2 - задний борт; 3 - резиновая прокладка;
4 - болт; 5 - ланжерон кузова
Рис. 5. Кузов автосамосвала, оборудованный для обогрева
выхлопными газами
1 - дополнительные стенки из листовой стали; 2 - средние
брусья; 3 - брусья, замыкающие полость; 4 - поперечные
балки основания кузова; 5 - отверстия для прохода газов
в обогреваемую полость; 6 - патрубок для выброса газов
в атмосферу; 7 - газопровод с разъемным соединением
2.22. Для облегчения и сокращения времени выгрузки бетонной смеси из кузовов автосамосвалов рекомендуется использовать вибропобудители, имеющиеся в гидроцилиндрах некоторых автосамосвалов; для этой же цели может быть также использован обычный автомобильный стартер с навешенным на его якорь дебалансом. В этих же целях рекомендуется увеличить угол подъема кузова автосамосвала до 85 - 90°.
ПРОЧИЕ ВИДЫ ТРАНСПОРТИРОВАНИЯ БЕТОННЫХ СМЕСЕЙ
2.23. Транспортирование бетонных смесей может осуществляться автобадьевозами, автомототележками и железнодорожными платформами.
2.24. Автобадьевоз (рис. 6,
прил. 2) предназначен для перевозок готовых смесей в отдельных специальных бадьях, которые ставятся и снимаются с рамы бадьевоза с помощью подъемного крана и вместе с находящейся в бадье смесью оставляются на строительном объекте для последующего использования.
Рис. 6. Схема автобадьевоза
а - вид сбоку; б - вид сверху; 1 - автотягач;
2 - сидельно-сцепное устройство; 3 - полуприцеп;
4 - бадьи; 5 - подъемные петли бадьи; 6 - выгрузочный
затвор; 7 - задняя ось полуприцепа; 8 - стояночный тормоз;
9 - крышка бадьи; 10 - рама полуприцепа; 11 - опорное
устройство полуприцепа; 12 - дополнительное
электрооборудование; 13 - пневмопривод тормозов
С помощью бадьевоза можно доставлять смесь мелкими порциями в любую точку строительной площадки.
2.25. Для обеспечения высоких темпов подачи бетонной смеси может быть рекомендовано применение железнодорожных платформ с мото- и электротягой, на которые устанавливаются съемные бадьи с готовой бетонной смесью.
2.26. Небольшие количества бетонной смеси (до 0,1 - 0,2 м3) могут доставляться на короткие расстояния автомототележками, имеющими специальный опрокидной бункер (рис. 7).
Рис. 7. Мототележка для доставки бетонных смесей
ОБОРУДОВАНИЕ ДЛЯ СОВМЕЩЕНИЯ ПРОЦЕССОВ ДОСТАВКИ И УКЛАДКИ СМЕСЕЙ
2.27. Для совмещения функций доставки и укладки бетонных смесей автобетоносмесители снабжаются специальными распределительными транспортерами (рис. 8), а автобетоновозы - лотками.
Рис. 8. Автобетоносмеситель, оборудованный транспортером
2.28. Некоторые зарубежные автобетоносмесители оборудованы бетононасосами с распределительной стрелой (рис. 9).
Рис. 9. Автобетоносмеситель, оборудованный бетононасосом
со стрелой (транспортное положение)
1 - шасси; 2 - смесительный барабан; 3 - бетононасос;
4 - распределительная стрела
ДОПОЛНИТЕЛЬНОЕ ОБОРУДОВАНИЕ ДЛЯ ДОСТАВКИ БЕТОННЫХ СМЕСЕЙ
2.29. В качестве дополнительного оборудования при доставке бетонных смесей используются перегрузочные самоподъемные бункера и специальные перегружатели-смесители.
2.30. Бункера
(рис. 10) используются для приема смеси из автосамосвалов, а также при необходимости создать запас бетонной смеси. Бункер снабжен вибропитателем и предназначен для приема бетонной смеси из автомобилей-самосвалов и регулируемой выдачи ее в бункера переносные, мототележки, приемные бункера бетононасосов, на ленточные конвейеры и вибролотки. Бункер предназначен для работы на открытых строительных площадках.
Рис. 10. Бункер перегрузочный самоподъемный
Время выдерживания бетонной смеси в перегрузочном бункере должно устанавливаться строительной лабораторией в зависимости от требуемой подвижности в момент подачи ее в последующее оборудование.
После выгрузки бетонной смеси бункер должен быть очищен от остатков бетонной смеси на месте выгрузки. Периодически, но не реже чем два раза в смену, и при перерывах в работе более чем на 1 ч бункер должен быть очищен и промыт.
2.31. Перегружатели-смесители используются для приема смеси из автосамосвалов и автобетоновозов и ее постепенной выгрузки в приемные бункера бетононасосов и другого оборудования.
2.32. Перегружатели-смесители способны дополнительно перемешивать смесь и восстанавливать ее однородность и частично подвижность. Технические характеристики перегружателей-смесителей даны в
прил. 5.
2.33. Перегружатель-смеситель гравитационного действия (
рис. 11,
а) представляет собой вытянутый сигарообразный гравитационный бетоносмесительный барабан с внутренними спиралевидными лопастями, жестко прикрепленными к внутренней поверхности барабана. Барабан по краям имеет два отверстия: загрузочное и разгрузочное. Со стороны загрузочного отверстия имеется приемный бункер и загрузочный шнек. Работа перегружателя осуществляется путем его загрузки через приемный бункер из автобетоновоза или самосвала, перемешивания в барабане и выгрузки смеси через выгрузочное отверстие.
Рис. 11. Схема перегружателя-бетоносмесителя
а - гравитационного действия; б - принудительного действия;
1 - приемный бункер; 2 - смеситель; 3 - система подачи воды;
4 - бак; 5 - пульт управления; 6 - механизм вращения;
7 - ходовая часть; 8 - гидрооборудование; 9 - привод;
10 - приемный бункер бетононасоса
2.34. Перегружатель-смеситель принудительного действия (
рис. 11,
б) состоит из установленного на колесах открытого сверху прицепного бункера (корыта), внутри которого находятся два вращающихся вала с установленными на них спиралевидными лопастями.
В передней сужающейся части бункер имеет выгрузочное отверстие. Перегружатель работает следующим образом: доставленная с бетонного завода смесь выгружается из автобетоновоза или самосвала в приемную часть бункера перегружателя, здесь смесь перемешивается и подается в сторону выгрузочного отверстия, через которое происходит постепенная разгрузка смеси.
ПОДГОТОВКА МАТЕРИАЛОВ ТРАНСПОРТИРУЕМЫХ БЕТОННЫХ СМЕСЕЙ
2.35. Все составляющие бетонные смеси материалы (вяжущие, крупный и мелкий заполнители, вода, химические добавки и т.д.) должны соответствовать действующим ГОСТам.
2.36. Для создания возможности доставки "сухих" смесей на неограниченное расстояние крупный и мелкий заполнители должны быть высушены в специальных сушильных барабанах или других приспособленных для этого устройствах. Влажность заполнителей не должна превышать 0,2 - 0,3% их массы.
2.37. Для создания возможности замедления темпов снижения подвижности и расслоения транспортируемой готовой смеси возможно предварительное увлажнение пористого и плотного заполнителей частью воды, предназначенной для приготовления смеси.
2.38. Для ликвидации переохлаждения транспортируемой при отрицательных температурах бетонной смеси или ее составляющих рекомендуется применять их предварительный разогрев.
2.39. В целях уменьшения потери смесью ее подвижности при доставке в условиях высоких положительных температур и сухого воздуха рекомендуется предварительное охлаждение составляющих смеси.
2.40. Для разогрева охлажденных в процессе транспортировки смесей рекомендуется применение их электроразогрева после перевозки непосредственно в кузовах автомобилей или в приемных внутрипостроечных бункерах.
2.41. Для сохранения исходных свойств бетонных смесей, создания возможности их доставки при низких отрицательных и высоких положительных температурах, а также улучшения их удобообрабатываемости рекомендуется применение специальных химических добавок.
3. ВЫБОР СРЕДСТВ, СПОСОБОВ И РЕЖИМОВ ДОСТАВКИ БЕТОННЫХ СМЕСЕЙ
3.1. Выбор способов, средств и режимов доставки бетонных и керамзитобетонных смесей определяется условиями сохранения их качества, их исходным составам и подвижностью, возможностями строительных организаций и конкретных объектов, бетонных заводов, автопарка, дорожными и погодными условиями, необходимым темпом загрузки и выгрузки смеси, наличием и видом внутриобъектного бетоноприемного и бетоноукладывающего оборудования, возможным временем простоя под этими операциями, приведенными затратами на процессы доставки и общий процесс возведения сооружения. Все эти соображения интегрируются в технико-экономическом обосновании, по которому и принимается конкретное решение о выборе той или иной технологии доставки. При этом критериями выбора могут быть экономические, энергетические, трудовые и другие показатели.
3.2. Технологические критерии устанавливаются строительными лабораториями. Наиболее важным технологическим критерием, как правило, является допустимое расстояние транспортирования смеси Li.x.доп, которое устанавливается экспериментально. При этом определяются все необходимые показатели свойств перевезенных на объект бетонных смесей и проверяется их соответствие проектным показателям.
3.3. Доставка бетонной смеси и определение технологически допустимого расстояния перевозки должны осуществляться таким образом, чтобы фактическая потеря подвижности бетонной смеси не превышала 2 см, а общие изменения температуры бетонной смеси при транспортировании не превышали:
5 °C - в течение первого часа транспортирования;
3 °C - в течение каждого последующего часа транспортирования.
Изменение температуры пристенных слоев перевозимой смеси, замеренной в слое смеси толщиной не более 2 см, не должно превышать:
7 °C - в течение первого часа транспортирования;
5 °C - в течение каждого последующего часа транспортирования.
3.4. Ориентировочные технологически допустимые расстояния транспортирования
Li.x.доп различных тяжелых бетонных и керамзитобетонных смесей (кроме сухих смесей, содержащих влажные заполнители) представлены в табл. 2 и
3, те же расстояния для сухих смесей, содержащих влажные заполнители, представлены в
табл. 4 и
5.
Подвижность бетонной смеси, см | Дорожное покрытие | Скорость транспортирования, км/ч | Расстояние, км |
Автобетоносмеситель | Автобетоновоз | Автосамосвал | Автобадьевоз | Автобетоновоз | Автосамосвал | Автобадьевоз |
Режим транспортирования |
А | Б | В | Г | Д |
1 - 3 | Жесткое асфальтовое, асфальтобетон и т.д. | 30 | Не ограничено | | До 100 | До 45 | 30 | 25 | 90 | 45 | 35 |
4 - 6 | 80 | 30 | 20 | 15 | 60 | 30 | 25 |
7 - 9 | 60 | 20 | 15 | 10 | 40 | 22 | 20 |
10 - 14 | 45 | 15 | - | - | 30 | 15 | - |
1 - 3 | Мягкое грунтовое улучшенное | 15 | Применение не рекомендуется ввиду возможности быстрого выхода из строя | 12 | 7 | 5 | 20 | 10 | 7 |
4 - 6 | 6 | 5 | 3 | 15 | 7 | 5 |
7 - 9 | 5,4 | 3,7 | 2 | 9 | 5 | 3 |
10 - 14 | 4 | 4 | - | 7 | - | - |
Подвижность бетонной смеси, см | Дорожное покрытие | Скорость транспортирования, км/ч | Расстояние, км |
Автобетоносмеситель | Автобетоновоз | Автосамосвал | Автобадьевоз | Автобетоновоз | Автосамосвал | Автобадьевоз |
Режим транспортирования |
А | Б | В | Г | Д |
1 - 3 | Жесткое асфальтовое, асфальтобетон и т.д. | 30 | Не ограничено | | До 80 | 30 | 25 | 20 | 50 | 40 | - |
4 - 6 | 60 | 25 | 8 | 13 | 40 | 30 | - |
7 - 9 | 50 | 15 | 10 | 8 | 30 | 15 | - |
10 - 14 | 40 | 10 | 8 | 6 | 20 | 18 | - |
1 - 3 | Мягкое грунтовое улучшенное | 15 | Применение не рекомендуется ввиду возможности быстрого выхода из строя | 10 | 7 | 5 | 16 | 12 | - |
4 - 6 | 7 | 4 | 3 | 12 | 7 | - |
7 - 9 | 5 | 3 | 2 | 8 | 5 | - |
10 - 14 | 3 | 2 | 1,5 | 5 | 3 | - |
Исходная влажность, % собственной массы, песок ---------- щебень | До 1,5 -------- До 1 | До 2 -------- До 3 | До 3 -------- До 4 | До 7 -------- До 5,5 | До 12 -------- До 5,5 |
Расстояние, км, при скорости 30 км/ч | До 300 | До 210 | До 90 | До 30 | До 15 |
Исходная влажность, % собственной массы, песок ---------------------------- керамзитовый гравий | До 4,5 -------- До 3,5 | До 7 -------- До 4 | До 7 -------- До 11 | До 11 -------- До 11 | До 3 -------- До 15 |
Расстояние, км, при скорости 30 км/ч | До 360 | До 210 | До 150 | До 60 | До 15 |
Расстояние транспортирования готовых бетонных смесей, содержащих предварительно увлажненные до значения влагонасыщения заполнители, может быть увеличена для смесей на плотных заполнителях на 10 - 15%, для смесей на пористых заполнителях - на 15 - 25%.
3.5. Виды транспортных средств, способов, маршрутов и режимов доставки бетонных смесей устанавливаются по согласованию заводом-изготовителем, заказчиком и транспортной организацией на основании действующих нормативных документов, фактических экспериментальных наблюдений с учетом состава смесей, климатических, организационных и дорожных условий.
3.6. Общее время нахождения смеси в пути и выдерживания на заводе до транспортирования и на объекте до момента укладки Т
ж (время жизнеспособности) не должно превышать величин, вычисленных на основании данных
табл. 2 и
3, увеличенных не более чем на 30 мин - для обычных смесей и не более чем на 15 мин - для смесей, содержащих быстросхватывающееся вяжущее (время технологического резерва, см.
раздел 2).
Таблицы 2 и
3 охватывают следующие температурные условия доставки: температура воздуха от +20 до +30 °C, температура смеси от +15 до +25 °C. Допустимое расстояние доставки сухих смесей, содержащих влажные, плотные и пористые заполнители, определяется соответственно по
табл. 4 и
5.
3.7. Применение выбранной технологии доставки является возможным, если расстояние Li.x доставки не превышает допустимого Li.x.доп
Li.x <= Li.x.доп·k0, (2)
где x - индекс показателя качества смеси (например подвижности, прочности, плотности, однородности и т.д.);
i - индекс показателя типа покрытия дороги (твердое, мягкое и т.д.);
k0 - коэффициент технологии, принимается равным 1 для обычных и 0,7 - 0,8 - ответственных тонкостенных конструкций, а также при применении бетононасосов.
3.8. При перевозках готовых смесей по дорогам с различным покрытием непременным условием является ограничение приведенного по контролируемому свойству расстояния их транспортирования Lx.прив, которое не должно превышать допустимого по дорогам с жестким покрытием Lж.x.доп

(3)
где kд - коэффициент дорожного покрытия (табл. 6);
n - количество отрезков дорог с различным дорожным покрытием (асфальт, бетон, грунт и т.д.).
Таблица 6
Покрытие дороги | Скорость перевозки, км/ч | Коэффициент дорожного покрытия для |
автосамосвала | автобетоновоза | |
тяжелая бетонная смесь ---------------------------------- керамзитобетонная смесь |
Жесткое (асфальт, бетон, асфальтобетон и т.д.) | 30 | 1 --- 1 | 1 --- 1 | 1 --- 1 |
Мягкое (грунтовое улучшенное) | 15 | 4 -------- 3 - 3,5 | 3,7 ---------- 2,5 - 2,9 | 5 -------- 4 - 4,5 |
--------------------------------
<*> Для автобадьевоза скорость перевозки по дорогам с жестким покрытием равна 25 км/ч.
3.9. Если приведенное расстояние доставки смесей превышает допустимое, то необходимо: выбрать другой способ, режим, средство доставки, другой маршрут или при наличии возможности применить дополнительное оборудование (перегружатели-смесители и т.д.).
3.10. При технологической и организационной возможности применения различных способов и средств доставки выбор и определение областей рационального использования тех или иных бетонотранспортных машин в каждом из строительных подразделений производится совместно с определением рациональных маршрутов и графиков доставки бетонной смеси в едином диспетчерском центре с помощью автоматической системы управления (АСУ) на электронно-вычислительных машинах (в случае малого объема перевозок - вручную) по специально разработанным программам математическими методами линейного и динамического программирования.
3.11. При отсутствии возможности расчета по специальным математическим программам рекомендуется пользоваться приведенной в
прил. 6 таблицей предпочтительности условий доставки бетонных смесей, а также нижеследующими рекомендациями.
3.12. Рекомендуется применять автобетоновозы на расстояниях до 20 км, а автобетоносмесители свыше 20 км, в исключительных случаях возможно применение автосамосвалов, при этом рекомендуется ограничивать дальность транспортировки (5 км).
3.13. При необходимости постепенной и порционной выгрузки из бетонотранспортного средства (применение бетононасосов, рассредоточенное строительство и т.д.) рекомендуется применять автобетоносмесители вне зависимости от удаленности строительного объекта от бетонного завода.
3.14. При отсутствии автобетоносмесителей, а также при значительной сконцентрированности бетонных работ рациональным является применение автобетоновозов совместно с перегружателями-смесителями, восстанавливающими однородность и подвижность смеси и позволяющими осуществлять равномерную загрузку бетононасосов, бетоноукладчиков и другого внутрипостроечного оборудования.
3.15. При отсутствии на строительстве специального бетоноукладочного оборудования рационально применение автобетоносмесителей, оборудованных ленточными транспортерами.
3.16. В случае раздельной доставки компонентов бетонной смеси или отдозированной сухой смеси может оказаться рациональным применение автобетоносмесителей, оборудованных бетононасосами.
3.17. При доставке смесей в условиях пересеченной местности, рек и других препятствий рекомендуется применение бетононасосов. При этом смесь перевозится автобетоносмесителями к месту стоянки бетононасоса, разгружается в его приемный бункер и "перебрасывается" с помощью стрелы насоса через препятствие; за препятствием смесь загружается в смесительный барабан или кузов другого автомобиля и транспортируется им к месту ее укладки.
ПОКОМПОНЕНТНАЯ ДОСТАВКА, БЕЗЗАВОДСКОЕ ПРИГОТОВЛЕНИЕ И УКЛАДКА СМЕСЕЙ
3.18. При массовой доставке бетонных смесей на значительные расстояния и отсутствии возможности высушивания компонентов бетонных смесей рекомендуется применение предложенной В.И. Остромогольским технологии покомпонентной доставки, беззаводского приготовления и укладки бетонных смесей.
3.19. Технология предусматривает следующий порядок работ. Отдозированные на карьерах и цементном заводе песок, цемент и щебень доставляются порознь самостоятельными грузопотоками на стройку, где они одновременно прямо из автомобилей загружаются в приобъектный мобильный бетоносмеситель-перегружатель, автобетоносмеситель с конвейером и т.д., откуда приготовленная в нем смесь подается во внутриобъектное бетоноукладывающее оборудование (насосы, бадьи и т.д.) или непосредственно в конструкцию. При этом автомобили каждого грузопотока подбираются из условия равенства или кратности грузоподъемности каждого из них массе компонента, необходимой на приготовление одной порции бетонной смеси. При необходимости состав смеси может быть подкорректирован в соответствии с грузоподъемностью автомобилей (рис. 12).
Рис. 12. Технологическая схема покомпонентной доставки,
беззаводского приготовления и совмещенной с ними укладки
бетонной смеси
а) - план; б) - разрез; 1 - смеситель-укладчик
(автосмеситель с транспортером); 2 - цистерна для воды;
3 - автобетоносмеситель со щебнем; 4 - автобетоносмеситель
с песком; 5 - автоцементовоз; 6 - склад цемента;
7 - водозаборный пункт; 8 - карьер щебеночный; 9 - карьер
песчаный; 10 - 13 - направление грузопотоков цемента, воды,
щебня и песка; 14 - бетонируемая конструкция
3.20. В качестве автомобилей, доставляющих отдозированный песок и щебень, рекомендуется применять автобетоносмесители, по возможности оснащенные конвейерами. Цемент рекомендуется доставлять цементовозами, а воду - специальными цистернами.
4. ОПРЕДЕЛЕНИЕ ИСХОДНЫХ ТЕМПЕРАТУР ТРАНСПОРТИРУЕМЫХ СМЕСЕЙ
4.1. Температура укладываемой в конструкцию бетонной смеси
tоб в соответствии с технологией бетонов должна находиться на определенном уровне. Для ее обеспечения исходная температура приготовленной на заводе смеси
tзав должна превышать значение
tоб на величину снижения температуры смеси при операциях погрузки, выгрузки и доставки на автомобильном транспорте

. Исходная температура смеси определяется по формуле

(4)
здесь
tоб задается исходя из соображений технологии бетонирования,

определяется по методике, приведенной в
прил. 7, а

- по методике, изложенной ниже.
4.2. Снижение температуры смеси при доставке обусловлено снижением температуры смеси, вызванным первоначальным контактом с охлажденным в порожнем рейсе кузовом -

и снижением, вызванным собственно процессом транспортирования -

.
Снижение температуры смеси различно в различных ее слоях и зависит от их местоположения в кузове. Учет неоднородности снижения температуры производится с помощью коэффициента неравномерности остывания смеси

.
Снижение температуры смеси при доставке выражается зависимостью

(5)
При этом

определяется по формуле

(6)
где

- изменение температуры смеси при транспортировке в течение одной минуты при перепаде температур смеси и воздуха в 1 °C, в град/(град·ч);
T - время транспортирования смеси, ч;
tв - температура воздуха, °C.
Значение

определяется по уравнению теплового баланса, которое с учетом показателя предварительного охлаждения

(при T >= 10 - 15 мин) и КПД теплопередачи
b запишется в виде

(7)
где

, а
cк,
cб - удельные теплоемкости металла кузова и бетонной смеси.
Расчет снижения температуры доставляемой смеси производится по развернутой формуле

(8)
Значения коэффициентов

,
b и

представлены в табл. 7, а коэффициент

- в
табл. 8. Значения

,
b и

даны в единицах, а

- в °C/(4 °C).
Таблица 7
Теплотехнические условия перевозки | Автосамосвал | Автобетоновоз | Автобетоносмеситель <***> (при постоянном перемешивании) |
Характеристики | Коэффициенты | Без термоизоляции | С обогревом кузова выхлопными газами | С воздушной термоизоляцией кузова между его обшивками  | С термоактивным кузовом СБ-113А | Без термоизоляции | С термоизолированным технологическим оборудованием АМ 6 FH |
Тяжелая бетонная смесь --------------------------------- Керамзитобетонная смесь | | 0,12 ------ 0,08 | 0,048 -------- 0,032 | 0,018 -------- 0,012 | 0,000 ------- 0,000 | 0,14 ------ 0,09 | 0,015 -------- 0,009 |
Кузов охлажденный в порожнем рейсе --------------------------------- Кузов, отогретый до загрузки | b | -------------- 0,00 | 0,000 -------- 0,000 | ------------------- 0,00 | 0,000 -------- 0,000 | 0,9/0,8 -------- 0,00 | 0,70/0,85 ------------ 0,00 |
На периферийных участках кузова --------------------------------- Средняя в кузове | | 2,00 ------ 1,00 | 4,30 ------ 1,00 | 2,20 ------ 1,00 | 1,00 ------ 1,00 | 1,00 ------ 1,00 | 1,00 ------ 1,00 |
--------------------------------
<*> Значения представлены ориентировочно.
<**> Полезный объем кузова - до 2,5 м
3.
Бетонная смесь | Автобетоновоз | Автосамосвал | Автобетоносмеситель |
СБ-113 | СБ-124 | СБ-128 | ЗИЛ-ММ3555 | МАЗ-503А | КамАЗ-5511 | КрАЗ-253 | СБ-92 | СБ-921А АМ6 FH | АМ65H утепленный вариант |
Тяжелая | 0,141 | 0,099 | 0,099 | 0,062 | 0,090 | 0,001 | 0,05 | 0,120 | 0,110 | 0,100 |
Керамзитовая | 0,163 | 0,115 | 0,115 | 0,072 | 0,048 | 0,108 | 0,06 | 0,140 | 0,13 | 0,12 |
4.3. Ориентировочный расчет среднего и максимального снижения температуры доставляемой готовой бетонной смеси производится с помощью номограммы
(рис. 13).
Рис. 13. Номограмма для определения средних и максимальных
температур перевозимых тяжелых бетонных
и керамзитобетонных смесей
На рисунке указаны изменения температур вследствие: 1 - транспортировки смеси; 2 - контакта смеси с охлажденным (перегретым) в порожнем рейсе кузовом
По номограмме определяются слагаемые
формулы 5, развернуто представленной в виде

(9)
а сокращенно - в виде

(10)
4.4. Исходная температура готовой бетонной смеси, получаемой на бетонном заводе или приготовляемой из сухой смеси в процессе ее доставки в автобетоносмесителях или после доставки в приобъектных бетоносмесителях, определяется по формуле

(11)
где iп, iк - соответственно относительная влажность песка и крупного заполнителя по массе;
qп, qк, qц - соответственно масса песка, крупного заполнителя и цемента в 1 м3 бетона, кг (в расчете на сухой материал);
tп, tк, tв - соответственно температура песка, крупного заполнителя и воды при загрузке в смеситель или перед перемешиванием в барабане автобетоносмесителя, град;
qв - количество воды в 1 м3 бетонной смеси, л (общее с учетом влажности заполнителей);
| | ИС МЕГАНОРМ: примечание. Обозначение дано в соответствии с официальным текстом документа. | |
qв - вводимое количество воды (количество воды, рассчитанное на сухой материал и уменьшенное на количество воды, находящейся во влажных заполнителях);
4,2 - удельная теплоемкость воды, кДж/(кг·°C);
0,84 - удельная теплоемкость песка, крупного заполнителя и цемента, кДж/(кг·°C).
4.5. Исходная температура приготовляемой и транспортируемой в зимний период смеси, а также достигаемая температура при доставке смеси в условиях сухого и жаркого климата и температура составляющих смесь материалов, в том числе при доставке сухих смесей, не должна превышать значений, указанных в табл. 9.
Таблица 9
Цемент | Наибольшая температура |
готовой бетонной смеси | составляющих сухой смеси |
воды | заполнителей |
Портландцемент, шлакопортландцемент, пуццолановый портландцемент марок ниже М 600 | 35 | 80 | 45 - 50 |
Быстротвердеющий портландцемент и портландцемент марки М 600 и выше | 30 | 60 | 35 - 40 |
Глиноземистый цемент | 25 | 40 | 20 |
5. ИСХОДНЫЕ СОСТАВЫ ТРАНСПОРТИРУЕМЫХ БЕТОННЫХ СМЕСЕЙ
5.1. Исходные составы подлежащих транспортированию тяжелых и легких бетонных смесей определяются на основании вида, назначения и условий работы бетонируемой конструкции, а также действующих на нее нагрузок, атмосферно-климатических и организационно-технологических условий ее бетонирования и распалубливания, в связи с чем у места укладки должны быть обеспечены проектные показатели свойств смесей, рассчитанные из этих условий.
5.2. Процессы доставки автомобилями не определяют проектных показателей свойств бетонных смесей, однако могут вызывать необходимость существенной корректировки их составов и накладывать на составы определенные ограничения, диктуемые необходимостью обеспечения проектных показателей смесей у места их укладки. В связи с этим с позиций технологии доставки бетонные смеси рекомендуется подразделять на смеси с откорректированным и неоткорректированным составами.
5.3. Доставка смесей с неоткорректированными составами предполагает обязательное применение специальных средств и способов доставки, а также приготовления, обеспечивающих неизменность свойств доставляемых смесей или их изменяемость в допустимых пределах (см.
разделы 2 и
3 настоящих Рекомендаций).
5.4. Корректировка составов доставляемых бетонных смесей, как правило, направлена на ликвидацию основных отрицательных последствий их транспортирования, к числу которых относятся:
снижение подвижности смесей;
расслоение смесей;
изменение температуры смесей вплоть до их замерзания или пересушивания;
частичная гидратация цемента, входящего в состав сухих бетонных смесей, содержащих влажные заполнители.
5.5. Корректировка составов бетонных смесей заключается во введении специальных химических добавок, в подборе составов нерасслаивающихся смесей.
5.6. Подбор составов нерасслаивающихся смесей производится экспериментально-строительной лабораторией путем подбора оптимального фракционного состава крупного и мелкого заполнителей, а также цемента с учетом класса эксплуатируемых дорог и применяемых автомобилей.
5.7. Вводимые в доставляемую автомобилями бетонную смесь добавки могут быть подразделены по назначению на:
добавки, вводимые специально для улучшения транспортабельных свойств бетонных смесей;
добавки, вводимые из других технологических соображений, действие которых, однако, сказывается на транспортабельных свойствах смесей, и подлежащие учету или корректировке;
добавки, практически не влияющие на транспортабельные свойства бетонных смесей.
5.8. Выбор и назначение всех видов добавок осуществляется на основе правил, изложенных в действующих строительных нормах и правилах, а также правилах, изложенных в специальных руководствах.
Выбор добавок, специально предназначенных для улучшения транспортабельных свойств бетонных смесей, может производиться с учетом настоящих Рекомендаций.
5.9. Введение химических добавок допускается только после проверки их воздействия на свойства приготовляемого бетона и железобетона и только с согласия потребителя смеси и проектирующей данный объект организации.
5.10. Для улучшения транспортабельных свойств доставляемых смесей вводятся добавки:
пластификаторы - для повышения подвижности смесей и улучшения их удобоукладываемости;
стабилизаторы - для снижения расслаиваемости смесей и консервации их однородности;
противоморозные - для доставки смесей при отрицательных температурах;
компенсаторы - для ликвидации возможных отрицательных последствий от введения вышеназванных групп добавок, а также добавок, вводимых из других технологических соображений. Компенсаторы обычно вводятся вместе с другими добавками, образуя так называемые комплексные добавки. При этом одни и те же добавки в различных условиях могут выступать как в роли основных, так и в роли компенсаторов.
5.11. Момент введения в доставляемую бетонную смесь добавок обусловлен принятой технологией доставки и определяется на основании лабораторных экспериментов и конкретных условий строительства, исходя из нижеизложенных предпосылок.
При перевозке готовых бетонных смесей в автобетоновозах и автосамосвалах добавки вводятся в смесь в момент ее приготовления на заводе непосредственно перед перевозкой.
При использовании для доставки автобетоносмесителей добавки могут вводиться как до, так и после перевозки.
При использовании на объекте бетоносмесителей или бетоносмесителей-перегружателей добавки могут вводиться как до, так и после перевозки.
5.12. При определении момента введения добавок и выбора средств доставки рекомендуется учитывать следующее:
введение добавок пластификаторов до перевозки при последующей доставке смеси без побуждения может способствовать ее интенсивному расслоению в пути;
введение некоторых противоморозных добавок, являющихся ускорителями твердения, может способствовать интенсивному загустеванию смеси и невозможности ее разгрузки;
срок действия добавок может быть ниже срока транспортирования, вследствие чего значительно снижается эффективность их введения.
5.13. В качестве добавок-пластификаторов, вводимых в бетонную смесь с расходом цемента свыше 300 - 350 кг/м
3, для улучшения ее транспортабельных свойств рекомендуется использовать сульфитно-спиртовую барду ССБ, сульфитно-дрожжевую бражку СДБ или продукты ее модификации, а также суперпластификатор С-3. Для смеси с расходом цемента ниже 300 кг/м
3 могут применяться пластифицирующие воздухововлекающие добавки: мылонафт, смола омыленная водорастворимая ВЛХК, метилсиликонат натрия ГКЖ-11 и этилсиликонат натрия ГКЖ-10. Для сообщения подвижности жестким смесям рекомендуется вводить добавки: омыленный древесный пек (ЦНИПС-1), омыленную каустической содой абиетиновую смолу (СНВ), синтетическую поверхностно-активную добавку (СПД). Необходимое количество добавок назначается строительной лабораторией. Рекомендуемое количество добавок-пластификаторов представлено в табл. 10 и
11.
Таблица 10
Цемент | Вид и масса добавки (в расчете на сухое вещество), % массы цемента |
ССБ, СДБ, С-3 | Мылонафт, ВЛХК, ГКЖ-10, ГКЖ-11 |
Портландцемент, быстротвердеющий портландцемент | 0,15 - 0,25 | 0,10 - 0,20 |
Пластифицированный портландцемент | - | 0,05 - 0,15 |
Шлакопортландцемент, пуццолановый портландцемент, гидрофобный портландцемент | 0,1 - 0,2 | - |
Содержание цемента в 1 м3 бетонной смеси, кг | Вид и масса (в расчете на сухое вещество), % массы цемента |
СНВ, СПД, ЦНИПС-1 | ГКЖ-94 |
Более 400 | 0,015 - 0,025 | 0,03 - 0,08 |
300 - 400 | 0,01 - 0,02 | 0,05 - 0,07 |
До 300 | 0,005 - 0,015 | 0,06 - 0,08 |
5.14. В качестве добавок-стабилизаторов, вводимых в бетонную смесь для повышения ее нерасслаиваемости и улучшения транспортабельности, рекомендуется использовать ВЛХК и мылонафт.
5.15. При введении пластифицирующих, пластифицирующе-воздухововлекающих и стабилизирующих добавок возможно замедление темпов твердения бетона, изготовленного из бетонных смесей, содержащих эти добавки. Для нормализации темпов твердения рекомендуется введение компенсирующих добавок, в основном ускорителей твердения, выбор которых производится лабораторией с учетом типа и особенностей эксплуатации бетонируемой конструкции. К числу основных ускорителей твердения относятся: хлориды натрия (NaCl) и кальция (CaCl2), сульфаты натрия (Na2SO4) и калия (K2SO4), нитрит кальция (Ca(NO3)2), нитрит-нитрат-хлорид кальция (ННХК), нитрит-нитрат кальция (ННК), а также сочетания хлоридов кальция или натрия с нитритом натрия (NaNO2) или ННК в соотношении 1:1 по массе.
Рекомендуемое количество ускорителей твердения приведено в табл. 12.
Таблица 12
Бетонная смесь | Количество добавки в расчете на сухое вещество, % массы цемента |
Тяжелая с водоцементным отношением | Легкая, подвижностью (см) или жестокостью (с.) | Na2SO4, K2SO4, NaCl, CaCl2 | Ca(NO3)2, ННК, ННХК, NaCl + NaNO2, NaCl + ННК, CaCl2 + NaNO2, CaCl2 + ННК |
0,35 - 0,55 | 10 - 60 с | 1 - 2 | 2 - 3 |
0,55 - 0,75 | 2 - 6 см | 0,5 - 1,5 | 1 - 2 |
5.16. Противоморозные добавки, вводимые в бетонную смесь, снижают точку замерзания воды, находящейся в смеси, и обеспечивают возможность ее перевозки при отрицательных температурах.
5.17. Наиболее универсальными противоморозными добавками, рекомендуемыми для улучшения транспортабельных свойств перевозимых смесей, являются нитрит натрия (NaNO
2) и сульфат натрия (Na
2SO
4). Они применяются практически во всех случаях, за исключением железобетонных конструкций, опосредованно соприкасающихся с током постоянного напряжения, конструкций, эксплуатирующихся в водных и газовых средах при влажности более 60%, и наличии в заполнителях включений реакционноспособного кремнезема, а также железобетонных конструкций, имеющих выпуски арматуры или закладных деталей с алюминиевым покрытием по стали, а для Na
2SO
4 и с оцинкованным покрытием.
5.18. В соответствии со
СНиП "Бетонные и железобетонные конструкции монолитные" содержание Na
2SO
4 не должно превышать 2%, а NaNO
2 - 4% массы используемого цемента.
5.19. Помимо указанных в
п. 5.17 в качестве противоморозных может применяться целый ряд добавок, в том числе: поташ (K
2CO
3), соединения нитрита кальция с мочевиной, нитрит-нитрата кальция с мочевиной, хлорид кальция с хлоридом натрия, хлорид кальция с нитритом натрия, нитрит-нитрат-хлорид кальция и нитрит-нитрат-хлорид кальция с мочевиной. Однако указанные добавки отличаются повышенной агрессивностью в отношении приготовляемых из них бетонов и железобетонов, поэтому введение их в состав смесей осуществляется крайне осторожно и только с разрешения строительной или заводской лаборатории, исходя из значительного ряда действующих на изготовляемые из них конструкции факторов и на основании правил, изложенных в специальных руководствах.
5.20. В бетонные смеси, содержащие противоморозные добавки (за исключением смесей, содержащих NaNO2), в связи с быстрым снижением подвижности рекомендуется в качестве стабилизаторов подвижности вводить добавки-пластификаторы в количестве до 0,5% массы цемента, а при использовании поташа вводить СДБ до 1% массы цемента.
5.21. В исключительных случаях, обязательно оговоренных проектом и согласованных заказчиком и изготовителем, для обеспечения заданной подвижности бетонной смеси у места ее потребления при невозможности применения добавок и использования специальных способов приготовления, обеспечивающих неизменность свойств перевозимых смесей, необходима вынужденная корректировка количества исходных компонентов (крупного и мелкого заполнителя, воды, цемента).
5.22. Исходный состав подлежащих транспортированию готовых тяжелых и легких бетонных смесей определяется в зависимости от необходимой марки по прочности и других показателей, а также необходимой исходной подвижности смеси OKзав, определяемой сразу после ее приготовления.
5.23. Исходную подвижность не содержащей добавок готовой бетонной смеси, поставляемой в нормальных условиях, а также без перемешивания в пути или в его конце, следует назначать в зависимости от требуемой подвижности смеси на объекте-потребителе OKоб, расстояния (времени) транспортирования, типа автотранспортного средства и вида заполнителей по формуле

(12)
где

- обобщенная функция изменения подвижности смеси в нормальных условиях доставки.
В связи со сложностью представленной функции ее рекомендуется определять по графикам рис. 14 и
15.
Рис. 14. Изменение подвижности готовой тяжелой
бетонной смеси в зависимости от дальности
и длительности транспортирования
1 - автобетоновозом; 2 - автосамосвалом
Рис. 15. Изменение подвижности готовой
керамзитобетонной смеси в зависимости от дальности
и длительности транспортирования
1 - автобетоновозом; 2 - автосамосвалом
В качестве нормальных условий доставки приняты температура окружающего воздуха от +20 до +30 °C, температура смеси от +15 до +25 °C, расход цемента на 1 м3 бетонной смеси 250 - 300 кг, сроки начала схватывания цементного теста 2 - 3 ч.
Определение подвижности производится следующим образом. По оси абсцисс откладывается расстояние предполагаемого транспортирования смеси, а на оси ординат - необходимое значение ее подвижности транспортирования OKоб.
Пересечение восстановленных из этих точек перпендикуляров даст точку, принадлежащую кривой потери подвижности. Точка пересечения кривой потери подвижности и оси ординат даст значение первоначальной подвижности смеси, необходимой при ее изготовлении OKзав. Если точка не совпадает с одной из кривых потери подвижности, то значение первоначальной подвижности смеси определяют интерполяцией.
Исходная подвижность смесей, содержащих влагонасыщенные, частью водой затворения, заполнители, может быть уменьшена для бетонных смесей на плотных заполнителях (тяжелые бетонные смеси) на 10 - 15%, для смесей на пористых заполнителях - на 15 - 25%.
5.24. При условиях доставки, отличающихся от нормальных, формула видоизменяется, в соответствии с чем исходная подвижность определяется по описанным ниже правилам.
В зависимости от сроков начала схватывания, применяемого количества цемента и начальной температуры бетонной смеси значение первоначальной подвижности смеси делится на временной

, весовой

и тепловой

коэффициенты потери подвижности, принимаемые по табл. 13.
Начало схватывания цемента, ч | | Расход цемента на 1 м3 смеси, кг | | Начальная температура смеси, °C | |
самосвал, автобетоносмеситель | автобетоновоз |
До 2 | 0,8 | До 250 | 0,9 | 10 | 1,4 | 1,5 |
От 2 до 3 | 1 | От 250 до 350 | 1 | 20 | 1 | 1 |
Св. 3 | 1,2 | Св. 350 | 1,1 | 30 | 0,8 | 0,7 |
В случаях перевозок при других температурах воздуха значение первоначальной подвижности смеси делится на температурный коэффициент потери подвижности

, принимаемый по табл. 14.
Таблица 14
Автомашина | Коэффициент  при температуре окружающего воздуха |
от -20 до -4 °C | от -3 до +5 °C | от 6 до 20 °C | от 21 до 30 °C |
Автобетоносмесители при перевозке готовой смеси | Применять не рекомендуется | 1,3 | 1,15 | 1 |
Автобетоновозы | 1,1 | 1,25 | 1,1 | 1 |
Автосамосвалы и автобадьевозы | 1,25 | 1,35 | 1,25 | 1 |
5.25. Смеси, имеющие первоначальную подвижность OKзав, большую, чем 8 - 12 см по усеченному конусу, к транспортированию в автосамосвалах и автобетоновозах не рекомендуются ввиду их существенного расслоения и снижения однородности бетона по прочности.
При необходимости получения на объектах смеси, подвижность которой выше указанных на графике, необходимо применение автобетоносмесителей.
5.26. После доставки готовых бетонных смесей в автобетоносмесителях в зависимости от режима их перемешивания в пути наблюдается относительное изменение подвижности смеси по сравнению с перевозкой без перемешивания (пластификация или ускоренное загустевание смеси). Учет воздействия этого эффекта производится с помощью коэффициента механической пластификации смеси

.
Коэффициент механической пластификации представляет собой отношение показателей подвижности доставленной с перемешиванием смеси

и доставленной без перемешивания


(13)
Ориентировочные значения

представлены в табл. 15, методика определения режимов доставки смеси с периодическим перемешиванием, позволяющих достичь наибольшей механической пластификации, представлена в
прил. 9.
Параметры способа перевозки | Порядковый номер цикла периодического побуждающего перемешивания |
Длительность, мин | Скорость вращения барабана, об/мин | 1 | 2 | 3 | 4 | 5 | 6 |
периода транспортирования | цикла транспортирования | Коэффициент пластификации готовой бетонной смеси  (тяжелой/керамзитовой) |
без побуждения | с побуждающим перемешиванием |
25 ----- 27 | 20 | 5 --- 7 | 4 | 0,92/1,04 | 0,9/1,39 | 0,98/1,36 | 0,96/1,28 | 0,98/0,9 | 1,41/- |
12 | 0,98/1,1 | 1,05/1,67 | 1,05/1,82 | 1,12/2 | 1,25/2,24 | 1,75/- |
24 | 1,03/1,2 | 1,15/1,86 | 1,18/2,15 | 1,40/2,4 | 1,5/2,51 | 2,1/- |
65 ----- 67 | 60 | 5 --- 7 | 4 | 1,05/1,5 | 1,04/0,5 | 1,2/0,16 | 1,16/- | -/- | -/- |
12 | 1,15/1,85 | 1,09/1,6 | 1,85/0 | 2/- | -/- | -/- |
24 | 1,25/2,16 | 1,25/2,56 | 2,68/0 | 2,7/- | -/- | -/- |
125 ----- 127 | 120 | 5 --- 7 | 4 | 1,16/- | 1,54/- | -/- | -/- | -/- | -/- |
12 | 1,45/- | 2,5/- | -/- | -/- | -/- | -/- |
24 | 1,73/- | 3,6/- | -/- | -/- | -/- | -/- |
185 ----- 187 | 180 | 5 --- 7 | 4 | 0,73/- | -/- | -/- | -/- | -/- | -/- |
12 | 1,12/- | -/- | -/- | -/- | -/- | -/- |
24 | 1,52/- | -/- | -/- | -/- | -/- | -/- |
Околооптимальный режим | 5 --- 7 | 4 | 1,17/1,6 | 1,54/1,68 | 2,4/1,9 | 2,3/2,24 | -/- | -/- |
12 | 1,5/1,85 | 2,5/2,12 | 3,7/2,4 | 4,05/3,3 | -/- | -/- |
24 | 1,75/2,16 | 3,6/2,42 | 4,8/3,2 | 5,3/3,8 | -/- | -/- |
Оптимальный режим | - | 24 | 1,85/2,16 | 3,8/2,6 | 6,25/4 | 6,7/4,2 | -/- | -/- |
Примечание. При постоянном вращении барабана

и обратно пропорционально скорости вращения.
5.27. При введении в бетонную смесь химических добавок может изменяться подвижность доставляемых смесей. Учет влияния добавок на подвижность производится с помощью приведенного в
табл. 16 коэффициента химической пластификации


(14)
где OKоб.хим - подвижность доставленной смеси, содержащей химическую добавку.
Химическая добавка | Момент введения добавки |
до начала транспортирования | в конце или после транспортирования |
формула | % массы цемента | Длительность транспортирования, мин |
30 | 60 | 90 | 120 |
ССБ, СДБ | 0,25; 0,5 | 2 - 2,5; 3 - 5 | 3 - 4; 5 - 8 | 2 - 3; 3 - 3,5 | 1 - 1,5; 1,5 - 2 | 2 - 2,5; 2,5 - 4,5 |
С-3 | 0,25 | 2 - 3 | 6 - 9 | 3 - 5 | 1,5 - 3 | 3 - 5 |
ВЛХК, СНВ | 0,25 | 2 - 2,5 | 2 - 2,5 | 2 - 2,5 | 1,5 - 2 | 1,5 - 2 |
ГКЖ-10 ГКЖ-11 | 0,1 | 1,2 - 1,5 | 1,5 - 2 | 1,5 - 2 | 1,2 - 1,5 | 1,2 - 1,5 |
5.28. Исходную подвижность отпускаемой с завода готовой бетонной смеси с учетом указанных корректировок рекомендуется проверять по формуле

(15)
При расчете по формуле в случае совместного применения пластифицирующего перемешивания и пластифицирующих добавок может быть изменена кинетика подвижности смеси и связанная с ней механическая пластификация, в связи с чем

, приведенное в
табл. 15, рекомендуется снижать в 1,25 - 1,27 раза или определять экспериментально.
Примеры определения OK
зав по описанной методике, а также специально разработанной номограмме изложены в
прил. 10,
11.
5.29. Исходный состав транспортируемой готовой смеси определяется традиционными методами с учетом необходимых для ее доставки исходной подвижности и температуры, определение которых производится вышеописанными методами.
5.30. Исходный состав частично приготовленной (затворенной) смеси определяется вышеописанным способом, но с учетом следующих факторов:
снижение подвижности именно частично приготовленной смеси;
проектируемого количества воды, которое необходимо добавить в частично приготовленную смесь для ее доведения до необходимого для укладки качественного состояния.
5.31. Определение исходного состава сухих бетонных смесей производится с учетом влажности заполнителей, но без учета процесса доставки. Однако наибольшая допустимая влажность заполнителей, входящих в состав сухих смесей, лимитируется временем транспортирования и не может при отсутствии специальных оговорок превышать величин, указанных в
табл. 4 и
5. В случае превышения влажности заполнители должны быть заменены или высушены.
5.32. Исходный состав доставляемой автомобилями готовой бетонной смеси, содержащей химические добавки, вводимые в смесь до момента начала перевозки для улучшения ее транспортабельных свойств, определяется в следующем порядке: первоначально традиционными способами (например методом Баломея-Скромтаева) рассчитывается состав смеси, как бы приготовляемой на месте потребления (без учета снижения подвижности при транспортировке) без добавок; затем по вышеизложенным рекомендациям определяется вид и количество добавок, необходимых для сохранения подвижности, а также других показателей свойств бетонной смеси и приготовляемого из нее бетона; в заключение делается корректировка состава на основе приведенных лабораторно-производственных экспериментов.
5.33. При введении химических добавок в готовую смесь после ее транспортировки исходный состав определяется как для смеси, не содержащей добавок, но при этом в качестве расчетной подвижности смеси на объекте берется не ее необходимое значение, а заниженное (фиктивное) расчетное значение, которое предполагается довести до необходимого путем введения добавки.
5.34. Исходный состав сухих смесей, в которые вводится химическая добавка после их транспортировки, определяется традиционными методами, так же, как для смесей, не подвергающихся процессу транспортирования.
6. ОПРЕДЕЛЕНИЕ НЕОБХОДИМОГО КОЛИЧЕСТВА И ВМЕСТИМОСТИ АВТОТРАНСПОРТНЫХ СРЕДСТВ
6.1. Выбор вместимости применяемого автотранспортного средства должен обусловливаться ее (вместимости) кратностью объему одного замеса, приготовляемого в заводском бетоносмесителе.
В случае отсутствия кратности, что ведет к недоиспользованию транспортного средства, желательно применение другого автомобиля.
6.2. Определение необходимого количества автомобилей должно производиться на электронно-вычислительных машинах в зависимости от выбранной организационной схемы доставки смеси.
6.3. Ориентировочное определение парка автомобилей, обслуживающих районный бетонный завод, может быть установлено на основании обобщенной эпюры распределения объемов потребляемой в обслуживаемом регионе бетонной смеси в зависимости от дальности их транспортирования в радиусе обслуживаемой заводом территории.
6.4. Необходимое для перевозки смесей количество автомашин в смену

при соблюдении заданного темпа бетонирования
Q/S =
Pi определяется из условия

(16)
где i - количество автомашин на перевозке бетонных смесей;
Q - общий объем укладываемой бетонной смеси;
Qi - объем смеси, перевозимой с данного завода в данном типе автомашины;
lтр.i - расстояние маршрута от завода до объекта, по которому производится перевозка смеси в данном типе автомашин;

- выполняемая одним автомобилем полезная работа в тонно-километрах при перевозке бетонной смеси с данного завода на данный объект

(17)
где ni - число оборотов данного автомобиля в смену;
qi - вместимость автомашины;

- коэффициент использования грузоподъемности, обусловленной некратностью вместимости автомобиля емкости заводского смесительного барабана;
S - количество смен, в течение которых должно быть произведено бетонирование;
Pi - объем перевозимой автомашиной смеси;

- объемная масса бетонной смеси, равная 2,4 т/м
3;
ni = T/tоб, (18)
где T - время одной смены;
tоб - время одного оборота автомобиля;
tоб = tп.i + tр.i + tм.i + tпер.i + lгр.i/vгр.i + lпор.i/vпор.i,
где tп.i - время загрузки;
tр.i - время разгрузки;
tм.i - время маневрирования до разгрузки;
tпер - дополнительное время для перемешивания смеси (для автобетоносмесителей);
lгр.i - расстояние маршрута перевозки бетонной смеси от данного завода до данного объекта;
lпор.i - расстояние маршрута порожнего рейса от данного объекта до данного завода;
vгр.i - скорость автомашины с грузом;
vпор.i - скорость автомашины без груза.

(19)
Пример определения парка специальных автомобилей дан в
прил. 12.
7. ОСОБЕННОСТИ ДОСТАВКИ БЕТОННЫХ СМЕСЕЙ ПРИ НИЗКИХ ОТРИЦАТЕЛЬНЫХ ТЕМПЕРАТУРАХ
7.1. Рекомендации, изложенные в настоящем разделе, относятся к производству бетонных работ при среднесуточной температуре наружного воздуха ниже +5 °C.
7.2. Требования, предъявляемые к свойствам бетонных смесей, доставляемых автомобилями при отрицательных температурах воздуха, аналогичны изложенным в
разделах 2 и
3 настоящих Рекомендаций.
Однако в связи с низкой температурой существенно возрастают трудности, связанные с обеспечением этих требований и особенно с сохранением температуры разогретой смеси и ее подвижности, что влечет за собой ряд особенностей в средствах, способах и режимах доставки.
7.3. Для осуществления качественной доставки бетонных смесей в зимних условиях целесообразно применять:
автотранспортные средства, имеющие возможность частично или полностью ликвидировать охлаждение смесей;
электроустановки для разогрева доставленной смеси в кузовах автомобилей, осуществивших перевозку;
разогрев доставленной к месту укладки и выгруженной смеси в специальных бункерах;
противоморозные химические добавки, вводимые в смесь при приготовлении;
химические добавки, замедляющие схватывание смеси, а также добавки, способствующие ее пластификации.
7.4. Автотранспортными средствами, позволяющими полностью ликвидировать охлаждение смеси, являются автобетоновозы с термоактивными кузовами; средствами, позволяющими частично ликвидировать охлаждение, являются автобетоновозы с термоизолированным кузовом, а также автобетоносмесители с термоактивным баком для воды и термоизолированным барабаном.
Отчасти снизить теплопотери смеси и сохранить ее температуру можно, применяя автобетоносмесители с термоактивным баком или только с утепленным барабаном, а также применяя кузова автосамосвалов, специально оборудованные для обогрева смеси выхлопными газами.
7.5. Автобетоновоз с термоактивным кузовом (рис. 16) позволяет ликвидировать теплопотери перевозимой смеси, обусловленные как собственно процессом перевозки, так и контактом смеси с охлажденным в порожнем рейсе или на стоянке кузовом, и вместе с тем позволяет получить высокую однородность различных слоев перевозимой в кузове смеси и ликвидировать перегрев смеси, ее обезвоживание и пригорание в месте подачи выхлопных газов.
Рис. 16. Термоактивный кузов автобетоновоза
1 - базовый автомобиль; 2 - кузов; 3 - наружная обшивка
кузова; 4 - внутренняя обшивка кузова; 5 - перегородка;
6 - наружная полость кузова; 7 - внутренняя полость
кузова; 8 - газонесущий патрубок шасси автомобиля;
9 - регулятор направления газов; 10 - распределительный
вентиль; 11 - патрубок внутренней полости кузова;
12 и 15 - тарельчатые изоляторы; 13 и 16 - приемные
отверстия; 14 - патрубок наружней полости кузова;
17 - отверстие для выброски выхлопных газов;
18 - выхлопная труба
Автобетоновоз с термоактивным кузовом имеет базовый автомобиль, кузов, который оборудован наружной и внутренней обшивками и снабжен перегородкой, образующими наружную и внутреннюю полости. При необходимости прогрева кузова автобетоновоза выхлопные газы через патрубок с помощью наружного вентиля подаются от выхлопа мотора в кузов. Дальнейшее направление газов зависит от состояния кузова автобетоновоза. При порожнем кузове газы, регулируемые вентилем, по патрубку, имеющему тарельчатые изоляторы, подаются через приемное отверстие во внутреннюю полость кузова, разогревая его внутреннюю обшивку; при этом наружная полость играет роль термоизолятора. При загруженном кузове выхлопные газы подаются патрубком, снабженным тарельчатым изолятором, через приемное отверстие в наружную полость кузова; внутренняя полость при этом изолирована и играет роль термоизолятора. Охлажденные газы выходят через отверстие.
Возможен и одновременный ввод газов в обе полости, а также их частичный и полный отвод, минуя кузов, по выхлопной трубе наружу.
7.6. Автобетоносмесители с термоактивным баком для воды и термоизолированным смесительным барабаном (см.
рис. 2) позволяют постоянно, вне зависимости от дальности и сроков транспортирования, иметь необходимую максимально разогретую воду и сохранять на должном уровне температуру заполнителей и приготовленной смеси. Это дает возможность доставлять бетонную смесь практически на ограниченное расстояние и укладывать смесь в разогретом состоянии без ее последующего разогрева в опалубке.
Автобетоносмеситель состоит из базового шасси с приводом и редуктором; смесительного барабана, он оснащен водяным баком, покрытым эффективным термоизолятором; внутри бака размещен змеевик, через который подаются выхлопные газы автомобиля (иногда масло двигателя и т.п.); через насос (также термоизолированный), а также систему подачи и измерения количества воды, покрытую термоизолятором. Размещенный на шасси смесительный барабан также покрыт термоизолятором.
7.7. Автосамосвалы, переоборудованные для перевозки смеси с ее обогревом выхлопными газами, имеют специальный кузов, у которого конструктивно теплообогрев осуществлен путем пропуска выхлопных газов с предварительно пониженной до 30 - 45 °C температурой в зазор между двойными стенками бортов и днища кузова (см.
рис. 5). Понижение температуры выхлопных газов может быть получено путем пропуска их через трубчатый змеевик.
Для более равномерного обогрева в зазорах двойного днища и бортов рекомендуется устраивать лабиринт, препятствующий проходу газов по кратчайшему пути к выхлопному отверстию; для предотвращения попадания в перевозимую бетонную смесь атмосферных осадков и прямой солнечной радиации, а также термоизоляции над кузовом самосвала рекомендуется делать крышку.
7.8. Электроустановка для разогрева доставленной смеси в кузовах автомобиля применяется при массовой доставке смесей автосамосвалами и размещается невдалеке от въездных ворот строительной площадки. Она представляет собой
(рис. 17) площадку с электроизолирующим, обычно деревянным, настилом для установки автомобилей и прозрачным ограждением. На площадке устанавливается один или несколько порталов, оснащенных механизмом подъема и опускания электродов. Кроме того, установка оснащена силовым трансформатором и пультом управления, размещенным за пределами ограждения. Сущность электроразогрева бетонной смеси заключается в быстром подъеме ее температуры до 40 - 90 °C перед укладкой пропусканием тока сетевого напряжения 220 - 380 В, укладке ее в горячем состоянии и в последующем твердении бетона до приобретения требуемой прочности в процессе его медленного остывания в утепленной опалубке.
Рис. 17. Двухъячейковый пост для электроразогрева
бетонных смесей в кузовах автосамосвала ЗИЛ-585
1 - портал; 2 - тельфер; 3 - рама с опускными электродами;
4 - автосамосвал; 5 - ограждение; 6 - шлагбаум;
7 - трансформаторная подстанция (КТПН); 8 - заземление;
9 - пульт управления разогревом
7.9. Электроразогрев смеси в автомобилях производится пооперационно в следующем порядке:
автомобиль въезжает на установку и останавливается в строго определенном положении под рамой с электродами;
водитель выходит из кабины за пределы ограждения установки;
электрик присоединяет провод от защитного заземления к кузову;
проверив отсутствие людей в пределах ограждения, электрик включает механизмы подъема электродов при работающем вибраторе, опускает электроды в бетонную смесь, находящуюся в кузове, после чего напряжение отключается;
ворота ограждения открываются, водитель садится в кабину автосамосвала, выезжает с поста и доставляет смесь к месту бетонирования.
7.10. Периодически электроэлектроды установки должны очищаться от остатков старого бетона. Очистку следует производить скребками, металлическими щетками или химическим путем: нанесением специальной пасты или жидким раствором
(прил. 13).
7.11. Из-за возможного загустевания и остывания разогретая бетонная смесь должна доставляться к месту укладки в минимально короткие сроки, обычно не превышающие 10 - 15 мин. Перегрузки разогретой смеси не допускаются.
Разогрев доставленной на строительный объект выгруженной из автомобиля бетонной смеси производится в специальных бункерах, размещенных недалеко от места укладки смеси в конструкцию.
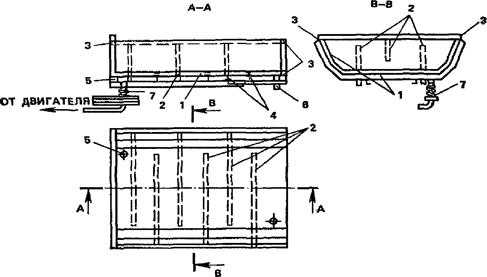
7.12. Бункера для разогрева бетонных смесей могут иметь различную конструкцию. Чаще других применяются поворотные бункера (рис. 18), которые изготовляются из листовой стали толщиной не менее 4 мм.
Рис. 18. Схема бункера для электроразогрева бетонной смеси
1 - пластинка-электрод; 2 - отбойный брус; 3 - подъемная
петля; 4 - корпус бункера; 5 - токопроводящее устройство;
6 - трубы, приваренные по контуру к электродам;
7 - вибратор; 8 - болт для привода защитного заземления;
9 - затвор для выгрузки бетонной смеси; 10 - порожек;
11 - листовая резина для электроизоляции днища бункера
Такой бункер оборудован затвором для выгрузки смеси в конструкцию. Открытая часть бункера служит для приема смеси из самосвала. В бункере размещается 3 - 6 пластинчатых электродов, изготовленных из листовой стали толщиной не менее 6 мм. Электроды должны иметь закругленные углы. Для того, чтобы предотвратить повышенную плотность тока на кромках электродов, по их контуру следует приваривать трубу или круглые стержни, диаметр которых выбирается по расстоянию между электродами; крепление электродов к корпусу производится с помощью изоляторов. Днище бункера рекомендуется изолировать листовой резиной. В этом случае расстояние между днищем и электродами должно составлять 0,6 расстояния между электродами. Конструктивно в месте сужения бункера следует предусматривать порожек, ограничивающий растекание смеси.
На корпусе бункера устанавливается вибратор. Напряжение к бункеру подводится с помощью быстродействующего контактного устройства конусно-штепсельного разъема.
7.13. Электроразогрев бетонной смеси в бункерах производится на специальных постах. Такой пост представляет собой площадку с сетчатым инвентарным ограждением. На посту устанавливается трансформатор с пультом управления (вне ограждения), несколько бункеров для разогрева (см.
рис. 18). Ворота для въезда автосамосвалов на пост и калитка в ограждении для прохода людей должны быть блокированы с системой подачи напряжения на электроды бункеров.
7.14. Порядок разогрева смеси следующий:
бункера, очищенные от бетонной смеси, устанавливаются с помощью крана на посту в строго определенное положение;
бункера загружаются бетонной смесью непосредственно из автосамосвалов;
автосамосвал выезжает за пределы ограждения;
бетонная смесь, разгруженная в открытую приемную часть бункера, разравнивается и слегка уплотняется кратковременным включением вибратора;
открытая часть бункера закрывается крышкой или брезентом;
после выхода людей за пределы ограждения специально обученный электрик, предварительно убедившись в отсутствии напряжения на проводах, предназначенных для питания электродов, присоединяет к корпусу одного из бункеров провод от защитного заземления;
электрик соединяет провода от питающей сети по одному к трем контактным выводам электродов и выходит за пределы ограждения, закрывая калитку;
производится подача напряжения на электроды и электроразогрев бетонной смеси до расчетной температуры, после чего напряжение отключается;
убедившись в отсутствии напряжения на контактных выводах, электрик входит в пределы ограждения и при открытой калитке отключает токоподводящие устройства и провод, идущий от защитного заземления;
бункер с разогретой бетонной смесью подается к месту бетонирования краном и смесь выгружается в опалубку;
после удаления первой бадьи за пределы ограждения площадки во второй производится разогрев в последовательности, аналогичной первой.
7.15. Наибольшая температура разогрева смеси определяется расчетом. При этом она не должна превышать:
на портландцементах с содержанием C3A до 6% - 80 °C;
на портландцементах с содержанием C3A более 6% - устанавливается строительной лабораторией после экспериментальной проверки;
на шлакопортландцементах - 90 °C.
Основные уравнения и методика расчета параметра электроустановок для разогрева смеси в кузовах автомобилей, а также в специальных бункерах приведены в
прил. 14.
7.16. Для доставки бетонных смесей при отрицательных температурах широко используются химические добавки, применение которых рекомендуется осуществлять в соответствии с
разд. 5 настоящих Рекомендаций.
7.17. Доставка бетонной смеси, предназначенной для электропрогрева перед укладкой, или уже уложенной смеси, а также смеси, содержащей противоморозные добавки, может производиться и в неутепленной таре, но с защитой от снега и испарения влаги при условии обеспечения температурных слоев находящейся в кузове смеси выше 0 °C до начала электроразогрева и не менее чем на 5 °C выше температуры замерзания раствора солей затворения после укладки и уплотнения с противоморозными добавками.
7.18. Выбор средств, способов и режимов доставки бетонных смесей при отрицательных температурах производится по методике, изложенной в
разд. 3 настоящих Рекомендаций. При этом доставка в зависимости от вида смесей должна производиться следующим образом:
сухих и частично приготовленных смесей - в автобетоносмесителях, оборудованных термоактивным баком для воды и термоизолированным смесительным барабаном;
готовых смесей - в автобетоновозах с термоактивными кузовами;
готовых смесей, содержащих противоморозные добавки, - в автобетоносмесителях и автобетоновозах с термоизолированными кузовами.
7.19. Доставка при температурах до -10 °C может производиться:
сухих и частично приготовленных бетонных смесей - в автобетоносмесителях, оборудованных термоактивным баком для воды;
готовых смесей - в автобетоновозах, автобетоносмесителях и автобадьевозах с термоизолированными кузовами, барабанами и бадьями, а также в автосамосвалах при условии разогрева доставленных на объект смесей электроустановками или с помощью специальных бункеров;
готовых смесей подвижностью до 2 см на расстояния до 5 км - в автосамосвалах с кузовом, обогреваемым выхлопными газами базового автомобиля;
готовых смесей подвижностью до 2 см, содержащих противоморозные добавки на расстояния до 5 км - в универсальных автосамосвалах.
7.20. Допустимое расстояние транспортирования разогретых бетонных смесей при отрицательных температурах воздуха определяется строительной лабораторией в зависимости от вида, температуры и консистенции смеси, а также принятых средств и способов доставки. При этом для смеси, не содержащей химических добавок, при гарантии сохранения ее температуры на необходимом уровне (см.
раздел 4), рассчитываемом по
уравнениям (4) -
(11), оно не должно превышать значений, указанных в табл. 17.
Таблица 17
Исходная температура смеси, °C | Допустимое расстояние транспортирования, км | Допустимая продолжительность транспортирования, мин | Скорость транспортирования, км/ч |
31 - 40 | 15 | 30 | 30 |
21 - 30 | 22,5 | 45 | 30 |
11 - 20 | 30 - 45 | 60 - 90 | 30 |
До 10 | 60 | 120 | 30 |
7.21. Увеличить допускаемую продолжительность и расстояние транспортирования смеси рекомендуется за счет применения описанных в разделе пластифицирующих добавок, приготовления смеси пониженной, в допустимых пределах, температуры и подогрева ее у места укладки, а также введения в бетонную смесь противоморозных добавок, но только после проверки показателей свойств доставленной смеси и изготовленного из нее бетона.
7.22. Автотранспорт для доставки бетонных смесей, а также все дополнительное оборудование рекомендуется подготовлять к эксплуатации в зимних условиях до наступления отрицательных температур.
8. ОСОБЕННОСТИ ДОСТАВКИ БЕТОННЫХ СМЕСЕЙ В СУХУЮ ЖАРКУЮ ПОГОДУ
8.1. Условия жаркой сухой погоды при производстве бетонных работ характеризуются: температурой воздуха в 13 ч выше +25 °C и относительной влажностью менее 50%.
8.2. Сухая жаркая погода отрицательно влияет на транспортируемую бетонную смесь и требует специальных мероприятий, направленных на сохранение ее свойств и свойств приготовляемого из нее бетона. Наиболее неблагоприятно эти условия сказываются на подвижности, вызывая ее резкое снижение и ухудшение удобообрабатываемости смеси, а также на водопотребности смеси, вынужденный интенсивный рост которой вызывает резкий перерасход цемента.
8.3. С целью сохранения подвижности перевозимых смесей рекомендуется применение следующих мероприятий:
снижение температуры доставляемых бетонных смесей или их составляющих при приготовлении;
сохранение низкой температуры бетонной смеси при ее доставке или доставке ее составляющих;
повышение подвижности бетонной смеси путем ее механической пластификации;
повышение подвижности бетонной смеси путем ее химической пластификации с помощью специально вводимых добавок;
доставка частично приготовленной смеси.
8.4. Температура бетонной смеси при бетонировании конструкций с модулем поверхности более 3 в момент отправки ее с бетоносмесительного узла не должна превышать 30 - 35 °C.
Следует, однако, иметь в виду, что при температуре смеси выше 25 °C могут возникнуть затруднения при укладке и уплотнении бетона. Транспортировать бетонную смесь с температурой выше 35 °C не допускается.
При бетонировании массивных конструкций (в том числе гидротехнических) с модулем поверхности менее или равном 3 температура бетонной смеси должна быть возможно низкой и не должна превышать 20 °C.
8.5. Расчет температуры бетонной смеси и ее составляющих следует производить по правилам, изложенным в
разд. 4 настоящих Рекомендаций. При этом следует иметь в виду, что для снижения температуры свежеприготовленной бетонной смеси обычного состава на 1 °C необходимо или снизить температуру цемента на 8 - 10 °C, или воды примерно на 4 °C, или заполнителей на 1,6 - 1,8 °C. Поэтому для снижения температуры бетонной смеси целесообразно охлаждение, в первую очередь, заполнителей и воды затворения.
8.6. При доставке бетонных смесей в условиях сухого жаркого климата рекомендуется применять:
автобетоносмесители с термоизолированным водяным баком и термоизолированным смесительным барабаном - при перевозке готовых, частично приготовленных, а также сухих смесей с нормальной и предварительно пониженной температурой;
автобетоносмесители, обладающие возможностью механической пластификации, - при доставке готовых смесей, не содержащих химических добавок;
автобетоновозы с термоизолированным кузовом - при доставке готовых смесей нормальной и предварительно сниженной температуры;
автобетоновозы с термоизолированными кузовами совместно с приобъектными бетоносмесителями-перегружателями - при массовой доставке готовых или частично приготовленных бетонных смесей с их доготовкой на строительном объекте; эта же схема эффективно применяется при использовании химических добавок.
8.7. Возможно применение автобетоносмесителей и автобетоновозов без термоизоляции при введении в смесь специальных химических добавок.
8.8. Применение автосамосвалов возможно при доставке частично приготовленных смесей на расстояния до 5 км с последующей их доставкой в приобъектных смесителях, а также смесей, содержащих специальные химические добавки.
8.9. При необходимости доставки смесей на объекты, находящиеся на значительном удалении от бетонных заводов, целесообразна раздельная доставка составляющих и вяжущих с последующим приготовлением смеси на строительном объекте.
8.10. Для уменьшения потери подвижности перевозимой смеси рекомендуется понижать температуру смесительных барабанов или кузовов автомобилей, например путем их охлаждения холодной водой перед загрузкой.
8.11. Во избежание перегрева бетонной смеси при перевозках в условиях высоких положительных температур рекомендуется красить кузова и бетоносмесительные барабаны специального автотранспорта в белый, серебристый и другие светоотталкивающие цвета.
8.12. Во всех случаях рекомендуется максимально возможное сокращение периода транспортирования, который, по возможности, желательно ограничивать 20 - 30 мин.
8.13. При доставке бетонной смеси в условиях сухого жаркого климата самосвалами ее рекомендуется укрывать влажной мешковиной.
8.14. Автомобили для доставки бетонных смесей и особенно имеющие оборудование для совмещения процессов доставки и укладки (см.
разд. 2 настоящих Рекомендаций), а также сам процесс укладки должны иметь параметры и технические характеристики, позволяющие сокращать время выгрузки, распределения и укладки доставляемой смеси до минимума.
8.15. В целях сохранения бетонных смесей рекомендуется снижать количество их перевозок до минимума, а сами пункты перегрузки предохранять от прямого воздействия солнечных лучей.
8.16. Во избежание снижения марки бетона и перерасхода вяжущего запрещается вводить в целях пластификации в готовую бетонную смесь дополнительное количество воды.
8.17. Выбор средств, способов и режимов доставки бетонных смесей, не содержащих химических добавок, производится по методике, изложенной в
разд. 3 настоящих Рекомендаций. При этом максимальная продолжительность перевозки в каждом случае определяется строительной лабораторией. Ориентировочная продолжительность перевозки и укладки, а также расстояние транспортирования без побуждения тяжелой готовой бетонной смеси не должно превышать величин, указанных в табл. 18.
Таблица 18
Исходная температура смеси, °C | Допустимая длительность перевозки и укладки в конструкцию, мин | Допустимое расстояние транспортирования, км | Скорость транспортирования, км/ч |
15 | 90 - 120 | | 30 |
20 | 60 - 90 | | 30 |
25 | 30 - 60 | | 30 |
30 | 15 - 30 | | 30 |
35 | 10 - 15 | | 30 |
--------------------------------
<*> Максимальное расстояние дано из условия немедленной, после прибытия автомобиля на объект, укладки смеси в конструкцию.
8.18. Рекомендуемая длительность перевозки и укладки, а также расстояние транспортирования без побуждения готовой керамзитобетонной смеси должны быть не больше значений, приведенных в табл. 19.
Таблица 19
Исходная температура смеси, °C | Допустимая длительность перевозки и укладки в конструкцию, мин | Допустимое расстояние транспортирования, км | Скорость транспортирования, км/ч |
15 | 40 - 60 | | 30 |
20 | 30 - 50 | | 30 |
25 | 20 - 40 | | 30 |
30 | 10 - 20 | | 30 |
35 | 5 - 10 | | 30 |
--------------------------------
<*> Максимальное расстояние дано из условия немедленной, после прибытия автомобиля на объект, укладки смеси в конструкцию.
8.19. В сухую жаркую погоду не рекомендуется приготовлять бетонные смеси без применения поверхностно-активных, пластифицирующих, пластифицирующе-воздухововлекающих и комплексных добавок, а также, при необходимости, - добавок ускорителей твердения.
Исключения должны составлять случаи, специально оговоренные проектами.
8.20. Виды, количество и моменты введения добавок, а также состав бетонных смесей рекомендуется определять в соответствии с
разд. 5 настоящих Рекомендаций.
9. ОТПУСК, ПРИЕМ, КОНТРОЛЬ И ГАРАНТИИ КАЧЕСТВА ДОСТАВЛЯЕМЫХ АВТОМОБИЛЯМИ БЕТОННЫХ СМЕСЕЙ
9.1. Ответственность за качество доставленной бетонной смеси несут: завод - изготовитель смеси, транспортная организация, осуществляющая его перевозку и доготовку или приготовление в автомобиле, и потребитель.
9.2. Отпускаемые с завода-изготовителя и доставляемые автомобилями бетонные смеси должны соответствовать требованиям стандартов и техническим требованиям заказчика, разработанным в соответствии с проектом на строительство бетонируемой конструкции; технические требования должны быть согласованы заводом-изготовителем и транспортной организацией.
9.3. Соответствие показателей свойств доставленной на объект смеси техническим требованиям на нее устанавливается на строительном объекте совместно заказчиком и представителем завода-изготовителя и транспортной организации.
9.4. В случае несоответствия смеси техническим требованиям заказчик имеет право на возврат смеси и выявление ответственности сторон.
9.5. Состав технических требований на доставленную бетонную смесь должен соответствовать ГОСТам и содержать:
проектную марку бетона по прочности на сжатие;
проектный возраст бетона;
проектную марку по средней плотности (для легких бетонов);
марку по водонепроницаемости, морозостойкости, на растяжение при изгибе и другим показателям бетона (если они предъявляются);
наибольшую крупность заполнителей;
показатели пористости;
показатели однородности;
показатели расслаиваемости;
условия транспортирования, включая вид транспорта, режим транспортирования, класс дорог и расчетную продолжительность или расстояние транспортирования;
требуемую удобоукладываемость на заводе-изготовителе и у места укладки;
требуемую температуру смеси на заводе-изготовителе и у места укладки.
9.6. Доставка бетонных смесей должна осуществляться в соответствии с графиком, разработанным изготовителем, потребителем и транспортной организацией.
9.7. Отпуск и прием доставляемой автомобилями смеси производится по показателю массы полученного из нее бетона в уплотненном состоянии.
9.8. Изготовитель выдает на доставляемую бетонную смесь паспорт
(прил. 15), в котором указывает показатели характеристик смеси, изложенных в технических требованиях заказчика, а также:
наименование, телефон и адрес изготовителя;
наименование, телефон и адрес вышестоящей организации;
состав и количество химических добавок;
тип автомобиля, доставляющего смесь;
режим доставки смеси;
номер автомобиля;
наименование организации, осуществляющей доставку смеси, ее адрес и телефон;
наименование, телефон и адрес вышестоящей транспортной организации.
9.9. Контроль качества бетонных смесей следует осуществлять в соответствии с требованиями соответствующих Строительных норм и правил, действующих Государственных стандартов.
9.10. Свойства доставляемой бетонной смеси устанавливаются у места ее приготовления и сразу же после доставки в сроки, установленные соответствующими СНиПами; кроме этого определяются: расслоение бетонной смеси - не менее одного раза в смену; объемная масса уплотненной смеси - не менее двух раз в смену; подвижность и температура смеси, а также отделимость цементного теста - не менее двух раз в смену; воздухововлечение - не менее одного раза в сутки.
9.11. В случае если показатели свойств контролируемой бетонной смеси выходят за допустимые, следует производить корректировку технологии доставки или состава смеси.
9.12. Нормы и количество отбираемых проб бетонной смеси для определения прочности бетона и правила оценки результатов при производственном контроле устанавливают по ГОСТам.
9.13. Отбор проб на заводе-изготовителе производится лабораторией изготовителя, отбор проб на объекте производится лабораторией заказчика. По требованию заказчика результаты испытаний контрольных образцов на прочность бетона завод-изготовитель обязан сообщить не позднее, чем через трое суток после проведения испытаний.
9.14. Отбор проб бетонной смеси для характеристики процесса и средств доставки следует производить из кузова транспортного средства "послойным" методом. В бетонную смесь последовательно вставляют четыре телескопических кольца (одно внутрь другого) и также последовательно отбирают четыре пробы бетонной смеси. Параметры телескопических колец даны в табл. 20, а схема отбора приведена на
рис. 19.
Таблица 20
Кольцо для отбора проб | Высота кольца H, мм | Диаметр кольца, мм | Толщина  , мм | Высота пробоотборника, мм | Длина ручки, мм | Номер слоя | Число, шт. |
Из автобетоновозов | 350 | 700 | 2 | 400 | 140 | 1 | 1 |
350 | 600 | 2 | 750 | 140 | 2 | 1 |
350 | 500 | 2 | 1100 | 140 | 3 | 1 |
350 | 400 | 2 | 1450 | 140 | 4 | 1 |
Из автосамосвалов | 150 | 700 | 2 | 200 | 140 | 1 | 1 |
150 | 600 | 2 | 400 | 140 | 2 | 1 |
150 | 500 | 2 | 600 | 140 | 3 | 1 |
150 | 400 | 2 | 800 | 140 | 4 | 1 |
Рис. 19. Схема послойного отбора проб готовой бетонной смеси
с помощью телескопических колец
При транспортировании бетонной смеси в автобетоносмесителе отбор проб производится традиционным способом после выгрузки бетонной смеси.
9.15. Отбор проб товарных бетонных смесей, предназначенный для определения допустимой дальности перевозки, производится после выгрузки смеси из транспортных средств "случайным" методом
(рис. 20). При этом весь объем транспортируемой за один рейс смеси условно представляется в виде усеченного конуса, разделенного на одинаковое число в определенной последовательности пронумерованных элементарных объемов, кратных объему отбираемой пробы.
Рис. 20. Схема деления выгруженной из автомашины
бетонной смеси на элементарные объемы при отборе проб
"случайным методом"
а - карта элементарных объемов на нижнем уровне; б - карта
элементарных объемов на среднем уровне; в - карта
элементарных объемов на верхнем уровне
1 - верхний уровень отбора проб; 2 - средний уровень отбора
проб; 3 - нижний уровень отбора проб; 4 - ориентировано
к выгрузочному кузову транспортного средства
Для каждого случая отбора по таблице случайных чисел
(прил. 16) определяют номера элементарных проб. Всего берется четыре пробы.
9.16. Оценка прочности бетона по результатам испытаний контрольных образцов должна производиться по действующим указаниям на методы испытаний, оценку прочности и однородности. В качестве основного метода контроля следует применять систематический статический контроль.
9.17. При доставке бетонных смесей помимо ежедневных технических осмотров средств доставки перед их выходом на линию необходимо перед каждым рейсом проверять чистоту кузовов, отсутствие снега и наледи, а также песка и остатков смеси от предыдущего рейса. Кроме этого, необходимо следить за выполнением мероприятий по утеплению, укрытию и обогреву транспортных средств - не менее двух раз в смену.
10. ТЕХНИКА БЕЗОПАСНОСТИ ПРИ ДОСТАВКЕ БЕТОННЫХ СМЕСЕЙ АВТОМОБИЛЯМИ
10.1. Доставка бетонных смесей должна осуществляться при строгом соблюдении правил техники безопасности, изложенных в
СНиП III-4-80 "Техника безопасности в строительстве", а также других общесоюзных, отраслевых и ведомственных документах.
10.2. Дороги, по которым осуществляется доставка бетонных смесей, подъездные пути, проезды, строительные погрузочные и разгрузочные площадки должны отвечать требованиям существующих стандартов и содержаться в исправном состоянии, регулярно очищаться от льда, грязи, строительного мусора, а в зимнее время должны посыпаться песком, шлаком и другими уменьшающими скольжение материалами. Они должны быть оснащены регламентирующими порядок дорожного и внутриобъектного движения дорожными знаками, надписями, указателями и схемами, освещаемыми в темное время суток.
10.3. Загрузка автомобилей бетонной смесью на бетонных заводах и их разгрузка на строительных объектах должны осуществляться на погрузочных и разгрузочных площадках, имеющих твердое покрытие и уклон не более 3° и имеющих достаточное и равномерное естественное и искусственное освещение.
10.4. Погрузочные и приемные площадки должны иметь место для маневрирования и подъездные пути с жестким покрытием, а также обладать достаточным погрузоразгрузочным фронтом и при необходимости - местом для установки средств механизации или дополнительного внутриобъектного оборудования для доставки бетонных смесей (бадьи, бетоносмесители-перегружатели, пневмобетононагнетатели, бетононасосы и т.п.).
10.5. Погрузочные и разгрузочные площадки, а также эстакады для выгрузки бетонной смеси рекомендуется оборудовать защитным ограждением. Ширину прохода между ограждением и автомобилем или оборудованием рекомендуется устанавливать не менее 0,6 - 0,8 м.
10.6. На погрузочных и разгрузочных площадках и эстакадах не должны находиться люди, не имеющие отношения к этим процессам.
10.7. Бетонотранспортное средство может устанавливаться под загрузку и разгрузку бетонных смесей только после разрешения оператора на заводе-изготовителе и специального рабочего на строительном объекте. Сама загрузка и разгрузка может начинаться только после предупредительного сигнала водителя бетонотранспортного средства.
10.8. Подавать автомобили-самосвалы и автобетоновозы под погрузку бетонной смеси из бункера необходимо с таким расчетом, чтобы кабина не проходила под разгрузочным бункером.
10.9. Находиться в кабине и кузове бетонотранспортного средства, находящегося под загрузкой, не допускается.
10.10. При разгрузке бетонной смеси из самосвалов вдоль автомобиля надо оставлять проход для рабочих, очищающих поднятый кузов.
10.11. При выгрузке бетонной смеси из автосамосвала, автобетоновоза и автобетоносмесителя с бровки котлована машины не должны подъезжать к бровке ближе, чем на 1 м.
10.12. Запрещается разгружать автомобиль на ходу и двигаться с поднятым кузовом или выгружающим смесь барабаном автобетоносмесителя.
10.13. Доставку бетонной смеси в автобетоновозах необходимо осуществлять при закрытых верхних крышках кузова. При отсутствии крышек доставка не разрешается.
10.14. Вращение бетоносмесительного барабана с частотой, большей 6 - 8 об/мин, во время движения автобетоносмесителя со скоростью, большей 10 - 15 км/ч, не допускается.
10.15. Режимы доставки бетонных смесей автомобилями (скорость, частота вращения барабана бетоносмесителя, подвижность смесей и т.д.) должны отвечать параметрам доставки, оговоренным в технических условиях и паспорте автомобиля.
10.16. Во избежание накопления значительных масс затвердевшей бетонной смеси в барабанах автобетоносмесителей и кузовах автобетоновозов, приводящего к потере устойчивости этих автомобилей при их эксплуатации, после каждого рейса в специально отведенных местах необходимо осуществлять их (кузовов автобетоновозов, автосамосвалов и барабанов автобетоносмесителей) очистку и промывку.
10.17. Работу бетонотранспортного оборудования совместно с дополнительным оборудованием для доставки бетонной смеси, а также внутриобъектным бетоноподающим оборудованием (автобетононасосы, конвейеры и т.д.) рекомендуется осуществлять только при наличии дежурного оператора, координирующего синхронность проведения процесса.
10.18. При доставке бетонных смесей с их последующим электроразогревом в кузовах автомобилей водитель, въехав под установку для электропрогрева, должен покинуть кабину, а также пределы самой установки.
10.19. Установка для электропрогрева должна быть оснащена электрозащитным полом и предупреждающей о подаче напряжения световой и звуковой сигнализацией.
10.20. Пульты управления электроустановками для разогрева доставленной бетонной смеси в кузовах автомобилей и в бункерах, оснащенных электродами, должны размещаться вне пределов ограждения электроустановок. Двери в ограждении, предназначенные для прохода обслуживающего установку персонала, а также ворота для въезда автосамосвалов должны быть сблокированы с системой сигнализации и подачи напряжения на электроды.
10.21. При доставке бетонных смесей с химическими добавками следует иметь в виду, что все добавки ядовиты и разъедают кожу (при этом особенно опасными являются противоморозные добавки), а сами бетонные смеси обладают повышенной электропроводностью, в связи с чем персонал, связанный с доставкой, должен быть обеспечен специальной одеждой и средствами индивидуальной защиты.
10.22. В связи с ядовитостью химических добавок особую осторожность необходимо проявить при ручной очистке и промывке кузовов и барабанов бетонотранспортных средств во избежание разбрызгивания остатков смеси и ее попадания на обслуживающий персонал.
10.23. Автомобильные транспортные средства, не прошедшие ежегодный технический осмотр и регистрацию в органах Государственной автомобильной инспекции МВД СССР, до работ не допускаются.
10.24. Техническое состояние автотранспортных средств должно отвечать требованиям ГОСТа.
10.25. Автомобили должны иметь предохранительные устройства от попадания в кабину остатков смеси при погрузоразгрузочных и транспортных операциях.
10.26. Седельно-сцепные и поворотные устройства автобетоносмесителей и автобетоновозов, выполненных в виде автопоезда ("автомобиль-полуприцеп"), должны допускать поворот полуприцепов и прицепов в горизонтальной плоскости относительно тягача не менее чем на 90° в каждую сторону и подъем по дорогам с уклоном не менее 18°, в том числе при вращении загруженного барабана автобетоносмесителя.
10.27. Автомобили, имеющие навесное оборудование для укладки смеси (транспортеры, стрелы, лотки и т.д.), должны быть оснащены дополнительными световыми приборами для работ в вечернее и ночное время.
ТЕХНИЧЕСКИЕ ХАРАКТЕРИСТИКИ ОСНОВНЫХ
ОТЕЧЕСТВЕННЫХ АВТОБЕТОНОСМЕСИТЕЛЕЙ
N п.п. | Параметры | СБ-92 | СБ-92А | СБ-92-1А | СБ-130 | СБ-132 |
1 | Полезная вместимость бетоносмесительного барабана при  : | | | | | |
2,9 т/м3 | 3,5 | 4 | 4 | 8 | 8 |
1,9 т/м3 | - | 5 | 5 | 9 | 9 |
1,75 т/м3 | - | - | - | 10 | 10 |
2 | Геометрический объем бетоносмесительного барабана, м3 | 6,1 | 8 | 8 | 14 | 14 |
3 | Вместимость водяного бака, л | 850 | 750 | 750 | 1500 | 1000 |
4 | Скорость вращения барабана автобетоносмесителя, об/мин | До 14,5 | До 14,5 | До 14,5 | До 14 | 14 |
5 | Высота загрузки, мм | 3520 | 3620 | 3500 | 3700 | 3650 |
6 | Масса технологического оборудования, кг | 3650 | 3550 | 3500 | 6900 | 6200 |
7 | Общая масса автобетоносмесителя с грузом, т | 22,2 | 22,6 | 19,5 | 36 | 35 |
8 | Тип базового шасси | КрАЗ-258 | КрАЗ-258-Б1 | КамАЗ-5511 | МАЗ-999Б | МАЗ-999Б |
9 | Число осей базового шасси, шт. | 3 | 3 | 3 | 5 | 5 |
10 | Мощность двигателя бетоносмесительного барабана, кВт | 37 | 40 | 40 | 57 | 57 |
11 | Тип двигателя барабана | Автономный |
12 | Вид привода барабана | Механический |
13 | Длина, мм | 8030 | 8030 | 7280 | 11 720 | 11 720 |
Ширина, мм | 2650 | 2650 | 2500 | 2 500 | 2 500 |
Высота, мм | 3520 | 3620 | 3350 | 3 650 | 3 650 |
Продолжение прил. 1
N п.п. | Параметры | СБ-127 | СБ-159 | СБ-92-1Б | АМ6 FH | АМ6 SH |
1 | Полезная вместимость бетоносмесительного барабана при: | | | | | |
2,9 т/м3 | 5 | 5 | 4,2 | 4,4 | 4,6 |
1,9 т/м3 | 6 | 6 | 5,2 | 5 | 5 |
1,75 т/м3 | - | - | - | 6,8 | 6,8 |
2 | Геометрический объем бетоносмесительного барабана, м3 | 10 | 18 | 8 | 10,1 | 10,1 |
3 | Вместимость водяного бака, л | 1000 | 400 | 450 | 400 | 400 |
4 | Скорость вращения барабана автобетоносмесителя, об/мин | 16 | До 20 | 6 - 14 | 0 - 12 | До 20 |
5 | Высота загрузки, мм | 3650 | 3380 | - | 3675 | 3675 |
6 | Масса технологического оборудования, кг | 4600 | 3150 | 3425 | - | - |
7 | Общая масса автобетоносмесителя с грузом, т | 19,15 | 26,97 | 24 | 24 | 24 |
8 | Тип базового шасси | КрАЗ-6506 | КамАЗ-5511 | КамАЗ-5511 | КрАЗ-257К1 | КрАЗ-257К1 |
9 | Число осей базового шасси, шт. | 3 | 3 | 3 | 3 | 3 |
10 | Мощность двигателя бетоносмесительного барабана, кВт | 57 | - | 37 | 44 | - |
11 | Тип двигателя барабана | Автономный | Двигатель шасси | Автономный | Двигатель шасси |
12 | Вид привода барабана | Гидравлический | Гидромеханический |
13 | Длина, мм | 7500 | 1600 | 7380 | 9410 | 9680 |
Ширина, мм | 2500 | 2500 | 2500 | 2630 | 2630 |
Высота, мм | 3380 | 3650 | 3420 | 3675 | 3675 |
ТЕХНИЧЕСКИЕ ХАРАКТЕРИСТИКИ ОТЕЧЕСТВЕННЫХ
АВТОБЕТОНОВОЗОВ И БАДЬЕВОЗОВ
N п.п. | Характеристика | Автобетоновоз |
СБ-113 | СБ-113М | СБ-113А | СБ-124 | СБ-128 |
1 | Полезная вместимость кузова, м3 | 1,6 | 3 | 2,5 | 4 | 6 |
2 | Форма кузова | Каплевидный двойной | Каплевидный с термоактивным кузовом | Каплевидный двойной |
3 | Геометрический объем кузова, м3 | 2,8 | 4,3 | 7,3 | 9,5 | 5 |
4 | Теплоизоляция кузова | Пассивная | Активная | Пассивная |
5 | Высота загрузки, мм | 2600 | 2675 | 2650 | 2880 | 3200 |
6 | Высота выгрузки, мм | 1600 | 1600 | 1000 | 1200 | 1530 |
7 | Угол наклона разгрузочной части днищ, град | 60 | 60 | 60 | 60 | 60 |
8 | Угол наклона кузова, град | 100 | 100 | 85 | 90 | 85 |
9 | Возможность выгрузки | Назад |
10 | Масса технологического оборудования, т | 1,2 | 1,5 | 1,2 | 3,2 | 3,6 |
11 | Масса снаряженного автобетоновоза, т | 5,2 | 7,8 | 5,2 | 10,5 | 12,8 |
12 | Полная масса бетоновоза с грузом, т | 9,3 | 14,2 | 11 | 19,1 | 23,5 |
13 | Габариты в транспортном положении, мм: | | | | | |
длина | 5730 | 5850 | 5850 | 6790 | 7980 |
ширина | 2500 | 2600 | 2500 | 2880 | 2500 |
высота | 2675 | 2640 | 2700 | 2850 | 3160 |
14 | Тип базового шасси | ЗИЛ-13СД1 | МАЗ-504Г | ЗИЛ-ММЗ-555К | КамАЗ-5511 | КрАЗ-6505 |
Продолжение прил. 2
N п.п. | Характеристика | Автобетоновоз | Автобадьевоз |
АБ-2 | АБ-32 | АБ-104 |
1 | Полезная вместимость кузова, м3 | 3,2 | 3,2 | 4 | 2 x 1,5 = 3 |
2 | Форма кузова | Каплевидный двойной | Каплевидный с ветровыми экранами | Цилиндрические двойные |
3 | Геометрический объем кузова, м3 | 5 | 5 | 6 | 2 x 1,8 = 3,6 |
4 | Теплоизоляция кузова | Активная | Пассивная | Ветровые экраны | Пассивная |
5 | Высота загрузки, мм | 2700 | 2700 | 2700 | 2230 |
6 | Высота выгрузки, мм | 1250 | 1250 | 1660 | Переменная |
7 | Угол наклона разгрузочной части днищ, град | 55 | 60 | 60 | - |
8 | Угол наклона кузова, град | 85 | 90 | 90 | - |
9 | Возможность выгрузки | На 3 стороны | Назад | Из бадей в конструкцию |
10 | Масса технологического оборудования, т | 1,9 | 2 | 2,2 | 2,4 |
11 | Масса снаряженного автобетоновоза, т | 8,2 | 7,8 | 9 | 7,5 |
12 | Полная масса бетоновоза с грузом, т | 16,2 | 15,7 | 19,2 | 14,5 |
13 | Габариты в транспортном положении, мм: | | | | |
длина | 5730 | 6450 | 7000 | 11 010 |
ширина | 2600 | 2500 | 2500 | 2420 |
высота | 2930 | 2755 | 3000 | 2400 |
14 | Тип базового шасси | МАЗ-503А | МАЗ-503А | КамАЗ-5511 | ЗИЛ-130В1 |
АВТОМОБИЛИ-САМОСВАЛЫ СРЕДНЕЙ И МАЛОЙ ГРУЗОПОДЪЕМНОСТИ,
КОТОРЫЕ ПОСЛЕ МОДЕРНИЗАЦИИ КУЗОВА МОГУТ БЫТЬ ПРИМЕНЕНЫ
ДЛЯ ТРАНСПОРТИРОВАНИЯ БЕТОННОЙ СМЕСИ И ЗАПОЛНИТЕЛЕЙ ДЛЯ НЕЕ
Таблица 1
Параметры | Модель автомобиля-самосвала средней грузоподъемности |
ЗИЛ-ММЗ-555 | ЗИЛ-ММЗ-4502 | КамАЗ-5511 | КамАЗ-55102 | МАЗ-5549 | КрАЗ-25651 |
Кузов | Цельнометаллический с защитным козырьком | Цельнометаллический | Цельнометаллический | Цельнометаллический | Цельнометаллический | Цельнометаллический |
Геометрический объем кузова, м3 | 3 | 3,8 | 7,2 | - | 5,1 | 6 |
Разгрузка кузова | Назад | На 3 стороны | Назад |
Грузоподъемность, кг | 5250 | 5800 | 10 000 | 7000 | 800 | 12 000 |
Собственная масса, кг | 4570 | 4800 | 9000 | 8480 | 7225 | 10 850 |
Полная масса, кг | 10 045 | 10 825 | 19 150 | 15 630 | 15 375 | 23 085 |
Угол подъема кузова, град | 55 | 50 | 60 | 50 | 55 | 60 |
Время подъема кузова с грузом, с | 1,5 | 15 | 19 | 18 | 15 | 20 |
Время опускания кузова, с | 15 | 20 | 25 | 25 | - | - |
Максимальная скорость, км/ч | 90 | 90 | 80 | 80 | 75 | 68 |
Таблица 2
Параметры | Модель автомобиля-самосвала малой грузоподъемности |
САЗ-3504 | САЗ-3503 | САЗ-3502 | ГАЗ-САЗ-53Б | прицеп-самосвал ЦКБ-А 311 |
Кузов | Цельнометаллический | С предварительным подъемом, цельнометаллический | Цельнометаллический |
Грузоподъемность, кг | 2250 | 2400 | 3200 | 3550 | 4000 |
Собственная масса, кг | 2900 | 2750 | 4030 | 3700 | 1500 |
Полная масса, кг | 5300 | 5300 | 7380 | 7400 | 5500 |
Геометрический объем кузова, м3 | 2 | 3,2 | 4,25 | 5 | 3 |
Разгрузка | Назад | Назад с подъемом вверх | На 3 стороны | Назад |
Угол подъема кузова, град | 48 | 48 | 58 | 50 | 40 |
Время подъема кузова с грузом, с | 15 | 15 | 15 | 20 | - |
Максимальная скорость, км/ч | 70 | 70 | - | - | - |
ТЦ-4 (С2927) | ТЦ-10 |
Выпускался Прилукским заводом строительных машин под индексом С-927. Предназначен для перевозки цемента. Основной тягач - ЗИЛ-130В1, оборудованный компрессором с приводом от двигателя. Полуприцеп несущей конструкции. Разгрузка пневматическая с аэрацией. Цистерна цилиндрическая, стальная, установлена с наклоном назад для улучшения разгрузки | Выпускается Прилукским заводом строительных машин с 1980 г. Предназначен для перевозки цемента. Основной тягач - ЗИЛ-130В1, оборудованный вакуумным компрессором с приводом от двигателя. Цистерна цилиндрическая, стальная, установлена с наклоном назад для улучшения разгрузки. Загрузка - через загрузочный рукав при создании разрежения в цистерне или через загрузочный люк, разгрузка пневматическая, с аэрацией |
Грузоподъемность 7000 (8000) <*> кг | Грузоподъемность 7000 (10000) <*> кг |
Эксплуатационный объем цистерны 7 м3 | Собственная масса автопоезда 7600 кг |
Геометрический объем цистерны 8,87 м3 | Полная масса автопоезда 14825 (17825) <**> кг |
Собственная масса 3300 кг | Диаметр цистерны 1400 мм |
Полная масса 10300 кг | Вакуум-компрессор: тип РВК-6Л потребляемая мощность 18,5 кВт |
Компрессор: тип РК-6/1 (РКВН-6Л) производительность 6 м3/мин потребляемая мощность 18,5 кВт | |
Время загрузки и разгрузки 20 мин | Время саморазгрузки 20 мин |
Дальность подачи цемента: по горизонтали 50 м по вертикали 25 м | Время разгрузки 23 мин Дальность подачи цемента при разгрузке по вертикали 25 м |
Диаметр загрузочного люка 400 мм | Дальность подачи цемента при саморазгрузке 8 м |
Диаметр загрузочного люка 400 мм |
Продолжение прил. 4
ТЦ-6 | С-652 |
Выпускается Красногорским заводом цементного машиностроения. Предназначен для перевозки цемента. Основной тягач - МАЗ-504А, оборудованный компрессором. Цистерна цилиндрическая, стальная, наклонена на 9° назад для улучшения разгрузки. Разгрузка пневматическая, с применением аэрации. Полуприцеп укомплектован двумя разгрузочными шлангами, которые в транспортном положении укладываются на специальные кронштейны. Для доступа к загрузочному люку с левой стороны имеются площадка и лестница. Тормоза опорные устройства полуприцепа МАЗ-5425 | Выпускается Славянским заводом строительных машин. Основной тягач - КрАЗ-258БI, оборудованный компрессором с приводом от двигателя. Цистерна несущая, цилиндрическая, установлена с наклоном назад для улучшения разгрузки. Загрузка через люки, разгрузка пневматическая с аэрацией |
Грузоподъемность 22000 кг |
Эксплуатационный объем цистерны 20 м3 |
Собственная масса 7850 кг |
Геометрический объем цистерны 21 м3 |
Грузоподъемность 13000 кг | Полная масса 29850 кг |
| | ИС МЕГАНОРМ: примечание. Сноска дана в соответствии с официальным текстом документа. | |
|
Эксплуатационный объем цистерны 11,8 м3 | Габариты 13350 (9200) <***> x 2630 x 3800 мм |
Собственная масса 4100 кг | Внутренние размеры цистерны, мм: длина 9250 диаметр 1800 |
Полная масса 17100 кг |
Габариты 9255 <*> x 2600 x (2500) <**> x 3600 мм | Число люков 400 мм - 2 шт. |
База 3830 м | Модель компрессора РК-6/1 |
Диаметр загрузочного люка 400 мм | Время разгрузки 50 мин |
Производительность 6 м3/мин | Дальность подачи цемента при разгрузке, м: по горизонтали 50 по вертикали 25 |
Шланг разгрузочный: внутренний диаметр 100 мм длина с наконечником 4,2 м |
Время загрузки 30 мин | Масса цистерны 3600 кг |
Дальность подачи цемента 50 м | |
В том числе по вертикали 25 м | |
--------------------------------
<*> На дорогах I и II категорий.
<**> Длина полуприцепа, в скобках - автопоезда.
ТЕХНИЧЕСКАЯ ХАРАКТЕРИСТИКА ПЕРЕГРУЖАТЕЛЯ-СМЕСИТЕЛЯ
ПРИНУДИТЕЛЬНОГО ДЕЙСТВИЯ (СБ-158)
Таблица 1
Показатель | Единица измерения | Величина |
Объем приемного бункера | м3 | 4,5 |
Ширина загрузочного устройства | мм | 3000 |
Характеристика шнеков: | | |
количество | шт. | 2 |
диаметр | мм | 550 |
шаг витков | " | 430 |
частота вращения | об/мин | 50 |
Привод | - | Электрогидравлический |
Скорость передвижения при буксировке | км/ч | До 40 |
Размеры: | | |
длина | мм | 6050 |
ширина | " | 2500 |
высота | " | 1700 |
Масса | кг | 2000 |
ТАБЛИЦА ПРЕДПОЧТИТЕЛЬНОСТИ ТЕХНОЛОГИЧЕСКОГО ПРИМЕНЕНИЯ
БЕТОНОТРАНСПОРТНЫХ АВТОМАШИН ПРИ УСЛОВИИ T <= Tдоп
N п.п. | Условия строительной площадки | Вид строительных конструкций | Территориальная сосредоточенность бетонных работ | Наличие на строительном объекте бетоноперемешивающего оборудования | Вид внутриобъектного бетоноподающего и бетоноукладывающего оборудования | Вид предпочтительных бетонотранспортных машин |
1 | Нормальный темп бетонирования. Отсутствие стесненных условий | Массивные и малосреднеармированные конструкции | Бетонные работы сосредоточены на незначительном участке (строительство высотного здания) | Бетоноперемешивающего оборудования | Подъемный кран с бадьями | Автобетоновоз, не имеющий приспособления для побуждения смеси |
2 | То же | То же | То же | Имеется бетоносмеситель перегрузок | Бетононасос | То же |
3 | " | " | Бетонные работы на сооружениях типа гидротехнических | Эстакады для автомобилей, гравитационная укладка смесей | Специальных бетоноукладывающих механизмов нет | " |
4 | " | " | Строительство протяженных объектов (дороги I и II класса, аэродромы) | Бетоноперемешивающего оборудования нет | Бетоноукладочные машины типа дорожных укладчиков | " |
5 | " | " | Строительство протяженных объектов (дороги низших классов) | То же | Специальных бетоноукладывающих механизмов нет | Автобетоносмеситель или автобетоновоз-побудитель |
6 | " | " | Строительство рассредоточенных объектов с малым объемом укладываемой бетонной смеси (фундаменты под заборы, сельское строительство) | " | То же | Автобетоносмеситель или автобетоновоз-побудитель |
7 | " | Тонкие, ответственные густоармированные конструкции | Бетонные работы сосредоточены на незначительном участке (специальные резервуары, башни и т.д.) | Имеется бетоносмеситель-перегружатель | Бетононасосы | Автобетоновоз, не имеющий приспособлений для побуждения смеси |
8 | " | То же | Рассредоточенное строительство | То же | Автобетононасос | То же |
9 | Нормальный темп бетонирования. Стесненные условия | " | Бетонные работы сосредоточены на незначительном участке | " | Бетононасосы | " |
МЕТОДИКА ОПРЕДЕЛЕНИЯ ВЕЛИЧИН СНИЖЕНИЯ ТЕМПЕРАТУРЫ
ТЯЖЕЛОЙ БЕТОННОЙ СМЕСИ НА ОПЕРАЦИЯХ ЕЕ ДОСТАВКИ
Величины снижения температуры бетонной смеси

определяются:
а) при горизонтальном транспортировании бетонной смеси согласно
разд. 4 настоящих Рекомендаций;
б) при укладке и уплотнении бетонной смеси по формуле
где

- продолжительность укладки смеси, мин;

- снижение температуры смеси при укладке град/1 град в 1 мин:
| Толщина конструкции, мм |
0,03 | 60 |
0,018 | 100 |
0,012 | 150 |
0,009 | 200 |
0,007 | 300 |
0,005 | 400 |
0,004 | 500 |
0,003 | 700 |
в) при погрузках и перегрузках на каждую операцию можно принимать

;
г) при перемещении башенным краном - по формуле

, где
H - высота подъема, м;
д) при перемещении смеси шахтным подъемником (в утепленной шахте)
.
ОПРЕДЕЛЕНИЕ ТЕПЛОПОТЕРЬ И ТЕМПЕРАТУРЫ БЕТОННОЙ СМЕСИ
В РЕЗУЛЬТАТЕ ЕЕ ДОСТАВКИ
Дано. Бетонный завод выпускает разогретую до температуры +40 °C бетонную смесь, которая доставляется на объект, находящийся в 15 км от завода, частично с помощью автосамосвалов ЗИЛ-ММЗ-555 с необогреваемым кузовом, а частично - с помощью таких же машин, но с модернизированным кузовом, обогреваемым выхлопными газами. Температура окружающей среды -20 °C. Скорость перевозки v = 30 км/ч.
Определить. 1. Теплопотери бетонной смеси при ее перевозках.
2. Среднюю температуру доставленной на объект смеси.
3. Температуру наиболее охлажденной части смеси.
Решение. 1. Определяем разность температур окружающей среды и перевозимой бетонной смеси (tзав - tв) = +40 - (-20) = 60 °C.
2. Определяем время транспортирования бетонной смеси

.
Расчет теплопотерь по формуле
3. Определяем средние теплопотери собственно от процесса транспортирования -

в самосвале с необогреваемым кузовом

.
4. Определяем максимальные теплопотери собственно от процесса транспортирования в автосамосвале с необогреваемым кузовом

.
5. Определяем средние теплопотери от контакта с охлажденным в порожнем рейсе необогреваемым кузовом

.
| | ИС МЕГАНОРМ: примечание. Текст дан в соответствии с официальным текстом документа. | |
6. Определяем максимальные теплопотери от контакта с охлажденным в порожнем рейсе необогреваемым кузовом

.
7. Общие теплопотери бетонной смеси при перевозке в автосамосвале с необогреваемым кузовом:
а) средние 3,6 + 3,348 = 6,948 °C;
б) максимальные 7,2 + 6,696 = 13,896 °C.
8. Средние теплопотери собственно от процесса транспортирования в самосвале с обогреваемым кузовом

составляют

.
9. Максимальные теплопотери собственно от транспортирования в самосвале с обогреваемым кузовом

.
10. Теплопотерь от контакта смеси с охлажденным в порожнем рейсе кузовом не будет (в = 0,00).
Номограмма дает возможность рассчитать теплопотери по сокращенной
формуле (10).
По номограмме определяют: 1) по сплошным линиям - обусловленные собственно транспортированием средние

(при

) и максимальные

теплопотери; 2) по пунктирным кривым - обусловленные контактом смеси с охлажденным кузовом средние

(при

) и максимальные

. Затем теплопотери от транспортирования и контакта с охлажденным кузовом арифметически складываются.
МЕТОДИКА ОПРЕДЕЛЕНИЯ РЕЖИМОВ ДОСТАВКИ,
ПОЗВОЛЯЮЩИХ МАКСИМАЛЬНО ПЛАСТИФИЦИРОВАТЬ
ПЕРЕВОЗИМЫЕ БЕТОННЫЕ СМЕСИ
Общие положения
Известно, что процесс перемешивания доставляемой бетонной смеси является радикальным средством воздействия на ее структуру и управления ее подвижностью. При перемешивании может происходить как интенсивное загустевание, так и существенная пластификация перевозимой смеси.
Отыскание параметров доставки с максимальным пластифицирующим перемешиванием является весьма важным в практике строительства, особенно при очень часто встречающемся положении, когда применение химических добавок пластификаторов невозможно или опасно.
В процессе определения необходимых режимов доставки с перемешиванием смеси в пути необходимо установить следующие параметры:
кинетику изменения подвижности, идентичной предполагаемой к перевозке, по выдерживаемой на бойке бетонной смеси (условия выдерживания, температура, влажность и т.д. аналогичны условиям перевозки);
особенно важным является длительность вылеживания до того момента, когда исходная подвижность снижается в 2
n раза
;
частоту вращения смесительного барабана

;
время перевозки до начала очередного n-го цикла перемешивания Tn;
длительность очередного цикла перемешивания

.
Установлено, что доставка бетонных и керамзитобетонных смесей с их постоянным или близким к постоянному перемешиванию в пути приводит к загустеванию перевозимой смеси, причем чем выше скорость вращения (начиная с 2 - 3,5 об/мин), тем быстрее происходит загустевание.
Вместе с тем, при перевозке готовых бетонных и керамзитобетонных смесей с их периодическим перемешиванием в пути происходит их пластификация, причем чем выше скорость периодического вращения барабана автобетоносмесителя (от 2 - 3,5 об/мин до 18 - 24 об/мин) или лопастей авторастворовоза, тем больше пластификация и выше подвижность смесей.
Наилучшим сроком транспортировки без перемешивания (или с перемешиванием при частоте вращения смесительного барабана не более 3,5 об/мин) до начала
n-го цикла пластифицирующего перемешивания является время, в течение которого подвижность аналогичной по выдерживаемой без побуждения ("на бойке") смеси снижается в (1,8 - 2,2)
n раза.

. При этом наибольшая пластификация достигается в том случае, когда длительность каждого
n-го цикла доставки с пластифицирующим перемешиванием

равна величине 3,85(1,3 - 1,35)
n - для тяжелых бетонных и 5,2(1,3 - 1,35)
n - для керамзитобетонных смесей, а частота вращения барабана составляет 18 - 24 об/мин.
Условия доставки смесей с максимальной и близкой к максимальной пластификацией тяжелых бетонных и керамзитобетонных смесей представлены в табл. 1.
Виды бетонных смесей | Тяжелая бетонная | Керамзитобетонная |
Параметры доставки с максимальной пластификацией смеси в пути | | |
Параметры доставки с близкой к максимальной пластификацией смеси в пути | | |
Пример определения
Дано. С завода товарного бетона, находящегося в 180 мин езды от строительного объекта, необходимо доставлять готовую тяжелую бетонную смесь, не содержащую химических добавок. Доставка производится автобетоносмесителем СБ-159.
Определить. Параметры доставки с максимальным пластифицирующим перемешиванием.
Решение
1) В лабораторных условиях, соответствующих атмосферно-климатическим условиям доставки, путем периодического замера подвижности смеси определяется время, в течение которого исходная подвижность смеси, составляющая 8 см, снижается в 2, 4, 8 и 16 раз Tn.
Выявлено, что Tn составляет
T1 = 40 мин, T2 = 85 мин, T3 = 135 мин, T4 = 175 мин.
2) Устанавливается возможная частота вращения барабана автобетоносмесителя, которая равна 3,5 - 20 об/мин.
3) Рассчитывается длительность каждого цикла перемешивания

по формуле

;

, T
2 = 7 мин,

,

.
4) Определяем режим доставки по табл. 2
5) После лабораторной проверки режим доставки может быть откорректирован.
Таблица 2
N п.п. | Доставка | Длительность, мин |
1 | Без перемешивания или с перемешиванием при  (первый цикл) | 40 |
2 | С пластифицирующим перемешиванием при  (первый цикл) | 5 |
3 | Без перемешивания или с перемешиванием при  (второй цикл) | 45 (85 - 40) |
4 | С пластифицирующим перемешиванием при  (второй цикл) | 7 |
5 | Без перемешивания или с перемешиванием при  (третий цикл) | 50 (135 - 85) |
6 | С пластифицирующим перемешиванием при  (третий цикл) | 9 |
7 | Без перемешивания или с перемешиванием при  (четвертый цикл) | 40 (175 - 135) |
8 | С пластифицирующим перемешиванием при  (четвертый цикл) | 11 |
ПРИМЕР ОПРЕДЕЛЕНИЯ ИСХОДНОЙ ПОДВИЖНОСТИ ТЯЖЕЛОЙ
БЕТОННОЙ СМЕСИ, ДОСТАВЛЯЕМОЙ С ПОБУЖДАЮЩИМ ПЕРЕМЕШИВАНИЕМ
В УТЕПЛЕННОМ АВТОБЕТОНОСМЕСИТЕЛЕ И БЕЗ ПОБУЖДЕНИЯ
В АВТОБЕТОНОВОЗЕ
Дано. На строительство химического комбината, находящегося на расстоянии 60 км, требуется в течение 120 мин доставить тяжелую бетонную смесь. В связи со спецификой производства часть смеси может, а часть не должна содержать химических добавок. Смесь укладывается в две конструкции: а) тонкостенные резервуары, б) массивные фундаменты. При укладке в резервуары подача смеси осуществляется постоянно с помощью бетононасосов, поэтому она должна иметь подвижность 3 - 3,5 см и доставляться автобетоносмесителями с завода N 1, имеющего необходимые цементы и заполнители.
В массивные фундаменты должна укладываться смесь подвижностью 2 см, причем время разгрузки автомобиля должно быть минимальным, вследствие чего необходимо применение автобетоновозов без устройства для побуждения смеси в пути. Эти смеси не имеют специальных требований и могут доставляться с близлежащего завода N 2. Завод N 1 находится на расстоянии 60 км (время перевозки 120 мин), завод N 2 - на расстоянии 17,5 км (время перевозки 35 мин). Допустимый расход цемента 280 - 320 кг/м3. Начало схватывания цементного, в смесях, теста - 2,5 ч, температура бетонной смеси +30 °C, температура воздуха -4 °C.
Необходимо определить исходную подвижность смеси и режимы ее транспортировки.
Решение. По графику изменения подвижности
(рис. 14) из точки соответствующей 60 км (T = 120 мм) восстанавливается перпендикуляр до пересечения с горизонталью, соответствующей значению OK
об = 1 см. Следуя по кривой

, определяем необходимую исходную подвижность для стандартных условий. Она равна 4 см.
На основании
формулы (15) по таблицам определяем необходимые коэффициенты:

,

,

,

(см.
разд. 5),

,

,

,

.
Исходное значение подвижности тяжелой бетонной смеси, доставляемой без побуждения и без химических добавок в автобетоновозах (

,

), в соответствии с
формулой (15) составит
Исходная подвижность той же смеси, содержащей в качестве химически пластифицирующей смесь добавки сульфитно-спиртовую барду (ССБ) в количестве 0,25% от расхода цемента, определится по этой же формуле, но теперь коэффициент химической пластификации принят, в соответствии с
табл. 16, значение, равное

и соответственно OK
зав будет равно 2,5.
При определении исходной подвижности смеси, доставляемой с побуждением, необходимое значение подвижности смеси на объекте OK
об делится, в соответствии с
формулой (15), на коэффициент

. При оптимальном способе доставки, в соответствии с
табл. 15, коэффициент для принятого пока предположительно второго цикла побуждающего перемешивания составляет 3,8. Таким образом, в этом случае, когда подвижность смеси, доставляемой без побуждающего перемешивания, должна составлять 3 - 3,5 см, ее подвижность при доставке с побуждением перемешивания должна составлять

, или округленно 1 см. Далее, следуя за кривой снижения подвижности смеси при доставке в автобетоновозах, определяем исходное значение подвижности для стандартных условий, которое будет равно 4, т.е. 4 см.
Для определения исходной подвижности смеси OK
зав, необходимой в условиях нашего примера при доставке смеси, не содержащей добавок, по
таблицам 13 -
16 определяем необходимые коэффициенты:

,

,

,

,

.
Исходное значение подвижности смеси, поставляемой с побуждающим перемешиванием, в соответствии с
формулой (15) составит
Рассмотрев кривую снижения исходной подвижности, равной 4 - 5 см, замечаем, что она уменьшается в 2 раза (момент начала первого цикла перемешивания) после 30 - 35 мин транспортирования без перемешивания, а в 4 раза (момент начала второго цикла перемешивания) - после 120 мин доставки, значит принятое нами

верно.
В соответствии с условием оптимальности доставки с побуждающим перемешиванием (
табл. п. 9.1,
прил. 9), она должна осуществляться следующим образом. Первый цикл доставки без перемешивания должен длиться 35 мин, а доставки с перемешиванием - 5 мин, скорость перемешивания 20 - 24 об/мин; второй цикл доставки без перемешивания должен длиться 75 - 80 мин, а доставки с перемешиванием - 7 мин со скоростью 20 - 24 об/мин. Исходная подвижность смеси должна равняться 5 см.
Исходная подвижность этой же смеси (доставляемой с побуждающим перемешиванием) по содержащей добавку ССБ в количестве 0,25% веса цемента

определится так же, но при этом

должно быть снижено (см.
п. 5.28 настоящих Рекомендаций) примерно в 1,5 раза и составит

. Тогда необходимая для расчета подвижность на объекте (исходя из условия доставки без добавки и без побуждения) составит

, и исходная подвижность смеси, доставляемой в нормальных условиях, примерно 2,5 см.
Исходная подвижность смеси, доставляемой в реальных условиях, составит
МЕТОДИКА ОПРЕДЕЛЕНИЯ НЕОБХОДИМОЙ ИСХОДНОЙ ПОДВИЖНОСТИ
ГОТОВОЙ БЕТОННОЙ СМЕСИ ПО НОМОГРАММЕ
Для определения исходной подвижности транспортируемой без побуждения готовой бетонной смеси разработана номограмма (рисунок).
В правой части номограммы приведены кривые потери подвижности бетонных смесей, транспортируемых в нормальных условиях, в левой - функция приведена при транспортировании в условиях, отличающихся от нормальных.
Использование номограммы осуществляется следующим образом. В зависимости от взаимоудаленности строительного объекта и бетонного завода (времени транспортирования), а также необходимой на объекте подвижности готовой бетонной смеси на осях L и OKоб восстанавливаются перпендикуляры. Двигаясь из точки пересечения перпендикуляров по соответствующей кривой потери подвижности для автобетоновозов или автосамосвалов до пересечения с линией O км, определяем необходимую исходную (заводскую) подвижность в нормальных условиях перевозки (приведены в углах номограммы). Далее, из полученной точки проводим горизонтальную линию до пересечения с соответствующей линией температуры воздуха. Из полученной точки восстанавливаем перпендикуляр до пересечения с линией начала схватывания цементного теста, откуда проводим горизонтальную линию до пересечения с линией температуры бетонной смеси; далее, восстанавливаем перпендикуляр по линии расхода цемента и из точки пересечения с осью OKзав.
Полученное значение явится необходимой отпускной подвижностью.
Пример определения необходимой отпускной подвижности тяжелой бетонной смеси
Начальные условия примера и результаты его решения представлены в таблице.
Необходимая подвижность смеси на строительном объекте OKоб, см | Дальность транспортирования, км ----------------- Длительность транспортирования, ч | Температура, °C | Расход цемента на 1 м3 бетонной смеси, кг | Начало схватывания цементного теста, ч-мин | Необходимая исходная подвижность бетонной смеси на заводе - OKзав, см, при последующей перевозке в |
бетонной смеси | воздуха |
бетоновозах | самосвалах |
3 - 4 | 20 ---- 40 | +10 | +35 | 270 | 2 - 45 | 4,5 | 8 |
3 - 4 | 20 ---- 40 | +10 | +5 | 270 | 2 - 45 | 3,5 | 4 |
ПРИМЕР ОПРЕДЕЛЕНИЯ ПАРКА МАШИН ДЛЯ ТРАНСПОРТИРОВАНИЯ
БЕТОННОЙ СМЕСИ
Подготавливается производство бетонных работ на крупном металлургическом комплексе. Бетонирование должно происходить в три этапа. На первом этапе, продолжающемся 2 мес, темп бетонирования составляет P1 = 192 м3/смену, на втором (в течение 3 мес) P2 = 384 м3/смену. Доставка бетонной смеси на объект осуществляется с трех заводов. При этом мощность первого завода 192 м3/смену, мощность второго 162 м3/смену, мощность третьего 200 м3/смену. Среднее расстояние груженого пробега автомобиля lгр составляет соответственно с первого завода до объекта 5 км, с третьего 45 км по асфальтированным дорогам.
Со второго завода имеются два пути: первый путь - 27 км по асфальтированной дороге и 1 км по проселочной, второй - 10 км по проселочной дороге.
Расстояние порожнего пробега lпор от объекта до первого завода составляет 10 км. В остальных случаях расстояния порожних и груженых рейсов совпадают.
Скорости пробега для порожнего и груженого рейса по различным дорогам указаны в табл. 1.
Таблица 1
Скорости пробега машин
Пробег | Тип дорожного покрытия | vгр, км/ч |
Тип автомашины |
автосамосвал | автобетоновоз | автобетоносмеситель |
Груженый | Жесткое | 30 | 30 | 25 |
Мягкое | 15 | 15 | 15 |
Порожний | Жесткое | 40 | 40 | 35 |
Мягкое | 20 | 20 | 18 |
Масса перевозимой за одну поездку смеси, т | - | 6 | 7,68 | 7,68 |
Бетон, доставленный на объект, должен иметь подвижность OKоб = 2 см. Доставка идет при температуре наружного воздуха +5 °C.
Определить:
1) маршруты и типы машин, осуществляющих перевозки с завода на строительный объект;
2) количество автомашин, доставляющих смеси с каждого из заводов;
3) необходимую при изготовлении подвижность бетонной смеси.
Решение.
1) Для транспортирования смесей с первого и третьего заводов существует лишь один маршрут. При этом перевозки с первого завода могут осуществляться автосамосвалами, так как расстояние от этого завода до объекта значительно меньше допустимого l = 5 км < lдоп.
Третий завод находится на расстоянии 45 км; учитывая, что при перевозке в автобетоновозе исходная подвижность смеси при данном расстоянии должна быть не менее 4 - 6 см (по стандартному конусу) lдоп = 30 км, отсюда l = 45 км > lдоп = 30 км.
Следовательно, перевозки с третьего завода не могут осуществляться автобетоновозами или автосамосвалами. В данном случае необходимо выбрать рациональный маршрут.
По проселочной дороге расстояние от завода до объекта 10 км, что больше lдоп = 7,5 км для автосамосвала и меньше lдоп = 12 км для автобетоновоза; следовательно, по этой дороге можно везти смесь автобетоновозом.
Приведенное расстояние при перевозке смеси автобетоновозом по проселочной дороге (маршрут первый) составит l1прив = 10·3,7 = 37 км.
Во втором маршруте приведенное расстояние равно l2прив = 27 + 13,7 = 30,7; следовательно, на этом маршруте, так же, как и на первом, необходимо применять автобетоновоз.
Сравнивая l1прив и l2прив, выясняем, что транспортирование смеси со второго завода на строительный объект должно осуществляться автобетоновозами по второму маршруту, несмотря на то, что он значительно длиннее первого.
2. Переходим к определению количества автомашин каждого типа для перевозки бетонной смеси. Затраты времени на каждую операцию представлены в табл. 2.
Таблица 2
Пооперационные затраты времени
Параметры перевозки | Автобетоносмеситель | Автобетоновоз | Автосамосвал |
Время погрузки tп | 12 мин - 0,2 ч | 6 мин - 0,1 ч | 6 мин - 0,1 ч |
Время разгрузки tр | 15 мин - 0,25 ч | 1,5 мин - 0,25 ч | 3 мин - 0,05 ч |
Время маневрирования tм | 6 мин - 0,1 ч | 3 мин - 0,05 ч | 3 мин - 0,05 ч |
Время перемешивания tпер | 15 мин - 0,25 ч | - | - |
Коэффициент использования грузоподъемности  | 1 | 0,96 | 0,96 |
Вместимость q | 5 | 3,2 | 3,2 |
В связи с кратностью 0,8 м3 (по выходу смеси) современных бетоносмесителей, установленных на заводах товарного бетона, автосамосвалы МАЗ-503А и автобетоновозы АБ-32 перевозят по 3,2 м3 смеси, что составляет 7,68 т.
Коэффициент использования грузоподъемности равен

.
На первом этапе работ бетонная смесь будет подаваться с первого завода, мощности которого хватает для обеспечения заданного темпа бетонирования P1 = 192 м3/смену.
В автохозяйстве имеются самосвалы МАЗ-503А грузоподъемностью 8 т. Поскольку на первом этапе у нас один тип автомашин, то
i = 1. Автосамосвал не перемешивает смесь в пути, поэтому
tпер = 0;
формула (19) примет следующий вид
Ni = 192/(8·3,2·0,96)(0,1 + 0,05 + 5/30 + 10/40) = 4,65 ~= 5.
На втором этапе необходимый темп бетонирования (P = 384 м3/смену) могут обеспечить только все три завода, работая совместно, причем P = P1 + P2 + P3, где P1 = 192 м3/смену; P2 = 162 м3/смену; P3 = 30 м3/смену.
Общее количество машин определяется из условия

, где
N1 - количество автосамосвалов;
N2 - то же, автобетоновозов;
N3 - то же, автобетоносмесителей.
Количество автобетоновозов, перевозящих смесь со второго завода N2 = 162/8·3,2·0,96(0,1 + 0,025 + 0,05 + 30,7/30 + 30,7/40) = 12,41 ~= 13.
Количество автобетоносмесителей СБ-159, перевозящих смесь с третьего завода, равно N3 = 30/(8·5·1)(0,2 + 0,25 + 0,1 + 0,25 + 45/30 + 45/30) = 2,61 ~= 3.
При этом третий завод большую часть своей продукции будет поставлять другим стройкам.
Таблица 3
Календарный план доставки бетонной смеси (форма)
Номер и адрес завода - поставщика бетонной смеси | Мощность завода, м3/смену | Расстояние перевозок, км, по дорогам с покрытием | Характеристика бетонной смеси на заводе ------------------- объекте | Этапы бетонирования |
I | II | III |
Темп бетонирования, м3/смену |
твердым | мягким | всего | прочность, кг/см2 | подвижность, см | 192 | 384 | 273 |
Объем бетонной смеси, доставляемой в одну смену по месяцам, м3 |
I | II | III | IV | V | VI | VII |
Завод N 1 | 192 | 5 | - | 5 | 200 ------ 200 | 2,5 ----- 2 | 192 | 192 | 192 | 192 | 192 | 192 | 192 |
** | ** | ** | ** | ** | ** | ** |
Доставка самосвалом МАЗ-503 |
Завод N 2 | 162 | 27 | 1 | 28 | 200 ------ 200 | 4,5 ----- 2 | - | - | 162 | 162 | 162 | 81 | 81 |
- | - | **** | **** | **** | *** | *** |
- | - | Доставка бетоновозом АБ-32 (на базе МАЗ-503) |
Завод N 3 | 200 | 45 | - | 45 | 200 ------ 200 | сухая -------- 2 | - | - | 30 | 30 | 30 | - | - |
- | - | * | * | * | - | - |
- | - | Доставка бетоносмесителем СБ-159 | - | - |
Примечание. Число автомобилей: * - 3 шт., ** - 5 шт., *** - 7 шт., **** - 13 шт.
На третьем этапе необходимый темп бетонирования P3 = 273 м3/смену могут обеспечить первый и второй заводы, работая совместно, причем здесь P = P1 + P2, где P1 = 192 м3/смену, а P2 = 81 м3/смену.
Количество автосамосвалов, доставляющих смесь с первого завода, равно 5.
Количество автобетоновозов, доставляющих смесь со второго завода, равно N2 = 81/(8·3,2·0,96)(0,1 + 0,025 + 0,05 + 30,7/30 + 30,7/40) = 6,218 ~= 7.
Таким образом, на первом этапе работ в течение каждой смены бетонная смесь поставляется с первого завода пятью автосамосвалами МАЗ-503А.
На втором этапе в смену поставку с первого завода осуществляют 5 автосамосвалов МАЗ-503А, со второго завода - 13 автобетоновозов, с третьего завода - 7 автобетоносмесителей.
На третьем этапе работ поставки в смену с первого завода осуществляют 5 автосамосвалов МАЗ-503А, со второго завода - 7 автобетоновозов.
СОСТАВ ПАСТЫ ДЛЯ ОЧИСТКИ СТАЛЬНЫХ ЭЛЕКТРОДОВ,
ИМЕЮЩИХСЯ В УСТАНОВКАХ ПО ЭЛЕКТРОРАЗОГРЕВУ
ДОСТАВЛЯЕМЫХ БЕТОННЫХ СМЕСЕЙ
1. Паста приготовляется путем перемешивания двух составов (100% массы).
2. Состав I (77,5% общей массы)
соляная кислота (удельный вес 1,2) - 33,4%;
уротропин или формалин - 1%;
волокнистый заполнитель (распушенная бумага, - 4%;
солома, камыш)
поваренная соль - 5%;
вода - 34,1%.
3. Состав II (22,5% общей массы)
жидкое стекло (удельная масса 1,4 - 1,5) - 7,5%;
вода - 15%.
МЕТОДИКА РАСЧЕТА ПАРАМЕТРОВ ЭЛЕКТРОУСТАНОВОК ДЛЯ РАЗОГРЕВА
ДОСТАВЛЯЕМЫХ АВТОМОБИЛЯМИ БЕТОННЫХ СМЕСЕЙ
1. Мощность, необходимая для электроразогрева смеси P, определяется теплотехническим расчетом по формуле
где cб.с - удельная теплоемкость бетонной смеси, принимается 0,25 ккал/град;

- объемная плотность бетонной смеси с учетом разрыхления, определяемая экспериментальным путем, кг/м
3;
vб.с - объем бетонной смеси в бункере или в кузове автосамосвала, м3;
1,2 - коэффициент, учитывающий теплопотери смеси в процессе ее разогрева;
р - скорость разогрева, град/ч, вычисляется по формуле
tк - конечная температура разогрева смеси, град;
tн - начальная температура смеси перед разогревом, град;

- продолжительность разогрева, принимается 5 - 15 мин.
Продолжительность разогрева смеси принимается с учетом интенсивности загустевания смеси в процессе разогрева и наличием электрических мощностей.
2. Расстояние между электродами в бункере для разогрева смеси или при разогреве в кузове автосамосвала определяется по формуле
где U - напряжение на электродах, В;
Pрасч - расчетное электрическое сопротивление бетонной смеси, Ом·см.
Для получения по формуле расстояния между электродами, соответствующего размерам бункера, принятым конструктивно, или размером кузова автосамосвала, можно:
изменять продолжительность разогрева смеси;
уменьшать удельное электрическое сопротивление бетонной смеси введением в нее добавок;
последовательно включать в цепь одноименных электродов двух бункеров или двух установок для разогрева смеси в самосвалах.
Площадь электрода определяется по формуле
S >= vб.с/hn,
где n - количество электродов.
Площадь электрода в бункерах для разогрева смеси увеличивается по конструктивным соображениям, чтобы вся смесь в бункере с учетом угла естественного откоса находилась между электродами.
Максимальная сила тока в процессе разогрева смеси составляет
где

- минимальное удельное электрическое сопротивление смеси в процессе разогрева, Ом·см.
3. Электрическая мощность при разогреве смеси равна
Мощность трансформатора Pтр для электроразогрева смеси вычисляется по формуле
где

- КПД трансформатора;
Kк.п - коэффициент кратковременной перегрузки трансформатора, равный 1,3.
По величине Pтр подбирается трансформатор для электроразогрева бетонной смеси.
При определении размеров бункера помимо объема разогреваемой смеси следует учитывать, что, как правило, разгрузка смеси из самосвала происходит в два или три бункера, установленные рядом вплотную один к другому.
на доставленную автомобилями бетонную смесь
1. Организация - изготовитель смеси _______________________________________
(наименование, адрес, телефон)
2. Организация - получатель смеси _________________________________________
(наименование, адрес, телефон)
3. Организация, доставляющая смесь ________________________________________
(наименование, адрес, телефон)
4. Параметры процесса доставки бетонной смеси
Тип и номер автомобиля ____________________________________________________
(автосамосвал, автобетоновоз,
автобетоносмеситель и т.п.; N)
Способ доставки ___________________________________________________________
(без перемешивания или с перемешиванием,
с приготовлением в пути, у заказчика и т.д.)
Температура воздуха _______________________________________________________
(°C)
Дальность и длительность перевозки ________________________________________
(км, мин)
Категория дороги и тип покрытия ___________________________________________
(I, III, IV и т.д.; жесткое, грунтовое)
5. Проектные характеристики свойств доставленных на объект смесей
Наименование плотности и смеси ____________________________________________
(тяжелая, керамзитовая и т.п.; т/м3)
Проектная марка бетона ____________________________________________________
(прочность при сжатии)
Марки по водонепроницаемости, морозостойкости, растяжении при изгибе и т.п.
___________________________________________________________________________
(наиболее важные по техническим требованиям)
Состав и количество химических добавок ____________________________________
Вид и крупность заполнителя _______________________________________________
(песок, щебень гранитная известь)
Проектная температура смеси после доставки ________________________________
(°C)
Проектная удобоукладываемость после доставки ______________________________
(см)
Дата и время отправки смеси _______________________________________________
Масса смеси в автомобиле (в уплотненном состоянии) ________________________
(м3)
Паспорт выдан "_____" ________________ 19____ г.
Изготовитель ______________________________________________________________
(начальник цеха, ф., и., о.)
Транспортировщик __________________________________________________________
(начальник колонны, ф., и., о.)
Потребитель _______________________________________________________________
(прораб, мастер, ф., и., о.)
МЕТОДИКА ОПРЕДЕЛЕНИЯ ЭЛЕМЕНТАРНЫХ ОБЪЕМОВ ОТБИРАЕМЫХ ПРОБ
В целях определения номеров элементарных объемов проб смеси, отбираемых "случайным" методом при определении однородности по прочности доставленных на объект смесей, необходимо пользоваться случайными числами. Выбор чисел производится следующим образом: произвольно выбирается столбец и на нем также произвольно любое из расположенных построчно чисел, два первых знака которого составляют номер первого из элементарных объемов, от которого отбирается смесь. Остальные три номера серии можно выбирать, следуя одному из четырех правил:
1) подряд вниз по столбцу;
2) подряд вверх по столбцу;
3) подряд вправо по строкам;
4) подряд влево по строкам.
Любое из этих правил дает нужный результат. Если первое число образует номер, больший максимального порядкового номера - 4, то оно автоматически пропускается.
Например, мы открываем страницу и берем число 0683 (двадцать четвертая строка, второй столбец), следовательно, первый номер будет 6, далее идем подряд вниз по столбцу и получаем следующие числа: 31, 17, 48, число 72 пропущено, так как в выборке всего 60 объемов. Далее по
рис. 20 находим элементарные объемы с номерами 6, 31, 17, 48, из которых и отбираем смесь.
Таблица случайных чисел
1368 | 9621 | 9151 | 2066 | 1208 | 2664 | 9822 | 6599 | 6911 | 5112 |
5953 | 5936 | 2541 | 4011 | 0408 | 3593 | 3679 | 1378 | 5936 | 2651 |
7226 | 9466 | 9553 | 7671 | 8599 | 2119 | 5337 | 5953 | 6355 | 6889 |
8883 | 3454 | 6773 | 8207 | 5576 | 6386 | 7487 | 0190 | 0867 | 1298 |
7022 | 5281 | 1168 | 4099 | 8069 | 8721 | 8353 | 9952 | 8006 | 9045 |
| | | | | | | | | |
4576 | 1853 | 7884 | 2451 | 3488 | 1286 | 4842 | 7719 | 5795 | 3953 |
8715 | 1416 | 7028 | 4616 | 3470 | 9938 | 5703 | 0196 | 3465 | 0034 |
4011 | 0408 | 2224 | 7626 | 0643 | 1149 | 8834 | 6429 | 8691 | 0143 |
1400 | 3694 | 4482 | 3608 | 1238 | 8221 | 5129 | 6105 | 5314 | 8385 |
6370 | 1884 | 0820 | 4854 | 9161 | 6309 | 7123 | 4070 | 6759 | 6113 |
| | | | | | | | | |
4522 | 5749 | 8084 | 3932 | 7678 | 3549 | 0051 | 6761 | 6952 | 7040 |
7195 | 6234 | 6436 | 7148 | 9945 | 0358 | 3242 | 0519 | 6550 | 1327 |
0054 | 0810 | 2937 | 2040 | 2299 | 4198 | 0846 | 3937 | 3986 | 1019 |
5166 | 5433 | 0381 | 9686 | 5670 | 5129 | 2103 | 1125 | 3404 | 8706 |
1247 | 3793 | 7415 | 7819 | 1783 | 0506 | 4878 | 7673 | 9840 | 6629 |
| | | | | | | | | |
8529 | 7842 | 7243 | 1844 | 8619 | 7404 | 4215 | 9969 | 6948 | 5643 |
8973 | 3440 | 4366 | 9242 | 2151 | 0244 | 0922 | 5887 | 4883 | 1177 |
9307 | 2959 | 5904 | 9012 | 4951 | 3695 | 4529 | 7197 | 7179 | 3239 |
1923 | 4276 | 9467 | 9868 | 2257 | 1925 | 3382 | 7244 | 1781 | 8037 |
6372 | 2808 | 1238 | 8098 | 5509 | 4617 | 4099 | 6705 | 2346 | 2830 |
| | | | | | | | | |
6922 | 1807 | 4900 | 5306 | 0411 | 1828 | 8634 | 2331 | 7247 | 3230 |
9862 | 8336 | 6453 | 0545 | 6127 | 2741 | 5967 | 8447 | 3017 | 5709 |
3371 | 1530 | 5104 | 3076 | 5506 | 3101 | 4143 | 5845 | 2095 | 6127 |
6712 | 9402 | 9588 | 7019 | 9248 | 9192 | 4223 | 6555 | 7947 | 2474 |
3071 | 8782 | 7157 | 5941 | 8830 | 8563 | 8109 | 3880 | 2252 | 6912 |
| | | | | | | | | |
4022 | 9734 | 7852 | 9096 | 0051 | 7387 | 7056 | 9331 | 1317 | 7833 |
9682 | 8892 | 3577 | 0326 | 5306 | 0050 | 8517 | 4376 | 0788 | 5443 |
6705 | 2175 | 9904 | 3743 | 1902 | 5393 | 3032 | 8432 | 0612 | 7972 |
1872 | 8272 | 2366 | 8603 | 4288 | 6809 | 4375 | 1072 | 6822 | 5611 |
2559 | 7554 | 2281 | 7351 | 2064 | 0611 | 9613 | 2000 | 0327 | 6145 |
| | | | | | | | | |
4399 | 3751 | 9783 | 5399 | 5175 | 8894 | 0296 | 9483 | 0400 | 2272 |
6074 | 8827 | 2195 | 2532 | 7680 | 4288 | 6807 | 3101 | 6850 | 6410 |
5155 | 7186 | 4722 | 6721 | 0838 | 3632 | 5355 | 9369 | 2006 | 7681 |
3193 | 2800 | 6184 | 7891 | 9838 | 6123 | 9397 | 4019 | 8389 | 9508 |
8610 | 1880 | 7423 | 3384 | 4625 | 6653 | 2000 | 6290 | 9268 | 2396 |
| | | | | | | | | |
6778 | 8818 | 2992 | 6300 | 4239 | 9595 | 4384 | 0611 | 7687 | 2088 |
3987 | 1619 | 4164 | 2542 | 4042 | 7799 | 9084 | 0278 | 8422 | 4330 |
2977 | 0248 | 2793 | 3351 | 4922 | 8878 | 5703 | 7421 | 2054 | 4391 |
1312 | 2919 | 8220 | 7285 | 5902 | 7882 | 1403 | 5354 | 9913 | 7109 |
3890 | 7193 | 7799 | 9190 | 3275 | 7840 | 1872 | 6232 | 5295 | 3148 |
| | | | | | | | | |
0793 | 3468 | 8762 | 2492 | 5854 | 8430 | 8472 | 2264 | 9279 | 2128 |
2139 | 4552 | 3444 | 2524 | 8601 | 3372 | 1848 | 1472 | 9667 | 6462 |
8277 | 9153 | 2880 | 9053 | 6880 | 4284 | 5044 | 8931 | 0861 | 1517 |
2236 | 4778 | 6639 | 0862 | 9509 | 2141 | 0208 | 1450 | 1222 | 5281 |
8837 | 7686 | 1771 | 3374 | 2894 | 7314 | 6856 | 0440 | 3766 | 6047 |
| | | | | | | | | |
6605 | 6380 | 4599 | 3333 | 0713 | 8401 | 7146 | 8940 | 2629 | 2006 |
8399 | 8175 | 3525 | 1646 | 4019 | 4344 | 8390 | 8975 | 4489 | 3423 |
8053 | 3046 | 9102 | 4515 | 2944 | 9763 | 3003 | 3408 | 1199 | 2791 |
9837 | 9378 | 3237 | 7016 | 7593 | 5958 | 0068 | 3114 | 0456 | 6840 |
2557 | 6395 | 9496 | 1884 | 0612 | 8102 | 4402 | 5498 | 0422 | 3335 |
| | | | | | | | | |
2671 | 4690 | 1550 | 2262 | 2597 | 8034 | 0785 | 2976 | 4409 | 0237 |
9111 | 0250 | 3275 | 7519 | 9740 | 4577 | 2064 | 0286 | 3398 | 1348 |
0391 | 6035 | 9230 | 4999 | 3332 | 0608 | 6113 | 0391 | 5789 | 9926 |
2475 | 2144 | 1886 | 2079 | 3004 | 9686 | 5669 | 4367 | 9306 | 2595 |
5336 | 5845 | 2095 | 6446 | 5694 | 3641 | 1085 | 8705 | 5416 | 9066 |
| | | | | | | | | |
6808 | 0423 | 0155 | 1652 | 7897 | 4335 | 3567 | 7109 | 9690 | 3739 |
8525 | 0577 | 8940 | 9451 | 6726 | 0876 | 3818 | 7607 | 3566 | 8854 |
0398 | 0741 | 8787 | 3043 | 5063 | 0617 | 1770 | 5048 | 7721 | 7032 |
3623 | 9636 | 3638 | 1406 | 5731 | 3978 | 8068 | 7238 | 9714 | 3363 |
0739 | 2644 | 4917 | 8866 | 3632 | 5399 | 5175 | 7422 | 2476 | 2607 |
| | | | | | | | | |
6713 | 3041 | 8133 | 8749 | 8835 | 6745 | 3597 | 3476 | 3816 | 3455 |
7775 | 9315 | 0432 | 8327 | 0861 | 1515 | 2297 | 3375 | 3713 | 9173 |
8594 | 2122 | 6842 | 9202 | 0810 | 2936 | 1514 | 2090 | 3067 | 3574 |
7955 | 3759 | 5254 | 1126 | 5553 | 4713 | 9605 | 7009 | 1658 | 5490 |
5165 | 1670 | 2534 | 8811 | 8231 | 3721 | 7947 | 5719 | 2640 | 1394 |
| | | | | | | | | |
4766 | 0070 | 7260 | 6033 | 7997 | 0109 | 5993 | 7592 | 5436 | 1727 |
9111 | 0513 | 2751 | 8256 | 2931 | 7783 | 1281 | 6530 | 7259 | 6993 |
1667 | 1084 | 7889 | 8963 | 7018 | 8617 | 6381 | 0723 | 4926 | 4551 |
2145 | 4587 | 8585 | 2412 | 5431 | 4667 | 1942 | 7238 | 9613 | 2212 |
2739 | 5528 | 1481 | 7528 | 9368 | 1823 | 6979 | 2547 | 7268 | 2467 |
| | | | | | | | | |
8769 | 5480 | 9160 | 5354 | 9700 | 1362 | 2774 | 7980 | 9157 | 8787 |
6531 | 9435 | 3422 | 2474 | 1475 | 0159 | 3414 | 5224 | 8399 | 5820 |
2937 | 4134 | 7120 | 2206 | 5084 | 9473 | 3958 | 7320 | 9878 | 9609 |
1581 | 3285 | 3727 | 9824 | 6204 | 0797 | 0882 | 5945 | 9375 | 9153 |
6268 | 1045 | 7076 | 1436 | 4165 | 0143 | 0293 | 4190 | 7171 | 7932 |
| | | | | | | | | |
4293 | 0593 | 8625 | 1961 | 1039 | 2856 | 4886 | 4358 | 1492 | 3804 |
6936 | 4213 | 3212 | 7229 | 1230 | 0019 | 5998 | 9206 | 6753 | 3762 |
5334 | 7641 | 3258 | 3769 | 1362 | 2771 | 6124 | 8813 | 7915 | 8960 |
9373 | 1158 | 4418 | 8826 | 5667 | 5896 | 0358 | 4717 | 8232 | 4859 |
6968 | 9428 | 8950 | 5346 | 1741 | 2348 | 8143 | 5377 | 7695 | 0685 |
| | | | | | | | | |
4229 | 0587 | 4009 | 9691 | 4579 | 3302 | 7673 | 9629 | 5246 | 8794 |
3807 | 7785 | 7097 | 5701 | 6639 | 0739 | 4819 | 0900 | 2713 | 7650 |
4891 | 8829 | 1642 | 2155 | 0796 | 0466 | 2946 | 2970 | 9143 | 6590 |
1055 | 2968 | 7911 | 7479 | 8199 | 9735 | 8271 | 5339 | 7058 | 2964 |
2983 | 2345 | 0568 | 4125 | 0894 | 8302 | 0506 | 6761 | 7706 | 4310 |
| | | | | | | | | |
4026 | 3129 | 2968 | 8053 | 2797 | 4022 | 9838 | 9611 | 0975 | 7437 |
4075 | 0260 | 4256 | 0337 | 2355 | 9371 | 2954 | 6021 | 5783 | 2827 |
8488 | 5450 | 1327 | 7358 | 2034 | 8060 | 1788 | 6913 | 6123 | 9405 |
1976 | 1749 | 5742 | 4098 | 5887 | 4567 | 6064 | 2777 | 7830 | 5668 |
2793 | 4701 | 9466 | 9554 | 8294 | 2140 | 7486 | 1554 | 4769 | 2781 |
| | | | | | | | | |
0916 | 6272 | 6825 | 7188 | 9611 | 1181 | 2301 | 5516 | 5451 | 6832 |
5960 | 1146 | 7946 | 1950 | 2010 | 0600 | 5655 | 0796 | 0569 | 4365 |
3222 | 4189 | 1891 | 8172 | 8731 | 4769 | 2782 | 1325 | 4238 | 9270 |
1176 | 7834 | 4600 | 9992 | 9449 | 5824 | 6344 | 1008 | 6678 | 1921 |
2369 | 8971 | 2314 | 4806 | 5071 | 8908 | 8274 | 4936 | 3357 | 4441 |
| | | | | | | | | |
0041 | 4329 | 9265 | 0352 | 4764 | 9070 | 7527 | 7791 | 1094 | 2008 |
0803 | 8302 | 6814 | 2422 | 6351 | 0637 | 0514 | 0246 | 1445 | 8594 |
9965 | 7804 | 3930 | 8803 | 0268 | 2426 | 3130 | 3613 | 3947 | 8086 |
0011 | 2367 | 3148 | 7559 | 4216 | 2946 | 2865 | 6333 | 1916 | 2259 |
1767 | 9871 | 3914 | 5790 | 5287 | 7915 | 8959 | 1346 | 5482 | 9251 |
| | | | | | | | | |
2604 | 3074 | 0504 | 3828 | 7881 | 0797 | 1094 | 4098 | 4940 | 7067 |
6930 | 4180 | 3074 | 0060 | 0909 | 3187 | 8991 | 0682 | 2385 | 2307 |
6160 | 9899 | 9084 | 5704 | 5866 | 3051 | 0325 | 4733 | 5905 | 9326 |
4884 | 1857 | 2847 | 2581 | 4870 | 1782 | 2980 | 0587 | 8797 | 5545 |
7294 | 2009 | 9020 | 0006 | 4309 | 3941 | 5645 | 6238 | 5052 | 4150 |
| | | | | | | | | |
3478 | 4974 | 1056 | 3687 | 3145 | 2988 | 4214 | 5543 | 9185 | 9375 |
1764 | 7860 | 4150 | 2881 | 9895 | 2531 | 7363 | 8756 | 3724 | 9359 |
3025 | 0890 | 6436 | 3461 | 1411 | 0303 | 7422 | 2684 | 6256 | 3485 |
1771 | 3056 | 6630 | 4982 | 2386 | 2517 | 4747 | 5505 | 8785 | 8706 |
0254 | 1892 | 9066 | 4890 | 8716 | 2258 | 2452 | 3913 | 6790 | 6331 |
| | | | | | | | | |
8537 | 9966 | 8224 | 9151 | 1855 | 8911 | 4422 | 1913 | 2000 | 1482 |
1475 | 0261 | 4465 | 4803 | 8231 | 6469 | 9935 | 4256 | 0648 | 7768 |
5209 | 5569 | 8410 | 3041 | 4325 | 7290 | 3381 | 5209 | 5571 | 9458 |
5456 | 5944 | 6038 | 3210 | 7165 | 0723 | 4820 | 1846 | 0005 | 3865 |
5043 | 6694 | 4853 | 8425 | 5870 | 1322 | 1052 | 1452 | 2686 | 1669 |
| | | | | | | | | |
1719 | 0148 | 6977 | 1244 | 6443 | 5955 | 7945 | 1216 | 9391 | 6485 |
7432 | 2955 | 3933 | 8110 | 8585 | 1893 | 9218 | 7153 | 7566 | 6040 |
4926 | 4761 | 7812 | 7439 | 6436 | 3145 | 5934 | 7852 | 9095 | 9497 |
0769 | 0683 | 3768 | 1048 | 8519 | 2987 | 0124 | 3064 | 1881 | 3177 |
0805 | 3139 | 8514 | 5014 | 3274 | 6395 | 0549 | 3858 | 0820 | 6406 |
| | | | | | | | | |
0204 | 7273 | 4964 | 5475 | 2648 | 6977 | 1371 | 6971 | 4850 | 6873 |
0092 | 1733 | 2349 | 2648 | 6609 | 5676 | 6445 | 3271 | 8867 | 3469 |
3139 | 4867 | 3666 | 9783 | 5088 | 4853 | 4143 | 7923 | 3858 | 0504 |
7033 | 7430 | 4389 | 7121 | 9982 | 0651 | 9110 | 9731 | 6421 | 4731 |
3921 | 0530 | 3605 | 8455 | 4205 | 7363 | 3081 | 3931 | 9331 | 1313 |
| | | | | | | | | |
4111 | 9244 | 8135 | 9877 | 9529 | 9160 | 4407 | 9077 | 5306 | 0054 |
6573 | 1570 | 6654 | 3616 | 2049 | 7001 | 5185 | 7108 | 9270 | 6550 |
8515 | 8029 | 6880 | 4329 | 9367 | 1087 | 9549 | 1684 | 4838 | 5686 |
3590 | 2106 | 3245 | 1989 | 3589 | 3828 | 8091 | 6054 | 5656 | 3035 |
7212 | 9909 | 5005 | 7660 | 2620 | 6406 | 0690 | 4240 | 4070 | 6549 |
| | | | | | | | | |
6701 | 0154 | 8806 | 1716 | 7029 | 6776 | 9465 | 8818 | 2886 | 3447 |
3777 | 9532 | 1333 | 8131 | 2929 | 6987 | 2408 | 0487 | 9172 | 6177 |
2495 | 3054 | 1692 | 0089 | 4090 | 2983 | 2136 | 8947 | 4625 | 7177 |
2073 | 8878 | 9742 | 3012 | 0042 | 3996 | 9930 | 1651 | 4982 | 9645 |
2252 | 8004 | 7840 | 2105 | 3033 | 8749 | 9153 | 2872 | 5100 | 8674 |
| | | | | | | | | |
2104 | 2224 | 4052 | 2273 | 4753 | 4505 | 7156 | 5417 | 9725 | 7599 |
2371 | 0005 | 3844 | 6654 | 3246 | 4853 | 4301 | 8886 | 5217 | 1153 |
3270 | 1214 | 9649 | 1872 | 6930 | 9791 | 0248 | 2687 | 8126 | 1501 |
6209 | 7237 | 1966 | 5541 | 4224 | 7080 | 7630 | 6422 | 1160 | 5675 |
1309 | 9126 | 2920 | 4359 | 1726 | 0562 | 9654 | 4182 | 4097 | 7493 |
| | | | | | | | | |
2406 | 8013 | 3634 | 6428 | 8091 | 5925 | 3923 | 1686 | 6097 | 9670 |
7365 | 9859 | 9378 | 7084 | 9402 | 9201 | 1815 | 7064 | 4324 | 7081 |
2889 | 4738 | 9929 | 1476 | 0785 | 3832 | 1281 | 5821 | 3690 | 9185 |
7951 | 3781 | 4755 | 6986 | 1659 | 5727 | 8108 | 9816 | 5759 | 4188 |
4548 | 6778 | 7672 | 9101 | 3911 | 8127 | 1918 | 8512 | 4197 | 6402 |
| | | | | | | | | |
5701 | 8342 | 2852 | 4278 | 3343 | 9830 | 1756 | 0546 | 6717 | 3114 |
2187 | 7266 | 1210 | 3797 | 1636 | 7917 | 9933 | 3518 | 6923 | 6349 |
9360 | 6640 | 1315 | 6284 | 8265 | 7232 | 0291 | 3467 | 1088 | 7834 |
7850 | 7656 | 0745 | 1992 | 4998 | 7349 | 6451 | 6186 | 8916 | 4292 |
6186 | 9233 | 6571 | 0925 | 1748 | 5490 | 5264 | 3820 | 9829 | 1335 |
| | | | | | | | | |
6063 | 2353 | 8531 | 8892 | 4109 | 5782 | 2283 | 1385 | 0699 | 5927 |
6405 | 1326 | 4551 | 2815 | 8937 | 2908 | 0698 | 5509 | 4303 | 9911 |
0143 | 0187 | 8127 | 2026 | 8313 | 8341 | 2479 | 4733 | 6602 | 2236 |
1031 | 0754 | 7989 | 4948 | 1804 | 3024 | 0997 | 9562 | 3674 | 7876 |
2022 | 3227 | 2147 | 5613 | 2857 | 8859 | 4941 | 7274 | 9412 | 0620 |
| | | | | | | | | |
9149 | 0806 | 9751 | 8870 | 9677 | 9676 | 1854 | 8094 | 7658 | 7012 |
5863 | 0513 | 1402 | 3866 | 8696 | 9142 | 6063 | 2252 | 7818 | 2477 |
8724 | 0806 | 9644 | 8284 | 7010 | 0868 | 9076 | 4915 | 5751 | 9214 |
6783 | 4207 | 2958 | 5295 | 3175 | 3396 | 8117 | 5918 | 1037 | 4319 |
0862 | 1620 | 4690 | 0036 | 9654 | 4078 | 1918 | 8721 | 8454 | 7671 |
| | | | | | | | | |
9394 | 2466 | 6427 | 5395 | 9393 | 0520 | 7074 | 0634 | 5578 | 4023 |
3220 | 3058 | 7787 | 7706 | 4094 | 5603 | 3303 | 8300 | 6185 | 8705 |
1491 | 3503 | 0584 | 7221 | 6176 | 0116 | 0309 | 1975 | 0910 | 3535 |
4368 | 5705 | 8575 | 7905 | 7244 | 6547 | 8495 | 7973 | 1805 | 7251 |
2325 | 4026 | 2919 | 8327 | 0267 | 2616 | 6572 | 8620 | 8245 | 6257 |
| | | | | | | | | |
0591 | 1775 | 5135 | 8709 | 7373 | 3332 | 0507 | 5525 | 7640 | 2840 |
3471 | 1461 | 1149 | 6798 | 6070 | 9930 | 1862 | 3672 | 7618 | 3849 |
2600 | 9885 | 6219 | 3668 | 1006 | 5418 | 5832 | 0416 | 4220 | 4692 |
9572 | 7874 | 6034 | 4514 | 2628 | 1693 | 0628 | 2200 | 9006 | 3795 |
0822 | 2790 | 9386 | 5783 | 2689 | 2563 | 1565 | 0349 | 3410 | 5216 |
| | | | | | | | | |
4329 | 3028 | 2549 | 2529 | 9434 | 3083 | 6800 | 8569 | 9290 | 8298 |
9289 | 5212 | 2355 | 9367 | 1297 | 1638 | 9282 | 3720 | 7178 | 2695 |
3932 | 9960 | 3399 | 1700 | 8253 | 1375 | 4594 | 6024 | 1223 | 5383 |
2282 | 0648 | 7561 | 7528 | 5870 | 7907 | 0713 | 8608 | 9682 | 8576 |
9933 | 3416 | 5957 | 2574 | 5553 | 5534 | 4707 | 3206 | 0963 | 2459 |
| | | | | | | | | |
9015 | 6416 | 6603 | 2967 | 7591 | 5013 | 2878 | 8424 | 5452 | 4659 |
1539 | 0719 | 2637 | 9969 | 8450 | 4489 | 3528 | 3364 | 1459 | 9708 |
6849 | 5595 | 7969 | 2582 | 5627 | 1920 | 9772 | 8560 | 0892 | 6500 |
2523 | 7769 | 3536 | 9611 | 1075 | 1694 | 1254 | 4195 | 5799 | 5928 |
0701 | 7355 | 0587 | 8878 | 3446 | 1137 | 7690 | 0647 | 1407 | 6362 |