Главная // Актуальные документы // МетодикаСПРАВКА
Источник публикации
М., 2019
Примечание к документу
Название документа
"Методика проведения мониторинга технического состояния конструкций на различных стадиях жизненного цикла мостового сооружения"
"Методика проведения мониторинга технического состояния конструкций на различных стадиях жизненного цикла мостового сооружения"
МИНИСТЕРСТВО СТРОИТЕЛЬСТВА И ЖИЛИЩНО-КОММУНАЛЬНОГО
ХОЗЯЙСТВА РОССИЙСКОЙ ФЕДЕРАЦИИ
ФЕДЕРАЛЬНОЕ АВТОНОМНОЕ УЧРЕЖДЕНИЕ
"ФЕДЕРАЛЬНЫЙ ЦЕНТР НОРМИРОВАНИЯ, СТАНДАРТИЗАЦИИ
И ТЕХНИЧЕСКОЙ ОЦЕНКИ СООТВЕТСТВИЯ В СТРОИТЕЛЬСТВЕ"
МЕТОДИКА
ПРОВЕДЕНИЯ МОНИТОРИНГА ТЕХНИЧЕСКОГО СОСТОЯНИЯ КОНСТРУКЦИЙ
НА РАЗЛИЧНЫХ СТАДИЯХ ЖИЗНЕННОГО ЦИКЛА МОСТОВОГО СООРУЖЕНИЯ
Настоящая методика разработана в развитие положений сводов правил
СП 274.1325800 и
СП 79.13330 в целях уточнения и реализации требований действующих строительных норм и правил, а также для организации более грамотного и рационального процесса мониторинга технического состояния конструкций мостовых сооружений.
Методика предназначена для специалистов и руководителей строительных и эксплуатирующих, а также проектно-изыскательских организаций, учреждений и служб заказчика (инвестора), других заинтересованных организаций в целях обеспечения их техническими материалами, которые позволяют осуществить выбор и применить экономичный и рациональный способ мониторинга мостовых конструкций.
Цель мониторинга - обеспечение безопасности людей при возведении и эксплуатации конструкций мостовых сооружений.
Достоверная и своевременная информация о текущем напряженно-деформированном состоянии конструктивных элементов моста (пролетных строений, опор и вспомогательных устройств), а также отслеживание влияния метеорологической обстановки на объекте (температура, осадки, скорость и направление ветра) позволяют принять меры по недопущению перегрузок и деформаций, способных привести к повреждению сооружения.
Для различных технологий строительства, а также при эксплуатации мостов применяют разные методики проведения мониторинга, выбор которых определяется специфическими требованиями к их применению. Так, например, при мониторинге продольной надвижки пролетных строений наряду с измерениями напряженно-деформированного состояния надвигаемой конструкции определяющими параметрами мониторинга являются скорость получения данных и время реакции строителей на возможные отклонения напряжений (деформаций) от проектных значений.
При возведении пролетного строения методом последовательной сборки скорость получения информации о напряженно-деформируемом состоянии конструкции менее важна, чем учет климатических условий на объекте строительства.
Настоящая методика проведения мониторинга технического состояния конструкций на различных стадиях жизненного цикла мостового сооружения носит рекомендательный характер.
В настоящей методике рассмотрены вопросы разработки различных систем мониторинга для решения этих задач в зависимости от стадии жизненного цикла моста, приведенные в развитие
разделов 5 и
6 СП 274.1325800.2016 и
раздела 10 СП 79.13330.2012.
Настоящая методика распространяется на мосты, эстакады, путепроводы, виадуки (далее - мосты) на автомобильных дорогах и предназначается для применения организациями, выполняющими работы по строительству, содержанию, ремонту, реконструкции и демонтажу мостов, и специалистами, выполняющими работы по обследованию и мониторингу мостов.
В настоящей методике приведены рекомендации:
- по применяемым инженерным решениям при разработке систем мониторинга;
- по использованию методов мониторинга, позволяющих предотвращать нештатные и аварийные ситуации во время строительства, ремонта и эксплуатации мостовых сооружений;
- по выбору типов и структур систем мониторинга мостовых сооружений на основе использования современных технологий;
- по оптимизации состава контролируемых параметров, сроков, объемов и последовательности этапов наблюдений;
- по организации взаимодействия различных диспетчерских служб в процессе мониторинга.
В настоящей методике использованы нормативные ссылки на следующие документы:
ГОСТ Р 22.1.12-2005 Структурированная система мониторинга и управления инженерными системами зданий и сооружений
СП 79.13330.2012 "СНиП 3.06.07-86 Мосты и трубы. Правила обследований и испытаний" (с изменениями N 1, N 2, N 3, N 4)
Примечание - При пользовании настоящей методикой целесообразно проверить действие ссылочных документов в информационной системе общего пользования - на официальном сайте Федерального агентства по техническому регулированию и метрологии в сети Интернет или по ежегодному информационному указателю "Национальные стандарты", который опубликован по состоянию на 1 января текущего года, и по выпускам ежемесячного информационного указателя "Национальные стандарты" за текущий год. Если заменен ссылочный документ, на который дана недатированная ссылка, то рекомендуется использовать действующую версию этого документа с учетом всех внесенных в данную версию изменений. Если заменен ссылочный документ, на который дана датированная ссылка, то рекомендуется использовать версию этого документа с указанным выше годом утверждения (принятия). Если после утверждения настоящей методики в ссылочный документ, на который дана датированная ссылка, внесено изменение, затрагивающее положение, на которое дана ссылка, то это положение рекомендуется применять без учета данного изменения. Если ссылочный документ отменен без замены, то положение, в котором дана ссылка на него, рекомендуется применять в части, не затрагивающей эту ссылку. Сведения о действии сводов правил целесообразно проверить в Федеральном информационном фонде стандартов.
В настоящей методике применены следующие термины с соответствующими определениями:
3.1 автоматизированная измерительная система (система мониторинга): Система, состоящая из персонала и комплекса средств автоматизации его деятельности, реализующая информационную технологию выполнения измерительных функций.
Примечание - Если система выполняет все функции без участия персонала, то она называется автоматической. Если функции выполняются только персоналом, то система называется ручной.
3.2 внешнее воздействие (измеряемая величина): Количественная характеристика объекта, его свойство или качество, которые необходимо воспринять и преобразовать в электрический сигнал.
3.3 датчик: Средство измерений, в котором измеряемый сигнал преобразуется в электрический сигнал, удобный для дальнейшей передачи, преобразования, обработки и хранения.
3.4 жизненный цикл мостового сооружения (жизненный цикл): Период времени, в течение которого осуществляются стадии жизненного цикла сооружения - проектирование, строительство, эксплуатация, ремонты, реконструкции, демонтаж.
3.5 канал передачи данных: Набор технических средств и среда распространения сигналов для двухсторонней передачи информации от отправителя к получателю.
Примечание - Односторонняя передача информации характеризуется понятием канал связи.
3.6
мониторинг технического состояния (далее - мониторинг): Технология информационного обеспечения принятия решений по управлению параметрами состояния мостового сооружения на всех стадиях жизненного цикла, реализуемая посредством систематического или периодического слежения (наблюдения) за техническим состоянием конструкций или деформациями мостовых сооружений в целом или отдельными наиболее ответственными элементами, за состоянием грунтов основания и подземных вод в зоне строительства, своевременной фиксации и оценки отступлений от проекта, требований нормативных документов, сопоставления результатов прогноза взаимного влияния объекта и окружающей среды с результатами наблюдений для оперативного предупреждения и/или устранения выявленных негативных явлений и процессов. Мониторинг может быть составной частью работ по научно-техническому сопровождению строительства мостов. |
3.7 подсистема мониторинга: Составная часть системы мониторинга, которую можно представить в виде самостоятельной системы, состоящей из элементов и обладающей определенной целостностью.
3.8 режим реального времени: Режим обработки информации, при котором обеспечивается взаимодействие системы мониторинга с внешними по отношению к ней процессами (процесс изменения напряженно-деформированного состояния конструкции, процесс изменения параметров окружающей среды и т.д.) на скоростях, соизмеримых со скоростью протекания этих процессов.
3.9 этап наблюдений (контроля): Организационно выделенная часть процесса эксплуатации системы мониторинга, в ходе выполнения которой могут быть решены отдельные задачи мониторинга.
Одной из основных задач мониторинга является обеспечение требуемого уровня безопасности жизни и здоровья граждан в процессе строительства и эксплуатации мостового сооружения. Под обеспечением требуемого уровня безопасности понимается обеспечение такого технического состояния сооружения, при котором его строительные конструкции и основание не достигнут предельного состояния по прочности и устойчивости при одновременном действии возможных нагрузок и воздействий (разрушение любого характера, потеря устойчивости формы и положения, нарушение эксплуатационной пригодности и иные явления, связанные с угрозой причинения вреда).
Следует отметить, что современное мостостроение характеризуется постоянно увеличивающимися темпами и объемами строительства уникальных и технически сложных мостовых сооружений. Для указанных мостовых сооружений требуется инструментальный мониторинг их напряженно-деформированного состояния в процессе строительства и эксплуатации, сопровождающийся большим объемом измерений. Кроме того, независимо от сложности и размера мостового сооружения, мониторинг технического состояния его конструкций может потребоваться при возникновении различных нештатных и аварийных ситуаций. Для обеспечения возможности принятия своевременных решений, связанных с безопасностью, процессы управления измерениями и оценки результатов должны выполняться в режиме реального времени. В указанных случаях оптимальным решением при разработке концепции мониторинга является применение автоматизированных измерительных систем.
В действующих нормативных документах
СП 274.1325800,
ГОСТ Р 22.1.12 и
[1] концепция мониторинга с применением автоматизированных измерительных систем описана в общем виде, а уровень детализации приведенных методик не позволяет ими пользоваться без дополнительного изучения различных технических документов.
Приведенная в нормативных документах общая классификация видов мониторинга не в полной мере отражает существующее положение дел в этой области. Основные виды и задачи мониторинга перечислены в
СП 274.1325800 и
СП 79.13330. Там указана и систематизация мониторинга по стадиям жизненного цикла моста: на период строительства и на период эксплуатации. Однако стадии жизненного цикла не ограничиваются строительством и эксплуатацией, как это указано в
СП 274.1325800. В
СП 79.13330 строительство приравнено к реконструкции, что, с точки зрения организации мониторинга, может привести к ошибкам при разработке системы мониторинга. В
приложении Б настоящей методики показано, что следует выделять шесть жизненных циклов. Вполне самостоятельными, с точки зрения организации мониторинга, жизненными циклами являются капитальный ремонт, реконструкция и демонтаж. Кроме того, мониторинг в процессе строительства также проектируется по-разному в зависимости от способа строительства. Требования к мониторингу в процессе строительства методом продольной надвижки пролетного строения отличны от требований к мониторингу при сборке пролетного строения методом навесного монтажа. Мониторинг в процессе каждого из этих циклов имеет свои особенности, которые рассмотрены в настоящей методике.
При рассмотрении применяемых инженерных решений особое внимание в настоящей методике уделяется способам определения возможных причин нештатных и аварийных ситуаций. Например, большинство опасностей периода строительства связано с человеческим фактором (неправильная установка карточек скольжения при монтаже пролетного строения методом надвижки, установка недопустимого груза на консоль, несвоевременная очистка снега и т.д.). Поэтому система мониторинга должна не только фиксировать приближение значений контролируемых параметров к предельно допустимым границам, но и позволять определять причину этого приближения.
5 Требования к организации процесса мониторинга
5.1 Для начала организации мониторинга определяют стадии жизненного цикла моста. С точки зрения организации мониторинга следует выделять шесть вариантов по числу различных методик проведения контрольного мониторинга, обеспечивающих предотвращение аварийных ситуаций или заблаговременное предупреждение об их приближении. Различие методик проведения мониторинга для различных стадий жизненного цикла подробно рассмотрено в
приложении Б настоящей методики.
5.2 На основе определенных по
приложению Б требований разрабатывают программу мониторинга. В
пункте 6.1 СП 274.1325800.2016 приведен перечень пунктов, которые должны быть в программе мониторинга. На основании данных, изложенных в
приложении Б настоящей методики, этот перечень должен быть дополнен.
Дополнительно в программе следует:
- определить понятия "безопасная ситуация" и "опасная ситуация", ввести их граничные условия;
- привести контрольные (проектные) данные по всем параметрам. Если мониторинг планируется проводить не для стадии эксплуатации, то эти данные должны быть привязаны к этапам проводимых работ;
- сформулировать требования к своевременности получаемой информации;
- сформулировать требования к единицам измерения, идентификации, доступности и содержанию получаемой, сохраняемой, используемой и передаваемой информации;
- привести порядок действий при получении данных, значения которых подпадают под понятие "опасная ситуация";
- определить способы сохранения данных и доступа к архивам.
| | ИС МЕГАНОРМ: примечание. В официальном тексте документа, видимо, допущена опечатка: рисунок 5.5.1 отсутствует. Возможно, имеется в виду рисунок 5.1. | |
5.3 На основе программы мониторинга разрабатывают систему мониторинга. В общем случае система мониторинга состоит из трех подсистем: измерительной подсистемы, подсистемы передачи данных (телекоммуникационной подсистемы) и подсистемы сбора данных
(рисунок 5.5.1).
Рисунок 5.1 - Структурная схема системы мониторинга
Назначение измерительной подсистемы - преобразование физических показателей, характеризующих напряженно-деформированное состояние конструкций мостового сооружения, в цифровой вид для последующего транслирования информации посредством подсистемы передачи данных в подсистему сбора данных.
Назначение подсистемы сбора данных - обеспечение автоматизированного сбора, обработки, хранения и визуализация данных с измерительной подсистемы.
Назначение подсистемы передачи данных - передача информации на различные расстояния между другими подсистемами. При этом необходимо учитывать, что в подсистеме сбора данных возможно использование многоуровневой сетевой архитектуры для диспетчерской службы, которая будет иметь свою подсистему передачи данных.
В настоящей методике рассмотрена только подсистема передачи данных, которая соединяет измерительную подсистему с подсистемой сбора данных.
В зависимости от унифицированных технологий, которые могут применяться в каждой из подсистем, для разработки системы мониторинга рекомендуется использовать следующую классификацию:
а) с точки зрения измерительной подсистемы:
- по типам измеряемых параметров (тензометрическая, инклинометрическая, для измерения перемещений, для измерения давления, комбинированная и т.д.);
- по значимости измеряемых параметров (основные и вспомогательные);
б) с точки зрения подсистемы передачи данных:
- по типам каналов передачи данных (проводная, беспроводная, комбинированная);
- по количеству каналов передачи данных (одноканальная, двухканальная, многоканальная);
- по дальности передачи информации (в масштабах объекта, в масштабах города, глобальная);
в) с точки зрения подсистемы сбора данных:
- по способу сбора измерительной информации (режим реального времени, периодический автоматический сбор показаний, фиксация показаний обслуживающим персоналом);
- по способу обработки измерительной информации (автоматическая обработка, автоматизированная обработка, обработка данных персоналом);
- по способу отображения информации (в виде таблиц, в виде графиков, в виде сигналов, в виде моделей);
- по способу хранения информации (без сохранения информации, с частичным сохранением информации, с полным сохранением информации);
- по количеству уровней сетевой архитектуры диспетчерской службы (одноуровневая, двухуровневая, многоуровневая).
5.4 При выборе структуры и технологий важными критериями являются планируемое время работы системы мониторинга и назначение результатов измерений. От указанных критериев будут зависеть различные технические характеристики оборудования и способы монтажа. Поэтому отдельно необходимо ввести классификацию систем по времени их работы и назначению результатов измерений. В соответствии с
пунктами 5.2 и
5.3 СП 274.1325800.2016 по назначению мониторинг классифицируется на исследовательский и контрольный, а по длительности мониторинг разделяется на периодический (временный) и постоянный. Целесообразно распространить аналогичные понятия и на системы мониторинга. Таким образом, системы мониторинга в целом подразделяются на следующие категории:
- по назначению результатов измерений (исследовательские и контрольные);
- по длительности работы системы (временные и постоянные).
| | ИС МЕГАНОРМ: примечание. В официальном тексте документа, видимо, допущена опечатка: таблица 5.5.1 отсутствует. Возможно, имеется в виду таблица 5.1. | |
5.5 На основе приведенной в
5.3 и
5.4 классификации в
таблице 5.5.1 указаны рекомендуемые типы систем мониторинга для различных стадий жизненного цикла. Следует отметить, что в таблице 5.5.1 перечислены наиболее характерные типы систем мониторинга, однако возможные варианты не ограничены указанным перечнем (приложение В). Сравнение двух наиболее часто используемых типовых структур систем мониторинга приведено в
приложении А.
Таблица 5.1
Рекомендуемые типы систем мониторинга на различных стадиях
жизненных циклов
Структурная единица системы | Критерий для классификации | Стадия жизненного цикла мостового сооружения |
Строительство | Эксплуатация | Капитальный ремонт | Реконструкция | Демонтаж |
Надвижка | Навесная сборка |
Измерительная подсистема | По типам измеряемых параметров | Комбинированная |
По значимости измеряемых параметров | Основная и вспомогательная |
Подсистема передачи данных | По типам каналов передачи данных | Беспроводная или комбинированная | Беспроводная или комбинированная | Проводная или комбинированная | Беспроводная | Беспроводная | Беспроводная |
По количеству каналов передачи данных | Одноканальная или двухканальная | Одноканальная | Одноканальная или двухканальная | Одноканальная | Одноканальная или двухканальная | Одноканальная или двухканальная |
По дальности передачи информации | В масштабах объекта | В масштабах объекта | В масштабах города или глобальная | В масштабах объекта | В масштабах объекта | В масштабах объекта |
Подсистема сбора данных | По способу сбора измерительной информации | Режим реального времени | Периодический автоматический сбор показаний | Периодический автоматический сбор показаний | Периодический автоматический сбор показаний | Режим реального времени | Режим реального времени |
По способу обработки измерительной информации | Автоматическая обработка или автоматизированная обработка | Автоматизированная обработка или обработка данных персоналом | Автоматизированная обработка или обработка данных персоналом | Автоматизированная обработка или обработка данных персоналом | Автоматическая обработка или автоматизированная обработка | Автоматическая обработка или автоматизированная обработка |
По способу отображения информации | В виде графиков, в виде сигналов или в виде моделей | Любой способ | В виде таблиц или в виде графиков | В виде таблиц или в виде графиков | В виде графиков, в виде сигналов или в виде моделей | В виде графиков, в виде сигналов или в виде моделей |
По способу хранения информации | С полным сохранением информации | С частичным или полным сохранением информации | С частичным или полным сохранением информации | С частичным или полным сохранением информации | С полным сохранением информации | С полным сохранением информации |
По количеству уровней сетевой архитектуры диспетчерской службы | Одноуровневая или двухуровневая | Одноуровневая или двухуровневая | Многоуровневая | Двухуровневая или многоуровневая | Одноуровневая или двухуровневая | Одноуровневая или двухуровневая |
Система в целом | По назначению результатов измерений | Контрольная | Контрольная | Контрольная или исследовательская | Контрольная | Контрольная | Контрольная |
По длительности работы системы | Временная | Временная | Временная или постоянная | Временная | Временная | Временная |
5.6 После разработки проекта системы мониторинга осуществляется ее поставка (изготовление), монтаж, пусконаладка, эксплуатация и обслуживание. В зависимости от требований договора (технического задания), а также уточнений в программе мониторинга выполнение указанных этапов распределяется между участниками договорных отношений. В общем случае в этапах создания и эксплуатации системы мониторинга могут принимать участие следующие организации:
- заказчик (частная, государственная или муниципальная организация);
- проектная организация;
- строительная организация;
- профильная организация (в области обследований, испытаний и мониторинга мостовых сооружений);
- поставщик (производитель) оборудования;
- испытательная лаборатория (с соответствующей областью аккредитации).
| | ИС МЕГАНОРМ: примечание. В официальном тексте документа, видимо, допущена опечатка: таблица 5.5.2 отсутствует. Возможно, имеется в виду таблица 5.2. | |
В
таблице 5.5.2 приведено рекомендуемое распределение обязанностей. При составлении таблицы учитывался опыт выполнения работ по организации мониторинга мостовых сооружений, перечисленных в
приложении Б. В общем случае в качестве критериев при распределении обязанностей используются следующие показатели:
- стоимость выполнения работы;
- срок выполнения работы и привязка этого срока к календарному плану производства работ на объекте;
- наличие специалистов;
- наличие соответствующих разрешительных документов, выданных в соответствии с действующим законодательством Российской Федерации;
- наличие материальных ресурсов (инструментальная база, программное обеспечение и т.д.);
- опыт выполнения подобных работ.
Таблица 5.2
Рекомендуемое распределение обязанностей в процессе
организации мониторинга мостового сооружения
Этап работ по созданию и эксплуатации системы мониторинга | Стадия жизненного цикла мостового сооружения |
Строительство | Эксплуатация | Капитальный ремонт | Реконструкция | Демонтаж |
Надвижка | Навесная сборка |
Проектирование системы (включая разработку технического задания и программы мониторинга) | Профильная организация совместно с проектной организацией | Профильная организация совместно с проектной организацией | Профильная организация совместно с заказчиком и проектной организацией | Профильная организация совместно с проектной организацией | Профильная организация совместно с проектной организацией | Профильная организация совместно с проектной организацией |
Поставка системы (изготовление) | Профильная организация | Профильная организация | Профильная организация совместно с поставщиком оборудования | Профильная организация | Профильная организация | Профильная организация |
Монтаж/демонтаж системы | Профильная организация совместно со строительной организацией | Профильная организация совместно со строительной организацией | Профильная организация совместно со строительной организацией | Профильная организация совместно со строительной организацией | Профильная организация совместно со строительной организацией | Профильная организация совместно со строительной организацией |
Пусконаладка системы | Профильная организация |
Эксплуатация системы | Сбор, обработка и хранение информации | Профильная организация | Профильная организация | Заказчик | Профильная организация | Профильная организация | Профильная организация |
Интерпретация результатов | Профильная организация или проектная организация | Профильная организация или проектная организация | Заказчик, профильная организация или проектная организация | Профильная организация или проектная организация | Профильная организация или проектная организация | Профильная организация или проектная организация |
Использование результатов | Строительная организация и/или проектная организация | Строительная организация и/или проектная организация | Заказчик и/или проектная организация | Строительная организация и/или проектная организация | Строительная организация и/или проектная организация | Строительная организация и/или проектная организация |
Обслуживание системы | Поверка/калибровка | Испытательная лаборатория |
Ремонт системы | Профильная организация | Профильная организация | Профильная организация или поставщик оборудования | Профильная организация | Профильная организация | Профильная организация |
Модернизация системы | Профильная организация совместно с проектной организацией | Профильная организация совместно с проектной организацией | Профильная организация совместно с проектной организацией | Профильная организация совместно с проектной организацией | Профильная организация совместно с проектной организацией | Профильная организация совместно с проектной организацией |
5.7 Дополнительно в программе мониторинга может быть обозначена последовательность этапов наблюдений (порядок проведения измерений) при эксплуатации системы мониторинга. При наличии возможности указывают количество этапов и их продолжительность. Результаты выполнения этапов, как правило, оформляют в виде отчетов. На разделение процесса наблюдения (контроля) за объектом на этапы могут влиять следующие факторы:
- разделение на этапы самого процесса строительства, ремонта, реконструкции или демонтажа (в этом случае этапы наблюдения могут совпадать с этапами работ строительной организации);
- необходимость периодической интерпретации результатов мониторинга для корректировки строительных работ или режима эксплуатации мостового сооружения (в этом случае принимают минимальную продолжительность этапов наблюдений);
- характерные события, влияющие на напряженно-деформированное состояние мостового сооружения (в этом случае продолжительность этапов наблюдений может определяться интервалами времени между подобными событиями);
- отсутствие возможности заранее определить необходимый срок наблюдений (в этом случае для удобства продолжительность этапов устанавливают равной определенному интервалу - неделя, месяц, квартал и т.д.);
- условия договорных отношений между организациями, осуществляющими мониторинг.
| | ИС МЕГАНОРМ: примечание. В официальном тексте документа, видимо, допущена опечатка: таблица 5.5.3 отсутствует. Возможно, имеется в виду таблица 5.3. | |
5.8 В
таблице 5.5.3 приведены рекомендуемые характеристики этапов наблюдений при эксплуатации системы мониторинга на различных стадиях жизненного цикла мостовых сооружений.
Таблица 5.3
Рекомендуемые характеристики этапов наблюдений
Этап наблюдений | Стадия жизненного цикла мостового сооружения |
Строительство | Эксплуатация | Капитальный ремонт | Реконструкция | Демонтаж |
Надвижка | Навесная сборка |
Наиболее характерный принцип разделения наблюдений на этапы | Разделение на этапы процесса строительства (надвижка отдельных секций, пролетов и т.д.) | Разделение на этапы процесса строительства (монтаж отдельных балок, пролетов и т.д.) | Этапы привязаны к календарным месяцам | Этапы привязаны к календарным месяцам в пределах общего срока ремонта | Этапы привязаны к календарным месяцам в пределах общего срока реконструкции | Разделение на этапы процесса строительства (демонтаж отдельных балок, пролетов и т.д.) |
Количество этапов | От 1 до 10 | От 1 до 10 | От 4 до 12 в год | От 1 до 10 | От 1 до 10 | От 1 до 10 |
Продолжительность этапов | От 1 до 30 сут | От 5 сут до 2 мес | От 1 до 3 мес | От 1 до 6 мес | От 1 до 6 мес | От 1 до 30 сут |
Результат выполнения этапа после обработки данных | Технический отчет с рекомендациями по дальнейшему выполнению строительных работ на объекте | Технический отчет с рекомендациями по дальнейшему выполнению строительных работ на объекте | Технический отчет или заключение с рекомендациями по дальнейшему режиму эксплуатации объекта | Технический отчет или заключение с рекомендациями по дальнейшему выполнению строительных работ на объекте | Технический отчет с рекомендациями по дальнейшему выполнению строительных работ на объекте | Технический отчет с рекомендациями по дальнейшему выполнению строительных работ на объекте |
6 Требования к составу контролируемых параметров
6.1 При определении состава контролируемых параметров и объема необходимых данных рекомендуется руководствоваться следующими факторами:
- стадия жизненного цикла мостового сооружения;
- техническая сложность мостового сооружения;
- последовательность этапов наблюдений;
- значимость измеряемых параметров (основные или вспомогательные);
- технические характеристики оборудования и средств измерений;
- специальные задачи мониторинга.
6.2 Оптимизацию (поиск наиболее выгодных соотношений) состава контролируемых параметров следует осуществлять исходя из требований технического задания, а также требований к местам установки средств измерений, требований к надежности измерений и требований к объему измерений. Указанные требования для различных стадий жизненных циклов мостовых сооружений приведены в
таблицах 6.1 -
6.5.
6.3 Рекомендации для мониторинга на стадии строительства методом надвижки приведены в
таблице 6.1.
Таблица 6.1
Требования к составу контролируемых параметров (надвижка)
| Параметры | Требования к местам измерений | Требования к надежности измерений | Требования к объему измерений | Зависимость от этапов наблюдений |
Основные | Механические напряжения | Осуществляется контроль за наиболее нагруженными сечениями пролетного строения (с учетом перемещения конструкций), стойками постоянных и временных опор, шпренгелями | Необходимо дублирование датчиков в пределах одного сечения, а также установка датчиков в нескольких сечениях | Мониторинг проводят в режиме реального времени, период обновления данных определяют по формуле, приведенной в примечании к настоящей таблице | Контролируемые сечения пролетных строений могут меняться на разных этапах наблюдений |
Отклонения | Осуществляется контроль за ригелями постоянных и временных опор | Необходимо дублирование датчиков в пределах опоры | Мониторинг проводят в режиме реального времени, период обновления данных определяют по формуле, приведенной в примечании к настоящей таблице | Количество контролируемых опор и количество датчиков увеличиваются по мере надвижки пролетного строения |
| Перемещения в вертикальной плоскости | Осуществляется контроль за аванбеком или крайним блоком пролетного строения, арьербеком | Дублирование датчиков не осуществляется | Период обновления данных: от 1 до 10 мин | Количество датчиков не меняется |
Перемещения в горизонтальной плоскости | Осуществляется контроль за аванбеком, пролетным строением, арьербеком | Дублирование датчиков не осуществляется | Период обновления данных: от 1 до 60 с | Количество датчиков не меняется |
Давление | Осуществляется контроль за опорными реакциями | Дублирование датчиков не осуществляется | Период обновления данных: от 1 до 60 с | Количество контролируемых опор и количество датчиков увеличиваются по мере надвижки пролетного строения |
Вспомогательные | Температура конструкций | Осуществляется измерение температуры в местах установки основных датчиков | Дублирование датчиков не осуществляется (возможна "привязка" одного датчика температуры к нескольким основным датчикам - в пределах сечения, пролета, опоры) | Период обновления данных: от 1 до 10 мин | Места установки датчиков могут меняться на разных этапах наблюдений |
Температура воздуха | Осуществляется измерение температуры воздуха в пределах объекта | Один датчик в пределах объекта | Период обновления данных: от 10 до 60 мин | Количество датчиков не меняется |
Скорость ветра | Осуществляется измерение скорости ветра в пределах объекта | Один датчик в пределах объекта | Период обновления данных: от 1 до 10 мин | Количество датчиков не меняется |
Усилие в домкратах | Осуществляется измерение давления в системе толкающих домкратов | Дублирование датчиков не осуществляется | Мониторинг проводят в режиме реального времени, скорость обновления данных определяют по формуле, приведенной в примечании к настоящей таблице | Количество датчиков не меняется |
Примечание - Скорость обновления данных (см. графу "Требования к объему измерений") определяют по формуле T <= L/2V, где T - период обновления данных измерений, с; L - предельное допустимое отклонение опоры, мм; V - скорость движения пролетного строения, мм/с. |
6.4 Рекомендации для мониторинга на стадии строительства методом навесной сборки приведены в
таблице 6.2.
Таблица 6.2
Требования к составу контролируемых параметров
(навесная сборка)
| Параметры | Требования к местам измерений | Требования к надежности измерений | Требования к объему измерений | Зависимость от этапов наблюдений |
Основные | Механические напряжения | Осуществляется контроль за наиболее нагруженными сечениями пролетного строения (с учетом монтажа новых конструкций) | Необходимо дублирование датчиков в пределах одного сечения | Осуществляется периодический автоматический сбор показаний, период обновления данных: от 10 до 60 мин. Для отдельных датчиков допускается ручной сбор показаний (например, для измерения усилий в арматуре) с увеличенным периодом обновления данных | Контролируемые сечения пролетных строений могут меняться на разных этапах наблюдений |
Отклонения | Осуществляется контроль за пилонами (для вантовых и висячих мостов) | Необходимо дублирование датчиков в пределах пилона | Количество контролируемых пилонов и количество датчиков увеличиваются по мере монтажа пролетного строения |
Перемещения в вертикальной плоскости | Осуществляется контроль за прогибами пролетного строения | Дублирование датчиков не осуществляется | Количество контролируемых пролетов и количество датчиков увеличиваются по мере монтажа пролетного строения |
Усилие | Осуществляется контроль усилий в вантах и подвесках (для вантовых и висячих мостов), напрягаемой арматуре | Дублирование датчиков не осуществляется | Количество контролируемых элементов и количество датчиков увеличиваются по мере монтажа пролетного строения |
Вспомогательные | Температура конструкций | Осуществляется измерение температуры в местах установки основных датчиков | Дублирование датчиков не осуществляется (возможна "привязка" одного датчика температуры к нескольким основным датчикам - в пределах сечения, пролета, пилона) | Места установки датчиков могут меняться на разных этапах наблюдений |
Температура воздуха | Осуществляется измерение температуры воздуха в пределах объекта | Один датчик в пределах объекта | Количество датчиков не меняется |
Скорость ветра | Осуществляется измерение скорости ветра в пределах объекта | Один датчик в пределах объекта | Количество датчиков не меняется |
Высота снежного покрова | Осуществляется измерение высоты снежного покрова в пределах объекта | Один датчик в пределах объекта | Количество датчиков не меняется |
Видеонаблюдение | Контролируется общая обстановка на объекте | Количество видеокамер выбирается исходя из размеров объекта | Потоковая видеозапись с возможностью просмотра архива за последний месяц | Места установки видеокамер могут меняться на разных этапах наблюдений |
| | ИС МЕГАНОРМ: примечание. В официальном тексте документа, видимо, допущена опечатка: имеется в виду таблица 6.3, а не таблица 4.3. | |
6.5 Рекомендации для мониторинга на стадии эксплуатации приведены в
таблице 4.3.
| | ИС МЕГАНОРМ: примечание. Нумерация таблиц дана в соответствии с официальным текстом документа. | |
Таблица 4.3
Требования к составу контролируемых
параметров (эксплуатация)
| Параметры | Требования к местам измерений | Требования к надежности измерений | Требования к объему измерений | Зависимость от этапов наблюдений |
Основные | Механические напряжения | Осуществляется контроль за наиболее нагруженными сечениями пролетного строения | Необходимо дублирование датчиков в пределах одного сечения | Осуществляется периодический автоматический сбор показаний, период обновления данных: от 10 до 60 мин | Количество датчиков не меняется |
Отклонения | Осуществляется контроль за опорами, пилонами (для вантовых и висячих мостов) | Дублирование датчиков не осуществляется |
Перемещения в вертикальной плоскости | Осуществляется контроль за прогибами пролетного строения | Дублирование датчиков не осуществляется |
Раскрытие трещин и стыков | Осуществляется контроль аварийных или ограниченно-работоспособных участков | Дублирование датчиков не осуществляется |
Усилие | Осуществляется контроль усилий в вантах и подвесках (для вантовых и висячих мостов) | Дублирование датчиков не осуществляется |
Вспомогательные | Температура конструкций | Осуществляется измерение температуры в местах установки основных датчиков | Дублирование датчиков не осуществляется (возможна "привязка" одного датчика температуры к нескольким основным датчикам - в пределах сечения, пролета, пилона) |
Температура воздуха | Осуществляется измерение температуры воздуха в пределах объекта | Один датчик в пределах объекта |
Скорость ветра | Осуществляется измерение скорости и направления ветра в пределах объекта | Дублирование датчиков не осуществляется |
Амплитудно- и фазочастотные характеристики колебаний элементов | Осуществляется фиксация характеристик колебаний отдельных элементов или конструкций | Дублирование датчиков не осуществляется | В процессе измерений частота опроса каждого датчика должна быть минимум в два раза выше частоты третьей формы колебаний соответствующего датчику элемента |
Видеонаблюдение | Контролируется общая обстановка на объекте | Количество видеокамер выбирается исходя из размеров объекта | Потоковая видеозапись с возможностью просмотра архива за последний месяц |
6.6 Рекомендации для мониторинга на стадии капитального ремонта приведены в
таблице 6.4.
Таблица 6.4
Требования к составу контролируемых параметров
(капитальный ремонт)
| Параметры | Требования к местам измерений | Требования к надежности измерений | Требования к объему измерений | Зависимость от этапов наблюдений |
Основные | Механические напряжения | Осуществляется контроль за наиболее нагруженными сечениями пролетного строения | Необходимо дублирование датчиков в пределах одного сечения | Осуществляется периодический автоматический сбор показаний, период обновления данных: от 10 до 60 мин. Для отдельных датчиков допускается ручной сбор показаний (например, для измерения усилий в арматуре) с увеличенным периодом обновления данных | Места установки датчиков могут меняться на разных этапах наблюдений |
Отклонения | Осуществляется контроль за опорами, пилонами (для вантовых и висячих мостов) | Дублирование датчиков не осуществляется |
Перемещения в вертикальной плоскости | Осуществляется контроль за прогибами пролетного строения | Дублирование датчиков не осуществляется |
Раскрытие трещин и стыков | Осуществляется контроль аварийных или ограниченно-работоспособных участков | Дублирование датчиков не осуществляется |
Усилие | Осуществляется контроль усилий в вантах и подвесках (для вантовых и висячих мостов), напрягаемой арматуре | Дублирование датчиков не осуществляется |
Вспомогательные | Температура конструкций | Осуществляется измерение температуры в местах установки основных датчиков | Дублирование датчиков не осуществляется (возможна "привязка" одного датчика температуры к нескольким основным датчикам - в пределах сечения, пролета, пилона) |
Температура воздуха | Осуществляется измерение температуры воздуха в пределах объекта | Один датчик в пределах объекта |
Скорость ветра | Осуществляется измерение скорости и направления ветра в пределах объекта | Дублирование датчиков не осуществляется |
Видеонаблюдение | Контролируется общая обстановка на объекте | Количество видеокамер выбирается исходя из размеров объекта | Потоковая видеозапись с возможностью просмотра архива за последний месяц |
6.7 Рекомендации для мониторинга на стадии демонтажа приведены в
таблице 6.5.
Таблица 6.5
Требования к составу контролируемых параметров (демонтаж)
| Параметры | Требования к местам измерений | Требования к надежности измерений | Требования к объему измерений | Зависимость от этапов наблюдений |
Основные | Механические напряжения | Осуществляется контроль за наиболее нагруженными сечениями пролетного строения | Необходимо дублирование датчиков в пределах одного сечения | Мониторинг проводят в режиме реального времени | Места установки датчиков могут меняться на разных этапах наблюдений |
Отклонения | Осуществляется контроль за опорами, пилонами (для вантовых и висячих мостов) | Дублирование датчиков не осуществляется |
Перемещения в вертикальной плоскости | Осуществляется контроль за прогибами пролетного строения | Дублирование датчиков не осуществляется |
Раскрытие трещин и стыков | Осуществляется контроль аварийных или ограниченно-работоспособных участков | Дублирование датчиков не осуществляется |
Усилие | Осуществляется контроль усилий в вантах и подвесках (для вантовых и висячих мостов), напрягаемой арматуре | Дублирование датчиков не осуществляется |
Вспомогательные | Температура конструкций | Осуществляется измерение температуры в местах установки основных датчиков | Дублирование датчиков не осуществляется (возможна "привязка" одного датчика температуры к нескольким основным датчикам - в пределах сечения, пролета, пилона) | Период обновления данных: от 1 до 10 мин |
Температура воздуха | Осуществляется измерение температуры воздуха в пределах объекта | Один датчик в пределах объекта | Период обновления данных: от 10 до 60 мин |
Скорость ветра | Осуществляется измерение скорости и направления ветра в пределах объекта | Дублирование датчиков не осуществляется | Период обновления данных: от 1 до 10 мин |
Амплитудно- и фазочастотные характеристики колебаний элементов | Осуществляется фиксация характеристик колебаний отдельных элементов или конструкций | Дублирование датчиков не осуществляется | В процессе измерений частота опроса каждого датчика должна быть минимум в два раза выше частоты третьей формы колебаний соответствующего датчику элемента |
Видеонаблюдение | Контролируется общая обстановка на объекте | Количество видеокамер выбирается исходя из размеров объекта | Потоковая видеозапись с возможностью просмотра архива за последний месяц |
6.8 Оптимизация состава контролируемых параметров на стадии реконструкции в значительной мере зависит от видов строительных работ, поэтому рекомендации для мониторинга на этой стадии являются комбинацией рекомендаций по
таблицам 6.1 -
6.5.
7 Требования к видам и способам мониторинга
7.1 В
таблице 7.1 приведены рекомендованные требования к видам мониторинга, выполнение которых (независимо от способов решения задач мониторинга) направлено на предотвращение нештатных и аварийных ситуаций. Указанные требования могут быть дополнены в случаях решения специфических задач с помощью мониторинга.
Таблица 7.1
Требования к способам мониторинга
Требование | Стадия жизненного цикла мостового сооружения |
Строительство | Эксплуатация | Капитальный ремонт | Реконструкция | Демонтаж |
Надвижка | Навесная сборка |
Определение понятий "аварийная ситуация" и "нештатная ситуация" | + | + | + | + | + | + |
Определение максимального допустимого периода опроса датчиков, при котором можно успеть предотвратить аварийную ситуацию или нештатную ситуацию | + | | | | + | + |
Выделение наиболее опасных мест контроля и расчет связи показаний датчиков в этих местах с напряжениями (деформациями) в остальных точках | + | | | | + | |
Определение порядка действий диспетчерских служб и ответственных лиц в случае возникновения аварийной и нештатной ситуации (голосовое оповещение, звуковая сигнализация, автоматическое отключение толкающих устройств и т.д.) | + | | | | + | + |
Определение мест, в которых деформации или напряжения могут оказаться близкими к предельно допустимым | + | + | | | + | + |
Обеспечение наглядного отображения напряженно-деформированного состояния контролируемых конструкций в процессе мониторинга | + | + | + | | + | + |
Определение способов оповещения диспетчерских служб и ответственных лиц в случае приближения параметров конструкций к аварийной или нештатной ситуации | + | | | | + | + |
Определение необходимого числа контролируемых параметров, которые могут дать достаточно полную информацию о техническом состоянии моста | + | + | + | + | + | + |
Строгое соблюдение техники безопасности людей и установленных приборов (разработка проекта производства работ) | + | | | | + | + |
Обеспечение сохранения накопленной информации (в том числе и видеозаписей) и доступа к ней ответственных лиц для проведения анализа изменений в состоянии конструкций моста | | | + | | + | |
Обеспечение надежной связи с исполнителем строительных работ в случае необходимости их коррекции | + | | | + | + | + |
7.2 Полный перечень требований к конкретным видам мониторинга и способам реализации должен формироваться на основе совокупности требований к организации процесса мониторинга
(раздел 5), требований к составу контролируемых параметров
(раздел 6), а также разъяснений, приведенных в
приложении Б.
7.3 Примеры детализации по применяемым инженерным решениям при разработке систем мониторинга приведены в
приложении А.
8 Требования к сбору, хранению, анализу и применению данных
8.1 Порядок сбора, хранения, анализа и применения данных измерений следует назначать, руководствуясь требованиями к необходимой скорости интерпретации результатов.
8.2 В
таблице 5.1 перечислены рекомендуемые требования к способам сбора измерительной информации (режим реального времени и периодический автоматический сбор) в зависимости от стадии жизненного цикла.
8.3 Функциональная схема обмена данными системы мониторинга в общем виде показана на
рисунке 8.1. Отдельные блоки указанной схемы могут быть реализованы как с помощью аппаратно-программных, так и с помощью только программных средств. При реализации схемы обмена данными необходимо учитывать количество уровней сетевой архитектуры диспетчерской службы
(таблица 5.1). Под функциональными блоками "Администратор", "Диспетчер", "Инженер", "Руководитель" могут подразумеваться как отдельные сотрудники, так и целые структурные подразделения.
Рисунок 8.1 - Функциональная схема системы мониторинга
8.4 Все полученные в ходе мониторинга данные должны сохраняться на цифровых носителях. Формат хранения данных определяется по согласованию исполнителя и заказчика мониторинга. Аналогично определяется способ доступа к сохраненным данным.
8.5 Анализ сохраненных данных может проводиться с применением специального программного обеспечения, созданного по заданию заказчика, или, если формат хранения данных это позволяет, стандартными средствами анализа (Access, Excel, Databoard, OfficeReports и др.).
8.6 Для организации взаимодействия различных диспетчерских служб в процессе мониторинга могут быть применены различные дополнительные способы взаимодействия:
- удаленная диспетчеризация через информационно-телекоммуникационную сеть Интернет (далее - Интернет) с помощью специальных программ и разграничением прав доступа к настройкам системы;
- автоматическая передача сообщений ответственным исполнителям об аварийных и нештатных ситуациях по мобильной связи;
- автоматическое формирование отчетов в виде готовых документов по заранее утвержденной форме.
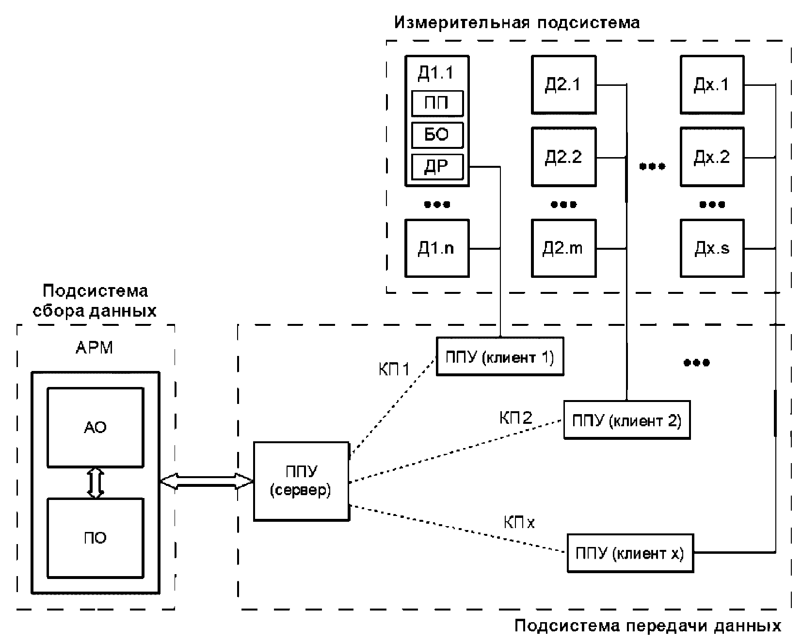
ТИПОВЫЕ СТРУКТУРЫ СИСТЕМ МОНИТОРИНГА
А.1 На
рисунке А.1 приведен пример типовой структуры системы, которая может быть использована для мониторинга моста на стадии строительства, на
рисунке А.2 - пример типовой структуры системы для мониторинга на стадии эксплуатации моста. Сравнение возможностей систем, реализованных на основе указанных структур, показано в
таблице А.1.
Условные обозначения:
АРМ - автоматизированное рабочее место;
АО - аппаратное обеспечение;
БО - блок обработки;
ДР - драйвер;
Дx.s - датчик s подключен к адаптеру x;
КП - канал передачи данных;
ПО - программное обеспечение;
ПП - первичный преобразователь;
ППУ - приемопередающее устройство.
Рисунок А.1 - Типовая структура системы мониторинга
на стадии строительства моста
Условные обозначения:
АРМ - автоматизированное рабочее место;
АО - аппаратное обеспечение;
БО - блок обработки;
ДР - драйвер;
Дx.s - датчик s подключен к адаптеру x;
КП - канал передачи данных;
ПО - программное обеспечение;
ПП - первичный преобразователь.
Рисунок А.2 - Типовая структура системы мониторинга
на стадии эксплуатации моста
Таблица А.1
Сравнение типовых структур систем мониторинга
Структурная единица системы | Критерий для классификации | | |
Измерительная подсистема | По типам измеряемых параметров | Комбинированная | Комбинированная |
По значимости измеряемых параметров | Доступны все варианты | Доступны все варианты |
Подсистема передачи данных | По типам каналов передачи данных | Комбинированная | Проводная |
По количеству каналов передачи данных | Многоканальная | Многоканальная |
По дальности передачи информации | В масштабах объекта | В масштабах объекта или города |
Подсистема сбора данных | По способу сбора измерительной информации | Режим реального времени | Режим реального времени |
По способу обработки измерительной информации | Автоматизированная обработка | Автоматизированная обработка |
По способу отображения информации | Доступны все способы | Доступны все способы |
По способу хранения информации | Доступны все способы | Доступны все способы |
По количеству уровней сетевой архитектуры диспетчерской службы | Одноуровневая | Многоуровневая |
Система в целом | По назначению результатов измерений | Доступны все варианты | Доступны все варианты |
По длительности работы системы | Доступны все варианты | Доступны все варианты |
КРАТКИЙ АНАЛИЗ РЕЗУЛЬТАТОВ РАБОТ ПО МОНИТОРИНГАМ
ТЕХНИЧЕСКОГО СОСТОЯНИЯ МОСТОВЫХ СООРУЖЕНИЙ
НА РАЗЛИЧНЫХ СТАДИЯХ ЖИЗНЕННЫХ ЦИКЛОВ
Б.1 Строительство методом продольной надвижки
Б.1.1 Пример N 1. Строительство моста через реку Волгу в городе Кинешма
Б.1.1.1 Исходные данные
Рисунок Б.1 - Строительство моста
через р. Волгу в г. Кинешма
Мониторинг процесса надвижки был очень сложным по ряду причин:
- надвижка осуществлялась по опорам, которые проектировались под навесной монтаж и не были гибкими, что требовало контроля отклонения опор надвигаемым пролетным строением;
- значительный размер пролетов (до 154 м) приводил к высоким напряжениям в корне консоли надвигаемого пролетного строения, из-за чего необходимо было контролировать эти напряжения;
- значительная скорость движения пролетного строения в процессе надвижки предъявляла высокие требования к скорости получения данных с датчиков и к быстроте реакции на нештатные ситуации;
- большое расстояние между опорами и отсутствие возможности прокладки между ними кабеля позволяли использовать для передачи данных только радиоканал, что осложняло выполнение требований по сохранению высокой скорости опроса датчиков.
Б.1.1.2 Анализ результатов
В процессе надвижки предельные значения большинства контролируемых параметров зависят от положения пролетного строения. Так, например, предельное допустимое отклонение опоры возрастает с увеличением вертикальной реакции, а предельное допустимое напряжение в балке пролетного строения снижается вместе с уменьшением момента в месте измерения. Поэтому при организации мониторинга необходимо иметь расчетную зависимость предельных значений контролируемых параметров, как функцию положения пролетного строения (так называемый "роллинг"). При надвижке в Кинешме разница между расчетными значениями и предельными была очень мала, и надвижка неоднократно останавливалась из-за чрезмерного отклонения опор. Причины превышения - установка карточек скольжения не той стороной (человеческий фактор) и выворачивание перекаточных балок из-за большой нагрузки. Таким образом, благодаря непрерывному мониторингу были предотвращены аварийные ситуации.
При мониторинге надвижки пролетных строений моста через р. Волгу у с. Пристанное Саратовской области для контроля отклонения опор использовались линейки фотодиодов и лазеры, установленные на смежных опорах, предназначенных для второй очереди моста
[2],
[3]. Эти опоры использовались в качестве опорных точек, относительно которых измерялось перемещение оголовка контролируемых опор. В Кинешме таких опор не было. По этой причине вместо перемещения измерялся угол отклонения верха опоры, предельное значение которого было рассчитано в роллинге. Максимальное допустимое отклонение опоры по углу составляло всего 82
".
Б.1.2 Пример N 2. Строительство моста через реку Казанка на IV транспортной дамбе в городе Казани (мост "Миллениум")
Б.1.2.1 Исходные данные
Процесс строительства моста показан на
рисунке Б.2. Полная длина мостового перехода составляет 1524 м, включающая в себя 318-метровую вантовую часть, 517-метровую балочную часть и 689 м дорожных переходов, с подходами к мосту - более 3 км. Главной особенностью моста является пилон в виде буквы "М", имеющий более 45 м в высоту и 64 м в основании. Под каждой из половин пилона проходят проезжая часть с тремя автомобильными полосами и изолированный пешеходный тротуар. Мостовой переход имеет S-образную траекторию.
Рисунок Б.2 - Строительство моста "Миллениум"
Б.1.2.2 Анализ результатов
При надвижке вантового пролетного строения моста через р. Казанка на IV транспортной дамбе в г. Казани контролировалось не только отклонение верха опор, но и их изгиб. Для этого датчики угла (инклинометры) устанавливались в двух уровнях опоры. По разнице в их показаниях можно было судить о величине изгиба опоры.
Б.1.3 Пример N 3. Строительство участка "Западного скоростного диаметра" (ЗСД) в Санкт-Петербурге в районе реки Екатерингофки
Б.1.3.1 Исходные данные
Мониторинг напряженно-деформированного состояния двойной фермы при строительстве участка ЗСД в Санкт-Петербурге в районе р. Екатерингофки был очень тщательно спланирован. Процесс строительства показан на
рисунке Б.3. Для каждого датчика был рассчитан роллинг, а таблица с расчетом была занесена в программу опроса. На начальной стадии мониторинга длина надвижки контролировалась лазерным дальномером, установленным на стапеле. Данные о длине поступали в программу, которая по роллингу отслеживала изменение предельных допустимых данных по каждому датчику.
Рисунок Б.3 - Надвижка двойной фермы участка ЗСД
Б.1.3.2 Анализ результатов
В качестве примера на
рисунке Б.4 показаны графики изменения напряжения для двух датчиков в зависимости от длины надвижки. Кривые с точками - теоретические данные, кривые без точек - данные, полученные системой мониторинга.
Рисунок Б.4 - Напряжения на раскосах левой стороны фермы
В ходе дальнейшего процесса мониторинга от лазерного дальномера, как датчика пройденного расстояния, пришлось отказаться из-за погодных условий (снег, туман). При надвижке, описанной в
[4] и использованной при строительстве моста "Миллениум" (см.
Б.1.2), для определения длины надвижки использовались датчики, работающие по принципу мерного колеса. Эти датчики устойчивы к погодным условиям, но сбой электропитания мог обнулить результаты, так как информация о пройденном расстоянии хранится только в памяти (не важно, какая память используется - датчика или компьютера). Если во время сбоя питания пролетное строение продолжает движение, то информацию о дальности придется корректировать вручную.
Геодезическая спутниковая система лишена таких недостатков. На основе теоретических расчетов, приведенных в
[5], в систему мониторинга были введены дополнительные команды и формулы пересчета, что позволило использовать портативные геодезические станции не только для контроля длины надвижки, но и для контроля положения конца аванбека в пространстве с точностью до 5 см в режиме реального времени. Приемник (ровер) был закреплен на конце аванбека. Изначально он использовался одновременно с лазерным дальномером для проверки правильности определения длины надвижки.
На графике
рисунка Б.5 видно полное совпадение показаний обоих датчиков.
Рисунок Б.5 - Показания датчиков навигационного приемника
(GPS0) и лазерного дальномера (ЛД-1) в процессе измерения
дальности надвижки
На следующем шаге модернизации программы было введено дополнительное окно, где можно было наблюдать перемещение пролетного строения по фасаду и в плане в режиме реального времени
(рисунок Б.6).
Рисунок Б.6 - Траектория движения конца аванбека по фасаду
(верхняя часть рисунка) и в плане (нижняя часть рисунка)
Б.1.4 Пример N 4. Строительство моста через реку Москву в Звенигородском районе
Б.1.4.1 Исходные данные
Для мониторинга циклической продольной надвижки железобетонного пролетного строения моста в Звенигородском районе Московской области
(рисунок Б.7) была разработана сервисная программа, позволявшая отображать получаемые через интернет данные в виде наглядного изображения, где были указаны места расположения всех датчиков с соответствующей цифровой и цветовой сигнализацией
(рисунок Б.8).
Рисунок Б.7 - Циклическая продольная надвижка пролетного
строения моста через р. Москву в Звенигородском районе
Рисунок Б.8 - Копия экрана компьютера диспетчера
Б.1.4.2 Анализ результатов
На
рисунке Б.8 зафиксировано состояние, когда напряжения в ряде мест превышали предельно допустимые, что привело к возникновению трещин в надвигаемом пролетном строении. Полученная в ходе мониторинга информация позволила проектной организации оценить необходимость последующего ремонта моста.
В процессе организации мониторинга строительства моста методом продольной надвижки необходимо:
- определить понятие "аварийная ситуация";
- определить места, в которых деформации или напряжения могут оказаться близкими к предельно допустимым;
- если таких мест много, то надо среди них выделить наиболее опасные и расчетом определить связь показаний датчиков в этих местах с напряжениями (деформациями) в остальных точках;
- рассчитать зависимость значений предельных допустимых напряжений (деформаций) от положения пролетного строения;
- определить максимальный допустимый период опроса датчиков, при котором можно успеть предотвратить аварийную ситуацию;
- определить действия в случае возникновения аварийной ситуации (голосовое оповещение, звуковая сигнализация, автоматическое отключение толкающих устройств);
- обеспечить наглядное отображение напряженно-деформированного состояния контролируемых конструкций в процессе надвижки.
Б.2 Строительство методом навесной сборки
Б.2.1 Строительство методом навесного монтажа участка ЗСД
Б.2.1.1 Исходные данные
Мониторинг участка ЗСД, монтируемого методом навесного монтажа, потребовался ввиду того, что строящееся пролетное строение проходило над производственным зданием в непосредственной близости от его крыши (
рисунки Б.9 и
Б.10), что значительно увеличивало риски от возможной нештатной ситуации. Вероятность нештатной ситуации дополнительно возрастала из-за криволинейности данного участка пролетного строения.
Рисунок Б.9 - Монтаж пролетного строения
над производственным зданием
Рисунок Б.10 - Построенный участок ЗСД
(фотография, полученная со спутника)
Б.2.1.2 Анализ результатов
Процесс монтажа происходил достаточно медленно, что позволило вести мониторинг удаленно, через интернет, в непрерывном режиме. Мониторинг был организован таким образом, чтобы заказчик тоже имел возможность наблюдать за показаниями датчиков в режиме реального времени и, при необходимости, сохранять эти данные. Период опроса датчиков был установлен равным 15 с.
В процессе мониторинга в отдельные моменты наблюдалось сравнительно быстрое (порядка нескольких часов) изменение напряженного состояния контролируемых элементов ферм при отсутствии в это время каких-либо монтажных операций
(рисунок Б.11).
Рисунок Б.11 - График изменения напряжений на пяти раскосах
в течение 12 часов 2 февраля 2012 г.
Причиной этого могла быть спонтанная депланация, то есть выход сложной системы из неустойчивого равновесия, обусловленного несимметричным ростом напряжений, возникающим в процессе монтажа криволинейного пролетного строения. Максимальное превышение напряжений сжатия составило 400 кг/см2. Однако результирующее напряжение не превысило предельных значений.
Различный нагрев левой и правой ферм за счет солнечной радиации приводил к возникновению дополнительных напряжений, которые при разнице температур 15 °C достигали 200 кг/см2. Поэтому в процессе длительного мониторинга необходимо иметь достаточное количество датчиков температуры для учета ее влияния на напряженно-деформированное состояние строящегося пролетного строения.
В процессе организации мониторинга строительства моста методом навесной сборки необходимо:
- определить понятие "аварийная ситуация";
- определить места, в которых деформации или напряжения могут оказаться близкими к предельно допустимым;
- определить способ оповещения ответственных лиц в случае приближения параметров конструкций к аварийной ситуации;
- обеспечить наглядное отображение напряженно-деформированного состояния контролируемых конструкций в процессе монтажа и передачу его на компьютеры заказчика;
- оборудовать места монтажа видеорегистраторами.
Б.3 Эксплуатация моста
Б.3.1 Пример N 1. Мост Александра Невского через реку Неву в городе Санкт-Петербурге
Б.3.1.1 Исходные данные
В 2004 году проводился послеремонтный годичный мониторинг технического состояния моста Александра Невского в г. Санкт-Петербурге
(рисунок Б.12). В системе мониторинга было задействовано несколько сотен датчиков различного типа, но температурных датчиков было всего четыре на весь мост, хотя изменения температуры оказывали наибольшее влияние на показания тензодатчиков. Все данные от датчиков передавались по кабельным соединениям в диспетчерский пункт, расположенный в служебном помещении в самом мосту. Для выявления влияния нагрузки на напряженное состояние конструкций моста было разработано специальное программное обеспечение, предназначенное для определения формулы компенсации влияния температуры. Эта формула определялась для каждого тензометра на основании недельных наблюдений за показаниями тензометров и датчиков температуры. В ночные часы, когда мост был разведен и, следовательно, нагрузка на нем отсутствовала, проверялся возврат показаний в нулевое состояние.

Рисунок Б.12 - Общий вид моста Александра Невского
в г. Санкт-Петербурге
Б.3.1.2 Анализ результатов
Для эффективного проведения мониторинга необходимо выполнение ряда организационных мероприятий. Так, например, очень часто датчики зашкаливали или просто переставали давать показания из-за того, что в коробках моста постоянно проходили работы, не связанные с мониторингом. В результате этого 90% мощности программы обработки данных было направлено на выявление возникшего дефекта и только 10% - на определение влияния проходящей нагрузки. Датчики образования трещин и обрыва проволок в напряженной арматуре за все время ни разу не сработали, несмотря на значительное их количество. Проверить исправность этих датчиков на действующем мосту не представлялось возможным.
Из этого опыта можно сделать вывод, что для мониторинга в процессе эксплуатации, как и для любой другой стадии жизненного цикла, некоторые организационные задачи невозможно выполнить в рамках начальных договорных отношений. Поэтому установка слишком большого числа датчиков может в значительной степени повлиять на надежность системы, поэтому оптимизация состава и количества измеряемых параметров позволяет избежать различных проблем на этапе эксплуатации системы.
Б.3.2 Пример N 2. Восточный мост через реку Волгу в городе Твери
Б.3.2.1 Исходные данные
Мониторинг Восточного моста в г. Твери проводился в целях контроля раскрытия стыков блоков после капитального ремонта. Там было использовано около 150 цифровых тензометров и 9 датчиков температуры (по одному на каждый отсек, в котором были сосредоточены тензометры). Рядом с каждым датчиком, перекрывающим стык, стоял тензометр на бетоне для сравнения их показаний. В каждом отсеке стоял GSM-модем, обеспечивающий передачу данных с датчиков отсека через интернет на сервер, установленный в г. Москве. Там данные обрабатывались и передавались также через интернет.
Б.3.2.2 Анализ результатов
Показания датчиков передавались раз в 15 с, но периодически в результирующую диаграмму данных вставлялись куски с периодом опроса 10 мс для контроля динамики моста. Для удобства наблюдения на экране наблюдателя отображалась спутниковая фотография моста с нанесенными местами установки датчиков
(рисунок Б.13). Эти места окрашивались по принципу светофора, что упрощало анализ состояния моста для наблюдателя. В случае превышения допустимых показателей места установки датчиков не только окрашивались в красный цвет, но и включался звуковой сигнал, а наблюдателям рассылалось SMS с описанием возникшей аномалии.
Рисунок Б.13 - Форма программы мониторинга Восточного моста
в г. Твери
Б.3.3 Пример N 3. Железнодорожный мост через реку Дон в Волгоградской области и совмещенный мост через реку Северную Двину в городе Архангельске
Б.3.3.1 Исходные данные
В 2012 г. был проведен годичный мониторинг отклонения опор двух мостов: железнодорожного через р. Дон в Волгоградской области
(рисунок Б.14) и совмещенного через р. Северную Двину в г. Архангельске
(рисунок Б.15).
Рисунок Б.14 - Общий вид железнодорожного моста
через р. Дон в Волгоградской области
Рисунок Б.15 - Общий вид совмещенного моста
через р. Северную Двину в г. Архангельске
В ходе этих мониторингов была использована комбинированная система передачи данных: сеть датчиков объединялась по радиоканалу, запросы на который передавались через интернет.
Б.3.3.2 Анализ результатов
В результате мониторинга моста через р. Северную Двину было установлено, что основная причина значительного отклонения опор - напор льда, возникающий после прохода ледокола, прокладывающего путь между опорами подъемного пролета. Для устранения этого эффекта было принято решение колоть лед не только между опорами в фарватере, но и вокруг ближайших опор.
В процессе эксплуатации железнодорожных мостов их опоры испытывают значительные силовые воздействия. В первую очередь, это воздействия вертикальной силы, которая, в результате прогиба пролетного строения, возникающего под воздействием проходящих железнодорожных составов, приобретает горизонтальную составляющую в уровне верха опор и направленную вдоль моста. На совмещенных мостах при одностороннем расположении железнодорожных путей опоры испытывают существенное внецентренное сжатие, приводящее к отклонению опоры от плоскости моста. Также опоры могут испытывать горизонтальную нагрузку от льда во время ледохода или при прокладке ледоколом прохода для судов. Постоянный мониторинг деформации опор позволяет оценить вероятность появления в них трещин, приводящих к сокращению срока службы моста.
В процессе организации мониторинга эксплуатирующегося моста необходимо:
- определить вместе с проектной организацией необходимое число контролируемых параметров, которые могут дать достаточно полную информацию о техническом состоянии моста;
- определить понятие "аварийная ситуация";
- определить способ оповещения ответственных лиц в случае приближения параметров конструкций к аварийной ситуации;
- обеспечить наглядное отображение напряженно-деформированного состояния контролируемых конструкций и передачу его на компьютеры заказчика;
- определить наиболее подходящие для данного объекта каналы передачи данных;
- обеспечить сохранение накопленной информации (в том числе и видеозаписей) и доступ к ней ответственных лиц для проведения анализа изменений в состоянии конструкций моста.
Б.4 Ремонт моста
Б.4.1 Пример N 1. Восточный мост через реку Волгу в городе Твери
Б.4.1.1 Исходные данные
При проведении капитального ремонта Восточного моста в Твери, включавшего разборку дорожного полотна, разделение коробок, натяжение пучков арматуры и замену опорных частей, мониторинг позволял составить картину поведения моста в процессе данных работ, оценить степень воздействия рабочей техники и оборудования. В ходе мониторинга проводился контроль напряжений в бетоне, раскрытия трещин между блоками, отклонения опор и температуры в различных частях пролетного строения.
Для наиболее полного обеспечения функциональности мониторинга была разработана система передачи данных измерений ответственным лицам, которые непосредственно наблюдали за состоянием конструкций моста в процессе ремонта.
Б.4.1.2 Анализ результатов
Основные задачи мониторинга в процессе ремонта - обеспечение безопасности выполняемых работ и своевременное оповещение о возникновении или угрозе возникновения нештатной ситуации на объекте. В результате эксплуатации системы мониторинга оператор мог видеть измеряемые параметры моста в режиме реального времени с задержкой не более 15 с, что позволяло принимать необходимые решения и оповещать о нем исполнителя работ в кратчайший срок.
Б.4.2 Пример N 2. Мост через реку Дон на км 1061 + 569 (правый) автомобильной дороги М-4 "Дон"
Б.4.2.1 Исходные данные
В некоторых случаях проводят мониторинг, который предшествует ремонту и предназначен для определения причин возникших дефектов. Это позволяет в дальнейшем правильно разработать программу ремонта. В частности, такой мониторинг был проведен перед капитальным ремонтом моста через р. Дон на км 1061 + 569 (правый) автомобильной дороги М-4 "Дон".
Б.4.2.2 Анализ результатов
В результате кратковременного динамического (период опроса датчиков составлял 40 мс) мониторинга (схема установки датчиков показана на
рисунке Б.16) было установлено, что быстрое разрушение покрытия (появление колейности и продольных трещин в асфальтобетонном покрытии проезжей части над корнями консолей) вызвано воздействием интенсивного потока грузового транспорта и колебаниями консолей под проходящей нагрузкой. Полученные данные свидетельствовали о нарушении тяжеловесным транспортом запрета движения по внешним полосам. При этом из-за прогиба боковых консолей растягивающие деформации создавали трещины в асфальтобетонном покрытии.
Рисунок Б.16 - Схема расстановки датчиков
для динамического мониторинга консоли
По результатам мониторинга был разработан проект ремонта, заключавшийся в установке подкосов для увеличения жесткости консолей.
В процессе организации мониторинга моста на стадии ремонта необходимо:
- определить вместе с проектной организацией необходимое число контролируемых параметров, знание которых позволит наиболее надежно контролировать ход ремонта;
- определить понятие "аварийная ситуация";
- определить способ оповещения ответственных лиц в случае приближения параметров конструкций к аварийной ситуации;
- обеспечить надежную связь с исполнителем ремонтных работ в случае необходимости их коррекции.
Б.5 Демонтаж моста
Б.5.1 Пример N 1. Аксайский мост через реку Дон в городе Ростове-на-Дону
Б.5.1.1 Исходные данные
В процессе мониторинга демонтажа Аксайского моста через р. Дон в 2012 г.
(рисунок Б.17) требовался контроль напряжений в балках, которые могли быть перегружены строительной техникой, и требовалось следить за напряжением в месте будущей резки, поставив в известность проектировщика о достижении в этом месте нулевого напряжения.
Рисунок Б.17 - Демонтаж Аксайского моста
Для достижения поставленных задач в нескольких местах пролетного строения было измерено остаточное напряжение методом полной разгрузки, как это описано в
приложении Е СП 79.13330.2012. После этого были установлены 20 цифровых тензометров. В начальные показания тензометров были введены данные, полученные на первом этапе и пересчитанные проектировщиком для мест установки приборов. После этого начался мониторинг демонтажа. Вначале он проходил удаленно, через интернет, пока проходила постепенная разборка. Когда же возникла необходимость контролировать разгрузку до момента достижения нулевого напряжения в местах разрезки балки жесткости, то контроль осуществлялся непосредственно на мосту с помощью ноутбука, который принимал показания датчиков по радиоканалу. На
рисунке Б.18 показаны разрезанные балки.
Рисунок Б.18 - Разрезанные балки жесткости
в середине пролета
Б.5.1.2 Анализ результатов
При мониторинге в процессе демонтажа старых мостов необходимо не только контролировать изменение напряженно-деформированного состояния их конструкций. Необходимо также в самом начале определить имеющиеся остаточные напряжения, что позволяет определить несущую способность строения и выяснить, сможет ли оно выдержать тяжелую технику, предназначенную для проведения демонтажа. Кроме того, если в ходе демонтажа требуется разрезка конструкций, то необходимо перед разрезкой убедиться, что в местах разрезки отсутствуют напряжения. В противном случае во время разрезания могут произойти резкие перемещения частей конструкции, что может привести к аварийной ситуации.
Б.5.2 Пример N 2. Крестовский путепровод в городе Москва
Б.5.2.1 Исходные данные
Цель мониторинга демонтажа Крестовского путепровода в г. Москве - недопущение возникновения аварийной ситуации, вызванной чрезмерной нагрузкой пролетного строения тяжелой техникой в процессе демонтажа соседних пролетов. Для этого проводился непрерывный контроль состояния балок в наиболее нагруженных сечениях с помощью цифровых датчиков с обработкой получаемых от них данных в режиме реального времени. Перед началом работ был проведен пространственный расчет демонтируемого путепровода с учетом веса и траектории движения тяжелой техники.
Рисунок Б.19 - Демонтаж Крестовского путепровода в Москве
Рисунок Б.20 - Схема расстановки датчиков при мониторинге
демонтажа Крестовского путепровода
Б.5.2.2 Анализ результатов
За все время наблюдений измеренные значения прогибов и напряжений не превышали предельных допустимых значений.
В процессе организации мониторинга моста на стадии демонтажа необходимо:
- определить вместе с проектной организацией необходимое число контролируемых параметров, которые могут дать достаточно полную информацию о напряженно-деформированном состоянии его конструкций в привязке к этапам работ;
- уделить особое внимание технике безопасности людей и установленных приборов;
- определить понятие "аварийная ситуация";
- определить способ оповещения ответственных лиц в случае приближения параметров конструкций к аварийной ситуации;
- определить максимальный допустимый период опроса датчиков, при котором можно успеть предотвратить аварийную ситуацию;
- обеспечить наглядное отображение напряженно-деформированного состояния контролируемых конструкций в реальном режиме времени.
Б.6 Реконструкция моста
Б.6.1 Пример N 1. Макаровский мост в Екатеринбурге
Б.6.1.1 Исходные данные
Мониторинг реконструкции Макаровского моста в Екатеринбурге
(рисунок Б.21) предусматривал множество этапов: мониторинг в процессе разрезания моста, продолжительный мониторинг старой части моста под обращающейся нагрузкой, во время разборки другой части для возведения новой очереди моста, мониторинг подмостей каждой из строящихся арок и самих арок в процессе сооружения проезжей части над ними. На заключительном этапе проводились измерения в процессе испытания реконструированной части моста.
Рисунок Б.21 - Реконструкция Макаровского моста
в г. Екатеринбурге
Б.6.1.2 Анализ результатов
Мониторинг в процессе реконструкции - один из наиболее трудоемких. Мониторинг носит прерывистый характер с частыми работами по перестановке датчиков на новые участки. Такой мониторинг включает все сложности мониторингов при строительстве, ремонте, эксплуатации и демонтаже.
Б.6.2 Выводы
В процессе организации мониторинга моста на стадии реконструкции необходимо в зависимости от вида работ руководствоваться рекомендациями, приведенными в
Б.1.5,
Б.2.2,
Б.3.4,
Б.4.3,
Б.5.3.
КОММЕНТАРИИ К ПОЛОЖЕНИЯМ НАСТОЯЩЕЙ МЕТОДИКИ
Таблица В.1
Комментарии к положениям методики
Структурный элемент настоящей методики | Комментарии, обоснование |
| "При разработке методики были учтены данные отраслевых нормативных документов и исследовательских работ..." |
Патентные исследования При разработке методики были проведены патентные исследования. Патентный поиск охватывает период 2000 - 2019 гг. При выполнении патентного поиска были рассмотрены источники информации об отечественных и зарубежных изобретениях и достижениях в области мониторинга мостовых сооружений. Представляют интерес патенты в области мониторинга мостовых сооружений. В них запатентованы цели и методы измерений, а также перечни контролируемых параметров мостовых сооружений в ходе мониторинга их технического состояния. Данные о наиболее значимых патентах приведены в таблице В.2. |
Обзор научных статей В [6] представлено описание системы непрерывного длительного мониторинга мостовых сооружений с использованием измерительной аппаратуры, и обеспечивающей представление информации о состоянии конструкции в реальном режиме времени. Рассмотрены существующие системы непрерывного мониторинга ряда мостовых сооружений в США, Японии, Южной Корее, европейских странах (например, Греция), Российской Федерации. Рассмотрены системы непрерывного мониторинга ферменного моста "Коммодор Джон Бэрри", висячего моста Акэси Кайкё, железобетонного арочного моста "Сигенталь", висячего моста Нимхэ, вантового моста "Джиндо", висячего моста "Яньджонь", моста "Бангва", моста "Сиохэ", моста Рион-Антирион. Также рассмотрен мониторинг процесса продольной надвижки пролетных строений моста через р. Волгу у с. Пристанное Саратовской области. В заключение сделан вывод о том, что мониторинг мостовых сооружений с точки зрения потребителей мостовых сооружений направлен на решение следующих важных задач: обеспечение сохранности мостовых сооружений; повышение долговечности мостовых сооружений путем своевременного обнаружения повреждений и их устранения; сохранение грузоподъемности мостовых сооружений путем управления их поведением в процессе эксплуатации; повышение эффективности расходования средств на проведение ремонтных мероприятий путем корректного определения времени и вида необходимого ремонта. В данной статье сформулированы основные задачи мониторинга: установление характера внешних воздействий на сооружение и оценка способности сооружения сопротивляться этим воздействиям в определенной среде эксплуатации. Поскольку характер внешних воздействий различен на разных стадиях жизненного цикла мостовых сооружений, методики проведения мониторинга должны быть различными для различных стадий жизненного цикла |
| В процессе строительства, как правило, устраивается мониторинг состояния монтируемого пролетного строения. Если монтаж проводят методом продольной надвижки, то могут контролироваться и опоры, по которым надвигается пролетное строение. При строительстве висячих и вантовых мостов иногда требуется устраивать мониторинг монтажа пилонов. Ниже рассмотрены различные варианты. |
Монтаж пролетного строения методом продольной надвижки При монтаже пролетного строения методом продольной надвижки напряжения в нем зависят от монтажного положения и могут значительно превышать напряжения, испытываемые в процессе эксплуатации моста. Причем места наибольших напряжений непрерывно меняются вместе с продвижением пролетного строения. Однако покрывать датчиками пролетное строение по всей длине, где возникают экстремальные напряжения, экономически нецелесообразно. Поэтому перед началом мониторинга должен быть проведен роллинг - расчет зависимости напряжений в наиболее опасных местах от положения пролетного строения. Именно в таких местах устанавливают датчики системы мониторинга. Для таких положений задают предельное значение, превышение которого требует остановки процесса надвижки для принятия мер по предотвращению повреждения конструкций. После того как точка с датчиком сместилась относительно положения, в котором было максимальное напряжение, напряжение в ней стало уменьшаться, но при этом напряжение может возрастать в другой точке, где датчика нет. Однако напряжение в этой точке может быть определено по показаниям того же датчика, так как изменения напряжений в этих точках взаимосвязаны. Таким образом, при расчете роллинга должны быть указаны предельные значения не только для точки с датчиком, но и для соседних точек, где датчиков нет. То есть предельное значение, которое должно быть указано в роллинге для данного датчика, не должно оставаться постоянным, а должно меняться в зависимости от положения пролетного строения. Кроме напряжений в пролетном строении иногда в процессе надвижки требуется контролировать отклонение опор, которое может происходить из-за силы трения, создаваемой движущимся пролетным строением (отклонение в сторону движения), и из-за провисания консоли пролетного строения вместе с аванбеком (отклонение в сторону стапеля лидирующей опоры). При больших пролетах (более 100 м) это обратное отклонение может быть значительно больше отклонения, вызванного силами трения. Расчет предельного значения отклонения проводят с учетом вертикальной реакции, поэтому также принимают во внимание монтажное положение пролетного строения [4]. |
| Монтаж пролетного строения методом навесной сборки При навесном монтаже пролетного строения его собираемая часть образует консоль, которая является несущим элементом для последующего элемента монтируемой части. При таком методе монтажа неточности в сборке, особенно если монтируется криволинейное пролетное строение, приводят к возникновению значительных дополнительных напряжений. Программа мониторинга для такого вида строительства проще, чем при надвижке, так как датчики не перемещаются, а измеряемые ими параметры изменяются медленно. Благодаря этому не требуется высокой скорости опроса датчиков, и передача данных может происходить через низкоскоростной мобильный интернет, а наблюдение и анализ измерений могут происходить удаленно. В этом случае целесообразно включать в состав приборов видеокамеру, позволяющую оценить причину происходящих внеплановых изменений напряженно-деформированного состояния конструкции (выпадение большого количества снега, использование смонтированной части консоли для складирования тяжелых конструкций). |
| Монтаж пролетного строения на сплошных подмостях При монтаже пролетного строения на сплошных подмостях мониторинг, как правило, не требуется. Потребность в контроле изменения напряженно-деформированного состояния может возникнуть только в процессе раскружаливания. |
Капитальный ремонт Капитальный ремонт предназначен для восстановления грузоподъемности мостового сооружения, которая могла быть утрачена из-за потери несущей способности, вызванной износом и коррозией элементов конструкции, а также возросшей постоянной нагрузки из-за излишней толщины асфальтобетонного покрытия или использования пространства внутри моста под склады. Капитальный ремонт, как правило, связан со значительным, хотя и временным, изменением напряженно-деформированного состояния конструкций моста. Поэтому проект мониторинга включает самые различные виды контроля: напряжения, линейные и угловые перемещения, видеонаблюдение. При этом измеряемые параметры меняются медленно, поэтому передача данных может идти через низкоскоростной мобильный интернет. |
| Реконструкция Реконструкция, в отличие от капитального ремонта, имеет целью не восстановление, а повышение потребительских свойств моста, важнейшее из которых - грузоподъемность. В процессе такой реконструкции может быть увеличена ширина пролетного строения или проведена его замена. В любом случае напряженно-деформированное состояние изменяется не временно, а навсегда. Поэтому для осуществления мониторинга надо, как и при строительстве, иметь расчетные данные по напряженно-деформированному состоянию, привязанные к этапу реконструкции. Требуемая скорость получения данных зависит от проекта производства работ. |
| Демонтаж В зависимости от конструкции моста и способа его демонтажа возникают различные требования к измерениям в процессе мониторинга. Так, если для демонтажа требуется временная установка на мосту тяжелой техники, то необходимо наблюдать за значениями напряжений и прогибов балок пролетного строения, на котором стоит техника, а также, возможно, за просадкой соответствующих опор. Если перед разрезкой напряженных конструкций проводят их разгрузку, то результатом мониторинга должна быть возможность определения установки нулевого абсолютного напряжения для исключения выброса конструкции при ее разрезании |
| "... по значимости измеряемых параметров (основные и вспомогательные)..." |
Основные измеряемые параметры - физические величины, значения которых необходимо получить в соответствии с измерительной задачей. Вспомогательные измеряемые параметры - физические величины, влияние которых на основные параметры или объект измерений необходимо учитывать для получения результатов измерений требуемой точности |
| "... возможные варианты не ограничены указанным перечнем..." |
В качестве примера мониторинга, к которому предъявляются специальные требования, может быть рассмотрен мониторинг моста при провозе по нему сверхнормативного груза. В соответствии с приведенной классификацией указанный мониторинг осуществляется на стадии эксплуатации, но, например, требования к скорости обновления данных для этого случая будут соответствовать режиму реального времени. Также возможны случаи мониторинга нескольких последовательных стадий жизненного цикла с помощью одной системы. Например, система мониторинга устанавливается на стадии капитального ремонта и продолжает функционировать на стадии эксплуатации моста |
| Строительство методом продольной надвижки пролетного строения, реконструкция и демонтаж требуют максимальной скорости опроса датчиков, так как работы на этих стадиях жизненных циклов имеют периоды, когда напряженно-деформированное состояние конструкций моста изменяется с большой скоростью. Система мониторинга для этих случаев должна обеспечивать предупреждение персонала об опасной ситуации и, по возможности, останавливать процесс. Для остальных случаев, когда невозможно какими-либо действиями автоматически предотвратить возникновение аварийной ситуации, необходимо обеспечить оповещение людей об опасности. Этой цели может послужить автоматическое управление светофорами, шлагбаумами и звуковыми сигналами. Взаимодействие систем мониторинга с подобными внешними системами в настоящей методике не рассматривается |
| Результаты оптимизации состава контролируемых параметров напрямую влияют на количество датчиков, которые необходимо установить. При организации мониторинга не следует устанавливать слишком большое число датчиков, так как с увеличением их числа возрастает вероятность отказа, как это отмечено в Б.3.1 приложения Б. При слишком частых отказах возникает множество организационных проблем и уже не система мониторинга следит за состоянием моста, а по состоянию моста судят об исправности датчиков. Кроме того, наличие большого количества датчиков, предназначенных для контроля напряженно-деформированного состояния конструкций моста, не гарантирует правильную его оценку. Поскольку большинство измерений в системах мониторинга, как правило, связано с измерениями деформаций, очень важная роль отводится измерению температуры как одной из главных причин происходящих деформаций. Поэтому программы обработки данных, поступающих от датчиков деформации, должны учитывать их температурную зависимость |
| "Мониторинг проводят в режиме реального времени, период обновления данных определяют по формуле, приведенной в примечании к настоящей таблице". |
При расчете периода обновления данных дополнительно следует руководствоваться полным перечнем действий, которые потребуется выполнить при нештатной или аварийной ситуации. Возможно, период обновления данных потребуется уменьшить для ускорения выполнения следующих операций: - в процессе мониторинга значения измеряемых параметров должны передаваться на автоматизированное рабочее место диспетчера, где проводится их наглядное сопоставление с проектными данными и допустимыми значениями; - результат обработки получаемой информации должен находиться в прямом доступе лиц, ответственных за принятие решения (требуется дополнительное время на реакцию); - при организации процесса мониторинга в ходе надвижки для предотвращения аварийной ситуации, возможно, возникнет необходимость предусмотреть автоматическое отключение толкающих домкратов при возникновении опасной ситуации; - включение звукового оповещения персонала |
| "Требования к объему измерений" |
Период обновления поступающих данных зависит от решаемой задачи. Чем быстрее изменяется напряженно-деформированное состояние моста, тем меньше данный период. При строительстве моста методом продольной надвижки пролетного строения и при демонтаже период опроса должен быть таким, чтобы система успела выдать предупреждение об опасности до пересечения опасной черты. Этот параметр рассчитывается исходя из скорости изменения напряженно-деформированного состояния. При мониторинге в процессе эксплуатации желательно иметь возможность управления периодом опроса заранее выбранных датчиков для получения информации не только о статических, но и о динамических показателях. Для этого следует предусмотреть возможность временной установки периода опроса датчиков, которые могут быть использованы для динамических измерений, порядка 10 мс. Это могут быть тензодатчики, установленные в середине пролета, или датчики раскрытия трещин. Слишком малый период опроса на постоянной основе для всех датчиков перегружает сохраненную базу данных. Возможный вариант - датчик постоянно опрашивается с большой скоростью, а полученные данные перезаписываются в его внутренней энергонезависимой памяти. Данные в пункт наблюдения он передает так же редко, как все датчики, но в случае превышения порога может выдать весь записанный цикл данных (см. Б.3.2 приложения Б) |
| | ИС МЕГАНОРМ: примечание. В официальном тексте документа, видимо, допущена опечатка: таблица 6.7 отсутствует. | |
|
| В последнее время все чаще среди контролируемых параметров встречаются амплитудно- и фазочастотные характеристики (АФЧХ) колебаний пролетных строений и опор (например, динамический мониторинг, описанный в приложении Б СП 274.1325800.2016). Эти параметры не дают непосредственной информации о напряженно-деформированном состоянии конструкций, а могут только свидетельствовать о его изменении. Поэтому они больше подходят для исследовательского мониторинга, а не для контрольного, так как по причине изменения этих характеристик не выработан критерий опасной ситуации. В патенте РФ N 2317534 "Способ мониторинга автомобильного моста" (см. таблицу В.2) патентуется способ определения остаточного ресурса моста по спектру колебаний его пролетного строения. Однако в патенте нет доказательств правильности выбранного критерия |
| Стрелками на функциональной схеме показаны направления потоков данных между блоками. Между блоками возможен как обмен данными, так и передача данных только в одном направлении. Например, администратор системы может как получать информацию из любого блока, так и осуществлять настройку соответствующего инструментария (передавать информацию). При этом руководитель может только получить информацию о сигналах системы (таблицы, графики, модели), а внести изменения в работу программного обеспечения он не может |
Примечание - Светлым курсивом в настоящей графе выделены комментируемые (обосновываемые) фрагменты текста настоящей методики. |
Таблица В.2
N патента | Наименование | Год | Краткое содержание |
2317534 | Способ мониторинга автомобильного моста | 2006 | Изобретение относится к строительству и может быть использовано при мониторинге технического состояния строительных конструкций, а именно: автомобильного моста. В патенте предлагается контролировать амплитудно-частотные характеристики колебаний с помощью вейвлет-преобразований и по доминирующим частотам и запатентованным формулам определять остаточный ресурс моста |
2250444 | Способ мониторинга мостового перехода в процессе его эксплуатации | 2006 | В патенте предлагается значительное увеличение контролируемых параметров при мониторинге мостового перехода, включая не только напряженно-деформированное состояние конструкций, но и климатические данные |
2450346 | Система мониторинга потенциально опасных объектов инфраструктуры железнодорожного транспорта | 2011 | Предлагается питание системы мониторинга осуществлять от аккумуляторов, которые заряжаются с помощью пьезоэлементов, установленных между рельсами и шпалами, за счет вибрации при прохождении поезда |
2467298 | Система спутникового мониторинга смещений инженерных сооружений | 2011 | Предлагает для повышения точности измерений смещений, получаемых через систему GPS/GLONASS, включать в обработку данные от датчиков, установленных на мосту |
2496124 | Система высокоточного мониторинга смещений инженерных сооружений | 2012 | По сути является усовершенствованием предыдущего патента N 2467298 2011 г. |
125709 | Система комплексной безопасности эксплуатации конструкций зданий и сооружений | 2012 | Предлагает включать в комплекс измерительных приборов видеокамеры |
2681766 | Система мониторинга верхнего строения безбалластного и бесстыкового пути на мосту высокоскоростной магистрали | 2018 | Патентуется использование оптико-волоконных датчиков на решетке Брэгга, наклеенных на нейтральной оси шейки рельса |
2698419 | Система для мониторинга искусственных сооружений высокоскоростной магистрали | 2018 | Система мониторинга дополнена датчиками перемещения рельсового пути |
[1]
ОДМ 218.4.002-2008 Руководство по проведению мониторинга состояния эксплуатируемых мостовых сооружений
[2] Наянов В.И., Наянов Ю.В. Автоматизированная система мониторинга напряженного состояния мостовых конструкций в процессе строительства внеклассных мостовых переходов федерального значения в гг. Саратове, Казани, Волгограде, Астрахани и Ульяновске в режиме реального времени // Третий Саратовский салон изобретений, инноваций и инвестиций Саратов: Изд-во Сарат. ун-та. - Ч. 1. - С. 105 - 106. - ISBN 978-5-292-03751-4
[3] Наянов В.И., Наянов Ю.В. Современные технологии контроля в строительстве внеклассных мостов // Совместный специализированный выпуск журналов "Транспортное строительство" и "Транспорт Российской Федерации". - 2007. - N 1. - С. 86 - 87
[4] Васильев А.И., Хазанов М.Л., Щербина К.Б. Методы контроля деформаций мостовых опор в процессе продольной надвижки пролетных строений и некоторые особенности этих деформаций // "Развитие научных идей Е.Е. Гибшмана в мостостроении (к 100-летию со дня рождения)" Сборник научных трудов МАДИ (ГТУ). - 2005. - С. 39 - 50
[5] Хазанов М.Л. Методика отслеживания положения аванбека системой GPS/GLONASS в процессе продольной надвижки // Транспортное строительство. - N 3. - 2015. - С. 30 - 32
[6] Овчинников И.Г., Овчинников И.И., Нигаматова О.И., Михалдыкин Е.С. Прочностной мониторинг мостовых сооружений и особенности его применения. Часть 2. Непрерывный мониторинг состояния мостовых сооружений // Транспортные сооружения. - Том 1. - N 2 (2014). Доступно в информационно-телекоммуникационной сети Интернет по адресу: http://t-s.today/PDF/01TS214.pdf (доступ свободный). Загл. с экрана. Яз. рус., англ. DOI: 10.15862/01TS214