Главная // Актуальные документы // Методические указанияСПРАВКА
Источник публикации
М., 1977
Примечание к документу
Название документа
"Методические указания по определению канцерогенных полициклических ароматических углеводородов в нефтепродуктах и продуктах сгорания органического топлива"
(утв. Минздравом СССР 12.05.1976 N 1426-76)
"Методические указания по определению канцерогенных полициклических ароматических углеводородов в нефтепродуктах и продуктах сгорания органического топлива"
(утв. Минздравом СССР 12.05.1976 N 1426-76)
Утверждаю
Заместитель Главного
государственного
санитарного врача СССР
В.КОВШИЛО
12 мая 1976 г. N 1426-76
МЕТОДИЧЕСКИЕ УКАЗАНИЯ
ПО ОПРЕДЕЛЕНИЮ КАНЦЕРОГЕННЫХ ПОЛИЦИКЛИЧЕСКИХ АРОМАТИЧЕСКИХ
УГЛЕВОДОРОДОВ В НЕФТЕПРОДУКТАХ И ПРОДУКТАХ СГОРАНИЯ
ОРГАНИЧЕСКОГО ТОПЛИВА
Составители: | |
А.Я. Хесина, Г.А. Смирнов, Г.С. Серковская (Онкологический Научный Центр АМН СССР), |
И.Л. Варшавский | (Государственный Комитет по науке и технике СМ СССР), |
П.А. Арамян | (Министерство автомобильного транспорта АССР), |
В.Б. Кляцкин | (Министерство автомобильного транспорта РСФСР), |
А.Я. Ципенюк | (Киевский институт общей и коммунальной гигиены им. А.Н. Марзеева), |
Н. Яскулла, В. Притч (Центр автомобилестроения), |
П.Е. Шкодич, А.Ф. Шушунова, Н.Г. Шканакин, Ж.Д. Лембик (Горьковский Медицинский Институт). |
В. Отбор проб отработавших газов двигателей внутреннего
сгорания при работе на различных режимах
Способ отбора на стационарных режимах предназначен для отбора проб выхлопных газов и определения в них ПАУ в зависимости от величины нагрузочных, скоростных и регулировочных параметров. Он может также применяться для выяснения влияния различных конструктивных факторов износа и других параметров. Этот способ отбора может быть использован для двигателей, по своему целевому назначению достаточно продолжительное время работающих на стационарных режимах, например, стационарных, судовых, тракторных, авиационных. Главной особенностью метода является достаточно продолжительная работа двигателя на стационарном режиме, т.е. при постоянной нагрузке, с постоянным числом оборотов. Эта особенность важна в связи с тем, что на величину выброса ПАУ существенным образом влияет количество масла, попадающего в камеру сгорания (это влияние сказывается, как при попадании масла через поршневые кольца, так и при попадании масла с картерными газами). В то же время известно, что постоянный расход масла устанавливается за время работы двигателя на стационарном режиме не менее 30 минут.
В настоящее время наиболее эффективными способами отбора проб выхлопных газов двигателей внутреннего сгорания на стационарных режимах для последующего определения ПАУ можно считать способ отбора в бензольные поглотители и способ отбора на фильтр, охлаждаемый воздухом.
Способ отбора проб с охлаждением выхлопных
газов воздухом
Этот способ может быть рекомендован для отбора, когда весь объем выхлопных газов пропускается через фильтр. Способ наиболее благоприятен при отборе на режимах со значительным и неравномерным выбросом сажи и жидкого топлива, (холостой ход, принудительный холостой ход).
Известно, что при количествах сажи менее 0,23 мг/м3, определяемых по сажемеру ЛАНЭ, не имеет существенного значения является отбор полнопоточным или частичным.
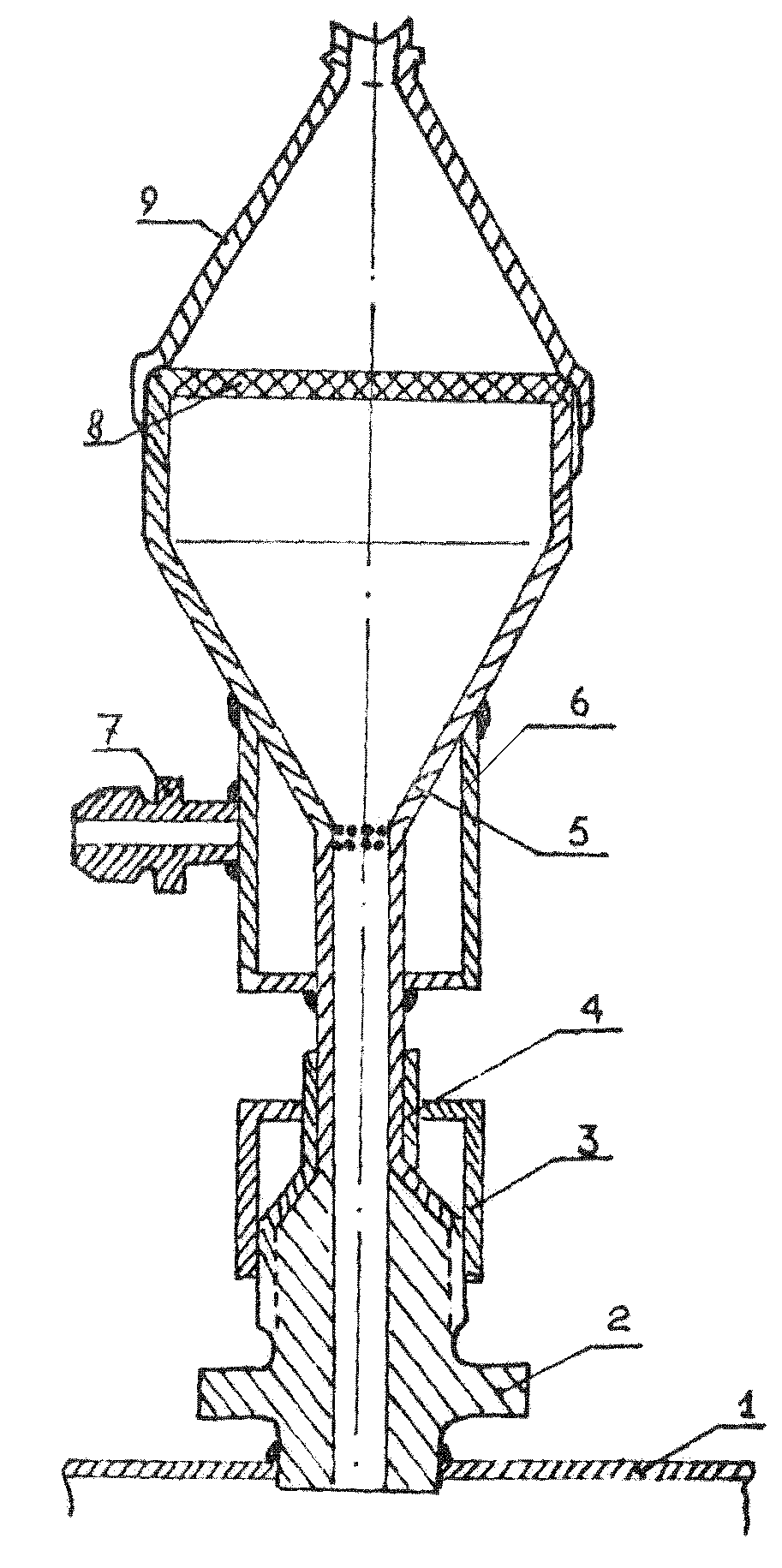
На
рис. 1 показано схематическое изображение пробоотборника с охлаждением выхлопных газов воздухом.
1. Выхлопная труба,
2. Штуцер,
3. Гайка накидная,
4. Ниппель,
5. Корпус пробоотборника,
6. Коллектор воздуха,
7. Штуцер подвода воздуха,
8. Сетка с фильтром,
9. Крышка пробоотборника
Рис. 1. Пробоотборное устройство с охлаждением
выхлопных газов воздухом
Выхлопные газы поступают через центральный штуцер 2 в пробоотборник. Через штуцер 7 подается охлаждающий воздух, который попадает в коллектор и через ряд сопловых отверстий в смесительную камеру и далее на фильтр.
Температура смеси газов после смешивания должна быть не выше 150° (при отборе на фильтр Петрянова) и не ниже 100° - во избежание конденсации водяных паров в выхлопных газах и увеличения противодавления фильтра.
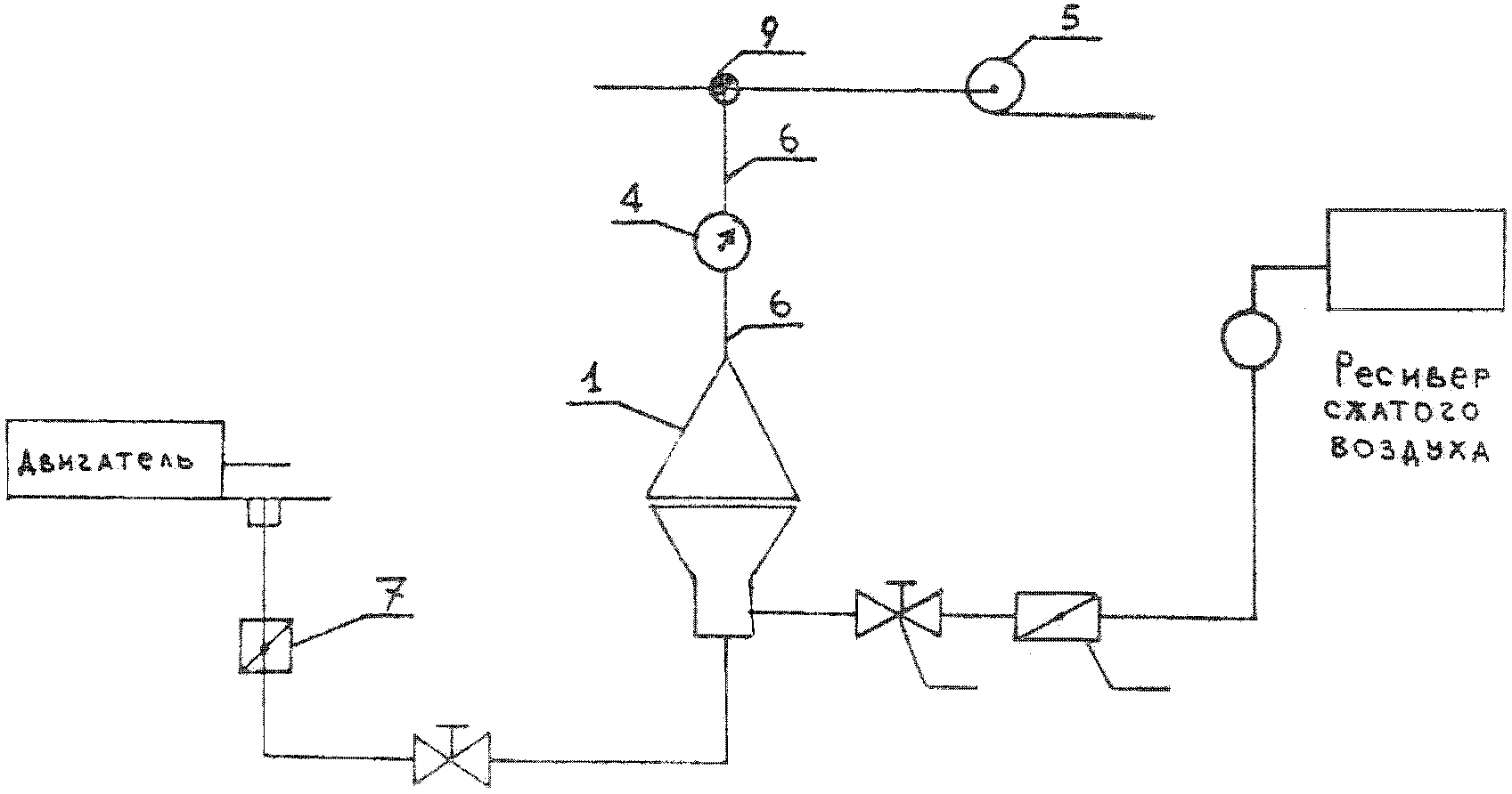
Схема установки для отбора проб с охлаждением воздухом показана на
рис. 2. Выхлопные газы через заслонку 7 и штуцер в выхлопной трубе поступают в пробоотборник 1, параллельно в коллектор охлаждения подается воздух из магистрали сжатого воздуха или от специального источника. Количество воздуха, подаваемого для охлаждения, измеряется расходомером 2, и регулируется краном 3. Пуск воздуха осуществляется заслонкой 8. Регулирование должно осуществляться до отбора пробы, во время отбора регулирование не допускается. За пробоотборником установлен расходомер смеси отработавших газов и охлаждающего воздуха 4. Далее устанавливается вакуум-насос 5 для возбуждения протокола газов через пробоотборник. Впереди расходомера и за ним устанавливаются термометры 6 (для регистрации температуры смеси газов).
Рис. 2. Схема установки для отбора проб газов
с охлаждением воздухом
В случае применения расходомеров типа газовых счетчиков с водяным затвором (например, ГСБ-400) измерение температуры после счетчика необязательно.
Порядок проведения эксперимента и обработка результатов измерений состоит из отладки измерительной и регулирующей аппаратуры.
Отладка производится следующим образом. После выхода двигателя на исследуемый режим, открывается заслонка 8, подающая охлаждающий воздух в пробоотборник, краном 3 устанавливается расход воздуха равный 0,5 от предельно допустимого из соображений прочности фильтра. Этот расход определяется уравнением:
aов = Vэ·F,
где F - площадь фильтра (см2);
Vэ - допустимая нагрузка на фильтр (л/см2);
aов - расход охлаждающего воздуха.
После этого открывается заслонка 7 подачи и пробоотборник выхлопных газов и кранов 3 устанавливается расход воздуха, который обеспечивает температуру смеси газов в интервале 100 + 150 °C. При этом суммарный расход газов не должен превышать допустимого по нагрузке на фильтр. Дополнительная регулировка осуществляется перепускным краном 9, установленным между вакуум-насосом и расходомером 4.
После установления требуемой температуры краны 3 и 9 фиксируются, заслонки 7 и 8 закрываются и выключается вакуум-насос.
Далее в пробоотборник вставляется рабочий фильтр, двигатель выдерживается не менее 30 минут на рабочем режиме, одновременно включается вакуум-насос и открываются заслонки 7 и 8. По окончании отбора пробы заслонки 7 и 8 закрываются, и фильтр отправляется на экстракцию.
Расчет концентрации БП в выхлопных газах производится по формуле:
где C(БП) - концентрация БП в выхлопных газах,
qБП - количество БП на фильтре,
Qсм - количество газовоздушной смеси, пропущенной через пробоотборник.
Для перехода от величины концентрации к количеству БП можно пользоваться соотношением:
QБП = CБП·Qсг
где QБП - количество БП,
Qсг - объем газа, приведенный по уравнению состояния к нормальным условиям.
Qсг = (Gв + Gt)·K
где K - коэффициент пересчета воздуха,
Gв - расход воздуха, определяемый расходомером, установленным на впуске в двигатель,
Gt - расход топлива.
Отбор проб в поглотители с бензолом на стационарном режиме
работы двигателя
Этот способ может быть рекомендован для работы с бензиновыми двигателями, выхлопные газы которых содержат незначительное количество сажи.
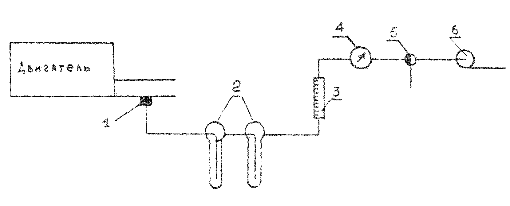
Схема установки для отбора проб показана на рис. 3. Отбор неполнопоточный.
Рис. 3. Схема установки для отбора проб газов
в поглотители
Выхлопные газы через штуцер 1 подаются в поглотители с бензолом 2, проходя далее через ротаметр 3 и суммарный газовый счетчик 4, попадают в вакуум-насос 6. Расход газа регулируется перепускным краном 5, контролируется ротаметром 3.
При работе с поглотителями с пористой пластинкой N 1, допустимая максимальная объемная скорость составляет 0,12 - 0,15 литров в минуту. Отбор ведется в два последовательно соединенных поглотителя, концентрация БП в которых может определяться как суммарно, так и раздельно. Обязательно замеряется количество бензола после отбора пробы.
Первоначально в каждый поглотитель заливается 10 - 15 мл химически чистого бензола. Объем проходящего через поглотители газа должен составлять 5 л при определении малых концентраций до 0,5 мкг/м3.
Для предотвращения испарения бензола поглотителя необходимо охлаждать холодной проточной водой.
Расчет концентрации БП производится по формуле:
где Qпр - объем газа, прошедшего через поглотители,
qБПЛ - количество БП в поглотителях.
где

и

- концентрация БП в бензоле соответственно 1-го и 2-го поглотителей.

и

- количество бензола в 1-ом и 2-ом поглотителях соответственно.
Расчет выброса БП по значениям концентраций производится описанным выше способом.
Отбор выхлопных газов на нестационарных режимах
работы двигателя
Для оценки величины выброса канцерогенных веществ автомобилем в условиях городской езды применение методов стационарных отборов нецелесообразно, т.к. на выделение БП влияет не только продолжительность каждого из режимов, но и их последовательность.
Для имитации условий городской езды разработаны специальные ездовые циклы, моделирующие характер движения автомобиля в городах.
Отбор пробы за цикл может выполняться при помощи автоматического пропорционального пробоотборника.
Основные требования, предъявляемые к пропорциональному пробоотборнику:
1. Отношение расходов выхлопных газов при пропорциональном отборе должно быть 1:20.
2. Объемные скорости газов при поглощении БП должны быть такими, чтобы обеспечивать достаточно полное поглощение.
3. Инерция пропорционального пробоотборника должна быть минимальной.
Схема пропорционального пробоотборника показана на
рис. 4.
1 и 2. Диффузор,
3. Коллектор,
4 и 5. Заслонки,
6 и 7. Поглотители,
8. Жиклеры
Рис. 4. Схема пропорционального пробоотборника
выхлопных газов автомобиля
Пропорциональный пробоотборник одевается непосредственно на выхлопную трубу автомобиля и проба может отбираться как на стенде с беговыми барабанами, так и в условиях езды по дороге.
Пропорциональный пробоотборник состоит из двух диффузоров - 1 и 2; для холостого хода и малых нагрузок - 1, для больших нагрузок - 2. Подвод выхлопных газов к диффузорам осуществляется через коллектор 3, и через заслонки 4 и 5. Максимальные сечения диффузоров соединены со входом в поглотители 6 и 7, а минимальные с выходом из поглотителей через калибрующие жиклеры 8. При прохождении выхлопных газов через один из диффузоров, вследствие разности давлений в сечениях диффузора часть газа, определяемая сечением калибрующих жиклеров, перетекает через поглотитель. Управление заслонками производится вручную при пуске и выключении пробоотборника и автоматически при изменении режимов при помощи силовой пневматической диафрагмы, на которую действует статическое давление из максимального сечения диффузора малых нагрузок.
Поглотитель выполняется в виде конической колбы с наклонной пористой перегородкой (рис. 5). Форма поглотителя должна обеспечивать равную объемную скорость для отдельных пузырьков барботируемого газа.
Рис. 5. Схема поглотителя
(деталь пропорционального пробоотборника)
При достаточной объемной скорости величина пути в бензоле пузырька диаметром 1,5 + 2 мм равна 100 + 150 мм.
Общая объемная скорость должна поддерживаться на уровне, не превышающем 0,15 л/мин.
Порядок отбора пробы следующий. Пробоотборник устанавливается на выхлопную трубу автомобиля при положении заслонок, соответствующем открытому положению заслонки больших нагрузок и закрытому положению заслонки диффузора малых нагрузок, двигатель при этом должен быть либо выключен, либо работать на малых оборотах холостого хода. Синхронно с началом замера заслонки переключаются на положение, соответствующее закрытому положению заслонки диффузора больших нагрузок и открытому положению заслонки холостого хода. При увеличении нагрузки силовой элемент автоматически переключает заслонки в диффузоре и включает в работу диффузор больших нагрузок.
При уменьшении нагрузки и соответственно падении давления в максимальном сечении диффузора малых нагрузок силовой пневматический элемент автоматически перекрывает заслонку диффузора больших нагрузок и открывает диффузор малых нагрузок.
Синхронно с окончанием замера положение заслонок возвращается в положение, соответствующее установке на автомобиль.
Определение выброса за цикл определяется из соотношения:
где

- количество БП за замер (цикл),
qпо - количество БП в поглотителях,

и

- коэффициенты пропорциональности сечений диффузоров и калибрующих жиклеров поглотительных систем,
где

,

- концентрация БП в поглотителях,

,

- объем бензола в поглотителях.
где Fэ - эффективное сечение диффузора,

- коэффициент истечения диффузора,
Fкж - эффективное сечение калибрующего жиклера,

- коэффициент истечения калибрующего жиклера.
Поскольку все элементы пробоотборника не являются стандартизованными, величины

и

следует определять экспериментально перед проведением испытания.
С помощью пропорционального пробоотборника возможен отбор проб как на стенде с беговыми барабанами, так и непосредственно при движении по дороге.
Перед каждым отбором рекомендуется тщательно промывать изооктаном всю пробоотборную часть прибора.
Поглотители следует охлаждать холодной проточной водой.
Методика определения бенз/а/пирена в отработавших газах
бензиновых двигателей легковых автомобилей при испытании
по "Европейскому ездовому циклу"
Бензиновые двигатели внутреннего сгорания являются одним из основных источников загрязнения атмосферного воздуха канцерогенными ПАУ. В качестве индикатора такого рода загрязнений выбран БП.
Испытания производятся на динамометрическом стенде с беговыми барабанами, который позволяет исследовать легковые автомобили с бензиновыми двигателями при работе по "Европейскому ездовому циклу". <*>
--------------------------------
<*> Европейский цикл представляет собой программу испытаний автомобиля на стенде с беговыми барабанами и включает в себя чередование режимов работы, имитирующих эксплуатацию автомобиля в условиях городской езды.
Для отбора проб с целью определения в отработавших газах ПАУ применяется устройство, представленное на
рис. 6. Отработавшие газы из выхлопной трубы (1 - участок выхлопной трубы за глушителем) через трубку (2), из нержавеющей антикоррозионной стали поступают в специально сконструированный стеклянный холодильник (3), монтируемый на шлифах. Холодильник соединен с цилиндрической стальной камерой (4), снабженной стальной опорной сеткой. Перед сеткой в камере располагается фильтр (5) из стекловолокна, размеры которого соответствуют внутренним размерам камеры. Толщина фильтра - 1,5 мм. Специальные исследования показали, что для двухтактных двигателей необходимо использовать два слоя фильтра. Регулированием расхода воды в холодильнике добиваются температуры на фильтре 45 - 50 °C.
Рис. 6. Схема установки по отбору проб отработавших
газов автомобилей при испытании
по "Европейскому циклу"
Из камеры газы по трубе (6) поступают в полиэтиленовый мешок для исследования на содержание CO, CO2, NO2, NO, и CТHП. К трубе (6) присоединена система форвакуумного насоса, который позволяет поддерживать давление перед фильтром не более, чем на 70 мм водяного столба выше атмосферного. Температура на фильтре 45 - 50 °C гарантирует отсутствие "проскока" БП через фильтр с газовой фазой, однако, при этом образуется конденсат, стекающий по стенкам холодильника в съемную (на шлифе) колбу (7). По окончании отбора проб холодильник промывают 300 мл ацетона, который собирают в съемную (на шлифе) колбу (8). Для последующего исследования смыва в колбу (8) наливают 10 мл нормального октана.
Каждый тест продолжается 13 минут и состоит из 4 последовательных "Европейских циклов". Автомобиль исследуется по тесту трехкратно с интервалами не менее 6 часов. После каждого испытания по тесту необходима очистка участка (1) выхлопной трубы и соединительной трубки (2).
По окончании каждого теста необходимо исследовать содержание БП в фильтре (5), конденсате, собранном в колбу (7), и ацетоновом смыве с холодильника, собранном в колбу (8).
Фильтр подвергают 8-часовой экстракции 250 мл перегнанного бензола в аппарате Соколета.
Конденсат дважды (в течение 30 минут) экстрагируют на Шюттель-аппарате 100 мл перегнанного бензола. Бензольный экстракт из фильтра и бензольные экстракты (2 по 100 мл) из конденсата объединяют и концентрируют под вакуумом на ротационном испарителе до объема 6 - 10 мл.
Концентрированный экстракт, доведенный до объема бензольного экстракта, используют для дальнейшего хроматографического фракционирования.
Холодильник смывают 300 мл ацетона в колбу со шлифом, в которую предварительно наливают 10 мл н-октана. Ацетон отгоняют на ротационном пленочном испарителе под вакуумом. Н-октановый экстракт смыва с холодильника объемом V (холод), используют для хроматографии.
Фракционированию подвергают суммарный бензольный экстракт из фильтра и конденсата, сконцентрированный до объема V (бензольного экстракта) и н-октановый экстракт объемом V (экстр. холод), полученный в результате промывки холодильника ацетоном в колбу с н-октаном.
На стеклянную пластинку размером 9 x 12 см наносят тонкий слой (1 мм) Al2O3 II степени активности по Брокману. Делят пластинку в вертикальном направлении на две неравные части. В левой части на расстоянии 1 см от нижнего края пластины наносят капилляром в виде горизонтальной полосы 0,5 мл исследуемого экстракта. На том же уровне в середине правой части наносят 0,1 мл эталонного н-октанового раствора БП в концентрации 1·10-5 г/мл в качестве свидетеля.
Пластинку помещают в чашку Петри со смешанным циклогексан-бензольным (2:1) раствором. Хроматографию проводят в стеклянной камере, насыщенной парами смешанного циклогексан-бензольного раствора. По окончании хроматографии наблюдают положение люминесцирующего пятна вещества - свидетеля (БП) в свете ртутно-кварцевой лампы с фильтром УФС-3, пропускающим ультрафиолетовое излучение в области 366 нм. При этом, в связи с работой в незакрепленном слое, положение пластины под лампой должно быть близким к горизонтальному. Иглой выделяют в левой части пластины люминесцирующую зону на уровне пятна свидетеля. Ширина зоны не менее 3 см.
В стеклянную воронку с шоттовским пористым фильтром скальпелем переносят окись алюминия с выделенной зоны. Воронку помещают в колбу объемом 100 мл со шлифом и промывают окись алюминия 50 - 100 мл перегнанного бензола (до прекращения люминесценции бензола в воронке с фильтром).
Полученную фракцию объемом V (смыва) подвергают качественному и количественному спектрально-флуоресцентному анализу на содержание БП.
Качественное и количественное определение БП производится по квазилинейчатым спектрам флуоресценции в замороженных при 77 °K н-парафиновых растворах.
Анализ проводят методом добавок с предварительной установкой прибора по фону люминесценции при

по методике, описанной в настоящем сборнике в статье А.Я. Хесиной.
Для расчета содержания БП в отработавших газах бензиновых двигателей при испытании по "Европейскому циклу" экспериментальные параметры в процессе исследования заносятся в таблицу (см. табл. 1 и
табл. 2).
| | ИС МЕГАНОРМ: примечание. Текст таблиц дан в соответствии с официальным текстом документа. | |
Табл. 1
Пример записи экспериментальных данных при исследовании
одной автомашины
Марка автомобиля | NN автомобиля | Тест NN | б. V экст. (мл) | смыва б. V экст. (мл) | Cдоб. (г/мл) | CБП б. экстр. (г/мл) | T БП б. экстр. (мкг) | V экстр. холод (мл) | V смыва холод (мл) | Cдоб холод (г/мл) | CБП экс. холод г/мл | T БП холод (мкг) | T БП на 1 тест (мкг) |
Табл. 2
Пример расчета количества БП в отработавших газах
автомобиля "Жигули" ВАЗ-2101 (из материалов ОНЦ АМН СССР)
Марка автомобиля | NN п/п автомобиля | Тест NN | б. V экстр. (мл) | смыва б. V экстр. (мл) | Cдоб. (г/мл) | CБП б. экстр. (г/мл) | TБП б. экстр. (мкг) | T экстр. холод (мл) | V смыва холод (мл) | Cдоб. холод (г/мл) | CБП холод г/мл | TБП холод (мкг) | TБП на 1 тест (мкг) |
| 1 | 1 | 9,5 | 8,5 | 1·10-8 | 1,0·10-8 | 16,2 | 8,0 | 80 | 1·10-9 | 0,6·10-9 | 0,7 | 16,9 |
| 2 | 7,5 | 88 | 1·10-8 | 1,4·10-8 | 18,5 | 9,0 | 84 | 1·10-9 | 1,5·10-9 | 2,2 | 20,7 |
| 3 | 6,8 | 110 | 1·10-8 | 1,6·10-8 | 23,9 | 8,5 | 115 | 1·10-9 | 0,8·10-9 | 1,6 | 25,5 |
| 2 | 4 | 8,5 | 84 | 1·10-8 | 1,7·10-8 | 24,3 | 9,2 | 82 | 1·10-9 | 0,25·10-9 | 3,8 | 28,1 |
| 5 | 8,4 | 100 | 1·10-8 | 1,6·10-8 | 26,9 | 7,2 | 85 | 1·10-9 | 0,4·10-9 | 4,8 | 31,7 |
| 6 | 8,5 | 80 | 1·10-8 | 1,4·10-8 | 19,0 | 7,6 | 70 | 1·10-9 | 1,1·10-9 | 1,2 | 20,2 |
Vб.экстр. и Vэкстр.холод - соответственно исходные объемы сконцентрированных экстрактов - бензольного из фильтра и конденсата и октанового и из смыва с холодильника. C - концентрация БП.
Количество БП выделившегося за 1 тест, складывается из количества БП в бензольном экстракте из фильтра и конденсата TБП б.экстр. и содержания БП в смыве с холодильника (TБП холод).
БП б. экстр. находят по формуле:
0,5 (мл) - объем экстракта, нанесенный на пластинку для хроматографии.
TБП холод находят по формуле:
TБП на 1 тест = TБП б.экстр. + TБП холод
Методика определения банз(а)пирена в нефтях
и нефтепродуктах
При разработке методики количественного определения индивидуальных ПАУ, в частности БП, в нефти и нефтепродуктах прежде всего необходимо выяснить состав исследуемых объектов. По условному химическому составу нефть состоит из парафино-нафтеновых углеводородов, легких, средних, тяжелых ароматических углеводородов, смол и асфальтенов. (Сб. "Руководство по анализу нефтей", 1966). Машинные масла по групповому химическому составу близки к нефтям. Вазелиновые (парафиновые) масла и вазелины состоят практически из одних парафино-нафтеновых углеводородов, которые могут содержать примесь ароматических углеводородов. Битумы содержат большое количество асфальтенов. В
таблице 3 представлены результаты определения группового углеводородного состава нескольких образцов нефтей и одного образца машинного масла, исследованных затем на содержание БП. Определение группового состава проводилось хроматографически на колонках, заполненных силикагелем АСК высокой разделяющей способности (Сб. "Методы исследования нефти и нефтепродуктов", 1955) с исследованием фракций по показателю преломления на рефрактометре по ускоренной методике анализа, разработанной Сафоновой Г.И. (1966). Из приведенной таблицы 3 видно, что изученные образцы нефти более чем на половину состоят из парафино-нафтеновых углеводородов, содержат значительные количества ароматических углеводородов, содержат значительные количества ароматических углеводородов и небольшие количества смол и асфальтенов.
Таблица 3
Групповой углеводородный состав нефтей и образца машинного
масла, используемых для приготовления медицинских препаратов
NN | Вид нефти и масла | Поставщик нефти и масла | Предприятие, использующее нефть и масло для изготовления мазей | Групповой углеводородный состав, % |
Парафино-нафтеновые углеводороды | Моно, би, трициклические ароматические углеводороды | Бензольные смолы, включающие тяжелые ароматические углеводороды | Спирто бензольные смолы | Асфальтены |
1. | Нафталанская сырая | Станция "Герань" промысел N 6 | Бакинский химико-фармацевтический завод | 58,56 | 20,64 | 11,32 | 6,56 | 2,17 |
2. | Нафталанская рафинированная | Бакинский нефтеперерабатывающий завод им. 22 съезда | Бакинский химико-фармацевтический завод | 64,13 | 13,53 | 11,19 | 8,77 | 2,00 |
3. | Нафталанская рафинированная | Бакинский нефтеперерабатывающий завод им. 22 съезда | Горьковский химико-фармацевтический завод | 60,89 | 17,83 | 10,59 | 6,26 | 1,32 |
4. | Бориславская рафинированная | НПУ долина-нефть | Одесский завод химико-фармацевтических препаратов и биогенных стимуляторов | 62,41 | 17,82 | 9,77 | 6,96 | 2,69 |
5. | Машинное масло | | Центральный научно-исследовательский кожно-венерологический институт (ЦКВИ), лаборатория новых лекарственных средств | 34,85 | 58,56 | 4,11 | 1,27 | 0,04 |
При анализе столь сложных объектов как нефть и нефтепродукты необходимо было выяснить, какие из компонентов, входящих в их состав, должны быть отделены в первую очередь, как в наибольшей степени мешающие определению БП.
В соответствии с условным составом исследуемых объектов вначале было изучено влияние примесей парафино-нафтеновых углеводородов на спектры флуоресценции БП. Был приготовлен раствор БП в н-октане, к которому добавили парафино-нафтеновые углеводороды (парафиновое масло). Исследование флуоресценции полученного раствора показало, что парафино-нафтеновые углеводороды размывают квазилинейчатые спектры БП.
Увеличение концентрации БП приводит к увеличению интенсивности линий спектра. Однако, в присутствии вазелинового масла спектр остается диффузным. По-видимому, размывание спектров БП в присутствии парафино-нафтеновых углеводородов связано с тем, что последние нарушают кристаллическую матрицу растворителя, приводя к образованию аморфной массы.
Другой составной частью нефти и нефтепродуктов являются ароматические углеводороды. Ароматическая фракция нефти, получаемая в результате хроматографического фракционирования на колонке, может содержать ПАУ, обладающие диффузным спектром флуоресценции и не имеющие квазилинейчатых спектров, что приведет к сильному общему фону флуоресценции и сделает невозможным определение БП.
Смолы удерживаются сорбентом при использовании таких неполярных растворителей, как петролейный эфир, поэтому могут не препятствовать определению БП.
Асфальтены также удерживаются сорбентом при использовании петролейного эфира, в качестве элюента. Однако, большие количества асфальтенов мешают сорбенту впитывать испытуемый продукт.
Таким образом, для определения БП по квазилинейчатым спектрам в нефти и нефтепродуктах парафино-нафтеновые углеводороды, а также смолы и асфальтены должны быть отделены от фракций ПАУ, содержащих БП.
Нефть более сложна по химическому составу, чем нефтепродукты (нефтепродукты - фракции нефти). Поэтому целесообразно было вначале разработать методику определения БП в нефти, модификации которой дадут возможность исследовать нефтепродукты.
Наиболее удобной дня наших целей является колонка, близкая по размерам к колонке, использованной Сафоновой Г.И. (1966), с размерами l = 1000 мм и d = 10 мм, позволяющая анализировать навеску продукта до 5 г. В соответствии с указаниями Сафоновой Г.И. (1966) и других авторов (Павлова С.Н., Дриацкая З.В., 1955) в качестве сорбента был использован силикагель марки АСК с достаточно большими размерами частиц (0,2 - 0,3 мм). Однако, в отличие от рекомендаций указанных авторов, был использован силикагель не высокой, а низкой разделяющей способности, а в качестве элюента - петролейный эфир 40 - 70°.
Предложенная методика позволяет проводить фракционирование лишь одним растворителем (петролейный эфир 40 - 70 °C) вместо нескольких (петролейный эфир 70 - 100 °C, бензол, спирт). Кроме того, нужно отметить, что по методикам с использованием силикагеля высокой разделяющей способности, БП и сопутствующие ему ПАУ не элюируются петролейным эфиром, а десорбируются лишь смесями бензола с петролейным эфиром, при этом частично элюируются также смолы. Таким образом, выделение БП-фракции по общепринятой хроматографической методике потребовало бы последующей очистки БП от смол. Использование силикагеля с низкой разделяющей способностью и петролейного эфира приводит к тому, что БП элюируется, а смолы и асфальтены остаются в колонке. Кроме того, хроматографировать нефть следует не прибегая к ее предварительному термическому фракционированию, так как нагревание до 200° (отбензинивание) может привести к частичному улетучиванию БП, а при нагревании до более высоких температур БП в них может образоваться (Дикун П.П., 1967).
В соответствии с разработанной методикой 5 г нефти, не подвергавшейся предварительной температурной обработке, помещают в колонку (l = 1000 мм, d = 7 мм), заполненную силикагелем АСК (0,2 - 0,3 мм). Исследованные нефти не подвергались предварительной деасфальтенизации в связи с низким содержанием асфальтенов
(таблица 3). Количество сорбента превышало количество продукта не менее чем в 10 раз. Разделяющая способность применяемого нами силикагеля АСК определялась по керосиновой фракции 150 - 350 °C Туймазинской девонской нефти (Сб. "Методы исследования нефти и нефтепродуктов, 1955), и составляла 10%. В качестве элюента применяли петролейный эфир 40 - 70 °C. Фракции собирали объемом 100 мл (10 - 12 фракций). Обычно первая фракция содержит парафино-нафтеновые углеводороды. В последующих фракциях, содержащих БП, наряду с ним имеются также ароматические циклические углеводороды, флуоресценция которых мешает определению БП по квазилинейчатым спектрам. Поэтому необходимо повторное разделение фракций, которое осуществляют с помощью тонкослойной хроматографии на окиси алюминия. Специальными опытами было показано, что наилучшие результаты могут быть получены лишь тогда, когда проводят тонкослойную хроматографию для каждой из БП-фракций, смытых с колонки. Принятые методики хроматографического фракционирования в тонком слое с визуальным контролем фракций имеют ряд недостатков. В частности, методика определения с помощью свидетеля участков пластинки, содержащих БП, во многих случаях не применима, так как анализируемый образец сложного химического состава может содержать примеси, приводящие к размазыванию пятен на хроматограмме или к значительному изменению Rf, в результате чего зоны содержащие БП в свидетеле и в исследуемом образце не совпадут. Подтверждением этой мысли является наблюдение Дикуна П.П. (1970), о том, что при фракционировании ряда продуктов в тонком слое окиси алюминия БП "размазывается" по пластинке. Использование добавок исследуемого продукта к свидетелю позволяет в ряде случаев более надежно выделить зону, содержащую БП.
Определение участков хроматограммы или элюатов, содержащих БП, с помощью флуоресценции при комнатной температуре также может привести к ошибкам вследствие малого квантового выхода флуоресценции ПАУ в этих условиях. Поэтому даже в случае значительных количеств БП в анализируемом объекте исследователь может не заметить слабой флуоресценции слоя сорбента или элюата. Указанных трудностей можно избежать, если наличие БП в элюатах, полученных со всех зон пластинки определять по флуоресценции при низких температурах. С этой целью был поставлен ряд экспериментов и разработан оптимальный вариант методики выделения БП-фракции в тонком слое.
В процессе разработки методики отделения БП в тонком слое прежде всего необходимо выделить пороговые концентрации БП в растворе, наносимом на пластинку, которые могут быть обнаружены визуально по флуоресценции при комнатной температуре и выяснить, не теряют ли исследователи часть БП, отбрасывая зоны тонкослойной хроматограммы, флуоресценция которых незаметна на глаз в обычных условиях. В связи с этим были поставлены модельные опыты. На пластинку наносили полосой по 0,25 мл раствора БП в н-октане с концентрациями 1·10-5 г/мл, 1·10-6 г/мл, 1·10-7 г/мл, 1·10-8 г/мл, 1·10-9 г/мл. Количество наносимого раствора (0,25 мл) было выбрано из практических соображений: такие объемы экстракта обычно наносятся на тонкий слой окиси алюминия при анализе фракций колоночной хроматографии, сконцентрированных упариванием. Изучение хроматограммы при комнатной температуре после проявления ее смесью петролейного эфира с хлороформом в соотношении 2:1 в ультрафиолетовых лучах лампы ПРК-4, обычно используемой в таких работах, показало, что глаз экспериментатора обнаруживает флуоресценцию БП, концентрация которого равна 1·10-5 и 1·10-6 г/мл. Флуоресценция БП в более низких концентрациях не обнаруживается. Однако в этих случаях БП может быть обнаружен по квазилинейчатым спектрам в смывах тех зон пластинки (элюент - серный эфир), где должен находиться БП, нанесенный в низких концентрациях. Эти зоны могут быть обнаружены с помощью свидетеля.
Результаты проведенных опытов свидетельствуют о том, что для получения более точных и надежных данных по количественному определению, необходимо использовать не только те зоны тонкослойной хроматограммы, которые флуоресцируют при комнатных температурах, но и те зоны, флуоресценция которых глазом не отмечается. В последнем случае БП обнаруживают в смывах по квазилинейчатым спектрам при низких температурах. В некоторых случаях учет содержания БП в зонах, не флуоресцирующих при комнатных температурах, существенно изменяет конечный результат определения БП в исходном объекте. В связи с этим рекомендуется подвергать качественному спектральному анализу все зоны, снятые с пластинки.
В связи с изложенным, тонкослойную хроматографию фракций, полученных колоночной хроматографией по описанной выше методике, проводили следующим образом. Все фракции упаривали до объема 3 - 10 мл. По 0,25 мл полученных растворов всех фракций, кроме первой, содержащей большое количество парафино-нафтеновых углеводородов, наносили полосой на пластинку с окисью алюминия 2-ой степени активности по Брокману. Хроматограмму проявляли общепринятой смесью петролейного эфира 70 - 100 °C и хлороформа в соотношении 2:1. Пластинку без предварительного высушивания размечали на флуоресцирующие и нефлуоресцирующие зоны (7 - 10 зон) в ультрафиолетовых лучах лампы ПРК-4. Для предварительного качественного анализа сорбент каждой зоны снимали в пробирки и проводили однократную экстракцию 2-мя мл серного эфира. К одному мл серного эфирного экстракта добавляли 2 мл н-октана и определяли БП спектрально при низких температурах по наиболее интенсивной линии с

. Сорбент зон, не содержащих БП, отбрасывали, а сорбент зон, в которых по квазилинейчатым спектрам обнаруживали БП, объединяли и подвергали повторному многократному экстрагированию серным эфиром (10 - 12 раз по 10 мл) до тех пор, пока в смывах не обнаруживалась больше линия спектра БП с

. Контроль полноты снятия БП с окиси алюминия с применением квазилинейчатых спектров флуоресценции показал, что двух-трех элюирований, применяемых обычно для этой цели, недостаточно для полной десорбции БП.
Все экстракты с сорбента, содержащие БП, включая и самые первые, которые использовали для проведения предварительного качественного анализа каждой зоны, объединяли и упаривали до объема 10 мл, а затем подвергали спектрально-флуоресцентному исследованию. Суммарная фракция, полученная со всех зон пластинки, содержащих БП, подвергалась вначале качественному анализу фотографическим методом, а затем количественному при фотоэлектрической регистрации спектров. Присутствие БП в суммарной фракции можно было считать доказанным, если на фотографии спектра были видны характерные линии БП

,

и

.
Ввиду того, что наряду с БП эта бензпиреновая фракция может содержать "бензпиреноподобное" вещество, описанное Дикуном П.П. (1968), флуоресценция которого при

ошибочно может быть принята за флуоресценцию БП с

, по фотографии квазилинейного спектра, полученной на спектрографе ИСП-51 с камерой F = 270 мм, измеряли длины волн наиболее интенсивных линий. В тех случаях, когда в полученных спектрах наблюдали линии флуоресценции БП 403 нм, 426,9 нм и 408,5 нм и отсутствовала линия "бензпиреноподобного" вещества 403,4 нм (измерения проводились на компараторе ИЗА-2) можно было сделать заключение, что линия 403 нм действительно принадлежит исключительно БП. При наличии в исследуемой фракции "бензпиреноподобного" соединения необходимо было бы в соответствии с рекомендациями Дикуна П.П. провести повторное хроматографирование в тонком слое. В отдельных случаях идентификацию БП проводили на фотоэлектрическом спектрометре с высокой разрешающей способностью (ДСФ-12) по линиям

, 408,5 нм и 426,9 нм.
Изложенная выше методика определения БП во фракциях, полученных в результате хроматографии на колонке, позволила установить, что БП, как правило, может быть обнаружен в 3 - 7-ой фракциях и отсутствует в остальных фракциях. После проведения качественного анализа присутствия БП в суммарной БП-фракции, снятой с каждой пластинки, эта фракция подвергалась количественному анализу на БП и результат суммировали по всем БП-содержащим фракциям, полученным при колоночной хроматографии. Количественное определение БП проводили методом добавок с установкой прибора по фону создаваемому люминесцирующими примесями, присутствующими в исследуемом экстракте (Muel B., Lacroix G., 1960; Хесина А.Я., 1964). В отдельных случаях использовали комбинированный метод добавок и внутреннего стандарта (Федосеева Г.Е., Хесина А.Я., 1960).
Относительная ошибка спектрального определения БП в полученных суммарных бензпиреновых фракциях нефти не превышает - 10%. Коэффициент вариации при параллельных исследованиях одного и того же образца нефти не превышает +/- 20%.
Определение БП в нефтяных маслах
Хроматографию на колонках, качественный и количественный спектральный анализ нефтяных масел мы проводили так же как и нефти, за исключением проявления тонкослойной хроматограммы, которое осуществлялось подобранной нами смесью петролейного эфира (40 - 70 °C) и серного эфира в соотношении 5:1 вместо общепринятой смеси петролейного эфира и хлороформа в соотношении 2:1.
По литературным данным (Auld S J M., 1960) из всех нефтепродуктов вазелиновые масла содержат наименьшее количество канцерогенных ПАУ. Поэтому навеску масла для исследования брали в количестве 10 г вместо 5 г. Поскольку вязкость масла высока и оно медленно поглощается сорбентом, колонку с нанесенным образцом следует выдерживать не менее 15 часов. Вследствие того, что масло на 97% состоит из парафино-нафтеновых углеводородов и в нем отсутствуют смолы и асфальтены, хроматографию проводили по несколько измененной методике. Парафино-нафтеновые углеводороды вымывали 100 мл петролейного эфира, а ароматические углеводороды снимали бензолом (200 мл). Бензольную фракцию упаривали до 2 - 3 мл. Весь сконцентрированный бензольный экстракт был нанесен на пластинку с незакрепленным тонким слоем окиси алюминия. Нанесение экстракта проводили порциями по 0,25 мл. При этом пластинку перед нанесением очередной порции высушивали. Проявление хроматограммы вели смесью петролейного эфира (40 - 70 °C) и серного эфира в соотношении 5:1.
Определение БП в нефтяных битумах
Нефтяные битумы содержат большое количество асфальтенов (до 20%), которое мешает сорбенту впитывать испытуемый продукт. В связи с этим перед нанесением пробы на колонку необходимо ее деасфальтенизировать. Дальнейшее исследование нефтяных битумов проводится так же, как нефти. Однако, навеску продукта следует брать меньше (2 г). Результаты исследования некоторых образцов битумов приведены в таблице 4.
Таблица 4
Содержание БП в нефтяных битумах
Марка нефтяного битума | Количество БП (мкг/кг) |
БН-3 Новоуфимский НПЗ | 1400 |
БН-3 Новокуйбышевский НПЗ | 1400 |
БН-5 | 300 |
БНД-90/130 | 600 |
БНД-60/90 | 1300 |
Определение БП в лекарственных препаратах,
содержащих нефть и нефтепродукты
Вследствие того, что мази содержат мелкодисперсные неорганические вещества (например, окись цинка), которые мешают сорбенту впитывать мазь, мази следует подвергать предварительной обработке с целью отделения этих добавок. Для этого навеску мази растворяют в петролейном эфире (40 - 70 °C) и смесь центрифугируют в пробирках с пришлифованными пробками. Нерастворимые в петролейном эфире материалы оседают на дно пробирок. Центрифугат сливают в колбу. Затем к осадку добавляют новую порцию петролейного эфира, содержимое интенсивно встряхивают и смесь снова центрифугируют. Эту операцию повторяют до тех пор, пока очередная порция петролейного эфира, используемая для экстракции, не становится бесцветной, на что требовалось обычно 5 - 6 экстракций. Объединенный центрифугат упаривается до объема 3 - 10 мл. Полученный раствор подвергают хроматографическому фракционированию на колонке по методике, описанной выше для нефти, и фракционированию в тонком слое по методике, описанной для машинных масел.
К препаратам, включающим нефтепродукты, но не являющимся мазью, относится "смолка черная" - твердая смесь сложного состава, (парафин - 2,1 г, окись цинка - 0,8 г, озокерит - 2,1 г), которая включает в себя, главным образом, парафино-нафтеновые углеводороды. Так как "смола черная" содержит большое количество окиси цинка (1/6 часть), то смолку подвергали предварительной обработке с целью отделения окиси цинка, которая мешает ей впитываться в сорбент. Для этого 5 г смолки, температура плавления которой 60 - 70 °C, расплавляли на водяной бане. Затем к смолке при температуре плавления добавляли 20 мл н-октана, хорошо перемешивали и центрифугировали. Раствор сливали и эту операцию повторяли еще 5 раз. Отделенную окись цинка отбрасывали, а экстракты объединяли и упаривали в обычных условиях до 10 мл. Остаток представлял собой воскообразную массу с температурой плавления 40 - 45 °C, которую хроматографировали на колонке с обогревом. Для этого стандартную колонку помещают в две цилиндрические трубки, различного диаметра, расположенные коаксиально. Вдоль внутренней трубки по ее наружной стенке прокладывают 2 - 3 асбестовых шнура и на них наматывают спираль из нихромовой проволоки, концы которой через ЛАТР включают в сеть. Такое устройство позволяет регулировать температуру в широких пределах. Как и в предыдущих случаях, колонку заполняли силикагелем АСК низкой разделяющей способности. Силикагель смачивали н-октаном и наносили на него весь остаток, полученный упариванием н-октанового экстракта из 5 г смолки. После того, как вещество впивалось в верхний слой сорбента, начинали элюирование н-октаном при температуре 45 °C. Н-октан был выбран в качестве элюента потому, что он кипит при более высокой температуре, чем петролейный эфир, а полярность его близка к последнему. Первыми из колонки выходили парафино-нафтеновые углеводороды в виде бесцветной студенистой массы, затем собирали жидкие фракции по 50 мл, представляющие собой раствор парафино-нафтеновых углеводородов в н-октан и растворы ароматических углеводородов. Парафино-нафтеновые углеводороды и первую жидкую фракцию, идущую за ними, которая обычно расслаивалась при охлаждении до комнатной температуры с выделением парафино-нафтеновых углеводородов, отбрасывали. Остальные фракции (около 7) использовали для определения в них БП. Смолы при элюировании н-октаном остаются в колонке. Вследствие того, что полученные фракции колоночной хроматографии обладают сильной флуоресценцией, мешающей определению БП, была использована тонкослойная хроматография на окиси алюминия по методике, используемой для определения КП в машинных маслах. С этой целью каждую фракцию концентрировали до объема 10 мл и по 0,25 мл полученного концентрата наносили на пластинки с сорбентом. После фракционирования в тонком слое БП обнаруживали в 3-ей и 4-ой фракциях колоночной хроматографии.
Результаты исследований образцов нефти, нефтяных масел и лекарственных препаратов, включающих нефть и нефтепродукты опубликованы ранее (Серковская Г.С., 1972; Шабад Л.М., Серковская Г.С., Хесина А.Я., 1974).
Хроматографический анализ продуктов сложного состава
(нефти, бензина)
При разработке метода исследования нефтей и бензина на содержание канцерогенных углеводородов нами была использована дифференциальная методика люминесцентно-хроматографического анализа нефтей, предложенная Ф.М. Эффендиевым (1953). Этот способ значительно уменьшает структурные изменения, которые происходят в результате длительного нахождения нефтей в колонке, уменьшает количество расходуемых растворителей и существенно повышает эффективность хроматографического метода.
При проведении хроматографического анализа нефти мы применяли цилиндрическую стеклянную колонну длиной 1000 мм и внутренним диаметром 12 мм, состоящую из отдельных колонок, хорошо пришлифованных друг к другу. Сверху колонка заканчивалась 0,1 л шарообразным резервуаром, внизу имела конусообразную форму.
Пригодными для поглощения ароматики являются только определенные марки силикагеля, обладающие нужной активностью (Г.С. Лансберг и Б.А. Казанский, 1959). Нами применялся силикагель марки АСК с размером зерен (60 - 70 меш.).
Используемые для анализа хроматографические колонки соединяли друг с другом и укрепляли в штативе строго вертикально. В конец каждой колонки помещали клочок ваты, сверху насыпали адсорбент (50,0 г), постукивая колонку для более плотной укладки. Чтобы хроматограмма была правильной, необходимо равномерно заполнять колонку адсорбентом по всей ее длине с должной плотностью. Насыпанный в трубку порошкообразный адсорбент слой за слоем тщательно утрамбовывался, при этом строго следили за тем, чтобы в колонке не оставалось никаких зазоров и уплотнение адсорбента всюду было одинаковым. Для удаления воздуха с поверхности адсорбента его предварительно смачивали чистым растворителем. После впитывания растворителя в слой адсорбента осторожно наливали раствор предварительно деасфальтированной нефти в петролейном эфире (2 - 3 мл).
Освобождение нефти от асфальтенов. Асфальтены представляют собой твердый порошкообразный материал, состоящий в значительной части из высокомолекулярных ароматических и гетероциклических соединений (Р.Л. Гриффин и соавт., 1960).
Известно, что углеводороды, принадлежащие к асфальтеновой фракции, тормозят процесс хроматографии (Ф.М. Эффендиев, 1953). Поэтому все дальнейшие исследования были проведены с деасфальтированным концентратом нефти. Осаждение асфальтенов проводили по методу, описанному в работах Н.Д. Сахновской (1950), С.Р. Сергеенко и соавт. (1955).
Навеску нефти в 1 г растворяли в петролейном эфире, колбочку плотно закрывали пробкой, хорошо взбалтывали и оставляли на сутки в темном прохладном месте. Как известно, в этих условиях из нефти выделяются асфальтены, которые сохраняются на дне и стенках колбочки. Раствор фильтровали через бумажный фильтр, осадок асфальтенов на фильтре и на стенках колбочки промывали петролейным эфиром до полного исчезновения люминесценции. Фильтрат деасфальтированной нефти оставляли на 2 - 3 дня до испарения петролейного эфира. Для установления возможности присутствия канцерогенных веществ в асфальтенах их подвергали спектральному анализу.
Эффективность адсорбционно-хроматографического метода разделения таких сложных продуктов, как нефть, в значительной мере зависит от удачного выбора растворителей, а также от последовательности их применения в процессе десорбции. Для этой цели в наших исследованиях использовались следующие растворители: петролейный эфир, хлороформ, бензол, метанол с бензолом 1:1, применение растворителей зависело от индекса адсорбции.
Петролейный эфир, применяющийся в начале элюирования, вымывает из колонки смесь парафиновых и нафтеновых углеводородов, тогда как ароматические углеводороды остаются в верхней части колонки.
Затем колонку разбирали на составные части и продолжали проводить десорбцию вышеуказанными растворителями.
Таким образом, нам удалось разделить нефть на следующие фракции: асфальтеновая, петролейная, хлороформная, бензольная и смешанная - бензол с метанолом. Эти фракции подвергались дальнейшему исследованию с использованием тонкослойной хроматографии.
Данные спектрального анализа показали, что петролейные фракции не содержали канцерогенных углеводородов (или следовые количества). Такая же картина характерна и для хлороформной фракции, и только последние две фракции (бензольная и бензол с метанолом) содержали бенз(а)пирен и бенз(ghi)перилен.
Исследование бензина. Что касается вопроса определения канцерогенных углеводородов в легких продуктах переработки нефти, до настоящего времени это остается малоизученным. Однако имеющиеся в литературе данные относятся в основном только к определению группового состава углеводородов в бензине (Г.С. Ландсберг и соавт., 1959; С.Р. Сергеенко, 1959).
При исследовании канцерогенных углеводородов в бензинах использовались методы хроматографического адсорбционного анализа в сочетании со спектрально-люминесцентным и адсорбционным анализом. Извлечение ароматических углеводородов из бензинов проводилось при помощи адсорбции на силикагеле марки АСК, крупность помола 70 - 200 меш.
С целью извлечения ароматической фракции из бензинов применялся один из методов жидкостной хроматографии - фронтальный анализ. Прибор для исследования смеси методом фронтального анализа состоял из цилиндрической стеклянной колонны и приемника для профильтрованного раствора (описанный выше). По всей длине заполнялась адсорбентом (25,0 г), затем промывалась чистым петролейным эфиром, после чего в резервуар наливалось 50 мл бензина, который распределялся по всей длине колонны, образуя флуоресцирующие зоны. Все содержащиеся в бензине вещества адсорбировались на силикагеле, так что выходящий из колонны бензин был практически чистым и избавленным от всех флуоресцирующих примесей. Колонна расчленялась на составляющие, и адсорбированные вещества элюировались бензолом. Полученный фильтрат отгоняли на водяной бане.
Такой способ извлечения ароматических углеводородов из бензинов сокращает время проведения анализа и расход растворителя.
Использование метода газовой хроматографии для качественного
и количественного определения полициклических ароматических
углеводородов в сточных водах
При разработке методики использовали лабораторный газовый хроматограф "Цвет" (модель 4-67). Были определены следующие оптимальные условия анализа: колонки из нержавеющей стали длиной 25 и 100 см и диаметром 4 мм; сорбент - хроматрон N-AW и 5% SE - 30; скорость газа - носителя (азота) 120 мл/мин; температура колонки 185 - 200 °C; температура испарителя - 280 °C; детектор - пламенно-ионизационный; входное сопротивление 109 Ом; чувствительность самописца 1:50; скорость диаграммной ленты 120 мм/ч.
Методом газохроматографического анализа проведено определение качественного и количественного состава ПАУ в экстрактах из сточных вод производства пиролиза керосина, которые относятся к категории сильно загрязненных.
Для исследования отбирали усредненные пробы сточной воды. Экстракцию ПАУ из сточной воды производили перегнанным нефлюоресцирующим бензолом. Полученный экстракт, вследствие сложности его состава, подвергали предварительному хроматографическому фракционированию в тонком слое на окиси алюминия.
Качественный анализ ПАУ в экстракте осуществляли по эталонным веществам с последующим хроматографическим анализом. В экстрактах из сточных вод производства пиролиза керосина были хроматографически обнаружены фенантрен, 1,2,3,4 - дибензантрацен, БА, БП.
Методом абсолютной калибровки было проведено также количественное определение идентифицированного в экстракте БП. Концентрация БП, определенная этим методом, находилась на уровне 3,6·10-4 г/мл. Чувствительность метода (для БП) равна 3,4·10-7 г/мл.
Параллельно было проведено количественное определение БП в изучаемом экстракте с применением спектрально-люминесцентного метода, основанного на эффекте Шпольского.
Спектры регистрировались на спектрографе ИСП-51 с фотоэлектрической приставкой ФЭП-1. В работе был использован метод добавок, разработанный А.Я. Хесиной (1964).
Определение БП, проведенное по этой методике, показало присутствие канцерогена в концентрации 2,25·10-4 г/мл.
Выявлено хорошее совпадение результатов, полученных с применением обоих (газохроматографического и спектрально-люминесцентного) методов.
Был проведен также газохроматографический анализ н-октанового раствора чистого БП и экстракта из сточных вод на колонке длиной в 25 см. Анализ хроматограмм свидетельствует о том, что БП дает характерный индивидуальный пик, который может быть использован для количественного определения. Разработанный способ может быть рекомендован в качестве экспресс-метода для количественного определения содержания БП в сточных водах с высоким содержанием ПАУ. Время анализа пробы - 5 минут.