Главная // Актуальные документы // МДС (Методический документ)СПРАВКА
Источник публикации
М.: ФГУП ЦПП, 2005
Примечание к документу
Том 1 и
Том 3 МДС 81-39.2005 включены в информационный банк отдельными документами.
Название документа
"МДС 81-39.2005. Индивидуальные элементные сметные нормы расхода материалов и затрат труда на отделку помещений комплектными системами КНАУФ. Типовые технологические карты на отделочные работы с применением комплектных систем КНАУФ. Том 2. Типовые технологические карты на устройство перегородок, облицовок стен и подвесных потолков с использованием гипсоволокнистых листов"
"МДС 81-39.2005. Индивидуальные элементные сметные нормы расхода материалов и затрат труда на отделку помещений комплектными системами КНАУФ. Типовые технологические карты на отделочные работы с применением комплектных систем КНАУФ. Том 2. Типовые технологические карты на устройство перегородок, облицовок стен и подвесных потолков с использованием гипсоволокнистых листов"
ТИПОВЫЕ ТЕХНОЛОГИЧЕСКИЕ КАРТЫ НА ОТДЕЛОЧНЫЕ РАБОТЫ
С ПРИМЕНЕНИЕМ КОМПЛЕКТНЫХ СИСТЕМ КНАУФ
МДС 81-39.2005
ТОМ 2
ТИПОВЫЕ ТЕХНОЛОГИЧЕСКИЕ КАРТЫ
НА УСТРОЙСТВО ПЕРЕГОРОДОК,
ОБЛИЦОВОК СТЕН И ПОДВЕСНЫХ ПОТОЛКОВ
С ИСПОЛЬЗОВАНИЕМ ГИПСОВОЛОКНИСТЫХ ЛИСТОВ
Разработаны ОАО "Тулаоргтехстрой" (директор - В.А. Моисеев, специалисты - В.П. Кретова, К.М. Петрухина, Ю.А. Голышева, Т.П. Сиротская) при участии специалистов ООО "Кнауф Сервис" (Б. Гофманн, А.А. Федулов, М.В. Монастырский) и ООО "Кнауф Гипс Маркетинг" (В.Д. Иващенко, М.И. Бережной, Ю.А. Тамбовский).
Утверждены Приказом Генерального директора КНАУФ по России и СНГ доктором Х. Юрковичем от 20.02.2003.
Эксперты: зам. директора ЦНИЭПсельстрой, член-корреспондент Международной академии экономики и инвестиций в строительстве, канд. техн. наук В.П. Березин; доцент кафедры технологии и организации управления в строительстве МГСУ Н.М. Шумейко.
Типовые технологические карты на устройство перегородок, облицовок стен и подвесных потолков предназначены для использования при разработке проектов производства работ (ППР), проектов организации строительства (ПОС), другой организационно-технологической документации, а также являются информационным материалом для строительных организаций, производящих отделочные работы с применением комплектных систем КНАУФ.
Данные технологические карты отражают современную технологию производства внутренних отделочных работ, содержат ведомость потребности в материалах и изделиях и калькуляцию трудовых затрат индивидуальных элементных сметных норм КНАУФ. В технологических картах приведен полный перечень необходимого инвентаря, приспособлений и инструмента, позволяющих повысить производительность труда и качество выполняемых работ.
Фирма КНАУФ завершила свою многолетнюю работу по созданию полного пакета технической и нормативной документации, которую вела с 1999 г. За это время были выпущены ГОСТы на гипсокартонные и гипсоволокнистые листы (ГКЛ и ГВЛ), своды правил по проектированию и строительству с применением ГКЛ и ГВЛ, разработаны альбомы чертежей ненесущих перегородок, облицовок стен, подвесных потолков, сборных оснований полов из ГКЛ и ГВЛ, проведен ряд испытаний на определение огнестойкости и шумозащиты наших конструкций.
С применением материалов и технологий КНАУФ велись отделочные работы на таких объектах, как здание Верховного Суда РФ, Казанский вокзал, кинотеатр "Октябрь", два киноцентра "Киностар де Люкс" при ТЦ "Мега", бизнес-центр компаний "Сименс" и "Мерседес Бенц", жилые высотные дома в Москве, музыкальные театры в городах Ростове-на-Дону и Челябинске, железнодорожный вокзал в г. Екатеринбурге, здание Сбербанка в г. Воронеже, здание детской областной больницы в г. Туле, здание торгово-развлекательного центра с шестью кинозалами в г. Волгограде и множество других.
Фирма КНАУФ выпускает свои вышеназванные нормативные документы, которые наиболее полно отражают достигнутый прогресс в области отделочных работ и максимально приближены к европейским стандартам.
Все нормативные документы и технологические карты выйдут в трех томах. В
1-м томе будут даны индивидуальные элементные сметные нормы расхода материалов и затрат труда на устройство перегородок, облицовок стен и подвесных потолков с использованием ГКЛ и ГВЛ и типовые технологические карты на устройство вышеназванных конструкций с использованием ГКЛ. Во 2-м томе - технологические карты на устройство тех же конструкций с использованием ГВЛ, а в
3-м томе - нормы расхода материалов и затрат труда на штукатурные работы гипсовыми смесями КНАУФ и устройство сборных оснований полов из ГВЛ, а также все необходимые для этих видов работ технологические карты.
ТИПОВАЯ ТЕХНОЛОГИЧЕСКАЯ КАРТА НА УСТРОЙСТВО ПЕРЕГОРОДОК
НА МЕТАЛЛИЧЕСКОМ КАРКАСЕ КОМПЛЕКТНОЙ СИСТЕМЫ КНАУФ
С ПРИМЕНЕНИЕМ ГИПСОВОЛОКНИСТЫХ ЛИСТОВ
Перегородка С 361
1.1. Типовая технологическая карта предназначена для разработки проектов производства работ (ППР), проектов организации строительства (ПОС), другой организационно-технологической документации, а также является информационным пособием для строительных организаций, занимающихся устройством перегородок С 361 с применением гипсоволокнистых листов (ГВЛ).
1.2. Сборные перегородки С 361 являются межкомнатными с шумозащитой 43 - 47 дБ и пределом огнестойкости EI 30 - EI 60, которые устраиваются в помещениях высотой до 8 м и предназначены для жилых, общественных и производственных зданий:
- любой степени огнестойкости;
- любых конструктивных систем и типов;
- любого уровня ответственности, включая повышенный;
- различной этажности;
- возводимых в ветровых районах до V включительно;
- возводимых в районах как с обыкновенными, так и со сложными инженерно-геологическими условиями и сейсмичностью до 9 баллов.
1.3. Перегородка С 361 имеет конструкцию, отвечающую требованиям рабочих чертежей серии 1.031.9-3.01 "Комплектные системы КНАУФ. Перегородки поэлементной сборки из гипсоволокнистых листов на металлическом и деревянном каркасах для жилых, общественных и производственных зданий", выпуск 1. Серия выпущена ЗАО "НП Челябинский Промстройпроект" при участии фирмы КНАУФ.
1.4. Перегородка С 361 состоит из одинарного металлического каркаса; двусторонней обшивки одним слоем ГВЛ толщиной 10 или 12,5 мм; звукоизоляционного слоя. Масса 1 м2 перегородки: при толщине ГВЛ 10 мм - 28 кг; при толщине ГВЛ 12,5 мм - 34 кг.
1.5. Каркас перегородки С 361 состоит из направляющих и стоечных оцинкованных металлических профилей, отвечающих требованиям ТУ 1121-004-04001508-2003. Стандартная длина профилей составляет: 2750; 3000; 4000; 4500 мм. По согласованию с заказчиком могут быть выпущены профили длиной от 500 до 6000 мм. Номинальная толщина профилей должна быть не менее 0,6 мм. Стенки направляющих и стоечных, а также полки стоечных профилей усилены продольными гофрами, увеличивающими их жесткость.
Направляющие профили имеют П-образную, а стоечные профили - С-образную формы. Размеры их стенок и полок (a x b) представлены в таблицах 1.1 и
1.2.
Таблица 1.1
Геометрические размеры направляющих профилей
Размер | Профиль |
ПН 50 | ПН 75 | ПН 100 |
a x b, мм | 50 x 40 | 75 x 40 | 100 x 40 |
Таблица 1.2
Геометрические размеры стоечных профилей
Размер | Профиль |
ПС 50 | ПС 75 | ПС 100 |
a x b, мм | 50 x 50 | 75 x 50 | 100 x 50 |
Направляющие профили производятся с готовыми отверстиями в стенках диаметром 8 мм, предназначенными для крепления дюбелями к несущим основаниям. В стоечных профилях имеются 3 пары отверстий в стенках диаметром 33 мм (в центре и по краям), которые позволяют монтировать технические коммуникации внутри перегородки.
Предельно допустимая высота перегородки С 361 варьируется в зависимости от ширины стенки и шага установки стоечных профилей (таблица 1.3). Данная технологическая карта может быть использована при устройстве перегородок высотой до 3,0 м.
Таблица 1.3
Максимальная высота перегородки С 361
(применительно к ГВЛ толщиной 12,5 мм)
Максимальная высота перегородки, м | Проектный шаг, мм | Тип профиля |
3,0 | 600 | ПС 50 |
4,0 | 400 |
5,0 | 300 |
4,5 | 600 | ПС 75 |
6,0 | 400 |
7,0 | 300 |
5,0 | 600 | ПС 100 |
6,5 | 400 |
8,0 | 300 |
При использовании ГВЛ другой номинальной толщины максимальная высота перегородки определяется по таблице перегородок на металлическом каркасе из альбома чертежей серии 1.031.9-3.01.
1.6. ГВЛ представляет собой экологически чистый листовой отделочный материал, изготовленный из строительного гипса марки не ниже Г-4 (
ГОСТ 125-79), распушенной целлюлозной макулатуры марок МС-10 и МС-11 (ГОСТ 10700-89), содержащей различные технологические добавки. Типовой размер ГВЛ, который применялся при разработке данной технологической карты, равен 2500 x 1200 x (10) 12,5 мм.
По заказу строительных организаций могут выпускаться партии листов других типоразмеров согласно
ГОСТ Р 51829-2001, которые приведены в таблице 1.4.
Таблица 1.4
Размеры ГВЛ
Длина, мм | 1500; 2000; 2500; 2700; 3000 |
Ширина, мм | 500; 1000; 1200 |
Толщина, мм | 10; 12,5; 15; 18; 20 |
ГВЛ выпускаются с различными формами продольных кромок: фальцевая (ФК); прямая (ПК). Данная технологическая карта предусматривает обшивку каркаса ГВЛ с фальцевой кромкой (ФК).
Масса 1 м2 (поверхностная плотность) ГВЛ - 1,05S < m < 1,2S (кг/м2), где S - толщина листа, мм. Удельная активность естественных радионуклидов не более 370 Бк/кг (
ГОСТ 12.1.044-89*), т.е. ГВЛ относится к I группе.
Пожаротехнические характеристики ГВЛ соответствуют:
Отпускная влажность листов не должна превышать 1,5%; плотность - не более 1250 кг/м3.
1.7. Для крепления ГВЛ к каркасу перегородок применяют самонарезающие винты с зенкующей головкой, а для крепления элементов каркаса перегородок к конструкциям здания - дюбели.
1.8. Монтаж перегородок производят в период отделочных работ по окончании "мокрых" процессов, способных существенно повысить влажность воздуха внутри помещения, до устройства чистого пола.
В помещениях, где производят монтаж перегородок С 361, температура воздуха не должна быть ниже +10 °С.
Температурно-влажностный режим помещения должен соответствовать требованиям
СНиП 23-02-2003 "Тепловая защита зданий".
1.9. Типовая технологическая карта разработана на измеритель конечной продукции - 1 м2 перегородки. Привязка типовой технологической карты к конкретному объекту и условиям строительства состоит в уточнении необходимых материальных ресурсов и схем организации строительного процесса, соответствующего рабочим чертежам.
2. ОРГАНИЗАЦИЯ И ТЕХНОЛОГИЯ ВЫПОЛНЕНИЯ РАБОТ
2.1. К устройству перегородок С 361 рекомендуется приступать только после:
- наличия утвержденной проектной документации (рабочих чертежей);
- наличия проекта производства работ, который должен предусматривать комплексную механизацию работ с наиболее полным использованием специализированного инструмента и приспособлений, способствующих повышению производительности труда, сокращению сроков возведения перегородок, уменьшающих трудозатраты и создающих наиболее безопасные условия труда;
- производства организационно-технологической подготовки, которая включает в себя подготовку необходимой оснастки, средств подмащивания и доставки ГВЛ в зону производства работ (
рисунок 3) <*>.
--------------------------------
<*> Все рисунки, указанные в тексте, приведены в
Приложении.
2.2. До начала монтажа элементов перегородки необходимо закончить все общестроительные, а также строительно-монтажные работы, которые могут вызвать повышение влажности ГВЛ, произвести уборку строительного мусора и инструментальную проверку соответствия основания для установки направляющих и стоечных профилей каркаса перегородки. Подготовленное основание должно быть оформлено актом приемки за подписью ответственных представителей строительной организации.
2.3. Работы по монтажу перегородок С 361 выполняют под руководством ИТР. Рабочие, выполняющие монтажные работы, должны пройти техническое обучение в учебных центрах "КНАУФ" или других специализированных учебных заведениях и иметь удостоверение на право производства работ.
2.4. Перегородки возводят поточно-расчлененным методом, по захваткам, со специализацией звеньев бригады на выполнение однотипных работ и оснащенных соответствующим набором инструментов, инвентаря и средств подмащивания. Каждое звено состоит из двух человек: монтажник конструкций 4-го разряда, монтажник конструкций 3-го разряда.
2.5. Доставку на объект ГВЛ, упакованных в полиэтиленовую пленку, производят централизованно автотранспортом. По согласованию с потребителем допускается транспортировать листы в непакетированном виде (без обвязки или упаковки в пленку). Размер упаковки ГВЛ 2500 x 1200 x 650 мм. Габариты пакетов не должны превышать по длине 4100 мм, ширине 1300 мм, высоте 800 мм; масса пакета не должна быть более 3000 кг (
рисунок 1).
ГВЛ следует хранить в помещениях с сухим и нормальным влажностным режимом, раздельно по видам и размерам, с соблюдением техники безопасности и сохранности продукции. Общая высота складируемого штабеля с ГВЛ не должна превышать 3,5 м (
рисунок 2). Расстояние между штабелями складирования не должно быть менее 1 м.
2.6. Доставку на объект металлических профилей каркаса перегородок допускается производить автотранспортом при условии их защиты от механических воздействий. Хранение профилей на закрытых приобъектных складах должно производиться в кондукторе пакетами по типам.
2.7. При производстве погрузочно-разгрузочных работ следует избегать ударов. Укладку пакетов с профилями на транспортные средства следует осуществлять погрузчиками. Вышеуказанные работы должны производиться в соответствии с требованиями
ГОСТ 12.3.009-76*.
2.8. Подъем материалов на этажи рекомендовано производить с помощью машин и механизмов, указанных в сборнике
ЕНиР-1 "Внутрипостроечные транспортные работы".
2.9. Транспортирование ГВЛ к месту производства работ на этаже следует осуществлять ручными тележками. При переносе ГВЛ вручную - с помощью специальных приспособлений.
2.10. Устройство перегородки С 361 предусмотрено производить в следующем порядке:
- разметка проектного положения перегородки;
- установка элементов одинарного каркаса;
- обшивка каркаса ГВЛ с одной стороны;
- прокладка проектных инженерных коммуникаций;
- установка и закрепление изоляционного материала внутри перегородки;
- обшивка каркаса ГВЛ с другой стороны;
- установка электротехнических коробок, розеток, выключателей и т.п. и их крепление к ГВЛ;
- заделка стыков между ГВЛ и углублений от винтов;
- подготовка поверхности перегородок под чистовую отделку.
2.10.1. Разметка проектного положения перегородки (
рисунок 4)
Разметку проектного положения элементов каркаса перегородки С 361 производят в строгом соответствии с проектным решением и согласно рабочим чертежам. Для быстрой и безошибочной установки перегородок рекомендуется отмечать на полу места расположения стоечных профилей, дверных и других проемов. В дверном проеме должно быть указано, какая устанавливается дверь (правая или левая). Разметку производят с помощью складного метра, рулетки, метростата и шнуроотбойного устройства. Разметку больших помещений производят с помощью лазерного или оптического нивелира.
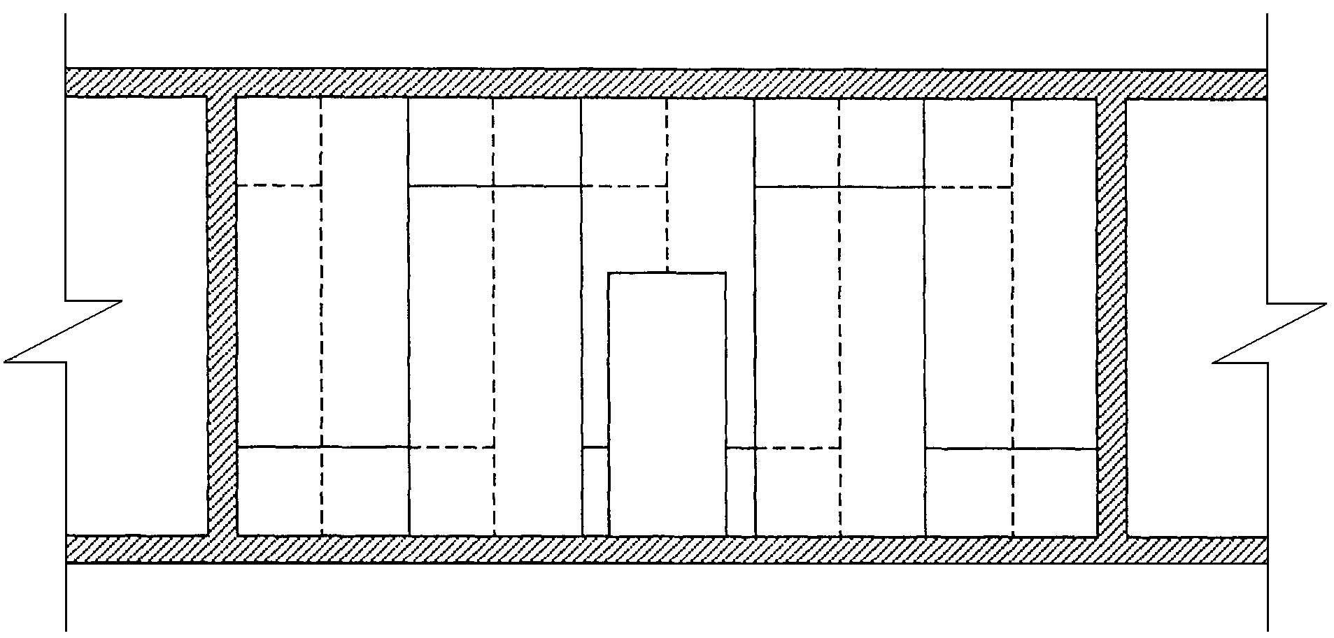
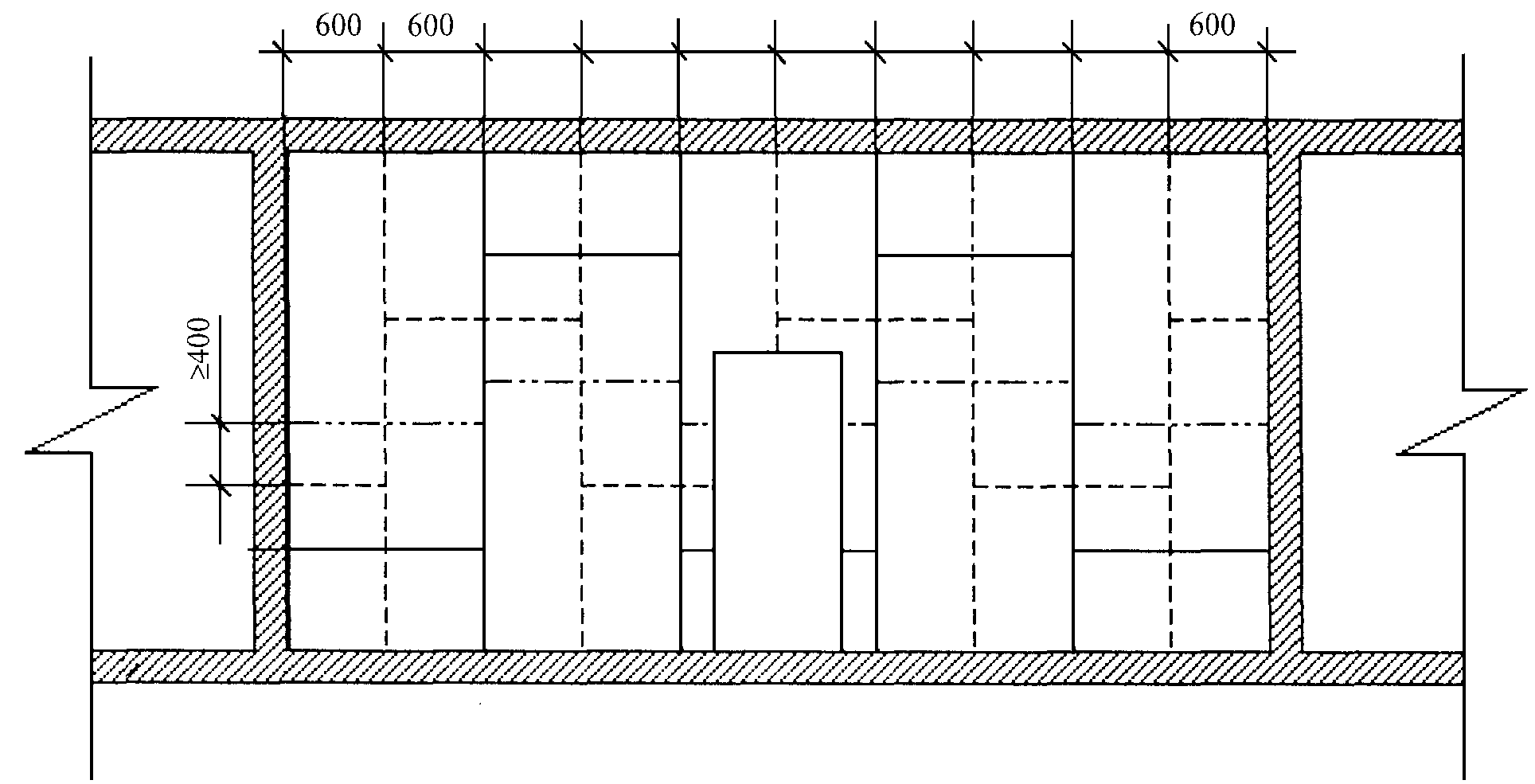
Вначале разметку проектного положения каркаса выполняют на полу. Разметку начинают от стены, расположенной параллельно возводимой перегородке, вынося горизонтальную ось. Затем на этой оси отмечают расположение стоечных профилей с проектным шагом, дверных и других проемов, а также выводов и сквозных проходов коммуникаций. Для данной технологической карты шаг равен 600 мм.
Расстояние от стоечного профиля, примыкающего к стене, до первого отстоящего от стены профиля должно быть меньше проектного шага на 25 мм.
Затем с помощью метростата и шнуроотбойного устройства (если высота помещения больше 3 м, то - нивелира или отвеса) разметку зеркально переносят на потолок. Вертикальные оси каркаса перегородки с помощью метростата и отвеса наносят на стены помещения, примыкающие к каркасу.
2.10.2. Установка элементов одинарного каркаса (
рисунок 6)
Элементы каркаса перегородки С 361 состоят из направляющих профилей (ПН) и стоечных профилей (ПС), имеющих стандартные размеры.
На полках стоечных профилей выполнены продольные гофры, которые увеличивают их жесткость. Центральный гофр является ориентиром как при точной сборке каркаса, так и при установке ГВЛ.
Типоразмеры стоечных и направляющих профилей выбирают исходя из высоты конструкции перегородки в полном соответствии с рабочими чертежами.
Допускается соединение стоечных профилей по длине методом насадки или встык с дополнительным профилем. В этих случаях длина нахлеста определяется по таблице 2.1, а длина дополнительного профиля должна быть не менее 20-кратной величины стенки стоечного профиля.
Таблица 2.1
Соединение стоечных профилей
Тип профиля | Длина нахлеста, см |
ПС 50 | >= 50 |
ПС 65 | >= 65 |
ПС 75 | >= 75 |
ПС 100 | >= 100 |
Соединение (удлинение) профилей производят с помощью просекателя методом "просечки с отгибом", в отдельных случаях посредством винтов LN 3,5 x 9.
Стоечные профили должны иметь высоту на 10 мм меньше расстояния между стенками верхних и нижних направляющих профилей.
Установку направляющих профилей осуществляют согласно разметке их проектного положения на полу и на потолке.
С целью повышения звукоизоляционной способности перегородки на стенки направляющих профилей ПН наклеивают уплотнительную ленту. После раскроя и полной подготовки направляющих профилей приступают к их монтажу по линии разметки на полу, а затем - на потолке. Крепление направляющих профилей осуществляют дюбелями с шагом не более 1 м. Закреплять профиль ПН необходимо не менее чем в трех точках независимо от его длины. При необходимости дополнительные отверстия в стенке направляющего профиля высверливают дрелью.
Установку стоечных профилей также осуществляют по их проектному положению, а их типоразмер должен соответствовать рабочим чертежам (в рассматриваемом случае шаг стоек равен 600 мм).
Предварительно на стоечные профили, примыкающие к конструкциям здания, наклеивается уплотнительная лента. Стоечные профили устанавливают в закрепленные в проектном положении направляющие профили.
Установку стоек начинают от стен, к которым профили крепятся дюбелями с шагом не более 1 м, но не менее трех креплений на одну стойку. Каждая стойка устанавливается строго вертикально и с помощью просекателя закрепляется к направляющему профилю на полу и на потолке. Закрепление производят не менее чем в двух точках с каждой стороны направляющего профиля (т.е. четыре просечки вверху и четыре просечки внизу).
Если высота помещения превышает длину ГВЛ, то в местах торцевых стыков устраивают горизонтальные вставки из ПН, на которых должны располагаться поперечные швы. Для устройства вставок из направляющего профиля вырезают заготовки путем надреза полок профиля и отгиба согласно рабочим чертежам.
Крепление вставок к полкам стоечных профилей осуществляют просекателем, а к стенкам - самонарезающими винтами длиной 9 мм.
Если перегородка имеет дверной проем, то дверная коробка устанавливается одновременно с монтажом каркаса. По дверной коробке монтируют опорные стоечные профили, дверную перемычку из направляющего профиля и промежуточные стойки над проемом. Стоечные профили, ограничивающие дверной проем, устанавливают на всю высоту перегородки, независимо от размера шага (
рисунок 7).
Стоечные профили для крепления ГВЛ и дверной коробки не совмещаются. Опорные стойки для дверей массой до 35 кг укрепляют вставкой из деревянных брусков или дополнительным профилем. Для этого на всю длину стойки вставляют деревянный брусок такого же сечения или соединяют с помощью винтов LN 3,5 x 9 с одноразмерным направляющим или стоечным профилем таким образом, чтобы получилось коробчатое сечение. Если в проекте не указано наличие "левой" или "правой" двери, то усиливают обе стойки.
Брус должен быть выполнен из древесины хвойных пород не ниже второго сорта по
ГОСТ 8486-86 и обработан антисептиками и антипиренами в соответствии с требованиями
СНиП 3.03.01-87. Влажность древесины не должна превышать 12 +/- 3%.
Перед установкой стоечных профилей, ограничивающих дверной проем, в местах их установки крепят с помощью анкерных дюбелей 4 уголка: два верхних и два нижних.
Эти уголки, имеющие клипсы, крепятся внутри направляющих профилей и предназначены для увеличения жесткости дверного проема. С помощью клипс к ним крепятся стоечные профили дверного проема, которые не доходят до направляющих профилей на 3 - 5 мм.
Положение уголков в дверном проеме перегородки и крепление к ним стоечных профилей показаны на рисунке 7.
Затем монтируют из направляющего профиля перемычку, ограничивающую высоту дверного проема. Горизонтальность установки перемычки проверяют с помощью уровня. Крепление перемычки из профиля ПН к стоечным профилям производят в двух точках с каждой стороны с помощью просекателя.
После установки перемычки монтируют промежуточные стойки над дверным проемом с сохранением проектного шага. Это необходимо для того, чтобы вертикальный стыковочный шов ГВЛ оказался над дверным проемом, что снижает вероятность трещинообразования в швах.
В местах сопряжения перегородок с коммуникациями между стоечными профилями устанавливают перемычки из направляющего профиля с их закреплением просекателем к профилю ПС. При групповой прокладке трубопровода допускается устройство общего обрамления.
При необходимости пропуска инженерных коммуникаций больших размеров допускается срезка вертикальных стоек с установкой по краям отверстия дополнительных стоечных профилей каркаса на всю высоту перегородки. В местах пересечения перегородок трубопроводами парового, водяного отопления и водоснабжения устанавливают гильзы.
Контроль за точностью установки каркаса осуществляют с помощью складного метра, метростата или нивелира.
Если длина перегородки превышает 15 м, то требуется устройство деформационного шва (
рисунок 10). Кроме того, деформационные швы перегородки должны повторять деформационные швы здания.
На смонтированный в проектное положение каркас перегородки необходимо оформить акт приемки за подписью главного инженера строительной организации и лица - надзора от проектной организации.
2.10.3. Обшивка каркаса гипсоволокнистыми листами с одной стороны
Перед установкой ГВЛ в местах примыкания обшивки к поверхностям потолка и стен (колонн), выполненных из другого материала, наклеивают разделительную ленту.
Установка ГВЛ начинается от основной стены помещения в вертикальном положении. Перед установкой на торцах каждого ГВЛ, образующих горизонтальный стык, делают фальц шириной 30 мм и глубиной 2 мм (
рисунок 5).
Горизонтальную стыковку ГВЛ выполняют вразбежку с шагом не менее 400 мм. Торцы опираются на вставку из направляющего профиля. Между полом и ГВЛ оставляется зазор около 10 мм. По вертикали ГВЛ стыкуются только на стойках каркаса (
рисунок 8).
Крепление ГВЛ осуществляют самонарезающими винтами с зенкующей головкой длиной 30 мм с помощью электрошуруповерта с магнитной головкой. Шаг винтов 250 мм. Крепятся ГВЛ по периметру и по центральной вертикальной оси, где нанесены звездочки (
рисунок 9).
Монтаж ГВЛ ведется в одном направлении с открытой частью профиля. Установка винтов, закрепляющих предыдущий лист, со стороны стенки профиля предотвращает отгибание слабого края полки внутрь профиля при креплении следующего листа.
Крепление винтами на стыке ГВЛ осуществляют вразбежку через 50 мм с винтами соседнего ряда и отступлением от края ГВЛ на 10 мм. Крепежные винты должны входить в ГВЛ под прямым углом и проникать в полку профиля на глубину не менее 10 мм. Головки винтов должны быть утоплены в поверхность ГВЛ на глубину, позволяющую их зашпаклевать.
2.10.4. Прокладка проектных инженерных коммуникаций
Облицевав одну сторону каркаса перегородки ГВЛ, приступают к монтажу электротехнической проводки. Кабели размещают перпендикулярно стойкам каркаса (для чего в них имеются отверстия) в строгом соответствии с рабочим проектом. Не допускается размещать электропроводку вдоль стоек или внутри них во избежание ее повреждения при обшивке ГВЛ с другой стороны. Прокладку электросети выполняет специализированное звено электромонтажников. В ГВЛ вырезают отверстия под коробки, розетки, выключатели, а проводку выводят наружу. При необходимости производят прокладку и других коммуникационных сетей, предусмотренных проектом.
2.10.5. Установка и закрепление изоляционного материала внутри перегородок
Установку изоляционного материала производят после обшивки каркаса с одной стороны и прокладки инженерных сетей.
Установка изоляционного (минераловатного) материала производится вручную в пространство между стоечными профилями. При необходимости изоляционный материал прикрепляют к смонтированным ГВЛ или фиксируют с помощью вкладышей, крепящихся к стенкам профиля ПС.
2.10.6. Обшивка каркаса перегородки гипсоволокнистыми листами с другой стороны
Обшивка каркаса перегородки ГВЛ с обратной стороны производится после укладки изоляционного слоя в той же последовательности и с теми же требованиями, что изложены выше в
п. 2.10.3, но со смещением на один шаг профиля относительно листов другой стороны.
Раскрой доборных листов осуществляют в процессе выполнения работ. Примыкание листов обшивки к дверным коробкам осуществляют "заподлицо".
2.10.7. Установка электротехнических коробок, розеток, выключателей и их крепление к ГВЛ
По окончании монтажа ГВЛ с обеих сторон каркаса устанавливают электрические коробки, розетки, выключатели и т.п., которые крепят к ГВЛ с помощью специальной фурнитуры. Отверстия под электрические розетки, выключатели и т.п. в целях пожарной безопасности вырезают с противоположных сторон перегородки со смещением минимум на 200 мм. Эти работы выполняет звено электромонтажников.
2.10.8. Заделка стыков между ГВЛ и углублений от винтов
Шпаклевание стыков между ГВЛ производят при стабильной температуре и влажности воздуха в помещениях, соответствующих режиму эксплуатации (t не должна быть ниже +10 °C). Недопустимы сквозняки и резкие колебания температуры в помещениях. Предварительно кромки ГВЛ обрабатывают грунтовкой Тифенгрунд.
Заделке шпаклевочной смесью Фугенфюллер ГВ подлежат продольные и поперечные швы, стыки между перегородкой и стенами (колоннами), перегородкой и потолком. Продольные и поперечные швы ГВЛ заделывают с применением армирующей ленты.
До обработки стыков необходимо проверить надежность крепления ГВЛ. Выступающие головки винтов следует довернуть. Производство работ, ведущих к повышению влажности в помещении, к этому времени должно быть завершено.
В зависимости от назначения помещений требования к отделке поверхностей из ГВЛ можно разделить на 3 вида, как это принято в большинстве европейских стран:
Качество 1 (К1) - определяет качество поверхности швов и поверхностей ГВЛ, к которым не предъявляют оптические требования, т.е. поверхность может иметь волнистый рельеф, где гребень не должен превышать 1,5 мм. Такая поверхность ГВЛ предназначена для облицовки плиткой, оштукатуривания или под облицовку какими-либо другими материалами.
Качество 2 (К2) - соответствует существующему стандартному качеству поверхностей стен и потолков. Шпаклевание выполняется с целью достижения плавных переходов от поверхностей сопряжений к поверхности ГВЛ. Все переходы от швов, внутренних и внешних углов, крепежных элементов должны быть незаметны на глаз. Для этой цели зашпаклеванные швы обрабатывают пастой Кнауф Финиш на ширину примерно 30 см. Такая поверхность ГВЛ предназначена для структурированной окраски, оклейки структурными обоями, для тонкослойного оштукатуривания.
Качество 3 (К3) - предъявляет повышенные требования к качеству поверхности стен и потолков, т.е. кроме стандартного шпаклевания для К2 необходимо полное покрытие поверхности ГВЛ шпаклевочным материалом с последующим шлифованием. Для этих целей чаще всего используют пасту Финиш или Редигипс, а также шпаклевочные смеси.
Такая поверхность предназначена для высококачественной окраски стен и потолков любыми видами красок, оклейки глянцевыми тонкослойными обоями, оштукатуривания тонкоструктурированными растворными смесями с крупностью зерна менее 1 мм.
В данной технологической карте отделка поверхности относится к виду К1, на которую даются нормативы трудозатрат и расхода материалов. Более качественная отделка поверхности оговаривается заказчиком и на нее составляется отдельная смета.
Последовательность действий при обработке продольных и поперечных стыков между ГВЛ следующая:
- перед шпаклеванием обработка грунтовкой глубокого проникновения всех стыков;
- нанесение шпателем первого слоя шпаклевки на стык между листами шириной чуть больше ширины армирующей ленты;
- вдавливание шпателем армирующей ленты в нанесенную шпаклевку;
- после высыхания первого слоя шпаклевки широким шпателем нанесение второго слоя шпаклевки на всю ширину стыковочного шва.
Заделке шпаклевочной смесью Фугенфюллер ГВ подлежат углубления от винтов, стыки между перегородкой и стенами (колоннами), перегородкой и потолком. В местах стыковок на эти конструкции предварительно крепится самоклеящаяся разделительная лента. После заделки стыков и полного высыхания шпаклевки излишки ленты срезаются, а шов шлифуется.
В некоторых случаях при монтаже перегородок образуются внешние углы, которые защищают от механических повреждений при помощи металлических перфорированных уголков из оцинкованной стали (ПУ 31 x 31 x 0,4), которые крепят к ГВЛ с помощью специального приспособления, указанного в перечне инструментов. После крепления уголки шпаклюют и после высыхания шлифуют.
По окончании всех шпаклевочных работ поверхность перегородок обрабатывается с помощью кисти, щетки или валика грунтовкой Тифенгрунд. Это необходимо сделать с целью предотвращения образования трещин в швах из-за возможного изменения влажностного режима в помещении (особенно весной, осенью или при проведении отделочных работ мокрым способом).
3. ПОТРЕБНОСТЬ В ИНВЕНТАРЕ И МАТЕРИАЛАХ
Перечень потребного инвентаря, приспособлений и инструмента - см. на стр. 144.
Таблица 3.1
Нормативные показатели расхода материалов
на устройство 1 м2 перегородки С 361
┌─────────────────────────┬───┬──────────────────────────────────┐
│ Наименование материалов │Ед.│ Размер перегородки, м │
│ │из-├───────┬───────┬───────┬──────────┤
│ │ме-│4 x 2,7│6 x 2,7│9 x 2,7│16,2 x 2,7│
│ │ре-│(глу- │ (один │ (два │ (три │
│ │ния│хая) │ проем)│проема)│ проема │
│ │ │ │ │ │и темпер. │
│ │ │ │ │ │ шов) │
├─────────────────────────┼───┼───────┼───────┼───────┼──────────┤
│ 1 │ 2 │ 3 │ 4 │ 5 │ 6 │
├─────────────────────────┴───┴───────┴───────┴───────┴──────────┤
│ Каркас и крепежные изделия │
├─────────────────────────┬───┬───────┬───────┬───────┬──────────┤
│Профиль направляющий │ м │ 1,51 │ 1,58 │ 1,61 │ 1,59 │
│ПН 50/40, │ │ │ │ │ │
│ТУ 1121-004-04001508-2003│ │ │ │ │ │
├─────────────────────────┼───┼───────┼───────┼───────┼──────────┤
│Профиль стоечный │ м │ 2,04 │ 2,54 │ 2,6 │ 2,44 │
│ПС 50/50, │ │ │ │ │ │
│ТУ 1121-004-04001508-2003│ │ │ │ │ │
├─────────────────────────┼───┼───────┼───────┼───────┼──────────┤
│Профиль направляющий │ м │ - │ - │ - │ 0,15 │
│ПН 28/27 (на устройство │ │ │ │ │ │
│темпер. шва), │ │ │ │ │ │
│ТУ 1121-004-04001508-2003│ │ │ │ │ │
├─────────────────────────┼───┼───────┼───────┼───────┼──────────┤
│Лента уплотнительная типа│ м │ 1,26 │ 1,17 │ 1,07 │ 0,94 │
│Дихтунгсбанд, сеч. │ │ │ │ │ │
│50 x 3,2 мм │ │ │ │ │ │
├─────────────────────────┼───┼───────┼───────┼───────┼──────────┤
│Дюбель типа К 6/35 │шт.│ 1,69 │ 1,63 │ 1,43 │ 1,17 │
├─────────────────────────┼───┼───────┼───────┼───────┼──────────┤
│Материал изолирующий │м2 │ 1,03 │ 1,03 │ 1,03 │ 1,03 │
│из минеральных волокон │ │ │ │ │ │
├─────────────────────────┼───┼───────┼───────┼───────┼──────────┤
│Брусок деревянный, размер│ м │ - │ 0,39 │ 0,54 │ 0,44 │
│50 x 50 x 2695 мм │ │ │ │ │ │
├─────────────────────────┼───┼───────┼───────┼───────┼──────────┤
│Дюбели анкерные │шт.│ - │ 0,7 │ 0,97 │ 0,79 │
│металлические │ │ │ │ │ │
├─────────────────────────┼───┼───────┼───────┼───────┼──────────┤
│Верхний уголок для креп- │шт.│ - │ 0,14 │ 0,20 │ 0,16 │
│ления несущих элементов │ │ │ │ │ │
│двери 100 x 123 мм │ │ │ │ │ │
├─────────────────────────┼───┼───────┼───────┼───────┼──────────┤
│Нижний уголок для крепле-│шт.│ - │ 0,14 │ 0,20 │ 0,16 │
│ния несущих элементов │ │ │ │ │ │
│двери 100 x 123 мм │ │ │ │ │ │
├─────────────────────────┴───┴───────┴───────┴───────┴──────────┤
│ Обшивка │
├─────────────────────────┬───┬───────┬───────┬───────┬──────────┤
│Лист гипсоволокнистый │м2 │ 2,1 │ 2,26 │ 2,35 │ 2,3 │
│ГВЛ 12,5 мм, │ │ │ │ │ │
├─────────────────────────┼───┼───────┼───────┼───────┼──────────┤
│Лист гипсоволокнистый │м2 │ - │ - │ - │ 0,007 │
│ГВЛ 10 мм, │ │ │ │ │ │
├─────────────────────────┼───┼───────┼───────┼───────┼──────────┤
│Винт самонарезающий с │ │ │ │ │ │
│острым концом и зенкующей│ │ │ │ │ │
│головкой, │ │ │ │ │ │
│мм: │ │ │ │ │ │
│ 30 │шт.│ 35,33 │ 37,88 │ 36,01 │ 36,12 │
│ 45 │шт.│ - │ - │ - │ 0,69 │
│ 9 │шт.│ - │ - │ - │ 0,88 │
├─────────────────────────┴───┴───────┴───────┴───────┴──────────┤
│ Заделка швов │
├─────────────────────────┬───┬───────┬───────┬───────┬──────────┤
│Шпаклевка Фугенфюллер ГВ,│кг │ 0,92 │ 0,91 │ 0,90 │ 0,89 │
│ТУ 5745-011-04001508-97 │ │ │ │ │ │
├─────────────────────────┼───┼───────┼───────┼───────┼──────────┤
│Лента армирующая │ м │ 2,27 │ 2,49 │ 2,64 │ 2,86 │
├─────────────────────────┼───┼───────┼───────┼───────┼──────────┤
│Лента разделительная │ м │ 1,77 │ 1,62 │ 1,42 │ 1,15 │
│50 мм │ │ │ │ │ │
├─────────────────────────┼───┼───────┼───────┼───────┼──────────┤
│Грунтовка Тифенгрунд │кг │ 0,22 │ 0,22 │ 0,22 │ 0,22 │
└─────────────────────────┴───┴───────┴───────┴───────┴──────────┘
4. НОРМАТИВНЫЕ И ТЕХНИКО-ЭКОНОМИЧЕСКИЕ ПОКАЗАТЕЛИ
(ИЗМЕРИТЕЛЬ КОНЕЧНОЙ ПРОДУКЦИИ - 1 М2)
Таблица 4.1
Затраты труда на устройство перегородки С 361
┌────┬────────────┬─────┬───────┬───────┬──────────────┬─────────────────────┐
│ N │Наименование│Еди- │ Объем │Обосно-│Норма времени │ Затраты труда │
│п.п.│технологи- │ница │ работ │вание ├──────┬───────┼──────────┬──────────┤
│ │ческих │изме-│ │ │рабо- │маши- │ рабочих, │машиниста,│
│ │процессов │рения│ │ │чих, │ниста, │ чел.-ч │ чел.-ч │
│ │ │ │ │ │чел.-ч│чел.-ч │ │ (работа │
│ │ │ │ │ │ │(работа│ │ машин, │
│ │ │ │ │ │ │машин, │ │ маш.-ч) │
│ │ │ │ │ │ │маш.-ч)│ │ │
├────┼────────────┼─────┼───────┼───────┼──────┼───────┼──────────┼──────────┤
│ 1 │Устройство │ м2 │ 1 │Расчет │ 0,31 │ - │ 0,31 │ - │
│ │каркаса │ │ │ОАО │ │ │ │ │
├────┼────────────┼─────┼───────┤"Тула- ├──────┼───────┼──────────┼──────────┤
│ 2 │Обшивка │ м2 │ 1 │оргтех-│ 0,30 │ - │ 0,30 │ - │
│ │каркаса │ │ │строй" │ │ │ │ │
├────┼────────────┼─────┼───────┤методом├──────┼───────┼──────────┼──────────┤
│ 3 │Устройство │ м2 │ 1 │техни- │ 0,1 │ - │ 0,1 │ - │
│ │изоляционно-│ │ │ческого│ │ │ │ │
│ │го слоя │ │ │норми- │ │ │ │ │
├────┼────────────┼─────┼───────┤рования├──────┼───────┼──────────┼──────────┤
│ 4 │Заделка │ м2 │ 1 │ │ 0,33 │ - │ 0,33 │ - │
│ │швов, │ │ │ │ │ │ │ │
│ │обработка │ │ │ │ │ │ │ │
│ │поверхности │ │ │ │ │ │ │ │
├────┼────────────┼─────┼───────┼───────┼──────┼───────┼──────────┼──────────┤
│ 5 │Подача │100 т│0,00034│ Е1-16 │ 36 │ 9 │ 0,0122 │ 0,0031 │
│ │материалов │ │ │ │(6,8) │ (1,7) │(0,001904)│(0,000476)│
│ │на этажи │ │ │ │ │ │ │ │
│ │подъемником │ │ │ │ │ │ │ │
│ │грузоподъ- │ │ │ │ │ │ │ │
│ │емностью │ │ │ │ │ │ │ │
│ │до 1 т │ │ │ │ │ │ │ │
│ │при высоте │ │ │ │ │ │ │ │
│ │подъема │ │ │ │ │ │ │ │
│ │до 8 м │ │ │ │ │ │ │ │
│ │(добавлять │ │ │ │ │ │ │ │
│ │на каждые │ │ │ │ │ │ │ │
│ │следующие │ │ │ │ │ │ │ │
│ │6 м) │ │ │ │ │ │ │ │
├────┼────────────┼─────┼───────┼───────┼──────┼───────┼──────────┼──────────┤
│ 6 │Перевозка │ 1 т │ 0,034 │Е1-21 │ 1,1 │ - │ 0,037 │ - │
│ │материалов │ │ │ │ │ │ │ │
│ │по этажу │ │ │ │ │ │ │ │
│ │ручными │ │ │ │ │ │ │ │
│ │тележками на│ │ │ │ │ │ │ │
│ │расстояние │ │ │ │ │ │ │ │
│ │до 30 м │ │ │ │ │ │ │ │
├────┼────────────┼─────┼───────┼───────┼──────┼───────┼──────────┼──────────┤
│ │Итого: │ │ │ │ │ │ 1,089 │ 0,0031 │
├────┴────────────┴─────┴───────┴───────┴──────┴───────┴──────────┴──────────┤
│ Затраты труда на устройство перегородок с проемами │
│ и деформационными швами (без учета прочих работ) │
├──────────────────────────────────────────────┬─────────────────────────────┤
│С одним дверным проемом │ 1,08 чел.-ч │
├──────────────────────────────────────────────┼─────────────────────────────┤
│С двумя дверными проемами │ 1,09 чел.-ч │
├──────────────────────────────────────────────┼─────────────────────────────┤
│С тремя дверными проемами и деформационным │ 1,1 чел.-ч │
│швом │ │
└──────────────────────────────────────────────┴─────────────────────────────┘
Таблица 4.2
График производства работ
N п.п. | Наименование технологических процессов | Еди- ница из- ме- ре- ния | Объем работ | Затраты труда | Принятый состав звена | Про- должи- тель- ность про- цесса, ч |
рабо- чих, чел.-ч | маши- ниста, чел.-ч (работа машин, маш.-ч) |
1 | Устройство каркаса | м2 | 1 | 0,31 | | Монтаж- ники кон- струкций 4-го и 3-го разрядов, 2 чел. | 0,155 |
2 | Обшивка каркаса | м2 | 1 | 0,30 | | 0,15 |
3 | Устройство изоляционного слоя | м2 | 1 | 0,1 | | 0,05 |
4 | Заделка швов, обработка поверхности | м2 | 1 | 0,33 | | 0,165 |
5 | Прочие работы | м2 | 1 | 0,049 | 0,0031 | | 0,025 |
| Итого: | | | 1,089 | | - | 0,545 |
Рисунок 4.1. График движения рабочей силы
Таблица 4.3
Технико-экономические показатели
┌────┬─────────────────────────────────────┬─────────┬───────────┐
│ N │ Наименование │ Единица │Количество │
│п.п.│ │измерения│ │
├────┼─────────────────────────────────────┼─────────┼───────────┤
│ 1 │Продолжительность работ │ ч │ 0,545 │
├────┼─────────────────────────────────────┼─────────┼───────────┤
│ 2 │Трудоемкость на 1 м2: │ │ │
│ │ по нормам │ чел.-ч │ 1,04 │
│ │ по графику (с учетом прочих работ) │ │ 1,089 │
├────┼─────────────────────────────────────┼─────────┼───────────┤
│ 3 │Максимальная численность рабочих │ чел. │ 2 │
├────┼─────────────────────────────────────┼─────────┼───────────┤
│ 4 │Выработка на 1 чел.-ч │ м2 │ 1,82 │
└────┴─────────────────────────────────────┴─────────┴───────────┘
ТИПОВАЯ ТЕХНОЛОГИЧЕСКАЯ КАРТА НА УСТРОЙСТВО ПЕРЕГОРОДОК
НА МЕТАЛЛИЧЕСКОМ КАРКАСЕ КОМПЛЕКТНОЙ СИСТЕМЫ КНАУФ
С ПРИМЕНЕНИЕМ ГИПСОВОЛОКНИСТЫХ ЛИСТОВ
Перегородка С 362
1.1. Типовая технологическая карта предназначена для разработки проектов производства работ (ППР), проектов организации строительства (ПОС), другой организационно-технологической документации, а также является информационным пособием для строительных организаций, производящих устройство перегородок С 362 с применением гипсоволокнистых листов (ГВЛ).
1.2. Сборные перегородки С 362 предназначены для устройства перегородок с шумозащитой 46 - 50 дБ и пределом огнестойкости EI 90, которые устраиваются в помещениях высотой до 8 м и предназначены для жилых, общественных и производственных зданий:
- любой степени огнестойкости;
- любых конструктивных систем и типов;
- любого уровня ответственности, включая повышенный;
- различной этажности;
- возводимых в ветровых районах до V включительно;
- возводимых в районах как с обыкновенными, так и со сложными инженерно-геологическими условиями и сейсмичностью до 9 баллов.
1.3. Перегородка С 362 имеет конструкцию, отвечающую требованиям рабочих чертежей серии 1.031.9-3.01 "Комплектные системы КНАУФ. Перегородки поэлементной сборки из гипсоволокнистых листов на металлическом и деревянном каркасах для жилых, общественных и производственных зданий", выпуск 1. Серия выпущена ЗАО "НП Челябинский Промстройпроект" при участии фирмы КНАУФ.
1.4. Перегородка С 362 состоит из одинарного металлического каркаса; двусторонней обшивки двумя слоями гипсоволокнистых листов толщиной 10 или 12,5 мм; звукоизоляционного слоя. Масса 1 м2 перегородки: при толщине ГВЛ 10 мм - 53 кг; при толщине ГВЛ 12,5 мм - 65 кг.
1.5. Каркас системы С 362 состоит из направляющих и стоечных оцинкованных металлических профилей, отвечающих требованиям ТУ 1121-004-04001508-2003. Стандартная длина профилей составляет: 2750; 3000; 4000; 4500 мм. По согласованию с заказчиком могут быть выпущены профили длиной от 500 до 6000 мм. Номинальная толщина профилей должна быть не менее 0,6 мм. Стенки направляющих и стоечных, а также полки стоечных профилей усилены продольными гофрами, увеличивающими их жесткость.
Направляющие профили имеют П-образную, а стоечные профили - С-образную формы. Размеры их стенок и полок (a x b) представлены в таблицах 1.1 и
1.2.
Таблица 1.1
Геометрические размеры направляющих профилей
Размер | Профиль |
ПН 50 | ПН 75 | ПН 100 |
a x b, мм | 50 x 40 | 75 x 40 | 100 x 40 |
Таблица 1.2
Геометрические размеры стоечных профилей
Размер | Профиль |
ПС 50 | ПС 75 | ПС 100 |
a x b, мм | 50 x 50 | 75 x 50 | 100 x 50 |
Направляющие профили производятся с готовыми отверстиями в стенках диаметром 8 мм, предназначенными для крепления дюбелями к несущим основаниям. В стоечных профилях имеются 3 пары отверстий в стенках диаметром 33 мм (в центре и по краям), которые позволяют монтировать технические коммуникации внутри перегородки.
Предельно допустимая высота перегородки С 362 варьируется в зависимости от ширины стенки и шага установки стоечных профилей. Она представлена в таблице 1.3. Данная технологическая карта может быть использована при устройстве перегородок высотой до 4,0 м.
Таблица 1.3
Максимальная высота перегородки С 362
(применительно к ГВЛ толщиной 12,5 мм)
Максимальная высота перегородки, м | Проектный шаг, мм | Тип профиля |
4,0 | 600 | ПС 50/50 |
5,0 | 400 |
6,0 | 300 |
5,5 | 600 | ПС 75/50 |
6,5 | 400 |
7,5 | 300 |
6,5 | 600 | ПС 100/50 |
7,5 | 400 |
9,0 | 300 |
При использовании ГВЛ другой номинальной толщины максимальная высота перегородки определяется по таблице перегородок на металлическом каркасе из альбома чертежей серии 1.031.9-3.01.
1.6. ГВЛ представляет собой экологически чистый листовой отделочный материал, изготовленный из строительного гипса марки не ниже Г-4 (
ГОСТ 125-79), распушенной целлюлозной макулатуры марок МС-10 и МС-11 (ГОСТ 10700-89), содержащий различные технологические добавки. Типовой размер ГВЛ, который применялся при разработке данной технологической карты, равен 2500 x 1200 x (10) 12,5 мм.
По заказу строительных организаций могут выпускаться партии листов других типоразмеров согласно
ГОСТ Р 51829-2001, которые приведены в таблице 1.4.
Таблица 1.4
Размеры ГВЛ
Длина, мм | 1500; 2000; 2500; 2700; 3000 |
Ширина, мм | 500; 1000; 1200 |
Толщина, мм | 10; 12,5; 15; 18; 20 |
ГВЛ выпускают с различными формами продольных кромок: фальцевая (ФК); прямая (ПК). Данная технологическая карта предусматривает обшивку каркаса ГВЛ с фальцевой кромкой (ФК).
Масса 1 м2 (поверхностная плотность) ГВЛ - 1,05S < m < 1,2S (кг/м2), где S - толщина листа, мм. Удельная активность естественных радионуклидов не более 370 Бк/кг (
ГОСТ 12.1.044-89*), т.е. ГВЛ относится к I группе.
Пожаротехнические характеристики ГВЛ соответствуют:
Отпускная влажность листов не должна превышать 1,5%; плотность - не более 1250 кг/м3.
1.7. Для крепления ГВЛ к каркасу перегородок применяют самонарезающие винты с зенкующей головкой, а для крепления элементов каркаса перегородок к конструкциям здания - дюбели.
1.8. Монтаж перегородок производят в период отделочных работ по окончании "мокрых" процессов, способных существенно повысить влажность воздуха внутри помещения, до устройства чистого пола.
В помещениях, где производят монтаж перегородок С 361, температура воздуха не должна быть ниже +10 °C .
Температурно-влажностный режим помещения должен соответствовать требованиям
СНиП 23-02-2003 "Тепловая защита зданий".
1.9. Типовая технологическая карта разработана на измеритель конечной продукции 1 м2 перегородки. Привязка типовой технологической карты к конкретному объекту и условиям строительства состоит в уточнении необходимых материальных ресурсов и схем организации строительного процесса, соответствующего рабочим чертежам.
2. ОРГАНИЗАЦИЯ И ТЕХНОЛОГИЯ ВЫПОЛНЕНИЯ РАБОТ
2.1. К устройству перегородок С 362 рекомендуется приступать только после:
- наличия утвержденной проектной документации (рабочих чертежей);
- наличия проекта производства работ, который должен предусматривать комплексную механизацию работ с наиболее полным использованием специализированного инструмента и приспособлений, способствующих повышению производительности труда, сокращению сроков возведения перегородок, уменьшающих трудозатраты и создающих наиболее безопасные условия труда;
- производства организационно-технологической подготовки, которая включает в себя подготовку необходимой оснастки, средств подмащивания и доставки ГВЛ в зону производства работ (см.
рисунок 3).
2.2. До начала монтажа элементов перегородки необходимо закончить все общестроительные, а также строительно-монтажные работы, которые могут вызвать повышение влажности ГВЛ. Произвести уборку строительного мусора. Произвести инструментальную проверку соответствия основания для установки направляющих и стоечных профилей каркаса перегородки. Подготовленное основание должно быть оформлено актом приемки за подписью ответственных представителей строительной организации.
2.3. Работы по монтажу перегородок С 362 выполняют под руководством ИТР. Рабочие, выполняющие монтажные работы, должны пройти техническое обучение в учебных центрах "КНАУФ" или других специализированных учебных заведениях и иметь удостоверение на право производства работ.
2.4. Перегородки возводят поточно-расчлененным методом, по захваткам, со специализацией звеньев бригады на выполнение однотипных работ и оснащенных соответствующим набором инструментов, инвентаря и средств подмащивания. Каждое звено состоит из двух человек: монтажник конструкций 4-го разряда, монтажник конструкций 3-го разряда.
2.5. Доставку на объект ГВЛ, упакованных в полиэтиленовую пленку, следует производить централизованно автотранспортом. По согласованию с потребителем допускается транспортировать листы в непакетированном виде (без обвязки или упаковки в пленку). Размер упаковки ГВЛ 2500 x 1200 x 650 мм. Габариты пакетов не должны превышать по длине 4100 мм, ширине - 1300 мм, высоте - 800 мм; масса пакета не должна быть более 3000 кг (см.
рисунок 1).
ГВЛ следует хранить в помещениях с сухим и нормальным влажностным режимом, раздельно по видам и размерам, с соблюдением техники безопасности и сохранности продукции. Общая высота складируемого штабеля с ГВЛ не должна превышать 3,5 м. Расстояние между штабелями складирования не должно быть менее 1 м (см.
рисунок 2).
2.6. Доставку на объект металлических профилей каркаса перегородок допускается производить автотранспортом при условии их защиты от механических воздействий. Хранение профилей на закрытых приобъектных складах должно производиться в кондукторе пакетами по типам.
2.7. При производстве погрузочно-разгрузочных работ следует избегать ударов. Укладку пакетов с профилями на транспортные средства следует осуществлять погрузчиками. Вышеуказанные работы должны производиться в соответствии с требованиями
ГОСТ 12.3.009-76*.
2.8. Подъем материалов на этажи рекомендовано производить с помощью машин и механизмов, указанных в сборнике
ЕНиР-1 "Внутрипостроечные транспортные работы".
2.9. Транспортирование ГВЛ к месту производства работ на этаже следует осуществлять ручными тележками. При переносе ГВЛ вручную - с помощью специальных приспособлений.
2.10. Устройство перегородки С 362 предусмотрено производить в следующем порядке:
- разметка проектного положения перегородки;
- установка элементов одинарного каркаса;
- обшивка каркаса 1-м слоем ГВЛ с одной стороны;
- прокладка проектных инженерных коммуникаций;
- установка и закрепление изоляционного материала внутри перегородки;
- обшивка каркаса 1-м слоем ГВЛ с другой стороны;
- заделка стыков между ГВЛ 1-го слоя;
- обшивка каркаса 2-м слоем ГВЛ с двух сторон;
- установка электротехнических коробок, розеток, выключателей и т.п. и их крепление к ГВЛ;
- заделка стыков между ГВЛ 2-го слоя;
- подготовка поверхности перегородок под чистовую отделку.
2.10.1. Разметка проектного положения перегородки (см.
рисунок 4)
Разметку проектного положения элементов каркаса перегородки С 362 производят в строгом соответствии с проектным решением и согласно рабочим чертежам. Для быстрой и безошибочной установки перегородок рекомендуется отмечать на полу места расположения стоечных профилей, дверных и других проемов. В дверном проеме должно быть указано, какая устанавливается дверь (правая или левая). Разметку производят с помощью складного метра, рулетки, метростата и шнуроотбойного устройства. Разметку больших помещений производят с помощью лазерного или оптического нивелира.
Вначале разметку проектного положения каркаса выполняют на полу. Разметку начинают от стены, расположенной параллельно возводимой перегородке, вынося горизонтальную ось. Затем на этой оси отмечают расположение стоечных профилей с проектным шагом, дверных и других проемов, а также выводов и сквозных проходов коммуникаций. Для данной технологической карты шаг равен 600 мм.
Расстояние от стоечного профиля, примыкающего к стене, до первого отстоящего от стены профиля должно быть меньше проектного шага на 25 мм.
Затем с помощью метростата и шнуроотбойного устройства (если высота помещения больше 3 м, то - нивелира или отвеса) разметку зеркально переносят на потолок. Вертикальные оси каркаса перегородки с помощью метростата и отвеса наносят на стены помещения, примыкающие к каркасу.
2.10.2. Установка элементов одинарного каркаса (см.
рисунок 12)
Элементы каркаса перегородки С 362 состоят из направляющих профилей (ПН) и стоечных профилей (ПС), имеющих стандартные размеры.
На полках стоечных профилей выполнены продольные гофры, которые увеличивают их жесткость. Центральный гофр является ориентиром как при точной сборке каркаса, так и при установке ГВЛ.
Типоразмеры стоечных и направляющих профилей выбирают исходя из высоты конструкции перегородки и в полном соответствии с рабочими чертежами.
Допускается соединение стоечных профилей по длине методом насадки или встык с дополнительным профилем. В этих случаях длина нахлеста определяется согласно нижеприведенной таблице 2.1, а длина дополнительного профиля должна быть не менее 20-кратной величины стенки стоечного профиля.
Таблица 2.1
Соединение стоечных профилей
Тип профиля | Длина нахлеста, см |
ПС 50 | >= 50 |
ПС 75 | >= 75 |
ПС 100 | >= 100 |
Соединение (удлинение) профилей производят с помощью просекателя методом "просечки с отгибом", в отдельных случаях посредством винтов LN 3,5 x 9.
Стоечные профили должны иметь высоту на 10 мм меньше расстояния между стенками верхних и нижних направляющих профилей.
Установку направляющих профилей осуществляют согласно разметке их проектного положения на полу и на потолке.
С целью повышения звукоизоляционной способности перегородки на стенки направляющих профилей ПН наклеивают уплотнительную ленту. После раскроя и полной подготовки направляющих профилей приступают к их монтажу по линии разметки на полу, а затем - на потолке. Крепление направляющих профилей осуществляют дюбелями с шагом не более 1 м. Закреплять профиль ПН необходимо не менее чем в трех точках независимо от его длины. При необходимости дополнительные отверстия в стенке направляющего профиля высверливают дрелью.
Установку стоечных профилей также осуществляют по их проектному положению, а их типоразмер должен соответствовать рабочим чертежам (в рассматриваемом случае шаг стоек равен 600 мм).
Предварительно на стоечные профили, примыкающие к конструкциям здания, наклеивается уплотнительная лента. Стоечные профили устанавливают в закрепленные в проектном положении направляющие профили.
Установку стоек начинают от стен, к которым профили крепятся дюбелями с шагом не более 1 м, но не менее трех креплений на одну стойку. Каждая стойка устанавливается строго вертикально и с помощью просекателя закрепляется к направляющему профилю на полу и на потолке. Закрепление производят не менее чем в двух точках с каждой стороны направляющего профиля (т.е. четыре просечки вверху и четыре просечки внизу).
Устройство вставок в каркасе 2-слойной перегородки не требуется.
Если перегородка имеет дверной проем, то дверную коробку устанавливают одновременно с монтажом каркаса. По дверной коробке монтируют опорные стоечные профили, дверную перемычку из направляющего профиля и промежуточные стойки над проемом. Стоечные профили, ограничивающие дверной проем, устанавливают на всю высоту перегородки, независимо от размера шага (см.
рисунок 7).
Стоечные профили для крепления ГВЛ и дверной коробки не совмещаются. Опорные стойки для дверей массой до 35 кг укрепляют вставкой из деревянных брусков или дополнительным профилем. Для этого на всю длину стойки вставляют деревянный брусок такого же сечения или соединяют с помощью винтов LN 3,5 x 9 с одноразмерным направляющим или стоечным профилем таким образом, чтобы получилось коробчатое сечение. Если в проекте не указано наличие "левой" или "правой" двери, то усиливают обе стойки.
Брус должен быть выполнен из древесины хвойных пород не ниже второго сорта по
ГОСТ 8486-86 и обработан антисептиками и антипиренами в соответствии с требованиями
СНиП 3.03.01-87. Влажность древесины не должна превышать 12 +/- 3%.
Перед установкой стоечных профилей, ограничивающих дверной проем, в местах их установки крепят с помощью анкерных дюбелей 4 уголка: два верхних и два нижних (см.
рисунок 7).
Эти уголки, имеющие клипсы, крепятся внутри направляющих профилей и предназначены для увеличения жесткости дверного проема. С помощью клипс к ним крепятся стоечные профили дверного проема, которые не доходят до направляющих профилей на 3 - 5 мм.
Положение уголков в дверном проеме перегородки и крепление к ним стоечных профилей показаны на рисунке 7.
Затем монтируют из направляющего профиля перемычку, ограничивающую высоту дверного проема. Горизонтальность установки перемычки проверяют с помощью уровня. Крепление перемычки из профиля ПН к стоечным профилям производят в двух точках с каждой стороны с помощью просекателя.
После установки перемычки монтируют промежуточные стойки над дверным проемом с сохранением проектного шага. Это необходимо для того, чтобы вертикальный стыковочный шов ГВЛ оказался над дверным проемом, что снижает вероятность трещинообразования в швах.
В местах сопряжения перегородок с коммуникациями между стоечными профилями устанавливают перемычки из направляющего профиля с их закреплением просекателем к профилю ПС. При групповой прокладке трубопровода допускается устройство общего обрамления.
При необходимости пропуска инженерных коммуникаций больших размеров допускается срезка вертикальных стоек с установкой по краям отверстия дополнительных стоечных профилей каркаса на всю высоту перегородки. В местах пересечения перегородок трубопроводами парового, водяного отопления и водоснабжения устанавливают гильзы.
Контроль за точностью установки каркаса осуществляют с помощью складного метра, метростата или нивелира.
Если длина перегородки превышает 15 м, то требуется устройство деформационного шва (
рисунок 11). Кроме того, деформационные швы перегородки должны повторять деформационные швы здания.
На смонтированный в проектное положение каркас перегородки необходимо оформить акт приемки за подписью главного инженера строительной организации и лица - надзора от проектной организации.
2.10.3. Обшивка каркаса 1-м слоем гипсоволокнистых листов с одной стороны
Перед установкой ГВЛ в местах примыкания обшивки к поверхностям потолка и стен (колонн), выполненных из другого материала, наклеивают разделительную ленту.
Установка ГВЛ начинается от основной стены помещения в вертикальном положении. Перед установкой на торцах каждого ГВЛ, образующего горизонтальный стык, делают фальц шириной 30 мм и глубиной 2 мм (см.
рисунок 5).
Горизонтальную стыковку ГВЛ выполняют вразбежку с шагом не менее 400 мм. Между полом и ГВЛ оставляется зазор около 10 мм. По вертикали ГВЛ стыкуются только на стойках каркаса.
Крепление ГВЛ осуществляют самонарезающими винтами с зенкующей головкой длиной 30 мм с помощью электрошуруповерта с магнитной головкой. Шаг винтов 750 мм. Крепятся ГВЛ по периметру и по центральной вертикальной оси (
рисунок 15).
Монтаж ГВЛ ведется в одном направлении с открытой частью профиля. Установка винтов, закрепляющих предыдущий лист, со стороны стенки профиля предотвращает отгибание слабого края полки внутрь профиля при креплении следующего листа.
Крепление винтами на стыке ГВЛ осуществляют вразбежку через 50 мм с винтами соседнего ряда и отступлением от края ГВЛ на 10 мм. Крепежные винты должны входить в ГВЛ под прямым углом и проникать в полку профиля на глубину не менее 10 мм. Головки винтов должны быть утоплены в поверхность ГВЛ на глубину, позволяющую их зашпаклевать.
2.10.4. Прокладка проектных инженерных коммуникаций
Облицевав одну сторону каркаса перегородки ГВЛ, приступают к монтажу электротехнической проводки. Кабели размещают перпендикулярно стойкам каркаса (для чего в них имеются отверстия) в строгом соответствии с рабочим проектом. Не допускается размещать электропроводку вдоль стоек или внутри них во избежание ее повреждения при обшивке ГВЛ с другой стороны. Прокладку электросети выполняет специализированное звено электромонтажников. В ГВЛ вырезают отверстия под коробки, розетки, выключатели, а проводку выводят наружу. При необходимости производят прокладку и других коммуникационных сетей, предусмотренных проектом.
2.10.5. Установка и закрепление изоляционного материала внутри перегородок
Установку изоляционного материала производят после обшивки каркаса с одной стороны и прокладки инженерных сетей.
Установка изоляционного (минераловатного) материала производится вручную в пространство между стоечными профилями. При необходимости изоляционный материал прикрепляют к смонтированным ГВЛ или фиксируют с помощью вкладышей, крепящихся к стенкам профиля ПС.
2.10.6. Обшивка каркаса перегородки гипсоволокнистыми листами с другой стороны
Обшивка каркаса перегородки ГВЛ с обратной стороны производится после укладки изоляционного слоя в той же последовательности и с теми же требованиями, что изложены выше в
п. 2.10.3, но со смещением на один шаг профиля относительно листов другой стороны.
Раскрой доборных листов осуществляется в процессе выполнения работ. Примыкание листов обшивки к дверным коробкам осуществляют "заподлицо".
2.10.7. Заделка стыков между ГВЛ 1-го слоя
До заделки швов необходимо проверить надежность крепления ГВЛ. Выступающие головки винтов довернуть. Производство работ, ведущих к повышению влажности в помещении, к этому времени должно быть завершено.
Заделку продольных швов между ГВЛ производят при температуре и влажности воздуха в помещениях, соответствующих режиму эксплуатации (t не должна быть ниже +10 °C ). Недопустимы сквозняки, резкие колебания температуры и влажности в помещениях. Предварительно кромки ГВЛ обрабатывают грунтовкой Тифенгрунд.
Заделке шпаклевочной смесью Фугенфюллер ГВ подлежат продольные и поперечные швы, стыки между перегородкой и стенами (колоннами), перегородкой и потолком.
Последовательность действий при обработке продольных и поперечных швов между ГВЛ следующая:
- нанесение шпателем первого слоя шпаклевки на стык между листами шириной чуть большей ширины армирующей ленты;
- после высыхания первого слоя шпаклевки широким шпателем нанесение второго слоя шпаклевки на всю ширину стыковочного шва.
2.10.8. Обшивка каркаса вторым слоем ГВЛ с двух сторон (
рисунок 13)
Установку листов второго слоя производят сначала с одной стороны, а затем - с другой. ГВЛ второго слоя устанавливают со смещением на один шаг относительно вертикальных и не менее 400 мм относительно горизонтальных стыков первого слоя. Крепление второго слоя ГВЛ производят к каркасу с помощью самонарезающих винтов длиной не менее 45 мм с шагом 250 мм.
2.10.9. Установка электротехнических коробок, розеток, выключателей и их крепление к ГВЛ
По окончании монтажа ГВЛ с обеих сторон каркаса устанавливают электрические коробки, розетки, выключатели и т.п., которые крепят к ГВЛ с помощью специальной фурнитуры. Отверстия под электрические розетки, выключатели и т.п. в целях пожарной безопасности вырезают с противоположных сторон перегородки со смещением минимум на 200 мм. Эти работы выполняет звено электромонтажников.
2.10.10. Заделка стыков между ГВЛ и углублений от винтов
Шпаклевание стыков между ГВЛ производят при стабильной температуре и влажности воздуха в помещениях, соответствующих режиму эксплуатации (t не должна быть ниже +10 °C ). Недопустимы сквозняки и резкие колебания температуры в помещениях. Предварительно кромки ГВЛ обрабатывают грунтовкой Тифенгрунд.
Заделке шпаклевочной смесью Фугенфюллер ГВ подлежат продольные и поперечные швы, стыки между перегородкой и стенами (колоннами), перегородкой и потолком. Продольные и поперечные швы ГВЛ заделывают с применением армирующей ленты.
До обработки стыков необходимо проверить надежность крепления ГВЛ. Выступающие головки винтов - довернуть. Производство работ, ведущих к повышению влажности в помещении, к этому времени должно быть завершено.
В зависимости от назначения помещений требования к отделке поверхностей из ГВЛ можно разделить на 3 вида, как это принято в большинстве европейских стран:
Качество 1 (К1) - определяет качество поверхности швов и поверхностей ГВЛ, к которым не предъявляются оптические требования, т.е. поверхность может иметь волнистый рельеф, где гребень не должен превышать 1,5 мм. Такая поверхность ГВЛ предназначена для облицовки плиткой, оштукатуривания или под облицовку какими-либо другими материалами.
Качество 2 (К2) - соответствует существующему стандартному качеству поверхностей стен и потолков. Шпаклевание выполняется с целью достижения плавных переходов от поверхностей сопряжений к поверхности ГВЛ. Все переходы от швов, внутренних и внешних углов, крепежных элементов должны быть незаметны на глаз. Для этой цели зашпаклеванные швы обрабатывают пастой Финиш на ширину примерно 30 см.
Такая поверхность ГВЛ предназначена для структурированной окраски, оклейки структурными обоями, для тонкослойного оштукатуривания.
Качество 3 (К3) - предъявляет повышенные требования к качеству поверхности стен и потолков, т.е. кроме стандартного шпаклевания для К2 необходимо полное покрытие поверхности ГВЛ шпаклевочным материалом с последующим шлифованием. Для этих целей чаще всего используют пасту Финиш или Редигипс, а также шпаклевочные смеси.
Такая поверхность предназначена для высококачественной окраски стен и потолков любыми видами красок, оклейки глянцевыми тонкослойными обоями, оштукатуривания тонкоструктурированными растворными смесями с крупностью зерна менее 1 мм.
В данной технологической карте отделка поверхности относится к виду К1, на которую даются нормативы трудозатрат и расхода материалов. Более качественная отделка поверхности оговаривается заказчиком и на нее составляется отдельная смета.
Последовательность действий при обработке продольных и поперечных стыков между ГВЛ следующая:
- перед шпаклеванием обработка грунтовкой глубокого проникновения всех стыков;
- нанесение шпателем первого слоя шпаклевки на стык между листами шириной чуть больше ширины армирующей ленты;
- вдавливание шпателем армирующей ленты в нанесенную шпаклевку;
- после высыхания первого слоя шпаклевки широким шпателем нанесение второго слоя шпаклевки на всю ширину стыковочного шва.
Заделке шпаклевочной смесью Фугенфюллер ГВ подлежат углубления от винтов, стыки между перегородкой и стенами (колоннами), перегородкой и потолком. В местах стыковок на эти конструкции предварительно крепится самоклеящаяся разделительная лента. После заделки стыков и полного высыхания шпаклевки излишки ленты срезаются, а шов шлифуется.
В некоторых случаях при монтаже перегородок образуются внешние углы, которые защищают от механических повреждений при помощи металлических перфорированных уголков из оцинкованной стали (ПУ 31 x 31 x 0,4), которые крепят к ГВЛ с помощью специального приспособления, указанного в перечне инструментов. После крепления уголки шпаклюют и после высыхания шлифуют.
По окончании всех шпаклевочных работ поверхность перегородок обрабатывают с помощью кисти, щетки или валика грунтовкой Тифенгрунд. Это необходимо сделать с целью предотвращения образования трещин в швах из-за возможного изменения влажностного режима в помещении (особенно весной, осенью или при проведении отделочных работ мокрым способом).
3. ПОТРЕБНОСТЬ В ИНВЕНТАРЕ И МАТЕРИАЛАХ
Перечень потребного инвентаря, приспособлений и инструмента - см. на стр. 144.
Таблица 3.1
Нормативные показатели
расхода материалов на устройство
1 м2 перегородки С 362
(измеритель конечной продукции - 1 м2)
┌─────────────────────────┬───┬──────────────────────────────────┐
│ Наименование материалов │Ед.│ Размер перегородки, м │
│ │из-├───────┬───────┬───────┬──────────┤
│ │ме-│4 x 2,7│6 x 2,7│9 x 2,7│16,2 x 2,7│
│ │ре-│(глу- │ (один │ (два │ (три │
│ │ния│хая) │ проем)│проема)│ проема │
│ │ │ │ │ │и темпер. │
│ │ │ │ │ │ шов) │
├─────────────────────────┼───┼───────┼───────┼───────┼──────────┤
│ 1 │ 2 │ 3 │ 4 │ 5 │ 6 │
├─────────────────────────┴───┴───────┴───────┴───────┴──────────┤
│ Каркас и крепежные изделия │
├─────────────────────────┬───┬───────┬───────┬───────┬──────────┤
│Профиль направляющий │ м │ 0,76 │ 0,86 │ 0,89 │ 0,87 │
│ПН 50/40, │ │ │ │ │ │
│ТУ 1121-004-04001508-2003│ │ │ │ │ │
├─────────────────────────┼───┼───────┼───────┼───────┼──────────┤
│Профиль стоечный │ м │ 2,04 │ 2,54 │ 2,6 │ 2,44 │
│ПС 50/50, │ │ │ │ │ │
│ТУ 1121-004-04001508-2003│ │ │ │ │ │
├─────────────────────────┼───┼───────┼───────┼───────┼──────────┤
│Профиль направляющий │ м │ - │ - │ - │ 0,15 │
│потолочный ПНП 28/27 (на │ │ │ │ │ │
│устройство темпер. шва), │ │ │ │ │ │
│ТУ 1121-004-04001508-2003│ │ │ │ │ │
├─────────────────────────┼───┼───────┼───────┼───────┼──────────┤
│Лента уплотнительная │ м │ 1,26 │ 1,17 │ 1,07 │ 0,94 │
│типа Дихтунгсбанд, сеч. │ │ │ │ │ │
│50 x 3,2 мм │ │ │ │ │ │
├─────────────────────────┼───┼───────┼───────┼───────┼──────────┤
│Дюбель типа К 6/35 │шт.│ 1,69 │ 1,63 │ 1,43 │ 1,17 │
├─────────────────────────┼───┼───────┼───────┼───────┼──────────┤
│Материал изолирующий │м2 │ 1,03 │ 1,03 │ 1,03 │ 1,03 │
│из минеральных волокон │ │ │ │ │ │
├─────────────────────────┼───┼───────┼───────┼───────┼──────────┤
│Брусок деревянный, размер│ м │ - │ 0,39 │ 0,54 │ 0,44 │
│50 x 50 x 2695 мм │ │ │ │ │ │
├─────────────────────────┼───┼───────┼───────┼───────┼──────────┤
│Дюбели анкерные │шт.│ - │ 0,7 │ 0,97 │ 0,79 │
│металлические │ │ │ │ │ │
├─────────────────────────┼───┼───────┼───────┼───────┼──────────┤
│Верхний уголок для креп- │шт.│ - │ 0,14 │ 0,20 │ 0,16 │
│ления несущих элементов │ │ │ │ │ │
│двери 100 x 123 мм │ │ │ │ │ │
├─────────────────────────┼───┼───────┼───────┼───────┼──────────┤
│Нижний уголок для крепле-│шт.│ - │ 0,14 │ 0,20 │ 0,16 │
│ния несущих элементов │ │ │ │ │ │
│двери 100 x 123 мм │ │ │ │ │ │
├─────────────────────────┴───┴───────┴───────┴───────┴──────────┤
│ Обшивка │
├─────────────────────────┬───┬───────┬───────┬───────┬──────────┤
│Лист гипсоволокнистый │м2 │ 4,21 │ 4,49 │ 4,67 │ 4,7 │
│ГВЛ 10 мм, │ │ │ │ │ │
├─────────────────────────┼───┼───────┼───────┼───────┼──────────┤
│Винт самонарезающий с │ │ │ │ │ │
│острым концом и зенкующей│ │ │ │ │ │
│головкой по │ │ │ │ │ │
│мм: │ │ │ │ │ │
│ 30 │шт.│ 13,53 │ 14,19 │ 15,23 │ 13,20 │
│ 45 │шт.│ 35,33 │ 37,88 │ 36,01 │ 36,12 │
│ 22 │шт.│ - │ - │ - │ 0,69 │
│ длиной 9 мм │шт.│ - │ - │ - │ 0,88 │
├─────────────────────────┴───┴───────┴───────┴───────┴──────────┤
│ Заделка швов │
├─────────────────────────┬───┬───────┬───────┬───────┬──────────┤
│Шпатлевка Фугенфюллер ГВ,│кг │ 1,79 │ 1,79 │ 1,76 │ 1,74 │
│ТУ 5745-011-04001508-97 │ │ │ │ │ │
├─────────────────────────┼───┼───────┼───────┼───────┼──────────┤
│Лента армирующая │ м │ 2,27 │ 2,49 │ 2,64 │ 2,86 │
├─────────────────────────┼───┼───────┼───────┼───────┼──────────┤
│Лента разделительная │ м │ 1,77 │ 1,62 │ 1,42 │ 1,15 │
│50 мм │ │ │ │ │ │
├─────────────────────────┼───┼───────┼───────┼───────┼──────────┤
│Грунтовка Тифенгрунд │кг │ 0,25 │ 0,25 │ 0,25 │ 0,25 │
└─────────────────────────┴───┴───────┴───────┴───────┴──────────┘
4. НОРМАТИВНЫЕ И ТЕХНИКО-ЭКОНОМИЧЕСКИЕ ПОКАЗАТЕЛИ
(ИЗМЕРИТЕЛЬ КОНЕЧНОЙ ПРОДУКЦИИ - 1 М2)
Таблица 4.1
Затраты труда на устройство перегородки С 362
┌────┬────────────┬─────┬───────┬───────┬──────────────┬─────────────────────┐
│ N │Наименование│Еди- │ Объем │Обосно-│Норма времени │ Затраты труда │
│п.п.│технологи- │ница │ работ │вание ├──────┬───────┼──────────┬──────────┤
│ │ческих │изме-│ │ │рабо- │маши- │ рабочих, │машиниста,│
│ │процессов │рения│ │ │чих, │ниста, │ чел.-ч │ чел.-ч │
│ │ │ │ │ │чел.-ч│чел.-ч │ │ (работа │
│ │ │ │ │ │ │(работа│ │ машин, │
│ │ │ │ │ │ │машин, │ │ маш.-ч) │
│ │ │ │ │ │ │маш.-ч)│ │ │
├────┼────────────┼─────┼───────┼───────┼──────┼───────┼──────────┼──────────┤
│ 1 │ 2 │ 3 │ 4 │ 5 │ 6 │ 7 │ 8 │ 9 │
├────┼────────────┼─────┼───────┼───────┼──────┼───────┼──────────┼──────────┤
│ 1 │Устройство │ м2 │ 1 │Расчет │ 0,28 │ - │ 0,28 │ - │
│ │каркаса │ │ │ОАО │ │ │ │ │
├────┼────────────┼─────┼───────┤"Тула- ├──────┼───────┼──────────┼──────────┤
│ 2 │Обшивка │ м2 │ 1 │оргтех-│ 0,56 │ - │ 0,56 │ - │
│ │каркаса │ │ │строй" │ │ │ │ │
├────┼────────────┼─────┼───────┤методом├──────┼───────┼──────────┼──────────┤
│ 3 │Устройство │ м2 │ 1 │техни- │ 0,1 │ - │ 0,1 │ - │
│ │изоляционно-│ │ │ческого│ │ │ │ │
│ │го слоя │ │ │норми- │ │ │ │ │
├────┼────────────┼─────┼───────┤рования├──────┼───────┼──────────┼──────────┤
│ 4 │Заделка │ м2 │ 1 │ │ 0,5 │ - │ 0,5 │ - │
│ │швов, │ │ │ │ │ │ │ │
│ │обработка │ │ │ │ │ │ │ │
│ │поверхности │ │ │ │ │ │ │ │
├────┼────────────┼─────┼───────┼───────┼──────┼───────┼──────────┼──────────┤
│ 5 │Подача │100 т│0,00053│ Е1-16 │ 36 │ 9 │ 0,019 │ 0,0048 │
│ │материалов │ │ │ │(6,8) │ (1,7) │(0,003604)│(0,000901)│
│ │на этажи │ │ │ │ │ │ │ │
│ │подъемником │ │ │ │ │ │ │ │
│ │грузоподъ- │ │ │ │ │ │ │ │
│ │емностью │ │ │ │ │ │ │ │
│ │до 1 т │ │ │ │ │ │ │ │
│ │при высоте │ │ │ │ │ │ │ │
│ │подъема │ │ │ │ │ │ │ │
│ │до 8 м │ │ │ │ │ │ │ │
│ │(добавлять │ │ │ │ │ │ │ │
│ │на каждые │ │ │ │ │ │ │ │
│ │следующие │ │ │ │ │ │ │ │
│ │6 м) │ │ │ │ │ │ │ │
├────┼────────────┼─────┼───────┼───────┼──────┼───────┼──────────┼──────────┤
│ 6 │Перевозка │ 1 т │ 0,053 │ Е1-21 │ 1,1 │ - │ 0,0583 │ - │
│ │материалов │ │ │ │ │ │ │ │
│ │по этажу │ │ │ │ │ │ │ │
│ │ручными │ │ │ │ │ │ │ │
│ │тележками на│ │ │ │ │ │ │ │
│ │расстояние │ │ │ │ │ │ │ │
│ │до 30 м │ │ │ │ │ │ │ │
├────┼────────────┼─────┼───────┼───────┼──────┼───────┼──────────┼──────────┤
│ │Итого: │ │ │ │ │ │ 1,517 │ 0,0048 │
├────┴────────────┴─────┴───────┴───────┴──────┴───────┴──────────┴──────────┤
│ Затраты труда на устройство перегородок с проемами │
│ и деформационными швами (без учета прочих работ) │
├──────────────────────────────────────────────┬─────────────────────────────┤
│С одним дверным проемом │ 1,47 чел.-ч │
├──────────────────────────────────────────────┼─────────────────────────────┤
│С двумя дверными проемами │ 1,49 чел.-ч │
├──────────────────────────────────────────────┼─────────────────────────────┤
│С двумя дверными проемами и деформационным │ 1,50 чел.-ч │
│швом │ │
└──────────────────────────────────────────────┴─────────────────────────────┘
Таблица 4.2
График производства работ
┌────┬───────────────┬────┬─────┬──────────────┬─────────┬───────┐
│ N │ Наименование │Еди-│Объем│Затраты труда │Принятый │Про- │
│п.п.│технологических│ница│работ├──────┬───────┤ состав │должи- │
│ │ процессов │из- │ │рабо- │маши- │ звена │тель- │
│ │ │ме- │ │чих, │ниста, │ │ность │
│ │ │ре- │ │чел.-ч│чел.-ч │ │про- │
│ │ │ния │ │ │(работа│ │цесса, │
│ │ │ │ │ │машин, │ │ч │
│ │ │ │ │ │маш.-ч)│ │ │
├────┼───────────────┼────┼─────┼──────┼───────┼─────────┼───────┤
│ 1 │Устройство │ м2 │ 1 │ 0,28 │ │Монтаж- │ 0,14 │
│ │каркаса │ │ │ │ │ники кон-│ │
├────┼───────────────┼────┼─────┼──────┼───────┤струкций ├───────┤
│ 2 │Обшивка каркаса│ м2 │ 1 │ 0,56 │ │4-го и │ 0,28 │
├────┼───────────────┼────┼─────┼──────┼───────┤3-го ├───────┤
│ 3 │Устройство │ м2 │ 1 │ 0,1 │ │разрядов,│ 0,05 │
│ │изоляционного │ │ │ │ │2 чел. │ │
│ │слоя │ │ │ │ │ │ │
├────┼───────────────┼────┼─────┼──────┼───────┤ ├───────┤
│ 4 │Заделка швов, │ м2 │ 1 │ 0,5 │ │ │ 0,25 │
│ │обработка │ │ │ │ │ │ │
│ │поверхности │ │ │ │ │ │ │
├────┼───────────────┼────┼─────┼──────┼───────┼─────────┼───────┤
│ 5 │Прочие работы │ м2 │ 1 │0,077 │0,0048 │ │ 0,0385│
├────┼───────────────┼────┼─────┼──────┼───────┼─────────┼───────┤
│ │Итого: │ │ │1,517 │ │- │ 0,76 │
└────┴───────────────┴────┴─────┴──────┴───────┴─────────┴───────┘
Рисунок 4.1. График движения рабочей силы
Таблица 4.3
Технико-экономические показатели
┌────┬─────────────────────────────────────┬─────────┬───────────┐
│ N │ Наименование │ Единица │Количество │
│п.п.│ │измерения│ │
├────┼─────────────────────────────────────┼─────────┼───────────┤
│ 1 │Продолжительность работ │ ч │ 0,76 │
├────┼─────────────────────────────────────┼─────────┼───────────┤
│ 2 │Трудоемкость на 1 м2: │ │ │
│ │ по нормам │ чел.-ч │ 1,44 │
│ │ по графику (с учетом прочих работ) │ │ 1,517 │
├────┼─────────────────────────────────────┼─────────┼───────────┤
│ 3 │Максимальная численность рабочих │ чел. │ 2 │
├────┼─────────────────────────────────────┼─────────┼───────────┤
│ 4 │Выработка на 1 чел.-ч │ м2 │ 1,32 │
└────┴─────────────────────────────────────┴─────────┴───────────┘
ТИПОВАЯ ТЕХНОЛОГИЧЕСКАЯ КАРТА НА УСТРОЙСТВО ПЕРЕГОРОДОК
НА МЕТАЛЛИЧЕСКОМ КАРКАСЕ КОМПЛЕКТНОЙ СИСТЕМЫ КНАУФ
С ПРИМЕНЕНИЕМ ГИПСОВОЛОКНИСТЫХ ЛИСТОВ
Перегородка С 363 "Противопожарная стена"
1.1. Типовая технологическая карта предназначена для разработки проектов производства работ (ППР), проектов организации строительства (ПОС), другой организационно-технологической документации, а также является информационным пособием для строительных организаций, производящих устройство перегородок С 363 с применением гипсоволокнистых листов (ГВЛ).
1.2. Сборные перегородки С 363 являются межкомнатными с шумозащитой 52 - 54 дБ и пределом огнестойкости EI 150, которые устраиваются в помещениях высотой до 9,5 м и предназначены для жилых, общественных и производственных зданий:
- любой степени огнестойкости;
- любых конструктивных систем и типов;
- любого уровня ответственности, включая повышенный;
- различной этажности;
- возводимых в ветровых районах до V включительно;
- возводимых в районах как с обыкновенными, так и со сложными инженерно-геологическими условиями и сейсмичностью до 9 баллов.
По огнестойкости и пожарной опасности перегородки С 363 должны удовлетворять требованиям
п. 5.14 СНиП 21-01-97*.
1.3. Перегородка С 363 имеет конструкцию, отвечающую требованиям рабочих чертежей серии 1.031.9-3.01 "Комплектные системы КНАУФ. Перегородки поэлементной сборки из гипсоволокнистых листов на металлическом и деревянном каркасах для жилых, общественных и производственных зданий", выпуск 1. Серия выпущена ЗАО "НП Челябинский Промстройпроект" при участии фирмы КНАУФ.
1.4. Перегородка С 363 состоит из одинарного металлического каркаса; двусторонней обшивки тремя слоями ГВЛ толщиной 12,5 мм; звукоизоляционного слоя. Масса 1 м2 перегородки - около 97 кг.
1.5. Каркас системы С 363 состоит из направляющих и стоечных оцинкованных металлических профилей, отвечающих требованиям ТУ 1121-004-04001508-2003. Стандартная длина профилей: 2750; 3000; 4000; 4500 мм. По согласованию с заказчиком могут быть выпущены профили длиной от 500 до 6000 мм. Номинальная толщина профилей должна быть не менее 0,6 мм. Стенки направляющих и стоечных, а также полки стоечных профилей усилены продольными гофрами, увеличивающими их жесткость.
Направляющие профили имеют П-образную, а стоечные профили - С-образную формы. Размеры их стенок и полок (a x b) представлены в таблицах 1.1 и
1.2.
Таблица 1.1
Геометрические размеры направляющих профилей
Размер | Профиль |
ПН 50 | ПН 75 | ПН 100 |
a x b, мм | 50 x 40 | 75 x 40 | 100 x 40 |
Таблица 1.2
Геометрические размеры стоечных профилей
Размер | Профиль |
ПС 50 | ПС 75 | ПС 100 |
a x b, мм | 50 x 50 | 75 x 50 | 100 x 50 |
Направляющие профили производятся с готовыми отверстиями в стенках диаметром 8 мм, предназначенными для крепления дюбелями к несущим основаниям. В стоечных профилях имеются 3 пары отверстий в стенках диаметром 33 мм (в центре и по краям), которые позволяют монтировать технические коммуникации внутри перегородки.
Предельно допустимые высоты перегородки С 363 варьируются в зависимости от ширины стенки и шага установки стоечных профилей. Они представлены в таблице 1.3. Данная технологическая карта может быть использована при устройстве перегородок высотой до 4,5 м.
Таблица 1.3
Максимальная высота перегородки С 363
(применительно к ГВЛ толщиной 12,5 мм)
Максимальная высота перегородки, м | Проектный шаг, мм | Тип профиля |
4,5 | 600 | ПС 50 |
5,5 | 400 |
6,0 | 300 |
6,0 | 600 | ПС 75 |
7,0 | 400 |
8,0 | 300 |
7,0 | 600 | ПС 100 |
8,0 | 400 |
9,5 | 300 |
1.6. ГВЛ представляет собой экологически чистый листовой отделочный материал, изготовленный из строительного гипса марки не ниже Г-4 (
ГОСТ 125-79), распушенной целлюлозной макулатуры марок МС-10 и МС-11 (ГОСТ 10700-89), содержащей различные технологические добавки. Типовой размер ГВЛ, который применялся при разработке данной технологической карты, равен 2500 x 1200 x 12,5 мм.
По заказу строительных организаций могут выпускаться партии листов других типоразмеров согласно
ГОСТ Р 51829-2001, которые приведены в таблице 1.4.
Таблица 1.4
Размеры ГВЛ
Длина, мм | 1500; 2000; 2500; 2700; 3000 |
Ширина, мм | 500; 1000; 1200 |
Толщина, мм | 10; 12,5; 15; 18; 20 |
ГВЛ выпускаются с различными формами продольных кромок: фальцевая (ФК); прямая (ПК). Данная технологическая карта предусматривает обшивку каркаса ГВЛ с фальцевой кромкой (ФК).
Масса 1 м2 (поверхностная плотность) ГВЛ - 1,05S < m < 1,2S (кг/м2), где S - толщина листа, мм. Удельная активность естественных радионуклидов не более 370 Бк/кг (
ГОСТ 12.1.044-89*), т.е. ГВЛ относится к I группе.
Пожаротехнические характеристики ГВЛ соответствуют:
Отпускная влажность листов не должна превышать 1,5%; плотность - не более 1250 кг/м3.
1.7. Для крепления ГВЛ к каркасу перегородок применяют самонарезающие винты с зенкующей головкой, а для крепления элементов каркаса перегородок к конструкциям здания - дюбели.
1.8. Монтаж перегородок производят в период отделочных работ по окончании "мокрых" процессов, способных существенно повысить влажность воздуха внутри помещения, до устройства чистого пола.
В помещениях, где производят монтаж перегородок С 363, температура воздуха не должна быть ниже +10 °C .
Температурно-влажностный режим помещения должен соответствовать требованиям
СНиП 23-02-2003 "Тепловая защита зданий".
1.9. Типовая технологическая карта разработана на измеритель конечной продукции 1 м2 перегородки. Привязка типовой технологической карты к конкретному объекту и условиям строительства состоит в уточнении необходимых материальных ресурсов и схем организации строительного процесса, соответствующего рабочим чертежам.
2. ОРГАНИЗАЦИЯ И ТЕХНОЛОГИЯ ВЫПОЛНЕНИЯ РАБОТ
2.1. К устройству перегородок С 363 рекомендуется приступать только после:
- наличия утвержденной проектной документации (рабочих чертежей);
- наличия проекта производства работ, который должен предусматривать комплексную механизацию работ с наиболее полным использованием специализированного инструмента и приспособлений, способствующих повышению производительности труда, сокращению сроков возведения перегородок, уменьшающих трудозатраты и создающих наиболее безопасные условия труда;
- производства организационно-технологической подготовки, которая включает в себя подготовку необходимой оснастки, средств подмащивания и доставки ГВЛ в зону производства работ (см.
рисунок 3).
2.2. До начала монтажа элементов перегородки необходимо закончить все общестроительные, а также строительно-монтажные работы, которые могут вызвать повышение влажности ГВЛ. Произвести уборку строительного мусора. Произвести инструментальную проверку соответствия основания для установки направляющих и стоечных профилей каркаса перегородки. Подготовленное основание должно быть оформлено актом приемки за подписью ответственных представителей строительной организации.
2.3. Работы по монтажу перегородок С 363 выполняют под руководством ИТР. Рабочие, выполняющие монтажные работы, должны пройти техническое обучение в учебных центрах "КНАУФ" или других специализированных учебных заведениях и иметь удостоверение на право производства работ.
2.4. Перегородки возводят поточно-расчлененным методом, по захваткам, со специализацией звеньев бригады на выполнение однотипных работ и оснащенных соответствующим набором инструментов, инвентаря и средств подмащивания. Каждое звено состоит из двух человек: монтажник конструкций 4-го разряда, монтажник конструкций 3-го разряда.
2.5. Доставку на объект ГВЛ, упакованных в полиэтиленовую пленку, следует производить централизованно автотранспортом. По согласованию с потребителем допускается транспортировать листы в непакетированном виде (без обвязки или упаковки в пленку). Размер упаковки ГВЛ 2500 x 1200 x 650 мм. Габариты пакетов не должны превышать по длине 4100 мм, ширине 1300 мм, высоте 800 мм; масса пакета не должна быть более 3000 кг (см.
рисунок 1).
Хранение ГВЛ производить в помещениях с сухим и нормальным влажностным режимом, раздельно по видам и размерам, с соблюдением техники безопасности и сохранности продукции. Общая высота складируемого штабеля с ГВЛ не должна превышать 3,5 м (см.
рисунок 2). Расстояние между штабелями складирования не должно быть менее 1 м.
2.6. Доставку на объект металлических профилей каркаса перегородок допускается производить автотранспортом при условии их защиты от механических воздействий. Хранение профилей на закрытых приобъектных складах должно производиться в кондукторе пакетами по типам.
2.7. При производстве погрузочно-разгрузочных работ следует избегать ударов. Укладку пакетов с профилями на транспортные средства следует осуществлять погрузчиками. Вышеуказанные работы должны производиться в соответствии с требованиями
ГОСТ 12.3.009-76*.
2.8. Подъем материалов на этажи рекомендовано производить с помощью машин и механизмов, указанных в сборнике
ЕНиР-1 "Внутрипостроечные транспортные работы".
2.9. ГВЛ к месту производства работ на этаже транспортируют ручными тележками. При переносе ГВЛ вручную - с помощью специальных приспособлений.
2.10. Устройство перегородки С 363 предусмотрено производить в следующем порядке:
- разметка проектного положения перегородки;
- установка элементов одинарного каркаса;
- обшивка каркаса первым слоем ГВЛ с одной стороны;
- прокладка проектных инженерных коммуникаций;
- установка и закрепление изоляционного материала внутри перегородки;
- обшивка каркаса 1-м слоем ГВЛ с другой стороны;
- заделка стыков 1-го слоя ГВЛ с обеих сторон перегородки;
- обшивка каркаса 2-м слоем ГВЛ с двух сторон перегородки;
- заделка стыков 2-го слоя ГВЛ с обеих сторон перегородки;
- обшивка каркаса 3-м слоем ГВЛ с двух сторон перегородки;
- установка электротехнических коробок, розеток, выключателей и т.п. и их крепление к ГВЛ;
- заделка стыков между ГВЛ 3-го слоя обшивки и углублений от винтов;
- подготовка поверхности перегородок под чистовую отделку.
2.10.1. Разметка проектного положения перегородки (см.
рисунок 4)
Разметку проектного положения элементов каркаса перегородки С 363 производят в строгом соответствии с проектным решением, согласно рабочим чертежам. Для быстрой и безошибочной установки перегородок рекомендуется отмечать на полу места расположения стоечных профилей, дверных и других проемов. В дверном проеме должно быть указано, какая устанавливается дверь (правая или левая). Разметку производят с помощью складного метра, рулетки, метростата и шнуроотбойного устройства. Разметку больших помещений производят с помощью лазерного или оптического нивелира.
Вначале разметку проектного положения каркаса выполняют на полу. Разметку начинают от стены, расположенной параллельно возводимой перегородке, вынося горизонтальную ось. Затем на этой оси отмечают расположение стоечных профилей с проектным шагом, дверных и других проемов, а также выводов и сквозных проходов коммуникаций. Для данной технологической карты шаг равен 600 мм.
Расстояние от стоечного профиля, примыкающего к стене, до первого отстоящего от стены профиля должно быть меньше проектного шага на 25 мм.
Затем с помощью метростата и шнуроотбойного устройства (если высота помещения больше 3 м, то - нивелира или отвеса) разметку зеркально переносят на потолок. Вертикальные оси каркаса перегородки с помощью метростата и отвеса наносят на стены помещения, примыкающие к каркасу.
2.10.2. Установка элементов одинарного каркаса (см.
рисунок 12)
Элементы каркаса перегородки С 363 состоят из направляющих профилей (ПН) и стоечных профилей (ПС), имеющих стандартные размеры.
На полках стоечных профилей выполнены продольные гофры, которые увеличивают их жесткость. Центральный гофр является ориентиром, как при точной сборке каркаса, так и при установке ГВЛ.
Типоразмеры стоечных и направляющих профилей выбирают исходя из высоты конструкции перегородки и в полном соответствии с рабочими чертежами.
Допускается соединение стоечных профилей по длине методом насадки или встык с дополнительным профилем. В этих случаях длина нахлеста определяется согласно нижеприведенной таблице 2.1, а длина дополнительного профиля должна быть не менее 20-кратной величины стенки стоечного профиля.
Таблица 2.1
Соединение стоечных профилей
Тип профиля | Длина нахлеста, см |
ПС 50 | >= 50 |
ПС 75 | >= 75 |
ПС 100 | >= 100 |
Соединение (удлинение) профилей производят с помощью просекателя методом "просечки с отгибом", в отдельных случаях посредством винтов LN 3,5 x 9.
Стоечные профили должны иметь высоту на 10 мм меньше расстояния между стенками верхних и нижних направляющих профилей.
Установку направляющих профилей осуществляют согласно разметке их проектного положения на полу и на потолке.
С целью повышения звукоизоляционной способности перегородки на стенки направляющих профилей ПН наклеивают уплотнительную ленту. После раскроя и полной подготовки направляющих профилей приступают к их монтажу по линии разметки на полу, а затем - на потолке. Крепление направляющих профилей осуществляют дюбелями с шагом не более 1 м. Закреплять профиль ПН необходимо не менее чем в трех точках независимо от его длины. При необходимости дополнительные отверстия в стенке направляющего профиля высверливают дрелью.
Установку стоечных профилей также осуществляют по их проектному положению, а их типоразмер должен соответствовать рабочим чертежам (в рассматриваемом случае шаг стоек равен 600 мм).
Предварительно на стоечные профили, примыкающие к конструкциям здания, наклеивается уплотнительная лента. Стоечные профили устанавливают в закрепленные в проектном положении направляющие профили.
Установку стоек начинают от стен, к которым профили крепятся дюбелями с шагом не более 1 м, но не менее трех креплений на одну стойку. Каждая стойка устанавливается строго вертикально и с помощью просекателя закрепляется к направляющему профилю на полу и на потолке. Закрепление производят не менее чем в двух точках с каждой стороны направляющего профиля (т.е. четыре просечки вверху и четыре просечки - внизу).
Устройство вставок в каркасе 3-слойной перегородки не требуется.
Если перегородка имеет дверной проем, то дверную коробку устанавливают одновременно с монтажом каркаса. По дверной коробке монтируют опорные стоечные профили, дверную перемычку из направляющего профиля и промежуточные стойки над проемом. Стоечные профили, ограничивающие дверной проем, устанавливают на всю высоту перегородки, независимо от размера шага (см.
рисунок 7).
Стоечные профили для крепления ГВЛ и дверной коробки не совмещаются. Опорные стойки для дверей массой до 35 кг укрепляют вставкой из деревянных брусков или дополнительным профилем. Для этого на всю длину стойки вставляют деревянный брусок такого же сечения или соединяют с помощью винтов LN 3,5 x 9 с одноразмерным направляющим или стоечным профилем таким образом, чтобы получилось коробчатое сечение. Если в проекте не указано наличие "левой" или "правой" двери, то усиливают обе стойки.
Брус должен быть выполнен из древесины хвойных пород не ниже второго сорта по
ГОСТ 8486-86 и обработан антисептиками и антипиренами в соответствии с требованиями
СНиП 3.03.01-87. Влажность древесины не должна превышать 12 +/- 3%.
Перед установкой стоечных профилей, ограничивающих дверной проем, в местах их установки крепят с помощью анкерных дюбелей 4 уголка: два верхних и два нижних (см.
рисунок 7).
Эти уголки, имеющие клипсы, крепятся внутри направляющих профилей и предназначены для увеличения жесткости дверного проема. С помощью клипс к ним крепятся стоечные профили дверного проема, которые не доходят до направляющих профилей на 3 - 5 мм.
Положение уголков в дверном проеме перегородки и крепление к ним стоечных профилей показаны на рисунке 7.
Затем монтируют из направляющего профиля перемычку, ограничивающую высоту дверного проема. Горизонтальность установки перемычки проверяют с помощью уровня. Крепление перемычки из профиля ПН к стоечным профилям производят в двух точках с каждой стороны с помощью просекателя.
После установки перемычки монтируют промежуточные стойки над дверным проемом с сохранением проектного шага. Это необходимо для того, чтобы вертикальный стыковочный шов ГВЛ оказался над дверным проемом, что снижает вероятность трещинообразования в швах.
В местах сопряжения перегородок с коммуникациями между стоечными профилями устанавливают перемычки из направляющего профиля с их закреплением просекателем к профилю ПС. При групповой прокладке трубопровода допускается устройство общего обрамления.
При необходимости пропуска инженерных коммуникаций больших размеров допускается срезка вертикальных стоек с установкой по краям отверстия дополнительных стоечных профилей каркаса на всю высоту перегородки. В местах пересечения перегородок трубопроводами парового, водяного отопления и водоснабжения устанавливают гильзы.
Контроль за точностью установки каркаса осуществляют с помощью складного метра, метростата или нивелира.
На смонтированный в проектное положение каркас перегородки необходимо оформить акт приемки за подписью главного инженера строительной организации и лица - надзора от проектной организации.
2.10.3. Обшивка каркаса первым слоем ГВЛ с одной стороны
Перед установкой ГВЛ в местах примыкания обшивки к поверхностям потолка и стен (колонн), выполненных из другого материала, наклеивают разделительную ленту.
Установка ГВЛ начинается от основной стены помещения в вертикальном положении. Перед установкой на торцах каждого ГВЛ, образующих горизонтальный стык, делают фальц шириной 30 мм и глубиной 2 мм (см.
рисунок 5).
Горизонтальную стыковку ГВЛ выполняют вразбежку с шагом не менее 400 мм. Между полом и ГВЛ оставляется зазор около 10 мм. По вертикали ГВЛ стыкуются только на стойках каркаса.
Крепление ГВЛ осуществляют самонарезающими винтами с зенкующей головкой длиной 30 мм с помощью электрошуруповерта с магнитной головкой. Шаг винтов 750 мм. Крепятся ГВЛ по периметру и по центральной вертикальной оси (см.
рисунок 16).
Монтаж ГВЛ ведется в одном направлении с открытой частью профиля. Установка винтов, закрепляющих предыдущий лист, со стороны стенки профиля предотвращает отгибание слабого края полки внутрь профиля при креплении следующего листа.
Крепление винтами на стыке ГВЛ осуществляют вразбежку через 50 мм с винтами соседнего ряда и отступлением от края ГВЛ на 10 мм. Крепежные винты должны входить в ГВЛ под прямым углом и проникать в полку профиля на глубину не менее 10 мм. Головки винтов должны быть утоплены в поверхность ГВЛ на глубину, позволяющую их зашпаклевать.
2.10.4. Прокладка проектных инженерных коммуникаций
Облицевав одну сторону каркаса перегородки первым слоем ГВЛ, приступают к монтажу электротехнической проводки. Кабели размещают перпендикулярно стойкам каркаса (для чего в них имеются отверстия) в строгом соответствии с рабочим проектом. Не допускается размещать электропроводку вдоль стоек или внутри них, во избежание ее повреждения при обшивке ГВЛ с другой стороны. Прокладку электросети выполняет специализированное звено электромонтажников. При необходимости производят прокладку и других коммуникационных сетей, предусмотренных проектом.
2.10.5. Установка и закрепление изоляционного материала внутри перегородок
Установку изоляционного материала производят после обшивки каркаса с одной стороны и прокладки инженерных сетей.
Установка изоляционного (минераловатного) материала производится вручную в пространство между стоечными профилями. При необходимости изоляционный материал прикрепляют к смонтированным ГВЛ или фиксируют с помощью вкладышей, крепящихся к стенкам профиля ПС.
2.10.6. Обшивка каркаса перегородки первым слоем ГВЛ с другой стороны
Обшивка каркаса перегородки ГВЛ с обратной стороны производится после укладки изоляционного слоя в той же последовательности и с теми же требованиями, что изложены выше в
п. 2.10.3, но со смещением на один шаг профиля относительно листов другой стороны. Раскрой доборных листов осуществляется в процессе выполнения работ.
2.10.7. Заделка стыков между ГВЛ первого слоя
До заделки швов необходимо проверить надежность крепления ГВЛ. Выступающие головки винтов довернуть. Производство работ, ведущих к повышению влажности в помещении, к этому времени должно быть завершено.
Заделку продольных швов между ГВЛ производят при температуре и влажности воздуха в помещениях, соответствующих режиму эксплуатации (t не должна быть ниже +10 °C ). Недопустимы сквозняки, резкие колебания температуры и влажности в помещениях. Предварительно кромки ГВЛ обрабатывают грунтовкой Тифенгрунд.
Заделке шпаклевочной смесью Фугенфюллер ГВ подлежат продольные и поперечные швы, стыки между перегородкой и стенами (колоннами), перегородкой и потолком.
Последовательность действий при обработке продольных и поперечных швов между ГВЛ следующая:
- нанесение шпателем первого слоя шпаклевки на стык между листами шириной чуть больше ширины армирующей ленты;
- после высыхания первого слоя шпаклевки широким шпателем нанесение второго слоя шпаклевки на всю ширину стыковочного шва.
2.10.8. Обшивка каркаса вторым слоем ГВЛ с двух сторон (см.
рисунок 14)
Установку листов второго слоя производят сначала с одной стороны, а затем - с другой. ГВЛ второго слоя устанавливают со смещением на один шаг относительно вертикальных и не менее 400 мм относительно горизонтальных швов первого слоя. Крепление второго слоя ГВЛ производят к каркасу с помощью самонарезающих винтов длиной не менее 45 мм с шагом 500 мм (см.
рисунок 16).
2.10.9. Заделка швов второго слоя ГВЛ обшивки
Швы второго слоя ГВЛ заделывают в последовательности, аналогичной заделке швов первого слоя ГВЛ (
п. 2.10.7).
2.10.10. Обшивка каркаса третьим слоем ГВЛ с двух сторон (см.
рисунок 14)
Установку листов третьего слоя производят сначала с одной стороны, а затем - с другой. ГВЛ третьего слоя устанавливают со смещением на один шаг относительно вертикальных и не менее 400 мм относительно горизонтальных стыков второго слоя. Крепление третьего слоя ГВЛ производят к каркасу с помощью самонарезающих винтов длиной не менее 22 мм с шагом 250 мм (см.
рисунок 16).
2.10.11. Установка электротехнических коробок, розеток, выключателей и их крепление к ГВЛ
По окончании монтажа ГВЛ с обеих сторон каркаса устанавливают электрические коробки, розетки, выключатели и т.п., которые крепят к ГВЛ с помощью специальной фурнитуры. Отверстия под электрические розетки, выключатели и т.п., в целях пожарной безопасности, вырезают с противоположных сторон перегородки со смещением минимум на 200 мм. Эти работы выполняет звено электромонтажников.
2.10.12. Заделка стыков между ГВЛ и углублений от винтов
Шпаклевание стыков между ГВЛ производят при стабильной температуре и влажности воздуха в помещениях, соответствующих режиму эксплуатации (t не должна быть ниже +10 °C ). Недопустимы сквозняки и резкие колебания температуры в помещениях. Предварительно кромки ГВЛ обрабатывают грунтовкой Тифенгрунд.
Заделке шпаклевочной смесью Фугенфюллер ГВ подлежат продольные и поперечные швы, стыки между перегородкой и стенами (колоннами), перегородкой и потолком. Продольные и поперечные швы ГВЛ заделываются с применением армирующей ленты.
До обработки стыков необходимо проверить надежность крепления ГВЛ. Выступающие головки винтов - довернуть. Производство работ, ведущих к повышению влажности в помещении, к этому времени должно быть завершено.
В зависимости от назначения помещений требования к отделке поверхностей из ГВЛ можно разделить на 3 вида, как это принято в большинстве европейских стран:
Качество 1 (К1) - определяет качество поверхности швов и поверхностей ГВЛ, к которым не предъявляются оптические требования, т.е. поверхность может иметь волнистый рельеф, где гребень не должен превышать 1,5 мм. Такая поверхность ГВЛ предназначена для облицовки плиткой, оштукатуривания или под облицовку какими-либо другими материалами.
Качество 2 (К2) - соответствует существующему стандартному качеству поверхностей стен и потолков. Шпаклевание выполняется с целью достижения плавных переходов от поверхностей сопряжений к поверхности ГВЛ. Все переходы от швов, внутренних и внешних углов, крепежных элементов должны быть незаметны на глаз. Для этой цели зашпаклеванные швы обрабатывают пастой Финиш на ширину примерно 30 см.
Такая поверхность ГВЛ предназначена для структурированной окраски, оклейки структурными обоями, для тонкослойного оштукатуривания.
Качество 3 (К3) - предъявляет повышенные требования к качеству поверхности стен и потолков, т.е. кроме стандартного шпаклевания для К2 необходимо полное покрытие поверхности ГВЛ шпаклевочным материалом с последующим шлифованием. Для этих целей чаще всего используют пасту Финиш или Редигипс, а также шпаклевочные смеси.
Такая поверхность предназначена для высококачественной окраски стен и потолков любыми видами красок, оклейки глянцевыми тонкослойными обоями, оштукатуривания тонкоструктурированными растворными смесями с крупностью зерна менее 1 мм.
В данной технологической карте отделка поверхности относится к виду К1, на которую даются нормативы трудозатрат и расхода материалов. Более качественная отделка поверхности оговаривается заказчиком и на нее составляется отдельная смета.
Последовательность действий при обработке продольных и поперечных стыков между ГВЛ следующая:
- перед шпаклеванием обработка грунтовкой глубокого проникновения всех стыков;
- нанесение шпателем первого слоя шпаклевки на стык между листами шириной чуть больше ширины армирующей ленты;
- вдавливание шпателем армирующей ленты в нанесенную шпаклевку;
- после высыхания первого слоя шпаклевки широким шпателем нанесение второго слоя шпаклевки на всю ширину стыковочного шва.
Заделке шпаклевочной смесью Фугенфюллер ГВ подлежат углубления от винтов, стыки между перегородкой и стенами (колоннами), перегородкой и потолком. В местах стыковок на эти конструкции предварительно крепится самоклеящаяся разделительная лента. После заделки стыков и полного высыхания шпаклевки излишки ленты срезаются, а шов шлифуется.
В некоторых случаях при монтаже перегородок образуются внешние углы, которые защищают от механических повреждений при помощи металлических перфорированных уголков из оцинкованной стали (ПУ 31 x 31 x 0,4), которые крепят к ГВЛ с помощью специального приспособления, указанного в перечне инструментов. После крепления уголки шпаклюют и после высыхания шлифуют.
По окончании всех шпаклевочных работ поверхность перегородок обрабатывают с помощью кисти, щетки или валика грунтовкой Тифенгрунд. Это необходимо сделать для предотвращения образования трещин в швах из-за возможного изменения влажностного режима в помещении (особенно весной, осенью или при проведении отделочных работ мокрым способом).
3. ПОТРЕБНОСТЬ В ИНВЕНТАРЕ И МАТЕРИАЛАХ
Перечень потребного инвентаря, приспособлений и инструмента - см. на стр. 144.
Таблица 3.1
Нормативные показатели расхода материалов
на устройство 1 м2 перегородки С 363
┌─────────────────────────────────┬─────┬────────────────────────┐
│ Наименование материалов │Ед. │ Размер перегородки, м │
│ │изме-├────────┬───────┬───────┤
│ │рения│4 x 2,7 │6 x 2,7│9 x 2,7│
│ │ │(глухая)│ (один │ (два │
│ │ │ │проем) │проема)│
├─────────────────────────────────┼─────┼────────┼───────┼───────┤
│ 1 │ 2 │ 3 │ 4 │ 5 │
├─────────────────────────────────┴─────┴────────┴───────┴───────┤
│ Каркас и крепежные изделия │
├─────────────────────────────────┬─────┬────────┬───────┬───────┤
│Профиль направляющий ПН 50/40, │ м │ 0,76 │ 0,86 │ 0,89 │
│ТУ 1121-004-04001508-2003 │ │ │ │ │
├─────────────────────────────────┼─────┼────────┼───────┼───────┤
│Профиль стоечный ПС 50/50, │ м │ 2,04 │ 2,54 │ 2,6 │
│ТУ 1121-004-04001508-2003 │ │ │ │ │
├─────────────────────────────────┼─────┼────────┼───────┼───────┤
│Лента уплотнительная типа │ м │ 1,26 │ 1,17 │ 1,07 │
│Дихтунгсбанд, сеч. 50 x 3,2 мм │ │ │ │ │
├─────────────────────────────────┼─────┼────────┼───────┼───────┤
│Материал изолирующий │ м2 │ 1,03 │ 1,03 │ 1,03 │
│из минеральных волокон │ │ │ │ │
├─────────────────────────────────┼─────┼────────┼───────┼───────┤
│Брусок деревянный, размер │ м │ - │ 0,39 │ 0,54 │
│50 x 50 x 2695 мм │ │ │ │ │
├─────────────────────────────────┼─────┼────────┼───────┼───────┤
│Дюбели анкерные металлические │ шт. │ 1,69 │ 2,33 │ 2,4 │
├─────────────────────────────────┼─────┼────────┼───────┼───────┤
│Верхний уголок для крепления │ шт. │ - │ 0,14 │ 0,20 │
│несущих элементов двери │ │ │ │ │
│100 x 123 мм │ │ │ │ │
├─────────────────────────────────┼─────┼────────┼───────┼───────┤
│Нижний уголок для крепления │ шт. │ - │ 0,14 │ 0,20 │
│несущих элементов двери │ │ │ │ │
│100 x 123 мм │ │ │ │ │
├─────────────────────────────────┴─────┴────────┴───────┴───────┤
│ Облицовка │
├─────────────────────────────────┬─────┬────────┬───────┬───────┤
│Лист гипсоволокнистый ГВЛ │ м2 │ 6,32 │ 6,73 │ 7,01 │
├─────────────────────────────────┼─────┼────────┼───────┼───────┤
│Винт самонарезающий с острым │ │ │ │ │
│концом и зенкующей головкой, │ │ │ │ │
│ 30 │ шт. │ 13,53 │ 14,19 │ 15,23 │
│ 45 │ шт. │ 17,67 │ 20,29 │ 20,77 │
│ 22 │ шт. │ 35,33 │ 37,88 │ 36,01 │
├─────────────────────────────────┴─────┴────────┴───────┴───────┤
│ Заделка швов │
├─────────────────────────────────┬─────┬────────┬───────┬───────┤
│Шпатлевка Фугенфюллер ГВ, │ кг │ 2,67 │ 2,66 │ 2,62 │
│ТУ 5745-011-04001508-97 │ │ │ │ │
├─────────────────────────────────┼─────┼────────┼───────┼───────┤
│Лента армирующая │ м │ 2,27 │ 2,49 │ 2,64 │
├─────────────────────────────────┼─────┼────────┼───────┼───────┤
│Лента разделительная 50 мм │ м │ 1,77 │ 1,62 │ 1,42 │
├─────────────────────────────────┼─────┼────────┼───────┼───────┤
│Грунтовка Тифенгрунд │ кг │ 0,27 │ 0,27 │ 0,27 │
└─────────────────────────────────┴─────┴────────┴───────┴───────┘
4. НОРМАТИВНЫЕ И ТЕХНИКО-ЭКОНОМИЧЕСКИЕ ПОКАЗАТЕЛИ
(ИЗМЕРИТЕЛЬ КОНЕЧНОЙ ПРОДУКЦИИ - 1 М2)
Таблица 4.1
Затраты труда на устройство перегородки С 363
┌────┬────────────┬─────┬───────┬───────┬──────────────┬─────────────────┐
│ N │Наименование│Еди- │ Объем │Обосно-│Норма времени │ Затраты труда │
│п.п.│технологи- │ница │ работ │вание ├──────┬───────┼────────┬────────┤
│ │ческих │изме-│ │ │рабо- │маши- │рабочих,│маши- │
│ │процессов │рения│ │ │чих, │ниста, │ чел.-ч │ниста, │
│ │ │ │ │ │чел.-ч│чел.-ч │ │чел.-ч │
│ │ │ │ │ │ │(работа│ │(работа │
│ │ │ │ │ │ │машин, │ │машин, │
│ │ │ │ │ │ │маш.-ч)│ │маш.-ч) │
├────┼────────────┼─────┼───────┼───────┼──────┼───────┼────────┼────────┤
│ 1 │ 2 │ 3 │ 4 │ 5 │ 6 │ 7 │ 8 │ 9 │
├────┼────────────┼─────┼───────┼───────┼──────┼───────┼────────┼────────┤
│ 1 │Устройство │ м2 │ 1 │Расчет │ 0,28 │ - │ 0,28 │ - │
│ │каркаса │ │ │ОАО │ │ │ │ │
├────┼────────────┼─────┼───────┤"Тула- ├──────┼───────┼────────┼────────┤
│ 2 │Обшивка │ м2 │ 1 │оргтех-│ 0,86 │ - │ 0,86 │ - │
│ │каркаса │ │ │строй" │ │ │ │ │
├────┼────────────┼─────┼───────┤методом├──────┼───────┼────────┼────────┤
│ 3 │Устройство │ м2 │ 1 │техни- │ 0,1 │ - │ 0,1 │ - │
│ │изоляционно-│ │ │ческого│ │ │ │ │
│ │го слоя │ │ │норми- │ │ │ │ │
├────┼────────────┼─────┼───────┤рования├──────┼───────┼────────┼────────┤
│ 4 │Заделка │ м2 │ 1 │ │ 0,64 │ - │ 0,64 │ - │
│ │швов, │ │ │ │ │ │ │ │
│ │обработка │ │ │ │ │ │ │ │
│ │поверхности │ │ │ │ │ │ │ │
├────┼────────────┼─────┼───────┼───────┼──────┼───────┼────────┼────────┤
│ 5 │Подача │100 т│0,00097│ Е1-16 │ 36 │ 9 │ 0,035 │ 0,0087 │
│ │материалов │ │ │ │(6,8) │ (1,7) │(0,0066)│(0,0016)│
│ │на этажи │ │ │ │ │ │ │ │
│ │подъемником │ │ │ │ │ │ │ │
│ │грузоподъ- │ │ │ │ │ │ │ │
│ │емностью │ │ │ │ │ │ │ │
│ │до 1 т │ │ │ │ │ │ │ │
│ │при высоте │ │ │ │ │ │ │ │
│ │подъема │ │ │ │ │ │ │ │
│ │до 8 м │ │ │ │ │ │ │ │
│ │(добавлять │ │ │ │ │ │ │ │
│ │на каждые │ │ │ │ │ │ │ │
│ │следующие │ │ │ │ │ │ │ │
│ │6 м) │ │ │ │ │ │ │ │
├────┼────────────┼─────┼───────┼───────┼──────┼───────┼────────┼────────┤
│ 6 │Перевозка │ 1 т │ 0,097 │ Е1-21 │ 1,1 │ - │ 0,107 │ - │
│ │материалов │ │ │ │ │ │ │ │
│ │по этажу │ │ │ │ │ │ │ │
│ │ручными │ │ │ │ │ │ │ │
│ │тележками на│ │ │ │ │ │ │ │
│ │расстояние │ │ │ │ │ │ │ │
│ │до 30 м │ │ │ │ │ │ │ │
├────┼────────────┼─────┼───────┼───────┼──────┼───────┼────────┼────────┤
│ │Итого: │ │ │ │ │ │ 2,022 │ 0,0087 │
├────┴────────────┴─────┴───────┴───────┴──────┴───────┴────────┴────────┤
│ Затраты труда на устройство перегородок с проемами │
│ и деформационными швами (без учета прочих работ) │
├──────────────────────────────────────────────┬─────────────────────────┤
│С одним дверным проемом │ 1,91 чел.-ч │
├──────────────────────────────────────────────┼─────────────────────────┤
│С двумя дверными проемами │ 1,93 чел.-ч │
└──────────────────────────────────────────────┴─────────────────────────┘
Таблица 4.2
График производства работ
N п.п. | Наименование технологических процессов | Еди- ница из- ме- ре- ния | Объем работ | Затраты труда | Принятый состав звена | Про- должи- тель- ность про- цесса, ч |
рабо- чих, чел.-ч | маши- ниста, чел.-ч (работа машин, маш.-ч) |
1 | Устройство каркаса | м2 | 1 | 0,28 | | Монтаж- ники кон- струкций 4-го и 3-го разрядов | 0,14 |
2 | Обшивка каркаса | м2 | 1 | 0,86 | | 0,43 |
3 | Устройство изоляционного слоя | м2 | 1 | 0,1 | | 0,05 |
4 | Заделка швов, обработка поверхности | м2 | 1 | 0,64 | | 0,32 |
5 | Прочие работы | м2 | 1 | 0,142 | 0,00783 | | 0,071 |
| Итого: | | | 2,022 | | - | 1,011 |
Рисунок 4.1. График движения рабочей силы
Таблица 4.3
Технико-экономические показатели
┌────┬─────────────────────────────────────┬─────────┬───────────┐
│ N │ Наименование │ Единица │Количество │
│п.п.│ │измерения│ │
├────┼─────────────────────────────────────┼─────────┼───────────┤
│ 1 │Продолжительность работ │ ч │ 1,01 │
├────┼─────────────────────────────────────┼─────────┼───────────┤
│ 2 │Трудоемкость на 1 м2: │ │ │
│ │ по нормам │ чел.-ч │ 1,88 │
│ │ по графику (с учетом прочих работ) │ │ 2,022 │
├────┼─────────────────────────────────────┼─────────┼───────────┤
│ 3 │Максимальная численность рабочих │ чел. │ 2 │
├────┼─────────────────────────────────────┼─────────┼───────────┤
│ 4 │Выработка на 1 чел.-ч │ м2 │ 0,99 │
└────┴─────────────────────────────────────┴─────────┴───────────┘
ТИПОВАЯ ТЕХНОЛОГИЧЕСКАЯ КАРТА
НА УСТРОЙСТВО ПЕРЕГОРОДОК
НА ДВОЙНОМ МЕТАЛЛИЧЕСКОМ КАРКАСЕ
КОМПЛЕКТНОЙ СИСТЕМЫ КНАУФ
С ПРИМЕНЕНИЕМ ГИПСОВОЛОКНИСТЫХ ЛИСТОВ
Перегородка С 365
1.1. Типовая технологическая карта предназначена для разработки проектов производства работ (ППР), проектов организации строительства (ПОС), другой организационно-технологической документации, а также является информационным пособием для строительных организаций, производящих устройство перегородок С 365 с применением гипсоволокнистых листов (ГВЛ).
1.2. Сборные перегородки С 365 являются межкомнатными с шумозащитой 43 - 55 дБ и пределом огнестойкости EI 90, которые устраиваются в помещениях до 6,5 м и предназначены для жилых, общественных и производственных зданий:
- любой степени огнестойкости;
- любых конструктивных систем и типов;
- любого уровня ответственности, включая повышенный;
- различной этажности;
- возводимых в ветровых районах до V включительно;
- возводимых в районах как с обыкновенными, так и со сложными инженерно-геологическими условиями и сейсмичностью до 9 баллов.
1.3. Перегородка С 365 имеет конструкцию, отвечающую требованиям рабочих чертежей серии 1.031.9-3.01 "Комплектные системы КНАУФ. Перегородки поэлементной сборки из гипсоволокнистых листов на металлическом и деревянном каркасах для жилых, общественных и производственных зданий", выпуск 1. Серия выпущена ЗАО "НП Челябинский Промстройпроект" при участии фирмы КНАУФ.
1.4. Она состоит из двойного металлического каркаса; двусторонней обшивки двумя слоями гипсоволокнистых листов толщиной 10 или 12,5 мм; звукоизоляционного слоя. Масса 1 м2 перегородки составляет: при толщине ГВЛ 10 мм - 55 кг; при толщине ГВЛ 12,5 мм - 68 кг.
1.5. Каркас перегородки С 365 состоит из направляющих и стоечных оцинкованных металлических профилей, отвечающих требованиям ТУ 1121-004-04001508-2003. Стандартная длина профилей: 2750; 3000; 4000; 4500 мм. По согласованию с заказчиком могут быть выпущены профили длиной от 500 до 6000 мм. Номинальная толщина профилей должна быть не менее 0,6 мм. Стенки направляющих и стоечных, а также полки стоечных профилей усилены продольными гофрами, увеличивающими их жесткость.
Направляющие профили имеют П-образную, а стоечные профили - С-образную формы. Размеры их стенок и полок (a x b) представлены в таблицах 1.1 и
1.2.
Таблица 1.1
Геометрические размеры направляющих профилей
Размер | Профиль |
ПН 50 | ПН 75 | ПН 100 |
a x b, мм | 50 x 40 | 75 x 40 | 100 x 40 |
Таблица 1.2
Геометрические размеры стоечных профилей
Размер | Профиль |
ПС 50 | ПС 75 | ПС 100 |
a x b, мм | 50 x 50 | 75 x 50 | 100 x 50 |
Направляющие профили производятся с готовыми отверстиями в стенках диаметром 8 мм, предназначенными для крепления дюбелями к несущим основаниям. В стоечных профилях имеются 3 пары отверстий в стенках диаметром 33 мм (в центре и по краям), которые позволяют монтировать технические коммуникации внутри перегородки.
Предельно допустимая высота перегородки С 365 варьируется в зависимости от ширины стенки и шага установки стоечных профилей (таблица 1.3). Данная технологическая карта может быть использована при устройстве перегородок высотой до 4,5 м.
Таблица 1.3
Максимальная высота перегородки С 365
Максимальная высота перегородки, м | Проектный шаг, мм | Тип профиля |
4,5 | 600 | ПС 50 |
6,0 | 600 | ПС 75 |
6,5 | 600 | ПС 100 |
При использовании ГВЛ другой номинальной толщины максимальная высота перегородки определяется по таблице перегородок на металлическом каркасе из альбома чертежей серии 1.031.9-3.01.
1.6. ГВЛ представляет собой экологически чистый листовой отделочный материал, изготовленный из строительного гипса марки не ниже Г-4 (
ГОСТ 125-79), распушенной целлюлозной макулатуры марок МС-10 и МС-11 (ГОСТ 10700-89), содержащей различные технологические добавки. Типовой размер ГВЛ, который применялся при разработке данной технологической карты, равен 2500 x 1200 x (10) 12,5 мм.
По заказу строительных организаций могут выпускаться партии листов других типоразмеров согласно
ГОСТ Р 51829-2001, которые приведены в таблице 1.4.
Таблица 1.4
Размеры ГВЛ
Длина, мм | 1500; 2000; 2500; 2700; 3000 |
Ширина, мм | 500; 1000; 1200 |
Толщина, мм | 10; 12,5; 15; 18; 20 |
ГВЛ выпускаются с различными формами продольных кромок: фальцевая (ФК); прямая (ПК). Данная технологическая карта предусматривает обшивку каркаса ГВЛ с фальцевой кромкой (ФК).
Масса 1 м2 (поверхностная плотность) ГВЛ - 1,05S < m < 1,2S (кг/м2), где S - толщина листа, мм. Удельная активность естественных радионуклидов не более 370 Бк/кг (
ГОСТ 12.1.044-89*), т.е. ГВЛ относится к I группе.
Пожаротехнические характеристики ГВЛ соответствуют:
Отпускная влажность листов не должна превышать 1,5%; плотность - не более 1250 кг/м3.
1.7. Для крепления ГВЛ к каркасу перегородок применяют самонарезающие винты с зенкующей головкой, а для крепления элементов каркаса перегородок к конструкциям здания - дюбели.
1.8. Монтаж перегородок производят в период отделочных работ по окончании "мокрых" процессов, способных существенно повысить влажность воздуха внутри помещения, до устройства чистого пола.
В помещениях, где производят монтаж перегородок С 365, температура воздуха не должна быть ниже +10 °C .
Температурно-влажностный режим помещения должен соответствовать требованиям
СНиП 23-02-2003 "Тепловая защита зданий".
1.9. Типовая технологическая карта разработана на измеритель конечной продукции - 1 м2 перегородки. Привязка типовой технологической карты к конкретному объекту и условиям строительства состоит в уточнении необходимых материальных ресурсов и схем организации строительного процесса, соответствующего рабочим чертежам.
2. ОРГАНИЗАЦИЯ И ТЕХНОЛОГИЯ ВЫПОЛНЕНИЯ РАБОТ
2.1. К устройству перегородок С 365 рекомендуется приступать только после:
- наличия утвержденной проектной документации (рабочих чертежей);
- наличия проекта производства работ, который должен предусматривать комплексную механизацию работ с наиболее полным использованием специализированного инструмента и приспособлений, способствующих повышению производительности труда, сокращению сроков возведения перегородок, уменьшающих трудозатраты и создающих наиболее безопасные условия труда;
- производства организационно-технологической подготовки, которая включает в себя подготовку необходимой оснастки, средств подмащивания и доставки ГВЛ в зону производства работ (см.
рисунок 3).
2.2. До начала монтажа элементов перегородки необходимо закончить все общестроительные, а также строительно-монтажные работы, которые могут вызвать повышение влажности ГВЛ. Произвести уборку строительного мусора. Произвести инструментальную проверку соответствия основания для установки направляющих и стоечных профилей каркаса перегородки. Подготовленное основание должно быть оформлено актом приемки за подписью ответственных представителей строительной организации.
2.3. Работы по монтажу перегородок С 365 выполняют под руководством ИТР. Рабочие, выполняющие монтажные работы, должны пройти техническое обучение в учебных центрах "КНАУФ" или других специализированных учебных заведениях и иметь удостоверение на право производства работ.
2.4. Перегородки возводят поточно-расчлененным методом, по захваткам, со специализацией звеньев бригады на выполнение однотипных работ и оснащенных соответствующим набором инструментов, инвентаря и средств подмащивания. Каждое звено состоит из двух человек: монтажник конструкций 4-го разряда, монтажник конструкций 3-го разряда.
2.5. Доставку на объект ГВЛ, упакованных в полиэтиленовую пленку, производить централизованно автотранспортом. По согласованию с потребителем допускается транспортировать листы в непакетированном виде (без обвязки или упаковки в пленку). Размер упаковки ГВЛ 2500 x 1200 x 650 мм. Габариты пакетов не должны превышать по длине 4100 мм, ширине 1300 мм, высоте 800 мм; масса пакета не должна быть более 3000 кг (см.
рисунок 1).
Хранение ГВЛ производить в помещениях с сухим и нормальным влажностным режимом, раздельно по видам и размерам, с соблюдением техники безопасности и сохранности продукции. Общая высота складируемого штабеля с ГВЛ не должна превышать 3,5 м (см.
рисунок 2). Расстояние между штабелями складирования не должно быть менее 1 м.
2.6. Доставку на объект металлических профилей каркаса перегородок допускается производить автотранспортом при условии их защиты от механических воздействий. Хранение профилей на закрытых приобъектных складах должно производиться в кондукторе пакетами по типам.
2.7. При производстве погрузочно-разгрузочных работ следует избегать ударов. Укладку пакетов с профилями на транспортные средства следует осуществлять погрузчиками. Вышеуказанные работы должны производиться в соответствии с требованиями
ГОСТ 12.3.009-76*.
2.8. Подъем материалов на этажи рекомендовано производить с помощью машин и механизмов, указанных в сборнике
ЕНиР-1 "Внутрипостроечные транспортные работы".
2.9. Транспортирование ГВЛ к месту производства работ на этаже следует осуществлять ручными тележками. При переносе ГВЛ вручную - с помощью специальных приспособлений.
2.10. Устройство перегородки системы С 365 предусмотрено производить в следующем порядке:
- разметка проектного положения перегородки;
- установка элементов двойного каркаса;
- обшивка каркаса первым слоем ГВЛ с одной стороны;
- прокладка проектных инженерных коммуникаций;
- установка и закрепление изоляционного материала внутри перегородки;
- обшивка каркаса первым слоем ГВЛ с другой стороны;
- заделка стыков между ГВЛ первого слоя;
- обшивка каркаса вторым слоем ГВЛ с двух сторон;
- установка электротехнических коробок, розеток, выключателей и т.п. и их крепление к ГВЛ;
- заделка стыков между ГВЛ второго слоя и углублений от винтов;
- подготовка поверхности перегородок под чистовую отделку.
2.10.1. Разметка проектного положения перегородки (см.
рисунок 4)
Разметку проектного положения элементов каркаса перегородки С 365 производят в строгом соответствии с проектным решением и согласно рабочим чертежам. Для быстрой и безошибочной установки перегородок рекомендуется вначале отмечать на полу места расположения стоечных профилей, дверных и других проемов. В дверном проеме должно быть указано, какая устанавливается дверь (правая или левая). Разметку производят с помощью складного метра, рулетки, метростата и шнуроотбойного устройства. Разметку больших помещений производят с помощью лазерного или оптического нивелира.
Разметку начинают от стены, расположенной параллельно возводимой перегородке, вынося горизонтальную ось. Затем на этой оси отмечают расположение стоечных профилей с проектным шагом, дверных и других проемов, а также выводов и сквозных проходов коммуникаций. Для данной технологической карты шаг равен 600 мм.
Расстояние от стоечных профилей двойного каркаса, примыкающих к стене, до первых отстоящих от стены профилей должно быть меньше проектного шага на 25 мм.
Затем с помощью метростата и шнуроотбойного устройства (если высота помещения больше 3 м, то - нивелира или отвеса) разметку зеркально переносят на потолок. Вертикальные оси каркаса перегородки с помощью метростата и отвеса наносят на стены помещения, примыкающие к каркасу.
2.10.2. Установка элементов двойного каркаса (см.
рисунок 17)
Элементы каркаса перегородки С 365 состоят из направляющих профилей (ПН) и стоечных профилей (ПС), имеющих стандартные размеры. На полках стоечных профилей выполнены продольные гофры, которые увеличивают их жесткость. Центральный гофр является ориентиром как при точной сборке каркаса, так и при установке ГВЛ.
Типоразмеры стоечных и направляющих профилей выбирают исходя из высоты конструкции перегородки, в полном соответствии с рабочими чертежами.
Допускается соединение стоечных профилей по длине методом насадки или встык с дополнительным профилем. В этих случаях длина нахлеста определяется согласно таблице 2.1, а длина дополнительного профиля должна быть не менее 20-кратной величины стенки стоечного профиля.
Таблица 2.1
Соединение стоечных профилей
Тип профиля | Длина нахлеста, см |
ПС 50 | >= 50 |
ПС 65 | >= 65 |
ПС 75 | >= 75 |
ПС 100 | >= 100 |
Соединение (удлинение) профилей производят с помощью просекателя методом "просечки с отгибом", в отдельных случаях посредством винтов LN 3,5 x 9.
Стоечные профили должны иметь высоту на 10 мм меньше расстояния между стенками верхних и нижних направляющих профилей.
Установку направляющих профилей осуществляют согласно разметке их проектного положения на полу и на потолке.
С целью повышения звукоизоляционной способности перегородки на стенки направляющих профилей ПН наклеивают уплотнительную ленту. После раскроя и полной подготовки направляющих профилей приступают к их монтажу по линии разметки на полу, а затем - на потолке. Крепление направляющих профилей осуществляют дюбелями с шагом не более 1 м. Закреплять профиль ПН необходимо не менее чем в трех точках независимо от его длины. При необходимости дополнительные отверстия в стенке направляющего профиля высверливают дрелью.
Установку стоечных профилей также осуществляют по их проектному положению, а их типоразмер должен соответствовать рабочим чертежам (в рассматриваемом случае шаг стоек равен 600 мм).
Предварительно на стоечные профили, примыкающие к конструкциям здания, наклеивается уплотнительная лента. Уплотнительную ленту устанавливают между стенками спаренных стоечных профилей двойного каркаса не менее чем в четырех точках по высоте, небольшими отрезками. Стоечные профили устанавливают в закрепленные в проектном положении направляющие профили.
Установку стоек начинают от стен, к которым профили крепятся дюбелями с шагом не более 1 м, но не менее трех креплений на одну стойку. Каждая стойка устанавливается строго вертикально и с помощью просекателя закрепляется к направляющему профилю на полу и на потолке. Закрепление производят не менее чем в двух точках с каждой стороны направляющего профиля (т.е. четыре просечки вверху и четыре просечки - внизу). Устройство вставок в каркасах 2-слойной перегородки не требуется.
Если перегородка имеет дверной проем, то дверная коробка устанавливается одновременно с монтажом каркаса. По дверной коробке монтируют опорные стоечные профили, дверную перемычку из направляющего профиля и промежуточные стойки над проемом. Стоечные профили, ограничивающие дверной проем, устанавливают на всю высоту перегородки, независимо от размера шага (см.
рисунок 18).
Стоечные профили для крепления ГВЛ и дверной коробки не совмещаются. Опорные стойки для дверей массой до 35 кг укрепляют вставкой из деревянных брусков или дополнительным профилем. Для этого на всю длину стойки вставляют деревянный брусок такого же сечения или соединяют с помощью винтов LN 3,5 x 9 с одноразмерным направляющим или стоечным профилем, таким образом, чтобы получилось коробчатое сечение. Если в проекте не указано наличие "левой" или "правой" двери, то усиливают обе стойки. Эти технологические операции выполняют в обоих каркасах.
Брус должен быть выполнен из древесины хвойных пород не ниже второго сорта по
ГОСТ 8486-86 и обработан антисептиками и антипиренами в соответствии с требованиями
СНиП 3.03.01-87. Влажность древесины не должна превышать 12 +/- 3%.
Перед установкой стоечных профилей, ограничивающих дверной проем, в местах их установки крепят с помощью анкерных дюбелей 4 уголка: два верхних и два нижних (см.
рисунок 18).
Эти уголки, имеющие клипсы, крепятся внутри направляющих профилей и предназначены для увеличения жесткости дверного проема. С помощью клипс к ним крепятся стоечные профили дверного проема, которые не доходят до направляющих профилей на 3 - 5 мм.
Положение уголков в дверном проеме перегородки и крепление к ним стоечных профилей показаны на рисунке 18.
Затем монтируют из направляющего профиля перемычку, ограничивающую высоту дверного проема. Горизонтальность установки перемычки проверяют с помощью уровня. Крепление перемычки из профиля ПН к стоечным профилям производят в двух точках с каждой стороны с помощью просекателя.
После установки перемычки монтируют промежуточные стойки над дверным проемом с сохранением проектного шага. Это необходимо для того, чтобы вертикальный стыковочный шов ГВЛ оказался над дверным проемом, что снижает вероятность трещинообразования в швах.
В местах сопряжения перегородок с коммуникациями между стоечными профилями устанавливают перемычки из направляющего профиля с их закреплением просекателем к профилю ПС. При групповой прокладке трубопровода допускается устройство общего обрамления.
При необходимости пропуска инженерных коммуникаций больших размеров допускается срезка вертикальных стоек с установкой по краям отверстия дополнительных стоечных профилей каркаса на всю высоту перегородки. В местах пересечения перегородок трубопроводами парового, водяного отопления и водоснабжения устанавливают гильзы.
Контроль за точностью установки каркаса осуществляют с помощью складного метра, метростата или нивелира.
Если длина перегородки превышает 15 м, то требуется устройство деформационного шва (см.
рисунок 19). Кроме того, деформационные швы перегородки должны повторять деформационные швы здания.
На смонтированный в проектное положение каркас перегородки необходимо оформить акт приемки за подписью главного инженера строительной организации и лица - надзора от проектной организации.
2.10.3. Обшивка каркаса 1-м слоем гипсоволокнистых листов с одной стороны
Перед установкой ГВЛ в местах примыкания обшивки к поверхностям потолка и стен (колонн), выполненных из другого материала, наклеивают разделительную ленту.
Установка ГВЛ начинается от основной стены помещения в вертикальном положении. Перед установкой на торцах каждого ГВЛ, образующих горизонтальный стык, делают фальц шириной 30 мм и глубиной 2 мм (см.
рисунок 5).
Горизонтальную стыковку ГВЛ выполняют вразбежку с шагом не менее 400 мм. Между полом и ГВЛ оставляется зазор около 10 мм. По вертикали ГВЛ стыкуются только на стойках каркаса.
Крепление ГВЛ осуществляют самонарезающими винтами с зенкующей головкой длиной 30 мм с помощью электрошуруповерта с магнитной головкой. Шаг винтов 750 мм (см.
рисунок 15). Крепятся ГВЛ по периметру и по центральной вертикальной оси.
Монтаж ГВЛ ведется в одном направлении с открытой частью профиля. Установка винтов, закрепляющих предыдущий лист, со стороны стенки профиля предотвращает отгибание слабого края полки внутрь профиля при креплении следующего листа.
Крепление винтами на стыке ГВЛ осуществляют вразбежку через 50 мм с винтами соседнего ряда и отступлением от края ГВЛ на 10 мм. Крепежные винты должны входить в ГВЛ под прямым углом и проникать в полку профиля на глубину не менее 10 мм. Головки винтов должны быть утоплены в поверхность ГВЛ на глубину, позволяющую их зашпаклевать.
2.10.4. Прокладка проектных инженерных коммуникаций
Облицевав одну сторону каркаса перегородки ГВЛ, приступают к монтажу электротехнической проводки. Кабели размещают перпендикулярно стойкам каркаса (для чего в них имеются отверстия) в строгом соответствии с рабочим проектом. Не допускается размещать электропроводку вдоль стоек или внутри них, во избежание ее повреждения при обшивке ГВЛ с другой стороны. Прокладку электросети выполняет специализированное звено электромонтажников. В ГВЛ вырезают отверстия под коробки, розетки, выключатели, а проводку выводят наружу. При необходимости производят прокладку и других коммуникационных сетей, предусмотренных проектом.
2.10.5. Установка и закрепление изоляционного материала внутри перегородок
Установку изоляционного материала производят после обшивки каркаса с одной стороны и прокладки инженерных сетей.
Установка изоляционного (минераловатного) материала производится вручную в пространство между стоечными профилями. При необходимости изоляционный материал прикрепляют к смонтированным ГВЛ или фиксируют с помощью вкладышей, крепящихся к стенкам профиля ПС.
2.10.6. Обшивка каркаса перегородки гипсоволокнистыми листами с другой стороны
Обшивка каркаса перегородки ГВЛ с обратной стороны производится после укладки изоляционного слоя в той же последовательности и с теми же требованиями, что изложены выше в
п. 2.10.2, но со смещением на один шаг профиля относительно листов другой стороны.
Раскрой доборных листов осуществляют в процессе выполнения работ. Примыкание листов обшивки к дверным коробкам осуществляют "заподлицо".
2.10.7. Заделка стыков между ГВЛ первого слоя
До заделки стыков необходимо проверить надежность крепления ГВЛ. Выступающие головки винтов довернуть. Производство работ, ведущих к повышению влажности в помещении, к этому времени должно быть завершено.
Заделку продольных стыков между ГВЛ производят при температуре и влажности воздуха в помещениях, соответствующих режиму эксплуатации (t не должна быть ниже +10 °C ). Недопустимы сквозняки, резкие колебания температуры и влажности в помещениях. Предварительно кромки ГВЛ обрабатывают грунтовкой Тифенгрунд.
Заделке шпаклевочной смесью Фугенфюллер ГВ подлежат продольные и поперечные стыки, стыки между перегородкой и стенами (колоннами), перегородкой и потолком.
Последовательность действий при обработке продольных и поперечных стыков между ГВЛ:
- нанесение шпателем первого слоя шпаклевки на стык между листами шириной чуть большей ширины армирующей ленты;
- после высыхания первого слоя шпаклевки широким шпателем нанесение второго слоя шпаклевки на всю ширину стыковочного шва.
2.10.8. Обшивка каркаса вторым слоем ГВЛ с двух сторон (см.
рисунок 13)
Установку листов второго слоя производят сначала с одной стороны, а затем - с другой. ГВЛ второго слоя устанавливают со смещением на один шаг относительно вертикальных и не менее 400 мм относительно горизонтальных стыков первого слоя. Крепление второго слоя ГВЛ производят к каркасу с помощью самонарезающих винтов длиной 45 мм с шагом 250 мм (см.
рисунок 15).
2.10.9. Установка электротехнических коробок, розеток, выключателей и их крепление к ГВЛ
По окончании монтажа ГВЛ с обеих сторон каркаса устанавливают электрические коробки, розетки, выключатели и т.п., которые крепят к ГВЛ с помощью специальной фурнитуры. Отверстия под электрические розетки, выключатели и т.п. в целях пожарной безопасности вырезают с противоположных сторон перегородки со смещением минимум на 200 мм. Эти работы выполняет звено электромонтажников.
2.10.10. Заделка стыков между ГВЛ и углублений от винтов
Шпаклевание стыков между ГВЛ производят при стабильной температуре и влажности воздуха в помещениях, соответствующих режиму эксплуатации (t не должна быть ниже +10 °C ). Недопустимы сквозняки и резкие колебания температуры в помещениях. Предварительно кромки ГВЛ обрабатывают грунтовкой Тифенгрунд.
Заделке шпаклевочной смесью Фугенфюллер ГВ подлежат продольные и поперечные стыки, стыки между перегородкой и стенами (колоннами), перегородкой и потолком. Продольные и поперечные стыки ГВЛ заделывают с применением армирующей ленты.
До обработки стыков необходимо проверить надежность крепления ГВЛ. Выступающие головки винтов - довернуть. Производство работ, ведущих к повышению влажности в помещении, к этому времени должно быть завершено.
В зависимости от назначения помещений требования к отделке поверхностей из ГВЛ можно разделить на 3 вида, как это принято в большинстве европейских стран:
Качество 1 (К1) - определяет качество поверхности швов и поверхностей ГВЛ, к которым не предъявляются оптические требования, т.е. поверхность может иметь волнистый рельеф, где гребень не должен превышать 1,5 мм. Такая поверхность ГВЛ предназначена для облицовки плиткой, оштукатуривания или под облицовку какими-либо другими материалами.
Качество 2 (К2) - соответствует существующему стандартному качеству поверхностей стен и потолков. Шпаклевание выполняется с целью достижения плавных переходов от поверхностей сопряжений к поверхности ГВЛ. Все переходы от швов, внутренних и внешних углов, крепежных элементов должны быть незаметны на глаз. Для этой цели зашпаклеванные швы обрабатывают пастой Финиш на ширину примерно 30 см.
Такая поверхность ГВЛ предназначена для структурированной окраски, оклейки структурными обоями, для тонкослойного оштукатуривания.
Качество 3 (К3) - предъявляет повышенные требования к качеству поверхности стен и потолков, т.е. кроме стандартного шпаклевания для К2 необходимо полное покрытие поверхности ГВЛ шпаклевочным материалом с последующим шлифованием. Для этих целей чаще всего используют пасту Финиш или Редигипс, а также шпаклевочные смеси.
Такая поверхность предназначена для высококачественной окраски стен и потолков любыми видами красок, оклейки глянцевыми тонкослойными обоями, оштукатуривания тонкоструктурированными растворными смесями с крупностью зерна менее 1 мм.
В данной технологической карте отделка поверхности относится к виду К1, на которую даются нормативы трудозатрат и расхода материалов. Более качественная отделка поверхности оговаривается заказчиком и на нее составляется отдельная смета.
Последовательность действий при обработке продольных и поперечных стыков между ГВЛ следующая:
- перед шпаклеванием обработка грунтовкой глубокого проникновения всех стыков;
- нанесение шпателем первого слоя шпаклевки на стык между листами шириной чуть больше ширины армирующей ленты;
- вдавливание шпателем армирующей ленты в нанесенную шпаклевку;
- после высыхания первого слоя шпаклевки широким шпателем нанесение второго слоя шпаклевки на всю ширину стыковочного шва.
Заделке шпаклевочной смесью Фугенфюллер ГВ подлежат углубления от винтов, стыки между перегородкой и стенами (колоннами), перегородкой и потолком. В местах стыковок на эти конструкции предварительно крепится самоклеящаяся разделительная лента. После заделки стыков и полного высыхания шпаклевки излишки ленты срезают, а шов - шлифуют.
В некоторых случаях при монтаже перегородок образуются внешние углы, которые защищают от механических повреждений при помощи металлических перфорированных уголков из оцинкованной стали (ПУ 31 x 31 x 0,4), которые крепят к ГВЛ с помощью специального приспособления, указанного в перечне инструментов. После крепления уголки шпаклюют и после высыхания шлифуют.
По окончании всех шпаклевочных работ поверхность перегородок обрабатывают с помощью кисти, щетки или валика грунтовкой Тифенгрунд. Это необходимо сделать с целью предотвращения образования трещин в швах из-за возможного изменения влажностного режима в помещении (особенно весной, осенью или при проведении отделочных работ мокрым способом).
3. ПОТРЕБНОСТЬ В ИНВЕНТАРЕ И МАТЕРИАЛАХ
Перечень потребного инвентаря, приспособлений и инструмента - см. на стр. 144.
Таблица 3.1
Нормативные показатели расхода материалов
на устройство 1 м2 перегородки С 365
┌─────────────────────────┬───┬──────────────────────────────────┐
│ Наименование материалов │Ед.│ Размер перегородки, м │
│ │из-├───────┬───────┬───────┬──────────┤
│ │ме-│4 x 2,7│6 x 2,7│9 x 2,7│16,2 x 2,7│
│ │ре-│(глу- │ (один │ (два │(три про- │
│ │ния│хая) │ проем)│проема)│ема и де- │
│ │ │ │ │ │формацион-│
│ │ │ │ │ │ный шов) │
├─────────────────────────┼───┼───────┼───────┼───────┼──────────┤
│ 1 │ 2 │ 3 │ 4 │ 5 │ 6 │
├─────────────────────────┴───┴───────┴───────┴───────┴──────────┤
│ Каркас и крепежные изделия │
├─────────────────────────┬───┬───────┬───────┬───────┬──────────┤
│Профиль направляющий │ м │ 1,51 │ 1,71 │ 1,79 │ 1,74 │
│ПН 50/40, │ │ │ │ │ │
│ТУ 1121-004-04001508-2003│ │ │ │ │ │
├─────────────────────────┼───┼───────┼───────┼───────┼──────────┤
│Профиль стоечный │ м │ 4,07 │ 5,08 │ 5,21 │ 4,87 │
│ПС 50/50, │ │ │ │ │ │
│ТУ 1121-004-04001508-2003│ │ │ │ │ │
├─────────────────────────┼───┼───────┼───────┼───────┼──────────┤
│Профиль направляющий │ м │ - │ - │ - │ 0,29 │
│потолочный ПНП 28/27 (на │ │ │ │ │ │
│устройство деформ. шва), │ │ │ │ │ │
│ТУ 1121-004-04001508-2003│ │ │ │ │ │
├─────────────────────────┼───┼───────┼───────┼───────┼──────────┤
│Лента уплотнительная типа│ м │ 2,67 │ 2,53 │ 2,33 │ 2,07 │
│Дихтунгсбанд? сеч. │ │ │ │ │ │
│50 x 3,2 мм │ │ │ │ │ │
├─────────────────────────┼───┼───────┼───────┼───────┼──────────┤
│Дюбель типа К 6/35 │шт.│ 3,38 │ 3,26 │ 2,86 │ 2,34 │
├─────────────────────────┼───┼───────┼───────┼───────┼──────────┤
│Дюбели анкерные │шт.│ - │ 1,40 │ 1,94 │ 1,58 │
│металлические │ │ │ │ │ │
├─────────────────────────┼───┼───────┼───────┼───────┼──────────┤
│Верхний уголок для креп- │шт.│ - │ 0,28 │ 0,39 │ 0,32 │
│ления несущих элементов │ │ │ │ │ │
│двери 100 x 123 мм │ │ │ │ │ │
├─────────────────────────┼───┼───────┼───────┼───────┼──────────┤
│Нижний уголок для крепле-│шт.│ - │ 0,28 │ 0,39 │ 0,32 │
│ния несущих элементов │ │ │ │ │ │
│двери 100 x 123 мм │ │ │ │ │ │
├─────────────────────────┼───┼───────┼───────┼───────┼──────────┤
│Материал изолирующий │м2 │ 2,06 │ 2,06 │ 2,06 │ 2,06 │
│из минеральных волокон │ │ │ │ │ │
├─────────────────────────┼───┼───────┼───────┼───────┼──────────┤
│Брусок деревянный, размер│ м │ - │ 0,78 │ 1,08 │ 0,88 │
│50 x 50 x 2695 мм │ │ │ │ │ │
├─────────────────────────┴───┴───────┴───────┴───────┴──────────┤
│ Обшивка │
├─────────────────────────┬───┬───────┬───────┬───────┬──────────┤
│Лист гипсоволокнистый ГВЛ│м2 │ 4,21 │ 4,49 │ 4,67 │ 4,7 │
├─────────────────────────┼───┼───────┼───────┼───────┼──────────┤
│Винт самонарезающий с │ │ │ │ │ │
│острым концом и зенкующей│ │ │ │ │ │
│длиной, мм: │ │ │ │ │ │
│ 30 │шт.│ 13,53 │ 14,19 │ 15,23 │ 13,20 │
│ 45 │шт.│ 35,33 │ 37,88 │ 36,01 │ 36,12 │
│ 22 │шт.│ - │ - │ - │ 0,69 │
│ длиной 9 мм │шт.│ - │ - │ - │ 1,76 │
├─────────────────────────┴───┴───────┴───────┴───────┴──────────┤
│ Заделка швов │
├─────────────────────────┬───┬───────┬───────┬───────┬──────────┤
│Шпаклевка Фугенфюллер ГВ,│кг │ 1,79 │ 1,79 │ 1,76 │ 1,74 │
│ТУ 5745-011-04001508-97 │ │ │ │ │ │
├─────────────────────────┼───┼───────┼───────┼───────┼──────────┤
│Лента армирующая │ м │ 2,27 │ 2,49 │ 2,64 │ 2,86 │
├─────────────────────────┼───┼───────┼───────┼───────┼──────────┤
│Лента разделительная │ м │ 1,77 │ 1,62 │ 1,42 │ 1,15 │
│50 мм │ │ │ │ │ │
├─────────────────────────┼───┼───────┼───────┼───────┼──────────┤
│Грунтовка Тифенгрунд │кг │ 0,25 │ 0,25 │ 0,25 │ 0,25 │
└─────────────────────────┴───┴───────┴───────┴───────┴──────────┘
4. НОРМАТИВНЫЕ И ТЕХНИКО-ЭКОНОМИЧЕСКИЕ ПОКАЗАТЕЛИ
(ИЗМЕРИТЕЛЬ КОНЕЧНОЙ ПРОДУКЦИИ - 1 М2)
Таблица 4.1
Затраты труда на устройство перегородки С 365
N п.п. | Наименование технологи- ческих процессов | Еди- ница изме- рения | Объем работ | Обосно- вание | Норма времени | Затраты труда |
рабо- чих, чел.-ч | маши- ниста, чел.-ч (работа машин, маш.-ч) | рабочих, чел.-ч | маши- ниста, чел.-ч (работа машин, маш.-ч) |
1 | 2 | 3 | 4 | 5 | 6 | 7 | 8 | 9 |
1 | Устройство каркаса | м2 | 1 | Расчет ОАО "Тула- оргтех- строй" методом техни- ческого норми- рования | 0,62 | - | 0,62 | - |
2 | Обшивка каркаса | м2 | 1 | 0,62 | - | 0,62 | - |
3 | Устройство изоляционно- го слоя | м2 | 1 | 0,2 | - | 0,2 | - |
4 | Заделка швов, обработка поверхности | м2 | 1 | 0,44 | - | 0,44 | - |
5 | Подача материалов на этажи подъемником грузоподъ- емностью до 1 т при высоте подъема до 8 м (добавлять на каждые следующие 6 м) | 100 т | 0,00055 | Е1-16 | 36 (6,8) | 9 (1,7) | 0,0198 (0,0037) | 0,005 (0,0009) |
6 | Перевозка материалов по этажу ручными тележками на расстояние до 30 м | 1 т | 0,055 | Е1-21 | 1,1 | - | 0,060 | - |
| Итого: | | | | | | 1,96 | 0,005 |
Затраты труда на устройство перегородок с проемами и деформационными швами (без учета прочих работ) |
С одним дверным проемом | 1,94 чел.-ч |
С двумя дверными проемами | 1,965 чел.-ч |
С тремя дверными проемами и деформационным швом | 1,97 чел.-ч |
Таблица 4.2
График производства работ
N п.п. | Наименование технологических процессов | Еди- ница из- ме- ре- ния | Объем работ | Затраты труда | Принятый состав звена | Про- должи- тель- ность про- цесса, ч |
рабо- чих, чел.-ч | маши- ниста, чел.-ч (работа машин, маш.-ч) |
1 | Устройство каркаса | м2 | 1 | 0,62 | | Монтаж- ники кон- струкций 4-го и 3-го разрядов | 0,31 |
2 | Обшивка каркаса | м2 | 1 | 0,62 | | 0,31 |
3 | Устройство изоляционного слоя | м2 | 1 | 0,2 | | 0,1 |
4 | Обработка поверхности, заделка швов | м2 | 1 | 0,44 | | 0,22 |
5 | Прочие работы | м2 | 1 | 0,08 | 0,005 | | 0,04 |
| Итого: | | | 1,96 | | | 0,98 |
Рисунок 4.1. График движения рабочей силы
Таблица 4.3
Технико-экономические показатели
┌────┬─────────────────────────────────────┬─────────┬───────────┐
│ N │ Наименование │ Единица │Количество │
│п.п.│ │измерения│ │
├────┼─────────────────────────────────────┼─────────┼───────────┤
│ 1 │Продолжительность работ │ ч │ 0,98 │
├────┼─────────────────────────────────────┼─────────┼───────────┤
│ 2 │Трудоемкость на 1 м2: │ │ │
│ │ по нормам │ чел.-ч │ 1,88 │
│ │ по графику (с учетом прочих работ) │ │ 1,96 │
├────┼─────────────────────────────────────┼─────────┼───────────┤
│ 3 │Максимальная численность рабочих │ чел. │ 2 │
├────┼─────────────────────────────────────┼─────────┼───────────┤
│ 4 │Выработка на 1 чел.-ч │ м2 │ 1,02 │
└────┴─────────────────────────────────────┴─────────┴───────────┘
ТИПОВАЯ ТЕХНОЛОГИЧЕСКАЯ КАРТА
НА УСТРОЙСТВО ПЕРЕГОРОДОК
НА РАЗНЕСЕННОМ ДВОЙНОМ МЕТАЛЛИЧЕСКОМ КАРКАСЕ
КОМПЛЕКТНОЙ СИСТЕМЫ КНАУФ
С ПРИМЕНЕНИЕМ ГИПСОВОЛОКНИСТЫХ ЛИСТОВ
Перегородка С 366
1.1. Типовая технологическая карта предназначена для разработки проектов производства работ (ППР), проектов организации строительства (ПОС), другой организационно-технологической документации, а также является информационным пособием для строительных организаций, производящих устройство перегородок С 366 с применением гипсоволокнистых листов (ГВЛ).
1.2. Сборные перегородки С 366 являются межкомнатными с шумозащитой 51 - 56 дБ и пределом огнестойкости EI 150, которые устраиваются в помещениях высотой до 6,5 м и предназначены для жилых, общественных и производственных зданий:
- любой степени огнестойкости;
- любых конструктивных систем и типов;
- любого уровня ответственности, включая повышенный;
- различной этажности;
- возводимых в ветровых районах до V включительно;
- возводимых в районах как с обыкновенными, так и со сложными инженерно-геологическими условиями, сейсмичностью до 9 баллов.
1.3. Перегородка С 366 имеет конструкцию, отвечающую требованиям рабочих чертежей серии 1.031.9-3.01 "Комплектные системы КНАУФ. Перегородки поэлементной сборки из гипсоволокнистых листов на металлическом и деревянном каркасах для жилых, общественных и производственных зданий", выпуск 1. Серия выпущена ЗАО "НП Челябинский Промстройпроект" при участии фирмы КНАУФ.
1.4. Перегородка С 366 состоит из двойного металлического каркаса с пространством для пропуска коммуникаций, двусторонней обшивки двумя слоями гипсоволокнистых листов толщиной 12,5 мм, звукоизоляционного слоя. При монтаже перегородки С 366 в санитарно-технических помещениях с влажным влажностным режимом необходимо использовать влагостойкие гипсоволокнистые листы (ГВЛВ). Масса 1 м2 перегородки при толщине ГВЛ 12,5 мм - 69 кг.
1.5. Каркас системы С 366 состоит из направляющих и стоечных оцинкованных металлических профилей, отвечающих требованиям ТУ 1121-004-04001508-2003. Стандартная длина профилей составляет: 2750; 3000; 4000; 4500 мм. По согласованию с заказчиком могут быть выпущены профили длиной от 500 до 6000 мм. Номинальная толщина профилей должна быть не менее 0,6 мм. Стенки направляющих и стоечных, а также полки стоечных профилей усилены продольными гофрами, увеличивающими их жесткость.
Направляющие профили имеют П-образную, а стоечные профили - С-образную формы. Размеры их стенок и полок (a x b) представлены в таблицах 1.1 и
1.2.
Таблица 1.1
Геометрические размеры направляющих профилей
┌──────────────────┬─────────────────────────────────────────────┐
│ Размер │ Профиль │
│ ├──────────────┬──────────────┬───────────────┤
│ │ ПН 50 │ ПН 75 │ ПН 100 │
├──────────────────┼──────────────┼──────────────┼───────────────┤
│ a x b, мм │ 50 x 40 │ 75 x 40 │ 100 x 40 │
└──────────────────┴──────────────┴──────────────┴───────────────┘
Таблица 1.2
Геометрические размеры стоечных профилей
┌────────────────┬───────────────────────────────────────────────┐
│ Размер │ Профиль │
│ ├───────────────┬───────────────┬───────────────┤
│ │ ПС 50 │ ПС 75 │ ПС 100 │
├────────────────┼───────────────┼───────────────┼───────────────┤
│ a x b, мм │ 50 x 50 │ 75 x 50 │ 100 x 50 │
└────────────────┴───────────────┴───────────────┴───────────────┘
Направляющие профили производятся с готовыми отверстиями в стенках диаметром 8 мм, предназначенными для крепления дюбелями к несущим основаниям. В стоечных профилях имеются 3 пары отверстий диаметром 33 мм (в центре и по краям), которые позволяют монтировать технические коммуникации внутри перегородки.
Предельно допустимая высота перегородки С 366 варьируется в зависимости от ширины стенки и шага установки стоечных профилей, толщины ГВЛ. Данная технологическая карта может быть использована для устройства перегородки высотой до 4,5 м.
1.6. ГВЛ (ГВЛВ) представляет собой экологически чистый листовой отделочный материал, изготовленный из строительного гипса марки не ниже Г-4 (
ГОСТ 125-79), распушенной целлюлозной макулатуры марок МС-10 и МС-11 (ГОСТ 10700-89), содержащей различные технологические добавки. Типовой размер ГВЛ, который применялся при разработке данной технологической карты, равен 2500 x 1200 x 12,5 мм.
По заказу строительных организаций могут выпускаться партии листов других типоразмеров согласно
ГОСТ Р 51829-2001, которые приведены в таблице 1.3.
Таблица 1.3
Размеры ГВЛ
Длина, мм | 1500; 2000; 2500; 2700; 3000 |
Ширина, мм | 500; 1000; 1200 |
Толщина, мм | 10; 12,5; 15; 18; 20 |
ГВЛ выпускают с различными формами продольных кромок: фальцевая (ФК); прямая (ПК). Данная технологическая карта предусматривает обшивку каркаса ГВЛ с фальцевой кромкой (ФК).
Масса 1 м2 (поверхностная плотность) ГВЛ - 1,05S < m < 1,2S (кг/м2), где S - толщина листа, мм. Удельная активность естественных радионуклидов не более 370 Бк/кг (
ГОСТ 12.1.044-89*), т.е. ГВЛ относится к I группе.
Пожаротехнические характеристики ГВЛ соответствуют:
Отпускная влажность листов не должна превышать 1,5%; плотность - не более 1250 кг/м3.
1.7. Для крепления ГВЛ к каркасу перегородок применяют самонарезающие винты с зенкующей головкой, а для крепления элементов каркаса перегородок к конструкциям здания - дюбели.
1.8. Монтаж перегородок производят в период отделочных работ по окончании "мокрых" процессов, способных существенно повысить влажность воздуха внутри помещения, до устройства чистого пола.
В помещениях, где производят монтаж перегородок С 366, температура воздуха не должна быть ниже +10 °C .
Температурно-влажностный режим помещения должен соответствовать требованиям
СНиП 23-02-2003 "Тепловая защита зданий".
1.9. Типовая технологическая карта разработана на измеритель конечной продукции 1 м2 перегородки. Привязка типовой технологической карты к конкретному объекту и условиям строительства состоит в уточнении необходимых материальных ресурсов и схем организации строительного процесса, соответствующего рабочим чертежам.
2. ОРГАНИЗАЦИЯ И ТЕХНОЛОГИЯ ВЫПОЛНЕНИЯ РАБОТ
2.1. К устройству перегородок С 366 рекомендуется приступать только после:
- наличия утвержденной проектной документации (рабочих чертежей);
- наличия проекта производства работ, который должен предусматривать комплексную механизацию работ с наиболее полным использованием специализированного инструмента и приспособлений, способствующих повышению производительности труда, сокращению сроков возведения перегородок, уменьшающих трудозатраты и создающих наиболее безопасные условия труда;
- производства организационно-технологической подготовки, которая включает в себя подготовку необходимой оснастки, средств подмащивания и доставки ГВЛ в зону производства работ (см.
рисунок 3).
2.2. До начала монтажа элементов перегородки необходимо закончить все общестроительные, а также строительно-монтажные работы, которые могут вызвать повышение влажности ГВЛ. Произвести уборку строительного мусора. Произвести инструментальную проверку соответствия основания для установки направляющих и стоечных профилей каркаса перегородки. Подготовленное основание должно быть оформлено актом приемки за подписью ответственных представителей строительной организации.
2.3. Работы по монтажу перегородок С 366 выполняют под руководством ИТР. Рабочие, выполняющие монтажные работы, должны пройти техническое обучение в учебных центрах "КНАУФ" или других специализированных учебных заведениях и иметь удостоверение на право производства работ.
2.4. Возведение перегородок производят поточно-расчлененным методом, по захваткам, со специализацией звеньев бригады на выполнение однотипных работ и оснащенных соответствующим набором инструментов, инвентаря и средств подмащивания. Каждое звено состоит из двух человек: монтажник конструкций 4-го разряда, монтажник конструкций 3-го разряда.
2.5. Доставку на объект ГВЛ, упакованных в полиэтиленовую пленку, следует производить централизованно автотранспортом. По согласованию с потребителем допускается транспортировать листы в непакетированном виде (без обвязки или упаковки в пленку). Размер упаковки ГВЛ 2500 x 1200 x 650 мм. Габариты пакетов не должны превышать по длине 4100 мм, ширине 1300 мм, высоте 800 мм; масса пакета не должна быть более 3000 кг (см.
рисунок 1).
ГВЛ следует хранить в помещениях с сухим и нормальным влажностным режимом, раздельно по видам и размерам, с соблюдением техники безопасности и сохранности продукции. Общая высота складируемого штабеля с ГВЛ не должна превышать 3,5 м (см.
рисунок 2). Расстояние между штабелями складирования не должно быть менее 1 м.
2.6. Доставку на объект металлических профилей каркаса перегородок допускается производить автотранспортом при условии их защиты от механических воздействий. Хранение профилей на закрытых приобъектных складах должно производиться в кондукторе пакетами по типам.
2.7. При производстве погрузочно-разгрузочных работ следует избегать ударов. Укладку пакетов с профилями на транспортные средства следует осуществлять погрузчиками. Вышеуказанные работы должны производиться в соответствии с требованиями
ГОСТ 12.3.009-76*.
2.8. Подъем материалов на этажи рекомендовано производить с помощью машин и механизмов, указанных в сборнике
ЕНиР-1 "Внутрипостроечные транспортные работы".
2.9. Транспортирование ГВЛ к месту производства работ на этаже следует осуществлять ручными тележками. При переносе ГВЛ вручную - с помощью специальных приспособлений.
2.10. Устройство перегородки С 366 предусмотрено производить в следующем порядке:
- разметка проектного положения перегородки;
- установка элементов первого каркаса;
- установка элементов второго каркаса;
- установка траверс-перемычек на стоечных профилях каркасов;
- обшивка каркаса первым слоем ГВЛ с одной стороны;
- прокладка проектных инженерных коммуникаций;
- установка и закрепление изоляционного материала внутри перегородки;
- обшивка каркаса первым слоем ГВЛ с другой стороны;
- заделка стыков между ГВЛ первого слоя;
- обшивка каркаса вторым слоем ГВЛ с двух сторон;
- установка электротехнических коробок, розеток, выключателей и т.п. и их крепление к ГВЛ;
- заделка стыков между ГВЛ второго слоя и углублений от винтов;
- подготовка поверхности перегородок под чистовую отделку.
2.10.1. Разметка проектного положения перегородки (см.
рисунок 4)
Разметку проектного положения элементов сложного каркаса перегородки С 366 производят в строгом соответствии с проектным решением, согласно рабочим чертежам. Для быстрой и безошибочной установки перегородок рекомендуется вначале отмечать на полу места расположения стоечных профилей, дверных и других проемов. Разметку производят с помощью складного метра, рулетки, метростата и шнуроотбойного устройства. Разметку больших помещений производят с помощью лазерного или оптического нивелира.
Разметку начинают от стены, расположенной параллельно возводимой перегородке, вынося горизонтальную ось, затем от этой оси размечают оси первого и второго каркасов. Затем на этой оси отмечают расположение стоечных профилей с проектным шагом, а также выводов и сквозных проходов коммуникаций. Для данной технологической карты шаг равен 600 мм.
Расстояние от стоечных профилей двойного каркаса, примыкающих к стене, до первых отстоящих от стены профилей должно быть меньше проектного шага на 25 мм.
Затем с помощью метростата и шнуроотбойного устройства (если высота помещения больше 3 м, то - нивелира или отвеса) разметку зеркально переносят на потолок. Вертикальные оси каркаса перегородки с помощью метростата и отвеса наносят на стены помещения, примыкающие к каркасу.
2.10.2. Установка элементов двойного каркаса (см.
рисунок 20)
Элементы сложного каркаса перегородки С 366 состоят из направляющих профилей (ПН) и стоечных профилей (ПС), имеющих стандартные размеры. На полках стоечных профилей выполнены продольные гофры, которые увеличивают их жесткость. Центральный гофр является ориентиром как при точной сборке каркаса, так и при установке ГВЛ.
Типоразмеры стоечных и направляющих профилей выбирают исходя из высоты конструкции перегородки в полном соответствии с рабочими чертежами.
Допускается соединение стоечных профилей по длине методом насадки или встык с дополнительным профилем. В этих случаях длина нахлеста определяется согласно таблице 2.1, а длина дополнительного профиля должна быть не менее 20-кратной величины стенки стоечного профиля.
Таблица 2.1
Соединение стоечных профилей
Тип профиля | Длина нахлеста, см |
1 | 2 |
ПС 50 | >= 50 |
ПС 65 | >= 65 |
ПС 75 | >= 75 |
ПС 100 | >= 100 |
Соединение (удлинение) профилей производят с помощью просекателя методом "просечки с отгибом", в отдельных случаях - посредством винтов LN 3,5 x 9.
Стоечные профили должны иметь высоту на 10 мм меньше расстояния между стенками верхних и нижних направляющих профилей.
Установку направляющих профилей осуществляют согласно разметке их проектного положения на полу и на потолке.
С целью повышения звукоизоляционной способности перегородки на стенки направляющих профилей ПН наклеивают уплотнительную ленту. После раскроя и полной подготовки направляющих профилей приступают к их монтажу по линии разметки на полу, а затем - на потолке. Крепление направляющих профилей осуществляют дюбелями с шагом не более 1 м. Закреплять профиль ПН необходимо не менее чем в трех точках независимо от его длины. При необходимости дополнительные отверстия в стенке направляющего профиля высверливают дрелью.
Установку стоечных профилей также осуществляют согласно их проектному положению, а их типоразмер должен соответствовать рабочим чертежам (в рассматриваемом случае шаг стоек равен 600 мм).
Предварительно на стоечные профили, примыкающие к конструкциям здания, наклеивают уплотнительную ленту.
Стоечные профили устанавливают в закрепленные в проектном положении направляющие профили.
Установку стоек начинают от стен, к которым профили крепятся дюбелями с шагом не более 1 м, но не менее трех креплений на одну стойку. Каждая стойка устанавливается строго вертикально и с помощью просекателя закрепляется к направляющему профилю на полу и на потолке. Закрепление производят не менее чем в двух точках с каждой стороны направляющего профиля (т.е. четыре просечки вверху и четыре просечки - внизу). Устройство вставок в каркасах 2-слойной перегородки не требуется.
Каждую пару стоечных профилей соединяют полосами ГВЛ высотой 300 мм через 600 мм по высоте. Крепление полос производят самонарезающими винтами длиной 30 мм к каждому профилю (см.
рисунок 20).
В местах сопряжения перегородок с коммуникациями между стоечными профилями устанавливают перемычки из направляющего профиля с их закреплением просекателем к профилю ПС. При групповой прокладке трубопровода допускается устройство общего обрамления.
При необходимости пропуска инженерных коммуникаций больших размеров допускается срезка вертикальных стоек с установкой по краям отверстия дополнительных стоечных профилей каркаса на всю высоту перегородки. В местах пересечения перегородок трубопроводами парового, водяного отопления и водоснабжения устанавливают гильзы.
Контроль за точностью установки каркаса осуществляют с помощью складного метра, метростата или нивелира.
На смонтированный в проектное положение каркас перегородки необходимо оформить акт приемки за подписью главного инженера строительной организации и лица - надзора от проектной организации.
2.10.3. Обшивка каркаса 1-м слоем ГВЛ с одной стороны
Перед установкой ГВЛ в местах примыкания обшивки к поверхностям потолка и стен (колонн), выполненных из другого материала, наклеивают разделительную ленту.
Установка ГВЛ начинается от основной стены помещения в вертикальном положении. Перед установкой на торцах каждого ГВЛ, образующих горизонтальный стык, делают фальц шириной 30 мм и глубиной 2 мм (см.
рисунок 5).
Горизонтальную стыковку ГВЛ выполняют вразбежку с шагом не менее 400 мм. Между полом и ГВЛ оставляется зазор около 10 мм. По вертикали ГВЛ стыкуются только на стойках каркаса.
Крепление ГВЛ осуществляют самонарезающими винтами с зенкующей головкой длиной 30 мм с помощью электрошуруповерта с магнитной головкой. Шаг винтов 750 мм. Крепятся ГВЛ по периметру и по центральной вертикальной оси (см.
рисунок 15).
Монтаж ГВЛ ведется в одном направлении с открытой частью профиля. Установка винтов, закрепляющих предыдущий лист, со стороны стенки профиля предотвращает отгибание слабого края полки внутрь профиля при креплении следующего листа.
Крепление винтами на стыке ГВЛ осуществляют вразбежку через 50 мм с винтами соседнего ряда и отступлением от края ГВЛ на 10 мм. Крепежные винты должны входить в ГВЛ под прямым углом и проникать в полку профиля на глубину не менее 10 мм. Головки винтов должны быть утоплены в поверхность ГВЛ на глубину, позволяющую их зашпаклевать.
2.10.4. Прокладка проектных инженерных коммуникаций
Облицевав одну сторону каркаса перегородки ГВЛ, приступают к монтажу электротехнической проводки. Кабели размещают перпендикулярно стойкам каркаса (для чего в них имеются отверстия) в строгом соответствии с рабочим проектом. Не допускается размещать электропроводку вдоль стоек или внутри них, во избежание ее повреждения при обшивке ГВЛ с другой стороны. Прокладку электросети выполняет специализированное звено электромонтажников. В ГВЛ вырезают отверстия под коробки, розетки, выключатели, а проводку выводят наружу. При необходимости производят прокладку и других коммуникационных сетей, предусмотренных проектом.
2.10.5. Установка и закрепление изоляционного материала внутри перегородок
Установку изоляционного материала производят после обшивки каркаса с одной стороны и прокладки инженерных сетей.
Установка изоляционного (минераловатного) материала производится вручную в пространство между стоечными профилями. При необходимости изоляционный материал прикрепляют к смонтированным ГВЛ или фиксируют с помощью вкладышей, крепящихся к стенкам профиля ПС.
2.10.6. Обшивка каркаса перегородки гипсоволокнистыми листами с другой стороны
Обшивка каркаса перегородки ГВЛ с обратной стороны производится после укладки изоляционного слоя в той же последовательности и с теми же требованиями, что изложены выше в
п. 2.10.3, но со смещением на один шаг профиля относительно листов другой стороны. Раскрой доборных листов осуществляют в процессе выполнения работ.
2.10.7. Заделка стыков между ГВЛ 1-го слоя
До заделки стыков необходимо проверить надежность крепления ГВЛ. Выступающие головки винтов довернуть. Производство работ, ведущих к повышению влажности в помещении, к этому времени должно быть завершено.
Заделку продольных стыков между ГВЛ производят при температуре и влажности воздуха в помещениях, соответствующих режиму эксплуатации (t не должна быть ниже +10 °C ). Недопустимы сквозняки, резкие колебания температуры и влажности в помещениях. Предварительно кромки ГВЛ обрабатывают грунтовкой Тифенгрунд.
Заделке шпаклевочной смесью Фугенфюллер ГВ подлежат продольные и поперечные стыки, стыки между перегородкой и стенами (колоннами), перегородкой и потолком.
Последовательность действий при обработке продольных и поперечных стыков между ГВЛ следующая:
- нанесение шпателем первого слоя шпаклевки на стык между листами шириной чуть большей ширины армирующей ленты;
- после высыхания первого слоя шпаклевки широким шпателем нанесение второго слоя шпаклевки на всю ширину стыковочного шва.
2.10.8. Обшивка каркаса вторым слоем ГВЛ с двух сторон (см.
рисунок 13)
Установку листов второго слоя производят сначала с одной стороны, а затем - с другой. ГВЛ второго слоя устанавливают со смещением на один шаг относительно вертикальных и не менее 400 мм относительно горизонтальных стыков первого слоя. Крепление второго слоя ГВЛ производят к каркасу с помощью самонарезающих винтов длиной не менее 45 мм с шагом 250 мм (см.
рисунок 15).
2.10.9. Установка электротехнических коробок, розеток, выключателей и их крепление к ГВЛ
По окончани монтажа ГВЛ с обеих сторон каркаса устанавливают электрические коробки, розетки, выключатели и т.п., которые крепят к ГВЛ с помощью специальной фурнитуры. Отверстия под электрические розетки, выключатели и т.п. в целях пожарной безопасности вырезают с противоположных сторон перегородки со смещением минимум на 200 мм. Эти работы выполняет звено электромонтажников.
2.10.10. Заделка стыков между ГВЛ и углублений от винтов
Шпаклевание стыков между ГВЛ производят при стабильной температуре и влажности воздуха в помещениях, соответствующих режиму эксплуатации (t не должна быть ниже +10 °C ). Недопустимы сквозняки и резкие колебания температуры в помещениях. Предварительно кромки ГВЛ обрабатывают грунтовкой Тифенгрунд.
Заделке шпаклевочной смесью Фугенфюллер ГВ подлежат продольные и поперечные стыки, стыки между перегородкой и стенами (колоннами), перегородкой и потолком. Продольные и поперечные швы ГВЛ заделывают с применением армирующей ленты.
До обработки стыков необходимо проверить надежность крепления ГВЛ. Выступающие головки винтов - довернуть. Производство работ, ведущих к повышению влажности в помещении, к этому времени должно быть завершено.
В зависимости от назначения помещений требования к отделке поверхностей из ГВЛ можно разделить на 3 вида, как это принято в большинстве европейских стран:
Качество 1 (К1) - определяет качество поверхности швов и поверхностей ГВЛ, к которым не предъявляются оптические требования, т.е. поверхность может иметь волнистый рельеф, где гребень не должен превышать 1,5 мм. Такая поверхность ГВЛ предназначена для облицовки плиткой, оштукатуривания или под облицовку какими-либо другими материалами.
Качество 2 (К2) - соответствует существующему стандартному качеству поверхностей стен и потолков. Шпаклевание выполняется с целью достижения плавных переходов от поверхностей сопряжений к поверхности ГВЛ. Все переходы от швов, внутренних и внешних углов, крепежных элементов должны быть незаметны на глаз. Для этой цели зашпаклеванные швы обрабатывают пастой Финиш на ширину примерно 30 см.
Такая поверхность ГВЛ предназначена для структурированной окраски, оклейки структурными обоями, для тонкослойного оштукатуривания.
Качество 3 (К3) - предъявляет повышенные требования к качеству поверхности стен и потолков, т.е. кроме стандартного шпаклевания для К2 необходимо полное покрытие поверхности ГВЛ шпаклевочным материалом с последующим шлифованием. Для этих целей чаще всего используют пасту Финиш или Редигипс, а также шпаклевочные смеси.
Такая поверхность предназначена для высококачественной окраски стен и потолков любыми видами красок, оклейки глянцевыми тонкослойными обоями, оштукатуривания тонкоструктурированными растворными смесями с крупностью зерна менее 1 мм.
В данной технологической карте отделка поверхности относится к виду К1, на которую даются нормативы трудозатрат и расхода материалов. Более качественная отделка поверхности оговаривается заказчиком и на нее составляется отдельная смета.
Последовательность действий при обработке продольных и поперечных стыков между ГВЛ следующая:
- перед шпаклеванием обработка грунтовкой глубокого проникновения всех стыков;
- нанесение шпателем первого слоя шпаклевки на стык между листами шириной чуть больше ширины армирующей ленты;
- вдавливание шпателем армирующей ленты в нанесенную шпаклевку;
- после высыхания первого слоя шпаклевки широким шпателем нанесение второго слоя шпаклевки на всю ширину стыковочного шва.
Заделке шпаклевочной смесью Фугенфюллер ГВ подлежат углубления от винтов, стыки между перегородкой и стенами (колоннами), перегородкой и потолком. В местах стыковок на эти конструкции предварительно крепится самоклеящаяся разделительная лента. После заделки стыков и полного высыхания шпаклевки излишки ленты срезаются, а шов шлифуется.
Поверхность перегородки с одной стороны, где идет прямое попадание воды, обрабатывается гидроизоляционным составом Флехендихт, углы дополнительно проклеиваются уплотнительной гидроизоляционной лентой Флехендихтбанд. Другая сторона, где нет прямого попадания воды, обрабатывается грунтовкой Тифенгрунд.
В некоторых случаях при монтаже перегородок образуются внешние углы, которые защищают от механических повреждений при помощи металлических перфорированных уголков из оцинкованной стали (ПУ 31 x 31 x 0,4), которые крепят к ГВЛ с помощью специального приспособления, указанного в перечне инструментов. После крепления уголки шпаклюют и после высыхания шлифуют.
По окончании всех шпаклевочных работ поверхность перегородок обрабатывается с помощью кисти, щетки или валика грунтовкой Тифенгрунд. Это необходимо сделать с целью предотвращения образования трещин в швах из-за возможного изменения влажностного режима в помещении (особенно весной, осенью или при проведении отделочных работ мокрым способом).
3. ПОТРЕБНОСТЬ В ИНВЕНТАРЕ И МАТЕРИАЛАХ
Перечень потребного инвентаря, приспособлений и инструмента - см. на стр. 144.
Таблица 3.1
Нормативные показатели расхода материалов
на устройство 1 м2 перегородки С 366
┌────────────────────────────────────────────┬────────┬──────────┐
│ Наименование материалов │Ед. изм.│Количество│
├────────────────────────────────────────────┼────────┼──────────┤
│ 1 │ 2 │ 3 │
├────────────────────────────────────────────┴────────┴──────────┤
│ Каркас и крепежные изделия │
├────────────────────────────────────────────┬────────┬──────────┤
│Профиль направляющий ПН 50/40, │ м │ 1,51 │
│ТУ 1121-004-04001508-2003 │ │ │
├────────────────────────────────────────────┼────────┼──────────┤
│Профиль стоечный ПС 50/50, │ м │ 4,07 │
│ТУ 1121-004-04001508-2003 │ │ │
├────────────────────────────────────────────┼────────┼──────────┤
│Лента уплотнительная типа Дихтунгсбанд, │ м │ 2,52 │
│сеч. 50 x 3,2 мм │ │ │
├────────────────────────────────────────────┼────────┼──────────┤
│Дюбель типа К 6/35 │ шт. │ 3,38 │
├────────────────────────────────────────────┼────────┼──────────┤
│Материал изолирующий из минеральных волокон │ м2 │ 1,03 │
├────────────────────────────────────────────┴────────┴──────────┤
│ Обшивка │
├────────────────────────────────────────────┬────────┬──────────┤
│Лист гипсоволокнистый ГВЛВ 12,5 мм, │ м2 │ 4,28 │
├────────────────────────────────────────────┼────────┼──────────┤
│Винт самонарезающий с острым концом и │ │ │
│длиной, мм: │ │ │
│ 30 │ шт. │ 18,04 │
│ 45 │ шт. │ 35,33 │
├────────────────────────────────────────────┴────────┴──────────┤
│ Заделка швов │
├────────────────────────────────────────────┬────────┬──────────┤
│Шпаклевка Фугенфюллер ГВ, │ кг │ 1,79 │
│ТУ 5745-011-04001508-97 │ │ │
├────────────────────────────────────────────┼────────┼──────────┤
│Лента армирующая │ м │ 2,27 │
├────────────────────────────────────────────┼────────┼──────────┤
│Лента разделительная 50 мм │ м │ 0,88 │
├────────────────────────────────────────────┼────────┼──────────┤
│Грунтовка Тифенгрунд │ кг │ 0,12 │
├────────────────────────────────────────────┼────────┼──────────┤
│Состав гидроизоляционный Флехендихт │ кг │ 0,5 │
├────────────────────────────────────────────┼────────┼──────────┤
│Лента уплотнительная гидроизоляционная │ м │ 0,38 │
│Флехендихтбанд │ │ │
└────────────────────────────────────────────┴────────┴──────────┘
4. НОРМАТИВНЫЕ И ТЕХНИКО-ЭКОНОМИЧЕСКИЕ ПОКАЗАТЕЛИ
(ИЗМЕРИТЕЛЬ КОНЕЧНОЙ ПРОДУКЦИИ - 1 М2)
Таблица 4.1
Затраты труда на устройство перегородки С 366
┌────┬────────────┬─────┬───────┬───────┬──────────────┬──────────────────┐
│ N │Наименование│Еди- │ Объем │Обосно-│Норма времени │ Затраты труда │
│п.п.│технологи- │ница │ работ │вание ├──────┬───────┼────────┬─────────┤
│ │ческих │изме-│ │ │рабо- │маши- │рабочих,│маши- │
│ │процессов │рения│ │ │чих, │ниста, │ чел.-ч │ниста, │
│ │ │ │ │ │чел.-ч│чел.-ч │ │чел.-ч │
│ │ │ │ │ │ │(работа│ │(работа │
│ │ │ │ │ │ │машин, │ │машин, │
│ │ │ │ │ │ │маш.-ч)│ │маш.-ч) │
├────┼────────────┼─────┼───────┼───────┼──────┼───────┼────────┼─────────┤
│ 1 │ 2 │ 3 │ 4 │ 5 │ 6 │ 7 │ 8 │ 9 │
├────┼────────────┼─────┼───────┼───────┼──────┼───────┼────────┼─────────┤
│ 1 │Устройство │ м2 │ 1 │Расчет │ 0,07 │ - │ 0,07 │ - │
│ │каркаса │ │ │ОАО │ │ │ │ │
├────┼────────────┼─────┼───────┤"Тула- ├──────┼───────┼────────┼─────────┤
│ 2 │Обшивка │ м2 │ 1 │оргтех-│ 0,62 │ - │ 0,62 │ - │
│ │каркаса │ │ │строй" │ │ │ │ │
├────┼────────────┼─────┼───────┤методом├──────┼───────┼────────┼─────────┤
│ 3 │Устройство │ м2 │ 1 │техни- │ 0,1 │ - │ 0,1 │ - │
│ │изоляционно-│ │ │ческого│ │ │ │ │
│ │го слоя │ │ │норми- │ │ │ │ │
├────┼────────────┼─────┼───────┤рования├──────┼───────┼────────┼─────────┤
│ 4 │Заделка │ м2 │ 1 │ │ 0,44 │ - │ 0,44 │ - │
│ │швов, │ │ │ │ │ │ │ │
│ │обработка │ │ │ │ │ │ │ │
│ │поверхности │ │ │ │ │ │ │ │
├────┼────────────┼─────┼───────┼───────┼──────┼───────┼────────┼─────────┤
│ 5 │Подача │100 т│0,00069│ Е1-16 │ 36 │ 9 │ 0,0248 │ 0,0062 │
│ │материалов │ │ │ │(6,8) │ (1,7) │(0,0047)│(0,00117)│
│ │на этажи │ │ │ │ │ │ │ │
│ │подъемником │ │ │ │ │ │ │ │
│ │грузоподъ- │ │ │ │ │ │ │ │
│ │емностью │ │ │ │ │ │ │ │
│ │до 1 т │ │ │ │ │ │ │ │
│ │при высоте │ │ │ │ │ │ │ │
│ │подъема │ │ │ │ │ │ │ │
│ │до 8 м │ │ │ │ │ │ │ │
│ │(добавлять │ │ │ │ │ │ │ │
│ │на каждые │ │ │ │ │ │ │ │
│ │следующие │ │ │ │ │ │ │ │
│ │6 м) │ │ │ │ │ │ │ │
├────┼────────────┼─────┼───────┼───────┼──────┼───────┼────────┼─────────┤
│ 6 │Перевозка │ 1 т │ 0,069 │ Е1-21 │ 1,1 │ - │ 0,0759 │ - │
│ │материалов │ │ │ │ │ │ │ │
│ │по этажу │ │ │ │ │ │ │ │
│ │ручными │ │ │ │ │ │ │ │
│ │тележками на│ │ │ │ │ │ │ │
│ │расстояние │ │ │ │ │ │ │ │
│ │до 30 м │ │ │ │ │ │ │ │
├────┼────────────┼─────┼───────┼───────┼──────┼───────┼────────┼─────────┤
│ │Итого: │ │ │ │ │ │ 1,96 │ 0,0062 │
└────┴────────────┴─────┴───────┴───────┴──────┴───────┴────────┴─────────┘
Таблица 4.2
График производства работ
N п.п. | Наименование технологических процессов | Еди- ница из- ме- ре- ния | Объем работ | Затраты труда | Принятый состав звена | Про- должи- тель- ность про- цесса, ч |
рабо- чих, чел.-ч | маши- ниста, чел.-ч (работа машин, маш.-ч) |
1 | Устройство каркаса | м2 | 1 | 0,7 | | Монтаж- ники кон- струкций 4-го и 3-го разрядов | 0,31 |
2 | Обшивка каркаса | м2 | 1 | 0,62 | | 0,31 |
3 | Устройство изоляционного слоя | м2 | 1 | 0,1 | | 0,1 |
4 | Обработка поверхности, заделка швов | м2 | 1 | 0,44 | | 0,22 |
5 | Прочие работы | м2 | 1 | 0,1007 | 0,0062 | | 0,05 |
| Итого: | | | 1,96 | | | 0,99 |
Рисунок 4.1. График движения рабочей силы
Таблица 4.3
Технико-экономические показатели
┌────┬─────────────────────────────────────┬─────────┬───────────┐
│ N │ Наименование │ Единица │Количество │
│п.п.│ │измерения│ │
├────┼─────────────────────────────────────┼─────────┼───────────┤
│ 1 │Продолжительность работ │ ч │ 0,98 │
├────┼─────────────────────────────────────┼─────────┼───────────┤
│ 2 │Трудоемкость на 1 м2: │ │ │
│ │ по нормам │ чел.-ч │ 1,86 │
│ │ по графику (с учетом прочих работ) │ │ 1,96 │
├────┼─────────────────────────────────────┼─────────┼───────────┤
│ 3 │Максимальная численность рабочих │ чел. │ 2 │
├────┼─────────────────────────────────────┼─────────┼───────────┤
│ 4 │Выработка на 1 чел.-ч │ м2 │ 1,02 │
└────┴─────────────────────────────────────┴─────────┴───────────┘
ТИПОВАЯ ТЕХНОЛОГИЧЕСКАЯ КАРТА
НА УСТРОЙСТВО ПЕРЕГОРОДОК
НА МЕТАЛЛИЧЕСКОМ КАРКАСЕ КОМПЛЕКТНОЙ СИСТЕМЫ КНАУФ
С ПРИМЕНЕНИЕМ ГИПСОВОЛОКНИСТЫХ ЛИСТОВ
Перегородка С 367 "Стена безопасности"
1.1. Типовая технологическая карта предназначена для разработки проектов производства работ (ППР), проектов организации строительства (ПОС), другой организационно-технологической документации, а также является информационным пособием для строительных организаций, производящих устройство перегородок С 367 с применением гипсоволокнистых листов (ГВЛ).
1.2. Сборные перегородки С 367 с расчетной шумозащитой 54 дБ и пределом огнестойкости EI 90 предназначены для использования в качестве защиты соседних помещений от ударного воздействия (до 300 Nm) обрушивающихся строительных деталей в очаге пожара; применяются в жилых, общественных и производственных зданиях с высотой помещения до 9 м. Перегородки применяются в зданиях:
- любой степени огнестойкости;
- любых конструктивных систем и типов;
- любого уровня ответственности, включая повышенный;
- различной этажности;
- возводимых в ветровых районах до V включительно;
- возводимых в районах как с обыкновенными, так и со сложными инженерно-геологическими условиями, сейсмичностью до 9 баллов.
1.3. Перегородка С 367 имеет конструкцию, отвечающую требованиям рабочих чертежей серии 1.031.9-3.01 "Комплектные системы КНАУФ. Перегородки поэлементной сборки из гипсоволокнистых листов на металлическом и деревянном каркасах для жилых, общественных и производственных зданий", выпуск 1. Серия выпущена ЗАО "НП Челябинский Промстройпроект" при участии фирмы КНАУФ.
1.4. Перегородка С 367 состоит из одинарного металлического каркаса; двусторонней обшивки тремя слоями гипсоволокнистых листов толщиной 12,5 мм и двумя слоями листовой оцинкованной стали толщиной 0,5 мм между слоями ГВЛ с каждой стороны. Масса 1 м2 перегородки - 103 кг.
1.5. Каркас системы С 367 состоит из направляющего профиля ПН 100 и стоечного профиля ПС 100, отвечающих требованиям ТУ 1121-004-04001508-2003. Стандартная длина профилей составляет: 2750; 3000; 4000; 4500 мм. По согласованию с заказчиком могут быть выпущены профили длиной от 500 до 6000 мм. Номинальная толщина профилей должна быть не менее 0,6 мм. Стенки направляющих и стоечных, а также полки стоечных профилей усилены продольными гофрами, увеличивающими их жесткость.
Направляющие профили имеют П-образную, а стоечные профили - С-образную формы. Размеры их стенок и полок (a x b) представлены в таблицах 1.1 и
1.2.
Таблица 1.1
Геометрические размеры направляющих профилей
Размер | Профиль |
ПН 100 |
a x b, мм | 100 x 40 |
Таблица 1.2
Геометрические размеры стоечных профилей
Размер | Профиль |
ПС 100 |
a x b, мм | 100 x 50 |
Направляющие профили производят с готовыми отверстиями в стенках диаметром 8 мм, предназначенными для крепления дюбелями к несущим основаниям. В стоечных профилях имеются 3 пары отверстий в стенках диаметром 33 мм (в центре и по краям), которые позволяют монтировать технические коммуникации внутри перегородки.
Данная технологическая карта может быть использована для устройства перегородки высотой до 4 м.
1.6. ГВЛ представляет собой экологически чистый листовой отделочный материал, изготовленный из строительного гипса марки не ниже Г-4 (
ГОСТ 125-79), распушенной целлюлозной макулатуры марок МС-10 и МС-11 (ГОСТ 10700-89), содержащей различные технологические добавки. Типовой размер ГВЛ, который применялся при разработке данной технологической карты, равен 2500 x 1200 x 12,5 мм.
По заказу строительных организаций могут выпускаться партии листов других типоразмеров согласно
ГОСТ Р 51829-2001, которые приведены в таблице 1.3.
Таблица 1.3
Размеры ГВЛ
Длина, мм | 1500; 2000; 2500; 2700; 3000 |
Ширина, мм | 500; 1000; 1200 |
Толщина, мм | 10; 12,5; 15; 18; 20 |
ГВЛ выпускают с различными формами продольных кромок: фальцевая (ФК); прямая (ПК). Данная технологическая карта предусматривает обшивку каркаса ГВЛ с фальцевой кромкой (ФК).
Масса 1 м2 (поверхностная плотность) ГВЛ - 1,05S < m < 1,2S (кг/м2), где S - толщина листа, мм. Удельная активность естественных радионуклидов не более 370 Бк/кг (
ГОСТ 12.1.044-89*), т.е. ГВЛ относится к I группе.
Пожаротехнические характеристики ГВЛ соответствуют:
Отпускная влажность листов не должна превышать 1,5%; плотность - не более 1250 кг/м3.
1.7. Для крепления ГВЛ к каркасу перегородок применяют самонарезающие винты с зенкующей головкой, а для крепления элементов каркаса перегородок к конструкциям здания - дюбели.
1.8. Монтаж перегородок производят в период отделочных работ по окончании "мокрых" процессов, способных существенно повысить влажность воздуха внутри помещения, до устройства чистого пола.
В помещениях, где производят монтаж перегородок С 367, температура воздуха не должна быть ниже +10 °C .
Температурно-влажностный режим помещения должен соответствовать требованиям
СНиП 23-02-2003 "Тепловая защита зданий".
1.9. Типовая технологическая карта разработана на измеритель конечной продукции - 1 м2 перегородки. Привязка типовой технологической карты к конкретному объекту и условиям строительства состоит в уточнении необходимых материальных ресурсов и схем организации строительного процесса, соответствующего рабочим чертежам.
2. ОРГАНИЗАЦИЯ И ТЕХНОЛОГИЯ ВЫПОЛНЕНИЯ РАБОТ
2.1. К устройству перегородок С 367 рекомендуется приступать только после:
- наличия утвержденной проектной документации (рабочих чертежей);
- наличия проекта производства работ, который должен предусматривать комплексную механизацию работ с наиболее полным использованием специализированного инструмента и приспособлений, способствующих повышению производительности труда, сокращению сроков возведения перегородок, уменьшающих трудозатраты и создающих наиболее безопасные условия труда;
- производства организационно-технологической подготовки, которая включает в себя подготовку необходимой оснастки, средств подмащивания и доставки ГВЛ в зону производства работ (см.
рисунок 3).
2.2. До начала монтажа элементов перегородки необходимо закончить все общестроительные, а также строительно-монтажные работы, которые могут вызвать повышение влажности ГВЛ. Произвести уборку строительного мусора. Произвести инструментальную проверку соответствия основания для установки направляющих и стоечных профилей каркаса перегородки. Подготовленное основание должно быть оформлено актом приемки за подписью ответственных представителей строительной организации.
2.3. Работы по монтажу перегородок С 367 выполняют под руководством ИТР. Рабочие, выполняющие монтажные работы, должны пройти техническое обучение в учебных центрах "КНАУФ" или других специализированных учебных заведениях и иметь удостоверение на право производства работ.
2.4. Перегородки возводят поточно-расчлененным методом, по захваткам, со специализацией звеньев бригады на выполнение однотипных работ и оснащенных соответствующим набором инструментов, инвентаря и средств подмащивания. Каждое звено состоит из двух человек: монтажник конструкций 4-го разряда, монтажник конструкций 3-го разряда.
2.5. Доставку на объект ГВЛ, упакованных в полиэтиленовую пленку, следует производить централизованно автотранспортом. По согласованию с потребителем допускается транспортировать листы в непакетированном виде (без обвязки или упаковки в пленку). Размер упаковки ГВЛ 2500 x 1200 x 650 мм. Габариты пакетов не должны превышать по длине 4100 мм, ширине 1300 мм, высоте 800 мм; масса пакета не должна быть более 3000 кг (см.
рисунок 1).
Хранение ГВЛ следует производить в помещениях с сухим и нормальным влажностным режимом, раздельно по видам и размерам, с соблюдением техники безопасности и сохранности продукции. Общая высота складируемого штабеля с ГВЛ не должна превышать 3,5 м (см.
рисунок 2). Расстояние между штабелями складирования не должно быть менее 1 м.
2.6. Доставку на объект металлических профилей каркаса перегородок допускается производить автотранспортом при условии их защиты от механических воздействий. Хранение профилей на закрытых приобъектных складах должно производиться в кондукторе пакетами по типам.
2.7. При производстве погрузочно-разгрузочных работ следует избегать ударов. Укладку пакетов с профилями на транспортные средства следует осуществлять погрузчиками. Вышеуказанные работы должны производиться в соответствии с требованиями
ГОСТ 12.3.009-76*.
2.8. Подъем материалов на этажи рекомендовано производить с помощью машин и механизмов, указанных в сборнике
ЕНиР-1 "Внутрипостроечные транспортные работы".
2.9. Транспортирование ГВЛ к месту производства работ на этаже следует осуществлять ручными тележками. При переносе ГВЛ вручную - с помощью специальных приспособлений.
2.10. Монтаж перегородки системы С 367 предусмотрено производить в следующем порядке:
- разметка проектного положения перегородки;
- установка элементов одинарного каркаса;
- обшивка каркаса первым слоем ГВЛ с одной стороны;
- прокладка проектных инженерных коммуникаций;
- установка и закрепление изоляционного материала внутри перегородки;
- обшивка каркаса первым слоем ГВЛ с другой стороны;
- заделка стыков между ГВЛ первого слоя;
- установка и закрепление листов оцинкованной стали с двух сторон (первый слой);
- обшивка каркаса вторым слоем ГВЛ с двух сторон;
- заделка стыков между ГВЛ второго слоя;
- установка и закрепление листов оцинкованной стали с двух сторон (второй слой);
- обшивка каркаса третьим слоем ГВЛ с двух сторон;
- установка электротехнических коробок, розеток, выключателей и т.п. и их крепление к ГВЛ;
- заделка стыков между ГВЛ третьего слоя и углублений от винтов;
- подготовка поверхности перегородок под чистовую отделку.
2.10.1. Разметка проектного положения перегородки (см.
рисунок 4)
Разметку проектного положения элементов каркаса перегородки С 367 производят в строгом соответствии с проектным решением и согласно рабочим чертежам. Для быстрой и безошибочной установки перегородок рекомендуется вначале отмечать на полу места расположения стоечных профилей, дверных и других проемов. В дверном проеме должно быть указано, какая устанавливается дверь (правая или левая). Разметку производят с помощью складного метра, рулетки, метростата и шнуроотбойного устройства. Разметку больших помещений производят с помощью лазерного или оптического нивелира.
Разметку начинают от стены, расположенной параллельно возводимой перегородке, вынося горизонтальную ось. Затем на этой оси отмечают расположение стоечных профилей с проектным шагом, дверных и других проемов, а также выводов и сквозных проходов коммуникаций. Проектный шаг стоечного профиля составляет 300 мм.
Расстояние от стоечного профиля, примыкающего к стене, до первого отстоящего от стены профиля должно быть меньше проектного шага на 25 мм.
Затем с помощью метростата и шнуроотбойного устройства (если высота помещения больше 3 м, то - нивелира или отвеса) разметку зеркально переносят на потолок. Вертикальные оси каркаса перегородки с помощью метростата и отвеса наносят на стены помещения, примыкающие к каркасу.
2.10.2. Установка элементов одинарного каркаса (см.
рисунок 12)
Элементы каркаса перегородки С 367 состоят из направляющих профилей (ПН 100) и стоечных профилей (ПС 100), имеющих стандартные размеры. На полках стоечных профилей выполнены продольные гофры, которые увеличивают их жесткость. Центральный гофр является ориентиром как при точной сборке каркаса, так и при установке ГВЛ.
Типоразмеры стоечных и направляющих профилей выбирают исходя из высоты конструкции перегородки в полном соответствии с рабочими чертежами.
Допускается соединение стоечных профилей по длине методом насадки или встык с дополнительным профилем. В этих случаях длина нахлеста определяется по таблице 2.1, а длина дополнительного профиля должна быть не менее 20-кратной величины стенки стоечного профиля.
Таблица 2.1
Соединение стоечных профилей
Тип профиля | Длина нахлеста, см |
ПС 100 | >= 100 |
Соединение (удлинение) профилей производят с помощью просекателя методом "просечки с отгибом", в отдельных случаях посредством винтов LN 3,5 x 9.
Стоечные профили должны иметь высоту на 10 мм меньше расстояния между стенками верхних и нижних направляющих профилей.
Установку направляющих профилей осуществляют согласно разметке их проектного положения на полу и на потолке.
С целью повышения звукоизоляционной способности перегородки на стенки направляющих профилей ПН наклеивают уплотнительную ленту. После раскроя и полной подготовки направляющих профилей приступают к их монтажу по линии разметки на полу, а затем - на потолке. Крепление направляющих профилей осуществляют дюбелями с шагом не более 1 м. Закреплять профиль ПН необходимо не менее чем в трех точках независимо от его длины. При необходимости дополнительные отверстия в стенке направляющего профиля высверливают дрелью.
Установку стоечных профилей также осуществляют согласно их проектному положению, а их типоразмер должен соответствовать рабочим чертежам (шаг стоечных профилей равен 300 мм).
Предварительно на стоечные профили, примыкающие к конструкциям здания, наклеивают уплотнительную ленту. Стоечные профили устанавливают в закрепленные в проектном положении направляющие профили.
Установку стоек начинают от стен, к которым профили крепятся дюбелями с шагом не более 1 м, но не менее трех креплений на одну стойку. Каждая стойка устанавливается строго вертикально и с помощью просекателя закрепляется к направляющему профилю на полу и на потолке. Закрепление производят не менее чем в двух точках с каждой стороны направляющего профиля (т.е. четыре просечки вверху и четыре просечки - внизу). Устройство вставок в каркасах 3-слойной перегородки не требуется.
Если перегородка имеет дверной проем, то дверную коробку устанавливают одновременно с монтажом каркаса. По дверной коробке монтируют опорные стоечные профили, дверную перемычку из направляющего профиля и промежуточные стойки над проемом. Стоечные профили, ограничивающие дверной проем, устанавливают на всю высоту перегородки, независимо от размера шага (см.
рисунок 7).
Стоечные профили для крепления ГВЛ и дверной коробки не совмещаются. Опорные стойки для дверей массой до 35 кг укрепляют вставкой из деревянных брусков или дополнительным профилем. Для этого на всю длину стойки вставляют деревянный брусок такого же сечения или соединяют с помощью винтов LN 3,5 x 9 с одноразмерным направляющим или стоечным профилем таким образом, чтобы получилось коробчатое сечение. Если в проекте не указано наличие "левой" или "правой" двери, то усиливают обе стойки.
Брус должен быть выполнен из древесины хвойных пород не ниже второго сорта по
ГОСТ 8486-86 и обработан антисептиками и антипиренами в соответствии с требованиями
СНиП 3.03.01-87. Влажность древесины не должна превышать 12 +/- 3%.
Перед установкой стоечных профилей, ограничивающих дверной проем, в местах их установки крепят с помощью анкерных дюбелей 4 уголка: два верхних и два нижних (см.
рисунок 7).
Эти уголки, имеющие клипсы, крепятся внутри направляющих профилей и предназначены для увеличения жесткости дверного проема. С помощью клипс к ним крепят стоечные профили дверного проема, которые не доходят до направляющих профилей на 3 - 5 мм.
Затем монтируют из направляющего профиля перемычку, ограничивающую высоту дверного проема. Горизонтальность установки перемычки проверяют с помощью уровня. Крепление перемычки из профиля ПН к стоечным профилям производят в двух точках с каждой стороны с помощью просекателя.
После установки перемычки монтируют промежуточные стойки над дверным проемом с сохранением проектного шага. Это необходимо для того, чтобы вертикальный стыковочный шов ГВЛ оказался над дверным проемом, что снижает вероятность трещинообразования в швах.
В местах сопряжения перегородок с коммуникациями между стоечными профилями устанавливают перемычки из направляющего профиля с их закреплением просекателем к профилю ПС. При групповой прокладке трубопровода допускается устройство общего обрамления.
При необходимости пропуска инженерных коммуникаций больших размеров допускается срезка вертикальных стоек с установкой по краям отверстия дополнительных стоечных профилей каркаса на всю высоту перегородки. В местах пересечения перегородок трубопроводами парового, водяного отопления и водоснабжения устанавливают гильзы.
Контроль за точностью установки каркаса осуществляют с помощью складного метра, метростата или нивелира.
На смонтированный в проектное положение каркас перегородки необходимо оформить акт приемки за подписью главного инженера строительной организации и лица - надзора от проектной организации.
2.10.3. Обшивка каркаса первым слоем ГВЛ с одной стороны
Перед установкой ГВЛ в местах примыкания обшивки к поверхностям потолка и стен (колонн), выполненных из другого материала, наклеивают разделительную ленту.
Установка ГВЛ начинается от основной стены помещения в вертикальном положении. Перед установкой на торцах каждого ГВЛ, образующих горизонтальный стык, делают фальц шириной 30 мм и глубиной 2 мм (см.
рисунок 5).
Горизонтальную стыковку ГВЛ выполняют вразбежку с шагом не менее 400 мм. Между полом и ГВЛ оставляется зазор около 10 мм. По вертикали ГВЛ стыкуются только на стойках каркаса.
Крепление ГВЛ осуществляют самонарезающими винтами с зенкующей головкой длиной 30 мм с помощью электрошуруповерта с магнитной головкой. Шаг винтов 750 мм. Крепятся ГВЛ по периметру и по центральной вертикальной оси (см.
рисунок 16).
Монтаж ГВЛ ведется в одном направлении с открытой частью профиля. Установка винтов, закрепляющих предыдущий лист, со стороны стенки профиля предотвращает отгибание слабого края полки внутрь профиля при креплении следующего листа.
Крепление винтами на стыке ГВЛ осуществляют вразбежку через 50 мм с винтами соседнего ряда и отступлением от края ГВЛ на 10 мм. Крепежные винты должны входить в ГВЛ под прямым углом и проникать в полку профиля на глубину не менее 10 мм. Головки винтов должны быть утоплены в поверхность ГВЛ на глубину, позволяющую их зашпаклевать.
2.10.4. Прокладка проектных инженерных коммуникаций
Облицевав одну сторону каркаса перегородки первым слоем ГВЛ, приступают к монтажу электротехнической проводки. Кабели размещают перпендикулярно стойкам каркаса (для чего в них имеются отверстия) в строгом соответствии с рабочим проектом. Не допускается размещать электропроводку вдоль стоек или внутри них во избежание ее повреждения при обшивке ГВЛ с другой стороны. Прокладку электросети выполняет специализированное звено электромонтажников. При необходимости производят прокладку и других коммуникационных сетей, предусмотренных проектом.
2.10.5. Установка и закрепление изоляционного материала внутри перегородок
Установку изоляционного материала производят после обшивки каркаса с одной стороны и прокладки инженерных сетей.
Установка изоляционного (минераловатного) материала производится вручную в пространство между стоечными профилями. При необходимости изоляционный материал прикрепляют к смонтированным ГВЛ или фиксируют с помощью вкладышей, крепящихся к стенкам профиля ПС.
2.10.6. Обшивка каркаса перегородки первым слоем ГВЛ с другой стороны
Обшивка каркаса перегородки ГВЛ с обратной стороны производится после укладки изоляционного слоя в той же последовательности и с теми же требованиями, что изложены выше в
п. 2.10.3, но со смещением на один шаг профиля относительно листов другой стороны. Раскрой доборных листов осуществляют в процессе выполнения работ.
2.10.7. Заделка стыков между ГВЛ первого слоя
До заделки стыков необходимо проверить надежность крепления ГВЛ. Выступающие головки винтов довернуть. Производство работ, ведущих к повышению влажности в помещении, к этому времени должно быть завершено.
Заделку продольных стыков между ГВЛ производят при температуре и влажности воздуха в помещениях, соответствующих режиму эксплуатации (t не должна быть ниже +10 °C ). Недопустимы сквозняки, резкие колебания температуры и влажности в помещениях. Предварительно кромки ГВЛ обрабатывают грунтовкой Тифенгрунд.
Заделке шпаклевочной смесью Фугенфюллер ГВ подлежат продольные и поперечные стыки, стыки между перегородкой и стенами (колоннами), перегородкой и потолком.
Последовательность действий при обработке продольных и поперечных стыков между ГВЛ следующая:
- нанесение шпателем первого слоя шпаклевки на стык между листами шириной чуть больше ширины армирующей ленты;
- после высыхания первого слоя шпаклевки широким шпателем нанесение второго слоя шпаклевки на всю ширину стыковочного шва.
2.10.8. Установка и закрепление листов оцинкованной стали с двух сторон (первый слой)
Стальные листы устанавливают на всю поверхность перегородки с нахлестом 10 см как по вертикали, так и по горизонтали. Крепление каждого листа производят не менее чем в четырех точках самонарезающими винтами длиной не менее 22 мм.
2.10.9. Обшивка каркаса вторым слоем ГВЛ с двух сторон (см.
рисунок 14)
Установку листов второго слоя производят сначала с одной стороны, а затем - с другой. ГВЛ второго слоя устанавливают со смещением на один шаг относительно вертикальных и не менее 400 мм относительно горизонтальных швов первого слоя. Крепление второго слоя ГВЛ производят к каркасу с помощью самонарезающих винтов длиной не менее 45 мм с шагом 500 мм (см.
рисунок 16).
2.10.10. Заделка швов второго слоя ГВЛ обшивки
Швы второго слоя ГВЛ заделывают в последовательности, аналогичной заделке швов первого слоя ГВЛ (
п. 2.10.7).
2.10.11. Установка и закрепление листов оцинкованной стали с двух сторон (второй слой)
Монтаж листов из оцинкованной стали осуществляют аналогично
п. 2.10.8. Крепление каждого листа производят не менее чем в четырех точках самонарезающими винтами длиной не менее 45 мм.
2.10.12. Обшивка каркаса третьим слоем ГВЛ с двух сторон (см.
рисунок 14)
Установку листов третьего слоя производят сначала с одной стороны, а затем - с другой. ГВЛ третьего слоя устанавливают со смещением на один шаг относительно вертикальных и не менее 400 мм относительно горизонтальных стыков второго слоя. Крепление третьего слоя ГВЛ производят к каркасу с помощью самонарезающих винтов длиной не менее 22 мм с шагом 250 мм (см.
рисунок 16).
2.10.13. Установка электротехнических коробок, розеток, выключателей и их крепление к ГВЛ
По окончании монтажа ГВЛ с обеих сторон каркаса устанавливают электрические коробки, розетки, выключатели и т.п., которые крепят к ГВЛ с помощью специальной фурнитуры. Отверстия под электрические розетки, выключатели и т.п. в целях пожарной безопасности вырезают с противоположных сторон перегородки со смещением минимум на 200 мм. Эти работы выполняет звено электромонтажников.
2.10.14. Заделка стыков между ГВЛ и углублений от винтов
Шпаклевание стыков между ГВЛ производят при стабильной температуре и влажности воздуха в помещениях, соответствующих режиму эксплуатации (t не должна быть ниже +10 °C ). Недопустимы сквозняки и резкие колебания температуры в помещениях. Предварительно кромки ГВЛ обрабатывают грунтовкой Тифенгрунд.
Заделке шпаклевочной смесью Фугенфюллер ГВ подлежат продольные и поперечные стыки, стыки между перегородкой и стенами (колоннами), перегородкой и потолком. Продольные и поперечные стыки между ГВЛ заделывают с применением армирующей ленты.
До обработки стыков необходимо проверить надежность крепления ГВЛ. Выступающие головки винтов - довернуть. Производство работ, ведущих к повышению влажности в помещении, к этому времени должно быть завершено.
В зависимости от назначения помещений требования к отделке поверхностей из ГВЛ можно разделить на 3 вида, как это принято в большинстве европейских стран:
Качество 1 (К1) - определяет качество поверхности швов и поверхностей ГВЛ, к которым не предъявляются оптические требования, т.е. поверхность может иметь волнистый рельеф, где гребень не должен превышать 1,5 мм. Такая поверхность ГВЛ предназначена для облицовки плиткой, оштукатуривания или под облицовку какими-либо другими материалами.
Качество 2 (К2) - соответствует существующему стандартному качеству поверхностей стен и потолков. Шпаклевание выполняется с целью достижения плавных переходов от поверхностей сопряжений к поверхности ГВЛ. Все переходы от швов, внутренних и внешних углов, крепежных элементов должны быть незаметны на глаз. Для этой цели зашпаклеванные швы обрабатывают пастой Финиш на ширину примерно 30 см.
Такая поверхность ГВЛ предназначена для структурированной окраски, оклейки структурными обоями, для тонкослойного оштукатуривания.
Качество 3 (К3) - предъявляет повышенные требования к качеству поверхности стен и потолков, т.е. кроме стандартного шпаклевания для К2 необходимо полное покрытие поверхности ГВЛ шпаклевочным материалом с последующим шлифованием. Для этих целей чаще всего используют пасту Финиш или Редигипс, а также шпаклевочные смеси.
Такая поверхность предназначена для высококачественной окраски стен и потолков любыми видами красок, оклейки глянцевыми тонкослойными обоями, оштукатуривания тонкоструктурированными растворными смесями с крупностью зерна менее 1 мм.
В данной технологической карте отделка поверхности относится к виду К1, на которую даются нормативы трудозатрат и расхода материалов. Более качественная отделка поверхности оговаривается заказчиком и на нее составляется отдельная смета.
Последовательность действий при обработке продольных и поперечных стыков между ГВЛ следующая:
- перед шпаклеванием обработка грунтовкой глубокого проникновения всех стыков;
- нанесение шпателем первого слоя шпаклевки на стык между листами шириной чуть больше ширины армирующей ленты;
- вдавливание шпателем армирующей ленты в нанесенную шпаклевку;
- после высыхания первого слоя шпаклевки широким шпателем нанесение второго слоя шпаклевки на всю ширину стыковочного шва.
Заделке шпаклевочной смесью Фугенфюллер ГВ подлежат углубления от винтов, стыки между перегородкой и стенами (колоннами), перегородкой и потолком. В местах стыковок на эти конструкции предварительно крепится самоклеящаяся разделительная лента. После заделки стыков и полного высыхания шпаклевки излишки ленты срезаются, а шов шлифуется.
В некоторых случаях при монтаже перегородок образуются внешние углы, которые защищают от механических повреждений при помощи металлических перфорированных уголков из оцинкованной стали (ПУ 31 x 31 x 0,4), которые крепят к ГВЛ с помощью специального приспособления, указанного в перечне инструментов. После крепления уголки шпаклюют и после высыхания шлифуют.
По окончании всех шпаклевочных работ поверхность перегородок обрабатывают с помощью кисти, щетки или валика грунтовкой Тифенгрунд. Это необходимо сделать с целью предотвращения образования трещин в швах из-за возможного изменения влажностного режима в помещении (особенно весной, осенью или при проведении отделочных работ мокрым способом).
3. ПОТРЕБНОСТЬ В ИНВЕНТАРЕ И МАТЕРИАЛАХ
Перечень потребного инвентаря, приспособлений и инструмента - см. на стр. 144.
Таблица 3.1
Нормативные показатели расхода материалов
на устройство 1 м2 перегородки С 367
┌─────────────────────────────────┬─────┬────────────────────────┐
│ Наименование материалов │Ед. │ Размер перегородки, м │
│ │изме-├────────┬───────┬───────┤
│ │рения│4 x 2,7 │6 x 2,7│9 x 2,7│
│ │ │(глухая)│ (один │ (два │
│ │ │ │проем) │проема)│
├─────────────────────────────────┼─────┼────────┼───────┼───────┤
│ 1 │ 2 │ 3 │ 4 │ 5 │
├─────────────────────────────────┴─────┴────────┴───────┴───────┤
│ Каркас и крепежные изделия │
├─────────────────────────────────┬─────┬────────┬───────┬───────┤
│Профиль направляющий ПН 100/40, │ м │ 0,76 │ 0,86 │ 0,89 │
│ТУ 1121-004-04001508-2003 │ │ │ │ │
├─────────────────────────────────┼─────┼────────┼───────┼───────┤
│Профиль стоечный ПС 100/50, │ м │ 3,82 │ 4,16 │ 4,2 │
│ТУ 1121-004-04001508-2003 │ │ │ │ │
├─────────────────────────────────┼─────┼────────┼───────┼───────┤
│Лента уплотнительная типа │ м │ 1,26 │ 1,17 │ 1,07 │
│Дихтунгсбанд, сеч. 95 x 3,2 мм │ │ │ │ │
├─────────────────────────────────┼─────┼────────┼───────┼───────┤
│Дюбель типа К 6/35 │ шт. │ 1,6 │ 1,42 │ 1,24 │
├─────────────────────────────────┼─────┼────────┼───────┼───────┤
│Дюбель анкерный металлический │ шт. │ 0,85 │ 1,62 │ 1,91 │
├─────────────────────────────────┼─────┼────────┼───────┼───────┤
│Материал изолирующий │ м2 │ 1,03 │ 1,03 │ 1,03 │
│из минеральных волокон │ │ │ │ │
├─────────────────────────────────┼─────┼────────┼───────┼───────┤
│Брусок деревянный, размер │ м │ - │ 0,39 │ 0,54 │
│50 x 50 x 2695 мм │ │ │ │ │
├─────────────────────────────────┼─────┼────────┼───────┼───────┤
│Верхний уголок для крепления │ шт. │ - │ 0,14 │ 0,20 │
│несущих элементов двери │ │ │ │ │
│100 x 123 мм │ │ │ │ │
├─────────────────────────────────┼─────┼────────┼───────┼───────┤
│Нижний уголок для крепления │ шт. │ - │ 0,14 │ 0,20 │
│несущих элементов двери │ │ │ │ │
│100 x 123 мм │ │ │ │ │
├─────────────────────────────────┴─────┴────────┴───────┴───────┤
│ Обшивка │
├─────────────────────────────────┬─────┬────────┬───────┬───────┤
│Лист гипсоволокнистый ГВЛ │ м2 │ 6,32 │ 6,73 │ 7,01 │
├─────────────────────────────────┼─────┼────────┼───────┼───────┤
│Винт самонарезающий с острым │ │ │ │ │
│концом и зенкующей головкой, │ │ │ │ │
│ 30 │ шт. │ 19,94 │ 22,14 │ 22,72 │
│ 45 │ шт. │ 26,7 │ 29,66 │ 30,55 │
│ 22 │ шт. │ 51,52 │ 57,32 │ 59,13 │
├─────────────────────────────────┼─────┼────────┼───────┼───────┤
│Сталь листовая оцинкованная │ м2 │ 4,49 │ 4,49 │ 4,49 │
├─────────────────────────────────┴─────┴────────┴───────┴───────┤
│ Заделка швов │
├─────────────────────────────────┬─────┬────────┬───────┬───────┤
│Шпаклевка Фугенфюллер ГВ, │ кг │ 2,75 │ 2,74 │ 2,70 │
│ТУ 5745-011-04001508-97 │ │ │ │ │
├─────────────────────────────────┼─────┼────────┼───────┼───────┤
│Лента армирующая │ м │ 2,27 │ 2,49 │ 2,64 │
├─────────────────────────────────┼─────┼────────┼───────┼───────┤
│Лента разделительная 50 мм │ м │ 1,77 │ 1,62 │ 1,42 │
├─────────────────────────────────┼─────┼────────┼───────┼───────┤
│Грунтовка Тифенгрунд │ кг │ 0,27 │ 0,27 │ 0,27 │
└─────────────────────────────────┴─────┴────────┴───────┴───────┘
4. НОРМАТИВНЫЕ И ТЕХНИКО-ЭКОНОМИЧЕСКИЕ ПОКАЗАТЕЛИ
(ИЗМЕРИТЕЛЬ КОНЕЧНОЙ ПРОДУКЦИИ - 1 М2)
Таблица 4.1
Затраты труда на устройство перегородки С 367
┌────┬────────────┬─────┬───────┬───────┬──────────────┬─────────────────┐
│ N │Наименование│Еди- │ Объем │Обосно-│Норма времени │ Затраты труда │
│п.п.│технологи- │ница │ работ │вание ├──────┬───────┼────────┬────────┤
│ │ческих │изме-│ │ │рабо- │маши- │рабочих,│маши- │
│ │процессов │рения│ │ │чих, │ниста, │ чел.-ч │ниста, │
│ │ │ │ │ │чел.-ч│чел.-ч │ │чел.-ч │
│ │ │ │ │ │ │(работа│ │(работа │
│ │ │ │ │ │ │машин, │ │машин, │
│ │ │ │ │ │ │маш.-ч)│ │маш.-ч) │
├────┼────────────┼─────┼───────┼───────┼──────┼───────┼────────┼────────┤
│ 1 │ 2 │ 3 │ 4 │ 5 │ 6 │ 7 │ 8 │ 9 │
├────┼────────────┼─────┼───────┼───────┼──────┼───────┼────────┼────────┤
│ 1 │Устройство │ м2 │ 1 │Расчет │ 0,54 │ - │ 0,54 │ - │
│ │каркаса │ │ │ОАО │ │ │ │ │
├────┼────────────┼─────┼───────┤"Тула- ├──────┼───────┼────────┼────────┤
│ 2 │Обшивка │ м2 │ 1 │оргтех-│ 1,1 │ - │ 1,1 │ - │
│ │каркаса │ │ │строй" │ │ │ │ │
├────┼────────────┼─────┼───────┤методом├──────┼───────┼────────┼────────┤
│ 3 │Устройство │ м2 │ 1 │техни- │ 0,1 │ - │ 0,1 │ - │
│ │изоляционно-│ │ │ческого│ │ │ │ │
│ │го слоя │ │ │норми- │ │ │ │ │
├────┼────────────┼─────┼───────┤рования├──────┼───────┼────────┼────────┤
│ 4 │Заделка │ м2 │ 1 │ │ 0,54 │ - │ 0,54 │ - │
│ │швов, │ │ │ │ │ │ │ │
│ │обработка │ │ │ │ │ │ │ │
│ │поверхности │ │ │ │ │ │ │ │
├────┼────────────┼─────┼───────┼───────┼──────┼───────┼────────┼────────┤
│ 5 │Подача │100 т│0,00103│ Е1-16 │ 36 │ 9 │ 0,037 │ 0,0093 │
│ │материалов │ │ │ │(6,8) │ (1,7) │(0,007) │(0,0017)│
│ │на этажи │ │ │ │ │ │ │ │
│ │подъемником │ │ │ │ │ │ │ │
│ │грузоподъ- │ │ │ │ │ │ │ │
│ │емностью │ │ │ │ │ │ │ │
│ │до 1 т │ │ │ │ │ │ │ │
│ │при высоте │ │ │ │ │ │ │ │
│ │подъема │ │ │ │ │ │ │ │
│ │до 8 м │ │ │ │ │ │ │ │
│ │(добавлять │ │ │ │ │ │ │ │
│ │на каждые │ │ │ │ │ │ │ │
│ │следующие │ │ │ │ │ │ │ │
│ │6 м) │ │ │ │ │ │ │ │
├────┼────────────┼─────┼───────┼───────┼──────┼───────┼────────┼────────┤
│ 6 │Перевозка │ 1 т │ 0,103 │ Е1-21 │ 1,1 │ - │ 0,1133 │ - │
│ │материалов │ │ │ │ │ │ │ │
│ │по этажу │ │ │ │ │ │ │ │
│ │ручными │ │ │ │ │ │ │ │
│ │тележками на│ │ │ │ │ │ │ │
│ │расстояние │ │ │ │ │ │ │ │
│ │до 30 м │ │ │ │ │ │ │ │
├────┼────────────┼─────┼───────┼───────┼──────┼───────┼────────┼────────┤
│ │Итого: │ │ │ │ │ │ 2,43 │ 0,0093 │
├────┴────────────┴─────┴───────┴───────┴──────┴───────┴────────┴────────┤
│ Затраты труда на устройство перегородок с проемами │
│ (без учета прочих работ) │
├──────────────────────────────────────────────┬─────────────────────────┤
│С одним дверным проемом │ 2,40 чел.-ч │
├──────────────────────────────────────────────┼─────────────────────────┤
│С двумя дверными проемами │ 2,425 чел.-ч │
└──────────────────────────────────────────────┴─────────────────────────┘
Таблица 4.2
График производства работ
N п.п. | Наименование технологических процессов | Еди- ница из- ме- ре- ния | Объем работ | Затраты труда | Принятый состав звена | Про- должи- тель- ность про- цесса, ч |
рабо- чих, чел.-ч | маши- ниста, чел.-ч (работа машин, маш.-ч) |
1 | Устройство каркаса | м2 | 1 | 0,54 | | Монтаж- ники кон- струкций 4-го и 3-го разрядов | 0,27 |
2 | Обшивка каркаса | м2 | 1 | 1,1 | | 0,55 |
3 | Устройство изоляционного слоя | м2 | 1 | 0,1 | | 0,05 |
4 | Обработка поверхности, заделка швов | м2 | 1 | 0,54 | | 0,27 |
5 | Прочие работы | м2 | 1 | 0,15 | 0,0093 | | 0,075 |
| Итого: | | | 2,43 | | | 1,215 |
Рисунок 4.1. График движения рабочей силы
Таблица 4.3
Технико-экономические показатели
┌────┬─────────────────────────────────────┬─────────┬───────────┐
│ N │ Наименование │ Единица │Количество │
│п.п.│ │измерения│ │
├────┼─────────────────────────────────────┼─────────┼───────────┤
│ 1 │Продолжительность работ │ ч │ 1,215 │
├────┼─────────────────────────────────────┼─────────┼───────────┤
│ 2 │Трудоемкость на 1 м2: │ │ │
│ │ по нормам │ чел.-ч │ 2,28 │
│ │ по графику (с учетом прочих работ) │ │ 2,43 │
├────┼─────────────────────────────────────┼─────────┼───────────┤
│ 3 │Максимальная численность рабочих │ чел. │ 2 │
├────┼─────────────────────────────────────┼─────────┼───────────┤
│ 4 │Выработка на 1 чел.-ч │ м2 │ 0,82 │
└────┴─────────────────────────────────────┴─────────┴───────────┘
ТИПОВАЯ ТЕХНОЛОГИЧЕСКАЯ КАРТА
НА УСТРОЙСТВО ОБЛИЦОВОК НА МЕТАЛЛИЧЕСКОМ КАРКАСЕ
КОМПЛЕКТНОЙ СИСТЕМЫ КНАУФ
С ПРИМЕНЕНИЕМ ГИПСОВОЛОКНИСТЫХ ЛИСТОВ
Облицовка С 663
1.1. Типовая технологическая карта предназначена для разработки проектов производства работ (ППР), проектов организации строительства (ПОС), другой организационно-технологической документации, а также является информационным пособием для строительных организаций, производящих устройство облицовок С 663 с применением гипсоволокнистых листов (ГВЛ).
1.2. Сборные облицовки С 663 предназначены для отделки и повышения изоляционных свойств стен помещений высотой до 10 м жилых, общественных и производственных зданий:
- любой степени огнестойкости;
- любых конструктивных систем и типов;
- любого уровня ответственности, включая повышенный;
- различной этажности;
- возводимых в ветровых районах до V включительно;
- для зданий, возводимых в районах как с обыкновенными, так и со сложными инженерно-геологическими условиями и сейсмичностью до 9 баллов.
1.3. Облицовка С 663 имеет конструкцию, отвечающую требованиям рабочих чертежей серии М25.41/2000 "Комплектные системы КНАУФ. Облицовка из гипсоволокнистых листов ограждающих конструкций жилых, общественных и производственных зданий. Стены. Мансардные помещения. Коммуникационные шахты", выпуск 1. Серия разработана ОАО "ЦНИИпромзданий" при участии фирмы "КНАУФ".
1.4. Облицовка С 663 состоит из одинарного металлического каркаса, усиленного креплением к базовой стене прямыми подвесами; облицовки одним или двумя слоями гипсоволокнистых листов толщиной 10 или 12,5 мм. Масса 1 м2 облицовки: однослойной ~14 или ~17 кг, двухслойной ~27 или ~33 кг.
1.5. Каркас облицовки С 663 состоит из оцинкованного металлического направляющего профиля (ПН 28/27), имеющего П-образную форму, и потолочного профиля (ПП 60/27), имеющего С-образную форму, отвечающих требованиям ТУ 1121-004-04001508-2003.
Стандартная длина профилей составляет: 2750; 3000; 4000; 4500 мм. По согласованию с заказчиком могут быть выпущены профили длиной от 500 до 6000 мм. Номинальная толщина профилей должна быть не менее 0,6 мм.
На полках потолочных профилей устроены продольные гофры, которые увеличивают их жесткость. Центральный гофр является ориентиром как для точной сборки каркаса, так и при установке гипсоволокнистых листов.
1.6. ГВЛ представляет собой экологически чистый листовой отделочный материал, изготовленный из строительного гипса марки не ниже Г-4 (
ГОСТ 125-79), распушенной целлюлозной макулатуры марок МС-10 и МС-11 (ГОСТ 10700-89), содержащей различные технологические добавки. Типовой размер ГВЛ, который применялся при разработке данной технологической карты, равен 2500 x 1200 x (10) 12,5 мм.
По заказу строительных организаций могут выпускаться партии листов других типоразмеров согласно
ГОСТ Р 51829-2001, которые приведены в таблице 1.1.
Таблица 1.1
Размеры ГВЛ
Длина, мм | 1500; 2000; 2500; 2700; 3000 |
Ширина, мм | 500; 1000; 1200 |
Толщина, мм | 10; 12,5; 15; 18; 20 |
ГВЛ выпускаются с различными формами продольных кромок: фальцевая (ФК); прямая (ПК). Данная технологическая карта предусматривает обшивку каркаса ГВЛ с фальцевой кромкой (ФК).
Масса 1 м2 (поверхностная плотность) ГВЛ - 1,5S < m < 1,2S (кг/м2), где S - толщина листа, мм. Удельная активность естественных радионуклидов не более 370 Бк/кг (
ГОСТ 12.1.044-89*), т.е. ГВЛ относится к I группе.
Пожаротехнические характеристики ГВЛ соответствуют:
Отпускная влажность листов не должна превышать 1,5%; плотность - не более 1250 кг/м3.
1.7. Для крепления каркаса к базовым стенам используют прямые подвесы, которые с помощью дюбелей крепят к стенам. Крепление ГВЛ к каркасу осуществляют самонарезающими винтами с зенкующей головкой.
1.8. Монтаж облицовки производят в период отделочных работ по окончании "мокрых" процессов, способных существенно повысить влажность воздуха внутри помещения, до устройства чистого пола.
В помещениях, где производят монтаж облицовки С 663, температура воздуха не должна быть ниже +10 °C .
Температурно-влажностный режим помещения должен соответствовать требованиям
СНиП 23-02-2003 "Тепловая защита зданий".
1.9. Типовая технологическая карта разработана на измеритель конечной продукции 1 м2 облицовки. Привязка типовой технологической карты к конкретному объекту и условиям строительства состоит в уточнении необходимых материальных ресурсов и схем организации строительного процесса, соответствующего рабочим чертежам.
2. ОРГАНИЗАЦИЯ И ТЕХНОЛОГИЯ ВЫПОЛНЕНИЯ РАБОТ
2.1. К устройству облицовок С 663 рекомендуется приступать только после:
- наличия утвержденной проектной документации (рабочих чертежей);
- наличия проекта производства работ, который должен предусматривать комплексную механизацию работ с наиболее полным использованием специализированного инструмента и приспособлений, способствующих повышению производительности труда, сокращению сроков устройства облицовок, уменьшающих трудозатраты и создающих наиболее безопасные условия труда;
- производства организационно-технологической подготовки, которая включает в себя подготовку необходимой оснастки, средств подмащивания и доставки ГВЛ в зону производства работ (см.
рисунок 21).
2.2. До начала монтажа элементов облицовки необходимо закончить все общестроительные, а также строительно-монтажные работы, которые могут вызвать повышение влажности ГВЛ. Произвести уборку строительного мусора. Произвести инструментальную проверку соответствия основания для установки направляющих и стоечных профилей каркаса облицовки. Подготовленное основание должно быть оформлено актом приемки за подписью ответственных представителей строительной организации.
2.3. Работы по монтажу облицовки С 663 выполняют под руководством ИТР. Рабочие, выполняющие монтажные работы, должны пройти техническое обучение в учебных центрах "КНАУФ" или других специализированных учебных заведениях и иметь удостоверение на право производства работ.
2.4. Устройство облицовок производят поточно-расчлененным методом, по захваткам, со специализацией звеньев бригады на выполнение однотипных работ и оснащенных соответствующим набором инструментов, инвентаря и средств подмащивания. Каждое звено состоит из двух человек: монтажник конструкций 4-го разряда, монтажник конструкций 3-го разряда.
2.5. Доставку на объект ГВЛ, упакованных в полиэтиленовую пленку, следует производить централизованно автотранспортом. Размер упаковки ГВЛ 2500 x 1200 x 650 мм. По согласованию с потребителем допускается транспортировать листы в непакетированном виде (без обвязки или упаковки в пленку). Габариты пакетов не должны превышать по длине 4100 мм, ширине 1300 мм, высоте 800 мм; масса пакета не должна быть более 3000 кг (см.
рисунок 1).
Хранение ГВЛ следует производить в помещениях с сухим и нормальным влажностным режимом, раздельно по видам и размерам, с соблюдением техники безопасности и сохранности продукции. Общая высота складируемого штабеля с ГВЛ не должна превышать 3,5 м (см.
рисунок 2). Расстояние между штабелями складирования не должно быть менее 1 м.
2.6. Доставку на объект металлических профилей каркаса облицовки допускается производить автотранспортом при условии их защиты от механических воздействий. Хранение профилей на закрытых приобъектных складах должно производиться в кондукторе пакетами по типам.
2.7. При производстве погрузочно-разгрузочных работ следует избегать ударов. Укладку пакетов с профилями на транспортные средства следует осуществлять погрузчиками. Вышеуказанные работы должны производиться в соответствии с требованиями
ГОСТ 12.3.009-76.
2.8. Подъем материалов на этажи рекомендовано производить с помощью машин и механизмов, указанных в сборнике
ЕНиР-1 "Внутрипостроечные транспортные работы".
2.9. Транспортировать ГВЛ к месту производства работ на этаже следует ручными тележками. При переносе ГВЛ вручную - с помощью специальных приспособлений.
2.10. Устройство облицовки С 663 предусмотрено производить в следующем порядке:
- разметка проектного положения облицовки;
- установка элементов каркаса;
- прокладка проектных инженерных коммуникаций;
- установка и закрепление изоляционного материала в каркасе облицовки;
- обшивка каркаса ГВЛ (в один или два слоя, в зависимости от требований заказчика);
- установка электротехнических коробок, розеток, выключателей и т.п. и их крепление к ГВЛ;
- подготовка поверхности облицовок под чистовую отделку.
2.10.1. Разметка проектного положения облицовки (см.
рисунок 22)
Разметку проектного положения элементов каркаса облицовки С 663 производят в строгом соответствии с проектным решением согласно рабочим чертежам. Для быстрой и безошибочной установки облицовки рекомендуется вначале отмечать на полу места расположения стоечных профилей (профиль ПП), дверных и других проемов. Разметку производят с помощью складного метра, рулетки, метростата и шнуроотбойного устройства. Разметку больших помещений производят с помощью лазерного или оптического нивелира.
Вначале разметку проектного положения каркаса выполняют на полу. Разметку начинают от стены, расположенной параллельно возводимой облицовке, вынося горизонтальную ось. Затем на этой оси отмечают места расположения стоечных профилей (ПП) с проектным шагом, дверных и других проемов, а также выводов и сквозных проходов коммуникаций. Для данной технологической карты шаг равен 600 мм.
Расстояние от стоечного профиля, примыкающего к стене, до первого отстоящего от стены профиля должно быть меньше проектного шага на 25 мм.
Затем с помощью метростата и шнуроотбойного устройства (если высота помещения больше 3 м, то нивелира или отвеса) разметку зеркально переносят на потолок. Вертикальные оси каркаса облицовки с помощью метростата и отвеса наносят на стены помещения, примыкающие к каркасу.
2.10.2. Установка элементов каркаса (см.
рисунок 23)
Установку направляющих профилей осуществляют согласно разметке их проектного положения на полу и на потолке.
С целью повышения изолирующей способности облицовки на стенки потолочных направляющих профилей наклеивают уплотнительную ленту. После раскроя и полной подготовки направляющих профилей приступают к их монтажу по линии разметки на полу, а затем - на потолке.
Крепление потолочных направляющих профилей осуществляют дюбелями с шагом не более 1 м. Закреплять профиль необходимо не менее чем в трех точках. Направляющие профили выпускаются с готовыми отверстиями диаметром 8 мм в стенке профиля с шагом около 250 мм, предназначенными для установки дюбелей, что существенно облегчает процесс крепления профиля к существующему основанию. При их отсутствии дополнительные отверстия в стенке профиля просверливают дрелью.
Длина стоечных профилей (профиль ПП) должна быть на 10 мм меньше расстояния между стенками потолочных направляющих профилей. Стоечные профили устанавливают в направляющие профили и крепят к базовым стенам при помощи прямых подвесов. Подвесы устанавливают с шагом не более 1500 мм, но не менее трех креплений на один профиль. Крайние нижний и верхний подвесы крепят на расстоянии не более 150 мм от перекрытия. С целью ослабления "звуковых мостиков" между подвесами и несущей поверхностью прокладывается уплотнительная лента. Профили закрепляют к подвесам самонарезающими винтами длиной 9 мм. Выступающие концы подвесов отгибают или обрезают.
Если высота помещения превышает длину ГВЛ, то в местах поперечных торцевых стыков при однослойной облицовке устанавливают горизонтальные вставки из потолочного профиля (ПП). Вставки рекомендуется крепить с помощью одноуровневых соединителей, применяемых при устройстве подвесных потолков. Одноуровневые соединители должны быть закреплены на потолочных профилях до их монтажа в местах установки горизонтальных вставок.
В местах сопряжения облицовок с коммуникациями между стойками также устанавливают вставки из потолочного профиля. При групповой прокладке трубопровода допускается устройство общего обрамления.
При необходимости пропуска инженерных коммуникаций больших размеров допускается срезка вертикальных стоек с установкой по краям отверстия дополнительных потолочных профилей каркаса на всю высоту облицовки.
Контроль за точностью установки каркаса осуществляют с помощью складного метра, метростата или лазерного нивелира.
Если длина облицовки превышает 15 м, то требуется устройство деформационного шва (см.
рисунок 24). Кроме того, деформационные швы облицовки должны повторять деформационные швы здания.
На смонтированный в проектное положение каркас необходимо оформить акт приемки на скрытые работы за подписью главного инженера строительной организации и лица - надзора от проектной организации.
2.10.3. Прокладка проектных инженерных коммуникаций
Произведя монтаж каркаса облицовки, приступают к монтажу электротехнической проводки. Кабели размещают перпендикулярно стойкам каркаса в строгом соответствии с рабочим проектом. Не допускается размещать электропроводку вдоль стоек или внутри них во избежание ее повреждения при обшивке ГВЛ. Прокладку электросети выполняет специализированное звено электромонтажников. При необходимости производят прокладку и других коммуникационных сетей, предусмотренных проектом.
2.10.4. Установка и закрепление изоляционного материала
Установка изоляционного материала производится только при необходимости улучшения теплоизоляции наружных стен после проведения теплотехнического расчета с целью определения точки росы. Если точка росы будет находиться на внутренней поверхности стены или внутри теплоизоляционного слоя, то установку последнего проводить нельзя. Изоляционный материал может фиксироваться на стене с помощью клея или пластиковых дюбелей с широкой шляпкой.
2.10.5. Обшивка каркаса гипсоволокнистыми листами в один или два слоя (в зависимости от требований заказчика)
Перед установкой ГВЛ в местах примыкания обшивки к поверхностям потолка и стен (колонн), выполненных из другого материала, наклеивают разделительную ленту.
Установка ГВЛ начинается от основной стены помещения в вертикальном положении. Перед установкой на торцах каждого ГВЛ, образующих горизонтальный стык, делают фальц шириной 30 мм и глубиной 2 мм (см.
рисунок 5).
Горизонтальную стыковку ГВЛ выполняют вразбежку с шагом не менее 400 мм. При однослойной обшивке торцы ГВЛ опираются на вставку из профиля ПП 60 x 27. Между полом и ГВЛ оставляется зазор около 10 мм. По вертикали ГВЛ стыкуются только на стойках каркаса.
При однослойной обшивке шаг винтов 250 мм, длина винтов 30 мм (см.
рисунок 9).
Крепление винтами на стыке ГВЛ осуществляют вразбежку через 50 мм с винтами соседнего ряда и отступлением от края ГВЛ на 10 мм. Крепежные винты должны входить в ГВЛ под прямым углом и проникать в полку профиля на глубину не менее 10 мм. Головки винтов должны быть утоплены в поверхность ГВЛ на глубину, позволяющую их зашпаклевать.
Если предполагается двухслойная обшивка, то шаг винтов первого слоя ГВЛ 750 мм, длина винтов 30 мм. Горизонтальные вставки для стыков ГВЛ из направляющего профиля не требуются. Шаг винтов второго слоя ГВЛ - 250 мм. Длина винтов 45 мм (см.
рисунок 15). ГВЛ второго слоя устанавливают со смещением на один шаг относительно вертикальных и не менее 400 мм относительно горизонтальных стыков первого слоя. Листы ГВЛ должны быть смещены по горизонтали на один шаг профиля относительно листов ГВЛ первого слоя обшивки.
Кроме того, стыки ГВЛ первого слоя при 2-слойной обшивке должны быть заделаны. Шпаклевание стыков между ГВЛ 1-го слоя производят при стабильной температуре и влажности воздуха в помещениях, соответствующих режиму эксплуатации (t не должна быть ниже +10 °C ). Недопустимы сквозняки и резкие колебания температуры в помещениях.
До заделки швов необходимо проверить надежность крепления ГВЛ. Выступающие головки винтов довернуть. Производство работ, ведущих к повышению влажности в помещении, к этому времени должно быть завершено. Предварительно кромки ГВЛ обрабатывают грунтовкой Тифенгрунд.
Заделке шпаклевочной смесью Фугенфюллер ГВ подлежат продольные и поперечные стыки между ГВЛ, стыки между облицовкой и потолком.
Последовательность действий при обработке продольных и поперечных стыков между ГВЛ первого слоя в двухслойной облицовке следующая:
- нанесение шпателем первого слоя шпаклевки на стык между листами шириной чуть больше ширины армирующей ленты;
- после высыхания первого слоя шпаклевки широким шпателем нанесение второго слоя шпаклевки на всю ширину стыковочного шва.
2.10.6. Установка электротехнических коробок, розеток, выключателей и их крепление к ГВЛ
По окончании монтажа ГВЛ устанавливают электрические коробки, розетки, выключатели и т.п., которые крепят к ГВЛ с помощью специальной фурнитуры. Эти работы выполняет звено электромонтажников.
2.10.7. Заделка стыков между ГВЛ и углублений от винтов (обработка поверхности ГВЛ для однослойной облицовки или для второго слоя двухслойной облицовки)
Шпаклевание стыков между ГВЛ производят при стабильной температуре и влажности воздуха в помещениях, соответствующих режиму эксплуатации (t не должна быть ниже +10 °C ). Недопустимы сквозняки и резкие колебания температуры в помещениях. Предварительно кромки ГВЛ обрабатывают грунтовкой Тифенгрунд.
Заделке шпаклевочной смесью Фугенфюллер ГВ подлежат продольные и поперечные стыки, стыки между облицовкой и потолком. Продольные и поперечные стыки между ГВЛ заделываются с применением армирующей ленты.
До обработки стыков необходимо проверить надежность крепления ГВЛ. Выступающие головки винтов - довернуть. Производство работ, ведущих к повышению влажности в помещении, к этому времени должно быть завершено.
В зависимости от назначения помещений требования к отделке поверхностей из ГВЛ можно разделить на 3 вида, как это принято в большинстве европейских стран:
Качество 1 (К1) - определяет качество поверхности швов и поверхностей ГВЛ, к которым не предъявляются оптические требования, т.е. поверхность может иметь волнистый рельеф, где гребень не должен превышать 1,5 мм. Такая поверхность ГВЛ предназначена для облицовки плиткой, оштукатуривания или под облицовку какими-либо другими материалами.
Качество 2 (К2) - соответствует существующему стандартному качеству поверхностей стен и потолков. Шпаклевание выполняется с целью достижения плавных переходов от поверхностей сопряжений к поверхности ГВЛ. Все переходы от швов, внутренних и внешних углов, крепежных элементов должны быть незаметны на глаз. Для этой цели зашпаклеванные швы обрабатывают пастой Финиш на ширину примерно 30 см.
Такая поверхность ГВЛ предназначена для структурированной окраски, оклейки структурными обоями, для тонкослойного оштукатуривания.
Качество 3 (К3) - предъявляет повышенные требования к качеству поверхности стен и потолков, т.е. кроме стандартного шпаклевания для К2 необходимо полное покрытие поверхности ГВЛ шпаклевочным материалом с последующим шлифованием. Для этих целей чаще всего используют пасту Финиш или Редигипс, а также шпаклевочные смеси.
Такая поверхность предназначена для высококачественной окраски стен и потолков любыми видами красок, оклейки глянцевыми тонкослойными обоями, оштукатуривания тонкоструктурированными растворными смесями с крупностью зерна менее 1 мм.
В данной технологической карте отделка поверхности относится к виду К1, на которую даются нормативы трудозатрат и расхода материалов. Более качественная отделка поверхности оговаривается заказчиком и на нее составляется отдельная смета.
Последовательность действий при обработке продольных и поперечных стыков между ГВЛ следующая:
- перед шпаклеванием обработка грунтовкой глубокого проникновения всех стыков;
- нанесение шпателем первого слоя шпаклевки на стык между листами шириной чуть больше ширины армирующей ленты;
- вдавливание шпателем армирующей ленты в нанесенную шпаклевку;
- после высыхания первого слоя шпаклевки широким шпателем нанесение второго слоя шпаклевки на всю ширину стыковочного шва.
Заделке шпаклевочной смесью Фугенфюллер ГВ подлежат углубления от винтов, стыки между облицовкой и стенами (колоннами), облицовкой и потолком. В местах стыковок на эти конструкции предварительно крепится самоклеящаяся разделительная лента. После заделки стыков и полного высыхания шпаклевки излишки ленты срезаются, а шов шлифуется.
В некоторых случаях при монтаже облицовок образуются внешние углы, которые защищают от механических повреждений при помощи металлических перфорированных уголков из оцинкованной стали (ПУ 31 x 31 x 0,4), которые крепят к ГВЛ с помощью специального приспособления, указанного в перечне инструментов. После крепления уголки шпаклюют и после высыхания шлифуют.
По окончании всех шпаклевочных работ поверхность облицовок обрабатывают с помощью кисти, щетки или валика грунтовкой Тифенгрунд. Это необходимо сделать с целью предотвращения образования трещин в швах из-за возможного изменения влажностного режима в помещении (особенно весной, осенью или при проведении отделочных работ мокрым способом).
3. ПОТРЕБНОСТЬ В ИНВЕНТАРЕ И МАТЕРИАЛАХ
Перечень потребного инвентаря, приспособлений и инструмента - см. на стр. 144.
Таблица 3.1
Нормативные показатели расхода материалов
на устройство 1 м2 облицовки С 663
┌───────────────────────────────────┬────┬───────────┬───────────┐
│ Наименование материалов │Ед. │ С оконным │ С дверным │
│ │изм.│ проемом │ проемом │
│ │ ├─────┬─────┼─────┬─────┤
│ │ │ 1-й │ 2-й │ 1-й │ 2-й │
│ │ │ слой│слой │слой │слой │
├───────────────────────────────────┼────┼─────┼─────┼─────┼─────┤
│ 1 │ 2 │ 3 │ 4 │ 5 │ 6 │
├───────────────────────────────────┴────┴─────┴─────┴─────┴─────┤
│ Каркас и крепежные изделия │
├───────────────────────────────────┬────┬─────┬─────┬─────┬─────┤
│Профиль направляющий потолочный │ м │0,77 │0,77 │0,79 │0,79 │
│ПНП 28/27, │ │ │ │ │ │
│ТУ 1121-004-04001508-2003 │ │ │ │ │ │
├───────────────────────────────────┼────┼─────┼─────┼─────┼─────┤
│Профиль потолочный ПП 60/27, │ м │2,69 │2,36 │2,77 │2,41 │
│ТУ 1121-004-04001508-2003 │ │ │ │ │ │
├───────────────────────────────────┼────┼─────┼─────┼─────┼─────┤
│Профиль угловой ПУ 31/31, │ м │0,46 │0,46 │ - │ - │
│ТУ 1121-004-04001508-2003 │ │ │ │ │ │
├───────────────────────────────────┼────┼─────┼─────┼─────┼─────┤
│Лента уплотнительная типа │ м │0,93 │0,93 │0,95 │0,95 │
│Дихтунгсбанд, сеч. 30 x 3,2 мм │ │ │ │ │ │
├───────────────────────────────────┼────┼─────┼─────┼─────┼─────┤
│Дюбель типа К 6/35 │шт. │3,35 │3,35 │3,54 │3,54 │
├───────────────────────────────────┼────┼─────┼─────┼─────┼─────┤
│Подвес прямой │шт. │2,4 │ 2,4 │2,62 │2,62 │
├───────────────────────────────────┼────┼─────┼─────┼─────┼─────┤
│Соединитель одноуровневый │шт. │1,16 │ - │1,14 │ - │
├───────────────────────────────────┼────┼─────┼─────┼─────┼─────┤
│Брусок деревянный, размер │ м │ - │ - │0,37 │0,37 │
│60 x 27 x 2690 мм │ │ │ │ │ │
├───────────────────────────────────┼────┼─────┼─────┼─────┼─────┤
│Винт самонарезающий с острым концом│шт. │8,29 │ 4,8 │8,25 │5,25 │
├───────────────────────────────────┴────┴─────┴─────┴─────┴─────┤
│ Обшивка │
├───────────────────────────────────┬────┬─────┬─────┬─────┬─────┤
│Лист гипсоволокнистый ГВЛ 10,0 мм, │ м2 │1,07 │2,12 │1,12 │2,25 │
├───────────────────────────────────┼────┼─────┼─────┼─────┼─────┤
│Винт самонарезающий с острым концом│ │ │ │ │ │
│и зенкующей головкой, │ │ │ │ │ │
│ 30 │ шт.│18,55│7,35 │19,43│7,90 │
│ 45 │ шт.│ - │18,55│ - │18,44│
├───────────────────────────────────┼────┼─────┼─────┼─────┼─────┤
│Клей Перлфикс ГВ │ кг │ 0,6 │1,19 │0,76 │1,53 │
├───────────────────────────────────┴────┴─────┴─────┴─────┴─────┤
│ Заделка швов │
├───────────────────────────────────┬────┬─────┬─────┬─────┬─────┤
│Шпаклевка Фугенфюллер ГВ, │ кг │0,45 │0,96 │0,42 │0,84 │
│ТУ 5745-011-04001508-97 │ │ │ │ │ │
├───────────────────────────────────┼────┼─────┼─────┼─────┼─────┤
│Лента армирующая │ м │1,20 │1,53 │1,51 │1,55 │
├───────────────────────────────────┼────┼─────┼─────┼─────┼─────┤
│Лента разделительная 50 мм │ м │0,44 │0,44 │0,43 │0,43 │
├───────────────────────────────────┼────┼─────┼─────┼─────┼─────┤
│Герметик акриловый (туба - 310 мм) │ шт.│0,07 │0,07 │ - │ - │
├───────────────────────────────────┼────┼─────┼─────┼─────┼─────┤
│Грунтовка Тифенгрунд │ кг │0,11 │0,12 │0,11 │0,12 │
└───────────────────────────────────┴────┴─────┴─────┴─────┴─────┘
4. НОРМАТИВНЫЕ И ТЕХНИКО-ЭКОНОМИЧЕСКИЕ ПОКАЗАТЕЛИ
(ИЗМЕРИТЕЛЬ КОНЕЧНОЙ ПРОДУКЦИИ - 1 М2)
Таблица 4.1
Затраты труда на устройство облицовки
С 663 без проемов
┌────┬────────────┬─────┬─────────┬───────┬──────────────┬─────────────────┐
│ N │Наименование│Еди- │ Объем │Обосно-│Норма времени │ Затраты труда │
│п.п.│технологи- │ница │ работ │вание ├──────┬───────┼────────┬────────┤
│ │ческих │изме-│ │ │рабо- │маши- │рабочих,│маши- │
│ │процессов │рения│ │ │чих, │ниста, │ чел.-ч │ниста, │
│ │ │ │ │ │чел.-ч│чел.-ч │ │чел.-ч │
│ │ │ │ │ │ │(работа│ │(работа │
│ │ │ │ │ │ │машин, │ │машин, │
│ │ │ │ │ │ │маш.-ч)│ │маш.-ч) │
├────┼────────────┼─────┼─────────┼───────┼──────┼───────┼────────┼────────┤
│ 1 │ 2 │ 3 │ 4 │ 5 │ 6 │ 7 │ 8 │ 9 │
├────┼────────────┼─────┼─────────┼───────┼──────┼───────┼────────┼────────┤
│ 1 │Устройство │ м2 │ 1 │Расчет │ 0,50 │ - │ 0,50 │ - │
│ │каркаса │ │ │ОАО │(0,45)│ │ (0,45) │ │
├────┼────────────┼─────┼─────────┤"Тула- ├──────┼───────┼────────┼────────┤
│ 2 │Обшивка │ м2 │ 1 │оргтех-│ 0,17 │ - │ 0,17 │ - │
│ │каркаса │ │ │строй" │(0,34)│ │ (0,34) │ │
├────┼────────────┼─────┼─────────┤методом├──────┼───────┼────────┼────────┤
│ 3 │Заделка │ м2 │ 1 │техни- │0,135 │ - │ 0,135 │ - │
│ │швов, │ │ │ческого│(0,25)│ │ (0,25) │ │
│ │обработка │ │ │норми- │ │ │ │ │
│ │поверхности │ │ │рования│ │ │ │ │
├────┼────────────┼─────┼─────────┼───────┼──────┼───────┼────────┼────────┤
│ 4 │Подача │100 т│ 0,00014 │ Е1-16 │ 36 │ 9 │ 0,0050 │ 0,0013 │
│ │материалов │ │(0,00027)│ │ │ │(0,0133)│(0,0024)│
│ │на этажи │ │ │ │ │ │ │ │
│ │подъемником │ │ │ │ │ │ │ │
│ │грузоподъ- │ │ │ │ │ │ │ │
│ │емностью │ │ │ │ │ │ │ │
│ │до 1 т │ │ │ │ │ │ │ │
│ │при высоте │ │ │ │ │ │ │ │
│ │подъема │ │ │ │ │ │ │ │
│ │до 8 м │ │ │ │ │ │ │ │
│ │(добавлять │ │ │ │ │ │ │ │
│ │на каждые │ │ │ │ │ │ │ │
│ │следующие │ │ │ │ │ │ │ │
│ │6 м) │ │ │ │ │ │ │ │
├────┼────────────┼─────┼─────────┼───────┼──────┼───────┼────────┼────────┤
│ 5 │Перевозка │ 1 т │ 0,014 │ Е1-21 │ 1,1 │ - │ 0,015 │ - │
│ │материалов │ │ (0,027) │ │ │ │ (0,03) │ │
│ │по этажу │ │ │ │ │ │ │ │
│ │ручными │ │ │ │ │ │ │ │
│ │тележками на│ │ │ │ │ │ │ │
│ │расстояние │ │ │ │ │ │ │ │
│ │до 30 м │ │ │ │ │ │ │ │
├────┼────────────┼─────┼─────────┼───────┼──────┼───────┼────────┼────────┤
│ │Итого: │ │ │ │ │ │ 0,825 │ 0,0013 │
│ │ │ │ │ │ │ │(1,083) │(0,0024)│
├────┴────────────┴─────┴─────────┴───────┴──────┴───────┴────────┴────────┤
│ Затраты труда на облицовки стен с проемами │
│ (без учета прочих работ) │
├────────────────────────────────────────────────┬─────────────────────────┤
│Одним слоем ГВЛ с оконным проемом │ 0,87 чел.-ч │
├────────────────────────────────────────────────┼─────────────────────────┤
│Двумя слоями ГВЛ с оконным проемом │ 1,20 чел.-ч │
├────────────────────────────────────────────────┼─────────────────────────┤
│Одним слоем ГВЛ с дверным проемом │ 0,84 чел.-ч │
├────────────────────────────────────────────────┼─────────────────────────┤
│Двумя слоями ГВЛ с дверным проемом │ 1,07 чел.-ч │
├────────────────────────────────────────────────┴─────────────────────────┤
│ Примечание. В скобках указаны значения для двухслойной │
│облицовки. │
└──────────────────────────────────────────────────────────────────────────┘
Таблица 4.2
График производства работ
┌────┬───────────────┬────┬─────┬───────────────┬─────────┬────────┐
│ N │ Наименование │Еди-│Объем│Затраты труда │Принятый │Продол- │
│п.п.│технологических│ница│работ├───────┬───────┤ состав │житель- │
│ │ процессов │из- │ │рабо- │маши- │ звена │ность │
│ │ │ме- │ │чих, │ниста, │ │процес- │
│ │ │ре- │ │чел.-ч │чел.-ч │ │са, ч │
│ │ │ния │ │ │(работа│ │ │
│ │ │ │ │ │машин, │ │ │
│ │ │ │ │ │маш.-ч)│ │ │
├────┼───────────────┼────┼─────┼───────┼───────┼─────────┼────────┤
│ 1 │Устройство │ м2 │ 1 │ 0,50 │ │Монтаж- │ 0,25 │
│ │каркаса │ │ │(0,45) │ │ники кон-│(0,225) │
├────┼───────────────┼────┼─────┼───────┼───────┤струкций ├────────┤
│ 2 │Обшивка каркаса│ м2 │ 1 │ 0,17 │ │4-го и │ 0,085 │
│ │ │ │ │(0,34) │ │3-го │ (0,17) │
├────┼───────────────┼────┼─────┼───────┼───────┤разрядов ├────────┤
ИС МЕГАНОРМ: примечание.
Нумерация пунктов дана в соответствии с официальным текстом
документа.
│ 4 │Обработка │ м2 │ 1 │ 0,135 │ │ │ 0,0675 │
│ │поверхности, │ │ │(0,25) │ │ │(0,125) │
│ │заделка швов │ │ │ │ │ │ │
├────┼───────────────┼────┼─────┼───────┼───────┼─────────┼────────┤
│ 5 │Прочие работы │ м2 │ 1 │ 0,02 │ 0,001 │ │ 0,01 │
│ │ │ │ │(0,025)│ │ │(0,0125)│
├────┼───────────────┼────┼─────┼───────┼───────┼─────────┼────────┤
│ │Итого: │ │ │ 0,825 │ │ │ 0,412 │
│ │ │ │ │(1,065)│ │ │ (0,53) │
└────┴───────────────┴────┴─────┴───────┴───────┴─────────┴────────┘
Однослойная облицовка
Двухслойная облицовка
Рисунок 4.1. График движения рабочей силы
Таблица 4.3
Технико-экономические показатели
┌────┬────────────────────────────────────┬─────────┬─────────────┐
│ N │ Наименование │ Единица │ Количество │
│п.п.│ │измерения│ │
├────┼────────────────────────────────────┼─────────┼─────────────┤
│ 1 │Продолжительность работ │ ч │0,412 (0,53) │
├────┼────────────────────────────────────┼─────────┼─────────────┤
│ 2 │Трудоемкость на 1 м2: │ │ │
│ │ по нормам │ чел.-ч │0,805 (1,04) │
│ │ по графику (с учетом прочих работ)│ │0,825 (1,065)│
├────┼────────────────────────────────────┼─────────┼─────────────┤
│ 3 │Максимальная численность рабочих │ чел. │ 2 │
├────┼────────────────────────────────────┼─────────┼─────────────┤
│ 4 │Выработка на 1 чел.-ч │ м2 │ 2,43 (1,89) │
└────┴────────────────────────────────────┴─────────┴─────────────┘
ТИПОВАЯ ТЕХНОЛОГИЧЕСКАЯ КАРТА
НА УСТРОЙСТВО ОБЛИЦОВОК НА МЕТАЛЛИЧЕСКОМ КАРКАСЕ
КОМПЛЕКТНОЙ СИСТЕМЫ КНАУФ
С ПРИМЕНЕНИЕМ ГИПСОВОЛОКНИСТЫХ ЛИСТОВ
Облицовка С 665
1.1. Типовая технологическая карта предназначена для разработки проектов производства работ (ППР), проектов организации строительства (ПОС), другой организационно-технологической документации, а также является информационным пособием для строительных организаций, производящих устройство облицовок С 665 с применением гипсоволокнистых листов (ГВЛ).
1.2. Сборные облицовки С 665 предназначены для отделки и повышения изоляционных свойств стен помещений высотой до 4 м жилых, общественных и производственных зданий:
- при неровности базовой стены свыше 100 мм, а также в случаях, когда вдоль стены проложены (или необходимо проложить) инженерные коммуникации;
- любой степени огнестойкости;
- любых конструктивных систем и типов;
- любого уровня ответственности, включая повышенный;
- различной этажности;
- возводимых в ветровых районах до V включительно;
- для зданий, возводимых в районах как с обыкновенными, так и со сложными инженерно-геологическими условиями и сейсмичностью до 9 баллов.
1.3. Облицовка С 665 имеет конструкцию, отвечающую требованиям рабочих чертежей серии М25.41/2000 "Комплектные системы КНАУФ. Облицовка из гипсоволокнистых листов ограждающих конструкций жилых, общественных и производственных зданий. Стены. Мансардные помещения. Коммуникационные шахты", выпуск 1. Серия разработана ОАО "ЦНИИпромзданий" при участии фирмы "КНАУФ".
1.4. Облицовка С 665 состоит из металлического каркаса; обшивки одним слоем гипсоволокнистых листов толщиной 10 или 12,5 мм. Масса 1 м2 облицовки - 18 кг.
1.5. Каркас облицовки С 665 состоит из направляющих и стоечных оцинкованных металлических профилей, отвечающих требованиям ТУ 1121-004-04001508-2003. Стандартная длина профилей составляет: 2750; 3000; 4000; 4500 мм. По согласованию с заказчиком могут быть выпущены профили длиной от 500 до 6000 мм. Номинальная толщина профилей должна быть не менее 0,6 мм. Стенки направляющих и стоечных, а также полки стоечных профилей усилены продольными гофрами, увеличивающими их жесткость.
Направляющие профили имеют П-образную, а стоечные профили - С-образную формы. Размеры их стенок и полок (a x b) представлены в таблицах 1.1 и
1.2.
Таблица 1.1
Геометрические размеры направляющих профилей
Размер | Профиль |
ПН 75 | ПН 100 |
a x b, мм | 75 x 40 | 100 x 40 |
Таблица 1.2
Геометрические размеры стоечных профилей
┌───────────────────────┬────────────────────────────────────────┐
│ Размер │ Профиль │
│ ├───────────────────┬────────────────────┤
│ │ ПС 75 │ ПС 100 │
├───────────────────────┼───────────────────┼────────────────────┤
│ a x b, мм │ 75 x 50 │ 100 x 50 │
└───────────────────────┴───────────────────┴────────────────────┘
Направляющие профили производятся с готовыми отверстиями в стенках диаметром 8 мм, предназначенными для крепления дюбелями к несущим основаниям. В стоечных профилях имеются 3 пары отверстий в стенках диаметром 33 мм (в центре и по краям), которые позволяют монтировать технические коммуникации внутри облицовки.
Предельно допустимая высота облицовки С 665 представлена в таблице 1.3.
Таблица 1.3
Максимальная высота облицовки С 665
Максимальная высота перегородки, м | Шаг крепления стоечных профилей по высоте, мм | Марка стоечного профиля |
3,00 | 600 | ПН 75 |
4,00 | 600 | ПН 100 |
1.6. ГВЛ представляет собой экологически чистый листовой отделочный материал, изготовленный из строительного гипса марки не ниже Г-4 (
ГОСТ 125-79), распушенной целлюлозной макулатуры марок МС-10 и МС-11 (ГОСТ 10700-89), содержащей различные технологические добавки. Типовой размер ГВЛ, который применялся при разработке данной технологической карты, равен 2500 x 1200 x (10) 12,5 мм.
По заказу строительных организаций могут выпускаться партии листов других типоразмеров согласно
ГОСТ Р 51829-2001, которые приведены в таблице 1.4.
Таблица 1.4
Размеры ГВЛ
Длина, мм | 1500; 2000; 2500; 2700; 3000 |
Ширина, мм | 500; 1000; 1200 |
Толщина, мм | 10; 12,5; 15; 18; 20 |
ГВЛ выпускаются с различными формами продольных кромок: фальцевая (ФК) и прямая (ПК). Данная технологическая карта предусматривает обшивку каркаса ГВЛ с фальцевой кромкой (ФК).
Масса 1 м2 (поверхностная плотность) ГВЛ - 1,05S < m < 1,2S (кг/м2), где S - толщина листа, мм. Удельная активность естественных радионуклидов не более 370 Бк/кг (
ГОСТ 12.1.044-89*), т.е. ГВЛ относится к I группе.
Пожаротехнические характеристики ГВЛ соответствуют:
Отпускная влажность листов не должна превышать 1,5%; плотность - не более 1250 кг/м3.
1.7. Для крепления ГВЛ к каркасу облицовки применяют самонарезающие винты с зенкующей головкой. Для крепления каркаса к конструкциям пола, потолка и стен используют дюбели.
1.8. Монтаж облицовки производят в период отделочных работ по окончании "мокрых" процессов, способных существенно повысить влажность воздуха внутри помещения, до устройства чистого пола.
В помещениях, где производят монтаж облицовки С 665, температура воздуха не должна быть ниже +10 °C .
Температурно-влажностный режим помещения должен соответствовать требованиям
СНиП 23-02-2003 "Тепловая защита зданий".
1.9. Типовая технологическая карта разработана на измеритель конечной продукции - 1 м2 облицовки. Привязка типовой технологической карты к конкретному объекту и условиям строительства состоит в уточнении необходимых материальных ресурсов и схем организации строительного процесса, соответствующего рабочим чертежам.
2. ОРГАНИЗАЦИЯ И ТЕХНОЛОГИЯ ВЫПОЛНЕНИЯ РАБОТ
2.1. К устройству облицовок С 665 рекомендуется приступать только после:
- наличия утвержденной проектной документации (рабочих чертежей);
- наличия проекта производства работ, который должен предусматривать комплексную механизацию работ с наиболее полным использованием специализированного инструмента и приспособлений, способствующих повышению производительности труда, сокращению сроков устройства облицовок, уменьшающих трудозатраты и создающих наиболее безопасные условия труда;
- производства организационно-технологической подготовки, которая включает в себя подготовку необходимой оснастки, средств подмащивания и доставки ГВЛ в зону производства работ (см.
рисунок 21).
2.2. До начала монтажа элементов облицовки необходимо закончить все общестроительные, а также строительно-монтажные работы, которые могут вызвать повышение влажности ГВЛ. Произвести уборку строительного мусора. Произвести инструментальную проверку соответствия основания для установки направляющих и стоечных профилей каркаса облицовки. Подготовленное основание должно быть оформлено актом приемки за подписью ответственных представителей строительной организации.
2.3. Работы по монтажу облицовки С 665 выполняют под руководством ИТР. Рабочие, выполняющие монтажные работы, должны пройти техническое обучение в учебных центрах "КНАУФ" или других специализированных учебных заведениях и иметь удостоверение на право производства работ.
2.4. Устройство облицовок производят поточно-расчлененным методом, по захваткам, со специализацией звеньев бригады на выполнение однотипных работ и оснащенных соответствующим набором инструментов, инвентаря и средств подмащивания. Каждое звено состоит из двух человек: монтажник конструкций 4-го разряда, монтажник конструкций 3-го разряда.
2.5. Доставку на объект ГВЛ, упакованных в полиэтиленовую пленку, следует производить централизованно автотранспортом. Размер упаковки ГВЛ 2500 x 1200 x 650 мм. По согласованию с потребителем допускается транспортировать листы в непакетированном виде (без обвязки или упаковки в пленку). Габариты пакетов не должны превышать по длине 4100 мм, ширине 1300 мм, высоте 800 мм; масса пакета не должна быть более 3000 кг (см.
рисунок 1).
ГВЛ следует хранить в помещениях с сухим и нормальным влажностным режимом, раздельно по видам и размерам, с соблюдением техники безопасности и сохранности продукции. Общая высота складируемого штабеля с ГВЛ не должна превышать 3,5 м (см.
рисунок 2). Расстояние между штабелями складирования не должно быть менее 1 м.
2.6. Доставку на объект металлических профилей каркаса облицовки допускается производить автотранспортом при условии их защиты от механических воздействий. Хранение профилей на закрытых приобъектных складах должно производиться в кондукторе пакетами по типам.
2.7. При производстве погрузочно-разгрузочных работ следует избегать ударов. Укладку пакетов с профилями на транспортные средства следует осуществлять погрузчиками. Вышеуказанные работы должны производиться в соответствии с требованиями
ГОСТ 12.3.009-76.
2.8. Подъем материалов на этажи рекомендовано производить с помощью машин и механизмов, указанных в сборнике
ЕНиР-1 "Внутрипостроечные транспортные работы".
2.9. Транспортировать ГВЛ к месту производства работ на этаже следует ручными тележками. При переносе ГВЛ вручную - с помощью специальных приспособлений.
2.10. Облицовку С 665 предусмотрено производить в следующем порядке:
- разметка проектного положения облицовки;
- установка элементов каркаса;
- прокладка проектных инженерных коммуникаций;
- установка и закрепление изоляционного материала в каркасе облицовки;
- обшивка каркаса ГВЛ;
- установка электротехнических коробок, розеток, выключателей и т.п. и их крепление к ГВЛ;
- подготовка поверхности облицовок под чистовую отделку.
2.10.1. Разметка проектного положения облицовки (см.
рисунок 22)
Разметку проектного положения элементов каркаса облицовки С 665 производят в строгом соответствии с проектным решением и согласно рабочим чертежам. Для быстрой и безошибочной установки облицовки рекомендуется вначале отмечать на полу места расположения направляющих и стоечных профилей, дверных и других проемов. Разметку производят с помощью складного метра, рулетки, метростата и шнуроотбойного устройства. Разметку больших помещений производят с помощью лазерного или оптического нивелира.
Вначале разметку проектного положения каркаса выполняют на полу. Разметку начинают от стены, расположенной параллельно возводимой облицовке, вынося горизонтальную ось. Затем на этой оси отмечают места расположения стоечных профилей с проектным шагом, дверных и других проемов, а также выводов и сквозных проходов коммуникаций. Для данной технологической карты шаг равен 600 мм (см.
рисунок 25).
Расстояние от стоечного профиля, примыкающего к стене, до первого отстоящего от стены профиля должно быть меньше проектного шага на 25 мм.
Затем с помощью метростата и шнуроотбойного устройства (если высота помещения больше 3 м, то - нивелира или отвеса) разметку зеркально переносят на потолок. Вертикальные оси каркаса облицовки с помощью метростата и отвеса наносят на стены помещения, примыкающие к каркасу.
2.10.2. Установка элементов каркаса
Элементы каркаса облицовки С 665 состоят из направляющих профилей (ПН) и стоечных профилей (ПС), имеющих стандартные размеры.
На полках стоечных профилей выполнены продольные гофры, которые увеличивают их жесткость. Центральный гофр является ориентиром как при точной сборке каркаса, так и при установке ГВЛ.
Типоразмеры стоечных и направляющих профилей выбирают исходя из высоты конструкции облицовки в полном соответствии с рабочими чертежами.
Допускается соединение стоечных профилей по длине методом насадки или встык с дополнительным профилем. В этих случаях длина нахлеста определяется согласно таблице 2.1, а длина дополнительного профиля должна быть не менее 20-кратной величины стенки стоечного профиля.
Таблица 2.1
Соединение стоечных профилей
Тип профиля | Длина нахлеста, см |
ПС 75 | >= 75 |
ПС 100 | >= 100 |
Соединение (удлинение) профилей производят с помощью просекателя методом "просечки с отгибом", в отдельных случаях посредством винтов LN 3,5 x 9.
Стоечные профили должны иметь высоту на 10 мм меньше расстояния между стенками верхних и нижних направляющих профилей.
Установку направляющих профилей осуществляют согласно разметке их проектного положения на полу и на потолке.
С целью повышения звукоизоляционной способности облицовки на стенки направляющих профилей ПН наклеивают уплотнительную ленту. После раскроя и полной подготовки направляющих профилей приступают к их монтажу по линии разметки на полу, а затем - на потолке. Крепление направляющих профилей осуществляют дюбелями с шагом не более 1 м. Закреплять профиль ПН необходимо не менее чем в трех точках независимо от его длины. При необходимости дополнительные отверстия в стенке направляющего профиля высверливают дрелью.
Установку стоечных профилей также осуществляют по их проектному положению, а их типоразмер должен соответствовать рабочим чертежам (в рассматриваемом случае шаг стоек равен 600 мм, см.
рисунок 25).
Предварительно на стоечные профили, примыкающие к конструкциям здания, наклеивают уплотнительную ленту. Стоечные профили устанавливают в закрепленные в проектном положении направляющие профили.
Установку стоек начинают от стен, к которым профили крепятся дюбелями с шагом не более 1 м, но не менее трех креплений на одну стойку. Каждую стойку устанавливают строго вертикально и с помощью просекателя закрепляют к направляющему профилю на полу и на потолке. Закрепление производят не менее чем в двух точках с каждой стороны направляющего профиля (т.е. четыре просечки вверху и четыре просечки - внизу).
Если высота помещения превышает длину ГВЛ, то в местах торцевых стыков устраивают горизонтальные вставки из ПН, на которых должны располагаться поперечные швы. Для устройства вставок из направляющего профиля вырезают заготовки путем надреза полок профиля и отгиба согласно рабочим чертежам.
Крепление вставок к полкам стоечных профилей осуществляют просекателем, а к стенкам - самонарезающими винтами длиной 9 мм.
В местах сопряжения облицовки с коммуникациями между стоечными профилями устанавливают перемычки из направляющего профиля с их закреплением просекателем к профилю ПС. При групповой прокладке трубопровода допускается устройство общего обрамления.
При необходимости пропуска инженерных коммуникаций больших размеров допускается срезка вертикальных стоек с установкой по краям отверстия дополнительных стоечных профилей каркаса на всю высоту облицовки. В местах пересечения облицовки трубопроводами парового, водяного отопления и водоснабжения устанавливают гильзы.
Контроль за точностью установки каркаса осуществляют с помощью складного метра, метростата или нивелира.
Если длина облицовки превышает 15 м, то требуется устройство деформационного шва (см.
рисунок 27). Кроме того, деформационные швы облицовки должны повторять деформационные швы здания.
На смонтированный в проектное положение каркас облицовки необходимо оформить акт приемки за подписью главного инженера строительной организации и лица - надзора от проектной организации.
2.10.3. Прокладка проектных инженерных коммуникаций
Произведя монтаж каркаса облицовки, приступают к монтажу электротехнической проводки. Кабели размещают перпендикулярно стойкам каркаса в строгом соответствии с рабочим проектом. Не допускается размещать электропроводку вдоль стоек или внутри них во избежание ее повреждения при обшивке ГВЛ. Прокладку электросети выполняет специализированное звено электромонтажников. При необходимости производят прокладку и других коммуникационных сетей, предусмотренных проектом.
2.10.4. Установка и закрепление изоляционного материала
Установка изоляционного материала производится только при необходимости улучшения теплоизоляции наружных стен после проведения теплотехнического расчета с целью определения точки росы. Если точка росы будет находиться на внутренней поверхности стены или внутри теплоизоляционного слоя, то установку последнего проводить нельзя. Изоляционный материал может фиксироваться на стене с помощью клея или пластиковых дюбелей с широкой шляпкой.
2.10.5. Обшивка каркаса гипсоволокнистыми листами
Перед установкой ГВЛ в местах примыкания обшивки к поверхностям потолка и стен (колонн), выполненных из другого материала, наклеивают разделительную ленту.
Установка ГВЛ начинается от основной стены помещения в вертикальном положении. Перед установкой на торцах каждого ГВЛ, образующих горизонтальный стык, делают фальц шириной 30 мм и глубиной 2 мм (см.
рисунок 5).
Горизонтальную стыковку ГВЛ выполняют вразбежку с шагом не менее 400 мм. Торцы опираются на вставку из направляющего профиля. Между полом и ГВЛ оставляется зазор около 10 мм. По вертикали ГВЛ стыкуются только на стойках каркаса.
Крепление ГВЛ осуществляют самонарезающими винтами с зенкующей головкой длиной 30 мм с помощью электрошуруповерта с магнитной головкой. Шаг винтов 250 мм. Крепятся ГВЛ по периметру и по центральной вертикальной оси (см.
рисунок 9).
Монтаж ГВЛ ведется в одном направлении с открытой частью профиля. Установка винтов, закрепляющих предыдущий лист, со стороны стенки профиля предотвращает отгибание слабого края полки внутрь профиля при креплении следующего листа.
Крепление винтами на стыке ГВЛ осуществляют вразбежку через 50 мм с винтами соседнего ряда и отступлением от края ГВЛ на 10 мм. Крепежные винты должны входить в ГВЛ под прямым углом и проникать в полку профиля на глубину не менее 10 мм. Головки винтов должны быть утоплены в поверхность ГВЛ на глубину, позволяющую их зашпаклевать.
2.10.6. Установка электротехнических коробок, розеток, выключателей и их крепление к ГВЛ
По окончании монтажа ГВЛ устанавливают электрические коробки, розетки, выключатели и т.п., которые крепят к ГВЛ с помощью специальной фурнитуры. Эти работы выполняет звено электромонтажников.
2.10.7. Подготовка поверхности облицовки под чистовую отделку
Шпаклевание стыков между ГВЛ производят при стабильной температуре и влажности воздуха в помещениях, соответствующих режиму эксплуатации (t не должна быть ниже +10 °C ). Недопустимы сквозняки и резкие колебания температуры в помещениях. Предварительно кромки ГВЛ обрабатывают грунтовкой Тифенгрунд.
Заделке шпаклевочной смесью Фугенфюллер ГВ подлежат продольные и поперечные стыки, стыки между облицовкой и потолком. Продольные и поперечные стыки между ГВЛ заделываются с применением армирующей ленты.
До обработки стыков необходимо проверить надежность крепления ГВЛ. Выступающие головки винтов - довернуть. Производство работ, ведущих к повышению влажности в помещении, к этому времени должно быть завершено.
В зависимости от назначения помещений требования к отделке поверхностей из ГВЛ можно разделить на 3 вида, как это принято в большинстве европейских стран:
Качество 1 (К1) - определяет качество поверхности швов и поверхностей ГВЛ, к которым не предъявляются оптические требования, т.е. поверхность может иметь волнистый рельеф, где гребень не должен превышать 1,5 мм. Такая поверхность ГВЛ предназначена для облицовки плиткой, оштукатуривания или под облицовку какими-либо другими материалами.
Качество 2 (К2) - соответствует существующему стандартному качеству поверхностей стен и потолков. Шпаклевание выполняется с целью достижения плавных переходов от поверхностей сопряжений к поверхности ГВЛ. Все переходы от швов, внутренних и внешних углов, крепежных элементов должны быть незаметны на глаз. Для этой цели зашпаклеванные швы обрабатывают пастой Финиш на ширину примерно 30 см.
Такая поверхность ГВЛ предназначена для структурированной окраски, оклейки структурными обоями, для тонкослойного оштукатуривания.
Качество 3 (К3) - предъявляет повышенные требования к качеству поверхности стен и потолков, т.е. кроме стандартного шпаклевания для К2 необходимо полное покрытие поверхности ГВЛ шпаклевочным материалом с последующим шлифованием. Для этих целей чаще всего используют пасту Финиш или Редигипс, а также шпаклевочные смеси.
Такая поверхность предназначена для высококачественной окраски стен и потолков любыми видами красок, оклейки глянцевыми тонкослойными обоями, оштукатуривания тонкоструктурированными растворными смесями с крупностью зерна менее 1 мм.
В данной технологической карте отделка поверхности относится к виду К1, на которую даются нормативы трудозатрат и расхода материалов. Более качественная отделка поверхности оговаривается заказчиком и на нее составляется отдельная смета.
Последовательность действий при обработке продольных и поперечных стыков между ГВЛ следующая:
- перед шпаклеванием обработка грунтовкой глубокого проникновения всех стыков;
- нанесение шпателем первого слоя шпаклевки на стык между листами шириной чуть больше ширины армирующей ленты;
- вдавливание шпателем армирующей ленты в нанесенную шпаклевку;
- после высыхания первого слоя шпаклевки широким шпателем нанесение второго слоя шпаклевки на всю ширину стыковочного шва.
Заделке шпаклевочной смесью Фугенфюллер ГВ подлежат углубления от винтов, стыки между облицовкой и стенами (колоннами), облицовкой и потолком. В местах стыковок на эти конструкции предварительно крепится самоклеящаяся разделительная лента. После заделки стыков и полного высыхания шпаклевки излишки ленты срезаются, а шов шлифуется.
В некоторых случаях при монтаже облицовок образуются внешние углы, которые защищают от механических повреждений при помощи металлических перфорированных уголков из оцинкованной стали (ПУ 31 x 31 x 0,4), которые крепят к ГВЛ с помощью специального приспособления, указанного в перечне инструментов. После крепления уголки шпаклюют и после высыхания шлифуют.
По окончании всех шпаклевочных работ поверхность облицовок обрабатывается с помощью кисти, щетки или валика грунтовкой Тифенгрунд. Это необходимо сделать с целью предотвращения образования трещин в швах из-за возможного изменения влажностного режима в помещении (особенно весной, осенью или при проведении отделочных работ мокрым способом).
3. ПОТРЕБНОСТЬ В ИНВЕНТАРЕ И МАТЕРИАЛАХ
Перечень потребного инвентаря, приспособлений и инструмента - см. на стр. 144.
Таблица 3.1
Нормативные показатели расхода материалов
на устройство 1 м2 облицовки С 665
┌───────────────────────────────────────┬────┬───────────────────┐
│ Наименование материалов │Ед. │ С 665 (6 x 2,7 м) │
│ │изм.├─────────┬─────────┤
│ │ │с оконным│с дверным│
│ │ │ проемом │ проемом │
├───────────────────────────────────────┴────┴─────────┴─────────┤
│ Каркас и крепежные изделия │
├───────────────────────────────────────┬────┬─────────┬─────────┤
│Профиль направляющий ПН 75/40, │ м │ 1,21 │ 1,22 │
│ТУ 1121-004-04001508-2003 │ │ │ │
├───────────────────────────────────────┼────┼─────────┼─────────┤
│Профиль стоечный ПС 75/50, │ м │ 2,25 │ 2,34 │
│ТУ 1121-004-04001508-2003 │ │ │ │
├───────────────────────────────────────┼────┼─────────┼─────────┤
│Профиль угловой ПУ 31/31, │ м │ 0,46 │ - │
│ТУ 1121-004-04001508-2003 │ │ │ │
├───────────────────────────────────────┼────┼─────────┼─────────┤
│Лента уплотнительная типа Дихтунгсбанд,│ м │ 1,16 │ 1,17 │
│сеч. 70 x 3,2 мм │ │ │ │
├───────────────────────────────────────┼────┼─────────┼─────────┤
│Дюбель типа К 6/35 │шт. │ 1,53 │ 1,49 │
├───────────────────────────────────────┼────┼─────────┼─────────┤
│Брусок деревянный, размер │ м │ - │ 0,37 │
│75 x 50 x 2690 мм │ │ │ │
├───────────────────────────────────────┴────┴─────────┴─────────┤
│ Обшивка │
├───────────────────────────────────────┬────┬─────────┬─────────┤
│Лист гипсоволокнистый ГВЛ 10 мм, │ м2 │ 1,07 │ 1,12 │
├───────────────────────────────────────┼────┼─────────┼─────────┤
│Винт самонарезающий с острым концом │ │ │ │
│длиной, мм: │ │ │ │
│ 30 │шт. │ 18,55 │ 19,43 │
├───────────────────────────────────────┼────┼─────────┼─────────┤
│Клей Перлфикс │ кг │ 0,6 │ 0,76 │
├───────────────────────────────────────┴────┴─────────┴─────────┤
│ Заделка швов │
├───────────────────────────────────────┬────┬─────────┬─────────┤
│Шпатлевка Фугенфюллер ГВ, │ кг │ 0,45 │ 0,42 │
│ТУ 5745-011-04001508-97 │ │ │ │
├───────────────────────────────────────┼────┼─────────┼─────────┤
│Лента армирующая │ м │ 1,2 │ 1,51 │
├───────────────────────────────────────┼────┼─────────┼─────────┤
│Лента разделительная 50 мм │ м │ 0,82 │ 0,8 │
├───────────────────────────────────────┼────┼─────────┼─────────┤
│Герметик акриловый (туба - 310 мм) │шт. │ 0,07 │ - │
├───────────────────────────────────────┼────┼─────────┼─────────┤
│Грунтовка Тифенгрунд │ кг │ 0,11 │ 0,11 │
└───────────────────────────────────────┴────┴─────────┴─────────┘
4. НОРМАТИВНЫЕ И ТЕХНИКО-ЭКОНОМИЧЕСКИЕ ПОКАЗАТЕЛИ
(ИЗМЕРИТЕЛЬ КОНЕЧНОЙ ПРОДУКЦИИ - 1 М2).
Таблица 4.1
Затраты труда на устройство облицовки С 665
┌────┬────────────┬─────┬───────┬───────┬──────────────┬─────────────────┐
│ N │Наименование│Еди- │ Объем │Обосно-│Норма времени │ Затраты труда │
│п.п.│технологи- │ница │ работ │вание ├──────┬───────┼────────┬────────┤
│ │ческих │изме-│ │ │рабо- │маши- │рабочих,│маши- │
│ │процессов │рения│ │ │чих, │ниста, │ чел.-ч │ниста, │
│ │ │ │ │ │чел.-ч│чел.-ч │ │чел.-ч │
│ │ │ │ │ │ │(работа│ │(работа │
│ │ │ │ │ │ │машин, │ │машин, │
│ │ │ │ │ │ │маш.-ч)│ │маш.-ч) │
├────┼────────────┼─────┼───────┼───────┼──────┼───────┼────────┼────────┤
│ 1 │Устройство │ м2 │ 1 │Расчет │ 0,35 │ - │ 0,35 │ - │
│ │каркаса │ │ │ОАО │ │ │ │ │
├────┼────────────┼─────┼───────┤"Тула- ├──────┼───────┼────────┼────────┤
│ 2 │Обшивка │ м2 │ 1 │оргтех-│ 0,17 │ - │ 0,17 │ - │
│ │каркаса │ │ │строй" │ │ │ │ │
├────┼────────────┼─────┼───────┤методом├──────┼───────┼────────┼────────┤
│ 3 │Заделка │ м2 │ 1 │техни- │0,135 │ - │ 0,135 │ - │
│ │швов, │ │ │ческого│ │ │ │ │
│ │обработка │ │ │норми- │ │ │ │ │
│ │поверхности │ │ │рования│ │ │ │ │
├────┼────────────┼─────┼───────┼───────┼──────┼───────┼────────┼────────┤
│ 4 │Подача │100 т│0,00015│ Е1-16 │ 36 │ 9 │ 0,0054 │ 0,0014 │
│ │материалов │ │ │ │ │ │ │ │
│ │на этажи │ │ │ │ │ │ │ │
│ │подъемником │ │ │ │ │ │ │ │
│ │грузоподъ- │ │ │ │ │ │ │ │
│ │емностью │ │ │ │ │ │ │ │
│ │до 1 т │ │ │ │ │ │ │ │
│ │при высоте │ │ │ │ │ │ │ │
│ │подъема │ │ │ │ │ │ │ │
│ │до 8 м │ │ │ │ │ │ │ │
├────┼────────────┼─────┼───────┼───────┼──────┼───────┼────────┼────────┤
│ 5 │Перевозка │ 1 т │ 0,015 │ Е1-21 │ 1,1 │ - │ 0,0165 │ - │
│ │материалов │ │ │ │ │ │ │ │
│ │по этажу │ │ │ │ │ │ │ │
│ │ручными │ │ │ │ │ │ │ │
│ │тележками на│ │ │ │ │ │ │ │
│ │расстояние │ │ │ │ │ │ │ │
│ │до 30 м │ │ │ │ │ │ │ │
├────┼────────────┼─────┼───────┼───────┼──────┼───────┼────────┼────────┤
│ │Итого: │ │ │ │ │ │ 0,677 │ 0,0014 │
├────┴────────────┴─────┴───────┴───────┴──────┴───────┴────────┴────────┤
│ Затраты труда на устройство облицовок с проемами │
│ (без учета прочих работ) │
├──────────────────────────────────────────────┬─────────────────────────┤
│С оконным проемом │ 0,72 чел.-ч │
├──────────────────────────────────────────────┼─────────────────────────┤
│С дверным проемом │ 0,69 чел.-ч │
└──────────────────────────────────────────────┴─────────────────────────┘
Таблица 4.2
График производства работ
N п.п. | Наименование технологических процессов | Еди- ница из- ме- ре- ния | Объем работ | Затраты труда | Принятый состав звена | Про- должи- тель- ность про- цесса, ч |
рабо- чих, чел.-ч | маши- ниста, чел.-ч (работа машин, маш.-ч) |
1 | Устройство каркаса | м2 | 1 | 0,35 | - | Монтаж- ники кон- струкций 4-го и 3-го разрядов | 0,175 |
2 | Обшивка каркаса | м2 | 1 | 0,17 | - | 0,085 |
3 | Обработка поверхности, заделка швов | м2 | 1 | 0,135 | - | 0,0675 |
4 | Прочие работы | м2 | 1 | 0,0219 | 0,0014 | 0,011 |
| Итого: | | | 0,677 | | | 0,34 |
Рисунок 4.1. График движения рабочей силы
Таблица 4.3
Технико-экономические показатели
┌────┬─────────────────────────────────────┬─────────┬───────────┐
│ N │ Наименование │ Единица │Количество │
│п.п.│ │измерения│ │
├────┼─────────────────────────────────────┼─────────┼───────────┤
│ 1 │Продолжительность работ │ ч │ 0,34 │
├────┼─────────────────────────────────────┼─────────┼───────────┤
│ 2 │Трудоемкость на 1 м2: │ │ │
│ │ по нормам │ чел.-ч │ 0,655 │
│ │ по графику (с учетом прочих работ) │ │ 0,677 │
├────┼─────────────────────────────────────┼─────────┼───────────┤
│ 3 │Максимальная численность рабочих │ чел. │ 2 │
├────┼─────────────────────────────────────┼─────────┼───────────┤
│ 4 │Выработка на 1 чел.-ч │ м2 │ 2,94 │
└────┴─────────────────────────────────────┴─────────┴───────────┘
ТИПОВАЯ ТЕХНОЛОГИЧЕСКАЯ КАРТА
НА УСТРОЙСТВО ОБЛИЦОВОК НА МЕТАЛЛИЧЕСКОМ КАРКАСЕ
КОМПЛЕКТНОЙ СИСТЕМЫ КНАУФ
С ПРИМЕНЕНИЕМ ГИПСОВОЛОКНИСТЫХ ЛИСТОВ
Облицовка С 666
1.1. Типовая технологическая карта предназначена для разработки проектов производства работ (ППР), проектов организации строительства (ПОС), другой организационно-технологической документации, а также является информационным пособием для строительных организаций, производящих устройство облицовок С 666 с применением гипсоволокнистых листов (ГВЛ).
1.2. Сборные облицовки С 666 предназначены для отделки и повышения изоляционных свойств стен помещений высотой до 4,25 м жилых, общественных и производственных зданий:
- при неровности базовой стены свыше 100 мм, а также в случаях, когда вдоль стены проложены (или необходимо проложить) инженерные коммуникации;
- любой степени огнестойкости;
- любых конструктивных систем и типов;
- любого уровня ответственности, включая повышенный;
- различной этажности;
- возводимых в ветровых районах до V включительно;
- для зданий, возводимых в районах как с обыкновенными, так и со сложными инженерно-геологическими условиями и сейсмичностью до 9 баллов.
1.3. Облицовка С 666 имеет конструкцию, отвечающую требованиям рабочих чертежей серии М25.41/2000 "Комплектные системы КНАУФ. Облицовка из гипсоволокнистых листов ограждающих конструкций жилых, общественных и производственных зданий. Стены. Мансардные помещения. Коммуникационные шахты", выпуск 1. Серия разработана ОАО "ЦНИИпромзданий" при участии фирмы КНАУФ.
1.4. Облицовка С 666 состоит из металлического каркаса, обшивки двумя слоями гипсоволокнистых листов толщиной 10 или 12,5 мм. Масса 1 м2 облицовки в зависимости от толщины ГВЛ ~28 или ~34 кг.
1.5. Каркас облицовки С 666 состоит из направляющих и стоечных оцинкованных металлических профилей, отвечающих требованиям ТУ 1121-004-04001508-2003. Стандартная длина профилей составляет: 2750; 3000; 4000; 4500 мм. По согласованию с заказчиком могут быть выпущены профили длиной от 500 до 6000 мм. Номинальная толщина профилей должна быть не менее 0,6 мм. Стенки направляющих и стоечных, а также полки стоечных профилей усилены продольными гофрами, увеличивающими их жесткость.
Направляющие профили имеют П-образную, а стоечные профили - С-образную формы. Размеры их стенок и полок (a x b) представлены в таблицах 1.1 и
1.2.
Таблица 1.1
Геометрические размеры направляющих профилей
Размер | Профиль |
ПН 50 | ПН 75 | ПН 100 |
a x b, мм | 50 x 40 | 75 x 40 | 100 x 40 |
Таблица 1.2
Геометрические размеры стоечных профилей
Размер | Профиль |
ПС 50 | ПС 75 | ПС 100 |
a x b, мм | 50 x 50 | 75 x 50 | 100 x 50 |
Направляющие профили производятся с готовыми отверстиями в стенках диаметром 8 мм, предназначенными для крепления дюбелями к несущим основаниям. В стоечных профилях имеются 3 пары отверстий в стенках диаметром 33 мм (в центре и по краям), которые позволяют монтировать технические коммуникации внутри облицовки.
Предельно допустимая высота облицовки С 666 представлена в таблице 1.3.
Таблица 1.3
Максимальная высота облицовки С 666
Максимальная высота перегородки, м | Шаг крепления стоечных профилей по высоте, мм | Марка стоечного профиля |
2,60 | 600 | ПН 50 |
3,50 | 600 | ПН 75 |
4,25 | 600 | ПН 100 |
1.6. ГВЛ представляет собой экологически чистый листовой отделочный материал, изготовленный из строительного гипса марки не ниже Г-4 (
ГОСТ 125-79), распушенной целлюлозной макулатуры марок МС-10 и МС-11 (ГОСТ 10700-89), содержащей различные технологические добавки. Типовой размер ГВЛ, который применялся при разработке данной технологической карты, равен 2500 x 1200 x (10) 12,5 мм.
По заказу строительных организаций могут выпускаться партии листов других типоразмеров согласно
ГОСТ Р 51829-2001, которые приведены в таблице 1.4.
Таблица 1.4
Размеры ГВЛ
Длина, мм | 1500; 2000; 2500; 2700; 3000 |
Ширина, мм | 500; 1000; 1200 |
Толщина, мм | 10; 12,5; 15; 18; 20 |
ГВЛ выпускают с различными формами продольных кромок: фальцевая (ФК); прямая (ПК). Данная технологическая карта предусматривает обшивку каркаса ГВЛ с фальцевой кромкой (ФК).
Масса 1 м2 (поверхностная плотность) ГВЛ - 1,05S < m < 1,2S (кг/м2), где S - толщина листа, мм. Удельная активность естественных радионуклидов не более 370 Бк/кг (
ГОСТ 12.1.044-89*), т.е. ГВЛ относится к I группе.
Пожаротехнические характеристики ГВЛ соответствуют:
Отпускная влажность листов не должна превышать 1,5%; плотность - не более 1250 кг/м3.
1.7. Для крепления ГВЛ к каркасу облицовки применяют самонарезающие винты с зенкующей головкой. Для крепления каркаса к конструкциям пола, потолка и стен используют дюбели.
1.8. Монтаж облицовки производят в период отделочных работ по окончании "мокрых" процессов, способных существенно повысить влажность воздуха внутри помещения, до устройства чистого пола.
В помещениях, где производят монтаж облицовки С 666, температура воздуха не должна быть ниже +10 °C .
Температурно-влажностный режим помещения должен соответствовать требованиям
СНиП 23-02-2003 "Тепловая защита зданий".
1.9. Типовая технологическая карта разработана на измеритель конечной продукции - 1 м2 облицовки. Привязка типовой технологической карты к конкретному объекту и условиям строительства состоит в уточнении необходимых материальных ресурсов и схем организации строительного процесса, соответствующего рабочим чертежам.
2. ОРГАНИЗАЦИЯ И ТЕХНОЛОГИЯ ВЫПОЛНЕНИЯ РАБОТ
2.1. К устройству облицовок С 666 рекомендуется приступать только после:
- наличия утвержденной проектной документации (рабочих чертежей);
- наличия проекта производства работ, который должен предусматривать комплексную механизацию работ с наиболее полным использованием специализированного инструмента и приспособлений, способствующих повышению производительности труда, сокращению сроков устройства облицовок, уменьшающих трудозатраты и создающих наиболее безопасные условия труда;
- производства организационно-технологической подготовки, которая включает в себя подготовку необходимой оснастки, средств подмащивания и доставки ГВЛ в зону производства работ (см.
рисунок 21).
2.2. До начала монтажа элементов облицовки необходимо закончить все общестроительные, а также строительно-монтажные работы, которые могут вызвать повышение влажности ГВЛ. Произвести уборку строительного мусора. Произвести инструментальную проверку соответствия основания для установки направляющих и стоечных профилей каркаса облицовки. Подготовленное основание должно быть оформлено актом приемки за подписью ответственных представителей строительной организации.
2.3. Работы по монтажу облицовки С 666 выполняют под руководством ИТР. Рабочие, выполняющие монтажные работы, должны пройти техническое обучение в учебных центрах "КНАУФ" или других специализированных учебных заведениях и иметь удостоверение на право производства работ.
2.4. Устройство облицовок производят поточно-расчлененным методом, по захваткам, со специализацией звеньев бригады на выполнение однотипных работ и оснащенных соответствующим набором инструментов, инвентаря и средств подмащивания. Каждое звено состоит из двух человек: монтажник конструкций 4-го разряда, монтажник конструкций 3-го разряда.
2.5. Доставку на объект ГВЛ, упакованных в полиэтиленовую пленку, следует производить централизованно автотранспортом. Размер упаковки ГВЛ 2500 x 1200 x 650 мм. По согласованию с потребителем допускается транспортировать листы в непакетированном виде (без обвязки или упаковки в пленку). Габариты пакетов не должны превышать по длине 4100 мм, ширине 1300 мм, высоте 800 мм; масса пакета не должна быть более 3000 кг (см.
рисунок 1).
ГВЛ следует хранить в помещениях с сухим и нормальным влажностным режимом, раздельно по видам и размерам, с соблюдением техники безопасности и сохранности продукции. Общая высота складируемого штабеля с ГВЛ не должна превышать 3,5 м (см.
рисунок 2). Расстояние между штабелями складирования не должно быть менее 1 м.
2.6. Доставку на объект металлических профилей каркаса облицовки допускается производить автотранспортом при условии их защиты от механических воздействий. Хранение профилей на закрытых приобъектных складах должно производиться в кондукторе пакетами по типам.
2.7. При производстве погрузочно-разгрузочных работ следует избегать ударов. Укладку пакетов с профилями на транспортные средства следует осуществлять погрузчиками. Вышеуказанные работы должны производиться в соответствии с требованиями
ГОСТ 12.3.009-76.
2.8. Подъем материалов на этажи рекомендовано производить с помощью машин и механизмов, указанных в сборнике
ЕНиР-1 "Внутрипостроечные транспортные работы".
2.9. ГВЛ транспортируют к месту производства работ на этаже ручными тележками. При переносе ГВЛ вручную - с помощью специальных приспособлений.
2.10. Облицовку С 666 предусмотрено производить в следующем порядке:
- разметка проектного положения облицовки;
- установка элементов каркаса;
- прокладка проектных инженерных коммуникаций;
- установка и закрепление изоляционного материала;
- обшивка каркаса первым слоем ГВЛ;
- заделка стыков первого слоя ГВЛ;
- обшивка каркаса вторым слоем ГВЛ;
- установка электротехнических коробок, розеток, выключателей и т.п. и их крепление к ГВЛ;
- подготовка поверхности облицовок под чистовую отделку.
2.10.1. Разметка проектного положения облицовки (см.
рисунок 22)
Разметку проектного положения элементов каркаса облицовки С 666 производят в строгом соответствии с проектным решением и согласно рабочим чертежам. Для быстрой и безошибочной установки облицовки рекомендуется вначале отмечать на полу места расположения стоечных профилей, дверных и других проемов. Разметку производят с помощью складного метра, рулетки, метростата и шнуроотбойного устройства. Разметку больших помещений производят с помощью лазерного или оптического нивелира.
Вначале разметку проектного положения каркаса выполняют на полу. Разметку начинают от стены, расположенной параллельно возводимой облицовке, вынося горизонтальную ось. Затем на этой оси отмечают места расположения стоечных профилей с проектным шагом, дверных и других проемов, а также выводов и сквозных проходов коммуникаций. Для данной технологической карты шаг равен 600 мм (см.
рисунок 26).
Расстояние от стоечного профиля, примыкающего к стене, до первого отстоящего от стены профиля должно быть меньше проектного шага на 25 мм.
Затем с помощью метростата и шнуроотбойного устройства (если высота помещения больше 3 м, то - нивелира или отвеса) разметку зеркально переносят на потолок. Вертикальные оси каркаса облицовки с помощью метростата и отвеса наносят на стены помещения, примыкающие к каркасу.
2.10.2. Установка элементов каркаса
Элементы каркаса облицовки С 666 состоят из направляющих профилей (ПН) и стоечных профилей (ПС), имеющих стандартные размеры.
На полках стоечных профилей выполнены продольные гофры, которые увеличивают их жесткость. Центральный гофр является ориентиром как при точной сборке каркаса, так и при установке ГВЛ.
Типоразмеры стоечных и направляющих профилей выбирают исходя из высоты конструкции облицовки в полном соответствии с рабочими чертежами.
Допускается соединение стоечных профилей по длине методом насадки или встык с дополнительным профилем. В этих случаях длина нахлеста определяется по таблице 2.1, а длина дополнительного профиля должна быть не менее 20-кратной величины стенки стоечного профиля.
Таблица 2.1
Соединение стоечных профилей
Тип профиля | Длина нахлеста, см |
ПС 50 | >= 50 |
ПС 75 | >= 75 |
ПС 100 | >= 100 |
Соединение (удлинение) профилей производят с помощью просекателя методом "просечки с отгибом", в отдельных случаях посредством винтов LN 3,5 x 9.
Стоечные профили должны иметь высоту на 10 мм меньше расстояния между стенками верхних и нижних направляющих профилей.
Установку направляющих профилей осуществляют согласно разметке их проектного положения на полу и на потолке.
С целью повышения звукоизоляционной способности облицовки на стенки направляющих профилей ПН наклеивают уплотнительную ленту. После раскроя и полной подготовки направляющих профилей приступают к их монтажу по линии разметки на полу, а затем - на потолке. Крепление направляющих профилей осуществляют дюбелями с шагом не более 1 м. Закреплять профиль ПН необходимо не менее чем в трех точках независимо от его длины. При необходимости дополнительные отверстия в стенке направляющего профиля высверливают дрелью.
Установку стоечных профилей также осуществляют по проектному положению, а их типоразмер должен соответствовать рабочим чертежам (в рассматриваемом случае шаг стоек равен 600 мм).
Предварительно на стоечные профили, примыкающие к конструкциям здания, наклеивают уплотнительную ленту. Стоечные профили устанавливают в закрепленные в проектном положении направляющие профили.
Установку стоек начинают от стен, к которым профили крепят дюбелями с шагом не более 1 м, но не менее трех креплений на одну стойку. Каждую стойку устанавливают строго вертикально и с помощью просекателя закрепляют к направляющему профилю на полу и на потолке. Закрепление производят не менее чем в двух точках с каждой стороны направляющего профиля (т.е. четыре просечки вверху и четыре просечки - внизу).
В местах сопряжения облицовки с коммуникациями между стоечными профилями устанавливают перемычки из направляющего профиля с их закреплением просекателем к профилю ПС. При групповой прокладке трубопровода допускается устройство общего обрамления.
При необходимости пропуска инженерных коммуникаций больших размеров допускается срезка вертикальных стоек с установкой по краям отверстия дополнительных стоечных профилей каркаса на всю высоту облицовки. В местах пересечения облицовки трубопроводами парового, водяного отопления и водоснабжения устанавливают гильзы.
Контроль за точностью установки каркаса осуществляют с помощью складного метра, метростата или нивелира.
Если длина облицовки превышает 15 м, то требуется устройство деформационного шва (см.
рисунок 27). Кроме того, деформационные швы облицовки должны повторять деформационные швы здания.
На смонтированный в проектное положение каркас облицовки необходимо оформить акт приемки за подписью главного инженера строительной организации и лица - надзора от проектной организации.
2.10.3. Прокладка проектных инженерных коммуникаций
Произведя монтаж каркаса облицовки, приступают к монтажу электротехнической проводки. Кабели размещают перпендикулярно стойкам каркаса в строгом соответствии с рабочим проектом. Не допускается размещать электропроводку вдоль стоек или внутри них во избежание ее повреждения при обшивке ГВЛ. Прокладку электросети выполняет специализированное звено электромонтажников. При необходимости производят прокладку и других коммуникационных сетей, предусмотренных проектом.
2.10.4. Установка и закрепление изоляционного материала
Установка изоляционного материала производится только при необходимости улучшения теплоизоляции наружных стен после проведения теплотехнического расчета с целью определения точки росы. Если точка росы будет находиться на внутренней поверхности стены или внутри теплоизоляционного слоя, то установку последнего проводить нельзя. Изоляционный материал может фиксироваться на стене с помощью клея или пластиковых дюбелей с широкой шляпкой.
2.10.5. Обшивка каркаса первым слоем ГВЛ
Перед установкой ГВЛ в местах примыкания обшивки к поверхностям потолка и стен (колонн), выполненных из другого материала, наклеивают разделительную ленту.
Установка ГВЛ начинается от основной стены помещения в вертикальном положении. Перед установкой на торцах каждого ГВЛ, образующих горизонтальный стык, делают фальц шириной 30 мм и глубиной 2 мм (см.
рисунок 5).
Горизонтальную стыковку ГВЛ выполняют вразбежку с шагом не менее 400 мм. Между полом и ГВЛ оставляется зазор около 10 мм. По вертикали ГВЛ стыкуют только на стойках каркаса.
Крепление ГВЛ осуществляют самонарезающими винтами с зенкующей головкой длиной 30 мм с помощью электрошуруповерта с магнитной головкой. Шаг винтов 750 мм. Крепятся ГВЛ по периметру и по центральной вертикальной оси, где нанесены звездочки (см.
рисунок 15).
Монтаж ГВЛ ведется в одном направлении с открытой частью профиля. Установка винтов, закрепляющих предыдущий лист, со стороны стенки профиля предотвращает отгибание слабого края полки внутрь профиля при креплении следующего листа.
Крепление винтами на стыке ГВЛ осуществляют вразбежку через 50 мм с винтами соседнего ряда и отступлением от края ГВЛ на 10 мм. Крепежные винты должны входить в ГВЛ под прямым углом и проникать в полку профиля на глубину не менее 10 мм. Головки винтов должны быть утоплены в поверхность ГВЛ на глубину, позволяющую их зашпаклевать.
2.10.6. Заделка стыков между ГВЛ первого слоя
До заделки стыков необходимо проверить надежность крепления ГВЛ. Выступающие головки винтов довернуть. Производство работ, ведущих к повышению влажности в помещении, к этому времени должно быть завершено.
Заделку продольных стыков между ГВЛ производят при температуре и влажности воздуха в помещениях, соответствующих режиму эксплуатации (t не должна быть ниже +10 °C ). Недопустимы сквозняки, резкие колебания температуры и влажности в помещениях. Предварительно кромки ГВЛ обрабатывают грунтовкой Тифенгрунд.
Заделке шпаклевочной смесью Фугенфюллер ГВ подлежат продольные и поперечные стыки, стыки между облицовкой и стенами (колоннами), облицовкой и потолком.
Последовательность действий при обработке продольных и поперечных швов между ГВЛ следующая:
- нанесение шпателем первого слоя шпаклевки на стык между листами шириной чуть больше ширины армирующей ленты;
- после высыхания первого слоя шпаклевки широким шпателем нанесение второго слоя шпаклевки на всю ширину стыковочного шва.
2.10.7. Обшивка каркаса вторым слоем ГВЛ
ГВЛ второго слоя устанавливают со смещением на один шаг относительно вертикальных и не менее 400 мм относительно горизонтальных стыков первого слоя. Крепление второго слоя ГВЛ производят к каркасу с помощью самонарезающих винтов длиной не менее 45 мм с шагом 250 мм (см.
рисунок 15).
2.10.8. Установка электротехнических коробок, розеток, выключателей и их крепление к ГВЛ
По окончании монтажа ГВЛ устанавливают электрические коробки, розетки, выключатели и т.п., которые крепят к ГВЛ с помощью специальной фурнитуры. Эти работы выполняет звено электромонтажников.
2.10.9. Подготовка поверхности облицовки под чистовую отделку
Шпаклевание стыков между ГВЛ производят при стабильной температуре и влажности воздуха в помещениях, соответствующих режиму эксплуатации (t не должна быть ниже +10 °C ). Недопустимы сквозняки и резкие колебания температуры в помещениях. Предварительно кромки ГВЛ обрабатывают грунтовкой Тифенгрунд.
Заделке шпаклевочной смесью Фугенфюллер ГВ подлежат продольные и поперечные стыки, стыки между облицовкой и потолком. Продольные и поперечные стыки между ГВЛ заделываются с применением армирующей ленты.
До обработки стыков необходимо проверить надежность крепления ГВЛ. Выступающие головки винтов довернуть. Производство работ, ведущих к повышению влажности в помещении, к этому времени должно быть завершено.
В зависимости от назначения помещений требования к отделке поверхностей из ГВЛ можно разделить на 3 вида, как это принято в большинстве европейских стран:
Качество 1 (К1) - определяет качество поверхности швов и поверхностей ГВЛ, к которым не предъявляются оптические требования, т.е. поверхность может иметь волнистый рельеф, где гребень не должен превышать 1,5 мм. Такая поверхность ГВЛ предназначена для облицовки плиткой, оштукатуривания или под облицовку какими-либо другими материалами.
Качество 2 (К2) - соответствует существующему стандартному качеству поверхностей стен и потолков. Шпаклевание выполняется с целью достижения плавных переходов от поверхностей сопряжений к поверхности ГВЛ. Все переходы от швов, внутренних и внешних углов, крепежных элементов должны быть незаметны на глаз. Для этой цели зашпаклеванные швы обрабатывают пастой Финиш на ширину примерно 30 см.
Такая поверхность ГВЛ предназначена для структурированной окраски, оклейки структурными обоями, для тонкослойного оштукатуривания.
Качество 3 (К3) - предъявляет повышенные требования к качеству поверхности стен и потолков, т.е. кроме стандартного шпаклевания для К2 необходимо полное покрытие поверхности ГВЛ шпаклевочным материалом с последующим шлифованием. Для этих целей чаще всего используют пасту Финиш или Редигипс, а также шпаклевочные смеси.
Такая поверхность предназначена для высококачественной окраски стен и потолков любыми видами красок, оклейки глянцевыми тонкослойными обоями, оштукатуривания тонкоструктурированными растворными смесями с крупностью зерна менее 1 мм.
В данной технологической карте отделка поверхности относится к виду К1, на которую даются нормативы трудозатрат и расхода материалов. Более качественная отделка поверхности оговаривается заказчиком и на нее составляется отдельная смета.
Последовательность действий при обработке продольных и поперечных стыков между ГВЛ следующая:
- перед шпаклеванием обработка грунтовкой глубокого проникновения всех стыков;
- нанесение шпателем первого слоя шпаклевки на стык между листами шириной чуть больше ширины армирующей ленты;
- вдавливание шпателем армирующей ленты в нанесенную шпаклевку;
- после высыхания первого слоя шпаклевки широким шпателем нанесение второго слоя шпаклевки на всю ширину стыковочного шва.
Заделке шпаклевочной смесью Фугенфюллер ГВ подлежат углубления от винтов, стыки между облицовкой и стенами (колоннами), облицовкой и потолком. В местах стыковок на эти конструкции предварительно крепится самоклеящаяся разделительная лента. После заделки стыков и полного высыхания шпаклевки излишки ленты срезаются, а шов шлифуется.
В некоторых случаях при монтаже облицовок образуются внешние углы, которые защищают от механических повреждений при помощи металлических перфорированных уголков из оцинкованной стали (ПУ 31 x 31 x 0,4), которые крепят к ГВЛ с помощью специального приспособления, указанного в перечне инструментов. После крепления уголки шпаклюют и после высыхания шлифуют.
По окончании всех шпаклевочных работ поверхность облицовок обрабатывают с помощью кисти, щетки или валика грунтовкой Тифенгрунд. Это необходимо сделать с целью предотвращения образования трещин в швах из-за возможного изменения влажностного режима в помещении (особенно весной, осенью или при проведении отделочных работ мокрым способом).
3. ПОТРЕБНОСТЬ В ИНВЕНТАРЕ И МАТЕРИАЛАХ
Перечень потребного инвентаря, приспособлений и инструмента - см. на стр. 144.
Таблица 3.1
Нормативные показатели расхода материалов
на устройство 1 м2 облицовки С 666
┌───────────────────────────────────────┬────┬───────────────────┐
│ Наименование материалов │Ед. │ С 666 (6 x 2,7 м) │
│ │изм.├─────────┬─────────┤
│ │ │с оконным│с дверным│
│ │ │ проемом │ проемом │
├───────────────────────────────────────┼────┼─────────┼─────────┤
│ 1 │ 2 │ 3 │ 4 │
├───────────────────────────────────────┴────┴─────────┴─────────┤
│ Каркас и крепежные изделия │
├───────────────────────────────────────┬────┬─────────┬─────────┤
│Профиль направляющий ПН 75/40, │ м │ 0,88 │ 0,86 │
│ТУ 1121-004-04001508-2003 │ │ │ │
├───────────────────────────────────────┼────┼─────────┼─────────┤
│Профиль стоечный ПС 75/50, │ м │ 2,25 │ 2,34 │
│ТУ 1121-004-04001508-2003 │ │ │ │
├───────────────────────────────────────┼────┼─────────┼─────────┤
│Профиль угловой ПУ 31/31, │ м │ 0,46 │ - │
│ТУ 1121-004-04001508-2003 │ │ │ │
├───────────────────────────────────────┼────┼─────────┼─────────┤
│Лента уплотнительная типа Дихтунгсбанд,│ м │ 1,16 │ 1,17 │
│сеч. 70 x 3,2 мм │ │ │ │
├───────────────────────────────────────┼────┼─────────┼─────────┤
│Дюбель типа К 6/35 │шт. │ 1,53 │ 1,49 │
├───────────────────────────────────────┼────┼─────────┼─────────┤
│Брусок деревянный, размер │ м │ - │ 0,37 │
│75 x 50 x 2690 мм │ │ │ │
├───────────────────────────────────────┴────┴─────────┴─────────┤
│ Обшивка │
├───────────────────────────────────────┬────┬─────────┬─────────┤
│Лист гипсоволокнистый ГВЛ 10 мм │ м2 │ 2,12 │ 2,25 │
├───────────────────────────────────────┼────┼─────────┼─────────┤
│Винт самонарезающий с острым концом │ │ │ │
│длиной, мм: │ │ │ │
│ 30 │шт. │ 7,35 │ 7,90 │
│ 45 │шт. │ 18,55 │ 18,44 │
├───────────────────────────────────────┼────┼─────────┼─────────┤
│Клей Перлфикс │ кг │ 1,19 │ 1,37 │
├───────────────────────────────────────┴────┴─────────┴─────────┤
│ Заделка швов │
├───────────────────────────────────────┬────┬─────────┬─────────┤
│Шпаклевка Фугенфюллер ГВ, │ кг │ 0,96 │ 0,84 │
│ТУ 5745-011-04001508-97 │ │ │ │
├───────────────────────────────────────┼────┼─────────┼─────────┤
│Лента армирующая │ м │ 1,53 │ 1,55 │
├───────────────────────────────────────┼────┼─────────┼─────────┤
│Лента разделительная 50 мм │ м │ 0,82 │ 0,8 │
├───────────────────────────────────────┼────┼─────────┼─────────┤
│Герметик акриловый (туба - 310 мм) │шт. │ 0,07 │ - │
├───────────────────────────────────────┼────┼─────────┼─────────┤
│Грунтовка Тифенгрунд │ кг │ 0,12 │ 0,12 │
└───────────────────────────────────────┴────┴─────────┴─────────┘
4. НОРМАТИВНЫЕ И ТЕХНИКО-ЭКОНОМИЧЕСКИЕ ПОКАЗАТЕЛИ
(ИЗМЕРИТЕЛЬ КОНЕЧНОЙ ПРОДУКЦИИ - 1 М2)
Таблица 4.1
Затраты труда на устройство облицовки С 666
┌────┬────────────┬─────┬───────┬───────┬──────────────┬────────────────┐
│ N │Наименование│Еди- │ Объем │Обосно-│Норма времени │ Затраты труда │
│п.п.│технологи- │ница │ работ │вание ├──────┬───────┼────────┬───────┤
│ │ческих │изме-│ │ │рабо- │маши- │рабочих,│маши- │
│ │процессов │рения│ │ │чих, │ниста, │ чел.-ч │ниста, │
│ │ │ │ │ │чел.-ч│чел.-ч │ │чел.-ч │
│ │ │ │ │ │ │(работа│ │(работа│
│ │ │ │ │ │ │машин, │ │машин, │
│ │ │ │ │ │ │маш.-ч)│ │маш.-ч)│
├────┼────────────┼─────┼───────┼───────┼──────┼───────┼────────┼───────┤
│ 1 │Устройство │ м2 │ 1 │Расчет │ 0,3 │ - │ 0,3 │ - │
│ │каркаса │ │ │ОАО │ │ │ │ │
├────┼────────────┼─────┼───────┤"Тула- ├──────┼───────┼────────┼───────┤
│ 2 │Обшивка │ м2 │ 1 │оргтех-│ 0,34 │ - │ 0,34 │ - │
│ │каркаса │ │ │строй" │ │ │ │ │
├────┼────────────┼─────┼───────┤методом├──────┼───────┼────────┼───────┤
│ 3 │Заделка │ м2 │ 1 │техни- │ 0,25 │ - │ 0,25 │ - │
│ │швов, │ │ │ческого│ │ │ │ │
│ │обработка │ │ │норми- │ │ │ │ │
│ │поверхности │ │ │рования│ │ │ │ │
├────┼────────────┼─────┼───────┼───────┼──────┼───────┼────────┼───────┤
│ 4 │Подача │100 т│0,00028│ Е1-16 │ 36 │ 9 │ 0,010 │0,0025 │
│ │материалов │ │ │ │ │ │ │ │
│ │на этажи │ │ │ │ │ │ │ │
│ │подъемником │ │ │ │ │ │ │ │
│ │грузоподъ- │ │ │ │ │ │ │ │
│ │емностью │ │ │ │ │ │ │ │
│ │до 1 т │ │ │ │ │ │ │ │
│ │при высоте │ │ │ │ │ │ │ │
│ │подъема │ │ │ │ │ │ │ │
│ │до 8 м │ │ │ │ │ │ │ │
│ │(добавлять │ │ │ │ │ │ │ │
│ │на каждые │ │ │ │ │ │ │ │
│ │следующие │ │ │ │ │ │ │ │
│ │6 м) │ │ │ │ │ │ │ │
├────┼────────────┼─────┼───────┼───────┼──────┼───────┼────────┼───────┤
│ 5 │Перевозка │ 1 т │ 0,028 │ Е1-21 │ 1,1 │ - │ 0,031 │ - │
│ │материалов │ │ │ │ │ │ │ │
│ │по этажу │ │ │ │ │ │ │ │
│ │ручными │ │ │ │ │ │ │ │
│ │тележками на│ │ │ │ │ │ │ │
│ │расстояние │ │ │ │ │ │ │ │
│ │до 30 м │ │ │ │ │ │ │ │
├────┼────────────┼─────┼───────┼───────┼──────┼───────┼────────┼───────┤
│ │Итого: │ │ │ │ │ │ 0,931 │0,0025 │
├────┴────────────┴─────┴───────┴───────┴──────┴───────┴────────┴───────┤
│ Затраты труда на устройство облицовок с проемами │
│ (без учета прочих работ) │
├──────────────────────────────────────────────┬────────────────────────┤
│С оконным проемом │ 0,97 чел.-ч │
├──────────────────────────────────────────────┼────────────────────────┤
│С дверным проемом │ 0,92 чел.-ч │
└──────────────────────────────────────────────┴────────────────────────┘
Таблица 4.2
График производства работ
N п.п. | Наименование технологических процессов | Еди- ница из- ме- ре- ния | Объем работ | Затраты труда | Принятый состав звена | Про- должи- тель- ность про- цесса, ч |
рабо- чих, чел.-ч | маши- ниста, чел.-ч (работа машин, маш.-ч) |
1 | Устройство каркаса | м2 | 1 | 0,3 | | Монтаж- ники кон- струкций 4-го и 3-го разрядов | 0,15 |
2 | Обшивка каркаса | м2 | 1 | 0,34 | | 0,17 |
3 | Обработка поверхности, заделка швов | м2 | 1 | 0,25 | | 0,125 |
4 | Прочие работы | м2 | 1 | 0,041 | 0,0025 | | 0,0205 |
| Итого: | | | 0,931 | | | 0,465 |
Рисунок 4.1. График движения рабочей силы
Таблица 4.3
Технико-экономические показатели
┌────┬─────────────────────────────────────┬─────────┬───────────┐
│ N │ Наименование │ Единица │Количество │
│п.п.│ │измерения│ │
├────┼─────────────────────────────────────┼─────────┼───────────┤
│ 1 │Продолжительность работ │ ч │ 0,465 │
├────┼─────────────────────────────────────┼─────────┼───────────┤
│ 2 │Трудоемкость на 1 м2: │ │ │
│ │ по нормам │ чел.-ч │ 0,89 │
│ │ по графику (с учетом прочих работ) │ │ 0,931 │
├────┼─────────────────────────────────────┼─────────┼───────────┤
│ 3 │Максимальная численность рабочих │ чел. │ 2 │
├────┼─────────────────────────────────────┼─────────┼───────────┤
│ 4 │Выработка на 1 чел.-ч │ м2 │ 2,15 │
└────┴─────────────────────────────────────┴─────────┴───────────┘
ТИПОВАЯ ТЕХНОЛОГИЧЕСКАЯ КАРТА
НА УСТРОЙСТВО ПОДВЕСНОГО ПОТОЛКА
НА МЕТАЛЛИЧЕСКОМ КАРКАСЕ КОМПЛЕКТНОЙ СИСТЕМЫ КНАУФ
С ПРИМЕНЕНИЕМ ГИПСОВОЛОКНИСТЫХ ЛИСТОВ
Потолок П 212
1.1. Типовая технологическая карта предназначена для разработки проектов производства работ (ППР), проектов организации строительства (ПОС), другой организационно-технологической документации, а также является информационным пособием для строительных организаций, производящих устройство подвесных потолков на металлическом каркасе с обшивкой гипсоволокнистыми листами П 212.
1.2. Подвесной потолок П 212 не является несущим конструктивным элементом здания и предназначен для повышения звукоизоляции, скрытия электропроводки и другого инженерного оборудования, декоративной отделки помещений, а также для повышения предела огнестойкости несущих конструкций перекрытия.
Подвесной потолок предназначен для применения в зданиях любого назначения с неагрессивной средой и нормальным температурно-влажностным режимом согласно
СНиП 23-02-2003 "Тепловая защита зданий".
1.3. Потолок П 212 имеет конструкцию, отвечающую требованиям рабочих чертежей серии 1.045.9-2.00 "Комплектные системы КНАУФ. Подвесные потолки поэлементной сборки из гипсокартонных и гипсоволокнистых листов на деревянном и металлическом каркасах для жилых, общественных и производственных зданий", выпуск 1. Серия разработана ООО "Стройпроект-XXI" (г. Краснодар) при участии фирмы КНАУФ.
1.4. Подвесной потолок П 212 состоит из двухуровневого металлического каркаса, подвешенного к несущим конструкциям перекрытия при помощи подвесов с зажимами; обшивки малоформатными гипсоволокнистыми листами толщиной 10 мм. Масса 1 м2 потолка

13 кг.
1.5. Каркас потолка П 212 состоит из оцинкованного металлического потолочного профиля ПП 60/27, отвечающего требованиям ТУ 1121-004-04001508-2003. Стандартная длина профиля - 2750, 3000, 4000, 4500 мм. По согласованию с заказчиком могут быть выпущены профили длиной от 500 до 6000 мм. Номинальная толщина профилей должна быть не менее 0,6 мм.
1.6. ГВЛ представляет собой экологически чистый листовой отделочный материал, изготовленный из строительного гипса марки не ниже Г-4 (
ГОСТ 125-79), распушенной целлюлозной макулатуры марок МС-10 и МС-11 (ГОСТ 10700-89), содержащей различные технологические добавки. Типовой размер малоформатного ГВЛ, который применялся при разработке данной технологической карты, равен 1500 x 1200 x 10 мм.
По заказу строительных организаций могут выпускаться партии листов других типоразмеров согласно
ГОСТ Р 51829-2001, которые приведены в таблице 1.1.
Таблица 1.1
Размеры ГВЛ
Длина, мм | 1500; 2000; 2500; 2700; 3000 |
Ширина, мм | 500; 1000; 1200 |
Толщина, мм | 10; 12,5; 15; 18; 20 |
ГВЛ выпускают с различными формами продольных кромок: фальцевая (ФК); прямая (ПК). Данная технологическая карта предусматривает обшивку каркаса ГВЛ с фальцевой кромкой (ФК).
Масса 1 м2 (поверхностная плотность) ГВЛ - 1,05S < m < 1,2S (кг/м2), где S - толщина листа, мм. Удельная активность естественных радионуклидов не более 370 Бк/кг (
ГОСТ 12.1.044-89*), т.е. ГВЛ относится к I группе.
Пожаротехнические характеристики ГВЛ соответствуют:
Отпускная влажность листов не должна превышать 1,5%, плотность - не более 1250 кг/м3.
1.7. Для крепления каркаса к несущим конструкциям перекрытия используют регулируемые подвесы, состоящие из тяги подвеса и подвеса с зажимом. Крепление ГВЛ к каркасу осуществляют самонарезающими винтами с зенкующими головками.
1.8. Монтаж потолков ведут в период отделочных работ по окончании "мокрых" процессов, способных существенно повысить влажность воздуха внутри помещения, до устройства чистого пола.
В холодное время года в помещениях, где производится устройство подвесного потолка П 212, температура воздуха не должна быть ниже +10 °C . Температурно-влажностный режим помещения должен соответствовать требованиям
СНиП 23-02-2003 "Тепловая защита зданий".
1.9. Типовая технологическая карта разработана на измеритель конечной продукции - 1 м2 потолка.
Привязка типовой технологической карты к конкретному объекту и условиям строительства состоит в уточнении объемов, потребности в материальных ресурсах и схем организации строительного процесса, соответствующих рабочим чертежам.
2. ТЕХНОЛОГИЯ И ОРГАНИЗАЦИЯ ВЫПОЛНЕНИЯ РАБОТ
2.1. К устройству подвесного потолка П 212 рекомендуется приступать только после:
- наличия утвержденной проектной документации (рабочих чертежей);
- наличия проекта производства работ, который должен предусматривать максимально комплексную механизацию работ с наиболее полным использованием специализированного инструмента и приспособлений, способствующих повышению производительности труда, сокращению сроков устройства подвесных потолков, уменьшающих трудозатраты и создающих наиболее безопасные условия труда;
- производства организационно-технологической подготовки, которая включает в себя подготовку необходимой оснастки, средств подмащивания и доставки ГВЛ в зону производства работ (см.
рисунок 28).
2.2. До начала монтажа подвесного потолка необходимо закончить все общестроительные, а также строительно-монтажные работы, которые могут вызвать повышение влажности ГВЛ. Произвести уборку строительного мусора. Перекрытия для монтажа подвесного потолка П 212 должны быть приняты по акту, за подписью ответственных представителей строительной организации.
2.3. Работы по монтажу подвесного потолка П 212 выполняют под руководством ИТР. Рабочие, выполняющие монтажные работы, должны пройти техническое обучение в учебных центрах "КНАУФ" или других специализированных учебных заведениях и иметь удостоверение на производство работ.
2.4. Устройство подвесного потолка производят поточно-расчлененным методом, по захваткам, со специализацией звеньев бригады на выполнение однотипных работ и оснащенных соответствующим набором инструментов, инвентаря и средств подмащивания. Каждое звено состоит из двух человек: монтажник конструкций 4-го разряда, монтажник конструкций 3-го разряда.
2.5. Доставку на объект ГВЛ, упакованных в полиэтиленовую пленку, следует производить централизованно автотранспортом. Размер упаковки ГВЛ 1650 x 1250 x 900 мм. По согласованию с потребителем допускается транспортировать листы в непакетированном виде (без обвязки или упаковки в пленку). Масса пакета не должна быть более 3000 кг.
ГВЛ следует хранить в помещениях с сухим и нормальным влажностным режимом, раздельно по видам и размерам, с соблюдением техники безопасности и сохранности продукции. Общая высота складируемого штабеля с ГВЛ не должна превышать 3,5 м (см.
рисунок 2). Расстояние между штабелями складирования не должно быть менее 1 м.
2.6. Доставку на объект металлических профилей каркаса потолков допускается производить автотранспортом при условии их защиты от механических воздействий. Хранить профили следует на закрытых приобъектных складах в кондукторе пакетами по типам.
2.7. При производстве погрузочно-разгрузочных работ следует избегать ударов. Укладку пакетов с профилями на транспортные средства следует осуществлять погрузчиками. Вышеуказанные работы должны производиться в соответствии с требованиями
ГОСТ 12.3.009-76.
2.8. Подъем материалов на этажи рекомендовано производить с помощью машин и механизмов, указанных в сборнике
ЕНиР-1 "Внутрипостроечные транспортные работы".
2.9. Малоформатные ГВЛ транспортируют к месту производства работ на этаже ручными тележками. При переносе ГВЛ вручную - с помощью специальных приспособлений.
2.10. Устройство подвесного потолка П 212 предусмотрено производить в следующем порядке:
- разметка проектного положения подвесного потолка (см.
рисунок 29);
- установка элементов металлического 2-уровневого каркаса;
- обшивка каркаса подвесного потолка малоформатными ГВЛ;
- заделка стыков между ГВЛ и углублений от винтов;
- подготовка поверхности подвесного потолка под чистовую отделку.
2.10.1. Разметку проектного положения элементов каркаса подвесного потолка П 212 производят в строгом соответствии с проектным решением и согласно рабочим чертежам. Разметка установки элементов каркаса подвесного потолка включает:
- разметку на перекрытиях помещения точек закрепления тяг подвесов и осей основных профилей;
- выноску в углах помещения отметок уровня стенок несущих профилей, разметку уровня по периметру помещения.
Разметку производят с помощью складного метра, рулетки, метростата и шнуроотбойного устройства. Разметку больших помещений производят с помощью лазерного и оптического нивелира.
Вначале на перекрытиях помещения с помощью нивелира и шнуроотбойного приспособления отбивают осевые линии строго по центру помещения (вдоль и поперек). Затем от этих линий производят разметку основных профилей (см.
рисунок 29). Шаг основных и несущих профилей указан на рисунке 30. Расстояние от стен до ближайших к стенам помещения основных профилей должно быть не более 100 мм.
После этого необходимо произвести разметку точек закрепления тяг подвесов. Шаг точек установки тяг указан на рисунке 30. Первые тяги от стены устанавливают на расстоянии 1/3 шага тяг.
Рекомендуется предварительно сделать два варианта разметки осей основных профилей и выбрать вариант с наименьшим расходом профилей и ГВЛ.
После разметки элементов каркаса подвесного потолка на перекрытии по всему периметру помещения на стенах с помощью метростата и шнуроотбойного приспособления проводят горизонтальную линию, которая должна совпадать с проектным уровнем стенок несущих профилей.
2.10.2. Установка элементов металлического двухуровневого каркаса подвесного потолка (см.
рисунок 30)
Каркас потолка П 212 состоит из потолочного профиля ПП 60/27, имеющего С-образную форму. При монтаже элементов каркаса используют подвесы с зажимами, тяги подвеса, анкерные металлические дюбели с гвоздями, самонарезающие винты длиной 9 мм. Допускается удлинение профиля с помощью дополнительных профилей ПП 60/27 и удлинителя.
Монтаж элементов каркаса потолка П 212 производят в следующем порядке:
- установка и проектное закрепление с помощью металлических анкерных дюбелей с гвоздями к перекрытиям помещения тяг подвесов с проектным шагом (см.
рисунок 30), первые тяги устанавливают на расстоянии 1/3 шага тяг;
- установка и закрепление на тяги подвесов с зажимами;
- монтаж основных металлических профилей к ранее смонтированным подвесам с проектным шагом (см.
рисунок 30), первый профиль от стены - на расстоянии не более 100 мм;
- выравнивание с помощью регулировки подвесов в одной плоскости по строительному уровню;
- установка двухуровневых соединителей с проектным шагом (см.
рисунок 30) на смонтированный основной профиль;
- навеска несущих профилей на двухуровневые соединители.
Контроль за точностью установки собранной конструкции каркаса П 212 осуществляют с помощью нивелира или гидроуровня.
На смонтированный в проектное положение каркас оформляют акт приемки на скрытые работы за подписью главного инженера строительной организации.
2.10.3. Обшивка каркаса подвесного потолка малоформатными ГВЛ (см.
рисунок 32)
До начала производства работ по обшивке каркаса потолка на стены по линии их контакта с ГВЛ наклеивают разделительную ленту.
Установку ГВЛ в проектное положение производят с помощью телескопического подъемника, а при его отсутствии - вручную с использованием инвентарных подпорок.
ГВЛ располагают параллельно основным профилям так, чтобы поперечные стыки находились на несущих профилях.
Перед установкой на торцах каждого ГВЛ делают с помощью отборного рубанка фальц шириной 30 мм и глубиной 2 мм (см.
рисунок 5).
Смещение стыков смежных листов должно составлять не менее 400 мм.
Крепление ГВЛ к каркасу осуществляют самонарезающими винтами длиной 30 мм с зенкующей головкой с шагом 150 мм для ГВЛ толщиной 10 мм (см.
рисунок 32).
Крепежные винты должны входить в лист под прямым углом и проникать в металлический профиль каркаса на глубину не менее 10 мм.
Головки винтов должны быть утоплены в поверхность гипсоволокнистого листа на глубину, позволяющую их зашпаклевать.
Изогнутые, неправильно завернутые винты удаляют и заменяют на новые, размещая их на расстоянии 50 мм от прежних.
2.10.4. Подготовка поверхности подвесного потолка под чистовую отделку
Предварительно кромки ГВЛ обрабатывают грунтовкой Тифенгрунд.
Стыки, образованные фальцевой кромкой, заделывают шпаклевочной смесью Фугенфюллер ГВ и армирующей лентой.
На армирующую ленту, уложенную путем вдавливания в первый слой шпаклевки после его высыхания, наносят второй слой.
Поперечные стыки ГВЛ заделывают так же, как и продольные.
Углубления от винтов шпаклюют в один слой.
Стыки, образованные между стенами и ГВЛ, заделывают шпаклевкой Фугенфюллер ГВ в следующем порядке:
- равномерное заполнение стыков слоем шпаклевки;
- нанесение накрывочного слоя шпаклевки;
- срезка излишков разделительной ленты после высыхания шпаклевки.
После полного высыхания шпаклевки поверхность шлифуют шлифовальными приспособлениями до получения единой плоскости и обрабатывают грунтовкой Тифенгрунд.
3. ПОТРЕБНОСТЬ В ИНВЕНТАРЕ И МАТЕРИАЛАХ
Перечень потребного инвентаря, приспособлений и инструмента - см. на стр. 144.
Таблица 3.1
Нормативные показатели расхода материалов
на устройство 1 м2 потолка П 212
Наименование материалов | Ед. изм. | Двухуровневый П 212 |
Каркас и крепежные изделия |
Профиль потолочный ПП 60/27, ТУ 1121-004-04001508-2003 | м | 3,96 |
Удлинитель профилей 60/27 | шт. | 0,72 |
Соединитель профилей двухуровневый ПП | шт. | 3,29 |
Подвес с зажимом для профиля ПП 60/27 | шт. | 1,48 |
Тяга подвеса | шт. | 1,48 |
Дюбель анкерный металлический с гвоздем | шт. | 1,48 |
Винт самонарезающий с острым концом длиной | шт. | 4,26 |
Обшивка |
Лист гипсоволокнистый малоформатный | м2 | 1,10 |
Винт самонарезающий с острым концом и 30 мм | шт. | 24,67 |
Заделка швов |
Шпаклевка Фугенфюллер ГВ, ТУ 5445-011-04001508-97 | кг | 0,56 |
Лента армирующая | м | 1,23 |
Лента разделительная 50 мм | м | 1,35 |
Грунтовка Тифенгрунд | кг | 0,11 |
4. НОРМАТИВНЫЕ И ТЕХНИКО-ЭКОНОМИЧЕСКИЕ ПОКАЗАТЕЛИ
(ИЗМЕРИТЕЛЬ КОНЕЧНОЙ ПРОДУКЦИИ - 1 М2)
Таблица 4.1
Затраты труда на устройство потолка П 212
┌────┬────────────┬─────┬───────┬───────┬──────────────┬────────────────┐
│ N │Наименование│Еди- │ Объем │Обосно-│Норма времени │ Затраты труда │
│п.п.│технологи- │ница │ работ │вание ├──────┬───────┼────────┬───────┤
│ │ческих │изме-│ │ │рабо- │маши- │рабочих,│маши- │
│ │процессов │рения│ │ │чих, │ниста, │ чел.-ч │ниста, │
│ │ │ │ │ │чел.-ч│чел.-ч │ │чел.-ч │
│ │ │ │ │ │ │(работа│ │(работа│
│ │ │ │ │ │ │машин, │ │машин, │
│ │ │ │ │ │ │маш.-ч)│ │маш.-ч)│
├────┼────────────┼─────┼───────┼───────┼──────┼───────┼────────┼───────┤
│ 1 │Устройство │ м2 │ 1 │Расчет │ 0,43 │ - │ 0,43 │ - │
│ │каркаса │ │ │ОАО │ │ │ │ │
├────┼────────────┼─────┼───────┤"Тула- ├──────┼───────┼────────┼───────┤
│ 2 │Обшивка │ м2 │ 1 │оргтех-│ 0,35 │ - │ 0,35 │ - │
│ │каркаса │ │ │строй" │ │ │ │ │
├────┼────────────┼─────┼───────┤методом├──────┼───────┼────────┼───────┤
│ 3 │Заделка │ м2 │ 1 │техни- │ 0,22 │ - │ 0,22 │ - │
│ │швов, │ │ │ческого│ │ │ │ │
│ │обработка │ │ │норми- │ │ │ │ │
│ │поверхности │ │ │рования│ │ │ │ │
├────┼────────────┼─────┼───────┼───────┼──────┼───────┼────────┼───────┤
│ 4 │Подача │100 т│0,00013│ Е1-16 │ 36 │ 9 │ 0,0047 │0,0012 │
│ │материалов │ │ │ │ │ │ │ │
│ │на этажи │ │ │ │ │ │ │ │
│ │подъемником │ │ │ │ │ │ │ │
│ │грузоподъ- │ │ │ │ │ │ │ │
│ │емностью │ │ │ │ │ │ │ │
│ │до 1 т │ │ │ │ │ │ │ │
│ │при высоте │ │ │ │ │ │ │ │
│ │подъема │ │ │ │ │ │ │ │
│ │до 8 м │ │ │ │ │ │ │ │
├────┼────────────┼─────┼───────┼───────┼──────┼───────┼────────┼───────┤
│ 5 │Перевозка │ 1 т │ 0,013 │ Е1-21 │ 1,1 │ - │ 0,0143 │ - │
│ │материалов │ │ │ │ │ │ │ │
│ │по этажу │ │ │ │ │ │ │ │
│ │ручными │ │ │ │ │ │ │ │
│ │тележками на│ │ │ │ │ │ │ │
│ │расстояние │ │ │ │ │ │ │ │
│ │до 30 м │ │ │ │ │ │ │ │
├────┼────────────┼─────┼───────┼───────┼──────┼───────┼────────┼───────┤
│ │Итого: │ │ │ │ │ │ 1,019 │0,0012 │
└────┴────────────┴─────┴───────┴───────┴──────┴───────┴────────┴───────┘
Таблица 4.2
График производства работ
N п.п. | Наименование технологических процессов | Еди- ница из- ме- ре- ния | Объем работ | Затраты труда | Принятый состав звена | Про- должи- тель- ность про- цесса, ч |
рабо- чих, чел.-ч | маши- ниста, чел.-ч (работа машин, маш.-ч) |
1 | Устройство каркаса | м2 | 1 | 0,43 | - | Монтаж- ники кон- струкций 4-го и 3-го разрядов, 2 чел. | 0,215 |
2 | Обшивка каркаса | м2 | 1 | 0,35 | - | 0,175 |
3 | Обработка поверхности, заделка швов | м2 | 1 | 0,22 | - | 0,11 |
4 | Прочие работы | м2 | 1 | 0,019 | 0,0012 | 0,0095 |
| Итого: | | | 1,019 | | | 0,51 |
Рисунок 4.1. График движения рабочей силы
Таблица 4.3
Технико-экономические показатели
┌────┬─────────────────────────────────────┬─────────┬───────────┐
│ N │ Наименование │ Единица │Количество │
│п.п.│ │измерения│ │
├────┼─────────────────────────────────────┼─────────┼───────────┤
│ 1 │Продолжительность работ │ ч │ 0,51 │
├────┼─────────────────────────────────────┼─────────┼───────────┤
│ 2 │Трудоемкость на 1 м2: │ │ │
│ │ по нормам │ чел.-ч │ 1,00 │
│ │ по графику (с учетом прочих работ) │ │ 1,019 │
├────┼─────────────────────────────────────┼─────────┼───────────┤
│ 3 │Максимальная численность рабочих │ чел. │ 2 │
├────┼─────────────────────────────────────┼─────────┼───────────┤
│ 4 │Выработка на 1 чел.-ч │ м2 │ 1,96 │
└────┴─────────────────────────────────────┴─────────┴───────────┘
ТИПОВАЯ ТЕХНОЛОГИЧЕСКАЯ КАРТА
НА УСТРОЙСТВО ПОДВЕСНОГО ПОТОЛКА
НА МЕТАЛЛИЧЕСКОМ КАРКАСЕ КОМПЛЕКТНОЙ СИСТЕМЫ КНАУФ
С ПРИМЕНЕНИЕМ ГИПСОВОЛОКНИСТЫХ ЛИСТОВ
Потолок П 213
1.1. Типовая технологическая карта предназначена для разработки проектов производства работ (ППР), проектов организации строительства (ПОС), другой организационно-технологической документации, а также является информационным пособием для строительных организаций, производящих устройство подвесных потолков на металлическом каркасе с обшивкой гипсоволокнистыми листами П 213.
1.2. Подвесной потолок П 213 не является несущим конструктивным элементом здания и предназначен для повышения звукоизоляции, скрытия электропроводки и другого инженерного оборудования, декоративной отделки помещений, а также для повышения предела огнестойкости несущих конструкций перекрытия.
Подвесной потолок предназначен для применения в зданиях любого назначения с неагрессивной средой и нормальным температурно-влажностным режимом согласно
СНиП 23-02-2003 "Тепловая защита зданий".
1.3. Потолок П 213 имеет конструкцию, отвечающую требованиям рабочих чертежей серии 1.045.9-2.00 "Комплектные системы КНАУФ. Подвесные потолки поэлементной сборки из гипсокартонных и гипсоволокнистых листов на деревянном и металлическом каркасах для жилых, общественных и производственных зданий", выпуск 1. Серия разработана ООО "Стройпроект-XXI" (г. Краснодар) при участии фирмы КНАУФ.
1.4. Подвесной потолок П 213 состоит из одноуровневого металлического каркаса, подвешенного к несущим конструкциям перекрытия при помощи подвесов с зажимами, и потолочного направляющего профиля, закрепленного к стенам по периметру помещения; обшивки малоформатными гипсоволокнистыми листами толщиной 10 мм. Масса 1 м2 потолка

13 кг.
1.5. Каркас потолка П 213 состоит из оцинкованных металлических профилей ПП 60/27 и ПН 28/27, отвечающих требованиям ТУ 1121-004-04001508-2003. Стандартная длина профилей составляет: 2750, 3000, 4000, 4500. По согласованию с заказчиком могут быть выпущены профили длиной от 500 до 6000 мм.
1.6. ГВЛ представляет собой экологически чистый листовой отделочный материал, изготовленный из строительного гипса марки не ниже Г-4 (
ГОСТ 125-79), распушенной целлюлозной макулатуры марок МС-10 и МС-11 (ГОСТ 10700-84), содержащей различные технологические добавки. Типовой размер малоформатного ГВЛ, который применялся при разработке данной технологической карты, равен 1500 x 1200 x 10 мм.
По заказу строительных организаций могут выпускаться партии листов других типоразмеров согласно
ГОСТ Р 51829-2001, которые приведены в таблице 1.1.
Таблица 1.1
Размеры ГВЛ
Длина, мм | 1500; 2000; 2500; 2700; 3000 |
Ширина, мм | 500; 1000; 1200 |
Толщина, мм | 10; 12,5; 15; 18; 20 |
ГВЛ выпускают с различными формами продольных кромок: фальцевая (ФК); прямая (ПК). Данная технологическая карта предусматривает обшивку каркаса ГВЛ с фальцевой кромкой (ФК).
Масса 1 м2 (поверхностная плотность) ГВЛ - 1,05S < m < 1,2S (кг/м2), где S - толщина листа, мм. Удельная активность естественных радионуклидов не более 370 Бк/кг (
ГОСТ 12.1.044-89*), т.е. ГВЛ относится к I группе.
Пожаротехнические характеристики ГВЛ соответствуют:
Отпускная влажность листов не должна превышать 1,5%; плотность - не более 1250 кг/м3.
1.7. Для крепления каркаса к несущим конструкциям перекрытия используют регулируемые подвесы, состоящие из тяги подвеса и подвеса с зажимом. Крепление ГВЛ к каркасу осуществляют самонарезающими винтами с зенкующими головками.
1.8. Монтаж потолков ведут в период отделочных работ по окончании "мокрых" процессов, способных существенно повысить влажность воздуха внутри помещения, до устройства чистого пола.
В холодное время года в помещениях, где производится устройство подвесного потолка П 213, температура воздуха не должна быть ниже +10 °C . Температурно-влажностный режим помещения должен соответствовать требованиям
СНиП 23-02-2003 "Тепловая защита зданий".
1.9. Типовая технологическая карта разработана на измеритель конечной продукции - 1 м2 потолка.
Привязка типовой технологической карты к конкретному объекту и условиям строительства состоит в уточнении объемов, потребности в материальных ресурсах и схем организации строительного процесса, соответствующего рабочим чертежам.
2. ТЕХНОЛОГИЯ И ОРГАНИЗАЦИЯ ВЫПОЛНЕНИЯ РАБОТ
2.1. К устройству подвесного потолка П 213 рекомендуется приступать только после:
- наличия утвержденной проектной документации (рабочих чертежей);
- наличия проекта производства работ, который должен предусматривать максимально комплексную механизацию работ с наиболее полным использованием специализированного инструмента и приспособлений, способствующих повышению производительности труда, сокращению сроков устройства подвесных потолков, уменьшающих трудозатраты и создающих наиболее безопасные условия труда;
- производства организационно-технологической подготовки, которая включает в себя подготовку необходимой оснастки, средств подмащивания и доставки ГВЛ в зону производства работ (см.
рисунок 28).
2.2. До начала монтажа подвесного потолка необходимо закончить все общестроительные, а также строительно-монтажные работы, которые могут вызвать повышение влажности ГВЛ. Произвести уборку строительного мусора. Перекрытия для монтажа подвесного потолка П 213 должны быть приняты по акту, за подписью ответственных представителей строительной организации.
2.3. Работы по монтажу подвесного потолка П 213 выполняют под руководством ИТР. Рабочие, выполняющие монтажные работы, должны пройти техническое обучение в учебных центрах "КНАУФ" или других специализированных учебных заведениях и иметь удостоверение на производство работ.
2.4. Устройство подвесного потолка производят поточно-расчлененным методом, по захваткам, со специализацией звеньев бригады на выполнение однотипных работ и оснащенных соответствующим набором инструментов, инвентаря и средств подмащивания. Каждое звено состоит из двух человек: монтажник конструкций 4-го разряда; монтажник конструкций 3-го разряда.
2.5. Доставку на объект ГВЛ, упакованных в полиэтиленовую пленку, следует производить централизованно автотранспортом. Размер упаковки ГВЛ 1650 x 1250 x 900 мм. По согласованию с потребителем допускается транспортировать листы в непакетированном виде (без обвязки или упаковки в пленку). Масса пакета не должна быть более 3000 кг.
ГВЛ следует хранить в помещениях с сухим и нормальным влажностным режимом, раздельно по видам и размерам, с соблюдением техники безопасности и сохранности продукции. Общая высота складируемого штабеля с ГВЛ не должна превышать 3,5 м (см.
рисунок 2). Расстояние между штабелями складирования не должно быть менее 1 м.
2.6. Доставку на объект металлических профилей каркаса потолков допускается производить автотранспортом при условии их защиты от механических воздействий. Хранение профилей на закрытых приобъектных складах должно производиться в кондукторе пакетами по типам.
2.7. При производстве погрузочно-разгрузочных работ следует избегать ударов. Укладку пакетов с профилями на транспортные средства следует осуществлять погрузчиками. Вышеуказанные работы должны производиться в соответствии с требованиями
ГОСТ 12.3.009-76.
2.8. Подъем материалов на этажи рекомендовано производить с помощью машин и механизмов, указанных в сборнике
ЕНиР-1 "Внутрипостроечные транспортные работы".
2.9. Малоформатные ГВЛ транспортируют к месту производства работ на этаже ручными тележками. При переносе ГВЛ вручную - с помощью специальных приспособлений.
2.10. Монтаж подвесного потолка П 213 предусмотрено производить в следующем порядке:
- разметка проектного положения подвесного потолка (см.
рисунок 29);
- установка элементов металлического одноуровневого каркаса;
- обшивка каркаса подвесного потолка ГВЛ;
- заделка стыков между ГВЛ и углублений от винтов;
- подготовка поверхности подвесного потолка под чистовую отделку.
2.10.1. Разметка проектного положения подвесного потолка П 213 (см.
рисунок 29)
Разметку проектного положения элементов каркаса подвесного потолка П 213 производят в строгом соответствии с проектным решением и согласно рабочим чертежам. Разметка установки элементов каркаса подвесного потолка включает:
- разметку на перекрытиях помещения точек закрепления тяг подвесов и осей основных профилей;
- выноску в углах помещения отметок уровня направляющих профилей;
- разметку на стенах по периметру помещения осей направляющего профиля.
Разметку производят с помощью складного метра, рулетки, метростата и шнуроотбойного устройства. Разметку больших помещений производят с помощью лазерного и оптического нивелира.
Вначале на перекрытиях помещения с помощью нивелира и шнуроотбойного приспособления отбивают осевые линии строго по центру помещения (вдоль и поперек). Затем от этих линий производят разметку осей основных и несущих профилей. Шаг основных и несущих профилей указан на рисунке 31.
После этого необходимо произвести разметку точек закрепления тяг подвесов. Шаг точек установки тяг указан на рисунке 31.
Рекомендуется предварительно сделать два варианта разметки осей основных профилей и выбрать вариант с наименьшим расходом профилей и ГВЛ.
После разметки элементов каркаса подвесного потолка на перекрытии по всему периметру помещения на стенах с помощью метростата и шнуроотбойного приспособления проводят горизонтальную линию, которая должна совпадать с проектным уровнем несущих профилей.
2.10.2. Установка элементов металлического одноуровневого каркаса подвесного потолка (см.
рисунок 31)
Каркас потолка П 213 состоит из потолочного профиля ПП 60/27 и направляющего профиля ПН 28/27. При монтаже элементов каркаса используют подвесы с зажимами, тяги подвеса, анкерные металлические дюбели с гвоздями, самонарезающие винты длиной 9 мм.
Допускается удлинение профиля ПП 60/27 с помощью удлинителя и дополнительных профилей. В стенке профиля ПН имеются отверстия диаметром 8 мм, которые расположены с шагом около 250 мм и предназначены для установки дюбелей. При необходимости дополнительные отверстия в стенке профиля просверливают дрелью.
Монтаж элементов каркаса потолка П 213 производят в следующем порядке (см.
рисунок 31):
- установка и закрепление с проектным шагом направляющих профилей с предварительно наклеенной уплотнительной лентой "Дихтунгсбанд";
- установка и проектное закрепление с помощью металлических анкерных дюбелей с гвоздями к перекрытиям помещения тяг подвесов с шагом 1000 мм;
- установка и закрепление на тяги подвесов с зажимами;
- монтаж основных металлических профилей к ранее смонтированным подвесам с проектным шагом 1200 мм, первый профиль от стены - на расстоянии не более 1170 мм;
- выравнивание с помощью регулировки подвесов в одной плоскости по строительному уровню;
- установка одноуровневых соединителей с проектным шагом 500 мм на смонтированный основной профиль;
- навеска предварительно нарезанных по заданным размерам несущих профилей (ПП) на одноуровневые соединители.
Контроль за точностью установки собранной конструкции каркаса П 213 осуществляют с помощью нивелира или гидроуровня.
На смонтированный в проектное положение каркас оформляют акт приемки на скрытые работы за подписью главного инженера строительной организации.
2.10.3. Обшивка каркаса подвесного потолка малоформатными ГВЛ (см.
рисунок 32)
До начала производства работ по обшивке каркаса потолка на стены по линии их контакта с ГВЛ наклеивают разделительную ленту.
Установку ГВЛ в проектное положение производят с помощью телескопического подъемника, а при его отсутствии - вручную с использованием инвентарных подпорок.
ГВЛ располагают параллельно основным профилям так, чтобы поперечные стыки находились на несущих профилях.
Перед установкой на торцах каждого ГВЛ делают с помощью отборного рубанка фальц шириной 30 мм и глубиной 2 мм (см.
рисунок 5).
Смещение стыков смежных листов должно составлять не менее 400 мм.
Крепление ГВЛ к каркасу осуществляют самонарезающими винтами длиной 30 мм с зенкующей головкой с шагом 150 мм для ГВЛ толщиной 10 мм (см.
рисунок 32).
Крепежные винты должны входить в лист под прямым углом и проникать в металлический профиль каркаса на глубину не менее 10 мм.
Головки винтов должны быть утоплены в поверхность гипсоволокнистого листа на глубину, позволяющую их зашпаклевать.
Изогнутые, неправильно завернутые винты удаляют и заменяют на новые, размещая их на расстоянии 50 мм от прежних.
2.10.4. Подготовка поверхности подвесного потолка под чистовую отделку
Предварительно кромки ГВЛ обрабатывают грунтовкой Тифенгрунд.
Стыки, образованные фальцевой кромкой, заделывают шпаклевочной смесью Фугенфюллер ГВ и армирующей лентой.
На армирующую ленту, уложенную путем вдавливания в первый слой шпаклевки после его высыхания, наносят второй слой.
Поперечные стыки ГВЛ заделывают так же, как и продольные.
Углубления от винтов шпаклюют в один слой.
Стыки, образованные между стенами и ГВЛ, заделывают шпаклевкой Фугенфюллер ГВ в следующем порядке:
- равномерное заполнение стыков слоем шпаклевки;
- нанесение накрывочного слоя шпаклевки;
- срезка излишков разделительной ленты после высыхания шпаклевки.
После полного высыхания шпаклевки поверхность шлифуют шлифовальными приспособлениями до получения единой плоскости и обрабатывают грунтовкой Тифенгрунд.
3. ПОТРЕБНОСТЬ В ИНВЕНТАРЕ И МАТЕРИАЛАХ
Перечень потребного инвентаря, приспособлений и инструмента - см. на стр. 144.
Таблица 3.1
Нормативные показатели расхода материалов
на устройство 1 м2 потолка П 213
Наименование материалов | Ед. изм. | Одноуровневый П 213 |
1 | 2 | 3 |
Каркас и крепежные изделия |
Профиль потолочный ПП 60/27, ТУ 1121-004-04001508-2003 | м | 2,85 |
Профиль направляющий потолочный ПНП 28/27, ТУ 1121-004-04001508-2003 | м | 1,36 |
Удлинитель профилей 60/27 | шт. | 0,54 |
Соединитель профилей одноуровневый ПП | шт. | 1,59 |
Подвес с зажимом для профиля ПП 60/27 | шт. | 0,67 |
Тяга подвеса | шт. | 0,67 |
Дюбель анкерный металлический с гвоздем | шт. | 0,67 |
Дюбель типа К 6/35 | шт. | 3,22 |
Винт самонарезающий с острым концом длиной | шт. | 3,68 |
Лента уплотнительная типа Дихтунгсбанд, сеч. 30 x 3,2 мм | м | 1,35 |
Обшивка |
Лист гипсоволокнистый малоформатный | м2 | 1,11 |
Винт самонарезающий с острым концом длиной 30 мм | шт. | 31,32 |
Заделка швов |
Шпаклевка Фугенфюллер ГВ, ТУ 5445-011-04001508-97 | кг | 0,56 |
Лента армирующая | м | 1,23 |
Лента разделительная 50 мм | м | 1,35 |
Грунтовка Тифенгрунд | кг | 0,11 |
4. НОРМАТИВНЫЕ И ТЕХНИКО-ЭКОНОМИЧЕСКИЕ ПОКАЗАТЕЛИ
(ИЗМЕРИТЕЛЬ КОНЕЧНОЙ ПРОДУКЦИИ - 1 М2)
Таблица 4.1
Затраты труда на устройство потолка П 213
┌────┬────────────┬─────┬───────┬───────┬──────────────┬────────────────┐
│ N │Наименование│Еди- │ Объем │Обосно-│Норма времени │ Затраты труда │
│п.п.│технологи- │ница │ работ │вание ├──────┬───────┼────────┬───────┤
│ │ческих │изме-│ │ │рабо- │маши- │рабочих,│маши- │
│ │процессов │рения│ │ │чих, │ниста, │ чел.-ч │ниста, │
│ │ │ │ │ │чел.-ч│чел.-ч │ │чел.-ч │
│ │ │ │ │ │ │(работа│ │(работа│
│ │ │ │ │ │ │машин, │ │машин, │
│ │ │ │ │ │ │маш.-ч)│ │маш.-ч)│
├────┼────────────┼─────┼───────┼───────┼──────┼───────┼────────┼───────┤
│ 1 │Устройство │ м2 │ 1 │Расчет │ 0,48 │ - │ 0,48 │ - │
│ │каркаса │ │ │ОАО │ │ │ │ │
├────┼────────────┼─────┼───────┤"Тула- ├──────┼───────┼────────┼───────┤
│ 2 │Обшивка │ м2 │ 1 │оргтех-│ 0,35 │ - │ 0,35 │ - │
│ │каркаса │ │ │строй" │ │ │ │ │
├────┼────────────┼─────┼───────┤методом├──────┼───────┼────────┼───────┤
│ 3 │Заделка │ м2 │ 1 │техни- │ 0,22 │ - │ 0,22 │ - │
│ │швов, │ │ │ческого│ │ │ │ │
│ │обработка │ │ │норми- │ │ │ │ │
│ │поверхности │ │ │рования│ │ │ │ │
├────┼────────────┼─────┼───────┼───────┼──────┼───────┼────────┼───────┤
│ 4 │Подача │100 т│0,00015│ Е1-16 │ 36 │ 9 │ 0,0054 │0,00135│
│ │материалов │ │ │ │ │ │ │ │
│ │на этажи │ │ │ │ │ │ │ │
│ │подъемником │ │ │ │ │ │ │ │
│ │грузоподъем-│ │ │ │ │ │ │ │
│ │ностью до │ │ │ │ │ │ │ │
│ │1 т при │ │ │ │ │ │ │ │
│ │высоте │ │ │ │ │ │ │ │
│ │подъема │ │ │ │ │ │ │ │
│ │до 8 м │ │ │ │ │ │ │ │
├────┼────────────┼─────┼───────┼───────┼──────┼───────┼────────┼───────┤
│ 5 │Перевозка │ 1 т │ 0,015 │ Е1-21 │ 1,1 │ - │ 0,0165 │ - │
│ │материалов │ │ │ │ │ │ │ │
│ │по этажу │ │ │ │ │ │ │ │
│ │ручными │ │ │ │ │ │ │ │
│ │тележками на│ │ │ │ │ │ │ │
│ │расстояние │ │ │ │ │ │ │ │
│ │до 30 м │ │ │ │ │ │ │ │
├────┼────────────┼─────┼───────┼───────┼──────┼───────┼────────┼───────┤
│ │Итого: │ │ │ │ │ │ 1,072 │0,00135│
└────┴────────────┴─────┴───────┴───────┴──────┴───────┴────────┴───────┘
Таблица 4.2
График производства работ
N п.п. | Наименование технологических процессов | Еди- ница из- ме- ре- ния | Объем работ | Затраты труда | Принятый состав звена | Про- должи- тель- ность про- цесса, ч |
рабо- чих, чел.-ч | маши- ниста, чел.-ч (работа машин, маш.-ч) |
1 | Устройство каркаса | м2 | 1 | 0,48 | - | Монтаж- ники кон- струкций 4-го и 3-го разрядов | 0,24 |
2 | Обшивка каркаса | м2 | 1 | 0,35 | - | 0,175 |
3 | Обработка поверхности, заделка швов | м2 | 1 | 0,22 | - | 0,11 |
4 | Прочие работы | м2 | 1 | 0,022 | 0,00165 | 0,011 |
| Итого: | | | 1,072 | | | 0,536 |
Рисунок 4.1. График движения рабочей силы
Таблица 4.3
Технико-экономические показатели
┌────┬─────────────────────────────────────┬─────────┬───────────┐
│ N │ Наименование │ Единица │Количество │
│п.п.│ │измерения│ │
├────┼─────────────────────────────────────┼─────────┼───────────┤
│ 1 │Продолжительность работ │ ч │ 0,536 │
├────┼─────────────────────────────────────┼─────────┼───────────┤
│ 2 │Трудоемкость на 1 м2: │ │ │
│ │ по нормам │ чел.-ч │ 1,05 │
│ │ по графику (с учетом прочих работ) │ │ 1,072 │
├────┼─────────────────────────────────────┼─────────┼───────────┤
│ 3 │Максимальная численность рабочих │ чел. │ 2 │
├────┼─────────────────────────────────────┼─────────┼───────────┤
│ 4 │Выработка на 1 чел.-ч │ м2 │ 1,87 │
└────┴─────────────────────────────────────┴─────────┴───────────┘
ТРЕБОВАНИЯ К КАЧЕСТВУ И ПРИЕМКЕ РАБОТ
При монтаже конструкций необходимо осуществлять следующие виды контроля качества:
- входной контроль качества;
- операционный контроль качества;
- приемочный контроль качества.
1. При входном контроле проверяют соответствие качества поступающих изделий и комплектующих требованиям ГОСТов и ТУ. Проверяют соответствия изделий проекту, их внешний вид, наличие дефектов. Исполнителем этого вида контроля является звеньевой, бригадир, при необходимости - мастер.
1.1. Металлические профили, применяемые для устройства каркаса конструкций, должны соответствовать требованиям ТУ 1121-004-04001508-2003. Профили должны быть прямолинейными. Местная кривизна профилей не должна превышать 2 мм на 1 м длины профиля. Предельное отклонение длины профилей не должно превышать +/- 3 мм. Допуск на высоту стенки профилей типа ПС - 0 - 0,5 мм, типа ПН - 0 + 0,5 мм. Предельные отклонения по толщине профилей не должны превышать допусков на толщину листовой оцинкованной стали, установленных соответствующими стандартами.
1.2. Применяемые ГВЛ для обшивки каркаса должны соответствовать требованиям
ГОСТ Р 51829-2001. ГВЛ должны иметь прямоугольную форму в плане. Отклонение от прямоугольности не должно превышать значений, указанных в нижеприведенной таблице 1.
Таблица 1
Номенклатура ГВЛ
┌───────┬──────┬──────┬──────────────────────────────┬───────────┐
│Толщина│Ширина│Длина │ Предельные отклонения от │При длине L│
│ s, мм │В, мм │L, мм │ номинальных размеров листов, │и ширине В,│
│ │ │ │ мм │ мм │
│ │ │ ├─────────┬─────────┬──────────┤ │
│ │ │ │по длине │по ширине│по толщине│ │
├───────┼──────┼──────┼─────────┼─────────┼──────────┼───────────┤
│ 10 │ │ 1500 │ 0 - 3 │ 0 - 3 │ +/- 0,3 │ L <= 2500 │
│ 12,5 │ 500 │ 2000 │ │ │ │ B <= 1200 │
│ 15 │ 1000 │ 2500 │ │ │ │ │
│ │ │ ├─────────┼─────────┼──────────┼───────────┤
│ 18 │ 1200 │ 2700 │ 0 - 5 │ 0 - 4 │ +/- 0,3 │ L > 2500 │
│ 20 │ │ 3000 │ │ │ │ B > 1200 │
└───────┴──────┴──────┴─────────┴─────────┴──────────┴───────────┘
На лицевой поверхности ГВЛ не должно быть загрязнений, масляных пятен, задиров, налипов. Не допускаются повреждения углов и продольных кромок.
1.3. Самонарезающие винты, применяемые для крепления ГВЛ к каркасу, должны отвечать требованиям
ГОСТ 11652-80 и иметь сертификаты соответствия. Подвесы, тяги, соединители должны соответствовать
ГОСТ 14918-80 и быть термически обработаны, иметь защитное покрытие по
ГОСТ 9.303-84 и выдерживать статическую нагрузку не менее 15 кгс. Их поверхность должна быть чистой, без надрывов, вмятин, отслоений цинкового покрытия, следов окисления, трещин и прочих дефектов, ухудшающих эксплуатационные качества.
1.5. При операционном контроле (таблица 2) выявляются и устраняются дефекты, возникающие в процессе монтажа каркаса, ГВЛ, заделки стыков ГВЛ.
Таблица 2
Таблица операционного контроля качества работ
┌────┬────────┬────────┬─────────┬───────┬────────┬───────────────────┐
│ N │Наимено-│Предмет │Способ │Время │Ответст-│ Технические │
│п.п.│вание │контроля│контроля │прове- │венный │ характеристики │
│ │техноло-│ │и инст- │дения │за │ оценки качества │
│ │гических│ │румент │конт- │контроль│ │
│ │процес- │ │ │роля │ │ │
│ │сов, │ │ │ │ │ │
│ │подле- │ │ │ │ │ │
│ │жащих │ │ │ │ │ │
│ │контролю│ │ │ │ │ │
├────┼────────┼────────┼─────────┼───────┼────────┼───────────────────┤
│ 1 │ 2 │ 3 │ 4 │ 5 │ 6 │ 7 │
├────┼────────┼────────┼─────────┼───────┼────────┼───────────────────┤
│ 1 │Подго- │Состоя- │Визуаль- │До │Звенье- │Поверхность │
│ │тови- │ние по- │ный │начала │вой, │основания должна │
│ │тельные │верхнос-│ │размет-│бригадир│соответствовать │
│ │предмон-│ти │ │ки по- │ │требованиям │
│ │тажные │базового│ │ложения│ │рабочего проекта │
│ │работы │основа- │ │конст- │ │ │
│ │ │ния под │ │рукции │ │ │
│ │ │конст- │ │ │ │ │
│ │ │рукцию │ │ │ │ │
│ │ ├────────┼─────────┼───────┼────────┼───────────────────┤
│ │ │Склади- │Визуаль- │ │ │Штабель листов ГВЛ │
│ │ │рование │ный │ │ │не более 50 шт. на │
│ │ │ │ │ │ │инвентарном │
│ │ │ │ │ │ │поддоне. Элементы │
│ │ │ │ │ │ │каркаса в │
│ │ │ │ │ │ │кондукторе или │
│ │ │ │ │ │ │на трех деревянных │
│ │ │ │ │ │ │подкладках │
├────┴────────┴────────┴─────────┴───────┴────────┴───────────────────┤
│ Перегородки и облицовки │
├────┬────────┬────────┬─────────┬───────┬────────┬───────────────────┤
│ 2 │Разметка│Правиль-│Инстру- │До │Бригадир│Точность разметки │
│ │проект- │ность │менталь- │начала │или │и соответствие │
│ │ного по-│выполне-│ный: │произ- │мастер │проектному │
│ │ложения │ния │лазерный │водства│ │положению │
│ │конст- │разме- │или оп- │монтаж-│ │конструкции, │
│ │рукции │точных │тический │ных │ │разбивочных рисок │
│ │ │работ │нивелир, │работ │ │для монтажа │
│ │ │ │метро- │ │ │элементов каркаса │
│ │ │ │стат, │ │ │(ПН, ПС) │
│ │ │ │складной │ │ │ │
│ │ │ │метр или │ │ │ │
│ │ │ │отвес, │ │ │ │
│ │ │ │шнуроот- │ │ │ │
│ │ │ │бойное │ │ │ │
│ │ │ │устройст-│ │ │ │
│ │ │ │во, мел, │ │ │ │
│ │ │ │карандаш │ │ │ │
├────┼────────┼────────┼─────────┼───────┼────────┼───────────────────┤
│ 3 │Установ-│Точность│Инстру- │В про- │Звенье- │1. Наличие │
│ │ка на- │и пра- │менталь- │цессе │вой │уплотняющей ленты │
│ │правля- │виль- │ный с │уста- │ │на стенке │
│ │ющих │ность │помощью │новки │ │направляющего │
│ │профилей│установ-│складного│направ-│ │профиля │
│ │(ПН) │ки в │метра, │ляющих │ │2. Точность │
│ │(перего-│соответ-│уровня, │профи- │ │установки (ПН) │
│ │родки │ствии с │отвеса, │лей │ │по разметке, их │
│ │и обли- │проек- │измери- │ │ │крепление дюбелями │
│ │цовки) │том. │тельной │ │ │с шагом не более │
│ │ │Надеж- │линейки │ │ │1 м и не менее │
│ │ │ность │или мет- │ │ │3 шт. на 1 ПН │
│ │ │узлов │ростата │ │ │3. Допустимые │
│ │ │крепле- │ │ │ │отклонения между │
│ │ │ния │ │ │ │дюбелями крепления │
│ │ │ │ │ │ │к несущим конст- │
│ │ │ │ │ │ │рукциям должны быть│
│ │ │ │ │ │ │не более +/- 5 мм │
├────┼────────┼────────┼─────────┼───────┼────────┼───────────────────┤
│ 4 │Установ-│Точность│То же │В про- │Звенье- │Точность шага стоек│
│ │ка │и пра- │ │цессе │вой │каркаса (рядовых - │
│ │стоечных│виль- │ │уста- │ │согласно проектному│
│ │профилей│ность │ │новки │ │шагу, первой - │
│ │(ПС) │установ-│ │стоек │ │минус 25 мм); │
│ │(перего-│ки. │ │ │ │наличие на стойках,│
│ │родки и │Надеж- │ │ │ │примыкающих к │
│ │облицов-│ность │ │ │ │основным конструк- │
│ │ки) │узлов │ │ │ │циям, наклеенной │
│ │ │крепле- │ │ │ │уплотнительной │
│ │ │ния │ │ │ │ленты; │
│ │ │ │ │ │ │крепление стоек │
│ │ │ │ │ │ │(ПС) к направляющим│
│ │ │ │ │ │ │профилям (ПН) с │
│ │ │ │ │ │ │помощью просекателя│
│ │ │ │ │ │ │не менее чем в двух│
│ │ │ │ │ │ │точках с каждой │
│ │ │ │ │ │ │стороны ПН; │
│ │ │ │ │ │ │наличие перемычек │
│ │ │ │ │ │ │и дополнительных │
│ │ │ │ │ │ │стоек над дверным │
│ │ │ │ │ │ │проемом, наличие │
│ │ │ │ │ │ │в стойке дверного │
│ │ │ │ │ │ │проема усиления │
│ │ │ │ │ │ │в виде деревянного │
│ │ │ │ │ │ │бруса или │
│ │ │ │ │ │ │дополнительного │
│ │ │ │ │ │ │профиля со стороны │
│ │ │ │ │ │ │навески дверного │
│ │ │ │ │ │ │полотна │
├────┼────────┼────────┼─────────┼───────┼────────┼───────────────────┤
│ 5 │Установ-│Правиль-│Визуаль- │В про- │Звенье- │Наличие зазора │
│ │ка ГВЛ │ность │ный и │цессе │вой │между ГВЛ и верхним│
│ │(перего-│установ-│инстру- │обшивки│ │и нижним перекры- │
│ │родки и │ки ГВЛ │менталь- │каркаса│ │тием (10 мм), │
│ │облицов-│ │ный: │ │ │крепление листов │
│ │ки) │ │складной │ │ │на стойках каркаса │
│ │ │ │метр, │ │ │с предусмотренным │
│ │ │ │угольник │ │ │шагом и проверка │
│ │ │ │ │ │ │стыковочных швов; │
│ │ │ │ │ │ │соблюдение расстоя-│
│ │ │ │ │ │ │ния от края листа │
│ │ │ │ │ │ │до самонарезающего │
│ │ │ │ │ │ │винта (10 мм). Шаг │
│ │ │ │ │ │ │винтов 750 мм для │
│ │ │ │ │ │ │первого слоя, │
│ │ │ │ │ │ │500 мм - для │
│ │ │ │ │ │ │второго слоя, │
│ │ │ │ │ │ │250 мм - для │
│ │ │ │ │ │ │третьего слоя │
│ │ │ │ │ │ │(трехслойная │
│ │ │ │ │ │ │обшивка каркаса); │
│ │ │ │ │ │ │750 мм и 250 мм │
│ │ │ │ │ │ │(двухслойная │
│ │ │ │ │ │ │обшивка каркаса); │
│ │ │ │ │ │ │250 мм при одно- │
│ │ │ │ │ │ │слойной обшивке. │
│ │ │ │ │ │ │Заглубление головок│
│ │ │ │ │ │ │винтов в ГВЛ на │
│ │ │ │ │ │ │глубину, позволяю- │
│ │ │ │ │ │ │щую провести │
│ │ │ │ │ │ │шпаклевочные │
│ │ │ │ │ │ │работы; наличие │
│ │ │ │ │ │ │перепадов между │
│ │ │ │ │ │ │смежными листами │
│ │ │ │ │ │ │(не должно │
│ │ │ │ │ │ │превышать 0,5 мм); │
│ │ │ │ │ │ │наличие раздели- │
│ │ │ │ │ │ │тельной ленты в │
│ │ │ │ │ │ │местах примыкания │
│ │ │ │ │ │ │ГВЛ к основным │
│ │ │ │ │ │ │конструкциям здания│
├────┼────────┼────────┼─────────┼───────┼────────┼───────────────────┤
│ 6 │Проклад-│Соответ-│Визуаль- │До ус- │Мастер │Надежность │
│ │ка про- │ствие │ный │тановки│ │крепления и │
│ │ектных │проекту │ │изоля- │ │соответствие │
│ │коммуни-│ │ │ционно-│ │проектному │
│ │каций │ │ │го слоя│ │положению │
│ │(обли- │ │ │ │ │ │
│ │цовки и │ │ │ │ │ │
│ │перего- │ │ │ │ │ │
│ │родки) │ │ │ │ │ │
├────┼────────┼────────┼─────────┼───────┼────────┼───────────────────┤
│ 7 │Установ-│Правиль-│Визуаль- │В про- │Рабочий │Наличие нахлеста на│
│ │ка лис- │ность │ный и ин-│цессе │ │ранее установленные│
│ │тов │установ-│струмен- │обли- │ │листы оцинкованной │
│ │оцинко- │ки │тальный: │цовки │ │стали не менее │
│ │ванной │ │складной │ │ │10 см. Крепление │
│ │стали │ │метр │ │ │каждого листа не │
│ │(перего-│ │ │ │ │менее чем в четырех│
│ │родка │ │ │ │ │точках │
│ │С 367) │ │ │ │ │ │
├────┼────────┼────────┼─────────┼───────┼────────┼───────────────────┤
│ 8 │Устрой- │Правиль-│Визуаль- │После │Звенье- │Соответствие │
│ │ство │ность │ный и │уста- │вой │проекту │
│ │изоляции│раскроя,│инстру- │новки │ │изоляционного │
│ │(перего-│установ-│менталь- │ГВЛ с │ │материала; │
│ │родки) │ки и за-│ный с │одной │ │правильность его │
│ │ │крепле- │помощью │стороны│ │закрепления; │
│ │ │ния изо-│складного│каркаса│ │отсутствие зазора │
│ │ │ляцион- │метра │и вы- │ │в стыке между │
│ │ │ного ма-│ │полне- │ │изоляционными │
│ │ │териала │ │ния │ │плитами и │
│ │ │ │ │элект- │ │элементами каркаса │
│ │ │ │ │ромон- │ │(не более 2 мм) │
│ │ │ │ │тажных │ │ │
│ │ │ │ │работ │ │ │
├────┼────────┼────────┼─────────┼───────┼────────┼───────────────────┤
│ 9 │Заделка │Соблюде-│Визуаль- │В про- │Брига- │Соответствие │
│ │швов ГВЛ│ние тех-│ный и │цессе │дир, │проекту применяемых│
│ │(перего-│нологии │инстру- │заделки│рабочий │материалов; нанесе-│
│ │родки и │выполне-│менталь- │мест │ │ние грунтовки, │
│ │облицов-│ния │ный: │примы- │ │шпаклевки. │
│ │ки) │работ по│линейка │каний │ │Шпаклевка углубле- │
│ │ │заделке │ │ │ │ний от винтов. │
│ │ │швов │ │ │ │Для последнего слоя│
│ │ │ │ │ │ │ГВЛ обшивки необхо-│
│ │ │ │ │ │ │димы: установка │
│ │ │ │ │ │ │армирующей ленты; │
│ │ │ │ │ │ │наличие накрывочно-│
│ │ │ │ │ │ │го выравнивающего │
│ │ │ │ │ │ │слоя шпаклевки │
├────┴────────┴────────┴─────────┴───────┴────────┴───────────────────┤
│ Потолки │
├────┬────────┬────────┬─────────┬───────┬────────┬───────────────────┤
│ 10 │Разметка│Правиль-│Инстру- │До │Бригадир│Точность разметки │
│ │проект- │ность │менталь- │начала │или │осей основных │
│ │ного по-│выполне-│ный: │произ- │мастер │профилей, вынос │
│ │ложения │ния раз-│лазерный │водства│ │отметок низа │
│ │мест ус-│меточных│нивелир, │монтаж-│ │несущих элементов, │
│ │тановки │работ │шнуроот- │ных │ │разбивка мест │
│ │элемен- │ │бойное │работ │ │расположения тяг │
│ │тов │ │устройст-│ │ │и подвесов │
│ │каркаса │ │во, мел, │ │ │ │
│ │ │ │карандаш │ │ │ │
├────┼────────┼────────┼─────────┼───────┼────────┼───────────────────┤
│ 11 │Монтаж │Точность│Инстру- │В про- │Звенье- │Крепление тяг и │
│ │каркаса │и пра- │менталь- │цессе │вой │подвесов с зажимами│
│ │потолка │виль- │ный с │монтажа│ │к базовому │
│ │ │ность │помощью │ │ │перекрытию; │
│ │ │установ-│складного│ │ │закрепление │
│ │ │ки в со-│метра, │ │ │основных профилей │
│ │ │ответст-│уровня, │ │ │к подвесам с │
│ │ │вии с │отвеса, │ │ │зажимами; │
│ │ │проек- │измери- │ │ │установка двухуров-│
│ │ │том. │тельной │ │ │невых соединителей │
│ │ │Надеж- │линейки, │ │ │несущих профилей; │
│ │ │ность │нивелира │ │ │точность шага │
│ │ │узлов │ │ │ │основных и несущих │
│ │ │крепле- │ │ │ │профилей │
│ │ │ния │ │ │ │ │
├────┼────────┼────────┼─────────┼───────┼────────┼───────────────────┤
│ 12 │Обшивка │Правиль-│Визуаль- │В про- │Звенье- │Наличие зазоров │
│ │каркаса │ность │ный и │цессе │вой │между стенами и ГВЛ│
│ │потолка │установ-│инстру- │обшивки│ │не более 10 мм; │
│ │ГВЛ │ки ГВЛ │менталь- │каркаса│ │заглубление головок│
│ │ │ │ный: │ │ │винтов в ГВЛ на │
│ │ │ │складной │ │ │глубину не менее │
│ │ │ │метр, │ │ │1 мм; │
│ │ │ │угольник │ │ │наличие раздели- │
│ │ │ │ │ │ │тельной ленты в │
│ │ │ │ │ │ │местах примыкания │
│ │ │ │ │ │ │ГВЛ к стенам │
│ │ │ │ │ │ │помещения. Шаг │
│ │ │ │ │ │ │установки винтов │
│ │ │ │ │ │ │150 мм │
├────┼────────┼────────┼─────────┼───────┼────────┼───────────────────┤
│ 13 │Заделка │Соблюде-│Визуаль- │В про- │Бригадир│Соответствие │
│ │стыков │ние тех-│ный и │цессе │ │проекту применяемых│
│ │ │нологии │инстру- │заделки│ │материалов; │
│ │ │выполне-│менталь- │ │ │нанесение шпаклев- │
│ │ │ния │ный │ │ │ки, установка │
│ │ │работ по│ │ │ │армирующей ленты. │
│ │ │заделке │ │ │ │Наличие накрывочно-│
│ │ │стыков │ │ │ │го выравнивающего │
│ │ │ │ │ │ │слоя шпаклевки. │
│ │ │ │ │ │ │Шпаклевание углуб- │
│ │ │ │ │ │ │лений от винтов. │
│ │ │ │ │ │ │Шлифование │
│ │ │ │ │ │ │зашпаклеванных │
│ │ │ │ │ │ │поверхностей; │
│ │ │ │ │ │ │нанесение грунтовки│
└────┴────────┴────────┴─────────┴───────┴────────┴───────────────────┘
Проверяются:
- правильность сборки каркаса;
- надежность крепления каждого слоя ГВЛ к каркасу винтами (их головки должны быть углублены в ГВЛ так, чтобы это не затрудняло последующие шпаклевочные работы);
- зазор между смежными листами каждого слоя ГВЛ должен быть не более 1 мм;
- сопряжения конструкции из ГВЛ с другими строительными конструкциями (шпаклевочная смесь должна быть уложена без разрывов по всему контуру сопряжения на всю глубину стыка);
- установка и закрепление перфорированного углового профиля на всех внешних углах и открытых торцах конструкции из ГВЛ;
- отсутствие трещин, поврежденных мест, отбитости углов;
- отсутствие у конструкции из ГВЛ зыбкости при визуальном контроле.
| | ИС МЕГАНОРМ: примечание. Нумерация пунктов дана в соответствии с официальным текстом документа. | |
3. Приемочный контроль качества смонтированной конструкции из ГВЛ должен производиться в соответствии с требованиями
СНиП 3.04.01-87, предъявляемыми к качеству поверхности (таблица 3).
Таблица 3
Контроль качества поверхности конструкции из ГВЛ
N п.п. | Технические требования | Предельные отклонения | Контроль |
1 | Поверхность из ГВЛ должна иметь отклонения и неровности, не превышающие показатели для высококачественной штукатурки: | | Измерительный, не менее пяти измерений на 50 - 70 м2 поверхности покрытия или на площади отдельных участков, выявленных сплошным визуальным осмотром, акт приемки |
отклонения по вертикали (горизонтали) 1 мм на 1 м | Но не более 5 мм на всю высоту (длину, ширину) помещения |
неровности поверхностей плавного очертания на 4 м2 не более двух глуби- ной (высотой) до 2 мм | |
отклонения дверных и оконных откосов, пилястр и т.п. от вертикали и горизонтали 1 мм на 1 м | Но не более 3 мм на весь элемент |
2 | Покрытия из ГВЛ не должны быть зыбкими, при легком простукивании деревянным молотком в зашпаклеванных стыках между ГВЛ не должны появляться трещины | | |
3 | Заделанные стыки между ГВЛ не должны быть заметны, а смежные листы должны находиться в единой плоскости, на поверхности не должно быть раковин, изломов, трещин, наплывов шпаклевочного раствора |
Акты на скрытые работы:
- акт на установку металлического каркаса конструкции;
- акт на обшивку металлического каркаса ГВЛ;
- акт на обработанную поверхность под чистовую отделку.
ТЕХНИКА БЕЗОПАСНОСТИ И ОХРАНА ТРУДА,
ЭКОЛОГИЧЕСКАЯ И ПОЖАРНАЯ БЕЗОПАСНОСТЬ
Монтаж конструкций из ГВЛ следует производить с соблюдением требований СНиП 12-03-2001 (
разделы 1 -
7), а также
СНиП 12-04-2002.
К монтажу допускаются лица не моложе 18 лет, прошедшие инструктаж по технике безопасности, производственной санитарии, обученные приемам работы в учебных центрах "КНАУФ" или других учебных заведениях и имеющие удостоверение на право производства работ.
Рабочие должны быть обеспечены спецодеждой и средствами индивидуальной защиты.
Используемые при производстве работ инструменты, оснастка и приспособления должны быть инвентарными в соответствии с нормокомплектом и отвечать безопасным условиям их эксплуатации.
Для подмащивания при производстве работ следует применять сборно-разборные подмости, отвечающие требованиям
ГОСТ 24258-88.
Перед началом работы рабочие места и проходы к ним необходимо очистить от строительного мусора и посторонних предметов.
Помещения для подготовки работ (разметка, раскрой ГВЛ и т.д.) должны быть светлыми и проветриваемыми.
Производство работ в отапливаемых в холодное время года зданиях с помощью передвижных тепловых агрегатов разрешается только после тщательного проветривания (не реже одного раза в смену).
Места, опасные для прохода людей, необходимо ограждать. В этих местах должны вывешиваться предупредительные плакаты.
Работу с электроинструментами следует осуществлять в соответствии с требованиями
ГОСТ 12.1.013-78.
К работе с электроинструментом допускаются лица не моложе 18 лет, прошедшие медосмотр, имеющие 1-ю квалификационную группу по технике безопасности, знающие устройства и имеющие практический опыт работы с ними, а также имеющие удостоверение на право работы с электроинструментами.
Перед началом работ с электроинструментами рабочие должны надеть спецодежду, проверить исправность средств индивидуальной защиты, пройти инструктаж по технике безопасных методов производства работ электроинструментом, осмотреть и проверить электроинструмент на холостом ходу.
При обнаружении неисправностей работу с электроинструментом необходимо прекратить и сообщить об этом производителю работ.
При монтаже конструкций запрещается:
- работать с электроинструментом с приставных лестниц;
- натягивать и перегибать провода переносного электроинструмента;
- передавать электроинструмент другим лицам;
- разбирать и производить самим ремонт электроинструмента;
- держаться при работе за питающий провод;
- оставлять без надзора электроинструмент, подсоединенный к электросети.
При прекращении подачи напряжения, перерывах в работе, а также по окончании рабочей смены электроинструмент следует отключить от электросети.
Перед началом и по окончании работ следует проверить в присутствии мастера исправность всех механизмов и инструментов.
Запрещается принимать пищу в помещениях, где укладывают минераловатные плиты в конструкции.
При необходимости искусственного освещения помещений следует применять переносные электролампы во взрывобезопасном исполнении.
Погрузочно-разгрузочные работы должны производиться в соответствии с
ГОСТ 12.3.009-76.
При использовании подъемников для вертикальной подачи элементов конструкций на этаж схема их установки и подключения должна быть отражена в проекте производства работ. Безопасная работа этих механизмов должна отвечать требованиям
ГОСТ 12.3.033-84 и паспортным параметрам.
Пожарная безопасность участка производства работ при устройстве конструкций из ГВЛ должна отвечать требованиям
ППБ 01-03 "Правила пожарной безопасности в Российской Федерации".
ПОТРЕБНОГО ИНВЕНТАРЯ, ПРИСПОСОБЛЕНИЙ И ИНСТРУМЕНТА
┌────┬─────────────┬──────┬────┬────┬────────┬────┬──────────────┐
│ N │Наименование │ Тип │Мар-│Ко- │Техни- │N │ Примечание │
│п.п.│ │ │ка │ли- │ческая │чер-│ │
│ │ │ │ │чес-│характе-│тежа│ │
│ │ │ │ │тво │ристика │и │ │
│ │ │ │ │ │ │ис- │ │
│ │ │ │ │ │ │пол-│ │
│ │ │ │ │ │ │ни- │ │
│ │ │ │ │ │ │тель│ │
├────┼─────────────┼──────┼────┼────┼────────┼────┼──────────────┤
│ 1 │ 2 │ 3 │ 4 │ 5 │ 6 │ 7 │ 8 │
├────┼─────────────┼──────┼────┼────┼────────┼────┼──────────────┤
│ 1 │Тележка │Ручная│ │ 1 │Масса │ │Для транспор- │
│ │ │ │ │ │21 кг │ │тирования ГВЛ │
│ │ │ │ │ │ │ │на этаже │
├────┼─────────────┼──────┼────┼────┼────────┼────┼──────────────┤
│ 2 │Ручки для │Инв. │ │ 2 │ │ │Для переноски │
│ │переноса ГВЛ │ │ │ │ │ │ГВЛ │
├────┼─────────────┼──────┼────┼────┼────────┼────┼──────────────┤
│ 3 │Метростат-300│Инв. │ │ 1 │Масса │ │Монтажное │
│ │с насадкой │ │ │ │2,600 кг│ │приспособление│
│ │ │ │ │ │Длина │ │ │
│ │ │ │ │ │3 м │ │ │
├────┼─────────────┼──────┼────┼────┼────────┼────┼──────────────┤
│ 4 │Уровень │Гид- │ │ 1 │ │ │Для разметки │
│ │ │рав- │ │ │ │ │горизонтальных│
│ │ │личес-│ │ │ │ │положений │
│ │ │кий │ │ │ │ │элементов │
│ │ │ │ │ │ │ │конструкций │
├────┼─────────────┼──────┼────┼────┼────────┼────┼──────────────┤
│ 5 │Метр │Склад-│ │ 2 │ │ │Для раскроя │
│ │ │ной │ │ │ │ │ГВЛ │
├────┼─────────────┼──────┼────┼────┼────────┼────┼──────────────┤
│ 6 │Шнуроотбойное│ │ │ 1 │Длина │ │Для нанесения │
│ │приспособле- │ │ │ │15 м │ │разметочных │
│ │ние │ │ │ │ │ │линий на │
│ │ │ │ │ │ │ │плоские │
│ │ │ │ │ │ │ │поверхности │
├────┼─────────────┼──────┼────┼────┼────────┼────┼──────────────┤
│ 7 │Нож для резки│Специ-│ │ 1 │Масса │ │Для резки ГВЛ │
│ │ГВЛ │альный│ │ │0,190 кг│ │ │
├────┼─────────────┼──────┼────┼────┼────────┼────┼──────────────┤
│ 8 │Ножовка с │Инв. │ │ 1 │ │ │То же │
│ │каленым зубом│ │ │ │ │ │ │
│ │и углом │ │ │ │ │ │ │
│ │наклона 45° │ │ │ │ │ │ │
├────┼─────────────┼──────┼────┼────┼────────┼────┼──────────────┤
│ 9 │Приспособле- │Инв. │ │ 1 │Масса │ │Для крепления │
│ │ние для уста-│ │ │ │1,800 кг│ │угловых │
│ │новки угловых│ │ │ │ │ │профилей │
│ │профилей │ │ │ │ │ │ │
│ │с киянкой │ │ │ │ │ │ │
├────┼─────────────┼──────┼────┼────┼────────┼────┼──────────────┤
│ 10 │Просекатель │Инв. │ │ 1 │Масса │ │Для соединения│
│ │ │ │ │ │0,980 кг│ │профилей │
├────┼─────────────┼──────┼────┼────┼────────┼────┼──────────────┤
│ 11 │Дрель- │Элект-│ │ 1 │Мощность│ │Для │
│ │перфоратор │рич. │ │ │750 Вт │ │высверливания │
│ │ │ │ │ │ │ │отверстий │
├────┼─────────────┼──────┼────┼────┼────────┼────┼──────────────┤
│ 12 │Шуруповерт │Элект-│ │ 1 │Масса │ │Для │
│ │с комплектом │рич. │ │ │1,460 │ │ввинчивания │
│ │приспособле- │ │ │ │кг, 4000│ │самонарезающих│
│ │ний │ │ │ │об./мин,│ │винтов │
│ │ │ │ │ │мощность│ │ │
│ │ │ │ │ │600 Вт │ │ │
├────┼─────────────┼──────┼────┼────┼────────┼────┼──────────────┤
│ 13 │Ножницы │Элект-│ │ 1 │Масса │ │Для резки │
│ │по металлу │рич. │ │ │1,395 кг│ │профиля │
├────┼─────────────┼──────┼────┼────┼────────┤ │ │
│ 14 │Ножницы │Инв. │ │ 1 │ │ │ │
│ │по металлу │ │ │ │ │ │ │
├────┼─────────────┼──────┼────┼────┼────────┼────┼──────────────┤
│ 15 │Миксер- │Инв. │ │ 1 │Масса │ │Для │
│ │насадка │ │ │ │0,410 кг│ │приготовления │
│ │к дрели │ │ │ │ │ │шпаклевочной │
│ │ │ │ │ │ │ │смеси │
├────┼─────────────┼──────┼────┼────┼────────┤ │ │
│ 16 │Корыто для │Инв. │ │ 1 │Масса │ │ │
│ │шпаклевочной │ │ │ │0,430 кг│ │ │
│ │смеси │ │ │ │ │ │ │
├────┼─────────────┼──────┼────┼────┼────────┼────┼──────────────┤
│ 17 │Мастерок для │ │ │ 1 │Масса │ │Для │
│ │приготовления│ │ │ │0,175 кг│ │приготовления │
│ │шпаклевочной │ │ │ │Ширина │ │и подачи │
│ │смеси │ │ │ │8 см │ │шпаклевочной │
│ │ │ │ │ │ │ │смеси │
├────┼─────────────┼──────┼────┼────┼────────┼────┼──────────────┤
│ 18 │Шпатель │Инв. │ │ 1 │Масса │ │Для шпаклева- │
│ │с отверткой │ │ │ │0,120 кг│ │ния стыков, │
│ │ │ │ │ │ │ │углублений │
│ │ │ │ │ │ │ │от винтов и │
│ │ │ │ │ │ │ │дополнительной│
│ │ │ │ │ │ │ │затяжки │
│ │ │ │ │ │ │ │последних │
├────┼─────────────┼──────┼────┼────┼────────┼────┼──────────────┤
│ 19 │Шпатель │Узкий │ │ 1 │Масса │ │Для шпаклевки │
│ │ │ │ │ │0,225 кг│ │швов │
├────┼─────────────┼──────┼────┼────┼────────┼────┼──────────────┤
│ 20 │Шпатель │Широ- │ │ │ │ │Для нанесения │
│ │шириной, см: │кий │ │ │ │ │накрывочных │
│ │ │ │ │ │ │ │слоев │
│ │ │ │ │ │ │ │шпаклевки │
│ │20 │ │ │ 1 │Масса │ │ │
│ │ │ │ │ │0,200 кг│ │ │
│ │25 │ │ │ 1 │масса │ │ │
│ │ │ │ │ │0,220 кг│ │ │
│ │30 │ │ │ 1 │масса │ │ │
│ │ │ │ │ │0,260 кг│ │ │
├────┼─────────────┼──────┼────┼────┼────────┼────┼──────────────┤
│ 21 │Шпатель для │Инв. │ │ 1 │Масса │ │Для шпаклевки │
│ │внутренних │ │ │ │0,185 кг│ │внутренних │
│ │углов │ │ │ │ │ │углов │
├────┼─────────────┼──────┼────┼────┼────────┼────┼──────────────┤
│ 22 │Шпатель для │Инв. │ │ 1 │Масса │ │Для шпаклевки │
│ │внешних углов│ │ │ │0,210 кг│ │внешних углов │
├────┼─────────────┼──────┼────┼────┼────────┼────┼──────────────┤
│ 23 │Шлифовальное │Ручное│ │ 1 │Масса │ │Для шлифования│
│ │приспособле- │ │ │ │0,400 кг│ │зашпаклеванных│
│ │ние │ │ │ │ │ │швов и поверх-│
├────┼─────────────┼──────┼────┼────┼────────┤ │ности ГВЛ │
│ 24 │Приспособле- │Инв. │ │ 1 │Масса │ │ │
│ │ние │ │ │ │0,970 кг│ │ │
│ │шлифовальное │ │ │ │ │ │ │
│ │с деревянной │ │ │ │ │ │ │
│ │ручкой │ │ │ │ │ │ │
├────┼─────────────┼──────┼────┼────┼────────┤ │ │
│ 25 │Съемная сетка│Инв. │ │ 1 │Масса │ │ │
│ │к ручному │ │ │ │0,020 кг│ │ │
│ │шлифовальному│ │ │ │ │ │ │
│ │приспособле- │ │ │ │ │ │ │
│ │нию │ │ │ │ │ │ │
├────┼─────────────┼──────┼────┼────┼────────┼────┼──────────────┤
│ 26 │Нивелир │Лазер-│ │ 1 │ │ │Для разметки │
│ │ │ный │ │ │ │ │проектного │
│ │ │или │ │ │ │ │положения │
│ │ │обыч- │ │ │ │ │перегородок │
│ │ │ный │ │ │ │ │ │
├────┼─────────────┼──────┼────┼────┼────────┼────┼──────────────┤
│ 27 │Набор круглых│ │ │ 1 │Масса │ │Для │
│ │фрез │ │ │ │0,150 - │ │электророзеток│
│ │ │ │ │ │0,330 кг│ │диаметром │
│ │ │ │ │ │ │ │60 - 120 мм │
├────┼─────────────┼──────┼────┼────┼────────┼────┼──────────────┤
│ 28 │Дрель │Элект-│ │ 1 │ │ │Для устройства│
│ │ │ричес-│ │ │ │ │отверстий │
│ │ │кая │ │ │ │ │диаметром │
│ │ │ │ │ │ │ │до 90 мм │
├────┼─────────────┼──────┼────┼────┼────────┼────┼──────────────┤
│ 29 │Пилка │Узкая │ │ 1 │Масса │ │Для устройства│
│ │ │ │ │ │0,100 кг│ │отверстий │
│ │ │ │ │ │ │ │прямоугольной │
│ │ │ │ │ │ │ │формы или │
│ │ │ │ │ │ │ │сложной │
│ │ │ │ │ │ │ │конфигурации │
├────┼─────────────┼──────┼────┼────┼────────┼────┼──────────────┤
│ 30 │Рубанок │Инв. │ │ 1 │Масса │ │Для создания │
│ │отборный │ │ │ │0,250 кг│ │фальцевой │
│ │ │ │ │ │ │ │кромки │
├────┼─────────────┼──────┼────┼────┼────────┼────┼──────────────┤
│ 31 │Рубанок │ │ │ 1 │Масса │ │Для выравнива-│
│ │обдирочный │ │ │ │0,540 кг│ │ния обрезанных│
│ │ │ │ │ │ │ │кромок и для │
│ │ │ │ │ │ │ │доводки до │
│ │ │ │ │ │ │ │требуемых │
│ │ │ │ │ │ │ │размеров │
├────┼─────────────┼──────┼────┼────┼────────┼────┼──────────────┤
│ 32 │Запасная │ │ │ 2 │Масса │ │ │
│ │рабочая часть│ │ │ │0,040 кг│ │ │
│ │для рубанка │ │ │ │ │ │ │
│ │обдирочного │ │ │ │ │ │ │
├────┼─────────────┼──────┼────┼────┼────────┼────┼──────────────┤
│ 33 │Приспособле- │Инв. │ │ 2 │Масса │ │Для поддержки │
│ │ние, поддер- │ │ │ │1,960 кг│ │ГВЛ при │
│ │живающее ГВЛ │ │ │ │ │ │монтаже │
├────┼─────────────┼──────┼────┼────┼────────┼────┼──────────────┤
│ 34 │Рамочный │Инв. │ │ 1 │Масса │ │Для подъема │
│ │подъемник │ │ │ │50 кг │ │ГВЛ при монта-│
│ │для ГВЛ │ │ │ │ │ │же потолков │
├────┼─────────────┼──────┼────┼────┼────────┼────┼──────────────┤
│ 35 │Прокалывающее│Инв. │ │ 1 │Масса │ │Для прокалы- │
│ │устройство │ │ │ │0,2 кг │ │вания ГВЛ │
├────┴─────────────┴──────┴────┴────┴────────┴────┴──────────────┤
│ Примечание. Нумерация в таблице соответствует номерам│
│рисунков на вклейке. │
└────────────────────────────────────────────────────────────────┘
К ОРГАНИЗАЦИИ И ТЕХНОЛОГИИ ВЫПОЛНЕНИЯ РАБОТ
Рисунок 1. Схема строповки пакета ГВЛ
Рисунок 2. Схема складирования ГВЛ на объекте
Рисунок 3. Схема организации рабочего места
1, 2 - ось каркаса перегородки,
параллельная основной конструкции здания;
а - расстояние между стеной и осью перегородки (план)
Рисунок 4. Разметка проектного положения перегородки С 361
с дверным проемом (план)
Рисунок 5. Схема устройства горизонтального шва
1 - ПН на полу; 2 - ПН на потолке; 3, 4 - ПС,
примыкающие к конструкциям здания;
5, 6 - ПС, ограничивающие дверной проем;
7 - 15 - монтаж профиля каркаса с сохранением
проектного шага;
16 - монтаж перемычки над дверным проемом;
17 - монтаж ПС с сохранением шага
над дверным проемом;
18, 19 - монтаж горизонтальных вставок
из ПН под горизонтальные швы ГКЛ
Рисунок 6. Последовательность монтажа элементов каркаса
перегородки С 361
Рисунок 7. Монтаж элементов дверного проема
Рисунок 8. Схема расположения листов ГВЛ
перегородки С 361 (сплошные линии - листы
на лицевой стороне, пунктирные линии -
листы на обратной стороне)
Рисунок 9. Схема расположения самонарезающих винтов
при однослойной облицовке
Рисунок 10. Схема устройства
деформационного шва в перегородке С 361
Рисунок 11. Схема устройства деформационного шва
в перегородке С 362
1, 2, 16 - направляющий профиль (ПН);
3 - 15, 17 - стоечный профиль (ПС)
Рисунок 12. Схема монтажа элементов каркаса
перегородки С 362
Рисунок 13. Схема расположения ГВЛ перегородки
С 362 (сплошные линии - листы первого слоя,
пунктирные - листы второго слоя)
Рисунок 14. Схема расположения ГВЛ перегородки С 363
(сплошные линии - листы первого слоя,
пунктирные - листы второго слоя,
штрихпунктирные - листы третьего слоя;
второй слой смещен относительного первого
на один шаг стойки)
Рисунок 15. Схема расположения самонарезающих винтов
при двухслойной облицовке ГВЛ
Рисунок 16. Схема расположения самонарезающих винтов
при трехслойной облицовке ГВЛ
1 - направляющие пола и потолка;
2 - стойки несущего каркаса;
3 - первый слой ГВЛ с двух сторон;
4 - второй слой ГВЛ с двух сторон;
5 - разделительная лента;
6 - уплотнительная лента;
7 - профиль направляющий потолка;
8 - профиль стоечный;
9 - профиль направляющий пола
Рисунок 17. Схема монтажа элементов
двойного каркаса и облицовки
из ГВЛ перегородки С 365
Рисунок 18. Схема монтажа элементов дверного проема
в двойном каркасе перегородки С 365
Рисунок 19. Схема устройства деформационного шва
в перегородке С 365
1 - направляющие профили пола; 2 - стоечные профили,
примыкающие к основным конструкциям;
3 - стоечные профили; 4 - вставка из ГВЛВ;
5 - первый слой ГВЛВ; 6 - второй слой ГВЛВ
Рисунок 20. Конструкция перегородки С 366
с двойным металлическим каркасом
с пространством для пропуска коммуникаций
Рисунок 21. Схема организации рабочего места
при облицовке стен
1, 2, 3, 4 - нанесение точек
на основные конструкции помещения;
5, 6, 7, 8 - разметка оси шнуроотбойным устройством
Рисунок 22. Разметка проектного положения облицовки (разрез)
Рисунок 23. Схема крепления стоек каркаса
с помощью прямых подвесов в облицовке С 663
Примечание. При устройстве деформационных швов требуется установить дополнительно два потолочных профиля по обеим сторонам шва.
Рисунок 24. Схема устройства деформационных швов
в облицовке С 663
Рисунок 25. Схема монтажа каркаса в облицовке С 665
Рисунок 26. Схема монтажа каркаса в облицовке С 666
Примечание. При устройстве деформационных швов требуется установить дополнительно два стоечных профиля по обеим сторонам шва.
Рисунок 27. Схема устройства деформационных швов
в однослойной и двухслойной облицовках
Рисунок 28. Схема организации рабочего места
при устройстве подвесных потолков
1, 2 - разметка центральных взаимно перпендикулярных осей;

- разметка положения основных профилей;

- разметка положения несущих профилей;
3 - разметка положения подвесов потолка;
4 - разметка на примыкающих стенах помещения
положения профилей ПНП (для конструкции П 213)
Рисунок 29. Разметка проектного положения
подвесного потолка
Межосевые расстояния при устройстве каркаса
┌──────────────────────────────────────────────┬────────┬────────┐
│ Наименование │Условное│Расстоя-│
│ │обозна- │ние, мм │
│ │чение │ │
├──────────────────────────────────────────────┼────────┼────────┤
│Расстояние между подвесами (дюбелями) при │ │ │
│нагрузке Р, кН/м2: │ │ │
│ Р <= 0,15 │ а │ 900 │
│ 0,15 < Р <= 0,30 │ │ 750 │
│ 0,30 < Р <= 0,50 │ │ 600 │
├──────────────────────────────────────────────┼────────┼────────┤
│Межосевое расстояние основных профилей при │ │ │
│нагрузке Р, кН/м2: │ │ │
│ Р <= 0,15 │ с │<= 1000 │
│ 0,15 < Р <= 0,30 │ │<= 1000 │
│ 0,30 < Р <= 0,50 │ │<= 750 │
├──────────────────────────────────────────────┼────────┼────────┤
│Межосевое расстояние несущих профилей при │ b │ 500 │
│поперечном монтаже листов │ │ │
└──────────────────────────────────────────────┴────────┴────────┘
Рисунок 30. Схема устройства каркаса подвесного потолка П212
Межосевые расстояния при устройстве каркаса
┌──────────────────────────────────────────────┬────────┬────────┐
│ Наименование │Условное│Расстоя-│
│ │обозна- │ние, мм │
│ │чение │ │
├──────────────────────────────────────────────┼────────┼────────┤
│Расстояние между подвесами (дюбелями) при │ │ │
│нагрузке Р, кН/м2: │ │ │
│ Р <= 0,15 │ а │ 1000 │
│ 0,15 < Р <= 0,30 │ │ 650 │
│ 0,30 < Р <= 0,50 │ │ │
│ для анкерного подвеса с тягой и │ │ │
│ комбинированного │ │ │
│ подвеса с тягой │ │ 400 │
│ для прямого и нониус-подвеса │ │ 650 │
├──────────────────────────────────────────────┼────────┼────────┤
│Межосевое расстояние основных профилей при │ │ │
│нагрузке Р, кН/м2: │ │ │
│ Р <= 0,15 │ с │ 1200 │
│ 0,15 < Р <= 0,30 │ │ │
│ 0,30 < Р <= 0,50 │ │ │
├──────────────────────────────────────────────┼────────┼────────┤
│Межосевое расстояние несущих профилей при │ b │ 500 │
│поперечном монтаже листов │ │ │
├──────────────────────────────────────────────┼────────┼────────┤
│Расстояние между дюбелями крепления ПН-профиля│ - │ 500 │
└──────────────────────────────────────────────┴────────┴────────┘
Рисунок 31. Схема устройства каркаса подвесного потолка П 213
Рисунок 32. Схема расположения листов ГВЛ
и самонарезающих винтов в подвесных потолках
ИНСТРУМЕНТЫ И ПРИСПОСОБЛЕНИЯ ДЛЯ МОНТАЖА ГВЛ