Главная // Актуальные документы // ИнструкцияСПРАВКА
Источник публикации
В данном виде документ опубликован не был.
Первоначальный текст документа также опубликован не был.
Информацию о публикации документов, создающих данную редакцию, см. в справке к этим документам.
Примечание к документу
Документ утратил силу в связи с изданием
Приказа Минтранса России от 26.08.2019 N 285.
Документ включен в
Перечень актов, содержащих обязательные требования, соблюдение которых оценивается при проведении мероприятий по контролю при осуществлении государственного надзора в области гражданской авиации и использования воздушного пространства (Приказ Ространснадзора от 18.10.2016 N СС-1097фс).
Взамен Инструкции по обеспечению пожарной безопасности на локомотивах и моторвагонном подвижном составе от 10.10.1983 N ЦТ-ЦУО/4159.
Название документа
"ЦТ-ЦУО/175. Инструкция по обеспечению пожарной безопасности на локомотивах и моторвагонном подвижном составе"
(утв. МПС России 27.04.1993)
(ред. от 04.10.2001)
"ЦТ-ЦУО/175. Инструкция по обеспечению пожарной безопасности на локомотивах и моторвагонном подвижном составе"
(утв. МПС России 27.04.1993)
(ред. от 04.10.2001)
Заместитель министра
путей сообщения
А.Н.КОНДРАТЕНКО
27 апреля 1993 года
ГЛАВНОЕ УПРАВЛЕНИЕ ЛОКОМОТИВНОГО ХОЗЯЙСТВА
УПРАВЛЕНИЕ ВОЕНИЗИРОВАННОЙ ОХРАНЫ
ИНСТРУКЦИЯ
ПО ОБЕСПЕЧЕНИЮ ПОЖАРНОЙ БЕЗОПАСНОСТИ НА ЛОКОМОТИВАХ
И МОТОРВАГОННОМ ПОДВИЖНОМ СОСТАВЕ
ЦТ-ЦУО/175
| | Список изменяющих документов (в ред. Указания МПС России от 04.10.2001 N Е-1672у) | |
1.1. Настоящая инструкция устанавливает основные положения и требования пожарной безопасности, находящихся в эксплуатации локомотивов и моторвагонного подвижного состава железнодорожного транспорта Российской Федерации.
Инструкция является обязательной для всех работников железнодорожного транспорта, связанных с эксплуатацией и ремонтом локомотивов и моторвагонного подвижного состава.
Вся вновь издаваемая эксплуатационная и ремонтная документация в части пожарной профилактики и использования существующих видов пожарной техники на локомотивах и моторвагонном подвижном составе должна строго соответствовать настоящей инструкции. При разработке и внедрении новых видов пожарной техники ее применение осуществляется по технической документации разработчиков до внесения в настоящую инструкцию.
1.2. Ответственность за пожарную безопасность эксплуатируемых локомотивов и моторвагонного подвижного состава несут:
машинисты - за принятые ими локомотивы и моторвагонный подвижной состав;
начальники депо - за локомотивы и моторвагонный подвижной состав, приписанные к депо;
начальники дорог и начальники отделений дорог - за состояние локомотивов и моторвагонного подвижного состава соответственно дороги и отделения дороги;
главные инженеры ремонтных заводов - за локомотивы и моторвагонный подвижной состав, находящийся в ремонте.
1.3. На основе настоящей инструкции, с учетом конструктивных особенностей эксплуатируемых в депо локомотивов, моторвагонного подвижного состава и применяемых на них средств пожаротушения, разрабатываются конкретные инструкции для каждого типа (серии) локомотива, моторвагонного подвижного состава, которые согласовываются со службой ведомственной охраны дороги, утверждаются начальником службы локомотивного хозяйства и вывешиваются в депо в установленных для этого видных местах. Ответственность за их выполнение несут начальники депо и их заместители.
(в ред.
Указания МПС России от 04.10.2001 N Е-1672у)
1.4. Требования настоящей инструкции должны учитываться при разработке правил технического обслуживания, текущего и капитальных ремонтов для каждого конкретного типа (серии) локомотива и моторвагонного подвижного состава.
1.5. Начальники депо и директора ремонтных заводов на основе анализа предыдущей работы и имевших место пожаров ежегодно разрабатывают и осуществляют мероприятия по снижению пожарной опасности локомотивов и моторвагонного подвижного состава, а также назначают приказами ответственных за проведение пожарно-профилактических мероприятий, предусмотренных настоящей инструкцией, при технических обслуживаниях и ремонтах локомотивов и моторвагонного подвижного состава.
1.6. Начальники депо разрабатывают и согласовывают со службой ведомственной охраны дороги программы обучения машинистов и помощников машинистов, которые должны охватывать:
(в ред.
Указания МПС России от 04.10.2001 N Е-1672у)
основные пожароопасные узлы и причины возникновения пожаров на локомотивах и моторвагонном подвижном составе;
правила пожарной безопасности на локомотивах и моторвагонном подвижном составе;
обязанности локомотивной бригады при приемке, эксплуатации и сдаче локомотивов или моторвагонного подвижного состава в части пожарной безопасности;
меры и технические средства по предотвращению и своевременному обнаружению пожара;
действия при возникновении пожара, методы и приемы его тушения;
устройство средств пожаротушения и пожарной сигнализации.
1.7. Начальники депо и директора ремонтных заводов разрабатывают и согласовывают со службой ведомственной охраны дороги программы обучения рабочих и служащих, связанных с техническим обслуживанием и ремонтом локомотивов и моторвагонного подвижного состава, которые должны содержать:
(в ред.
Указания МПС России от 04.10.2001 N Е-1672у)
основные пожароопасные узлы и причины возникновения пожаров на локомотивах и моторвагонном подвижном составе;
требования правил пожарной безопасности на локомотивах и моторвагонном подвижном составе при производстве технического обслуживания и ремонта;
устройство средств пожаротушения и пожарной сигнализации, методы их ремонта и меры безопасности при их обслуживании и ремонте;
действия при возникновении пожара, методы и приемы его тушения.
1.8. Программы обучения должны быть разработаны на основе конкретных материалов, относящихся к фактически эксплуатируемым или ремонтируемым локомотивам и моторвагонному подвижному составу в данном депо или заводе.
Для раскрытия тем, предусмотренных программой обучения, следует использовать натурные образцы, учебные модели и макеты, схемы, плакаты, планшеты с рисунками, фотографии, а также технические средства обучения (эпидиаскопы, диапроекторы и др.).
1.9. Начальники депо и директора ремонтных заводов по согласованию со службой ведомственной охраны дороги своими приказами должны установить:
(в ред.
Указания МПС России от 04.10.2001 N Е-1672у)
а) порядок и сроки занятий по программе пожарно-технического минимума;
б) порядок направления вновь принимаемых на работу для прохождения учебы по утвержденной программе;
в) перечень работников, связанных с техническим обслуживанием и ремонтом локомотивов и моторвагонного подвижного состава, которые должны проходить обучение. Машинисты и помощники машинистов проходят обучение все без исключения. Машинисты и помощники машинистов моторвагонного подвижного состава, раннее в отопительный сезон не работавшие, должны пройти обучение до его начала;
г) место обучения по программе пожарно-технического минимума;
д) перечень должностных лиц, на которых возлагается проведение занятий.
1.10. По окончании изучения пожарной безопасности локомотивов и моторвагонного подвижного состава у машинистов и помощников машинистов, а также у работников, связанных с ремонтом локомотивов и моторвагонного подвижного состава, должны быть приняты зачеты.
Результаты зачетов оформляют протоколом (актом). Не сдавшие зачетов, к работе не допускаются.
1.11. Контроль за своевременностью и качеством проведения занятий по пожарной безопасности локомотивов и моторвагонного подвижного состава возлагается на руководящий состав службы ведомственной охраны дороги, а учет охваченных учебой - на лиц, назначаемых начальниками депо и директорами ремонтных заводов.
(в ред.
Указания МПС России от 04.10.2001 N Е-1672у)
1.12. Периодичность проведения занятий с последующим принятием зачетов в локомотивных депо с локомотивными и ремонтными бригадами, а также с другими работниками, связанными с ремонтом и обслуживанием локомотивов и моторвагонного подвижного состава, по вопросам пожарной защиты и действиям при возникновении пожара - не реже двух раз в год.
2. СОДЕРЖАНИЕ ЛОКОМОТИВОВ И МОТОРВАГОННОГО
ПОДВИЖНОГО СОСТАВА
2.1. Правила пожарной безопасности
2.1.1. В кабинах машинистов, дизельных помещениях, высоковольтных камерах, аппаратных камерах и других служебных помещениях локомотивов и моторвагонного подвижного состава запрещается хранить и провозить посторонние предметы. Служебные помещения и все узлы локомотивов и моторвагонного подвижного состава должны постоянно содержаться в чистоте.
В кабинах машинистов должны быть установлены и закреплены пепельницы в местах, удобных для обслуживающей бригады. Выбрасывать в окна незатушенные окурки и спички запрещается.
2.1.2. Смазочные материалы должны находиться только в металлических емкостях (бидонах, масленках и т.д.) с узкими горловинами и плотно закрывающимися крышками, а обтирочные концы, как чистые, так и загрязненные - в металлических ящиках, ведрах с крышками. Хранение смазочных и обтирочных материалов допускается только в строго определенных местах служебных отделений или в специальных подкузовных ящиках.
2.1.3. Все защитные устройства электрооборудования должны находиться в полной исправности.
Сечения токонесущих кабелей, проводов к ним, а также устройств заземления должны соответствовать требованиям чертежей.
Входы кабелей, силовых и низковольтных проводов и электрических аппаратов, клеммовые рейки, переходные коробки и выходы из них должны выполняться с применением переходных уплотнителей и втулок в соответствии с требованиями чертежей и правилами ремонта.
Места электрических соединений должны иметь надежные контакты. Расстояние между токонесущими и заземленными частями должно быть в пределах, установленных чертежами соответствующего оборудования.
2.1.4. При обесточивании по каким-либо причинам отдельных участков электрической цепи электрические провода должны быть отсоединены от клемм с обеих сторон. Отсоединенные концы следует тщательно изолировать и подвязать для исключения соприкосновений с электрическими контактами и подвижными деталями.
2.1.5. Электрические провода и отдельные детали и узлы электрического оборудования, расположенные в местах возможного воздействия на них масла или топлива, должны быть покрыты маслостойкими красками или надежно защищены кондуитами, кожухами и т.п.
2.1.6. Не допускается применять нетиповую аппаратуру защиты или несоответствующую данной цепи по току срабатывания.
2.1.7. Эксплуатировать электрооборудование без дугогасительных камер, с нарушенной изоляцией электропроводки, не закрепленными контактами, соединять электрические провода между собой холодной скруткой, включать или отключать контакты реле принудительным способом запрещается.
2.1.8. Установленные электропечи должны быть только закрытого исполнения, с исправными кожухами, надежно укреплены и изолированы от примыкающих конструкций, изготовленных из горючих материалов.
В дизель- и электропоездах внутренние части тамбурных шкафов с электрооборудованием, камеры электрокалориферов и каналы калориферного отопления на длине 1,5 м от камер должны быть надежно изолированы от примыкающих конструкций, изготовленных из горючих материалов.
2.1.9. Следует обращать особое внимание на то, чтобы кожухи электропечей и места подвода к ним электрических проводов были очищены от посторонних предметов и мусора.
2.1.10. Электропечи, электрокалориферы, вентиляционные каналы, надпотолочные пространства тамбуров, шкафы с электроаппаратами и тому подобное оборудование должны систематически очищаться от пыли, горючих материалов и мусора. Конкретные сроки очистки устанавливаются в каждом депо в зависимости от типа локомотива (моторвагонного подвижного состава) и условий эксплуатации.
2.1.11. Для изготовления гибких соединений вентиляционных каналов тяговых электродвигателей и других систем, а также защитных рукавов силовых кабелей следует применять негорючий или трудногорючий материалы, сохраняющие свои свойства в процессе эксплуатации.
2.1.12. Запрещается загромождать проходы и выходы в вагонах моторвагонного подвижного состава. Провозить в вагонах опасные грузы (легковоспламеняющиеся жидкости, газы, взрывчатые и ядовитые вещества и т.п.) запрещается. В салонах вагонов разрешается провозить бытовые газовые баллоны вместимостью не более 5 л.
2.1.13. Подтекание масла или топлива в трубопроводах, на дизелях, компрессорах, редукторах и других узлах не допускается.
2.1.14. Очистка от нефтепродуктов крыш, пространства под половицами дизельного помещения, поддонов и других емкостей, специально предназначенных для сбора нефтепродуктов, очистка глушителей и искрогасителей от нагара, проверка и очистка дренажных труб тепловозов, дизель-поездов и автомотрис должны производиться согласно требованиям соответствующих правил ремонта и технического обслуживания.
2.1.15. Наполнение топливных баков тепловозов, дизель-поездов и автомотрис должно производиться ниже верхнего его уровня не менее чем на 50 мм, имея в виду свойство топлива расширяться при повышении температуры наружного воздуха и при включении топливоподогревательных устройств. Заправочный пистолет отводится от горловины бака только после полного прекращения вытекания топлива.
Заправочный пистолет должен иметь устройства для наворачивания на горловину бака, снятия статического электричества и быстрого отключения подачи топлива.
После набора топлива пробки баков должны быть плотно закрыты. Курить при заправке топливных баков запрещается.
2.1.16. На тепловозах, в машинных отделениях дизель-поездов и автомотрис, кроме того, запрещается:
а) пользоваться для освещения и других целей открытым огнем (факелами, свечами, паяльными лампами и т.п.);
б) курить в дизельном помещении и вблизи аккумуляторных батарей;
в) сушить спецодежду и другие горючие материалы на дизелях, электродвигателях, генераторах, выхлопных трубах и других пожароопасных местах;
г) оставлять открытыми индикаторные краны дизелей;
д) промывать бензином и керосином кузов и агрегаты.
2.1.17. У тепловозов, дизель-поездов и автомотрис, где конструкцией выпускной системы дизеля предусмотрена установка искрогасительных устройств, последние должны быть исправны, а сетки не иметь прогаров. В установленные сроки должна производиться их очистка от несгоревших частиц и нагара, а также регулирование обеспечивающих эжекцию зазоров, которые должны соответствовать чертежам.
2.1.18. Паровозы, работающие на твердом топливе, должны быть оборудованы искрогасительными устройствами и резиновым шлангом для смачивания угля. Наличие в искрогасительных устройствах зазоров в местах соединений отбойных и других листов между собой, в местах крепления сетки, возле конуса, парорабочих труб и т.д. более 2 мм, а также сеток с размерами ячеек, не соответствующими чертежам, не допускается.
Чистка топок с выбрасыванием шлака при движении поезда и в неустановленных местах запрещается.
2.1.19. Паровозы, работающие на жидком топливе, оборудуются запорными приспособлениями возле нефтяного бака и форсунки. Подтекание топлива из форсунки при закрытых кранах не допускается.
2.1.20. На паровозах запрещается:
а) захламлять будку машиниста и тендер обтирочными и другими горючими материалами;
б) применять открытый огонь при заправке и осмотре топливного бака;
в) оставлять открытыми люки топливного бака и не очищенные от сажи и изгари дымовые коробки;
г) работать с неисправными баками и запорными приспособлениями;
д) завышать установленную лабораторией депо предельную температуру подогрева топлива;
е) оставлять неубранным пролитое топливо;
ж) нарушать порядок операций по пуску или прекращению работы форсунки и инструкцию по нефтяному отоплению паровозов.
2.1.21. Запрещается эксплуатировать локомотивы и моторвагонный подвижной состав:
а) с нарушением требований настоящего подраздела (2.1);
б) с неисправностями, перечисленными в
п. 12.4 Правил технической эксплуатации и записанными в журнале технического состояния локомотива (форма ТУ-152);
в) с неполным комплектом или неисправными средствами пожаротушения и пожарной сигнализации.
2.1.22. Установка печей для обогрева помещений проводников, сопровождающих локомотивы и моторвагонный подвижной состав, пересылаемый в недействующем состоянии, с отступлениями от утвержденной конструкторской документации запрещается.
2.2. Оснащение средствами пожаротушения
и пожарной сигнализации
2.2.1. Локомотивы и моторвагонный подвижной состав обеспечиваются огнетушителями, пожарным инвентарем, оборудованием и ручным инструментом в соответствии с таблицей настоящей инструкции.
Нормы оснащения локомотивов и моторвагонного
подвижного состава огнетушителями, пожарным
инвентарем, оборудованием и ручным инструментом
Наименование | Измеритель | Норма, шт. |
Огнетушители | Пожарный инвентарь | Пожарное оборудов. | Пожарный ручной инструмент |
пенные | порошковые |  (углекислотные) |
ящик для песка | ведро пожарное | ствол пожарный ручной РС50 или РСК50-7,7 | рукав пожарн.  50 мм, длиной 20 м | багор БПМ | лом ЛПУ | топор ТПП | лопата |
вместимостью, л |
10 | 2 | 5 или 10 | 2 | 5 или 8 |
| 2 | 3 | 4 | 5 | 6 | 7 | 8 | 9 | 10 | 11 | 12 | 13 | 14 | 15 |
1. Электровозы | секция | 1 | - | 1 | - | 2 | - | 2 | - | - | - | - | - | - |
2. Тепловозы маневровые с кузовом капотного типа | тепловоз | - | - | 1 | - | 1 | - | - | - | - | - | - | - | - |
3. Тепловозы магистральные с кузовом вагонного типа: <*> | | | | | | | | | | | | | | |
с одной рабочей кабиной машиниста | секция | 1 | - | - | - | 1 | - | 2 | - | - | - | - | - | - |
с двумя рабочими кабинами машиниста | тепловоз | 1 | - | - | - | 2 | - | 2 | - | - | - | - | - | - |
4. Паровозы: | | | | | | | | | | | | | | |
на жидком топливе | паровоз | 1 | - | - | - | - | - | - | 1 | 1 | - | 1 | 1 | - |
на твердом топливе | то же | - | - | - | - | - | - | - | 1 | 1 | - | - | - | - |
| поезд | 4 | - | - | - | 2 | - | 4 | - | - | - | - | - | - |
| автомотриса | 2 | - | - | - | 4 | - | - | - | - | - | - | - | - |
7. Электропоезда: | | | | | | | | | | | | | | |
двенадцати- и десятивагонные | поезд | 6 | 1 | 2 | 1 | 2 | 2 | 4 | - | - | 2 | - | 2 | 2 |
восьми- и шестивагонные | то же | 4 | - | 2 | - | 2 | 2 | 2 | - | - | 2 | - | 2 | - |
четырехвагонные | -"- | 2 | - | 1 | - | 1 | 1 | 1 | - | - | 1 | - | 1 | - |
8. Электросекции трехвагонные | секция | 1 | - | 1 | - | 2 | 1 | 1 | - | - | 1 | - | 1 | - |
--------------------------------
<*> Оборудованы установками пенного, газового или порошкового пожаротушения.
Примечание. Пенные огнетушители, указанные в
графе 3, и

, указанные в
графах 6 и
7, разрешается заменять порошковыми вместимостью не менее 5 л.
2.2.2. Тепловозы с кузовом вагонного типа, моторные вагоны дизель-поездов и автомотрис, кроме того, оборудуются установками пожаротушения в соответствии с конструкторскими документами, утвержденными в установленном порядке. Если в силу объективных причин установка пожаротушения на них отсутствует, неисправна или не заряжена огнетушащим веществом, в исключительных случаях допускается временная эксплуатация по разрешению начальника отделения дороги, выдаваемому для каждого конкретного случая. При этом дополнительно к огнетушителям, указанным в
таблице, магистральные тепловозы с кузовом вагонного типа должны укомплектовываться порошковым или

вместимостью не менее 5 л, а дизель-поезда и автомотрисы - двумя порошковыми или

вместимостью не менее 5 л каждый.
2.2.3. Магистральные тепловозы, используемые в грузовом движении и обслуживаемые одним машинистом, должны быть оборудованы установкой пожаротушения с автоматическим режимом работы (пуск установки и процесс пожаротушения без участия человека).
2.2.4. Вагоны моторвагонного подвижного состава, салоны которых переоборудуются для просмотра видеопрограмм (видеосалоны), оснащаются дополнительными средствами пожаротушения. Дополнительные средства пожаротушения и их размещение должны соответствовать конструкторским документам и техническим условиям, специально разработанными для переделки вагона данного типа дизель-поезда или электропоезда и утвержденными в установленном порядке.
2.2.5. Тепловозы, работающие на сжиженном и сжатом природном газе, обеспечиваются средствами пожаротушения в соответствии с требованиями технических условий на данный тепловоз.
2.2.6. Паровозы, подаваемые под поезда с разрядным грузом, дополнительно к средствам пожаротушения, приведенным в
таблице, оснащаются двумя огнетушителями: пенными вместимостью по 10 л или порошковыми вместимостью не менее 5 л каждый.
2.2.7. Основные типы огнетушителей, рекомендуемых для укомплектования локомотивов и моторвагонного подвижного состава, и их тактико-технические характеристики приведены в
Приложении 1.
Укомплектование должно производиться только полностью заряженными и опломбированными огнетушителями, снабженными бирками с указаниями даты (месяц и год) зарядки и даты очередной перезарядки, контроля и технического освидетельствования, зависящие от типа огнетушителя. Допускается укомплектование огнетушителями, у которых вместо бирки ее содержание нанесено штемпельной краской на корпусе со стороны, противоположной насадке.
2.2.8. На электровозах, электропоездах, а также на паровозах, работающих на жидком топливе, пожарные ведра должны быть наполнены сухим песком.
2.2.9. На дизель-поездах огнетушители и ведра размещаются равномерно по всем служебным помещениям моторных вагонов.
2.2.10. На электропоездах огнетушители и пожарный инвентарь размещаются поровну в служебных помещениях головных вагонов, а пожарный инструмент - в подвагонных ящиках.
2.2.11. На трехвагонных электросекциях огнетушители и пожарный инвентарь размещаются в служебных помещениях моторного вагона, а пожарный ручной инструмент - в подвагонных ящиках.
2.2.12. Электровозы, тепловозы с кузовом вагонного типа и машинные отделения моторных вагонов дизель-поездов и автомотрис оборудуются автоматической пожарной сигнализацией, а салоны дизель-поездов и электропоездов - системой "Сигнал" связи с машинистом.
2.2.13. Локомотивы и моторвагонный подвижной состав в соответствии с указаниями МПС должны проходить модернизацию по оборудованию установками пожаротушения и средствами оповещения о пожаре или замене существующих более совершенными по конструкторской документации, утвержденной в установленном порядке.
2.2.14. В кабинах машинистов локомотивов и моторвагонного подвижного состава на видном месте должны быть установлены памятки с необходимыми сведениями о действиях при пожаре и правилами применения установок пожаротушения.
3. ПОЖАРНАЯ ПРОФИЛАКТИКА НА ЛОКОМОТИВАХ
И МОТОРВАГОННОМ ПОДВИЖНОМ СОСТАВЕ
3.1. Пожарная профилактика осуществляется посредством комплекса организационных и технических мероприятий, направленных на предотвращение пожаров на локомотивах и моторвагонном подвижном составе, ограничение его распространения, а также создание условий для успешного тушения пожара.
3.2. Основным средством обеспечения пожарной безопасности локомотивов и моторвагонного подвижного состава является выполнение в установленные сроки, в полном объеме и с высоким качеством работ, предусмотренных системой планово-предупредительного технического обслуживания и ремонта, а также инструкций, разработанных и утвержденных в соответствии с
п. 1.3 настоящей инструкции.
3.3. Объем работ, производимых в депо при технических обслуживаниях и ремонтах, а также техническое состояние локомотивов и моторвагонного подвижного состава в части обеспечения их пожарной безопасности должны соответствовать требованиям, установленным МПС для данного типа локомотива (моторвагонного подвижного состава).
Дополнительно к плановым работам при текущих ремонтах производится частичная модернизация локомотивов и моторвагонного подвижного состава с целью повышения пожарной безопасности отдельных узлов, деталей и агрегатов. Модернизация должна производиться на основании указаний МПС по утвержденной рабочей конструкторской документации.
3.4. Объем работ при капитальных ремонтах, а также техническое состояние локомотивов и моторвагонного подвижного состава в части обеспечения их пожарной безопасности должны соответствовать требованиям, установленным МПС для данного типа локомотива (моторвагонного подвижного состава). Кроме того, при капитальных ремонтах должна производиться модернизация в соответствии с указаниями МПС. Запрещается выпуск в эксплуатацию из капитального ремонта локомотивов и моторвагонного подвижного состава, на которых не произведена предусмотренная указаниями МПС модернизация установок пожаротушения или другая модернизация, направленная на повышение пожарной безопасности.
3.5. Содержание и ремонт средств пожаротушения и автоматической пожарной сигнализации должны соответствовать требованиям
Приложения 3 к настоящей инструкции.
Содержание и ремонт установок пожаротушения и автоматической пожарной сигнализации локомотивов и моторвагонного подвижного состава в период гарантийного срока эксплуатации, кроме того, должны производиться в соответствии с инструкциями заводов-изготовителей, утвержденными в установленном порядке.
Изготовление, содержание, ремонт и эксплуатация резервуаров установок пожаротушения должны, кроме того, соответствовать требованиям
Правил надзора за паровыми котлами и воздушными резервуарами подвижного состава железных дорог МПС.
3.6. Запрещается выпуск в эксплуатацию из всех видов технического обслуживания и ремонта локомотивов и моторвагонного подвижного состава, не имеющих полного комплекта средств пожаротушения по нормам
п. 2.2 настоящей инструкции, с неисправными или незаряженными установками пожаротушения, а также с неисправной пожарной сигнализацией.
3.7. Запрещается отправка в капитальный ремонт на завод или пересылка на другие дороги локомотивов и моторвагонного подвижного состава, не имеющих полного комплекта средств пожаротушения по нормам
п. 2.2 настоящей инструкции.
При пересылке локомотивов и моторвагонного подвижного состава в недействующем состоянии водный раствор пенообразователя из резервуаров установок пенного пожаротушения должен быть слит, трубопровод продут, а огнетушители и другое пожарное оборудование должны находиться в помещениях для проводников.
3.8. После прохождения локомотивом или моторвагонным подвижным составом технического обслуживания ТО-3 и всех видов текущего ремонта, должностным лицом, назначенным приказом начальника депо, в журнале технического состояния локомотива (форма ТУ-152) должна быть сделана запись по типу: "Тепловоз средствами пожаротушения укомплектован, пожарная сигнализация исправна, установка пожаротушения исправна и заряжена полностью" и поставлена подпись.
Примечание. Для локомотивов и моторвагонного подвижного состава, не оборудованных пожарной сигнализацией или установкой пожаротушения, запись соответственно сокращается.
4. ОБЯЗАННОСТИ ЛОКОМОТИВНОЙ БРИГАДЫ ПРИ ПРИЕМКЕ И СДАЧЕ
ЛОКОМОТИВОВ И МОТОРВАГОННОГО ПОДВИЖНОГО СОСТАВА,
В ПУТИ СЛЕДОВАНИЯ И ПРИ ТУШЕНИИ ПОЖАРА
4.1. Обязанности при приемке и сдаче
4.1.1. Локомотивная бригада обязана просмотреть журнал технического состояния принимаемого локомотива (моторвагонного подвижного состава). При наличии в нем записей о неисправностях проверить их устранение, обратив особое внимание на записи, касающиеся пожарной безопасности. Если такие неисправности не устранены, машинист не должен принимать локомотив (моторвагонный подвижной состав) в эксплуатацию.
4.1.2. При приемке локомотива (моторвагонного подвижного состава) после технического обслуживания ТО-3 и всех видов текущего ремонта следует удостовериться в наличии в журнале технического состояния (форма ТУ-152) записи о полном укомплектовании и исправности средств пожаротушения и пожарной сигнализации в соответствии с требованиями
пункта 3.8 настоящей инструкции. Если такая запись отсутствует, машинист обязан потребовать ее внесения и не должен принимать локомотив (моторвагонный подвижной состав), пока такая запись не будет сделана.
4.1.3. Необходимо убедиться в том, что принимаемый локомотив (моторвагонный подвижной состав) соответствует требованиям правил пожарной безопасности
(п. 2.1).
Произвести осмотр и проверку, предусмотренные руководствами по эксплуатации и обслуживанию, утвержденными для данного типа локомотива (моторвагонного подвижного состава), и другими нормативно-техническими документами. Особое внимание обратить на места, агрегаты и узлы конструкции, представляющие повышенную пожарную опасность.
4.1.4. Основные узлы, представляющие повышенную пожарную опасность, и возможные причины пожара приведены в
Приложении 5 к настоящей инструкции. Принимая локомотив (моторвагонный подвижной состав), бригада должна на основании внешнего осмотра пожароопасных узлов убедиться в их технически исправном состоянии.
При обнаружении неисправностей они должны быть устранены. Особое внимание следует обратить на чистоту пожароопасных мест, наличие посторонних предметов, течей, скопление масла или дизельного топлива, неубранных концов, тряпок, ветоши и т.п.
4.1.5. Локомотивная бригада должна проверить наличие средств пожаротушения в соответствии с нормами
п. 2.2 и исправное их состояние. У огнетушителей проверяется наличие пломбы и дата освидетельствования. Огнетушитель, не опломбированный или не прошедший очередное освидетельствование в установленные сроки, считается неисправным и подлежит замене.
4.1.6. На тепловозах и дизель-поездах, оборудованных установками пенного пожаротушения, проверяются:
а) наличие в полном объеме водного раствора пенообразователя в резервуаре;
б) наличие рукавов и генераторов пены;
в) положение кранов и наличие пломб на пусковых кранах.
4.1.7. На тепловозах и дизель-поездах, оборудованных установками порошкового пожаротушения, проверяются:
а) наличие рукавов и пожарных стволов;
б) положение кранов;
в) наличие пломб на кранах, блоках тумблеров и заправочных горловинах резервуаров. При отсутствии любой из пломб проверяется наличие огнетушащего порошка в резервуаре и, при необходимости, производится его перезарядка.
4.1.8. На тепловозах, дизель-поездах и автомотрисах, оборудованных газовой установкой пожаротушения, проверяются:
а) давление в баллонах с огнетушащим составом, которое должно быть не менее установленного для данной температуры окружающего воздуха;
б) отсутствие механических повреждений огнетушителей установки и их головок-затворов (вмятины, заметные изменения формы, сильная коррозия и т.п.);
в) наличие пломб на рукоятках ручного привода, на тумблерах включения установки, на накидных гайках, крепящих коллекторы к штуцерам головок-затворов, на глухой накидной гайке на конце распределительного трубопровода.
4.1.9. На локомотивах, дизель-поездах и автомотрисах, оборудованных установкой автоматической пожарной сигнализации, проверяется ее исправность. Схема считается исправной, если при подаче питания загорается световая сигнализация в соответствии с условиями, предусмотренными для данного типа тепловоза (дизель-поезда). Звуковой сигнал включаться не должен.
На локомотивах, дизель-поездах и автомотрисах, где это предусмотрено конструкцией, производится проверка схемы автоматической пожарной сигнализации путем имитации срабатывания пожарного извещателя. При этом звуковой сигнал должен включиться, а световой загореться или потухнуть, в зависимости от того, как это предусмотрено устройством данной системы автоматической пожарной сигнализации.
4.1.10. На электропоездах и дизель-поездах, оборудованных системой "Сигнал" связи салонов с машинистом, проверяется ее исправность.
4.1.11. При сдаче локомотива (моторвагонного подвижного состава) машинист, делая запись о необходимом ремонте в журнале технического состояния, обязан, кроме того, записать:
а) случаи ложного срабатывания автоматической пожарной сигнализации, если таковые имели место;
б) случаи загорания, указав, где и когда они произошли, какими средствами пожаротушения были ликвидированы;
в) о приведении в действие установки пожаротушения, при каких обстоятельствах она включалась, продолжительность действия и другие данные, необходимые для оценки ее результативности и технического состояния после пользования.
4.2. Обязанности в пути следования
4.2.1. Во время следования с поездом, а также резервом помощник машиниста локомотива обязан периодически в соответствии с местными инструкциями, которые утверждаются начальником службы локомотивного хозяйства дороги, осматривать дизельные (машинные) помещения обеих секций (на локомотивах трехсекционного исполнения - трех секций), обращая особое внимание на состояние пожароопасных узлов и о результатах осмотра доложить машинисту. При этом отлучаться помощнику машиниста из кабины управления при следовании на запрещающие сигналы запрещается.
4.2.2. Порядок осмотра и обслуживания моторвагонного подвижного состава в пути следования должен устанавливаться начальником службы локомотивного хозяйства дороги с учетом местных условий.
4.2.3. Во время следования с грузовым поездом локомотивная бригада должна следить за вагонами поезда с целью своевременного обнаружения пожара и своевременного принятия мер в соответствии с
п. 4.4 настоящей инструкции.
4.2.4. Помимо вышеуказанных осмотров локомотивная бригада должна периодически просматривать дизельные и моторные помещения через двери в кабине машиниста и экипажную часть в открытые окна кабины.
Там, где конструкция высоковольтных камер и шкафов с электроаппаратами позволяет (наличие окон, сеток и т.п.) осуществлять их осмотр без открытия дверей, следует периодически контролировать отсутствие искрений контактов.
4.2.5. На тепловозах, дизель-поездах и автомотрисах, кроме того, дизельные помещения и пожароопасные узлы должны быть осмотрены:
а) после запуска дизеля;
б) при прогреве дизелей при длительных стоянках на промежуточных станциях не реже чем через каждые 15 - 30 мин;
в) при прогреве дизелей в оборотных и основных депо не реже чем через один час.
4.2.6. В пути следования тепловозов, дизель-поездов и автомотрис локомотивная бригада должна следить за разряжением в картере дизеля по дифманометру. В случае уменьшения разряжения против установленной нормы следует выяснить причины и принять необходимые меры согласно утвержденному руководству по эксплуатации и обслуживанию.
4.2.7. При необходимости сборки аварийной электрической схемы она должна собираться непосредственно машинистом или под его руководством электрическими проводами сечения, соответствующего данной цепи, с применением зажимов. Отключать аппараты защиты при введении аварийной схемы, если они сами не явились причиной ее сборки, не допускается.
Обо всех случаях сборки аварийной электрической схемы машинист обязан сделать запись в журнале технического состояния ТУ-152 с указанием причины и места подключений.
4.2.8. Плавкие вставки разборных предохранителей и неразборные предохранители должны заменяться только типовыми, соответствующими требованиям электрической схемы.
4.2.9. При срабатывании сигналов автоматической пожарной сигнализации локомотивная бригада должна немедленно проверить правильность сигнала о возникновении пожара и приступить к его тушению в соответствии с правилами, изложенными в
п. 4.4 настоящей инструкции.
4.2.10. Если сигнал оказался ложным из-за неправильного срабатывания пожарного извещателя, принимаются меры для восстановления системы автоматической пожарной сигнализации и приведение ее в исходное положение.
4.3. Обязанности при горячем отстое в депо
4.3.1. При постановке тепловоза, дизель-поезда или автомотрисы на отстой с работающим дизелем локомотивная бригада перед уходом обязана:
а) убедиться в наличии сжатого воздуха в питательной магистрали воздухопровода давлением, равным рабочему;
б) проверить исправность схемы автоматической пожарной сигнализации в соответствии с
пунктом 5.1 Приложения 3;
в) при наличии установки порошкового пожаротушения с автоматическим режимом перевести управление установкой в этот режим включением соответствующего тумблера на блоке, расположенном в кабине машиниста. Там, где предусмотрено конструкцией, должен загореться индикатор "Автоматика при прогреве".
4.3.2. После окончания горячего отстоя или при нахождении локомотивной бригады на тепловозе (дизель-поезде, автомотрисе) те установки, где нет интервала по времени между срабатыванием пожарного извещателя и пуском установки, должны быть немедленно переведены в полуавтоматический режим. Если имеется индикатор "Автоматика при прогреве", он должен погаснуть.
Там, где конструкцией предусмотрен интервал времени между срабатыванием извещателя и пуском установки, выбор режима определяется машинистом.
4.4. Действия локомотивной бригады при пожаре в поезде
4.4.1. Ответственность за организацию и руководство тушением пожара, эвакуацию пассажиров, спасение подвижного состава и грузов до прибытия подразделений пожарной охраны возлагается на машиниста при возникновении пожара:
в грузовом поезде в пути следования;
в дизель-поездах, электропоездах и автомотрисах независимо от места возникновения пожара.
В грузовых поездах при многократной тяге ответственность несет машинист ведущего локомотива.
При пожаре в пассажирском поезде машинист локомотива действует по указанию начальника поезда, который является ответственным за организацию и руководство тушением пожара.
На станциях машинист локомотива грузового поезда действует по указанию начальника станции или его заместителей, а в их отсутствие - дежурного по станции.
4.4.2. При обнаружении пожара на локомотиве или в составе поезда машинист обязан принять меры к остановке поезда, соблюдая следующие требования и условия:
а) категорически запрещается останавливать поезда с горящими вагонами, независимо от рода груза: на железнодорожных мостах, путепроводах, виадуках, эстакадах, в тоннелях, под мостами, вблизи трансформаторных подстанций, тяговых подстанций, сгораемых строений или других местах, создающих угрозу быстрого распространения огня или препятствующих организации тушения пожара и эвакуации пассажиров;
б) в отдельных случаях, когда пожар обнаружен в грузовом поезде на неблагоприятном участке пути (выемка, высокая насыпь и т.п.) или когда потушить пожар имеющимися средствами не представляется возможным, машинист поезда, убедившись по документам в отсутствии в горящем и рядом стоящих вагонах опасных грузов, 1 - 3 классов
<*>, может продолжить следование до ближайшей станции, сообщив о пожаре и роде горящего груза поездному диспетчеру или дежурному по станции, на которую следует поезд, для принятия ими мер к вызову пожарных подразделений и подготовке средств пожаротушения;
в) остановка поезда на электрифицированных линиях железных дорог должна производиться с таким расчетом, чтобы горящие вагоны или локомотив не располагались под жесткими или гибкими поперечинами, секционными изоляторами, воздушными стрелками, а также на сопряжениях анкерных участков;
г) при пожаре в вагоне с разрядными грузами поезд должен быть остановлен в таком месте, чтобы в случае взрыва в горящем вагоне уберечь людей и животных от гибели или отравления, а станционные, складские и другие здания, мосты, находящийся на путях подвижной состав - от повреждений и пожара;
д) при пожаре на тепловозе или моторном вагоне дизель-поезда, оборудованных установкой пенного или порошкового пожаротушения, при торможении следует сохранить максимально возможное давление воздуха в главных воздушных резервуарах, которое необходимо для эффективной работы установки. Ручку крана машиниста после торможения нужно поставить в положение перекрыши без питания.
--------------------------------
<*> Взрывчатые материалы, газы, сжиженные и растворенные под давлением; легковоспламеняющиеся жидкости.
4.4.3. Одновременно с принятием мер по остановке поезда машинист должен подать сигнал пожарной тревоги и, используя поездную радиосвязь или любой другой возможный в создавшейся ситуации вид связи, сообщить о пожаре поездному диспетчеру или дежурному по ближайшей станции для вызова пожарных подразделений.
4.4.4. Пожар на электрифицированных линиях железных дорог представляет особую опасность, так как провода и конструкции контактной сети находятся под номинальным напряжением 3 кВ при постоянном токе и 25 кВ при переменном.
В случае пожара в поезде на электрифицированном участке должны соблюдаться следующие требования:
а) если пожар возник на крыше локомотива или вагона и в других случаях, когда имеется опасность поражения током во время действий по тушению пожара, машинист обязан сообщить об этом поездному диспетчеру или дежурному по станции и одновременно с вызовом пожарного подразделения потребовать снятия напряжения с контактной сети на участке, где остановился поезд;
б) при тушении пожара запрещается до снятия напряжения приближаться к проводам и другим частям контактной сети и воздушных линий - на расстояние менее 2 м, а к оборванным проводам контактной сети и воздушных линий на расстояние менее 10 м до их заземления;
в) применение для тушения пожаров воды или пенных средств допускается только после снятия напряжения с контактной сети и воздушных линий и их заземления установленным порядком.
Контактная сеть и воздушные линии без заземления рассматриваются, как находящиеся под напряжением, даже, если напряжение снято.
Напряжение считается снятым только в том случае, когда получено письменное разрешение электромонтера района контактной сети на тушение пожара с указанием в нем номера приказа энергодиспетчера, с каких устройств снято напряжение и времени снятия напряжения.
В тех случаях, когда прибытие электромонтера и получение письменного разрешения требует времени, за которое может произойти значительное развитие пожара с опасными последствиями, допускается принятие разрешения по радио. В разрешении должен быть указан номер регистрируемого приказа энергодиспетчера, с каких устройств снято напряжение и время снятия напряжения. Получив разрешение, машинист электровоза или электропоезда должен по киловольтметру убедиться в отсутствии напряжения в контактной сети, заземлить ее установленным порядком и доложить об этом руководителю тушения пожара. Когда убедиться в отсутствии напряжения в контактной сети не представляется возможным, а также нельзя надежно ее заземлить, письменное разрешение электромонтера обязательно.
На электрифицированных путях станций постоянного тока, оборудованных стационарными разъединителями контактной сети с заземляющим ножом, установка переносных заземляющих штанг не требуется. По регистрируемому приказу энергодиспетчера работником, имеющим на это право, производится отключение разъединителя и одновременное заземление контактной сети заземляющим ножом этого разъединителя. При переменном токе, кроме того, должны быть установлены переносные заземляющие штанги на расстоянии между ними не более 200 м.
Разрешением на тушение пожара в этом случае является уведомление дежурного по станции об отключении разъединителя и заземлении контактной сети заземляющим ножом этого разъединителя, которое должно быть зарегистрировано в оперативном журнале с указанием номера приказа энергодиспетчера и времени отключения разъединителя.
Об отключении контактной сети и воздушных линий дополнительно объявляется по громкоговорящей связи;
г) тушение горящих частей локомотивов, вагонов или грузов, расположенных на расстоянии менее 2 м от проводов и конструкций контактной сети и воздушных линий, находящихся под напряжением, разрешается производить только углекислотными и порошковыми огнетушителями;
д) тушение горящих предметов, расположенных на расстоянии 7 м и более от контактной сети и воздушных линий, находящихся под напряжением, а также очагов пожара внутри локомотивов, крытых вагонов, вагонов моторвагонного подвижного состава на электрифицированных участках допускается без снятия напряжения. При этом необходимо следить, чтобы струя воды или пены не касалась контактной сети и других предметов, находящихся под напряжением;
е) по окончании тушения пожара машинист, если он является согласно
п. 4.4.1 настоящей инструкции руководителем работ, обязан убедиться в том, что люди удалены от частей контактной сети на расстояние не менее 2 м, после чего отметить время окончания работ на копии письменного разрешения, находящегося у электромонтера района контактной сети.
4.4.5. При возникновении пожара на электровозе машинист обязан:
а) перевести в нулевое положение рукоятку контроллера на электровозе постоянного тока или главный воздушный выключатель на электровозе переменного тока, выключить органы управления вспомогательных машин, отключить быстродействующий выключатель, опустить токоприемник и остановить поезд;
б) подать сигнал пожарной тревоги и сообщить о пожаре в соответствии с требованиями
п. 4.4.3 настоящей инструкции;
в) принять меры к удержанию поезда на месте и отключить рубильник аккумуляторной батареи;
г) убедиться в том, что токоприемники опущены и что контактный провод не касается крыши или имеющегося на ней оборудования;
д) приступить вместе с помощником к тушению пожара, используя имеющиеся огнетушители и сухой песок;
е) если пожар не может быть ликвидирован своими силами и имеющимися средствами, отцепить электровоз (или одну из его секций) и отвести примерно на 50 м от вагонов, трансформаторных подстанций, тяговых подстанций, деревянных строений и других пожароопасных объектов.
4.4.6. При возникновении пожара на тепловозе машинист обязан:
а) перевести в нулевое положение рукоятку контроллера, остановить дизель горящей секции и остановить поезд по возможности на неэлектрифицированном пути;
б) подать сигнал пожарной тревоги и сообщить о пожаре в соответствии с требованиями
п. 4.4.3 настоящей инструкции;
в) так как распространение огня при пожаре на тепловозе происходит быстро, то немедленно, если позволяют обстоятельства, не дожидаясь остановки поезда, направить помощника на тушение пожара;
г) принять меры к удержанию поезда на месте, выключить все приборы управления на пульте управления и рубильник аккумуляторной батареи;
д) при небольшом очаге пожара ликвидировать его, используя имеющиеся огнетушители;
е) на тепловозах, оборудованных установкой пожаротушения, при значительном пожаре или когда огнетушителями потушить пожар не удается, привести в действие установку и приступить к тушению пожара согласно указаниям, данным в
Приложении 2 настоящей инструкции;
ж) если пожар не может быть ликвидирован своими силами и имеющимися средствами, отцепить тепловоз и отвести горящую секцию от вагонов, деревянных строений и других сооружений. После этого, при опасности распространения огня с горящей секции на другую, секции расцепить на безопасное расстояние.
4.4.7. При возникновении пожара в грузовом поезде в пути следования машинист локомотива обязан:
а) остановить поезд, принять меры к удержанию его на месте и уточнить вагон, в котором обнаружен пожар;
б) вскрыть пакет с перевозочными документами, установить наименование груза в горящем и смежных вагонах, а при наличии опасного груза - его количество, номер аварийной карточки и размеры опасной зоны;
в) подать сигнал пожарной тревоги и сообщить о пожаре в соответствии с требованиями
п. 4.4.3 настоящей инструкции;
г) до прибытия пожарного подразделения организовать тушение пожара всеми имеющимися средствами, руководствуясь указаниями по тушению для данного вида груза. Для опасного груза необходимо учитывать размеры опасной зоны, указанной в аварийной карточке.
4.4.8. Тушение пожара в грузовом поезде должно осуществляться с соблюдением следующих требований:
а) при пожаре в вагоне, груженом хлопковолокном и другими подобными грузами, локомотивная бригада после остановки поезда организует тушение пожара на месте. Следует ликвидировать пламенное горение тюков имеющимися средствами без их выгрузки. Окончательная ликвидация пожара с выгрузкой груза производится на путях станции;
б) при пожаре в вагонах с горючими грузами локомотивная бригада одновременно с вызовом пожарного подразделения производит расцепку поезда и отвод горящих вагонов от других на расстояние 200 м и в такое место, где в радиусе примерно 200 м не будет пожароопасных объектов;
в) при пожаре цистерн с легковоспламеняющимися (ЛВЖ) и горючими (ГЖ) жидкостями горящие цистерны следует отвести от поезда в такое место, где в радиусе примерно 200 м отсутствуют пожароопасные объекты, в том числе трансформаторные и тяговые подстанции. При опасности взрыва цистерн с ЛВЖ радиус такой зоны должен быть не менее 250 м. Тушение ЛВЖ и ГЖ до прибытия пожарных подразделений производится пенными и порошковыми огнетушителями, землей и песком. Вытекающая жидкость отводится по канавам в естественные и искусственные выемки, котлованы и кюветы с одновременной засыпкой землей. В необходимых случаях создаются заградительные земляные валы или отводные каналы;
г) при пожаре в вагоне со сжатыми и сжиженными газами в баллонах локомотивная бригада отцепляет и отводит горящий вагон от поезда на 200 м и одновременно приступает к его тушению имеющимися в ее распоряжении средствами пожаротушения. В вагонах, сопровождаемых проводниками, тушение пожара осуществляется проводниками, локомотивная бригада в тушении пожара не участвует. Если пожар принял большие размеры, т.е. огонь распространился по всему вагону, производить тушение имеющимися у локомотивной бригады средствами и выгружать баллоны до прибытия пожарного подразделения запрещается. В таких случаях после удаления горящего вагона на расстояние 200 м локомотивная бригада организует его охрану с целью недопущения людей к вагону. Лица, назначенные для охраны вагона, должны находиться за укрытием в безопасной зоне.
При пожаре цистерны со сжиженным газом и возникновении опасности ее взрыва горящую цистерну следует отвести на безопасное расстояние и организовать ее охрану. Тушение такой цистерны огнетушителями запрещается;
д) при пожаре в вагоне с взрывчатыми материалами (ВМ) локомотивная бригада обязана немедленно расцепить поезд, отвести горящий вагон от другого подвижного состава на безопасное расстояние, указанное в аварийной карточке, но не менее 800 м и действовать далее в соответствии с требованиями, изложенными в аварийной карточке на данный вид груза, или инструкцией, находящейся у сопровождающих лиц, при наличии таковых.
При наличии в поезде опасного груза, кроме перечисленных выше требований, должны выполняться указания, содержащиеся в аварийной карточке на данный опасный груз.
4.4.9. При возникновении пожара в электропоезде машинист обязан:
а) перевести в нулевое положение рукоятку контроллера, отключить выключатель управления (на поездах постоянного тока) или главный выключатель (на поездах переменного тока), опустить все токоприемники, остановить поезд и принять меры к его удержанию на месте;
б) подать сигнал пожарной тревоги и сообщить о пожаре в соответствии с требованиями
п. 4.4.3 настоящей инструкции;
в) убедиться в том, что все токоприемники опущены и что контактный провод, который может быть пережжен, не касается вагонов;
г) при необходимости оповестить пассажиров о случившемся по поездной радиосвязи;
д) высадить пассажиров из горящего вагона и вагонов, которым угрожает опасность;
е) запереть кабину, из которой производилось управление электропоездом, и приступить вместе с помощником и проводником к тушению пожара, используя имеющиеся огнетушители и песок;
ж) если пожар не может быть ликвидирован своими силами и имеющимися средствами, принять меры к расцепке поезда и отводу горящего вагона на расстояние, исключающее возможность перехода огня на соседние вагоны или находящиеся вблизи здания и сооружения, но не менее 50 м.
4.4.10. При возникновении пожара на дизель-поезде или автомотрисе машинист обязан:
а) перевести в нулевое положение рукоятку контроллера и остановить дизель. На дизель-поездах ДР1 следует остановить также вспомогательный дизель. Выключить все приборы управления на пульте управления, остановить дизель-поезд (автомотрису) и принять меры к его удержанию на месте;
б) подать сигнал пожарной тревоги и сообщить о пожаре в соответствии с требованиями
п. 4.4.3 настоящей инструкции;
в) при необходимости оповестить пассажиров о случившемся по поездной радиосвязи;
г) высадить пассажиров из горящего вагона и вагонов, которым угрожает опасность;
д) при пожаре в прицепном вагоне или салоне моторного вагона приступить вместе с помощником и проводником к тушению пожара, используя имеющиеся огнетушители;
е) при небольшом очаге пожара в машинном помещении дизель-поезда или автомотрисы ликвидировать его, используя имеющиеся огнетушители;
ж) при значительном пожаре в машинном помещении, когда огнетушителями потушить пожар не удается, привести в действие установку пожаротушения и приступить к тушению пожара согласно указаниям
Приложения 2 к настоящей инструкции;
з) если пожар не может быть ликвидирован своими силами и имеющимися средствами, принять меры к расцепке дизель-поезда или автомотрисы (при наличии у нее прицепных вагонов) и отводу горящего вагона на расстояние, исключающее возможность перехода огня на соседние вагоны или находящиеся вблизи здания и сооружения, не менее 50 м и совместно с прибывшими пожарными подразделениями ликвидировать пожар.
4.4.11. Порядок действий локомотивной бригады при остановке поезда на перегоне должен соответствовать требованиям
Правил технической эксплуатации железных дорог действующей
Инструкции по движению поездов и маневровой работе на железных дорогах, а порядок ограждения - действующей Инструкции по сигнализации на железных дорогах.
4.4.12. После ликвидации пожара подача напряжения на электровоз или электропоезд и запуск дизелей на тепловозах, дизель-поездах и автомотрисах, где имело место повреждение электрических аппаратов и проводов, запрещается.
Электровоз или электросекция, поврежденные пожаром, должны следовать в депо с опущенными токоприемниками и отключенной цепью управления.
УСТРОЙСТВО И РАБОТА ОГНЕТУШИТЕЛЕЙ И ПОЖАРНЫХ СТВОЛОВ
1. Огнетушители порошковые
Ручные порошковые огнетушители предназначены для тушения горящих нефтепродуктов и электроустановок, находящихся под напряжением до 1000 В.
Техническая характеристика
Тип .................... ОПУ-2 ОП-5-02 ОП-1ОА ОП-10(З)
<*>
ТУ 22.-6098-85 ТУ 22.144-03-86 ТУ 22.4105-77 ТУ 51-192-83
Огнетушащая способность
по классу В, м2 ........ 0,7 1,76 4 5,75
Вместимость корпуса, л,
не менее ............... 2 5 10 10
Масса заряда, кг, при
огнетушащем порошке
марки:
П-2АП .................. 1,8
Пирант-А ............... 1,6
ПСБ-3 .................. 2 5 - 0,5 10 9,5
П-1 .................... 4,5 +/- 0,3
Рабочее давление в
корпусе, МПа (кгс/см2),
не менее ............... 0,8 (8) 1 (10) 1,2 (12) 1,0 (10)
Продолжительность
действия при непрерывной +5
подаче порошка, с ...... 8 +/- 1 15 +/- 5 20 14 +/- 2
-2
Длина порошковой струи,
м, не менее ............ 4 5 3,5 4,0
Остаток порошка, кг, не
более .................. 0,1 0,5 1 0,95
Усилие приведения в
действие, Н (кгс), не
более .................. 40 (4,1) 98 (10)
Длина рукава, м ........ нет 0,6 0,8
Габаритные размеры, мм 380 x 110 x 100 460 x 225 x 225 600 x 175 x 236 420 x 430 x 200
Масса заряженного
огнетушителя, кг ....... 3,6 9,5 18
Допускаемая температура
окружающего воздуха,
°C ..................... от минус 50 до от минус 50 до от минус 40 до от минус 20 до
+50 +50 +50 +50
--------------------------------
Инструкция по обеспечению пожарной безопасности на локомотивах и моторвагонном подвижном составе ЦТ-ЦУО/4159, утвержденная 10.10.83, считается утратившей силу на железнодорожном транспорте Российской Федерации с момента введения настоящей инструкции.
Кроме приведенных могут использоваться ручные порошковые огнетушители ОП-2 ТУ 22-4512-79, ОП-2Г (горнорудный) ТУ 12-100-208-79, ОП-2Б (бытовой) ТУ 78-459-79, ОП-8Б1 (горнорудный) ТУ 12-43-34-78, ОП-10 ТУ 22-4105-77.
На рис. 1 показан огнетушитель ОП-5.
Огнетушитель порошковый ОП-5
1 - корпус; 2 - рукав; 3 - баллон для рабочего газа;
4 - крышка; 5 - ствол
Рис. 1
В состав огнетушителя входят: корпус 1, баллон для рабочего газа 3, крышка 4 и рукав 2 со стволом пистолетного типа 5.
Корпус служит для хранения огнетушащего вещества, баллон с рабочим газом ввернут в крышку огнетушителя. Крышка с баллоном крепится на резьбовой горловине корпуса с помощью гайки. В крышке огнетушителя размещен пусковой механизм и каналы для выхода газа, к которым привернута сифонная трубка. Крышка закрыта пластмассовым колпаком.
На обечайке корпуса имеется боковая трубка для выхода порошка, к которой крепится шланг со стволом. Через них под давлением газа, выходящего из баллона, выбрасывается порошок. Ствол имеет запорный клапан и рукоятку для его открытия.
Ствол позволяет выпустить порошок весь сразу или по частям, для чего необходимо периодически отпускать рукоятку, пружина которой закрывает ствол.
Для засыпки порошка в верхнем донышке корпуса имеется отверстие, закрываемое резьбовой пробкой.
Описанный огнетушитель относится к группе огнетушителей, у которых газ находится в отдельном баллоне высокого давления, размещенном внутри корпуса. У закачных огнетушителей газ хранится вместе с порошком. Такие огнетушители менее трудоемки в эксплуатации, имеют более простую конструкцию, менее сложные запорно-пусковые устройства, но требуют повышенной герметичности последних.
2.

(углекислотные)
Ручные

(углекислотные) ОУ-2, ОУ-5 ТУ 22-150-128-89 и ОУ-8 предназначены для тушения загораний различных веществ и электроустановок, находящихся под напряжением не более 1000 В, кроме веществ, горение которых может происходить без доступа воздуха.
Огнетушители используют при температуре окружающего воздуха от минус 25 до +50 °C.
Техническая характеристика
Тип ...................... ОУ-2 ОУ-5 ОУ-8
Огнетушащая способность
по классу В, м2 .......... 0,45 1,08 0,65
Вместимость корпуса, л ... 2 5 8
Давление разрыва
предохранительной
мембраны, МПа (кгс/см2) .. 16 - 19 (160 - 190)
Продолжительность выпуска
заряда, с, при
температуре 20 +/- 5 °C,
не более ................. 8 9 20
Длина углекислотно-
снежной струи при
температуре 20 +/- 2 °C,
м, не менее .............. 1,5 3,0 3,5
Габаритные размеры ....... 440 x 220 x 108 570 x 230 x 140 830 x 400
Масса заряда, кг ......... 1,4 +/- 0,1 3,5 +/- 0,1 5,6 +/- 0,1
Масса огнетушителя, кг,
не более ................. 6 13,5 20
На рис. 2 представлен огнетушитель ОУ-5, а на
рис. 3 - ОУ-8.

ОУ-5
1 - баллон; 2 - запорно-пусковое устройство
вентильного типа с сифонной трубкой; 3 - раструб

ОУ-8
1 - баллон; 2 - хомут; 3 - ручка; 4 - головка запорная;
5 - раструб со шлангом
Огнетушитель представляет собой стальной баллон, в горловину которого на конусной резьбе ввернуто запорно-пусковое устройство с сифонной трубкой.
На огнетушителе устанавливается запорно-пусковое устройство двух типов, пистолетного (рис. 4) и вентильного 2 (см.
рис. 2).
Запорно-пусковое устройство пистолетного типа
1 - предохранительная мембрана; 2 - клапан; 3 - рычаг;
4 - шток; 5 - корпус; I - рабочее положение рычага
Рис. 4
Для приведения огнетушителя в действие в запорно-пусковом устройстве пистолетного типа необходимо рычаг 3 повернуть на себя, а в устройстве вентильного типа - повернуть маховичок против часовой стрелки до отказа. Одновременно необходимо раструб направить на огонь. Подводить струю углекислого газа (снега) к огню нужно с края. При пользовании огнетушителем баллон нельзя наклонять в горизонтальное положение, так как при этом не обеспечивается нормальная работа огнетушителя.
3. Огнетушители химические пенные
Ручной химический пенный огнетушитель ОХП-10 предназначен для тушения очагов пожара твердых материалов, а также щелочных металлов.
Огнетушитель рекомендуется использовать при температуре окружающего воздуха от 5 до 45 °C.
Техническая характеристика
Огнетушащая способность по классу В, м2 ......................... 0,25
Полезная вместимость корпуса, л, не менее ....................... 8,7
Полная емкость стакана, см3 ..................................... 475
Производительность по пене, л ................................... 43 - 50
Продолжительность действия, с ................................... 60 +/- 5
Длина струи пены, м, не менее ................................... 6
Кратность пены, не менее
<*> .................................... 5
Габаритные размеры, мм:
+2
наружный диаметр корпуса ........................................ 148
высота (по ручке штока) ......................................... 745 +/- 5
ширина корпуса с ручкой ......................................... 195 +/- 5
Масса, кг, не более:
без заряда ...................................................... 4,5
с зарядом ....................................................... 14,5
--------------------------------
<*> Под кратностью пены понимается отношение объема полученной пены к объему исходных растворов (кислотного и щелочного).
Огнетушитель (рис. 5) представляет собой стальной сварной баллон 1, в верхнее днище которого вварена горловина 4, закрытая чугунной крышкой с запорным устройством 5. В горловине огнетушителя установлен стакан 2 из полиэтилена для кислотной части заряда. Щелочная часть заряда заливается в корпус огнетушителя. На горловине также расположен спрыск огнетушителя, закрытый специальной мембраной, предотвращающей выход заряда (кислоты или раствора щелочи) до его полного смещения.
Огнетушитель химический пенный ОХП-10
1 - баллон; 2 - стакан для кислотной части заряда;
3 - днище верхнее; 4 - горловина; 5 - крышка с запорным
устройством; 6 - рукоятка
Рис. 5
Принцип действия огнетушителя основан на использовании огнетушащих свойств пены, получаемой при смещении щелочной и кислотной части заряда. В результате реакции образуется углекислый газ, создающий в баллоне значительное давление, под которым пена выбрасывается через спрыск в виде струи.
Для приведения огнетушителя в действие открывают запорное устройство с помощью рукоятки 6, при повороте которой вверх до отказа клапан отходит от горловины кислотного стакана. После поворота рукоятки переворачивают огнетушитель вверх дном. Для приведения его в действие каких-либо ударов не требуется.
Пена из огнетушителя начинает выходить спустя 0,5...1 секунду после его опрокидывания, так как мембрана прорывается только при наличии некоторого давления в баллоне.
При тушении горящих твердых материалов струю пены нужно направлять в место наибольшего горения, сбивая пламя снизу. При тушении жидкостей, разлитых на поверхности, следует покрывать пеной всю горящую поверхность.
Огнетушители ОХП-10 вновь не выпускаются. Промышленностью освоена модель ОХВП-10 ТУ 22-4287-88, которая по своей конструкции и назначению аналогична огнетушителям ОХП-10. В корпус огнетушителя заливают огнетушащий заряд, состоящий из щелочной части, пенообразователя ПО-1 и воды, а в стакан 2 также кислотную часть заряда. В горловину корпуса огнетушителя (см. рис. 6) вставлена насадка 1 с гайкой для подсоединения генератора пены 2. Кратность пены у огнетушителя ОХВП-10 составляет 50.
Огнетушитель химический воздушно-пенный ОХВП-10
1 - насадка; 2 - генератор
Рис. 6
4. Огнетушители воздушно-пенные
Ручной воздушно-пенный огнетушитель ОВП-5 ТУ 22-3487-75 предназначен для тушения различных веществ и материалов, за исключением щелочных и щелочноземельных элементов, а также электроустановок, находящихся под напряжением.
Огнетушитель применяют при температуре окружающего воздуха от 5 до 50 °C.
Техническая характеристика
Огнетушащая способность по классу В, м2 ................. 0,41
Корпус огнетушителя:
диаметр, мм ............................................. 156
давление, МПа (кгс/см2):
рабочее ................................................ 1,5 (15)
испытательное .......................................... 2 (20)
вместимость, л .......................................... 5
Баллон для газа:
диаметр, мм ............................................. 34
давление, МПа (кгс/см2):
рабочее ................................................ 15 (150)
испытательное .......................................... 22,5 (225)
вместимость, л .......................................... 0,065
рабочий газ ............................................. двуокись углерода
масса газа, г ........................................... 40
Огнетушащее вещество .................................... 5 - 6%-ный
водный раствор
пенообразователя
ПО-1
Объем заряда, л ......................................... 4,3
Длина струи пены, м ..................................... 4,5
Продолжительность действия, с ........................... 25
Кратность пены .......................................... 6,0
Длина шланга, м ......................................... 0,6
Габаритные размеры, мм:
высота .................................................. 460
ширина .................................................. 180
длина ................................................... 250
Масса заряженного огнетушителя, кг ...................... 10
Огнетушитель (рис. 7) включает в себя корпус 2, баллон для рабочего газа 4, крышку и рукав 3 с насадком 5.
Огнетушитель воздушно-пенный ОВП-5
1 - трубка сифонная; 2 - корпус; 3 - рукав;
4 - баллон для газа; 5 - насадок
Рис. 7
Баллон для рабочего газа ввернут в крышку. В крышке размещены пусковой механизм и каналы для выхода газа, к которым привернута сифонная трубка. Крышка с баллоном крепится на горловине корпуса с помощью гайки.
Водный раствор пенообразователя выбрасывается под давлением газа через боковую сифонную трубку, к которой крепится шланг с насадком. Насадок имеет запорный клапан и рукоятку для его открытия. В распылитель насадка ввернуто устройство, которое и создает воздушно-механическую пену.
В месте соединения боковой сифонной трубки со шлангом находится защитная полиэтиленовая мембрана, предотвращающая доступ влаги из воздуха внутрь огнетушителя.
При выдергивании чеки и одновременно нажатии на рычаг происходит прокалывание мембраны. Двуокись углерода из баллончика через каналы и сифонную трубку проникает в корпус и выдавливает раствор пенообразователя. Для выпуска раствора достаточно нажать на рукоятку насадка. При этом открывается клапан и раствор пенообразователя, проходя через пенный насадок, образует пену средней кратности.
Если рукоятка нажата длительное время, заряд выбрасывается полностью и непрерывно. Отпуская периодически рукоятку насадка, можно заряд выпустить по частям, импульсами.
Ствол пожарный ручной РС-50 ТУ 22.4814-80 предназначен для создания и направления сплошной струи воды. Применяется на паровозах.
Техническая характеристика
Рабочее давление, МПа (кгс/см2) .................... 0,4...0,6 (4...6)
Расход воды при давлении у ствола 0,4 МПа
(4 кгс/см2), л/с, не менее ......................... 3,6
Дальность полета струи воды при расположении
ствола на высоте 1 м с углом наклона к горизонту
30° и при давлении у ствола 0,4 МПа
(4 кгс/см2), м, не менее ........................... 28
Диаметр выходного отверстия ствола, мм ............. 13
Соединительная головка ............................. ГМ-50 по ГОСТ 2217-76
Габаритные размеры, мм, не более:
ширина (по клыкам головки) ........................ 10,6
длина ............................................. 312
Масса, кг, не более ................................ 1
Ствол РС-50 представляет собой корпус, на одном конце которого нарезана резьба для навертывания соединительной муфтовой головки, обеспечивающей присоединение его к напорному рукаву. Другой конец корпуса своей цилиндрической частью образует насадок, через который выбрасывается вода. Ствол имеет ремень, служащий для его переноски.
Ствол пожарный ручной комбинированный СРК-50-2,7
ГОСТ 9923-80 предназначен для формирования и направления сплошной и распыленной струй воды, а также для перекрытия потока воды. Применяется на паровозах.
Техническая характеристика
Рабочее давление перед стволом, МПа (кгс/см2) ...... 0,4 - 0,6 (4 - 6)
Расход воды при давлении перед стволом 0,4 МПа
(4 кгс/см2), л/с, не менее:
распыленной струи ................................. 2,7
сплошной струи .................................... 2,7
Дальность полета струи при расположении ствола на
высоте 1 м с углом наклона к горизонту 30° и при
давлении у ствола 0,4 МПа (4 кгс/см2), м,
не менее:
распыленной струи при максимальном угле факела .... 12
сплошной струи .................................... 30
Диаметр выходного отверстия насадка, мм:
для распыленной струи ............................. 14
для сплошной струи ................................ 11,5
Угол факела распыленной струи, рад:
минимальный ....................................... 0,44
максимальный ...................................... 1,05
Присоединительная арматура ствола .................. ГС-50 по ГОСТ 2217-76
Габаритные размеры, мм, не более:
длина ............................................. 412
ширина ............................................ 130
Масса, кг, не более ................................ 2,2
Ствол СРК-50-2,7 состоит из корпуса, крана, насадка, соединительной напорной головки и ремня.
УСТРОЙСТВО И РАБОТА УСТАНОВОК ПОЖАРОТУШЕНИЯ
1. Установки пенного пожаротушения
Принцип действия
1.1. Установка пенного пожаротушения в простейшем виде состоит из резервуара с водным раствором пенообразователя, гидравлического и пневматического трубопроводов, рукавов и генераторов пены.
1.2. По пневматическому трубопроводу сжатый воздух подается в резервуар и вытесняет из него водный раствор пенообразователя, который по гидравлическому трубопроводу, а затем рукаву поступает в генератор пены. В распыленном виде он попадает на сетку генератора пены и покрывает ее поверхность тонкой пленкой. Одновременно с водным раствором пенообразователя в генератор пены в значительных объемах поступает воздух. Из пленки раствора он выдувает на ячейках сетки пенные пузырьки и происходит образование воздушно-механической пены.
1.3. Объем воздушно-механической пены во много раз превосходит объем раствора, из которого она образуется. Отношение объема получаемой пены к объему исходного раствора (раствора, из которого она получена) называется кратностью пены. Пену с кратностью до 20 относят к низкократной, с кратностью от 20 до 200 - к среднекратной, а с кратностью свыше 200 - к высокократной.
Способность пены сохранять в течение определенного времени свои первоначальные свойства называется устойчивостью пены.
1.4. Для получения воздушно-механической пены обычно применяют пенообразователь ПО-1 по
ГОСТ 6948-81, который имеет следующий состав в процентах:
контакт Петрова (керосиновый контакт с содержанием
сульфокислот не менее 55%), нейтрализованный
натром едким техническим ......................... 89,5 +/- 3
клей костный ..................................... 4,5 +/- 1
спирт этиловый синтетический ..................... 6,0 +/- 2
Основные физико-химические показатели пенообразователя ПО-1
Внешний вид ...................................... жидкость коричневого
цвета, без посторонних
включений
Наличие осадка ................................... отсутствие
Вязкость кинематическая при 20 °C, м2/с (сСт), -6
не более ......................................... 40,0 x 10 (40)
Кратность пены 2%-ного водного раствора, не менее 6,0
Устойчивость пены, с, не менее ................... 270
Водородный показатель (pH) концентрата ........... 7,0 - 9,0
Плотность при 20 °C (кг/м3), не менее ............ 1,1
Температура застывания, °C, не выше .............. минус 8
Вместо ПО-1 могут применяться другие пенообразователи, удовлетворяющие технической характеристике установки.
1.5. Процесс горения происходит только в среде, содержащей кислород. Такой средой является окружающий воздух. Следовательно, если горящие предметы изолировать от воздуха, процесс горения прекратиться. Поэтому, чтобы потушить пожар, струю пены, образующейся в генераторе пены, направляют на горящие предметы, пена обволакивает их, прекращает доступ к ним воздуха и горение прекращается. Кроме того, пена отнимает тепло от горящих предметов и тем самым понижает возможность повторного воспламенения.
1.6. Рабочие растворы пенообразователя безвредны, а воздушно-механическая пена для людей совершенно не опасна, не оказывает вредного воздействия на кожу и одежду человека.
Электропроводность воздушно-механической пены мала и с увеличением кратности уменьшается. Однако, учитывая, что опасность поражения электрическим током через нее не исключена, тушить электрооборудование и связанные с ним конструкции до снятия напряжения запрещается.
1.7. Пенные установки, применяющиеся на тепловозах и дизель-поездах, относятся к установкам локального пожаротушения по площади. По способу приведения в действие они являются ручными. Наиболее распространены установки с ручным местным пуском, но некоторые тепловозы, прошедшие соответствующую модернизацию, оснащены установками, у которых пуск ручной дистанционный. Это так называемые полуавтоматические установки пенного пожаротушения.
Устройство установок
1.8. Установки пенного пожаротушения с ручным местным пуском.
1.8.1. На рис. 1 показана схема установки пенного пожаротушения с ручным местным пуском и генераторами пены средней кратности ГПСл-100, обеспечивающими кратность пены у установок в пределах от 60 до 100.
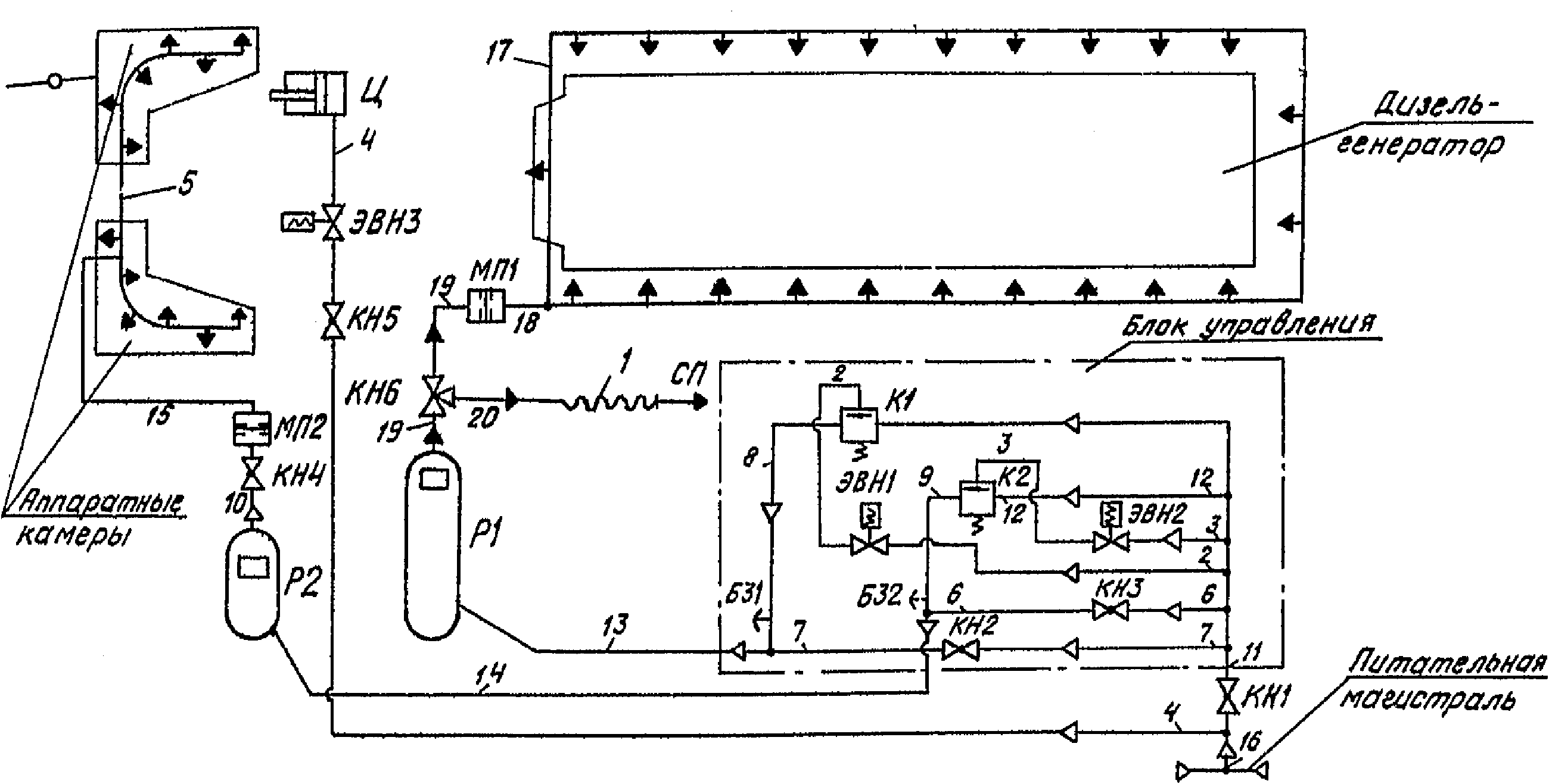
Схема установки пенного пожаротушения
с ручным местным пуском
1 - генератор пены ГПСл-100; 2 - кран генератора; 3 - рукав;
4 - трубопровод гидравлический; 5 - кран пусковой;
6 - трубопровод пневматический; 7 - резервуар; 8 - бонка
с отверстием; 9 - труба соединительная; 10, 12 - краны
разобщительные; 11 - кран сливной;
13 - диафрагма предохранительная
Рис. 1
1.8.2. Пневматический трубопровод 6 соединен с питательной магистралью тормозной системы и подводит воздух к резервуару 7 с водным раствором пенообразователя, а гидравлический трубопровод 4 соединяет резервуар с генераторами пены 1 и служит для подачи к ним водного раствора пенообразователя.
Отсоединения пневматического трубопровода от питательной магистрали и пуск воздуха для приведения установки в действие осуществляются пусковыми пробковыми кранами 5.
1.8.3. Пневматический и гидравлический трубопроводы соединены трубой 9, на которой установлен разобщительный пробковый кран 10. Кроме того, на гидравлическом трубопроводе имеется пробковый кран 12, разобщающий его с резервуаром.
Эта труба и краны нужны для того, чтобы можно было соединить пневматический трубопровод с гидравлическим и произвести продувку последнего (например, после опробования установки), не выливая водный раствор пенообразователя из резервуара. Когда установка подготовлена для работы, разобщительный кран 10 на соединительной трубе закрыт, а кран 12 на гидравлическом трубопроводе открыт.
1.8.4. На трубе, подводящей воздух к резервуару, имеется бонка 8 с отверстием

. В случае пропуска воздуха через пусковые краны он будет выходить через это отверстие, а не создавать в резервуаре давление и вытеснять раствор пенообразователя в гидравлический трубопровод. После опробования установки сжатый воздух, заполнивший трубопровод, постепенно выходит через это отверстие. На некоторых тепловозах вместо этого в пробке и корпусе пусковых кранов 5 сделано дополнительное отверстие

. При закрытом положении пусковых кранов часть пневматического трубопровода, заключенная между ними, через это отверстие соединена с атмосферой.
1.8.5. На тепловозах и дизель-поездах, где по условиям размещения вертикальный участок гидравлического трубопровода, выходящего из резервуара, мал и поэтому не предохраняет остальную часть трубопровода от попадания раствора, устанавливается предохранительная диафрагма 13, которая разрывается при давлении 0,12 - 0,35 МПа (1,2 - 3,5 кгс/см2). На некоторых тепловозах диафрагма стоит на пневматическом трубопроводе, предохраняя его от заполнения раствором.
1.8.6. При приведении установки в действие (открытии одного из пусковых кранов) воздух под давлением, равным давлению в питательной магистрали тормозной системы, заполняет пневматический трубопровод, прорывает диафрагму (если она установлена на пневматическом трубопроводе) и вытесняет из резервуара водный раствор пенообразователя в гидравлический трубопровод. Раствор прорывает диафрагму (если она установлена на гидравлическом трубопроводе) и поступает к генераторам пены (рис. 2).
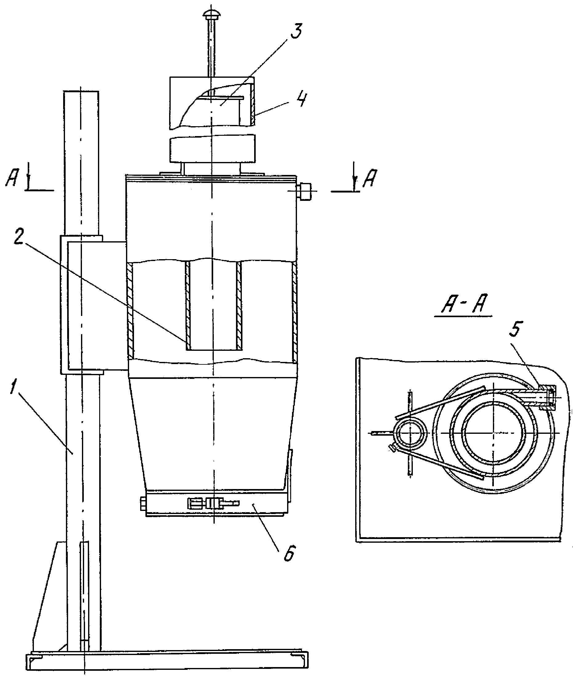
Генератор пены средней кратности локомотивный ГПСл-100
1 - разобщительный кран; 2 - корпус центробежного
распылителя; 3 - вихревая камера; 4 - коллектор;
5 - диффузор; 6 - пакет сеток; 7 - насадок; а - внутренняя
полость центробежного распылителя;
б - тангенциальные прорези
Рис. 2
При открытом положении крана 1 раствор попадает во внутреннюю полость а корпуса центробежного распылителя 2. Затем через тангенциальные прорези б проходит внутрь вихревой камеры 3. В вихревой камере раствор закручивается и выходит из соплового отверстия

в виде расширяющейся распыленной струи. Через коллектор 4 и диффузор 5 раствор попадает на пакет сеток 6 и покрывает сетку тонкой пленкой. Выходя из соплового отверстия с большой скоростью, струя раствора увлекает за собой из атмосферы воздух, который тоже направляется в коллектор и диффузор. При проходе пакета сеток происходит интенсивное пенообразование. Для придания формы и направления струе пены служит насадок 7.
На рис. 3 показан генератор пены ГПСл-100 из полимерных материалов.
Генератор пены средней кратности ГПСл-100
из полимерных материалов
1 - разобщительный кран; 2 - переходник; 3 - крышка;
4 - кронштейн с вихревой камерой; 5 - диффузор;
6 - кассета (пакет сеток); 7 - насадок; 8 - крышка
Рис. 3
1.8.7. Как правило, на секции тепловоза или моторном вагоне дизель-поезда Д1 имеется два генератора пены. Один из них размещается вблизи кабины машиниста (передний пост), а другой - в районе шахты холодильника тепловоза (задний пост). На дизель-поезде Д1 задний пост размещен в служебном помещении.
Для лучшей маневренности генераторы пены закреплены на гибких резинотканевых рукавах длиной 8 - 12 м.
1.8.8. На разных тепловозах и дизель-поездах установки имеют конструктивные отличия такие, как количество и объем резервуаров, наличие их прогрева, место установки предохранительной диафрагмы и другие, не меняющие принципа их работы.
1.9. Установки пенного пожаротушения с ручным дистанционным пуском (полуавтоматические установки пенного пожаротушения).
Такие установки предназначены для тушения пожара на тепловозе в двух режимах:
ручном - при помощи генераторов пены, включение которых и направление пены на горящий участок осуществляются непосредственно человеком (локомотивной бригадой);
полуавтоматическом - при котором неподвижно закрепленные генераторы пены после их дистанционного включения подают пену на наиболее пожароопасные места тепловоза без непосредственного участия локомотивной бригады в этом процессе.
1.9.1. На рис. 4 показана схема полуавтоматической установки пенного пожаротушения, которая применяется на части тепловозов 2ТЭ10Л. Эта установка, кроме дистанционного, имеет дублирующий местный пуск.
Схема установки пенного пожаротушения
с ручным дистанционным и дублирующим местным пуском
1, 11, 15, 16 - генераторы пены ГПСл-100;
2, 10 - краны генераторов; 3, 9, 13, 14 - рукава;
4, 6, 12, 29, 30 - краны разобщительные; 5, 7 - трубопровод
гидравлический; 8 - цилиндр отключения аккумул. батареи;
17, 27 - краны пусковые; 18 - клапан; 19 - вентиль
электропневматический; 20, 21, 22, 23 - трубопровод
пневматический; 24 - вентиль; 25 - резервуар; 26 - кран
пробный; 28 - диафрагма предохранительная; 31 - бонка
с отверстием; 32, 33 - трубы соединительные
Рис. 4
1.9.2. Пневматический трубопровод 20 соединен с питательной магистралью тормозной системы. От него по трубопроводу 23 воздух подводится к резервуару 25 с водным раствором пенообразователя, а по трубопроводу 21 - к цилиндру 8 отключения аккумуляторной батареи.
Отсоединение пневматического трубопровода 20 от питательной магистрали и пуск воздуха для приведения установки в действие при ручном местном пуске осуществляются пробковыми кранами 17 и 27. Пневматический трубопровод 21 разъединен с питательной магистралью электропневматическим вентилем 19.
Параллельно пусковому крану 17 установлен клапан 18, через который воздух из питательной магистрали поступает в трубопровод 20 при дистанционном пуске.
1.9.3. Пневматический и гидравлический трубопроводы соединены трубами 32 и 33, на которых имеются разобщительные пробковые краны 6 и 4. На гидравлическом трубопроводе для разобщения его с резервуаром установлены пробковые краны 29 и 30. Эти трубы и краны нужны для того, чтобы можно было соединить гидравлический трубопровод с пневматическим и произвести его продувку, не сливая раствора пенообразователя из резервуара. Когда установка подготовлена для работы, разобщительные краны 29 и 30 открыты, а краны 4 и 6 - закрыты.
1.9.4. На трубе 23, подводящей воздух к резервуару, имеется бонка 31 с отверстием

, о назначении которого было подробно сказано в
пункте 1.8.4. На этой же трубе установлена диафрагма 28, предохраняющая пневматический трубопровод от попадания в него раствора пенообразователя.
1.9.5. Генератор пены 1 с разобщительным краном 2 и рукавом 3 полужестко закреплен над шахтой холодильника и направлен в район расположения дренажных труб и масленого насоса как наиболее пожароопасный в дизельном помещении. Когда установка подготовлена для работы, разобщительный кран 2 открыт. Генератор пены предназначен для тушения пожара как в полуавтоматическом, так и в ручном режиме.
Генераторы пены 15 и 16 на коротких рукавах (1,5 м) 13 и 14 жестко закреплены в аппаратных камерах. Эти генераторы пены разобщительных кранов не имеют и предназначены для тушения пожара в аппаратных камерах при полуавтоматическом режиме. Для их отсоединения от гидравлической магистрали служит разобщительный пробковый кран 12.
Генератор пены 11 с разобщительным краном 10 и рукавом 9 размещается в кабине машиниста, свободно подвешен на кронштейне и предназначен для использования только в ручном режиме.
1.9.6. Цилиндр 8 служит для отключения аккумуляторной батареи при дистанционном пуске установки пожаротушения. Одновременно с началом работы установки шток цилиндра перемещается и размыкает рубильник аккумуляторной батареи.
1.9.7. Для дистанционного управления в кабине машиниста имеется блок из двух тумблеров. Включением соответствующего тумблера осуществляется пуск установки пожаротушения 1-й или 2-й секции.
1.9.8. Полуавтоматические установки пенного пожаротушения других тепловозов (ТЭ3, М62, 2М62) имеют конструктивные отличия от описанной, не меняющие сущности их работы.
Подготовка установки к работе
1.10. Резервуар установки должен быть заполнен водным раствором пенообразователя, содержащим 6% (по объему) пенообразователя ПО-1
ГОСТ 6948-81 или другого, удовлетворяющего требованиям технической характеристики установки, и 94% холодной чистой воды.
Чтобы раствор в процессе заливки не пенился, следует заливать сначала воду, а затем пенообразователь. Уровень раствора должен быть между рисками на щупе, т.е. не доходить до верха резервуара на 30 - 50 мм. Это нужно для того, чтобы вода и пенообразователь быстрее перемещались при движении локомотива.
1.11. Пробка заливочной горловины должна быть плотно завинчена.
1.12. Пробковые краны генераторов пены должны быть закрыты, что соответствует положению рукоятки крана поперек его оси.
1.13. Пусковые краны на пневматическом трубопроводе должны быть закрыты и запломбированы. Закрытому положению соответствует вертикальное положение рукояток.
1.14. У тех установок, где имеется соединительная труба и краны для продувки системы, кран на соединительной трубе должен быть закрыт, а кран на гидравлическом трубопроводе открыт.
1.15. Спускной вентиль или кран, а на некоторых тепловозах спускная пробка, на резервуаре должны быть плотно закрыты до заливки резервуара.
1.16. Рукава должны быть свернуты и повешены вместе с генераторами пены на кронштейнах или уложены в других специально предусмотренных для этого местах.
Категорически запрещается:
а) вешать или укладывать вместе с рукавами и генераторами пены посторонние предметы;
б) связывать между собой витки свернутых рукавов.
1.17. На генераторах пены из полимерных материалов насадок должен быть закрыт крышкой.
1.18. При подготовке к работе полуавтоматических установок пенного пожаротушения, кроме требований, перечисленных выше, следует руководствоваться следующим:
а) у генераторов пены, свободно подвешенных на кронштейнах и предназначенных для использования только в ручном режиме, пробковые краны должны быть закрыты, а у генераторов пены, полужестко закрепленных в дизельном помещении и предназначенных для работы, как в полуавтоматическом, так и ручном режимах, - открыты;
б) пробковый кран, служащий для отсоединения генераторов пены, размещенных в высоковольтных камерах, от гидравлической магистрали, должен быть закрыт. Это нужно для того, чтобы водный раствор пенообразователя, случайно попавший в гидравлический трубопровод (например, при резком торможении или, если имеется пропуск воздуха через пусковые краны, а отверстие для его выхода - забито), не мог попасть на электрооборудование;
в) насадок должен быть закрыт крышкой только на тех генераторах пены из полимерных материалов, которые свободно подвешены и предназначены для работы в ручном режиме.
На остальных генераторах пены крышки должны быть сняты.
Тушение пожара
1.19. При тушении пожара с помощью установки пенного пожаротушения с ручным местным пуском нужно взять в руки ближайший к очагу доступный генератор пены, расправить рукав и открыть любой из пусковых кранов, сорвав пломбу. Установка будет готова к действию. Расправить рукав до открытия пусковых кранов следует для того, чтобы при поступлении раствора не произошло самопроизвольного раскручивания свернутого рукава, что может затруднить действия по тушению пожара.
Направив насадок генератора пены на горящие предметы, надо открыть кран генератора пены до упора и струя пены начнет выбрасываться из насадка. Для быстрой ликвидации пожара, когда он получил значительное распространение, следует пользоваться сразу двумя генераторами пены. При горении стен или предметов, расположенных по вертикальной плоскости, нужно направлять струю пены, начиная сверху, чтобы пена стекая, продолжала свои огнетушащие действия.
После ликвидации пожара нужно закрыть пусковые краны, краны на генераторах пены, свернуть рукава и уложить их на свои места.
1.20. При тушении пожара с помощью полуавтоматической установки пенного пожаротушения следует иметь в виду, что запас пенообразующего раствора, а следовательно, и пены на тепловозе ограничен.
Тушение пожара наиболее эффективно, когда пена подается непосредственно на горящие предметы, что осуществляется при ручном режиме работы установки. Поэтому, если имеется возможность, нужно использовать ручной режим.
Тушение пожара в полуавтоматическом режиме следует применять в том случае, когда применение ручного режима невозможно. Такая ситуация может возникнуть при отсутствии свободного члена локомотивной бригады для управления генератором пены, при невозможности проникнуть к горящему участку и т.п.
1.20.1. Тушение пожара в ручном режиме должно производиться в соответствии с указаниями, изложенными в
п. 1.19 настоящего Приложения.
Для тушения пожара в ручном режиме предназначен генератор пены, свободно подвешенный в кабине машиниста (тепловозы 2ТЭ10Л) или переднем тамбуре (тепловозы М62, 2М62), а также может использоваться генератор пены, полужестко закрепленный в дизельном помещении. Нужно помнить, что кран последнего открыт, так как этот генератор пены подготовлен для работы в полуавтоматическом режиме. Поэтому при применении одного генератора пены, свободно подвешенного в кабине машиниста или переднем тамбуре, желательно перекрыть кран генератора пены в дизельном помещении. Тогда вся пена пойдет через используемый генератор.
1.20.2. Тушение пожара в полуавтоматическом режиме с дистанционным пуском осуществляется включением тумблера того тепловоза (секции), где происходит пожар. При необходимости тушения пожара в ВВК нужно предварительно открыть кран 12, разобщающий генераторы (генератор) пены с гидравлической магистралью.
1.20.3. Тушение пожара в полуавтоматическом режиме с местным пуском осуществляется открытием любого из пусковых кранов. Аккумуляторную батарею нужно отключить вручную, предварительно до открытия пускового крана, так как ее автоматическое отключение происходит только при дистанционном пуске установки. Отключение аккумуляторной батареи особенно нужно при тушении пожара в ВВК.
2. Установка газового пожаротушения
Принцип действия
2.1. Установки газового пожаротушения, применяемые на тепловозах, дизель-поездах и автомотрисах, относятся к установкам объемного пожаротушения, т.е. к таким, которые создают среду, не поддерживающую горение во всем защищаемом объеме. Работают установки полуавтоматически: пуск установок производится человеком, а процесс тушения пожара осуществляется автоматически. Пуск установок ручной дистанционный с дублирующим местным пуском.
2.2. Огнетушащее вещество находится в огнетушителях и при пуске установки по распределительному трубопроводу поступает в защищаемое помещение.
Основным огнетушащим веществом является хладон 114В2 по
ГОСТ 15899-79 (химическое название тетрафтордибром-этан, формула

). Хладон 114В2 - тяжелая бесцветная жидкость со специфическим запахом, предназначенная для использования в качестве огнетушащего вещества для пожаров различных классов, в том числе оборудования под напряжением. В огнетушителях хладон 114В2 находится под давлением, создаваемым газовой подушкой - сжатым воздухом. Будучи распыленным по всему объему защищаемого помещения, хладон 114В2 действует, как ингибитор, тормозящий процесс горения. При нормальных условиях хладон 114В2 является малотоксичным стабильным веществом, а при высоких температурах (выше 400 °C) разлагается с образованием высокотоксичных продуктов. Хладон представляет экологическую опасность из-за озоноразрушающего эффекта.
Применение углекислого газа

в установках объемного пожаротушения основано на том, что он разбавляет воздух вокруг пожара до тех пор, пока содержание кислорода в воздухе не снизится настолько, что станет недостаточным для поддержания горения. Углекислый газ примерно в 1,5 раза тяжелее воздуха, что улучшает его огнетушащие свойства, поскольку он, опускаясь вниз, накрывает пожар. За счет своего веса он не очень быстро рассеивается. Охлаждающий эффект очень ограниченный. Может применяться для тушения пожаров электрооборудования, находящегося под напряжением. Углекислый газ не ядовит, но в концентрациях, необходимых для тушения пожара, вызывает удушье, сопровождаемое головокружением, а иногда и потерей сознания. Если пострадавшего не вынести быстро на свежий воздух, может наступить смерть.
Устройство установок
2.3. Установка газового пожаротушения на дизель-поездах типа ДР1.
2.3.1. Установка (рис. 5) состоит из двух групп (основной и резервной) огнетушителей 2, распределительного трубопровода 8 и 12, дистанционного электрического привода, ручного привода 3 и 10 и системы автоматической пожарной сигнализации.
Схема установки газового пожаротушения на дизель-поездах
типа ДР-1
1, 11 - рукоятки привода; 2 - огнетушитель;
3, 10 - ручной привод; 4 - трубопровод; 5 - трехходовой
кран; 6, 9 - коллекторы; 7 - пневматический цилиндр;
8, 12 - распределительный трубопровод
2.3.2. Каждая группа состоит из трех стационарных огнетушителей типа ОС-8МД. Могут применяться также огнетушители типа ОС-8М или ОС-8МФ, конструктивные отличия которых не влияют на их установку и не меняют принципа работы.
При использовании огнетушителей ОС-8МД и ОС-8М, предназначавшихся ранее для состава "3,5", под хладон 114В2 они должны быть заряжены в соответствии с Руководством по технической эксплуатации ОС-8МФ РЭ для огнетушителей ОС-8МФ.
Огнетушитель (рис. 6) представляет собой стальной баллон 1 с головкой-затвором 3 и отходящей от нее к днищу баллона сифонной трубкой 4. Головка-затвор служит для зарядки и выпуска огнетушащего вещества из баллона.
Огнетушитель ОС-8МД
1 - стальной армированный баллон; 2 - манометр;
3 - затвор; 4 - сифонная трубка
Рис. 6
Пуск огнетушителя может производиться дистанционно замыканием электрической цепи пиропатрона головки затвора или непосредственно его рукояткой. При замыкании электрической цепи пиропатрона он срабатывает, пороховые газы перемещают поршень, шток которого поворачивает пусковой рычаг и ось-защелку, освобождающую откидной рычаг. Затвор вскрывается, и огнетушащее вещество поступает в распределительный трубопровод. Вскрытие затвора происходит и при непосредственном воздействии на пусковой рычаг.
Основные параметры огнетушителя ОС-8МФ, а также огнетушителей ОС-8МД и ОС-8М, заряженных хладоном 114В2, следующие:
+13
высота с закрытым затвором, м ................................ 615
-20
+13
высота с открытым затвором, м ................................ 620
-20
ширина, мм ................................................... 175 +/- 3
диаметр баллона, мм .......................................... 172 +/ 2,6
масса огнетушителя с зарядом, кг, не более ................... 20,7
масса заряда, кг ............................................. 9,22 + 0,1
масса огнетушителя без заряда, кг, не более .................. 11,4
рабочее давление наибольшее, МПа (кгс/см2) ................... 13,5 (135)
пробное давление, МПа (кгс/см2) .............................. 19,0 (190)
давление срабатывания предохранительного устройства,
МПа (кгс/см2) ................................................ 20 +/- 2
(200 +/- 20)
усилие на рычаге затвора при ручном пуске Н (кгс), не более .. 350 (35)
напряжение в цепи пиропатрона, В ............................. 27 +/- 3
минимально допустимое напряжение электропитания для
срабатывания пиропатрона, В (ток не более 2,2 А) ............. 12 - 14
тип пиропатрона .............................................. ПП-3
количество срабатываний ...................................... 50
диапазон рабочих температур, °C .............................. от минус 60
до +60
давление в баллоне при температуре +15 °C, МПа (кгс/см2) ..... 10 +/- 0,5
(100 +/- 5)
Давление в баллоне по манометру в зависимости от температуры окружающего воздуха должно быть не менее указанного в таблице.
Температура, °C | -50 | -40 | -30 | -20 | -10 | 0 | +10 | +20 | +30 | +40 | +50 | +60 |
Давление, МПа | 5,3 | 6,3 | 6,8 | 7,2 | 8,2 | 8,8 | 9,4 | 10 | 10,7 | 11,4 | 12,1 | 12,8 |
кгс/см2 | 53 | 63 | 68 | 72 | 82 | 88 | 94 | 100 | 107 | 114 | 121 | 128 |
Выходные штуцеры каждой группы огнетушителей соединены с распределительным трубопроводом 8 и 12 (см.
рис. 5).
2.3.3. Распределительный трубопровод служит для равномерного распределения и распыла огнетушащего вещества во всем объеме машинного помещения. Для этого в распределительном трубопроводе имеется определенное количество отверстий

.
Между коллектором 6 основной группы огнетушителей и распределительным трубопроводом 8 установлен трехходовой кран 5, от которого отходит трубопровод 4, соединенный со шкафом с электроаппаратами кабины машиниста. При нормальном положении трехходового крана трубопровод 4 отсоединен от остальной системы, а все огнетушащее вещество из огнетушителей основной группы подается в машинное помещение.
Путем переключения трехходового крана огнетушащее вещество может быть направлено в шкаф с электроаппаратами и кабину машиниста.
Распределительный трубопровод соединен с пневматическим цилиндром 7.
2.3.4. Дистанционный электрический привод включает в себя электрические аппараты и провода, введенные в исполнительную схему электрооборудования дизель-поезда, и обеспечивает пуск огнетушителей.
С пульта машиниста моторного вагона включением соответствующего тумблера могут быть пущены основные группы, как вагона, с которого производится пуск, так и второго моторного вагона. Резервные группы огнетушителей включаются при помощи тумблеров, находящихся в соответствующих машинных помещениях.
При включении тумблера на пульте машиниста, кроме пуска основной группы огнетушителей, происходит остановка дизеля, закрытие люка машинного помещения и снимается питание с раздвижных дверей. Пуск огнетушителей происходит только в том машинном помещении моторного вагона, тумблер которого был включен, а защитные операции (остановка дизеля, закрытие люков, снятие питания раздвижных дверей) в обоих моторных вагонах.
Тумблерами, находящимися в машинных помещениях, включаются резервные группы того машинного помещения, в котором включен тумблер. Как и в случае пуска основной группы, происходит остановка дизеля, закрывается люк и снимается питание с раздвижных дверей. Огнетушащий состав, проходя по распределительному трубопроводу, попадает в пневматический цилиндр 7, поршенек которого, выдвигаясь, включает тумблер, в результате чего происходит дублирование защитных операций, выполняемых при включении тумблера на пульте машиниста.
2.3.5. Ручной, привод 3 и 10 огнетушителей осуществляется при помощи тросовых приводов, воздействующих непосредственно на рукоятки затворов огнетушителей. Для пуска группы огнетушителей рукоятка I или II тросового привода должна быть вытянута до отказа.
2.3.6. В каждой кабине машиниста моторных вагонов установлен звуковой сигнал, а на пультах управления по две сигнальные лампы, контролирующие дизельные помещения головного и хвостового вагонов. Нормально эти лампы горят зеленым светом.
В пожароопасных местах машинного помещения размещены пожарные извещатели, реагирующие на температурные параметры окружающей среды. При возникновении пожара заклепка термоконтакта пожарного извещателя плавится, термоконтакт размыкает цепь, сигнальная лампа гаснет и включается звуковой сигнал. Гаснет лампа, соответствующая тому машинному помещению, в котором сработал пожарный извещатель. Состояние чердаков и шкафов моторного вагона в пожарном отношении также контролируется пожарными извещателями. При срабатывании извещателя подается питание на лампы, сигнализирующие о пожаре в шкафу или чердаке. Одна из этих ламп установлена на пульте у машиниста, а другая - на стенке заднего шкафа. В шкафах и чердаках прицепных вагонов также имеются пожарные извещатели, которые при срабатывании включают сигнальную лампу на пульте машиниста. В салоне моторного вагона и салонах прицепных вагонов установлено по одному пожарному извещателю. Срабатывание одного из них ведет к отключению электрокалорифера вагона, в котором установлен извещатель.
2.4. Установки газового пожаротушения на тепловозах типа ТЭ10М, М62У и 2ТЭ116.
2.4.1. Установки служат для тушения пожара в аппаратных камерах и шкафу выпрямительной установки (тепловоз 12ТЭ116).
Установка состоит из одного огнетушителя ОС-8МД (ОС-8М, ОС-8МФ), распределительного трубопровода и дистанционного электрического привода. Применяются на тепловозах, оборудованных автоматической пожарной сигнализацией.
2.4.2. Описание огнетушителя и его основные параметры приведены
пункте 2.3.2 настоящего Приложения. Распределительный трубопровод обеспечивает подвод и распыл огнетушащего вещества в защищаемые помещения. Количество последних определяется конструктивными особенностями тепловоза. На тепловозах М62У электрооборудование размещается в одной камере (ВВК), на тепловозах типа ТЭ10М в двух аппаратных камерах (правой и левой), а на тепловозах 2ТЭ116 защищаемыми помещениями являются три аппаратные камеры (правая, левая, центральная) и шкаф выпрямительной установки.
Для дистанционного пуска установки в кабине машиниста имеется тумблер. Пуск может быть произведен и вручную поворотом вверх рычага головки затвора огнетушителя.
2.5. Установка газового пожаротушения на автомотрисах типа АЧ-2.
2.5.1. Установка состоит из двух стационарных огнетушителей, распределительного трубопровода, дистанционного электрического привода, ручного привода и системы автоматической пожарной сигнализации.
2.5.2. Огнетушитель представляет собой стальной баллон вместимостью 40,2 л, заполненный углекислым газом

. Масса заряда

. Огнетушитель закрыт клапаном с пиропатроном. Клапан служит для зарядки и выпуска

из баллона. Вскрытие клапана может производиться дистанционно замыканием электрической цепи пиропатрона или вручную воздействием на рычаг клапана.
Размещены огнетушители в машинном помещении на стенке, отделяющей машинное отделение от салона для пассажиров.
2.5.3. Распределительный трубопровод служит для распыла углекислого газа в машинном помещении. Выход газа осуществляется через шесть сопел, насаженных на патрубки ответвления трубопровода.
2.5.4. Дистанционный электрический привод подачей напряжения 110 В на пиропатрон клапана огнетушителя обеспечивает выпуск газа в распределительный трубопровод.
Выключатель привода находится на пульте машиниста под запломбированной крышкой и имеет два положения включения ("1" и "2"). Каждому из них соответствует пуск одного из огнетушителей. Одновременно с подачей напряжения на пиропатрон снимается питание с электропневматического клапана аварийной остановки дизеля и питание с цепей управления входными дверями, т.е. дизель останавливается, а входные двери разблокируются.
Для ручного пуска установки в машинном помещении рядом с огнетушителями размещена рукоятка, которая с помощью троса связана с рычагами клапанов огнетушителей. При ручном пуске вскрываются клапаны обоих огнетушителей одновременно.
2.5.5. Извещатели автоматической пожарной сигнализации размещены в пожароопасных местах и реагируют на повышение температуры окружающего воздуха свыше 150 °C. При срабатывании извещателя загорается сигнальная лампа на пульте машиниста.
Тушение пожара
2.6. Тушение пожара на дизель-поезде типа ДР1.
2.6.1. При получении сигнала о пожаре в машинном помещении машинист или его помощник должны удостовериться в том, что сигнал не является ложным.
Убедившись в необходимости приведения установки в действие, нужно покинуть машинное помещение, перейти в кабину машиниста, плотно закрыть двери и включить на пульте управления тумблер, соответствующий машинному помещению, в котором произошел пожар. Этим будет осуществлен пуск основной группы огнетушителей.
При необходимости, пуск этой группы огнетушителей можно произвести вручную, вытянув рукоятку ручного привода до отказа вниз.
2.6.2. Если сигнал о пожаре поступил из заднего моторного вагона, а помощника машиниста в этот момент там нет, следует, не тратя времени на проверку правильности сигнала, включить на пульте управления тумблер тушения пожара заднего машинного помещения. После этого помощник машиниста, взяв с собой противогаз, должен перейти в задний моторный вагон и действовать далее в соответствии с настоящей инструкцией и указаниями машиниста.
2.6.3. При пуске огнетушителей при помощи ручного привода или, когда при пуске дистанционным электрическим приводом не произошло выполнения каких-либо защитных операций, предусмотренных электрической схемой (остановка дизеля, закрытие люков, снятие питания раздвижных дверей), следует произвести эти операции обычным способом, принятым при эксплуатации дизель-поезда.
2.6.4. При возникновении пожара в шкафу с электроаппаратами кабины машиниста нужно рукоятку трехходового крана, установленного на трубопроводе у основной группы огнетушителей, перевести в положение подачи огнетушащего состава в шкаф кабины машиниста. В зависимости от интенсивности и развития пожара включить последовательно один, два или три огнетушителя основной группы путем поднятия вверх рычага на их баллонах. При необходимости включения всех трех огнетушителей одновременно, пуск следует произвести рукояткой ручного привода, потянув ее до отказа вниз.
При пожаре в кабине машиниста, кроме того, нужно предварительно до пуска огнетушителей, открыть двери шкафа с электроаппаратами и закрыть боковые окна.
2.6.5. В случае повторного загорания пожар ликвидируется ручными огнетушителями или приведением в действие резервной группы огнетушителей. Включение резервной группы производить тумблером, расположенным у выхода из машинного помещения в тамбур или при помощи ручного привода, потянув вниз до отказа его рукоятку.
Резервной группой следует пользоваться и в том случае, когда при пожаре в машинном помещении машинист или его помощник, по тем или иным причинам, оказались со стороны тамбура моторного вагона и нельзя терять время на переход в кабину машиниста для включения основной группы огнетушителей.
2.6.6. Работая с установкой газового пожаротушения, необходимо соблюдать следующие меры предосторожности:
а) после обследования машинного помещения, когда выявлена необходимость приведения установки в действие, покинуть его и плотно закрыть двери кабины машиниста, примыкающей к машинному помещению, в котором будет включена установка. В случае проникновения огнетушащего состава в кабину машиниста, что обнаруживается появлением специфического запаха, надеть противогаз;
б) включение резервной группы огнетушителей тумблером, расположенным в машинном помещении, или приведение в действие установки ручным приводом, рукоятки которого также находятся в машинном помещении, следует производить в противогазе.
Если по каким-либо причинам локомотивная бригада была вынуждена произвести указанные включения без противогаза, нужно немедленно покинуть машинное помещение кратчайшим путем, не попадая под струи распыливаемого состава, и закрыть за собой двери;
в) перед тушением пожара в шкафу с электроаппаратами кабины машиниста или в кабине машиниста, покинуть ее, плотно закрыв за собой двери;
г) в случае попадания огнетушащего вещества на тело или одежду как можно скорее сменить одежду и принять горячий душ.
2.6.7. При тушении пожара в машинном помещении следует по окончании истечения огнетушащего вещества (через 30 секунд после включения установки), надев противогаз, войти в машинное помещение, произвести его осмотр и убедиться в ликвидации пожара. При наличии остатков пожара ликвидировать их с помощью огнетушителей.
Произвести проветривание машинного помещения, для чего открыть боковые двери, окна и вентиляционный люк. Перед открытием люка, если топливный насос остановлен тумблером закрытия люка (ТЗЛ), нужно выключить тумблер "Топливный насос", после чего выключить ТЗЛ.
Проветривание машинного помещения следует производить не менее 15 минут, после чего снять противогаз. Если при этом будет ощущаться необычный запах, вновь одеть противогаз или выйти из машинного помещения и продолжить его проветривание до полного исчезновения этого запаха.
Дверь из машинного помещения в тамбур при наличии пассажиров в моторном вагоне, до полного проветривания машинного помещения, открывать запрещается.
2.6.8. При тушении пожара в шкафу с электроаппаратами кабины машиниста или в кабине машиниста следует по окончании истечения огнетушащего вещества, т.е. через 30 секунд после пуска огнетушителей или снижения давления в их баллонах до 0,1 - 0,2 МПа (1 - 2 кгс/см2), надев противогаз, войти в кабину машиниста для ее осмотра. При наличии остатков пожара ликвидировать их с помощью огнетушителей.
После ликвидации пожара кабину машиниста тщательно проветрить до полного исчезновения необычного запаха.
2.7. Тушение пожара в аппаратных камерах тепловозов типа ТЭ10М, М62У и 2ТЭ116.
2.7.1. Получив сигнал о пожаре, нужно определить, где он возник, так как автоматическая пожарная сигнализация на этих тепловозах дает информацию о пожаре на секции без указания места пожара (дизельное помещение или аппаратные камеры). При пожаре в аппаратных камерах, а на тепловозе 2ТЭ116 и при пожаре в шкафу выпрямительной установки, нужно сорвать пломбу, открыть крышку и включить тумблер на пульте управления той секции, где возник пожар. Этим будет осуществлен дистанционный пуск установки. Установку можно привести в действие вручную, сорвав пломбу с рычага затвора огнетушителя и повернув рычаг вверх до отказа.
2.7.2. Перед пуском установки, как дистанционном, так и вручную, дизель-генератор нужно остановить.
2.7.3. Работая с установкой газового пожаротушения, необходимо соблюдать следующие меры предосторожности:
а) после дистанционного пуска плотно закрыть двери в кабину машиниста и надеть противогаз;
б) ручной пуск установки производить в противогазе, а после пуска пройти в кабину машиниста и плотно закрыть за собой двери. Если ручной пуск по каким-либо причинам производился без противогаза, нужно немедленно покинуть дизельное помещение, пройти в кабину и плотно закрыть двери;
в) в случае попадания огнетушащего вещества на тело или одежду, как можно скорее сменить одежду и принять горячий душ.
2.7.4. По окончании истечения огнетушащего вещества, т.е. через 30 секунд после пуска огнетушителя или снижения давления в его баллоне до 0,1 - 0,2 МПа (1 - 2 кгс/см2) нужно в противогазе осмотреть место пожара. При наличии остатков пожара ликвидировать их с помощью ручных огнетушителей.
После ликвидации пожара открыть двери горевшей камеры, окна и наружные двери для проветривания. Проветривание производить до полного исчезновения необычного запаха.
2.8. Тушение пожара на автомотрисе типа АЧ-2.
2.8.1. При получении сигнала о пожаре в машинном помещении нужно удостовериться в том, что сигнал не ложный.
Убедившись в необходимости приведения установки в действие, следует покинуть машинное помещение, перейти в кабину машиниста, плотно закрыть двери и распломбировать крышку, которой закрыт пожарный выключатель. Переведя выключатель в положение "1", произвести пуск огнетушителя. Если его содержимого окажется недостаточно для тушения пожара, произвести пуск второго, переведя выключатель в положение "2". При необходимости, огнетушители могут быть пущены оба сразу путем последовательного перевода выключателя из положения "1" в положение "2".
2.8.2. Пуск огнетушителей ручным приводом в машинном помещении производится натяжением троса рукояткой вниз до отказа. После пуска огнетушителей вручную нужно немедленно покинуть машинное помещение, перейдя в салон для пассажиров, и плотно закрыть ведущие в него двери.
2.8.3. После ликвидации пожара машинное помещение должно быть хорошо проветрено до полного удаления углекислого газа.
3. Установки порошкового пожаротушения
Принцип действия
3.1. Установки порошкового пожаротушения на тепловозах и дизель-поездах относятся к автоматическим установкам объемного пожаротушения с ручным дублирующим дистанционным и местным пуском с дополнительными пожарными стволами для локального пожаротушения.
3.2. Режимы работы:
а) автоматический - пуск установки происходит при срабатывании извещателя автоматической пожарной сигнализации. Как пуск, так и процесс пожаротушения осуществляются без участия людей. Режим предназначается для защиты дизельного помещения и аппаратных камер, когда на тепловозе или дизель-поезде нет людей, что имеет место при горячем отстое. Может применяться и при поездной или маневровой работе;
б) полуавтоматический - пуск установки осуществляется человеком путем включения тумблера на блоке тумблеров (дистанционный пуск) или крана на блоке управления (местный пуск). Процесс пожаротушения происходит без участия людей. Является основным режимом для защиты дизельного помещения и аппаратных камер, когда бригада находится на тепловозе (дизель-поезде) и имеется возможность проверить правильность сигнала о пожаре и установить его место;
в) ручной - включение пожарного ствола и процесс пожаротушения осуществляется человеком. Режим предназначается для локального пожаротушения как внутри, так и снаружи тепловоза или дизель-поезда, включая другие объекты ж.д. транспорта в пределах досягаемости струи порошка.
3.3. Огнетушащее вещество - порошок находится в специальных резервуарах. При приведении установки в действие в резервуар подается сжатый воздух, который вытесняет порошок в трубопровод и распыливает его в защищаемом помещении. Огнетушащий эффект при применении порошка объясняется комбинированным действием следующих факторов: разбавления горючей среды негорючими газообразными продуктами разложения порошка, создания условий огнепреграждения, при которых пламя распространяется через узкие каналы в порошковом облаке, ингибирования химических реакций в пламени, приводящего к обрыву цепной реакции горения, охлаждения зоны горения в результате затрат тепла на нагрев частиц порошка, их разложение и частичное испарение, механического срыва пламени струями газопорошковой смеси.
3.4. На тепловозах и дизель-поездах применяются многоцелевые огнетушащие порошки марок:
Пирант-А по ТУ 301-11-03-89;
Пирант-АН по ТУ 6-35-0204894-09-90;
П-2АП по ТУ 113-08-597-86.
Смешивание порошков различных марок недопустимо.
Огнетушащие порошки не токсичны, не электропроводны, не замерзают при низкой температуре. При вдыхании могут вызвать раздражение дыхательных путей. Поэтому при контакте с огнетушащими порошками нужно пользоваться респиратором, а по окончании тушения пожара хорошо проветрить помещение.
Устройство установок
3.5. Установка порошкового пожаротушения на тепловозах типа ТЭ10М (3ТЭ10М и 2ТЭ10М), оборудованных по проекту Т1425.00.00 ПКБ ЦТ.
3.5.1. Установка, принципиальная схема которой показана на рис. 7, состоит из двух самостоятельных частей, одна из которых предназначена для тушения пожара в аппаратных камерах, а другая - в дизельном помещении и вне тепловоза.
Принципиальная схема установки порошкового пожаротушения
на тепловозах типа ТЭ10М
Р1, Р2 - резервуары;
МП1, МП2 - мембраны прорыва; Б31, Б32 - банки с заглушками;
ЭВН1, ЭВН2 - электропневматические вентили;
К1, К2 - клапаны; Ц - цилиндр; КН1 - КН5 - краны
(КН1, КН4, КН5 - нормально открыты; КН2, КН3 - нормально
закрыты); КН6 - кран трехходовой; СП - ствол пожарный;
2 - 4, 6 - 9, 11 - 14, 16 - трубопровод пневматический;
10, 15, 18 - 20 - трубопровод порошковый магистральный;
5, 17 - трубопровод порошковый распределительный; 1 - рукав
3.5.2. В каждую из этих частей входят следующие основные составные части:
резервуар;
пневматический трубопровод;
порошковый трубопровод, состоящий из магистрального и распределительного трубопроводов;
блок управления (конструктивно выполнен, как один узел для обеих частей установки);
электрическая схема дистанционного пуска, включающая в себя основной и дополнительный блоки тумблеров.
В частях установок, предназначенных для тушения пожара в дизельном помещении, кроме того, имеются пожарные рукава с пожарными стволами.
Установки имеют устройства для отключения аккумуляторных батарей, срабатывающие при пуске любой из частей установки.
3.5.3. Установками порошкового пожаротушения оборудуется каждая секция тепловозов 3ТЭ10М и 2ТЭ10М. Установка на крайней секции отличается от установки на средней секции расположением резервуаров, блока управления и разводкой труб. Кроме того, различаются основные блоки тумблеров и выполняемые ими функции.
3.5.4. Резервуары Р1 и Р2 - стальные сварные, имеют в верхнем днище заправочную горловину. Через нее производится зарядка резервуара порошком с помощью специальных контейнеров, конструкция которых предусматривает выпуск воздуха при зарядке через это же отверстие. Горловина закрывается колпаком с резиновой прокладкой.
На верхнем днище имеется штуцер, в который устанавливается щуп. Этот штуцер может быть использован для выпуска воздуха в том случае, если заправка резервуара порошком производится без применения специального контейнера.
В нижнюю часть каждого резервуара встроен аэратор, который нужен для насыщения (аэрации) порошка сжатым воздухом определенного давления перед его выбросом из резервуара в магистральный трубопровод. Аэратор состоит из двух труб, прикрепляемых к обечайке при помощи фланцевого соединения. На трубах имеются отверстия

, закрытые резиновыми кольцами.
Выброс порошка из резервуара происходит через заборную трубу с раструбом в нижней части, не доходящим до нижнего днища на 20 мм. Заборная труба своим, штуцером вворачивается в бонку, приваренную к верхнему днищу.
3.5.5. Пневматический трубопровод служит для подвода воздуха от питательной магистрали к приборам и арматуре блока управления, а от них к резервуару Р1 по трубам 11, 8, 13 и резервуару Р2 по трубам 12, 9, 14. По трубе 4 воздух подводится к электропневматическому вентилю ЭВН3 и цилиндру Ц отключения аккумуляторной батареи.
3.5.6. Магистральный порошковый трубопровод посредством труб 19, 18 соединяет резервуар Р1 с распределительным трубопроводом 17 в дизельном помещении, а посредством труб 10 и 15 соединяет резервуар Р2 с распределительным трубопроводом 5 в аппаратных камерах. На магистральных трубопроводах имеются мембраны МП1 и МП2, служащие для создания необходимого давления воздуха перед выбросом порошка в распределительный трубопровод. Краны КН4 и КН6 служат для разъединения магистрального и распределительного трубопроводов, которое требуется при проверке плотности установки. Трехходовой кран КН6, кроме того, для отключения распределительного трубопровода 17 при работе пожарным стволом СП в ручном режиме.
3.5.7. Распределительный порошковый трубопровод служит для транспортирования порошка и равномерного его распыления в защищаемом помещении. Распыление происходит через отверстия

.
3.5.8. Для пуска воздуха к резервуарам Р1 и Р2 при дистанционном управлении служат клапаны К1 и К2, соединенные с питательной магистралью. Электропневматические вентили ЭВН1 и ЭВН2, также соединенные с питательной магистралью, предназначены для открывания клапанов К1 и К2, проход для воздуха у которых значительно больше, чем у вентилей. При ручном пуске соединение резервуаров с питательной магистралью происходит при открытии кранов КН2 и КН3. Кран КН1 служит для отсоединения блока управления от питательной магистрали.
Конструктивно приборы и арматура для пуска воздуха к резервуару Р1 (ЭВН1, К1, КН2) и к резервуару Р2 (ЭВН2, К2, КН3) объединены в один блок управления.
3.5.9. Пожарный ствол СП на рукаве 1 длиной 20 м посредством трубы 20 через кран КН6 присоединен к магистральному трубопроводу 19, отходящему от резервуара Р1.
Он является средством ручного пожаротушения объектов вне тепловоза и, при необходимости, на самом тепловозе.
3.5.10. Электрическая схема подключена к исполнительной схеме электрооборудования тепловоза обеспечивает дистанционный пуск установок, остановку дизеля и отключение рубильника аккумуляторной батареи той секции, где произошел пуск установки, а также автоматический пуск при срабатывании автоматической пожарной сигнализации (независимо на каждой секции). Питание схемы осуществляется от автоматов освещения.
| | ИС МЕГАНОРМ: примечание. Нумерация пунктов дана в соответствии с официальным текстом документа. | |
3.5.1. На каждом основном блоке тумблеров, устанавливаемом на задней стенке кабины машиниста крайней секции, имеется шесть тумблеров.
Четыре тумблера размещены на передней панели блока под пломбируемой крышкой. Из них два служат для пуска частей установки, предназначенных для защиты аппаратных камер и дизельного помещения секции тепловоза, на которой установлен блок. Эти тумблеры обозначены надписями соответственно "Первая секция. ВВК" и "Первая секция. ДП". Тумблер, обозначенный "Вторая секция", при включении обеспечивает пуск установки средней секции, а обозначенный "Третья секция" - установки другой крайней секции. На тепловозах двухсекционных (2ТЭ10М) тумблер "Вторая секция" служит для пуска установки второй крайней секции, а тумблер "Третья секция" - свободен.
На передней панели имеется еще один опломбированный тумблер (ТАБ), который предназначен для разрыва цепи отключения аккумуляторной батареи. Выключенное положение этого тумблера обеспечивает питание цепи управления от аккумуляторной батареи и сохраняет возможность управления ведомыми секциями.
На боковой стенке блока помещен тумблер для переключения режимов. Имеет два положения, обозначенные "Автомат" и "Полуавт.".
3.5.12. Блок тумблеров средней секции (3ТЭ10М) размещен на задней стенке тамбура и имеет три тумблера. На передней панели под пломбируемой крышкой находятся тумблеры для пуска части установки, предназначенной для защиты аппаратных камер (обозначен "ВВК"), и части для защиты дизельного помещения (обозначен "ДП") средней секции тепловоза.
На боковой стенке блока помещен тумблер для переключения режимов.
3.5.13. Дополнительные блоки тумблеров устанавливаются на стенке холодильной камеры всех секций и имеют по два тумблера: для пуска части установки, защищающей аппаратные камеры (обозначен "ВВК"), и части, защищающей дизельное помещение (обозначен "ДП") данной секции тепловоза. Тумблеры закрыты пломбируемой крышкой.
3.5.14. Тумблеры, обозначенные "ВВК", при включении подают питание на электропневматические вентили ЭВН1 и ЭВН3, а обозначенные "ДП" - на ЭВН2 и также на ЭВН3 той секции локомотива, на которой они находятся.
Тумблеры, обозначенные "Вторая секция" и "Третья секция", при включении подают питание одновременно на электропневматические вентили ЭВН1, ЭВН2 и ЭВН3 указанной секции.
Тумблер ТАБ разрывает цепь питания к электропневматическому вентилю ЭВН3 той секции, на которой он включен, т.е. если тумблер ТАБ включен, то при включении тумблеров "ВВК" или "ДП" питание на ЭВН3 подаваться не будет.
3.5.15. Работа установки в полуавтоматическом режиме тушения пожара, как было показано, возможна с дистанционным пуском из кабины машиниста или из района холодильной камеры и ручным - из дизельного помещения (на средней секции из тамбура) путем непосредственного воздействия человека на блок управления.
При дистанционном пуске установки пожаротушения в дизельном помещении включением тумблера ДП в кабине (в тамбуре на средней секции) или ДП в районе холодильной камеры подается питание на катушку магнитного клапана электропневматического вентиля ЭВН1, пневматическая часть которого соединена с питательной магистралью. Открывается впускной клапан, и воздух через вентиль ЭВН1 поступает в клапан К1 (см.
рис. 7). Под давлением сжатого воздуха клапан открывает непосредственный проход воздуха из питательной магистрали к резервуару Р1. Сначала сжатый воздух проходит аэратор, растягивает резиновые кольца, закрывающие отверстия в его трубе, и поступает в резервуар, насыщая огнетушащий порошок. Так как на трубопроводе на выходе из резервуара имеется мембрана МП1, давление в резервуаре повышается до давления прорыва мембраны (5 МПа). Мембрана прорывается, воздух расширяется, вспушивает порошок и через заборную трубу вытесняет его в магистральный трубопровод (трубы 19, 18). Из магистрального трубопровода порошок поступает в распределительный. Через отверстия в этом трубопроводе огнетушащий порошок распыляется в дизельное помещение и прекращает горение.
При дистанционном пуске установки пожаротушения в аппаратных камерах включением тумблера ВВК в кабине (в тамбуре на средней секции) или ВВК в районе холодильной камеры подается питание на катушку магнитного клапана электропневматического вентиля ЭВН2, пневматическая часть которого соединена с питательной магистралью. Открывается впускной клапан, и воздух через вентиль ЭВН2 поступает в клапан К2, а затем по пневматическому трубопроводу 9, 14 к резервуару Р2 (см.
рис. 7). Дальнейшая работа установки такая же, как и для дизельного помещения.
Одновременно с подачей питания к электропневматическим вентилям ЭВН1 и ЭВН2 подается питание на катушку магнитного клапана электропневматического вентиля ЭВН3. Открывается впускной клапан, сжатый воздух из питательной магистрали поступает в цилиндр Ц, перемещает его поршень, шток которого связан с рубильником аккумуляторной батареи, и отключает последнюю от цепи управления.
При ручном пуске переключением крана КН2 для дизельного помещения или КНЗ для аппаратных камер, которые размещены на блоке управления, осуществляется пуск сжатого воздуха из питательной магистрали к резервуару Р1 или Р2, минуя электропневматические вентили и клапаны К1 и К2. Дальнейший процесс такой же, как и при дистанционном включении.
3.5.16. Работа установки в автоматическом режиме такая же, как и при полуавтоматическом с дистанционным пуском. Разница в том, что пуск установки, отключение аккумуляторной батареи и остановка дизеля происходят автоматически, без участия человека, когда тумблер переключения режимов находится в положении, обозначенном "Автомат", и срабатывании любого из извещателей автоматической пожарной сигнализации. Кроме того, в автоматическом режиме нет раздельного пожаротушения в дизельном помещении или аппаратных камерах. При срабатывании извещателя порошок распыляется как в дизельном помещении, так и в аппаратных камерах. Это связано со схемой автоматической пожарной сигнализации, которая не имеет разделения извещателей дизельного помещения и аппаратных камер.
3.5.17. Ручной режим отличается от полуавтоматического тем, что выброс порошка происходит через пожарный ствол, которым управляет человек.
3.6. Устройство установок порошкового пожаротушения на других тепловозах и дизель-поездах аналогично описанному, но для каждого имеет свои особенности. Эти особенности обусловлены количеством секций тепловоза, компоновкой на них агрегатов, количеством и расположением аппаратных камер и т.п. Имеются различия в устройстве отдельных узлов установки.
Так, на тепловозах, оборудованных установками порошкового пожаротушения при их постройке на ПО "Лугансктепловоз", резервуары для порошка разъемные. Аэратор представляет собой кольцо из трубы, к которой приварены точеные бонки с кольцевыми проточками, соединенными с полостью трубы. На проточки в бонках надеты резиновые кольца, закрывающие отверстия и растягивающиеся при поступлении воздуха в аэратор. К кольцу аэратора приварен патрубок из трубы с фланцем для крепления к нижней части резервуара и соединения с пневматическим трубопроводом. Штуцера со щупом на резервуарах ЛТЗ нет. Мембраны прорыва размещаются непосредственно на выходе из резервуаров.
Изучая устройство установки по настоящему Приложению, необходимо дополнительно изучить ее устройство по техническому описанию для каждой конкретной серии локомотива.
Подготовка установки к работе
3.7. Резервуары установки должны быть заполнены огнетушащим порошком одной из марок, указанных в
п. 3.4 настоящего Приложения.
Зарядку резервуаров следует производить через заправочную горловину в верхнем днище с помощью специальных контейнеров, конструкция которых предусматривает выпуск воздуха при зарядке через это же отверстие. При зарядке резервуара без применения специального контейнера штуцер, в который установлен щуп, должен быть открыт. Выход воздуха будет происходить через этот штуцер.
После зарядки резервуаров заправочная горловина и штуцер со щупом должны быть плотно закрыты имеющимися для этого колпачками.
3.8. На резервуаре способом, установленным чертежами, указывается марка и дата засыпки порошка.
3.9. Качество засыпаемого огнетушащего порошка должно быть предварительно проверено на соответствие его требованиям
Приложения 4 к настоящей инструкции.
3.10. Пробковые краны приводятся в положения, указанные ниже.
3.10.1. В открытом положении должны быть:
краны, отсоединяющие пневматический трубопровод от питательной магистрали, т.е. кран КН1 между питательной магистралью и блоком управления и кран КН5 между питательной магистралью и цилиндром отключения аккумуляторной батареи;
кран КН4 между резервуаром Р2 с огнетушащим порошком и распределительным трубопроводом 5.
3.10.2. В закрытом положении должны быть пусковые краны КН2 и КН3 на блоках управления.
3.10.3. Трехходовой кран КН6 должен быть в положении, при котором резервуар Р1 соединен с распределительным трубопроводом 19.
Для каждой конкретной серии тепловоза (дизель-поезда) положения пробковых кранов даны в принципиальной комбинированной схеме, а также в техническом описании и инструкции по эксплуатации (ТО).
Все пробковые краны в положении установки, подготовленной к действию, должны быть опломбированы.
3.11. Рукав должен быть свернут и повешен вместе с пожарным стволом на кронштейне или уложен в другом специально предусмотренном для этого месте.
Категорически запрещается вешать или укладывать вместе с рукавами и пожарными стволами посторонние предметы, а также связывать между собой витки свернутых рукавов.
3.12. Тумблеры пуска установки должны быть в выключенном положении закрыты пломбируемой крышкой.
Тумблер ТАБ разрыва цепи отключения аккумуляторной батареи должен быть включен и опломбирован.
Тумблер переключения режимов должен находится в положении "Полуавт.".
Тушение пожара
3.13. Установка порошкового пожаротушения на тепловозах типа ТЭ10М, оборудованных по проекту Т1425.00.00 ПКБ ЦТ.
3.13.1. Получив сигнал автоматической пожарной сигнализации, машинист или его помощник должны убедиться в том, что он не ложный.
3.13.2. При возникновении пожара на тепловозе, если его размеры невелики, следует потушить его с помощью ручных огнетушителей или привести в действие ручной пожарный ствол СП (см.
рис. 7) установки порошкового пожаротушения.
Для приведения в действие пожарного ствола нужно:
перевести трехходовой кран КН6 в положение, при котором резервуар Р1 будет соединен с рукавом;
развернуть рукав;
открыть крышку блока тумблеров, сорвав при этом пломбу, и включить тумблер "ДП" или открыть кран КН4;
взять в руки пожарный ствол, с помощью пускового органа открыть его и направить струю порошка на очаг пожара.
3.13.3. Если пожар возник в дизельном помещении 1-й (ведущей) секции и по его размерам тушение ручными средствами не даст положительного результата, нужно включить тумблер "Первая секция - ДП" или открыть кран КН4. При значительном пожаре в аппаратных камерах необходимо включить тумблер "Первая секция - ВВК" или открыть кран КН6.
3.13.4. При пожаре на 2-й или 3-ей секции желательно привести в действие установку порошкового пожаротушения этих секций находящимися на них приборами управления. Это даст возможность избирательного выброса огнетушащего порошка в дизельном помещении или в аппаратных камерах в зависимости от того, где возник пожар.
Если доступ к пусковым приборам ведомых секций затруднен, необходимо привести в действие их установку пожаротушения с 1-й секции. Для этого требуется включить тумблер "Вторая секция" (2ТЭ10М, 3ТЭ10М) или "Третья секция" (3ТЭ10М). Выброс порошка произойдет одновременно как в дизельном помещении, так и в аппаратных камерах на второй или на третьей секции соответственно.
3.13.5. При поступлении сигнала о пожаре на 1-й секции, когда проверить правильность тревоги и установить место пожара в силу обстоятельств затруднительно, нужно включить сразу оба тумблера "Первая секция" ("ДП" и "ВВК").
Если место возникновения пожара известно, надо включить только соответствующий ему тумблер.
3.13.6. Одновременно с дистанционным пуском установки происходит остановка дизеля и выключение аккумуляторной батареи той секции, на которой запущена установка пожаротушения.
Если пожар возник в условиях, при которых, согласно
пункту 4.4.2 настоящей инструкции, остановка поезда запрещена, необходимо иметь возможность управления тяговым режимом дизеля негорящей секции. Поэтому при пожаре на ведущей секции, когда нужно продолжить следование поезда за счет тяги, создаваемой ведомой секцией, прежде чем включить тумблер дистанционного пуска, следует привести в выключенное положение тумблер ТАБ, находящийся на передней панели основного блока тумблеров. Этим разрывается цепь отключения аккумуляторной батареи. Она останется при дистанционном пуске установки включенной, что сохраняет возможность управления ведомой секцией.
3.13.7. При работе установки в автоматическом режиме (тумблер, находящийся на боковой стенке основного блока тумблеров в положении, обозначенном "Автомат") от момента срабатывания автоматической пожарной сигнализации и поступления сигнала о пожаре до срабатывания установки пожаротушения имеется интервал времени, равный 20 с. За это время нужно принять решение и, при необходимости сохранения аккумуляторной батареи во включенном состоянии, перевести тумблера ТАБ в выключенное состояние.
Если есть необходимость немедленного пуска установки пожаротушения до истечения 20 с, следует включить соответствующий тумблер дистанционного пуска.
| | ИС МЕГАНОРМ: примечание. В официальном тексте документа, видимо, допущена опечатка: имеется в виду пункт 3.13.2, а не пункт 3.3.2. | |
3.13.8. Тушение пожара вне тепловоза производится ручным пожарным стволом, который для этого приводится в действие, как описано в
пункте 3.3.2 настоящего Приложения.
3.13.9. Перед уходом с тепловоза, который ставится на горячий отстой с работающими дизелями, тумблеры, находящиеся на боковой стенке блоков тумблеров, должны быть приведены в положение, обозначенное "Автомат". При срабатывании извещателя пожарной сигнализации на секции, где возникнет пожар, произойдет пуск установки. Через 20 с начнется выброс огнетушащего порошка одновременно в дизельном помещении и аппаратных камерах.
3.13.10. После ликвидации пожара, прежде чем войти в помещение, где был применен огнетушащий порошок, помещение нужно хорошо проветрить.
3.13.11. Если есть необходимость войти в помещение, где применялся огнетушащий порошок, до окончания проветривания помещения, нужно обязательно надеть респиратор. Респиратором следует пользоваться также при очистке дизельного помещения или ВВК от порошка после ликвидации пожара.
3.14. Принцип тушения пожара на других тепловозах и дизель-поездах аналогичен описанному, но для каждого имеет свои особенности, обусловленные устройством установки порошкового пожаротушения.
Так, на ряде тепловозов <*> в автоматическом режиме нет интервала времени между срабатыванием извещателей и началом выброса порошка. На таких тепловозах автоматическим режимом рекомендуется пользоваться только в крайних случаях (например, при обслуживании локомотива одним машинистом) и при горячем отстое.
--------------------------------
<*> Тепловозы, оборудованные установкой при постройке на ЛТЗ, пассажирские тепловозы ТЭП60, ТЭП70, оборудованные по проектам ПКБ ЦТ.
4. Комбинированные установки пожаротушения
4.1. На ряде тепловозов, находящихся в эксплуатации, применяется одновременно два типа установок с различным огнетушащим веществом.
Имеет место применение таких сочетаний:
пенное пожаротушение в дизельном помещении и газовое в аппаратных камерах (тепловозы типа ТЭ10М, 4ТЭ10С, 2ТЭ116, 2ТЭ121, ТЭП60, ТЭП70);
порошковое пожаротушение в дизельном помещении и газовое в аппаратных камерах (тепловозы типа ТЭ10М, 4ТЭ10С, 2ТЭ116, 2ТЭ121, М62у).
4.2. Каждая из таких установок работает самостоятельно, независимо от другой. Принцип действия, устройство и процесс пожаротушения соответствуют описанным выше с учетом специфических особенностей конструкции для каждой конкретной серии тепловоза (дизель-поезда).
СОДЕРЖАНИЕ И РЕМОНТ СРЕДСТВ ПОЖАРОТУШЕНИЯ
И АВТОМАТИЧЕСКОЙ ПОЖАРНОЙ СИГНАЛИЗАЦИИ
1.1. Содержание огнетушителей должно отвечать требованиям "
Правил устройства и безопасной эксплуатации сосудов, работающих под давлением", утвержденных Госгортехнадзором, инструкций по эксплуатации, руководств или паспортов предприятий-изготовителей и другой действующей нормативно-технической документации.
1.2. К введению в эксплуатацию на локомотивах и моторвагонном подвижном составе допускаются только полностью заряженные и опломбированные огнетушители, снабженные биркой с указанием даты (месяц и год) зарядки и даты очередной перезарядки, контроля и технического освидетельствования. Эти данные допускается вместо бирки наносить на корпус огнетушителя с противоположной стороны насадка штемпельной краской.
1.3. Контроль и техническое освидетельствование огнетушители проходят в сроки, установленные для данного типа огнетушителя.
1.3.1. Огнетушители порошковые:
проверка крепления огнетушителя в кронштейне, плотности закрытия отверстия для засыпки порошка и крепления насадки-пистолета производится не реже одного раза в месяц;
контроль качества порошка, массы заряда в баллончике и состояния лакокрасочных покрытий - один раз в год;
переосвидетельствование корпуса с гидравлическими испытаниями на прочность - через пять лет эксплуатации.
1.3.2. Огнетушители углекислотные ручные:
контроль массы заряда огнетушителей с запорно-пусковым устройством вентильного типа осуществляется не реже одного раза в три месяца;
то же - огнетушителей с запорно-пусковым устройством пистолетного типа - не реже одного раза в год;
переосвидетельствование баллонов с гидравлическими испытаниями на прочность - через пять лет эксплуатации.
1.3.3. Огнетушители химические пенные:
проверка целостности мембраны спрыска производится не реже одного раза в месяц;
контроль состояния заряда и антикоррозийных покрытий - один раз в год;
переосвидетельствование корпуса с гидравлическими испытаниями на прочность:
25% через 1,5 года после начала эксплуатации;
50% через 2 года после начала эксплуатации;
100% один раз в год при дальнейшей эксплуатации.
1.3.4. Огнетушители стационарные авиационные (ОС-8М, ОС-8МД и ОС-8МФ):
контроль массы заряда осуществляется не реже одного раза в шесть месяцев;
проверка затвора на вскрытие - не реже одного раза в шесть месяцев;
переосвидетельствование баллона с гидравлическими испытаниями на прочность - в сроки, указанные на баллоне.
1.4. Укомплектование локомотивов и моторвагонного подвижного состава огнетушителями с истекшими сроками технического освидетельствования, а также несвоевременное переосвидетельствование огнетушителей, находящихся в эксплуатации, запрещается.
1.5. Техническое освидетельствование, а также ремонт огнетушителей должны выполняться в мастерских или специализированных организациях, имеющих соответствующее разрешение органов Госгортехнадзора.
1.6. Лица, имеющие непосредственное отношение к огнетушителям, должны быть обучены обращению с ними, знать и соблюдать правила техники безопасности при работе со сжатыми газами согласно "
Правил устройства и безопасной эксплуатации сосудов, работающих под давлением".
Лица, имеющие отношение к эксплуатации огнетушителей стационарных (ОС-8М, ОС-8МД, ОС-8МФ и др.), заряженных хладоном 114В2, кроме того, должны быть обучены, знать и соблюдать правила по технике безопасности при работе с токсичными жидкостями, а также специальные требования, изложенные в руководствах по технической эксплуатации этих огнетушителей.
1.7. Ответственность за правильное содержание и своевременное техническое освидетельствование огнетушителей, как ручных, так и стационарных, несут главные инженеры депо (ремонтного завода), о чем издается соответствующий приказ начальника депо (директора ремонтного завода).
2. Установки пенного пожаротушения
2.1. Техническое обслуживание ТО-2.
2.1.1. Проверяется наличие рукавов и исправных генераторов пены у обоих постов установки, а у полуавтоматических установок, кроме того, в аппаратных камерах.
2.1.2. Проверяется положение кранов, которые должны быть в закрытом положении, кроме установленного на трубе, идущей от резервуара с водным раствором пенообразователя, который должен быть открыт. У полуавтоматических установок, кроме того, должен быть открыт кран генератора пены, полужестко закрепленного над шахтой холодильника.
2.1.3. Проверяется наличие пломб на пусковых кранах (краны на трубах, подводящих воздух к установке пожаротушения) и кожухе блока тумблеров полуавтоматических установок. В случае отсутствия пломбы проверяется наличие раствора в резервуаре, уровень которого должен быть между рисками на щупе резервуара. При недостаточном количестве раствор должен быть обязательно пополнен.
2.2. Техническое обслуживание ТО-3.
2.2.1. Проверяется состояние рукавов и их соединений с трубопроводами и генераторами пены. Неисправности должны быть устранены.
2.2.2. Проверяется исправность генераторов пены. Особое внимание обращается на состояние сеток, которые должны быть чистыми, туго натянутыми и не имеющими порванных ячеек. Неисправные сетки должны быть заменены.
2.2.3. Проверяется чистота отверстия

в бонке пневматического трубопровода.
2.2.4. Проверяется наличие раствора пенообразователя в резервуаре, независимо от целостности пломб на пусковых кранах и кожухе блока тумблеров полуавтоматических установок. При недостаточном количестве раствор пополняется. Проверяется положение кранов и наличие пломб.
2.3. Текущий ремонт ТР-1.
2.3.1. Производятся работы в объеме технического обслуживания ТО-3 с соблюдением требований
п. 2.2 настоящего Приложения.
2.3.2. Проверяется работа всех кранов. Пробки должны поворачиваться свободно от усилия руки человека без применения удлинителей, ключей и т.п.
2.3.3. У полуавтоматических установок проверяется работа дистанционного привода включения установки и отключения аккумуляторной батареи.
2.3.4. Производится опробование установки с проверкой кратности пены в соответствии с указаниями
п. 2.6 настоящего Приложения, после чего установка подготавливается к работе согласно
п. п. 1.10 -
1.18 Приложения 2.
2.4. Текущие ремонты ТР-2 и ТР-3.
2.4.1. Производятся работы в объеме текущего ремонта ТР-1 с соблюдением требований
п. 2.3 настоящего Приложения.
2.4.2. Водный раствор пенообразователя из резервуара сливается после предварительной проверки кратности пены и определения его пригодности для дальнейшего использования.
2.4.3. Резервуар снимается, сифонный узел резервуара разбирается, а стальная труба, входящая внутрь резервуара, по которой из него вытесняется раствор, тщательно осматривается.
В результате постоянного коррозионного воздействия на эту трубу водного раствора пенообразователя на стенках трубы появляются раковины и с течением времени происходит разрушение стенок трубы. Разрушение чаще всего происходит на границе раздела водного раствора пенообразователя и воздуха. Повреждение стенок приводит к тому, что сжатый воздух вместо того, чтобы вытеснять раствор в трубу, проходит через поврежденные места и установка пожаротушения оказывается неработоспособной. При капитальных ремонтах производится плановая замена стальной трубы на полиэтиленовую.
При обнаружении повреждений стальной трубы необходимо заменить ее полиэтиленовой с изменением конструкции крепления к резервуару в соответствии с утвержденной рабочей конструкторской документацией. При отсутствии такой возможности допускается заменять поврежденную трубу новой стальной, сохранив существующий способ крепления к резервуару. Оставлять старую трубу с заваркой поврежденных мест не допускается.
2.4.4. Разбираются и осматриваются генераторы пены. При обнаружении ржавчины или клейкого налета пенообразователя генераторы пены должны быть очищены, промыты и просушены. В случае повреждений электроизолирующего покрытия, на наружных поверхностях металлического генератора пены оно должно быть восстановлено.
Проверяется соосность соплового отверстия центробежного распылителя металлического генератора пены с диффузорами корпуса. Несоосность более 2,0 мм не допускается.
Течи раствора пенообразователя и утечки воздуха в соединениях трубопроводов установки должны быть устранены.
2.4.5. Электропневматические вентили и клапаны полуавтоматических установок разбираются и очищаются от ржавчины и клейкого налета пенообразователя. Особое внимание обращается на чистоту запорных поверхностей клапанов и сопрягаемых поверхностей корпусов.
2.4.6. Установка промывается горячей водой и продувается сжатым воздухом, после чего резервуар заряжается водным раствором пенообразователя в соответствии с
п. 1.10 Приложения 2.
2.5. Капитальные ремонты КР-1 и КР-2.
2.5.1. Трубопроводы установки со всей арматурой и резервуаром должны быть сняты, разобраны и очищены.
2.5.2. Поврежденные трубы заменяются новыми. Допускается поврежденные трубы ремонтировать вваркой участков из новых труб. Трубы гидравлического трубопровода, независимо от их состояния, заменяются новыми.
2.5.3. Резервуары для водного раствора пенообразователя, не имеющие внутреннего антикоррозионного покрытия, независимо от их состояния, при КР-2 должны быть заменены новыми. В устанавливаемом сифонном узле резервуара труба должна быть из полиэтилена.
2.5.4. Генераторы пены, электропневматические вентили, клапаны, цилиндры отключения аккумуляторных батарей должны быть отремонтированы и испытаны согласно чертежам и техническим условиям.
2.5.5. Гибкие резинотканевые рукава при КР-2 заменяются новыми.
2.5.6. Электрооборудование дистанционного пуска полуавтоматических установок должно быть отремонтировано и испытано в соответствии с требованиями Правил ремонта к электрооборудованию.
2.5.7. Установка пожаротушения должна быть собрана и испытана в соответствии с требованиями утвержденной конструкторской документации.
2.5.8. Перед отправкой тепловоза (дизель-поезда) производится опробование установки с проверкой кратности пены в соответствии с указаниями
п. 2.6 настоящего Приложения.
2.5.9. Установка пожаротушения, тепловоза (дизель-поезда), отправляемого из ремонта, должна быть подготовлена к работе согласно
п. п. 1.10 -
1.18 Приложения 2.
2.6. Опробование установки с проверкой кратности пены.
2.6.1. Для проверки кратности пены нужно привести установку пожаротушения в действие и, направив струю пены из генератора пены в любой мерный сосуд (например, ведро), заполнить его пеной. После отстоя пены замеряется объем отстоявшейся жидкости. Частное от деления объема пены на объем отстоявшейся жидкости дает кратность пены.
Кратность пены должна быть не менее 60 при давлении воздуха перед распылителем 0,6 МПа (6 кгс/см2).
2.6.2. Если кратность пены окажется в норме, раствор может быть сохранен для дальнейшего использования. Если кратность пены окажется ниже нормы, раствор должен быть слит и заменен новым. Допускается корректировка раствора добавлением ранее залитого пенообразователя с обязательной проверкой кратности и доведением ее до нормы.
Если при отремонтированных и проверенных генераторах пены кратность пены, полученной из свежезалитого раствора, окажется ниже нормы, необходимо произвести анализ пенообразователя для проверки его годности.
2.6.3. Получив положительные результаты опробования работоспособности установки и кратности пены, следует удалить остатки водного раствора пенообразователя из гидравлического трубопровода.
Для этого нужно перекрыть кран, разобщающий гидравлический трубопровод с резервуаром, открыть кран на трубе, соединяющей гидравлический трубопровод с пневматическим, открыть один из пусковых кранов, выставить генераторы пены наружу тепловоза (дизель-поезда) и открыть их краны. Воздух по трубам через рукава и генераторы пены вытеснит весь оставшийся раствор из трубопровода, сохранив его в резервуаре. После продувки установка должна быть подготовлена к действию в соответствии с требованиями
пунктов 1.11 -
1.18 Приложения 2.
2.7. В тех случаях, когда в процессе эксплуатации установкой пожаротушения пользовались (независимо от продолжительности), на очередном ТО-3 должна быть проверена кратность пены в соответствии с требованиями
п. 2.6 настоящего Приложения.
2.8. Опробование установок пенного пожаротушения с проверкой кратности пены, кроме указанных выше сроков, должно производиться при весенних и осенних комиссионных осмотрах.
2.9. При проверках кратности пены, работы дистанционного привода и последующих удалениях раствора пенообразователя из гидравлического трубопровода полуавтоматических установок нужно обращать особое внимание на недопустимость случайного попадания пены или раствора в аппаратные камеры.
3. Установки газового пожаротушения
3.1. Техническое обслуживание ТО-2.
3.1.1. Проверяется наличие пломб в местах, предусмотренных устройством установки.
3.1.2. В баллонах с огнетушащим веществом проверяется давление, которое должно соответствовать установленному для данного типа баллона (огнетушителя) и огнетушащего вещества, с учетом температуры наружного воздуха. Нормы давлений в зависимости от температур должны быть вывешены на видном месте рядом с баллоном.
3.2. Техническое обслуживание ТО-3.
3.2.1. Выполняются работы в объеме технического обслуживания ТО-2 с соблюдением требований
п. 3.1 настоящего Приложения.
3.2.2. Проверяется состояние баллонов с огнетушащим веществом и их головок-затворов. Механические повреждения (вмятины, заметные изменения формы, сильная коррозия и т.п.) не допускаются.
3.2.3. Проверяется состояние отверстий распределительного трубопровода. При необходимости отверстия прочищаются.
3.3. Текущий ремонт ТР-1.
3.3.1. Выполняются работы в объеме технического обслуживания ТО-3 с соблюдением
п. 3.2 настоящего Приложения.
3.3.2. Проверяется выполнение защитных операций (остановка тепловоза, остановка дизеля, разблокирование дверей у дизель-поезда и др., предусмотренные устройством установки) при включении установки пожаротушения. Проверка выполняется без срабатывания пиропатрона.
3.4. Текущие ремонты ТР-2 и ТР-3.
3.4.1. Баллоны с огнетушащим веществом снимаются и осматриваются на отсутствие механических повреждений.
Снятые баллоны взвешиваются для определения массы заряда. Масса заряженного баллона должна соответствовать указанной на баллоне или в его паспорте, а давление находиться в норме, установленной для данного типа баллонов и огнетушащего вещества с учетом температуры наружного воздуха. При снижении массы заряда и давления против установленных, но не более допускаемой величины снижения, баллоны должны быть дозаряжены.
Снижение массы заряда и давления более допустимого свидетельствует о потере герметичности. Такой баллон должен быть заменен или отремонтирован.
3.4.2. Проверяется надежность вскрытия затворов без выпуска заряда.
3.4.3. Распределительный трубопровод продувается сжатым воздухом.
3.4.4. Проверяется выполнение защитных операций при включении установки без срабатывания пиропатрона.
3.4.5. Проверяется работа ручного привода без вскрытия затворов.
3.4.6. Устанавливаются пломбы в местах, предусмотренных устройством установки.
3.5. Капитальные ремонты КР-1 и КР-2.
3.5.1. Установка пожаротушения снимается, очищается и разбирается для ремонта.
3.5.2. Снятые баллоны после очистки подвергаются гидравлическим испытаниям в соответствии с паспортными данными и требованиями
Правил устройства и безопасной эксплуатации сосудов, работающих под давлением.
При наличии трещин, плен, раковин, вмятин, рисок глубиной более 1 мм, а также при отсутствии паспорта, баллон подлежит замене.
3.5.3. Головка-затвор осматривается на отсутствие повреждений. Корпус головки-затвора при наличии трещин и отколов заменяется.
Головка-затвор проверяется на работоспособность на стенде путем вскрытия при помощи пиропатрона. Неисправная головка-затвор должна быть отремонтирована, проверена на герметичность и работоспособность.
3.5.4. Трубы перед постановкой обстукиваются и продуваются сжатым воздухом. Поврежденные трубы должны быть заменены новыми.
3.5.5. Проверяется цепь дистанционного включения установки пожаротушения, состояние и работа электрических аппаратов, входящих в систему пуска установки, а также срабатывание защитных операций, предусмотренных устройством установки.
3.5.6. Установка пожаротушения должна быть собрана и соответствовать требованиям утвержденной конструкторской документации.
3.6. Снятие баллонов с тепловоза (дизель-поезда), выпуск заряда, ремонт баллонов и их головок-затворов, дозарядка или перезарядка, все проверки, а также меры безопасности, принимаемые при проведении этих работ, должны производиться в полном соответствии с руководством по технической эксплуатации для данного типа баллона (огнетушителя), которое прилагается к техническому паспорту тепловоза (моторного вагона дизель-поезда).
3.7. Баллоны и манометры, у которых срок периодического освидетельствования истек, к дальнейшей эксплуатации не допускаются и должны пройти проверку в установленном порядке.
4. Установки порошкового пожаротушения
4.1. Техническое обслуживание ТО-2.
4.1.1. Проверяется наличие рукавов с пожарными стволами.
4.1.2. Проверяется положение кранов, из которых кран на трубопроводе к пожарному стволу и краны местного пуска на блоках управления должны быть закрыты, а остальные открыты.
4.1.3. Проверяется наличие пломб на всех кранах, тумблерах и, в зависимости от конструкции, на крышках блоков тумблеров и заправочной горловине. В случае отсутствия пломбы на пусковых кранах или на тумблере (крышках блоков тумблеров), производится перезарядка резервуаров с использованием оборудования в соответствии с
разделом 4 Приложения 4 к настоящей инструкции. На месте старой маркировки - наносится новая с указанием типа вновь засыпанного порошка и даты его засыпки.
Одновременно производится осмотр, прочистка и продувка отверстий распределительного трубопровода, осмотр и установка резиновых колец на аэраторе, проверяется наличие и состояние мембран прорыва. Порванные мембраны заменяются.
4.2. Техническое обслуживание ТО-3.
4.2.1. Выполняются работы в объеме технического обслуживания ТО-2 с соблюдением требований
п. 4.1 настоящего Приложения.
4.2.2. Проверяется состояние рукавов и их соединений с трубопроводами и пожарными стволами. Неисправности должны быть устранены.
4.2.3. Проверяется исправность пожарных стволов. При открытии ствола, после снятия усилия запорный орган (клапан) без заеданий должен возвращаться в исходное положение.
4.2.4. Проверяется наличие и состояние мембран прорыва. Порванные мембраны заменяются.
4.3. Текущий ремонт ТР-1.
4.3.1. Выполняются работы в объеме технического обслуживания ТО-3 с соблюдением требований
п. 4.2 настоящего Приложения.
4.3.2. Проверяется работа кранов при отсутствии давления в пневматическом трубопроводе. Пробки должны поворачиваться свободно от усилия руки человека без применения удлинителей, гаечных ключей и т.п.
4.3.3. Проверяется работа электропневматических вентилей, клапанов и дистанционного пуска в полуавтоматическом режиме без выброса огнетушащего порошка в защищаемое помещение по методике инструкции по эксплуатации для данного локомотива (дизель-поезда).
Проверять работу установки с выбросом порошка через пожарный ствол или распределительный трубопровод не допускается, так как это может приводить к образованию пробок из слежавшегося порошка и потери работоспособности установки. Если по каким-либо обстоятельствам выброс порошка все же произошел, необходимо продуть магистральный и распределительный трубопроводы, по которым проходил выброс порошка. Если выброс происходил из распределительного трубопровода, имеющего тупиковые участки, их необходимо прочистить, сняв для этого заглушки, аэратор нужно осмотреть и установить резиновые кольца. Резервуар после выброса должен быть перезаряжен.
4.3.4. Проверяется работа электропневматического вентиля и цилиндра отключения аккумуляторной батареи.
Для этого нужно закрыть кран, соединяющий блок управления с питательной магистралью. Включая тумблеры, обозначенные "ДП" и "ВВК", проверяется перемещение поршня цилиндра и выключение рубильника аккумуляторной батареи.
4.3.5. Проверяется качество огнетушащего порошка в резервуаре на отсутствие слеживания и образования комков. Проверка производится путем отбора пробы порошка из резервуаров (не менее 100 г из каждого резервуара) и определения его гранулометрического состава просеиванием через сетки N 1, N 0125 и N 0071.
Массовая доля остатка порошка на сетке N 1 - 0%, на сетке N 0125 - не более 15%, на сетке N 0071 - не более 25%.
Если остаток превышает указанные нормы, а также при обнаружении комков, порошок заменяется.
4.4. Текущие ремонты ТР-2 и ТР-3.
4.4.1. Огнетушащий порошок из резервуаров высыпается, а резервуары разбираются, очищаются и осматриваются. Резиновые кольца на аэраторе заменяются новыми.
4.4.2. Прочищаются все отверстия распределительного трубопровода. Заглушки на тупиковых участках снимаются, эти участки прочищаются, трубопровод продувается, после чего заглушки ставятся на место.
4.4.3. Проверяется работа пробковых кранов. Пробки должны поворачиваться свободно от усилия руки человека без применения удлинителей, гаечных ключей и т.п.
4.4.4. Пожарные стволы, электропневматические вентили, клапаны и цилиндр отключения аккумуляторной батареи разбираются, очищаются, осматриваются и, при необходимости, ремонтируются.
4.4.5. Проверяется состояние мембран прорыва. Поврежденные мембраны заменяются.
4.4.6. Проверяется состояние рукавов и их соединений с трубопроводами и пожарными стволами. Неисправности должны быть устранены.
4.4.7. Установка пожаротушения должна быть собрана и испытана на герметичность в соответствии с требованиями утвержденной конструкторской документации.
4.4.8. Проверяется работа электропневматических вентилей, клапанов и дистанционного пуска в полуавтоматическом режиме.
Для этого из бонок с заглушками на пневматическом трубопроводе перед резервуарами нужно вывернуть болты, соединив тем самым пневматический трубопровод с атмосферой, а пробковый кран на пневматическом трубопроводе перед цилиндром отключения аккумуляторной батареи закрыть. Включая попеременно тумблеры дистанционного пуска на основных и дополнительных блоках тумблеров каждой секции, проверяется поступление воздуха в соответствующий пневматический трубопровод по выходу его из отверстий в бонках.
4.4.9. Проверяется работа электропневматического вентиля и цилиндра отключения аккумуляторной батареи в полуавтоматическом режиме.
Для этого нужно закрыть пробковый кран, соединяющий блок управления с питательной магистралью. Пробковый кран на пневматическом трубопроводе перед цилиндром отключения аккумуляторной батареи должен быть открыт. Включая попеременно тумблеры дистанционного пуска на основных и дополнительных блоках тумблеров каждой секции, проверяется перемещение поршня цилиндра и выключение рубильника аккумуляторной батареи.
4.4.10. Производится проверка работы электропневматических вентилей, клапанов и цилиндра отключения аккумуляторной батареи в автоматическом режиме. Для этого тумблер переключения режимов ставится в положение "Автомат" и имитируется срабатывание пожарного извещателя при помощи тумблера (кнопки) проверки автоматической пожарной сигнализации.
Положение пробковых кранов и методика определения работоспособности проверяемых аппаратов и устройств содержатся в
п. 4.4.8 и
4.4.9 настоящего Приложения.
На тех тепловозах (дизель-поездах), где пуск установки в автоматическом режиме предусмотрен с выдержкой по времени, проверяется ее соответствие техническим данным установки.
4.4.11. Установка порошкового пожаротушения после ремонта должна быть подготовлена к работе согласно
п. п. 3.7 -
3.13 Приложения 2.
4.5. Капитальные ремонты КР-1 и КР-2.
4.5.1. Трубопроводы установки со всей арматурой и резервуары снимаются, разбираются и очищаются. Аэратор продувается, а резиновые кольца заменяются новыми.
4.5.2. Поврежденные трубы заменяются новыми. Поврежденные трубы пневматического трубопровода допускается ремонтировать вваркой участков из новых труб.
4.5.3. Пожарные стволы, электропневматические вентили, клапаны, цилиндры отключения аккумуляторных батарей должны быть отремонтированы и испытаны согласно чертежам и техническим условиям.
4.5.4. Гибкие резинотканевые рукава при КР-2 заменяются новыми.
4.5.5. Электрооборудование дистанционного пуска установки должно быть отремонтировано и испытано в соответствии с требованиями правил ремонта к электрооборудованию.
4.5.6. Установка пожаротушения должна быть собрана и испытана на герметичность в соответствии с требованиями утвержденной конструкторской документации.
4.5.7. Проверяется работа электропневматических вентилей, клапанов, цилиндров отключения аккумуляторной батареи и дистанционного пуска в полуавтоматическом и автоматическом режимах в соответствии с
п. п. 4.4.8 -
4.4.10 настоящего Приложения.
4.5.8. Установка порошкового пожаротушения тепловоза (дизель-поезда), отправляемого из ремонта в действующем состоянии, должна быть подготовлена к работе согласно
п. п. 3.7 -
3.12 Приложения 2.
При отправке из ремонта тепловоза (дизель-поезда) в недействующем состоянии допускается резервуары установки огнетушащим порошком не заряжать.
5. Автоматическая пожарная сигнализация
5.1. Техническое обслуживание (все виды).
5.1.1. Проверяется исправность схемы автоматической пожарной сигнализации. Схема считается исправной, если при подаче питания загорается световая сигнализация в соответствии с условиями, предусмотренными для данного типа тепловоза (дизель-поезда). Звуковой сигнал включаться не должен.
5.1.2. На тепловозах и дизель-поездах, где это предусмотрено конструкцией, производится проверка схемы автоматической пожарной сигнализации путем имитации срабатывания пожарного извещателя. При этом звуковой сигнал должен включиться, а световой загореться или потухнуть в зависимости от того, как это предусмотрено устройством данной системы автоматической пожарной сигнализации.
5.1.3. Неисправные лампы должны быть заменены новыми.
5.2. Текущий ремонт ТР-1.
5.2.1. Производится внешний осмотр автоматической пожарной сигнализации, при котором проверяется наличие и состояние пожарных извещателей, надежность их крепления, отсутствие механических повреждений, надежность крепления узлов и блоков аппаратуры.
5.2.2. Производятся работы, предусмотренные
п. 5.1 настоящего Приложения.
5.3. Текущие ремонты ТР-2 и ТР-3.
5.3.1. Производятся работы в объеме текущего ремонта ТР-1 с соблюдением требований
п. 5.2 настоящего Приложения.
5.3.2. Осматриваются элементы внутреннего монтажа блоков и коробок с электроаппаратами.
5.3.3. Проверяется регулировка реле и производится зачистка контактов.
5.3.4. Узлы и детали, у которых при внешнем осмотре обнаружены повреждения, заменяются новыми или отремонтированными.
5.3.5. Проверяется электрическая прочность изоляции токоведущих частей, которая должна удовлетворять требованиям соответствующей технической документации.
5.3.6. Проверяются параметры срабатывания пожарных извещателей.
Пожарные извещатели типа ДТ-1 с резисторами КМТ-10 сортируются на группы с минусовыми и плюсовыми допусками к номинальной температуре срабатывания. Устанавливать извещатели типа ДТ-1, имеющие минусовой допуск к установленному номинальному значению температуры срабатывания, в зоны повышенной температуры не допускается.
Пожарные извещатели, у которых контактные пластины соединяются элементом (заклепкой) из легкоплавкого металла, на температуру срабатывания не проверяются.
5.4. Капитальные ремонты КР-1 и КР-2.
5.4.1. Все узлы автоматической пожарной сигнализации должны быть сняты, очищены от пыли и грязи, разобраны и отремонтированы в соответствии с требованиями инструкций заводов-изготовителей и действующих нормативно-технических документов.
5.4.2. Все приборы и аппараты проверяются на соответствие установленным параметрам.
5.4.3. Проверяются и регулируются параметры срабатывания пожарных извещателей, у которых такая регулировка предусмотрена конструкцией. У пожарных извещателей с контактными пластинами, соединяемыми элементом из легкоплавкого металла, контактные пластины зачищаются и заново скрепляются элементом (заклепкой) из легкоплавкого металла. Пожарные извещатели, имеющие повреждения корпуса, заменяются новыми.
5.4.4. Лампы накаливания заменяются новыми независимо от их состояния.
5.4.5. Собранная установка автоматической пожарной сигнализации должна быть испытана и соответствовать требованиям рабочей конструкторской документации.
ХРАНЕНИЕ ОГНЕТУШАЩЕГО ПОРОШКА, ПРОВЕРКА ЕГО КАЧЕСТВА
И ЗАРЯДКА СИСТЕМ ПОРОШКОВОГО ПОЖАРОТУШЕНИЯ
1. Хранение огнетушащего порошка
1.1. Огнетушащий порошок должен храниться в сухом помещении, защищенном от атмосферных осадков, при соблюдении целостности заводской упаковки, при температуре от минус 50 до плюс 50 °C и относительной влажности не более 95%.
1.2. При хранении огнетушащего порошка должны быть обеспечены условия, предотвращающие нарушение заводской упаковки. Рекомендуется тару с огнетушащим порошком помещать на стеллажи или полки.
1.3. При поступлении огнетушащего порошка нужно:
проверить сопроводительные документы на каждую поступающую партию порошка;
проверить состояние тары, наличие и содержание ярлыков;
отбраковать порошок с поврежденной тарой.
1.4. Огнетушащий порошок с тарой, поврежденной при поступлении или в процессе хранения, а также порошок, который был высыпан из установки порошкового пожаротушения после ее разрядки, можно использовать при положительных результатах проверки его качества по показателям и методике, приведенным в разделе 2 настоящего Приложения.
2. Качество огнетушащего порошка
2.1. Качество огнетушащего порошка следует определять по внешнему виду, содержанию воды и гранулометрическому составу. Для порошка Пирант-АН, кроме того, рекомендуется проверять содержание аэросила. Другие показатели, регламентируемые техническими условиями на изготовление огнетушащих порошков, проверять не требуется.
2.2. В соответствии с техническими условиями на соответствующие огнетушащие порошки, проверяемые показатели качества должны соответствовать указанным ниже.
2.2.1. По внешнему виду Пирант-А и Пирант-АН должен представлять сыпучий порошок голубого или фиолетового цвета.
Внешний вид порошка П-2АП техническими условиями не регламентирован.
2.2.2. Массовая доля воды, независимо от марки порошка, не должна превышать 0,5%.
2.2.3. Гранулометрический состав:
Пират-А
массовая доля остатка порошка на сетке N 1К по
ГОСТ 6613-86,
%, не более ........................................................... 0
то же на сетке N 01К, %, не более ..................................... 6
то же на сетке N 003К, %, не более .................................... 34
Пирант-АН
массовая доля остатка порошка на сетке N 1К по
ГОСТ 6613-86,
%, не более ........................................................... 0
то же на сетке N 0125К, %, не более ................................... 15
то же на сетке N 0071К, %, не более ................................... 25
П-2АП
массовая доля остатка порошка на сетке N 02К по
ГОСТ 6613-86,
%, не более ........................................................... 2
массовая доля порошка, прошедшего через сетку N 005К
по
ГОСТ 6613-86, %, не менее .......................................... 70
2.2.4. Массовая доля аэросила у порошка Пирант-АН должна быть в пределах от 0,8 до 2,5%.
2.3. При неудовлетворительных результатах проверки качества производится повторная, которая считается окончательной. Если хотя бы один из указанных выше показателей не будет соответствовать нормам, полученная партия бракуется и на нее предъявляется рекламация в установленном порядке.
3. Методы проверки качества огнетушащего порошка
3.1. Внешний вид огнетушащего порошка определяется визуально.
3.2. Определение содержания воды.
3.2.1. Оборудование, посуда и средства измерений.
Шкаф сушильный с погрешностью регулирования температуры до +/- 5 °C.
Эксикатор по
ГОСТ 25336-82, заполненный хлористым кальцием, предварительно прокаленным при температуре 250 - 300 °C в течение 1 - 2 ч, или активной окисью алюминия, или силикагелем.
Весы лабораторные с погрешностью взвешивания не более 0,0002 г и набор гирь.
3.2.2. Проведение анализа.
Приблизительно 5 г огнетушащего порошка помещают в стаканчик для взвешивания или кювету и взвешивают. Результат взвешивания в граммах записывают с точностью до четвертого десятичного знака. Стаканчик для взвешивания или кювета предварительно должны быть высушены с открытой крышкой в сушильном шкафу в течение 30 мин при температуре 60 - 65 °C, охлаждены в эксикаторе с выдержкой перед взвешиванием не менее 30 мин и взвешены с той же точностью.
Стаканчик для взвешивания или кювету с навеской (огнетушащим порошком) помещают в сушильный шкаф и сушат с открытой крышкой 2 - 3 ч при температуре 60 - 65 °C. Затем стаканчик или кювету закрывают и охлаждают в эксикаторе, выдерживая перед взвешиванием не менее 30 мин. Результат взвешивания в граммах записывают с вышеуказанной точностью.
3.2.3. Обработка результатов.
Массовую долю воды

в процентах вычисляют по формуле:

,
где m - масса стаканчика для взвешивания (кюветы) с пробой до высушивания, г;

- масса стаканчика для взвешивания (кюветы) с пробой после высушивания, г;

- масса навески, г.
За результат анализа принимают среднее арифметическое двух параллельных определений, расхождение между которыми не должно превышать 20% среднего результата.
3.3. Определение гранулометрического состава.
3.3.1. Оборудование и средства измерений.
Сита с сетками N 1К, N 02К, N 0125К, N 01К, N 0071К и N 005К по
ГОСТ 6613-86 (с размерами ячеек 1,0; 0,2; 0,125; 0,1; 0,071 и 0,05 мм). Рамки сит должны быть цилиндрическими и плотно подходить друг к другу, чтобы образовался набор лабораторных сит. В набор входят крышка и поддон (приемник).
Встряхиватель механический, обеспечивающий вращательно-поступательное движение сит с периодическим встряхиванием. Число оборотов встряхивателя в минуту - 300, число ударов в минуту - 180.
Шкаф сушильный.
Весы лабораторные с погрешностью взвешивания не более +/- 0,01 г и набор гирь.
Кисточка мягкая длинноволосяная.
3.3.2. Проведение анализа.
Проба порошка для определения гранулометрического состава высушивается при температуре (65 +/- 2) °C в течение 2 ч и охлаждается до температуры окружающей среды. Из пробы выделяется навеска порошка массой 50 г, взвешенная с точностью до второго десятичного знака, и помещается на верхнее сито набора, которое плотно закрывается крышкой. Набор собирается из сит с теми сетками, которые требуются для определения гранулометрического состава анализируемой марки порошка в соответствии с
п. 2.2.3 настоящего Приложения. Сита в наборе располагаются в нисходящем порядке размеров сеток, начиная с самого крупного. Весь набор закрепляется в раме механического встряхивателя.
Рассев производится в течение 15 - 20 мин. По окончании рассева порошок, находящийся на сетке каждого сита или в поддоне (остаток), осторожно стряхивается на одну сторону сита (поддона) и высыпается на гладкую бумагу, а затем взвешивается. Результаты взвешиваний в граммах записываются с точностью до второго десятичного знака.
При отсутствии механического встряхивателя рассев производится ручным встряхиванием до прекращения появления порошка на черной гладкой бумаге, помещенной под ситом, при встряхивании в течение 30 с. В процессе встряхивания сита периодически очищаются кисточкой от застрявших частиц порошка. По окончании рассева ручным способом остаток с каждого сита также высыпается и взвешивается.
3.3.3. Обработка результатов.
Массовую долю остатка порошка на сетке каждого размера, а для порошка П-2АП, кроме того, массовую долю порошка, прошедшего через сетку N 005К; вычисляют по формуле:

,
где M - масса остатка, г (для П-2АП, кроме того, масса порошка, прошедшего через сетку N 005К);

- масса навески, г.
За результат анализа принимают среднее арифметическое двух параллельных определений, расхождение между которыми не должно превышать 2% отн.
Отсутствием остатка на сетке N 1К (размер ячейки 1 мм) принимается остаток с массовой долей до 0,04%.
3.4. Определение массовой доли аэросила производится в соответствии с техническими условиями на огнетушащий порошок (Пирант-АН).
4. Зарядка систем порошкового пожаротушения
4.1. Для зарядки и перезарядки установок порошкового пожаротушения, а также ручных порошковых огнетушителей, предназначено специальное оборудование.
Условное обозначение комплекта оборудования при заказе: "Установка для зарядки систем порошкового пожаротушения типа А2006 ТУ 32 ЦТ 1386-87".
В комплект входят:
устройство зарядное А2006.01.00 ................................. 1 шт.
весы А2006.50.00 ................................................ 1 шт.
контейнер А2006.46.00 ........................................... 6 шт.
циклон А2006.36.00 .............................................. 1 шт.
4.2. Устройство зарядное и весы.
4.2.1. Зарядное устройство служит для наполнения контейнеров и ручных огнетушителей огнетушащим порошком. Производительность зарядного устройства (30 +/- 1,5) кг/мин, питание напряжением 220/380 В, частотой 50 Гц, а потребляемая мощность 1,2 кВт.
4.2.2. Основными частями зарядного устройства (рис. 1) являются бункер 1, кассета 2, вибратор 5, основание 7, шнековый питатель 8 и переходник 11 с рукавом 10 и патрубком 9.
Устройство зарядное с весами
1 - бункер; 2 - кассета; 3 - игольчатые захваты;
4 - крышка; 5 - вибратор; 6 - сетка вибратора;
7 - основание; 8 - питатель; 9 - патрубок;
10 - рукав гибкий; 11 - переходник; 12 - клиноременная
передача; 13, 15 - электродвигатель; 14 - фильтр;
16 - заслонка; 17 - трубка
| | ИС МЕГАНОРМ: примечание. Текст дан в соответствии с официальным текстом документа. | |
Бункер сварной конструкции в верхней части шарнирно соединен с кассетой - крышкой его загрузочного отверстия. Снизу бункер соединен с рамой вибратора 5 и может откидываться на петлях, открывая доступ к сетке вибратора 6 для ее очистки. Объем бункера, при необходимости, может быть увеличен путем постановки вставки между ним и вибратором. Вверху на бункере установлен матерчатый фильтр 14. При незервуара, и при помощи рукоятки 3 шток 7 перемещается вентиляция.
Кассета может находиться в двух положениях:
нижнем, открывая загрузочное отверстие, и верхнем, закрывая его. Кассета закрывается крышкой 4, а внутри имеет игольчатые захваты 3.
Вибратор размещен между бункером и основанием. Сетка вибратора 6 закреплена в рамке и подвешена на четырех серьгах. Привод сетки осуществлен с помощью эксцентрика от электродвигателя 15.
Основание имеет каркас, сваренный из уголков, и емкость, сваренную из листовой стали. К нижней части емкости основания прифланцован шнековый питатель и отделен от нее заслонкой 16, которая позволяет регулировать подачу порошка в питатель. Привод шнека осуществляется от электродвигателя 13 посредством клиноременной передачи 12.
Переходник 11 с гибким рукавом 10 и патрубком 9 прикреплен к верхней части питателя к заряжаемому контейнеру или ручному огнетушителю. Для отвода воздуха при заполнении контейнера порошком патрубок с помощью трубки 17 соединен с бункером.
4.2.3. Весы предназначены для взвешивания пустых и заряженных контейнеров или ручных огнетушителей. Весы оснащены дополнительным подвижным циферблатом.
4.2.4. Наполнение контейнеров огнетушащим порошком с помощью зарядного устройства производится в таком порядке:
в помещении, где размещено зарядное устройство, включается вытяжная вентиляция. Кассета устанавливается в нижнее положение, и открывается ее крышка. Развязывается или отрезается верхняя часть мешка с огнетушащим порошком, и мешок укладывается в кассету. Кассета закрывается крышкой и переводится в верхнее положение (на
рис. 1 показано штрихпунктирными линиями) при предварительно включенном электродвигателе вибратора. Порошок высыпается из мешка в бункер, просеивается на вибрирующей сетке вибратора и ссыпается в емкость основания. Оболочка мешка при этом удерживается в кассете игольчатыми захватами.
На платформу весов устанавливается контейнер с предварительно открытым запорным клапаном. На соединительную головку контейнера надевается патрубок. Подвижный циферблат весов устанавливается на "0", т.е. совмещается со стрелкой весов.
Включается электродвигатель питателя, и огнетушащий порошок начинает поступать в контейнер. Когда в контейнер будет засыпано нужное количество порошка, электродвигатель питателя выключается и закрывается клапан контейнера. Контейнер готов для транспортирования и зарядки установок порошкового пожаротушения.
4.3. Контейнер.
4.3.1. Контейнеры служат для хранения, транспортирования огнетушащего порошка и зарядки им установок порошкового пожаротушения. Вместимость одного контейнера 18 л, время пересыпки порошка из заполненного контейнера в резервуар установки пожаротушения - не более 3 мин. Масса порожнего контейнера - 5,5 кг.
4.3.2. На рис. 2 показан контейнер в положении, соответствующем зарядке резервуара установки пожаротушения. Транспортное положение и положение при зарядке самого контейнера соответствует повернутому на 180°, т.е. ручкой вверх.
Контейнер
1 - корпус; 2 - крышка; 3 - рукоятка; 4 - втулка;
5 - клапан лепестковый; 6 - патрубок; 7 - шток;
8 - клапан запорный; 9 - клапан шариковый;
10 - головка соединительная; 11 - ручка;
а, б - отверстие
Рис. 2
Контейнер представляет собой сварной корпус 1 с соединительной головкой 10 на конце его конусной части. Особенностью конструкции контейнера является наличие полого штока 7, через который воздух из резервуара установки пожаротушения при его зарядке вытесняется в верхнюю часть контейнера.
4.3.3. Для зарядки резервуара установки пожаротушения головку контейнера соединяют с заправочной горловиной резервуара и при помощи рукоятки 3 шток 7 перемещается вверх, при этом открывается запорный клапан 8. Огнетушащий порошок под действием силы тяжести перетекает в резервуар, вытесняя из него воздух. Шариковый клапан 9 в этом положении опущен и открывает проход воздуху в полость штока. Далее воздух через отверстие б проходит в полость между штоком и патрубком 6, а затем через отверстие а в патрубке и лепестковый клапан 5, сделанный из резиновой трубки, в верхнюю часть корпуса на место высыпавшегося порошка.
В транспортном положении шариковый клапан отверстие в штоке закрывает. Положение штока, а следовательно, и запорного клапана 8 фиксируется с помощью байонетного соединения со втулкой 4 в крышке 2.
4.4. Циклон.
4.4.1. Циклон (рис. 3) служит для освобождения резервуаров установок порошкового пожаротушения от засыпанного в них огнетушащего порошка. Поэтому устанавливать циклон следует в месте, удобном для подъезда локомотива (моторвагонного подвижного состава), в зоне досягаемости рукава установки пожаротушения.
Циклон
1 - рама; 2 - циклон; 3 - фильтр; 4 - колпак;
5 - гнездо циклона; 6 - хомут
Рис. 3
4.4.2. Рама 1 сварной конструкции имеет два штатива, на которых крепятся два циклона 2, положение которых по высоте может регулироваться. Сверху на каждом циклоне установлен фильтр 3, закрытый колпаком 4, а снизу на обод конической части надет хомут 6. На входном патрубке имеется гнездо 5, обеспечивающее плотное прилегание ствола установки.
4.4.3. Принцип работы циклона основан на центробежном разделении газопорошковой струи, выходящей под давлением из пожарного ствола установки пожаротушения.
Краны установки порошкового пожаротушения приводятся в положение, при котором резервуар отключен от распыляющего трубопровода, а порошок направляется в рукав с пожарным стволом. Пожарный ствол вставляется в гнездо циклона, а на его ободе с помощью хомута 6 закрепляется мешок.
Включается установка порошкового пожаротушения, и открывается пожарный ствол. Газопорошковая струя из резервуара будет поступать в циклон, где порошок, как тяжелая фракция, отделится и будет ссыпаться вниз в мешок, а воздух через фильтр выходить в атмосферу.
ОСНОВНЫЕ ПОЖАРООПАСНЫЕ УЗЛЫ ЛОКОМОТИВОВ
И МОТОРВАГОННОГО ПОДВИЖНОГО СОСТАВА, ПРИЧИНЫ ПОЖАРОВ
И МЕРЫ ИХ ПРЕДОТВРАЩЕНИЯ
Пожароопасные узлы | Причины пожара | Меры по предотвращению пожара, или требования к техническому состоянию | Примечания |
1 | 2 | 3 | 4 |
Цилиндры дизеля | Взрыв в картере и выброс пламени в дизельное помещение при прогарах днища поршня, обрыве головки, изломе тронковой части (юбки), поломке поршневых колец | После запуска дизеля проверить отсутствие посторонних шумов и стуков. Перед началом работы дизеля под нагрузкой закрыть вентиль дренажной трубы, т.к. работа с открытым вентилем ведет к снижению количества воздуха, поступающего в цилиндры, и перегреву поршней. В пути следования следить по дифманометру за разряжением в картере, не допуская его снижения меньше установленного | |
Коллекторы выпускные | Скопление топлива в коллекторе с последующим его воспламенением. | Не нарушать правил запуска и прогрева дизеля. Не допускать длительной работы дизеля на малых нагрузках. | |
Пробой газов через уплотнения смотровых крышек | После запуска дизеля пропусков газов не должно быть. Затянуть гайки крепления крышек |
Дренажная система | Пропуск газов и несгоревших частиц продуктов сгорания через неплотности соединений дренажных труб с выпускными патрубками, запорным вентилем и других резьбовых соединений. Попадание их на поддон и другие промасленные поверхности. Выброс несгоревшего топлива и масла на крышу тепловоза | Проверить резьбовые соединения, при необходимости подтянуть. Проверить чистоту и протереть поверхность поддонов и другие, не допуская скоплений масла, топлива, а также неубранных концов, тряпок и т.п. После запуска дизеля убедиться в отсутствии пробоев газов | Производится модернизация с установкой автоматического клапана и емкости для несгоревшего топлива и масла на дизелях 10Д100 |
| Засорение и прогар дренажных труб | Следить за состоянием дренажных труб и регулярно их очищать. В установленные сроки дренажные трубы должны сниматься с тепловоза, отжигаться и очищаться | |
Трубопроводы топлива и масла | При неплотностях соединений трубопроводов или обрывах труб подвода масла к смазываемым узлам и агрегатам, топливных труб высокого давления и других масло или топливо воспламеняются от попадания на горячие узлы дизеля, в особенности при попадании на выпускные коллекторы, выпускные патрубки, дренажные трубы и др. | После пуска дизеля убедиться в отсутствии течи через все виды соединений топливного и масляного трубопроводов и особенно в районе выпускного коллектора и дренажных труб. Обратить внимание на состояние масляных резинотканевых рукавов, не допуская эксплуатации с рукавами, имеющими выпучивание или трещины до корда. При обнаружении течи в пути следования на поврежденное место установить специальный хомут. Не допускать работу тепловоза без защитных кожухов на дренажных трубках | Разработана замена резино-тканевых рукавов упругими компенсирующими соединениями телескопического типа |
Турбокомпрессор | Выброс искр от масла и несгоревшего топлива на крышу тепловоза | Осуществлять промывку турбокомпрессора без съема с тепловоза | |
Воздушный ресивер дизелей 10Д100 и 11Д45 | Скопление масла в воздушном ресивере с последующим его воспламенением | Не допускать длительной работы дизеля на малых нагрузках. На дизелях 11Д45 следить за состоянием контрольного отверстия в штуцере на раме дизеля | |
Топливный бак | Вытекание топлива по резьбе горловины, облив бака и попадание на него искр. Попадание искр в топливный бак при открытых горловинах | При наборе топлива не переполнять бак. Уровень топлива должен быть на 50 мм ниже верхнего листа бака. После набора топлива или замера его уровня завинтить пробки, которые должны быть прикреплены к горловине цепочкой | |
Вентиляторы охлаждения тяговых электродвигателей | Поломка вентиляторного колеса и воспламенение от искр пространства под полом дизельного помещения. Возгорание тяговых электродвигателей из-за недостаточного охлаждения при поломках вентиляторного колеса | После запуска дизеля проверить отсутствие посторонних стуков. Пространство под полом содержать в чистоте, не захламлять концами, тряпками и т.п. | На тепловозах типа ТЭ10 при модернизации ставится наборный задний диск и бандаж на лопатках, что повышает надежность вентиляторного колеса |
Межсекционное соединение тепловозов | Попадание искр из выхлопных труб на промасленный брезент межсекционного суфле | Проверить наличие защитных щитков над межсекционным суфле. Следить за состоянием искрогасительных устройств и сеток. Не допускать нарушений правил запуска дизеля и трогания тепловоза с места | При модернизации тепловозов типа ТЭ10 вместо суфле устанавливается межсекционное соединение с резиновыми элементами по типу ЦМВ |
Аккумуляторная батарея | Искрение, выброс электролита, замыкания на корпус при повреждении резиновых чехлов | Проверить состояние и исправность аккумуляторных батарей, отсутствие окислов и солей, отсутствие течи электролита. Все перемычки должны быть целы и надежно закреплены на выводах элементов | |
Провода, подводящие ток к электрооборудованию агрегатов, механизмов и т.п. | Искрения и короткие замыкания в местах подвода проводов, особенно к электродвигателю топливоподкачивающего агрегата тепловозов, электропневматическим вентилям, механизму управления муфтой вентилятора холодильника, распределительным коробкам и т.д. | Проверить целостность изоляции, надежность крепления проводов, наличие защиты от перетирания и дополнительной изоляции проводов на выходах из кондуитов, кожухов, клеммных коробок, штепсельных разъемов, от перетирания об острые кромки элементов конструкции | |
Высоковольтные камеры | Несоответствие плавких вставок и предохранителей установленным характеристикам | Проверить соответствие плавких вставок и предохранителей предусмотренным электрической схемой. Проверить плотность контактов в зажимах, состояние изоляционной поверхности вставки. Следов механических повреждений не должно быть | |
| Плохое состояние силовых и низковольтных проводов и их изоляции | Не должно быть оплавлений, поджогов, изломов или трещин токоведущих деталей, выплавления припоя в месте контакта с кабельными наконечниками. Изоляция должна быть целой, чистой и сухой. Не допускать эксплуатации локомотива с неисправными системами. Защиты электрических цепей от короткого замыкания и обрыва цепи возбуждения ТЭД | |
| Плохое соединение проводов с аппаратами, приборами и др. узлами | Проверить плотность контакта, затяжку болтов, гаек, винтов, убедиться в наличии стопорящих деталей (шплинтов, шайб, контргаек) и правильности их установки. Провода, по той или иной причине, отключенные от схемы, должны быть тщательно заизолированы и закреплены в положении, исключающем возможность их соприкосновения с элементами и корпусом локомотива | |
| Плохое состояние контакторов, реле и других контактных аппаратов | Контактные поверхности не должны иметь подгаров и оплавлений, прилегание их друг к другу должно обеспечивать плотный контакт. Износ, разрыв и нажатие контактов должны соответствовать установленным нормам. При уменьшении усилия нажатия против установленного значения производится регулировка аппарата или его замена | |
| Отсутствие дугогасительных камер или неправильная их установка | Проверить наличие дугогасительных камер и правильность их установки. Дугогасительная камера должна быть надежно закреплена на кронштейне контактора, а ее магнитные полюсы плотно прилегать к магнитным полюсам дугогасительной катушки. Зазоры между краями подвижного контакта и внутренними поверхностями стенок дугогасительной камеры должны допускать свободное движение подвижной части контактора при включении и выключении. Все детали камер должны быть чистыми, не иметь изломов, нагара, следов металлизации, копоти, мест, выгоревших более чем на половину толщины стенок, ослабления крепежных деталей | |
| Неисправность резисторов | Резисторы не должны иметь перегоревших витков, изоляторы должны быть чистыми, а подводящие провода и перемычки не иметь подгаров, оплавлений и механических повреждений | |
| Загорание тягового трансформатора электровозов переменного тока | Проверить плотность соединения фланцев крышки и бака трансформатора. Прокладки должны быть целы и все болты затянуты. Утечка трансформаторного масла через уплотнение фланцев не допускается. Фарфоровые изоляторы выводов первичной и вторичной обмоток должны быть чистыми, а шины и провода к выводам обмоток надежно закреплены | |
Чердачное помещение электропоездов | Короткое замыкание проводов к электродвигателям вентиляторов, неисправность нагревательных элементов электрокалориферов, неисправность электродвигателя вентилятора | При ТО-1 осмотреть состояние электрокалориферов и подводящих проводов. Проверять работу вентиляторов на слух. Не допускать работы электрокалориферов с неработающим вентилятором | |
Межвагонные соединения электро- и дизельпоездов | Возникновение дуги и коротких замыканий при слабом контакте высоковольтных межвагонных соединений | Проверить плотность установки и отсутствие подгаров контактов | |
Тяговые электродвигатели | Ослабление контактов в коннекторных коробках, нарушения изоляции выводных проводов от перетирания или от воздействия влаги и пыли при утере крышек коннекторных коробок или неплотной их установке. | Осмотреть состояние крепления контактов, удостовериться в наличии и плотной установке крышек коннекторных коробок | |
| Загорание вентиляционных брезентовых патрубков при возникновении кругового огня или коротких замыканий в тяговом электродвигателе | Осмотреть патрубки и убедиться в отсутствии подгаров, неплотностей и т.д. | |
Нерабочая кабина машиниста | Загорания при включенном отоплении | Не допускать работу отопления без постоянного наблюдения | |
ПЕРЕЧЕНЬ
ПРОЕКТОВ ПКБ ЦТ МПС ПО МОДЕРНИЗАЦИИ
ЛОКОМОТИВОВ И МОТОРВАГОННОГО ПОДВИЖНОГО СОСТАВА
С ЦЕЛЬЮ ПОВЫШЕНИЯ ИХ ПОЖАРНОЙ БЕЗОПАСНОСТИ
N п/п | Обозначения | Наименование | Серия локомотива (моторвагонного подвижного состава) | Примечание |
1 | 2 | 3 | 4 | 5 |
Установки пенного пожаротушения |
1. | Р241.01.00 | Генератор высокократной пены локомотивный ГВПл-100 | | Конструкция металлического генератора пены |
2. | Т644.00.00 | Генератор пены локомотивный ГПСл-100 | | Конструкция генератора пены из полимерных материалов |
3. | Т1130.03.00 | Держатель | | Для генератора пены Т644 |
4. | Т375.05.00 | Установка пенного пожаротушения | ТЭ3 | |
5. | Т375.75.00 | Резервуар в сборе | ТЭ3 | Для изготовления запчастей |
6. | Т480.02.СД | Модернизация противопожарной установки | ТЭП60 | |
7. | Т530.00.00 | То же | 2ТЭ10Л | |
8. | Т530.05.00 | Резервуар в сборе | 2ТЭ10Л | Для изготовления запчастей |
9. | Т1231.00.00 | Резервуар с люком | ТЭ3, ТЭ7 | |
10. | Т1232.00.00 | То же | 2ТЭ10Л, 2ТЭ10В, 2ТЭ10М, ТЭП60 | |
11. | ДП88.00.00 | Противопожарная установка с генератором высокократной пены ГВПл-100 | Д, Д1 | |
12. | Т950.00.00 | Усовершенствованная воздухопенная установка пожаротушения | 2ТЭ10Л | Полуавтоматическая |
13. | Т951.00.00 | То же | ТЭ3 | То же |
14. | Т1271.00.00 | Установка пенного пожаротушения полуавтоматическая | М62 | |
15. | Т1273.00.00 | То же | 2М62 | |
16. | Т1309.00.00 | Установка пенного пожаротушения автоматическая | ТЭ3 | |
Установки порошкового пожаротушения |
17. | Т1308.00.00 | Установка порошкового пожаротушения | 2ТЭ10Л, 2ТЭ10В | |
18. | Т1325.00.00 | То же | ТЭ3 | |
19. | Т1347.00.00 | " | 2М62 | |
20. | Т1348.00.00 | " | 2ТЭ116 | |
21. | Т1425.00.00 | " | 2ТЭ10М, 3ТЭ10М | |
22. | Т1501.00.00 | Установка порошкового пожаротушения | ТЭП60, 2ТЭП60 | |
23. | Т1502.00.00 | То же | ТЭП70 | |
24. | ДП226.00.00 | " | Д1 | |
25. | С733.00.00 | Устройство порошкового пожаротушения электропоездов | ЭР1, ЭР2 | В стадии разработки |
26. | С734.00.00 | Установка порошкового пожаротушения электропоезда | ЭР2Р, ЭР2Т | То же |
27. | С765.00.00 | То же | ЭР9П | " |
28. | С766.00.00 | " | ЭР8М, ЭР9Т, ЭР9Е | " |
Пожарная сигнализация |
29. | Т1191.00.00 | Автоматическая пожарная сигнализация | ТЭ3 | Для КР-2 |
30. | Т1193.00.00 | То же | ТЭ3 | Для КР-1 и ТР-3 |
31. | Т1209.00.00 | Автоматическая пожарная сигнализация с датчиками ИПЛ | 2ТЭ10Л | |
32. | Т1210.00.00 | То же | 2ТЭ10В, ТЭ10М | |
33. | Т1213.00.00 | " | М62 | |
34. | ДП88.40.00 | Сигнализация автоматическая | Д1 | С извещателями ИПЛ для Д1 до N 276 |
35. | ДП88.41.00 | То же | Д1 | То же для Д1 с N 276 |
36. | ДП163.00.00 | Замена извещателей пожарных | ДР1, ДР1А, ДР1П | Замена извещателей А14.001 на ИПЛ |
37. | С730.00.00 | Автоматическая пожарная сигнализация электропоездов | ЭР1, ЭР2 | В стадии разработки |
38. | С731.00.00 | То же | ЭР2Р, ЭР2Т | То же |
39. | С732.00.00 | " | ЭР9 | " |
Повышение пожарной безопасности |
40. | Т1127.00.00 | Установка переходной площадки | 2ТЭ10Л | Брезентовые чехлы заменяются резиновыми баллонами |
41. | Т1143.00.00 | То же | ТЭ3 | |
42. | Т1444.00.00 | " | 2ТЭП60 | То же |
43. | Э2134.00.00 | Площадка переходная (переделка) | ВЛ8 | " |
44. | Э2148.00.00 | То же | ВЛ10 | " |
45. | Э2201.00.00 | " | ВЛ82, ВЛ80к, ВЛ80т | " |
46. | Т1514.00.00 | Площадка переходная с тамбуром (переделка) | 2М62 | -"- |
47. | Т1089.00.00 | Установка маслозащитных перегородок | 2ТЭ10Л, 2ТЭ10В | Вводится защита высоковольтной камеры и проводов, идущих к тяговым двигателям, от попадания масла |
48. | Т1320.00.00 | Установка маслозащитных перегородок | ТЭ3 | Вводится защита высоковольтной камеры и проводов, идущих к тяговым двигателям, от попадания масла |
49. | Т1305.00.00 | То же | 2ТЭ10Л | Вводится защита высоковольтной камеры и проводов, идущих к тяговому генератору, от попадания масла |
50. | Т1230.00.00 | Модернизация гибких соединений масляной системы тепловоза | 2ТЭ10Л, 2ТЭ10В | Заменяются рукава прокладочной конструкции на телескопические соединения с уплотнением посредством резиновых колец |
51. | Т1447.00.00 | Соединения гибкие масляной системы тепловоза (модернизация) | М62, 2М62 |
52. | Т1302.00.00 | Повышение пожарной безопасности тепловозов | ТЭ3, ТЭ7 | Вводится защита электромонтажа в пожароопасных местах, а также герметизируются кондуиты |
53. | Т1303.00.00 | То же | 2ТЭ10Л, 2ТЭ10В, 2ТЭ10М | " |
54. | С651.00.00 | Повышение пожарной безопасности | ЭР1, ЭР2 | Уменьшается скрученность проводов путем переделки рамы панели ПР-131Г в лобовом шкафу моторных вагонов и исключается зажатие проводов между рамой панели и профилем стенки шкафа |
55. | С330.57.01.00 | Противопожарная защита | ЭР1, ЭР2, ЭР9, ЭР9П | Наносится огнезащитный состав на деревянные детали и вводится изоляция чердачных помещений, потолков тамбуров, дверей шкафов с низковольтной аппаратурой и т.д. |
56. | С344.00.00 | Замена материала вентиляционных патрубков тяговых двигателей и калориферов | ЭР22 | Ткань вентиляционных патрубков к тяговым двигателям и калориферам заменяется на ткань с огнеупорно-водоупорно-противогнилостной пленкой |
57. | С663.00.00 | Модернизация автоматических дверей электропоездов | ЭР2, ЭР9 | Устанавливаются устройства для запирания дверей электропоездов изнутри. Для изготовления в условиях заводов |
58. | С759.00.00 | Механизм для автоматического запирания дверей электропоездов | ЭР2, ЭР9, ЭР9П | То же. Для изготовления в условиях депо |
59. | С749.00.00 | Замена высоковольтного ввода | ЭР9, ЭР9П | Кабельный высоковольтный ввод на моторных вагонах заменяется шинным вводом |
60. | Э1443.00.00 | Защита проводов от замасливания | ВЛ80т | Вводится защита проводов низковольтных цепей, проходящих в желобе над мотор-компрессором, от попадания масла |
61. | Л172.00.00ТО | Установка печи и топчана на локомотивах | | При отправке в недействующем состоянии |
62. | С707.00.00 | Повышение пожаробезопасности печи ПЭТ-2 | | Усовершенствуется узел крепления монтажных перемычек от нагревательных элементов к выводным шпилькам на изоляторе |