Главная // Актуальные документы // ИнструкцияСПРАВКА
Источник публикации
М.: СПО ОРГРЭС, 1994
Примечание к документу
Документ
введен в действие с 1 января 1994 года.
Название документа
"РД 34.40.509-93. Руководящий документ. Типовая инструкция по эксплуатации систем регенерации высокого давления энергоблоков мощностью 100 - 800 МВт"
(утв. Департаментом науки и техники РАО "ЕЭС России" 05.07.1993)
"РД 34.40.509-93. Руководящий документ. Типовая инструкция по эксплуатации систем регенерации высокого давления энергоблоков мощностью 100 - 800 МВт"
(утв. Департаментом науки и техники РАО "ЕЭС России" 05.07.1993)
Департаментом науки
и техники РАО "ЕЭС России"
5 июля 1993 года
ТИПОВАЯ ИНСТРУКЦИЯ
ПО ЭКСПЛУАТАЦИИ СИСТЕМ РЕГЕНЕРАЦИИ ВЫСОКОГО ДАВЛЕНИЯ
ЭНЕРГОБЛОКОВ МОЩНОСТЬЮ 100 - 800 МВт
РД 34.40.509-93
Срок действия установлен
с 1 января 1994 года
до 1 января 1999 года
Разработано АО "Фирма ОРГРЭС", ПО "Красный котельщик", НПО ЦКТИ и УралВТИ.
Исполнители: В.М. Бобров (фирма ОРГРЭС), А.В. Шершнев (ПО "Красный котельщик"), С.С. Иващенко (НПО ЦКТИ), В.В. Марушкин (УралВТИ).
Утверждено Департаментом науки и техники РАО "ЕЭС России" 05.07.93.
Первый заместитель начальника А.П. Берсенев.
1.1. Настоящая Типовая инструкция является руководящим материалом для разработки местных рабочих инструкций по эксплуатации систем регенерации высокого давления с подогревателями типов от ПВ-425-230 до ПВ-2300-380, установленных в тепловых схемах энергоблоков 150 - 800 МВт КЭС и 110 - 250 МВт ТЭЦ.
Типовая инструкция составлена на основе нормативно-технической и заводской документации по подогревателям высокого давления, опыта их наладки и эксплуатации на энергоблоках 110 - 800 МВт, а также работ, проведенных НПО ЦКТИ, УралВТИ и фирмой ОРГРЭС.
1.2. Типовая инструкция устанавливает основные требования, обеспечивающие надежную работу регенерации высокого давления в процессе пусковых операций, при работе под нагрузкой, при останове, при выводе в ремонт.
При разработке рабочей инструкции по эксплуатации регенеративной установки высокого давления должны учитываться все местные условия, особенности установленного оборудования и тепловой схемы.
При составлении рабочей инструкции основные положения настоящей Типовой инструкции разрешается изменять только после согласования с заводом - изготовителем подогревателей.
1.3. Основные положения Типовой инструкции могут быть использованы для составления рабочих инструкций электростанций с поперечными связями и меньшей мощности.
1.4. Типовая инструкция может быть использована в качестве учебного пособия при обучении персонала, обслуживающего подогреватели высокого давления ТЭС.
1.5. Типовая инструкция составлена применительно к типовым пусковым схемам и основным технологическим принципам организации режимов пуска и останова энергоблоков 110 - 800 МВт, предусмотренным типовыми инструкциями по пуску из различных тепловых состояний и останову указанных энергоблоков.
1.6. Типовая инструкция предусматривает использование в полном объеме контрольно-измерительных приборов, автоматики и защит, предусмотренных соответствующими руководящими указаниями.
1.7. При эксплуатации системы регенерации высокого давления кроме данной Типовой инструкции следует использовать следующие эксплуатационные и технические документы:
инструкцию завода-изготовителя по монтажу и безопасной эксплуатации подогревателей высокого давления 08.0302.048.ИЭ;
паспорта подогревателей высокого давления, входящих в систему;
материалы проектной организации, а именно: тепловую схему включения подогревателей высокого давления, принципиальные схемы контрольно-измерительных приборов и управления, объем и условия действия технологических защит, блокировок сигнализации;
Правила устройства и безопасной эксплуатации сосудов, работающих под давлением (М: Недра, 1989);
Правила технической эксплуатации электрических станций и сетей (М: Энергоатомиздат, 1989);
Правила техники безопасности при эксплуатации тепломеханического оборудования электростанций и тепловых сетей (М.: Энергоатомиздат, 1985);
Сборник распорядительных документов по эксплуатации энергосистем (теплотехническая часть) (М.: СПО ОРГРЭС, 1991).
1.8. В настоящей Типовой инструкции приняты следующие термины, понятия, сокращения и обозначения:
подогреватель высокого давления (ПВД) - поверхностный теплообменный аппарат, предназначенный для подогрева питательной воды теплом пара из отбора турбины и конденсата этого пара;
система регенерации высокого давления (СРВД) - функциональная группа оборудования, включающая в себя несколько ПВД, трубопроводы питательной воды с запорной и защитной арматурой, трубопроводы греющего пара с арматурой, трубопроводы конденсата греющего пара с запорной и регулирующей арматурой, трубопроводы отсосов парогазовой смеси (ПГС) с арматурой, систему защиты от переполнения подогревателей, контрольно-измерительные приборы и средства автоматики;
нагрев - разность температур питательной воды на выходе и входе подогревателя (группа подогревателей);
недогрев подогревателя - разность температур насыщения при давлении в корпусе подогревателя и температуры питательной воды на выходе подогревателя;
АВР - автоматическое включение резерва;
БДЗУ - быстродействующее защитное устройство;
БЩУ - блочный щит управления;
ВК - впускной клапан;
ВУУ - визуальный указатель уровня (водоуказательное стекло);
ЗНПВДI - защита "Повышение уровня в ПВД", действующая на отключение группы ПВД;
ЗНПВДII - защита "Повышение уровня в ПВД", действующая на останов блока;
ИВЭ - импульсный вентиль с электроприводом;
КГП - конденсат греющего пара;
КИП - контрольно-измерительные приборы;
КОС - клапан обратный с сервоприводом;
КП - зона конденсации пара;
КТЦ - котлотурбинный цех;
КЭН - конденсатные электронасосы;
КЭС - конденсационная электростанция;
МПУ - мембранное предохранительное устройство;
МЩ - местный щит управления;
ОК - зона охладителя конденсата;
ОП - зона охладителя пара;
ПВД - подогреватель высокого давления;
ПГС - парогазовая смесь (неконденсирующиеся газы);
ПНД - подогреватель низкого давления;
ПТН - питательный турбонасос;
ПЭН - питательный электронасос;
РК - регулирующий клапан;
СРВД - система регенерации высокого давления;
ТЭС - тепловая электростанция;
ТЭЦ - теплоэлектроцентраль;
УП - указатель положения;
ЦТАИ - цех тепловой автоматики и измерений;
ЭЛИ - электронно-лучевой индикатор (дисплей).
1.9. Типовая инструкция содержит четыре приложения:
приложение 2. Контроль, управление, автоматическое регулирование, защиты и блокировки;
приложение 3.
Рекомендации по повышению надежности и эффективности работы ПВД;
приложение 4.
Перечень нормативно-технических документов.
2. ТРЕБОВАНИЯ БЕЗОПАСНОСТИ
2.1. Устройство и эксплуатация подогревателей высокого давления должны соответствовать "
Правилам устройства и безопасной эксплуатации сосудов, работающих под давлением" (М.: Недра, 1989). До пуска в работу все ПВД должны быть зарегистрированы в органах Госгортехнадзора РФ, от которых должно быть получено разрешение на эксплуатацию ПВД.
Все ПВД должны периодически подвергаться техническому освидетельствованию - наружному, внутреннему осмотру и гидравлическому испытанию. Наружный и внутренний осмотры производятся станционной комиссией после каждого капитального ремонта, но не реже одного раза в 6 лет; инспектору Госгортехнадзора ПВД должны предъявляться для наружного, внутреннего осмотра и гидроиспытаний после двух капитальных ремонтов, но не реже одного раза в 12 лет (Постановление Госгортехнадзора СССР N 13 от 13.05.87).
2.2. При обслуживании и ремонте системы регенерации высокого давления должны соблюдаться "Правила техники безопасности при эксплуатации тепломеханического оборудования электростанций и сетей" (М.: Энергоатомиздат, 1985).
2.3. В целях предотвращения аварии ПВД (разрушение трубных систем, повышение давления в корпусах и трубных системах) все ПВД энергоблоков должны быть оборудованы:
средствами защит "Повышение уровня в ПВД";
средствами защит от повышения давления в корпусе (кроме ПВД, подключенных к первому отбору турбины и ПВД с равнопрочными корпусами, рассчитанными на давление первого отбора турбины);
средствами защиты от повышения давления в трубной системе;
средствами регулирования уровня КГП в корпусах ПВД с сигнализацией превышения этого уровня выше допустимого.
Указанные средства должны быть выполнены в соответствии с п. 3.11 "Сборника распорядительных документов по эксплуатации энергосистем (Теплотехническая часть). Часть 1" (М.: СПО ОРГРЭС, 1991). Описание этих систем и указания по их обслуживанию приведены в соответствующих разделах.
2.4. Эксплуатация ПВД при параметрах пара и питательной воды, превышающих указанные в паспортах, без разрешения завода-изготовителя не допускается.
2.5. Корпуса ПВД, трубопроводы, а также их фланцевые соединения и арматура должны иметь тепловую изоляцию. Температура на поверхности изоляции при температуре окружающего воздуха 25 °C не должна превышать 45 °C. Поврежденная изоляция должна своевременно восстанавливаться.
2.6. Предохранительные устройства, арматура и КИП ПВД должны быть установлены в местах, доступных для наблюдения и обслуживания с целью обеспечения нормальных и безопасных условий эксплуатации СРВД. Для этого ПВД должны быть оборудованы площадками и лестницами с ограждениями.
Площадки обслуживания СРВД и лестницы должны быть в исправном состоянии, чистыми, сухими и не должны загромождаться посторонними предметами.
2.7. Зона установки ПВД должна быть оборудована рабочим и аварийным освещением в соответствии с действующими нормами.
2.8. Не допускается производить какие-либо ремонтные работы на элементах СРВД, находящихся в работе или под давлением, за исключением подтяжки болтов фланцевых соединений арматуры, которая производится при прогреве и давлении не более 0,5 МПа (5 кгс/см2).
2.9. Для проведения ремонтных работ на одном из ПВД должна отключаться вся группа подогревателей.
2.10. Эксплуатация ПВД не допускается в следующих случаях:
при неисправности предохранительных клапанов, если они предусмотрены;
при неисправности элементов защит или отключении исправной защиты;
при неисправности клапана регулятора уровня на любом ПВД;
при отсутствии или неисправности КИП измерения давления или уровня в корпусах;
при повышении давления или температуры пара или питательной воды выше допустимых значений;
при обнаружении в подогревателе или его элементах трещин, выпучин, недопустимого утонения стенок, течи в сварных швах, разрыва прокладок;
при закрытом запорном вентиле защитной линии на байпасе выходной задвижки;
при возникновении пожара, непосредственно угрожающего любому ПВД;
при отключении по пару любого ПВД группы.
3. ТИПОВАЯ ТЕПЛОВАЯ СХЕМА ВКЛЮЧЕНИЯ ПВД
3.1. Система регенерации высокого давления предназначена в основном для трехступенчатого (на блоках ТЭС) регенеративного подогрева питательной воды за счет охлаждения и конденсации пара из отборов турбины и тем самым повышения экономичности энергоблоков.
В некоторых схемах (например, с деаэраторами, давление в которых выше 1,0 МПа, и некоторых бездеаэраторных схемах) применяется двухступенчатый подогрев питательной воды.
3.2. На большинстве энергоблоков СРВД состоит из одной группы ПВД, включенных последовательно по питательной воде. Типовая схема такой группы представлена на рис. 1.
Рис. 1. Типовая схема системы регенерации высокого давления:
1 - питательная вода от насосов; 2 - питательная вода
к котлу; 3 - пар от 1 отбора; 4 - пар от 2 отбора; 5 - пар
от 3 отбора; 6 - КГП в деаэратор; 7 - КГП в конденсатор
или ПНД-4; 8 - отсос ПГС в ПНД-4 или конденсатор;
9 - конденсат от КЭН 2 ступени; 10 - опорожнение трубных
систем и питательных трубопроводов в расширитель дренажей
(расширитель ПВД); 11 - опорожнение парового пространства
и трубопроводов КГП в бак низких точек
(расширитель дренажей низкого давления)
На блоках 800 МВт и некоторых первых блоках 300 МВт СРВД состоит из двух групп ПВД, включенных параллельно. Принципиальная схема такой регенерации представлена на рис. 2. Вспомогательные трубопроводы каждой группы идентичны представленным на
рис. 1.
--------------------------------
<*> В дальнейшем в тексте ПВД обозначаются по ходу воды ПВД-5, ПВД-6, ПВД-7.
Рис. 2. Принципиальная схема двухпоточной СРВД:
1 - питательная вода от насосов; 2 - питательная вода
к котлу; 3 - пар от 1 отбора; 4 - пар от 2 отбора;
5 - пар от 3 отбора; 6 - КГП в деаэратор;
7 - КГП в конденсатор или ПНД-4
3.3. Основными элементами схемы
(рис. 1) являются:
подогреватели высокого давления N 5, 6, 7 (6, 7, 8 для некоторых типов турбоустановок);
система трубопроводов питательной воды с арматурой;
система паропроводов подвода пара с арматурой;
система отвода КГП из подогревателей;
система отвода ПГС;
быстродействующее защитное устройство ПВД;
система дренажей и опорожнений.
3.4. Питательная вода из деаэратора (от последнего ПНД в бездеаэраторных схемах) подается питательными насосами через входную задвижку и впускной клапан в ПВД-5, выйдя из которого последовательно проходит ПВД-6, ПВД-7 и далее через обратный клапан и выходную задвижку направляется в котел.
В зависимости от конструкций ПВД и параметров турбоустановок на конкретном оборудовании могут быть выполнены различные схемы включения зон охладителей пара (ОП) по питательной воде (подробнее см.
приложение 1). В представленной схеме
рис. 1, являющейся наиболее применяемой на блоках с промперегревом пара, ОП ПВД-5 включен на частичный расход после ПВД-7; ПВД-6, выпускаемые после 1983 г. и работающие на паре холодного промперегрева, не имеет ОП; ОП ПВД-7 включен на часть расхода воды, прошедшей зону конденсации пара (КП) ПВД-7. На блоках с турбинами типа Т в ПВД-5, выпускаемых после 1985 г., ОП отсутствует.
Задвижки на входе и выходе питательной воды используются для отключения ПВД при выводе в ремонт и срабатывании защит ЗНПВДI, ЗНПВДII. В этих случаях открывается задвижка на обводе питательной воды помимо ПВД.
Впускной и обратный клапаны используются для аварийного отключения и обвода питательной воды при срабатывании защит ЗНПВДI, ЗНПВДII.
Для заполнения и опрессовки трубных систем ПВД используются байпасы входной задвижки питательной воды и впускного клапана Ду20 мм. Для выпуска воздуха из трубных систем выполнены воздушники со сливом на воронки.
3.5. Пар к ПВД подается из отборов турбины: к ПВД-7 - из 1-го отбора, к ПВД-6 - из 2-го отбора и к ПВД-5 - из 3-го отбора. На линиях подвода пара установлены задвижки, служащие для отключения ПВД. На паропроводах отборов кроме отбора из холодного промперегрева (
рис. 1, к ПВД-6) установлены обратные клапаны с сервоприводом (КОС), закрывающиеся при срабатывании защит турбины.
3.6. Отвод конденсата греющего пара (КГП) из корпусов подогревателей при нагрузках турбины более 30 - 50% номинальной осуществляется по каскаду - из ПВД-7 в ПВД-6, из ПВД-6 в ПВД-5, из ПВД-5 в деаэратор питательной воды. При снижении нагрузки отвод КГП переключается - из ПВД-6 в деаэратор, а из ПВД-5 в конденсатор турбины. При дальнейшем снижении нагрузки, а также при пуске и останове турбины отвод КГП выполняется полностью каскадным: ПВД-7 - ПВД-6 - ПВД-5 и далее в конденсатор турбины (на некоторых блоках в последний ПВД). В бездеаэраторных схемах отвод КГП осуществляется вместо деаэратора в линию основного конденсата или в последний ПНД.
Для поддержания необходимого уровня КГП в корпусах на отводах КГП установлены регулирующие клапаны (РК). В некоторых схемах с целью уменьшения износа и вибрации трубопроводов КГП на деаэратор и конденсатор устанавливаются по 2 РК (по одному на каждом отводе) с максимальным приближением их к месту отвода КГП - деаэратор и конденсатор.
3.7. Отвод ПГС из подогревателей осуществляется по каскадной схеме ПВД-7 - ПВД-6 - ПВД-5 и далее в конденсатор турбины (в некоторых схемах в ПНД). Пропускная способность этих отводов должна быть ограничена установкой дроссельных шайб с отверстиями диаметром 3 и 5 мм соответственно между ПВД-7 и ПНД-6 и между ПВД-6 и ПНД-5. Линии между ПВД не должны иметь запорной арматуры (п. 3.11 Сборника распорядительных документов по эксплуатации энергосистем).
В отдельных случаях могут применяться другие, разрешенные заводом-изготовителем, схемы отвода ПГС.
3.8. В дренажную систему ПВД входят три вида дренажей:
опорожнения питательных трубопроводов, направляемые обычно через отдельный коллектор в расширитель дренажей высокого давления;
опорожнения корпусов и трубопроводов КГП, объединяемые коллектором и направленные в дренажный бак или его расширитель;
воздушники выпуска воздуха из трубных систем ПВД и ревизии опорожнения ПВД, направленные в канал.
Направление отводов дренажей и опорожнений на разных ТЭС может отличаться от описанной схемы.
На некоторых блоках для слива воды при опорожнении трубопроводов питательной воды и самих ПВД устанавливается специальный расширитель опорожнений ПВД.
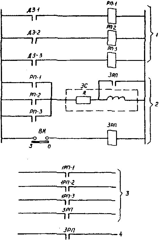
4. ЗАЩИТНЫЕ УСТРОЙСТВА ПВД
4.1. Защитные устройства от повышения уровня в корпусе
4.1.1. Для предотвращения серьезных аварий, связанных с повышением уровня в корпусе ПВД вследствие разрывов в трубной системе или других причин все ПВД должны быть оборудованы автоматическим групповым быстродействующим защитным устройством (БДЗУ).
быстродействующего впускного клапана (ВК) с гидроприводом, предназначенного для быстрого закрытия поступления питательной воды в трубные системы ПВД и открытия аварийного обвода питательной воды;
обратного клапана на выходе питательной воды из группы ПВД, предотвращающего поступление воды из трубопроводов питательной воды после ПВД и из аварийного обвода;
двух параллельных безарматурных перепускных труб, реализующих аварийный обвод питательной воды и подачу ее в котел на время от закрытия впускного клапана до открытия задвижки на обводе питательной воды;
двух импульсных вентилей с электроприводом (ИВЭ) на линии подвода конденсата от КЭН к гидроприводу ВК;
трубопроводов подвода и слива конденсата от КЭН с необходимой арматурой.
Рис. 3. Быстродействующее защитное устройство ПВД:
1 - впускной клапан; 2 - обратный клапан;
3 - гидропривод ВК; 4 - ИВЭ; 5 - конденсат от КЭН 2 ступени;
6 - питательная вода от ПЭН (ПТН); 7 - питательная вода
к котлу; 8 - аварийный обвод питательной воды (2 трубы)
4.1.3. При работе ПВД тарелка ВК удерживается в верхнем положении перепадом давлений питательной воды - атмосферное давление на шток клапана.
Тарелка обратного клапана также удерживается в верхнем положении подпором протекающей питательной воды.
4.1.4. При повышении уровня в корпусе любого подогревателя до аварийного значения по сигналу от приборов измерения уровня электрические защитные устройства дают команду на открытие обоих ИВЭ подвода конденсата от КЭН. При открытии вентилей конденсат от КЭН поступает в надпоршневое пространство гидропривода, давление этого конденсата создает усилие, превышающее усилие от давления питательной воды на шток клапана, и поршень опускается вниз, перемещая шток впускного клапана с тарелкой в нижнее положение. Тарелка дополнительно прижимается давлением питательной воды и закрывает доступ питательной воды в трубные системы всех ПВД групп. При этом открывается верхняя полость ВК, через которую вода по двум аварийным обводам поступает в верхнюю часть обратного клапана на выходе группы и опускает тарелку обратного клапана, закрывая поступление питательной воды в трубные системы ПВД со стороны выхода. Питательная вода продолжает поступать в котлы, минуя ПВД.
4.1.5. Быстродействие БДЗУ, т.е. время от момента срабатывания защитных приборов контроля уровня до полной посадки впускного клапана, не должно превышать 5 с. Данное значение быстродействия выбрано из условия разрыва одной коллекторной трубы ПВД и предотвращения заполнения парового пространства до уставки срабатывания защиты на отключение блока.
Для обеспечения указанного быстродействия защиты подводящие трубопроводы конденсата от КЭН и надпоршневое пространство гидропривода должны быть заполнены конденсатом. При закрытых ИВЭ на подводе конденсата заполнение обеспечивается небольшим постоянным протоком через приоткрытый байпасный ручной вентиль с контролем слива из верхней точки гидропривода в воронку, расположенную на 0,3 - 0,5 м выше импульсных клапанов.
Протечки воды через зазор гидропривода отводятся безарматурным дренажем из нижней части на воронку.
4.1.6. Штоки гидропривода и ВК в закрытом положении должны иметь небольшой зазор, определяемый по чертежу клапана. Наличие зазора обусловлено необходимостью исключить большие усилия на шток ВК со стороны гидропривода, которые могут привести к деформации штока. Наличие зазора необходимо контролировать после монтажа и после каждого ремонта.
4.1.7. Кроме срабатывания БДЗУ при аварийном отключении ПВД автоматически закрываются задвижки на входе и выходе питательной воды, на подводе греющего пара и открывается задвижка на обводе группы по питательной воде (подробнее см.
приложение 2).
4.2. Защита от повышения давления в корпусах ПВД
4.2.1. При отключении ПВД защитой возможно повышение давления в корпусах сверх расчетного за счет пропуска конденсата или пара по линиям каскадного отвода КГП из вышестоящего по отбору подогревателя при незакрытом РК уровня. В связи с этим в турбоустановках с начальным давлением 9 МПа (90 кгс/см2) и выше корпусы ПВД, кроме подключенных к первому отбору турбины и кроме установок с равнопрочными корпусами, должны быть оснащены предохранительными устройствами.
4.2.2. С 1976 г. завод-изготовитель комплектует ПВД пружинными предохранительными клапанами.
Подогреватели высокого давления, изготовленные до 1976 г., должны оснащаться предохранительными устройствами непосредственно на электростанции.
4.2.3. Число предохранительных устройств, их размеры и пропускная способность должны быть выбраны по расчету так, чтобы в корпусе не могло образоваться давления, превышающего рабочее на 15%.
Пропускная способность предохранительных устройств должна рассчитываться исходя из максимального расхода пара по линии каскадного отвода КГП при полностью открытом РК на этой линии с учетом дополнительного пропуска пара через отсос ПГС.
4.2.4. В качестве предохранительных устройств от повышения давления в корпусах могут быть применены мембранные предохранительные устройства (МПУ) разработки СКБ ВТИ. При комплектовании ПВД МПУ необходимо руководствоваться технической документацией, разработанной СКБ ВТИ.
4.2.5. Выхлопные трубопроводы после предохранительных устройств должны быть спроектированы с учетом отвода пара, выходящего из предохранительных устройств, в безопасное место и согласованы с генпроектировщиком электростанции.
4.3. Защита от повышения давления в трубной системе
4.3.1. В отключенной группе ПВД при закрытой запорной арматуре на входе и выходе группы ПВД возможно повышение давления воды в трубных системах сверх допустимого из-за разогрева этой воды паром отборов турбины, поступающим через неплотную запорную арматуру.
4.3.2. В качестве устройства, защищающего подогреватели от повышения давления в трубной системе, выполняется байпасная линия диаметром 20 мм для сброса части воды из трубной системы ПВД помимо запорной задвижки на выходе.
На байпасной линии последовательно по ходу питательной воды устанавливается вентиль с ручным приводом и два обратных клапана. Запорный вентиль при работающей группе ПВД должен быть постоянно открыт и опломбирован в этом положении. Закрытие его производить лишь при выполнении ремонтных работ на ПВД и при проверках трубных систем перед включением подогревателей в работу.
5. ОСНОВНЫЕ ТЕХНОЛОГИЧЕСКИЕ ПРИНЦИПЫ ОРГАНИЗАЦИИ
РЕЖИМОВ ВКЛЮЧЕНИЯ И ОТКЛЮЧЕНИЯ ПВД
5.1. Включение системы регенерации высокого давления в работу возможно либо одновременно с пуском блока либо при работающей турбине.
5.2. Включение ПВД в работу одновременно с пуском блока проводится по единой для всех тепловых состояний энергоблока технологии, основными особенностями которой являются:
5.2.1. Включение группы ПВД по водяной стороне производится после включения питательных насосов практически одновременно с заполнением котла. Это дает возможность произвести отмывку водяного пространства вместе с отмывкой котла. Кроме того, происходит более плавный режим прогрева ПВД во время подъема давления в деаэраторе.
5.2.2. Перед включением ПВД по питательной воде (открытием задвижек входа и выхода) производится заполнение и проверка плотности трубных систем и опробование ЗНПВДI и ЗНПВДII.
5.2.3. Подключение ПВД по пару производится до пуска турбины, что дает возможность выдерживать режим прогрева корпусов и подъем параметров с допустимыми скоростями в процессе нагружения турбины при пуске из любого теплового состояния блока.
На некоторых блоках при неудовлетворительной вакуумной плотности предохранительных клапанов на корпусах ПВД подключение по пару производится после подъема нагрузки до 20 - 30% номинальной.
5.3. В случае включения ПВД на работающей турбине после заполнения трубных систем ПВД, проверки их плотности и проверки ЗНПВДI, ЗНПВДII подключение их по пару производится постепенно, с соблюдением скоростей прогрева, регламентированных заводом-изготовителем. Целесообразно подключение по пару осуществлять сначала плавным открытием байпасов паровых задвижек (при их наличии).
Длительная (более 1 - 2 ч) отмывка трубных систем ПВД через дренажи питательной воды не рекомендуется, так как она не эффективна.
5.4. Включение ПВД в работу запрещается в случаях, если:
неисправна или отключена ЗНПВДI или ЗНПВДII в любом подогревателе;
неисправна отключающая арматура по воде или пару;
при проверке плотности трубных систем обнаружена неплотность в любом подогревателе;
неисправен регулирующий клапан уровня в любом подогревателе;
неисправен любой предохранительный клапан или мембрана, если они предусмотрены, на корпусе ПВД;
отсутствуют или неисправны КИП измерения уровня в корпусах.
5.5. При плановом останове блока отключение ПВД производится после прекращения подачи воды в котел. При выводе в ремонт на работающем блоке отключение ПВД производится поочередным закрытием задвижек на подводе пара, после чего открывается обвод питательной воды и закрываются задвижки входа и выхода питательной воды.
Аварийное отключение ПВД производится действием защит или воздействием оператора на ключ ЗНПВДI.
6. ПОДГОТОВКА К ВКЛЮЧЕНИЮ
6.1. Убедиться в том, что все оборудование системы регенерации находится в исправном состоянии, а именно:
все ремонтные и монтажные работы завершены, ремонтный персонал удален, инструмент и посторонние предметы убраны;
устранены все дефекты, отмеченные в журнале дефектов оборудования;
фланцевые соединения подогревателей и арматура собраны, все болты крепления установлены и затянуты;
ВУУ исправны, подключены и освещены;
вся запорная и регулирующая арматура находится в исправном состоянии;
лестницы и площадки обслуживания не загромождены и находятся в чистоте;
оперативная связь, рабочее и аварийное освещение подключены и находятся в исправном состоянии;
тепловая изоляция подогревателей, арматуры и трубопроводов в исправном состоянии.
6.2. Проверить исправность предохранительных клапанов ПВД: убедиться в отсутствии заеданий.
6.3. Собрать схемы электропитания КИП, запорной и регулирующей арматуры, устройств защит и средств автоматики.
6.4. Проверить наличие и исправность КИП, включить их в работу.
6.5. Опробовать дистанционное управление оперативной арматурой с проверкой сигнализации ее положения.
Примечание. Проверка арматуры на подводе пара и отводе КГП выполняется до пуска турбины, арматуры на питательной воде - до включения питательных насосов.
6.6. При подготовке к включению ПВД одновременно с пуском блока выполнить проверку ЗНПВДI, ЗНПВДII в соответствии со станционной инструкцией по эксплуатации защит и с участием персонала цеха ТАИ. Проверка выполняется после простоя ПВД более 72 ч до включения питательных насосов в такой последовательности:
6.6.1. Собрать схему по питательной воде, для чего открыть задвижки входа и выхода питательной воды и закрыть задвижку обвода ПВД.
6.6.2. Открыть задвижки на подводах пара к ПВД.
6.6.3. Закрыть ИВЭ подачи конденсата от КЭН к гидроприводу впускного клапана.
6.6.4. Ввести в действие ЗНПВДI и ЗНПВДII.
6.6.5. При заполненных импульсных линиях датчиков уровня ПВД имитировать повышение уровня в любом ПВД на датчике ЗНПВДI путем закрытия "плюсового" вентиля и открытия уравнительного вентиля.
6.6.6. Проконтролировать работу соответствующего прибора, появление сигнала "Уровень в ПВД аварийный", открытие обоих ИВЭ подачи конденсата от КЭН к ВК и задвижки на обводе ПВД, закрытие задвижек на входе и выходе питательной воды и на подводах пара.
6.6.7. Аналогично
п. 6.6.5 имитировать повышение уровня на датчике ЗНПВДI.
6.6.8. Проконтролировать работу прибора ЗНПВДI, прохождение сигналов на останов блока, на отключение всех питательных насосов, появление табло "Останов блока по уровню в ПВД" и звукового сигнала.
6.6.9. Восстановить положение вентилей датчиков ЗНПВДI и ЗНПВДII. Проконтролировать работу приборов. Снять сигналы табло сигнализации.
6.6.10. Привести в исходное положение задвижки входа и выхода питательной воды (открыть), обвода ПВД (закрыть), подвода пара (открыть), ИВЭ конденсата от КЭН (закрыть).
6.6.11. Аналогично
п. 6.6.5 имитировать повторно повышение уровня на датчике ЗНПВДI.
6.6.12. Проконтролировать работу соответствующего прибора, появление звукового сигнала и светового сигнала "Сработала защита ПВД", открытие обоих ИВЭ подачи конденсата от КЭН к ВК и задвижки на обводе ПВД, закрытие задвижек на входе и выходе питательной воды и на подводах пара.
6.6.13. Восстановить положение вентилей датчика ЗНПВДI и работу вторичного прибора. Снять сигналы табло сигнализации.
6.6.14. Перевести действие ЗНПВДI и ЗНПВДII на сигнал.
6.6.15. Аналогично
пп. 6.6.5 -
6.6.9,
6.6.11 -
6.6.13 имитацией повышения уровня на датчиках провести проверку защит по датчикам двух оставшихся ПВД с контролем их работы только на сигнал (без исполнительных механизмов).
6.7. При подготовке к включению ПВД на работающей турбине, а также при включении ПВД после простоя от 6 до 72 ч предварительная проверка действия защит выполняется на сигнал, для чего:
6.7.1. Технологическую схему ПВД не собирать, т.е. задвижки входа и выхода питательной воды и задвижки подвода пара должны быть закрыты, обвод ПВД по питательной воде - открыт, ИВЭ подвода конденсата от КЭН к впускному клапану закрыты.
6.7.2. Накладки ЗНПВДI и ЗНПВДII перевести на "сигнал".
6.7.3. При заполненных импульсных линиях закрыть вентиль на "плюсовой линии" и открыть уравнительный вентиль датчика ЗНПВДI любого ПВД.
6.7.4. Проконтролировать работу соответствующего вторичного прибора, устройств защиты (блинкеров, сигнальных ламп - зависит от аппаратуры защиты), появление звукового сигнала и табло "Сработала защита ПВД".
6.7.5. Аналогично
п. 6.7.3 имитировать повышение уровня на датчике ЗНПВДII.
6.7.6. Проконтролировать работу соответствующего вторичного прибора, устройств защиты, появление световых сигналов "Уровень в ПВД аварийный", останов блока по уровню в ПВД и звукового сигнала.
6.7.7. Восстановить рабочее положение вентилей датчиков ЗНПВДI и ЗНПВДII. Снять сигналы табло сигнализации.
6.7.8. Аналогично
пп. 6.7.3 -
6.7.7 проверить на сигнал работу защитных устройств по двум оставшимся ПВД.
6.8. После проверки защит включить ЗНПВДI и ЗНПВДII, поставив их накладки в положение "Работа".
Примечание. При простое ПВД менее 6 ч и если в исполнительной или импульсной частях защиты не производился ремонт, защиты ПВД перед включением ПВД можно не проверять.
6.9. Собрать схему регенерации высокого давления по отсосу ПГС и КГП, для чего:
закрыть вентили опорожнения корпусов всех ПВД;
закрыть дренажи трубопроводов КГП;
открыть отсос ПГС на конденсатор (ПНД-4);
закрыть задвижки отводов КГП из ПВД-6 и ПВД-5 в деаэратор;
открыть задвижки отводов КГП из ПВД-6 в ПВД-5 и из ПВД-5 в конденсатор;
включить на автоматическое управление РК на сливе КГП из всех ПВД и проверить работу авторегуляторов, для чего приоткрыть клапаны на 30%, поставить их на автомат и убедиться в закрытии РК (при малых уровнях в корпусах).
Примечания:
1. Перед включением после длительного простоя ПВД (более 3 сут), перед закрытием опорожнений корпусов опорожнить их, открывая вентили слива из нижних точек.
2. При подготовке к пуску после монтажа или длительного ремонта отвод КГП на конденсатор не открывается, а при пуске производится отмывка парового пространства ПВД со сливом через опорожнения при их включении по пару по отдельной программе.
3. При невозможности включения авторегуляторов до появления уровня из-за особенностей схем авторегуляторов, а также после монтажа или ремонта авторегуляторов включение РК на "автомат" выполняется по инструкции или программе цеха ТАИ после подачи пара и подъема уровня.
6.10. Подать конденсат от КЭН на гидропривод впускного клапана, для чего:
открыть общий вентиль на подводе конденсата от КЭН;
открыть ИВЭ защиты ПВД и проверить закрытие ВК;
закрыть ручной вентиль на байпасе ИВЭ.
6.11. Подготовить схему ПВД к заполнению питательной водой, для чего:
закрыть все дренажи трубопроводов питательной воды;
открыть воздушники трубных систем ПВД;
открыть обводную задвижку группы ПВД;
закрыть задвижки на входе и выходе группы ПВД;
закрыть вентили на байпасе входной задвижки и на байпасе ВК;
закрыть вентиль на байпасе выходной задвижки перед обратными клапанами.
6.12. Закрыть задвижки на подводе пара по всем ПВД. Дренажи паропроводов отборов к ПВД, входящие в систему турбоустановки, должны быть открыты.
7.1. Включение по питательной воде
7.1.1. Включение ПВД по питательной воде производится после включения питательного насоса, выполнения подготовительных операций в соответствии с
разд. 6 и включения защит ПВД.
7.1.2. Проверить плотность арматуры на входе и выходе, для чего:
при работающем питательном насосе, закрытых задвижках на входе и выходе и их байпасов проверить по манометрам и по отсутствию выхода воздуха из воздушников трубных систем плотность входной и выходной задвижки;
при закрытых впускном и обратном клапанах открыть поочередно вентили на байпасе входной задвижки;
проверить по отсутствию давления в трубных системах и по отсутствию выхода воздуха из воздушников плотность впускного и обратного клапанов.
Примечание. Проверку плотности впускного и обратного клапанов можно выполнять после заполнения трубных систем по
п. 7.1.3 в такой последовательности:
закрыть вентиль на байпасе ВК;
приоткрывая один из дренажей трубной системы, снизить давление питательной воды в трубных системах до 2 МПа (20 кгс/см2), после чего дренажные вентили плотно закрыть;
контролировать скорость подъема давления в трубных системах, которая характеризует пропуск впускного и обратного клапанов. Эта скорость в диапазоне давления 2 - 15 МПа (20 - 150 кгс/см2) не должна превышать 0,5 МПа/с (5 ат/с) при температуре воды 100 °C и 0,4 МПа/с (4 ат/с) при температуре питательной воды 150 - 160 °C.
Следует иметь в виду, что при более высоком давлении [более 15,0 МПа (150 кгс/см2)] и более низком (меньше давления в деаэраторе) скорость роста давления снижается и не может характеризовать плотность клапанов.
7.1.3. Произвести заполнение трубных систем всех ПВД, для чего медленно открыть вентиль на обводе ВК, не допуская гидроударов. При появлении из воздушников трубных систем сплошной струи воды закрыть воздушники.
7.1.4. Проверить плотность трубных систем всех ПВД, для чего:
закрыть вентили на байпасе ВК и байпасе входной задвижки;
в течение 5 мин проверить отсутствие снижения давления питательной воды в трубных системах и роста уровня в корпусах всех ПВД;
снижение давления в трубных системах и рост уровня в корпусе любого ПВД свидетельствуют о неплотности трубной системы.
Включение ПВД при неплотной трубной системе запрещается.
7.1.5. Взвести ВК БДЗУ ПВД, для чего:
закрыть ИВЭ подачи конденсата от КЭН;
приоткрыть вентиль на сливе конденсата из верхней части гидропривода на воронку;
открыть байпасы входной задвижки питательной воды;
открыть байпас впускного клапана;
проконтролировать по положению штока полное открытие ВК и плавность его хода;
приоткрыть ручной вентиль на байпасе ИВЭ и установить минимальный проток конденсата из верхней части гидропривода на воронку. При этом давление конденсата от КЭН на привод ВК должно быть небольшим (0,2 - 0,5 кгс/см2).
7.1.6. Произвести проверку срабатывания БДЗУ ПВД с закрытием ВК, для чего:
подготовиться к измерению времени закрытия ВК;
имитировать повышение уровня в одном из ПВД до срабатывания ЗНПВДI, замыкая контакты вторичного прибора защиты или открывая уравнительный вентиль при закрытом "плюсовом" вентиле датчика уровня;
проконтролировать полное закрытие ВК и замерить время от замыкания контактов вторичного прибора защиты до полной посадки ВК, которое не должно превышать 5 с. В случае неудовлетворительного быстродействия ВК выполнить наладочные или ремонтные работы.
После проверки посадки ВК взвести его в соответствии с
п. 7.1.5.
7.1.7. При положительных результатах проверки плотности трубных систем и защит ПВД включить их по питательной воде, для чего:
| | ИС МЕГАНОРМ: примечание. Текст дан в соответствии с официальным текстом документа. | |
открыть задвижки на входе и входе питательной воды;
закрыть задвижку на обводе группы ПВД по питательной воде;
закрыть вентили на байпасах входной задвижки и ВК;
открыть вентиль перед обратными клапанами на обводе выходной задвижки и опломбировать его в открытом состоянии.
Примечание. Включение ПВД по питательной воде при неисправной или отключенной ЗНПВДI или ЗНПВДII, а также при неплотной трубной системе запрещается.
7.2. Включение ПВД по пару при пуске блока
7.2.1. Обычно при пуске блока подключение СРВД по пару производится до подачи пара в турбину, что обеспечивает плавный прогрев и подъем параметров ПВД в темпе нагружения турбины.
В этом случае для включения ПВД по пару на остановленной турбине открыть задвижки 1-го, 2-го и 3-го отборов подачи пара к ПВД.
7.2.2. В случае снижения вакуума в момент подключения ПВД по пару, КГП или отсосу ПГС подключение группы ПВД по этим потокам остановить, закрыть задвижки на подводе пара к ПВД-5, ПВД-6 и ПВД-7, закрыть отвод КГП из ПВД-5 в конденсатор и отсос ПГС из ПВД-5.
Подключение по пару ПВД в этом случае выполнить при повышении давления в 3-м отборе выше атмосферного (10 - 15% номинальной нагрузки). При этом открыть вентиль отсоса ПГС из ПВД-5, задвижку отвода КГП из ПВД-5 в конденсатор и задвижки 1-го, 2-го, 3-го отборов к ПВД.
7.2.3. В процессе нагружения блока контролировать уровни в подогревателях. При появлении видимого уровня в ВУУ сверить эти показания с показаниями измерительных приборов.
Примечание. Допускается после сверки показаний приборов отключать ВУУ до следующей проверки КИП и включения ПВД из ремонта.
7.2.4. При достижении значений уровней в подогревателях, близких к номинальному (в соответствии со станционной картой уставок авторегуляторов), проконтролировать работу регуляторов уровня, не допуская превышения уровня сверх уставок сигнализации.
Если при подготовке системы регенерации регуляторы уровня не были включены, то поддерживать уровень дистанционным управлением РК на сливе КГП, подготовить и включить РК на автоматическое управление в соответствии с инструкцией цеха ТАИ.
7.2.5. При нагрузках турбины 30 - 50% номинальной, т.е. при повышении давления в ПВД-6 до 1,0 МПа (10 кгс/см
2), проследить за автоматическим переводом КГП из ПВД-6 в деаэратор в соответствии с блокировками (см.
приложение 2).
7.2.6. При нагрузках турбины 70 - 80% номинальной, т.е. при повышении давления в ПВД-5 приблизительно до 1,0 МПа (10 кгс/см
2), проследить за автоматическим переводом КГП по каскаду на деаэратор либо выполнить операции дистанционно, для чего:
открыть задвижку отвода КГП из ПВД-5 в деаэратор;
закрыть задвижку отвода КГП из ПВД-5 в конденсатор;
проверить работу регулятора уровня в ПВД-5;
открыть задвижку КГП из ПВД-6 в ПВД-5;
закрыть задвижку КГП из ПВД-6 в деаэратор;
проконтролировать работу регулятора уровня в ПВД-6.
Примечания.
1. При пуске после длительного простоя (более 7 сут) перевод КГП на деаэратор производить по результатам химических анализов по согласованию с персоналом химцеха.
2. При других схемах отвода КГП может быть установлен иной порядок действия блокировок переключения КГП.
7.3. Включение по пару при работающей турбине
7.3.1. При подключении ПВД по пару к работающей турбине подготовительные операции выполняются в соответствии с
разд. 6 со следующими особенностями:
дистанционное управление арматуры проверяется без ее открытия (по индикации на БЩУ);
проверка ЗНПВДI и ЗНПВДII выполняется на сигнал в соответствии с
п. 6.7.
7.3.2. Заполнение трубных систем ПВД, проверка плотности арматуры и трубных систем, проверка посадки и быстродействия впускного клапана и включение группы ПВД по питательной воде выполняется в соответствии с
разд. 7.1 со следующими особенностями:
проверка работы ВК производится при закрытых задвижках на подводе пара и входа-выхода питательной воды;
если включаются в работу ПВД с заполненной трубной системой (из воздушников сразу появляется вода), то при включении по питательной воде после взведения ВК открытие входной и выходной задвижек
(п. 7.1.7) производится постепенно - сначала приоткрыть их на 2 - 5%, сделать выдержку времени 10 - 15 мин, после чего открыть задвижки полностью.
7.3.3. После включения группы ПВД по питательной воде, отсосу ПГС и отводу КГП начать подачу пара и прогрев корпусов ПВД в такой последовательности:
приоткрыть на 5 - 10% (4 - 6 миганий ламп) задвижку подвода пара от 1-го отбора к ПВД-7;
сделать выдержку времени 4 - 5 мин;
аналогично приоткрывая задвижку на паре 1-го отбора, медленно поднять давление в ПВД-7 до 0,3 - 0,4 МПа (3 - 4 кгс/см2) со скоростью не более 0,06 МПа (0,6 кгс/см2) в минуту или 3 °C в минуту подъема температуры питательной воды после ПВД;
после подъема давления в ПВД-7 до 0,3 - 0,4 МПа аналогично начать подачу пара и прогрев ПВД-6;
одновременно плавно повышать давление в корпусах ПВД-7 и ПВД-6, сохраняя между ними разницу давлений 0,3 - 0,4 МПа (3 - 4 кгс/см2);
после подъема давления в ПВД-6 до 0,3 - 0,4 МПа также медленно начать подачу пара и прогрев ПВД-5;
в дальнейшем поднимать давление одновременно во всех корпусах ПВД со скоростью не более 0,06 МПа (0,6 кгс/см2) в минуту. При этом скорость подъема температуры питательной воды за каждым ПВД не должна превышать 3 °C в минуту.
7.3.4. После подъема давления в корпусах ПВД до близкого к номинальному (70 - 80%) открыть полностью задвижки на подводе пара.
7.3.5. В процессе подъема параметров в ПВД контролировать уровни в них и работу регуляторов уровня в соответствии с
пп. 7.2.3,
7.2.4.
7.3.6. При подъеме давления в ПВД-5 и ПВД-6 проконтролировать либо выполнить дистанционно переключение КГП на деаэратор в соответствии с
пп. 7.2.5,
7.2.6.
8. ОБСЛУЖИВАНИЕ ПРИ РАБОТЕ
В РЕГУЛИРОВОЧНОМ ДИАПАЗОНЕ НАГРУЗОК БЛОКА
8.1. Основной задачей оперативного персонала при эксплуатации СРВД является обеспечение заданной нагрузки оборудования при надежной и экономичной работе ПВД и турбоустановки в целом.
8.2. При эксплуатации системы регенерации высокого давления должны быть обеспечены нормативные температуры питательной воды за группой ПВД и за каждым подогревателем (зависит от типа турбоустановки и нагрузки) и нормативный температурный напор - 3 °C для ПВД без ОП и 1,5 °C для ПВД с ОП либо указанный в заводской документации.
8.3. Степень нагрева питательной воды, температурные напоры, переохлаждение конденсата греющего пара в подогревателях должны проверяться до и после капитального ремонта турбоустановки, после ремонта подогревателей и периодически по графику не реже 1 раза в месяц. Как правило, указанные проверки выполняются персоналом цеха или группы наладки ТЭС и должны регистрироваться в специальном журнале.
8.4. При работе системы должны быть полностью включены авторегуляторы, защиты, блокировки, сигнализация и КИП.
8.5. При эксплуатации группы ПВД во время работы необходимо выполнять следующее:
постоянно контролировать работу оборудования по приборам;
регулярно записывать показания приборов по параметрам, включенным в суточную ведомость;
регулярно совершать обход и осмотр всего оборудования;
следить за исправностью КИП и средств автоматики, за правильностью положения уставок сигнализации, блокировок и защит.
8.6. После включения ПВД по питательной воде не допускать их длительной работы с пропуском части питательной воды через обводную задвижку или аварийные обводы системы защиты. Факт пропуска и его величина могут быть оценены по разнице температуры питательной воды за последним ПВД (после смешения от пароохладителя ПВД-5) и температуры после группы ПВД (за обводной задвижкой или на котел).
8.7. Тщательно контролировать уровни конденсата греющего пара в корпусах всех ПВД.
8.7.1. Номинальные уровни КГП должны поддерживаться автоматическими регуляторами в пределах 1/3 - 1/2 высоты водоуказательного стекла. Конкретные номинальные значения уровней КГП по приборам-уровнемерам определяются для разных типов подогревателей в соответствии с указаниями рабочей документации завода-изготовителя, с учетом диапазонов измерений приборов и геометрических высот присоединения датчиков (конденсатных бачков).
Нормальная работа авторегуляторов характеризуется поддержанием номинального уровня во всем регулировочном диапазоне нагрузок блока с допустимыми отклонениями +/- 100 мм.
При отказе авторегуляторов уровни в корпусах допускается поддерживать дистанционным управлением РК уровня до восстановления регуляторов.
8.7.2. Сигнализация минимального уровня выполняется обычно на 100 - 150 мм ниже номинального уровня и указывается на чертежах завода-изготовителя.
Не допускается длительная (более 24 ч) работа ПВД без уровня в корпусе, так как это приведет к проскоку пара в нижестоящий подогреватель, снижению экономичности турбоустановки и повышенному эрозионному износу элементов подогревателя и РК уровня.
Примечание. Работа без уровня в течение 1 ч соответствует снижению остаточного ресурса ОК ПВД, трубопроводов и арматуры КГП приблизительно на 100 ч.
8.7.3. Не рекомендуется также работа с повышенными уровнями (выше уставки сигнализации), так как это приводит к затоплению части трубной системы зоны конденсации, уменьшению нагрева питательной воды, затоплению отсоса ПГС и, самое главное, увеличивает вероятность срабатывания ЗНПВДI.
8.7.4. Не реже 1 раза в смену производить сверку показаний уровнемеров между собой и с ВУУ, не допуская работу с существенными рассогласованиями их показаний. Продувку ВУУ выполнять по мере необходимости, при подозрениях в достоверности их показаний.
8.8. Контролировать температуру питательной воды после группы ПВД и за каждым подогревателем, а также температуру КГП (при наличии на БЩУ таких измерений).
8.8.1. Температура питательной воды при номинальной нагрузке за каждым ПВД и за группой, а также температура КГП должны соответствовать расчетным значениям, характерным для каждого типа турбоустановки. Расчетные температуры питательной воды и КГП приводятся в местных инструкциях по эксплуатации ПВД.
8.8.2. Существенное (более 5 °C) снижение температуры питательной воды от расчетной свидетельствует о неудовлетворительной работе подогревателя, связанной либо с неполным открытием задвижек или клапанов на подводе пара, либо с подтоплением части поверхности нагрева, либо с загрязнением поверхности нагрева (см.
п. 1 разд. 11). В этом случае необходимо выяснить и устранить причину снижения температуры питательной воды, так как это приводит к снижению экономичности турбоустановки.
8.8.3. Увеличение температуры КГП, как правило, связано с уменьшением уровня в корпусе и проскоком пара в зону ОК и, возможно, в нижестоящий подогреватель. Причиной увеличения температуры КГП может быть неплотность кожуха ОК.
8.9. Контролировать давление пара на входе в подогреватель, которое не должно превышать давление в соответствующих отборах во всех режимах и не должно быть намного (более 10%) ниже давления в отборе.
8.10. Периодически во время приемки смены и при обходах проверять состояние паропроводов, арматуры и фланцевых соединений, контролируя при этом отсутствие свищей и течей, в том числе через закрытые дренажи и воздушники. При обнаружении указанных неплотностей фиксировать их в журнале дефектов и принимать меры по их устранению.
8.11. При эксплуатации ПВД необходимо контролировать качество питательной воды, которое должно соответствовать требованиям п. 4.8.16 ПТЭ. Несоблюдение качества питательной воды, особенно снижение pH ниже допустимого (9,0 при гидразинно-аммиачном режиме; 7,5 при гидразинном и кислородно-аммиачном режиме; 6,5 при нейтрально-кислородном режиме), приводит к существенному увеличению коррозионно-эрозионного износа трубных систем и элементов ОП, поэтому длительная эксплуатация ПВД с несоблюдением указанного качества питательной воды не допускается.
8.12. Для предупреждения водородно-кислородной коррозии элементов ПВД при их работе необходимо отсосы ПГС держать постоянно открытыми.
8.13. Периодически проверять, чтобы во время работы ПВД вентили на байпасах входной задвижки и впускного клапана были закрыты, а вентиль на защитном байпасе выходной задвижки открыт и опломбирован.
8.14. При установке в схеме регенерации высокого давления мембранных предохранительных устройств (МПУ) обслуживание их при работе выполнять в соответствии с инструкцией завода - изготовителя МПУ.
8.15. При регулярных осмотрах ПВД контролировать плотность, исправное состояние предохранительных клапанов. Предохранительные клапаны защиты от повышения давления в корпусах ПВД необходимо проверить после монтажа, ремонта и периодически по графику, но не реже 1 раза в 6 мес. Предохранительные клапаны должны быть настроены на давление срабатывания, превышающее рабочее на 15%.
8.16. Проводить проверку ЗНПВДI с целью определения полноты срабатывания и быстродействия совместно с исполнительными органами (впускным и обратным клапаном, ИВЭ и задвижками на паре и воде) и связанной с защитой сигнализацией при каждом включении группы в работу и по графику.
8.16.1. Объем проверок ЗНПВДI и ЗНПВДII и периодичность их проведения должны быть следующие:
на работающем оборудовании блочных установок один раз в неделю проводить сравнение между собой показаний приборов ЗНПВДI и ЗНПВДII на каждом ПВД. Если приборы защиты не имеют показывающих устройств (используются аналого-дискретные преобразователи - АДП), должны сравниваться аналоговые сигналы АДП с учетом разницы номиналов датчиков. Результаты сравнения регистрировать в оперативной документации;
на блочных установках опробовать защиты ПВД в соответствии с таблицей, совмещая по времени проверку ЗНПВДI и ЗНПВДII.
Вид защиты | Метод опробования | Периодичность опробования | Примечание |
1 | 2 | 3 | 4 |
ЗНПВДI (отключение ПВД) | На сигнал | После простоя ПВД от 6 до 72 ч: а) после простоя ПВД 72 ч и более; | |
С воздействием на исполнительные органы | б) по графику, но не реже одного раза в 3 мес; | Допускается совмещать с проверкой при включении ПВД |
в) после ремонта импульсной или исполнительной части защиты | |
ЗНПВДII (общеблочная защита) | На сигнал | а) после простоя ПВД от 6 до 72 ч; | |
б) после простоя ПВД 72 ч и более; в) по графику, но не реже одного раза в 3 в мес; г) после ремонта импульсной или исполнительной части защиты | Выполняется с воздействием на исполнительные органы блока, если это требование имеется в местной инструкции по комплексному опробованию защиты |
8.16.2. Опробование ЗНПВДI с воздействием на исполнительные органы выполнять при повышении уровня в одном из подогревателей группы; в других подогревателях защиту проверять на сигнал.
Повышение уровня на работающем ПВД до уставки срабатывания ЗНПВДI выполнять прикрытием регулирующего клапана на отводе КГП. На включаемых в работу ПВД - имитацией на датчике ЗНПВДI, для чего закрыть "плюсовой" вентиль датчика и открыть вентиль уравнительной линии.
Повышение уровня в ПВД до максимального во всех случаях имитировать на датчике ЗНПВДII.
8.16.3. В качестве рекомендуемой последовательности операций при опробовании защит работающей группы ПВД блочной установки может быть следующая:
перевести действие ЗНПВДII на сигнал;
имитацией датчика ЗНПВДII проверить действие ЗНПВДI с посадкой впускного клапана и с воздействием на паровые и водяные задвижки, убедиться, что время от формирования дискретного сигнала до посадки ВК составляет не более 5 с. Проконтролировать появление звукового сигнала и появление сигналов на световых табло "сработала защита ПВД", "сработал один прибор защиты" или "аварийная защита по уровню в ПВД";
восстановить схему датчика ЗНПВДII, сохранив действие ЗНПВДII на сигнал, проверить исчезновение всех сигналов;
перевести действие ЗНПВДI на сигнал;
повысить уровень в корпусе до уставки срабатывания ЗНПВДI;
проконтролировать появление сигналов "сработала защита ПВД" и звукового сигнала;
на датчике ЗНПВДII имитировать повышение уровня до уставки срабатывания защиты;
проконтролировать появление звукового сигнала и светового табло "сработала защита блока по уровню в ПВД";
восстановить схему датчика ЗНПВДII;
снизить уровень в корпусе до нормального - проверить исчезновение всех сигналов;
перевести действие защит (ЗНПВДI и ЗНПВДII) на отключение.
Аналогичным образом имитацией повышения уровней провести испытания защит в двух оставшихся корпусах группы ПВД, после чего подключить группу к турбине.
8.17. При обнаружении неисправности защиты подогревателя или клапана регулятора уровня группа ПВД должна быть немедленно отключена. При неисправности каких-либо других, кроме клапана, элементов системы автоматического регулирования уровня и невозможности быстрого устранения дефекта на работающем оборудовании группа подогревателей должна быть выведена из работы в срок, определяемый главным инженером ТЭС.
8.18. При эксплуатации группы ПВД на ТЭС с поперечными связями, а также на блоках с двумя группами ПВД контролировать расход питательной воды через каждую группу, не допуская превышения максимального значения, указанного в паспортах ПВД.
9.1. Плановое отключение ПВД при останове турбины
9.1.1. При разгружении блока необходимо контролировать уровни КГП в ПВД.
При снижении давления в ПВД-5 до приблизительно 1,0 МПа (10 кгс/см2) проконтролировать автоматический перевод КГП из ПВД-5 в конденсатор, а из ПВД-6 в деаэратор либо выполнить операции дистанционно, для чего:
открыть задвижку отвода КГП из ПВД-5 в конденсатор;
закрыть задвижку отвода КГП из ПВД-5 в деаэратор;
открыть задвижку отвода КГП из ПВД-6 в деаэратор;
закрыть отвод КГП из ПВД-6 в ПВД-5;
проконтролировать работу регуляторов уровня ПВД-5 и ПВД-6.
9.1.2. При дальнейшем снижении нагрузки до 30 - 50% номинальной и снижении давления в ПВД-6 приблизительно до 1,0 МПа (10 кгс/см
2) проконтролировать автоматический перевод КГП из ПВД-6 на ПВД-5 - каскадный отвод КГП на конденсатор (в некоторых схемах на ПНД-4) либо выполнить необходимые переключения дистанционно:
открыть задвижку КГП из ПВД-6 в ПВД-5;
закрыть задвижку КГП из ПВД-6 в деаэратор;
проверить работу авторегуляторов уровня в ПВД-5 и ПВД-6.
9.1.3. После отключения турбины отключить ПВД по пару, КГП и отсосу ПГС, для чего:
закрыть задвижки подвода пара к ПВД-5, ПВД-6, ПВД-7;
после закрытия РК уровня в ПВД-7, ПВД-6 и ПВД-5 закрыть задвижку отвода КГП из ПВД-5 в конденсатор (ПНД-4);
закрыть вентиль отсоса ПГС из ПВД-5.
9.1.4. После отключения питательных насосов отключить группу ПВД по питательной воде, для чего:
открыть обводную задвижку по питательной воде;
закрыть задвижки вход и выход питательной воды из группы ПВД;
закрыть впускной клапан, открыв ИВЭ подвода-конденсата от КЭН.
9.2. Отключение ПВД при работающей турбине
9.2.1. Отключение производится сначала по пару, начиная с подогревателя, питаемого паром 1 отбора (ПВД-7), в такой последовательности:
постепенно закрыть задвижку подвода пара ПВД-7;
постепенно закрыть задвижку подвода пара к ПВД-6;
после снижения уровня в ПВД-6 и закрытия РК уровня в нем закрыть отвод КГП из ПВД-6 в ПВД-5;
постепенно закрыть задвижку подвода пара к ПВД-5;
после снижения уровня в ПВД-5 и закрытия РК уровня в нем закрыть отводы КГП из ПВД-5 в деаэратор и конденсатор;
открыть дренажи на паропроводах отборов в соответствии с инструкцией по эксплуатации турбины.
9.2.2. Отключить группу ПВД по питательной воде, для чего:
открыть обводную задвижку питательной воды;
закрыть вход и выход питательной воды группы ПВД;
открыть ИВЭ конденсата от КЭН на привод впускного клапана и проверить закрытие последнего.
9.2.3. Закрыть вентиль отсоса ПГС из ПВД-5.
9.2.4. При необходимости ускорения вывода в ремонт при отключении группы ПВД можно выполнить их расхолаживание в следующем порядке:
постепенно прикрывая задвижки на подводах пара, снизить давление в подогревателях со скоростью 0,06 МПа в минуту, начиная с 1-го отбора (ПВД-7);
проконтролировать переключения КГП блокировками либо выполнить их дистанционно в соответствии с
пп. 9.1.1,
9.1.2;
после того как прекратится подогрев питательной воды, закрыть полностью задвижку на подводе пара к соответствующему ПВД;
после закрытия задвижек на отборах пара открыть дренажи паропроводов отборов в соответствии с инструкцией по эксплуатации турбины;
после снижения давления в корпусах ПВД закрыть задвижки отвода КГП в деаэратор и конденсатор из ПВД-5 и ПВД-6;
закрыть вентиль отсоса ПГС из ПВД-5;
отключить ПВД по питательной воде в соответствии с
п. 9.2.2.
9.3. Аварийное отключение ПВД
9.3.1. При повышении уровня в любом ПВД до уставки срабатывания ЗНПВДI или ЗНПВДII производится автоматическое аварийное отключение группы ПВД защитой.
9.3.2. В случае повышения уровня в корпусе любого ПВД до уставки срабатывания ЗНПВДI (на 500 мм выше минимального уровня) и несрабатывания защиты, а также при повышении параметров в корпусах ПВД выше допустимого, появлении механических повреждений (трещин, выпучин, разрывов), возникновении пожара, угрожающего любому ПВД, появлении сильного шума внутри подогревателя персонал должен аварийно отключить группу ПВД воздействием на ключ аварийного отключения.
9.3.3. При срабатывании ЗНПВДI или аварийном отключении ключом проверить действие защиты и в случае несрабатывания выполнить операции дистанционно, а именно:
открыть оба ИВЭ подачи конденсата от КЭН на привод ВК;
открыть задвижку обвода питательной воды помимо ПВД;
закрыть задвижки входа и выхода питательной воды группы;
закрыть все задвижки подвода пара к ПВД от 1, 2 и 3-го отборов.
| | ИС МЕГАНОРМ: примечание. В официальном тексте документа, видимо, допущена опечатка: имеется в виду пункт 9.3.3, а не пункт 9.3.9. | |
9.3.4. После выполнения защитных операций
(п. 9.3.9) контролировать уровни в ПВД, давление в трубной системе и корпусах ПВД.
В случае дальнейшего повышения уровня или давления в корпусе ПВД аварийно остановить блок с остановкой всех питательных насосов.
Снижение давления в трубной системе свидетельствует о нарушении плотности трубной системы, и группу ПВД необходимо вывести в ремонт.
9.3.5. В соответствии с инструкцией по турбине открыть дренажи паропроводов 1, 2 и 3-го отборов.
9.3.6. После снижения уровня в корпусах подогревателей закрыть задвижки отвода КГП в деаэратор и конденсатор (ПНД) из ПВД-6 и ПВД-5.
9.3.7. Закрыть вентиль отсоса ПГС из ПВД-5.
9.3.8. Повторное включение группы ПВД разрешается только после установления и устранения причин, вызвавших аварийное отключение ПВД.
10.1. Вывод в ремонт группы ПВД производится после выполнения действий по их отключению в соответствии с
разд. 9.
10.2. При отключении ПВД по повышению уровня или действием защиты установить поврежденный ПВД, для чего:
при закрытых задвижках на входе и выходе питательной воды и впускном клапане закрыть все задвижки отвода КГП из ПВД-5 и ПВД-6 и закрыть все РК уровня ПВД;
приоткрывая вентили байпасов входной задвижки и впускного клапана, тщательно контролировать уровни в корпусах всех ПВД и прослушивать их корпуса (возможно применение "слухача" прослушивания турбины или акустического прибора). Рост уровня в одном из ПВД или обнаружение шума истечения воды в нем свидетельствует о нарушении плотности трубной системы этого подогревателя;
после выявления дефектного подогревателя закрыть вентили байпасов входной задвижки и ВК.
10.3. Проверить по манометрам по месту отсутствие давления в трубной системе и в корпусах, при необходимости обтянуть вручную задвижки входа и выхода питательной воды и паровые задвижки.
10.4. Закрыть вентиль перед обратными клапанами на байпасе выходной задвижки.
10.5. Открыть все регулирующие клапаны уровня и задвижки отвода КГП из ПВД-6 в ПВД-5 и из ПВД-5 в конденсатор, снизить уровень в корпусах всех ПВД до минимально возможного, после чего закрыть задвижку отвода КГП из ПВД-5 в конденсатор.
10.6. Открыть задвижки на коллекторах дренажей паровой и водяной части ПВД в расширитель дренажей высокого давления и дренажный бак.
10.7. Открыть все вентили опорожнений корпусов, трубопроводов питательной воды и КГП в дренажные коллекторы и опорожнить их. Открыть воздушники трубных систем и корпусов (если имеются).
10.8. После полного опорожнения корпусов и трубных систем (контроль по отсутствию воды через открытые вороночные сливы) закрыть дренажные вентили на коллекторы дренажей и задвижки на дренажных коллекторах. Вентили на воздушниках и сливы в воронки оставить открытыми и повесить на них плакаты "Не закрывать, работают люди".
10.9. Закрыть ИВЭ подачи конденсата от КЭН к впускным клапанам, ручной вентиль их обвода и общую задвижку на подводе конденсата от КЭН.
10.10. Разобрать электросхемы авторегуляторов уровня, регулирующих клапанов и запорной арматуры, принять меры по их невключению, повесить предупредительные плакаты "Не включать, работают люди" на следующей арматуре:
задвижках входа и выхода питательной воды;
задвижках подвода пара к ПВД от 1, 2 и 3-го отборов;
задвижки отвода КГП из ПВД-6 и ПВД-5 в деаэратор и конденсатор;
ИВЭ подачи конденсата от КЭН;
РК уровня в ПВД-5, 6, 7.
10.11. Указанные в
п. 10.10 запорные органы, а также вентили на байпасах входной и выходной задвижки, ВК, на отводе ПГС из ПВД-5, подводе конденсата от КЭН и дренажных коллекторах запереть на цепи в закрытом положении и вывесить предупредительные плакаты "Не открывать, работают люди".
10.12. Вывод в ремонт группы ПВД при работающем блоке разрешается при плотности всей отключающей арматуры (отсутствии парений и протечек через воздушники и вороночные сливы из корпусов и трубных систем) и с разрешения главного инженера электростанции.
11. ХАРАКТЕРНЫЕ НЕИСПРАВНОСТИ И СПОСОБЫ ИХ УСТРАНЕНИЯ
Неисправность | Вероятная причина неисправности | Способ устранения (действия персонала) |
1. Недостаточный нагрев воды в подогревателе | 1.1. Дросселирование пара в подводящих паропроводах. Сопровождается снижением давления в корпусе и снижением температуры КГП | 1.1. Проверить полное открытие задвижки на подводе пара и КОС, открыть их полностью |
1.2. Загрязнение трубной системы с паровой или водяной стороны | 1.2. Во время ремонта провести химическую очистку трубной системы |
1.3. Размыв или повреждение перегородок в трубной системе подогревателя | 1.3. Провести ремонт трубной системы с заменой перегородок (диафрагм) |
2. Повышение уровня в корпусе подогревателя | 2.1. Разрыв трубок или свищи в трубной системе. Сопровождается увеличением открытия РК уровня и шумом внутри подогревателя | 2.1. Немедленно отключить группу ПВД и вывести ее в ремонт |
2.2. Неисправность РК уровня. Сопровождается "зависанием" его в одном положении и отключением схемы электропитания | 2.2. Отключить авторегулятор и попытаться расходить клапан вручную. Если восстановить работу клапана не удается, отключить группу ПВД для ремонта клапана |
2.3. Неисправность авторегулятора | 2.3. Отключить авторегулятор и поддерживать уровень дистанционно. Наладить работу авторегулятора с помощью персонала ЦТАИ |
2.3.1. Засорение импульсной линии датчика авторегулятора или прибора | 2.3.1. Продуть импульсные линии датчика |
2.4. Неполное открытие задвижки на линии отвода КГП. Сопровождается увеличением открытия РК уровня | 2.4.1. Проверить и полностью открыть задвижку отвода КГП 2.4.2. Перевести отвод КГП на конденсатор (ПНД-4) (из ПВД-5 или ПВД-6) |
2.5. Снижение давления в отборах, недостаточный перепад давлений для отвода КГП в деаэратор и несрабатывание блокировки перевода КГП на конденсатор | 2.5. Осуществить дистанционный перевод КГП на конденсатор (для ПВД-5 или ПВД-6) |
3. Снижение уровня в подогревателе | 3.1. Неисправность авторегулятора уровня | 3.1. Перейти на дистанционное управление РК. Наладить работу авторегулятора с помощью персонала ЦТАИ |
3.2. Неисправность РК уровня. | 3.2. Отключить авторегулятор и попытаться расходить клапан. Если расходить клапан не удается, отключить группу ПВД для ремонта клапана |
3.3. Неполное открытие задвижки или КОС на подводе пара. Сопровождается снижением давления в корпусе | 3.3. Полностью открыть задвижку, расходить КОС |
4. Гидравлические удары в паропроводах подвода пара | 4.1. Наличие воды (конденсата) в паропроводах при пуске. Недостаточный прогрев паропровода. Закрытие дренажей при прогреве паропроводов | 4.1. Полностью открыть дренажи из нижних точек паропровода. Провести необходимый прогрев паропровода перед включением ПВД |
5. Гидравлические удары в трубопроводах КГП или питательной воды либо в зоне ОК | 5.1. Разрыв сплошности потока при быстром подключении трубопровода | 5.1. Отключить и медленно подключить трубопроводы |
5.2. Наличие воздуха в трубопроводе | 5.2. Выпустить воздух из трубопровода при наличии воздушника, либо медленно подключать трубопровод |
5.3. Пропуск пара в зону ОК и в трубопровод КГП. Сопровождается низким уровнем в корпусе ПВД | 5.3. Повысить уровень в ПВД до номинального |
6. Расхождение показаний уровня на приборах | 6.1. Засорение импульсной линии датчика прибора | 6.1. Сверить показания приборов и ВУУ. Продуть импульсные линии датчика |
6.2. Неисправность прибора | 6.2. Провести наладку прибора или его замену с помощью персонала ЦТАИ |
7. Увеличение гидравлического сопротивления подогревателя по питательной воде | 7.1. Занос трубок с водяной стороны продуктами коррозии | 7.1. В ближайший ремонт блока провести химическую очистку подогревателя |
7.2. Неполное открытие арматуры на питательной воде | 7.2. Проверить и полностью открыть задвижки входа и выхода питательной воды и впускной клапан. При необходимости вывести группу ПВД в ремонт |
8. Понижение температуры питательной воды за обводом ПВД | 8.1. Пропуск питательной воды через неполностью закрытую задвижку байпаса | 8.1. Приоткрыть и полностью закрыть (обтянуть вручную) задвижку обвода. В ближайший ремонт выполнить ревизию задвижки |
8.2. Пропуск питательной воды через аварийный обвод - неплотный впускной клапан | 8.2. В ближайший ремонт выполнить ревизию впускного клапана |
8.3. Неисправность датчика температуры | 8.3. Проверить исправность датчиков и приборов |
УСТРОЙСТВО И ТЕХНИЧЕСКИЕ ХАРАКТЕРИСТИКИ ПВД
1. Принцип работы и устройство
1.1. Подогреватели высокого давления предназначены для регенеративного подогрева питательной воды за счет охлаждения и конденсации пара из отборов высокого давления турбин, а также охлаждения конденсата греющего пара.
1.2. Номенклатура ПВД стационарных паротурбинных установок мощностью 100 - 800 МВт для электростанций на органическом топливе регламентируется ОСТ 108.271.17-76, а также ТУ на новые ПВД.
В обозначение типоразмера подогревателя с трубками 32 x 3,5...6 мм по ОСТ входит (на примере ПВ-1200-380-43-1):
ПВ - подогреватель высокого давления;
1200 - суммарная площадь поверхности теплообмена, м2;
380 - расчетное давление в трубной системе, кгс/см2;
43 - расчетное давление пара в корпусе, кгс/см2;
1 - модификация конструкции аппарата.
В обозначение типоразмеров подогревателей нового поколения ПВД с трубками малого диаметра (22 x 3,5 мм) входит (на примере ПВД-550-23-2,5-1):
ПВД - подогреватель высокого давления;
550 - номинальный массовый расход питательной воды через подогреватель, т/ч;
23 - расчетное давление питательной воды в трубной системе, МПа;
2,5 - расчетное давление пара в корпусе, МПа;
1 - модификация конструкции аппарата.
Все применяемые на ТЭС ПВД изготавливаются на ПО "Красный котельщик", г. Таганрог (ТКЗ).
1.3. Каждый из подогревателей рассчитан на тепловые потоки и параметры, определяемые тепловым расчетом соответствующей турбины. Основные технические характеристики систем регенерации высокого давления различных типов турбоустановок и применяемые типы ПВД приведены в табл. П1.1. Технические характеристики применяемых ПВД приведены в
табл. П1.2. Тип комплектующей арматуры приведен в
табл. П1.3.
Таблица П1.1
Технические характеристики
системы регенерации высокого давления турбоустановок
Тип турбоустановки | Номер отбора | Расчетные параметры на номинальном режиме | Тип устанавливаемых ПВД |
Расход питательной воды, т/ч | Пар отборов | Современные | Поставленные ранее |
Давление, МПа (кгс/см2) | Температура, °C | Расход, т/ч | После 1973 - 1975 гг. | До 1973 - 1975 гг. |
ПТ-80/100-130/13 ЛМЗ | 1 | 470 | 4,41/(45) | 420 | 26 | ПВД-550-23-5,0-I | ПВ-475-230-50-I | ПВ-500-230-50-1 |
2 | 470 | 2,55/(26) | 348 | 32 | ПВД-550-23-3,5-I | ПВ-425-230-37-I | ПВ-425-230-35 |
3 | 470 | 1,27/(13) | 265 | 10,5 | ПВД-550-23-2,5-I | ПВ-425-230-25-IV | ПВ-425-230-23 |
Т-110/120-130-4 ТМЗ | 1 | 480 | 3,32/(33,8) | 379 | 19,5 | ПВД-550-230-50 | ПВ-425-230-37-I | ПВ-425-230-35 |
2 | 480 | 2,28/(23,2) | 337 | 27,8 | ПВД-550-230-35 | ПВ-425-230-25-IV | ПВ-425-230-23 |
3 | 480 | 1,22/(12,4) | 266 | 16,9 | ПВД-550-230-25 | ПВ-425-230-13-I | ПВ-425-230-13 |
К-160-130 ХТЗ | 1 | 500 | 3,19/(32,5) | 375 | 6,8 | - | ПВ-425-230-37-I | ПВ-425-230-35 |
1 | 500 | 3,19/(32,5) | 375 | 38,9 | - | ПВ-425-230-37-I | ПВ-425-230-35 |
2 | 500 | 1,26/(12,5) | 451 | 21,0 | - | ПВ-425-230-13-I | ПВ-425-230-13 |
К-210-130-3 ЛМЗ | 1 | 670 | 3,79/(38,7) | 374 | 27 | ПВД-650-23-5,0 | ПВ-775-265-45 | ПВ-700-265-45 |
2 | 670 | 2,56/(26,1) | 323 | 45 | ПВД-650-23-3,5 | ПВ-775-265-31-I | ПВ-700-265-31 |
3 | 670 | 1,20/(12,2) | 447 | 12 | ПВД-650-23-2,5 | ПВ-775-265-13 | ПВ-700-265-13 |
Р-100/107-130-15 ТМЗ | 1 | 760 | 3,4/(34,5) | 385 | 34 | ПВД-850-23-5,0 | ПВ-800-230-32 | ПВ-800-230-32 |
2 | 760 | 2,28/(23,1) | 335 | 31 | ПВД-850-23-3,5 | ПВ-800-230-21 | ПВ-800-230-21 |
3 | 760 | 1,47/(15) | 284 | 38,2 | ПВД-850-23-2,5 | ПВ-760-230-14-I | ПВ-800-230-14 |
ПТ-135/165-130-15 ТМЗ | 1 | 760 | 3,33/(34) | 375 | 33,9 | ПВД-850-23-5,0 | ПВ-800-230-32 | ПВ-800-230-32 |
2 | 760 | 2,23/(22,8) | 325 | 29,8 | ПВД-850-23-3,5 | ПВ-800-230-21 | ПВ-800-230-21 |
3 | 760 | 1,47/(15) | 275 | 37,8 | ПВД-850-23-2,5 | ПВ-760-230-14-I | ПВ-800-230-14 |
Т-175/210-130 ТМЗ | 1 | 745 | 3,32/(33,9) | 375 | 33,8 | ПВД-850-23-5,0 | ПВ-800-230-32 | ПВ-800-230-32 |
2 | 745 | 2,24/(22,8) | 325 | 32,4 | ПВД-850-23-3,5 | ПВ-800-230-21 | ПВ-800-230-21 |
3 | 745 | 1,46/(15) | 277 | 38,2 | ПВД-850-23-2,5 | ПВ-760-230-14-I | ПВ-800-230-14 |
К-300-240-2 ХТЗ | 1 | 950 | 5,4/(55,1) | 352 | 42,5 | - | ПВ-900-380-66-I | ПВ-450-380-65(x2) |
2 | 950 | 3,87/(39,5) | 309 | 80,5 | - | ПВ-1200-380-43-I | ПВ-600-380-41(x2) |
3 | 950 | 1,49/(15,2) | 446 | 33 | - | ПВ-900-380-18-I | ПВ-450-380-16(x2) |
К-300-240-2 ЛМЗ | 1 | 970 | 6,82/(69,8) | 360 | 67,7 | ПВ-1550-380-70 | ПВ-900-380-66-I | ПВ-450-380-65(x2) |
2 | 970 | 4,42/(45,1) | 305 | 105,1 | ПВ-1700-380-51 | ПВ-1200-380-43-I | ПВ-600-380-41(x2) |
3 | 970 | 1,68/(17,1) | 421 | 35,1 | ПВ-1250-380-21 С 1993 - 1994 гг. | ПВ-900-380-18-I | ПВ-450-380-16(x2) |
К-300-240-3 ЛМЗ | 1 | 975 | 6,25/(63,8) | 349 | 64,9 | ПВД-1100-37-7,0 | - | - |
2 | 975 | 4,00/(40,8) | 293 | 95,1 | ПВД 1100-37-4,5 | - | - |
3 | 975 | 1,56/(15,9) | 422 | 38,8 | ПВД-1100-37-2,0 | - | - |
Т-250/300-240-2 ТМЗ | 1 | 955 | 5,77/(58,8) | 345 | 51,3 | ПВ-900-380-66-I | ПВ-900-380-66-I | |
2 | 955 | 4,06/(41,5) | 300 | 93,9 | ПВ-1200-380-43-I | ПВ-1200-380-43-I | - |
3 | 955 | 1,69/(17,3) | 435 | 35,3 | ПВ-900-380-18-I | ПВ-900-380-18-I | - |
К-500-240-2 ХТЗ | 1 | 1650 | 5,74/(58,5) | 336 | 100 | - | - | ПВ-2300-380-61 |
2 | 1650 | 4,06/(41,5) | 294 | 147 | - | - | ПВ-2300-380-44 |
3 | 1650 | 1,69/(17,35) | 432 | 77 | - | - | ПВ-2300-380-17 |
К-500-240-4 ЛМЗ | 1 | 1650 | 6,13/(62,5) | 346 | 101,7 | ПВ-1800-37-6,5 | ПВ-2100-380-61 | - |
2 | 1650 | 4,2/(42,8) | 297 | 157,6 | ПВ-1800-37-4,5 | ПВ-2300-380-64 | - |
3 | 1650 | 1,87/(19,1) | 446 | 88,5 | ПВ-1800-37-2,0 | ПВ-2300-380-17 | - |
К-800-240-5 ЛМЗ | 1 | 2450 | 6,06/(61,8) | 349 | 175 | ПВ-1800-37-6,5(x2) | ПВ-1600-380-66(x2) | ПВ-1600-380-66(x2) |
2 | 2450 | 3,78/(38,5) | 289 | 211 | ПВ-1800-37-4,5(x2) | ПВ-2000-380-40(x2) | ПВ-2000-380-40(x2) |
3 | 2450 | 1,63/(16,6) | 440 | 109 | ПВ-1800-37-2,0(x2) | ПВ-1600-380-17(x2) | ПВ-1600-380-17(x2) |
Примечание. Знаком "(x2)" обозначены ПВД, работающие в двухпоточной схеме СРВД. |
Таблица П1.2
Технические характеристики ПВД
Тип ПВД | Номинальный расход питательной воды, т/ч | Расчетные (максимальные) параметры | Расчетный тепловой поток, МВт  +/- 15% | Гидравлическое сопротивление по воде, +/- 0,05 МПа (кгс/см2) | Площадь поверхности нагрева, +/- 15%, м2 | Габаритные размеры, мм | Масса, т, +/- 5% |
Давление воды в трубопроводной системе, МПа (кгс/см2) | Давление пара в корпусе МПа (кгс/см2) | Температура пара на входе, °C | Полная | Зона ОП | Зона ОК | Высота +/- 50 мм | Наружный диаметр | сухого | полностью заполненного водой |
ПОДОГРЕВАТЕЛИ ТИПА ПВ |
ПВ-425-230-13 | 500 | 22,6 (230) | 1,28 (13,0) | 450 | | 0,34 (3,5) | 425 | | | 7390 | 1732 | 27,13 | 41,1 |
ПВ-425-230-13-I | 550 | 22,6 (230) | 1,28 (13,0) | 450 | 14,1 (12,1) | 0,24 (2,5) | 425 | 42,0 | 63,0 | 7390 | 1732 | 26,5 | 40,2 |
ПВ-425-230-23 | 500 | 22,6 (230) | 2,26 (23,0) | 530 | | 0,34 (3,5) | 425 | | | 7390 | 1744 | 23,19 | 43,0 |
ПВ-425-230-25-IV | 550 | 22,6 (230) | 2,45 (25,0) | 475 | 17,6 (15,1) | 0,24 (2,5) | 383 | - | 63,0 | 6795 | 1740 | 24,9 | 42,0 |
ПВ-425-230-35-I | 550 | 22,6 (230) | 3,62 (37,0) | 500 | 13,3 (11,4) | 0,24 (2,5) | 425 | 42,0 | 63,0 | 7390 | 1760 | 32,1 | 46,0 |
ПВ-425-230-37-I | 550 | 22,6 (230) | 3,63 (37,0) | 500 | 13,3 (11,4) | 0,24 (2,5) | 425 | 42,0 | 63,0 | 7390 | 1760 | 32,1 | 46,0 |
ПВ-450-380-16 | 475 | 37,3 (380) | 1,57 (16,0) | 450 | | 0,26 (2,7) | 450 | | | 9160 | 1732 | 35,2 | 53,5 |
ПВ-450-380-65 | 475 | 37,3 (380) | 6,38 (65,0) | 399 | | 0,26 (2,7) | 450 | | | 9160 | 1796 | 48,4 | 66,7 |
ПВ-475-230-50-I | 550 | 22,6 (230) | 4,91 (50,0) | 420 | 19,7 (16,9) | 0,41 (4,2) | 477 | 83,0 | 41,5 | 8250 | 1772 | 38,1 | 53,5 |
ПВ-500-230-50-I | 600 | 22,6 (230) | 4,91 (50,0) | 416 | 19,7 (16,9) | 0,41 (4,2) | 500 | 42,0 | 83,5 | 8000 | 1772 | 39,0 | 56,0 |
ПВ-600-380-41 | 475 | 67,3 (380) | 6,47 (66,0) | 375 | | 0,30 (3,1) | 600 | | | 9160 | 1860 | 47,7 | 66,2 |
ПВ-700-265-13 | 700 | 26,0 (265) | 1,28 (13,0) | 449 | 19,6 (16,8) | 0,24 (2,5) | 775 | 82,5 | 92,8 | 9625 | 2244 | 56,7 | 85,6 |
ПВ-700-265-31 | 700 | 26,0 (265) | 3,04 (31,0) | 341 | 32,2 (27,7) | 0,23 (2,4) | 775 | 72,5 | 92,8 | 9625 | 2260 | 60,5 | 89,3 |
ПВ-700-265-45 | 700 | 26,0 (265) | 6,38 (65,0) | 392 | 20,7 (17,8) | 0,23 (2,4) | 775 | 82,5 | 41,4 | 9625 | 2290 | 62,9 | 98,2 |
ПВ-760-230-14-I | 850 | 22,6 (230) | 3,92 (40,0) | 350 | 29,0 (24,5) | 0,15 (1,54) | 676 | - | 95,0 | 8370 | 2280 | 54,5 | 84,5 |
ПВ-775-265-13 | 700 | 26,0 (265) | 1,19 (19,0) | 480 | 19,5 (16,8) | 0,24 (2,5) | 775 | 82,5 | 92,8 | 9625 | 2244 | 51,0 | 79,9 |
ПВ-775-265-31-I | 700 | 26,0 (265) | 3,04 (31,0) | 350 | 32,2 (27,7) | 0,23 (2,4) | 703 | - | 92,8 | 8760 | 2260 | 50,0 | 75,1 |
ПВ-775-265-45 | 700 | 26,0 (265) | 4,41 (45,0) | 405 | 20,7 (17,8) | 0,23 (2,4) | 775 | 82,5 | 51,6 | 9625 | 2290 | 63,5 | 93,5 |
ПВ-800-230-14 | 850 | 22,6 (230) | 1,37 (14,0) | 500 | 28,5 (24,5) | 0,15 (1,54) | 760 | 84,5 | 95,0 | 9050 | 2280 | 61,2 | 86,9 |
ПВ-800-230-21 | 850 | 22,6 (230) | 3,92 (40,0) | 375 | 27,9 (24,0) | 0,11 (1,1) | 800 | 84,5 | 63,4 | 9050 | 2280 | 63,0 | 90,3 |
ПВ-800-230-32 | 850 | 22,6 (230) | 3,92 (40,0) | 475 | 22,2 (19,1) | 0,12 (1,2) | 800 | 84,5 | 31,7 | 9050 | 2280 | 62,9 | 90,1 |
ПВ-900-380-18-I | 950 | 37,2 (380) | 1,77 (18,0) | 475 | 27,2 (23,4) | 0,14 (1,4) | 992 | 101,0 | 152,0 | 8860 | 2464 | 76,5 | 106,5 |
ПВ-900-380-66-I | 950 | 37,2 (380) | 6,47 (66,0) | 390 | 25,9 (22,3) | 0,14 (1,4) | 980 | 101,0 | 75,0 | 8860 | 2520 | 91,4 | 121,4 |
ПВ-1200-380-43-I | 950 | 37,2 (380) | 4,22 (43,0) | 335 | 45,9 (40,3) | 0,18 (1,8) | 1203 | 125,0 | 188,0 | 8860 | 2680 | 92,1 | 127,1 |
ПВ-1250-380-21 | 1030 | 37,2 (380) | 2,06 (21,0) | 425 | 42,0 (38,1) | 0,10 (1,0) | 1300 | 124,0 | 187,0 | 10330 | 2664 | 100,3 | 140,0 |
ПВ-1550-380-70 | 1030 | 37,2 (380) | 6,88 (70,0) | 365 | 41,8 (35,9) | 0,11 (1,1) | 1558 | 152,0 | 152,0 | 10445 | 2960 | 159,3 | 222,3 |
ПВ-1600-380-17 | 1390 | 37,2 (380) | 1,67 (17,0) | 445 | 24,4 (21,0) | 0,23 (2,4) | 1560 | 92,5 | 222,0 | 10950 | 2860 | 125,2 | 173,0 |
ПВ-1600-380-66 | 1390 | 37,2 (380) | 6,47 (66,0) | 350 | 48,8 (42,0) | 0,23 (2,4) | 1650 | 111,0 | 92,5 | 10950 | 2940 | 153,2 | 201,3 |
ПВ-1700-380-51 | 1030 | 37,2 (380) | 5,00 (51,0) | 310 | 71,0 (61,1) | 0,12 (1,2) | 1678 | 134,0 | 201,0 | 9855 | 3112 | 140,4 | 188,9 |
ПВ-1800-37-2,0 | 1700 | 37 (378) | 2,0 (20,4) | 450 | 59,1 (50,8) | 0,39 (4,0) | 1782 | 108,0 | 126,0 | 11175 | 2860 | 126,7 | 173,4 |
ПВ-1800-37-4,5 | 1700 | 37 (378) | 4,5 (45,9) | 300 | 88,5 (76,3) | 0,06 (0,61) | 1890 | - | 126,0 | 11305 | 2910 | 150,5 | 196,2 |
ПВ-1800-37-6,5 | 1700 | 37 (378) | 6,5 (66,2) | 350 | 57,9 (49,8) | 0,15 (1,5) | 1782 | 98,6 | 81,4 | 11395 | 2960 | 172,0 | 214,1 |
ПВ-1900-380-44 | 1625 | 37,2 (380) | 4,32 (44,0) | 304 | 86,0 (74,0) | 0,45 (4,63) | 1898 | - | 261,0 | 9715 | 3360 | 160,7 | 243,7 |
ПВ-2000-380-40 | 1390 | 37,2 (380) | 3,95 (40,0) | 290 | 48,8 (42,0) | 0,23 (2,4) | 2135 | 87,0 | 185,0 | 10950 | 3110 | 141,7 | 199,0 |
ПВ-2100-380-17 | 1705 | 37,2 (380) | 1,67 (17,0) | 432 | 52,3 (45,0) | 0,40 (4,1) | 2100 | 314,0 | 261,0 | 11350 | 3272 | 163,0 | 230,0 |
ПВ-2100-380-61 | 1504 | 37,2 (380) | 5,98 (61,0) | 347 | 51,2 (44,0) | 0,32 (3,3) | 2100 | 314,0 | 139,2 | 11350 | 3360 | 211,0 | 260,0 |
ПВ-2300-380-17 | 1705 | 37,2 (380) | 1,67 (17,0) | 432 | 52,3 (45,0) | 0,40 (4,1) | 2100 | 314,0 | 261,0 | 11350 | 3272 | 163,0 | 230,0 |
ПВ-2300-380-44 | 1625 | 37,2 (380) | 4,32 (44,0) | 304 | 86,0 (74,0) | 0,45 (4,63) | 2100 | 202,0 | 261,0 | 11350 | 3312 | 183,0 | 249,0 |
ПВ-2300-380-61 | 1504 | 37,2 (380) | 5,98 (61,0) | 347 | 51,2 (44,0) | 0,32 (3,3) | 2100 | 314,0 | 139,2 | 11350 | 3360 | 211,0 | 260,0 |
ПОДОГРЕВАТЕЛИ ТИПА ПВД |
ПВД-550-230-25 | 550 | 22,6 (230) | 2,45 (25,0) | 450 | 12,8 (11,0) | 0,2 (2,0) | 450 | 48 | 72 | 9000 | 1540 | 27,9 | 37,5 |
ПВД-550-230-35 | 550 | 22,6 (230) | 3,43 (35,0) | 450 | 20,7 (17,8) | 0,2 (2,0) | 450 | 48 | 72 | 9000 | 1550 | 30,0 | 39,6 |
ПВД-550-230-50 | 550 | 22,6 (230) | 4,90 (50,0) | 450 | 19,3 (16,6) | 0,2 (2,0) | 450 | 48 | 48 | 9000 | 1568 | 33,1 | 42,7 |
ПВД-550-23-2,5-I | 550 | 23,0 (234) | 2,50 (25,5) | 450 | 12,8 (11,0) | 0,2 (2,0) | 450 | 48 | 72 | 8330 | 1540 | 26,2 | 36,2 |
ПВД-550-23-3,5-I | 550 | 23,0 (234) | 3,50 (35,7) | 450 | 20,7 (17,8) | 0,2 (2,0) | 450 | 48 | 72 | 8330 | 1550 | 29,2 | 39,2 |
ПВД-550-23-5,0-I | 550 | 23,0 (234) | 5,00 (51,0) | 450 | 19,3 (16,6) | 0,2 (2,0) | 450 | 48 | 48 | 8330 | 1568 | 32,2 | 42,2 |
ПВД-650-23-2,5 | 650 | 23,0 (234) | 2,50 (25,5) | 450 | 18,5 (15,9) | 0,3 (3,1) | 506,7 | 47,8 | 47,8 | 9070 | 1540 | 31,2 | 42,0 |
ПВД-650-23-3,5 | 650 | 23,0 (234) | 3,50 (35,7) | 360 | 26,8 (23,0) | 0,3 (3,1) | 506,7 | 47,8 | 47,8 | 9070 | 1550 | 32,4 | 43,1 |
ПВД-650-23-5,0 | 650 | 23,0 (234) | 5,00 (51,0) | 400 | 21,8 (18,7) | 0,3 (3,1) | 506,7 | 47,8 | 47,8 | 9070 | 1568 | 34,7 | 45,4 |
ПВД-850-23-1,5 | 850 | 23,0 (234) | 1,50 (153) | 480 | 26,6 (22,9) | 0,15 (1,5) | 738,7 | 38,2 | 89,2 | 9815 | 2044 | 48,8 | 71,9 |
ПВД- 850-23-3,5 | 850 | 23,0 (234) | 3,50 (35,7) | 350 | 33,4 (28,7) | 0,20 (2,0) | 738,7 | 38,2 | 89,2 | 9815 | 2064 | 57,2 | 80,3 |
ПВД-850-23-5,0 | 850 | 23,0 (234) | 5,00 (51,0) | 405 | 23,0 (19,8) | 0,20 (2,0) | 738,7 | 38,2 | 89,2 | 9815 | 2090 | 64,4 | 87,5 |
ПВД-1100-37-2,0 | 1100 | 37,0 (377) | 2,00 (20,4) | 450 | 44,6 (38,4) | 0,23 (23) | 1017 | 185,8 | 146,7 | 10400 | 2660 | 81,0 | 112,8 |
ПВД-1100-37-4,5 | 1100 | 37,0 (377) | 4,50 (45,9) | 310 | 58,4 (50,2) | 0,21 (2,1) | 1105 | - | 146,7 | 10300 | 2710 | 98,0 | 134,2 |
ПВД-1100-37-7,0 | 1100 | 37,0(377) | 7,00 (71,4) | 375 | 36,3 (31,2) | 0,28 (2,8) | 1037 | 107,8 | 88,0 | 10400 | 2760 | 118,2 | 160,0 |
ПВД-1300-37-2,0 | 1300 | 37,0 (377) | 2,00 (20,4) | 445 | 56,6 (48,7) | 0,25 (2,55) | 1203 | 185,8 | 146,7 | 11400 | 2660 | 89,0 | 124,0 |
ПВД-1300-37-4,5 | 1300 | 37,0 (377) | 4,50 (45,9) | 290 | 76,9 (66,1) | 0,23 (2,35) | 1262 | - | 146,7 | 11400 | 2710 | 107,2 | 147,3 |
ПВД-1300-37-7,0 | 1300 | 37,0 (377) | 7,00 (71,4) | 350 | 56,5 (48,6) | 0,35 (3,57) | 1223 | 107,8 | 88,0 | 11400 | 2760 | 130,0 | 170,2 |
Таблица П1.3
Типаж и характеристика комплектующей арматуры ПВД
Тип ПВД | Импульсный вентиль с электроприводом (ИВЭ) | Впускной клапан | Обратный клапан | Регулирующий клапан | Предохранительный клапан |
Dy, мм | Тип | Количество | Dy, мм | Тип | Dy, мм | Тип | Dy, мм | Тип | Исполнение | Количество | Dy, мм | Тип | Количество |
ПОДОГРЕВАТЕЛИ ТИПА ПВ |
ПВ-425-230-13 | | Т-369 | 1 | 225 | Т-364б | 225 | Т-365бм | 150 | Т-36б | | 1 | - | - | |
ПВ-425-230-23 | 100 | Т-35б | 1 | - | - | - |
ПВ-425-230-35-I | 100 | Т-35б | 1 | - | - | - |
ПВ-425-230-13-I | 40 | 15с979нж | 2 | 225 | Т-362бс | 225 | Т-365 | 150 | Т-136бс | 01 | 1 | 80 | Т-32М-3 | 2 |
ПВ-425-230-25-IV | 100 | Т-135бс | 00 | 1 | 80 | Т-32М-3 | 2 |
ПВ-425-230-37-I | 100 | Т-135бс | 00 | 1 | - | - | - |
ПВ-475-230-50 | - | - | - | 225 | Т-362бс | 225 | Т-365 | | - | | | - | - | - |
ПВ-450-380-16 | | Т-470 | 1 | 200 | Т-467б | 200 | Т-466бм | 150 | Т-36б | | 1 | - | - | - |
ПВ-450-380-65 | 150 | Т-36б | 1 | - | - | - |
ПВ-600-380-41 | 100 | Т-35б | 1 | - | - | - |
ПВ-700-265-13 | 40 | 15с979нж | 2 | 275 | Т-366бс | 275 | Т-367бс | 200 | Т-141бс | 00 | 1 | 80 | Т-32М-3 | 4 |
ПВ-700-265-31 | 150 | Т-136бс | 01 | 1 | - | - | - |
ПВ-775-265-45 | 150 | Т-136бс | 00 | 1 | - | - | - |
ПВ-775-265-13 | 40 | 15с979нж | 2 | 275 | Т-366бс | 275 | Т-367бс | 200 | Т-141бс | 00 | 1 | 80 | Т-32М-3 | 4 |
ПВ-775-265-31-I | 150 | Т-136бс | 01 | 2 | 80 | Т-32М-3 | |
ПВ-775-265-45 | 150 | Т-136бс | 00 | 1 | - | - | - |
ПВ-760-230-14-1 | 40 | 15с979 | 2 | 275 | Т-366бс | 275 | Т-367бс | 200 | Т-141бс | 00 | 1 | - | - | - |
ПВ-800-230-21 | 200 | Т-141бс | 00 | 1 | - | - | - |
ПВ-800-230-32 | 150 | Т-136бс | 02 | 1 | - | - | - |
ПВ-900-380-18-I | 40 | 15с979 | 2 | 300 | Т-471бс | 300 | Т-472бс | 250 | Т-137бс | 00 | 1 | - | - | - |
ПВ-900-380-66-I | 250 | Т-137бс | 00 | 1 | - | - | - |
ПВ-1200-380-43-I | 150 | Т-136бс | 00 | 1 | - | - | - |
ПВ-1250-380-21 | 65 | В-403-э | 2 | 300 | Т-471бс | 300 | Т-472бс | 200 | Т-141бс | 02 | 1 | 80/65 | Т-32М-2 | 3 |
ПВ-1550-380-70 | 150 | Т-136бс | 01 | 1 | - | - | - |
ПВ-1700-380-51 | 150 | Т-136бс | 01 | 1 | 50 | Т-31М-1 | 2 |
ПВ-1600-380-17 | | - | | 350 | Т-473бс | 350 | Т-474бс | 250 | Т-137бс | 03 | 1 | - | - | - |
ПВ-1600-380-66 | 250 | Т-137бс | 03 | 1 | - | - | - |
ПВ-2000-380-40 | 200 | Т-141бс | 00 | 1 | - | - | - |
ПВ-1800-37-2,0 | | - | | 400 | | 400 | | 250 | Т-137бс | 03 | 2 | 80 | Т-32М-2 | 3 |
ПВ-1800-37-4,5 | 200 | Т-141бс | 02 | 1 | 50 | Т-31М-1 | 2 |
ПВ-1800-37-6,5 | 150 | Т-136бс | | 1 | - | - | - |
ПВ-1900-380-44 | 50 | В-403Э | 2 | 400 | Т-475бс | 400 | Т-476бс | 200 | Т-141бс | 02 | 1 | - | - | - |
ПВ-2100-380-17 | 250 | Т-137бс | 02 | 1 | - | - | - |
ПВ-2100-380-40 | 150 | Т-136бс | 02 | 1 | - | - | - |
ПВ-2300-380-17 | 50 | В-403Э | 2 | 400 | Т-475бс | 400 | Т-476бс | 250 | Т-137бс | 02 | 1 | - | - | - |
ПВ-2300-380-44 | 200 | Т-141бс | 02 | 1 | - | - | - |
ПВ-2300-380-61 | 150 | Т-136бс | 02 | 1 | - | - | - |
ПОДОГРЕВАТЕЛИ ТИПА ПВД |
ПВД-550-230-25 | 65 | 1052 65 3А | 2 | 250 | Т-364бсм | 250 | Т-365бсм | 150 | Т-136бм | 01 | 1 | 50 | Т-31Мс-2 | 2 |
ПВД-550-230-35 | 100 | Т-135бм | 01 | 1 | 50 | Т-31Мс-1 | 2 |
ПВД-550-230-50 | 100 | Т-135бм | 00 | 1 | - | - | - |
ПВД-550-23-25-I | 65 | 1052 65 3А | 2 | 250 | Т-364бсм | 250 | Т-365бсм | 150 | Т-136бм | 01 | 1 | 50 | Т-31Мс-2 | 2 |
ПВД-550-23-3,5-I | 100 | Т-135бм | 01 | 1 | 50 | Т-31Мс-1 | 2 |
ПВД-550-23-5,0-I | 100 | Т-135бм | 00 | 1 | - | - | - |
ПВД-650-23-2,5 | 65 | 1052 65 3А | 2 | 250 | Т-364бсм | 250 | Т-365бсм | 150 | Т-136бм | 02 | 1 | 50 | Т-31Мс-2 | 2 |
ПВД-650-23-3,5 | 100 | Т-135бм | 01 | 1 | 50 | Т-32Мс-1 | 1 |
ПВД-650-23-5,0 | 100 | Т-135бм | 00 | 1 | - | - | - |
ПВД-850-23-1,5 | 65 | 1052 65 3А | 2 | 275 | Т-366бсм | 275 | Т-367бсм | 200 | Т-141бм | 00 | 1 | 80 | Т-31Мс-2 | 3 |
ПВД-850-23-3,5 | 150 | Т-136бм | 01 | 1 | 50 | Т-32Мс-1 | 2 |
ПВД-850-23-5,0 | 150 | Т-136бм | 00 | 1 | - | - | - |
ПВД-1100-37-2,0 | 65 | 1052 65 3А | 2 | 300 | Т-471бсм | 300 | Т-472бсм | 250 | Т-137бм | 00 | 1 | 80 | Т-32Мс-2 | 3 |
100 | Т-135бм | 01 | 1 |
ПВД-1100-37-4,5 | 150 | Т-136бм | 01 | 1 | 50 | Т-31Мс-1 | 2 |
ПВД-1100-37-7,0 | 150 | Т-136бм | 00 | 1 | - | - | - |
ПВД-1300-37-2,0 | 65 | 1052 65 3А | 2 | 350 | Т-473бсм | 350 | Т-474бсм | 250 | Т-137бм | 01 | 1 | 80 | Т-32Мс-2 | 3 |
150 | Т-136бм | 01 | 1 |
ПВД-1300-37-4,5 | 200 | Т-141бм | 00 | 1 | 50 | Т-31Мс-1 | 2 |
ПВД-1300-37-7,0 | 150 | Т-136бм | 00 | 1 | - | - | - |
1.4. По принципу использования тепла греющей среды поверхность теплообмена ПВД делится на следующие зоны:
охлаждения пара (ОП) - зона конвективного теплообмена при охлаждении перегретого пара, т.е. с температурой стенки выше температуры насыщения пара при давлении в данной зоне;
конденсации греющего пара (КП) - основная зона подогревателя с температурой стенки ниже температуры насыщения пара;
охлаждения конденсата (ОК) - зона конвективного теплообмена при охлаждении КГП.
Все три зоны расположены в одном корпусе ПВД. К аппарату подводятся и отводятся потоки нагреваемой питательной воды, подаваемой питательным насосом из деаэратора или предыдущего ПВД, греющего пара из отбора турбины и КГП предыдущего по отбору подогревателя.
Принципиальные схемы включения зон и движения теплообменивающихся сред в зонах ПВД представлены на рис.: П1.1 и
П1.2.
Рис П1.1. Принципиальная схема
включения зон ОП, КП и ОК в ПВД:
1 - вход питательной воды; 2 - выход питательной воды;
3 - вход греющего пара; 4 - выход КГП;
5 - вход КГП из последующего ПВД
Рис П1.2. Схема движения теплоносителей в унифицированных
ПВД с центральным входом и выходом питательной воды:
1 - вход питательной воды; 2 - выход питательной воды;
3 - вход греющего пара; 4 - вход КГП в кожух ОК;
5 - выход КГП
1.5. В большинстве подогревателей ОК включается по ходу питательной воды до зоны КП. При этом через ОК проходит лишь часть полного расхода воды, для организации которого в коллекторах устанавливаются дроссельные шайбы и диафрагмы. В некоторых случаях ОК включается параллельно всей зоне КП или первому ходу воды в двухпоточных КП.
1.6. Схемы включения зоны ОП по питательной воде представлены на рис. П1.3. Включение ОП по питательной воде чаще всего осуществляется по последовательной схеме, при этом, так же как и в ОК, через ОП пропускается лишь часть полного расхода воды. Получили распространение в схемах мощных блоков с промперегревом и более совершенные схемы; с параллельным включением зон ОП (Некольного-Рикара) и с концевой зоной ОП (схема Виолена), по которой включены ПВД современных блоков с промперегревом
(рис. 1).
Рис. П1.3. Схема включения встроенных
зон ОП по питательной воде и греющему пару:
а - последовательное включение ОП;
б - параллельное включение ОП - схема Некольного-Рикара;
в - включение с концевой зоной ОП - схема Виолена;
1 - вход питательной воды; 2 - выход питательной воды;
3 - вход греющего пара; 4 - выход КГП; 5, 6,
7 - номера ПВД по схеме регенерации
1.7. Питательная вода поступает в подогреватель снизу во входной патрубок, из которого поток воды разветвляется по раздающим коллекторам. Диафрагмы, установленные на этих коллекторах, разделяют потоки в зонах ОК и ОП. После нагрева части потока в зоне ОК происходит смешение его с основными потоками питательной воды, прошедшими через отверстия в диафрагмах. По спиралям поверхности теплообмена зоны КП питательная вода проходит в собирающие коллекторы, откуда одна часть поступает в выходной патрубок аппарата, а другая, пройдя змеевики зоны ОП, поступает в сливную трубу и затем смешивается с основным потоком перед выходом из подогревателя.
1.8. Греющий пар подводится в корпус подогревателя через паровой штуцер. При нижнем подводе паровая труба, соединяющая этот штуцер с кожухом зоны ОП, помещается в отдельном кожухе, защищающем ее от переохлаждения конденсатом в области нижнего днища.
В кожухе зоны ОП перегретый пар в несколько ходов омывает трубный пучок и отдает тепло перегрева, а затем поступает в зону КП и распределяется по всей ее высоте. Конденсат пара с помощью перегородок в этой зоне отводится за пределы трубного пучка и вдоль стенок корпуса стекает в нижнюю часть, где расположена зона ОК.
1.9. ПГС отводятся по специальной трубе, установленной в зоне КП над верхним днищем кожуха охлаждения конденсата, в подогреватель с более низким давлением или по иной схеме.
1.10. Удаление воздуха из трубной системы при ее заполнении осуществляется через трубку, установленную внутри коллектора по всей длине с отверстием, расположенным в верхней части его, или через трубку, подведенную снаружи к сборнику. Трубка выводится через стенку выходного патрубка питательной воды за пределами нижнего днища или через нижнее днище.
2. Конструктивное выполнение
2.1. Конструктивно все выпускаемые на ТКЗ ПВД представляют собой вертикальный аппарат сварной конструкции коллекторного типа с поверхностью теплообмена, набранной из свитых в плоские спирали гладких труб, присоединенных к вертикальным раздающим коллекторным трубам (рис. П1.4,
П1.6).
а)
б)
Рис. П1.4. Общий вид ПВД ПВ-900-380-18-1(-66-1):
а - общий вид и продольный разрез; б - поперечные разрезы;
А - вход питательной воды; Б - выход питательной воды;
В - вход греющего пара; Г - выход КГП; Ж - отвод ПГС;
К - к ВУУ; Л - к датчику уровня; М - вход КГП из ПВД
большего давления; Н - вход ПГС из ПВД большего давления;
Х - опорожнение корпуса;
1 - дроссельная шайба; 2 - спиральные трубные элементы;
3 - диафрагма; 4 - вход питательной воды;
5 - выход питательной воды
В подогревателях типа ПВ, выпускаемых до 1982 г., в спиралях применяются трубки 32 x 3,5...6 мм, в подогревателях более позднего выпуска типа ПВД - 22 x 3,5 мм.
2.2. Основными узлами подогревателя являются корпус и трубная система. Корпус состоит из верхней съемной части, свариваемой из цилиндрической обечайки, штампованного днища и фланца, и нижней несъемной части, состоящей из днища, фланца, опоры. Все элементы корпуса выполняются из качественной углеродистой стали 20К или низколегированной стали 09Г2С. Фланец парового штуцера (при верхнем подводе пара) и паровая труба (при нижнем подводе) в случае повышенной температуры греющего пара выполняются из легированной стали 12Х1МФ.
2.3. Фланцевое соединение корпуса имеет мембранное уплотнение (рис. П1.5). В настоящее время применяются уплотнения с приварными мембранами из накладных стальных листов из стали 20, стали 20К или Вст3сп5 толщиной 6 - 10 мм. Гидравлическая плотность соединения обеспечивается предварительной приваркой к фланцам корпуса и днища плоских мембран, которые потом свариваются между собой по наружной кромке. Перед снятием верхней части корпуса наружный круговой сварной шов по торцам мембран удаляется газовой резкой или наждачным кругом. Данное соединение допускает при аккуратном исполнении 5 - 6 разборок.
Рис. П1.5. Уплотнение фланцевого разъема ПВД
2.4. На съемной части корпуса для обеспечения подъема предусматриваются либо специальные болты, либо такелажные штуцеры, расположенные на верхней части обечайки корпуса.
Приваренная к нижней части корпуса опора присоединена также к опорному кольцу с отверстиями для крепления болтами к фундаменту.
2.5. Трубная система ПВД выполнена как один сварной узел с нижней частью корпуса. В конструкции трубной системы ПВД входят 4 или 6 коллекторных труб, одна половина которых является распределяющими коллекторами, а другая - собирающими. Соединение коллекторных труб с подводящими и отводящими воду патрубками, вваренными в корпус, осуществляется в нижней части подогревателя с помощью специальных развилок и тройников.
2.6. Греющая поверхность подогревателей образована трубами диаметром 32 x 4 мм (на давление питательной воды 23,0 - 26,5 МПа) или 32 x 5 мм (на давление 38,0 МПа). Трубы свиты в плоские спиральные элементы с навивкой в одной или двух плоскостях (см. рис. П1.6). Концы труб элементов вварены в распределяющие и собирающие коллекторы.
Рис. П1.6. Форма навивки спиральных трубных элементов:
а - одноплоскостная спираль; б - двухплоскостная спираль;
1 - распределяющий коллектор; 2 - собирающий коллектор;
3 - трубный спиральный элемент
Все элементы трубной системы, работающие под давлением, изготовлены из стали 20.
2.7. Между спиральными элементами в зоне КП подогревателя через 8 - 12 рядов спиралей установлены горизонтальные перегородки, предназначенные для организации движения пара и отвода образующегося на поверхности теплообмена конденсата греющего пара.
Спиральные элементы в зонах ОП и ОК располагаются в специальных кожухах, в которых с помощью системы промежуточных перегородок в межтрубном пространстве создается организованное движение потоков пара и конденсата.
2.8. Более подробное описание конструкции ПВД и методика их расчетов приведены в книге В.М. Марушкина, С.С. Иващенко, Б.Ф. Вакуленко "Подогреватели высокого давления турбоустановок ТЭС и АЭС" (М.: Энергоатомиздат, 1985).
КОНТРОЛЬ, УПРАВЛЕНИЕ, АВТОМАТИЧЕСКОЕ
РЕГУЛИРОВАНИЕ, ЗАЩИТЫ И БЛОКИРОВКИ
1. Контрольно-измерительные приборы
1.1. Перечень контролируемых параметров, место и форма их представления и использования в соответствии с "Методическими указаниями по объему технологических измерений, сигнализации, автоматического регулирования на тепловых электростанциях: РД 34.35.101-88" (СПО Союзтехэнерго, 1990) и комплектацией завода-изготовителя представлены в таблице.
Параметр | Форма представления | Автоматическое регулирование | Защита | Блокировки | Примечание |
БЩУ | по месту |
Постоянно | По требованию | Сигнализация | Регистрация |
1. Температура питательной воды за каждым ПВД | | + | | | | | | | |
2. Температура питательной воды за группой ПВД | | | | + | | | | | |
3. Температура пара регенеративных отборов | | + | | | | | | | |
4. Температура КГП подогревателей | | + | | | | | | | |
5. Давление пара в камерах отборов | | + | | | + | | | | |
6. Давление пара в подогревателях | | + | | | + | | | + | |
7. Давление питательной воды в группе ПВД | | | | | + | | | | |
8. Давление питательной воды за обратным клапаном | | | | | + | | | | |
9. Давление конденсата от КЭН после ИВЭ | | | | | + | | | | |
10. Расход питательной воды за ПВД | + | | | | | | | | |
11. Уровень в каждом ПВД | | + | | | | + | + | + | |
1.2. Контроль за положением РК осуществляется по индивидуальным указателям положения (УП), кроме того, информация о РК может выводиться на другие средства представления информации (ЭЛИ, мнемосхема).
1.3. При отклонении уровня в любом ПВД, а также при срабатывании защит и блокировок оператор энергоблока оповещается световой и звуковой сигнализацией, а также другими способами (изменение цвета параметра на цветном ЭЛИ, сообщение на черно-белый экран и др.).
Управление системой регенерации высокого давления производится с БЩУ, для этого на БЩУ выводится вся необходимая информация - необходимые параметры, информация о состоянии запорной и регулирующей арматуры (мнемосхема, ЭЛИ, индивидуальные лампочки).
К дистанционно-управляемой с БЩУ арматуре относятся:
запорные задвижки на входе и выходе питательной воды;
запорная задвижка на обводе по питательной воде группы ПВД;
запорные задвижки на подводах пара ко всем ПВД;
регулирующие клапаны уровня во всех ПВД;
запорные задвижки на отводах КГП в деаэратор и конденсатор (ПНД-4) из ПВД-5, 6;
ИВЭ на подводе конденсата от КЭН к впускному клапану.
3. Автоматическое регулирование
Все ПВД оборудуются автоматическими регуляторами уровня конденсата. Поддержание нормального уровня в заданном диапазоне (обычно +/- 100 мм) осуществляется регулирующим клапаном на сливе КГП в нижестоящий по давлению подогреватель или в деаэратор, или в конденсатор (ПНД-4). На некоторых блоках устанавливаются по два РК - на отводе из ПВД-5 в деаэратор и в конденсатор. Электронные регуляторы получают импульсы от датчиков уровня. Задание по уровню устанавливается ручными задатчиками, входящими в комплект авторегуляторов. Схемы и типы применяемой в авторегуляторах аппаратуры выбирает проектная организация, обычно они однотипные для всего оборудования блока.
4. Технологические защиты
4.1. Все группы ПВД блочных ТЭС оборудуются двумя защитами "Повышение уровня в ПВД" - ЗНПВДI, действующей на отключение группы ПВД при повышении уровня в корпусе любого ПВД группы до аварийного предела (ранее употреблялся и в заводской документации употребляется термин "I предел защиты ПВД") и ЗНПВДII, действующей на останов блока при повышении уровня до более высокого значения (ранее употреблялся и в заводской документации употребляется термин "II предел защиты ПВД").
4.2. Каждое значение уровня контролируется одним датчиком. Уставка датчика ЗНПВДI на 500 мм выше номинального уровня в ПВД. Уставка датчика защиты по ЗНПВДII на 2500 мм выше уставки ЗНПВДI.
4.3. При повышении уровня в корпусе любого ПВД до уставки срабатывания ЗНПВДI или до уставки ЗНПВДII срабатывает ЗНПВДI на отключение группы ПВД, при этом одновременно производятся следующие действия:
открываются оба ИВЭ подачи конденсата от КЭН на закрытие ВК;
открывается задвижка на обводе группы ПВД по питательной воде;
закрываются задвижки на входе и выходе питательной воды;
закрываются все три задвижки на подводе пара ко всем ПВД группы.
4.4. При поступлении сигналов от обоих датчиков по ЗНПВДII и ЗНПВДI (схема "И") защита действует на останов блока - останов котла, турбины и всех питательных насосов с запретом их АВР. На энергоблоках с барабанными котлами защита дополнительно действует на закрытие запорных задвижек и регулирующих питательных клапанов на подводе питательной воды к котлу (обоим котлам дубль-блока).
4.5. В целях исключения возможности вмешательства оперативного персонала в работу защиты - вывода защиты или отмены ее действия - электрические схемы ЗНПВДI выполняются следующим образом:
исключается из цепи включения выходных реле защиты переключатель ЗНПВДI, отключающий эту защиту. В целях защиты каждого ПВД устанавливаются индивидуальные накладки для возможности проверки действия защиты на сигнал;
вместо переключателя ЗНПВДI с фиксированным положением устанавливается возвратный ключ дистанционного отключения ПВД с положениями "отключение ПВД" и "нейтральное". При положении "отключение ПВД" должны срабатывать выходные реле защиты;
выполняется автоматический съем самоудерживания выходных реле ЗНПВДI после окончания действия защиты, т.е. после полного открытия (или закрытия) задвижки, имеющей наибольшее время хода.
5.1. Для предупреждения срабатывания ЗНПВДI при снижении нагрузки блока выполняются блокировки, переключающие отвод КГП из ПВД-5 и ПВД-6, которые действуют следующим образом:
при снижении давления пара в ПВД-5 приблизительно до 1,0 МПа (10 кгс/см2) открывается задвижка отвода КГП из ПВД-6 в деаэратор, закрывается задвижка отвода КГП из ПВД-6 в ПВД-5, открывается задвижка отвода КГП из ПВД-5 в конденсатор (ПНД-4) и закрывается задвижка отвода КГП из ПВД-5 в деаэратор;
при снижении давления пара в ПВД-6 приблизительно до 1,0 МПа (10 кгс/см2) собирается каскадная схема отвода КГП на конденсатор (ПНД-4), а именно, открывается задвижка отвода КГП из ПВД-6 на ПВД-5 и закрывается задвижка отвода КГП из ПВД-6 на деаэратор;
при восстановлении давления в подогревателях ПВД-5 и ПВД-6 выполняются обратные переключения.
Примечание. Данная блокировка в каждом конкретном случае может быть выполнена по-другому, в частности, может быть одна ступень перевода КГП из ПВД-5 на конденсатор (ПНД-4) без переключения КГП из ПВД-6 на деаэратор.
5.2. На некоторых современных блоках выполняется блокировка, по которой задвижки входа и выхода питательной воды и обвода ПВД управляются одним ключом, а именно, одновременно открываются задвижки входа и выхода питательной воды и закрывается задвижка обвода ПВД и соответственно наоборот.
ПО ПОВЫШЕНИЮ НАДЕЖНОСТИ И ЭФФЕКТИВНОСТИ РАБОТЫ ПВД
1. Обеспечение надежности трубной системы ПВД (см. п. 3.11
Сборника распорядительных документов по эксплуатации
энергосистем. Часть 1. М.: СПО ОРГРЭС, 1991)
1.1. Объем повреждений трубной системы ПВД после наработки 100 - 120 тыс. ч существенно увеличивается. Наблюдается размыв (утонение стенки) отводов от входного стакана к раздающим коллекторам, коллекторных труб на периферии отверстий под змеевики, износ трубопроводов за дросселирующими шайбами, что создает угрозу безопасной эксплуатации оборудования.
1.2. Для предотвращения разрушения элементов трубной системы ПВД необходимо выполнять контроль толщин стенок элементов трубной системы. На энергоблоках мощностью 150 МВт и более контроль элементов трубной системы выполнять в соответствии с таблицей. На остальных энергоблоках в соответствии с таблицей выполняется контроль входных участков змеевиков.
Объект контроля | Метод контроля | Объем контроля | Сроки проведения контроля |
Отвод от входного стакана (патрубка) к раздающему коллектору | Измерение толщины стенки ультразвуковым методом | За сварным соединением на расстоянии 50 мм и 100 мм от него по всей поверхности (в 8 - 12 точках) | Через 100 тыс. ч и в дальнейшем в каждый капитальный ремонт |
Отвод от верхнего сборника к нейтральной отводящей трубе | То же | То же | То же |
Гибы отводов от входного стакана (патрубка) к раздающим коллекторам и от собирающих коллекторов к верхнему сборнику | То же в соответствии с " Инструкцией по дефектоскопии гибов трубопроводов из перлитной стали: И N 23 СД-80" (М: СПО Союзтехэнерго, 1981) | В среднем радиальном сечении гиба и на расстоянии 50 мм от него по обе стороны | То же |
Участки коллекторных и перепускных труб за дроссельными шайбами | Измерение толщины стенки ультразвуковым методом | За сварным соединением дроссельной шайбы и на расстоянии 50 и 100 мм от него по ходу питательной воды в доступных местах | То же |
Участки конденсатопроводов за РК уровня в ПВД, особенно в гибах | То же | За сварным соединением и на расстоянии 50 и 100 мм от него по ходу конденсата | То же |
Стыковые и угловые сварные соединения | Контроль в соответствии с "Инструкцией по контролю за металлом котлов, турбин и трубопроводов: И-34-70-013-84" (М.: СПО Союзтехэнерго, 1984) | 100% труб с наружным диаметром 76 мм и более | Через 100 тыс. ч и в дальнейшем каждые 100 тыс. ч |
Прямые участки и гибы входных участков змеевиков (на длине 250 мм по периметру трубы) | УЗК в соответствии с "Методическими указаниями по ультразвуковому измерению толщины стенок входных участков змеевиков ПВД" (М.: СПО Союзтехэнерго, 1979) | Первичную и последующие проверки ПВД турбоустановок с давлением пара ниже 13,0 МПа (130 кгс/см2) в объеме 100%. То же ПВД турбоустановок с давлением пара 13,0 МПа (130 кгс/см2) и выше, изготовленных заводом после 1972 г., а также прошедших модернизацию по проекту УралВТИ в условиях ТЭС в объеме 100% | Через 12 лет эксплуатации ПВД в дальнейшем в каждый капитальный ремонт, но не реже 1 раза в 6 лет |
Отверстия в коллекторах под спирали | Визуальный осмотр с определением овальности и местного износа | При замене входного участка каждой спирали | Во время ремонтов |
1.3. Подлежат замене элементы трубных систем ПВД, толщина стенок которых меньше рассчитанной по формуле

,
где p = 0,9 максимального расчетного давления, МПа (38 МПа для блоков 300 МВт и более, 23 МПа для блоков 100 - 200 МВт);

- наружный диаметр трубы, мм;

- коэффициент ослабления: для прямых и изогнутых труб, не ослабленных отверстиями, принимается равным 1, а для участков труб, ослабленных отверстиями, берется из паспорта сосуда;

- номинальное допускаемое напряжение, МПа: для температур до 200 °C - 14 МПа; до 250 °C - 13,2 МПа; до 275 °C - 12,6 МПа; до 300 °C - 11,9 МПа.
1.4. Качество сварных соединений должно соответствовать требованиям РТМ-1с-82.
Измерение толщины стенок входных участков змеевиков производится на длине 250 мм с помощью ультразвуковых толщиномеров УТ-92п, "Кварц-6" или другими приборами с аналогичными характеристиками.
1.5. Устранение обнаруженных дефектов производится в соответствии с заводской документацией. В частности, замену труб производить в соответствии с "Инструкцией 08.0309.006 ПО "Красный котельщик". Технологическая инструкция по контролю и ремонту трубных систем подогревателей высокого давления" (Таганрог: ТКЗ, 1973).
1.6. На ПВД старой конструкции, выпущенных до 1972 - 1974 гг., для повышения надежности рекомендуется проведение модернизации по проектам УралВТИ и ПО "Красный котельщик". Увеличение надежности достигается в основном снижением скорости воды в трубных элементах путем перевода с двухходового движения воды в зоне КП на одноходовое.
Для уменьшения скорости износа коллекторов разрешается удаление дроссельных шайб и перепускных труб в зоне охлаждения конденсата по согласованию с ПО "Красный котельщик".
2. Обеспечение надежности корпусов ПВД
2.1. Одним из ответственных элементов конструкции ПВД является фланцевое соединение корпуса, от качества изготовления, монтажа и ремонта которого во многом зависит обеспечение безопасной и безотказной эксплуатации ПВД.
2.2. Опыт эксплуатации ПВД, а также результаты расследования аварий показывают, что при эксплуатации и ремонте ПВД допускаются серьезные технологические и организационные нарушения, к их числу относятся следующие:
выполнение ремонтных работ по замене мембранного уплотнения фланцевого соединения без разработанной технологии;
реконструкция уплотнения фланцевого соединения с заменой мембранных уплотнений без согласования с заводом-изготовителем;
отсутствие поузлового контроля качества ремонта ПВД;
ремонт ПВД не отражается в требуемом объеме в отчетной технологической документации.
2.3. В целях обеспечения безопасной работы корпусов ПВД предлагается:
распоряжением по электростанции закрепить на операции ремонта ПВД постоянный ремонтный персонал, в состав которого должны войти дипломированные сварщики, прошедшие дополнительное обучение применительно к сварке конкретных сварных конструкций мембранного уплотнения;
распоряжением по электростанции утвердить список инженерно-технических работников, закрепленных для руководства работами по мембранным уплотнениям;
ремонт мембранных уплотнений ПВД выполнять только в соответствии с "Инструкцией по монтажу и ремонту мембранного уплотнения фланцевого разъема подогревателей высокого давления: 08.0302.282.РА" (Таганрог: ПО "Красный котельщик", 1984);
строго контролировать технологию ремонта и порядок опробования и приемки оборудования из ремонта;
работы по установке и ремонту мембранного уплотнения фланцевого соединения отражать в отчетной технической документации; все случаи разуплотнения фланцевого разъема ПВД по причинам заводского, монтажного, ремонтного или эксплуатационного характера должны фиксироваться и документально сохраняться в паспорте ПВД;
руководителям электростанции проверять наличие и содержание технической документации на мембранные уплотнения ПВД; прорабатывать с персоналом, обеспечивающим эксплуатацию и ремонт ПВД, эксплуатационные инструкции, циркуляры и решения по эксплуатации и ремонту ПВД, инструкцию по монтажу и ремонту мембранных уплотнений.
2.4. Требования местных эксплуатационных инструкций, касающихся ПВД, должны с учетом особенностей конструкции мембранных уплотнений отражать:
условия включения ПВД в работу и скорости подъема давления в корпусах;
условия регулирования уровня с целью исключения разнотемпературного режима верхнего и нижнего фланцев;
условия, исключающие местные внешние охлаждения отдельных частей мембранного уплотнения;
качество изоляции фланцевого разъема и корпуса.
3. Повышение надежности БДЗУ
3.1. Надежность системы БДЗУ в большой степени зависит от качества исполнения и содержания схемы подвода конденсата от КЭН (см.
рис. 3). При монтаже этой схемы должны быть выполнены следующие условия:
длина трубопровода конденсата от КЭН Dy50 мм от источника питания до сервомотора должна быть выполнена минимальной по условиям компоновки, при этом расстояние от места установки ИВЭ до сервомотора не должно превышать 3 м;
для повышения быстродействия и уменьшения коррозии трубопровода конденсата и корпуса сервомотора сливные линии из над- и подпоршневого пространства следует выполнять в виде вертикальных петель (гидрозатворов), открывающихся в сливную воронку, расположенную несколько выше (на 0,3 - 0,5 мм) отметки импульсных клапанов;
трубы Dy50 мм, предназначенные для трубопроводов конденсата от КЭН, должны быть очищены от окалины и посторонних предметов, и концы их подготовлены под сварку;
после монтажа ИВЭ и магистрали конденсата от КЭН до присоединения последней к штуцеру сервомотора выполнить промывку трубопроводов и клапанов основным конденсатом от КЭН со сбросом в сливной циркуляционный водовод или канализацию;
после присоединения трубопровода конденсата и окончания монтажа путем опрессовки системы рабочим давлением убедиться в отсутствии течей в соединениях и элементах БДЗУ. Проверить плотность ИВЭ, при необходимости произвести притирку уплотнительных поверхностей.
3.2. После монтажа конденсатной части БДЗУ должны быть выполнены следующие наладочные работы:
открыть общий вентиль и, открывая вручную поочередно ИВЭ, убедиться, что они обеспечивают давление, необходимое для перемещения штока с тарелкой ВК;
отрегулировать концевые выключатели ИВЭ таким образом, чтобы обеспечивалось одновременное открытие обоих вентилей и полный ход их штоков;
закрыв оба ИВЭ электроприводом, убедиться в отсутствии протечек через них, открывая вентиль Dy10 мм слива из надпоршневого устройства;
после заполнения ПВД водой произвести опробование защиты, фиксируя время срабатывания ИВЭ и ВК, которое не должно превышать:
начало хода ИВЭ - 0,5 с;
окончание хода ИВЭ - по паспорту ИВЭ;
окончание хода ВК - 5,0 с;
отключая поочередно воздействие на ИВЭ, произвести опробование БДЗУ поочередно с одним вентилем и убедиться, что работа любого ИВЭ обеспечивает срабатывание БДЗУ за время не более 5,0 с.
3.3. Традиционная проверка быстродействия БДЗУ ПВД достаточно сложна, требует снижения нагрузки блока, необходимо участие трех человек, время проведения 50 - 60 с. Для упрощения этой операции и возможности ее выполнения при срабатывании защиты ПВД Донтехэнерго предложило внедрить схему автомагической фиксации быстродействия защиты (рис. П3.1). Для реализации предложенной схемы необходимо установить конечные выключатели на впускных клапанах, одно промежуточное реле и один электросекундомер на каждую группу ПВД.
Рис. П3.1. Схема автоматической
фиксации быстродействия защит ПВД:
1 - существующая часть схемы; 2 - дополнения к схеме;
3 - ввод информации в ИВС; 4 - в схему сигнализации;
ДЗ-1, ДЗ-2, ДЗ-3 - сигнальные контакты уровнемеров ПВД
(ЗНПВДI); ЭС - электросекундомер; ВК - конечный выключатель
впускного клапана ПВД;

,

,
3РП - промежуточные реле
Запуск электросекундомера производится контактами промежуточного реле прибора ЗНПВДI, а останов - промежуточными реле ЭРП, срабатывающим при посадке ВК.
На блоках, оснащенных информационно-вычислительными системами (ИВС), информацию о замыкании контактов приборов защиты и конечного выключателя необходимо отрабатывать и ИВС по специальной программе или предусмотреть эту обработку в программе регистрации аварийных событий на блоке. В этом случае отпадает необходимость установки электросекундомеров.
Установка дополнительной аппаратуры и монтаж электрической схемы достаточно просты и могут быть выполнены силами эксплуатационного или ремонтного персонала.
Достоинством описанной схемы является то, что момент и факт закрытия ВК будет сигнализироваться на БЩУ.
Запросы на получение дополнительной информации направлять по адресу: 338001, г. Горловка Донецкой обл., просп. Ленина, д. 4а, Донтехэнерго.
3.4. Установка концевых выключателей на впускных клапанах ПВД успешно реализована на блоке 800 МВт Пермской ГРЭС. Запросы направлять на Пермскую ГРЭС или в Уралтехэнерго (630219, г. Екатеринбург, ГСП-181, пер. Автоматики, д. 3).
3.5. При проектной установке заборных устройств датчиков уровня на ПВД часто наблюдаются случаи ложного срабатывания защит ПВД при резких изменениях давления в корпусах. Для устранения ложных срабатываний защит ПВД подключение датчиков уровня на некоторых электростанциях (Пермская ГРЭС) выполнено не к корпусу ПВД, а через шунтовые трубы, в которых происходит выравнивание "фиктивного" перепада давлений между верхней и нижней врезкой датчика. При этом следует иметь в виду, что шунтовые трубы могут являться элементом запаздывания изменения уровня, особенно при зауженном сечении их присоединения к подогревателю, в связи с чем их применение должно быть согласовано с ПО "Красный котельщик" и НПО ЦКТИ.
НОРМАТИВНО-ТЕХНИЧЕСКИХ ДОКУМЕНТОВ
4.1.
ГОСТ 28757-90. Подогреватели для системы регенерации паровых турбин ТЭС. Общие технические условия.
4.2.
Правила устройства и безопасной эксплуатации сосудов, работающих под давлением. Госгортехнадзор СССР. - М.: Недра, 1989.
4.3. Правила технической эксплуатации электрических станций и сетей. 14-е издание. - М.: Энергоатомиздат, 1989.
4.4. Правила техники безопасности при эксплуатации тепломеханического оборудования электростанций и тепловых сетей. - М.: Энергоатомиздат, 1985.
4.5. Сборник распорядительных документов по эксплуатации энергосистем (Теплотехническая часть). Часть 1. - М: СПО ОРГРЭС, 1991.
4.6. Подогреватели высокого давления. Инструкция по монтажу и безопасной эксплуатации: 08.0302.048ИЭ. - Таганрог: ТКЗ, 1987.
4.7. Паспорт сосуда, работающего под давлением. Таганрог: ТКЗ.
4.8. Методические указания по объему технологических измерений, сигнализации, автоматического регулирования на тепловых электростанциях: РД 34.35.101-88. - М.: СПО Союзтехэнерго, 1990.
4.9. Объем и технические условия на выполнение технологических защит теплоэнергетического оборудования моноблочных установок мощностью 250, 300, 500 и 800 МВт. - М.: СПО Союзтехэнерго, 1987.
4.10. Объем и технические условия на выполнение технологических защит теплоэнергетического оборудования электростанций с поперечными связями и водогрейных котлов. - М.: СПО Союзтехэнерго, 1987.
4.11. Нормы технического обслуживания защит теплоэнергетического оборудования и тепловых электростанций. - М.: СЦНТИ Энергонот ОРГРЭС, 1977.
4.12. Рекомендации по установке предохранительных клапанов на подогревателях высокого давления по межтрубному пространству: 08.0309.016. - Таганрог: УОП ТКЗ, 1981.
4.13. Методические указания по эксплуатации поверхностных подогревателей турбоустановок ТЭС и АС: РД 34.40.508-85. - М.: ПМБ ВТИ им. Ф.Э. Дзержинского, 1989.
4.14. Технологическая инструкция по контролю и ремонту трубных систем подогревателей высокого давления: 08.0309.006. - Таганрог, ТКЗ, 1973.
4.15. Инструкция по монтажу и ремонту мембранного уплотнения фланцевого разъема подогревателей высокого давления: 08.0302.282РА. Таганрог: ПО "Красный котельщик", 1984.
4.16. Методические указания по ультразвуковому измерению толщины стенок входных участков змеевиков ПВД. - М.: СПО Союзтехэнерго, 1979.
4.17.
Инструкция по дефектоскопии гибов трубопроводов из перлитной стали: И N 23 СД-80. - М.: СПО Союзтехэнерго, 1981.
4.18. Инструкция по контролю за металлом котлов, турбин и трубопроводов: И-34-70-013-84. - М.: СПО Союзтехэнерго, 1984.
4.19. Инструкция по эксплуатации, порядку и срокам проверки предохранительных устройств сосудов, аппаратов и трубопроводов тепловых электростанций. - М: СПО Союзтехэнерго, 1981.
4.20. Подогреватели поверхностные высокого давления для систем регенерации паровых турбин. Технические условия на капитальный ремонт: ТУ 34-38-20092-80. - М.: СПО Союзтехэнерго, 1984.