Главная // Актуальные документы // ИнструкцияСПРАВКА
Источник публикации
Документ опубликован не был
Примечание к документу
Название документа
"Инструкция по укладке, замене и эксплуатации уравнительных приборов и стыков на мостовых переходах инфраструктуры железнодорожного транспорта, принадлежащей ОАО "РЖД"
(утв. Распоряжением ОАО "РЖД" от 24.01.2022 N 139/р)
"Инструкция по укладке, замене и эксплуатации уравнительных приборов и стыков на мостовых переходах инфраструктуры железнодорожного транспорта, принадлежащей ОАО "РЖД"
(утв. Распоряжением ОАО "РЖД" от 24.01.2022 N 139/р)
от 24 января 2022 г. N 139/р
ИНСТРУКЦИЯ
ПО УКЛАДКЕ, ЗАМЕНЕ И ЭКСПЛУАТАЦИИ УРАВНИТЕЛЬНЫХ ПРИБОРОВ
И СТЫКОВ НА МОСТОВЫХ ПЕРЕХОДАХ ИНФРАСТРУКТУРЫ
ЖЕЛЕЗНОДОРОЖНОГО ТРАНСПОРТА, ПРИНАДЛЕЖАЩЕЙ ОАО "РЖД"
1.1. Настоящая Инструкция по укладке, замене и эксплуатации уравнительных приборов и стыков на мостовых переходах инфраструктуры железнодорожного транспорта, принадлежащей ОАО "РЖД" (далее - Инструкция), разработана для применения на всех типах пролетных строений железных дорог колеи 1520 мм, на линиях всех классов со скоростями движения поездов до 250 км/ч с максимальной статической осевой нагрузкой не более 245 кН (25,0 тс) и статической равномерно-распределенной нагрузкой не более 98,1 кН/м пути (10,0 тс/м пути), и регламентирует основные требования и условия выполнения работ по устройству и эксплуатации уравнительных приборов и стыков на мостовых переходах.
1.2. Проекты уравнительных приборов (далее - УП) и стыков (далее - УС) должны быть снабжены контруголками и обеспечивать перекрытие всех температурных пролетов мостов, имеющихся на инфраструктуре железнодорожного транспорта.
1.3. Укладка УП или УС выполняется в соответствии с проектом укладки, разработанным проектной организацией на основании материалов обследования состояния пути на мосту и подходах, и требований настоящей Инструкции. Проект утверждается установленным порядком. При проектировании рекомендуется укладка уравнительных стыков.
1.4. В дистанции пути/дистанции инфраструктуры (далее - ПЧ/ИЧ) вносится в рельсовую книгу формы ПУ-2 графа 6 сведения об укладке УП или УС. Кроме того, должна быть оформлена ведомость всех уложенных на мостовых переходах УП и УС (форма АГУ-4 таблица 11, экспликация УП и УС, номер проекта) с указанием: наименования и местонахождения объекта, места укладки УС (км, ПК, номер пролетного строения, номер опоры), месяца и года укладки, годовой грузонапряженности данного пути, произведенного ремонта.
1.5. В дистанции инженерных сооружений (далее - ПЧ ИССО), ПЧ, ИЧ данные об уложенных УП или УС, выявленных неисправностях, проведенных ремонтах заносятся в книгу большого, среднего моста формы ПУ-12 (бланки N 1, 18, 19).
2. Определение расчетного продольного перемещения рельсов
от изменения температуры и временной нагрузки
2.1. Для выбора типа УП и УС выполняется расчет продольного перемещения рельсов в зависимости от временной нагрузки, длины температурного пролета и годовой температурной амплитуды рельсов.
2.2. Перемещение рельсов, мм, от изменения температуры определяется по формуле:

(2.1)
где

- коэффициент линейного расширения стали;
l - температурный пролет, мм;

- изменение температуры рельсов и пролетных строений, °C.
2.3. Перемещение рельсов, мм, от временной нагрузки

(2.2)
где

- напряжение в поясах ферм от временной нагрузки, МПа;
| | ИС МЕГАНОРМ: примечание. Текст дан в соответствии с официальным текстом документа. | |
l - температурный пролет, мм;
E = 2,1 x 105 - модуль упругости стали пролетного строения, МПа.
Напряжение в поясах пролетных строений может быть принято равным

, тогда

(2.3)
2.4. Полное перемещение рельсов в зависимости от годовой амплитуды температур
Tа в районе расположения моста с учетом перемещения от временной нагрузки при напряжениях в поясах пролетных строений

для наиболее распространенных температурных пролетов приведено в
таблице 2.1.
Таблица 2.1
Полное перемещение рельсов в зависимости
от годовой амплитуды температур
Годовая температурная амплитуда рельсов T, °C | Значение полного перемещения рельсов, мм при температурных пролетах в м |
55 | 66 | 77 | 88 | 110 | 130 | 160 | 220 (2 x 110) | 260 (2 x 130) | 320 (2 x 160) |
65 | 63 | 76 | 88 | 101 | 126 | 149 | 184 | 252 | 298 | 367 |
70 | 66 | 80 | 93 | 106 | 133 | 157 | 193 | 265 | 314 | 386 |
75 | 70 | 83 | 97 | 111 | 139 | 164 | 202 | 278 | 329 | 405 |
80 | 73 | 87 | 102 | 117 | 146 | 172 | 212 | 291 | 344 | 424 |
85 | 76 | 91 | 106 | 122 | 152 | 180 | 221 | 304 | 360 | 443 |
90 | 79 | 95 | 111 | 127 | 159 | 187 | 231 | 317 | 375 | 461 |
95 | 83 | 99 | 116 | 132 | 165 | 195 | 240 | 330 | 390 | 480 |
100 | 86 | 103 | 120 | 137 | 172 | 203 | 250 | 343 | 406 | 499 |
105 | 89 | 107 | 125 | 142 | 178 | 210 | 259 | 356 | 421 | 518 |
110 | 92 | 111 | 129 | 148 | 185 | 218 | 268 | 369 | 436 | 537 |
115 | 96 | 115 | 134 | 153 | 191 | 224 | 278 | 383 | 452 | 555 |
120 | 99 | 119 | 138 | 158 | 198 | 233 | 287 | 395 | 467 | 575 |
Примечания: 1. В таблице учтены перемещения от временной нагрузки при напряжениях в поясах пролетных строений

(800 кгс/см
2). Перемещения неразрезных пролетов могут приниматься в половинном размере.
2. Годовая температурная амплитуда подвижных концов пролетных строений определяется по таблице годовой температурной амплитуды рельсов, которая приведена в
приложении 10 утвержденного нормативно-технического документа (
п. 1 раздела 5 Инструкции), с учетом того, что летняя (наивысшая) температура воздуха (пролетных строений) принимается на 10 °C меньше температуры рельсов.
3. Для температурных пролетов, не указанных в
таблице 2.1, значение полного перемещения может быть определено умножением табличных данных на соотношение пролетов.
4. Перемещения подвижных концов пролетных строений от временной нагрузки при напряжениях в поясах пролетных строений

(800 кгс/см
2) для температурных пролетов 55, 66, 77, 88, 110, 130, 160, 220 (2 x 110), 260 (2 x 130), 320 (2 x 160) м будет составлять соответственно - 21, 25, 29, 33, 42, 48, 61, 84, 99, 121 мм.
2.5. При укладке УП и УС требуется установить взаимное положение острия остряка относительно конца подвижного рельса для температуры на момент укладки
(таблица 2.2).
Таблица 2.2
Величина смещения подвижного (рамного) рельса УП или УС
в зависимости от температуры укладки
Разность между температурой рельсов при укладке УП или УС и наибольшей положительной температурой рельсов tmax, °C | Расстояние (a), мм, при температурных пролетах, м |
55 | 66 | 77 | 88 | 110 (109,2) | 130 (127,6) | 160 (158,4) | 220 (2 x 110) | 260 (2 x 130) | 320 (2 x 160) |
0 | 21 | 25 | 29 | 33 | 42 | 48 | 61 | 84 | 99 | 121 |
5 | 24 | 29 | 34 | 39 | 48 | 56 | 70 | 97 | 114 | 140 |
10 | 27 | 33 | 38 | 44 | 55 | 63 | 80 | 110 | 130 | 159 |
15 | 31 | 37 | 43 | 49 | 61 | 71 | 89 | 123 | 145 | 178 |
20 | 34 | 41 | 47 | 54 | 68 | 79 | 99 | 136 | 160 | 197 |
25 | 37 | 45 | 52 | 59 | 74 | 86 | 108 | 149 | 176 | 215 |
30 | 40 | 48 | 57 | 65 | 81 | 94 | 118 | 162 | 191 | 234 |
35 | 44 | 52 | 61 | 70 | 87 | 102 | 127 | 175 | 206 | 253 |
40 | 47 | 56 | 66 | 75 | 94 | 109 | 137 | 188 | 222 | 272 |
45 | 50 | 60 | 70 | 80 | 100 | 117 | 146 | 201 | 237 | 291 |
50 | 53 | 64 | 75 | 85 | 107 | 125 | 155 | 214 | 252 | 310 |
55 | 57 | 68 | 79 | 91 | 113 | 132 | 165 | 227 | 268 | 329 |
60 | 60 | 72 | 84 | 96 | 120 | 140 | 174 | 240 | 283 | 348 |
65 | 63 | 76 | 88 | 101 | 126 | 148 | 184 | 253 | 298 | 366 |
70 | 66 | 80 | 93 | 106 | 133 | 155 | 193 | 266 | 314 | 385 |
75 | 70 | 83 | 97 | 111 | 139 | 163 | 203 | 279 | 329 | 404 |
80 | 73 | 87 | 102 | 117 | 146 | 171 | 212 | 292 | 344 | 423 |
85 | 76 | 91 | 106 | 122 | 152 | 178 | 221 | 305 | 360 | 442 |
90 | 79 | 95 | 111 | 127 | 159 | 186 | 231 | 318 | 375 | 461 |
95 | 83 | 99 | 116 | 132 | 165 | 194 | 240 | 331 | 390 | 480 |
100 | 86 | 103 | 120 | 137 | 172 | 201 | 250 | 344 | 406 | 499 |
105 | 89 | 107 | 125 | 142 | 178 | 209 | 259 | 357 | 421 | 517 |
110 | 92 | 111 | 129 | 148 | 185 | 217 | 269 | 370 | 436 | 536 |
115 | 96 | 115 | 134 | 153 | 191 | 224 | 278 | 383 | 452 | 555 |
2.6. За температурный пролет принимается расстояние от неподвижных опорных частей одного пролетного строения до неподвижных опорных частей смежного пролетного строения или до шкафной стенки устоя. В консольных мостах учитываются только опорные части, расположенные на быках и устоях. В арочных мостах (без затяжки) температурный пролет равен половине пролета арки. Возможные схемы температурных пролетов показаны на
рисунке 1.
а - с разрезными пролетными строениями в однопролетных
мостах или при расположении на промежуточной опоре одной
подвижной и одной неподвижной опорной части смежных
пролетных строений; б - то же, при расположении
на промежуточной опоре двух подвижных опорных частей;
в, г - с неразрезными пролетными строениями при расположении
неподвижной опорной части в середине и на конце пролетного
строения; д - с консольными пролетными строениями;
е - с арочными пролетными строениями;
Ур - уравнительный прибор или стык;
Lt - температурный пролет
Рисунок 1. Температурные пролеты мостов
3. Конструкция, принцип работы и нормы содержания
уравнительных стыков и приборов
3.1. УС или УП для всех типов мостов предназначен для компенсации перемещений рельсов, на мостах и подходах к ним, в зависимости от изменения температуры и величины временной нагрузки.
3.2. При подготовке проекта укладки УС и УП должны быть учтены технические параметры, предусмотренные конструкторской документацией на них, в том числе по максимально-допустимым скоростям движения, статической осевой нагрузке и макроклиматическим районам возможного использования. Серийно выпускаемые проекты УС и УП, разработанные ПКБ И, приведены в
приложениях 1 и
2.
3.3. УС или УП представляет собой подвижный (рамный) рельс типа Р65, один конец которого примыкает к пути на пролетном строении моста, а другой конец рельса свободный и отогнут наружу колеи
(рисунок 2).
а) схема стыка уравнительного
б) схема прибора уравнительного
1 - неподвижный остряк; 2 - подвижный рельс; 3 - торцы
пролетных строений
Рисунок 2. Функциональная схема устройства УП или УС
3.4. УП или УС должны эксплуатироваться в соответствии с утвержденным нормативно-техническим документом (
п. 3 раздела 5 Инструкции). Нормы износа металлических частей УП или УС приведены в
таблице 3.1.
Таблица 3.1
Нормы износа металлических частей УП или УС
Регламентируемый параметр | Тип стрелочного перевода | Главные пути при скорости движения, км/ч |
200 - 250 | 160 - 200 | 140 - 160 | 121 - 140 | 101 - 120 | 81 - 100 | 61 - 80 | 41 - 60 |
Вертикальный износ рамных рельсов и остряков | Р65 и тяжелее | 4 | 5 | 5 | 5 | 6 | 8 | 9 | 9 |
Боковой износ рамных рельсов и остряков | Р65 и тяжелее | 4 | 5 | 5 | 5 | 6 | 8 | 8 | 8 |
Боковой износ рамного рельса в острие остряка | Р65 и тяжелее | 4 | 5 | 5 | 5 | 6 | | | |
--------------------------------
<*> Для указанных градаций допустимый износ может быть увеличен до значений, допустимых вне пределов острия остряка, при условии обеспечения выполнения требований к взаимному положению остряка и рамного рельса, контролируемых шаблоном КОР (шаблоном ЩУКЗ). Пропуск поездов по лопнувшим острякам и острякам с поперечными трещинами подошвы во всех случаях запрещается.
3.5. После укладки УС, в зависимости от принятого варианта укладки, производится сборка стыков рельсовых элементов УС с примыкающими рельсами с применением графитовой смазки или их сварки. Также места взаимного прилегания подвижного рельса и остряка должны быть смазаны графитной смазкой.
3.6. В случае необходимости срочной замены одной из ниток УС, возможна временная замена ее на рельсовую рубку. Для этого предусматривается ремонтный комплект накладок для крепления уравнительного рельса на железобетонных конструкциях мостового полотна, который поставляется по отдельному заказу. Ремонтный комплект накладок должен быть в обязательном порядке заказан при устройстве на мостах бесстыкового пути с УС из расчета один комплект подкладок на два эксплуатируемых стыка.
4. Правила укладки и замены уравнительных стыков
и уравнительных приборов
4.1. Укладка уравнительного стыка.
4.1.1. На каждом температурном пролете укладывают по одному комплекту УС.
4.1.2. Остряки УС могут располагаться как пошерстно в отношении направления преимущественного движения, так и в противошерстном направлении.
4.1.3. Укладка УС в путь производится на предварительно разложенные железобетонные плиты безбалластного мостового полотна или на железобетонные шпалы при езде на балласте.
4.1.4. При подготовке мостового полотна следует уделить внимание правильной раскладке плит или шпал с соответствующими подрельсовыми площадками. При этом расстояние между подрельсовыми площадками в осях должно составлять 500 +/- 5 мм по стыкам плит БМП.
4.1.5. Не допускается устраивать участок рельса со свободным проскальзыванием по подкладкам или с ослабленным прижатием клемм перед УС. Не допускается передача продольных усилий с рельса на остряковый рельс УС. Угон пути должен быть полностью ликвидирован на подходах к мосту. Путь, примыкающий к УС, должен быть надежно закреплен.
4.1.6. При укладке УС на пролетном строении многопролетного моста в соответствии с условиями
таблицы 2.3,
п. 2.8.4 утвержденного нормативно-технического документа (
п. 1 раздела 5 Инструкции) перемещения УС учитываются только для сопрягаемых температурных пролетов, исключая другие пролетные строения в цепочке.
4.1.7. УС в зависимости от проекта располагается на специальных железобетонных плитах. Количество и тип плит зависит от индивидуальных особенностей концевых панелей пролетного строения: плита стыковая 2883.00.101 (ПСУ 1), плита стыковая УС 2883.00.102 (ПСУ 2), плита УС 2883.00.103 (ПСУ 3), плита УС 2883.00.104 (ПСУ 4). В проекте ПТКБ ЦП 2897.00.000-01 дополнительно применяется промежуточная рельсовая опора.
4.1.8. В УС применяются железобетонные шпалы проекта ВНИИЖТ N 98-02 или выполненных по ТУ 5864-227-01124323-2007, проект ПТКБ ЦП СП 866.000.
4.1.9. При прикреплении крайней плиты к продольным балкам первая пара шпилек попадает под мостик УС. Разрешается эту пару шпилек не устанавливать, а плиты УС, где закреплены мостики, оставлять закрепленными не менее чем на четыре шпильки.
4.1.10. Прокладной слой, уложенный на верхний пояс продольных балок, должен обеспечивать отсутствие строительного подъема на участке расположения конструкций УС (строительный подъем равен

).
4.1.11. Со стороны подвижной опорной части пролетного строения располагать подвижные рельсы УС (возможно расположение двух подвижных опорных частей на одной промежуточной опоре). Остряковую часть УС располагать на соседнем пролетном строении. На устое допускается укладывать подвижные (рамные) рельсы. Допускается укладка УС с расположением подвижных рельсов на неподвижной опорной части пролетного строения.
4.1.12. При установке УС в пределах его расположения необходимо выполнить следующее:
при необходимости отремонтировать пояса и верхние связи продольных балок проезжей части;
заменить или отремонтировать металлические элементы, имеющие трещины или деформации;
очистить и окрасить верхние пояса балок проезжей части.
4.1.13. Сборка УС производится в следующем порядке:
разложить одиночные подкладки, закрепить их закладными болтами, двухвитковыми шайбами и гайками, предварительно установив в отверстия подкладок втулки изолирующие КБ и скобу для изолирующей втулки, далее:
разложить на одиночные подкладки прокладки под подошву рельсов;
уложить рельсы подвижные в сборе с остряками, выдержав ширину колеи в соответствии с монтажным чертежом, снять транспортировочные стяжки;
установить взаимное положение острия остряка и отогнутого конца подвижного рельса в соответствии с монтажным чертежом в случае укладки УС при температуре закрепления примыкающей рельсовой плети;
расположить остряк и подвижный рельс таким образом, чтобы расстояние от острия остряка до отогнутого торца подвижного рельса было равно указанным в конструкторской документации (
Sкд) плюс увеличенным на величину "a", которая принимается в соответствии с
таблицей 2.2 Инструкции, при этом проследить, чтобы острия остряков приходились строго на край подрельсовой подкладки;
закрепить рельсы с остряками, установив на подкладках, мостиках и лафетах закладные болты, втулки изолирующие КБ и скобы для изолирующих втулок;
с внешней стороны пути установить шайбы двухвитковые и гайки;
закрепить рельсы на одиночных подкладках клеммами ПК, болтами, шайбами двухвитковыми и гайками;
установить контруголки, установить в них шайбы-втулки изолирующие, шайбы, закрепить гайками;
между подвижным рамным рельсом и остряком устанавливаются рельсовые соединители согласно монтажному чертежу.
4.1.14. На практике могут быть использованы два варианта укладки УС к примыкающим рельсам:
сразу после укладки производится сварка элементов УС с примыкающими рельсами алюмотермитным методом промежуточного литья по Техническим условиям ТУ 0921-127-01124323-2005, утвержденным Управлением пути и сооружений Центральной дирекции инфраструктуры - филиала ОАО "РЖД", с обязательной постановкой двухголовых шестидырных предохранительных накладок, скрепленных четырьмя болтами по два с каждого края накладки, средние болты не устанавливают;
после укладки в местах примыкания рельсовых элементов УС к примыкающим рельсам устанавливаются обычные путевые в стыки в накладках, затем, в течение двух месяцев, производится сварка этих стыков (при устройстве сварного шва необходимо выдержать расстояние от торца рельса до края ближайшего болтового отверстия не менее 50 мм).
4.1.15. Порядок открытия движения по перегону:
после пропуска первых двух поездов со скоростью 15 км/ч необходимо произвести визуальный осмотр УС на наличие внешних дефектов;
последующие три поезда пропускают со скоростью 25 км/ч;
установленную скорость для данного участка выдают после выполнения всего комплекса выправочных работ.
4.1.16. Эксплуатация УС:
ремонт или замена элементов УС производится только парами (подвижный рельс-остряк);
после пропуска 5 млн. т обязательно проверить износ острякового и подвижного рельса, при наличии износа произвести проверку, а затем выправку расположения железобетонных плит безбалластного мостового полотна в плане и профиле.
4.1.17. В случае необходимости срочной замены одной из ниток УС, возможна временная замена ее на рельсовую рубку. Для этого предусматривается ремонтный комплект подкладок со скреплением КБ для крепления уравнительного рельса на железобетонных конструкциях мостового полотна, которые поставляются по отдельному заказу. Уравнительный рельс должен вымениваться на укороченный или удлиненный при соответствующем изменении температуры в зависимости от величины температурного пролета. Следует заранее подготовить таблицу замены уравнительных рельсов в зависимости от изменения температуры и иметь сменные рельсы. В весенний или осенний периоды при больших изменениях температуры следует организовать дежурство монтеров пути около такого УС.
4.2. Укладка уравнительного прибора
4.2.1. На каждом температурном пролете укладывают по одному комплекту УП.
4.2.2. Остряки УП должны располагаться пошерстно в отношении направления преимущественного движения, за исключением случаев, когда при пошерстном расположении лафеты УП попадают на устой или соседнее пролетное строение с ездой на балласте.
4.2.3. УП укладывается на деревянные мостовые брусья, металлические поперечины или плиты безбалластного мостового полотна.
4.2.4. При УП для предупреждения угона пути в пределах моста рельсовые плети у неподвижных концов пролетных строений закрепляют как минимум 20 парами пружинных противоугонов, устанавливаемых в замок у брусьев, прикрепляемых к противоугонным уголковым коротышам на верхних поясах продольных балок, с установкой дополнительных противоугонных коротышей.
4.2.5. При укладке УП на пролетном строении на многопролетном мосту в соответствии с условиями
таблицы 2.3,
п. 2.8.4 утвержденного нормативно-технического документа (
п. 1 раздела 5 Инструкции) перемещения УП учитываются только для сопрягаемых температурных пролетов, исключая другие пролетные строения в цепочке.
4.2.6. Лафеты УП могут размещаться как на концах пролетных строений с подвижными опорными частями, так и на концах пролетных строений с неподвижными опорными частями.
4.2.7. При установке УП в пределах его расположения необходимо выполнить следующее:
при необходимости отремонтировать пояса и верхние связи продольных балок проезжей части;
заменить или отремонтировать металлические элементы, имеющие трещины или деформации;
очистить и окрасить верхние пояса балок проезжей части.
4.2.8. При укладке УП на деревянные поперечины (мостовые брусья) рекомендуется применять брусья твердых пород. Глубину врубок в мостовых брусьях назначают с учетом высоты УП и примыкающего к нему пути. При необходимости разрешается мостовые брусья под УП укладывать плашмя (брус сечением 20 x 24 см). Глубина врубок брусьев, уложенных плашмя, не должна превышать 1 см.
4.2.9. Для нормальной работы УП должно быть обеспечено его плотное опирание. В отдельных случаях допускается использование металлических карточек, применение деревянных карточек категорически запрещается. Плотность опирания проверяется визуально при проходе поезда.
| | ИС МЕГАНОРМ: примечание. В официальном тексте документа, видимо, допущена опечатка: рисунок 8 отсутствует. | |
4.2.10. УП Р-65 укладывают на мостах по схемам установочных размеров (
рисунки 3 - 8 Инструкции), при этом должно строго выдерживаться расстояние
S от переднего торца рамного рельса до торца пролетного строения (наружной плоскости крайнего мостового бруса). На рисунках приведены возможные варианты расположения опорных частей пролетных строений.
4.2.11. Положение торца рамного рельса необходимо зафиксировать в крайнем сжатом состоянии УП риской на лафете или остряке правой и левой рельсовой нити с наружной стороны несмываемой краской.
4.2.12. Перед укладкой УП должен быть растянут так, чтобы расстояние от риски на лафете до торца рамного рельса в сжатом состоянии (
Sкд) было увеличено на изменение длины температурного пролета "a", вызванное изменением температуры окружающей среды и наличием временной нагрузки. Величина "a" приведена для наиболее распространенных температурных пролетов в
таблице 2.2 раздела 2 Инструкции.
| | ИС МЕГАНОРМ: примечание. В официальном тексте документа, видимо, допущена опечатка: рисунки отсутствуют. | |
а)
б)
интервал перемещения подвижных концов пролетных строений:
а - от 0 до 330 мм; б - от 0 до 750 мм;
1 передний торец рамного рельса; 2 - торец острякового
рельса; 3 - свободный торец рамного рельса
Рисунок 3. Схемы установочных размеров для укладки УП Р-65
на мостах с пролетными строениями с ездой
на мостовых брусьях
| | ИС МЕГАНОРМ: примечание. В официальном тексте документа, видимо, допущена опечатка: рисунки отсутствуют. | |
а)
б)
интервал перемещения подвижных концов пролетных строений:
а - от 0 до 375 мм; б - от 0 до 750 мм;
1 - передний торец рамного рельса; 2 - торец острякового
рельса; 3 - свободный торец рамного рельса
Рисунок 4. Схемы установочных размеров для укладки УП Р-65
на мостах с пролетными строениями с ездой на балласте
на деревянных шпалах и на мостовых брусьях
интервал перемещения подвижных концов пролетных строений:
а - от 0 до 375 мм; б - от 0 до 750 мм;
1 - передний торец рамного рельса; 2 - торец острякового
рельса; 3 - свободный торец рамного рельса
Рисунок 5. Схемы установочных размеров для укладки УП Р-65
на мостах с пролетными строениями с ездой
на металлических поперечинах
интервал перемещения подвижных концов пролетных строений:
а - от 0 до 375 мм; б - от 0 до 750 мм;
1 - передний торец рамного рельса; 2 - торец острякового
рельса; 3 - свободный торец рамного рельса
Рисунок 6. Схемы установочных размеров для укладки УП Р-65
на мостах с пролетными строениями с ездой на балласте
на деревянных шпалах и металлических поперечинах
интервал перемещения подвижных концов пролетных строений:
а - от 0 до 255 мм; б - от 0 до 540 мм;
1 - передний торец рамного рельса; 2 - торец острякового
рельса; 3 - свободный торец рамного рельса
Рисунок 7. Схемы установочных размеров для укладки УП Р-65
на мостах с пролетными строениями с ездой
на железобетонных плитах
1.
Инструкция по устройству, укладке, содержанию и ремонту бесстыкового пути, утвержденная распоряжением ОАО "РЖД" от 14 декабря 2016 г. N 2544/р.
2.
Инструкция по обеспечению безопасности движения поездов при производстве путевых работ, утвержденная распоряжением ОАО "РЖД" от 14 декабря 2016 г. N 2540/р.
3.
Инструкция по текущему содержанию железнодорожного пути, утвержденная распоряжением ОАО "РЖД" от 14 ноября 2016 г. N 2288/р.
4.
Инструкция по содержанию искусственных сооружений, утвержденная распоряжением ОАО "РЖД" от 2 октября 2020 г. N 2193/р.
5.
Инструкция по устройству и конструкции мостового полотна на железнодорожных мостах ОАО "РЖД", утвержденная распоряжением ОАО "РЖД" от 14 января 2019 г. N 28/р.
6. Технические условия на рельсы железнодорожные, сваренные термитным способом, утвержденные распоряжением ОАО "РЖД" от 1 августа 2019 г. N 1643/р.
7. Положение о системе неразрушающего контроля рельсов и эксплуатации средств рельсовой дефектоскопии в путевом хозяйстве железных дорог ОАО "РЖД", утвержденное
распоряжением ОАО "РЖД" от 26 июля 2017 г. N 1471/р.
При пользовании Инструкцией следует проверить действие ссылочных стандартов и классификаторов в информационной системе общего пользования на официальном сайте национального органа Российской Федерации по стандартизации в сети Интернет или по ежегодно издаваемому указателю "Национальные стандарты", который опубликован по состоянию на 1 января каждого года, и по соответствующим ежемесячно издаваемым информационным указателям. Если ссылочный документ заменен (изменен), то при пользовании Инструкцией следует руководствоваться замененным (измененным) документом. Если ссылочный документ отменен без замены, то положение, в котором дана ссылка на него, применяется в части, не затрагивающей эту ссылку.
к Инструкции по укладке,
замене и эксплуатации
уравнительных приборов
и стыков на мостовых
переходах инфраструктуры
железнодорожного транспорта,
принадлежащей ОАО "РЖД"
КОНСТРУКЦИЯ И ПРИНЦИПЫ РАБОТЫ
УРАВНИТЕЛЬНЫХ СТЫКОВ Р-65 ПО ПРОЕКТУ ПКБ И (ПТКБ ЦП)
Уравнительный стык запроектирован:
для эксплуатации в макроклиматических районах с умеренным и холодным климатом УХЛ 1 по
ГОСТ 15150-69;
для укладки на мостах с железобетонными плитами безбалластного мостового полотна проекты Проектно-конструкторского бюро по инфраструктуре ПКБ И (ПТКБ ЦП) 2883.00.000-01 и ПКБ И (ПТКБ ЦП) 2897.00.000-01;
для укладки на балласте (при условии применения щебня из твердых пород, соответствующего
ГОСТ 7392-02, с прочностью по копру У75 и полочному барабану И1) с железобетонными шпалами проекта ПКБ И (ПТКБ ЦП) СП866.000, ПКБ И (ПТКБ ЦП) СП866.000-01, ПКБ И (ПТКБ ЦП) 2883.00.000-03 и ПКБ И (ПТКБ ЦП) 2897.00.000-02.
Комплектность поставки указывается в конструкторской документации (формуляр) на каждый проект УС. Формуляр и монтажный (сборочный) чертеж поставляется с каждым изделием (УС).
Все УС должны эксплуатироваться в соответствии с техническими характеристиками по скоростям и допустимым статическим нагрузкам на ось в соответствии с конструкторской документацией.
Вышеперечисленные проекты оборудованы контруголками, входящими в комплект поставки.
Технические характеристики уравнительных стыков приведены в
таблице П.1.1.
Таблица П.1.1
Технические характеристики уравнительных стыков
N п/п | Наименование показателя | Проектная документация |
ПКБ И (ПТКБ ЦП) 2883.00.000-01 | ПКБ И (ПТКБ ЦП) 2897.00.000-01 | СП 866.000 | ПКБ И (ПТКБ ЦП) 2883.00.000-03 | ПКБ И (ПТКБ ЦП) 2897.00.000-02 | СП 866.000-01 |
1. | Тип рельсов | Р65 |
2. | Ширина колеи, мм | 1520 |
3. | Длина в среднем положении, мм | 12440 + 10 | 12500 + 10 | 12445 + 10 | 12440 + 10 | 12500 + 10 | 12445 + 10 |
4. | Расстояние между торцом остряка в острие и торцом отогнутого подвижного рельса в крайне сжатом положении (при поставке), Sкд, мм | 4285 | 5190 | 3855 | 4285 | 5190 | 3855 |
5. | Длина в предельно сжатом положении, мм | 12440 | 12500 | 12500 | 12440 | 12500 | 12500 |
6. | Максимальная длина отгрузочного места, мм | 4,8 + 0,2 | 5,0 + 0,3 | 4,5 | 4,8 + 0,2 | 5,0 + 0,3 | 4,5 |
7. | Масса (без железобетонных конструкций), т | 4800 | 4800 | 4500 | 4800 | 4800 | 4500 |
8. | Максимальная статическая нагрузка на рельс от оси локомотива, кН | 250 | 250 | 245 | 250 | 250 | 245 |
9. | Максимальная статическая нагрузка на рельс от оси вагона, кН | 250 | 250 | 235 | 250 | 250 | 235 |
10. | Максимальная скорость движения пассажирских/грузовых поездов, км/ч | 140/100 | 140/100 | 140/100 | 140/100 | 140/100 | 140/100 |
11. | Нормативный срок службы, млн. т брутто | 320 |
12. | Шаг уравнительных стыков, мм | 320 | 540 | 220 | 320 | 540 | 220 |
13. | Тип мостового полотна | плиты БМП | плиты БМП | железобетонные шпалы | железобетонные шпалы | железобетонные шпалы | железобетонные шпалы |
14. | Способ крепления к основанию | болт | болт | болт | шуруп | шуруп | шуруп |

1 - остряк; 2 - подвижный рельс; 3 - болт М22x120.4.8;
4 - шайба-втулка изолирующая; 5 - прокладка под уголок;
6 - шайба 22; 7 - скоба для изолирующей втулки; 8 - втулка
изолирующая КБ; 9 - прокладка;
10 - прокладка; 11 - прокладка; 12 - прокладка под уголок;
13 - контруголок; 14 - контруголок;
15 - контруголок; 16 - контруголок; 17 - контруголок
стыковой; 18 - болт М22-8gx175.48;
19 - болт М22-8gx195.48; 20 - болт М22-8gx75.48; 21 - гайка
М22-7Н.5; 22 - клемма ПК; 23 - подкладка 1КБ65; 24 - шайба
двухвитковая 25; 25 - соединитель ЭМС-120-1500; 26 - торец
пролетного строения с неподвижной опорной частью; 27 - торец
пролетного строения с подвижной опорной частью
Рисунок П.1.1. Стык уравнительный проекта
ПТКБ ЦП 2897.00.000-01
1 - остряк; 2 - подвижный рельс; 3 - шайба-втулка
изолирующая; 4 - прокладка под уголок; 5 - шайба 22;
6 - скоба для изолирующей втулки; 7 - втулка изолирующая КБ;
8 - прокладка; 9 - прокладка; 10 - прокладка;
11 - контруголок; 12 - контруголок; 13 - контруголок;
14 - контруголок; 15 - контруголок; 16 - контруголок
стыковой; 17 - контруголок стыковой; 18 - болт
М22-8gx175.48; 19 - болт М22-8gx195.48; 20 - болт
М22-8gx75.48; 21 - гайка М22-7Н.5; 22 - клемма ПК;
23 - подкладка 1КБ65; 24 - шайба двухвитковая 25;
25 - соединитель ЭМС-120-1500; 26 - торец пролетного
строения с неподвижной опорной частью; 27 - торец пролетного
строения с подвижной опорной частью
Рисунок П.1.2. Стык уравнительный проекта
ПТКБ ЦП 2883.00.000-01
1 - остряк; 2 - подвижный рельс; 3 - клемма пружинная
прутковая; 4 - прокладка под уголок; 5 - прокладка
под уголок; 6 - контруголок; 7 - болт М22-8gx75.48;
8 - шайба 22; 9 - скоба для изолирующей втулки; 10 - втулка
изолирующая КБ; 11 - прокладка ПБР65x8; 12 - прокладка
КБ-10с; 13 - прокладка; 14 - болт М22-8gx175.48; 15 - болт
М22-8gx195.48; 16 - гайка М22-7Н.5; 17 - подкладка 1КБ65;
18 - шайба двухвитковая 25; 19 - торец пролетного строения
с неподвижной опорной частью; 20 - торец пролетного строения
с подвижной опорной частью
Рисунок П.1.3. Стык уравнительный проекта СП 866.000
1 - остряк; 2 - подвижный рельс; 3 - прокладка под уголок;
4 - прокладка; 5 - планка; 6 - втулка; 7 - прокладка;
8 - контруголок стыковой; 9 - контруголок стыковой;
10 - контруголок стыковой; 11 - контруголок;
12 - контруголок; 13 - контруголок; 14 - контруголок;
15 - контруголок; 16 - шуруп путевой; 17 - планка
под уголок; 18 - втулка; 19 - планка; 20 - контруголок
торцевой; 21 - контруголок торцевой;
22 - болт М22-8gx80.46S(35); 23 - гайка М22-7Н.05;
24 - шайба 22.02 Ст3кп; 25 - шайба 22; 26 - шайба
двухвитковая 25; 27 - соединитель ЭМС-120-1500; 28 - торец
пролетного строения с неподвижной опорной частью; 29 - торец
пролетного строения с подвижной опорной частью
Рисунок П.1.4. Стык уравнительный проекта
ПТКБ ЦП 2897.00.000-02
1 - остряк; 2 - подвижный рельс; 3 - контруголок;
4 - контруголок; 5 - контруголок; 6 - контруголок; 7 - шуруп
путевой; 8 - прокладка подрельсовая; 9 - клемма;
10 - подклеммник; 11 - контруголок; 12 - контруголок;
13 - контруголок стыковой; 14 - изолятор;
15 - монорегулятор; 16 - прокладка; 17 - прокладка;
18 - прокладка под уголок; 19 - контруголок торцевой;
20 - контруголок торцевой; 21 - контруголок торцевой;
22 - контруголок торцевой; 23 - планка; 24 - планка
под уголок; 25 - планка; 26 - втулка; 27 - втулка; 28 - болт
М22-8gx80.48; 29 - гайка М22-7Н.5; 30 - шайба 22.02 Спт3кп;
31 - шайба 22; 32 - шайба двухвитковая 25;
33 - соединитель ЭМС-120-1500; 34 - торец пролетного
строения с неподвижной опорной частью; 35 - торец пролетного
строения с подвижной опорной частью
Рисунок П.1.5. Стык уравнительный проекта
ПТКБ ЦП 2883.00.000-03
1 - остряк; 2 - подвижный рельс; 3 - контруголок;
4 - контруголок; 5 - контруголок; 6 - шуруп путевой;
7 - контруголок; 8 - контруголок стыковой; 9 - прокладка;
10 - прокладка; 11 - прокладка под уголок;
12 - шайба двухвитковая 25; 13 - соединитель ЭМС-120-1500;
14 - торец пролетного строения с неподвижной опорной частью;
15 - торец пролетного строения с подвижной опорной частью
Рисунок П.1.6. Стык уравнительный проекта СП 866.000-01
Компенсация продольных температурных и силовых перемещений происходит за счет смещения подвижного рельса относительно остряка.
Остряк выполнен из острякового профиля ОР 65 с приварным рельсовым окончанием. В зоне прилегания к подвижному рельсу головка остряка острогана.
Соединение остряка и подвижного рельса осуществлено по схеме "косой стык", что позволяет пропускать движение как в пошерстном, так и противошерстном направлении. Закрепление остряка и подвижного рельса в вертикальной и горизонтальной плоскостях осуществлено с помощью специальных скреплений, смонтированных на железобетонных конструкциях мостового полотна. На плитах предусмотрено прикрепление контруголков, которые являются обязательными элементами охранных приспособлений, устанавливаемых на всем протяжении моста.
Стык уравнительный в зависимости от проекта располагается:
на железобетонных плитах, количество и тип плит зависит от индивидуальных особенностей концевых панелей пролетного строения: плита стыковая стыка уравнительного 2883.00.101, плита стыковая стыка уравнительного 2883.00.102, плита стыка уравнительного 2883.00.103, плита уравнительного стыка 2883.00.104 показаны на
рисунке П.1.2. В проекте ПКБ И (ПТКБ ЦП) 2897.00.000-01 дополнительно применяется промежуточная рельсовая опора
(рисунок П.1.1);
на девяти специальных железобетонных шпалах проекта ВНИИЖТ N 98-02 или выполненных по ТУ 5864-227-01124323-2007, проект ПКБ И (ПТКБ ЦП) СП 866.000
(рисунок П.1.3).
Прокладной слой, уложенный на верхний пояс продольных балок, должен обеспечивать отсутствие строительного подъема на участке расположения конструкций уравнительного стыка (строительный подъем равен

).
Со стороны подвижного конца пролетного строения должны располагаться подвижные рельсы уравнительного стыка. Они могут быть приварены к рельсам бесстыкового пути, расположенного на пролетном строении.
Остряковая часть стыка уравнительного должна располагаться на соседнем пролете.
Замена стыка уравнительного производится только парами (подвижный рельс-остряк).
При укладке стыка уравнительного проектов ПТКБ ЦП 2897.00.000, ПТКБ ЦП 2883.00.000 и СП 866.000 следует руководствоваться конструкторской документацией.
Укладка стыков уравнительных производится двумя вариантами: стык уравнительный собирается на железобетонных шпалах, плитах, на стенде и перевозится к месту укладки на специальном составе или собирается на месте.
Установить края шпал (плит БМП) по прямой линии.
Разложить на шпалы (плиты БМП) УОПД прокладки под стык уравнительный, на шпалу МД - прокладки.
Для исполнения проекта СП 866.000-01 разложить прокладки под контруголки.
Уложить рельсы подвижные в сборе с остряками на шпалы, выдержав ширину колеи в соответствии с
рисунками П.1.1,
П.1.2,
П.1.3. Снять транспортировочные стяжки.
Для стыка уравнительного 2883 разложить на каждой шпале (плите БМП) соответствующие амортизирующие прокладки.
Под стык уравнительный разложить прокладки. На шпалы Ш-АРС-М разложить подкладки. Разложить прокладки под контруголки.
Под торцевые контруголки разложить планки под контруголок.
Уложить рельсы подвижные в сборе с остряками на шпалы, выдержав ширину колеи в соответствии с
рисунком П.1.2. Снять транспортировочные стяжки.
Установить взаимное положение острия остряка и отогнутого конца рельса подвижного в соответствии
рисунком П.1.2 в случае укладки стыка уравнительного при температуре закрепления примыкающей рельсовой плети.
Закрепить мостики, лафеты и подкладки с подушками на шпалах шурупами путевыми, установив под головку шурупа путевого двухвитковую шайбу.
Установить контруголки на шпалы (плиты БМП). Закрепить контруголки к шпалам шурупами путевыми и двухвитковыми шайбами. Соединить контруголки с контруголками неподвижными стыковыми контруголками. Закрепить болтами, гайками и шайбами.
Соединить контруголки с контруголками подвижными стыковыми контруголками. При этом с неподвижной стороны стыковой контруголок закрепить болтами, гайками и шайбами.
С подвижной стороны в отверстия контруголка и стыкового контруголка установить втулки и закрепить планками, болтами, гайками и шайбами.
Установить контруголки на шпалы. Закрепить контруголки к шпалам (плитам БМП) с неподвижной стороны шурупами путевыми и двухвитковыми шайбами. С подвижной в отверстия контруголка установить втулки и планки и закрепить шурупами путевыми.
Установить рельсовые соединители.
После укладки производится приварка рельсовых элементов стыка уравнительного к примыкающим рельсам.
Возможна укладка в местах примыкания рельсовых элементов стыка уравнительного к примыкающим рельсам с обычными металлическими накладками, затем в течение двух месяцев производится сварка этих стыков.
При подготовке блоков стыка уравнительного к транспортировке установить транспортировочные стяжки.
Перед укладкой блока стыка уравнительного произвести разметку и подготовку примыкающих рельсов в зависимости от выбранного варианта укладки.
После укладки стыка уравнительного, в зависимости от принятого варианта укладки, производится сборка стыков рельсовых элементов стыка уравнительного с примыкающими рельсами с применением графитовой смазки или их сварки.
Пуск (апробирование) и регулирование.
Произвести визуальный осмотр стыка уравнительного на наличие внешних дефектов.
Проверить ширину колеи в пределах стыка уравнительного.
Ширина колеи после монтажа должна быть:
в местах примыкания - 1520 (+1, -2) мм;
в острие остряков 1524 (+1, -2) мм.
Проверить расстояние между острием остряка и отогнутым концом рельса подвижного. Размер должен соответствовать указанному на монтажном чертеже.
Контрольно-измерительные средства используются в соответствии с конструкторской документацией и разработанными технологическими процессами.
Обкатка стыка уравнительного производится следующим образом:
после выполнения основных работ по укладке стыка уравнительного, перед открытием движения, стык уравнительный и примыкающие участки пути приводятся в состояние, обеспечивающее безопасный пропуск поездов по месту работ;
первые один-два поезда пропустить со скоростью 15 км/ч;
после этого необходимо произвести визуальный осмотр стыка уравнительного, проверить его дефектоскопной тележкой на наличие и внутренних дефектов, а также выполнить измерения геометрических параметров пути. Скорость установить не более 50 км/час. При необходимости выявленные недостатки устранить или установить скорость движения поездов в соответствии с состоянием пути (утвержденный нормативно-технический документ (
п. 1 раздела 5 Инструкции));
скорость движения поездов в соответствии с проектом или приказом Центральной дирекции инфраструктуры по установленным скоростям, определенная для данного участка, устанавливается после выполнения всего комплекса выправочных работ и прохода путеизмерительного вагона.
к Инструкции по укладке,
замене и эксплуатации
уравнительных приборов
и стыков на мостовых
переходах инфраструктуры
железнодорожного транспорта,
принадлежащей ОАО "РЖД"
КОНСТРУКЦИЯ И ПРИНЦИП РАБОТЫ
УРАВНИТЕЛЬНЫХ ПРИБОРОВ Р-65 ПО ПРОЕКТУ ПКБ
И (ПТКБ ЦП) 1262А
Уравнительный прибор запроектирован для умеренного и холодного климата трех модификаций:
для укладки на мостах с металлическими поперечинами (проект 1262А-01 ПКБ И (ПТКБ ЦП));
для укладки на мостовых брусьях (деревянных поперечинах) (проект 1262А-03 ПКБ И (ПТКБ ЦП);
для укладки на безбалластном мостовом полотне (проект 1262А-02 ПКБ И (ПТКБ ЦП).
Комплектность поставки приведена в конструкторской документации (формуляр) на каждый проект УП. Формуляр и монтажный (сборочный) чертеж поставляется с каждым изделием (УП).
Все УП должны эксплуатироваться в соответствии с техническими характеристиками по скоростям и допустимым статическим нагрузкам на ось в соответствии с конструкторской документацией.
Техническая характеристика уравнительных приборов:
ширина колеи, мм - 1520;
максимальная скорость движения подвижного состава, км/ч - 140;
допускаемая нагрузка от колесной пары на рельс, 245 кН;
нормативный ресурс (нормативный срок службы), млн. т брутто:
без замены рамных рельсов и остряков - 300;
с заменой рамных рельсов и остряков - 900.
Таблица П.2.1
Габаритные размеры, масса и шаг уравнительных приборов
Прибор уравнительный | ПУ-Р65-ДБ-750-УХЛ1, (1262А-03 ПКБ И (ПТКБ ЦП)) | ПУ-Р65-М-750-УХЛ1, (1262А-01 ПКБ И (ПТКБ ЦП)) | ПУ-Р65-ЖБ-540-УХЛ1, (1262А-02 ПКБ И (ПТКБ ЦП)) |
Шаг прибора, мм | 750 | 750 | 540 |
Длина в крайнем сжатом состоянии, Sкд, мм | 12487 +/- 25 | 12487 +/- 25 | 12117 +/- 25 |
Длина в крайнем растянутом состоянии подкладки, мм | 13237 +/- 25 | 13237 +/- 25 | 13237 +/- 25 |
Максимальная ширина, мм | 2088 | 2216 | 2386 |
Высота прибора от поверхности катания до нижней поверхности, hпк, мм | 228 +/- 1 | 214 +/- 1 | 227 +/- 1 |
Масса прибора на две рельсовые нитки без охранительных приспособлений, mрн, кг | 7764 | 7544 | 7306 |
Тип мостового полотна | на деревянных поперечинах или на балласте на деревянных шпалах | на металлических поперечинах | на железобетонных плитах |
Способ крепления к основанию | шуруп | болт | болт |
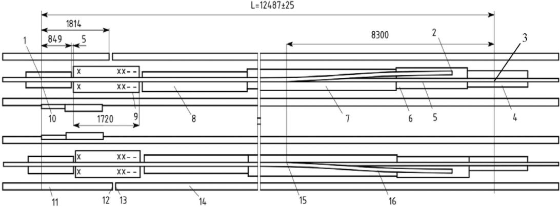
Уравнительный прибор
(рисунок П.2.1) состоит из неподвижного остряка и подвижного рамного рельса, перемещающегося по лафету, стыкового, подвижного и корневого мостиков.
1, 2 - торцы рамного рельса соответственно передний
и задний; 3 - торец остряка; 4 - корневой мостик;
5 - неподвижный остряк; 6, 7, 8 - лафетные листы;
9 - подвижной мостик; 10 - стыковой мостик; 11, 14 - смежные
пролетные строения; 12, 13 - торцы смежных пролетных
строений; 15 - острие остряка; 16 - подвижный рамный рельс;
x, xx - неподвижное закрепление подвижного мостика;
=, = - подвижное закрепление подвижного мостика
Рисунок П.2.1. Общий вид установки уравнительного прибора
Р-65 под левую и правую рельсовые нити
Стыковой мостик (10), прикрепляющий неподвижную часть рамного рельса, находится на конце одного пролетного строения; корневой мостик (4), крепящий остряк, находится на конце другого пролетного строения; подвижной мостик (9) перекрывает пространство между концами смежных пролетных строений (11, 14) и скользит по поверхности подкладок, уложенных на мостовой брус.
При перемещении подвижных концов пролетных строений до 750 мм подвижной мостик (9) должен поддерживаться по центру дополнительной металлической поперечиной, входящей в комплект уравнительного прибора, опирающейся на специальную конструкцию, разрабатываемую при привязке уравнительного прибора проектной организацией. При расчетных перемещениях пролетных строений в интервале от 0 до 330 мм дополнительные устройства не требуются, а в интервале от 0 до 375 мм металлическая поперечина укладывается непосредственно на пролетное строение вместо крайнего бруса.
В процессе перемещения уравнительного прибора происходит упругий изгиб рамного рельса при неизменном положении остряка, вследствие чего указанная на схеме ширина колеи в пределах уравнительного прибора не изменяется.
Положение торца рамного рельса в крайнем сжатом состоянии отмечено риской на лафете уравнительного прибора.
В уравнительных приборах, укладываемых на мостовое полотно с металлическими поперечинами, безбалластными плитами и мостовыми брусьями, использована одна конструкция компенсатора изменения длины рельсовой нити. Отличие модификаций заключено в основании уравнительных приборов, где в зависимости от типа мостового полотна меняются конструкция и размеры, вводятся дополнительные элементы амортизации и изоляции.
Уравнительный прибор имеет охранные приспособления в виде контруголков. Для обеспечения неразрывности контруголков предусмотрен компенсатор изменения длины, перекрывающий подвижной стык контруголка в пределах от 0 до 750 мм, который состоит из уголков, клемм, прокладок и других деталей.
к Инструкции по укладке,
замене и эксплуатации
уравнительных приборов
и стыков на мостовых
переходах инфраструктуры
железнодорожного транспорта,
принадлежащей ОАО "РЖД"
РАСЧЕТНЫЕ ТЕМПЕРАТУРЫ РЕЛЬСОВ НА МОСТАХ ДЛЯ СЕТИ
ЖЕЛЕЗНЫХ ДОРОГ
Железнодорожная станция | Температура рельсов, °C | Расчетная температурная амплитуда, TА, °C |
летняя tmax | зимняя tmin |
Абаза | 58 | -50 | 108 |
Абакан | 58 | -50 | 108 |
Абакумовка | 58 | -59 | 117 |
Абалаково | 56 | -58 | 114 |
Абдулино | 60 | -49 | 109 |
Агрыз | 57 | -52 | 109 |
Азов | 60 | -33 | 93 |
Айдырля | 61 | -45 | 106 |
Алагир | 58 | -31 | 89 |
Алатырь | 58 | -44 | 102 |
Алейская | 61 | -47 | 108 |
Александров | 56 | -47 | 103 |
Александров Гай | 63 | -43 | 106 |
Алексеевка | 62 | -37 | 99 |
Амазар | 58 | -55 | 113 |
Амурская | 60 | -53 | 113 |
Анна | 61 | -38 | 99 |
Апатиты | 51 | -41 | 92 |
Арзамас | 57 | -45 | 102 |
Армавир | 62 | -34 | 96 |
Арск | 58 | -47 | 105 |
Архангельск | 54 | -45 | 99 |
Архара | 56 | -51 | 107 |
Арчеда | 62 | -38 | 100 |
Асбест | 58 | -43 | 101 |
Аскиз | 58 | -51 | 109 |
Астрахань | 61 | -34 | 95 |
Аткарск | 61 | -42 | 103 |
Ахтари | 58 | -30 | 88 |
Ахтуба | 65 | -37 | 102 |
Ачинск | 59 | -60 | 119 |
Бабаево | 56 | -50 | 106 |
Бабушкин | 53 | -38 | 91 |
Баженово | 58 | -43 | 101 |
Базыр | 58 | -52 | 110 |
Балай | 58 | -52 | 110 |
Балашов | 62 | -38 | 100 |
Барабинск | 58 | -48 | 106 |
Барановский | 59 | -38 | 97 |
Барнаул | 58 | -52 | 110 |
Батайск | 60 | -33 | 93 |
Батецкая | 54 | -45 | 99 |
Бежецк | 55 | -52 | 107 |
Безенчук | 63 | -44 | 107 |
Белев | 57 | -42 | 99 |
Белогорск | 57 | -49 | 106 |
Белореченская | 61 | -34 | 95 |
Бельково | 58 | -40 | 98 |
Бердяуш | 58 | -46 | 104 |
Беслан | 57 | -34 | 91 |
Бийск | 59 | -53 | 112 |
Бикин | 58 | -46 | 104 |
Бира | 60 | -43 | 103 |
Биробиджан | 57 | -44 | 101 |
Бисер | 54 | -52 | 106 |
Бискамжа | 56 | -52 | 108 |
Благовещенск | 58 | -48 | 106 |
Благодарное | 63 | -37 | 100 |
Богданович | 58 | -43 | 101 |
Боготол | 58 | -53 | 111 |
Богоявленск | 60 | -38 | 98 |
Богучаны | 58 | -58 | 116 |
Бологое | 55 | -50 | 105 |
Болонь | 57 | -50 | 107 |
Болотная | 57 | -51 | 108 |
Большая Леприндо | 52 | -57 | 109 |
Бомнак | 55 | -52 | 107 |
Борзя | 60 | -54 | 114 |
Борисоглебск | 63 | -41 | 104 |
Боровичи | 55 | -54 | 109 |
Брасово | 58 | -42 | 100 |
Броды | 61 | -46 | 107 |
Брянск | 58 | -42 | 100 |
Бугульма | 58 | -44 | 102 |
Бугуруслан | 60 | -49 | 109 |
Будогощь | 55 | -51 | 106 |
Бузулук | 59 | -48 | 107 |
Буй | 55 | -48 | 103 |
Буйнакск | 62 | -30 | 92 |
Бурея | 60 | -53 | 113 |
Бысса | 50 | -51 | 101 |
Вагай | 59 | -47 | 106 |
Валдай | 53 | -46 | 99 |
Веймарн | 54 | -39 | 93 |
Вельск | 56 | -50 | 106 |
Великие Луки | 55 | -46 | 101 |
Венев | 57 | -41 | 98 |
Веребье | 54 | -45 | 99 |
Вернадовка | 58 | -44 | 102 |
Верхний Баскунчак | 65 | -37 | 102 |
Верховье | 57 | -39 | 96 |
Верхний Уфалей | 57 | -48 | 105 |
Верхотурье | 56 | -52 | 108 |
Видлица | 54 | -54 | 108 |
Владивосток | 55 | -31 | 86 |
Владикавказ | 57 | -34 | 91 |
Владимир | 57 | -48 | 105 |
Вожега | 55 | -48 | 103 |
Волгоград | 62 | -36 | 98 |
Волово | 57 | -40 | 97 |
Вологда | 55 | -48 | 103 |
Волоколамск | 56 | -47 | 103 |
Волочаевка | 60 | -43 | 103 |
Волховстрой | 53 | -49 | 102 |
Вольск | 60 | -43 | 103 |
Воркута | 51 | -52 | 103 |
Воронеж | 61 | -38 | 99 |
Воскресенск | 58 | -40 | 98 |
Воткинск | 58 | -49 | 107 |
Выборг | 52 | -38 | 90 |
Выдрино | 51 | -44 | 95 |
Высокогорная | 54 | -49 | 103 |
Вышний Волочек | 55 | -48 | 103 |
Вяземская | 58 | -50 | 108 |
Вязники | 57 | -45 | 102 |
Вязьма | 56 | -43 | 99 |
Вятка | 57 | -45 | 102 |
Вятские Поляны | 59 | -47 | 106 |
Гагарин | 56 | -50 | 106 |
Галич | 56 | -44 | 100 |
Гдов | 53 | -37 | 90 |
Георгиевск | 61 | -33 | 94 |
Глазов | 58 | -48 | 106 |
Головинская | 55 | -52 | 107 |
Голутвин | 58 | -44 | 102 |
Горбачево | 58 | -41 | 99 |
Горин | 57 | -60 | 117 |
Гороблагодатская | 56 | -48 | 104 |
Гороховец | 57 | -43 | 100 |
Графская | 61 | -38 | 99 |
Гродеково | 57 | -41 | 98 |
Грозный | 61 | -33 | 94 |
Грязи | 59 | -40 | 99 |
Грязовец | 55 | -48 | 103 |
Гудермес | 62 | -30 | 92 |
Гурская | 58 | -51 | 109 |
Гусиное Озеро | 58 | -46 | 104 |
Гусь-Хрустальный | 57 | -44 | 101 |
Дальнореченск | 57 | -42 | 99 |
Данилов | 56 | -46 | 102 |
Данков | 57 | -40 | 97 |
Дарасун | 59 | -51 | 110 |
Дербент | 58 | -21 | 79 |
Дмитров | 56 | -48 | 104 |
Дно | 55 | -42 | 97 |
Долинск | 55 | -39 | 94 |
Дружинино | 58 | -48 | 106 |
Евгеньевка | 58 | -42 | 100 |
Егоршино | 58 | -43 | 101 |
Ейск | 59 | -31 | 90 |
Елец | 58 | -38 | 96 |
Ельня | 55 | -43 | 98 |
Емца | 55 | -50 | 105 |
Енисей | 57 | -59 | 116 |
Ербинская | 57 | -50 | 107 |
Ерофей Павлович | 57 | -54 | 111 |
Ершов | 62 | -41 | 103 |
Ессентуки | 59 | -32 | 91 |
Ефимовская | 55 | -51 | 106 |
Ефремов | 58 | -37 | 95 |
Железноводск | 61 | -33 | 94 |
Жердевка | 59 | -38 | 97 |
Жуковка | 57 | -41 | 98 |
Журавлево | 56 | -51 | 107 |
Забайкальск | 60 | -53 | 113 |
Завитая | 56 | -49 | 105 |
Заливы | 55 | -43 | 98 |
Занозная | 56 | -43 | 99 |
Заозерная | 57 | -52 | 109 |
Западная Двина | 55 | -46 | 101 |
Зашеек | 51 | -42 | 93 |
Зверево | 60 | -33 | 93 |
Зейск | 56 | -52 | 108 |
Земетчино | 61 | -44 | 105 |
Зилово | 59 | -55 | 114 |
Зима | 55 | -53 | 108 |
Златоуст | 58 | -46 | 104 |
Злынка | 59 | -38 | 97 |
Иваново | 58 | -46 | 104 |
Идрица | 55 | -46 | 101 |
Ижевск | 57 | -47 | 104 |
Ильинск | 50 | -36 | 86 |
Ильмень | 62 | -38 | 100 |
Имандра | 51 | -41 | 92 |
Ин | 58 | -44 | 102 |
Инголь | 56 | -52 | 108 |
Инза | 61 | -44 | 105 |
Ирбейское | 58 | -60 | 118 |
Ирбит | 58 | -48 | 106 |
Иркутск | 56 | -50 | 106 |
Иртышский | 62 | -46 | 108 |
Исакогорка | 54 | -45 | 99 |
Исилькуль | 60 | -46 | 106 |
Ишим | 60 | -49 | 109 |
Ишимбаево | 60 | -48 | 108 |
Йошкар-Ола | 58 | -47 | 105 |
Кавказская | 62 | -33 | 95 |
Казань | 59 | -47 | 106 |
Казачинское | 57 | -57 | 114 |
Калач | 62 | -40 | 102 |
Калининград | 56 | -33 | 89 |
Калининск | 61 | -39 | 100 |
Калино | 57 | -45 | 102 |
Калуга | 58 | -45 | 103 |
Каменская | 59 | -33 | 92 |
Камень-на-Оби | 57 | -41 | 98 |
Камень-Рыболов | 59 | -52 | 111 |
Камышин | 62 | -37 | 99 |
Канаш | 57 | -45 | 102 |
Кандалакша | 51 | -44 | 95 |
Канск-Енисейский | 58 | -53 | 111 |
Карасук | 60 | -47 | 107 |
Карачев | 58 | -39 | 97 |
Карталы | 61 | -44 | 105 |
Карымская | 60 | -52 | 112 |
Касторная | 61 | -37 | 98 |
Кача | 58 | -55 | 113 |
Кашин | 57 | -47 | 104 |
Кашира | 59 | -44 | 103 |
Кемерово | 58 | -55 | 113 |
Кемчуг | 58 | -57 | 115 |
Кемь | 55 | -43 | 98 |
Керки | 66 | -24 | 90 |
Киев | 59 | -32 | 91 |
Кизел | 56 | -52 | 108 |
Кизляр | 62 | -30 | 92 |
Кильмезь | 58 | -48 | 106 |
Кингисепп | 52 | -43 | 95 |
Кинель | 59 | -43 | 102 |
Кинешма | 58 | -45 | 103 |
Киржач | 56 | -47 | 103 |
Кировск-Мурманский | 51 | -41 | 92 |
Кирсанов | 60 | -41 | 101 |
Кисловодск | 57 | -29 | 86 |
Кия-Шалтырь | 54 | -50 | 104 |
Клин | 58 | -45 | 103 |
Клинцы | 57 | -38 | 95 |
Клюквенная | 58 | -52 | 110 |
Ковда | 52 | -40 | 92 |
Ковров | 57 | -48 | 105 |
Кокшеньга | 56 | -50 | 106 |
Кола | 53 | -38 | 91 |
Колежма | 54 | -44 | 98 |
Колодезная | 61 | -38 | 99 |
Коломна | 58 | -44 | 102 |
Комаричи | 58 | -39 | 97 |
Комсомольск-на-Амуре | 59 | -50 | 109 |
Конотоп | 57 | -37 | 94 |
Коноша | 55 | -48 | 103 |
Копьево | 56 | -52 | 108 |
Коренево | 57 | -38 | 95 |
Коростень | 59 | -34 | 93 |
Корсаков | 50 | -33 | 83 |
Кострома | 57 | -46 | 103 |
Котельниково | 62 | -38 | 100 |
Котельнич | 57 | -54 | 111 |
Котлас | 57 | -51 | 108 |
Кошурниково | 56 | -50 | 106 |
Кравченко | 55 | -55 | 110 |
Красная Сопка | 58 | -58 | 116 |
Краснодар | 62 | -36 | 98 |
Краснокаменск | 59 | -42 | 101 |
Красноуфимск | 58 | -48 | 106 |
Красноярск | 58 | -53 | 111 |
Красный Кут | 62 | -41 | 103 |
Красный Узел | 58 | -44 | 102 |
Крестцы | 53 | -46 | 99 |
Критово | 58 | -56 | 114 |
Кропачево | 58 | -48 | 106 |
Кротовка | 60 | -43 | 103 |
Крымская | 59 | -24 | 83 |
Ксеньевская | 57 | -56 | 113 |
Кувандык | 62 | -44 | 106 |
Кузино | 58 | -49 | 107 |
Кузнецк | 59 | -46 | 105 |
Кулунда | 61 | -48 | 109 |
Кунгур | 57 | -45 | 102 |
Купино | 60 | -47 | 107 |
Курагино | 56 | -53 | 109 |
Курган | 60 | -49 | 109 |
Курганная | 62 | -34 | 96 |
Кургенча | 62 | -25 | 87 |
Куровская | 57 | -46 | 103 |
Курск | 57 | -38 | 95 |
Кустаревка | 58 | -42 | 100 |
Кушевка | 60 | -33 | 93 |
Куэнга | 60 | -58 | 118 |
Кын | 57 | -49 | 106 |
Кыштам | 58 | -46 | 104 |
Ладва | 55 | -40 | 95 |
Лазо | 58 | -42 | 100 |
Лев Толстой | 59 | -39 | 98 |
Ленинск | 57 | -47 | 104 |
Лесогорский | 52 | -38 | 90 |
Лесозаводск | 57 | -43 | 100 |
Ливны | 58 | -39 | 97 |
Липецк | 59 | -38 | 97 |
Лисий Нос | 53 | -36 | 89 |
Лиски | 62 | -38 | 100 |
Литовко | 57 | -45 | 102 |
Лихая | 62 | -40 | 102 |
Лихославль | 58 | -50 | 108 |
Лодейное Поле | 53 | -48 | 101 |
Лосиноостровская | 57 | -43 | 100 |
Лоухи | 51 | -46 | 97 |
Луга | 54 | -42 | 96 |
Лукоянов | 59 | -43 | 102 |
Льгов | 57 | -38 | 95 |
Любань | 54 | -41 | 95 |
Магдагачи | 57 | -51 | 108 |
Магнитогорск | 59 | -46 | 105 |
Майкоп | 61 | -34 | 95 |
Макаров | 53 | -37 | 90 |
Малиновка | 57 | -53 | 110 |
Малоузенск | 63 | -43 | 106 |
Малоярославец | 58 | -48 | 106 |
Манзовка | 58 | -42 | 100 |
Мариинск | 59 | -54 | 113 |
Мармыжи | 61 | -37 | 98 |
Масельская | 55 | -45 | 100 |
Махачкала | 57 | -26 | 83 |
Махушино | 59 | -47 | 106 |
Медвежья Гора | 55 | -45 | 100 |
Междуреченск | 55 | -54 | 109 |
Мелекесс | 59 | -47 | 106 |
Мелеуз | 61 | -45 | 106 |
Мелитополь | 61 | -33 | 94 |
Миллерово | 60 | -36 | 96 |
Минеральные Воды | 61 | -33 | 94 |
Минино | 58 | -54 | 112 |
Минусинск | 59 | -52 | 111 |
Митрофановка | 62 | -37 | 99 |
Михайлов | 59 | -41 | 100 |
Михайловка-Алтайская | 62 | -48 | 110 |
Михнево | 58 | -40 | 98 |
Мичуринск | 60 | -37 | 97 |
Мишиха | 53 | -39 | 92 |
Могзон | 58 | -55 | 113 |
Могоча | 57 | -56 | 113 |
Можайск | 56 | -44 | 100 |
Можга | 58 | -48 | 106 |
Моршанск | 58 | -40 | 98 |
Москва | 58 | -42 | 100 |
Мундыбаш | 58 | -52 | 110 |
Мураши | 56 | -46 | 102 |
Мурманск | 53 | -48 | 101 |
Муром | 59 | -45 | 104 |
Мценск | 57 | -44 | 101 |
Навля | 57 | -38 | 95 |
Нагорный | 55 | -56 | 111 |
Назарово | 59 | -62 | 121 |
Называевка | 60 | -46 | 106 |
Нальчик | 60 | -31 | 91 |
Наурская | 62 | -32 | 94 |
Находка | 56 | -29 | 85 |
Навель | 55 | -46 | 101 |
Невельск | 50 | -28 | 78 |
Нелята | 56 | -57 | 113 |
Нерехта | 57 | -46 | 103 |
Нерчинск | 60 | -57 | 117 |
Нижнеангарск | 54 | -47 | 101 |
Нижнедевицк | 61 | -37 | 98 |
Нижнеудинск | 56 | -54 | 110 |
Нижний Новгород | 57 | -41 | 98 |
Нижний Тагил | 57 | -49 | 106 |
Николо-Полома | 56 | -45 | 101 |
Новгород | 54 | -45 | 99 |
Новки | 57 | -48 | 105 |
Новозыбков | 57 | -37 | 94 |
Новоиерусалимская | 57 | -53 | 110 |
Новокузнецк | 58 | -52 | 110 |
Новороссийск | 62 | -24 | 86 |
Новосибирск | 57 | -51 | 108 |
Новосокольники | 55 | -46 | 101 |
Новый Оскол | 62 | -37 | 99 |
Ноглики | 57 | -49 | 106 |
Нора | 56 | -53 | 109 |
Няндома | 53 | -47 | 100 |
Обливская | 61 | -38 | 99 |
Обловка | 60 | -39 | 99 |
Облучье | 57 | -46 | 103 |
Овинище | 55 | -52 | 107 |
Огорон | 55 | -50 | 105 |
Ожерелье | 59 | -44 | 103 |
Окатово | 57 | -44 | 101 |
Октябрьский Прииск | 56 | -53 | 109 |
Окуловка | 53 | -46 | 99 |
Оловянная | 60 | -53 | 113 |
Олонец | 54 | -54 | 108 |
Омск | 59 | -49 | 108 |
Онега | 53 | -46 | 99 |
Онор | 57 | -46 | 103 |
Опарино | 56 | -48 | 104 |
Оредеж | 54 | -45 | 99 |
Орел | 58 | -39 | 97 |
Оренбург | 62 | -42 | 104 |
Орехово | 57 | -45 | 102 |
Орск | 62 | -44 | 106 |
Осташков | 55 | -47 | 102 |
Остров | 56 | -41 | 97 |
Павелец | 58 | -42 | 100 |
Павлово-Посад | 57 | -45 | 102 |
Павловск | 53 | -36 | 89 |
Палласовка | 64 | -38 | 102 |
Партизанск | 57 | -37 | 94 |
Пачелма | 58 | -43 | 101 |
Пенза | 61 | -43 | 104 |
Пермь | 57 | -45 | 102 |
Петровский Завод | 58 | -55 | 113 |
Петрозаводск | 55 | -40 | 95 |
Петрокрепость | 53 | -36 | 89 |
Петропавловск | 61 | -53 | 114 |
Петрунь | 54 | -54 | 108 |
Петруши | 60 | -52 | 112 |
Пировская | 56 | -57 | 113 |
Платоновка | 60 | -39 | 99 |
Плесецкая | 54 | -48 | 102 |
Поворино | 61 | -39 | 100 |
Подборовье | 55 | -50 | 105 |
Подкаменная | 55 | -47 | 102 |
Покровск-Приволжский | 60 | -41 | 101 |
Поканаевка | 57 | -52 | 109 |
Покровск-Уральский | 55 | -52 | 107 |
Половина | 55 | -51 | 106 |
Поронайск | 56 | -42 | 98 |
Посадниково | 53 | -46 | 99 |
Посевная | 58 | -48 | 106 |
Посьет | 56 | -29 | 85 |
Почеп | 58 | -37 | 95 |
Починки | 57 | -41 | 98 |
Починск | 55 | -41 | 96 |
Пржевальская | 54 | -30 | 84 |
Приаргунск | 60 | -51 | 111 |
Приднепровская | 55 | -41 | 96 |
Приморская | 59 | -38 | 97 |
Приозерск | 53 | -36 | 89 |
Проектное | 57 | -53 | 110 |
Промышленная | 56 | -53 | 109 |
Прохладная | 62 | -32 | 94 |
Псков | 56 | -41 | 97 |
Пугачевск | 62 | -41 | 103 |
Пулозеро | 52 | -42 | 94 |
Пятигорск | 61 | -33 | 94 |
Раевка | 60 | -46 | 106 |
Раненбург | 60 | -38 | 98 |
Ребриха | 59 | -50 | 109 |
Решоты | 57 | -51 | 108 |
Ржев | 56 | -47 | 103 |
Рославль | 56 | -41 | 97 |
Россошь | 63 | -37 | 100 |
Ростов-Главный | 60 | -33 | 93 |
Ростов-Ярославский | 59 | -46 | 105 |
Рощино | 53 | -36 | 89 |
Ртищево | 60 | -43 | 103 |
Рубцовск | 61 | -49 | 110 |
Ружино | 58 | -42 | 100 |
Рузаевка | 58 | -44 | 102 |
Рыбинск | 56 | -46 | 102 |
Ряжск | 61 | -40 | 101 |
Рязань | 58 | -41 | 99 |
Саблино | 53 | -36 | 89 |
Сальск | 62 | -34 | 96 |
Сама | 55 | -52 | 107 |
Самара | 60 | -43 | 103 |
Санкт-Петербург | 53 | -36 | 89 |
Саранск | 59 | -44 | 103 |
Саранчет | 57 | -57 | 114 |
Сарапул | 58 | -46 | 104 |
Саратов | 60 | -41 | 101 |
Сасово | 58 | -42 | 100 |
Саянская | 57 | -56 | 113 |
Свердловск | 58 | -43 | 101 |
Свирь | 54 | -44 | 98 |
Свиягино | 57 | -48 | 105 |
Свободный | 58 | -53 | 111 |
Сегежа | 55 | -46 | 101 |
Селемджинск | 60 | -54 | 114 |
Селенга | 57 | -41 | 98 |
Семенов | 57 | -47 | 104 |
Сергач | 60 | -44 | 104 |
Сергиев Посад | 56 | -48 | 104 |
Серов | 56 | -52 | 108 |
Серпухов | 58 | -44 | 102 |
Сестрорецк | 53 | -36 | 89 |
Сибирцево | 57 | -42 | 99 |
Сковородино | 57 | -56 | 113 |
Скопин | 61 | -40 | 101 |
Скуратово | 57 | -42 | 99 |
Славгород | 60 | -48 | 108 |
Сланцы | 53 | -38 | 91 |
Слободчиково | 57 | -51 | 108 |
Слюдянка | 51 | -40 | 91 |
Смирных | 58 | -44 | 102 |
Смоленск | 55 | -41 | 96 |
Соблаго | 55 | -47 | 102 |
Советск | 56 | -35 | 91 |
Советская Гавань | 56 | -38 | 94 |
Соликамск | 56 | -48 | 104 |
Соловьевск | 61 | -52 | 113 |
Сонково | 55 | -50 | 105 |
Сорочинская | 59 | -48 | 107 |
Сортавала | 51 | -41 | 92 |
Сосыка | 61 | -34 | 95 |
Сочи | 59 | -14 | 73 |
Спас-Демьянск | 56 | -43 | 99 |
Спасск-Дальний | 56 | -48 | 104 |
Средняя Нюкжа | 58 | -61 | 119 |
Сретенск | 60 | -58 | 118 |
Ставрополь | 60 | -36 | 96 |
Старая Русса | 54 | -42 | 96 |
Старица | 56 | -47 | 103 |
Стародуб | 57 | -39 | 96 |
Стародубск | 54 | -38 | 92 |
Старожилово | 58 | -40 | 98 |
Староминская | 62 | -34 | 96 |
Старый Оскол | 61 | -37 | 98 |
Стерлитамак | 60 | -48 | 108 |
Сулемка | 58 | -52 | 110 |
Суоярви | 54 | -43 | 97 |
Сургут | 54 | -55 | 109 |
Суриково | 56 | -62 | 118 |
Суслово | 57 | -55 | 112 |
Сухиничи | 58 | -42 | 100 |
Сучан | 58 | -32 | 90 |
Сущево | 55 | -44 | 99 |
Сызрань | 61 | -44 | 105 |
Сычевка | 56 | -42 | 98 |
Тавда | 58 | -48 | 106 |
Таганрог | 58 | -33 | 91 |
Тагул | 57 | -56 | 113 |
Тайга | 57 | -53 | 110 |
Тайшет | 56 | -53 | 109 |
Талдан | 60 | -52 | 112 |
Таловая | 61 | -38 | 99 |
Тамань | 57 | -27 | 84 |
Тамбов | 60 | -39 | 99 |
Танхой | 51 | -40 | 91 |
Татарская | 60 | -47 | 107 |
Тверь | 58 | -50 | 108 |
Теба | 56 | -53 | 109 |
Тигей | 58 | -50 | 108 |
Тихвин | 55 | -51 | 106 |
Тихорецкая | 62 | -34 | 96 |
Тогучин | 58 | -55 | 113 |
Токари | 55 | -40 | 95 |
Токсово | 53 | -36 | 89 |
Толмачево | 53 | -43 | 96 |
Томск | 56 | -55 | 111 |
Топки | 57 | -51 | 108 |
Торжок | 56 | -49 | 105 |
Торопец | 55 | -46 | 101 |
Троицк | 60 | -46 | 106 |
Туапсе | 61 | -19 | 80 |
Тула | 58 | -42 | 100 |
Тулат | 56 | -60 | 116 |
Тулун | 56 | -54 | 110 |
Тумнин | 57 | -48 | 105 |
Тургутуй | 58 | -52 | 110 |
Турий Рог | 59 | -39 | 98 |
Туринск | 58 | -48 | 106 |
Туймазы | 60 | -50 | 110 |
Тыгда | 58 | -53 | 111 |
Тымовск | 56 | -48 | 104 |
Тында | 56 | -54 | 110 |
Тюмень | 60 | -50 | 110 |
Углич | 57 | -47 | 104 |
Ужур | 57 | -54 | 111 |
Узловая | 58 | -42 | 100 |
Уйбат | 58 | -50 | 108 |
Улан-Удэ | 60 | -51 | 111 |
Ульяновск | 60 | -48 | 108 |
Унаха | 56 | -54 | 110 |
Уоян | 57 | -60 | 117 |
Урбах | 61 | -41 | 102 |
Ургал | 60 | -58 | 118 |
Уса | 52 | -53 | 105 |
Уссурийск | 57 | -43 | 100 |
Усть-Кут | 58 | -55 | 113 |
Усть-Лабинская | 63 | -31 | 94 |
Усть-Луга | 52 | -42 | 94 |
Уфа | 60 | -48 | 108 |
Ухта | 55 | -53 | 108 |
Уяр | 56 | -55 | 111 |
Фаленки | 57 | -46 | 103 |
Фосфоритная | 56 | -47 | 103 |
Хабаровск | 60 | -43 | 103 |
Хаджох | 61 | -34 | 95 |
Хасав-Юрт | 61 | -29 | 90 |
Хвойная | 55 | -52 | 107 |
Хибины | 52 | -44 | 96 |
Хилок | 58 | -55 | 113 |
Холмск | 50 | -29 | 79 |
Целина | 61 | -34 | 95 |
Цивильск | 57 | -43 | 100 |
Цимлянская | 61 | -38 | 99 |
Чайда | 56 | -63 | 119 |
Чакино | 60 | -39 | 99 |
Чара | 55 | -57 | 112 |
Чебоксары | 58 | -44 | 102 |
Челябинск | 59 | -44 | 103 |
Чекунда | 60 | -58 | 118 |
Ченча | 56 | -59 | 115 |
Червленная-Узловая | 62 | -30 | 92 |
Черемхово | 55 | -52 | 107 |
Череповец | 56 | -49 | 105 |
Черкесск | 60 | -31 | 91 |
Чернореченская | 58 | -59 | 117 |
Чернушка | 58 | -54 | 112 |
Чернышевск | 57 | -57 | 114 |
Черняховск | 56 | -35 | 91 |
Чертково | 60 | -34 | 94 |
Черусти | 58 | -45 | 103 |
Чита | 59 | -52 | 111 |
Чишмы | 60 | -48 | 108 |
Чудово | 54 | -46 | 100 |
Чулымская | 58 | -52 | 110 |
Чульман | 55 | -61 | 116 |
Чунояр | 57 | -54 | 111 |
Чусовая | 58 | -49 | 107 |
Шабалино | 56 | -45 | 101 |
Шадринск | 59 | -47 | 106 |
Шарыпово | 58 | -52 | 110 |
Шарья | 56 | -44 | 100 |
Шаховская | 56 | -45 | 101 |
Шахунья | 57 | -47 | 104 |
Шелковская | 62 | -30 | 92 |
Шепетовка | 58 | -36 | 94 |
Шилка | 60 | -56 | 116 |
Шилово | 59 | -41 | 100 |
Шимановская | 58 | -55 | 113 |
Шира | 56 | -49 | 105 |
Шумерля | 57 | -42 | 99 |
Шушь | 58 | -55 | 113 |
Шуя | 58 | -46 | 104 |
Щербакты | 60 | -46 | 106 |
Щетинкино | 56 | -52 | 108 |
Щигры | 60 | -37 | 97 |
Эльтон | 65 | -36 | 101 |
Юрьев-Польский | 57 | -46 | 103 |
Южно-Сахалинск | 54 | -39 | 93 |
Янаул | 58 | -51 | 109 |
Яр | 57 | -46 | 103 |
Ярославль | 56 | -46 | 102 |
Примечания: 1. Температура рельсов на мостах на основании многолетних наблюдений принята: наивысшая летняя (
tmax) на 10 °C выше температуры воздуха, наинизшая зимняя (
tmin) равной температуре воздуха.
2. Для населенных пунктов, не приведенных в таблице, расчетная температурная амплитуда рельсов определяется по
СП 131.13330.2012 Строительная климатология (актуализированная редакция СНиП 23-01-99*), с учетом
примечаний пункта 1 к настоящей таблице.
3. При установке и проверке положения подвижных опорных частей пролетных строений летняя (наивысшая) температура воздуха принимается на 10 °C меньше температуры рельсов.
4. Расчетные температуры рельсов могут корректироваться при наличии более точных данных наблюдений на местах. Корректировка этих температур должна быть проведена по согласованию с Управлением пути и сооружений Центральной дирекции инфраструктуры. Для пунктов, не указанных в таблице, расчетные температуры определяют линейной интерполяцией.