Главная // Актуальные документы // Государственная фармакопея
СПРАВКА
Источник публикации
М.: "Государственная фармакопея Российской Федерации. XIV издание", Том II, 2018
Примечание к документу
Документ утратил силу с 01.09.2023 в связи с введением в действие ОФС.1.4.2.0015, утв. Приказом Минздрава России от 20.07.2023 N 377.

В соответствии с Приказом Минздрава России от 31.10.2018 N 749 данный документ введен в действие с 01.12.2018.

Текст документа приведен в соответствии с публикацией на сайте http://femb.ru/femb/pharmacopea.php по состоянию на 14.03.2019.
Название документа
"ОФС.1.4.2.0015.15. Общая фармакопейная статья. Растворение для суппозиториев на липофильной основе"
(утв. и введена в действие Приказом Минздрава России от 31.10.2018 N 749)
("Государственная фармакопея Российской Федерации. XIV издание. Том II")


"ОФС.1.4.2.0015.15. Общая фармакопейная статья. Растворение для суппозиториев на липофильной основе"
(утв. и введена в действие Приказом Минздрава России от 31.10.2018 N 749)
("Государственная фармакопея Российской Федерации. XIV издание. Том II")


Содержание


МИНИСТЕРСТВО ЗДРАВООХРАНЕНИЯ РОССИЙСКОЙ ФЕДЕРАЦИИ
ОБЩАЯ ФАРМАКОПЕЙНАЯ СТАТЬЯ
Растворение для суппозиториев на липофильной основе
ОФС.1.4.2.0015.15
Вводится впервые
Данное испытание предназначено для определения количества действующего вещества, которое за определенный промежуток времени должно высвободиться в среду растворения из суппозиториев на липофильной основе.
Условия проведения данного испытания указываются в фармакопейной статье или нормативной документации на суппозитории на липофильной основе, а именно:
- среда растворения - состав и объем;
- скорость потока среды растворения;
- температура среды растворения;
- объем пробы;
- время отбора проб;
- аналитический метод количественного определения действующего вещества или действующих веществ, высвободившихся в среду растворения;
- количество действующего вещества, которое должно высвободиться в среду растворения за нормируемое время, выраженное в процентах от заявленного содержания.
Оборудование
Используется прибор "Проточная ячейка" (рис. 1), который состоит из:
- резервуара для среды растворения, помещенного на водяную баню;
- водяной бани, поддерживающей температуру среды растворения в диапазоне значений (37,0 +/- 0,5) °C;
- насоса, перекачивающего среду растворения через проточную ячейку;
- термостатируемой проточной ячейки с системой фильтров;
- устройства для отбора проб.
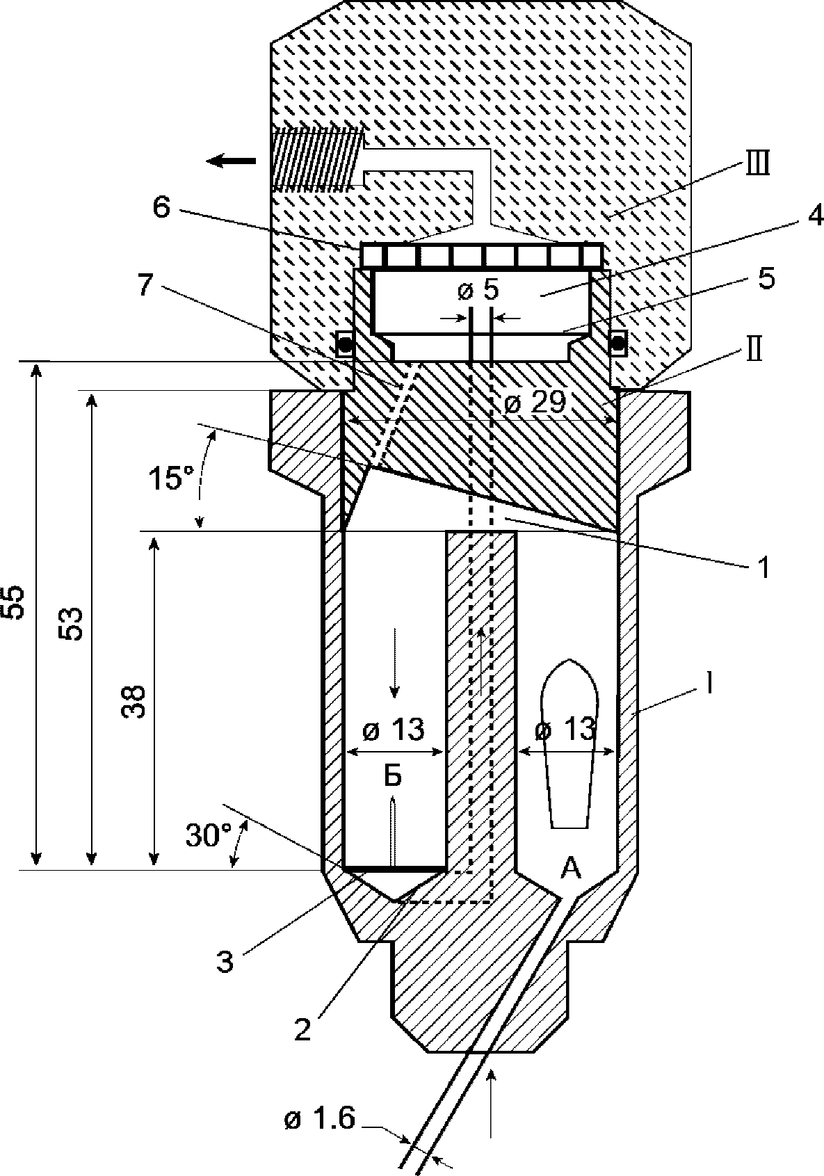
Рис. 1 - Схема прибора "Проточная ячейка"
Проточная ячейка состоит из 3 прозрачных частей, вставляемых одна в другую (рис. 2):
I.
Нижняя часть состоит из 2 смежных камер (А и Б), соединенных переливным отверстием (1).
Среда растворения попадает в камеру А с восходящим потоком, затем переходит в камеру Б, где поток является нисходящим, и проходит через маленькое выходное отверстие (2), ведущее наверх к фильтрующему устройству. Перед выходным отверстием может быть установлено сито с острием (3), улавливающее крупные частицы.
II.
Средняя часть ячейки имеет полость для сбора липофильных наполнителей (4), которые плавают на поверхности среды растворения. Металлическая сетка (5) служит грубым фильтром.
III.
Фильтрующая часть снабжена фильтром (6) из бумаги, стекловолокна или целлюлозы.
Рис. 2 - Проточная ячейка
Размеры указаны в мм
А - камера с восходящим потоком; Б - камера с нисходящим
потоком; 1 - переливное отверстие; 2 - выходное отверстие;
3 - сито с острием; 4 - полость для сбора липофильных
наполнителей; 5 - металлическая сетка; 6 - фильтр;
7 - капилляр
Среда растворения
Если среда растворения содержит буферный раствор, то доводят значение pH до заданного (допустимое отклонение значения pH +/- 0,05). Перед использованием среда растворения должна быть деаэрирована.
Методика испытания
Одну дозированную единицу испытуемого лекарственного препарата помещают в камеру А. Закрывают ячейку подготовленной фильтрующей частью. Среду растворения нагревают до подходящей температуры. Используя насос, через нижнюю часть ячейки вводят подогретую среду растворения для создания потока в открытом или закрытом цикле с установленным отклонением скорости потока +/- 5%. Когда среда растворения достигнет уровня переливного отверстия, воздух начнет выходить через капилляр (7), соединенный с фильтрующим устройством, и камера Б заполнится средой растворения. Действующее вещество распределяется в среде растворения в зависимости от его физико-химических свойств.
Отбор проб
Отбор проб производят на выходе из ячейки при использовании как открытого, так и закрытого цикла.
Отобранную пробу фильтруют с помощью инертного фильтра с соответствующим размером пор, не вызывающим адсорбции действующего вещества из раствора и не содержащим веществ, экстрагируемых средой растворения, которые могли бы влиять на результаты анализа, описанного в фармакопейной статье или нормативной документации метода.
Интерпретация результатов
Количество действующего вещества, перешедшего в раствор за указанное время, выражают в процентах от содержания, указанного на этикетке. За указанное в фармакопейной статье или нормативной документации время в среду растворения должно высвободиться не менее 75% (Q) действующего вещества.
Испытание проводят на 6 единицах лекарственной формы. Результаты испытания считаются удовлетворительными, если количество действующего вещества, высвободившегося в среду растворения, соответствует критериям, приведенным в таблице, стадия S1.
Если при этом хотя бы один результат не соответствует норме, указанной в фармакопейной статье или нормативной документации, то испытание "Растворение" повторяют еще на 6 единицах лекарственной формы. Интерпретация результатов проводится согласно таблице, стадия S2.
Если при повторном испытании результаты не соответствуют установленным критериям, испытание повторяют на 12 дополнительных единицах лекарственной формы. Интерпретация результатов проводится согласно таблице, стадия S3.
При отсутствии других указаний в фармакопейной статье или нормативной документации серия бракуется, если ни на одной из стадий исследования результаты испытания не удовлетворяют установленным критериям.
Таблица
Интерпретация результатов испытания "Растворение"
для суппозиториев на липофильной основе
Стадия
Число испытуемых образцов
Одна единица лекарственной формы
S1
6
Для каждой испытуемой единицы: в среду растворения должно высвободиться не менее Q + 5% от заявленного содержания действующего вещества
S2
6
Среднее количество высвободившегося в среду растворения действующего вещества из 12 испытуемых единиц лекарственной формы (S1 + S2) должно быть не менее Q, и не должно быть ни одной единицы, где в среду растворения перешло бы менее Q - 15% от заявленного содержания действующего вещества
S3
12
Среднее количество высвободившегося в среду растворения действующего вещества из 24 испытуемых единиц лекарственной формы (S1 + S2 + S3) должно быть не менее Q; только для 2 единиц может быть менее Q - 15%, и ни для одной единицы не должно быть менее Q - 25% от заявленного содержания действующего вещества