Главная // Актуальные документы // Государственная фармакопея
СПРАВКА
Источник публикации
Документ опубликован не был
Примечание к документу
Текст документа приведен в соответствии с публикацией на сайте https://minzdrav.gov.ru/ по состоянию на 15.08.2023.

В соответствии с Приказом Минздрава России от 20.07.2023 N 377 данный документ введен в действие с 01.09.2023.
Название документа
"ОФС.1.1.1.0016. Общая фармакопейная статья. Наблюдаемая скорость растворения"
(утв. и введена в действие Приказом Минздрава России от 20.07.2023 N 377)
("Государственная фармакопея Российской Федерации. XV издание")


"ОФС.1.1.1.0016. Общая фармакопейная статья. Наблюдаемая скорость растворения"
(утв. и введена в действие Приказом Минздрава России от 20.07.2023 N 377)
("Государственная фармакопея Российской Федерации. XV издание")


Содержание


МИНИСТЕРСТВО ЗДРАВООХРАНЕНИЯ РОССИЙСКОЙ ФЕДЕРАЦИИ
ОБЩАЯ ФАРМАКОПЕЙНАЯ СТАТЬЯ
Наблюдаемая скорость растворения
ОФС.1.1.1.0016
Вводится впервые
Настоящая общая фармакопейная статья предназначена для определения показателя наблюдаемая скорость растворения твердых веществ, в том числе действующих веществ, как в форме фармацевтических субстанций, так и в лекарственных формах, представляющих собой порошки или гранулы.
Область применения
Данные о наблюдаемой скорости растворения используют при описании свойств действующих и вспомогательных веществ; эти данные могут быть применены, например, при фармацевтической разработке лекарственных препаратов с целью прогнозирования и выявления потенциальных проблем с биодоступностью действующих веществ, для которых известны данные об их наблюдаемой скорости растворения.
Оборудование
Для проведения испытания используют прибор с проточной ячейкой, (рис. 1). Все части прибора, которые могут контактировать с образцом или средой растворения, должны быть химически инертными и не должны адсорбировать, реагировать или влиять каким-либо другим способом на испытуемый образец. Во время работы прибора не должно быть никаких заметных движений, колебаний, вибраций, перемещений, происходящих от частей прибора, или влияния окружающей среды, кроме тех, которые создаются непосредственно проточной системой.
Рисунок 1 - Прибор с проточной ячейкой
А - резервуар для среды растворения; Б - насос;
В - термостатируемая проточная ячейка и система фильтров;
Г сосуды-сборники для анализируемых растворов.
Предпочтительно использовать прибор, позволяющий наблюдать за испытуемым образцом.
Прибор с проточной ячейкой, (рис. 1), состоит из следующих частей:
- резервуар для среды растворения (А);
- насос, который прокачивает среду растворения через проточную ячейку (Б);
- термостатируемая проточная ячейка из прозрачного инертного материала, установленная вертикально с фильтрующей системой, предотвращающей удаление не растворившихся частиц, с водяной баней, поддерживающей выбранную температуру среды растворения при диапазоне 37 +/- 0,5 °C (В);
- сосуды-сборники для анализируемых растворов (Г).
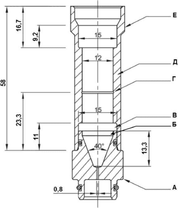
Проточная ячейка (рис. 2), состоит из трех прозрачных частей, вставляемых одна в другую. Нижняя часть, на которую помещают испытуемый образец, поддерживает систему сеток и фильтров. Средняя часть, которую устанавливают на нижнюю, содержит вкладыш, который отсеивает образец во время прохождения среды растворения через ячейку. Этот вкладыш состоит из двух частей: конического сита, которое размещается на образце, и зажима, расположенного на половине расстояния до средней части, для удерживания сита на месте при прохождении среды растворения. Второй фильтрующий элемент (сетка и фильтр) расположен на вершине средней части перед соединением ее с верхней частью проточной ячейки, через которую среда растворения вытекает из ячейки.
Рисунок 2 - Проточная ячейка
А - нижняя часть; Б - вкладыш; В - сито; Г - зажим;
Д - средняя часть; Е - верхняя часть.
Размеры указаны в миллиметрах.
Среда растворения. Если среда растворения представляет собой буферный раствор, то доводят значение pH до заданного с точностью +/- 0,05. Перед использованием из среды растворения удаляют растворенные газы для предупреждения образования пузырьков, значительно влияющих на результат испытания.
Методика
На дно конической нижней части проточной ячейки помещают шарик диаметром 5 +/- 0,5 мм, затем на него помещают стеклянные шарики подходящего размера, предпочтительно диаметром 1 +/- 0,1 мм. Сверху на нижнюю часть ячейки помещают сито с отверстиями размером 0,2 мм, подходящий фильтр и второе сито. Среднюю часть проточной ячейки соединяют с нижней частью и взвешивают собранную часть ячейки. Испытуемый образец помещают на фильтрующий элемент и взвешивают его в ячейке.
Сито помещают на испытуемый образец коническим концом вверх, фиксируют зажимом посередине средней части. На среднюю часть помещают сито с размером отверстий 0,2 мм, подходящий фильтр и присоединяют к средней части верхнюю часть проточной ячейки. Нагревают среду растворения до подходящей температуры. При помощи подходящего насоса нагретую среду растворения направляют через дно ячейки с заданной скоростью потока (+/- 5%) по открытому или закрытому циклу.
Отбор проб
Отбор проб для испытания производят из выпускного отверстия проточной ячейки, независимо от использования при испытании открытого или закрытого цикла.
Отобранный образец жидкости немедленно фильтруют через фильтр из инертного материала с подходящим размером пор, который не вызывает значительной адсорбции испытуемого вещества из раствора и не содержит веществ, экстрагируемых средой растворения, влияющих на результаты, получаемые применяемым для определения аналитическим методом. Полученный фильтрат анализируют.
Анализ результатов
Для определения наблюдаемой скорости растворения при выпуске серии проводят достаточное количество испытаний.
Результаты испытания выражают как:
- количество растворившегося испытуемого вещества в единицу времени (если растворение линейное);
- время растворения всего количества испытуемого образца и на соответствующих промежуточных стадиях.