Главная // Актуальные документы // ГОСТ (Государственный стандарт)СПРАВКА
Источник публикации
М.: Стандартинформ, 2017
Примечание к документу
Документ утратил силу с 01.11.2024 в связи с изданием
Приказа Росстандарта от 08.11.2023 N 1352-ст. Взамен введен в действие
ГОСТ 33984.1-2023.
Документ включен в
Перечень международных и региональных (межгосударственных) стандартов, а в случае их отсутствия - национальных (государственных) стандартов, в результате применения которых на добровольной основе обеспечивается соблюдение требований технического
регламента Таможенного союза "Безопасность лифтов" (ТР ТС 011/2011) (
Решение Коллегии Евразийской экономической комиссии от 29.05.2018 N 93).
Текст данного документа приведен с учетом поправок, опубликованных в "ИУС",
N 8, 2018;
N 7, 2019;
N 8, 2019.
Документ
введен в действие с 01.11.2018.
Название документа
"ГОСТ 33984.1-2016 (EN 81-20:2014). Межгосударственный стандарт. Лифты. Общие требования безопасности к устройству и установке. Лифты для транспортирования людей или людей и грузов"
(введен в действие Приказом Росстандарта от 21.03.2017 N 163-ст)
"ГОСТ 33984.1-2016 (EN 81-20:2014). Межгосударственный стандарт. Лифты. Общие требования безопасности к устройству и установке. Лифты для транспортирования людей или людей и грузов"
(введен в действие Приказом Росстандарта от 21.03.2017 N 163-ст)
агентства по техническому
регулированию и метрологии
от 21 марта 2017 г. N 163-ст
МЕЖГОСУДАРСТВЕННЫЙ СТАНДАРТ
ЛИФТЫ
ОБЩИЕ ТРЕБОВАНИЯ БЕЗОПАСНОСТИ К УСТРОЙСТВУ И УСТАНОВКЕ
ЛИФТЫ ДЛЯ ТРАНСПОРТИРОВАНИЯ ЛЮДЕЙ ИЛИ ЛЮДЕЙ И ГРУЗОВ
Lifts. General safety requirements for the construction
and installation. Lifts for the transport of persons
and persons and goods
(EN 81-20:2014,
Safety rules for the construction and installation
of lifts. - Lifts for the transport of persons and goods -
Part 20: Passenger and goods passenger lifts, MOD)
ГОСТ 33984.1-2016
(EN 81-20:2014)
Дата введения
1 ноября 2018 года
Цели, основные принципы и основной порядок проведения работ по межгосударственной стандартизации установлены в
ГОСТ 1.0-2015 "Межгосударственная система стандартизации. Основные положения" и
ГОСТ 1.2-2015 "Межгосударственная система стандартизации. Стандарты межгосударственные, правила и рекомендации по межгосударственной стандартизации. Правила разработки, принятия, обновления и отмены".
1 ПОДГОТОВЛЕН Ассоциацией "Российское лифтовое объединение" на основе собственного перевода на русский язык англоязычной версии стандарта, указанного в
пункте 5
2 ВНЕСЕН Федеральным агентством по техническому регулированию и метрологии Российской Федерации
3 ПРИНЯТ Межгосударственным советом по стандартизации, метрологии и сертификации (протокол от 22 ноября 2016 г. N 93-П)
За принятие проголосовали:
Краткое наименование страны по МК (ИСО 3166) 004-97 | Код страны по МК (ИСО 3166) 004-97 | Сокращенное наименование национального органа по стандартизации |
Армения | AM | Минэкономики Республики Армения |
Грузия | GE | Грузстандарт |
Казахстан | KZ | Госстандарт Республики Казахстан |
Киргизия | KG | Кыргызстандарт |
Россия | RU | Росстандарт |
Таджикистан | TJ | Таджикстандарт |
Узбекистан | UZ | Узстандарт |
4
Приказом Федерального агентства по техническому регулированию и метрологии от 21 марта 2017 г. 163-ст межгосударственный стандарт ГОСТ 33984.1-2016 (EN 81-20:2014) введен в действие в качестве национального стандарта Российской Федерации с 1 ноября 2018 г. <*>
--------------------------------
<*>
Приказом Федерального агентства по техническому регулированию и метрологии от 21 марта 2017 г. N 163-ст
ГОСТ Р 53780-2010 (ЕН 81-1:1998, ЕН 81-2:1998) в части общих требований безопасности к устройству и установке лифтов для транспортирования людей или людей и грузов отменен с 15 февраля 2020 г.
5 Настоящий стандарт является модифицированным по отношению к европейскому стандарту EN 81-20:2014 "Правила безопасности по устройству и установке лифтов. Лифты для транспортирования людей и грузов - Часть 20: Пассажирские и грузопассажирские лифты" ("Safety rules for the construction and installation of lifts - Lifts for the transport of persons and goods - Part 20: Passenger and goods passenger lifts", MOD) в части общих требований безопасности к устройству и установке лифтов для транспортирования людей или людей и грузов.
Дополнительные положения и требования, включенные в текст настоящего стандарта для учета потребностей национальной экономики указанных выше государств и/или особенностей межгосударственной стандартизации, выделены курсивом.
Наименование настоящего стандарта изменено относительно наименования указанного европейского стандарта для приведения в соответствие с ГОСТ 1.5
(подраздел 3.6).
Сравнение структуры настоящего стандарта со структурой указанного европейского стандарта приведено в дополнительном
приложении ДА
6 Настоящий стандарт может быть применен на добровольной основе для соблюдения требований технического
регламента Таможенного союза "Безопасность лифтов" (011/2011)
7 ВВЕДЕН ВПЕРВЫЕ
Информация об изменениях к настоящему стандарту публикуется в ежегодном информационном указателе "Национальные стандарты", а текст изменений и поправок - в ежемесячном информационном указателе "Национальные стандарты". В случае пересмотра (замены) или отмены настоящего стандарта соответствующее уведомление будет опубликовано в ежемесячном информационном указателе "Национальные стандарты". Соответствующая информация, уведомление и тексты размещаются также в информационной системе общего пользования - на официальном сайте Федерального агентства по техническому регулированию и метрологии в сети Интернет (www.gost.ru).
Настоящий стандарт разработан с учетом положений межгосударственных стандартов ГОСТ 1.3-2014 "Межгосударственная система стандартизации. Стандарты межгосударственные. Правила разработки на основе международных и региональных стандартов" и ГОСТ 1.5-2001 "Межгосударственная система стандартизации. Стандарты межгосударственные. Правила и рекомендации по межгосударственной стандартизации. Общие требования к построению, изложению, оформлению, содержанию и обозначению".
Разработка настоящего стандарта на основе применения европейского стандарта ЕН 81-20:2014 "Правила безопасности по устройству и установке лифтов. Лифты для транспортирования людей или людей и грузов - Часть 20: Пассажирские и грузопассажирские лифты" ("Safety rules for the construction and installation of lifts - Lifts for the transport of persons and goods - Part 20: Passenger and goods passenger lifts, MOD) имеет целью содействовать устранению технических барьеров в международной торговле, в том числе между государствами - участниками Соглашения о проведении согласованной политики в области стандартизации, метрологии, сертификации и аккредитации, в этих областях деятельности стран Содружества Независимых Государств.
С целью обеспечения соответствия структуры настоящего стандарта структуре европейского стандарта EN 81-20:2014 в настоящем стандарте в максимально возможной степени сохранена нумерация структурных элементов европейского стандарта EN 81-20:2014.
Принятый за основу европейский стандарт EN 81-20:2014 содержит современные требования безопасности к устройству и установке пассажирских и грузопассажирских лифтов, отражающие передовой международный опыт.
Настоящий стандарт является нормативной базой для нового поколения лифтов, учитывающих достижения мирового лифтостроения в совершенствовании конструкций и технологии.
Настоящий стандарт разработан при участии:
- ООО Инженерный центр "НЕТЭЭЛ" (В.Н. Абрамов, Е.И. Боксер).
0.1.1 Целью настоящего стандарта является определение требований безопасности к конструкции и установке пассажирских и грузопассажирских лифтов (грузовых лифтов, предназначенных в основном для транспортирования грузов, сопровождаемых людьми) в зданиях и сооружениях, направленных на защиту людей и объектов от рисков в период использования по назначению, технического обслуживания и аварийных ситуаций.
0.1.2 При разработке стандарта были учтены опасности и опасные ситуации, перечисление которых приведено в
разделе 4.
0.1.2.1 Настоящий стандарт устанавливает требования по обеспечению безопасности:
a) пользователей лифтами, персонала, осуществляющего техническое обслуживание, осмотр, оценку соответствия, обследование лифтов;
b) лиц, находящихся в непосредственной близости к шахте, машинному или блочному помещениям (при их наличии).
0.1.2.2 Настоящий стандарт устанавливает требования по предотвращению причинения вреда:
a) грузам в кабине лифта;
b) лифтовому оборудованию;
c) зданию, в котором установлен лифт.
Требования пожарной безопасности, вандалозащищенности и доступности лифтов для инвалидов и других маломобильных групп населения установлены в других стандартах.
0.1.3 В тех случаях, когда вес, размер и/или форма узлов, сборочных единиц и оборудования, входящих в состав лифта, не позволяет обеспечить их перемещение вручную, они должны быть спроектированы и изготовлены таким образом, чтобы обеспечивалась возможность их перемещения при помощи грузоподъемных средств.
При разработке настоящего стандарта были применены следующие принципы:
0.2.1 Настоящий стандарт не повторяет общетехнические правила, относящиеся к электрическому, механическому оборудованию и строительным конструкциям.
Требования стандарта относятся к специфике конструкции и применения лифтового оборудования.
0.2.2 Настоящий стандарт устанавливает требования к строительной части лифтов. Выполнение этих требований не относится к области ответственности лифтовых организаций.
0.2.3 Требования настоящего стандарта к применяемым материалам и оборудованию лифтов ограничены задачей обеспечения безопасности лифтов.
0.2.4 Анализ рисков, выполненный при разработке требований настоящего стандарта осуществлен по методам, предусмотренным ГОСТ ISO 14798.
0.2.5 Расчетная масса человека в стандарте принята равной 75 кг.
0.3.1 При заключении договора на поставку лифта заказчик и поставщик согласовывают:
a) назначение и предполагаемое использование лифта;
b) размеры и массу средств, планируемых к использованию для загрузки/разгрузки грузов грузопассажирских лифтов;
c) условия окружающей среды (температура, влажность и т.п.);
d) особенности установки лифта в здание, включая условия монтажа.
0.3.2 Требования к лифтовому оборудованию разработаны на основе анализа рисков и основаны на следующем:
a) применены современные методы расчета и конструирования;
b) изготовлены из материалов требуемой прочности и надлежащего качества;
c) не имеют дефектов;
d) не содержат опасных материалов (например, асбеста).
0.3.3 Лифтовое оборудование обеспечено регулярным техническим обслуживанием, ремонтом, оценкой соответствия и сохраняет нормируемые размеры в ходе эксплуатации.
0.3.4 Применяемое лифтовое оборудование обеспечивает безопасную работу лифта при прогнозируемых условиях эксплуатации, включая влияние окружающей среды.
0.3.5 Конструкция несущих элементов лифта обеспечивает безопасную работу лифта в нормальном режиме при нагрузках от 0% до 100% номинальной грузоподъемности лифта плюс допускаемая расчетная перегрузка
(п. 5.12.1.2).
0.3.6 Требования настоящего стандарта к электрическим устройствам безопасности и к устройствам безопасности, подлежащим сертификации, такие, что их отказ при выполнении требований настоящего стандарта считается маловероятным и не учитывается.
0.3.7 Пользователи защищены от возможных рисков при соблюдении ими правил пользования лифтом.
0.3.8 Если при проведении работ по техническому обслуживанию лифта устройство безопасности, обычно недоступное для пользователей, переводится в нерабочее состояние (нейтрализация), должны быть приняты компенсирующие меры безопасности для обслуживающего персонала.
Обслуживающий персонал должен иметь требуемую квалификацию и выполнять работы в соответствии с инструкцией изготовителя.
0.3.9 Статическая нагрузка на элементы конструкции лифта, создаваемая человеком, принимается:
a) 300 Н;
b) 1000 Н (эквивалентная для случая удара).
0.3.10 Требования настоящего стандарта обеспечивают безопасность для случаев выхода из строя или отказа следующего лифтового оборудования:
a) обрыв подвески, тяговых элементов;
b) обрыв или ослабление любых вспомогательных канатов, цепей или ремней;
c) выход из строя одного из механических компонентов электромеханического тормоза, участвующего в передаче тормозного усилия на тормозной барабан или диск;
d) выход из строя некоторых компонентов, кинематически связывающих электродвигатель с канатоведущим шкивом;
e) разрыв в гидравлической системе (исключая гидроцилиндр);
f) небольшие утечки рабочей жидкости в гидравлической системе (включая гидроцилиндр).
0.3.11 Считается допустимым несрабатывание ловителей в случае свободного падения кабины из стационарного положения с крайнего нижнего этажа до посадки ее на буфер(а).
0.3.12 В тех случаях, когда скорость движения кабины зависит от частоты тока источника электроснабжения лифта, принимается, что скорость движения не превысит 115% от номинальной скорости или меньшей скорости, устанавливаемой настоящим стандартом для режима "Ревизии", подхода к этажу и т.п.
0.3.13 В пространствах для размещения тяжелого оборудования лифтов должна быть предусмотрена возможность применения грузоподъемных средств для подъема и перемещения этого оборудования.
0.3.14 Температура в шахте и машинном помещении должна поддерживаться в пределах от +5 °C до +40 °C. В тех случаях, когда температурные условия окружающей среды отличаются от приведенных величин, должны быть приняты специальные меры и использованы средства для обеспечения безопасности.
При этом следует учитывать тепло, выделяемое при работе лифтового оборудования.
0.3.15 Шахта и машинное помещение должны надлежащим образом вентилироваться в соответствии с требованиями нормативных документов по строительству, учитывающими характеристики окружающей среды.
0.3.16 Проходы к зонам обслуживания оборудования должны быть надлежащим образом освещены.
0.3.17 Открытые двери и люки лифта, ограждения рабочих зон вне шахты лифта не должны перегораживать проходы, коридоры, эвакуационные пути при их использовании в соответствии с инструкциями по техническому обслуживанию лифтов.
0.3.18 В тех случаях, когда на лифте одновременно работают два или более квалифицированных лица, между ними должна быть обеспечена двусторонняя переговорная связь.
0.3.19 Рабочие жидкости, используемые в гидравлических лифтах, должны отвечать требованиям
ГОСТ 28549.5 (ISO 6743-4.82).
0.3.20 Безопасность лифтов в течение назначенного срока службы обеспечивается при условии использования лифта по назначению и выполнения требований руководства по эксплуатации лифта и другой документации изготовителя, поставляемой с лифтом.
Безопасность пользователей не может быть обеспечена при нарушении ими правил пользования лифтом.
Настоящий стандарт устанавливает общие требования безопасности к устройству и установке в зданиях, сооружениях новых пассажирских и грузопассажирских лифтов (грузовых лифтов, в которых транспортирование грузов осуществляется в сопровождении людей) с приводом трения, приводом с барабаном или звездочкой и гидравлических лифтов.
| | ИС МЕГАНОРМ: примечание. Нумерация пунктов дана в соответствии с официальным текстом документа. | |
1.2 В тех случаях, когда лифты предназначены для работы в специальных условиях (обеспечение доступности для инвалидов и других маломобильных групп населения, транспортирование пожарных подразделений во время пожара, возможное преднамеренное повреждение лифтового оборудования в результате вандальных действий, при сейсмическом воздействии и т.п.) в дополнение к требованиям настоящего стандарта следует предусмотреть выполнение специальных требований, обеспечивающих безопасность, указанных в других стандартах.
1.3 Настоящий стандарт не распространяется:
- на лифты с приводом, отличающимися от указанных в
1.1;
- гидравлические лифты со скоростью движения более 1,0 м/с;
- грузовые лифты, предназначенные для транспортирования грузов без сопровождения людьми;
- лифты, устанавливаемые в шахтах горной и угольной промышленности;
- лифты на судах и иных плавучих средствах;
- лифты на платформах для разведки и бурения на море;
- лифты на самолетах и летательных аппаратах;
- лифты для строительства и технического обслуживания ветряных вышек;
- театральные и тротуарные лифты;
- новые пассажирские и грузопассажирские лифты, устанавливаемые в существующие здания, в которых из-за особенностей строительной части требования настоящего стандарта не могут быть выполнены полностью;
- лифты на транспортных средствах;
- лифты, изготовленные по ранее действующим нормативно-техническим документам (стандартам, техническим условиям и т.п.);
- обеспечение безопасности при выполнении транспортирования, монтажа в здании, проведении ремонтных работ.
1.4 Настоящий стандарт может быть использован в качестве нормативной базы для модернизации лифтов.
1.5 Шум и вибрация в настоящем стандарте не рассматриваются в качестве опасных факторов работы лифта.
1.6 Настоящий стандарт может быть использован на добровольной основе для соблюдения общих требований безопасности
[1].
В настоящем стандарте использованы нормативные ссылки на следующие межгосударственные стандарты:
ГОСТ 14254-96 (IEC 529-89, CEi70-1, EN 60529) Степени защиты, обеспечиваемые оболочками (код IP)
ГОСТ 28549.5-90 (ISO 6743-4.82) Смазочные материалы, индустриальные масла и родственные продукты (класс L). Классификация. Группа H (гидравлические системы)
ГОСТ EN 12385-5-2014 Канаты стальные. Безопасность. Часть 5. Канаты двойной свивки для лифтов
ГОСТ ISO 13857-2012 (ISO 13857:2008) Безопасность машин. Безопасные расстояния для предохранения верхних и нижних конечностей от попадания в опасную зону
ГОСТ ISO 14798 Лифты пассажирские, эскалаторы и пассажирские конвейеры. Методика анализа и снижения риска
ГОСТ IEC 60227-6-2011 Кабели с поливинилхлоридной изоляцией на номинальное напряжение до 450/750 В включительно. Лифтовые кабели и кабели для гибких соединений
ГОСТ IEC 60245-5-2011 Кабели с резиновой изоляцией на номинальное напряжение до 450/750 В включительно. Лифтовые кабели
Примечание - При пользовании настоящим стандартом целесообразно проверить действие ссылочных стандартов в информационной системе общего пользования - на официальном сайте Федерального агентства по техническому регулированию и метрологии в сети Интернет или по ежегодному информационному указателю "Национальные стандарты", который опубликован по состоянию на 1 января текущего года, и по выпускам ежемесячного информационного указателя "Национальные стандарты" за текущий год. Если ссылочный стандарт заменен (изменен), то при пользовании настоящим стандартом, следует руководствоваться заменяющим (измененным) стандартом. Если ссылочный стандарт отменен без замены, то положение, в котором дана ссылка на него, применяется в части, не затрагивающей эту ссылку.
В настоящем стандарте применены термины по
ГОСТ 33605, а также следующие термины с соответствующими определениями:
3.1 верхний этаж: Часть шахты, расположенная между уровнем пола верхней этажной площадки и перекрытием шахты.
3.2 гидроцилиндр: Сочетание цилиндра и плунжера, образующее элемент гидравлического привода.
3.3 гидроцилиндр одностороннего действия: Гидроцилиндр, перемещение которого в одном направлении осуществляется под воздействием рабочей жидкости гидросистемы, а в другом - под воздействием силы тяжести.
3.4 грузопассажирский лифт: Лифт, предназначенный в основном для транспортирования грузов, которые обычно сопровождаются людьми.
3.5 интегрированный уровень безопасности: Дискретный уровень (один из возможных трех) для установления требований безопасности, которому должны соответствовать программируемые электронные системы безопасности. При этом интегрированный уровень безопасности 3 имеет наивысший уровень безопасности, а интегрированный уровень безопасности 1 - наименьший уровень безопасности.
3.6 канат безопасности: Вспомогательный канат, прикрепленный к кабине, противовесу или уравновешивающему грузу и включающий ловители при обрыве одного или нескольких тяговых элементов.
3.7 лифт с позитивным приводом: Лифт, кабина которого приводится в движение без использования канатоведущих шкивов или барабанов трения при непосредственном воздействии на кабину канатов, цепей или звездочек.
3.8 лифт с приводом трения: Лифт, который оборудован лебедкой с канатоведущим шкивом или барабаном трения.
3.9 ловители: Механическое устройство для остановки при движении вниз или вверх и удержания на направляющих кабины лифта, противовеса или уравновешивающего груза в случае превышения кабиной лифта допустимой скорости движения или обрыва тяговых элементов.
3.10 машинное оборудование: Оборудование, включающее в себя шкаф управления, привод лифта, главный выключатель и панель управления.
3.11 номинальная грузоподъемность (номинальная нагрузка, номинальный груз): Масса груза, на перевозку которого рассчитан лифт в режиме нормальной работы, которая может включать в себя массу используемых для загрузки/разгрузки кабины грузоподъемных средств.
3.12 ограничительный дроссель: Клапан, в котором впускное и выпускное отверстия соединены через ограничительный канал установленного сечения.
3.13 повторное выравнивание: Перемещение кабины лифта после ее остановки на этаже с незакрытыми и незапертыми дверями кабины и шахты для повышения точности остановки при загрузке, разгрузке кабины.
3.14 подвесной кабель: Гибкий электрический кабель, соединяющий кабину лифта и точку подачи электропитания.
3.15 пользователь: Человек, пользующийся лифтом, включая пассажиров, лиц, ожидающих лифт на этажах, и уполномоченных лиц.
3.16 предварительная операция: Подача электропитания на привод и тормоз/гидравлический клапан для подготовки движения в нормальном режиме кабины, находящейся в зоне отпирания дверей с открытыми и незапертыми дверями (см.
приложение G).
3.17 привод лифта: Часть лифта, которая осуществляет передвижение и остановку кабины лифта, включающая в себя, в общем случае, электродвигатель, редуктор, тормоз, канатоведущий шкив (звездочки) и барабан (для лифтов с приводом трения, с позитивным приводом) или насос, электродвигатель насоса, гидроцилиндр и управляющие клапаны (для гидравлических лифтов).
3.18 программируемая электронная система безопасности лифтов: Система управления, защиты или мониторинга, включающая в себя одно или несколько программируемых электронных устройств, содержащих все элементы системы: средства подачи электропитания, датчики и другие входные устройства, каналы передачи данных и связи, исполнительные и другие выходные устройства, применяемые для обеспечения безопасности, как указано в
таблице A.1 приложения A.
3.19 пространство для машинного оборудования: Пространство внутри или снаружи шахты лифта, в котором полностью или частично размещены машинное оборудование и зоны обслуживания машинного оборудования.
3.20 рама (каркас): Металлическая конструкция, несущая кабину лифта, противовес или уравновешивающий груз, к которой присоединены тяговые элементы лифта. В состав могут входить элементы, являющиеся частью ограждения кабины.
3.21 самопроизвольное (непреднамеренное) движение кабины: Не инициированное командой из системы управления движение кабины лифта с открытыми дверями от этажа в зоне отпирания дверей шахты, исключая перемещение кабины при загрузке/разгрузке.
3.22 система управления приводом: Система, управляющая и контролирующая работу привода лифта.
3.23 специальный инструмент: Инструмент, предназначенный специально для работы с лифтовым оборудованием при техническом обслуживании и освобождении пассажиров из остановившейся в шахте кабины.
3.24 срабатывание ограничителя скорости: Процесс, в результате которого ограничитель скорости создает в элементе, воздействующем на механизм включения ловителей (канат, ремень и др.) усилие, достаточное для срабатывания ловителей.
3.25 срабатывание электрического устройства безопасности: Процесс, в результате которого электрическое устройство безопасности размыкает электрическую цепь безопасности.
3.26 точность остановки кабины: Расстояние по вертикали между порогом двери шахты и порогом кабины лифта автоматически остановившейся на этаже в режиме нормальной работы после полного открывания дверей.
3.27 упор: Механическое устройство для предотвращения опускания и подъема кабины и удержания ее фиксирующими элементами.
3.28 уравновешивающий груз (уравновешивающее устройство): Часть лифта, предназначенная для уравновешивания части или всей массы кабины и снижения энергопотребления лифта.
3.29 устройство безопасности: Техническое средство для обеспечения безопасности лифта.
Примечание - В [1] установлены перечни устройств безопасности лифта, подлежащих обязательной сертификации.
В настоящем стандарте предусмотрены дополнительно к вышеуказанным другие устройства, которые могут быть идентифицированы по своим функциям как устройства безопасности, требующие подтверждения соответствия требованиям настоящего стандарта.
3.30 фартук: Гладкий вертикальный щит, устанавливаемый под порогом кабины или порогом дверного проема шахты.
3.31 цепь безопасности: Электрическая цепь, включающая в себя контакты и/или электронные компоненты, предназначенные для выполнения функций электрических устройств безопасности.
3.32 электрическая цепь безопасности: Совокупность электрических устройств безопасности, соединенных таким образом, чтобы при срабатывании одного из них обеспечивалась автоматическая остановка или предотвращение движения лифта.
4. Перечень существенных опасностей
Этот раздел содержит все существенные опасности, опасные ситуации и события, поскольку они имеют отношение к настоящему стандарту, определяемые оценкой степени риска для этого типа машинного оборудования и теми действиями, которые необходимо принять для исключения или уменьшения риска, приведенные в таблице 1.
Таблица 1
Перечень существенных опасностей
Опасности | Соответствующие пункты |
1 | Механические опасности вследствие: | |
ускорения, замедления (кинетическая энергия) | |
приближения подвижного элемента к неподвижной части | |
падающих предметов | |
силы тяжести (потенциальной энергии) | |
высоты над уровнем земли | |
высокого давления | |
движущихся элементов | |
вращающихся элементов | |
грубой, скользкой поверхности | |
стабильности | |
устойчивости | |
прочности: | |
- частей машины или рабочих мест, например: - накопления энергии внутри машинного оборудования, например: | |
опасность разрушения | |
опасность среза | |
опасность запутывания | |
опасность защемления или захвата | |
опасность удара | |
скольжение, расцепление и падение людей (относительно машинного оборудования): | |
- неконтролируемая амплитуда движений | |
- недостаточная механическая прочность частей | |
- неправильная конструкция шкивов, барабанов | |
- падение человека | |
2 | Электрические опасности: | |
дуговой разряд | |
части, находящиеся под напряжением | |
перегрузка | |
части, оказавшиеся в неисправном состоянии | |
короткое замыкание | |
тепловое излучение | |
3 | Тепловые опасности: | |
предметы или материалы с высокой или низкой температурой | |
излучение от источников тепла | |
4 | Опасности, вызываемые излучением: | |
низкочастотное электромагнитное излучение | |
радиочастотное электромагнитное излучение | |
5 | Опасности, вызываемые материалами и веществами: | |
пыль | |
волокно | |
текучие среды | |
6 | Опасности, вызываемые пренебрежением эргономических принципов в проектировании машинного оборудования, как, например, опасности из-за: | |
доступа | |
конструкции или расположения индикаторов и дисплеев | |
конструкции, расположения или идентификации устройств управления | |
приложения усилий | |
местного освещения | |
повторяющихся действий | |
видимости | |
7 | Опасности, связанные с условиями окружающей среды, в которых используется лифт: | |
пыль и туман | |
влажность | |
температура | |
вода | |
| | ИС МЕГАНОРМ: примечание. В официальном тексте документа, видимо, допущена опечатка: пункт 5.7.2.3.1 a) 2) отсутствует. | |
|
| ветер | 5.7.2.3.1 a) 2) |
неисправность источника питания | |
неисправность цепей управления | |
| | ИС МЕГАНОРМ: примечание. В официальном тексте документа, видимо, допущена опечатка: пункт 5.2.7 отсутствует. | |
|
| неожидаемый пуск, неожидаемое превышение скорости (или любая подобная неисправность) при восстановлении работы источника питания после перерыва | |
5. Требования безопасности и/или защитные меры
5.1.1 Пассажирские и грузопассажирские лифты (грузовые лифты, предназначенные в основном для транспортирования грузов в сопровождении людей) должны удовлетворять требованиям безопасности и/или мерам защиты, установленным в последующих разделах настоящего стандарта.
5.1.2 Правила пользования лифтом, размещенные в кабине, а также таблички, маркировки должны быть надежно закреплены, выполнены из прочного материала и расположены на видном месте.
5.1.3 При применении технических решений, отличающихся от регламентированных или непредусмотренных настоящим стандартом, должен быть выполнен анализ риска, дополненный в необходимых случаях расчетами, чертежами и результатами испытаний, подтверждающими безопасность как их технических решений, так и их соответствия требованиям [1].
5.2. Шахта, пространства для размещения машинного оборудования и места для расположения шкивов
5.2.1.1 Размещение лифтового оборудования
5.2.1.1.1 Все лифтовое оборудование должно быть расположено в шахте или в пространствах для размещения машинного оборудования или в блочных помещениях, за исключением устройств управления и сигнальных устройств, расположенных снаружи шахты.
5.2.1.1.2 Если оборудование разных лифтов находится в одном машинном помещении и/или блочном помещении, каждый лифт должен быть идентифицирован номером, буквой или цветом для всех составных частей лифта (привода, шкафа управления, ограничителя скорости, отводных блоков и т.п.).
5.2.1.2 Исключительное использование шахты, машинного и блочного помещения
5.2.1.2.1 В помещениях с размещенным оборудованием лифта установка оборудования и прокладка коммуникаций, не относящихся к лифту, не допускается.
Допускается размещение в этих помещениях следующего оборудования:
a) механизмы и приспособления для обслуживания лифта;
b) оборудование для вентиляции, кондиционирования или обогрева воздуха, за исключением парового отопления этих помещений и шахты лифта;
c) охранная и пожарная сигнализация этих помещений;
d) оборудование пожаротушения этих помещений.
5.2.1.2.2 В машинном помещении могут быть расположены приводы разных типов лифтов, в том числе лифтов, на которые не распространено действие настоящего стандарта (например, грузовые лифты, предназначенные для перевозки грузов без сопровождения людей).
5.2.1.2.3 В случае частично огражденной шахты лифта по
5.2.5.2.2 она рассматривается как шахта:
a) внутри ограждения, в тех местах, где имеется ограждение;
b) в пределах горизонтального расстояния 1,50 м от подвижных частей лифта, в тех местах, где отсутствует ограждение.
5.2.1.3 Вентиляция шахты, пространств для размещения машинного оборудования и блочного помещений <*>
--------------------------------
<*> Вентиляция не относится к области ответственности лифтовых организаций.
В шахте, пространствах для размещения машинного оборудования и блочном помещении не допускается размещать оборудование для вентиляции помещений, не относящихся к лифту.
Принудительная вентиляция должна быть такой, чтобы была исключена возможность попадания пыли, влаги и испарений на электрооборудование, кабели и провода.
5.2.1.4 Освещение
5.2.1.4.1 В шахте должно быть установлено стационарное электрическое освещение, обеспечивающее указанную ниже освещенность при закрытых дверях шахты в любом положении кабины на всем пути ее перемещения в шахте:
a) не менее 50 люкс на расстоянии 1,0 м над крышей кабины в ее вертикальной проекции;
b) не менее 50 люкс на расстоянии 1,0 м над полом приямка в любом месте, где человек может стоять, работать и/или передвигаться между зонами обслуживания;
c) не менее 20 люкс за пределами местоположений, определенных в
пунктах a) и
b), исключая затенения, создаваемые кабиной или другими элементами лифта.
Для достижения необходимого уровня освещенности в шахте должно быть установлено достаточное количество светильников, и, при необходимости, дополнительный светильник - на крыше кабины лифта.
Светильники должны иметь защиту от механических повреждений.
Электропитание на эту систему освещения следует подавать в соответствии с
5.10.7.1.
Примечание - Для специальных задач может потребоваться дополнительное переносное освещение, например с помощью фонаря.
5.2.1.4.2 Пространства для размещения машинного оборудования и блочные помещения должны быть оборудованы стационарным электрическим освещением, обеспечивающим освещенность не менее 200 люкс на уровне пола в зонах обслуживания оборудования и 50 люкс на уровне пола в проходах к зонам обслуживания оборудования. Электропитание на эту систему освещения следует подавать в соответствии с
5.10.7.1.
Примечание - Освещение пространств для размещения машинного оборудования может быть частью освещения шахты.
5.2.1.5 Электрооборудование в приямке, пространствах для размещения машинного оборудования и блочных помещениях
5.2.1.5.1 В приямке лифта должны быть установлены:
a) Останавливающее устройство (кнопка "Стоп", выключатель и др.) по
5.12.1.11, видимое и доступное с пола приямка и через дверной проем, предназначенный для входа в приямок.
В зависимости от глубины приямка следует устанавливать одно или два останавливающих устройства:
1) Для приямков с глубиной не более 1,60 м управляющий элемент останавливающего устройства (кнопка, ручка и т.д.) должен быть расположен в пределах:
- вертикального расстояния не менее 0,40 м над уровнем пола нижней остановки и не более 2,0 м над уровнем пола приямка;
- горизонтального расстояния не более 0,75 м от крайних точек порога в зоне дверного проема.
2) Для приямков глубиной более 1,60 м должно быть обеспечено наличие двух останавливающих устройств:
- управляющий элемент верхнего останавливающего устройства должен быть расположен в пределах вертикального расстояния не менее 1,0 м над уровнем пола нижней посадочной площадки и в пределах горизонтального расстояния не более 0,75 м от крайних точек порога в зоне дверного проема;
- управляющий элемент нижнего останавливающего устройства должен быть расположен в пределах максимального вертикального расстояния 1,20 м над уровнем пола приямка.
Примечание - Нижнее останавливающее устройство может быть совмещено с постом управления по
перечислению b).
3) Для приямков с глубиной более 2,50 м, где доступ в приямок осуществляется через дверь по
5.2.2.4, перечисление a), управляющий элемент останавливающего устройства должен быть расположен в пределах горизонтального расстояния не более 0,75 м от дверного проема двери доступа в приямок.
Если имеются две двери шахты на одном и том же уровне, обеспечивающие доступ в приямок, то одна из них должна быть определена как дверь доступа в приямок, имеющая оборудование доступа.
b) Стационарный пост управления лифтом из приямка согласно
5.12.1.5, который должен располагаться в пределах 0,30 м от пространства безопасности для персонала.
d) Выключатель освещения шахты (см.
5.2.1.4.1), расположенный в пределах максимального горизонтального расстояния 0,75 м от дверного проема двери доступа в приямок и на высоте не менее 1,0 м над уровнем пола приямка.
5.2.1.5.2 В пространствах для размещения машинного оборудования и в блочных помещениях должны быть установлены:
a) выключатель освещения этих помещений и пространств, доступный только для уполномоченных лиц, расположенный вблизи к каждой точке доступа;
b) не менее одной розетки (см.
5.10.7.2) для каждой зоны обслуживания;
c) останавливающее устройство согласно
5.12.1.11, установленное около входной двери внутри блочного помещения.
5.2.1.6 Экстренный вызов персонала
Если отсутствуют средства, позволяющие самостоятельно освободится персоналу, заблокированному в шахте, места, где существует риск для персонала быть заблокированным (см.
5.2.1.5.1,
5.2.6.4,
5.4.7), должны быть оборудованы устройствами экстренного вызова или
предусмотрена возможность подключения к двусторонней переговорной связи с обслуживающим персоналом. Эти устройства должны быть доступны из пространства безопасности для персонала.
5.2.1.7 Погрузочно-разгрузочное оборудование
Для подъема тяжелого оборудования в пространствах для размещения машинного оборудования и, при необходимости, под верхним перекрытием шахты должно(ы) быть установлено(ы) устройство(а), предназначенное(ые) для подвески грузоподъемных средств. На этом(их) устройстве(ах) или рядом с ним(и) должна быть указана его (их) грузоподъемность или допустимая нагрузка.
5.2.1.8 Требования к строительной части <*>
--------------------------------
<*> Выполнение требований настоящего пункта не относится к области ответственности лифтовых организаций.
5.2.1.8.1 Строительная часть лифта для размещения оборудования должна быть рассчитана на нагрузки, возникающие при эксплуатации и испытаниях лифта, и соответствовать действующим строительным нормам и правилам.
5.2.1.8.2 Ограждение шахты должно обладать такой механической прочностью, чтобы выдерживать приложенное под прямым углом к ограждению в любой точке усилие 1000 Н, равномерно распределенное по площади 0,09 м2 круглого или квадратного сечения, при этом:
a) остаточная деформация ограждения шахты не должна превышать 1 мм;
b) упругая деформация ограждения шахты не должна превышать 15 мм.
5.2.1.8.3 Стеклянные панели (плоские или формованные), применяемые для ограждения шахты, должны быть изготовлены из многослойного стекла. Такое ограждение шахты, включая элементы крепления стеклянных панелей, должно выдерживать без остаточной деформации воздействие горизонтальной статической нагрузки в 1000 Н, распределенной по площади 0,09 м2, приложенной в любой точке как изнутри, так и снаружи шахты.
| | ИС МЕГАНОРМ: примечание. В официальном тексте документа, видимо, допущена опечатка: пункт 5.7.2.3.5 отсутствует. | |
5.2.1.8.4 Пол приямка под каждой из направляющих лифта, за исключением случая подвесных направляющих, должен быть рассчитан на нагрузку, создаваемую массой направляющих в сумме с усилием, возникающим в момент срабатывания ловителей (см. 5.7.2.3.5).
5.2.1.8.5 Пол приямка под опорами буфера кабины должен быть рассчитан не менее чем на четырехкратную статическую нагрузку, создаваемую массой полностью нагруженной кабины, равномерно распределенную между общим числом буферов кабины и определяемую по формуле
F = 4·gn·(P + Q), (1)
где F - суммарная вертикальная сила, Н;
gn - ускорение свободного падения (9,81 м/с2);
P - масса кабины и конструктивных элементов, которые подвешиваются к кабине (часть подвесного кабеля, компенсирующих канатов/цепей, если используются, и т.п.), кг;
Q - грузоподъемность лифта (масса), кг.
5.2.1.8.6 Пол приямка под опорами буфера противовеса должен быть рассчитан не менее чем на четырехкратную статическую нагрузку, создаваемую массой противовеса (уравновешивающего груза), равномерно распределенную между общим числом буферов противовеса (уравновешивающего груза), определяемую по формуле
F = 4·gn·(P + q·Q), (2)
где F - суммарное усиление, Н;
gn - ускорение свободного падения (9,81 м/с2);
P - масса кабины и конструктивных элементов, которые подвешиваются к кабине (часть подвесного кабеля, компенсирующих канатов/цепей, если используются, и т.п.), кг;
Q - номинальная грузоподъемность лифта (масса), кг;
q - коэффициент уравновешивания, означающий величину уравновешивания номинальной грузоподъемности противовесом.
5.2.1.8.7 В гидравлических лифтах пол приямка под гидроцилиндром должен быть рассчитан на нагрузки и силы, Н, воздействующие на него.
5.2.1.8.8 В гидравлических лифтах суммарная вертикальная сила, воздействующая на буфер, может быть приблизительно определена по формуле
1) для лифтов с энергонакопительными буферами

; (3)
2) для лифтов с энергорассеивающими буферами

, (4)
где F - суммарное усилие (Н), воздействующее на буферное устройство;
gn - ускорение свободного падения (9,81 м/с2);
n - количество буферных устройств;
P - масса кабины и конструктивных элементов, которые подвешиваются к кабине (часть подвесного кабеля, компенсирующих канатов/цепей, если используются, и т.п.), кг;
Q - номинальная грузоподъемность лифта (масса), кг.
5.2.1.8.9 Поверхности стен, полов и потолков
Поверхности стен, полов и потолков шахты, машинных и блочных помещений должны быть выполнены из прочных материалов, не способствующих образованию пыли.
Поверхность пола в зонах обслуживания и проходах к зонам обслуживания должна быть выполнена из нескользкого материала.
Пол в зонах обслуживания должен быть ровным, за исключением любых оснований под буферы, направляющие и водосливных устройств.
После установки крепежных элементов направляющих, буферов и т.п. приямок должен быть защищен от попадания в него грунтовых вод.
Для гидравлических лифтов пространство, в котором располагаются гидропривод и приямок, должно быть спроектировано таким образом, чтобы они были защищены от попадания в них грунтовых вод и непроницаемы для гидравлической жидкости, содержащейся в системе гидропривода.
5.2.2. Доступ в шахту, пространства для размещения машинного оборудования и блочное помещение
5.2.2.1 Шахта, пространства для размещения машинного оборудования, блочное помещение должны быть доступны для уполномоченных лиц (см. также
приложение B).
5.2.2.2 Пространства, расположенные перед любой дверью или люком, предназначенными для доступа в шахту, в пространства для размещения машинного оборудования или в блочное помещение, должны быть оборудованы стационарным электрическим освещением, обеспечивающим освещенность не менее 50 люкс на уровне пола.
5.2.2.3 Если доступ к лифту для выполнения работ по техническому обслуживанию или по освобождению пассажира из кабины остановившегося лифта осуществляется через частные владения, то владелец должен обеспечить доступ уполномоченных лиц.
5.2.2.4 Вход в приямок может быть осуществлен через дверной проем приямка либо через двери шахты в следующих случаях:
a) если глубина приямка превышает 2,50 м, то вход в приямок осуществляют через дверь приямка;
b) если глубина приямка не превышает 2,50 м, то вход в приямок осуществляют либо через дверь доступа, либо по стационарному или приставному устройству (лестница, скобы и т.д.), установленному внутри шахты и доступному из дверного проема шахты.
Любая дверь доступа в приямок должна соответствовать требованиям
5.2.3.
Если существует риск, что приставная лестница в рабочем положении будет находиться в зоне перемещения элементов лифта, то положение приставной лестницы должно контролироваться электрическим(и) устройством(ами) безопасности в соответствии с
5.11.2 для предотвращения работы лифта, если приставная лестница не находится в положении хранения.
5.2.2.5 Должен быть обеспечен безопасный доступ персонала в пространства для размещения машинного оборудования и блочное помещение. Предпочтительно, чтобы вход был обеспечен посредством стационарных лестниц. Если невозможно использование стационарной лестницы, тогда должны быть применены приставные лестницы, удовлетворяющие перечисленным ниже требованиям:
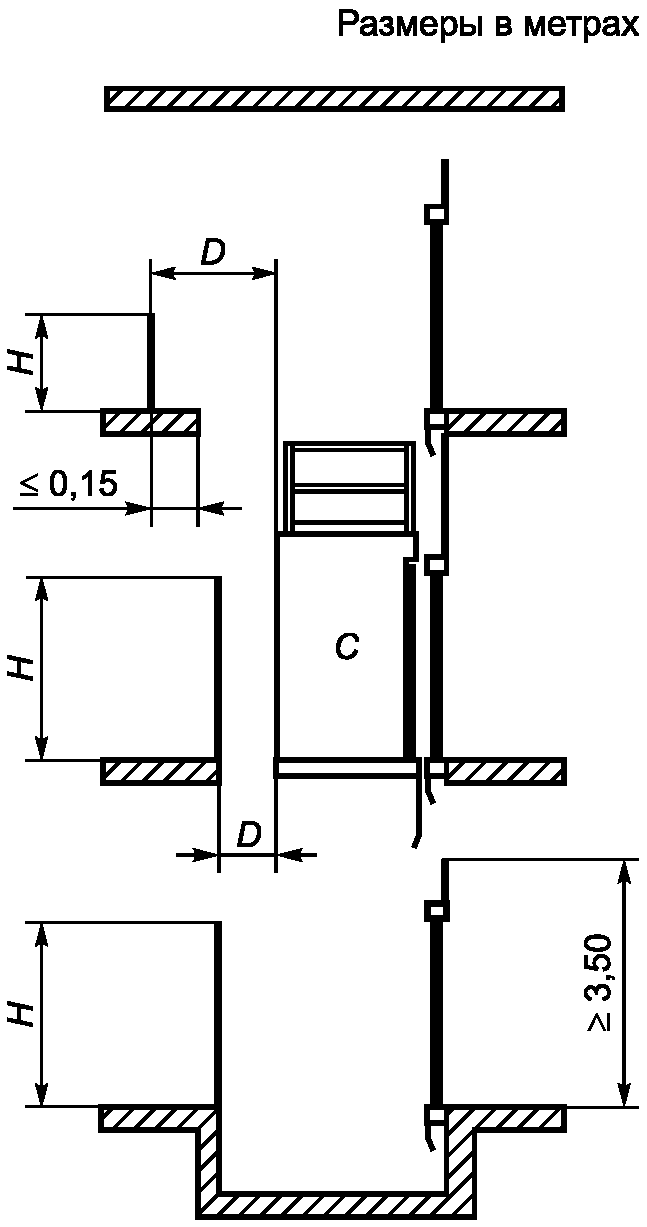
a) вход в пространства для размещения машинного оборудования и блочные помещения не должен находиться на высоте более чем на 4 м выше уровня пола, доступного со стационарной лестницы.
В случае доступа с приставной лестницы на высоту свыше 3 м должна быть обеспечена защита от падения;
b) приставные лестницы должны быть закреплены в месте их применения на постоянной основе или, по меньшей мере, при помощи каната либо цепи таким образом, чтобы они не могли быть перенесены в другое место;
c) приставные лестницы высотой свыше 1,5 м в рабочем положении для доступа должны образовывать угол от 65° до 75° по отношению к горизонтали и защищены от опасности скольжения или переворачивания;
d) габаритная ширина приставной лестницы должна быть не менее 0,35 м, глубина ступенек - не менее 25 мм, а в случае вертикальных приставных лестниц расстояние между ступеньками и стеной позади лестницы - не менее 0,15 м. Ступеньки должны быть рассчитаны на нагрузку не менее 1500 Н;
e) рядом с верхним концом приставной лестницы должна находиться по меньшей мере одна легкодоступная стационарно установленная ручка (скоба);
f) вокруг приставной лестницы, в пределах горизонтального расстояния 1,50 м, должен быть предотвращен риск падения с высоты, превышающей высоту приставной лестницы.
5.2.3. Двери доступа, аварийные двери, люки доступа, смотровые люки
5.2.3.1 При расстоянии между порогами проемов дверей шахты на смежных этажах более 11 м должно быть выполнено одно из условий:
a) должны быть установлены промежуточные аварийные двери таким образом, чтобы расстояние по высоте между порогами проемов дверей не превышало 11 м; или
b) должна быть обеспечена возможность перехода пассажиров из кабины одного лифта в кабину соседнего лифта через аварийные двери кабин, конструкция которых соответствует требованиям
5.4.5.2.
Примечание - Термин "смежные" означает два соседних этажа, независимо от расположения дверей шахты (например, для проходной и непроходной кабин).
5.2.3.2 Двери доступа, аварийные двери, люки доступа и смотровые люки должны иметь следующие размеры:
a) двери доступа в машинные помещения и двери доступа в шахту должны иметь в свету минимальную высоту 2,0 м и минимальную ширину 0,60 м;
b) двери доступа в блочное помещение должны иметь в свету минимальную высоту 1,40 м и минимальную ширину 0,60 м;
c) люки для доступа людей в машинные и блочные помещения должны иметь размер в свету не менее 0,80 x 0,80 м. Крышки люков должны быть уравновешены соответствующим грузом;
d) аварийные двери должны иметь в свету минимальную высоту 1,80 м и минимальную ширину 0,50 м;
e) смотровые люки должны иметь в свету минимальную высоту 0,50 м и минимальную ширину 0,50 м.
5.2.3.3 Двери доступа, аварийные двери и смотровые люки должны:
a) открываться наружу шахты, машинного или блочного помещений;
b) быть снабжены замком, отпираемым ключом и способным закрываться и запираться без ключа;
c) быть способными открываться изнутри шахты, машинного или блочного помещений без ключа, даже когда они заперты.
Люки, используемые для подачи материалов и оборудования, могут запираться только изнутри;
d) быть оборудованы электрическим устройством безопасности согласно
5.11.2, контролирующим их закрытое положение.
Электрическое устройство безопасности не требуется:
- для двери(ей) доступа в машинное или блочное помещения,
- если дверь доступа в приямок (см.
5.2.2.4) не открывает доступ к опасной зоне. Это относится к случаю, когда свободное вертикальное расстояние между самыми нижними частями кабины, противовеса или уравновешивающего груза, включая направляющие башмаки, фартук и т.п., во время нормальной работы и уровнем пола приямка составляет не менее 2 м.
Наличие в приямке подвесных кабелей, компенсирующих канатов/цепей, натяжных устройств каната ограничителя скорости и подобных установок не считается опасным для люков, используемых для подачи материалов и оборудования в машинное или блочное помещение;
e) быть сплошными, удовлетворять тем же требованиям по механической прочности, что и двери шахты, и соответствовать требованиям правил пожарной безопасности здания, в котором установлен лифт;
f) иметь такую механическую прочность, чтобы выдерживать нагрузку в 1000 Н, равномерно распределенную по площади 0,09 м2 круглого или квадратного сечения и приложенную под прямым углом в любой точке снаружи шахты. При этом упругая деформация должна быть не более 15 мм.
5.2.3.4 Люки доступа в закрытом положении должны выдерживать нагрузку в 2000 Н, приложенную в любом месте на площади 0,04 м2 круглого или квадратного сечения.
Крышки люков не должны открываться вниз. Петли крышек люков (при их наличии) должны быть неразъемными.
Когда люк находится в открытом положении, должны быть приняты меры для предотвращения возможности падения людей (например, установлены перила) и самопроизвольного закрывания люка.
5.2.4. Предупреждающие надписи
5.2.4.1 Снаружи дверей и люков для доступа в машинное или блочное помещение должна быть нанесена предупреждающая надпись: "Машинное/блочное помещение лифта. Вход посторонним запрещен!".
В том случае, когда вход в машинное или блочное помещение осуществляется через люк, в этих помещениях около люков, на видном месте должна быть сделана предупреждающая надпись:
"Опасность падения - закройте люк".
5.2.4.2 Снаружи шахты, около дверей доступа и аварийных дверей, при их наличии, должна быть нанесена предупреждающая надпись (плакат): "Шахта лифта - Опасно! Вход посторонним воспрещен".
5.2.5.1.1 В шахте лифта может быть размещено оборудование одного или нескольких лифтов.
5.2.5.1.2 Противовес или уравновешивающий груз лифта должен находиться в той же шахте, что и кабина лифта.
5.2.5.1.3 У гидравлического лифта гидроцилиндр должен находиться в той же шахте, что и кабина лифта. Гидроцилиндры могут быть установлены ниже уровня пола приямка лифта или в других пространствах.
5.2.5.2. Ограждение шахты
5.2.5.2.1 Общие положения
Лифт должен быть отделен от других частей здания:
a) стенами, полом и верхним перекрытием (потолком); или
b) пространством, достаточным для обеспечения безопасности
5.2.5.2.3.
5.2.5.2.2 Полностью огражденная шахта
5.2.5.2.2.1 Шахта лифта должна быть полностью ограждена сплошными стенами, полом и потолком.
В ограждении шахты лифта допускаются:
a) проемы для дверей шахты;
b) проемы для дверей доступа, аварийных дверей в шахте и смотровых люков;
c) выпускные отверстия для удаления газов и дыма в случае пожара;
d) вентиляционные отверстия;
e) отверстия, необходимые для работы лифта, между шахтой и машинным или блочным помещением.
| | ИС МЕГАНОРМ: примечание. В официальном тексте документа, видимо, допущена опечатка: пункт 5.4.7.4 отсутствует. | |
5.2.5.2.2.2 Любой горизонтальный выступ от стены в шахту или горизонтальная балка шириной более 0,15 м, включая разделительные балки, должны препятствовать стоянию на них человека, за исключением тех случаев, когда крыша кабины оборудована перильными ограждениями по 5.4.7.4.
Защита должна быть выполнена одним из следующих способов:
a) выступ шириной более 0,15 м должен иметь скос под углом не менее 45° к горизонтали; или
b) элемент ограждения выступа, образующий скос под углом не менее 45° к горизонтали, должен выдерживать нагрузку в 300 Н, приложенную под прямыми углами к скосу в любой точке и равномерно распределенную по поверхности площадью 5 см2 круглого или квадратного сечения. При этом:
- остаточная деформация не допускается,
- упругая деформация элемента ограждения выступа не должна превышать 15 мм.
5.2.5.2.3 Частично огражденная шахта
Допускается частичное ограждение шахты лифта. При этом:
a) высота ограждения в местах, доступных для людей (этажные площадки, ступени лестниц, примыкающие к шахте балконы и т.д.), должна быть достаточной для обеспечения защиты людей:
1) от соприкосновения с движущимися частями лифта и
2) от нарушения безопасной работы лифта в результате соприкосновения с оборудованием внутри шахты людей непосредственно или посредством предметов, которые они держат в руках;
b) высота ограждения должна соответствовать данным
рисунков 1 и
2:
1) со стороны двери шахты - минимум 3,50 м,
2) минимум 2,50 м с других сторон при минимальном горизонтальном расстоянии 0,50 м до движущихся частей лифта.
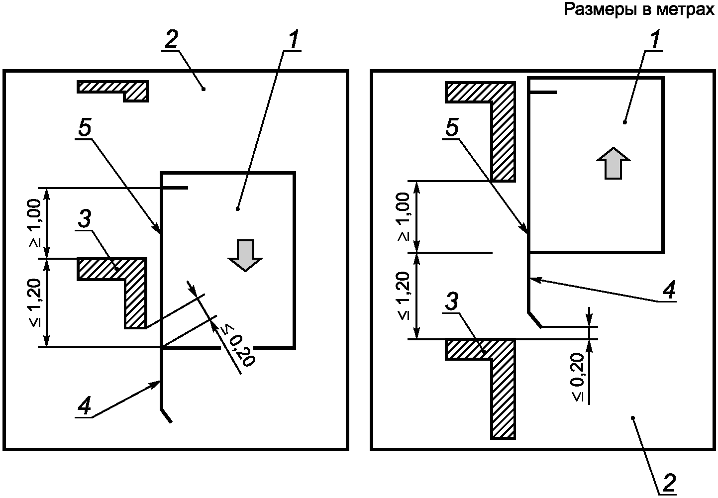
Если расстояние до движущихся частей лифта превышает 0,50 м, высота 2,50 м может быть постепенно уменьшена до минимальной высоты 1,10 м на расстоянии 2,0 м;
c) ограждение шахты должно быть сплошным;
d) ограждение шахты должно располагаться в пределах 0,15 м от краев перекрытий, стационарных лестниц или их площадок (см.
рисунок 1) или иметь откосы в соответствии с
5.2.5.2.2.2;
| | ИС МЕГАНОРМ: примечание. В официальном тексте документа, видимо, допущена опечатка: пункт 7.2.2 отсутствует. | |
e) должны быть приняты меры для предотвращения нарушения работы лифта со стороны другого оборудования [см.
5.2.1.2.3, перечисление b) и 7.2.2, перечисление c)];
f) для лифтов, подверженных воздействию погодных условий, например для лифтов, установленных на внешних стенах здания, должны быть приняты специальные меры защиты и исполнения оборудования.
C - кабина; D - расстояние до движущихся частей лифта
Рисунок 1 - Частично огражденная шахта
Рисунок 2 - Частично огражденная шахта - расстояния
до движущихся частей лифта
5.2.5.3. Конструкция стен шахты и дверей шахты, обращенных в сторону входа в кабину
5.2.5.3.1 Горизонтальное расстояние между внутренней поверхностью шахты и порогом, наружной поверхностью ведущей створки двери кабины или обрамлением дверного проема раздвижных дверей кабины не должно превышать 0,15 м по всей высоте шахты (см.
рисунок 3).
Примечание - Рабочие зазоры, определенные в настоящем стандарте, должны поддерживаться не только во время проверок и испытаний до ввода лифта в эксплуатацию, но и в течение всего срока службы лифта.
1 - стена шахты лифта; 2 - ведущая створка двери
шахты; 3 - ведущая створка двери кабины
Рисунок 3 - Зазоры между кабиной и стеной,
обращенной в сторону входа в кабину
Этот размер:
a) может быть увеличен до 0,20 м вдоль углубления в ограждении шахты высотой, не превышающей 0,50 м. При этом не должно быть более одного такого углубления между двумя следующими друг за другом дверями шахты;
b) может быть увеличен до 0,20 м по всей высоте подъема грузопассажирских лифтов, в которых применены вертикально раздвижные двери лифта;
c) не ограничивается для лифтов, оборудованных механически запираемой дверью кабины в соответствии с
5.3.9.2, которая может открываться только в зоне отпирания дверей шахты.
Движение кабины лифта должно быть возможно только при запертых дверях кабины, за исключением случаев, рассматриваемых в
5.12.1.4 и
5.12.1.8.
Запирание двери кабины должно контролироваться электрическим устройством безопасности по
5.11.2.
5.2.5.3.2 Под каждым порогом двери шахты внутренняя поверхность шахты должна соответствовать перечисленным ниже требованиям:
a) должна образовывать вертикальную, непосредственно соединенную с порогом двери шахты сплошную гладкую поверхность, высота которой должна составлять не менее половины зоны отпирания дверей плюс 50 мм, а ширина - не менее ширины в свету входного проема кабины плюс 25 мм с каждой стороны;
b) поверхность должна быть непрерывной, состоять из гладких и жестких конструктивных элементов (например, металлические листы) и выдерживать усилие 300 Н, приложенную под прямым углом к стене в любой точке и равномерно распределенную по площади 5 см2 круглого или прямоугольного сечения. При этом:
1) остаточная деформация не должна быть более 1 мм,
2) упругая деформация не должна быть более 15 мм;
c) любые выступы на этой вертикальной поверхности не должны превышать 5 мм. Выступы, превышающие 2 мм, должны быть скошены под углом не менее 75° к горизонтали;
d) кроме того, вертикальный элемент под порогом двери шахты должен:
1) быть присоединен к верхней балке следующей двери, или
2) продолжаться вниз жестким гладким скосом под углом не менее 60° к горизонтальной плоскости. Проекция этого скоса на горизонтальную плоскость должна составлять не менее 20 мм.
5.2.5.4. Защита любых пространств, расположенных под шахтой
При наличии под приямком лифта пространства (помещения), доступного для людей, основание приямка должно быть рассчитано на нагрузку не менее 5000 Н/м2, а противовес или уравновешивающий груз должны быть оборудованы ловителями.
5.2.5.5.1 Для обеспечения безопасности персонала зона перемещения противовеса или уравновешивающего груза должна быть ограждена. Ограждение должно удовлетворять перечисленным ниже требованиям:
a) если ограждение противовеса выполнено из перфорированного листа или сетки, то следует соблюдать требования
приложения D;
b) ограждение должно быть размещено от самой нижней точки противовеса, находящегося на полностью сжатом(ых) буфере(ах), или уравновешивающего груза в его самом нижнем положении - до 2,0 м от уровня пола;
c) расстояние от пола приямка до самой нижней части ограждения должно быть не более 0,30 м. В случае размещения буферов, перемещающихся вместе с противовесом, см.
5.8.1.1;
d) ширина ограждения должна быть не менее ширины противовеса или уравновешивающего груза;
e) если зазор между направляющими противовеса/уравновешивающего груза и стеной шахты превышает 0,30 м, то эта зона тоже должна быть ограждена в соответствии с
перечислениями b) и
c);
f) ограждение может иметь паз(ы) минимальной ширины, необходимой для обеспечения нормального пропускания компенсирующих цепей (канатов) или выполнения осмотра и проверки состояния оборудования;
g) ограждения должны обладать достаточной прочностью и жесткостью, способной выдержать воздействие силы в 300 Н, равномерно распределенной по площади 5 см2 круглого или прямоугольного сечения и приложенной под прямыми углами к любой точке ограждения без остаточной деформации;
h) горизонтальное расстояние между элементами кабины и элементами противовеса (уравновешивающего груза) должно быть не менее 50 мм.
5.2.5.5.2 Если в шахте расположено несколько лифтов, то в этом случае должны быть установлены ограждения между движущимися частями соседних лифтов.
Если это ограждение перфорировано, следует соблюдать требования
приложения D.
Ограждение должно обладать достаточной прочностью для обеспечения того, чтобы при воздействии усилия в 300 Н, равномерно распределенного по площади 5 см2 круглого или прямоугольного сечения и приложенного под прямыми углами к любой точке ограждения, отсутствовали прогибы, которые могут привести к столкновению подвижных частей лифта с этим ограждением.
При этом упругая деформация ограждения не должна превышать 15 мм.
5.2.5.5.2.1 Верхняя часть ограждения должна быть расположена на высоте не менее 2,5 м от уровня пола нижней остановки, а нижняя часть ограждения - на высоте не более 0,3 м от уровня пола приямка лифта.
Ширина ограждения должна быть такой, чтобы доступ в приямок соседнего лифта был исключен.
Если двери доступа в приямок шахты лифта оснащены электрическим устройством безопасности, автоматически отключающим лифт при открытии двери приямка, то нижняя часть ограждения должна быть расположена на уровне самой нижней точки пути движения кабины или выше.
5.2.5.5.2.2 Ограждение следует устанавливать по всей высоте шахты, если горизонтальное расстояние между внутренней частью перильного ограждения и движущейся частью (кабиной, противовесом или уравновешивающим грузом) соседнего лифта менее чем 0,50 м.
Ширина ограждения должна быть такой, чтобы перекрывалась ширина движущейся части по 0,10 м с каждой стороны по всей высоте шахты.
5.2.5.6. Движение кабины, противовеса и уравновешивающего груза по направляющим
5.2.5.6.1 Крайние допустимые положения кабины, противовеса и уравновешивающего груза при их перемещении по направляющим
5.2.5.6.1.1 Крайние допустимые положения кабины, противовеса и уравновешивающего груза должны соответствовать требованиям, приведенным в таблице 2, а пространства безопасности для персонала и зазоры в приямке -
5.2.5.7 и
5.2.5.8.
Таблица 2
Крайние положения кабины, противовеса
и уравновешивающего груза на направляющих
Положение кабины/противовеса | Свободный ход кабины/противовеса |
Привод трения | Позитивный привод | Гидравлический привод |
Крайнее верхнее положение кабины | Противовес на полностью сжатом буфере | Кабина на полностью сжатом верхнем буфере | Поршень в своем крайнем положении, достигнутом за счет ограничения хода поршня +0,035·v2 |
Крайнее нижнее положение кабины | Кабина на полностью сжатом буфере | Кабина на полностью сжатом нижнем буфере | Кабина на полностью сжатом буфере |
Крайнее верхнее положение противовеса/уравновешивающего груза | Кабина на полностью сжатом буфере +0,035·v2 | Кабина на полностью сжатом нижнем буфере | Кабина на полностью сжатом буфере +0,035·v2 |
Крайнее нижнее положение противовеса/уравновешивающего груза | Противовес на полностью сжатом буфере | Кабина на полностью сжатом верхнем буфере | Поршень в своем крайнем положении, достигнутом за счет ограничения хода поршня +0,035·v2 |
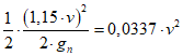
<a> 0,035· v2 представляет половину остановочного пути под действием силы тяжести, соответствующего 115% номинальной скорости  , с округлением до 0,035· v2. |
5.2.5.6.1.2 Лифты с приводом трения, оборудованные буферами с уменьшенным ходом плунжера по
5.8.2.2.2, у которых контроль замедления привода осуществляется по
5.12.1.3, значение 0,035·
v2 в соответствии с
таблицей 2 может быть уменьшено с учетом скорости, с которой кабина или противовес входят в контакт с буфером.
5.2.5.6.1.3 Лифты с приводом трения, у которых применены компенсирующие канаты и натяжное устройство которых оборудовано устройством, ограничивающим подскок натяжного блока (тормозящее или блокировочное устройство), значение 0,035·
v2 согласно
таблице 2 может быть заменено на величину возможного перемещения этого блока (в зависимости от используемых канатов) плюс 1/500 высоты перемещения кабины, но не менее 0,20 м, учитывая упругость канатов.
5.2.5.6.1.4 В случае гидравлических лифтов прямого действия величину 0,035·
v2, упомянутую в
таблице 2, не следует принимать во внимание.
5.2.5.6.2 Для лифтов с приводом трения
Когда кабина или противовес находятся в крайнем положении согласно
5.2.5.6.1, длина направляющих лифта должна быть такой, чтобы обеспечивалась возможность перемещения не менее чем на 0,10 м.
5.2.5.6.3 Для лифтов с позитивным приводом
5.2.5.6.3.1 Движение кабины по направляющим в направлении вверх с верхнего этажа до ее соприкосновения с верхними буферами должно составлять не менее 0,50 м. При этом должна быть предусмотрена возможность движения кабины по направляющим в пределах рабочего хода буфера.
5.2.5.6.3.2 Когда уравновешивающий груз (при его наличии) находится в своем крайнем верхнем положении согласно
5.2.5.6.1, длина направляющих должна быть такой, чтобы обеспечивалась возможность дальнейшего перемещения уравновешивающего груза на расстояние не менее чем на 0,30 м.
5.2.5.6.4 Для гидравлических лифтов
5.2.5.6.4.1 Когда кабина находится в крайнем верхнем положении согласно
5.2.5.6.1, длина направляющих должна быть такой, чтобы обеспечивалась возможность дальнейшего перемещения кабины на расстояние не менее чем на 0,10 м.
5.2.5.6.4.2 Когда уравновешивающий груз (при его наличии) находится в крайнем верхнем положении согласно
5.2.5.6.1, длина направляющих должна быть такой, чтобы обеспечивалась возможность дальнейшего перемещения уравновешивающего груза на расстояние не менее чем на 0,10 м.
5.2.5.6.4.3 Когда уравновешивающий груз (при его наличии) находится в крайнем нижнем положении согласно
5.2.5.6.1, длина направляющих должна быть такой, чтобы обеспечивалась возможность дальнейшего перемещения уравновешивающего груза на расстояние не менее чем на 0,10 м.
5.2.5.7. Пространство безопасности для персонала на крыше кабины и размеры свободного пространства над кабиной на верхней остановке
5.2.5.7.1 Когда кабина находится в крайнем верхнем положении согласно
5.2.5.6.1, на крыше кабины лифта должно быть обеспечено наличие пространства безопасности в соответствии с таблицей 3.
Таблица 3
Размеры пространств безопасности для персонала
в положении кабины на верхней остановке
Тип | Поза | Пиктограмма | Горизонтальные размеры пространства безопасности, м | Высота пространства безопасности, м |
1 | Стоя | | 0,40 x 0,50 | 2,00 |
2 | Согнувшись | | 0,50 x 0,70 | 1,00 |
Примечание - 1 - черный цвет, 2 - желтый цвет, 3 - черный цвет. |
Для пространств безопасности типа 2 допускается уменьшение пространства на одной стороне на нижнем краю, где пространство безопасности соприкасается с крышей кабины. Уменьшение пространства безопасности может быть в пределах 0,10 м по ширине и 0,30 м по высоте (см. рисунок 4).
Рисунок 4 - Максимальные уменьшения пространств
безопасности для персонала
Если на крыше кабины должно находиться более одного человека для выполнения работ по инспектированию и (или) техническому обслуживанию, пространство безопасности должно быть обеспечено для каждого человека.
В случае наличия более одного пространства безопасности они должны быть одного типа и не мешать друг другу.
Знак типа пространства безопасности должен быть установлен на крыше кабины и удобочитаем с посадочных площадок, а также четко указывать разрешенное число человек и позу человека (см.
таблицу 3), для безопасного нахождения на крыше кабины в пространстве(ах) безопасности.
В случае использования противовеса на защитном ограждении противовеса в зоне приямка (см.
5.2.5.5.1) или рядом с ним должна быть вывешена информационная табличка, на которой указан максимальный допустимый зазор между буфером противовеса и опорной поверхностью противовеса, взаимодействующей с буфером, при нахождении кабины на крайней верхней остановке.
5.2.5.7.2 Когда кабина находится в крайнем верхнем положении согласно
5.2.5.6.1, размер в свету между самыми нижними частями перекрытия шахты (включая балки и элементы, расположенные под потолком) (см.
рисунки 5 и
6):
a) и самыми верхними частями оборудования, установленного на крыше кабины, за исключением оговоренных ниже в перечислениях b) и
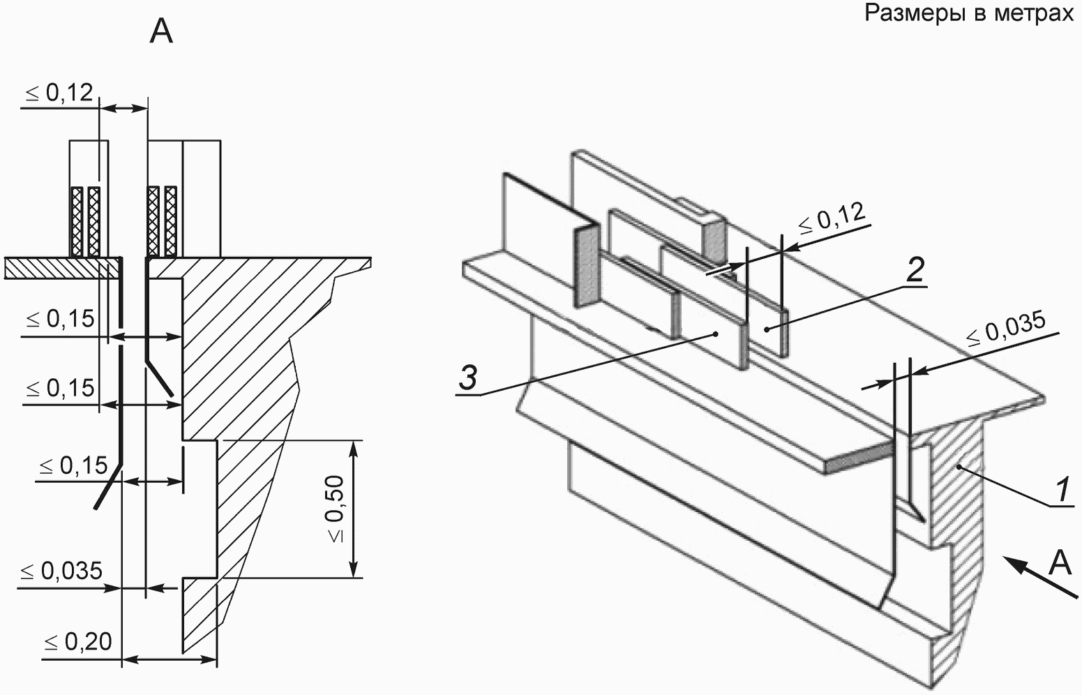
c), должен быть не менее 0,50 м как в вертикальном, так и в наклонном направлении в пределах проекции кабины (размеры A и B);
b) и выступающими частями направляющих башмаков или роликов, элементами крепления канатов и стяжным кольцом или элементов вертикально раздвижных дверей, при их наличии, должен быть не менее 0,10 м в любом вертикальном направлении внутри горизонтального расстояния 0,40 м в пределах проекции кабины;
c) и выступающими частями перильного ограждения должен быть, за исключением случаев применения механического устройства по
5.2.5.7.5, равен по меньшей мере:
1) 0,30 м (размер
D) внутри горизонтального расстояния 0,40 м в пределах проекции кабины и 0,10 м снаружи перильного ограждения,
2) 0,50 м (размер
C) в любом наклонном расстоянии свыше 0,40 м в пределах проекции кабины.
части установленного на крыше кабины оборудования;
G - кабина; H - пространство (пространства) безопасности
для персонала; X - высота пространств безопасности
Рисунок 5 - Минимальные расстояния между выступающими
частями установленного на крыше кабины оборудования
и нижними частями элементов перекрытия шахты
5.2.5.7.3 Любую сплошную отдельную площадку, расположенную на крыше кабины или на оборудовании, установленном на крыше кабины, с минимальной площадью 0,12 м
2 и с минимальным размером наименьшей стороны, превышающим 0,25 м, считают местом, где может располагаться человек. Когда кабина находится в крайнем верхнем положении согласно
5.2.5.6.1, вертикальное расстояние над любой такой площадкой и нижними частями перекрытия шахты (включая балки и части, расположенные над потолком) должно иметь высоту, указанную в
5.2.5.7.1.
5.2.5.7.4 Свободное вертикальное пространство между нижними частями перекрытия шахты, выступающими элементами в крайнем верхнем положении оголовка гидроцилиндра должно быть не менее 0,10 м.
5.2.5.7.5
Если высота верхнего этажа не позволяет обеспечить возможность размещения пространства безопасности для персонала на крыше кабины, соответствующего размерам, указанным в таблице 3, то должны быть выполнены следующие условия:
a) должно быть установлено на постоянной основе механическое устройство для остановки кабины, движущейся со скоростью согласно 5.12.1.5.2.1 перечисление e) и с любой нагрузкой вплоть до номинальной нагрузки. После остановки кабины этим механическим устройством на крыше кабины должно быть обеспечено пространство безопасности с размерами, соответствующими приведенным в таблице 4. Среднее замедление кабины механическим устройством должно быть не более 9,81 м/с2;
b) механическое устройство для остановки кабины должно обладать способностью удерживать кабину в остановленном состоянии;
c) механическое устройство для остановки кабины может приводиться в действие вручную или автоматически;
d) если механическое устройство для остановки кабины находится в рабочем (активированном) положении, электрическое устройство безопасности, указанное в 5.11.2, должно предотвращать дальнейшее движение лифта, за исключением движения в соответствии с перечислением e);
e) если механическое устройство для остановки кабины находится в рабочем (активированном) положении, управление движением кабины должно быть возможно только от инспекционной станции управления по 5.12.1.5.1.1, установленной на крыше кабины.
5.2.5.8. Пространства безопасности для персонала и зазоры в приямке
5.2.5.8.1 При нахождении кабины в крайнем нижнем положении согласно
5.2.5.6.1 на полу приямка должна быть по меньшей мере одна свободная зона для пространства безопасности для персонала, соответствующая размерам, указанным в таблице 4.
Таблица 4
Размеры пространств безопасности для персонала в приямке
Тип | Поза | Пиктограмма | Горизонтальные размеры пространства безопасности, м | Высота пространства безопасности, м |
1 | Стоя | | 0,40 x 0,50 | 2,00 |
2 | Согнувшись | | 0,50 x 0,70 | 1,00 |
3 | Лежа | | 0,70 x 1,00 | 0,50 |
Примечание - 1 - черный цвет, 2 - желтый цвет, 3 - черный цвет. |
Если для выполнения работ, инспектирования, технического обслуживания или ремонта в приямке требуется нахождение более одного человека, то дополнительное пространство безопасности должно быть обеспечено для каждого человека.
При наличии более одного пространства безопасности они должны быть одного и того же типа и не мешать друг другу.
Знак типа пространства безопасности в приямке должен располагаться при входе(ах) в приямок, четко указывать разрешенное количество людей и позу человека (см.
таблицу 4) для нахождения в пространстве(ах) безопасности.
5.2.5.8.2 Когда кабина находится в крайнем нижнем положении согласно
5.2.5.6.1, то должны быть выполнены следующие условия:
a) вертикальный размер между уровнем пола приямка и выступающими нижними частями кабины должен быть не менее 0,50 м. Этот размер может быть уменьшен:
1) между нижней поверхностью фартука кабины, элементами вертикально раздвижных дверей кабины до минимум 0,1 м в пределах горизонтального расстояния 0,15 м до соседней(их) стены (стен),
2) между нижними выступающими элементами каркаса кабины, ловителей, башмаков кабины, стопорных устройств, в пределах максимального горизонтального расстояния от направляющих, в соответствии с требованиями, приведенными на
рисунках 6 и
7;
b) свободное вертикальное расстояние между самыми верхними частями, закрепленными в приямке, например натяжным устройством компенсирующих канатов, находящимся в крайнем верхнем положении, опорами гидроцилиндра, трубами и другими фитингами и самыми нижними частями кабины, за исключением элементов, описанных в
перечислении a) 1) и
2) данного пункта, должно быть не менее 0,30 м;
c) свободное вертикальное расстояние между уровнем пола приямка или верхней поверхностью оборудования, установленного в приямке, и самыми нижними частями движущейся вниз головки плунжера перевернутого гидроцилиндра должно быть не менее 0,50 м.
Однако, если исключена возможность непреднамеренного доступа под головку плунжера гидроцилиндра (например, путем установки защитного ограждения согласно
5.2.5.5.1), это вертикальное расстояние может быть уменьшено с 0,50 до 0,10 м;
d) свободное вертикальное расстояние между уровнем пола приямка и самой нижней направляющей траверсой телескопического гидроцилиндра под кабиной лифта прямого действия должно быть не менее 0,50 м.
Рисунок 6 - Горизонтальное расстояние
XН вокруг направляющей
Рисунок 7 - Минимальные вертикальные расстояния
для выступающих элементов каркаса кабины, ловителей,
направляющих башмаков и буферов
5.2.5.8.3 Если глубина приямка не позволяет обеспечить возможность размещения пространства безопасности для персонала, соответствующего размерам, указанным в таблице 4, то должны быть выполнены следующие условия:
a) должно быть установлено на постоянной основе механическое устройство для остановки кабины, движущейся со скоростью согласно 5.12.1.5.2.1 перечисление e) и с любой нагрузкой вплоть до номинальной нагрузки. После остановки кабины этим механическим устройством в приямке должно быть обеспечено пространство безопасности с размерами, соответствующими приведенным в таблице 4. Среднее замедление кабины механическим устройством должно быть не более 9,81 м/с2;
b) механическое устройство для остановки кабины должно обладать способностью удерживать кабину в остановленном состоянии;
c) механическое устройство для остановки кабины может приводиться в действие вручную или автоматически;
d) открывание при помощи ключа любой двери, обеспечивающей доступ в приямок, должно контролироваться электрическим устройством безопасности, соответствующим требованиям 5.11.2, которое должно предотвращать дальнейшее движение лифта;
e) если механическое устройство для остановки кабины находится в рабочем (активированном) положении, электрическое устройство безопасности, соответствующее требованиям 5.11.2, должно предотвращать дальнейшее движение лифта, за исключением движения в соответствии с перечислением f);
f) если механическое устройство для остановки кабины находится в рабочем (активированном) положении, управление движением кабины должно быть возможно только от инспекционной станции управления по 5.12.1.5.1.1, установленной в приямке;
g) возврат лифта в режим нормальной работы должен осуществляться только после возврата в исходное состояние механического устройства и электрического устройства безопасности, расположенного за пределами шахты и доступного только для уполномоченных лиц, например внутри запертого шкафа.
5.2.6. Пространства для размещения машинного оборудования и блочное помещение
Пространства и связанные с ними зоны обслуживания должны соответствовать условиям эксплуатации.
5.2.6.2. Инструкции и информационные таблички
5.2.6.2.1 На главном выключателе и выключателе(ях) освещения должны быть выполнены надписи (пиктограммы), позволяющие их легко идентифицировать.
5.2.6.2.2 Если после выключения главного выключателя некоторые участки электрической цепи управления лифтом остаются под напряжением (система внутренней связи между лифтами, освещение и т.п.), то информационная табличка должна быть размещена около шкафа управления лифтом.
5.2.6.2.3 Инструкции, регламентирующие использование устройства управления операцией при эвакуации пассажиров из кабины лифта с помощью привода и ключа для отпирания двери шахты, должны быть указаны в руководстве по эксплуатации лифта (см.
6.3).
5.2.6.3. Размещение оборудования в машинном помещении
5.2.6.3.1 Канатоведущий шкив в шахте
Канатоведущий шкив может быть установлен в шахте при условии, что:
a) проверки, испытания, техническое обслуживание можно проводить из машинного помещения;
b) отверстия между машинным помещением и шахтой должны быть минимально допустимых размеров.
5.2.6.3.2 Размеры
5.2.6.3.2.1 Высота в свету в зонах обслуживания, измеренная от пола до элементов перекрытия, должна быть не менее 2,10 м:
a) и перед расположенными в машинном помещении шкафами и панелями управления должна быть предусмотрена зона обслуживания (свободная горизонтальная площадка) с размерами:
1) глубины, измеренной от наружной поверхности ограждений шкафа или панели, не менее 0,70 м,
2) ширины, равной полной ширине шкафа или панели, но не менее 0,50 м;
b) и в машинном помещении для обслуживания подвижных частей механического оборудования и, при необходимости, для выполнения работ по эвакуации пассажиров должна быть предусмотрена зона обслуживания (свободная горизонтальная площадка) с размерами не менее 0,50 x 0,60 м.
5.2.6.3.2.2 Высота в свету проходов к зонам обслуживания, измеренная от пола до элементов перекрытия, должна быть не менее 1,80 м.
Ширина проходов к зонам обслуживания по
5.2.6.3.2.1 должна быть не менее 0,5 м.
При отсутствии движущихся частей или оборудования с горячими поверхностями по
5.10.1.1.6, этот размер может быть уменьшен до 0,4 м.
5.2.6.3.2.3 Над неогражденными вращающимися частями привода должно быть обеспечено свободное пространство высотой не менее 0,30 м.
5.2.6.3.2.4 Если пол машинного помещения содержит несколько уровней, отличающихся по высоте более чем на 0,50 м, должны быть установлены закрепленные переносные лестницы, соответствующие требованиям
5.2.2.5, или стационарные лестницы, оборудованные перилами.
5.2.6.3.2.5 Если пол машинного помещения содержит выемки глубиной более 0,05 м и шириной от 0,05 до 0,50 м или каналы для прокладки кабеля в зонах обслуживания и проходах к зонам обслуживания, то они должны быть накрыты.
Выемки шириной более 0,5 м следует рассматривать как разные уровни машинного помещения (см.
5.2.6.3.2.4).
5.2.6.3.3 Отверстия в полу машинного помещения
Минимальное расстояние от края отверстия до проходящих через него подвижных элементов должно быть не менее 10 мм. Вокруг отверстий над шахтой лифта должны быть устроены бортики, выступающие не менее чем на 50 мм над уровнем плиты перекрытия или пола.
5.2.6.4. Размещение оборудования внутри шахты
5.2.6.4.1 Общие положения
5.2.6.4.1.1 В частично огражденных шахтах, установленных снаружи зданий, оборудование лифта должно быть надежно защищено от воздействия внешних факторов.
5.2.6.4.1.2 Высота в свету проходов из одной зоны обслуживания в другую внутри шахты должна быть не менее 1,80 м.
5.2.6.4.1.3 В шахте лифта, в месте(ах), удобном(ых) для чтения, должна быть установлена информационная табличка, содержащая необходимые инструкции по работе, в случае:
5.2.6.4.2 Размеры зон обслуживания в шахте
5.2.6.4.2.1 Высота в свету в зонах обслуживания у машинного оборудования должна быть не менее 2,10 м:
a) и перед шкафами и панелями управления должна быть предусмотрена зона обслуживания (свободная горизонтальная площадка) с размерами:
1) глубины, измеренной от наружной поверхности ограждений шкафа или панели, не менее 0,70 м,
2) ширины, равной полной ширине шкафа или панели, но не менее 0,50 м;
b) в шахте для проведения технического обслуживания и проверки оборудования лифта, где это необходимо, должна быть предусмотрена зона обслуживания (свободная горизонтальная площадка) с размерами не менее 0,50 x 0,60 м.
5.2.6.4.2.2 Над неогражденными вращающимися частями привода должно быть обеспечено свободное пространство высотой не менее 0,30 м.
5.2.6.4.3 Зоны обслуживания в кабине или на крыше кабины
5.2.6.4.3.1 Если работы по техническому обслуживанию и проверкам выполняются из кабины или с крыши кабины и если, как результат технического обслуживания или проверки, возможно опасное для людей неконтролируемое или неожиданное передвижение кабины, то должны быть выполнены следующие условия:
a) при проведении работ любое опасное неконтролируемое передвижение кабины должно быть заблокировано механическим устройством;
b) электрическое устройство безопасности по
5.11.2 должно предотвращать пуск привода лифта, пока механическое устройство для блокировки кабины находится в рабочем положении;
c) когда блокировочное механическое устройство находится в рабочем положении и не может быть освобождено вследствие воздействующих на него сил, должна быть обеспечена возможность персоналу выйти из шахты:
1) через дверь шахты с отверстием в свету не менее 0,50 x 0,70 м над перемычкой двери кабины/приводом двери,
2) через кабину, используя аварийный люк в крыше кабины в соответствии с
5.4.6. Ступени, приставная лестница и поручень(и) должны быть предусмотрены, чтобы обеспечить безопасный спуск в кабину, или
3) через аварийную дверь согласно
5.2.3.
Соответствующие инструкции, касающиеся порядка освобождения персонала, должны быть приведены в документации на лифт.
5.2.6.4.3.2 Необходимые приспособления и устройства для аварийных операций и для динамических испытаний должны быть исправны и находиться в машинном помещении, чтобы они могли быть использованы снаружи шахты в соответствии с
5.2.6.6.
5.2.6.4.3.3 Если в стенках купе кабины есть смотровые люки, то они должны:
b) быть снабжены ограждением для устранения возможности падения в шахту, если смотровые люки шириной более 0,30 м;
c) не открываться наружу кабины;
d) быть снабжены замком, отпираемым ключом, способным повторно закрываться и запираться без ключа;
e) быть снабжены электрическим устройством безопасности в соответствии с
5.11.2, контролирующим их запертое состояние:
f) удовлетворять тем же требованиям, что и стенки кабины.
5.2.6.4.3.4 В тех случаях, когда кабину лифта необходимо приводить в движение изнутри с открытым смотровым люком, должно быть выполнено следующее:
a) панель управления согласно
5.12.1.5 должна находиться около смотрового люка;
b) панель управления должна быть доступна только уполномоченным лицам, например за счет установки ее позади смотрового люка и расположения таким образом, чтобы невозможно было ее использовать для приведения в движение кабины, стоя на крыше кабины;
c) если самый малый размер отверстия превышает 0,20 м, свободное горизонтальное расстояние между внешним краем отверстия в стенке кабины и оборудованием, установленным в шахте перед этим отверстием, должен быть не менее 0,30 м.
5.2.6.4.4 Рабочие зоны в приямке
5.2.6.4.4.1 Если работы по техническому обслуживанию и проверкам машинного оборудования выполняются из приямка и если, как результат технического обслуживания или проверки, возможно опасное для людей неконтролируемое или неожиданное передвижение кабины, то должны быть выполнены следующие условия:
a) должно быть установлено на постоянной основе механическое устройство для остановки кабины, движущейся с любой скоростью вплоть до номинальной скорости и с любой нагрузкой вплоть до номинальной нагрузки. После остановки кабины этим механическим устройством в приямке должно оставаться свободное пространство высотой не менее 2 м между уровнем зоны обслуживания и самыми нижними частями кабины, включая те, которые упомянуты в
5.2.5.8.2, перечисление a) 1) и
2).
Среднее замедление кабины механическим устройством должно быть не более 9,81 м/с2;
b) механическое устройство для остановки кабины должно обладать способностью удерживать кабину в остановленном состоянии;
c) механическое устройство для остановки кабины можно приводить в действие вручную или автоматически;
d) открывание при помощи ключа любой двери, обеспечивающей доступ в приямок, должно контролироваться электрическим устройством безопасности, соответствующим требованиям
5.11.2, которое должно предотвращать дальнейшее движение лифта. Движение лифта должно быть возможно только при соблюдении требований, изложенных ниже в
перечислении f);
e) если механическое устройство для остановки кабины находится в рабочем (активированном) положении, электрическое устройство безопасности, соответствующее требованиям
5.11.2, должно предотвращать дальнейшее движение лифта, за исключением движения в соответствии с перечислением f);
f) если механическое устройство для остановки кабины находится в рабочем (активированном) положении, управление движением кабины должно быть возможно только от инспекционной станции управления по
5.12.1.5.1.1, установленной в приямке;
g) возврат лифта в режим нормальной работы должен осуществляться только после возврата в исходное состояние механического устройства для остановки кабины и электрического устройства безопасности, расположенного за пределами шахты и доступного только для уполномоченных лиц, например внутри запертого шкафа.
5.2.6.4.4.2 Когда кабина находится в положении, соответствующем
5.2.6.4.4.1, перечисление a), должна быть предусмотрена возможность персоналу выйти из приямка:
a) либо через дверной проем шахты лифта, если вертикальное расстояние от уровня порога двери шахты до самого нижнего края фартука кабины не менее 0,50 м; либо
b) через дверь доступа в приямок.
5.2.6.4.4.3 Устройства для аварийных операций и динамических испытаний должны быть размещены таким образом, чтобы они могли быть использованы снаружи шахты в соответствии с
5.2.6.6.
5.2.6.4.5 Зоны обслуживания на рабочей площадке
5.2.6.4.5.1 Если оборудование лифта следует обслуживать или проверять с рабочей площадки, то эта рабочая площадка должна:
a) быть установлена на постоянной основе; или
b) быть подвижной, если рабочая площадка находится на пути передвижения кабины или противовеса/уравновешивающего груза.
5.2.6.4.5.2 Если оборудование лифта следует обслуживать или проверять с рабочей площадки, расположенной на пути передвижения кабины, противовеса или уравновешивающего груза:
b) если требуется переместить кабину, то передвижение кабины должно быть ограничено выдвижными упорами таким образом, чтобы кабина была остановлена:
1) на расстоянии не менее 2 м над рабочей площадкой, если кабина движется вниз с номинальной скоростью по направлению к рабочей площадке,
2) ниже рабочей площадки в соответствии с
5.2.5.7.2, если кабина движется вверх с номинальной скоростью по направлению к рабочей площадке.
5.2.6.4.5.3 Рабочая площадка должна быть обеспечена:
a) возможностью размещения на ней в любом месте двух человек, каждый из которых создает силу в 1000 Н на площади 0,20 x 0,20 м, без остаточной деформации. Если рабочая площадка предназначена для использования с целью погрузки и разгрузки тяжелого оборудования, то должны быть выбраны соответствующие ему размеры, и рабочая площадка должна иметь механическую прочность, чтобы выдерживать нагрузки и силы, на воздействие которых она рассчитана (см.
5.2.1.7). Максимально допустимая нагрузка должна быть указана на рабочей площадке;
| | ИС МЕГАНОРМ: примечание. В официальном тексте документа, видимо, допущена опечатка: пункт 5.4.6.1.3.1 отсутствует. | |
b) перильным ограждением в соответствии с 5.4.6.1.3.1;
c) оборудованием, отвечающим следующим требованиям:
1) высота ступенек между поверхностью рабочей площадки и уровнем пола поверхности доступа не должна превышать 0,50 м,
2) в зазор между рабочей площадкой и порогом двери шахты (доступа) не проходил шар диаметром 0,15 м.
5.2.6.4.5.4 В дополнение к
5.2.6.4.5.3 выдвигающийся (убирающийся) настил должен быть оборудован:
a) электрическим устройством безопасности согласно
5.11.2, контролирующим полностью втянутое положение рабочей площадки;
b) механизмом для выдвижения и убирания из рабочего положения рабочей площадки. Эта операция должна быть возможной из приямка или с помощью механизма, расположенного за пределами шахты и доступного только для уполномоченных лиц. Прилагаемая вручную сила для обеспечения выдвижения настила не должна превышать 250 Н;
c) если доступ к рабочей площадке осуществляется не через дверь шахты, открывание двери доступа должно быть невозможным, когда рабочая площадка не находится в рабочем положении, или должно быть применимо приспособление, препятствующее падению людей в шахту.
5.2.6.4.5.5 В случае
5.2.6.4.5.2, перечисление b) подвижные упоры должны автоматически срабатывать, когда рабочая площадка убирается. Выдвижные упоры должны быть снабжены:
a) буферами согласно
5.8;
b) электрическим устройством безопасности согласно
5.11.2, которое разрешает движение кабины, только если упоры находятся в полностью отведенном положении;
c) электрическим устройством безопасности согласно
5.11.2, которое разрешает движение кабины при нахождении рабочей площадки в положении хранения и находятся в полностью убранном исходном положении.
5.2.6.4.5.6 Если необходимо передвинуть кабину от рабочей площадки, должен быть предусмотрен пост управления из шахты лифта согласно
5.12.1.5.
Когда выдвижные упоры находятся в выдвинутом положении, электрически управляемое перемещение кабины должно быть возможным только от поста управления из шахты лифта.
5.2.6.4.5.7 Приспособления и устройства, необходимые для аварийных операций и динамических испытаний, должны быть расположены таким образом, чтобы они могли управляться снаружи шахты в соответствии с
5.2.6.6.
5.2.6.4.6 Зоны обслуживания снаружи шахты
Если техническое обслуживание и проверки машинного оборудования лифта, расположенного в шахте, осуществляется снаружи шахты, зоны обслуживания в соответствии с
5.2.6.3.2.1 и
5.2.6.3.2.2 могут находиться за пределами шахты. Доступ к этому машинному оборудованию должен быть возможен только через смотровой люк в соответствии с
5.2.3.
5.2.6.5. Размещение машинного оборудования лифта снаружи шахты
5.2.6.5.1 Шкаф для размещения машинного оборудования лифта
5.2.6.5.1.1 Машинное оборудование лифта должно быть размещено в шкафу. В этом шкафу не допускается устанавливать оборудование и прокладывать коммуникации, не относящиеся к лифту.
5.2.6.5.1.2 Шкаф с оборудованием лифта должен иметь сплошное ограждение стенки, пол, крышу и дверь(и).
Единственно разрешенными отверстиями являются:
a) вентиляционные отверстия;
b) отверстия, необходимые для функционирования лифта, между шахтой и шкафом с машинным оборудованием;
c) вытяжные отверстия для удаления газов и дыма в случае пожара;
d) эти отверстия, будучи доступными для неуполномоченных лиц, должны соответствовать следующим требованиям:
- защита в соответствии с ГОСТ ISO 13857, таблица 5, от контакта с опасными зонами, и
- степень защиты по меньшей мере IP 2XC от контакта с электрическим оборудованием.
5.2.6.5.1.3 Дверь(и) шкафа с оборудованием лифта должна(ы):
a) иметь достаточные размеры для выполнения требуемых работ через открытую дверь;
b) открываться наружу шкафа;
c) быть снабжены замком, открываемым ключом, допускается закрываться и запираться без ключа.
5.2.6.5.2 Зона обслуживания
Зона обслуживания перед шкафом с машинным оборудованием лифта должна соответствовать требованиям согласно
5.2.6.4.2.
5.2.6.6. Устройства для выполнения операций по освобождению пассажиров и испытательных операций
5.2.6.6.1 В случае
5.2.6.4.3,
5.2.6.4.4 и
5.2.6.4.5 устройства, необходимые для выполнения операций по освобождению пассажиров и испытательных операций, должны быть размещены на панели(ях) для эвакуации и испытаний, предназначенной(ых) для выполнения снаружи шахты всех операций по освобождению пассажиров и динамических испытаний лифта, таких как испытания канатоведущего шкива, ловителей, буферов, ограничителя скорости, средства защиты от превышения скорости движущейся вверх кабины, защиты от непреднамеренного движения кабины, разрывного клапана, дросселя, стопорных устройств, упора с амортизатором и давления.
Панель(и) для эвакуации и испытаний должна быть доступна только для уполномоченных лиц.
Если панель(и) для эвакуации и испытаний не находится внутри шкафа с машинным оборудованием лифта, она должна закрываться дверью (дверцей), которая:
a) не должна открываться внутрь шахты;
b) должна быть оборудована замком, который открывается ключом, а закрываться и запираться может без ключа.
5.2.6.6.2 Панель(и) для эвакуации и испытаний должна(ы):
a) содержать устройства для выполнения операций по освобождению пассажиров согласно положениям
5.9.2.2.2.7,
5.9.2.3,
5.9.3.9, а также внутреннюю систему переговорной связи по
5.12.3.2;
b) содержать управляющее оборудование, которое позволяет осуществлять динамические испытания;
c) обеспечивать непосредственное наблюдение за приводом лифта (в том числе при помощи видеонаблюдения) или быть оборудованной устройством (дисплеями, индикаторами и т.д.), которое обеспечивает информацию:
- о направлении движения кабины,
- достижении кабиной зоны отпирания дверей,
- скорости движения кабины.
5.2.6.6.3 Пространство (помещение, шкаф и др.), в котором расположена(ы) панель(и) для эвакуации и испытаний, должно быть оборудовано стационарным электрическим освещением, обеспечивающим освещенность не менее 200 люкс при измерении около устройства.
Выключатель освещения должен быть расположен на эвакуационной испытательной панели или рядом с ней (ними).
Источник электропитания для этого освещения должен соответствовать требованиям
5.10.7.1.
5.2.6.6.4 Перед панелью(ями) для эвакуации и испытаний должна быть зона обслуживания с размерами согласно приведенным в
5.2.6.3.2.1.
5.2.6.7. Устройство и оборудование блочного помещения
5.2.6.7.1 Размеры
5.2.6.7.1.1 Размеры блочного помещения должны быть достаточными для обеспечения безопасного доступа уполномоченным лицам ко всему оборудованию, в частности:
a) высота в свету зон обслуживания и проходов к зонам обслуживания, измеренная от уровня пола до нижних частей выступающих элементов перекрытия (потолка), должна быть не менее 1,50 м;
b) должна быть обеспечена зона обслуживания (свободная горизонтальная площадка) с размерами не менее 0,50 x 0,60 м для технического обслуживания и проверок оборудования лифта, установленного в блочном помещении.
Проходы к зонам обслуживания должны иметь ширину не менее 0,50 м. При отсутствии движущихся частей или оборудования с горячими поверхностями по
5.10.1.1.6, этот размер может быть уменьшен до 0,4 м.
5.2.6.7.1.2 Должно быть обеспечено свободное пространство высотой не менее 0,30 м над неогражденными блоками.
5.2.6.7.2 Отверстия в полу блочного помещения
Размер отверстий в плите перекрытия шахты и полу блочного помещения должен быть уменьшен до минимума, соответствующего их функциональному назначению.
Вокруг отверстий над шахтой лифта должны быть устроены бортики, выступающие не менее чем на 50 мм над уровнем плиты перекрытия или пола.
5.3. Двери шахты и двери кабины
5.3.1.1 Для обеспечения безопасного входа (выхода) пассажиров в кабину (из кабины), шахта лифта и кабина должны быть оборудованы дверями шахты и дверью кабины соответственно.
5.3.1.2 Двери шахты и кабины должны быть сплошными. Допускается применение раздвижных решетчатых дверей кабины в грузопассажирских лифтах с внутренним управлением, предназначенных для перевозки грузов, управляемых уполномоченным персоналом. У таких дверей просвет между вертикальными полосами должен быть не более 120 мм при закрытых дверях кабин.
5.3.1.3 Горизонтально-раздвижная и вертикально-раздвижная дверь шахты и дверь кабины в закрытом положении должны удовлетворять следующим требованиям:
a) створки должны перекрывать обвязку дверного проема сверху и с боковых сторон у горизонтально-раздвижной двери и со всех сторон - у вертикально-раздвижной двери; при односторонне-раздвижной двери со стороны притвора створки допускается не перекрывать створкой обвязку дверного проема;
b) у горизонтально-раздвижной двери при односторонне закрывающихся створках должно быть перекрытие одной створки другой.
5.3.1.4 В закрытом положении зазор между створками двери или между створками и стояками, перемычками или порогами не должен превышать 6 мм. Эта величина, вследствие износа, может достигать 10 мм, за исключением дверей, выполненных из стекла (см.
5.3.6.2.2.1).
5.3.1.5 В случае применения распашных дверей кабины должны быть установлены упоры, предохраняющие дверь от распахивания за пределы кабины.
5.3.2. Высота и ширина входов
5.3.2.1 Высота
Двери шахты и двери кабины должны быть такими, чтобы высота в свету входного проема составляла не менее 2 м.
5.3.2.2 Ширина
Ширина в свету входного проема дверей шахты не должна превышать более чем на 50 мм с каждой стороны ширину в свету входного проема кабины.
5.3.3. Пороги, направляющие, подвеска двери
5.3.3.1 Пороги
Проемы дверей шахты и кабины должны быть оборудованы порогом, рассчитанным на нагрузки, возникающие при загрузке кабины.
Примечание - Рекомендуется, чтобы перед каждым порогом шахты был устроен небольшой уклон для предотвращения просачивания в шахту воды от мытья, разбрызгивания и т.п.
5.3.3.2 Направляющие
5.3.3.2.1 Двери шахты и кабины должны быть спроектированы таким образом, чтобы во время нормальной работы предотвращались их сход с направляющих, механическое заедание или смещение.
5.3.3.2.2 Вертикально-раздвижные двери кабины и шахты должны иметь направляющие справа и слева.
5.3.3.2.3 Горизонтально раздвижные двери шахты и кабины должны быть снабжены направляющими сверху и снизу. Функцию нижних направляющих можно совмещать с порогами.
5.3.3.3 Подвеска вертикально-раздвижных дверей
5.3.3.3.1 Вертикально-раздвижные двери могут быть применены только у грузопассажирского лифта, при этом:
a) створки должны быть подвешены не менее чем на двух независимых несущих элементах;
b) коэффициент запаса прочности несущих элементов должен быть не менее 8;
c) створки двери, закрываемой (открываемой) вручную, должны быть уравновешены;
d) несущие элементы должны быть защищены от схода с канавок шкивов или звездочек;
e) диаметр делительной окружности шкивов подвешивающего каната должен по меньшей мере в 25 раз превышать диаметр каната.
5.3.4. Горизонтальные зазоры дверей
5.3.4.1 Горизонтальное расстояние между порогом кабины и порогом дверей шахты не должно превышать 35 мм (см.
рисунок 3).
5.3.4.2 В целях исключения доступа в шахту лифта горизонтальное расстояние между створками двери кабины и дверями шахты не должно превышать 0,12 м (см.
рисунок 3).
Примечание - Если в здании есть дополнительные двери перед дверью шахты, застревание людей в пространстве между ними должно быть исключено (см. также
5.2.2.1 и
5.2.2.3).
5.3.4.3 В случае сочетания:
- распашной двери шахты и складчатой двери кабины (см.
рисунок 8);
- распашной двери шахты и горизонтально раздвижной двери кабины (см.
рисунок 9);
- горизонтально раздвижных дверей кабины и шахты, механически не соединенных между собой (см.
рисунок 10),
не должен между створками дверей шахты и кабины лифта проходить шар диаметром 0,15 м, как показано соответственно на рисунках 8,
9 или
10, при закрытых дверях шахты и кабины.
Рисунок 8 - Распашная дверь шахты и складная дверь кабины
Рисунок 9 - Распашная дверь шахты и горизонтально
раздвижная дверь кабины
Рисунок 10 - Горизонтально раздвижные двери кабины
и шахты, не соединенные механически
Примечание - Ситуация, представленная на
рисунке 10, также относится к ситуации, когда дверь кабины закрыта, а дверь шахты открыта.
5.3.5. Прочность дверей шахты и кабины
5.3.5.1 Общие положения
Элементы дверей шахты и кабины должны быть выполнены из материала, который сохраняет прочность в течение всего назначенного срока службы при воздействии условий окружающей среды.
5.3.5.2 Огнестойкость дверей шахты
Двери шахты лифта должны отвечать требованиям норм, относящимся к пожарной безопасности соответствующего здания или сооружения.
5.3.5.3 Механическая прочность
5.3.5.3.1 Собранные двери шахты с их замками и двери кабины должны обладать такой механической прочностью, чтобы в запертом положении дверей шахты и закрытом положении дверей кабины:
a) при воздействии статической нагрузки 300 Н, равномерно распределенной по площади 5 см2 круглого или прямоугольного сечения, прилагаемой под прямыми углами к створке/раме в любой точке поверхности, они выдерживали ее без остаточной деформации более 1 мм и в пределах упругой деформации не более 15 мм, и после такого воздействия двери должны сохранять работоспособность и безопасность;
b) при воздействии статической нагрузки 1000 Н, равномерно распределенной по площади 100 см
2 круглого или прямоугольного сечения, приложенной под прямыми углами в любой точке створки или рамы со стороны посадочной площадки к дверям шахты или изнутри кабины к дверям кабины, двери не должны иметь остаточную деформацию, влияющую на работоспособность и безопасность [см.
5.3.1.3 (максимальный зазор 10 мм) и
5.3.9.1].
5.3.5.3.2 Горизонтально раздвижные двери шахты и двери кабины должны быть оборудованы устройствами для удержания створки (створок) двери в дверном проеме, если направляющий элемент (ролик, контрролик и др.), соединенный со створкой (кареткой) двери, разрушен. Полностью собранная дверь с такими устройствами должна выдерживать испытание на удар маятником, определенное в
5.3.5.3.4, перечисление a), в ударных точках в соответствии с данными
таблицы 5 и иллюстрациями
рисунка 11 при наихудших возможных условиях повреждения обычных направляющих элементов. Требование сохранения работоспособности после испытаний на удар не предъявляются.
Примечание - Устройство для удержания створки следует воспринимать как механическое средство, предохраняющее створки (каретки) двери от потери их связи с направляющими, которое может быть либо дополнительным компонентом, либо частью створки или каретки.
Таблица 5
Маятниковое испытание на удар | Мягкий маятник | Жесткий маятник |
Высота падения | 800 мм | 800 мм | 500 мм | 500 мм |
Высота ударной точки | 1,0 м +/- 0,1 м | Центр стекла | 1,0 м +/- 0,1 м | Центр стекла |
| X | | | |
| X | X | | X |
Дверь более чем с одной стеклянной панелью (см. рисунок 11 c) Испытания там, где стеклянная панель представляет наихудший случай | X | X | | X |
Дверь с большой стеклянной панелью или полностью стеклянная (см. рисунок 11 d) | X (удар по стеклу) | | X (удар по стеклу) | |
Дверь со стеклянной панелью, начинающейся или заканчивающейся на высоте около 1 м (см. рисунок 11 e) | X | X | | X |
Дверь со стеклянной панелью, начинающейся или заканчивающейся на высоте около 1 м (см. рисунок 11 f) | X (удар по стеклу) | | X (удар по стеклу) | |
| X | | | |
Дверь с прозрачной панелью (см. 5.3.7.2) | X | X | | |
Рисунок 11 a - Створка двери без стеклянной панели
Рисунок 11 b - Створка двери со стеклянной панелью
Рисунок 11 c - Створка двери более чем с одной
стеклянной панелью
Рисунок 11 d - Створка двери со стеклянной панелью
или полностью стеклянная
Рисунок 11 e - Створка двери со стеклянной панелью
на высоте более 1,0 м
Рисунок 11 f - Створка двери со стеклянной панелью
на высоте более 1,0 м
Рисунок 11 g - Полностью собранная дверь шахты
со створками двери и боковыми рамами
Примечание - Было проведено испытание в наихудшем варианте. Если невозможно определить наихудший вариант, должны быть испытаны оба или все варианты.
Примечание - Для ударных точек, определяемых через 1 м, допуск составляет +/- 0,10 м.

- ударная точка для мягкого маятникового испытания на удар;

- ударная точка для жесткого маятникового испытания на удар.
Рисунок 11 - Створки двери - маятниковые
испытания на удар - ударные точки
5.3.5.3.3 При приложении к дверям шахты и дверям кабины в любой точке нагрузки, равной 150 Н, в направлении открывания ведущей створки (створок) горизонтально-раздвижных или складчатых дверей зазоры между сомкнутыми створками, а также между створками и обвязкой проема, между створками и порогом не должны превышать:
a) 30 мм - для дверей бокового открывания;
b) 45 мм - для дверей центрального открывания.
5.3.5.3.4 Дополнительно двери шахты и кабины со стеклянными панелями, а также боковые стойки портала двери шахты шириной более 150 мм должны соответствовать следующим условиям.
Примечание - Когда используют дополнительные панели для ограждения шахты к боковым стойкам портала двери шахты, их должны рассматривать как боковые рамы;
a) когда энергия удара, эквивалентная удару мягкого маятника, падающего с высоты 800 мм
[2], прикладывается к стеклянным панелям или рамам в середине по ширине панели или рамы, в ударных точках в соответствии с
таблицей 5, со стороны посадочной площадки или изнутри кабины, должно быть следующее:
1) они могут иметь остаточную деформацию,
2) не должно быть потери целостности собранной двери, собранная дверь должна оставаться на месте и не иметь зазоров более 0,12 м в направлении шахты;
b) когда энергия удара, эквивалентная удару жесткого маятника, падающего с высоты 500 мм
[2], превышающая величину, указанную в
5.3.7.2.1, перечисление a) и прикладываемая к створкам двери и стеклянным панелям в точках со стороны посадочной площадки или изнутри кабины согласно
таблице 5, должно быть следующее:
1) отсутствие трещин;
2) отсутствие повреждений на поверхности стекла за исключением сколов не более 2 мм в диаметре.
Примечание - В случае нескольких стеклянных панелей должна быть принята во внимание самая слабая конфигурация панели.
5.3.5.3.5 Для дверей и порталов дверей из стекла или со стеклянными панелями должно быть использовано многослойное стекло.
5.3.5.3.6 Элементы крепления стекла в дверях должны обеспечивать, чтобы стекло не могло выскользнуть из элементов крепления, даже при их ослаблении.
5.3.5.3.7 Стеклянные панели должны иметь маркировку, предоставляющую следующую информацию:
a) наименование поставщика и торговую марку;
b) тип стекла;
c) толщину (например, 8/8/0,76 мм).
5.3.6. Безопасность при работе двери
5.3.6.1 Общие сведения
Двери шахты должны быть спроектированы таким образом, чтобы минимизировать риск повреждения или нанесения травмы вследствие защемления части тела человека, его одежды или других предметов.
Наружная поверхность автоматических раздвижных дверей не должна иметь впадин или выступов более 3 мм, за исключением ключевины по
5.3.9.3 (см.
рисунок 13). Кромки впадин должны быть скошены или закруглены в направлении открывания дверей.
5.3.6.2 Двери с электрическим приводом
5.3.6.2.1 Общие требования
В случае одновременного действия соединенных между собой дверей кабины и шахты требования должны быть распространены на их объединенный дверной механизм.
5.3.6.2.2 Горизонтальные и вертикальные раздвижные двери
5.3.6.2.2.1 Автоматические двери с электрическим приводом
Должны выполнять следующие требования:
a) Кинетическая энергия двери шахты с жестко присоединенными к ней элементами конструкции, рассчитываемая или измеряемая при средней скорости закрывания, должна быть не более 10 Дж.
Среднюю скорость закрывания раздвижной двери вычисляют для всего пути ее перемещения за вычетом:
1) 25 мм от крайних положений створок в случае дверей центрального открывания;
2) 50 мм от крайних положений створки в случае дверей бокового открывания.
b) Защитное устройство, обеспечивающее открытие дверей при наличии препятствия в проеме, может оставаться в нерабочем состоянии на последних 20 мм пути закрывания двери:
1) защитное устройство (например, световой занавес) должно быть установлено таким образом, чтобы перекрывать дверной проем по вертикали на расстоянии от уровня порога двери кабины по меньшей мере от 25 до 1600 мм;
2) защитное устройство должно быть способно выявлять нахождение в дверном проеме препятствия 50 мм и более в диаметре;
3) при возникновении устойчивых помех (нахождения в дверном проеме препятствия) при закрывании двери, защитное устройство может быть отключено по истечении установленного времени или количества попыток закрывания двери;
4) при закрывании дверей с отключенным защитным устройством кинетическая энергия дверей должна быть не более 4 Дж, если лифт остается в работе. В этом случае должен срабатывать звуковой сигнал на время закрывания дверей.
Примечание - Защитное устройство двери кабины и дверей шахты должно быть общим.
c) Усилие, необходимое для предотвращения закрывания двери, не должно превышать 150 Н, за исключением первой трети пути двери.
d) Наличие препятствования движению закрывания створок дверей должно вызывать остановку привода дверей и повторное открывание створок дверей.
При повторном открывании створок дверей, двери могут открыться не полностью, но при этом открытие створок дверей должно обеспечить возможность устранения препятствия.
e) Усилие, необходимое для предотвращения открывания складной двери, не должно превышать 150 Н. Измерение усилия должно быть произведено при сложенной двери таким образом, чтобы соседние внешние края складных панелей или их эквивалента, например рамы двери, находились на расстоянии (100 +/- 10) мм.
f) Если складчатая дверь кабины уходит в нишу, расстояние между внешним краем сложенной двери и краем ниши должно быть не менее 15 мм.
g) Если использованы лабиринты или зигзаги (например, для ограничения распространения огня) на передних краях ведущих створок дверей или на сочетании ведущего края двери и фиксированной обвязки, выемки и выступы не должны превышать 25 мм.
В случае стеклянных дверей толщина переднего края ведущей(их) створки(ок) не должна быть меньше 20 мм. Края стекла должны быть закруглены, отшлифованы, чтобы не вызывать травм.
h) Двери, сделанные из стекла, за исключением дверей, имеющих смотровые отверстия, огражденные стеклянными панелями по
5.3.7.2.1, перечисление a), должны быть обеспечены средством, ограничивающим усилие открывания до 150 Н и останавливающим дверь, если что-либо препятствует ее открыванию.
i) Для исключения затягивания детских рук автоматические горизонтально раздвижные двери с механическим приводом, выполненные из стекла и имеющие размеры, превышающие установленные в
5.3.7.2, должны быть обеспечены одним из следующих средств для минимизации риска:
1) установка непрозрачного стекла со стороны, обращенной к пользователю, применяя либо стекло с узором "мороз" или наложение матированного материала на высоту минимум до 1,10 м; или
2) определение наличия пальцев на высоте по меньшей мере не более 1,6 м над уровнем порога и остановки движения двери в направлении открывания; или
3) ограничение зазора между створками двери и обвязкой дверного проема величиной не более 4 мм на высоте по меньшей мере 1,6 м над уровнем порога.
Углубления (обрамленное стекло и т.п.) не должны превышать 1 мм и должны быть включены в четырехмиллиметровый зазор. Максимальный радиус на внешней кромке обвязки дверного проема, прилегающего к створке двери, не должен быть более 4 мм.
5.3.6.2.2.2 Неавтоматические двери с электрическим приводом
Когда закрывание двери происходит под непосредственным управлением и наблюдением пользователя, которое осуществляется постоянным нажатием кнопки или подобного органа управления, средняя скорость закрывания самой быстрой створки должна быть не более 0,3 м/с в том случае, если кинетическая энергия, рассчитанная или измеренная согласно
5.3.6.2.2.1, перечисление a), превышает 10 Дж.
5.3.6.2.2.3 Вертикально раздвижная дверь
Этот тип раздвижной двери должен быть использован только для грузопассажирских лифтов.
Закрывание от электропривода должно быть использовано, только если выполнены одновременно следующие пять условий:
a) закрывание дверей происходит под непрерывным управлением и наблюдением пользователя, например путем удержания органа управления в нажатом положении;
b) средняя скорость закрывания самой быстрой створки не превышает 0,30 м/с;
c) конструкция двери соответствует
5.3.1.2;
d) дверь кабины закрывается по меньшей мере на две трети до того момента, как начинает закрываться дверь шахты;
e) механизм двери должен быть защищен от непреднамеренного доступа.
5.3.6.2.3 Другие типы дверей
При использовании других типов дверей, например распашных дверей, с электрическим приводом, где велик риск получения удара при открывании или закрывании, должны быть приняты защитные меры, подобные тем, которые принимают по отношению к раздвижным дверям с электрическим приводом.
5.3.6.3 Изменение направления движения закрывания
В кабине, оборудованной автоматическими дверями с электрическим приводом, должна быть установлена кнопка "Двери", нажатие на которую приводит к повторному открыванию двери при нахождении неподвижной кабины в зоне точной остановки на этажной площадке.
5.3.7. Освещение посадочной площадки и световой сигнал о наличии кабины на этаже
5.3.7.1 Освещение посадочной площадки
Естественное или искусственное освещение посадочных площадок вблизи дверей шахты должно обеспечивать освещенность не менее 50 люкс на уровне пола с тем, чтобы пользователь мог видеть открывание дверей шахты и войти в лифт, даже если свет в кабине погашен.
5.3.7.2 Информация о наличии кабины на этаже
5.3.7.2.1 Для открывающихся вручную дверей шахты должна быть предусмотрена информация о наличии кабины на этаже:
a) дверь шахты должна иметь одно или несколько смотровых окон, огражденных панелями из многослойного стекла, одновременно удовлетворяющих следующим четырем условиям:
1) механическая прочность должна соответствовать требованиям
5.3.5.3. При проведении испытания на удар маятником по
5.3.5.3.4, перечисление a) стеклянная панель не должна отделяться от двери, а повреждения стекла не являются браковочным показателем,
2) толщина многослойного стекла должна быть не менее 3/3/0,76 мм. Стекло должно иметь маркировку с указанием:
- наименования поставщика и торговой марки,
- толщины стекла (например: 3/3/0,76 мм),
3) остекленная площадь одной двери шахты должна быть не менее 0,015 м2, но не менее 0,01 м2 на каждое смотровое окно;
4) ширина прозрачной части смотрового окна должна быть не менее 60 мм и не более 150 мм. Нижний край смотровых окон шириной более 80 мм должен находиться на высоте не менее 1000 мм над уровнем этажной площадки; или
b) световой сигнал наличия кабины на этаже, который должен загораться, когда кабина подходит к остановке или остановлена на конкретном этаже. Этот сигнал может быть выключен, если двери закрыты, а кабина находится на остановке, но должен включаться снова, если нажимается кнопка вызова на том этаже, где находится кабина.
5.3.7.2.2 Дверь кабины должна быть оборудована смотровым(и) окном(ами), если дверь шахты имеет смотровое(ые) окно(а) [см.
5.3.7.2.1, перечисление a)], за исключением автоматической двери кабины, которая остается в открытом положении при нахождении неподвижной кабины на уровне этажа.
Смотровое(ые) окно(а), установленное(ые) в двери кабины, должно(ы) удовлетворять требованиям
5.3.7.2.1, перечисление a) и располагаться в двери кабины таким образом, чтобы быть визуально совмещенным со смотровым(ыми) окном(ами) двери шахты при нахождении кабины на уровне этажа.
5.3.8. Проверка запирания и закрывания двери шахты
5.3.8.1 Защита от риска падения
При нормальной работе должна быть исключена возможность открыть дверь шахты снаружи шахты (или любую из створок в случае двери с несколькими створками), пока кабина не остановилась в зоне отпирания этой двери шахты.
Протяженность зоны отпирания двери шахты должна быть не более 0,20 м выше и ниже уровня этажа.
Однако в случае механически управляемых дверей кабины и шахты, работающих одновременно, зона отпирания должна быть не более 0,35 м выше и ниже уровня этажа.
5.3.8.2 Защита от риска перерезания
Открытие любой из створок двери шахты должно приводить к остановке движущейся кабины или предотвращать движение неподвижной кабины, за исключением движения по
5.12.1.4,
5.12.1.8.
5.3.9. Запирание и аварийное отпирание дверей шахты и кабины
5.3.9.1 Запирающие устройства дверей шахты
5.3.9.1.1 Общие требования
Каждая дверь шахты должна быть снабжена автоматическим замком, удовлетворяющим условиям
5.3.8.1.
За исключением
5.12.1.4 и
5.12.1.8, надежное запирание двери шахты в закрытом положении должно предшествовать передвижению кабины. Запирание двери шахты автоматическим замком должно контролироваться электрическим устройством безопасности в соответствии с
5.11.2.
5.3.9.1.2 Движение кабины должно быть возможным только после перемещения запирающего элемента автоматического замка двери шахты не менее чем на 7 мм в ответную часть замка (см. рисунок 12).
Рисунок 12 - Примеры запирающих элементов
5.3.9.1.3 Запирающее устройство автоматического замка дверей шахты должно непосредственно воздействовать на электрический контакт безопасности.
Особый случай: при наличии запирающих устройств, используемых в дверях, требующих специальной защиты от рисков воздействия влажности или взрывов, воздействие запирающего устройства может быть выполнено через промежуточные элементы при условии, что связь между механическим замком и контактом электрического устройства безопасности, подтверждающим запертое состояние, может быть прервана только преднамеренным выводом из строя запирающего устройства.
5.3.9.1.4 Замок должен выдерживать без остаточной деформации во время испытания согласно
[2] минимальную нагрузку на уровне замка и в направлении открывания двери величиной:
a) 1000 Н - в случае раздвижных дверей;
b) 3000 Н - на запирающий ригель в случае распашных дверей.
5.3.9.1.5 Запирание автоматического замка и его нахождение в запертом состоянии должно происходить под действием силы тяжести, постоянных магнитов или пружин сжатия. Пружины сжатия должны иметь направляющие и такие размеры, чтобы в момент отпирания автоматического замка исключалось соприкосновение витков пружины.
Автоматические замки должны оставаться в запертом состоянии под действием силы тяжести, в случае прекращения функционирования постоянных магнитов или пружин.
Если запирающий элемент автоматического замка удерживается в запертом положении под действием постоянного магнита, должна быть исключена возможность его нейтрализации простым средством (например, нагреванием или ударом).
5.3.9.1.6 Автоматический замок двери шахты является устройством безопасности и подлежит испытаниям в соответствии с требованиями
[2].
5.3.9.1.7 На каждом замке или рядом с замком должны быть указаны следующие сведения:
a) изготовитель замка;
b) заводской или идентификационный номер замка.
5.3.9.1.8 Дверь шахты на этажной площадке, закрываемая вручную, кроме автоматического замка, должна быть оборудована неавтоматическим замком или устройством, удерживающим дверь в закрытом положении.
5.3.9.2 Запирающие устройства двери кабины
Автоматический замок двери кабины является устройством безопасности и подлежит испытаниям в соответствии с требованиями
[2].
5.3.9.3 Аварийное отпирание
5.3.9.3.1 Двери шахты на этажной площадке должны отпираться снаружи специальным ключом, который соответствует ключевине (см. рисунок 13).
5.3.9.3.2 Ключевина (см.
рисунок 13) может находиться на створке или на портале двери шахты. Ключевина, установленная на вертикальной плоскости створки или портала двери шахты, должна быть расположена на высоте не более 2,00 м над уровнем этажной площадки.
Ключевина, установленная горизонтально на портале двери шахты, должна быть расположена на высоте не более 2,70 м над уровнем этажной площадки. Длина специального ключа для отпирания двери шахты должна быть не менее высоты двери шахты минус 2,00 м.
Специальный ключ длиной более 0,20 м должен находиться на объекте эксплуатации лифта.
5.3.9.3.3 После отпирания двери шахты специальным ключом автоматический замок должен автоматически запираться при закрывании дверей шахты.
5.3.9.4 Электрическое устройство безопасности, контролирующее закрытое состояния двери шахты
После отпирания автоматическая дверь шахты должна закрываться и запираться автоматически при отсутствии кабины в зоне отпирания дверей шахты.
5.3.9.4.1 Каждая дверь шахты должна быть оборудована электрическим устройством безопасности по
5.11.2, контролирующим закрытое состояние двери шахты в соответствии с
5.3.8.2.
5.3.9.4.2 Допускается объединение электрического устройства безопасности, контролирующего закрытое состояние автоматической горизонтально-раздвижной двери шахты, с электрическим устройством безопасности, контролирующим запертое состояние этой двери, при условии, что его включение происходит при закрытии двери шахты.
5.3.9.4.3 Закрытие створок раздвижной двери, не запираемых замком, следует контролировать электрическим устройством безопасности. Указанное требование не распространяется на двери, створки которых в закрытом положении соединены неразмыкаемой кинематической связью.
5.3.10. Раздвижные двери шахты с несколькими механически связанными створками
5.3.10.1 Если раздвижная дверь шахты содержит несколько непосредственно механически связанных створок, то разрешается:
| | ИС МЕГАНОРМ: примечание. В официальном тексте документа, видимо, допущена опечатка: имеется в виду пункт 5.3.9.4.2, а не пункт 5.3.4.9.2. | |
b) запирать только одну створку при условии, что это единственное запирание препятствует открыванию другой(их) створки(ок) за счет сцепления створок (кареток) в закрытом положении в случае телескопических дверей.
Обратный сгиб листа каждой створки телескопической двери и сцепление быстрой створки с медленной створкой, когда дверь находится в закрытом положении, или сцепление кареток створок, обеспечивающее такую же связь, считается непосредственной механической связью. В этом случае установка устройств по
5.3.9.4.1 или
5.3.9.4.2 на всех створках не требуется. Связь между створками (каретками) должна обеспечиваться даже в случае разрушения направляющего средства (роликов и др.). Одновременное разрушение верхних и нижних направляющих средств (роликов) не следует принимать в расчет. Соответствие прочностным требованиям по
5.3.10.3 должно быть удостоверено минимально возможным проектным перекрытием сцепляющих элементов створок.
5.3.10.2 Если раздвижная дверь шахты содержит несколько не напрямую механически связанных створок (например, посредством троса), допускается запирать только одну створку при условии, что это единственное запирание препятствует открыванию другой(их) створки(ок), и что створки не снабжены ручками.
Закрытие створки(ок), не запертой автоматическим замком, должно контролироваться электрическим устройством безопасности.
5.3.10.3 Устройства, обеспечивающие прямую механическую связь между створками согласно
5.3.10.1 или непрямую механическую связь согласно
5.3.10.2, должны быть способны выдерживать силу в 1000 Н согласно
5.3.9.1.4, перечисление a), даже если одновременно действует сила в 300 Н, упомянутая в
5.3.5.3.1.
5.3.11. Электрическое устройство безопасности, контролирующее закрытое состояния двери кабины
5.3.11.1 Открытие любой из створок двери кабины должно приводить к остановке движущейся кабины или предотвращать движение неподвижной кабины, за исключением случаев по
5.12.1.4 и
5.12.1.8.
5.3.11.2 Каждая дверь кабины должна быть оборудована электрическим устройством безопасности по
5.11.2, контролирующим закрытое состояние двери.
5.3.12. Раздвижные или складчатые двери кабины с несколькими механически связанными створками
5.3.12.1 Если раздвижная или складная дверь кабины содержит несколько напрямую механически связанных створок, то разрешается:
a) располагать устройство, требуемое по
5.3.10.2:
1) либо на одной створке (ведущей створке в случае телескопических дверей), либо
2) на приводном элементе двери, если механическая связь между этим элементом и створкой является прямой; и
b) в случае и при условиях, указанных в
5.2.5.3.1, перечисление c), запирать только одну створку при условии, что это одно запирание будет препятствовать открыванию другой(их) створки(ок) за счет сцепления створок (кареток) в закрытом положении в случае телескопической или складной двери.
5.3.12.2 Если раздвижная дверь содержит несколько не напрямую механически связанных створок (например, посредством троса, ремня или цепи), разрешается располагать устройство (см.
5.3.10.2) на одной створке при условии, что:
a) это не приводимая в движение створка; и
b) приводимая в движение створка напрямую механически связана с приводным элементом двери.
5.3.13. Открывание двери кабины
5.3.13.1 В лифте, кабина которого находится в зоне отпирания дверей шахты, усилие открывания дверей кабины лифта при обесточенном приводе должно быть не более 300 Н.
5.3.13.2 Для того чтобы ограничить открывание двери кабины людьми, находящимися внутри кабины, для лифтов самостоятельного пользования должно быть обеспечено средство с тем, чтобы:
a) если кабина находится в состоянии движения в зоне отпирания двери, для открывания двери кабины потребовалась бы сила более 50 Н, и
b) если кабина находится за пределами зоны отпирания, было бы невозможно приоткрыть дверь более чем на 50 мм, прикладывая силу до 1000 Н.
| | ИС МЕГАНОРМ: примечание. В официальном тексте документа, видимо, допущена опечатка: пункты 5.13.15.2 и 5.13.15.4 отсутствуют. | |
5.3.13.3 Должна быть предусмотрена возможность в случае остановки кабины в пределах расстояний, установленных
5.6.7.5, при открытой соответствующей двери шахты открыть дверь кабины со стороны этажной площадки без использования инструментов, за исключением специального ключа или инструментов, постоянно находящихся на месте эксплуатации. Данное требование распространено также на двери кабины, оборудованные запирающими устройствами по 5.13.15.2 и 5.13.15.4.
5.3.13.4 В случае лифтов, указанных в
5.2.5.3.1, перечисление c), открывание двери кабины изнутри кабины должно быть возможно, только когда кабина находится в зоне отпирания дверей шахты.
5.4. Кабина, противовес и уравновешивающий груз
Высота кабины, измеренная от пола до потолочного перекрытия, должна быть не менее 2000 мм. При определении высоты кабины находящиеся на потолочном перекрытии и выступающие не более 50 мм элементы (плафоны, решетки, багеты и т.д.) не учитываются.
5.4.2. Доступная площадь кабины, номинальная грузоподъемность, число пассажиров
Для предотвращения перегрузки кабины людьми, доступная площадь кабины должна быть ограничена.
Номинальную грузоподъемность лифта самостоятельного пользования следует устанавливать в зависимости от максимальной доступной площади кабины и в соответствии с данными, приведенными в таблице 6.
Таблица 6
Номинальная нагрузка и максимальная доступная площадь кабины
Номинальная нагрузка, масса, кг | Максимально доступная площадь кабины, м2 | Номинальная нагрузка, масса, кг | Максимально доступная площадь кабины, м2 |
| 0,37 | 900 | 2,20 |
| 0,58 | 975 | 2,35 |
225 | 0,70 | 1000 | 2,40 |
300 | 0,90 | 1050 | 2,50 |
375 | 1,10 | 1125 | 2,65 |
400 | 1,17 | 1200 | 2,80 |
450 | 1,30 | 1250 | 2,90 |
525 | 1,45 | 1275 | 2,95 |
600 | 1,60 | 1350 | 3,10 |
630 | 1,66 | 1425 | 3,25 |
675 | 1,75 | 1500 | 3,40 |
750 | 1,90 | 1600 | 3,56 |
800 | 2,00 | 2000 | 4,20 |
825 | 2,05 | | 5,00 |
<a> Минимум для лифта на одного человека. <b> Минимум для лифта на двух человек. <c> Более 2500 кг необходимо добавить 0,16 м 2 на каждые дополнительные 100 кг. Для промежуточных значений нагрузок площадь определяется линейной интерполяцией. |
У электрического лифта самостоятельного пользования допускается превышение максимальной доступной площади кабины, относительно указанной в таблице 6, для его грузоподъемности при выполнении следующих дополнительных условий:
a) при наличии в кабине груза, масса которого равна 125% от грузоподъемности, определенной по полезной площади кабины, не должно происходить опускание кабины; допускается опускание кабины не более чем на 300 мм, что обеспечивается за счет применения специального устройства, автоматически останавливающего кабину;
b) пол кабины, каркас кабины, подвески кабины, направляющие, ловители, буфер кабины и останавливающие устройства по 5.6.7 должны быть рассчитаны на нагрузки, исходя из условия размещения в кабине равномерно распределенного по площади пола груза, масса которого равна грузоподъемности, определенной по полезной площади пола кабины.
5.4.2.1.1 Площадь кабины следует измерять от стенки до стенки кабины, исключая элементы отделки, на высоте 1 м над уровнем пола.
5.4.2.1.2 Выемки и выступы в стенках кабины, даже на высоте менее 1 м, защищенные или незащищенные разделяющими дверями, разрешены только в том случае, если их площадь принимается во внимание при расчете максимально доступной площади кабины.
Выемки или выступы, находящиеся над уровнем пола, которые не могут вместить человека из-за расположенного в них оборудования, не должны приниматься во внимание при расчете максимально доступной площади кабины (например, ниши для откидывающихся сидений, выемки для устройств внутренней связи).
При наличии доступной площади между стойками входного проема, когда двери закрыты, применимо следующее:
a) если эта площадь имеет глубину меньше или равную 100 мм до любой створки двери (включая сюда быструю и медленную створки в случае двери с несколькими створками), то она должна быть исключена из общей площади;
b) если эта площадь имеет глубину больше 100 мм, то общая доступная площадь должна быть включена в общую площадь.
5.4.2.1.3 Контроль загрузки кабины должен осуществляться посредством устройства согласно
5.12.1.2.
5.4.2.2. Грузопассажирские лифты
5.4.2.2.1 К грузопассажирским лифтам должны быть применимы требования по
5.4.2.1 при следующих условиях:
a) вес погрузочно-разгрузочных устройств должен быть включен в состав номинальной нагрузки; либо
b) вес погрузочно-разгрузочных устройств должен быть учтен отдельно от номинальной нагрузки при следующих условиях:
1) погрузочно-разгрузочные устройства использованы только для загрузки и разгрузки кабины и не предназначены для транспортирования вместе с нагрузкой,
2) в лифтах с приводом трения и жестким приводом конструкция кабины, каркаса кабины, ловителей кабины, направляющих, тормоза лебедки, тягового средства и средства защиты от непреднамеренного передвижения кабины должна быть основана на общей нагрузке, складывающейся из номинальной нагрузки кабины и массы погрузочно-разгрузочных устройств,
3) в гидравлических лифтах конструкция кабины, каркаса кабины, соединения между кабиной и поршнем (цилиндром), ловителей, разрывного клапана, гидравлического дросселя/одностороннего гидравлического дросселя, стопорного устройства, направляющих и средства защиты от непреднамеренного передвижения кабины должна быть основана на общей нагрузке, складывающейся из номинальной нагрузки кабины и массы погрузочно-разгрузочных устройств,
4) если длина хода кабины вследствие загрузки и разгрузки превышает максимальную точность передвижения, механическое устройство должно ограничить нижний предел перемещений кабины, что включает в себя следующее:
- точность выравнивания на этаже не должна превышать величины точности остановки плюс 10 мм,
- механическое устройство должно срабатывать до открывания дверей,
- механическое устройство должно иметь достаточную прочность, чтобы удерживать кабину, даже если не сработал тормоз привода или открыт клапан движения вниз в гидравлическом лифте,
- передвижения для повторного выравнивания должны быть предотвращены электрическим устройством безопасности в соответствии с
5.11.2, если механическое устройство не находится в активном состоянии,
- нормальная работа лифта должна быть предотвращена электрическим устройством безопасности в соответствии с
5.11.2, если механическое устройство не находится в нерабочем (неактивном) состоянии,
5) максимальная масса погрузочно-разгрузочных устройств должна быть указана на посадочных площадках в соответствии с рисунком 14.
Рисунок 14 - Пиктограмма на посадочных площадках
для погрузочно-разгрузочных устройств
5.4.2.2.2 В грузопассажирских лифтах с гидравлическим приводом доступная площадь кабины может быть больше, чем указанная в
таблице 6, но не должна превышать значения, указанного в таблице 7 для соответствующей номинальной грузоподъемности лифта.
Таблица 7
Номинальная нагрузка и максимальная доступная площадь кабины
(для гидравлических грузопассажирских лифтов)
Номинальная нагрузка, масса, кг | Максимально доступная площадь кабины, м2 | Номинальная нагрузка, масса, кг | Максимально доступная площадь кабины, м2 |
400 | 1,68 | 975 | 3,52 |
450 | 1,84 | 1000 | 3,60 |
525 | 2,08 | 1050 | 3,72 |
600 | 2,32 | 1125 | 3,90 |
630 | 2,42 | 1200 | 4,08 |
675 | 2,56 | 1250 | 4,20 |
750 | 2,80 | 1275 | 4,26 |
800 | 2,96 | 1350 | 4,44 |
825 | 3,04 | 1425 | 4,62 |
900 | 3,28 | 1500 | 4,80 |
| | | 5,04 |
<a> Более 1600 кг следует добавить 0,40 м 2 на каждые дополнительные 100 кг. Для промежуточных значений нагрузок площадь определена линейной интерполяцией. |
Примечание - Пример расчетов: гидравлический грузопассажирский лифт требуется для транспортирования номинальной нагрузки в 6000 кг и имеет размеры не менее 5,60 м в глубину и 3,40 м в ширину (то есть площадь кабины 19,04 м2).
a) Из
таблицы 7 следует, что максимальная доступная площадь кабины для транспортирования груза в 1600 кг равна:
-

;
6000 кг - 1600 кг = 4400 кг/100 = 44, при этом 44·0,4 м2 = 17,6 м2;
- поэтому общая максимальная площадь кабины для номинальной грузоподъемности = 5,04 + 17,6 м2 = 22,64 м2.
Выбранный размер кабины 19,04 м2 приемлем для транспортирования груза 6000 кг, так как он меньше максимально допустимого груза.
b) Расчет согласно
таблице 6 эквивалентной нагрузки для площади, заполненной пассажирами:
-

;
619,04 - 5 м2 = 14,0 м2/0,16 м2 = 88, при этом 88·100 кг = 8800 кг;
- поэтому полная максимальная грузоподъемность для максимальной доступной площади = 2500 кг + 8800 кг = 11300 кг.
Согласно
5.4.2.2.4 расчет перечисленных выше компонентов, таких как каркас кабины, ловители и т.д., должен быть выполнен для нагрузки в 11300 кг.
5.4.2.2.3 В грузопассажирских лифтах с гидравлическим приводом доступная площадь кабины лифта с уравновешивающим грузом должна быть такой, чтобы нагрузка в кабине, выводимая из
таблицы 6, не вызывала давления, превышающего в 1,4 раза и более давление, на которое рассчитаны гидроцилиндр и трубы.
5.4.2.2.4 В грузопассажирских лифтах с гидравлическим приводом конструкция кабины, подвески кабины, соединения между кабиной и поршнем (цилиндром), подвешивающего средства (в лифтах непрямого действия), ловителей кабины, разрывного клапана, гидравлического дросселя/одностороннего гидравлического дросселя, стопорного устройства, направляющих и буферов должна быть основана на нагрузке, указанной в
таблице 6. Цилиндр можно рассчитывать в соответствии с номинальной нагрузкой, приведенной в
таблице 7.
5.4.2.3. Число пассажиров
5.4.2.3.1 Вместимость кабины определяют по количеству пассажиров в соответствии с таблицей 8 или делением номинальной грузоподъемности лифта на 75 с округлением полученного результата до ближайшего целого числа (75 кг - принятая масса одного пассажира). Из этих двух вариантов выбирают тот, который дает меньшее значение.
Таблица 8
Число пассажиров и минимальная доступная площадь кабины
Число пассажиров | Полезная минимальная площадь кабины, м2 | Число пассажиров | Полезная минимальная площадь кабины, м2 |
1 | 0,28 | 11 | 1,87 |
2 | 0,49 | 12 | 2,01 |
3 | 0,60 | 13 | 2,15 |
4 | 0,79 | 14 | 2,29 |
5 | 0,98 | 15 | 2,43 |
6 | 1,17 | 16 | 2,57 |
7 | 1,31 | 17 | 2,71 |
8 | 1,45 | 18 | 2,85 |
9 | 1,59 | 19 | 2,99 |
10 | 1,73 | 20 | 3,13 |
Примечание - Если количество пассажиров превышает 20 следует добавлять 0,115 м2 на каждого последующего пассажира.
5.4.2.3.2 На одной из стенок кабины должна быть размещена следующая информация:
a) номинальная грузоподъемность, кг;
b) вместимость (число человек);
c) изготовитель лифта;
d) год изготовления;
e) заводской номер.
Допускается указывать год изготовления и заводской номер на любой поверхности кабины в любом доступном для персонала месте.
Информацию о вместимости и номинальной грузоподъемности допускается выполнять в виде надписи "...кг...человек" или пиктограмм.
Примеры: | Число человек:  | Нагрузка:  |
5.4.2.3.3 В грузопассажирских лифтах информация о грузоподъемности лифта должна быть видна с загрузочной зоны посадочной площадки.
5.4.3. Стенки, пол и крыша кабины
5.4.3.1 Кабина должна быть полностью огорожена сплошными стенками, полом и потолком (крышей). В ограждении кабины допускаются:
a) проемы для нормального доступа пользователей;
b) проемы аварийных люков и дверей;
c) вентиляционные отверстия.
5.4.3.2 Кабина лифта в сборе, включая каркас, башмаки, стенки, пол и потолок (крышу), должна быть рассчитана и выдерживать нагрузки, возникающие при нормальной работе лифта и срабатывании устройств безопасности.
5.4.3.2.1 Стены кабины должны выдерживать нагрузку:
a) 300 Н, равномерно распределенную по круглой или квадратной площадке площадью 5 см2 и приложенную под прямым углом в любой ее точке изнутри кабины с упругой деформацией, не превышающей 15 мм, при этом остаточная деформация допускается не более 1,0 мм;
b) 1000 Н, равномерно распределенную по круглой или квадратной площадке площадью 100 см2 и приложенную под прямым углом в любой ее точке изнутри кабины. При этом остаточная деформация допускается не более 3 мм.
При срабатывании устройств безопасности пол как пустой, так и загруженной кабины с равномерно распределенным грузом, масса которого соответствует номинальной грузоподъемности, не должен отклоняться более чем на 5% от горизонтали.
5.4.3.2.2 Плоские стеклянные панели, применяемые для ограждения стен кабины, должны быть изготовлены из многослойного стекла в соответствии с таблицей 9.
Таблица 9
Плоские стеклянные панели, используемые для стен кабины
Тип стекла | Минимальная толщина, мм, при диаметре вписанной окружности, м |
не более 1 | не более 2 |
Многослойное закаленное | 8 (4 + 4 + 0,76) | 10 (5 + 5 + 0,76) |
Многослойное | 10 (5 + 5 + 0,76) | 12 (6 + 6 + 0,76) |
Каждое стекло должно иметь маркировку с указанием следующей информации:
a) наименование торговой марки фирмы-поставщика стекла;
b) толщина [например, 8 (4 + 4 + 0,76)].
При использовании плоского многослойного стекла, не отвечающего требованиям данных
таблицы 9, или, если элементы стен кабины из плоского многослойного стекла не имеют нестеклянного обрамления со всех сторон, проводят испытания на удар маятником в соответствии с
[2].
5.4.3.2.3 Стенки кабины со стеклом, расположенным ниже 1,10 м над уровнем пола, должны иметь поручень на высоте от 0,90 м до 1,10 м. Этот поручень должен быть закреплен независимо от стекла.
5.4.3.2.4 Крепление стекла в стенке должно обеспечить невозможность выпадения стекла из элементов крепления при проведении испытаний и при использовании лифта по назначению.
5.4.3.2.5 Крыша кабины должна удовлетворять требованиям по
5.4.6.
5.4.4.1 Под порогом кабины на всю ширину дверного проема должен быть установлен фартук, заподлицо с передней кромкой порога.
Вертикальная часть фартука должна заканчиваться скосом, угол которого с горизонтальной плоскостью должен быть не менее 60°. Проекция этого скоса на горизонтальную плоскость должна составлять не менее 20 мм.
Любые выступы на поверхности фартука, такие как элементы крепления, не должны превышать 5 мм. Выступы, превышающие 2 мм, должны быть скошены по меньшей мере под углом 75° к горизонтали.
5.4.4.2 Высота вертикальной части фартука, включая высоту порога кабины, должна быть не менее 750 мм. У кабины лифта, перемещающейся по наклонно установленным направляющим (в пределах 15°), указанный фартук должен быть установлен параллельно внутренней поверхности стены шахты со стороны входа в кабину.
Допускается применение складного фартука:
a) если фартук раскладывается вручную, должны быть выполнены следующие требования:
- дверь кабины должна быть оборудована запирающим устройством, соответствующим требованиям 5.3.9.2;
- нахождение фартука в сложенном состоянии должно контролироваться электрическим устройством безопасности, соответствующим требованиям 5.11.2;
b) если в режиме нормальной работы фартук раскладывается автоматически, то нахождение фартука в разложенном состоянии должно контролироваться электрическим устройством безопасности, соответствующим требованиям 5.11.2.
Допускается шунтировать контакты электрического устройства безопасности на расстоянии не более 1000 мм от уровня чистого пола приямка.
5.4.4.3 Вертикальный щит должен выдерживать нагрузку, равную 300 Н, равномерно распределенную по круглой или квадратной площадке площадью 5 см2 и приложенную под прямым углом в точке, отстоящей от края щита не менее чем на 200 мм, с упругой деформацией, не превышающей 75 мм.
5.4.5. Аварийные люки и аварийные двери
5.4.5.1 При оборудовании крыши кабины аварийным люком его размер в свету должен быть не менее 400 x 500 мм.
При оборудовании кабины аварийной дверью, она должна иметь высоту в свету не менее 1,80 м и ширину в свету не менее 0,40 м.
5.4.5.2 Если установлены аварийные люки или двери, они должны соответствовать перечисленным ниже требованиям.
5.4.5.2.1 Аварийные люки и двери должны быть оборудованы средством для запирания вручную.
5.4.5.2.1.1 Аварийные люки должны открываться снаружи кабины без ключа и изнутри кабины ключом, вставляемым в треугольник, описанный в
5.3.9.3.
Аварийные люки не должны открываться внутрь кабины.
Аварийные люки в открытом положении не должны выступать за габариты кабины.
5.4.5.2.2 Аварийные двери должны открываться снаружи кабины без ключа и изнутри кабины с помощью ключа, вставляемого в треугольник, описанный в
5.3.9.3.
Аварийные двери не должны открываться в направлении наружу кабины.
Аварийные двери не должны располагаться на пути движения противовеса или уравновешивающего груза, или перед фиксированным препятствием (за исключением балок, разделяющих кабины), преграждающим проход из одной кабины в другую.
5.4.5.2.3 Запирание аварийного люка и двери должно контролироваться посредством электрического устройства безопасности согласно
5.11.2.
Это устройство должно останавливать соседний лифт при незапертой аварийной двери.
Возвращение лифта в режиме "Нормальная работа" должно быть возможно только после запирания открытой двери или люка.
5.4.5.2.4 Аварийная дверь может быть применена в том случае, если имеется смежная кабина и горизонтальное расстояние между кабинами не превышает 1,0 м.
В этом случае каждая кабина должна быть оборудована средством определения положения смежной кабины, через которую будут эвакуированы пассажиры, для того чтобы обеспечить ее остановку на уровне, где может быть осуществлена спасательная операция.
В случае спасательной операции, когда расстояние между аварийными дверями кабин превышает 0,35 м, должен быть применен разборный/передвижной мостик или мостик, встроенный в кабину, оснащенный перилами и имеющий минимальную ширину 0,50 м, но достаточные зазоры, чтобы вставляться в проем аварийной двери.
Этот мостик должен быть спроектирован с учетом выдерживания силы не менее 2500 Н.
Если мостик является разборным/передвижным, он должен храниться в здании, где проходит спасательная операция. Правила использования мостика должны быть изложены в руководстве по эксплуатации.
5.4.6.1 Потолочное перекрытие (крыша кабины), на которую предусмотрен выход персонала.
5.4.6.1.1 На крыше кабины должна быть предусмотрена зона для обслуживающего персонала.
5.4.6.1.2 Крыша кабины в любом месте должна выдерживать без остаточной деформации нагрузку 2000 Н, приложенную на площадке размером 300 x 300 мм.
5.4.6.1.3 Для обеспечения безопасности персонала при его нахождении на крыше кабины должны быть выполнены следующие условия:
a) крыша кабины должна быть оборудована ограждающим элементом высотой не менее 0,10 м, установленным:
1) на внешнем краю крыши кабины, либо
2) между внешним краем и позицией ограждения, если ограждение (см.
5.4.6.1.5) установлено;
b) если расстояние, измеренное в горизонтальной плоскости перпендикулярно к внешнему краю крыши кабины, от края крыши кабины до стены шахты превышает 0,30 м, должно быть установлено ограждение, размеры которого указаны в
5.4.6.1.5.
При измерении зазора имеющегося в ограждении шахты, ниши размером менее 300 x 300 мм (ширина x высота) не учитываются.
5.4.6.1.4 Если компонент(ы) лифта, расположенный(ые) между внешним краем крыши кабины и стеной шахты может препятствовать риску падения (см.
рисунки 15 и
16), защита должна соответствовать одновременно следующим условиям:
a) если расстояние между внешним краем крыши кабины и стеной шахты более 0,30 м, должно быть невозможно поместить горизонтальный круг диаметром более 0,30 м между внешним краем стены кабины и соответствующим(и) компонентом(и), между компонентами или между концом перильного ограждения и компонентом(и);
b) когда сила в 300 Н прикладывается горизонтально под прямыми углами к любой точке компонента, она не должна приводить к такому отклонению компонента, при котором больше не выполняется
условие a);
c) компонент должен продолжаться по высоте над крышей кабины, чтобы создавать такой же уровень защиты, который определен в
5.4.6.1.3, по всему пути движения кабины.
1 - лифт и шахта; 2 - край крыши кабины лифта; 3 - канаты,
ремни; 4 - направляющие; 5 - перильное ограждение
Рисунок 15 - Пример компонентов, обеспечивающих защиту
от падения (электрические лифты)
1 - лифт и шахта; 2 - край крыши кабины лифта; 3 - поршень;
4 - направляющие; 5 - перильное ограждение
Рисунок 16 - Пример компонентов, обеспечивающих защиту
от падения (гидравлические лифты)
5.4.6.1.5 В конструкцию ограждения должны входить поручень и поперечина, расположенная на половине высоты ограждений. Ограждение должно выдерживать горизонтальную нагрузку 500 Н, приложенную к поручню.
Высота ограждения должна составлять не менее:
a) 700 мм - при зазоре не более 500 мм;
b) 900 мм - при зазоре более 500 мм.
Допускается использовать складные ограждения, положение которых должно контролироваться электрическим устройством безопасности.
Электрическое устройство безопасности, контролирующее положение складного ограждения на крыше кабины, должно размыкать цепь безопасности при установке ограждения.
При не установленном в рабочее положение складном ограждении, движение кабины при управлении с поста ревизии на крыше кабины должно быть невозможно. При установке складного ограждения в рабочее положение, движение кабины должно быть невозможно в любом режиме, кроме управления с поста ревизии на крыше кабины.
Допускается шунтирование контактов устройства безопасности контролирующего рабочее положение складного ограждения на крыше кабины в режиме "ревизия", устройством, находящимся в посту ревизии на крыше кабины.
Перильное ограждение не требуется, нужна ограждающая
планка высотой не менее 100 мм
Требуется перильное ограждение высотой не менее 700 мм
и ограждающая планка высотой не менее 100 мм
Требуется перильное ограждение высотой не менее 900 мм
и ограждающая планка высотой не менее 100 мм
Рисунок 17 - Перильное ограждение на крыше кабины - высота
5.4.6.1.6 Зазор, измеренный в горизонтальной плоскости, между наружным краем поручня и оборудованием, расположенным в шахте (противовес, выключатели, направляющие, кронштейны и т.п.), должен быть не менее 100 мм.
5.4.7. Оборудование, размещаемое на крыше кабины
5.4.7.1 При необходимости перемещения персонала на крыше кабины должны быть предусмотрены:
a) аппараты управления по
5.12.1.5, расположенные в пределах 0,3 м по горизонтали от пространства безопасности для персонала
(5.2.5.7.1);
b) устройство остановки лифта по
5.12.1.11, расположенное на расстояние не более 1,0 м от входа на крышу кабины. Если данное устройство находится на расстоянии более 1 м от входа на крышу кабины, оно должно располагаться рядом с аппаратами управления в соответствии с
5.4.7.1, перечисление a);
c) электрическая розетка согласно
5.10.7.2.
5.4.8.1 В кабине со сплошными дверями должна быть предусмотрена вентиляция воздуха, которая может быть обеспечена конструктивными зазорами и отверстиями, расположенными вверху и внизу кабины. Площадь вентиляционных отверстий и зазоров как в верхней, так и в нижней части кабины должна составлять не менее чем по 1% полезной площади пола кабины. При расчете площади вентиляции дополнительно можно учитывать площадь зазоров, имеющихся вокруг дверей кабины, которая может составлять до 50% необходимой площади вентиляционных отверстий и зазоров.
5.4.8.2 Вентиляционные отверстия и зазоры должны быть выполнены или размещены таким образом, чтобы через них не прошел изнутри кабины в шахту стержень диаметром 10 мм.
5.4.9.1 Освещение кабины может включаться (отключаться) автоматически и (или) выключателем ручного действия.
В лифте, оборудованном устройством контроля нахождения пассажиров в кабине, допускается, при отсутствии пассажиров в кабине и при закрытых дверях, автоматическое отключение освещения кабины.
5.4.9.2 Кабина должна быть обеспечена стационарным электрическим освещением. Освещенность кабины должна быть не менее 100 лк на аппаратах управления и на высоте 1 м над уровнем пола в любой точке на расстоянии не менее 100 мм от любой стенки.
5.4.9.2.1 Рабочее освещение кабины должно осуществляться не менее чем двумя параллельно включенными источниками света.
5.4.9.2.2 Должно быть обеспечено аварийное освещение с автоматически подзаряжаемым аварийным источником питания, которое способно обеспечить освещенность не менее 5 люкс в течение 1 ч:
a) у каждого устройства вызова обслуживающего персонала в кабине;
b) в центре кабины на высоте 1 м над уровнем пола.
При отказе питания рабочего освещения аварийное освещение кабины должно включаться автоматически.
5.4.10. Противовес и уравновешивающее устройство кабины
5.4.10.1 Противовес и уравновешивающее устройство кабины должны быть рассчитаны на нагрузки, возникающие:
a) при работе лифта в режиме "нормальная работа";
b) посадке противовеса на ловители (при оборудовании противовеса ловителями) и буфера;
c) посадке уравновешивающего устройства кабины на ловители (при оборудовании уравновешивающего устройства кабины ловителями);
d) посадке кабины на буфера и ловители.
| | ИС МЕГАНОРМ: примечание. В официальном тексте документа, видимо, допущена опечатка: пункт 5.6.2.2.1.1 отсутствует. | |
Нагрузки, действующие на противовес или уравновешивающее устройство кабины при посадке их на ловители, следует определять при скоростях движения противовеса или уравновешивающего устройства кабины, указанных в 5.6.2.2.1.1.
Нагрузки, действующие на противовес при посадке его на буфера, следует определять при скорости движения противовеса или уравновешивающего устройства, равной 115% от номинальной.
| | ИС МЕГАНОРМ: примечание. В официальном тексте документа, видимо, допущена опечатка: пункт 5.6.2.2.1.1 отсутствует. | |
Нагрузки, действующие на противовес или уравновешивающее устройство кабины при посадке кабины на ловители следует определять при скоростях движения кабины, указанных в 5.6.2.2.1.1, при посадке кабины на буфер следует определять при скорости движения кабины, равной 115% от номинальной.
5.4.10.2 Конструкцией противовеса или уравновешивающего устройства кабины, в состав которых входят грузы, должно быть предусмотрено исключение их самопроизвольного смещения как в горизонтальной, так и в вертикальной плоскостях.
5.4.10.3 Противовес и уравновешивающее устройство кабины должны быть оборудованы ловителями в случае, предусмотренном
5.2.5.4.
5.5. Подвешивающие средства, компенсационные средства и соответствующие средства защиты
5.5.1. Подвешивающие средства
5.5.1.1 Кабины, противовесы или уравновешивающие устройства кабины должны быть подвешены на стальных проволочных канатах или пластинчатых, или на приводных роликовых (втулочных) цепях. Допускается применение других средств при условии, что они обеспечивают уровень безопасности не ниже, чем при использовании стальных канатов или цепей.
5.5.1.2 Канаты должны соответствовать следующим требованиям:
a) номинальный диаметр стальных проволочных канатов должен быть не менее 6 мм;
b) предел прочности на разрыв проволок и другие характеристики (конструкция, протяженность, овальность, гибкость, испытания, и т.д.) должны соответствовать ГОСТ EN 12385-5.
5.5.1.3 Минимальное число тяговых элементов должно быть равно двум.
Для гидравлических лифтов минимальное число тяговых элементов должно быть равно двум на гидроцилиндр непрямого действия и двум на соединение между кабиной и любым уравновешивающим грузом.
Примечание - При полиспастной подвеске число тяговых элементов принимается равным числу канатов, цепей и т.д.
5.5.2. Соотношение диаметров шкива, блока, барабана и каната, наконечники каната/цепи
5.5.2.1 Отношение диаметра делительной окружности шкивов, блоков или барабанов к номинальному диаметру тяговых канатов должно быть не менее 40 независимо от типа конструкции каната.
5.5.2.2 Коэффициент запаса прочности подвешивающих средств должен быть не менее чем:
a) 12 в случае привода трения с тремя или более канатами;
b) 16 в случае привода трения с двумя канатами;
c) 12 в случае барабанного привода и гидравлических лифтов с канатами;
d) 10 в случае использования цепей.
Этот коэффициент запаса прочности определен как отношение минимального разрывного усилия канатов, Н, к максимальной нагрузке, Н, действующей на этот канат при нахождении кабины с номинальной нагрузкой на нижней этажной площадке.
Для позитивных и гидравлических приводов коэффициент запаса прочности для канатов или цепей уравновешивающего груза должен рассчитываться, как и выше, по отношению к силе, воздействующей на канат/цепь и определяемой весом уравновешивающего груза.
5.5.2.3 Заделка концов канатов при их креплении к кабине, противовесу или уравновешивающему устройству кабины или точкам подвески неподвижной ветви полиспаста должна выдерживать не менее 80% разрывного усилия каната.
5.5.2.3.1 Концы канатов должны быть прикреплены к кабине, противовесу, или уравновешивающему грузу, или к точкам подвешивания оконечных частей запасованных канатов посредством самозатягивающихся клинообразных муфт, зажимных хомутов или обжимных наконечников.
Примечание - Заделки канатов должны выдерживать нагрузку, составляющую не менее 80% от разрывающей нагрузки каната.
5.5.2.3.2 Крепление каната к барабану следует выполнять посредством заклинивания, или с использованием не менее двух прижимных планок, или любым другим способом, обеспечивающим эквивалентный уровень безопасности. При нахождении кабины на полностью сжатом буфере или упоре на барабане должно оставаться не менее полутора запасных витков каждого каната, не считая витков, находящихся под прижимными планками.
5.5.2.4 Концы каждой цепи должны быть прикреплены к кабине, противовесу, или уравновешивающему грузу, или к точкам подвешивания оконечных частей запасованных цепей. Соединение между цепью и наконечником цепи должно быть способно выдерживать нагрузку, составляющую не менее 80% от минимальной разрывающей нагрузки цепи.
5.5.3. Сцепление тяговых элементов со шкивом или барабаном
Сцепление тяговых элементов должно быть таким, чтобы выполнялись три следующих условия:
a) кабина должна удерживаться на уровне этажа без проскальзывания, будучи нагруженной на 125% согласно
5.4.2.1 или
5.4.2.2;
b) должно быть обеспечено, чтобы любое аварийное торможение пустой или нагруженной номинальной нагрузкой кабины приводило к замедлению до скорости, которая ниже или равна той скорости, на которую рассчитаны буферы, включая буферы с пониженным рабочим ходом;
c) должна быть исключена возможность подъема пустой кабины при противовесе, находящемся на буфере, и возможность подъема противовеса при кабине, находящейся на буфере при соблюдении следующих условий:
1) канаты должны проскальзывать по тяговому шкиву, либо
2) привод должен быть остановлен электрическим устройством безопасности согласно
5.11.2.
Примечание - Подъем кабины или противовеса на некоторую высоту допустим при условии, что отсутствует риск раздавливания в крайних точках рабочего хода, или же падения кабины, или противовеса, вызывающего ударные силы, воздействующие на средство подвешивания, и чрезмерное замедление кабины.
5.5.4. Наматывание канатов на барабан для лифтов с позитивным приводом
5.5.4.1 Барабан должен иметь нарезанные по винтовой линии канавки, соответствующие диаметру каната.
5.5.4.2 При нахождении кабины на полностью сжатых буферах на барабане должно оставаться не менее полутора запасных витков каждого закрепленного на барабане каната, не считая витков, находящихся под зажимным устройством.
5.5.4.3 На барабан должен быть намотан только один слой каната.
5.5.4.4 Угол отклонения канатов относительно оси канавок должен быть не более 4°.
Барабан должен иметь реборды, возвышающиеся над навитым канатом на высоту не менее одного диаметра каната. Со стороны (сторон) крепления каната реборду допускается не выполнять.
5.5.5. Распределение нагрузки между канатами или цепями
5.5.5.1 Для уменьшения разности натяжения в отдельных тяговых элементах должно быть предусмотрено автоматическое устройство.
5.5.5.1.1 Для цепей, входящих в зацепление со звездочками, концы, прикрепленные к кабине, так же, как и концы, прикрепленные к уравновешивающему грузу, должны быть снабжены такими выравнивающими устройствами.
Для уменьшения разности натяжения в отдельных тяговых цепях автоматическое устройство должно быть установлено как со стороны кабины, так и со стороны уравновешивающего груза.
5.5.5.1.2 Для цепей в случае нескольких возвратных звездочек на одном и том же валу такие звездочки должны быть способны вращаться независимо.
5.5.5.2 Если пружины используются для выравнивания натяжения, то они должны работать на сжатие.
5.5.5.3 Защита в случае ненормального растяжения, слабины каната или слабины цепи должна быть обеспечена следующим образом:
a) в случае двух подвешивающих канатов или цепей кабины электрическое устройство безопасности согласно
5.11.2 должно вызывать останов машины при ненормальном относительном растяжении каната или цепи;
b) применительно к лифтам с позитивным приводом и гидравлическим лифтам, если существует риск слабины каната (или цепи), электрическое устройство безопасности согласно
5.11.2 должно вызывать останов привода, когда обнаруживается слабина.
После остановки работа лифта в нормальном режиме должна быть предотвращена.
Для гидравлических лифтов с двумя или более гидроцилиндрами это требование применимо к каждому подвешивающему комплекту.
5.5.5.4 Устройства для регулировки длины канатов или цепей должны быть выполнены таким образом, чтобы эти устройства не могли самостоятельно ослабляться после регулировки.
5.5.6. Компенсационные средства
5.5.6.1 Компенсация веса тяговых элементов для обеспечения адекватной тяговой способности или мощности привода должна быть обеспечена в соответствии с перечисленными ниже условиями:
a) для номинальных скоростей, не превышающих 3,0 м/с, могут быть использованы цепи, канаты или ремни;
b) для номинальных скоростей, превышающих 3,0 м/с, должны применяться компенсационные канаты;
c) для лифтов номинальной скоростью, превышающей 3,5 м/с, в дополнение к перечисленным требованиям, должны быть оборудованы устройством, ограничивающим подскок натяжного устройства. Срабатывание этого устройства должно вызывать размыкание цепи безопасности электрическим устройством безопасности по
5.11.2;
d) для номинальных скоростей, превышающих 1,75 м/с, компенсационное средство без натяжения должно иметь направляющее устройство в месте образования петли.
5.5.6.2 В случае использования компенсационных канатов применимо следующее:
a) компенсационные канаты должны соответствовать ГОСТ EN 12385-5;
b) следует использовать натяжные устройства (блоки);
c) отношение между диаметром делительной окружности натяжных блоков и номинальным диаметром компенсационных канатов должно быть не менее 30;
d) натяжные блоки должны быть оборудованы защитой согласно
5.5.7;
e) натяжение должно быть обеспечено силой тяжести;
f) натяжение должно контролироваться электрическим устройством безопасности в соответствии с
5.11.2.
5.5.6.3 Компенсационные средства, например канаты, цепи, ремни и места их крепления должны быть способны выдерживать с коэффициентом запаса прочности, равным 5, любые статические силы, воздействию которых подвергаются эти средства.
Максимальный вес компенсационного средства при нахождении кабины или противовеса в верхней точке их пути передвижения, и половина общего веса натяжного устройства в сборе, если он используется, должны быть учтены.
5.5.7. Защита шкивов, блоков и звездочек
5.5.7.1 Для шкивов, блоков и звездочек, ограничителей скорости, натяжного устройства должны быть предусмотрены меры согласно
таблице 10 для устранения:
a) нанесения телесных повреждений;
b) схождения канатов/цепей со шкивов/звездочек в случае их слабины;
c) попадания предметов между канатами/цепями и шкивами/звездочками.
Таблица 10
Защита шкивов, блоков и звездочек
Места размещения шкивов, блоков и звездочек | Риск согласно 5.5.7.1 |
a) | b) | c) |
В кабине | на крыше | x | x | x |
под полом | | x | x |
На противовесе/уравновешивающем грузе | | x | x |
В машинном и блочном помещениях | | x | |
В шахте | На верхнем этаже | над кабиной | x | x | |
рядом с кабиной | x | x | |
Между приямком и верхним этажом | | x | |
В приямке | x | x | x |
Гидроцилиндр | Удлинение в направлении вверх | | x | |
Удлинение в направлении вниз | | x | |
С механическим средством синхронизации | x | x | x |
x - Риск должен быть принят во внимание. -------------------------------- <1> Требуется, только если канаты/цепи заходят на канатоведущий шкив или блок/звездочку горизонтально или под любым углом относительно к горизонтали до максимум 90°. <2> Как минимум должны быть установлены защитные козырьки, препятствующие случайному доступу к зонам, где канаты/цепи заходят или сходят со шкивов, блоков или звездочек (см. рисунок 18). |
A - шкив; B - канат, ремень; C - защитный козырек
Рисунок 18 - Пример защитного козырька
| | ИС МЕГАНОРМ: примечание. В официальном тексте документа, видимо, допущена опечатка: приложение H отсутствует. | |
5.5.7.2 Конструкцией ограждения должна быть предусмотрена возможность проведения работ по осмотру блоков и звездочек без его разборки. Если в ограждении имеются отверстия, они должны соответствовать требованиям приложения H.
Демонтаж будет необходим только в следующих случаях:
a) замена каната/цепи;
b) замена шкива/звездочки;
c) повторная проточка канавок.
Устройства, препятствующие выходу канатов из канавок шкивов, должны включать в себя ограничитель около мест, где канаты входят и сходят со шкивов, и по меньшей мере один промежуточный ограничитель, если угол сгиба составляет более 60° ниже горизонтальной оси шкива и общий угол сгиба более 120° (см. рисунок 19).
Рисунок 19 - Пример расположения устройств,
препятствующих выходу каната из канавок шкивов
5.5.8. Тяговые шкивы, блоки и звездочки в шахте
Тяговые шкивы, блоки и звездочки могут устанавливаться в шахте выше самой нижней посадочной площадки, если тяговые шкивы, блоки/звездочки расположены в вертикальной проекции кабины и зазоры на верхнем этаже соответствуют
5.2.5.7.
5.6. Устройства и меры для предотвращения свободного падения, превышения скорости, непреднамеренного передвижения кабины и сползания кабины
5.6.1.1 Устройства безопасности или их сочетания предназначены для защиты кабины лифта:
a) от свободного падения;
b) превышения номинальной скорости вниз или вверх и вниз для лифтов с приводом трения;
c) непреднамеренного движения с открытыми дверями;
d) сползания кабины с уровня посадочной площадки - для гидравлических лифтов.
5.6.1.2 Для лифтов с приводом трения и позитивным приводом следует применять устройства безопасности в соответствии с таблицей 11.
Таблица 11
Устройства безопасности для лифтов с приводом
трения и позитивным приводом
Опасная ситуация | Устройства безопасности | Средства, приводящие в действие устройства безопасности |
Свободное падение или превышение скорости при движении кабины в направлении вниз | Ловители | |
Свободное падение противовеса или уравновешивающего груза в случае 5.2.5.4 | Ловители | Ограничитель скорости (5.6.2.2.1), или для лифтов с номинальной скоростью не более 1 м/с: - устройство, срабатывающее от обрыва или ослабления тяговых элементов (5.6.2.2.2), или |
Превышение скорости при движении в направлении вверх (только для лифтов с приводом трения) | Устройство безопасности от превышения скорости поднимающейся вверх кабиной (5.6.6) | |
Непреднамеренное передвижение кабины с открытыми дверями | Устройство безопасности от непреднамеренного передвижения кабины (5.6.7) | |
5.6.1.3 В конструкции гидравлических лифтов должны быть предусмотрены устройства безопасности или их комбинации, приведенные в таблице 12, а также должна быть обеспечена защита от непреднамеренного движения кабины в соответствии с
5.6.7.
Таблица 12
Устройства защиты для гидравлических лифтов
Тип гидравлического лифта | Устройство, препятствующее свободному падению или опусканию кабины на повышенной скорости | Применяемые сочетания устройств, препятствующие сползанию кабины |
Дополнительное срабатывание ловителей при движении кабины вниз (5.6.2.1) | | Электрическая система, препятствующая сползанию (см. 5.12.1.10) |
Прямого действия | | x | x | x |
Разрывной клапан (см. 5.6.3) | | x | x |
| | x | |
Непрямого действия | | x | x | x |
Разрывной клапан (см. 5.6.3) в сочетании с ловителями (5.6.2.1.), срабатывающими при разрушении (обрыве) подвески (см. 5.6.2.2.2) или от каната безопасности (см. 5.6.2.2.3) | x | x | x |
Дроссель (см. 5.6.4) в сочетании с ловителями (5.6.2.1), срабатывающими при разрушении (обрыве) подвески (см. 5.6.2.2.2) или от каната безопасности (см. 5.6.2.2.3) | x | x | |
Примечание - "x" - сочетание двух устройств, препятствующих падению кабины. |
5.6.2. Ловители и устройства приведения их в действие
5.6.2.1.1 Общие положения
5.6.2.1.1.1 Ловители должны останавливать и удерживать на направляющих (даже в случае обрыва подвески) движущуюся вниз кабину с нагрузкой в диапазоне от 0% до 110% от номинальной грузоподъемности (противовес или уравновешивающего устройства кабины) при их включении от действия ограничителя скорости на скорости его срабатывания или от обрыва или слабины тяговых канатов.
Для торможения и удержания движущейся вверх кабины при превышении ее скорости могут быть использованы ловители в соответствии с
5.6.6.
5.6.2.1.1.2 Ловители являются устройствами безопасности и должны быть испытаны в соответствии с [2].
5.6.2.1.1.3 Ловители должны быть снабжены табличкой с указанием:
a) изготовителя данного ловителя;
b) модели ловителя;
c) идентификационного номера;
d) допустимой максимальной улавливаемой массы и скорости, на которую рассчитаны ловители.
5.6.2.1.2 Условия использования разных типов ловителей
5.6.2.1.2.1 Кабина лифта должна быть оборудована ловителями плавного торможения.
Допускается применение ловителей мгновенного действия, если номинальная скорость лифта не более 0,63 м/с.
5.6.2.1.2.2 При оборудовании кабины, и/или противовеса, и/или уравновешивающего устройства более чем одним ловителем все они должны быть плавного торможения.
5.6.2.1.2.3 На противовесе или уравновешивающим устройстве кабины лифта с номинальной скоростью более 1 м/с следует устанавливать (в случае необходимости) ловители плавного торможения.
5.6.2.1.3 Замедление
Среднее замедление свободно падающей кабины с грузом, масса которого равна номинальной грузоподъемности, или же противовеса, или уравновешивающего устройства кабины при посадке на ловители плавного торможения должно быть не менее 1,9 м/с2 и не более 9,81 м/с2.
5.6.2.1.4 Снятие с ловителей
5.6.2.1.4.1 Ловители должны автоматически принимать исходное рабочее положение после перемещения в направлении, соответствующем снятию с ловителей, кабины, противовеса или уравновешивающего устройства кабины.
5.6.2.1.4.2 Снятие кабины (противовеса или уравновешивающего устройства) с ловителей должно быть возможно при любой загрузке кабины, вплоть до загрузки кабины, на 10% превышающей номинальную грузоподъемность:
a) использование средств, предназначенных для аварийного перемещения кабины лифта в соответствии с
5.9.2.3 или
5.9.3.9; или
b) выполнение мероприятий, доступных на месте эксплуатации.
5.6.2.1.4.3 После снятия с ловителей должен быть произведен осмотр лифта квалифицированным персоналом, определена и устранена причина срабатывания ловителей.
5.6.2.1.5 Электрическое устройство безопасности
Срабатывание ловителей кабины следует контролировать электрическим устройством безопасности по
5.11.2, установленным на кабине и размыкающим цепь безопасности до или в момент срабатывания ловителей.
5.6.2.1.6 Требования к конструкции
5.6.2.1.6.1 Элементы ловителей не должны использоваться в качестве направляющих башмаков.
5.6.2.1.6.2 Ловители с регулируемым усилием торможения должны быть опломбированы изготовителем.
5.6.2.1.6.3 Непреднамеренное срабатывание ловителя должно быть исключено, например благодаря обеспечению достаточного зазора между рабочими поверхностями ловителей и направляющей.
5.6.2.1.6.4 Ловители не должны приводиться в действие электрическими, гидравлическими или пневматическими устройствами.
5.6.2.1.6.5 При условии приведения в действие ловителей от обрыва или слабины тяговых элементов, они должны срабатывать при скорости, соответствующей той скорости, при которой срабатывает соответствующий ограничитель скорости.
5.6.2.2 Средства приведения в действие ловителя
5.6.2.2.1 Ограничитель скорости
a) Ограничитель скорости, приводящий в действие ловители, должен срабатывать при превышении номинальной скорости движения лифта. Скорость срабатывания ограничителя скорости должна находиться в следующих диапазонах:
1) для ловителей мгновенного действия и ловителей плавного торможения при номинальной скорости не более 0,63 м/с - от 1,15v до 0,8 м/с;
2) для ловителей плавного торможения при номинальной скорости не более 1 м/с - от 1,15v до 1,5 м/с;
3) для ловителей плавного торможения при номинальных скоростях более 1,0 м/с - от 1,15v до 1,25v + 0,25/v м/с, где v - номинальная скорость кабины, м/с.
b) Ограничитель скорости, у которого усилие для приведения в действие ловителей создается только за счет трения между канатом и рабочим шкивом, должен иметь канавки, которые:
- были подвергнуты дополнительному процессу упрочнения; или
- были подрезаны в соответствии с
[2].
c) На ограничителе скорости должно быть указано направление вращения, соответствующее приведению в действие ловителей.
d) Усилие в элементе (канат, ремень, рычаг), приводящем в действие ловители при срабатывании ограничителя скорости, должно быть, по меньшей мере, больше следующих двух значений:
- удвоенного значения, необходимого для приведения в действия ловителей; или
- 300 Н.
e) Ограничитель скорости, приводящий в действие ловители противовеса или уравновешивающего устройства кабины, должен срабатывать, если скорость движения противовеса или уравновешивающего устройства кабины вниз превысит номинальную не менее чем на 15% и не более чем на значение, превышающее на 10% верхний предел скорости, установленный для срабатывания ограничителя скорости кабины.
5.6.2.2.1.2 Время срабатывания
Для того чтобы обеспечить срабатывание ограничителя скорости до достижения скорости согласно
5.6.2.2.1, перечисление a), максимальное расстояние между точками срабатывания на ограничителе скорости не должно превышать 250 мм передвижения каната ограничителя скорости.
5.6.2.2.1.3 Канаты ограничителя скорости
Канаты ограничителя скорости должны удовлетворять следующим условиям:
a) коэффициент запаса прочности каната ограничителя скорости, определенный как отношение разрывного усилия каната в целом к усилию, возникающему в нем при срабатывании ловителей, должен быть не менее 8. При этом должен приниматься во внимание коэффициент трения, равный 0,2 для ограничителя скорости, основанного на силе трения;
b) отношение диаметра шкива или блока к диаметру огибаемого каната, приводящего в действие ограничитель скорости, должно быть не менее 30. Для лифтов со скоростью движения до 1,6 м/с включительно отношение диаметра шкива или блока к диаметру огибаемого каната, приводящего в действие ограничитель скорости, допускается не менее 25;
c) канат, приводящий в действие ограничитель скорости, должен натягиваться натяжным устройством.
Ограничитель скорости может быть частью натяжного устройства при условии, что значения скорости срабатывания не изменяются передвижением натяжного устройства;
d) во время вхождения ловителя в зацепление с направляющей канат ограничителя скорости и его элементы крепления должны выдерживать возникающие нагрузки и не должны взаимодействовать с другими элементами кабины и шахты лифта, даже если расстояние торможения больше номинального;
e) должна быть предусмотрена возможность отсоединения каната ограничителя скорости от рычага включения ловителей.
Установка ограничителя скорости и его конструкция должны удовлетворять перечисленным ниже условиям.
a) Ограничитель скорости должен быть доступен для проверок и технического обслуживания.
b) Если ограничитель скорости располагается в шахте, он должен быть доступен для проверок и технического обслуживания снаружи шахты.
c) Требования по
перечислениям a),
b) допускается не выполнять, если соблюдены следующие требования:
1) должна быть обеспечена возможность приводить в действие ограничитель скорости для его испытания снаружи шахты лифта по
5.6.2.2.1.5 с помощью дистанционного средства, за исключением бескабельного, при этом должно быть исключено непреднамеренное его срабатывание, а также обеспечена его недоступность для посторонних лиц;
2) должна быть обеспечена возможность осуществлять проверки и техническое обслуживание ограничителя скорости с крыши кабины или из кабины или приямка;
3) ограничитель скорости должен автоматически возвращаться в исходное положение после перемещения кабины, противовеса или уравновешивающего устройства кабины.
Электрические выключатели могут возвращаться в нормальное положение посредством дистанционного управления снаружи шахты, это не должно влиять на работоспособность ограничителя скорости.
5.6.2.2.1.5 Возможность проверки срабатывания ограничителя скорости
Для проведения проверок и испытаний должна быть предусмотрена возможность приведения в действие ловителей от ограничителя скорости при движении кабины со скоростью менее указанной в
5.6.2.2.1, перечисление a).
Если ограничитель скорости является регулируемым, он должен быть опломбирован таким образом, чтобы предотвратить возможность повторной регулировки, не нарушая пломбу.
| | ИС МЕГАНОРМ: примечание. В официальном тексте документа, видимо, допущена опечатка: имеется в виду пункт 5.6.2.2.1, перечисление a), а не пункт пункт 5.6.2.2.1.1, перечисление a). | |
Должна быть предусмотрена возможность проверки срабатывания ограничителя скорости при частоте вращения, соответствующей скоростям движения кабины, противовеса или уравновешивающего устройства кабины, указанным в
5.6.2.2.1.1, перечисление a).
5.6.2.2.1.6 Контроль электрическими устройствами безопасности
a) Электрическое устройство безопасности согласно
5.11.2 должно размыкать цепь безопасности до момента достижения движущейся вверх и/или вниз кабиной скорости, при которой срабатывает ограничитель скорости. При номинальной скорости лифта не более 1 м/с допускается размыкание цепи безопасности этим устройством не позже срабатывания ограничителя скорости.
| | ИС МЕГАНОРМ: примечание. В официальном тексте документа, видимо, допущена опечатка: пункт 5.6.2.4 отсутствует. | |
b) Если после снятия с ловителей (см. 5.6.2.4) ограничитель скорости автоматически не возвращается в исходное состояние, то электрическое устройство безопасности, отвечающее требованию
5.11.2, должно размыкать цепь безопасности и предотвращать пуск лифта до приведения ограничителя скорости в исходное состояние. В случае выполнения операции по
5.12.1.6 это устройство должно быть переведено в нерабочее состояние (зашунтировано) в соответствии с требованиями
5.12.1.6.1, перечисление d).
c) Обрыв или превышающая регламентированная вытяжка каната, приводящего в действие ограничитель скорости, должны вызывать остановку привода электрическим устройством безопасности, отвечающим требованиям
5.11.2.
5.6.2.2.1.7 Ограничитель скорости является устройством безопасности и должен быть испытан в соответствии с
[2].
На ограничителе скорости должна быть указана следующая информация:
a) изготовитель ограничителя скорости;
b) модель ограничителя скорости;
c) диапазон скорости срабатывания ограничителя скорости или фактическая скорость срабатывания;
d) заводской номер.
5.6.2.2.2 Срабатывание от обрыва тяговых элементов
При приведении в действие ловителей от обрыва тяговых элементов должно быть выполнено следующее:
a) усилие, создаваемое механизмом включения ловителей, должно быть по меньшей мере более двух следующих значений:
- удвоенное значение, необходимое для приведения в действие ловителей, или
- 300 Н;
b) пружины подвески, вызывающие срабатывание ловителей, должны работать на сжатие и иметь направляющие элементы;
c) должна быть предусмотрена возможность проведения испытаний извне шахты лифта для подтверждения срабатывания ловителей при обрыве тяговых элементов.
Для проведения этих испытаний должно быть предусмотрено устройство, позволяющее во время опускания кабины (при нормальной работе) приводить в действие ловитель за счет потери натяжения тягового каната.
В случае механического исполнения данного устройства усилие, необходимое для приведения его в действие, не должно превышать 400 Н.
После таких испытаний необходимо проверить отсутствие повреждений.
Примечание - Допускается хранение устройства для испытаний в шахте.
5.6.2.2.3 Срабатывание от каната безопасности
При приведении в действие ловителей от каната безопасности должно быть выполнено следующее:
a) усилие, возникающее в канате при срабатывании, должно быть по меньшей мере более двух следующих значений:
- удвоенное значение, необходимое для приведения в действие ловителей, или
- 300 Н;
b) канат безопасности должен соответствовать
5.6.2.2.1.3;
c) канат безопасности должен быть натянут силой тяжести или по крайней мере одной пружиной сжатия, имеющей направляющие элементы;
d) при срабатывании ловителей канат безопасности и элементы его крепления должны оставаться неповрежденными даже в том случае, если тормозной путь превышает свое установленное значение;
e) разрыв или ослабление каната безопасности должны вызывать остановку лифта с помощью электрического устройства безопасности, отвечающего требованиям
5.5.4;
f) блоки, необходимые для работы каната безопасности, должны быть установлены независимо от любого вала или шкива, канатной или цепной подвески;
g) защита блоков и звездочек должна отвечать требованиям в соответствии с
5.5.7.1.
5.6.2.2.4 Приведение в действие ловителей для предотвращения сползания кабины вниз с уровня этажной площадки
5.6.2.2.4.1 Приведение в действие ловителей от каната
Срабатывание ловителей от каната должно происходить от перемещения кабины вниз при соблюдении следующих условий:
a) после остановки кабины лифта канат, удовлетворяющий требованиям
5.6.2.2.1.3 и прикрепленный к ловителю, должен блокироваться усилием, определенным в
5.6.2.2.3, перечисление a) (как пример, канат ограничителя скорости);
b) при движении кабины в режиме "Нормальная работа" механизм блокировки каната должен быть разблокирован;
c) механизм, блокирующий канат, должен срабатывать с помощью направленных пружин сжатия и/или силы тяжести;
d) проведение работ по освобождению пассажиров должно быть возможно при любых ситуациях;
| | ИС МЕГАНОРМ: примечание. В официальном тексте документа, видимо, допущена опечатка: пункт 5.5.4.37 отсутствует. | |
e) электрическое устройство безопасности по 5.5.4.37, связанное с механизмом, блокирующим канат, должно вызывать остановку привода не позднее момента блокирования каната и предотвратить любое дальнейшее движение кабины вниз в режиме "Нормальная работа";
f) должны быть приняты меры, исключающие непроизвольное срабатывание ловителей от каната безопасности в случае отключения электропитания при движении кабины вниз в режиме "Нормальная работа";
g) конструкцией системы, образованной канатом и механизмом блокировки каната, должно быть предусмотрено исключение любых повреждений при срабатывании ловителей;
h) конструкцией системы, образованной канатом и механизмом блокировки каната, должно быть предусмотрено исключение любых повреждений при движении кабины вверх.
5.6.2.2.4.2 Приведение в действие ловителей от рычага
Приведение в действие ловителей рычагом следует выполнять при соблюдении следующих условий:
a) после остановки кабины рычаг, соединенный с ловителями, должен быть выдвинут в положение, в котором он войдет в зацепление с неподвижными упорами, размещенными на каждой остановочной площадке;
b) рычаг должен быть убран при движении кабины лифта в режиме "Нормальная работа";
c) перемещение рычага для включения ловителей следует выполнять с помощью пружин сжатия, имеющих направляющие элементы, или силой тяжести;
d) проведение работ по освобождению пассажиров должно быть возможно при любых ситуациях;
e) должны быть приняты меры предосторожности, исключающие непроизвольное срабатывание ловителей от рычага в случае отключения электропитания, при движении кабины вниз;
f) конструкцией рычага и упоров должно быть предусмотрено исключение повреждения ловителей во время срабатывания даже в случае увеличенного тормозного пути или движения кабины вверх;
g) электрическое устройство должно выводить лифт из режима "Нормальная работа", если после остановки кабины на уровне этажной площадки рычаг не выдвинулся. При этом двери кабины должны быть закрыты;
h) электрическое устройство безопасности по
5.11.2, связанное с рычагом, должно предотвратить движение кабины вниз в режиме "Нормальная работа", если рычаг не убран.
5.6.3.1 Разрывной клапан должен быть способен остановить кабину при движении вниз и удерживать ее в неподвижном состоянии. Разрывной клапан должен сработать не позже момента увеличения скорости движения кабины вниз на 0,3 м/с.
Разрывной клапан должен обеспечивать замедление.
Среднее значение замедления должно быть в пределах от 1,9 до 9,81 м/с2 (0,2 до 1gn).
Замедление более 25 м/с2 (2,5gn) не должно длиться более 0,04 с.
Среднее значение замедления может рассчитываться по формуле

, (5)
где A - площадь гидроцилиндра, где действует давление, см2;
n - число параллельно действующих гидроцилиндров с одним разрывным клапаном;
Qmax - максимальный поток, л/мин;
r - коэффициент запасовки;
td - время торможения, с.
Числовые значения этой формулы могут быть взяты из технической документации и сертификата соответствия.
5.6.3.2 Разрывной клапан должен быть доступен для проведения регулировки, обслуживания и осмотра с крыши кабины или из приямка.
5.6.3.3 Разрывной клапан должен быть:
- составной частью гидроцилиндра; или
- непосредственно и жестко смонтирован на фланце; или
- размещен рядом с гидроцилиндром и соединен с ним с помощью коротких жестких труб, имеющих сварные, фланцевые или резьбовые соединения; или
- непосредственно смонтирован на гидроцилиндре посредством резьбового соединения.
Другие типы соединений, такие как фитинги, уплотняемые вручную, или фитинги с развальцовкой, не допускаются для соединения разрывного клапана с гидроцилиндром.
5.6.3.4 На лифтах с несколькими гидроцилиндрами, работающими параллельно, возможно использование одного общего разрывного клапана или применение отдельного клапана на каждом гидроцилиндре, соединенных друг с другом для одновременного закрывания и исключения наклона пола кабины более чем на 5% ее нормального положения.
5.6.3.5 Разрывной клапан должен быть рассчитан так же, как и гидроцилиндр.
5.6.3.6 Если скорость закрытия разрывного клапана регулируется гидравлическим дросселем, то фильтр должен быть расположен на максимально близком расстоянии перед гидравлическим дросселем.
5.6.3.7 В машинном помещении необходимо предусмотреть устройство с ручным управлением, с помощью которого можно проверить исправность срабатывания разрывного клапана расхода рабочей жидкости, не перегружая при этом кабину лифта. Это устройство должно быть защищено от непреднамеренных действий, однако оно не должно блокировать устройства безопасности, относящиеся к гидроцилиндру.
5.6.3.8 Разрывной клапан является устройством безопасности и должен быть испытан в соответствии с
[2].
5.6.3.9 На разрывном клапане должны быть указаны:
a) наименование изготовителя данного разрывного клапана;
b) модель клапана;
c) величина расхода жидкости, при которой происходит срабатывание разрывного клапана.
5.6.4. Гидравлический дроссель
5.6.4.1 В случае утечки из гидравлической системы дроссель должен предотвратить увеличение скорости движения кабины с номинальным грузом вниз не более чем на 0,3 м/с.
5.6.4.2 Дроссель должен быть доступным для проведения осмотра с крыши кабины или из приямка.
5.6.4.3 Дроссель должен:
a) являться составной частью гидроцилиндра; или
b) быть смонтирован непосредственно и жестко на фланце; или
c) быть расположен рядом с гидроцилиндром и соединен с ним с помощью коротких жестких труб, имеющих сварные, фланцевые или резьбовые соединения; или
d) быть снабжен резьбовым концом с буртиком. Буртик должен упираться в гидроцилиндр.
Другие типы соединений, фитинги, уплотняемые вручную, или фитинги с развальцовкой для соединения гидравлического дросселя с гидроцилиндром не допускается.
5.6.4.4 Дроссель рассчитывают так же, как и гидроцилиндр.
5.6.4.5 В машинном помещении должно быть предусмотрено устройство с ручным управлением, с помощью которого можно проверить срабатывание дросселя расхода рабочей жидкости, не перегружая при этом кабину лифта.
Это устройство должно быть защищено от непреднамеренных действий. Защитное устройство не должно блокировать устройства безопасности, относящиеся к гидроцилиндру.
5.6.4.6 На одностороннем дросселе, где использованы механические подвижные части (см. 5.6.4.6), должны быть указаны:
a) наименование изготовителя данного дросселя;
b) модель дросселя;
c) величина расхода жидкости, при которой происходит срабатывание дросселя.
5.6.5. Упоры для гидравлических лифтов
5.6.5.1 Упоры должны приводиться в действие только при движении кабины вниз и останавливать и удерживать кабину, загруженную номинальным грузом:
a) для лифтов, оборудованных дросселем или односторонним дросселем, упоры должны останавливать кабину при скорости v + 0,3 м/с (v - номинальная скорость движения вниз, м/с);
b) всех других лифтов упоры должны останавливать кабину при скорости, равной 115% номинальной скорости v движения вниз.
5.6.5.2 Должен быть предусмотрен по крайней мере один электрически втягиваемый упор, обеспечивающий в выдвинутом положении остановку движущейся вниз кабины на неподвижных опорах.
5.6.5.3 Для каждой посадочной площадки должны быть предусмотрены опоры на двух уровнях:
a) для предотвращения опускания кабины ниже уровня точной остановки более чем на 120 мм; и
b) остановки кабины на нижнем уровне зоны отпирания дверей.
5.6.5.4 Выдвижение упоров в рабочее положение следует осуществлять с помощью пружин сжатия, перемещающихся по направляющим элементам, или под действием силы тяжести.
5.6.5.5 При остановке привода лифта питание электрического устройства, вызывающего втягивание упора, должно отключаться.
5.6.5.6 Конструкцией выдвижных упоров и неподвижных опор должно быть предусмотрено исключение остановки кабины при ее движении вверх и повреждений упорами, находящимися в любом положении.
5.6.5.7 Упоры должны быть оборудованы буферами.
5.6.5.7.1 Буфера могут быть следующих типов:
a) энергонакопительный;
b) энергорассеивающий.
5.6.5.7.2 Требования по
5.8.2 применимы по аналогии.
Кроме того, буфер должен удерживать кабину с номинальной нагрузкой в неподвижном состоянии на расстоянии не более 0,12 м ниже уровня любого этажа.
5.6.5.8 При применении нескольких упоров должны быть приняты меры предосторожности, гарантирующие включение всех упоров, даже в случае прекращения подачи электроэнергии при движении кабины вниз.
5.6.5.9 Электрическое устройство безопасности по
5.11.2 должно предупреждать любое движение кабины вниз, если упоры не во втянутом состоянии.
5.6.5.9.1 Упоры должны контролироваться электрически, когда кабина остановлена.
5.6.5.9.2 Если упоры не находятся в полностью выдвинутом положении:
a) электрическое устройство, соответствующее требованиям
5.11.2.2, должно предотвращать открывание дверей и передвижение кабины в режиме "Нормальная работа";
b) упор должен быть полностью отведен, и кабина должна быть отправлена на самый нижний уровень; и
c) двери должны открываться, чтобы позволить людям покинуть кабину, и лифт должен быть выведен из режима "Нормальная работа".
Возврат в режим "Нормальная работа" должен осуществляться квалифицированным персоналом эксплуатирующей организации.
| | ИС МЕГАНОРМ: примечание. В официальном тексте документа, видимо, допущена опечатка: имеется в виду пункт 5.6.5.7.1, а не пункт 5.6.5.7, перечисление 1). | |
5.6.5.10 Если использованы буферы энергорассеивающего типа
5.6.5.7, перечисление 1), электрическое устройство безопасности, соответствующее требованиям
5.11.2, должно немедленно инициализировать остановку привода лифта, если кабина движется вниз, и предотвратить пуск машины для обеспечения движения вниз, когда буфер не находится в исходном положении. Подача электропитания должна быть прервана согласно
5.9.3.4.2.
5.6.6. Средство защиты от превышения скорости поднимающейся вверх кабины
5.6.6.1 Средство защиты от превышения скорости поднимающейся вверх кабины, включающее в себя элементы контроля скорости и снижения скорости, должно выявлять превышение скорости по
5.6.2.2.1 (см.
5.6.6.10) и вызывать остановку кабины или, по меньшей мере, снижение скорости до значения, на которое рассчитан буфер противовеса.
Средство защиты от превышения скорости поднимающейся вверх кабины должно работать:
a) в режимах нормальной работы и ревизии;
b) при выполняемой вручную эвакуации пассажиров, если отсутствует возможность прямого визуального наблюдения за главным приводом или другим устройством, не обеспечено ограничение скорости до значения менее 115% от номинальной скорости.
5.6.6.2 Средство защиты от превышения скорости поднимающейся вверх кабины должно быть способно согласно требованию
5.6.6.1 контролировать скорость или замедление либо останавливать кабину без помощи любого компонента лифта, которые во время нормальной работы выполняют эти функции. Для защиты от превышения скорости поднимающейся вверх кабины допускается использовать компоненты лифта, используемые во время нормальной работы, имеющие встроенное дублирование (резервирование) и самодиагностику правильной работы.
Примечания
1 Тормоз привода, отвечающий требованиям
5.9.2.2, рассматривается как устройство, имеющее встроенное дублирование (резервирование).
2 Механические устройства безопасности (ловители, ограничитель скорости и др.) не являются компонентами лифта, которые во время нормальной работы останавливают кабину.
В случае использования тормозов лебедки самодиагностика может включать в себя проверку правильности подъема и опускания тормозных колодок или проверку тормозного усилия. При выявлении неисправности следующий пуск лифта в режиме нормальной работы должен быть предотвращен.
Функция самодиагностики подлежит типовым испытаниям.
Механическая связь с кабиной независимо от того, используется ли эта связь для другой цели, может быть применена для помощи выполнения этих функций.
5.6.6.3 Среднее замедление незагруженной кабины при срабатывании элемента снижения скорости средства защиты от превышения скорости поднимающейся вверх кабины не должно превышать 9,81 м/с2.
5.6.6.4 Элемент снижения скорости средства защиты от превышения скорости поднимающейся вверх кабины должен воздействовать:
a) на кабину; или
b) противовес; или
c) канаты (тяговые или уравновешивающие); или
d) канатоведущий шкив; или
e) тот же вал, что и вал канатоведущего шкива, при условии, что вал поддерживается только статически в двух точках.
5.6.6.5 Каждое срабатывание средства защиты от превышения скорости поднимающейся вверх кабины должно приводить в действие электрическое устройство безопасности, отвечающее требованиям
5.11.2.
5.6.6.6 Возврат в исходное состояние средства защиты от превышения скорости поднимающейся вверх кабины после его срабатывания должен быть возможен без доступа в шахту.
5.6.6.7 После возврата в исходное состояние средства защиты от превышения скорости поднимающейся вверх кабины не допускается автоматическое включение лифта в режим "Нормальная работа".
5.6.6.8 После возврата средства защиты от превышения скорости поднимающейся вверх кабины в исходное положение это средство должно быть готово к работе.
5.6.6.9 Если средство защиты от превышения скорости поднимающейся вверх кабины требует внешнего источника питания для его приведения в действие, отсутствие питания от внешнего источника должно приводить к остановке кабины лифта, и лифт должен оставаться в выключенном состоянии. Данное требование не применяется в случае использования пружин сжатия, имеющих направляющие элементы.
5.6.6.10 В качестве элемента контроля скорости средства защиты от превышения скорости поднимающейся вверх кабины должен быть использован:
a) ограничитель скорости, соответствующий требованиям
5.6.2.2.1;
или
b) устройство, соответствующее следующим требованиям:
5.6.2.2.1.5 в отношении проверки возможности срабатывания,
| | ИС МЕГАНОРМ: примечание. В официальном тексте документа, видимо, допущена опечатка: имеется в виду пункт 5.6.2.2.1.6, перечисление b), а не пункт 5.6.2.2.1.2, перечисление b). | |
5.6.6.11 Средство защиты от превышения скорости поднимающейся вверх кабины является устройством безопасности и должно быть испытано в соответствии с требованиями
[2].
5.6.6.12 На элементе контроля скорости и элементе снижения скорости средства защиты от превышения скорости поднимающейся вверх кабины должны быть указаны следующие сведения:
a) наименование изготовителя;
b) диапазон скорости срабатывания, в котором происходит срабатывание элемента контроля скорости;
c) применяемый тип элемента снижения скорости (например, ловители, тормоз на канатоведущий шкив и т.п.).
5.6.7. Защита от неконтролируемого движения кабины
5.6.7.1 Лифты должны быть оборудованы средством, предотвращающим или останавливающим неконтролируемое движение кабины вверх или вниз от этажной площадки с незапертой дверью шахты и незакрытой дверью кабины, в результате какой-либо единичной неисправности привода лифта или системы управления приводом лифта, влияющей на безопасное движение кабины.
Исключение составляют следующие неисправности:
- обрыв тяговых элементов (канатов, цепей, ремней и др.) и подвески;
- разрушение канатоведущего шкива, барабана или звездочки привода лифта;
- внезапная потеря тяговой способности канатоведущего шкива;
- опрокидывание привода лифта;
- разрыв трубопровода;
- разрушение гидроцилиндра, траверсы и направляющего блока гидроцилиндра;
- разрушение опоры кабины гидравлического лифта прямого действия.
Проскальзывание из-за изменения сцепления в момент остановки неконтролируемо движущейся кабины следует учитывать для расчета максимального перемещения кабины по
5.6.7.5 и при испытаниях.
5.6.7.2 Средство защиты от неконтролируемого движения кабины должно выявлять неконтролируемое движение кабины, останавливать и удерживать кабину.
Не требуется выявлять неконтролируемое движение кабины по
5.6.7.7 на лифтах, которые не имеют функций выравнивания
(с открытыми дверями кабины и незапертыми дверями шахты) на этаже, повторного выравнивания и предварительной подачи электропитания при открытых дверях
(для подготовки к нормальному пробегу, когда кабина находится в зоне отпирания двери, а двери не закрыты и не заперты) по
5.12.1.4, у которых остановка осуществляется тормозом, отвечающим требованиям 5.6.7.3 и
5.6.7.4.
5.6.7.3 Средство защиты от неконтролируемого движения кабины должно быть способно контролировать скорость или замедление, останавливать и удерживать кабину без помощи любого компонента лифта, которые во время нормальной работы выполняют эти функции. Для защиты от неконтролируемого движения кабины допускается использовать компоненты лифта, используемые во время нормальной работы, имеющие встроенное дублирование (резервирование) и самодиагностику правильной работы.
Примечания
1 Тормоз привода, отвечающий требованиям
5.9.2.2, рассматривают как устройство, имеющее встроенное дублирование (резервирование).
2 Механические устройства безопасности (ловители, ограничитель скорости и др.) не являются компонентами лифта, которые во время нормальной работы останавливают и удерживают кабину.
В случае использования тормоза самодиагностика может включать в себя проверку правильного подъема или опускания тормозных колодок либо проверку тормозного усилия.
В случае использования двух электрически управляемых гидравлических клапанов, работающих последовательно для замедления и остановки при нормальной работе, самодиагностика предусматривает отдельное определение правильного открывания или закрывания каждого клапана под воздействием статического давления пустой кабины.
При обнаружении неисправности дверь кабины и двери шахты должны быть закрыты, а лифт - выведен из режима нормальной работы.
Функция самодиагностики подлежит испытаниям.
5.6.7.4 Останавливающий элемент средства защиты от неконтролируемого движения кабины должен воздействовать:
a) на кабину; или
b) противовес; или
c) канаты (тяговые или уравновешивающие); или
d) канатоведущий шкив; или
e) тот же вал, что и вал канатоведущего шкива, при условии, что вал поддерживается статически только в двух точках; или
f) гидравлическую систему (включая двигатель/насос при движении в направлении вверх, в изоляции от источника электропитания).
Останавливающий элемент средства защиты от неконтролируемого движения кабины или средство, удерживающее кабину, могут быть объединены с элементами, используемыми для предотвращения превышения скорости:
- при движении в направлении вниз;
- поднимающейся вверх кабиной
(5.6.6).
Останавливающие элементы средства защиты от неконтролируемого движения кабины могут быть разными для движения в направлении вниз и вверх.
5.6.7.5 Средство защиты от неконтролируемого движения кабины должно останавливать кабину на расстоянии, удовлетворяющем следующим условиям (см.
рисунок 20):
a) вертикальное расстояние от уровня этажной площадки, на котором было выявлено неконтролируемое движение кабины, до уровня пола кабины после ее остановки не должно превышать 1,20 м;
b) вертикальное расстояние между порогом двери шахты и нижней частью фартука кабины не должно превышать 200 мм;
c) в случае ограждений согласно
5.2.5.2.2 расстояние между порогом кабины и самой нижней частью стены шахты, обращенной в сторону входа в кабину, не должно превышать 200 мм;
d) вертикальное расстояние от порога кабины до верхней обвязки двери шахты или от порога этажной площадки до верхней обвязки двери кабины должно быть не менее 1,0 м.
1 - кабина; 2 - шахта; 3 - этажная площадка;
4 - фартук кабины; 5 - вход в кабину
Рисунок 20 - Неконтролируемое движение
кабины - движение в направлениях вниз и вверх
Соблюдение этих требований должно быть обеспечено при любой нагрузке в кабине, вплоть до 100% номинальной нагрузки.
5.6.7.6 В момент торможения останавливающий элемент средства защиты от неконтролируемого движения кабины не должен допускать замедления кабины со средним ускорением, превышающим:
- 9,81 м/с2 при неконтролируемом движении пустой кабины в направлении вверх;
- значений, принятых для устройств защиты от свободного падения в направлении вниз.
5.6.7.7 Неконтролируемое движение кабины должно выявляться электрическим устройством безопасности, соответствующим требованиями
5.11.2, не позднее того момента, когда кабина покидает зону отпирания дверей шахты (см.
5.3.8.1).
5.6.7.8 Каждое срабатывание средства защиты от неконтролируемого движения кабины должно приводить в действие электрическое устройство безопасности, отвечающее требованиями
5.11.2.
Примечание - Это может быть присуще коммутационному устройству по
5.6.7.7.
5.6.7.9 Если средство защиты от неконтролируемого движения кабины сработало или самодиагностика указала на неисправность останавливающего элемента этого средства, его приведение в исходное положение должен производить квалифицированный персонал.
5.6.7.10 Возврат средства защиты от неконтролируемого движения кабины в исходное положение должен быть обеспечен без доступа к кабине или к противовесу (уравновешивающему грузу).
5.6.7.11 После возврата средства защиты от неконтролируемого движения кабины в исходное положение оно должно быть готово к работе.
5.6.7.12 Если средство защиты от неконтролируемого движения кабины требует внешнего источника питания для приведения его в действие, отсутствие питания от внешнего источника должно приводить к остановке кабины лифта и лифт должен оставаться в выключенном состоянии. Данное требование не применяется в случае использования пружин сжатия, имеющих направляющие элементы.
5.6.7.13 Средство защиты от неконтролируемого движения кабины является устройством безопасности и должно быть испытано в соответствии с требованиями
[2].
5.6.7.14 На средстве защиты от неконтролируемого движения кабины или на элементах этого средства должны быть указаны следующие сведения:
a) наименование изготовителя;
b) применяемый тип останавливающего элемента (например, ловители, тормоз на канатоведущий шкив и т.п.).
5.7.1. Перемещение по направляющим кабины, противовеса или уравновешивающего груза
5.7.1.1 Кабина, противовес или уравновешивающий груз должны перемещаться не менее чем по двум жестким стальным направляющим.
5.7.1.2 Направляющие должны быть изготовлены из стали методом прокатки с необходимой рабочей поверхностью (тянутые направляющие) или рабочие поверхности направляющих должны быть подвергнуты механической обработке (механообработанные направляющие).
5.7.1.3 Направляющие для противовесов или уравновешивающих грузов, на которых не предусмотрено применение ловителей, могут быть выполнены из отформованного металлического листа. Такие направляющие должны иметь антикоррозионную защиту.
5.7.1.4 Крепление направляющих к кронштейнам и к зданию должно обеспечивать возможность компенсации эффектов, являющихся следствием естественной осадки здания, сжатия бетона или температурных деформаций, одним из следующих способов:
- автоматически;
- простой регулировкой.
Поворот элементов крепления (кронштейнов, прижимов и пр.), посредством которых осуществляется ослабление направляющих при регулировке, не допускается.
5.7.1.5 В креплениях направляющих, содержащих неметаллические элементы, неисправность этих элементов следует принимать во внимание при расчете допустимых отклонений.
5.7.2. Общие положения прочностного расчета направляющих
5.7.2.1 Направляющие, их стыки и элементы крепления должны выдерживать нагрузки и силы, воздействующие на них, чтобы обеспечить безопасную работу лифта, а именно:
a) должно быть обеспечено направленное движение кабины, противовеса или уравновешивающего груза;
b) прогибы направляющих должны быть ограничены такой величиной, чтобы вследствие них:
1) не возникало непреднамеренное отпирание дверей,
2) не нарушалась работа устройств безопасности,
3) не появлялась возможность столкновения движущихся частей с другими частями.
5.7.2.2 Сочетание отклонений направляющих, отклонений кронштейнов, зазор в направляющих башмаках и отклонение от прямолинейности направляющих следует принимать в расчет, чтобы обеспечить безопасную работу лифта.
5.7.2.3 В процессе использования лифта по назначению возникают следующие варианты нагрузок:
- нормальная работа - перемещение кабины лифта с одного уровня на другой;
- нормальная работа - загрузка и разгрузка;
- срабатывание устройства безопасности.
Примечания
1 При каждом варианте нагрузки на направляющие может воздействовать комбинация сил.
2 В зависимости от крепления направляющих (в положении опирания нити направляющих в нижней части или в подвешенном положении нити направляющих) следует рассматривать наиболее нагруженный вариант по отношению к устройству безопасности, взаимодействующему с направляющей.
5.7.2.4 Перечисленные ниже силы, воздействующие на направляющие, следует принимать во внимание при расчете допустимых напряжений и отклонений направляющих.
a) Горизонтальная сила от направляющих башмаков вследствие:
1) массы кабины и ее номинальной загрузки, противовеса или уравновешивающего устройства, подвесных кабелей и т.п. с учетом точки их приложения и коэффициентов их динамического воздействия, и
2) ветровых нагрузок в случае лифтов, установленных снаружи здания, с частично огражденной шахтой.
b) Вертикальные силы:
1) от сил торможения при работе ловителей и стопорных устройств, закрепленных на направляющих;
2) вспомогательных элементов, закрепленных на направляющих;
3) веса направляющей;
4) проталкивающей силы со стороны прижимов направляющей.
c) Крутящие моменты, создаваемые вспомогательным оборудованием, с учетом коэффициента динамического воздействия.
5.7.2.5 Для направляющих с Т-образным профилем и их элементов крепления (кронштейны, разделительные балки) допускаются следующие расчетные отклонения

:
a)

в обоих направлениях для направляющих кабины, противовеса или уравновешивающего груза, на которых срабатывают ловители;
b)

в обоих направлениях для направляющих, противовеса или уравновешивающего груза без применения ловителей.
Любое отклонение конструкции здания должно быть учтено по отношению к отклонению направляющей.
5.7.2.6 Расчет направляющих следует производить:
a)
по [2] в части расчета направляющих; или
b) методом конечных элементов.
5.8.1. Буферы кабины и противовеса
5.8.1.1 Лифт должен быть оборудован буферами, ограничивающими перемещение кабины и противовеса вниз.
При креплении буфера(ов) к кабине или противовесу место соударения в приямке должно быть сделано в виде фундамента (упоров) высотой не менее 300 мм.
В случае крепления буфера к противовесу упоры допускается не устанавливать при условии наличия ограждения согласно
5.2.5.5.1 и наличия зазора не более 50 мм между низом ограждения и полом приямка.
5.8.1.2 Лифт, оборудованный барабанной лебедкой или лебедкой со звездочкой, дополнительно должен быть оборудован буферами, ограничивающими перемещение кабины вверх.
5.8.1.3 В гидравлических лифтах, когда буфер(а) упоров используют для ограничения рабочего хода кабины снизу, также требуется фундамент (упор) согласно
5.8.1.1, за исключением тех случаев, когда фиксированные упоры стопорного устройства установлены на направляющих кабины и кабина не может проходить мимо них при отведенном(ых) стопорном(ых) устройстве(ах).
5.8.1.4 Для гидравлических лифтов при полностью сжатых буферах плунжер не должен ударяться об основание гидроцилиндра.
Это не относится к устройствам обеспечивающих повторную синхронизацию телескопических цилиндров, в которых по крайней мере одна ступень (часть) не ударяется при движении вниз о механический ограничитель.
5.8.1.5 Применение буферов энергонакопительного типа с линейными и нелинейными характеристиками допускается при номинальных скоростях не более 1,0 м/с.
Применение буферов энергорассеивающего типа допускается при любых номинальных скоростях лифта.
5.8.1.6 Буферы энергонакопительного типа с нелинейными характеристиками и буферы энергорассеивающего типа должны быть испытаны в соответствии с
[2].
5.8.1.7 На буфере должна быть указана следующая информация:
a) изготовитель буфера;
b) модель буфера;
c) заводской номер энергорассеивающего буфера;
d) марка (обозначение) жидкости для гидравлического буфера.
5.8.2. Рабочий ход буферов кабины и противовеса
5.8.2.1 Буферы энергонакопительного типа
5.8.2.1.1 Буферы с линейными характеристиками
5.8.2.1.1.1 Полный ход буфера S, м, с линейными характеристиками вычисляют по формуле

, (6)
где S - полный ход буфера, м;
v - номинальная скорость кабины лифта, м/с;
gn - ускорение свободного падения, равное 9,81 м/с2.
Полный ход буфера должен быть не менее 65 мм.
5.8.2.1.2 Буфера с нелинейными характеристиками
5.8.2.1.2.1 Буфера энергонакопительного типа с нелинейными характеристиками и буфера энергонакопительного типа с амортизированным обратным ходом должны удовлетворять следующим требованиям:
a) при посадке на буфер среднее значение замедления кабины с номинальным грузом, движущейся со скоростью, равной 115% номинальной, или противовеса при свободном падении, не должно превышать 9,81 м/с2;
b) время действия замедления, превышающего 25 м/с2, должно быть не более 0,04 с;
c) скорость возврата буфера не должна превышать 1,0 м/с;
d) должна отсутствовать остаточная деформация после посадки на буфер;
e) максимальное ускорение не должно превышать 60 м/с2.
5.8.2.1.2.2 Термин "полностью сжатый", используемый в
таблице 2, означает сжатие по высоте на 90% установленного буфера без учета элементов крепления буфера, которые могут ограничивать сжатие до меньшего значения.
5.8.2.2 Буфера энергорассеивающего типа
5.8.2.2.1 Полный ход буфера энергорассеивающего типа вычисляют по формуле

. (7)
5.8.2.2.2 Если замедление лифта при подходе к верхней и нижней этажным площадкам контролируется согласно
5.12.1.3 применительно к скоростям выше 2,5 м/с, то при расчете полного хода вместо номинальной скорости можно использовать скорость соприкосновения кабины (или противовеса) с буфером. При этом полный ход таких буферов должен быть не менее 420 мм.
5.8.2.2.3 Буфера энергорассеивающего типа должны удовлетворять следующим требованиям:
a) при посадке на буфер среднее значение замедления кабины с номинальным грузом, при свободном падении со скоростью, составляющей 115% номинальной, не должна превышать 9,81 м/с2;
b) время действия замедления, превышающего 25 м/с2, должно быть не более 0,04 с;
c) должна отсутствовать остаточная деформация после срабатывания.
5.8.2.2.4 Буфер энергорассеивающего типа после снятия с него нагрузки должен автоматически возвращаться в исходное положение. Возврат буфера в исходное положение контролируют электрическим устройством безопасности по
5.11.2.
5.8.2.2.5 Должна быть предусмотрена возможность контроля уровня жидкости в гидравлическом буфере.
5.9. Оборудование главного привода лифта и связанное с ним оборудование
5.9.1.1 Каждый лифт должен иметь по меньшей мере один привод.
5.9.1.2 Должна быть обеспечена эффективная защита от доступа к вращающимся частям машинного оборудования, в частности:
- следующие элементы лебедки (привода), которые могут быть источником опасности, должны быть ограждены от случайного прикосновения:
a) шпонки и болты на валах,
b) канаты, ленты, цепи, ремни,
c) шестерни, звездочки и шкивы,
d) выступающие валы двигателей.
Канатоведущие шкивы, оборудованные элементами защиты согласно
5.5.7, а также вручную прокручиваемые штурвалы, тормозные барабаны и подобные гладкие круглые формы, допускается не оборудовать ограждениями. Такие вращающиеся элементы главного привода должны быть окрашены в желтый цвет.
5.9.2. Привод лифта для лифтов с приводом трения и лифтов с позитивным приводом
5.9.2.1.1 На лифтах допускается использовать два типа привода:
a) привод трения (с использованием шкивов и канатов или ремней); или
b) позитивный привод, то есть привод с использованием барабана и каната или привод с использованием звездочек и цепей.
Номинальная скорость лифта с позитивным приводом не должна превышать 0,63 м/с.
На лифтах с позитивным приводом не допускается применение противовеса. Допускается использование уравновешивающего груза.
При расчете элементов привода необходимо учитывать возможность посадки противовеса на буфер.
5.9.2.1.2 Для передачи крутящего момента от двигателя(ей) к элементам привода, на которые воздействует электромеханический тормоз
(5.9.2.2.2), допускается использование ремней. В этом случае количество ремней должно быть не менее двух.
5.9.2.2. Тормозная система
5.9.2.2.1 Общие положения
5.9.2.2.1.1 Лифт должен быть оборудован тормозной системой, которая автоматически срабатывает при прекращении электропитания:
a) от электросети;
b) к цепям управления лифта.
5.9.2.2.2 Электромеханический тормоз
5.9.2.2.2.1 Тормоз должен быть способен останавливать привод при движении вниз с номинальной скоростью кабины лифта с грузом, масса которого на 25% превышает номинальную грузоподъемность. При этом средняя величина ускорения замедления кабины не должна превышать средней величины ускорения замедления кабины при срабатывании ловителей или посадке на буфер.
Лебедка должна быть оборудована автоматически действующим электромеханическим тормозом нормально-замкнутого типа:
- тормоз должен состоять из двух систем торможения; все механические элементы тормоза, задействованные в процессе приложения усилия к тормозному барабану или диску, должны дублироваться, в том числе толкатель электромагнита;
- каждая из систем торможения должна создавать усилие торможения, достаточное для остановки и удержания кабины с грузом, масса которого равна номинальной грузоподъемности лифта.
Любой поршень соленоида считается механической частью, а любая катушка соленоида нет.
5.9.2.2.2.2 Между приводными элементами канатов, ремней или цепей (шкивом, барабаном, звездочкой) и тормозным барабаном (диском) должна быть неразмыкаемая кинематическая связь (например, валы, шестерни, многорядные цепи).
5.9.2.2.2.3 Для удержания тормоза в расторможенном состоянии требуется непрерывная подача электрического тока, за исключением случаев, приведенных в
5.9.2.2.2.7.
При этом должны быть обеспечены перечисленные ниже требования.
a) Прерывание цепи электропитания тормоза, при срабатывании электрических устройств безопасности согласно
5.11.2.4, должно быть осуществлено одним из следующих способов:
1) не менее чем двумя независимыми друг от друга электромеханическими устройствами в соответствии с
5.10.3.1, теми же, которые прерывают подачу электрического тока к приводу.
Если лифт не находится в движении и одно из электромеханических устройств не разомкнуло цепь электропитания тормоза, то дальнейшее движение кабины должно быть предотвращено. Подобная неисправность этой функции контроля должна привести к такому же результату;
2) электрической цепью, удовлетворяющей
5.11.2.3.
b) Если двигатель лифта работает в режиме генератора, электрические устройства цепи электропитания тормоза не должны питаться от этого двигателя.
c) Срабатывание тормоза должно происходить без временной задержки после размыкания цепи питания тормоза.
Примечание - Пассивно действующий электрический компонент, который ослабляет искрение (например, диод, конденсатор или варисторы), подсоединенный к катушке тормоза, не рассматривают как средство задержки.
d) Срабатывание устройства защиты от перегрузки или превышения тока (если его используют) для электромеханического тормоза должно приводить к одновременному отключению электропитания привода.
e) Ток не должен подаваться в цепь электропитания тормоза, пока на двигатель не подается электропитание.
5.9.2.2.2.4 Тормозная колодка или тормозной диск должны приводиться в действие пружинами сжатия или грузами, имеющими направляющие элементы.
5.9.2.2.2.5 Применение ленточных тормозов не допускается.
5.9.2.2.2.6 Фрикционные накладки тормозных колодок (дисков) должны быть изготовлены из негорючего материала.
5.9.2.2.2.7
Привод, для которого предусмотрено ручное перемещение кабины, должен быть оборудован устройством для ручного растормаживания. При прекращении воздействия на это устройство действие тормоза должно автоматически восстанавливаться. Растормаживание также может производиться путем подачи электропитания от перезаряжаемого аварийного источника питания (источник бесперебойного питания).
Аварийный источник питания должен обладать достаточной энергией, чтобы перемещать кабину к посадочной площадке, с учетом использования другого оборудования, подсоединенного к этому источнику питания, и времени, необходимого для таких перемещений.
Неисправность при выполнении ручного растормаживания не должна приводить к неисправности функции торможения.
Должна быть обеспечена возможность проводить независимое испытание каждой системы торможения снаружи шахты (для лифтов без машинного помещения).
5.9.2.2.2.8 На средствах для растормаживания привода по
5.9.2.2.2.7 или около этих средств должна быть расположена информация по их использованию и соответствующие предупреждения, в частности по применению этих средств на лифтах с укороченным ходом буферов.
5.9.2.2.2.9 Если привод расторможен средствами по
5.9.2.2.2.7 и загрузка кабины составляет:
- менее чем или равна (q - 0,1)Q, или
- более чем или равна (q + 0,1)Q,
где q - коэффициент равновесия, указывающий величину уравновешивания номинальной грузоподъемности противовесом, и Q - номинальная грузоподъемность,
должна быть возможность перемещения кабины на соседний этаж посредством:
a) естественного движения под действием силы тяжести; либо
1) механическим средством, имеющимся на месте эксплуатации, или
2) электрическим средством, электропитание на которое подается от источника питания, независимого от электросети, имеющимся на месте эксплуатации.
5.9.2.3. Аварийные операции (эвакуация пассажиров из кабины)
механическим средством, которое соответствует следующим требованиям:
- должна быть предусмотрена возможность перемещения кабины при отключении основного источника электропитания лифта одним из следующих способов:
a) ручное перемещение кабины с помощью специального устройства:
- прилагаемое усилие, необходимое для перемещения кабины вверх с номинальной нагрузкой, не должно превышать 400 Н. Применение в устройстве штурвала со спицами или кривошипной рукоятки не допускается, если это может привести к травмированию обслуживающего персонала в случае неконтролируемого движения кабины. Если указанное усилие превышает 400 Н, то необходимо предусмотреть средства для электрического аварийного управления из машинного помещения, отвечающего требованиям
5.9.2.3.1, перечисление b).
Съемный штурвал следует хранить в машинном помещении. При нахождении в машинном помещении нескольких лебедок съемные штурвалы должны иметь соответствующую маркировку (окраску) лебедки соответствующего лифта. Электрическое устройство безопасности, соответствующее требованиям
5.11.2, должно размыкать цепь безопасности не позднее установки штурвала на лебедку.
При наличии промежуточного устройства (редуктора) между штурвалом и шкивом (барабаном, звездочкой) электрическое устройство безопасности, соответствующее требованиям
5.11.2, должно размыкать цепь безопасности не позднее установки этого устройства на лебедку.
Направление движения кабины при вращении штурвала должно быть указано на лебедке или непосредственно на штурвале.
При перемещении кабины с помощью штурвала должна быть возможность контроля из машинного помещения нахождения кабины в зоне отпирания дверей;
b) перемещение кабины за счет дополнительного (резервного) источника электропитания. Этот источник питания должен удовлетворять следующим требованиям:
1) перемещение кабины за счет дополнительного (резервного) источника электропитания.
Энергии источника должно быть достаточно для перемещения кабины до ближайшей этажной площадки, открытия дверей (если это требуется конструктивно) и их удержания для обеспечения выхода пассажиров;
2) скорость перемещения кабины должна быть не более 0,30 м/с.
5.9.2.3.2 Должна быть обеспечена возможность получения информации о нахождении кабины в зоне отпирания дверей (см. также
5.2.6.6.2, перечисление c).
5.9.2.3.3 Если требуемое усилие для ручного перемещения кабины с номинальной нагрузкой в направлении вверх превышает 400 Н, должно быть предусмотрено средство для выполнения эвакуации пассажиров в соответствии с
5.12.1.6.
5.9.2.3.4 Средство для операции по эвакуации пассажиров должно быть расположено:
- либо на аварийно-испытательной(ых) панели(ях)
(5.2.6.6).
Если штурвал несъемный, то направление движения кабины может быть указано на самом штурвале привода или корпусе привода.
Скорость движения кабины, нагруженной наполовину, в направлениях вверх и вниз, исключая все периоды ускорения и замедления, не должна превышать номинальной скорости более чем на 5%, когда источник питания работает при номинальной частоте и напряжение на электродвигателе равно номинальному напряжению оборудования.
Примечание - Хорошим практическим выбором в описанных выше условиях является скорость не менее значения на 8% ниже номинальной скорости.
Допуски по скорости применимы в случае:
Отклонение рабочей скорости движения кабины от номинальной скорости не должно быть более +/- 15%.
5.9.2.5. Отключение электропитания, которое может вызвать вращение электродвигателя
Отключение электропитания электродвигателя главного привода, которое может вызвать вращение электродвигателя, электрическим устройством безопасности в соответствии с
5.11.2.4 следует контролировать, как указано далее.
5.9.2.5.1 Электродвигатели, у которых напряжение на обмотки подается через контакторы непосредственно от сети переменного или постоянного тока
Электропитание должно прерываться двумя независимыми контакторами, контакты которых должны быть соединены последовательно в цепи электропитания. Если при нахождении лифта в неподвижном состоянии один из контакторов не разомкнул силовые контакты, дальнейшее движение кабины должно быть предотвращено самое позднее при следующем изменении направления движения.
Константная неисправность этой функции мониторинга приведет к тому же результату.
5.9.2.5.2 Привод, использующий систему "генератор-двигатель"
5.9.2.5.2.1 Привод, у которого возбуждение генератора осуществляется классическими элементами (электромашинное, контакторное управление)
Два независимых контактора должны прерывать:
a) силовую электрическую цепь между двигателем и генератором; или
b) возбуждающую цепь генератора; или
c) один контактор разрывает силовую электрическую цепь между двигателем и генератором, а другой контактор - возбуждающую цепь генератора.
Если при нахождении лифта в неподвижном состоянии один из контакторов не разомкнул силовые контакты, дальнейшее движение кабины должно быть предотвращено не позднее, чем при следующем изменении направления движения. Постоянство этой функции мониторинга должно привести к тому же результату.
В случаях, приведенных в
перечислениях b) и
c), должно быть предотвращено неконтролируемое вращение двигателя вследствие остаточного электромагнитного поля в генераторе (например, предусмотрены схемы подавления, самоблокировки).
5.9.2.5.2.2 Привод, у которого питание цепи возбуждения генератора осуществляется и управляется статическими элементами (тиристорные регуляторы и др.)
Должен быть использован один из перечисленных ниже способов:
b) система, состоящая:
1) из контактора, прерывающего возбуждающую цепь генератора или силовую электрическую цепь между двигателем и генератором.
Катушка контактора должна быть обесточена перед каждым изменением направления движения. Если контактор не размыкается, любое дальнейшее движение лифта должно быть предотвращено. Постоянство этой функции мониторинга должно привести к тому же результату;
2) из управляющего устройства, которое прерывает подачу электрической энергии к статическим элементам;
3) устройства мониторинга, которое контролирует прерывание подачи электрической энергии при каждой остановке лифта.
Если во время остановки не происходит прерывание подачи электрической энергии статическими элементами, устройство мониторинга должно вызвать размыкание контактора и предотвратить движение кабины.
Неконтролируемое вращение двигателя вследствие остаточного электромагнитного поля в генераторе (например, предусмотрены схемы подавления, самоблокировки) должно быть предотвращено.
5.9.2.5.2.3 Электродвигатель, питаемый от сети переменного или постоянного тока и контролируемый статическими элементами (частотный, тиристорный регулятор или др.)
Должен быть использован один из перечисленных ниже способов:
a) два независимых контактора, прерывающих ток в электродвигатель.
Если при нахождении лифта в неподвижном состоянии один из контакторов не разомкнул силовые контакты, дальнейшее движение кабины должно быть предотвращено самое позднее при следующем изменении направления движения.
Постоянство этой функции мониторинга должно привести к тому же результату;
1) из контактора, прерывающего подачу тока на всех фазах.
Катушка контактора должна быть обесточена перед каждым изменением направления движения. Если контактор не размыкается, любое дальнейшее движение лифта должно быть предотвращено. Постоянство этой функции мониторинга должно привести к тому же результату,
2) управляющего устройства, которое прерывает подачу электрической энергии в статических элементах;
3) устройства мониторинга, которое контролирует прерывание подачи электрической энергии при каждой остановке лифта.
Если во время остановки не происходит прерывание подачи электрической энергии статическими элементами, устройство мониторинга должно вызвать размыкание контактора и предотвратить движение кабины;
c) электрическая цепь, удовлетворяющая
5.11.2.3.
Это средство рассматривается как устройство безопасности и должно соответствовать требованиям
[2].
5.9.2.6. Устройства управления и устройства мониторинга
| | ИС МЕГАНОРМ: примечание. В официальном тексте документа, видимо, допущена опечатка: имеется в виду пункт 5.9.2.5.2.3, перечисление b), а не пункт 5.9.2.5.3, перечисление b). | |
| | В официальном тексте документа, видимо, допущена опечатка: во втором случае имеется в виду пункт 5.9.2.5.2.2, перечисление b) 3), а не пункт 5.9.2.5.2.2, перечисление b) 2). | |
5.9.2.7. Ограничение времени работы электродвигателя
5.9.2.7.1 Лифты с приводом трения должны иметь ограничение времени работы электродвигателя, вызывающего отключение электропитания привода и удержание привода в отключенном состоянии, если:
a) двигатель не вращается при запуске;
b) кабина/противовес остановлены при движении вниз препятствием, что приводит к проскальзыванию канатов на канатоведущем шкиве (барабане трения).
5.9.2.7.2 Ограничение по времени работы электродвигателя должно срабатывать за время, не превышающее меньшее из двух следующих значений:
a) 45 с;
b) время, необходимое для прохождения всего пути перемещения при нормальной работе, плюс 10 с, но не менее 20 с, если время на прохождение полного пути менее 10 с.
5.9.2.7.3 Возврат к нормальной работе возможен только посредством ручного возврата в исходное состояние, осуществляемого компетентным лицом по техническому обслуживанию. При восстановлении электропитания после его отключения удержание привода в остановленном состоянии не является необходимым.
5.9.2.7.4 Ограничитель времени работы электродвигателя не должен оказывать влияния на движение кабины при выполнении операций в режиме "ревизия" или аварийной электрической операции.
5.9.3. Привод гидравлического лифта
5.9.3.1.1 Допустимы два следующих варианта привода:
a) прямое действие;
b) непрямое действие.
5.9.3.1.2 В случае использования нескольких гидроцилиндров все гидроцилиндры должны быть гидравлически соединены параллельно с тем, чтобы все они обеспечивали подъем с одинаковым давлением.
Примечание - Для того чтобы выровнять давление в цилиндрах, трубы от трубопровода к каждому гидроцилиндру должны быть приблизительно одинаковой длины и иметь подобные характеристики, такие как число и тип изгибов в трубах.
5.9.3.1.3 Масса уравновешивающего груза, в случае его использования, должна быть рассчитана таким образом, чтобы в случае обрыва подвешивающего устройства (кабины/уравновешивающего груза) давление в гидравлической системе не превышало удвоенного давления полной нагрузки.
В случае использования нескольких уравновешивающих грузов обрыв только одного подвешивающего устройства следует принимать во внимание при расчете.
5.9.3.2.1 Расчеты цилиндра и поршня
5.9.3.2.1.1 Расчеты давления
Следует соблюдать перечисленные ниже условия:
a) Цилиндр и поршень должны быть спроектированы таким образом, чтобы при воздействии сил, создаваемых давлением, в 2,3 раза превышающим давление полной нагрузки, обеспечивался коэффициент запаса прочности не менее 1,7 по отношению к условному пределу текучести RP0,2.
b) При расчете элементов телескопических гидроцилиндров с гидравлическим средством синхронизации давление полной нагрузки должно быть заменено наивысшим давлением, которое возникает в элементе под действием гидравлического средства синхронизации.
c) При расчете толщины значение 1,0 мм должно быть добавлено для стенок цилиндра и оснований цилиндра, и значение 0,5 мм для стенок полых поршней применительно к одинарным и телескопическим гидроцилиндрам.
d) Расчеты должны быть выполнены в соответствии с
[2].
5.9.3.2.1.2 Расчеты на устойчивость
Гидроцилиндры под действием сжимающих нагрузок должны соответствовать перечисленным ниже требованиям:
a) Они должны быть спроектированы таким образом, чтобы при нахождении их в полностью выдвинутом положении и под воздействием сил, которые в 1,4 раза больше силы при полной нагрузке, обеспечивался коэффициент запаса прочности, равный двум и более, по отношению к силе, при которой происходит потеря устойчивости.
b) Расчеты должны быть выполнены в соответствии с
[2].
c) В виде отступления от
5.9.3.2.1.2 b) более сложные методы расчета могут быть использованы при условии, что обеспечивается, по меньшей мере, такой же коэффициент запаса прочности.
Примечание - Возможно, что вследствие неправильной регулировки гидравлического средства синхронизации возникнут условия ненормально высокого давления во время установки. Это должно быть принято в расчет.
5.9.3.2.1.3 Расчеты напряжения при растяжении
Гидроцилиндры, находящиеся под действием растягивающих нагрузок, должны быть спроектированы таким образом, чтобы при воздействии сил, создаваемых давлением, в 1,4 раза превышающим давление полной нагрузки, обеспечивался коэффициент запаса прочности не менее 2 по отношению к условному пределу текучести RP0,2.
5.9.3.2.2 Соединение кабина/поршень (цилиндр)
5.9.3.2.2.1 В случае лифта прямого действия соединение между кабиной и поршнем (цилиндром) должно быть гибким.
5.9.3.2.2.2 Соединение между кабиной и поршнем (цилиндром) должно быть выполнено так, чтобы выдерживать вес поршня (цилиндра) и дополнительные динамические силы. Соединение должно быть зафиксированным.
5.9.3.2.2.3 В том случае, если поршень состоит из более чем одной секции, соединение между секциями должно быть выполнено таким образом, чтобы выдерживать вес подвешенных секций поршня и дополнительные динамические силы.
5.9.3.2.2.4 В случае лифтов непрямого действия оголовок плунжера (цилиндра) должен перемещаться по направляющим.
Это требование не применимо к натяжным гидроцилиндрам при условии, что натяжное приспособление препятствует воздействию изгибающих сил на поршень.
Данное требование не применимо к натяжным гидроцилиндрам, работающим на растяжение при условии, что натяжное приспособление препятствует воздействию изгибающих сил на поршень.
5.9.3.2.2.5 В случае лифтов непрямого действия ни одна из частей направляющей системы головки поршня не будет находиться в пределах вертикальной проекции крыши кабины.
5.9.3.2.3 Ограничение рабочего хода плунжера
5.9.3.2.3.1 Должно быть предусмотрено средство с амортизирующим эффектом, останавливающее плунжер в таком положении, при котором соблюдается выполнение требований
5.2.5.7.1 и
5.2.5.7.2.
5.9.3.2.3.2 Ограничение рабочего хода плунжера должно быть обеспечено:
a) амортизирующим упором, или
b) прерыванием подачи гидравлической жидкости в гидроцилиндр посредством механического устройства между гидроцилиндром и гидравлическим клапаном. Разрыв или разрушение такого устройства не должны приводить к замедлению кабины, превышающему значение по
5.9.3.2.4.2.
5.9.3.2.4 Амортизирующий упор
5.9.3.2.4.1 Амортизирующий упор должен:
a) быть неотъемлемой частью гидроцилиндра, или
b) состоять из одного или нескольких устройств, не входящих в состав гидроцилиндра, находящихся за пределами выступающей части кабины, суммарное усилие которых прикладывается по вертикальной оси гидроцилиндра.
5.9.3.2.4.2 Конструкция амортизирующего упора должна быть такой, чтобы при остановке плунжера величина среднего замедления кабины не превышала 9,81 м/с
2, а также, чтобы замедление не приводило к ослаблению каната или цепи у лифта непрямого действия.
5.9.3.2.5 Средство защиты
5.9.3.2.5.1 Если гидроцилиндр расположен ниже дна приямка, его следует устанавливать в защитной трубе, герметизированной с нижнего конца. Если гидроцилиндр проходит через другие пространства, он также должен быть соответственным образом защищен.
5.9.3.2.5.2 Утекающая и стираемая с головки цилиндра жидкость должна быть собрана.
5.9.3.2.5.3 Гидроцилиндр должен быть оборудован вентиляционным устройством.
5.9.3.2.6 Телескопические гидроцилиндры
Дополнительно должны быть выполнены следующие требования.
5.9.3.2.6.1 Между последовательными секциями должны быть установлены упоры, предотвращающие выход плунжеров из своих цилиндров.
5.9.3.2.6.2 В том случае, если гидроцилиндр расположен под кабиной лифта прямого действия, когда кабина покоится на полностью сжатых буферах, расстояние в свету:
a) между последовательными направляющими скобами должно быть не менее 0,30 м; и
b) между самой высокой направляющей скобой и самыми низкими частями кабины в пределах горизонтального расстояния 0,30 м от вертикальной проекции скобы (части, которые упомянуты в
5.2.5.8.2, перечисление b), исключаются) должно быть не менее 0,30 м.
5.9.3.2.6.3 Длина опоры каждой секции телескопического гидроцилиндра без внешней направляющей должна по меньшей мере в два раза превышать диаметр соответствующего поршня.
5.9.3.2.6.4 Эти гидроцилиндры должны быть снабжены механическим или гидравлическим средством синхронизации.
5.9.3.2.6.5 Если использованы гидроцилиндры с гидравлическим средством синхронизации, должно быть обеспечено электрическое устройство, предотвращающее запуск нормальной поездки, когда давление превышает давление полной нагрузки более чем на 20%.
5.9.3.2.6.6 Когда канаты или цепи использованы в качестве средства синхронизации, должны быть выполнены перечисленные ниже условия:
a) обязательное наличие по меньшей мере двух независимых канатов или цепи;
b) соблюдение требований по
5.5.7.1;
c) коэффициент запаса прочности не менее чем:
12 - для канатов,
10 - для цепей.
Коэффициент запаса прочности определяется отношением между максимальной разрывной нагрузкой, Н, одного каната (или цепи) и максимальной силой, действующей на этот канат (или цепь).
При расчете максимальной силы необходимо учесть:
- силу, создаваемую давлением полной нагрузки;
- число канатов (или цепей).
Должно быть обеспечено устройство, которое препятствует превышению скорости движущейся в направлении вниз кабины по отношению к номинальной скорости движения вниз более чем на 0,3 м/с в случае неисправности устройства синхронизации.
5.9.3.3.1 Общие сведения
5.9.3.3.1.1 Трубы и фитинги, которые подвергаются воздействию давления (соединения, клапаны и т.п.), будучи в общем случае компонентами гидравлической системы, должны быть:
a) подходящими для используемой гидравлической жидкости;
b) спроектированы и установлены таким образом, чтобы исключить любое ненормальное напряжение вследствие крепления, перекоса или вибрации;
c) защищены от повреждений, в частности повреждений механического характера.
5.9.3.3.1.2 Трубы и фитинги должны быть надежно закреплены и доступны для инспектирования.
Если трубы (жесткие или гибкие) проходят через стены или пол, они должны быть защищены посредством муфт, размеры которых позволяют производить демонтаж, при необходимости, труб для инспектирования. Причем никаких соединений не должно находиться внутри муфты.
5.9.3.3.2 Жесткие трубы
5.9.3.3.2.1 Жесткие трубы и фитинги между цилиндром и обратным клапаном(ами) или клапаном(ами), регулирующим(и) движение в направлении вниз, должны быть сконструированы таким образом, чтобы под действием сил, создаваемых давлением, в 2,3 раза превосходящим давление полной нагрузки, обеспечивался коэффициент запаса прочности не менее 1,7 по отношению к условному пределу текучести RP0,2.
Расчеты следует выполнять в соответствии с
[2].
При расчетах толщины должно быть добавлено значение 1,0 мм для соединения между цилиндром и разрывным клапаном, в случае его использования, и значение 0,5 мм для других жестких труб.
5.9.3.3.2.2 Когда используют телескопические гидроцилиндры, имеющие более двух секций, и гидравлическое средство синхронизации, дополнительный коэффициент запаса прочности, равный 1,3, следует учитывать при расчете труб и фитингов между разрывным клапаном и обратным клапаном или клапаном(ами) движения вниз.
Трубы и фитинги, в случае их использования, между цилиндром и разрывным клапаном следует рассчитывать на той же основе давления, что и цилиндр.
5.9.3.3.3 Гибкие шланги
5.9.3.3.3.1 Гибкий трубопровод между цилиндром и обратным клапаном или клапаном движения вниз следует выбирать с коэффициентом запаса прочности не менее 8 по отношению к давлению полной нагрузки и разрывному давлению.
5.9.3.3.3.2 Гибкий трубопровод и его соединения между цилиндром и обратным клапаном или клапаном движения вниз должны выдерживать без повреждения давление, в пять раз превышающее давление полной нагрузки; это испытание должен проводить изготовитель шланга в сборе.
5.9.3.3.3.3 На гибкий трубопровод должна быть нанесена нестираемая маркировка, содержащая:
a) наименование изготовителя или торговую марку;
b) значение испытательного давления;
c) дату проведения испытания.
5.9.3.3.3.4 Гибкий трубопровод должен быть закреплен с радиусом изгиба, не менее указанного изготовителем шланга.
5.9.3.4. Остановка привода и проверка остановленного состояния
Остановку привода, инициируемую электрическим устройством безопасности в соответствии с
5.11.2.4, следует контролировать сообразно подробному описанию, приведенному ниже.
5.9.3.4.1 Движение в направлении вверх
При движении в направлении вверх:
a) подача электропитания на электродвигатель должна быть прервана по меньшей мере двумя независимыми контакторами, силовые контакты которых должны быть соединены последовательно в схеме питания электродвигателя; либо
b) подача электропитания на электродвигатель должна быть прервана одним контактором, и подача питания на перепускные клапаны (в соответствии с
5.9.3.5.4.1) должна быть прервана по меньшей мере двумя независимыми электромагнитными устройствами, соединенными последовательно в схеме питания этих клапанов.
В этом случае устройство контроля температуры электродвигателя и/или обмотки (
5.9.3.11,
5.10.4.3) должно приводить в действие переключающее устройство, отличающееся от этого контактора, для того чтобы остановить машину; либо
c) электродвигатель должен быть остановлен электрической цепью, удовлетворяющей
5.11.2.3. Это средство считается компонентом безопасности и должно проверяться на соответствие требованиям в
[2].
5.9.3.4.2 Движение в направлении вниз
При движении в направлении вниз подача электропитания на клапан(ы), регулирующий(ие) движение вниз, должна быть прервана одним из следующих способов:
a) по меньшей мере двумя независимыми электромеханическими устройствами согласно
5.10.3.1, соединенными последовательно; или
b) непосредственно электрическим устройством безопасности при условии, что он имеет подходящие электрические характеристики; или
c) электрической схемой согласно
5.11.2.3.
Это средство считается компонентом безопасности и должно проверяться на соответствие требованиям в
[2].
5.9.3.4.3 Проверка остановленного состояния
5.9.3.5. Гидравлические устройства управления и безопасности
5.9.3.5.1 Запорный клапан
5.9.3.5.1.1 Должен быть предусмотрен запорный клапан, установленный на участке соединения гидроцилиндра (цилиндров) с обратным клапаном и клапаном движения вниз.
5.9.3.5.1.2 Запорный клапан должен быть расположен рядом или на блоке клапанов гидроагрегата.
5.9.3.5.2 Обратный клапан
5.9.3.5.2.1 Должен быть предусмотрен обратный клапан, установленный на участке между насосом(ами) и запорным клапаном.
5.9.3.5.2.2 Обратный клапан должен быть способен удерживать кабину с номинальной нагрузкой в любой точке ее движения, в случае падения давления на участке нагнетания ниже минимального рабочего давления.
5.9.3.5.2.3 Закрытие обратного клапана должно происходить под воздействием гидравлического давления от гидроцилиндра, и под воздействием не менее чем одной пружины сжатия, имеющей направляющие элементы, и/или под действием силы тяжести.
5.9.3.5.3 Предохранительный клапан
5.9.3.5.3.1 Должен быть обеспечен предохранительный клапан. Он должен быть подсоединен к схеме между насосом(ами) и обратным клапаном и не должен допускать возможность их шунтирования, за исключением ручного(ых) насоса(ов). Гидравлическая жидкость должна возвращаться в резервуар.
5.9.3.5.3.2 Гидравлический клапан должен быть отрегулирован на предельное значение давления, составляющее 140% давления полной нагрузки.
5.9.3.5.3.3 Если необходимо из-за внутренних потерь (потери напора, трения), предохранительный клапан может быть отрегулирован на более высокое значение, но не превосходящее 170% давления полной нагрузки. В этом случае при расчете гидравлического оборудования (включая сюда гидроцилиндр) следует использовать расчетное давление полной нагрузки, равное выбранному значению давления, на которое отрегулирован предохранительный клапан, уменьшенное в 1,4 раза.
При расчете устойчивости коэффициент превышения давления, равный 1,4, должен быть заменен коэффициентом, соответствующим повышенному установочному значению предохранительного клапана.
5.9.3.5.4 Клапаны направления движения
5.9.3.5.4.1 Клапаны движения вниз
Клапан движения вниз должен открываться при подаче на него электропитания. Закрытие клапанов должно происходить под действием давления жидкости, поступающей от гидроцилиндра, и не менее чем одной пружины сжатия, имеющей направляющие элементы, на каждый клапан.
5.9.3.5.4.2 Клапаны движения вверх
Если остановка привода осуществлена в соответствии с
5.9.3.4.1, перечисление b), в качестве клапанов движения вверх должны быть использованы перепускные (предохранительные) клапаны. Эти клапаны должны закрываться при подаче на них электропитания. Открытие этих клапанов должно происходить под воздействием гидравлического давления гидроцилиндра и не менее чем одной пружины сжатия на каждый клапан, имеющей направляющие элементы.
5.9.3.5.5 Фильтры
Фильтры или подобные им устройства должны быть установлены в схеме между:
a) резервуаром и насосом (насосами); и
b) запорным клапаном, обратным(и) клапаном(ами) и клапаном(ами) движения в направлении вниз.
Фильтр или подобное устройство между запорным клапаном, обратным(и) клапаном(ами) и клапаном движения в направлении вниз должны быть доступны для инспектирования и технического обслуживания.
5.9.3.6. Проверка давления
5.9.3.6.1 Должно быть предусмотрено устройство, указывающее давление в гидравлической системе (манометр). Это устройство должно быть установлено на участке между обратным клапаном или клапаном(ами) движения вниз и запорным клапаном.
5.9.3.6.2 Между главным контуром и соединением для устройства по
5.9.3.6.1 должен быть установлен запорный клапан.
5.9.3.6.3 Соединение должно быть снабжено внутренней резьбой либо M 20 x 1,5, либо G 1/2 дюйма.
Резервуар должен быть спроектирован и сконструирован таким образом, чтобы было легко:
a) проверять уровень гидравлической жидкости в резервуаре;
b) заливать и сливать гидравлическую жидкость из резервуара;
c) подключать устройство для охлаждения масла.
На резервуаре должны быть указаны характеристики гидравлической жидкости.
5.9.3.8.1 Номинальная скорость движения вверх vm и вниз vd должна быть не более 1,0 м/с.
5.9.3.8.2 Скорость пустой кабины при движении вверх не должна превышать номинальную скорость движения вверх vm более чем на 8%, и скорость кабины с номинальной нагрузкой при движении вниз не должна превышать номинальную скорость движения вниз vd более чем на 8%; причем в обоих случаях это относится к номинальной рабочей температуре гидравлической жидкости.
При поездке в направлении вверх предполагается, что источник питания работает при номинальной частоте и что напряжение на электродвигателе равно номинальному напряжению оборудования.
5.9.3.9. Работа в аварийном режиме
5.9.3.9.1 Передвижение кабины вниз
5.9.3.9.1.1 Лифт должен быть оборудован управляемым вручную аварийным клапаном опускания, позволяющим, даже в случае отключения электропитания, опускать кабину до уровня, на котором пассажиры смогут покинуть кабину, и расположенным в соответствующем пространстве для размещения машинного оборудования:
c) на аварийно-испытательной(ых) панели(ях)
(5.2.6.6).
5.9.3.9.1.2 Скорость кабины не должна превышать 0,3 м/с.
5.9.3.9.1.3 Для приведения в действие этого клапана требуется постоянно вручную прикладывать к нему усилие.
5.9.3.9.1.4 Клапан должен быть защищен от непреднамеренного действия.
5.9.3.9.1.5 Клапан аварийного опускания не должен вызывать дальнейшего опускания поршня, когда давление падает ниже значения, определенного изготовителем.
5.9.3.9.1.6 Около управляемого вручную клапана, предназначенного для аварийного движения вниз, должна быть прикреплена табличка с надписью "Внимание! Аварийное опускание".
5.9.3.9.2 Передвижение кабины вверх
5.9.3.9.2.1 Ручной насос, который обеспечивает передвижение кабины в направлении вверх, следует постоянно хранить на месте эксплуатации каждого гидравлического лифта.
У каждого привода гидравлического лифта должно быть предусмотрено устройство для подсоединения ручного насоса.
Ручной насос должен быть доступен для уполномоченных лиц, осуществляющих техническое обслуживание и работы, связанные с эвакуацией пассажиров.
5.9.3.9.2.2 Ручной насос должен подсоединяться на участке между обратным клапаном или клапаном(ами) движения вниз и запорным клапаном.
5.9.3.9.2.3 Ручной насос должен быть оборудован предохранительным клапаном, ограничивающим давление до величины, в 2,3 раза превышающей давление полной нагрузки.
5.9.3.9.2.4 Около ручного насоса, предназначенного для аварийного движения вверх, должна быть прикреплена табличка с надписью "Внимание! Аварийный подъем".
5.9.3.9.3 Проверка положения кабины
Если лифт обслуживает более двух уровней, должна быть предусмотрена возможность проверки нахождения кабины в зоне отпирания дверей шахты при использовании средства, не зависящего от электропитания, размещенного в соответствующем пространстве:
b) из шкафа для машинного оборудования
(5.2.6.5.1); или
c) с аварийно-испытательной(ых) панели(ей)
(5.2.6.6), где закреплены устройства для выполнения аварийных операций (
5.9.3.9.1 и
5.9.3.9.2).
Это требование не следует применять к лифтам, которые оборудованы механическим устройством, препятствующим сползанию.
5.9.3.10. Ограничитель времени работы электродвигателя
5.9.3.10.1 Гидравлические лифты должны иметь ограничитель времени работы электродвигателя, обеспечивающий отключение электропитания электродвигателя и его удержание в отключенном состоянии, если электродвигатель не вращается, когда производится запуск, или кабина не движется.
5.9.3.10.2 Ограничитель времени работы электродвигателя должен срабатывать за время, которое не превышает наименьшее из двух следующих значений:
a) 45 с;
b) время для прохождения полного пути движения в нормальном режиме работы с номинальной нагрузкой плюс 10 с, при минимальном значении 20 с, если время полного прохождения менее 10 с.
5.9.3.10.3 Возврат к нормальной работе должен быть возможен только посредством возврата в исходное состояние вручную. При восстановлении электропитания после его отключения поддержание машины в остановленном состоянии не является необходимым.
5.9.3.10.4 Ограничитель времени работы электродвигателя, даже если он сработал, не должен препятствовать выполнению операции "ревизия"
(5.12.1.5) и электрической системе противодействия сползанию
(5.12.1.10).
5.9.3.11. Защита от перегрева гидравлической жидкости
Должно быть предусмотрено устройство контроля температуры рабочей жидкости. Это устройство должно останавливать привод и предотвращать пуск привода в соответствии с
5.10.4.3.
Должно быть обеспечено устройство контроля рабочей жидкости. Это устройство должно останавливать машину и удерживать ее в остановленном состоянии в соответствии с
5.10.4.3. Остановку кабины и отключение привода следует осуществлять на ближайшей по направлению движения этажной площадке или после выполнения лифтом команды управления (приказа).
Автоматический возврат в нормальный режим эксплуатации лифта для движения должен происходить только после достижения рабочей температуры жидкости.
5.10. Электрическое оборудование и устройства
5.10.1.1 Область применения
5.10.1.1.1 Требования настоящего стандарта распространены:
a) на главный выключатель силовой цепи и зависимые от него цепи;
b) выключатель освещения кабины и зависимые от него цепи;
c) выключатель освещения шахты и зависимые от него цепи.
Лифт рассматривают как единое целое, аналогично приводу со встроенным в него электрическим оборудованием.
5.10.1.1.2 Технические характеристики электрического оборудования и его исполнение должны соответствовать параметрам лифта по напряжению и частоте питающей сети, токовым нагрузкам, а также условиям его эксплуатации, хранения и транспортирования. Характеристики внешней питающей сети должны отвечать назначению лифта и быть не ниже 2-й категории электроснабжения.
Примечание - Электроприемники 2-й категории - электроприемники, перерыв электроснабжения которых приводит к массовому недоотпуску продукции, массовым простоям рабочих, механизмов и промышленного транспорта, нарушению нормальной деятельности значительного количества городских и сельских жителей.
5.10.1.1.3 При выборе оборудования при проектировании лифта следует учитывать условия электромагнитной совместимости по помехоустойчивости и помехоэмиссии.
5.10.1.1.4 Для правильного и безопасного размещения и функционирования органов управления следует учитывать условия их применения. Они должны быть легко распознаваемы, иметь надлежащую маркировку и соответствовать требованиям безопасности.
5.10.1.1.5 Органы управления следует устанавливать таким образом, чтобы обеспечить благоприятные условия работы с ними и удобство их технического обслуживания спереди. При необходимости регулярного технического обслуживания или регулировки, соответствующие устройства должны быть установлены в пределах от 0,40 до 2,0 м над зоной обслуживания и расположены таким образом, чтобы провода и кабели могли легко подсоединяться к ним. Эти требования не применимы к устройствам управления, расположенным на крыше кабины.
Примечание - К органам управления следует относить коммутационные аппараты и их комбинации с устройствами управления, измерения, защиты и регулировки, которые к ним подсоединяются, а также к группам таких аппаратов с соединениями, арматурой, оболочками и соответствующими поддерживающими структурами, которые предназначены в основном для управления устройствами, потребляющими электроэнергию.
5.10.1.1.6 Излучающие тепло компоненты (например, теплоотводы, мощные резисторы) должны быть расположены таким образом, чтобы температура каждого компонента оставалась в допустимых пределах. Тепло, выделяемое электрооборудованием, не должно вызывать опасность или оказывать вредное воздействие на расположенное вблизи него оборудование и материалы или на материалы, которые могут оказаться вблизи такого оборудования.
5.10.1.2 Защита от поражения электрическим током
5.10.1.2.1 Общие сведения
На электрическом оборудовании, которое может создавать риск поражения электрическим током, должен быть размещен графический символ:
Предупреждающий знак должен быть отчетливо виден на двери или крышке ограждения.
5.10.1.2.2 Основная защита (защита от непосредственного контакта)
Дополнительно к требованиям
5.10.1.2.1 должно быть обеспечено следующее:
a) в лифте, пространствах для размещения оборудования и блочных помещениях должна быть предусмотрена защита электрического оборудования от непосредственного контакта с помощью кожухов, со степенью защиты не менее IP2X
(ГОСТ 14254);
b) если оборудование доступно для посторонних лиц, должна применяться степень защиты от непосредственного контакта не менее
IP2XD (ГОСТ 14254);
c) если корпуса, содержащие опасные токоведущие части, открыты при выполнении эвакуации пассажиров из кабины лифта, доступ к случайному прикосновению должен быть предотвращен степенью защиты не менее
IPXXB (ГОСТ 14254);
d) другие опасные токоведущие части должны иметь защиту от непреднамеренного прямого прикосновения к ним пальцами, кистями рук, руками или другими частями тела в процессе работы с устройствами управления.
5.10.1.3 Сопротивление изоляции в электрической установке
5.10.1.3.1 Сопротивление изоляции следует измерять между всеми токоведущими проводниками и землей. В таблице 13 приведены минимальные значения сопротивления изоляции, являющиеся обязательными.
Таблица 13
Сопротивление изоляции
Номинальное напряжение схемы, В | Испытательное напряжение (постоянного тока), В | Сопротивление изоляции, МОм |
Цепи с безопасным сверхнизким напряжением SELV и защищенным сверхнизким напряжением PELV > 100 ВА | 250 | >= 0,5 |
<= 500, включая цепи с рабочим сверхнизким напряжением FELV | 500 | >= 1,0 |
> 500 | 1000 | >= 1,0 |
Примечание - SELV - Safety Extra Low Voltage; PELV - Protective Extra Low Voltage; FELV - Functional Extra Low Voltage |
5.10.1.3.2 Напряжение питания цепей управления и цепей безопасности, цепей ремонтного инструмента, освещения и сигнализации должно составлять не более 254 В.
При применении переносных ламп напряжение цепи их питания должно составлять не более 50 В. Применение автотрансформаторов с целью понижения напряжения для этой цели не допускается.
5.10.2. Клеммы проводов для подачи электропитания
5.10.2.1 Подключение питающих проводов
Питание электрооборудования лифта рекомендуется осуществлять от одного источника питания. Если для некоторых частей оборудования (например, электронных цепей) необходимо использовать другой источник питания, то это питание должно быть получено, при возможности, от приборов и устройств (таких как трансформаторы, преобразователи), являющихся частью электрического оборудования лифта.
Провода, идущие от источника питания, рекомендуется подсоединять непосредственно к входным клеммам выключающих устройств. Когда это невозможно, должны быть предусмотрены отдельные клеммы для их подключения. Провода должны иметь маркировку. Допускается осуществлять маркировку проводов цветом.
Если нейтральный провод используют для подключения питания, это должно быть указано на принципиальной схеме и на схеме подключения. Отдельно следует предусматривать особую изолированную клемму с маркировкой N для присоединения нейтрального (нулевого) провода.
Внутри электрооборудования не допускаются соединения между нейтральным проводом и цепью защитного заземления и использование для соединения комбинированной клеммы PEN.
За исключением следующего: в TN-C системе питающей сети в точке подключения электрооборудования машины к питающей сети возможно соединение между клеммой нейтрального проводника и клеммой заземления PE.
Все клеммы для подключения питания должны быть четко обозначены.
5.10.2.2 Зажимы внешней защитной заземляющей системы
Вблизи клемм соответствующих фазных проводов должна быть размещена клемма для подключения провода от внешней заземляющей защитной системы или для внешнего защитного проводника в зависимости от системы питания.
Размер такой клеммы должен позволять присоединение внешнего медного провода, сечение которого выбирают в соответствии с таблицей 14.
Таблица 14
Минимальное сечение внешнего медного провода защиты
Поперечное сечение фазных проводов, питающих оборудование S, мм2 | Минимальное поперечное сечение внешнего провода защиты Sp, мм2 |
S <= 16 | S |
16 < S <= 35 | 16 |
S > 35 | S/2 |
Если материал защитного проводника не медь, то соответствующие коррективы должны быть внесены в размеры клеммы для его подключения.
В каждой точке подключения к внешней сети питания клемму для подключения к внешней заземляющей системе или внешнему защитному проводнику следует маркировать или обозначать буквами PE.
5.10.3. Контакторы, контакторные реле, компоненты схем безопасности
5.10.3.1 Контакторы, контакторные реле
5.10.3.1.1 Главные контакторы, то есть те контакторы, которые необходимы для остановки главного привода лифта согласно
5.9.2.5 и
5.9.3.4, должны соответствовать одному из следующих условий:
- при коротком замыкании не создавать опасности для людей или оборудования, хотя они могут оказаться непригодными для дальнейшей эксплуатации без ремонта и замены частей;
- при коротком замыкании не создавать опасности для людей или оборудования и оставаться пригодными для дальнейшей эксплуатации. Возможность сваривания контактов допускается, и в этом случае изготовитель должен рекомендовать меры по обслуживанию аппаратов.
| | ИС МЕГАНОРМ: примечание. В официальном тексте документа, видимо, допущена опечатка: имеется в виду пункт 5.9.2.5.2.3, перечисления a) и b) 1), а не пункт 5.9.2.5.3, перечисления a) и b) 1). | |
5.10.3.1.2 Если контакторные реле использованы для приведения в действие главных контакторов, такие контакторные реле следует выбирать в соответствии со следующими стандартными категориями применения:
a) AC-15 - для управления контакторами переменного тока [для управления электромагнитами большой мощности (более 72 Вт)];
b) DC-13 - для управления контакторами постоянного тока (для управления электромагнитами).
| | ИС МЕГАНОРМ: примечание. В официальном тексте документа, видимо, допущена опечатка: перечисления f), g), h), i) в пункте 5.11.1.1 отсутствуют. | |
5.10.3.1.3 Для главных контакторов, упомянутых в
5.10.3.1.1, для контакторных реле, упомянутых в
5.10.3.1.2, и для электрических устройств, прерывающих подачу электропитания на тормоз согласно
5.9.2.2.2.3, необходимо применительно к мерам, принятым в соответствии с
5.11.1.1, перечисления f), g), h), i), чтобы:
a) Вспомогательные контакты главных контакторов были механически связанными контактными элементами.
Пример механически связанных замыкающего и размыкающего контактов и несвязанного размыкающего контакта
b) Контакторные реле должны четко идентифицироваться:
- на самом аппарате для цепей управления; и (или)
- в документации изготовителя.
Если аппараты, содержащие отдельные или все механически связанные контакты, маркированы, используют символ
5.10.3.2 Компоненты цепей безопасности
5.10.3.2.1 Когда используют контакторные реле или реле согласно
5.10.3.1.2, применимы требования по
5.10.3.1.3.
5.10.4. Защита электрического оборудования
5.10.4.1 Для защиты электрического оборудования
5.10.4.1.1 Ниже приведены меры, которые должны быть приняты для защиты оборудования от воздействия:
- перегрузки в результате короткого замыкания;
- дефектов заземления;
- перегрева;
- потерь или снижения напряжения питания;
- замыкания на землю с превышением токов утечки;
- неправильного чередования фаз;
- перенапряжений, возникающих при работе освещения и переключениях осветительных устройств.
5.10.4.1.2 Защита от сверхтоков (токов короткого замыкания)
5.10.4.1.2.1 Общие сведения
Защита от сверхтоков должна быть предусмотрена, как указано ниже, если ток в цепях может превысить номинальные значения тока или максимально допустимую расчетную нагрузку в проводах, при этом выбирают одно из номинальных значений.
5.10.4.1.2.2 Силовые цепи
При разъединении токоведущих проводов не следует разъединять нижеуказанные провода:
- нейтральный проводник в силовых цепях переменного тока;
- заземленный проводник в силовых цепях постоянного тока;
- силовой проводник в цепи постоянного тока, подключенный к внешним проводящим частям электродвигателей.
В том случае, когда в системе питания с заземленной нейтралью сечение нейтрального провода равно, как минимум, сечению фазных проводов, нет необходимости в средствах для обнаружения и прерывания сверхтоков в нейтральном проводе.
В системах типа IT рекомендуется не применять нейтральный провод. Однако если такой провод используют, то необходимо предусмотреть защиту от сверхтоков для этого провода с воздействием на отключение всех проводников соответствующей цепи, находящихся под напряжением, включая нулевой рабочий проводник.
5.10.4.1.2.3 Цепи управления
Провода цепей управления, соединенные непосредственно с силовой цепью и цепью питания трансформаторов в цепях управления, должны быть защищены от сверхтоков.
Провода цепей управления, питающиеся через трансформатор или от источников постоянного тока, должны быть защищены от токов короткого замыкания:
- в цепях управления, соединенных с защитными цепями заземления, требуется установка защитного устройства только в коммутируемый проводник;
- все провода цепей управления, не соединенных с защитными цепями заземления;
- если поперечные сечения всех проводов цепей управления одинаковы, допускается установка защитного устройства только в коммутируемый проводник;
- если при монтаже различных ответвлений применены различные поперечные сечения проводов, следует устанавливать защитные устройства на всех проводах, питающих ответвления.
5.10.4.1.2.4 Разъемные контактные соединения и подводимые к ним провода
Защита от сверхтоков необходима для цепей, питающих разъемные контактные соединения общего назначения, которые предназначены в основном для подвода питания к вспомогательному оборудованию.
Устройства защиты от сверхтоков следует устанавливать в незаземленных токоведущих проводах каждой цепи, питающей такие разъемные контактные соединения.
5.10.4.1.2.5 Цепи освещения
Все незаземленные провода цепей освещения должны быть защищены от коротких замыканий отдельными устройствами защиты от сверхтоков, которые независимы от устройств, защищающих другие цепи.
5.10.4.1.2.6 Трансформаторы
Трансформаторы должны быть защищены от сверхтоков наиболее подходящим способом в соответствии с требованиями изготовителя. Такая защита должна:
- предупреждать ложное отключение, вызываемое намагничивающими токами при включении трансформаторов;
- исключать нагрев обмоток, превышающий допустимое значение, определяемое классом изоляции трансформатора при воздействии токов короткого замыкания на его вторичной стороне.
Необходимо, чтобы тип и регулировка устройства защиты от сверхтоков соответствовали рекомендациям поставщика трансформатора.
5.10.4.1.2.7 Размещение устройств защиты от сверхтоков (токов короткого замыкания)
Устройства защиты от сверхтоков (токов короткого замыкания) следует подключать в том месте, где происходит снижение поперечного сечения защищаемого провода, либо имеется иное изменение, снижающее нагрузочные характеристики проводов, при этом должны быть учтены следующие условия:
- допустимый ток проводов должен быть равен, по меньшей мере, значению тока нагрузки;
- длина участка провода от точки понижения нагрузочной способности до места соединения с устройствами защиты от сверхтоков должна быть не более 3 м;
- провода должны быть установлены таким образом, чтобы снижалась возможность возникновения короткого замыкания, например провода защищены оболочкой или каналом (трубопроводом).
5.10.4.1.2.8 Устройства защиты от сверхтоков (токов короткого замыкания)
Отключающая способность устройства защиты от короткого замыкания (разрывная мощность) должна быть равна, по меньшей мере, току короткого замыкания, предполагаемому в месте установки устройства защиты. В том случае, если к току короткого замыкания, протекающему через защитные устройства, могут добавляться еще и другие токи (например, от электродвигателей и силовых компенсирующих конденсаторов), их следует учитывать при определении отключающей способности защитного устройства.
Допускается более низкая отключающая способность, если есть другое устройство защиты (например, оттоков короткого замыкания в питающих проводах), обладающее необходимой отключающей способностью, установленное на стороне питания. При этом характеристики этих устройств защиты должны быть подобраны таким образом, чтобы энергия, проходящая через два соединенных последовательно устройства (l2f), не превысила значения, которое могут выдерживать без отказа устройства защиты со стороны нагрузки и провода, защищаемые этими устройствами.
Примечание - Для работы обоих устройств защиты от токов короткого замыкания необходимо согласование их характеристик.
Там, где для защиты от токов короткого замыкания используют предохранители, должны применять плавкие вставки.
5.10.4.1.2.9 Номинальное значение тока и регулировка устройств защиты от сверхтоков
Номинальные токи плавких вставок предохранителей и токи уставок других устройств защиты от сверхтоков должны быть выбраны минимальными по величине. При этом следует учитывать токи перегрузки, возникающие, например, при пуске двигателей или включении трансформаторов под напряжение. При выборе устройств защиты необходимо учитывать защиту коммутирующих устройств от перегрузки, например от приваривания контактов аппаратов.
Номинальный ток и значение токов уставки устройств защиты от сверхтоков определены не только допустимой нагрузкой по току в защищаемых этими устройствами проводах, но и максимально возможным временем размыкания t, учитывая необходимость в согласовании с другими электрическими приборами защищенной цепи.
5.10.4.1.3 Устройства температурной защиты
Цепи, нагреваемые при сопротивлении протеканию электрического тока, или другие, которые могут достигать или вызывать аномальные температуры (например, обусловленные кратковременным приростом или потерей охлаждающих возможностей) и стать, таким образом, причиной опасных ситуаций, должны быть оснащены автоматическим устройством, вызывающим отключение цепей управления после выключения команды управления.
5.10.4.2 Защита электродвигателей от перегрева должна быть обеспечена для каждого электродвигателя. Электродвигатели мощностью менее 0,5 кВт не нуждаются в защите от перегрева.
5.10.4.3 У гидравлических лифтов должно быть предусмотрено устройство, контролирующее температуру рабочей жидкости. Остановку кабины и отключение привода следует осуществлять на ближайшей по направлению движения этажной площадке или после выполнения лифтом команды управления (приказа). Автоматический возврат в режим "Нормальная работа" для движения вверх должен происходить только после снижения температуры жидкости до рабочих значений.
5.10.5. Главные выключатели
5.10.5.1 Лифт должен быть оборудован главным выключателем. Им может быть вводное устройство, автоматический выключатель и аналогичные устройства с ручным приводом.
Должна быть предусмотрена возможность блокировки устройства в отключенном положении посредством запираемого замка или аналогичного средства во избежание непреднамеренного включения.
5.10.5.1.1 Этот выключатель не должен отключать цепи, которые подают электропитание:
a) на цепи освещения и вентиляции кабины;
b) электрические розетки на крыше кабины;
c) цепи освещения машинного и блочного помещений, пространств для размещения машинного оборудования и мест расположения шкивов;
d) электрические розетки в пространствах для размещения машинного оборудования, местах расположения шкивов и в приямке;
f) на цепи двусторонней переговорной связи из кабины;
g) цепи аварийной сигнализации.
При этом для отключения указанных в
перечислениях a) -
e) цепей должны быть предусмотрены отдельные выключатели.
В общем машинном помещении для нескольких лифтов на каждый лифт должен быть свой выключатель цепи освещения кабины.
Выключатели цепи освещения шахты должны находиться в шахте и рядом с главным выключателем.
Примечание - Рекомендуется выключатель цепи освещения в шахте и в машинном помещении подключать по схеме проходных выключателей, т.е. должна быть возможность включить свет в шахте из машинного помещения и выключить в приямке и наоборот.
При этом для отключения указанных в
перечислениях a) -
e) цепей должны быть предусмотрены отдельные выключатели.
Цепи освещения кабины и ее вентиляции, вызова обслуживающего персонала из кабины, двусторонней переговорной связи из кабины, ремонтной связи, а также цепи питания розеток и аварийной сигнализации допускается включать после главного выключателя, если предусмотрены дополнительные выключатели для отключения силовой цепи и цепи управления. При этом главный выключатель не должен быть оборудован приводом для дистанционного отключения.
5.10.5.1.2 Главный выключатель должен быть расположен:
a) в машинном помещении, если оно существует;
b) если машинное помещение отсутствует, то в шкафу для аппаратов управления, за исключением случая установки шкафа в шахте;
c) рядом с устройствами для управления лифтом при эвакуации пассажиров (см.
5.2.6.6), при установке шкафа для аппаратов управления в шахте.
На одной из этажных площадок допускается установка выключателя для дистанционного отключения силовой питающей цепи и/или включения и отключения цепей управления при включенном главном выключателе, при этом должна быть исключена возможность отключения силовой питающей цепи при наличии в кабине пассажиров. После дистанционного отключения кабина лифта должна находиться на основном посадочном этаже, с закрытыми дверями кабины и шахты лифта.
Доступ посторонних лиц к устройству дистанционного отключения должен быть исключен.
5.10.5.2 Главный выключатель должен быть расположен у входа(ов) в машинное помещение. Если машинное помещение является общим для нескольких лифтов, управляющие механизмы главных выключателей соответствующих лифтов должны быть легко идентифицированы.
При размещении электрооборудования лифта в разных помещениях должны быть предусмотрены несамовозвратные устройства для отключения лифта в каждом из этих помещений.
5.10.5.3 Если в общем машинном помещении размещено оборудование нескольких лифтов, то в это помещение должен быть осуществлен ввод не менее двух питающих линий.
Каждый источник, подающий электропитание, должен иметь устройство, отключающее подачу питания, расположенное рядом с главным выключателем.
В случае групповой системы управления, если после размыкания главного выключателя одного из лифтов часть электрических цепей этого лифта остается под напряжением, должна быть предусмотрена возможность отключать данные цепи отдельно, без прерывания подачи питания на другие лифты, входящие в систему группового управления.
5.10.5.4 Любые конденсаторы для коррекции коэффициента мощности должны быть подсоединены перед главным выключателем силовых цепей.
Если существует риск превышения напряжения, когда, например, электродвигатели подсоединены очень длинными кабелями, главный выключатель силовой цепи должен также прерывать и соединение с конденсаторами.
5.10.5.5 При выключении главным выключателем подачи электропитания на лифт любое автоматически управляемое передвижение лифта (например, автоматически обеспечиваемое питанием от аккумулятора) должно быть предотвращено.
5.10.6. Требования к электропроводке
5.10.6.1. Электрические провода и кабели
5.10.6.1.1 Общие сведения
Кабели и провода следует выбирать таким образом, чтобы соответствовать условиям эксплуатации (например, по напряжению, току, защите от ударов электрическим током, способом прокладки кабелей) и выдерживать возможные внешние воздействия (например, перепады температур, наличие воды или коррозионных веществ, механические нагрузки, возгорания), в том числе при монтаже.
Эти требования не распространяются на встроенную электропроводку узлов, подсистем и устройств, которые изготавливают и испытывают согласно соответствующим стандартам.
5.10.6.1.2 Провода
Жилы проводов должны быть медными. Применение алюминиевых проводов не допускается.
Для соответствия механическим нагрузкам поперечные сечения проводников не должны быть менее приведенных в таблице 15.
Таблица 15
Минимальные поперечные сечения медных проводов
Расположение | Применение | Сечение проводов и кабелей, мм2 |
Одножильные | Многожильные/многопроводные |
Гибкий класс 5 или 6 | С одной жилой классов 1 и 2 | С двумя экранированными жилами | С двумя неэкранированными жилами | С тремя или более экранированными или неэкранированными жилами |
Снаружи оболочки | Неподвижный провод (фиксированный монтаж) в силовых цепях | 1,0 | 1,5 | 0,75 | 0,75 | 0,75 |
Соединение в силовых цепях с подвижными элементами | 1,0 | - | 0,75 | 0,75 | 0,75 |
Соединения в цепях управления | 1,0 | 1,0 | 0,2 | 0,2 | 0,2 |
Провода для передачи данных | - | - | - | - | 0,08 |
| Провод в силовых цепях для неподвижного монтажа | 0,75 | 0,75 | 0,75 | 0,75 | 0,75 |
| Соединения в цепях управления | 0,2 | 0,2 | 0,2 | 0,2 | 0,2 |
| Провода для передачи данных | - | - | - | - | 0,08 |
<1> Исключая специальные требования стандартов на изделия (см. 5.10.6.1.1). |
Примечание - Классификация проводников:
Класс | Описание | Использование/применение |
1 | Жесткий медный или алюминиевый проводник | Для стационарных установок |
2 | Витой медный или алюминиевый проводник |
5 | Гибкий витой медный проводник | Для машинных установок с вибрацией; соединение с подвижными частями |
6 | Гибкий витой медный проводник, состоящий из многих очень тонких жил, более гибкий в сравнении с классом 5 | Для частых движений |
| | ИС МЕГАНОРМ: примечание. В официальном тексте документа, видимо, допущена опечатка: имеется в виду таблица 15, а не таблица 18. | |
Допускается применение проводников меньшего сечения или иной конструкции в отличие от приведенных в
таблице 18, если при этом будет обеспечено надлежащее качество их функционирования.
5.10.6.1.3 Изоляция
Наиболее применяемые изоляционные материалы:
- поливинилхлорид (ПВХ);
- натуральная или синтетическая резина;
- кремнийорганическая резина;
- минералы (слюда, стекло);
- полиэтилен (ПЭ);
- этиленпропиленовая смесь (ЭПС).
В тех случаях, когда применение изолированных проводов и кабелей может представлять опасность распространения огня или образования токсичного или едкого дыма (например, ПВХ), рекомендуется обратиться за консультацией к изготовителю кабеля или провода. В частности, очень важно обратить внимание на целостность цепей, несущих функцию безопасности.
Электрическая прочность изоляции должна быть достаточной, чтобы выдерживать требуемое испытательное напряжение 2000 В при переменном токе в течение 5 мин, для кабелей, эксплуатируемых при напряжении выше 50 В и переменном токе или 120 В при постоянном токе.
Механическая прочность и толщина изоляционного материала должны быть такими, чтобы не нарушать изоляцию при эксплуатации или в ходе монтажа проводки, в частности при протягивании кабелей через каналы.
5.10.6.1.4 Максимально допустимый ток при нормальной работе
Максимально допустимый ток для проводов и кабелей определяется одновременно несколькими факторами, например материалом изоляции, числом проводов в кабеле, конструкцией канала, методами установки, группированием, окружающей температурой. Типовой пример по максимально допустимым токам для проводов с ПВХ изоляцией, прокладываемых между оболочкой и отдельными частями оборудования, при установившемся токе приведен в таблице 16.
Таблица 16
Пример максимально допустимых токов Iz для медных
проводов и кабелей с ПВХ изоляцией в установившемся
режиме, при температуре окружающего воздуха 40 °C
для различных способов прокладки
Площадь поперечного сечения, мм2 | Способ прокладки |
в коробах или кабельных каналах одножильных проводов | в коробах или кабельных каналах многожильных/многопроводных кабелей | на стене на открытом воздухе многожильных/многопроводных кабелей | на открытых лотках многожильных/многопроводных кабелей |
Максимально допустимый ток Iz для трехфазных цепей, А |
0,75 | 8,6 | 8,5 | 9,8 | 10,4 |
1,0 | 10,3 | 10,1 | 11,7 | 12,4 |
1,5 | 13,5 | 13,1 | 15,2 | 16,1 |
2,5 | 18,3 | 17,4 | 21 | 22 |
4 | 24 | 23 | 28 | 30 |
6 | 31 | 30 | 36 | 37 |
10 | 44 | 40 | 50 | 52 |
16 | 59 | 54 | 66 | 70 |
25 | 77 | 70 | 84 | 88 |
35 | 96 | 86 | 104 | 110 |
50 | 117 | 103 | 125 | 133 |
70 | 149 | 130 | 160 | 171 |
95 | 180 | 156 | 194 | 207 |
120 | 208 | 179 | 225 | 240 |
Соединения в электронных схемах (пары) | | | | |
0,20 | Не применяется | 4,3 | 4,4 | 4,4 |
0,5 | Не применяется | 7,5 | 7,5 | 7,8 |
0,75 | Не применяется | 9,0 | 9,5 | 10 |
5.10.6.2. Площадь сечения электрических проводов
| | ИС МЕГАНОРМ: примечание. В официальном тексте документа, видимо, допущена опечатка: таблица 19 отсутствует. | |
Для того чтобы обеспечить достаточную механическую прочность, площадь сечения электрических проводов должна быть не менее приведенной в таблице 19.
5.10.6.3. Требования к монтажу электропроводки
Все соединения, особенно относящиеся к цепи защиты, должны быть надежно закреплены таким образом, чтобы не допустить случайного ослабления.
Средства соединения должны соответствовать поперечному сечению и типу соединяемых проводов.
Присоединение двух или более проводов к одному ответвительному зажиму допускается только в том случае, если зажим предназначен для этого. Однако в целях заземления к одному контакту зажима допускается подключать только один провод цепи защиты.
Паяные соединения допускаются только в том случае, если контакты предусмотрены для этого.
Зажимы в блоках контактных зажимов следует четко помечать и маркировать в соответствии со схемами соединений.
В тех случаях, когда неверное электрическое соединение (например, вызванное заменой аппаратуры) может вызывать дополнительный риск, практически трудно устраняемый при проектировании, необходимо проводники и зажимы идентифицировать.
Установка гибких каналов и прокладка гибких кабелей должны быть такими, чтобы жидкости вытекали наружу из арматуры.
Должны поставляться средства удержания жил проводов, если они отсутствуют у приборов и зажимов. Пайка для этой цели не может быть применена.
Концы экранированных проводов следует подключать таким образом, чтобы избежать раздергивания жил и исключить возможность их легкого разъединения.
Маркировочные этикетки должны быть легкочитаемыми, прочными и устойчивыми к условиям окружающей среды.
Блоки контактных зажимов следует соединять и устанавливать таким образом, чтобы внутренние и внешние электропроводки не проходили над зажимами.
Провода и кабели должны проходить от одного зажима к другому без сращиваний или промежуточных соединений.
Если необходимо соединять и разъединять кабели и кабельные сборки, они должны иметь достаточную для этих целей дополнительную длину.
Концы кабелей с многопроволочными жилами следует фиксировать таким образом, чтобы на концы проводов не воздействовала никакая чрезмерная механическая нагрузка.
Везде, где это возможно, защитный провод следует располагать вблизи токоведущих проводников, чтобы уменьшить полное сопротивление контура короткого замыкания.
5.10.6.3.1 Электрические провода и кабели должны быть проложены в кабельных желобах или коробах или обеспечены эквивалентной механической защитой, например, применением двойной изоляции или прокладкой в пространствах, недоступных для людей.
Провода различных цепей могут быть уложены рядом или в один и тот же короб (например, канал, желоб, лоток для прокладки кабеля) или являться частью одного многожильного кабеля, когда это отрицательно не влияет на нормальную работу цепей.
Изолированные проводники цепей управления, освещения, сигнализации, силовых и другие напряжением не более 460 В, относящиеся к одному лифту, допускается прокладывать совместно (в одном пучке, одной трубе, одном коробе, одном кабеле и т.д.) при условии, что изоляция каждого из этих проводников рассчитана на самое высокое напряжение, если они расположены с учетом исключения случайного повреждения, например, подвижными частями.
a) к электрическим проводам и кабелям, не подсоединенным к электрическим устройствам безопасности, при условии, что:
1) они не подлежат воздействию номинальной выходной мощности или мощности более 100 ВА; и
b) электрическим соединениям рабочих или распределительных устройств в шкафах или на панелях:
1) между разными элементами электрического оборудования, либо
2) этими элементами и соединительными клеммами.
5.10.6.3.3 Если соединения, соединительные клеммы и соединители не расположены в защитном ограждении, их степень защиты IP2X
(ГОСТ 14254) следует поддерживать при подсоединении и отсоединении и они должны быть правильно закреплены для предотвращения непреднамеренного отсоединения.
5.10.6.3.4 Если после размыкания главного выключателя или выключателей лифта некоторые соединительные клеммы остаются под напряжением и если напряжение превышает 25 В переменного тока или 60 В постоянного тока, предупредительная этикетка согласно
5.10.1.2.1 должна быть соответствующим образом прикреплена на постоянной основе вблизи сетевого(ых) выключателя(ей), и/или соответствующее указание должно быть включено в текст руководства по техническому обслуживанию.
5.10.6.3.5 Соединительные клеммы, случайное взаимное соединение которых может привести к опасному неправильному действию лифта, должны быть четко разделены, если способ их построения не устраняет этот риск.
5.10.6.3.6 Для того чтобы обеспечить постоянство механической защиты, защитная оболочка электрических проводов и кабелей должна полностью облегать корпуса выключателей и приборов или заканчиваться в соответствующем образом выполненном уплотнении.
Однако, если существует риск механического повреждения вследствие передвижения частей или наличия острых краев самой рамы, электрические провода, подсоединенные к электрическому устройству безопасности, должны быть механически защищены.
Примечание - Огражденные рамы дверей посадочных площадок и кабины рассматривают как корпуса приборов.
Разъемы и устройства, расположенные в цепях электрических устройств безопасности, должны быть спроектированы таким образом, чтобы было невозможно их вставлять в положение, влияющее на безопасную работу лифта.
5.10.7. Освещение и электрические розетки
5.10.7.1 Подача электропитания для освещения кабины, шахты, пространств для размещения машинного оборудования и мест расположения блоков должна быть независимой от цепи электропитания лифта, либо путем использования другой цепи, либо путем подсоединения к цепи электропитания лифта на стороне подачи напряжения на главный выключатель или сетевые выключатели, описанные в
5.10.5.
5.10.7.2 Электропитание на электрические розетки, устанавливаемые на крыше кабины, в машинном и блочном помещениях, в пространствах для размещения машинного оборудования, в местах расположения шкивов и в приямке, должно подаваться от цепей, упомянутых в
5.10.7.1.
Использование описанных выше электрических розеток не подразумевает, что кабель питания имеет площадь сечения, соответствующую номинальному току розетки. Площадь сечения электрических проводов может быть меньше при условии, что электрические провода правильно защищены от повышенных токов.
5.10.8. Управление подачей электропитания на цепи освещения и электрические розетки
5.10.8.1 Подача электропитания на цепь освещения кабины и электрические розетки, установленные на кабине, должна осуществляться выключателем. Если в машинном помещении установлено несколько лифтов, подача электропитания на цепь освещения кабины и электрические розетки должна осуществляться через отдельный выключатель для каждой кабины. Эти выключатели должны быть расположены на расстоянии не более 0,5 м по горизонтали от соответствующего главного выключателя.
5.10.8.2 В машинном и блочном помещениях, а также в других пространствах для размещения машинного оборудования, за исключением пространств, расположенных в шахте, выключатель освещения должен быть расположен рядом со входом или вблизи мест доступа к зонам обслуживания (см. также
5.2.1.4.2).
Выключатели освещения шахты или аналогичные устройства должны быть расположены как в приямке, так и на расстоянии не более 0,5 м по горизонтали от главного выключателя, с тем чтобы освещение шахты могло включаться из любого положения.
В том случае, если дополнительные лампы освещения установлены на крыше кабины, они должны быть подсоединены к цепи освещения кабины и включаться с крыши кабины. Выключатель(и) должен(ны) размещаться в легкодоступном месте.
5.10.8.3 Каждая цепь, управляемая выключателями, описанными в
5.10.8.1 и
5.10.8.2, должна иметь свои собственные устройства защиты от повышенного тока.
5.10.9. Защитное заземление
Заземление электроустановок переменного и постоянного токов напряжением до 1 кВ в лифтах может быть выполнено по одной из следующих систем исполнений: TN-C, TN-S, TN-C-S, IT (система TN - система, в которой нейтраль источника питания глухо заземлена, а открытые проводящие части электрооборудования лифта присоединены к глухозаземленной нейтрали источника посредством нулевых защитных проводников).
Первая буква - состояние нейтрали источника питания относительно земли:
- I - изолированная нейтраль, T - заземленная нейтраль.
Вторая буква - состояние открытых проводящих частей относительно земли:
- T - открытые проводящие части заземлены независимо от отношения к земле нейтрали источника питания или какой-либо точки питающей сети;
- N - открытые проводящие части присоединены к глухозаземленной нейтрали источника питания.
Последующие (после N) буквы - совмещение в одном проводнике или разделение функций нулевого рабочего и нулевого защитного проводников.
- S - нулевой рабочий (N) и нулевой защитный (PE) проводники разделены;
Система TN-C - система TN, в которой нулевой защитный и нулевой рабочий проводники совмещены в одном проводнике на всем ее протяжении (см. рисунок 21).
1 - заземлитель нейтрали (средней точки) источника
питания; 2 - открытые проводящие части;
3 - источник питания постоянного тока
Рисунок 21 - Система TN-C
переменного (a) и постоянного (b) тока.
Нулевой защитный и нулевой рабочий проводники
совмещены в одном проводнике
Система TN-S - система TN, в которой нулевой защитный и нулевой рабочий проводники разделены на всем ее протяжении (см. рисунок 22).
1 - заземлитель нейтрали источника переменного тока;
1-1 - заземлитель вывода источника постоянного тока;
1-2 - заземлитель средней точки источника постоянного тока;
2 - открытые проводящие части; 3 - источник питания
Рисунок 22 - Система TN-S переменного (a)
и постоянного (b) тока. Нулевой защитный и нулевой
рабочий проводники разделены
Система TN-C-S - система TN, в которой функции нулевого защитного и нулевого рабочего проводников совмещены в одном проводнике в какой-то ее части, начиная от источника питания (см. рисунок 23).
1 - заземлитель нейтрали источника переменного тока;
1-1 - заземлитель вывода источника постоянного тока;
1-2 - заземлитель средней точки источника постоянного тока;
2 - открытые проводящие части; 3 - источник питания
C - функции нулевого защитного и нулевого рабочего
проводников совмещены в одном проводнике (PEN-проводник);
N -

- нулевой рабочий (нейтральный) проводник;
PE -

- защитный проводник (заземляющий проводник,
нулевой защитный проводник, защитный проводник системы
уравнивания потенциалов);
PEN -

- совмещенный нулевой
защитный и нулевой рабочий проводники
Рисунок 23 - Система TN-C-S
переменного (a) и постоянного (b) тока.
Нулевой защитный и нулевой рабочий проводники
совмещены в одном проводнике в части системы
Система IT - система, в которой нейтраль источника питания изолирована от земли или заземлена через приборы или устройства, имеющие большое сопротивление, а открытые проводящие части электрооборудования лифта заземлены (см. рисунок 24).
1 - сопротивление заземления нейтрали источника питания
(при наличии); 2 - заземлитель; 3 - открытые проводящие
части; 4 - заземляющее устройство электрооборудования
лифта; 5 - источник питания
Рисунок 24 - Система
IT переменного (a)
и постоянного (b) токов
Открытые проводящие части электрооборудования лифта заземлены.
Нейтраль источника питания изолирована от земли или заземлена через большое сопротивление.
В жилых и общественных зданиях рекомендуется выполнять питание электрооборудования лифта от сети ~ 380/220 В с системой заземления TN-S или TN-C-S.
При этом не допускаются:
- объединение нулевых защитных и нулевых рабочих проводников различных групповых линий;
- подключение на общий контакт нулевого рабочего и нулевого защитного проводников.
Сечение нулевых рабочих проводников должно быть равно сечению фазных проводников.
Сечение PEN-проводников должно быть не менее сечения N-проводников и не менее 10 мм2 по меди независимо от сечения фазных проводников.
Сечение PE-проводников, не входящих в состав кабеля, должно быть не менее 2,5 мм2 при наличии механической защиты и 4 мм2 - при ее отсутствии.
Сечение PE-проводников должно быть равным сечению фазных проводников при сечении последних не более 16 мм2, 16 мм2 - при сечении фазных проводников от 16 до 35 мм2 и 50% сечения фазных проводников при больших сечениях.
Заземление лифтового оборудования напряжением не более 48 В включительно допускается выполнять многожильным медным проводом сечением не менее 1,5 мм2.
5.10.10. Идентификация электрических компонентов
Все управляющие устройства и электрические компоненты должны быть отчетливо идентифицированы с использованием обозначений, которые показаны на электрических схемах.
Необходимые технические характеристики предохранителей, такие как их номинал и тип, должны быть промаркированы на предохранителе или рядом с его гнездом.
В случае использования многопроводных разъемов, только разъем, а не провода, должен быть промаркирован.
5.11. Защита от электрических неисправностей; анализ неисправностей; электрические устройства безопасности
5.11.1. Защита от электрических неисправностей; анализ неисправностей
Если любая из неисправностей в электрическом оборудовании лифта, перечисленных в
5.11.1.2, не может быть устранена при условиях, описанных в
5.11.1.3 и/или
[2], то она не должна быть причиной опасного нарушения функционирования лифта.
5.11.1.2 Рассматриваемые неисправности:
a) отсутствие напряжения;
b) падение напряжения;
c) обрыв электрического провода;
d) нарушения изоляции по отношению к металлическим частям или к земле;
e) короткое замыкание или размыкание схемы, изменение величины или функции в электрическом компоненте, например резисторе, конденсаторе, транзисторе, лампе, и т.п.;
f) отсутствие втягивания или неполное втягивание подвижного якоря контактора или реле;
g) отсутствие обратного хода подвижного якоря контактора или реле;
h) отсутствие размыкания контактов;
i) отсутствие замыкания контактов;
j) опрокидывание фазы.
5.11.1.3 Отсутствие размыкания контактов не следует рассматривать в случае контактов безопасности, соответствующих требованиям
5.11.2.2.
5.11.1.4 Замыкание электрической цепи, в которой имеются электрические устройства безопасности, на землю или на металлические конструкции должно вызывать остановку лифта и предотвращать пуск лифта после его остановки до устранения замыкания. Возврат к нормальному режиму эксплуатации должен проводить обслуживающий персонал.
5.11.2. Электрические устройства безопасности
5.11.2.1 Общие сведения
5.11.2.1.1 При срабатывании одного из электрических устройств безопасности, перечисленных в
приложении A, движение лифта будет предотвращено или он будет остановлен, как указано в
5.11.2.4.
Электрическое устройство безопасности должно состоять:
a) из одного или более контактов безопасности в соответствии с
5.11.2.2; или
b) цепей безопасности в соответствии с
5.11.2.3, состоящих из одного или из сочетания следующих компонентов:
1) одно или более контактов безопасности по
5.11.2.2,
2) контакты, не удовлетворяющие требованиям
5.11.2.2,
3) компоненты в соответствии с
[2],
4) программируемые электронные системы, используемые применительно к обеспечению безопасности в соответствии с
5.11.2.6.
5.11.2.1.2 Не считая исключений, разрешенных в настоящем стандарте (см.
5.12.1.4,
5.12.1.5,
5.12.1.6 и
5.12.1.8), никакое электрическое оборудование не должно подключаться параллельно электрическому устройству безопасности.
Подсоединения к разным точкам электрической цепи безопасности разрешены только для сбора информации. Устройства, используемые для этой цели, должны удовлетворять требованиям для цепей безопасности согласно
5.11.2.3, за исключением испытаний в соответствии с
[2].
5.11.2.1.3 Влияние внутренней или внешней индуктивности либо емкости не должно приводить к нарушению функционирования электрических устройств безопасности.
5.11.2.1.4 Выходной сигнал, исходящий от электрического устройства безопасности, не должен изменяться поступающим извне сигналом от другого электрического устройства, расположенного дальше в той же цепи, что может спровоцировать возникновение опасного состояния.
5.11.2.1.5 В цепях безопасности, содержащих два или более параллельных канала, информацию, отличающуюся от требуемой для контроля по четности, следует извлекать только из одного канала.
5.11.2.1.6 Схемы, которые регистрируют или задерживают сигналы, не должны, даже в случае возникновения неисправности, препятствовать или существенно задерживать остановку лифта посредством срабатывания электрического устройства безопасности, то есть остановка должна произойти в кратчайшее время, совместимое с системой.
5.11.2.1.7 Конструкция и расположение внутренних источников питания должны быть такими, чтобы препятствовать появлению ложных сигналов и выходов из строя электрических устройств безопасности вследствие эффекта переключения.
5.11.2.2 Контакты безопасности
5.11.2.2.1 Общие сведения
Контакты безопасности должны иметь минимальную степень защиты IP4X
(ГОСТ 14254) и механическую износоустойчивость (по меньшей мере 10
6 циклов переключения) или соответствовать указанным ниже требованиям.
5.11.2.2.2 Срабатывание контакта безопасности должно производиться путем размыкания контактной группы нормально замкнутого типа. Размыкание должно происходить, даже если контакты приварены друг к другу.
Конструкция контакта безопасности должна быть такой, чтобы минимизировать риск короткого замыкания вследствие его неисправности.
Примечание - Принудительное размыкание достигается, когда элементы размыкания приводятся в разомкнутое состояние, и на большей части пути между подвижными контактами и частью элемента, на которую воздействует усилие, размыкающее контакт, отсутствуют упругие элементы (например, пружины).
5.11.2.2.3 Изоляция выключателей безопасности должна быть рассчитана на номинальное напряжение 250 В, если степень защиты корпуса не менее IP4X
(ГОСТ 14254), и на 500 В, если степень защиты менее IP4X
(ГОСТ 14254).
Контакты безопасности должны относиться к следующим категориям
a) AC-15 - для контактов безопасности в цепях переменного тока (для управления электромагнитами большой мощности [более 72 Вт)];
b) DC-13 - для контактов безопасности в цепях постоянного тока (для управления электромагнитами).
5.11.2.2.4 Если степень защиты равна или меньше IP4X
(ГОСТ 14254), пути утечки должны быть не менее 4 мм и расстояние для выключающих контактов не менее 4 мм после размыкания. Если защита лучше, чем IP4X
(ГОСТ 14254), длина пути утечки может быть сокращена до 3 мм.
5.11.2.2.5 В случае множественных разрывов расстояние после размыкания между контактами должно быть не менее 2 мм.
5.11.2.2.6 Износ контактных групп не должен приводить к короткому замыканию контактов.
5.11.2.3 Цепи безопасности
5.11.2.3.1 Общие сведения
Анализ неисправностей в цепях безопасности должен принимать во внимание неисправности в полной цепи безопасности, включающей в себя датчики, пути передачи сигналов, источники питания, логические схемы обеспечения безопасности и выходы сигналов безопасности.
5.11.2.3.2 Цепи безопасности должны соответствовать требованиям
5.11.1 по отношению к возникновению неисправностей.
5.11.2.3.3 Кроме того, как показано на
рисунке 25, будут применимы перечисленные ниже требования.
a) Если одна неисправность в сочетании со второй неисправностью может привести к опасной ситуации, лифт должен быть остановлен не позже следующей рабочей последовательности, в которой первый неисправный элемент должен принимать участие.
Всякая дальнейшая работа лифта должна стать невозможной, пока присутствует эта неисправность.
Вероятность второй неисправности, возникающей после первой и до того, как лифт был остановлен последовательностью, упомянутой выше, не рассматривается.
b) Если две неисправности, которые сами по себе не ведут к опасной ситуации, в сочетании с третьей неисправностью могут привести к опасной ситуации, лифт должен быть остановлен не позднее следующей рабочей последовательности, в которой один из неисправных элементов должен принимать участие.
Возможность возникновения третьей неисправности, приводящей к опасной ситуации, до того, как лифт был остановлен последовательностью, упомянутой выше, не рассматривается.
c) Если возможно сочетание более трех неисправностей, тогда цепь безопасности должна быть спроектирована с несколькими каналами и схемой мониторинга, проверяющей одинаковость состояний каналов.
При обнаружении разных состояний лифт должен быть остановлен.
В случае двух каналов функционирование схемы мониторинга должно проверяться не позднее, чем до повторного запуска лифта, и при обнаружении неисправности повторный запуск должен быть невозможен.
d) При восстановлении электропитания после его отключения удержание лифта в остановленном состоянии не требуется при условии, что во время следующей последовательности остановка повторно вызывается в случаях, определяемых
5.11.2.3.3, перечисления a),
b) и
c);
e) В цепях с резервированием должны быть приняты меры для ограничения, насколько возможно, риска неисправностей, возникающих одновременно более чем в одной цепи и происходящих по одной причине.
Рисунок 25 - Блок-схема оценки цепи безопасности
5.11.2.3.4 Цепи безопасности, содержащие электронные компоненты, считаются компонентами безопасности и должны проверяться на соответствие требованиям в
[2].
5.11.2.3.5 На устройствах безопасности, содержащих электронные компоненты, должна быть прикреплена табличка с паспортными данными, которая указывает:
a) наименование изготовителя компонента безопасности;
b) тип электрического устройства безопасности.
5.11.2.4 Срабатывание электрических устройств безопасности
Электрическое устройство безопасности, когда оно срабатывает, должно вызывать немедленную остановку привода и препятствовать приведению его в движение.
Электрические устройства безопасности должны воздействовать непосредственно на оборудование, управляющее подачей электропитания на привод, в соответствии с требованиями
5.9.2.2.2.3, перечисление a),
5.9.2.5 и
5.9.3.4.
Если реле или контакторные реле согласно
5.10.3.1.3 использованы для управления оборудованием, управляющим подачей электропитания на привод, контроль этих реле или контакторных реле следует осуществлять, как определено в
5.9.2.2.2.3, перечисление a),
5.9.2.5 и
5.9.3.4.3.
5.11.2.5 Приведение в действие электрических устройств безопасности
Компоненты, приводящие в действие электрические устройства безопасности, должны быть выполнены таким образом, чтобы они были способны правильно функционировать под воздействием механических напряжений, возникающих при непрерывной нормальной работе. Механические неисправности, которые могут оказывать воздействие на функцию безопасности, следует принимать во внимание.
Примерами таких неисправностей являются следующие:
a) проскальзывание на тяге или трение в системе, используемой для считывания скорости или положения кабины;
b) обрыв или ослабление ленты, цепи, каната или подобного компонента в системе, используемой для считывания скорости или положения кабины;
c) наличие дыма, грязи или подобного загрязнения в системе, используемой для считывания скорости или положения кабины.
Если устройства для приведения в действие электрических устройств безопасности вследствие характера их установки доступны для людей, то они должны быть выполнены таким образом, чтобы соответствующие им электрические устройства безопасности не могли быть переведены в нерабочее состояние простыми средствами.
Примечание - Магнит или шунт не считаются простыми средствами.
В случае цепей безопасности с резервированием это должно быть обеспечено посредством механического или геометрического расположения передающих элементов, чтобы механическая неисправность не вызывала потери резервирования.
К передающим элементам цепей безопасности применимы требования
[2].
5.11.2.6 Программируемые электронные системы, связанные с безопасностью [ПЭССБ (PESSRAL)]
Цепи безопасности, включающие в себя программируемые электронные системы, выполненные в соответствии с 5.11.2.6, соответствуют требованиям
5.11.2.3.2.
ПЭССБ (PESSRAL) должна соответствовать правилам проектирования для уместных уровней полноты безопасности (SIL), изложенных в
[2].
В целях исключения небезопасных модификаций должны быть приняты меры для предотвращения несанкционированного доступа к коду программы и относящимся к безопасности данным ПЭССБ (PESSRAL), например путем использования EPROM, кода доступа, и т.п.
| | ИС МЕГАНОРМ: примечание. В официальном тексте документа, видимо, допущена опечатка: пункт 5.10.32 отсутствует. | |
Если ПЭССБ (PESSRAL) и не относящаяся к безопасности система совместно используют одну и ту же печатную плату (PCB), требования по 5.10.32 должны применять для разделения двух этих систем.
Если ПЭССБ (PESSRAL) и не относящаяся к безопасности система совместно используют одно и то же оборудование, должны быть удовлетворены требования для ПЭССБ (PESSRAL).
Когда проект устройства безопасности (см.
приложение A) включает в себя программное обеспечение, состояние неисправности этого устройства должно быть определено либо встроенной системой, либо внешним инструментом. Если такой внешний инструмент является специальным инструментом, его наличие обязательно на месте эксплуатации.
5.12. Органы управления. Концевые выключатели. Приоритеты
5.12.1. Управление работой лифта
5.12.1.1. Управление в нормальном режиме работы
5.12.1.1.1 Управление в режиме "Нормальная работа" следует осуществлять с помощью кнопок или подобных устройств, таких как элементы сенсорного управления, магнитные карты и т.п. Эти устройства должны быть размещены в корпусе, чтобы токоведущие части устройств не были доступны для пользователя.
Желтый цвет следует использовать только для устройств экстренного вызова (кнопки вызова на связь персонала, диспетчера и др.).
5.12.1.1.2 Устройства управления должны быть четко идентифицированы ссылкой на их функцию.
5.12.1.1.3 Визуальные указания или сигналы при нормальной работе должны фиксировать находящимся в кабине людям, на каком этаже остановился лифт.
5.12.1.1.4 Точность остановки кабины лифта должна составлять не более +/- 35 мм для лифтов без повторного выравнивания. Для лифтов с повторным выравниванием точность остановки должна составлять не более +/- 10 мм. Если во время операций загрузки и разгрузки превышена точность +/- 20 мм выравнивания на этаже, она должна быть скорректирована до +/- 10 мм.
Точность остановки лифтов, предназначенных для перевозки маломобильных групп населения, должна составлять не более +/- 10 мм.
5.12.1.2. Контроль загрузки
5.12.1.2.1 Лифт должен быть оборудован устройством для предотвращения нормального пуска, включая и повторное выравнивание на этаже, в случае перегрузки в кабине. Применительно к гидравлическим лифтам это устройство не должно препятствовать повторному выравниванию на этаже.
5.12.1.2.2 Перегрузка должна быть выявлена не позднее обнаружения превышения номинальной нагрузки на 10%, с минимальным значением 75 кг.
5.12.1.2.3 В случае перегрузки:
a) пользователи должны быть проинформированы звуковым и визуальным сигналом в кабине;
b) автоматические электроуправляемые двери должны быть переведены в полностью открытое положение;
c) управляемые вручную двери должны оставаться незапертыми;
d) любая предварительная подача электропитания согласно
5.12.1.4 должна быть отменена.
5.12.1.3. Контроль замедления лифта в случае применения буфера с уменьшенным рабочим ходом
Лифты с номинальной скоростью более 2,5 м/с, у которых использованы буферы с уменьшенным рабочим ходом по
5.8.2.2.2, должны быть оборудованы электрическим устройством безопасности по
5.11.2, контролирующим замедление, до прибытия на крайние остановки.
Если замедление менее установленных значений, тормоз привода должен вызвать замедление скорости лифта таким образом, чтобы в момент касания кабины или противовеса с буферами, скорость удара не превышала ту скорость, на которую рассчитан буфер.
5.12.1.4. Управление выравниванием кабины на этаже, повторным выравниванием и выполнением предварительной операции с незакрытыми и незапертыми дверями
Передвижение кабины с незакрытыми и незапертыми дверями шахты и кабины допускается для выравнивания на этаже, повторного выравнивания и выполнения предварительной операции при соблюдении следующих условий:
a) передвижение ограничено зоной отпирания дверей (см.
5.3.8.1) электрическим устройством безопасности, соответствующим
5.11.2;
b) во время операции выравнивания средство, переводящее электрические устройства безопасности для дверей в нерабочее состояние, должно работать только после того, как будет дан сигнал начала остановки на этом этаже;
c) скорость выравнивания на этаже не должна превышать 0,80 м/с. Кроме того, в лифтах с управляемыми вручную дверями шахты должна быть произведена проверка того, что:
1) для двухскоростных нерегулируемых приводов электропитание подано только на цепь управления для передвижения с малой скоростью,
2) для других приводов скорость в момент достижения незапертой зоны не превышает 0,8 м/с;
d) скорость повторного выравнивания на этаже не превышает 0,30 м/с.
5.12.1.5. Управление в режиме "Ревизия"
5.12.1.5.1 Требования к проектированию
5.12.1.5.1.1 Стационарный пост управления режимом "Ревизия" (INSPECTION) должен быть установлен:
5.12.1.5.1.2 Пост управления режимом "Ревизия" (INSPECTION) должен включать в себя:
a) выключатель [выключатель режима "Ревизия" (INSPECTION)], который должен удовлетворять требованиям для электрических устройств безопасности,
кроме 5.11.2.1.1 и 5.11.2.4 (см.
5.11.2).
Этот выключатель, должен иметь два фиксированных положения и должен быть защищен от непреднамеренного срабатывания;
b) кнопки направления движения "вверх" (UP) и "вниз" (DOWN), защищенные от непреднамеренного срабатывания, на которых четко указано направление движения;
c) кнопку "ход" (RUN), защищенную от непреднамеренного срабатывания;
d) останавливающее устройство в соответствии с
5.12.1.11 (кнопка "Стоп").
Этот пост управления режимом "Ревизия" (INSPECTION) может также включать в себя специальные выключатели, защищенные от непреднамеренного срабатывания, для управления механизмами дверей с крыши кабины.
5.12.1.5.1.3 Пост управления режимом "Ревизия" (INSPECTION) должен иметь минимальную степень защиты IPXXB
(ГОСТ 14254).
Поворотные переключатели управления должны иметь средство, препятствующее проворачиванию неподвижного элемента. Одно трение не считается достаточным.
5.12.1.5.2 Функциональные требования
5.12.1.5.2.1 Выключатель режима работы "Ревизия"
Выключатель режима работы "Ревизия" (INSPECTION), находясь в положении этого режима, должен удовлетворять перечисленным ниже условиям для обеспечения одновременного выполнения следующих функций:
a) отключение органов управления нормальным режимом работы (см.
5.12.1.1);
b) отключение операции эвакуации пассажиров из кабины лифта с помощью привода (см.
5.12.1.6);
c) отключение выравнивания и повторного выравнивания на этаже (см.
5.12.1.4);
d) предотвращение любого автоматического движения автоматических дверей.
Автоматическое закрывание двери(ей) должно зависеть:
1) от нажатия кнопки направления для передвижения кабины; или
2) дополнительных выключателей, защищенных от непреднамеренного срабатывания, для управления механизмом дверей;
e) скорость кабины не должна превышать 0,63 м/с;
f) скорость кабины не должна превышать 0,40 м/с, когда вертикальное расстояние над любой зоной для размещения персонала на крыше кабины или в приямке составляет 2,0 м или менее;
g) кабина не должна выходить за крайние пределы нормального пути движения, то есть не выходить за зону точной остановки при нормальной работе;
h) работа лифта должна быть зависимой от устройств безопасности;
i) если более одного поста управления режимом "Ревизия" (INSPECTION) переключены в данный режим, должно быть невозможно перемещать кабину от любой из них;
5.12.1.5.2.2 Возврат к нормальному режиму работы лифта
Возврат к нормальному режиму работ лифта должен быть осуществлен только переключением выключателя(ей) в положение режима "Нормальная работа" (NORMAL).
Кроме того, возврат к нормальному режиму работы лифта от поста управления в приямке должен быть осуществлен только при выполнении следующих условий:
a) двери шахты, обеспечивающие доступ в приямок, должны быть закрыты и заперты;
b) все останавливающие устройства в приямке приведены в состояние нормальной работы;
c) электрическое устройство возврата в нормальную работу за пределами шахты приведено в действие:
1) в сочетании с аварийным ключом отпирания двери, обеспечивающей доступ в приямок, или
2) должно быть доступным только для уполномоченных лиц, например внутри запертого шкафа, расположенного вблизи двери, обеспечивающей доступ в приямок.
Должны быть приняты меры предосторожности для предотвращения непреднамеренного передвижения кабины в случае возникновения одной из неисправностей, перечисленных в
5.11.1.1, в цепях, обеспечивающих режим работы "Ревизия".
5.12.1.5.2.3 Кнопки управления
Движение кабины в режиме "Ревизия" (INSPECTION) должно зависеть только от удержания в нажатом положении кнопки "ход" (RUN) и кнопки направления движения.
Должно быть возможно одновременное нажатие кнопки "ход" (RUN) и кнопки направления движения одной рукой.
Безопасность в режиме "Ревизия" (INSPECTION) должна быть обеспечена одним из указанных ниже способов:
a) последовательным соединением кнопки направления движения и кнопки "ход" (RUN).
Эти кнопки должны относиться к следующим категориям:
- AC-15 - для контактов безопасности в цепях переменного тока;
- DC-13 - для контактов безопасности в цепях постоянного тока.
Срок службы должен составлять не менее 1 млн циклов механического и электрического переключения по отношению к прилагаемой нагрузке;
b) электрическим устройством безопасности в соответствии с
5.11.2, которое отслеживает правильную работу кнопки "ход" (RUN) и кнопок направления движения.
5.12.1.5.2.4 Пост управления режимом "Ревизия"
На посту(ах) управления должна быть нанесена следующая информация (см.
рисунок 26):
a) около выключателя режима работы слова "Нормальный режим" (NORMAL) и режим "Ревизия" (INSPECTION);
b) направление движения рекомендуется обозначать цветом, как указано в таблице 17.
Таблица 17
Пост управления - обозначения кнопок
Кнопка управления | Цвет кнопки | Цвет символа | Символ |
UP Вверх | Белый | Черный | |
DOWN Вниз | Черный | Белый | |
RUN Ход | Синий | Белый | |
1 - кнопка "Стоп"; 2 - кнопка движения вверх; 3 - кнопка
движения вниз; 4 - кнопка ход; 5 - кнопка аварийной
сигнализации; 6 - переключатель режима работы
Рисунок 26 - Пост управления - органы
управления и пиктограммы
Примечание - Возможна установка кнопки "Шунт" в соответствии с 5.12.1.8.
5.12.1.6. Управление операцией эвакуации пассажиров из кабины лифта с помощью привода
5.12.1.6.1 Если требуется средство управления операцией эвакуации пассажиров из кабины лифта с помощью привода в соответствии с
5.9.2.3.3, должен быть установлен выключатель этой операции, отвечающий требованиям
5.11.2. Электропитание на лифт должно подаваться от сети электропитания или от резервного источника питания, при его наличии.
Следует одновременно соблюдать перечисленные ниже условия:
a) Приведение в действие выключателя операции эвакуации пассажиров из кабины лифта с помощью привода должно обеспечивать управление передвижением кабины путем нажатия и удержания в нажатом состоянии кнопок, защищенных от непреднамеренного срабатывания. Направление движения должно быть четко указано.
b) После приведения в действие выключателя операции эвакуации пассажиров из кабины лифта с помощью привода всякое передвижение кабины, за исключением управляемого этим выключателем, должно быть предотвращено.
c) Действие операции эвакуации пассажиров из кабины лифта с помощью привода должно быть отменено переключением в режим работы "Ревизия" следующим образом:
1) если выключатель операции эвакуации пассажиров из кабины лифта с помощью привода приведен в действие в тот момент, когда включен режим "Ревизия", операции эвакуации пассажиров из кабины лифта с помощью привода кнопки вверх/вниз/ход режима "Ревизия" должны быть невозможными;
2) если включение режима "Ревизия" производится, когда выполняется операция эвакуации пассажиров из кабины лифта с помощью привода, то операция эвакуации пассажиров из кабины лифта с помощью привода становится недействующей.
d) Выключатель операции эвакуации пассажиров из кабины лифта с помощью привода должен перевести в нерабочее состояние самостоятельно или с помощью другого электрического выключателя отвечающего требованиям
5.11.2, следующие электрические устройства:
2) установленные на ловителях кабины согласно
5.6.2.1.5;
4) установленные на средстве защиты от превышения скорости поднимающейся вверх кабины согласно
5.6.6.5;
5) установленные на буферах согласно
5.8.2.2.4;
6) предельные концевые выключатели согласно
5.12.2.
При этом управление следует осуществлять только из машинного помещения или с устройства управления по
5.2.6.6. Должно быть исключено действие команд управления от аппаратов, установленных вне машинного помещения или устройства по
5.2.6.6.
Рядом с аппаратами управления должно быть устройство для остановки лифта. На этом устройстве (выключатель, кнопка и т.п.) или рядом с ним должна быть надпись "Стоп". Элемент управления устройством остановки лифта должен быть красного цвета. Устройство должно быть несамовозвратным. Допускается элемент управления для остановки лифта выполнять самовозвратным, если предусмотрен несамовозвратный выключатель для отключения силовой цепи. В качестве устройства для экстренной остановки лифта допускается использовать автоматический выключатель по 5.10.5.1, если он располагается рядом с аппаратами управления.
e) Выключатель операции эвакуации пассажиров из кабины лифта с помощью привода и соответствующие ему кнопки должны быть расположены таким образом, чтобы положение кабины могло наблюдаться непосредственно или через информационные устройства [(см.
5.2.6.6.2, перечисление c)].
Должна быть обеспечена возможность получения информации о нахождении кабины в зоне отпирания дверей.
f) Скорость движения кабины не должна превышать 0,30 м/с.
g) Должно быть предотвращено воздействие подвижной отводки на автоматические замки дверей шахты у лифта, оборудованного такой отводкой.
h) Должно быть исключено автоматическое открытие дверей шахты и кабины.
i) Должна быть обеспечена автоматическая остановка кабины на уровне нижней и верхней этажных площадок.
| | ИС МЕГАНОРМ: примечание. Нумерация пунктов дана в соответствии с официальным текстом документа. | |
k) Должен включиться сигнал "Занято" у лифта, оборудованного таким сигналом.
5.12.1.6.2 Устройство обеспечения операции эвакуации пассажиров из кабины лифта с помощью привода должно иметь минимально допустимую степень защиты IPXXB
(ГОСТ 14254).
Поворотные выключатели управления должны иметь средство предохранения от проворачивания неподвижного элемента. Одного трения не должно считаться достаточным.
5.12.1.7. Обеспечение безопасности при техническом обслуживании
5.12.1.7.1 Для проведения технического обслуживания система управления должна быть оборудована средствами для предотвращения выполнения лифтом вызовов с этажей или ответа на дистанционные команды: для отключения автоматической работы дверей и подачи команд движения, по меньшей мере, на конечные этажи. Эти средства должны быть отчетливо обозначены и доступны только уполномоченному персоналу.
5.12.1.7.2
При проведении технического обслуживания допускается управление лифтом из машинного помещения или с устройства управления по 5.2.6.6 только уполномоченным лицам; при переводе лифта в режим "Ревизия" управление лифтом из машинного помещения или с устройства управления по 5.2.6.6 должно быть запрещено.
5.12.1.8. Устройство шунтирования дверей шахты и кабины
5.12.1.8.1 Для проведения технического обслуживания дверей шахты, дверей кабины и контактов запирания дверей должно быть обеспечено шунтирующее устройство в панели управления, или на аварийно-испытательной панели, или на посту управления режимом "Ревизия".
5.12.1.8.2 Это(и) устройство(а) должно(ы) быть выключателем, защищенным от непреднамеренного использования механически подвижным средством (например, крышкой, защитным кожухом), установленным на постоянной основе, или сочетанием вилки и гнезда, которое должно удовлетворять требованиям для электрических устройств безопасности согласно
5.11.2.
5.12.1.8.3 Устройства шунтирования дверей шахты и кабины должно идентифицироваться словом "Шунт" (BYPASS) или подобным наименованием, написанным на нем или близко к нему. Кроме того, контакты, которые подлежат шунтированию, должны быть обозначены в соответствии с электрическими схемами.
Альтернативно может быть использован символ, показанный на
рисунке 24, в сочетании с обозначением, соответствующим электрическим схемам.
DS - пример обозначения, используемого на схеме
электрических соединений
Рисунок 27 - Пиктограмма шунта
Рабочее состояние шунтирующего(их) устройства (устройств) должно быть четко указано.
Следует обеспечить следующие условия для функционирования:
a) органы управления нормальным режимом работы, включая работу любых автоматических электроуправляемых дверей, должны быть нейтрализованы;
c) должно быть невозможным шунтирование контактов двери(ей) кабины и дверей шахты одновременно;
d) должен быть обеспечен отдельный сигнал мониторинга для проверки того, что дверь(и) кабины находится в закрытом положении, чтобы разрешить движение кабины с зашунтированным(и) контактом(и) закрывания двери. Это применимо также, если контакт(ы) закрывания двери и контакт(ы) запирания двери объединены;
e) в случае вручную управляемых дверей шахты должно быть невозможно шунтировать контакты дверей шахты (см.
5.3.9.4) и замков дверей шахты
(5.3.9.1) одновременно;
f) движение кабины должно быть возможным только в режиме "Ревизия" (см.
5.12.1.5) или при выполнении операции по эвакуации пассажиров (см.
5.12.1.6);
g) звуковой сигнал в кабине и/или мигающий свет под кабиной должны быть включены во время движения. Громкость звучания предупреждающего звукового сигнала должна быть не менее 55 дБ (A) на расстоянии 1 м под кабиной.
5.12.1.9. Предотвращение нормальной работы лифта с неисправными цепями контактов дверей
Правильную работу электрического устройства безопасности, проверяющего закрытое положение двери кабины (см.
5.3.11.2), электрического устройства безопасности, проверяющего запертое положение запирающего устройства двери шахты (см.
5.3.9.1), и сигнала мониторинга согласно
5.12.1.8.3, перечисление d) следует контролировать до тех пор, пока кабина находится в незапертой зоне, дверь кабины открыта и замок двери шахты не заперт.
Если обнаружена неисправность устройств, нормальная работа лифта должна быть предотвращена.
5.12.1.10. Электрическая система препятствия сползанию
Электрическая система препятствия сползанию должна удовлетворять следующим условиям:
a) кабина должна автоматически отправляться на самый нижний этаж в течение 15 мин после последней нормальной поездки;
b) в случае лифта, оборудованного управляемыми вручную дверями или электроуправляемыми дверями, закрывание которых осуществляется под непрерывным управлением пользователей, в кабине должно иметься оповещение следующего содержания: "ЗАКРОЙТЕ ДВЕРИ". Высота букв должна составлять не менее 50 мм;
c) на сетевом выключателе или около него должна быть следующая надпись: "Выключайте, только когда кабина находится на самом нижнем этаже".
5.12.1.11. Останавливающие устройства
5.12.1.11.1 Останавливающее устройство должно быть предусмотрено для остановки и технического обслуживания лифта, включая лифты с электроуправляемыми дверями:
e) на испытательной панели (панелях) (см.
5.2.6.6), если поблизости нет сетевого выключателя или другого останавливающего устройства, которое доступно в пределах 1 м.
На останавливающем устройстве или около него должна быть маркировка "Стоп".
5.12.1.11.2 Останавливающие устройства должны состоять из электрических устройств безопасности, отвечающих требованиям
5.11.2. Они должны иметь два устойчивых состояния и быть выполнены таким образом, чтобы возврат к обслуживанию не мог быть результатом непреднамеренного действия.
Следует использовать устройства кнопочного типа в качестве останавливающего устройства.
5.12.1.11.3 Останавливающего устройства в кабине (кнопка "Стоп") не следует устанавливать.
5.12.2. Концевые выключатели
5.12.2.1 Общие сведения
Концевые выключатели должны быть установлены таким образом, чтобы остановка кабины происходила:
a) на верхнем и нижнем уровнях высоты подъема для лифтов с приводом трения и позитивным приводом;
b) только на верхнем уровне высоты подъема для гидравлических лифтов.
Концевые выключатели следует устанавливать таким образом, чтобы их срабатывание происходило как можно ближе к конечным положениям, без риска случайного срабатывания.
Концевые выключатели должны срабатывать до соприкосновения кабины (или противовеса, если он используется) с буферами или до соприкосновения плунжера с подпружиненным упором. Концевые выключатели должны находиться в выключенном состоянии до тех пор, пока:
- кабина (противовес) находится в соприкосновении с буфером;
- плунжер гидроцилиндра находится в соприкосновении с подпружиненным буфером.
5.12.2.2 Срабатывание концевых выключателей
5.12.2.2.1 Устройства, вызывающие срабатывание концевых выключателей, не следует использовать в качестве устройств для остановки кабины в зоне точной остановки.
5.12.2.2.2 В случае лифтов с позитивным приводом срабатывание концевых выключателей должно вызываться:
a) устройством, связанным сдвижением привода лифта; либо
b) кабиной и уравновешивающим грузом, если он используется, наверху шахты; либо
c) при отсутствии уравновешивающего груза кабиной наверху и внизу шахты.
5.12.2.2.3 Для лифтов с приводом трения срабатывание концевых выключателей должно вызываться:
a) непосредственно кабиной наверху и внизу шахты; либо
b) устройством, которое подсоединено к кабине, например канатом, ремнем или цепью.
В случае
b) лифт должен быть остановлен посредством электрического устройства безопасности согласно
5.11.2, если произойдет обрыв или ослабление этого соединения.
5.12.2.2.4 В случае гидравлических лифтов прямого действия срабатывание предельного концевого выключателя должно вызываться:
a) кабиной или плунжером, либо
b) опосредствованно устройством, которое подсоединено к кабине, например канатом, ремнем или цепью.
В случае
b) лифт должен быть остановлен посредством электрического устройства безопасности согласно
5.11.2, если произойдет обрыв или ослабление этого соединения.
5.12.2.2.5 В случае гидравлических лифтов непрямого действия срабатывание предельного концевого выключателя должно вызываться:
a) непосредственно плунжером, либо
b) опосредствованно устройством, которое подсоединено к плунжеру, например канатом, ремнем или цепью.
В случае
b) лифт должен быть остановлен посредством электрического устройства безопасности согласно
5.11.2, если произойдет обрыв или ослабление этого соединения.
5.12.2.3 Способ срабатывания концевых выключателей
5.12.2.3.1 Концевой(ые) выключатель(и) должен(ны):
a) принудительно размыкать цепь питания электродвигателя и тормоза; или
b) размыкать электрическое устройство безопасности, отвечающее требованиям
5.11.2.
5.12.2.3.2 После срабатывания концевых выключателей движение кабины в ответ на приказы из кабины и вызовы с этажей должно быть невозможным даже в том случае, когда кабина покидает зону срабатывания за счет сползания гидравлического лифта.
При использовании электрической системы, препятствующей сползанию, согласно
5.12.1.10, автоматическое отправление кабины сообразно
5.12.1.10, перечисление a) будет осуществлено немедленно, как только кабина покинет зону срабатывания концевого выключателя.
Возврат лифта в нормальный режим работы должно осуществлять уполномоченное лицо.
5.12.3. Устройства экстренного вызова, система внутренней связи и
устройства диспетчерского контроля
5.12.3.1 Должно быть предусмотрено устройство дистанционной экстренной связи (см.
5.2.1.6), обеспечивающее постоянную двустороннюю переговорную связь с квалифицированным персоналом, отвечающим за освобождение (эвакуацию).
5.12.3.2
Система управления лифта, предназначенная для перемещения людей, должна обеспечивать возможность подключения к двусторонней переговорной связи, при помощи которой пассажир может вызвать помощь извне.
5.12.3.3 Система управления лифта, предназначенного для подключения к устройству диспетчерского контроля, должна предусматривать возможность снятия сигнала с целью передачи от лифта к устройству диспетчерского контроля информации:
a) о срабатывании электрических цепей безопасности,
b) несанкционированном открывании дверей шахты в режиме нормальной работы,
c) об открытии дверей (крышки) устройства (панели), предназначенного для проведения эвакуации людей из кабины, а также проведения динамических испытаний на лифте без машинного помещения.
Примечание - Необходимость подключения лифта к устройству диспетчерского контроля определяется Владельцем.
5.12.4. Приоритеты и сигналы
5.12.4.1 Для лифтов с дверями с ручным открыванием, система управления лифта должна препятствовать отходу кабины с посадочной площадки в течение периода не менее 2 с после остановки.
5.12.4.2 Пассажир, входящий в кабину, должен иметь в своем распоряжении не менее 2 с после того, как будут закрыты двери, чтобы привести в действие устройство управления, прежде чем может стать действующей любая внешняя кнопка вызова.
Это требование не следует применять в случае лифтов, работающих в режиме собирательного управления.
5.12.4.3 В случае собирательного управления визуальный сигнал, который виден с посадочной площадки, будет указывать пользователям, ожидающим на этой посадочной площадке, направление следующего движения, назначенного кабине.
Примечание - Для группы лифтов не рекомендуются применение индикаторов положения на посадочных площадках. Рекомендуется, чтобы о прибытии кабины заранее оповещалось звуковым сигналом.
5.12.4.4 Лифты с автоматическим приводом дверей, предназначенные для установки в зданиях (сооружениях), в которых возможно преднамеренное повреждение лифтового оборудования, должны быть оборудованы устройством, выводящим лифт из режима "Нормальная работа" при несанкционированном открытии дверей шахты, при отсутствии кабины в зоне отпирания этажа, на котором открыта дверь шахты.
Возврат в режим "Нормальная работа" должен осуществлять обслуживающий персонал.
6.1 Каждый поставляемый лифт сопровождают технической документацией на государственном языке государства - члена ЕврАзЭС и/или на русском языке.
6.2 В зависимости от типа и вида конкретного лифта состав комплекта технической документации уточняет разработчик. Ответственность за комплектование документации несет поставщик лифтового оборудования.
6.3 В комплект технической документации лифта входят:
- паспорт лифта, выполняемый по образцу (полностью или частично) о соответствии с
приложением E для электрического лифта и
приложением F - для гидравлических лифтов. К паспорту лифта прилагают документы (копии);
- копия сертификата на лифт, а также на противопожарные двери (при наличии), копия сертификата на узлы безопасности (при их наличии);
- монтажный чертеж (установочный чертеж), содержащий сведения и размеры, необходимые для проверки соответствия установки лифта требованиям настоящего стандарта.
На монтажном чертеже должны быть даны виды и разрезы, в том числе шахты, машинного и блочного помещений (при их наличии), дающие представление о расположении и взаимной связи составных частей лифта с указанием размеров, регламентированных настоящим стандартом.
Чертеж должен содержать штамп с указанием изготовителя чертежа, подписями специалистов и местом установки лифта.
Эти чертежи не должны детально показывать конструкцию лифта, но в них должны быть указаны данные, необходимые для проверки на соответствие настоящему стандарту, и, прежде всего:
- краткая техническая характеристика лифта;
- зазоры вверху шахты и в приямке;
- доступ в приямок;
- перегородки между лифтами при наличии в одной шахте нескольких лифтов;
- местоположение и основные размеры машинного помещения, при его наличии, с указанием расположения привода и основного оборудования. Размеры канатоведущего шкива или барабана;
- нагрузки на строительную часть от лифтовой установки;
- доступ в машинное помещение;
- местоположение и основные размеры блочного помещения, при его наличии. Расположение и размеры имеющихся в нем блоков, расположение других устройств в блочном помещении;
- доступ в блочное помещение;
- размещение и основные размеры дверей шахты лифта на этажных площадках. Необязательно показывать все двери, если они одинаковые и если указаны расстояния между их порогами;
- размещение и размеры дверей для технического обслуживания, а также аварийных дверей;
- размеры кабины и ее входных проемов;
- расстояния между порогом двери кабины и порогом двери шахты;
- расположение направляющих;
- размеры и расположение буферов;
- кинематическая схема лифта;
- принципиальная электрическая схема с перечнем элементов схемы - два экземпляра;
- принципиальная гидравлическая схема с перечнем элементов схемы (для гидравлического лифта) - два экземпляра;
- руководство по эксплуатации, содержащее:
a) краткое описание лифта, инструкцию по монтажу, содержащую указания по сборке, наладке, регулировке, порядку проведения испытаний и проверок,
b) указания по использованию и меры по обеспечению безопасности лифтов в период эксплуатации, включая ввод в эксплуатацию, применение по назначению, техническое обслуживание, освидетельствование, осмотр, ремонт, испытания,
c) правила пользования лифтом,
d) перечень быстро изнашиваемых деталей,
e) нормы браковки тяговых элементов,
f) методы безопасной эвакуации людей из кабины квалифицированным персоналом,
g) указания по выводу из эксплуатации перед утилизацией;
- описание электропривода и автоматики (допускается поставлять в составе руководства по эксплуатации);
- электрическая схема соединений лифта - два экземпляра;
- перечень документации, поставляемой с лифтом;
- ведомости инструмента, принадлежностей и материалов, а также сведения о запасных частях, которые по рекомендации изготовителя или поставщика лифта могут быть включены в комплект поставки лифта. Объем приобретаемых инструментов, принадлежностей, запасных частей и материалов определяет заказчик лифта при заключении контракта на поставку лифтового оборудования;
- другие документы по усмотрению производителя (поставщика) лифтового оборудования и/или по требованию заказчика, оговоренные в контракте поставки лифтового оборудования.
6.4 Количество комплектов документации при поставке нескольких лифтов одной модели определяется по соглашению между поставщиком и заказчиком лифта, но не менее одного комплекта на пять лифтов, при этом паспортом должен быть снабжен каждый лифт.
6.5 Дубликат утраченного паспорта допускается выполнять специализированной лифтовой организацией.
6.6 Владелец лифта обеспечивает хранение и поддержание в надлежащем состоянии технической документации на лифт.
(обязательное)
ЭЛЕКТРИЧЕСКИХ УСТРОЙСТВ БЕЗОПАСНОСТИ
Таблица A.1
Перечень электрических устройств безопасности
Пункт | Проверяемые устройства |
| Останавливающее устройство в приямке |
| Останавливающее устройство в блочном помещении |
| Проверка положения хранения приставной лестницы в приямке |
| Проверка закрытого состояния дверей доступа, аварийных дверей и смотровых люков |
| Проверка запирания двери кабины |
| Проверка неактивного состояния механического устройства |
| Проверка запертого состояния смотровых дверей или люков |
| Проверка открытого состояния любой двери, обеспечивающей доступ в приямок |
| Проверка неактивного состояния механического устройства |
| Проверка активного состояния механического устройства |
| Проверка отведенного положения рабочей платформы |
| Проверка отведенного положения подвижных упоров |
| Проверка выдвинутого положения подвижных упоров |
| Проверка запертого положения запирающего устройства двери шахты |
| Проверка закрытого положения дверей шахты |
| Проверка закрытого положения створок, не запертых замком |
| Поверка закрытого положения двери кабины |
| Проверка запирания аварийного люка и аварийной двери в кабине |
| Останавливающее устройство на крыше кабины |
| Проверка поднимания кабины или противовеса |
| Проверка ненормального относительного растяжения каната или цепи в случае использования двух подвешивающих канатов или цепей |
| Проверка слабины каната или слабины цепи для лифтов с жестким приводом и гидравлических лифтов |
| Проверка устройства защиты от подскока |
| | ИС МЕГАНОРМ: примечание. В официальном тексте документа, видимо, допущена опечатка: пункт 5.6.2.5 отсутствует. | |
|
5.6.2.5 | Проверка срабатывания ловителя кабины |
| Обнаружение превышения скорости |
| Проверка возврата ограничителя скорости в исходное состояние |
| Проверка натяжения каната ограничителя скорости |
| Проверка обрыва или ослабления каната безопасности |
| Проверка выдвинутого положения отключающего рычага |
| Проверка отведенного положения отключающего рычага |
| Проверка отведенного положения упоров |
| Проверка возврата в нормальное выдвинутое положение буферов в том случае, когда буферы с рассеянием энергии используют вместе со стопорным устройством |
| Проверка средства защиты от превышения скорости поднимающейся вверх кабины |
| Обнаружение непреднамеренного передвижения кабины с открытыми дверями |
| Проверка срабатывания защиты от непреднамеренного передвижения кабины с открытыми дверями |
| Проверка возврата буферов в нормальное выдвинутое положение |
| Проверка положения съемного штурвала |
| Проверка отключения лифта несамовозвратным устройством в машинном помещении |
| Проверка замедления в случае буферов с уменьшенным рабочим ходом |
| Проверка выравнивания на этаже, повторного выравнивания и предварительных операций |
| Выключатель режима "Ревизия" |
| Проверка кнопок в сочетании с режимом "Ревизия" |
| Выключатель аварийной электрической операции |
| Шунтирующее устройство для контактов дверей шахты и кабины |
| Останавливающее устройство в режиме "Ревизия" |
| Останавливающее устройство на аварийно-испытательной панели |
| Проверка натяжения в устройстве для передачи положения кабины (предельные концевые выключатели) |
| Проверка натяжения в устройстве для передачи положения поршня (предельные концевые выключатели) |
| Предельные концевые выключатели |
(справочное)
ДОСТУПА В МАШИННОЕ (БЛОЧНОЕ) ПОМЕЩЕНИЕ,
ШАХТУ И ПРИЯМОК ЛИФТА
1 - двери и люки
(5.2.3); 2 - рабочие зоны обслуживания
Рисунок B.1 - Доступ в машинное (блочное) помещение,
(обязательное)
ЛЕСТНИЦА ДЛЯ ДОСТУПА В ПРИЯМОК <*>
--------------------------------
<*> Выполнение требований этого приложения не относится к области ответственности лифтовых организаций.
C.1 Типы лестниц для доступа в приямок
| | ИС МЕГАНОРМ: примечание. В официальном тексте документа, видимо, допущена опечатка: имеется в виду рисунок C.1, а не рисунок F.1. | |
Перечисленные ниже типы лестниц для доступа в приямок предназначены только для входа в приямок и выхода из приямка лифта обслуживающего персонала (см.
рисунок F.1):
a) стационарная лестница (тип 1), которая стоит вертикально как в рабочем положении при ее применении, так и при хранении; или
b) выдвижная лестница (тип 2a), которая стоит вертикально, как в рабочем положении при применении, так и при хранении. Раскладывание лестницы в рабочее положение для применения обеспечивается, когда пользователь наступает на ступеньку; или
c) выдвижная лестница (тип 2b), которая стоит вертикально при хранении и вручную выдвигается в наклонное положение для применения; или
d) передвижная лестница (тип 3a), которая стоит вертикально при хранении и вручную раскладывается в наклонное положение для применения; или
e) передвижная лестница (тип 3b), которая лежит на полу приямка при хранении и вручную устанавливается в наклонное положение для применения; или
f) складная лестница (тип 4), которая хранится в приямке и затем устанавливается на месте производства работ и фиксируется за порог двери шахты.
C.2 Общие положения
C.2.1 Выбор типа лестницы для входа (выхода) в приямок осуществляется при проектировании лифтовой установки (см.
рисунок C.1). Лестницу для входа в приямок следует хранить в приямке лифта постоянно. Применение лестницы для входа в приямок для других целей не допускается.
C.2.2 Лестница должна быть:
a) способной выдерживать вес одного человека, равного 1500 Н;
b) выполнена из алюминия или стали. В случае выполнения из стали должна иметь антикоррозионное покрытие. Применение деревянных лестниц не допускается.
C.2.3 Длина лестницы должна быть такой, чтобы в рабочем положении обеспечивалась высота лестницы над уровнем пола этажной площадки нижней остановки не менее 1,10 м по вертикали.
C.3 Требования к вертикальным стойкам (тетиве) и ступенькам лестницы
C.3.1 Вертикальные стойки лестницы (тетива)
Поперечное сечение вертикальных стоек (тетивы) лестницы должно быть таким, чтобы:
a) легко и безопасно осуществлялся захват тетивы руками. Толщина тетивы лестницы не должна превышать 35 мм, а ширина 100 мм; и
b) обеспечивалась механическая прочность из расчета 200 кгс, приложенной в любой точке лестницы, находящейся в рабочем положении.
C.3.2 Ступеньки лестницы
Ступеньки лестницы должны удовлетворять перечисленным ниже требованиям:
a) ширина ступенек лестницы в свету должна быть не менее 280 мм;
b) расстояние между ступенями по высоте должно быть одинаковым на всей длине лестницы и находиться в пределах от 250 до 300 мм;
c) в поперечном сечении ступеньки лестницы должны быть либо прямоугольными, либо многоугольными (более чем четырехсторонними), либо закругленной формы и плоской частью толщиной не менее 25 мм и не более 35 мм;
d) поверхность ступенек должна быть не скользкой, то есть профилированной или покрытой специальным предохраняющим от скольжения веществом.
C.4 Специальные требования для переставных лестниц типа
Для передвижных и складных лестниц (тип 3 и 4) применимо следующее:
a) максимальная масса лестницы не должна превышать 15 кг;
b) безопасное пользование лестницей в рабочем положении должно быть обеспечено посредством устройства, прикрепляющего лестницу к порогу шахты, полу приямка или к стене шахты;
c) когда человек стоит на лестнице и держится за верхнюю ее часть (над уровнем порога шахты), должно быть обеспечено ее устойчивое положение посредством крепления нижнего конца вертикальных стоек лестницы к специальным фиксирующим устройствам;
d) для выдвижных лестниц (тип 2a) и складных лестниц (тип 4) предохранительные приспособления следует устанавливать таким образом, чтобы при возвращении лестницы из рабочего положения в положение хранения риск пореза и/или раздавливания рук или ног был предотвращен в процессе складывания частей лестницы.
C.5 Расположение лестницы в приямке
Расположение лестницы в приямке должно быть таким, чтобы в положении использования выполнялись перечисленные ниже условия:
a) должно быть свободное расстояние не менее 200 мм между задней стороной любой ступеньки и стеной приямка в случае вертикальной лестницы;
b) расстояние между порогом двери шахты и лестницей в положении ее хранения не должно быть больше 800 мм;
c) расстояние между порогом двери шахты и серединой ступенек стационарной или выдвижной лестницы в рабочем положении должно быть не более 600 мм;
d) уровень первой ступеньки лестницы должен находиться на максимально близком расстоянии к уровню порога двери шахты.
Рисунок C.1 - Типы лестниц доступа в приямок
(обязательное)
К РАЗМЕРАМ ОТВЕРСТИЙ В ОГРАЖДЕНИИ ДВИЖУЩИХСЯ ЧАСТЕЙ
МЕХАНИЗМОВ В ЗАВИСИМОСТИ ОТ РАССТОЯНИЯ МЕЖДУ ОГРАЖДЕНИЕМ
И ДВИЖУЩИМИСЯ ЧАСТЯМИ
Данные требования представлены в таблице D.1 и на рисунке D.1.
Таблица D.1
Размер отверстия | Расстояние безопасности, мм |
Форма отверстия |
Прямоугольник (щель) | Квадрат | Круг |
e <= 4 | >= 2 | >= 2 | >= 2 |
4 < e <= 6 | >= 10 | >= 10 | >= 5 |
6 < e <= 8 | >= 20 | >= 15 | >= 15 |
8 < e <= 10 | >= 80 | >= 25 | >= 20 |
10 < e <= 12 | >= 100 | >= 80 | >= 80 |
12 < e <= 20 | >= 120 | >= 120 | >= 120 |
20 < e <= 30 | | >= 120 | >= 120 |
30 < e <= 40 | >= 850 | >= 200 | >= 200 |
40 < e <= 120 | >= 850 | >= 850 | >= 850 |
<*> Если длина прямоугольника не более 65 мм, большой палец будет действовать как стопор и расстояние безопасности можно уменьшить не более 200 мм. |
Рисунок D.1 - Форма и размеры отверстия
(справочное)
Образец
Паспорт электрического лифта
Сертификат соответствия лифта от "__" ____________
N ________________________________________________
Выдан ____________________________________________
___________________________________________________________________________
наименование органа по сертификации, выдавшего сертификат соответствия
Предприятие-изготовитель (поставщик) | |
Назначение лифта | |
Модель (индекс) лифта | |
Заводской номер | |
Месяц и год изготовления | |
Допустимая температура (минимальная и максимальная), °C: | |
- в машинном помещении | |
- шахте | |
Окружающая среда, в которой может эксплуатироваться лифт (климатические, сейсмические условия, относительная влажность, насыщенность пылью, агрессивная, взрывоопасная, пожароопасная) | |
Нормативные документы, в соответствии с которыми изготовлен лифт (ГОСТ, ТУ и т.п.) | |
Назначенный срок службы | |
Номинальная грузоподъемность, кг | |
Число пассажиров (не более) | |
Номинальная скорость движения кабины, м/с | |
Скорость движения кабины в режиме "Ревизия", м/с | |
Система управления | |
Число остановок | |
Число дверей шахты | |
Высота подъема, м | |
Сейсмичность | |
Электрические цепи | Род тока | Напряжение, В (+/-) | Частота, Гц |
На вводном устройстве | | | |
Силовая цепь: | | | |
- привод лифта | | | |
- привод дверей | | | |
Цепь управления | | | |
Цепь освещения: | | | |
- для кабины | | | |
- шахты | | | |
- ремонтных работ | | | |
Цепь сигнализации | | | |
E.2. Основные технические данные и характеристики оборудования лифта
Тип (редукторная, безредукторная, с канатоведущим шкивом, с барабаном трения, барабанная, со звездочкой и т.д.) | |
Заводской номер | |
Год изготовления | |
Передаточное число | |
Межосевое расстояние передачи, мм | |
Номинальный крутящий момент на выходном валу, Нм | |
Диаметр ведущего органа, мм | |
Диаметр отводного блока, мм | |
Масса, кг | |
Тип (колодочный, дисковый, конусообразный и т.д.) | |
Диаметр тормозного шкива (диска, барабана), мм | |
Тормозной момент, Нм | |
Назначение | Электродвигатель |
лебедки | Привод дверей |
Тип | | |
Род тока | | |
Напряжение, В | | |
Номинальный ток, А | | |
Частота, об/мин | | |
Мощность, кВт | | |
Допустимый нагрев обмоток двигателя, °C (класс изоляции) | | |
Частота вращения, об/мин | | |
ПВ, % | | |
Число включений в час | | |
Исполнение (нормальное, взрывозащитное, пылеводозащищенное, морское и т.д.), с указанием степени защиты | | |
Масса, кг | | |
Конструкция (распашные, раздвижные, комбинированные, одно-, двухстворчатые или многостворчатые) | |
Размер дверного проема в свету (ширина x высота), мм | |
Способ открывания/закрывания (ручной, полуавтоматический, автоматический) | |
Внутренние размеры, мм: | |
- ширина | |
- глубина | |
- высота | |
Конструкция дверей (распашные, раздвижные, одно-, двухстворчатые или многостворчатые) | |
Способ открывания или закрывания дверей (ручной, полуавтоматический, автоматический) | |
Привод дверей (электрический, гидравлический, пневматический, пружинный и т.д.) | |
Вид кабины (проходная, непроходная) | |
Масса, кг | |
Масса, кг (в собранном виде) | |
E.2.7. Тяговые и уравновешивающие элементы
Наименование | Тяговый элемент | Уравновешивающий элемент |
Кабины и противовеса | Противовеса | Ограничителя скорости |
Вид (канат, цепь и т.п.) | | | | |
Тип | | | | |
Конструкция | | | | |
Условное обозначение | | | | |
Диаметр, шаг, размеры, мм | | | | |
Число элементов | | | | |
Длина одного элемента, включая длину, необходимую для крепления, м | | | | |
Разрывное усилие (разрушающая нагрузка), Н | | | | |
Коэффициент запаса прочности | | | | |
Примечание - Таблица заполняется по документации предприятия - изготовителя тягового элемента. |
E.2.8. Устройства безопасности
E.2.8.1 Механические устройства
Наименование и характеристика | Кабина |
Ловители | Тип (резкого, резкого с амортизирующим устройством, плавного торможения) Обозначение | |
Приводятся в действие (от ограничителя скорости, устройства, срабатывающего от слабины всех тяговых канатов) | |
Ограничитель скорости | Тип (центробежный, маятниковый и т.д.) Обозначение | |
Скорость движения кабины (противовеса), при которой срабатывает ограничитель скорости, м/с: | |
- максимальная | |
- минимальная | |
Буфер | Тип (жесткие упоры, энергонакопительного типа энергорассеивающие и т.д.) | |
Высота в свободном состоянии, мм | |
Число, шт. | |
E.2.8.2 Электрические устройства безопасности <*>
Контроль перехода кабиной уровня крайней верхней этажной площадки | |
Контроль натяжения ремней | |
Контроль закрытия двери шахты | |
Контроль запирания автоматического замка двери шахты | |
Контроль закрытия створки двери шахты, не оборудованной замком | |
Контроль закрытия аварийной двери шахты | |
Контроль закрытия двери для обслуживания в шахте | |
Контроль закрытия смотрового люка в шахте | |
Контроль закрытия двери кабины | |
Контроль срабатывания ограничителя скорости кабины | |
Контроль запирания автоматического замка дверей кабины | |
Контроль запирания замка аварийной двери или люка кабины | |
Контроль возврата ограничителя скорости кабины в исходное положение | |
Для остановки лифта (выключатель, кнопка "Стоп", расположенная в машинном помещении или запираемом шкафу) | |
Для остановки лифта (выключатель, кнопка "Стоп", расположенная на крыше кабины) | |
Контроль срабатывания ловителей | |
Контроль обрыва или относительного перемещения тяговых элементов | |
Контроль обрыва или вытяжки каната ограничителя скорости | |
Контроль натяжения уравновешивающих канатов | |
Контроль срабатывания устройства, ограничивающего подскок натяжного устройства уравновешивающих канатов | |
Контроль положения съемного устройства для ручного перемещения кабины (положения съемного штурвала) | |
Контроль возвращения в исходное положение буфера энергорассеивающего типа | |
Выключатель приямка | |
Отключение цепей управления из блочного помещения | |
Контроль положения площадки обслуживания | |
Контроль положения механического устройства, обеспечивающего остановку кабины в верхней части шахты | |
Контроль положения механического устройства, обеспечивающего остановку кабины в нижней части шахты | |
Контроль положения складного щита под порогом кабины | |
Контроль положения складных поручней на крыше кабины | |
Контроль положения блокировочного устройства | |
< *> Указаны устройства, устанавливаемые на лифте | |
E.3. Перечень документации, прилагаемой к паспорту лифта
Наименование документа | Обозначение документа | Количество листов |
Монтажный чертеж | | |
Принципиальная электрическая схема с перечнем элементов | | |
Декларация о соответствии лифта требованиям технического регламента Таможенного союза "Безопасность лифтов" | | |
Ведомость эксплуатационных документов | | |
(новая страница)
E.4. Сведения о местонахождении лифта
Наименование предприятия (организации) - владельца лифта | Место установки лифта (город, улица, дом, корпус, подъезд) | Дата установки |
| | |
| | |
| | |
(две страницы)
E.5. Сведения о назначении ответственных специалистов
Дата и номер приказа (распоряжения) о назначении и закреплении | Должность, фамилия, имя, отчество | Подпись ответственного лица |
| | |
| | |
| | |
(две страницы)
E.6. Сведения о назначении ответственных электромехаников
Дата и номер приказа (распоряжения) о назначении и закреплении | Фамилия, имя, отчество | Подпись ответственного лица |
| | |
| | |
| | |
(пять страниц)
E.7. Сведения о ремонте и модернизации
Дата | Сведения о ремонте и модернизации | Подпись ответственного лица |
| | |
| | |
| | |
(пять страниц)
E.8. Сведения о результатах технического освидетельствования и диагностирования
Дата | Результаты технического освидетельствования и диагностирования | Срок следующего освидетельствования или диагностирования |
| | |
| | |
| | |
В паспорте пронумеровано _________ страниц и прошнуровано всего _________
листов, в том числе чертежей на _________ листах
Место штампа "__" ______________ ____ год
(справочное)
Образец
Паспорт гидравлического лифта
Сертификат соответствия лифта от "__" ____________
N ________________________________________________
Выдан ____________________________________________
___________________________________________________________________________
наименование органа по сертификации, выдавшего сертификат соответствия
Предприятие-изготовитель (поставщик) | |
Назначение лифта | |
Модель (индекс) лифта | |
Заводской номер | |
Месяц и год изготовления | |
Допустимая температура (минимальная и максимальная), °C: | |
- в машинном помещении | |
- в шахте | |
Окружающая среда, в которой может эксплуатироваться лифт (климатические, сейсмические условия, относительная влажность, насыщенность пылью, агрессивная, взрывоопасная, пожароопасная) | |
Нормативные документы, в соответствии с которыми изготовлен лифт (ГОСТ, ТУ и т.п.) | |
Назначенный срок службы | |
Номинальная грузоподъемность, кг | |
Число пассажиров (не более) | |
Номинальная скорость движения кабины, м/с | |
Скорость движения кабины в режиме "Ревизия", м/с | |
Система управления | |
Число остановок | |
Число дверей шахты | |
Высота подъема, м | |
Сейсмичность | |
Электрические цепи | Род тока | Напряжение, В (+/-) | Частота, Гц |
На вводном устройстве | | | |
Силовая цепь: | | | |
- привод лифта | | | |
- привод дверей | | | |
Цепь управления | | | |
Цепь освещения: | | | |
- для кабины | | | |
- шахты | | | |
- ремонтных работ | | | |
Цепь сигнализации | | | |
F.2. Основные технические данные и характеристики оборудования лифта
Назначение | Электродвигатель |
лебедки | Привод дверей |
Тип | | |
Род тока | | |
Напряжение, В | | |
Номинальный ток, А | | |
Частота, об/мин | | |
Мощность, кВт | | |
Допустимый нагрев обмоток двигателя, °C (класс изоляции) | | |
Частота вращения, об/мин | | |
ПВ, % | | |
Число включений в час | | |
Исполнение (нормальное, взрывозащитное, пылеводозащищенное, морское и т.д.) с указанием степени защиты | | |
Масса, кг | | |
F.2.2.1 Гидроцилиндр
Тип подвески | |
Тип гидроцилиндра | |
Количество | |
Заводской номер | |
Год изготовления | |
Диаметр, мм: | |
- внешний гидроцилиндр | |
- плунжер: | |
1-я секция | |
2-я секция | |
Рабочий ход гидроцилиндра, мм | |
Рабочее давление, МПа: | |
- не более | |
- не менее | |
Скорость, м/с, не менее: | |
- при подъеме, не более | |
- опускании, не менее | |
Масса, кг | |
F.2.2.2 Трубопровод
Тип соединительной трубы | |
Диаметр, мм | |
Длина, мм | |
Максимальное рабочее давление, МПа | |
Испытательное давление, МПа | |
Разрывное давление, МПа | |
Конструкция (распашные, раздвижные, комбинированные, одно-, двухстворчатые или многостворчатые) | |
Размер дверного проема в свету (ширина x высота), мм | |
Способ открывания/закрывания (ручной, полуавтоматический, автоматический) | |
Внутренние размеры, мм: | |
- ширина | |
- глубина | |
- высота | |
Конструкция дверей (распашные, раздвижные, одно-, двухстворчатые или многостворчатые) | |
Способ открывания или закрывания дверей (ручной, полуавтоматический, автоматический) | |
Привод дверей (электрический, гидравлический, пневматический, пружинный и т.д.) | |
Вид кабины (проходная, непроходная) | |
Масса, кг | |
F.2.5. Тяговые и уравновешивающие элементы
Наименование | Тяговый элемент | Уравновешивающий элемент |
кабины | уравновешивающего устройства | ограничителя скорости |
Вид (канат, цепь и т.п.) | | | | |
Тип | | | | |
Конструкция | | | | |
Условное обозначение | | | | |
Диаметр, шаг, размеры, мм | | | | |
Число элементов | | | | |
Длина одного элемента, включая длину, необходимую для крепления, м | | | | |
Разрывное усилие (разрушающая нагрузка), Н | | | | |
Коэффициент запаса прочности | | | | |
Примечание - Таблица выполняется по документации предприятия - изготовителя тягового элемента. |
F.2.6. Устройства безопасности
F.2.6.1 Механические устройства
Наименование и характеристика | Кабина |
Ловители | Тип (резкого, резкого с амортизирующим устройством, плавного торможения) Обозначение | |
Приводятся в действие (от ограничителя скорости, устройства, срабатывающего от слабины всех тяговых канатов) | |
Ограничитель скорости | Тип (центробежный, маятниковый и т.д.) Обозначение | |
Скорость движения кабины (противовеса), при которой срабатывает ограничитель скорости, м/с: | |
- не более | |
- не менее | |
Буфер | Тип (жесткие упоры, энергонакопительного типа энергорассеивающие и т.д.) | |
Высота в свободном состоянии, мм | |
Число, шт. | |
F.2.6.2 Электрические и гидравлические устройства безопасности <*>
Контроль перехода кабиной уровня крайней верхней этажной площадки | |
Контроль закрытия двери шахты | |
Контроль запирания автоматического замка двери шахты | |
Контроль закрытия створки двери шахты, не оборудованной замком | |
Контроль закрытия аварийной двери шахты | |
Контроль закрытия двери для обслуживания в шахте | |
Контроль закрытия смотрового люка в шахте | |
Контроль закрытия двери кабины | |
Контроль запирания автоматического замка дверей кабины | |
Контроль запирания замка аварийной двери или люка кабины | |
Контроль срабатывания ограничителя скорости кабины | |
Контроль возврата ограничителя скорости кабины в исходное положение | |
Для остановки лифта (выключатель, кнопка "Стоп", расположенная в машинном помещении или в запираемом шкафу) | |
Для остановки лифта (выключатель, кнопка "Стоп", расположенная на крыше кабины) | |
Контроль срабатывания ловителей | |
Контроль обрыва или относительного перемещения тяговых элементов | |
Контроль обрыва или вытяжки каната ограничителя скорости | |
Контроль давления в гидравлической системе | |
Разрывной клапан | |
Контроль возвращения в исходное положение буфера энергорассеивающего типа | |
Выключатель приямка | |
Отключения цепей управления из блочного помещения | |
Контроль положения площадки обслуживания | |
Контроль положения механического устройства, обеспечивающего остановку кабины в верхней части шахты | |
Контроль положения механического устройства, обеспечивающего остановку кабины в нижней части шахты | |
Контроль положения складного щита под порогом кабины | |
Контроль положения складных поручней на крыше кабины | |
Контроль положения блокировочного устройства | |
< *> Указаны устройства, устанавливаемые на лифте. | |
F.3. Перечень документации, прилагаемой к паспорту лифта
Наименование документа | Обозначение документа | Количество листов |
Монтажный чертеж | | |
Принципиальная электрическая схема с перечнем элементов | | |
Принципиальная гидравлическая схема с перечнем элементов | | |
Декларация о соответствии лифта требованиям технического регламента Таможенного союза "Безопасность лифтов" | | |
Ведомость эксплуатационных документов | | |
(новая страница)
F.4. Сведения о местонахождении лифта
Наименование предприятия (организации) - владельца лифта | Место установки лифта (город, улица, дом, корпус, подъезд) | Дата установки |
| | |
| | |
| | |
(две страницы)
F.5. Сведения о назначении ответственных специалистов
Дата и номер приказа (распоряжения) о назначении и закреплении | Должность, фамилия, имя, отчество | Подпись ответственного лица |
| | |
| | |
| | |
(две страницы)
F.6. Сведения о назначении ответственных электромехаников
Дата и номер приказа (распоряжения) о назначении и закреплении | Фамилия, имя, отчество | Подпись ответственного лица |
| | |
| | |
| | |
(пять страниц)
F.7. Сведения о ремонте и модернизации
Дата | Сведения о ремонте и модернизации | Подпись ответственного лица |
| | |
| | |
| | |
(пять страниц)
F.8. Сведения о результатах технического освидетельствования и диагностирования
Дата | Результаты технического освидетельствования и диагностирования | Срок следующего освидетельствования или диагностирования |
| | |
| | |
| | |
В паспорте пронумеровано _________ страниц и прошнуровано всего _________
листов, в том числе чертежей на _________ листах
Место штампа "__" ______________ ____ год
(справочное)
К ПРЕДВАРИТЕЛЬНОЙ ОПЕРАЦИИ, ВЫРАВНИВАНИЮ
И ПОВТОРНОМУ ВЫРАВНИВАНИЮ
G.A Предварительные операции
G.A.1 Включается главный контактор.
G.A.2 Предварительное намагничивание двигателя напряжением постоянной амплитуды и частоты для создания предварительного момента на валу двигателя. Растормаживание при созданном моменте на валу двигателя.
G.A.3 Начало движения.
G.A.4 Ускорение по заданному профилю движения.
G.B Выравнивание
G.B.1 Получен сигнал достижения зоны отпирания.
G.B.2 Скорость снижается до 0 м/с.
G.B.3 Лифт достиг точной остановки и удерживается моментом на валу двигателя. Накладывается тормоз.
G.B.4 Ток через двигатель падает до нуля. Размагничивание двигателя.
При повторном выравнивании выполняются фазы A и B.
(справочное)
СОПОСТАВЛЕНИЕ СТРУКТУРЫ НАСТОЯЩЕГО СТАНДАРТА СО СТРУКТУРОЙ
ПРИМЕНЕННОГО В НЕМ ЕВРОПЕЙСКОГО СТАНДАРТА
Таблица ДА.1
Структура настоящего стандарта | Структура европейского стандарта EN 81-20:2014 |
Раздел | Подраздел | Раздел | Подраздел |
| | 0 | |
| | 1 | |
| | 2 | |
| | 3 | |
| | 4 | |
| | 5 | 5.1 |
| 5.2 |
| 5.3 |
| 5.4 |
| 5.5 |
| 5.6 |
| 5.7 |
| 5.8 |
| 5.9 |
| 5.10 |
| 5.11 |
| 5.12 |
- | | 6 | |
| | 7 | |
| | Приложение A | |
- | | Приложение B | |
- | | Приложение C | |
| | Приложение D | |
- | | Приложение E | |
| | Приложение F | |
| | - | |
| | - | |
| | - | |
| | - | |
| Технический регламент Таможенного союза (ТР ТС 011/2011) "Безопасность лифтов" |
| ЕН 81-50:2014 | Правила безопасности по устройству и установке лифтов - Проверки и испытания - Часть 50: Правила проектирования, расчеты, проверки и испытания лифтовых компонентов |
(EN 81-50:2014) | (Safety rules for the construction and installation of lifts - Examinations and tests - Part 50: Design rules, calculations, examinations and tests of lift components) |