Главная // Актуальные документы // ГОСТ (Государственный стандарт)СПРАВКА
Источник публикации
М.: Издательство стандартов, 1988
Примечание к документу
Документ включен в
Перечень документов в области стандартизации, в результате применения которых на добровольной основе обеспечивается соблюдение требований Федерального
закона от 30.12.2009 N 384-ФЗ "Технический регламент о безопасности зданий и сооружений" (
Приказ Росстандарта от 02.04.2020 N 687).
Документ включен в
Перечень документов в области стандартизации, в результате применения которых на добровольной основе обеспечивается соблюдение требований Федерального
закона от 30.12.2009 N 384-ФЗ "Технический регламент о безопасности зданий и сооружений" (
Приказ Росстандарта от 17.04.2019 N 831).
Документ включен в
Перечень документов в области стандартизации, в результате применения которых на добровольной основе обеспечивается соблюдение требований Федерального
закона от 30.12.2009 N 384-ФЗ "Технический регламент о безопасности зданий и сооружений" (
Приказ Росстандарта от 30.03.2015 N 365).
Документ включен в
Перечень национальных стандартов, в результате применения которых на добровольной основе обеспечивается соблюдение требований Федерального
закона от 30.12.2009 N 384-ФЗ "Технический регламент о безопасности зданий и сооружений" (
Приказ Ростехрегулирования от 01.06.2010 N 2079).
С 1 июля 2003 года до вступления в силу технических регламентов акты федеральных органов исполнительной власти в сфере технического регулирования носят рекомендательный характер и подлежат обязательному исполнению только в части, соответствующей целям, указанным в
пункте 1 статьи 46 Федерального закона от 27.12.2002 г. N 184-ФЗ.
Введен в действие с 1 июля 1988 года (
Постановление Госстроя СССР от 28.12.1987 N 308).
Название документа
"ГОСТ 21.401-88. Система проектной документации для строительства. Технология производства. Основные требования к рабочим чертежам"
(утв. Постановлением Госстроя СССР от 28.12.1987 N 308)
"ГОСТ 21.401-88. Система проектной документации для строительства. Технология производства. Основные требования к рабочим чертежам"
(утв. Постановлением Госстроя СССР от 28.12.1987 N 308)
от 28 декабря 1987 г. N 308
ГОСУДАРСТВЕННЫЙ СТАНДАРТ СОЮЗА ССР
СИСТЕМА ПРОЕКТНОЙ ДОКУМЕНТАЦИИ ДЛЯ СТРОИТЕЛЬСТВА
ТЕХНОЛОГИЯ ПРОИЗВОДСТВА
ОСНОВНЫЕ ТРЕБОВАНИЯ К РАБОЧИМ ЧЕРТЕЖАМ
System of design documents for construction. Production
technology. Main requirements for working drawings
ГОСТ 21.401-88
Дата введения
1 июля 1988 года
1. Разработан Всесоюзным научно-исследовательским институтом по монтажным и специальным строительным работам ("ВНИИМонтажспецстрой"), Государственным институтом по проектированию технологии монтажа предприятий нефтеперерабатывающей и нефтехимической промышленности ("Гипронефтеспецмонтаж") Министерства монтажных и специальных строительных работ СССР, Государственным научно-исследовательским и проектным институтом хлорной промышленности ("Госниихлорпроект") Министерства химической промышленности СССР, Государственным ордена Трудового Красного Знамени проектным и научно-исследовательским институтом промышленности синтетического каучука ("Гипрокаучук") Министерства нефтеперерабатывающей и нефтехимической промышленности СССР, Проектным институтом N 2, Центральным научно-исследовательским и проектно-экспериментальным институтом по методологии, организации, экономике и автоматизации проектирования и инженерных изысканий ("ЦНИИпроект") Государственного строительного комитета СССР.
Исполнители: В.Я. Эйдельман (руководитель темы); Б.В. Поповский, д-р техн. наук; Р.И. Тавастшерна, канд. техн. наук; А.Л. Прудовая; Л.Г. Коновалова; Е.Ю. Исакова; И.С. Гольденберг, канд. техн. наук; Г.Л. Егиянц; Ж.М. Меблеванный; В.П. Шиловский; Ж.А. Куркина; С.Н. Архаров; Ю.П. Русаков; В.П. Абарыков; Л.А. Кашина.
2. Внесен Министерством монтажных и специальных строительных работ СССР.
3. Утвержден и введен в действие
Постановлением Государственного строительного комитета СССР от 28.12.1987 N 308.
4. Введен впервые.
5. Ссылочные нормативно-технические документы
─────────────────────────────────────────┬────────────────────────
Обозначение НТД, на который дана ссылка │Номер пункта, подпункта
─────────────────────────────────────────┼────────────────────────
ИС МЕГАНОРМ: примечание.
Взамен ГОСТ 15.001-73 Постановлением Госстандарта СССР от
25.11.1988 N 3823 с 1 марта 1989 года введен в действие
ИС МЕГАНОРМ: примечание.
Взамен ГОСТ 21.104-79 Постановлением Минстроя РФ от 12.08.1994
Настоящий стандарт устанавливает состав и правила оформления рабочих чертежей технологии производства всех отраслей промышленности и народного хозяйства.
1.1. Рабочие чертежи технологии производства выполняют в соответствии с требованиями настоящего стандарта и стандартов системы проектной документации для строительства (СПДС).
1.2. В состав рабочих чертежей технологии производства включают:
рабочие чертежи, предназначенные для монтажа оборудования и технологических трубопроводов (основной комплект рабочих чертежей марки ТХ);
задание на разработку деталировочных чертежей технологических блоков, собираемых организациями, осуществляющими монтаж (далее - задание на разработку технологических блоков);
чертежи специальных технологических трубопроводов;
| | ИС МЕГАНОРМ: примечание. Взамен ГОСТ 15.001-73 Постановлением Госстандарта СССР от 25.11.1988 N 3823 с 1 марта 1989 года введен в действие ГОСТ 15.001-88. | |
исходные требования к разработке конструкторской документации по оборудованию индивидуального изготовления, составляемые в соответствии с ГОСТ 15.001-73, если эти требования не разработаны в рабочем проекте (проекте).
1.3. В состав основного комплекта рабочих чертежей марки ТХ включают:
общие данные по рабочим чертежам;
схему соединений (монтажную);
чертежи расположения оборудования и трубопроводов;
ведомость трубопроводов.
К основному комплекту рабочих чертежей марки ТХ составляют:
ведомость потребности в материалах по ГОСТ 21.109-80;
спецификацию оборудования по ГОСТ 21.110-82;
1.4. Основные комплекты рабочих чертежей выполняют на каждый технологический узел в соответствии с проектом организации строительства с присвоением им обозначений, включающих марку чертежа ТХ и порядковый номер, например, ТХ1, ТХ2 и т.д.
1.5. На схемах и чертежах изображают:
оборудование, трубопроводы и их элементы - в виде упрощенных контурных очертаний в масштабе чертежа или условными графическими изображениями сплошной толстой основной линией. Допускается трубопроводы, диаметр которых в масштабе чертежа превышает 3 мм, изображать двумя линиями;
блоки на планах в виде прямоугольника, на разрезах - по наружному контуру сплошной основной линией;
трассы специальных трубопроводов - сплошной толстой основной линией;
строительные конструкции в виде упрощенных контурных очертаний - сплошной тонкой линией.
Обозначения должны быть одинаковыми во всех текстовых и графических документах основного комплекта.
1.6. Термины, используемые в стандарте, и их пояснения приведены в
Приложении 1.
2. ОБЩИЕ ДАННЫЕ ПО РАБОЧИМ ЧЕРТЕЖАМ
2.1. В состав общих данных по рабочим чертежам марки ТХ в дополнение к данным, предусмотренным
ГОСТ 21.102-79, включают схему расположения технологических узлов.
При наличии ТХ1, ТХ2 и т.д. схему размещают на листах общих данных марки ТХ1.
На схеме указывают:
границы и номера каждого технологического узла;
вводы и выводы основных трубопроводов с обозначением трубопроводов и с привязкой их к координационным осям зданий (сооружений). Допускается для групповых вводов и выводов привязку выполнять только к осям крайних трубопроводов или осям подводящих эстакад.
К схеме приводят ведомость технологических узлов по форме 1, графы которой заполняют в соответствии с их наименованием.
Ведомость технологических узлов
Форма 1
┌──────────┬────────────┬─────────┬─────────┬──────────┬─────────┐
│Номер узла│Наименование│Категория│Степень │ Класс │Группа │
│ по схеме │технологи- │производ-│огнестой-│помещения │процессов│
│ │ческого узла│ства по │кости │и наружных│по сани- │
│ │ │взрывной │здания │установок │тарной │
│ │ │взрывопо-│ │ по
ПУЭ │характе- │
│ │ │жарной и │ │ │ристике │
│ │ │пожарной │ │ │ │
│ │ │опасности│ │ │ │
├──────────┼────────────┼─────────┼─────────┼──────────┼─────────┤
│ │ │ │ │ │ │
├──────────┼────────────┼───\/\───┼─────────┼──────────┼─────────┤
│ 20 │ 40 │ 30 │ 20 │ 30 │ 45 │
/──────────/────────────/─────────/─────────/──────────/─────────/
│ │ │ │ │ │ │
│ 185 │
/────────────────────────────────────────────────────────────────/
│ │
2.2. В общих указаниях в дополнение к сведениям, предусмотренным
ГОСТ 21.102-79, приводят:
характеристику трубопроводов (форма 2);
Форма 2
┌─────┬──────────┬───────┬────────────────┬─────┬─────────┬──────┐
│Обоз-│Наименова-│Катего-│ Рабочие условия│Испы-│Давление │Допол-│
│наче-│ние транс-│рия │ трубопровода │тание│испыта- │ни- │
│ние │портируе- │трубо- ├───────┬────────┤ │ния МПа │тель- │
│ │мого │провода│Темпе- │Давление│ │(кгс/см2)│ные │
│ │продукта │ │ратура,│МПа │ │ │указа-│
│ │ │ │°С │(кгс/см)│ │ │ния │
├─────┼──────────┼───────┼───────┼────────┼─────┼─────────┼──────┤
│ │ │ │ │ │ │ │ │
├─────┼──────────┼───────┼───────┼──\/\───┼─────┼─────────┼──────┤
│ 20 │ 25 │ 15 │ 15 │ 15 │ 15 │ 15 │ 65 │
/─────/──────────/───────/───────/────────/─────/─────────/──────/
│ │ │ │ │ │ │ │ │
│ 185 │
/────────────────────────────────────────────────────────────────/
│ │
указания о хранении оборудования и элементов специальных технологических трубопроводов, требующих укрытия;
технические указания, соблюдение которых обязательно при монтаже оборудования.
Характеристика трубопроводов
2.2.1. В форме 2 указывают:
в графе "Обозначения" - обозначение трубопровода по схеме соединений (монтажной), выполняемой в соответствии с
разд. 3;
в графе "Наименование транспортируемого продукта" - наименование или номер транспортируемого продукта;
в графе "Категория трубопроводов" - категорию и группу трубопровода в соответствии с действующими нормативными документами;
в графе "Испытание" - вид (прочность, герметичность) и способ (гидравлический, пневматический) испытания;
в графе "Дополнительные указания" - дополнительные указания по испытанию (при испытании на герметичность - время испытания и величину падения давления), требования к внутренней поверхности трубопровода после испытания (продувка, очистка и дополнительная обработка).
Остальные графы заполняют в соответствии с их наименованием.
| | ИС МЕГАНОРМ: примечание. Взамен ГОСТ 15.001-73 Постановлением Госстандарта СССР от 25.11.1988 N 3823 с 1 марта 1989 года введен в действие ГОСТ 15.001-88. | |
2.3. В ведомость ссылочных и прилагаемых документов (в раздел "Прилагаемые документы") в дополнение к данным, предусмотренным
ГОСТ 21.102-79, записывают задания на разработку технологических блоков, чертежи специальных технологических трубопроводов, исходные требования к разработке конструкторской документации по оборудованию индивидуального изготовления, составляемые в соответствии с ГОСТ 15.001-73.
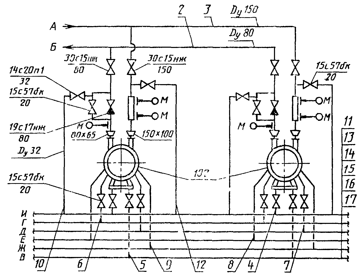
3. СХЕМА СОЕДИНЕНИЙ (МОНТАЖНАЯ)
3.1. Схему соединений (монтажную) выполняют в соответствии с требованиями настоящего стандарта, а также
ГОСТ 2.701-84.
оборудование. При трех или более одинаковых машинах или аппаратах с аналогичной обвязкой трубопроводами на схеме указывают только одну машину или аппарат с линиями и обозначением их количества и последовательности соединения;
блоки без указания составных частей и связей между ними;
трубопроводы и их элементы;
позиционное или буквенно-цифровое обозначение оборудования и трубопроводов в соответствии со спецификацией к чертежам расположения оборудования и трубопроводов;
величину условного прохода

и материал труб (кроме углеродистых сталей);
направление потока продукта;
наименование транспортируемого продукта и его параметра на вводах и выводах трубопроводов;
величину давления, на которую должны быть отрегулированы предохранительные клапаны.
Все буквенно-цифровые обозначения оборудования, трубопроводов и их элементов наносят на полках линии-выноски. Допускается:
обозначения оборудования наносить в контуре упрощенного графического изображения;
обозначения трубопроводов наносить над линиями либо в разрывах линий трубопроводов.
3.3. Схемы допускается выполнять:
на листах чертежа расположения оборудования и трубопроводов;
совмещенными со схемами автоматизации технологических процессов производства;
при сложных трубопроводных системах - раздельно для групп трубопроводов по их назначению;
без перечня элементов к схеме.
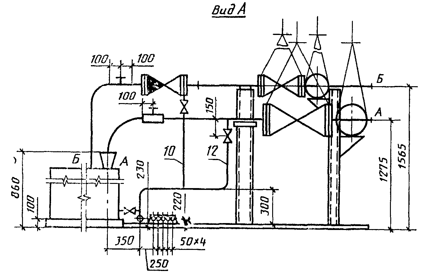
4. ЧЕРТЕЖИ РАСПОЛОЖЕНИЯ ОБОРУДОВАНИЯ И ТРУБОПРОВОДОВ
4.1. Чертежи расположения оборудования и трубопроводов (далее - чертежи расположения) выполняют в соответствии со схемой соединения.
4.2. В состав чертежей расположения включают планы, разрезы, сечения, фрагменты планов и разрезов, узлы, достаточные для подготовки и производства монтажных работ.
4.3. Планы и разрезы чертежей расположения выполняют в масштабе 1:50, 1:100 или 1:200, фрагменты планов и разрезов - в масштабе 1:50, узлы - в масштабе 1:10, 1:25.
4.4. На чертежах расположения указывают и обозначают:
оборудование;
блоки;
трубопроводы и их элементы, опоры трубопроводов и опорные конструкции под них;
трассы специальных технологических трубопроводов;
каналы и лотки для прокладки трубопроводов;
места обслуживания оборудования, при необходимости;
координационные оси здания (сооружения) и расстояние между ними;
отметки чистых полов этажей и основных площадок;
позиционное или буквенно-цифровое обозначение оборудования, участков трубопроводов;
места подключения трубопроводов к блокам, машинам и аппаратам, соединения трубопроводов между собой, величину и направление уклонов трубопроводов;
величину предварительного растяжения (сжатия) компенсаторов;
привязку оборудования, трубопроводов и их элементов к координационным осям или к элементам конструкций зданий (сооружений). Допускается взаимная привязка оборудования и трубопроводов;
величину условного прохода

и материал труб (кроме углеродистых сталей);
направление потока продукта на вводах, выводах и разветвлениях;
допустимые монтажные нагрузки на крановые пути и монорельсы, а также на перекрытия и строительные конструкции, которые могут быть использованы для монтажа оборудования.
| | ИС МЕГАНОРМ: примечание. Взамен ГОСТ 21.104-79 Постановлением Минстроя РФ от 12.08.1994 N 18-12 с 1 сентября 1994 года введен в действие ГОСТ 21.101-93. | |
4.5. К чертежам расположения выполняют спецификации по форме 1 ГОСТ 21.104-79. В спецификацию включают оборудование и участки трубопроводов. Состав участков трубопроводов указывают в ведомости трубопроводов.
Графу "Масса ед., кг" не заполняют.
Пример оформления чертежа расположения и спецификации к нему приведен в
Приложении 4.
5. ВЕДОМОСТЬ ТРУБОПРОВОДОВ
5.1. Ведомость трубопроводов выполняют по форме 3.
На каждый участок трубопровода, обозначенный на чертеже расположения номером позиции, в ведомость записывают все элементы трубопроводов, находящиеся в границе участка.
Ведомость трубопроводов
Форма 3
┌─────────────────────┬───────┬─────┬────────────────────────────┐
│ Наименование │Единица│Всего│Кол. на участок трубопровода│
│ │ изм. │ ├────┬────┬────┬────┬────┬───┤
├─────────────────────┼───────┼─────┼────┼────┼────┼────┼────┼───┤
├─────────────────────┼───────┼─────┼─\/\┴────┴────┴────┴────┴───┤
│ 60 │ 15 │ 15 │ 15 х n │
/─────────────────────/───────/─────/────────────────────────────/
│ │ │ │ │
5.2. В ведомости указывают:
в графе "Наименование" - наименование элементов трубопроводов и их обозначение в соответствии с нормативно-технической документацией или указанием номера чертежа элемента трубопровода;
в графе "Всего" - общее количество элементов трубопроводов по всем позициям, указанным в ведомости трубопроводов.
Остальные графы заполняют в соответствии с их наименованием.
Пример оформления ведомости трубопроводов приведен в
Приложении 5.
5.3. Допускается:
ведомость трубопроводов, составленную на ЭВМ, выполнять по форме машинно ориентированных документов;
совмещать ведомость трубопроводов и характеристики трубопроводов;
при большом количестве трубопроводов на проектируемом объекте выполнять ведомость трубопроводов в составе рабочей документации в виде отдельного документа (по форме 3 или форме машинно ориентированного документа) с присвоением ему самостоятельного обозначения, состоящего из обозначения основного комплекта и (через точку) шифра ВТ.
В этом случае ведомость трубопроводов записывают в раздел "Прилагаемые документы" ведомости ссылочных и прилагаемых документов общих данных соответствующего основного комплекта рабочих чертежей.
6. ЗАДАНИЕ НА РАЗРАБОТКУ ТЕХНОЛОГИЧЕСКОГО БЛОКА
6.1. Задание на разработку технологического блока должно содержать чертеж блока и ведомость трубопроводов
(разд. 5) в составе блока.
6.2. На чертеже блока приводят и указывают:
схему соединения (монтажную) блока, выполненную в соответствии с требованиями, приведенными в
п. 3.2. Наименование транспортируемого продукта и его параметры на вводах и выводах в блок указывают в характеристике трубопроводов. Схему располагают на первом листе чертежа блока;
машины, аппараты, трубопроводы и их элементы, опорные конструкции;
составные части блоков, объединенные в поставочные и монтажные узлы на опорных конструкциях;
планы, разрезы, сечения, необходимые для разработки деталировочных чертежей трубопроводов и опорных конструкций, а также сборки блока;
характеристику трубопроводов по форме 2;
позиционное обозначение составных частей блока;
решения по креплению блока к несущим строительным конструкциям;
размеры, определяющие положение составных частей блока;
особые требования, не приведенные в общих данных основного комплекта рабочих чертежей, в части транспортирования и хранения, изготовления, испытания и монтажа блока, другие необходимые требования;
буквенные обозначения входа и выхода трубопроводов.
| | ИС МЕГАНОРМ: примечание. Взамен ГОСТ 21.104-79 Постановлением Минстроя РФ от 12.08.1994 N 18-12 с 1 сентября 1994 года введен в действие ГОСТ 21.101-93. | |
6.3. На каждый блок составляют спецификацию по форме 1 ГОСТ 21.104-79 с учетом следующих дополнительных требований.
Графу "Масса ед., кг" заполняют для оборудования.
Составные части блока записывают в спецификации в следующем порядке.
1) Документация. В графе "Наименование" указывают наименование документа, а в графе "Обозначение" - его номер.
2) Оборудование. В графе "Наименование" указывают наименование машин или аппарата, а в графе "Обозначение" - нормативно-технический документ или номер чертежа.
3) Опорные конструкции блока. В графе "Наименование" указывают наименование конструкции, а в графе "Обозначение" - номер чертежа или типового проекта.
4) Заимствованные (ранее разработанные) узлы, входящие в состав блока. В графе "Наименование" указывают наименование узла, а в графе "Обозначение" - номер чертежа или типового проекта.
5) Трубопроводы. В графе "Наименование" указывают трубопровод с указанием начальной и конечной точки в границах блока.
Пример оформления ведомости трубопроводов на блок приведен в
Приложении 8.
7. ЧЕРТЕЖИ СПЕЦИАЛЬНЫХ ТЕХНОЛОГИЧЕСКИХ ТРУБОПРОВОДОВ
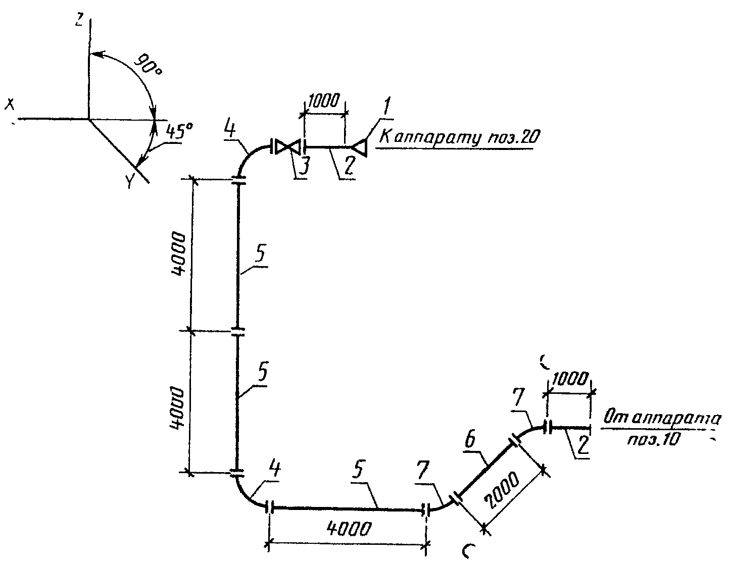
Специальный технологический трубопровод изображают во фронтальной диметрической проекции по
ГОСТ 2.317-69.
На чертеже указывают:
позиции элементов трубопроводов;
размеры, необходимые для сборки трубопровода.
| | ИС МЕГАНОРМ: примечание. Взамен ГОСТ 21.104-79 Постановлением Минстроя РФ от 12.08.1994 N 18-12 с 1 сентября 1994 года введен в действие ГОСТ 21.101-93. | |
Спецификацию к чертежу специального технологического трубопровода выполняют по форме 1 ГОСТ 21.104-79.
Графу "Масса ед., кг" не заполняют.
Пример оформления чертежа специального технологического трубопровода приведен в
Приложении 9.
Справочное
ТЕРМИНЫ, ИСПОЛЬЗУЕМЫЕ В СТАНДАРТЕ, И ИХ ПОЯСНЕНИЯ
────────────────────┬─────────────────────────────────────────────
Термин │ Пояснение
────────────────────┼─────────────────────────────────────────────
1. Технологический│ Конструктивно и технологически обособленная
узел │часть объекта строительства, техническая
│готовность которой позволяет автономно,
│независимо от готовности объекта в целом,
│производить пусконаладочные работы, индивиду-
│альные испытания и комплексное опробывание
│этой части объекта. Технологические узлы, как
│правило, выделяют стадии технологического
│процесса объекта - подготовку сырья, этапы
│его переработки, выделения конечного продук-
│та, хранение и т.д.
2. Оборудование │ Технологические блоки, машины, аппараты,
│грузоподъемные средства.
3. Технологический│ Комплекс или сборочная единица
<*> техноло-
блок │гического оборудования заданного уровня
│заводской готовности и производственной
│технологичности, предназначенные для
│осуществления основных или вспомогательных
│технологических процессов. В состав блока
│включают машины, аппараты, первичные средства
│контроля и управления, трубопроводы, опорные
│и обслуживающие конструкции, тепловую изоля-
│цию и химическую защиту. Блоки, как правило,
│формируют для осуществления теплообменных,
│массообменных, гидродинамических, химических
│и биологических процессов. Номенклатура бло-
│ков устанавливается ведомственными норматив-
│ными документами, согласованными с министер-
│ствами, осуществляющими монтажные работы.
4. Технологические│ Трубопроводы, предназначенные для транспор-
трубопроводы │тирования различных веществ, необходимых для
│ведения технологического процесса или
│эксплуатации оборудования.
5. Специальные │ Технологические трубопроводы стальные с
трубопроводы │внутренними покрытиями, стальные, работающие
│под давлением 10 МПа и более, трубопроводы из
│неметаллических материалов.
6. Участок трубо- │ Часть технологического трубопровода из
провода │одного материала, по которому транспортируют
│вещество с одним давлением и температурой.
│При определении участка трубопровода в его
│границах для одного условного прохода должна
│быть обеспечена идентичность марок арматуры,
│фланцев, отводов, тройников и переходов.
7. Элементы трубо-│ Патрубки (трубы), отводы, переходы, тройни-
провода │ки, фланцы, компенсаторы, отключающая,
│регулирующая, предохранительная арматура,
│опоры, прокладки и крепежные изделия, устрой-
│ства, устанавливаемые на трубопроводах для
│контроля и управления, конденсационные и
│другие детали и устройства.
--------------------------------
Справочное
СХЕМА РАСПОЛОЖЕНИЯ ТЕХНОЛОГИЧЕСКИХ УЗЛОВ
Ведомость технологических узлов
─────┬──────────┬─────────────────┬────────┬──────────┬───────────
Номер│Наименова-│Категория произ- │Степень │Класс │Группа про-
узла │ние │водства по взрыв-│огне- │помещения │цессов по
по │технологи-│ной, взрывопожар-│стойкос-│и наружных│санитарной
схеме│ческого │ной и пожарной │ти зда- │установок │характерис-
│узла │опасности │ния │по
ПУЭ │тике
─────┼──────────┼─────────────────┼────────┼──────────┼───────────
101 │ Насосная │ В │ II │ II - II │ IIIб
─────┼──────────┼─────────────────┼────────┼──────────┼───────────
│в т.ч. │ А │ III │ - │ II
│помещение │ │ │ │
│смазки │ │ │ │
─────┼──────────┼─────────────────┼────────┼──────────┼───────────
│ │ │ │ │
Справочное
СХЕМА СОЕДИНЕНИЙ (МОНТАЖНАЯ)
Справочное
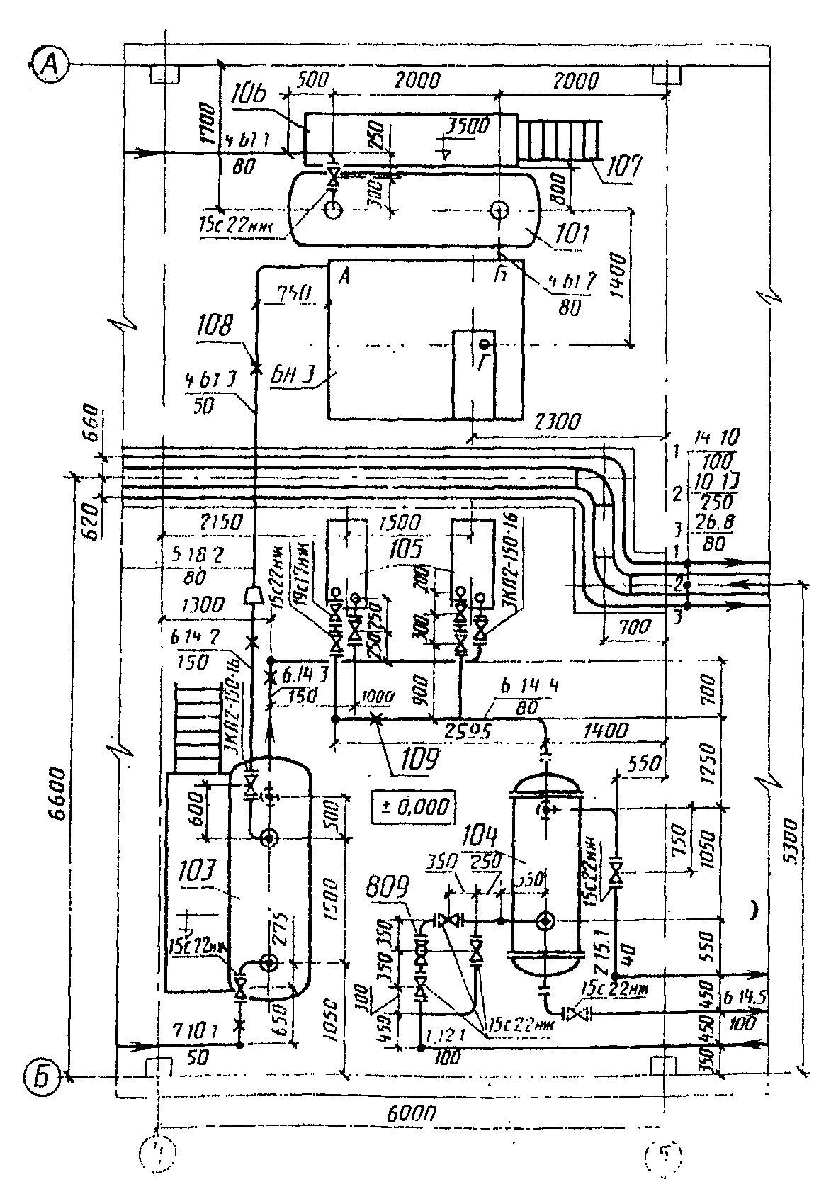
ПЛАН НА ОТМ. 0.000
──────┬───────────────────┬────────────────────────┬────┬────┬────
Поз. │ Обозначение │ Наименование │Кол.│Мас-│При-
│ │ │ │са, │меч.
│ │ │ │кг │
──────┼───────────────────┼────────────────────────┼────┼────┼────
│ │ │ │ │
──────┼───────────────────┼────────────────────────┼────┼────┼────
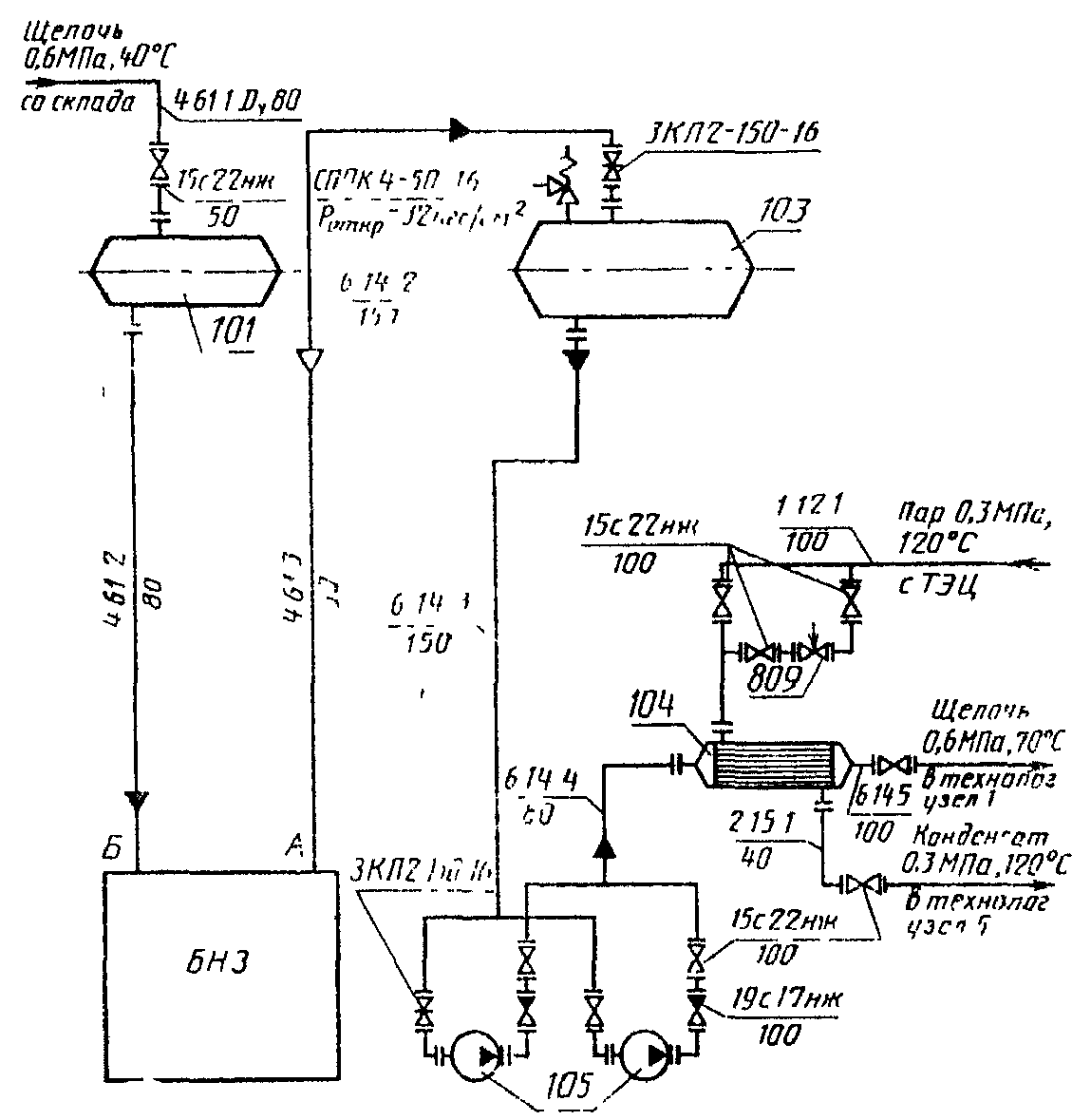
101 │ОСТ 26-02-1496-76 │Емкость 1-4,0-1200-1, │ 1 │ │
│ │0-1-2-1-0 │ │ │
──────┼───────────────────┼────────────────────────┼────┼────┼────
│ │ │ │ │
──────┼───────────────────┼────────────────────────┼────┼────┼────
БН-3 │ХХХ-ХХ ТХ.И-БН-3.ВО│Блок нагнетания │ 1 │ │
──────┼───────────────────┼────────────────────────┼────┼────┼────
103 │ОСТ 26-02-1496-76 │Емкость 1-6,3-1600-1, │ 1 │ │
│ │0-1-2-1-0 │ │ │
──────┼───────────────────┼────────────────────────┼────┼────┼────
│ │ │ │ │
──────┼───────────────────┼────────────────────────┼────┼────┼────
104 │НИ 780 │Теплообменник │ │ │
──────┼───────────────────┼────────────────────────┼────┼────┼────
│ │1200 ИТ-2-16 МЛ25 Г4 │ 1 │ │
──────┼───────────────────┼────────────────────────┼────┼────┼────
105 │ХХХ-ХХ │Насос НК 65/35-70 с │ 2 │ │
──────┼───────────────────┼────────────────────────┼────┼────┼────
│ │электродвигателем │ │ │
──────┼───────────────────┼────────────────────────┼────┼────┼────
│ │ВАО-81-8, N = 40 кВт, │ │ │
──────┼───────────────────┼────────────────────────┼────┼────┼────
│ │n = 2950 │ │ │
──────┼───────────────────┼────────────────────────┼────┼────┼────
4.61.1│ │Участок трубопровода │ 1 │ │
──────┼───────────────────┼────────────────────────┼────┼────┼────
│ │от границы установки │ │ │
──────┼───────────────────┼────────────────────────┼────┼────┼────
│ │до поз. 101 │ │ │
──────┼───────────────────┼────────────────────────┼────┼────┼────
4.61.3│ │Участок трубопровода │ 1 │ │
──────┼───────────────────┼────────────────────────┼────┼────┼────
│ │от поз. БН-3 до участка │ │ │
──────┼───────────────────┼────────────────────────┼────┼────┼────
│ │трубопровода 5.18.2 │ │ │
──────┼───────────────────┼────────────────────────┼────┼────┼────
7.10.1│ │Участок трубопровода │ 1 │ │
──────┼───────────────────┼────────────────────────┼────┼────┼────
│ │от поз. 103 до границы │ │ │
──────┼───────────────────┼────────────────────────┼────┼────┼────
│ │установки │ │ │
──────┼───────────────────┼────────────────────────┼────┼────┼────
6.14.2│ │Участок трубопровода │ 1 │ │
──────┼───────────────────┼────────────────────────┼────┼────┼────
│ │от участка трубопровода │ │ │
──────┼───────────────────┼────────────────────────┼────┼────┼────
│ │5.18.2 до поз. 103 │ │ │
──────┼───────────────────┼────────────────────────┼────┼────┼────
│ │ │ │ │
──────┼───────────────────┼────────────────────────┼────┼────┼────
│ │ │ │ │
──────┼───────────────────┼────────────────────────┼────┼────┼────
│ │ │ │ │
Справочное
──────────────────┬────┬────┬─────────────────────────────────────
Наименование │Еди-│Все-│ Кол. на участок трубопровода
│ница│го ├──────┬──────┬──────┬──────┬──┬──┬─┬─
│изм.│ │4.61.1│4.61.3│6.14.2│7.10.1│ │ │ │
──────────────────┼────┼────┼──────┼──────┼──────┼──────┼──┼──┼─┼─
Труба │ │ │ │ │ │ │ │ │ │
------------------│ │ │ │ │ │ │ │ │ │
──────────────────┼────┼────┼──────┼──────┼──────┼──────┼──┼──┼─┼─
159 х 4,5 │ м │3,0 │ │ │ 3,0 │ │ │ │ │
──────────────────┼────┼────┼──────┼──────┼──────┼──────┼──┼──┼─┼─
89 х 3,5 │ м │2,0 │ 2,0 │ │ │ │ │ │ │
──────────────────┼────┼────┼──────┼──────┼──────┼──────┼──┼──┼─┼─
57 х 3,5 │ м │6,75│ │ 4,25 │ │ 2,5 │ │ │ │
──────────────────┼────┼────┼──────┼──────┼──────┼──────┼──┼──┼─┼─
│ │ │ │ │ │ │ │ │ │
──────────────────┼────┼────┼──────┼──────┼──────┼──────┼──┼──┼─┼─
ИС МЕГАНОРМ: примечание.
Взамен ГОСТ 17375-83 Постановлением Госстандарта РФ от
27.05.2002 N 205-ст с 1 января 2003 года введен в действие
Отвод 90° │ │ │ │ │ │ │ │ │ │
ГОСТ 17375-83: │ │ │ │ │ │ │ │ │ │
──────────────────┼────┼────┼──────┼──────┼──────┼──────┼──┼──┼─┼─
159 х 4,5 │ шт.│ 2 │ │ │ 2 │ │ │ │ │
──────────────────┼────┼────┼──────┼──────┼──────┼──────┼──┼──┼─┼─
89 х 3,5 │ шт.│ 2 │ 2 │ │ │ │ │ │ │
──────────────────┼────┼────┼──────┼──────┼──────┼──────┼──┼──┼─┼─
57 х 3,5 │ шт.│ 5 │ │ 2 │ │ 3 │ │ │ │
──────────────────┼────┼────┼──────┼──────┼──────┼──────┼──┼──┼─┼─
│ │ │ │ │ │ │ │ │ │
──────────────────┼────┼────┼──────┼──────┼──────┼──────┼──┼──┼─┼─
ИС МЕГАНОРМ: примечание.
Взамен ГОСТ 17378-83 Постановлением Госстандарта РФ от
27.05.2002 N 205-ст с 1 января 2003 года введен в действие
Переход │ шт.│ │ │ │ │ │ │ │ │
ГОСТ 17378-83 │ │ │ │ │ │ │ │ │ │
──────────────────┼────┼────┼──────┼──────┼──────┼──────┼──┼──┼─┼─
159 х 4,5 - 57 х │ │ 1 │ │ 1 │ │ │ │ │ │
х 3,0 │ │ │ │ │ │ │ │ │ │
──────────────────┼────┼────┼──────┼──────┼──────┼──────┼──┼──┼─┼─
│ │ │ │ │ │ │ │ │ │
──────────────────┼────┼────┼──────┼──────┼──────┼──────┼──┼──┼─┼─
Задвижка │ шт.│ 1 │ │ │ 1 │ │ │ │ │
ЗКЛ2-150-16 │ │ │ │ │ │ │ │ │ │
──────────────────┼────┼────┼──────┼──────┼──────┼──────┼──┼──┼─┼─
Вентиль 15с22нж │ шт.│ │ │ │ │ │ │ │ │
──────────────────┼────┼────┼──────┼──────┼──────┼──────┼──┼──┼─┼─
D 80, P 40 │ │ 1 │ 1 │ │ │ │ │ │ │
y y │ │ │ │ │ │ │ │ │ │
──────────────────┼────┼────┼──────┼──────┼──────┼──────┼──┼──┼─┼─
D 50, P 40 │ │ 1 │ │ │ │ 1 │ │ │ │
y y │ │ │ │ │ │ │ │ │ │
──────────────────┼────┼────┼──────┼──────┼──────┼──────┼──┼──┼─┼─
Опора │ шт.│ │ │ │ │ │ │ │ │
ГОСТ 14911-81 │ │ │ │ │ │ │ │ │ │
──────────────────┼────┼────┼──────┼──────┼──────┼──────┼──┼──┼─┼─
ОПП2-100.159 │ │ 1 │ │ │ 1 │ │ │ │ │
──────────────────┼────┼────┼──────┼──────┼──────┼──────┼──┼──┼─┼─
ОПП2-100.57 │ │ 2 │ │ 1 │ │ 1 │ │ │ │
Справочное
Характеристика трубопроводов
─────┬────────────┬──────┬────────────────┬───────────────┬───────
Обоз-│Наименование│Кате- │Рабочие условия │ Испытание │Допол-
наче-│транспорти- │гория │ трубопровода │ │нитель-
ние │руемого │трубо-├──────┬─────────┼─────┬─────────┤ные
│продукта │прово-│Темпе-│Давление,│ Вид │Давление,│указа-
│ │да │рату- │ МПа │ │ МПа │ния
│ │ │ра, °C│(кгс/см2)│ │(кгс/см2)│
─────┼────────────┼──────┼──────┼─────────┼─────┼─────────┼───────
3 │Кислота │ III │ 43 │1,0 (10) │Проч-│1,3 (13) │
│ │ │ │ │ность│ │
─────┼────────────┼──────┼──────┼─────────┼─────┼─────────┼───────
2 │ " │ III │ 43 │1,4 (14) │ " │1,7 (17) │
─────┼────────────┼──────┼──────┼─────────┼─────┼─────────┼───────
17 │Охлаждающая │ V │ 20 │ 0,3 (3) │ " │ 0,5 (5) │
│жидкость │ │ │ │ │ │
─────┼────────────┼──────┼──────┼─────────┼─────┼─────────┼───────
13 │То же │ V │ 20 │ 0,3 (3) │ " │ 0,5 (5) │
─────┼────────────┼──────┼──────┼─────────┼─────┼─────────┼───────
14 │Уплотнитель-│ V │ 40 │ 0,6 (6) │ " │ 0,9 (9) │
│ная жидкость│ │ │ │ │ │
─────┼────────────┼──────┼──────┼─────────┼─────┼─────────┼───────
15 │То же │ V │ 40 │ 0,6 (6) │ " │ 0,9 (9) │
─────┼────────────┼──────┼──────┼─────────┼─────┼─────────┼───────
16 │Утечки │ V │ 20 │ 0,1 (1) │ " │ 0,2 (2) │
─────┼────────────┼──────┼──────┼─────────┼─────┼─────────┼───────
11 │Дренаж │ III │ 43 │ 1,0 (10)│ " │1,3 (13) │
│кислоты │ │ │ │ │ │
План на отм. 0.000
Черт. 5
Черт. 6
────┬──────────────────┬───────────────────────────┬────┬────┬────
Поз.│ Обозначение │ Наименование │Кол.│Мас-│При-
│ │ │ │са │меч.
│ │ │ │ед.,│
│ │ │ │кг │
────┼──────────────────┼───────────────────────────┼────┼────┼────
│ХХХ-ХХ-ТХ1.И-БН.ВО│Блок нагнетания │ │ │
────┼──────────────────┼───────────────────────────┼────┼────┼────
│ХХХ-ХХ-ТХ1.И-БН.ВТ│Ведомость трубопроводов │ │ │
────┼──────────────────┼───────────────────────────┼────┼────┼────
│ │ │ │ │
────┼──────────────────┼───────────────────────────┼────┼────┼────
102 │ХХХ-ХХ │Насос НК 65/35-70 │ 2 │500 │
────┼──────────────────┼───────────────────────────┼────┼────┼────
│ │с электродвигателем │ │ │
────┼──────────────────┼───────────────────────────┼────┼────┼────
│ │ВАО-81-2 N = 40 кВт │ │ │
────┼──────────────────┼───────────────────────────┼────┼────┼────
│ │ │ │ │
────┼──────────────────┼───────────────────────────┼────┼────┼────
1 │ХХХ-ХХ-БН 00.001 │Конструкция опорная │ 1 │ │
────┼──────────────────┼───────────────────────────┼────┼────┼────
│ │ │ │ │
────┼──────────────────┼───────────────────────────┼────┼────┼────
2 │ │Трубопровод от штуцера Б до│ 1 │ │
────┼──────────────────┼───────────────────────────┼────┼────┼────
│ │границы блока │ │ │
────┼──────────────────┼───────────────────────────┼────┼────┼────
3 │ │Трубопровод от штуцера А до│ 1 │ │
────┼──────────────────┼───────────────────────────┼────┼────┼────
│ │границы блока │ │ │
────┼──────────────────┼───────────────────────────┼────┼────┼────
4 │ │Трубопровод от насоса до │ 2 │ │
────┼──────────────────┼───────────────────────────┼────┼────┼────
│ │коллектора И │ │ │
────┼──────────────────┼───────────────────────────┼────┼────┼────
5 │ │Трубопровод от насоса до │ 2 │ │
────┼──────────────────┼───────────────────────────┼────┼────┼────
│ │коллектора В │ │ │
────┼──────────────────┼───────────────────────────┼────┼────┼────
6 │ │Трубопровод от насоса до │ 2 │ │
────┼──────────────────┼───────────────────────────┼────┼────┼────
│ │коллектора Г │ │ │
────┼──────────────────┼───────────────────────────┼────┼────┼────
7 │ │Трубопровод от насоса до │ 2 │ │
────┼──────────────────┼───────────────────────────┼────┼────┼────
│ │коллектора Д │ │ │
────┼──────────────────┼───────────────────────────┼────┼────┼────
8 │ │Трубопровод от насоса до │ 2 │ │
────┼──────────────────┼───────────────────────────┼────┼────┼────
│ │коллектора Е │ │ │
────┼──────────────────┼───────────────────────────┼────┼────┼────
9 │ │Трубопровод от насоса до │ 2 │ │
────┼──────────────────┼───────────────────────────┼────┼────┼────
│ │коллектора Ж │ │ │
────┼──────────────────┼───────────────────────────┼────┼────┼────
10 │ │Трубопровод от трубопровода│ 2 │ │
────┼──────────────────┼───────────────────────────┼────┼────┼────
│ │поз. 2 до коллектора И │ │ │
────┼──────────────────┼───────────────────────────┼────┼────┼────
│ │ │ │ │
────┼──────────────────┼───────────────────────────┼────┼────┼────
│ │ │ │ │
────┼──────────────────┼───────────────────────────┼────┼────┼────
│ │ │ │ │
───────────────────┬────┬────┬────────────────────────────────────
Наименование │Еди-│Все-│ Кол. на участок трубопровода
│ница│го ├──────┬──────┬──────┬───────┬─┬─┬─┬─
│изм.│ │Поз. 2│Поз. 3│Поз. 4│Поз. 10│ │ │ │
───────────────────┼────┼────┼──────┼──────┼──────┼───────┼─┼─┼─┼─
Труба │ │ │ │ │ │ │ │ │ │
------------------ │ │ │ │ │ │ │ │ │ │
───────────────────┼────┼────┼──────┼──────┼──────┼───────┼─┼─┼─┼─
│ │ │ │ │ │ │ │ │ │
───────────────────┼────┼────┼──────┼──────┼──────┼───────┼─┼─┼─┼─
159 х 4,5 │ м │1,9 │ │ 1,9 │ │ │ │ │ │
───────────────────┼────┼────┼──────┼──────┼──────┼───────┼─┼─┼─┼─
89 х 3,5 │ м │3,5 │ 3,5 │ │ │ │ │ │ │
───────────────────┼────┼────┼──────┼──────┼──────┼───────┼─┼─┼─┼─
Труба │ │ │ │ │ │ │ │ │ │
-------------------│ │ │ │ │ │ │ │ │ │
───────────────────┼────┼────┼──────┼──────┼──────┼───────┼─┼─┼─┼─
│ │ │ │ │ │ │ │ │ │
───────────────────┼────┼────┼──────┼──────┼──────┼───────┼─┼─┼─┼─
25 х 1,6 │ м │5,4 │ │ │ 0,9 │ 4,5 │ │ │ │
───────────────────┼────┼────┼──────┼──────┼──────┼───────┼─┼─┼─┼─
38 х 2 │ │ │ │ │ │ │ │ │ │
───────────────────┼────┼────┼──────┼──────┼──────┼───────┼─┼─┼─┼─
ИС МЕГАНОРМ: примечание.
Взамен ГОСТ 17375-83 Постановлением Госстандарта РФ от
27.05.2002 N 205-ст с 1 января 2003 года введен в действие
Отвод 90° │ │ │ │ │ │ │ │ │ │
ГОСТ 17375-83 │ │ │ │ │ │ │ │ │ │
───────────────────┼────┼────┼──────┼──────┼──────┼───────┼─┼─┼─┼─
159 x 4,5 │ шт.│ 3 │ │ 3 │ │ │ │ │ │
───────────────────┼────┼────┼──────┼──────┼──────┼───────┼─┼─┼─┼─
89 х 3,6 │ шт.│ 3 │ 3 │ │ │ │ │ │ │
───────────────────┼────┼────┼──────┼──────┼──────┼───────┼─┼─┼─┼─
ИС МЕГАНОРМ: примечание.
Взамен ГОСТ 17378-83 Постановлением Госстандарта РФ от
27.05.2002 N 205-ст с 1 января 2003 года введен в действие
Переход │ │ │ │ │ │ │ │ │ │
ГОСТ 17378-83 │ │ │ │ │ │ │ │ │ │
───────────────────┼────┼────┼──────┼──────┼──────┼───────┼─┼─┼─┼─
159 х 4,5 - 108 х 4│ шт.│ 1 │ │ 1 │ │ │ │ │ │
───────────────────┼────┼────┼──────┼──────┼──────┼───────┼─┼─┼─┼─
89 х 3,5 - 76 х 3,5│ шт.│ 2 │ 2 │ │ │ │ │ │ │
───────────────────┼────┼────┼──────┼──────┼──────┼───────┼─┼─┼─┼─
Опора ГОСТ 14911-81│ │ │ │ │ │ │ │ │ │
───────────────────┼────┼────┼──────┼──────┼──────┼───────┼─┼─┼─┼─
ОПП 2-150.159 │ шт.│ 3 │ │ 3 │ │ │ │ │ │
───────────────────┼────┼────┼──────┼──────┼──────┼───────┼─┼─┼─┼─
ОПП 2-80-89 │ шт.│ 3 │ 3 │ │ │ │ │ │ │
───────────────────┼────┼────┼──────┼──────┼──────┼───────┼─┼─┼─┼─
Вентиль 15с27нж1 │ │ │ │ │ │ │ │ │ │
───────────────────┼────┼────┼──────┼──────┼──────┼───────┼─┼─┼─┼─
D 25, P 16 │ шт.│ 6 │ 2 │ │ 2 │ 2 │ │ │ │
y y │ │ │ │ │ │ │ │ │ │
───────────────────┼────┼────┼──────┼──────┼──────┼───────┼─┼─┼─┼─
│ │ │ │ │ │ │ │ │ │
───────────────────┼────┼────┼──────┼──────┼──────┼───────┼─┼─┼─┼─
│ │ │ │ │ │ │ │ │ │
Справочное
Спецификация трубопровода
────┬───────────────────┬────────────────────────┬────┬───────────
Поз.│ Обозначение │ Наименование │Кол.│ Примеч.
│ │ │ │
│ │ │ │
────┼───────────────────┼────────────────────────┼────┼───────────
1 │ТУ 14-3-425-76 │Переход ПВП 80 х 50 │ 1 │
────┼───────────────────┼────────────────────────┼────┼───────────
2 │ТУ 14-3-523-76 │Труба 6-50 ПВП х 1000 │ 2 │
────┼───────────────────┼────────────────────────┼────┼───────────
3 │ТУ 26-07-123-74 │Вентиль диафрагмовый │ 1 │
│ │футерованный фланцевый │ │
────┼───────────────────┼────────────────────────┼────┼───────────
│Каталог ЦКБА, ч. 1,│15ч76п1, D 50, P 0,6 (6)│ │
│1981 г. │ y y │ │
────┼───────────────────┼────────────────────────┼────┼───────────
4 │ТУ 14-3-424-75 │Отвод 6 ПВП 50 х 90° │ 2 │
────┼───────────────────┼────────────────────────┼────┼───────────
5 │ТУ 14-3-523-76 │Труба 6-50 ПВП х 4000 │ 3 │
────┼───────────────────┼────────────────────────┼────┼───────────
6 │ТУ 14-3-523-76 │Труба 6-50 ПВП х 2000 │ 1 │
────┼───────────────────┼────────────────────────┼────┼───────────
7 │ТУ 14-3-424-75 │Отвод 6 ПВП 50 х 45° │ 2 │