Главная // Актуальные документы // ГОСТ (Государственный стандарт)
СПРАВКА
Источник публикации
В данном виде документ опубликован не был.
Первоначальный текст документа опубликован в издании
М.: Издательство стандартов, 1986.
Информацию о публикации документов, создающих данную редакцию, см. в справке к этим документам.
Примечание к документу
Документ включен в Перечень документов в области стандартизации, содержащих правила и методы исследований (испытаний) и измерений, в том числе правила отбора образцов, необходимых для применения и исполнения Федерального закона от 27.12.2009 N 347-ФЗ и осуществления оценки соответствия (Распоряжение Правительства РФ от 29.07.2010 N 1284-р).

С 1 июля 2003 года до вступления в силу технических регламентов акты федеральных органов исполнительной власти в сфере технического регулирования носят рекомендательный характер и подлежат обязательному исполнению только в части, соответствующей целям, указанным в пункте 1 статьи 46 Федерального закона от 27.12.2002 N 184-ФЗ.

Ограничение срока действия снято по Протоколу N 7-95 Межгосударственного Совета по стандартизации, метрологии и сертификации ("ИУС", N 11, 1995).

Изменение N 1, утв. Постановлением Госстандарта СССР от 29.12.1990 N 3585, введено в действие с 1 июля 1991 года.

Взамен ГОСТ 25034-81.
Название документа
"ГОСТ 25034-85 (СТ СЭВ 2188-80). Зажимы контактные винтовые. Классификация. Технические требования. Методы испытаний"
(утв. Постановлением Госстандарта СССР от 29.10.1985 N 3462)
(ред. от 29.12.1990)

"ГОСТ 25034-85 (СТ СЭВ 2188-80). Зажимы контактные винтовые. Классификация. Технические требования. Методы испытаний"
(утв. Постановлением Госстандарта СССР от 29.10.1985 N 3462)
(ред. от 29.12.1990)


Содержание


Утвержден и введен в действие
Постановлением Госстандарта СССР
от 29 октября 1985 г. N 3462
ГОСУДАРСТВЕННЫЙ СТАНДАРТ СОЮЗА ССР
ЗАЖИМЫ КОНТАКТНЫЕ ВИНТОВЫЕ
КЛАССИФИКАЦИЯ.
ТЕХНИЧЕСКИЕ ТРЕБОВАНИЯ.
МЕТОДЫ ИСПЫТАНИЙ
Screw contact terminals. Classification.
Technical requirements. Test methods
ГОСТ 25034-85
(СТ СЭВ 2188-80)
Список изменяющих документов
(в ред. Изменения N 1, утв. Постановлением
Госстандарта СССР от 29.12.1990 N 3585)
Группа Е77
ОКП 34 2494
Взамен
ГОСТ 25034-81
Разработан Министерством электротехнической промышленности.
Исполнители: В.А. Сушко, П.И. Ясвен, А.А. Маркелов.
Внесен Министерством электротехнической промышленности.
Начальник Технического управления Е.Г. Орлов.
Постановлением Государственного комитета СССР по стандартам от 29 октября 1985 г. N 3462 срок действия установлен с 01.01.1987 до 01.01.1992.
Настоящий стандарт распространяется на винтовые контактные зажимы (далее - зажимы) на номинальный ток до 63 А, предназначенные для присоединения проводников: из меди, алюмомедных, алюминиевых, из алюминиевых сплавов.
Стандарт полностью соответствует СТ СЭВ 2188-80.
Термины, использованные в стандарте, и пояснения к ним приведены в справочном Приложении 1.
Все требования настоящего стандарта являются обязательными.
(абзац введен Изменением N 1, утв. Постановлением Госстандарта СССР от 29.12.1990 N 3585)
1. КЛАССИФИКАЦИЯ
1.1. Устанавливаются следующие исполнения зажимов в зависимости от способа соединения с проводниками:
винтом к плоскому выводу (с крепежной головкой, с крепежной гайкой, с прижимной планкой, для кабельных наконечников);
винтом к гнездовому выводу (торцевые, колпачковые).
Примеры схематических конструктивных исполнений зажимов приведены в обязательном Приложении 2.
1.2. В зависимости от номинального сечения присоединяемых жил и диаметров наибольших проводников устанавливаются размеры зажимов, указанные в табл. 1.
Таблица 1
──────┬──────────────────────┬────────────┬───────────────────┬────────────
Размер│ Номинальное сечение, │ Диаметр │ Номинальное │ Диаметр
зажима│ мм2 │наибольшего │ сечение, мм2 │наибольшего
│ │проводника, │ │проводника,
│ │ мм │ │ мм
├──────────────────────┴────────────┴───────────────────┴────────────
│ для токопроводящих жил по ГОСТ 22483-77 классов
├───────────────────────────────────┬────────────────────────────────
│ IV, V, VI │ I, II, III
──────┼──────────────────────┬────────────┼───────────────────┬────────────
0 │0,35; 0,50; 0,75; 1,00│ 1,58 │ - │ -
1 <*> │0,75; 1,00; 1,50 │ 1,90 │0,75; 1,00; 1,50 │ 1,79
2 │1,00; 1,50; 2,50 │ 2,73 │1,00; 1,50; 2,50 │ 2,31
3 │1,50; 2,50; 4,00 │ 3,36 │1,50; 2,50; 4,00 │ 2,83
4 │2,50; 4,00; 6,00 │ 4,00 │2,50; 4,00; 6,00 │ 3,47
5 │2,50; 4,00; 6,00 │ 4,19 │4,00; 6,00; 10,00 │ 4,41
6 │4,00; 6,00; 10,00 │ 5,36 │6,00; 10,00; 16,00 │ 5,50
7 │6,00; 10,00; 16,00 │ 6,62 │10,00; 16,00; 25,00│ 7,00
(в ред. Изменения N 1, утв. Постановлением Госстандарта СССР от 29.12.1990 N 3585)
--------------------------------
<*> Допускается применение жил классов IV, V и VI номинального сечения 0,50 мм2 при вдвое согнутом конце жилы.
Примечания. 1. Диаметр, указанный в табл. 1, превышает диаметр жилы наибольшего номинального сечения на 5%.
2. При применении токопроводящих жил, отличающихся по номинальным сечениям от указанных в табл. 1, соответствующие величины зажимов устанавливаются экспериментально.
3. Зажимы 0 и 1-го размеров предназначены для присоединения медных проводников.
Применение на добровольной основе раздела 2 обеспечивает соблюдение требований Федерального закона от 27.12.2009 N 347-ФЗ "Технический регламент о безопасности низковольтного оборудования (Приказ Росстандарта от 14.09.2010 N 3546).
2. ТЕХНИЧЕСКИЕ ТРЕБОВАНИЯ
2.1. Общие требования
2.1.1. Зажимы следует изготовлять в соответствии с требованиями настоящего стандарта, стандартов или технических условий на изделия конкретных групп и видов, элементами которых являются данные зажимы, по рабочим чертежам, утвержденным в установленном порядке.
2.1.2. Зажимы предназначены для присоединения одного или двух проводников. Допускается применение зажимов для присоединения более двух одинаковых или различных проводников. При этом количество, номинальное сечение и структуру присоединяемых жил проводников следует устанавливать в стандартах или технических условиях на изделия конкретных групп и видов, элементами которых являются данные зажимы.
2.2. Требования к конструкции
2.2.1. Внешний вид зажимов, качество их сборки должны соответствовать контрольным образцам конкретных изделий, утверждаемым предприятием - держателем подлинников конструкторской документации.
2.2.2. Конструкцией зажимов должно обеспечиваться присоединение проводников номинальных сечений, указанных в табл. 2, если иное не предусмотрено в стандартах или технических условиях на изделия конкретных групп и видов, элементами которых являются данные зажимы. При этом минимальный диаметр пространства для присоединения проводника к зажиму должен быть не менее указанного в табл. 1 обязательного Приложения 2.
Таблица 2
────────────┬──────────────────┬───────────┬───────────────────┬───────────
Номинальный │ Номинальное │ Размер │ Номинальное │ Размер
ток зажима, │ сечение, мм2 │ зажима │ сечение, мм2 │ зажима
А ├──────────────────┴───────────┴───────────────────┴───────────
│ для токопроводящих жил по ГОСТ 22483-77 классов
├──────────────────────────────┬───────────────────────────────
│ IV, V, VI │ I, II, III
────────────┼──────────────────┬───────────┼───────────────────┬───────────
6,3 │От 0,35 до 1,00 │ 0 │От 0,75 до 1,50 │ 1
10 │ " 0,75 " 1,50 │ 1 │ " 1,00 " 2,50 │ 2
16 │ " 1,00 " 2,50 │ 2 │ " 1,50 " 4,00 │ 3
20 │ " 1,50 " 4,00 │ 3 │ " 1,50 " 4,00 │ 3
25 │ " 1,50 " 4,00 │ 3 │ " 2,50 " 6,00 │ 4
31,5 │ " 2,50 " 6,00 │ 4 или 5 │ " 4,00 " 10,00 │ 5
40 │ " 4,00 " 10,00 │ 6 │ " 6,00 " 16,00 │ 6
63 │ " 6,00 " 16,00 │ 7 │ " 10,00 " 25,00 │ 7
2.2.3. Для торцевых зажимов расстояние между крепежным винтом и концом проводника, полностью введенного в зажим, должно быть не менее указанного в табл. 2 обязательного Приложения 2.
Для колпачковых зажимов расстояние между неподвижной частью зажима и концом проводника, полностью введенного в зажим, должно быть не менее указанного в табл. 3 обязательного Приложения 2.
2.2.4. Конструкцией зажимов или их расположением должны исключаться выдавливание однопроволочных проводников или проволок многопроволочных проводников при затягивании контактных винтов или гаек.
Это требование не распространяется на зажимы для кабельных наконечников и на зажимы, к которым присоединяют проводники, требующие специальной подготовки концов.
2.2.5. Конструкцией зажима должно исключаться повреждение проводника при его закреплении.
Для проводников сечением до 1,5 мм2 недопустимо применение винтового зажима, у которого при проворачивании винта по жиле происходит повреждение проводника.
2.2.6. Конструкцией зажимов должно предусматриваться предохранение крепежных деталей от самоотвинчивания.
2.2.7. Зажимы до 5-го размера включительно должны допускать присоединение проводников без специальной подготовки, если иное не предусмотрено в стандартах или технических условиях на изделия конкретных групп и видов, элементами которых являются данные зажимы.
2.2.8. Зажимы должны быть коррозионно-стойкими. Материалы соприкасающихся между собой деталей зажимов и присоединяемых проводников должны соответствовать требованиям ГОСТ 9.005-72.
2.2.9. Контактные поверхности зажимов должны иметь защитные покрытия по ГОСТ 10434-82, а поверхности деталей из черных металлов - по ГОСТ 9.306-85.
2.2.10. Контактные винты и гайки не должны служить для крепления других элементов, кроме тех случаев, когда ими можно крепить внутренние проводники, исключающие их смещение при присоединении наружных проводников.
2.2.11. Защитные металлические покрытия и классы прочности крепежных деталей зажимов должны соответствовать требованиям ГОСТ 10434-82.
2.2.12. Зажимы должны быть надежно закреплены на изделиях.
При завинчивании и отвинчивании крепежных винтов или гаек зажимы не должны расшатываться, перемещение подвижных элементов должно быть плавным, без заеданий в промежуточных положениях, внутренняя проводка не должна подвергаться натяжению, а пути утечки и воздушные зазоры не должны уменьшаться ниже нормированного значения, указанного в стандартах или технических условиях на изделия конкретных групп и видов, элементами которых являются данные зажимы. Данное требование не распространяется на зажимы для слаботочных сигнальных цепей.
Примечание. Применение заливочной массы или смолы считают достаточным для предотвращения расшатывания зажима при условии, если эти вещества не подвергаются механическому воздействию в нормальном режиме и если их эффективность не снижается под воздействием температур, создаваемых на зажиме в наиболее неблагоприятном режиме, оговоренном в соответствующих случаях.
2.2.13. Крутящие моменты для затяжки винтов и гаек должны соответствовать указанным в табл. 3.
Таблица 3
────────────────────┬──────────────────────────────────────────────────────
Номинальный │ Крутящий момент для исполнений крепежных деталей
диаметр резьбы, │ зажимов, Н x м
мм ├──────────┬──────────┬──────────┬──────────┬──────────
│ 1 │ 2 │ 3 │ 4 │ 5
────────────────────┼──────────┼──────────┼──────────┼──────────┼──────────
До 2,8 │ 0,2 │ - │ 0,4 │ 0,4 │ -
Св. 2,8 до 3,0 │ 0,25 │ - │ 0,5 │ 0,5 │ -
" 3,0 " 3,2 │ 0,3 │ - │ 0,6 │ 0,6 │ -
" 3,2 " 3,6 │ 0,4 │ - │ 0,8 │ 0,8 │ -
" 3,6 " 4,1 │ 0,7 │ 1,2 │ 1,2 │ 1,2 │ 1,2
" 4,1 " 4,7 │ 0,8 │ 1,2 │ 1,8 │ 1,8 │ 1,8
" 4,7 " 5,3 │ 0,8 │ 1,4 │ 2,0 │ 2,0 │ 2,0
" 5,3 " 6,0 │ 1,2 │ 1,8 │ 2,5 │ 3,0 │ 3,0
(в ред. Изменения N 1, утв. Постановлением Госстандарта СССР от
29.12.1990 N 3585)
" 6,0 " 8,0 │ 2,5 │ 2,5 │ 3,5 │ 6,0 │ 4,0
(в ред. Изменения N 1, утв. Постановлением Госстандарта СССР от
29.12.1990 N 3585)
" 8,0 " 10,0 │ - │ 3,5 │ 4,0 │ 10,0 │ 6,0
" 10,0 " 12,0 │ - │ 4,0 │ - │ - │ 8,0
" 12,0 " 15,0 │ - │ 5,0 │ - │ - │ 10,0
Исполнение 1 относится к винтам без головки, если винт в затянутом положении не выступает из отверстия, а также к другим винтам, которые нельзя закрепить с помощью отвертки, лезвие которой шире диаметра винта.
Исполнение 2 относится к гайкам колпачковых зажимов с закреплением проводника в пазу болта, которые затягивают отверткой.
Исполнение 3 относится к другим винтам и гайкам, которые затягивают отверткой.
Исполнение 4 относится к винтам и гайкам, отличающимся от гаек колпачковых зажимов, которые затягиваются не отверткой, а другим инструментом.
Исполнение 5 относится к гайкам колпачковых зажимов, в которых гайку закрепляют не отверткой, а другим инструментом.
2.2.14. Конструкция зажимов должна обеспечивать надежное закрепление проводника между металлическими поверхностями.
(п. 2.2.14 в ред. Изменения N 1, утв. Постановлением Госстандарта СССР от 29.12.1990 N 3585)
2.2.15. Заземляющие или зануляющие зажимы (далее - заземляющие) должны быть того же размера, что и соответствующие зажимы для питающих проводников, за исключением зажимов, расположенных на внешней стороне корпусов изделий, которые должны быть не менее 4-го размера.
2.2.16. Крепежные детали заземляющих зажимов должны быть надежно затянуты, при этом ослабление затяжки резьбовых соединений без применения инструмента не допускается.
2.2.17. Все элементы заземляющих зажимов должны изготовлять из латуни или другого не менее коррозионно-стойкого металла.
Примечание. Допускается изготовление винтов, гаек, корпуса зажима и фиксирующего устройства из стали с гальваническим покрытием, коррозионная стойкость которого равнозначна латуни.
Если корпус заземляющего зажима, изготовленный из стали без гальванического покрытия, является частью оболочки, арматуры и т.п., то в этом случае винты и гайки этого зажима должны быть изготовлены только из латуни.
2.3. Требования к электрическим параметрам
2.3.1. Значения допустимых длительных токовых нагрузок зажимов должны соответствовать указанным в табл. 2.
2.3.2. Конструкцией зажимов должно обеспечиваться электрическое сопротивление контактных соединений, установленное ГОСТ 10434-82 для контактных соединений класса 1 или 2. Класс контактных соединений зажимов, в зависимости от области их применения, должен быть установлен в стандартах или технических условиях на изделия конкретных групп и видов, элементами которых являются данные зажимы.
Данное требование не распространяется на зажимы для слаботочных сигнальных цепей.
2.3.3. Допустимые значения температуры контактных соединений зажимов не должны превышать значений, указанных в ГОСТ 10434-82, если иное не установлено в стандартах или технических условиях на изделия конкретных групп и видов, элементами которых являются данные зажимы.
Данное требование не распространяется на зажимы для слаботочных сигнальных цепей.
2.3.4. Стойкость зажимов к воздействию сквозных токов (термическая и электродинамическая стойкость) должна соответствовать требованиям ГОСТ 10434-82, кроме цепей управления, сигнализации и измерения.
2.4. Требования по устойчивости к внешним воздействиям
2.4.1. Зажимы должны быть стойкими к воздействию механических факторов по ГОСТ 17516-72 или по другим стандартам на изделия, элементами которых являются зажимы.
2.4.2. Зажимы должны быть устойчивы к воздействию климатических факторов по ГОСТ 15150-69 или по другим стандартам на изделия, элементами которых являются зажимы.
2.4.3. Конкретные значения устойчивости к воздействию механических и климатических факторов зажимов, являющихся элементами изделий конкретных групп и видов, устанавливают в стандартах или технических условиях на эти изделия и проверяются совместно с этой аппаратурой.
3. МЕТОДЫ ИСПЫТАНИЙ
3.1. Испытания зажимов следует проводить в соответствии с требованиями настоящего стандарта, а также стандартов или технических условий на изделия конкретных групп и видов, элементами которых являются испытываемые зажимы.
Испытания следует проводить с теми проводниками, для присоединения которых рассчитаны зажимы, при этом проводники могут быть со специальной подготовкой или без нее.
3.2. Подготовка зажимов и контактных соединений их с проводниками - по ГОСТ 17441-84, подготовка контактных поверхностей - по ГОСТ 10434-82.
3.3. Проверка требований к конструкции
3.3.1. Проверку соответствия размеров рабочим чертежам (п. 2.1.1) проводят с помощью универсального или специального измерительного инструмента, обеспечивающего проверку размеров с погрешностью не более указанной в стандартах или технических условиях и в конструкторской документации на изделия конкретных групп и видов, элементами которых являются данные зажимы.
3.3.2. При визуальном контроле зажимов проверяют:
а) качество сборки и отделки (п. 2.2.1);
б) отсутствие ослаблений креплений (п. 2.2.12);
в) наличие защиты от коррозии и качество исполнения защитных и специальных покрытий и отсутствие повреждений этих покрытий (п. 2.2.9);
г) плавность перемещения подвижных элементов и отсутствие заеданий в промежуточных положениях (п. 2.2.12).
3.3.3. Требование п. 2.2.2 проверяют внешним осмотром, измерением и присоединением проводников с минимальным и максимальным сечением в соответствии с табл. 2.
3.3.4. Требование п. 2.2.3 проверяют измерением после полного введения и закрепления однопроволочного проводника с максимальным сечением, указанным в табл. 2.
Примечание. Минимальное расстояние между крепежным винтом и концом проводника относится только к торцевым и колпачковым зажимам, в которых проводник не проходит насквозь.
3.3.5. Требование п. 2.2.4 проверяют следующим образом. К зажимам присоединяют многопроволочные проводники, жилы которых перед введением выпрямляют и скручивают в направлении навивки до получения однородной скрутки в пределах одного витка на длине примерно 20 мм.
Проводник вводят в зажим на номинальную длину или до тех пор, пока он не покажется с другой стороны зажима. Затем контактный винт или гайку затягивают крутящим моментом, равным 2/3 указанного для соответствующего исполнения крепежной детали по табл. 3.
После испытаний ни одна из проволок проводника не должна проникнуть в пространство между зажимным приспособлением и фиксирующим устройством или пройти сквозь него.
3.3.6. Проверку конструкции зажимов (п. 2.2.5) проводят внешним осмотром проводников после одноразового закрепления и ослабления проводников минимального и максимального сечений по табл. 2, при этом крутящий момент, прикладываемый при закреплении проводника, должен составлять 2/3 указанного для соответствующего исполнения крепежной детали по табл. 3.
Для винта с шестигранной головкой со шлицем прикладываемый момент должен быть равен 2/3 указанного для исполнения 5 по табл. 3.
Проводники считают поврежденными, если в многопроволочных проводниках перерезаются более 25% проволок, а в однопроволочных деформация превышает 50% диаметра проводника.
3.3.7. Проверку соответствия зажимов требованиям п. 2.2.11, при необходимости, проводят по программе и методике, установленным в стандартах или технических условиях на изделия конкретных групп и видов, элементами которых являются испытываемые зажимы. Если корпус зажима изготовлен из меди или сплава, содержащего не менее 50% меди, и предназначен для присоединения медных проводников, то проведение испытания на воздействие коррозии не обязательно.
3.3.8. Проверку соответствия конструкции зажимов требованиям п. 2.2.12 проводят внешним осмотром и пятикратным затягиванием и ослаблением проводника минимального сечения по табл. 1 с приложением крутящего момента по п. 2.2.13. При каждом ослаблении винта и гайки проводник сдвигают в зажиме.
3.3.9. Испытание на воздействие статической осевой нагрузки, если иное не предусмотрено в стандартах или технических условиях на конкретные серии зажимов, проводят следующим образом.
К зажиму присоединяют проводник минимального и максимального сечений по табл. 1 с приложением крутящего момента, составляющего 2/3 указанного для соответствующего исполнения крепежной детали по табл. 3.
Затем каждый проводник подвергается растяжению с усилием, указанным в табл. 4. Статическое растягивающее усилие прикладывается равномерно в течение 1 мин в направлении оси пространства для проводника.
Зажимы считают выдержавшими испытание, если не наблюдается заметных перемещений проводника в зажиме и повреждений зажима.
Примечания. 1. При проведении испытаний по пп. 3.3.8 и 3.3.9 зажимы должны быть надежно закреплены на неподвижном основании.
2. Зажимы для кабельных наконечников испытанию по п. 3.3.9 не подвергают.
Таблица 4
─────────────────┬──────┬─────┬─────┬─────┬─────┬─────┬─────┬─────
Размер зажима │ 0 │ 1 │ 2 │ 3 │ 4 │ 5 │ 6 │ 7
─────────────────┼──────┼─────┼─────┼─────┼─────┼─────┼─────┼─────
Статическое │30 <*>│ 40 │ 50 │ 50 │ 60 │ 80 │ 90 │ 100
растягивающее │ │ │ │ │ │ │ │
усилие, Н │ │ │ │ │ │ │ │
--------------------------------
<*> Испытание проводят только с проводником номинальным сечением 1 мм2.
(п. 3.3.9 в ред. Изменения N 1, утв. Постановлением Госстандарта СССР от 29.12.1990 N 3585)
3.4. Испытания зажимов на соответствие требованиям к электрическим параметрам
3.4.1. Измерение электрического сопротивления контактных соединений зажимов (п. 2.3.2) - по ГОСТ 17441-84.
3.4.2. Испытание на нагревание номинальным током (пп. 2.3.1 и 2.3.3) - по ГОСТ 17441-84. Испытание проводят при номинальной токовой нагрузке по табл. 2 и нормальной температуре окружающей среды. Время выдержки зажимов под нагрузкой - 2 ч. По истечении указанного времени токовую нагрузку отключают и определяют температуру контактных соединений зажимов в нагретом состоянии. Зажимы считают выдержавшими испытания, если температура контактных соединений зажимов соответствует требованиям п. 2.3.3 и не произошло нарушения внешнего вида зажимов.
При испытаниях зажимов необходимо учитывать допустимые длительные токовые нагрузки присоединяемых проводников из различных материалов, которые указаны в табл. 1 справочного Приложения 3.
Если температура окружающей среды отличается от расчетной (+25 °C), при определении допустимых токовых нагрузок следует учитывать поправочные коэффициенты согласно табл. 2 справочного Приложения 3.
3.4.3. Испытание на стойкость при сквозных токах (п. 2.3.4) - по ГОСТ 17441-84. Зажимы считают выдержавшими испытания, если они соответствуют требованиям п. 2.3.4 и не обнаружено механических повреждений, препятствующих работе.
3.5. Стойкость зажимов к воздействию механических и климатических факторов (п. 2.4) контролируют проведением испытаний по программе и методике, установленным в стандартах или технических условиях на изделия конкретных групп и видов, элементами которых являются испытываемые зажимы.
Приложение 1
Справочное
ПОЯСНЕНИЯ НЕКОТОРЫХ ТЕРМИНОВ, ИСПОЛЬЗУЕМЫХ В СТАНДАРТЕ
Винтовой зажим - контактный зажим, обеспечивающий разборное контактное соединение путем прижатия проводника или кабельного наконечника, закрепленного на проводнике, к рабочей контактной поверхности вывода винтом или гайкой.
Плоский вывод электротехнического устройства - по ГОСТ 22211-76.
Гнездовой вывод электротехнического устройства - по ГОСТ 22211-76.
Торцевой зажим - винтовой зажим, обеспечивающий разборное контактное соединение проводника с гнездовым выводом либо непосредственно под торцом винта, либо через промежуточный элемент.
Зажим с крепежной головкой - винтовой зажим, обеспечивающий разборное контактное соединение проводника с плоским выводом либо непосредственно головкой винта, либо через промежуточный элемент (фасонную шайбу).
Зажим с крепежной гайкой - винтовой зажим, обеспечивающий разборное контактное соединение проводника с плоским выводом либо непосредственно гайкой, либо через промежуточный элемент (фасонную шайбу).
Зажим с прижимной планкой - винтовой зажим, обеспечивающий разборное контактное соединение проводника с плоским выводом, планкой, прижимаемой двумя или более винтами или гайками.
Зажим для кабельных наконечников - винтовой зажим, обеспечивающий разборное контактное соединение наконечника, закрепленного на проводнике, с плоским выводом.
Колпачковый зажим - винтовой зажим, обеспечивающий разборное контактное соединение проводника с гнездовым выводом либо непосредственно колпачковой гайкой, либо через промежуточный элемент.
Заземляющий зажим (зануляющий) - винтовой зажим, предназначенный для присоединения нулевых защитных или заземляющих проводников по ГОСТ 21130-75.
Приложение 2
Обязательное
ПРИМЕРЫ СХЕМАТИЧЕСКИХ КОНСТРУКТИВНЫХ ИСПОЛНЕНИЙ ЗАЖИМОВ
Торцевые зажимы
1 - гнездовой вывод; 2 - винт; 3 - устройство,
предохраняющее крепежные детали от самоотвинчивания
Черт. 1
Зажимы с крепежной головкой
Зажимы с крепежной гайкой
1 - плоский вывод; 2 - винт; 3 - гайка; 4 - фасонная шайба;
5 - устройство, предохраняющее крепежные детали
от самоотвинчивания (тарельчатая пружина, пружинная шайба)
Черт. 2
Зажимы с прижимной планкой
1 - плоский вывод; 2 - планка; 3 - болт; 4 - гайка;
5 - устройство, предохраняющее крепежные детали
от самоотвинчивания (тарельчатая пружина,
пружинная шайба и т.п.)
Черт. 3
Зажимы для кабельных наконечников
1 - плоский вывод; 2 - кабельный наконечник; 3 - болт;
4 - гайка; 5 - устройство, предохраняющее крепежные детали
от самоотвинчивания (тарельчатая пружина,
пружинная шайба и т.п.)
Черт. 4
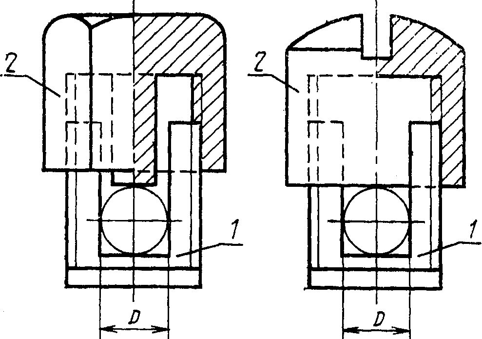
Колпачковые зажимы
1 - гнездовой вывод; 2 - колпачковая гайка
Черт. 5
Таблица 1
Минимальный диаметр пространства для проводника в зажимах
──────────┬───────────────────────────────────────────────────────
Размер │ Минимальный диаметр пространства для проводника,
зажима │ мм, для зажимов
├─────────────┬─────────────┬─────────────┬─────────────
│ торцевых │ с крепежной │ с прижимной │ колпачковых
│ │ головкой │ планкой │
│ │ (гайкой) │ │
──────────┼─────────────┼─────────────┼─────────────┼─────────────
0 │ - │ 1,4 │ - │ 1,4
1 │ 2,5 │ 1,7 │ - │ 1,7
2 │ 3,0 │ 2,0 │ - │ 2,0
3 │ 3,6 │ 2,7 │ 3,0 │ 2,7
4 │ 4,0 │ 3,6 │ 4,0 │ 3,6
5 │ 4,5 │ 4,3 │ 4,5 │ 4,3
6 │ 5,5 │ 5,5 │ 5,5 │ 5,0
7 │ 7,0 │ 7,0 │ 7,0 │ 7,0
Таблица 2
Минимальное расстояние между крепежным винтом и концом
полностью введенного проводника в торцевом зажиме
──────────────────┬───────────────────────────────────────────────
Размер зажима │ Минимальное расстояние g, мм
├───────────────────────┬───────────────────────
│ для одного винта │ для двух винтов
──────────────────┼───────────────────────┼───────────────────────
1 │ 1,5 │ 1,5
2 │ 1,5 │ 1,5
3 │ 1,8 │ 1,5
4 │ 1,8 │ 1,5
5 │ 2,0 │ 1,5
6 │ 2,5 │ 2,0
7 │ 3,0 │ 2,0
Таблица 3
Минимальное расстояние между неподвижной частью зажима
и концом введенного проводника в колпачковом зажиме
──────────────────┬───────────────────────────────────────────────
Размер зажима │Минимальное расстояние между неподвижной частью
│ зажима и концом введенного проводника, мм
──────────────────┼───────────────────────────────────────────────
0 │ 1,5
1 │ 1,5
2 │ 1,5
3 │ 1,8
4 │ 1,8
5 │ 2,0
6 │ 2,5
7 │ 3,0
Приложение 3
Справочное
Таблица 1
Допустимые длительные токовые нагрузки проводников
из различных материалов
───────────────────┬──────────────────────────────────────────────
Номинальное сечение│ Допустимые длительные токовые нагрузки
присоединяемых жил │ проводников, А
проводников, мм2 ├───────┬───────────┬───────────┬──────────────
│медных │алюмомедных│алюминиевых│из алюминиевых
│ │ │ │ сплавов
───────────────────┼───────┼───────────┼───────────┼──────────────
0,35 │ 8 │ - │ - │ -
0,50 │ 11 │ - │ - │ -
0,75 │ 15 │ - │ - │ 10
1,00 │ 17 │ - │ - │ 12
1,50 │ 23 │ 21 │ - │ 16
2,50 │ 30 │ 28 │ 24 │ 21
4,00 │ 41 │ 38 │ 32 │ 29
6,00 │ 50 │ 49 │ 39 │ 35
10,00 │ 80 │ 70 │ 55 │ 50
16,00 │ 100 │ 90 │ 80 │ -
Таблица 2
Поправочные коэффициенты при отличии температуры
окружающей среды от расчетной (25 °C)
────────────────────────────────────┬─────────────────────────────
Фактическая температура │ Поправочный коэффициент
окружающей среды, °C │
────────────────────────────────────┼─────────────────────────────
-5 │ 1,32
0 │ 1,27
+5 │ 1,22
+10 │ 1,17
+15 │ 1,12
+20 │ 1,06
+25 │ 1,00
+30 │ 0,94
+35 │ 0,87
+40 │ 0,79
+45 │ 0,71
+50 │ 0,61
+55 │ 0,50
+60 │ 0,44