Главная // Актуальные документы // ГОСТ (Государственный стандарт)СПРАВКА
Источник публикации
В данном виде документ опубликован не был.
Первоначальный текст документа опубликован в издании
М.: Издательство стандартов, 1989.
Информацию о публикации документов, создающих данную редакцию, см. в справке к этим документам.
Примечание к документу
С 1 июля 2003 года до вступления в силу технических регламентов акты федеральных органов исполнительной власти в сфере технического регулирования носят рекомендательный характер и подлежат обязательному исполнению только в части, соответствующей целям, указанным в
пункте 1 статьи 46 Федерального закона от 27.12.2002 N 184-ФЗ.
Изменение N 1, утв. Постановлением Госстандарта СССР от 27.12.1991 N 2197, введено в действие с 1 июля 1992 года.
Взамен ГОСТ 3484-77 в части испытаний на нагрев.
Название документа
"ГОСТ 3484.2-88. Государственный стандарт Союза ССР. Трансформаторы силовые. Испытания на нагрев"
(утв. Постановлением Госстандарта СССР от 30.08.1988 N 3051)
(ред. от 27.12.1991)
"ГОСТ 3484.2-88. Государственный стандарт Союза ССР. Трансформаторы силовые. Испытания на нагрев"
(утв. Постановлением Госстандарта СССР от 30.08.1988 N 3051)
(ред. от 27.12.1991)
Утвержден и введен в действие
Постановлением Госстандарта СССР
от 30 августа 1988 г. N 3051
ГОСУДАРСТВЕННЫЙ СТАНДАРТ СОЮЗА ССР
ТРАНСФОРМАТОРЫ СИЛОВЫЕ
ИСПЫТАНИЯ НА НАГРЕВ
Power transformers.
Heating tests
ГОСТ 3484.2-88
| | Список изменяющих документов Госстандарта СССР от 27.12.1991 N 2197) | |
Дата введения
1 января 1990 года
1. Разработан и внесен Министерством электротехнической промышленности СССР.
Исполнители: В.В. Боднар, канд. техн. наук (руководитель темы); В.Ф. Иванков, канд. техн. наук; Е.А. Юрченко.
2. Утвержден и введен в действие Постановлением Государственного комитета СССР по стандартам от 30.08.88 N 3051.
3. Срок первой проверки - 1994 г.; периодичность проверки - 5 лет.
4. Стандарт полностью соответствует СТ СЭВ 5019-85.
5. Стандарт полностью соответствует международному стандарту МЭК 76-2-76.
6. Взамен ГОСТ 3484-77 в части испытаний на нагрев.
7. Ссылочные нормативно-технические документы
────────────────────────────────┬─────────────────────────────────
Обозначение НТД, на который дана│ Номер пункта, приложения
ссылка │
────────────────────────────────┼─────────────────────────────────
ИС МЕГАНОРМ: примечание.
ГОСТ 3044-84 утратил силу с 1 января 1994 года в связи с
введением в действие ГОСТ Р 50431-92 (ИУС "Государственные
стандарты", N 3, 1993). Взамен ГОСТ Р 50431-92 с 1 июля 2002 года
России от 21.11.2001 N 474-ст).
ИС МЕГАНОРМ: примечание.
ГОСТ 26969-86 утратил силу в связи с введением в действие
"Государственные стандарты", N 2, 1998).
Настоящий стандарт распространяется на силовые трансформаторы общего назначения по
ГОСТ 11677-85 и устанавливает объем, условия и методы испытания на нагрев, а также требования к измерению температур элементов трансформаторов и окружающей среды.
Методы испытаний, установленные настоящим стандартом, применяют также для специальных трансформаторов, если это предусмотрено стандартами или техническими условиями на эти трансформаторы.
Абзац исключен с 1 июля 1992 года. -
Изменение N 1, утв. Постановлением Госстандарта СССР от 27.12.1991 N 2197.
1. ОБЪЕМ И УСЛОВИЯ ПРОВЕДЕНИЯ ИСПЫТАНИЙ
1.1. Испытания заключаются в нагреве трансформатора одним из методов в соответствии с
разд. 2 и измерении превышения температур его элементов над температурой охлаждающей среды с целью проверки их соответствия нормам нагрева.
1.2. При испытании на нагрев определяют превышения температур обмоток, а для масляных трансформаторов, кроме того, и верхних слоев масла над температурой охлаждающей среды при номинальных условиях по нагреву и охлаждению.
(в ред.
Изменения N 1, утв. Постановлением Госстандарта СССР от 27.12.1991 N 2197)
Необходимость измерения превышения температуры поверхности магнитной системы, места установки термопар и датчиков для измерений определяет разработчик трансформатора.
(абзац введен
Изменением N 1, утв. Постановлением Госстандарта СССР от 27.12.1991 N 2197)
В трехфазных трансформаторах, имеющих номинальную мощность 125 МВ х А и более, и однофазных, имеющих мощность 63 МВ х А и более, следует определять также превышения температур элементов металлоконструкций. Объем и методику этих измерений определяет разработчик трансформатора. Необходимость измерения превышений температур элементов металлоконструкций трансформаторов, имеющих мощности ниже указанных, также определяет разработчик трансформатора.
1.3. За номинальные условия охлаждения принимают такие, которые соответствуют нормальным условиям работы трансформатора при следующих факторах внешней среды:
температура охлаждающего воздуха - от 10 до 40 °С, абсолютная погрешность ее определения - в пределах +/- 1 °С;
температура охлаждающей воды у входа в охладитель - от 5 до 33 °С, абсолютная погрешность ее определения - в пределах +/- 1 °С;
относительная влажность воздуха - от 45 до 80%, при температуре охлаждающего воздуха выше 30 °С относительная влажность не должна быть выше 70%, абсолютная погрешность ее определения - в пределах +/- 5%;
атмосферное давление - от 84,0 до 106,7 кПа (630 - 800 мм рт. ст.), абсолютная погрешность его определения - в пределах +/- 0,666 кПа (5 мм рт. ст.);
высота установки над уровнем моря - не более 1000 м, кроме трансформаторов класса напряжения 750 - 1150 кВ, для которых - не более 500 м, абсолютная погрешность ее определения - в пределах +/- 50 м;
воздействия дождя, ветра, солнечной или другой тепловой радиации отсутствуют.
1.4. За номинальные условия по нагреву принимают такие, при которых потери в трансформаторе равны сумме потерь короткого замыкания

, измеренных в опыте короткого замыкания на основном ответвлении и приведенных в соответствии с
ГОСТ 3484.1-88 к номинальному току

и расчетной температуре

, и холостого хода

, измеренных в опыте холостого хода при номинальном напряжении

.
Результаты испытаний распространяются на все последующие трансформаторы этого типа, имеющие потери не более 1,1 (

), а результаты, приведенные к нормированной стандартом или техническими условиями на отдельные типы трансформаторов сумме потерь короткого замыкания и холостого хода

(без допуска), распространяются на все трансформаторы этого типа, имеющие потери не выше 1,1 х (

).
При испытании трансформаторов по
п. 2.3 допускается за номинальные условия по нагреву принимать такие, при которых потери в трансформаторе равны сумме потерь

(без допуска).
Результаты испытаний распространяются на все трансформаторы этого типа, имеющие потери не выше 1,1 (

).
1.5. Для трансформаторов, заполненных маслом, допускается превышение температуры верхних слоев масла определять при потерях меньших, чем

, но равных не менее 80% этого значения, а при мощности трансформатора выше 250 МВ х А по согласованию между изготовителем и потребителем при потерях в трансформаторе, равных не менее 60% (

) (в указанных случаях полученное при испытаниях превышение температуры следует приводить к номинальным условиям по
п. 1.4).
1.6. Определение превышений температуры каждой из обмоток и элементов металлоконструкций следует проводить в условиях, при которых токи в обмотках испытуемого трансформатора равны номинальным, а отклонение частоты от номинальной в пределах +/- 2%.
Допускается превышение температуры каждой из обмоток и элементов металлоконструкций определять при токах в обмотках, отличных от номинальных, но равных не менее 90% и не более 110% номинального; при мощности трансформатора выше 250 МВ х А по согласованию между изготовителем и потребителями при токах не менее 75% номинального; для трансформаторов, заполненных маслом, - при токах, обеспечивающих суммарные потери

.
(в ред.
Изменения N 1, утв. Постановлением Госстандарта СССР от 27.12.1991 N 2197)
Во всех случаях, когда токи в обмотках отличаются от номинального, полученные результаты следует приводить к номинальным условиям.
1.7. Определение превышения температуры поверхности магнитной системы следует проводить в условиях, когда к одной из обмоток подведено практически симметричное и синусоидальное номинальное напряжение при частоте, которая не должна отличаться от номинальной более чем +/- 1%.
2. МЕТОДЫ ИСПЫТАНИЙ НА НАГРЕВ
2.1. Метод непосредственной нагрузки
К одной из обмоток трансформатора подводят номинальное напряжение, вторую подключают к соответствующей нагрузке так, чтобы в ней установился номинальный ток. Контроль теплового режима в процессе испытаний осуществляют путем измерения тока на стороне нагрузки и подведенного напряжения.
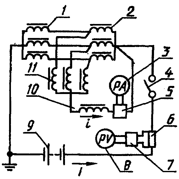
2.2. Метод взаимной нагрузки
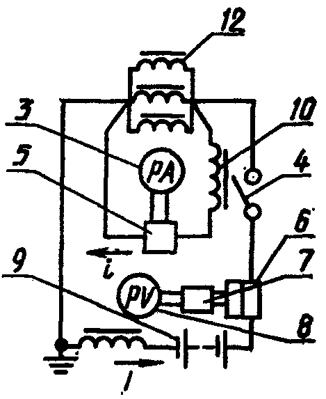
Испытуемый трансформатор 1 соединяют в соответствии с черт. 1 параллельно со вспомогательным трансформатором 2 мощностью не менее мощности испытуемого. Предпочтительно, чтобы номинальные напряжения и группы соединения обоих трансформаторов были одинаковыми. В контур обмоток высшего или низшего напряжения включают промежуточный трансформатор 3 мощностью не менее (

)% мощности испытуемого трансформатора, а класс его напряжения и допустимый ток обмоток должны соответствовать тому контуру параллельно включенных обмоток, в который он включен (Р - коэффициент, учитывающий падение напряжения на трансформаторе 3;

- напряжение короткого замыкания).
1 - испытуемый трансформатор;
2 - вспомогательный трансформатор;
3 - промежуточный трансформатор
Черт. 1
К параллельно включенным трансформаторам подводят номинальное напряжение испытуемого трансформатора, а напряжение, подводимое к промежуточному трансформатору 3, регулируют так, чтобы в обмотке испытуемого трансформатора 1, соединенной непосредственно с трансформатором 2, установился номинальный ток. Контроль теплового режима в процессе испытаний осуществляют путем измерения подведенного напряжения и токов в обмотках испытуемого трансформатора (без прямого измерения потерь).
Если напряжения обоих источников тока не синхронны, то необходимо, чтобы частота источника, питающего трансформатор 3, отличалась на 2 - 4 Гц от частоты другого источника для исключения влияния биений на показания приборов.
При испытании трансформаторов и автотрансформаторов с большим числом ответвлений для создания необходимого циркулирующего тока допускается не вводить в контур обмоток трансформатор 3, а включать обмотки на разные ответвления, если при этом выполняются допустимые условия по
п. 1.6.
Допускается напряжение разбаланса получать путем включения параллельно с трансформатором 1 вспомогательного трансформатора 2 с коэффициентом трансформации, группой соединения, отличными от трансформатора 1.
2.3. Метод короткого замыкания и холостого хода
2.3.1. В испытуемом трансформаторе одну из обмоток замыкают накоротко при помощи закорачивающего устройства с сечением не менее сечения закорачиваемой обмотки. Оставляя остальные обмотки разомкнутыми, ко второй обмотке подводят напряжение, частота которого не должна выходить за пределы +/- 2% номинальной, и регулируют его так, чтобы в обмотке установился ток, при котором потери в трансформаторе были бы равны суммарным потерям по
п. 1.4. Контроль теплового режима в процессе испытаний допускается осуществлять путем измерения тока (без прямого измерения потерь), при этом устанавливают ток I', рассчитываемый по формуле

, (1)
где

- суммарные потери по
п. 1.4.
2.3.2. При испытаниях методом короткого замыкания и холостого хода превышение температуры поверхности магнитной системы следует определять в опыте холостого хода в соответствии с
пп. 1.7;
1.4.
В трансформаторах с принудительной циркуляцией воздуха и масла (в том числе с направленным движением масла) оставляют работающими насосы группы холостого хода, обеспечивающие движение масла в баке трансформатора. При этом рекомендуется оставлять работающей такую часть вентиляторов системы охлаждения, при которой можно получить температуру масла, примерно равную полученной при нагреве в опыте короткого замыкания.
2.3.3. Для масляных трансформаторов, испытуемых методом короткого замыкания и холостого хода, при определении превышений температуры обмоток, элементов металлоконструкций, поверхности магнитной системы в результаты испытаний следует вносить поправки в соответствии с
разд. 5. Эти поправки обусловлены различием средней температуры масла, температуры масла вблизи элементов металлоконструкций и верхних слоев масла в опыте короткого замыкания при суммарных потерях и в опытах короткого замыкания при номинальном токе, и в опытах холостого хода - при номинальном напряжении или при нормированных потерях

.
2.4. Метод условной нагрузки (по согласованию между изготовителем и потребителем)
2.4.1. Метод допускается применять для испытания сухих защищенных и незащищенных трансформаторов мощностью выше 1000 кВ х А с естественным воздушным охлаждением, если располагают только одним испытуемым трансформатором или если применение методов непосредственной нагрузки или взаимной нагрузки ограничено возможностями испытательной установки.
Испытание проводят как два следующих один за другим нагрева: в режиме холостого хода в соответствии с
п. 1.7 при потерях холостого хода по
п. 1.4 и в опыте короткого замыкания - при номинальном токе в обмотках.
3. ТРЕБОВАНИЯ К ИЗМЕРЕНИЮ ТЕМПЕРАТУР
3.1. Термометры для измерения температуры
Для измерения температуры от 10 до 180 °С в разных точках трансформатора и охлаждающей среде следует применять термоэлектрические термометры (термопары), изготовленные в соответствии с
Приложением 1, ртутные и спиртовые термометры, электрические термометры сопротивления или другие термопреобразователи, равноценные по точности.
3.2. Измерение температуры охлаждающей среды
3.2.1. Температуру охлаждающей среды (воздуха) измеряют с интервалом не более 1 ч при помощи трех или больше термометров (термопар), расположенных определенным образом вблизи трансформатора или охлаждающего устройства, в зависимости от вида системы охлаждения.
Каждый термометр (спай термопары) следует помещать в наполненный жидкостью (трансформаторным маслом) сосуд, имеющий объем не менее 0,001 м3. Поверхность сосуда должна хорошо отражать тепловое излучение, для чего ее покрывают, например, алюминиевой фольгой. Сосуд не должен подвергаться воздействию принудительных воздушных потоков, в том числе создаваемых трансформатором.
Для трансформаторов с естественной циркуляцией воздуха (системами охлаждения видов М, Н, С, СЗ, СГ, МЦ и НМЦ) сосуды с термометрами располагают не менее чем с трех сторон трансформатора, примерно на середине его высоты, на расстоянии от 1 до 2 м от охлаждающей поверхности.
Для трансформаторов с принудительной циркуляцией воздуха (системами охлаждения видов Д, НД, ДЦ, НДЦ, ННД и СД) при наличии направленного потока воздуха из окружающего пространства к входам охладителей и при отсутствии значительной обратной циркуляции нагретого воздуха сосуды с термометрами следует устанавливать на входе воздуха в охладитель. Термометры должны быть удалены от поверхности бака и охладителей на расстояние от 1 до 2 м, чтобы избежать воздействия теплового излучения.
В случаях, когда имеется значительная обратная циркуляция нагретого воздуха, термометры следует устанавливать в тех местах вокруг трансформатора, где отсутствуют потоки обратной циркуляции воздуха, преимущественно со стороны трансформатора, не имеющей охладителей (если такая имеется).
3.2.2. Во время испытаний, особенно в последней четверти периода испытаний, температура охлаждающего воздуха должна оставаться по возможности постоянной (не должна изменяться более чем на 1 °С в час). В этом случае за температуру охлаждающего воздуха

во время испытаний принимают среднее арифметическое температур, измеренных термометрами, установленными вокруг трансформатора в соответствии с
п. 3.2.1, в конце периода испытаний.
Если в последней четверти периода испытаний температура охлаждающего воздуха изменяется более чем на 1 °С в час, но не более чем на 5 °С, то за температуру охлаждающей среды принимают среднее арифметическое температур, измеренных в соответствии с
п. 3.2.1 через равные промежутки времени в течение последней четверти периода испытаний.
Если значения температур охлаждающего воздуха, измеренные в конце периода испытаний, значительно отличаются (более чем на 5 °С) от среднего арифметического температур за последнюю четверть периода испытаний, то рекомендуется определять эквивалентную температуру охлаждающей среды в соответствии с
Приложением 2.
3.2.3. Для трансформаторов с системами охлаждения Ц и НЦ температуру охлаждающей среды (воды) следует измерять на входе в охладитель, для чего термометр (спай термопары) помещают в гильзу, предназначенную для измерения температуры охлаждающей воды, предварительно заполненную водой или маслом. За температуру охлаждающей воды принимают среднее арифметическое значение, по крайней мере, трех измерений, проводимых через примерно равные, но не более 1 ч, промежутки времени в течение последней четверти периода испытаний.
3.3. Измерение температуры верхних слоев масла
3.3.1. Для трансформаторов с естественной циркуляцией масла температуру верхних слоев масла

измеряют термометром (термопарой), помещенным в гильзу, предназначенную для термометрического датчика и расположенную на крышке бака, или, при установке охладителей отдельно от трансформатора, в выходной трубе, по которой нагретое масло поступает в охладитель, возле ее присоединения к баку.
Баллон термометра (спай термопары) погружают в гильзу, предварительно заполненную маслом, на глубину 5 - 10 см ниже уровня крышки бака. Если конструкция гильзы имеет выступающие над крышкой бака части, то их следует покрывать теплоизолирующим материалом. Уровень масла в гильзе должен совпадать с уровнем масла в баке.
При испытании трансформаторов с системами охлаждения М и Н, которые не комплектуются гильзой для термометрического датчика, температуру верхних слоев масла измеряют при помощи термопары, установленной в верхнем слое масла под крышкой бака на глубине не менее 10 см от ее поверхности.
3.3.2. Для трансформаторов с принудительной циркуляцией масла температуру входящего и выходящего из бака масла (верхних и нижних слоев) измеряют при помощи термопар, спаи которых помещают в гильзы, расположенные на маслопроводе возле входа и выхода его из бака.
Для трансформаторов с принудительной циркуляцией масла, которые не комплектуются гильзами, температуру входящего и выходящего из бака масла (верхних и нижних слоев) измеряют при помощи термопар, спаи которых заводят в маслопровод (патрубок) между фланцами с резиновыми прокладками в местах присоединения его к баку так, чтобы спай не касался поверхности металла. Допускается таким же образом измерять температуру масла в трансформаторах с системами охлаждения М и Д со съемными радиаторами.
(в ред.
Изменения N 1, утв. Постановлением Госстандарта СССР от 27.12.1991 N 2197)
3.4. Определение средней температуры масла
3.4.1. Среднюю температуру масла

следует рассчитывать как разность температуры верхних слоев масла

и половины разности температур масла на входе

и выходе

из системы охлаждения по формуле

, (2)
при этом разность температур

определяют:
для трансформаторов с принудительной циркуляцией масла и охлаждающего воздуха по разности температур масла на входе в охлаждающее устройство и выходе из него. Допускается таким же образом определять разность температур в трансформаторах с естественной циркуляцией масла и естественной и принудительной циркуляцией охлаждающего воздуха, имеющих баки со съемными радиаторами;
(в ред.
Изменения N 1, утв. Постановлением Госстандарта СССР от 27.12.1991 N 2197)
для трансформаторов с естественной и принудительной циркуляцией охлаждающего воздуха, имеющих трубчатые баки или баки с радиаторами, по разности температур наружных поверхностей верхней и нижней частей охлаждающей трубки или верхнего и нижнего патрубка радиатора в местах их присоединения к баку, при этом трубка или радиатор должны быть расположены как можно ближе к середине рассматриваемой стороны бака:
(в ред.
Изменения N 1, утв. Постановлением Госстандарта СССР от 27.12.1991 N 2197)
для трансформаторов с гладкими и волнистыми баками по разности температур наружной поверхности бака на высотах, соответствующих верхнему и нижнему краям обмотки.
3.4.2. Для трансформаторов мощностью до 2500 кВ х А с естественным охлаждением, с гладкими, волнистыми и трубчатыми баками или с баками, имеющими радиаторы без разъема, допускается принимать среднюю температуру масла равной 0,8 температуры верхних слоев масла.
3.4.3. Для всех видов охлаждения среднюю температуру масла вблизи разных обмоток допускается рассчитывать по формуле
(24) для сопротивления

, которое определяют, как указано в
п. 2.1.2 Приложения 3.
3.5. Измерение температур элементов металлоконструкций
3.5.1. Для измерения температуры поверхностей элементов металлоконструкций при помощи термопар их спаи припаивают, приваривают или запрессовывают в специальные отверстия.
3.5.2. Для измерения температуры поверхности бака и патрубков системы охлаждения спай термопары допускается приваривать или припаивать не к самой поверхности, а к тонкой металлической пластинке или фольге размером не менее 2 x 2 см2. Затем пластинку приклеивают или плотно прижимают к предварительно очищенной от краски поверхности, тщательно изолируют теплоизоляцией (асбест или резина) от окружающей среды.
3.5.3. Для измерения температуры поверхности в верхней части магнитной системы спай термопары устанавливают между листами центрального пакета на глубину 15 - 25 мм.
3.5.4. Для измерения температуры масла вблизи элемента металлоконструкции при помощи термопары ее спай закрепляют на расстоянии 30 - 60 мм от места установки термопары на поверхности элемента металлоконструкции так, чтобы он не касался греющейся поверхности.
3.5.5. При испытании сухих трансформаторов для определения наступившего теплового равновесия устанавливают термопары в следующих местах:
для защищенных и незащищенных трансформаторов - в центральной части верхнего ярма;
для герметичных трансформаторов и трансформаторов, полностью помещенных в герметический кожух, - в центре верхней части поверхности крышки и в центре боковой части поверхности герметичного кожуха.
3.5.6. Места установки термопар на поверхностях элементов металлоконструкций, трасса их прохождения внутри бака, способ выведения из бака за пределы трансформатора должны быть определены разработчиком трансформатора.
3.6. Определение средней температуры обмоток
3.6.1. Среднюю температуру обмоток определяют методом измерения их сопротивлений постоянному току в соответствии с
ГОСТ 3484.1-88 при помощи моста или путем одновременного измерения тока и падения напряжения на обмотке, или падений напряжения на обмотке и эталонном сопротивлении при заданном рабочем токе. Для этого измеряют сопротивления обмоток в "холодном состоянии" -

при известной температуре

от 10 до 40 °С, которую измеряют при заданных условиях одновременно с измерением

. Затем, после нагрева трансформатора, измеряют сопротивления обмоток в "нагретом состоянии" -

при неизвестных (определяемых) температурах обмоток

в соответствии с
Приложением 3.
Температуру обмотки в "горячем состоянии" -

определяют по формуле
(24) Приложения 3 по измеренным значениям

,

и

.
3.6.2. За среднюю температуру обмоток сухого трансформатора в "холодном состоянии" -

, находящегося не менее 16 ч в помещении при естественно изменяющейся температуре охлаждающего воздуха не более чем на 1 °С в час, не включавшегося и не подвергавшегося нагреву от стороннего источника тепла за это время, следует принимать среднее арифметическое показаний двух термометров, установленных у верхнего и нижнего краев боковой поверхности одной из наружных обмоток (для трехфазных трансформаторов - фазы В).
Для сухих герметичных трансформаторов и трансформаторов, полностью помещенных в герметический кожух, при выше указанных условиях за среднюю температуру обмоток

допускается принимать среднее арифметическое показаний двух термопар (термометров), установленных у верхнего и нижнего краев боковой поверхности кожуха.
Найденная средняя температура обмоток в "холодном состоянии" при изменении температуры охлаждающего воздуха не более чем на 1 °С в час должна быть равна температуре охлаждающего воздуха, измеренной в соответствии с
п. 3.2, с отклонением в пределах +/- 2 °С.
3.6.3. За среднюю температуру обмоток

масляного трансформатора при измерении их сопротивлений в "холодном состоянии" принимают среднюю температуру масла, измеренную в соответствии с
п. 3.4.
Для трансформаторов, не включившихся и не подвергавшихся нагреву в течение не менее 20 ч, измерение сопротивлений обмоток в "холодном состоянии" следует проводить не ранее чем через 6 ч после заливки трансформатора маслом при температуре средних слоев масла не более 40 °С.
При заливке трансформатора горячим маслом или, если он предварительно нагревался для более быстрого достижения условий для измерения

и

, допускается включать систему охлаждения. В этом случае измерения

и

проводят не ранее чем через 1 ч после отключения системы охлаждения (циркуляция масла при этом не прекращается).
3.6.4. Первое измерение сопротивления обмотки после отключения трансформатора от источника питания и нагрузки должно быть проведено как можно раньше (обычно через 60 - 120 с после отключения), чтобы обмотка не успела заметно остыть. С этой целью схему для измерения сопротивления предпочтительно собирать при помощи специальных разъединителей (с токовыми и потенциальными полюсами), рассчитанных на необходимый ток и напряжение.
3.6.5. Измерение сопротивления обмотки в "холодном" и "нагретом" состояниях следует проводить с использованием одних и тех же приборов и элементов измерительной схемы при одном и том же значении постоянного тока и его полярности.
3.6.6. Если при измерении сопротивления обмотки не удается удовлетворить требование
п. 3.6.4 в части времени проведения первого измерения, то принимают меры для снижения времени переходного процесса в измерительной цепи или вносят поправки в соответствии с
Приложением 3.
3.6.7. Если измерение средней температуры обмотки по сопротивлению неприемлемо, например для обмоток, в которых переходное сопротивление контактов соизмеримо с их активным сопротивлением, то среднюю температуру обмотки допускается определять термопарами. При испытании сухих трансформаторов можно применять стеклянные спиртовые термометры.
За среднюю температуру обмотки принимают среднее арифметическое показаний не менее двух пар термопар (термометров), установленных на противоположных сторонах ее верхнего и нижнего краев. При этом допустимое превышение температуры обмотки - по
ГОСТ 11677-85.
4. ПОСЛЕДОВАТЕЛЬНОСТЬ ПРОВЕДЕНИЯ ИСПЫТАНИЙ
4.1. Испытанию на нагрев подвергают полностью собранные трансформаторы. Допускается не монтировать элементы, не влияющие на тепловой режим трансформатора, например, искровые промежутки на вводах.
Трансформаторы следует испытывать с собственной системой охлаждения.
Трансформаторы с принудительной циркуляцией масла допускается испытывать на нагрев, подключая к трансформатору стационарную испытательную систему охлаждения вместо его собственной. В этом случае превышения температуры верхних слоев масла и средней температуры масла определяют расчетом по результатам испытания охладителей отдельно от трансформатора. При проведении этих испытаний следует руководствоваться указаниями в соответствии с
Приложением 4.
По выбору изготовителя трансформаторы испытывают одним из методов по
пп. 2.1,
2.2,
2.3 для масляных трансформаторов и
пп. 2.1;
2.2;
2.4 - для сухих трансформаторов. Для ускорения нагрева допускается в начале испытания при включении с "холодного состояния" устанавливать в обмотках увеличенный ток, но не более 150% номинального тока, в течение 2 - 3 ч для масляных трансформаторов и в течение не более 1 ч - для сухих трансформаторов. Допускается ухудшать условия охлаждения, отключать часть охладителей или всю систему охлаждения. По достижении 70% ожидаемого конечного превышения температуры контролируемого элемента должны быть включены отключенные охладители и восстановлены номинальные условия охлаждения и нагрузки.
При испытании сухих трансформаторов продолжительность теплового режима с установленными испытательными токами в обмотках может быть сокращена, если предварительно, до установления токов, провести их нагрев в опыте холостого хода в течение не менее 12 ч.
Указанные мероприятия допускаются, если они не противоречат требованиям технической документации на трансформатор.
4.2. В процессе испытания для определения его продолжительности необходимо контролировать:
для сухих трансформаторов - превышения температур поверхности магнитной системы (трансформаторы с системами охлаждения С, СЗ, СД) или кожуха (трансформаторы с системой охлаждения СГ) и обмоток (при их измерении наложенным постоянным током) над температурой охлаждающего воздуха;
для масляных трансформаторов - превышение температуры верхних слоев масла над температурой охлаждающей среды;
для масляных трансформаторов, испытываемых в опыте холостого хода, - превышение температуры поверхности магнитной системы над температурой верхних слоев масла.
4.3. Испытания по любому из методов в соответствии с
разд. 2 следует продолжать до тех пор, пока не будет выполнено одно из следующих условий:
в установившемся тепловом режиме контролируемое в соответствии с
п. 4.2 превышение температуры изменяется не более чем на 1 °С в час в течение четырех последовательных измерений, выполняемых с интервалом не менее 1 ч;
контролируемое превышение температуры верхних слоев масла изменяется менее чем на 3 °С в час, при этом конечное превышение температуры определяют графически в соответствии с
черт. 2. Для этого во время нагрева трансформатора или сразу же после его отключения необходимо измерить через равные промежутки времени

превышения температуры

; затем найти приращения превышений температуры

и т.д.; построить график и определить конечное превышение температуры

. При этом, если измерения проводят в процессе нагрева, то первое измеренное превышение температуры не должно быть более 25 - 30% ожидаемого значения

, в качестве которого допускается использовать расчетное значение. Если измерения проводят в процессе охлаждения после отключения трансформатора, то последнее измеренное превышение температуры должно быть не более 25 - 30% расчетного значения

.

Если сначала испытание проводят при отключенной частично или полностью системе охлаждения, увеличенном токе, то после восстановления номинальных условий по охлаждению и нагрузке испытание следует продолжать до установившегося теплового режима.
4.4. При испытаниях по
пп. 2.1,
2.2 нагрев, по возможности, продолжают до достижения установившегося теплового режима в соответствии с
п. 4.3, после чего определяют превышения температуры верхних слоев масла, поверхности магнитной системы, элементов металлоконструкций и превышения средней температуры обмоток (при измерении их сопротивлений наложенным постоянным током) над температурой охлаждающей среды.
Если измерение сопротивлений обмоток проводят после отключения трансформатора от источника питания, то для определения превышения температуры второй обмотки (последующих обмоток) следует повторить нагрев в течение не менее 2 ч.
4.5. При испытаниях масляных трансформаторов по
п. 2.3 нагрев суммарными потерями продолжают до выполнения условий
п. 4.3, после чего определяют превышение температуры верхних слоев масла и его средней температуры над температурой охлаждающей среды.
Затем для определения превышения температуры обмоток и элементов металлоконструкций устанавливают ток, равный номинальному или в соответствии с
п. 1.6, и продолжают нагрев в течение не менее 1 ч. Перед отключением определяют превышения температуры верхних слоев масла, средней температуры масла, температуры элементов металлоконструкций и масла вблизи них, средней температуры обмоток (при их измерении наложенным постоянным током) над температурой охлаждающей среды и, непосредственно после отключения трансформатора, определяют среднюю температуру одной из обмоток в соответствии с
п. 3.6, если она не измерялась наложенным постоянным током в процессе испытаний.
Если среднюю температуру обмоток определяют в двух или нескольких последовательных режимах нагрева номинальным током, то для определения превышения температуры второй обмотки (последующих обмоток) следует повторить нагрев трансформатора суммарными потерями в течение не менее 2 ч, после этого установить в обмотке номинальный ток и продолжить нагрев в течение не менее 1 ч, после чего определить превышение температуры второй (следующей) обмотки.
Если среднюю температуру обмоток измеряют в процессе нагрева методом наложения постоянного тока на ток нагрузки в соответствии с Приложением 3, то повторные включения не требуются.
4.6. При испытаниях сухих трансформаторов по
п. 2.4 нагрев в режиме холостого хода продолжают до получения установившегося теплового состояния по
п. 4.3 и затем измеряют превышения температуры магнитной системы

и обмоток

. Непосредственно после испытания в режиме холостого хода проводят испытание в опыте короткого замыкания при токе в обмотке, к которой подведено напряжение, равном номинальному. Испытание продолжают до получения установившегося теплового состояния по
п. 4.3, после чего повторно измеряют превышения температур магнитной системы

и обмоток

.
4.7. Испытания на нагрев многообмоточных трансформаторов, во время работы которых одновременно могут нагружаться более двух обмоток, следует проводить отдельно для каждой пары обмоток.
В случаях, когда номинальные мощности отдельных обмоток не позволяют проводить испытания трансформатора при суммарных потерях, то превышение температуры верхних слоев масла определяют в опыте, при котором ток протекает по парам обмоток, для которых суммарные потери наибольшие, и измеренное при меньших потерях превышение температуры допускается приводить к номинальным условиям в соответствии с
разд. 5.
Превышение температуры отдельных обмоток многообмоточных трансформаторов определяют в опытах, при которых токи протекают по парам обмоток, а в испытуемой обмотке ток равен номинальному или соответствует указанному в
п. 1.6. Превышение температуры отдельной обмотки при наиболее жестком для нее сочетании нагрузок в многообмоточном режиме следует рассчитывать по формуле
(9) путем приведения превышения температуры, полученного в парном режиме, к току, соответствующему по добавочным и вихревым потерям условиям наиболее тяжелого режима.
4.8. Для измерения превышений температуры обмоток, не имеющих внешних присоединений, если программой испытаний предусматривается измерение их температуры отдельно от обмоток, к которым они присоединены, на период испытаний следует установить дополнительный зажим (зажимы), к которому присоединяют отвод указанной обмотки.
4.9. Определение среднего нагрева обмотки, состоящей из обмоток фаз (стержней), допускается проводить на обмотке фазы (среднего стержня) или на обмотках двух фаз (крайнего и среднего стержней), соединяемых при измерении сопротивления последовательно, если это позволяет схема соединения обмоток. Полученный результат распространяется на всю обмотку, если расчетный нагрев обмоток одного напряжения всех фаз (стержней) одинаков.
В трансформаторах с принудительной циркуляцией с направленным потоком масла измерения среднего превышения температуры обмотки следует проводить на обмотках всех фаз (стержней).
4.10. В трансформаторах с концентрическими обмотками с вертикальными осями стержня и обмоток, если две или больше идентичных обмоток размещены одна над другой, при испытаниях на нагрев идентичные обмотки допускается соединять последовательно. Измеренное среднее превышение температуры этих последовательно соединенных обмоток не должно превышать значения, допустимого по
ГОСТ 11677-85.
4.11. Испытания на нагрев трансформаторов с расщепленными обмотками низшего напряжения допускается проводить, соединив их части последовательно или параллельно так, чтобы токи в обмотках были номинальными или соответствовали
п. 1.6.
За среднее превышение температуры обмотки низшего напряжения допускается принимать среднее арифметическое превышений температур ее частей, измеренных раздельно.
4.12. При испытаниях трансформаторов номинальной частотой 60 Гц от источников частотой 50 Гц следует руководствоваться указаниями
Приложения 5.
4.13. Методы испытаний на нагрев масляных трансформаторов следует применять также при испытаниях трансформаторов, заполненных другими горючими и негорючими и жидкими диэлектриками, с учетом требований
ГОСТ 16555-75.
5. ПРИВЕДЕНИЕ РЕЗУЛЬТАТОВ ИСПЫТАНИЙ НА НАГРЕВ
К НОМИНАЛЬНЫМ УСЛОВИЯМ
5.1. Определение конечного превышения температур элементов сухого трансформатора
5.1.1. Превышения средней температуры обмотки

и температуры поверхности магнитной системы

для защищенных и незащищенных трансформаторов или температуры верхней крышки

и боковой части

кожуха для герметичных трансформаторов следует определять как разности:
где

- температура обмотки, измеренная по
п. 4.4 в соответствии с
п. 3.6, °С;

- температура магнитной системы, измеренная по
п. 4.4 в соответствии с п. 3.5, °С;

и

- температура соответственно поверхности крышки и боковой части кожуха, измеренная по
п. 4.4 в соответствии с
п. 3.5, °С;

- температура охлаждающей среды, измеренная при испытаниях в соответствии с
п. 3.2, °С.
5.1.2. При нагреве обмотки током I', отличающимся от номинального в соответствии с
п. 1.6, измеренное превышение температуры

пересчитывают к номинальному току

по формуле

(3)
где q принимают равным:
1,6 - для трансформаторов с естественной циркуляцией охлаждающего воздуха;
1,8 - для трансформаторов с принудительной циркуляцией охлаждающего воздуха.
5.1.3. При испытаниях по
п. 2.4 общее превышение температуры каждой из обмоток

и магнитной системы

при номинальных условиях по
п. 1.4 определяют на основании результатов, полученных во время двух отдельных испытаний в соответствии с
п. 4.6, по формулам:

(4)

(5)
5.2. Определение конечного превышения температуры элементов масляного трансформатора
5.2.1. Превышения температуры верхних слоев масла

, средних слоев масла

и температуры масла вблизи элемента металлоконструкции

при номинальных условиях по нагреву следует определять как разности:
где

- температура верхних слоев масла, измеренная по
п. 4.4 или
4.5 при суммарных потерях в соответствии с
п. 3.3, °С;

- средняя температура масла, измеренная по
п. 4.5 при суммарных потерях в соответствии с
п. 3.4, °С;

- температура масла вблизи элемента металлоконструкции, измеренная по
п. 4.5 при суммарных потерях в соответствии с
п. 3.5.4, °С.
5.2.2. При условиях по нагреву, отличных от номинальных, полученные при испытаниях превышения температуры

и

следует приводить к номинальным условиям путем умножения на коэффициент
где

- сумма потерь короткого замыкания и холостого хода при испытаниях;
х - принимается равным:
0,8 - для трансформаторов с естественной циркуляцией охлаждающего воздуха;
1,0 - для трансформаторов с принудительной циркуляцией охлаждающего воздуха и при охлаждении водой.
5.2.3. При испытаниях по
п. 2.1,
2.2 превышения средней температуры обмоток

, температур элементов металлоконструкции

и поверхности магнитной системы

при номинальных условиях по нагреву следует определять как разности:
где

- температура поверхности элемента металлоконструкции, измеренная по
п. 4.4 при суммарных потерях

в соответствии с
п. 3.5, °С.
5.2.4. При испытаниях по
п. 2.3 превышения средней температуры обмоток

, температуры элементов металлоконструкции

следует определять в конце периода нагрева номинальным током в соответствии с
п. 4.5, а превышение температуры поверхности магнитной системы

- в соответствии с
п. 2.3.2 при соблюдении условия по
п. 4.3; их определяют как разности:
где

- температура обмотки, измеренная по
п. 4.5 в соответствии с
п. 3.6, °С;

- температура поверхности элемента металлоконструкции, измеренная по п. 4.5 в соответствии с
п. 3.5, °С;

- температура магнитной системы, измеренная по
п. 2.3.2 в соответствии с
п. 3.5, °С;

- температура охлаждающей среды, измеренная по
п. 4.5 при потерях в трансформаторе, отличных от

в соответствии с
п. 3.2, °С.
В полученные результаты в соответствии с
п. 2.3.3 следует внести поправки по формулам:

(6)

(7)

(8)
где

и

- приведенное и измеренное соответственно превышение температуры обмотки над температурой охлаждающей среды, °С;

и

- приведенное и измеренное соответственно превышение средней температуры масла над температурой охлаждающей среды, °С;

и

- приведенное и измеренное соответственно превышение температуры элемента металлоконструкции над температурой охлаждающей среды, °С;

и

- приведенное и измеренное соответственно превышение температуры масла вблизи элемента металлоконструкции над температурой охлаждающей среды, °С;

и

- приведенное и измеренное соответственно превышение температуры поверхности магнитной системы над температурой охлаждающей среды, °С;

и

- приведенное и измеренное соответственно превышение температуры верхних слоев масла над температурой охлаждающей среды, °С.
5.2.5. Если определение превышений температуры обмоток и

и элементов металлоконструкций

проводят при испытаниях током по
п. 1.6, отличным от номинального, то полученные при испытаниях превышения температуры

и

следует приводить к номинальным условиям по формулам:

(9)

(10)
где

и

- номинальный ток обмотки и ток в обмотке при испытаниях, А;
у - принимается равным:
1,6 - для трансформаторов с естественной и принудительной циркуляцией масла, но с ненаправленным потоком;
2,0 - для трансформаторов с принудительной циркуляцией и направленным потоком масла.
5.3. Оформление результатов испытаний
Данные наблюдений и результаты испытаний следует оформлять в виде протокола по
ГОСТ 16504-81.
6. ТРЕБОВАНИЯ К СРЕДСТВАМ ИСПЫТАНИЙ И ТОЧНОСТИ ИЗМЕРЕНИЙ
6.1. Испытания, контроль параметров испытательных режимов (потерь, тока, напряжения, частоты) и измерение сопротивления обмоток постоянному току должны проводить с использованием схем, средств испытаний и измерений в соответствии с
ГОСТ 3484.1-88, обеспечивающих испытательные режимы при однофазном и трехфазном практически симметричном и синусоидальном напряжении номинальной частоты при номинальных нагрузках с максимально допустимыми неисключенными погрешностями измерения потерь -

, тока -

, напряжения -

, частоты -

, в пределах:

= +/- 3,3%;

= +/- 1,5%;

= +/- 1,5%;

= +/- 0,5%.
В схемах испытания с напряжением более 35 кВ для измерения тока, напряжения, потерь допускается использовать измерительные трансформаторы класса точности не ниже 0,5.
Для измерения сопротивления обмоток постоянному току в соответствии с
п. 3.6.1 допускается применять одинарно-двойной мост класса точности не ниже 0,1; амперметр и вольтметр класса точности не ниже 0,2. При определении сопротивления обмотки путем измерения падения напряжения на обмотке и эталонном резисторе следует применять вольтметр класса точности не ниже 0,2 и образцовый резистор, соответствующий классу точности не ниже 0,2 (допускается применять самопишущий потенциометр класса точности не ниже 0,5). Во всех случаях неисключенная погрешность измерения сопротивления обмоток постоянному току

должна находиться в пределах +/- 1%.
6.2. Для измерения температуры масла и охлаждающей среды следует применять лабораторные термометры с ценой деления 0,1 °С.
Допускается применять стеклянные спиртовые и ртутные термометры, которые имеют шкалы в пределах (0 - 100) °С, цену деления не более 1 °С, пределы допускаемых погрешностей показаний которых - +/- 1 °С.
Во всех случаях неисключенная погрешность измерения температуры

должна находиться в пределах +/- 1 °С.
Границы относительной неисключенной погрешности

,

,

в процентах определения

,

и

следует рассчитывать по формуле

(11)
где

- нормируемое превышение температуры испытуемого элемента трансформатора по
ГОСТ 11677-85;
i - условное обозначение испытуемого элемента трансформатора.
6.3. При измерении температуры масла, охлаждающей среды, элементов металлоконструкций при помощи термопар класс точности применяемого с ними прибора (милливольтметра или потенциометра) должен быть не ниже 0,5, а его внутреннее сопротивление должно превышать сопротивление термопары не менее чем в 200 раз.
Доверительные границы неисключенной абсолютной погрешности измерения температуры

в этом случае необходимо определять следующим образом:
по измеренной прибором термо-ЭДС

с учетом границ допускаемой абсолютной погрешности прибора +/-

следует определить ее возможные границы

и

по формулам:

и

;
по градуировочной зависимости

следует определить возможные значения температуры

и

, соответствующие значениям термо-ЭДС

и

;
абсолютная неисключенная погрешность измерения температуры

равна полуразности температур

и

и должна находиться в пределах +/- 1 °С, а границы относительной неисключенной погрешности

измерения температуры

какого-либо элемента трансформатора следует рассчитывать по формуле
(11).
6.4. При определении превышения температуры какого-либо элемента трансформатора над температурой охлаждающей среды (

,

,

,

,

) оценку доверительных границ неисключенной систематической погрешности результата измерений следует проводить в процентах в соответствии с
ГОСТ 8.207-76:
1) для

и

доверительные границы результирующих погрешностей

и

в общем случае следует рассчитывать по формуле

(12)
где

- относительная неисключенная погрешность определения температуры охлаждающего воздуха, рассчитывать по формуле
(11), %;

- относительная неисключенная погрешность, вносимая при контроле режима по потерям, которая принимается равной

, %;

- относительная неисключенная погрешность, вносимая при контроле режима по току, которая принимается равной

,%;

и

- относительные неисключенные погрешности, вносимые при контроле режима по напряжению, обусловленные погрешностями измерения напряжения и частоты, которые принимают равными соответственно

и

, %.
При расчете погрешности по формуле
(12) в зависимости от параметра, по которому контролируют тепловой режим, следует принимать:

- при контроле режима по потерям;

- при контроле режима по току;

- при испытаниях суммарными потерями по
п. 2.3 и контроле режима по току;

- при контроле режима по напряжению;
2) для

доверительные границы погрешности

следует рассчитывать по формуле

(13)
где

,

,

- относительные неисключенные погрешности измерения температур

,

,

, которые равны

и определяются по формуле
(11), %;

- относительная погрешность, обусловленная отклонением частоты от номинальной, принимается равной

, %, где

- отклонение частоты от номинальной при испытаниях, %;
3) для

доверительные границы погрешности

следует рассчитывать по формуле

(14)
где

- неисключенная относительная погрешность, обусловленная погрешностью определения отношения сопротивлений обмотки в горячем и холодном состояниях, которая принимается равной +/- 2,5%;

- относительная неисключенная погрешность измерения температуры

, которая принимается равной

и определяется по формуле
(11), %;

- погрешность, обусловленная наложением постоянного измерительного тока на ток нагрузки, которая имеет место при измерениях методом наложения, принимается равной

, %, где

- отношение постоянного измерительного тока к току нагрузки, %;
4) для

доверительные границы погрешности

следует рассчитывать по формуле

(15)
где

- неисключенная относительная погрешность измерения температуры поверхности магнитной системы, которая равна

и определяется по формуле
(11), %.
При испытаниях по
пп. 2.1,
2.2 и при испытаниях сухих трансформаторов составляющая

из формулы исключается.
Найденные по формулам (
12 -
15) доверительные границы неисключенных систематических относительных погрешностей определения

,

,

,

должны находиться в пределах +/- 5%, а

- в пределах +/- 4%.
7. ТРЕБОВАНИЯ БЕЗОПАСНОСТИ
| | ИС МЕГАНОРМ: примечание. С 1 июля 2003 года введены в действие "Правила технической эксплуатации электроустановок потребителей", утвержденные Приказом Минэнерго РФ от 13.01.2003 N 6. | |
| | ИС МЕГАНОРМ: примечание. "Правила техники безопасности при эксплуатации электроустановок потребителей" утратили силу в связи с введением в действие с 1 июля 2001 года Межотраслевых правил по охране труда (правила безопасности) при эксплуатации электроустановок ПОТ Р М-016-2001 РД 153-34.0-03.150-00, утв. Приказом Минэнерго РФ от 27.12.2000 N 163. | |
Испытания следует проводить в соответствии с требованиями "Правил технической эксплуатации электроустановок потребителей" и "Правил техники безопасности при эксплуатации электроустановок потребителей", утвержденных Госэнергонадзором 21.12.84, а также производственными инструкциями, утвержденными на предприятии, проводящем испытания.
Справочное
ТЕРМОПАРЫ, ПРИМЕНЯЕМЫЕ ДЛЯ ИЗМЕРЕНИЯ
ТЕМПЕРАТУРЫ ЭЛЕМЕНТОВ ТРАНСФОРМАТОРА
Для измерения температуры при испытаниях трансформаторов следует применять термопары, изготовленные из пары проводов (предпочтительно хромель-копель) диаметром от 0,1 до 1 мм. Каждый из пары проводов заключают в маслостойкую (для термопар, применяемых при испытаниях масляных трансформаторов) и термостойкую изоляцию (180 °С), а затем их скручивают с шагом 5 - 15 мм.
Провода разрезают на отрезки требуемой длины (обычно от 2 до 20 м) и после проверки целостности изоляции между проводами сваривают или запаивают один из концов пары проводов.
Для определения зависимости между показаниями прибора, подключаемого к термопаре, и температурой, выраженной в градусах, поступают указанным ниже способом.
Из группы термопар одинаковой длины с допуском +/- 10%, изготовленных из одной партии проводов указанным способом, выбирают две или три. Запаивают или заваривают второй конец пары проводов (ранее не запаянный), а затем один из проводов перерезают и полученные отводы подключают к измерительному прибору поочередно при помощи переключателя.
Один из спаев полученной термопары помещают в сосуд с жидким диэлектриком (например, трансформаторное масло), температуру которого поддерживают 0 °С, а другой - в жидкий диэлектрик, температуру которого контролируют ртутным термометром с ценой деления 0,1 °С.
Изменяют температуру жидкого диэлектрика в диапазоне от 0 до 180 °С и через каждые 3 - 5 °С записывают показания измерительного прибора и термометра.
Полученные результаты применяют для построения графической зависимости между показаниями измерительного прибора и термометра, которую используют в дальнейшем для перевода показаний прибора в градусы Цельсия.
| | ИС МЕГАНОРМ: примечание. ГОСТ 3044-84 утратил силу с 1 января 1994 года в связи с введением в действие ГОСТ Р 50431-92 (ИУС "Государственные стандарты", N 3, 1993). Взамен ГОСТ Р 50431-92 с 1 июля 2002 года введен в действие ГОСТ Р 8.585-2001 (Постановление Госстандарта России от 21.11.2001 N 474-ст). | |
Примечание. При применении термопар, изготовленных из проводов хромель и копель, допускается для перевода показаний прибора в градусы Цельсия использовать таблицы, составленные по данным ГОСТ 3044-84, и применять приборы, шкала которых проградуирована в градусах Цельсия для хромель-копелевых термопар.
В этих случаях следует проводить сопоставление табличных данных и показаний градуировочного прибора с показаниями, полученными при помощи термопар, эталонного прибора и лабораторного термометра.
Рекомендуемое
ИСПЫТАНИЯ НА НАГРЕВ МЕТОДОМ НЕПОСРЕДСТВЕННОЙ НАГРУЗКИ
1. Этот метод следует применять при изменяющейся температуре охлаждающей среды.
2. Регулирование подводимого напряжения и нагрузки проводят в соответствии с
п. 2.1.
3. В процессе испытаний проводят измерения через равные промежутки времени, но не более чем через 1 ч, тока I, напряжения U, температуры верхних слоев масла

, магнитной системы

, охлаждающей среды

и средних температур обмоток

, при их измерении наложенным постоянным током.
Время выполнения серии последних измерений выбирают таким образом, чтобы они проводились в течение промежутка времени (около 1 ч), когда температура верхних слоев масла изменялась бы не более чем на 1,5 °С и чтобы длительность испытательного режима до выполнения последних измерений была не меньше учетверенного значения постоянной времени нагрева трансформатора (4Т).
Примечание. Если измерение средней температуры обмоток не может быть проведено под нагрузкой, то настоящий метод используют для определения превышений температуры масла, магнитной системы и элементов металлоконструкций.
4. Установившееся превышение температуры какого-либо элемента трансформатора

над температурой охлаждающей среды

рассчитывают по формуле

(16)
где

- среднее арифметическое значение температуры, вычисленное по результатам измерений в последний час испытательного режима, °С;

- эквивалентная температура охлаждающей среды, которую определяют по формуле (18).
Установившееся превышение температуры какого-либо элемента трансформатора

над температурой средних слоев масла рассчитывают по формуле

(17)
где

,

- средние арифметические температуры, вычисленные по результатам измерений в последний час испытательного режима, °С.
5. Эквивалентную температуру охлаждающей среды

рассчитывают по формуле

(18)
где

- конечная температура охлаждающей среды, измеренная в конце испытательного режима, °С;

- поправка на постоянную времени трансформатора, которая учитывает запаздывание по времени в изменении температуры масла по отношению к изменению температуры охлаждающей среды; рассчитывают по формуле

(19)
где Т - постоянная времени нагрева трансформатора;

- интервал времени между последующим и предыдущим измерениями температуры охлаждающей среды;

- алгебраическая разность между последующим и предыдущим результатами измерений температуры охлаждающей среды, °С;
Р - порядковый номер последнего измерения;
i - порядковый номер измерения, начиная со второго измерения на первом интервале.
При форсировании нагрева трансформатора за начало испытаний (t = 0) принимают момент времени, когда в трансформаторе установлены ток и условия охлаждения, соответствующие заданному испытательному режиму.
Рекомендуемое
ИЗМЕРЕНИЯ СОПРОТИВЛЕНИЯ ОБМОТОК ПРИ ИСПЫТАНИИ НА НАГРЕВ
1. Измерение сопротивления обмоток методом наложения постоянного тока
1.1. Метод наложения постоянного тока применяют при испытании на нагрев (как при коротком замыкании, так и при нагрузке в условиях эксплуатации) при большой постоянной времени обмотки испытуемого трансформатора и измерительной цепи и при отсутствии возможности начать измерения немедленно после окончания нагрева трансформатора.
1.2. При этом методе сопротивление обмоток трансформатора измеряют на постоянном токе, накладываемом на переменный ток нагрузки.
Постоянный ток может быть включен в течение всего периода испытаний или только на время, необходимое для измерения. Значение постоянного тока не должно превышать 2% номинального тока измеряемой обмотки.
1.3. Сопротивление обмотки измеряют при помощи двойного моста или вольтметра и амперметра по одной из схем в соответствии с черт. 3 -
6.
1 - измеряемая обмотка; 2 - регулируемый резистор;
3 - резистор; 4 - фильтр; 5 - гальванометр;
6 - компенсирующий трансформатор;
7 - аккумуляторная батарея; 8 - дроссель;
9 - разделительный конденсатор
а) измерения при коротком замыкании и нагрузке
б) измерение при коротком замыкании
1 - питающий трансформатор; 2 - измеряемая обмотка
(первичная); 3 - микроамперметр; 4 - выключатель;
5 - фильтр; 6 - шунт; 7 - фильтр; 8 - милливольтметр;
9 - аккумуляторная батарея; 10 - дроссель;
11 - индуктивность; 12 - измеряемая обмотка (вторичная)
Черт. 4
1 - питающий трансформатор; 2 - шунт;
3 - измеряемая обмотка; 4 - индуктивность;
5 - резистор; 6 - микроамперметр; 7 - конденсатор;
8 - аккумуляторная батарея; 9 - выключатель;
10 - милливольтметр; 11 - дроссель; 12 - фильтр
Госстандарта СССР от 27.12.1991 N 2197)
1 - питающий трансформатор; 2 - шунт;
3 - измеряемая обмотка; 4 - индуктивность;
5 - фильтр; 6 - микроамперметр; 7 - фильтр;
8 - милливольтметр; 9 - аккумуляторная батарея;
10 - выключатель; 11 - дроссель
1.4. Измерения короткозамкнутой обмотки (при нагреве методом короткого замыкания) проводят по схеме в соответствии с
черт. 3 в случае соединения испытуемой обмотки в звезду с доступной нейтралью, при этом сопротивление между точками О-О' является средним сопротивлением трех фаз обмотки, включенных параллельно.
В измерительную диагональ моста через трансформатор 6 с коэффициентом трансформации 1 подают напряжение, соответствующее напряжению на измеряемой обмотке, но с обратным знаком. Дополнительно в эту цепь вводят фильтр 4.
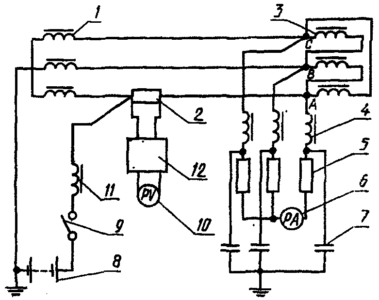
1.5. Измерения по
схемам а и
б в соответствии с черт. 4 проводят в том случае, когда доступны нейтрали у измеряемых обмоток и у питающего трансформатора (генератора). При измерении определяют среднее сопротивление трех фаз обмотки, включенных параллельно.
Постоянный ток, накладываемый на испытуемые обмотки, измеряют при помощи шунта 6 и милливольтметра 8 с фильтром 7.
Падение напряжения постоянного тока на этих обмотках измеряют гальванометром с фильтром 5.
Вместо индуктивностей 11 допускается применять соответствующие трансформаторы напряжения.
Применяемые в схеме фильтры должны в микроамперметре и милливольтметре ограничивать переменную составляющую напряжения до значения, не превышающего постоянную составляющую. При установке шунта в фазовом проводе первичной обмотки 2 и применении одного трансформатора напряжения 11 можно измерять сопротивление одной фазы, но при этом учитывать, что шунт и милливольтметр будут находиться под полным переменным напряжением. В этом случае необходимо принять меры для исключения влияния электрического поля на показания милливольтметра (например, путем экранирования). При этом показания милливольтметра отсчитывают при помощи оптических средств с расстояния, предусмотренного требованиями безопасности.
Среднее сопротивление (R) трех фаз первичной обмотки 2 рассчитывают (для схемы а) по формуле

(20)
где i - ток, измеряемый микроамперметром 3;
R' - суммарное сопротивление фильтра 5, дросселя 10 и микроамперметра 3;

- сопротивление индуктивностей 11;
I - постоянный ток, накладываемый на первичную обмотку 2.
Среднее сопротивление (

) трех фаз вторичной обмотки 12 рассчитывают (для схемы б) по формуле

(21)
где R" - суммарное сопротивление фильтра 5, дросселя 10 и микроамперметра 3.
1.6. Измерения по схеме в соответствии с
черт. 5 проводят в режиме короткого замыкания и нагрузки в том случае, когда обмотки испытуемого трансформатора соединены в треугольник или в звезду без выведенной нейтрали.
Если у питающего трансформатора (генератора) нет выведенной нейтрали, то используют другую фазу схемы, заземлив ее через достаточную индуктивность.
Постоянный ток подают через одну из фаз. При измерении постоянного напряжения между выводом А и выводами В и С резисторы 5 в фазах В и С должны обеспечивать наименьшее расхождение между суммарными сопротивлениями в фазах В и С - индуктивность 4 плюс резистор 5 соответствующей фазы.
Среднее сопротивление (

) двух фаз А и В рассчитывают по формуле

(22)
где i - ток, измеренный микроамперметром;
I - постоянный ток, накладываемый на фазы А и В;

- суммарное сопротивление индуктивности 4, резистора 5 и микроамперметра в фазе А;

- суммарное сопротивление индуктивности 4 и резистора 5 в фазе В.
Шунт 2 должен быть рассчитан на рабочий ток обмотки 3. Остальные условия измерения должны соответствовать
п. 1.5.
1.7. Измерения по схеме в соответствии с
черт. 6 проводят в режиме короткого замыкания и нагрузки при отсутствии вывода нейтрали у испытуемой обмотки и питающего трансформатора (генератора) в том случае, если допустимо заземление одного из фазных проводов. Измерение проводят для обмоток 3, соединенных как в звезду, так и в треугольник.
При измерении сопротивления обмоток, соединенных в звезду, определяют значение сопротивления (

) фаз А и В, которое рассчитывают по формуле

(23)
где i - ток, измеренный микроамперметром;
I - постоянный ток, накладываемый на фазы А и В;
R - суммарное сопротивление индуктивности 4, фильтра 5 и микроамперметра 6.
1.8. Для уменьшения влияния термоэлектрического эффекта в контактах шунтов и переходных процессов в трансформаторах на точность измерения сопротивления рекомендуется принимать следующие меры:
1) уменьшать нагрев шунтов (путем выбора соответствующего сечения проводников шунта и охлаждения);
2) выносить из зоны нагрева контакты шунта, если они из разнородных металлов;
3) увеличивать постоянную времени фильтров измерительных приборов, стабилизировать режим нагрева.
2. Определение средней температуры обмоток непосредственно после отключения
2.1. По окончании испытания на нагрев трансформатор отключают от источника тока. В трансформаторах с искусственным охлаждением одновременно отключают вентиляторы или прекращают циркуляцию воды. Циркуляцию масла (в том числе направленное движение масла) сохраняют на весь период проведения измерений. Вслед за отключением трансформатора измеряют сопротивление обмотки по истечении времени, достаточного для исчезновения переходного процесса в цепи измерительного тока. Измерения повторяют через промежутки времени длительностью 30 - 60 с.
Поправку на превышение температуры, обусловленной изменением сопротивления обмотки за время от момента отключения от источника питания до момента начала измерений, вносят методами экстраполяции кривых изменения сопротивления во времени с применением полулогарифмической шкалы (первый метод) и с применением линейной шкалы (второй метод).
2.1.1. По первому методу измерения сопротивлений

,

,

и т.д. повторяют через промежутки времени

,

,

и т.д. длительностью 30 - 60 с до 10 - 12-й минуты, затем спустя еще 10 - 15 мин дополнительно измеряют сопротивление обмотки

(последний отсчет).
На оси абсцисс в соответствии с черт. 7 откладывают отрезки времени

,

и т.д. до 10 - 12-й минуты, считая от момента отключения, а на оси ординат (в крупном линейном масштабе) - логарифмы соответствующих им разностей

,

и т.д. или (в логарифмическом масштабе) - соответствующие им разности

,

и т.д.
Черт. 7
При этом берут такое значение сопротивления

, при котором линия, соединяющая точки испытания, является практически прямой. Для этого допускается

принимать равным сопротивлению обмотки

по второму методу, которое соответствует моменту охлаждения, когда средние температуры обмотки и масла сравниваются.
Через нанесенные точки проводят прямую, которая, будучи продолжена, отсечет на оси ординат отрезок, равный логарифму разности

, где

- сопротивление обмотки в момент отключения.
Если несколько начальных точек окажется вне прямой, то при построении их не учитывают.
Допускается применять аналитический метод определения значения

, соответствующий изложенному выше графическому методу.
2.1.2. По второму методу определения истинного значения сопротивления обмотки в горячем состоянии в момент отключения нагрузки измерения сопротивлений проводят через равные промежутки времени непрерывно до 27 - 30 мин. Экстраполяцию временной зависимости сопротивления обмотки к моменту отключения проводят в соответствии с черт. 8, где изменения сопротивления

определяются через равные промежутки времени

.
Черт. 8
Уменьшения сопротивления

и т.д., соответствующие одинаковым интервалам времени, откладывают влево от оси ординат и проводят прямую Л. Соединив точку

с точкой

, определяют угол

, и под углом

из точки

проводят прямую до пересечения с осью ординат. Полученная точка

дает сопротивление обмотки в момент отключения, а точка

дает сопротивление обмотки, соответствующее средней температуре масла вблизи обмотки в момент ее отключения.
2.1.3. Среднюю температуру обмотки

в момент, непосредственно предшествующий отключению нагрузки, рассчитывают по формуле

(24)
где

и

- соответственно сопротивление обмотки и ее средняя температура, измеренные по
п. 3.6 в "холодном состоянии" трансформатора;

- сопротивление обмотки в момент отключения нагрузки по
п. 2.1.1 или
2.1.2 настоящего приложения;
Т - коэффициент, равный 235 °С для меди и 225 °С для алюминия.
2.1.4. Превышение средней температуры обмотки над температурой охлаждающей среды

определяют в соответствии с
разд. 5.
2.2. Для масляных трансформаторов с удельными потерями в обмотке из медного провода не более 66 Вт/кг, а в обмотке из алюминиевого провода не более 20 Вт/кг допускается по согласованию изготовителя с потребителем применять метод поправочных коэффициентов.
Измеряют сопротивление обмотки сразу после отключения и рассчитывают температуру обмотки

по формуле

(25)
где

- сопротивление обмотки, измеренное через время не более 4 мин после отключения нагрузки;

;
Р - расчетные удельные потери в обмотке, Вт/кг;

- коэффициент, зависящий от времени t, прошедшего от момента отключения нагрузки до момента измерения сопротивления R.
Коэффициент бета выбирают в соответствии с табл. 1.
Таблица 1
───────────────────┬──────────────────────────────────────────────
Время, мин │ бета
├───────────────────────┬──────────────────────
│ для меди │ для алюминия
───────────────────┼───────────────────────┼──────────────────────
1,0 │ 0,09 │ 0,032
1,5 │ 0,12 │ 0,045
2,0 │ 0,15 │ 0,065
3,0 │ 0,20 │ 0,091
4,0 │ 0,23 │ 0,113
2.3. При испытаниях трансформаторов с большой постоянной времени установления тока в измерительной цепи в соответствии с
п. 3.6.6 в результаты измерений следует вносить поправку.
Поправку вносят следующим образом:
При измерении сопротивления обмотки в "холодном" состоянии отмечают время от момента замыкания измерительной цепи до момента снятия показаний с приборов

. Интервалы времени между последовательными измерениями рекомендуется выбирать примерно одинаковыми и равными 30 - 60 с. Затем находят разности между

(каждым из измеренных сопротивлений) и фактическим сопротивлением

, измеренным, когда значение тока в измерительной цепи считают установившимся. На основании полученных результатов (разностей сопротивлений, полученных при снятии отсчетов в различные моменты времени) строят графическую зависимость в соответствии с черт. 9.
Черт. 9
В измеренные значения сопротивлений той же обмотки в "горячем" состоянии вносят поправку, используя полученную графическую зависимость.
Внесение поправок возможно, если все измерения в "горячем" и "холодном" состояниях проводились по одной и той же схеме в соответствии с требованиями
п. 3.6.5.
2.4. При определении средней температуры обмоток непосредственно после отключения с целью уменьшения времени установления тока последовательно с обмоткой включают добавочный резистор. Сопротивление резистора должно быть достаточно стабильным и практически не должно изменяться при протекании по нему тока. Допускается в качестве добавочного резистора применять лампы накаливания, если опытным путем доказана стабильность их сопротивления в установившемся тепловом режиме, а время, в течение которого температура нити накаливания принимает установившееся значение, не должно превышать 3 - 5 с. Допускается кратковременно шунтировать резистор, пока ток не достигнет 0,2 - 0,9 установившегося.
Напряжение на зажимах источников постоянного тока, применяемых при этих измерениях, в процессе измерений должно оставаться стабильным. Для обеспечения этого условия должны применяться аккумуляторные батареи большой емкости. Допускается применять в качестве источника питания выпрямительное устройство с пульсацией напряжения на выходе не более 1%.
С целью уменьшения времени установления тока в измерительной цепи применяют также схемы, ограничивающие намагничивание магнитной системы за счет противовключения постоянного тока в частях испытуемой обмотки при измерении ее сопротивления. Например, при измерениях, выполняемых на многопараллельных обмотках, чтобы обеспечить противовключение, один из проводов отсоединяют от отвода и подключают к этому же отводу при помощи разъединителя. При измерении сопротивления указанный провод включается последовательно с остальной частью обмотки, сопротивление которой измеряется, для этого необходимо разомкнуть разъединитель. Для вывода отсоединяемого провода из бака трансформатора на время испытаний устанавливают дополнительный ввод.
Рекомендуемое
ИСПЫТАНИЯ НА НАГРЕВ ТРАНСФОРМАТОРОВ
С ПРИНУДИТЕЛЬНОЙ ЦИРКУЛЯЦИЕЙ МАСЛА
БЕЗ СОБСТВЕННОЙ СИСТЕМЫ ОХЛАЖДЕНИЯ
По характеристике одного охладителя (зависимость теплового потока Q от разности температур масла на входе в охладитель и охлаждающей среды

), их числу в системе охлаждения трансформатора и суммарным потерям

определяют превышение температуры масла на входе в систему охлаждения над температурой охлаждающей среды. Найденное значение

является конечным превышением температуры верхних слоев масла в трансформаторе над температурой охлаждающей среды.
Затем определяют разность температур масла на входе и выходе из охладителя

по формуле

(26)
где Q - тепловой поток охладителя, Вт;
V - производительность насосов, м3/с;

, С - соответственно плотность и удельная теплоемкость масла, определяемые в зависимости от средней температуры масла в охладителе в соответствии с табл. 2.
Таблица 2
─────────────────────┬──────────────────────┬─────────────────────
Температура масла, °С│Плотность масла, кг/м3│Удельная теплоем-
│ │кость, Вт х с/кг х °С
─────────────────────┼──────────────────────┼─────────────────────
40 │ 873,1 │ 1807
50 │ 866,7 │ 1868
60 │ 860,3 │ 1928
70 │ 854,0 │ 1988
80 │ 847,6 │ 2048
90 │ 841,3 │ 2109
Для промежуточных температур масла значения плотности и удельной теплоемкости определяют линейным интерполированием.
Температуру масла, которую следует поддерживать на входе в трансформатор при определении превышения средней температуры обмоток и элементов металлоконструкций (

), рассчитывают по формуле

(27)
где

- конечное превышение температуры верхних слоев масла в трансформаторе, найденное расчетным путем, °С;

- разность температур масла на входе и выходе из охладителя, °С;

- максимальная температура охлаждающей среды по
ГОСТ 15150-69 в зависимости от климатического исполнения испытуемого трансформатора, °С.
При проведении испытаний соединяют охладительную установку с испытываемым трансформатором в соответствии с черт. 10.
Принципиальная схема установки для испытаний
трансформаторов с принудительной циркуляцией масла
без собственной системы охлаждения
1, 2 - насосы испытательной системы охлаждения;
3, 4 - насосы, обеспечивающие циркуляцию масла;
5,6 - измерительные диафрагмы
Черт. 10
При помощи камерных измерительных диафрагм по ГОСТ 26969-86 измеряют и устанавливают расход масла, поступающего из охладительной установки в трансформатор, такой же, как и при работе собственной системы охлаждения трансформатора. Если гидравлическое сопротивление трубопроводов между смесительным теплообменником и баком трансформатора примерно соответствует гидравлическому сопротивлению трубопроводов между собственной охладительной установкой и баком трансформатора, то расход масла можно считать равным, если равно число насосов одинаковой производительности в этом контуре при испытаниях и в собственной системе охлаждения трансформатора.
В опытах короткого замыкания, проводимых в соответствии с разд. 1, регулируют работу теплообменников так, чтобы в процессе опытов температура масла, поступающего в трансформатор (температура масла в смесительном теплообменнике), оставалась постоянной и равной

.
Допускается ускорять процесс испытаний путем прекращения циркуляции охлаждающей среды в части или всех теплообменниках, пока температура масла в смесительном теплообменнике не достигнет значения на 5 - 10 °С ниже значения, рассчитанного по формуле (27).
В установившихся тепловых режимах определяют превышения средних температур обмоток над средней температурой масла, рассчитываемой в соответствии с
п. 3.4, и температур элементов металлоконструкций над температурой масла вблизи них, измеряемой в соответствии с
п. 3.5.4.
Аналогично проводят испытания на нагрев трансформаторов с направленным движением масла, дополнительно устанавливая расход масла из промежуточного (смесительного) теплообменника к обмоткам.
Справочное
ИСПЫТАНИЯ НА НАГРЕВ МАСЛЯНЫХ ТРАНСФОРМАТОРОВ
С НОМИНАЛЬНОЙ ЧАСТОТОЙ 60 Гц
ОТ ИСТОЧНИКА С ЧАСТОТОЙ 50 Гц
Метод применяют в том случае, если добавочные потери в элементах металлоконструкций трансформаторов составляют не более 30% потерь короткого замыкания соответствующей пары обмоток.
Для проведения испытаний на нагрев измеряют при номинальной частоте трансформатора потери в опыте короткого замыкания, которые пересчитывают к номинальному току и расчетной температуре (

), и потери в опыте холостого хода при номинальном напряжении (

). Измерения проводят по
ГОСТ 3484.1-88.
При испытаниях допускается применять измерительные трансформаторы тока и напряжения, предназначенные для работы при частоте 50 Гц, учитывая при необходимости их угловые погрешности, определенные при частоте 50 Гц.
Установившееся превышение температуры масла определяют в опыте короткого замыкания при частоте 50 Гц, регулируя напряжение так, чтобы в обмотках установился ток, при котором потери были бы равны

. Испытания продолжают до достижения установившегося превышения температуры верхних слоев масла.
Затем регулируют напряжение так, чтобы в обмотках установился ток I = 1,095

, где

- номинальный ток питаемой обмотки трансформатора при номинальной частоте. При этом токе определяют установившиеся превышения температуры поверхностей элементов металлоконструкций из ферромагнитных материалов над температурой масла.
Установившееся превышение температуры поверхностей элементов металлоконструкций из маломагнитных материалов (относительная магнитная проницаемость близка к единице) определяют при токе I = 1,2

.
Установившееся превышение средней температуры обмоток над средней температурой масла определяют, установив ток I, в амперах, рассчитываемый по формуле

(28)
где

и

- расчетные основные и добавочные потери в обмотке, превышение температуры которой определяется в данном опыте, Вт.