Главная // Актуальные документы // ГОСТ (Государственный стандарт)СПРАВКА
Источник публикации
В данном виде документ опубликован не был.
Первоначальный текст документа опубликован в издании
М.: Стандартинформ, 2013.
Информацию о публикации документов, создающих данную редакцию, см. в справке к этим документам.
Примечание к документу
Документ включен в
Перечень международных и региональных (межгосударственных) стандартов, а в случае их отсутствия - национальных (государственных) стандартов, в результате применения которых на добровольной основе обеспечивается соблюдение требований технического
регламента Таможенного союза "О безопасности низковольтного оборудования" (ТР ТС 004/2011) и в
Перечень международных и региональных (межгосударственных) стандартов, а в случае их отсутствия - национальных (государственных) стандартов, содержащих правила и методы исследований (испытаний) и измерений, в том числе правила отбора образцов, необходимые для применения и исполнения требований технического
регламента Таможенного союза "О безопасности низковольтного оборудования" (ТР ТС 004/2011) и осуществления оценки соответствия объектов технического регулирования (
Решение Коллегии Евразийской экономической комиссии от 11.05.2023 N 55).
Документ включен в
Перечень международных и региональных (межгосударственных) стандартов, а в случае их отсутствия - национальных (государственных) стандартов, в результате применения которых на добровольной основе обеспечивается соблюдение требований технического
регламента Таможенного союза "О безопасности машин и оборудования" (ТР ТС 010/2011) и отдельные положения данного документа включены в
Перечень международных и региональных (межгосударственных) стандартов, а в случае их отсутствия - национальных (государственных) стандартов, содержащих правила и методы исследований (испытаний) и измерений, в том числе правила отбора образцов, необходимые для применения и исполнения требований технического
регламента Таможенного союза "О безопасности машин и оборудования" (ТР ТС 010/2011) и осуществления оценки соответствия объектов технического регулирования (
Решение Коллегии Евразийской экономической комиссии от 09.03.2021 N 28).
Документ включен в
Перечень стандартов, в результате применения которых на добровольной основе обеспечивается соблюдение требований технического
регламента Таможенного союза "О безопасности низковольтного оборудования" (ТР ТС 004/2011) и в
Перечень стандартов, содержащих правила и методы исследований (испытаний) и измерений, в том числе правила отбора образцов, необходимые для применения и исполнения требований технического
регламента Таможенного союза "О безопасности низковольтного оборудования" (ТР ТС 004/2011) и осуществления оценки соответствия объектов технического регулирования (
Решение Комиссии Таможенного союза от 16.08.2011 N 768).
Изменение N 1 введено в действие с 01.09.2014 Приказом Росстандарта от 09.03.2014 N 184-ст.
Название документа
"ГОСТ IEC 61029-2-8-2011. Межгосударственный стандарт. Машины переносные электрические. Частные требования безопасности и методы испытаний одношпиндельных вертикальных фрезерно-модельных машин"
(введен в действие Приказом Росстандарта от 13.12.2011 N 1141-ст)
(ред. от 19.03.2014)
"ГОСТ IEC 61029-2-8-2011. Межгосударственный стандарт. Машины переносные электрические. Частные требования безопасности и методы испытаний одношпиндельных вертикальных фрезерно-модельных машин"
(введен в действие Приказом Росстандарта от 13.12.2011 N 1141-ст)
(ред. от 19.03.2014)
агентства по техническому
регулированию и метрологии
от 13 декабря 2011 г. N 1141-ст
МЕЖГОСУДАРСТВЕННЫЙ СТАНДАРТ
МАШИНЫ ПЕРЕНОСНЫЕ ЭЛЕКТРИЧЕСКИЕ
ЧАСТНЫЕ ТРЕБОВАНИЯ БЕЗОПАСНОСТИ И МЕТОДЫ ИСПЫТАНИЙ
ОДНОШПИНДЕЛЬНЫХ ВЕРТИКАЛЬНЫХ ФРЕЗЕРНО-МОДЕЛЬНЫХ МАШИН
Electric transportable tools. Particular safety requirements
and methods of testing single spindle vertical moulders
(IEC 61029-2-8:1995, IDT)
ГОСТ IEC 61029-2-8-2011
| | Список изменяющих документов Росстандарта от 09.03.2014 N 184-ст) | |
Дата введения
1 января 2013 года
Цели, основные принципы и порядок проведения работ по межгосударственной стандартизации установлены
ГОСТ 1.0-92 "Межгосударственная система стандартизации. Основные положения" и
ГОСТ 1.2-2009 "Межгосударственная система стандартизации. Стандарты межгосударственные, правила и рекомендации по межгосударственной стандартизации. Правила разработки, принятия, применения, обновления и отмены".
1. Подготовлен Федеральным государственным унитарным предприятием "Всероссийский научно-исследовательский институт стандартизации и сертификации в машиностроении" (ВНИИНМАШ).
2. Внесен Федеральным агентством по техническому регулированию и метрологии (Росстандарт).
3. Принят Межгосударственным советом по стандартизации, метрологии и сертификации (протокол N 40-2011 от 29 ноября 2011 г.).
За принятие стандарта проголосовали:
Краткое наименование страны по МК (ISO 3166) 004-97 | Код страны по МК (ISO 3166) 004-97 | Сокращенное наименование национального органа по стандартизации |
Азербайджан | AZ | Азстандарт |
Армения | AM | Армгосстандарт |
Беларусь | BY | Госстандарт Республики Беларусь |
Грузия | GE | Грузстандарт |
Казахстан | KZ | Госстандарт Республики Казахстан |
Кыргызстан | KG | Кыргызстандарт |
Молдова | MD | Молдова-Стандарт |
Российская Федерация | RU | Росстандарт |
Таджикистан | TJ | Таджикстандарт |
Туркменистан | TM | Главгосслужба "Туркменстандартлары" |
Узбекистан | UZ | Узстандарт |
Украина | UA | Госпотребстандарт Украины |
4.
Приказом Федерального агентства по техническому регулированию и метрологии от 13 декабря 2011 г. N 1141-ст Межгосударственный стандарт ГОСТ IEC 61029-2-8-2011 введен в действие в качестве национального стандарта Российской Федерации с 1 января 2013 г.
5. Настоящий стандарт идентичен международному стандарту IEC 61029-2-8:1995 "Electric transportable tools. Part 2-8. Particular safety requirements and methods of testing spindle vertical moulders" (Безопасность переносных электрических машин. Часть 2-8. Частные требования к одношпиндельным вертикальным фрезерно-модельным машинам).
Сведения о соответствии межгосударственных стандартов ссылочным международным стандартам приведены в дополнительном приложении ДА (не приводится).
Степень соответствия - идентичная (IDT).
6. Введен впервые.
Информация о введении в действие (прекращении действия) настоящего стандарта публикуется в указателе "Национальные стандарты".
Информация об изменениях к настоящему стандарту публикуется в указателе "Национальные стандарты", а текст этих изменений - в информационных указателях "Национальные стандарты". В случае пересмотра или отмены настоящего стандарта соответствующая информация будет опубликована в информационном указателе "Национальные стандарты".
Настоящий стандарт устанавливает требования безопасности и методы испытаний электрических переносных одношпиндельных вертикальных фрезерно-модельных машин, которые дополняют, заменяют или исключают соответствующие разделы и (или) пункты ГОСТ IEC 61029-1.
Номера пунктов и рисунков настоящего стандарта, которые дополняют пункты и рисунки ГОСТ IEC 61029-1, начинаются с цифры 101.
Настоящий стандарт применяют совместно с ГОСТ IEC 61029-1.
Требования к методам испытаний выделены курсивом.
Требования настоящего стандарта являются обязательными.
По ГОСТ Р IEC 61029-1 со следующим изменением
1.1. Замена первого абзаца
Настоящий стандарт распространяется на переносные одношпиндельные вертикальные фрезерно-модельные машины (далее - машины) с режущим узлом диаметром не более 180 мм.
По ГОСТ Р IEC 61029-1.
По ГОСТ Р IEC 61029-1 со следующим изменением
3.21. Замена
Нормальная нагрузка: нагрузка при непрерывной работе машины и крутящем моменте на шпинделе, имеющем значение, при котором потребляемая мощность в ваттах равна номинальной потребляемой мощности.
3.101. Одношпиндельная вертикальная фрезерно-модельная машина: машина, предназначенная для строгания и фасонной выборки древесины или других подобных материалов посредством вертикального вращающегося режущего узла, выступающего через прорезь в столе, служащем опорой и базой для обрабатываемого изделия, которое подают к режущему узлу вручную (рисунок 101).
1 - опора; 2 - стол; 3 - режущий узел; 4 - направляющая;
5 - ограждение режущего инструмента
Рисунок 101. Одношпиндельная вертикальная
фрезерно-модельная машина
Электродвигатель в сборе с механизмом привода режущего узла располагают ниже уровня стола.
Режущий узел или стол могут регулироваться.
3.102. Режущий узел: вращающийся механизм, состоящий из резцедержателя и режущего инструмента.
3.103. Резцедержатель: жесткий шпиндель, соединенный с валом двигателя и предназначенный для фиксации режущего инструмента или съемного шпинделя.
3.104. Съемный шпиндель: узел, состоящий из шпинделя, на котором крепится режущий инструмент в сборе со шпонкой, дистанционными кольцами, подшипниками. Он служит как удлинитель режущего инструмента.
ГОСТ Р IEC 61029-1.
5. Испытания. Общие положения
ГОСТ Р IEC 61029-1.
6. Номинальное напряжение
ГОСТ Р IEC 61029-1.
ГОСТ Р IEC 61029-1.
По ГОСТ Р IEC 61029-1 со следующим изменением
8.1. Дополнение
- максимальная частота вращения режущего узла на холостом ходу;
- указание направления вращения режущего узла;
- максимальный диаметр режущего узла, допускаемого к использованию;
- диаграмма, аналогичная приведенной на
рисунке 109, с указанием оптимальной частоты вращения для данного вида и диаметра инструмента.
8.6. Дополнение
Для обозначения направления вращения режущего узла на шпинделе машины помещают выпуклую или выдавленную стрелку. Допускается нанесение стрелки другим, не менее заметным и устойчивым на стирание способом.
8.13. Дополнение
В инструкции по эксплуатации или информационном листе должна быть вся необходимая информация по безопасной эксплуатации машины. Например, указание по приемам работы, по замене инструмента, техническому обслуживанию, сборке, транспортированию и т.п.
Кроме того, должны быть приведены следующие предупреждения и указания:
- поддерживать с помощью комплекта вставок размер шпиндельного отверстия стола минимально возможным при работе с используемым в данный момент инструментом;
- работать в защитных очках;
- любая неиспользуемая часть режущего узла должна быть закрыта защитным ограждением;
- при обработке узких изделий для обеспечения безопасности работ необходимо использовать дополнительные меры, например, горизонтальные зажимные устройства;
- не допускать использование машины без соответствующих ограждений, установленных и отрегулированных надлежащим образом;
- машины, оборудованные стружкосборным устройством, должны быть присоединены к стружкоудаляющему устройству;
- применять только рекомендованный изготовителем режущий инструмент, предназначенный для ручной подачи.
9. Защита от поражения электрическим током
ГОСТ Р IEC 61029-1.
По ГОСТ Р IEC 61029-1.
11. Потребляемая мощность и ток
ГОСТ Р IEC 61029-1.
ГОСТ Р IEC 61029-1.
ГОСТ Р IEC 61029-1.
14. Подавление радио- и телепомех
ГОСТ Р IEC 61029-1.
15. Защита от проникновения посторонних твердых
тел и влагостойкость
ГОСТ Р IEC 61029-1.
16. Сопротивление изоляции и электрическая прочность
ГОСТ Р IEC 61029-1.
ГОСТ Р IEC 61029-1.
18. Ненормальный режим работы
По ГОСТ Р IEC 61029-1 со следующим изменением 18.1
Дополнение
Примечание 101. Одношпиндельные вертикальные фрезерно-модельные машины считаются машинами, движущие части которых склонны к заклиниванию.
19. Устойчивость и механическая безопасность
По ГОСТ Р IEC 61029-1 со следующим изменением
19.1. Дополнение
Основной корпус, стол с комплектом вставок, шпиндель резцедержателя, система направления обрабатываемого изделия, стопорное устройство, включая автоматический тормоз (если имеется), система защитных ограждений и индикатор (указатель) частоты вращения шпинделя - являются основными частями одношпиндельной вертикальной фрезерно-модельной машины.
В зависимости от характера работы требования безопасности относятся к обработке прямых и фасонных поверхностей или нарезанию шипов.
Машина должна быть оборудована средствами крепления устройств для предотвращения отдачи (например, регулируемыми концевыми упорами) на направляющей или на приставке стола. Такими средствами могут служить крепежные отверстия диаметром не более 12 мм.
(абзац введен
Изменением N 1, введенным Приказом Росстандарта от 09.03.2014 N 184-ст)
Устройства для предотвращения отдачи должны выдерживать статическую силу 300 Н в направлении отдачи без неисправимого повреждения.
(абзац введен
Изменением N 1, введенным Приказом Росстандарта от 09.03.2014 N 184-ст)
Положение таких устройств должно регулироваться на расстояние, равное двум длинам направляющей в обе стороны от шпинделя.
(абзац введен
Изменением N 1, введенным Приказом Росстандарта от 09.03.2014 N 184-ст)
19.101. Обработка прямых и фасонных поверхностей
19.101.1. Шпиндель резцедержателя
19.101.1.1. Резцедержатель, который может быть жестким или съемным шпинделем, должен соответствовать требованиям нормативных документов.
В шпинделе резцедержателя не должно быть паза.
19.101.1.2. Прочность
Шпиндель резцедержателя должен быть изготовлен из стали с временным сопротивлением разрыву не менее 580 МПа или из другого материала с характеристиками не хуже указанных.
19.101.1.3. Размеры шпинделя резцедержателя и режущего инструмента
Допустимые размеры шпинделя резцедержателя приведены в таблице 101.
Таблица 101
Размеры шпинделя резцедержателя
В миллиметрах
Диаметр шпинделя резцедержателя d, не менее q6 | Используемая длина шпинделя резцедержателя от его буртика, не более | Диаметр режущего инструмента, не более |
30 | 140 | 180 |
Когда не придерживаются размеров, указанных в данной
таблице, машина должна проходить типовые испытания на прочность при двойной максимальной частоте вращения шпинделя при самых тяжелых условиях обкатки, принимая во внимание массу инструмента и его положение на шпинделе. Допускаемые отклонения биения шпинделя после испытания не должны выходить за пределы, установленные нормативными документами.
19.101.1.4. Регулировка шпинделя резцедержателя
Шпиндель должен регулироваться по высоте. Устройство регулирования должно обеспечивать его фиксацию в установленном положении.
Машина должна быть оборудована соответствующей шкалой для указания позиции шпинделя по высоте и наклону относительно стола и иметь шкалу делений в единицах, соответствующих точности обработки машиной.
19.101.1.5. Фиксация шпинделя резцедержателя
Машина должна иметь встроенный фиксирующий механизм шпинделя резцедержателя для смены режущего инструмента и съемного шпинделя. Фиксирующий механизм должен предотвращать вращение шпинделя при включенном двигателе во время замены режущего инструмента.
19.101.1.6. Направление вращения
Шпиндель резцедержателя должен вращаться в одном направлении (против часовой стрелки, если смотреть сверху) и иметь конструкцию, препятствующую ослаблению крепления режущего инструмента и съемного шпинделя во время работы или торможения.
19.101.1.7. Дистанционные кольца шпинделя
Шпиндель резцедержателя должен быть снабжен комплектом дистанционных колец, диаметры которых приведены в таблице 102. Дистанционные кольца должны перекрывать всю длину шпинделя
(рисунок 102).
Таблица 102
Диаметры дистанционных колец
В миллиметрах
Внутренний диаметр дистанционного кольца  Н7 | Наружный диаметр дистанционного кольца d |
1 - режущий инструмент; d - наружный диаметр дистанционного
кольца;

- внутренний диаметр дистанционного кольца
Рисунок 102. Шпиндель резцедержателя и дистанционные
кольца шпинделя
Дистанционные кольца должны быть изготовлены из стали с временным сопротивлением разрыву не менее 580 МПа или из любого другого материала с характеристиками не хуже указанных.
Комплект дистанционных колец должен быть подвергнут испытанию на биение. На рисунке 103 указан метод испытания дистанционных колец. Торцевое биение дистанционных колец не должно быть более 0,1 мм при измерении на испытательном диске диаметром 100 мм.
Рисунок 103. Испытание на биение дистанционных
колец шпинделя
19.101.1.8. Устройство фиксации режущего инструмента
Устройство фиксации режущего инструмента должно быть выполнено в виде единой конструкции или в виде сборки нескольких деталей.
В этом случае отсутствие любой детали исключает возможность движения режущего инструмента.
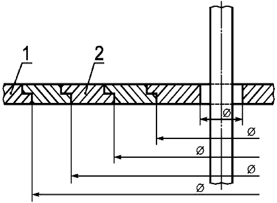
19.101.2. Стол машины
19.101.2.1. Размеры стола
Размеры стола должны соответствовать указанным в таблице 103 и на
рисунке 104.
Таблица 103
Размеры стола
Размеры в миллиметрах
Размер | Значение | Размер | Значение |
Диаметр отверстия стола, не более | 190 | Расстояние от края стола до центра отверстия стола B | |
Длина стола A, не менее | 600 | Расстояние от края стола до центра отверстия стола C | |
1 - отверстие стола; A - длина стола; B - расстояние от края
стола до центра отверстая стола; C - расстояние от края
стола до центра отверстия стола
Рисунок 104. Размеры стола
Стол должен иметь сквозное отверстие диаметром, обеспечивающим проход шпинделя двигателя и режущего инструмента.
19.101.2.2. Вставки стола
Стол должен быть оборудован комплектом вставок для корректировки диаметра отверстия стола (рисунок 105).
1 - стол; 2 - вставка стола
Рисунок 105. Вставки стола
19.101.3. Направляющие приспособления обрабатываемого изделия
19.101.3.1 Обработка прямых поверхностей
19.101.3.1.1. Размеры направляющей
Для обеспечения строго вертикального положения обрабатываемого изделия машина должна быть оборудована направляющей, которая:
а) имеет минимальную высоту больше, чем:
- используемая длина шпинделя или
- 120 мм;
б) имеет минимальную длину меньше, чем:
- длина стола (для двух направляющих) или
- 300 мм (для каждой направляющей);
в) соответствует нормативным документам.
19.101.3.1.2. Регулирование направляющей
Вся направляющая в сборе должна регулироваться и при выполнении поперечного регулирования оставаться в сборе со своими опорами.
Доступ к режущему инструменту через зазор между направляющей и ограждением режущего инструмента с задней (нерабочей) стороны не должен быть возможен.
Направляющие должны надежно крепиться к столу. Все регулировочные работы следует выполнять без помощи инструмента.
Боковое регулирование положения направляющих должно обеспечивать уменьшение до минимума всех зазоров, необходимых для работы режущего инструмента. Должна быть предусмотрена встроенная дополнительная направляющая или фиксирующие приспособления в двух направляющих, позволяющие использовать дополнительную направляющую. Дополнительная направляющая должна обеспечивать непрерывность двух направляющих и предотвращать заклинивание обрабатываемого изделия между режущим инструментом и направляющими.
Необходимо обеспечивать строгий контроль положения одной направляющей относительно другой. В дальнейшем эти направляющие должны оставаться параллельными и их перенастройка должна контролироваться на всей длине хода.
Часть направляющей, обращенная к режущему инструменту, должна изготовляться из такого материала, чтобы любой контакт ее с режущим инструментом не создавал опасной ситуации (например, поломка инструмента).
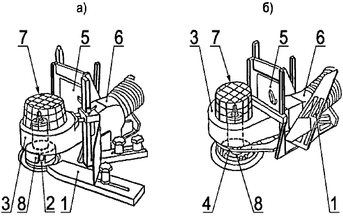
19.101.3.2. Обработка фасонных поверхностей (рисунок 106)
1 - подвижная направляющая; 2 - направляющее сферическое
кольцо; 3 - устройство защиты рук; 4 - неподвижная
направляющая; 5 - суппорт; 6 - стружкоудаляющее устройство;
7 - защитный колпак; 8 - режущий узел
Рисунок 106. Обработка фасонных поверхностей. Система
направления изделия и ограждения режущего узла:
а) - с подвижной направляющей;
б) - с неподвижной направляющей
Должна быть обеспечена правильная подача обрабатываемого изделия с помощью:
или
- неподвижной направляющей, соответствующей используемому режущему инструменту.
Форма или регулирование неподвижной направляющей должны обеспечивать непрерывный контакт между обрабатываемым изделием и режущим инструментом и сохранять его во время работы. Точка касания в месте, где измеряется глубина резания, должна быть четко определена, или
- подвижной направляющей, позволяющей использовать круговую направляющую (например, направляющее сферическое кольцо) для обеспечения непрерывного контакта.
Примечание. Подвижная направляющая должна быть убирающейся для обеспечения возможности использования неподвижной направляющей.
Эти устройства для направления обрабатываемого изделия используются в сочетании с шаблонами, фиксаторами и другими приспособлениями для крепления изделия.
19.101.4. Защитное ограждение рабочей зоны
Соответствующий комплект вставок стола обеспечивает необходимое уменьшение свободного пространства вокруг шпинделя
(19.101.2.2).
19.101.4.1. Защитное ограждение ниже уровня стола
Доступ к инструменту, шпинделю или приводной системе не должен быть возможен напрямую или через стружкоудаляющее устройство.
Если основная рама оборудована дверцей, она должна блокироваться изнутри при вращении шпинделя.
19.101.4.2. Защитное ограждение над уровнем стола
19.101.4.2.1. Защитное ограждение при обработке прямых поверхностей
19.101.4.2.1.1. Ограждение режущего инструмента
Часть направляющей, приближенная к инструменту, должна быть изготовлена из материала, который в случае непредвиденного контакта направляющей с инструментом не создает опасной ситуации, например при контакте с выпавшим инструментом или фрагментом направляющей.
Примечание. Требования к ограждению инструмента также установлены в
19.101.3.1.2.
Прижимные приспособления (прижимные колодки) должны обеспечивать удержание обрабатываемого изделия в контакте со столом и направляющей и создавать защиту между инструментом и руками оператора (рисунок 107).
1 - вертикальная прижимная колодка; 2 - горизонтальная
прижимная колодка; 3 - суппорт; 4 - стружкоудаляющее
устройство; 5 - защитный колпак; 6 - устройства
регулирования прижимных колодок; 7 - направляющая
Рисунок 107. Обработка прямых поверхностей. Система
направления изделия и ограждения режущего узла
Прижимные колодки должны удовлетворять следующим требованиям:
а) горизонтальные и вертикальные прижимные колодки во всем диапазоне регулирования должны быть устойчивы, перпендикулярны столу, параллельны направляющей и расположены симметрично по отношению к шпинделю;
б) горизонтальные и вертикальные колодки должны быть регулируемыми;
в) вертикальные прижимные колодки должны быть снабжены предохранителями, исключающими падение на инструмент при отказе их фиксирующего устройства;
г) прижимные колодки должны быть легкозаменяемыми и регулируемыми без помощи инструмента;
д) прижимные колодки должны иметь упругий элемент, компенсирующий небольшие колебания толщины обрабатываемого изделия;
е) длина вертикальной прижимной колодки должна быть больше максимального просвета между направляющими и должна обеспечивать прижим обрабатываемого изделия до момента контакта с инструментом;
ж) высота горизонтальной прижимной колодки должна быть как минимум равна высоте направляющей;
з) система крепления прижимных колодок должна позволять их снятие без демонтажа для облегчения замены инструмента или для использования устройства механической подачи;
и) система крепления должна быть жестко закреплена и не должна вибрировать;
к) устройство установки вертикальной прижимной колодки должно быть сконструировано таким образом, чтобы можно было обрабатывать изделие толщиной не менее 8 мм;
л) материал вертикальной прижимной колодки не должен создавать опасности при контакте с инструментом;
м) диапазон регулирования вертикальной прижимной колодки должен позволять как минимум проход над зажимным приспособлением при ее нижнем положении, а также перекрывать наибольшую высоту шпинделя над столом при ее верхнем положении;
н) диапазон регулирования горизонтальной прижимной колодки должен перекрывать не менее 75 мм вдоль оси шпинделя;
| | ИС МЕГАНОРМ: примечание. Нумерация пунктов дана в соответствии с официальным текстом документа. | |
п) расстояние между поверхностями горизонтальных прижимных колодок, находящихся в контакте с обрабатываемым изделием, должно быть больше, чем длина вертикальной прижимной колодки. Ширина вертикальной прижимной колодки должна быть как можно меньше, но при этом обеспечивать достаточную прочность
(рисунок 107);
р) горизонтальная прижимная колодка может быть ориентирована по отношению к направляющей таким образом, чтобы позволить подачу обрабатываемого изделия во время остановки работы.
19.101.4.2.1.2. Ограждение режущего инструмента - нерабочая зона, расположенная позади направляющей
Режущий инструмент с задней стороны направляющей должен иметь неподвижное защитное ограждение. Ограждение должно иметь достаточные размеры с тем, чтобы в нем помещался инструмент максимально возможного диаметра при всех возможных высотах шпинделя.
Ограждение должно позволять замену инструмента, например с помощью дверцы.
Форма ограждения должна быть спроектирована так, чтобы облегчить отвод стружки, например путем оптимизации формы ограждения и стружкоотвода.
19.101.4.2.2. Защитное ограждение при обработке фасонных поверхностей
Защитное ограждение (устройство защиты рук) должно обеспечивать защиту от контакта рук оператора с инструментом. Это ограждение должно быть закреплено неподвижно, стабильно и не должно вибрировать.
Защитное ограждение должно быть дополнено защитным колпаком для ограждения той части шпинделя, которая возвышается над инструментом.
Форма ограждения должна быть такой, чтобы можно было направлять пыль и стружку потоком к стружкоудаляющему устройству
(рисунок 106).
Защитное ограждение должно регулироваться по высоте на суппорте, который может:
а) быть прикреплен к стружкоудаляющему устройству;
б) позволять удерживать обрабатываемое изделие во время работы;
в) обеспечивать равномерное регулирование положения обрабатываемого изделия по высоте и служить опорой для обрабатываемого изделия.
Защитное ограждение и направляющая должны регулироваться без помощи инструмента.
Диапазон регулирования защитного ограждения и направляющей должен включать все возможные позиции инструмента по отношению к столу.
19.101.5. Доступ к приводным элементам
Доступ к приводным элементам машины должен быть исключен во время их движения.
При изменении скорости вращения, когда требуется работа с приводными ремнями или шкивами, в ограждении допускается наличие дверцы, открываемой без помощи инструмента. Открывание дверцы должно блокироваться при вращении шпинделя.
19.102. Нарезание шипов
Дополнительные требования к
19.101
19.102.1. Режущий инструмент
Доступ оператора к режущему инструменту должен быть предотвращен конструкцией направляющей для нарезания шипов или ограждением, закрепленным на ней (рисунок 108).
1 - защитный кожух; 2 - режущий узел
Рисунок 108. Нарезание шипов. Система направления изделия
и ограждения режущего узла
В случае, когда направляющая удаляется, необходимо обеспечить ограждение для предотвращения доступа к режущему инструменту.
Необходимо также предусмотреть ограждение для предотвращения доступа к режущему инструменту в конце реза или во время обратного хода.
19.102.2. Ограждение нерабочей части инструмента
Доступ в эту зону должен быть предотвращен с помощью ограждения, закрепленного на столе машины, регулируемого по отношению к столу и установленному инструменту. В дополнение к нему устанавливают регулируемые ограждения для предотвращения контакта с инструментом в зоне выше обрабатываемого изделия.
Замену инструмента следует производить без снятия ограждения.
19.102.3. Держатель обрабатываемого изделия
Машина должна быть оснащена держателем обрабатываемого изделия, приспособленным для нарезания шипов. Если этот держатель пневматический, необходимо принять соответствующие меры для предотвращения повреждения пальцев оператора.
Держатель обрабатываемого изделия с электроприводом должен быть сконструирован так, чтобы предотвратить освобождение обрабатываемого изделия при отказе подачи электроэнергии.
20. Механическая прочность
ГОСТ Р IEC 61029-1.
По ГОСТ Р IEC 61029-1 со следующим изменением
21.18. Замена
Соответствие проверяется приложением к выключателю шара диаметром (100 +/- 1) мм. Шар не должен вызывать пуска машины.
(п. 21.18 введен
Изменением N 1, введенным Приказом Росстандарта от 09.03.2014 N 184-ст)
21.20. Замена
При восстановлении напряжения после временного прекращения подачи энергии или после открывания дверцы для изменения частоты вращения машина не должна включаться автоматически.
21.101. Для машин, в которых режущий узел не защищен автоматическим защитным ограждением, режущий узел должен останавливаться не позже 10 с после выключения.
Соответствие требованию проверяют измерением.
21.102. Все машины должны снабжаться либо встроенным отсасывающим устройством, либо смонтированным на них внешним отсасывающим устройством для удаления стружки и пыли.
21.103. Пусковые устройства должны быть защищены от непреднамеренного запуска (например, с помощью кожухов).
21.104. Если машина предназначена для работы с более чем одной частотой вращения, она должна запускаться с нижней частоты и регулироваться переходом от меньшей частоты вращения к более высокой.
Работа с более высокой частотой вращения должна быть возможна только после разблокирования блокирующего устройства, установленного на меньшую частоту вращения. Машины должны тормозиться полностью на любой частоте вращения.
21.105. Машины должны оснащаться автоматическим тормозным устройством, которое позволяет осуществлять эффективную остановку шпинделя резцедержателя. Если необходимо производить вращение инструмента вручную для регулировочных работ при выключенной машине, следует обеспечить управление тормозом шпинделя.
21.106. Частота вращения должна быть видима в рабочем положении и в положении ее регулирования, причем показания индикатора должны быть видимы до того, как машина включена.
21.107. Если предусмотрено регулирование наклоняемым приводом, оно должно осуществляться только при стационарном положении шпинделя.
21.108. Машина должна быть оборудована противоотскоковым приспособлением (например, регулируемыми конечными упорами), закрепленным на направляющей или на удлинителе стола.
21.109. Соответствующие точки крепления дополнительных защитных устройств (удлинитель стола, горизонтальные прижимные колодки для обрабатываемых изделий большой толщины и т.п.) должны указываться изготовителем в инструкции по эксплуатации.
21.110. Дополнительные требования к нарезанию шипов
Если пусковое и остановочное устройства легкодоступны с рабочего места оператора как при обработке прямых поверхностей, так и при нарезании шипов, нет необходимости дублировать их.
Если рабочее положение оператора при обработке прямых поверхностей и при нарезании шипов находится с разных сторон машины, необходимо предусмотреть два устройства для управления остановкой.
ГОСТ Р IEC 61029-1.
23. Комплектующие изделия
ГОСТ Р IEC 61029-1.
24. Подключение к сети и внешние гибкие кабели и шнуры
ГОСТ Р IEC 61029-1.
25. Зажимы для внешних проводов
ГОСТ Р IEC 61029-1.
ГОСТ Р IEC 61029-1.
ГОСТ Р IEC 61029-1.
28. Пути утечки, воздушные зазоры и толщина изоляции
ГОСТ Р IEC 61029-1.
29. Теплостойкость, огнестойкость и стойкость к образованию
токопроводящих мостиков
ГОСТ Р IEC 61029-1.
30. Коррозионная стойкость
ГОСТ Р IEC 61029-1.
ГОСТ Р IEC 61029-1.
Диаметр инструмента, мм
┌────┬────┬────┬────┬────┬────┬────┬────┬────┬────┬────┬────┬────┬────┬────┬─────┬─────┐
│ 60 │ │ │ │ │ │ │ │ │ │ │ │ │ │ │ 31 │ 38 │
├────┼────┼────┼────┼────┼────┼────┼────┼────┼────┼────┼────┼────┼────┼────┼─────┼─────┤
│ 80 │ │ │ │ │ │ │ │ │ │ │ │ │ 33 │ 38 │ 42 │ 50 │
├────┼────┼────┘ └────┼────┼────┼────┼────┼────┼────┼────┼─────┼─────┤
│100 │ │ Опасная зона │ │ │ 34 │ 37 │ 39 │ 42 │ 47 │ 52 │ 63 │
├────┼────┼──── применения ────┼────┼────┼────┼────┼────┼────┼────┼─────┼─────┤
│120 │ │ │ 35 │ 38 │ 41 │ 44 │ 47 │ 50 │ 57 │ 63 │ 75 │
├────┼────┼────┐ ┌────┼────┼────┼────┼────┼────┼────┼────┼─────┼─────┤
│140─┼────┼────┼────┼────┼────┼────┼─37─┼─41─┼─44─┼─48─┼─51─┼─55─┼─59─┼─66 │ 73 │ 88 │
│
<**>│ │ │ │ │ │ │ │ │ │ │ │ │ │
<**>│ │ │
├────┼────┼────┼────┼────┼────┼────┼────┼────┼────┼────┼────┼────┼────┼──┼─┼─────┼─────┤
│160 │ │ │ │ │ │ 38 │ 42 │ 47 │ 50 │ 54 │ 59 │ 63 │ 67 │ 75 │ 84 │ │
├────┼────┼────┼────┼────┼────┼────┼────┼────┼────┼────┼────┼────┼────┼──┼─┼─────┼─────┤
│180 │ │ │ │ │ 37 │ 42 │ 47 │ 53 │ 57 │ 61 │ 66 │ 71 │ 75 │ 85 │ │ │
└────┼────┼────┼────┼────┼────┼────┼────┼────┼────┼────┼────┼────┼────┼──┼─┼─────┼─────┤
│2500│2800│3000│3500│4000│4500│5000│5500│6000│6500│7000│7500│8000│9000│10000│12000│
├────┴────┴────┴────┴────┴────┴────┴────┴────┴────┴────┴────┴────┴────┴─────┴─────┤
│ Частота вращения шпинделя, об/мин │
├─────────────────────────────────────────────────────────────────────────────────┤
│ <*> Границы опасной зоны применения (по частоте вращения │
│шпинделя). │
│ <**> Оптимальные значения частоты вращения шпинделя и скорости │
│резания при использовании инструмента диаметром 140 мм. │
└─────────────────────────────────────────────────────────────────────────────────┘
Рисунок 109. Диаграмма зависимости скорости резания
от частоты вращения шпинделя и диаметра инструмента
(обязательное)
ТЕРМОВЫКЛЮЧАТЕЛИ И УСТРОЙСТВА ЗАЩИТЫ ОТ ПЕРЕГРУЗОК
По ГОСТ Р IEC 61029-1.
(обязательное)
ЭЛЕКТРОННЫЕ СХЕМЫ
По ГОСТ Р IEC 61029-1.
(обязательное)
ИЗМЕРЕНИЕ ПУТЕЙ УТЕЧКИ И ВОЗДУШНЫХ ЗАЗОРОВ
По ГОСТ Р IEC 61029-1.
(справочное)
СХЕМА ЦЕПИ ДЛЯ ИЗМЕРЕНИЯ ТОКА УТЕЧКИ
По ГОСТ Р IEC 61029-1.